*** START OF THE PROJECT GUTENBERG EBOOK 76260 ***
TRANSCRIBER’S NOTE

Some minor changes to the text are noted at the end of the book.

The new original cover art included with this eBook is granted to the public domain.

Original book did not include a table of contents, one has been created for convenience of the reader.

Table of Contents

General.
Chapter I.
Tools.
The Saw.
The Use of the Saw.
The Plane.
To Sharpen Planes.
To Use the Plane.
Chisels.
To Sharpen Chisels.
To Use the Chisel.
The Marking Gauge.
The Screw Driver.
The Bit Brace.
Bits.
To Sharpen Bits.
The Nail Set.
The Hammer.
Oil Stones.
The Mallet.
The Try Square.
The Steel Square.
The Sliding T Bevel.
The Dividers.
Two-foot Rule.
Chapter II.
Wood Working and Joining.
The Saw Horse.
Work Bench.
Bench Stop.
Chapter III.
Squaring and Jointing.
Half Tenon and Halving.
Halved Joint.
Mortise and Tenon.
Panelling.
Dowelling and Joining.
Mitring.
Dovetailing.
Chapter IV.
Fastenings.
Chapter V.
Dressing Off and Smoothing.
Chapter VI.
Staining, Dyeing, Filling, Polishing.
Designs
Piano Or Organ Bench.
Plant Stand.
Magazine Stand.
Music Cabinet.
Hall Seat.
Hat Tree.
Dining Table.
Chair.
Morris Chair.
Library Table.

(Cover)

HAND MADE
FURNITURE

AND
HOW TO MAKE IT

Designed for the use of those seeking either a pleasant and profitable occupation or such furniture for their homes as shall express their own artistic taste, and stand for sturdy honesty of purpose, simple beauty, comfort and durability.

Albert G. Glidden


HAND MADE FURNITURE SHOP,
Spokane, Wash.


[Pg 2]

Copywrited 1910
by
A. G. Glidden.


[3]

GENERAL.

There is probably no home in which the comfort, convenience or artistic appearance could not be improved by the addition or replacing of some pieces of furniture. The reason is simple. They are furnished with store furniture, and store furniture is made to sell; the designs limited by the capabilities of the machines which make it; made of the cheapest materials; put together in the quickest, rather than the best way, and then finished up with the crudest varnish and stain to make a fine appearance. It is a depressing sight to see this furniture on moving day, piled on the sidewalk, scratched, broken, dingy, all its fine pretense of beauty gone forever. On the other hand, the chairs, tables, sideboards and other pieces that have come down to us through generations were all made by hand, put together by hand and finished by hand in the days when there was no machinery and the workman was an artist. The result is that instead of finding its way to the scrap heap this old furniture is as good today as ever, after two or three hundred years of wear and tear and removal from place to place half round the world. Hampered by no limitations of machinery these designers set the standard for the world for all times. Such furniture is worth while, and is an everlasting inspiration to the home-maker and worker.

Our new style, variously known as “Arts and Crafts,” “Mission,” “Craftsman,” etc., is especially adapted to hand work, and while differing from the rich old oak and mahogany of our fathers’ in form and finish, is like them in all the qualities of beauty and durability and is far more comfortable. A home furnished in this style not only expresses the artistic taste of its inmates but also exerts an influence of sturdy honesty of purpose, simplicity and absence of all gaudy pretense, which both its frank, straight lines and freedom from anything to hide or mar the natural beauty of the wood so forcibly express. It is a style of which we can never tire and of which no other can take the place. It will last for generations, for every part is as strong as the wood of which it is made. You can make it and make it better than you can buy in any store, for it is made in the most natural way, after the most natural design, of the most natural material.

Of course, it cannot be hoped that the mere reading of any book can make an expert cabinet maker of an inexperienced workman, but the instructions contained in this book will enable any one to make furniture. Handsome, comfortable, durable furniture. The length of time required on each of the [4]exercises will, of course, vary with the individual workman and his aptitude for the work. All that can be said as to the number of times the exercises should be performed is simply to keep at each one until you are satisfied with the results, you can judge as well as any one when your work is good. Time spent in practice is time well spent, for you are learning to make something which will be with you for years to come.

Fig. I.

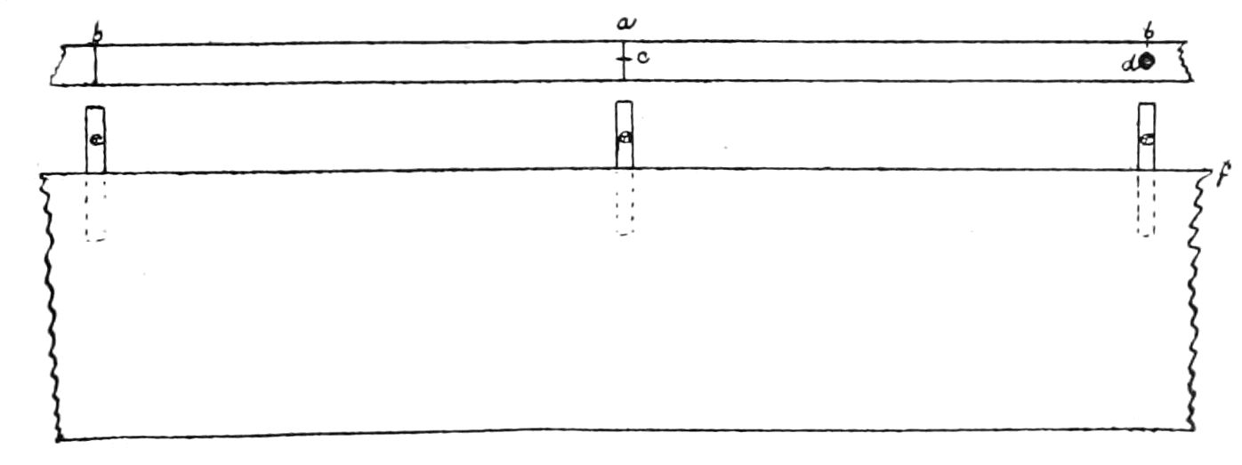
Most people know more or less about the use of tools and to some it will seem that we are unnecessarily explicit about things which to them are matters of course, but as we are writing for those who have had no experience whatever in the use of tools, as well as others, we have begun with the rudiments and taken one after another in the order most likely to assure rapid progress. For the same reason we have avoided, in so far as possible, technical terms and trade names, though in some cases it has been necessary to use the customary terms, as no others will express the meaning. For instance, the use of the word “square,” as applied to our work, does not always mean rectangular but oftener means at right angles to adjoining surfaces. Thus, when we say “saw square” or “plane square” we mean to make your surface straight and true and at right angles with some other surface. The term “right angles” will be easily understood by reference to Fig. 1. Whenever two lines meet they form an angle, and having the direction of one line and the degree of the angle we know the direction of the other line. Thus in Fig. 1 all the lines meet at (a). Taking the line (a-b) as our base and wishing to find any other line of which we have the degree of angle we draw a circle around (a). The size of the circle does not make any difference. A circle is divided into 360 degrees, therefore, if we are given an angle of 90 degrees, we know that it is a quarter of the circle and drawing a line from (a) [5]to the outer rim of the circle a quarter of the way around we have the line (a-c) which forms an angle of 90 degrees with the line (a-b). In the same way an angle of 30 degrees would be formed by a line drawn from (a) to the outer rim of the circle ¹⁄₁₂th of the way round from (b) (a-d). Forty-five degrees would be ⅛th of the way round (a-e), 60 degrees ⅙th of the way round (a-f), 180 degrees half way round, and so on. The angle of 90 degrees is spoken of as a right angle and in our work one line of the angle is said to be square to the other. We also use the term in speaking of angles 1 in 6, or 2 in 6, etc. You will understand this if you will take your steel square and place your rule diagonally across it and when, for instance, we say 1 in 6 we would mean to place your rule 6 in. from the corner of the square on one arm and 1 in. from the corner on the other arm of the square; 2 in 6 would mean keep the rule at 6 in. on one arm and move the other end of the rule 2 in. from the corner on the other arm. In other words, an angle may be said to give the degree of slant.

We have included in this book a few designs for pieces of furniture in order to show the method of assembling the parts and the most convenient way of laying out and beginning a piece of work. In this connection we wish to impress upon you the importance of laying out the whole of a piece of work before you begin to cut it at all. You will appreciate this as you proceed.

In our cuts we have made no attempt at fine drawing but have used the fewest possible lines for the sake of plainness and only so much shading as is necessary. Single lines usually designate the outline of solid parts. Dotted lines show the outlines of parts lying beneath the surface, or in other words, as if seen through the object, and are used merely to show the location of parts which would really be invisible. Wavy lines are generally used where only a part of a piece is shown and designate that the piece is really longer than drawn but the part beyond the wavy line is not necessary in the illustration. We have used shading to show end grain in some cases but more often to show where a part is cut away, as in the side of a tenon, etc. Dimensions are shown by arrow pointed lines. Where these lines point in opposite directions with the figures between them, or point toward each other with the figures at the end of one arrow, they give the distance in both cases between the arrow points.

The choice of wood depends largely on the purpose for which it is to be used and personal taste. You will probably have no occasion to use other woods than fir, oak and [6]mahogany, with possibly some pine. Fir is soft and likely to splinter if not carefully handled, but is easy to work, the grain is wavy and beautiful and it can be finished to equal oak in beauty. Oak is harder but more durable and admits of a very high polish. It is much stronger and therefore, except where proportion requires size, the parts can be made much smaller than when using fir. As, for instance, in chair and table legs, braces, etc. Oak also bends better than fir but it is necessary to steam it for this purpose and unless you have proper steam box and clamps to hold it until dry, we do not advise attempting to bend the parts. Mahogany has been the most highly prized of these three woods until recently, and is the most expensive, but oak has largely taken its place in fine furniture of this style, as it is more in keeping with the straight lines. Pine is soft, light and not so likely to splinter as fir, but has little grain and is not used extensively except in concealed parts where strength is not essential. In most lumber, and especially that with much flake or grain, you will find that the grain does not lay flat on the surface, but comes up to the surface at an angle and in planing it is important to cut in the direction of this grain, not against it, as in the latter case it will chip up and leave nicks in the surface instead of cutting smooth. In using the scraper on fir you have to be careful or it will cut deeper in the soft grain of the wood than on the flake, and make a wavy surface instead of a flat one. This, however, can be avoided with a little care.

We trust that with these suggestions the following may be quite clear to you, but if there is any point on which you are not quite clear, or if there is any advice you would like we would be very glad to hear from you and to assist you in any way that our experience will permit.


[7]

Chapter I.

TOOLS.

Right here and now we want to say, keep your tools sharp. Many beginners are discouraged with the result of their work when the fault is entirely with the dullness of their tools. A dull tool cannot do good work no matter how skillful the workman may be. Therefore, we say again, keep all tools sharp all the time. With this in mind, let us see what tools are necessary for our purpose and how to sharpen, use and care for them.

THE SAW.

The saw comes first in use and perhaps in importance. There are several kinds, but you will need only one 24-inch rip saw, about 7 tooth (to an inch) for sawing with the grain; one 20-inch cross-cut saw, 10 tooth, for sawing across the grain; one 12-inch back saw, 12 tooth, for sawing a perfectly straight, narrow smooth cut (kerf); one 12-inch compass saw, 8 tooth, for sawing curves.

These saws are sharpened when you buy them and we do not advise you to attempt to file your saws until you have learned by practice how to do it properly. Have them sharpened by an expert, for while it is very simple it requires skill, acquired only from experience. Do not neglect it, however. A dull saw leaves a ragged edge and takes double effort.

If you desire to file your saws get an old one to practice on. It is not a difficult thing to learn, and while opinions differ as to just how the work should be done there are a few essentials which must be observed. The following is the result of long experience and careful study and will give satisfactory results:

You will need to purchase a saw vise (one with rubber in the jaws will prevent noise), also a slim 7-inch taper file for 7 and 8 tooth saws, 5-inch slim taper file for 10 and 12 tooth, and a fairly long, flat mill file for jointing; a saw set of any of the standard patterns, and then proceed as follows: Fasten the saw vise to something steady, clamp the saw in it, teeth up, take the steel square, or other straight edge and hold it with the edge along the teeth of the saw. If the teeth do not all just touch the edge of the square they are not of equal length and require what is called “jointing.” To do this take the [8]flat mill file and lay it flat along the points of the teeth, filing as if to dull them until they are all equal in length, which you test with the square as before. The next step is to “set” the saw. This consists in bending the points of alternate teeth to right and left. This is done with the saw set. Have the salesman show you how to operate whatever kind you buy. The teeth should be bent only just enough to clear, do not set too deep, only the point should be bent, or half the tooth at most; set the tooth toward the side on which the point is; this will be every other tooth one way and alternate ones the other way; set one side first, then the other side. Your saw is now ready for filing. Select the size of file given above for the particular saw, commence at the butt (handle end) with the first tooth set away from you and file every alternate tooth. Keep the file level, that is, the handle and point at the same height when the saw is straight up on edge. You will notice that the teeth of your Cross-cut, Back and Compass saws are filed on an angle. This angle is entirely at the discretion of the owner. It is essential, however, that the bevel be filed on the front of the tooth. It will give very satisfactory results if you make it about 45 degrees. Keep the angle precisely the same on all the teeth. When you have filed the teeth on one side turn the saw around and file those on the other side. As to the shape of the teeth there is much difference of opinion, but until you have some reason to change keep it the same as when you bought the saw. Now take the saw out of the vise, lay it on a flat board and rub the sides of the teeth with the oil stone until they are perfectly even. To file the Rip saw proceed as above, except file straight across, not at an angle. File every tooth exactly the same size and shape and your saw will run true and easy.

THE USE OF THE SAW.

The use of the saw is constant and important. Saw true always, whether the results make any difference or not. In this way you will train your eye and hand. Do not saw without a mark. Use a hard pencil so as to make a narrow line. In all cases when joining mark with a knife or marking awl, remember that nearly always the sawed edge will have to be smoothed with the plane, and allow for this in such cases. Start your saw by a few short strokes, as it is likely to “jump” if you use too long a stroke before the cut is started. As soon as it is started use a full stroke. Do not saw in little jerks, but be careful not to pull the saw all the way out of the cut, as this will mar your work and may break the saw. Your Rip saw [9]and your Cross-cut saw should be held at an angle of about 45 degrees. With the Compass saw, you will generally have to hold it straight through the board in order to follow the curve. The Back saw is used flat down on the work, though you may raise or lower the butt a little in starting. It will take practice to learn to saw “square,” that is, so the cut is at right angles with the surface of the plank. Most beginners are inclined to tip the butt of the saw away from them as the cut gets nearer to them. Be careful about this. It is necessary to bring the butt in as the cut gets nearer. Of course, this does not apply to the Back saw, as that cuts straight down. In this case be sure to start true to your mark and hold the saw exactly at right angles to the surface of your work so as to cut square.

A saw properly set and filed does not require grease to make it run smoothly but should be wiped off after using with an oily cloth to prevent rust.

THE PLANE.

The plane may be of wood or iron or a combination of the two. We recommend a No. 3 Bailey iron plane (block) for smoothing; a No. 5 Bailey iron plane (jack) for heavier cutting and jointing; a wooden plow ¼ inch; a wooden plow ½ inch; a wooden rabbet plane ¼ to ⅝ inch. If you care to spend the money a wood and iron jointer, not less than 24 inch long is also valuable, but with care you can do this work with your No. 5 jack plane. The dealer will also show you Stanley Nos. 45 and 55 planes. These are expensive, but very convenient, as they will take the place of the rabbet and plow, and will also cut mouldings, reeding, etc. Have the dealer show you how to take apart and put together whatever planes you buy.

TO SHARPEN PLANES.

To sharpen planes use the oil stone, and oil that will not gum. The jack and jointer have a cap iron on the blade; remove this and rub the bevelled side of the blade on the stone with either a spiral or figure eight motion. Some workmen hold the bevel flat on the stone, others prefer to raise the blade onto the edge a little so as to make a second bevel just at the sharp edge. This gives a stronger cutting edge. We prefer the latter method. Either way will turn up a feather edge on the other side, and to remove this turn the blade over on the flat or long side and rub it perfectly flat on the stone. Repeat [10]the process until the edge is very sharp and perfectly smooth. Do not scratch your stone with the corner of the blade. Put your plane together again keeping the cap iron ¹⁄₃₂ to ¹⁄₁₆ of an inch back from the cutting edge.

TO USE THE PLANE.

To use the plane sight along the bottom and set the blade so it just shows. If you want to cut deeper you can set it deeper after trying it. Stand back of your plane, rather than over it, so you push it away from you instead of across in front of you. In this way you will cut truer and with less effort. Avoid a rocking motion. Hold the heel firmly down with the right hand and the front with the left hand. At the beginning of the stroke hold the front down squarely and at the end of the stroke ease up on the front and hold the heel down. When the plane runs off the end of the work at the end of the stroke, as you reach the end lift the front so that it does not drop over the end and make it low. Always plane square, whether it makes any difference or not, for the sake of habit.

CHISELS.

Chisels are of several kinds and lengths. For our use we prefer as most convenient one each ⅛, ¼ and ½ inch butt chisels (short blade). You will have little or no use for anything wider than ½ inch.

TO SHARPEN CHISELS.

To sharpen chisels proceed as with the plane blade, except hold the bevel flat on the stone. Do not raise on the edge at all, as this should be thin and very keen.

TO USE THE CHISEL.

To use the chisel keep the flat side towards the mark. For chisel work always mark with a knife. Always leave a margin next the line until the finishing cuts. If you cut right to the line in the beginning you are likely to mar the edge of your cut, and also in soft wood the bevel of the chisel forces it a little towards the flat side. When cutting across the grain hold the chisel very flat on the work or it will “dig in.”

THE MARKING GAUGE.

The marking gauge is made in several patterns. The simplest will do. In its use you need little instruction. Always [11]tip it a little in the direction you are moving it. If held straight up it will try to follow the grain. Hold the guide firmly and flat against the work.

THE SCREW DRIVER.

The screw driver should be of the very best. For our work we recommend one each ⅛ and ¼ inch, fairly long.

Always bore holes for screws. The hole should be about two-thirds the diameter of the screw. Put a little soap on the screw and it will drive easier and be less likely to split your work. When it is nearly all the way in and begins to go harder loosen the screw driver after each turn by a little back twist and it will be less likely to slip out or mar the screw head.

THE BIT BRACE.

The bit brace should be of the ratchet pattern and rather small. Oil the working parts occasionally.

BITS.

Bits are of various patterns. For our work get one each ³⁄₃₂, ⅛ and ³⁄₁₆ inch gimlet bits; one each ¼, ⅜, ½, ⅝, ¾ and 1 inch auger bits and one counter sink.

The gimlet bits you will use principally for screw holes. Be careful not to bend them. The auger bits are for larger holes. When using them it is a good plan, if you intend to bore all the way through, to stop as soon as the worm is through and bore in from the other side. You are less likely in this way to raise the grain around the hole.

TO SHARPEN BITS.

To sharpen bits use a slip stone (a thin oil stone). Rub the sharpened edges on the inside keeping the angle the same as when new.

THE NAIL SET.

The nail set is a small steel punch, hollowed a little on the end. It is for sinking nail heads below the surface of the work. Always incline the nail set in the same direction as the nail so it will not slip off and mar your work.

THE HAMMER.

The hammer should be fairly light. Get one ball pein (round face) claw hammer, rather small; one riveting hammer (small). Use the claw hammer for all ordinary work [12]and the riveting hammer for small brads and welding. Always hold a hammer by the end of the handle. It is balanced to be held so. Make the stroke from the elbow rather than the wrist. Never drive a nail with one or two single blows. It holds better when driven in several blows.

OIL STONES.

Oil stones are made of composition and of natural stone. The former is perhaps the better of the two. Clean off occasionally with kerosene to remove the steel and dried oil. Be careful not to scratch it. To true an oil stone when hollowed down in the middle fasten a piece of No. 1 sandpaper on a flat board, moisten it slightly and rub the face of the stone on it until true.

THE MALLET.

The mallet is for driving your chisel. Never use it on metal. Use the same stroke as with the hammer and always hold by the end of the handle.

THE TRY SQUARE.

The try square is extremely important. Have the dealer test it in a steel square before you buy it. It is for marking at right angles and for testing work. In use be sure to hold the thick end snugly against the work that is squared.

THE STEEL SQUARE.

The steel square is for larger work than the try square. It also has many uses which you will not require of it.

THE SLIDING T BEVEL.

The sliding T bevel is much like the try square except that it can be set at any angle and clamped with a thumb screw. You will use it for mitring, etc.

THE DIVIDERS.

The dividers are for marking circles or arcs and for dividing a given space into equal parts. Be careful not to make deep holes with them. Just enough to show is sufficient. Do not bend the points.

TWO-FOOT RULE.

Two-foot rule should be divided to sixteenths at least. Be careful not to mar it or your accuracy will suffer in consequence.


[13]

Chapter II.

WOOD WORKING AND JOINING.

In your work-room you will need several appliances which you can either buy, have made or make yourself. Among these are two saw horses; a work bench with stop and vise; a tool chest or closet; a mitre box and a bench hook. These may be more or less elaborate. We give below the easiest and simplest that will do. You can improve on them if you desire.

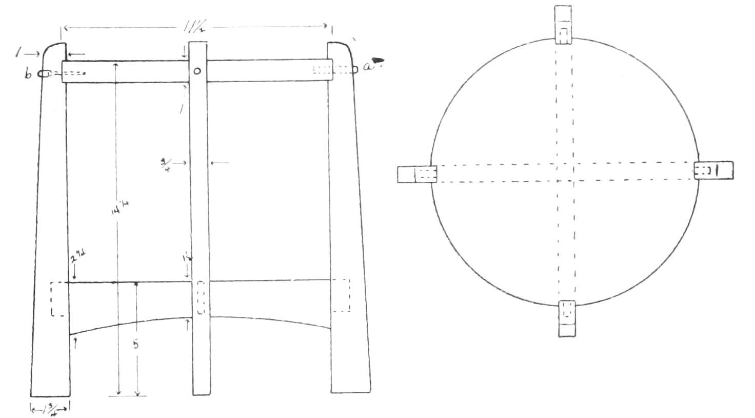
THE SAW HORSE.

The saw horse is merely a straight bar with four legs on which to rest material while working it. You will want two. To make a saw horse get two pieces of dry fir or pine 2 in. × 4 in. by 12 ft. long s4s common lumber will do so long as it has no knots large enough to weaken it. The s4s means sized on four sides and is the term used by the mills for planing off the saw marks.

Using your try square, mark across one piece as near the end as the wood is sound, with your cross-cut saw cut off the end square at this mark. With your rule measure off four legs, each 24 inches long, and one piece 3 feet long for the rail, mark and saw as before. The legs must be bevelled at the tops just like the bevels on your chisels. This will make them spread properly at the bottom. To cut this bevel lean one of the legs against the wall with the flat side to the wall and the bottom end about 9 inches out from the base board. Now place your rule, folded up, with its edge against the wall and the flat side against the upper end of the leg and with your pencil mark the side of the leg along the rule. Be careful to cut square. Bevel one end of each leg. Lay your rail on the floor on its flat side, set the bevel of the leg against it about 3 inches from the end, with the top of the leg even with the top of the rail. Drive in one nail and with your steel square see that the leg is at right angles with the rail, then put in enough more nails to make it solid. Do likewise on other end, then turn over and put the other two legs on. Stand the horse up on its legs, if it rocks a little put a small wedge under the short leg and with your rule folded, its edge on the floor and flat side against the edge of the leg, mark along the rule. With your try square mark across the flat side of the leg from this line and saw the leg off here on the angle given by the two lines. If this is done carefully on all four legs your horse will set firmly on the floor.

[14]

WORK BENCH.

To make a simple work bench you will require one piece 2 in. × 12 in. × 12 ft. long s4s; one piece 1 in. × 12 in. × 16 ft. s4s; one piece 2 in. × 4 in. × 10 ft. s4s; one piece 2 in. × 6 in. × 5 ft. s4s. Common lumber will do if knots are not too large. You will also need a 1-inch bench screw. Saw the 2 in. × 12 in. into two pieces for the top. Saw the 2 in. × 4 in. into four pieces each 30 inches long for legs. From the 1 in. × 12 in. saw off two pieces each 22 inches long and nail a leg firmly on each end of both of them, with the 2-inch side of the leg next the board and keeping the top of the leg even with the top edge of the board, and the ends of the board even with the outside of the leg. Saw the remainder 1 in. × 12 in. into two pieces 5½ feet long and nail the ends to the flat side of the legs with the tops even with the top of the leg and the ends even with the outside of the short board previously nailed on the legs. This will make the frame of your bench. Now stand it up and lay the top on it so that the top projects about 3 inches beyond the frame at each end and is flush with it in front. Nail the front top piece on first, being careful to get the frame square at the corners, then holding the back piece firmly against it nail that also. Set your nail heads below the surface with the nail set. Now stand the 2 in. × 6 in. on the floor against the bench and mark it just the height on the top of the bench. Saw it square across at this mark for the inside jaw of your vise. Cut the outside jaw 3 inches shorter than this so it will not touch the floor. About 6 inches below the top of both jaws, and exactly in the center, bore an inch hole for the bench screw. Most bench screws have a bulge on the inner face of the plate and you will probably have to cut around the hole on the outside jaw as if for a big screw head so this plate will set down flat. Now fasten the inside jaw to the bench near the left-hand end, one end on the floor and the other flush with the top of the bench. Putting your 1-inch bit through the hole in the jaw bore through the apron, next unscrew the threaded collar from the bench screw and set it in the center of a piece of wood 2 in. × 4 in. × 8 in. To do this bore a hole through the 2 in. × 4 in. and ream it out with your knife large enough to take the collar, or else take it to a carpenter shop and have it bored with a larger bit. Now, having fastened the bench screw to the outside jaw, put it through the inside jaw and apron and then screw on the 2 in. × 4 in. with the collar in it. Nail the 2 in. × 4 in. to the inside of the apron. There only remains [15]the slide in the bottom of the vise. Three inches above the bottom end, in the center of the outside jaw, bore an inch hole through both jaws. Get a piece of hard wood (broom-stick) about 18 inches long that will run easily through this hole. Put it through the hole till the end is flush with the outside of the outside jaw. Then wedge it tight, or nail it from the side so that it will run easily through the inside jaw, but hold the outside one. Bore ¼ inch holes through this slide from side to side about 1 inch apart. Cut the head off a 20d nail and use this as a pin to hold the bottom of the jaws as wide open when in use as the thickness of the material you have in the vise, or as nearly so as the holes in the slide will permit.

BENCH STOP.

The bench stop is used to brace your work against when planing, etc. You can buy an adjustable iron one or make a simple one as follows: Six inches from the left-hand end of the bench, and about 4 inches from the front, bore a hole straight down through the top with a bit the size of your broom-stick, before mentioned. Into this drive the broom-stick tight and with the saw cut it off about ½ inch above the top of the bench. This will answer temporarily.

You now have your bench and saw horses and can begin work. They may appear a little crude but will answer every purpose and you can buy or build finer ones when you have learned to use the tools easily.

We would advise postponing the tool chest until you have had some experience in the use of tools.

The mitre box is described later in your work and you will not need it for the present.


[16]

Chapter III.

SQUARING AND JOINTING.

For this and other exercises we recommend 2 in. × 4 in. kiln dried No. 1 pine s4s. This is less than 2 in. × 4 in., as these are the dimensions in the rough and some surface is taken off in dressing it. In speaking of lumber we give dimensions in the rough, but in speaking of parts of a piece of work actual measurements are always given.

Exercise No. I.

Saw off a piece of 2 in. × 4 in. 18¼ inches long. The object of this exercise is to learn to square this block, that is, make every surface perfectly flat and straight and exactly at right angles to the adjoining surfaces. This operation is necessary on almost every piece of work you will do and its accuracy is of the utmost importance. Place your piece on the bench with one of the wide sides up and the end against the bench stop. Set your jack plane to cut a very thin shaving. Plane the upper surface carefully, testing it from time to time with the side of your plane to see that it is perfectly straight. This is called jointing. It must also be flat. Test this with the side of your plane laid across it and in all directions. Next turn it up on edge and joint and square in the same manner. To test the angle use the try square with the broad arm against the face of the side you have already squared. Plane the other two sides in like manner until all four sides are absolutely square with adjoining sides and perfectly straight from end to end. Measure off ⅛ in. from one end and mark with try square and knife across the top. Turn it up and mark from this line down the side next you. With the back saw cut square to these marks. Now measure [17]18 in. from this and cut the other end off square in the same manner. Put the piece in the vise end up and projecting about an inch above the vise and with your smoothing plane plane the ends true, testing from all four sides with the try square. It is well in this operation to put a piece of waste material back of your work in the vise, with its upper edge even with the upper edge of your work. This will prevent chipping off the further edge as you plane across it. Square up other end in like manner. You will probably have to try some little time before you can get this exercise perfectly, but persist. Though simple it is perhaps as important as any you will have and you will be called upon to repeat this process constantly. Do not slight it, therefore, and when you can square a block perfectly you have made a great stride forward.

HALF TENON AND HALVING.

Exercise No. II.

Saw off a piece of 2 in. × 4 in. 12 inches long. Square it up as in Exercise I. Select the wide side with the best grain, etc., for your working side and mark it “O.” Measure off 3½ in. from the left-hand end as it lies on the bench before you and with your knife and try square mark across the working face (a-a). Turn up on edge and mark across from this line (b-b). Turn on other edge and do the same. Next measure 3 in. farther from the end and mark across the working face and down the two edges in the same manner (c-c-c). Then 3½ inches farther from the end mark across face and edges as before (d-d-d). Now take your marking gauge and set it ⅝ in. deep. Turn work on its edge, with the working face to your right and with the gauge make a line along the edge from (e-e-e), that is, a line ⅝ of an inch below the working face and parallel with it. Do likewise between (c) and [18](d) and (f-f). Turn the work over and mark the other side in the same way and also carry your gauge mark across the end (g-g). Place the work on the bench working face up with the marked end to the right. With your back saw cut down at (b) to the gauge mark (e), being careful that your saw cuts just to the mark both on top and down the edge. Saw in the same way at (c) to (f) and (d) to (f), being careful in all cases that your saw cuts only to the middle of your mark, the cut being in the wood to be removed, which in our case is between (b) and the end and (c) and (d). Do not mar corners in starting your saw. Place the work in the vise with the gauge mark just above the jaws. With your widest chisel cut out the parts to be removed, cutting across the grain, flat side of the chisel down. Do not try to take out too much at a time. Do not cut all the way across as the wood is likely to chip off the far side below your gauge line, so cut only half way across, then turn the piece around and cut from the other side. When you reach the bottom (the gauge line) be very careful to hold the chisel flat, that is, straight across, or you will not have a flat, even bottom. Next turn the work up on end in the vise and with your rip saw cut down the gauge line across the end (g-g) and down the edge (e-e). Repeat this exercise until you can get it absolutely accurate. All surfaces should be “square” and smooth. These operations are constantly necessary and must be accurate or your joints will show unsightly cracks. While, on the other hand, when you have mastered this exercise, you have accomplished a great deal, as you will appreciate a little later.

HALVED JOINT.

So far we have not required our material to be of any particular dimensions when finished. We should now be able to square up to given dimensions, which is, of course, necessary in most cases. It is in this exercise. Therefore, remember to get your material out a trifle larger than the dimensions given for the finished work in order to leave room for squaring. The purpose of this exercise is to join two pieces of equal thickness which cross each other at right angles, and have them flush top and bottom; the pieces to be of the exact dimensions given, fitted closely on both sides, each piece exactly in the center of the other, both sides to be perfectly smooth and even when finished and the ends planed square. To do this get out two pieces which square up as in Ex. I to 3½ in. wide, 1¾ in. thick and 12 in. long each. Choose and mark working face of each. Find the center (6 in. from each [19]end). Measure 1⅝ in. each way from the center and mark across the working face of one piece and bottom of the other piece (a-a) and (a-a). Now set your marking gauge to half the thickness of the piece (⅝ in.) and mark the bottom of your cut as in Ex. II (b-b). Do not forget that the working face of both pieces must be up. Therefore, the cut is made on the working face of one piece and the bottom of the other. Proceed to saw and chisel out as in Ex. II, when, if accurately done, the pieces will fit together perfectly making a cross with all four arms exactly the same length.

Exercise No. III.

You will use this joint often in furniture and can make the pieces cross at any angle by using the sliding T bevel set at the angle you desire for marking across the tops and bottoms of the pieces and the try square for the edges. Accuracy is essential both as to dimensions and work.

MORTISE AND TENON.

Exercise No. IV.

The mortise and tenon are used more than any other kind of joint in furniture. Therefore great patience and care are justified in learning to make them nicely. When the end of one piece is to be joined to the side of another, the mortise and tenon are almost always used. The mortise (No. 1) is an opening, square or oblong, to receive the tenon and may go part way or all the way through. When part way it is called a “blind” mortise; when all the way a “through” mortise. The tenon (No. 2), is a projection on the end of the other piece, which fits into the mortise. It generally has two shoulders, but may have three or four, made by cutting away the sides. It should be about one-third the thickness of the piece. In furniture it is fastened with glue, and where advisable with a wooden pin also. The objects of this exercise [20]are that the pieces be straight and accurately squared to the measurements; that the tenon be exactly in the center of the joint; that the pieces be square to each other when joined; that the tenon fit the mortise exactly without squeezing; that the shoulders fit up to the cross pieces nicely and that when joined the two pieces be perfectly flush at the joint. The method is as follows: Square up two pieces to 1½ in. × 3½ in. × 12 in. long each, take one piece for the mortise piece, turn it on edge and find the middle. Measure 1¾ in. (a-a) each way from the middle and mark across with knife and try square. As the tenon is to be one-third the thickness of the piece set your marking gauge ½ in. deep and mark a line parallel with the side between these two lines (b-b) and (b-b), being careful not to run over the line. Turn around and mark other side of the mortise in the same way. You now have the mortise marked on one edge. To mark it exactly opposite on the other side, mark across the flat side of the piece very lightly at the end lines and across the other edge at these lines. This will give you the end lines on the other side. Mark the side lines with the gauge as before. Lay the piece aside and take the tenon piece. Now, as your mortise piece is 3½ in. wide, your tenon will have to be 3½ in. long and you will want a little extra to smooth off the end, so better measure a trifle over 3½ in. from the end, the piece being on edge and mark across (c-c). From this line mark square across top and bottom sides. Also across the other edge. This gives the shoulder line for the tenon. Take the gauge, which is set at ½ in., and mark parallel with the flat sides from these shoulder lines to the end (d-d) (d-d), and this will give the thickness of the tenon. Lay aside the piece and put the mortise piece in the vise edge up. With your ¼ in. chisel and mallet cut [21]your mortise part way through, then turn the piece over and cut from the other side. Remember to keep the flat side of the chisel towards the edge of the hole and leave a slight margin all the way round. When you have cut the mortise clear through in this way, take your ½ in. chisel and true up to the lines, the sides first and then the ends. See that all four sides of the mortise are straight through from side to side or the tenon will jam. Lay aside the piece and take tenon piece. Lay it flat side down and cut tenon exactly the same on both sides as you did the half tenon in Ex. II. Insert tenon through the mortise and plane off the end flush with the mortise piece. Now look carefully over your work and see if it fulfills all the objects of this exercise. Do it over until it does. Do not get discouraged. It is a mighty nice operation and when you can make this joint properly you may be proud for it is a step beyond simple carpentering and belongs to the Joiners’ and Cabinet Makers’ art.

PANELLING.

Exercise No. V.

Panelling is used in doors, the ends and backs of furniture, etc. It may be more or less ornamented with beading, moulding and so on, but in the best modern furniture all ornament is omitted and the panels absolutely plain. The objects of this exercise are to make a frame 13 in. × 17½ in. × 1¾ in. thick with two sunken panels; that it shall lie perfectly flat when put together; be smooth and true at all joints and exact in dimensions. The method is as follows: Get out a piece which will finish to 1¾ in. × 3½ in. × 60 in. Joint and square to required thickness, also square up one edge only. Set in the vise with the squared edge up. Set your gauge ½ in. deep and mark along the top edge ½ in. from and parallel with the side farthest from you. Then turn it around and mark other side. This will give you the width of the rabbet (see end view No. 4), in which the ¾ in. sunken panel will slide. To cut this rabbet use your ½ in. rabbet plane and plow (cut) 1 in. deep. If you have a Stanley No. 45 or No. 55 it has a fence to guide it, but if you have only a wooden rabbet plane you must use a straight strip of wood to guide the plane. There are several ways of fastening this strip. The easiest way is to brad it on to your work along the gauge line, but this leaves the brad holes. The best way is to take a strip a little longer than your work and fasten a block on each end of it which will drop down over the ends of your work, then wedge it tight at each end. In this case the strip must be stout enough, of course, not to bend as you plane [22]against it. When you have plowed an inch deep, turn your work around, move guide to other side, and with your ¼ in. rabbet plane plow the other ¼ in. to be taken out, making the rabbet ¾ in. wide. Be sure to plane square or the panel will not lie flat. When plowed cut this piece into two pieces 18 in. long for the sides of the frame and three pieces 8 in. long for the top, bottom and middle. Plow one of these 8 in. pieces, which you intend to use for the middle bar, on the side opposite the one already plowed, as it will have a panel on each side of it (see No. 6). Now cut a tenon 1 in. long by ¾ in. thick on each end of all three 8 in. pieces, just as you did in Ex. III (see Nos. 2 and 3). For the panels saw from an inch board two pieces 5½ in. × 8 in., dress them down to ¾ in. thick. Put one of the 18 in. frame pieces in the vise with the rabbet up. Insert the tenon of an 8 in. piece in the rabbet ¼ in. from the end, with the rabbet in itself turned so as to receive the panel. With your ¼ in. auger bit bore a hole straight through the frame and tenon ½ in. from the edge of the frame in the center of the tenon, as at (a) No. 1. Make a round plug to fit this hole, sand paper it smooth and drive it in gently. This will hold the tenon in place. Slide a panel into this rabbet and down into the rabbet in the frame piece. Next slide the center piece in so the rabbet fits over the panel and the tenon in the rabbet in the frame. Bore and pin like the first one, then insert the other panel and end piece in like manner. Now take the remaining 18 in. frame piece and [23]fit it down snug over the tenons and panels, leaving ¼ in. margin at each end. Pin each of the three tenons, being careful to hold the shoulders snugly against the frame and the piece tight down on the panel. Cut the pins off flush and sand paper smooth. Now put the whole frame in the vise and with your plane trim to exact size. When you can do this exercise so that all joints are perfect, all surfaces flat, smooth and even, and all dimensions correct and have mastered the exercises before it you can pretty nearly make furniture. There is one thing more, however, which is important, a little difficult and frequently required, and that is dowelling and joining.

DOWELLING AND JOINING.

Exercise No. VI.

For this exercise practice will do more for you than instruction. The object of the exercise is to join two boards at their edges so as to make a continuous surface with no crack or unevenness at the joint, as in table tops, etc. You will be called upon for this operation whenever you make any piece of furniture with a plain surface more than 8 to 10 inches wide. The method is as follows: Take two pieces ⅝ in. × 6 in. × 36 in., select working face of each. Find the center of each and with knife and try square mark across the edge to be joined as at (a). Measure 12 in. each way from center (b-b), and mark. Take your marking gauge, set it half the thickness of the board (⁷⁄₁₆ in.) and mark a fine point ⁷⁄₁₆ in. below the working face on the knife marks, as at (c). With brace and ⅜ in. bit bore a hole 1½ in. deep exactly square into edge of the board at each point, as at (d). Repeat the process in the other board. These holes are for the dowels (e-e-e), which are pins that keep the boards from wabbling at the joint and also hold them together. You will appreciate, therefore, that if the holes are not exactly straight in, the pins will lean and not fit into the holes on the other [24]piece, or else tip it one way or the other. To make the dowels square up a piece ½ in. square and 9 in. long, then round it with your smoothing plane and sand paper to exactly ⅜ in. diameter, or, in other words, to fit the holes tight without jamming. Cut into 3 in. lengths with back saw. Before inserting the dowels the pieces must be jointed. To do this turn one on edge in the vise and square up the top edge (f-f) with your jack plane. Observe strictly directions given in Chapter I for planing. When you have the edge precisely square and straight lay aside and square one edge of the other piece. When this is done, before taking it out of the vise, test it by standing the other piece on it with the squared edges together and working faces turned the same way. Test the surface of the two boards by holding the back of your steel square across the two, seeing that it touches at the two edges and at the joint and that no least crack shows on either side. Now insert your dowels and the joint will be true.

This is a difficult exercise and requires much practice, but its accomplishment brings the keen delight of work well done.

MITRING.

Exercise No. VII.

The mitre is used to form a joint where two pieces come together at right angles and make a corner. The end of each piece is cut at an angle of 45 degrees (No. 1). To make this joint, you will want your mitre box which you can now make with comparative ease. It must be precise to be of use. It is a box without ends or lid (No. 2), and made as follows: Get out three pieces ⅝ in. × 4 in. × 18 in. Joint and square them. Select working face of each. Firmly nail sides to bottom, all faces inward; 3 in. from end mark with knife and try square across top of both sides (a-a). From this line mark in same way straight down the outside of the side towards you (b-b). With back saw cut down this line till you strike the bottom of the box, starting your saw in the [25]mark (a-a) on top of the two sides. Now measure 4 in. farther from same end and mark across the tops of sides (c-c). Then 4 in. farther and mark as before (d-d). Take your steel square or other perfectly straight edge laid diagonally across the tops of the sides from (c) to (d) and (d) to (c) just at the points where these marks run off the insides of the edges and mark the tops of the sides at this angle (45 degrees). Now mark square down the outside nearest you (d) to (e), and (c) to (f). With your back saw cut diagonally across in the marks on top and straight down the mark on the side to the bottom of the box. The cut straight across is for a guide for your saw in cutting square ends and you can use it also for the shoulders of tenons. The 45-degree cut is for guiding your saw when cutting mitres, like the corner of a picture frame. You will realize, then, that the sides of the bottom piece must be carefully squared or the sides of the box will not be square to the bottom, and it must be exactly 4 in. wide or your angle will not be true and your mitres will not fit.

If at any time you need a mitre box to take wider material make the bottom wider and proceed otherwise as above, except that the space on the inside face of the sides between the diagonal cuts must always be exactly the same as the width of the bottom. In use, remember that if you plane anything off the outside edge of a mitred end you make the piece shorter and anything off the inside makes it longer, as you will readily understand by experimenting a little. Therefore, you must be careful to have your piece of the proper dimensions before mitring or else allow for this in its length.

DOVETAILING.

To make an accurately lifted dovetailed corner is good evidence of a workman’s ability to use tools. There are three kinds: First, common dovetailing (Fig. 1), where strength is more important than appearance, as in box corners, etc. The pins and tails should be of equal size and about as wide as the material is thick. The pins are the parts widest on the inside face of the piece (a-a-a) and the tails are the parts which are widest at their ends (b-b).

Second, lap dovetailing (Fig. 2), which shows only from the side as at the front ends of drawers. The tails are always on the side piece and should be two to four times as large as the pins. There is no rule for size. Use a size that is strong, looks well and divides the space evenly. Always begin and finish with a half pin.

[26]

Third, the mitre dovetail, not illustrated, which is hidden altogether. It is much more difficult to make and not so strong as the others. You will have no use for it.

Cut your pins first and mark the tails from them, then if you make a slip you can correct it before marking the tails and after you have had some experience you can learn to cut the tails without marking the bevels.

Exercise No. VIII.

The object of this exercise is to make a lap dovetail joint, as of a drawer front. Get out one piece ⅝ in. × 5 in. × 12 in. when jointed and squared, for the front of the drawer and one piece ½ in. × 5 in. × 12 in. for the side of the drawer. Select working faces which will be the insides. Set your marking gauge a shade less than the thickness of the side piece and see that the marker is sharp. Now mark across the inside face of the front piece, gauging from the end (c-c). This is the length of the pin. The length of the tails (which are on the side piece) should be about ¾ the thickness of the front piece, or about ⅝ in. in this case, so set your gauge ⅝ in. deep and mark across the end of the front piece gauging from the inside (d-d). Without changing your gauge mark a line across both sides of the side piece, gauging from the end (e-e). Place front piece in vise, marked end up and face towards you. With a pencil, space out the tails, which in this case will be about ⅜ in. wide, making a half pin at beginning and end and three full ones between. Make them even distances apart, of course, and when you have located [27]them set your T bevel at an angle of 1 in 6 and mark them accurately on the end of the front, and with your try square continue these lines down to the gauge line (c-c) on the face. Take your back saw and cutting on the inside of the bevel lines saw down to the gauge mark (c-c) on the face, but not beyond the gauge mark (d-d) on the end. In other words, you can only saw the corners. Make all cuts in one direction first, then the others just as you would file a saw. It is easier to be accurate this way. Next, with your chisel clean out the spaces between the pins. These spaces will be like a mortise, open on the end and wider at the bottom than at the surface. There will be a little space close in the corner where you cannot get the chisel, clean this out with your knife. Remember not to cut quite to the line till the very last. The pins are now complete. Lay the side piece (No. 4) on the bench face up. Stand the end on it with its inside face just covering the gauge mark (e-e) across the side near the end, as illustrated. Hold it firmly and mark the side around the pins in the end piece. Place the side in the vise, end up, and square the tails across its end. With the back saw cut the sides of the tails (on inside of lines), and lay on the bench and cut between the tails with your chisel.

If you have much dovetailing to do it is worth while to get a chisel bevelled on both sides and across the end, like a lathe chisel. It is easier to get into the corners with this. Put your pieces together and dress off the side till it is exactly flush with the front.

When you can do this exercise and the preceding ones accurately you can do about anything you will be called upon to do. It is hard, but worth while. You will be able to make the common dovetail easily after this. Just remember, in that case, to make pins and tails the same size and about as wide as the thickness of the material.


[28]

Chapter IV.

FASTENINGS.

There are many ways of fastening the parts and joints of furniture. Among those most used are brads, screws, wooden pins, shaping of the parts and glue. Glue is used in almost all joints. Use brads and screws very sparingly. Any other fastening is preferable in most cases. If you do use the latter in any part that is visible, first bore a hole from ⅛ to ¼ in. deep, large enough to take a wooden plug to cover the head of the metal. For fastening by shaping the parts there are many devices. You have learned the mortise and tenon, the dowel joint, the mitre and the dovetail. These will answer almost every requirement, with glue in most cases, and in some cases pins to hold them together. When using glue there are several things to be observed. It should not be too thick or too thin. Experience soon teaches you how thick to use it for each kind of work. As a rule about as thick as thin syrup will be right, but hard wood requires thinner glue than soft wood. If the pieces are very cold they should be warmed and the glue always used hot. When the joint is such as admits rub the parts together, and in all cases clamp tight to force out the surplus glue and hold the joint until the glue is dried. It should stand 8 to 12 hours before being handled. To glue end grain first size it, that is, put on a coat of glue, allow it to dry and then proceed as above. Use the best furniture glue, though the prepared glues are good and very convenient, but if you use the latter get a small quantity, as it is better to use it hot and it loses strength by frequent heating.

To prepare glue use a glue pot which is like a double boiler. Put as much as you think you will use in the inside pot and cover with cold water. Let it soak six or eight hours, then put the smaller pot in the larger one with water in the outside one and heat until the glue is hot.

Glue can be made to stand the weather by adding one part boiled linseed oil to eight parts glue, stirring all the time, or else use skimmed milk instead of water in the glue.


[29]

Chapter V.

DRESSING OFF AND SMOOTHING.

As a rule it is better to leave the final dressing off till the joints are all made and glued or otherwise fastened, so that in case there are any little inaccuracies the pieces can be planed smooth. This always has to be done with a glued joint, either with plane or scraper, or both.

The scraper is simply a flat piece of thin steel about 3 in. × 5 in. The best ones are cut from an old saw, but you can buy very good ones. To sharpen a scraper lay it on a flat board and rub the side of the edge with a piece of hard steel (your nail set is good) laid flat on it, then take it up and draw the steel firmly along the edge. This makes it flat on the sides and edges but turns up a little sharp edge. Use both hands with the scraper and tip it in the direction you are pushing it and scrape a little across the grain. It is well to scrape all surfaces to take out any plane marks or nicks and it saves work when sandpapering. Sandpaper with coarse, then fine sandpaper, or steel wool, always rubbing with the grain. It is hard to be sure that your work is quite smooth before it has any coloring on it, as the shadows are very light. Look across it towards the light both ways, as the shadow is always away from the light, of course. If in doubt, rub some more. The finish of furniture is of the utmost importance and it should be absolutely smooth before anything is put on it. Even the fine sandpaper will make scratches which show on a polished surface if not always rubbed with the grain. Have horizontal work between you and the light; vertical work stand between light and work. With oak it is well to moisten to raise fibre, then rub again when dry. When you are satisfied and doubly satisfied that not a least blemish remains, and not before, then proceed to put on your finish.


[30]

Chapter VI.

STAINING, DYEING, FILLING, POLISHING.

For coloring the wood wipe-stain is perhaps the easiest and quickest and is very satisfactory. You can get it at any paint store ready for use. Put it on with a brush of convenient size for the work and immediately wipe off with old rags or waste. It will not show brush marks and do not be frightened if it is much darker than you expected before it is wiped off. If the first coat does not make it dark enough, allow it to dry 12 hours and apply a second coat. After the last coat has dried 12 hours or more, and it is thoroughly hard, if on fir or similar wood, you may proceed to polish. If your material is oak or other open grain wood you will need to apply a filler, which you can also get at the paint store. This should be of the same color as the stain and put on in the same way. When it turns dull, which will be in a few minutes, wipe off all on the surface. This will leave the pores filled. Allow filler to dry at least 12 hours before polishing.

The best and easiest polish, as well as the most beautiful, is wax. To prepare this shave beeswax into a pan, add as much spirits of turpentine as will moisten it through, and powdered white resin, in proportion of one part resin to sixteen parts wax. Dissolve on stove, being careful not to let it catch fire. Stir it up and when cool it is ready for use. Roll some cloths into a ball, smooth on the outside, and use to apply the polish. Put the polish on very thin and evenly, allow it to dry a few hours, then with a clean ball of cloth (preferably woolen) rub at first gently with the grain, then harder in a circular motion and finally a few strokes with the grain. After 12 hours rub again with dry cloth, and if a higher polish is desired apply a second coat of wax as before. This polish will improve with age and occasional rubbing.

Instead of the wipe-stains you can use wood dyes which come already prepared. They sink farther into the wood and do not wear off as soon, but on the other hand are much harder to apply evenly. The filler, however, will take off some of the dye and you can sometimes even up a little any dark spots when rubbing down the filler. The dye does not take so long to dry as the wipe stain, six hours being plenty. Polish as above.

[31]

The filler in both cases will darken the color a little. Do not forget this in applying your stain or dye, and in some cases you will not require any other coloring than the filler itself. Of this you can judge by the color you desire and a little experimenting.

The hard glossy finish is not used on this kind of furniture and is very much more difficult to handle. In case you desire to use it on anything proceed as follows: Put into a glazed vessel a little gum shellac, just cover with 90 per cent alcohol. Stir till dissolved, about two hours, though not necessarily all the time. Do not use a tin vessel. Do not allow lumps to settle. When thoroughly dissolved take soft cloths and make a ball about 2 in. in diameter smooth on the bottom. Put on this half a teaspoon of the polish, then around the ball put a piece of cloth about a foot square, holding the ends in your hand. On the smooth side put a few drops of linseed oil and rub your work lightly in a circular motion all over. When it rubs harder put a few drops more oil on the ball and also on the work. Watch carefully. If the cloth sticks to the work, thin the polish on the ball with a little alcohol, first taking off the outside cloth. Replace the outer cloth with the other side out. When the work is all filled with polish and has a good gloss, change the outer cloth for a clean one. Put a few drops of alcohol on it and proceed as before till the oily look has gone. Too much alcohol will wipe off the polish in splotches. When the ball leaves little or no mark rub fast and strong with the grain a few minutes and you are done. This finish improves with age also, but requires practice to apply properly.

To describe the numberless methods of coloring and finishing woods would fill a book several times the size of this one. The above are the best, quickest and most easily learned.


 

PIANO OR ORGAN BENCH.

[33]

PIANO OR ORGAN BENCH

Piano or Organ Bench: This seat is very easy to make and much handsomer than the ordinary piano stool. Lumber required 10 ft. 1 in. × 12 in. and 7 ft. 1 in. × 3 in.

Bench Plan

First, get out the end pieces to dimensions given. Cut the mortises for the ends of the stretcher as shown, the top of the lower mortise (a) 6 in. above the floor and the top of the upper mortise (a) 18 in. above the floor. The tenon on the stretcher has only one shoulder, as shown at (c). Next cut a rabbet ¼ in. deep for the seat to fit in across the inside face at each end, just above the upper mortise as shown by dotted lines at (d). Then round the corners and cut the handles and arches in the bottoms with the compass saw. Next get out the seat exactly the same width as the ends and ½ in. longer than the space between the ends to allow for the ¼ in. in the rabbet at each end. The stretchers (b) are, of course, ½ in. shorter to their shoulders than the seat for the same reason, though 3½ in. longer including the tenons. To cut the holes for the pins, insert the tenon through the end and mark across it on the outside just where it comes through the mortise, then take it out and bore a hole about ½ in. in diameter on this line so that when the tenon is inserted through the mortise one-half of the hole will be outside. You can thus make your pins round and by splitting them in half have two pins. All sharp edges should be rounded off a little with the plane so they will not be so easily marred. Smooth thoroughly before putting together. The seat is held in place by two screws from underneath through the upper stretcher into the seat. These screws should be near the ends of the stretcher and well into the seat, but be very careful they do not go through the seat.

PLANT STAND.

[35]

PLANT STAND
(Plant Stand Plan)

Plant Stand: Lumber required 4 ft. 1 in. × 12 in. Cut the top from one end of your board. Then lay out the four legs marking the top of one next the bottom of the other to save sawing and the four will just about take up the width of your board. The two stretchers will cut out of the remaining lumber leaving you a piece about 6 in. wide to spare. Smooth up the edges of the top and take off the sharp corners with your plane. Next shape the legs cutting the rabbet ¼ in. deep for the top to fit in, then the mortises for the tenons on the stretcher. Next shape stretchers, halving them together where they cross and making the tenons about one-third as thick as the material itself, and shaped as in the drawing. Smooth thoroughly before putting together. Fasten the tenons with glue and the top either with a plug glued in as at (a), or with screws sunk and covered by a plug as at (b). This plug should be about one-half inch diameter and allowed to project about ½ in., the end being rounded as in illustration.

This stand made about 27 in. high, 23 in. in diameter, makes a pretty tea table.

[38]

MAGAZINE STAND.

MAGAZINE STAND

Magazine Stand: Lumber required 20 ft. 1 in. × 12 in. Get out ends first to dimensions given. Cut mortises for the tenons on the ends of the top and bottom shelves, the top of the lower ones 5 in. above the floor and the top of the upper ones 35 in. above the floor. These shelves do not fit in a rabbet. Next cut rabbets ¼ in. deep for the other two shelves, the top of the lower one being 15 in. and the top of the upper one 25 in. above the floor. Cut holes for pins as described in directions for piano bench. The brace (a), below the lower shelf has no tenons and no rabbet but just fits snug and is set back from the edge of the shelf about an inch, as shown by dotted lines in end view. Is fastened by two screws from underneath as shown. These screws need not be plugged, as the holes will not show.

(Magazine Stand Plan)

Make the tenons on the ends of the lower shelf about 2 in. wide and about 1½ in. for the upper tenon, the tenons being full thickness of the shelves.

[41]

MUSIC CABINET.

MUSIC CABINET

Music Cabinet: Lumber required 12 ft. 1 in. × 12 in., 6 ft. 1 in. × 4 in., 2 ft. ½ in. × 9 in., 14 ft. ½ in. × 1 in. and 4 ft. ½ in. × 12 in.

(Music Cabinet Plan)

Note that the top and bottom shelves are rabbetted ¼ in. into the sides, and held by screws from the outside covered by plugs. The door is made with panel ½ in. thick. The three middle shelves are adjustable, that is, may be set at any height by cutting notched uprights of the ½ in. × 1 in. material and screwing them to the sides of the case, as shown in side view at (a), and cross pieces to fit in these notches and support the shelves at (b). The shelves are not fastened at all but the corners cut out to fit round these uprights and rest on the cross pieces (b). The support under the lower shelf (c) is simply fitted in and fastened with screws from underneath. It will look well to set the door in about ⅛ of an inch from the front edge of the sides and top and bottom shelves. Piece (c) should also be set in ⅛ of an inch. The back should be fitted between the sides and fastened with screws covered by plugs. Any kind of catch may be used, but a square wooden knob bevelled to a point on the outside and cut to fit a round hole and fastened with glue in the door, as illustrated at (d), will appear best. If this knob is used get a friction catch and set it in the top of the door.

HALL SEAT.

[44]

HALL SEAT
(Seat Plan)

Hall Seat: Lumber required 12 ft. 2 in. × 12 in., 36 ft. 1 in. × 12 in. The ends are of the 2 in. × 12 in. material dowelled and glued. The box under the seat has two tenons on each end of back and front, which may either come through flush with the outside of the ends or not quite all the way through if preferred. These tenons should be about 2 in. wide, full thickness of board and are fastened with glue and wooden plugs straight in from the front and back. Note that the box front and back (a) is set in about an inch from the edge of the seat. The seat itself is hinged to a 3 in. strip (b) side view at the back, and has a piece (c) across each end about 2 in. wide same thickness as the seat and flush with it, instead of battens underneath, to keep it from splitting. The bottom of the box (d) fits inside resting on a square strip at each end which is screwed to the ends of the seat. The back is rabbetted into the sides and fastened with screws from the back as at (e). This back is made of three boards, as at (f), and fastened with screws. Note that the edges of these boards are planed to an angle of 45 degrees, then the lower edge of each is just planed off so that when put together there is a little V at the joint. This makes an easy and good looking joint, as no crack will be visible, while at the same time it does not require the care and time necessary in the ordinary joined edges. This seat will be found very convenient in the hall for rubbers, etc., if you have a galvanized pan made to fit in the bottom of the box.

HAT TREE.

[47]

HAT TREE
(Hat Tree Plan)

Hat Tree: Lumber required 16 ft. 1 in. × 6 in., 6 ft. 4 in. × 4 in. The 4 in. × 4 in. is, of course, for the post which should be bevelled to a point at the top as shown. The feet are made by gluing three pieces of the 1 in. × 6 in. together, as shown at (a), and then sawing to shape with compass saw. It will save work to allow the middle piece to project about 1½ in. for a tenon to fit into mortise in the post, as shown at (a). The arch in the bottom of the feet need not be cut all the way across but simply take the corner off, as at (b), which shows the inner end of a foot. This taking the corner off saves work, gives a firm footing and has all the appearance of being cut clear across.

To make the coat and hat hooks take a piece of the 1 in. × 6 in., as at (c), cut a jog about 1 in. deep in the lower inner corner for a shoulder, measure 6 in. from the inner end along the top edge to (d). Using this as a center, with your compass mark the half circle (e), which should be 3 in. in diameter; 4 in. from the inner end of the piece and 3 in. below the top edge take another point (f) and describe a circle 3 in. in diameter as before. Next bore a 1 in. hole at (d) as near the edge of the board as the bit will work and a 1 in. hole at (f). With the compass saw saw round the outer circle at (e) until you come straight under (d), then saw straight to the top side of the hole (f). From the hole (f) slightly above its lower side, so as to leave a little hook, saw straight to the outer circle and then follow this outer circle until directly under point (f), then straight into the shoulder as illustrated. Fit these four pieces into mortises in post, fasten with glue and pin as illustrated.

DINING TABLE.

[50]

DINING TABLE
(Table Plan)

Dining Table: Lumber required 10 ft. 3 in. × 3 in., 16 ft. 1 in. × 4 in. and 18 ft. 1 in. × 12 in. For the top join four pieces of the 1 in. × 12 in. 4½ ft. long with dowels and glue. Allow it to stand at least twelve hours, then cut circle and dress off the top with plane. The stretchers (a) are halved together where they cross in the center of the table and mortised into the legs as shown. Stretchers (b) are also halved together at center and shaped and mortised as shown. It adds to the appearance if you put a pin in the top of these stretchers where they cross as shown at (c). This pin may be either square or round. The top is fastened with screws from underneath through the stretchers (a). These screws need not, of course, be long enough to reach entirely through the stretcher, but the heads may be sunk about 2 in., as shown at (d).

CHAIR.

[52]

SIDE CHAIR

Chair: Lumber required 12 ft. 1 in. × 4 in., 12 ft. 1 in. × 2 in., 4 ft. ½ in. × 2 in., 3 ft. 1½ in. × 1½ in.

(Chair Plan)

First get out the back posts from a piece of 1 in. × 4 in. to dimensions given. Cut the mortises for the back slats, seat frame and spreaders at positions indicated in sketch. The upper rail in the back should be about ¾ of an inch below the top of the side posts and by following the dimensions given in drawing you will get the position of the lower rail. The three upright slats in the back should be mortised into the top and bottom rail, as indicated by dotted line, but may be mortised full thickness and so save cutting a tenon, though if you do cut a tenon it perhaps saves more time, as you do not have to be so careful in cutting your mortise, which is covered by the shoulder of the tenon. When you have got out the back posts, next make the front posts, cutting your mortises exactly [53]the same height from the floor as those in the back posts. Then get out the side rails and put these pieces together. The tenons on the side rail should be as long as possible without going quite through the leg, as they take all the strain when the chair is tipped back. Having glued the two sides of the chair together next get out the top and bottom rail of the back and fit and glue the three slats into them. Then get out the other rails of the back and front and glue them in one side of the chair. Then put on the other side of the chair and the frame is complete. The seat is what is known as a slip seat and is made and upholstered separately, then slipped into the frame of the chair. The inner frame for this seat is shown at (a) by dotted lines. It is made of the 1 in. × 2 in. stuff firmly mortised and glued at the corners and rests on four brackets at the corners of the frame, as shown by dotted lines. It should be a full ⅛th of an inch smaller all around than the frame in order to allow it to slip into the frame after the leather seat has been tacked on. This leather seat is made by tacking strips of strong webbing or canvas about 3½ in. wide over the top of this inner frame. Interlace these strips like basket work, leaving little or no space between them and stretch tightly over the frame. With soft cotton, hair or other padding laid evenly over the whole surface, being careful to leave no hollows and making the center a little thicker than the edges, build up your seat as thick as you want it. Then stretch the leather or other covering tightly over both padding and frame and tack it firmly on the under side of the frame. To cover the webbing and ends of the leather, tack a piece of black cloth over the whole bottom, then slip the seat into the frame. Some workmen put a pin through the leg and tenon where the rails are mortised into the legs. This adds strength, but we think is hardly necessary if your tenons fit properly and are strongly glued.

MORRIS CHAIR.

[57]

MORRIS CHAIR

Morris Chair: Lumber required 8 ft. 2 in. × 2 in., 14 ft. 1 in. × 6 in., 14 ft. 1 in. × 2 in., 5 ft. ½ in. × 10 in.

(Chair Plan Top View)
(Chair Plan Side View)

First get out the posts. Cut the mortises, as indicated, for the seat frame. Put the sides together, fastening the arm on top of the posts by a screw down through the arm into the top of each post. This screw, of course, is to be covered by a plug, or if you desire mortise the top of the post through the arm making a square tenon mitred to a point on top of the arm. Next put in the front and back rail. Screw a strip (a) side view on the inside of the side rails and slats (b-b-b) resting on these strips to hold the seat cushion. The back is made separately and hinged on to the top of the back rail of the frame. It rests against a bar which fits into notches in the arms, as shown at (c), the bar itself being shown at (d). Note that the arms project about 1 in. inside of the posts and therefore are rounded out to the post at the back, where the back of the chair comes up between them. We would suggest your having the cushions made at an upholsterer’s, as it is difficult to make good cushions yourself. In imitation leather these will cost about $10.00 and in genuine Spanish leather about $20.00.

LIBRARY TABLE.

[61]

LIBRARY TABLE

Library Table: Lumber required 26 ft. 1¼ in. × 12 in., 10 ft. 1¼ in. × 8 in., 20 ft. about 1 in. or 1¼ in., square.

(Table Plan Side View)
(Table Plan)

First select three pieces 5 ft. long of the best of the 1¼ in. × 12 in. for the top. Join these with dowels and glue. When dry fasten four strips on the under side with glue and screws, as shown at (a) in side view and bottom view. These strips should be set back about ½ in. from the edge of the top and mitred at the corners. They strengthen the top and give it a massive appearance. Next get out the ends. The pieces (b) and (c) are exactly the same. To mark the curve place one point of your compass at the corner formed by the dotted lines at (d) and with the other point mark the curve, the points being 3¼ in. apart. The upright pieces (e-e) are mortised into the top and bottom pieces and are made as shown at (f). The shelf should be made before the table is put together, the position for the tenons being marked by placing the end of it against the mortises in the uprights after the end is put together. The ends are fastened to the top by means of a square strip which is screwed to the top and then the ends screwed to the strip, as shown at (g) side view and bottom view. The tenons in the ends of the shelf should be about 1⅛ in. wide and full thickness of the shelf, which will make them square. The pins for these tenons are shown at (h) and should be about ½ in. thick.


[62]

Special Designs


Use the following blank pages for pencil sketches and clippings.


We will furnish working plans, with full instructions for any piece of furniture you may desire at 50c. each. Just send us a rough sketch or a picture, giving your idea.



The Farm & Orchard
Publishing Co.
(Union printing mark: Allied Printing.; Trades Council; Union Label; Spokane Wash) Spokane,
Washington.

TRANSCRIBER’S NOTE

Illustrations in this eBook have been positioned between paragraphs and outside quotations.

Illustrations without captions have had a description added, this is denoted with parentheses.

*** END OF THE PROJECT GUTENBERG EBOOK 76260 ***