*** START OF THE PROJECT GUTENBERG EBOOK 76003 ***

Transcriber’s Note:

New original cover art included with this eBook is granted to the public domain.

MINERALS IN ROCK SECTIONS
THE PRACTICAL METHODS OF IDENTIFYING MINERALS IN ROCK SECTIONS WITH THE MICROSCOPE
ESPECIALLY ARRANGED FOR STUDENTS IN TECHNICAL AND SCIENTIFIC SCHOOLS

BY
LEA McILVAINE LUQUER, C.E., Ph.D.
Late Assistant Professor of Mineralogy,
Columbia University, New York City
FOURTH REVISED EDITION
[Logo]
NEW YORK
D. VAN NOSTRAND COMPANY, Inc.
250 FOURTH AVENUE
Copyright, 1913
By Lea McIlvaine Luquer
LANCASTER PRESS, INC
LANCASTER, PA.
iii

PREFACE TO FOURTH REVISED EDITION, 1913.

This edition is practically that of 1908, with necessary minor revisions and corrections, especially the data referring to indices of refraction and strength of double refraction. The values of the refractive indices α and γ are recorded as well as the mean values. References are also given to “The Methods of Petrographic-Microscopic Research,” by F. E. Wright, 1912, for exact (quantitative) methods of determining crystal constants.

Lea McI. Luquer.
Department of Mineralogy,
Columbia University, New York, May, 1913.

PREFACE TO THIRD REVISED EDITION, 1908.

The 1908 edition is essentially the same as that of 1905; the only changes being in the nature of corrections, and the addition of a brief description of the Schrœder van der Kolk method of determining refractive indices and also an abbreviated diagram for determining triclinic feldspars in sections showing both Carlsbad and Albite twinning. The Naumann symbols for crystal forms have also been omitted.

Lea McI. Luquer.
Department of Mineralogy,
Columbia University, New York, April, 1908.
iv

PREFACE TO REVISED EDITION, 1905.

In preparing the revised edition, Chapters I. and IV. have been rewritten and enlarged and the part relating to the determination of the plagioclases has been greatly amplified. Many additions have also been made to Chapter III. and the Becke method, for the determination of the relative indices of refraction of minerals, has been given in detail.

Some new and useful tables have been introduced; as tables of refractive indices (mean) and double refraction (maximum). A diagram has also been added, showing the relation existing between strength of double refraction, interference colors and thickness of section.

Professor E. Weinschenk’s admirable text-book, “Die Gesteinsbildenden Mineralien”, Freiburg, 1901, has been specially referred to, and the tables of refractive indices and double refraction have been compiled from Weinschenk’s new Tables.

Many new cuts have been added, among them being semi-ideal drawings, showing typical outlines of crystal sections, cleavage, optical orientation, etc. In describing the “Usual Appearance in Sections” of a mineral, it is of course only possible to mention the usual crystal form in which the mineral occurs in a rock. The crystal may be cut in any way by the plane of the section; but a general knowledge of the crystal forms will furnish an idea as to the outline, etc., that the mineral may show in the section.

Lea McI. Luquer.
Department of Mineralogy,
Columbia University, New York, July, 1905.

PREFACE TO FIRST EDITION, 1898.

The identification of minerals in rock sections with the microscope, including as it does a knowledge of optical mineralogy, is often difficult for beginners. This may be due to the fact that most of the publications on this subject are quite elaborate in their nature and in either French or German. While detailed descriptions vare very necessary, and, in fact, indispensable for advanced investigation, they are apt to prove cumbersome and confusing at first. For these reasons this text-book has been prepared by the writer, with a view of putting before the student only those facts which are absolutely necessary for the proper recognition and identification of the common minerals in rock sections. The footnotes refer the student to standard publications, in which are given details of the methods and investigations outlined in the text. An elementary knowledge of crystallography and mineralogy is almost indispensable and is here assumed.

The microscopic and optical characters of the minerals are recorded in the usual order in which they would be observed with a petrographical microscope. Nearly all the rock-forming minerals become transparent in thin sections; but when opaque, attention is called to the fact and the characters are recorded as seen with incident light. White light is assumed to be used, unless otherwise stated. The interference colors recorded in all cases are those given by very thin sections of 0.03 mm. in thickness.

The order followed for the minerals is essentially that of Rosenbusch (based on the symmetry of the crystalline form), with a few exceptions made for convenience, such as placing pyrrhotite after pyrite and zoisite after epidote. The statements regarding the occurrences of minerals in the common rock-types have been taken mainly from Les Minéraux des Roches, by Lévy and Lacroix.

The terms axes and directions of elasticity, used throughout this book, are very commonly employed in petrographical literature of the present time. These axes and directions should probably more correctly be called axes and directions of vibration or extinction. The reasons for or against the elastic condition of the “ether” are of more interest, however, to the physicist than to the petrographer.

An optical scheme is appended, with the minerals grouped according to their common optical characters.

The writer’s thanks are due to Dr. A. J. Moses, Professor of Mineralogy, and to Mr. J. F. Kemp, Professor of Geology, for kind suggestions offered during the preparation of this book.

Lea McI. Luquer.
Department of Mineralogy,
Columbia University, N. Y. City, October, 1898.
vii

TABLE OF CONTENTS

PAGE.
Conventions and Abbreviations ix
   
CHAPTER I.
Introductory Optics for Optical Mineralogy.
Ordinary Light.—Plane Polarized Light.—Effects Produced by Crystal Sections on Transmitted Light.—Amorphous Bodies.—Isotropic Crystals.—Anisotropic Crystals.—Double Refraction.—Uniaxial Crystals.—Biaxial Crystals.—Principal Vibration Directions.—Axial Angle.—Dispersion. 1
   
CHAPTER II.
Petrographical Microscope.
Reflector.—Polarizer.—Nicol Prism.—Condensing Lens.—Rotating Stage.—Objectives.—Analyzer.—Eye-pieces. 7
   
CHAPTER III.
Investigation of Microscopic and Optical Characters of Minerals.
Opaque Minerals.  
Transparent Minerals:  
With transmitted light: Form, Color, Index of Refraction and Relief, Becke Method, van der Kolk Method, Cleavage, Fracture, Inclusions.  
With polarized transmitted light: Pleochroism.  
With crossed nicols: Isotropic Character, Anisotropic Character, Interference Colors, Extinction and Extinction Angles, Vibration Directions of Faster and Slower Rays, Order of Interference Color, Strength of Double Refraction, Determination of Minerals and Thickness of Section, Structure.  
With convergent light: Uniaxial Interference Figures and Optical Character, Biaxial Interference Figures and Optical Character, Determination of Axial Angle, Distinctions between Orthorhombic, Monoclinic and Triclinic Sections.  
Resumé of Uses of Parallel and Convergent Polarized Light. 13
viii   
CHAPTER IV.
Microscopic and Optical Characters of Minerals.
Amorphous Minerals.—Isometric Minerals.—Tetragonal Minerals.—Hexagonal Minerals.—Orthorhombic Minerals.—Monoclinic Minerals.—Triclinic Minerals.—Mineral Aggregates. 51
   
CHAPTER V.
Methods of Preparing Sections.
Cutting and Grinding Machines.—Saws.—Cutting.—Grinding. Plates or Laps.—Cementing.—Grinding.—Mounting.—Cleaning and Finishing.—Convenient Apparatus for work. 117
   
CHAPTER VI.
Chemical and Mechanical Tests.
Chemical Tests on Crystal in Section: Carbonates, Gelatinizing Silica.—Etched Figures.—Heating Section to Redness.—Methods of Isolating Crystals or Fragments for Testing: Specific Gravity Separation, Electro-magnetic Separation, Chemical Separation.—Micro-Chemical Reactions: Borichy’s Method, Behren’s Method, Special Tests. 129
   
APPENDIX.
Brief Scheme of Classification into Systems by Optical Determinations.—Tables of Double Refraction (maximum) and Indices of Refraction (mean).—Diagram, showing relation between strength of double refraction, interference colors and thickness of section.—Order of Consolidation of the Constituent Minerals in Plutonic Rocks.—Optical Scheme with Special Introduction. 141
   
Index. 149
ix

CONVENTIONS AND ABBREVIATIONS.

a = The assumed direction of the ether vibrations of the fastest ray.

b = The assumed direction of the ether vibrations of the ray with intermediate velocity.

c = The assumed direction of the ether vibrations of the slowest ray.

In some American Text-Books (by Iddings, Winchell & Phillips) a = X, b = Y and c = Z.

a′ = The assumed direction of the ether vibrations of the faster ray in the given section.[1]

c′ = The assumed direction of the ether vibrations of the slower ray in the given section.

(+) = Optical character positive.

(−) = Optical character negative.

|| = Parallel to.

(γ − α) = The difference between the indices of refraction of the slowest and fastest rays, respectively, transmitted by the crystal, and indicates in decimals the relative strength of the double refraction.

n′ = The mean index of refraction;[2] hence

= α + β + γ
3
or ε + 2ω
3
.

α = Index of refraction of the fastest ray.

γ = Index of refraction of the slowest ray.

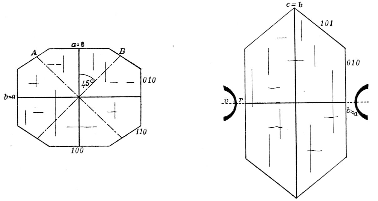
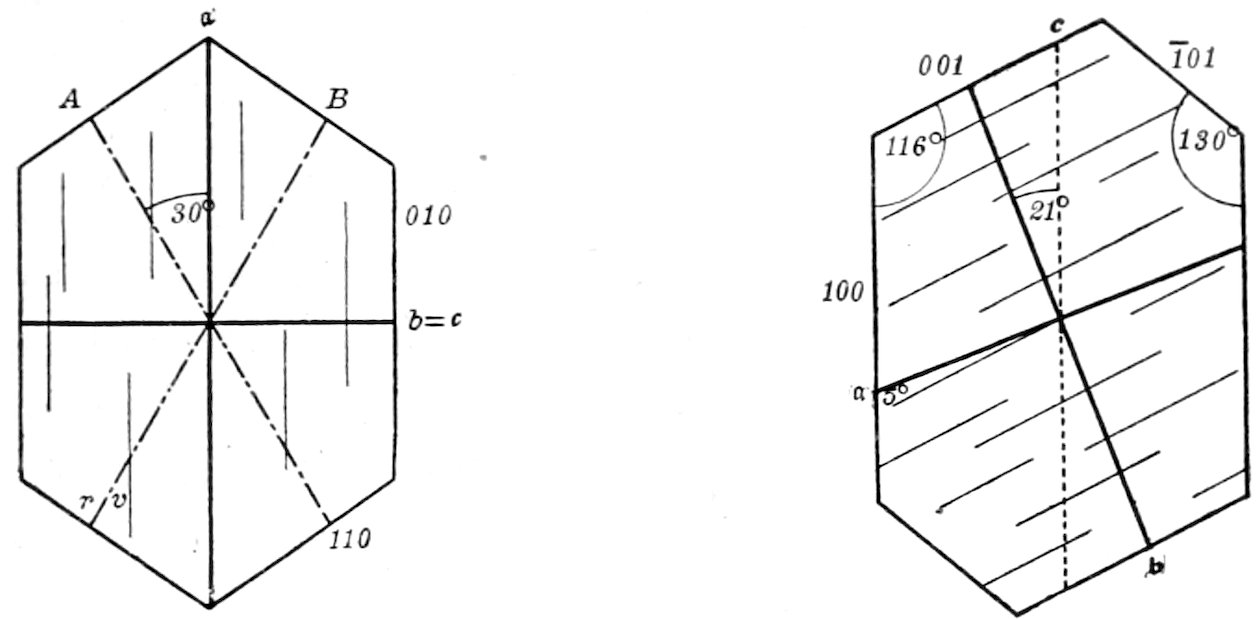
a, b and ć relate to the crystallographic axes commonly represented by these letters.

2E = the apparent axial angle measured in air, 2V being the true angle.

Bx = The acute bisectrix.

Bx = The obtuse bisectrix.

Ax. pl. = The axial plane, i. e., the plane containing the two “optic axes.”

xElongation relates to the appreciable extension often shown by the crystal section. A crystal of long prismatic habit, cut about parallel to the ć axis, would show marked elongation; while a tabular crystal (like mica) would show elongation if cut at right angles to the tabular faces. At times, of course, no elongation is appreciable, as in the case of granular or broken crystals or where the cross-section is essentially square or octagonal. Very often the relation of the cleavage is given to the elongation and also to the directions a′ and c′, which makes it possible to test for a′ and c′ even when no marked elongation can be observed.

Minerals in Rock Sections.
1

CHAPTER I.
Introductory Optics for Optical Mineralogy.

The object of this introduction is merely to give a practical discussion of elementary optics, as applied to optical mineralogy,[3] and no elaborate discussion of this important subject will be attempted. The explanations will be made as simple as possible, and, in most cases, only the optical phenomena will be described without entering into a theoretical discussion as to the cause of these phenomena.

Light[4] may be regarded as transmitted in straight lines by vibrations of the “ether,” taking place at right angles to the direction of transmission.

Ordinary light is light with the ether vibrations in all possible directions, the path described by any particle of ether constantly changing.

Plane polarized light is simply light with the ether vibrations all parallel to one plane passing through the direction of transmission.

By experiment it has been proved that there exists a very close relation between the optical properties of crystals and their other physical properties, such as form, color, transmission of heat, etc. Therefore it is often possible, by a careful optical investigation of 2a crystal section, to determine important crystallographic facts, even in the absence of any distinct outline.

The Effects Produced by Crystals on Transmitted Light.

Consider that a series of optical tests are made on all possible sections[5] of crystals in the six systems, and the manner in which these crystals affect transmitted light ascertained.

Isotropic Crystals: It will be found that all sections of Isometric crystals transmit light with equal velocity in all directions; that is, the crystals are optically equivalent in all directions and, hence, can produce no double refraction.[6] In these crystals any section, however cut, will transmit all the rays of light, incident to the surface at right angles, with no change.[7] The same is true of Amorphous bodies, glass, etc., unless they have been subjected to strains or peculiar conditions during cooling. A single image is seen through these isotropic sections.

Fig. 1.

Anisotropic Crystals: It will also be found that nearly all sections (the exceptions being given later) of crystals in the remaining five systems, produce quite a different effect on transmitted light. In these crystals the velocity of transmission of light varies with the vibration direction of the light rays. This property, called double refraction,[8] seems to result from the power of resolving a ray of ordinary light, with ether vibrations in all directions, into two rays with ether vibrations in planes at right angles to each other; the two resulting rays traversing, usually, divergent paths in passing through the section.

The mineral calcite (Iceland spar) exhibits this property to a marked degree, and in certain sections will show a double image, Fig. 1. That the vibration directions of the two doubly refracted rays are 3in planes at right angles to each other, can be easily proved by using a nicol prism.[9] In most cases the separation of the two images is so slight as not to be perceived by the eye, and the practical method of testing a crystal section for double refraction will be given later, p. 27.

The crystals that show double refraction are further divided into two groups, uniaxial and biaxial:

(1) Uniaxial, or those in which the optical characters are symmetrical to one direction, called an optic axis. This optic axis is the crystallographic vertical axis, ć; and parallel to this direction there is a single value only for the light velocity and no double refraction takes place.[10] Hence any section parallel to the base (001) being at right angles to the optic axis, acts like a section of an isotropic crystal and transmits all the perpendicularly incident rays of light with no change. In any other section double refraction takes place and it can be proved by using a nicol prism that the two rays have ether vibrations, one in the plane passing through the incident ray and the ć axis of the crystal, and the other in a plane at right angles thereto, hence in the basal plane. This latter ray, which has a constant velocity, is called the ordinary ray O; and the other ray, with velocity varying with the inclination of the section to ć, is called the extraordinary ray E.[11]

The vibration directions are either parallel or symmetrical to cleavage cracks and crystal outlines. In sections parallel to the optic axis, the two doubly refracted rays have the maximum difference in velocity of transmission, and hence their vibration directions are called principal vibration directions[12] and the plane containing them an optical principal section. In these sections the refractive index of the ray vibrating parallel to ć (extraordinary 4ray) is denoted by ε, and that of the ray vibrating parallel to the basal plane (ordinary ray) by ω.[13]

To this group belong all Tetragonal and Hexagonal crystals.

(2) Biaxial, or those in which the optical characters are no longer symmetrical to an optic axis but to three planes at right angles to each other (for monochromatic light). These crystals have, however (for light of each wave-length and for each temperature), two directions parallel to which there is a single value only for the light velocity and hence no double refraction. These directions are called “optic axes.”[14] An investigation of these biaxial crystals shows that of all the rays traversing these crystals there are three rays which advance with maximum, minimum and some intermediate velocity. The vibration directions of these three rays are called the principal vibration directions and are at right angles to each other (being the intersections of the three planes above referred to). The direction of ether vibration of the fastest ray is denoted by a, of the slowest ray by c, and of the ray advancing with intermediate velocity by b.[15] Each of the three planes, containing two principal vibration directions, is called an optical principal section. The index of refraction of the a ray is denoted by α, of the b ray by β, and of the c ray by γ.

To this group belong all crystals in the Orthorhombic, Monoclinic and Triclinic systems.

In the Orthorhombic system, the principal vibration directions are parallel to the crystallographic axes; hence all pinacoidal sections contain two of these principal vibration directions. In all sections parallel to the three crystallographic axes ă, ƃ and ć, the vibration directions are parallel or symmetrical to cleavage cracks, crystal edges, etc.

5In the Monoclinic system, one principal vibration direction is parallel to the ortho axis ƃ, the other principal vibration directions are in the plane of symmetry, at right angles to ƃ, but are not parallel with either the vertical axis ć or the clino axis á. In clino pinacoid (010) sections the principal vibration directions will make definite angles with crystallographic lines, such as cleavages or crystal outlines. These angles are called extinction angles. They will vary, in this system, with reference to the direction of the ć axis from a maximum on the clino pinacoid (010) to 0° on the ortho pinacoid (100), when the vibration directions of the two doubly refracted rays will be parallel and at right angles to the plane of symmetry. Hence the vibration directions are parallel or symmetrical to cleavages, edges, etc., only in sections parallel to the ortho axis ƃ; but in all other sections are unsymmetrical.

In the Triclinic system, the principal vibration directions are not parallel to the crystallographic axes, and there is no definite relation between these directions and the crystallographic axes; hence in all possible sections there will be extinction angles.

In all biaxial crystals the two optic axes are inclined to each other, making what is called the axial angle, 2V, the apparent angle measured in air being 2E. The optic axes lie in the plane, called the axial plane, which contains the principal vibration directions a and c. The axial angles are bisected by these principal vibration directions, the direction bisecting the acute angle being called the acute bisectrix, Bxa, and that bisecting the obtuse angle the obtuse bisectrix, Bxo. An approximate idea of the value of the axial angle can be obtained by the use of the petrographical microscope, as described later, p. 47. The axial angle is often a convenient distinction between such minerals as muscovite and biotite.

The axial angle will vary with the temperature and with light of different wave-length or color, and this variation is called dispersion of the optic axes. Dispersion of the principal vibration directions also takes place in monoclinic and triclinic crystals, but can be usually disregarded.

In closing it is very important to remember that any section of an anisotropic crystal (not at right angles to an optic axis) will always transmit two rays of light with different velocities and with vibration directions in planes at right angles to each other. Isometric crystals, of course, produce no double refraction of light.

7

CHAPTER II.
The Petrographical Microscope.[16]

The petrographical microscope is essentially an ordinary microscope[17] with the following important additional equipment. It must be provided with: 1° a polarizer (a piece of apparatus for giving polarized light) placed below the stage; 2° an analyzer (a piece of apparatus for analyzing the rays of light after they have passed through the polarizer and transparent section) placed between the objective and the eye; 3° a stage rotating about an axis which is the line of sight of the microscope. A convenient type of microscope is that made by Seibert of Wetzlar (No. 11 a), Fig. 2.

The reflector a is usually fitted with a plane mirror on one side, and a parabolic mirror on the other. The plane mirror should be used with sunlight, and the parabolic mirror with artificial light, in order to make the rays of light as nearly parallel as possible.

The polarizer is in most cases a nicol prism, set in a suitable frame b, and made as follows:

For the nicol prism “a cleavage rhombohedron of calcite (the variety Iceland spar is universally used in consequence of its transparency) is obtained, having four large and two small rhombohedral faces opposite each other. In place of the latter planes, two new surfaces are cut, making angles of 68° (instead of 71°) with the obtuse vertical edges; these then form the terminal faces of the prism. In addition to this, the prism is cut through in the direction HH′, Fig. 3, the parts then polished and cemented together again with Canada balsam. A ray of light, ab, entering the prism, is divided into two rays polarized at right angles to each other. One of these, bc, on meeting the layer of balsam (whose refractive index is less than that of the ray bc), suffers total reflection, 8and is deflected against the blackened sides of the prism and extinguished. The other, bd, passes through and emerges at e, a completely polarized ray of light, that is, a ray with vibrations in one direction only, and that the direction of the shorter diagonal of the prism.”[18] The vertical plane through the shorter diagonal may be called the plane of vibration[19] of the nicol.

Fig. 2.

9

Fig. 3.

The polarizer must be below the stage c, and is generally adjusted so as to have its plane of vibration parallel to the N. and S. cross-wire in the eye-piece o. It is important to know the direction of the plane of vibration of the polarizer or lower nicol, as we can then determine, when absorption of light occurs in a mineral, the direction in this mineral parallel to which the absorbed rays are vibrating. The polarizer slides in an outer shell or frame, and, by means of a lever d, can easily be raised or lowered.

A convenient test for the location of this plane of vibration of the polarizer is as follows: Make use of a section of biotite, cut at right angles to the basal plane, hence showing the basal cleavage cracks. Biotite has the property of absorbing to a marked extent the light vibrating parallel to these cleavage cracks. Rotate such a section on the stage of the microscope until the position of maximum darkness is reached and when such is the case the plane of vibration of the polarizer must be parallel to these cleavage cracks.

On the top of the nicol is placed the condensing lens for getting convergent light, and the adjustments are so arranged that when the nicol is up as far as it will go, the condensing lens[20] is brought almost in contact with the lower surface of the transparent section resting on the stage.

10The rotating circular stage e is supported on a suitable frame c, and arranged so that its axis of rotation coincides with the line of sight of the microscope. The stage is graduated, and, by means of an index fixed to the frame, the angular rotation can always be obtained. It is also provided with two adjusting screws[21] f, by means of which the axis of rotation can be accurately centered.

The method of centering is as follows: Bring some prominent mark in the section exactly in coincidence with the intersection of the cross-wires in the eye-piece. Rotate the stage 180°, and correct one half the error by means of the centering screws, and the other half by moving the section on the stage. Check the result by rotating the stage 180° again, and if necessary repeat the corrections in the same way until the adjustment is satisfactory.

The objective[22] g screws into the collar h, which has a slot k, in the upper portion, for the introduction of a sensitive color plate, a one quarter undulation mica plate or a quartz wedge.[23]

The slot k is so arranged that, when the sensitive color plates are introduced, the vibration directions of these plates will make an angle of 45° with the planes of vibration of the crossed nicols, and the interference color will thus be at its maximum intensity.

A revolving nose-piece is sometimes used which can be attached to the collar h and arranged to carry two or three objectives, which can thus be very quickly brought into position for use. This is convenient in passing rapidly from observations with parallel light to observations with convergent light, which must be made with a high power objective. The difficulty is that recentering is generally required. The modern microscopes are provided with a clip for holding the objectives, instead of the screw-thread collar h.

The analyzer[24] or upper nicol is contained in the frame l, which 11is arranged so as to slide in and out of the tube of the microscope.

The plane of vibration of the analyzer is fixed by the instrument maker so as to be at right angles to the plane of vibration of the polarizer, hence in the Seibert microscope parallel to the E. and W. cross-wire in the eye-piece. Consequently when the frame l is pushed into the tube, the analyzer is introduced in the line of sight between the objective and the observer’s eye, with its plane of vibration at right angles to the plane of vibration of the polarizer; that is the nicols are crossed. When the nicols are crossed, if they are properly adjusted, no light can pass through to the eye and the field of view should be dark.[25]

The eye-piece[26] o fits into the top of the tube, and, by means of a little projecting piece fitting into a slot in the frame, can always be adjusted so as to have its cross-wires parallel to the planes of vibration of the two nicols.[25]

Some instruments are provided with an additional slot in the tube between the analyzer and the eye-piece for the introduction of a Bertrand lens, which is used to magnify the interference figures produced by convergent light.

The first approximate focusing is made by the screw m, and the fine adjustment by the screw n.

In focusing always start with the objective very near the section, and move it away until the right focus is obtained. Never move down towards the section in obtaining the focus, as there is danger then of striking the objective against the section.

For cleaning the microscope xylol can be used, as it will not injure the lacquer. To lubricate any of the parts use a small quantity of soft tallow, good clock oil or paraffin oil.

13

CHAPTER III.
Investigation of Microscopic and Optical Characters of Minerals.

Characters of Opaque Minerals, observed by reflected light.

The minerals which remain perfectly opaque in thin rock sections have usually metallic lustre and are very minute in size, as is the case with the iron ores.

When the metallic minerals of a rock specimen are distinctly seen with the unaided eye, it is rarely necessary to make a section for their determination, as this can more easily be done by any of the well known blowpipe methods.

Form, Lustre, Color, Cleavage, etc., are recognized in the same way as in the case of macroscopic specimens. In order to make the observations by reflected light alone, the beam of light from the reflector-mirror must be cut off by holding the hand over the mirror or by moving the mirror.

Characters of Transparent Minerals, observed by transmitted light. The petrographical microscope for these observations is supposed to be in the condition of an ordinary microscope, both nicols being out of the field and a strong beam of light coming up through the transparent section from the reflector below.

The characters are considered in the order in which they would most naturally appear to the observer during a complete investigation with the microscope.[27]

14

Fig. 4.—Idiomorphic augite crystals in camptonite. The section is about at right angles to the vertical axis ć, and shows the intersecting cleavages parallel to the prism of 87° 06′. Keene Valley, N. Y.

Fig. 5.—Allotriomorphic quartz q, showing no “relief,” plagioclase p and decomposed feldspar o in granite. As seen with crossed nicols.

(a) Form.[28] Crystals bounded by planes, i. e., crystals that have formed when conditions were favorable for complete development. Such crystals are often called idiomorphic or automorphic, see Fig. 4. Crystals that are large in comparison with other accompanying crystals may be called Phenocrysts. Of course crystals, which are not wholly contained within the rock section, will only show the outline of the bounding planes cut by this particular section. In some cases, by a careful study of the outline of several sections of the same mineral and by a measurement of the angles, it is possible to determine the common “crystallographic 15forms” of the mineral. Very misleading outlines may, however, be observed; as for example the triangular outline of a section of a cube, with the corner truncated. For measuring the angles have the stage accurately centered, then bring the vertex of the angle to be measured to the intersection of the cross-wires in the eye-piece. Bring one of the sides in coincidence with one of the cross-wires. Note the reading of the graduated circle and rotate the section until the other side is in coincidence with the same wire. Take the reading again and the difference will be the angle required.

Crystals without bounding planes, whose surfaces are more or less determined by those of adjacent crystals. Such crystals are frequently called allotriomorphic or xenomorphic,[29] see Fig. 5. This allotriomorphic form must not be confounded with the worn or rounded boundaries of the component grains in clastic rocks.

Fig. 6.—Corroded sanidine crystal in perlite.

Corroded Crystals,[30] whose fretted outline is undoubtedly due to corrosive action of the magma, see Fig. 6.

Broken or Strained Crystals. In some cases what were formerly larger individuals have been broken or shattered by dynamic action into much smaller fragments, see Fig. 7, showing crushed rim of 16fragments surrounding feldspar “auge.” In other cases an actual bending or distortion of the crystal has taken place, and again sometimes the effect of mechanical stress is only shown by the so-called “wavy” extinction. See p. 31 and Fig. 7, showing a carlsbad twin of feldspar that has been bent and therefore shows marked “wavy” extinction.

Fig. 7.—Orthoclase “auge” (Carlsbad twin), showing bending and “wavy” extinction, surrounded by crushed rim of mineral fragments. As seen with crossed nicols. “Augen-gneiss,” Bedford, N. Y.—B. 13.

Fig. 8.—Crystallites and Microlites a. Skeleton Forms b.

Crystallites, in general those incipient forms of crystals which have not yet reached a stage of development sufficient to show double refraction, see Fig. 8, a. Quite a number of names are used to describe the different forms that occur.

17Microlites, more or less completely defined microscopic crystals, which usually show double refraction, but cannot be always specifically determined, see Fig. 8, a.

Skeleton Forms, resulting from rapid cooling of the magma occur in some lavas, see Fig. 8, b.

(b) Color. It must be remembered that the colors observed are always due to transmitted light and may be called “absorption tints.” Minerals which in hand specimens are opaque are often colored in sections; and minerals which are commonly colored may appear colorless in sections. At times color may be given to a section simply by the presence of a great number of minute inclusions.

Fig. 9.—Olivine crystal in basalt showing “high relief” and cleavage.

(c) Index of Refraction. n = sin i/sin r. This can be approximately determined by the appearance of the surface and outline of a mineral, that is by its relief. The descriptive terms are of course relative, but in common practice minerals are said to have medium refraction when the refractive index is between that of balsam (1.54) and that of calcite (1.60), strong refraction when higher than 1.60 and weak refraction when lower than 1.54. In the case of uniaxial and biaxial minerals the mean value of the indices of refraction is used.

A mineral which has strong refraction appears to have high relief, i. e., distinct dark contours and a rough or “shagreened” 18surface,[31] which has bright illumination and appears to stand out above the surfaces of the surrounding minerals with weaker refraction, see Fig. 9.

A mineral with medium refraction does not show any relief, hence has a smooth surface and no dark contours, see Fig. 5.

A mineral with weak refraction may also appear to have a rough surface, but not so marked as in the case of a mineral with very strong refraction, due to the smaller contrast in indices between the mineral and balsam.

The practical way of testing for the approximate index of refraction or the relief of a mineral is to make use of the lens for convergent light, which is placed on top of the lower nicol immediately below the section.

By lowering[32] the lens the character of the relief of a mineral section is made very apparent.

In order to become familiar with the way in which the “relief” or appearance of the surface indicates the strength of the refractive index, the student may use a long glass slide on which are embedded in balsam (1.54) small fragments of different minerals, for example: Sodalite (1.483), orthoclase (1.523), quartz (1.547), topaz (1.620), hornblende (1.631), augite (1.70), epidote (1.751), zircon (1.95) and rutile (2.712).

Determinations of refractive indices in sections by the methods 19of Chaulnes,[33] Sorby,[34] or total reflection are accompanied by many difficulties and may fail to give satisfactory results. The Becke method, however, often furnishes a convenient means of determining the relative values of the refractive indices of adjoining minerals or of minerals embedded in balsam. This is of especial service when one of the minerals is known and hence its refractive index.

Becke Method.[35]

Suppose two adjoining minerals, in a thin rock section, to be singly refracting and to have their plane of contact vertical, i. e., parallel to the optic axis of the microscope.

Let A and C, Fig. 10, be two such sections with the plane of contact OO′ vertical, A having a lower refractive index than C, and consider only the direction of the rays within the section, neglecting the refractive effect of the air, glass and balsam.

A beam of transmitted light contains besides normal rays convergent rays, which pass through the section as indicated in Fig. 10. Consider now the cone of light rays GBI. The rays O′G on meeting the plane of contact OO′ will be somewhat concentrated and deflected by the higher refractive index of C and will continue as the cone EF. Some rays as O′H will, on meeting the contact plane, be totally reflected and will continue as the cone OE, while the rest of the rays HI will be dispersed and deflected by the weaker refractive index of A, continuing as the cone OD. Hence, more light rays will emerge on the side of the contact plane where the substance of higher refractive index lies, and there will be a concentration of illumination on this side producing the so-called “bright line.”

20

Fig. 10.

In practically making the test with a petrographical microscope remove the polarizer, analyzer and condensing lens,[36] and introduce below the section a small light-stop, to reduce in size the cone of incident light.[37] The adapter, holding this light-stop, should be adjustable so that the stop can be lowered sufficiently to produce the best results. The smaller the contrast between the indices of refraction the smaller the incident cone of light should be, as best results are obtained when this cone is little larger than twice O′H, Fig. 10, all the O′H rays being then totally reflected. The more of the HI rays that pass through, the brighter will be the OD cone and the less sharp the contrast in illumination. A high power objective[38] should be used, as those with small aperture and great focal length do not give good results. Focus on the dividing plane and adjust until equal illumination is observed on both sides and the trace of the plane resembles a fine thread, the focal plane being at MN. Then raise the objective slightly, thus moving the focal plane to ST, when a bright line or band will appear on the side of the stronger refracting substance, the width of the line depending on the contrast between n and n′, becoming narrower as n and n′ approach each other in value. On raising the objective still further the line 21broadens and finally disappears. If the objective is lowered instead of raised the reverse phenomenon will take place, the bright line appearing on the side of the weaker refracting substance.[39] When the indices are nearly the same a bright line will appear on both sides and it is important then to make the cone of incident light as small as possible and to select the brighter line.

With doubly refracting minerals, each set of doubly refracted rays would suffer total reflection under somewhat different conditions and there would be no one point B (as in isotropic minerals) where no bright lines would appear. However, if the cone of incident light is small enough in diameter, the test will be practically obtained as described. The Becke test can often be made with a medium power objective[40] without removing the polarizer and condensing lens, provided the condensing lens be lowered sufficiently. It may also prove convenient to turn the reflector a little sideways.

The thinner the section the more distinct will be the phenomenon. The contact plane must be clear and not coated with opaque decomposition products.

When the plane of contact OO′ deviates considerably from parallelism with the optic axis of the microscope a disturbance of the phenomenon may be expected and no satisfactory results be obtained. In general under these conditions the “bright line,” both on raising and lowering the objective, will remain on the side of the overlapping substance, without regard to the relative values of the indices.

The refractive index of the cementing material should not be very much lower than that of either of the thin sections, as the result would then be to disperse the emerging rays too much and dim the effect. In the case of distinguishing between minerals of high refractive power, such as augite and garnet, methyliodide is recommended instead of balsam.

In the case of doubly refracting crystals, the lower nicol (polarizer) must be retained, if it is desired to obtain the relative refractive index of one of the two rays, either with respect to the balsam or to a ray in an adjoining crystal with a parallel vibration direction. For determining vibration directions of rays and the faster and slower rays in two adjoining sections see later, pp. 31 and 33.

22The method of Schrœder van der Kolk[41] can also be employed for the same purpose as the Becke test. The ordinary objective (Seibert No. II) is used, and the method essentially consists of darkening a portion of the field by means of the finger or a plate inserted below the polarizer. The condenser lens must be lowered beyond the sharp focus of the edge of the shadow (on raising the condenser the following phenomena are reversed). As the shadow approaches the contact between two minerals a bright line will appear on the edge of the “far” mineral, if its refractive index is the higher, and a dark line on this same edge if its index is lower than that of the “near” mineral. The indices of the two rays in doubly refracting minerals must be determined by the aid of the polarizer.

Fig. 11.—Biotite, showing perfect cleavage, in rhyolite.

23(d) Cleavage,[42] which appears as more or less distinct and regular lines or cracks, see Figs. 11 and 12. These cleavage cracks may be parallel or intersect, depending on the position of the section relative to the cleavage planes of the crystal.

Fig. 12.—Augite a, showing good cleavage, and plagioclase p in diabase. The plagioclase shows “polysynthetic” twinning between crossed nicols.

Fig. 13.—Garnet in mica schist, showing fracture. Franconia, N. Y.

Cleavage is sometimes best observed by slightly lowering the condensing lens under the section.

When sections show intersecting cleavage cracks it is often possible 24to recognize the mineral by its known cleavage angle, as in the case of amphibole and pyroxene.

(e) Fracture, which appears as irregular and non-parallel cracks, see Fig. 13.

Fig. 14.—Apatite in feldspar a. Garnets in quartz, Branchville, Ct., b. Liquid inclusions of CO2, some showing gas bubbles, in quartz c.

Fig. 15.—Enstatite showing “Schiller” Structure.

(f) Inclusions, which may be solid (either distinct crystals or glass), fluid or gas, see Fig. 14. These inclusions are distinguished by the fact that the solid inclusions generally have sharp contours, the fluid inclusions distinct dark borders, and the gas inclusions broad dark borders more distinctly marked than those of the fluid inclusions. The fluid inclusions often contain a bubble of gas. 25The inclusions may have a definite or indefinite position in the crystal in which they occur, and can sometimes be more distinctly seen by using convergent light or a “spot” lens.

(g) Schiller Structure. “Is that in which cavities of definite form and orientation (‘negative crystals’) are developed along certain planes and filled or partially filled by material dissolved out of the enclosing crystal,”[43] see Fig. 15.

Characters Observed by Polarized Light.

The polarized light is obtained by passing the beam of light from the reflector through the polarizer or lower nicol,[44] which must be in place below the stage of the microscope. White light is supposed to be used.

Pleochroism, that property which all anisotropic minerals have, to a greater or less extent, of absorbing certain colored rays in certain directions, thereby showing different colors in different directions by transmitted light. Uniaxial minerals are dichroic showing two differences in color, produced by the rays which vibrate parallel to the direction of the vertical axis ć and the plane of the basal axes. Biaxial crystals are trichroic showing theoretically three differences of color produced by rays with vibration directions corresponding very nearly to those of the three principal vibration directions.[45] Any given section of a biaxial crystal will, of course, appear only dichroic.

The practical way of testing for pleochroism is as follows: Revolve the stage, carrying the section, when a change in the color of the mineral will be noticed, if it is pleochroic. This pleochroism 26may appear as an actual change in color or simply as a change in the shade of the same color. At times it may be so weak as hardly to be noticed, when it is best to make the test with the condensing lens in position immediately under the section, or by rotating the lower nicol instead of revolving the stage. The color of the light, vibrating parallel to certain definite crystallographic directions in minerals, is often very characteristic.

In some cases there may be such strong absorption of one of the rays, that, when the vibration direction of this ray is over the plane of vibration of the polarizer, practically no light is transmitted and the section appears dark. Strong absorption is characteristic of certain minerals, such as biotite, amphibole, tourmaline and allanite and takes place parallel to definite directions in these minerals.

Pleochroism may often be noticed with ordinary light in the case of hand specimens.

Characters Observed with both Polarizer and Analyzer[46] in Position, that is with “Crossed Nicols.”

When the nicols are accurately crossed, the field should be quite dark, and if this is not the case the adjustments must be looked to. The condensing lens should be removed for these tests as they are to be made with parallel light, but as a matter of convenience instead of removing the condensing lens, the polarizer with the lens on top may be lowered, when the results will be about the same as with parallel light. White light is supposed to be used.

Isotropic Character. Sections of isotropic crystals are perfectly dark and remain so during a complete rotation of the stage through 360°. The explanation is very simple. Light being transmitted by an isotropic crystal in all directions without double refraction; it follows that the light from the polarizer, after having passed through the section, comes to the analyzer still vibrating in the plane of vibration of the polarizer. Hence it is entirely cut out by the analyzer.

Amorphous transparent substances act in the same way and remain dark during complete rotation of the stage.

27Optical anomalies, i. e., double refraction, may occur in isometric crystals and in amorphous substances that have been subjected to strains.

Anisotropic Character. Sections of anisotropic crystals, having the property of double refraction, produce in general some interference or polarization color, except as mentioned later. The popular explanation is as follows:

Fig. 16.

In Fig. 16, let PP′ be the plane of vibration of the polarizer, and A′A the plane of vibration of the analyzer. All the light, after it has passed through the polarizer, is vibrating parallel to PP′ when it reaches the lower side of the transparent crystal, cdef, on the stage of the microscope. In this transparent section let ob and oa be the two directions of vibration, i. e., the only two directions parallel to which rays of light can vibrate in passing through the section.

Let om represent the amplitude of vibration of a ray from the polarizer. When this ray reaches the section it cannot get through it vibrating in the direction om, but is doubly refracted and of the two resulting rays, one gets through vibrating in the direction ob and the other vibrating in the direction oa. From m draw perpendiculars 28to ob and oa. Then according to the law of the parallelogram of forces ob will represent the amplitude of vibration of the ray passing through the crystal vibrating in the direction ob, and oa will represent the amplitude of vibration of the ray passing through the crystal vibrating in the direction oa. We will thus have two rays passing through the crystal, polarized at right angles to each other.

Fig. 17.

Consider now the general question of the transmission of the doubly refracted rays through a plate. Whatever the angle of the parallel incident rays, each ray as AB, Fig. 17, is resolved, as just described, into two rays BC and BD, polarized at right angles to each other and following (usually) different paths in the plate. On emergence these follow parallel paths. Among the incident rays there are rays EG and FH, such that one component of FH will emerge at D with one of the components of AB, and one component of AB and one component of EG will emerge at C. Hence from every point of the upper surface of the plate there will emerge two rays and these rays will have travelled through different paths in the plate with different velocities and will have their vibrations at right angles to each other.

When these doubly refracted rays come to the analyzer, whose plane of vibration is A′A, they cannot get through vibrating in their present directions, but components of these rays, such as ot and os, can get through vibrating parallel to the plane A′A.

Hence we have two series of rays coming to the eye, polarized in the same plane, but one set slightly in advance of the other. These rays will “interfere” and produce some interference or polarization color.[47] In using white light whenever one of two light rays of the same color has suffered a “retardation” of just one wave-length (or even multiple thereof) the color will be extinguished; and when the “retardation” is one half wave-length (or even multiple thereof) the color will be intensified. Therefore, some tints will be extinguished and others intensified, the 29combination resulting in the production of some definite interference color. Of course in the case of monochromatic light the thickness of the section may be such that “destructive interference” takes place producing no color (darkness).

Now suppose the stage to be rotated until the section cdef takes the position c′d′e′f′. The section will be found to be dark and no interference color will be seen. This is due to the fact that the directions of vibration in the section are parallel to the planes of vibration of the crossed nicols, consequently the light passes through the section still vibrating parallel to the plane PP′ of the polarizer and is all cut out by the analyzer. Darkness will occur every 90° and therefore four times during a complete rotation of the stage. The interference color is also observed to vary in intensity, but not in color, and to be at its maximum 45° from the positions of darkness.

Sections of uniaxial crystals at right angles to the optic axis act like isotropic substances and remain dark during a complete rotation of the stage. In the biaxial crystals, a section at right angles to an “optic axis” shows uniform illumination[48] which does not change as the stage is rotated.

The only way to find out whether sections that remain dark are isotropic, or uniaxial at right angles to an optic axis, is to test them with convergent light as described later, see p. 40.

Interference Colors. The interference color shown by any mineral section depends on three factors: 1° the strength of the double refraction (γα = the difference between the refractive indices of the slowest and fastest rays); 2° the position of the section in the crystal; 3° the thickness of the crystal section.

To eliminate, so far as possible, the variation due to the optical orientation of the section, care must always be taken to obtain the maximum interference color given by the different sections of the same mineral in the rock section. Sections giving the maximum color are those parallel to the ć axis in uniaxial minerals and those parallel to the axial plane in biaxial minerals.[49] Hence such sections in convergent light never show the emergence of an optic axis or a bisectrix; and furthermore, other clues, such as crystal 30outlines, cleavage, pleochroism, etc., may help to indicate the favorable section.

The influence of the thickness of the section is also important and must be considered. The interference color will rise in the scale (be higher in order) as the section becomes thicker. Methods of obtaining the thickness of a section are given on pp. 35 and 36. When reference is made to definite interference colors the mineral section is supposed to have a thickness of 0.03 mm. and to be such as to give the maximum color; and all mineral sections in a rock section are considered to have a uniform thickness.

With these precautions in mind the interference colors indicate the strength of the double refraction as follows:[50] The colors of minerals with very weak double refraction vary from a bluish-gray to a grayish-white. As the strength of the double refraction increases the colors become the very intense bright tints of the spectrum, yellow, red, blue, green, etc., called the first and second order colors. As the strength of the double refraction still increases the colors pass through the tints of the spectrum in sequence (called orders), becoming paler until finally, when the double refraction is very strong, the colors become the neutral, almost colorless tints of the higher orders. The eye must be trained to appreciate the colors of different orders, and the student is advised to practice with mineral sections, of known strength of double refraction, and compare the resulting interference colors with a color chart,[51] or use the interference color diagram at the end of the book. A convenient test can be made with a one fourth undulation mica plate to distinguish between the white of the 1° order and the practically white very high order tint. Introduce the mica plate in the slot k, Fig. 2, and the effect will be to produce a marked change in the color of the 1° order, while no change will be observed in the high order color.

The exact order of the color can be determined by the use of a quartz wedge, as described on p. 35.

Abnormal Interference Colors[52] may be brought about in several 31ways. In white light strong absorption of part of the light components may not only alter the color of the mineral but also modify the interference color. The double refraction may be nearly zero for light of a particular color so that the mineral is isotropic for that color, resulting in a change in the interference color, as for example the indigo of melilite, which is nearly isotropic for yellow light. In biaxial minerals the axial angle may be zero for light of a particular color, resulting also in a modification of the interference color, as the blue in penninite in sections ⟂ Bxa. When the bisectrices are much dispersed there will be no position of darkness between crossed nicols in white light.

Extinction and Extinction Angles. When the section, see Fig. 16, is in such a position that its directions of vibration are parallel to the planes of vibration of the nicols, no light can pass through the analyzer, and the section is dark. Hence the light is extinguished and this phenomenon is called extinction.

Extinction is said to be parallel or symmetrical when the directions of vibration are parallel to any crystallographic lines or directions, or bisect the angles between these lines. The crystallographic lines or directions may be either cleavages or the similar boundaries of idiomorphic crystals.

This kind of extinction is shown by all sections of tetragonal and hexagonal crystals, by all sections parallel to the crystal axes in orthorhombic crystals and also by the sections parallel to the ƃ axis in monoclinic crystals.

When the extinction is not symmetrical it is called oblique, and is shown by all sections of monoclinic crystals (except those parallel to the ƃ axis) and triclinic crystals.

Extinction which does not take place over the whole of the section of a single crystal at the same moment, but passes over the section like a dark wave or shadow, is said to be “wavy”; and indicates that the crystal has been subjected to mechanical forces producing a change in the position of the directions of vibration in different parts of the crystal, see Fig. 7.

The angle between a direction of vibration in the section and some known crystallographic direction (as a cleavage or crystal outline) is called an extinction angle, and is measured in the following way: Find the positions of the directions of vibration in the 32section, which must be parallel to the cross-wires when extinction takes place. Note the reading on the graduated circle of the stage, then remove the upper nicol, in order to get a more distinct view of the field, and rotate the stage until you bring some known crystallographic line into parallel position with the cross-wire selected as a reference line. Take the reading of the graduated circle again, and the difference between these two readings will be the extinction angle.

It can readily be seen that depending on which way the section is rotated, either a small or a large extinction angle will be obtained, the two angles being complements of each other. The extinction angle generally recorded is that between the nearest direction of vibration and the vertical axis ć.

In monoclinic minerals the maximum value of the extinction angle (the angle of real value in distinguishing the mineral) can only be obtained from a section parallel to the clino pinacoid (010); but in practice sufficiently accurate results can generally be obtained by measuring the extinction angles of all sections of the same mineral, which seem to be about parallel to the vertical axis ć, and then taking the maximum value obtained. Amphibole and pyroxene can easily be distinguished in this way.

Extinction is generally tested for by revolving the stage, carrying the section, until darkness is observed. The principal difficulty, however, is caused by the eye failing to appreciate the position of maximum darkness. Hence it is better to revolve the stage until the section just becomes dark (or fades out) and then revolve further until the section just begins to lighten up again. The mean of the readings, in these two positions, will be the one to use.

A gypsum test-plate, so prepared as to give some definite interference color, as red of the 1° order, may be introduced between the two nicols, and the section revolved until this color is exactly matched. This perfect matching of color is only possible when the directions of vibration of the section are exactly parallel to the planes of vibration of the nicols, as otherwise some interference color would be produced by the section and the true color of the test-plate would not appear. The most favorable condition is when the section is colorless and only covers a part of the field 33of view, as then the rest of the field shows the color of the test-plate and the exact matching of color is an easy matter. This method of testing can be employed to recognize the very weak double refraction of some minerals, whose interference colors are such dark grays as not to be noticed without this test. After the test-plate has been introduced, some slight variation in the color will be observed when the stage carrying the doubly refracting section is rotated. There are other methods[53] for locating these directions of vibration. They depend generally on substituting changes of color for degrees of darkness or on changes in interference figures, and consist in the use of color test-plates or Klein’s quartz-plate, or of special oculars prepared by Bertrand, Calderon, etc.

Method of Testing for the Vibration Directions of the Faster and Slower Rays, a′ and c′, in a Mineral Section.

A mica or gypsum plate can be used to make this test, the directions of vibration of the faster and slower rays on these plates being known and marked.[54]

The crystal section to be tested is placed on the rotating stage, between crossed nicols, and turned to the position of extinction, when these directions of vibration will be parallel to the cross-wires in the eye-piece. The section is then turned 45°, when the interference color will be at its maximum, and these directions of vibration will make angles of 45° with the planes of vibration of the nicols and the cross-wires in the eye-piece.

Now introduce[55] the test-plate, between the section and the analyzer, 34so that its known directions of vibration also make angles of 45° with the cross-wires in the eye-piece.

When the test-plate is introduced a new interference color will be noticed which is either higher or lower in the color scale[56] than the original interference color of the mineral section. When the known directions of vibration of the test-plate are superposed over corresponding directions in the mineral section, the effect is to thicken the section and the interference color rises in the scale.

When the directions of vibration of the test-plate are superposed over directions of vibration in the mineral section which are not corresponding, the effect is to thin the section and the interference color sinks in the scale.

For minerals which have very strong double refraction, as zircons, so that the interference colors are of the higher orders, it is advisable to use the method of testing with a quartz wedge.[57]

If a wedge is inserted between crossed nicols and its c direction inclined at 45° to the planes of vibration of the nicols, then successive interference colors will be seen commencing with the gray of the first order and passing through the colors as shown by a color chart. If now the crystal section lies with its vibration directions also in the diagonal position, the color of any portion of the quartz wedge will be changed where it covers the section, the new color being that of a thicker part of the wedge if the c direction in the section lies under the c direction of the wedge. Also where the wedge overlaps the section the displacement of the color fringes in the section will be towards the thin edge of the wedge. On the other hand the new color will be that of a thinner part of the wedge when the a direction in the section lies under the c direction of the wedge. In this case the displacement of the color fringes will be towards the thick part of the wedge.

This method is very convenient when the crystal section has in 35any place sloping edges, showing prismatic color fringes. The movement of these fringes (as previously described) is towards the thin edge of the wedge when the vibration directions correspond and away from this edge when they do not correspond.

If the wedge when inserted finally “compensates” the color of the crystal section (i. e., practically produces an absence of color, darkness), then the a in this section must lie under the c in the wedge, as the effect of the wedge has been to continually thin the section.

Determination of Order of Interference Color.

This can be determined by use of a quartz wedge or a v. Federow mica wedge.[58] Have the vibration directions of the given section in the diagonal position, then gradually insert the wedge between the crossed nicols so that the corresponding vibration directions in the section and wedge are crossed, that is so that the colors are run down until finally dark gray or black is obtained. Count the number of times the original interference color reappears, if n times, then the color is a red, blue, green, etc., of n + 1 order.[59]

It is often easier to insert the wedge until compensation of the color is obtained; then as the wedge is pulled out the direct count of the recurrence of the original color will give the order of that color.

Method of Measuring the Strength of the Double Refraction by von Federow Mica Wedge.[60]

“The wedge[61] consists of fifteen superposed quarter undulation mica plates, each about two mm. shorter than the one beneath it and with their directions of vibration parallel. The series is mounted on a strip of glass and covered with a cover-glass.

The wave-length of a middle color may be taken as 560 μμ (millionths of a millimeter); hence each quarter undulation mica plate may be considered to possess a phase difference or retardation of 140 μμ. If, then, between the polarizer and analyzer we insert the mica wedge, so that its direction of vibration of the 36slower ray, c, is at right angles to that of the mineral under examination, we subtract from the phase difference of the mineral an amount equal to n times 140 μμ, in which n represents the number of superposed mica plates in the field. When the mineral appears dark the value evidently corresponds closely to the phase difference of the mineral.[62]

From the expression Δ = eX, in which Δ is the phase difference or retardation, X the double refraction, and e the thickness in millionths of millimeters, the thickness can be deduced when the double refraction is known or vice versa. If a mineral of known double refraction can be found in the section near the mineral under investigation,[63] the double refraction of the latter can be deduced by measuring the phase difference of the known mineral, whence e results, and this substituted in the above formula yields X.”

Method of Determining Minerals and Thickness of Section, by Use of Table of Double Refraction (Maximum) and Diagram.[64]

Select some easily recognized mineral in the rock section and note the maximum interference color given by any of its sections.[65] The strength of the double refraction of this mineral being known, look up on the diagram the diagonal line corresponding to this double refraction and follow along this line toward the left hand lower corner until the observed interference color is reached, when the horizontal line will indicate the thickness of the section. The thickness is given in hundredths of millimeters. Then in the case of the unknown mineral pick out the section giving the highest interference color and carry along the same horizontal line until this new color is located,[66] then pass up to the right along the diagonal line to the numbers indicating the strength of the double 37refraction of the unknown mineral. Turn to the table where the minerals will be found having about this strength of double refraction.

Example: In a section of granite (biotite-granite) a grain of quartz was selected, which gave the brightest color. This color was a bright yellowish white and the known double refraction of quartz is 0.009. Following down on this diagonal line until the interference color was reached it was seen that the thickness of the section was about 0.03 mm. (a very thin section). The section of the undetermined mineral, giving the highest order color, showed a bright 2° order purple-blue. Passing along the 0.03 horizontal line until this color was reached and then up along the diagonal line, it was seen that the double refraction of this mineral must be about 0.04. The table gives muscovite and ægerite as having about this double refraction. The mineral was proved to be muscovite by its absence of color and relief and by the characteristic cleavage and parallel extinction.

Fig. 18.—Sanidine crystal f, showing Carlsbad twin (which, as it consists of two parts only, may be called simple), and quartz q in rhyolite. Crossed nicols.

Structure:

(a) Twinning, generally noticed by the parts of the twin not extinguishing at the same time. It may also be observed, without crossed nicols, just as in the case of macroscopic minerals.

Twinning may be described as: simple, Fig. 18; polysynthetic, due to repeated twinning after the same law, Fig. 12; and crossed or “gridiron,” due to repeated twinning after two laws, Fig. 19.

38

Fig. 19.—Microcline, showing crossed or “gridiron” twinning. Crossed nicols.

(b) Zonal structure, often only made visible by the zones extinguishing at different times. It may, however, be noticed by the zones being of slightly different color, or by the zonal distribution of inclusions. In the case of the feldspars the zonal structure may be caused either by the crystal being formed of zones of different chemical composition (the successive zones in the plagioclases growing more acid towards the exterior), or by ultra-microscopic twinning,[67] Fig. 20.

Fig. 20.—Zonal feldspar (Carlsbad twin) in trachyte. Crossed nicols.

(c) Aggregate structure, being a confused mass of separate little 39crystals, scales or grains all extinguishing at different times, Fig. 21.

Fig. 21.—Sphærulites in felsite. Ground mass shows aggregate structure. Crossed nicols.

(d) Sphærulitic structure, produced by the aggregation, in a radiate form, of crystals or crystallites. It is generally easily perceived by the dark cross, resulting from the extinguishing of the light in those crystals whose directions of vibration are parallel to the planes of vibration of the nicols. When the stage is revolved the arms of the cross do not rotate, Fig. 21.

Fig. 22.—Olivine decomposed to serpentine. The pseudomorphism has been almost complete, only small portions of the original olivine remaining. The outline of the parent crystal can be quite distinctly seen. Crossed nicols.

(e) Pseudomorphic structure, which may be partial or complete and is noticed by the changed portions producing different optical 40effects from those of the original mineral. Sometimes, although the pseudomorphism has been almost complete, the form of the original mineral or crystal may still be seen, Fig. 22.

Characters Observed by Convergent Polarized Light.

Convergent light is obtained by passing the rays of polarized light through a strong condensing lens, which generally fits like a cap over the top of the polarizer. By means of a suitable adjustment the condensing lens can be brought very close to the lower surface of the section on the stage. The lens thus sends a cone of light through the section, and used in connection with crossed nicols a series of optical phenomena, called interference figures,[68] are produced.

Each direction in which rays are sent is traversed by a minute bundle of parallel rays and these rays extinguish and produce interference colors as already described for parallel light. Hence each direction yields a spot or picture in the field of view and from all these spots combined there results an “interference figure” or picture, depending upon the structure of the section for all the directions traversed by the rays.

A very high power objective[69] must be used, and when the eye-piece is removed, a small image of the interference figure will be seen. In some microscopes an arrangement is made for getting a magnified image of the interference figure, by retaining the eye-piece and using an additional Bertrand lens.

In order to get good results care must be taken to have strong illumination and the condensing lens close up under the section. The tests are best made with monochromatic light, but with white light the effects are substantially the same, the only difference being that the rings and curves are variously colored instead of being simply light and dark.

Isotropic substances show no interference figures.

Uniaxial Interference Figures.

(a) Sections perpendicular to the optic or vertical axis ć show a dark cross, with or without colored rings, Figs. 23 and 24. The 41figure is symmetrical to the center, as the optical behavior of uniaxial crystals is symmetrical to the optic axis.

Fig. 23.

Fig. 24.

The arms of the cross are parallel to the planes of vibration of the nicols, and the figure does not move when the stage carrying the section is rotated.[70]

(b) Sections oblique to the optic axis show a portion of a dark cross, with or without colored rings, Fig. 25. The centre of the cross is not in the axis of rotation, and as the stage bearing the section is revolved, the centre of the cross describes a circle, the arms always maintaining parallel positions.

If the section is still more oblique to the optic axis the centre of the interference cross may be outside the field of view, and only portions of the dark arms will be seen.

Sections parallel to the optic axis show a vague dark cross, which, on rotating the stage, dissolves into hyperbolic curves (suggesting biaxial figure), which very rapidly disappear in the direction of the optic axis. When the interference figure shows colors, these colors are lower in order in the quadrants containing the optic axis. Knowing thus the position of the optic axis the optical character can be obtained by the method for parallel light, p. 43.

Fig. 25.

Sections which are thick and have strong double refraction will show the cross and rings clearly and sharply defined, there being quite a number of rings crowded close together. Sections which 42are very thin and have weak double refraction show only a broad dark cross and no rings. The interference figures will vary between these extremes, depending on the thickness of the section and the strength of the double refraction.

To obtain the most characteristic figures, observations must be made on sections about perpendicular to the optic axis, that is sections which remain dark or nearly dark during complete rotation between crossed nicols in parallel light.

Optical Character, Positive or Negative. After having obtained an uniaxial interference figure, test it by means of a ¼ undulation mica plate. This plate must be introduced between the objective[71] and the analyzer in such a way that its vibration direction c, marked on the plate, makes an angle of 45° with the planes of vibration of the nicols.

When this is done the interference figure changes, or may more or less disappear, two dark spots or blotches being brought prominently into view. If rings are still seen it will be noticed that they have expanded in the quadrants occupied by the dark spots, and have contracted in the remaining quadrants. This movement of the rings may make it possible to determine the optical character of a section, which is so oblique to the optic axis that the dark spots are not seen after the introduction of the mica plate.

Fig. 26.

Fig. 27.

If the optical character is positive the line joining these dark spots is perpendicular to the direction c of the mica plate, see Fig. 26.

If negative the line joining the dark spots coincides with the direction c of the mica plate, see Fig. 27.

43The (+) and (−) character is easily determined by remembering that the line, joining the dark spots, makes the + and − sign respectively with the direction c of the mica plate. The direction c of the mica plate (represented in the figures by an arrow) is of course not seen, but its position must be borne in mind when making this test. This test can be made with either monochromatic or white light.

If the mica plate does not give satisfactory results, which will be the case when the double refraction of the crystal to be tested is very weak or when the section is very thin, use a selenite plate, cut the proper thickness to give the red color of the first order.

This plate must be introduced with its vibration direction a (previously determined) making an angle of 45° with the planes of vibration of the nicols. Instead of the dark spots being seen there will appear two blue and two red quadrants. The diagonally opposite quadrants being of the same color.

In determining the (+) and (−) character consider the blue quadrants as the equivalent of the dark spots in the preceding case. This test must be made with white light.[72]

Biaxial Interference Figures.

Fig. 28.

Fig. 29.

(a) Sections perpendicular to an optic axis exhibit the interference figures shown in Figs. 28 and 29, the curves being nearly circular and a straight black bar bisecting these curves, whenever the trace of the plane of the optic axes coincides with the vibration 44direction of either nicol. As the stage, carrying the section, is rotated the bar changes into one arm of a hyperbola and back again into a bar. This arm or bar will rotate in the opposite direction to the motion of the stage.

As previously stated sections of biaxial crystals, perpendicular to an optic axis, do not remain dark during rotation of the stage between crossed nicols in parallel light. On the contrary these sections remain uniformly illuminated.[73]

(b) Sections perpendicular to the acute bisectrix (see p. 5), exhibit interference figures like those shown in Figs. 30 and 31.

Fig. 30.

Fig. 31.

Fig. 30 shows the appearance of the interference figure when the plane of the optic axes is parallel to the plane of vibration of either nicol, and Fig. 31 shows the appearance when this plane is inclined 45° to the planes of vibration of the nicols.

As the stage, carrying the section, is rotated the dark cross seems to dissolve into two branches of a hyperbola, which again unite to form a cross.

In sections perpendicular to a bisectrix, with a large axial angle, the figure will appear, during a rotation of 90° (in the direction of the hands of a watch), as in Fig. 32, top row. When the section is somewhat oblique to an “optic axis,” the figure appears as in middle row; and when still more oblique, as in bottom row.

The black centres[74] of the small ellipses and the black hyperbolic curves mark the points of emergence of the optic axes, and therefore indicate approximately the size of the axial angle, 2E.

Sections in other positions, relative to the optic axes, give interference figures less definite in appearance than those just described; and the same conditions affect the appearance of all figures as in 45the case of uniaxial crystals. Very thin sections, of weak double refraction, may only show indistinct dark crosses or hyperbolic curves, without any ellipses.

The section perpendicular to the acute bisectrix, which gives the most characteristic interference figure, cannot generally be recognized except by an examination in convergent light. It is never, however, the section giving the maximum interference color. The interference colors in different sections, normal to the optical elements, grade downward in the following order: (1) optic normal, (2) obtuse bisectrix, (3) acute bisectrix, (4) optic axis. Sometimes cleavage may furnish a clue as to the best section to test as in Topaz and Mica, where the acute bisectrix is normal to the cleavage.

Fig. 32.—Biaxial Interference Figures (from Reinisch). Top row: Almost perpendicular to bisectrix, large axial angle. Middle row: Somewhat oblique to an “optic axis.” Bottom row: More oblique to an “optic axis.”

It must be remembered that this uncertainty, in the choice of sections for testing, does not exist in uniaxial crystals; where the best sections are indicated by the fact that they remain dark or nearly so during complete rotation between crossed nicols.

The uniaxial or biaxial character of a mineral section, which only shows an indistinct bar, may be determined as follows: A bar (one arm of the cross) of a uniaxial interference figure moves in the same direction as the rotating stage, and always remains straight, 46while the biaxial bar rotates in the opposite direction to the stage and becomes curved.

Optical Character, Positive or Negative. When the axial angle is very small, so that the interference figure approaches that of a uniaxial crystal, the methods used for testing uniaxial figures are employed.

When, however, the axial angle is large, the following method can be used:

After having obtained an interference figure, from a section as nearly at right angles to the acute bisectrix[75] as possible, the stage is rotated until the plane of the optic axes (the trace of which on the plane of the section is the line joining the points of emergence of the two optic axes) makes an angle of 45° with the planes of vibration of the crossed nicols or the cross-wires in the eye-piece.

A quartz wedge[76] is now pushed in between the mineral section and the analyzer,[77] so that its axis ć = c (previously determined and marked on the wedge) is either at right angles or parallel to the plane of the optic axes of the mineral section.

The optical character of the mineral is positive when the ellipses, surrounding the points of emergence of the two optic axes on the convex sides of the hyperbola, appear to expand or open out towards the centre when the quartz wedge is pushed in with its axis parallel to the plane of the optic axes.

The optical character is negative when the ellipses appear to expand or open out when the wedge is pushed in with its axis at right angles to the plane of the optic axes.

As the ellipses expand they move from the points of emergence of the optic axes towards the centre of the interference figure, and 47finally open into lemniscates which move outward from the plane of the optic axes.

Even when the section is very thin and the double refraction very weak, only the black hyperbolas without ellipses being seen, the test can be made; and colored ellipses will appear, after the pushing in of the quartz wedge, which will act in the same way as the ellipses of the interference figure.

In a section at right angles to the obtuse bisectric these results are all reversed.

When the section is perpendicular to one optic axis, rotate the section until the plane of its optic axes is 45° to the planes of vibration of the nicols. The interference figure will now have the appearance as shown in Fig. 29, the hyperbola being convex towards the acute bisectrix. Insert the ¼ undulation mica plate, so that its direction c is parallel to the plane of the optic axes. If the optical character is positive the hyperbola will move towards the acute bisectrix and if negative away from it. When the gypsum plate is used the blue color will appear on the convex side for (+) and on the concave side for (−) minerals.

Determination of the Axial Angle.[78] This can be approximately determined with a petrographical microscope, if equipped with a micrometer eye-piece. Have the axial plane of the crystal section in the diagonal position, Fig. 31; and measure the distance d from the centre to either hyperbola with a micrometer (or average the distance to both). Then sin E = d/C, in which C is a constant for the same combination of lenses and is obtained by using a crystal section (mica cleavage) of known axial angle. For example, in a mica with 2E = 91° 50′ and d = 41.5 divisions on the micrometer scale, C = d/sin E = 57.78 for that special combination of lenses. The true axial angle can be obtained from the equation sin V = d/βC.

48Optical Distinctions between Orthorhombic, Monoclinic, and Triclinic Crystal Sections (perpendicular to acute and obtuse bisectrices). The interference figures are always symmetrical in shape and distribution of color to the planes and axes of symmetry of the crystal system; hence are most symmetrical in the orthorhombic, less so in the monoclinic and still less so in the triclinic system.

Orthorhombic crystals show the figures always in two of the pinacoids and in white light the color distribution will be symmetrical to the trace of the axial plane and the line through the centre at right angles to this trace and also to the central point.

Monoclinic crystals show the figures in the clino pinacoid or in sections at right angles to this. In white light the color distribution is never symmetrical to two lines, but is symmetrical either to the trace of the axial plane (inclined dispersion[79]), or to the line through the centre at right angles to this trace (horizontal dispersion), or to the central point (crossed dispersion).

Triclinic crystals show in white light figures with distribution of color unsymmetrical to any line or point.

In white light the “color fringes” of the hyperbola are due to the “dispersion[79] of the optic axes and bisectrices. That is, for each color (for light of each wave-length) there is a particular interference figure; the overlapping of these superposed figures producing the color fringes.

When the axial angle is larger for red light than for violet, the dispersion is said to be ρ > ν and the interference figure, in the position of Fig. 31, will show the hyperbolic curves fringed with red towards the centre (inside). In general the color with the larger axial angle is nearer the centre of the field. This is due to the extinguishing of light of each color at the axial points, the resulting colors at these points being produced by white light minus the absorbed color. When the dispersion is ν > ρ the reverse distribution of color fringes will take place.

By measuring the axial angle in red and blue light, this dispersion of the optic axes can also be obtained.

49

Resumé of the Uses of Parallel and Convergent Polarized Light.

Parallel light is used to detect pleochroism, to distinguish between isotropic and anisotropic substances, to study interference colors, to determine the strength of the double refraction, to locate directions of vibration, to measure extinction angles, to find the directions of vibration of the faster and slower rays, to determine the relative value of the indices of refraction of the two rays, and to investigate the crystal structure in general.

Convergent light is used to distinguish between uniaxial and biaxial crystals, to determine whether a section that appears to be isotropic is really so or only perpendicular to an optic axis and to determine the optical character, grade of symmetry (system), axial angle and dispersion.

51

CHAPTER IV.
The Microscopic and Optical Characters of Minerals.

OPAL.

Isotropic.   Amorphous.

Composition: SiO2.nH2O, generally soluble in caustic alkalies.

Usual Appearance in Sections: Colorless patches, incrustations or veins, also at times with sphærulitic structure (hyalite), showing interference cross, of negative character, between crossed nicols. Often shows anomalous double refraction due to strains. The refractive index is very low (1.46) so that the surface of the opal appears rough.

Remarks: Found as a secondary mineral in many acid volcanic rocks, rhyolite, trachyte, andesite, etc., and also in basic basalts. H., 5.5 to 6.5. Sp. gr., 2.2.

LIMONITE.

  Amorphous.  

Composition: Fe2(OH)6, Fe2O3, frequently quite impure.

Usual Appearance in Sections: Brownish and opaque, in very thin sections may be translucent.

Remarks: Limonite is essentially a decomposition product, often forming pseudomorphs after ferruginous silicates or halos about the iron ores.

PYRITE, Pyrites.

Isometric.
Composition: FeS2.    

Usual Appearance in Sections: Cubes, pyritohedrons, combinations of these forms; or in irregular grains. Outline of cross-sections generally square.

Opaque, and by reflected light, bright yellow, with strong metallic lustre.

Alters very easily to the oxides of iron (rust).

Remarks: May be present in all kinds of rocks, igneous, metamorphic and sedimentary. Not noticeably acted on by hydrochloric acid. H., 6 to 6.5. Sp. gr., 4.9 to 5.2.

PYRRHOTITE, Magnetic Pyrites.

Composition: FeS. Distinguished from pyrite by being practically always in irregular masses and not in crystals, and by bronze yellow color with reflected light. Found in basic eruptive rocks, more rarely in schists.

52

MAGNETITE, Magnetic Iron Ore.

  Isometric.  

Composition: Fe3O4, often contains Ti.

Usual Appearance in Sections: Grains and crystals (generally octahedra), Fig. 33 B. Skeleton crystals frequent in highly ferruginous eruptive rocks.

Twinning.—Common, according to Spinel law.

Fig. 33.A, Zircon crystals (isolated from granite) in balsam, showing high relief. B, Magnetite crystals. C, Ilmenite, showing partial decomposition to leucoxene along crystallographic directions.

Opaque, and by reflected light, bluish-black, with strong metallic lustre.

Distinguished from: Hematite, Chromite, Ilmenite and Graphite, by being easily separated from powdered rock by weak magnet.

Remarks: Very widely distributed in eruptive rocks and crystalline schists. In the eruptive rocks magnetite belongs to the oldest secretions from the magma, immediately followed by chrysolite, biotite, hornblende, augite, etc.; hence often appears as inclusions in these and other minerals. Magnetite grains may form with other substances pseudomorphs after hornblende, biotite, hypersthene, etc. Such pseudomorphs appear to be caused by “resorption.” Magnetite is strongly magnetic and soluble in hydrochloric acid. H., 5.5 to 6.5. Sp. gr., 4.9 to 5.2.

CHROMITE.

  Isometric.  

Composition: FeCr2O4.

Usual Appearance in Sections: Octahedral crystals, grains and in the olivine 53rocks sometimes in dense aggregates. May be surrounded by green, pleochroic halo of chrome ochre.

Opaque, and by reflected light, brownish-black to black, with general absence of metallic lustre. Usually translucent and brownish on the edges (by transmitted light), with a very rough surface due to high index of refraction (n = 2.1).

Distinguished from:

(a) Magnetite by brownish-black to black color and general absence of metallic lustre (by reflected light) and by grains being usually translucent and brownish on the edges (by transmitted light).

(b) Spinel (Picotite), see under Spinel.

Remarks: Common in crystalline rocks, rich in magnesia, and in serpentine. Chromite is not acted on by acids, is non-magnetic and gives chromium bead test. H., 5.5. Sp. gr., 4.3 to 5.6.

SPINEL.

Isotropic.   Isometric.

Composition: Mg(AlO2)2. Pleonaste (Fe, Mg spinel), Picotite (Cr spinel).

Usual Appearance in Sections: Octahedral crystals and twins (after spinel law), less often in grains. Fracture cracks. Always optically normal and never decomposed in rocks. Usually colorless or dark green (pleonaste) to brown (picotite). The refractive index is high (n = 1.72, spinel proper, to 2.00, chrome spinel), hence the relief is marked and the surface rough.

Distinguished from:

(a) Garnet when colorless by octahedral shape of crystals (garnet forms being 110 and 211), when brown (picotite) from melanite garnet by common zonal coloration of the latter, but may require chemical tests. Furthermore spinel may have green color and is never decomposed.

(b) Perovskite by the lower index of refraction and the absence of reaction for Ti.

(c) Chromite chemically or by density or hardness.

Remarks: Found in gneiss, granulite, lherzolite and in regions of contact metamorphism and secondary bedding formations (picotite), olivine-basalt and serpentine. Spinels are insoluble in hydrochloric acid. H., 8. Sp. gr., 3.5 to 4.1.

GARNET.

Isotropic.   Isometric.

Composition: R″3R‴2(SiO4)3. R″ is Ca, Mg, Fe or Mn; R‴ is Al, Fe‴, or Cr, rarely Ti.

Usual Appearance in Sections: Irregular grains, Fig. 13, or simple crystals, showing forms (110) and (211), alone or in combination, Fig. 14 b. Zonal structure not infrequent, especially in the titanium varieties, Fig. 34.

Color.—Colorless, or nearly so, to yellowish, reddish or brownish.

Index of Refraction.n = 1.750–1.856, hence relief high and surface very rough.

Fracture.—Irregular cracks occur, but no cleavage noticed.

54Crossed Nicols: As garnets are isotropic, sections remain dark during complete rotation. Optical anomalies may however occur, but are generally confined to, titanium free, lime garnets and manganese garnets. The effect being to divide the crystal symmetrically into different areas, “dodecahedral structure.”

Fig. 34.—Garnet, with zonal structure, in gneiss. (From Cohen.)

Alteration: Garnets are usually fresh, but may be found altered to chlorite or hornblende.

Distinguished from: Spinel and Perovskite.—See under the latter.

Remarks: Found principally in granulites, metamorphic rocks, contact rocks, crystalline schists, etc. Certain varieties may be found in eruptive rocks or olivine rocks. May form pegmatitic borders with pyroxene, spinel, etc. Garnets are practically insoluble in hydrochloric acid. H., 6.5 to 7.5. Sp. gr., 3.4 to 4.3. The insolubility in acids and the high sp. gr. help in separating garnet from a powdered rock.

LEUCITE.

Isotropic.   Isometric.[80]

Composition: KAl(SiO3)2.

Usual Appearance in Sections: Crystals or grains, which vary greatly in size. Cross-sections often nearly round. When very 55small and free from inclusions may be easily overlooked. Sometimes the grains are surrounded by tangentially arranged needles of different minerals.

Fig. 35.—Leucite, with radial and tangential inclusions, Vesuvius Lava. (From Cohen.)

Color.—Colorless.

Index of Refraction.n = 1.509, hence no relief and generally smooth surface.

Fracture.—May be noticed, but no cleavage observed.

Inclusions.—Common, radially or zonally arranged, consisting of minerals or glass, Fig. 35.

Crossed Nicols: The smaller crystals appear isotropic; the larger crystals show characteristic intersecting systems of twin lamellæ, Fig. 36.

Fig. 36.—Leucite, showing complicated, interpenetration twinning between crossed nicols.

56Double Refraction.—Very weak (γ − α = 0.001). In thin sections it may be necessary to use a sensitive color plate to prove double refraction.

Interference Colors.—Very low 1st order, dark gray, etc.

Alteration: Quite frequent to fibrous or granular zeolites.

Distinguished from: Analcite—see under analcite.

Remarks: Almost entirely confined to younger eruptive rocks, phonolite, tephrite and other leucite rocks and their tuffs. Often found with plagioclase, nephelite, augite, etc. It is more or less attacked by hot hydrochloric acid. H., 5.5 to 6. Sp. gr., 2.4 to 2.5. The isolation of leucite from rock powder can be better accomplished by specific gravity than by chemical methods.

ANALCITE.

Isotropic.   Isometric.

Composition: NaAlSi2O6 + H2O.

Usual Appearance in Sections: Secondary colorless grains, with no very characteristic microstructure or properties. Cleavage parallel to cube (100) usually seen. Index of refraction low (n = 1.488), hence rather rough surface. Between crossed nicols may show optical anomalies, but not so marked as in garnet.

Distinguished from: Leucite, Sodalite and Nephelite. These minerals are most easily confused with analcite and recourse must be had to chemical tests, detection of optical anomalies, gelatinization test or turbidity by heating.

Remarks: Occurs as a secondary product (commonly from nephelite or leucite) in alkali-rich eruptive rocks. Considered also as a primary mineral in igneous rocks.[81] Gelatinizes with hydrochloric acid, and becomes turbid by heating. H., 5.5. Sp. gr., 2.25.

SODALITE GROUP.
Sodalite, Haüynite (Haüyne) and Noselite (Nosean).

Isotropic.   Isometric.

Composition:

Sodalite, 3NaAlSiO4 + NaCl.
Haüynite, 2(Na2Ca)Al2(SiO4)2 + (Na2Ca)SO4.
Noselite, 2Na2Al2Si2O8 + Na2SO4.

Usual Appearance in Sections: Dodecahedral rounded crystals or (S) irregular grains. Colorless, yellowish, brownish, greenish to deep blue. Refractive index low [n = 1.483(S) to 1.503(H)], hence the surface appears rather rough in sodalite and slightly rough in haüynite. Inclusions, abundant and characteristic, often rod-like and arranged regularly, making section translucent and especially dark at border, Fig. 37. Dodecahedral cleavage sometimes seen. Optical anomalies may occur.

Alteration: Takes place easily to aggregates of natrolite, other zeolites, mica, etc.

Distinguished from:

(a) One another only by chemical tests. Gelatinization test with hydrochloric acid will show in addition to jelly, salt crystals for (S), abundant gypsum 57crystals (CaSO2 + 2H2O) for (H) and few if any gypsum crystals (absence of Ca) for (N). (H) and (N) turn blue when heated, but test will not work if minerals are decomposed. When treated with hydrochloric acid and nitrate of silver the black sulphide of silver will show on (H) and (N), but the white chloride on (S).

(b) Nephelite (Elæolite) by being isotropic.

(c) Analcite by no turbidity when heated.

Remarks: These minerals are found in the basic, soda-rich rocks. (S) in elæolite-syenite also in trachyte and phonolite, (H) and (N) common in phonolite and leucite-porphyry. H., 5.5 to 6. Sp. gr., 2.3.

Fig. 37.—Haüynite, showing dark centre and border, in nepelinite. (From Cohen.)

PEROVSKITE, Perofskite.

Isotropic.   Isometric.
Composition: CaTiO3.    

Usual Appearance in Sections: Microscopic, octahedral crystals or larger grains, pale brownish in color and not very transparent, darker colored in the larger grains. In reflected light grains appear yellowish with adamantine lustre. Refractive index very high (n = 2.38), hence relief very strong.

Between crossed nicols, the little crystals generally appear optically normal and remain dark; but the larger crystals may show a complicated penetration twinning.

Distinguished from: Garnet (melanite) and Spinel (picotite) by much higher refractive index and reaction for titanium and by zonal coloration of melanite. When opaque it might be mistaken for the iron ores, but has no metallic lustre.

Remarks: Found in the younger basic eruptive rocks, especially melilite-basalt. Commonly associated with the iron ores nephelite, augite and chrysolite. Insoluble in hydrochloric acid. H., 5.5. Sp. gr., 4.1.

RUTILE.

Anisotropic. Uniaxial. Tetragonal.
Composition: TiO2. ć = c Elongationć.

Usual Appearance in Sections: Sharp, elongated, prismatic crystals when microscopic, but granular when the individuals are large. Grains may be almost opaque, with adamantine lustre by reflected light. Knee- or heart-shaped twins, 58Figs. 38 and 39, common in the smaller crystals, the larger individuals may also show geniculated twinning. Small crystals sometimes form net-shaped groups (sagenite), by crossing one another at angles of 60°. Pleochroic halos may surround crystals. Color, yellowish to reddish-brown. Index of refraction very high (n′ = 2.712, α = 2.616, γ = 2.903), hence relief marked and surface very rough. Prismatic cleavage present in larger individuals, not observed in microscopic crystals. Pleochroism and strong absorption may be noticed, especially in the larger grains, but may fail entirely.

Crossed Nicols: Double refraction very strong (γ − α = 0.287). Interference colors[82] very high order, only seen in the microlitic crystals which do not appear dark due to total reflection; in other cases may not show at all. Extinction parallel to prisms. In convergent light optical character (+).

Alteration: May take place to a white or yellowish, fibrous or granular substance, strongly refracting, and similar to the alteration product of ilmenite. May be surrounded by grains of titanite.

Distinguished from: The Opaque Ores by adamantine lustre with reflected light; Zircon and Cassiterite in concentrates by chemical tests. May not be possible to distinguish from cassiterite in sections.

Remarks: Found in the metamorphic schists, amphibolites, slates, contact and fragmentary rocks, etc.; also as inclusions in quartz and mica. Especially common as a secondary product of titaniferous hornblende and biotite. The “sagenite” webs of the decomposed micas are probably secondary. Rutile is insoluble in hydrochloric acid. H., 6 to 6.5. Sp. gr., 4.2. It is easily separated from rock powder by its insolubility in acid and its high sp. gr.

Rutile twins.

Fig. 38.—Twin plane (101).      Fig. 39.—Twin plane (301).

ZIRCON.

Anisotropic. Uniaxial. Tetragonal.
Composition: ZrSiO4. c = ć. Elongationc′.

Usual Appearance in Sections: Small, short prismatic crystals, Fig. 33A, and grains. Shell-like (zonal) structure may be noticed. 59When enclosed in black-mica, hornblende, cordierite, etc., often surrounded by characteristic pleochroic halos.[83]

Color.—Colorless, rarely pale brownish.

Index of Refraction.n′ = 1.95, (α = 1.931, γ = 1.993) hence relief very high and surface rough.

Polarized Light:

Pleochroism.—Not usually noticeable.

Crossed Nicols:

Double Refraction.—Very strong (γ − α = 0.062).

Interference Colors.—Very high (4th) order, minute crystals show brilliant colors.

Extinction.—As zircon is uniaxial, basal sections remain dark during rotation of stage. In all other sections extinction is parallel to ć.

Convergent Light: Basal sections, which are large enough to give interference figures, show several rings in addition to dark cross. Optical character (+).

Alteration: Very rarely takes place.

Distinguished from:

(a) Apatite.—By much higher relief and stronger double refraction.

(b) Titanite.—By uniaxial character.

(c) Rutile.—See under the latter.

Easily confused with xenotime, which, however, has higher interference colors and more distinct pleochroism; but chemical tests may be necessary.

Remarks: Found widely distributed but not in quantity in eruptive and metamorphic rocks. Occurs in granite, syenite, diorite, gabbro, gneiss, etc. It is one of the oldest constituents of the rocks in which it occurs, and may often be found as inclusions in the ferro-magnesium minerals. Zircon is insoluble in hydrochloric acid. H., 7.5. Sp. gr., 4.5 to 4.7. It can easily be separated from rock powder on account of its high sp. gr., insolubility in acid and non-magnetic properties. The crystals can then be examined separately, or chemical tests made to prove the presence of Zr.

SCAPOLITE GROUP, Wernerite, etc.

Anisotropic. Uniaxial. Tetragonal.
Composition: Silicates of Ca, Al and Na. ć = a. Elongationa′.

Usual Appearance in Sections: Colorless grains, lath-like individuals or prisms (dipyre, in contact metamorphic limestone). Index of refraction 60(n′ = 1.551 to 1.584;, α = 1.542 to 1.558, γ = 1.555 to 1.597) about the same as quartz, hence usually no relief and surface smooth. Cleavage distinct parallel to square prism. Inclusions (carbonaceous) may be abundant in contact rocks.

Crossed Nicols: Double refraction usually strong, but varies (γ − α = 0.013 to 0.039), increases with the Ca percentage. Interference colors upper 1st or 2d order, more brilliant than those of most of the colorless minerals. Basal sections (showing cleavages intersecting at 90°) isotropic. Extinction parallel in longitudinal sections. In convergent light basal sections show distinct uniaxial interference figure; optical character (−).

Alteration: Takes place easily to a fibrous substance or to kaolin, muscovite, etc.

Distinguished from:

(a) Feldspars (not showing twinning) and Iolite (Cordierite) by uniaxial character, cleavage and higher order interference colors.

(b) Quartz by cleavage, higher order interference colors and optical character; quartz is (+)

(c) Apatite (in grains) by lower index of refraction, cleavage and higher order interference colors.

Remarks: Found especially in metamorphosed diabases and gabbros (Norwegian); also in gneisses, crystalline schists, metamorphosed limestones, etc. Dipyre occurs in contact zones of limestones and schists, where it might be confused with andalusite, but cross-sections show uniaxial character. The minerals of this group are more or less soluble in hydrochloric acid. When the scapolite contains Cl, the following test can be made on fresh material. Treat with a solution of silver nitrate in hydrofluoric acid and the jelly will be impregnated with chloride of silver which will turn brown. H., 5.5. Sp. gr., 2.68.

VESUVIANITE, Idocrase.

Anisotropic. Uniaxial. Tetragonal.
Composition: Ca6Al3(OH.F)(SiO4)6. ć = a. Elongationa′.

Usual Appearance in Sections: Grains or prismatic crystals. Almost colorless to reddish (when containing Mn). Index of refraction high (n′ = 1.715, α = 1.701 to 1.726, γ = 1.705 to 1.732), hence relief marked and surface rough. Cleavage imperfect, parallel to prism. Pleochroism generally very faint.

Crossed Nicols: Double refraction very weak (γ − α = 0.001 to 0.006), may vary in different portions of the same crystal (optical anomalies due to the mineral being at times a mixture of isomorphous individuals). Interference colors very low 1st order, dark gray, etc., may often appear zonal. Basal sections isotropic when normal, but may show division into biaxial portions. Extinction parallel in sections elongated ∥ ć axis. In convergent light basal sections show a faint cross when normal; optical character generally (−).

Alteration: Not known in rock-making vesuvianite.

Distinguished from: Epidote (Pistacite) by the very low order interference colors. Corundum by weaker double refraction. Garnet (Grossularite), Zoisite, and Apatite may be easily confused with this mineral and hard to distinguish from it.

Remarks: Found in limestones, that have undergone alteration by contact with igneous rocks, and in metamorphic schists. Also may occur in dense (nephrite-like) aggregates in serpentine. It is insoluble in hydrochloric acid. H., 6.5. Sp. gr., 3.3 to 3.8.

61

MELILITE.

Anisotropic. Uniaxial. Tetragonal.
Composition: Na2(Ca,Mg)11(Al,Fe)4Si9O36?.
ć = a.   Elongationc′.

Usual Appearance in Sections: Almost colorless, tabular (∥ base) crystals or irregular grains or shreds. Sections very commonly lath-shaped, and often characterized by the peculiar “peg-structure,”[84] the lines or markings being ∥ ć (⟂ elongation of the section). Index of refraction (n′ = 1.630, α = 1.629, γ = 1.631) higher than that of the other associated colorless materials, hence relief rather marked. Cleavage, parallel to base, very imperfect.

Crossed Nicols: Double refraction very weak (γ − α = 0.003), and diminishes with a decrease of Al. Interference colors the lower 1st order, grays, etc.; anomalous interference colors may show. Extinction parallel to cleavage or the peculiar markings or lines. Optical character usually (−), but when poor in Al (+).

Alteration: Takes place frequently to a fibrous aggregate.

Distinguished from: Nephelite and Feldspar by higher relief, shape, “peg-structure” and usual dull appearance with reflected light.

Remarks: Abundant in the leucite and nephelite rocks (associated with these minerals and with augite, perovskite and chrysolite), and takes the place of a feldspar in the melilite-basalt. It gelatinizes easily with hydrochloric acid. H., 5. Sp. gr., 2.9.

GRAPHITE.

  Hexagonal.  

Composition: C.

Usual Appearance in Sections: Minute particles, or flakes and grains of irregular shape, seldom crystallized.

Opaque, and by reflected light, black with metallic lustre.

Distinguished from: The similarly appearing ores by its insolubility in acids and the possibility of making it disappear by heating.

Remarks: Graphite is widely distributed in the oldest rock formations, especially in the schists. It is often associated with rutile and the iron oxides. Graphite is not acted on by acids. H., 1 to 2. Sp. gr., 2.09 to 2.25. It is burnt with great difficulty in thin sections on platinum foil; but this test may vary, in many cases the graphite (when in bladed flakes) not being consumed even after long heating. When heated it may expand into worm-like forms.

Carbonaceous Matter.—Occurs in opaque, grayish-black particles having no lustre; and is found finely disseminated, sometimes in larger aggregations, in clay slates, limestones, etc.

HEMATITE.

  Hexagonal.  

Composition: Fe2O3.

Usual Appearance in Sections: Irregular scales, minute grains or earthy. Distinct crystalline forms not often observed in rocks.

Opaque, and by reflected light, black with metallic lustre, or red without lustre. May also be transparent in red tints. No marked pleochroism observed.

Remarks: Found widely distributed in acid eruptive rocks, crystalline schists, etc. Also as inclusions in minerals, and as a red pigment in many rocks. It is insoluble in hydrochloric acid, and non-magnetic, unless attached to grains of magnetite. H., 5.5 to 6.5. Sp. gr., 4.9 to 5.3.

62

ILMENITE, Menaccanite.

  Hexagonal.  

Composition: (FeTi)2O3.

Usual Appearance in Sections: Irregular masses, without crystallographic outline, rhombohedral crystals, or skeleton-like growths. Also in brownish, translucent mica-like forms.

Opaque, and by reflected light, iron-black with metallic lustre.

When translucent: pleochroism brown to yellow; double refraction not very strong; optically (−).

Alteration: Often takes place to a whitish, strongly refracting, substance only slightly transparent, called leucoxene. This alteration product frequently develops along definite rhombohedral directions, Fig. 33 C. Also a change to titanite or rutile may occur, or the ilmenite may be surrounded by these minerals.

Distinguished from: Magnetite and Hematite.—By whitish, strongly refracting decomposition product. At times the distinction may be very difficult.

Remarks: Ilmenite occurs principally in the soda-rich and basic eruptive rocks. The mica-like form is limited to the porphyritic eruptives. The brown pigment in the plagioclase of certain gabbros may be ilmenite. It is attacked slowly by hot hydrochloric acid, and the solution when heated with tin becomes violet. Pure ilmenite is indifferent towards the magnet, hence strong magnetic properties would indicate a mixture with magnetite. H., 5 to 6. Sp. gr., 4.5 to 5.

CORUNDUM.

Anisotropic. Uniaxial. Hexagonal.
Composition: Al2O3.   c = a.

Usual Appearance in Sections: Pyramidal or prismatic crystals, grains or basal plates. Zonal structure or twinning may be noticed. Colorless or with patches of blue. Index of refraction high (n′ = 1.766, α = 1.760, γ = 1.769), hence relief well marked and surface very rough. Rhombohedral cleavage may show in larger individuals. Pleochroism only marked when color is deep.

Crossed Nicols: Double refraction weak (γ − α = 0.009), like quartz. Interference colors middle 1st order, white to yellow. Extinction parallel in elongated sections. Optical anomalies very rarely noticed in microscopic individuals. In convergent light basal sections show a rather indistinct cross; optical character (−).

Distinguished from:

(a) Apatite and Vesuvianite by brighter interference colors.

(b) Tourmaline (light colored) by not having such strong absorption.

(c) Cyanite by uniaxial character.

Corundum may need to be isolated from the rock in order to be determined with certainty.

63Remarks: found in contact metamorphic rocks, eruptive rocks, granular limestones, etc. It is insoluble in hydrochloric acid. When rock sections are ground with emery, care must be taken not to confuse grains of emery with corundum in the rock. H., 9. Sp. gr., 3.9 to 4.

QUARTZ.

Anisotropic. Uniaxial. Hexagonal.
Composition: SiO2.   ć = c.

Usual Appearance in Sections: Allotriomorphic in the granitoid rocks, when apparently the last mineral to form, Fig. 5. More or less chemically corroded pyramidal crystals (with cross-sections six-sided or rhombic with an angle of about 100°) in the porphyritic rocks. Rounded or angular grains in the “clastic” rocks; granular mosaic in crystalline schists and contact rocks, very rarely in distinct crystals in any rocks. May at times be mutually interpenetrated with an acid feldspar (the areas of quartz and feldspar extinguishing as entire crystals), producing “micro-pegmatitic” structure, Fig. 67. Finally may appear as pseudomorphs after other minerals, but may then consist of some of the other forms of silica.

Color.—Colorless, although by reflected light it may appear colored or cloudy if it contain many inclusions.

Index of Refraction.n′ = 1.547 (α = 1.544, γ = 1.553) hence no relief and surface smooth.

Cleavage..—Rarely noticed, an important fact in determining quartz. Quartz breaks irregularly.

Inclusions.—Minute fluid, gas and mineral inclusions, often in irregular trains, are very characteristic of quartz in granite rocks and crystalline schists. The inclusions are not so abundant in porphyritic rocks, but a few glass inclusions may occur, filling up “negative” crystals in the quartz. Rutile, amphibole, etc., may occur as needle-like inclusions in quartz.

Polarized Light:

Pleochroism.—None.

Crossed Nicols:

Double Refraction.—Weak (γ − α = 0.009).

Interference Colors.—The middle 1st order, white, yellow, etc.

Extinction.—As quartz is uniaxial, basal sections remain dark during a complete rotation of stage. In the other sections extinction 64is not characteristic, due to the absence of cleavage and crystallographic outlines. Thin sections do not show circular polarization.

Convergent Light: Basal sections show a dark cross, without any rings. Optical character (+).

Alteration: Does not take place, so quartz always appears fresh and unweathered in sections.

Distinguished from:

(a) Sanidine (in fresh grains).—By use of convergent light. Feldspar is biaxial, or sections which appear uniaxial are (−).

(b) Nephelite.—By almost entire absence of hexagonal outline, stronger double refraction, fresh, unweathered appearance and (+) optical character.

(c) Iolite (Cordierite), Scapolite and Topaz.—See under the latter minerals.

Quartz may be distinguished from all silicates by being dissolved without residue in hydrofluoric acid.

Remarks: Quartz occurs widely distributed, as in the great sandstone formations. It is also a characteristic mineral of all acidic rocks, being common in granite, aplite, rhyolite, quartz-porphyry, quartz-diorite, dacite, etc. Quartz is very brittle and hence is a good indicator of the dynamic forces which have affected the rocks. It may show traces of mechanical deformation by peripheral shattering of the larger grains or by “wavy extinction”;[85] and also evidences of chemical corrosion by curved and looped contours. In some diabases the quartz may be surrounded by a rim of hornblende or augite needles (“quartz augen”). “Cataclastic” quartz may be biaxial. The “secondary enlargement” of quartz in clastic rocks may be noticed by the deposition of silica in crystallographic orientation around the clastic grains,[86] the new portion extinguishing at the same time as the core. Quartz is not attacked by ordinary acids. H., 7. Sp. gr., 2.6 to 2.7.

Chalcedony.—This variety of SiO2 has a radially fibrous structure and shelly parting. It may form sphærulites, central sections through which show a dark cross between crossed nicols, or line cavities in rocks.

The index of refraction is a little lower than for ordinary quartz. The optical character is (−), which must be determined by a mica or gypsum plate, ć = a. Elongation ∥ a′.

Chalcedony occurs in the ground mass of very silicious porphyritic rocks, which have microfelsitic development; and is found as a secondary mineral in all kinds of silicate rocks.

65

TRIDYMITE.

Usual Appearance in Sections: This form of SiO2, which is soluble in boiling caustic soda, appears in “tile-like” aggregates of minute colorless plates (pseudo-hexagonal) and is always secondary. The refractive index is extremely low (n′ = 1.477), hence the surface appears rough.

Between crossed nicols the interference colors are very low in order (γ-α = 0.002), and the tablets may show a division into different areas (optical anomalies). In convergent light an indistinct biaxial figure is generally seen.

Remarks: Chiefly a volcanic mineral, found in rhyolite, trachyte and andesite. Commonly associated with opal and chalcedony.

CALCITE.

Anisotropic. Uniaxial. Hexagonal.

Composition: CaCO3. Ca may be replaced by small quantities of Mg, Fe, Mn, etc. ć = a.

Usual Appearance in Sections: Grains and aggregates. May be fibrous or oölitic. Only in crystals in certain rocks.[87]

Fig. 40.—Calcite, crossed twin lamellæ, in granular limestone. (From Cohen.)

Twinning.—Polysynthetic, parallel to one or more faces of −½ R. (10̄12). Very common in crystalline limestones, and may have been produced by pressure or by the grinding of the section. Shows itself between crossed nicols as a series of light and dark bands, parallel or intersecting, Fig. 40, about parallel to longer diagonal of cleavage rhombs. When the composition face of the twins is oblique to the face of the section, interference colors can be seen without the analyzer.

66Color.—Colorless when pure, but may appear colored by transmitted light, due to organic pigments.

Index of Refraction.n′ = 1.601 (α = 1.487, γ = 1.659) hence with ordinary light relief not marked. Due to the great variation in refractive indices of the two rays, with polarized light, the surface will appear either quite smooth or rather rough, depending upon which vibration direction lies over the plane of the polarizer. This marked variation in appearance (sometimes called “twinkling”) serves as a good test for calcite.

Fig. 41.—Calcite, section parallel to face of rhombohedron, showing rhombohedral cleavage. (From Cohen.)

Cleavage.—Parallel to unit rhombohedron (10̄11), appearing in thin sections as many sharp cracks, whose angles of intersection depend on the position of the section, Fig. 41. Newton’s colors may be seen along cleavage cracks.

Polarized Light:

Pleochroism.—None.

Crossed Nicols:

Double Refraction.—Very strong (γ − α = 0.172).

Interference Colors.—Pale, iridescent colors of very high order.

Extinction.—As calcite is uniaxial, basal sections remain dark during rotation. Extinction angles with respect to the cleavage cracks vary with the position of the section.

Convergent Light: Basal sections, even when very thin, show distinct interference figure, with cross and rings. Optical character (−).

67Distinguished from:

(a) Other Carbonates.—By ease with which it is attacked by cold dilute acids, test can be made on slide after removing cover.

(b) Magnesium-bearing Calcite.—By micro-chemical tests.

(c) Titanite (Sphene).—See under the latter.

Remarks: Calcite is very widely distributed, in addition to the extensive sedimentary limestone deposits. Common limestone consists of dense aggregates of crystalline grains. Calcite is often a secondary product of the lime-bearing silicates in the more basic eruptive rocks. Pseudomorphs of calcite after olivine are noteworthy. Coarse aggregates of calcite occur in the crystalline schists and contact rocks. Calcite is exceedingly plastic to pressure and mechanical deformation may be recognized by curving of the cleavage cracks, crumpling of the twin lamellæ and “wavy” extinction. Calcite is easily attacked and completely dissolved with effervescence by cold dilute acids. H., 3. Sp. gr., 2.72.

DOLOMITE.

Anisotropic. Uniaxial. Hexagonal.

Composition: CaMg(CO3)2, when pure CaO = 30.4, MgO = 21.7, CO2 = 47.8. Proportions of Mg and Ca vary, and Fe and Mn also occur. ć = α.

Usual Appearance in Sections: In rocks chiefly as crystals, even dense homogeneous aggregates showing tendency towards crystalline boundaries (saccharoidal structure). Crystals almost always unit rhombohedron (10̄11) with tendency to curved surfaces.

Index of Refraction.n′ = 1.622 (α = 1.503, γ = 1.682, γ − α = 0.179), a little higher than that of calcite. For variation in appearance of surface with polarized light, see under calcite.

The microscopic characters are similar to those of calcite, from which it may be distinguished by not being so easily attacked by cold dilute acid (test can be made on slide with cover off), by tendency towards crystalline boundaries, by absence of twin lamellæ (or when present parallel to −2R. (20̄21), hence about parallel to shorter diagonals of cleavage rhombs), and by micro-chemical tests. The distinction at times may be very difficult.

Remarks: Occurs in sedimentary formations and as crystals in limestone and other rocks. In certain rocks the dolomite crystals may not have a very good “bond,” and a “drusy” structure may also be characteristic of the cavities between dolomite crystals in rocks. Only slightly attacked by cold dilute acids, but if acid is heated it dissolves easily with effervescence.

68

APATITE.

Anisotropic. Uniaxial. Hexagonal.
Composition: Ca5(Cl.F)(PO4)3. ć = a. Elongationa′.

Usual Appearance in Sections: Minute, slender hexagonal prisms, cross-sections having regular hexagonal boundaries, needles, and grains. Figs. 14 a and 42.

Fig. 42.—Apatite, showing cross fracture, in nepheline-basalt. (From Cohen.)

Color.—Generally colorless, seldom bluish or brownish (only in eruptive rocks).

Index of Refraction.n′ = 1.635 (α = 1.634, γ = 1.637), hence relief more marked than that of the colorless associated minerals.

Cleavage.—Seldom observed microscopically.

Parting.—Long columnar crystals generally show a transverse jointing, so that the pieces may be more or less separated.

Inclusions.—Gas and fluid may be present.

Polarized Light:

Pleochroism.—None shown by the colorless crystals, the colored crystals show stronger absorption parallel to ć.

Crossed Nicols:

Double Refraction.—Weak (γ − α = 0.003).

Interference Colors.—The lower first order, generally grayish-blue or white.

Extinction.—As apatite is uniaxial, basal sections remain dark during rotation of stage. In all other sections extinction is parallel to ć axis.

69Convergent light: Basal sections show a cross, without rings. Optical character (−).

Alteration: Does not usually take place, apatite being found perfectly fresh in decomposed rocks, which is quite remarkable considering its easy solubility in acids.

Distinguished from:

(a) Sillimanite and Tremolite.—By weak double refraction and elongation ∥ a′.

(b) Nephelite.—By being relatively much smaller and longer than the nephelite crystals, which are often decomposed. Also by higher relief and negative results with gelatinization test.

(c) Zircon.—By lower relief and much weaker double refraction.

(d) Feldspars (when granular and undecomposed).—By higher relief and uniaxial interference figure.

(e) Vesuvianite and Zoisite.—May be only possible by chemical tests.

(f) Corundum.—See under the latter.

Remarks: Found in most igneous rocks and crystalline schists. In the eruptive rocks it appears as one of the oldest secretions from the magma, and hence is often found as inclusions in other minerals, especially biotite, hornblende, etc. Apatite is easily soluble in hydrochloric and nitric acids. H., 4.5 to 5. Sp. gr., 3.19. On account of its high sp. gr., apatite, in rock powder, comes down in heavy solutions with the metallic minerals, and can be separated from them by the use of a magnet. This residue can also be tested for phosphorus in the wet way with ammonium molybdate.

NEPHELITE,[88] Nepheline, Elæolite.

Anisotropic. Uniaxial. Hexagonal.
Composition: 7NaAlSiO4 + NaAl(SiO3)2, with partial replacement of Na by K.   ć = α.

Usual Appearance in Sections: Nephelite in short hexagonal prisms and grains in the younger volcanic rocks, hence sections rectangular or hexagonal, Fig. 43; elæolite allotriomorphic in the older plutonic rocks.

Color.—Colorless.

Index of Refraction.n′ = 1.539 (α = 1.538, γ = 1.542), hence no relief and surface smooth.

Cleavage.—Imperfect, parallel to prism (10̄10) and base (0001). 70More marked in elæolite than in nephelite, especially when decomposition has commenced.

Fig. 43.—Nephelite sections, showing zonal inclusions. (From Reinisch.)

Inclusions.—Microscopic needles of augite, etc., also fluid and gas. Mostly in zones. Elæolite may be much clouded by inclusions and alteration products.

Polarized Light:

Pleochroism.—None.

Crossed Nicols:

Double Refraction.—Very weak (γ − α = 0.004), may only be detected by using a test-plate.

Interference Colors.—The lower first order, grayish-white, etc., a little lower than the feldspar colors.

Extinction.—As the mineral is uniaxial, basal sections remain dark during rotation of stage. In all other sections extinction takes place and is parallel to cleavage lines when these appear.

Convergent Light: Basal sections show a broad cross, without rings. Optical character (−).

Alteration: Takes place easily to fibrous zeolites (natrolite), or in certain rocks to mica.

Distinguished from: Other Minerals by gelatinization test and staining with fuchsine. When present in small interstitial individuals (as is often the case in basalts) it is very difficult to distinguish without this test; but it must be remembered that other minerals, zeolites, etc., will also gelatinize. Quartz has stronger double refraction, rarely shows hexagonal outline, is always fresh and optically (+). Feldspar is biaxial and often shows twinning. Analcite.—See under the latter.

Remarks: Nephelite bears the same relation to elæolite as sanidine does to orthoclase. It occurs only in the younger volcanic rocks; with sanidine in phonolite, with plagioclase in tephrite, without feldspar in nepheline-basalt, and with leucite in leucite-basalt. It is not found with primary quartz. Elæolite occurs with orthoclase in elæolite-syenite, etc. nephelite and elæolite frequently occur with the sodalite group. Nephelite gelatinizes with acids. H., 5.5 to 6. Sp. gr., 2.5 to 2.6.

TOURMALINE, Schorl.

Anisotropic. Uniaxial. Hexagonal.
Composition: Uncertain, R18B2(SiO5)4. R chiefly Al, K, Mn, Ca, Mg, Li. ć = a. Elongationa′.

71Usual Appearance in Sections: Staff-like individuals, bunched or in radiating aggregates, Fig. 44 B, or prismatic crystals, Fig. 44 A. Basal sections may be nine-sided.

Color.—Varies greatly, grayish-blue, brown and green most common. Li-tourmaline (rare in rocks) is colorless. Zonal structure may be indicated by differences in color.

Fig. 44.A, Tourmaline, showing strong absorption at right angles to direction of elongation (P = plane of vibration of polarizer). Quartzite, Black Hills, D. B, Tourmaline in radiate aggregate. Granite, Cornwall.

Index of Refraction.n′ = 1.633 (precious) to 1.674 (α = 1.620 to 1.651, γ = 1.640 to 1.685), hence relief is marked and surface rough.

Cleavage.—Not seen in thin sections, but irregular, transverse and longitudinal cracks may appear.

Polarized Light:

Pleochroism.—Distinct, even in light colored varieties, increasing with the depth of color. The greatest absorption takes place at right angles to the direction of elongation of the crystal, Fig. 44 A. The other minerals having this very strong absorption are hornblende, dark colored mica (distinguished by cleavage and lamellar form) and allanite. Pleochroic halos may be noticed surrounding inclusions.

Crossed Nicols:

Double Refraction.—Quite strong (γ − α = 0.017 (precious) to 0.034).

Interference Colors.—Bright upper first or second order, but may not be noticeable, due to absorption of parts of the light.

72Extinction.—As tourmaline is uniaxial, basal sections remain dark during rotation of stage. In all other sections extinction is parallel to ć axis.

Convergent Light: Cross-sections show a sharp cross. Optical character (−).

Alteration: Does not take place.

Distinguished from:

(a) Hornblende.—By absence of cleavage, and by the fact that the greatest absorption takes place at right angles to the longitudinal axis, while in hornblende it takes place approximately parallel to the longitudinal axis, or to the cleavage lines which are parallel to this axis.

(b) Apatite (when colored).—By strong absorption at right angles to longitudinal axis.

(c) Corundum.—See under the latter.

In some cases where recognition is difficult, chemical tests, to prove presence of boracic acid, must be made.

Remarks: The black schorl is the only primary tourmaline and is found in granitoid rocks. Tourmaline in other rocks results from “fumarole” action; hence occurs in pegmatite, tin and copper veins, clay deposits, also (light colored) in contact rocks and crystalline schists. The hemimorphic terminations may sometimes be noticed. Tourmaline is not acted on by acids. H., 7 to 7.5. Sp. gr., 3 to 3.2. It can be separated from powdered rock by sp. gr. solutions combined with magnetic methods.

ANDALUSITE

Anisotropic. Biaxial. Orthorhombic.
Composition: Al2SiO5. ć = a. Elongationa′.

Usual Appearance in Sections: In short, rounded, prismatic crystals, with almost square cross-section. Colorless or at times pale reddish and spotted. Index of refraction medium (n′ = 1.637, α = 1.632, γ = 1.643), hence relief well marked and surface rough. Cleavage, parallel to almost square prism, may show. Pleochroism only marked in colored varieties, being reddish ∥ ć (the direction of elongation or cleavage). Carbonaceous inclusions are characteristic, arranged as in macroscopic specimens (Chiastolite), Fig. 45. Pleochroic halos may surround inclusions.

Crossed Nicols: Double refraction weak (γ − α = 0.001). Interference colors middle 1st order, white to yellow. Extinction in general parallel to ć axis in longitudinal sections, symmetrical in cross-sections. In convergent light Ax. pl. ∥ (010), Bxa0. ∥ ć; axial angle very large (2E > 180°); optical character (−).

Alteration: Often takes place to dense aggregate of mica, when the pseudomorph may be hard to recognize.

73Distinguished from:

(a) Sillimanite by much weaker double refraction, less elongated crystals and by elongation ∥ a′ (Sillimanite elong. ∥ c′).

(b) Diopside by weaker double refraction, rhombic cross-section and parallel extinction in longitudinal sections.

Remarks: Very characteristic of metamorphic schists and of contact zones of clay slates with granite, etc., but not found in rocks which have been formed at great pressure. The andalusite grains may often be arranged in divergent or finger-like manner. May also form parallel growths with sillimanite. It is insoluble in hydrochloric acid. H., 7 to 7.5. Sp. gr., 3.18.

Fig. 45.—Chiastolite, showing characteristic carbonaceous inclusions. (From Cohen.)

Fig. 46.—Sillimanite aggregate, showing cross fracture, in mica schist. (From Cohen.)

SILLIMANITE, Fibrolite.

Anisotropic. Biaxial. Orthorhombic.
Composition: Al2SiO5. c = c′. Elongationc′.

Usual Appearance in Sections: Long, slender, colorless prisms or needles; often in felt-like aggregates. Crystals often bent. Index of refraction rather high (n′ = 1.664, α = 1.656, γ = 1.677), hence relief marked. Transverse fractures common, Fig. 46.

Crossed Nicols: Double refraction rather strong (γ − α = 0.021). Interference colors upper first or lower second order, red, purple, blue, etc. Extinction parallel to prisms. Ax. pl. ∥ (100), Bxa. ∥ ć, 2E = 35° to 55°. Optical character (+).

Distinguished from:

(a) Apatite by higher order interference colors and by elongation ∥ c′ (apatite has elongation ∥ a′).

(b) Tremolite by always parallel extinction and small size of axial angle.

(c) Andalusite, see under the latter mineral.

74Remarks: Found especially in clay-rich contact rocks, gneisses and schists, often occurring with iolite (cordierite). Crystals may appear in bands. It is insoluble in hydrochloric acid. H., 6 to 7. Sp. gr., 3.24.

TOPAZ.

Anisotropic. Biaxial. Orthorhombic.
Composition: Al(Al(O.F2))SiO4.   ć = c.

Usual Appearance in Sections: Colorless crystals of short prismatic habit, grains or rod-like radiating aggregates. Index of refraction about the same as that of calcite (n′= 1.608 to 1.632, α = 1.607 to 1.629, γ = 1.618 to 1.637), hence relief medium. Cleavage perfect, parallel to base, but does not show as many cracks. Fluid inclusions abundant.

Crossed Nicols: Double refraction weak (γ − α = 0.008 to 0.011), about the same as that of quartz. Interference colors middle first order, white, yellow, etc. Extinction parallel to cleavage. In convergent light, Ax. pl. ∥ (010), Bxa. ∥ ć, axial angle large (2E = 86° to 126°); interference figure obtained from basal sections (i. e., from sections showing no cleavage); optical character (+).

Alteration: May take place to kaolin or muscovite, by loss of F and taking up of H2O and alkalies.

Distinguished from:

(a) Quartz by higher relief, cleavage and biaxial character.

(b) Sillimanite (when topaz is in radiating aggregates) by lower refraction and double refraction.

Remarks: Common in greisen and all granite rocks containing tin ore. When formed by “fumarole” action (tin veins) the mineral shows rod-like radiating forms. It is insoluble in hydrochloric acid. H., 8. Sp. gr., 3.5.

STAUROLITE.

Anisotropic. Biaxial. Orthorhombic.
Composition: Fe(AlO)4(AlOH)(SiO4)2, but varying, may contain Mg or Mn. ć = c.   Elongationć.

Fig. 47.—Staurolite, showing twinning at 90° b and 60° c, also granular quartz inclusions. (From Reinisch.)

Usual Appearance in Sections: Short, flat prisms, which may be twinned at 90° or 60°, Fig. 47, or grains. Color yellowish to reddish-brown. Index of refraction rather high (n′ = 1.741, α = 1.736, γ = 1.746), hence relief marked and surface rough. Cleavage, both prismatic and pinacoidal, variable. Inclusions of minute quartz grains and carbonaceous matter found in larger crystals, but not in microscopic crystals. Pleochroism distinct but not strong, showing red ∥ c (direction of elongation). Pleochroic halos may surround inclusions.

Crossed Nicols: Double refraction weak (γ − α = 0.010). Interference colors middle first order, 75white to yellow, etc. (about like quartz). Extinction in general parallel or symmetrical (in cross-sections) to cleavages or crystal outline. In convergent light, Ax. pl. ∥ (100), Fig. 48. Bxa. ∥ć, axial angle large (2E > 180°); optical character (+).

Fig. 48.—Staurolite, cross-section.

Alteration: Rarely takes place.

Distinguished from: Titanite, see under the latter mineral.

Remarks: Found in metamorphic schists, associated with cyanite (disthene), iolite (cordierite), andalusite, etc. It is one of the minerals produced by thermal metamorphism, hence found in rocks of granite contact zones. It does not occur in the eruptive rocks or in schists rich in amphibole. Staurolite is not acted on by hydrochloric acid. H., 7 to 7.5. Sp. gr., 3.4 to 3.8.

THE ORTHORHOMBIC PYROXENES.
Enstatite and Hypersthene.

Anisotropic. Biaxial. Orthorhombic.
Composition: (Mg.Fe)SiO3. ć = c. Elongationc′.

Enstatite contains little, if any, Fe. Hypersthene contains more Fe, its optical characters beginning to show with about 10 per cent.

Fig. 49.—Enstatite, showing columnar or fibrous structure ∥ ć axis. Norite, Harzburg.

Usual Appearance in Sections: Irregularly bounded individuals (E) or rounded prismatic-pyramidal crystals (H). Columnar or fibrous structure ∥ ć often shows in (E), Fig. 49. Prism angle about 92°. Outline of crystal sections very similar to that of monoclinic pyroxenes.

76Twinning.—Not so common as in monoclinic pyroxenes. Parallel growths with monoclinic pyroxene (diallage) occur.[89]

Color.—Varies with Fe per cent., (E) colorless, (H) brownish.

Index of refraction.n′ = 1.665 (E) to 1.723 (H) (α = 1.660 to 1.716, γ = 1.670 to 1.729) (about the same as in monoclinic pyroxene), hence relief marked and surface rough.

Cleavage.—Variable, parallel to prism (angle 92°) common to all pyroxenes. Also cleavage or parting parallel to brachy pinacoid (010) (prominent) and macro pinacoid (100).[89]

Inclusions.—Parallel oriented, brownish plates and rods, producing “schiller” structure on the principal cleavage faces, Fig. 15. Glass inclusions abundant in (H).

Polarized Light:

Pleochroism.—Almost absent in (E), but distinct in (H), increasing with Fe per cent. The change in color may be very marked, from brownish-red to greenish ∥ ć.

Crossed Nicols:

Double Refraction.—Weak, much weaker than in the monoclinic pyroxenes, increasing with Fe per cent. (γ − α = 0.010 (E) to 0.013 (H).)

Interference Colors.—Higher first order, about the same or a little higher than quartz.

Extinction.—Parallel to cleavages in longitudinal sections, which are parallel to a or b, and bisecting angles of intersecting prismatic cleavages in basal sections.

Convergent Light: Axial plane parallel to brachy pinacoid (010),[89] i. e., parallel to best pinacoidal cleavage. Bxa. ∥ ć (E), ∥ a(H). Axial angles large (2E = 95° to > 180°). Optical character for (E)(+), for (H)(−). On account of weak double refraction the interference figures are not very marked.

Alteration: Takes place to bastite, serpentine, etc.

Distinguished from: The Monoclinic Pyroxenes and Amphiboles.—See under these species.

Remarks: Found in the granular rocks of the gabbro-peridotite series, also in the olivine basalts (E); and in crystals in porphyritic andesite (H). These minerals are in general not attacked by acids. H., 5 to 6. Sp. gr., 3.1 to 3.5.

Bronzite is the name give to the variety containing about 5% Fe and having the characteristic bronzy lustre due to inclusions.

77Bastite (an alteration product of the orthorhombic pyroxenes poor in Fe).—Composed of fibers, often traversed by irregular cracks. Color light yellowish or greenish and index of refraction about the same as Canada balsam. Pleochroism faint (only seen in thick sections), the greatest absorption taking place parallel to the fibers. Double refraction weak and extinction parallel to the fibers. Axial angle large and axial plane at right angles to principal cleavage face (010). The position of the axial plane is the surest distinction between bastite and the orthorhombic pyroxenes.

CHRYSOLITE, Olivine.

Anisotropic. Biaxial. Orthorhombic.
Composition: (Mg.Fe)2SiO4. Elongationa′ or c′.

Usual Appearance in Sections: Prismatic crystals or in large angular fragments or grains. Longitudinal sections more or less lath-shaped, with pointed ends, Figs. 50 and 51, cross-sections six or eight-sided. Outlines of crystals often rounded or corroded. Skeleton forms may occur, and sometimes twinning may be observed.

Chrysolite.

Fig. 50.            Fig. 51.
Basal section.      Macro pinacoid section.

Color.—Nearly colorless, may be reddish (with high Fe per cent.).

Index of Refraction.n′ = 1.675 (α = 1.661, γ = 1.697), hence relief marked and surface rough.

Cleavage.—Parallel to brachy pinacoid (010), less distinct parallel to macro pinacoid (100), Fig. 50. Often only made visible by decomposition. An irregular fracturing occurs, which increases with alteration into serpentine.

78Inclusions.—Chromite, opaque earths, apatite and the brown plates so common in hypersthene; also glass and slag (in basaltic rocks) and fluid (in peridotites and olivinfels).

Polarized Light:

Pleochroism.—In general none, but noticed in the reddish varieties, when the absorption is a little stronger parallel to ć.

Crossed Nicols:

Double Refraction.—Very strong (γ − α = 0.036).

Interference Colors.—Rather high in order (second or third), higher than the colors of augite.

Extinction.—In general parallel to cleavage lines.

Convergent Light: Axial plane parallel to base (001) and always at right angles to cleavage cracks, Fig. 51. Bxa. ∥ a. Axial angle very large (2E > 180°). Optical character (+).

Alteration: Into serpentine very common,[90] producing “mesh-” or “lattice-” structure (see under serpentine, p. 114); also into amphibole, etc. In certain basaltic rocks the rims of grains may be changed into gœthite?, and in certain gabbros the crystals may be surrounded by a radial rim of amphibole.

Distinguished from:

Light colored Monoclinic Pyroxenes.— By the absence of extinction angles, cleavage (the intersecting prismatic cleavages of augite being of equal distinctness), stronger double refraction and by axial plane being parallel to base, hence always at right angles to best cleavage (in augite axial plane lies in clino pinacoid, bisecting angles of intersecting prismatic cleavages). Also by gelatinization with acids.

Remarks: Found only in basic rocks, as peridotite, diabase, gabbro, norite, basalts, etc. Chrysolite (olivine) is a very brittle mineral and shows under mountain making pressure “cataclastic” structure. Chromite is a characteristic associated mineral. When not too poor in Fe, chrysolite becomes permanently red and pleochroic when strongly heated. Chrysolite is decomposed by hydrochloric and sulphuric acids, with separation of gelatinous silica. H., 6.5 to 7. Sp. gr., 3.3 to 3.4.

Hyalosiderite (a more ferruginous chrysolite) and Fayalite (Fe2SiO4) may be reddish in sections, and common in the basic porphyritic eruptive rocks.

IOLITE, Cordierite, Dichroite.

Anisotropic. Biaxial. Orthorhombic.
Composition: Mg3(Al.Fe)6Si8O28. ć = a. Elongationa′.

79Usual Appearance in Sections: Grains, more rarely crystals of short prismatic habit, which often form pseudo-hexagonal interpenetration twins. Crystals may have edges rounded or corroded. Colorless, but may be bluish. Index of refraction a little lower than quartz (n′ = 1.539, α = 1.535, γ = 1.544), hence relief low and surface smooth. Cleavage very variable, parallel to brachy pinacoid (010), especially noticeable when decomposition has taken place. Inclusions of sillimanite, zircon, rutile, etc., may be seen. Pleochroism usually not observed, but noticed in blue sections (yellowish white ∥ ć to blue). Pleochroic halos (yellow) surrounding inclusions common, see p. 59.

Crossed Nicols: Double refraction weak (γ − α =0.009), like quartz. Interference colors middle first order, white to yellow. Extinction in general parallel to cleavage cracks. In convergent light, Ax. pl. ∥ (100), Bxa. ∥ ć; axial angle large (hyperbolas only seen without ellipses) (2E = 64° to 150°); optical character (−).

Alteration: Takes place readily, forming greenish mica-like decomposition products, the decomposition commencing along the crevices or about the inclusions.

Distinguished from: Quartz by observation in convergent light (quartz is uniaxial), decomposition and pleochroism or pleochroic halos. The section can also be treated with hydrofluosilicic acid, when the evaporated solution yields characteristic prismatic crystals of magnesium fluosilicate.

Remarks: Found in gneiss, hornstone, granite, granulite, etc., and in some volcanic rocks. It is often associated with garnet, biotite, sillimanite, etc. In a thick section heating to redness makes the pleochroism more distinct. Iolite is only slightly acted on by acids. H., 7 to 7.5. Sp. gr., 2.6. It is hard to make a mechanical separation from quartz, on account of similarity in sp. gr.

NATROLITE.

Anisotropic. Biaxial. Orthorhombic.
Composition: Na2Al2Si2O10 + 2H2O. ć = c. Elongationc′.

Usual Appearance in Sections: Aggregates of colorless, fibrous crystals, which may have sphærulitic structure, showing a dark cross between crossed nicols. Index of refraction lower than balsam (n′ = 1.483, α = 1.478, γ = 1.490), hence (in large crystals) the surface would appear rather rough.

Crossed Nicols: Double refraction weak (γ − α = 0.012). Interference colors the middle first order (yellow, etc.), a little higher than those of quartz. Extinction parallel to fibres. Optical character (+).

Remarks: Never a primary mineral in rocks, but found in igneous rocks filling amygdaloidal cavities, and also as a very common alteration product of sodalite, noselite, nephelite and acid plagioclases. It gelatinizes easily with hydrochloric acid. H., 5 to 5.5. Sp. gr., 2.2.

OTHER ZEOLITES.

Composition: Hydrous silicates; Al, Ca and Na being the chief bases.

Usual Appearance in Sections: The form depends on the individual mineral species, but the majority appear in elongated crystals or fibers. They are all colorless and most of them have a small index of refraction, hence no relief (prehnite has distinct relief).

80Crossed Nicols: The double refraction is generally very weak (between that of nephelite and quartz), giving very low order interference colors (prehnite and thomsonite have strong double refraction).

Remarks: The zeolites are always secondary minerals in rocks. They gelatinize with hydrochloric acid.

GYPSUM.

Anisotropic. Biaxial. Monoclinic.
Composition: CaSO4 + 2H2O.    

Usual Appearance in Sections: Colorless grains or fibers. May be colored, however, by inclusions of carbonaceous matter, iron oxides, etc. Index of refraction about the same as orthoclase (n′ = 1.525, α = 1.521, γ = 1.531), hence no relief and surface smooth. Twinning lamellæ abundant. Cleavage parallel to (010) gives abundant cracks, other cleavages may also be noticed.

Crossed Nicols: Double refraction weak (γ − α = 0.010), the same as quartz. Interference colors middle first order, white to yellow. Extinction parallel to most perfect cleavage cracks in sections parallel to b axis; large extinction angles noticed with reference to less perfect cleavages. In convergent light, Ax. pl. ∥ (010), i.e., ∥ to most distinct cleavages; Bxa. (c) Λ = 54° front; 2E = 104°; optical character (+). As the characters of gypsum are not always very marked it may be necessary to employ micro-chemical tests.

Remarks: Forms a rock by itself, often associated with rock salt. It also occurs as an alteration product of anhydrite. Gypsum is soluble in hydrochloric acid. H., 1.5 to 2. Sp. gr., 2.2 to 2.4.

MONOCLINIC PYROXENES, Augite, etc.

Including the monoclinic minerals of the Pyroxene Group, which show distinctly the characteristic cleavage parallel to an almost right-angled prism.

Anisotropic. Biaxial. Monoclinic.
  Elongationc′.[91]  

Composition: RSiO3, R = Ca, Mg, Mn, Fe, Al chiefly, with the Ca predominating over the Mg.

Usual Appearance in Sections: Both in crystals and more or less irregular grains, Figs. 4 and 12, the habit varying with the chemical composition as follows:

Diopside (Ca, Mg varieties), long columnar crystals and grains.

Augite (ditto, but containing also Al and Fe), short prismatic crystals and grains.

Diallage, granular or lamellar (|| (100)), may show fibrous structure ∥ ć.

Prism angle = 87° 06′ (important in cross-sections). Sections of crystals nearly at right angles to the vertical axis ć are octagonal 81or square with truncated corners, Figs. 4 and 53, while those parallel to the ć axis are lath-shaped. Pyroxene also occurs in skeleton crystals and acicular microlites in eruptive rocks.

Fig. 52.—Augite, section parallel to ć axis showing prismatic cleavage, in leucite-basal. (From Cohen.)

Zonal structure (especially in augites) may be marked by differences in color or extinction, and in some basalts the crystals have the “hour-glass” structure.

Twinning.—Common, usually the twinning plane being the ortho pinacoid (100). Twin lamellæ may be noticed. Intergrowths occur with orthorhombic pyroxene and amphibole.

Color.—From almost colorless through green (diopsides, Na pyroxenes, etc.) to brown (augites); the red to brownish-red color of certain augites has been considered due to manganese. Yellow color very rare.

Index of Refraction.n′ = 1.68 to 1.72 (α = 1.671 to 1.706, γ = 1.700 to 1.728), hence relief high and surface rough.

Cleavage.—More or less perfect parallel to prism of 87° 06′. Cleavage cracks distinct and numerous, but not generally running uninterruptedly through crystal, Figs. 12 and 52. Cleavage not so perfect as that of amphibole.

Parting.—Diallage and diopside have distinct parting parallel to ortho pinacoid (100), Fig. 53. Some crystals may show parting parallel to base (001).

Inclusions.—Tabular microscopic interpositions, similar to those 82in bronzite, may occur in diallage. The iron ores, apatite, etc., may occur in augite.

Polarized Light:

Fig. 53.—Diallage, cross-section.

Pleochroism.—Usually not noticed, and in general only appearing as different shades of the same color. In some cases (diallage, fassaite and Na rich augite) well marked, a and c green to yellowish green and b brownish to reddish-brown; hence pleochroism not intense in sections showing extinction angles. When Ti is present, violet parallel to b.

Crossed Nicols:

Double Refraction.—Strong (γ − α = 0.022 to 0.029), being stronger in the pale or colorless pyroxenes.

Interference Colors.—Second order, hence always bright tints.

Extinction.—Symmetrical in sections (through b axis) showing intersecting cleavage lines, in such cases bisecting the angles of the cleavage. In sections showing parallel cleavage lines, only parallel in ortho pinacoid (100) sections, in all other sections an extinction angle being observed. The maximum extinction angle is large, lies in the obtuse angle, varies with the chemical composition from 36° 30′ to 54°, and is only obtained when the section of the crystal is parallel to the clino pinacoid (010), Fig. 54, varying from this angle to 0°, when the section is parallel to the ortho pinacoid (100). In Ti and Na pyroxenes the inclined dispersion is so great that extinctions are not sharp, but instead a change takes place in the interference color from bluish to brownish.

Convergent Light: Axial plane parallel to clino pinacoid (010). Fig. 54. A cleavage flake parallel to ortho pinacoid (100) shows the emergence of an optic axis (orthorhombic pyroxene parallel to best pinacoidal cleavage would not show figure). Bxa.(c) Λ ć = 36° to 54° front. Axial angles large (2E = 70° to 112°). Optical character (+). The interference figures are distinct on account of the strong double refraction.

Alteration: May take place to chlorite, serpentine or amphibole 83(uralitization[92]), depending on the chemical composition and the conditions producing the change.

Fig. 54.—Diopside, clino pinacoid section.

Distinguished from:

(a) Orthorhombic Pyroxenes.—By extinction angle, the orthorhombic pyroxenes having always parallel or symmetrical extinction in sections parallel to a, b, or c, and by higher order interference colors. Also from hypersthene by absence of, or much fainter, pleochroism. Diallage and bronzite might be confused on account of pronounced pinacoidal parting, fibrous structure and inclusions; but may be distinguished by the presence or absence of extinction angles and also by the position of the optic axes relative to the best cleavage plates.

(b) Amphibole.—See under amphibole.

(c) Epidote and Chrysolite (Olivine). When light colored and granular, by examination in convergent light. The plane of the optic axes is parallel to the clino pinacoid (010), hence to the longitudinal axis and prismatic cleavage cracks, while in epidote it is at right angles to these directions and in chrysolite parallel to the base. Also yellow color is common in epidote but rare in pyroxene.

Remarks: Next to the feldspars pryoxene is the most common constituent of the igneous rocks. Diopside and fassaite (green) are found in contact rocks; also, what appear to be the same pyroxenes, in many eruptive rocks, as andesites, monzonites, etc. Malacolite (light green) is found in amphibolites and eclogites, where it may be associated with a greenish amphibole (smaragdite). Diallage (bladed and twinned) occurs in gabbros and pyroxenites. Common augite (brown) is found in the remaining basic eruptive rocks. In the schists the pyroxene is colorless.

Finally augite occurs as a secondary product resulting from the “magmatic resorption” of hornblende and biotite.

Chemical corrosion and mechanical deformation may occur. The green and brown augites when heated to redness on platinum foil may become red in color. In general the pyroxenes are not attacked by acids. H., 5 to 6. Sp. gr., 3.3 to 3.5. The sp. gr. of the pyroxenes is considerably higher than that of the amphiboles of similar composition, hence mechanical separations are possible.

Acmite (Ægirine) (Na pyroxenes).—Occur in green or brown, elongated prismatic crystals, often not very transparent and with 84marked pleochroism (like amphibole). Zonal coloring is common. When zonally intergrown with pyroxene the outer zone is ægirine. The elongation is ∥ a′ (distinction from amphibole whose elongation is ∥ c′). The index of refraction is higher than in the other pyroxenes (n′ = 1.792, α = 1.763, γ = 1.813) and the double refraction stronger (γ − α = 0.050). The extinction angle is small (5°) and the optical character (—).

The term Ægirine-augite may be used to describe a soda, pleochroic augite with a large extinction angle.

These pyroxenes are only found in the eruptive rocks rich in alkalies, as elæolite-syenite, phonolite, certain trachytes, etc.; hence are associated with elæolite, sodalite, leucite, etc. The small, second generation, crystals, in the ground mass of a rock, are always the richest in Na of the pyroxenes in that rock.

AMPHIBOLE, Hornblende, etc.

Anisotropic. Biaxial. Monoclinic.
  Elongationc′.  

Composition: RSiO3. R = Mg, Ca, Fe chiefly also may contain Al, Na, Mn. The Mg predominates over the Ca.

Fig. 55.—Hornblende, showing twinning between crossed nicols, in amphibole-biotite-granite. (From Cohen.)

Usual Appearance in Sections: Both in crystals and more or less irregular grains, often fibrous, Figs. 55 and 56, the habit varying with the chemical composition as follows:

Tremolite (Mg3Ca) and Actinolite ((MgFe)3Ca varieties), in long columnar to needle-like individuals, with no terminal planes or with frayed out ends. May be in dense aggregates.

85Pargasite in well developed crystals.

Common green Hornblende (aluminous varieties) in crystals, compact grains or shreds.

Basaltic Hornblende (iron rich, aluminous varieties) in prismatic crystals of varying length, which may often show “magmatic resorption” (to augite and magnetite) around outer zone or throughout whole crystal.

Fig. 56.—Hornblende, section parallel to ć axis, showing prismatic cleavage, in hornblende-diorite. (From Cohen.)

Crystals are simple in form of prismatic habit, with prism angle 124° 30′. Cross-sections are acutely rhombic, generally with acute angles truncated, hence six-sided (pyroxene being eight-sided). Longitudinal sections are lath-shaped and fibrous structure may be noticed. Skeleton crystals may also occur, being very fine in certain pitchstones.

Zonal structure and parallel growth may be noticed in the amphiboles.

Twinning.—Frequent, parallel to ortho pinacoid (100). Twins dual, less often multiple, Fig. 55. Intergrowths with pyroxene and biotite occur.

Color.—From colorless (tremolite), through green (actinolite, pargasite and hornblende) to brown (basaltic hornblende). Yellow in some varieties and bluish in the soda varieties.

Index of Refraction.n′ = 1.621 to 1.641 (α = 1.607 to 1.629, γ = 1.634 to 1.653) (1.719, in the basaltic hornblende), hence relief distinct and surface rough.

Cleavage.—Perfect, parallel to prism of 124° 30′. Generally 86appears in thin sections as sharp cracks crowded close together, Figs. 56 and 57. More perfect than in pyroxene.

Some of the long prisms (actinolite and tremolite) may show transverse parting.

Inclusions.—The iron ores, apatite, etc., may be found in hornblende.

Fig. 57.—Hornblende, cross-section.

Polarized Light:

Pleochroism.—All colored amphiboles show pleochroism, which in general is stronger the darker the color of the variety (actinolite and pargasite show but little). The absorption is very marked in the hornblendes, being greatest in the general direction of the cleavage lines in longitudinal sections. Marked differences in absorption are also characteristic of the mineral species biotite, tourmaline and allanite. Pleochroic halos (brownish) surrounding inclusions may be noticed.

Crossed Nicols:

Double Refraction.—Quite strong, but a little weaker than in pyroxene (γ-α = 0.019 to 0.027). Ferruginous basaltic hornblende has strong double refraction (γ-α = 0.072).

Fig. 58.—Actinolite, clino pinacoid section.

Interference Colors.—Second order, hence bright tints, but in darker colored varieties not so noticeable as in pyroxenes, due to the stronger absorption of parts of the light. The colors of basaltic hornblende are so high that they show no bright tints.

Extinction.—Always symmetrical in sections (through b axis) showing intersecting cleavage lines, in such cases bisecting the angles of the cleavage. In sections showing parallel cleavage lines, only parallel in ortho pinacoid (100) sections, in all other sections an extinction angle being observed. The maximum extinction angle lies in the acute angle and is much smaller than in 87pyroxene, varying with the chemical composition from 0°–20°. In hornblende, actinolite and tremolite 12°–20°, Fig. 58; in the basaltic hornblende 0°–10°. The maximum extinction angle is only obtained when the section of the crystal is parallel to the clino pinacoid (010), varying from this angle to 0°, when the section is parallel to the ortho pinacoid (100).

Convergent Light: Axial plane parallel to clino pinacoid (110), Fig. 58. Bx(c) Λ ć = 0°–20° behind. Axial angles large (2E = 77° to >180°). Optical character (−). Pargasite is (+).

Alteration: May take place to chlorite, talc, serpentine, asbestus, etc., depending on the chemical composition. Amphibole frays out and becomes fibrous during alteration, and may also lose color.

Distinguished from:

(a) Pyroxene.—By usually much stronger pleochroism in the colored varieties, and by cleavage and extinction angle. In pyroxene the cleavage (parallel to prism of 87° 06′) is less perfect; and the extinction angle is much larger, varying from 36° to 54°.

(b) Biotite.—By the extinction in the mica being always about parallel to the cleavage. Both have strong absorption, but biotite shows very slight pleochroism in sections parallel to the cleavage, and has only the one cleavage parallel to the base. Also the biotite has lower index of refraction and generally shows uniaxial interference figure.

Colorless tremolite may be distinguished from muscovite and talc by extinction angles, relief and lower order interference colors.

(c) Tourmaline.—By presence of cleavage, and by the fact that absorption is most marked about parallel to the elongation (also parallel to cleavage lines), while in tourmaline the absorption is strongest at right angles to the elongation.

(d) The Orthorhombic Pyroxenes.—By extinction angles, the latter having parallel extinction in all sections parallel to a, b and c, and by prismatic cleavage of 124° 30′. Pleochroism is strong in the colored varieties of both species, but in amphibole it appears more generally as a variation of the same color; while in hypersthene a change in color is often noticed, from brownish-red to greenish parallel to ć axis.

(e) Sillimanite and Cyanite.—See under the latter.

88Remarks: Amphibole comes next to pyroxene in importance and distribution of the dark colored ferruginous rock-forming minerals. As a rule it occurs in rocks with a large percentage of SiO2, associated with quartz and orthoclase; while augite generally occurs in rocks of a basic nature, associated with plagioclase and little or no free SiO2. Furthermore amphibole contains hydroxyl and is therefore naturally found in the deep eruptive rocks; its place being taken by augite in the effusives. By application of heat hornblende changes to augite, while hydrochemical processes bring about the opposite result “uralitization.”

Tremolite and actinolite are found in contact rocks and crystalline schists, also as a result of the alteration of olivine into serpentine. Pargasite occurs in contact rocks. Common green hornblende is found in the plutonic rocks (Na poor and SiO2 rich), also in contact rocks and crystalline schists (amphibolites). Brown hornblende replaces the green variety in the basic plutonic rocks. Basaltic hornblende is found in many effusive rocks.

The hornblende crystals in eruptive rocks, being among the first formed constituents, have often suffered subsequent corrosion by the magma, giving rise to the dark border already mentioned. The brown primary hornblende in some rocks may be changed by a process analogous to “uralitization” into a green, reed-like hornblende. Mechanical deformations are found in massive and schistose rocks. Light green amphiboles, with weak pleochroism, may often be colored intensely reddish-brown and made strongly pleochroic by heating to redness on platinum foil. In general the amphiboles are not affected by acids. H., 5 to 6. Sp. gr., 2.9 to 3.3.

Glaucophane, Arfvedsonite, etc. (Na rich amphiboles).—Occur blue to bluish-green in color, with pleochroism and weaker double refraction than the other amphiboles. Extinction angles vary from 4°–6° (glaucophane) to 14° (arfvedsonite). They are found in contact rocks, crystalline schists, eclogite, etc.

For the rarer and less known members of the amphibole group, resource should be had to more elaborate works.

Uralite.—Pyroxene altered to amphibole, having the outward crystal form of pyroxene and the physical characters and cleavage of amphibole. The change usually commences on the surface and the uralite does not form a single compact crystal, but consists of numerous slender columns parallel to one another. These little columns or fibers have their c and [=b] axes parallel to the positions of these axes in the parent mineral. The color is green and the pleochroism weak to strong.

This change is called “uralitization” and results from hydrochemical processes. When the alteration is not complete, portions of the original pyroxene may be left, having all the characteristic optical properties of this latter mineral.

Anthophyllite, the orthorhombic amphibole, with always parallel extinction, is sometimes found in colorless to brownish, blade- to rod-like aggregates in crystalline schists and serpentine.

89

MICA GROUP.

Anisotropic. Biaxial. Monoclinic.
May appear hexagonal or orthorhombic.
Composition: Elongation (∥ cleavage) ∥ c′.

Biotite (black or ferro-magnesium mica) = (H.K)2(Mg.Fe)2Al2(SiO4)3, approx.

Phlogopite = a magnesium mica, near biotite, but containing little Fe.

Fig. 59.—Mica. A, biotite, showing hexagonal cross-section and zonal markings. Minette, Freiburg. B, Biotite, showing strong absorption parallel to cleavage and also zonal marking (P = plane of vibration of polarizer). Minette, Cumberland. C, Muscovite in bent shreds in gneiss.

Muscovite (white or potash mica) = H2(K.Na)Al3(SiO4)3, with some replacement by Mg or Fe.

Usual Appearance in Sections: Scales, which may be notched or jagged, with lateral sections lath-shaped; or shreds, Fig. 59 C. When distinctly crystallized (magnesium micas) the thin hexagonal plates have plane angles of 120°, Fig. 59 A. Phlogopite crystals may be extended in direction of ć axis.

Zonal structure not uncommon in the magnesium micas, Fig. 59 A, which may also have dark iron ore border like hornblende.

Twinning.—Common, generally parallel to base; seen in sections showing cleavage by variations in extinction, in basal sections by distorted interference figures.

Micas of different kinds often associated together in parallel position, also intergrown with hornblende, pyroxene, chlorite and quartz.

90Color.—Depends on chemical composition. Biotites, brown, green or red to almost opaque. Phlogopites, colorless or yellowish. Muscovites colorless.

Index of Refraction.n′ = 1.564 to 1.619 (α = 1.541 to 1.580, γ = 1.575 to 1.638), hence somewhat marked relief and surface varies in appearance from slightly rough to fairly rough. In polarized light the surface appears roughest when the cleavage cracks are parallel to the plane of the polarizer.

Biotite has more marked relief.

Cleavage.—Very perfect, parallel to base (001), Fig. 60. Basal sections show no cleavage, but all other sections show many sharp, parallel cleavage cracks.

Fig. 60.—Biotite, showing basal cleavage, in biotite-granite. (From Cohen).

For percussion and pressure figures, see reference given below.[93]

Inclusions.—May be arranged parallel to lines of pressure figure. Rutile needles, tourmaline, apatite, etc., common in magnesium mica. Zircon inclusions often surrounded by pleochroic halos.

Polarized Light:

Pleochroism.—Varies with the color, being very marked in the colored varieties (from pale yellow to chestnut-brown or black). The strong absorption, about parallel to the cleavage lines, is very characteristic of the colored mica, Fig. 59 B. Strong absorption is also noticed in hornblende, tourmaline and allanite. Absorption may even be noticed around inclusions (pleochroic halos) in colorless, non-pleochroic micas. Cleavage plates of biotite are not pleochroic unless the axial angle is large.

91Crossed Nicols:

Double Refraction.—Very strong (γ − α = 0.034 to 0.058).

Interference Colors.—High order (third). May be very bright in thin sections of the colorless micas, and at times be so high in order as not to show any marked color tints. May not be noticeable in sections of the colored varieties, due to absorption of parts of the light.

Extinction.—About parallel to cleavage lines. Very small extinction angles may be noticed in biotites. Basal sections of biotite (the approximately hexagonal mica) usually appear isotropic.

Mottled appearance (like “Birds-eye” maple) characteristic, caused by distortion of the flexible laminæ during grinding. Most noticeable in sections inclined to cleavage and near position of extinction.

Convergent Light: Axial plane[94] and Bxa, practically at right angles to basal cleavage; therefore cleavage plates always show well defined interference figures, generally biaxial in character. The axial angles vary greatly, being usually small for biotite and phlogopite (may appear uniaxial) and large for muscovite (2E = 55° to 90°). Optical character for all micas (−).

Alteration: Biotites decompose quite easily, lose color and may become completely bleached, which appears to be due to a leaching out of the iron. May also alter to green chlorite, with a fraying out of the mica and a change to chloritic structure.

Phlogopites may alter to fibrous, scaly masses, apparently chiefly talc. “Sagenite” webs of rutile may accompany the alteration.

Muscovites are characterized by their freshness, and do not seem to suffer from weathering.

Distinguished from:

(a) Hornblende.—Magnesium mica has extinction about parallel to the cleavage, while hornblende may have extinction angles of from 0° to 20°. Both have strong absorption, but biotite shows very slight pleochroism in basal sections, which also give approximately uniaxial interference figures in convergent light.

(b) Tourmaline.—Magnesium mica shreds show absorption parallel to elongation, while in tourmaline the absorption is at right 92angles to elongation. There is also an absence of cleavage in tourmaline.

(c) Chlorite.—By strong double refraction, the very high order colors, however, being often not noticed. Chlorite also shows aggregate structure and is almost always greenish in color.

(d) Talc.—White mica by large axial angle of scales in convergent light and by micro-chemical tests. The distinction may be very difficult.

Remarks: Muscovite is a rare primary mineral in eruptive rocks, except in two-mica granite, etc. As a secondary mineral it occurs in dense scaly aggregates or as pseudomorphs after feldspar, nephelite, etc. It is frequent in crystalline schists and is probably also the mica in amphibolite and eclogite. Phlogopite is found chiefly in contact metamorphic limestone; and may be distinguished from muscovite by nearly uniaxial character and less sharp cleavage. Biotite is much more widely distributed, occurring especially in eruptive rocks, crystalline schists and contact rocks.

Chemical corrosion occurs in original biotite of porphyritic rocks, producing a “resorption border” of augite and magnetite. Mechanical deformations, producing bending and slipping along “gliding” planes (oblique to cleavage), are common to all varieties of mica and may produce change to chlorite. The muscovites, together with the feldspars, are the most characteristic minerals of dynamo metamorphic origin. Biotites and phlogopites are attacked by sulphuric acid at high temperatures. Muscovite is but slightly attacked by acids. H., 2 to 3. Sp. gr., 2.7 to 3.2. The specific gravity separation between the micas is difficult on account of the scaly nature of the minerals.

Other micas occur, some being alteration products of those already described. Among these may be mentioned:

Lithia Mica.—Both light and dark colored, occurring in granitic rocks and often only distinguished chemically from muscovite and biotite.

Damourite (Sericite) (hydrous K mica).—A secondary product usually in colorless, fine scaly aggregates in phillites, sericite-schists, etc.

CHLORITE GROUP.

Embracing the members of the Chlorite Group, commonly occurring in rocks.

Anisotropic. Biaxial. Monoclinic.

The minerals of this group usually appear uniaxial, and crystallize in part with hexagonal symmetry.

Composition: May be considered as isomorphous mixtures of H4(MgFe)3Si2O9 and H4(MgFe)2(AlFe)2SiO9 (Rosenbusch).

Usual Appearance in Sections: Minute, scaly aggregates, which may incline to radial grouping; or in minute grains as a pigment (veridite) in other minerals.

Twinning.—May be seen as in mica.

93Color.—Generally green, varying from greenish white to dark green, rarely colorless or red.

Index of Refraction.n′ = 1.567 to 1.589 (α = 1.560 to 1.585, γ = 1.571 to 1.596), hence no marked relief and only slightly rough surface.

Cleavage.—Like mica, very perfect; parallel to flat face, which is considered to be the basal plane. This cleavage may not be noticed, especially in secondary chlorite in rocks.

Polarized Light:

Pleochroism.—In green and yellow tints (green ∥ cleavage), being more marked in dark colored varieties. Basal sections are non-pleochroic, the mineral being practically uniaxial. Pleochroic halos may be seen.

Crossed Nicols:

Double Refraction.—Generally very weak (γ − α = 0.001 to 0.011).

Interference Colors.—Very low first order, gray or white, at times scarcely noticed. Anomalous colors, however, often seen (deep blue or brown.)

Extinction.—Plates parallel to cleavage generally appear isotropic or only show faint color. In other sections extinction is apparently parallel to the cleavage in the uniaxial type, but extinction angles may be noticed when type is biaxial. Complete extinction may not be noticed, due to aggregate structure.

Convergent Light: Plates parallel to cleavage show, at times, an indistinct interference cross, which may open into two hyperbolas, indicating biaxial nature of crystallization. Ax. pl. ∥ (010); Bxa. Λ ć = 0° to 15°; 2E variable. Optical character (±).

Distinguished from: Serpentine.—By general green color (serpentine, with exception of Fe rich variety, is colorless), pleochroism and frequent anomalous interference colors; but the distinction between these two minerals may be very difficult. Chlorite may resemble decomposed or green mica (mica has, however, strong double refraction). The different species in the chlorite group cannot usually be distinguished in rocks.

Remarks: The chlorites are essentially secondary minerals, derived from the aluminous silicates, biotite, augite, garnet, feldspar, etc. They are found abundantly in chlorite-schists, contact rocks, etc., and as pigment (veridite) in altered eruptive rocks. May occur as a primary constituent of eruptive rocks, often 94in parallel growth with biotite. Chlorides are acted on by hot hydrochloric acid, and decomposed easily by sulphuric acid. H., 2 to 3. Sp. gr., 2.6 to 2.96. A thin section heated to redness on platinum foil loses water and becomes opaque. Ferruginous varieties are turned reddish-brown to black by heating (serpentine, as it contains less iron, may give negative results with this test).

Delessite.—Found in sphærulites, filling cavities in amygdaloidal basic rocks, and in pseudomorphs. It appears to be much altered to other minerals.

TALC.

Anisotropic.   Monoclinic (Pseudo-Hexagonal).
Composition: H2Mg3(SiO3)4.   Elongationc′.

Usual Appearance in Sections: In fine scaly, colorless aggregates. Sections, cutting across the scales, would show rod-like forms. Index of refraction only a little higher than balsam (n′ = 1.572, α = 1.539, γ = 1.589), hence no marked relief and only slightly rough surface. Cleavage perfect parallel to base, like mica.

Crossed Nicols: Double refraction very strong (γ − α = 0.050). Interference colors third order, like muscovite. Extinction parallel to basal cleavage lines. In convergent light, Ax. pl. ∥ (100), Bxa. ∥ ć; axial angle small (2E = small); optical character (−).

Distinguished from: Muscovite (with which it is easily confused) by micro-chemical tests, proving absence of alkalies and Al; and often by the more aggregate structure of the talc. Also by smaller axial angle of scales in convergent light.

Remarks: Found mainly in metamorphic schists, etc., always as a secondary product. It is insoluble in hydrochloric acid. H., 1 to 1.5. Sp. gr., 2.6 to 2.8.

EPIDOTE.

Anisotropic. Biaxial. Monoclinic.
  Elongationa′ or c′.  

Composition: Ca2Al2(AlOH)(SiO4)3, with some Fe replacing Al.

Usual Appearance in Sections: Columnar to thick tabular crystals, more or less elongated parallel to ortho axis [=b], Fig. 61, or in granular aggregates.

Epidote.

Fig. 61.            Fig. 62.
Ortho pinacoid section.      Clino pinacoid section.

95Twinning.—May occur but rarely noticed. Irregular interpenetrations common with other members of the group; also parallel growths.

Color.—Colorless to yellowish (Fe poor) or yellow to greenish to yellow-brown (Fe rich).

Index of Refraction.n′ = 1.751 but may be lower (α = 1.731, γ = 1.768), hence relief high and surface rough.

Cleavage.—Parallel to base (001), Figs. 61 and 62, imperfect parallel to ortho pinacoid (100). Basal cleavage cracks not very numerous and appear parallel to general direction of elongation.

Polarized light:

Pleochroism.—Varies with the color, being faint in the light colored varieties, but strong when the color is marked (Fe rich).

Crossed Nicols:

Double Refraction.—Variable, often very strong (γ − α = 0.037).

Interference Colors.—Variable, often high (third) orders. Intergrowths with other members of the group are clearly shown by the “flecked” interference colors.

Extinction.—Parallel to cleavage in sections parallel to [=b] axis. In other sections extinction angles vary, see Fig. 62.

Convergent Light: Axial plane ∥ (010), i. e., at right angles to the elongation of crystal and cleavage cracks, Fig. 61. Bxa.-(a) Λ ć= 3° behind. Basal cleavage flakes show the almost ⟂ emergence of an optic axis. Axial angles very large (2E > 180°). Optical character (−).

Alteration: Does not take place readily.

Distinguished from: Light colored Monoclinic Pyroxene.—By having plane of optic axes at right angles to cleavage cracks and direction of elongation; while in pyroxene plane of optic axes is parallel to parallel prismatic cleavage cracks or bisects the angle between intersecting cracks. Furthermore the yellow color is rare in pyroxene.

Remarks: Epidote is essentially a secondary mineral, resulting from the alteration of the feldspars and the ferro-magnesium silicates. It is found in crystalline schists (especially those containing hornblende), gneiss, gabbro, diorite, diabase, lime-silicate hornstones, contact rocks, etc. Epidote is partially decomposed by hydrochloric acid. The Fe rich epidote can be changed to an intense color by “glowing” in the air. H., 6 to 7. Sp. gr., 3.32 to 3.45.

Piedmontite (containing Mn).—Red in color. Very pleochroic, red to yellow. Found in crystalline schists, the porphyrite of 96Scotland, the famous “Porfido rosso antico” of Egypt and in certain Japanese mica schists.

ZOISITE.

Essentially orthorhombic? members of Epidote group.[95]

Composition: Like epidote but without any Fe.

Usual Appearance in Sections: Similar to epidote or in columnar aggregates. Often intergrown with epidote.

Distinguished from epidote by general absence of color (colorless to yellowish) and pleochroism; by slightly lower refractive index (n′ = 1.699 to 1.720) and by much weaker double refraction (γ − α = 0.005 and less). The interference colors are very low order, gray to white, but anomalous colors are often seen (yellow or prussian blue). Extinction is in general parallel to pinacoidal cleavage cracks (except in clinozoisite).

The plane of the optic axes may be parallel or at right angles to cleavage cracks, and the optical character is (+).

Remarks: Generally a secondary mineral. Found in crystalline schists, amphibolites, contact rocks, eclogite, etc., and in “saussurite.” May be hard to distinguish from vesuvianite and apatite.

ALLANITE, Orthite.

Monoclinic member of Epidote group.

Composition: Like epidote but containing cerium.

Usual Appearance in Sections: Similar to epidote in form; but distinguished by brown color (may be also almost colorless), strong pleochroism and absorption, and medium to weak double refraction (γ − α = 0.002 to 0.030). Lamellar twinning clearly seen on account of oblique extinction. When included in hornblende and mica it is surrounded by pleochroic halos. n′ = 1.78 about. Optical character (±). Usually perfectly fresh.

Remarks: Found as an accessory mineral in SiO2 rich eruptive rocks and connected crystalline schists, and (light colored) in amphibolite and eclogite.

TITANITE, Sphene.

Anisotropic. Biaxial. Monoclinic.
Composition: CaTiSiO5.   Elongationa′.[96]

Usual Appearance in Sections: Wedge-shaped crystals (in Na rich rocks, more prismatically developed); grains, which may be elongated; and aggregates of small rounded particles, which appear nearly opaque. Sections of crystals commonly acute rhombs, Fig. 63.

97Twinning.—Occurs, the twinning boundary bisecting the acute angles of the rhomb (only noticed between crossed nicols), Fig. 64.

Color.—Reddish-brown to yellowish to colorless.

Fig. 63.—Titanite, showing acute rhombic cross-section.

Index of Refraction.n′ = 1.920 to 1.963 (α = 1.888 to 1.913, γ = 1.978 to 2.054), hence relief very marked and surface very rough.

Cleavage.—Imperfect and not parallel to predominant form, hence only appears as a few rough cracks, which are not parallel to any crystallographic boundary, Fig. 63. Cleavage rarely observed in secondary grains.

Polarized Light:

Pleochroism.—Varies with the color, being more distinct in colored crystals, yellowish (the lighter color) ∥ a′ and reddish-brown ∥ c′. Scarcely noticed when the color is light.

Crossed Nicols:

Double Refraction.—Very strong (γ − α = 0.090 to 0.141).

Fig. 64.—Titanite, showing twinning in nepheline-syenite. (From Cohen.)

Interference Colors.—Very high order, like those of calcite. Due to the fact that the refractive indices of two of the rays are very nearly alike, some sections may show very low order colors.

98Extinction.—Extinction angles not characteristic. There may be no complete extinction in white light, owing to dispersion.

Convergent Light: On account of the very strong characteristic dispersion of the optic axes (ρ > ν), the axial angle varies a good deal with the color of the light used, (St. Gotthard) 2EIA = 57°, 2ETl = 47°. By using colored glasses this variation in the axial angle can be seen. The axial plane lies in the clino pinacoid (010), hence bisects the obtuse angle in the rhombic cross-section, Fig. 63. Bxa.(c) Λ ć = 51° front. The optical character is (+).

Alteration: May take place.

Distinguished from:

(a) Staurolite.—In convergent light the axial plane is shown to be in the shorter diagonal of the rhombic cross-section, while in staurolite it is in the longer diagonal.

(b) Rutile.—By biaxial character.

(c) Calcite.—The light colored titanite (sphene), in absence of twinning, by higher index of refraction.

Titanite may easily be confused with some of the rarer minerals.

Remarks: Titanite is always an accessory mineral and is found distributed in all rocks, except SiO2 rich eruptive and magnesia silicate rocks. As a secondary mineral it forms rims around other titanium minerals or pseudomorphs after them and also the principal part of leucoxene. It is partly soluble in hot hydrochloric acid and completely decomposed by sulphuric acid. H., 5 to 5.5. Sp. gr., 3.3 to 3.7. In a specific gravity separation it falls with the ferruginous minerals (on account of its density) and from these can generally be separated by electromagnetic methods.

FELDSPAR GROUP.
Orthoclase, Microcline and the Plagioclases.

ORTHOCLASE.

Anisotropic. Biaxial. Monoclinic.
  Elongation (∥ cleavage) ∥ a′.  

Composition: KAlSi3O8, with some replacement by Na.

Usual Appearance in Sections: In crystals and grains. In porphyritic rocks habit of crystals more or less tabular parallel to clino pinacoid (010), or rectangular much extended parallel to clino axis à, with cross-sections six-sided, or rectangular to long lath shape, Figs. 65 and 66. Crystals may be changed into rounded or looped grains by chemical corrosion, Fig. 6. Adularia crystals 99more prismatically developed, giving rhombic sections. Dimensions of crystals vary extremely; microlites occur, at times forming sphærulitic structure. The very fine grained ground-mass “microfelsite” (not resolved by the microscope) consists largely of feldspar.

Orthoclase cleavage plates.

Fig. 65.—Basal.      Fig. 66.—Clino pinacoid.

Intergrowths with microcline and plagioclase common, forming “microperthite” when lamellæ are microscopic. May be in zonal formation with plagioclase (the orthoclase on the periphery). Also intergrown with quartz[97] forming “pegmatite” and “micro-pegmatite,” Fig. 67.

Fig. 67.—Micro-pegmatitic structure, in granophyric quartz-porphyry. (From Cohen.)

100Zonal structure often seen, Fig. 20, especially when decomposition has commenced; and in fresh crystals may be indicated by zonal arrangement of inclusions.

Twinning.—Very common, generally after Carlsbad law, Figs. 18 and 69; the twinning boundary, dividing the section longitudinally, either being parallel to edges of crystal or bent or jagged. Twinning after Baveno (twinning boundary diagonal, with the two parts extinguishing at the same time, but having a and c directions crossed in the two portions) and Manebach laws less common.[98]

Fig. 68.—Orthoclase, ortho pinacoid section showing cleavages intersecting at 90°, in augite-syenite.

Color.—Colorless or tinged by oxide of iron. Cloudy if decomposed.

Index of Refraction.n′ = 1.523 (α = 1.519, γ = 1.526), hence no relief and surface smooth.

Cleavage.—Varies and sometimes only seen in very thin sections, but is an important character and should always be searched for. It occurs perfect, parallel to base (001), and almost as perfect parallel to clino pinacoid (010). The two cleavages intersect at 90° in section parallel to the [=b] axis, Fig. 68.

Inclusions.—May be present and arranged in regular or zonal order, but not important. Do not occur in individuals of a second generation.

Polarized Light:

Pleochroism.—None.

101Crossed Nicols:

Double Refraction.—Very weak (γ − α = 0.007).

Interference Colors.—Lower first order, gray, white, etc., not quite so bright as colors of quartz and plagioclase.

Extinction.—Being monoclinic the extinction angle on base (001), with reference to clino pinacoid (010) cleavage cracks, is 0°. On clino pinacoid with reference to basal cleavage cracks, it is 5°. Some sections (notably in glassy sanidine grains) may appear dark during complete rotation. This is due to the fact that the axial angle is very small and the sections act approximately like those of a uniaxial mineral at right angles to the optic axis.

Convergent Light:[99] Plane of optic axes in general at right angles to clino pinacoid (010) (plane of symmetry), Fig. 65, hence parallel to trace of basal cleavage; but in some sanidines parallel to plane of symmetry. Bxa (a) Λ a = 5° above. Axial angles vary, 2E = 125° (orthoclase), 0°–50° (sanidine).[100] May appear uniaxial when axial angle is very small. Optical character (−).

Alteration: Very common to clay,[101] muscovite, hydrargillite, etc. Generally commences along the cleavage cracks, and when it has progressed very far the whole feldspar appears opaque or cloudy, and no perceptible change may take place between crossed nicols. As decomposition is very prevalent in many rocks, the orthoclase is rarely clear or pellucid. Epidote is often formed when accessory solutions are present.

Distinguished from:

(a) The other Feldspars and Melilite.—See under the latter minerals.

(b) Quartz.—Feldspar is biaxial but when occurring in clear glassy grains (notably sanidine), which appear uniaxial in convergent 102light, may resemble quartz. When tested the optical character is (−), while that of quartz is (+).

Remarks: The members of the feldspar group are the widest distributed of the rock-forming minerals and their recognition is of the utmost importance on account of their bearing on the systematic classification of rocks. Orthoclase is found as an essential constituent in the more acid plutonic and older volcanic rocks, as granite, syenite, trachyte, porphyry, and also in gneiss, crystalline schists, more seldom in contact rocks and subordinate in clastic rocks.

Chemical corrosion (producing rounded or looped grains), Fig. 6, and mechanical deformation (producing angular, sharp-edged, broken grains, bending and undulatory extinction[102]), Fig. 7, occur in orthoclase. When a rock containing feldspar crystals is shattered, the orthoclase breaks parallel to basal cleavage and plagioclase parallel to twinning plane. Orthoclase is practically insoluble in acids. H., 6 to 6.5. Sp. gr., 2.56.

Fig. 69. —Sanidine, showing Carlsbad twin and cross-parting, in nepheline-phonolite. (From Cohen.)

Sanidine.—This clear, glassy variety of orthoclase occurs in the later eruptive rocks, rhyolite, trachyte, obsidian, etc. Sanidine often has a parting parallel to ortho pinacoid (100), which may be noticed in sections so thick that the cleavage is not seen, Fig. 69. In general it shows no sign of decomposition, and has a smaller axial angle than orthoclase. Inclusions of glass are more abundant than in orthoclase.

MICROCLINE.

Anisotropic. Biaxial. Triclinic.
Composition: KAlSi3O8.    

Usual Appearance in Sections: As a rock constituent in irregular grains.

103In general characters like orthoclase and distinguished from it and the plagioclases by characteristic “gridiron” structure between crossed nicols, resulting from the polysynthetic twinning after both Albite and Pericline laws, Fig. 19. This crossed twinning will show in all sections except those parallel to the brachy pinacoid (010). The lamellæ are generally thinner than in the plagioclases and more “spindle-shaped.”[103]

Furthermore the rather obscure triclinic crystallization is shown by an extinction angle of + 15° on basal cleavage plates with reference to brachy pinacoid (010) cleavage lines (distinction from orthoclase, which has O° extinction angle).

Remarks: Found with orthoclase, often almost replacing it, in granite, syenite, gneiss, etc., and is one of the last minerals to form. It is notably resistant to decomposition. A structure like the microcline twin structure may be produced in orthoclase by dynamic action.[104]

THE PLAGIOCLASES.
Albite, Oligoclase, Labradorite, Anorthite.

Anisotropic. Biaxial. Triclinic.

Elongation (∥ Albite twin lamellæ) ∥ a′ (except in anorthite when it may be ∥ a′ or c′).

Composition:[105]

Albite, NaAlSi3O8.

Oligoclase, n(NaAlSi3O8) + CaAl2Si2O8, or n Ab + An, n = 2 to 6.

Labradorite, NaAlSi3O8 + n(CaAl2Si2O8), or Ab + n An, n = 1, 2 or 3.

Anorthite, CaAl2Si2O8.

Usual Appearance in Sections: Much the same as orthoclase. Lath-shaped[106] forms and microlites very common, especially in the acid series.

104

Fig. 70.—Plagioclase, showing narrow lamellæ, in diabase. (From Cohen.)

Fig. 71.—Plagioclase, showing broad lamellæ, in gabbro. (From Cohen.)

Twinning.—Polysynthetic, after Albite law, almost universal; the twinning appearing between crossed nicols as a series of dark and light bands, bounded by parallel edges, Figs. 70 and 71. The twin lamellæ are parallel to brachy pinacoid (010), hence not observed in sections parallel to this pinacoid. The lamellæ may appear irregular and interrupted, and seem to be broader in the basic than in the acid series. When this twinning fails, however, as in the basic plagioclases in certain metamorphic rocks, the determination becomes very difficult. In some cases polysynthetic twinning, after both Albite and Pericline laws, may take place at the same time, giving rise to a structure somewhat similar to that of microcline, Fig. 72. In addition the polysynthetic 105crystals may be twinned like orthoclase after Carlsbad and Baveno laws.

The general characters are the same as in orthoclase with the following differences:
Indices of Refraction: n′ = 1.535 (α = 1.532, γ = 1.540) Albite.
  n′ = 1.541 (α = 1.537, γ = 1.545) Oligoclase, Ab4An1.
  n′ = 1.559 (α = 1.555. γ = 1.563) Labradorite, Ab1An1.
  n′ = 1.582 (α = 1.575, γ = 1.588) Anorthite.

The surface of anorthite appears slightly rougher than that of orthoclase.

Cleavages, parallel to base (001) and brachy pinacoid (010), never intersect at right angles, as is the case in sections of orthoclase parallel to [=b] axis. This is due to the triclinic system of crystallization, but the divergence from a right angle is small (93° 36′ to 94° 10′).

Fig. 72.—Plagioclase, showing crossed lamellæ, in olivine-gabbro. (From Cohen.)

Inclusions at times may be quite important, as the vitreous inclusions of oligoclase in andesites, etc., and the iron ore inclusions and other microlites in labradorite. The arrangement of these inclusions may be zonal or in parallel orientation.

Double refraction is a little stronger than for orthoclase (γ − α = 0.008 to 0.013 (anorthite)), hence producing slightly brighter interference colors in sections of the same thickness.

106Extinction takes place in all sections unsymmetrically with respect to crystallographic, twinning or cleavage lines (as these minerals are triclinic); hence extinction angles are always observed.

Convergent Light: All plagioclases show the emergence of a bisectrix,[107] more or less oblique, on brachy pinacoid (010) cleavage faces. These cleavage faces show no twin lamellæ, unless twinning after Pericline law occurs, in which case the determination is much more complicated. The axial angle is large, 2E = 155° (Albite). Optical character, depending on variety, (+) or (−).

Alteration: Partly the same as in orthoclase, forming clay, muscovite, etc. Calcite and epidote are more common as side-products, and zeolitization also occurs in some rocks. The plagioclases decompose more easily than orthoclase.

Distinguished from:

(a) Orthoclase.—By repeated twinning after Albite law, giving between crossed nicols a series of alternate dark and light bands.

When Albite twinning is absent the distinction is very difficult.

(b) Microcline.—By common absence of the microcline “gridiron” structure between crossed nicols.

Methods for Optical Determination of the Plagioclases.[108]

The correct determination of the particular plagioclase is of the greatest importance in the classification of rocks, and it is no longer sufficient to simply determine the feldspar as either orthoclase or plagioclase.

A quantitative analysis of isolated material would lead most surely to the desired result, but has many objections.

Modern optical methods now permit of a very accurate and convenient determination under ordinary circumstances. But of course these methods involve a knowledge of the approximate orientation of the section tested. When this section is not a definite cleavage fragment, its orientation can best be determined by convergent light tests.

Only an outline of these methods can be here given, and reference 107should be made to more complete works for an elaborate discussion of the subject.

It is very convenient to have at hand a set of glass models of the plagioclases, showing location of plane of optic axes, vibration directions and crystal axes.[109]

(1) Schuster’s method of recognizing the different feldspars by extinction angles measured on the cleavage plates[110] is very precise, but not always applicable for crystals in rock sections.

Extinction Angles:

Extinction Angles:
ON BASE, MEASURED FROM TRACE OF PINACOIDAL CLEAVAGE. ON BRACHY PINACOID, MEASURED FROM TRACE OF BASAL CLEAVAGE.
Albite + 4° Albite +19½°
Oligoclase, Ab4An1 + 2° Oligoclase, Ab4An1 + 8°
Labradorite, Ab1An1 − 5½° Labradorite, Ab1An1 −20°
Anorthite −36½° Anorthite −41½°

Confusion may here arise between albite and labradorite if disregard be had to signs, but the more acid oligoclase is readily distinguished from the basic anorthite.

By convention the angles on base and pinacoids are (+) when the direction of extinction has apparently moved as the hands of a watch, with reference to the upper right hand edge (between base and pinacoid) of the crystal. When the reverse is true the angles are (−), see Fig. 73.

(2) The statistical method of Michel Lévy and others is often applicable, especially in the following case:

Sections at right angles to the brachy pinacoid (010) and hence showing Albite twinning.—These sections, as nearly perpendicular 108to the lamellæ as possible, are known by the sharp dividing lines, by the extinction angles on each side of the trace of the twinning plane being approximately equal and by the fact that the two adjacent lamellæ are of the same color when the trace of the twinning plane is parallel to the plane of vibration of either nicol. Also in the 45° position the lamellæ are exactly the same color and the dividing lines disappear. Measure the extinction angles in as many sections thus selected as possible and take the maximum value.[111] This should be very close to the maximum extinction angle, which is a constant for each kind of feldspar.

Fig. 73.—Showing conventional signs of extinction angles.

Maximum Extinction Angles in Sections Perpendicular to Albite Twins.
Albite 16°
Oligoclase, Ab4An1
Labradorite, Ab1An1 27°
Anorthite 53°

In the determination of rod-like microlites,[112] oligoclase extinguishes almost parallel to its length, while anorthite may show extinction angles of over 27°. When these microlites show Albite twinning use the method just described.

(3) Fouqué’s method[113] can be used when the optical orientation 109of the section is known (as the result of a test with convergent light). The extinction angles of these known sections are of great diagnostic importance.

The best sections are those at right angles to the two bisectrices, and these may be obtained by rapidly testing those sections, in the rock, which show an interference color about half as high as the maximum color in the rock section, in this way avoiding the sections parallel to the optic axes.

Having found such a section, test it with a gypsum or ¼ undulation mica plate to prove whether the bisectrix is ⟂ a or c. If ⟂ a (these sections show sharp twinning striations) measure extinction angle between trace of axial plane and albite twinning; if ⟂ c measure extinction angle between trace of axial plane and basal cleavage cracks.

Extinction Angles in Sections:[114]
a, Measured from Albite striations. c, Measured from cleavage cracks.
Albite 74° 19½°
Oligoclase, Ab4An1 88°
Labradorite, Ab1An1 60° 22°
Anorthite 55½° 48°

When both extinction angles can be obtained, the determination of the plagioclase is very certain, but the result cannot be regarded as definite when only one is found; and the method becomes more difficult as the crystals become smaller.

The position of the axial plane should be determined by convergent light test and not simply by the direction of extinction in parallel polarized light.

(4) Michel Lévy’s method[115] can be employed when twinning is present after both Carlsbad and Albite laws.

110

Fig. 74.—Extinction Angles in the Zone normal to (010) in Carlsbad Twins of the Plagioclases.

111The section to be tested should be in the zone perpendicular to (010). Such sections show sharp boundary lines between the twin lamellæ and, between crossed nicols, the Albite lamellæ show the same interference color when the trace of (010) is parallel to the cross-wires of the ocular, and also in the 45° position the lamellæ are the same color and no dividing lines show. The two parts of the Carlsbad twin exhibit different interference colors in the 45° position, this difference being more marked as the composition approaches that of Anorthite. The extinction angles are measured from the trace of the Albite twinning plane (010), paying regard to the + and − signs, and the concurrent series of angles are to be obtained from the two parts of the Carlsbad twin. The range of these angles (for four type compositions, Ab, Ab4An1, Ab1An1 and An) is given in the accompanying diagram for all positions of the section in the zone normal to (010).

In the curves of this diagram (Fig. 74) the vertical distances are the extinction angles for every ten degrees measured from the trace of the Albite twinning plane, and the horizontal distances represent varying positions of the section in the zone normal to (010) for every ten degrees of rotation from the position ∥ to the edge (100)(010) (that is ∥ ć axis), through a revolution of 180° to again ∥ to the same position. The concurrent angles in one part of a Carlsbad twin are represented by a heavy line and in the other part by a broken line. It will be observed that the difference between these concurrent angles is very small in Albite (3°) and increases markedly towards Anorthite (60°).

Table for Becke Method.[116]
Orthoclase α < ω Quartz
Microcline β
Albite γ
Oligoclase, Ab4An1 α < ω; γ > ω Quartz.
Labradorite, Ab1An1 α >ε Quartz
Anorthite β
γ

112(5) Becke’s method may be employed to identify the feldspar, by determining the relative values of the indices of refraction of the feldspar grain when it lies in contact with a quartz grain (best results) or with the balsam (not such good results.) The grains should have vibration directions in parallel position.

Other methods that may be employed are here simply referred to: Determination (in convergent light) of the emergence of an optic axis with reference to a known plane, the basic plagioclases show an optic axis about parallel to ć of the crystal; determination of total reflection by Wallerant’s total reflectometer; determination of the value of the mean index of refraction of crushed isolated grains by Schrœder van der Kolk’s method;[117] determinations by specific gravity separations with use of heavy solutions, and by chemical and micro-chemical tests (for the relative amounts of K, Na and Ca).[118]

Remarks: The plagioclases may have the same two general habits as orthoclase, being glassy and colorless in the younger eruptive rocks, and dull and cloudy in the granular and porphyritic, older, massive and schistose rocks. They occur in rocks of intermediate and basic composition.

Albite is found in granite (commonly intergrown with orthoclase), gneiss, etc., and frequently as a secondary constituent (secondary feldspar[119]) in the feldspar-quartz mosaic of mechanically metamorphosed rocks. It may also be present in acid eruptive rocks.

Oligoclase is very frequent in granite, syenite, gneiss, diorite, trachyte, andesite, diabase, etc.; and particularly accompanies orthoclase.

Labradorite is confined more to the gabbros,[120] basic eruptive rocks and crystalline schists, rich in amphibole and pyroxene.

Anorthite occurs in gabbros, the most basic porphyrites, basalts, etc.

Chemical corrosion and mechanical deformation[121] may take place as in orthoclase.

Anorthite and labradorite are more or less decomposed by hydrochloric acid, while albite and oligoclase are not acted on by the acid.

Especially interesting is the alteration of the plagioclase that takes place in 113gabbros, accompanied by “uralitization” of the pyroxene, forming “saussurite.” This consists of a white to greenish confused aggregate, chiefly of zoisite, grossularite, vesuvianite, chlorite, secondary feldspar (albite), etc.

Anorthoclase (a Na K, triclinic, feldspar).—Shows between crossed nicols intersecting areas of exceedingly fine composite twin structure and others of homogeneous structure, producing a watery or “moiré” appearance. The twin structure may be only seen in very thin sections. All possible kinds of perthitic intergrowth occur. Further distinguished from orthoclase by small extinction angle (4°) on base and by smaller axial angle (2E = 72° to 88°).

Replaces orthoclase in the Na rich eruptives. Found in augite-syenite and “Rhombenporphyr” of Norway (with rhombic cross-section), acid augite-andesite of Pantelleria and in the porphyries of the Hartz.

CYANITE, Disthene.

Anisotropic. Biaxial. Triclinic.
Composition: Al2SiO5.   Elongationc′.

Fig. 75.—Cyanite, macro pinacoid cleavage section.

Usual Appearance in Sections: Blade-like crystals without terminal planes, but with cross-section (six-sided) showing two long parallel edges and four shorter edges; also in columnar aggregates. Twinning common, with generally twinning plane parallel to macro pinacoid (100). Colorless or bluish and spotted. The index of refraction is high (n′ = 1.720, α = 1.712, γ = 1.728), hence relief marked and surface rough. Cleavage perfect, parallel to macro pinacoid (100), appearing as sharp cracks, parallel to longest edges in cross-sections; less distinct, parallel to brachy pinacoid (010). Fibrous parting parallel to base (001), Fig. 75. Pleochroism (colorless to blue ∥ c′) not noticed except in colored crystals.

Crossed Nicols: Double refraction quite strong (γ − α = 0.016). Interference colors upper first order, yellow, red, violet, etc. Extinction angles observed in all sections (being triclinic), reaching a maximum of 30° on macro pinacoid (100), Fig. 75. Extinction on base, about parallel to most perfect cleavage. In convergent light axial angle large; axial plane and Bxa. about perpendicular to best cleavage (100); optical character (−).

Alteration: Seldom observed, but may take place to mica.

Distinguished from:

(a) Amphibole by cleavage (intersecting cleavages at 124° in amphibole and 90° in cyanite) and by (100) cleavage plates of cyanite showing emergence of acute bisectrix.

(b) Corundum by being biaxial.

114Distinction from similar appearing minerals may be difficult.

Remarks: Found in gneiss, granulite, metamorphic schists, ecolgite, etc., commonly associated with garnet. It is not attacked by acids. H., 5 to 7. Sp. gr., 3.6.

SERPENTINE.

  Aggregate.  
Elongation (of fibers) ∥ c′.

Composition: H4Mg3Si2O9, with replacement by Fe.

Usual Appearance in Sections: Dense, fibrous (chrysotile) or scaly (antigorite) aggregates.

Color.—Colorless to light greenish, except the Fe rich variety which is green.

Index of Refraction.n′ = 1.55 to 1.56 (α = 1.56, γ = 1.571 for antigorite), hence no relief and surface smooth.

Polarized Light:

Pleochroism.—Not seen or very feeble, except in the Fe rich variety.

Crossed Nicols:

Double Refraction.—Rather weak (γ − α = 0.009 to 0.011).

Interference Colors.—Middle first order, gray, white, yellow, etc. Anomalous colors do not appear. The aggregate structure is distinctly seen between crossed nicols. Due to compensation aggregates may appear isotropic.

Distinguished from: Chlorite.—By more usual absence of color, pleochroism and anomalous interference colors; but this distinction may be very difficult.

Remarks: Serpentine (both antigorite and chrysotile) is essentially a secondary mineral, resulting in most cases from the alteration of chrysolite (olivine), Fig. 22, more rarely of pyroxene or amphibole.[122] The alteration of olivine to antigorite leads to the characteristic “lattice structure,” the alteration to chrysotile to “mesh structure.” In the case of the “mesh” formation the alteration starts from the surface and cracks, producing fibres of chrysotile, which stand at right angles to these edges and cracks. As serpentinization proceeds new cracks form, due to increase in volume, and the process may continue until complete pseudomorphism takes place. When this subsequent serpentinization of the meshes takes place the resulting serpentine may appear almost isotropic[123] and is certainly different from the chrysotile of the first formed veins (Weinschenk). Pieces of the parent mineral are often present.

115Serpentine is found in ophiolites, the altered basic igneous rocks, pyroxenites, peridotites, etc., and as a primary mineral in the Central Alps peridotite, intergrown with fresh olivine (Weinschenk). It may also form a rock by itself. Serpentine is attacked quite strongly by hydrochloric acid, still more so by sulphuric acid. Common serpentine is not altered by heating (distinction from chlorite), but the Fe rich variety becomes brown and opaque. H., 2.5 to 4. Sp. gr., 2.5 to 2.7.

CLAY, Kaolin.

Composition: H4Al2Si2O9 (kaolinite).   Aggregate.

Usual Appearance in Sections: Fine, scaly, colorless aggregates, which appear opaque (due to porous structure). The scales show basal cleavage. Index of refraction is about the same as balsam (n′ = 1.55), hence no relief. The double refraction is weak (γ − α = 0.008).

Distinguished from: Colorless Mica and Hydrargillite [(Al(OH)3), which as an alteration product of the feldspars is often confused with clay] by weak double refraction.

Remarks: Clay results from the alteration of the feldspars (especially the plagioclases), elæolite, scapolite and other silicates. Kaolinite is insoluble in hydrochloric but decomposed by sulphuric acid. H., 2.5. Sp. gr., 2.6.

117

CHAPTER V.
Methods of Preparing Sections.[124]

The methods described will be those used in making rock sections. The general principles involved are the same for both rock and crystal sections; although more difficulties are encountered in making the latter, due to the sections being required in some definite direction or of some precise thickness, or on account of the possibly fragile or brittle character of the crystals.

In the case of rock sections any section, taken “at will” through the rock, will generally do.

Cutting and Grinding Machines.[125]

Many different kinds are used, the power being furnished by steam, electric motor[126] or by the hand or foot.

The chip or fragment of rock to be sliced should be comparatively small in size, and may be cut by either a vertical diamond saw or by a horizontal emery-disc. The fragment is held in position by suitable guides. The moistened emery can be kept in the tray and fed to the disc by a spoon or some other device. Diamond saws are only needed in the case of hard rocks.

For cutting sections of crystals in definite directions a form of small hand apparatus[127] is shown in Fig. 76.

This cut shows how the plate, to which the crystal is cemented, can be given definite rotation in two directions. The simpler crystal holder, appearing loose on the stand, may be used when a section is required parallel to the face of the crystal cemented to the holder.

118In these machines the cutting is done with rotating saws of sheet-tin, usually charged with either diamond dust or emery.

Fig. 76.

In the case of a very small crystal a section, parallel to any desired face, can be obtained by cementing this face to a suitable frame or holder and grinding down by hand on a glass plate with emery, the final polish being given with rouge. When the section required is not parallel to a crystallographic face or cleavage it must be verified geometrically with reference to other faces. If the crystals are soluble in water, some other liquid, as α bromnaphthalin or benzine, must be used in grinding; and very fragile crystals are rubbed down on a ground glass plate without emery or rouge, simply using bromnaphthalin or some other appropriate liquid.

When sections of a crystal are desired with strictly parallel faces, the form of grinding apparatus shown in Fig. 77 can be used.

This apparatus consists of a cylinder, held within a suitable 119frame supported on three set-screws, a1, a2 and a3, of hard steel. The lower surface of the frame and consequently the bottom of the cylinder can be adjusted by the wedge k and the set-screws so that it is exactly parallel to the grinding surface of the glass plate. The crystal to be ground down, p, is cemented to the bottom of the cylinder, and the whole apparatus rubbed over the grinding surface of the plate. The pressure of the hand on the upper part of the cylinder regulates the pressure of the crystal on the grinding surface. In this way a surface is obtained which is exactly parallel to the surface cemented to the cylinder.

Fig. 77.

Sections of definite thickness can also be obtained by using this apparatus; for the adjustments with the wedge k may be so arranged that, when the stop t in the cylinder has reached the bottom of the slot in the frame, the lower surface of the cylinder will be the required distance from the grinding surface of the glass plate. The wedge is graduated so that the value of one division on the sloping top is known in mm. of vertical distance.

Saws.

Saws,[128] of about six inches in diameter made from ¹⁄₃₆ inch sheet-tin, are convenient for general work, and may be charged with diamond dust by the operator as follows:[129] Crush one or two 120carats of rough crystals of diamond-bort in a small steel mortar to about the condition of fine sand, care being taken not to reduce the diamond to powder. Transfer the dust to a piece of flat iron and, after collecting it in a heap, moisten with a drop of oil. The cutting edge of the tin disk must now be prepared by making a series of incisions (¹⁄₁₆ inch deep) on the outer margin. This can be done by striking the disk with a sharp, thin knife edge. The larger the number of incisions and the closer they are together the better. Charging the saw is accomplished by gently hammering the edge against the iron plate, upon which is the paste of diamond dust and oil. The disk must be slowly rotated during this charging process, which should be continued until all portions of the edge have been gone over two or three times.

Instead of charging with diamond dust the saws may be used with emery. The edges of the saws should first be “upset,” as just described, and then while rotating charged with emery. The emery in the state of mud can be applied with the thumb and fingers, or the saw can be allowed to pass through a tray of emery mud. The finer grades of emery (Nos. 100 to 120) should be used.

The method of mounting saws, of course, depends on the way the saws and spindles are constructed. It is well, however, to have the hole in the center of the saw-disk sufficiently large to allow of adjustment for accurate centering.

Cutting.

During the process of cutting a lubricant must be used on the saw. Petroleum has been recommended by some, but water seems to be the most used. Holding a piece of soap against the cutting edge will also reduce friction. It is convenient to carry the water to the saw through a very small lead pipe, which permits of easy adjustment, so that the water can be delivered at just the right spot, the flow of water, of course, being regulated by a stop-cock.

Another method for cutting sections is used by the U. S. Geological Survey at Washington, D. C. The apparatus consists of an endless wire of soft iron, about ³⁄₃₂ inch in diameter, revolving over two pulleys or wheels, one of which is driven by steam-power. The wire is charged by dipping the fingers in water, taking up a little fine (120 grade) emery and holding the fingers 121against the wire above the section. The wire revolves so as to cut downwards, thus carrying with it the emery taken from the fingers.

In cutting sections the thickness, of course, depends on the character of the rock; the more porous and fragile the rock the thicker the section should be made, an ordinary section being about as thick as a silver quarter of a dollar.

Very often by skill and practice a suitably shaped chip or fragment can be detached from the specimen with a hammer or with a hammer and cleavage chisels, thus avoiding the delay and trouble involved in the use of the section cutter.

Grinding Plates or Laps.

Copper laps, about 7–8 inches in diameter and ½ inch thick, seem to be best for general purposes; although laps made of lead or cast iron are also used. A lead lap, being soft, holds the emery well and thus hastens the grinding away of the section; but at the same time its own smooth surface is soon destroyed. A cast iron lap is much harder and retains its smooth surface better, but does not hold the emery so well and therefore retards the process of grinding. Copper, being intermediate in hardness between lead and iron, seems to combine the advantages of both.

It is always good practice to have at least two laps, one for the preliminary grinding with coarse emery and the other for the final grinding with the finest grades of emery. In this way one lap is always kept with a smooth surface, making it possible to give a uniform, plane finish to the section.

The surface of the laps should not be exactly plane, but turned or finished so as to be a little higher (¹⁄₃₂ of an inch for diameter of 8 inches) at the axis than at the periphery; the idea being to compensate for the more rapid abrasive action towards the periphery.

Cementing.

For grinding down to a proper thinness for transparency it is necessary to cement the fragment of rock to a holder, which consists of a small piece of plate-glass about ⅛ inch thick. If the piece of rock has been cut by a good diamond saw the surface will be comparatively smooth and uniform, and may only need polishing (described under grinding) before cementing. When, 122however, the piece of rock is in the shape of a chip or rough fragment it is first necessary to prepare a smooth ground surface on one side (described under grinding) before it can be cemented to the glass holder.

The pieces of plate-glass used should be free from flaws, bubbles or anything tending to destroy uniformity of surface, and should be a little larger than the chips and slices of rock for which they are to act as holders. Hardened Canada balsam, or better yet, a cement made of a mixture of shellac and Venice turpentine,[130] should be used.

The process of cementing is carried on as follows: Heat the glass support over an alcohol lamp or a Bunsen burner, place it on a good non-conductor of heat, as a piece of wood, and rub it with a stick of the cement until a sufficient quantity has been melted off. The piece of rock should then be treated in the same manner, applying the cement to the smooth finished portion. Care must be taken that neither the glass nor rock preparation are heated too much, as this would cause the cement to smoke or bubble. After placing the rock preparation and plate together, use quite a little pressure in order to drive out all superfluous cement. Examine now, through the glass, the contact surface and see that it is entirely free from bubbles, etc.

Bubbles are usually caused by overheating of the parts before cementing. If only very few bubbles are seen, they may generally be removed by moving the rock preparation rapidly back and forth over the glass plate. If the bubbles are numerous or cannot be removed in the manner just described, the rock preparation must be separated from the glass plate and the cementing done over again.

Bubbles must not be allowed to remain, as the portions of the rock over them, not having any cement backing, are ground away leaving holes in the section.

123

Grinding.

After the rock preparation has been cemented to its glass holder it is ready for the grinding process, for which are used horizontal laps, mounted on a vertical spindle in the tray T, Fig. 76. The copper lap for the first grinding is put in place, and, after it has commenced to rotate, is charged with emery and water. This can conveniently be done by dropping on the emery and water, either with the fingers or with a small bunch of rags at the end of a stick. A large camel’s hair brush may be used for putting on the finest emery. The emery is distributed over the rotating lap by the motion of the rock preparation during grinding. The kind of emery used for this first grinding depends somewhat on the character of the rock section. If the section is composed of a hard, compact, fine grained rock, the first emery used may be quite coarse; the coarser the emery the more rapid being the grinding down. For rough, quick work, Nos. 80 to 100 emery can be used until the section becomes quite thin; then, still using the same lap, substitute the finest corn emery (next coarsest to flour emery) and continue grinding until the section becomes quite translucent. The lap must then be changed, and the grinding finished with the finest emery dust.

Too great care cannot be given to cleanliness while doing this sort of work. A single grain of coarse emery, getting on the lap or section during the final grinding, will often spoil the whole work by making a bad scratch. In grinding down the section, great care must be taken to see that the grinding surface is kept parallel to the surface cemented to the glass. The section is firmly pressed against the lap by means of two or three fingers, depending on its size, and uniform pressure should be maintained over all parts.

The section should be examined frequently, and if it is noticed that one part is thicker than another, place the section on the lap so that the thicker part is towards the periphery, and put a little more pressure upon this part. Gutting or grooving the copper laps is prevented by moving the section from center to periphery and back, at the same time giving to it a slight rotary motion. It is best to have the lap revolve from right to left (in the opposite way from the hands of a watch), as, holding the section on the 124right side of the lap, it is easier to keep it in place by a pulling motion rather than by pushing it against the motion of the lap. In the final stages of grinding and polishing great precaution must be exercised, as one or two turns too many of the lap will often tear away a large part of the very thin section. The section should be frequently examined, by transmitted light, with a small, low power microscope, a drop of water or oil being put on the section to render it more transparent. If the section is thick and fastened to the plate-glass with a good deal of cement, it will be found convenient, after the section has been ground quite thin, to remove most of this cement from around its edges. If this is not done, it may delay the final work of grinding down. A good rock section should be made so thin that all the transparent and translucent component minerals can be examined and studied. Well made rock sections average in thickness from 0.03 to 0.05 mm. The last part of the final grinding and polishing can be done by the hand on a ground glass plate, using the finest emery dust or rouge and water.

Flour emery may also be used entirely for grinding, and the finest emery dust for polishing. The finer emery makes better work, although it takes more time, and is much safer for porous or brittle sections, as the danger of tearing away pieces of the section is avoided. In the case of a porous or decomposed rock it is well before grinding to boil the section in Canada balsam or other equivalent material so as to fill all the pores and interstices, thus making the section more compact and less liable to chip away. Sometimes it may even be best before grinding to mount the section on its permanent glass slide, so that when it has been ground thin enough the cover can be put on without running any risk in transferring the section. The only objection is that the glass slide may be a little scratched by the emery.

Mounting.

When the section is sufficiently thin and has a smooth uniform surface it is ready to be transferred and mounted upon its permanent glass slide. The glass plate, which has held the section during the grinding, is gently heated, and, as soon as the cement begins to soften, the section is very gently pushed off into a shallow 125cup or evaporating dish containing turpentine or alcohol. Turpentine is convenient for general use, because common alcohol (on account of the water it contains) unites with the shellac to form a kind of white pasty substance, which is sometimes hard to remove from the section. The section should be carefully cleaned in the turpentine or alcohol bath by means of fine camel’s hair brushes. A section-lifter, made from a piece of broad, flat watch-spring fastened to a small handle, is then gently placed under the section, which is lifted out of the bath in an inclined position so as to allow the liquid to drain off. If a drop still adheres it can be removed by touching it gently with the finger.

The section is now placed in a tray, upon a piece of white, unglazed paper, so that it may thoroughly dry; after which process it is transferred to a glass slide, and, if necessary, its rough edges chipped off with a knife.

If the section is very large, and it is desired to mount it in two pieces, it can easily be divided by holding one half tightly between two glass slides and gently bending the other half with the fingers. The fracture will take place along the edges of the glass slides.

A mixture of gum damar and benzole is recommended for mounting, the claim being made that gum damar does not turn yellow with age, whereas Canada balsam may do so. Two solutions of gum damar and benzole are used. One very thin, about the consistency of water, the other quite thick, about the consistency of mucilage. Both solutions are prepared by dissolving the gum damar in benzole and filtering through a linen or silk rag. If the solution is too thin it can be thickened by placing the bottle in a warm place and allowing the excess of benzole to evaporate, or if too thick, more benzole can be added. It is convenient to keep the solutions in short glass bottles, with wide necks and glass covers instead of corks. The solutions can be applied with glass rods.

When the section is all ready for its final mounting it is carefully centered with a coarse needle on the glass slide,[131] and a drop of the thin solution placed at the edge of the section. Capillary attraction will cause it to flow over the glass slide under the section, and while it is soft the section can be again adjusted in place. 126The slide is then placed in a cool, dust proof place and allowed to stand for about twelve hours, when the cement will be set and the section held firmly in place. The upper surface of the section is then washed with a drop of benzine, and as much as may be necessary of the thick mounting solution placed upon it with a glass rod. A cover of glass of the right size is gently heated and placed in position over the section. Care must be taken not to have the cover too hot, as it would cause bubbles to form in the cement. It is also best to rest one edge of the cover on the cement first, and then lower it gently so as to prevent air bubbles from being included. The cover is adjusted and then held firmly in position by means of a mounting clamp, which presses out all superfluous cement. If a few small bubbles remain near the edges they may be let alone, as they will generally work out by themselves in time. Sometimes a large bubble can be worked out by local pressure with the finger and gentle heating with a small iron rod. If the mounting is unsatisfactory the cover should be removed by heating, the old cement washed off with a camel’s hair brush and benzole, and a fresh cover put on. After the cement has set, the clamp may be removed, but the slide should be left for 24 hours, or longer if necessary, until the cement is quite hard. This takes longer in hot than in cold weather.

The advantage of using two solutions for mounting is that the section is firmly held in place on the glass slide while the cover is being placed over it; there is thus no slipping or sliding of the section, and when the cover is adjusted in place the work is well finished and the section still in the centre of the slide.

Canada balsam, or balsam in xylol, are also often used for mounting. The advantage of the latter being its quick drying or “setting.”

Cleaning and Finishing.

When the cement has set the superfluous part is singed by means of a small hot iron rod. Care must be taken not to use too large a rod or to have it too hot, as the cement under the cover might then soften and allow the cover to slip or air bubbles to form. The singeing drives off the more volatile part of the cement, leaving only a brittle residue, which can be easily scraped off with a knife. In some cases it may be necessary to singe and scrape 127twice. The final cleaning is done with a soft rag and benzole. The slides are now ready to be marked, either with a diamond pencil or with pasted labels.

Convenient Apparatus for Work in a Petrographical Laboratory:

Section lifters made of watch springs, three sizes.

Section holders or clamps for pressing out superfluous cement.

Needle points mounted in light handles.

Easy spring forceps.

Mounting frame for centering section on glass slide.

Small iron rod for singeing.

Small camel’s hair brushes.

Cutting pliers and forceps.

Set of wooden section trays.

Glass stopper bottles for benzole, benzine, turpentine and alcohol.

Open neck bottles, with covers for two mounting liquids.

Rotating mounting stand.

Small microscope for testing transparency of section.

Glass rods.

Small squares and rectangles of plate-glass.

Round, oval and square cover-glasses.

Glass slides with ground edges.

129

CHAPTER VI.
Chemical and Mechanical Tests.

These tests may be necessary to confirm an optical determination or to assist in the differentiation of the closely related species of a group, as for example, the different plagioclases in the feldspar group. They may also be useful in the case of opaque substances.

The ordinary chemical methods employed in mineral analyses are often not applicable, on account of the minute size of the mineral under investigation and the lack of sharpness in the reactions. Those methods[132] are to be preferred which produce crystallizations independent of the relative proportions of the materials taking part in the reaction and also of the physical conditions invoked.

The tests can be made either on the crystal in a rock section or on the isolated crystal or fragment, the latter method being preferable when possible.

Chemical Tests Made on Crystal in Section.

The part of the section to be tested must be prepared by thorough washing with alcohol and benzole to remove all traces of balsam. If the section is covered, the cover-glass can be cut across with a diamond, and, after heating, the desired portion removed with a knife edge. Any portion of a section can be isolated by surrounding it with a rim of viscous balsam or by putting on a new cover-glass, in which a small hole has been made.[133] This hole can be accurately adjusted over the special portion of the section and the balsam removed by alcohol and benzole.

The treatment of rock sections with ordinary acids, such as hydrochloric, may show the presence of easily soluble minerals[134] and carbonates, or distinguish silicates that are soluble with jelly, or produce etched figures on the minerals.

130Test for Carbonates. When only present in very minute grains the test can be made as follows: Cover the rock section with a drop of water and a cover-glass, then allow a drop of acid to slowly diffuse through the water film. The glass cover will prevent the escape of the gas bubbles[135] which will thus surely be detected.

If necessary the section can be warmed by heating the projecting part of a suitable stand, placed under the section on the stage of the microscope.

Test for Gelatinizing Silica. Cover the carefully cleansed section with a little dilute acid (commonly hydrochloric) and let stand. If too much acid is used the resultant gelatin will spread over the whole section and not appear simply on the gelatinizing silicate. Warm the section, if necessary, and finally rinse off the remaining acid thoroughly with water. Do not allow the action of the acid to continue too long, as it is desirable to obtain only a very thin film of gelatinous silica over the minerals attacked, so that the optical tests can still be made on these minerals. If after the first trial the action has not been pronounced enough, the test should be repeated.

The transparent film of gelatinous silica is made more visible by covering the section with a drop of water, containing a dilute solution of fuchsine. After standing for some time the section should be washed, when only those portions covered by the gelatinous film will show the color stain.

Etched Figures.[136]

The results of etching tests can not be regarded as very satisfactory in the case of sections of minerals in rock sections, on account of doubt as to the crystallographic orientation of these sections.

The symmetry of the etched figures depends essentially on the relation of the crystal faces on which they are obtained to the planes of symmetry.

131The forms of the etched figures differ on the same face of a mineral, depending on the reagent used, but their degree of symmetry is independent of the reagent or its degree of concentration. The sharpest figures are produced on crystal and cleavage faces, the figures being less perfect on artificially prepared faces, even when polished. The etching tests may, however, be tried to prove the presence of twinning, or to distinguish between minerals of similar appearance but belonging to different systems.[137]

Various acids or alkalies are used to produce the etched figures, depending on the mineral to be tested. Different factors influence the formation of good etched figures, and that method must be used which seems to give most satisfactory results in the given case. The action of the reagent should be sufficiently pronounced to develop clearly the etched figures; at the same time the tests must be stopped before the solvent action has been too powerful.[138] After treatment for etching the section should be thoroughly washed and examined in some fluid of weak refraction (with n lower than that of the crystal section), such as water or air.[139] The objective, of course, must be focused on the surface of the section.

Heating Sections to Redness.[140]

The part of the section to be tested must be removed from the object glass, carefully cleansed of balsam, and held on platinum foil in the oxidizing blowpipe flame. After the test the fragment used may be remounted in Canada balsam for study.

As a result of heating:

Colorless, hydrous minerals (zeolites and chlorites) become cloudy in appearance.

Colorless silicates, containing protoxide of iron (as olivine, or faintly colored pyroxene or amphibole), become red or reddish-brown.

132Colored minerals may change their color, chloritic substances becoming brown or black if heated enough.

Hornblende always becomes pleochroic, and olivine sometimes becomes so.

Members of the sodalite group may be turned blue, if not already of that color.

The dichroism (yellow to blue) of almost colorless iolite may be developed.

Carbonaceous particles may be distinguished from the iron oxides by being consumed.[141]

Methods of Isolating Crystals or Mineral Fragments for Testing.[142]

For the application of these methods the rock or aggregate of minerals should be reduced to homogeneous[143] grains of uniform size (preferably crystals or cleavages) and not to powder. This is best done by pounding in a metal mortar, avoiding all grinding motion.

The separations required may be made by specific gravity solutions or magnetic methods, alone or combined; and in some cases may be assisted by chemical action.

When other methods fail it may be necessary to separate single grains from a mixture by hand. A grooved piece of plate-glass, passed beneath the objective of the microscope, will be found useful. The desired grains in this groove can be picked out by means of a piece of fine waxed thread or a fine pointed stick moistened at the end.

The hardness of the homogeneous grains may be obtained by pressing them firmly into the end of a lead stamp or holder and trying the effect of scratching upon the faces of minerals of known hardness.

133Specific Gravity Separation.[144] Accomplished by use of fluids of different specific gravity. These fluids can be made specifically lighter by dilution, and hence the fragments will fall to the bottom in order of decreasing density. Dilution of the heavy solutions to any specific gravity may be affected empirically until the solution will just suspend a fragment of a mineral having the desired specific gravity; or the exact specific gravity of the solution may be determined by the Westphal balance.

The following indicators may be employed to determine the limits of the specific gravity of the solution to be used for separation purposes (V. Goldschmidt):

No. Name. Locality. Sp. Gr.
1. Sulphur, Girgenti, 2.070
2. Hyalite, Waltsch, 2.160
3. Opal, Scheiba, 2.212
4. Natrolite, Brevig, 2.246
5. Pitchstone, Meissen, 2.284
6. Obsidian, Lipari, 2.362
7. Pearlite, Hungary, 2.397
8. Leucite, Vesuvius, 2.465
9. Adularia, St. Gotthard, 2.570
10. Elæolite, Brevig, 2.617
11. Quartz, Middleville, 2.650
12. Labradorite, Labrador, 2.689
13. Calcite, Rabenstein, 2.715
14. Dolomite, Muhrwinkel, 2.733
15. Dolomite, Rauris, 2.868
16. Prehnite, Kilpatrick, 2.916
17. Aragonite, Bilin, 2.933
18. Actinolite, Zillerthal, 3.020
19. Andalusite, Bodenmais, 3.125
20. Apatite, Ehrenfriedersdorf, 3.180

Among the heavy solutions employed may be mentioned:

Thoulet’s solution of potassium-mercuric iodide (KI: HgI2 = 1: 1.24), maximum specific gravity 3.196. Klein’s solution of cadmium borotungstate (2H2O, 2CdO, B2O3, 9WoO3 + 16H2O), maximum specific gravity 3.6. These two solutions can be mixed with water in any proportion without being decomposed. Solution of barium mercuric iodide, maximum specific gravity, 3.588, cannot be diluted with water. Methylene iodide (CH2I2), specific gravity 3.3243 at 16° C. varying with the temperature, can be diluted with benzole but not with water.

Nitrates of silver and thallium[145] (AgNO3: TlNO3 = 1.1) fuse at about 75° C. to a clear mobile liquid with specific gravity over 4.5. Can be mixed while melted with water in all proportions; 134but cannot be used for separation of sulphides, as these nitrates are attacked by them.

Possible chemical action between the minerals and heavy solutions must not be overlooked in this method of separation.

The funnel-shaped apparatus for these separations must be so arranged, with stop-cocks, etc., that the heavier material collected at the bottom can be easily drawn off or removed at any stage of dilution.

These separations, for various reasons, are not always complete, but the best results are obtained when the processes are repeated several times.

Electro-magnetic Separation. All iron-bearing minerals may be separated from those free from iron by an electro-magnet.

The factors influencing the attraction of a mineral by an electro-magnet are not definitely known, and do not seem to depend only on the percentage of iron.

Minerals, such as amphibole, pyroxene, epidote, olivine and garnet (containing iron), may often be separated by an electro-magnet by regulating its magnetic intensity.[146]

Separation by Chemical Means. Very many different methods may be used, depending on the nature of the work to be accomplished; but they are generally only reliable in the hands of a good chemist. The material should be in the state of fine powder.

As an example may be mentioned the treatment with pure concentrated HFl, by which the minerals of a rock are attacked in a certain sequence, the feldspars and related minerals first, then the quartz and finally the ferro-magnesium silicates, such as amphibole, pyroxene, olivine, etc.

Micro-Chemical Reactions.

The first requisite is to bring the substance to be investigated into solution. This can be done in the case of non-silicates by the ordinary solvents, while silicates can be decomposed and investigated either by the methods of Borichy or Behrens. Both methods rest upon the recognition of the forms, etc., of artificially produced crystals.

135The size of a fragment for testing may vary, according to circumstances, from that of a poppy seed to a pin head. Good results are recorded from fragments of not more than 0.2–0.7 sq. mm.

The substance to be tested is placed on glass, protected by a film of balsam, and covered with a spherical drop of the solvent,[147] which should be allowed to act until all the different elements composing the sample are in solution (in the case of a very small fragment until it has all dissolved). Transfer the solution to another protected object glass, and, after evaporation, the crystallizations characteristic of the different elements will be seen.

If the evaporation is too rapid and the crystallizations incomplete, the residue should be redissolved in water, or a very dilute solution of the solvent employed, transferred to a fresh glass and allowed to recrystallize.

Borichy’s Method.[148] (Hydrofluosilicic Acid.)

This method has the advantage of simplicity of manipulation and relative distinctness in results; but on the other hand these results are only obtained after several hours, and the temperature has an influence on the crystalline forms obtained. It is well to make the tests in a temperature of about 15° C.

Put a spherical drop of pure hydrofluosilicic acid[149] on the fragment and leave it for some hours in damp air until the action has been sufficient, then transfer it to a dry air bell-glass and allow evaporation and crystallization to take place.

For the microscopic examination the objective (200–300 diams. best for these observations) can be protected with glycerine and a mica disc or thin cover-glass, or the drop can be all evaporated and the crystals covered with liquid balsam and a cover-glass.

136

Crystallizations Obtained by Borichy’s Method.

Potassium. From hydrofluosilicic solutions,[150] isotropic, colorless crystals of K2SiFl6, in cubes, octahedra or combinations of these forms with the rhombic dodecahedron. Apparently orthorhombic crystals may form from acid solutions and at a low temperature, but if these crystals are dissolved in hot water and recrystallized they will assume the normal forms.

Platinic chloride will produce under proper conditions sharp, yellow octahedra of K2PtCl6.

Fig. 78.—Fluosilicate of potassium.[151]

Fig. 79.—Fluosilicate of sodium.[151]

Sodium. From hydrofluosilicic solutions, colorless, very weakly doubly refracting, hexagonal crystals of Na2SiFl6, which are generally longer the higher the percentage of sodium in the solution. This test is very certain even for small amounts.

Fig. 80.—Fluosilicate of calcium.[151]

Fig. 81.—Fluosilicate of magnesium.[151]

Calcium. From hydrofluosilicic solutions, monoclinic crystals of CaSiFl6 + 2H2O of various forms, generally spindle-shaped, with not very strong double refraction. The crystals have seldom straight-edged boundaries and are often grouped in rosettes. The addition of dilute H2SO4 decomposes the crystals, recrystallization 137yielding long prismatic crystals of gypsum (distinction from strontium).

Treatment with HFl and dilute H2SO4 (in excess), producing on evaporation characteristic crystals of gypsum, furnishes a very delicate test for small percentages of calcium.

Magnesium. From hydrofluosilicic solutions, rhombohedral crystals of MgSiFl6 + 6H2O with plane faces and sharp edges. The crystals are colorless and strongly doubly refracting with positive optical character, Fig. 81.

The formation of struvite crystals (NH4MgPO4 + 6H2O), of coffin-like forms, is very characteristic and takes place from very dilute solutions (rendered alkaline) on the addition of a grain of salt of phosphorus or a drop of sodium phosphate.

Iron. From hydrofluosilicic solutions, crystals of FeSiFl6 + 6H2O, which are isomorphous with those of magnesium salts, with the same optical characters. They may be differentiated by moistening with potassium ferrocyanide or ammonium sulphide, in the first case by turning blue, in the second case black.

Aluminium. From hydrofluosilicic solutions, not satisfactory on account of the gelatinous formation.

When the gelatinous formation is obtained by the action of hydrofluoric acid on an aluminous silicate, the staining test can be used to distinguish between fine grains of feldspar and quartz or iolite and quartz.

Behrens’ Method.[152] (Hydrofluoric and Sulphuric Acids.)

This method depends on common reactions that can be made rapidly, but has the disadvantage of being rather complicated and requiring delicate manipulation.

The tests are best made upon about ½ mg. of powder with HFl (pure and fuming). As soon as the fluorides begin to dry treat with dilute H2SO4 and warm until white fumes of SO3 appear. In this way the HFl and SiFl4 are driven off and the sulphates are left. This part of the test can conveniently be made on a piece of platinum foil. Add excess of water and concentrate.

138Transfer a drop to a clean object glass and, while still liquid, examine it with the microscope. Do not use a cover-glass over the drop.

Crystallizations Obtained by Behrens’ Method.

Potassium. Add a little platinic chloride when octahedral crystals of K2PtCl6 (size .18 to .30 mm.) will appear, which are clear, bright yellow in color with strong refraction.

Fig. 82.—Potassium platinic chloride.[153]

Fig. 83.—Sulphate of calcium (gypsum).[153]

Sodium. Use sulphate of cerium and allow a small amount of this reagent to act through a capillary pipette upon a drop of the solution. Very small aggregates of brown crystals (size .02 mm.) of the double sulphate of cerium and sodium are formed, which are clearly visible with 600 diams. If potassium is present the double sulphate of that alkali will appear in larger, grayish grains (size .05 to .06 mm.). An excess of H2SO4 is to be avoided.

Calcium. After a few minutes little gypsum crystals (CaSO4 + 2H2O) will appear. In strongly acid solutions the thin acicular crystals will be grouped in bushes or stars; in neutral solutions the crystals will have the normal shape of selenite crystals or form swallow-tailed twins.

Magnesium. Use salt of phosphorus dissolved in water and allow it to mix with the solution (to which has been added ammonium chloride and ammonia) through a capillary pipette. From a solution containing more than 5 per cent. of magnesium are first deposited X-shaped skeletons and rudimentary crystals of Mg.NH4.PO4 + 6H2O. If the solution is more dilute beautiful, sharp, hemimorphic crystals (.10 to .20 mm. in size) of the orthorhombic 139system will appear. These crystals often resemble the roof of a house. The formation of the crystals is assisted by heat. Iron and manganese phosphates yield crystals of the same type, but the iron is separated on the addition of ammonia.

Aluminium. Use chloride of cæsium. Take a drop of the solution, with excess of H2SO4 driven off, and touch it with a platinum wire that has been dipped in the melted chloride of cæsium. Large crystals (.40-.90 mm. in size) of cæsium alum will form, which are octahedral and cubo-octahedral in shape. Iron does not interfere, as its crystallization would take place much more slowly. The solution should not be too concentrated.

Fig. 84.—Magnesiumammonium phosphate.[154]

Fig. 85.—Cæsium alum.[154]

Special Tests.

Distinction between haüynite (contains CaSO4) and noselite (contains Na2SO4). Treat with HCl and on evaporation the characteristic crystals of gypsum will be seen if the mineral is haüynite. Dilute acid should be used and as low a temperature maintained as possible, otherwise crystals of anhydrite would form instead of gypsum.

Recognition of apatite by test for phosphorus. Treat with a drop of ammonium molybdate dissolved in HNO3. After complete action remove the solution to a clean object glass, when after slight warming a large number of very small yellow crystals (rhombic dodecahedral in shape) will form. The test may be 140used to distinguish this mineral from nephelite, melilite and natrolite. In the presence of soluble silica evaporate to render it insoluble and treat again with HNO3 and the reagent.

Other micro-chemical tests are not mentioned for the reason that in elaborate chemical investigations of sections or isolated fragments recourse should be made to the most complete publications on the subject.

141

APPENDIX.

Brief Scheme of Classification into Systems by Optical Determinations.

HOMOGENEOUS.
The whole substance shows the same optical character, except in the case of twin crystals when the different portions of the twin are affected differently.
Isotropic
All sections of the substance remain dark during a complete rotation between crossed nicols, and no interference figure is produced by convergent light.
  Amorphous
Absence of crystalline form or cleavage.
  Isometric
Presence of crystalline form or cleavage.
Anisotropic.
Sections generally show some interference color and extinguish four times, at 90° apart, during complete rotation.
Uniaxial.
Determined by character of interference figures obtained by convergent light from sections which remain dark or nearly so during complete rotation.
 
All sections show parallel or symmetrical extinction.
  Tetragonal
Sections giving interference figures are four- or eight-sided, or show rectangular cleavage.
  Hexagonal
Sections giving interference figures are three-, six- or nine-sided, or show cleavage lines intersecting at 60°.
Biaxial
Determined by character of interference figures obtained by convergent light.
  Orthorhombic
Extinction is parallel or symmetrical in all sections parallel to ă, [=b] and ć. Color distribution is symmetrical to two lines and to the central point, see p. 48.
  Monoclinic
Extinction is only parallel or symmetrical in sections parallel to the ortho axis [=b]; all other sections show extinction angles. Color distribution is only symmetrical to one line or to the central point, see p. 48.
  Triclinic
Extinction angles in all sections, although in some minerals these angles may be very small. No symmetry in color distribution, see p. 48.
AGGREGATE.
Not homogeneous, but made up of an aggregation of individuals, all extinguishing at different times.
142

Double Refraction (maximum).[155]

0.287
Rutile
0.179
Dolomite
0.172
Calcite
0.141
Titanite
0.090
Titanite
0.072
Hornblende (basaltic)
0.062
Zircon
0.058
Biotite
0.050
Talc
0.050
Ægirite
0.041
Muscovite
0.037
Epidote
0.036
Chrysolite (Olivine)
0.036
Scapolite (Meionite)
0.034
Tourmaline
0.034
Phlogopite
0.030
Allanite (Orthite)
0.029
Diopside
0.027
Actinolite
0.027
Tremolite
0.024
Hornblende (common)
0.024
Diallage
0.024
Anthophyllite
0.023
Augite
0.021
Sillimanite (Fibrolite)
0.018
Glaucophane
0.017
Tourmaline (precious)
0.016
Cyanite (Disthene)
0.013
Hypersthene
0.013
Scapolite (Marialite)
0.013
Anorthite
0.012
Natrolite
0.011
Chlorite (Clinochlore)
0.011
Andalusite
0.011
Topaz
0.010
Staurolite
0.010
Gypsum
0.010
Enstatite
0.010
Serpentine
0.009
Corundum
0.009
Iolite (Cordierite)
0.009
Quartz
0.008
Topaz
0.008
Kaolin
0.008
Labradorite, Ab1An1
0.008
Oligoclase, Ab4An1
0.008
Albite
0.007
Orthoclase
0.007
Microcline
0.006
Vesuvianite
0.005
Zoisite
0.004
Nephelite (Elæolite)
0.003
Apatite
0.003
Melilite
0.002
Tridymite
0.002
Leucite
0.002
Allanite (Orthite)
0.001
Chlorite (Penninite)
0.001
Vesuvianite

Indices of Refraction (mean).[155]

2.712
Rutile
2.38
Perofskite
2.00
Spinel (Chrome)
1.963
Titanite
1.95
Zircon
1.920
Titanite
1.856
Garnet (Melanite)
1.792
Ægirite
1.78
Allanite (Orthite)
1.78
Garnet (Almandite)
1.766
Corundum
1.751
Epidote
1.75
Garnet (Pyrope)
1.741
Staurolite
1.723
Hypersthene
1.72
Spinel
1.720
Zoisite
1.720
Cyanite (Disthene)
1.719
Hornblende (basaltic)
1.715
Vesuvianite
1.711
Augite
1.699
Zoisite
1.697
Diopside
1.688
Diallage
1.675
Chrysolite (Olivine)
1.665
Enstatite
1.664
Sillimanite (Fibrolite)
1.674
Tourmaline
1.644
Anthophyllite
1.64
Hornblende (common)
1.637
Andalusite
1.635
Apatite
1.632
Glaucophane
1.632
Topaz
1.630
Melilite
1.633
Tourmaline (precious)
1.622
Dolomite
1.621
Actinolite
1.621
Tremolite
1.618
Biotite
1.608
Topaz
1.588
Chlorite (Clinochlore)
1.587
Muscovite
1.582
Anorthite
1.576
Chlorite (Penninite)
1.572
Talc
1.584
Scapolite (Meionite)
1.564
Phlogopite
1.56
Serpentine
1.559
Labradorite, Ab1An1
1.55
Kaolin
1.547
Quartz
1.551
Scapolite (Marialite)
1.601
Calcite
1.541
Oligoclase, Ab4An1
1.54
+ Canada balsam
1.539
Nephelite (Elæolite)
1.539
Iolite (Cordierite)
1.535
Albite
1.525
Gypsum
1.525
Microcline
1.523
Orthoclase
1.509
Leucite
1.503
Haüynite
1.488
Analcite
1.483
Natrolite
1.483
Sodalite
1.477
Tridymite
1.46
Opal
143

Diagram showing relation between strength of Double Refraction, Interference Colors and Thickness of Section.[156]

144

Order of Consolidation of the Constituent Minerals in Plutonic Rocks.

“There is in plutonic rocks a normal order of consolidation for the several constituents, which holds good with a high degree of generality. It is in the main, as pointed out by Rosenbusch, a law of ‘decreasing basicity.’ The order is briefly as follows:

“1. Minor accessories (apatite, zircon, sphene, garnet, etc.) and iron ores.

“2. Ferro-magnesian minerals—olivine, rhombic pyroxenes, augite, ægirine, hornblende, biotite, muscovite.

“3. Felspathic minerals—plagioclase felspars (in order from anorthite to albite), orthoclase (and anorthoclase).

“4. Quartz, and finally microcline.

“In most rocks such minerals as are present follow the above order. The most important exceptions are the intergrowth of orthoclase and quartz and the crystallization of quartz in advance of orthoclase in some acid rocks, and the rather variable relations between groups 2 and 3 in some more basic rocks. The order laid down applies in general to parallel intergrowths of allied minerals; thus when augite is intergrown with ægirine or hornblende the former mineral forms the kernel of the complex crystal and the latter the outer shell; when a plagioclase crystal consists of successive layers of different compositions the layers become progressively more acid from the center to the margin.

“Certain constituents having variable relations are omitted from the foregoing list. Thus nepheline (elæolite) and sodalite belong to group 3, but may crystallize out either before or after the feldspar.”[157]

145

OPTICAL SCHEME.

Introduction.

The scheme is designed to furnish the student with a practical method of recognizing the common minerals in rock sections.

The arrangement followed has been to group minerals having general optical characters in common, at the same time giving their specific characters so as to make it possible to distinguish one from another. In each rectangle the minerals are arranged in order of their indices of refraction.

A tabulation of the minerals, with a list of optical characters appended, is of aid to the skilled investigator, but of very little assistance to the beginner.

The more common minerals, or those which are important petrographically, are printed in heavy-faced type; the minerals of less importance in small capitals.

Abbreviations and Conventions Used.

A. = Amorphous.

I. = Isometric system.

T. = Tetragonal system.

O. = Orthorhombic system.

M. = Monoclinic system.

Tri. = Triclinic system.

H. = Hexagonal system.

M(H). = Monoclinic, with hexagonal form or characters, as in the case of biotite.

⟂ = At right angles to.

El. = Elongation.

Ex. = Extinction.

∥ Ex. = Parallel extinction, as when the crystals extinguish parallel to cleavage lines or crystal edges. Extinction which is symmetrical to intersecting cleavage lines is also included under this term.

The mean refractive indices are printed in heavy-faced type.

The term “grains” is used to describe not only minerals which occur in typically granular form, but also those which have coarser allotriomorphic form, as elæolite and sodalite in plutonic rocks, such as syenite, etc.

146

General Rules for Use of Scheme.

The division of the scheme into two vertical columns is based on the values of the mean refractive indices, as determined by the “relief” and appearance of the surface. When the refractive index is above 1.60, the relief is fairly well to distinctly marked and the surface rough to very rough, depending on the value of the index.

Most of the rock-forming minerals with indices below 1.60 show no relief and a smooth surface, except in the case of a few of the rarer minerals (mostly isometric), which have very low indices and hence rough surface.

Mistakes may easily be made in the case of minerals near the limit; but practice and the use of the Becke test should soon make possible the classification into the two groups suggested by the scheme, and the appended descriptions will help to check errors.

When an unknown mineral lies adjacent to one that is known, use the Becke test for obtaining the relative refractive index of the unknown mineral; focus sharply on the line of contact between the known and unknown minerals,[158] then raise the objective slightly and the “bright line” will appear on the side of the mineral having the higher index. The method of Schrœder van der Kolk may also be employed, see p. 22.

The horizontal divisions of the scheme depend on the relative strength of the double refraction based on the observed interference colors. These colors to be of use in classification must be correctly recognized. The lower and middle colors of the 1° order, from bluish-gray through white to yellow, are easily known. The bright red, blue, green, etc., colors of the 1°, 2° and 3° orders can also be differentiated without trouble from the very high order colors (4° and above), which are essentially white in tone with no decided color tint.

When confusion arises, the exact order of the color can be determined by a quartz wedge, as given on p. 35. Furthermore, a ¼ undulation mica plate serves to quickly distinguish between the 1° order white and the practically colorless, high order tint of calcite, titanite, etc.; as after the insertion of the test-plate the 1° order white suffers a marked change in color, while the very high order (practically white) tint shows no appreciable change.

147In the determination of these interference colors care must be given to considerations of orientation and thickness. The section must give the maximum interference color of all the obtainable sections of the mineral in the rock section. Such sections will be parallel to the ć axis in the uniaxial minerals and to the axial plane in the biaxial minerals; and will, therefore, in convergent light never show the emergence of an optic axis or bisectrix. Crystal “form,” cleavage, pleochroism, etc., may at times aid in the selection of these sections. The thickness of the section must also be considered, and it is well in all cases to pick out some known mineral in the section, as quartz, and note its maximum interference color. Knowing how this varies from the color given by the scheme for a section 0.03 mm.[159] in thickness, due allowance can be made for a like variation in the colors given by the other minerals. In the case of minerals with strong absorption the interference colors may not be noticeable on account of the absorption of parts of the light.

Under the subhead of pleochroism, the vibration direction of the ray of a definite color is given and not the direction of transmission of that ray.

The interference figures in convergent light increase in clearness and distinctness with the strength of the double refraction. In uniaxial crystals sections at right angles to the optic axis, i. e., sections which remain dark during a revolution between crossed nicols, show the best interference figures. In biaxial crystals the most characteristic interference figures are shown by sections at right angles to the acute bisectrix.

Crystal sections which are too small do not give very satisfactory interference figures with convergent light.[160]

Any scheme, however designed, makes a more or less arbitrary classification of the minerals, and when in doubt it is always safer to look for the mineral on both sides of the scheme line.

The rarer minerals are not included in this scheme, so when the determination of a mineral is uncertain or not positive recourse should be had to more elaborate tables.

149

INDEX.

MINERAL NAMES IN HEAVY-FACED TYPE.

ERRATA AND ADDENDA.

P. 33, line 23, for beat read be at.

P. 66, line 10, after appearance add (sometimes called “twinkling”).

Corrections for mean index of refraction n′: p. 60, line 1, 1.551 to 1.584; p. 62, line 29, 1.766; p. 66, line 3, 1.601; p. 67, line 24, 1.622; p. 71, line 10, 1.633 to 1.674.

Corrections for Indices of Refraction (mean) in Table on p. 142: Corundum 1.766; Tourmaline 1.674; Tourmaline (precious) 1.633; Dolomite 1.622; Scapolite (Meionite) 1.584; Scapolite (Marialite) 1.551; Calcite 1.601.

Corrections for mean indices of refraction in Scheme (insert folder): Scapolite 1.551 to 1.584; Calcite 1.601 and transfer to Dolomite rectangle; Dolomite 1.622; Corundum 1.766; Tourmaline 1.633 to 1.674.


1. Often called a direction of maximum elasticity, c′ being a direction of minimum elasticity.

2. Rosenbusch’s Microskopische Physiographie, p. 156.

3. For a more complete discussion of optics, in connection with Optical Mineralogy, the student is referred to A. J. Moses’ Characters of Crystals, p. 85, et seq.; Moses’ & Parsons’ Mineralogy, Crystallography and Blowpipe Analysis, Chap. XVI., 4th Ed., 1909; Miers’ Mineralogy, 1902; L. Fletcher’s Optical Indicatrix, etc., 1892; Groth’s Physikalische Krystallographie, 3d Ed.; Rosenbusch’s Mikroskopische Physiographie, 4th Ed. and Iddings’ Rock Minerals, 1911.

4. The electromagnetic theory of light is now very generally held, but, whatever may be the recurrent change of state to which light is really due, the principles of wave motion furnish a satisfactory geometric description of optical phenomena.

5. These sections are supposed to have plane parallel faces, such being the case in ordinary practice, and to be examined with parallel perpendicularly incident light.

6. It is interesting to remember in this connection that in the isometric system there is also the greatest possible symmetry of “form.”

7. A. J. Moses, Characters of Crystals, pp. 85–97.

8. For this branch of optical physics, see A. J. Moses, Characters of Crystals, pp. 97–100.

9. This can be demonstrated by using a nicol and a plate of calcite which shows a double image. If the nicol is held between the calcite plate and the observer’s eye it can be so adjusted that only one image is seen. If now the nicol is revolved 90° the first image will disappear and the other image alone will be seen.

10. In some cases a peculiar form of double refraction does take place parallel to this direction, as in the circular polarization of quartz and cinnabar; but in very thin sections these results are not noticed and can be disregarded.

11. A. J. Moses, Characters of Crystals, pp. 98, 99.

12. The terms axes of elasticity are commonly used for these principal vibration directions in text-books on petrography.

13. Instead of ω and ε, for convenience in tables, etc., α and γ are used, denoting the indices of refraction of the rays traversing the crystal with greatest and least velocity respectively, without regard as to which is the O or E ray. A good reason for this convention is that the symbol (γ − α) is used to express in decimals the relative strength of the double refraction of a crystal, whether uniaxial or biaxial. γ is always greater than α.

14. For most cases in observations with white light the “optics axes” may be regarded as approximately fixed in position.

15. Often spoken of as: a, the axis of maximum; b, the axis of intermediate, and c, the axis of minimum elasticity.

In the more recent American text-books on Optical Mineralogy by Iddings, Winchell and Phillips a is denoted by X, b by Y and c by Z.

16. For a short historical sketch of the use of the microscope in connection with Petrology, see G. H. William’s pamphlet, Modern Petrography (Monographs of Education), Boston, 1886. For detail description and adjustments, see Methods of Petrographic-Microscopic Research, F. E. Wright, 1911, pp. 11, 61.

17. For description of the ordinary microscope, eye-pieces, objectives, magnification, etc., see Manipulation of the Microscope, by Ed. Bausch.

18. Text Book of Mineralogy, by E. S. Dana, 1898 Ed., p. 176.

19. It is convenient to assume that the vibrations of the polarized light are taking place in this plane, called the “plane of vibration,” but all the phenomena caused by polarized light could be also explained on the assumption that the vibrations were taking place at right angles to this plane.

20. This condensing lens must be removed when very low power objectives are used.

21. Some microscopes are provided with adjusting screws bearing on the frame holding the objective, which can then be accurately centered to the axis of rotation of the stage.

22. In the Seibert microscope use objective No. 00 for the first general study of a rock section, No. II for general use and No. V for observations with convergent light. In the Fuess microscope use objective No. 4 for general use and No. 7 for convergent light tests. In the case of an English microscope a 1″ to ¾″ objective is used for general purposes and a ¼″ to ⅕″ for observations with convergent light.

23. See pp. 33 and 34.

24. In some microscopes the analyzer is in the form of a “cap” nicol, arranged to be fitted over the top of the eye-piece, and not introduced in the microscope tube as shown here. This form is not so convenient, as the “cap” nicol must be set by hand every time it is desired to make observations with crossed nicols. But at the same time it avoids any possible refocusing which may be necessary when the other type of analyzer is introduced in the tube.

25. When accurate adjustments are possible of the vibration planes of the nicols and the cross-wires parallel to these vibration planes, reference should be made to Methods of Petrographic-Microscopic Research, p. 61, 1911, Fred. E. Wright.

26. In the Seibert microscope eye-piece No. 0 is used for most purposes. Other eye-pieces, Nos. 1 and 2, with cross-wires, are used for different degrees of magnification, and one eye-piece, No. 3, without cross-wires, is provided to be used in connection with an eye-piece micrometer.

27. With the Seibert microscope, Fig. 2, the No. 0 eye-piece and the No. II objective will prove most satisfactory for the following tests. With the Fuess microscope use No. 4 objective. With an English microscope use an ordinary eye-piece and a 1″ or ¾″ objective.

28. Twins may be recognized just as in macroscopic specimens, and zonal structure noticed if the zones differ in color. When a colorless mineral is surrounded by other colorless minerals, of about the same index of refraction, its outline is often best brought out by observation between crossed nicols.

29. The term “Anhedron,” meaning without planes, has been suggested by L. V. Pirsson to describe in rocks the crystal fragments which have no plane faces, as, for example, the augites of augitic rocks. Science, Jan. 10, 1896, p. 49.

30. Partial resorption and recrystallization may produce a border of secondary minerals, surrounding the original crystal.

31. The surfaces of all minerals in sections are more or less rough, but this roughness is only made visible when there is a marked difference between the indices of refraction of the minerals, and the index of refraction of the balsam in which the minerals are embedded. The index of refraction of balsam is about 1.54, so it is only when the mineral has a higher or lower index of refraction that its surface appears rough. When internal structure is to be studied, the crystal should be surrounded by a fluid of nearly the same index of refraction as that of the crystal, and when the exterior of the crystal is to be studied, then a fluid should be used with a very different index of refraction.

32. The Seibert microscope has a very convenient and quick lowering adjustment, by means of the lever d, for making this test. For convenience the lower nicol and condensing lens are generally left in place below the stage of the microscope, as polarized light serves as well for these investigations as ordinary light. An additional advantage in this arrangement is that the condensing lens is always ready for the “relief” test and the lower nicol for the pleochroism test; but it must be remembered that the polarizer or lower nicol cuts out one half of the light, which comes to it from the reflector, and this loss is important when high power objectives are to be used. When very low power objectives are used, the condensing lens must be removed.

33. Mem. de l’Acad., Paris, 1767–68.

34. Min. Mag., Vol. I., p. 193; Vol. II., p. 1.

35. Sitzungsberichte der k. k. Akad. der Wiss., Wien, 1893, I Abt., p. 358. Translation by L. McI. Luquer in School of Mines Quarterly, Vol. XXIII., Jan., 1902, No. 2, p. 127. Review by Viola in Min. Pet. Mitt., Vol. 14, p. 554. Methods of Petrographic-Microscopic Research, F. E. Wright, 1911, p. 95.

36. Most of the petrographical microscopes carry over the polarizer a convex lens the effect of which is to widen the illuminating cone and hence make less visible this phenomenon.

37. In Seibert student microscope, No. II a, use next to smallest light-stop. Some of the Fuess microscopes are supplied with an iris-blende for limiting the cone of light.

38. In Seibert microscope use No. V, not sufficiently marked results being obtained with No. II.

39. See Viola’s diagram, Minn. Pet. Mitt., Vol. XIV., p. 556.

40. Seibert, No. II. Fuess, No. 4.

41. Kurze Anleitung zur mikrosk. Krystallbestimmung, Wiesbaden, 1898, and Tabellen zur mikrosk. Bestimmung, etc., Wiesbaden, 1900. Methods of Petrographic-Microscopic Research, F. E. Wright, 1911, p. 93.

This method is particularly favorable for the accurate determination of the refractive indices of small isolated fragments or grains, by using liquids of known indices. In this case a bright line appears on the “near” edge and a dark line on the “far” edge if the grain has a higher index than the liquid. The reverse occurs when the index is lower than the liquid. When the index is the same (using white light) the “far” edge is blue and the “near” edge red and also the contours about disappear.

F. Krantz, of Bonn, furnishes a series of 21 liquids in small bottles, with indices from 1.447 to 1.83.

The indices of a few convenient liquids are: water, 1.34; alcohol, 1.36; glycerine, 1.41; olive oil, 1.47; nut oil, 1.50; clove oil, 1.54; aniseed oil, 1.58; almond oil, 1.60; cassia oil, 1.63; monobromnapthalene, 1.65; methylene iodide, 1.75.

42. Crystals that have two good cleavages often develop so that the direction of elongation is parallel to the intersection of the two cleavages, while in the case of crystals with one good cleavage the tendency seems to be towards a tabular habit parallel to the cleavage.

43. Harker’s Petrology for Students, p. 306.

44. The lower nicol is generally so adjusted that its plane of vibration is parallel to the north and south cross-wire in the eye-piece. This adjustment can be tested by means of a section of biotite, showing cleavage cracks. When the plane of vibration of the polarizer is parallel to the N. and S. cross-wire in the eye-piece, the biotite section becomes almost dark when its cleavage cracks are parallel to the same cross-wire. The upper nicol, or analyzer, must, of course, be removed during this test. This method is more convenient than taking the nicol out of its frame, in order to ascertain its plane of vibration (the direction of its shorter diagonal).

45. Although the “absorption directions” may not necessarily coincide with the principal vibration directions in Monoclinic and Triclinic crystals; still for convenience the absorption colors are usually given for the light rays vibrating parallel to these principal vibration directions.

46. In the Fuess and Seibert microscopes the analyzer or upper nicol is so fitted that it slides in and out of the tube of the microscope with its plane of vibration always at right angles to the plane of vibration of the polarizer or lower nicol.

47. Moses’ Characters of Crystals, p. 106. Moses and Parsons’ Min. Cryst. and B. P. Analysis, p. 163.

48. Iddings’ Rock Minerals, 1911, p. 172.

49. These sections always contain the principal vibration directions a and c.

50. Methods of Petrographic-Microscopic Research, F. E. Wright, 1911, p. 101.

51. A chart of interference colors can be obtained from Baudry et Cie, Paris, and is also published in Les Minéraux des Roches, by Lévy and Lacroix, Rock Minerals (1911), by Iddings and in Rosenbusch’s Mikroskopische Physiographie.

52. Iddings’ Rock Minerals, 1911, pp. 141, 183.

53. Methods of Petrographic-Microscopic Research, F. E. Wright, 1911, p. 132.

54. The ¼ undulation mica plate consists of a thin cleavage of mica on which is marked c, the vibration direction of the slower ray, which in mica is the line joining the “optic axes.” The thickness is such that the slower ray is ¼ wave-length behind the faster and the interference color is a bluish-gray. The gypsum plate is a thin cleavage of gypsum, on which is usually marked a, the vibration direction of the faster ray. The chosen thickness is such as to produce the red interference color of the 1° order.

55. The test-plates are generally introduced in the slot k, in a microscope of the Seibert type, or if a cap-nicol is used in a slot below this. In case no provision is made by the instrument maker for these test-plates, the regular analyzer is left out of the tube, and a simple nicol prism is used as an analyzer and is held by the observer over the eye-piece. Care must be taken to have the plane of vibration of this nicol at right angles to that of the polarizer, and to leave sufficient room for the introduction, by hand, of the test-plate between the eye-piece and the nicol. With care the plates can be introduced with sufficient accuracy to make the test practical.

56. A scale or chart of interference colors, or the interference color diagram, should be before the observer in order to avoid any mistakes as to whether the new color is higher or lower in the scale.

57. The quartz wedge is cut so that one of its faces is exactly parallel to the ć axis (hence also parallel to the c vibration direction) while the other face makes a very small angle with it. The direction c is marked on the wedge.

58. Described under next test.

59. In applying this rule count the 1° order white as green and the 1° order gray as blue.

60. A. J. Moses, Trans. N. Y. Acad. Sci., Vol. XVI., p. 55, Jan., 1897.

61. E. von Federow, Zeit. f. Kryst., etc., Vol. XXXV., p. 340, 1895.

62. After the first rough determination of the phase difference by the mica wedge, the more exact phase difference can be obtained by the aid of a good color chart or diagram, see end of book.

63. It is not safe to use minerals near the edge of the section, as the thicknesses are apt to be unequal.

64. See at end of appendix.

65. In this way eliminate, so far as possible, the effect of the orientation of the mineral section.

66. The different mineral sections are all supposed to have the same thickness throughout the rock section.

67. Harker’s Petrology for Students, 1895, p. 14.

68. Iddings’ Rock Minerals, pp. 153, 173. Moses’ Characters of Crystals, p. 115.

69. In the Seibert microscope use No. V objective, in Fuess microscope No. 7 objective, and in English microscopes a ¼″ or ⅕″ objective.

70. Each convergent ray will have its vibration direction either in or at 90° to the plane through the ray and the optic axis. Hence all rays vibrating parallel to the vibration planes of both nicols will be completely cut out. As the section is rotated new rays successively come into these positions, so the same effect is maintained.

71. In the Seibert microscope there is a little slot k for this purpose just above the objective.

72. The optical character may also be determined in parallel light by proving ć = c(+), ć = a(−). The optical character of the principal zone or the sign of the elongation is often given in tables. This optical character or sign is (+) when the principal zone axis or the direction of elongation is parallel to c and (−) when parallel to a.

73. Iddings’ Rock Minerals, 1911, p. 172.

74. This assumes the optic axes for different colors to emerge about at the same points. If there is marked “dispersion” the black bands and hyperbolas may be rainbow-hued, as with titanite.

75. The interference figure, perpendicular to the obtuse bisectrix, would be of the same type with a larger axial angle. Ordinarily this figure would not come within the limits of the field of view of the microscope. Confusion may arise, however, but in a section perpendicular to the acute bisectrix the cross dissolves more slowly into the hyperbolas than in the case of a section perpendicular to the obtuse bisectrix. At times it may be necessary to measure the axial angle to be sure. When, however, the mineral is known, the section perpendicular to the acute bisectrix can be recognized, because if the mineral is optically positive the trace of the axial plane is parallel to a and if negative parallel to c.

76. For construction of quartz wedge, see p. 34.

77. The wedge can be introduced in either of the several ways described for the introduction of the test-plates on p. 33.

78. For methods of measuring the axial angle, see Methods of Petrographic-Microscopic Research, F. E. Wright, 1911, p. 147.

For convenience in many cases only 2E is recorded, as then an indication is given as to whether the axial angle is visible with an ordinary microscope (arranged for observation with convergent light for interference figures). If 2E is very large the axial angle can only be observed by covering the section with some transparent, strongly refracting fluid. For the Seibert microscope with objective V the limit for good results is about 2E = 90°–100°.

79. For dispersion, etc., see A. J. Moses’ Characters of Crystals, p. 140.

80. The system of crystallization of leucite has been the subject of much discussion. Its habit is isometric. The consensus of opinion seems to be that leucite crystallizes in the isometric system, but that the isometric molecular arrangement, at least of the larger crystals, cannot exist for the temperature and pressure at the earth’s surface. Hence molecular displacement takes place, giving rise to a more or less complicated apparent twinning, and optical anomalies are noticed. The isotropic character returns if the section is heated to 500° C. Iddings’ Rock Minerals, p. 249, 1911.

81. C. W. Knight, Canad. Rec. of Sci., IX, No. 5. 265.

82. The interference colors of all minerals here recorded are those given by sections 0.03 mm. in thickness (very thin sections).

83. Shown by Mügge, Joly, etc., to be caused by radiations emanating from U, Th, R, etc. Iddings’ Rock Minerals, 1911, p. 189.

84. Iddings’ Rock Minerals, 1911, p. 392.

85. See page 31.

86. R. D. Irving, Am. Jour. Sci., June, 1883.

87. Granites of the central Alps, where the calcite crystals are intergrown with quartz.

88. The minerals Nephelite, leucite, sodalite (haüynite and noselite) and melilite are often grouped together under the name “feldspathoides”; on account of their relation in rocks being equivalent to that of the feldspars.

89. Oriented in conformity to the intergrowth with augite, etc., (010) and (100) are reversed.

90. For other alteration processes, see Iddings’ Rock Minerals, p. 380.

91. May be difficult to determine in the case of prism zone sections, showing large extinction angles.

92. See p. 88.

93. Iddings’ Rock Minerals, p. 456, 1911.

94. Depending on whether the axial plane is parallel or at right angles to the clino pinacoid (010) (the plane of symmetry), we have micas of the second (biotite) or first order (muscovite).

95. The distinction between zoisite α and β (essentially orthorhombic, but may be composite triclinic twins) and clinozoisite (monoclinic close to orthorhombic) depends on differences in position of plane of optic axes; axial figures shown by cleavage plates; dispersion; anomalous interference colors; etc. See Weinschenk’s Die Gesteinbildenden Mineralien, p. 83. 1901.

96. Test not easily made on account of the very high order interference colors, resulting from the strong double refraction.

97. See under quartz, p. 63.

98. Iddings’ Rock Minerals, p. 208, 1911.

99. On account of the weak double refraction the interference figures are not very sharp or well defined in thin sections. In most cases only the black hyperbolas are seen, without any colored curves.

100. By heating feldspar crystals the axial angle decreases to 0° and then increases in the plane of symmetry (at right angles to its former position). On cooling the axial angle returns to its former position if the temperature has not exceeded 500° C. If the temperature has been 600°–1000° C. for some time the axial angle will not return to its former position. This fact may give some clew as to the temperature at which the feldspar crystals formed.

101. This change to kaolin or clay in granite is called by Dolomieu “La maladie du granit.”

102. See p. 31.

103. Hatch’s Introduction to the Study of Petrology, p. 33.

104. J. W. Judd, Geol. Mag. [3], Vol. VI, p. 243, 1889.

105. The plagioclases have rather a complex composition; but may be regarded as forming a series from the composition NaAlSi3O8(Ab) to the composition CaAl2Si2O8(An), consisting for the most part of isomorphous mixtures of these types, with some replacement by KAlSi3O8. The compositions of only a few of the common plagioclases are given above.

106. The lath-shaped feldspars, moulding the augite, give to diabases the so-called “ophitic” structure, Fig. 12. The peculiarity of this structure is that the feldspars crystallized before the augite, which is contrary to the usual order of formation.

107. For the positions of the optic axes, bisectrices, etc., relative to the cleavage plates of the different plagioclases, see Iddings’ Rock Minerals, p. 222, 1911.

108. Die Gesteinsbildenden Mineralien (with tables), E. Weinschenk, Freiburg, 1901. Étude sur la Détermination des Feldspaths dans les Plaques Minces, Michel Lévy, Paris, 1894; and The Determination of the Feldspars, N. H. Winchell, Am. Geol., Vol. XXI, No. 1, 1898. Iddings’ Rock Minerals, Wiley & Sons, 1911. Étude sur la Détermination des Feldspaths (troisième fascicule), Michel Lévy, Paris, 1904.

109. Glass models of the feldspars (size 20 × 10 cm.) by F. Krantz, Bonn. Diagrams, showing optical orientation in the plagioclases, in Die Gesteinsbildenden Mineralien, E. Weinschenk, p. 133, 1901.

110. For this method of investigation little cleavage flakes or plates can often be obtained from the crushed mineral, but, on account of Albite twinning, plates are more apt to be obtained parallel to the twinning plane than to the best basal cleavage. If a fragment with only one cleavage surface is obtained, it must be cemented to a glass by this surface and ground down to a thin section with parallel sides.

111. This test is only possible when suitable sections of the given feldspar in the rock section can be found. The method, however, can be used with great accuracy with the aid of some form of apparatus for properly orienting the section. See “Klein’s Apparatus for the Orientation of Thin Sections,” Sitzungsber. Berlin. Akad., 1895, 1151; (also in N. Y. Acad. Sci., Vol. XVI, p. 51, 1897); and Von Federov’s “Universal Table,” Zeit. für Kryst, etc., Vol. XXV., p. 351.

112. In the determination of feldspar microlites it is well to remember the following facts: “Microcline is rarely, or never, seen in the condition of microlites, while the associations of labradorite and albite are so different that there is little danger of confounding them. Labradorite is the commonest product of the consolidation of the basic eruptives, and albite almost invariably results from metamorphism, frequently from the contact of igneous rocks on the calcareous clastics.” N. H. Winchell, Determination of the Feldspars, Am. Geol., Vol. XXI, No. 1, p. 33, 1898.

113. These methods (both 2 and 3) are often not applicable on account of the tendency of the crystals in an effusive rock to parallel orientation, which may be so marked that the rock section does not show any favorable sections of the plagioclase.

114. These extinction angles, as well as those previously given, are those of only a few type feldspars of definite composition. As the composition varies through a long series, so the extinction angle changes, one being a function of the other.

For a complete list of compositions and related extinction angles, see Iddings’ Rock Minerals and Lévy & Lacroix’s Les Minéraux des Roches.

115. Iddings’ Rock Minerals, p. 228, Wiley & Sons, 1911. Étude sur la Détermination des Feldspaths (troisième fascicule), Michel Lévy, Paris, 1904.

116. In quartz ω is the refractive index of the ray with vibration direction ∥ a [that is the direction of vibration of the faster ray (the ordinary ray)]. Hence ω is direction ∥ a and ε ∥ c. In the feldspars; α ∥ a, γ ∥ c and β ∥ b.

117. Am. Jour. Sci., May, 1906. This method is specially useful in detecting presence of orthoclase, when plagioclase is the dominant feldspar.

118. These tests are only possible on pure and fresh material. The specific gravity increases with the Ca % (albite 2.62, anorthite 2.75).

119. In clear unstriated granules, which may be distinguished from quartz by biaxial interference figure in convergent light.

120. The tendency of labradorite in gabbros to twinning, after both Albite and Pericline laws, is to be noted.

121. Werveke’s (N. J. B., 1883, II, 97) theory is that a twin lamination may be caused by the forces producing mechanical deformations, as movement in the magma and mountain making pressure. Such lamellæ are characterized by the fact that their extent and course seem to depend on fracture lines in the crystal.

122. The derivation from pyroxene and amphibole appears to be doubtful, see Weinschenk’s Gesteinsbildenden Mineralien, 1901, p. 121.

123. Harker’s Petrology for Students, p. 63, 1895.

124. Sections can be obtained from Voight & Hochgesang, Göttingen; C. Marchand, rue Censier, 16ter, Paris; W. H. Tomlinson, Swarthmore, Pa., and G. D. Julien, 3 Webster Terrace, New Rochelle, N. Y.

125. Made by G. D. Julien, 3 Webster Terrace, New Rochelle, N. Y. Price: Power lathes (complete), $150.00 up; Foot-treadle lathes, $90.00 up.

126. A Crocker-Wheeler motor of ¼ to ½ H. P. will be large enough for an ordinary laboratory machine.

127. Made by Voigt and Hochgesang, Göttingen. Price, $15.00.

128. Saws charged with diamond dust can be obtained from Elisha T. Jenks, Middleboro, Mass. Price in 1910, $1.35 per diametrical inch. Foreign saws 6″ and 8″ diam. can be bought from G. D. Julien, New Rochelle, N. Y.

129. School of Mines Quarterly, Vol. XI, p. 32.

130. “Half a pound or less of ordinary shellac is melted in a flat-bottomed open vessel over a Bunsen burner. Then an equal quantity of Venice turpentine is carefully added under constant stirring. The mass should be allowed to boil for about ten minutes, during which the stirring is continued. Then small quantities are poured in separate heaps on an iron plate or other cold surface and rolled into sticks about seven inches long and half an inch thick.”

131. Square or standard 26 × 46 mm. glass slides are recommended instead of the oblong slides (1 × 3 inches), which are very apt to project beyond the edges of the stage and be struck by the fingers while rotating the stage.

132. Reference can be made to the publications on this subject by: Borichy, Behrens (Behren’s translation by Judd), Haushofer, Huysse, Klément, Streng, Rénard, etc.

133. In case an acid is to be used which would attack glass, the cover-glass can be replaced by a thin perforated disk of platinum.

134. The bases in solution can be determined by different methods of analysis, for which the student is referred to more elaborate works on this subject. In some cases it may be very advantageous to treat the section with acid, to remove certain soluble constituents, when other minerals not distinctly seen at first may be made more apparent.

135. The gas may be H2S from a soluble sulphide, in which case the solution containing the bubbles will color filter paper moistened with lead water.

136. Geol. and Nat. History Survey of Minn., XIX., Ann. Rept., p. 42; also A. J. Moses, Characters of Crystals, p. 147.

137. The symmetry of the etched figures would, of course, be related to the system of crystallization.

138. A. J. Moses, Characters of Crystals, Chap. XVI.

139. When it is desired to preserve the section and at the same time to study the surface covered with a film of air, the edges alone of the cover-glass should be cemented.

140. Geol. and Nat. Hist. Survey of Minn., XIX, Ann. Rept., p. 50. Thin sections of 2–3 sq. mm. area are of a convenient size, and they should be subjected to a red heat for (1½)-3 minutes. Too long a continuance of heat may render the sections too dark or lessen their transparency or produce melting.

141. This test may vary, in many cases graphite not being consumed even after long heating.

142. The isolation of material for investigation is of more interest for the lithologist or chemist than for the student of optical mineralogy; therefore only a very brief outline of some of the methods employed will be given.

143. The grains passing through different meshes are investigated microscopically to ascertain which size grains are homogeneous; the rest of the sample should then be reduced to grains of this size.

144. Further reference can be made to Iddings’ Rock Minerals, pp. 25 and 95, 1911. A convenient form of apparatus is also described in School of Mines Quarterly, Vol. X., p. 284, 1889.

145. S. L. Penfield, Am. Jour. Sci., Vol. L., p. 446, 1895. In this article a convenient form of separating apparatus is also described.

146. A convenient list of minerals, arranged in the order in which they would be attracted by increasing the force of the electro-magnet, is given in Weinschenk’s Tabellen.

147. For micro-chemical work the reagents should be applied in very small drops, which spread out on glass to discs 2 mm. in diameter. For manipulating the reagents use platinum wires, 0.5 mm. in thickness.

148. Elemente einer neuen chemisch-mikroskopischen mineral- und Gesteins-analyse, Pragg, 1877.

Translation of above by Winchell in Geol. and Nat. Hist. Survey of Minn., Vol. XIX., Ann. Report, 1890.

149. The strength of the solution should be about 3½%; for if too weak many minerals do not give satisfactory results, and if too strong a very large number of fluosilicate crystals are formed together with the separation of much silica, thus making it impossible to carefully differentiate the crystals with a microscope.

150. As most of the rock-forming minerals that would be investigated are silicates, the hydrofluosilicic solutions can also be obtained by treatment with HFl.

151. After Lévy and Lacroix.

152. Naturkunde, Amsterdam, 2, Vol. XVII., 1881. Chemical News, Vol. LXIII., No. 1647, June 1891, et seq.

Micro-chemical Analysis, Behrens (Judd), Macmillan & Co., London, 1894.

153. After Lévy and Lacroix.

154. After Lévy and Lacroix.

155. Compiled from Weinschenk’s Tables, as revised in Petrographic Methods by Weinschenk-Clark, 1912.

156. Pirsson and Robinson, Am. Jour. Sci., iv, Vol. X, Oct., 1900.

157. Harker, Petrology for Students, p. 28, 1895.

158. Have the convergent lens or condenser lowered and the analyzer out during this test.

159. The minerals are grouped according to the maximum interference colors given by sections of the thickness of 0.03 mm.

160. In the case of very small crystals, the centering must be accurate and a cover with a small hole in the center, should be placed over the top of the tube. In this way the eye is brought directly over the axis of the microscope and figures can be observed from very minute crystals.


TRANSCRIBER’S NOTES
Page Changed from Changed to
80 occurs as an alternation product of anhydrite. Gypsum is soluble in hydrochloric occurs as an alteration product of anhydrite. Gypsum is soluble in hydrochloric
136 longer the higher the percentage of calcium in the solution longer the higher the percentage of sodium in the solution
*** END OF THE PROJECT GUTENBERG EBOOK 76003 ***