Large-size versions of all illustrations excepting photographs are available by clicking on them.
THE
GEOGRAPHY AND
GEOLOGY
OF
SOUTH-EASTERN EGYPT.
MINISTRY OF FINANCE.
SURVEY DEPARTMENT, EGYPT.
BY
JOHN BALL, Ph.D., D.Sc.,
F.G.S., A.R.S.M., M.Inst.C.E.
CAIRO:
Government Press.
To be obtained either directly or
through any Bookseller,
from the Publications Office, Government
Press, Bulaq; from the Sale-Room,
Geological Museum, Ministry of Public Works Gardens; or from
the
Survey Department, Gîza (Mudiria).
1912.
Price 40 p.t.
This book is an attempt to give a systematic account of the geography and geology of South-Eastern Egypt according to the latest information available. It is based on surveys which I carried out by order of the Egyptian Government during the four years 1905-1908, and has been written in the intervals of other official work during the succeeding three years.
In the first or introductory chapter, I have given a summary, with some criticisms, of previous accounts of the region. This seemed advisable in that the literature, although not very extensive, is scattered in books and papers in various languages, and is not always easy of access.
The second chapter is a concise systematic account of the district, designed mainly as a summary for those who do not wish to go into the details; it also contains sections dealing with matters of insufficient importance, or of which our knowledge is too scanty, to be treated of specially in the succeeding chapters.
The third chapter is an account of the surveying methods employed and the principal geographical results obtained. The surveying methods are treated at some length, firstly because an adequate specification of the survey methods used is necessary for the assessment of the value of any contribution to modern geography, and, secondly, because some of the methods are either new or little known, and have been found by experience to be specially adapted to the mapping of this type of country. The principal geographical results are given, mostly in tabular form, as exhibiting clearly the groundwork of the actual maps, and as indicating a series of adequately fixed positions which may be employed as a basis in any further surveys.
In the fourth to sixth chapters the drainage lines and hill features are systematically described. A knowledge of the drainage[vi] lines, as the key to a precise understanding of the relief, is nowhere more important than in these deserts.
In the seventh chapter the important question of water supplies is considered, and the positions and particulars of the various water sources are tabulated for easy reference.
The eighth to tenth chapters deal with the various rocks occurring in the district. The petrology of the region has been discussed with some fulness, because while the district offers a remarkable wealth of rock-species, well exposed in considerable masses, detailed studies of Egyptian petrology have hitherto been few. My great regret in this connexion is that I have been unable to add chemical analyses of the rocks.
The eleventh chapter summarises the general geological structure and history of the region, as gathered from a broader outlook over the detailed geological evidences.
In the twelfth chapter I have set down the information I was able to obtain regarding the territorial limits of the different Bedouin tribes inhabiting the region.
The thirteenth and concluding chapter of the book consists of brief notes taken on the return march to Port Sudan.
In regard to the cartographic material, most of which is new, special attention has been given to the place-names, and it is believed that these are correct in almost every case. But as the names are in languages not understood by European draughtsmen, it is almost impossible that mistakes have been entirely avoided; in any case where map and text may disagree in spelling (the differences will, I trust, never be so great as to leave doubts of identity), the text should be followed in preference to the map, as mistakes in the text are usually more easily perceived and corrected. I would remark that although the whole of the field maps have been employed in preparing the small scale ones, yet the full detail can be recorded only on the large scale maps, which are given for the most important districts; a future explorer would do well, therefore, to refer to the manuscript field maps which are filed at the Survey Office at Gîza, before concluding that no more detailed survey exists than is shown on the maps in this book.
The plates illustrating the scenic types are from my own photographs, while those illustrating the natural-size aspect of the typical[vii] rocks are reproductions from water-colour drawings which I made from actual specimens. These coloured plates of rocks are mainly designed to enable prospectors to identify readily the ordinary kinds of stone they meet with in the field; but they will also serve to give to petrologists an idea of the appearance of hand specimens of rocks from this part of the world, which are not frequently met with in the great museums. The text figures of rock sections I have mostly drawn at the microscope on silver prints from photographic plates, the prints being afterwards bleached out with mercuric chloride; they will appear slightly diagrammatic in places, owing to the necessity of using lines and dots for tints, but I find I myself get a better idea of a rock from a drawing of this kind than from a photograph.
Much detailed surveying of this mountainous and arid region remains yet to be done, especially in the districts round the heads of the Wadi Alaqi, before our knowledge of it can be considered complete. It is hoped, however, that a substantial beginning has been made towards this end, and that future work may be facilitated by the observational data recorded in the following pages.
John Ball.
| Page. | |||
| Chapter | I. — | Introduction | 1 |
| „ | II. — | General Description of South-Eastern Egypt | 18 |
| „ | III. — | Surveying Methods and Principal Geographical Results | 39 |
| „ | IV. — | The Wadis draining Westwards to the Nile | 78 |
| „ | V. — | The Wadis draining Eastwards to the Sea | 94 |
| „ | VI. — | The Mountains and Hills | 164 |
| „ | VII. — | Water Supplies | 234 |
| „ | VIII. — | Geology.—Sedimentary Rocks | 251 |
| „ | IX. — | Igneous Rocks | 262 |
| „ | X. — | Metamorphic Rocks | 331 |
| „ | XI. — | Tectonics and General Geology | 354 |
| „ | XII. — | Tribal Boundaries | 366 |
| „ | XIII. — | Notes on the Road from Halaib to Port Sudan | 372 |
| Index | 379 |
| Plate. | To face page | ||
| I. — | Orographical Map of South-Eastern Egypt | Frontispiece. | |
| II. — | Sketch Map showing Drainage Basins | 22 | |
| III. — | Sketch Map showing Water Sources and Roads | 26 | |
| IV. — | Views of Ruins at Um Eleiga and in Wadi Shenshef | 30 | |
| V. — | Views of Tomb of Sheikh Shadli and Bir Shadli | 32 | |
| VI. — | Map of the District of Nugrus and Sikait | 106 | |
| VII. — | Summit Views of Gebels Nugrus and Abu Hamamid | 166 | |
| VIII. — | Views from Gebel Migif | 168 | |
| IX. — | Descending Gebel Zabara | 170 | |
| X. — | Views from the Summit of Gebel Atut | 172 | |
| XI. — | Views in Wadi Muelih and of Gebel Selaia | 172 | |
| XII. — | Typical Views among the Mountains of Hamata and Abu Hamamid | 176 | |
| XIII. — | Views on Gebel Kahfa | 178 | |
| XIV. — | Views of Gebel Kalalat and the Summit of Gebel Faraid | 192 | |
| XV. — | Map of the District of Abraq and Abu Saafa | 202 | |
| XVI. — | Panoramas from the Summits of Gebels Niqrub and Gerf | 206 | |
| XVII. — | Map of the District of Gebel Gerf | 210 | |
| XVIII. — | Map of the District of Meisah and Wadi Di-ib | 218 | |
| XIX. — | Map of the District of Elba and Halaib | 226 | |
| XX. — | Geological Map of South-Eastern Egypt | 250 | |
| XXI. — | Geological Map of Ras Benas | 258 | |
| XXII. — | Acid Igneous Rocks | 268 | |
| XXIII. — | Intermediate Igneous Rocks | 284 | |
| XXIV. — | Basic and Ultra-basic Igneous Rocks | 300 | |
| XXV. — | Metamorphic Rocks | 334 | |
| XXVI. — | Sketch Map showing Tribal Boundaries | 368 | |
| XXVII. — | Sketch Map of Route from Halaib to Mohamed Ghul | 372 | |
| XXVIII. — | Sketch Map of Route from Mohamed Ghul to Port Sudan | 372 | |
| Fig. | Page. | |
| 1. | Sketch-map showing position of area described | 1 |
| 2. | Map of Abraq Springs | 123 |
| 3. | View from the summit of Gebel Elba | 229 |
| 4. | Granite of Gebel Fereyid | 269 |
| 5. | Red pegmatitic granite of Wadi Gemal | 271 |
| 6. | Biotite-granite of Gebel Abu Hegilig | 273 |
| 7. | Hornblende-granite of Gebel Elba | 275 |
| 8. | Hornblende-granite of Gebel Hamata | 275 |
| 9. | Granite-porphyry of Kreishim Hill | 276 |
| 10. | Quartz-felsite of the Wadi Huluz | 277 |
| 11. | Quartz-felsite from a dyke at Gebel Kolaiqo | 278 |
| 12. | Altered quartz-felsite of Gebel Igli el Iswid | 281 |
| 13. | Microperthitic structure in felspar of quartz-felsite of Gebel Hadarba | 282 |
| 14. | Fractured felspar crystals in crushed quartz-felsite of Wadi Huluz | 282 |
| 15. | Syenite of Gebel Zergat Naam | 284 |
| 16. | Syenite-porphyry of Gebel Zergat Naam | 284 |
| 17. | Trachyte from a dyke at Gebel Kahfa | 285 |
| 18. | Diorite of Gebel Allawi | 287 |
| 19. | Diorite of Wadi Baaneit | 287 |
| 20. | Augite-diorite of Wadi Um Hargal | 289 |
| 21. | Augite-diorite of Gebel el Anbat | 290 |
| 22. | Mica-diorite from a dyke at Gebel Abu Hegilig | 291 |
| 23. | Diorite-porphyrite of Gebel Abu Hodeid | 292 |
| 24. | Augite-porphyrite of Wadi Muelih | 293 |
| 25. | Kersantite of Gebel Fereyid | 294 |
| 26. | View near the top of Gebel Sufra | 296 |
| 27. | Andesite of Gebel Sufra | 296 |
| 28. | Gabbro of Gebel Dahanib | 298 |
| 29. | Gabbro of Um Eleiga | 299 |
| 30. | Hypersthene-gabbro of Hadal Aweib Meisah | 300 |
| 31. | Olivine-gabbro of Gebel Um Bisilla | 301 |
| 32. | Olivine-gabbro of Gebel Atut | 302 |
| 33. | Olivine-gabbro from hill S.-E. of Gebel Selaia | 303 |
| 34. | Troctolite of Gebel Um Bisilla | 304 |
| 35. | Pyroxene-granulite of Kolmanab Hill | 305 |
| [xii]36. | Diabase from under the Nubian sandstone, Rod el Nagi | 306 |
| 37. | Diabase from Gebel Abu Hamamid | 308 |
| 38. | Olivine-diabase from a dyke at the junction of Wadis Gemal and Huluz | 308 |
| 39. | Diabase from a dyke in Wadi Kreiga | 309 |
| 40. | Mica-diabase of Gebel Um Khariga | 310 |
| 41. | Basalt of Gimeida Hill | 311 |
| 42. | Basalt of Einiwai Hill | 312 |
| 43. | Amphibolite from hills near Gebel Um Gunud | 317 |
| 44. | Amphibolite containing olivine and bronzite, Qrein Salama | 319 |
| 45. | Serpentine (probably from a mica-peridotite), east of Erf el Fahid | 321 |
| 46. | Serpentine (from lherzolite), hills near Wadi Um Khariga | 322 |
| 47. | Serpentine (from dunite), low hills near Bir Abraq | 326 |
| 48. | Serpentine (from dunite), low hills near Bir Abraq | 326 |
| 49. | Serpentine (from wehrlite), Gebel Gerf | 327 |
| 50. | Bronzite passing into serpentine, Gebel Gerf | 327 |
| 51. | Serpentine (from harzburgite,), Gebel Korabkansi | 329 |
| 52. | Crushing of quartz and felspar in granite-gneiss, Gebel Um Rasein | 334 |
| 53. | Diorite-gneiss, Wadi Muelih | 334 |
| 54. | Crushed and altered syenite (schist), near Gebel el Anbat | 339 |
| 55. | Hornblende schist, Wadi Muelih | 340 |
| 56. | Schist composed of crushed volcanic rocks, Gebel Abu Hamamid | 341 |
| 57. | Hornblende schist, near Gebel Eqrun | 343 |
| 58. | Emerald and quartz, near Sikait | 345 |
| 59. | Tourmaline in talc-schist, Sikait | 346 |
| 60. | Section of sandstone at Gebel Um Khafur | 358 |
| 61. | Junction of sandstone and granite, west of Gebel Um Reit | 359 |
| 62. | Faulting near Wadi Saalek | 359 |
[1]THE GEOGRAPHY AND
GEOLOGY OF
SOUTH-EASTERN EGYPT.
INTRODUCTION.
The district treated of in this volume constitutes the extreme south-east corner of Egypt, lying between the parallels of 22° and 25° of north latitude, and between the meridian of 34° E. and the Red Sea coast. It comprises an area of about 56,000 square kilometres, and includes some of the most mountainous and least accessible portions of the Khedive’s dominions.
The district has been comparatively little visited by travellers, and the literature concerning it is not very extensive. Berenice (Jh)[1] was founded by Ptolemy II (285-247 B.C.), who named the town after his mother, as a station at one end of the road for transporting goods from the Red Sea to the Nile at Koptos (Quft). The emerald mines in the Zabara area[2] were worked at least as early as Ptolemaic times, and gold mines in the south at a much earlier date.
References to this part of Egypt occur in the writings of Strabo, Diodorus Siculus, and Pliny, as well as in Ptolemy’s Geography and the Antonine Itinerary. Both Strabo and Pliny state that in Berenice, as in Syene, the sun cast no shadow at the summer solstice from which they inferred the town to be on the tropic of Cancer, though in reality it lay in their day some twenty-five kilometres, and is now about 28′, or some fifty-two kilometres, north of the tropic, the difference being caused by the secular change in the obliquity of the ecliptic since the beginning of the Christian era. Ptolemy gives the latitude of Berenice as 23° 50′, which is only 5′ too low; the Smaragdus mons, or emerald mountain, he places in latitude 25°, which is about 15′ higher than the true position of Gebel Zabara (Ec). Diodorus gives a very clear description of the working of gold mines in the Eastern Desert in his day, by miserable convict labour. The road from Koptos to Berenice is mentioned, with lists of stations and water reservoirs and their distances from each other, both by Pliny and the writer of the Antonine Itinerary; and though Pliny gives fewer stations than the Itinerary, the two accounts agree very closely in estimating the total distance at about 258 Roman miles, which, so far as can be judged from a partial identification of the stations marking the route, is pretty correct. The island of Zeberged (Ok), on which occurs the green gem called peridot, is probably the Topazos Insula of Diodorus, and the Agathon of Ptolemy; but Diodorus gives its length as eighty stades (about twelve kilometres), which is three times greater than its present size, and Ptolemy’s latitude of 23½° is some 16′ too low. Ptolemy states that the coast was inhabited by the Ichthyophages, or fish-eaters, while the Troglodytes, or cave-dwellers, of Strabo, were probably the workers in the mines.
The books of the Arab geographers, Edrisi and Abu el Feda, contain some references to the roads and mines of the Eastern Desert, but their descriptions are unimportant and contain frequent palpable errors.
D’Anville, in his Mémoires sur l’Egypte, Paris, 1766, pp. 230-235, attempted to construct a map of the coast of the Red Sea by combining the classical records with some early Portuguese and other charts, but the latter were too crude to enable any approach to be made to an accurate map.
[3]It has been thought that Bruce discovered the island of Zeberged and the emerald mines of Zabara in 1769, but it is tolerably certain that he saw neither of these places. He estimated the latitude of the island he saw “pretty exactly” as 25° 3′, and its distance from the coast as three miles,[2] whereas Zeberged is really in latitude 23° 36′, and is over thirty miles from the nearest coast. The mines he saw were so close to the coast that he could walk to them from his boat and back in less than a day (in fact he states that they were only three miles from the coast), while both the Sikait and the Zabara mines are over a day’s journey from the sea. Nor could the mines have been the sulphur workings near El Ranga (He), unless Bruce made a large error in his observation for latitude, for the sulphur mines are about in latitude 24° 25′, and, moreover, Bruce states that he found “brittle green crystals,” not sulphur.
It is to the French traveller Cailliaud[3] that we owe the first modern account of Berenice and the emerald mines. Cailliaud was a mineralogist, in favour with Mohammad Ali Pasha, who sent him on two expeditions in 1816 and 1817 to search for mines in the Eastern Desert. On his first expedition, starting from Redesia (near Edfu), he discovered the rock temple of Seti I, forty-five kilometres east of the Nile, and several ancient stations on his route, and proceeded to the emerald mines of Zabara and the sulphur mines of El Ranga. On his second expedition he took with him sixty Albanian workmen to exploit the mines, and led them by nearly his former route to Zabara, where they extracted ten lbs. weight of emeralds (beryls) for presentation to the Pasha. On this second expedition Cailliaud discovered the mines and ruins of Sikait, and also other ruins in the Wadi Nugrus (Ed). Cailliaud’s drawings of the ruins of Sikait greatly exaggerate their size and elegance.
Jomard, in notes prefaced to Cailliaud’s account of his travels, made a careful study of the probable positions of the ancient roads and mines in this part of Egypt; he thought that Wadi Gemal Island (Hd) was Zeberged.
[4]In 1818, Belzoni,[4] fired by Cailliaud’s discoveries, set out to discover the ancient Berenice. Starting from Edfu, he travelled eastward for some days over Cailliaud’s route, then marched via Bir Samut (where he discovered the ancient station) and Wadi Ghuel to the Zabara mines, where he found Cailliaud’s miners still at work. From Zabara he journeyed through the Wadi Sikait, passing the mines and ruined temples which had been discovered by Cailliaud, and down the Wadi Gemal to the sea. Proceeding then southward along the coast, he examined the sulphur mines at El Ranga near the mouth of the Wadi Abu Ghusun, and then made his discovery of the ruins of the temple and town of Berenice, near the peninsula of “Cape Galahen” (Ras Benas). The ruins were so inconspicuous as to be only found with difficulty, and the temple was so buried in sand that Belzoni could only make a very imperfect plan of it. The ancient town he estimates to have covered a space near the temple 1,600 feet broad and 2,000 feet long. Leaving Berenice the same day on which he made his discovery, Belzoni returned to Sikait by way of Abu Greia, Haratreit (where he discovered ancient stations), Hefeiri well, and the spring of Um Sueh. After copying some Greek inscriptions at Sikait, he returned to Edfu by way of Wadis Hafafit (Dc), where he found an ancient station, Abu Had, and Samut.
Belzoni’s map[5] of his routes is of course very crude and erroneous, but the fact that he gives the names of the places he passed enables one to reconstruct his routes on modern maps with fair exactitude. His drawings of the ruins he visited are fairly accurate, that of the rock temple of Sikait being a much truer picture than Cailliaud’s.
The extreme south-east corner of Egypt was first explored in 1831 and 1832 by Linant de Bellefonds, who twenty years later published an interesting account of his travels and discoveries.[6] The manner in which Linant Bey’s expedition arose is very curious. He had read the accounts of Diodorus and Arabic writers concerning the ancient gold mines of the Eastern Desert, and when he accidentally[5] discovered small crystals of gold in quartzose detritus brought down the Wadi Alaqi into the Nile by a storm torrent, he at once inferred that this wadi would lead him to the mines. The Arabs told him, quite correctly, that the down-wash had its origin far up the wadi, nine days’ journey from its mouth. Reporting his discovery to Mohammad Ali Pasha, that prince commissioned him to lead an expedition to search for the mines. Starting from Aswan, Linant journeyed south-east and discovered the ancient mines and ruins at Gebel Seiga (Bp), and subsequently the more extensive workings at various places round the head of Wadi Alaqi, such as Egat (Ft) and Darahib (Gu). From the Alaqi district he proceeded northward to Bir Shinai (Hr), and thence eastwards round the spurs of the mountains to Bir Meisah (Kr), east of which he discovered the old mines of Romit (Ls). Crossing the great Wadi Di-ib, he appears to have reached Bir Akwamtra (Os), at the foot of Gebel Elba. His desire to explore the mysterious Elba mountains was frustrated by the Arabs, and he only ascended a minor peak before commencing his return march. From Elba he returned via Bir Meisah, Bir Beida (Ho), and the Wadis Khashab (Gn), Hodein, Rod el Kharuf (Ch), and Kharit to Daraw on the Nile, discovering the springs of Abu Saafa (Em) in the course of his march.
Linant thus performed for the south portion of the district a similar service to that which his compatriot Cailliaud had already done for the north portion. His remarks on the people of the country, their manners and customs, are no less interesting than his descriptions of the ruins and mines which he discovered. The notes on certain points, such as the manner of trapping the wild ass which then roamed these deserts, are specially interesting as illustrating past usages. Linant also compiled a small Bisharin-French vocabulary as an appendix to his work. The large map accompanying his book, though it is well engraved and depicts well the general mountainous character of the country, is unfortunately full of large errors; Gebel Is (Jt), for example, is placed more than sixty kilometres too far south; while many of the place-names are either wholly incorrect or so loosely transliterated as to be almost unrecognisable. But with all its defects, Linant’s map remained the only source for cartographers for a large portion of the Eastern Desert down to the time of the commencement of the present survey; the map of Egypt published in 1905 by the Topographical Section of the British General[6] Staff, for instance, contains much of Linant’s material, though a comparison of that map with the one joined to this report will show how great were the errors in the matter thus incorporated.
Wilkinson[7] gives very brief notes on Berenice and the ancient roads leading to it, as well as on the emerald mines of Zabara and the ruins of the Sikait district. Wilkinson believed he had identified all the ancient stations on the Koptos-Berenice road, besides another smaller one not mentioned in classical itineraries. In the temple of Berenice he found a small fountain, which is now in the British Museum. But his work added little to what had already been learned by Cailliaud and Belzoni regarding this part of Egypt.
In 1836, Wellsted,[8] a lieutenant in the Indian Navy, who had been employed in surveying the Red Sea coast, described the topography of Berenice, and assigned to the place its true latitude of 23° 55′. He gives a plan and view of the temple, which he partially cleared, and in which he found fragments of Greek tablets and of a statue.
Between 1830 and 1840 important contributions were furnished to the geography of Eastern Egypt by the surveys of the Red Sea, carried out by Moresby, Wellsted, and other officers of the East India Company’s Navy. Their sailing directions formed the foundation of the “Red Sea and Gulf of Aden Pilot,” now published by the British Admiralty.[9] Both the charts and sailing directions have been continually revised by Admiralty surveys, and furnish much accurate information about the coast. The principal errors are that almost the entire coast-line between latitudes 22° and 25° is placed too far to the west,[10] and some of the place-names are wrong, or at least unknown to the local sailors of to-day. Such details of the inland relief as are given on the charts are not correct, as was of course to be expected in a hydrographic survey; but the main summits are fairly accurately laid down, and their altitudes agree well with my determinations. Thus the “Southern peak” of the chart, in latitude[7] 23° 18′, is Gebel Fereyid;[11] the “Black conical hill,” near Mersa Shab, is Gemeida; “Scragged hill” is Qash Amir;[12] “High peak” is Gebel Elba; “Castle hill” is Gebel Shendodai; and “South peak” is Asotriba, the highest mountain of the Elba group.
In 1846, Barth made a journey from Aswân to Berenice and thence to Qoseir, and subsequently published a brief journal of his expedition.[13] Going eastward from Aswân, he passed north of Gebel Hamrat Mukbud (Cf), via the Wadi Khashab, past the tomb of Sheikh Shadli (Df) and the granite boss of Selaia (Fh), which he thought to be of slate, and then descended to the coast by Wadi Salib Abiad and Wadi Khoda (Hf). He discovered the old station (now called Garia Kalalat) south-west of Berenice, on his way to the temple, of which he took measures. Barth remarks on the insignificant nature of the ruins and on the badness of the site for a town. On his return journey, he discovered the wells and ruins of Shenshef (Jj), where there are well preserved remains of substantial dwellings which he thought denoted a settlement by people from Berenice. Ascending the Wadi Shut after returning to Wadi Khoda, he turned westward and reached the plain south of the Abu Hamamid-Hamata mountains. Crossing this mountain track by the difficult pass of Hilgit, he descended the Wadi Huluz (Ef), into Wadi Gemal, whence he turned northward and visited the ruins of Sikait. From Sikait he proceeded by winding tracks past Bir Ghadir (Ec) and on to Qoseir.
The next traveller to visit the district, von Heuglin, examined the country from the coast.[14] Sailing southward from Qoseir, he discovered ruins which he thought to be those of Ptolemy’s Nechesia, in latitude 24° 55′, a little south of Ras Tundeba. Further south, he enumerates the various openings and anchorages of the coast to Suakin. Gebel Hamata (Gf) he wrongly thought might be the Alaqi of the ancient mining records. His “Wadi el Hemmah” is doubtless Wadi Lahami (Hg). Rounding Ras Benas, he passed the coral island of[8] Mukawar (Geziret el Ras), and anchored by the ruins of Berenice, which he states to be called Sikait Qibli.[15] In and near the temple ruins von Heuglin found copper nails, fragments of statues, Roman coins, a quartz sistrum and pieces of beryl, besides potsherds and broken glass. Passing Mersa Shab (Sherm Hel el Madfa), he notes a few fishermen’s dwellings on Seyal Island, and a pearl fisher from Jidda plying his calling at a small anchorage called Gota, near Ras Fatma. He mentions Kwolala as “Geziret Elba,” close to the “peninsula of Halaib” (now an island, Geziret Halaib).[16] The Elba mountains he states to be the Prionotus mons of Ptolemy. The “Sherm Qubeten,” which he notes to the south of Halaib, is doubtless Mersa Qabatit of my map.
It is to the veteran African traveller Schweinfurth that we owe the first investigations of the Elba mountains, as long surrounded with mystery as the stronghold of dreaded Bisharin tribes.[17] Like von Heuglin, Schweinfurth visited the country from the coast, making excursions inland. Starting from Qoseir in March, 1864, he proceeded with frequent stoppages to Suakin, spending nearly six months in exploring the littoral districts. His chief object was the investigation of the flora of the country, but his accounts[18] contain much geographical and geological information of great interest. He compares the coastal ranges of Africa with the Cordilleras of South America, and the Abyssinian highlands with Quito. The flora of the Elba district he found to be sharply marked off from that of the rest of Egypt by the presence of large numbers of plants of Abyssinian types. Among his geological notes, it is interesting to come across a reference to serpentine, which I have lately found to form the great mountain masses of Abu Dahr (Gk), Korabkansi (Fq), and Gerf (Hp). Schweinfurth wrote, however, in the early days of petrography, and his term[9] “basalts” includes a variety of fine-grained dark eruptive rocks which we should now call by other names. The sulphur mines of El Ranga he characterised as worthless, the mineral being in very small quantity. Schweinfurth’s map of the Elba district was a great advance on anything of the kind previously existing, though it contains many inaccuracies, particularly of place-names, as was in fact only to be expected from his very short stay in the locality. He remarked the separation of Gebel Elba (Pr) from the more southern mountains, but failed to notice that Qash Amir (Os), (the “Scragged Hill” of the Admiralty Chart), is in its turn quite distinct from Elba, Halaib is called Elei,[19] and the Geziret Halaib is shown as a peninsula; Kwolala is called “Geziret Elei,” and the Geziret el Dibia (the Elba Island of the charts) is called Geziret Abu Fendira by Schweinfurth. My Wadi Shellal he calls “Wadi Heberah,” and Cape Elba (my Ras Hadarba) is noted as “Ras Edineb.” His “highest peak” (South Peak of the charts) is Asotriba, the highest mountain of the group, lying just within the Sudan; the name Asotriba (Schweinfurth’s “Soturba”) means “green mountain,” and refers to the vegetation on its slopes. Schweinfurth’s experience of the Bisharin led him to give them a very bad character, though he gives high recognition to their beauty of feature and figure; but being unfamiliar with their language was, he admits, an obstacle to forming a fair judgment of them.
In 1873, Colonels Purdy and Colston, two American officers attached to the Egyptian Army, were commissioned by the Khedive Ismail Pasha to carry out a reconnaissance for a proposed railway line between Berenice and Berber. Colston[20] travelled overland from Qena via Qoseir to Berenice, discovering several ancient stations on his way to join Purdy. Though Purdy sanguinely states[21] that “la construction d’un chemin de fer de ce point (Berenice) à Berber n’offrirait pas de grandes difficultés,” the reconnaissance appears to have been singularly rough for a decision in so weighty a matter. Distances were mere guesses, and the only instruments employed[10] seem to have been a compass, aneroid, and hypsometer. The compass must often have been unreliable owing to magnetic rocks, which in places deflect the needle as much as 40° from its normal position, while the use of the aneroid was so little understood that Purdy could actually write, in the concluding paragraph of his paper: “Je me permets de rappeler l’attention sur les notes barométriques jointes à ce rapport. A ce propos, je dois faire observer que quoique l’anéroïde soit très sensible aux changements de niveau, il ne l’est pas assez pour la pression atmosphérique, et sa marche est excessivement irrégulière. . . . Il m’est arrivé, par exemple, de constater, le matin, au moment du départ, une différence sensible du point marqué le soir précédent à mon arrivée.” Not only are many of the place-names given by Purdy erroneous, but some of his most important statements are contrary to fact; to take only a few examples, the Wadi Kalalat is confused with Wadi Shenshef, and Gebel Shut with Gebel Dahanib, while it is stated that no water exists between Gebel Dif (Fm) and Gebel Egat (Ft), although there are several good wells between the two places. The map accompanying Purdy’s paper is full of errors, and almost worse than useless. Of Colston’s route from Qena to Berenice there was no published cartographic record until 1891, when G. Cora[22] endeavoured to place Colston’s track on a map from his manuscript sketches. Cora’s map shows no new material except the route, and even this cannot be very correct, for it is evident on comparison with the results of the recent survey that Colston’s sketch map was of the same rough and inaccurate character as Purdy’s.
In January 1889, Golénischeff made an expedition from the Nile to Berenice and back. His object was to collect archæological information, especially concerning the ancient roads and stations, but the careful account[23] which he has given of his journey is also of geographical interest. Starting from Redesia by Cailliaud’s route, he examined the temple of Seti I, and then discovered the ancient station of Abu Medrik[24] further to the south-east. Passing the ruins[11] at Samut and Dweig (Cc), he found another small station on the way to Abu Had, and arrived at the station in Wadi Gemal (Ed), near Wadi Hafafit. From the Wadi Gemal he proceeded via the Wadis Abiad (Fe), Abu Hegilig, Hefeiri, Abu Ghusun (Ge), Haratreit (Hf), Khashir (in which another ancient station was discovered), and Lahami (Hg), past the Abu Greia ruins, to Berenice. He returned by way of Wadis Naait (Hh) and Lahami on to the plain of Kharit, and thence past Hamrat Mukbud (Cf), via the Wadis Khashab, Kharit (Ag), and Abu Modellim, to the Nile. Golénischeff, besides giving small plans of the various ancient stations and a carefully measured plan of the temple of Berenice, made a comparison of his itinerary with the descriptions of the old roads by classical writers and by Colston. He considers there can be no doubt that Abu Greia is the Vetus hydreuma of Pliny, and the ruins in Wadi Khashir the Novum hydreuma of the same writer. The ruins in Wadi Haratreit he considers to be the station Cabalsi of the Antonine Itinerary, Apollonus being identified with the well found by Colston at Hefeiri, Falacro with the ruins in the Wadi Gemal, and Aristonis with those in Wadi Dweig.
In 1891, Floyer, at the head of a scientific exploring expedition sent out by the Khedive Tewfik Pasha, travelled over the country north of 23° 30′, and his results were published in French in 1893.[25] A little later, the geographical results of the expedition were embodied in an English paper read at the Royal Geographical Society.[26] The general map in the French essay is only on a very small scale, but the English publication is accompanied by a much more illuminating map on a scale of 1:760,320, reduced from one prepared by the Intelligence Division of the War Office from Floyer’s original plane-table sketches. This latter map, in spite of many errors and defects, was a very great advance on anything which had previously appeared, and it formed the principal source of geographical information concerning the north part of the district at the commencement of my survey in 1905.
The geological observations made by Floyer during his expedition formed the subject of a paper read by him before the Geological Society of London in 1892.[27] This paper is chiefly remarkable for[12] the number of grave errors of observation into which Floyer’s limited acquaintance with geology caused him to fall, and later researches have fully justified the scepticism with which his deductions were received by the Society. Thus, for instance, he refers to the ancient schists and slates of Zabara as “blue clay,”[28] and to the dark schists and diorite of Abu Hamamid and Abu Gurdi as “compact granite.” The rocks which Floyer considered to be “metamorphosed sandstone” are diorites and schists at Um Eleiga and in the Wadi Gemal, and typical gneisses and granites in the Nugrus and Hafafit ranges. Not a trace of sandstone has been found to exist within many miles of the places where Floyer records its metamorphism, nor has any evidence of the recent volcanic activity reported by him (Geog. Journal, 1893, p. 430) been discovered.
An account of a short visit to the Elba district was published by Bent[29] in 1896. Bent landed at Halaib and camped near Gebel Shellal (Qt). He thinks that Halaib may have been the town of Aydat mentioned by the Arab geographers Abu el Feda and Edrisi, and that it is a place of purely Arab origin. At Suakin el Qadim (Qs) he found among the mounds nothing earlier than Cufic remains, unless certain graves, formed of four large blocks of coral set deep in the ground, may be looked upon as a more ancient form of sepulture. His “Gebel Shendeh” should be correctly Gebel Shendib, and his “Shendoeh” is correctly Shendodai; the “Riadh” mentioned by him I have not been able to identify. His estimated heights are considerably in error; thus Gebel Shendib is really 6,273 feet and Gebel Shellal 4,623 feet instead of the 4,500 feet and 4,100 feet which he gives. The paper contains interesting remarks on the Hamedorab tribe, which Bent was informed totalled only some 300 fighting men in the entire district from Asotriba to Ras Benas. The reference to the sheikh as “the batran” is due to a misconception; Batran was the late sheikh’s first name, and is not a title of station. The map accompanying Bent’s paper is only to a very small scale, and formed practically no addition to existing knowledge.
[13]Macalister[30] has given a detailed and interesting account of the Sikait district (Ed), with special reference to its geology, as the result of an expedition there in 1899. The small scale sketch map of the route followed in reaching the mines from the valley is not very correct, but the detail maps of the Sikait neighbourhood give an accurate representation of the area in which the mines are situated, while the geological notes give an excellent idea of one of the most highly metamorphic areas of the entire Eastern Desert. Macalister gives some notes also on the ruins and the people of the neighbourhood. His experience of the Ababda as workers was very unfavourable; though his characterisation is unfortunately only too well merited by a large section of the tribe, it is probable that a longer acquaintance with Arabs would have enabled him to select men of a better class. A sufficiency of good men for a caravan of 130 camels cannot be raised without great expenditure of time and care, even by those who have lived for many years among the Arabs, and a few bad characters in a desert camp soon exert a bad influence over the rest.
The brilliant series of investigations carried out by the officers accompanying the Austrian research ship “Pola” in the Red Sea in the winter of 1895-96, though chiefly concerned with oceanographic questions, contain not a few observations of interest connected with the land.[31] The positions determined include Sherm Sheikh, Berenice, St. John’s or Zeberged Island, and Halaib. The latitudes observed agree well with the values which I found by triangulation.[32] For longitude the method used was the transport of chronometers, and this method is liable to such considerable errors that we need have no hesitation in preferring my triangulation values, especially as our latitudes are in agreement. The observations made by the officers of the “Pola” on the compass-variation at Berenice and Halaib are of considerable importance as enabling us, by comparison with my own observations at the same places, eleven and twelve years later, to obtain a reliable value for the rate of secular change of this magnetic element in the district. A large scale map of Halaib is given, and[14] amongst other observations of interest to the geographer in South-Eastern Egypt are analyses of the water at Halaib, a series of pendulum observations which show a decided increase in the force of gravity over the sea as compared with the intensity over the land, and descriptions with figures of some of the reptiles which are found in the region.
Turning now to the work of the Geological Survey in the district, the maps and descriptions in the present volume are the result of surveys carried out by me in the three seasons 1905-1908, or about twenty-two months’ work in all. The survey was commenced primarily with the view of enabling mining concessions to be accurately marked out. How little possibility of this existed so recently as 1902 may be gathered from the fact that although a ministerial order of that year had defined the administrative frontier between Egypt and the Sudan as being a line joining certain important mountains and wells, which were named, yet it was impossible to lay this frontier down correctly on a map because the geographical positions even of these important features were uncertain to many kilometres.
The main interest in the field methods used, which will be described in detail in a subsequent chapter, lies in the fact that many of them are wholly or in part new, having been devised as the work proceeded to meet the special exigencies of the case. The costly nature of camel-transport, and the relatively small value of the country, precluded the employment of the ordinary sequence of survey operations, and it was necessary to carry on reconnaissance, precise triangulation, detailed topographical mapping, and geological surveying, all at once, and to move rapidly so as to cover a large area in a moderate time. Starting from a measured base near Gebel Muelih, which had been previously connected by triangulation with the Nile Valley, a network of large triangles was thrown over the country. The essential feature of the triangulation was the employment of observations at relatively few occupied main summits, to fix large numbers of points by intersection; in some cases over a hundred triangulation points were sighted from a single occupied station. The triangulation was continued so as to join to a second base line near Gebel Um Harba (Ck), and was also connected on to main points in the trigonometrical survey of the Sudan, thus linking up a continuous chain of triangles from Alexandria to Berber. The total number of main[15] (occupied) stations was sixty-four, while the intersected points numbered 450. In addition to these, about 1,200 minor points were fixed by subsidiary triangulation from short local bases.
Levels were taken trigonometrically for all points fixed by triangulation, using the actual sea-level as the datum. The altitudes of nearly all camps were likewise found trigonometrically, and between successive camps aneroid readings, adjusted to the initial and terminal points of the day’s march, were employed to supplement trigonometrical determinations made on the journey.
For the control of the maps, latitudes and azimuths were taken at intervals, the former by equal altitudes of three or more stars, the latter by elongations of close circumpolar stars.
The topographical sketching, carried out on plane-tables on a scale of 1:100,000, was based on the points triangulated, these being computed in camp and plotted by their geographical coordinates as much ahead of the lines of march as possible. When marching, plane-table stations were fixed by re-section from three or more triangulated points, the compass being useless owing to abundance of magnetic rocks. Details along the line of march were put in by tacheometric readings from the stations, using specially devised long distance methods. But the greater portion of the sketching was done from the mountain tops while occupying them as trigonometrical stations, and for this again special methods, involving an extensive use of vertical angles, were employed. On an average, about thirty square kilometres were sketched in during each day’s march, and about 400 square kilometres from each main trigonometrical station, where it was usually necessary to remain for at least a week to get sufficiently clear weather for the more distant sights. It was not, of course, possible to sketch every portion of the area in uniform detail, for some parts lay so far from the line of march and from the triangulation stations that little or no detail was visible. The lacunæ were filled in as far as possible in the field from guides’ statements, taking care on the field maps to distinguish parts so filled as only approximate. A few additions near the west limit of the map have been added from reconnaissance surveys by various colleagues of the Survey Department. For details of the upper part of the basin of the Wadi Alaqi, I have taken advantage of an admirable reconnaissance-survey of this tract recently made by Mr. J. Morrow Campbell, B.Sc., F.R.G.S.,[16] for the Egyptian Options, Ltd., who kindly placed their map at the disposal of the Government. My triangulation gave the positions and altitudes of all the principal peaks of this region, and thus enabled Mr. Campbell’s map to be accurately adjusted to the Survey positions, and his drainage lines and other topographical details have been inserted with great advantage to the map, which would otherwise have been almost blank in this particular area. Mr. Campbell’s map does not, unfortunately, give any altitudes, and the only altitude data for the orographical sketching were the peaks and other points of connexion with the Survey map; but by taking into account the depth of shading of the different hill masses and the known altitudes determined by triangulation, it is believed that a fairly approximate picture of the orography has been obtained.
The sea coast north of latitude 24° 10′ was adapted from the Admiralty Chart, fitting it on to coast points trigonometrically fixed. South of 24° 10′ the coast was surveyed in detail by means of depression angles from the occupied peaks of the triangulation. The local circumstances, in the existence of high mountains pretty close to the sea, are so favourable to the employment of this method, that it is confidently believed that the maps represent a considerable advance in accuracy over the Admiralty Charts. It was frequently possible to check the accuracy of the coast-line delineation by plane-table rays, and it was invariably found that the errors were insensible, even on the fairly large scale employed in the field-maps. The coast-line shown is the high water-line. The tidal change of level, though it is generally less than a metre, uncovers in many places extensive coral reefs at low water, but no attempt was made to map these.
Very special care was taken with place-names, which are transliterated on the Egyptian Government system. It may be remarked that this system is based on the Arabic spelling, not on pronunciation. Thus, in this part of the country, the letter g is almost always soft, like an English j, and the q is always sounded like a hard g. The same system was used for the Bishari and Ababda names, these being first written by a guide in Arabic characters and then transliterated. It is believed that the orthography is correct in almost all cases.
The geology was examined along every line of march, and additional specimens were obtained by sending guides to collect rocks from mountains otherwise unvisited. Where possible, the principal[17] geological boundaries were drawn direct on the plane-table sheets in the field, and the remainder have been placed from field notes. The limits of the different igneous and metamorphic rocks shown on the geological map aim only at showing general relationships, for in many cases it is difficult, owing to insensible gradations, to decide exactly where granites and diorites end and gneisses and schists begin, while in other places rocks of two or three distinct species are so intimately mixed that the boundaries could not be shown on the small scale used, even if the exact limits were traced by a life-time’s work; in these latter cases the areas are coloured in accordance with what appeared to be the dominant rock within them.
Throughout the three seasons’ work I was accompanied by Dahab Effendi Hassan, who rendered useful assistance in booking angles and in reconnaissance, and in the third season Mr. O. N. Bakewell also accompanied me and gave me much useful help. The Egyptian unskilled staff employed consisted almost entirely of Bedouin and comprised on an average about twenty-five camel drivers (for thiry-five baggage camels), six porters, three guides, and two postmen, all placed under an Arab sheikh.
The total cost of the field-work was approximately L.E. 5,090, or about 150 milliemes for each square kilometre of country mapped in detail. Nearly two-thirds of the entire amount were expended in camel-transport, the remainder representing the expenditure on salaries and allowances of the author and assistants engaged in actual surveying operations.
[2]Bruce’s Travels to discover the Sources of the Nile. Halifax, 1845. pp. 78-80.
[3]Cailliaud, Travels in the Oasis of Thebes and in the Deserts east and west of the Thebaid, edited by Jomard. Translated from the French. London, 1822. This work contains two small maps and many engravings. (The map of the Eastern Desert is unfortunately wanting in the Khedivial Library copy, which is the only one I have seen.)
[4]Belzoni, Narrative of the Operations and Discoveries in Egypt and Nubia, and of a Journey to the Coast of the Red Sea, in search of the ancient Berenice. London, 1820.
[5]Plates illustrative of the Researches and Operations of G. Belzoni in Egypt and Nubia. London, 1822. (This is a large folio atlas of 44 plates.)
[6]Linant de Bellefonds, L’Etbaye, Paris (N. D., but the title of the map accompanying the work gives the date as 1854).
[7]Wilkinson, Topography of Thebes and General View of Egypt. London, 1835. pp. 415-422. Modern Egypt and Thebes. London, 1843. Vol. 2, pp. 389-394.
[8]Wellsted, Notice of the Ruins of Berenice. Journal of the Royal Geographical Society. London, 1836. pp. 96-100.
[9]Red Sea and Gulf of Aden Pilot. 5th edition. London, 1900 (with several later supplements). Admiralty Charts of the Red Sea. Sheets 2 and 3.
[11]This should not be confounded with the higher Gebel Faraid to the northward.
[12]Qash Amir is quite a separate mountain from Gebel Elba, not part of the same range as the chart indicates.
[13]Barth, Reise von Assuan über Berenike nach Kosser—Zeits. für allgem. Erdkunde. Berlin. Vol. VII (1859), pp. 1-31. (There is no map to this work, but the route followed is easily traceable on a modern map owing to the place-names being given in the journal.)
[14]v. Heuglin, Reise in Nordost Africa und längs des Rothen Meeres im Jahre 1857. Petermann’s geogr. Mittheilungen, 1860. pp. 332-335. (This paper is accompanied by a map, which is, however, lacking in the copy of the Khedivial Library).
[15]This I think is an error. A small isolated granite hill west of Berenice is called Sikeit, and has been visited by Barth and myself; but it is devoid of ruins. My Arabs called Berenice Medinet el Haras.
[16]There was no “Geziret Elba” known to the sailors of Halaib at the time of my survey. The “Elba Island” of the Admiralty Chart is called Geziret el Dibia; it is a very small island, which looks like a boat from a distance.
[17]Though the Bisharin are now very orderly and friendly, the ancient dread of their country still persists to such a degree that it is almost impossible to persuade Ababda Arabs to go near the Elba district.
[18]Schweinfurth, Reise an der Kuste des Rothen Meeres von Kosser bis Suakin, Zeits. für allgem. Erdkunde. Berlin, Band XVIII (1865), pp. 131-150, 283-313, 320-384. A special account of the Elba district is given with a map, in another paper, Das Land am Elba- und Soturba-Gebirge in Petermann’s geog. Mittheilungen, 1865. pp. 330-340. Schweinfurth also published several other papers dealing with the rich botanical results of his expedition.
[19]I found many of the natives could not recognise the name Halaib, which has become the official name of their village. They call it “Oleiyib,” sounding the final consonant only slightly; so that Schweinfurth’s “Elei” is not very different from the local name.
[20]Colston, Journal d’un voyage du Caire à Keneh, Bérénice et Berber. Bull. Soc. Khédiv. de Géographie. 1886. pp. 489-568.
[21]Purdy, Reconnaissance entre Bérénice et Berber. Ibid. pp. 431-435, with a map.
[22]Cora, La route de Kéneh à Bérénice levée en 1873, par le Colonel R. E. Colston. Bull. Soc. Khéd. de Géog. Cairo, Sept. 1891. pp. 533-538, with map.
[23]Golénischeff, Une Excursion à Bérénice. Recueil de Travaux. Vol. XIII (1891), pp. 75-96.
[24]Golénischeff names this place Abu Greïa, a name which he remarks is the same as that of a station near Berenice. Garia Abu Medrik is the name given to it by the Arab guides accompanying the Survey expeditions.
[25]Floyer, Etude sur le Nord Etbai. Cairo, 1893.
[26]Further Routes in the Eastern Desert of Egypt. Geog. Journal. London, 1893. pp. 408-431.
[27]Notes on the Geology of the Northern Etbai. Quart. Journal Geol. Soc. London, 1892. pp. 576-582.
[28]Professor Hull, in the discussion on Floyer’s paper, suggested, even in the absence of specimens, that Floyer’s “blue clay” was really a decomposed Archæan schist. My observations have proved the sagacity of this suggestion.
[29]Bent, A visit to the Northern Sudan. Geogr. Journal. London. Vol. VIII (1896), pp. 335-353.
[30]Macalister, The Emerald Mines of Northern Etbai. Geog. Journal. London. Vol. XVI (1900), pp. 537-549.
[31]Berichte der Commission für Oceanographische Forschungen. Sechste Reihe, Wien 1898, and Siebente Reihe, Wien, 1901.
GENERAL DESCRIPTION OF SOUTH-EASTERN EGYPT.
In this chapter will be given a brief general account of the district, under the heads of:—
| 1. | Extent. |
| 2. | Relief. |
| 3. | Hydrography. |
| 4. | Coast-line. |
| 5. | Climate. |
| 6. | Scenery. |
| 7. | Animal and Plant Life. |
| 8. | Water Supplies. |
| 9. | Geology. |
| 10. | Mineral Products. |
| 11. | Antiquities. |
| 12. | Inhabitants. |
| 13. | Languages. |
| 14. | Industries. |
| 15. | Communications. |
| 16. | Government. |
The subjects of topography, water supplies, and geology, will be further considered more fully in succeeding chapters.
As already mentioned in the introduction, the district treated of in this volume lies between the parallels of 25° and 22° of north latitude, and between the meridian of 34° E. and the Red Sea. It comprises an area of about 56,000 square kilometres (22,000 square miles).
The higher mountains of the Eastern Desert generally form the watershed between the Nile and the Red Sea. This watershed is much nearer to the coast than to the Nile, with the result that the eastward drainage is much steeper than to the west.
Commencing from the north (see the orographical map, Plate I), the principal mountain masses are:—
(i) The Migif — Hafafit — Nugrus — Hangalia — Zabara group (1,505 metres[34]), cut off to the south by the Wadi Gemal (Fd).
(ii) The Abu Hamamid — Hamata — Abu Gurdi group (1,978 metres), limited on the south by the Wadi Lahami (Hg).
(iii) The Um Gunud — Dahanib — Batoga group (1,270 metres), lying between Wadi Lahami on the north and Wadi Khoda (Hj) on the south.
(iv) The Abu Dahr — Orga — Um Tenedba group (1,131 metres), separating the drainage of Wadi Betan (Fl) from Wadis Khoda and Rahaba (Hl).
(v) The Faraid group, the Mons Pentadactylus of Ptolemy, comprising some very remarkable granite peaks (1,366 metres), lying near the coast between Wadi Khoda and Wadi Rahaba.
(vi) The Awamtib — Abraq — Dif — Aqab el Negum — Mishbih group (1,353 metres), forming the tripartite watershed between the great Wadi systems of Kharit and Alaqi on the west, and that of Wadi Hodein on the east.
(vii) The Gerf — Abu Hodeid group, a mighty mass rising to 1,736 metres, lying between Wadi Hodein (Jn) and Wadi Hasium (Hs).
(viii) The Meisah — Adar Qaqa — Is group, between the Wadis Hasium and Di-ib (Mr).
(ix) The Elba — Shendib group (1,912 metres[35]), a great mass of spiky mountains lying near the sea between Wadi Di-ib and the coast.
Besides these main groups, there are numerous more or less isolated mountains, of which Gebels Abu Khrug (Bd, 870 metres), Hamrat[20] Mukbud (Cf, 890 metres), Zergat Naam (Ej, 845 metres), and the two Niqrubs (Fn and Fo, 829 metres and 1,078 metres) are examples.
Some of the mountains, especially the granite “bodkin” of Gebel Faraid (Hl), and some of the peaks of the Elba group, appear to be unclimbable. A few others are rather dangerous of ascent, as, for example, Gebel Abu Hamamid (Ef) on account of its steepness, and Gebel Abu Dahr (Gk) by reason of combined steepness and rotten rock, which comes away in tons at a touch. The highest peak of all within the district, Gebel Hamata (Gf), is a comparatively easy climb from the north.
The course of the main watershed which parts the Red Sea and Nile drainages is highly irregular both in altitude and direction, as will be evident from the orographical map (Plate I), on which it is shown by a red line. From Gebel Hamrat Wogud, in the north, it passes east of Gebel Atut, thence through the high masses of Gebels Hangalia, Nugrus, Hafafit, and Migif, beyond which it drops southward through the low country round Gebel Abu Had. Entering the mountains again at Gebel Nukheira, it takes an eastward bend, passing along the great ridges of Gebels Abu Hamamid, Um Usher, Um Hasidok, and Ras el Kharit. Striking southward across the head of Wadi Kharit, it courses through the mountains of Mikbi and Abu Gurdi, thence dropping to the south on the plain near the hills called Marwot Elemikan. Turning here sharply westward over the plain, it passes through the hill-mass of Gebel Abu Derega and on to Gebel Zergat Naam, south-west of which it crosses the low tract at the head of Wadi el Arned to the sandstone plateaux of Dagalai, whence it courses a little to the west of Gebel Um Reit and enters the mountainous tract of Gebel Aqab el Negum. Its further course has not been traced in detail, but from guides’ statements and the indications of the main drainage-lines it is believed to run as shown on the map, in a great curve through the two sharp peaks of Gebel Sheyenit to the west of Gebel Mishbih, and then in another flatter curve south-eastwards to Gebel Soaorib, at the head of Wadi Hasium. Continuing along the mountain ridges of Gebel Soaorib, it crosses[21] to Gebel Is,[36] separating the Wadi Is from the heads of Wadi Alaqi on the Sudan frontier.
The watershed is for a great part of its course quite impassable for camels. The principal places where it can be crossed are at the head of Wadi Nugrus, near Abu Had, the Wadi Marasan between Huluz and Wadi el Sheikh, the heads of Wadi Lahami, Wadi el Fil, Wadi Arned, and Wadi Um Reit, passes at Aqab el Negum and Hamrat el Feg, near Gebel Mishbih, the head of Wadi Hasium, and the pass of Adar Ameit, north of Gebel Is. All these places are practicable for baggage camels, though in some of them, as, for instance, at the head of Wadi Nugrus, care is required because the track is steep and stony.
The principal drainage-basins are shown on the small scale map on Plate II. The westward drainage ultimately reaches the Nile by the three main trunk wadis of Shait, Kharit, and Alaqi; Shait and Kharit enter the Nile Valley at Kom Ombo, while Alaqi debouches near Dakka. The eastward drainage is much more complex, the principal trunk wadis, such as Um Khariga, Gemal, Khoda, Rahaba, Hodein, Ibib, Di-ib, and Serimtai, being separated by very numerous minor wadis draining independently to the sea.[37]
Nearly all the wadis contain vegetation in the form of trees and bushes, and plant life flourishes as a rule far more luxuriously in wadis draining seawards than in those leading to the Nile. Feqoh, Naam, and the lower reaches of Hodein are, however, exceptionally barren. Forming, as they do, the only possible roads, furnishing the entire supply of camel food, and containing most of the wells, the wadis are to the desert what the Nile is to Egypt proper. The intervening mountains are of no interest to the Arabs, except when they contain water-reservoirs. Hence the place-naming starts from the wadis, even the smallest of which have names unless they are barren. Mountains are generally named after the nearest wadi, and may[22] thus have two names when situated between two wadis, the particular name used depending on which side the mountain is seen from.
The coast-line of this part of Egypt is somewhat irregular, the peninsula of Ras Benas forming a prominent projection in latitude 24°. In the south part of the area the eastward extension of the country, culminating in Ras Hadarba (Cape Elba of existing maps), is very marked, extending nearly to 37° of east longitude. The coast is almost entirely fringed by coral reefs, passage through which is only possible at certain points, and then only with the utmost care in navigation.[38] Between the feet of the mountains and the sea there extends a gently sloping plain, varying in width from about eight to twenty-five kilometres, covered with sand, over which the drainage meanders in shallow courses, often only traceable by the vegetation which occurs along them. A rather surprising result brought out by the levelling observations is that the slope of the coast plain, even where it looks flattest and sandiest, is as steep as the floors of some of the wadis draining on to it, and several times more steep than the beds of the wadis which drain westwards to the Nile, its fall seawards averaging six metres per kilometre and reaching over ten metres per kilometre in some sections.
The climate of the district is predominantly hot and dry to the west of the watershed, hot and moist eastward of it; but very cold weather is apt to prevail for a few weeks in January and February, with strong north winds, on both sides of the watershed, and the transition from piercing cold to great heat at these times is often brought about very suddenly by a change of wind direction. There is seldom any frost, but water-bags are occasionally frozen on the mountain tops at night. Cool north-west winds prevail in the north part of the area, while hot damp winds from the south-east are usual in the south. In the central part, round Berenice, absolute calms[23] are frequent.[39] The highest mountain-masses are frequently swathed in clouds for weeks together, especially from January to March. The hot, dry, sand-laden winds called Khamsin occasionally blow for four or five days together in March and April; at these times the shade temperature rises to over 45° C., and the air is thick with sand and dust. Rain falls in most years, but its quantity is very variable; in some years there is barely enough to keep the wells supplied, and much of the vegetation withers; in others, heavy storms produce wild downrushes in the wadis, filling them for short periods with raging torrents. Curious electrical and optical phenomena can sometimes be seen on the mountain-tops during storms and in mists.[40] The Elba region is seldom free from clouds, and receives far more rain than any other portion of the area, forming in fact the northern limit of the rainy tropical zone; it is in consequence relatively well wooded, while the other mountains are a dreary waste of naked rocks.
The predominant types of scenery are extensive sandy plains and gaunt rugged mountains. In the low-lands, pleasant relief from the stony monotony is afforded by the trees and scrub which occur along most of the wadis, though their struggle for existence is often evidenced by miles of withered and blackened scrub in places which a few years ago were green and flourishing. The bareness of the mountains becomes slightly relieved in the Elba district, where beautiful trees and flowering plants thrive high up the mountain-side along all the drainage lines. As to the forms of the mountains, one sees extensive broken sandstone plateaux at Gebel Abraq (El), remarkable rounded granite bosses at Gebels Muelih (Ab), Nugrus (Dc), Selaia (Fh), and Um Rasein (Jr), jagged and spiky granite peaks in the mountains of Faraid (Jk), Qash Amir (Os), and Elba (Ps), and broken masses of gneiss, dark schists and serpentines at Gebels Hafafit (Dc), Hangalia (Dc), Abu Hamamid (Ef), Hamata (Gf), and Gerf[24] (Hp). Perhaps the most remarkable of all the peaks are those of Faraid (Jk), which from the north look like the expanded fingers of a huge hand, whence they received their name of Mons Pentadactylus in antiquity, while one specially sharp peak is styled very appropriately “the Bodkin” on Admiralty Charts. The mass of Elba forms a very fine view from the north, but the prevalence of clouds about its summits frequently hides it from view for months together. The views from the mountain-tops are extensive and beautiful, especially at sunrise and sunset, when the peaks take on wonderful colours, and the views from the summits when the entire lower landscape is bathed in clouds, through which only the higher peaks project like islands from a great sea, are not less remarkable. Though a good look out was kept from the highest mountains across the sea, the mountains of the opposite shore of Arabia were never with certainty made out; the cone of Zeberged Island was, however, often seen. It is stated by d’Anville, on the authority of Castro,[41] that both the Arabian and African mountains can be seen from the summit of Zeberged.
Both animal and plant life is mainly confined to the drainage lines. Of wild animals suitable for human food, gazelles can be shot fairly frequently in the south part of the area, but are very scarce in the north. Sand grouse and partridges can occasionally be obtained round Abu Saafa, while doves are very abundant in the groves near Bir Akwamtra, at the foot of Gebel Elba. Ibex were never seen with certainty, though their horns and lairs were often found on the mountains. Conies inhabit the rocks near Bir Abraq and Bir Madi. The wild ass has disappeared from the area, as also has the ostrich, though fragments of ostrich eggs picked up here and there, and drawings of this bird on the rocks, attest its presence here in recent times. Vultures, kites, and ravens are everywhere in evidence, and several kinds of smaller birds, such as swallows and wagtails, are often seen about the greener wadis. Lizards of many kinds are to be seen. Scorpions and snakes are seldom met with. Of butterflies and moths, especially the latter, many varieties occur. The common fly occurs in[25] such numbers as to be a great pest, but mosquitoes and sand-flies are practically absent. Camel ticks infest the ground under all trees used as shade by travelling Arabs. Earwigs are in some places very abundant, and a great variety of beetles and bugs occur. Near the sea, whole armies of crabs are to be seen marching on the shore, and hermit crabs are very numerous in all sorts of gasteropod dwellings.
Of plant life the district contains a great variety. The north and central parts of the area contain the same trees and bushes as abound further north in Egypt,[42] and camel food is moderately abundant. As Elba is approached, many beautiful flowering plants not found further north are met with, while in the clefts of the slopes of Elba itself is a far richer vegetation than occurs wild in any other part of Egypt. I found the approach to Elba was stopped for baggage camels some four kilometres from the summit owing to the closeness of the trees, and the ascent on foot up the clefts of the mountain-face for the remainder of the way was more like going through an English wood than up a desert mountain. Many varieties of sweet-smelling flowers and some fruit-bearing trees unfamiliar in Egypt were seen, while mosses and lichens covered the tumbled masses of granite in many places. Schweinfurth, who examined the botany of this region in 1864, found that of 300 species of plants collected in the Elba district, the vast majority were of Abyssinian types; scarcely 100 were living in other more northerly parts of the Eastern Desert of Egypt, while still fewer are indigenous to the Nile Valley, and only fifteen species were of those found wild in Europe.[43]
The sources of water comprise galts (rock basins forming rain water reservoirs in the mountains), springs and wells. Of these, galts yield the purest water, and form the principal supply of the pastoral Arabs, except in years of no rainfall, while springs and wells, the latter usually rude excavations in the alluvia of wadis, are most used by travellers from their easier accessibility. Small galts are called[26] megal (Ababda) or megwel (Bisharin); they are frequently accompanied by small springs.
The small scale map on Plate III, which shows all sources known to exist within the area, gives a good idea of the distribution of water supplies. Water is scarce in the western parts of the country, Bir Abu Hashim being the only source within a radius of about sixty kilometres of itself, but galts and wells are fairly frequent among the mountainous tracts further east. The springs of Abraq and Abu Saafa are the most important sources in the central area. The portion of the country under the Sudan Administration is far richer in water that the Egyptian part, containing numerous fine wells and springs, such as Birs Meneiga, Abu Hodeid, Akwamtra, and Frukit. The coast plain is waterless, except for salty wells near the sea.
Water can usually be obtained at intervals of about two or three days when on the march, and in some parts much more frequently. The water of certain wells and springs has a purgative effect due to the absorption of magnesium salts, especially after a long interval without rain. That of others, again, such as Muelih and Shalatein, is so salty as to be only drinkable by camels.
The rocks composing this part of Egypt are principally igneous and metamorphic deposits of very ancient origin. Granite is most prominent in the Nugrus, Faraid, and Elba areas, schists and diorites cover a large portion of the remaining country, and huge masses of serpentines form the mountains of Abu Dahr, Korabkansi, and Gerf. Of sedimentary rocks, plateaux of Nubian sandstone (Cretaceous) cover large areas round Bir Abraq and westward of it, while a narrow belt of the same rock also occurs along the sea coast in the north part of the district. Gypseous limestones (Miocene?) form the hills of Ras Benas and occur along the coast north of Wadi Lahami, as well as in small areas near the coast further south in the neighbourhood of Halaib.
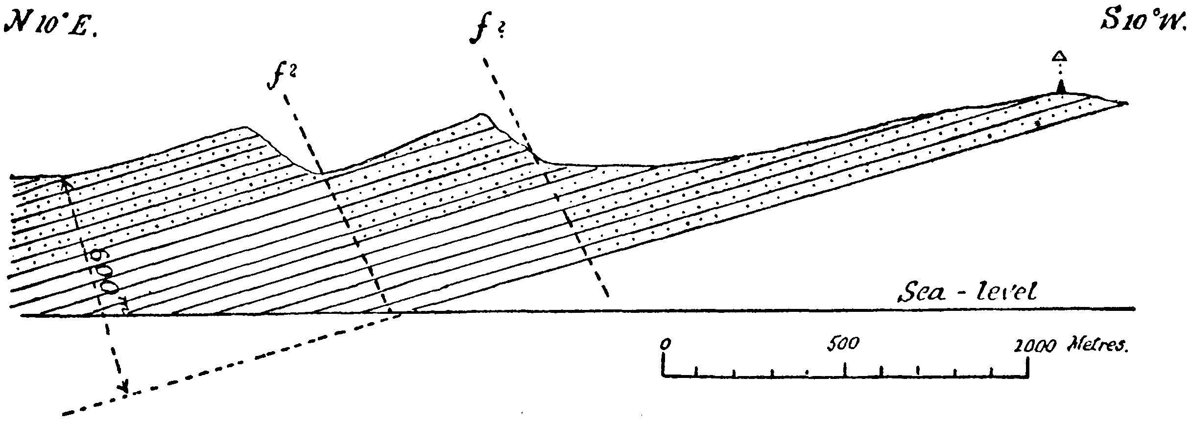
[27]Crushing of the older rocks is almost everywhere strongly evidenced, but faulting is difficult to trace except in the sandstone areas, where it is strongly marked. The presence of clearly defined overthrust faulting in the Abraq area shows that tangential earth movements, so rare in this part of the world,[46] have not been altogether absent.
The mineral resources of this part of Egypt are not of very great importance, owing partly to its inaccessible situation and desert character. Gold and copper ores occur in places; other localities contain beryl and peridots, while others, again, bear iron ores, gypsum, sulphur, steatite, asbestos, and magnesite, and good building stones abound over large areas.
The presence of ruins and excavations at places like Hangalia, Sikait, Zabara, Romit, and Darahib, are evidence of mining activity in the past, but the mean nature of the accommodation for the workers, and the presence of old stone hand mills where gold was the thing sought for, confirm the statement of Diodorus[47] that the mines were worked by miserable convicts.
In recent years much prospecting has been done to test whether the ancient mines could be developed and made commercially productive under modern conditions. In the case of many areas, including that round Darahib, the mines of which are believed to be those referred to with a map in the Turin papyrus of the Nineteenth Dynasty,[48] the prospecting licences have been surrendered to the Government because the results were unfavourable. In a few other cases prospecting is still being carried out, and in three localities the results have been sufficiently encouraging for exploitation to be undertaken.
The following tables, compiled from information supplied by the Mines Department, give particulars of the prospecting licences[28] and mining leases at present (1912) held within the area described in this book:—
Prospecting Licences.
| Licence No. | Date of Licence. | Principal Mineral sought. | Holder of Licence. | Situation of Area licensed. | ||
|---|---|---|---|---|---|---|
| 49 | Nov. | 1 | 1909 | Gold. | Mr. Mack. | Kurdeman district. |
| 50 | „ | 1 | 1909 | „ | „ | Sabahia district. |
| 75 | May | 14 | 1911 | „ | „ | North-east side of Gebel Zabara. |
| 59 | Feb. | 17 | 1910 | Sulphur. | Mr. Venizelos. | Gebel Ranga, near the mouth of Wadi Abu Ghusun. |
| 60 | „ | 17 | 1910 | „ | „ | Adjoining the foregoing. |
| 61 | March | 19 | 1910 | „ | „ | „ „ „ |
Mining Leases.
| Lease No. | Date of Lease. | Period for which granted. | Mineral exploited. | Holder of Lease. | Area leased. | |
|---|---|---|---|---|---|---|
| 13 | Dec. | 1, 1910 | 30 years. | Gold. | African Reefs, Ltd. | 25 acres near Gebel Um el Tiur el Tahtani. |
| 15 | Jan. | 1, 1912 | 30 years. | Gold. | Mr. Wells. | 25 acres near Gebel Sukari. |
| 55 | June | 1, 1906 | 30 years. | Peridot. | Peridot & Egyptian Gems Co., Ltd. | Zeberged (St. John’s Island). |
Of the above three mining leases, the last mentioned (the Peridot and Egyptian Gems Co., Ltd.) is the only one under which any considerable exploitation has been carried on, large numbers of beautiful peridots having been obtained from the mines. The two gold mining undertakings have been commenced too recently for much to have been as yet accomplished.
The archæological remains of pre-Arab times in this part of Egypt comprise the small ruined temples of Berenice and Sikait, the ruins of stations along the old mining roads, the ancient mines with the rude habitations of the miners, and sundry markings on rocks near the roads.
[29]The Temple of Berenice is a low inconspicuous structure measuring only some ten metres square, containing five small rooms and a tiny corridor and staircase.[49] Owing to its exposed situation on the coast and the soft limestone (from Ras Benas) of which it is built, it is in a very dilapidated condition, and it is difficult to make out many of the inscriptions on its walls. The axial direction of the temple (63° 20′ east of true north) appears to show that it was oriented to face the rising sun at the summer solstice. Of the village (one can hardly call it a city) of Berenice, only insignificant remains exist near the temple. The houses were mere hovels built of rough lumps of coral.
There are three temples in Wadi Sikait; they are small rock-hewn structures in even worse preservation than that of Berenice.[50]
Many attempts have been made to trace the ancient mining roads mentioned by classical writers. The stations on the road from Koptos (Quft) to Berenice, enumerated by Pliny and Antoninus, have not been with certainty identified. The absence of any reliable map of the main features of the country has hitherto prevented travellers from locating the positions of stations found, while in careful surveying it has generally been necessary to travel by other roads than the ancient ones, so that it cannot be hoped that all the ruined stations, many of which are invisible till one is close to them, have been included in the maps. Now that all the principal features of the country have been accurately laid down, it will be much easier for future travellers to locate precisely any ruins they may come across.
Of the road leading from Contra-Apollinopolis (Edfu) to the emerald mines of Sikait and Zabara, much more is known, this route having been traversed by Golénischeff[51] and most of its stations located by the Geological Survey. Leading from Edfu, past Bir Abad, the ruins of a large station and rock temple occur at a distance of about forty-five kilometres from the Nile, at a place now called Kanais (the churches), where a well yielding good water was sunk three years ago by the Mines Department. About forty-five kilometres[30] further on is the station called Gariat Abu Medrik, where there are two ancient stucco-lined cylindrical reservoirs, but no well. At the next station, called Samut, there is a good well in the centre of a large rubble ruin. As all the stations just mentioned lie outside the limits of the maps which accompany this memoir, I give their approximate geographical positions below:—
| Station. | Latitude N. | Longitude E. | Altitude above Sea. |
|---|---|---|---|
| metres. | |||
| Edfu | 24° 58′ | 32° 54′ | 90 |
| Kanais | 25° 0 ′ | 33° 19′ | 205 |
| Gariat Abu Medrik | 24° 55′ | 33° 41′ | 295 |
| Samut | 24° 49′ | 33° 54′ | 340 |
The next station after Samut appears to have been the ruins near Gebel Dweig. Further on, after passing over the watershed, is another station with two cisterns in a semicircular enclosure. The road continues past Gebel Abu Had to the Wadi Gemal, where there are two more cisterns, this time in a triangular enclosure, and thence up to the Wadi Nugrus and Wadi Sikait to the mines. The Edfu-Sikait road may have joined the Quft-Berenice road at the Wadi Gemal station.
A third ancient road is believed to have led northward from Berenice to Qoseir, along the coast; while a fourth, from near Dakka on the Nile up the Wadi Alaqi to the gold mines of the south, is now a regular route to the Nile Valley Company’s mine of Um Gariart.
The ancient emerald mines of Zabara and Sikait consist of numerous irregular shafts, mostly of no very great depth, excavated in schists of micaceous and talcose types. The old gold mines, such as those at Sukari, Um Eleiga, Seiga, Romit, and the Darahib district, are on a considerable scale, excavations having been carried on in quartz veins to fair depths. The dwellings at the mines were for the most part only miserable hovels of rubble stone. A view of those of Um Eleiga is given on Plate IV. The ancient quartz-grinding mills, mostly made of a hard diorite, are frequently found among the ruins of the hovels. There is no clear evidence that any of the mines[31] yielded a very rich output; the workings were of the nature of penal settlements (Prof. Mahaffy[52] has aptly termed them a “tropical Siberia”) in times when life and labour were cheap, and a very moderate yield may under those conditions have been satisfactory.[53]
PLATE IV.
Ruins of Um Eleiga. Gebel Abu Dahr in the Background.
Ruins in Wadi Shenshef.
Besides those at the mining camps and stations, there are some other extensive collections of ruins in the district, two of the most considerable being at Shenshef and Bir Meneiga. The ruins at Shenshef (see Plate IV) are in part those of well-built houses, furnished with doors and windows, formed of slabs of fissile quartzose schist, quarried in the neighbouring hills. There are wells at Shenshef, but apparently no mines; the presence of watch towers on the hills, and the peculiar situation of the place, suggest that it may have been a slave dealer’s stronghold where slaves were herded till they could be shipped from Berenice. The better houses may have been those of the overseers, while the ruder hovels accommodated the slaves, and sentinels at the watch towers prevented any attempt at escape. The ruins at Bir Meneiga, though extensive, are very rude, and probably only represent a camping ground near the springs. A large rubble enclosure near Abraq springs has been thought by Purdy[54] to have been a hunting station of the Ptolemies.
In many places there are marks and drawings on the rocks near roads. These are frequently spirited representations of animals, among which the ostrich is often seen. At the Galt el Aguz, near the watershed at the head of one of the branches of Wadi Garara, the drawings are accompanied by rude Greek inscriptions. At Abu Saafa, one of the springs issues from a niche cut in the sandstone, having a carved cornice with the remains of a Greek inscription on it.
Another class of remains are found scattered over the area in the form of cylindrical rubble piles, four metres in diameter and from one to two metres high. The natives consider these to be tombs of pre-Arab date.
[32]Of Arab tombs in the area, the most considerable is that of Sheikh Shadli, near Gebel Abu Hamamid, a view of which is shown on Plate V. It is a well-built tomb of several domes, inhabited by a Moorish guardian. A yearly pilgrimage is made to this place by the Ababda Arabs, who hold the memory of Shadli in high veneration. The next largest tomb is probably that of Sheikh Hamid, near Abraq springs. Near the nose of Ras Benas is a large sheikh’s tomb, where sailors perform their devotions, and smaller tombs of the same type, built of drift-wood, are to be seen at other points near the coast. Cemeteries of small Arab graves exist near every well and spring.
The South-Eastern Desert of Egypt is inhabited by nomad Arabs of the various Ababda and Bisharin tribes.[55] Ababda (Ashabab and Meleikab) occupy the country north of Muqsim and Bir Shalatein, while Bisharin (Hamedorab, Kurbeilab, Koatil, and Balgab) inhabit the country to the south.[56] Only guesses are available as to their numbers, but it is not probable that they comprise so much as one inhabitant for each five square kilometres. A casual journey through the country would lead one to think that it was inhabited to an even less degree, but the Arabs mostly camp in selected narrow wadis out of sight of the traveller. They are a people of good physique, hardy, intelligent, and fair workers if once their employer knows how to handle them. They share, however, in the universal Bedouin dislike to protracted regular work; after a few months of regular routine, even the semi-nomad routine of a survey-expedition, they experience strong desires for their own independent roaming life, and it is impossible to retain them for longer periods. Many of the Ababda who are settled near the Nile have lost their true desert character, and on desert expeditions men of this class are far less satisfactory than nomads; they do not know the country, but fear the desert and are continually desirous of returning to the valley. The better desert guides, on the other hand, love the wilderness, and they have a perfectly marvellous geographic instinct. The skeleton on which they arrange their knowledge is always the system of drainage. If[33] a map of their country is laid before them, and a few points named to them, they will delight in tracing out and naming all the wadis and peaks. But they have very vague ideas of proportion, and can only read a map when it is laid on the ground in its true orientation with respect to the meridian. The Ababda are generally regarded as the best type of Egyptian desert Arab, while my experience of the Bisharin of the Elba district is that they are superior, in industry, intelligence, truthfulness, and orderliness, to the Ababda.[57] It is, however, necessary either to understand the Bishari tongue, or to have men who can interpret into Arabic, as the great mass of the Bisharin understand only their own language, which is quite different from Arabic.[58] Education is very backward, but there is a kuttab (elementary school) at Halaib, where instruction in Arabic reading and writing is given to boys. All the Arabs are of course Moslems, but they are not at all fanatical.
PLATE V.
Tomb of Sheikh Shadli.
Bir Shadli.
The manner of life of the Arabs is very simple. Most of the men have only a single cotton wrap about their middle, though some wear the ordinary galabia and cotton drawers. Their camps are rude tents of matting about two metres in diameter, but the men commonly sleep in the open, sheltering themselves from winds by their camel saddles, covered only with their cotton wrap, which they spread over their entire bodies, including their heads. They wear no head covering, having heavy “mops” of curled black hair plentifully supplied with mutton fat. Their food consists almost entirely of milk and meat, of which their flocks and herds give them a plentiful supply; they eat but little bread, but they are fond of a kind of gruel of flour and water, and of dates, which are imported from Arabia via Suakin. Only a few of them smoke tobacco, and that generally in soapstone pipes which they carve out for themselves. Intoxicants are unknown amongst true desert Arabs. For arms, they carry swords and knives, seldom fire-arms. Of their tribal customs, I saw but little; Linant de Bellefonds gives an interesting account of them in his “L’Etbaye.” On festive occasions, camel-racing and dancing are favourite amusements.
[34]Slavery appears to be non-existent at present, for in the course of my twenty months’ wanderings I received no complaint under this head, as I should almost certainly have done had any oppressive servitude existed.
My own study of the Ababda and Bishari tongues has been mainly confined to their geographical terms. The Ababda nowadays almost all speak Arabic, and most of their place-names are either Arabic or closely akin to it. A marked feature of their tongue is a fondness for diminutives. Thus we have Sellim and Seleim, Hafafit and Hefeifit, Faraid, and Fereyid, Wadi and Wadai, in each of which the second of the pair is a diminutive formed by vowel-change, generally accompanied by a change in the placing of the stress. The commonest special geographical terms in Ababda country are: erf, a ridge; rod, a tributary wadi; talet, a small tributary wadi; kab, a watershed or pass; hamrat, a (red) granite mountain; zergat, a black mountain; galt, a rock basin containing rain water; and megal, a small water hole. Thus we have such names as Hamrat Selma, Zergat Naam, and so on, the name often giving a clue to the nature of the rock.
As soon as one passes into Bisharin country the change in the nature of place-names is very striking. The definite article is no longer el, but o, u, ei, e (masc.), and to, tu, tei, ti (fem.). Many place-names end in ai and oi. The principal geographical terms are: kwan, a wadi; da-aiyob, a depression from which there is no drainage outlet; aweib and riba, a mountain; kulet, a hill; megwel, a water hole; adar, red; hadal, black; sotai, green; eire, white; sarara, deep; salala, rather deep (applied to wells). Hence we get such combinations as: Hadal Aweib Meisah, the black mountain near Wadi Meisah; Eir Arib, the white (granite) rock; Sarobi Kwan, the wadi where the Sarob plant (Capparis sodada) grows; Bir Sararat Seyet, the deep well in Wadi Seyet, and so on. A mountain called adar is generally of red granite, while one called hadal is usually diorite or serpentine. Asotriba, the green mountain south of Gebel Elba, receives its name from the vegetation on it.
The principal industries carried on by the desert Arabs are the rearing of camels, sheep and goats, especially the first-named. The Bisharin devote much attention to camel-breeding, and supply many animals annually to the Coast Guard Administration. Their camels are very superior animals, and need to be hardy in order to negotiate the steep mountain passes of their country. Sheep and goats can be bought cheaply in the south, and are driven in to Aswân for sale at the higher rates there prevailing. It is common to find a flock of hundreds of sheep being watered at wells such as Bir Abu Hashim and Qoleib on the route to Kom Ombo; but many animals drop and die on the weary march from well to well.
Charcoal burning has been practised, especially in the Ababda country, but is not much carried on now; this industry deserves strong opposition, for it only impoverishes the country, and the seyal trees are few enough for the support of camels in years of drought.
In recent years some employment has been found for the Arabs by prospectors for mining companies, both as miners and for camel-transport, and they are occasionally, as in the present expedition, employed on Government work.
For the information of future travellers, it may be worth while to mention the prices paid for local labour on the survey expeditions. The men and animals were all the best obtainable of their particular class, and the prices include saddles and fodder for camels, their own provision of water and food for the men, and, in the case of sheikhs, postmen, and guides, their riding camels and fodder:—
| Mills, per day.[59] | |
|---|---|
| Responsible sheikhs in charge of all Arabs | 200 |
| Skilled guides (also employed as beacon builders) | 150 |
| Postmen journeying regularly to and from the Nile Valley | 150 |
| Baggage camels, each to carry 300 pounds’ load, with one driver to every two camels, the drivers to act as general labourers at a camp and to collect wood and water and to carry supplies up the mountains when required | 120 |
| Riding camels | 120 |
| Porters | 70 to 80 |
A small amount of agriculture is practised in the Wadi Di-ib, slightly south of the Sudan frontier, but there is none actually within[36] the district here described. My camels were fed for some time on durra (Indian corn) brought from Wadi Di-ib.
A little fishing is carried on near Berenice and at Mersa Shab and Halaib, but only for the food of the fishermen, who subsist almost entirely on it, and thus recall the Ichthyophages of Ptolemy. When I had abundance of excellent fish at Shab and Halaib, I noticed that but few of my Bisharin cared to partake of what was to me a very welcome change of diet.
Halaib is the only permanent village, and even it is merely a miserable collection of wooden huts and tents, where trade is confined to dates, fat, corn, sugar, and such like necessaries; supplies are brought by boat from Suakin and sold to the local Arabs.
There are numerous camel-roads connecting the various wells with each other and with the Nile, the principal of which are indicated on Plate III (p. 26). The most usual starting points from the valley are Edfu, Kom Ombo, Aswân, Dakka, and Berber. The roads lie mostly along wadis, and are far from being very direct, being necessarily so chosen as to pass water supplies and to avoid very steep places. From Aswân or Kom Ombo, Berenice can be reached in about seven or eight days by luggage camels, and the roads are fairly good; water is least scarce on the Kom Ombo road, which takes advantage of the wells of Qoleib and Abu Hashim. Between any two wells, there are generally several possible roads. The one taken by any particular traveller is naturally that which his guides happen to know best, or that along which the most camel food is to be found at the time; hardly any two Europeans have journeyed by precisely the same road. A “road” in desert parlance is only a track by which camels have passed at some time or other; there is nothing of the nature of a made road, even along the ancient routes mentioned in the Antonine Itinerary; and the tracks are sometimes obliterated by sand. Since the opening up of Port Sudan, the Elba district is most easily reached from that place, whence it is about 340 kilometres distant, by two roads of nearly equal length, one skirting the coast and the other more inland; the latter passes good wells at about two[37] days’ intervals.[60] To reach Elba from the valley, a camel journey of more than 500 kilometres is necessary whether Aswân, Dakka, or Berber be the starting point. The ports of Berenice, Shab, and Halaib are only touched occasionally and irregularly by coasting boats and Coast Guard steamers. News is passed orally among the wandering Arabs with remarkable rapidity, but naturally it frequently gets somewhat modified in transit.
The geographical frontier between Egypt and the Sudan is the 22nd parallel of north latitude. But for administrative purposes it has been found convenient to consider all Bisharin Arabs as under the Sudan Government, and all Ababda under that of Egypt. The administrative frontier therefore runs between the districts of the two main tribal divisions, along a zigzag line from Gebel Muqsim, via Gebel Um el Tiur el Foqani, Gebel Niqrub el Foqani, and Bir Meneiga, to Bir Shalatein on the coast.[61] A territory of some 16,000 square kilometres in the extreme south-east corner of Egypt is thus placed for purposes of government under the Sudan mudiria of Berber, under which arrangement a moawin and small police force are maintained in the fort of Halaib. The remainder of the area is administered by the Egyptian mudir of Aswân. In Egypt, the Arabs are not taxed except in respect of any lands they may own in the Nile Valley. In the Sudan a tax is levied on each tribe in return for police protection and other advantages; the tax is paid very willingly, for the Bisharin are less poor than the Ababda, and thoroughly appreciate the advantage of good government, while they have unbounded faith in the justice of Anglo-Egyptian officials in settling their disputes. One of the incidents which most strongly impressed itself on my remembrance during my travels in the district was the meeting near Gebel Korabkansi of an English inspector from Berber, to whom a number of Bisharin Arabs engaged in disputes stated their rival claims quietly and reasonably, both sides having the utmost confidence that the judgment given would be just and fair. In Egypt,[38] the Arabs are less friendly in their feelings towards the government, and prefer to settle their differences among themselves; a circumstance no doubt due to the fact that Egyptian governors have had their hands full with matters connected with the valley, and have had no time to become acquainted with Bedouin ideas and customs, while the Arabs, independent for centuries and very poor, are afraid of misunderstanding and taxation. It would, I think, be unfair to tax the true desert Arabs of Egypt, even to the moderate extent which is done for the Arabs of the Sudan, for their country is much more barren than that of the Bisharin, and their sources of income are consequently fewer. In a year of little or no rainfall, there is not enough vegetation to feed their animals, so that many are lost, and the only way a tax could be raised at such times would be by cutting down trees for charcoal; but, as already mentioned, any encouragement of the charcoal industry would soon impoverish the country still further, the thorny acacia trees being the principal reserve camel food in rainless years. That so many Ababda are settled in and near the Nile Valley is possibly in part due to their having been driven from the desert by the growing scarcity of trees consequent on the prosecution of the charcoal industry in the past.
[33]The mountains and hills will be found described in fuller detail in Chapter VI.
[34]The altitudes refer to the highest points of the groups.
[35]This is the altitude of Shendib, the highest of the group in Egypt; but the peaks of Asotriba, which is part of the same mass lying within the Sudan, rise considerably higher.
[36]In the map on Plate I, I have shown the watershed crossing directly from Gebel Soaorib across the high intervening mountains to Gebel Is, which is how it appeared to me from my station on Hadal Aweib Meisah. But Mr. Morrow Campbell’s map (referred to on p. 15) shows the heads of Wadi Soaorib to extend further west than I could see them; and if this is correct, as it probably is since Mr. Morrow Campbell doubtless approached the watershed more closely than I did, the watershed between Gebel Soaorib and Gebel Is lies further west than I have shown it on Plate I. In drawing the wadis on the geological and tribal maps on Plates XX and XXVI, I have shown the westward extension of the heads of Wadi Soaorib according to Mr. Morrow Campbell.
[38]See the Red Sea and Gulf of Aden Pilot, published by the Admiralty.
[39]See my short paper on the meteorology of the Berenice district in Survey Notes, Sept. 1907, p. 325.
[40]I have given short accounts of some of these phenomena in Survey Notes, April 1907, p. 219, and in the Cairo Scientific Journal, May 1908, p. 206.
[41]D’Anville, Mémoires sur l’Egypte. p. 234.
[42]See Barron and Hume, Topography and Geology of the Eastern Desert, Central Portion. Cairo, 1902. pp. 98-104.
[43]Schweinfurth, in Petermann’s Mittheilungen, 1865.
[44]For a fuller description of the water-sources of the region, see Chapter VII.
[45]For a fuller account of the geology, see Chapters VIII to XI, and the geological map on Plate XX.
[46]Suess, The Face of the Earth. Miss Sollas’ translation. Vol. I. Oxford, 1904. p. 376.
[47]Lib. III, 12-14.
[48]See Dunn, Notes on the Mineral Deposits of the Anglo-Egyptian Sudan, published by the Sudan Government. Khartoum, 1911. p. 15.
[49]For a plan of the temple and notes on its inscriptions, see Golénischeff, Une Excursion à Bérénice, Recueil de Travaux. XIII (1891). pp. 75-96.
[50]Macalister, Geog. Journal. Vol. XVI (1900). p. 546.
[51]Op. cit. Golénischeff gives sketch plans of the stations.
[52]The Empire of the Ptolemies. London, 1895. p. 130.
[53]Diodorus (I. 49) probably greatly exaggerated the value of the produce of the mines. See Uhlemann, Handbuch der gesammten aegyptischen Alterthumskunde, Zweiter Theil, Leipzig, 1857, pp. 148-151, where a very clear account, mainly derived from Diodorus, is given of the mining methods used by the ancients.
[54]Bulletin Soc. Khéd. de Géogr. 1886. p. 443.
[55]According to Mr. Bramly (The Anglo-Egyptian Sudan. 1905. p. 91) the Bisharin are not true Arabs, and are of Hamitic descent.
[56]Regarding the geographical boundaries of the different tribes, see Chapter XII.
[57]Schweinfurth did not have the same experience in 1864; but one speaks as one finds. Schweinfurth was reluctant to pass judgment, not knowing the language, and possibly in the interval since 1864 the people have improved.
[58]On the Bishari language, see Almkvist, Die Bishari-sprache, Upsala, 1881-1885; Reinisch, Die Bedauye-sprache in Nordost-Africa, Wien, 1893; and Reinisch, Wörterbuch der Bedauye-sprache, Wien, 1895.
[59]The millieme is practically equivalent to an English farthing.
[60]For a detailed description of this road, see Chapter XIII.
[61]Arrêté of the Ministry of Interior, Egypt, June 25, 1902.
SURVEYING METHODS AND PRINCIPAL GEOGRAPHICAL RESULTS.
Base-Lines—The triangulation was commenced by measuring a base line[62] near Gebel Muelih by means of a 100-metre steel tape, which had been previously standardised at the Khedivial Observatory. A level tract having been selected, in such a position as to afford easy connection with points already triangulated from the Nile Valley, a line about two and a half kilometres long was ranged out, along which wooden pegs were driven flush with the ground at 100-metre intervals. The inequalities of the ground between the pegs were levelled off by tiny embankments and cuttings, so as to enable the tape to lie flat. On each peg was nailed a zinc plate having a millimetre scale running in the direction of the line. In measuring, the tape was laid on the ground, stretched to a constant tension by a spring balance at each end, in such manner that its end marks fell on the zinc scales, and readings were simultaneously taken on the scales at the two ends. Temperatures were taken in several places along the tape by mercurial thermometers. The operation of measurement was carried out in the early morning, so as to avoid any large difference of temperature between the ground and the air. The levels of the pegs were found by spirit levelling. After correction for the initial error of the tape, temperature, stretch, and inclination, the true length of the base-line reduced to sea-level was found, as the mean of two separate measurements at different tensions, to be 2,482·280 metres. The azimuth of the line was found by observations of Polaris at elongation to be 30° 30′ 6″ E. of N. The geographical position of the west end of the line was found by triangulation-connexion with the Nile Valley by Mr. Villiers Stuart to be latitude 24° 53′ 36″·7 N., longitude 34° 4′ 17″·9 E.
[40]A second connexion to a base-line was made near Gebel Um Harba, where a base had been previously measured by Mr. Villiers Stuart in the course of his triangulation of the western part of the desert. In this case the connexion was not made to the actual base-line, but to another main line tied directly on to it. The data at this point of connexion from the two triangulations afforded a useful check on the accuracy of the work, and were as follows:—
| From Mr. Stuart’s triangulation. | From my triangulation. | Difference. | |
|---|---|---|---|
| Latitude N. | 23° 36′ 55″·0 | 23° 36′ 55″·6 | 0″·6 |
| Longitude E. | 34° 30′ 38″·1 | 34° 30′ 37″·6 | 0″·5 |
| Length of line to Dagalai beacon | 13,170·2 metres. | 13,167·9 metres. | 2·3 metres. |
Reconnaissance for triangulation points was carried out simultaneously with the triangulation itself. The distance of likely looking peaks was determined either by intersecting them from distant stations, or by special small triangulations from short bases, and such selection made as seemed most likely to secure well shaped figures and a good command of surrounding country. As a rule, the highest summits were selected as main (occupied) stations, while all other prominent peaks and other features were fixed by intersection from two or more main stations. The form adopted for the main triangulation net was a series of quadrilateral figures with diagonals, combined with centric polygons, all the angles of the figures being generally measured. The average length of side was about thirty-five kilometres.
Beacons.—Main stations were marked by wrought-iron beacons, consisting of two lengths of stove piping about 15 centimetres diameter by 1½ metres long, the upper length fitting into a faucet made by splaying out the lower tube. Near the top of the tube were affixed four sheet iron wings, bolted on to angle iron cleats. A conical cairn of stones was built up round the tube, nearly up to the wings, so that the beacon when erected was about three metres high, two metres in diameter across the base of the cairn, and about a metre wide across the wings. The beacons were taken down while a station was being occupied, and replaced on leaving.
[41]Intersected points were sometimes marked with a beacon or cairn, but in general the peaks were simply bisected from several stations, as it was found that this gave sufficiently accurate results.
Measurement of Horizontal Angles.—Angles were measured with a 6-inch theodolite furnished with reading microscopes graduated to 10″ and permitting of reliable estimations to 1″. The angles between main points were read on four arcs to eliminate circle errors. Intersected points were observed on one arc only. The average error of closure of main triangles was 3″·3.
Field Computation and Plotting of Triangulated Points.—The triangles were computed by the ordinary method, but the angles were rounded off to 10″ to enable the sines to be taken direct from the logarithmic tables, and the logarithms were only taken to five places. The length of the sides having been thus found, the geographical positions were found by the ordinary L M Z computation, using, however, only two latitude terms and 5-place logarithms, while azimuths were only taken out to the nearest 10″. The abbreviated form of computation used will be best illustrated by an example:—[63]
Computation of Position of △ No. 260 from No. 275.
| l | = | 20042 m. | 275 | ⎰ ⎱ |
φ | = | 23° 55′ 30″·6 | ||||
| Z | = | 64° 29′ 20″ | E of N. | λ | = | 34° 54′ 36″·9 | |||||
| Log l | = | 4·30194 | Log l2 | = | 8·604 | ||||||
| Log cos Z | = | 1·63416 | Log sin2 Z | = | 1·911 | ||||||
| B | 2·51194 | C | = | 9·053 | |||||||
| 2·44804 | = | 1·568 | |||||||||
| dφ, | 1st | term | = | + 280″·6 | Log l | = | 4·30194 | ||||
| 2nd | term | = | − 0″·4 | Log sin Z | = | 1·95545 | |||||
| dφ | = | 280″·2 | A′ | = | 2·50948 | ||||||
| = | 4′ 40″·2 | = | 2·76687 | ||||||||
| φ | = | 23° 55′ 30″·6 | Log cos φ′ | = | 1·96072 | ||||||
| φ′ | = | 24° 0′ 10″·8 | = | 2·80615 | |||||||
| dλ | = | 640″·0 | |||||||||
| Whence | = | 10′ 40″·0 | |||||||||
| 260 | ⎰ ⎱ |
φ′ | = | 24° 0′ 10″·8 | λ | = | 34° 54′ 36″·9 | ||||
| λ′ | = | 35° 5′ 16″·9 | λ′ | = | 35° 5′ 16″·9 | ||||||
[42]In the above, it will be noticed that the azimuth is always noted as so much east or west of north or south. If this convention be adopted, one may consider the first term of dφ as always +, and the second term will be + if the azimuth contains the word south,—if it is from the north, while the total dφ is to be added or subtracted according as one is going north or south. A somewhat similar convention is adopted in neglecting the sign of dλ till the actual addition or subtraction is made. It was found in the field that this method prevented any mistake of sign, while being much simpler to work than one involving angles greater than 90°.
The geographical coordinates thus found were plotted directly on to the plane-table sheets, on which the graticule at 10′ intervals was the first thing drawn. The odd minutes and seconds were first converted into minutes and decimals, and then into kilometres by multiplying by the factors appropriate to the latitude, so that the plotting could be done by the ordinary scale of kilometres. To avoid difficulties of paper-shrinkage, as many points as possible were plotted at the time of drawing the graticule, and in general the points had to be plotted as far ahead as possible for controlling the traversing and sketching.
Astronomical Observations.—Astronomical checks on the triangulation were obtained by observations of latitude at certain selected main stations 60-120 kilometres apart, and by azimuth observations for certain main lines.
The method used for latitude was that of observing the times of equal altitudes of three or more stars, selected as near to the meridian[64] as possible. This method presents great advantages over the usual Polaris and circummeridian altitudes, in that the observations are more easily made, and yield much more accurate results, because uncertainties in refraction are largely eliminated and the errors of circle graduation are not involved, the altitudes not being read at all.[65] The theodolite used was the same as was employed in triangulation,[43] and the times were taken by a half chronometer watch, preferably one marking sidereal time with a rate which could be considered negligible during the hour or so occupied by the observation. The first star taken was usually Polaris, and the vertical circle was left clamped at its altitude. For the other stars, any dislevelment was corrected by touching up the levelling screws just before the instant of observation; this was found better, than taking bubble readings and correcting for slight difference of altitude.
The method which I found best in the field for reducing the observations differs somewhat from that described by Chauvenet. Assuming approximate values for the latitude and watch error, I first calculated the altitude of each star from the formula
If the assumed latitude and watch error were correct, all the stars would give the same value for h. If not, each star would give an equation of the form
where A is the star’s azimuth, dφ the required correction to the assumed latitude, dT the required correction to the assumed watch times, and h0 the true altitude common to the three stars. The values of cos A and cos φ sin A were calculated from the ordinary formula
by four-place logarithms (using the approximate values for φ, t, and h, since these are quite sufficiently accurate for the purpose) and inserted into the three star-equations.[66] By then solving the three simultaneous equations for dφ, the required correction to the assumed latitude was at once obtained.
As the method is one not usually treated of in books on practical astronomy, I give on the following pages the reduction of an observation worked out in full.
[44]Latitude by Equal Altitudes of Three Stars.
Station on Gebel Um Heshenib. January 30, 1906.
| Approximate | φ | = | 24° | 20′ | 50″ | N. |
| „ | λ | = | 34° | 51′ | 0″ | E. |
Sidereal watch U. and C. 30811, approximately 2m 22s fast on L.S.T., rate negligible.
Observed times of equal altitudes by watch:—
| Polaris | 3h | 33m | 54s·2 |
| α Columbæ | 3 | 42 | 40 ·8 |
| ε Canis majoris | 4 | 24 | 35 ·8 |
Polaris.
| Watch time | 3h 33m 54s·2 | |
| Watch fast | 2 22 ·0 | |
| L.S.T. | 3 31 32 ·2 | |
| Star’s R.A. | 1 25 9 ·1 | |
| t | 2 6 23 ·1 | = 31° 35′ 46″·5 W. of meridian. |
| φ = 24° 20′ 50″ | log sin | 1·6151769 | |||
| δ = 88° 48′ 33″·1 | log sin | 1·9999062 | |||
| 1·6150831 | log cos δ | 2·3177 | |||
| Nat. (1) | 0·4121764 | log sin t | 1·7193 | ||
| 2·0370 | |||||
| φ = 24° 20′ 50″ | log cos | 1·9595488 | log cos h | 1·9560 | |
| δ = 88° 48′ 33″·1 | log cos | 2·3176870 | log sin A | 2·0810 | |
| t = 31° 35′ 46″·5 | log cos | 1·9303179 | log cos φ | 1·9595 | |
| 2·0405 | |||||
| 2·2075537 | Nat. = | 0·011 | |||
| Nat. (2) | 0·0161270 | ||||
| Nat. (1) | 0·4121764 | log cos A | 1·9999 | ||
| 0·4283034 | Nat. = | 1·000 | |||
| log sin h | 1·6317515 | ||||
| h | = | 25° 21′ 35″·8 |
Whence the equation for Polaris is
[45]α Columbæ.
| Watch time | 3h 42m 40s·8 | |
| Watch fast | 2 22 ·0 | |
| L.S.T. | 3 40 18 ·8 | |
| Star’s R.A. | 5 36 15 ·6 | |
| t | 1 55 56 ·8 | = 28° 59′ 12″·0 E. of meridian. |
| φ = 24° 20′ 50″ | log sin | 1·6151769 | |||
| δ = 34° 7′ 45″·7 | log sin | 1·7490118 | |||
| 1·3641887 | |||||
| Nat. (1) | 0·2313070 | log cos δ | 1·9179 | ||
| log sin t | 1·6854 | ||||
| φ = 24° 20′ 50″ | log cos | 1·9595488 | 1·6033 | ||
| δ = 34° 7′ 45″·7 | log cos | 1·9179112 | log cos h | 1·9560 | |
| t = 28° 59′ 12″·0 | log cos | 1·9418753 | log sin A | 1·6473 | |
| 1·8193353 | log cos φ | 1·9595 | |||
| Nat. (2) | 0·6596830 | 1·6068 | |||
| Nat. (1) | 0·2313070 | Nat. = | 0·404 | ||
| 0·4283760 | |||||
| log sin h | 1·6318196 | log cos A | 1·9523 | ||
| Nat. = | 0·896 | ||||
| h | = | 25° 21′ 51″·1 |
Whence the equation for α Columbæ is
ε Canis majoris.
| Watch time | 4h 24m 35s·8 | |
| Watch fast | 2 22 ·0 | |
| 4 22 13 ·8 | ||
| Star’s R.A. | 6 54 57 ·1 | |
| t | 2 32 43 ·3 | = 38° 10′ 49″·5 E. of meridian. |
| φ = 24° 20′ 50″ | log sin | 1·6151769 | |||
| δ = 28° 50′ 52″·7 | log sin | 1·6834857 | |||
| 1·2986626 | |||||
| Nat. (1) | 0·1989128 | ||||
| [46]φ = 24° 20′ 50″ | log cos | 1·9595488 | |||
| δ = 28° 50′ 52″·7 | log cos | 1·9424561 | log cos δ | 1·9424 | |
| t = 38° 10′ 49″·5 | log cos | 1·8954602 | log sin t | 1·7911 | |
| 1·7974651 | 1·7335 | ||||
| Nat. (2) | 0·6272853 | log cos h | 1·9560 | ||
| Nat. (1) | 0·1989128 | log sin A | 1·7775 | ||
| 0·4283725 | log cos φ | 1·9595 | |||
| log sin h | 1·6318215 | 1·7370 | |||
| Nat. = | 0·546 | ||||
| h | = | 25° 21′ 51″·5 | |||
| log cos A | 1·9034 | ||||
| Nat. = | 0·801 |
Whence the equation for ε Canis majoris is
Collecting the equations of the three stars, we have
By solving these equations for dφ, we find
whence the latitude is found to be
It may be remarked that the above process was considerably shortened when it was possible to get a pair of observations on the same south star both east and west of the meridian, instead of on two separate south stars. In that case the watch error was found at once from the difference between the star’s R.A. and the mean of the two observed times, and the latitude could be found from two equations instead of three. The condition for this modification of the method was that a nautical almanac star could be found culminating at an altitude slightly greater than that of Polaris at a time convenient for the observation. It is not advisable to select a star which would give too long an interval between the equal east and west altitudes. The best results are obtainable when the interval between the two observations of the south star is about an hour, and when[47] Polaris is near its transit. Under such circumstances the watch correction is obtained quite nearly enough for a good latitude; for, as Gauss[67] pointed out, “the essential condition is not so much that the precise instant when the star reaches a supposed place should be noted, as that at the time which is noted the star should not be sensibly distant from that place.”
The following table shows the latitudes found by observation and triangulation at the various points. It may be remarked that the method used for latitude determination was liable to observational errors of 2″ or so, as well as to errors of possibly more than double that amount due to plumb-line deflection among the mountains,[68] so that the observed latitudes were only taken as checks to prevent any gross error in triangulation being overlooked, and not for any determination of the figure of the earth, for which latter purpose more elaborate observations would have been necessary.
| Point. | Lat. observed. | Lat. computed from Triangulation. | Difference computed-observed. |
|---|---|---|---|
| West Peg, Muelih Base | 24° 53′ 40″·3 | 24° 53′ 36″·7 | − 3″·6 |
| Beacon on Gebel Um Heshenib | 24° 20′ 56″·5 | 24° 20′ 49″·2 | − 7″·3 |
| „ „ Hill near Gebel Selaia | 23° 55′ 33″·2 | 23° 55′ 30″·6 | − 2″·6 |
| „ „ Berenice Temple | 23° 54′ 39″·5 | 23° 54′ 40″·3 | − 0″·8 |
| „ „ Gimeida Hill | 22° 46′ 33″·2 | 22° 46′ 29″·4 | − 3″·8 |
Azimuths were determined in the usual manner[69] by elongations of close circumpolar stars, Polaris or 51 Cephei being usually selected. The azimuth mark used was an ordinary Egyptian shamadan (candlestick with spring feed) with a glass globe, placed at a distance of one to two kilometres, with its foot firmly bedded in sand and stones to prevent[48] any motion. The azimuths observed at the different stations are shown in the following table:—
| Station of Observation. | Point to which Azimuth is given. | Azimuth observed. |
|---|---|---|
| Peg at West end of Muelih Base | Peg east end of base | 33° 30′ 6″ E. of N. |
| Beacon on Gebel Um Heshenib | Beacon on Gebel Hamata | 45° 15′ 34″ E. of S. |
| „ „ Hill near Gebel Selaia | „ „ Abu Gurdi | 25° 30′ 35″ N. of E. |
| „ „ Berenice Temple | „ „ Kalalat | 61° 10′ 31″ W. of S. |
| „ „ Gimeida Hill | „ „ Hamra Dom | 6° 14′ 46″ E. of S. |
| Centre of Halaib Fort | „ „ Elba | 83° 25′ 0″ W. of S. |
The observed azimuths, unlike the observed latitudes, were more accurate than the results of triangulation, repetition having shown them to be reliable within 2″ or 3″, an error of which magnitude would soon be surpassed in the process of continuing a chain of azimuths with the unadjusted values of the angles of the triangles, which were the only values possible to be used in the field. On arriving at an azimuth station, therefore, a fresh chain of azimuths was begun from the results of the observation, and continued to the next station where astronomical observations were undertaken. The accumulated azimuth error was, however, never found to exceed 10″ in any chain, a quantity which could not sensibly affect the computed positions of points for plotting on the maps.
Connexion with the Sudan Surveys.—At the south end of the area, connexion was made to a number of points triangulated by the Sudan Surveys, but as the Sudan triangulation was commenced as an independent piece of work from an observed latitude and a telegraphically determined longitude, the connexion affords no check on the accuracy of the triangulations. The difference found between my positions and those of the Sudan Surveys was practically constant for all the Sudan points connected, and amounted to 3″·5 in latitude and 26″ in longitude[70]; these figures represent the errors in the assumed latitude and longitude of the starting point of the Sudan Surveys,[49] and will be employed as corrections to the Sudan positions now that a complete chain of triangulation connects Berber with the Mediterranean.
Levels of Triangulation Points.—The altitudes above sea-level of all triangulation points were determined by vertical angular measurements carried out at the occupied stations, an actual sea-level datum being obtained by including rocks awash in the sea among the triangulated points. To secure constancy of atmospheric refraction as far as possible, vertical angles were always read in the middle of the day, where the change of refraction is slowest. For the occupied stations, refraction and curvature were eliminated by reciprocal observations. For intersected points the formula h = d tan θ + 1 − k2rd2 was used, the value of d tan θ being first found by five-figure logarithms and then that of the curvature and refraction correction 1 − k2rd2 by means of the very convenient “Universal” slide rule of Nessler.[71] The value of k found from a discussion of the first few reciprocal observations was found to be very nearly 0·13, corresponding with the mean of European determinations, and this value for the coefficient was employed throughout the work for intersected points.[72] For obtaining the correction 1 − k2rd2 by the slide rule, a mark R was scratched at 1210[73] on the lower scale of the slide; by bringing this mark R opposite to the distance (in kilometres) on the lower scale (or, where the logarithm of the distance was more convenient, by bringing the mark vertically under that logarithm on the log scale of the rule[50] by means of the cursor) the correction could be read off directly on the lowest fixed scale opposite the end-graduation of the slide. Usually four or five values for the altitude of a single point were obtained from a corresponding number of stations, and the mean taken; the various values generally agreed within two metres.
The constant combination of vertical angular measurements with horizontal ones was of great service from another point of view from that of providing altitude data for the maps. It frequently happened that a peak observed at one station could not be identified among a number of similar peaks visible at another station. When this trouble arose, the vertical angles offered a way out of the difficulty. Vertical and horizontal angles were read off to a number of likely-looking peaks; on working out the triangles to the nearest minute of the observed angles, the distance of each peak was obtained on the assumption that it was the one required. Then to find which of the several peaks was the correct one, the elevations were worked out, assuming the distances correct; in only one case would the level agree from the two stations, and this obviously discriminated the peak required. The working out of the triangles for this purpose could be done with sufficient accuracy in a very few minutes by means of the slide rule, and many points were thus saved from rejection consequent on misidentification.
Checks on absolute level were frequently obtained by observing depression angles to the sea horizon, using the formula θ = 107·8 √ h , where θ is in seconds of arc and h is the altitude in metres. But for high stations the horizon is so distant that very small variations in refraction cause rather large errors in the result, so that this method only furnished a rough check.
The following tables give the geographical positions and altitudes above sea-level of all points triangulated, arranged in order of diminishing latitude, i.e., from north to south. The list includes the points fixed within the Sudan for connexion with the Sudan Surveys. Stations occupied are indicated by an asterisk against the number of the point. It will be noticed that in some cases several different mountains bear the same name though widely distant from each other; also that where a single mountain mass possesses several peaks or summits, each of these has been fixed separately.
[51]Summary of Triangulated Positions.
| Field Number of Point. | Name. | Mark. | Latitude N. | Longitude E. | Altitude Metres. | |||||
|---|---|---|---|---|---|---|---|---|---|---|
| ° | ′ | ″ | ° | ′ | ″ | |||||
| 21 | G. Hamrat Wogud | cairn. | 25 | 9 | 34 | 34 | 20 | 0 | 1,103 | |
| 29 | G. Iteima | „ | 25 | 8 | 1 | 34 | 11 | 13 | 849 | |
| * | 204 | G. Igli | „ | 25 | 4 | 6 | 34 | 36 | 16 | 975 |
| * | 26a | G. Atut | „ | 25 | 0 | 56 | 34 | 23 | 49 | 908 |
| * | 203 | Erf el Fahid | „ | 25 | 0 | 5 | 34 | 11 | 52 | 579 |
| 14 | G. Hagar Dungash | „ | 24 | 59 | 12 | 34 | 2 | 33 | 815 | |
| * | 218 | G. Sukari | „ | 24 | 56 | 50 | 34 | 42 | 50 | 476 |
| 216 | G. Um Tundeba | summit. | 24 | 55 | 48 | 34 | 47 | 29 | 550 | |
| * | 202 | Muelih base | E. peg. | 24 | 54 | 44 | 34 | 5 | 7 | 406 |
| 219 | Isolated hill near sea | summit. | 24 | 54 | 23 | 34 | 54 | 21 | 190 | |
| * | 201 | Muelih base | W. peg. | 24 | 53 | 37 | 34 | 4 | 18 | 398 |
| 19 | G. Muelih | cairn. | 24 | 52 | 44 | 34 | 0 | 37 | 707 | |
| * | 225 | Kurdeman mines | „ | 24 | 52 | 35 | 34 | 41 | 35 | 525 |
| 71 | Marwot Rod el Ligah | „ | 21 | 51 | 31 | 34 | 8 | 21 | 514 | |
| 206 | G. Mudergeg | summit. | 24 | 51 | 0 | 34 | 22 | 1 | 885 | |
| 205 | G. Hangalia | „ | 24 | 50 | 29 | 34 | 38 | 43 | 1,241 | |
| * | 215 | G. Ghadir | cairn. | 24 | 50 | 9 | 34 | 47 | 22 | 636 |
| * | 32a | G. Nugrus | „ | 24 | 48 | 34 | 34 | 35 | 47 | 1,505 |
| * | 25 | G. Migif | „ | 24 | 47 | 23 | 34 | 27 | 30 | 1,199 |
| * | 214 | G. Allawi | „ | 24 | 46 | 42 | 34 | 49 | 39 | 515 |
| 211 | G. Zabara | „ | 24 | 45 | 21 | 34 | 41 | 53 | 1,361 | |
| 224 | G. Lewewi | „ | 24 | 44 | 38 | 34 | 46 | 39 | 654 | |
| 212 | Ridge near G. Zabara | N. end. | 24 | 43 | 48 | 34 | 40 | 56 | 1,104 | |
| 221 | Hill near sea | summit. | 24 | 42 | 31 | 35 | 3 | 15 | — | |
| 208 | G. Hamrat Selma | „ | 24 | 41 | 58 | 34 | 20 | 58 | 761 | |
| 210 | Peak in G. Hafafit | cairn. | 24 | 40 | 44 | 34 | 37 | 8 | 722 | |
| 240 | Wadi Gemal island | N. end. | 24 | 40 | 45 | 35 | 9 | 6 | 0 | |
| * | 223 | G. Sikait | cairn. | 24 | 39 | 55 | 34 | 48 | 5 | 771 |
| 213 | G. Um Moghar | summit. | 24 | 39 | 16 | 34 | 41 | 5 | 860 | |
| 24a | G. Abu Khrug | cairn. | 24 | 38 | 57 | 34 | 16 | 19 | 870 | |
| 20 | G. Sufra | beacon. | 24 | 38 | 42 | 34 | 4 | 13 | 690 | |
| 241 | Wadi Gemal island | S. end. | 24 | 38 | 38 | 35 | 10 | 36 | 0 | |
| 207 | G. Nahud | N. cone. | 24 | 35 | 36 | 34 | 22 | 14 | 662 | |
| * | 209 | Peak in G. Hafafit | beacon. | 24 | 35 | 32 | 34 | 45 | 22 | 744 |
| * | 222 | Madaret Um Gamil | „ | 24 | 34 | 52 | 34 | 56 | 28 | 454 |
| [52]226 | G. Abu Had | summit. | 24 | 34 | 12 | 34 | 36 | 6 | 633 | |
| 242 | Low spur of coast | tip. | 24 | 33 | 47 | 35 | 10 | 2 | 0 | |
| 235 | G. Um Regeba | summit. | 24 | 33 | 36 | 34 | 42 | 29 | 571 | |
| 233 | G. Nahud | S. cone. | 24 | 33 | 35 | 34 | 20 | 11 | 662 | |
| 239 | Low spur of coast | tip. | 24 | 28 | 43 | 35 | 10 | 58 | 0 | |
| 247 | G. Um Suerab | summit. | 24 | 26 | 50 | 34 | 42 | 33 | 1,024 | |
| 231 | G. Um Sueh | „ | 24 | 26 | 45 | 34 | 54 | 30 | 781 | |
| 236 | G. el Abiad | „ | 24 | 26 | 27 | 34 | 48 | 56 | 892 | |
| * | 227 | G. Abu Hegilig | „ | 24 | 26 | 16 | 34 | 58 | 32 | 607 |
| 237 | G. Um el Abbas | „ | 24 | 26 | 11 | 34 | 56 | 33 | 697 | |
| 232 | G. Nukheira | „ | 24 | 25 | 58 | 34 | 32 | 53 | 876 | |
| 73 | G. Um Goraf | cairn. | 24 | 25 | 33 | 34 | 18 | 28 | — | |
| 252 | G. Durunkat | centre. | 24 | 23 | 43 | 34 | 45 | 51 | 924 | |
| 274 | S. end of low sandy island | — | 24 | 22 | 41 | 35 | 22 | 56 | 0 | |
| 255 | G. Um Sedri | S. peak of twin. | 24 | 22 | 0 | 34 | 41 | 3 | 970 | |
| 234 | G. el Heda | summit. | 24 | 20 | 56 | 34 | 30 | 11 | 862 | |
| 248 | G. Sarobi (S. peak) | „ | 24 | 20 | 50 | 35 | 9 | 0 | 471 | |
| * | 228 | G. Um Heshenib | beacon. | 24 | 20 | 49 | 34 | 50 | 53 | 1,135 |
| 243 | G. Hefeiri | summit. | 24 | 20 | 22 | 35 | 1 | 21 | 612 | |
| 246 | G. Khulla | „ | 24 | 19 | 43 | 34 | 38 | 42 | 978 | |
| 253 | G. Tarfawi | N. end of ridge. | 24 | 18 | 46 | 34 | 55 | 54 | 1,363 | |
| 251 | G. Marasan | summit. | 24 | 17 | 34 | 34 | 44 | 56 | 1,261 | |
| 249 | G. Abu Ghusun | „ | 24 | 16 | 1 | 34 | 58 | 17 | 1,389 | |
| 245 | G. Metawit | „ | 24 | 15 | 51 | 34 | 31 | 48 | 741 | |
| * | 230 | G. Abu Hamamid | beacon. | 24 | 14 | 41 | 34 | 47 | 38 | 1,747 |
| 250 | G. Um Usher | summit. | 24 | 14 | 11 | 34 | 53 | 21 | 1,487 | |
| 259 | G. Um Hasidok | „ | 24 | 12 | 45 | 34 | 54 | 46 | 1,497 | |
| * | 229 | G. Hamata | beacon. | 24 | 12 | 17 | 35 | 0 | 16 | 1,978 |
| 258 | G. Abarun | summit. | 24 | 11 | 20 | 34 | 50 | 18 | 1,602 | |
| 257 | G. Abu Argub | „ | 24 | 11 | 1 | 34 | 45 | 43 | 1,609 | |
| 75 | G. Hamrat Mukbud | cairn. | 24 | 9 | 53 | 34 | 23 | 17 | 890 | |
| 254 | G. Ras el Kharit | peak. | 24 | 9 | 25 | 35 | 1 | 55 | 1,661 | |
| 261 | G. Khashir | summit. | 24 | 9 | 14 | 35 | 4 | 50 | 1,565 | |
| 262 | G. Ras el Kharit | peak. | 24 | 9 | 2 | 35 | 0 | 28 | 1,564 | |
| * | 256 | G. Kahfa | beacon. | 24 | 8 | 18 | 34 | 38 | 55 | 1,018 |
| [53]* | 399 | Hill near Bir Qoleib | beacon. | 24 | 8 | 6 | 33 | 42 | 46 | 355 |
| 400 | Bir Qoleib | clay basin. | 24 | 6 | 36 | 33 | 41 | 20 | 239 | |
| 287 | G. el Anbat | summit. | 24 | 5 | 12 | 34 | 54 | 58 | 788 | |
| 263 | G. Mikbi | S. end of ridge. | 24 | 4 | 54 | 35 | 4 | 49 | 1,388 | |
| 276 | G. Um Huk | cairn. | 24 | 4 | 41 | 35 | 15 | 34 | 517 | |
| 279 | G. Um Sellim | E. peak. | 24 | 3 | 52 | 35 | 9 | 51 | 947 | |
| 320 | Peak N. of Berenice | summit. | 24 | 3 | 41 | 35 | 26 | 30 | 276 | |
| 264 | G. Egat | peak. | 24 | 3 | 40 | 35 | 3 | 32 | 1,277 | |
| 273 | G. Egat | summit. | 24 | 2 | 52 | 35 | 2 | 29 | 1,422 | |
| 280 | G. Abu Ghalqa | cairn. | 24 | 1 | 7 | 35 | 16 | 47 | 561 | |
| * | 260 | G. Abu Gurdi | beacon. | 24 | 0 | 11 | 35 | 5 | 17 | 1,562 |
| 288 | G. Derhib | summit. | 24 | 0 | 8 | 35 | 1 | 29 | 1,160 | |
| * | 315 | Hill near Berenice | beacon. | 24 | 0 | 4 | 35 | 30 | 37 | 196 |
| 268 | G. el Homur | summit. | 23 | 58 | 54 | 34 | 55 | 16 | 731 | |
| 289 | G. Um Gunud | cairn. | 23 | 57 | 46 | 35 | 12 | 10 | 989 | |
| * | 339 | Limestone hill on Ras Benas | beacon. | 23 | 57 | 16 | 35 | 43 | 10 | 187 |
| 271 | G. Selaia | summit. | 23 | 57 | 14 | 34 | 52 | 13 | 787 | |
| * | 317 | Hill on Ras Benas | beacon. | 23 | 56 | 40 | 35 | 39 | 44 | 193 |
| * | 316 | Limestone peak, Ras Benas | „ | 23 | 56 | 36 | 35 | 36 | 9 | 189 |
| * | 338 | Hill on Ras Benas | cairn. | 23 | 56 | 1 | 35 | 40 | 53 | 197 |
| 291 | G. Aidab | summit. | 23 | 55 | 52 | 35 | 13 | 38 | 848 | |
| 270 | Hill near G. Selaia | „ | 23 | 55 | 46 | 34 | 53 | 58 | 623 | |
| * | 275 | Low hill near G. Selaia | beacon. | 23 | 55 | 30 | 34 | 54 | 37 | 563 |
| 278 | G. Geneina | peak near N. end. | 23 | 54 | 56 | 34 | 47 | 45 | 548 | |
| 336 | G. Um Maiat | N. end. | 23 | 54 | 45 | 35 | 13 | 35 | 928 | |
| * | 313 | Berenice Temple | beacon. | 23 | 54 | 39 | 35 | 28 | 26 | 8 |
| 290 | Marwot Elemikan | summit. | 23 | 54 | 14 | 35 | 6 | 8 | 648 | |
| 319 | Peak N. of G. Kalalat | „ | 23 | 54 | 10 | 35 | 13 | 55 | 870 | |
| 334 | Hill near Wadi Mindeit | „ | 23 | 53 | 57 | 35 | 22 | 0 | — | |
| 340 | Sheikh’s tomb at Ras Benas | centre. | 23 | 53 | 50 | 35 | 47 | 13 | 3 | |
| 341 | Tip of Ras Benas | sandy point. | 23 | 53 | 42 | 35 | 47 | 5 | 0 | |
| 266 | G. Abu Derega | summit. | 23 | 53 | 38 | 34 | 59 | 13 | 831 | |
| 335 | G. Um Maiat | S. end. | 23 | 53 | 34 | 35 | 14 | 48 | 842 | |
| 333 | High range N. of G. Kalalat | N. end. | 23 | 53 | 3 | 35 | 15 | 1 | 875 | |
| 77 | G. el Nekeiba | cairn. | 23 | 52 | 34 | 34 | 22 | 10 | 570 | |
| [54]330 | Hill near Wadi Kalalat | summit. | 23 | 52 | 29 | 35 | 22 | 18 | 328 | |
| 318 | G. Um Maiat | central peak. | 23 | 52 | 24 | 35 | 15 | 36 | 821 | |
| 332 | High range N. of G. Kalalat | S. end. | 23 | 51 | 59 | 35 | 16 | 29 | 762 | |
| 331 | G. Kalalat | minor peak. | 23 | 50 | 48 | 35 | 15 | 51 | 743 | |
| 294 | N. end of Mukawar Island | — | 23 | 50 | 47 | 35 | 48 | 31 | 0 | |
| 293 | G. Batoga | central peak. | 23 | 50 | 7 | 35 | 20 | 46 | 802 | |
| 329 | G. Kalalat | N. peak. | 23 | 49 | 57 | 35 | 17 | 6 | 1,080 | |
| 294a | S. end of Mukawar Island | — | 23 | 49 | 53 | 35 | 48 | 19 | 0 | |
| 314 | G. Batoga (S. peak) | beacon. | 23 | 49 | 37 | 35 | 21 | 9 | 785 | |
| * | 282 | G. Kalalat | „ | 23 | 49 | 9 | 35 | 17 | 36 | 1,125 |
| 328 | G. Batoga | minor peak. | 23 | 48 | 57 | 35 | 22 | 47 | 413 | |
| 353 | Minor peak of G. Kalalat | S. one of pair. | 23 | 47 | 37 | 35 | 18 | 46 | 894 | |
| 355 | G. Um Hegilig | summit. | 23 | 47 | 13 | 35 | 14 | 32 | 966 | |
| 327 | G. Dibag | NW. peak. | 23 | 46 | 47 | 35 | 21 | 23 | 517 | |
| 308 | G. Dibag | SE. peak. | 23 | 46 | 40 | 35 | 22 | 4 | 544 | |
| * | 265 | G. Dahanib | beacon. | 23 | 45 | 44 | 35 | 11 | 10 | 1,270 |
| * | 269 | G. Um Bisella | „ | 23 | 45 | 34 | 34 | 57 | 39 | 824 |
| * | 277 | G. Zergat Naam | „ | 23 | 45 | 28 | 34 | 40 | 34 | 823 |
| 345 | G. Reyan | N. peak. | 23 | 45 | 20 | 35 | 17 | 50 | 740 | |
| 346 | G. Reyan | S. peak. | 23 | 44 | 7 | 35 | 17 | 20 | 863 | |
| * | 343 | Hill near Shenshef ruins | beacon. | 23 | 44 | 5 | 35 | 22 | 40 | 290 |
| 292 | Erf el Gemal | W. end of ridge. | 23 | 43 | 37 | 34 | 52 | 10 | 673 | |
| 272 | G. Hagar el Fil | summit. | 23 | 43 | 5 | 34 | 42 | 3 | 845 | |
| 281 | G. Shut | „ | 23 | 42 | 35 | 35 | 16 | 59 | 930 | |
| 398 | Bir Abu Hashim | principal well. | 23 | 41 | 56 | 34 | 4 | 26 | 320 | |
| * | 397 | Hill near Bir Abu Hashim | beacon. | 23 | 41 | 44 | 34 | 3 | 33 | 386 |
| 348 | Hill near W. Salib Abiad | summit. | 23 | 41 | 5 | 35 | 7 | 3 | 703 | |
| 325 | G. Um Etli | central peak. | 23 | 39 | 54 | 35 | 23 | 22 | 795 | |
| 384 | G. Abu Husenat | summit. | 23 | 39 | 45 | 35 | 1 | 15 | 725 | |
| 326 | G. Um Etli | W. peak. | 23 | 39 | 32 | 35 | 21 | 52 | 844 | |
| 324 | G. Um Etli | E. peak. | 23 | 39 | 26 | 35 | 23 | 53 | 764 | |
| 295 | G. Hendusi | sharp peak. | 23 | 39 | 15 | 34 | 58 | 44 | 678 | |
| 344 | G. Um Akra | beacon. | 23 | 37 | 58 | 35 | 16 | 41 | 1,050 | |
| * | 385 | Ruins of Um Eleiga | „ | 23 | 37 | 20 | 35 | 3 | 5 | 599 |
| 302 | Peak near G. Abu Dahr | summit. | 23 | 37 | 16 | 35 | 6 | 44 | 840 | |
| [55]* | 79 | Um Harba | beacon. | 23 | 36 | 56 | 34 | 30 | 38 | 688 |
| 356 | G. Um Akra | S. peak. | 23 | 36 | 35 | 35 | 16 | 58 | 970 | |
| 347 | G. Hindia | summit. | 23 | 36 | 27 | 35 | 13 | 39 | 873 | |
| 337 | Zeberged Island | central peak. | 23 | 36 | 16 | 36 | 11 | 42 | 238 | |
| * | 267a | G. Abu Dahr | beacon. | 23 | 36 | 8 | 35 | 5 | 46 | 1,131 |
| 305 | G. Abu Sieiyil | summit. | 23 | 35 | 16 | 35 | 1 | 4 | 833 | |
| 321 | G. Faraid | peak. | 23 | 34 | 8 | 35 | 23 | 18 | 1,131 | |
| 323 | G. Faraid | „ | 23 | 33 | 29 | 35 | 21 | 50 | 1,341 | |
| 361 | Hill S. of G. Abu Dahr | summit. | 23 | 33 | 28 | 35 | 4 | 42 | 912 | |
| 322 | G. Faraid | highest peak. | 23 | 33 | 7 | 35 | 22 | 10 | 1,366 | |
| 342 | G. Faraid | „ | 23 | 31 | 53 | 35 | 22 | 46 | 1,068 | |
| 360 | Hill S. of G. Abu Dahr | summit. | 23 | 31 | 43 | 35 | 5 | 15 | 772 | |
| 362 | Hill S. of G. Abu Dahr | „ | 23 | 31 | 37 | 35 | 2 | 49 | 793 | |
| 359 | Hill S. of G. Abu Dahr | „ | 23 | 31 | 17 | 35 | 6 | 22 | 784 | |
| * | 285 | G. Faraid | peak. | 23 | 30 | 53 | 35 | 20 | 25 | 1,259 |
| * | 85 | G. Um Khafur | beacon. | 23 | 29 | 54 | 34 | 29 | 19 | 560 |
| 357 | G. Faraid | minor peak. | 23 | 29 | 35 | 35 | 17 | 30 | 862 | |
| 286 | G. Faraid | “The Bodkin.” | 23 | 28 | 58 | 35 | 20 | 35 | 1,232 | |
| 350 | G. Faraid | outlying peak. | 23 | 28 | 39 | 35 | 17 | 35 | 875 | |
| 351 | G. Faraid | peak. | 23 | 28 | 35 | 35 | 16 | 31 | 954 | |
| 352 | Granite peak near Wadi Rahaba | summit. | 23 | 27 | 48 | 35 | 13 | 15 | 697 | |
| 349 | G. Faraid | outlying peak. | 23 | 27 | 14 | 35 | 19 | 5 | 904 | |
| 297 | G. Orga | beacon. | 23 | 26 | 21 | 35 | 8 | 17 | 682 | |
| 363 | Hill near Wadi Rahaba | summit. | 23 | 26 | 18 | 35 | 12 | 38 | 506 | |
| * | 296 | G. Abraq | beacon. | 23 | 25 | 19 | 34 | 46 | 48 | 667 |
| 365 | Hill near Wadi Rahaba | summit. | 23 | 25 | 2 | 35 | 11 | 42 | 536 | |
| 389 | G. Faraid | minor peak. | 23 | 24 | 57 | 35 | 24 | 42 | 585 | |
| 358 | G. Faraid | peak. | 23 | 22 | 39 | 35 | 22 | 19 | 916 | |
| 395a | G. Abraq | „ | 23 | 22 | 26 | 34 | 50 | 18 | 699 | |
| 395 | G. Abraq | „ | 23 | 22 | 19 | 34 | 50 | 4 | 705 | |
| * | 87 | G. Awamtib | beacon. | 23 | 20 | 59 | 34 | 26 | 39 | 793 |
| * | 299 | G. Um Tenedba | „ | 23 | 19 | 48 | 35 | 10 | 40 | 656 |
| 368 | Hill near G. Um Tenedba | summit. | 23 | 18 | 43 | 35 | 12 | 36 | 555 | |
| * | 390 | Plateau near Abu Saafa | beacon. | 23 | 18 | 40 | 34 | 48 | 30 | 639 |
| 307 | G. Saalek | peak E. side. | 23 | 18 | 18 | 34 | 31 | 10 | 753 | |
| [56]* | 354a | G. Fereyid | beacon. | 23 | 17 | 29 | 35 | 22 | 48 | 612 |
| 394 | G. Hodein | „ | 23 | 16 | 20 | 34 | 53 | 25 | 695 | |
| 380 | G. Hodein | corner of scarp. | 23 | 16 | 18 | 34 | 52 | 5 | 718 | |
| 304 | Peak W. of G. Um Reit | summit. | 23 | 15 | 26 | 34 | 30 | 14 | 805 | |
| 306 | Peak W. of G. Um Reit | „ | 23 | 15 | 23 | 34 | 31 | 47 | 837 | |
| 366 | Hill near Wadi Rahaba | „ | 23 | 15 | 4 | 35 | 16 | 25 | 420 | |
| * | 300 | G. Um Reit | beacon. | 23 | 15 | 4 | 34 | 34 | 17 | 857 |
| * | 298a | G. Harhagit | „ | 23 | 14 | 35 | 35 | 12 | 52 | 542 |
| 393 | G. Tibatib | summit. | 23 | 12 | 41 | 35 | 1 | 28 | 396 | |
| 387 | Hill near Wadi Hodein | „ | 23 | 12 | 24 | 35 | 16 | 51 | 383 | |
| 396 | Granite peak near Wadi Rahaba | „ | 23 | 11 | 11 | 35 | 20 | 35 | 355 | |
| 392 | Rock in sea | (level datum). | 23 | 10 | 55 | 35 | 35 | 57 | 0 | |
| 310 | Isolated hill west of G. Etresia | summit. | 23 | 10 | 35 | 34 | 25 | 23 | 703 | |
| 388 | Hill near Wadi Hodein | „ | 23 | 10 | 33 | 35 | 16 | 32 | 309 | |
| 423 | G. Kala | „ | 23 | 10 | 3 | 34 | 45 | 49 | 808 | |
| 503 | G. Etresia | E. summit. | 23 | 9 | 24 | 34 | 30 | 43 | 1,037 | |
| 303 | Hill E. of G. Etresia | summit. | 23 | 9 | 15 | 34 | 32 | 23 | 922 | |
| * | 375a | G. Anfeib | beacon. | 23 | 8 | 24 | 34 | 59 | 19 | 705 |
| 364 | Hill NE. of G. el Anbat | summit. | 23 | 8 | 0 | 35 | 21 | 46 | 359 | |
| * | 386 | Close to Bir Shalatein | beacon. | 23 | 7 | 57 | 35 | 36 | 23 | 13 |
| 502 | G. Etresia | summit. | 23 | 7 | 53 | 34 | 31 | 24 | 1,038 | |
| 407 | G. Kala | „ | 23 | 7 | 42 | 34 | 42 | 58 | 846 | |
| 311 | Isolated hill north of G. Shigigat | „ | 23 | 7 | 16 | 34 | 24 | 39 | 901 | |
| 425 | G. Kala | „ | 23 | 7 | 11 | 34 | 42 | 37 | 783 | |
| 424 | G. Kala | „ | 23 | 6 | 51 | 34 | 42 | 30 | 739 | |
| 501 | G. Etus | „ | 23 | 6 | 19 | 34 | 29 | 53 | 997 | |
| * | 367a | G. el Anbat | beacon. | 23 | 6 | 5 | 35 | 19 | 27 | 390 |
| 312 | G. Shigigat | conspicuous peak. | 23 | 5 | 37 | 34 | 23 | 39 | 1,023 | |
| 406 | G. Kala | summit. | 23 | 5 | 16 | 34 | 42 | 19 | 629 | |
| 500 | G. Aqab el Negum | „ | 23 | 3 | 26 | 34 | 27 | 20 | 1,149 | |
| 496 | G. Natetiai | peak. | 23 | 3 | 8 | 34 | 21 | 0 | 1,022 | |
| 499 | Peak near Aqab el Negum | summit. | 23 | 2 | 43 | 34 | 26 | 3 | 998 | |
| 498 | Peak near Aqab el Negum | „ | 23 | 2 | 22 | 34 | 25 | 36 | 979 | |
| 497 | Peak near Aqab el Negum | „ | 23 | 1 | 56 | 34 | 25 | 42 | 974 | |
| 495 | G. Natetiai | peak. | 23 | 0 | 49 | 34 | 22 | 7 | 1,164 | |
| [57]373 | G. Niqrub el Tahtani | high pinnacle. | 23 | 0 | 42 | 35 | 0 | 58 | 828 | |
| 373a | G. Niqrub el Tahtani | beacon. | 23 | 0 | 39 | 35 | 0 | 53 | 829 | |
| * | 369a | G. Beida | „ | 23 | 0 | 14 | 35 | 16 | 54 | 716 |
| 494 | G. Natetiai | peak. | 22 | 59 | 35 | 34 | 22 | 22 | 977 | |
| 508 | Peak in S. part of G. Feg | summit. | 22 | 58 | 45 | 34 | 20 | 29 | 885 | |
| 391 | G. Humariai | „ | 22 | 58 | 38 | 35 | 9 | 36 | 563 | |
| 382 | Hill S. of Wadi Beida | „ | 22 | 58 | 10 | 35 | 12 | 58 | 631 | |
| 507 | Peak in S. part of G. Feg | „ | 22 | 58 | 2 | 34 | 19 | 15 | 836 | |
| 381a | Hill S. of Wadi Beida | „ | 22 | 57 | 30 | 35 | 16 | 53 | 631 | |
| 379 | G. Mismih | „ | 22 | 56 | 56 | 34 | 45 | 32 | 599 | |
| 381 | Hill S. of Wadi Beida | „ | 22 | 56 | 47 | 35 | 17 | 3 | 615 | |
| 510 | Conical hill | „ | 22 | 54 | 48 | 34 | 40 | 27 | 504 | |
| * | 401 | G. Kolaiqo | beacon. | 22 | 54 | 13 | 35 | 24 | 35 | 320 |
| * | 374 | G. Niqrub el Foqani | „ | 22 | 51 | 29 | 34 | 56 | 49 | 1,078 |
| 509 | G. Waqif | summit. | 22 | 51 | 21 | 34 | 38 | 57 | 556 | |
| 466 | Tree at Mersa Shab | centre. | 22 | 50 | 56 | 35 | 47 | 3 | 1 | |
| 419 | G. Um el Kalala | N. peak. | 22 | 50 | 23 | 34 | 44 | 14 | 672 | |
| 506 | G. Sheyenit | „ | 22 | 50 | 13 | 34 | 18 | 23 | 853 | |
| 505 | G. Sheyenit | S. peak. | 22 | 49 | 58 | 34 | 18 | 15 | 887 | |
| 415 | G. Um el Kalala | „ | 22 | 49 | 26 | 34 | 44 | 18 | 655 | |
| 418 | Hill close to Bir Madi | beacon. | 22 | 47 | 46 | 35 | 1 | 39 | 556 | |
| * | 408 | G. Meneiga | „ | 22 | 47 | 35 | 35 | 11 | 7 | 1,032 |
| * | 402 | G. Meneiga | highest point. | 22 | 47 | 31 | 35 | 10 | 57 | 1,092 |
| 430 | Hill near Wadi Tikosha | summit. | 22 | 46 | 29 | 35 | 20 | 11 | 443 | |
| * | 410 | Gemeida hill | beacon. | 22 | 46 | 29 | 35 | 37 | 49 | 123 |
| 437 | Hill SSE. of Bir Meneiga | summit. | 22 | 45 | 58 | 35 | 13 | 3 | 987 | |
| 434 | Peak near Wadi Ti Ilak | „ | 22 | 44 | 36 | 35 | 17 | 54 | 774 | |
| 376 | G. Shabih | highest peak. | 22 | 44 | 26 | 34 | 50 | 21 | 1,117 | |
| 527 | G. Mishbih | NW. summit. | 22 | 44 | 21 | 34 | 41 | 23 | 1,321 | |
| 378 | G. Mishbih | beacon. | 22 | 44 | 18 | 34 | 41 | 20 | 1,316 | |
| 440 | Ridge near head of W. Shellal el Gharbi | high point. | 22 | 44 | 15 | 35 | 12 | 18 | 1,092 | |
| 447 | Qrein Salama | summit. | 22 | 44 | 5 | 35 | 24 | 32 | 354 | |
| 435 | Peak near Wadi Ti Ilak | „ | 22 | 44 | 4 | 35 | 17 | 46 | 849 | |
| 431 | Hill N. of Wadi Muqur | „ | 22 | 43 | 55 | 35 | 18 | 52 | 670 | |
| [58]414 | G. el Naga | smaller hill. | 22 | 43 | 32 | 34 | 27 | 22 | 747 | |
| 91 | G. Seiga | cairn. | 22 | 43 | 31 | 34 | 16 | 16 | 905 | |
| 377 | G. Mishbih | E. peak. | 22 | 43 | 28 | 34 | 42 | 39 | 1,311 | |
| 526 | G. Mishbih | peak. | 22 | 42 | 52 | 34 | 41 | 27 | 1,353 | |
| 413 | G. el Naga | N. peak. | 22 | 42 | 42 | 34 | 27 | 46 | 787 | |
| 445 | G. Tueiwi | summit. | 22 | 42 | 40 | 35 | 5 | 56 | 836 | |
| * | 403 | G. Gerf | high point on ridge | 22 | 42 | 15 | 35 | 11 | 43 | 1,339 |
| 427 | G. Gerf | minor summit. | 22 | 42 | 13 | 35 | 13 | 32 | 1,327 | |
| * | 370 | G. Gerf | beacon. | 22 | 42 | 6 | 35 | 12 | 16 | 1,419 |
| 412 | G. el Naga | S. peak. | 22 | 42 | 0 | 34 | 28 | 25 | 827 | |
| 436 | Peak near Wadi Muqur | summit. | 22 | 41 | 58 | 35 | 18 | 22 | 778 | |
| 493 | G. Mishbih | S. peak. | 22 | 41 | 44 | 34 | 42 | 41 | 988 | |
| 432 | Peak near Wadi Muqur | summit. | 22 | 41 | 40 | 35 | 17 | 35 | 962 | |
| 383 | G. Muqur | „ | 22 | 41 | 31 | 35 | 16 | 50 | 1,058 | |
| 433 | Hill near Bir Sararat Seyet | „ | 22 | 41 | 16 | 35 | 0 | 57 | 797 | |
| 426 | Peak near Wadi Diqdib | summit. | 22 | 41 | 6 | 35 | 14 | 30 | 1,258 | |
| 438 | Peak near Wadi Qadiloi | „ | 22 | 41 | 3 | 35 | 17 | 54 | 911 | |
| 429 | Peak near Wadi Eirahimib | „ | 22 | 40 | 51 | 35 | 9 | 55 | 1,227 | |
| 371 | G. Shweib | „ | 22 | 40 | 43 | 34 | 43 | 57 | 914 | |
| 428 | Peak near Wadi Eirahimib | „ | 22 | 40 | 38 | 35 | 10 | 29 | 1,327 | |
| 531 | Mt. near Bir Baaneit | „ | 22 | 40 | 1 | 35 | 18 | 15 | 909 | |
| 404 | G. Gerf | minor summit. | 22 | 39 | 59 | 35 | 10 | 7 | 1,318 | |
| 405 | G. Korabkansi | „ | 22 | 39 | 39 | 35 | 0 | 44 | 1,052 | |
| 446 | G. Korabkansi | N. peak. | 22 | 39 | 35 | 34 | 59 | 32 | 1,176 | |
| 614 | G. Hamra Dom | „ | 22 | 39 | 34 | 35 | 38 | 19 | 326 | |
| 439 | Peak near Wadi Diqdib | summit. | 22 | 39 | 17 | 35 | 16 | 11 | 1,028 | |
| * | 372 | G. Korabkansi | beacon. | 22 | 39 | 16 | 34 | 59 | 55 | 1,230 |
| 420 | Peak near Wadi Difoteb | cairn. | 22 | 39 | 11 | 35 | 10 | 21 | 1,298 | |
| * | 417 | G. Hamra Dom | beacon. | 22 | 39 | 6 | 35 | 38 | 42 | 388 |
| 450 | Tibansi Tikam Ankwei | summit. | 22 | 39 | 5 | 35 | 32 | 11 | 345 | |
| 475 | Peak near Wadi Sherefa | „ | 22 | 38 | 20 | 35 | 11 | 42 | 1,344 | |
| 411 | G. Hamra Dom | central peak | 22 | 38 | 2 | 35 | 39 | 12 | 381 | |
| 473 | Hill near Wadi Um Saha | summit. | 22 | 37 | 54 | 35 | 17 | 56 | 926 | |
| 532 | Hill near Wadi Um Saha | „ | 22 | 37 | 53 | 35 | 17 | 56 | 932 | |
| 444 | G. Dreb | peak. | 22 | 36 | 54 | 35 | 6 | 20 | 1,139 | |
| [59]615 | G. Hamra Dom | S. peak. | 22 | 36 | 48 | 35 | 39 | 36 | 317 | |
| 443 | G. Dreb | peak. | 22 | 36 | 41 | 35 | 7 | 0 | 1,148 | |
| 442 | G. Dreb | „ | 22 | 36 | 40 | 35 | 7 | 46 | 1,137 | |
| 476 | G. Dreb | „ | 22 | 36 | 16 | 35 | 9 | 15 | 1,176 | |
| 478 | G. Dreb | „ | 22 | 36 | 10 | 35 | 8 | 21 | 1,224 | |
| 477 | G. Dreb | „ | 22 | 36 | 1 | 35 | 8 | 56 | 1,191 | |
| 504 | G. Kulyeit | summit. | 22 | 35 | 50 | 34 | 16 | 38 | 724 | |
| 441a | G. Dreb | peak. | 22 | 35 | 18 | 35 | 8 | 24 | 1,293 | |
| 533 | Kilia Arib | summit. | 22 | 35 | 2 | 35 | 18 | 46 | 647 | |
| 441 | G. Dreb | peak. | 22 | 35 | 0 | 35 | 8 | 36 | 1,288 | |
| 535 | G. Dreb | „ | 22 | 34 | 15 | 35 | 9 | 42 | 1,095 | |
| 534 | Tibashoi Tomakolat | summit. | 22 | 33 | 4 | 35 | 19 | 40 | 464 | |
| * | 449a | Kolmanab hill | beacon. | 22 | 32 | 26 | 35 | 53 | 36 | 137 |
| 566 | Hill near Wadi Ibib | summit. | 22 | 32 | 2 | 35 | 37 | 36 | 459 | |
| 619 | Point near Kolmanab | — | 22 | 31 | 55 | 35 | 52 | 40 | 110 | |
| 612 | G. Medarai | minor peak. | 22 | 31 | 23 | 35 | 13 | 5 | 1,103 | |
| 520 | G. Medarai | summit. | 22 | 30 | 58 | 35 | 12 | 5 | 1,299 | |
| 610 | G. Medarai | minor peak. | 22 | 30 | 56 | 35 | 14 | 37 | 922 | |
| 485 | G. Anweiyib | N. summit. | 22 | 30 | 22 | 34 | 53 | 42 | 871 | |
| * | 567a | G. Eqrun (W. summit) | beacon. | 22 | 30 | 10 | 35 | 37 | 9 | 473 |
| 567 | G. Eqrun | SE. summit. | 22 | 30 | 0 | 35 | 37 | 18 | 468 | |
| 665 | Adar Aweib Um Bishtit | summit. | 22 | 29 | 28 | 35 | 33 | 2 | 455 | |
| 577 | Granite hill | „ | 22 | 29 | 19 | 35 | 54 | 6 | 143 | |
| 522 | G. Medarai | S. peak. | 22 | 29 | 8 | 35 | 12 | 4 | 1,114 | |
| 528 | G. Anweiyib | summit. | 22 | 29 | 5 | 34 | 53 | 32 | 864 | |
| 587 | G. Um Rasein | N. peak. | 22 | 28 | 52 | 35 | 20 | 44 | 791 | |
| * | 416 | G. Um Rasein | beacon. | 22 | 28 | 12 | 35 | 20 | 19 | 909 |
| * | 575 | Einiwai hill | „ | 22 | 27 | 50 | 35 | 57 | 59 | 138 |
| 521 | G. Abu Hireiq | N. summit. | 22 | 27 | 39 | 35 | 14 | 58 | 1,116 | |
| 609 | Hill near Wadi Merdiyeb | summit. | 22 | 27 | 21 | 35 | 15 | 51 | 856 | |
| 613 | Tahaqayet | „ | 22 | 26 | 47 | 35 | 40 | 23 | 432 | |
| 596 | Hill near Wadi Odruk | „ | 22 | 26 | 47 | 35 | 18 | 42 | 639 | |
| 595 | Hill near Wadi Odruk | „ | 22 | 26 | 25 | 35 | 19 | 17 | 615 | |
| 582 | Granite hill | „ | 22 | 26 | 23 | 35 | 56 | 20 | 155 | |
| 592 | Near Wadi Odruk | peak. | 22 | 26 | 9 | 35 | 20 | 9 | 627 | |
| [60]523 | G. Abu Hireiq | highest point. | 22 | 25 | 57 | 35 | 14 | 39 | 1,319 | |
| 581 | Osnei hill | summit. | 22 | 25 | 38 | 35 | 50 | 42 | 251 | |
| 455 | Hill near Bir Um Bishtit | „ | 22 | 25 | 14 | 35 | 33 | 19 | 634 | |
| 472 | Mt. near Wadi Abu Hireiq | „ | 22 | 24 | 43 | 35 | 16 | 13 | 1,256 | |
| 611 | G. Adatalob Hadal | beacon. | 22 | 24 | 38 | 35 | 48 | 22 | 381 | |
| 451 | Titailibab | summit. | 22 | 24 | 32 | 35 | 38 | 52 | 593 | |
| 459 | G. Orgem | NW. peak | 22 | 24 | 31 | 35 | 31 | 1 | 779 | |
| 576 | G. Orgem | SE. peak. | 22 | 24 | 21 | 35 | 31 | 11 | 775 | |
| 488 | G. Anweiyib | NW. summit. | 22 | 24 | 16 | 34 | 49 | 46 | 884 | |
| 471 | Mt. near Wadi Abu Hireiq | summit. | 22 | 23 | 56 | 35 | 16 | 41 | 1,226 | |
| 486 | G. Anweiyib | SE. summit. | 22 | 23 | 37 | 34 | 51 | 25 | 921 | |
| 664 | Hill S. of Titailibab | summit. | 22 | 23 | 26 | 35 | 39 | 5 | 554 | |
| 422 | G. Abu Hodeid | beacon. | 22 | 23 | 18 | 35 | 14 | 9 | 1,482 | |
| 572 | G. Adatalob Adara | summit. | 22 | 23 | 1 | 35 | 49 | 58 | 385 | |
| 603 | Near Wadi Tikraneib | peak. | 22 | 22 | 57 | 35 | 18 | 38 | 732 | |
| 454 | G. Meis-heit-ar | summit. | 22 | 22 | 37 | 35 | 34 | 44 | 717 | |
| 470 | Mt. near Bir Abu Hodeid | „ | 22 | 22 | 31 | 35 | 17 | 33 | 1,074 | |
| 479 | G. Mansur Diab | „ | 22 | 22 | 28 | 35 | 10 | 49 | 1,091 | |
| 469 | Mt. near Bir Abu Hodeid | „ | 22 | 22 | 10 | 35 | 17 | 51 | 1,078 | |
| 457 | Hill near head of Wadi Qidmib | „ | 22 | 22 | 3 | 35 | 32 | 42 | 738 | |
| 583 | G. Tishushi Tiboki | minor summit. | 22 | 22 | 0 | 35 | 57 | 12 | 284 | |
| 647 | Abu Hodeid Oqla | summit. | 22 | 21 | 29 | 35 | 17 | 51 | 992 | |
| 492 | G. Um el Tiur el Tahtani | „ | 22 | 21 | 26 | 34 | 34 | 46 | 783 | |
| 666 | G. Meis-heit-ar | „ | 22 | 21 | 15 | 35 | 34 | 48 | 721 | |
| 580 | G. Tishushi Tiboki | highest point. | 22 | 21 | 14 | 35 | 55 | 46 | 359 | |
| * | 569a | Ti Keferiai | beacon. | 22 | 21 | 0 | 35 | 49 | 47 | 494 |
| 598 | G. Hamra Tit | SW. peak. | 22 | 20 | 6 | 35 | 20 | 44 | 642 | |
| 461 | G. Qidmib | summit. | 22 | 19 | 55 | 35 | 30 | 45 | 1,037 | |
| * | 456 | O Shakafa | „ | 22 | 19 | 44 | 35 | 34 | 42 | 751 |
| 597 | G. Geror | NE. summit. | 22 | 19 | 31 | 35 | 52 | 4 | 434 | |
| 462 | G. Qidmib | summit. | 22 | 19 | 13 | 35 | 30 | 23 | 1,108 | |
| 464 | G. Qidmib | „ | 22 | 19 | 4 | 35 | 29 | 18 | 1,070 | |
| 463 | G. Qidmib | „ | 22 | 18 | 49 | 35 | 30 | 15 | 1,099 | |
| 616 | G. Geror | high point. | 22 | 18 | 37 | 35 | 50 | 18 | 510 | |
| 584 | G. Qidmib | summit. | 22 | 18 | 18 | 35 | 29 | 20 | 1,089 | |
| [61]453 | Adar Aqdeib | summit. | 22 | 18 | 6 | 35 | 37 | 51 | 736 | |
| 490 | G. Um el Tiur el Foqani | „ | 22 | 17 | 56 | 34 | 41 | 14 | 946 | |
| 602 | G. Geror | summit. | 22 | 17 | 51 | 35 | 50 | 55 | 516 | |
| 649 | G. el Sela | peak. | 22 | 17 | 37 | 36 | 14 | 17 | 433 | |
| 487 | G. Hadal Derqa | summit. | 22 | 16 | 40 | 35 | 9 | 55 | 1,108 | |
| * | 460 | Hadal Aweib Meisah | beacon. | 22 | 16 | 39 | 35 | 31 | 55 | 1,224 |
| 650 | G. el Sela | peak. | 22 | 16 | 32 | 36 | 12 | 59 | 560 | |
| 491 | G. el Adraq | summit. | 22 | 16 | 22 | 34 | 35 | 3 | 770 | |
| 421 | Qara Saba | „ | 22 | 16 | 7 | 35 | 41 | 34 | 778 | |
| 601 | G. Um Seleim | „ | 22 | 15 | 58 | 35 | 21 | 35 | 1,098 | |
| 480 | G. Hadal Derqa | SE. peak. | 22 | 15 | 50 | 35 | 10 | 59 | 1,090 | |
| 585 | Hadal Aweib Meisah | minor summit. | 22 | 15 | 48 | 35 | 30 | 10 | 1,092 | |
| 604 | G. Leqaq | summit. | 22 | 15 | 40 | 35 | 20 | 8 | 1,192 | |
| 512 | G. Heianai | NW. summit. | 22 | 14 | 40 | 35 | 1 | 30 | 1,007 | |
| 668 | G. Hamida | minor summit. | 22 | 14 | 34 | 35 | 46 | 13 | 583 | |
| 620 | Qash Amir | beacon. | 22 | 14 | 31 | 36 | 12 | 20 | 724 | |
| 651 | G. Sul Hamid | highest peak. | 22 | 14 | 16 | 36 | 4 | 53 | 572 | |
| 568 | G. Balatitda | summit. | 22 | 13 | 56 | 35 | 58 | 5 | 592 | |
| 513 | G. Hilwit Hasium | NE. peak. | 22 | 13 | 50 | 35 | 14 | 38 | 1,037 | |
| 468 | G. Adar Qaqa | summit. | 22 | 13 | 47 | 35 | 19 | 0 | 1,606 | |
| 482 | G. Heianai | SE. summit. | 22 | 13 | 41 | 35 | 3 | 11 | 1,256 | |
| 618 | G. Hamida | minor summit. | 22 | 13 | 36 | 35 | 46 | 47 | 701 | |
| 608 | G. Adar Qaqa | „ | 22 | 13 | 33 | 35 | 19 | 21 | 1,542 | |
| 448 | G. Hamida | summit. | 22 | 13 | 32 | 35 | 46 | 33 | 754 | |
| * | 458 | Halaib Fort | centre of top. | 22 | 13 | 25 | 36 | 38 | 56 | 8 |
| 556 | G. Elba | peak near Bir Kansisrob. | 22 | 13 | 21 | 36 | 22 | 23 | 820 | |
| 652 | Hill E. of G. Balatitda | peak. | 22 | 13 | 20 | 35 | 59 | 43 | 491 | |
| 555 | Karam Elba | summit. | 22 | 13 | 13 | 36 | 25 | 40 | 586 | |
| 525 | G. Shanaiyet | „ | 22 | 13 | 4 | 34 | 49 | 43 | 907 | |
| 653 | Hill near Wadi Warabeit | „ | 22 | 13 | 4 | 35 | 50 | 12 | 511 | |
| 676 | G. Elba | peak near Wadi Yahameib. | 22 | 13 | 2 | 36 | 20 | 54 | 935 | |
| 662 | G. Balatitda | minor summit. | 22 | 12 | 56 | 35 | 57 | 44 | 493 | |
| 489 | G. el Hateib | summit. | 22 | 12 | 44 | 34 | 43 | 18 | 854 | |
| [62]674 | Hill near Wadi Siamtit | summit. | 22 | 12 | 42 | 36 | 13 | 10 | 507 | |
| 516 | G. Hilwit Hasium | SW. peak. | 22 | 12 | 30 | 35 | 13 | 14 | 952 | |
| 669 | Mt. south of Hadal Aweib Meisah | summit. | 22 | 12 | 21 | 35 | 30 | 40 | 1,072 | |
| 481 | G. el Arib | „ | 22 | 12 | 15 | 35 | 8 | 32 | 1,112 | |
| 579a | G. Um Ein | beacon. | 22 | 11 | 52 | 35 | 39 | 4 | 901 | |
| 667 | Hill near head of Wadi Warabeit | summit. | 22 | 11 | 40 | 35 | 47 | 6 | 651 | |
| 467 | G. Soaorib | „ | 22 | 11 | 33 | 35 | 20 | 13 | 1,469 | |
| * | 536 | G. Elba | beacon. | 22 | 11 | 27 | 36 | 20 | 52 | 1,428 |
| 621 | G. Elba | minor peak. | 22 | 11 | 16 | 36 | 23 | 44 | 1,102 | |
| 675 | G. Elba | „ | 22 | 11 | 10 | 36 | 20 | 35 | 1,394 | |
| 483 | G. Heleikonti | summit. | 22 | 11 | 7 | 34 | 57 | 59 | 1,151 | |
| 573 | G. Warabeit | „ | 22 | 11 | 1 | 35 | 47 | 52 | 794 | |
| 518 | G. Soaorib | „ | 22 | 10 | 54 | 35 | 17 | 48 | 1,397 | |
| * | 571 | Adar Aweib | beacon. | 22 | 10 | 50 | 35 | 54 | 0 | 620 |
| 538 | G. Elba | minor peak. | 22 | 10 | 17 | 36 | 19 | 34 | 1,217 | |
| 606 | G. Soaorib | summit. | 22 | 10 | 14 | 35 | 21 | 25 | 1,349 | |
| 98 | G. Muqsim | cairn. | 22 | 10 | 11 | 34 | 1 | 12 | 825 | |
| 589 | Mt. near Wadi Baueiwai | summit. | 22 | 10 | 10 | 35 | 30 | 45 | 1,266 | |
| 537 | G. Elba | highest point. | 22 | 10 | 3 | 36 | 21 | 52 | 1,435 | |
| 617 | G. Mashushenai | summit. | 22 | 9 | 54 | 35 | 49 | 45 | 634 | |
| 605 | G. Soaorib | peak. | 22 | 9 | 50 | 35 | 21 | 45 | 1,383 | |
| 678 | G. O Sir Eirab | summit. | 22 | 9 | 24 | 36 | 20 | 56 | 842 | |
| 677 | Hill near W. O Sir Hadal | „ | 22 | 9 | 7 | 36 | 15 | 56 | 724 | |
| 519 | Peak near Wadi Kirir | „ | 22 | 8 | 24 | 35 | 18 | 27 | 1,328 | |
| 465 | G. Soaorib | „ | 22 | 8 | 22 | 35 | 23 | 36 | 1,431 | |
| 590 | Mt. N. of Wadi Adar Ameit el Sharqi | NE. peak. | 22 | 8 | 16 | 35 | 31 | 2 | 1,294 | |
| 670 | Hill near Wadi Aqwem | summit. | 22 | 8 | 12 | 35 | 43 | 30 | 724 | |
| 578 | Hill near Da-aiyob Wushaq | „ | 22 | 7 | 45 | 35 | 44 | 8 | 833 | |
| 681 | G. Hanquf | minor peak. | 22 | 7 | 45 | 36 | 16 | 54 | 789 | |
| 591 | Mt. N. of Wadi Adar Ameit el Sharqi | SW. peak. | 22 | 7 | 12 | 35 | 29 | 54 | 1,299 | |
| 682 | G. Hanquf | minor peak. | 22 | 6 | 54 | 36 | 17 | 18 | 877 | |
| [63]524 | G. Um Reddam | summit. | 22 | 6 | 23 | 34 | 59 | 55 | 1,109 | |
| 657 | G. Miatit | W. peak. | 22 | 6 | 14 | 35 | 34 | 12 | 1,229 | |
| 511 | Mt. near G. Egat | summit | 22 | 5 | 53 | 34 | 53 | 1 | 985 | |
| 484 | G. Egat | „ | 22 | 5 | 39 | 34 | 52 | 15 | 1,145 | |
| 586 | G. Miatit | SE. peak. | 22 | 5 | 36 | 35 | 35 | 34 | 1,257 | |
| 659 | Mt. near Wadi Adar Ameit el Gharbi | peak. | 22 | 5 | 20 | 35 | 25 | 30 | 1,440 | |
| 540 | G. Hanquf | N. peak. | 22 | 4 | 52 | 36 | 18 | 45 | 1,397 | |
| 452 | Hill near W. Di-ib | summit. | 22 | 4 | 14 | 36 | 1 | 32 | 491 | |
| 655 | G. Suruk | E. peak. | 22 | 4 | 10 | 35 | 38 | 7 | 1,059 | |
| 588 | G. Suruk | highest point. | 22 | 3 | 50 | 35 | 35 | 28 | 1,327 | |
| 673 | Hill near G. Suruk | peak. | 22 | 3 | 46 | 35 | 40 | 16 | 846 | |
| 656 | G. Shendib | „ | 22 | 3 | 40 | 35 | 36 | 1 | 1,275 | |
| 515 | Mt. near G. Himeitra | „ | 22 | 3 | 17 | 35 | 17 | 52 | 1,134 | |
| 685 | G. Shendib | „ | 22 | 3 | 8 | 36 | 13 | 44 | 1,427 | |
| 539 | G. Shendodai | highest peak. | 22 | 3 | 1 | 36 | 25 | 31 | 1,529 | |
| 672 | Hill near G. Suruk | peak. | 22 | 3 | 0 | 35 | 40 | 25 | 847 | |
| 661 | G. Shiab | „ | 22 | 2 | 57 | 35 | 45 | 18 | 855 | |
| * | 607 | G. Hadarba | beacon. | 22 | 2 | 53 | 36 | 47 | 23 | 217 |
| 654 | G. Shiab | highest point. | 22 | 2 | 51 | 35 | 44 | 7 | 987 | |
| 517 | G. Himeitra | summit. | 22 | 2 | 46 | 35 | 14 | 19 | 1,231 | |
| 474 | G. Is | cairn on summit. | 22 | 2 | 36 | 35 | 28 | 4 | 1,736 | |
| 599 | G. Is | peak. | 22 | 2 | 24 | 35 | 27 | 35 | 1,659 | |
| 627 | G. Shendodai | S. peak. | 22 | 2 | 12 | 36 | 25 | 22 | 1,395 | |
| 684 | Hill near G. Shendib | summit. | 22 | 2 | 12 | 36 | 9 | 6 | 601 | |
| 600 | G. Is | peak. | 22 | 2 | 11 | 35 | 26 | 56 | 1,594 | |
| 671 | Hill near G. Suruk | „ | 22 | 1 | 54 | 35 | 40 | 20 | 903 | |
| 593 | Mt. east of G. Is | N. peak. | 22 | 1 | 38 | 35 | 31 | 56 | 1,290 | |
| 570 | G. Hanquf | highest point. | 22 | 1 | 32 | 36 | 20 | 14 | 1,465 | |
| 640 | G. Shendib | peak. | 22 | 1 | 26 | 36 | 14 | 47 | 1,724 | |
| 641 | G. Shendib | „ | 22 | 1 | 8 | 36 | 14 | 59 | 1,698 | |
| 594 | Mt. east of G. Is | S. peak. | 22 | 1 | 2 | 35 | 31 | 11 | 1,474 | |
| 642 | G. Shendib | peak. | 22 | 0 | 51 | 36 | 15 | 0 | 1,696 | |
| 543 | G. Shendib | beacon. | 22 | 0 | 48 | 36 | 16 | 30 | 1,912 | |
| 546 | G. Shendib | peak. | 22 | 0 | 46 | 36 | 14 | 49 | 1,674 | |
| [64]544 | G. Shendib | peak. | 22 | 0 | 45 | 36 | 16 | 10 | 1,852 | |
| 687 | Hill near G. Shellal | summit. | 22 | 0 | 40 | 36 | 9 | 2 | 614 | |
| 557 | G. Shellal | peak. | 22 | 0 | 39 | 36 | 30 | 30 | 1,269 | |
| 529 | G. Shellal | E. peak. | 22 | 0 | 34 | 36 | 30 | 45 | 1,279 | |
| 574 | G. Shellal | highest point. | 22 | 0 | 15 | 36 | 29 | 40 | 1,409 | |
| 545 | G. Shendib | peak. | 21 | 59 | 56 | 36 | 17 | 6 | 1,863 | |
| 547 | G. Shendib | „ | 21 | 59 | 49 | 36 | 15 | 42 | 1,668 | |
| 550 | G. Shendib | „ | 21 | 59 | 8 | 36 | 14 | 16 | 1,565 | |
| 645 | G. Shendib | „ | 21 | 59 | 7 | 36 | 13 | 22 | 1,227 | |
| 549 | G. Shendib | „ | 21 | 59 | 6 | 36 | 14 | 40 | 1,525 | |
| 644 | G. Shendib | „ | 21 | 59 | 0 | 36 | 15 | 20 | 1,552 | |
| 646 | G. Shendib | „ | 21 | 58 | 58 | 36 | 13 | 11 | 1,196 | |
| 660 | Low hill near W. Shendib | summit. | 21 | 58 | 24 | 36 | 4 | 25 | 500 | |
| 541 | G. Qeda | E. peak. | 21 | 56 | 24 | 36 | 28 | 11 | 1,850 | |
| 542 | G. Qeda | W. peak. | 21 | 56 | 16 | 36 | 26 | 12 | 1,872 | |
| 514 | Hadal Aweib | summit. | 21 | 52 | 40 | 35 | 22 | 26 | 1,780 | |
| 628 | G. Asotriba | highest point. | 21 | 51 | 55 | 36 | 30 | 26 | 2,216 | |
| 551 | Eir Aweit | peak. | 21 | 50 | 30 | 36 | 22 | 48 | 1,715 | |
| 552 | Eir Aweit | „ | 21 | 49 | 56 | 36 | 23 | 1 | 1,678 | |
| 564 | G. Obkeik | N. peak. | 21 | 49 | 55 | 35 | 39 | 40 | 1,837 | |
| 548 | G. Asotriba | S. peak. | 21 | 49 | 30 | 36 | 30 | 40 | 2,082 | |
| 565 | G. Obkeik | S. peak. | 21 | 49 | 6 | 35 | 39 | 29 | 1,856 | |
| 553 | Eir Aweit | highest peak. | 21 | 47 | 57 | 36 | 22 | 40 | 1,853 | |
| 554 | Eir Aweit | peak. | 21 | 47 | 38 | 36 | 22 | 32 | 1,759 | |
| 658 | Adar It | sharp peak. | 21 | 47 | 1 | 36 | 19 | 14 | 1,170 | |
| 409 | beacon. | 21 | 44 | 21 | 34 | 36 | 53 | — | ||
| 558 | Arit | peak. | 21 | 40 | 26 | 36 | 22 | 50 | 1,529 | |
| 559 | Arit | „ | 21 | 39 | 25 | 36 | 22 | 32 | 1,772 | |
| 663 | Karai Awa | summit. | 21 | 39 | 18 | 36 | 10 | 21 | 1,056 | |
| 562 | Arit | peak. | 21 | 38 | 3 | 36 | 18 | 57 | 1,410 | |
| 560 | Arit | highest peak. | 21 | 36 | 51 | 36 | 23 | 27 | 1,810 | |
| 563 | Arit | high peak. | 21 | 36 | 1 | 36 | 19 | 52 | 1,727 | |
| 561 | Arit | W. end of ridge. | 21 | 35 | 50 | 36 | 22 | 48 | 1,532 | |
It is interesting to compare the positions found for certain triangulation points with those determined by the British Admiralty surveyors and by Lieut. Koss, who accompanied the Austrian research-ship “Pola” in 1895-6.[74] The three best defined points of comparison are Berenice temple, the central peak of St. John’s Island, and Halaib Fort. In the case of Berenice and St. John’s Island the observation of the two prior surveys were made at stations a little distance from my triangulation points, but the published charts enable one to scale off the necessary corrections to reduce the positions to those of the triangulated points. At Berenice, the British Admiralty observation point, for which the latitude is given as 23° 56′ 16″, is 1′ 26″ north of the temple, so that the equivalent Admiralty latitude for the temple is 23° 54′ 50″. Similarly Lieut. Koss’s observation point, where the latitude found was 23° 56′ 27″, is 1′ 47″ north of the temple, giving the latitude of the temple as 23° 54′ 40″. My triangulation gives the latitude of the temple as 23° 54′ 39″, thus showing a remarkably good agreement with that found by the “Pola” observer.
At St. John’s Island, owing to the smallness of the scale of the available charts, it is a little more difficult to scale off accurately the Admiralty position for the peak and the reduction to the peak of Lieut. Koss’s point. As nearly as I can scale, the Admiralty latitude for the peak is 23° 36′ 40″, while the point where Lieut. Koss observed his latitude of 23° 35′ 47″, near the south-west shore of the island, is approximately 40″ south of the peak, giving the latitude of the peak as 23° 36′ 27″. I found the latitude of the peak to be 23° 36′ 16″, thus again showing as good an agreement as could be expected, having regard to the fact that it is not easy to scale the latitude of the point much within 10″ from the existing charts.
At Halaib Fort, the Admiralty latitude is 22° 14′ 10″, while the “Pola” expedition found it 22° 13′ 26″, and my triangulation gave[66] the value 22° 13′ 25″. The close agreement between my triangulation value and that observed by Lieut. Koss seems to prove the Admiralty latitude of this point to be some 45″ too high.
Summarizing the latitudes of the three points for comparison we have:—
| Berenice Temple. | St. John’s Peak. | Halaib Fort. | |
|---|---|---|---|
| Admiralty Chart | 23° 54′ 50″ | 23° 36′ 40″ | 22° 14′ 10″ |
| “Pola” Expedition | 23° 54′ 40″ | 23° 36′ 27″ | 22° 13′ 26″ |
| Ball (Triangulation) | 23° 54′ 39″ | 23° 36′ 16″ | 22° 13′ 25″ |
If we make corresponding comparisons of the longitudes of these three points, Berenice Temple, St. John’s Peak, and Halaib Fort, we obtain much more wide divergences, as is only to be expected from the fact that the Admiralty and “Pola” determinations were made by transport of chronometers from Suez, which is over 500 miles distant from Halaib.
For Berenice Temple the Admiralty longitude (obtained by applying the scaled reduction of − 40″ to the observed longitude 35° 29′ 11″ at the observation point) is 35° 28′ 31″. Lieut. Koss’s transport of chronometers from Suez via Jidda leads to a longitude of 33° 30′ 20″ for his observation point, which lies 54″ east of the temple; thus the “Pola” longitude for the temple is 35° 29′ 26″. My triangulation gives 35° 28′ 26″, thus agreeing very nearly with the Admiralty value and differing by exactly 1′ from the value found by Lieut. Koss.
For St. John’s Peak, the longitude scaled from the Admiralty Chart is 36° 10′ 20″. The observations of Lieut. Koss lead to a longitude of 36° 12′ 38″ for his observation point, which is about 35″ west of the peak; thus the “Pola” longitude for the peak is 36° 13′ 13″. My triangulation gives 36° 11′ 42″, being thus between the Admiralty and “Pola” values.
For Halaib Fort, the Admiralty longitude is 36° 37′ 3″, while Lieut. Koss’s figures lead to the value 36° 40′ 38″; my triangulation gives 36° 38′ 56″, thus again showing a value between the two marine determinations.
[67]Summarizing the longitudes obtained for the three points, we have:—
| Berenice Temple. | St. John’s Peak. | Halaib Fort. | |
|---|---|---|---|
| Admiralty Chart | 35° 28′ 31″ | 36° 10′ 20″ | 36° 37′ 3″ |
| “Pola” Expedition | 35° 29′ 26″ | 36° 13′ 13″ | 36° 40′ 38″ |
| Ball (Triangulation) | 35° 28′ 26″ | 36° 11′ 42″ | 36° 38′ 56″ |
There can, of course, be no doubt of the immensely greater accuracy of the triangulation method of determining longitude as compared with that of chronometer transport in voyages lasting for months, no matter how many chronometers are carried nor what care is taken in the work. The above differences of longitude are small when one considers that no absolute control of the chronometer of the “Pola” expedition was obtained from October 23, 1895, when the ship left Suez, till its return to the same port on January 27, 1896. If we examine the difference of longitude between points fairly close together, we find rather better agreement between chronometers and triangulation. Thus, for instance, between Berenice and Halaib, a six days’ voyage, we have:—
| Longitude by Chronometers (Koss). | Longitude by Triangulation (Ball). | |
|---|---|---|
| Halaib Fort | 36° 40′ 38″ | 36° 38′ 56″ |
| Berenice Temple | 35° 29′ 26″ | 35° 28′ 26″ |
| Difference | 1° 11′ 12″ | 1° 10′ 30″ |
showing an error of only 42″, or about three seconds of time in the six days.
The triangulation-positions:—
| Latitude N. | Longitude E. | |
|---|---|---|
| Berenice Temple | 23° 54′ 39″ | 35° 28′ 26″ |
| St. John’s Peak | 23° 36′ 16″ | 36° 11′ 42″ |
| Halaib Fort | 22° 13′ 25″ | 36° 38′ 56″ |
[68]may therefore be taken as practically correct, and the three points may be used as well-determined positions both for further discussion of the “Pola” results and in further surveying expeditions in the Red Sea.[75]
All detail visible along lines of march from camp to camp was recorded on plane-table sheets on a scale of 1:100,000. The usual process was as follows: The plane-table sheet was first provided with a graticule at 10′ intervals of latitude and longitude, and all the triangulation points previously fixed within the area covered by the sheet were marked in their computed places. Stations were chosen along the route at an average distance apart of two or three kilometres, the most commanding hills being selected, and the positions of these were found by plane-table re-section from three or more triangulation points. The compass, being frequently disturbed by magnetic rocks,[76] was only used to get a first approximation to the true orientation of the table. The plane-table station having been fixed on the map, tacheometric readings were taken to all conspicuous points easy of access within a radius of about two kilometres, and plotted at their measured distances along the directions given by the alidade.
In the telemetric measurements a 5-inch tacheometer was used side by side with the plane-table, and two staff-men were employed. As the scale of the map was small, the sights were much longer than is usual in tacheometry, and the maximum distance of 800 metres directly readable by the four-metre staves employed was generally exceeded. For the long distance readings, where the distance between two cross-wires subtended more than the length of the staff, I devised[69] the following process. Bringing the centre wire to the base of the staff, a reading of the vertical circle was taken; next, by the tangent-screw, the wire was brought to the top of the staff, and a second reading of the vertical circle was taken, the difference giving the angle subtended by the four-metre staff. It is clear that the distance is as many times greater than 800 metres, as the angle subtended is less than 17′ of arc, and the distance is thus found by simple proportion.
In the case of very long sights, even this method failed, because the circle could only be read to half-minutes, which was too coarse a graduation to give a good result, and in these cases the method used was one of repetition. The wire being brought to the base of the staff as before, and a first reading of the vertical circle taken, the wire was brought to the top of the staff by the tangent screw, then to the bottom again by altering the levelling screws slightly, again to the top by the tangent screw, and so on, three or four times, and then a second reading was taken on the vertical circle. The slight alteration of level had no sensible influence on the result, and it is obvious that by automatically summing up, say, four intercepts in this way, a very much more accurate value of the subtense angle was obtained than was possible from a single measurement. In practice I found it was best to carry in the waistcoat pocket a card giving the distance corresponding to any number of minutes of difference of reading after a four-fold repetition, and it was quite practicable to measure up to three kilometres of distance within one hundred metres of the truth; as this only represented a millimetre on the sheet, and as, moreover, errors were not cumulative, owing to the independent fixation of each successive station by re-section, the accuracy was all that could be desired, and the rapidity of measurement was very great. In this long distance type of tacheometry, finely graduated staves were of no use; the form of staff employed was a broad-faced one, fifteen centimetres wide, bearing fifty-centimetre divisions painted alternately black and white right across the whole breadth of the staff.[77]
An average of about six or eight conspicuous points having been telemetrically fixed from a station, the detail was sketched in around[70] them, and other more distant points were at the same time fixed by plane-table intersections from several stations. At the stations the pencil sketching of relief was by form-lines which were subsequently replaced by hachure-rendering when inking up the sheets in camp.
Occasionally, when a high hill-station was employed overlooking a long wadi, time was saved by reading only two distances, both in the same wadi, one very near to the station and the other two or three kilometres away, at the same time observing the depression-angles to these points. The slope of the wadi being found in this way, the depression-angles to intermediate points gave the distances of such points without the necessity of staff reading at the intermediate points at all. Thus, suppose the near point was close under the station, with a distance of 500 metres and a depression-angle of 18°, while the remote point up the wadi had a distance of three kilometres and a depression-angle of 2° 30′. By means of a slide rule or three-figure logarithms, the near point was found to be 163 metres below the station, and the distant one 130 metres. A point in the wadi estimated roughly as half way between the two would be about 146 metres below the station; so that if the observed depression-angle to it was, say, 4° 40′, its distance would be 146tan 4° 40′, or 1·8 kilometres. Any possible error of preliminary estimation of the distance in order to find the level would be without sensible influence on the resulting true distance.
The process of traversing between stations was seldom resorted to, as the method of fixing stations by re-section from triangulation points is much more accurate (the errors not being cumulative) besides being more rapid. But in certain tortuous cañon-like wadis, where great and time-consuming climbs would have had to be undertaken in order to see any triangulation points, the method of traversing with the tacheometer had to be employed.
Levels along the line of march were measured trigonometrically whenever possible; the vertical angles to one or more triangulation points being read with the tacheometer, and the distances scaled off the map, the differences of height, corrected for refraction, were found by the slide rule in the same manner as in the triangulation already described. Heights of passes and camps whence no triangulation points were visible were determined by barometer-comparisons between them and points of precisely determined altitude.
[71]Names of places were written down by the guides in Arabic characters on the spot where they were ascertained, and transliterated on the Egyptian Government system for insertion in the map. Most of the place-names were checked by getting the guides to give them from several different stations.
It was generally necessary to remain for at least a week on the mountain summits which formed the main triangulation stations, for only on about one day in seven was the air clear enough for sighting the beacons on the longer lines. Occasionally the entire landscape was blotted out for ten or more consecutive days by clouds surrounding the summit, while at other times it was possible to see only for a limited distance round the station owing to haze. Such times were made use of to map all visible detail within a moderate range (say within a radius of twelve kilometres) round the station.
In this work the first stage was to find a small base, one end of which was the station itself. Usually a minor peak of the same range, 500 to 1,000 metres away from the station, was fairly easily accessible, and was chosen for the other end of the base. The six-inch theodolite being at the main station, the five-inch tacheometer was set up at the auxiliary station, and all noteworthy hill tops, as well as a few points along each main line of drainage, were triangulated off this small base. The length of the base was found by including one or two main triangulation points in the round of angles. These minor triangles were conveniently reduced by the slide rule, and the points plotted at once on the plane-table by means of the alidade and the calculated distances. The base being short, it was necessary to observe to fine marks; cracks in the rocks, and the droppings of birds on the peaks, and the centres of selected tree trunks in the wadis, were usually chosen. The levels of these minor points were determined by vertical angulation in the ordinary way. Usually about thirty points were thus fixed round each high station. Once a number of points were fixed in the wadis, the levels of these gave the slope, and the difference of height between any other parts of the wadis and the station could be estimated to within a few metres by means of the knowledge thus obtained. A sketch being now made of the wadis, which appeared[72] spread out almost like a map below the station, a hundred or more points along them were selected, and their depths below the station being very approximately known from the wadi slope, their distances were found by observing depression angles to them and reducing the vertical triangle by means of the slide rule on the spot. In all, therefore, measurements were usually made of the distances of from 100 to 200 conspicuous points in the area round the station, and when these were plotted with the alidade on the plane-table sheet it was not difficult to sketch in all the detail with considerable accuracy. Usually it was not possible to see all round the mountain from the station itself, so that subsidiary plane-table stations near the main one were necessary. In other cases more than one small base was measured in order to get good angles to various points by the minor triangulation.
By the combined use of minor triangulation for peaks, and vertical angulation for points situated along drainage lines, it was found that far more sketching could be done in a few days at a main station than would have been possible in the same time by tacheometric work on the lower ground, and that of greater accuracy. More than half of the entire detail sketching was in fact done at the main stations.
In the earlier portion of the work, i.e., north of latitude 24°, the work on the coast-line was confined to the fixation of prominent points such as spurs and tips of islands. Some of these were fixed as intersected points during the triangulation, while others were determined by observing the depression angle and azimuth to them from trigonometrical stations of known altitude. In this latter method, taking the mean coefficient of refraction as 0·13, the formula[78] employed was
where d = distance in metres, θ = depression angle in seconds, and h = altitude of station in metres. This formula is rather tedious to work out, though the work is relatively not so great if a number[73] of points are to be calculated from observations at the same station. Prominent points having been fixed in this way, the coast-line north of 24° was sketched in from the Admiralty Chart, adjusting the longitude to fit the points fixed.
It was sometimes a little difficult, however, to identify the fixed points on the existing charts, and hence I tried to find some process of surveying the entire remaining coast-line de novo in detail. Traversing along the coast was placed out of question by the great expenditure of time and money which it would have entailed. Eventually I was led to devise a new method, by which long stretches of coast-line could be mapped by polar co-ordinates from mountain stations with great speed and accuracy. The directions of a series of points sufficiently close together along the coast were taken by theodolite, and the depression angles simultaneously observed with the vertical circle. Then, instead of computing the distances to the points, they were plotted by a special scale graduated directly in angles of dip; by thus doing away with all calculation at the station, it was possible to lay down the points on the chart as fast as the observations could be taken, usually at the rate of four or five points a minute, and it was frequently possible to map thirty kilometres or more of coast-line in an hour with great accuracy. As I have given a full account of this new method in a separate publication,[79] I shall not go into it further here, but would refer those interested to the publication just mentioned.
With the aid of the new method the entire coast-line from just north of Ras Benas southwards to the parallel of 22°, a distance of over 200 miles, was mapped in detail on the 100,000 scale. I had frequent opportunities of testing the accuracy of the delineation of the coast, both by mapping the same stretch from two widely-distant stations of different heights, and by subsequently surveying small portions of the coast directly by plane-table and tacheometer from triangulation points on or near the coast; and in all cases I found the accuracy to be very high, the differences found rarely exceeding the thickness of a line on the map. The tides in the Red Sea are so small in range (generally only about a metre) that variations of sea-level were practically negligible during the operations. Bearing in[74] mind the great difficulties attending the survey of so inhospitable a coast by the ordinary method of traversing, I believe the resulting outline of the coast on my maps is very much more correct than that shown on any previous charts. An accurate delineation of the coast-line in this region is of course chiefly of value as indicating the extent of land; it is of little importance to the navigator, for whom the positions of the outlying dangerous reefs, mapped by the Admiralty surveyors, are far more important.
By an Arrêté of the Ministry of Interior issued in 1902 it was enacted that the boundary between the administrative divisions of Egypt and the Sudan should be as follows:—
Commencing at Bir Shalatein on the coast of the Red Sea, the limit runs to Bir Meneiga, thence to Gebel Niqrub, thence to Gebel Um el Tiur and to Deiga. From Deiga the line continues to Bir Esmet Omar, thence to Gebel Bartazuga, and finally to the Nile at Korosko.
This frontier was defined after a commission had sat, at the Mudiria of Aswân, to make enquiries as to the vested rights of the Bedouin tribes, the guiding principle being that all Bisharin tribes should be under Sudan administration, and all Ababda tribes (with one exception) under the Government of Egypt. A map accompanied the decision, but was of a very rough character, and the positions of the points specified were not known within several miles.
Part of my work comprised the precise fixation of the points specified in the Arrêté, with a view to laying down the boundary accurately on a map. As was natural in the case of a boundary settled without careful reference to the ground, certain difficulties arose in the location. In the first place, there are two distinct Gebels Niqrub, and two distinct Gebels Um el Tiur. I assumed the higher mountain of each pair to be the one indicated. Secondly, the precise point of the mountain was unspecified; I assumed the highest peak to be the point referred to. Thirdly, the text of the Arrêté disagrees with the map accompanying it, in that the map shows the line curved to pass close to Gebel Mishbih, which is not mentioned in the Arrêté. I assumed the text of the order to be determinative, and that between[75] the points specified the limit followed great circles on the globe, i.e., practically straight lines on the map. The locality called Deiga was not visited, and can only be approximately fixed; it is said by guides to be a narrow road near Gebel Muqsim, of which mountain several peaks were fixed by triangulation.
The following table gives the positions found for the various points along the boundary from the sea to the meridian of 34° (1) from my survey operations, and (2) as scaled from the map accompanying the Ministerial Arrêté. A comparison of the two sets of positions will show how much the survey has added to our knowledge of the geography of this part of the desert.
| Point. | Latitude N. | Longitude E. | ||
|---|---|---|---|---|
| From my Survey. | From Arrêté Map. | From my Survey. | From Arrêté Map. | |
| Bir Shalatein | 23° 8′ 5″ | 22° 39′ 0″ | 35° 36′ 28″ | 36° 2′ 30″ |
| Bir Meneiga | 22° 47′ 8″ | 22° 41′ 30″ | 35° 12′ 20″ | 35° 2′ 30″ |
| Gebel Niqrub (El Foqani) | 22° 51′ 29″ | 22° 48′ 0″ | 34° 56′ 48″ | 34° 51′ 0″ |
| Gebel Um el Tiur (El Foqani) | 22° 17′ 54″ | 22° 18′ 30″ | 34° 41′ 1″ | 34° 32′ 0″ |
| Deiga (approx.) | 22° 10′ 0″ | 22° 9′ 0″ | 34° 1′ 0″ | 34° 3′ 0″ |
Careful observations were made of the variation of the compass at three stations, viz., Berenice Temple, Abu Saafa Springs, and near Halaib Fort,[80] these three points being selected as being well-known places and at the same time likely to be free from local magnetic disturbance. Berenice is on the coast-plain where only coral and sand occur; Abu Saafa is in a sandstone district about 100 kilometres south-west of Berenice, and Halaib is on the calcareous and gypseous rocks of the coast about 220 kilometres south-east of Abu Saafa.
[76]The instrument used was a five-inch theodolite fitted with a good trough compass. A lens was used to bring the needle accurately to zero, and the sun or a star was employed to find the true meridian. In each case several observations, each with an independent setting of the needle, were made, and the mean taken. The values obtained were:—
| Place. | Date and Time. | Compass-Variation West. |
|---|---|---|
| Berenice Temple | January 6, 1907, 5·30 p.m. | 2° 44′ |
| Abu Saafa Springs | October 25, 1907, 4 p.m. | 2° 37′ |
| Near Halaib Fort | May 7, 1908, 10 a.m. | 2° 18′ |
In order to find to what degree of accuracy the results of these determinations might be relied on, the instrument used was tested against the Kew magnetometer at the Khedivial Observatory, Helwân, after the completion of the work. Three observations for the declination at Helwân gave the westerly variation as
| 2° 41′·2 | |
| 2° 58′·8 | |
| 2° 55′·0 | |
| Mean | 2° 55′·0 |
while the true declination as given by the Kew magnetometer at the same time was 2° 52′ 5″. Thus it appears reasonable to believe the observed values to be within about 5′ of the truth.
It is rather curious to note that the declination observed at Abu Saafa is less than that at Berenice, which lies further east, even if allowance is made for the secular change in the interval. The difference from what one would expect is, however, possibly owing to errors of observation of the magnitude above-mentioned, or it may be due to a slight local influence of magnetic rocks underground at Abu Saafa, where the ground is near to the base of the Nubian sandstone beds, which rest presumably on eruptive and metamorphic rocks.
[77]It is interesting to compare the observations of declination at Berenice and Halaib with those recorded by Rossler[81] at the same places in 1895. Thus we have:—
| Berenice. | Mersa Halaib. | ||
|---|---|---|---|
| Rossler, Nov. 27, 1895 | 3° 54′ | Rossler, Nov. 18, 1895 | 3° 36′ |
| Ball, Jan. 6, 1907 | 2° 44′ | Ball, May 7, 1908 | 2° 18′ |
| Diff. in 11·1 years | 1° 10′ | Diff. in 12·5 years | 1° 18′ |
| Yearly decrease | 6′·3 | Yearly decrease | 6′·3 |
We thus arrive at a yearly secular diminution of declination of 6′ 3″, confirming the value arrived at by Mr. Keeling[82] for the rate of secular change in the Red Sea area from a comparison of other observations. It may be therefore concluded that the rate of 3′ per annum given in the “Admiralty Pilot”[83] is only about half the true value.
Travellers in the Eastern Desert should exercise care in the reliance they place on compass bearings. Bearings taken with a compass are generally normal in granite and sandstone country; but wherever dark igneous and metamorphic rocks abound, disturbances are likely to occur. Local deviations of 5° to 10° are quite common, and in some serpentine areas even 40° of disturbance may be observed. In some places, one can deflect the needle through a large angle by means of a fragment of the rock no larger than a nut, so rich are some of the basic rocks in magnetic minerals. Some lumps of rock even show strong polarity, attracting or repelling the north pole of the needle according as one part or another of the lump is presented to it.
[62]This measurement was made in conjunction with Messrs. Villiers Stuart, Charteris Stewart, and Clarke.
[63]The logarithms A′, B, and C are taken from Merriman’s Precise Surveying and Geodesy, 1899, 255. p.
[64]Chauvenet (Spherical and Practical Astronomy, Vol. I, p. 283) shows that when both latitude and time are required, the three stars should differ in azimuth by 120° to give the most accurate results. But when only the latitude is required the stars are best selected near to the meridian north and south of the zenith. This is evident by considering that if two stars could be observed to culminate at the same altitude on opposite sides of the zenith, the latitude would be precisely determined independently of any reference to time.
[65]I am indebted to Mr. B. H. Wade, of the Survey Department, for drawing my attention to this method.
[66]The signs of the coefficients follow from those of the trigonometrical functions; but it is useful to remember that the coefficient of dφ is + or − according as the star is north or south, while that of dT is + or − according as the star is east or west of the meridian.
[67]Chauvenet, Astronomy, Vol. I, p. 283.
[68]In this connexion it is interesting to note that as the general level of the country to the south of Gebel Um Heshenib is some 250 metres higher than that to the north of it, the plumb-line will be deflected to the south by local attraction, thus explaining why the observed latitude at that station exceeds by so much the value calculated from the triangulation. Berenice temple, on the other hand, is on a coast-plain remote from mountains, and the observed latitude agrees closely with the calculated one.
[69]The method of observation and reduction was that usually described in text books of field astronomy. See, for instance, Michie and Harlow’s Practical Astronomy, 1902, pp. 161-168, and the tables on pp. 198-201 of the same work.
[70]The Sudan Survey’s positions are all south-east of those which I obtained for the same points.
[71]For calculations of this type and for tacheometric and other reductions in the field, the Nessler “Universal” slide rule, which is specially designed for surveyors, was found to be a most valuable time-saver. See my paper in the Cairo Scientific Journal, “On the Use of the Slide-rule in Surveying,” Dec. 1907.
[72]A careful discussion which I have recently undertaken of the entire series of reciprocal observations made during the three seasons’ work shows that k varies according to the altitude of the lines and according as the lines pass over land or sea. I hope later to publish a separate account of this discussion, which has an important bearing on the vertical distribution of temperature in the air. But I may here state that for overland lines the formula k = 0·1503 + 0·0000164 (h − 830), where h is the mean altitude of the line in metres, gives a good agreement with the observations; while on oversea lines at altitudes above 100 metres k is always very near to 0·135. The errors in the resulting altitudes of intersected points due to the uniform employment of k = 0·13, are very trifling, and will seldom exceed one or two metres; for example, at a distance of thirty kilometres the substitution of k = 0·16 for k = 0·13 will only change the altitude by two metres.
[73]This number 1210 represents the significant figures of √106·84, 6·84 metres being the correction given by 1 − k2rd2 for a distance of ten kilometres.
[74]Berichte der Commission für Oceanographische Forschungen, Sechste Reihe, Wien, 1898, pp. 13, 14.
[75]In particular, the adoption of the above three longitudes as of equal accuracy with Suez will lead to a better longitude for Jidda. The longitude of Jidda is at present fixed only by chronometer transport from Suez, a distance of some 650 miles; but by regarding Halaib as a fixed point the distance of comparison can be reduced to 150 miles. The data for this revision of the longitude of Jidda already exist in the Reports of the “Pola” expedition, and the discussion is certainly worth undertaking before any future surveys are conducted in the central portion of the Red Sea.
[76]The disturbance of the needle was of course most frequent in the areas where dark igneous and metamorphic rocks prevailed; in these regions disturbances of 10° were very frequent, and in some cases, as for example on the serpentine deposits of Sikait, as much as 40° was noticed. In the sandstone areas no disturbances were marked.
[77]I have given a somewhat fuller account of this process in a little paper on “Long-distance Tacheometry.” Cairo Scientific Journal, Vol. IV, February 1910.
[78]Jordan, Handbuch der Vermessungskunde. Stuttgart, 1897. Bd. II, p. 522.
[79]A New Method of Coast Surveying, Survey Department Paper, No. 21. Cairo, 1911.
[80]The observations at Halaib were made at a point far enough from the fort to avoid any chance of disturbance by the iron rails which form part of the building.
[81]Berichte der Commission für Oceanographische Forschungen, Sechste Reihe. Wien, 1898. pp. 221, 223.
[82]Magnetic Observations in Egypt, 1895-1905, Survey Dept. Paper, No. 6. Cairo, 1907. p. 18.
[83]Red Sea and Gulf of Aden Pilot. 5th edition. 1900. p. 7.
THE WADIS DRAINING WESTWARDS TO THE NILE.
It has been already mentioned (p. 21) that all the drainage westward from the main watershed ultimately reaches the Nile by the three great trunk Wadis Shait, Kharit, and Alaqi. In the present chapter a detailed description will be given of those parts of these wadis and their tributaries which are known within the area under discussion. The following scheme shows the relations of the principal tributaries, important feeders of the tributaries themselves being indicated in (brackets):—
| Wadi Dweig. | |||
| Wadi Shait | Wadi Muelih (Wadi Gerf, Rod el Ligah, Wadi Sibrit). | ||
| Wadi Hamish. | |||
| Wadi Hilgit (Wadi Um Hasidok, Wadi Um el Tiur). | |||
| Wadi Egat. | |||
| Wadi el Anbat. | |||
| Wadi Abarun. | |||
| Wadi Um Daba. | |||
| Wadi Abu Argub. | |||
| Wadi Safihat. | |||
| Wadi Um Sellim. | |||
| Wadi Medsus. | |||
| Wadi Kharit | Wadi Abu Gurdi. | ||
| Wadi Elemikan (Rod el Geneina). | |||
| Wadi Abu Hashim. | |||
| Wadi Helie. | |||
| Wadi Abu Hamamid (Wadi Marasani, Wadi el Sheikh). | |||
| Rod el Kharuf (Wadi Abu Had). | |||
| Wadi Khashab (Wadi Metawit, Wadi Antar). | |||
| Wadi Garara (Wadi el Kreim, Wadi Timsah, Wadi Ghadrib, Wadi Abu Hashim, Wadi Abu Homur). | |||
| Wadi Natash. | |||
| Wadi Himeitra. | |||
| Miti Kwan (Wadi Duag, Wadi Kirir, Wadi Merau, Wadi Miaus). | |||
| Wadi Dageina. | |||
| Wadi Alfawi. | |||
| Wadi Egat (Wadi Hiteib). | |||
| Wadi Hateib (Wadi Suhin). | |||
| Wadi Alaqi | Wadi Guqub. | ||
| Wadi Um Teneideb. | |||
| Wadi Defeit (Wadi Sarid, Wadi Dauriai, Wadi Hamida, Wadi Bint el Feqoh, Wadi Anweiyib, Wadi Meladoyeb, Rod Hawanin, Wadi Bagharid). | |||
| Wadi Eleifat. | |||
| Wadi Seiga (Wadi Um Derera, Wadi Abu Had, Wadi Um Gholqa). |
[79]Most of the drainage-lines mentioned in the description will be found marked on the orographical map which forms Plate I; but the scale of that map is too small for all the minor feeders to be indicated with clearness.
Wadi Shait, an important main trunk wadi draining westwards to the Nile, originates at the west foot of Gebel Ras Shait, in lat. 24° 50′, long. 34° 31′, and joins the Nile Valley a little to the north of Kom Ombo. It has a total length of very nearly 200 kilometres, and an average fall of three metres per kilometre. The fall is much more rapid in the upper reaches than lower down; in the first fifty-five kilometres of its length, from the foot of Gebel Ras Shait to Bir Um Gubur, the fall is 340 metres, or an average gradient of six metres per kilometre, while from Bir Um Gubur, for the remaining 140 kilometres of its course, its fall is only 250 metres, or an average gradient of less than two metres per kilometre.
The head of Wadi Shait is formed by the union of a number of drainage channels from a kind of cul-de-sac formed by Gebels Migif, Ras Shait, and Mudergeg, where it is separated from the heads of Wadi Gerf and Wadi Hafafit by flat sandy divides. Passing in a south-westerly direction to the west of Gebel Migif and Gebel Dweig, it receives as a tributary Wadi Dweig (in which are the ruins of an ancient station) on the left. Taking thence a more westerly course it traverses more open country, and then narrows among hills north-west of the remarkable peak of Gebel Abu Khrug. At a bend further on is Bir Murra, a shallow well sunk in the alluvium of the wadi floor at the foot of a serpentine scarp; the water here (as the name of the well indicates) is very bitter, and is generally drunk only by camels. After passing Bir Murra, the wadi turns south-west, then curves again near Bir Um Gubur, about three kilometres south-east of Gebel Sufra, and about twelve kilometres below Bir Murra. Bir Um Gubur is a shaft about two and a half metres diameter, sunk about eight metres deep in the alluvium of the wadi; it was yielding good supplies of excellent water in 1906. About ten kilometres below Bir Um Gubur, Wadi Hamish joins Wadi Shait from the north-east. In the remainder of the course of Wadi Shait to the Nile, the principal water source is Bir Heliwat,[84] about ten kilometres below the[80] point of influx of Wadi Hamish, and the chief tributary wadis are Muelih, Beza, and Midrik, all of which join it from the north-east.
The upper portions of Wadi Shait contain a fair abundance of trees and scrub, but the lower parts are sandy arid wastes.
Wadi Muelih originates in the mountain called Gebel Iteima, in lat. 25° 8′. For about sixteen kilometres its course lies ill-defined over a sandy plain with scattered low hills, to Erf el Fahid, a remarkable east and west quartz ridge nearly two kilometres long rising among crushed diorites and schists to a height of 579 metres above sea, or ninety-five metres above the wadi, in lat. 25° 0′. After passing Erf el Fahid, the course of the wadi changes to south-west, and gradually becomes more enclosed by low hills. The first hills passed on the right are high ridges formed by great quartz veins striking south-west, at the foot of which the wadi forms a plain nearly a kilometre broad, with low hills and mounds of dark gneisses and schists on the left. At ten kilometres below Erf el Fahid, on the left of the wadi, is a horse-shoe shaped hill of aplite called Marwot Rod el Ligaia, to the north and south of which are other hills penetrated by networks of quartz veins. Two kilometres further on, a band of diorite gneiss cuts across the wadi, which then commences to narrow in among hills of crushed diorites, grey gneisses, and schists, with many dykes of porphyrite and felsite. These hills become progressively higher as one descends, and near the meridian of 34° the wadi curves round the foot of Gebel Muelih, a great bare white granite boss rising through darker rocks to a height of 330 metres above the wadi, or 707 metres above sea. Just after passing Gebel Muelih the wadi, which has here a width of only some 200 metres, turns south-west again. At this turn, nearly in the centre of the wadi floor, is Bir Muelih, an excavation about six metres deep in the alluvium, yielding very salt water drinkable only by camels. North-east of the well a track strikes over the hills towards Dungash mine. From Bir Muelih the wadi continues in a roughly south-west direction past Bir Samut (well about one kilometre north of Wadi Muelih) and then takes a more southerly course draining into Wadi Shait in longitude 33° 46′.
The wadi floor falls from a level of 484 metres near Erf el Fahid to 375 metres at Bir Muelih, the length of the wadi between the two places being about twenty-seven kilometres; this gives an average fall of about four metres per kilometre; the actual gradient varies from[81] about two metres per kilometre in the broader portions to over six metres per kilometre in the more enclosed parts of the wadi.
The upper parts of Wadi Muelih are barren and sandy, but the lower portions contain a fair amount of vegetation. The principal feeders of Wadi Muelih are Wadi Gerf, which enters by several openings on the left above Gebel Muelih, Wadi Samut, entering on the right in long. 33° 54′, and Wadi Sibrit, entering on the left in long. 33° 50′.
Wadi Gerf is the collective name given to a number of rather complicated drainage channels forming tributaries to Wadi Muelih. The principal heads are to the east and west of Gebel Nugrus. The eastern head is called Wadi Hangalia; it commences at about an altitude of 811 metres due east of the highest point of Gebel Nugrus, at a difficult pass leading over the main watershed to Wadi el Nom, and curves round the north spurs of Gebel Nugrus to join the western head. In the Wadi Hangalia are some old ruins of a mining camp, and also some recent prospecting workings and a well giving a poor supply of water. The Western head of Wadi Gerf commences in nearly level ground on the main divide west of Gebel Nugrus, at an altitude of 691 metres. These two main heads unite close to the east of Gebel Ras Shait, whence Wadi Gerf courses about north-west through low hills. A third head is in lat. 24° 52′, at a pass leading into Wadi Um Khariga. A fourth, called Rod el Atut, takes the drainage from all sides of the conspicuous black cone of Gebel Atut. A fifth, called Rod Um el Farag, drains from the mass of moderately high hills further west called Um el Huetat; these hills contain some old mines, chiefly in talc schists. The drainages from these various heads all eventually take a west-south-west course among low hills and over a sandy plain and enter Wadi Muelih by several openings near longitude 34°. Minor tributaries are Wadi Abu Seyal and Wadi Um Seyal, south-east of Gebel Atut, Rod el Ligaia, in longitude 34° 10′; and Rod el Ligah, in latitude 24° 50′.
The principal hills of the plain over which Wadi Gerf and its tributaries run their course are some very remarkable small black peaks collectively called Khusa el Faraon, a light coloured hill called Marwot Rod el Ligah, and a ridge called Erf el Sagur; these two last rise to 514 and 523 metres above sea-level respectively.
[82]Wadi Gerf possesses a fair amount of vegetation, except where it meanders over the sandy plains; in the tributaries Wadi Um Seyal and Wadi Abu Seyal acacia trees are specially numerous.
Wadi Sibrit is a long narrow wadi following a course somewhat south of west, originating to the west of Gebel Mudergeg and joining Wadi Muelih in longitude 33° 50′. It possesses many trees and a good well, Bir Sibrit. This latter is an excavation in the wadi floor, in longitude 33° 58′; it is said to yield a constant supply. In the spring of 1906 I found the water was at a depth of eight metres below the surface, and of good quality.
Wadi Kharit, one of the greatest trunk wadis of Egypt, has its principal head at Gebel Ras el Kharit, on the main watershed in latitude 14° 10′ and longitude 35°. Pursuing a course the prevailing direction of which is a little north of west, and collecting the drainage from numerous great wadis on its way, it debouches on the Kom Ombo plain and reaches the Nile at the same point as another great wadi, Shait, in latitude 24° 35′. The length of the main channel is over 260 kilometres, and of its tributaries probably more than twenty times as great. It drains an area of more than 23,000 square kilometres. Its average fall is about two metres per kilometre, but in its lower reaches its gradient is less than half this amount.
The principal tributaries of Wadi Kharit, which will be separately described, are the Wadis Natash, Antar, Khashab, Abu Hamamid, Elemikan, and Garara (this last with Wadis Timsah and Ghadrib as great feeders). I now propose to trace out the course of the main wadi in some detail, leaving its greater tributaries for separate description, but including its minor feeders.
The main head of Wadi Kharit is on the Nile-Red Sea divide, between Gebel Ras el Kharit and Gebel Mikbi, at an altitude of considerably more than 600 metres above the sea. The wadi at first courses a little south of west, over a gently falling sandy plain with hills of bouldery granite, and curves round the south spurs of Gebel el Anbat.[85] Here it receives two tributaries, one from the north-west called Wadi Hilgit, and one from the south-east called Wadi Egat.[86]
[83]Wadi Hilgit originates on the main watershed in longitude 34° 52′, near Gebel Um Usher. A very steep and difficult pass over the watershed separates its head from that of another Wadi Hilgit draining northward to Wadi Huluz. The two wadis are called Wadi Hilgit lil Kharit and Wadi Hilgit lil Huluz respectively when it is necessary to distinguish them. On its course southward to Kharit, Wadi Hilgit receives as tributaries Wadi Um Hasidok and Wadi Um el Tiur, draining the mountains of the same names.
Wadi Egat drains part of the west slopes of Gebel Abu Gurdi and the south part of Gebel Egat, for the first half of its course being shut in by high hills and for the latter half passing over a gently falling plain.
After passing Gebel el Anbat, Wadi Kharit continues its course a little south of west, in broad shallow drainage channels over a great sandy plain. In this part of its course it receives many important feeders from the mountain masses which limit the plain to the north. The principal of these feeders are the Wadis Anbat, Abarun, Um Daba, Abu Argub, Safihat, Um Sellim, and Medsus. Near where Wadi Medsus enters, Wadi Kharit takes a more southerly course, passing north of a mass of low dark hills called Gebel Geneina, and here it receives Wadi Abu Gurdi, draining the west slopes of the mountain of the same name, the ill-defined Wadi Elemikan (see p. 84), draining the extensive plain south of Gebel Abu Gurdi, and the Rod el Geneina, draining from the hills of Geneina. A little further on, curving to the north-west, it receives Wadi Abu Hashim and Wadi Abu Selili, which drain the south flanks of Gebel Kahfa.
The next feeder is the Wadi Helie, which drains the west slopes of Gebel Kahfa and enters Kharit from the north-east; a well, Bir Helie, exists in this wadi about eight kilometres above its junction with Kharit. The well appears to be of the same character as Bir Abu Hamamid; it was yielding plenty of good water in the spring of 1906, but in the autumn of the same year the supply was said to be smaller and rather salty.
About ten kilometres below the point of influx of Wadi Helie, Wadi Kharit receives Wadi Abu Hamamid (see p. 85), coming from the north-east, and some fourteen kilometres further on another tributary, the Rod el Kharuf, enters from the opposite side conveying the drainage from the north-west flanks of Gebel Zergat Naam.
[84]In the remaining portion of its course to the Nile, Wadi Kharit receives numerous other tributaries, of which the principal are Wadi Khashab and Wadi Antar on the north, and the Wadi Garara on the south (see pp. 86 and 87).
On the whole, Wadi Kharit is poor in vegetation; trees are fairly abundant in the central portion of its course, but both near its head and near the river it is very barren. In consequence of its sandy and arid character near the Nile, it is not usual for caravans to journey along the wadi from its mouth; Arabs from Daraw usually go up the tortuous and sandy Wadi Allawi, and thence enter Kharit either by the Rod Abu Modellim or by a track among hills which leads eastward to Bir Qoleib. Bir Qoleib is a good well in a small tributary of Wadi Kharit, about seventy kilometres by road from the Daraw. From Bir Qoleib to the wells of Abu Hamamid and Helie the westward journey is about 110 kilometres, while from Bir Qoleib to the well of Abu Hashim, south-east (on the road to Abu Saafa), is a distance of about seventy-five kilometres.
Wadi Elemikan is the name given to an ill-defined system of drainage channels meandering over the plain south of Gebel Abu Gurdi. It originates on the main watershed, and at its head there is a very easy pass over into the Wadi Lahami, which descends to the sea. At this point, which is 590 metres above the sea, the watershed is ill-defined, being a sandy plain; but while to the west the plain continues with only a slight fall, to the east it soon gives place to rugged country through which narrow wadis descend rapidly towards the sea coast. The plain west of the watershed is remarkable for the presence of three great bosses of quartz, the largest of which, called Marwot Elemikan, rises as a conspicuous cone of dazzling whiteness to a height of sixty-eight metres above the plain. Besides the drainage from the plain itself, Wadi Elemikan receives feeders from the hills which flank Gebel Abu Gurdi to the south, and also a portion of the drainage from the Wadi Abu Gurdi, which divides into two channels on emerging from the mountains. Passing between the granite hills of Gebel Abu Derega and Gebel Selaia, Wadi Elemikan courses a little north of westward over a great sandy plain to join the Wadi Kharit north of Gebel Geneina in longitude 34° 36′. It is a barren wadi, but water can sometimes be obtained a little north of it at a small spring called Megal el Selaia, at the foot of a low hill one kilometre south-east of the great[85] rounded granite boss of Gebel Selaia. I obtained a small supply of very good water here early in 1906, but the spring is a very slow one and is said to fail altogether in dry seasons.
Wadi Abu Hamamid, an important tributary of Wadi Kharit, originates as a series of gullies in the mountains of Gebel Abu Hamamid, on the west face of the main watershed, in longitude 34° 48′. It courses, among high hills a little north of west to longitude 34° 41′, then turns south-west and enters the plain which extends to the west of Bir Shadli. Here it receives part of the drainage from Wadi el Sheikh, and turns westward among lower hills, passing north of the red hills called El Hamra, to Bir Abu Hamamid, and then turning south-west between El Hamra and Hamrat Mukbud to join Kharit in longitude 34° 23′.
Bir Abu Hamamid is an important well; it is a rude irregular excavation, about six metres deep, in the wadi floor, down which men can walk to fill their water skins. This well was yielding more plentiful supplies in the autumn of 1906 than any of the other wells in the neighbourhood; the water was rather salty and muddy, but quite drinkable.
From near Bir Abu Hamamid, a track leads north-westward over the hills to Bir Khashab and on to Bir Masur. To reach Bir Shadli, one follows up the Wadi Abu Hamamid till it opens on to a plain, and then strikes almost due eastward across the plain.
A small tributary which joins Wadi Abu Hamamid from the north-east, in longitude 34° 41′, called Wadi Marasani, is important as leading to a pass over the main watershed into Wadi Marasan, a tributary of Wadi Huluz. The altitude of the pass is 685 metres above sea; it is quite practicable for baggage camels.
Wadi el Sheikh, the only great tributary of Wadi Abu Hamamid, originates in longitude 34° 40′, in the hilly tract west of Gebel Abu Hamamid. In the upper part of its course, it is a narrow winding wadi, mostly shut in by high hills, pursuing mainly a direction a little west of south, fed by numerous lateral wadis entering from among the hills to the east, of which the principal are the Wadis Um Somra, Krioni, Um Nasir, Um Hereini, Um Sereiha, Um Deheisi, Um Retba, and Um Hargal. Near the point where Wadi Um Deheisi joins it, the Wadi el Sheikh emerges from the hill country and meanders over a plain. At its entry on to the plain is the tomb and well of Sheikh[86] Shadli, views of which are given on Plate V. The tomb, from which the wadi derives its name, is a white domed structure, tended by a Moorish guardian. The Ababda Arabs hold the memory of Sheikh Shadli in high veneration, and make yearly pilgrimages to his tomb. The well, Bir Shadli, close to the tomb, is a shallow excavation in the stony alluvium of the wadi floor. Here there is a perennial supply of water, which, however, varies much in quality and quantity; after rain, there forms a large pool of good water, the surface being maintained almost level with the ground by underground influx; while when there has been no rain for a year or more the water is only found by digging to several metres depth, and then only infiltrates slowly at the bottom of the hole, the quality simultaneously falls off and the water acquires a saline and purgative character.
After passing Bir Shadli and entering on the plain, Wadi el Sheikh splits up into numerous channels, one of which joins the Wadi Abu Hamamid, while the others continue in a south-westerly direction, fed by the Wadis Um Retba and Um Hargal, draining from the north flanks of Gebel Kahfa. Uniting together as they leave the plain to re-form a single Wadi el Sheikh, these drainages turn westward among the hills to join the Wadi Abu Hamamid.
Bir Shadli is one of the best-known centres of the Ababda Arabs. Though there is no permanent settlement, it is seldom that many days elapse without Arabs coming to the place to water their animals, which graze in the adjoining wadis. Many roads converge here. To the west, a track leads to Bir Abu Hamamid. To the north-east, a track leads up the Wadi Sheikh, across Wadi Abu Hamamid, and by an easy pass near Gebel Marasan over the main watershed into Wadi Huluz. To the south-east there are several alternative routes by which one can journey over easy passes north of Gebel Kahfa on to the plain of Selaia and down the Wadi Lahami to Berenice. Yet another road leads a little west of south across the Wadi Um Hargal, and by an easy pass into Wadi Helie, a small tributary of Wadi Kharit which drains the west side of Gebel Kahfa, and in which there is a well of similar character to that of Abu Hamamid.
Wadi Khashab commences its course near Gebel el Heda, a little east of longitude 34° 30′, and continues in a generally south-west direction to the latitude of Gebel Hamrat Mukbud. Here it takes a westerly course, passing south of Gebel Homr Akarim and entering[87] Wadi Kharit from the north in about longitude 33° 49′. Wadi Khashab receives its name from its relatively well-wooded character; in its upper parts it presents the appearance of a broad valley, in which trees are so numerous as to give a very pleasing contrast to the dreary wastes on either side of it. Bir Khashab is a series of pits sunk in the wadi floor in about longitude 34° 23′, which were yielding small supplies of water in 1906.
The principal feeders of Wadi Khashab are Wadi Metawit and Wadi Antar. Wadi Metawit is a short valley originating near Gebel Metawit, and joining Wadi Khashab a short distance above Bir Khashab. It possesses an important well, Bir Metawit, excavated about eight metres deep in the centre of the wadi floor, about three kilometres north-north-west of the summit of Gebel Metawit, on a road leading south-east from Bir Masur to Bir Shadli. This well, near which are some large acacia trees, was yielding a plentiful supply of excellent water in the spring of 1906.
Wadi Antar originates near the hills of Nukheira and El Heda, and courses westward as a very wide shallow sandy depression south of Gebel Um Goraf. At the foot of Gebel Derera it turns southward, receiving the tributary Wadi el Anz from the left a little further on; it turns again westward and then north-west to near Gebel Muktil, beyond which it courses south-west and joins Wadi Khashab in longitude 33° 55′, a short distance only above the point where that wadi enters Kharit.
Wadi el Garara, the great southern tributary of Wadi Kharit, heads on the main watershed east of Gebel Um Harba. Pursuing at first a north-westerly course over a sandy plain, it emerges between two high sandstone hills ten kilometres north of Gebel Um Harba, and turns somewhat more to the west, receiving the Wadi el Kreim, which drains the south-east flanks of Gebel Zergat Naam. A little further on it receives an unnamed tributary which courses north-westward from Gebel Um Harba as a great valley nearly full of blown sand. Still further on its course it is fed by another unnamed tributary which, coming from the main watershed in latitude 23° 30′, courses over a wide sandy plain north-westwards. This latter tributary is very barren, but is of some importance as forming a very easy though sandy road over the main watershed to the Wadi Arned (which leads to the springs of Abu Saafa) and as passing, about five kilometres before[88] reaching the pass, a well known water-hole called Galt el Aguz. This galt is a huge sandstone basin in the hills on the east side of the road, fairly easy of access. After rain it holds an immense supply of water, but owing to the porous nature of the sandstone it becomes dry in a few months of drought; rude Greek inscriptions on the rocks, mixed with spirited drawings of animals, show that this source of water supply was known and used in Ptolemaic days. Besides the drainage from the pass, the tributary first mentioned takes that from the sandstone hills of Um Khafur situated further east.
A little lower down, Wadi Garara receives feeders from the north-east, draining the hills round Gebel Nikeiba and Gebel Felieiti, and then the long Wadi Timsah coming from the south.
Wadi Timsah heads among high granite hills a little north of latitude 23°, and courses in a nearly northerly direction for nearly ninety kilometres to join Wadi Garara. The prevailing character of Wadi Timsah itself is sandy and dreary, but its feeders from the eastern hills are richer in vegetation, and in years when there is rain they furnish in their upper portions good grazing ground for Arab camels. The principal of these feeders, enumerating from the south northwards, are the Wadis Um el Rid, Awamtib (with Wadi Um Marakh), Shabakhit, and Dagalai. All these drain the western parts of the high sandstone hills called by the same names. Water can be got from galts here after rain. Near the head of Wadi Um el Rid, there is a very easy pass over the main watershed into Wadi el Dreb, which leads to the well of Um Reit.
Of the Wadi Ghadrib, which heads near the hills of Gebel Abu Rahia and Gebel Um Rewat, in latitude 23°, and follows a course roughly parallel to, but a few kilometres west of that of Wadi Timsah, not very much is known. Its prevailing character is sandy and arid.
The small tributary called Wadi Abu Hashim, which enters Wadi Garara from the south in about longitude 34° 5′, is important as containing the important wells known as Bir Abu Hashim. The wells are excavations in the alluvium of the wadi floor, and furnish good water at a depth of about eight metres. A beacon has been erected on a high hill to the west of the wells and overlooking them, the position of which is latitude 23° 41′ 44″ N., longitude 34° 3′ 33″ E., altitude 386 metres above sea and sixty-six metres above the wells. The principal roads from Bir Abu Hashim are, to Aswân (first water at Um Hibal,[89] nearly one hundred kilometres distant), to Daraw (first water at Bir Qoleib, seventy-five kilometres distant), and to Abu Saafa Springs (a journey of about one hundred kilometres with possibly water en route at the Galt el Aguz, sixty kilometres from Abu Hashim).
Wadi Natash commences among the low hills forming the Nile — Red Sea watershed between Gebel Migif and Gebel Abu Had. It pursues a course roughly parallel with that of Wadi Shait, at first over a sandy plain from which rise the two conspicuous cones called El Nahud (the breasts), and afterwards narrowing in among hills. Pursuing a somewhat devious course in a direction generally a little south of west, Wadi Natash passes south of Gebel Nugra (in longitude 33° 40′) and enters on the great plain called Atmur Nugra, where it joins the Wadi Kharit and drains to the Nile near Kom Ombo.
There is, I believe, no water source in Wadi Natash itself, but Bir Masur is situated in a branch wadi only a few kilometres north of it in longitude 34°. At Bir Masur there are numerous pits sunk in the alluvium of the wadi, in one or more of which good water can generally be found at a depth of about ten metres; but the supply cannot always be relied on, for although I obtained plenty of water in March 1906, I found there was only a very small quantity available in October of the same year.
Wadi Alaqi, the greatest of all the Egyptian wadis draining westwards to the Nile, has its head on the main watershed near Gebel Is, close to the 22nd parallel in longitude 35° 27′. Its main channel, over 350 kilometres in length, pursues a general westerly course, winding at first, past the old mining centres of Darahib and Alfawi, towards Gebel Muqsim, on the 34th meridian, and then, curving round to the north of that mountain, it turns to the north-west, past the gold mines of Um Gariart, and enters the Nile Valley opposite the large village of Dakka, in latitude 23° 8′. The area of its basin is unknown, much of it being unexplored, but it probably comprises no less than four square degrees of the earth’s surface, or 44,000 square kilometres. Its heads and upper tributaries lie among high mountainous tracts partly in Egypt and partly in the Sudan, and occasionally the rainfall in these southern parts of the eastern desert is sufficient to convert the usually dry wadi into a temporary stream for a part or all of its length. That it may on the rare occasions of sufficient[90] rainfall discharge no inconsiderable quantity of water into the Nile is proved by Linant’s experience about 1830, when he records that the torrent from the Wadi Alaqi into the Nile was so great as to prevent his dahabîa sailing up the river past the point of influx, even with a good wind and all sails set.[87] A great flow of water down the Wadi Alaqi also occurred in the autumn of 1902 as a consequence of heavy rains in the mountainous country east of the meridian 34° 30′. This torrent was observed by Mr. John F. Wells, who was then manager of the Um Gariart mine. In the early morning news was brought to the mine that great waters were coming down the wadi. Except for a slight rainfall at the heads of the Wadis Qoleib and Haimur, the drainage of which did not appreciably swell the flood of the main wadi, there had been no rain within one hundred kilometres of the mine, and when the alarm was given, at 6.30 a.m., only a small trickling of water down the wadi was visible, and the news was thought to be an exaggeration. But an hour later the whole wadi was a raging torrent, and by nine o’clock there was a mighty stream, over 300 metres wide and from one to two and a half metres deep, rushing past the mine. The flow continued for about two and a half days. On this occasion the stream, in spite of its magnitude at Um Gariart, did not reach the Nile; after flowing for some seventy kilometres past the mines, it entered a wide depression at Hagab Kara, some forty kilometres from the mouth of the wadi, where it formed a great pool and sank into the sand. Mr. Wells informs me that the water did not penetrate the sandy and gravelly floor of the wadi to the bed rock (the thickness of the sandy and gravelly layer at Um Gariart is fourteen metres) till three months later, and then the rock, though damp, did not absorb enough water to yield any supply to wells sunk in it. The local Arabs stated that these downrushes of water, which they term “seil,” occur on an average at about ten-year intervals; the last one occurred seven years before that of 1902.
The part of the basin of Wadi Alaqi falling within the limits of the district described in this volume includes the whole country west of the main watershed between the parallels of 22° and 23°. This area is drained by numerous tributaries of Alaqi, all entering the main wadi from its north side. The following is a brief description of these tributaries, commencing with the uppermost (easternmost) of them.
[91]Wadi Himeitra is a small wadi draining the south face of Gebel Himeitra. It contains a well, Bir Himeitra, at the foot of the mountain, which is said to yield constant supplies of water. Below the well, Wadi Himeitra continues for about ten kilometres in a south-westerly direction, joining the Wadi Alaqi about seven kilometres above the ruins of Darahib.
The Miti Kwan, the next tributary of Alaqi, has its heads in the north flanks of Gebel Himeitra. Near its head it receives as feeders from the north-east the Wadis Kirir and Duag, draining mountains of the same name which form part of the Adar Qaqa range. About fourteen kilometres further down its course, the Miti Kwan receives the Wadi Merau, which drains the hills of the main watershed round Eir Arib. Below the point of influx of Merau, the Miti Kwan pursues a very winding course among the hills for some eleven kilometres, then receives from the north the Wadi Miaus, a small wadi with many branches among the hills and containing a well, Bir Miaus, about seven kilometres up from its mouth. After receiving Wadi Miaus, the Miti Kwan continues a winding course for about nine kilometres and enters the Wadi Alaqi on the 22nd parallel, about fifteen kilometres below the ruins of Darahib. A well-known road, connecting the Wadi Alaqi with the Abu Hodeid and Meisah wells, leads up the Miti Kwan for a distance of some twenty-three kilometres, and then passes northwards over a stony plain, crossing the watershed into the head of Wadi Hasium, in which is Bir Kagog.
Wadi Dageina is a small many-branched tributary of Alaqi, draining the hills east of Gebel Egat.
Wadi Alfawi, which enters Wadi Alaqi a little lower down its course, is likewise a small wadi draining the hilly tract east of Gebel Egat; there are some old mines on its western side close to its junction with Wadi Alaqi.
Wadi Egat, the next important tributary of Alaqi, drains by very numerous branches the remarkable peak of Gebel Egat and the south faces of Gebel Heleikonti. It contains a well, Bir Egat, situated east-south-east of the peak, about twenty-six kilometres up from its junction with Alaqi, and there are extensive remains of old mining operations to be seen in the same neighbourhood. Passing east and south of Gebel Egat, the wadi emerges from the mountains, coursing almost due west; and after receiving various feeders, the principal of[92] which is Wadi Hiteib, from the mountains to the north, it enters Wadi Alaqi in longitude 34° 40′, about twenty kilometres west of Gebel Egat.
Wadi Hateib,[88] which enters Wadi Alaqi about twenty kilometres below Wadi Egat, has its heads in the south faces of Gebel Um el Tiur el Foqani and the north flanks of Gebel el Hateib or Suhin. Coursing generally south-westward, it receives small feeders on the west from Gebels Adraq and Guqub. About four kilometres above where it enters Wadi Alaqi, Wadi Hateib is joined from the east by Wadi Suhin, the heads of which drain the south faces of Gebel Hateib or Suhin.
Wadi Guqub, a very small wadi which enters Alaqi six kilometres lower down than Hateib, drains the hilly tract which here lies to the north of Alaqi; it contains an important well, Bir Guqub, which yields good water though in varying quantity. A road leads from Wadi Alaqi up the Wadi Guqub past the well and on to Aswân, via El Haimur.
Wadi Um Teneideb drains the western faces of Gebels el Adraq and Guqub, and joins Wadi Alaqi in longitude 34° 11′, about thirty-three kilometres below Wadi Gugub. It has two main branches, which unite about ten kilometres above the point of junction with Wadi Alaqi. The old mines of Betam are situated near the northern of the two branches, about seven kilometres west of Gebel el Adraq, on the road just mentioned as leading from Wadi Alaqi to Aswân.
Wadi Defeit, which is probably the most important Egyptian tributary of Wadi Alaqi, has its heads in Gebels Heleikontî and Heianai, about the meridian of 35°. Its general course is that of a flat circular arc convex to the north and having its chord east and west; the total length of its main channel, from its head in Gebel Heleikontî to its junction with Wadi Alaqi in longitude 34° 10′, is over one hundred kilometres, while its numerous tributaries probably reach a total length three times as great. The principal head of Wadi Defeit is called Wadi Sarid; its branches extend among the hills close to the heads of Wadi Egat and Wadi Miaus. The name Defeit is applied to the wadi[93] where Wadi Sarid is joined by the feeders from Gebel Heleikontî. Passing between the high ranges of Heianai on the north, and Heleikontî and Shanaiyet on the south, Wadi Defeit receives numerous feeders, of which the principal are the Wadis Dauriai and Hamidâ, both entering it from the mountain to the south; continuing westwards, it cuts through the north end of the mass of Gebel Um el Tiur el Foqani, and on emergence is joined by the Wadi Bint el Feqoh, a great westward-coursing tributary draining the north flanks of the Heianai range and the more northerly mountain of Anweyib. Continuing its westward course, Wadi Defeit passes between Gebels Um el Tiur el Tahtani and Adraq; then it enters on an extensive tract of more open country, receiving three main feeders, Wadi Meladoyeb, Rod Hauanin, and Wadi Bagharid, from the hills to the north, before joining Wadi Alaqi.
Wadi Seiga, the next great northern tributary of Wadi Alaqi, has only been partially explored. Its head is in the watershed range near the conspicuous twin peaks of Gebel Sheyenit. Pursuing at first a southerly course, it cuts through the east side of the mass of Gebel Seiga; and about thirty kilometres lower down passes through hills with old gold mines on either hand. Below the mines, Wadi Seiga takes a south-westerly course, and receives a large tributary from either side. That from the west, called Wadi Deheis, heads in Gebel Deheis and curves round east of Gebel Abu Brush, receiving in its course two great feeders, the Wadis Um Gholqa and Abu Had, both of which head far to the north in the main watershed. The eastern tributary, called Wadi Um Derera, drains the south part of the hill-mass in which the Seiga mines are situated. Wadi Seiga joins Wadi Alaqi in longitude 33° 53′, some forty-five kilometres below the mines; the junction is outside the limits of the maps in this volume.
[84]Dry in 1906.
[85]To be distinguished from another mountain of the same name further south, near the Wadi Hodein.
[86]To be distinguished from the better known Wadi Egat much further south, a feeder of Wadi Alaqi.
[87]“L’Etbaye.” p. 1.
[88]Mr. Campbell’s map names this Wadi Hadaiber. My guides, however, gave the name Gebel Hateib to the mountain which is drained by the wadi, and I have ventured to alter the name on this ground. Mr. Campbell’s map names the mountain Gebel Suhin; it probably has two names, as is quite usual in desert nomenclature, because its two sides are drained by different wadis. There is a Wadi Hiteib draining from the south-eastern part of the same hill-mass into Wadi Egat.
THE WADIS DRAINING EASTWARDS TO THE SEA.
The eastward drainage differs strikingly from the westward in being much steeper and more complex, due to the greater proximity of the mountains to the sea than to the Nile. While all the westward drainages form parts of but three great basins, there are on the seaward side no less than forty-seven distinct drainage basins, each having a separate outlet to sea (see Plate II). Only two of the eastern basins, Hodein and Di-it, are comparable in size with the great basins of the west, the remainder being relatively small.
The following list gives the names in order, from north to south, of the main wadis draining to the sea, with their tributaries so far as they fall within the area treated of in this volume, the principal feeders of the tributaries being indicated in parentheses. It may be remarked that the minor feeders and tributaries are frequently of greater importance to the Arabs than the main channels, owing to their containing vegetation in greater abundance.
| Wadi Dabur. | |||
| Wadi Igli. | |||
| Wadi Um Khariga. | |||
| Wadi Sukari. | |||
| Wadi Um Tundeba. | |||
| Wadi Amba-ut. | |||
| Wadi Ghuel. | |||
| Wadi Fegas. | |||
| Wadi Ma-ud. | |||
| Wadi Ghadir | Wadi Sabahia. | ||
| Wadi Zabara (Wadi Atabi, Wadi Um Abid, Wadi Um Dafiri). | |||
| Wadi Allawi (Wadi Lewewi). | |||
| Wadi Um Gamil. | |||
| [95]Wadi Huluz (Wadi Abiad lil Huluz, Wadi Mahali, Wadi Tarfawi, Wadi Hilgit lil Huluz, Wadi Um Semiuki, Wadi Um Hegiligi lil Huluz, Wadi Marasan, Wadi Um Suerab lil Huluz, Wadi Abu Gerifat, Wadi Um Iteili, Wadi Ga-etri, Wadi Abu Etl). | |||
| Wadi Um Suerab lil Gemal. | |||
| Wadi Durunkat. | |||
| Wadi Gemal | Wadi Hafafit (Wadi Abu Had, Wadi Hefeifit). | ||
| Wadi Nugrus (Wadai el Nom, Wadi Abu Rusheid, Wadi Abu Sada, Wadi Sikait). | |||
| Wadi Mukhatatat. | |||
| Wadi Um Sueh. | |||
| Wadi Um Heran. | |||
| Wadi Nasbia. | |||
| Wadi Abiad (Wadi Um Seyal). | |||
| Wadi Um Kabu. | |||
| Wadi Um el Abbas | Wadai el Anz. | ||
| Wadi Abu Ghusun | Wadi Romit (Wadi Shoab, Wadi Abu Hegilig, Wadi Hefeiri). | ||
| Wadi el Ranga. | |||
| Wadi Hamata. | |||
| Wadi Haratreit. | |||
| Wadi Khashir. | |||
| Wadi Mikbi. | |||
| Wadi Um Karaba. | |||
| Wadi Eidab. | |||
| Wadi Um Gunud. | |||
| Wadi Um Rishan. | |||
| Wadi Lahami | Wadi Um Homar. | ||
| Wadi Sefent. | |||
| Wadi Um Khuzama. | |||
| Wadi Um Ghobasha. | |||
| Wadi Gumudlum. | |||
| Wadi Abu Marwa lil Lahami. | |||
| Wadi Mukhit | Wadi Naait (Wadi Um Sumur, Wadi Abu Marwa lil Naait, Wadi Abu Ghalqa). | ||
| Wadi Abu Daba (Wadi Murra). | |||
| Wadi Abu Dibban. | |||
| Wadi Mindeit | Wadi Um Sellim lil Mindeit. | ||
| Wadi Um Maiat. | |||
| Wadi Kalalat | Wadi Dibag lil Batoga. | ||
| Wadi Um Sellim. | |||
| Wadi Um Goran. | |||
| Wadi Kunserob | Wadi Dibag lil Kunserob. | ||
| Wadi Abu Beriga. | |||
| [96]Wadi Abu Debebi lil Khoda. | |||
| Wadi Salib el Abiad. | |||
| Wadi Salib el Azraq (Wadi Um Karaba). | |||
| Wadi Allawi. | |||
| Wadi Um Tawil lil Khoda. | |||
| Wadi Hindia. | |||
| Wadi Um Akra. | |||
| Wadi Khoda | Wadi Shut (Wadi Abu Hugban, Wadi Tawil lil Shut). | ||
| Wadi Um Gubur. | |||
| Wadi Shib. | |||
| Wadi Um Seyal lil Khoda. | |||
| Wadi Gumudlum. | |||
| Wadi Bulluk. | |||
| Wadi Um Lassaf. | |||
| Wadi Shenshef. | |||
| Wadi Um Etli. | |||
| Wadi Sorubiab | Wadi Bint el Kurdum. | ||
| Wadi Titai. | |||
| Wadi Abu Nikheil. | |||
| Wadi Abu Reye. | |||
| Wadi Um Buerat. | |||
| Wadi Rahaba | Wadi Abiad (Rod Elbel, Wadi Abu Ribian). | ||
| Wadi Megah. | |||
| Wadi Hutit. | |||
| Wadi Dagalai lil Rahaba. | |||
| Wadi Abu Had. | |||
| Wadi Marafai. | |||
| Wadi Arned (Wadi Muegil, Wadi Um Arta). | |||
| Wadi Saalek. | |||
| Wadi Um Reit (Wadi Dreb, Wadi Malhat). | |||
| Talet Um Danaqa. | |||
| Talet Um Sideiri. | |||
| Wadi Gihab (Wadi Gihab Abu Derb). | |||
| Wadi Maghal. | |||
| Wadi Naam (Wadi Fil, Wadi Abu Seyal, Wadi Um Bisilla, Wadi Erf Um Araka, Wadi Arais, Wadi Silsila, Wadi Abraq, Wadi Betan). | |||
| Wadi Dif (Wadi Feqoh, Talet Um Karaba, Wadi Enqireidia, Wadi Gelabat Shabai). | |||
| Wadi Hodein | Wadi Orga el Atshani. | ||
| Wadi Orga el Rayani. | |||
| Wadi Anfeib (Wadi Anfeib el Tawayib, Wadi Atalab, Wadi Mitatib). | |||
| Wadi Khasiya. | |||
| Wadi Madi (Wadi Difotib, Wadi Eirahimib, Wadi Faditiai, Wadi Shellal el Gharbi, Wadi Sinatib, Wadi Tugudbaia, Wadi Berendiyeb, Wadi Atluk, Rod Mukrayib, Wadi Kolaiqo, Wadi Edunqul). | |||
| Wadi Um Tenedba. | |||
| Wadi Khashab (Wadi Dehaiartib). | |||
| Wadi Um Seleim. | |||
| Wadi Kreiga (Wadi Korbiai, Wadi Meneiga, Wadi Abiad, Wadi Eberer, Wadi Shigig). | |||
| Wadi Kolaiqo. | |||
| [97]Wadi Radad. | |||
| Wadi Shellal el Sharqi. | |||
| Wadi Muqur (Wadi Ti Ilak, Wadi Tikosha). | |||
| Wadi Qadiloi (Talet Tihu Shana). | |||
| Wadi Shab | Wadi Baaneit. | ||
| Wadi Kilanai. | |||
| Wadi Diqdib. | |||
| Wadi Um Saha. | |||
| Wadi Sherefa el Sharqi. | |||
| Kwat Hewah. | |||
| Wadi Mantil Hasium. | |||
| Wadi Hilwit Hasium. | |||
| Wadi Shinai. | |||
| Wadi Delawet. | |||
| Wadi Abu Hodeid. | |||
| Rod Anut Berer. | |||
| Wadi Tikraneib. | |||
| Wadi Ibib (Hasium) | Wadi Abu Hireiq. | ||
| Wadi Odruk. | |||
| Wadi Nilateib. | |||
| Wadi Medarai (Wadi Merdiyeb, Wadi Um Rasein). | |||
| Wadi Soaorib (Wadi Haiyo, Wadi Hankuk, Wadi Dishlo, Wadi Eimya, Wadi Qidmib). | |||
| Wadi Um Bishtit (Wadi Delawet, Wadi Orgem). | |||
| Wadi Habliai. | |||
| Wadi Sarobaiya. | |||
| Wadi Awitla. | |||
| Wadi Lasewid. | |||
| Wadi Meisah | Sarob Kwan. | ||
| Akla Da-aiyob. | |||
| Hanqun Ra-ub. | |||
| Wadi Eqaiyib. | |||
| Wadi Shendib. | |||
| Wadi Hareitra. | |||
| Wadi Qurat (Wadi Dibir, Wadi Hashimaiyib, Wadi Oshqeq, Wadi Mashushenai). | |||
| O Harbub. | |||
| Wadi Kiraf (Di-ib) | Wadi Salalob. | ||
| Wadi Warabeit (Sarob Kwan, Wadi Wi-eqwer, Wadi Kwileimidaiyeib). | |||
| Wadi Qumad Lim. | |||
| Wad el Qireira (Wadi Didaut, Wadi Baueiwai). | |||
| Wadi Halal Hendiyeb. | |||
| Wadi Di-it. | |||
| Wadi Eikwan. | |||
| Wadi O Sir Hadal. | |||
| Wadi Yoider | Wadi Qeirat. | ||
| Wadi Siamtit. | |||
| Wadi Akwamtra. | |||
| Wadi Aideib | Wadi Yahameib (Wadi Akau, Wadi Kansisrob). | ||
| Wadi Todhi. | |||
| [98]Wadi Delowa. | |||
| Wadi Serimtai | Wadi Um Seyal. | ||
| Wadi O Sir Eirab. | |||
| Wadi Shellal. | |||
| Wadi Aqilhoq. | |||
| Wadi Aqwei. | |||
| Wadi Kreit-reit-or. | |||
| Wadi Qabatit. |
Wadi Dabur falls only partly within the district to be described in the present volume. It drains the hill country between Gebels Atut and Igli, by numerous feeders, and courses north-east to enter the sea about latitude 25° 16′, beyond the limits shown on the map.
Wadi Igli is a short wadi draining from Gebel Igli and coursing a little north of east to the sea somewhat south of latitude 25° 10′.
Wadi Um Khariga has its principal head in a cul-de-sac west of Gebel Ghuel and north of Gebel Hangalia, at an altitude of approximately 800 metres above sea-level. Near its head there is an easy pass entering from the west, forming a line of communication with Hangalia mine; the highest point of the pass is 773 metres above sea-level. After coursing for about twelve kilometres a little west of north between the high hills called Gebel Um Khariga, with a rapid fall, the wadi turns north-east, receiving just below the bend a large tributary which heads in an easy pass to Wadi Ghadir. Near this place a road crosses the wadi northwards through the low hills, and passes west of Gebel Igli el Iswid; it is said to go on to Qena. Further on in its course towards the sea, Wadi Um Khariga receives another tributary draining the south flanks of Gebel Igli el Iswid. The lower portion of Wadi Um Khariga has not been surveyed in detail; but it passes through a tract of lower hills and enters the sea in about latitude 25° 5′. The total length of the main channel of Wadi Um Khariga is about fifty kilometres, and the area of its basin is about 300 square kilometres.
Wadi Sukari, the next wadi to the south, heads at a pass from Wadi Ghadir; for about nine kilometres it courses east of north between the eastern range of Gebel Um Khariga and the craggy Gebel Sukari,[99] then turns more to the east and enters the sea a little south of Wadi Um Khariga. Near the south end of Gebel Sukari there are numerous ruins and some ancient gold mines.
Wadi Um Tundeba heads near the mountain of the same name, and courses about north-east to the sea. In one of the heads of this wadi, about three kilometres west of the summit of Gebel Um Tundeba, is an important water source, called Galt Um Tundeba. This is a rock basin situated about one kilometre up a little wadi; it contained a good supply of water in December 1905, but as it depends for its supply on rainfall in the surrounding hills, it cannot be relied on as a permanent water source.
Wadi Amba-ut is a small wadi originating near the granite hills called Gebel Amba-ut, and following a course about parallel with the Wadi Um Tundeba seawards.
Wadi Ghadir, which drains by numerous tributaries the eastern face of Gebels Hangalia and Zabara, as well as the hilly country round Gebels Ghadir, Allawi, and Lewewi, has a basin of over 500 square kilometres and a length along its main channel, not counting its feeders, of about forty-five kilometres; it enters the sea in latitude 24° 50′.
The principal head of Wadi Ghadir is at an easy pass between Gebels Ghuel and Um Khariga, in latitude 24° 55′, at an altitude of about 500 metres above sea-level. Coursing south-east, it receives important feeders from gorges in the west face of Gebel Ghuel; the principal of these feeders, Wadi Ghuel, contains water holes, which gave an excellent supply of rain water in 1905-06. A little further along its course, Wadi Ghadir passes the low hill district called Kurdeman, where there are some old gold mines, and then receives as tributaries Wadi Fegas and Wadi Ma-ud, draining the mountains of Ghuel and Hangalia. Taking now a more easterly direction towards Gebel Ghadir, it receives from the north-west Wadi Sabahia, draining the craggy felsite hill of the same name; there are some old gold mines about a kilometre north-east of this hill, in a branch of Wadi Sabahia.
The Wadi Zabara, an important tributary draining the north flanks of Gebel Zabara and the south-east part of Gebel Hangalia, enters Ghadir from the south-west, nearly opposite Wadi Sabahia. Wadi Zabara has itself three main heads, called by the separate names of Wadi Atabi, Wadi Um Abid, and Wadi Um Dafiri. There are ruins and ancient mines close to where the Wadi Atabi joins Wadi[100] Zabara, while in the upper part of Wadi Um Dafiri are more extensive ruins and numerous ancient emerald mines, as well as a series of rock basins which were yielding good water in 1905-1906.
After receiving the Wadi Zabara, Wadi Ghadir continues its course south-east past Gebel Ghadir, from the slopes of which numerous small feeders enter the main channel. Almost due south of Gebel Ghadir, in the southern one of two branches into which the wadi splits as it passes round a low island-like mass of hills, is Bir Ghadir, a well sunk in the alluvium of the wadi floor. When I visited it early in 1906 this well was filled by downwash, and the Arabs of the district deferred digging it out until the rock basins were empty; it is an important water source and is said to yield good supplies. The mines of Hangalia were supplied by water from Bir Ghadir in 1905, when nearer sources were dry.
About six kilometres below the well, Wadi Ghadir passes close north of Gebel Allawi, where there are some old gold mines. The Wadi Allawi, which with its tributary Wadi Lewewi drains the hilly country between Gebels Zabara and Sikait, enters Ghadir a little to the east of Gebel Allawi; both Allawi and Lewewi are very tortuous wadis, their names in fact meaning “crooked” in the Ababda tongue (Lewewi is a diminutive of Allawi).
Wadi Um Gamil, the next wadi entering the sea to the south, drains the hilly country south-east of Sikait. Very little is known about its course, the only part surveyed being the heads east of Gebel Sikait.
Wadi Gemal is the terminal portion, about sixty kilometres in length, of the main drainage channel from a basin nearly 200 square kilometres in area. With its numerous large feeders, the principal of which is Wadi Huluz, about eighty kilometres in length, the Wadi Gemal drains the Hafafit and Nugrus ranges of mountains on the north, and a great mass of high mountains, including Gebel Hamata, on the south. It will be convenient here to describe only the Wadi Gemal proper, leaving the great wadis which join to form it, and its major tributaries, for separate treatment.
The name Wadi Gemal is first given to the drainage at the point where Wadi Huluz turns sharply eastward in longitude 34° 39′.[89][101] At this point the country becomes more open than in the gorge-like Wadi Huluz. To the north is a mass of low granite hills, some of which have remarkable shapes, with a great deal of drift sand, while to the south are the higher dark hills flanking Gebel Um Suerab. Among these surroundings the wadi pursues a winding course, with a general north-easterly direction, receiving the Wadi Um Suerab lil Gemal and the Wadi Durunkat as tributaries from the south.
About six kilometres below the point of influx of Wadi Durunkat, on the right (south) side of Wadi Gemal, is a locality called Geli, where there are extensive ruins. A very remarkable rock in the middle of the main wadi marks the place whence a track leads south-east past the ruins and across the heads of Wadis Um Ghazal and Mukhatatat into the upper part of Wadi el Abiad.
Passing a remarkable bell-shaped hill (Gebel Um Regeba, rising to 571 metres above sea, the “mosque rock” of Floyer’s map) about four kilometres on the left, Wadi Gemal receives two small feeders coming from among the hills to the south, and then the important tributary called Wadi Hafafit enters from the north-west.
Below the point of influx of Hafafit, the Wadi Gemal becomes more narrow, and shut in by high hills. Near the meridian of 34° 49′ there are some ruins on the north side of the wadi, and a little further on the Wadi Nugrus, one of the largest tributaries of Wadi Gemal, enters from the north-west at a rather sharp bend. Further down, Wadi Gemal receives Wadi el Mukhatatat and Wadi Um Sueh from the south, and Wadi Um Heran and Wadi el Nasbia from the north. The Wadi Abiad, which next joins Wadi Gemal from the south, is an important feeder. Two kilometres below the mouth of Wadi el Abiad, the Wadi Um Kabu enters Wadi Gemal from the north-west, while nearly opposite to it is a small wadi, called Um Sellimi, in which there are water pools after rain. The wadi now curves more northward round the base of the double-topped hill mass called Madaret Um Gamil. Just beyond the northward turn a road[90] leads up a narrow tortuous gully in a north-westerly direction, passing close south of the hill summit and forming the most ready means of ascent of Madaret Um Gamil; the climb from the road at the top of the gully is only about 200 metres. The course of the Wadi Gemal to the sea[102] has not been surveyed beyond four kilometres east of Madaret Um Gamil; it goes through low hilly country and enters the sea in about latitude 24°.
The fall of the Wadi Gemal averages about six metres per kilometre, being as low as four metres per kilometre in some places, and probably exceeding ten metres per kilometre where it emerges from the hills on to the coast-plain. It is interesting to note that the observations of level indicate a local increase of gradient above the place of influx of Hafafit and Nugrus. The Wadi Gemal is well supplied with trees, as are also almost all its tributaries with the exception of the sandy Wadi Hafafit.
Wadi Huluz is a long winding wadi, mostly shut in by high rock walls, draining the high mountains round Gebel Hamata and coursing north-east for a distance of over seventy-five kilometres to the point, near Gebel Um Suerab, where, turning sharply eastward, it enters more open country and takes the name of Wadi Gemal. The slope of Wadi Huluz averages fifty metres per kilometre for the first ten kilometres from its heads in the mountains. In the next ten kilometres the slope is much flatter, being twenty metres per kilometre. From twenty to forty kilometres from its head the average fall is only ten metres per kilometre, while still further down the rate of fall lessens till in the last reaches, just before entering the Wadi Gemal, it is only six and a half metres per kilometre.
The principal heads of Wadi Huluz are close to the south-east of Gebel Hamata, in a cul-de-sac formed by the high mountains of Gebel Hamata (1,978 metres above sea) and Gebel Ras el Kharit (1,661 metres). Here a number of steep gorges unite to form the main channel, which due south of Hamata has an altitude of 1,053 metres above sea-level. Following a winding course among the mountains as a rapidly falling valley with a sandy floor averaging 100 metres or more in width, it passes west of the great mass of Hamata, receiving the drainages from the north-east flanks of that mountain and from the north face of Gebel Um Hasidok. At its crossing the meridian of 35° it receives as a feeder the Wadi el Abiad lil Huluz, which drains the north face of Hamata and the south flanks of Gebel Abu Ghusun; draining mostly from granite country, this feeder has a floor of coarse granitic sand, from the whitish colour of which it takes its name.
[103]The next feeder of Wadi Huluz, called Wadi Mahali, enters from the south, its head being on the main watershed between Gebels Um Usher and Um Hasidok. Passing between Gebels Um Usher and Um Laham, the Wadi Huluz receives Wadi Tarfawi, draining the mountain of the same name from the east. Further down, feeders come in from Gebel el Mehali on the south and from the high hills south of Gebel Um Heshenib on the north. Near the meridian of 34° 50′ two important tributaries enter Huluz near together from the south. The upper one, Wadi Hilgit lil Huluz, heads in a very steep and difficult pass, leading into Wadi Hilgit lil Kharit. The lower one, called Wadi Um Semiuki, drains the north-east flanks of Gebel Abu Hamamid. Nearly opposite the mouth of Wadi Um Semiuki is another feeder of Wadi Huluz, which I believe forms the main drainage channel for the south face of Gebel Um Heshenib; but it is said to be very steep and stony, and my Arabs preferred to reach Gebel Um Heshenib by a small wadi, containing several tombs, some four kilometres higher up Wadi Huluz, whence there is a stony pass leading into the above-mentioned main drainage channel at a point above the obstructions in it.
About eight kilometres further on, on the north-east side of the wadi, there is a low gap over which by a very easy pass one can descend into the head of Wadi Durunkat, leading to Wadi Gemal. Some three kilometres lower down, Huluz receives two tributaries together; one, from the south-east, is called Wadi Um Hegiligi lil Huluz, while the other, from the south-west, is called Wadi Marasan and heads in an easy pass on the main watershed, over which a track leads south-east and south to the well and tomb of Sheikh Shadli.
Two sheikhs’ tombs and some smaller graves exist at a bend in the Wadi Huluz, three kilometres below the point of influx of Wadi Marasan. Below these enter as feeders Wadi Um Suerab lil Huluz from the north, and Wadi Abu Gerifat from the south. The wadi now becomes very tortuous. Near the meridian of 34° 40′, on the south side of the wadi, at a bend where trees are very abundant, is a small gully containing the important water holes called Um Gerifat. These are rock basins fed by rain water draining down steep gorges from the hills round the twin-peaked Gebel Um Sedri; they are easily accessible in a few minutes from the main wadi, and contained good supplies of water in the winter of 1905-1906. About four kilometres lower down,[104] the Wadi Um Iteili enters from the east, and about five kilometres beyond this Huluz opens out into a somewhat triangular space, when the Wadi Gaetri enters from the west and Wadi el Khisei from the east. The Wadi Gaetri leads by an important pass into the more open country to the west (wells of Wadi Khashab and Wadi Natash).
At the open space above-mentioned, Wadi Huluz turns northward, winding somewhat, for some eight kilometres, and then, after receiving the Wadi Abu Etl as a feeder from the west, turns sharply eastward and becomes the Wadi Gemal.
Wadi Durunkat, a tributary of Wadi Gemal, forms an important road from Wadi Gemal into the higher parts of Huluz. By following it up to its head about twenty kilometres from its junction with Wadi Gemal, one can enter Wadi Huluz by a very easy pass in longitude 34° 46′, thus cutting off the long winding course of Wadi Huluz itself; and from this pass one can cross the main watershed by the Wadi Marasan to reach Bir Shadli.
Wadi Hafafit, another tributary of Wadi Gemal, has its head situated close to the east side of Gebel Migif, in latitude 24° 50′, on the main watershed, where there is an easy pass into the head of Wadi Shait. Following a very straight course for nearly forty kilometres south-east, with the remarkable range of high gneiss mountains called Gebel Hafafit on the left, and the sugar loaf granite hills of Abu Had on the right, Wadi Hafafit forms a broad barren valley in which there are heavy accumulations of blown sand. Wadi Abu Had, a small western feeder of Hafafit, is well known by reason of the well of bitter water, Bir Abu Had, at its head. An eastern feeder of Wadi Hafafit, which joins it shortly before the junction with Wadi Gemal, is called by the diminutive name of Wadi Hefeifit.
Wadi el Abiad, likewise a tributary of Wadi Gemal, derives its name from the coarse white granitic sand which forms its floor. Its heads are situated near latitude 24° 20′, among the granite mountains called Gebel el Abiad and on the northerly slopes of Gebel Um Heshenib. There is a very steep pass from its head, east of Gebel Um Heshenib, into Wadi Huluz. Pursuing an almost northerly course and falling rather rapidly, Wadi el Abiad is at first very wide, with high granite hills on each side. It narrows further down, at a point opposite Gebel Shoab, where a small eastern feeder leads by an easy sandy pass into the Wadi Shoab. A little lower down, passing into diorite[105] country, it turns more to the east, and after receiving the Wadis Um Seyal el Foqani and el Tahtani from the south-east, enters the Wadi Gemal near Madaret Um Gamil. The wadis called Um Seyal receive their name from the abundance of acacia trees in them; at the head of Wadi Um Seyal el Foqani there is a pass leading by the Wadai el Anz into Wadi Um el Abbas.
Wadi Nugrus, an important tributary of Wadi Gemal, commences its course on the main watershed west of Gebel Nugrus, in latitude 24° 48′, at the pass into Wadi Gerf, 690 metres above sea-level, and courses south-east in almost a straight line for nearly forty kilometres to join the Wadi Gemal in latitude 24° 34′ and longitude 34° 50′. The fall to this point is some 450 metres, or an average of over ten metres per kilometre, but the fall is most rapid near the head, where the floor of the wadi is rocky and steep; the slope for the first few kilometres is over double the average.
The approach to the head of Wadi Nugrus from the north, by one of the heads of Wadi Gerf, is almost a plain. But as soon as Wadi Nugrus is entered one becomes very sensible of the greater steepness of the eastern drainage by the stony nature of the track and the rapid fall. The wadi here is in fact only a narrow gorge with the huge mountains of Hafafit and Nugrus on the west and east sides respectively. Some three kilometres below the pass, close to the west side of the wadi, in a narrow gorge, is the spring called Megal el Harami, situated in gneiss rocks, and giving supplies of good water; the water infiltrates slowly, however, so that the yield is not sufficiently rapid to supply large quantities at once. Lower down, the wadi broadens out considerably, with a sandy floor in the middle of which low dark hills rise like islands. About thirteen kilometres below the head, an important feeder, the Wadai el Nom, comes in from the north-east. This wadi drains the south-east flanks of Gebel Nugrus and the west flanks of Gebel Hangalia; it contains rock basins holding water for some time after rain, and leads to a steep winding pass which enables one to make a circuit round the great granite mountain of Gebel Nugrus. The pass is, however, impracticable for baggage camels, and one has to dismount from a riding camel in order to get over.
Beyond the junction of Wadai el Nom, the Wadi Nugrus continues its straight course south-east, between the long range of Gebel Hafafit on the west and Gebel Zabara on the east. Some thirty kilometres[106] below its head, Wadi Nugrus receives the Wadi Abu Rusheid from the north, and a little further on one encounters on the east the ruins of an old village called Medina Nugrus. Just opposite the ruins is a small feeder called Wadi Abu Sada, a short distance up which are rock basins yielding water after rain, but these were dry in 1905. Not far below this, there are some old workings in a small feeder on the east side of the Wadi Nugrus, six kilometres above its junction with Wadi Gemal.
Wadi Sikait, a tributary of Wadi Nugrus, heads in some high red granite hills north-west of Gebel Sikait. A pass leads over the western head, while in the eastern one is a small spring, which, though a mere trickle, is said to be constant and to yield excellent water. These two heads join at a well recently sunk by miners. Lower down, on the flanks of Gebel Sikait, are numerous emerald mines, with an ancient tower and many other ruins, and in the wadi near these is another recently sunk well, which has only yielded water of inferior quality. From near the mines there lead two tracks on either side of the wadi. That to the west is a rough path over gneiss hills into Wadi Abu Rusheid. That to the east winds past the ancient tower, ascending gradually to a pass into one of the heads of Wadi Um Gamil. Lower down the Wadi Sikait are many ancient mines, and the ruins of three rock temples and an ancient village. Just before the Wadi Sikait enters Wadi Nugrus, a track leaves on the east for Wadi Um Heran, in which I am told water is sometimes to be found. The length of the Wadi Sikait is about fourteen kilometres, and its fall is from 535 metres above sea at the pass at its head to about 250 metres where it enters Wadi Nugrus, or an average slope of twenty metres per kilometre. It is a narrow gorge shut in by high hills, with a fair abundance of trees.
Wadi Um el Abbas originates by the union of several heads in the neighbourhood of the high granite hills of Um el Abbas and Abu Hegilig. One of its heads leads to an easy pass called Kab el Haram, four and a half kilometres east of Gebel Abu Hegilig. Another, close east of Gebel Abu Hegilig, leads to another easy pass into the head of a tributary of Wadi Romit. A third head, called the Wadai el Anz, leads to yet another pass into Wadi Um Seyal el Foqani, a tributary of Wadi el Abiad. The course of the Wadi Um el Abbas has only been surveyed for a short distance below the place where its heads[107] unite; it pursues a north-easterly course among low hilly country and enters the sea in about latitude 24° 36′.
Wadi Abu Ghusun commences its course among the high mountains of Gebel Abu Ghusun, north of Gebel Hamata. Pursuing a northerly course for about ten kilometres, it passes close east of the sharp granite peak of Gebel Hefeiri, then turns more to the east, receiving Wadi Romit as an important tributary from the west near the bend, and reaches the sea in about latitude 24° 29′.
Wadi Romit, a tributary of Abu Ghusun, originates in the granite mountains called Gebel el Abiad, near the parallel of 24° 20′ and follows a winding course in a general easterly direction for about sixteen kilometres to its junction with Wadi Abu Ghusun. It receives several important tributaries. The chief of these, Wadi Shoab, originates close to the south-west of Gebel Shoab, where there is an easy pass into the Wadi el Abiad. Another tributary of Romit, the Wadi Abu Hegilig, drains the south part of Gebel Um el Abbas, while a third is the Wadi Hefeiri, draining the hills round the granite peak of the same name. All these tributaries, like Wadi Romit and Wadi Abu Ghusun itself, contain abundance of trees, and have a rather rapid fall.
Wadi Hamata drains the eastern flanks of the high hills north of Gebel Hamata, its principal heads being about latitude 24° 15′. Only the heads of this wadi have been surveyed; it follows a winding course among the lower hill country and reaches the sea in about latitude 24° 24′.
Of the three wadis draining seawards south of Hamata, called Wadi Haratreit, Wadi Khashir, and Wadi Mikbi, very little is known, not even their heads having been visible from the stations which I occupied. The summits of the mountains drained by them have, however, been mapped, and their courses are approximately known from the accounts of Floyer; these are indicated on the map probably in nearly their true positions. Draining mostly steep and precipitous mountain faces, the upper parts of these wadis must have an extremely rapid fall, and consequently a rough stony floor.
Wadi Lahami, which enters the sea north of the peninsula of Ras Benas, is well known by reason of the easy pass over the main watershed at its head forming an important means of access to Berenice from the west. At this point, four kilometres north-east of the[108] white quartz cone called Marwot Elemikan, the watershed is sandy, level, and low, being only 590 metres above the sea. The drop on crossing the watershed is fairly rapid, the wadi winding about among the hills in a general north-easterly direction. About six kilometres below its head, Lahami receives the Wadi Um Karaba, which drains the south face of Gebel Abu Gurdi. A little further on, Wadi Eidab enters from the south-east; this feeder is said to head in a rough steep pass over the hills into the Wadi Abu Daba. After passing between the high hills of Gebels Um Goradi and Um Gunud, Wadi Lahami receives the short Wadi Um Gunud, in which there are two well known galts, or rock basins forming reservoirs of rain water; these contained good supplies in 1906-7. Lower down, Wadi Lahami crosses a stony sloping plain, where it receives the drainage from the north and east flanks of Gebel Abu Gurdi and from the mountains to the north of it, by a series of feeders, the principal of which are Wadi Um Rishan, Wadi Um Homar, and Wadi Sefent. East of the plain there is a sort of shunt or loop-line of Wadi Lahami, called the Wadi Abreik, which is preferred to the main channel for a road. Just receiving Wadi Sefent, Wadi Lahami turns sharply eastward, and then north-eastward, receiving as feeders Wadis Um Khuzama, Um Ghobasha, and Gumudlum, draining Gebels Um Sellim and Gumudlum to the north; these feeders are said to contain natural reservoirs full of water after rain. From the south, Lahami is fed by the Wadis Um Eshub and Abu Marwa lil Lahami, draining the lower hill country. The lower course of Wadi Lahami has not been traced in detail. It passes north-west of the well marked granite peak called Gebel Um Huk, as remarked above, and reaches the sea north of the peninsula of Ras Benas. To get to Berenice, one leaves Wadi Lahami about twenty-four kilometres below the pass at its head, and turns off south-east up the tributary Wadi Abu Marwa, which leads to Wadi Naait by an easy road.
Wadi Lahami is well supplied with trees; it presented a very green appearance early in 1906, but the absence of rain for a year made it much more desolate looking in 1907, all the foliage being then blackened and withered. Its length is approximately fifty kilometres, its average slope twelve metres per kilometre, and the area of its basin is about 650 square kilometres.
[109]The drainage from the low hills on the Peninsula of Ras Benas, except for a small portion which joins Wadi Mukhit, reaches the sea by a multitude of small wadis, none of which bear special names. The hills being nearer to the south side of the peninsula than to the north, the wadis draining southwards are on the whole much shorter and steeper than those draining northwards, and the latter cross a sloping plain two or three kilometres wide to reach the sea. Passage across the hills from south to north is only possible to camels at a few places. The southern wadis are mostly barren, but the northern ones contain abundance of a dark coloured grass of which camels are fond. There is no permanent water source on the peninsula, the nearest reliable source of supply being a galt in Wadi Mindeit, on the main land, about twelve kilometres west of Berenice. The tip of the low sandy projection of Ras Benas is marked by a sheikh’s tomb, one of the largest on the coast. It is chiefly built of wreckage cast up on the beach. From the hills it looks like a rectangular rock, and I determined its position by triangulation as latitude 23° 53′ 50″ N., longitude 35° 47′ 13″ E. The sheikh’s memory appears to be greatly venerated by sailors, and several of my camel men made pilgrimages to the tomb to pray.
The Island of Mukawar, about six kilometres south of the sandy tip of the ras, is nearly two kilometres in length from north to south. I did not visit it, but it has the appearance of being made of coral; its highest point, near the south end, is thirty-four metres above the sea-level.
Wadi Abu Daba drains the eastern flanks of Gebel Eidab and Gebel Um Maiat, and courses eastward through the lower hill country to the coast plain, where it joins the drainage from Naait in Wadi Mukhit. The principal feeder of Abu Daba is Wadi Murra which enters it from the south-west a few kilometres before its emergence on to the plain. At the head of Wadi Abu Daba there is said to be a rough steep pass over the mountains into Wadi Eidab. The place where Abu Daba debouches on to the coast plain is marked by a group of low bouldery looking granite hills called Khasheib Abu Daba.
Wadi Abu Dibban is a short wadi draining eastwards from the hills across the coast plain to the sea a little north of Berenice. In its course across the plain it passes a little north of a conspicuous granite hill called Sikeit, a well known landmark five kilometres north-west of Berenice.
[110]Wadi Mindeit drains the hills between Gebel Um Maiat and Gebel Kalalat, entering the sea at Berenice.[91] Wadi Um Sellim lil Mindeit, a shorter wadi coursing across the plain a little further south, is interesting as furnishing the nearest fresh water source to Berenice; it leads to a rock basin or galt among the hills, where rain water collects. This source is some ten or twelve kilometres from Berenice.
Wadi Naait[92] is a narrow tortuous gorge, with a sandy floor shut in by high hills, coursing eastward to the coast plain a little south of the 24th parallel. Though only a small wadi some sixteen kilometres in length, it is well known because it forms the usual road from Wadi Lahami to Berenice. Its actual head has not been surveyed, but lies probably between the mountains of Um Gunud and Um Hegilig. Its principal feeders are Wadis Um Sumer and Abu Marwa lil Naait, which enter it from the north-west, and Wadi Abu Ghalqa, entering from the north and draining the granite hills called Gebel Abu Ghalqa. All three of these feeders enter Naait near together, some ten kilometres before it emerges on the plain; the lower part of the wadi is free from lateral branches. The fall is ten metres per kilometre among the hills. On emerging from the hills on to the sandy coast plain, it joins an ill-defined drainage line called Wadi el Mukhit, which enters the sea at Port Berenice, some fifteen kilometres further east. The name Wadi el Mukhit is also given to other ill-marked drainage lines entering Port Berenice from the sandy tract between the hills of the main land and the hills of the peninsula of Ras Benas. Some three kilometres north-east of the mouth of Wadi Naait, on the coast plain, is a conspicuous isolated low hill, forming a well-known landmark and called Grain el Rih. The plain drained by Wadi el Mukhit is a dreary sandy waste, and the crossing of it in a high wind is very trying by reason of the immense clouds of sand raised and carried in the air.
Wadi Kalalat heads in the north-west portion of Gebel Kalalat, and courses nearly eastward to reach the sea in latitude 23° 52′. For the first two-thirds of its course of about thirty kilometres, Wadi Kalalat is shut in by high hills, and falls rather rapidly. At its head a rough steep pass is said to exist into the head of Wadi Shut.[111] After passing round the north flank of Gebel Kalalat, the wadi receives two small tributaries called Wadi Um Maiat and Wadi el Dibag lil Batoga, the former draining the north-east face of Gebel Kalalat and the latter the north-west face of Gebel Batoga. After receiving Wadi Dibag, the Wadi Kalalat makes a bend northward for about two kilometres, then turns south-eastward to the opening of the hills on the coast-plain. About two kilometres above the point where it leaves the hills, on the south side of the main wadi, is a rocky gully containing the Galt Batoga a rock basin which contained good water in 1907 and which is very easy of access in a few minutes from the main wadi. About one and a half kilometres further down, the small Wadi Um Sellim, draining the north-east parts of Gebel Batoga, joins the Wadi Kalalat just before it opens on to the coast-plain. The course of Wadi Kalalat from here to the sea, about eleven kilometres, is ill-marked, over a sandy plain. A ruined enclosure of considerable size, called Garia Kalalat, lies close south of the wadi about seven kilometres from the sea.
Wadi Um Goran is a small wadi draining by many heads from the east face of Gebel Batoga and its foot hills to the sea in latitude 23° 50′.
Wadi Kunserob, draining the south parts of Gebels Kalalat and Batoga, courses at first nearly southwards, then curves round south of Gebel Dibag, and after receiving Wadi Dibag lil Kunserob from the north-west, proceeds eastward through the hills and across six kilometres of sandy coast-plain to the sea in latitude 23° 47′.
Wadi Abu Berigâ is a short drainage line from among the hills to the sea, a little south of Wadi Kunserob.
Wadi Khoda is an important main drainage channel some forty-five kilometres in length, coursing a little north of eastward to reach the sea in latitude 23° 43′. For the greater part of its length it is shut in by high hills, only the last six kilometres being across the sandy coast-plain. With a basin approximately 780 square kilometres in area, it drains the mountains of Abu Dahr, Dahanib, Shut, Reyan, Shenshef, Hindia, and Um Akra, some of which rise to over 1,000 metres above the sea; it thus receives a fair amount of water in rainy years, and is well supplied with trees and bushes. Its average fall is about nine metres per kilometre.
The head of Wadi Khoda is formed by the union of three wadis,[112] coming approximately from the north, west, and south, in the form of a cross. The central one of these, Wadi Abu Debebi lil Khoda, heads in a very easy pass leading to Bir Betan and the old mines of Um Eleiga. The one to the north, Wadi Salib el Abiad, is said to lead into Wadi Khiua, and to possess some old mines, but has not been explored. The remaining one of the three, Wadi Salib el Azrak, drains the east face of Gebel Abu Dahr and the high hills east of it; the feeder of it from Abu Dahr, called Wadi Um Karaba, leads by an easy pass, just north of the mountain, to Bir Betan and the Um Eleiga mines, while some eight kilometres from its junction with Khoda a track leads up a gully south-westward over another easy pass to Bir Rahaba. The names Salib el Abiad and Salib el Azrak refer to the form of the wadis and the nature of their floor, salib meaning “cross,” while abiad and azrak refer to the prevailing white and dark colours of the sand in the respective arms of the cross; these colours are due to the wadis draining light-coloured granites and dark-coloured serpentines and schists respectively.
A little below the union of the three arms above-mentioned, Wadi Khoda expands into a small rather stony plain, where the sinuous Wadi Allawi[93] enters from the north. This important feeder, which drains the eastern face of Gebel Dahanib, is mostly shut in by high hills, and is relatively well wooded; if it be followed up for about ten kilometres, one comes to the tomb of Sheikh Farhan, near which meet many small feeders, one of them containing a small rock basin near its head.
About eight kilometres below the point of entry of Wadi Allawi, Wadi Khoda receives two feeders from opposite sides; that from the north, Wadi Um Tawil lil Khoda, drains from Gebel Dahanib, while that from the south, Wadi Hindia, is a sandy rapidly-falling wadi draining Gebel Hindia.
Some five kilometres further down, Wadi Um Akra, draining the mountains of the same name, enters Khoda from the south, while another two kilometres brings us to the place of influx of Wadi Shut, an important feeder from the north. The head of Wadi Shut is on the west side of Gebel Kalalat, whence its course is westward for about ten kilometres; it is then joined by the Wadi Abu Hugban,[113] coming from the south-west, and from this point it runs south-south-east for some twenty-three kilometres to its junction with Wadi Khoda. Wadi Shut is a rather wide wadi with a sandy floor, fed by many tributaries from the mountains of Dahanib, Um Hegilig, Reyan, and Shut. Its principal feeder in the lower part of its course is Wadi Um Tawil lil Shut, which drains the south part of Gebel Dahanib and enters Shut from the west about five kilometres above its junction with Khoda. The Wadi Shut has a fair growth of trees, and is said to possess also a large water source, the exact locality of which has not, however, been ascertained.[94]
Just below the place where Wadi Shut joins it, Wadi Khoda receives a small feeder called Wadi Um Gubur, entering from the north and marked by several graves near its mouth. On the other side, two kilometres further on, Wadi Shib enters from the south, and five kilometres further the Wadi Um Seyal lil Khoda enters Khoda from the north.
The Wadi Gumudlum, the next great feeder of Khoda, enters from the north four kilometres below Wadi Um Seyal. It is a wadi some eighteen kilometres in length, coursing south-south-east, and having its head on the west side of Gebel Kalalat. A little below wadi Gumudlum, near a boss of white quartz, several small feeders, of which the two principal are called Wadi Buluk and Wadi Um Lassaf, enter Wadi Khoda from the south; these drain the north side of the high hills called Gebel Um Etli.
The last feeder of Wadi Khoda, the Wadi Shenshef, enters the main wadi some three kilometres above the place where it debouches on to the coast-plain, or eight kilometres from the coast. It is a narrow and very tortuous gorge winding among high hills. If it be followed up for about ten kilometres, one comes to several small wells called Bir Shenshef, which contained water in 1907, and a little above the wells, where the wadi becomes more open, there are ruins, called Hitan Shenshef, which attest the former existence of a town or large village. The ruins are on both sides of the wadi, and many of them are extremely well built of slabs of quartz schist; besides[114] the houses in the wadi itself, there are small towers on the hills. As there are apparently no mines in the hills here, the origin of the ruins is not clear; from the strong situation and the watch towers, and its proximity to fresh water and the sea, it may possibly represent an old slave dealer’s stronghold.
For some eighteen kilometres south of the Wadi Khoda, the seaward drainages have not been explored, but they are believed to be only short wadis, as the high mountains of Faraid are here only about ten kilometres from the coast. From guides’ statements, the Wadi Um Etli, coursing eastward and draining the south faces of Gebel Um Etli, enters the sea in about latitude 23° 38′, and there is probably at least one other short wadi draining to the sea about in latitude 23° 35′ from the north part of Gebel Faraid. The sandy coast-plain in this region is about five kilometres wide.
The Wadi el Sorubiab, draining from the north part of Gebel Faraid, and the Wadi Bint el Kurdum, draining the mountains around the remarkable “Bodkin” peak, enter the sea together by way of a small lagoon in latitude 23° 30′. Another wadi, for which I could not obtain any name from my guides, drains the extreme south parts of Gebel Faraid and the north slopes of the smaller Gebel Fereyid, entering the sea in about latitude 23° 19′.
Wadi Rahaba, with a basin of about 900 square kilometres in area, drains the country between Gebels Faraid and Abu Dahr. From its head, situated about six kilometres south-east of Gebel Abu Dahr, there is an easy pass into Wadi Salib el Azrak, a tributary of Wadi Khoda. About three kilometres below its head, a feeder called Wadi Titai enters Rahaba from the hill country to the east; and a kilometre lower down, another feeder called Wadi Abu Nikheil, comes in from the west. At this point there is an important well, Bir Rahaba, sunk in the alluvium of the wadi floor; this is said to yield good summer supplies, but was filled up by downwash when I visited it early in 1907. Some three kilometres below Bir Rahaba, a tributary called Wadi Abu Reye enters Wadi Rahaba from the north-west; and there is said to be a well, called Bir Abu Reye, about one and a half kilometres up this wadi. Another feeder, the Wadi Um Buerat, joins Rahaba from the south-west a little further on, and then the wadi, which has thus far taken a southerly course, turns south-east, winding considerably for some eight kilometres till it is joined by its most important feeder, the Wadi el Abiad.
[115]This Wadi el Abiad drains the western side of the northern peaks of Gebel Faraid, and derives its name from the white granitic sand which forms its floor. It has a length of some twenty kilometres and is fed by the Rod Elbel, which heads in a sandy plain at the foot of the highest peak of Faraid, and by the Wadi Abu Ribian, which collects the drainage from the lower hill country west of the Bodkin peak.
About three kilometres lower down than the point of influx of Wadi el Abiad, Wadi Rahaba receives the Wadi Megah as a tributary from the north-west; a well, called Bir el Gahlia is said to exist at the head of this wadi, about twelve kilometres up from its opening into Wadi Rahaba. Some six kilometres further down, Wadi Rahaba opens out; its course down to this point has been shut in by high hills, but now becomes an ill-marked drainage line over a sandy plain. The plain is broken by small hills, and is limited east and west by other hills which increase in height further away, forming in fact the foot-hills of Gebels Orga and Um Tenebda on the west and of Gebel Faraid on the east. In this part of its course Rahaba receives several tributaries, the principal being Wadi Hutit from the north-west, Wadi Dagalai lil Rahaba and Wadi Abu Had from the east, and Wadi el Marafai, which runs for some ten kilometres nearly parallel to Wadi Rahaba, among low hills two or three kilometres east of the main Wadi, joining the latter about due west of Gebel Fereyid.
Wadi Rahaba curves round to the south of Gebel Fereyid in a quadrant of about seven kilometres radius, and then proceeds nearly due east to reach the sea in about latitude 23° 12′.
The upper parts of Wadi Rahaba, where it is shut in by high hills, contain many trees and bushes; but the lower parts are more barren and sandy, the actual drainage line being in places difficult to define on account of the paucity of vegetation and the openness of the plain. The total length is about seventy-five kilometres, and the total fall 450 metres; the slope averages eight metres per kilometre in the upper twenty-five kilometres, where the wadi is narrow and shut in, but only five metres per kilometre in the broad and sandy course which forms the remaining fifty kilometres.
Wadi Hodein, one of the largest and most important of the seawards draining wadis of the Eastern Desert, has a basin of nearly 12,000 square kilometres, or over a square degree of the earth’s surface.[116] Its main channel, formed by the union of the Wadis Arned, el Sania, Um Sumur, Saalek, Um Reit, and el Nom, in latitude 23° 18′, longitude 34° 43′, and reaching the sea at Bir Shalatein[95] in latitude 23° 8′, longitude 35° 37′, has a length of 108 kilometres and an average slope of three metres per kilometre. For the first fifteen kilometres of its course it is shut in by the high sandstone scarps of Gebel Abraq and Gebel Hodein; but shortly after passing the Abu Saafa Springs its channel becomes wide and sandy, passing through lower metamorphic hill country; and in the last twenty-five or thirty kilometres of its course it is merely an ill-defined drainage line over the sandy coast-plain. Its lower reaches are dreary and inhospitable, but its upper-portion is pleasantly wooded, and contains the perennial springs of Abu Saafa. Wadi Hodein is remarkable for the large number and length of its tributary wadis, some of which exceed the main channel itself in length, while many of them contain wells and form important lines of communication by leading to easy passes over the main watershed. In the description which follows, I shall first consider the wadis which by their union form the head of the main channel, afterwards tracing the course of the main wadi in detail to the sea, noting the influx of the various tributaries on either hand, and finally describing the larger tributaries themselves.
The most important of the wadis which join to form the head of Wadi Hodein are Wadis Arned, Saalek, and Um Reit. These join in a small plain with the Wadis el Sania, Um Sumur and El Nom, which are smaller and will not need further mention.
Wadi el Arned originates on the main watershed about five kilometres south-east of Galt el Aguz. The watershed here is only 427 metres above sea-level, and is so flat and sandy that it is almost impossible to say within a kilometre where the divide actually is; the wadi in fact heads in a sandy plain about two kilometres wide with low sandstone hills on either hand, from which feeders join the main drainage line. About six kilometres below its head, Wadi Arned is joined from the south by its most important feeder, the Wadi Muegil. This wadi, which has a length of some twenty kilometres, originates in the hill country about nine kilometres north of Gebel Um[117] Reit, where an easy pass connects it with Wadi Saalek; it flows in a northerly direction, entirely among sandstone hills, and is fairly provided with vegetation. Some two kilometres lower down, Arned receives a smaller feeder from the north, called Wadi Um Arta; by following this up for about five kilometres, one can reach a rather steep and sandy eastward pass into the head of Wadi Silsila, and this forms the shortest route from the Galt el Aguz to the springs of Abraq. About four kilometres below the junction of Wadi Abu Arta, near an isolated hill on the east side of the Wadi Arned, there appears to be another opening into one of the heads of Wadi Silsila; this opening is very sandy and looks like a practicable alternative route to Abraq Springs, though it has not been explored. Lower down its course, Wadi Arned is at first very sandy and bare, with high sand-drifts swathing the feet of the hills on the east; but it gradually narrows into a gorge and becomes less sandy, then opens out again, and near its junction with Wadi Hodein it contains abundant vegetation. The Wadi Arned forms the easiest and most direct road from Abu Saafa to Daraw, via Galt el Aguz, Bir Abu Hashim, and Bir Qoleib.
Wadi Saalek is a short wadi with many feeders, draining the hills round Gebel Saalek; one of its northern feeders leads to a pass into the head of Wadi Muegil, while one of its south branches heads in a pass leading round the west side of Gebel Um Reit to Wadi and Bir Um Reit.
Wadi Um Reit heads in the granite mountain called Gebel Um Reit and flows north-eastward, to the south of the mountain, for about twenty-two kilometres, to its junction with Arned and Saalek to form Wadi Hodein. The head of Wadi Um Reit leads to a pass north-west of the mountain into Wadi Saalek, while the western head of Um Reit, which bears the name Wadi el Dub, leads on to a sandy plain forming the main watershed, whence there are easy tracks to the various feeders of Wadi Timsah. The well called Bir Um Reit is a deep excavation, in the wadi floor at the foot of the mountain, near a large tree. Dr. Hume, who visited it in 1906, found it to yield water of only mediocre character. It is about one hundred kilometres by road from Bir Abu Hashim, the nearest well to the west, but only about thirty kilometres from Abu Saafa Springs, the nearest water eastward; to get to Abu Saafa from Bir Um Reit,[118] one has only to follow down the wadi, and the supply at Abu Saafa can always be relied on for quantity and quality. Near the well, Wadi Um Reit receives feeders draining the high granite hills of Etresia; the principal of these is called Wadi Malhat. The lower part of the course of Um Reit is almost entirely in sandstone hills; it has not been mapped in detail except near its junction with Hodein.
We turn now to the main channel of Wadi Hodein, which originates, as above-mentioned, by the union of the Wadis Um Reit, Saalek, Arned, and other smaller wadis in a small plain, and shall follow its course onwards to the sea. Three small feeders, Talet Um Danaqa and Talet Kurit on the south, and Talet Um Sideri on the north, join the channel a few kilometres below its head, while about nine kilometres from the head there enters a larger wadi coming from the south, called the Wadi el Gihab. The main Wadi Gihab has not been followed, but its eastern branch, called Wadi Gihab Abu Derb, contains a large and very easily accessible galt about four kilometres from Hodein, and leads about ten kilometres further on, to a very steep and difficult pass into Wadi Dif; this pass is practicable only on foot, being risky even for unladen camels.
The Springs of Abu Saafa are situated in the Wadi Hodein, about two kilometres below the point of influx of Wadi Gihab, at an altitude of 310 metres above sea-level. The Wadi Hodein is here narrow, and shut in by very high steep sandstone scarps. There are four springs, all issuing from the northern scarp at intervals of about sixty metres along the wadi, and all about three metres above the wadi floor, trickling into pools about a metre in diameter close by. The most westerly of the four springs is a mere trickle; the next yields a rather greater flow, from a carved niche in the rock, with a Greek cornice; the third is the one most used, having the greatest flow of the four, while the easternmost is almost stagnant and has yellow incrustations near it. The rate of flow, even from the largest spring, is very slow, probably not more than ten litres per minute, and the overflow from the pools is only a tiny stream a few centimetres wide which soon loses itself in the sand of the wadi floor; but the pools are large enough for a dozen or more camels to drink from, and soon fill up again when emptied. The water is of excellent quality, very clear, and the supply never fails. Near the springs there are five or six small date palms, and the wadi hereabouts has many other[119] trees. After rain, this part of Wadi Hodein at times becomes a stream; this was the case in October 1907, for I found numerous pools in the wadi floor, and scum and froth showing that an impetuous stream about half a metre deep had flowed down the wadi only a few days prior to my visit. Just below Abu Saafa Springs, Wadi Hodein receives the short Wadi Maghal from the north-west; this wadi, which is walled in by high sandstone plateaux, contains water holes about three kilometres from Wadi Hodein; but these are less important than the springs of Abu Saafa, and are, moreover, off the main road.
Wadi Hodein now opens out, the high sandstone scarps of Gebels Abraq and Hodein running north and south-east, and enters a sandy plain with very low hills, from among which some small feeders join the main wadi. About fifteen kilometres below the opening of scarps, Wadi Hodein receives, from the north-west, the Wadi Naam,[96] a great tributary draining the mountains of Zergat Naam, Um Bisilla, and Abu Dahr. The next influx is from Wadi Dif, which enters Wadi Hodein from the south-west about six kilometres further on; Wadi Dif itself is only a short wadi, but it collects the drainage of an immense area to the south by long feeders, and contains a good well. Nearly opposite to Wadi Dif, the Wadi Orga el Atshani joins Wadi Hodein from the north-west; the Wadi Hodein has here two large island-like masses of low hills in it, between which the main drainage line passes. Lower down, Wadi Orga el Rayani enters by two mouths from the north. Both the Wadis Orga are said to originate near Gebel Orga, some thirty kilometres to the north, but their courses have not been mapped; the one called El Rayani is said to lead to a good well, Bir Orga, about twelve or fourteen kilometres above its junction with Hodein. On the opposite (south) side, Wadi Hodein receives the Wadi Anfeib, draining the high sandstone plateau of Gebel Anfeib. A little further on the small Wadi el Khasiya comes in from the north, by two channels, one on either side of a small group of isolated hills; and nearly opposite is the mouth of Wadi Madi, which drains the west side of the great mountain mass of Gerf, some sixty kilometres to the south, and possesses a good well about[120] fifty kilometres up its course from Wadi Hodein. Several feeders come in from the north a little further down the wadi, of which the chief is the Wadi Um Tenedba, draining the mountain of the same name, while others drain the hill country round Gebel Harhagit. On the other (south) side is the mouth of Wadi Khashab, draining the west side of Gebel Khashab and the hills west of it. A few kilometres further on, Wadi Hodein widens considerably, and from here onward it is very sandy and arid. A long spur running north-west from Gebel el Anbat nearly cuts across the wadi, the main channel of which passes north and east of the spur, while to the west of it is a rather broad sandy plain with ill-marked drainage lines from the hills, of which the chief bears the name of Wadi Um Seleim. Near Gebel el Anbat are numerous small feeders of Wadi Hodein from that hill and the other hills to the north-east. About eight kilometres below Gebel el Anbat, Wadi Hodein quits the hills and, turning a little north of east, merges into the coast-plain, over which its remaining course of about twenty-seven kilometres is very ill-defined. Just where it leaves the hills, Wadi Hodein is joined from the south-west by Wadi Beida, draining the mountain of the same name and containing two wells; and a little further on it receives Wadi el Kreiga, which drains the hill country round Bir Meneiga. The junctions of Wadi Beida and Wadi Kreiga with Wadi Hodein are very difficult to trace on the ground, being almost lost in the general sandy plain.
Bir Shalatein, a very salt well in the Wadi Hodein, about two kilometres from its mouth and only about seven metres above the sea, is chiefly of importance by reason of its marking the administrative limit of the Egyptian and Sudan spheres of government. It is merely a few shallow pits sunk in the wadi bed, yielding water drinkable only by camels. An iron beacon two metres high has been erected on a low bank close to the well, and will enable the well, which is itself inconspicuous, to be easily found.
Wadi Naam, a great tributary of Wadi Hodein coming from the north-north-west, originates about ten kilometres south-east of Gebel Zergat Naam by the union of the Wadis Abu Seyal, El Fil, and Um Bisilla, and courses south-south-east for about forty-nine kilometres to its junction with Wadi Hodein. It is a very barren wadi, being for most of its length a broad, shallow, and very sandy drainage line among low hills, and in its lower parts, where it crosses[121] the plain of Abraq, its course is very ill-marked. Its slope decreases from five metres per kilometre near its head to about three metres per kilometre in its lower reaches. Besides the three wadis which, as above-mentioned, unite to form its head, Wadi Naam has several large tributaries, of which the chief are the Wadis Silsila and Abraq on the west, and Wadis Erf Um Araka, Arais, and Betan on the east.
The Wadi el Fil, which may be regarded as the main head of Wadi Naam, though it is not the longest, drains the north-east portion of Gebel Zergat Naam (sometimes called Hagar el Fil). The rocky gullies forming its heads contain rock basins which yield water for a short time after rain.
Wadi Abu Seyal drains the south part of the same range; its head is very steep, and is said to contain a very large galt, which holds supplies of water for five months after rain.
Wadi Um Bisilla drains Gebel Um Bisilla, which it half encircles, its main head being north-east of the mountain, where there is an easy pass into Wadi Abu Nilih, and thence an easy road to the head of Wadi Lahami. About eleven kilometres west of the mountain, Wadi Um Bisilla receives, from the north-east, the Wadi el Khiua, which, with its tributaries, Wadis Abu Fagir and Abu Nilih, drains the low hill country north of Gebel Um Bisilla. The lower parts of Wadis Um Bisilla and Khiua have not been surveyed in detail; their courses as shown on the map are only approximate, but being based on guides’ statements near the spot they are probably substantially correct.
Wadi Erf Um Araka heads as a series of small wadis among the low hills south of Um Bisilla, and curves round westward between the high hills of Abu Shigelat and Erf el Gimal on the north, and Erf Um Araka or Gebel Belamhandeit on the south, to join Wadi Naam about five kilometres lower down than Wadi Um Bisilla. The hill country round the heads of Wadi Erf Um Araka is fairly open, so that one can proceed freely from the head of Wadi Arais, across those of Wadi Erf Um Araka, and on into the heads of Wadi Um Bisilla.
Wadi Arais originates by the union of many small feeders in the low hill country between Gebels Um Guruf and Hendusi, and courses for the first fourteen kilometres in a south-south-west direction. About nine kilometres below its head the Wadi Um Guruf, draining the hills round the conspicuous granite boss called Gebel Um Guruf, enters from the north-west. Some five kilometres further[122] on, just beyond the place where Arais makes a sharp westward bend, Wadi Belamhandeit, draining the east face of the long gneiss range called Erf Um Araka or Gebel Belamhandeit, enters from the north. Wadi Arais now narrows into a winding gorge, cutting westward for about ten kilometres through the complex of high gneiss hills called Gebel Arais to join Wadi Naam. Its junction with Wadi Naam takes place in a small plain, with the sandstone plateaux of Gebel Um Sididad on the west and the gneiss hills of Gebel Arais on the east. The fall of Wadi Arais is from 464 metres above sea at the pass into Wadi Erf Um Araka, to 345 metres where it joins Wadi Naam after a course of twenty-five kilometres; so that its slope averages four and a half metres per kilometre.
Wadi Silsila[97] heads in high sandstone hills on the meridian of 34° 40′, north of Gebel Abraq, where at least one pass, steep and sandy, leads to the Wadi Arned. Its course is almost due east, over a plain with low sandstone banks, with a great deal of blown sand. Feeders enter it from the sandstone hills which bound the plain, the principal being the Wadi Um Sididad, draining the high sandstone hills, called Gebel Um Sididad, on the north. About seven kilometres before it joins Naam, Wadi Silsila cuts through the range of low sandstone hills which stretches southward from Gebel Um Sididad to near Abraq springs; in proceeding to Abraq from the pass at the head of Wadi Silsila, one bears off to the south before reaching this range, entering the drainage of Wadi Abraq over an open sandy plain.
Wadi Abraq is a rather ill-defined drainage line which originates on the north side of Gebel Abraq, and after skirting the high sandstone scarp, from which it receives small feeders, for about thirteen kilometres, turns eastward to join Wadi Naam, about nine kilometres above its junction with Hodein. Wadi Abraq is sandy and barren, and would be scarcely worthy of mention but for the fact that it contains some of the most important water sources of the entire Eastern Desert, the Abraq Springs. There are no less than five springs within a length of as many kilometres of the wadi, yielding perennial supplies of excellent water.
The first spring from the north, called Bir el Sunta, is a pool about two metres in diameter at the entrance to a little gully in the[123] face of the high sandstone scarp; it is very easily accessible to camels, being practically on the plain, and fills as rapidly as it is emptied. The second and third springs, called together Bir Abu Dibesat, are about 1,500 metres south-east of Bir el Sunta, near the tomb of Sheikh Hamid; they form smaller pools at the foot of the scarp. The fourth spring, Bir Abraq, is situated a short distance up a stony gully which emerges from the scarp a little further south; the water lies in large pools under dipping sandstone beds on the south side of the gully. The fifth spring, Bir Gumbit, is said to be some three[124] kilometres further south-east, and, like the others, at the foot of the sandstone scarp; it has not, however, been visited by the survey party.
The water at all the Abraq Springs is of excellent quality; it contains masses of green algæ, but these are easily avoided in baling out, and the water can be obtained quite clear. Of the four springs visited, the one called Bir Abraq is the chief; but Bir el Sunta is rather easier of access for camels. The springs are practically all at the same level, viz., 330 metres above sea, and all derive their water from the same sandstone beds. No camel food grows near the wells, and there are very few trees in the vicinity; consequently, the Arabs of the neighbourhood do not camp near the springs, but in Wadi Hodein and its tributaries, drawing water from Abraq or Abu Saafa at intervals. There are, however, ruins of a large ancient fort on a low hill east of Bir Abraq, and some Arab graves a little further north; among these latter is a large tomb said to be that of Sheikh Hamid.
Wadi Betan originates on the north side of Gebel Abu Dahr, where an easy pass, 610 metres above sea-level, connects its head with Wadi Um Karaba, and courses at first westward to near Gebel Hendusi; it then turns southward to join Wadi Naam a few kilometres only above its junction with Wadi Hodein. Its total length is over fifty kilometres, and its average slope is about seven metres per kilometre. Only the head of Wadi Betan has been surveyed in detail; but this is the most important part, as containing water sources and old mine workings; and the lower part of its course as shown on the map is probably substantially correct, being based on statements made near the spot by guides familiar with the district.
About five kilometres below its head, Wadi Betan contains the two wells called Bir Betan. These are excavations in the alluvium of the wadi. The lower one is at the mouth of the small Wadi Um Eleiga, while the other is about 600 metres further up Wadi Betan, close to a small tree. Both these wells were filled up by downwash when I visited them in February 1907, and their places were only recognisable by the clay “hôds” near them; at this time there was no necessity for the Arabs to open them, as a galt at the head of the wadi, just south of the pass into Wadi Um Karaba, was yielding a good supply of water.
[125]Just above the wells, Betan receives from the south the feeder called Wadi Mistura, draining the west side of Gebel Abu Dahr. The little Wadi Um Eleiga, which drains into Betan close to the south well, is of importance as leading to some extensive ruins and old workings about two kilometres up from its mouth. The ruins are mostly rubble hovels, while the workings, which were evidently for gold, vary from mere scratchings to pits ten metres deep in the rock. A diorite mill-stone is to be seen near the ruins.
The Wadi Abu Debebi lil Betan, which joins Betan on the north about three kilometres below the wells, leads by an easy pass into Wadi Abu Debebi lil Khoda, one of the heads of Wadi Khoda, and forms the nearest way to the coast from Bir Betan. Wadi Abu Sieiyil is a small feeder entering Betan from the south, three kilometres further down. The principal remaining tributaries of Betan are the Wadis Hefeiri, Abu Beid, and Egat. Wadi Hefeiri runs westward from near the Abu Debebi pass, and turning south near Gebel Hendusi, receives the Rod el Hendusi just before entering Betan. Wadi Abu Beid el Azrak originates near Gebel Abu Sieiyil west of Abu Dahr, and flows southwards to join Wadi Abu Beid el Abiad, which in turn flows into Wadi Betan. A well, Bir Abu Beid, is situated near the junction of Wadi Abu Beid el Abiad and Wadi Abu Beid el Azrak, where there are numerous seyal trees; it was yielding a fair quantity of good water in 1906. Of the Wadi Egat, nothing has been seen; it is, however, stated by the Arabs to originate in the rugged hilly tract south of Gebel Abu Dahr, and to join Wadi Betan lower down its course than Abu Beid.
Wadi Dif originates in the sandstone hills round Bir Dif, and pursues a very sinuous north-easterly course, cutting through the high sandstone plateau which is named Gebel Hodein to the north, and Gebel Dif to the south of it. For the major part of its length of twenty-nine kilometres it is very narrow, with very high steep sandstone scarps on either side, but it is a little more open near its origin, where Wadi Feqoh joins it, and in its lower part it winds as a broad sandy valley through the low hills which separate the Wadi Hodein from the high sandstone plateaux; it joins Wadi Hodein close to the meridian of 35°. Except the Wadi Feqoh, which is of immense length, and drains a very large area, Wadi Dif has only a few insignificant feeders. Of these, Talet Um Karaba and Wadi Enqireidia enter[126] from the south plateau near the place where Wadi Dif leaves the high sandstone hills; and Wadi Gelabat Shabai, coursing north-east through the low hill country flanking the plateau, joins Wadi Dif just above its junction with Hodein.
Bir Dif is situated in a small gully forming the head of Wadi Dif, in latitude 23° 12′ 42″. To a traveller coming up Wadi Dif, Wadi Feqoh forms the main continuation of Wadi Dif, and the gully containing Bir Dif appears to be a lateral tributary coming in from the west; but the Arabs restrict the name Dif to the drainage line below the spring, and apply the name Feqoh to all the upper main channel. Bir Dif is a spring forming two pools of good water, situated about a kilometre up the gully, at the junction of sandstone and schists. The approach to the pools is very stony, but camels can easily reach the water; the spring is 290 metres above sea-level.
Wadi Feqoh, a tributary of Wadi Dif, is many times longer than Wadi Dif itself, and even longer than the Wadi Hodein of which Wadi Dif is a tributary, having a length along its main channel of 150 kilometres, with feeders totalling several times that length. Though only portions of Wadi Feqoh have been surveyed in detail, the position of its entire course is known with tolerable accuracy from the statements of guides at various stations from which portions of it could be pointed out. It is for the most part a very barren wadi, forming an ill-defined drainage line through a dreary waterless sandy waste. Its very name, which means “devoid of nourishment,” indicates its character. It originates near the west side of Gebel Soaorib, only some twenty kilometres north of the 22nd parallel of latitude, where the main watershed separates it from the feeders of the Wadi Alaqi. From here it follows a north-westerly course, passing between the mountains of Eir Arib and Hadal Derqa. Curving slightly to the north, it crosses the great sandy plain west of Gebel Korabkansi, and passes close west of the isolated mountain called Gebel Shabih. Further on, it enters a country of low hills with sandy interspaces, passing close west of the low range called Gebel Um el Kalala, and then sweeps round in a great curve towards the east to join the Wadi Dif close to Bir Dif. The fall of its bed from near Gebel Shabih to its junction with Wadi Dif, that is, in a length of seventy-two kilometres, is from 470 metres to 280 metres above sea, giving an average slope of only about 2·6 metres per kilometre; Wadi Feqoh has in fact the most gentle gradient of all the great seawards-draining wadis.
[127]Wadi Feqoh has many tributaries. Those near its head, and others coming in from the western mountains through the low hill country north of Gebel Mishbih, have not been traced; but those draining Gebel Korabkansi and Gebel Niqrub, which are probably the most important, have been mapped in detail. Most of the drainage from these localities eventually finds its way into the great trunk feeder of Wadi Feqoh, called the Wadi Gimal,[98] which joins Wadi Feqoh about sixteen kilometres before its junction with Wadi Dif. The tributaries of Wadi Feqoh are of much more interest than Wadi Feqoh itself, as they contain in many places a fair or even relatively rich assemblage of trees and bushes, and at least one good well, Bir Sararat Seyet.
The most southern tributaries of Wadi Feqoh which have been mapped are Wadi Kamoyib, draining eastward from Gebel Wadhait, and Wadi Tawayib, draining the east face of Gebel Korabkansi. These are for the most part barren wadis each coursing for about sixteen kilometres across a sandy plain to join Feqoh.
The main head of Wadi Gimal is called Wadi Seyet. It originates between Gebel Wadhait and Gebel Dreb about latitude 22° 35′, and by means of many feeders drains the east face of Gebels Dreb and Gerf. The principal feeder of Wadi Seyet from the south-west is Wadi Wadhait, collecting the south drainage of Gebel Korabkansi, while on the east the Wadi Sherefa el Gharbi, which leads to the important Sherefa pass, contributes the drainage from the northern parts of Gebel Dreb and the south-west parts of Gebel Gerf. These both join Wadi Seyet a little south of latitude 22° 40′, while a little further down there enter from the east two small feeders called Wadi Delawet and Wadi Buyet. The name Seyet is given to this wadi only down to where it passes through a narrow gap between high hills in latitude 22° 42′; below that point it is called Wadi Gemal. Wadi Seyet is remarkably well wooded, containing an immense number of fine large acacia trees, and presented an almost park-like appearance at the end of 1907. It also contains a deep well, Bir Sararat Seyet, excavated in the wadi floor just above the gap between the hills above referred to. This well was full of downwash in the winter of 1907. It is said to be twenty metres deep and to yield plenty of good water, but at that time there was plenty of water in galts in the mountains,[128] and the Arabs said they preferred to derive their supplies from these so long as they lasted, only digging out the well when further supplies were necessary.[99] An unnamed feeder from the west, joining Wadi Seyet just below the well, leads by an easy pass into the head of Wadi Hushenab, which drains through Wadi Sortdau into the Wadi Gemal lower down its course.
The country between Gebel Korabkansi and Gebel Niqrub Foqani, through which the course of Wadi Gemal lies, is a gently sloping plain with mere low banks, among which the drainage lines branch out forming numerous loops. The main channel runs fairly straight in a north-westerly direction, receiving Wadis Sortdau and Remalib, draining the hills north-west of Gebel Korabkansi as tributaries on its west side; but a sort of loop line runs off eastward and reaches the main channel again by the Wadi Haletiai, which also collects the drainage from the south parts of Gebel Niqrub Foqani. After passing west of this last-named mountain, Wadi Gemal takes a more northerly course; it receives an immense number of feeders from the west and north of Gebel Niqrub Foqani, of which the principal is called Wadi Umeiatib. Other feeders enter from among the low hills on the west, the principal being Wadi Hadelshisheib, coming from the neighbourhood of the dark cone called Gebel Mismih. From Bir Sararat Seyet to its junction with Wadi Feqoh the length of the main channel of Wadi Gemal is fifty-seven kilometres, and its fall is from 560 metres above sea to about 310 metres, or on the average about four and a half metres per kilometre; its slope is thus much more rapid than that of Wadi Feqoh, though in its lower parts, where it passes over what is almost a plain, its gradient is less than half this average amount. The upper parts of the Wadi Gemal and its tributaries contain as a rule a fair abundance of trees and bushes.
Wadi Abu Hashim, which joins Wadi Feqoh about three kilometres above Bir Dif, commences its course near Gebel Butitelib, where an easy pass, broad and sandy, 405 metres above sea-level, divides it from the heads of Rod Mukrayib, a tributary of Wadi Madi. Wadi Abu Hashim follows a north-westerly course, nearly in a straight line, collecting principally the drainage from the western slopes of the range of high schist hills which flank the sandstone plateau[129] of Gebel Anfeib. It has a length of seventeen kilometres, and an average slope of about six metres per kilometre. It is a fairly open wadi, without much vegetation; on its west side are only very low hills.
Wadi Anfeib, which enters Wadi Hodein from the south-west eight kilometres below the point of influx of Wadi Dif, is formed by the union of three main heads, called Wadi Anfeib el Tawayib, Wadi Atalab, and Wadi Mitatib, draining respectively the northern, central, and southern parts of the great sandstone plateau of Gebel Anfeib. Mitatib is joined half-way down its course by Wadi Unfagalan, which likewise heads in the plateau. Below the junction of its three main heads, Wadi Anfeib has a course of only about seven kilometres to run, through low hill country, before it joins Wadi Hodein.
Wadi Madi, the next great tributary of Wadi Hodein from the south, heads in the western side of the complex group of mountains called Gebel Gerf, and courses in a northerly direction for over seventy kilometres before joining Wadi Hodein in longitude 35° 7′, five kilometres lower down Wadi Hodein than the mouth of Wadi Anfeib. The heads of Wadi Madi are extremely complex, consisting of a multitude of branching drainage lines, and some of them divide their drainage with the Wadi Gemal, which enters Wadi Hodein by way of Wadis Feqoh and Dif. The most southerly head is the Wadi Difoteb, draining from the west side of Gebel Gerf in latitude 22° 39′; but only a part of the drainage from this gets into Wadi Madi, the rest going into Wadi Sherefa el Gharbi. A similar fate is shared by Wadi Eirahimib, which heads in a slightly difficult pass, leading into Wadi Um Reddam, about three kilometres west of the highest point of Gebel Gerf in latitude 22° 42′; this wadi courses in a direction a little south of west, falling very rapidly, past the hill mass of Gebel Tueiwi, where it divides, part of its drainage going northwards as Wadi Madi, and part crossing the plain as Wadi Buyet and joining the Wadi Seyet. The next head of Wadi Madi to the north is formed by Wadi Faditiai, which drains the high hills east of Gebel Tueiwi, and captures a part of the drainage brought down by the above-mentioned Wadi Eirahimib. Exactly where the name Madi commences to be applied to the drainage is uncertain, as Arabs differ on the point, but it is probably most correct to consider Madi as commencing just south of Gebel Tueiwi,[130] where the drainage of Wadi Eirahimib, with part of that from Wadi Difoteb, divides into two parts, the lesser going down Wadi Buyet to join Wadi Seyet, while the greater forms Wadi Madi itself. On this basis, Wadi Faditiai is a tributary of Wadi Madi, joining it by several openings between latitudes 22° 44′ and 22° 46′. There are numerous feeders from the low hill country both to Wadi Faditiai and to Wadi Madi proper. After receiving Wadi Faditiai, Madi flows in a well-defined trench, with many trees, north-west for a few kilometres to latitude 22° 47′, where it turns sharply, almost at a right angle, to the north-east. A kilometre and a half beyond the bend where there is a high granite hill on the west side of the wadi, is Bir Madi. This is a well sunk in the alluvium of the wadi floor, having its mouth lined with stone slabs; in December 1907, when I visited it, the water was four and a half metres deep, with its surface three and a half metres below the wadi floor, and the water was good. The wadi floor here is 476 metres above sea-level. A beacon on the granite hill overlooking the well has the position latitude 22° 47′ 46″ N., longitude 35° 1′ 38″ E., altitude 556 metres above sea. Below the well, Wadi Madi follows a rather winding course among moderately high hills to a little north of latitude 22° 50′, where it gets into more open country and continues as a broad sandy valley, curving gently in a northerly direction, to latitude 23° 5′. Beyond this point, where it receives the Rod Mukrayib and the Wadi Kolaiqo from the west and east respectively, Wadi Madi becomes narrower, and winds about, though still keeping a general northerly direction, among low hill country to its junction with Wadi Hodein. Wadi Madi has many tributaries, the chief being the Wadis Shellal el Gharbi, Tugudbaia, Sinatib, Atluk and Kolaiqo, and the Rod Mukrayib, which will be treated separately further on. The upper parts of Wadi Madi and many of its tributaries are well stocked with trees, but its central parts, where it is wide and sandy, are more barren. Its principal head, the Wadi Eirahimib, falls at an average rate of sixteen metres per kilometre; from near Gebel Tueiwi to Bir Madi the average slope is nine metres per kilometre; while in the final fifty-four kilometres of its course from Bir Madi to Wadi Hodein, the average gradient is rather less than six metres per kilometre.
Wadi Shellal el Gharbi, a tributary of Wadi Madi, originates in the mountains about six kilometres north of the highest peak of[131] Gebel Gerf, where a pass connects it with Wadi Shellal el Sharqi, a tributary of the eastward draining Wadi Radad. Flowing at first nearly due west, Wadi Shellal el Gharbi receives the Wadi Um Reddam, which collects the drainage from the north faces of the highest peaks of Gebel Gerf. Two of the heads of Um Reddam lead to passes; one eastward to Wadi Shellal el Sharqi, and one westward into the head of Wadi Eirahimib. Entering a lower hill country from which it receives numerous feeders, Wadi Shellal el Gharbi turns north-west to join Wadi Madi about eight kilometres below Bir Madi. It has a rather rapid fall, and contains a fair quantity of trees and bushes. Its total length along its main channel is twenty-one kilometres.
Wadi Sinatib, which enters Wadi Madi about six kilometres below Shellal el Gharbi, is a small wadi coursing north-west through the low hill country north of Wadi Shellal.
Wadi Tugudbaia conveys to Wadi Madi the drainage from the dyke country south-east of Gebel Niqrub el Foqani. It is only a short wadi, and enters Wadi Madi nearly opposite Sinatib.
Wadi Berendiyeb, which joins Wadi Madi from the west about latitude 22° 54′, drains the western flanks of Gebel Niqrub el Foqani. It is a many headed wadi, coursing at first among the low foot-hills of the mountain, and then crossing almost a sandy plain to join Wadi Madi. Its length along its main channel is about twelve kilometres. North of Berendiyeb, there are two other feeders of Wadi Madi coming from the low hills north-east of Gebel Niqrub el Foqani; they have no special names, being broad and sandy and without much vegetation in consequence of their draining only low country.
Wadi Atluk, which flows into Wadi Madi from the south-east almost opposite Gebel Niqrub el Tahtani, has a rather curious origin. It arises from a splitting of the course of Wadi Korbiai, part of the drainage of which passes eastward down Wadi Kreiga, while the other part retains its northerly direction as Wadi Atluk. The total length of Wadi Atluk is about twenty-one kilometres. It has not been surveyed in detail, but for most of its course it lies in low hill country.
Rod Mukrayib is a many-branched wadi which drains the hilly country between Gebel Niqrub el Tahtani and Gebel Anfeib. One of its heads leads by an easy pass near Gebel Butitelib into the head of Wadi Abu Hashim; another head drains the north face of Gebel Niqrub el Tahtani; while a third drains the south end of Gebel Anfeib,[132] coursing between the sandstone plateau and the schist hills west of it. From the pass into Wadi Abu Hashim to its junction with Wadi Madi the length of its channel is fifteen kilometres, with a fall of from 405 metres to 250 metres above sea, giving an average slope of ten metres per kilometre. It joins Wadi Madi on the north side of an isolated group of hills, just where Wadi Madi begins to narrow in, about nineteen kilometres above its junction with Wadi Hodein. From the point where Rod Mukrayib joins Wadi Madi there is a good open road across the heads of Wadi Edunqul into those of Wadi Anfeib.
Wadi Kolaiqo, which joins Madi almost opposite Rod Mukrayib, originates in the hills between Gebel Niqrub el Tahtani and Gebel Khashab, where a pass at its head leads into the heads of Wadi Khashab. It is a fairly wide wadi, shut in by rather high hills, coursing west-north-west with a length of nine kilometres and a fairly rapid fall.
Wadi Edunqul, a small tributary entering Wadi Madi, about ten kilometres above its junction with Wadi Hodein, drains by numerous gullies the south end of Gebel Anfeib, coursing a little north of east with a length of about eleven kilometres.
Wadi Khashab, a tributary of Wadi Hodein, drains by many branches the hilly country east of Gebel Beida. One of its heads leads to a pass six kilometres due west of the summit of Gebel Beida, whence there is a road to Bir Beida; just before reaching the pass, there is a large quartz vein with some ruins near it. Another feeder of Wadi Khashab, the Wadi Dehaiartib, heads in a pass leading to the head of Wadi Kolaiqo. Wadi Khashab has not been explored south of 23° 0′. From this parallel to Wadi Hodein its length is about twenty-six kilometres, but its head may be five kilometres or more further south. The country on the west side of Wadi Khashab consists of low hills, but on the east it drains very high hills, and its feeders course in trenches across the stony slopes at the feet of the hills to join the main channel. Wadi Khashab contains large numbers of trees, whence its name (Khashab = wood). Its average slope is about eight metres per kilometre.
Wadi Beida originates at a pass 395 metres above sea-level, six kilometres west of the summit of Gebel Beida, where a road leads over into Wadi Khashab. From the pass Beida courses south-east[133] for seven kilometres, receiving feeders from the high hills on either side. It then turns abruptly at an acute angle, following a northerly direction for one and a half kilometres; then turning east for one kilometre, it receives a great feeder draining the south slopes of Wadi Beida, afterwards turning south for one and a half kilometres to a point marked by the ruin of a small well built stone structure, in which mortar and stucco has been used. From this point the wadi follows a winding course, at first south-east but gradually working round into a north-easterly direction, as a narrow gorge through the high hills of Gebel Beida. Just where the wadi begins to turn northward, about one and a half kilometres below the ruin above-mentioned, are the two wells called Bir Beida. The upper well is at the opening of a defile leading south-eastward to a pass, forming the point of departure in the nearest road from Bir Beida to Bir Meneiga; this well was dry in November 1907. The lower well is about 500 metres further down the wadi, at a sharp bend in its course; it is an excavation in the alluvium of the wadi floor, and was yielding good water in 1907 from a depth of about six metres. The Arabs say that the supply at this well only fails after three or four years without rainfall, but the water only infiltrates slowly, so that after it has been emptied by a caravan it requires a day or so to refill. The top of the well is 205 metres above sea-level.
About four kilometres below the well, Wadi Beida emerges from the high hills, and crosses a tract of much lower hill country seven kilometres wide, receiving in this part of its course many feeders from the eastern face of Gebel Beida; it then divides, still preserving its general north-easterly direction, into a number of shallow channels coursing across the sandy plain to join the Wadi Hodein.
From Bir Beida the nearest wells are Bir Meneiga and Bir Shalatein; the water of the latter is, however, very salt and only drinkable by camels. To Bir Meneiga, a distance of thirty-seven kilometres, the track leads over the pass already mentioned south-east of the upper (dry) well, thence into Wadi Kreiga, and up that wadi into Wadi Meneiga; the road is rather stony near Meneiga, and rises rapidly, so plenty of time should be allowed. To reach Bir Shalatein, forty kilometres distant, one descends Wadi Beida into Wadi Hodein and follows Wadi Hodein towards the sea; the road is easy, being mostly across a falling sandy plain.
[134]Wadi Kreiga, the last great tributary of Wadi Hodein, originates by the union of the Wadis Korbiai and Meneiga, both draining that north extension of the mountain mass of Gebel Gerf which is sometimes called Gebel Korbiai or Gebel Meneiga.
Wadi Korbiai and Wadi Meneiga have their heads only separated by a narrow mountain ridge, but there is no possible track over this ridge from one to the other. In each case the wadi contains two water sources near its head, and the limit of “navigability” of the wadi is formed practically by these sources, above which there are steep stony gorges.
Bir Korbiai consists of two wells, both situated at the foot of a sudden drop in the rocky bed of Wadi Korbiai, about 150 metres apart, sunk in the bouldery alluvium; there is some rude timbering at the mouth of the wells over which a large stone is placed to prevent infilling by downwash. In December 1907 both wells contained abundance of excellent water, only a metre below ground level. Both wells are easily accessible, though the road to them is stony. The wells are stated to yield good supplies for three or four years after rain has fallen, but after longer drought they only yield a little.
Below the wells, Wadi Korbiai sweeps round in a semicircle of about three kilometres radius round the west flank of the hills to join Wadi Meneiga. On its right side are the steep slopes of Gebel Korbiai, but on the left is lower hill country. Small feeders enter from both sides. The bed of the wadi is stony, but there are a fair number of trees in it. Only a part of the drainage of Wadi Korbiai turns eastward to join Wadi Meneiga in forming Wadi Kreiga; the other part pursues a northerly course into the Wadi Atluk, a tributary of Wadi Madi.
Bir Meneiga is important, not only as giving a perennial supply of good water, but also as marking a point on the administrative frontier of Egypt and the Sudan. It consists of two springs in the stony bed of Wadi Meneiga, near its head. The northern spring is taken as marking the frontier; its position is latitude 22° 47′ 8″ N. longitude 35° 12′ 20″ E., altitude 605 metres above sea-level. The southern spring is about 320 metres further up the wadi, at a level four or five metres higher. Each of the springs consists of a tiny pool among the rocks of the wadi floor, easily accessible to camels. The pools only contain eight or ten gallons each, but camels can drink[135] as fast as they like and the pool keeps full. The water is excellent. There are numerous ruins at Bir Meneiga; they consist of rude rubble hovels and extend for over a kilometre down the wadi below the springs.
Above the springs, Wadi Meneiga soon becomes impassable, ending in rocky gorges in the mountains. Below the springs it courses for about seven kilometres in a direction a little west of north to join Wadi Korbiai and form the head of Wadi Kreiga. The fall in this seven kilometres is 200 metres, so that the slope is the phenomenally rapid one of twenty-eight metres per kilometre, and of course the floor of the wadi is very stony and camel progress is very slow. There are several lateral feeders, including one from the east, three kilometres below the springs, leading to the head of Wadi Radad; but I am not sure whether the pass is practicable as I only saw it from the mountain top.
From the mouth of Wadi Meneiga, Wadi Kreiga courses about 15° north of east, as a fairly wide wadi with a stony floor, with high hills on either side from which small feeders enter. The first large feeder, the Wadi Abiad, enters from the north-west, six kilometres below the mouth of Wadi Meneiga; it is a steeply falling wadi, which, like all wadis bearing the name of Abiad, has a floor of light-coloured granitic sand. Some eight kilometres lower down, two feeders enter from opposite sides: that from the north is called Wadi Eberer, while that from the south bears the name of Wadi Shigeg. Neither of these has been followed up far, and their length is unknown; but they are believed to be of no great extent. Below this point the country opens out considerably, and the wadi anastomoses round low hills, while its floor becomes less stony and more easy under foot. The various channels unite again about eight kilometres further down, where the wadi receives a tributary from the north-west just before it passes the high hill mass which forms the southward extension of Gebel Beida. This tributary leads to an easy pass, forming a direct road to Bir Beida. Lower down several lateral feeders come into Kreiga from either side, and the wadi emerges on to a sandy plain with scattered low hills. Across this plain Kreiga takes a more northerly direction for about sixteen kilometres to join the Wadi Hodein. The length of Wadi Kreiga from the mouth of Wadi Meneiga to Wadi Hodein is about fourty-one kilometres. Its fall between these points[136] is from 405 metres to about 70 metres above sea-level, giving an average slope of eight metres per kilometre; the slope in the upper parts, where the wadi bed is stony, is of course somewhat greater, and that in its lower more sandy reaches is somewhat less than this average.
Wadi Kolaiqo is a very ill-defined drainage line heading in the low hills called Gebel Kolaiqo, and coursing north-east for about thirty kilometres across the sandy coast-plain to reach the sea about latitude 23° 0′. It is very sandy, and absolutely barren except for a little scrub in its upper parts. It would hardly have been noticed had not the triangulation station on the hill at its head been occupied.
Wadi Shab, with a basin of about 1,250 square kilometres, drains the eastern and southern portions of the great group of mountains of which Gebel Gerf is the centre, and reaches the sea in latitude 22° 52′, a little to the north of Mersa Shab. It has a great number of heads, most of which bear special names, the name Shab being applied collectively to them from the locality near the hill of Qrein Salama, about forty kilometres from the sea, where they begin to unite together into one great trunk channel. From the circumstance that its heads are situated in a high mountain mass where the rainfall is relatively great, and moreover have steeply falling stony beds which absorb but little of the precipitation, the upper portions of Shab and its feeders are well stocked with trees. Only in the last stages of its course to the sea, where the absorption of its drainage by the sandy coast plain becomes great, does the abundance of vegetation fall off and the channel become barren. Its principal heads and feeders are Wadi Radad (fed by Wadi Shellal el Sharqi), Wadi Tikosha, Wadi Muqur (fed by Wadi Ti Ilak), Wadi Qadiloi (fed by Tilat Tihu Shana), Wadi Baaneit, Wadi Kilanai, Wadi Um Saha, Wadi Diqdib, Wadi Sherefa el Sharqi, and Kwat Hewah. At least three of these contain good water sources, Bir Muqur, Bir Baaneit, and Bir Diqdib being situated in the upper parts of the wadis bearing the same names. The various heads and feeders of Shab will be described in detail below, commencing from the northernmost one.
Wadi Radad may be more properly described as a tributary than as one of the heads of Wadi Shab, as it joins the trunk wadi some fifteen kilometres below the other feeders. It originates in a rugged tract of high hills near Bir Meneiga, and courses eastward[137] for about thirty-six kilometres, joining Wadi Shab on the coast-plain near the low hills of Ti Qireira, about twenty-four kilometres up from the point where Wadi Shab enters the sea. It has not been surveyed in detail, but its course was mapped from the triangulation station of Gebel Gerf and from other occupied stations whence portions of it were visible.
Wadi Shellal el Sharqi, a large feeder of Wadi Radad, originates in the mountains between Bir Diqdib and Bir Muqur. It has many heads, the best known of which is one coming from the west, leading to a pass into Wadi Shellal el Gharbi, a tributary of Wadi Madi; while another, a little further south, leads to another pass into Wadi Um Reddam and forms a possible road to Bir Sararat Seyet. Wadi Shellal el Sharqi follows generally a northward course, with a rapid fall, and joins Wadi Radad about eighteen kilometres below the head of the latter.
Wadi Muqur heads in the eastern mountains of the Gerf group, which are sometimes called Gebel Muqur. Here the drainage from several steeply falling rocky gullies collects into a single winding gorge shut in by the mountains. The limit to which camels can go up the gorge is marked by a well called Bir Muqur. At the time of my visit to this, in February 1908, the well was filled up by debris, through which, however, the water constantly rose and trickled into pools in a series of rock basins at slightly lower levels. The flow was at the rate of about five litres per minute, the overflow from the basins running to waste at this rate in the sand of the wadi. The water was of excellent quality. The Arabs state that when the water ceases to flow as a spring they dig out the debris and use the place as a well. Below the well, Wadi Muqur pursues a winding course north-eastward for about two and a half kilometres; then, receiving the short Wadi Ti Ilak, draining the mountains to the west, it turns sharply eastward and emerges from the high hills into lower country about three kilometres further on. In the lower country the wadi changes its direction to east-north-east, receiving many feeders from among the low hills west of Qrein Salama, and its bed divides and anastomoses into a series of channels, which eventually unite just before it enters Wadi Shab, five kilometres north-east of Qrein Salama. From near its head at Bir Muqur to its junction with Shab, Wadi Muqur has a length along its main channel of about nineteen kilometres; it falls from[138] 470 metres above sea-level at the well to 200 metres at its junction with Shab, so that the average gradient is about fourteen metres per kilometre.
A few kilometres before reaching Wadi Shab, Wadi Muqur is joined by the Wadi Tikosha, draining the moderately high hills which lie between Wadi Radad and Gebel Muqur, and winding among low hills over the plain.
The Wadis Qadiloi and Baaneit drain from the east faces of Gebel Muqur and the mountains and hills close south and east of it, into Wadi Shab. There is an eastward extension of hills from Gebel Muqur, partly drained by Tilat Tihu Shana, which flows into Wadi Qadiloi; south of this extension there is a sort of bay, occupied by lower hills separating Wadi Qadiloi from Wadi Baaneit, through which several cross channels connect the two wadis. Bir Baaneit is a small well in Wadi Baaneit, near its head; it is said to yield water always, but refills slowly, so that only six to ten camels can be watered at once. A little below the well, Wadi Baaneit leaves the hills and courses north-east across a rapidly falling stony plain. On the plain, south of the main channel, are the two ruins called Darahib Baaneit. They are built of rubble stone set in plaster, with stucco facing in places, and appear to be ancient Moslem tombs, the larger one having evidently once supported a dome; there are about twenty Arab graves near the ruins.
South of Wadi Baaneit the plain is crossed by many drainage channels coursing north-east to join Wadi Shab, and the plain is covered here with quite a park-like growth of acacia trees. The principal channel, which comes from the hills about four kilometres south Bir Baaneit, is called Wadi Kilanai.
A little south of Wadi Kilanai the plain cuts far back to the west, and the drainage entering this portion comes from the heart of the Gerf mountains to the north-west. A large isolated granite hill-mass called Kilia Arib and numerous smaller hills break the monotony of the plain and cause much branching and looping of the drainage channels. The principal artery draining the south parts of Gebel Gerf is the Wadi Diqdib, which originates on the south flanks of the highest peaks, right in the heart of the mountain mass. In one of the heads is a well called Bir Diqdib, which, though of great service to the Koatil Arabs who inhabit this district with their camels and[139] other animals, is of little importance to the traveller because of its situation in a closed-in wadi and thus not being on any route. From its head, Wadi Diqdib courses south-westward for fifteen kilometres or more among the mountains, receiving many feeders, before it emerges on to the plain. On leaving the mountains it splits up, part of its drainage going round by the north side of Kilia Arib, and part by the south, in each case by a number of anastomosing channels.
The Wadi Um Saha drains the hills south-west of Bir Baaneit, and after coursing southwards among the mountains turns the corner and runs north-east across the plain to Wadi Shab.
Wadi Sherefa el Sharqi, which drains the south portion of the Gerf massif and the north-east flanks of Gebel Dreb, heads in the important Sherefa pass, 807 metres above sea-level, and forming the direct route from Gebel Hamra Dom and Gebel Um Rasein to Bir Sararat Seyet by way of Wadi Sherefa el Gharbi. The pass is a fairly easy one, though the fall is rapid, especially on the east side, where Wadi Sherefa el Sharqi falls no less than one hundred metres in the first two kilometres of its course. A feeder which enters Wadi Sherefa el Sharqi from the south about two kilometres below the pass is said to lead by another pass to a well called Bir Bint el Dreb, situated at the head of Wadi Dreb, a tributary of Wadi Feqoh. For the first seven kilometres of its east-south-easterly course below the pass, Sherefa el Sharqi is shut in by very high hills, from which numerous feeders join it; it then divides just before reaching the great white granite hills called Eir Arib, part of its drainage going southward to join Kwat Hewah, and part continuing its course on the north side of the granite hills to join Diqdib near the granite cones of Tibashoi and thence turning northwards over a large sandy plain to enter Wadi Shab.
Kwat Hewah drains the eastern flanks of Gebel Dreb and the north flanks of G. Medarai. Its heads unite to form a series of channels in a small plain south-west of Eir Arib, and here it receives a contribution from Wadi Sherefa el Sharqi as mentioned above. As it passes Eir Arib, Kwat Hewah divides, part of its drainage curving round to the north to join that of Wadi Diqdib and Wadi Sherefa el Sharqi on its way to Wadi Shab, and the remainder going south-west to join the Wadi Medarai. From the head of Kwat Hewah there is said to be an easy pass into the Wadi el Krim, a tributary of Wadi Feqoh.
[140]Wadi Ibib, which drains the eastern slopes of Gebels Medarai, Abu Hireiq, and Abu Hodeid, and the eastern and northern faces of Gebels Soaorib, Adar Qaqa, Leqaq, Um Seleim, Qidmib, Orgem, and Um Bishtit, as well as Gebel Hamra Dom and the smaller hills south of it, is formed by the union of the Wadis Hasium and Medarai, a little east of Gebel Um Rasein, and enters the sea at Mersa Shab. It has a drainage basin of about 1,800 square kilometres. Including Wadi Hasium, which is simply the upper portion of Ibib, its total length along its main channel is slightly over one hundred kilometres. Its principal tributaries are the Wadis Shinai, Abu Hodeid, Abu Hireiq, Medarai, Soaorib, and Um Bishtit.
Wadi Hasium, which forms the upper portion of Wadi Ibib, originates on the main watershed in about latitude 22° 10′ and longitude 35° 15′; a pass leads from its head on to a stony plain, whence a track leads to Miti Kwan, a tributary of Wadi Alaqi. Near its head, Wadi Hasium contains a small well called Bir Kagog. A few kilometres further down, the short Wadi Mantil Hasium, draining the western face of Gebel Adar Qaqa, enters from the east, while the Wadi Hilwit Hasium, draining the mountain of the same name and containing a galt near its head, joins Wadi Hasium from the west. Continuing its course northward past the mountains of Adar Qaqa and Leqaq, Wadi Hasium enters an extensive sandy plain, open to the north, bounded on the west by the mountains of Abu Hodeid and Um Rasein, on the south by those of Leqaq and Um Seleim, and on the east by those of Qidmib and Orgem. This plain, which averages fifteen kilometres in width, is broken by low hills, the principal of which, Gebel Hamra Tit, Kulet Meiqrum, and Kulet Tinasal, rise to considerable heights. Hasium courses slightly east of north near the western edge of this plain to near Gebel Um Rasein, then curves to the east across it, receiving the Wadi Medarai and becoming Wadi Ibib. In its northward course through the plain, Wadi Hasium receives a number of important tributaries from the western mountains, besides a few smaller feeders from the mountains to the south and from the hills on the plain. These may be briefly described in order.
Wadi Shinai, draining the hills south of Gebel Abu Hodeid, courses a little south of east and enters Wadi Hasium about latitude 22° 19′; it has not been surveyed in detail, but it contains a well known water source, Bir Shinai, which is said to be about seven kilometres from its junction with Hasium.
[141]Wadi Delawet, another small feeder which likewise drains the hills south of Abu Hodeid, and enters Wadi Hasium about three kilometres below Wadi Shinai, is of importance as leading to a camel track over hills which forms the means of access to Bir Odis Maaleq, I have not visited this water source, but it is said to yield immense quantities of good water, and to be situated at a rather high level in the head of a small wadi called Wadi Odis, a tributary of Abu Hodeid. It appears to be a spring fed by the rainfall on the surrounding high mountains, the overflow filling large rock basins. The reason why it is approached by the Wadi Delawet and the track over the mountains, instead of by ascending Wadi Abu Hodeid and the Wadi Odis directly, is that the latter route is very difficult for camels owing to the steep and stony nature of the wadi floor; it is, however, possible to use this route on foot. As nearly as I could make out from my guides’ statements, the total distance of Bir Odis Maaleq from the mouth of Wadi Delawet is about nine kilometres, of which the first four are in the Wadi Delawet and the remaining five on the hill track. The distance by the other route from Bir Abu Hodeid is about four kilometres, some of which is climbing. My native assistant, who was sent to erect the beacon on Gebel Abu Hodeid, took two and a half hours to go on foot from Bir Abu Hodeid to Bir Odis Maaleq, and estimated the latter spring to be some 150 metres higher than Bir Abu Hodeid.
Wadi Abu Hodeid, which drains the mountain mass of the same name, lies to the east of the highest peaks of Gebel Abu Hodeid and is shut in between them and another high range further east. It has a general south-south-easterly direction, and a very rapid fall. Its principal feeder is the short Wadi Odis above referred to, which falls into it from the west about six kilometres below its head. About one and a half kilometres below the point of influx of Wadi Odis, there is a large and important spring of good water in the wadi, called Bir Abu Hodeid. Though I have not visited this spring, its situation is shown on the map with tolerable accuracy, as its position with regard to neighbouring triangulated points was indicated by the guides. My native assistant, who passed the spring on his way to erect the beacon on Gebel Abu Hodeid, reported it to be very similar to the springs of Abu Saafa in appearance, though the latter are in a different rock. From its position in the midst of high mountains,[142] Wadi Abu Hodeid must at times of rainfall collect a great deal of water, and this explains the constant supplies yielded by the spring. Above the spring, the steepness of the wadi renders its ascent very difficult for loaded camels, and there is no road through its head, but guides state that there is good grazing at certain seasons in its upper parts, and animals are taken there to feed. Below the spring, the wadi opens out and curves eastward round the foot of the remarkable rounded peak of Abu Hodeid Oqla to join Wadi Hasium on the plain.
The Rod Anut Berer, which joins Wadi Hasium about the same point as Wadi Abu Hodeid but from the opposite side, drains the mountains of Leqaq and Um Seleim which bound the plain to the south.
Wadi Tikraneib, a small wadi full of trees, drains a jagged range north of Abu Hodeid Oqla, and joins Wadi Hasium on the plain by several channels.
Wadi Abu Hireiq, draining the mountains of the same name, originates about latitude 22° 27′. On leaving the high mountains its channel divides, part of the drainage going north-east as Wadi Merdiyeb, and part south-east as Wadi Abu Hireiq. This latter wadi passes between the main mountains and a high isolated range of hills for about seven kilometres, then curves round to the eastward to join Wadi Hasium. There are numerous loopings and branchings of the wadis in this neighbourhood, caused by the feeders from the hills and by the presence of isolated hill masses, which the drainage lines frequently encircle, and it becomes impossible to say which of the various channels is the main wadi, so that the name Wadi Abu Hireiq is applied to all of them collectively.
Wadi Odruk is a small wadi draining between two groups of high hills south-west of Gebel Um Rasein; it joins one of the channels of Wadi Abu Hireiq about four kilometres above its junction with Hasium.
Wadi Nilateib, another small wadi further north, drains the south end of Gebel Um Rasein and the north-east faces of the hills close south-west of it. Coursing at first south-east for about three kilometres, it then curves round the foot of Gebel Um Rasein to join Wadi Hasium by two channels. There is a clear passage from the heads of both Wadi Odruk and Wadi Nilateib into Wadi Merdiyeb. All the wadis hereabouts contain plenty of trees and scrub, especially[143] in their upper parts; as Wadi Hasium is approached they become more sandy and barren. It is, of course, the presence of vegetation available for grazing which determines the possession of a name by such small wadis as these two.
The drainage from the east face of Gebel Um Rasein joins Wadi Hasium directly by many small channels, which appear not to bear any special name.
Wadi Medarai, which forms the Wadi Ibib by its junction with Hasium, ten kilometres due east of Gebel Um Rasein, has its main head in Gebel Medarai, its length along its main channel being about twenty-five kilometres. By numerous tributaries, many of which contain abundance of trees and scrub, it drains the whole of the high hill country between Gebel Medarai and Gebel Um Rasein, and it also takes a part of the drainage from Kwat Hewah. One of its heads is said to lead to a rather difficult pass, south of Gebel Medarai, into the Wadi Kirwau, a tributary of Feqoh. For the first ten kilometres or so of its length, Wadi Medarai courses a little north of east; it then receives the feeder from Kwat Hewah above referred to, and changes its direction to a little south of east, passing close north of Gebel Um Rasein on its way to join Wadi Hasium on the sandy plain of the numerous feeders of Wadi Medarai from the hills west and north of Um Rasein, the principal is Wadi Merdiyeb, which originates ten kilometres south-west of Gebel Um Rasein by the splitting of Wadi Abu Hireiq. From this point of origin, it runs in a north-easterly direction in a rather sinuous course among the hills for about twelve or thirteen kilometres, joining Wadi Medarai close north of Gebel Um Rasein. Another little feeder of Wadi Medarai, though only about two kilometres long, is of some importance from its leading to Bir Um Rasein, a small well among the north foot-hills of Gebel Um Rasein.
Vegetation ceases to be abundant both in Wadi Medarai and in Wadi Hasium before their junction to form Wadi Ibib, and Wadi Ibib itself is for the most part a barren sandy ill-defined channel coursing north-eastward across a dreary plain for some fifty-seven kilometres to Mersa Shab. In this fifty-seven kilometres its fall is very nearly 300 metres, giving an average slope of only a little over five metres per kilometre. The slope of the lower part of Wadi Hasium is rather steeper than this, while that of Wadi Medarai is about twice as great.
[144]But though Wadi Ibib itself is barren, it has some great tributaries which contains abundance of trees and scrub in their upper reaches, as well as several wells. The principal of these tributaries are the Wadis Soaorib and Um Bishtit, which with their feeders drain the mountains of Soaorib, Qidmib, Orgem, and Um Bishtit, while other smaller tributaries drain the lower hills north-east of Um Bishtit and Gebel Hamra Dom.
Wadi Soaorib originates in the midst of high mountains a little south of latitude 22° 10′, between the southern portion of Gebel Soaorib and the range which extends southwards from Hadal Aweib Meisah. At its head is a difficult pass westward into the head of Miti Kwan, a tributary of Alaqi. Curving at first eastward, it soon takes on a north-westerly direction, and in latitude 22° 11′ 30″ reaches a small open space called Mitba; here it is met by several tributary wadis of which the principal is the Wadi Haiyo, draining the eastern slopes of Gebel Soaorib. From Mitba the direction of Wadi Soaorib becomes more northerly, and about nine kilometres below Mitba it turns to the west, emerging from the mountains into the more open country which forms the south end of the great plain already referred to. Here it is joined by the Wadi Hankuk, draining north-eastward from Gebel Adar Qaqa, and a few kilometres further on by the Wadi Dishlo, which drains the western flanks of Hadal Aweib Meisah and enters Soaorib from the east. About three kilometres below the point of influx of Wadi Dishlo, Wadi Soaorib is joined from the south-west by another tributary which drains the west side of Gebel Um Seleim. From this point onwards, Wadi Soaorib courses a little east of north in a not very well defined course for about twenty-two kilometres over a gently falling sandy plain, joining Ibib to the north-west of the sand-swathed hills called Baqari Daba. In this part of its course, Wadi Soaorib receives small feeders from among the hills west of it on the plain, the principal of them draining north-eastward between the hills called Kulet Meiqrum and Kulet Tinasal. It also receives more important tributaries from the mountains to the east of it, the principal of these being the Wadis Eimya and Qidmib. Wadi Eimya drains the western face of Gebel Qidmib, while Wadi Qidmib drains the northern parts of the same mountain. Wadi Qidmib has two main heads; the western one lies between two high mountain ridges, and contains a well called Bir Qidmib, while the eastern one leads[145] to a steep pass by which Wadi Meisah can be reached. Before reaching Wadi Soaorib, Wadi Qidmib is joined by other feeders draining the western flanks of Gebel Orgem and Baqari Daba.
From its head at the pass into Miti Kwan to its junction with Ibib, Wadi Soaorib has a length of about fifty kilometres. The level of the pass is unknown, but from Mitba to Ibib the level of the wadi floor falls from 505 metres above sea to 260 metres in a length of about forty-one kilometres, giving an average slope of six metres per kilometre. Most of the upper portions of Wadi Soaorib and its tributaries are well stocked with trees and bushes, but as the wadi crosses the sandy plain it becomes more and more barren. The place where it enters on the plain in latitude 22° 20′ marks a tribal boundary, the upper parts, including Wadi Dishlo, belonging to the Balgab Arabs, while the lower parts, including Wadis Eimya and Qidmib, are Kurbeilab territory.
Wadi Um Bishtit, which joins Wadi Ibib some five kilometres lower down its course than does Wadi Soaorib, heads in a small open space in latitude 22° 26′ and longitude 35° 35′. At its head there are two easy passes, one leading northward into the head of Wadi Habliai, another tributary of Wadi Ibib, and the other southward into the heads of Wadi Meisah. Just below its head Wadi Um Bishtit is joined by the small Wadi Delawet, draining the hills close to the south; while a little lower down is another small tributary from a rocky gorge among the south hills, which is important as leading to Bir Um Bishtit. This well, which was filled by downwash when I visited it in March 1908, is situated in the floor of the gorge at a sharp bend, about a kilometre up from the main wadi. According to the guides, it requires excavating about five metres deep, and yields water in quantity for about a year after rain, but when there has been no rain for a year only small supplies can be got, as it fills slowly; at the time of my visit there was no necessity to open the well because there was plenty of water in galts in the mountains of Meis-heit-ar, a little further south. The well is easy of access, and lies at 330 metres above sea-level.
The total length of Wadi Um Bishtit is about fourteen kilometres. In the first half of its course it runs north-westward, shut in by high hills, and contains abundance of small trees. After cutting through the hills it receives the Wadi Orgem from the south, and turns northward in opening country to join Wadi Ibib north of the hills called[146] Adar Aweib Um Bishtit. Its average slope is about nine metres per kilometre.
Wadi Orgem, which joins Wadi Um Bishtit about four kilometres below the gorge containing the well, has its head at an easy pass near the remarkable peak of O Shakafa; this pass leads into Wadi Meisah, about three kilometres above Bir Meisah. From the pass, the Wadi Orgem runs between the high hill ranges of Orgem and Um Bishtit, in a direction a little west of north, for about sixteen kilometres to its junction with Wadi Um Bishtit.
Wadi Habliai, which heads in an easy pass about three kilometres east of Bir Um Bishtit, and runs northwards for about ten kilometres to join Wadi Ibib, is a broad sandy and rather barren wadi draining gneiss hills; the hills on the east are much lower than those on the west, and their feet are swathed in drift sand.
The last feeders of Wadi Ibib are those draining from the isolated range of high granite hills called Gebel Hamra Dom. These feeders are very numerous, some coming from the west side of the hills and curving round its south end to join Wadi Ibib, while others from the east side course east and north-east over the plain directly into Wadi Ibib. They contain numerous small trees near their heads, and after rain there springs up short grass in this locality, affording for short periods grazing for great flocks of sheep. The most northerly drainage channel from the east side heads in the hills a little north of the highest peaks, and here, after rain has fallen recently, shallow wells are dug in the sand and yield good water. The place where the wells are is called Ti Dabei Hamra Dom. One cannot rely on getting water there for long after rain has fallen, as the supplies are soon exhausted. In January 1908, I heard that water and grass were extremely abundant, and large numbers of Arabs were encamped there with their flocks and herds. But when I reached the place at the end of the next month, most of the grass had been eaten up; only a few Arabs remained, and these were baling out the last drops of water from the holes to fill their skins preparatory to forsaking the place.
Wadi Meisah, which drains the north and east slopes of Hadal Aweib Meisah, the eastern slopes of Gebel Qidmib, and the mountains of Meis-heit-ar, besides the lower hills of Titailibab, Tahaqayet, and Eqrun, has a total length along its main channel (including Wadi Awitla, the central one of its three main heads) of about seventy-five kilometres, and enters the sea about latitude 22° 45′.
[147]Wadi Meisah has three main heads, called by separate names. The most northerly is the Wadi Sarobaiya, draining from between Gebels Qidmib and Meis-heit-ar; one of the heads of this leads to a steep pass into Wadi Qidmib. The central head, Wadi Awitla, drains the north slopes of Hadal Aweib Meisah. The southern head, the Wadi Lasewid, drains the eastern slopes of Hadal Aweib Meisah and the lower hills to the east of it; by ascending its southern feeders, one can pass easily into the heads of Wadi Baueiwai, while one of the gullies opening into it from Hadal Aweib Meisah contains a series of rock basins and a small spring called Megwel Um Edwa, rather difficult of access for camels, which was yielding fair supplies of water in April 1908.
These three heads, each of which has numerous feeders, join together in a small plain at the south-east foot of O Shakafa, a remarkably prominent peak practically isolated from the mountains near it, and from this point onwards the main drainage channel is called Wadi Meisah. The little plain where the three head wadis unite is covered with trees, and has almost the aspect of a park; it is 455 metres above sea-level. Curving eastward and northward close round the foot of O Shakafa, Wadi Meisah receives from the south the Sarob Kwan, a short and very broad wadi leading to an easy pass into Wadi Didaut, and then winds about as a narrow gorge shut in by high hills. Just where it leaves the foot of O Shakafa, there is a track from the east side of the wadi over a very easy pass into the head of Wadi Orgem. Bir Meisah is a well sunk in the alluvium of the wadi bed about three kilometres below O Shakafa, and 410 metres above sea-level. When I visited it in March 1908, it was filled with downwash, and as there was plenty of water in the rock basins of the mountains further north there was then no necessity to dig it out. The Arabs say the well is about ten metres deep, and its water is not so good as that obtainable from the galts, so that they only open it when the other sources in the neighbourhood are exhausted. Two gullies entering Wadi Meisah from the east, just below the well, each contain large galts, called Meis-heit-ar, a short distance up from their mouths; these were both yielding good and plentiful water supplies in the spring of 1908. After winding about among the hills for ten kilometres below the well, Wadi Meisah receives a feeder from the west having three heads. The northern one, Akla Da-Aiyob, is a very sandy[148] gully, in fact it is choked by drift sand, and all the trees in it are dead. The central one, coming westward from among high hills, is called Hanqun Ra-ub, while the southern one, called the Wadi Eqaiyib, is only separated from Meisah at its head by an easy pass, so that it almost forms a loop of Meisah itself. To go from Bir Meisah to Bir Um Bishtit, one crosses this pass into Wadi Eqaiyib, then up Akla Da-aiyob, and over another easy pass at its head into Wadi Um Bishtit; the total distance between the two wells by this route is only sixteen kilometres.
In its lower stages Wadi Meisah traverses broad open sandy spaces between low hills, receiving a number of small feeders from either side. It curves round to the eastward a little south of the hills of Eqrun and then courses in a north-easterly direction across the sandy coast-plain to the sea. In the last stages of its course its channel is very ill-defined, the drainage spreading over the plain. The trees, which are fairly abundant in its upper parts, become fewer as one descends, but its lower portions are not always entirely barren, for after recent rain short grass springs up in its broad shallow bed and affords a moderate amount of grazing for sheep. The slope of the wadi floor just below the well is about ten metres per kilometre; lower down, the gradient gradually lessens, and in the last forty kilometres of its course is only a little over five metres per kilometre.
Wadi Kiraf, the next wadi to enter the sea south of Meisah, is really the terminal portion of the great Wadi Di-ib, the name Kiraf being only applied to the drainage from the point of junction of the Wad el Qireira with Di-ib to the sea, that is, for a distance of some thirty-one kilometres up from its mouth. The Wadi Di-ib is probably the most important and remarkable of all the seawards draining wadis of the Eastern Desert of Egypt and the Northern Sudan. I have only seen that terminal portion of its length which lies in Egypt, that is, north of the 22nd parallel; but the examinations of that length (the part of it lying within Egyptian territory, including Kiraf, is some eighty-five kilometres) is enough to show that the wadi must drain an enormous basin, for the average slope is the remarkably small one of two metres per kilometre, and the wadi floor in many places, instead of being sandy, consists of mud similar to that of the Nile Valley. According to the “Sudan Handbook,” it rises far to the south, probably near the 20th parallel, and flows generally northwards, so that its[149] length must be well over 300 kilometres. Just before it enters Egypt proper, there is an expansion in its bed covered with rich alluvial mud, on which crops of durra are grown; my camels were fed for some weeks on durra obtained from this source whilst I was working in the neighbourhood. In the present volume I shall only deal with that portion of Di-ib and its tributaries which lie north of the 22nd parallel, describing first the main channel and afterwards its principal tributaries.
Wadi Di-ib enters Egypt a little west of the 36th meridian, as a broad sandy drainage channel with many trees. Its bed is here only 170 metres above sea-level. Wadi Di-ib receives two feeders from the east near the 22nd parallel; the Wadi Shendib,[100] draining the western flanks of the high mountain mass of Gebel Shendib, is believed to join Wadi Di-ib a little south of the frontier, while the Wadi Hareitra, draining the north-eastern flanks of Gebel Shendib and the western slopes of Gebel Hanquf, probably enters Di-ib a little north of it. For the first eighteen kilometres of its course north of 22°, Wadi Di-ib flows northward over a sandy plain, with low hills and ridges, their feet often swathed in drift sand, on either side. It then receives an important tributary from the west, called Wadi el Qurat, draining the north slopes of Gebel Shiab and the hilly country between Gebel Mashushenai and Adar Aweib. After receiving Wadi el Qurat, Wadi Di-ib enters mountainous country, being shut in for some fifteen kilometres by Adar Aweib on the east and Gebel Balatitda on the west. In its northerly course here Wadi Di-ib receives many feeders from the hills, of which two entering from opposite sides near Bir Meheriqa are of interest. That from the east is really a drainage channel from the sandy plain south of Gebel Sul Hamid; but it is choked by huge accumulations of drift sand so that the drainage never reaches Wadi Di-ib, but accumulates in a depression called O Harbub, about four kilometres above its mouth. This channel, though very sandy, is quite a practicable road, as I found by traversing it on my way to Gebel Elba from Bir Meheriqa. The feeder from the west, which enters Wadi Di-ib about one and a half kilometres below Bir Meheriqa, is called Wadi Salalob; it drains the north face of Adar Aweib, and heads in a very steep pass[150] into Wadi Wieqwer. I managed to get my riding camel over this pass only with difficulty when unmounted, and it is quite impracticable for loaded camels; the rise in the last kilometre before reaching the top of the pass from the direction of Wadi Di-ib is over one hundred metres, the summit of the pass being 315 metres above sea-level.
Bir Meheriqa is a spring situated in the mouth of a small gully at the foot of Gebel Balatitda, close to the east side of Wadi Di-ib, and practically on the same level as the wadi floor (120 metres above sea-level), so that it is extremely easy of access. The floor of the gully is covered with conglomerate of recent formation and in this are several holes with pools of clear water about one metre in diameter by twenty centimetres deep, which fill as fast as emptied. The water is rather salt, but is drinkable. The portion of Wadi Di-ib which lies among the mountains has a floor of sandy mud, with abundance of trees and plants, among which several gazelles were grazing as I passed through.
About six kilometres below Bir Meheriqa, Wadi Di-ib is joined from the west by Wadi Warabeit, which drains a rather large extent of high hills to the west and cuts through the hills north of Adar Aweib to reach Wadi Di-ib. This wadi forms the route to Bir Meisah from Bir Meheriqa via the well known easy passes of Bani Sana and Sarob Kwan; the total distance is about sixty-five kilometres.
Soon after receiving Wadi Warabeit, Wadi Di-ib gets into lower hill country, with great accumulations of drift sand. From near Gebel Tishushi Tiboki it receives the Wadi Qumad Lim from the north-west, and then after passing the extensive group of low hills of Tishushi it is joined by the Wad el Qireira, which drains a large area east of Hadal Aweib Meisah.
From its junction with Wad el Qireira to the sea, Wadi Di-ib is called by the special name of Wadi Kiraf. It is merely an ill-defined drainage channel coursing north-east across a great sandy plain for a distance of thirty-one kilometres to the sea, with only one insignificant feeder, Halal Hendiyeb, joining it from the westward close to the dark little hill called Einiwai. The Wadi Kiraf is almost barren, the great accumulations of sand about the lower parts of Wadi Di-ib probably absorbing most of the drainage. But to the west of the mouth of Kiraf there is quite a dense growth of bushes and trees, covering a large tract and visible from low hills at considerable distances. This locality is called Shekra el Delam; I did not visit it, but the Arabs say there[151] is no wadi there, and it is possibly due to the drainage of Wadi Kiraf running below the surface of the sandy plain and being dammed back by the sea. A salt well, called Bir Adal Deib, exists close to the shore in the same locality.
Of the Wadi Shendib, only a few of the heads are situated in Egypt, Gebel Shendib being a mass of mountains cut through by the 22nd parallel. Collecting from the west face of the mountain group, a number of drainage lines unite, in the lower hills flanking the main mass, to form the main channel of Wadi Shendib, which courses westward through low hill country a little south of the 22nd parallel to join Wadi Di-ib. None of the heads have been surveyed in detail; their position is shown on the map from the statements of guides combined with the knowledge gained by triangulating fourteen of the principal peaks and sketching the mountain forms from a considerable distance. As the mountain peaks are of great height (the highest peak of Shendib, marked by an iron beacon, is 1,912 metres above sea) and frequently wrapped in clouds for days or even weeks together, it is probable that the heads of Wadi Shendib are very steep and convey considerable streams at certain seasons.
Wadi Hareitra, which lies just within Egypt, has likewise only been sketched in from a distance, but having been approached more closely its course is better known than that of Wadi Shendib. Its main head is nearly on the frontier, in longitude 36° 20′, between Gebels Shendib and Hanquf. From its head it makes a nearly quadrantal turn northward and westward, with a radius of about ten kilometres, among the mountains from which it receives tributaries, and then crosses the plain westward, turning south-west among low dark hills to join Wadi Di-ib after a course of about forty to forty-five kilometres from its head.
The unnamed drainage channel which is blocked by sand at O Harbub before reaching Wadi Di-ib heads in a tract of low hills with sandy interspaces about thirteen kilometres west of Gebel Elba; it receives no part, however, of the drainage of Elba itself, which goes northward by other more important channels. It is a broad and shallow ill-defined drainage line across the sandy plain, with very few trees, but its feeders from the low hill tract of Sul Hamid are less barren. The principal interest of this drainage line lies in its forming a convenient direct road from Bir Meheriqa to Bir Akwamtra and[152] Halaib, being far less sandy, as well as shorter, than any alternative route round the north side of Sul Hamid. In using this road, one leaves the drainage line to the south on the plain, and skirts the hills of Sul Hamid till one reaches the flat sandy divide at the head of Wadi Eikwan, with the “Scragged hill” of Qash Amir in view. Here one turns eastward about four kilometres south of Qash Amir, and follows an easy pass into Wadi Siamtit, a small feeder of Wadi Yoider, whence tracks lead to Bir Akwamtra, Bir Kansisrob, and Halaib.
Wadi el Qurat, which joins Wadi Di-ib from the west in latitude 22° 8′, is a broad wadi with great abundance of trees. Its main head, which has not been surveyed in detail, appears to be in Gebel Shiab, about twenty-four kilometres above its junction with Di-ib, and the first part of its course is through a rugged tract of low hills. Before reaching Wadi Di-ib it is joined by the Wadi Dibir, and Wadi Hashimaiyib on the north and by Wadi Oshqeq on the south. The northern feeders are rather complex, owing to numerous anastomosings and cross-connexions in the low hill country between Gebel Mashushenai and Adar Aweib; but they contain abundance of vegetation and give good grazing grounds. The short Wadi Dibir heads in Wadi Mashushenai, part of the drainage of which it captures. Wadi Mashushenai is a little wadi to the south of Gebel Mashushenai, with a well, Bir Mashushenai, near its head; part of its drainage goes south to Wadi Dibir as above mentioned, while the rest continues as Wadi Mashushenai, flowing south-eastward among low hills for about five kilometres to join Wadi Hashimaiyib.
Wadi Hashimaiyib heads between Gebel Warabeit and Gebel Mashushenai. Curving round the north of Gebel Mashushenai almost in a semicircle, it runs south-south-east among low hills to join Wadi el Qurat after a course of about sixteen kilometres. Besides the Wadi Mashushenai above-mentioned, Hashimaiyib receives, just before entering el Qurat, the Wadi Sinqinyeib, which drains part of the west face of Adar Aweib and the hills west of it, with a length along its main channel of ten kilometres. There is an easy road up this wadi, passing close west of Adar Aweib into Wadi Wieqwer, a tributary of Wadi Warabeit; there is no actual pass, because the westward drainage of Adar Aweib actually splits, one part going north by Wadi Wieqwer, and the other south by Wadi Sinqinyeib.
[153]Wadi Warabeit has its most important head at the easy and well known pass of Bani Sana, leading into Wadi Hamida. It is here a rather wide wadi, with a fairly rapid fall (about thirteen metres per kilometre), between the high hills of Gebel Hamida and those forming the south prolongation of Gebel Geror, and receives numerous feeders from either side. For the first six kilometres, it runs south-east; it then arrives at a small open space, where it is joined by eastward drainages from Gebels Hamida and Warabeit, and turns rather sharply to the east-north-east. After coursing in this direction for some five kilometres, it enters another open space, where it receives several feeders, the principal being the Wadi Wieqwer, draining northwards from the hills west of Adar Aweib. It then receives the Wadi Kwileimidaiyeib from the north, and cuts eastward through the hills to join Wadi Di-ib. The total length of the Wadi Warabeit from the pass of Bani Sana to Wadi Di-ib is nineteen kilometres, and in this length it falls from 335 to 113 metres above sea-level, so that its average slope is nearly twelve metres per kilometre. Both the wadi itself and its feeders are abundantly supplied with trees and bushes, while coarse grasses abound in places. Wadi Warabeit forms a convenient road from Bani Sana to Bir Meheriqa, being free from sand and well stocked with camel food.
Wad el Qireira, which joins Wadi Di-ib from the south-west to form Wadi el Kiraf, is really only the terminal portion of the more important Wadis Didaut and Baueiwai, which join to the north-east of the conspicuous dark hill mass called Ti Keferiai. It is a broad shallow drainage line across the sandy plain, with little vegetation. To the north of it, small hills are dotted over the plain, the most important being one of red granite, called Osnei, containing a galt which yields water for some time after rain. To the south are the low hills of Tishushi, partly smothered in drift sand.
Wadi Didaut, a feeder of the Wad el Qireira, commences its course south-west of the hill of Adar Aqdeib. One of its heads leads to the easy pass of Sarob Kwan, on the road to Bir Meisah. Another leads to a water source in the hills south of Adar Aqdeib, called Megwel Didaut, while a small feeder a little lower down, coming from Adar Aqdeib, also contains a water source called Megwel Adar Aqdeib. Both these water sources are within about half an hour’s journey from the main wadi. After passing Adar Aqdeib, Wadi Didaut curves[154] round to the north, receiving feeders from the hills of Um Ein and Qara Saba to the south, then turns east-north-east, passing between the hills called Kikeiyet Sharqi and Kikeiyet Gharbi, and then between the red granite hills of Adatalob Adara and the black mass of Ti Keferiai to join Wad el Qireira. The total length of Wadi Didaut is about thirty-five kilometres, and its average slope is about eight metres per kilometre. Its upper parts possess abundance of vegetation, the beautiful flowering bush called Sarob being conspicuous in Sarob Kwan; but in its lower portions it becomes almost lost in drift sand. There is an easy open track from near Megwel Adar Aqdeib, passing between the high hills called Qara Saba and Gebel Um Ein, to the Wadi Baueiwai.
Wadi Baueiwai heads in the mountains south of Hadal Aweib Meisah. Numerous feeders from the mountains course across a tract, about six kilometres in diameter, of very low granite hills called Iarih Meisah; this tract is almost entirely shut in by mountains and high hills, with an outlet south-west of Gebel Um Ein. Through this outlet the main channel passes, and receives the Wadi Miatit, draining the mountains of the same name, from the south-west. Curving in a great sweep round the foot of Gebel Um Ein, Wadi Baueiwai turns north-eastward, passing close south-east of the hills of Qara Saba and Ti Keferiai to join the Wadi Didaut and form the Wad el Qireira. From the head of Wadi Baueiwai there appears to be an easy pass by the east side of Hadal Aweib Meisah into the heads of Wadi Meisah. A small feeder of Wadi Baueiwai, draining the north-east flanks of Gebel Um Ein, leads to a water source called Megwel Um Ein. Another feeder coming in from the west side of Qara Saba forms an easy route to Wadi Didaut, as already mentioned above. The principal other tributaries of Wadi Baueiwai are the Wadis Aqwem and Hamida. Wadi Aqwem is a broad and very sandy wadi coursing north-north-east along the west side of Gebel Nubitra, and reaching Wadi Baueiwai in about latitude 22° 18′; it leads to a water source called Megwel Aqwem, situated just south of the end of a long spur of high hills running out north-eastward from Gebel Miatit. Lower down its course Wadi Aqwem is fed by tributaries from the high hills east of it, one of which, the Wadi Nubitra, contains a well. This well, called Bir Nubitra, is said to yield only very small supplies; it is situated about three kilometres up the Wadi Nubitra, among high hills. One of[155] the many heads of the small Wadi Nubitra leads northwards by an easy pass into the head of Wadi Hamida.
The Wadi Hamida heads in the mountain of the same name, and courses parallel to Wadi Aqwem, from which it is separated by a long ridge of high hills. About one and a half kilometres below its head at the easy pass into Wadi Nubitra above referred to, it receives a small gully from the east; by following up this gully, which is narrow and tortuous, for about a kilometre, one can reach a tiny spring called Megwel Hamida. When I visited it in April 1908, the spring was a mere trickle, very salt; a galt a little further up the gorge was dry at the same time, but bears signs of holding a useful store of water after rain. About three kilometres below the gully containing the spring, Wadi Hamida reaches an opening whence one can either go south-east for two kilometres to the easy pass of Bani Sana, or north-west through a gap in the longitudinal ridge which encloses the wadi on the left. Wadi Hamida itself, however, keeps straight on its course past Gebel Geror, and joins Wadi Baueiwai south-east of the hill of Ti-Keferiai. The heads of Wadi Hamida contain a fair amount of vegetation, but its lower parts are more barren and very sandy.
Wadi Di-it drains the north parts of the hill mass of Sul Hamid, and courses north-east to reach the coast independently about latitude 22° 29′. It has not been explored, and is of no great importance; vegetation in it is probably confined to its upper parts among the hills. Of its total course of about thirty-five kilometres, a large portion lies over the sandy coast-plain.
Wadi Eikwan is a broad shallow and sandy channel draining the high jagged hill called Qash Amir and the eastern parts of the low hill mass of Sul Hamid. Its head is about four kilometres south of Qash Amir, in the flat sandy plain. Taking at first a northerly direction past the west side of Qash Amir, it turns to the north-east further on and crosses the coast-plain to reach the sea only a little south of the mouth of Di-it. Its total length is about thirty six kilometres, and its average slope is about nine metres per kilometre.
Wadi Yoider, the next wadi to the east, is of considerable importance, as it drains the west portion of Gebel Elba and its heads are extremely rich in trees and other vegetation, while one of its tributaries contains a large well of good water (Bir Akwamtra). The main head of Wadi Yoider may be considered to be the wadi which bears the[156] special name of Wadi O Sir Hadal, draining the south-west flanks of Gebel Elba and the north-west flanks of Gebel Hanquf, and heading in an easy pass close to the well of Bir Salalat O Sir, about 450 metres above sea-level. Wadi O Sir Hadal courses north-west between the mountain ranges for about eight kilometres, receiving a rather large feeder from the south about six kilometres below its head. It then emerges from the mountains and turns north among lower hills, here receiving the Wadi Qeirat, draining westwards from near the summit of Elba. A few kilometres further on it enters an open plain sloping rapidly downwards to the north, receiving the small and narrow Wadi Siamtit from between two high hill masses to the west. From here onwards Wadi Yoider courses in gentle curves a little north of east to reach the coast in about latitude 22° 27′. A well called Bir Nabit, situated in Wadi Yoider, a few hundred metres up from its mouth, is believed to yield only brackish water. In its journey to the coast Wadi Yoider receives several feeders from among the rugged granite hills of El Sela to the west of it, as well as the important Wadi Akwamtra from the north-east flank of Gebel Elba. The head of this Wadi Akwamtra is quite close to the summit of Elba, and its course is at first almost due west, afterwards changing to nearly north among the lower flanking hills, and dividing into two channels which re-unite lower down. Bir Akwamtra, one of the best water sources in the Bisharin country, is situated at an altitude of 330 metres above sea-level in the eastern channel of Wadi Akwamtra, about three kilometres up above the place where it leaves the hills. It is an excavation in the stony floor of the wadi. The water in April 1908 was about four metres below the wadi floor, and formed a pool about two metres in diameter in a wide open hollow which filled as fast as it could be emptied. The water was of excellent quality. There are two other wells a few hundred metres further down the same wadi; one of these contained a little water, while the other was dry, and only the principal well was being used. The floor of the wadi near and above the well is very stony, so that it is not a very good camping ground, and the Hamedorab Arabs pitch their tents of matting further down the wadi. When I visited the place there were numerous Bisharin Arabs at the well with their women and children, all busily employed in watering their flocks and herds and washing their clothes. The wadi, in spite of its stony floor, is literally full of large trees, principally acacias, so[157] close together that laden camels cannot pick their way through them for more than a short distance above the well, and thousands of doves inhabit the trees. There are some ruins near the wells, built of boulders set in mud; they are said to have been erected by Dervishes in 1886, when they seized Halaib and Bir Akwamtra. These Dervishes were killed off by Egyptian troops, some of them being chased to Bir Meisah and shot there.
As the densely wooded and stony character of Wadi Akwamtra prevents camels from passing up it much above the well, I found it necessary, in order to pitch a camp within a reasonable distance of the summit of Gebel Elba, to descend Wadi Akwamtra for about a kilometre and to cross the Asut Duk pass leading east into the head of Wadi Yahameib. This pass is too steep for loaded camels, and even riding camels have to be led down it; baggage camels have to go round the hill spurs north of the pass. The head of Wadi Yahameib is also full of trees and scrub, but it is possible to get camels up within four kilometres of the summit of Elba by this route, whereas Bir Akwamtra is over six kilometres from it.
Wadi Aideib, with its principal tributary the Wadi Yahameib, drains the north-east portion of Gebel Elba and reaches the sea in about latitude 22° 21′. A well, called Bir Abu Ramad, is situated in the wadi bed not far from the sea; like that of almost all the wells close to the coast, its water is probably brackish. The main head of Wadi Aideib is on the east side of the main peaks of Elba. Coursing at first north-eastward, this drainage channel runs through an open sloping plain about one and a half kilometres wide between the mountain spurs, its channel here dividing into a great loop with numerous feeders from the ranges on either side. Passing west of the high isolated granite mass of Karam Elba, it runs northward over the sloping plain, receiving the Wadi Yahameib from the west near the low red granite hills called Ti Hamra, and then courses north of east to the sea.
Wadi Yahameib originates on the north-west flanks of Gebel Elba, where steep well wooded gorges unite in a steeply sloping stony plain, covered with trees and scrub, between two great spurs of the mountain. There is no pass at its main head, but just before it enters the plain there is a small feeder from among the hills to the west, by following up which one can get over a rather steep pass called Asut Duk; this pass forms a short cut for unladen camels between the[158] wells of Kansisrob and Akwamtra, but is too steep for animals loaded with baggage. Curving round to the east, Wadi Yahameib is fed, just before it joins Wadi Aideib, by the Wadis Akau and Kansisrob, both draining the north parts of a great spur of Gebel Elba. Wadi Akau contains a small spring, called Megwel Akau, a short distance above its opening from the hills, while Wadi Kansisrob contains a great well of good water called Bir Kansisrob, a short distance up from its mouth. Bir Kansisrob is second only to Bir Akwamtra in importance, and there are usually many Bisharin camps in the wadi just below it. Like all the wadis draining from Elba, Wadis Yahameib and Aideib are full of trees and scrub and grasses; in going to the foot of Elba up the head of Wadi Yahameib with baggage camels, much more difficulty is caused by the closeness of the trees and scrub than by the stony nature of the floor. The Elba district is, I believe, the only place in the Eastern Desert of Egypt where vegetable growth is so abundant as seriously to hinder one’s caravan in approaching the mountains; for the progress of baggage camels to be arrested while still four or five kilometres from a peak by the steep and stony nature of the ground is common enough; but for the arrest to be due to trees and scrub was a new and interesting experience. Even the sand dunes on the west side of Wadi Yahameib are half-covered with coarse grasses, and look green instead of the usual yellow. When we could get no further with our camping equipment, Mr. Bakewell, who had been in South Africa, informed me that we were in what would be called in that country “open bush”; but in comparison with the rest of the desert the place was a jungle.
Wadi Todhi drains the high hills about Karam Elba. In the upper part of its course it flows north-east between Karam Elba and a range of lower granite hills called Mikeriba; emerging thence on to the plain, its drainage spreads out over a tract, called Karam Hindi, covered with trees, whence part drains to the Wadi Aideib while another part goes to the sea near Suakin el Qadim.
Suakin el Qadim, is a collection of mounds close to the sea a little south of latitude 22° 20′. Bent, who visited the place in 1896, found “nothing earlier than Cufic remains, unless the graves, formed of four large blocks of madrepore sunk deep into the ground, may be looked upon as a more ancient form of sepulture.”[101] My native assistant[159] reported there was no well at the place, nor anything of interest besides the graves.
Wadi Delowa is a small wadi entering the sea about six kilometres south-east of Suakin el Qadim. It originates in the low hill country near Mikeriba and flows north-east between the little red hill of Alafot and the low banks called Alafot Onqwab on the north and the granite hills of Kreishim and Taar Ara on the south.
Wadi Serimtai is an important drainage line, the main head of which is situated in the Sudan, probably near the great mountain of Asotriba. It enters Egypt in longitude 36° 22′, coursing northward between Gebel Hanquf and Gebel Shendodai, from which last-named mountain it receives a feeder called Wadi Um Seyal. After passing Gebel Shendodai it crosses a tract of low granite hills to the foot of Gebel O Sir Eirab, where it receives the wadi of the same name and numerous feeders from Gebel Hanquf. It then turns north-east, passing along the foot of the spurs of Elba, and north of the granite hills of O Wota and Abai Sis to reach the sea ten kilometres north-west of Halaib. About twenty-five kilometres up from its mouth, Wadi Serimtai contains a well called Bir Sararat Serimtai, which has, however, not been visited. The Wadi O Sir Eirab, an important tributary of Serimtai, drains the south flanks of Gebel Elba, coursing at first south-west and then turning sharply eastward. At the turn is a well in the wadi floor called Bir Salalat O Sir, 440 metres above sea-level, close to which is an easy pass leading into the head of Wadi O Sir Hadal, a tributary of Wadi Yoider. From its entry into Egypt to its mouth, Wadi Serimtai has a length of forty-five kilometres, and an average slope of twelve and a half metres per kilometre. It contains plenty of trees and scrub, especially in its upper parts.
Mera Kwan is a wadi draining north-eastward from Gebel Shendodai and entering the sea a little north of Halaib. It has not been surveyed in detail, but as it drains from high mountains it doubtless contains plenty of vegetation, especially in its upper parts. The lower half of its course is rather sandy, passing among low hills on to the coast-plain.
Halaib, the only permanent village on the Red Sea coast of Egypt south of Qoseir,[102] is situated in latitude 22° 13′ 25″ N., longitude[160] 36° 38′ 56″ E.[103] The name of the place is pronounced locally Oleiyib, and though I have retained the established European spelling as given on the charts, none of the natives would recognise the name if pronounced in its Europeanised form. Its most conspicuous buildings, and the only ones composed of masonry in any form, are a fort and a block-house; there are a few rude wooden shanties, mostly built of timber which has been cast up on the beach, but the bulk of the population live in little reed huts and tents of matting. Halaib is the headquarters of a small police force under the command of a moawen, the men being lodged in the fort. The fort, which stands about forty metres from the sea on low ground, is an irregular octagon in plan, about ten metres in diameter by six and a half metres high. As its top is only eight metres above the sea and there are low banks west of it, the fort is not very conspicuous as one approaches it from the landward side, but being whitewashed and open to the sea it is a good landmark for sailors in the neighbourhood. It has two flagstaffs, from which the British and Egyptian flags are flown on Fridays. The fort is entered by a ladder, the floor forming the police quarters being about three metres above ground. Below are water tanks, and above a trap door gives access to the roof, which is carried on iron rails and plastered over with stucco. The roof vibrates too much for it to be used as a triangulation station, and observations here were taken from an eccentric point on the ground and afterwards reduced to centre. The block-house is a smaller rectangular structure, whitewashed, situated on a low bank about 400 metres south-west of the fort. A small jetty, built of coral, runs out from near the fort far enough for a small boat to get alongside.
There are five wells at Halaib, all within a few hundred metres of the fort. The water is very hard, and exerts a very strongly aperient action on those unused to it, though the Arabs of the place consider it very good. A small Government garden near the fort contains a few small date palms, but there is no other cultivation. There is a sort of bazaar, where one can buy clothes, sugar, dates, fat, etc., but the supplies are small and there was no flour to be got when I was there. Eggs can be purchased from the Arabs, who possess a few fowls, and excellent fish can be got very cheaply from the fishermen. For a daily wage of eight piastres a fisherman supplied me with as much fresh[161] fish daily as I and my men could eat. Sheep can be got from the hills at a day’s notice, a good fat one costing L.E. 1. Firewood has to be brought in from the mountains, and any European making a stay at the place would do well to send to Bir Kansisrob or Bir Frukit for pure water at the same time. The people are very friendly, but only a few speak Arabic. There is a kuttab where boys learn to read and write Arabic under the tuition of a sheikh from Suakin, so that Arabic may perhaps be more spoken after another generation.
There are two islands a little north of Halaib, both low and sandy. The larger one, called Geziret Halaib el Kebir, is nearly triangular, with sides about three and a half kilometres long. It can be reached easily by wading across a narrow channel in low states of the sea. On it is the grave, marked by a wooden cross, of Lieut. Stewart, R.N., who lost his life in a fight with Dervishes here in 1886. The smaller island lies further north; it is called Geziret Kwolala[104] on account of its nearly circular shape.
Halaib possesses an excellent harbour, though it is sometimes difficult of access to sailing vessels owing to the direction of its entrance.[105] It is visited occasionally by Coast Guard cruisers as well as by small trading boats from Suakin. On enquiry of the local sailors, I found most of the names given on the Admiralty Charts of this district to be unknown to them. For example, Abu Dara, Sherm Alueda, Ras Abu Fatma, Elba Island, Ras Jazriyal, and Cape Elba were all unknown. Abu Dara was called by the natives Shekra el Delam, while Elba Island was called Geziret el Dibia, and Cape Elba is locally known as Ras Hadarba. I obtained the following names for the small anchorages north and south of Halaib, though I could not locate them exactly on the maps, as the sailors could not read a map sufficiently well, and the harbours themselves are mere gaps through the outer coral reef, not visible indentations of the actual coast-line. Starting from Bir Adal Deib and going southward, Mersa Abu el Qâsim is near the mouth of Wadi el Kiraf; a big tree forms a landmark for entering it. Further on is Mersa Harâba, then Mersa Abu Naam with an island opposite to it, then, after passing Ras Unbilat, comes Mersa Yoider, at the mouth of Wadi Yoider, where there is a well called Bir Nabit. Passing Abu[162] Ramad well in Wadi Aideib, and Suakin el Qadim, one comes to Mersa Aqwetit, then to Mersa Serimtai, at the mouth of Wadi Serimtai, opposite the island of Kwolala, and then to Mersa Halaib itself. South of Halaib the principal anchorage is Mersa Shellal, at the mouth of Wadi Shellal. The cape in latitude 22° 10′ is called Ras Qubet Isa. A small anchorage south of Ras Hadarba (Cape Elba) appears to be called indifferently Mersa Hadarba (from the hills near it) or Mersa Qabatit (from the wadi and well near it); but I could not make quite sure if these are one and the same, or two separate anchorages.
Wadi Shellal heads between the high mountain masses of Gebels Shendodai and Shellal, and courses north-east for about thirty kilometres to reach the coast about four kilometres south-east of Halaib. In its lower part, where it crosses the coast-plain, it is a broad shallow drainage channel full of scrub. Its upper parts, which have not been explored, are doubtless well supplied with trees, and are stated to be the principal habitat of the Hamedorab Arabs.
Wadi Aqilhoq, which drains the eastern parts of Gebel Shellal, courses about parallel to Wadi Shellal a few kilometres further south. It contains a well, Bir Frukit, about twenty kilometres up from its mouth, near some dark conspicuous foot hills called Gebel Balatitda. This well yields a constant supply of very good water, and is the place where I sent for my water supplies in commencing my return march to Port Sudan. The position of the well as shown on the map is only approximate, but its direction having been pointed out with the alidade by guides from two plane-table stations, I believe the location is pretty nearly correct.
Wadi Aqwei drains east of north from among the foot-hills east of Gebel Shellal, and enters the sea four kilometres west of Ras Qubet Isa. Where I crossed it two kilometres from its mouth it was a broad shallow wadi with plenty of scrub, dividing round a low but conspicuous gravel bank before reaching the sea.
Kreit-reit-or is a similar wadi to that last mentioned, coursing north-eastward over the plain from among low hills, and entering the sea five kilometres south-east of Ras Qubet Isa. About two kilometres south of Kreit-reit-or, at a distance of three and a half kilometres from the coast, and thirty metres above sea-level, are the bitter wells of Ti Kureitra. These are four wells, sunk about twelve metres deep in the gypseous strata which here underlie the sand and gravel of the coast-plain.[163] The wells are lined with slabs of selenite. The water is so strongly purgative that a number of my Arabs who drank of it were made extremely unwell, and the wells are chiefly used for watering the flocks of sheep which graze in the neighbouring valleys.
From the group of conspicuous though not very high hills called Gebel Hadarba, ten kilometres west of Ras Hadarba (Cape Elba) many drainage channels cross the coast-plain towards the sea in a direction north of east. Some of the drainage lines form the north side of the hills reach the sea east of Ti Kureitra wells; but others lose themselves in a quicksand called Kuatianai, or “the devourer,” which covers a large triangular space of about twenty square kilometres about the cape. At the actual cape, rocks are visible at the coast, and the quicksand, so far as I could judge from a distance, appears to be really a lagoon, filled with the sand washed down from the hills. The Arabs state that camels wandering on this sand get swallowed up; the colour of its surface is distinctly darker than the rest of the plain.
On either side of the 22nd parallel, near the sea are low gravel-covered banks of calcareous grit, seventy metres high in places, and through these pass several broad wadis draining from the low hill country further west. The chief of these wadis, called Wadi Qabatit, enters the sea at a well defined inlet of the coast called Mersa Qabatit. A well, Bir Qabatit, is situated in the bed of another drainage channel a little south of the main wadi, one and a half kilometres south-east of the mersa and 3·85 kilometres south of the 22nd parallel. The ground at the well is only five metres above the sea. The well is a big excavation in the wadi floor, and its water surface is about at sea-level. To me the water tasted decidedly salt, but the Arabs say it does not purge them.
[89]Floyer’s map (Geog. Journal, 1893) gives the name Gemal as continuing further up as far as the pass into Wadi Durunkat; but my guides say this is an error.
[90]This road is said to lead via Ghuel, Um Khariga, and Dabur, to Gebel Hamrat Wogud.
[92]Each of the three vowels in Naait is pronounced broad and separately, so that the word has three syllables.
[93]Allawi = crooked.
[94]I did not hear anything of this in 1907 when in the neighbourhood, perhaps owing to the ignorance of my Ababda guides. The information was given me further south in 1908 by several Bisharin guides, who appeared to know the place well and who all agreed on the point.
[95]The authors of “The Anglo-Egyptian Sudan,” 1905 (Vol. I, p. 87) erroneously place Bir Shalatein in Wadi Hasium instead of at the mouth of Wadi Hodein. The mistake has led to erroneous delineation of the administrative boundary between Egypt and the Sudan in existing maps (see p. 74).
[96]This and the other main feeders of Wadi Hodein are described in more detail in following pages.
[97]The final syllable in Silsila is hardly heard when the name is spoken by an Ababda Arab; it sounds like Silsi unless one is listening specially for the end of the word.
[99]Bir Madi, 12¼ kilometres north of Bir Sararat Seyet, was at this time open and giving good supplies.
[100]This and the other main Egyptian tributaries of Di-ib are described in more detail in the following pages.
[101]Geographical Journal, 1896.
[102]Qoseir is in latitude 26° 6′ north, about 400 kilometres as the crow flies from Halaib.
[103]The position given is that of the centre of the fort, as determined by my triangulation from the Nile Valley.
[104]Kwolala is the Bishari word for circle.
[105]Red Sea Pilot. 1900. p. 130.
THE MOUNTAINS AND HILLS.
It has been already mentioned (p. 19) that the principal mountain masses are divisible into ten main groups as follows:—
| i. | The Migif — Hafafit — Nugrus — Hangalia — Zabara group; |
| ii. | The Abu Hamamid — Hamata — Abu Gurdi group; |
| iii. | The Um Gunud — Dahanib — Batoga group; |
| iv. | The Abu Dahr — Orga — Um Tenebda group; |
| v. | The Faraid group; |
| vi. | The Awamtib — Abraq — Dif — Aqab el Negum — Mishbih group; |
| vii. | The Gerf — Korabkansi — Abu Hodeid group; |
| viii. | The Meisah — Adar Qaqa — Is group; |
| ix. | The mountains of the Alaqi basin west of Gebel Adar Qaqa; |
| x. | The Elba — Shendib group; |
while there are numerous more or less isolated mountains and hills lying outside these principal masses. In the present chapter a more detailed account will be given of each of the main groups, taking them in order from north to south, the principal outlying hill-masses being considered along with the mountain group to which they are in greatest proximity. It may be remarked that the geographical positions of all the principal peaks are tabulated in Chapter III.
The highest mountains of the group (see the detailed map on Plate VI) form a close cluster, round Gebel Nugrus (1,505 metres) as a centre, between latitudes 24° 40′ and 24° 55′, while other more or less detached masses are scattered to the north and west. A striking feature of the central cluster is the tendency to extension in a north-west and south-east direction, which is specially marked in the Hafafit and Hangalia ranges.
[165]Gebel Nugrus, the central and highest mountain of this northerly group, is a great boss of red granite rising to a height of 1,505 metres among schists and gneisses. It is an almost isolated mass, for though the Hangalia and Hafafit ranges close in on it from either side, there are passes both east and west of it by which a circuit of the mountain can be made. In plan, it is a pear-shaped mass, about fourteen kilometres in length by six kilometres in width, having its long axis north-west and south-east. Gebel Nugrus is on the main watershed; its north parts are drained Nilewards by the Wadi Hangalia and other feeders of Wadi Gerf, while the drainage from its south portion passes by the Wadi Nugrus and Wadai el Nom to the Wadi Gemal and thence to the sea. The ascent of the mountain was made from a camp about four kilometres west of the summit, at the top of the pass leading into the stony head of Wadi Nugrus. The divide here is flat and sandy, at an altitude of 691 metres above sea-level, so that the ascent from camp to summit was 814 metres. Striking eastwards over the lower ridges which flank the main back-bone of the mountain, the summit was reached after a climb of nearly four hours. When ascended from this side, there appear to be two main peaks, of which the further one, marked by a beacon, is the triangulation point; the best way up is between the two peaks, as the passage from one to the other is very rough and steep. Though tiring, the climb is not very difficult. The top of the mountain (see Plate VII) is a mass of great rounded knobs of granite, on which a suitable place for setting up instruments was only found after some searching. The beacon, in latitude 24° 48′ 34″, longitude 34° 35′ 47″, is on a rounded eminence not large enough to receive an instrument, so that eccentric observations were necessary; the distance between the eccentric point of observation and the beacon had to be found by a subtense method, as the roughness of the mountain top rendered any process of chaining or taping impossible. The view from the summit is very fine. To the west, one sees the pinnacles of Migif and the nearer long range of Hafafit; to the north-east is the black cone of Atut; northward, seen over a sea of hills, is Igli; to the east is the high ridge of Hangalia, culminating to the south in Gebel Zabara.
The sea is visible to the north-east and east, but the sea horizon was obscured during the three days I spent on the summit by banks of clouds. These cloud banks simulated the sea horizon very closely,[166] their upper surface appearing perfectly horizontal. They caused a peculiar phenomenon at sunrise, producing the optical effect of two suns rising one after the other owing to the refraction through the cloud. The first thing seen was a blood-red image of the sun rising over the true sea horizon, which was only thus discovered, the sun being seen through the cloud; about three minutes later, when a little more than half the blood-red disc had risen, the true sun rays flashed out from another and much brighter segment appearing over the top of the cloud, so that parts of two sun disks were seen at once, quite separately, one over the other.
Before descending from the mountain, I went along the ridge south-east and north-west of the highest point to get plane-table stations; in either direction progress along the top is extremely difficult. To the north-west it appeared as though the way would be easier by keeping on the east side of the ridge, but in reality this was not so, as the slope was so steep and smooth that some stretches could only be got over by wriggling along with as much as possible of one’s body in contact with the rock. The descent from the north-west end of the ridge to camp was difficult and rather dangerous in places. It is possible that a better way up the mountain could be found from the pass at the head of Wadi Hangalia, on the opposite side to where I started; that pass is 120 metres higher than the west one, so that the total climb would be lessened by that amount, and the horizontal distance is about the same.
Gebel Hafafit is a very long range, chiefly of gneiss, running in a nearly straight line south-eastward for over thirty kilometres. Its highest peaks are at its north end, where they are not very much lower than those of Gebel Nugrus; the heights decrease gradually further south. Half way down the range is a very conspicuous peak called Um Moghar, 860 metres above sea, while another well marked summit, the only one which I climbed, exists near the south end and rises to 744 metres. This last-named point is marked by a beacon, in latitude 24° 35′ 32″, longitude 34° 45′ 22″. On either side of the main back-bone of Hafafit are high flanking ridges. The drainage of Hafafit practically all flows seaward by the Wadi Gemal; the west faces are drained by Wadi Hafafit, and the east ones by Wadi Nugrus.
East of the south part of Gebel Hafafit are some remarkable bosses of granite, of which the chief, Gebel Abu Had, rises to 633[167] metres above sea, and is a landmark for Bir Abu Had. Another remarkable hill, closer in to Hafafit and the Wadi Gemal, is shaped like a bell with a handle on the top; this hill, which forms a good landmark, is called Gebel Um Regeba, and its summit is 571 metres above the sea.
PLATE VII.
Summit of Gebel Nugrus. (Granite).
Summit of Gebel Abu Hamamid. (Schists).
Gebel Migif is a very spiky gneiss mass situated about thirteen kilometres west of Gebel Nugrus. It has several summits of about equal height, fairly close together, but separated by deep clefts. The triangulation beacon is on the western peak, in latitude 24° 47′ 23″, longitude 34° 27′ 30″, 1,199 metres above sea-level. The foliation planes of the rock dip to the north, and the only safe means of ascent is up the resulting north slopes. The south aspect is precipitous. When ascending the mountain, I pitched my camp 2·7 kilometres north of the beacon, in a gully draining into Wadi Shait, west of another gully containing the water holes called Galt Um Karaba, at an altitude of 607 metres above sea-level. The ascent, of 592 metres, took two hours steady climbing, and was not difficult. I kept on the west side of the gorge till near the top, and this is the best way up the mountain, for I found the gorge itself to be steep and abounding in impassable precipices. The view from Gebel Migif is shut in to the east by the high masses of Gebels Hafafit and Nugrus; Gebels Atut and Igli are conspicuous to the north; to the south-east, one overlooks the great sandy basin of Wadi Hafafit; while to the south-west is more open country in which the two remarkable cones of El Nahud, the sharp peak of Gebel Abu Khrug, the ridge of Gebel Hamrat Selma, and closer in the ranges called Gebel Dweig, are striking features. On a clear day, the huge mountains of Hamata and Abu Hamamid, eighty kilometres to the south-south-east, can be discerned. The photographs on Plate VIII will give an idea of the views looking towards Gebels Nugrus and Dweig respectively. In the upper view Gebel Nugrus is seen behind the Hafafit range; in the lower, the masses close in are Gebel Dweig, while in the distance, to the right of the centre, is Gebel Hamrat Selma, and behind it on the horizon the spike of Gebel Abu Khrug. The precipitous nature of the south side of Gebel Migif is evident in both views.
The north and west sides of Gebel Migif are drained by the Wadi Shait, which passes the foot of the mountain; the steep south face drains into Wadi Dweig, a tributary of Shait; while the eastern face, flanked by low hills, is drained by Wadi Hafafit.
[168]Gebel Dweig is a small group of high hills close to the south of Gebel Migif, with which it combines to form a cul-de-sac round the head of Wadi Dweig. Gebel Dweig resembles Gebel Migif in character, except that it is lower; the hill on the south side of the narrow opening by which Wadi Dweig leaves the cul-de-sac is 864 metres above sea, and this is believed to be the highest of the group. The eastern part of the mass is a curiously curved range sweeping round nearly in a semicircle.
Gebel Hamrat Selma is a high ridge rising from the plain about fifteen kilometres south-west of Gebel Migif. I did not approach it closely, but fixed the position of its highest point, which is 761 metres above sea-level, by triangulation.
El Nahud (the breasts) is the name given to two very remarkable conical hills of volcanic rock rising from the plain on the north side of Wadi Natash to the south of Gebel Hamrat Selma. The two hills are about five kilometres apart, one being south-east of the other. The north-eastern cone is the sharper of the two, but they have both the same altitude of 662 metres above the sea and rise about 130 metres above the surrounding country.
Gebel Abu Khrug is a granite hill-mass with a remarkably sharp high peak, about twenty-five kilometres south-west of Gebel Migif. The summit, which is surmounted by a triangulation beacon, in latitude 24° 38′ 57″, longitude 34° 16′ 19″, has an altitude of 870 metres above sea-level. Abu Khrug, from its striking Matterhorn-like shape and its situation in fairly open country, is a conspicuous landmark for great distances. The Arabs who were sent to erect the beacon stated that the ascent was very difficult.
Gebel Sufra is a mass of rather flat-topped high hills, partly of volcanic origin, about eighteen kilometres west of Abu Khrug, on the north side of Wadi Shait. The triangulation beacon on the summit is in latitude 24° 38′ 42″, longitude 34° 4′ 13″, at a height of 690 metres above sea-level, and 340 metres above the well of Um Gubur, which is in the Wadi Shait about three kilometres to the south-east.
Gebels Nazla and Um Serg are moderately high hills lying to the south of Gebels Sufra and Abu Khrug, between the Wadis Shait and Natash.
Gorf el Natash is a syenite hill on the south side of Wadi Natash, about five kilometres south-west of Bir Masur, while Gebels Muktil[169] (470 metres), Derera, and Um Goraf, are prominent hills lying still further south near Wadi Antar.
PLATE VIII.
View from Gebel Migif, looking east, showing the Hafafit and Nugrus Ranges.
View from Gebel Migif, looking south-west, showing Gebel and Wadi Dweig.
Gebel Ras Shait is a group of high rugged-looking reddish hills, probably of granite, at the head of Wadi Shait, near Gebels Nugrus and Migif. Its highest peak rises to 1,019 metres above sea. The west face drains directly into Shait, while the eastern and northern slopes drain into Wadi Gerf, which joins Shait far to the south-west. Between Gebels Migif and Ras Shait is a small range of hills dividing Wadi Shait from the head of Wadi Hafafit; across the south end of this range, which is composed of dark schists with white granite at its western foot, there runs a zigzag pass, fairly easy for camels, to the head of Wadi Nugrus.
Gebel Mudergeg is a high range of reddish hills, which with Gebels Ras Shait and Migif encloses the heads of Wadi Shait. Its highest point is 1,086 metres above sea. To the east of it are several other lower ranges, some of white and others of black aspect, which have not been approached closely.
Gebel Hangalia is a great mountain ridge running south-south-east for about twelve kilometres, from Gebel Ghuel to Gebel Zabara, consisting chiefly of schists. Its highest peak is 1,241 metres above sea-level. Its western faces are drained partly to the Nile by the Wadi Hangalia (a tributary of Wadi Gerf) and partly to the sea by the Wadai el Nom (a tributary of Wadi Nugrus); its eastern faces, which are flanked by high ridges, drain into the various feeders of Wadi Ghadir.
Gebel Zabara, a mountain mass rising to 1,361 metres above sea-level, forms a southward extension of the Hangalia range. The cairn on its summit is in latitude 24° 45′ 21″, longitude 34° 41′ 53″. The mountain is drained on the north and east sides by feeders of the Wadi Ghadir, while its western flanks are partly drained by the Wadai el Nom. Gebel Zabara is chiefly composed of schists of various types. The ancient emerald mines of Zabara are in the north-east part of the mountain, about two and a half kilometres from its summit. A triangulation beacon marks the highest point of the mountain, but this was only used as an intersection point. I ascended some of the flanking ridges near the old mines; these consisted of splintery schists, and though the climbing is steep and rough (see Plate IX), the schists give a good foothold so that the ascent to the top is probably not very difficult.[170] The ruins in the Wadi Zabara, near the old mines, are at 514 metres above sea-level; the climb from them to the summit is thus one of 857 metres. Due south of Gebel Zabara is a high ridge, the north-west end of which is 1,104 metres above sea-level; this ridge is the most conspicuous of a mass of high hills flanking Gebel Zabara to the south, which have not been seen except from a distance, but which are probably drained by the Wadi Nugrus.
Gebel Ghuel, which forms a northward extension of Gebel Hangalia, is likewise composed of schists. Its highest point, the south end of a conspicuous high ridge, is 1,104 metres above sea. Its eastern faces are drained by the Wadis Ghuel and Fegas, both tributaries of Wadi Ghadir, while its western flanks drain into the heads of Wadi Um Khariga. High hills flank the main ridge on both sides, especially the east, and through these the drainage channels form deep gloomy gorges. Wadi Ghuel contains important water holes.
Gebel Um Khariga is the name given to several high hill ranges on either side of the Wadi Um Khariga. Two of these ranges, one on either side of the upper part of the wadi, form like Gebel Ghuel north extensions of the high ridge of Hangalia; the western range can be crossed at a gap by an easy pass, 773 metres above sea-level, which separates the heads of Wadi Gerf from those of Wadi Um Khariga. These two ranges shut in the wadi on either side for some ten kilometres of its northward course, beyond which the country becomes more open and the wadi curves round to the north-east, passing the north end of a third range of high hills which is likewise called Gebel Um Khariga. This third range extends northward for about ten kilometres from Gebel Ghuel, from which it is separated by a pass forming a good road over the head of Wadi Ghadir. Its most conspicuous feature is a twin peak at its north end, 674 metres above sea-level. The main ridge is flanked by high hills, especially on the east side. Only the north and west flanks of this range are drained by Wadi Um Khariga, the eastern side being cut up by feeders of Wadi Sukari. Besides the pass separating it from Gebel Ghuel, there are two other passes, one round its north end into Wadi Sukari, and another at its south end between Wadi Ghadir and Wadi Sukari, so that a complete circuit of this range can be made by camels. Some of the hills composing the mass consist of highly magnetic schists, and compass readings in the region may be disturbed by many degrees.
PLATE IX.
Descending Gebel Zabara. (Schists).
[171]Gebel Igli el Iswid is a rather rugged mountain mass rising among a sea of lower hills, thirty kilometres north of Gebel Nugrus. Its highest point, marked by a triangulation beacon, in latitude 25° 4′ 6″, longitude 34° 36′ 16″, is 975 metres above sea-level. The mountain forms a tripartite watershed between the basins of Wadi Um Khariga (draining the south slopes), Wadi Dabur (draining the north and west slopes), and Wadi Igli (draining the eastern face), each of which three wadis courses separately to the sea. In occupying the triangulation station on the summit, I placed my camp in a gully draining to Wadi Um Khariga, about two kilometres south-south-west of the summit at an altitude of 605 metres above sea. The climb of 370 metres to the top from this camp was not difficult, and occupied only a little over an hour and a half. The mountain consists of very hard grey siliceous rocks, which ring under the hammer, and are probably crushed and devitrified felsites (see p. 281). There are galts in some of the gullies draining from this mountain, hence it is sometimes called Igli el Rayani. At the time of my visit (December 1905) there was said to be a little water in a galt on the west side of the mass; but the rock basins in the gully which I ascended were empty.
Gebel Igli el Ahmar, sometimes called El Atshani, is a lower hill mass of granite some ten kilometres north-east of Igli el Iswid.
Gebel Atut is a high black conical hill thirty kilometres north-west of Gebel Nugrus. Rising considerably above the hills which immediately surround it, Atut is visible from a great distance from the west, and its conical form renders it easy of recognition. Its summit, marked by a beacon, in latitude 25° 0′ 56″, longitude 34° 23′ 49″, is 908 metres above sea-level and 300 metres above the branches of the Rod el Atut which encircle its base. A camp can be placed close to the foot of the cone, and the ascent is easily made in about an hour. The rock of Gebel Atut is olivine gabbro (see p. 302), of great hardness, and the whole surface of the mountain is formed of great blocks, rounded and boulder-like below, but angular higher up. The blocks have rusty-looking surfaces, but are perfectly sound rock inside, and they ring like bells under the hammer. The upper illustration on Plate X shows a view of the summit of Gebel Atut, from which its blocky nature will be evident. The view from Gebel Atut is a very extensive one. To the west and north (see the lower illustration on Plate X) one can see the peaks of Gebels Muelih, Haggar Dungash,[172] Iteima, Abu Diab, and Hamrat Wogud; to the south-east are the masses of Migif and Nugrus, while eastward one looks over a great expanse of hills towards Gebels Dabur and Um Khariga, with the sea beyond.
The hills of Um el Huetat, the highest of which rise over 200 metres above the wadis round them, are situated about eight kilometres due west of Gebel Atut; they are composed of schists of various types, and contain some old mines, mostly in talc schist. They are drained by the Rod el Farag, a tributary of Wadi Gerf.
On the other side of the Rod el Farag, i.e., further west of Gebel Atut, are numerous scattered hills, the higher of which bear the names of Hamrat Mastura, El Hamra, and Um Himar. These are of granite, gneiss, and schists, with some coarse gabbro and numerous quartz veins.
Still further west is the remarkable ridge called Erf el Fahid, a great quartz vein ten metres wide and two kilometres long, rising nearly one hundred metres above the Wadi Muelih. A beacon on its highest point, 579 metres above sea-level, marks the triangulation station, its position being latitude 25° 0′ 5″, longitude 34° 11′ 52″. South-east of Erf el Fahid is a line of similar but smaller ridges, also formed of great quartz veins rising through diorites and schists. Still further down the Wadi Muelih is a curious horse-shoe-shaped hill of aplite, called Marwot Rod el Ligaia, round which the hills of crushed diorite are penetrated with a network of quartz veins running in various directions.
Gebel Muelih is a great boss of white granite situated close to the north side of Wadi Muelih in longitude 34°. Its summit, marked by a beacon, in latitude 24° 52′ 44″, longitude 34° 0′ 37″, is 707 metres above sea and 350 metres above the wadi which courses round its south flank, and from which it is easily climbed. The upper view on Plate XI gives an idea of its appearance as seen from the base line camp in the wadi six kilometres east of it.
Gebel Hagar Dungash is a great mass of high hills situated north of Gebel Muelih. The beacon on its highest point, in latitude 24° 59′ 12″, longitude 34° 2′ 33″, is 815 metres above sea-level. In the hills which flank the main mass are numerous sharp peaks, one of the most conspicuous of which, eight and a half kilometres south-west of the beacon, is called Gebel Um Dalalil. A ridge five kilometres due east[173] of the beacon bears the name of Erf Rod Um Rashid. The rocks of Haggar Dungash are chiefly dark schists.
PLATE X.
Summit of Gebel Atut.
View from Gebel Atut, looking north-west, showing Gebels Abu Diab and Hamrat Wogud in the distance.
PLATE XI.
View in Wadi Muelih (Base-line Camp). Gebel Muelih in the Distance.
Granite-boss of Gebel Selaia.
Gebel Iteima is a group of high granite hills rising from the plain fifteen kilometres north of Erf el Fahid. Its highest peak is 849 metres above the sea. It is drained southwards by the Wadi Muelih.
Gebel Hamrat Wogud, which is likewise of granite, is a higher mountain mass fifteen kilometres east of Iteima. Its highest point, marked by a beacon, is in latitude 25° 9′ 34″, longitude 34° 20′ 0″, and 1,103 metres above sea. It is drained southwards by the Rod Um el Farag, a tributary of Wadi Gerf.
Between Gebels Muelih and Mudergeg is a sandy plain with low hills, the more conspicuous of which bear special names; among them are Marwot Rod el Ligah, Erf Sagur, and Khusa el Faraon, the last-named being a group of small but very remarkable black hills eleven kilometres due south of Erf el Fahid. Marwot Rod el Ligah is a triangulation point; its beacon is 514 metres above sea-level.
Gebel Sukari is a very craggy high ridge of granitic rock twenty-two kilometres north of Gebel Zabara. Its highest point, which is at its north end, is 630 metres above sea-level, but the triangulation beacon was erected on a lower part of the ridge further south, in latitude 24° 56′ 50″, longitude 34° 42′ 50″, at an altitude of 476 metres, in order to be near to the extensive old mines and ruins which exist in the locality. Gebel Sukari is drained by various feeders of Wadi Sukari.
Kurdeman is the name of a low hilly district on the east side of Wadi Ghadir, thirteen kilometres north of Gebel Zabara. It is interesting as containing some ancient mines, doubtless worked for gold. A triangulation beacon has been erected on a hill just above the workings, in latitude 24° 52′ 35″, longitude 34° 41′ 35″, at an altitude of 526 metres above sea, or about fifty metres above the wadi.
Gebel Sabahia is a craggy felsite hill five kilometres south-east of Kurdeman, rising to 520 metres above sea, or about ninety metres above the wadi. It is drained by the Wadi Sabahia, a tributary of Wadi Ghadir. In the heads of the Wadi Sabahia, north-east of the hill, are some old gold mines.
Gebel Um Tundeba is a high granite hill near the head of Wadi Um Tundeba. Its summit is 550 metres above the sea. It forms[174] a landmark for the water hole called Galt Um Tundeba, which is situated in a small gully, three kilometres west of the summit of the hill.
Gebel Amba-ut, seven kilometres south of the foregoing, is likewise believed to be of granite; the southern hill of this group is of a red colour and very conspicuous as one passes from Um Tundeba to Ghadir.
Gebel Ghadir, the summit of which, in latitude 24° 50′ 9″, longitude 34° 47′ 22″, and 636 metres above sea, is marked by a triangulation beacon, is thirteen kilometres north-east of Gebel Zabara. I ascended it from a camp 424 metres above sea-level in one of the gullies draining westward to Wadi Ghadir. The ascent is easy. The rocks are greenish serpentines and ophicalcites below, with a white quartz felsite above.
Gebel Allawi, situated on the south side of the Wadi Allawi, is a diorite hill rising to 515 metres above sea. It is best approached by ascending a small feeder of Wadi Allawi, in which a camp can be placed within a kilometre of the summit and 160 metres below it. There are some interesting old gold mines in the quartz veins just below the beacon on the summit of the hill, and a band of graphitic schist crops out near the north foot of the hill. The position of the beacon is latitude 24° 46′ 42″, longitude 34° 49′ 39″.
Gebel Lewewi is a dark craggy hill range eight kilometres east-south-east of Gebel Zabara, between Wadi Allawi and its tributary Wadi Lewewi. Its highest point, marked by a cairn, is 654 metres above sea-level. There are some old mines in the lower hills two and half kilometres south-east of Gebel Lewewi, and others a little further off in the same direction.
Gebel Sikait is a rugged ridge of schists and serpentine situated in the midst of hilly country fourteen kilometres south-east of Gebel Zabara. The triangulation beacon which marks its summit is in latitude 24° 39′ 55″, longitude 34° 48′ 5″, and 771 metres above sea-level, and 330 metres above the wadi which skirts its western foot. Gebel Sikait is of interest from the abundant ruins and old emerald mines which exist near it, as well as from the variety of minerals present in its rocks. It is the Sicily of the Eastern Desert. Beryl, tourmaline, actinolite, various micas, chlorite, talc and crystals of calcite are amongst the commoner minerals found. The serpentine[175] which abounds in its upper parts is highly magnetic, and the compass was found to be disturbed by no less than 40° near the triangulation point. Gebel Sikait is drained from the west by the Wadi Sikait, a tributary of Wadi Nugrus, and from the east by the Wadi Um Gamil. The best place to climb it from is the Wadi Sikait, and the ascent, not a difficult one, is rendered interesting by the ruins and old mines encountered; part of the way one passes over an ancient made road, now broken in many places by the downwash from the hill.
Gebel Ras Um Gamil and Gebel Um Gamil are two high hill ranges south-east of Sikait, which have only been sketched from a distance.
Madaret Um Gamil is a conspicuous double-topped hill on the north side of the Wadi Gemal, seventeen kilometres south-east of Sikait. The beacon which marks its highest point is in latitude 24° 34′ 52″, longitude 34° 56′ 28″, and 454 metres above sea. It is best ascended by a very winding tributary of the Wadi Gemal; this gully, up which there is a road, leads past the south-west foot of the hill, and the climb is only one of some 200 metres. The rocks round Madaret Um Gamil are mostly schists, but the top of the hill is a hard gabbro like that of Gebel Atut, weathered into rusty looking blocks. A good view seawards is obtained from the summit, some very red granite forming a conspicuous feature in the low hills between it and the coast.
This group of mountains is remarkable both for its extent and for the loftiness of many of its peaks, some of which are among the highest in Egypt. It is a mass of rugged ridges and peaks, covering about a quarter of a square degree of the earth’s surface between latitudes 24° 0′ and 24° 30′, in which the two dominant summits, Abu Hamamid (1,747 metres) and Hamata (1,978 metres) are the most conspicuous features in the west and east portions respectively, while Abu Gurdi (1,562 metres) forms the great terminal peak of a south-easterly extension of the mass. Plate XII shows two typical views in this rugged region.
Gebel Abu Hamamid is a great ridge of hard greenish schists towering above the surrounding mountains to a height of 1,747 metres[176] above sea. Its crest is broken into a number of separate summits, which appear from most aspects of almost a sugar loaf form; the beacon is on the most northerly and highest of these, its position being latitude 24° 14′ 41″, longitude 34° 47′ 38″. The mountain is best ascended from the Wadi Um Semiuki, a tributary of Huluz, which drains its north-east face. By ascending this wadi till camels could go no higher owing to its increasingly rough and stony floor, I was able to pitch a camp at 865 metres above sea-level and two and a quarter kilometres north-east of the summit, leaving an ascent of 882 metres to be made on foot. The ascent, which occupied four hours, was free from difficulty till within about one hundred metres of the top, but the last portion was extremely steep and was only negotiated with considerable trouble; it represents pretty nearly the limit of possibility in getting instruments up difficult places. Once the top was reached, however, the magnificence of the view obtainable, and the excellence of the point as a station for triangulating the principal peaks among the thousands visible, seemed an ample recompense for the trouble of reaching it. The top of the ridge (see Plate VII, p. 166) is very rough and narrow, only a little over a metre wide, and it is difficult to find a spot near the summit where one can spread one’s blankets for the night with even a slight approach to comfort. The eight nights of enforced bivouacking which I was obliged to spend on the top of Abu Hamamid in February 1906, before I could complete my observations, belong to the least pleasant of my experiences in the desert. A little work only was possible the first day, owing to haze obscuring the more distant peaks. On the second day clouds enveloped us in a wet drizzle, and a bitterly cold north wind blew with great violence; a rude rubble shelter which my men built on the summit, covered with a blanket, was a very poor protection, and I found it better to throw a rubble embankment across a steep gully on the lee side, forming a small level platform where we were sheltered from the biting wind. For the next five days, we were alternately wrapped in clouds or left free under a brilliant blue sky with clouds covering all the surrounding country. It was curious on these days to look over the surface of the clouds, as over a boundless level sea, with only the highest peaks projecting sharp and black above the white surface, and to see the sun rise and set exactly as though one were on the ocean. Then at last the clouds began to disappear, and[177] on the first clear day a very large amount of triangulation was accomplished, all the more prominent peaks within a radius of about sixty kilometres being observed. Gebel Abu Hamamid forms a culminating point on the Nile — Red Sea watershed, its eastern parts draining to Wadi Huluz and its western ones to Wadi Abu Hamamid, a tributary of Wadi Kharit.
PLATE XII.
Typical Views among the Mountains of Hamata and Abu Hamamid. (The high peak in the distance in the lower view is Gebel Hamata).
Gebel Um Semiuki is a sharp cone rising to 1,283 metres above the sea among a mass of lower hills three kilometres north-east of Gebel Abu Hamamid. It is of a reddish aspect, due to a film which covers the weathered surface of the green and grey hornfels of which it is composed. It is drained by the Wadi Um Semiuki.
Gebel Abu Argub is a very conspicuous mountain, almost conical in shape, seven and a half kilometres south-south-west of Gebel Abu Hamamid, from which it is separated by lower hills. To the south, Gebel Abu Argub overlooks the plain of Selaia. Its peak, 1,690 metres above sea-level, is a good landmark from the south and west.
Gebel Kahfa is a many-peaked mountain of granite rising abruptly to a height of 1,018 metres above sea from among lower hills of dark schists, nineteen kilometres south-west of Gebel Abu Hamamid. It is detached from the main mountain-mass, being separated from it by the heads of Wadi Um Retba. Its faces are in many places sheer precipices of several hundred metres (see Plate XIII), but the ascent of it from the north is not very difficult. In occupying Kahfa as a station I approached it from Bir Shadli by a well-marked track which skirts the western foot-hills and leads to the Wadi Helie. Leaving this track where it crosses Wadi Um Hargal some six kilometres from Bir Shadli, I ascended the Wadi Um Hargal and crossed the pass at its head into the head of Wadi Um Retba, where I pitched my camp at an altitude of 563 metres, at the foot of Gebel Kahfa 1·3 kilometres north-north-east of the beacon on its summit. The climb of 455 metres from this camp to the top occupied three hours. There is good bivouacking ground close east of the summit, between two ridges. The beacon which marks the triangulation point is in latitude 24° 8′ 18″, longitude 34° 38′ 55″. A walk round the top is full of interest; one can reach many points overlooking tremendous precipices, and the forms assumed by the granite peaks are very remarkable. On the west side of the mountain is a rather[178] large open space forming the head of Wadi Helie, but elsewhere one is surrounded by low hills. The principal drainers of Kahfa are the Wadis Um Hargal and Um Retba (tributaries of Wadi el Sheikh) to the north, and Helie and Abu Hashim (tributaries of Wadi Kharit) to the south.
Gebel Medsus is a small group of high hills rising among lower ones between Gebel Abu Hamamid and Bir Shadli.
Gebel Metawit is a high granite hill rising conspicuously among much lower hills thirteen kilometres north-west of Bir Shadli. A track leading from Bir Shadli to Bir Metawit and other wells further north-west passes close east of the hill. Gebel Metawit is a good landmark for Bir Metawit, which is situated in the wadi of the same name about three kilometres north-west of it. The summit is 741 metres above sea-level or about 295 metres above the wadi floor at the well.
Gebel Hamrat Mukbud is a great red granite mass rising from the plain about twenty-five kilometres west of Bir Shadli. Its isolated character and great altitude (892 metres above the sea and about 450 metres above the surrounding country) render Hamrat Mukbud one of the finest and best known landmarks in this part of the desert. A cairn on its summit marks the triangulation point, in latitude 24° 9′ 53″, longitude 34° 23′ 17″. Its ascent is a matter of some difficulty, owing to its great steepness.
El Hamra is another red granite mass, much smaller than Hamrat Mukbud, lying about half-way between that mountain and Bir Shadli, and separating the Wadi Abu Hamamid from the Wadi el Sheikh.
Gebel Homr Akarim is a hill about thirty-three kilometres west of Gebel Hamrat Mukbud, close to the north of Wadi el Khashab. Its summit, 490 metres above sea, is marked by a triangulation cairn.
Gebel Marasan is a range of mountains north-west of Abu Hamamid. It is cut through by an important pass over the main watershed, 685 metres above sea-level, connecting the Wadis Huluz and Abu Hamamid by their respective tributaries Marasan and Marasani, which drain north-east and south-west from the pass. The highest peak of the mountains south of the pass is 1,261 metres above sea-level, while those to the north are lower. The name Gebel Marasan is, however, commonly given only to the peaks north of the pass, as[179] they rise more abruptly from it, while those to the south are unnamed or regarded as part of Gebel Hamamid because the Wadi Abu Hamamid drains their southern flanks.
PLATE XIII.
Two Views on Gebel Kahfa. (Granite).
Gebel Khulla is a range lying a few kilometres west of Gebel Marasan from which it is quite separated. Its highest point is 978 metres above sea. It is drained by Wadi Khulla, a tributary of Wadi Abu Hamamid.
Gebel Um Sedri is a remarkable pair of twin peaks on or near the main watershed seventeen kilometres north-west of Gebel Abu Hamamid, and a little to the south of the Wadi Huluz. These peaks, which are 970 metres above sea-level and about 460 metres above the floor of Wadi Huluz, are very conspicuous from the surrounding high country, but they cannot be seen from the Wadi Huluz itself as they lie a little way back from the scarps which bound the gorge. It is the drainage from the hills round Gebel Um Sedri which feeds the water holes of Um Gerifat, in a little gorge opening to Wadi Huluz about two kilometres north-west of the peaks.
Gebel el Heda is a conspicuous hill situated ten kilometres north-north-west of Gebel Metawit, between the Wadis Antar and Khashab. Its highest point is 862 metres above sea-level.
Gebel Nukheira is a group of high hills on or near the main watershed, close to the head of Wadi Antar and about ten kilometres north-north-west of Gebel el Heda. Its highest point is 876 metres above the sea.
Gebel Ras Abu Etl is a lower hill seven kilometres north-east of Gebel Nukheira. As seen from the upper part of the Wadi Gemal it appeared to have a flat top, which is 648 metres above the sea. It is probably drained by the short Wadi Abu Etl, which joins Wadi Huluz to form the Wadi Gemal.
Gebel Um Suerab is a great high ridge of dark looking rocks, surrounded by high flanking hills, rising conspicuously in the hilly country between the Wadis Huluz and Gemal, about twenty-four kilometres north-north-west of Gebel Abu Hamamid. The top of its ridge, which appears to be nearly level for about a kilometre of its length, is 1,024 metres above sea-level. From its neighbourhood drain two wadis in opposite directions; one, called the Wadi Um Suerab lil Gemal, goes northward to join Wadi Gemal, while the other, called Wadi Um Suerab lil Huluz, is the longer and courses southward to join Wadi Huluz.
[180]Gebel Durunkat is another apparently flat-topped hill eight kilometres south-east of Gebel Um Suerab, on the west side of the Wadi Durunkat, about thirteen kilometres above its junction with Wadi Gemal. Its summit is 924 metres above sea-level.
Gebel Abarun is a mountain range situated a short distance north-east of Gebel Abu Argub, from which it is separated by the Wadi Abarun. Its highest peak, almost due east of that of Abu Argub, from which it is separated by the Wadi Abarun, is 1,602 metres above sea, and overlooks the great plain of Selaia to the south.
Gebel Um el Tiur is a range extending south-east from Gebel Abarun, forming a southward prolongation of the mountains. Its highest peak is 1,450 metres above the sea, while the terminal peak southward is 1,080 metres. It is drained on the west by the Wadis el Shel and el Anbat (tributaries of Wadi Kharit) and on the east by the Wadi Um el Tiur (a tributary of Wadi Hilgit lil Kharit).
Gebel el Anbat is a group of lower dark coloured hills forming the south foot hills of Gebel Um el Tiur. Its highest point is 788 metres above sea, while a detached black hill a little west of it on the plain rises to 680 metres above sea, or 175 metres above the plain at its base. These hills are drained by the Wadi el Anbat and other small feeders of Wadi Kharit.
Gebel Um Usher and Um Hasidok are conspicuous peaks on the main watershed ten kilometres east, and twelve and a half kilometres east-south-east respectively of Gebel Abu Hamamid, rising to 1,487 and 1,497 metres above sea-level. They are drained to the south by the Wadi Hilgit lil Kharit, and to the north by the Wadi el Mahali, a feeder of Wadi Huluz.
Gebel el Mahali is a rather high peak of grey porphyry which forms a northerly extension of Gebel Um Usher, close south of the Wadi Huluz. Its top is 1,112 metres above sea, or 330 metres above the adjacent wadi floor.
Gebel Hamata, with one exception[106] the highest mountain in the Eastern Desert of Egypt, is situated on the meridian of 35°, in latitude 24° 12′, thirty-three kilometres from the nearest point of the[181] coast and 213 kilometres from the nearest point of the Nile, and rises to an altitude of 1,978 metres above sea-level; the summit is marked by a triangulation beacon, the position of which is latitude 24° 12′ 17″, longitude 35° 0′ 16″. Gebel Hamata lies some five kilometres east of the main watershed, which curiously enough is not always formed by the highest peaks. It is drained principally by the Wadi Huluz, the heads of which almost encircle it. The Wadi Hamata heads in the eastern face of the high ridge which connects Gebels Hamata and Abu Ghusun, and thus only takes a small portion of the drainage of Gebel Hamata itself. Though surrounded by other high mountains, Hamata towers above them so as to be a very conspicuous feature on the sky line from great distances. Looked at from the north or south, it is like a great, rather flat, cone with a smaller cone east of it. The best way to ascend the mountain is from the head of the Wadi el Abiad, that feeder of Wadi Huluz which drains the north face of it. In proceeding up the Wadi el Abiad from Wadi Huluz, one is shut in by high hills on either side till about six kilometres from the mountain; then the wadi opens into a rough plain with low granite hills, and the imposing mass of Hamata springs suddenly into full view. My camels were coaxed on with their loads up this wadi, which becomes very steep and stony as its head is approached, to within two and a quarter kilometres of the summit, where they actually reached an altitude of 1,025 metres above the sea. The ascent of the remaining 953 metres on foot, though tiring, was fairly easy, and occupied less than four hours. The lower third of Hamata is a whitish granite; this gives place higher up to a hard quartz felsite, which rings under the hammer and weathers into rusty brown blocks. To the east of the main summit the rock changes to a green breccia, which seems to form a considerable portion of that part of the mountain. The view from the summit is a fine one in clear weather, including as it does an extensive prospect of the rugged mountains around, and a large extent of coast-line. But it was on this mountain that I had my first experience of the chronic haze which seems to hang almost perpetually over the coastal regions in the neighbourhood of the tropic, and which is the greatest enemy of the surveyor in these parts. On each of the three days which I spent on Hamata, the morning sun rose over cloud-banks to the east; clouds filled all the wadis and covered the lower country, while the highest peaks[182] stood up clear and sharp above the sea of cloud. Towards 10 a.m., the clouds gradually melted away over the land under the increasing solar influence, but there remained a continuous haze, especially over the coast and out to sea. The explanation of the almost perpetual clouds and haze was soon seen, and is very simple. If the wind blows from the north-west, it is generally cool or even cold in winter. If this north wind is dry and persistent, the air is clear; but should it fail and warm moist breezes set in from seaward, these drop their moisture on reaching the cooler air of the mountains. If the air is still or nearly so, the moisture is evaporated in the sun’s rays during the day, only to precipitate itself again as the air cools by rapid radiation at night. As a consequence, dews on the mountains are extremely heavy, and one soon learns to seek the shelter of an overhanging rock or to improvise a rude tent from a blanket and a few sticks over one’s nightly resting-place.
Gebel Abu Ghusun is a mountain range north of Hamata, with which it is connected by a ridge of lower peaks so as to close in the small rough granite plain north-east of the latter mountain. Its highest peak, eight kilometres north-north-west of Gebel Hamata, is 1,389 metres above sea-level. It is drained on the south by the Wadi el Abiad, the same tributary of Wadi Huluz which drains the north face of Hamata, and on the north by the Wadi Abu Ghusun, which enters the sea separately.
Gebel Um Laham is a mass of lower hills a little west of Gebel Abu Ghusun, forming the side of Wadi Huluz opposite to Gebel el Mahali.
Gebel Tarfawi is a complex mountain range fourteen kilometres north-west of Gebel Hamata. Its highest point, at the north-west end of a ridge, is 1,363 metres above the sea. It is probably drained to the south by the Wadi Tarfawi, a tributary of Wadi Huluz, and to the north by feeders of Wadi Romit.
Gebel Um Heshenib is a great ridge situated twenty-two kilometres north-west of Gebel Hamata. The beacon on its highest point, in latitude 24° 20′ 49″, longitude 34° 50′ 53″, has an altitude of 1,135 metres above the sea. Its lower parts are granite, but the upper third is of dark schists, while the actual ridge on which the beacon stands is a grey porphyrite. Gebel Um Heshenib is drained to the north by the Wadi el Abiad, a tributary of Wadi Gemal, and[183] to the south by tributaries of Wadi Huluz. I ascended it on two occasions from opposite sides. The north approach is the easier road for camels, as they can pass easily up the broad and sandy Wadi el Abiad, while to reach it from Wadi Huluz one has to journey over a rather stony pass and along narrow stony wadis. But the climb is longer from the north side, being one of 635 metres against 380 metres from the south, and the southern climb is easier as well as shorter. It is interesting to note that as the ground south of the mountain lies at an average level of 250 metres higher than that to the north, the plumb-line ought from theoretical considerations to be attracted to the south by several seconds, and this was found to be the case when the mountain was used as a latitude station (see p. 47) There is a very difficult pass east of the mountain from the head of Wadi el Abiad into a tributary of Wadi Huluz; I was told that loaded camels could not possibly get over the pass, and have reason to believe the statement true, as although I did not consent my men were desirous of going over it and volunteered to carry the baggage over themselves to relieve the camels.
Gebel el Abiad is the name given to two distinct ranges of high granite hills on either side of the Wadi el Abiad, north and east of Gebel Um Heshenib. The eastern of these two ranges extends in a north-westerly direction for about twelve kilometres from Gebel Tarfawi to near the place where Wadi el Abiad turns to the north-east. It has numerous peaks, of which the most conspicuous is at the south-east end of a high ridge six and a half kilometres north-east of Gebel Um Heshenib, and rises to 957 metres above sea. This eastern range is drained from the west by the Wadi el Abiad, and from the west by the Wadis Shoab and Romit. The western range is slightly lower and less extensive; one of its most conspicuous peaks, eleven kilometres north-north-east of Um Heshenib, is 892 metres above the sea, and there are numerous other peaks further south of almost equal altitude. This western range is almost entirely drained by the Wadi el Abiad, a feeder of which curves round the south end of the range, thus separating it from Gebel Um Heshenib; the drainage from the north end probably passes into the Wadi Mukhatatat, while a portion of the eastern slopes may be drained by feeders of Wadi Durunkat. It is the coarse white granitic sand resulting from the disintegration of the rocks of these hills which gives its[184] name to the Wadi el Abiad, and the hills take their name from the wadi. The heads of the wadi near Gebel Um Heshenib are, however, blackened by hornblendic downwash from the schists which overlie the granite of that mountain.
Gebel Shoab is a very high white granite hill close to the head of Wadi Shoab, on its north side. It rises to 830 metres above the sea, or about 400 metres above the wadi floor.
Gebel Hefeiri is a very sharp granite peak a little west of the Wadi Abu Ghusun, about fifteen kilometres north of Hamata. Rising to 612 metres above the sea, or about 300 metres above the wadi near it, among lower granite hills, it is a good landmark. There is a smaller very sharp peak two and a half kilometres to the north-east, on the opposite side of the Wadi Abu Ghusun, while to the west are sugar loaf shaped hills.
Gebel Um Sueh is a conspicuous granite hill six and a half kilometres east of the Wadi el Abiad and four and a half kilometres north of the Wadi Shoab, rising to 781 metres above sea. It is probably drained from the north-east by the heads of Wadi Um el Abbas.
Gebel Um el Abbas is a very remarkable granite hill between Gebels Um Sueh and Abu Hegilig. From the north, it looks like a square block with precipitous sides, having a sheer drop of about 200 metres. Its summit is 697 metres above sea. It is drained by the Wadi Um el Abbas, which goes independently to the sea.
Gebel Abu Hegilig is another high granite hill, three and a half kilometres east of Gebel Um el Abbas and twenty-six kilometres north of Gebel Hamata. Its summit, 607 metres above sea, is marked by a beacon, the position being latitude 24° 26′ 16″, longitude 34° 58′ 32″. The hill is drained by feeders of Wadi Um el Abbas. The camp from which I ascended the hill was in one of these feeders 1,200 metres north-east of the beacon and 267 metres above sea-level; the climb of 340 metres was not difficult, and only occupied a little over an hour. The beacon is on a block not large enough to take an instrument, so that observations here were taken from an eccentric point a little way along the ridge and afterwards reduced to centre.
Gebel Sarobi is a small hill-range twenty-two kilometres north-east of Gebel Hamata and some eleven kilometres from the sea coast. The peak at its south end is 471 metres above sea-level. This range[185] has not been closely approached nor well seen, but it must be very conspicuous to any one travelling in the low hill country near the sea.
Gebel Ras el Kharit is a mountain range forming part of the main watershed, running in a nearly east and west line a little south of Gebel Hamata. Its highest peak is extremely sharp, and rises to 1,661 metres above sea-level six kilometres south-south-east of Hamata. Of the many other peaks of the range, the chief is one three kilometres west of the highest point, and six kilometres due south of Hamata; this reaches an altitude of 1,564 metres. The northern face of the range is drained by the heads of the Wadi Huluz, while the southern is drained by the heads of Wadi Kharit, whence the name of the mountain range.
Gebel Khashir, which forms an eastward extension of Gebel Ras el Kharit, reaches an altitude of 1,565 metres above sea-level; its highest peak is nine and a half kilometres south-east of Gebel Hamata. It is drained to the sea by the Wadi Khashir, the heads of which end in the precipitous eastern faces of the mountain.
Gebel Mikbi is a long high ridge on the main watershed, seven kilometres south of Gebel Khashir. Its highest point, at the south end of the ridge, is 1,388 metres above sea-level. Gebel Mikbi is connected with Gebel Ras el Kharit by a lower ridge running north-west and forming the continuation of the watershed across the head of Wadi el Kharit. There is a pass across this ridge into the head of Wadi Mikbi, which drains Gebel Mikbi seawards, but it is a very difficult one for loaded camels owing to the great steepness of the eastern side.
Gebel Zatit is another high ridge about five kilometres east of Gebel Mikbi, on the south side of the head of Wadi Mikbi.
Gebel Egat is a high mountain close to the south-west of Gebel Mikbi, forming the continuation of the watershed. It has two principal peaks, two and a quarter kilometres apart, of which the south-west one is the higher, being 1,422 metres, while the north-east one is 1,277 metres above the sea. The western face of the mass is drained by the Wadi Egat, a tributary of Kharit, while the eastern flanks are cut up by feeders of the Wadi Sefent, a tributary of Wadi Lahami.
Gebels Um Sellim and Gumudlum are high hill ranges forming an eastward extension of the Egat and Mikbi mountains, on the north side of Wadis Sefent and Lahami. The highest point of Gebel Um[186] Sellim is 947 metres above sea, or about 620 metres above the floor of Wadi Lahami. These ranges are flanked by lower hills through which run various small wadis such as Um Khuzuma, Um Ghobasha, and Gumudlum, all feeders of Wadi Lahami. Some of these small wadis contain rock basins or galts which retain large supplies of water for some time after rain has fallen on the hills.
Gebel Abu Gurdi is a great mountain in latitude 24° 0′, forming the terminal peak to the south of the Hamata group. The beacon on its summit, in latitude 24° 0′ 11″, longitude 35° 5′ 17″, is 1,562 metres above sea-level. Though in reality a ridge, Abu Gurdi from most points of view looks like a rather flat cone, surrounded by lower hills. It is on the main watershed, which crossing to the summit from Gebel Egat, continues south-eastward along a narrow ridge descending to the pass at the head of Wadi Lahami. The south-west parts of Abu Gurdi are drained by the Wadis Abu Gurdi and Elemikan, both tributaries of Kharit, while its southern and eastern parts drain into Wadi Lahami by various feeders, of which the chief are the Wadis Um Karaba, Um Rishan, Um Homar, and Sefent. Gebel Abu Gurdi could probably be ascended from the west by following up the Wadi Abu Gurdi, but in occupying the mountain as a triangulation station I descended the Wadi Lahami as far as the point of influx of Wadi Um Karaba and then ascended the latter wadi as far as the camels could get, pitching my camp two kilometres south of the summit at 804 metres above sea-level. The ascent of 758 metres to the beacon on foot from the camp occupied two and a quarter hours of fairly stiff climbing; it presented no serious difficulties, but the rock near the top is much broken up and one has to be careful lest blocks are dislodged under one’s foot. The view from the top of Abu Gurdi on a clear day must be extremely fine, but during the three days I remained there a thin haze spoiled the distant prospect, especially towards the coast; the remarkable shapes of the granite peaks of Gebel Faraid, sixty kilometres to the south-south-east, formed the most striking feature in the scene.
Gebel Derhib, 1,160 metres above the sea, is a mountain separating Wadi Abu Gurdi from Wadi Egat; it is really an extension of Gebel Abu Gurdi, from the beacon on which its summit is six and a half kilometres west.
[187]Gebel Um Goradi is likewise in reality part of the Abu Gurdi mass, forming the end of a spur extending south-eastward for ten kilometres from the main peak. The Wadi Lahami curves round its foot northward, passing between it and Gebel Um Gunud.
Gebel Selaia[107] (the bald head) is a very remarkable rounded granite boss rising from the plain thirty-one kilometres south-south-west of Gebel Hamata. Owing to its peculiar shape, isolated position, and considerable height (its top is 787 metres above sea-level and about 260 metres above the plain), Selaia is a conspicuous landmark for great distances round it. The lower illustration on Plate XI (p. 172) gives an idea of its appearance as seen from the east; from the north or south it appears much steeper.
South-east of Gebel Selaia stretches a line of four smaller granite hills. The first of these, about a kilometre from the great boss, is interesting as having a small spring, called Megal el Selaia, at its foot. The next, one and a half kilometres further on, is larger, while the third is larger still, rising to 623 metres above sea-level. The fourth, five kilometres from Gebel Selaia, is marked by a triangulation beacon, 563 metres above sea-level and about fifty metres above the plain, in latitude 23° 55′ 30″, longitude 34° 54′ 37″.
Gebel el Homur is an isolated mass of granite hills on the plain six kilometres north-east of Selaia. Its highest point is 731 metres above sea and 230 metres above the plain at its foot. It is drained by small feeders of the Wadi Abu Gurdi, which passes north of the mass on its way across the plain to join Wadi Kharit.
Gebel Abu Derega is an isolated mass of higher granite hills thirteen kilometres south-east of Gebel Selaia. Its highest point is 831 metres above sea-level, and about 300 metres above the plain. Gebel Abu Derega is on the Nile — Red Sea watershed, which crosses the plain from east to west in this locality. The northern drainage is to the Wadi Elemikan, which runs between Gebels Abu Derega and Selaia to join Wadi Kharit, while the southern faces of the hills are drained by feeders of the Wadi el Khiua, a tributary of Wadi Um Bisilla, in the basin of Wadi Hodein.
Besides the hills above described, there are many smaller ones[188] scattered at intervals over the great sandy plain of Selaia, but the only others calling for special notice are the three very remarkable white conical hills called Marwot Elemikan, situated twelve kilometres east of Abu Derega. These hills, though small, are conspicuous from considerable distances, owing to the dazzling appearance of the pure milk-white quartz of which they are composed. The highest and most northerly one, with a triangulation beacon on its summit, rises to 648 metres above sea, or 68 metres above the plain, in latitude 23° 54′ 14″, longitude 35° 6′ 8″. The other two lie about two kilometres south-east and south respectively, with a black hill mid-way between them.
The mountains of this group, occupying the country east of the watershed between Wadi Lahami and Wadi Khoda, are considerably lower than those of the preceding two groups, only a few peaks rising more than 1,000 metres above sea. The north portion of the group is formed by the line of mountain ridges which as seen from the sea near Berenice appears to connect Gebel Kalalat with Abu Gurdi, while the south part spreads further east and west and contains the highest peaks.
Gebel Um Gunud is the northernmost mountain of the range west of Berenice. It is a dark rugged ridge, surmounted by a cairn[108] 989 metres above sea-level, forming the east side of the Wadi Lahami opposite Gebel Abu Gurdi. It is drained from the west by the Wadi Um Gunud, a feeder of Wadi Lahami, and on the east by feeders of Wadi Naait. Gullies in the west flanks of the mountain contain rock basins, called Galt Um Gunud, which hold water supplies for a long time after rain has fallen, and which are fairly easy of access from Wadi Lahami.
Gebel Eidab, the next member of the range to the south, rises to 848 metres above sea. It is drained on the west by the Wadi Eidab, a tributary of Wadi Lahami, and on the east by the Wadi Abu Daba, a tributary of Wadi Mukhit; a rough and steep pass is said to exist from east to west between the heads of these two wadis near the mountain.
[189]Gebel Um Maiat, a long high ridge stretching south-east from Gebel Eidab, has three marked summits near its ends and centre; that at the north end, which is the highest, is 928 metres, while the other two are 870 and 842 metres above sea respectively. Another broken ridge, of similar height, for which I could get no name from my guides, forms a south-eastern prolongation of Um Maiat, and extends to the Wadi Kalalat; this likewise has three well defined summits, rising in order from north to south, to 875, 821, and 627 metres respectively. These ridges are drained to the east by the Wadis Murra (tributary of Abu Daba) and Mindeit. Their western drainage has not been studied in detail, but it all reaches the sea, none of it going Nilewards; part of the drainage is probably taken by each of the Wadis Kalalat, Shut, and El Khiua.
To the east and north-east of the Um Gunud — Eidab — Um Maiat range is a great expanse of lower hill country through which the wadis cut their way eastwards for about fifteen kilometres to the coast plain. The most conspicuous peaks in this lower hill country are Gebels Um Huk, Abu Ghalqa, and Um Hegilig, all situated in its north portion round about Wadis Lahami and Naait. Other low rugged hills fill a triangular tract south-west of the main range.
Gebel Um Huk is a sharp granite peak, surmounted by a cairn,[109] rising to 517 metres above sea-level near the south side of Wadi Lahami, fourteen kilometres north-north-east of Gebel Um Gunud.
Gebel Abu Ghalqa is another high granite hill, also marked by a cairn on its summit, seven kilometres south-south-east of Um Huk. The cairn is 561 metres above sea-level, and is in latitude 24° 1′ 7″, longitude 35° 16′ 47″.
Gebel Um Hegilig in a small rather spiky range of red granite hills situated a little to the north-east of Gebel Um Gunud, near the heads of Wadi Naait.
To the north-west of Berenice are several low hills on the coast plain, which serve as landmarks and bear special names. Grain el Rih is a conspicuous isolated low hill nearly opposite the place where Wadi Naait emerges from the hills on to the plain, thirteen and a half kilometres north-west of Berenice. Khasheib Abu Daba is the name of some low bouldery granite hills at the place where Wadi Abu Daba[190] enters the plain. Sikeit, a landmark for Berenice, from which it lies five kilometres north-west, is a low granite hill, isolated on the plain and very conspicuous; its summit is seventy metres above sea-level, or thirty-eight metres above the plain at its foot.
The Hills on the Peninsula of Ras Benas are sharply marked off into two portions by differences of colour. The most striking are the dazzling white hills of gypseous limestone which form a narrow sinuous broken plateau nearly along the long axis of the peninsula. The highest points of these white hills are 188 metres above the sea. Deep ravines cut up the plateau and separate it into more or less detached hills. The surface of the gypseous rock is very rough, and frequently weathered into knife-like projections which cut one’s hands and boots badly in climbing. Near the tip of the peninsula the gypseous beds contain a little sulphur in places, and there are some shallow pits which seem to have been dug for exploiting that mineral. But the quantity appears far too small to be of any commercial value, and the pits were probably only exploratory trial holes.
The other hills on the peninsula are darker in colour, being chiefly diorite. They form two masses, one near to where the peninsula joins the main land, and the other on the south side of the peninsula twenty kilometres east of Berenice. The highest point of the first-named group is 276 metres, while that of the second is 197 metres, above sea-level. All the hills on the peninsula are quite separated from those of the main land by the broad sandy plain through which Wadi Mukhit courses south-eastwards to the sea.
Gebel Batoga, a granite mountain fifteen kilometres south-east of Berenice, is sharply marked off from the other mountains near it by its light colour. It is a great boss of acid granite seamed with dykes, having two main peaks. The highest (central) peak rises to 802 metres above sea-level; the southern peak, surmounted by a triangulation beacon in latitude 23° 49′ 37″, longitude 35° 21′ 9″, is seventeen metres lower. Gebel Batoga is drained from the north by feeders of the Wadi Kalalat, and from the south by the Wadi Kunserob. There is a good water source, Galt Batoga, at its north-east foot, consisting of a rock basin which holds a good supply of water for a long time after rain, situated in a small gully close to the Wadi Kalalat, the floor of which is here about 160 metres above sea-level.
[191]Gebel Kalalat, situated about six kilometres west of Gebel Batoga, is a mass of ridges, higher and darker in colour than Batoga. Its highest point, marked by a beacon in latitude 23° 49′ 9″, longitude 35° 17′ 36″, is 1,125 metres above the sea, while another conspicuous peak one and a half kilometres north-east of the beacon, rises to 1,080 metres, and there is a third peak three and a half kilometres south-east of the beacon which attains 894 metres. In ascending Gebel Kalalat to occupy the triangulation station, I followed up the Wadi Kalalat to where the little winding Wadi Um Maiat enters it from the south, then turned up the latter wadi and pitched my camp as far up as the camels could go. The camp was three kilometres north-east of the beacon and 300 metres above sea, so that the climb to be made on foot was 825 metres. Though long and tiring, the ascent to the beacon was not dangerous. Further up the head of the wadi than my camp, I came on a line of galts (rock basins) containing rain water, but they were not easy of access to camels, being in a steep and stony gorge. Perched on the east flank of Kalalat is a very remarkable pinnacle rock, well seen in the illustration on Plate XIV. A very good view of the surrounding mountains is obtained from the summit in clear weather, but the top was wrapped in clouds for a great part of two out of the four days I remained on it. Gebel Kalalat is drained from the north by feeders of the Wadi Kalalat, and from the south by the Wadis Gumudlum and Kunserob. Wadi Kalalat curves round the north-west side of the mass, and it is possible that the ascent might be easier by following that wadi as far as possible and climbing up the north-west face of the mountain. A rough steep pass, impracticable for loaded camels, is said to lead from the head of Wadi Kalalat into Wadi Shut.
Gebel Dibag is a high dark ridge five kilometres south of Gebel Batoga, with a peak at each end. The north-west peak is 517 metres, and the south-east one 544 metres above sea-level. The Wadi Kunserob curves round its east and south flanks, while the Wadi Dibag lil Kunserob drains its eastern face into the same channel.
Gebel Shenshef is a mass of high dark hills between the Wadis Shenshef and Gumudlum, close to the Wadi Khoda. On one of its eastern peaks, situated in latitude 23° 44′ 5″, longitude 35° 22′ 40″, on the west side of Wadi Shenshef, and not so high as others further west, a beacon has been erected overlooking the ruins called Hitan Shenshef. There are wells in the wadi a short distance below this[192] hill. The beacon is 290 metres above the sea and 115 metres above the wadi floor at its foot.
Gebel Dahanib is a mountain of dark coloured rocks (diorite and gabbro), situated twelve and half kilometres south-east of Gebel Kalalat and eleven kilometres north of the Wadi Khoda. Its summit, on which is a triangulation beacon, is in latitude 23° 45′ 44″, longitude 35″ 11′ 10″, and 1,270 metres above sea-level. Gebel Dahanib is surrounded by other mountains and hills, and access to it is not very easy. In order to reach it from Gebel Kalalat I had to make a journey down the Wadi Kalalat, along the coast-plain and up the Wadis Khoda and Allawi, a total distance of over eighty kilometres, although the direct distance between the two peaks is only twelve and a half kilometres. By ascending one of the heads of the Wadi Allawi until camels could get no further, I was able to pitch a camp 540 metres above sea-level and three kilometres south-west of the beacon, leaving 730 metres to be climbed on foot. The ascent, though tiring, was free from difficulties or dangers, and occupied two and a half hours. A galt, containing only a small supply of water at the time of my visit, exists a little further up the head of the wadi than where I fixed my camp. There is a good view from the summit, but in the winter months Dahanib, like all the mountains near the coast, is frequently wrapped in clouds for days together. Of seven days spent on the summit in February 1907, three were passed entirely in clouds, while only portions of the other four were free from fog or haze. It was on Gebel Dahanib that I first noticed the curious electric phenomena which may be observed at high stations when electrified clouds are passing close overhead, my attention being first drawn to them by a spark from the eye-piece of my theodolite striking me over the eye. At the same moment a rapid succession of sparks a centimetre or so long passed between my hand and the adjusting screws of the instrument, while both the theodolite and my hair hissed loudly. In this and all other cases of a like kind, I judged it best to suspend operations for a time and descend a little below the summit till the cloud had passed over.
Gebel Dahanib is drained by the Wadis Allawi, Um Tawil, and Shut, all tributaries of Wadi Khoda, which course for a considerable distance through the surrounding hills before reaching the main trunk wadi.
PLATE XIV.
Gebel Kalalat.
Summit of Gebel Faraid. (Granite).
[193]Gebels Um Hegilig, Reyan, and Shut, are high hills situated between the Wadis Shut and Gumudlum, both tributaries of Khoda. Gebel Um Hegilig, a dark peak rising to 966 metres above sea-level, is almost exactly midway between Gebels Dahanib and Kalalat. Gebel Reyan, a little further south-east, is a group of peaks and ridges of which the highest point is 863 metres above sea. Gebel Shut, the most remarkable of the three, is a great cone rising to 930 metres above sea, about five kilometres north of the Wadi Khoda. A very large galt is said to exist among these hills, approachable from Wadi Shut; it is probably in one of the feeders draining westward from Gebel Reyan, which name signifies “the wet mountain.”
Gebel Um Bisilla is a dark mountain of gabbro rising conspicuously among lower hills twenty-two kilometres west of Gebel Dahanib. The triangulation beacon on its summit is in latitude 23° 45′ 34″, longitude 34° 57′ 39″, and 824 metres above sea-level. Gebel Um Bisilla is drained by Wadi Um Bisilla, the head of which encircles its southern half, while the northern flanks are drained by feeders of the Wadi el Khiua, which courses south-west to join Wadi Um Bisilla about ten kilometres west of the mountain. There is an easy passage for camels round the east side of the mountain from the head of Wadi Um Bisilla into a feeder of Wadi Abu Nilih, a tributary of Wadi El Khiua. In ascending the mountain I pitched my camp in one of the gullies draining from it to Wadi Um Bisilla, at an altitude of 513 metres above sea and 1,300 metres south-east of the beacon. The climb of 311 metres from this camp to the summit presented no difficulties, and occupied only an hour and a half.
Erf el Gimal is a high dark ridge surrounded by lower hills ten kilometres west-south-west of Gebel Um Bisilla. Its highest point, the west end of the ridge, is 673 metres above sea. About seven kilometres further west is a conspicuous conical hill called Gebel Abu Shigelat.
Gebel Zergat Naam, sometimes called Hagar el Fil, is a mountain mass on the main watershed thirty kilometres west of Gebel Um Bisilla. It forms a curved range round the head of the Wadi el Kreim, a tributary of Garara. Its northern part is drained partly by the Wadi Abu Had, a feeder of the Rod el Kharuf, and partly by the heads of the Wadi el Fil, which is itself the head of Wadi Naam. The highest peak of the range is a conical one near its south end, 845 metres[194] above sea-level, but the northern peaks are more conspicuous from some points of view, and it is on the highest of these, 823 metres above sea, in latitude 23° 45′ 28″, longitude 34° 40′ 34″, that the triangulation beacon has been erected. My camp at the base was in one of the heads of Wadi el Fil, 527 metres above the sea, and about 700 metres north-east of the beacon. The ascent from here on foot to the beacon was fairly easy. Zergat Naam is a mass of syenite rising through schists, but the northern summits are formed by east and west bands of a very hard quartz felsite. From the summit, looking northwards one sees long lines of north-and-south felsite dykes forming ridges on either side of the head of Rod el Kharuf, while close south of one is the enclosed sloping plain across which run the feeders of Wadi el Kreim. To the south-south-east, a range of lower hills runs north-westward from the end of the main range, and between the two there appears to be a remarkably sudden drop into the head of Wadi Abu Seyal. The Arabs state that there is a very large galt at this point, reached by ascending the Wadi Abu Seyal; the galt is said to hold water for five months after rain. But during my occupation of the station recent rains had filled other smaller rock basins in the gullies to the north, and it was unnecessary to send far from the camp to get supplies. It is interesting to observe from the summit of Zergat Naam the disposition of the rocks forming the lower hills to the south and west; these are of sandstones with marked dips, the area being one of much disturbance by faulting along the Wadi el Kreim.
On the great sandy plain to the north and north-east of Zergat Naam are two extensive groups of low hills, which stand out remarkably owing to their dark colour. One of these groups, twenty kilometres north of Zergat Naam, is called Gebel Geneina Gharbi; it is a mass of hills composed chiefly of dioritic and gabbroid rocks (through there are some schists and granites intermingled) and is drained northward by the Rod el Geneina, a feeder of Wadi Kharit. The other group, called Gebel Geneina Sharqi, is smaller and situated fifteen kilometres further east; I did not visit it, but from its dark colour it is probable that it consists of similar rocks to those above-mentioned. The hills of both groups rise to about 550 metres above the sea, or about eighty to one hundred metres above the plain.
In the low country to the west of Zergat Naam, between the Wadi Garara and the Rod el Kharuf, the most conspicuous hills are[195] Erf el Dubeis, a ridge twenty-six kilometres due west of the beacon, Gebel el Nikeiba, a granite hill marked by a triangulation cairn, 570 metres above sea-level and thirty-four kilometres west-north-west of Zergat Naam; Gebel Felieiti, a sandstone hill, also marked by a triangulation cairn, 500 metres above sea and sixteen kilometres south-west of Gebel Nikeiba; Erf Abu Homur, a ridge at the head of Wadi Abu Homur (a tributary of Garara), about seven kilometres north of Gebel Felieiti; Erf el Mohaib, marked by a triangulation cairn 465 metres above sea-level, about nine kilometres north-west of the last-named hill; and Gebel el Ghar, a hill on the south side of Wadi el Kharit, close to the point where the Rod el Kharuf enters it.
The mountains of this group occupy the tract between the Wadi Naam and Gebel Faraid, and are limited on the south by the Wadi Hodein.
Gebel Abu Dahr, the highest mountain of the group, is a great mass of serpentine, situated in latitude 23° 35′ and about forty kilometres from the coast. Its summit, marked by a triangulation beacon in latitude 23° 36′ 8″, longitude 35° 5′ 46″, is 1,131 metres above sea-level. Its western face is drained by the heads of Wadi Betan, its north-east flanks by those of Wadi Khoda, and its south-east parts by feeders of Wadi Rahaba. Abu Dahr is surrounded by high hills except on the west, where there is low hilly country containing the wells of Betan and the old mining ruins of Um Eleiga (see Plate IV, p. 30). The mountain can be most easily reached either by following up the Wadi Betan to its head, or by ascending the Wadi Salib el Azrak (a tributary of Wadi Khoda) and its feeder the Wadi Um Karaba. There is an easy pass 1,800 metres north of the beacon, between the central mass of Abu Dahr and the high hills north of it, connecting the heads of Wadi Betan and Wadi Um Karaba. A short distance to the south-west of this pass there is a galt in a spur of the mountain which holds water for some time after rain, and which furnished supplies during my stay at the place in 1907. In occupying the triangulation station, I fixed my camp in a small stony wadi draining from the north of the mountain, on the east side of the pass just referred to; the camp was 600 metres[196] above sea-level and 1,200 metres north-north-east of the beacon. The ascent, which occupied three hours, was rather difficult and dangerous, the mountain being not only steep[110] but composed of rotten highly crushed rock which came away in tons at a mere touch. There is a very extensive view from the summit, the striking peaks of Faraid being a marked feature to the east and south-east, while to the south are the great masses of Mishbih, Niqrub and Gerf, with the sandstone plateaux of Dif, Hodein and Abraq limiting the view to the south-west. The rock of Gebel Abu Dahr is highly magnetic, and several pieces which I examined showed strong polarity. The compass needle points in all sorts of directions as one moves about the mountain.
Gebel Abu Dahr and the high hills round it, especially to the south, form an important rain-collecting area, the drainage from which feeds, wholly or in part, the wells of Betan, Rahaba, Abu Reye, Abu Beid, and Gahlia, all of which are within a radius of about fifteen kilometres of the summit of the mountain. The relative abundance of water in this area is caused by two main factors. In the first place, the situation of the mountain on the eastward side of the watershed, only about forty kilometres from the coast, and its considerable height, condition the frequent accumulation of clouds about its summit, with relatively high rainfall as a consequence. And in the second place, the steepness of the slopes, and the fact that the serpentine rocks are not only of an impermeable nature, but are so crushed that the downwash into the gullies around is chiefly composed of smooth faced blocks rather than of absorbent sand, condition a higher ratio of run off to rainfall than exists in the case of most other localities in the Eastern Desert. A similar state of things is found in the case of Gebel Gerf, which, as will be mentioned further on, likewise consists of serpentine and is the centre of a district relatively rich in good wells; while in the case of the mountains of Faraid, which are much higher and closer to the sea, but consist of granite weathering into sand, though the rainfall is probably greater, the absorption by the sand is so rapid that there are no wells known to exist in their neighbourhood.
[197]Between Gebel Abu Dahr and Gebel Um Bisilla there are three remarkable little groups of granite hills. Gebel Abu Arta is a small range of red peaks six kilometres south of Um Bisilla; Gebel Hendusi, five kilometres further south, is a very conspicuous sharp granite peak rising to 678 metres above the sea and forming a good landmark; while Gebel Abu Husenat, four kilometres east of Hendusi, has another well-marked peak rising to 725 metres above sea-level.
Gebel Abu Sieiyil is a many-peaked hill range running north and south for about four kilometres, situated eight kilometres west of the beacon on Gebel Abu Dahr. It has the appearance of being composed of a pink gneiss, but has not been visited. Its central peak, fixed by triangulation, is 833 metres above sea. The Wadi Abu Beid el Azrak runs south-westward past the south end of the range, through a gap between it and a smaller hill range to the east.
Gebel Arais is a considerable range of gneiss peaks situated on the east side of Wadi Naam in latitude 23° 34′. One of the most conspicuous of its many summits is a pair of twin peaks near the south end of the range, rising to 613 metres above the sea. The range is cut through from east to west by the narrow and winding Wadi Arais, a tributary of Wadi Naam. The drainage from the western faces of the range passes by many feeders over a sandy plain to join the Wadi Naam directly.
Gebel Belamhandeit or Erf Um Araka is a long range of granite or gneiss hills north of Gebel Arais. It extends for a length of nine kilometres in a north-and-south direction on the meridian of 34° 50′. It is drained on the north and west by the Wadi Erf Um Araka, a tributary of Wadi Naam, and on the east by the Wadi Belamhandeit, a tributary of Wadi Arais.
To the east of Gebel Belamhandeit are several granite bosses, of which the most conspicuous is called Gebel Um Guruf; it is drained by the Wadi Um Guruf, a tributary of Wadi Arais.
Gebel Orga, eighteen kilometres south by east from Gebel Abu Dahr, is a high dark-looking range which has not been closely approached. Its highest peak, surmounted by a beacon, the position of which has been fixed by triangulation, as latitude 23° 26′ 21″, longitude 35° 8′ 17″, is 682 metres above sea-level. It is drained by the Wadi Orga (a tributary of Wadi Hodein), which contains the well called Bir Orga.
[198]Gebel Um Tenedba is a mass of dark hills of crushed basic rocks situated thirty kilometres south by east from Gebel Abu Dahr and twelve kilometres north of the Wadi Hodein. Its highest point, marked by a triangulation beacon, is in latitude 23° 19′ 48″, longitude 35° 10′ 40″, and 654 metres above sea-level. It is drained by the Wadi Um Tenedba, a tributary of Wadi Hodein. The ascent of the hill is conveniently made in about an hour from a camp in one of the heads of Wadi Um Tenedba, about 1,200 metres south-east of the beacon and 320 metres above sea-level.
Gebel Harhagit is an isolated granite boss rising among schists ten kilometres south-south-east from Gebel Um Tenedba and five kilometres north of the Wadi Hodein. The beacon on its summit is in latitude 23° 14′ 35″, longitude 35° 12′ 52″, at an altitude of 542 metres above sea-level, or 326 metres above the wadi encircling its base. From its isolated character Gebel Harhagit is a conspicuous landmark for considerable distances round the Wadi Hodein.
Gebel el Anbat is conveniently considered here, though it lies on the south side of the Wadi Hodein. It presents a somewhat similar appearance to Gebel Harhagit, from which it lies nineteen kilometres south-east, and like it bears a beacon on its summit. The position of the beacon is latitude 23° 6′ 5″, longitude 35° 19′ 27″. El Anbat is lower than Harhagit, being only 390 metres above sea-level; it consists also of a different rock, being chiefly composed of curious brown and reddish calcareous schists. Gebel el Anbat is practically in the Wadi Hodein, the main channel of which is deviated by its foot-hills so as to pass round the east side of the hill. It is best ascended from the south, where a camp can be fixed about 600 metres south of the beacon and about 255 metres below it; the ascent is easy and occupies less than an hour.
Eastward of Gebel Abu Dahr there extends for some thirty kilometres along the south side of Wadi Khoda a mountainous tract of dark rocks, the principal masses of which, from west to east, bear the names of Gebel Hindia, Gebel Um Akra, and Gebel Um Etli. These mountains have only been seen from a distance, and little is known about them beyond the positions and altitudes of their principal peaks, which have been fixed by triangulation. Gebel Hindia, thirteen kilometres east of Abu Dahr, rises to 873 metres above sea-level, and is drained partly by the Wadi Hindia to the north, and[199] partly by the Wadi Salib el Azrak. Gebel Um Akra, six kilometres further east, is higher, its highest peak, marked by a beacon, being 1,050 metres above the sea, while a ridge a little further south reaches 970 metres; it is drained to Wadi Khoda by the Wadi Um Akra. Gebel Um Etli, which forms the south side of the Wadi Khoda just before that wadi emerges on to the coast-plain, has three main summits, reaching respectively to 844, 795, and 764 metres above the sea. It is a rather extensive mass, drained on the north by the Wadis Buluk and Um Lassaf, tributaries of Wadi Khoda, and on the south by the Wadi Um Etli, which reaches the sea independently.
The mountains of this group cover a tract about forty kilometres in length from north to south, between the Wadis Um Etli and Rahaba and lie closer to the sea than any other mountains in the area described, their peaks being only ten to twelve kilometres from the coast. They consist entirely of granite, weathered into a forest of peaks the forms of which render them in respect of shape the most remarkable mountains in Egypt. There are four main masses in the group, of which the three northern ones are called collectively Faraid, while the southern one, which is smaller than, and separated from, the rest, is called by the diminutive name Fereyid.
The most northern mass of Gebel Faraid is the highest, its principal peak, situated in latitude 23° 33′ 7″, longitude 35° 22′ 10″, being 1,366 metres above sea-level. As seen from the north, this mass appears somewhat like an outspread hand, its western peak seeming to overhang slightly like a thumb, while the higher eastern peaks resemble fingers. The name Mons Pentadactylus given to the mountain in antiquity, and quoted by Ptolemy, would appear to have referred only to this northern mass, and not to the Faraid group as a whole.
The second mass presents from most aspects the form of a nearly flat-topped mountain with a little peak on it and very steep sides. Its highest point, situated in latitude 23° 30′ 53″, longitude 35° 20′ 25″, is 1,259 metres above sea, and forms a main triangulation point; it is too sharp to support an instrument or even a beacon, and observations had to be taken from an auxiliary station a little distance away[200] from the summit and reduced to centre. In ascending this peak as a survey station I approached it from the west by the Wadi el Abiad and Wadi Abu Ribian, placing my camp close under the mountain, on a sandy plain 450 metres above sea-level and one and a half kilometres north-west of the summit. The climb of 800 metres was steep, but not dangerous, and occupied about three hours. The lower illustration on Plate XIV (p. 192) shows the top of the mountain; the lower of the two peaks is the one occupied for triangulation.
The third mass of Faraid is a great expanse of peaks extending over eighteen kilometres north and south and some twelve kilometres east and west. Its highest peak, called “The Bodkin” by the Admiralty surveyors, has the position latitude 23° 28′ 58″, longitude 35° 20′ 35″, and rises to 1,232 metres above sea-level, dominating the rest of the mass both by its height and its singular form; it is a great sharp pinnacle, apparently unclimbable, visible from distances of over 100 kilometres in nearly all directions, and a very conspicuous landmark. South and west of “The Bodkin” are numerous other peaks, some of which have been fixed by triangulation; several of them rise to over 900 metres above the sea, and the whole forms a compact mass across which there appears to be no passage for camels.
Gebel Fereyid, the fourth and most southerly of the masses constituting the Faraid group, is a small spiky range quite detached from the rest, about seven kilometres north of the Wadi Rahaba. It has two main peaks, close together, of which the north-western one is slightly the higher and is surmounted by a beacon, 612 metres above sea-level, in latitude 23° 17′ 29″, longitude 35° 22′ 48″. In occupying this peak as a triangulation station, the camp was fixed in one of the heads of a nameless wadi draining past the north face of the mountain to the sea, at an altitude of 200 metres above sea-level and 850 metres north-north-east of the beacon. The ascent was easy till within about fifty metres of the summit, when it became difficult and rather dangerous, and there is very little room on the top. I had to remain six days on this mountain owing to almost continuous haze and clouds blocking the view.
The drainage from the western faces of the entire Faraid group is taken by the Wadi Rahaba. That from the peaks north of “The Bodkin” is collected by the Wadi el Abiad and its feeders the Rod Elbel and Wadi Abu Ribian, while the more southern[201] parts are drained by various other tributaries of Wadi Rahaba, of which the principal are the Wadis Dagalai lil Rahaba, Abu Had, and el Marafai. The heads of Wadi el Abiad and its feeders cross a sloping sandy plain which flanks the main peaks on the west. Of the eastern drainage, less has been seen; the two principal drainers of the eastern face appear to be the Wadis el Sorubiab and Bint el Kurdum, which unite together in a small lagoon close to the coast in latitude 23° 30′. The head of the Wadi Bint el Kurdum is between “The Bodkin” and the flat-topped mountain to the north of it, and from the summit of the latter it appeared as though there might be a possible pass by it across the range into the heads of Wadi Abu Ribian; but I did not have an opportunity of testing this. The foot-hills are only some five or six kilometres from the coast near the north parts of the range, but as one goes south the width of the coast-plain increases somewhat, and is about twelve kilometres near Gebel Fereyid. Notwithstanding the height of the Faraid mountains, their proximity to the coast, and the clouds they frequently attract, there appear to be no wells in the wadis draining from them; the explanation is probably to be sought in the fact that the weathering of the granite of which they are composed produces large expanses of coarse sand round their feet, in which the rainfall is rapidly absorbed.
The mountains of this large and irregular group occupy the western parts of the great drainage basin of Wadi Hodein, some of the chief of them forming the main watershed separating that basin from those of the Wadis Kharit and Alaqi. The northern mountains of the group are high broken sandstone plateaux, while the southern ones consist largely of granite. The sandstone ranges of Abraq, Hodein, and Dif are remarkable for the numerous springs at their bases, which render this district (see the large scale map on Plate XV) one of great importance to travellers.
Gebel Awamtib is the highest peak of a great mass of high sandstone hills forming the main watershed between latitudes 23° 20′ and 23° 30′ and extending for some eight or ten kilometres on either side of the meridian of 34° 30′. The highest peaks of the mass are mostly well[202] to the west of the actual watershed, and the principal drainage channels run westward, those to the east, the feeders of Wadi Muegil, being shorter. Gebel Awamtib is near to the south-east corner of this mass, and is itself situated about six kilometres west of the watershed. It is nearly separated from the surrounding hills by wadis, and forms a conspicuous peak from the west; but the neighbouring hills approach it so nearly in height that it is not so easily distinguished from the east. It may, however, be picked out by the triangulation beacon which marks its summit, 793 metres above sea-level, in latitude 23° 20′ 59″, longitude 34° 26′ 39″. Gebel Awamtib is drained westward by the Wadi Awamtib (a tributary of Wadi Timsah), the heads of which nearly surround it. In occupying the station I pitched my camp in a small feeder of the Wadi Awamtib, two and a quarter kilometres south-west of the summit and 456 metres above sea-level. The climb from this place was easy enough, but rather long, and on reaching the top I found it would have been better to have approached the mountain by another feeder almost due west of the beacon, as by this means a camp could have been placed much closer and the ascent would not have been more difficult. It is inadvisable to ascend from the east face of the mountain, for although one of the wadi heads passes close east of the beacon, the slope on that side is extremely steep and probably unscalable. The top of the mountain is formed of large sandstone blocks under which one can get good shelter from dews, though with little head-room. The view from it is shut in to the east by the peaks of Gebel Shebakhit, only two kilometres distant; but the peaks of Gebels Um Harba and Zergat Naam can be seen to the north, while to the south and south-east one looks out over high sandstone hills in the foreground to the granite peaks of Gebels Shigigat, Aqab el Negum, Etresia, Um Reit and Saalek. The most striking thing round Awamtib itself is the strong westward dip of the sandstone beds of which it is composed, which has conditioned the drainage and the steep eastern face.
Gebel Shebakhit is a group of high sandstone hills a few kilometres north of Awamtib. It is drained north-westward by the broad Wadi Shebakhit, a tributary of Wadi Timsah.
Gebel Dagalai, the next member of the sandstone hill-mass to the north, has numerous peaks ranging from 670 to 712 metres above sea. It is drained north-westward by the Wadi Dagalai, in which it is said that water can sometimes be obtained.
[203]Gebel Um Khafur is a group of high sandstone ridges overlooking the sandy plain of Um Harba to the north. One of its higher ridges, 560 metres above sea-level, bears a triangulation station, marked by a beacon, in latitude 23° 29′ 54″, longitude 34° 29′ 19″. A remarkable feature of Gebel Um Khafur is the north-north-easterly dip of its sandstone beds at an angle of about 13°, almost constant over a large area, with probably step-faulting parallel to the strike of the beds; owing to these features there are developed a series of long ridges, with a flat dip slope northward and a steeper drop to the south, while the drainage channels run along the lines of strike and only break across the ridges at a few points. The drainage from these channels, the chief of which is called the Wadi Um Khafur, meanders northward over the plain to join a feeder of Wadi Garara.
Gebel Um Harba is a conspicuous sandstone peak marked by a triangulation beacon in latitude 23° 36′ 56″, longitude 34° 30′ 38″. Rising to a height of 688 metres above sea-level, it forms the highest and central point of a long range running north-north-west and south-south-east from the Wadi el Garara past the Galt el Aguz. The north end of this range is forked, the east and west arms being separated by a broad high valley, filled with blown sand, draining from near the peak of Gebel Um Harba northwards to Garara. A marked feature of the range is the almost constant north-easterly dip of the sandstone beds of which it is composed; the ridges follow the strike of the beds, and present gentle dip slopes to the east with steep basset edges to the west. Gebel Um Harba overlooks to the west a great sandy plain, so that it is a good landmark for travellers coming from that direction. In occupying it as a station, I approached it by the broad sandy valley above-mentioned, and fixed the camp at 487 metres above sea-level and 800 metres north of the summit; the hill can also be reached from the west, though the climb from the plain is about one hundred metres more. The ascent becomes rather steep near the top of the hill, but presents no great difficulty. For a short time after rain, water can be found in pools in the gullies close to the east of the hill, but owing to the porosity of the rock these never last long. The Galt el Aguz, nine and a half kilometres south-south-east of Gebel Um Harba, in a gully on the east side of the road to Bir Abu Saafa, lasts longer than other pools in the neighbourhood, but even it only yields supplies within a few months at most after rain, for the same reason.
[204]Gebel Um Sididad is a mass of high sandstone hills on the north side of Wadi Silsila, thirty kilometres east-south-east of Gebel Um Harba and overlooking the broad and sandy Wadi Naam to the east. The hill I ascended, one of the highest, was 623 metres above sea-level and nearly 300 metres above the plain at its foot. High sandstone hills extend north-westwards from Gebel Um Sididad to Gebel Zergat Naam, forming the western side of Wadi Naam.
Gebel Abraq is a great high sandstone plateau cut up by gullies into more or less separate hills, outlined by the Wadis Silsila on the north, Hodein on the south, Arned on the west, and Abraq on the east. The highest hills of the mass are probably two peaks close together on its east side, midway between Bir Abraq and the Wadi Hodein, which rise to 705 and 699 metres above the sea. The principal interest of Gebel Abraq lies in its forming a collecting ground for the important springs of Abraq and Abu Saafa, which occur along its eastern and southern feet. These springs yield constant supplies of excellent water, due to slow percolation through almost pure siliceous rocks, and are of great value both to the local Arabs and to the passing travellers. There are two beacons on Gebel Abraq, one near Bir Abraq and the other near Abu Saafa springs. The former, a main triangulation point, is 667 metres above sea-level on a conspicuous ridge in latitude 23° 25′ 19″, longitude 34° 46′ 48″; while the latter is on the eastern edge of the plateau, in latitude 23° 18′ 40″, longitude 34° 48′ 30″, and 639 metres above the sea. The eastern and southern slopes of the plateau are very steep, becoming almost precipices at many points, and are the home of many conies and rock partridges, but one can ascend by taking advantage of the frequent gullies which cut up the mass. The climb to either beacon from the plain is about 330 metres, and free from serious difficulty.
Gebel Hodein is a high sandstone plateau forming the south-east continuation of the Abraq mass, from which it is separated by the ravine of Wadi Hodein. To the south it is cut off by Wadi Dif. A triangulation beacon near the north-east point of the plateau in latitude 23° 16′ 20″, longitude 34° 53′ 25″, is 695 metres above sea-level, but further west the summits are rather higher. An extremely steep pass, practicable only on foot, exists to the south of the mass, leading from the Wadi Gihab into Wadi Dif, and forming a short cut from Abu Saafa Springs to Bir Dif, but camels have to go round the east spurs of the mountain.
[205]Gebel Dif and Gebel Anfeib together form a still further continuation south-eastward of the same great sandstone plateau, being separated from Gebel Hodein by the deep winding gorge of Wadi Dif. The sandstone beds here dip to the north-east, and the highest points are near the west edge of the mass, where they are flanked by lines of lower hills, formed of schists cropping out from under the sandstone. A triangulation beacon in latitude 23° 8′ 24″, longitude 34° 59′ 19″, marks the south end of the high plateau of Gebel Anfeib; it is 705 metres above sea-level, and very conspicuous from the east, but it is generally invisible from the west side of the mass, owing to the ridges north-west of it being slightly higher. In occupying the point as a station, I approached it from Bir Dif, following up the Wadi Abu Hashim to its head, then down the Rod Mukrayib round Gebel Lilowit, the south tip of the schist range, and turning north across various small wadis to a camp in one of the heads of Wadi Edunqul, at 315 metres above sea-level and 1,200 metres south-east of the beacon. This camp could also have been reached from Bir Abu Saafa via the Wadis Hodein and Anfeib. The climb to the beacon, of 400 metres, is steep, but not difficult, and occupies less than two hours.
Gebel Tibatib is a conspicuous dark conical peak among the low dark hills which extend from Gebel Anfeib to Wadi Hodein. Its summit is 396 metres above sea-level.
Gebel Butitelib is a steep-sided little hill mass of grey felsite close west of the easy pass which leads from the head of Wadi Abu Hashim into the Rod Mukrayib, near the south end of Gebel Anfeib. It rises to 485 metres above sea, or eighty metres above the sandy pass.
Gebel Lilowit, the south end of the schist range which flanks Gebel Anfeib on the west, is 485 metres above the sea.
Gebel Niqrub el Tahtani is a conspicuous isolated jagged mountain south of the Rod Mukrayib (which drains its northern face), and west of Wadi Madi. The beacon on it is in latitude 23° 0′ 39″, longitude 35° 0′ 53″, 829 metres above sea-level and about 500 metres above the Rod Mukrayib. A conspicuous pinnacle close north-east of the beacon has practically the same altitude.
Gebel Niqrub el Foqani is a mountain of granite and felsite rising to a height of 1,078 metres above the sea, from among the low[206] hill country which separates Wadis Madi and Gemal, in latitude 23° 52′. Its great height and isolated position render it a conspicuous object in the landscape from great distances. It is drained by myriads of small wadis radiating in all directions, but which all eventually join Wadi Madi on the east or Wadi Gemal on the west. It is best ascended from the west side, where a camp can be got 1,500 metres due east of the beacon on the summit and 496 metres above sea-level, in one of the stony heads of the channels draining towards Wadi Gemal. The ascent from this camp occupied a little over two hours, and was not very difficult; but an attempt from any other direction would most likely have failed, as the slopes to the south and east are extremely steep and in places precipitous. The top of the mountain is a very rugged ridge, so broken that it is an hour’s hard work to get along its 700 metres of length. The main ridge is surrounded by lower flanking peaks on the north, east and south, while from the west there runs off a long ridge, curving round to the south and enclosing a small sandy plain south-west of the summit. This curved ridge is cut through from east to west by a rather steep pass, 490 metres above sea-level. The view from the summit of Gebel Niqrub el Foqani is very extensive, as will be seen from the panorama drawn to scale from theodolite measurements on Plate XVI, but in the winter months the mountain is frequently wrapped in clouds for days together; I had to remain eight days on the summit in December 1907, before I could complete my observations, most of the time being spent in a cold wet mist which blotted out the landscape. The beacon on Gebel Niqrub el Foqani, in latitude 22° 51′ 29″, longitude 34° 56′ 49″, marks a point on the administrative boundary between Egypt and the Sudan, the limit proceeding east-south-east to Bir Meneiga, and south-south-west to Gebel Um el Tiur el Foqani.
The low hill country between Gebel Niqrub and Wadi Madi consists chiefly of east and west ridges formed by dykes. A rather high granite hill about ten kilometres to the south-east, close to Wadi Madi, is marked by a beacon and overlooks the well called Bir Madi; the beacon is 556 metres above sea-level, or eighty metres above the well.
To the south-west of Gebel Hodein the sandstone runs off in a mass of very high hills called Gebel Kala, leaving a much lower area of schist hills in between, through which the Wadi Feqoh pursues its[207] sandy barren course. Gebel Kala has not been closely approached, but its principal peaks have been fixed by triangulation, and the highest is 846 metres above sea-level. The scarps of these hills are very steep, and the mass appears to be much cut up by wadis draining to Feqoh. The sandstone ceases just beyond Gebel Kala, and its place is taken by granite, which forms the mountains of the watershed further south-west.
Gebel Um Reit is a conspicuous granite mountain rising to 857 metres above sea, seventeen kilometres south-east of Gebel Awamtib, on the east side of the watershed. It can be approached either from the west by ascending the tributaries of Wadi Timsah and crossing the watershed (which is here flat and sandy) into Wadi el Dreb, or from the east by ascending the Wadi Um Reit. The best place from which to ascend the mountain is in one of the heads of Wadi Um Reit, which drains the west side of the mass. By following this up, a camp can be placed about a kilometre north-west of the beacon and 520 metres above sea-level. The climb of 337 metres from the camp is fairly easy, and only occupies about an hour. From the beacon (latitude 23° 15′ 4″, longitude 34° 34′ 17″), a good view is obtainable of the granite peaks to the south, which forms a complex mass with Aqab el Negum as the highest point; to the eastward the outlook is mostly over high broken sandstone plateaux.
Extending south-west from Um Reit is a complex of granite mountains, which has not been surveyed in detail. The principal peaks have, however, been fixed by triangulation, and their positions will be found tabulated in the list of points given in Chapter III. The chief peaks are Gebels Etresia (1,037 metres), Um Markha, Shigigat (1,023 metres), Hamrat el Feg, Aqab el Negum (1,148 metres), Etus (997 metres), and Natetiai (1,164 metres). An important pass is said to cross the watershed at Aqab el Negum, though quite practicable for camels, it is a very high pass, whence the name of the mountain, which signifies “Pass of the Stars.” To the north of Gebel Shigigat there is a sandy plain from which two conspicuous isolated hills rise to heights of 901 and 703 metres respectively above sea-level; these hills appear, however, not to bear any distinctive names.
Further south along the watershed, in latitude 22° 50′, are two conspicuous peaks of nearly equal height and not far apart, which from the east look like two hop-kilns. These are called Gebel[208] Sheyenit. The southern one is the higher, rising to 887 metres above sea-level, while the northern one attains 853 metres.
Gebel Mishbih is a huge bristling mass of granite peaks a little east of the main watershed, rising from the plain west of Wadi Feqoh in latitude 22° 44′. Being much higher than any other mountain in the neighbourhood, it is a very remarkable feature for long distances. Though it has not been surveyed in detail, its chief peaks have been triangulated and the general shape of its eastern parts is tolerably known by observations from Niqrub and Korabkansi. The highest of its many peaks, near the south-west end of the mass, reaches 1,353 metres, while the north-east peak, marked by a beacon in latitude 22° 44′ 18″, longitude 34° 41′ 20″, is 1,316 metres above the sea. The mountain is believed to be almost entirely drained by feeders of the Wadi Feqoh.
Gebel Shweib is a smaller hill-mass a little to the south-east of Gebel Mishbih. Its highest peak, which is at the north-east end, is 914 metres above sea-level.
Gebel Shabih is a very remarkable granite mountain rising abruptly from the sandy plain traversed by Wadi Feqoh in latitude 22° 45′, about twelve kilometres east of Gebel Mishbih. From the north, it looks like a very perfect cone, but as one passes it going south it is seen to be slightly elongated meridionally, and to have two distinct peaks, of which the northern and higher one rises to 1,117 metres, or about 650 metres above the plain. Its sides are very steep, and an ascent would probably be a matter of some difficulty. The Wadi Feqoh passes close west of the mountain.
Gebel Um el Kalala is a small range of granite peaks close to the east side of Wadi Feqoh in latitude 22° 50′. The peaks at its north and south ends, nearly two kilometres apart, rise to 672 and 655 metres above sea respectively. In the low hilly country further north there are three conspicuous little peaks of dark aspect rising above the general level. Gebel Mismih, the highest of these, rises to 599 metres above the sea; it is a nearly perfect cone twelve kilometres north of Um el Kalala, and about six kilometres east of Wadi Feqoh. Gebel Waqif, nine kilometres west-north-west of Um el Kalala, is less sharp, and reaches 556 metres above the sea; while the third hill, which is unnamed, lies nearly between the last two, on the west side of Wadi Feqoh, and attains only 504 metres.
[209]To the west of the Um Harba and Awamtib ranges there is open country, formed by a great sandy plain, over which the Wadis Ghadrib and Timsah pursue their northward courses to join Garara, and the monotony of which is broken at intervals by extensive masses of moderately high sandstone hills. The principal of these hill masses are Gebels Nuggur, Mulgata, Ziraga, and the Abu Hashim Hills. Gebel Nuggur, marked by a cairn, lies seventeen kilometres west of Um Harba, and a little east of the Wadi Timsah; it forms a detached north-westerly extension of Gebel Dagalai. Gebel Mulgata (545 metres) and Gebel Ziraga (553 metres), both marked by triangulation cairns, are the chief members of a long line of sandstone hills separating the Wadis Timsah and Ghadrib. The Abu Hashim Hills extend for great distances south and west of Bir Abu Hashim; the triangulation beacon on the hill west of the well in latitude 23° 41′ 44″, longitude 34° 3′ 33″, is 386 metres above sea, and sixty-six metres above the wadi floor, but other hills of the group further south attain higher levels.
Gebel Mowisat, seventeen kilometres south of Gebel Ziraga and a few kilometres west of the Wadi Timsah, is a granite hill capped by sandstone. It is drained by the Wadi Mowisat. A track from Aswân to Bir Um Reit passes a little north of this hill.
Round the heads of the Wadi Ghadrib, about the parallel of 23° north and the meridian of 34° east, are numerous higher hills, of which the principal are Gebels Abu Rahia (835 metres), Romit, Baid el Khuruf, Reietit (825 metres), Um Rewat, Um Ghalqa, and Um Gotto, while between these and Gebel Mowisat are the Hamiskul Hills. These hills are all composed of granite, gneiss, and schists, the higher ones, such as Abu Rahia and Reietit, having sandstone capping the igneous and metamorphic rocks which build up the main masses. Gebel Um Rewat forms the divide between the basins of Wadi Kharit and Wadi Alaqi, its northern parts being drained by the Wadi Reietit, a tributary of Ghadrib, while the south flanks drain into the Wadi Um Ghalqa, a feeder of Wadi Seiga.
To the west of Gebel Mishbih there is hilly country, in which many of the peaks reach considerable heights. The principal hill-masses in this part are Gebel el Naga, a range about four kilometres long running north-west and south-east, twenty-two kilometres west of Gebel Mishbih, with several peaks, of which the highest is 827 metres above sea; Gebel Seiga, a high hill (905 metres) about twenty[210] kilometres further west, surmounted by a triangulation beacon and drained by the Wadi Seiga; Gebel Nesheb Hasan and Gebel Abgeya, two hills west and south-west of Gebel Seiga, between Wadis Seiga and Abu Had; Gebel Um Krush, between Wadis Abu Had and Um Ghalqa; Gebels Ribdab, el Deheis, and Abu Brush (810 metres), to the west of Wadi Um Ghalqa; and Gebel Kulyeit, a conspicuous cone about fifteen kilometres south of Gebel Seiga, rising to 724 metres above sea. Most of these hills are of schists, though Gebels Abu Brush and Ribdab are of granite.
The central mountains of the Gerf — Korabkansi — Abu Hodeid group form a compact cluster to the east of the main watershed between the great eastward draining Wadis Hodein and Ibib. The most considerable mass in extent is Gebel Gerf, an extremely rugged mountain tract some twenty kilometres in diameter, having its highest point 1,419 metres above sea-level. The Abu Hodeid range, forming a southward extension of the Gerf mass, attains the somewhat higher level of 1,488 metres; while the detached mass of Korabkansi on the west rises to 1,230 metres. Besides these main masses, from which I have named the group, there are numerous outlying ranges of lesser height, the principal being the Beida range to the north, and the Hamra Dom range to the east. The main characteristics of the central group are its extreme ruggedness, the presence of great masses of serpentine among its constituent rocks, and a relative abundance of good water supplies. The wells and springs in the wadis draining from this group of mountains are among the best and most permanent of the water sources of the Eastern Desert of Egypt.
Gebel Gerf (see map on Plate XVII) is a mass of rugged mountains, roughly circular in plan, some twenty kilometres in diameter, extending between latitudes 22° 35′ and 22° 50′, and between longitudes 35° 8′ and 35° 20′. Its highest point, marked by a beacon 1,419 metres above sea-level, is somewhat north of the centre of the mass, being situated in latitude 22° 42′ 6″ N., longitude 35° 12′ 16″ E. Approached from any side, Gerf blocks out the entire view ahead. The central parts of the mass are entirely impassable for camels. There is no possible track across it from north to south, nor is there[211] any east to west pass across it north of the Sherefa Pass (which skirts its south end) except by the heads of Wadi Shellal. The northern part of the mass, which is semi-detached by the passes in the heads of Wadi Shellal above-mentioned, is sometimes called Gebel Meneiga or Gebel Korbiai after the important water sources of the same name in the wadis draining from it; and the north-eastern peaks are sometimes called Gebel Muqur from the spring Bir Muqur. But these names are, I am told, quite local, and the entire mass is usually known to the Arabs as Gebel Gerf. This application of a single name to an entire group of mountains, with scores of separate peaks, extending over about 500 square kilometres, is very unusual, especially when, as in this case, it is drained by wadis containing good wells and plenty of vegetation. The explanation given to me by the guides was quite comprehensible; they stated that Gerf was the only mountain mass in that part of the desert which was so extensive in every direction as to prevent them getting a clear idea of its true shape in their wanderings over it. They can get all round it only by a rough journey of several days, and any endeavour to cross its main portion met with failure, so that they had perforce to regard it as a single great mass, of the true structure of which they could form no satisfactory notion. The immense interest which the guides took in the mapping of this particular mountain tract fully confirmed the explanation given. The mapping was accomplished by making an entire circuit of the mass, and ascending a few of the principal summits.
The highest point of Gebel Gerf had been singled out as a triangulation station from far to the north, while approaching the mass from the Wadi Hodein. It was eventually reached from the west side after leaving Gebel Korabkansi, the approach being made by ascending the Wadi Eirahimib, and going over the pass at its head (830 metres) into one of the heads of Wadi Um Reddam, turning round a spur and ascending another of the heads of the same wadi. The camp, placed as high up the wadi as possible, lay about 1,500 metres west of the beacon, at an altitude of 820 metres. The climb of nearly 600 metres to the summit occupied three and a quarter hours, and was free from serious difficulty, though involving some tiresome traversing of connecting ridges. The summit of Gebel Gerf is often wrapped in clouds for weeks together in winter, and cold northerly gales are prevalent.[212] I found it necessary to remain on the summit for no less than twenty-one days and nights in January 1907, in order to obtain the observations necessary, and the discomfort due to enforced inaction and piercingly cold winds was considerable. The top of the mountain is a narrow ridge on which there is barely standing room for an instrument, but about 100 metres southward along the ridge from the beacon there is a slight broadening where a small tent may be pitched by hitching the ropes round rocks instead of tent-pegs.
On a clear day, the view from the summit of Gerf is a magnificent one. The numberless rugged ridges and peaks of the Gerf mass itself stretch for miles around, and out beyond, in every direction except to the east, one can see the more distant mountains. In the north, the most striking features are the distant spikes of Gebel Faraid, and still further off one may discern the blunter forms of Gebels Abu Gurdi, Hamata, and Abu Hamamid, 180 kilometres away. To the east is the coast-plain, with the granite peaks of Gebel Hamra Dom breaking the monotony. To the south-east one may see the great peaks of the Elba and Shendib mountains, 130 kilometres away, though these are often hidden by mist when everything else is clear. To the south, one looks out, over the gneiss boss of Gebel Um Rasein, to the mountains, rising rank behind rank, of Medarai, Abu Hodeid, Adar Qaqa, and Is; while a little to the left of the last-named one may see the double-headed granite mass of Gebel Obkeik in the Sudan, more than 100 kilometres distant, towering above the intervening Egyptian mountains. The panorama visible to the south and south-east is shown drawn to scale from theodolite measurements in the lower figure on Plate XVI (p. 206). To the south-west, one can make out the principal mountains of the Alaqi basin, while to the west the mountains of Korabkansi, Shabih, and Mishbih are conspicuous features.
The north portion of the Gerf mass, sometimes called Gebel Meneiga, is drained by the Wadi Kreiga, which is a tributary of Wadi Hodein. One of the principal feeders of Wadi Kreiga is the stony Wadi Meneiga, important as containing perennial springs of good water, easily accessible to camels. The eastern and southern parts of the mass are drained by various feeders of Wadi Shab, the principal of these feeders being Wadi Shellal el Sharqi, Wadi Muqur, Wadi Baaneit, Wadi Diqdib, and Wadi Sherefa el Sharqi. The Wadis[213] Muqur, Baaneit, and Diqdib, all contain wells or springs, that in Wadi Diqdib being right in the heart of the mountain mass, while the others are nearer to its periphery. The western flanks of the Gerf mass are drained by the feeders of Wadis Feqoh and Madi, the principal being the Wadis Sherefa el Gharbi, Eirahimib, Shellal el Gharbi, and Korbiai. The Wadi Sherefa el Gharbi is important as leading to the Sherefa Pass (907 metres) which forms a direct road from Bir Sararat Seyet to the well of Um Rasein, while Wadi Korbiai contains an excellent well at its head, easily reached by camels.
Gebel Dreb is a many-peaked mass of mountains covering some sixty square kilometres, situated south-west of the Gerf mass, from which it is separated by the Sherefa Pass. Its highest peak is 1,293 metres above sea, but there are numerous other peaks of but little inferior altitude. Its south-western portion looks on to the plain at the head of Wadi Feqoh, while to the south-east it is separated from Gebel Medarai by an easy pass leading from the head of Kwat Hewah westwards into the head of Wadi Kreim, a tributary of Wadi Feqoh. Another pass is said to exist leading from Wadi Sherefa el Sharqi into the head of Wadi Dreb, where there is a well called Bir Bint el Dreb.
Gebel Medarai, the next mountain mass to the south-east, is separated from Gebel Dreb by the pass into Wadi Kreim above referred to, while at its south faces it is separated from Gebel Abu Hireiq by another pass leading from one of the heads of Wadi Medarai westwards into the Wadi Kirwau, a tributary of Wadi Feqoh. The highest point of Gebel Medarai, marked by a large cairn, is in latitude 22° 30′ 58″, longitude 35° 12′ 5″, and rises to 1,299 metres above sea-level. The north faces of the mass are drained by Kwat Hewah, a tributary of Wadi Shab; the eastern flanks by Wadi Medarai, a tributary of Wadi Ibib, while the western faces drain by various feeders into Wadi Feqoh.
Gebel Abu Hireiq, the mountain-mass next south of Medarai, extends eastwards, as a broad tract of many high ridges, almost to the gneiss-boss of Um Rasein, while to the south it is united with Gebel Abu Hodeid. The highest point of Abu Hireiq is 1,319 metres above sea. Its eastern flanks are drained by tributaries of Wadi Ibib, while the western parts drain into Wadi Feqoh.
Gebel Abu Hodeid, which forms a higher southward extension[214] of Gebel Abu Hireiq, is really two ranges with the Wadi Abu Hodeid draining between them. The western range is the higher, its summit, marked by a beacon in latitude 22° 23′ 18″, longitude 35° 14′ 9″, being 1,482 metres above sea. The highest point of the eastern range is 1,256 metres above sea. The south termination of this eastern range is a very conspicuous rounded peak of granite, 992 metres above sea, called Abu Hodeid Ogla, which forms a good landmark for travellers in making the wells of Abu Hodeid; the wells lie west of this peak. The south parts of the Abu Hodeid mountains are drained by the Wadis Shinai, Delawet, and Abu Hodeid, all feeders of Wadi Hasium, and all leading to important water sources. The eastern faces are drained by Wadis Abu Hireiq and Tikraneib, which are likewise feeders of Hasium, while the western flanks are drained by feeders of Wadi Feqoh. The broad opening where Wadi Hasium passes to the south of the range makes a natural division separating the mountains of Abu Hodeid from those of the Adar Qaqa group.
Gebel Mansur Diab, a dark mountain, 1,091 metres high, lying six kilometres west of Gebel Abu Hodeid, is not often visible from the east, being hidden by the higher ranges in front of it; but it forms a conspicuous landmark to any one approaching from the west.
To the south of Gebel Mansur Diab, between the heads of Wadi Feqoh and Wadi Hasium, are some other mountains of considerable height, the positions of whose summits were fixed by triangulation, but which were not closely approached. These are Gebel Hadal Derqa (1,108 metres), which as seen from the north appeared like a hog-backed dark ridge with a conical semi-detached hill at its south-east end; and Gebel Hilwit Hasium, which appeared to consist of two separate peaks some three and a half kilometres apart, the higher or north-east one rising to 1,037 metres, the south-west one to 952 metres above sea.
Gebel Korabkansi is a rugged mass of dark serpentine peaks and ridges occupying a nearly isolated position some twenty kilometres west of Gebel Gerf. Its highest point, marked by a triangulation beacon, is situated in latitude 22° 39′ 16″, longitude 34° 59′ 55″, and rises to 1,230 metres above sea. The main mass is flanked by lower hills to the north and south, but is more open to the east and west. It is drained entirely by feeders of Wadi Feqoh, the most important[215] of these being the Wadi Gemal. The upper portion of Wadi Gemal is called Wadi Seyet, and is important as containing a well, Bir Sararat Seyet; the well is about five kilometres north-east of the main peak, at a place where the wadi cuts through the flanking hill range. For the ascent of the mountain, it is best to turn westward from near the well, and follow up one of the tributaries of Wadi Seyet which leads right into the heart of the mountain; here a camp can be pitched at 765 metres above sea-level, and the ascent of 465 metres to the summit, from which there is a grand view, can be accomplished in less than two hours. The ascent and descent require some care, owing to the steepness of the slopes (the observed depression angle from summit to camp was 29¼°) and the rottenness of the rock, which comes away in lumps at a touch. The accumulated debris, consisting of small fragments of serpentine, sets at just the angle of repose, so that in coming down one can stick one’s feet firmly in the mass and slide down with it for a hundred metres or more without exertion, taking care only not to be shot over a sudden drop of the face. The rocks are highly magnetic, and the compass is much disturbed anywhere on or about the mountain. The mass of high hills which forms the southward extension of Korabkansi, with peaks and ridges rising to over 900 metres above sea-level, is called Gebel Wadhait. It is drained on the north by Wadi Wadhait, a tributary of Wadi Seyet, and on the west by the Wadi Kamoyib, a tributary of Wadi Feqoh.
Gebel Um Rasein is a triple-headed gneiss boss rising up boldly among schists to the east of Gebel Medarai. Its remarkable form and light colour render it a conspicuous feature to a traveller approaching it from the north-east, and it is an important landmark for the well, Bir Um Rasein, which exists in a small wadi at its north foot. The highest peak of the three, marked by a triangulation beacon in latitude 22° 28′ 12″, longitude 35° 20′ 19″, is 909 metres above sea-level. For ascending the mountain, it is best to follow up the Wadi Merdiyeb for a short distance on the west side of the range, and a camp can be placed at 386 metres above the sea in a small tributary gully which drains from the main mountain. The climb of 523 metres to the beacon is steep in places, but can be accomplished in two hours without difficulty by any one used to negotiating smooth steep rocks. The top of the mountain is more convenient for observation than most others in this region, and there is a good view from it. The beacon is[216] on a smooth hard granite surface, with plenty of room to walk round an instrument, while a little to the west there is a good place to pitch a small tent, and a convenient cave for servants to sleep in.
Kilia Arib, another isolated granite mass about six kilometres further east, rises to 647 metres above sea, and is a landmark for the mouth of Wadi Diqdib, which contains a well.
To the east and south of Kilia Arib are some smaller granite hills called Tibashoi. Though rising only some fifty or sixty metres above the plain, these hills are conspicuous landmarks from their isolated position. The northern, central, and southern ones are called respectively Tibashoi Dumat, Tibashoi Tumalhoi, and Tibashoi Tomakolat. Another hill of similar size and character, five kilometres north-north-east of Kilia Arib, is called Tuquqî.
Qrein Salama is a little group of diorite hills rising from the coast-plain to the east of Gebel Gerf. The highest hill of the group, 354 metres above sea, forms a conspicuous landmark which is visible for long distances.
Berget Abu Sarib is a tract of low dark hills, with much drifted sand, lying a few kilometres north-east of Qrein Salama.
Gimeida, a small but conspicuous black conical hill, rising to sixty metres above the coast-plain, or 123 metres above sea-level, is important as a landmark for ships entering Mersa Shab. A triangulation beacon has been erected on the summit, the position of which is latitude 22° 46′ 29″, longitude 35° 37′ 49″. The azimuth from the beacon to the big tree at Mersa Shab is N. 62½° E. A much lower dolerite ridge, two kilometres east of Gimeida, is called Umarawi.
Gebel Hamra Dom is a range of remarkable red granite hills rising abruptly from the coast-plain near latitude 22° 40′ and longitude 35° 40′. The range has a total length from north to south of about eleven kilometres, the highest peak being near the centre of the range. A beacon on this highest peak has the position latitude 22° 39′ 6″, longitude 35° 38′ 42″, altitude 389 metres above sea. Care is necessary in sighting this peak, for there are two others near it of nearly equal height; the beacon is on the southernmost one of the three peaks near the centre of the range. A pass leads across the range a kilometre south of the beacon. Gebel Hamra Dom is a locality well known to the Arabs, in consequence of its being occasionally favoured with some rainfall. In January 1907 the district round the mountain was covered with grass after a recent fall of rain, but the hundreds[217] of camels and other animals which the Arabs took to graze at the place had eaten it all up when I arrived there in February. At times of rainfall there is water to be got in the sandy bed of a little wadi to the north of the beacon, at a place called Ti Dabei Hamra Dom; but it does not last long after rain. Gebel Hamra Dom is drained almost entirely by feeders of Wadi Ibib.
There are numerous smaller hills to the west of Gebel Hamra Dom, but only the largest of them, Tibansi Tikam Ankwei, bears a special name. This is a granite hill rising to 345 metres above sea-level, situated eleven kilometres due west of the beacon on Gebel Hamra Dom.
Gebel Khashab and Gebel Beidâ together form a complex range of high hills mostly composed of schists to the north of Gebel Gerf. The range has its long axis north-west and south-east, with a length of some twenty-five kilometres and an average breadth of about eight kilometres. The highest point of the range is marked by a triangulation beacon on Gebel Beidâ, 715 metres above sea-level, in latitude 23° 0′ 14″, longitude 35° 16′ 54″. The north-west part of the range is drained by the heads of Wadi Khashab, a tributary of Wadi Hodein. The eastern faces are drained by the Wadi Beidâ and various other feeders of Wadi Hodein, while the south and south-west portions of the mass are drained by small tributaries of Wadi Kreiga, itself a tributary of Wadi Hodein. So far as I know, the range can only be crossed by camels at one place, near the centre of its length, where it is cut through by the Wadi Beidâ; coming from the west, one must make for the pass (395 metres above sea, stony but not steep) which separates the heads of Wadi Khashab and Wadi Beidâ; the road is well known as leading to the well called Bir Beidâ.
Gebel Humariai is an isolated hill, 563 metres above sea, a few kilometres to the west of Gebel Beidâ.
Gebel Kolaiqo is a small hill-mass lying off the south-eastern extremity of the Khashab — Beidâ range, from which it is separated by the Wadi Kreiga. Its highest point, marked by a triangulation beacon, is in latitude 22° 54′ 13″, longitude 35° 24′ 34″, at an altitude of 320 metres above sea-level. The drainage is mostly into Wadi Kreiga, but the south-eastern parts of the hills drain into Wadi Kolaiqo, a very shallow ill-defined drainage line coursing independently to sea across the sandy coast-plain. To the north of Gebel Kolaiqo there are two long lines of low hills forming low outliers of Nubian sandstone.
[218]Ti Qireira is the name given to two low hills rising from the coast-plain about half-way between Gebel Kolaiqo and the black conical hill of Gemeida. These hills, four kilometres apart, rise only some fifty or sixty metres above the plain, but they are conspicuous landmarks, and hence bear a name.
The Meisah — Adar Qaqa — Is group of mountains extends northwards from the Sudan frontier in longitude 35½°. It is separated from the Gerf — Abu Hodeid masses to the north by the Wadi Hasium; on the east, the great Wadi Di-ib divides it from the mountains of the Elba group; while to the west it is not sharply marked off from the rather lower mountainous tract of the upper Alaqi basin. Gebels Adar Qaqa (1,469 metres) and Is (1,736 metres) are on the main watershed, while Hadal Aweib Meisah (1,224 metres) forms the highest point of a huge rugged spur running northwards on the east side of the watershed. To the east of the main mountains of the group, between them and the Wadi Di-ib, are a number of detached mountain and hill-masses, of which the principal are Gebels O Shakafa, Um Ein, Qara Saba, Warabeit, Adar Aweib, and Shiab.
Hadal Aweib Meisah is a conspicuous double-topped mountain of a somewhat conical shape. Its summit, marked by a triangulation beacon, is 1,224 metres above sea-level, and has the position latitude 22° 16′ 39″, longitude 35° 31′ 55″. In plan it is almost circular, three-fourths of the circumference of its base being formed by the Wadis Awitla and Lasewid (feeders of Wadi Meisah), while the remaining fourth forms a connexion by which the mountain is joined to the long ridge of Gebel Qidmib. The ascent of the mountain was made from a camp one and three-quarter kilometres due east of the summit, in a small feeder of Wadi Lasewid, close to the spring called Megwel Um Edwa. Camels cannot get quite up to the spring, but a camp can be placed a little way further down the gully at an altitude of 596 metres above sea, and the climb of 628 metres to the top of the mountain is easily accomplished on foot in about two hours. The mountain is composed of dark gabbroid rock, the summit being composed of great blocks, weathered to a rusty brown on their surfaces; the rock is highly magnetic, and the compass points several degrees east of north at the beacon owing to local attraction.
[219]Iarih Meisah is the name given to a tract of low granite hills with sandy interspaces, which lies to the south of Hadal Aweib Meisah. It forms the head of Wadi Baueiwai.
About three kilometres west of Hadal Aweib Meisah, a high ridge, over 1,000 metres in height, courses north and south for over fourteen kilometres. The north end of this ridge bifurcates to form Gebel Qidmib; the Wadi Qidmib, draining northwards to Wadi Ibib, has its head between the two branches of the ridge, where there is a well called Bir Qidmib.
O Shakafa is a very remarkable hill seven kilometres north-east of Hadal Aweib Meisah. O Shakafa derives its name, which signifies “the barrier,” from the fact that it appears to block the way to the traveller ascending the Wadi Meisah. Its crest, formed by a ridge of hard jaspery quartzite, rises precipitously from among a mass of softer rocks, some of which show remarkably brilliant colours due to iron staining. The cairn on the summit is in latitude 22° 19′ 44″, longitude 35° 34′ 42″, and 751 metres above sea-level. There is barely standing room on the top of the ridge, which needs careful climbing owing to its precipitous nature. O Shakafa is a good landmark for Bir Meisah, which lies in the wadi about three kilometres north-east of the summit; and for the easy pass of Sarob Kwan, which lies four kilometres to the south-east.
To the north of O Shakafa there extends a great tract of high hills, divided into two portions by the northward-coursing Wadi Orgem. The western portion of this hill-tract culminates in Gebel Orgem, the two peaks of which rise respectively to 779 and 775 metres above the sea, while its northern end forms the high sand-swathed hill called Baqari Daba. The eastern portion of the tract, containing the important wells Bir Um Bishtit and Bir Meisah, as well as the galts of Meis-heit-ar, is rather more complex, and is cut into two parts by the Wadi Um Bishtit. Its northern part ends in a conspicuous gneiss hill called Adar Aweib Um Bishtit, while the hills immediately north of O Shakafa are called Gebel Meis-heit-ar.
Gebel Adar Qaqa is a very conspicuous granite mountain about twenty-three kilometres west of Hadal Aweib Meisah. Its highest peak is in latitude 22° 13′ 47″, longitude 35° 19′ 0″, and rises rather precipitously to 1,606 metres above sea-level. Adar Qaqa is drained principally by the Wadi Hasium, which courses northward past the western side of the mountain.
[220]Gebel Soaorib is a rather long mountain range which adjoins the south part of Adar Qaqa and sweeps round to the south-east, forming the main watershed. Its highest point is 1,469 metres above sea-level. Its north-western face is drained by Wadi Mantil Hasium, which forms one of the heads of Wadi Hasium. The north-eastern flanks are drained by the Wadi Haiyo and other feeders of Wadi Soaorib, while the south-west faces drain into the Wadi Kirir and the Miti-Kwan, tributaries of Wadi Alaqi.
Gebel Leqaq (1,192 metres) and Gebel Um Seleim (1,098 metres) are two mountains, both with long northward spurs, lying north-east of Adar Qaqa, between that mountain and the Wadi Soaorib. They are drained by various feeders of the Wadis Hasium and Soaorib, the principal being the Rod Anut Berer, which runs northward from between two mountains to join Wadi Hasium, and the Wadi Hankuk, which rises to the south of Gebel Leqaq and courses round the south-east flanks to join Wadi Soaorib.
To the north of Gebels Leqaq and Um Seleim there stretches a sandy plain, over which the Wadis Hasium, Ibib, and Soaorib pursue their northward course. Low hills rise here and there from this plain, the most conspicuous being Gebel Hamra Tit, a double-peaked granite hill, rising to 642 metres above the sea; Kulet Meigrum and Kulet Tinasal are two somewhat smaller hills situated respectively six kilometres north-north-east and six kilometres east-north-east from Gebel Hamra Tit.
Gebel Is, the next great mountain to the south, forms the main watershed just north of the Sudan frontier, the triangulation cairn on its summit having the position latitude 22° 2′ 36″, longitude 35° 28′ 4″, altitude 1,736 metres above sea. As seen from the north, Gebel Is is a somewhat flat-topped mountain of dark aspect; but judging by analogy the apparent flat top is probably only a narrow ridge seen broadside on. From the main mass a long spur of flanking mountains runs westward, and a high ridge, more or less detached, rises to 1,474 metres six kilometres south-east of the main summit. The northern and western faces of Gebel Is are drained by feeders of Wadi Alaqi, while its eastern and southern parts are drained by various heads of Wadi Is.
Between Hadal Aweib Meisah and Gebel Is there stretches a mass of mountains with many peaks over 1,200 metres high; these[221] appear to bear no special names. My guides stated that there are two passes over the main watershed in this region. The first, called Adar Ameit, is a high pass practicable for camels; it lies about four kilometres to the north of the beacon on Gebel Is, and connects the two Wadis Adar Ameit el Sharqi and Adar Ameit el Gharbi which lie on opposite sides of the watershed. The second pass, said to be a difficult one, crosses the watershed some five kilometres further north, forming a connexion between the heads of Miti Kwan and Wadi Soaorib.
Gebel Miatit (1,257 metres) and Gebel Suruk (1,377 metres), are mountain masses a little east of, and semi-detached from, the main Is group. Gebel Miatit sends out a long spur north-eastward, ending in a rather conspicuous hill at the foot of which there is said to be a water source called Megwel Aqwem.
Gebel Shiab is a collection of peaks rising from a rugged country of lower hills about twenty-eight kilometres east of Gebel Is. Its highest point is 987 metres above sea-level. Gebel Shiab appears to form the main head of Wadi el Qurat, an important feeder of Wadi Di-ib.
Eqrun (the horns) is a conspicuous group of schist hills lying between the Wadis Meisah and Ibib. It has two principal peaks; the higher one, surmounted by a triangulation beacon, has the position latitude 22° 30′ 10″, longitude 35° 37′ 9″, and is 473 metres above sea-level; the other is about 400 metres south-east of the beacon, and is only five metres lower. Eqrun itself is an isolated hill group, but close to the north-east of it there is another hill-mass of greater extent and of but little inferior height.
The country south of Eqrun forms an extensive tract of low hills with much blown sand. Two conspicuous hills in this tract rise above the rest and bear special names; these are Tahaqayet (432 metres) and Titailibab (593 metres).
Kolmanab and Einiwai are two small but very conspicuous black hills eleven kilometres apart, rising from the sandy coast-plain between the Wadis Meisah and Di-ib. Both are surmounted by triangulation beacons, that on Kolmanab being in latitude 22° 32′ 26″, longitude 35° 53′ 36″, 137 metres above sea, and that on Einiwai being in latitude 22° 27′ 50″, longitude 35° 57′ 59″, 138 metres above sea. North-west of Kolmanab are some low banks called Tinadei, while about mid-way between Kolmanab and Einiwai is an isolated low hill called Ankalidot.
[222]Osnei is a small but conspicuous red granite hill, rising to 251 metres above sea, thirteen kilometres west-south-west from Einiwai. It contains a galt, which yields water for some little time after rain has fallen locally.
Ti Keferiai is a conspicuous little isolated group of dark hills of no very great height, situated in the fork where the Wadis Didaut and Baueiwai join to form the Wad el Qireira. There are heavy accumulations of blown sand round the north-east flanks of the mass. The triangulation beacon on the summit has the position latitude 22° 21′ 0″, longitude 35° 49′ 47″, and is 494 metres above sea-level. Ti Keferiai forms a good landmark for the old mines of Romit, which are situated in some lower hills five kilometres south-west of the beacon. There are numerous excavations here in veins of smoky quartz with calcite and chalybite, which penetrate the country rock of highly crushed and decomposed diorite; a number of ancient grinding mills of diorite lie scattered about the place.
Four kilometres north of Ti Keferiai, on the opposite side of Wadi Didaut, is a conspicuous hill of very red granite called Adatalob Adara, 385 metres above sea-level. Four kilometres further north-west is another hill, of nearly equal height, but of black aspect, called Adatalob Hadal. West of Ti Keferiai, at distances of five and a half and nine and a half kilometres respectively, are two conspicuous little hills rising from the plain, one on either side of the Wadi Didaut; these are called Kikeiyet Sharqi and Kikeiyet Gharbi.
East of Ti Keferiai is a great sandy tract stretching to the Wadi Di-ib, from which low hills rise half swathed in blown sand; the principal hill groups bear the names of Gebels Tishushi and Tishushi Tiboki.
Qara Saba is a high and steep hill mass of dark aspect, rising conspicuously to 788 metres above sea, between the Wadis Didaut and Baueiwai, some sixteen kilometres south-west of Ti Keferiai. The tract between Qara Saba and Ti Keferiai is a waste of blown sand through which low hills protrude in places.
Adar Aqdeib, a granite hill 736 metres high on the north side of the Wadi Didaut, about half-way between Qara Saba and O Shakafa, is a landmark for two small water sources and a pass. The first of these water sources, Megwel Adar Aqdeib, is on the east side of the hill, in a little tributary of Wadi Didaut. The second,[223] Megwel Didaut, is at the head of Wadi Didaut itself, in a separate rugged hill tract south of Adar Aqdeib. The west faces of Adar Aqdeib are drained by the Sarob Kwan, half of which courses south-east to Wadi Didaut, and half north-west to Wadi Meisah, and the divide forms a well known easy pass.
Gebel Um Ein is a huge hill-mass of dark rocks, rising to 901 metres above sea-level, nine kilometres south-south-west of Qara Saba. The beacon which marks the summit is in latitude 22° 11′ 52″, longitude 35° 39′ 4″. Gebel Um Ein is mainly drained by the Wadi Baueiwai, which curves round the south half of its circumference. A small water source, Megwel Um Ein, is said to exist on the north-east side of the hill, in a small wadi which forms a tributary of Wadi Baueiwai.
A great tract of high hills lies between the Wadis Baueiwai and Di-ib. The northern part of the tract, which is cut off from the rest by the Wadi Warabeit, and is called Gebel Geror, has several peaks rising to over 500 metres; on the north it is flanked by huge accumulations of blown sand, while its southern faces are drained by fairly well-wooded wadis, tributaries of Wadi Warabeit. The part of the hill tract south of the Wadi Baueiwai is much cut up by wadis into masses which bear separate names. Gebel Hamida, which with Gebel Nubitra forms the westernmost hill-mass of the group, is a series of high steep schist ridges rising in places over 700 metres above sea-level. The highest point, 754 metres above sea, is best reached by following up the Wadi Hamida till one comes due west of the hill, and then striking up eastwards on foot; it can also be reached from the east side via the tiny trickling salt spring of Megwel Hamida, but I found this a long and wearisome climb. To the north-east of Gebel Hamida is the pass called Bani Sana, which is important both as a pass and as being the boundary between the territories of the Kurbeilab and Hamedorab Arabs. Gebel Warabeit, the part of the tract which forms the head of the Wadi Warabeit, lies south-east of Gebel Hamida, being connected with Gebel Hamida on the one side and Gebel Mashushenai on the other; its highest point is 794 metres above sea-level. Gebel Mashushenai (634 metres) lies a little to the east of Gebel Warabeit; its north parts are drained by the Wadi Hashimaiyib, while the south portions are drained by Wadi Mashushenai, in the head of which is a well, Bir Mashushenai. All the drainage from hereabouts ultimately reaches Wadi Di-ib by way[224] of Wadi el Qurat. Adar Aweib, a conspicuous and extensive granite hill-mass lying east of the foregoing, from which it is entirely separated by wadis, rises to 620 metres above sea; its summit is marked by a triangulation beacon in latitude 22° 10′ 50″, longitude 35° 54′ 0″. In occupying Adar Aweib as a station, it was approached from the Bani Sana pass by following down the Wadi Warabeit and then turning up the Wadi Wieqwer, which leads to the eastern foot of the mountain. The camp was placed about a kilometre north-west of the beacon, at an altitude of 284 metres above sea, and the climb of 336 metres to the top took only an hour and a half. A great variety of flowers could be gathered in the lower part of the ascent; the upper portion was slippery, the slopes consisting of debris of decomposed granite resting just at the angle of repose. In descending from the mountain, I went northwards on foot, whence a steep pass led down to Bir Meheriqa, in the Wadi Di-ib; but the camels had to go round the south end of the mountain by Wadi el Qurat, as the pass was too steep for them.
To the south of the group of hills just described, there is a rugged tract of low hills stretching away south to Gebel Shiab. Eastwards this tract becomes lower and more sandy, terminating in a sandy plain with low rocky ridges, over which the Wadi Di-ib pursues its northward course, becoming closed in again by hills abreast of Adar Aweib.
The mountains of this group, which are scattered over an area of some 5,000 square kilometres between latitudes 22° 0′ and 22° 22′, and longitudes 34° 0′ and 35° 20′, are comparatively little known. The positions and heights of all the principal peaks have been fixed by triangulation from considerable distances; but with the single exception of Gebel Muqsim, which was occupied by Mr. Villiers Stuart as his terminal point, none of the area has yet been officially surveyed.
The positions determined for the principal peaks will be found included in the list on pp. 51 to 64, and a general idea of the relative positions of the mountains and drainage lines will be obtained from the orographical map on Plate I. A brief reference only to the principal mountains is possible here.
Gebel Anweiyib (921 metres) and Eir Arib (1,112 metres) are[225] on the main watershed. As seen from the north, the former appeared as a long dark range, the latter as a light-coloured high short ridge with a peak at its western end.
Gebels Duag (1,328 metres) and Himeitra (1,231 metres) are connected with the watershed range of Adar Qaqa and Is by westward-running spurs. Gebel Himeitra is a landmark for a well, Bir Himeitra, which is situated a little south of the mountain, and also for the ruins of Darahib, which lie in the Wadi Alaqi some twelve kilometres south-south-west of it.
Gebel Heianai (1,256 metres) is a long range of mountains between the Wadis Bint el Feqoh and Defeit.
Gebel Heleikonti (1,151 metres) appeared from the north as a short high steep ridge with a little peak at its western end.
Gebel Egat, one of the best known and most remarkable of the mountains of the group, is a high steep cone rising to 1,145 metres above sea on the north side of the Wadi Alaqi in latitude 22° 5′ 39″, longitude 34° 52′ 15″. It is a landmark for Bir Egat, which lies about five kilometres to the east, and for the mines of Alfawi, which lie some ten kilometres south-east of the peak.
Gebel Shanaiyet (907 metres) and Gebel Hamida lie south of the Wadi Defeit, between that wadi and the Wadi Egat.
Gebel Hateib or Suhin (854 metres) forms the main collecting ground for the Wadis Hateib and Suhin, which are tributaries of Alaqi.
Gebel Um el Tiur el Foqani is a group of very high steep hills on the south side of Wadi Defeit. It has a well-marked peak as its summit, in latitude 22° 17′ 56″, longitude 34° 41′ 14″, 946 metres above sea-level. This peak forms a point on the administrative boundary between Egypt and the Sudan.
Gebel Um el Tiur el Tahtani, situated some twelve kilometres west-north-west of the foregoing, and on the opposite side of the Wadi Defeit, is a somewhat similar but lower group of hills, its highest point rising to 783 metres above sea.
Gebel el Adraq (770 metres) and Gebel Guqub are two other hill-groups south of Gebel Um el Tiur el Tahtani, lying between the Wadis Defeit and Alaqi. Gebel el Adraq is a landmark for some old mines called Betan, while Gebel Guqub is the collecting ground, the drainage of which supplies the important well of Bir Guqub.
[226]Gebel Muqsim is a conspicuous mountain on the south side of the Wadi Alaqi near the meridian of 34°. The triangulation cairn on its summit is in latitude 22° 10′ 11″, longitude 34° 1′ 12″, at an altitude of 825 metres above sea-level. Gebel Muqsim forms a point on the administrative boundary between Egypt and the Sudan.
This group of granite mountains is situated near the sea in the extreme south-east corner of Egypt, between longitudes 36° and 37°, on and about the parallel of 22° of north latitude. Part of the group, including the highest peak (Asotriba, 2,216 metres) is in the Sudan, and we shall here consider only the northern parts, which fall within Egypt proper. The principal mountains of the group are Gebels Elba (1,428 metres), Shendib (1,912 metres), Hanquf (1,465 metres), Shendodai (1,529 metres), and Shellal (1,409 metres). Besides these, which form a cluster of high rugged ridges and bristling peaks, there are some outlying hills to the east and west, and it is convenient to consider all the hills east of Wadi Di-ib as belonging to the group. The principal of these outlying hills are Gebels Balatitda, Sul Hamid (572 metres), Qash Amir (724 metres), and Sela (560 metres) on the west, and Karam Elba (586 metres) and Gebel Hadarba (217 metres) on the east of the main masses. The general relations of the Elba district will be seen from the orographical map on Plate I, while the large scale map on Plate XIX shows the detailed features on a larger scale.
Towering to great heights from the coast-plain, the mountains of the Elba group are very conspicuous from long distances either on sea or on land when the air is clear. But often for weeks together they are so shrouded in mist as to be invisible even when one is fairly near to them. These very mists, which so often hinder the view being obtained, are the cause of much added beauty to the scene when the air is clear; for the moisture produces a rich vegetation, not only in the wadis, but along all clefts right up to the tops of the mountains, and furnishes in addition the largest and most important water sources in the Eastern Desert. So abundant is the vegetation in all the wadis draining from Elba, that it is impossible to approach the mountains very closely with loaded camels, owing to the closeness of the trees. Richest in water supply and in vegetation of all tracts in the Eastern[227] Desert of Egypt, it is natural that the Elba district should also be the greatest centre of desert population, and there are considerable settlements of Bisharin Arabs round the feet of the mountains.
Gebel Elba,[111] the most northerly mountain of the main group, is cut off from the mountains to the south by the Wadis O Sir Hadal and Serimtai; there is a pass between the heads of these wadis, so that a complete circuit of the mountain can be made, although from almost any aspect Elba appears to be joined on to the other mountains of the group. In plan, Gebel Elba is nearly a square of about fifteen kilometres sides, with its diagonal in the meridian. It is a bristling mass of light-coloured granite peaks, flanked on the south and west by rugged hills of darker rocks. The highest point, the “high peak” of the Admiralty Chart, is in latitude 22° 10′ 3″, longitude 36° 21′ 52″, and 1,435 metres above sea; another peak, slightly lower, but more conspicuous and nearer the centre of the mass, was chosen for the site of the triangulation station. The beacon on this latter peak is 1,428 metres above sea, and has the position latitude 22° 11′ 27″, longitude 36° 20′ 52″. The peak which bears the triangulation station forms a centre from which drainage lines radiate in all directions. The principal of these drainage lines, which are all well wooded, are the Wadi Yahameib, which with its feeders Wadis Akau and Kansisrob drains the north faces of the mountain, and unites with Wadi Aideib, which drains the north-east flanks; Wadi Serimtai, which by its feeder the Wadi O Sir Eirab drains the south part of the mass and then curves round north-eastwards to the sea; and the Wadi Yoider, which drains the western parts of the mountain by its three main heads called respectively Wadi Akwamtra, Wadi Qeirat, and Wadi O Sir Hadal, and then courses northward to reach the sea.
The approach to Gebel Elba by the coast-plain from the north-west is said to be difficult, on account of having to cross an extensive tract of sand dunes, called I Hubal, which lies to the north and north-east of Gebel Sul Hamid. The survey expedition reached the mountain by marching eastward from Bir Meheriqa in the Wadi Di-ib. On this road the sand was not found a serious hindrance, though[228] progress was rather slow through O Harbub, a sand-choked wadi which was entered on turning eastwards just after leaving Bir Meheriqa. Skirting the south side of Gebel Sul Hamid over a sandy plain, we continued eastward with a slight northerly bend till the jagged mass of Qash Amir came into view; then striking due east again we entered some low hills and dropped by an easy pass into Wadi Siamtit, a little feeder of Wadi Yoider; crossing the main channel of Yoider, we continued our course eastward across very sandy minor wadis, and turning a little southward we reached Bir Akwamtra, where we found a fairly large Bisharin camp, in a stony wadi full of trees.
I had hoped to ascend the mountain by way of Wadi Akwamtra, which heads right under the peak selected for the triangulation station. But on arriving at the well we were still more than six kilometres from the head of the wadi, and further progress for camels was very difficult owing to the closeness of the trees, and the bouldery nature of the wadi floor. Guides sent out to reconnoitre having reported that the ascent could be made with less difficulty from the Wadi Yahameib, we followed a very winding track leading over the Asut Duk pass into Yahameib, and then made our way southward over the sloping bouldery plain, thick with trees and scrub, until the camels could get no farther. The camp was pitched in a slight clearing at the foot of the mountain, three and a quarter kilometres north-west of the beacon, at an altitude of 343 metres above sea, or 1,085 metres below the beacon.
The climb to the summit was a long and tiring one, but very interesting. Starting at 6.30 a.m. on April 25, 1908, we first followed up the Wadi Yahameib to its head in a sort of neck between two peaks; this neck, which we reached at 10 a.m., is 1,093 metres above sea. About half way up to the neck, among some large granite blocks, there is a small spring of very pure water; it forms a pool holding about a gallon and a half, which fills as fast as it is emptied. Passing over the neck, we dropped down to a level of 984 metres in crossing the head of Wadi Akwamtra, and then, climbing up the opposite side, we reached the beacon (1,428 metres) at noon. Except the last 150 metres to the summit, which was bare steep granite, the whole climb was through a thick growth of trees, very green and fresh, with a tangled undergrowth of flowering shrubs and some mosses and lichens. The trees grow very near to the summit[229] and give plenty of shady resting-places. Acacia (sellim) trees cease about 350 metres above sea, and new forms take their place. The most remarkable is a large tree called Hohait by my Arabs; this tree, which I have not seen elsewhere in Egypt, grows in fair abundance to ten metres or more high, with thick woody looking trunk and branches, the foliage being great bunches of aloe-like leaves on the ends of the branches; according to my Arabs, it bears an edible fruit, of which they showed me the stone—a nearly spherical red one, about as big as a pea, very hard.[112]
The top of the mountain is narrow and very rough, but narrow sleeping places can be found on ledges. The view from the summit in clear weather is very fine and extensive; the subjoined figure is from a careful sketch which I made of the outlook southwards from the beacon. But, as already remarked, the mountain is frequently shrouded in cloud, and of the ten days I remained on the summit in April and May 1908 only three were clear.
[230]The phenomenon of “glories,” or rainbow-coloured rings round the shadow of one’s head cast on to clouds below when the summit was clear, was well observed in the mornings. Three rings were specially distinct and vividly coloured on April 26, and I was able to measure the diameters with an improvised subtense apparatus; measuring to the middle of the yellow in each case, I found the diameters of the rings to be 4½°, 8¾°, and 13°, so that the diameters increase in arithmetical progression. The shadow cast by one’s head and body was most distinct when the cloud-bank was most opaque; the rings, on the other hand, were most brilliant when there was only a thin film of cloud.
The temperatures experienced on the summit were remarkable for their range. On April 25, 26, and 27, 1908, the air was still and full of wet mist, and the days were oppressively hot, while the nights were also warm and damp. On April 28, a cold north-west wind set in, which soon cleared the air; but with the clearness came such a chilling of the air that it was impossible to stand up to the instruments for observations for more than a few minutes at a time; one was glad to take shelter behind rocks from the biting blast, and though we were well within the tropics and the spring was far advanced, we sat shivering with blankets round us even in the sunniest and most sheltered spots we could find. The cold lasted till May 4, when we descended the mountain to be half roasted in the plains below.
As already remarked, Gebel Elba is well supplied with water sources. The two chief are Bir Akwamtra and Bir Kansisrob, both situated on the north side of the mountain. Between them is a small spring called Megwel Akau. On the south side of the mountain are two other wells called Bir Salalat O Sir, and Bir Sararat Serimtai. In times of rainfall there must be scores of rock pools along every drainage line.
Karam Elba is a granite hill rising to 586 metres above sea, close to the north-east foot of Gebel Elba, from which it is separated by a narrow wadi. Close north of Karam Elba are some low granite hills called Takrat Riba, while on the south side is another small granite hill called Mikeriba.
To the east of Karam Elba are some granite hills which, though of no great height, are conspicuous owing to their position on the[231] coast-plain, and being used as landmarks by the local Arabs they bear special names. These are: Alafot, Taar Ara, Kreishim, Abai Sis, and O Wota, the last-named being the largest of them all. Some low banks north of Alafot are called Alafot Onqwab.
Qash Amir (“Scragged Hill” of the Admiralty Charts) is an isolated hill rising abruptly from a sandy plain at the head of Wadi Eikwan, about fifteen kilometres west-north-west of Gebel Elba. Qash Amir well deserves the title given to it by the Admiralty surveyors, for it is a mass of sharp granite spikes which my best guides, skilled climbers though they were, could only ascend with the greatest difficulty. Its top, marked by a beacon, is 724 metres above sea-level and has the position latitude 22° 14′ 31″, longitude 36° 12′ 20″. I had intended to occupy the summit as a main station, but the guides who were sent to erect the beacon reported that the summit was so sharp a spike that there was barely room for a beacon to be built, and that it would be impossible to set up a theodolite tripod on it, while there was not even a narrow ledge where one could sleep within several hundred metres of the summit.
Gebel el Sela is a straggling group of high rugged granite hills rising from the sandy plain to the north-east of Qash Amir. The highest of its peaks reaches to 560 metres above sea-level.
Gebel Sul Hamid is an extensive tract of low dark hills, covering some hundred square kilometres or so to the west of Qash Amir. Its highest peak is 572 metres above sea. The north part of the tract is drained by the Wadi Di-it, the eastern part by the Wadi Eikwan, while the southern drainages pass into a very shallow channel which courses westward over a sandy plain towards Wadi Di-ib, but becomes choked with sand at O Harbub before reaching that great trunk wadi.
Gebel Balatitda is a group of high hills lying between Gebel Sul Hamid and the Wadi Di-ib. Its highest point is 592 metres above sea-level. Bir Meheriqa is situated at the south-west of the mass, on the east side of Wadi Di-ib. The north flanks of Gebel Balatitda are swathed in blown sand.
Gebel O Sir Eirab is really the south part of Gebel Elba; its highest point is 842 metres above sea. Though its name Eirab means “white,” the mountain is composed of dark-coloured rocks. The explanation is that the Arabs always give the names to the wadis first, and the adjacent Wadi O Sir Eirab has a white sandy floor because[232] it drains from the granite mass of Elba; the mountain is called after the wadi near it.
Gebel Hanquf is a range of mountains some twenty kilometres in length, stretching in a south-easterly direction to the south of Gebel Elba and separating that mountain from Gebel Shendib. Its south-eastern portion, containing the highest peaks, is of granite, while the north-western portion consists of dark rocks. Its highest point is the northerly one of two remarkable peaks near the south end of the range, and rises to 1,465 metres, while another summit near the middle of the range reaches 1,397 metres. The northern part of Gebel Hanquf is drained by the Wadi O Sir Hadal, a tributary of Wadi Yoider; its eastern flanks by the Wadi Serimtai; while the western drainage is to the Wadi Hareitra, which courses from between Gebel Hanquf and Gebel Shendib westwards to join the Wadi Di-ib.
Gebel Shendib, which lies close south-west of Gebel Hanquf, is a great mass of very high light-coloured peaks flanked on the west by a tract of moderately high hills of dark colour. The beacon which marks the highest point, 1,912 metres above sea, is in latitude 22° 0′ 48″, longitude 36° 16′ 30″. Shendib is the third highest mountain in Egypt proper, being surpassed in altitude only by El Shayeb and Hamata. Besides the main peak, there are numerous others exceeding 1,600 metres in height; one of these, some two kilometres south-east of the principal summit, reaches to 1,863 metres and marks very nearly the Sudan frontier; its latitude is 21° 59′ 56″, so that it is only some 120 metres south of the 22nd parallel.
The north portion of Shendib is drained by the Wadi Hareitra, the south part by Wadi Shendib, both these being tributaries of Wadi Di-ib.
Gebel Shendodai (“Castle Hill” of the Admiralty Charts) is a high mountain mass lying east of Gebel Hanquf, from which it is separated by the Wadi Serimtai. Its highest point, a well-marked peak, is in latitude 22° 3′ 1″, longitude 36° 25′ 31″, and rises to 1,529 metres above sea-level. Gebel Shendodai is drained by the Wadis Um Seyal (a tributary of Wadi Serimtai), Mera Kwan, and Shellal.
Gebel Shellal, situated close south-east of Gebel Shendodai on the Sudan frontier, is a group of mountains of slightly lower altitude than the foregoing, its highest peak being 1,409 metres above sea-level. Gebel Shellal is drained by the Wadis Shellal and Aqilhoq, the latter[233] containing a good well, called Bir Frukit. A tract of low foot-hills, some twelve kilometres broad, fronts Gebels Shendodai and Shellal seawards, leaving a breadth of some twelve kilometres of gently sloping coast-plain between them and the shore. One of the foot-hills of Gebel Shellal, a conspicuous high dark-coloured ridge near Bir Frukit, bears the name of Gebel Balatitda. (It will be noticed that another hill group west of Gebel Elba bears the same name).
Gebel Hadarba is a little range of felsite hills with many peaks rising from the coast-plain close to Ras Hadarba (Cape Elba of the Admiralty Charts). A triangulation beacon on one of the highest points is in latitude 22° 2′ 53″, longitude 36° 47′ 23″, at an altitude of 217 metres above sea. Gebel Hadarba is drained by a number of small wadis, most of which empty themselves into the quicksands of Kuatianai which cover the projection of Cape Elba. A high hill at the south-west end of the Hadarba range bears the special name of Wiekorei, while a tract of low red hills on the Sudan frontier a few kilometres south of the Hadarba range, is called Timaiakwaia; this latter tract is chiefly drained by the Wadi Qabatit.
[106]The exception is El Shayeb, in latitude 26° 58′, which attains a height of 2,184 metres. See Barron and Hume, Topog. and Geology of the Eastern Desert of Egypt (Central Portion). Cairo, 1902. p. 40.
[107]Each of the last three vowels is pronounced separately, so that the word has four syllables, with the accent on the penultimate.
[108]The position of this cairn is latitude 23° 57′ 46″, longitude 35° 12′ 10″.
[109]The position of the cairn is latitude 24° 4′ 41″, longitude 35° 15′ 34″.
[110]By measurement with the theodolite I found the average slopes of the mountain to be 35°, and many parts have double this inclination. The vertical angle from my camp to the summit was over 23°.
[111]The word Elba (Bishari) means “white mountain.” The designation “Gebel” is thus strictly speaking superfluous, but is convenient as the Bishari tongue is so little known.
[112]Prof. Schweinfurth informs me that the tree is the dragon’s-blood tree, Dracaena ombet v. Heuglin; he himself did not see it in the Elba neighbourhood, and its occurrence has not hitherto been recorded further north than the Erkowit district of the Sudan (latitude about 19°), where the native name for the tree is to-omba or t’ombet. See Bollettino della Società Africana d’Italia: Naples, 1891.
WATER SUPPLIES.[113]
The sources of water in South-Eastern Egypt, as in the Egyptian deserts generally, may be divided into three main classes:—
(1) Springs;
(2) Wells;
(3) Rock basins.
As springs are classified those water sources where water issues naturally from the rocks, either above or near ground level, without the aid of artificial excavation. As will be seen on looking through the list of water sources on pp. 244 to 250, springs are less common than wells and rock basins, but some of the best known water sources, such as those of Abraq, Abu Saafa, Abu Hodeid, and Meneiga, belong to this class. The Arabic word for spring is Ain, but the Bedouin seldom use this word, calling springs and wells alike Bir, which properly signifies a well. Small springs are called Megal by the Ababda, and Megwel by the Bisharin tribes.
Springs may occur in any kind of rock, but the rock must be either of a porous nature or must contain fissures. Thus the springs of Abu Saafa and Abraq occur in sandstone, which is itself porous and permits the passage of water through the body of the rock, while the springs of Meneiga occur in a crushed serpentine, which, though not itself a porous rock, is full of fissures and crush-planes, and thus is capable of holding and giving passage to underground waters. It is in consequence of the non-porosity and the comparative fewness of fissures in granitic rocks that springs are seldom seen to issue from rocks of this class.
The collecting areas of the Eastern Desert springs are mostly in the immediate neighbourhood of the springs themselves. Thus, for instance, the springs of Abu Saafa and Abraq are fed by the rainfall on the great sandstone plateaux which surround them, while those[235] of Meneiga are supplied by the rainfall on the mountain mass of Gebel Gerf. In consequence of the fact that the waters do not travel very far underground before they issue from the springs, the water is generally cool. The yield of the springs is usually small, rarely exceeding ten litres a minute from any individual spring, but it is wonderfully constant; the rocks of the collecting area form a huge reservoir which only parts slowly with its water contents, and thus springs may go on yielding supplies when, after a succession of three or four nearly rainless years, many of the wells and rock basins are quite dry.
As a rule, spring waters are very clear and potable. The purest are those which pass through siliceous rocks such as sandstone; where the rocks are rich in lime and magnesia, as serpentines and gabbros, the salt-content of the spring may be fairly considerable, but there is no known spring in this part of Egypt of which the water is so salt as to be disagreable to the taste.[114] It is their constancy combined with the purity of their water that makes the springs the most highly prized of desert water sources.
Springs are mostly on or near the main camel roads, for the roads are naturally selected so as to utilise these constant water supplies. Frequently, however, the spring is situated up a lateral valley some little distance from the main track, and is more or less difficult of access. The springs of Abu Saafa are on a main road, where the Wadi Hodein cuts cleanly through the sandstone plateau; but those of Meneiga, being at the head of a cul-de-sac, are only approachable by a branch track. At large springs the Arabs generally dig out a series of basins into which the water flows, so that these are always full of water ready for the camels of a caravan to drink. At megals there is usually no pool, or only a very small one, in sand or detritus; this sand is scooped out and the water is baled from the hole with a tin can. The absence of a pool is probably due to a desire to check evaporation. The flow at a megal is frequently so small that only a few litres per hour can be obtained; the small trickling spring of Sikait, for instance, was yielding only twenty gallons of water per diem in 1906, but even this small supply was highly prized by the miners working there, on account of its purity as a drinking water.
Megals are more likely to run dry than the larger springs, owing to their smaller collecting area. Any attempt to increase the flow[236] of springs by blasting or excavation would probably only give an increase in yield at the expense of constancy; the throttling of the efflux is doubtless in many cases the chief reason for the perennial character of the yield of a spring, the rainfall being insufficient to maintain greater supplies than the springs yield at present.
The wells of South-Eastern Egypt are mostly shallow excavations in the alluvia of the wadi floors, tapping the drainage waters which slowly percolate underground Nilewards and seawards from the mountain ranges. They are naturally more frequent in the districts near to the mountain ranges than in the lower reaches of the wadis, and the best wells are usually in well-defined trunk wadis which collect the drainage from myriads of smaller valleys. The wells sunk in the wadis at points remote from the mountain ranges are of immense importance to travellers crossing from the Nile, forming as they do the only supplies in an otherwise waterless journey of several days.
On an average, water is reached at a depth of eight to ten metres; occasionally, where the wadi is crossed underground by a rocky bar, the natural damming enables water to be reached at very shallow depths. The shafts dug by the Arabs are generally wide and very crooked, in order to permit of a man descending to fill a water-skin. Usually a “well” consists of three or four such shafts sunk in proximity. Occasionally, especially in the Bisharin country, the shafts are lined with rubble masonry, and rough timbers may be stretched across the mouth to facilitate hoisting by ropes. There is never any hoisting gear except at mines; rope is too much prized by the Arabs for it to be possible to leave ropes unguarded at a well, so each caravan uses its own rope and skins. Occasionally, the shaft is so cranked that the water cannot be seen from above. The reason for this is chiefly laziness in excavation; it is easier to deepen a well by driving out laterally a short distance and then sinking a narrow pit, throwing out the excavated material into the larger main shaft, than to hoist all to the surface. Near the wells one usually finds hods, or mud basins, into which the Arabs pour the hoisted water for their animals to drink. Frequently there are high hods for camels and low ones for sheep and goats.
[237]After every considerable rainfall the wells become filled up with stony downwash, and have to be dug out afresh. There is no protective wall to prevent infilling; and, contrary to what might at first be thought, it is not laziness which conditions this circumstance. To the Arab, wells are a last resource. After rain, all the galts (rock basins) are full of good water. The Arab knows that the supplies in these galts will evaporate, while those in the wells, covered in by alluvium, are safe from loss by this cause. He therefore draws his supplies from galts as long as he can, and only when these are empty does he open the wells. The main wells never fail except after unusually prolonged drought, and then the condition of the Arab is sore indeed. The Bisharin do not drink much water, preferring to nourish themselves on the milk of their flocks and herds; but in times of drought the milk supply falls off because there is not sufficient moist vegetation for the animals to feed on.
The quality of water from the wells varies enormously with their situation and at different times. When water is abundant, it is generally good; but as the supply falls off and the wells have to be deepened, the slow infiltration carries abundance of sodium, calcium, and magnesium salts from the rocks, and the water is then often very unpleasant. The following analyses by Mr. Lucas of water-samples from some of the wells in 1906 will give a good general idea of the salts present; the figures give milligrammes per litre (parts per million):—
| Sikait Well. | Bir Masur. | Bir Metawit. | Bir Abu Hamamid. | Bir Shadli[115] | Bir Helie. | ||
|---|---|---|---|---|---|---|---|
| I. | II. | ||||||
| Total solid matter in solution | 7,360 | 880 | 4,020 | 1,720 | 2,380 | 2,980 | 4,040 |
| Cl | 1,263 | 57 | 1,027 | 225 | 555 | 749 | 323 |
| SO3 | 2,530 | 263 | 1,042 | 318 | 540 | 776 | 1,447 |
| CaO | [116] | 200 | 350 | 330 | 310 | [116] | 610 |
| MgO | [116] | 29 | 116 | 87 | 69 | [116] | 211 |
| Equivalent of Cl as NaCl | 2,075 | 94 | 1,687 | 370 | 912 | 1,231 | 530 |
| Equivalent of SO3 as Na2SO4 | 1,850 | 1,377 | 466 | 550 | 960 | 1,377 | 2,569 |
| Alkalinity to methyl orange calculated as NaHCO3 | 500 | 222 | 550 | 848 | 298 | 260 | 651 |
[238]All the above waters were quite drinkable, though that of the Sikait well was rather disagreably salty.
An analysis of the water of one of the Halaib wells in 1895 is given by Dr. Natterer,[117] who found (in parts per million):—
| Cl | 336 |
| SO4 | 449 |
| CO3 | 48 |
Dr. Natterer records that the sample, which was clear, tasted slightly alkaline, and contained very distinct traces of nitrites and nitrates, free carbon dioxide, free ammonia, and organic matter. During my stay of four days at Halaib in May 1908, I drank regularly of the local well-water; I found it very hard, and though the Arabs seemed to like it, its action on myself was so strongly aperient that I sent into the mountains to Bir Frukit for purer supplies for use on the long march to Port Sudan.
As a rule, it is the magnesium salts which are the most harmful constituents, the sulphate giving a strong purgative character to the water. Such salts are naturally present in greatest quantity where the rocks are gypseous, as for instance along the coast to the south of Halaib, where the wells of Ti Kureitra, sunk in gypsum and lined with blocks of selenite, yield water of so purgative a character that all my Arabs who drank of it became violently ill. In districts where the rocks are of very basic igneous types, such as gabbros and serpentines, the salt-content may also be fairly high. Water from diorite country is somewhat better, that from granite better still, and that from sandstone best of all. There are practically no wells in clayey strata within the region here treated of, but Bir Qoleib, which is on the road from Daraw at about two days’ journey east of the Nile, is sunk at the foot of a clayey scarp, and the water, when I partook of it in 1907, was clouded with clayey matter so finely divided as to be unfilterable through a Berkefeld filter even under strong pressure, while the physiological action of the water was to produce very marked constipation. Wells near the sea coast are liable to be very salty from infiltration of sea water. As a rule, the very salt wells, such as Bir Murra, Bir Muelih, Bir Shalatein, and Ti Kureitra,[239] are used only by camels and sheep. When the Arabs have to drink purgative water for lack of other supplies, they often mix milk with it, and I have found it wise to imitate them in this respect, with liberal addition of brandy in some cases.
Wells are generally named after the wadi in which they occur, e.g., Bir Abu Hashim is the well in Wadi Abu Hashim. A bitter well is often called Bir Murra.[118] A deep well is called Sararat by the Bisharin, e.g., Bir Sararat Seyet is the deep well in Wadi Seyet.
Questions are often asked as to whether it is not possible to increase the available water supplies by sinking fresh wells. Where it is a question of sinking a new well in the middle of a long waterless stretch, or where the object is to sink a fresh well near an existing salty one in order to obtain a drinkable quality of water (and these are the two most usual cases), success cannot be predicted with any certainty, even in the most likely looking spots. We must remember that though the present Arabs may be lazy, the older tenants of the desert were more active. We have only to look at the old mining centres to see this. The probability is that the old miners were just as much worried by the scarcity of water as we are to-day, and with the cheap convict labour then available we may rest assured that every attempt was made to increase the supply. And it is not probable that the Arabs will have allowed to fall into disuse any existing well on an otherwise waterless road, so that it is likely that most of the wells in the wadis remote from the mountains are at spots specially favourable which have been discovered by a laborious process of trial and error. Confirmation of this view is supplied by the failure of new wells sunk at considerable cost in likely-looking places, as for instance at Abu Rahal, where a well carried down to over sixty metres’ depth failed to find water. Where modern wells have obtained water, they have usually been sunk near to or on the site of existing wells, as for instance near the temple of Seti I and at the different mining centres; in these cases it has sometimes been found possible to increase the supply by going deeper. And with regard to obtaining sweet water by sinking new wells near to old salty ones, no success can be hoped for if the saltiness is due to a general salt-content in the[240] surrounding rocks; the Mines Department well in Wadi Mellaha[119] yielded no better water than the Arab well in the same wadi, because the alluvium everywhere in the wadi contains abundance of salt. In some cases, it may be, the promotion of a more rapid flow would lead to a slight lessening in the salinity; but if a well becomes salt merely by evaporation resulting from stagnation, that very fact shows that it is not much used by the ordinary traveller; and moreover the rate of flow of the underground water is not as a rule sufficiently rapid to yield large supplies, even from wide excavations.
In the south parts of the country, where the rainfall is greater, it is possible, nay, even likely, that many new wells could be sunk with success; but in these localities existing wells are more abundant and the necessity for new wells does not arise.
The typical rock basin, called a galt[120] by the Arabs, is a smooth-sided cavity in the rocky floor of a steep gorge draining a large mass of high hills. Galts are generally difficult of access, being situated in the higher parts of very stony wadis, so that one has to tramp often over miles of steeply rising stony ground to reach them. Galts abound in all high mountain-masses in South-Eastern Egypt, and furnish the greater portion of the water supply of the population. The capacity of galts varies very much; some hold millions of litres. Often there is a chain of successive galts at intervals along the length of a gorge, and after rain the whole series is filled, while much overflows and runs to waste. The origin of the rocky basins is generally due to pot-holing action on a large scale. Galts may occur in rocks of any hard type, but are most commonly met with in eruptive rocks. Sandstone galts never remain long full, owing to the permeable nature of the rocks. The large Galt el Aguz near Gebel Um Harba, which from the inscriptions near it was evidently known and used in Ptolemaic times, is in sandstone, receiving in fact the superficial run-off from the same high mass of sandstone hills as furnish the collecting[241] area for feeding by percolation and underground flow the adjacent springs of Bir Abraq and Abu Saafa; but the galt is seldom full for more than a month or two, while the springs are constant.
The water supply of galts depends firstly on the rainfall of the district; secondly, on the existing drainage system; thirdly, on the presence and size of eroded basins along the lines of drainage; fourthly, on the nature of the rocks forming the basin, and, lastly, on the degree of exposure to evaporation. The rainfall in the Eastern Desert is often very local. A series of galts full one year may be dry the next, while those of another area may show a reverse state of things. The drainage system most favourable to galts is one formed by the union of long narrow steep-sided gullies into a single gorge. The presence of basins is conditioned by the steepness of the drainage and the hardness of the rocky floor; if the rocks are soft or much crushed, galts are very unlikely to occur. Again, if the basin is formed of permeable though hard rock, there will be rapid loss by infiltration. Evaporation is generally far less rapid at galts than in open country, because being in narrow gorges galts only receive the sun’s rays for a few hours of the day, and are, moreover, sheltered from winds.
The quality of galt water varies very much with the interval since rainfall and with the nature of the rocks. Sandstone galts are very pure, because of their short life and the siliceous nature of the rock. Serpentine and diorite galts contain magnesium and other salts, and as the loss by evaporation continues the water may become somewhat bitter and purgative by concentration of these saline constituents, though galts never suffer to the extent that some wells do in this respect.
A galt is frequently accompanied by a small spring (megal or megwel); the galt represents the run-off, while the spring receives the percolating water. Thus for months after a galt is empty it may in some cases be possible to obtain water in small quantity by scooping out sand-filled rock cavities close to the basin.
Galts are generally named after the mountain in which they occur, though when large and well known they may have special names given to them, as in the case of the Galt el Aguz mentioned above.
As will be gathered from the map on Plate III, water supplies are seldom more than two days’ march apart in this part of Egypt. For the ordinary traveller it will therefore be usually an ample provision to carry four days’ supply; in special cases, where it is desired to camp for any purpose remote from water sources, special provision will of course have to be made. There is seldom any trouble with the Arabs about their own water, as when their supplies run short one or two camels can always be detached from a caravan to fill their skins from the nearest well, and they are always content to travel day and night for this purpose. With regard to the quantity of water to be carried, I found ten gallons per European per day to be ample, including water for cooking and for one’s personal servants. Water is best carried in rectangular galvanized iron tanks, each holding ten gallons, fitted with a good brass or wooden plug; two of these carried horizontally make a light camel load, and on the march one can add a little in the shape of tents or bedding to the load. I have tried the barrel-shaped galvanised steel tanks used by the mining companies, which hold sixteen gallons each and are easily carried vertically, a pair forming a camel load; but I have found them much more liable to damage than the smaller rectangular tanks, and do not recommend them for regular desert travel.
In the following list I have summarized all the water sources known to me in order of latitude from north to south. I believe the list contains all sources that are of importance, but it is doubtless far from being complete as regards the rock basins of the mountain areas for two reasons. Firstly, the Arabs are often reluctant to point out the sources, more especially in the more arid parts of the Ababda country; and secondly, as already remarked, since the rock basins depend for their supplies entirely on comparatively recent rainfall around them, they vary very much in yield in different years, so that basins which are of great use in one year may be totally dry the next, and vice-versa, and guides seldom take the trouble to point out a dry[243] basin, even if in some other year it may have held a useful store of water.
With regard to the accuracy of the positions given in the list, it may be remarked that in the case of wells actually visited the position is given to seconds, and the localisation may be relied on within at most a few hundred metres; while for wells not actually seen but whose positions were pointed out by guides from some distance, the coordinates are usually only given to minutes, and these positions are uncertain by larger amounts, up to two or three kilometres in extreme cases.
It must not be assumed that water supplies can always be obtained at all the localities named. As already remarked, rock basins will usually only be full if rain has fallen in the district comparatively recently, large rock basins may furnish supplies for a year after rainfall, but the smaller ones last only a few months, weeks, or even days. The reserves are the wells, most of which never run dry except after a succession of rainless years. But when rock basins are full, many of the wells are filled with downwash, and digging must be resorted to in order to re-open them. A traveller arriving at a “well” sometimes finds no evidence whatever of its existence beyond the guides pointing to a spot on the ground with the statement “el bir hena” (the well is here). The explanation is that the well has been filled with alluvial matter washed down the valley by recent rain; but that same rainfall will have filled the rock basins in the hills, and the Arabs leave the digging out of the well until the basins are empty again. In other cases a well may be found to be dry through the water-level having sunk below the depth to which the well was last opened, and by deepening it a foot or so one may obtain a supply.
The notes in the column headed “Remarks,” on the quality of the water of the various sources, are mostly based on the observations of a single year, and must therefore only be taken as general guides. Usually, the shorter the interval since rain has fallen, the better are the supplies, both in quantity and quality.
[244]List of Water Sources.[121]
| Name. | Latitude N. | Longitude E. | Remarks. | ||||
|---|---|---|---|---|---|---|---|
| ° | ′ | ″ | ° | ′ | ″ | ||
| Galt Um Tundeba | 24 | 55 | 25 | 34 | 45 | 53 | Rock basin in ravine, 1 kilometre from Wadi Um Tundeba. Gave good supply of pure water in 1906. |
| Galt in Gebel Ghuel | 24 | 54 | 0 | 34 | 39 | 0 | Large rock basins, yielding a good supply in 1905-1906. |
| Bir Muelih | 24 | 51 | 35 | 33 | 59 | 52 | In Wadi Muelih. Very salt, only drinkable by animals. |
| Hangalia well | 24 | 50 | 27 | 34 | 35 | 40 | Modern well in Wadi Hangalia, sunk by miners. Supply small and of poor quality. |
| Galt Um Karaba (Migif) | 24 | 48 | 48 | 34 | 27 | 55 | Large rock basins, yielding a good supply in 1905-1906. Rather difficult of access for camels. |
| Bir Ghadir | 24 | 48 | 25 | 34 | 47 | 0 | Well in Wadi Ghadir. Filled by downwash in 1906. |
| Megal el Harami | 24 | 47 | 34 | 34 | 34 | 15 | Small spring in ravine on west side of Wadi Nugrus. Yields for some months after rainfall. Water very good. |
| Bir Sibrit | 24 | 43 | 0 | 33 | 58 | 0 | Well in Wadi Sibrit; water about 8 metres down, of good quality. Supply stated to be constant. |
| Bir Murra | 24 | 41 | 0 | 34 | 11 | 0 | Well in Wadi Shait. Water salt, only drinkable by camels. |
| Hamish mine | 24 | 41 | 0 | 34 | 6 | 0 | Water in mine shafts, that in the westernmost of three shafts good in 1906. Well in Wadi Hamish, close to mines, 15 metres deep, dry in 1906. |
| Sikait, spring | 24 | 40 | 50 | 34 | 47 | 10 | Tiny trickling spring of good water. Yields only about 50 litres per day, but supply of very good quality and said to be constant. |
| Sikait, north well | 24 | 40 | 12 | 34 | 46 | 0 | Modern well, sunk by miners. Was yielding fair quantity in 1906, but of mediocre quality. |
| Sikait, south well | 24 | 39 | 38 | 34 | 47 | 45 | Similar to last; both wells are in the floor of Wadi Sikait. |
| [245]Bir Um Gubur | 24 | 37 | 0 | 34 | 5 | 0 | Well in Wadi Shait. Water about 8 metres down, good and plentiful in 1906. |
| Bir Abu Had | 24 | 34 | 0 | 34 | 36 | 0 | Well in Wadi Abu Had, near its head, at junction of two roads to Sikait. Water salty. |
| Bir Masur | 24 | 31 | 0 | 34 | 13 | 0 | Several wells in floor of small wadi. Water good, about 10 metres down in 1906, but supplies cannot be relied on. |
| Bir el Ranga | 24 | 26 | 0 | 35 | 13 | 0 | Very salt well, close to sea. |
| Galt Um Gerifat | 24 | 22 | 55 | 34 | 40 | 20 | Rock basin in gorge off Wadi Huluz. Was yielding good supply in 1906. |
| Bir Metawit | 24 | 17 | 0 | 34 | 31 | 0 | Well in Wadi Metawit, on road between Bir Shadli and Bir Masur. Said to yield constant supply. Water about 8 metres down, good and clear in 1906. |
| Bir Khashab | 24 | 16 | 0 | 34 | 23 | 0 | Well in Wadi Khashab. Not to be depended on. Dry in spring of 1906, but yielding a small supply of mediocre character in the autumn of the same year. |
| Bir Shadli | 24 | 12 | 3 | 34 | 37 | 55 | Spring or well near tomb of Sheikh. Perennial supply of variable quality and quantity. Favourite meeting place of Ababda Arabs. |
| Bir Abu Hamamid | 24 | 12 | 0 | 34 | 29 | 0 | Well sunk about 7 metres in floor of Wadi Abu Hamamid. Yielding large supplies of rather salty and muddy water in 1906. |
| Amar Spring | 24 | 10 | 0 | 35 | 9 | 0 | Spring of good water in diorite hills south-east of Gebel Hamata. |
| Well in Wadi Abu Hamamid | 24 | 7 | 0 | 34 | 26 | 0 | Wells sunk in wadi floor. Dry in 1906. |
| Bir Helie | 24 | 5 | 0 | 34 | 32 | 0 | Well in Wadi Helie. Excellent water in spring of 1906, but rather salty later on in the year. Quality evidently varies considerably with interval since rainfall. |
| Megal Um Gunud | 23 | 58 | 50 | 35 | 10 | 50 | A smaller rock basin in Gebel Um Gunud, off Wadi Lahami, near to Galt Um Gunud. |
| [246]Galt Um Gunud | 23 | 58 | 10 | 35 | 11 | 20 | Rock basin, in Gebel Um Gunud. Yielded supplies in 1906. Accessible from Wadi Lahami. |
| Megal el Selaia | 23 | 56 | 55 | 34 | 52 | 50 | Small spring in sand at foot of rocks near Gebel Selaia. Yield small and not to be depended on for long after rain. |
| Galt Batoga | 23 | 51 | 20 | 35 | 21 | 30 | Rock basin at foot of Gebel Batoga off Wadi Kalalat. Water good, plentiful, and fairly easy of access in 1907. |
| Galt Um Maiyat | 23 | 50 | 2 | 35 | 18 | 15 | — |
| Galt in Gebel Dahanib | 23 | 44 | 45 | 35 | 9 | 50 | Rock basin in ravine, containing water after rain; about a cubic metre in 1907. |
| Bir Shenshef | 23 | 44 | 0 | 35 | 23 | 0 | Several small wells in Wadi Shenshef near ruins. Water good. |
| Bir Abu Hashim | 23 | 41 | 56 | 34 | 4 | 26 | Several wells in alluvial floor of wadi. Water good and plentiful, about 8 metres down in 1907. |
| Bir Betan, west well | 23 | 38 | 0 | 35 | 3 | 15 | Well in floor of Wadi Betan, about 600 metres lower down than foregoing, close to where Wadi Um Eleiga enters Wadi Betan. Filled by downwash in 1907. |
| Bir Betan, east well | 23 | 37 | 55 | 35 | 3 | 35 | Well in floor of Wadi Betan, near small seyal tree. Filled by alluvium in 1900. |
| Galt near Gebel Abu Dahr | 23 | 37 | 0 | 35 | 5 | 20 | Rock basin in north-west flank of Gebel Abu Dahr. Was yielding a good supply in 1907. |
| Bir Rahaba | 23 | 33 | 30 | 35 | 9 | 54 | Well in alluvium of Wadi Rahaba. Filled by downwash in 1907. |
| Bir Abu Reye | 23 | 33 | 0 | 35 | 9 | 0 | — |
| Galt el Aguz | 23 | 32 | 30 | 34 | 35 | 0 | Large rock basin in sandstone, near easy pass over watershed at head of Wadi Arned. Yields excellent water for short time only after rain. |
| Bir el Gahlia | 23 | 31 | 0 | 35 | 8 | 0 | — |
| Bir Abu Beid | 23 | 31 | 0 | 34 | 58 | 0 | Well in Wadi Abu Beid. Was yielding a fair quantity of good water in 1906. |
| [247]Bir el Sunta | 23 | 25 | 50 | 34 | 47 | 40 | Spring forming pool at foot of sandstone scarp of Gebel Abraq. Good water. |
| Bir Abu Dibesat | 23 | 25 | 6 | 34 | 47 | 10 | Spring forming small pool at foot of sandstone scarp of Gebel Abraq. Water good. |
| Bir Abraq | 23 | 24 | 56 | 34 | 47 | 20 | Spring forming pool in gully of Gebel Abraq. Supply constant, good, and plentiful. |
| Bir Gumbit | 23 | 24 | 0 | 34 | 49 | 0 | At edge of sandstone hills; probably a spring similar to those of Abraq. |
| Bir Orga | 23 | 21 | 0 | 35 | 3 | 0 | Well stated to exist in Wadi Orga el Rayani. |
| Megal near Abu Saafa | 23 | 19 | 30 | 34 | 48 | 40 | Spring? in small wadi off Wadi Hodein. Unimportant, being close to Abu Saafa Springs. |
| Abu Saafa Springs | 23 | 18 | 9 | 34 | 47 | 45 | Four springs yielding constant supply of very pure water, at foot of sandstone scarp in Wadi Hodein. Pools easy of access to camels. |
| Galt in Wadi Gihab | 23 | 17 | 5 | 34 | 48 | 10 | Large rock basin in Wadi Gihab Yakub Abu Derb. Pool of good rain water 6 metres diameter in 1907. Easily accessible to camels. |
| Bir Um Reit | 23 | 13 | 36 | 34 | 35 | 3 | Well sunk in floor of Wadi Um Reit. Water of mediocre quality. |
| Bir Dif | 23 | 12 | 42 | 34 | 49 | 55 | Spring forming two pools in the stony bed of Wadi Dif. Water good. |
| Bir Shalatein | 23 | 8 | 5 | 35 | 36 | 28 | Very salt well near sea at mouth of Wadi Hodein. Drinkable only by camels. Point on administrative boundary between Egypt and the Sudan. |
| Bir Beida, north well | 22 | 58 | 6 | 35 | 18 | 10 | In Wadi Beida, about 500 metres further down than south well, at a bend in the wadi. Good water, yields three years after rainfall, but supply infiltrates slowly. |
| Bir Beida, south well | 22 | 57 | 53 | 35 | 18 | 10 | In Wadi Beida, close to where track to Bir Meneiga leaves it. Dry in 1907. |
| [248]Bir Madi | 22 | 47 | 46 | 35 | 1 | 48 | Well sunk in alluvium of Wadi Madi, at a bend in a narrow gorge at foot of a high granite hill. Plenty of good water in 1907-1908. |
| Bir Meneiga, north spring | 22 | 47 | 8 | 35 | 12 | 20 | Similar to Bir Meneiga, south spring, to which it is very close. Point on administrative boundary between Egypt and the Sudan. |
| Bir Meneiga, south spring | 22 | 46 | 55 | 35 | 12 | 15 | Tiny pool in rocky floor of Wadi Meneiga, which refills as fast as emptied. Easily accessible to camels. Water excellent. |
| Bir Korbiai | 22 | 46 | 55 | 35 | 10 | 35 | Two wells of excellent water in the rocky gorge of Wadi Korbiai. Said to yield for three or four years after rain. |
| Bir Muqur | 22 | 42 | 26 | 35 | 18 | 5 | Trickling spring with pools in serpentine, in Wadi Muqur. Was yielding about five litres per minute in 1908. |
| Bir Sararat Seyet | 22 | 41 | 10 | 35 | 1 | 59 | Deep well in Wadi Seyet; filled by downwash in 1907-1908. |
| Bir Diqdib | 22 | 41 | 0 | 35 | 13 | 0 | Spring? high up in Wadi Diqdib, south part of Gebel Gerf. |
| Bir Adal Deib | 22 | 40 | 30 | 36 | 4 | 30 | Salt well, close to sea. |
| Ti Dabei Hamra Dom | 22 | 39 | 55 | 35 | 38 | 40 | Shallow excavations in alluvium and sand in the hills of Hamra Dom, only yielding supplies for a short time after rainfall. |
| Bir Baaneit | 22 | 39 | 30 | 35 | 18 | 40 | Spring? situated a short distance up Wadi Baaneit. Said to yield constant but limited supplies. |
| Bir Bint el Dreb | 22 | 34 | 0 | 35 | 9 | 0 | — |
| Bir Um Rasein | 22 | 29 | 10 | 35 | 20 | 20 | Near Gebel Um Rasein. |
| Bir Nabit | 22 | 26 | 50 | 36 | 21 | 50 | Close to sea. Probably salty. |
| Bir Um Bishtit | 22 | 26 | 33 | 35 | 33 | 45 | In narrow winding gorge off Wadi Um Bishtit. Said to yield good water supplies for a year after rainfall and small supplies longer. Full of downwash in 1908. |
| [249]Galt Osnei | 22 | 25 | 35 | 35 | 50 | 40 | Rock basin in small granite hill; full only after rain. |
| Meis-heit-ar, north galt | 22 | 22 | 4 | 35 | 35 | 12 | Galt in rocky gorge off Wadi Meisah. Yielding good supply in 1908; preferred to Bir Meisah for quality. |
| Bir Abu Hodeid | 22 | 22 | 0 | 35 | 17 | 0 | Large and important spring in Wadi Abu Hodeid. |
| Bir Odis Maaleq | 22 | 22 | 0 | 35 | 16 | 0 | Large and important spring in Wadi Odis, reached by a mountain track from Wadi Delawet. |
| Bir Meisah | 22 | 21 | 8 | 35 | 35 | 50 | Well-known well in Wadi Meisah. Filled by downwash in 1908. Water said to be of only moderate quality. |
| Bir Qidmib | 22 | 21 | 0 | 35 | 29 | 0 | — |
| Bir Abu Ramad | 22 | 20 | 40 | 36 | 26 | 50 | Close to sea. Probably salty. |
| Bir Shinai | 22 | 20 | 0 | 35 | 15 | 0 | — |
| Meis-heit-ar, south galt | 22 | 21 | 15 | 35 | 35 | 20 | Galt in rocky gorge off Wadi Meisah. Yielding good water in 1908. |
| Megwel Adar Aqdeib | 22 | 17 | 50 | 35 | 38 | 40 | — |
| Megwel Um Edwa | 22 | 16 | 50 | 35 | 32 | 45 | Chain of rock basins and small spring in stony gorge on east side of Hadal Aweib Meisah. Rather difficult for camels. Water good. |
| Megwel Didaut | 22 | 16 | 25 | 35 | 37 | 10 | — |
| Megwel Akau | 22 | 14 | 50 | 36 | 21 | 10 | Small spring? on north side of Gebel Elba. |
| Bir Kansisrob | 22 | 14 | 35 | 36 | 22 | 0 | Large well; water good and plentiful. Bisharin camping ground. |
| Megwel Hamida | 22 | 14 | 25 | 35 | 47 | 0 | A tiny trickling spring of saline water in a narrow gorge. Rock basin above it, dry in 1908. |
| Halaib wells | 22 | 13 | 25 | 36 | 38 | 40 | Several wells in village. Water plentiful, strongly purgative to Europeans, though it has no effect on the natives of the place. |
| Bir Akwamtra | 22 | 13 | 1 | 36 | 17 | 58 | An excellent well at the foot of Gebel Elba; important Bisharin camping ground. |
| [250]Bir Hilwit Hasium | 22 | 13 | 0 | 35 | 14 | 0 | — |
| Bir Nubitra | 22 | 12 | 50 | 35 | 46 | 20 | Said to yield only small supply. |
| Megwel Um Ein | 22 | 12 | 30 | 35 | 39 | 40 | — |
| Bir Meheriqa | 22 | 12 | 10 | 35 | 56 | 35 | Spring on east side of Wadi Di-ib. Water rather salty, but drinkable and clear. |
| Bir Kagog | 22 | 11 | 0 | 35 | 16 | 0 | Small well in Wadi Hasium, near its head. |
| Galt in Wadi Kirir | 22 | 10 | 0 | 35 | 19 | 0 | — |
| Bir Sararat Serimtai | 22 | 8 | 50 | 36 | 24 | 15 | — |
| Bir Mashushenai | 22 | 8 | 30 | 35 | 49 | 30 | — |
| Megwel Aqwem | 22 | 8 | 0 | 35 | 41 | 0 | — |
| Bir Guqub | 22 | 8 | 0 | 34 | 27 | 0 | Galt and spring? Water good but variable in quantity. Was yielding in 1906. |
| Bir Salalat O Sir | 22 | 7 | 23 | 36 | 19 | 0 | — |
| Ti Kureitra | 22 | 5 | 50 | 36 | 46 | 40 | Four wells sunk in gypseous strata near sea; water strongly purgative. |
| Bir Egat | 22 | 5 | 0 | 34 | 54 | 0 | — |
| Bir Frukit | 22 | 2 | 0 | 36 | 36 | 0 | Well in Wadi Aqilhoq; water good and plentiful. |
| Bir Himeitra | 22 | 0 | 0 | 35 | 15 | 0 | — |
| Bir Qabatit | 21 | 57 | 55 | 36 | 51 | 17 | Well in Wadi Qabatit, 1½ kilometres from sea; water salty, but said not to be purgative. |
[113]Part of this chapter is taken from my paper on “Desert Water Supplies” in the Cairo Scientific Journal for 1908 (Vol. II), pp. 234-242.
[114]I except the tiny spring called Megwel Hamida, which is a mere trickle of very salty water.
[115]Samples collected on two different dates; the figures show the variability of the water at the same well.
[116]Not determined.
[117]Berichte der Commission für Oceanographische Forschungen, Sechste Reihe, Wien 1898, p. 510.
[118]Cf. the Marah of the Israelites, Exodus 15, 23. “They could not drink of the waters of Marah, for they were bitter; therefore, the name of it was called Marah.”
[119]This is in latitude 27° 35′ N., and therefore outside the limits of the region specially described in this memoir, but is quoted as a useful example.
[120]Pronounced to rhyme with the English word shalt.
[121]The map of the roads and water sources on Plate III, p. 26, should be referred to in connexion with this list.
GEOLOGY.—SEDIMENTARY ROCKS.
Only a small proportion of South-Eastern Egypt is covered by sedimentary rocks. As will be seen from a glance at the geological map on Plate XX, sedimentary strata are to be found only in the north-western and central portions of the area, where the Nubian sandstone which covers so much of the country close east of the Nile terminates in a long south-easterly projection, and along certain portions of the coast, where small outliers of Nubian sandstone and patches and strips of gypseous limestones and coral reef occur. The oldest rocks of undoubted sedimentary origin, the Nubian sandstones, are of Cretaceous age. Tertiary beds are absent, except for the gypseous strata of Ras Benas, which may possibly be Miocene. Quaternary deposits are represented by Pleistocene and Recent coral reefs and beach deposits, and by accumulations of alluvial downwash, blown sand, and calcareous tufa.
The sedimentary deposits may thus be classified into:—
(1) Recent Deposits (coral reefs and raised beaches, blown sand, alluvial deposits, and calcareous tufa).
(2) Gypsum and Gypseous Limestones (of uncertain age, possibly Miocene).
(3) Nubian Sandstone (Cretaceous).
Coral reefs fringe almost the entire coast-line of South-Eastern Egypt, rendering the coast one of the foulest in the world for shipping. Coral forms the islands of Wadi Gemal, Gulhan, Mukawar, Mirear, Seyal, and Halaib, these rising to a few metres above the sea; but in general it is not met with on the main land except close to the shore. The reefs may extend, slightly raised, some distance inland, but cannot be seen owing to the sand and downwash from the mountains[252] which covers the sloping coast-plain. At low water great expanses of nearly level coral reef, stretching out for a kilometre or more from the shore, are exposed in places, especially near Ras Benas. Frequently a line of reefs can be seen running for many miles parallel to the coast at a distance of a kilometre or more from it; these outer reefs can be traced in windy weather by the breaking of waves on them, and in calm weather by the lighter colour of the water over them. There is frequently deep water between the outer reefs and the shore. Openings in the outer reefs, through which boats can pass into the sheltered water within, are called mersas by the Arab boatmen; they frequently occur opposite the mouths of the larger wadis. Coral reef forms a tough, hard, and very porous limestone, with an extremely rough surface on which the structure of the astraean and other corals composing it can be clearly seen. It has been used for building the jetty at Halaib, and rough blocks of it were anciently employed for building at Berenice, as well as in the tombs at Suakin el Qadim; but its porosity and intractability would never recommend it as a building stone if any other could be found locally.
In close association with coral reefs are beach deposits of Pleistocene age. These occur round the hills near the tip and on the north side of the peninsula of Ras Benas, where they cover the slopes of the gypseous limestone hills. Low hills and banks of very white aspect occur near the sea further north; these are probably also raised beaches, though they have not been visited and may possibly be gypsum. Near the tip of Ras Benas these beach deposits are gritty limestones with abundant casts of lamellibranchs and gasteropods, mostly in bad preservation, as well as various echinoids, among which M. Fourtau has identified the species Brissus carinatus as one of the most abundant.
The dune-forming sand in South-Eastern Egypt is exactly similar to that which covers such large areas in the Libyan Desert. It consists of well-rounded quartz grains, averaging about a millimetre in diameter; the grains are usually of a golden-yellow colour, owing to their being coated with a thin superficial film of iron oxide.
The only area where sand dunes are of any considerable magnitude or extent in South-Eastern Egypt is the tract called I Hubâl (lit. “the[253] sand dunes”) which extends from Wadi Meisah to Wadi Aideib, fronting the hills of Ti Keferiai, Geror, Balatitda, Sul Hamid, and El Sela. The north faces of all these hills and the smaller hills north of them are swathed in thickly accumulated sand to such an extent as to make travelling over them difficult. The reason for the heavy sand accumulation at this particular place is that the north-west wind, which is the prevalent wind over Egypt proper, here meets with south-easterly winds coming up the Red Sea, causing a local calm and a consequent dropping of the sand borne from the Nubian sandstone areas by the north-west wind. Thus the same climatic conditions which give rise to the rich vegetation on the Elba mountains cause at the same time extreme desert conditions in the tract immediately north-west of them.
Sand accumulations of less magnitude occur in and about the lower reaches of the Wadi Hodein, in the great valley to the north of Berenice, on the plain west of Gebel Um Harba, and at some few other places, but they are seldom so extensive as to cause a serious hindrance to travel.
Besides transporting the ordinary dune-forming sand, the action of the wind is responsible for a considerable amount of redistribution of the coarser granitic and other sand produced by the disintegration of igneous rocks. In high winds this coarse sand, in angular grains as large as peas, is blown about on the coast-plain to considerable distances from the places where it was originally deposited by water transport.
The degradation of the mountain and hill masses which is constantly going on under sub-aerial agencies (disintegration by variations of temperature, and transport by water during occasional rain storms) has in the course of centuries resulted in immense accumulations of alluvial material (sand and gravel) along all the drainage lines and on the plains. Disintegration is in many places greatly facilitated by the crushed nature of the rocks, due to the tectonic movements which they have suffered during the process of folding and mountain formation. This fact is specially evident in the case of the more basic rocks. Serpentines, for instance, are frequently so crushed and cracked that[254] one may search in vain over a whole mountain for a place where the rock is sufficiently free from cracks to allow of a hand-specimen of the ordinary size being extracted without breaking up into fragments under the hammer. In the more acid rocks, like the granites, crushing has been a less powerful aid to disintegration, and here the diurnal temperature-range has been the principal factor; the rock, being an aggregate of crystals of different materials with different coefficients of expansion, has been easily broken up at its surface by the constant differential motion of its component grains, resulting in the formation of coarse granitic sand. Chemical action in denudation is of quite subordinate importance. Though some chemical action has taken place, as for instance in the kaolinisation of the felspars, we find as a rule that the alluvial accumulations consist principally of unaltered rock fragments.
In material, the alluvial accumulations are of the same varied nature as the mountains from whose degradation they have originated, ranging from very basic mineral substances, such as serpentine, to the most acid, such as quartz. The relative proportions of the different materials in the alluvial deposits do not, however, correspond as a rule with the proportions in which they enter into the mountain masses. Not only are heterogeneous rocks, such as granites and diorites, far more rapidly disintegrated by temperature-changes than are the more homogeneous rocks such as felsites and serpentines, but the fragments produced by the disintegration of granitic rocks are rounder and of much smaller size than the fragments resulting from the breaking up of felsites, schists, and serpentines. The result is that granitic detritus is transported to greater distances and distributed over larger areas than the detritus of the closer-grained and more homogeneous rocks. In approaching a mountain composed of about equal parts of, say, granite and serpentine, we accordingly find the lower portions of the wadi consist chiefly of granitic sand, while the coarser and more angular detritus of serpentine is only seen in abundance in the higher parts of the drainage channel. The nature of the alluvium of the wadi floor occasionally gives its name to the wadi; thus, of the two wadis which by their junction form Wadi Khoda, one is called Wadi Salib el Azrak, because its alluvium consists of dark rock fragments, while the other is called Wadi Salib el Abiad, because its floor is formed of white granitic sand. (Azrak = dark; Abiad = white).
[255]In size, the fragments composing alluvial detritus vary from huge blocks weighing tons down to the finest sand whose grains are only a fraction of a millimetre in diameter. As a rule, of course, the larger fragments are found near the heads of wadis, and the finer sands in their lower reaches and on the plains. But often we find great boulders mixed with the sand at immense distances from the parent mountain mass; the heavier rain storms which occasionally break over the mountains produce for short periods such immense rushes of water down the wadis, that great boulders are swept along and incorporated in the finer material which is deposited in times of more normal rainfall. Thus it is no uncommon thing in sinking a well in a wadi fifty kilometres or more from the mountains to encounter great boulders in the sandy alluvium.
In shape, the alluvial fragments vary very much, according to their mineral nature and the amount of rolling they have received in transport. Foliated rocks, like schists and slates, produce typically flaky fragments which seldom attain any high degree of rounding; the same is true of serpentines which have been shattered by crushing. Granitic rocks produce generally more symmetrical fragments, though granitic sand is typically angular unless it has been transported for considerable distances. The larger blocks are generally rounded in the case of granitic rocks, even when they have not travelled for any great distance; for if a cubical block of granite be exposed to weathering, disintegration takes place most rapidly at the corners, and the block eventually becomes more or less spheroidal without having moved at all. This can be well seen in such masses as Gebel Selaia, where the granite boss is thoroughly well rounded in situ. The same phenomenon can be noticed in certain dolerites, where portions of the rock detached by joint planes have weathered in situ into forms like cannon balls. The more homogeneous rocks like felsite and serpentine, as well as the foliated rocks like gneisses, schists, and slates, do not show much of this rounding in situ, as they yield to the stresses of expansion and contraction by breaking along planes of crushing or foliation, producing separate masses which preserve most of their angular shape. In the lower reaches of the wadis and on the plains, of course, all the materials are more or less rounded, owing to the attrition to which they have been subjected during transport.
[256]Of the thickness of the alluvial sands and gravels very little is known. But that it exceeds eight metres in many of the wadis is proved by wells sunk to that depth. On the coast-plain it may be vastly thicker, for Grabham[122] mentions that borings made in the maritime plain near Port Sudan have been carried down to 1,000 feet (305 metres) in the deposits. Only a very small proportion of the alluvial detritus brought down the wadis enters either the sea or the Nile; for the storm-formed streams, though violent in the mountainous tracts, commonly cease by being absorbed in the thirsty wadi floors and plains before reaching either the sea or the river. Bearing this in mind, and the ages through which the actions of denudation and transport have gone on, we can well imagine how great must be the total quantity of detritus accumulated.
In some wadis there are high banks of old detritus through which the streams have cut their way. In the Wadi Meneiga, for instance, there are terraces of alluvium, some eight or ten metres high, on either side of the present water channel; these terraces, which are about two kilometres lower down the wadi than the wells, are covered with rude rubble ruins, the remains of dwellings erected out of reach of the occasional streams which rush down the wadi after rain.
At the east foot of Gebel Hamra Dom are some well stratified friable sand rocks and sandy clays, about ten metres thick, ending abruptly against the granites and schists of the hill-mass. These beds appear to be ancient alluvial deposits. They contain ferruginous scales and show sun-cracks in places, while the materials are finer and more distinctly stratified than one would expect to be brought down from the mountain under present conditions.
It is to the alluvial material in the wadis that the Eastern Desert owes most of its perennial water supplies and the vegetation it possesses. The alluvial deposits are the great conservers of water. Pools form, it is true, in the bare rocky beds of the higher drainage lines, and may last for many months where they are screened by the walls of a gorge from wind and sun, and are in consequence not subject to rapid evaporation. But such pools are difficult of access, and afford but a precarious source of water supply because they are liable to dry up if a long period passes without rain. The alluvium of the wadis[257] absorbs the rainfall and protects it from evaporation, so that even in very dry years water may be found by excavating in it at suitable places to depths of a few metres. Almost all the wells which are so important to travellers crossing the desert from the Nile are of this character. The abundance of trees which flourish in so many of the wadis likewise derive their nourishment from the water conserved in the alluvium of the wadi floor.
Small deposits of calcareous tufa of recent origin have been noted in the Wadi Um Tundeba and in a gorge on the east side of Gebel Ghuel, as well as round the little trickling spring called Megwel Hamida in the south part of the region.
At Um Tundeba the deposit occurs in a little gully close to a well known galt or pool of rain water. The deposit is not extensive, and has doubtless been formed by the evaporation of trickling drainage-water which had absorbed lime from the rocks. The tufa (10,374) is a pale brown rock of rather porous nature; it envelops fragments of schist-debris from the surrounding rocks.
The calcareous tufa of Gebel Ghuel is a more impressive deposit, though its total mass is not very great. It occurs at a point of sudden fall in a narrow rocky gorge leading to the Wadi Ghadir in about latitude 22° 53′. Proceeding up the gully one is confronted with a great curtain-like mass of tufa covering the face of a high ledge like a solidified cascade. Here also the origin is clearly due to trickling of lime-laden drainage-waters over the ledge of rock, which forms a step in the wadi floor.
Fragments of tufa were also seen round about Gebel Allawi, though the rock was not traced to its source. As only a relatively small number of rocky gullies have been explored, it is likely that similar deposits to those above described occur in many other places.
The occurrences of gypsum and gypseous limestone beds in South-Eastern Egypt are restricted to the coastal regions. The most prominent of the deposits are those on Ras Benas (see map on Plate XXI),[258] where the beds form white hills rising to 188 metres above sea-level. Further north, gypseous deposits have been found by Dr. Hume to exist near the sea at Bir el Ranga, and by Mr. Ferrar the same beds have been recorded as occurring near the coast in the neighbourhood of Wadi Igli. It appears probable that the gypseous strata form a continuous or nearly continuous strip extending along the coast down to latitude 24° 22′, as shown on the geological map on Plate XX, but more complete observations may show that the distribution of the beds is somewhat different from that indicated. On the coast-plain south of Ras Benas, gypseous beds are not exposed except in the extreme south-east corner of Egypt, where they form small patches at Halaib and round the wells of Ti Kureitra.
At Ras Benas, where the beds have been studied in most detail, they consist of gypsum and anhydrite [11,513][123] alternating with sandy marls and marly sands, forming hills much cut-up by steep sided narrow ravines. The weathered faces of the rocks are very soft, and the disintegrated material forms a stretch of soft gypseous sand, into which one’s feet sink four or five centimetres at every step, between the hills and the shore. At Halaib, gypseous limestones crop out from under the gravel of the coast-plain and form low banks; the gypsum is here associated with calcareous grits [12,152, 12,114] and conglomerates, the latter having boulders of igneous rock set in a calcareous matrix. Near Ti Kureitra wells, the gypsum exposures contain much crystalline selenite, blocks of this material being used in the masonry lining of the wells. Both at Bir el Ranga and on Ras Benas the gypsum is found to contain small pockets of native sulphur.
No fossils have been found in the gypseous strata, and their geological age is uncertain. The beds are younger than the Nubian sandstone, since they overlie that formation at Bir el Ranga. Their occurrence only near the coast leads one to regard them as having been formed after the Red Sea occupied its present position; but whether they originated as direct gypseous deposits, or were produced by the alteration of pre-existent Cretaceous or Tertiary limestones is not yet quite certain. It is noteworthy that at Ras Benas, where the gypseous strata rest on diorite and hornblende granite, the igneous rocks are considerably altered as if by weathering, with a strong brick-red colour due to the oxidation of ferruginous matter.
The Nubian sandstone covers a comparatively small portion of South-Eastern Egypt, occupying only about one-tenth of the total area under consideration. The greater portion of it forms the eastern termination of the vast sandstone plateaux which stretch eastward from the Nile towards the igneous and metamorphic back-bone of the Red Sea mountains, but there are in addition some small patches on the eastern side of the watershed which are interesting as showing that the deposition of the sandstone was not confined to the western side of the mountain ranges.
The most northerly exposure of Nubian sandstone in the district here described extends with some breaks southward from near Gebel Sufra to near Gebel Homr Akarim, forming low hills. Further south, it comes in again on both sides of the Wadi Garara, forming the hills of Felieiti and Abu Hashim. In the sandy plain around the Wadi Timsah are outlying sandstone hills of considerable height and extent, the principal being Gebels Nuggur, Mulgata, and Ziraga. Further south-west, the Nubian sandstone forms an extensive high broken plateau stretching southward from near Gebel Zergat Naam to near Gebel Um Reit, sending out a long tongue south-eastwards across Wadi Dif to near Gebel Nigrub el Tahtani. This tract of broken sandstone plateaux bears various names in different parts, Gebels Um Harba, Um Khafur, Dagalai, Shebakhit, Awamtib, Um Sididad, Abraq, Hodein, Dif, Anfeib, and Kala, all forming parts of the same great sandstone mass, though separated by wadis from each other. Small outliers of Nubian sandstone cap the hills of Gebels Reietit, just north of latitude 23°, near the meridian of 34°, and Gebel Seiga, in latitude 22° 44′, longitude 34° 16′.
On the eastern side of the watershed, Nubian sandstone extends for some distance near the coast opposite the Gulhan islands, and also forms small thin outliers south of the Wadi Hodein. The most southerly point where the sandstone has been met with in the area is a small outlier in latitude 22° 36′, a few kilometres east of Gebel Hamra Dom.
In petrographical characters the Nubian sandstone is remarkably uniform, consisting of medium-sized silica grains set in a more or less ferruginous cement; the colour varies from nearly white, through[260] various shades of brown, to nearly black, according to the amount of iron present. It is generally well bedded, and frequently much jointed. There is usually a marked absence of the clay beds which are associated with the Nubian sandstone in other parts of Egypt. The basal beds are generally pebbly, forming conglomerates in some places. Concretions are found in the rock at some points, notably to the north of Gebel Um Harba. Some of the concretions are hollow, the shell being of hard dark ferruginous sandstone while the interior is filled with a powder of snow-white chalky matter containing sand grains. The only fossils observed in the sandstone within the area described were collected by Mr. Charteris Stewart in the plain of Um Harba; they consist of crocodile scales and various shells. From these and the fossil shells found further west in sinking a well in Wadi Abu Rahal,[124] it may be concluded that the Nubian sandstone here, as in the Nile Valley, is of Cretaceous age.
Intrusions of igneous rock into the sandstone have only been observed at two points in the area, viz., near the western foot of Gebel Awamtib, where a basic dyke runs through the sandstone, and on the Red Sea coast, near Bir el Ranga, where Dr. Hume has found andesite interbedded in the sandstone. A bed of diabase, now much altered, underlies the sandstone near Wadi Muelih, and is possibly of contemporaneous origin.
In thickness, the Nubian sandstone attains a maximum of about 350 metres in several places round about Bir Abraq and the Wadi Hodein. Its thickness must at one time have exceeded this, for the upper surfaces have suffered much denudation, and are not capped by younger rocks.
Some interest attaches to the maximum altitude reached by the Nubian sandstone beds. The highest point at which it has been[261] observed is at Gebel Seiga, whose sandstone cap is 905 metres above sea-level. The highest point reached by the rock on the great plateau round about Wadi Hodein is Gebel Kala, 846 metres above sea.
In contradistinction to the same beds which form the plateau between longitude 34° and the Nile, the Nubian sandstones within the area here described show considerable disturbances from their original horizontal bedding, the dips being as a rule greater and more variable the nearer one approaches to the watershed mountain-ranges. These tectonic disturbances, which are important in connexion with the geological history of the region, will be considered in Chapter XI.
[122]Geol. Mag., Decade V, Vol. VI (1909), p. 271.
[123]The numbers in square brackets are the specimen-numbers in the Cairo Geological Museum.
[124]Wadi Abu Rahal is a small feeder of Wadi Abad, joining the latter from the south in latitude 25° 0′, longitude 33° 30′. At the point of junction of the two wadis, which lies on the usual camel road from Edfu to the Baramia mine, a well was sunk by the Mines Department in 1906, in the hope of obtaining a water supply. I visited the well in May 1906, when it had attained a depth of fifty-four metres. The strata passed through were ten metres alluvium, then thirty-seven metres of sandstones and clays, followed by a thin band of bituminous shale, and seven metres of dark grey clays. From near the bottom of the well I collected specimens of Lingula and a mytiloid shell which Mr. Bullen Newton compared to Septifer linearis; the latter shell differs but little from specimens obtained from the English Gault, and thus tends to show that the Abu Rahal beds are of Cretaceous age. (See Hume, Preliminary Report on the Geology of the Eastern Desert of Egypt. Cairo, 1907. p. 29). Since my visit, the well has been deepened to seventy-three metres in sandstones with a bituminous seam, but water was not reached, and the well has been abandoned.
IGNEOUS ROCKS.
Igneous rocks cover about one-third of the entire area of South-Eastern Egypt, forming irregularly distributed tracts, alternating with others occupied by metamorphic rocks, entering largely into the composition of the principal mountain masses and also underlying a large portion of the areas covered by sand on the coast-plain and elsewhere.
Regarded broadly, the igneous rocks of this portion of the Eastern Desert form two main divisions, namely, an acid division typified by granite rich in felspar, and a basic division typified by gabbro. Intermediate types occur, as well as ultra-acid and ultra-basic rocks, but these are less abundant, and are generally found in close association with one or other of the two main types. Rocks of the acid type predominate to the north of latitude 24°, while further south basic rocks form large portions of the main mountain tracts, with acid rocks at intervals on either side down to the Sudan frontier. Most of the igneous rocks are plutonic. There is a striking paucity of volcanic rocks, a circumstance doubtless to be ascribed largely to the enormous denudation which has taken place in the district. The plutonic masses, with the dykes seaming them, have been elevated and laid bare, while most of the volcanic outpourings have been denuded away and others have been altered or devitrified till their original volcanic nature has become less apparent. Metamorphism has also affected many of the plutonic masses to such a degree that it is often difficult to decide whether the rocks should now be placed in the igneous group, or classed as metamorphic rocks.
For purposes of classification, the igneous rocks of South-Eastern Egypt may be divided into five main groups, based on silica-percentage:—
1. Ultra-acid rocks, containing over 80 per cent of silica.
2. Acid rocks, containing from 65 to 80 per cent of silica.
[263]3. Intermediate rocks:—
(a) Sub-acid rocks, with from 60 to 65 per cent of silica.
(b) Sub-basic rocks, with from 55 to 60 per cent of silica.
4. Basic rocks, containing from 45 to 55 per cent of silica.
5. Ultra-basic rocks, with less than 45 per cent of silica.
The classification is based on silica percentage, for although up to the present it has not been found possible to undertake the chemical analysis of the rocks, the microscopic examination of thin sections itself gives a very fair guide to the chemical composition, and the specific gravities of the different rocks, which increase progressively from the acid to basic groups, afford a further guide in this direction. The table on the following page shows the different rocks comprised within the five main classes.
The five classes are not all of equal importance. As already mentioned, the acid and basic types are predominant. The ultra-acid and sub-acid rocks are present in relatively small quantity, and are in close relationship with those of the acid series which occur in great abundance; the rocks of the sub-basic and ultra-basic groups, on the other hand, though by no means insignificant in their distribution (diorites and serpentines cover very large areas), appear to be closely linked in the field with those of the basic group. The district is so large, and the investigation of it has been so limited, that it would be unwise to draw from the above remarks the deduction that the rocks have originated from two main magmas; the statements are merely those of the facts of observation, so far as observation has proceeded.
The scheme tabulated above differs from established classifications only in the inclusion of an ultra-acid class of rocks. This inclusion is necessitated by the presence in the district of huge masses of quartz-rocks which are almost certainly igneous in origin. These rocks are almost pure silica, and though they are properly regarded as an extreme form of pegmatite, their silica-percentage (over 95) is too high for them to be placed with their near relations the granites; and on grounds of symmetry of classification it appears justifiable to have an “ultra-acid” class corresponding with that of ultra-basic rocks.
[264]Classification of Igneous Rocks.
| Ultra-acid. | Acid. | Intermediate. | Basic. | Ultra-basic. | |
|---|---|---|---|---|---|
| Sub-acid. | Sub-basic. | ||||
| Quartz-rock. | Granite. | Syenite. | Diorite. | Gabbro. | Pyroxenite. |
| Normal pink granite. | Augite-diorite. | Troctolite. | Amphibolite. | ||
| Red pegmatitic granite. | Mica-diorite. | Pyroxene-granulite. | Peridotite. | ||
| Aplite. | (Serpentine). | ||||
| Biotite-granite. | |||||
| Muscovite-granite. | |||||
| Hornblende-granite. | |||||
| Granite-porphyry. | Syenite-porphyry. | Diorite-porphyrite. | Diabase. | ||
| Augite-porphyrite. | Mica-diabase. | ||||
| Kersantite. | |||||
| Quartz-felsite. | Trachyte. | Andesite. | Basalt. | ||
Quartz-rock of igneous origin occurs in the form of intrusive bosses and veins penetrating older igneous and metamorphic rocks at Marwot Elemikan and elsewhere. The rock is practically pure vitreous quartz. Its dazzling white aspect in the sun renders it very conspicuous in the field. The shape of many of the masses (bosses), their close association with pegmatite and aplite in at least one locality, the absence from the veins of other minerals (calcite and various ores) such as usually accompany vein-quartz deposited from solution, and the occasional presence in the rock of mica flakes, all point to an igneous origin, and justify us in regarding this quartz-rock as the final product of differentiation of a granitic magma, representing its ultra-acid portion.
The most conspicuous occurrence of quartz-rock is in the three nearly conical hills called Marwot[125] Elemikan, which rise from the granitic plain at the head of Wadi Elemikan in latitude 23° 53′, and which from their snow-white colour form landmarks visible from great distances. The largest and most northerly hill of the three is a boss about 300 metres in diameter, rising sixty-eight metres above the plain, which itself has here an altitude of 580 metres above sea. The other two hills are somewhat smaller; they lie respectively two kilometres south-east, and two and half kilometres south, of the largest one; a black hill of about equal size rises from the plain mid-way between them. The highest of the three white hills, which was occupied as a triangulation station, is composed almost entirely of glassy quartz, the only other mineral seen in it being a white mica, of which a few flakes were visible in the outer portions. The mass is cracked in all directions, and the faces of the separated blocks frequently show a slight yellowish staining.
Another remarkable boss of quartz, similar to that just described and likewise rising through granite, occurs on the south side of the Wadi Khoda (latitude 23° 42′) about seven kilometres above the point where the wadi emerges from the hills on to the coast-plain. A third occurrence, of much less size, in the floor of Wadi Abu Marwa, on the[266] track from Wadi Lahami to Berenice via the Wadi Naait; the first-mentioned wadi derives its name from the quartz occurrence in it.
Of igneous quartz veins, the best example is the huge dyke which forms the back-bone of the ridge called Erf el Fahid, in latitude 25° 0′. Here the vein, which strikes east and west, is in schistose country. It is at least ten metres wide, rising to a height of ninety-five metres above the wadi, and can be traced for a length of nearly two kilometres. Like the rock of Marwot Elemikan, the quartz of Erf el Fahid shows faint iron-staining in places, but appears to contain no other minerals. It is weathered to a sintery appearance in places [10,362],[126] and contains some cavities, from one of which I extracted a handful of loose quartz crystals [10,363] with pyramids developed at both ends; these last are evidently deposited from solution, but it is difficult to assign other than an igneous source for the vein, and the cavities and loose crystals are probably the product of solution subsequent to the igneous intrusion.
Going south-west from Erf el Fahid, down the Wadi Muelih, is another line of ridges, of which the back-bone is a great quartz vein traceable for some two and a half kilometres along its strike. Further down the wadi are networks of quartz veins seaming diorite in all directions on either side of a horse-shoe-shaped hill called Marwot Rod el Ligaia; this hill is of aplite, and probably represents a less acid part of the same magma which formed the quartz veins.[127]
It is significant that there are no traces of mine workings at any of the places where quartz veins and bosses of the igneous type occur, notwithstanding the fact that the masses are so conspicuous as to have surely attracted the eye of every gold-seeking prospector. Though the loose crystals found at Erf el Fahid show that there at least aqueous solutions have acted on the rock to a slight extent, these great igneous quartz masses appear never to have been impregnated with gold or other ores.
Granites are the most abundant and most widely distributed of the igneous rocks of South-Eastern Egypt. They form a large proportion of the most prominent mountain masses, such as Gebels Hamrat Wogud, Nugrus, Hamrat Mukbud, Hamata, Faraid, Um Reit, Mishbih, Adar Qaqa, Adar Aweib, and Elba. They also occur in some great plain tracts, such as those round Gebel Selaia and to the west of Gebel Um Reit, where low hills of the rock rise through the coarse granitic sand which covers most of the plain.
In point of geological age, the granites appear to be the youngest of the plutonic rocks of the country, forming great intrusions in the more ancient schists and diorites.
Though sometimes occurring as rounded bosses, as at Gebels Muelih, Selaia, and Faraid, granite typically forms rather jagged mountains, more especially in the south parts of the area; the mountains of Mishbih and Elba, for instance, abound in spiky peaks, while Qash Amir, the “Scragged Hill” of the Admiralty Chart, is an extreme example of this mode of weathering. The spikes are often made up of more or less rounded blocks piled one on another, the separation and rounding of the blocks being brought about by jointing and the more rapid weathering of the corners of the separated masses. Granite mountains, though sometimes white, are usually of a pink or red colour and are often named accordingly by the Arabs. In Ababda country, all mountains named Hamrat, as for instance Hamrat Wogud and Hamrat Mukbud, are composed of red granite or granitoid gneiss; while in Bisharin country the corresponding name Adar, as used for example in Adar Qaqa and Adar Aweib, has the same significance, both the names meaning red. The beds of wadis draining from granitic mountains, and plains adjacent to them, are invariably covered with a thick accumulation of coarse felspathic and quartzose sand derived from the weathering of the rock. This sand is quite firm to walk on, and in this respect forms a pleasing contrast to the finer wind-borne sand derived from the disintegration of sandstone. The granitic sand being generally white in colour (the redness of the felspars having largely disappeared in the process of weathering), the wadis in whose[268] floors it is largely displayed are frequently named “Wadi el Abiad” (abiad = white); there are numerous wadis called by this name, all possessing the common characteristic of draining from granitic mountains and consequently having a floor of granitic sand.
Besides the great mountain-forming masses, granites also occur frequently in the form of dykes or veins, penetrating the gneisses, schists, and other rocks.
Viewed as a whole, the granites of South-Eastern Egypt are characterised by their strongly acid composition. Though perfectly normal granites are found in many places, and a gradual passage into quartz-syenite may be occasionally traced, yet on the whole the rocks approximate to the aplitic and pegmatitic types in which quartz and felspar are associated with very small quantities of ferro-magnesian minerals.
We may consider the granites as falling mainly into the following classes:—
1. Normal pink granite.
2. Red pegmatitic granite.
3. Aplite.
4. Biotite-granite.
5. Muscovite-granite.
6. Hornblende-granite.
| Ball.—Geography & Geology of South-Eastern Egypt. | PLATE XXII. |
ACID IGNEOUS ROCKS.
NATURAL SIZE.
Normal pink granite is the form of granite most commonly met with in South-Eastern Egypt. It forms the principal rock of many of the mountains, such as Gebels Nugrus, Selaia, Faraid, Um Reit, Shigigat, Niqrub, Abu Brush, and Hamra Dom, and also covers large expanses of low hill country, and occurs as knolls scattered over sandy plains such as that of Selaia and the tract west of Um Reit. The rock [11,505], a full size representation of which is shown on Plate XXII, is composed of pink orthoclase, white oligoclase, quartz, and biotite, with hornblende, sphene, apatite, and magnetite as accessory minerals. The pink orthoclase is the dominant constituent, and gives the colour to the mass; it is sometimes in grains of about the same size as those of the quartz, viz., two to four millimetres in diameter, but frequently tends to assume a porphyritic habit, the crystals then measuring a centimetre or more across, and inclining to idiomorphic forms. Microcline is occasionally sparingly present. The oligoclase[269] is white, and is far less abundant and less conspicuous than the orthoclase; in the porphyritic varieties of the rock, the oligoclase is mixed with the quartz and mica of the ground mass. In some specimens the felspars are fresh, in others [12,133] they show clouding due to decomposition, with formation of kaolin and occasionally of sericite. Quartz is present to about half the amount of the felspars, in grains ranging up to three millimetres in diameter. The biotite is frequently the only ferro-magnesian mineral present, occurring in wisps and little nests among the other minerals; under the microscope it is strongly pleochroic, the colour varying from usually a pale olive brown to nearly black when a crystal is rotated over a nicol prism, though in a specimen [11,531] from the little hill called Sikeit, about five kilometres west of Berenice, colour range is from pale yellow to deep green. Hornblende is typically either absent or present only in a very subordinate amount to the biotite. It is sometimes altered to chlorite, with separation of granules of iron oxide and formation of epidote. Sphene, apatite, and magnetite are usually only very sparingly present, and are only visible on microscopic examination. In a slide cut from the rock of Gebel Fereyid, however, sphene forms a crystal measuring 1·6 millimetres across, of the characteristic wedgelike form (see Fig. 4).
The principal variation in mineral composition of the rock is the greater or less abundance of the biotite, and the occasional presence of appreciable amounts of hornblende. In a specimen from Wadi Kreiga [12,133], the biotite is almost absent, its place being taken by green hornblende, now largely altered to chlorite and epidote. The ferro-magnesian minerals are as a rule present in smaller amounts than in average granites, and in some places, especially near the periphery of the great intrusions, they vanish almost entirely, and the rock passes gradually into a pegmatite.
[270]Variations in appearance of the rock are also conditioned by the size and habit assumed by the felspar crystals, by the variations in general coarseness or fineness of grain, and by the pressures and weathering influences to which the masses have been subjected. Where the rock has been crushed, or subjected to unequal pressures in different directions during consolidation, the porphyritic crystals tend to lie along definite planes, and the rock may approximate in appearance to a gneiss. The microscopic sections from these places show further evidence of crushing in the cracking of crystals and undulose extinction between crossed nicols. Where the rock is much weathered it usually takes on a whiter aspect due to the bleaching of the orthoclase, and sometimes exhibits green spots due to the formation of chlorite from the decomposition of biotite and hornblende.
It is the pink granite which by its disintegration gives rise to much of the granitic sand which is met with in wadis and on plains. The rock disintegrates very readily under changes of temperature, the cleavage planes of the orthoclase aiding in the process. Change of the felspar to kaolin goes on under weathering influences, and the felspars become bleached, but the bulk of the disintegration is a mechanical process, a large part of the sand consisting of unaltered felspar.
Red pegmatitic granite is closely associated with the normal pink granite, occurring in great masses peripherally to the latter, as for instance at Gebel Hamrat Mukbud and in the low hills about the lower parts of Wadi Gemal and Wadi Kreiga. The red pegmatitic granite is in fact simply an extreme variation of the normal pink granite in which the ferro-magnesian minerals (biotite and hornblende) are either absent or present in very small amounts. That the rock often forms dykes is probably a consequence of its peripheral position rather than of any special manner of formation. The great masses such as Gebel Hamrat Mukbud appear, like the normal granites, to have solidified under plutonic conditions, and the dykes are off-shoots from the main mass. There is, therefore, no reason in this locality for classifying the pegmatites separately from the granites into a special division of dyke-rocks, as is done by Prof. Rosenbusch, and we shall consider the red pegmatitic granite as simply a coarse grained mica-free granite rich in orthoclase.
The pegmatitic granite is usually of a far more pronounced red colour than the normal granite. This is doubtless in part due to the[271] greater abundance of orthoclase, but it also arises in some cases from the orthoclase having itself a deeper colour. The rocks about the lower parts of Wadi Gemal and Wadi Kreiga have a strong brick-red aspect. Their proximity to the coast suggests that there may possibly be some connexion between the intensity of their coloration and their position near the sea; this idea is supported in some measure by the strong red colouration of the dioritic rocks of Ras Benas, which occupy a similar position, but the actual manner of production of the oxide of iron which gives the colour is not clear.
In the hand specimen (see Plate XXII), the red pegmatitic granite [10,389] is a coarse-grained aggregate of red orthoclase and quartz. The quartz is generally of grey aspect in the mass, running in strings and networks through the felspar. The rock usually breaks easily into irregular pieces under the hammer, owing to the facility with which the large felspar crystals can be cleaved, but the very red variety from near the mouth of Wadi Gemal [12,106] is extremely hard and tough, and strikes fire very easily under the hammer. Under the microscope (see Fig. 5) the red colour of the orthoclase often persists even in the thinnest sections, being evidently due to finely disseminated iron oxide which clouds the felspars. The quartz shows sharply defined angular forms, and appears to have got somewhat the start of the felspar in crystallisation. Owing to its cloudy nature, the felspar looks like a ground mass, and between crossed nicols shows a peculiar patchy appearance, so that a first glance at the slide suggests a quartz porphyry; but the whole of the patches forming a crystal extinguish at once, and moreover the characteristic twinning of the orthoclase can be seen in some of the crystals. A little oligoclase is also present in addition to the orthoclase. Crushing of the rock is frequently shown by cracked and brecciated crystals, more especially in the hard form of the rock from Wadi Gemal.
[272]Dykes of pegmatitic granite are very frequent in the neighbourhood of Gebel Hamrat Mukbud; they are typically rather paler in colour than the larger masses, and occasionally show graphic structure.
In ascending Gebel Migif, the gneiss slopes of the mountain were found to be strewn here and there with crystals of green microcline [10,366], similar to the well-known Pike’s Peak mineral. The crystals, which are of imperfect idiomorphic form, measuring about one to two centimetres in length, sometimes show cross-striations on certain faces. Though the rock was not traced in situ, the crystals are doubtless derived from pegmatite dykes traversing the gneiss.
Aplite, or fine-grained binary granite consisting essentially of quartz and felspar, with very little or no mica or hornblende, differs from pegmatite not only in its greater fineness of grain, but in its structure, which is essentially granitic rather than pegmatitic, the two main minerals being both in allotriomorphic grains. In colour, different aplites vary with that of their felspars from red to white, and most of them have tiny dark spots in them, sometimes only visible with a lens, due to the presence of small quantities of hornblende or biotite. As already mentioned on p. 268, most of the granites of South-Eastern Egypt incline to the acid or aplitic type, and one is frequently in doubt whether to classify an acid granite, such as that of Gebel Elba for instance, as an aplite with a little hornblende, or as a hornblende granite. Under aplites will be here considered only those granites in which the proportion of ferro-magnesian minerals is extremely small, not forming more than about one or two per cent of the rock. When the definition of an aplite is thus limited, aplites are comparatively scarce in the area.
Gebel Abu Hireiq consists of a red granitic rock; I did not visit the range, but the guide sent to erect the triangulation beacon brought back as the typical rock a pink aplite [12,134] of rather fine grain, consisting essentially of quartz and pink felspar, with sparsely scattered specks of hornblende.
The dykes [11,536] which seam the granite and diorite near where the Wadi el Kreim joins Wadi Garara may be classed as siliceous altered aplites. They are greyish-white to purplish-pink rocks of rather fine grain, with a few blackish specks, the latter visible only with a lens. The microscopic slide shows granitic quartz and red-stained decomposed[273] matter, with a rather plentiful sprinkling of grains and powder of iron oxide; the decomposed matter is almost certainly the result of alteration of felspar and hornblende, the latter in very small proportion.
The hill called Marwot Rod el Ligaia, near the head of Wadi Muelih, is a boss of pink aplite, and is of interest as lying in close connexion with certain quartz veins which are believed to be of igneous origin (see p. 266).
Biotite-granite of a well-defined type [10,390] occurs somewhat largely in the mountains round the heads of Wadi Abu Ghusun and Wadi el Abiad. It is a whitish rock with dark-brown to black spots (see Plate XXII). The white portion of the rock consists of quartz and felspar; the dark spots are biotite. Generally the rock is of medium grain, the biotite being in nests two to four millimetres diameter scattered through the mass, giving it a speckled appearance. Sometimes the biotite is more uniformly scattered, giving the rock a grey aspect. At some places the rock shows signs of crushing, this being indicated in hand specimens by a tendency to laminar arrangement of the biotite patches. Under the microscope (see Fig. 6), the felspars, which are somewhat more abundantly present than the quartz, are seen to consist of orthoclase and oligoclase, with here and there crystals showing the characteristic cross hatching of microcline. The biotite is mostly in nests and clusters of ragged-looking crystals, but it also occurs in tiny flakes included in the felspars, sometimes showing a distinct arrangement along the cleavage planes of the latter. The biotite is usually fairly fresh; it is highly pleochroic, with colour ranging from pale yellow to deep olive-green in different positions over the nicol. Associated with the biotite are a few wisps of colourless mica, probably muscovite, and irregular granules of opaque iron oxides. Granules of epidote[274] are to be seen in the altering felspars, and there are a few small irregular granules of a brownish highly refracting mineral, probably sphene.
A much more acid type of biotite granite [11,507] occurs in close proximity to serpentine in low hills near the wells of Abraq. In this the proportion of biotite is so small that the rock might almost be classed as an aplite. It is a fine-grained white rock, very fresh-looking, with dark spots; in hand specimens it almost exactly resembles the hornblende granite of Gebel Elba (see Plate XXII), but examination with a lens shows the dark spots to consist of biotite instead of hornblende. The microscopic slide shows quartz, orthoclase, and oligoclase with granitic structure, with here and there small straggling crystals of brown biotite; the brown biotite is sometimes altering to chlorite with change of colour from brown to green.
Muscovite-granite is rarely met with in South-Eastern Egypt. A specimen from Gebel Adar Qaqa[128] [12,138] is a fine-grained hard pinkish rock of sp. gr. 2·62, composed of quartz, orthoclase, oligoclase, muscovite, and garnet.
A very coarse-grained variety of muscovite-granite, in which the individual crystals measure several centimetres across, forms white hills to the east of Wadi Nugrus.
Hornblende-granite occurs in several forms, giving rise to rocks of different aspects in different parts of the district.
The most important and widely distributed form of hornblende-granite is a fine-grained and very acid rock of sp. gr. 2·59, which but for the manner in which it occurs might almost be spoken of as an aplite. It is a white rock, sometimes with a faintly pink or greenish cast, of medium to fine grain, with black specks of hornblende about a millimetre in diameter scattered through it (see Plate XXII). This rock forms Gebels Muelih and Elba; it also occurs in the low country round Gebel Hamrat Mukbud, and a gneissose variation of it forms the great boss of Um Rasein. Dykes of the same rock traverse the more basic rocks of Um Bisilla.
Under the microscope the rock from Gebel Elba [12,118] is seen to consist of quartz, orthoclase, a little oligoclase, hornblende, and[275] small quantities of biotite (see Fig. 7). The orthoclase is somewhat clouded in strips parallel to the clino-axis of the crystals. The hornblende is in irregular grains of sharply marked curved outlines; it is of a very deep bottle-green colour. The accessory biotite is brown, occurring as small wisps associated with the hornblende.
The rock of Gebel Muelih [10,355] is similar to that of Gebel Elba, but the hornblende here is of an extremely pale greenish brown colour, only slightly pleochroic, with well-marked vertical cleavage and a very small extinction angle, so that it might be mistaken for biotite, which latter mineral appears to be absent.
Another type of hornblende-granite, differing from that last described in being of coarser grain and containing much more abundant hornblende, and thus having much more the appearance of an ordinary grey granite, occurs in the lower part of Gebel Hamata and the surrounding mountains. This rock [10,405] is slightly heavier than the foregoing type, having a sp. gr. of 2·66. Under the microscope (see Fig. 8) the hornblende is seen to be of a dark green colour, very much altered and clouded by separated iron oxides and epidote.
A third type of hornblende-granite is formed by the variation of the normal pink granite already referred to, in which the place of biotite is largely taken by hornblende. The mass of Gebel Mishbih appears[129] to consist of a rock of this type, which passes by insensible gradations into a syenite.
Under this heading are comprised rocks of granitic composition in which porphyritic crystals of quartz, felspar, and mica are surrounded by a fine-grained ground mass of entirely granitic (holocrystalline) character. They differ from porphyritic granites in the much finer grain of the general body of the rock, and from the quartz felsites in the entire absence of glassy matter from the ground mass. Rocks of this type are scarce in South-Eastern Egypt. An example [12,150] occurs at the hill called Kreishim, sixteen kilometres west of Halaib. Here the rock, which appears to form a small boss, consists of rounded white porphyritic crystals set in a finely crystalline grey ground mass. The sp. gr. is 2·69. Under the microscope (Fig. 9) the porphyritic crystals are seen to consist of quartz and oligoclase, the latter in approximately idiomorphic crystals, often beautifully zoned; the ground mass, of micro-granitic structure, is made up of smaller allotriomorphic crystals of quartz, felspar, and biotite.
Dykes of granite-porphyry also occur traversing the granite of Gebel Kahfa [11,537 B] and in the basic rocks of Gebel Um Bisilla [11,518]. At both these places the rocks are far less fresh than that above described. In the hand specimen they are of a greyish-white or greenish-white colour, strongly resembling fine-grained aplites in appearance. With the lens, crystals of quartz and felspar can be made out, and specks of hornblende and chlorite. The microscopic slides show the characteristic structure of granite porphyry, but the felspars are all clouded by decomposition products, and the hornblende, which is rather sparingly present in the ground mass, is mostly changed to chlorite and epidote. The specimen from Gebel Kahfa contains a small amount of muscovite.
Though covering only small areas, quartz-felsite is of very wide distribution in South-Eastern Egypt. It typically forms dykes and intrusive sheets traversing the plutonic and metamorphic rocks, but likewise occurs occasionally in larger masses. Felsite dykes are specially abundant in the neighbourhood of Gebels Muelih, Zergat Naam, and Um Reit. Larger masses occur in the Wadi Huluz, and form the summits of Gebels Nigrub el Foqani and Hamata.
Felsites are frequently met with in a highly altered condition. The commonest alteration, especially in dykes, is kaolinisation of the felspars and a clouding of the whole rock with finely disseminated iron oxides. In some dykes traversing the granite of Um Reit, a bleaching action has reduced the felsite to the appearance of a limestone. In other cases the rock has been devitrified and indurated to a high degree; this is well seen in Gebel Igli el Iswid (latitude 25°) and at Gebel Hadarba (latitude 22°), where extensive hill-tracts consist of felsitic rocks of almost flinty hardness.
The quartz-felsites are in general among the youngest of the igneous rocks of the district, since they commonly form dykes and intrusions, not only in the schists, but also in the granites and other eruptive rocks.
The quartz-felsite of Wadi Huluz [10,394] occurs in considerable masses about a kilometre below the water holes of Um Gerifat. In the hand specimen, it is of granitoid appearance, with opalescent quartz crystals two millimetres or more in diameter plentifully scattered in a light greyish ground mass. The sp. gr. is 2·71. Under the microscope the crystals of quartz are seen to have rounded forms and to be accompanied by other porphyritic crystals of orthoclase and oligoclase, often approximating to idiomorphic shape (see Fig. 10).[278] The porphyritic constituents are embedded in a cryptocrystalline ground mass, in which augite and minute grains of quartz, felspar, and biotite can be made out, and there are some strings and granules of epidote and fairly large specks of iron oxides. The ground mass shows a fluidal arrangement, the little biotite flakes in it being often arranged in lines which sweep round the porphyritic crystals. The rock has undergone considerable alteration, the felspar crystals being clouded and full of tiny micaceous flakes of high double refraction; the epidote is also doubtless due to the alteration of augite and other minerals in the ground mass.
The quartz-felsite which forms the upper part of Gebel Hamata [10,906] is a dark brown coarse-textured rock, with remarkably glassy porphyritic quartz in granules about two millimetres diameter scattered plentifully through it. It is a very hard rock which rings under the hammer and weathers into rusty brown blocks. The sp. gr. is 2·71. Under the microscope the quartz crystals are seen to be much cracked. There are also porphyritic crystals of orthoclase and oligoclase, mostly of irregular shape, and a few crystals, of still more irregular form, of dark green hornblende. The cryptocrystalline ground mass consists chiefly of quartz and felspar, through which are scattered tiny granules of dark green hornblende. The ground mass shows a matted texture between crossed nicols; there is no trace of fluidal movement. Like the foregoing, this rock is somewhat altered, the hornblende in particular being very much attacked; the felspars are fairly fresh, but the crystals, like those of the quartz, are often cracked, and thus show the rock to have undergone considerable crushing.
One of the quartz-felsite dykes traversing the schists at Gebel Kolaiqo [12,145] is a very similar rock to that of Gebel Hamata, except that here the ground mass, instead of being dark brown in the hand specimen, is of a reddish brown colour (see Plate XXII), and the[279] porphyritic crystals are partly pink felspar and partly glassy quartz. The sp. gr. is 2·62. Under the microscope the quartz and felspar crystals are seen to be less crushed than in the Hamata rock, while the ground mass, instead of being of a matted structure, is microgranitic, with tiny elongated grains of green hornblende scattered through it (see Fig. 11).
Another quartz-felsite dyke at Gebel Kolaiqo [12,135] has a rather different composition, and in the hand specimen has more the appearance of a felspar porphyry, porphyritic white felspars being scattered with quartz grains through a dark grey to black ground mass (see Plate XXII). Its quartz crystals frequently approximate to idiomorphic forms; they are much corroded by the ground mass. The felspar is chiefly oligoclase, in more or less idiomorphic crystals, a little clouded by decomposition products. The ferro-magnesian mineral here is chiefly brown biotite, in crystals of smaller size than those of the quartz and felspar, scattered porphyritically through the ground mass. One of the quartz crystals includes a crystal of biotite. The ground mass is crystalline, and appears to consist of quartz and felspar with a little biotite and some glassy matter.
A peculiar type of quartz-felsite [10,377] occurs associated with serpentine and ophicalcites in the upper part of Gebel Ghadir. The rock, which has a sp. gr. of 2·66, is nearly white, with a faint greyish tinge and scattered reddish-brown specks. At first the rock was taken for a granulite, which it very much resembles in appearance, and the reddish-brown specks for garnet. But examination with a lens shows the specks to be ferric oxide, and here and there little crystals of glassy quartz can be seen. Under the microscope the rock is found to consist mainly of an extremely fine-grained semi-granulitic colourless ground mass in which are sparsely scattered clear crystals of quartz, sometimes showing corrosion, and straggling irregular patches of opaque iron oxide, often mixed with nearly colourless wisps of mica. A few of the clear crystals are in four-sided forms, and may possibly be felspar; but they are perfectly free from alteration or twinning. The iron oxide is doubtless the product of alteration of a ferro-magnesian mineral, probably biotite. The minerals of the ground mass are difficult of determination owing to the minuteness of the grains and the absence of any colour, but apparently consist of quartz, felspar, a colourless hornblende, and sericite.
[280]The quartz-felsite dykes [10,356] which cut through the granite and schists of Gebel Muelih appear as grooves in the granite, and as back-bone ridges in the surrounding schists. They are pinkish-brown close-textured rocks, with a dark marbling in places. The microscopic slides show quartz and felspar in a confused ground mass, with little flakes of a white micaceous mineral (sericite?) aggregated round the porphyritic crystals and distributed through the felspars and the ground mass.
The highly altered quartz-felsite [12,158] which forms Gebel Butitelib, near Gebel Niqrub el Tahtani, appears to have formed a boss or neck in the surrounding schists. The rock is a very fine-grained grey to purplish one, in which no crystals can usually be made out with the unaided eye. The sp. gr. is very low, being only 2·32. Under the microscope one sees small highly corroded crystals of quartz scattered through a clouded and glassy ground mass. No traces of felspars can be seen, the crystals, if they existed, having been decomposed and become undistinguishable from the ground mass; nor can any ferro-magnesian minerals be made out, though there are tiny granules and wisps of iron oxides which in places show an arrangement suggestive of their having been derived from the decomposition of such minerals.
The specimen [12,121] brought back from the summit of Gebel Shendib, by the guide who was sent to erect the triangulation beacon on it, is a compact brown rock with reddish patches, which under the microscope appears to be an altered and brecciated felsite.[130] The slide shows quartz and altered felspars in a spherulitic ground mass, the whole of the mineral being very much clouded by finely disseminated ferric oxide.
The felsite dykes [11,538] which seam the granite of Gebel Um Reit are a still more highly altered rock. The dykes are about two metres wide, of a white colour, and resemble limestone in appearance; being soft, they have weathered more rapidly than the granite around them, leaving vertical-sided chasms. But for the manner of its occurrence, the rock would have been easily mistaken in the field for a sedimentary one. The microscope, however, confirms its eruptive origin. The slides cut from the rock show a confused and clouded[281] semi-crystalline aggregate, containing clearer small areas of quartz. Even the quartz crystals are full of specks, and only the faintest traces can be seen of the felspars, which are so decomposed as to be hardly distinguishable from the ground mass.
Fig. 12.—Altered quartz-felsite, Gebel Igli el Iswid [10,372], as seen between crossed nicols, × 40. f, felspar (mostly orthoclase in the position of extinction); h, a crystal of hornblende; g, hemi-crystalline ground mass; m, micropegmatitic intergrowth of quartz and felspar, separating the porphyritic crystals.
In the rocks of Gebels Igli el Iswid, Mahali, and Hadarba, we have quartz-felsites which have been altered in quite a different way. The rocks are extremely hard, and almost flinty, breaking with a sub-conchoidal fracture. They are typically of a brown to nearly black colour, with white spots measuring a millimetre or two across. Under the microscope these white spots are seen in the rock from Gebel Igli el Iswid [10,372] to be chiefly porphyritic felspar and quartz crystals, sometimes corroded by the ground mass; while the black ground mass is largely composed of extremely fine micro-pegmatitic intergrowths of quartz and felspar, with some glassy matter, and here and there irregular small clouded and altered crystals of hornblende. The micro-pegmatitic material has possibly originated by devitrification of an originally glassy ground mass. Variations of the rock occur in which the porphyritic felspars are infrequent or even altogether absent, the rock passing gradually into a hornfels [10,371]. The slide from Gebel Mahali [10,402] exhibits clear porphyritic crystals of quartz and orthoclase, both minerals in more or less idiomorphic forms, embedded in, and occasionally corroded by, a semi-crystalline ground mass. The ground mass contains some calcite and iron oxides, probably arising from the decomposition of a hornblendic or micaceous mineral.
The rocks of Gebel Hadarba [12,146-12,149] are essentially similar to those of Gebel Igli el Iswid, but in some cases they show bright red veining; where they have been exposed to the polishing agency of the sand blast, these veined varieties look as though they had been[282] streaked with melted sealing-wax. In some of the slides the felspars show a well marked microperthitic structure, while in others they are so decomposed that they are barely distinguishable from the ground mass. The ground mass sometimes contains granules and strings of iron-oxide, possibly referable to alteration of a hornblendic constituent, but the rock is too much altered for one to be sure.
An altered and crushed quartz-felsite [10,404] which occurs in the Wadi Huluz, near where the Wadi el Abiad joins it about eight kilometres to the north-west of Gebel Hamata, somewhat resembles the rock of Gebel Hadarba in appearance. It is a jaspery looking rock of dark colour with red and greenish patches, in which with a lens one can see scattered grains of glassy quartz. The slide cut from the rock shows clear porphyritic crystals of quartz, orthoclase and oligoclase in a fine grained ground mass. The porphyritic crystals are mostly in rounded forms, but some of the felspars show a tendency to idiomorphism. Many of the crystals are smashed, and some show undulose extinction. The ground mass consists of quartz, felspar, and some glassy matter, with abundant epidote in nests and strings, and a small amount of green hornblende in straggling forms.
The east-and-west dykes which traverse the syenite of Gebel Zergat Naam, and form the actual summit of that mountain, consist of a very hard compact flesh-coloured rock which weathers brown on the surface. The microscopic section [11,525] shows the rock to be[283] a highly indurated felsite. The original felspar crystals can be made out by their shapes, but between crossed nicols they are seen to consist of a very fine-grained mosaic polarising in low greys, probably the result of alteration by siliceous solutions. These altered felspars are scattered with some quartz in a cryptocrystalline ground mass.
No volcanic rocks of acid type have been with certainty identified in South-Eastern Egypt. It is, however, possible that some of the rocks above described are in reality of volcanic origin, though the manner of their occurrence is more suggestive of intruded masses and sheets. It is also quite likely that some of the hornfels found associated with the schists, as for instance at Gebel Um Semiuki, near Abu Hamamid, are altered forms of glassy acid lavas; but their vast age and the intense metamorphism to which they and the surrounding rocks have been subjected render it impossible to be certain of the manner of their origin.
Though hornblendic varieties of granite are fairly common, true syenite (i.e., orthoclase-hornblende rocks with little or no quartz) is amongst the rarest of rocks in South-Eastern Egypt. It occurs near Gebel Nazla (between Bir Um Gubur and Bir Masur), in the two remarkable conical hills called El Nahud, which rise from the plain near the head of Wadi Natash, and at Gebel Zergat Naam. In all these three localities the syenite appears to form intrusive bosses rising through the surrounding rocks.
The specimens from near Gebel Nazla [10,625] and from El Nahud [10,857] are very fine-grained reddish-brown rocks, which can be seen with a lens to be largely made up of red orthoclase crystals with dark specks of hornblende.
Fig. 15.—Syenite of Gebel Zergat Naam [11,515], × 10. o, orthoclase felspar, showing striations parallel to the basal planes; h, hornblende deep green in colour; g, interstitial quartz.
Fig. 16.—Syenite-porphyry, Gebel Zergat Naam [11,512], as seen between crossed nicols, × 10. f, porphyritic felspar (orthoclase); h, hornblende; g, microgranitic ground mass containing felspar, hornblende, and some quartz.
The syenite of Gebel Zergat Naam [11,515] rises as a great boss from among the surrounding dark schistose rocks. It is typically a pinkish-brown rock of rather fine grain (see Plate XXIII), in which can be seen shining crystals, three to four millimetres long, of[284] pink orthoclase, and specks of dark hornblende, with here and there a little glassy-looking quartz. The sp. gr. is 2·62. Under the microscope the rock is found to be mainly composed of orthoclase, with a much smaller amount of hornblende and a little interstitial quartz. The felspar is fairly clear, in forms approximating to idiomorphic, and showing the characteristic simple twinning of orthoclase. The crystals are slightly clouded in streaks parallel to the basal planes, so that even in ordinary light a faint herring-bone structure is visible, the streaks on either side of the trace of the plane of composition being inclined to each other at a large angle. Between crossed nicols this herring-bone structure is very strongly marked, and is evidently due to a perthitic intergrowth (of albite?). The intergrown lamellæ are slightly irregular; though following generally the direction of the basal cleavage planes they are not perfectly straight, nor always continuous across the half of the crystal. The lamellæ extinguish and attain their maximum of brightness simultaneously with the respective halves of the crystal in which they occur, so that they become invisible in certain positions of the nicols; but as the nicols are turned they appear as well marked dark bands, clearly visible even under low powers. The hornblende is of exceptionally dark green colour, in irregular straggling masses, often considerably decomposed and clouded with iron oxide. Accessory minerals, other than[285] the clear interstitial quartz, appear to be almost entirely absent in the slide examined.
| Ball.—Geography & Geology of South-Eastern Egypt. | PLATE XXIII. |
INTERMEDIATE IGNEOUS ROCKS.
NATURAL SIZE.
In places, the rock of Gebel Zergat Naam takes on a finer grain and a greyer aspect in the mass. A slide cut from this variety [11,512] shows essentially the same composition, but the felspars are here porphyritic in a crystalline ground mass of felspar and hornblende. The rock thus passes into syenite-porphyry. The porphyritic felspar crystals show the same lamellar structure as those in the more coarsely crystalline rock.
Trachyte, the volcanic representative of syenite, occurs in dykes [11,537 A] seaming the granite of Gebel Kahfa. It is a light grey rock, of very fine grain, breaking with a rough surface, containing pores and small stumpy white pearly-looking porphyritic crystals of orthoclase (see Plate XXIII). The sp. gr. is 2·56. The microscope shows the ground mass surrounding the porphyritic idiomorphic orthoclase crystals to be a holocrystalline mixture of hornblende and felspar. The felspars of the ground mass are usually in more elongated forms than the porphyritic crystals, and appear to be partly plagioclase. The hornblende, in small and very irregular crystals of dark olive-green colour, often clouded and dirty looking, is scattered plentifully among the feslpars of the ground mass. Accessory primary minerals appear to be entirely absent.
A rock which occurs in a hill at the head of Wadi Amba-ut [10,375] appears to be essentially similar to the above, but the porphyritic orthoclases are more numerous and the ground mass contains small quantities of augite and magnetite. This rock is in a highly altered condition, the felspars being full of kaolin and epidote, while the hornblende, which is here of a paler colour than in the trachyte of Gebel Kahfa, is highly chloritised.
Though not forming such conspicuous features as the granites, rocks of dioritic composition are very widely distributed over the country, and are specially abundant in the districts to the south of Ras Benas. They are almost always sharply marked-off from the granites, being generally closely connected with the more basic igneous rocks and schists. The coarser-grained varieties usually form parts of irregular intrusive masses, shading off gradually into the more basic forms of diabase, gabbro, and hornblende rock; the finer-grained types occur as dykes and irregular bands traversing other igneous rocks and schists, and are themselves frequently so crushed as to resemble schists. Owing to their intimate association with other dark rocks, it is no easy matter to trace the limits of the diorites in the field. The same difficulty is found when they are microscopically examined, for one finds in their mineralogical composition every gradation from true diorites, through the intermediate stage of augite-diorite to diabase and gabbro, while many of the harder dark schists and hornblende gneisses turn out to be merely highly crushed diorites, so that classification must be more or less arbitrary.
Diorite typically forms low hill country of dark aspect. The rock weathers as a rule far more easily than granite, and in some cases the debris of rounded grains set free by disintegration cover the surface and render the climbing of the hills somewhat dangerous, the effect being like one would imagine to result from walking over slopes covered with hard peas.
Diorite in the narrowest sense of the term (plagioclase-hornblende rock) is not by any means abundant. Curiously enough, it is generally found in the neighbourhood of old gold mines, as for instance in the Kurdeman and Allawi districts, and it was employed by the ancient miners for their crushing pans. The rock from Gebel Allawi [10,313] is a medium-grained one composed of black and milk-white minerals in about equal proportion (see Plate XXIII). Its sp. gr. is 2·95. Under the microscope the milk-white material is seen to be plagioclastic felspar, generally much decomposed, while the dark grains are of hornblende, pale green to olive-brown in thin section, with somewhat[287] feeble pleochroism. Like the felspar, the hornblende is considerably altered; in places it has lost nearly all its colour and is converted into pale green chlorite. The accessory minerals are iron-oxides and a little sphene. Rocks of somewhat finer grain [10,358] occur in the Rod el Ligaia. In a slide from the last-named locality, granules of ilmenite are surrounded by sphene, suggesting the formation of sphene by the alteration of ilmenite. A variety of diorite [10,403] occurs in the Wadi Huluz in which the hornblende is nearly colourless, showing only a trace of green colour in thin section, and is accompanied by a small amount of augite.
A form of diorite which occurs in and about the Wadi Baaneit [12,151] is very similar to the rock just described, but differs from it in the more irregular manner in which the two principal mineral constituents are distributed. The hornblende is in patches varying from mere specks to eight millimetres in diameter; the felspars have a sugary appearance in the hand specimen. The sp. gr. is 2·81.
A more highly specialised type of diorite [12,103] occurs in the Wadi Muqur. This is a very beautiful heavy rock (sp. gr. 2·87), with shining prisms of hornblende, often three centimetres or more in length, running through a mass of white felspars (see Plate XXIII). Microscopic examination reveals the presence of some quartz mixed with the plagioclastic felspars.
[288]Where the alteration of diorite has been very intense, as in the country rock [12,124] of the old Romit mine, the hand specimen differs from that of the unaltered rock in that not only are the white constituents of duller aspect, but the dark mineral, instead of being black and shining, has a dull greenish-grey appearance. Under the microscope one sees no trace of the original felspar, its place being taken by calcite and a confused aggregate of small plates of kaolin and sericite, while the hornblende is all replaced by chlorite, with little strings of limonite. Granules of quartz, often of relatively large size, are scattered through the mass; some of these are clouded by minute enclosures, and evidently represent the accessory quartz of the original rock, while others are clearer and are probably of secondary formation.
Fine-grained varieties of diorite are found much more abundantly than the normal plutonic type, occurring as irregular masses mixed with schists and as dykes in schists and other rocks. These fine-grained diorites are essentially similar to the coarser-grained rocks, but are generally even more altered. The fine-grained diorite [11,517 A], which forms the top of Gebel Um Tenedba, for instance, consists of a mixture of clouded and altered plagioclase and augite altering to chlorite, with separated iron oxide along the cleavage planes of the hornblende. Another specimen of fine-grained diorite, from a dyke in Wadi Kreiga [12,154], is even more highly altered, the hornblende being almost entirely chloritised, with formation of abundant little granules of epidote.
The main rock of Gebel Beida [12,160] may also be classed as an altered fine-grained diorite. It is a dark fine-grained greenish-grey rock with white and greenish-yellow spots, usually about two millimetres diameter, scattered through it, and abundant strings of a greenish yellow mineral. The sp. gr. is 2·96. Under the microscope it is seen to be of similar nature to the rocks last described, the hornblende being largely chloritised. There is a considerable amount of accessory augite, and this, though clouded, has resisted alteration better than the hornblende. The whitish spots seen in the hand specimen are made up of a fine mosaic of quartz grains, with tiny flakes of a micaceous mineral (sericite?) probably all of secondary origin, while the greenish-yellow strings are other alteration products in the shape of epidote and calcite.
Under the head of augite-diorite are classed holocrystalline rocks containing, in addition to the plagioclase and hornblende of ordinary diorites, notable quantities of augite. The augite-diorites thus form a link between the diorites proper and the diabases or plagioclase-augite rocks.
The presence of augite along with the hornblende is difficult to ascertain in the field or in hand specimens, and can as a rule only be detected by the microscopic examination of thin sections. But augite diorites are generally of somewhat darker aspect than normal diorites in the mass, owing to a less abundance of felspar, and are generally tougher under the hammer.
An augite-diorite [11,535] which occurs on the pass at the head of Wadi Um Hargal, near Gebel Kahfa, is a heavy (sp. gr. 2·87) grey rock of medium grain, very fresh and hard, in which can be seen lustrous black crystals mixed with a rather small quantity of white felspars. In thin section, hornblende, the most abundant constituent, is in fairly large allotriomorphic crystals, with well marked cleavage and strong pleochroism (bluish-green to pale yellow), containing abundance of irregular granules of iron oxides. The augite, which is present to about one-third the amount of the hornblende, is in crystals of similar size, and likewise showing well-marked cleavage, easily distinguished by their pale brown colour, absence of pleochroism, and higher extinction angles (about 40°); some of the crystals show irregular cracking and clouding by decomposition products, and are surrounded by celephytic zones of greenish matter of rather lower double refraction containing flakes and strings of iron oxide, probably representing a marginal alteration to hornblende. The felspar, though considerably[290] decomposed, still shows plagioclastic twinning clearly, and appears from the extinction angles to be an acid type of labradorite. The rock contains considerable amount of magnetite scattered through it, often in fairly large irregular grains, also a few small grains of apatite, and one or two small granules of quartz.
The rock [10,411] which forms the dark hills called Gebel el Anbat, near the head of Wadi Kharit,[131] is likewise an augite-diorite. In the field it is seen weathered into rounded masses often resembling boulders, of great hardness, and covered with a blackish-brown skin. The sp. gr. is 2·97. Microscopic examination shows the rock, which is very fresh, to be essentially of the same type as that last described, but the augite is more abundant and so intimately mixed with the hornblende as to suggest even more strongly an alteration of augite to hornblende (see Fig. 21).
Most of the diorites of South-Eastern Egypt contain little or no biotite as an accessory constituent. An exception occurs, however, in a great dyke [10,391] of very fine grained diorite of sp. gr. 2·87, which traverses the granite of Gebel Abu Hegilig, and which contains more biotite than hornblende. The dyke is so decomposed that it is difficult to get a coherent hand specimen; but a slide cut from one of the less altered portions shows the rock to be a very fine grained holocrystalline one, made up of plagioclase, biotite, hornblende, apatite and magnetite, with abundant alteration products such as epidote,[291] kaolin, and chlorite. All the minerals, except the apatite and some of the iron oxides, are allotriomorphic. The felspars are very much altered, but appear to be mainly plagioclase. The biotite is in little brown ragged-looking plates, strongly pleochroic, frequently altered with separation of flakes of limonite. The hornblende is green, in small and very irregular-shaped crystals, which show very little trace of cleavage and are frequently chloritised. The apatite is in long hexagonal clear prisms. Iron oxides, sometimes showing square or hexagonal outlines, and epidote in granules, are liberally scattered through the rock. From the abundance of biotite and the fine grain and manner of occurrence of this rock it was taken in the field for a decomposed lamprophyre; but the entire absence of idiomorphism in the ferro-magnesian minerals show that it should rather be placed with the diorites.
Rocks which may be somewhat doubtfully classed as altered diorite-porphyrites occur at Gebel Abu Hodeid as well as near the ruins of Um Eleiga and at Gebel Um Heshenib.
The triangulation point on Gebel Abu Hodeid not being an occupied station, I have not visited the mountain, but the guide sent to erect the beacon on the summit brought back a specimen [12,143] of the rock. It is a very fine-grained dark grey rock with tiny glistening specks. The sp. gr. is 2·88. The microscopic slide shows it to consist of porphyritic plagioclase in a very fine-grained holocrystalline ground mass composed principally of brown hornblende and plagioclase, with a little biotite and a plentiful sprinkling of tiny granules of iron oxides. The porphyritic plagioclases are inclined to idiomorphic forms, forming crystals about half a millimetre in length, and hence are not very[292] conspicuous in the hand specimen; they are considerably clouded by decomposition, but still show repeated twinning very clearly. The hornblende, which forms the main constituent of the ground mass, is of a pale to dark yellow-brown colour, mostly in rounded granules in which cleavage is not very strongly marked. The plagioclase of the ground mass is likewise in tiny granules, mixed with the hornblende. Biotite is only sparingly present in the slide; it is in tiny brown flakes. All the minerals of the ground mass show more or less decomposition and clouding, and contain a fairly plentiful sprinkling of minute grains of iron oxides; flakes of this latter substance are specially evident in the decomposing biotite.
The diorite-porphyrite of Um Eleiga [11,527 B] occurs associated with fine grained gabbro round the old mines. It is a grey rock, breaking with a rough surface, in which porphyritic lath-shaped felspar crystals, up to three millimetres long, are somewhat sparsely scattered in a fine-grained ground mass. The sp. gr. is 2·82. The microscopic slide reveals the ground mass to be finely holocrystalline, composed of plagioclase and pale green to brown hornblende, with some magnetite. The plagioclase of the ground mass is partly in little laths, and the hornblende frequently shows a tendency to prismatic and fibrous forms. The whole rock is in a rather advanced state of alteration, all the crystals in the slide being strongly clouded by kaolin and other decomposition products.
The summit rock of Gebel Um Heshenib [10,392] appears to be a highly altered basic diorite-porphyrite forming a dyke in the surrounding schists. It is a dark-grey heavy rock (sp. gr. 3·04), of basaltic appearance, with white porphyritic patches, more or less rounded in form, scattered through it. The microscopic slide shows the white patches now to consist mainly of kaolinic matter, with which is mixed a clear mineral (sericite?), of very low refractive index, but showing[293] rather high double-refraction colours; while the ground mass is a very fine-grained mixture of rather fibrous pale green hornblende with kaolinic matter. Hardly a trace of unaltered felspar remains, but it seems natural to ascribe the kaolin both of the porphyritic areas and of the ground mass to the decomposition of original felspars.
A dyke of fine-grained brown rock which occurs in the granite of the lower part of Wadi Kreiga [12,102] likewise appears to be an altered diorite-porphyrite. It is much less dense than the rock last described, its sp. gr. being only 2·68. The microscopic slide shows the main constituent to be plagioclase felspar in idiomorphic forms, much altered to kaolin and calcite and stained red by iron oxide. Between the felspars are irregular patches of chloritic and serpentinous matter, with calcite and flakes of limonite, the alteration products of a ferro-magnesian mineral which was probably originally hornblende.
A dyke of augite porphyrite [10,353] occurs in the Wadi Muelih about half-way between Gebel Muelih and Erf el Fahid. It is a fine-grained reddish-brown rock of sp. gr. 2·79, with porphyritic white plagioclase crystals of considerable size (up to two centimetres in length) and other smaller porphyritic crystals of a dark schillerized-looking mineral. The ground mass, when examined with a hand lens, is seen to be a very fine-grained mixture of red and dark minerals, like a syenite in miniature. The microscopic slide reveals the dark porphyritic crystals as green hornblende, while the ground mass is a holocrystalline mixture of plagioclase and augite, with a little green to brown hornblende and abundance of magnetite granules. The felspars of the ground mass are mostly lath-shaped; they are much altered, and stained[294] red by iron oxide. The augite, of a very pale purple colour, is abundant in the ground mass, sometimes in prismatic forms, but more often in rounded grains; it is altered in places to chlorite, becoming then green in colour. The extinction angles measured in the less-altered crystals range to over 40°.
Only one occurrence of a rock which can be with certainty classed as a lamprophyre has been noted in South-Eastern Egypt. The single occurrence referred to is that of a kersantite [11,504] which forms a dyke cutting east-and-west through the granite of Gebel Fereyid. In the hand specimen (see Plate XXIII) it is a fine grained dark-grey rock, marbled with veinlets of brownish-white granular (felspathic?) material, and containing here and there porphyritic dark-brown platey crystals up to three millimetres in diameter. The sp. gr. is 2·81. Under the microscope, the rock presents a very fresh appearance, and is seen to be composed mainly of felspars and brown biotite, with a little accessory augite, green hornblende, apatite and magnetite. The biotite, the most conspicuous constituent, is seen partly in basal sections of perfectly idiomorphic forms, and partly as long lath-shaped sections; it is strongly pleochroic, the colour varying from pale yellow-brown to a very dark reddish-brown. The felspar, which has undergone some alteration, forms a sort of matrix round the biotite; here and there large crystals show a tendency to idiomorphism, but the felspar is essentially allotriomorphic. The felspar appears to be mainly oligoclase; but there are also some crystals which show only simple twinning, and these are doubtless orthoclase. The augite and hornblende are very sparingly present, the former in nearly colourless to[295] purplish crystals, the latter in tiny forms of a deep emerald or bluish-green colour, with very high double refraction. Magnetite is liberally scattered in small grains through the rock, seldom included in the biotite. Apatite occurs in very fine long needles among the felspars.
Andesites, the volcanic representatives of the diorites, are much more scarce in the south portion of the Eastern Desert than they are further north. In the district here treated of, only a single deposit, that of Gebel Sufra, has been noted as belonging certainly to the class of andesitic lavas. Some other volcanic rocks consisting chiefly of hornblende and plagioclase have been met with, as for instance at the hill of Ti Keferiai and in the Wadi Huluz; but these are of so basic a nature that they are more properly classed as hornblende-basalts. It is also practically certain that some of the rocks which must be classed as schists on account of their structure are metamorphosed andesites; among the schists of the Wadi Muelih, for example, are rocks which in thin section present a ground mass still distinctly andesitic in character, but the hornblendic constituent, instead of forming well-defined porphyritic crystals as it doubtless originally did, is dragged out into fibrous forms, and the same action can be traced in the hornblendes of the ground mass.
The andesite of Gebel Sufra [10,597] occurs as a columnar deposit overlying syenites and diorites at the top of the mountain, which rises to 690 metres above sea-level in latitude 24° 39′. The rock, which is a fine-grained greenish-grey one weathering to a brown colour on exposed surfaces, often shows a banded structure (see Plate XXIII). The sp. gr. is 2·67. The microscopic section shows the rock to be highly altered, but sufficient traces of its original nature can be made out to leave little doubt of its being an andesitic lava. The slides show porphyritic felspars in a cryptocrystalline ground mass composed of felspar with a little hornblende and biotite. The porphyritic felspars are too much kaolinised for twinning to be made out, but a little calcite is visible in their decomposition products, and the crystals are in rather elongated forms which suggest plagioclase rather than orthoclase. The minerals of the ground mass are likewise much decomposed, but tiny grains of green hornblende and wisps of brown[296] biotite, both altering to chlorite, can be seen. There is an almost complete absence of primary iron oxides, but a single large porphyritic crystal in the slide shows separated hæmatite in flakes and in strings down its cleavage planes. The nature of this single crystal is not very clear, and it is doubtful if any of its original substance remains; its form and cleavage are suggestive of augite, but the clear spaces unoccupied by the iron oxide have the appearance of quartz or clear felspar under crossed nicols.
Fig. 26.—View near the top of Gebel Sufra, showing the columnar structure of the andesite.
Fig. 27.—Andesite of Gebel Sufra [10,597], as seen between crossed nicols, × 40. Porphyritic felspar crystals in a cryptocrystalline ground mass.
Gabbros (or plutonic plagioclase-pyroxene rocks with or without olivine) are widely distributed in South-Eastern Egypt, entering largely into the composition of some conspicuous mountains such as Gebels Atut, Madaret Um Gamil, Um Gunud, Um Bisilla, Dahanib, Gerf, and Hadal Aweib Meisah, and also occurring in smaller patches at various other points.
Though they are all dark-coloured, tough and heavy rocks (specific gravity from 2·8 to 3·2), the gabbros vary very much in appearance at different places owing to variations in size of grain and in mineral composition. Thus we have every gradation from the coarse-grained[297] gabbros such as those of Um Bisilla and Gerf, where the individual crystals measure sometimes two or three centimetres in length, through the medium grained rocks of Atut, Dahanib and Hadal Aweib Meisah, to the granulitic gabbro of Kolmanab hill, of which the grain is so fine that the rock looks almost like a basalt. In mineral composition, the gabbros show likewise great variety. Some, like the rocks of Um Bisilla, are relatively rich in felspar, and are lighter both in colour and in weight than others in which the pyroxenes predominate; in some cases the proportion of felspar almost vanishes and the rock passes into a pyroxenite. Some of the gabbros, such as those of Atut, contain olivine, while others, such as the rocks of Gebel Dahanib, do not. The nature of the pyroxene varies, being sometimes almost entirely diallage, while in others it is mainly ordinary augite, and in others, again, rhombic pyroxenes such as bronzite and hypersthene occur. A further variation is the presence of hornblende in some gabbros, either as an accessory primary constituent or as an alteration product of a pyroxene. In the uppermost rock of Gebel Um Bisilla we have an example of troctolite, a form of gabbro in which there is no pyroxene but only felspar and olivine.
In the field, mountains and hills formed of gabbro are typically of dark aspect, though frequently less dark than a freshly broken surface of the rock, owing to a film of iron-oxide which forms on weathered faces. This film is most strongly marked in the olivine-bearing varieties of the rock; it is very thin, good sound rock being usually found at a depth of a millimetre or so below the exposed surfaces. In form, hills of gabbro are usually in the form of flattish cones and ridges, whose surfaces and summits are covered with a debris of rusty-looking weathered blocks of the rock. This blocky type of summit is well seen at Gebel Atut (see the view on Plate X, p. 172).
Though sometimes sharply marked-off from the adjacent rocks, gabbros, when traced laterally in the field, are most frequently found to pass gradually into more basic forms such as pyroxenites, amphibolites, and serpentines. It is not always easy in the field to distinguish between augite or diallage and hornblende, and one or two rocks which were taken for gabbros turn out on microscopic study to be really basic diorites or hornblende-rocks; while a rock at Um Eleiga, which strongly resembles a rather fine-grained diorite in appearance, turns out to be a gabbro. The limit between gabbros and peridotites[298] is exceptionally difficult to map, the proportions of olivine, augite, bronzite, and felspar changing very frequently in the same rock mass, as for instance at Gebel Gerf.
Almost all the gabbros contain a considerable amount of magnetite as an accessory constituent, and in some cases, as at Gebel Hadal Aweib Meisah, magnetite is present in such quantity as to render the rock strongly magnetic. Compass readings in the neighbourhood of large masses of gabbro are almost always subject to more or less error from this cause. In the case of a gabbro discovered by Dr. Hume to the west of Gebel Ranga, near the coast about latitude 24° 24′, concentration of the ferruginous matter has gone on to such a degree as to give rise to deposits of hæmatite containing 39 per cent of iron.[132]
Perhaps the most striking feature evident in the microscopic slides cut from the gabbros is the remarkable freshness of the felspars in most of the specimens, which, taken in conjunction with the basic nature of the rocks, inclines one to consider the basic rocks as probably on the whole amongst the youngest of the plutonic masses. Another characteristic feature is “celephytic” structure, in which a shell of green hornblende is found to surround the iron oxides and pyroxenes when they are embedded in, or in contact with, the surrounding felspar.
A typical olivine-free gabbro [11,509] forms the main rock of Gebel Dahanib. A specimen taken from the summit, where the rock is rather finer in grain than that of the rest of the mountain, is very hard and heavy (sp. gr. 3·15), and is formed of a mixture of dark dull-looking mineral with shining white to colourless felspars. Under the microscope it is seen to be a holocrystalline aggregate of fairly[299] fresh labradorite and pyroxene, both in allotriomorphic forms, in about equal proportions. About half the pyroxene is in the form of diallage, the remainder being mostly ordinary augite; it is almost colourless in thin section, but some of the crystals show a slight pleochroism, colourless to pale pinkish-brown. The augite crystals are much cracked, and frequently show signs of alteration with formation of calcite, epidote and serpentinous matter. There are a few small irregular areas of very pale green hornblende mixed with the augite, of which they may possibly be products of alteration. One or two elongated crystals in the slide, barely distinguishable from the augite under ordinary light, show a fibrous structure and straight extinction with low double-refraction colours; these are probably bronzite. There are only a few very tiny grains of iron oxide, and olivine appears to be absent from the slide examined.
A fine grained gabbro free from olivine occurs associated with diorite round the old mines of Um Eleiga [11,527 A]. It is a speckled black-and-white rock which would at first sight be taken for a fine-grained diorite rather than a gabbro. Its sp. gr. is 2·93. On microscopic examination the rock is found to be a holocrystalline aggregate of plagioclase, augite, altered hornblende, and magnetite, with granitic structure. The plagioclase (labradorite) is considerably altered and clouded by kaolinic matter, especially near the centres of the crystals, but still shows its characteristic twinning clearly. The augite, which is sometimes in the form of diallage, is fairly abundant, mostly in irregular grains, though occasionally inclining to prismatic forms; it is nearly colourless, but much cracked and slightly clouded. A clouded pale green to brown mineral, which sends off long tongues into cracks in the surrounding felspars, is also fairly abundant. This mineral polarises in yellows and greys as a confused serpentine-like aggregate of minute fibres, but contains clear and nearly[300] colourless areas representing the original mineral from which it is derived; these clear areas, in which prismatic cleavage is usually well marked, are sometimes augite, but in many cases they polarise in lower colours (greys and yellows) than the augite, with low extinction angles, and are probably hornblende. Magnetite is very abundant in quite large irregular grains, often surrounded by a thin shell of hornblende or of the clouded alteration product just mentioned. There are a few small six-sided prisms of apatite, mostly included in the felspars.
Another variety of fine-grained gabbro, likewise free from olivine, but containing hypersthene and some hornblende [12,126], forms the upper portion of Hadal Aweib Meisah, and a very similar rock [11,521] occurs in the hills five kilometres south-south-west of Marwot Elemikan. The rock is very hard, of a grey colour on fracture, weathering to blocks which have a rusty-brown skin. Its sp. gr. is 2·98. It is highly magnetic, and causes great disturbance of the compass needle in its neighbourhood. The hand specimen shows a mixture of shining white felspars with duller black minerals (see Plate XXIV). On microscopic study, the rock is found to be a holocrystalline aggregate of plagioclase, augite, hypersthene, hornblende and magnetite. The plagioclase, which forms about two-thirds of the rock, is a very clear and fresh labradorite of a rather acid type. The augite is usually in more or less rounded grains, often aggregated into irregular strings and mixed with hypersthene and magnetite. Only in a few cases does the augite show diallagic lamellation. It is nearly colourless, with a slight greenish or pinkish-brown tinge and faint pleochroism. The prismatic cleavages are usually distinct, and in addition the crystals are irregularly cracked. Twinning is fairly frequent, as also are inclusions of magnetite in the augite. The hypersthene occurs in grains similar to those of the[301] augite, with which it is mixed, and from which at first sight it is not easily discriminated; but it can be picked out by its more marked pleochroism, straight extinction, and lower double refraction. Magnetite is abundant in large irregular grains, and in smaller granules included in the augite. Hornblende occurs in subordinate amount to the other minerals, and is principally seen as a celyphitic zone round the magnetite and augite crystals, especially between these crystals and the felspars. It is usually fairly clear, strongly pleochroic (deep greenish-brown to very pale yellowish-brown), and where surrounding two or three grains of other minerals the whole zone extinguishes at once, showing it to be a single crystal.
| Ball.—Geography & Geology of South-Eastern Egypt. | PLATE XXIV. |
BASIC AND ULTRA-BASIC IGNEOUS ROCKS.
NATURAL SIZE.
The main portion of Gebel Um Bisilla is formed of a gabbro [11,514] containing a relatively small proportion of pyroxene and a considerable amount of olivine. In the mass, it is a hard tough rock, consisting of a mixture of white to greenish felspars, showing plagioclastic twinning with the lens, with dull dark minerals, some of a greenish colour and others of a rusty-brown appearance (see Plate XXIV). The sp. gr. of the rock is 2·8. The labradorite, which forms about two-thirds of the whole, is very fresh, but is here and there decomposed with formation of calcite along cracks. The pyroxenic constituent is now mostly represented by dusty looking very pale greenish-brown straggling crystals interstitial to the felspars; it appears to have been originally diallage, but is in an advanced stage of alteration, polarising as a confused fibrous mass of hornblende and chlorite, with irregular banding in a direction inclined at about 30° to the general direction of the fibres. The olivine is in large rounded grains, nearly colourless where unaltered, showing the usual irregular cracks; some of the grains are altered to yellowish-green serpentine, with separation of granules of iron oxide.
[302]Of the fine-grained olivine-gabbros, one of the principal types is the rock of Gebel Atut and Madaret Um Gamil [10,365]. It is a dark heavy rock, weathering into angular blocks with a thin rusty skin, of great hardness and ringing under the hammer. On a fresh fracture, it is seen to be made up of white glassy felspars and dark brownish minerals, some of which have a platey structure with cleavage surfaces which flash as the specimen is turned about in the sunlight. The sp. gr. is 3·01. Microscopic examination shows the rock to be a holocrystalline aggregate of plagioclase (labradorite), augite, hornblende and olivine, with a very little magnetite. The labradorite, which forms about half the rock, is very clear and fresh, in large crystals which frequently show a tendency to idiomorphism. Smaller crystals of labradorite are frequently included in the augite and hornblende. Augite, the next most abundant constituent after the felspar, is present in irregular almost colourless grains with well marked cleavage and numerous irregular cracks, and sometimes slightly clouded. The extinction angles measure up to 36°. The hornblende is in some crystals of a rather pale greenish-brown colour not showing very strong pleochroism, while in others it is more strongly coloured, varying from a rather deep reddish-brown to very pale yellowish-brown when turned over the nicol. The hornblende and augite are frequently associated in such a manner as to suggest that much of the hornblende in the rock originated from alteration of augite. The olivine is fairly abundant in large rounded grains, with the usual blackened irregular cracks; it is mostly fresh, but here and there are patches converted into nearly colourless serpentine with separation of numerous granules of iron oxide.
Fig. 33.—Olivine-gabbro, from a hill eleven kilometres east of Gebel Selaia [10,412], × 17. pl, plagioclase felspar (labradorite); a, augite; hy, hypersthene; o, olivine, with irregular cracks marked by separated magnetite; h, hornblende, enclosing the other minerals and forming a pseudocelephytic border round the olivine and augite. The rock typically contains a somewhat greater proportion of hornblende than appears in the figure.
Another olivine-gabbro [10,412], which forms a hill rising from the plain about eleven kilometres east of Gebel Selaia, resembles that of Gebel Atut, but is rather coarser in grain and contains less plagioclase,[303] a larger proportion of hornblende, and probably a little accessory hypersthene. It is a dense dark and tough rock of sp. gr. 3·17, containing large black schillerized-looking crystals sometimes measuring one centimetre across, and a liberal sprinkling of white plagioclase with a few tiny grains of pyrite. Under the microscope, very clear and fresh labradorite is seen to form less than one-third of the rock; the crystals, which are mostly of irregular outline, are frequently enclosed in the hornblende. The hornblende occurs very abundantly as larger irregular green and brown crystals, with well-marked prismatic cleavage; it often encloses crystals of all the other minerals, forming a pseudo-celephytic border round the enclosed augite and olivine. Augite is somewhat less abundant than the hornblende, with which it is intergrown, in pale pinkish-brown crystals, slightly pleochroic, with very distinct vertical cleavage and irregular cracks. Twinning is not very frequent. The extinction angles are usually under 30°. A few crystals which show slightly stronger pleochroism (pinkish-brown to very pale green) than the ordinary augite, and straight extinction, are probably hypersthene. Olivine is present in about equal quantity with the augite, in large irregular grains, much cracked, but otherwise fairly fresh, polarising in brilliant colours; the cracks are blackened with separated iron oxide, but there is very little serpentinisation. There are a few small grains of pyrite and magnetite, but iron ores are not nearly so conspicuous as in some of the other rocks of this class.
Fig. 34.—Troctolite of Gebel Um Bisilla [11,522], × 17. The crystals with the dark irregular cracks are olivine (o), altering to serpentine (s); the resulting expansion has crushed the surrounding clear plagioclase crystals (pl), forming large numbers of curved cracks into which little tongues of serpentine project.
If the gabbro of Gebel Um Bisilla is followed towards the summit, a diminution in the pyroxenic content, with a corresponding increase in the proportion of olivine, is noted, and at the top of the mountain[304] we have a troctolite, or rock composed essentially of plagioclase and olivine [11,522]. It is a heavy speckled black-and-white rock, made up of colourless to milky and greyish-black grains about three millimetres diameter (see Plate XXIV). Its sp. gr. is 2·84. The rock looks like a diorite in the hand specimen; it weathers to rusty looking blocks of remarkable hardness. Under the microscope the mineral which looks greyish-black in the hand specimen is found to be olivine, colourless where unaltered in thin section; but the usual alteration to serpentine has gone on along irregular cracks, and the separated granules or iron oxide give the black colour to the mass. The felspar, which forms considerably more than half the rock, is a very fresh, though occasionally much cracked, labradorite. Both the constituent minerals are present in allotriomorphic grains.
The rock [12,132] forming the hill called Kolmanab, which rises from the coast-plain in latitude 22° 32′, resembles the fine-grained olivine free gabbros very closely in composition, but on account of its marked granulitic structure, is termed a pyroxene-granulite. The rounded form of the grains has probably been conditioned by movement of the magma during consolidation, but the rock contains no garnet or other typically metamorphic mineral, and there appears to be no reason for regarding this particular granulite as other than an igneous rock. It will have been noted that the augite grains in some of the fine grained gabbros show a marked tendency to granulitic forms, and the rock of Kolmanab appears to be merely an example of this tendency extending to the other constituents. The field relations are such as to suggest an intrusive boss. The rock is very[305] hard and heavy, greyish-black and basaltic-looking; fresh fractures show tiny glistening grains when turned about in the hand. Its sp. gr. is 3·13. Microscopic examination shows it to be essentially a granulitic mixture of augite and plagioclase with a considerable amount of magnetite, and a little hornblende. All the minerals are of remarkable freshness, in rounded grains about a tenth of a millimetre in diameter. The augite, which forms about half the rock, is of a very pale green colour, sometimes showing faint traces of pleochroism with the same pinkish tints as hypersthene, from which, however, it is easily distinguished by its high extinction angles. It encloses abundant rounded colourless granules, which appear to be felspar. The felspar is an acid labradorite, and forms a mosaic among the augite grains; besides the twinned crystals, there are others which show no trace of this feature, and some of these may possibly be quartz. Hornblende occurs, not very abundantly, in larger crystals than the other constituents, grains of which it frequently encloses; it is of an olive-green colour. Magnetite is scattered through the entire rock in rounded grains, and is specially frequent enclosed in the hornblende.
Under the heading of diabase are included plagioclase-augite rocks, with or without olivine, of a character intermediate between gabbro and basalt. They differ from the gabbros in their finer grain, in the general absence of diallagic structures in the augite, and in the more or less porphyritic nature of their felspars, which are often ophitically intergrown with the augite. They differ from basalts, on the other hand, in being of coarser grain, and typically containing no glassy matter. The diabases of South-Eastern Egypt are more closely allied to the volcanic division of the basic rocks (basalts) than to the[306] plutonic (gabbros), and many of the rocks here classed as diabases would be called dolerites by some English writers.
Perhaps the most interesting occurrence of diabase in this part of Egypt is a thick bed underlying the Nubian sandstone and exposed along the feet of its eastern scarps between latitudes 24° 30′ and 25°. Owing to the north-westerly trend of the scarp, it is cut obliquely by the meridian of 34°, and consequently only the southern portion of the deposit is shown on the geological map of Plate XX. The bed is well seen on the west of the road leading from Baramia to Dungash mines; this road follows the foot of the scarp for a long distance. The thickness of the diabase sheet as seen on this road is at least ten metres, and is very uniform for several kilometres. The rock is crushed and decomposed to such a degree that it is difficult to get a fair-sized specimen. Below the diabase, at a few points along the road, there are exposures of an ancient conglomerate of dark colour and extreme hardness. The relations of the bed to the sandstone are not absolutely certain, but the impression I got, when I passed the exposure on the two occasions of my outward and return marches, was that the diabase was an extensive outflow over the old conglomerate (thus indurating the latter), the sandstone being subsequently laid down on the undenuded diabase. The diabase is thus probably Cretaceous in age. A hand specimen [10,417] from one of the least decomposed portions of the sheet, in the Rod el Nagi, about fifteen kilometres west of Gebel Muelih, shows white to glassy porphyritic felspar crystals, frequently in lath-shaped forms measuring up to eight millimetres in length, in a fine-grained grey ground mass (see Plate XXIV). The rock contains many rusty specks, and occasionally as one turns the specimen about in the hand one can catch a rather dull flash from a crystal of some dark mineral. The sp. gr. of the rock is 2·85. Under the microscope the porphyritic felspars, which are very[307] clear, are seen to be mostly plagioclase, though some of the crystals show simple twinning and may be orthoclase. The ground mass is holocrystalline, composed of felspar, augite, and limonite. The felspars of the ground mass are in the form of thin laths, with repeated twinning. The augite is nearly colourless, with a very pale brownish or greenish tinge, generally clouded by brown dusty matter and small irregular cracks. It forms irregular grains which are cut up in all directions by the ophitically intergrown felspars. The limonite is extremely abundant, scattered through the ground mass in rather large irregular grains which frequently show a tendency to square or hexagonal outlines; it is mostly opaque, but in some parts it is translucent, with a deep brown colour. The limonite is doubtless an alteration product of other minerals, probably magnetite and biotite, of which, however, no distinct traces now remain.
Besides forming the sheet under the Nubian sandstone, diabase occurs fairly abundantly in schists at various points, where it appears to form intrusions. A characteristic of these occurrences is its weathering into rusty looking brown “cannon balls.” Altered forms of diabase are associated with peridotites and other ultra basic rocks in the serpentine mass of Gebel Gerf (see p. 328). Diabase also forms veins, frequently magnetic, penetrating granites and schists, and at one point, near the foot of Gebel Awamtib, a dyke of diabase is even found penetrating the Nubian sandstone.
It is probable that these diabases are of very different ages at different points. While the occurrences associated with the sandstone are certainly of Cretaceous age, it seems difficult to imagine that those associated with the schists and serpentines are not vastly older; for though they are obviously younger than the schists, and possibly younger than the peridotites, they frequently show metamorphism to a degree which it is difficult to reconcile with a Cretaceous age, and which suggests that they antedated the folding which formed the ancient mountain chain on the flanks of which the Cretaceous strata were laid down.
As an example of a diabasic intrusion with “cannon ball” weathering, we may take the rock [10,400], which occurs in schists on the flanks of Gebel Abu Hamamid. When one of the rusty looking “cannon balls” is broken, the interior is seen to be a dark grey rock of very fine grain. The sp. gr. is 2·93. The microscopic slide shows[308] the rock to be holocrystalline, consisting mainly of augite and plagioclase, ophitically intergrown, with some rather large grains and strings of a nearly isotropic clear yellow-green mineral, and scattered grains of iron oxides. The augite is of a pale brown colour; some of the crystals are fairly clear, while others show strong clouding and separation of iron oxide. The nature of the yellow-green mineral is somewhat uncertain; it polarises generally in very low colours, as an aggregate of fibres and tiny plates, sometimes showing a spherulitic structure between crossed nicols. Occasionally it includes granules of a highly refracting colourless mineral, possibly olivine; but there is a remarkable absence of the separated iron oxide which is usual with altering olivine, and the granules exhibit only very fine irregular hairlike cracks; if it is serpentine resulting from alteration of olivine, the olivine must have been a variety poor in iron.
Turning now to the occurrence of diabase in dykes, a large dyke in the gneiss at the junction of Wadis Huluz and Gemal [10,393] consists of a very hard and heavy, strongly magnetic, greyish black rock of rather fine grain, in which a dark-brown platey mineral is mixed with grey and white matter. The sp. gr. is 2·95. Under the microscope the constituents are seen to be plagioclase, olivine, augite and magnetite, with small amounts of biotite and apatite. The plagioclase appears[309] to have formed in two generations, for while the bulk of it is in small lath-shaped crystals (frequently with radial grouping), there is a very large porphyritic zoned crystal in the slide. The olivine is in large crystals, usually rounded, but occasionally tending to hexagonal outline with the usual strongly marked black irregular cracks. A little serpentinisation has gone on at the edges and along cracks of a few of the crystals, but, as a rule, the olivine is very fresh; it is never intergrown with felspars. The augite is slightly pleochroic, of a purple to brown tint, in irregular forms, partly in moderate sized crystals and partly in tiny grains in the ground mass. The crystals are much cracked. Ophitic structures are not conspicuous. Brown biotite is very sparingly present in small flakes. Magnetite is liberally scattered in small grains in the augite of the ground mass. Apatite occurs in minute prisms included in the felspars.
The diabase dykes which penetrate the granite in Wadi Kreiga [12,110] differ from the rock last described in their freedom from olivine and in showing marked ophitic structure. They are dense brown to black rocks of very fine grain, with porphyritic felspar crystals here and there. The sp. gr. is 2·98. Microscopic study shows them to be holocrystalline rocks, composed of an ophitic mixture of rod-shaped plagioclase with altering augite and hornblende. Both the ferro-magnesian minerals are very much clouded, and contain plentiful strings of iron oxide. The hornblende is dark green, often forming celephytic shells round the augite, and is probably largely an alteration from augite. There is very little of the nature of a ground mass, the augite and hornblende practically filling all the spaces between the felspars.
The rock which forms the top of Gebel Um Khariga [10,373] appears to be an altered mica-diabase. It is highly magnetic; the compass was found to point 20° out of its normal position at the station on the hill, while hand specimens broken off the rock showed strong polarity, some parts attracting and other parts repelling the needle; a fragment of the size of a pea deflected the compass needle several degrees when placed near it. It is a dark brown rock, of sp. gr. 2·83, very rotten, which in the mass looks like an altered dolerite. Microscopic study of a slide reveals the presence of altered plagioclase, in rather large lath-shaped crystals; biotite, largely altered to opaque iron oxide, the flakes of which show marked geometric forms; scattered grains of magnetite, and some secondary calcite. The brown clouded mineral polarises as a confused fine-grained and fibrous aggregate in low colours; it is probably altered augite, with which the plagioclases were ophitically intergrown, but is in too highly altered a state for certain identification. The strongly magnetic character of the rock would appear to indicate that the iron oxides produced by the alteration of the biotite are, like the primary grains, in the form of magnetite.
Basalt, the volcanic representative of the gabbros and diabases, is quite a scarce rock in South-Eastern Egypt, having been noted at only four or five points. Fairly fresh olivine-basalts, probably comparatively late intrusions, form the two conspicuous low hills near the coast called Gimeida and Einiwai; more altered rocks of basaltic type occur at the head of Wadi Um Deheisi (north of Gebel Kahfa), and in the[311] hills on either side of the Wadi Huluz some ten kilometres north-west of Gebel Hamata; while an amygdaloidal rock which forms a large part of the hill-mass of Ti Keferiai has been classed as an altered hornblende-basalt.
The basalt of Gimeida Hill [12,156], is a hard heavy block rock of sp. gr. 2·88, of dull aspect, with glassy white to colourless plagioclase crystals up to three millimetres diameter scattered through it, and here and there a dark diallagic crystal and some greenish glassy-looking grains of olivine. The microscopic slide shows the rock to be remarkably fresh; the porphyritic plagioclase and olivine crystals are seen to be embedded in a crystalline ground mass containing little lath-shaped plagioclases, with granules of pale brown augite, and abundant grains of magnetite.
The basalt of Einiwai [12,144] differs from that of Gimeida in the absence of porphyritic felspars. It occurs capping the red granite which forms the lower part of Einiwai Hill and the surrounding plain. It is a hard dull black rock with little glassy colourless to pale green crystals plentifully scattered through it (see Plate XXIV). The sp. gr. is 3·10. The microscopic slide shows porphyritic crystals of olivine, augite, and picotite, in a very fine-grained semi-glassy ground mass containing tiny laths of felspar and grains of augite and magnetite. The porphyritic crystals all show a remarkable absence of colour in the slide, which has been cut exceptionally thin on account of the darkness of the ground mass; this thinness of the slide doubtless accounts for the minerals all showing relatively low polarisation colours. The porphyritic crystals are mostly in six-sided and prismatic forms, but sometimes show as rounded grains; cleavage is usually indistinct, but irregular cracks are common, and some of the crystals are broken in two and the halves separated. Most of the six-sided crystals show straight extinction, and are probably a non-ferruginous olivine (forsterite);[312] they show very little alteration, there being a general absence of serpentinisation or magnetite-separation along the cracks. The prismatic porphyritic crystals are in forms resembling those of augite, and some of the crystals show extinction sufficiently oblique to justify their identification as augite; others, however, showing straight extinction and very low polarisation colours, are probably enstatite. The picotite is in rather large isotropic rounded grains, of a pale green colour with a well marked opaque border of chromite.
A peculiar basaltic rock [10,408] occurs at the top of Wadi Um Deheisi, at the pass into Wadi Um Retba, on the road which passes from Bir Shadli to the north-east of Gebel Kahfa. It is a black rock of sp. gr. 2·98, and of such fine grain that practically nothing can be made out with a lens. It is remarkably magnetic, the compass being deflected by 13° from its normal direction at a plane-table station on the pass. The microscopic slide shows rounded and angular clear areas in a cryptocrystalline ground mass of greenish colour, full of specks of magnetite. The rounded clear areas are occupied by a very pale brownish mineral, probably augite, forming nests of crystals in different orientations, with fairly well-marked cleavages, high extinction-angle and fairly high double refraction. The angular clear areas are mostly colourless; they seem to consist chiefly of altered felspar, but some of them are formed of a fine mosaic of quartz granules. The ground mass is largely of chloritic nature, with small fibres of hornblende and some decomposed felspar. Its large content of rounded magnetite granules accounts for the magnetic character of the rock.
The basalt of the Wadi Huluz [10,410] is a close grained greenish-black rock containing white spots (amygdules) up to three millimetres diameter. Its sp. gr. is 2·93. The microscope shows the main bulk of the rock to be formed of lath-shaped plagioclase crystals, around and between which is green matter, now mostly chlorite. Here and[313] there are small clear areas within the green patches, which show bright polarisation colours, and are probably augite, being the remains of the original mineral which has been largely chloritised. There is a fair amount of magnetite in scattered grains. The amygdules are partly filled with clear quartz, and partly with zeolites.
The hill mass of Ti Keferiai is largely made up of a fine-grained black rock [12,120], of sp. gr. 2·99, in which are greenish-white and pink amygdules up to two millimetres diameter. It is frequently much crushed, and in one place it has been broken into a coarse breccia and cemented with rose quartz [12,123]. The microscopic slide shows the main part of the rock to be a fine-grained mixture of pale hornblende with altered plagioclase, while the amygdules are filled with radiating zeolites. The amygdules seem to indicate that the rock is a volcanic one, and it has been classed as a basalt rather than as an andesite on account of its basic nature and high specific gravity. Its texture is microgranitic rather than basaltic, a circumstance perhaps in part due to the crushing it has undergone; the rock is passing into a schist.
The ultra-basic igneous rocks (i.e., rocks practically free from felspar and composed entirely of ferro-magnesian silicates such as pyroxenes, amphiboles, and olivines), though forming but a small part of the earth’s crust in general, occur in very large proportion in the igneous masses of South-Eastern Egypt, where they cover several hundred square kilometres and form prominent mountain-masses such as those of Gebels Dahanib, Korabkansi, and Gerf. They may be classified into:—
(a) Pyroxenites (rocks composed essentially of pyroxenes);
(b) Amphibolites (rocks composed essentially of hornblende);
(c) Peridotites (rocks composed essentially of olivine, with or without pyroxenes and amphiboles);
All these ultra-basic rocks are easily altered to
(d) Serpentines, in which the original minerals may or may not be traceable.
A characteristic of the ultra-basic rocks here, as in other parts of the world, is their gradual transition into one another, showing that[314] the various forms have arisen from consolidation of parts of one and the same magma owing to slight differences in composition or in the physical conditions under which consolidation has taken place. A further noteworthy circumstance is their gradual passage into basic rocks; there is no hard-and-fast line to be drawn, for instance, between basic diorites and amphibolites, nor between basic gabbros and pyroxenites, nor between olivine gabbros, poor in felspar and peridotites, these various classes being found to pass by insensible gradations one into another as they are followed up in the field. Moreover, being typically coarse-grained rocks, and pyroxenes and amphiboles being often indistinguishable in the hand specimen, great caution has to be exercised in naming a rock mass from a few microscopic slides which of necessity each embrace at most but a few square centimetres of section.
In the field, the appearance and cohesive strength of the ultra-basic rocks varies primarily with the extent to which they have been altered towards their final stage of serpentinisation. Where they are least altered, they form black masses of hard heavy crystalline rock of such toughness that they are only broken with difficulty with a sledge hammer; while in the cases where serpentinisation has proceeded to the greatest extent, they frequently form foxy red or even pink-looking hills which might almost be taken for granite from a distance, and they are so shattered that the rock comes off literally in tons at a mere touch; in these cases, long search is necessary to find a coherent piece large enough for a museum specimen. The brown or pink colour just referred to is of course only superficial, but in the untrodden and rainless wilderness surface films remain unbroken and give characteristic colours to the scenery. Freshly fractured surfaces are always dark green, dark brown, or black, with more or less crystal structure visible according as the rock is less or more altered; pyroxenites or amphibolites, when but little altered, are a mass of lustrous platey or fibrous dark crystals, while serpentines are typically of dull aspect. The specific gravity is high, ranging from as much as 3·1 in the less altered forms down to about 2·6 in those which are more completely serpentinised.
The process of serpentinisation is of course a chemical change, consisting largely in the combination of water with ferro-magnesian silicates free from alumina; but it is remarkable how frequently this chemical change has been accompanied by a parallel physical deformation.[315] Serpentines are almost always shattered rocks, full of slickensided surfaces; when we compare the low sp. gr. of serpentine (2·6) with that of augite, hornblende, or olivine (about 3·2), we naturally conclude that the shattering of the rock is in all probability due to the expansion on hydration causing internal stress, and the slickensiding is due to the rock yielding along certain surfaces. The cracking of felspars and the forcing of serpentine into them, which are frequently seen in thin sections of olivine rocks, such as the troctolite shown in Fig. 34 on p. 304, shows on a small scale the physical effect of expansion on serpentinisation, and should lead us to expect a corresponding effect in rock masses. It is thus not necessary to infer great tectonic movements to explain the shattering of the rock, and in fact the disposition of the serpentines in broad mountain tracts like Gebel Gerf is opposed to the idea of there being here any local accentuation of folding or crushing by general crust-crumpling. I have calculated that a horizontal sheet of pyroxenite of sp. gr. 3·1, ten kilometres wide, confined between fixed abutments and prevented from increasing its thickness, would rise into an arch having a height of about two and a quarter kilometres at its centre if converted into serpentine of sp. gr. 2·6; this is, of course, not given as a precise example of what may actually have taken place, but it will serve to show that expansion on hydration may produce dynamical effects not inferior to those of contraction of the earth’s crust, such as are believed to be the main cause of mountain formation, and to explain why we may find serpentines shattered to fragments and full of slickensided surfaces in areas where the surrounding rocks show comparatively little evidence of dynamo-metamorphism.
Heavy dark green rocks, of medium to coarse grain, and consisting almost entirely of a schillerized-looking mineral, form the hill-masses of Gebels Um Ein and Qrein Salama, and similar rocks are found in connexion with gabbro at Gebel Um Gunud and elsewhere. From the diallagic appearance of these rocks in the hand specimen, they were classed in the field as pyroxenites or diallage rocks. But an examination of the slides cut from the specimens reveals the main constituent to be hornblende, and the rocks must therefore be placed in the division of amphibolites. It is, however, highly probable that these rocks[316] were originally pyroxenites, the hornblende having originated mainly from the alteration of augite; the change from augite to hornblende in the gabbros has already (p. 302) been remarked, and in these ultra-basic forms the same process appears to have gone on.
Some parts of the great ultra-basic mass of Gebel Gerf consist of bronzite-rock. Specimens from the least altered portions consist almost entirely of bronzite, sometimes with a little olivine; the rocks are, however, generally found passing into serpentine, such as forms the main portion of the mountain, and on microscopic examination even the freshest portions always exhibit more or less serpentinisation. It will accordingly be preferable to treat of these rocks under the heading of serpentines.
Rocks consisting almost entirely of hornblende occur in considerable masses in the neighbourhood of Gebel Um Gunud, and form the conspicuous hills Gebel Um Ein and Qrein Salama; they also occur in a small patch about three kilometres east of Erf el Fahid. In the field, especially with the coarser-grained varieties, there is often considerable difficulty in identifying the main constituent of the rock as hornblende, owing to the schillerized appearance of the mineral being more suggestive of diallage; the mass east of Erf el Fahid, for instance, was classed in the field as a basic gabbro or diallage-rock, instead of a very basic diorite or hornblende-rock, such as the microscopic examination proves it to be. These rocks are always very heavy and extremely tough; they weather commonly into great rusty-looking rounded blocks, and a sledge hammer is required to get a specimen.
Fig. 43.—Amphibolite, from hills near Gebel Um Gunud [11,511], × 30. Almost the whole of the figure is occupied by hornblende, which is seen clouded and altering to granular epidote at e. Part of a large grain of calcite, bordered and streaked with iron oxide, is seen at c, while q is a small crystal of interstitial quartz. The slide also contains a small proportion of plagioclase felspar, not shown in the figure.
The amphibolite of the hills about Gebel Um Gunud [11,511] is a very hard and heavy coarse grained greenish-black rock composed almost entirely of shining platey-looking crystals of hornblende, which often reach two centimetres in length and breadth. The sp. gr. is 3·08. The microscopic slide shows the rock to be granitic in structure and to contain, in addition to hornblende, small amounts of plagioclase, quartz, calcite, and iron oxides. The irregular-shaped hornblende crystals show strong pleochroism, from pale olive-brown to moderately deep green. The extinction angles are large, being frequently over 20°. Twinning of the crystals is fairly common. Many of the crystals[317] are clouded, and the alteration of the mineral has resulted in the formation of much epidote. The plagioclase is only present in very small quantity, strongly clouded by decomposition, but still showing twinning clearly. The quartz is clear, and is likewise present in very small proportion, mostly interstitial. Calcite is fairly plentiful in large rounded and irregular grains, rather turbid-looking, of a brownish or greenish tinge, outlined and streaked with strong lines of iron oxide, in a way which at times suggests that the calcite may possibly be the result of alteration of a lime olivine.
A specimen of amphibolite [11,528] obtained from a hill near the junction of Wadi Abu Marwa with Wadi Naait, about seven kilometres north-east of Gebel Um Gunud, is a dark green rock of rather fine grain, made up of shining plates and small fibrous crystals of hornblende and chlorite. Its sp. gr. is 2·97. Under the microscope the hornblende is in rather ragged-looking irregular crystals of various sizes, all interlocked with each other, rarely showing any approximation to idiomorphism except in the smaller crystals, which are commonly limited by prismatic faces; these smaller crystals are frequently included in the larger ones. The pleochroism is fairly strong, a pale olive brown, c moderately deep green. Prismatic cleavage is well marked. Extinction angles are often large, ranging up to 24°. A few of the crystals are slightly bent, and many show more or less clouding owing to partial alteration to chlorite, but on the whole the rock is fairly fresh. Except for a few specks of magnetite, and the alteration product chlorite, the rock contains nothing but hornblende.
The hornblende-rock or amphibolite of Gebel Um Ein [12,130] is of medium grain, almost entirely made up of shining crystals of hornblende with a little chloritic matter. The sp. gr. is 3·03. The[318] microscopic slide shows large individuals of hornblende inclining to idiomorphism, set in a sort of ground mass of smaller crystals. The hornblende shows the same strong pleochroism and high extinction angles as in the two rocks just described; it is frequently clouded and speckled with iron oxides, and often full of lighter-coloured patches which extinguish with the rest of the crystal; in many cases these lighter patches contain a central granule of iron oxide, and they are doubtless due to a bleaching by segregation of the iron. Between crossed nicols many of the crystals are full of small fibres extinguishing differently from the rest of the crystal; some of these fibres polarise in low colours and are probably chlorite or serpentine, while others show brilliant tints and are possibly actinolite.
The amphibolite which occurs three kilometres east of Gebel Erf el Fahid [10,361] is of extremely coarse grain, looking like a very basic gabbro owing to the schillerized appearance of its large hornblende crystals and the presence of a little interstitial felspar. The sp. gr. of the rock is 2·98. The section shows the hornblende to be of a very pale green colour, with an almost entire absence of iron oxide grains and other alteration products. Between crossed nicols it has a fibrous woody appearance. The interstitial plagioclase (probably labradorite) is likewise very fresh, showing its repeated twinning very clearly; the crystals are full of tiny fibres of hornblende, and are traversed by broad cracks filled with a mosaic of smaller crystals of plagioclase and quartz.
The rock [12,157], of the hill called Qrein Salama, to the east of Gebel Gerf, is interesting as containing olivine and bronzite in addition to the more abundant hornblende, and thus forming a link between the amphibolites proper and the peridotites; but as about three-quarters of the rock is hornblende it is still classed as an amphibolite. The sp. gr. is 3·05. In the slide, the hornblende is seen in irregular crystals, colourless to very pale green, with a fibrous structure which is strongly marked by patches of shading of extremely fine black prismatic striations. With crossed nicols the fibrous structure is still more apparent, the mineral polarising as brilliant fibres separated by chloritic alteration products. The pronounced striation and faint colour of the crystals are more suggestive of diallage than of hornblende, but the extinction angles measured in the slide are all less than 22°. Many of the hornblende-crystals contain large numbers of small rounded[319] grains and strings of iron oxide. The olivine is mostly in rounded crystals, frequently included in the hornblende; it is largely serpentinised and full of small grains of opaque iron oxides, but kernels of the original mineral remain. The bronzite, which is present in about equal proportion with the olivine, is likewise extensively serpentinised and full of iron oxide grains; it is distinguishable from the olivine by a more fibrous appearance (the serpentinisation having gone on mainly along the direction of the vertical axis instead of along irregular cracks), and by its generally lower polarisation colours in the unaltered portions.
The peridotites, or felspar-free rocks consisting largely of olivine, are usually classified into:—
(a) Dunites, consisting entirely of olivine.
(b) Harzburgites, consisting of olivine and enstatite or bronzite.
(c) Wehrlites, containing olivine and diallage.
(d) Lherzolites, containing olivine, diallage, enstatite or bronzite, and picotite or chromite.
(e) Hornblende-picrites, containing olivine and hornblende.
(f) Mica-peridotites, containing olivine and biotite.
Most if not all of these classes are represented in South-Eastern Egypt, but in the altered form of serpentine. The change to serpentine has been so complete that it is now hardly possible to extract even a small specimen of the primitive rock; indeed, careful search is often required to obtain even specimens containing any unaltered mineral whatever, and one has frequently to rely on the structure of the serpentine for the identification of the rocks from which it originated.
Serpentines cover about 400 square kilometres of South-Eastern Egypt, forming the principal rock of several remarkable mountain groups and also occurring in lower hill country.
The largest occurrence is that of the great mountain mass of Gebel Gerf, where serpentine with alternations of gabbroid and dioritic rocks can be followed from Bir Meneiga southward for some thirty kilometres to beyond the Sherefa pass, while the breadth of the tract from east to west is some fifteen kilometres or more at its widest part; this tract includes a vast assemblage of high peaks and ridges, towering up in many cases to more than a kilometre above sea-level. To the north, south, and east, the serpentine is bounded by gabbros and diorites, while on the west a tract of schistose rocks separates it from another great serpentine mass which forms Gebel Korabkansi.
Other remarkable serpentine masses are Gebel Abu Dahr and the upper part of Gebel Sikait; serpentines also enter into the composition of Gebels Ghadir and Um Tenedba, while lower hills formed of similar rocks occur near Bir Murra in Wadi Shait, in Wadi Um Khariga, near Gebel Kalalat, and on the plain east of Abraq Springs.
The foxy red colour of exposed faces of serpentine hills, and the generally shattered nature of the rock, have already been referred to. When one approaches the masses closely, the red colour often becomes less marked, because the fresh debris flanking the hills is of a darker aspect. The slopes of serpentine hills are usually steep, and this combined with the rotten nature of the rock renders their climbing not always quite free from danger.
Any attempt to map out in the field the precise limits of the different peridotites which were the parents of the serpentine ends in failure, partly because the constituent minerals can generally only be identified on microscopic examination, and partly because the different peridotites pass gradually one into another, and are evidently only produced by slight variations in the composition or conditions of consolidation of a single magma. Even the limits of the serpentine itself are not always very clear; for where the associated rock is gabbro, as for instance to the north of Gebel Gerf, there is a gradual passage through more or less serpentinised olivine gabbro to the true serpentine. Golden yellow veinlets of fibrous chrysotile can be seen running[321] through the rock at many places, and occasionally veins and pockets of magnesite and an inferior kind of asbestos occur (see p. 330).
The serpentines are nearly always more or less magnetic, and sometimes show strong polarity. The compass was disturbed by 40° at the triangulation station on Gebel Sikait; the amount of disturbance changes greatly when one moves even a short distance, and all estimations of direction from compass readings in serpentine country are therefore liable to enormous error.
In a strictly petrographical sense it would be most systematic to describe the serpentines in classes according to the nature of the parent rock; grouping together, for instance, all those derived from pyroxenites into one class, those from amphibolites into another, those from dunites into a third, and so on. But besides the fact that the nature of the parent rock cannot always be determined with certainty, such a course would possess the objection of separating the different parts of one and the same mass; at Gebel Gerf, for example, we have serpentines derived from rocks of various of these classes, though probably all formed part of the same igneous intrusion and are thus genetically connected. In the descriptions which follow, therefore, the serpentines of each locality will be grouped together, irrespective of origin. The localities are taken in order of latitude from north to south.
A serpentine which occurs associated with amphibolite and various schists about three kilometres east of Gebel Erf el Fahid [10,360] may possibly have been derived from a mica-peridotite. In the hand specimen it is a dark brown rock of dull aspect with greenish patches, and shows marked magnetic polarity. The sp. gr. is 2·63. The microscopic slide shows mainly colourless serpentine, but there are strings and bundles of pale greenish-yellow chlorite, and specks and strings of magnetite. The arrangement of the magnetite (see Fig. 45) at once attracts attention, being[322] frequently aggregated in parallel strings reminding one of the cleavage of mica. Between crossed nicols the chlorite is easily distinguished from the serpentine by its slightly higher polarisation-colours (low yellows as compared with greys); and its arrangement in long leaves and bundles, with distinct traces of the original mica, leaves no doubt as to its derivation from biotite. The parallel strings of magnetite are also most likely due to alteration of biotite, for it is difficult to account for their peculiar arrangement otherwise; they are mostly separated by material of lower double refraction than the chlorite above-mentioned, perhaps a variety of chlorite poorer in iron, owing to the previous separation of the oxide. The clear serpentine which forms the bulk of the slide does not contain much iron oxide, and does not include any trace of the original mineral from which it has been formed; but between crossed nicols it shows an irregular mesh structure which makes one almost certain of its derivation from olivine.
The serpentine of the hills on the west side of the Wadi Um Khariga [10,368] is remarkable in the field by its foxy red colour on all exposed surfaces. The rock, which has a sp. gr. of 2·63, is nearly black on fractured surfaces, and no crystals can be detected in it. The slide shows colourless to yellow serpentine, with a fair amount of calcite often arranged along cracks, a liberal sprinkling of magnetite, and one or two fairly large grains of picotite, or chromite. In some parts of the slide the serpentine shows an irregular mesh structure between crossed nicols; these portions, in which the magnetite-granules show an irregular honeycomb-like arrangement, are doubtless altered olivine. In other places the serpentine polarises in clear greys with a fibrous aspect, and the magnetite is arranged in parallel lines; calcite is typically developed in these fibrous portions, sometimes along the cleavages and sometimes in irregular patches. The fibrous-looking[323] serpentine probably represents the alteration-products of both rhombic and monoclinic pyroxenes, and the parent rock was thus a medium-grained lherzolite, containing olivine, diallage, bronzite and picotite.
In the hills on the east side of the Wadi Um Khariga, about in latitude 24° 55′, there is some serpentine which has apparently resulted from the alteration of very basic dykes. The sp. gr. is 2·65. A slide cut from this rock [10,367] shows the same clear fibrous-looking patches as the specimen last described, and picotite, in a confused and nearly isotropic mass of fine fibres of serpentine, with but little magnetite and no calcite. No original mineral remains except the picotite. The clearer fibrous patches may represent diallage or bronzite, while the rest of the serpentine is somewhat doubtfully referred to olivine. There is some trace of banding in the rock, perhaps due to movement during consolidation.
A serpentine approaching an ophicalcite [10,376] forms the main rock at Gebel Ghadir, where it is associated with a peculiar quartz felsite resembling granulite. In the mass the rock, which has a sp. gr. of 2·67, is black to green, veined with calcite; surfaces of the debris are often covered with a brilliant green glaze. The microscopic slide reveals an irregular mixture of nearly colourless serpentine and cloudy-looking calcite, with abundant specks and a few larger granules of slightly translucent deep-brown chromite or picotite. Between crossed nicols, the serpentine is a mass of fibres and little plates, in which a strong tendency to linear arrangement can be seen, and here and there a lattice-structure. Though none of the original mineral remains there is not much doubt that the rock is an altered amphibolite or basic diorite; the calcite is possibly derived from the alteration of an original lime felspar, but it has been largely redistributed in the crushed rock by solution and redeposition.
The serpentine forming the hills on the north side of the mouth of Wadi Kalalat is a dark reddish-brown rock, of sp. gr. 2·76, in which shining crystalline specks of olivine can be seen. It has doubtless resulted from the alteration of a dunite, or rock consisting almost entirely of olivine. The slide [11,510] shows the rock still to contain abundant clear colourless kernels of the original olivine, in a mesh-work of pale olive-brown serpentine. The serpentinisation has taken place along irregular cracks in the olivine, each crack being generally marked by a thin streak of opaque iron oxide running longitudinally down[324] its centre, with serpentine fibres running crosswise and filling the rest of the crack. Where the kernels first left have themselves become changed to serpentine, they are nearly isotropic, while the cracks polarise in clear greys, so that even where the whole of a crystal has been serpentinised the structure is still clear, both in ordinary light by the magnetite strings, and in polarised light by the way in which the serpentine of the cracks stands out from the more isotropic patches within the meshes. There is a little accessory diallage, easily recognisable by its fibrous appearance and the oblique extinction of its unaltered portions. The diallage, like the olivine, is passing into serpentine, but here the serpentine goes on along cleavage planes as well as along irregular cross cracks, giving the partially altered crystals a striped appearance between crossed nicols. Where the diallage has become entirely serpentinised, it can still be differentiated by its clearer appearance from the olivine-serpentine in ordinary light, and by its striated structure between crossed nicols; but of course unless kernels of the original mineral are left one cannot be sure whether it was diallage or bronzite. There are a few patches of calcite or magnesite, and veinlets of the same secondary minerals; these may have arisen from the alteration of a little original felspar, or from the diallage.
Near the head of Wadi Arais, to the south of Gebel Um Bisilla, there are some dykes of dark magnetic rock of sp. gr. 2·56. A specimen from one of these dykes [11,519], turns out on microscopic examination to be a schistose serpentine. It is traversed by parallel strings of opaque and brown translucent iron oxides, and granules of magnetite are also scattered over the interspaces. The interspaces between the iron oxide strings are filled with serpentine showing no recognisable structures, but containing here and there little nests of clouded green hornblende, suggesting the possibility of the rock being an altered basic diorite or amphibolite.
The highly crushed and rotten serpentine which forms the high and steep-sided mountain mass of Gebel Abu Dahr, differs considerably in composition in different parts. The most typical form of the rock, which has a sp. gr. of 2·77, is a dark brown serpentine with little strings of olive-green matter, and occasionally large dulled black crystals. A slide [11,516 A], cut from this portion of the rock shows mostly olivine, altering to serpentine in the usual manner with abundant clear kernels of the original mineral. Associated with the olivine is another mineral[325] of a somewhat fibrous aspect, altered partly to serpentine and partly to another substance which polarises as a confused aggregate of fibres and flakes in brilliant colours, the flakes extinguishing with slight obliquity; the serpentine is formed mainly along the vertical cleavages of the mineral (though it also fills transverse irregular cracks), while the other substance (tremolite?) fills up interspaces. In some parts of the mass the rock has a blacker colour and a slightly higher density (2·87), somewhat resembling a basalt with large greenish fibrous-looking crystals scattered sparsely through it. The slide cut from this form of the rock [11,516 B] shows no olivine whatever, practically the whole slide being composed of the fibrous mineral just described, together with a little nearly colourless fibrous hornblende, in which the change above-mentioned appears to be going on. Thus it would seem likely that the rock of Gebel Abu Dahr is essentially an altered hornblende-picrite (or olivine-hornblende rock) with variations towards dunite (olivine-rock) on the one hand, and towards an amphibolite or hornblende-rock on the other. The alteration of hornblende here is not a purely serpentinous one, but results in the formation first of serpentine along cracks and cleavage planes, and then of a tremolitic mineral in the interspaces. It is worth remark, moreover, that in the slide free from olivine the change to tremolite preponderates, and there is much less serpentine in the altered hornblende than in the slide containing olivine; this suggests that the presence of the neighbouring olivine has in some way brought about more serpentine in the hornblende, perhaps by actual forcing of serpentine from the expanding olivine into cracks in the hornblende, or by the influence of pressure set up by the same expansion.
In the serpentine from some low hills on the plain a little to the east of Bir Abraq [11,506] we have a rock evidently derived from a dunite, though not a trace of unaltered olivine remains. The sp. gr. is 2·61. The microscopic slide consists of nearly colourless serpentine with strings of magnetite marking the cracks along which its formation began (see Fig. 47). Between crossed nicols (see Fig. 48) the main portion of the serpentine, doubtless derived from olivine, presents a very remarkable appearance; most of the polygonal spaces between the magnetite-meshwork are lined with plates of clear serpentine, while the centre is occupied by nearly isotropic material. Thus the slide in polarised light presents somewhat the aspect of an aggregate of[326] cells with dark nuclei. Besides olivine, the slide shows a small amount of a fibrous mineral, probably bronzite, which is likewise almost entirely altered to serpentine, though a few original fibres remain; the magnetite grains in the serpentine derived from this mineral is typically aggregated in strings parallel to the fibres.
Fig. 47.—Serpentine derived from an almost pure olivine-rock, from a low hill east of Bir Abraq [11,506], × 17. The outlines of the original olivine crystals (o) and the cracks in them are marked by granules and strings of magnetite. A serpentinised crystal of bronzite is seen at b.
Fig. 48.—A small portion of the serpentine derived from olivine in the same slide, viewed between crossed nicols under a higher power, showing the cellular structure.
A serpentine rock found associated with fine-grained diorite at Gebel Um Tenedba [11,517 B] may have been derived from an olivine diabase poor in felspar. The rocks in this locality are highly altered and crushed, and frequently more or less schistose. In a slide cut from the serpentine of the lower part of the mountain, which has a sp. gr. of 2·71, all the original minerals of the rock have been replaced by alteration products. The main portion of the slide is probably altered augite; it consists of serpentine with fairly distinct mesh structure in which iron oxides are very abundant in clots and strings. Some patches, which show a more uniform grey aspect under crossed nicols, are doubtfully referred to altered felspar. Smaller areas, usually free from iron oxide grains and mostly consisting of almost isotropic serpentine with a substance polarising in low yellow tints running along irregular cracks in all directions, are believed to represent altered olivine; one of these areas is nearly filled with little brushes of the substance just mentioned, giving it almost a spherulitic appearance as the nicols are rotated.
[327]The predominant rock of the mountain mass of Gebel Gerf [12,128] is a serpentine apparently derived from a wehrlite or olivine-diallage rock. In the hand specimen, it is a rather heavy black rock (sp. gr. 2·75) with small pea-green spots and a few small bronzy and glassy looking crystals here and there. The microscopic slide (see Fig. 49) shows the olivine to be largely altered to serpentine in the ordinary manner with separation of magnetite, but some granules of the original mineral remain, especially aggregated, together with augite granules, round the diallage crystals. The diallage is tolerably fresh, and easily recognisable by its fine striation and oblique extinction. Besides the diallage, there is some ordinary augite, not always very easily distinguishable from the unaltered olivine owing to its cleavage not being very marked. Some of the diallage crystals show undulose extinction as the result of strain.
Fig. 50.—Serpentinisation of bronzite, as seen in a serpentine derived from bronzite-rock, Gebel Gerf [12,119], under a high power between crossed nicols. The clearer portions of the figure are unaltered portions of a single large crystal of bronzite; the serpentine is seen forming mainly along the cleavages of the original mineral, with subsidiary cross-fibres.
At many points the serpentine of Gebel Gerf contains a great deal of bronzite, crystals of this mineral of typical aspect and measuring up to five millimetres diameter being visible in the hand specimen scattered liberally through the duller serpentine. The sp. gr. of this portion of the mass is 2·81. The slide [12,119] shows practically nothing but bronzite altering to serpentine, so that locally the parent rock has been a pyroxenite rather than a peridotite. The serpentinisation of the bronzite has proceeded mainly along the fibres of the original mineral, but there are numerous cross-fibres (see Fig. 50), and here, as in the hornblende of the rock of Gebel Abu Dahr, the change to serpentine appears to have been accompanied by the production of[328] tremolite. In another slide [12,127] the main constituent appears to be still bronzite, but here it is of a pronounced olive-brown colour even in thin section, and is accompanied by some nearly colourless diallage; some of the olive-brown fibrous crystals show extinction-angles of a few degrees, and it is possible that these are hornblende.
Though the greater part of the Gerf serpentine has been derived from rocks free, or practically free, from felspar, it is possible that these were mixed with other rocks, such as gabbros and diabases, in which basic plagioclase formed an essential constituent. One of the specimens brought back from the mountain [12,115], having a sp. gr. of 2·67, is a somewhat wedge-shaped block, about ten centimetres square and four centimetres thick, covered entirely with the shining black to greenish glaze which is characteristic of shattered serpentine, except where chipped with the hammer to test its coherence and to look for remains of crystals in it. The fractured surface is mostly dull and nearly black, with little strings and spots of greenish matter and scattered shining specks. But although the block so thoroughly resembles a serpentine, the slide cut from it proves the rock to be a fine-grained diabase, consisting essentially of augite and plagioclase, with a good deal of iron oxide. The plagioclase is tolerably fresh, in lath-shaped forms still showing twinning very clearly, while the augite is very clouded and is changing to hornblende and chlorite or serpentine. In the field nothing was noted which would separate this rock from the rest of the mass, which it resembles almost perfectly in appearance, and whether the diabase forms a dyke or sheet, or the specimen represents a fragment of diabase caught up by the magma, is not certain. A dyke of this material, shattered and serpentinised on all the fractured surfaces, would be indistinguishable from the surrounding serpentine. It is even possible, though not likely, that the diabase is not a separate intrusion, but merely a variation of the same plutonic mass which has given origin to the main bulk of the serpentine.
Other variations in the serpentine which point to parts of the Gerf mass having originally been of a gabbroid type, occur in the mountains round Bir Korbiai and Bir Meneiga. A specimen from near Bir Korbiai [12,125], is a greyish-black fine-grained rock full of little white and greenish specks and strings, with pale citron-green serpentinous matter covering the slickensided surfaces of the fragments[329] into which the mass readily separates. The sp. gr. is 2·67. The microscopic slide shows serpentine with pronounced knitted structure in places, as though derived from augite, and considerable patches of calcite which may represent an original lime-felspar. The calcite has, however, been largely redistributed along cracks, where it is often mixed with extremely coarse fibres or plates of serpentine.
The specimen from the mountains round Bir Meneiga [12,104] is a hard dull slatey-grey rock with black streaks and spots; it is strongly magnetic and shows a tendency to schistose structure. The sp. gr. is 2·54. On examination with a lens the grey matter has in places something of a resemblance to saussuritised felspar. The slide cut from this specimen contains no original minerals. The bulk of it seems to be composed of very minute fibres or plates, generally showing a distinctly parallel arrangement along the planes of schistosity, but exhibiting knitted structure in places, and thus probably consisting in part of kaolinic matter derived from altered felspar, and in part of serpentinous matter derived from alteration of augite; while scattered through the slide are abundant patches and strings of calcite and magnetite. The rock is too intensely crushed and altered for one to be certain of its origin, but it appears to have been originally a diabase.
The serpentine of Gebel Korabkansi, to the west of Gebel Gerf, is an altered olivine-bronzite rock (harzburgite) of moderately coarse grain. A slide [12,140] cut from the least altered portion, where the sp. gr. of the rock is 2·72, shows olivine to have been the most abundant constituent; it is largely serpentinised in the typical manner, but abundant kernels remain unaltered. Mixed with the olivine crystals are others of a fibrous mineral, altered partly to serpentine and partly to a confused mass of tremolite fibres; in the few cases where any of the original material remains, this fibrous mineral shows straight extinction, and is probably bronzite. The alteration[330] of the pyroxene has here proceeded more rapidly than that of the olivine. The pyroxenic mineral is easily picked out in the slide by ordinary light, owing to the fact that the olivine has altered to greenish-yellow serpentine, while the mixed material produced from the pyroxene is of a dirty-white aspect. Another slide from Gebel Korabkansi [12,112] exhibits in places mesh-structure with clear kernels which extinguish very obliquely to the meshes, showing augite or diallage also to have been a constituent of the parent rock; and there is a single ragged-looking crystal of dark green fibrous hornblende, altering to nearly colourless serpentine. The sp. gr. of the specimen from which this latter slide was cut is 2·63. Both the slides from Gebel Korabkansi are rather poor in iron oxides, but there are a few irregular crystals of chromite, generally enveloping olivine.
In many of the serpentine-masses the effects of solution and pressure can be traced in the formation of veins and pockets of magnesite, asbestos, and occasionally talc in the rock. Magnesite veinlets are frequently seen, for instance, round about Bir Meneiga [12,142] and Bir Muqur, while asbestos has been found in pieces of several kilogrammes weight in the Wadi Sherefa el Sherqi [12,122] and near Bir Muqur [12,153]. At the last-named locality it occurs along the crush-planes of the serpentine, and appears to be preceded by the formation of long fibres of a green substance.[133] Where thickest, the glaze on the slickensided surfaces of the serpentine fragments seems to consist of this same green substance, which splits into hard fibres often reaching ten centimetres or more in length and only a few millimetres in diameter [12,153 A] and these hard fibres, which have a sp. gr. of 2·64, break up gradually, apparently under weathering influences, into the much finer and more flexible fibres of white asbestos. The quality of the asbestos is, however, inferior, for a specimen of the softest kind sent to London for an expert opinion, was reported to be of no commercial value; even had it been otherwise, the quantity seen was too small to justify working, though of course a thorough search among the mountains might reveal the presence of bigger deposits than were encountered during the survey.
[125]From Marwa, the Arabic term for quartz.
[126]The numbers in square brackets in this and the following chapter are the registration numbers of the specimens in the Geological Museum, Cairo.
[127]I may here recall that the quartz mass which constitutes the so-called “alabaster” quarry north of Aswân, and for which I have inferred an igneous origin, is likewise closely associated with aplitic or pegmatitic intrusions. See A Description of the First or Aswân Cataract. Cairo, 1907, p. 84.
[128]This specimen was brought back by a guide sent for the purpose to Gebel Adar Qaqa. It is stated to be the main rock of the mountain, but as I did not visit the mountain I am unable to vouch personally for this being the case.
[129]From a specimen brought back by the guide who was sent to erect the triangulation beacon on Gebel Mishbih.
[130]I did not visit Gebel Shendib, but as seen from Gebel Elba the mountain appeared to be granite; the felsite probably forms a dyke passing through the summit.
[131]There is another Gebel el Anbat near the Wadi Hodein, but this latter consists of schists.
[132]Preliminary Report on the Geology of the Eastern Desert of Egypt, between latitude 22° N. and 25° N., by Dr. W. F. Hume. Cairo, 1907. p. 57.
[133]This fibrous green substance is probably the columnar variety of serpentine known as Picrolite; it strongly resembles the specimens thus labelled in the London Museum of Practical Geology.
METAMORPHIC ROCKS.
Metamorphic rocks, comprising a great variety of gneisses and schists, are widely and abundantly distributed in South-Eastern Egypt, forming about half the entire area treated of in this volume. The irregular way in which the metamorphic rocks alternate with those of the igneous and sedimentary groups will be better appreciated by a reference to the geological map on Plate XX than by any verbal description. As a whole, the metamorphic rocks represent the remains of a complex of igneous and sedimentary deposits which were laid down in remote geological periods; subsequently these deposits were crushed, folded, and elevated into mountains, their original structures being largely obliterated in the dynamical process; in succeeding ages the metamorphosed complex was penetrated by the great granitic and other intrusions which have been described in the preceding chapter, and then planed down by denudation as an old land surface before being wholly or in part submerged beneath the waters of the Cretaceous sea in which the Nubian sandstone was deposited. The elevation of the land after the Cretaceous period was accompanied by further folding which must have increased the degree of metamorphism of the rocks; but it is most probable that the forces which produced these post-Cretaceous movements were of less intensity and duration than those of more ancient periods, and we may regard the metamorphic character of the older rocks as having been for the most part impressed on them in Archæan, or at latest in Palæozoic times. It is not impossible that some of the more highly foliated gneisses may even have been parts of the primitive crust of consolidation of the earth, while the clay schists may be the remains of the very earliest sediments.
Besides the evidences of dynamo-metamorphism above-mentioned, we find occasionally traces of contact-metamorphism, where igneous dykes have locally altered the rocks into which they have[332] intruded; but, in general, the subsequent compression of the masses has obliterated these traces, and the effects of contact-metamorphism are negligible in comparison with those produced by dynamic action.
The metamorphic rocks occurring in this part of Egypt may be classified as follows:—
Gneisses.
Granite-gneiss (crushed granite).
Diorite-gneiss (crushed diorite).
Highly foliated gneisses (in which all traces of primitive structure have been obliterated by foliation and recrystallization).
Schists.
Quartz-schists (in some cases probably metamorphosed sandstone, in others crushed aplitic rocks).
Clay-schists (metamorphosed clays).
Hornblende-schists and crushed volcanic rocks.
Hornfels (metamorphosed acid lavas).
Mica-schists (sometimes containing beryl and tourmaline).
Chlorite-schists.
Talc-schists.
Calcareous schists and marble.
Graphite-schists.
Breccias.
Fluidal breccias, in which broken fragments of solid rock have been included in an intrusive magma.
Breccias proper, formed by fracture and recementing together of fragments without fusion.
Mineral Veins.
Quartz veins (sometimes containing gold and traces of copper).
Calcite veins (with more or less chalybite).
Magnesite veins (in serpentine).
Asbestos veins (in serpentine).
The most conspicuous occurrence of gneiss in South-Eastern Egypt is the great mass which extends from Gebel Mudergeg and Gebel Migif in the north, down the range of Gebel Hafafit, and along the greater part of the Wadi Gemal. With this mass is closely connected another stretch of gneiss to the south of Gebel Abu Khrug; the hills which rise from the sandy plain round the head of Wadi Natash are mostly gneiss, so that the gneiss is probably continuous across the plain except where it is penetrated by the syenitic cones called El Nahud. The total area covered by gneiss in this locality alone is some two thousand square kilometres, and includes some remarkable mountain masses, such as Gebels Migif and Hafafit.
Other gneissose areas of less extent occur round Bir Abu Beid and to the south-west of Gebel Hamrat el Feg; while still smaller areas are found in the hills to the north-west of Berenice, in the remarkable triple-headed mountain called Gebel Um Rasein, and to the north of Bir Um Bishtit.
Gneiss typically forms bold scenery of precipitous hills, the colour of which varies with the composition of the rock, from pink to grey. At Gebel Migif one ascends the mountain most easily by the northern slopes, which are formed by the foliation-planes of the rock, while to the south these are cut across by sheer precipices; the same is the case at Gebel Um Rasein.
Of gneisses evidently produced by the deformation of granite, we may take the rock of Gebel Um Rasein [12,108][134] as a type. The bulk of the mountain is formed of a nearly white acid rock, of sp. gr. 2·67, with dark spots, resembling the granite of Gebel Elba in appearance, except that here the dark minerals have a marked arrangement along definite planes. (Compare the coloured figures of the two rocks on Plates XXII and XXV). In places the rock contains thin bands of almost pure biotite, and these are often thrown into sharp contortions by the strong compression which the mass has undergone. The strike of the foliation-planes in Gebel Um Rasein itself is about south-south-east, with a dip of about 20° to the east-north-east, but the[334] strike swings round to about south at the south end of the mass, and the inclination of the foliation-planes become much steeper. The gneiss shows very marked pitting due to weathering, the holes ranging from a few centimetres to a metre or more in diameter and depth. A microscopic section of the rock shows it to be essentially an acid hornblende-granite similar to that of Gebel Elba, but crushed so that there is a “mortar” of broken up quartz and felspar between the larger crystals, and the larger where unbroken frequently show undulose extinction as the result of strain.
In the Wadis Nugrus and Gemal there is a great deal of strongly foliated grey gneiss [10,386-7], derived from the intense crushing of diorites. A figure from a typical hand specimen of this gneiss, looking at the edges of the foliation-planes, is given on Plate XXV. The sp. gr. of the rock is 2·88. The microscopic slides show plagioclase and green hornblende in about equal proportions, with some quartz and small amounts of biotite, sphene, iron oxides, and apatite. The hornblende is very fresh-looking, in strongly pleochroic (yellowish to deep blue-green) straggling crystals, aggregated together along the foliation-planes; the crystals, though variously oriented, show a tendency to lie with their cleavages in the direction of foliation. A very[335] striking feature of the slides is the abundance of small grains of enclosed felspar in the hornblende, giving the green crystals a perforated appearance in ordinary light. The felspars, which are likewise fairly fresh, are much smashed up, forming with the quartz a mosaic between the irregular bands of hornblende; the grains often show undulose extinction. Biotite, of a warm brown colour where not bleached, is sparingly mixed with the hornblende. The sphene is in small rounded grains, mixed with, and sometimes containing, granules of ilmenite; the grains show a tendency to form little aggregates, sometimes in the hornblende, and sometimes in the felspathic portions of the slide. One or two stumpy grains of apatite are enclosed in the felspars, but this mineral is extremely scarce in the slides examined, and does not show its usual long prismatic habit.
| Ball.—Geography & Geology of South-Eastern Egypt. | PLATE XXV. |
METAMORPHIC ROCKS.
NATURAL SIZE.
As an example of gneisses in which the foliation is so intense that all original structures have been obliterated by recrystallization, we may take the red gneiss of the Abu Beid Hills [10,659], of which a coloured natural size representation is given on Plate XXV. In this rock, which has a sp. gr. of 2·65, the main constituent is a pink felspar, mixed with a little quartz and arranged in fine lenticles separated by greenish laminæ which are doubtless altering biotite. This rock bears a strong resemblance to the well-known red gneiss of the Erzgebirge, which, from its chemical composition, is usually believed to be a metamorphosed granite poor in mica.
Grey gneisses, equally intensely foliated with the Abu Beid rock, occur in the range of Gebel Hafafit; these contain a much larger proportion of biotite, and remind one of the grey gneisses of the Freiberg district. But as no analyses have yet been made of the Egyptian rocks, the absolute similarity to those of the Erzgebirge is not quite certain.
About ten kilometres south of Gebel Abu Gurdi is a tract of low hills and ridges composed mainly of quartz-schists. The limits of these rocks have not been mapped, but they appear to cover a somewhat elliptical area with its long axis, measuring some eight or ten kilometres, pointing east and west. Where first encountered, at a point about twelve kilometres east of Gebel Selaia, on the march from that[336] hill towards the pass into the head of Wadi Lahami, the rocks strongly resemble rather friable white to brown fine-grained sandstones, with bedding planes dipping about 35° to the north. The rock [10,413] consists almost entirely of white or slightly iron-stained quartz grains, with, in places, scattered minute dull black rods which are apparently hornblende. Traced further east, the rocks have more and more the character of quartz schists, with harder bands of quartzite, and the planes of separation, which gradually become nearly horizontal, have more the appearance of foliation-planes. The harder quartzite bands [10,414] are usually brownish to greenish-white in colour, but sometimes take on a purple tint, and show micaceous and chloritic scales on cleaved surfaces; in some places the rock contains “eyes” of minette-like composition. To the south the bedding or cleavage planes seem to reverse their dip, this being now to the south as though there were an anticlinical fold in the mass. There is considerable mixture of other schists with the rocks, and dykes of diorite and pegmatite, as well as veins of quartz, are frequent. A dioritic dyke which cuts through the rocks at a point nine kilometres south-south-west of Gebel Abu Gurdi, and which is itself crushed almost into a hornblende-schist, has hardened and altered the quartzose rock on either side of it into a close-grained horny looking rock [10,415] apparently containing a great deal of finely granular andalusite.
These quartz-schists may have arisen from the metamorphism either of sandstones, in which case the parts to the west of the tract are the least altered, or of fine-grained aplitic rocks, on which view the sandstone-like aspect of the western portion of the tract is due to weathering; the rock is certainly more highly weathered where it most resembles an unaltered sandstone, and the presence of hornblende and the “eyes” of micaceous matter are suggestive of igneous rock. From a consideration of all the evidence I was able to gather in a rapid march over the sea, however, I incline to the view that the rocks are altered sandstone older than the Nubian series, and probably of about the same age as the ancient clays which gave rise to the clay-schists of Zabara and elsewhere. The rocks are completely detached from the nearest undoubted Nubian sandstone beds (which lie some forty kilometres to the south-west, beyond Gebel Zergat Naam), and they are mixed with schists and veined and altered to a degree which is nowhere approached by beds known to be of the Nubian series.[337] Still, it is just possible that the quartz-schists represent the remains of Nubian sandstone strata, for the nearest beds of that series show-considerable folding and faulting near Gebel Zergat Naam, and we should expect still greater disturbance and alteration here near the main watershed and close to a principal axis of mountain elevation.
A quartz-schist which is certainly derived from the metamorphism of aplitic dykes or sheets, occurs as great inclined bands cutting across the Wadi Shenshef close to some old ruins. The main rock of the district, in which the bands occur, is a medium-grained diorite. The quartz-schist is a greyish-white fissile rock, which splits easily into great slabs; it has supplied an excellent building material for the houses of the ruined town or encampment, being used not only for the walls but also for lintels over doors and windows.
Clay-schists cover extensive areas in the South-Eastern Desert. They occur abundantly in the high hills to the east of Gebel Nugrus and form a large portion of Gebel Zabara. They abound also to the south of Wadi Antar about the longitude of Gebel Um Goraf, in the hills on the east side of Gebel Abu Dahr, in the Wadi Hodein round about where Wadi Um Tenedba joins it, in the hills flanking the sandstone plateau of Gebels Dif and Anfeib, at Gebels Kolaiqo and Eqrun, on the western flanks of the serpentine mass of Gebel Meneiga, and in the low hills on the plain between Gebels Gerf and Korabkansi.
Clay-schists are typically of a grey colour, though greenish, purple, and reddish varieties occur. They are soft rocks, easily scratched with a knife. In some places, as for instance at Gebel Zabara, they are practically slates, cleaving into slabs often of considerable size, while in other localities, as for instance near Gebel Abu Dahr, they are crushed into matchwood-like splinters, which can be used as slate-pencils. They are usually associated with other metamorphic rocks such as crushed diorites and hornblende and mica-schists. The direction of foliation of the slaty and slabby forms is often persistent—at Gebel Zabara, for instance, a general south-easterly dip of about 28° is maintained over a considerable area; but there are[338] numerous local variations, and the number of observations thus far made is too small for any general conclusions to be drawn as to the regional distribution of dip. On the whole, the clay-schists are remarkably free from knots or other irregularities, though knotted varieties, doubtless the result of contact alteration, have been observed on the south side of Wadi Seiga and at a few other places.
The clay-schists have probably for the most part been produced by the metamorphism of ancient argillaceous sediments; in some places, as for instance in the Wadi Beida, a passage can be observed into what appears to be a crushed conglomerate, while in other places they pass into quartzites which doubtless represent altered intercalated sandstones. The relation between the direction of the foliation-planes and that of the original bedding is unknown; it would appear likely that in most cases the traces of bedding have been entirely obliterated by pressure. Nor have any fossils been found in the rocks, though a sharp look-out was kept in the more likely-looking localities, so that the age of the beds is unknown. At present I am inclined to regard them as most likely of Archæan age, antedating the great granitic intrusions; but further evidence, either in the finding of fossils or from a more careful study of the field relations of these rocks to the others, is required before one can be certain that they are of so great an antiquity.
Under the heading of hornblende-schists and crushed volcanic rocks are classified a great variety of rocks, ranging in colour from green to grey and almost black, in fissility from the finest lamellation to almost massive forms in which the schistosity is barely evident in the hand specimen, but all definable as fine-grained dark-coloured schistose rocks consisting largely either of hornblende or of its alteration products. Their origin is not always clear, but many of them appear on microscopic examination to be altered fine-grained syenites, diorites, and lavas, and it is probable that practically the whole are altered forms of various intermediate and basic igneous rocks. The reason for including the hornblende-schists and crushed volcanic rocks in one great group is the difficulty of separating the different classes in the field. They pass one into the other, and many rocks[339] which in the field would be put down as hornblendic turn out on detailed examination to contain little or none of that mineral, its place being taken by decomposition products.
Schists of the types above defined occur probably more abundantly than any other class of metamorphic rocks in the South-Eastern Desert. They enter largely into the composition of some of the main mountain masses, such as those of Gebels Abu Hamamid and Abu Gurdi, besides covering great expanses of lower hill country. In the mountain ranges they rise in steep-sided ridges with knife edge summits, a good idea of which is given by the photograph of Gebel Abu Hamamid on Plate VII. In the lower hill country we have typically a dreary confused looking waste of thousands of dark hills and ridges separated by small winding wadis; sometimes there is a semblance of system in the distribution of the hills, owing to the occurrence of parallel dykes harder than the schists which they penetrate, forming thus back-bones for long lines of schist-ridges.
Schist derived from Syenite.—Among the schists occurring near Gebel el Anbat, near the Wadi Hodein, is one which appears to be a crushed and altered syenite. It is a speckled grey and reddish-brown rock with a dull and rather granular fracture, of sp. gr. 2·92. The slide [11,532 B] shows a rather coarse granitic mixture of clouded felspar and heavily iron-stained calcite. The felspar is considerably altered, showing no twinning, but between crossed nicols it extinguishes in irregular bands and is seen to be much crushed. The ferruginous and calcareous matter is almost certainly altered hornblende; it forms irregular masses, in which the iron oxide is mostly arranged in parallel lines as though along the cleavage planes of the parent mineral, while a clouded calcite fills up the spaces between the lines. It would seem that in addition to pressure, carbonic acid has been the main agent of metamorphism here, the ferro-magnesian[340] silicate being attacked and its silica entirely removed, while the aluminous silicate of the felspar has remained to some extent unchanged.
Schists derived from Diorites.—Hornblendic schists which appear to have been produced by the metamorphism of fine-grained diorites occur largely in the low hill country round the upper parts of the Wadi Muelih, and in the mountain mass of Gebel Abu Gurdi. A specimen of the less altered rock from the Wadi Muelih [10,357] is a fine-grained hard grey basaltic-looking rock, of sp. gr. 3·04, in which the schistosity in not very evident, though it is well seen in the mass. The microscopic slide shows pale green hornblende in ragged fibrous forms in a matted-looking clouded ground mass made up of finely acicular green hornblende and plagioclase, with a little quartz and orthoclase and a few grains of magnetite. Hornblende fibres are often enclosed in the decomposing felspars, which rarely show definite outlines and appear much shattered. The quartz is probably of secondary formation, occurring as little patches of mosaic.
The schist which forms the summit of Gebel Abu Gurdi [10,416] is probably also a crushed and altered diorite; it is a rather fine-grained hard greenish-grey rock, which with a lens can be seen to be a mixture of greenish-white felspathic material and dark hornblende; the felspar is mostly dull, while the hornblende, on the other hand, is frequently in shining crystals. The sp. gr. of the rock is 3·02. The microscopic slide shows the hornblende to be of a very pale green colour, in large irregular crystals, often including felspars. The felspar appears to be plagioclase; it is typically in smaller crystals than the hornblende, with a strongly marked tendency to idiomorphism, highly cracked and almost entirely changed to kaolin. Some rather large straggling crystals of a dark brown clouded and semi-opaque highly refracting[341] mineral, white by reflected light, are perhaps altered sphene. Round the larger crystals is more finely crystalline matter, much clouded, apparently composed of altered felspar and hornblende.
The crushed dioritic dykes already mentioned as cutting the quartz-schist to the south-west of Gebel Abu Gurdi are possibly offshoots from the same magma which formed the main mass of the mountain. Specimen [10,415], taken from one of these dykes, is a fine-grained grey rock, of sp. gr. 2·93, with an even more decided schistosity than that of the main mountain. The microscopic slide shows clear hornblende of a green colour, strongly pleochroic (greenish-yellow to blue-green) in irregular grains which are frequently aggregated into nests and strings running in the direction of foliation of the rock; the remaining material is a mosaic of clear quartz, clouding kaolin, and sericite, presumably representing altered felspar.
Schists formed by crushing of Volcanic Rocks.—Schists derived from the crushing of volcanic rocks are very abundant in the mountains round Gebel Abu Hamamid and in the Wadi Beida. Typical specimens from the summit of Gebel Abu Hamamid [10,397] are hard green to grey rocks, of sp. gr. 2·7, breaking with a rough dull fracture. With a lens, spots and strings of dull white matter, with ill-defined outlines, are seen in a green to nearly black ground mass. The microscopic slides show the rock to be a breccia rather than a simple crushed rock, for in the same slide very various structures can be seen. Some portions, evidently andesitic, consist of perfectly idiomorphic lath-shaped felspars scattered with a little decomposed hornblende in a glassy brown ground mass. Others, more abundant, seem to be altered quartz-diorite-porphyrite; in these parts, porphyritic quartz and orthoclase crystals, in forms strongly inclined to idiomorphism, clouded and strained, are scattered in a cryptocrystalline ground mass containing a good deal of green chlorite and epidote. In other parts of the slide, again, the chief porphyritic constituent is formed[342] by large green grains, which have evidently once been biotite or hornblende, but which now consist of chlorite. In yet other parts of the rock we have fragments of devitrified glassy lava. The different parts, which are not always well outlined, are separated by schistose bands composed mainly of strings of chlorite and epidote. Whether the rock is a tuff, or a crushed conglomerate of igneous boulders and pebbles, or due to complicated crushing of a series of contiguous igneous rocks in situ, is not quite clear. In some places, especially about the Wadi el Sheikh, the schists look like crushed conglomerates, but these may possibly be rocks crushed in situ rather than accumulations of rolled fragments transported by streams.
The hornblende-schists which surround Gebel Zergat Naam are of a peculiar type of which the origin is not evident, but are possibly altered andesites. The typical rock [11,526] is a hard grey basaltic one of sp. gr. 2·95, with a rusty-brown skin on exposed surfaces. The microscopic slide shows little plates and brushes of nearly colourless hornblende, liberally scattered in a clouded ground mass consisting mainly of hornblende fibres in radiating and dendritic groups, with a small amount of kaolinic matter and a few grains of magnetite. The slide contains no distinct quartz, but possibly a small amount of this mineral may be present in very minute grains with the kaolinic matter.
To the metamorphism of andesitic lavas, too, are somewhat doubtfully ascribed the grey and green schists of the Wadi Beida, which have specific gravity of about 2·75. The slides from the grey variety of the schists [12,116 and 12,159] show a very fine-grained clouded rock, apparently a mosaic of quartz, kaolin, chlorite and sericite, with larger scattered irregular plates of dark green chlorite. In a pale green variety from the head of the wadi [12,111], there is less chlorite and a considerable amount of calcite.
Hornblende Schists of doubtful origin.—In the more highly foliated and harder varieties of hornblende schist, which are typically of a darker colour than most of those already described, we have rocks in which the process of re-crystallization has been so complete that no trace of the original rock remains. These rocks, which are true hornblende-schists in the narrowest sense of the term, are less abundant than the foregoing types, and generally occur as comparatively narrow bands associated with gneisses and mica and talc schists. All the[343] minerals in them being of secondary origin, they are usually in a quite fresh state, and fractured surfaces, examined with a lens, exhibit a mass of glistening small crystals of hornblende, quartz, and felspar. The density is usually about 2·9. Microscopic slides show elongated crystals of clear green hornblende, strongly pleochroic (pale yellowish-green to deep blue-green) arranged along the planes of schistosity, separated by clear granules of quartz and a little felspar, with scattered magnetite grains.
Near Gebel Eqrun are found hornblende-schists which exhibit a curious banding in planes at right angles to the main foliation, in the form of darker lenticular stripes a few millimetres wide and about the same distance apart. A slide [12,117] cut from this variety shows little trace of the banding, the lighter spaces between the dark bands merely showing a clouding of the quartz and felspar by tiny granules of epidote. The stripes are most probably the consequence of a secondary compression in a direction perpendicular to the original one rather than relics of a banded structure in the parent rock.
Actinolite-schists.—Very beautiful bright green schists, in which the hornblende is in the fibrous to silky form called actinolite, occur in small quantity associated with mica and talc schists at Sikait [10,380] and elsewhere. In these rocks the actinolite fibres, which often reach two centimetres in length, are generally aggregated into bundles, with radiating structure. In the microscopic slide the rock presents even a more beautiful appearance than in the mass, the long fibres of actinolite polarising in the most brilliant tints; associated with the actinolite, there is nearly always more or less chlorite and talc.
Associated with the schists of Gebel Abu Hamamid and the neighbouring mountains there are great masses of very hard horny-looking rock [10,401] of green to grey colour, breaking with a sub-conchoidal fracture, and of such close texture as to appear homogeneous even with a strong lens. The pyramidal peak called Gebel Um Semiuki, which rises to 1,282 metres above sea, three kilometres to the north-east of Gebel Abu Hamamid, is almost entirely composed of rocks of this type; in the mountain faces the rock looks red, but this is only due to a film covering weathered surfaces, the interior being of a green to grey colour. The rock, which has a sp. gr. of 2·71, is frequently beautifully banded, light and dark layers alternating with each other, and often contains tiny cubes of pyrites [10,399]. The microscopic slide from Gebel Um Semiuki shows a very fine-grained clouded compact rock, apparently consisting of glassy matter with minute granules of quartz and altered felspar, together with a little sericite, the latter especially along certain bands. The slide from Gebel Abu Hamamid is similar, but here the granules of quartz and felspar are a little larger, though they are still too small to be seen with a lens in the hand specimen; the appearance is that of a quartz felsite on a small scale. It has already been mentioned (p. 281) that the quartz felsites of Gebels Igli and Hadarba pass gradually into hornfels, and when we remember that the schists of the Abu Hamamid district are mostly crushed volcanic rocks, it becomes almost certain that the hornfels associated with them is a crushed and devitrified glassy lava of acid composition.
A yellowish horny rock with grey streaks [10,379], which occurs near Gebel Sabahia, is conspicuous in the field owing to its weathered surfaces being covered with a bright red ferruginous skin, resembling cinnabar in colour. The sp. gr. is 2·52. Examination with a lens shows the grey streaks to be filled with myriads of brilliant yellow specks of pyrites. The microscopic slide shows these to be aggregates of little cubes, while the bulk of the rock is a schistose felsitic mass of quartz and felspar, with scattered larger felspar crystals, much broken up and bent. In this rock too we have therefore a rolled up and altered felsite.
Mica-schists, composed mainly of golden-brown lustrous laminæ of biotite with more or less quartz, occur near the base of Gebel Zabara and at Gebel Sikait [10,626], as well as in small quantity at one or two other points. They are always associated with gneiss, and appear to form irregular bands, alternating and mixed with talc and other schists. The laminæ of mica can seldom be separated in any large size, breaking up at a touch into small scales; they are often highly contorted.
Emeralds (Beryl).—At Zabara and Sikait the mica-schists contain crystals of beryl (silicate of beryllium and aluminium, Be3Al2Si6O18), the clear variety of which forms the gem emerald. The beryls are mostly found in lenticular bands of quartz which occur in the mica-schist, but sometimes they can be seen in the schist itself. The crystals are mostly well developed hexagonal prisms of a pale emerald-green colour, with characteristic vertical striation. The coloured figure on Plate XXV will give a good idea of the usual appearance of the mineral. In microscopic slides (see Fig. 58) the beryls are conspicuous only by their clear cut hexagonal outlines; they are quite colourless, with low polarisation colours about the same as those of quartz. Both at Zabara and Sikait there are numerous ruins and ancient mines where emeralds have been sought; most of them are irregular shafts and tunnels, twisting about as the old miners followed the varying directions of the bands of schists. It is commonly believed that gem emeralds were at one time extracted from these mines, and it seems incredible that the mining should have been carried on to so great an extent as is shown by the ruins and old workings, unless stones of considerable value were obtained. The Zabara mines were re-opened by Cailliaud in the time of Mohammad Ali Pasha[346] (1817), but the stones extracted were of little value, being clouded and full of flaws. A similar result followed a more recent (1904-5) vigorous attempt by Mr. James, acting on behalf of Mr. Edwin Streeter, of London, to work the emerald mines of Sikait; plenty of beryls were found, but none clear enough to be of any great value, and the enterprise was abandoned, Mr. James concluding that either the ancient miners had worked out all the bands containing stones of any value, or else, what is perhaps more likely, the ancients were satisfied with a duller stone for a gem than our modern jewellers. The dull forms of beryl are in our own day of very little value, being principally used as a source for beryllium salts in chemical laboratories.
Tourmaline.—Besides beryls, the mica and talc schists of Sikait contain in places abundance of black tourmaline in well-developed crystals. At some spots this mineral is so plentiful as to form practically small patches of tourmaline-rock [10,395]. In thin section [9,874 and 9,908] the tourmaline crystals, which are much clouded and irregularly cracked, show beautiful pleochroism (colourless to deep orange), and very high double refraction colours in prismatic sections. Like the beryl, however, tourmaline is only of value as a gem when it is clear and transparent, and all the crystals so far obtained are dull and opaque.
Calcite, in rhomb-shaped crystals of a brown colour due to presence of included iron oxides [10,382] likewise occurs in places in the mica-schists of Sikait.
Though many of the decomposed hornblende-schists contain more or less chlorite, I have only in two localities come across rocks in situ which contain so large a proportion of this mineral as to deserve the[347] name of chlorite-schists. The first is in the hills of Um el Huetat (latitude 25°), where typical chlorite-schists are mixed with mica, talc, and hornblende schists. The second locality is between Gebels Ras Shait and Nugrus, where the rock [10,388] is remarkable not only in its peculiar appearance but also by its strongly magnetic character. It is a thoroughly schistose rock of a rather pale greyish-green colour and rather silky appearance, with rusty looking spots. The sp. gr. is 2·77. The microscopic slide shows the stone to consist essentially of an aggregate of elongated plates and fibres of low double refraction, which from the hand specimen seem to be chlorite, but in the slide look more like antigorite. Magnetite grains are liberally scattered through the chloritic mass. The rusty spots visible in the hand specimen are translucent foxy red in the slide, in irregular broken forms with well-marked cleavage and nearly straight extinction. They are somewhat doubtfully regarded as deeply iron-stained hornblende. Mixed with the foxy red material are aggregates of granules of a highly refracting but isotropic mineral of deep bottle-green colour (? spinel), and chloritic wisps. There are also some clear colourless grains, resembling apatite in appearance except that they sometimes show well-marked vertical cleavage and high extinction angles; these are possibly a colourless augite, but the double-refraction colours are far lower than is usual with this mineral.
Typical chlorite-schists occur in the Wadi Salib Abiad, and near Gebels Ribdab and Muqsim, in the extreme south-west portion of the region. Hearing, from some wandering Arabs while at Gebel Abu Dahr in February 1907, that prospectors were at work in the Wadi Salib Abiad, I sent a guide to find out who they were and what they were doing; the guide reported that on his arrival they had gone away, but there were some old workings in a green rock of which he brought a sample. I did not get an opportunity of visiting the locality personally, but the specimen brought back by the guide [11,523] is a beautiful apple-green chlorite-schist, with some brownish calcareous-looking bands. The microscopic slide shows some little quartz and talc besides the chlorite, and there are scattered minute highly-refracting rounded grains of a feebly translucent mineral of a reddish-brown colour, probably rutile. A similar rock from the eastern side of Gebel Muqsim has been reported by Mr. Charteris Stewart, who also records a normal chlorite-schist as occurring on the north side of Gebel Ribdab.
Talc-schists, though not widely distributed, are abundant in certain localities. They form the main rock in many of the hills in the district called Um el Huetat, to the west of Gebel Atut in latitude 25°, where there are numerous old mines. In this district there are immense masses of talc-schist of remarkable purity. The rock [10,364] is of a grey to green or brown colour, distinctly schistose, cleaving easily with a soapy feel, and easily scratched by the finger nail; more massive forms occur which can be easily carved into pipes, and these are frequently smoked by the Bedouin. I descended one of the old shafts at Um el Huetat, and found no evidence of other minerals having been worked than the talc itself. A somewhat more earthy variety of talc-schist [10,396] was met with near the Rod el Ligaia. Talc-schists also occur at Gebel Sikait [10,383] and Gebel Zabara, where, as at Um el Huetat, they alternate with mica and hornblende schists. But at Sikait and Zabara the talc-schists are decidedly subordinate to the mica-schist in which the beryls are found.
To the class of talc-schists is also probably best referred a fissile and very rotten purple-brown schist, containing cubes of limonite, which was found near the triangulation station on Gebel Hamida, and again near the old mines of Romit. The microscopic slide of the Romit specimen [12,139] shows the bulk of the rock to consist of talc and chlorite, with blotchy stains and floculent-looking masses of brown iron oxide and occasional clear irregular granules of quartz. In this are plentifully embedded perfect little cubes of limonite. The limonite cubes [12,129 and 12,136] weather out easily from the rotten matrix, and can be gathered from the ground at the foot of the exposed surfaces.
Some very curious calcareous schists are found in Gebel el Anbat and its neighbourhood, near the Wadi Hodein. In Gebel el Anbat itself a mass of these rocks rises to a height of over 250 metres above the wadi level. They are earthy-looking rocks of varying colour, chiefly brown and reddish, often purplish on the rough weathered[349] surfaces, and sometimes have a talcose feel. A typical specimen [11,532 A] has a sp. gr. of 2·92, and the slide cut from it shows it to be almost entirely composed of grains of calcite, with here and there larger irregular granules of quartz and of what looks like altered felspar, and a liberal sprinkling of iron oxide. It is difficult to assign an origin to this rock, but a variation of it [11,532 B] has been already described (p. 339) as probably an altered syenite, and the main rock may therefore represent the extreme form of alteration of an igneous rock rich in lime felspars.
A hard close-grained reddish-brown rock of sp. gr. 2·91, with dark streaks [12,107], which forms a high ridge, swathed in blown sand, rising to 350 metres above sea-level near the Wadi Kreiga, eleven and a half kilometres to the south-east of Gebel Beida, resembles a quartzite in appearance, but turns out on careful examination to be a calcareous schist. The microscopic section shows a very fine-grained mosaic of calcite with a little quartz, and scattered grains and strings of iron oxide. The origin of this rock is uncertain; it may be a metamorphosed limestone.
The summit of a high hill rising to 686 metres above sea, on the east side of the Wadi Um Khariga in latitude 24° 56′ 30″, is a gozzany mass resembling the outcrop of a mineral vein traversing the schists. On a fresh fracture, the interior of the rock [10,369] is seen to consist mainly of dark crystalline calcite, with some cubical crystals of pyrites, numerous rusty looking spots and patches of limonite, and veinlets of white calcite. The microscopic slide shows a mixture of calcite with kaolinic and serpentinous matter, with a very pronounced schistose structure, containing “eyes” of mixed calcite and iron oxides; the rock is therefore in reality a ferruginous calcareous schist. The mass is too highly metamorphosed for more than a guess as to its origin; but the slide contains some granules resembling picotite and one or two small patches of what looks like altering felspar, and the suggestion is that the schist is a metamorphosed basic igneous vein.
White crystalline marble has been found only at one point, namely, about three kilometres south of the jagged peak called Qash Amir, west of Gebel Elba, where it forms a small patch in crystalline rocks.
A considerable mass of graphite-schist occurs associated with diorite rocks near some ancient gold workings at Gebel Allawi. The extent of the graphite-schist has not been mapped, but it occurs on the north slope of the mountain, and as seen from the summit it appears to run out westward for miles as a broad black band. The rock [10,378], which has a sp. gr. of 2·70, consists of a mixture of graphite with calcareous and earthy matter. The parts richest in graphite are readily cut with a knife, and mark paper easily. Analysis shows that the graphite, though sufficiently abundant to appear in the hand specimen the dominant mineral of the rock, is nevertheless present in surprisingly small proportion; a sample tested by Mr. Pollard was found to contain only a trifle over one per cent. of carbon.
A similar graphite-schist occurs associated with mica-schist in one of the emerald mines of Gebel Sikait, and it may be remarked that graphitic schists have also been observed by Dr. Hume near the lodes in the gold mines of Baramia and Um Garaiart, both of which localities, however, lie outside the limits of the area here described.
The origin of the graphite-schists is uncertain. Perhaps the hypothesis presenting the least difficulty is that which supposes them to have been formed from ancient sedimentary rocks containing the remains of plants; on this view the close association of dioritic rocks suggests that the great of igneous intrusion may have played a part in the distillation of the more volatile matters of the plant remains, while the schistose structure shows that pressure has also been active in the formation of the rock. But the absence of any associated rocks which bear distinct signs of having originally been ancient sediments makes one hesitate to refer the graphite to an organic origin, and possibly the carbonaceous matter may have been produced from quite another source than that of plant life.
A very curious rock [10,385] which from a distance looks like a giant diorite, occurs as a band in gneiss on the west side of the lower part of Wadi Nugrus, is doubtless a fluidal breccia. It contains ovoid masses of white aplite, sometimes measuring five centimetres[351] in diameter, embedded in a dark fine-grained dioritic matrix with a marked tendency to schistose structure. Most likely the rock has been formed by the catching up of the fragments of a crushed aplite in an intrusive diorite, and then the whole mass has been subjected to the same pressure which foliated the surrounding gneisses.
More normal breccias are found at various points. One which occurs between schists and hornfels near the summit of Gebel Abu Hamamid [10,398] is made up of fragments of various altered volcanic rocks, with large black flint-like lumps of hornfels, all cemented into a very hard rock which breaks across the fragments composing it. This breccia was doubtless formed by the same movements which produced the schists of the summit of the mountain; these latter (see p. 341) are themselves almost as much fine breccias as schists.
To the west of Gebel Zergat Naam the stones in the wadis are sometimes cemented into hard breccias by calcareous matter, doubtless deposited by drainage waters which have dissolved out the lime from felspathic rocks.
In the hill called Ti Keferiai, a little below the triangulation point which marks the summit, a highly altered fine-grained dioritic rock, containing much epidote, has been crushed into a coarse breccia [12,123] cemented by rose-coloured quartz.
A remarkable green breccia is found in Gebel Hamata, where it appears to form a large mass in the mountain-side to the east of the main peak. This rock [10,407], which has a sp. gr. of 2·92, is darker in colour and somewhat softer than the ornamental “breccia verde antico” of the Wadi Hammamat district further north,[135] but it also is a very beautiful rock. In the hand specimen, it consists of black angular fragments, up to two centimetres in diameter, embedded in a dark green ground mass, the whole of very fine grain and barely scratchable with a knife. Under the microscope, the black fragments seem to be of basaltic nature, while the green matrix is probably a highly crushed and brecciated diorite-porphyrite; the whole of the slide is clouded by decomposition products.
Fault-breccias, produced by differential movement of the two sides of faults, occur in the neighbourhood of the Wadi Saalek, where the sandstones and schists are much faulted (see p. 359). The[352] breccias here [11,539] are narrow bands which stand up like dykes; they are very calcareous and highly ferruginous, with occasional green stains, perhaps due to traces of copper.
Quartz veins deposited by solutions[136] in cracks and fissures of the igneous and metamorphic rocks are very numerous and widely distributed, especially in the Sukari district. They vary immensely in size, from mere strings to veins two metres or more in thickness; they cut the rocks in every direction and at every angle of dip. Steeply inclined veins are by far the most numerous, but some have a flat inclination and are then styled “reefs” by the miners.
The principal interest attaching to the quartz veins is the fact that they frequently contain gold, though seldom in particles visible to the unaided eye. The quartz veins were worked for their gold by the ancients, the remains of whose dwellings and stone grinding pans are found at numerous places, as for instance in the Wadi Hangalia, at Kurdeman, near Gebel Sabahia, at Gebels Sukari and Allawi, in the Wadi Lewewi, and at Romit and Darahib. Our modern prospectors have found these ruins of ancient mining camps and grinding pans to be the best guide to auriferous veins, gold being seldom found except in and near the old workings. As mentioned on p. 27, the ancients worked the mines by convict labour, and they could for that reason afford to work ores which are too poor to pay under modern conditions. But in certain cases the veins have been found rich enough to give possibilities of a commercial return to modern mining enterprise; a list of the prospecting licences and mining leases now in force is given on p. 28. As to the source of the gold, it is not known whether it came up in solutions from below, or has been secreted laterally from the country rock.
Besides gold, some of the quartz veins contain traces of copper, but none of the occurrences of copper ore within the area specially treated of in this book appear to be capable of yielding any considerable[353] quantity of the metal, most of them in fact being mere stains due to oxidation and carbonatisation of traces of sulphides.[137]
Calcite veins are much more rarely met with than those of quartz. In only one of the veins I have examined is calcite present in any considerable quantity, namely in the vein of the old gold mines of Romit. In this vein, white to brown crystalline calcite is found mixed with chalybite, limonite, and smoky quartz [12,105 and 12,141], the last-named only being apparently auriferous. There did not appear to be enough chalybite and limonite in the vein to make it worth following up for iron ore, especially in view of the expense of transport from the place.
Magnesite and asbestos veins occur in the serpentines of the Gebel Gerf district. These occurrences, which appear not to be large enough to be worth working, have been described on p. 330.
[134]The figures in square brackets in this and the preceding chapter are the numbers under which the specimens are registered in the Geological Museum, Cairo.
[135]See Barron and Hume’s “Eastern Desert.” Cairo, 1902. p. 263.
[136]Other quartz veins which probably originated in quite a different manner are treated of under the heading of Igneous Rocks see (p. 266).
[137]The copper smelted in ancient times at Kubban, on the east bank of the Nile opposite Dakka, in latitude 23° 10′, was possibly obtained from mines at Abu Seyal (sometimes misspelt Absciel), north of the Wadi Alaqi in latitude 22° 47′, longitude 33° 44′, where there are extensive old workings, Abu Seyal lies outside the region described in this volume; a reference to the mines will be found in the Report of the Egyptian Department of Mines for 1906, p. 34.
TECTONICS AND GENERAL GEOLOGY.
Given a sufficiently long period for their activity, the denuding and transporting agencies at work at the present day are capable of accounting for most of the superficial sculpturing of South-Eastern Egypt. The country is not absolutely rainless, and within a decade most of the dry valleys have been for a few hours the beds of streams, the result of rain storms. There is practically no frost in this part of the world, so that disintegration by the freezing of water in crevices of the rock does not occur on any large scale; the diurnal variations of temperature, are, however, so great that this cause alone is very potent in breaking up rock material. The disintegrated matter accumulates as heaps of debris and sand, ready to be transported towards the Nile or the sea by the streams which follow the next rainfall. Both in erosion and in the transport of sand, wind is a very active agent, and accounts for the formation and distribution of immense quantities of sand. Thus the mountains are slowly being lowered, and the rocky valleys between them are being widened and deepened, even at the present day, and the accumulations of sand on the coast-plain and elsewhere are being slowly increased in thickness.
But when we look at the great wadis, often hundreds of kilometres in length, cut to a depth of fifty metres with a width of half a kilometre through the sandstone plateaux which separate the mountain ranges from the Nile, it is difficult to conceive that rainfall and denudation have not in the past been greater than at present. In our own day, it is but seldom that the great wadis convey streams as far as the Nile or the sea, their waters being usually absorbed by the sandy bed before the end is reached; erosion nowadays is practically confined to the upper reaches of the wadis, and unless we postulate greater rainfall in the past, inconceivable ages must have been occupied in[355] the erosion of these great channels. We are thus driven to believe that what is now a very dry area was formerly one of considerable rainfall. This belief is supported by the traces of glaciation in Europe, for it is natural to infer that when temperate Europe had an arctic climate, northern Africa had a temperate one; the effect, whatever its cause, being practically equivalent to an increase of latitude. This change of climate is equally evidenced by geological observation in other parts of Egypt. It is even likely that the climate of Egypt may be slowly changing at present; but the change within the historical period has been so small as to be practically negligible.
If the 200-metre contour of the bottom of the Red Sea, shown on Plate I, be examined, it will be found to exhibit great indentations towards the great mountain masses, while there is a curious projection including the Island of Zeberged which mimics the present Ras Benas. Some of the indentations of the contour line lie in the direct prolongation of existing great wadis, such as those of Lahami, Khoda, Hodein, Di-ib, and Serimtai. The obvious suggestion from this coincidence is that the sea has encroached on the land since the drainage-system had substantially its present form, and we infer a sinking of the region at no very remote geological epoch. The central parts of the Red Sea attain depths of over 2,000 metres; thus this sea was a great and deep one even when the level of its waters, relative to the land, was 200 metres lower than now. We have no information which would give us a clue to the origin of this primitive sea, but the inference from the contours is that the present extent of the Red Sea has been caused by a great general subsidence of the land, and not by trough-faulting as has hitherto been usually stated.[138]
The subsidence just referred to was even greater than would be gathered from a consideration of the present coast-line. At intervals along the entire eastern coast of Egypt are hills of gypsum; these are never found except close to the present sea-borders, and the natural deduction is that the gypsum beds were deposited when the sea was at a higher level than at present. At Ras Benas, the gypseous strata[356] reach altitudes of nearly 200 metres, so that at the time when the gypsum was formed the Red Sea must have covered a much greater area than now, extending in fact approximately to the contour of 200 metres above present sea-level. As to the epoch when this greater extent of the sea existed, we should have a clue if we knew the age of the gypsum beds, which unfortunately is not the case; but they are almost certainly younger Tertiary beds, possibly Miocene or even Pliocene, so that in any case the Red Sea is a depression of considerable antiquity.
Eocene rocks are entirely absent from the district, and the same is the case with Cretaceous rocks younger than the Nubian sandstone. But if we go westward along the parallel of Berenice, across the Nile into longitude 23° 30′, we come to the plateau face of Gebel Garra, where there are exposed thicknesses of about ninety metres of Eocene limestone and 240 metres of Cretaceous marls. These beds cover great expanses further west and north; they evidently once extended beyond their present limits, and we may ask whether they ever reached over the Red Sea mountains here, as is the case in North-Eastern Egypt. To this question no answer can be given; from Berenice to Gebel Garra is a distance of over 300 kilometres, and even a very gradual thinning of the beds eastward would account for their absence from the main mountains; at the same time the denudation which has removed every trace of the hard Eocene limestone from the plain between Gebel Garra and the Nile may well have done the same further east.
The Nubian sandstone is found on both sides of the watershed ranges, and the question raised by its distribution is in regard to its possible original continuity. Did the Nubian sandstone once extend over the present igneous mountains, or was it laid down on either side of a great island ridge? In other words, did the Red Sea mountains exist as such in Cretaceous times, or have they been subsequently elevated, and the Nubian sandstones which covered them denuded away? To this question it may be stated at once that no certain answer can be given; but a good deal of study has been devoted to the facts bearing upon it, and these facts will be briefly enumerated and discussed below.
[357]Evidence from Volcanic Intrusions.—That the Nubian sandstone is younger than the igneous rocks in general is proved by the almost complete absence of intrusions into the sandstone. Apart from an interbedded diabase sheet in the north part of the region and a small basic dyke near Gebel Awamtib, the igneous rocks appear nowhere to penetrate the Nubian beds. The sandstone is a fortiori younger than the metamorphic rocks into which the igneous masses have been intruded.
Evidence from Present Distribution.—Coming now to the distribution of the sandstone, though we find it on both sides of the main ranges, there is not a trace of sandstone among the higher mountains; this of course proves nothing, for denudation would be most active among the peaks and in districts of maximum up-thrust, and sandstone is an easily erodible rock. The long tongue of sandstone plateau which terminates in Gebel Anfeib extends indeed right across the main watershed, but a reference to the orographical map (Plate I) will show that this extension is along a north-west to south-east general depression, where the Wadis Hodein and Garara form a cut across the map separating the main mountain masses into north and south groups. The presence of the sandstone tongue here would be equally well accounted for whether the mountains were elevated before or after the deposition of the Nubian beds.
Not only is the sandstone absent from the main mountains, but it is never found in such close proximity to them as to render a decisive answer to our question. Thus the eastern scarp of the sandstone plateau in the north part of the area overlooks a broad tract of low country between it and the mountains; and similarly from Gebel Anfeib one overlooks low country to the north, east, and south. On the eastern side of the mountains the sandstone deposits are restricted to small patches considerably removed from the main summits, and even in most cases from their foot-hills.
Evidences from Structural Features.—With regard to the structural evidences to be gathered from the sandstone itself, it was hoped that the observations of the dip of the beds at different places would throw light on the question as to whether their deposition antedated the mountain formation or no.
To the north of latitude 24°, the eastern edge of the sandstone scarp showed beds differing but little from the horizontal, though very gentle folding in various directions is probable.
[358]Further south, near Gebel Zergat Naam, much more decided evidences of folding, and even of dislocation, were met with. The head of the Wadi el Kreim, south-west of Zergat Naam (see the geological map on Plate XX) is probably a line of fault, for here on the south-west of the wadi we have sandstones coming right down to the wadi floor, with a dip of 30° to the south-west near the edge, becoming flatter the further we go from the wadi, while on the other side are crushed and brecciated schists. Going further west, in the sandstone hill-mass which lies twelve kilometres west of Zergat Naam, the dip of the beds is in the opposite direction, being 10° to 15° north-east, and granite appears at the foot of the steep west-south-west slope; this, with the preceding observation, seems to indicate a synclinal fold terminated near Zergat Naam by a fault up-thrusting the schists and syenite.
Where the Wadi Garara cuts through the sandstone hills to receive the Wadi el Kreim, the beds dip markedly to the south, the observed inclinations being 60° or more at the north edges, rapidly falling to 20° or less further south; the north faces show granite and schists at their base.
Further west, on the way to Gebel Um Harba, the sandstone of the hills showed dips to the east of 15°. At Gebel Um Harba itself there are thick beds of sandstone dipping 13° east-north-east, while all around the mountain one looks out over beds having approximately the same inclination.
At Gebel Um Khafur, the dip is 13° to 14° to the north-north-east, and is very constant over a large area. From the north side, where the plain is 380 metres above sea-level, the hills rise with a succession of dip slopes and basset-edges over a horizontal distance of 2·9 kilometres (measured perpendicular to the strike) to the triangulation beacon at 560 metres above sea, the beds all along dipping at 13° or 14°. Unless there is step-faulting here along the strike-wadis[359] (see Fig. 60) the total thickness of Nubian sandstone here is over 450 metres. This is a much greater thickness than has been noted anywhere else in Egypt, and I am inclined to think that there is step-faulting along at least two of the strike wadis which separate the hill-mass into ridges.
In approaching Gebel Awamtib from the north-west, I crossed over a small patch of diorite in the sandstone at the pass from Wadi Um Terbi into Wadi Awamtib, and a basic dyke was found cutting the sandstone of a spur of Gebel Awamtib. The beds of Awamtib itself dip pretty uniformly a little north of west.
About nine kilometres to the south of Gebel Awamtib, a station was taken on a sandstone headland with schists and quartz veins at its floor, and afterwards I skirted the limit between sandstone and granitic rocks on the way to Gebel Um Reit. All along this route there was no suggestion of sharp folding or faulting; the beds were nearly horizontal right up to the limit, where the granite hills rise suddenly (see Fig. 61).
From the top of Gebel Um Reit, which itself is granite, the sandstone limit could be seen to the north and east; the beds dip 30° in places; in those on the east the direction of dip is about south. The region round Um Reit is evidently one of considerable disturbance, but the sandstone is too far off for one to get any precise idea of its nature from the summit.
[360]Going northwards from Um Reit across the Wadi Saalek and up one of its branches into the head of Wadi Muegil, there is a good exposure of faulted sandstone overlying schists just before reaching the pass. Here (see Fig. 62) one of the faults is a distinct overthrust, with a north-easterly strike, and there are other faults in a parallel direction.
From the Wadi Muegil northwards past the Galt el Aguz to Gebel Um Harba there are gentle dips and curvings of the sandstone beds, with a predominant dip about north-east. At the Galt el Aguz the sandstone rocks are much tumbled about, but this appears to be due to fall of over-hanging beds.
At the pass from Wadi Um Arta into the head of Wadi Silsila, the dip of the sandstone is north-north-east. In its lower part, Wadi Silsila passes between sandstone ridges the dip of which is constantly east-north-east.
Round Bir Abraq and the triangulation station on Gebel Abraq (see large scale map on Plate XV) the main direction of dip is east-south-east; the pool of Bir Abraq itself is under projecting slabs of sandstone dipping in this direction. Bir el Sunta, a little further north, appears to lie in a syncline, the beds of the hills to the north dipping south-east, while those to the south dip north-west.
Approaching the sandstone from the east by Wadi Hodein, one traverses granite country with felsite dykes and enters suddenly into high sandstone plateaux. The beds at the Abu Saafa Springs dip about 5° northwards.
The beds of Gebel Dif and Gebel Anfeib have a prevalent dip on the west side to the east and north-east, while on the east face the dip appears to be in the reverse direction. This great mass of sandstone plateau may thus be a syncline with a north-westerly strike (i.e., a strike roughly parallel to the main direction of the watershed mountain ranges), but the eastern face was not examined in detail, and it may be that the whole mass dips to the north-east; some outlying small sandstone masses near the head of Wadi Edunqul show no reversal, the dip being still east-north-east. At Bir Dif the sandstones are variously tilted, and probably faulted.
The sandstones on the east side of the watershed ranges, near Gebel Ranga, were observed by Dr. Hume to dip towards the sea. In the south part of the region there are some low hills forming two series of ridges between the sea and Gebel Kolaiqo, separated by hills of[361] red aplitic granite; these hills were not actually visited, but were mapped from some little distance, and the dip of the beds was not measured, but the nature of the rocks was confirmed by specimens of sandstone brought back by guides sent to the place.
Summing up the dips and disturbances of the sandstone beds at the different places, it is clear that the strata are the more disturbed, the more closely they approach the main mountain ranges; this and the seaward dip of the beds near El Ranga are so far in favour of the view that the sandstone may once have extended right over the present mountains. But it will be seen that the disturbances of bedding are of an irregular character, especially between Gebels Zergat Naam and Um Reit, where the folding and faulting are often in directions quite distinct from that of the main mountain axes, and it may be that these disturbances are due to later movements rather than to the elevation of the main mountain ranges. So far as observations on the sandstone itself go, therefore, the question as to whether the Nubian sandstones of the Red Sea border ever directly joined those on the west of the mountains remains open; the observed disturbances of the beds give us clear proof that considerable earth movements have taken place since the sandstone was deposited, but they are inconclusive as to whether these same movements caused the elevation of the great mountain ranges.
Turning now to the main mountain-forming rocks, we find them composed of the two great classes, igneous and metamorphic. Though in places we have transition members, such as granites passing into gneiss, yet on the whole the two groups are quite distinct, and we find typical igneous masses rising in the midst of equally typical schists. Under these circumstances there can be no hesitation in considering the two groups to be of different ages, and that the igneous rocks must be the younger.
The igneous masses are divisible geologically into the three classes of (a) lavas, (b) dykes, and (c) plutonic rocks.
Lavas.—Amongst the igneous rocks, the lavas are those most poorly represented. Apart from the andesite of Gebel Sufra, and the diabase sheets in or under the Nubian sandstone, there are only a few[362] occurrences of volcanic rocks in all the area, a circumstance which is easily explained by the enormous denudation which has gone on and the fact that lavas, being superficial out-pourings, will have been most exposed to denuding forces.
Dykes.—Dykes seam the schists and igneous rocks, frequently in such numbers and with such parallelism as to give to the land the form of a succession of ridges separated by long narrow depressions, forming “dyke country.” In nature, the dykes vary from extremely acid rocks like aplites and quartz-felsites, to very basic forms such as diabase and basalt. There is on the whole a preponderance of basic over acid types. As already remarked, only one instance of a dyke cutting the Nubian sandstone has been observed in the district. Another significant feature in the distribution of dykes is that while dykes of all kinds are found cutting schists and acid plutonic igneous rocks, the basic plutonic masses are as a rule free from dykes; this suggests that the basic plutonic rocks may be on the whole younger than the acid forms.
Plutonic Rocks.—The plutonic rocks include granites, syenites, diorites, gabbros, pyroxenites, amphibolites, and peridotites. But these are not all of equal importance, and a natural division from the field observations is a two-fold one into acid and basic groups, which are tolerably well marked off from each other and are most likely of different ages. The acid class on this view consists of the granites and syenites, while the basic class contains all the other rocks above-mentioned. The granites are on the whole of a very acid type; syenite is very scarce and nearly always occurs in close association with granite. Of the basic group, probably the most abundant and most typical rock is gabbro; diorites and the various ultra-basic rocks are almost always closely associated with gabbro. Where acid and basic rocks occur in proximity (as for instance near Bir Abraq, where an acid granite occurs side by side with a serpentine) there is a sharp change, without transitional forms.
The much greater abundance of dykes in the plutonic rocks of the acid group as compared with those of basic composition, as mentioned above, inclines us to regard the basic group as the younger—a view which is further supported by the greater frequency with which a tendency to gneissose structure is noticeable in the acid rocks. The fact that the basic members are frequently in a higher state of decomposition[363] than the acid ones is not contrary to this view, being due to the greater ease with which their constituents undergo weathering; and as explained on p. 315, the fissured state of the altered peridotes is probably not due to the same earth forces which have sheared the granites, but to internal stresses set up by the expansion of the rocks on serpentinisation.
Though we may be fairly sure that the basic plutonic rocks are on the whole younger than the acid ones, we have no certain guide from which to estimate the geological age of either. We know from their relations to the sandstone that they are both older than the Upper Cretaceous, but we cannot say how much older; they may be anything from Archæan to Jurassic; the circumstance that similar rocks underlie Carboniferous strata in Sinai inclines us to place them at least as far back as Palæozoic times.
Gneisses and Schists.—The gneisses and schists which cover so much of the country are obviously older than the plutonic masses which are intruded in them, and for these metamorphic masses we need have small hesitation in speculating on an Archæan age. They exhibit a wonderful variety of composition. Most of the gneisses are doubtless sheared ancient igneous rocks, such as granite and diorite, and a similar origin may be assigned to many of the schists. Other rocks, as for instance the clay-schists, graphite-schists, and marble, have almost certainly originated from the metamorphism of ancient sedimentary rocks. But in a large number of cases we have at present no clue to the parent rock from which the schists have been formed.
Having in the foregoing pages discussed the evidences for the relative ages of the different classes of rocks and their mutual relations, we may now endeavour to reconstruct the past geological history of this part of Egypt from the information gathered. In this process we shall reverse the order of consideration taken above, and begin with the oldest rocks.
The schists and gneisses probably represent, not the original crust of consolidation of the earth, but a complex of ancient sedimentary and igneous rocks, laid down in pre-Palæozoic times and subsequently crushed, folded, and faulted into mountains which were subsequently[364] denuded and worn down. In parts of the main mountain-masses we may possibly still have the cores of some of these ancient elevations, but most of the present mountain peaks are formed of a later series of igneous rocks.
The first igneous intrusions into the schists and gneisses were the granites which form such peaks as Gebels Nugrus, Faraid, and Elba. Then followed crushing and folding of these rocks, giving them often a gneissose structure and opening fissures, up which came later intrusions, mostly of basic rocks, in the form of dykes. With the dykes or later came great basic intrusions of gabbroid rocks, forming such masses as Gebels Dahanib, Gerf, and Meisah.
A long interval now followed of which the rocks contain no record. We do not know whether the area was submerged or not in Palæozoic and early Mesozoic times; but if it was, all trace of the deposits of these ages has vanished in the great denudation which surely took place before the Upper Cretaceous sea swept over the country and deposited the Nubian sandstone. We do not know whether the Red Sea mountains then stood up as islands, or whether they were subsequently elevated. Nor do we know whether the area remained wholly or partly submerged during the Eocene period. But we are sure that at some time between the Upper Cretaceous and Oligocene epochs there was a great elevation of the land, with folding and faulting, especially in the areas now occupied by the great mountain masses, and possibly the mountains had their origin in this movement of elevation. The Red Sea depression may well have originated in a complementary sinking at this same period. The depth of the sea is of the same order (2,000 metres) as the height of the mountains on the adjacent land.
In the succeeding Oligocene period the land was being sculptured into something like its present form, and probably the main drainage lines of to-day were then formed.
About the Miocene epoch there was a sinking of the crust in this region. The Red Sea increased in area, and then, probably as the results of evaporation in a closed sea, deposits of gypsum were laid down. A subsequent elevation in Pliocene or post-Pliocene times raised these deposits along the present shores.
In geologically recent times a further gentle elevation has gone on, giving rise to slightly raised coral-reefs and sea-beaches. During the glacial period of Europe, the rainfall in Egypt was probably greater[365] than at present, and during this period the great wadis received almost their final sculpturing. After the change from this rainy climate to the dry one of to-day, erosion still went on, though more slowly, in the hills; but on the plains and along the coast accumulation of sands took place, partly owing to wind transport, and partly owing to the insufficiency of the drainage waters to carry their load as far as the Nile or sea. The abundance of coral-reefs in the Red Sea is largely conditioned by the lack of in-flowing streams of silt-laden water; for the coral animal flourishes only where the water is clear.
[138]Suess, in The Face of the Earth (English edition, Vol. I, p. 374), states that “the Red Sea itself is, however, a trough-subsidence, probably the greatest in the world.”
TRIBAL BOUNDARIES.
The Bedouin tribes[139] inhabiting South-Eastern Egypt are:—
North of the administrative boundary (Ababda tribes):—
Ashabab.
Meleikab.
South of the administrative boundary (Um Ali Bisharin tribes):—
| Hamedorab | ||||||
| Kurbeilab | ||||||
| Aliab | Balgab | |||||
| Koatil | ||||||
| Sarrarab | Mallak[140] | |||||
| Mohammad Omerab[140] | ||||||
I had hoped, in surveying the country, to be able to place the boundaries of the territories of the different tribes on the field maps, and with this object in view I ascertained the claims of each tribe as precisely as possible from representative men of the different tribes who accompanied me over the ground.[141] I found that in several places the tribal claims overlapped, and in consequence I have not inserted the boundaries on the general maps. But I was able to obtain a clear and definite idea of the various claims made at the time, and as this information was obtained on the actual ground, I propose to set it down here as being a useful basis for consideration if ever it is necessary to decide upon the question of rival claims.
[367]On the small scale map[142] which forms Plate XXVI, I have shown the various claims as accurately as the scale will admit of, and a reference to it will enable the statements of claim to be generally followed; but as the disputed portions frequently concern somewhat small wadis, it will in some cases be better to refer to the larger scale maps on Plates XV, XVII, and XVIII, to follow the smaller details.
I would remark that there did not appear to be anything in the nature of a quarrel between the various tribes over the areas of disputed ownership, these areas being occupied indifferently by either tribe, or by men of both tribes living amicably together. It was only when I attempted to lay down on a map the precise boundary of each tribe that I found certain areas had two or more claimants. In the country south of the administrative frontier, the wells and vegetation are sufficiently abundant, in proportion to the population, for the question of ownership never to be a matter of heated controversy in ordinary years; and I am told that the present relationships of the tribes are so friendly that although each tribe would resent any statement as to ownership of its traditional grounds by the others, yet as a matter of fact no objection is raised to camels and sheep of one tribe grazing in the grounds of another, a give-and-take policy being usual. When I was at Halaib, Sheikh Batran Ali Tiut (of the Hamedorab) told me they never had disputes about grazing rights, as there was plenty of ground for all; but if a dispute should arise, he would no doubt be able to settle it amicably with his neighbours, by going to the place and hearing the evidence of the oldest Arabs in the particular district and letting custom and tradition decide the point.[143]
Boundary between the Ashabab and Meleikab.—This boundary is defined in the Ministerial Arrêté of June 25, 1902, to run along the Wadi Hodein from the sea to Gebel Abraq, and thence southward to Gebel Um el Tiur. The only difficulty in laying down this line on the map is in deciding which part of the great plateau of Gebel Abraq to take as the point, and which of the two Gebels Um el Tiur is meant.
[368]With regard to Gebel Abraq (see the large scale map on Plate XV), the Wadi Hodein passes its south portion; but the context of the Arrêté, defines the wells of Abraq (Bir el Sunta, Bir Abu Dibesat, Bir Abraq, and Bir Gumbit) to be in the Meleikab area, and as these lie further north it is obviously necessary, in the spirit of the Arrêté, to take a point in the north portion of Gebel Abraq. From an examination of the map on Plate XV it will be seen that an easy and rational interpretation would be to regard the triangulation point, marked by a beacon on the plateau 1,700 metres north-west of Bir Abraq, as being a point on the boundary; the line from Gebel Um el Tiur to pass through this point northwards till it outs the Wadi Abraq, and thence the boundary line would lie along the course of Wadis Abraq and Naam to Wadi Hodein. This boundary fulfils the obvious intention of the Arrêté, and at the same time has the advantage of being easily traceable on the ground.
As to the two Gebels Um el Tiur, I have already mentioned this difficulty in connexion with the location of the administrative boundary (see p. 74), and have taken the higher of the two mountains of the same name as being the one intended.
Before leaving the subject of the Meleikab boundaries, it may be worth while to mention that at the time the Arrêté of 1902 was issued the country had not been surveyed; it was then thought that Bir Shalatein lay some fifty kilometres further along the coast southward than the mouth of Wadi Hodein, and the Arrêté defined the eastern boundary of the Meleikab territory to be the coast-line from Wadi Hodein to Bir Shalatein. But as Bir Shalatein is actually in the Wadi Hodein, the real result is that the Meleikab area ends in a point on the coast, and does not include any sea-board at all. The matter is not one of great moment, because the coast-plain for some distance southward of Wadi Hodein is very barren; but it illustrates the impossibility of defining boundaries without either going over the actual ground or having a reliable map.
The Hamedorab Boundary.—The Hamedorab claim their boundary to run from Bir Meneiga southward along the watershed of Gebel Gerf, along the east side of the basin of Wadi Diqdib to just south of Bir Baaneit, thence to the hill called Kilia Arib, thence to the hill of Eqrun, thence to the pass of Bani Sana; at Bani Sana the boundary turns south-westward so as to pass west of Wadis Hamida and Nubitra,[369] then bends to the south-east passing west of Wadis Mashushenai and Dibir, thence eastward along the south side of Wadi Di-ib.
The Hamedorab state that much of the country included in the Egyptian administration as belonging to the Ashabab is really Hamedorab country; they claim the north limit of their tribal territory to commence at the mouth of Wadi Khoda on the coast (in latitude 23° 42′) and to pass north of Wadis Khoda, Shenshef, and Shut, thence southward passing west of Wadi Beida to Bir Meneiga.[144] This is of course contrary to the Ministerial Arrêté of 1902, and as Bramly Bey (The Anglo-Egyptian Sudan, Vol. I, p. 93) mentions that on the other hand the Ababda tribe assert that their country should rightly extend south of the administrative boundary, it is probable that the administrative frontier represents a fair division of the rival claims.
The Kurbeilab Boundary.—The Kurbeilab claim their eastern boundary to run as follows: From Bir Meneiga southward along the watershed of Gebel Gerf to near the Sherefa pass, thence south-eastward along the north side of Wadi Sherefa el Sharqi on to the small hill called Tibashoi Tomokolat, thence east-north-eastward to Gebel Hamra Dom. From Gebel Hamra Dom south-eastward to the hill of Osnei, thence southward to the hills of Ti Keferiai, thence to the pass of Bani Sana. From Bani Sana southward to Gebel Warabeit, thence along the east side of Wadi Dibir, along the north side of Wadi el Qurat, across Wadi Di-ib, and then southwards along the east side of Wadi Di-ib.
The Balgab Boundary.—The Balgab boundary coincides with the main watershed from the parallel of 22° northwards to Gebel Adar Qaqa, then passes between the drainages of Wadi Hasium and Wadi Soaorib to the hill called Kulet Tinasal. From Kulet Tinasal the boundary runs east-south-eastward across Wadi Soaorib, passing north of Wadi Dishlo; thence it turns south along the mountains separating the basin of Wadi Soaorib from that of Wadi Baueiwai, thence it passes south of the heads of Wadi Miatit, eastwards across Wadi Aqwem, along the north side of Wadi el Qurat, across Wadi Di-ib, and then southwards along the eastern side of Wadi Di-ib.
[370]The Koatil Boundary.—The Koatil claim their boundary to run from the head of Wadi Diqdib, along the mountains forming the eastern side of the basin of Wadi Diqdib to a point just south of Bir Baaneit, thence eastward to Gebel Hamra Dom. From Hamra Dom, west-south-westward to Tibashoi Tomokolat, thence along the north side of Wadi Sherefa el Sharqi and along the mountains forming the west side of the basin of Wadi Diqdib up to the head of that wadi.
The Koatil further claim as their territory the upper portion of the basin of Wadi Medarai west of longitude 35° 18′.
The Koatil also own the well called Bir Um Rasein, though all the wadis in its neighbourhood belong to the Kurbeilab.
Overlapping of Claims.—When the boundaries of the different tribes as specified above are laid down on the map (see Plate XXVI), it is found that there are three tracts claimed by more than a single tribe. These three disputed areas are:—
(1) A tract south and east of Bir Baaneit, claimed both by the Koatil and by the Hamedorab. The western part of this area is relatively well wooded. Its eastern portion includes the water source called Ti Dabai Hamra Dom.[145]
(2) A tract extending southward from Gebel Hamra Dom to the Wadi Qurat, claimed both by the Kurbeilab and by the Hamedorab. This area includes the Wadis Hamida, Nubitra, and Dibir, and four not very important water sources, viz., Galt Osnei, Megwel Hamida, Bir Nubitra, and Bir Mashushenai.[146]
(3) A narrow tract including the Wadis Qurat and Di-ib, claimed by all three tribes Balgab, Kurbeilab, and Hamedorab.
Ownership of Water Sources.—With the exception of the five water sources just mentioned as lying within the areas claimed by more than one tribe, there are no disputes about ownership of water supplies. The wells of the different tribes are partly enumerated in the Arrêté of 1902, but as the list there given is far from complete and many of the names are incorrect, I give below a list of the water sources belonging to the various tribes within the area surveyed. For particulars of the various water sources reference should be made to Chapter VII (p. 234).
| [371]Wells, etc., of the Ashabab. | ||
| Bir Muelih | Bir Helie | Igli Galt |
| Bir Ghadir | Bir Abu Hashim | Galt Um Tundeba |
| Bir Murra | Bir Shenshef | Zabara Galts |
| Bir Abu Had | Bir Betan | Ghuel Galts |
| Bir Um Gubur | Bir Rahaba | Galt Um Karaba (Migif) |
| Bir Masur | Bir Abu Reye | Megal Harami |
| Bir Ranga | Bir Abu Beid | Galt Um Gerifat |
| Bir Khashab | Bir Gahlia | Galt Um Gunud |
| Bir Abu Hamamid | Bir Orga | Galt Batoga |
| Bir Metawit | Bir Um Reit | Galt Um Maiat |
| Bir Shadli | Amar Spring | Galt el Aguz |
| Galt Seiga | ||
| Wells, etc., of the Meleikab. | ||
| Bir el Sunta | Bir Gumbit | |
| Bir Abu Dibesat | Bir Abu Saafa | |
| Bir Abraq | Bir Dif | |
| Bir Beida | ||
| Wells, etc., of the Hamedorab. | ||
| Bir Shalatein[147] | Bir Meheriqa | Bir Salalat O Sir |
| Bir Adal Deib[147] | Bir Nabit | Bir Sararat Serimtai |
| Bir Meneiga[148] | Bir Abu Ramad | Megwel Akau |
| Bir Muqur | Bir Kansisrob | Ti Kureitra |
| Bir Baaneit | Bir Akwamtra | Bir Frukit |
| Halaib Wells | Bir Qabatit | |
| Wells, etc., of the Kurbeilab. | ||
| Bir Madi | Bir Shinai | Meis-heit-ar |
| Bir Korbiai | Bir Kagog[149] | Megwel Adar Aqdeib |
| Bir Meneiga[148] | Bir Guqub | Megwel Um Ein |
| Bir Sararat Seyet | Bir Himeitra | Megwel Um Edwa |
| Bir Bint el Dreb | Bir Um Bishtit[150] | Megwel Didaut[151] |
| Bir Odis Maaleq[149] | Bir Qidmib | Megwel Aqwem |
| Bir Abu Hodeid | Bir Meisah[151] | Galt Hilwit Hasium |
| Galt Kirir | ||
| Wells of the Koatil. | ||
| Bir Diqdib | ||
| Bir Um Rasein | ||
According to the Arrêté of 1902, Bir Egat is Mallak property.
[139]See notes by Mr. W. E. Jennings Bramly in The Anglo-Egyptian Sudan, edited by Count Gleichen. London, 1905. Vol. I, pp. 91-93.
[140]Of these two sub-tribes (Mallak and Mohammad Omerab), I did not hear anything during my travels. The Mallak country is mostly south of latitude 22°, but extends into South-Eastern Egypt round about Bir Egat, a locality which I did not visit. The Mohammad Omerab are stated by Mr. Bramly (op. cit.) to own the wells of Bir Meisah and Megwel Didaut, which, as will be seen from what follows, are included in the area claimed as Kurbeilab by the Sheikh who accompanied me.
[141]The men were Sheikh Isa Ali Tiut, Sheikh of the Hamedorab; Sheik Hatab (brother of Mohammad Katul, Sheikh of the Kurbeilab); and Mohammad Katul Batkai, of the Kurbeilab-Aliab.
[142]In order to render it easier to follow the descriptions of the boundaries, I have purposely omitted from this map most of the place-names other than those mentioned in the descriptions. The map is to the same scale as the general orographical map on Plate I.
[143]Jennings Bramly Bey, the Senior Inspector of Berber Province, who has kindly favoured me with some useful criticisms of this chapter, remarks: “My experience up to date is that each principal man has a different idea of his own boundaries and that those ideas differ from day to day. My impression is that the Bisharin are as yet one big family, and that the grazing is ample for all so that the boundaries are very vague between the different tribes. Disputes of course do arise as to the possession of wadis, but I find that a week after a certain wadi has been allotted to one of two tribes, both tribes are amicably grazing in it side by side without payment. The ownership of wells is more strictly defined.”
[144]Bir Shenshef and Bir Beida are in fact classed as belonging to the Hamedorab in a MS. list of wells drawn up by Bramly Bey. But he has doubtless so classed them before their true locality was known; as they lie well to the north of the Sudan administrative boundary (Shenshef is over one hundred kilometres from the nearest point of that boundary, on the Egyptian side) the Hamedorab claim can hardly be maintained.
[145]This water source is recorded in Bramly Bey’s MS. list of wells as Hamedorab property.
[146]Mr. Bramly (Anglo-Egyptian Sudan, Vol. I, p. 92), classes Bir Mashushenai as Koatil. I am, however, informed that there are two wells of this same name, and this classification probably refers to another well than the one mentioned above.
[147]The Arrêté of 1912 ascribes these two wells to the Ashab, a tribe of whom I heard nothing when in the neighbourhood; Bramly Bey informs me that they are a sub-tribe of the Hamedorab.
[148]Joint Hamedorab-Kurbeilab.
[149]Bramly Bey, in his MS. list of wells already referred to, classes Bir Odis and Bir Kadot (probably the same as my Kagog) as Hamedorab. But they were not so claimed by the Hamedorab sheikh who accompanied me, and lie well outside the Hamedorab boundary as claimed by that sheikh.
[150]Bramly Bey informs me that the ownership of Bir Um Bishtit is disputed between the Kurbeilab and Koatil, but the wadi of the same name appears to be undisputed Kurbeilab ground.
[151]I have included these two water sources (Bir Meisah and Megwel Didaut) in the Kurbeilab list, because they lie within the boundary claimed for the Kurbeilab by the sheikh who accompanied me; but according to Mr. Bramly (Anglo-Egyptian Sudan, Vol. I, p. 92) they belong to the Mohammad Omerab.
NOTES ON THE ROAD FROM HALAIB TO PORT SUDAN.
On the completion of the survey work at Halaib in May 1908, I returned to Cairo by marching in to Port Sudan and thence taking steamer to Suez. The journey from Halaib to Port Sudan with baggage camels occupied eleven days, travelling on an average thirty kilometres a day. This rate of travel did not permit of any surveying being done en route, but I took brief notes of the road and the wells on it, and as this road does not appear to be included in those described in the Sudan Handbook, I give here the notes I made. The distances are estimated from the times occupied in marching.
I would mention that from Mohamed Ghul onwards to Port Sudan there are two roads; a lower one near the sea, usually followed by the Police patrols, and an upper one which goes a little distance inland. The upper road was the one I followed, as my guides informed me that while it was only some eight kilometres longer than the lower one, there was much better water to be found on it.
In the sketch maps on Plates XXVII and XXVIII, I have shown the road and the wells on it as correctly as is possible from my notes, using the Admiralty Chart No. 2,336 as a basis for the coast-line and the maps 36 I and 46 A, issued by the Sudan Survey Department, for the position of Port Sudan and some topographical details. As the direction of march was roughly north-to-south and the total estimated distances between Halaib and Mohamed Ghul, and between Mohamed Ghul and Port Sudan, agree pretty well with those scaled from the maps after laying down the terminal positions correctly, it may be taken that the latitudes of the wells are fairly correct, while the longitudes are liable to greater error as being only rough estimations.
[373]Halaib to Mohamed Ghul.
| Place. | Kilometres. | Description. | ||
|---|---|---|---|---|
| Intermediate. | Total. | |||
| Halaib | — | — | Village of Hamedorab Arabs (reed huts). Small fort of two storeys; tanks below and native police quarters above. No accommodation for Europeans. Several wells, with plentiful water, in and near the village. Water hard and aperient, but drinkable. Fish of good quality plentiful and cheap, from native fishermen. Small quantities of sugar, dates, fat, etc., can be got in the bazaar. No post nor telegraph nor regular communication. Rocks around village are limestones and gypsum, with some calcareous conglomerates. | |
| Wadi Shellal | 4 | 4 | Road goes over sandy and gravelly undulating ground near sea. Wadi Shellal is a broad shallow wadi (scrub) coming from high mountains to the west. | |
| Wadi Aqilhoq | 3 | 7 | Broad shallow wadi (scrub). About 19 km. up the wadi, west of the road, Bir Frukit, where there is a constant supply of better water than can be got at Halaib. | |
| Wadi Aqwai | 4 | 11 | ⎱ ⎰ |
Shallow wadis with scrub. |
| Kreit-reit-or | 9 | 20 | ||
| Ti Kureitra | 2 | 22 | Four wells, about 12 metres deep, lined with gypsum-slabs; about 4 km. from coast. Water bad (strongly purgative) only suitable for animals. Gypsum beds, partly covered by gravel, extend over a broad stretch round the wells. Further on, banks of calcareous grit, covered mostly with gravel. | |
| Bir Qabatit | 18 | 40 | About 6 km. from Ti Kureitra, mass of high felsite hills called Gebel Hadarba, passed on right of road; road continues over sandy and gravelly undulating ground across shallow wadis draining from the hills. Bir Qabatit is a well in a small wadi south of the main Wadi Qabatit, about 1½ km. from the sea. Water about 5 metres down, very salt, but was being drunk by the Arab patrols, who said it did not purge them. | |
| [374]Bir Ma-arob | 14 | 54 | Good road over coast-plain. At Bir Ma-arob, one well of bad water, strongly aperient. Well is in wadi, forming a pool about 2 metres diameter, overhung by tamarisk-bush. Water about 4 metres down from surface. NW. of the well, group of white hills, about 50 metres high, called Tishara, of calcareous grit. | |
| Wadi Na-akreib | 8½ | 62½ | Road over sandy and gravelly plain, here crosses a broad shallow wadi. | |
| Wadi Hamsiat | 5 | 67½ | Wadi draining into lagoons. | |
| Wadi Waseb | 5 | 72½ | Wadi draining into a great inlet of the sea, looks like a good harbour. | |
| Hibi Kwan | 3 | 75½ | Wadi draining into a large inlet. Coast about here much broken, with coral reefs and islets. | |
| Bir Delaut | 12½ | 88 | Good road on to Bir Delaut. Three wells in alluvium of wadi, about 500 metres from sea. Water about 4 metres down. The southernmost well is the best. Water good. | |
| 3 | 91 | Road passes head of long inlet, then it passes east of a mass of limestone hills called Abu Hamama, about 200 metres high. A little further on, another big inlet called Halaqa, close south of which are limestone-hills about 150 metres high. | ||
| 13 | 104 | Road passes west of limestone hills. Further on it crosses the wide and bushy Wadi Shenaab. | ||
| 14 | 118 | Road turns sharply eastward through low hills (sandstones and grits underlying gypseous limestones, all dipping gently eastwards). | ||
| Megwel Shumab | 1 | 119 | Road passes close to Megwel Shumab, a shallow pit excavated in limestone with a little tunnel running eastwards. Water very bad, used only by animals. | |
| 5 | 124 | Road hitherto over undulating ground, here becomes nearly level. | ||
| [375]Wadi Qumat Yawab | 10 | 134 | Road crosses broad shallow wadi. | |
| Dungunab | 7 | 141 | Small village of huts and tents on coast. Good water at well about 3 km. inland. Mr. Crossland is carrying on work here in connexion with pearl-oyster industry. Meteorological station. | |
| Tribal boundary | 9 | 150 | From Dungunab, road detours westward to round an inlet of the sea, then goes over a sandy and gravelly undulating plain with bushes and grasses. Boundary between Hamedorab and Amarar country marked by two wooden posts. | |
| Wadi Hukeib | 3 | 153 | Road crosses wadi. High white hills, 10 km. to west of road; as seen through field-glass, these appear to be of white granite seamed by basic dykes. There is a good well, Bir Hukeit-ar, in Wadi Hukeib about 4 km. west of road and 5 km. from sea. | |
| Wadi Yameinai | 8 | 161 | Broad wadi, wherein an acre or two has recently been planted with durra. About 6 or 7 km. inland from this point, is a sheikh’s tomb, white and conspicuous in the morning light. | |
| Mohamed Ghul | 8 | 169 | Small village on coast. Police fort with two decent rooms above, used by mamûr as office and quarters. No supplies worth mention. | |
[376]Mohamed Ghul to Port Sudan.
| Place. | Kilometres. | Description. | |
|---|---|---|---|
| Intermediate. | Total. | ||
| Mohamed Ghul | — | — | Small village on coast; see above. |
| 16 | 16 | Road hitherto over gently rising plain of sand with grasses and bushes, here enters hills. | |
| Bir Di-it | 1 | 17 | A number of very salt wells, used only by sheep and goats, sunk about 6 metres deep in the wadi bed and lined with masonry. |
| Bir Salalat Aseir | 27 | 44 | Good road from Bir Di-it among granite hills with intervening wadis and small plains, very grassy in places, to Bir Salalat Aseir, a masonry-lined well of good water, about 4 metres deep, sunk in the alluvium of Wadi Aseir. Small settlement of Amarar Arabs here. |
| 2 | 46 | Road after winding among hills, here enters on level plains of granitic sand, with grasses and bushes. | |
| 19 | 65 | Rocks change from granite to sandstones and limestones; road now winds among low banks. | |
| 8 | 73 | Road goes through east part of a mass of low hills. | |
| Bir Eit | 19 | 92 | After passing the above-mentioned hills, the road continues over gently undulating ground with broad sandy wadis with grasses and bushes alternating with strips of igneous gravel. There are low flat-topped hills of limestone (beds dipping gently seawards) between the road and the sea. Bir Eit is on the road; it is a masonry-lined well about 5 metres deep sunk in the wadi-alluvium close to some scarps of white gritty limestone. Water very good. (N.B.—There is another Bir Eit in the same wadi lower down near the sea, of slightly bitter water). Small settlement of Amarar Arabs. Hills round Bir Eit rise at least 100 metres above the wadi, coral overlying marly and gypseous beds. |
| [377]Low gravel hills | 8 | 100 | Road over undulating sandy and gravelly ground to two low gravel hills. |
| Tower | 12 | 112 | Road over sandy plain with dried-up scrub and occasional small patches of igneous gravel, passes 1 km. west of a small tower on a low gravel bank. |
| Wadi Ga-awit-reb | 4 | 116 | Ground broken by drainage-lines. Small trees and a few Arab huts. Megwel Ga-awit-reb, a water source in the wadi a little below where road crosses it. |
| Bir Ta-amai | 11 | 127 | Road over gently rising very sandy ground to Wadi Arba-at, a sandy wadi with numerous trees. Bir Ta-amai is a well in Wadi Arba-at, a little to the west of the road, where the latter passes between two masses of low igneous hills. Water good, about 7 metres down. Rude hut near well. |
| 10 | 137 | Chimneys of Port Sudan here become visible in distance on clear day. Road lies over sandy plain. | |
| Port Sudan | 20 | 157 | Rail connexion with Atbara and Suakin. Post and telegraph. Regular steamers to Suez. Permit from British Consul necessary before fire-arms can be taken on board steamers. |
[1]GEOGRAPHY AND GEOLOGY
OF SOUTH-EASTERN EGYPT.
By Dr. J. BALL.
| Page. | |
| 11 | line 9 from top, for “Modellin” read “Modellim.” |
| 21 | footnote, line 2 from bottom, for “watershed” read “westward.” |
| 24 | line 2 from top, for “figures” read “fingers.” |
| 47 | in heading of last column of table, for “observed-computed” read “computed-observed.” |
| 49 | line 7 from top, for “area” read “sea.” |
| 49 | footnote, line 3 from bottom, for “k = of 0·13” read “k = 0·13.” |
| 49 | footnote, bottom line, in the denominator of the fraction, for “2—r” read “2r.” |
| 51 | line 12 from bottom, in last column, for “0” read “—.” |
| 52 | line 12 from top, in last column, for “0” read “—.” |
| 54 | line 12 from top, the latitude of point No. 353 is “23° 47′ 37″” not “23° 47′ 47″.” |
| 57 | line 14 from top, for “Fokani” read “Foqani.” |
| 58 | line 14 from top, for “Mukur” read “Muqur.” |
| 59 | line 9 from bottom, for “Un Rasein” read “Um Rasein.” |
| 60 | line 2 from bottom, in last column, for “highest” read “high.” |
| 61 | line 3 from top, delete “minor.” |
| 63 | line 8 from top, for “G. Di-ib” read “W. Di-ib.” |
| 72 | last line, for “as” read “if.” |
| 75 | line 10 from top, for “added of” read “added to.” |
| 76 | the observed compass-variation near Halaib Fort was “2° 18′,” not “3° 18′,” and in the observed variation at Helwân the figures given as seconds should be decimals of a minute. |
| 77 | the yearly decrease of declination (in three places) should be 6′·3 instead of “6′ 3″.” |
| 82 | line 22 from top, for “Wani” read “Wadi.” |
| 83 | line 18 from top, for “Um Selim” read “Um Sellim.” |
| 88 | line 11 from top, for “Feleiti” read “Felieiti.” |
| 98 | line 2 from top, for “Serimtay” read “Serimtai.” |
| 99 | lines 4 and 7 from bottom, for “Sabaia” read “Sabahia.” |
| 101 | line 25 from top, for “Um Heram” read “Um Heran.” |
| 103 | line 9 from top, for “The one” read “The upper one.” |
| 104 | line 17 from top, for “heap” read “head.” |
| 105 | line 11 from top, for “42° 34′” read “24° 34′.” |
| 109 | line 18 from top, for “35° 47′ 10″” read “35° 47′ 13″.” |
| 118 | line 11 from bottom, for “curved” read “carved.” |
| 144 | lines 10 and 22 for “Meisa” read “Meisah.” |
| 145 | top line, for “Meisan” read “Meisah.” |
| 152 | line 8 from top, for “Akwantra” read “Akwamtra.” |
| 153 | line 8 from top, for “aad” read “and.” |
| 159 | line 5 from top, for “Mikreiba” read “Mikeriba.” |
| 159 | last line, for “22° 13′ 24″” read “22° 13′ 25″.” |
| 159 | last line and footnote, for “Qosier” read “Qoseir.” |
| 160 | top line, for “36° 38′ 54″” read “36° 38′ 56″.” |
| 162 | line 7 from top, for “to” read “or.” |
| 162 | line 5 from bottom, for “Qubit” read “Qubet.” |
| 167 | line 10 from top, for “1099 metres” read “1199 metres.” |
| 167 | line 15 from bottom, for “Krug” read “Khrug.” |
| 173 | line 8 from top, for “Itelma” read “Iteima.” |
| 173 | line 10 from bottom, for “34° 44′ 35″” read “34° 41′ 35″.” |
| 176 | line 4 from top, for “24° 14′ 44″” read “24° 14′ 41″.” |
| 183 | line 4 from bottom, for “Mukhtatat” read “Mukhatatat.” |
| 186 | last line, for “east” read “west.” |
| 188 | line 9 from top, for “24° 54′ 18″” read “24° 54′ 14″.” |
| 188 | footnote, for “23° 57′ 67″” read “23° 57′ 46″.” |
| 189 | line 8 from top, delete “respectively.” |
| 194 | line 9 from bottom, for “these” read “there.” |
| [2]204 | line 16 from top, for “western” read “southern” |
| 206 | line 13 from bottom, for “34° 50′ 49″” read “34° 56′ 49″.” |
| 211 | line 12 from bottom, for “which” read “while.” |
| 212 | line 20 from top, for “Um Rassin” read “Um Rasein.” |
| 213 | line 14 from bottom, for “Kirwaw” read “Kirwau.” |
| 223 | line 11 from top, for “exit” read “exist.” |
| 223 | line 2 from bottom, for “Hashushenai” read “Mashushenai.” |
| 224 | line 18 from top, for “jugged” read “rugged.” |
| 228 | last line, for “masses” read “mosses.” |
| 233 | line 3 from bottom, for “in” read “on.” |
| 235 | footnote, for “Megwal” read “Megwel.” |
| 238 | line 9 from top, for “aad” read “and.” |
| 242 | line 3 from bottom, before “vary” insert “they.” |
| 245 | top line, for “Wadi Sikait” read “Wadi Shait.” |
| 246 | the latitude of Galt el Aguz is “23° 32′ 30″” not “23° 31′ 30″.” |
| 248 | the latitude of Bir Muqur is “22° 42′ 26″” not “22° 41′ 26″.” |
| 253 | top line, for “Mesah” read “Meisah.” |
| 259 | line 17 from bottom, for “Dib” read “Dif.” |
| 263 | line 8 from top, for “section” read “sections.” |
| 273 | top line, for “sprinking” read “sprinkling.” |
| 278 | last line, for “XXI” read “XXII.” |
| 304 | line 11 from bottom, for “pale” read “free.” |
| 304 | line 9 from bottom, for “forms” read “form.” |
| 306 | line 7 from top, for “44°” read “34°.” |
| 310 | line 11 from top, for “dolorite” read “dolerite.” |
| 317 | in the description of the figure, insert the word “to” between “altering” and “granular.” |
| 333 | line 2 from top, for “Modergeg” read “Mudergeg.” |
| 339 | line 13 from top, for “resemblance” read “semblance.” |
| 341 | line 14 from top, for “ericite” read “sericite.” |
| 342 | line 18 from top, for “dentritic” read “dendritic.” |
| 342 | line 5 from bottom, for “on” read “in.” |
| 346 | line 8 from top, for “ancient” read “ancients.” |
| 351 | line 13 from top, for “p. 441” read “p. 341.” |
| 353 | line 12 from top, for “Magnetite” read “Magnesite.” |
| 358 | line 4 from top, for “XV” read “XX.” |
| 360 | line 16 from top, for “XX” read “XV.” |
| 366 | footnote, line 5 from bottom, for “Megwell” read “Megwel.” |
| 367 | footnote, line 3 from bottom, for “or” read “of.” |
| 387 | line 18 from top, for “Mitab” read “Mitba.” |
| 390 | line 14 from bottom, for “Balamhandeit” read “Belamhandeit.” |
| 392 | line 18 from top, for “Mokhatatat” read “Mukhatatat.” |
| 392 | line 25 from top, for “Kukhit” read “Mukhit.” |
| 393 | second column, line 16 from top, for “Kalabat” read “Kalalat.” |
| 394 | last line, for “Zebeged” read “Zeberged.” |
The following is a general list of the maps and plans offered for sale by the Survey Department. A booklet giving details of all sheets printed may be obtained free, on application either personally or by letter at the Headquarters of the Department, Gîza (Mudiria), or at the Geological Museum, Public Works Ministry Gardens, Cairo, where all maps and plans are for sale, or through any bookseller.
Except where specially stated, the price of each map-sheet is 50 milliemes on paper, and 65 milliemes on cloth, and they are sent post free by the Department.
The reference marks denote: (*) map is in Arabic only; (†) map is in English only; (*†) map bears place-names both in Arabic and English; (*) (†) map can be obtained either in Arabic or English.
The following list gives particulars of the maps published. The map of Alexandria, on the scale of 1:1,000, will be completed during 1913. The survey of Cairo on the scale of 1:1,000 is in progress.
These are maps of the villages showing each hod and plot of land. They are printed in Arabic only. In ordering, the name of the village and the numbers of hod and plot should be given. The following list gives the particulars of the maps for each mudiria (province):—
Scale 1:10,000 (10 cm. = 1 kilometre; 6·3 inches = 1 mile).—The names on these maps are in most cases in Arabic and English. The following table shows the number of sheets published:—
Scale 1:25,000 (4 cm. = 1 kilometre; 2·5 inches = 1 mile).—A provisional map of Northern Gharbîa has been published on this scale, pending the publication of the 1:10,000 sheets of this area. There are 91 sheets.
Scale 1:50,000 (2 cm. = 1 kilometre; 1·3 inches = 1 mile).—These maps are printed in three colours. Names are given in English, and as a rule in Arabic as well. This series is completed for the whole of the cultivated area of the Nile Valley and Delta. There are 164 sheets.
[III]A second and revised edition is being published gradually; it will include the sheets of certain outlying areas such as Lake Menzala, Suez Canal, Wadi Natrun, etc., which, owing to lack of time or opportunity, have either not been published or published from defective data.
Scale 1:250,000 (1 cm. = 5 kilometres; 1 inch = 8 miles).—The preparation of the four sheets of this series, embracing the area of the Delta, is now being proceeded with. The two western sheets are printed in English only and the remaining two eastern sheets will be published by the end of the year (1912). Price, 100 milliemes per sheet.
Scale 1:1,000,000 (1 cm. = 10 kilometres; 1 inch = 16 miles).—The six sheets of this map, covering the whole of Egypt, have now been published. The names are in English. The price of each sheet is 50 and 65 milliemes for paper and cloth editions respectively, or the whole can be obtained mounted on cloth, varnished, and fitted with rollers for 550 milliemes.
The price of the school-maps, printed in colours, mounted on cloth, varnished, and fitted on rollers, is 700 milliemes per copy, except the Maps of the Mediterranean Basin and of the Ottoman Empire which are 500 milliemes per copy. The price of each part of the Atlas of the World, published separately, will be 200 milliemes.
1. Elementary Atlas of Egypt, price per copy 50 mills.
2. Atlas of the World, Part I „ „ 200 „
Contains the following maps: Egypt, the Anglo-Egyptian Sudan, Africa Political, Africa Physical, eight inset maps of Africa, Asia Political, Asia Physical, The Ottoman Empire and neighbouring countries, and Europe Political.
| TITLE. | Scale. | Language. | Size. | ||
|---|---|---|---|---|---|
| metres. | |||||
| 1 | Lower Egypt | 1: | 200,000 | Arabic | 1·90 × 1·78 |
| 2 | „ „ | 1: | 200,000 | English | 1·90 × 1·78 |
| 3 | Orographical Map of the Nile Basin | 1: | 2,500,000 | Arabic | 1·35 × 1·75 |
| 4 | „ „ „ „ | 1: | 2,500,000 | English | 1·35 × 1·75 |
| 5 | Political Map of Egypt | 1: | 750,000 | „ | 1·75 × 1·75 |
| 6 | „ „ „ | 1: | 750,000 | Arabic | 1·75 × 1·75 |
| 7 | Political Map of Africa | 1: | 6,000,000 | „ | 1·75 × 1·85 |
| 8 | Physical Map of Africa | 1: | 6,000,000 | „ | 1·75 × 1·85 |
| 9 | Political Map of Asia | 1: | 6,000,000 | „ | 2·05 × 1·85 |
| 10 | Physical Map of Asia | 1: | 6,000,000 | „ | 2·05 × 1·85 |
| 11 | Map of Western Europe | 1: | 1,500,000 | „ | 2·25 × 1·85 |
| 12 | Map of the Mediterranean Basin | 1: | 3,000,000 | „ | 1·80 × 1·20 |
| 13 | Political Map of Europe | 1: | 3,000,000 | „ | 2·25 × 1·85 |
| 14 | Physical Map of Europe | 1: | 3,000,000 | „ | 2·25 × 1·85 |
| 15 | The World on Mercator’s Projection | — | „ | 2·05 × 1·85 | |
| 16 | Western Hemisphere | — | „ | 1·65 × 1·80 | |
| 17 | Eastern Hemisphere | — | „ | 1·65 × 1·80 | |
| 18 | Physical Map of the British Isles | 1: | 750,000 | „ | 1·75 × 1·75 |
| 19 | Political Map of North America | 1: | 6,000,000 | „ | 2·05 × 1·85 |
| 20 | Physical Map of North America | 1: | 6,000,000 | „ | 2·05 × 1·85 |
| 21 | Political Map of South America | 1: | 6,000,000 | „ | 2·05 × 1·85 |
| 22 | Physical Map of South America | 1: | 6,000,000 | „ | 2·05 × 1·85 |
| 23 | Political Map of Australia | 1: | 5,000,000 | „ | 2·05 × 1·85 |
| 24 | Physical Map of the Basin of Pacific Ocean | — | „ | 2·05 × 1·85 | |
| (This map shows the new Panama Canal and its relations to the Pacific ports). | |||||
[V]The following Atlases and maps are in preparation, and will be published during 1913:—
1. The Atlas of the World, Part II, will be published in September 1913, and will contain the following maps: 4 inset maps of Asia, Europe Physical, North Central Africa showing the Basin of the Nile, Lower Egypt. The World on Mercator’s Projection, North America Political, North America Physical, South America Political, South America Physical.
2. The Atlas of the World, Part III, is in preparation and will be published in 1914.
| TITLE. | Scale. | Language. | Size. | ||
|---|---|---|---|---|---|
| 1 | The Ottoman Empire and Neighbouring Countries | 1: | 5,000.000 | Arabic | 1·35 × 1·20 |
Geological map of Egypt, scale 1:1,000,000. English. Six sheets, 70 × 58 cm. Price, 100 milliemes per sheet. Complete map, mounted on cloth, varnished, and fitted with rollers, 850 milliemes.
Geological map of Egypt, scale 1:2,000,000. English. One sheet, 68½ × 67 cm. Price, 200 milliemes on paper, and 300 milliemes mounted on cloth and fitted with rollers.
A number of maps have been published in the various Geological reports. Further information may be obtained under the respective headings in the list of Geological Reports, pp. V and VI.
The following is a general list of the publications of the Survey Department, and a few others which are for sale at the Headquarters of the Department, Gîza (Mudiria), and at the Geological Museum, Public Works Ministry Gardens, Cairo. A booklet giving full details can be obtained, on application either personally or by letter.
Except where specially stated, the publications are 8vo, and in English, and are supplied post free by the Department. They can also be obtained through any bookseller.
Archæological Survey of Nubia.
Bulletin 1.—Dealing with the work (archæological and anatomical) from September 20 to November 30, 1907. English. 39 pp., 27 illustrations. (Out of print.)
Bulletin 2.—Dealing with the work (archæological and anatomical) from December 1, 1907, to March 31, 1908. English. 69 pp., 52 illustrations. Price, 100 milliemes.
Bulletin 3.—Dealing with the work (archæological and anatomical) from October 1 to December 31, 1908. English. 52 pp., 5 illustrations. Price, 100 milliemes.
Bulletin 4.—Dealing with the work (archæological and anatomical) from January 1 to March 31, 1909. English. 28 pp., 2 illustrations. Price, 100 milliemes.
Bulletin 5.—Dealing with the work (archæological and anatomical) from October 1 to December 31, 1909. English. 35 pp., 5 illustrations. Price, 100 milliemes.
Bulletin 6.—Dealing with the work (archæological and anatomical) from January 1 to April 15, 1910. English. 30 pp., 8 illustrations. Price, 100 milliemes.
Bulletin 7.—Dealing with the work (archæological and anatomical) from November 1, 1910, to February 28, 1911. English. 19 pp., 3 illustrations. Price, 100 milliemes.
Annual Report of the Archæological Survey of Nubia, Season 1907-8. Vol. I: by George A. Reisner. Price, with volume of plates, L.E. 2.
Annual Report of the Archæological Survey of Nubia, Season 1907-8. Vol. II: Report on the Human Remains, by Dr. G. Elliot Smith, F.R.S., and Dr. F. Wood Jones. Price, with volume of plates, L.E. 2.
Philæ—Report on the Island and Temples of, by Capt. H. G. Lyons, with introductory note by W. E. Garstin. 1896. English. 67 pp., 78 illustrations. (Out of print.)
Philæ—Report on the Island and Temples of, by Capt. H. G. Lyons. 1908. English. 4to, 32 pp., 14 illustrations. Price, 200 milliemes.
River Nile and its Basin—Physiography of the, by Capt. H. G. Lyons. 1906. 411 pp., 14 maps, 34 illustrations. Price, 400 milliemes.
Turco-Egyptian Boundary between the Vilayet of the Hejaz and the Peninsula of Sinai—The Delimitation of the, by E. B. H. Wade, together with additions by B. F. E. Keeling and J. I. Craig. 1906. (Survey Department Paper, No. 4). 89 pp., 2 maps. Price, 150 milliemes. See also Geology.
Abu Roash, near the Pyramids of Gîza—Cretaceous Region of, by H. J. L. Beadnell. 1902. 48 pp., 2 maps, 19 illust. Price, 200 milliemes.
Arsinoitherium Zitteli (Beadnell), from the Upper Eocene Strata of Egypt—Preliminary Note on, by H. J. L. Beadnell. 1902. 4 pp., 6 illustrations. Price, 50 milliemes.
Aswân (First) Cataract of the Nile—Description of, by Dr. Ball. 1907 121 pp., 5 maps, 28 illustrations. Price, 200 milliemes.
Baharia Oasis, its Topography and Geology, by Dr. Ball and H. J. L. Beadnell. 1903. 84 pp., 8 maps, 2 illust. Price, 200 milliemes.
Blackened Rocks of the Nile Cataracts and of the Egyptian Deserts, by A. Lucas. 1905. 58 pp. Price, 100 milliemes.
Building Stones in Egypt—Disintegration of, by A. Lucas. 1902. 17 pp. Price, 75 milliemes.
Building Stones of Cairo Neighbourhood and Upper Egypt, by Dr. Hume. 1909. 92 pp., 9 illustrations. Price, 150 milliemes. Survey Department Paper, No. 16.
Cairo and Suez—Topography and Geology of the District between, by T. Barron. 1907. 133 pp., 2 maps, 14 illustrations. Price, 200 milliemes.
Catalogue of the Geological Museum, Cairo, by Dr. Hume. 1905. 37 pp. Price, 25 milliemes.
Dakhla Oasis, its Topography and Geology, by H. J. L. Beadnell. 1901. 107 pp., 9 maps, 7 illustrations. Price, 200 milliemes.
Eastern Desert of Egypt, Central Portion—Topography and Geology of, by T. Barron and Dr. Hume. 1902. 331 pp., 10 maps, 30 illust. Price, 400 milliemes.
Eastern Desert of Egypt, between Latitudes 22° and 25° N.—Preliminary Report on Geology of, by Dr. Hume. 1907. 72 pp., 4 maps, 5 illust. Price, 150 milliemes. Survey Department Paper, No. 1.
Explanatory Notes to Accompany the Geological Map of Egypt (map mentioned on page iv), by Dr. W. F. Hume. D.Sc., F.G.S., F.R.S.E. Price, 100 milliemes.
Farafra Oasis, its Topography and Geology, by H. J. L. Beadnell. 1901. 39 pp., 8 maps. Price, 150 milliemes.
Fayûm Province of Egypt—Topography and Geology of, by H. J. L. Beadnell. 1905. 101 pp., 2 maps, 22 illustrations. Price, 300 milliemes.
Forêts pétrifiées des Déserts de l’Egypte—Note sur l’âge des, par M. R. Fourteau. 1898. French. 8 pp. (Out of print.)
Iron Ores in Egypt—Distribution of, by Dr. Hume. 1909. 16 pp., 1 map. Price, 50 milliemes. Survey Department Paper, No. 20.
[VIII]Jebel Garra and the Oasis of Kurkur—Topographical and Geological Results of a Reconnaissance-Survey of, by Dr. Ball. 1902. 40 pp., 2 maps, 5 illustrations. Price, 150 milliemes.
Kharga Oasis, its Topography and Geology, by Dr. Ball. 1900. 116 pp., 19 maps, 16 illustrations. Price, 250 milliemes.
Mammals—Preliminary Note on some new—from the Upper Eocene of the Fayûm, Egypt, by C. W. Andrews and H. J. L. Beadnell. 1902. 9 pp., 4 illustrations. Price, 100 milliemes.
Pétrole de la Mer Rouge—Rapport sur les recherches du, par J. Barois. 1885. French. 16 pp., 1 map, 10 illustrations. Price, 100 milliemes.
Petroleum Districts situated on the Red Sea Coast—Report on, by Col. C. E. Stewart. 1888. 25 pp. Price, 100 milliemes.
Petroleum Industry at Baku—Sketch Report of, by J. H. Trevithick. May, 1886. 22 pp. Price, 100 milliemes.
Phosphate Deposits of Egypt, by Survey Department. 2nd edition, 1905. 35 pp., 3 maps. Price, 50 milliemes.
Principles and Objects of Geology, with Special Reference to the Geology of Egypt, by W. F. Hume. 25 pp., 8 illustrations. Price, 50 milliemes.
Sinai Peninsula (South-Eastern Portion)—Topography and Geology of, by Dr. Hume. 1906. 280 pp., 5 maps, 23 illustrations. Price, 300 milliemes.
Sinai Peninsula (Western Portion)—Topography and Geology of, by T. Barron. 1907. 241 pp., 2 maps, 13 illustrations. Price, 300 milliemes.
Soil and Water of the Fayûm Province—Preliminary Investigation of, by A. Lucas. 1902. 17 pp. Price, 75 milliemes.
Soil and Water of the Wadi Tumilat Lands under Reclamation, by A. Lucas. 1903. 26 pp., 1 map, 5 illustrations. Price, 100 milliemes.
Subsoil Water in Lower Egypt—Preliminary Note on the, by H. T. Ferrar, M.A., F.G.S. 1910. 16 pp., 3 illustrations. Price, 50 milliemes.
The Movements of the Subsoil Water in Upper Egypt, by H. T. Ferrar, M.A., F.G.S. Survey Department Paper, No. 19. English. 74 pp., 32 illustrations, and 16 maps. Price, 150 milliemes.
Tertiary Vertebrata of the Fayûm, Egypt—Descriptive Catalogue of, by C. W. Andrews. 1906. 319 pp., 124 illustrations.
Tortoise-Land—from the Upper Eocene of the Fayûm, Egypt—Preliminary Notice of, by C. W. Andrews and H. J. L. Beadnell. 1903. 11 pp., 3 illustrations. Price, 50 milliemes.
Daily Weather Report.—Issued daily by the Survey Department. Contains the readings taken at 29 stations in Egypt and the Sudan, and five stations in Southern Europe, with a map showing the distribution of pressure. Post free, 200 milliemes quarterly, including short monthly summary.
Summary of the Weather in Egypt, the Sudan, and the Surrounding Region. Monthly.—Contains a brief report on the weather for the month, with maps showing the pressure-distribution for each day. Price, post free, 300 milliemes per annum.
Annual Meteorological Report.— Contains all the meteorological readings made during the year in Egypt and the Sudan. Also the readings of the various Nile gauges.
| Years 1898-1899, 1900, 1901, 1902, 1903 | Price, 250 mill. each. |
| Years 1904, 1905 (in two parts: Part I, containing the readings taken at Helwân Observatory; Part II, containing the readings for the rest of Egypt and the Sudan) | Price, 100 mill. each part. |
| Year 1906 (Part I, Helwân) | Price, 100 mill. |
| Year 1906 (Part II, Rest of Egypt and the Sudan) | Price, 150 mill. |
| Year 1907 (Parts I and II) | Price, 150 mill. each part. |
| Year 1908 (Parts I and II) | Price, 150 mill. each part. |
| Year 1909 (Parts I and II) | Price, 150 mill. each part. |
Measurement of the Volumes Discharged by the Nile during 1905 and 1906, by E. M. Dowson; with a Note on Rating Formulæ for Current-Meters, by J. I. Craig. Survey Department Paper, No. 11. 82 pp., 6 illustrations. Price, 100 milliemes.
Rains of the Nile Basin:—
In 1904, by Capt. H. G. Lyons. 25 pp., 1 map, 5 illustrations. Price, 50 milliemes.
In 1905, by Capt. H. G. Lyons. 40 pp., 4 maps, 5 illustrations. Price, 50 milliemes.
Rains of the Nile Basin and the Nile Flood:—
In 1906, by Capt. H. G. Lyons. (Survey Department Paper, No. 2). 70 pp., 5 maps, 11 illustrations. Price, 100 milliemes.
In 1907, by Capt. H. G. Lyons. (Survey Department Paper, No. 9). 50 pp., 1 map, 11 illustrations. Price, 100 milliemes.
In 1908, by Capt. H. G. Lyons. (Survey Department Paper, No. 14). 69 pp., 1 map, 8 illustrations. Price, 100 milliemes.
In 1909, by J. I. Craig. (Survey Department Paper, No. 17). 55 pp., 1 map, 8 illustrations. Price, 100 milliemes.
In 1910, by J. I. Craig. (Survey Department Paper, No, 26). 109 pp., 12 illustrations. Price, 100 milliemes.
Atmospheric Electricity-Discussion of the Observations on—at Helwân Observatory, from March 1906 to February 1908, by H. E. Hurst. (Survey Department Paper, No. 10). 65 pp., 2 maps, 8 illustrations. Price, 100 milliemes.
Climate of Abbassia, near Cairo, by B. F. E. Keeling. (Survey Department Paper, No. 3). 1907. 61 pp., 1 map, 7 illustrations. Price, 100 milliemes.
Evaporation in Egypt and the Sudan, by B. F. E. Keeling. (Survey Department Paper, No. 15). 1909. 29 pp., 1 illustration. Price, 100 milliemes.
Meteorite of Nakhla el Baharia, by John Ball. (Survey Department Paper, No. 25). 22 pp., 3 illustrations. Price, 50 milliemes.
Observations of Halley’s Comet made at the Khedivial Observatory, Helwân, by H. Knox Shaw. (Survey Department Paper, No. 23). 18 pp., 56 illustrations. Price, 50 milliemes.
Platinum-Resistance Thermometers—Report on the Use of—in Determining the Temperature of the Air at the Helwân Observatory, by E. B. H. Wade. 1905. 20 pp., 5 illustrations. Price, 50 milliemes.
Altitudes—The Determination of—by Levelling, by E. M. Dowson. (Technical Lecture). 1908. 23 pp., 6 illustrations. Price, 50 milliemes.
Cadastral Survey of Egypt, 1892-1907, by Capt. H. G. Lyons. 1908. 421 pp., 30 maps, 16 illustrations. Price, 400 milliemes.
Cadastral Survey of Egypt—Comparison of—with those of some European Countries, by Capt. H. G. Lyons. (Technical Lecture). 1909. 24 pp., 8 maps. Price, 50 milliemes.
Errors of Observation, by T. L. Bennett. (Technical Lecture). 1908. 27 pp., 3 illustrations. Price, 50 milliemes.
Longitude—Determination of, by E. B. H. Wade. (Technical Lecture). 1908. 39 pp., 2 maps, 1 illustration. Price, 50 milliemes.
Longitudes—A Field Method of Determining—by Observations of the Moon, by E. B. H. Wade. (Survey Department Paper, No. 5). 1907. 47 pp., 9 illustrations. Price, 100 milliemes.
Map-Projections, by J. I. Craig. (Technical Lecture). 1909. 25 pp., 1 map, 25 illustrations. Price, 50 milliemes.
Map-Projections—The Theory of—with Special Reference to the Projections used in the Survey Department, by J. I. Craig, F.R.S.E. (Survey Department Paper, No. 13). 1910. 77 pp., illustrated. Price, 200 milliemes.
[XI]New Method of Coast Surveying, by John Ball. (Survey Department Paper, No. 21). 46 pp., 7 illustrations. Price, 100 milliemes.
Relief on Maps—The Representation of, by Capt. H. G. Lyons. (Technical Lecture). 1909. 19 pp., 5 maps. Price, 50 milliemes.
Some General Principles of Surveying, by J. I. Craig. (Technical Lecture). 1910. 20 pp., 8 illustrations. Price, 50 milliemes.
Magnetic Observations in Egypt, 1895-1905, with a Summary of Previous Magnetic Work in Northern Africa, by B. F. E. Keeling. (Survey Department Paper, No. 6). 1907. 65 pp., 4 maps. Price, 100 milliemes.
Magnetic Observations made from April to December, 1907, at Helwân Observatory. 8 pp. Price, 25 milliemes.
Magnetic Observations made during 1908 at Helwân Observatory. 11 pp. Price, 25 milliemes.
The same for 1909, 1910, and 1911. Price, 50 milliemes each.
Magnetic Survey of Egypt, Values of the Magnetic Elements at 81 Stations. 6 pp. and 1 illustration. Price, 50 milliemes.
Standardization of the Magnetic Instruments at Helwân Observatory during 1907, by H. E. Hurst. (Survey Department Paper, No. 8). 1908. 45 pp., 4 illustrations. Price, 100 milliemes.
Annual Reports on the Work of the Survey Department, by the Director-General, as follows: 1905, 120 milliemes; 1906, 1907, 1908, 1909, and 1910, 100 milliemes each.
Chemistry of the River Nile, by A. Lucas. 1908. (Survey Department Paper, No. 7). 78 pp., 1 map, 1 illustration. Price, 150 milliemes.
Collection of Statistics of the Areas Planted in Cotton in 1909, by E. M. Dowson and J. I. Craig. 1909. English or Arabic. 77 pp., 8 illustrations. Price, 150 milliemes each.
Collection of Statistics of the Areas Planted in Cotton in 1910. 1910. English or Arabic. Price, 50 milliemes each.
Khedivial Observatory, Helwân, Bulletins. Nos. 1, 2, 3, 4, and 5. Price, 20 milliemes each.
Preservative Materials used by the Ancient Egyptians in Embalming, by A. Lucas, F.I.C. (Survey Department Paper, No. 12). 1911. 59 pp. Price, 100 milliemes.
Work of the Laboraries.—A Report on the, by A. Lucas, F.I.C., for 1910 and 1911. Price, 50 milliemes each.
£ 1 = 975 milliemes; $ 1 = 200 milliemes; Mk. 1 = 48 milliemes; Fr. 1 = 38 milliemes.
I. N. 647-1912-400 ex.