*** START OF THE PROJECT GUTENBERG EBOOK 67768 ***

Transcriber’s Notes

Obvious typographical errors have been silently corrected. Variations in hyphenation have been standardised but all other spelling and punctuation remains unchanged.

There are many apparent subsections within the text variously indicated by bold, italic and capital text. There is some, inconsistent, correspondence between these and the sup-topics in the Contents. Because of this no attempt has been made to establish a hierarchy of these headings and they remain as printed in the original. Equally, paragraph numbering is not always consistent but remains unchanged.

HAND-BOOK
OF
SANITARY INFORMATION
FOR
HOUSEHOLDERS,

CONTAINING

FACTS AND SUGGESTIONS ABOUT VENTILATION,
DRAINAGE, CARE OF CONTAGIOUS DISEASES,
DISINFECTION, FOOD, AND WATER.

WITH APPENDICES ON

DISINFECTANTS AND PLUMBERS’ MATERIALS.

BY

ROGER S. TRACY, M. D.,
SANITARY INSPECTOR OF THE NEW YORK CITY HEALTH DEPARTMENT.

NEW YORK:
D. APPLETON AND COMPANY,
1, 3, AND 5 BOND STREET.
1884.

COPYRIGHT BY
ROGER S. TRACY, M. D.
1884.


PREFACE.

The preparation of this hand-book was suggested by persistent questioning about the matters it contains. Its purpose is to furnish householders with information which has been so scattered, or buried so deep in technical discussions, that it has not been easy for them to find it for themselves. It is, of course, mainly a compilation, and the only difficulties met with have been those incident to the arrangement and condensation of a large mass of material. I have intended to give credit, where credit seemed to be due, for everything borrowed, and, if I have failed to do so in any case, it is not my fault, but my misfortune.

R. S. T.


CONTENTS.

CHAPTER PAGE
I.— Air 7-21
Normal Air.—Contamination of the Air.—Test for Carbonic Acid in Air.—Diseases caused by Foul Air.—Composition of Sewer-Air.—Ground Air.—Ventilation.—Smoky Chimneys.
II.— Drainage 21-66
Privy-Vaults.—Tanks.—Pails.—Earth-Closets.—Water-Carriage.—Plumbing Regulations of New York City Board of Health.—Explanatory Remarks.—Drainage of Country Houses.—Subsoil Drainage.—Defective Drainage.—Sources of Bad Odors.—Examination of House-Drainage.—Peppermint Test.—Summary.—Exclusion of Ground-Air.
III.— Disinfection 66-73
Directions issued by the National Board of Health.—Comments.—Precautions in Special Diseases.
IV.— Food 73-85
Adulterations, and Methods of detecting them.
V.— Water 86-90
Pollution of Water.—Filters.—Tests for Impurities.—Precautions.
APPENDIX A.—Disinfectants 91-99
APPENDIX B.—Plumbers’ Materials 100-102
INDEX 103

[Pg 7]

HAND-BOOK
OF
SANITARY INFORMATION.


Necessary to continued good health are Good Air, Good Food, and Good Water. It is the object of Sanitary Science to secure these.


CHAPTER I.
AIR.

Normal air contains 79 per cent of nitrogen, 20.96 per cent of oxygen, and .04 per cent (4 parts in 10,000) of carbonic acid.

Oxygen supports animal life; carbonic acid, vegetable life; and the use of the nitrogen, otherwise than as a diluent, is not known.

Very pure air contains 78.98 per cent of nitrogen, 20.99 per cent of oxygen, and .03 per cent of carbonic acid.

Air begins to be very bad when the oxygen is reduced to 20.60 parts in 100. In mines, where candles[Pg 8] go out, oxygen is reduced to 18.50 parts in 100, and, in the worst specimen yet examined by Angus Smith, to 18.27. Air in which the percentage of oxygen has been reduced to 17.20 is very difficult to remain in for many minutes.

Aside from impurities due to local causes, the purest air is found from six to forty feet above the ground, and the most impure from seventy to ninety feet, where the air from chimneys is poured forth.

Air is contaminated by the products of respiration and the bodily emanations of healthy persons, and by the products of combustion.

An adult man, in ordinary work, gives off in twenty-four hours from twelve to eighteen cubic feet of carbonic acid, according to his size; women, children, and old persons less.

Edward Smith found that an adult asleep exhaled about nineteen grains of carbonic acid per hour, and, when he walked three miles an hour, the amount was increased to 100.6 grains.

W. R. Nichols, of Boston, found in passenger-cars 23.2 parts of carbonic acid to 10,000 parts of air, and in the Berkeley Street sewer 10.4 parts per 10,000. Wilson found in Portsmouth Prison, in cells containing six hundred and fourteen cubic feet of air, always occupied, 7.20 parts per 10,000, and in cells containing two hundred and ten cubic feet, occupied only at night, 10.44 per 10,000.

[Pg 9]

Besides the carbonic acid, there is exhaled from the lungs a small amount of organic matter, of unknown composition. It forms a glutinous coating on the furniture, walls, and windows of closed rooms, decomposes rapidly, imparts a peculiarly offensive odor to the air of a badly-ventilated room, and poisons those who inhale it. Its quantity is so small that it has so far defied analysis. In a room contaminated by respiration alone, the odor of this substance begins to be perceived when the carbonic acid has increased to about 7 parts in 10,000, and 10 parts in 10,000 may be considered the maximum amount of carbonic acid allowable in dwellings.

The following table shows how much carbonic acid artificial lights produce per hour:

Petroleum, slit-burner, 10 candle-light, 1.98 cubic feet,
Petroleum, round-burner, 7.6 2.15
Oil-lamp, 4 1.09
Candle, 1 .39
Coal-gas, slit-burner, 7.8 3.25
Coal-gas, flat-burner, 10 3

A five-foot gas-burner produces as much carbonic acid per hour as five men.

As the most poisonous element of the breath can not readily be detected by analysis, the amount of carbonic acid is taken as a measure of the impurity of air contaminated by respiration.

Test for carbonic acid in air (Pettenkofer’s method):

Shake up a definite volume of the air in a closed[Pg 10] vessel with a definite amount of lime-water. The carbonic acid unites with the lime, forming carbonate of lime. This compound, being insoluble in water, renders it turbid. The degree of turbidity may be judged of by looking through the water at a cross marked in lead-pencil on the inside of a piece of paper pasted on the opposite side of the bottle, and a standard may be fixed by shaking up ordinary external air in a sixteen-ounce bottle, as described below, which will show the degree of turbidity produced by 4 parts of carbonic acid in 10,000. Lime-water can be bought of a druggist, or made by shaking distilled water with slaked lime, allowing it to settle, and pouring off the clear liquid. With a common hand-ball syringe, the end of the rubber tube resting on the bottom of the bottle, pump in air, until the bottle is filled with the air to be tested. Put in half an ounce of lime-water, cork the bottle, and shake it up well. Let it stand for five minutes, and if the water becomes turbid, as if a little milk had been dropped into it, the presence of carbonic acid in the air will be indicated in the following proportions.

Size of bottle.
ounces
Amount of
lime-water.
Parts in
10,000.
16 1-2 ounce A little less than 4
12 A little more than 5
10 A little more than 6
8 8
6 A little more than 10
4 A little more than 15

[Pg 11]

Dangers of such Contamination.

Air contaminated by the products of respiration and by bodily emanations (perspiration, etc.) contains substances which have been ejected from human bodies as useless or injurious. What all systems reject can not be healthy for any, and it is found that long-continued exposure in an atmosphere laden with these impurities produces anæmia, general debility, and poor nutrition, conditions likely to result in the development of scrofula and consumption. It is believed, too, that typhus fever may originate in this manner, while when such poisons are inhaled in a more concentrated form, as in the famous Black Hole of Calcutta, nausea, vertigo, convulsions, and even death are produced.

The air is at certain times and places contaminated by the products of respiration and the bodily emanations of diseased persons.

In certain diseases, commonly known as contagious, organic matters are thrown off by the lungs and skin of the sick, which tend to reproduce these diseases in the bodies of other persons. The exact nature of these poisons is in most cases unknown, but they are generally believed to be living microscopic organisms (bacteria, bacilli, micrococci, etc.), which multiply their kind in the blood of the person who has inhaled them.

Of such diseases, the dangerous ones are small-pox, measles, scarlet fever, typhus fever, and diph[Pg 12]theria, and their contagious quality is marked very nearly in the order in which they are here mentioned.

The less harmful of these diseases are whooping-cough, chicken-pox, mumps, and German measles.

There is strong evidence that consumption is contagious, though not as markedly so as the diseases above enumerated.

The air may be contaminated by the products of the decomposition of the excreta of healthy persons.

The contents of cesspools, privy-vaults, and sewers, are generally composed of discharges from the bowels and kidneys, various matters washed off from the bodies of animals and from culinary and household utensils, and dissolved soap, constituting a mixture which rapidly decomposes and affords a fine soil for the nourishment and propagation of microscopic organisms.

Air contaminated in this way, popularly known as sewer-gas, contains sulphide of ammonium and sulphureted hydrogen (which cause the characteristic odor of rotten eggs), carbureted hydrogen, nitrogen, and carbonic acid (odorless), and certain undetermined organic matters.

Professor Nichols analyzed the air of the Berkeley Street sewer in Boston, a type of a badly-constructed and badly-ventilated sewer. The sulphureted hydrogen, etc., were in too small quantity to be measured. The highest percentages found were,[Pg 13] of oxygen, 20.90; of nitrogen, 79.26; of carbonic acid, .4 (40 parts in 10,000). The lowest were, oxygen, 20.48; nitrogen, 78.89; and carbonic acid, .05 (5 parts in 10,000).

Letheby found that sewer-water (containing 128.8 grains of organic matter to the gallon) excluded from air yielded, for nine weeks, 1.2 cubic inches of gas per hour. In one hundred volumes of this mixture there were 78.83 parts of marsh-gas (carbureted hydrogen), 15.90 parts of carbonic acid, 10.19 parts of nitrogen, and .08 of sulphureted hydrogen. Examination of sewage-mud in the Seine by Durand-Claye gave 72.88 parts of marsh-gas, 13.30 of carbonic acid, 6.70 of sulphureted hydrogen, 2.54 of carbonic oxide, 4.58 of nitrogen, and some other gases. Such mixtures are sometimes found in long-closed cesspools and privy-vaults, but not in sewers proper.

Of these gases, sulphureted hydrogen and carbonic acid are very poisonous, and when they are inhaled in concentrated form produce almost immediate unconsciousness, and often death. When less concentrated, sewer-air may cause nausea and vomiting, followed by a low fever which sometimes kills, and, if not, results in a tedious convalescence. As a rule, it is so largely diluted that it produces no immediate effects, excepting the discomfort due to offensive odor, and the mental anxiety resulting therefrom.

The effects usually attributed to the continued breathing of diluted sewer-air are general malaise,[Pg 14] loss of appetite, anæmia, impaired nutrition, and therefore diminished power of resistance to attacks of disease which are not directly attributable to sewer-air poisoning. It is doubtful whether these effects are due to the constant introduction of sewer-air in minute quantities into the blood, or to the inhalation of particles of organic matter floating in such a contaminated atmosphere.

The greatest danger, however, in the breathing of sewer-air is that of inhaling with it the living particles (bacilli, etc.) contained or developed in the excreta of diseased persons.

The diseases believed to be propagated in this way are cholera, typhoid fever, and dysentery. The discharges both from the mouth (stomach) and bowels are known to be poisonous.

It is believed by many that the poisons of typhoid fever and diphtheria may be developed de novo by the decomposition of the mixtures found in cesspools and sewers.

There also seems to be a connection, imperfectly understood, between bad drainage and malarial fevers, and perhaps cerebro-spinal meningitis.

The origin of yellow fever is not yet ascertained.

Surgical erysipelas, puerperal fever, and hospital gangrene, are only developed on and about wounded surfaces, and seem to be due to the organisms developed in the secretions of such surfaces, where ventilation and drainage are bad.

[Pg 15]

Air may be contaminated by the products of organic decomposition rising from the ground and drawn into the house through furnace-flues, etc.

Ground-air contains from 1.49 to 80 parts per 1,000 of carbonic acid, and frequently contains products of organic decomposition. A damp soil is also very unhealthy, as shown by Bowditch and others. “A persistently low ground-water, say fifteen feet down or more, is healthy; a persistently high ground-water, less than five feet from the surface, is unhealthy; and a fluctuating level, especially if the changes are sudden and violent, is very unhealthy” (De Chaumont). Such soils are especially productive of consumption.

VENTILATION.

The contamination of the atmosphere by the respiration and bodily emanations of human beings and other animals is unavoidable, but the noxious matters thus added to the air are being constantly changed in the following ways:

1. Oxidation. The organic matters, which have been mentioned as especially injurious, are gradually decomposed by the oxygen of the air, and changed into harmless substances, which either remain as constituents of the atmosphere, or are washed into the earth by rains.

2. Vegetable growth. Plants absorb carbonic acid (which is composed of carbon and oxy[Pg 16]gen) through their leaves, and give back oxygen to the air, retaining the carbon for their own nourishment. There is thus a constant interchange between animals and vegetables, the former exhaling carbonic acid and appropriating oxygen, and the latter appropriating carbonic acid and exhaling oxygen. The small percentage of carbonic acid always found in the air is, therefore, essential to vegetable life, while harmless to animals.

It is necessary, for the proper purification of a contaminated atmosphere, that it should be largely diluted with fresh air. Hence arises the need of the constant change of air in dwellings.

Air expands when heated and so becomes lighter. Local differences of temperature, created by natural and artificial means, therefore bring about currents in the atmosphere, the cooler and heavier column of air always descending, and the warmer and lighter always rising. This fact is taken advantage of in ventilation.

It has been estimated that, to keep the air pure, three thousand cubic feet of fresh air per hour are required for a male adult, and that a sleeping-room should contain at least twelve hundred cubic feet of air-space for each occupant.

When the temperature of the external air is such that the doors and windows can be constantly open, they afford the best means of ventilation for dwellings. An exposure to draughts, however, is dangerous to many persons, and it is desirable, therefore, in[Pg 17] cooler weather, to devise means of admitting fresh air without creating a draught. At a temperature of 60°, a draught is perceived when the air moves at a higher rate of speed than three feet a second. Now it is obvious that a draught may be rendered harmless if the entering current of air is guided in such a direction as not to strike the occupants of a room. This is accomplished simply and cheaply by either of two devices: If the lower sash of a window is raised a few inches (say four), and the space between the bottom of the sash and the window-sill is filled by an accurately fitted board, there will be a space between the panes of the two sashes, through which air will enter, spouting upward toward the ceiling and not falling until its momentum is so much diminished that it will not be felt as a draught. The other plan is to make the upper portion of the upper sash movable, so that it can be tilted inward at such an angle as to direct the entering current upward (essentially the Sherringham valve, though this is made of iron, with side-cheeks to prevent a lateral outflow of air).

There are various patent apparatuses for the admission of fresh air through windows without draught, but they are mostly modifications of the methods above mentioned.

In weather when artificial heat is necessary for comfort, thorough ventilation is not difficult, provided expense is not considered. As the removal of the foul air, however, involves a considerable waste[Pg 18] of heat and consumption of fuel, the means of procuring the best ventilation at the least cost becomes a problem of great intricacy, which has not yet been satisfactorily solved.

Fireplaces, or open grates, are excellent ventilators. An ordinary fireplace renews the air of the room four or five times hourly, removing in that time from fifteen to twenty thousand cubic feet of air. But only about 12 or 14 per cent. of the heat given off by the fuel is utilized, the rest passing off by the chimney. The objections to the fireplace as a sole means of heating are, its wastefulness, and the fact that it warms only by radiation, so that the room is unequally warmed, and may be too cold in one place and insupportably hot in another.

Stoves and furnaces can not be relied on for ventilation, the ventilating power of a close stove being only one tenth of that required for a single adult.

Modern fireplaces are sometimes built with a metallic flue extending upward into the chimney. Between this flue and the masonry is an air-chamber opening to the external air and communicating with the room near the ceiling, so that fresh air from outside the house is continuously warmed, and discharged into the room at a temperature of 80° or 90°. The Galton fireplace (Fig. 1) is of this kind, and utilizes 35 per cent. of the fuel.

The best combined heating and ventilating arrangement at present seems to be that which warms[Pg 19] the fresh air by means of a soapstone furnace or steam-coils, and removes the foul air through a fireplace. In milder weather, gas may be burned in the chimney at a slight expense. According to Morin, seven cubic feet of gas burned in a flue eleven inches square and sixty-six feet high, will draw thirteen thousand three hundred cubic feet of air per hour from a room.

Fig. 1.—Galton’s fireplace.

The dampers of stoves should never be in the[Pg 20] pipes, for they dam back the gases which ought to enter the chimney, and force them into the room. The fire should be regulated by dampers which prevent the access of air, and not its escape after contamination.

Ventilating flues in walls do very little good, unless special means are provided to heat them (e. g., gas lights or lamps).

The common whirling ventilators in window-panes are of very little use.

As a rule, fresh air should enter a room near the ceiling, and foul air be removed near the floor.

In very cold climates, dangerous draughts are often produced by the cooling of the air in contact with the window-panes, so that it falls and sweeps along the floor. This danger may be prevented by double windows, which also save fuel. Double windows may be utilized in ventilation, by raising the lower outer sash a few inches, and lowering the upper inner one.

Smoky Chimneys.

When a chimney smokes, the draught is downward. This may be, caused—1. By an obstruction in the flue or stove-pipe. 2. By a higher chimney in the same house, the air coming down the shorter chimney, and going up the other. The remedy is to equalize the heights, or close the doors between the two. 3. If, when the fire is started, the air outside is warmer than that in the chimney, the heavier column[Pg 21] will of course fall. This effect will vanish in a few minutes, when the flue becomes heated. 4. The doors and windows of the room may be so tight as to prevent a sufficient supply of fresh air to burn the fuel. If so, they must be opened. 5. The chimney may be lower than the adjoining wall, and the wind from certain directions, striking the wall, may be directed down the flues. This may be remedied by extending the chimney above the wall, or by capping the flues with one of the various cowls that prevent a downward draught.


CHAPTER II.
DRAINAGE.

How to prevent the contamination of the air by the products of decomposition.

There is no evidence to show that the emanations from fresh house-slops, or the excreta of healthy animals, are injurious to health, but it has been proved that when these matters decompose they become dangerous. The bubbles of gas which rise to the surface of such decomposing matters, when they burst, throw up solid particles of organic matter in the air, which float about for some time before falling to the ground. It is, therefore, essential to health that all such matters shall be removed from the vicinity of human beings promptly, before de[Pg 22]composition sets in, or else so manipulated as to prevent decomposition, or promote rapid oxidation.

The lower animals seem to recognize by instinct that their excreta are dangerous, and they deposit them (except when penned up by men) in places remote from their abodes, or else carefully cover them with fresh earth. Man alone retains his excreta in carefully prepared receptacles near his place of residence, until the accumulation is so large that he is forced to remove it.

The ordinary privy-vault should never be allowed. Its only advantage is its cheapness, while it involves constant danger of contamination of the water of adjoining wells or cisterns. Many an epidemic of typhoid fever has been unmistakably traced to this source. If such a vault is a necessity, it should be made water-tight, be small and frequently emptied, the contents should be frequently disinfected, preferably by being covered with fresh earth, and it should be built in such a spot that the current of ground-water (which furnishes the well-water) shall be from the well toward the vault, and never in the opposite direction. Better still is a movable tank, in which the excreta are received and covered with fresh earth daily. This can be emptied over a garden or field without offense. In villages where sewerage is impossible, pails are sometimes used. They have tight covers, and are removed frequently (once or twice a week, clean ones being substituted at the time of removal by the proper authorities),[Pg 23] the contents being converted into poudrette at some place remote from habitations.

A better means of disposing of the excreta, where water-closets can not be had, is the earth-closet, of which there are several varieties. These are so constructed that they resemble a water-closet in appearance, but the excreta are caught in a receptacle beneath the seat, and covered with earth, when the handle beside the seat is raised. Dry earth is an excellent disinfectant,[1] and when excreta are thus mingled with it they are gradually oxidized and disappear, so that after a time the same earth may, with proper precautions, be used again.

[1] Its disinfectant properties have been shown to be due to the presence of microscopic organisms, which decompose the excreta in the act of nourishing themselves. A little chloroform paralyzes them, and deprives the earth of its disinfecting properties, which return, however, when the chloroform is washed out, and the organisms recover their natural vigor.

The earth for these closets must be dry, and sifted of coarse particles, and enough must be deposited upon the excreta to cover them and to absorb the urine.

Its advantages, as compared with the water-closet, are, that it is cheaper, requires less repair, is not hurt by frost, is not injured when improper substances are thrown down it, and requires no water. Its disadvantages are, the trouble of collecting and drying the earth, the necessity of frequently removing the soil, the dust sometimes caused by its use,[Pg 24] and the necessity of providing additional means for the disposal of slops.

A perfect method of disposal of excreta and other house refuse would be one which would insure their prompt and rapid removal in such a way as to prevent the contamination of the air of any inhabited locality during such removal, or after their final deposition. The most convenient and economical means yet invented of accomplishing this object is water-carriage; i. e., the matters referred to are conveyed from the house, with the addition of sufficient water to insure a rapid flow, through a series of pipes and tunnels into a large body of running water, or over the surface of the earth, under conditions which insure their rapid conversion into harmless substances.

The water-carriage system includes bowls or sinks for the deposit of refuse matters, connecting-pipes to remove such matters from the house, and public sewers for their further conveyance away from human abodes. The construction and care of public sewers belong to the local government; we have here only to do with house-drainage.

The essentials of house-drainage are: 1. The primary receptacles (bowls, sinks, water-closets, etc.) should be of such material and so constructed as to be impervious to fluids, and easy to clean and keep clean. 2. The pipes should be of such material as to be as durable as possible, and so laid and connected as to form gas-tight conduits, and to insure[Pg 25] the rapid passage of whatever enters them, so as to prevent the formation of deposits or incrustations. 3. The drainage system should be so planned and constructed that neither the atmosphere of the house nor the drinking-water can be polluted by anything escaping from it, and no noxious matters can enter it from any other house.

The following plan of construction is that recommended by the Board of Health of New York city:

1. All materials must be of good quality and free from defects; the work must be executed in a thorough and workmanlike manner.

2. The arrangement of soil and waste pipes must be as direct as possible.

3. The drain, soil, and waste pipes, and the traps, must, if practicable, be exposed to view for ready inspection at all times, and for convenience in repairing. When necessarily placed within partitions or in recesses of walls, soil and waste pipes must be covered with wood-work, so fastened with screws as to be readily removed. In no case shall they be absolutely inaccessible.

4. It is recommended to place the soil and other vertical pipes in a special shaft, between or adjacent to the water-closet and the bath-room, and serving as a ventilating shaft for them. This shaft should be at least two and a half feet square. It should extend from the cellar through the roof, and should be covered by a louvered sky-light. It should be[Pg 26] accessible at every story, and should have a very open but strong grating at each floor to stand upon.

Shafts not less than three feet square in area are required in tenement-houses, to ventilate interior water-closets.

5. Every house or building must be separately and independently connected with the street-sewer.

6. Where the ground is made or filled in, the house-sewer—that is to say, the portion of the drain extending from the public sewer to the front wall—must be of cast-iron, with the joints properly calked with lead.

7. Where the soil consists of a natural bed of loam, sand, or rock, the house-sewer may be of hard, salt-glazed, and cylindrical earthenware pipe, laid on a smooth bottom, free from all projections of rock, and with the soil well rammed to prevent any settling of the pipe. Each section must be wetted before applying the cement, and the space between each hub and the small end of the next section must be completely and uniformly filled with the best hydraulic cement. Care must be taken to prevent any cement being forced into the drain to become an obstruction. No tempered-up cement shall be used. A straight-edge must be used inside the pipe, and the different sections must be laid in perfect line on the bottom and sides.

8. Where there is no sewer in the street, and it is necessary to construct a private sewer to connect with a sewer on an adjacent street or avenue, it must[Pg 27] be laid under the roadway of the street on which the houses front, and not through the yards or under the houses.

9. The house-drain must be of iron, with a fall of at least one quarter inch to the foot, if possible, and not more than one inch to the foot.

10. Where water-closets or a school-sink discharge into it, the drain must be at least four inches in diameter.

11. It must be hung on the cellar wall or ceiling, unless this is impracticable, in which case it must be laid in a trench cut at a uniform grade, walled upon the sides with brick laid in hydraulic cement, and provided with movable covers, and with a hydraulic concrete base of four inches in thickness, on which the pipe is to rest.

12. It must be laid in a straight line, if possible. All changes in direction must be made with curved pipes, and all connections with Y-branch pipes and one-eighth bends.

13. Any house-drain or house-sewer, put in and covered without due notice to the Health Department, must be uncovered for inspection at the direction of the inspector.

14. A running or half S-trap must be placed on the house-drain at an accessible point near the front of the house. This trap must be furnished with a hand-hole for convenience in cleaning, the cover of which must be properly fitted and made gas and air tight with some proper cement.

[Pg 28]

15. There must be an inlet for fresh air entering the drain just inside the trap, of at least four inches in diameter, leading to the outer air and opening at or near the street curb, or at a convenient place not less than ten feet from the nearest window. No cold-air box for a furnace shall be so placed that it can by any possibility draw air from this inlet-pipe. The inlet-pipe should never be carried up to the roof inside or outside the house.

16. No brick, sheet-metal, earthenware, or chimney-flue shall be used as a sewer-ventilator, nor to ventilate any trap, drain, soil, or waste pipe.

17. Every vertical soil-pipe and waste-pipe must be of iron, and, where it receives the discharge of fixtures on two or more floors, it must be extended at least two feet above the highest part of the roof or coping, of undiminished size, with a return bend or cowl. It must not open near a window, nor an air-shaft which ventilates livingrooms.

18. Soil, waste, and vent pipes, in an extension, must be extended above the roof of the main building, when otherwise they would open within twenty feet of the windows of the main house or the adjoining house.

19. Horizontal soil and waste pipes are prohibited.

20. The minimum diameter of soil-pipe permitted is four inches. A vertical waste-pipe, into which a line of kitchen-sinks discharge, must be at[Pg 29] least two inches in diameter, with one inch and a half branches.

21. Where lead pipe is used to connect fixtures with vertical soil or waste pipes, or to connect traps with vertical vent-pipes, it must not be lighter than D-pipe.

22. There shall be no traps on vertical soil-pipes or vertical waste-pipes.

23. All iron pipes must be sound, free from holes, and of a uniform thickness of not less than one eighth of an inch for a diameter of two, three, or four inches, or five thirty-seconds of an inch for a diameter of five or six inches; and, in case the building is over sixty-five feet in height above the curb, the use of what is known as extra heavy pipe, and corresponding fittings, are required, which weigh as follows:

2 inches, pounds per lineal foot.
3
4 13
5 17
6 20
7 27
8 33½
10 45
12 54

24. Before they are connected they must be thoroughly coated inside and outside with coal-tar pitch, applied hot, or some other equivalent substance.

25. When required by an inspector from the Board of Health, the plumbing must be tested with[Pg 30] the peppermint or the water test, by the plumber in the presence of the inspector, and all defective joints made tight, and other openings made impermeable to gases. Defective pipe discovered must be removed and replaced by sound pipe.

26. All joints in the iron drain-pipes, soil-pipes, and waste-pipes must be so calked with oakum and lead, or with cement made of iron filings and sal-ammoniac, as to make them impermeable to gas.

27. All connections of lead with iron pipes must be made with a brass sleeve or ferrule, of the same size as the lead pipe, put in the hub of the branch of the iron pipe, and calked in with lead. The lead pipe must be attached to the ferrule by a wiped joint.

28. All connections of lead pipe should be by wiped joints.

29. Every water-closet, urinal, sink, basin, wash-tray, bath, and every tub or set of tubs, must be separately and effectively trapped, except where a sink and wash-tubs immediately adjoin each other, in which case the waste-pipe from the tubs may be connected with the inlet side of the sink-trap; in such a case the tub waste-pipe is not required to be separately trapped.

30. Traps must be placed as near the fixtures as practicable, and in no case shall a trap be more than two feet from the fixture.

31. All exit-pipes must be provided with strong metallic strainers.

[Pg 31]

32. In no case shall the waste from a bath-tub or other fixture be connected with a water-closet trap.

33. Traps must be protected from siphonage, and the waste-pipe leading from them ventilated, by a special air-pipe, in no case less than two inches in diameter for water-closet traps, and one inch and a half for other traps. Except in private dwellings, the vertical vent-pipes for traps of water-closets in buildings more than four stories in height must be at least three inches in diameter, with two-inch branches to each trap, and for traps of other fixtures not less than two inches in diameter, with branches one and a half inches in diameter, unless the trap is smaller, in which case the diameter of branch vent-pipe must be at least equal to the diameter of the trap. In all cases vertical vent-pipes must be of cast or wrought iron.

34. These pipes must either extend two feet above the highest part of the roof or coping, the extension to be not less than four inches in diameter to avoid obstruction from frost, or they may be branched into a soil-pipe above the inlet from the highest fixture. They may be combined by branching together those which serve several traps. These air-pipes must always have a continuous slope, to avoid collecting water by condensation.

35. Traps of fixtures near the fresh-air inlet may be ventilated by being connected with it.

36. No trap vent-pipe shall be used as a waste or soil pipe.

[Pg 32]

37. Overflow-pipes from fixtures must, in each case, be connected on the inlet side of the trap.

38. Every safe under a wash-basin, bath, urinal, water-closet, or other fixture, must be drained by a special pipe not directly connected with any soil-pipe, waste-pipe, drain, or sewer, but discharging into an open sink, upon the cellar-floor, or outside the house.

39. The waste-pipe from a refrigerator shall not be directly connected with the soil or waste pipe, or with the drain or sewer, or discharge into the soil; it should discharge into an open sink. Such waste-pipes should be so arranged as to admit of frequent flushing, and should be as short as possible, and disconnected from the refrigerator.

40. The sediment-pipe from kitchen boilers must be connected on the inlet side of the sink-trap.

41. All water-closets within the house must be supplied with water from special tanks or cisterns, the water of which is not used for any other purpose. The closets must never be supplied directly from the Croton supply-pipes. A group of closets may be supplied from one tank; but water-closets on different floors are not permitted to be flushed from one tank.

42. The valves of cisterns must be so fitted and adjusted as to prevent wasting of water, especially where cisterns are supplied from a tank on the roof.

43. The overflow-pipes from water-closet cisterns must discharge into an open sink, or where its dis[Pg 33]charge will attract attention and indicate that waste of water is occurring, but not into the bowl of the water-closet, not into the soil or waste pipe, nor into the drain or sewer. When the pressure of the Croton is not sufficient to supply these tanks, a pump must be provided.

44. Tanks for drinking-water are objectionable; if indispensable, they must never be lined with lead, galvanized iron, or zinc. They should be constructed of iron, or wood lined with tinned and planished copper. The overflow should discharge upon the roof, or be trapped and discharge into an open sink, never into any soil or waste pipe or water-closet trap, nor into the drain or sewer.

45. Rain-water leaders must never be used as soil, waste, or vent pipes; nor shall any soil, waste, or vent pipe be used as a leader.

46. When within the house, the leader must be of cast-iron, with leaded joints; when outside of the house, and connected with the house-drain, it must be trapped beneath the ground or just inside of the wall, the trap being arranged in either case so as to prevent freezing. In every case where a leader opens near a window or a light-shaft, it must be properly trapped at its base.

47. No steam exhaust or blow-off pipe from a steam-boiler will be allowed to connect with any soil or waste pipe, or directly with the house-drain. They should discharge into a tank or condenser, the waste from which, if to be discharged into the sewer through[Pg 34] the house-drain, must be connected on the sewer side of the running trap.

48. Subsoil drains must be provided whenever necessary.

49. Yards and areas should always be properly graded, cemented, flagged, or well paved, and properly drained; when the drain is connected with the house-drain, it must be effectively trapped. Front-area drains must, where practicable, be connected with the house-drain inside of the running trap.

50. Cellar and foundation walls must, where possible, be rendered impervious to dampness, and the use of asphaltum or coal-tar pitch, in addition to hydraulic cement, is recommended for that purpose.

51. No privy-vault or school-sink will be allowed in any cellar or basement; nor shall the general privy accommodation of a tenement or lodging house be allowed to be in the cellar or basement.

52. No privy-vault, or cesspool for sewage, will be permitted in any part of the city where water-closets or a school-sink can be connected with a public sewer in the street.

53. School-sinks must be of cast-iron, not more than two feet in depth, connected at the upper end with the Croton supply, and at the lower end with a drain leading to the street-sewer, and provided with an outlet at the lowest point and on the bottom so as to admit of a complete discharge of the contents whenever the outlet is opened and the sink flushed with water.

[Pg 35]

54. The sink must be set so that the flange will be at least two feet below the yard surface, to prevent freezing. It must be at least ten feet from any window, or as near that distance as practicable.

55. The waste-pipe from a hydrant-sink in the yard must be properly trapped, especially where it discharges into a school-sink, a privy-vault, or cesspool, or the house-drain.

56. Open light and air courts must be properly drained.

57. When a privy-vault or cesspool must necessarily be used, and the water-supply of the premises is from a well, they must be at least fifty feet from the well; and the privy-vault must be absolutely tight.

Explanatory Remarks.

2. As direct as possible. To insure an uninterrupted flow. When a pipe has to pass an obstruction (a beam or post) an offset is used (Fig. 2).

3. The soil-pipe is that which conveys the contents of water-closets to the house-drain: the waste-pipes are intended to carry other refuse fluids only. The house-drain is the large pipe which receives the contents of the soil and waste pipes and conveys them outside the house.

A trap is a bend (with or without an enlargement) of the pipe, intended to retain a sufficient amount of the fluids that enter it to occlude the pipe and prevent the backward flow of air. The effective[Pg 36] water-seal is represented by the total depth of water in the trap, minus the inside diameter of the pipe, and should be at least one inch.

Fig. 2.—Offset. Fig. 3.—S-trap. Fig. 4.—Half S-trap.

Traps are of various kinds, and many are patented. The accompanying figures represent the principal types.

Fig. 5.—D-trap. Fig. 6.—Bag-trap.

Fig. 3 is the S-trap. Fig. 4 is the half S-trap. There is also a three-quarter S-trap. Fig. 5 is a D-trap, formerly much used, but now mostly out of date, because it retains dirt. Fig. 6 is a bag-trap. It has no advantage over the S-trap, and uses more material. Fig. 7 is a bottle-trap, much used in Boston. This also retains dirt. There are varieties of it, the distinguishing feature of all being that the fluids enter them at the bottom and flow out at the top.

[Pg 37]

Fig. 7.—Bottle-trap. Fig. 8.—Bell-trap.
Fig. 9.—Running-trap. Fig. 10.—Mason’s trap.

Fig. 8 is the bell-trap, so called from its shape. Much used for the drains of paved areas, yards, and cellars; liable to retain dirt, and needs frequent cleaning; not a good trap. Fig. 9 is a running-trap, used in house-drains and other pipes that are nearly horizontal. Fig. 10 represents a mason’s trap. Is built of brick or stone and cement. Used in brick-drains and sewers, in receiving-basins at street corners, etc. Requires frequent cleaning, and should never be used inside a building. Fig. 11 represents the method of trapping a cesspool. The same plan is also used for grease-traps, the outlet-pipe dipping below the surface of the contents so[Pg 38] that it is never obstructed by the grease, which floats on top.

Fig. 11.—Trapped cesspool.

A few patent traps are shown as samples:

Fig. 12.—Adee trap. Fig. 13.—Bower trap.

Fig. 12 is the Adee trap, a modification of the D-trap. Fig. 13 is the Bower trap, claimed to be secured against siphonage or back pressure by a rubber ball which floats up against the entering-pipe. Modification of the bottle-trap. Fig. 14 is Bedell’s trap, with a metallic flap or valve, and an opening on the sewer side of the valve, to relieve pressure. Fig.[Pg 39] 15 is Stewart’s trap, intelligible from the diagram. Traps are also made of iron or glass, with a mercury seal, which, it is claimed, are proof against siphoning, pressure, or evaporation.

Fig. 14.—Bedell’s trap. Fig. 15.—Stewart’s trap.

4. A louvered sky-light is one with slats at the sides inclining outward, so that air can escape but rain can not enter.

6. Calked with lead. (See 26.)

7. Tempered-up cement. Cement which has been used once, and has been broken up and ground, for using a second time.

9. House-drain, of iron. (See “Bad Odors, 2, a.”)

10. Water-closets. Four principal classes, with innumerable varieties, mostly patented.

1. The pan-closet (Fig. 16). Its chief advantage is its cheapness and the ease with which it can be repaired. Its disadvantage is the odor that usually attends its use. When the handle (a) is raised, the contents of the pan (b) are thrown against the side of the iron container (c), and some filth adheres there and decomposes, filling the container with a noisome stench, which escapes into the room every time the closet is used. An abundant flush, an en[Pg 40]ameled container, and proper ventilation of the container, reduce this nuisance materially. Generally condemned by sanitarians.

Fig. 16.—Pan-closet. Fig. 17.—Hopper-closet.

2. Hopper-closets (Fig. 17). Rather unsightly, because the water and floating matter in the trap are visible, and matters often cling to the sides, but, with an abundant flush suddenly discharged, are very inoffensive.

3. Plunger-closets, of which the Jennings closet (Fig. 18) may be taken as a type. The handle lifts a plug, which allows the contents of the bowl to run out, and, when the plug is dropped in place, the bowl is filled again from a ball-cock. These closets are liable to get out of order; the plungers or plugs lose their rubber flanges and leak, and the plunger-chamber is apt to retain filth.

Fig. 18.—Jennings closet.

4. It is evident that if the hopper-closet could have its trap bent to one side out of sight, and its hopper enlarged toward the bottom, so that nothing would strike and cling to its sides, it would be an[Pg 41] excellent one. Of such a type are the Tidal-Wave and National closets (Fig. 19), a being the water-pipe, which discharges into a flushing rim, and b a vent-pipe to relieve pressure between the two bodies of water during a discharge, and prevent siphoning.

Fig. 19.—Tidal-wave closet. Fig. 20.—Y-branch. Fig. 21.—Quarter bend.

A water-closet, to be well flushed, should have a discharge of three gallons of water in five seconds, sent directly downward all around the rim.

[Pg 42]

School-sink (also called trough-sink or privy-sink). An iron trough, having a sewer-connected opening with a movable iron plug in the bottom at one end, for the discharge of its contents, and a pipe at the other end, from which it is filled with water. It is practically an elongated water-closet. (See 53.)

12. Y-branch (Fig. 20), so named from its shape. There are also half Y-branches.

Eighth bends. There are also quarter bends (Fig. 21), sixth bends, and sixteenth bends. These are used in pipe-connections in order to discharge the contents of the branch pipes in the same general direction with the current in the main pipes, for, if the discharge enters at a right angle, a deposit is apt to form opposite the point of connection.

14. Trap in house-drain. Intended to cut off all communication between the house and the street sewer. If a contagious disease occurs in one’s own house, he can be sure that the excreta are disinfected, and that disease-germs can not escape into the air, even if the pipes happen to be defective; but he can not be sure that such excreta are properly disinfected in other houses. The only safe way, therefore, is for each house to be cut off from all others by the means described. The objections to the trap on the house-drain are, that it forms a slight obstruction to the flow of drainage, and is liable to be obstructed by deposits, and that it favors “cushioning,” i. e., the forcing of smaller traps, when the air in the drain is compressed between this trap and a down-coming[Pg 43] mass of water. (See “Bad Odors,” 1, d.) The first of these objections is met by making the trap a half S one, so that the fluids fall down one limb with sufficient force to wash out the bottom of the trap thoroughly with each discharge, and the second by the fresh-air inlet, which relieves the pressure that otherwise might force the traps.

15. The fresh-air inlet affords free entrance for air, and, as the main lines of pipe are open above the roof, the difference in length of the pipes will give rise to a constant current of fresh air through them, in one direction or the other. (See “Bad Odors,” 1 c.) This results in the oxidation of whatever filth may cling to the pipes, and dilutes offensive gases so that they are rendered harmless. It has also been shown that the various microscopic organisms, which are believed to be the specific cause of certain diseases, increase in virulence, when they propagate in the absence or with a deficient supply of oxygen, while the intensity of their action is diminished if they grow where oxygen is plentiful.

16. Ventilation in chimney-flues. (See “Bad Odors,” 1, c.)

17. Vertical pipes of iron. Iron resists corrosion and the assaults of rats better than lead, and lead pipes are sometimes occluded by pressure and settling. Branch wastes are generally of lead because it is easily cut and bent, so as to be used in difficult situations.

Return-bend or cowl. To prevent senseless[Pg 44] persons from throwing things down the pipe, and thus obstructing it.

20. Diameter of pipes. The inside diameter is always meant.

21. D-pipe. (See Appendix B.)

22. No traps on vertical pipes,i. e., at the foot of such pipes, because they would prevent the free circulation of air, and thus render the fresh-air inlet practically useless. Also to prevent “cushioning.”

23. Cast-iron pipes are made in five-foot lengths, with an enlargement at one end, called the hub or bell, and a bead around the edge of the other end (the spigot-end). The spigot-end of one pipe fits loosely into the hub of another, sufficient room being left for calking. (See 26.)

24. Pipes are tarred by being heated to 500° Fahr. and then dipped perpendicularly into a hot bath of coal-tar pitch mixed with a small proportion of heavy coal-oil. This coating prevents corrosion, or at least greatly retards it.

25. Wrought-iron pipes, with screw joints, are used by the Durham House Drainage Company, the joints being gas-tight. They have the advantage of being very durable and impervious to gases, but the disadvantage of being too permanent. If it is desired to change the position of a fixture, or to connect a new one, it is easy to break a hole in a cast-iron pipe, or to remove a portion of it, but where wrought-iron pipe is used this is almost impossible. The Durham[Pg 45] system also costs about twenty-five per cent more than the common one, and it is not strictly correct to say that its use renders a house absolutely secure against leakage of sewer-air, because it does not do away with lead branch-pipes, in which frequent leakages occur, and all irregular portions of pipe, with branches, etc., in this system are made of cast-iron with calked joints, as in the ordinary system.

The water-test is applied by plugging the pipe carefully, and closing all openings below a certain point, and then filling it with water to that level. If there is any leakage, the water-level will gradually sink. If the pipes are tight, it will remain the same.

Peppermint-test. (See hereafter.)

26. Oakum is packed into the space between the spigot-end of one pipe and the hub of the other, and driven against the bead above mentioned. This packing is called a gasket. Melted lead is poured in on top of the oakum, and, when it has cooled, is driven in tight with a calking iron and mallet. When ordinary pipe is used, the calking will sometimes split the hub, and this furnishes an argument for the general use of extra-heavy pipe.

Iron-filings, etc., making what is called a rust-joint.

27. Ferrules, or sleeves, are used because lead pipes are too soft and yielding to withstand the calking. Lead can not be soldered to iron, and therefore brass or copper has to be used. If iron ferrules are used, the lead pipe must be turned up on the outside[Pg 46] far enough so that its edge shall be covered by the melted lead used in calking, so as to prevent leakage of gas, as hereafter described. (See “Bad Odors,” 1, b.)

28. Wiped-joints are those always used for lead pipe, and are indicated by a raised ring of solder surrounding the pipe.

29. A trap, with a good water-seal, is an effective barrier against the passage of sewer-air or particles of organic matter. The experiments of Carmichael, confirmed by Wernich and Pumpelly, have amply demonstrated that sewer-air passes through the water-seal in such minute quantities that it can not possibly harm any one, and that solid particles of matter can not pass at all.

Separate traps, except, etc. (See “Bad Odors,” 1, d.)

33. Siphonage. (See “Bad Odors,” 1, d 37.)

37. Overflow-pipes from fixtures. It is better to connect them with the trap below the water-level. (See “Bad Odors,” 1, d.)

38. Safes are sheets of metal (generally lead) with turned-up edges, placed beneath basins, sinks, water-closets, etc., to protect the floor in case of leakage. The waste-pipes of safes are common sources of nuisance. (See “Bad Odors,” 1, c.)

39. To prevent contamination of the contents of the refrigerator.

41. When water-closets are flushed directly from the common supply-pipe of the house, as in the dif[Pg 47]ferent kinds of valve-closets, the water in the pipes, under certain circumstances, will be contaminated: e. g., if a person opens a faucet on one floor at the same moment that the valve is opened to flush a water-closet on a higher floor, water will be sucked back from the valve, and the air of the closet will follow it. Check-valves have been used to prevent this, but they should not be depended on.

Fig. 22.
Fig. 23.
Fig. 24.

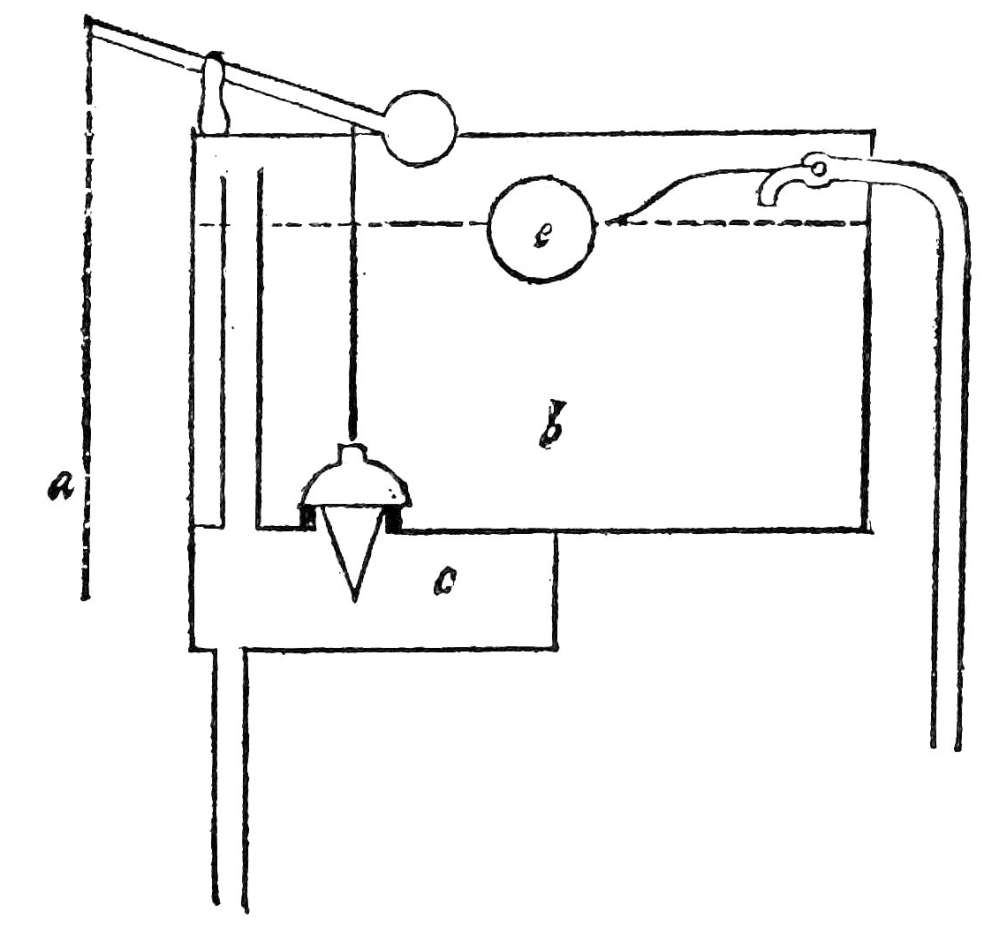
Various forms of tanks or cisterns for water-closets are here shown. Fig. 22 represents a tank, b, which discharges water as long as the handle (attached to the chain a) is raised. It gives a flush also of the entire contents of the service-box c, after the handle is lowered. Fig. 23 shows a waste-preventing tank, which is divided into two compartments, b and d. It will be seen that this allows only the contents of d to be discharged, with an after-flush from c. Fig. 24 shows a tank, in which the chain a is attached[Pg 48] to the seat, and is pulled down when the seat is depressed. It will be seen that no water can flow while the closet is in use, but, when the seat is released, the contents of c are discharged with great force. In all these figures, e is a ball-cock. This cock is controlled by a hollow copper ball, which[Pg 49] floats on water, and is attached to the end of a lever. When the water falls, the ball falls with it, and opens the cock. When it is floated up to a certain point, it closes the cock and stops the flow.

Fig. 25.—Drainage plan for dwellings.

45. Leaders should not be used as soil-pipes, because, during a rain, the ventilation of the pipes is interfered with by the downward flow of water,[Pg 50] which will also empty unventilated traps by siphoning. The necessity of having leaders open flush with the roof also interferes with proper ventilation.

47. If steam enters a soil-pipe, it heats the water in the traps, injures joints on account of the extreme changes of temperature induced, and hastens corrosion of the pipes.

Fig. 25 shows a system of house-drainage for a city house planned in accordance with the above rules.

Fig. 26.—Field’s flush-tank.

In country houses, where there are no sewers, the best method of disposing of the house-slops is subsoil drainage. The house system may be the same as that already explained for city houses. The fluids are conducted by a pipe with tight joints to a flush-tank (Fig. 26) near the house. This tank is so constructed that it empties itself, by a siphon action, whenever it gets full, discharging all its contents in a very short time, and thus washing out[Pg 51] thoroughly the pipes into which it empties. “The outlet-pipe from this tank is continued by a cemented vitrified pipe to a point about twenty-five feet farther away. Here it connects with a system of open-jointed drain-tiles, consisting of one main, fifty feet long, and ten lateral drains, six feet apart, and each about twenty feet long. These drains underlie a part of the lawn, and are only about ten inches below the surface” (Waring). It will be understood that the purpose of this method of drainage is to have the organic matter contained in the house-refuse appropriated by vegetation, and it must therefore be distributed within reach of the grass-roots.

If water-closets are used, the following system is recommended in “The Sanitary Engineer”: Collect all the sewage of the house in a small and perfectly tight tank or cesspool, in which the paper and fecal matter soon become macerated by fermentation and reduced to a pulp. This tank should overflow into the flush-tank, the overflow-pipe dipping at least a foot below the point of discharge, to avoid the scum. The siphon of the flush-tank should be accessible by a man-hole, so as to be readily cleaned. If thus arranged, and if no roots of trees are in the soil, the distribution-pipes will not clog for a year or more, sometimes not for ten years.

Pipes should be laid at a depth of eight inches, with a slight and uniform descent of not over six or eight inches in one hundred feet. Branches from a four-inch main to the two-inch distribution-pipes[Pg 52] should lead from the bottom of the former, instead of from the side, as in ordinary drain connections.

There should be a grease-trap (see “Explanatory Remarks,” 3) attached to the kitchen waste-pipes, in order to prevent clogging of the tanks and pipes by the congelation of fat.

Bad Odors.

When bad odors in a house are traceable to the drainage, they will usually be found to be due to one or more of the following causes:

1. To faulty construction. (a.) Drains.—These may be made of brick or stone and cement. Such materials are pervious to gases, even when sound, and are peculiarly liable to be channeled by rats, especially where an iron or lead pipe enters them. Such a drain should be replaced by an iron one.

Fig. 27.—Iron ferrule improperly calked.

(b.) Joints.Cement-joints are pervious to gases. Putty-joints crack and so become pervious. A lead pipe is sometimes connected with an iron one by means of an iron ferrule, the lead pipe passing inside the ferrule and being turned over its lower edge, extending up on the outside, the ferrule then being calked into the hub. When paper is used for the gasket or packing, it rots away in time, and a passage is left through which gas can escape as follows: up between the hub and the turned-over lead pipe, over its edge, between it and the calking, down[Pg 53] between the lead pipe and the ferrule, across the lower edge of the ferrule, and out between the inner surface of the ferrule and the outer surface of the lead pipe. (See Fig. 27.) Sometimes a connection of lead with iron is made by means of a lead flange fastened around the iron pipe with wire, and sometimes the lead pipe is simply stuck into a hole in the iron pipe and fastened with cement or putty. Such work should be replaced by properly made joints as described in the above regulations. (Or in “Bad Odors,” 2, c.)

(c.) Pipes.—If the leaders are not trapped at the bottom, offensive gases from them may enter the nearest windows. A leader is never of the same length as the soil-pipe, and, if there is direct communication between them through the house-drain, there will always be a current of air through them in one direction or the other. If the external air is colder than that inside the pipes, then the heavier column of air will be over the shorter pipe, and the current will be down that one and up the other. If the external air is warmer than that in the pipes, the heavier column will be that which includes the longer pipe, and the current will be down that one and up the shorter. So, as a rule, the current in winter is down the short pipe and up the long one, while in summer it is reversed, and, as the short pipe often[Pg 54] ends near windows, the nuisance is greatest when these windows are open. Of course, in such cases, the leader must be trapped.

Ventilating-pipes sometimes end in chimney-flues. This is a bad plan, for, if the flue is in use, the open end of the pipe will become choked with soot and finally be rendered useless. If the flue is not used, there will often be a down draught in it, and the offensive gases may be conveyed through stove-pipes or fireplaces into the rooms of the house. Such gases may even penetrate the walls of the flue and so enter the house. If such a pipe is ever run into a flue, it should be extended at least two feet above the chimney-top.

Ventilating-pipes are sometimes badly arranged, so that they actually neutralize a trap and render it useless. (See Fig. 28.) In this figure a is the soil-pipe and b the ventilating-pipe.

Fig. 28.—Faulty arrangement of ventilating pipes.

Safe-wastes and the overflow-pipes of tanks and cisterns may be connected with the soil or waste pipe. When they are, they are usually trapped. It will often be found that the traps are empty and useless, so that offensive gases escape from the pipes. With tank-overflow pipes this is generally the case. Safe-waste traps are sometimes provided with small feed-pipes, intended to discharge water into them every time the fixtures are used. It will often be found, however, if the end of the feed-pipe is pulled up out of the waste, that no water runs through it, and it is useless, sometimes because it is too small[Pg 55] and is choked with dust and sediment, and sometimes because it is wrongly attached to the source of supply. Safe-wastes, discharging into the kitchen or cellar, may convey to the rooms odors of cooking or of articles stored in the cellar (onions, turnips, etc.), or from the servants’ water-closet, which is often offensive. If urine or other offensive liquids from leakage flow through them, the upward currents of air will be impregnated with odors from the filth that has clung to the pipe long after the leak has been repaired. In any event these safe-wastes constitute a direct communication between different rooms of a house, which is not always desirable. It is better to do without them. They are rarely of any use. If[Pg 56] required, however, they should either be trapped under the safe, and means taken to insure a constant water-seal, or they may be closed by a piece of paper pasted over the lower opening, which will prevent the entrance of any odors from cellar or kitchen, but will give way in case of leakage. The safe-wastes of water-closets often discharge into the trap of the water-closet. This is a bad plan, because, if there is an obstruction in the trap, the safe-waste is, of course, useless. If offensive odors are traced to safe-wastes, the openings had better be sealed. If overflow-pipes are the source, they must be disconnected from the soil or waste pipe and made to discharge elsewhere (e. g., into some sink or water-closet).

Fig. 29.—Cushioning illustrated.

(d.) Traps.—If two traps are so arranged that the air is compressed between them by an oncoming rush of water, the trap containing the shallowest water-seal will be forced, and a certain amount of air will escape through it from the interior of the pipe. This result is due to “cushioning,” as it is called, and is illustrated in Fig. 29. Such a fault is to be remedied by connecting the crown of one of the[Pg 57] traps with a ventilating-pipe, so that any pressure of the kind is immediately relieved without disturbing the seal of the trap.

Fig. 30.—Double-trapped waste-pipe (air-bound). Fig. 31.—Two sinks with but one trap.

If there are two traps on the same line of pipe (Fig. 30), so that a part of the interior of the pipe is cut off from the external air in both directions, it becomes “air-bound,” and one of two results will follow, viz.: water discharged into the fixture above the higher trap will remain in the bowl and not run down, on account of the compression of air between the traps; or, if it does run out of the fixture, it will displace an equivalent bulk of foul air, which will bubble up through the upper trap and cause offen[Pg 58]sive odors. In such a case, the lower trap should be removed.

If two or more waste-pipes (as in sets of tubs, in sinks, and often in urinals) are provided with but one trap for all (Fig. 31), there will be a constant current of air along the pipes, sometimes emerging from one opening and sometimes from another. This air will be contaminated by the filth that lines the pipes, and will often be quite offensive. In such cases, each waste-pipe should be independently trapped, or (as in the case of bath-tubs or urinals) the overflow-pipe should be connected with the trap of the waste-pipe below the water-seal, as in Fig. 25.

When a body of water sufficiently large to nearly fill a pipe is discharged into it, it drags air along with it, and exhausts the air in all branch-pipes to a greater or less extent. When this exhaustion amounts to a diminution of the pressure in the pipe of about 1/350, the water in an ordinary trap (with a one-inch seal) will be forced out of it by the pressure of the external atmosphere, or in other words will be sucked out of the trap into the pipe, leaving no water-seal in the trap, and, therefore, allowing free exit for sewer-air. This effect is known as the “siphoning” of the trap, and is most likely to occur when the main pipe is not open at its upper extremity (is not ventilated), and when the branch wastes are of the same size with the main one. This fault is remedied by the ventilation of the traps, and of the main[Pg 59] pipes, as described in the regulations above quoted (17 and 33).

2. To defects in the pipes. (a.) Drains.—Bad odors in cellars often come from broken earthenware or tile drains, cracked by settling, or from rat-holes in cemented drains. Earthenware or brick drains inside a house should be replaced by iron ones.

(b.) Joints.Cement or putty joints are often cracked. Water-closets sometimes become loosened from the floor and leak fluids and gases. The covers of hand-holes of traps sometimes get loose and leak gas. Sometimes trap-screws, instead of being at the bottom of the trap, where they are covered by water, are at the top; if these are loose, gases may escape. All such defects should be repaired.

(c.) Pipes.—Both lead and iron pipes are corroded and in time perforated by sewer-air. Such corrosion is most likely to occur at points where gases come in contact with a dry part of the pipe, viz., at the crowns or domes of traps, and in ventilating-pipes. For this reason, ventilating-pipes should never be made of thin iron (galvanized iron), and should always be protected by a tar-coating. The crowns of lead traps (especially of water-closets) are often bitten into by rats in search of water. In all cases when the crown of a trap is perforated, there is rarely any leakage of fluid to indicate it, but offensive gases escape. All corroded traps and pipes[Pg 60] should be replaced by new ones, and not patched up. Holes in iron pipes may be closed by iron bands surrounding the pipe, and fastened with red-lead putty and screw-bolts (Fig. 32). A new joint may be made by means of a saddle-hub (Fig. 33) carefully secured in a similar manner. Lead pipes are sometimes protected against rats by being encircled by tin, or packed in pounded glass.

Fig. 32.—Bands.
Fig. 33.—Saddle-hub.

3. To carelessness. (a.) Evaporation.—If fixtures are not in constant use, the water soon evaporates from the traps and gives exit to sewer-air. This often happens in warm weather, and when a house is vacant for a time. To prevent evaporation, a little oil may be poured into the trap, to protect the surface of the water-seal, or it may be made the special duty of a servant to keep the traps full of water when the fixtures are not in use.

(b.) Dirt.—The inside of a pipe often becomes coated with slime, consisting largely of grease, especially in kitchens. This filthy lining rapidly decomposes, and that portion above the trap may give out bad odors. The pipes may be cleansed with a strong hot solution of soda.

[Pg 61]

Examination of House-Drainage.

If the object of an examination is to determine whether the drainage is planned and constructed in accordance with the best methods of the day, each point referred to in the above regulations should be carefully investigated.

If the object is to determine the source of offensive odors, or if there has been sickness in the house of such a character as to indicate possible defects in the plumbing, the several sources of bad odors just enumerated should each be carefully inquired into. A few additional suggestions as to the method of examination will not be out of place.

It will be found much easier to determine the direction, number, and situation of the main lines of pipe, if the examination is begun at the roof and continued downward. If a beginning is made in the cellar, confusion results.

Cushioning” is determined by causing the discharge of a considerable mass of water (as from a bath-tub or water-closet) into the main pipe, at some distance above the suspected fixture. If there is a regurgitation in the fixture under observation, there is certainly an obstruction in the pipe at some point below the fixture. If the obstruction is caused by something lodged in the pipe, the back-flow in the fixture will be a steady one, because there will be some leakage through the obstruction, while if it is due to compressed air, which is elastic, the regurgi[Pg 62]tation will be by spurts, and the water in the trap may even be thrown up to a considerable height.

Siphoning” is also determined by filling the pipe with water in the manner just explained. If the trap of the fixture under observation is emptied by siphoning, a sucking or gurgling noise will be heard in it, and a flame held over the outlet of the fixture will be drawn downward by the inward current of air.

One trap to several pipes (when it is suspected but not certainly known because the trap is out of sight) may be detected by the fact that there will always be a current of air in one direction or the other through such pipes, and more or less odor will escape. If the back of the hand is wet, it becomes very sensitive to such a current, and by holding alternately the palm and the back of the hand, or even of the forefinger (wet), over an opening, the existence and direction of such a current can be easily determined. If the odors are from such a source, it can then be made evident by covering all the outlets but one with wet paper, so as to prevent the air-currents, when the odors will temporarily disappear.

If a trap is accessible, it is easy to determine whether its water-seal is preserved or not by tapping it from top to bottom with some metallic substance, when the difference in sound will indicate the exact level of the water inside.

Those parts of the plumbing which are not ac[Pg 63]cessible to inspection must be examined by introducing into the pipes some strong-smelling substance, which will indicate defects by its escape through them into the house. Oil of peppermint is often used for this purpose.

The Peppermint-Test.

For testing the pipes of an ordinary dwelling, one ounce of the oil of peppermint is sufficient. For a large building more may be needed. The drug costs from twenty-five to seventy-five cents an ounce, according to its quality and the place where it is bought.

It is best to introduce the oil into the pipes from outside the house, if possible, so that the odor which inevitably attends the process may be dissipated in the external air. The object being to ascertain the location of defects in the pipes inside the house, the examiner must feel certain, if he detects the odor of peppermint anywhere, that the vapor has come to him from inside the pipes, and not from the outside. If the ventilating-pipes are so constructed that the oil can not be poured in from the roof, then it must be poured into some basin or water-closet in the upper portion of the house. The peppermint should first be mingled with a pailful of hot water to promote rapid volatilization, and poured slowly down the pipe. After it is poured down, the openings at the upper extremities of the pipes should be closed, so that the pressure of the vapor inside the pipes may not be[Pg 64] relieved in that direction. If the odor of peppermint, thus introduced with the precautions mentioned below, is perceived anywhere in the house, it is an indication that there is an opening in some pipe, through which sewer-air may escape. This opening may be a defect, or it may be due to siphoning of traps, or to faults of original construction. There will not usually be much difficulty in locating it with considerable exactness.

Special Precautions.

The peppermint should be kept on the roof, or on a window-sill outside the house, until needed, for it is so volatile that the vapor escapes through the cork, and if the odor gets into the house in this way, it will vitiate the examination.

The person who pours the peppermint should remain on the roof or in the room where he does it, with the doors closed, until the examination is complete, for the odor will cling to his clothing and follow him wherever he goes for an hour or more.

Additional Remarks.

If bad odors have been noticed, and no defect can be found in the ways above mentioned, they may be due to decaying animal matter (dead rats, etc.), or (in the city) to defects in the plumbing of the adjoining house, offensive gases from which may penetrate the wall.

The source of bad odors need not necessarily be[Pg 65] in the immediate vicinity of the place where they are noticed, for the walls of buildings are full of channels and openings, through which offensive gases may be carried by currents of air, so as to emerge at a considerable distance from their origin. Thus, in winter, they are apt to be most noticeable near a fire.

SUMMARY OF THE BEST METHODS OF DRAINAGE.

For houses where there are public sewers: water-carriage.

For country houses, if isolated from sewers, and where expense is no objection: water-carriage with subsoil drainage.

In villages and small towns, without sewers: subsoil drainage (for slops), and pails (for excreta), frequently removed by proper officers.

For farm-houses: subsoil drainage for slops, and a movable tank, with dry earth disinfection, for excreta.

For sea-side houses, isolated: if there is vegetation, subsoil drainage for slops, and earth-closets.

For sea-side villages: subsoil drainage and the pail system.

For sea-side houses, where there is no vegetation: for excreta, earth-closets or a movable iron tank, with dry-earth disinfection; for slops, a water-tight cesspool, with arrangements for emptying its contents into the sea when the tide is ebbing.

[Pg 66]

How to prevent contamination of the air from the ground.

Have the house separated from the soil on which it is built by a layer of asphalt between two layers of cement, extending over the whole cellar-floor, through the foundation-walls and up above the point where the ground touches the walls outside. Or have the house built without a cellar, and with perforated underpinning, so as to allow a free circulation of air underneath it. The subsoil should also be drained by tiles laid at least a foot lower than the cellar-bottom.

The cold-air boxes of furnaces should draw their supply from the external air. It is advisable to have a thin layer of cotton held in place by wire gauze to filter the air as it enters them.


CHAPTER III.
DISINFECTION.

How to prevent contamination of the air by the respiration, bodily emanations, and excreta of diseased persons.

It is not possible with our present knowledge to prevent the multiplication of morbid germs in the human body, when they are once implanted there, nor to prevent their discharge; but we can destroy them after their exit from the body, and so protect other persons who are not yet affected.

[Pg 67]

The following instructions for the management of contagious diseases were prepared for the National Board of Health by Professors Chandler, Henry Draper, Barker, Vander Poel, E. G. Janeway, and Ira Remsen.

Instructions for Disinfection.

Disinfection is the destruction of the poisons of infectious and contagious diseases.

Deodorizers, or substances which destroy smells, are not necessarily disinfectants, and disinfectants do not necessarily have an odor.

Disinfection can not compensate for want of cleanliness nor of ventilation.

I. Disinfectants to be employed.

1. Roll-sulphur (brimstone) for fumigation.

2. Sulphate of iron (copperas) dissolved in water in the proportion of one and a half pounds to the gallon; for soil, sewers, etc.

3. Sulphate of zinc and common salt, dissolved together in water in the proportion of four ounces sulphate and two ounces salt to the gallon; for clothing, bed-linen, etc.

II. How to use Disinfectants.

1. In the sick-room. The most available agents are fresh air and cleanliness. The clothing, towels, bed-linen, etc., should on removal from the patient,[Pg 68] and before they are taken from the room, be placed in a pail or tub of the zinc solution, boiling-hot if possible.

All discharges should either be received in vessels containing copperas solution, or, when this is impracticable, should be immediately covered with copperas solution. All vessels used about the patient should be cleansed with the same solution.

Unnecessary furniture, especially that which is stuffed, carpets and hangings, should, when possible, be removed from the room at the outset; otherwise they should remain for subsequent fumigation and treatment.

2. Fumigation with sulphur is the only practicable method for disinfecting the house. For this purpose, the rooms to be disinfected must be vacated. Heavy clothing, blankets, bedding, and other articles which can not be treated with zinc solution, should be opened and exposed during fumigation, as directed below. Close the rooms as tightly as possible, place the sulphur in iron pans supported upon bricks placed in wash-tubs containing a little water, set it on fire by hot coals or with the aid of a spoonful of alcohol, and allow the room to remain closed for twenty-four hours. For a room about ten feet square, at least two pounds of sulphur should be used; for larger rooms, proportionally increased quantities.

3. Premises. Cellars, yards, stables, gutters, privies, cesspools, water-closets, drains, sewers, etc.,[Pg 69] should be frequently and liberally treated with copperas solution. The copperas solution is easily prepared by hanging a basket containing about sixty pounds of copperas in a barrel of water.

4. Body and bed clothing, etc. It is best to burn all articles which have been in contact with persons sick with contagious or infectious diseases. Articles too valuable to be destroyed should be treated as follows:

(a.) Cotton, linen, flannels, blankets, etc., should be treated with the boiling-hot zinc solution; introduce piece by piece, secure thorough wetting, and boil for at least half an hour.

(b.) Heavy woolen clothing, silks, furs, stuffed bed-covers, beds, and other articles which can not be treated with the zinc solution, should be hung in the room during fumigation, their surfaces thoroughly exposed and pockets turned inside out. Afterward they should be hung in the open air, beaten and shaken. Pillows, beds, stuffed mattresses, upholstered furniture, etc., should be cut open, the contents spread out and thoroughly fumigated. Carpets are best fumigated on the floor, but should afterward be removed to the open air and thoroughly beaten.

5. Corpses, especially of persons that have died of any infectious or malignant disease, should be thoroughly washed with a zinc solution of double strength; should then be wrapped in a sheet, wet with the zinc solution, and buried at once.

[Pg 70]

Metallic, metal-lined, or air-tight coffins should be used when possible; certainly when the body is to be transported for any considerable distance.

Comments.

Section I. 1. Copperas, also called green vitriol.

2. About four tablespoonfuls of the zinc and two tablespoonfuls of the salt, making a solution of the chloride of zinc.

Section II. 1. The windows should be kept open, if possible, but in such a way as to avoid draughts on the bed. A fire should be constantly burning in an open fireplace.

The room should be on the top floor, and all cracks and openings communicating with other rooms should be closed tightly. The door which has to be used should have a wet sheet hanging entirely over it, the windows and fireplace being alone relied on for ventilation.

2. The burning of sulphur produces sulphurous acid, which is an irrespirable gas. The person who lights the sulphur must, therefore, immediately leave the room, and after the lapse of the proper time, must hold his breath as he enters the room to open the windows and let out the gas. After fumigation, plastered walls should be whitewashed, the wood-work well scrubbed with carbolic soap, and painted portions repainted.

3. Or put copperas in a pail of water, in such quantity that some may constantly remain undis[Pg 71]solved at the bottom. This makes a saturated solution. To every privy or water-closet, allow one pint of the solution for every four persons when cholera is about. To keep privies from being offensive, pour one pint into each seat, night and morning.

4. (a.) Such articles should never be sent to a public laundry or mingled with the family washing.

(b.) The cutting open of stuffed articles may seem unnecessary, but it is not. The poison of contagious diseases clings to such stuffs (called fomites) with great tenacity for years, and must be destroyed before they are fit to be used again.

5. It is also well to fill a large wad of cotton or fine shavings with coal-tar powder or chloride of lime and place it beneath the hips, to absorb fluids.

Contagious diseases are often caught at the funerals of those who have died of them, and the sanitary code of New York city forbids a public funeral of any person who has died of small-pox, diphtheria, scarlet fever, yellow fever, typhus fever, or Asiatic cholera. It is better to limit the attendance at such funerals to as few as possible.

Additional Precautions in Special Diseases.

Small-pox.—Every one in the vicinity should be vaccinated with fresh virus. Every person should be vaccinated in infancy, again after puberty, and again within four days after exposure to small-pox. Special care should be paid to isolation. Inmates[Pg 72] of the house should neither make nor receive visits while the patient is sick.

Diphtheria and Consumption.—Special care should be taken to avoid inhaling the breath of the patient, as the diseases are communicated through the secretions of the nose, throat, and lungs. The matter coughed up should be received on rags and immediately burned.

Scarlet Fever and Measles.—These are communicable during convalescence, as well as during the illness. The body of the patient should be anointed twice a day with sweet-oil, lard, or vaseline, containing ten grains of carbolic acid or thymol to the ounce. This should be continued until all bran-like scaling of the skin is at an end. Before again associating with unprotected persons, the patient should have several complete ablutions, including thorough washing of the hair with soap or borax; and none of the clothing worn for several days before the disease declared itself should be again used until thoroughly disinfected, and ventilated in the open air several days (New York State Board of Health circular).

Typhoid Fever, Asiatic Cholera, and Dysentery.—Poison contained in discharges from the bowels. Particular attention should be paid to the disinfection of such discharges by the zinc or copperas solution.

Yellow Fever.—Poison possibly contained in discharges from stomach and bowels, but requiring[Pg 73] special conditions for development outside the body before it can affect other persons. Excreta should be immediately disinfected. Germs may be carried long distances in fomites (clothing, bedding, and other porous substances), and disinfection of such articles must be very thorough.

Typhus Fever.—No visiting to be allowed.

When there is small-pox, diphtheria, scarlet fever, measles, or typhus fever in a house, immediate attendants on the sick should not leave the house without a change of outside clothing.

General Precautions for those entering a Sick-Room.

Never enter a sick-room with an empty stomach, or when very tired.

Never eat or drink anything that has been long exposed to the air of the sick-room.

Breathe through your nose, and keep your mouth shut except when you are talking.


CHAPTER IV.
FOOD.

How to distinguish a good article of food from a bad one, when both are in their natural state, is within the province of the cook-book. In this place will be pointed out only the adulterations of food, and those methods of detecting them which can be[Pg 74] used by householders who have no special knowledge of the instrumental and chemical means which are generally necessary.

Adulterations are of two kinds: those which injure the consumer, and those which simply cheat him. The following details are chiefly taken from the New York State Board of Health report for 1881-’82, the name of the analyst being in each case appended.

Arrowroot.—Often mixed with cheaper starches. Twenty-three samples examined: seventeen were arrowroot, one was arrowroot and tapioca, two arrowroot, tapioca, and potato, and three tapioca and potato. Harmless. (E. G. Love, Ph. D.)

Bakers’ chemicals.—(Saleratus.) This was originally bicarbonate of potash, but the name is now applied to the bicarbonate of soda. Twenty samples: none adulterated.—(Baking-soda.) Twenty-three samples: twenty samples unadulterated. One contained 25 per cent of gypsum; one same quantity of gypsum and a little starch; one a large amount of sulphate of soda and 17 per cent of carbonate of lime.—(Cream of tartar.) This is the bitartrate of potash. Twenty-seven samples: sixteen adulterated and in some not a particle of cream of tartar found. Six adulterated with terra alba (gypsum) and starch, one with starch alone, two with starch, terra alba, and acid phosphate of lime. Six had tartaric acid and no cream of tartar. In eight the amount of terra alba was found to vary from 3.27 to 93 per cent.[Pg 75] Five samples contained over 70 per cent of this injurious adulteration. (Love.)

Baking-powders.—Contain bicarbonate of soda and some acid or acid salt, which combine when water is added and evolve carbonic-acid gas. There are four classes in use. One contains cream of tartar, one tartaric acid, one the acid phosphate of lime, and one potash or ammonia alum. Many powders contain a salt of ammonia. The pungent odor of this substance prevents its use in any but the smallest quantities, and it can not affect the wholesomeness of the powder. Flour or starch forms an ingredient of many powders to prevent a premature combination of its constituents and a consequent deterioration of the powder. Eighty-four samples: seventy-three had flour or starch; thirty-five contained ammonia. Eight adulterated with terra alba, phosphate of lime, or tartrate of lime. As a rule, these powders are harmless. (Love.)

(Alum.) There does not seem sufficient evidence as to the injurious effects of alum upon the human system to warrant legislation against it. (Love.)

Beer.—Most adulterations are harmless. Corn, rice, wheat, glucose, starch, potatoes, etc., are used in making beer, and in many countries are allowed by special laws (as in England and Germany). The use of substitutes for hops within the last few years is hardly possible to believe, since hops have been so cheap, in fact, almost the cheapest bitter, and are, moreover, as every brewer knows, the best ma[Pg 76]terial to preserve his beer. (F. E. Engelhardt, Ph. D.)

Brandy.—Cognac brandy is naturally colorless, but public taste demands a brown color, which is imparted by a mixture of caramel (burned sugar). A very large proportion of the brandy in the world is made of corn-spirit colored with burned sugar and flavored with oil of cognac (an essential oil derived from the lees of wine; twenty-five hundred pounds of lees make one pound of oil.) Here is one recipe: “To every ten gallons of pure spirits add two quarts New England rum or one quart Jamaica rum, and from thirty to forty drops of oil of cognac cut in one half pint of alcohol; color with burned sugar.” Twenty-five samples examined: sixteen contained fusel-oil, six had traces of it, and three none. (Engelhardt). The only injurious ingredient (besides alcohol) in the artificial brandies seems to be the fusel-oil contained in the corn-spirit or whisky used as a base. Rub suspected brandy on the palm of the hand until it has evaporated. Fusel-oil may then still be detected by the smell. Good brandy will leave no odor.

Bread.—Ten samples: no adulteration. (Love.) In 1873, Elwyn Waller, for the New York City Board of Health, examined fifty-one samples, of which forty-one were unadulterated, and ten contained traces of copper or alum.

Butter.—May be mixed with oleomargarine, and the adulteration is hard to detect. Oleomargarine[Pg 77] is more crumbly than butter in cold weather. Often colored with annotto, and, as this sometimes contains a little sulphate of copper, a trace of copper may occasionally be found in butter. As a rule, adulterations of butter are harmless.

Candy.—“Taffy” and gum-drops are almost all glucose. Coloring-matters usually harmless, but of ten samples of yellow candy, seven contained chromate of lead. (W. H. Pitt, M. D.) Candy often contains terra alba, flour, and gum-arabic. The only injurious ingredients usually found are terra alba (recognized by its grittiness and insolubility) and the chromate of lead. On account of the latter it is best to avoid yellow, green, and orange candies.

Canned fruits and vegetables.—Eighteen samples, including peaches, plums, grapes, strawberries, cherries, blackberries, olives, mushrooms, corn, beans, succotash, tomatoes, pumpkin, and peas. No adulteration found. Attention was given to the possibility of the chemical reaction of the fruit acids upon the inner surface of the cans, whereby salts of tin and lead might be produced, rendering the contents in some degree poisonous. There was no evidence of their presence. Some of the articles were canned over a year before. (S. A. Lattimore, Ph. D.) Per contra, other analysts have found from .1 to 2.3 grains of tin to the can. There is no evidence, however, that this amount of tin in solution is injurious, and the recent investigations of Hall seem to show that the fruit acids do not act appreciably[Pg 78] on the tin or the lead of the solder, so long as the air is excluded. Cans once opened should therefore be emptied, and not left partly full.

Canned meats.—No adulterations and no tin or lead found. The heads of all cans should be slightly concave. This shows that the contents were hot when the can was sealed. If the heads are convex, the contents are decomposing.

Cereals.—Ninety-four samples, including wheat and Graham flour, farina, oatmeal, rye, barley, corn-meal, rice, buckwheat, sago, and tapioca. Two adulterated. Adulterations consisted in mixture of other cereals, and were harmless. (Love.)

Cheese.—Skim-milk cheese often contains lard, put in to replace the butter which has been removed. This adulteration improves the quality of the cheese and often can not be detected by experts. One sample of cheese, which had caused sickness in those who ate it, was examined, and, although it also made the analyst ill, no known poisonous substance could be detected in it. (G. C. Caldwell, Ph. D.) All yellow cheese is colored with annotto, which can therefore hardly be considered an adulteration. The rind is sometimes washed with a mercurial or arsenical solution, to protect it from insects, and should therefore never be eaten.

Cocoa and chocolate.—Six samples. None adulterated. (Lattimore.)

Coffee.—Thirty-five samples of unroasted, three of roasted unground, twenty-one of ground, three of[Pg 79] coffee extract. Of the thirty-five unroasted, in five a few grains were found which had been slightly colored or faced, apparently with Prussian blue; the three roasted unground were pure; of the twenty-one ground, nineteen contained chiccory, beans, wheat, rye, etc. One sample consisted entirely of roasted hominy. Three samples of coffee extract consisted chiefly of caramel and licorice, and contained no coffee. (Lattimore.) Pure coffee swims in water, and colors it slowly. Chiccory sinks and colors water rapidly. Peas sink and color water slowly. Rye sinks more rapidly than coffee, and colors water more quickly. Ground coffee is hard and crumbles between the teeth; chiccory is soft and does not crumble.

Gin.—No injurious adulterations detected. Twenty-five samples. (Engelhardt.)

Honey.—Three samples: two pure. One, labeled “white-clover honey,” contained 50 per cent of artificial glucose. The presence of added glucose is indicated by the turbidity produced by oxalic acid in a solution of the honey in distilled water. This turbidity is due to the presence of gypsum in artificial glucose—a substance which is not contained in pure honey. (Pitt.)

Horse-radish.—Often harmlessly adulterated with grated turnip.

Isinglass.—Two samples. Both were common gelatine. (Chester.)

Jellies.—Fruit-jellies are often simple apple-jel[Pg 80]ly, flavored with artificial essences and colored with aniline. Safest not to use them unless their source is known to be trustworthy.

Lard.—Twenty-eight samples. Fifteen pure; the rest contained water. Good lard should melt to a clear fat without sputtering.

Meat.—Sound fresh meat is pale red when first cut, the surface after exposure turning to a deep red. The meat of animals that have died a natural death is of a deep purple color, not having been bled. The greatest danger in meat, however, is that due to the presence of trichinæ, which are killed by a temperature of 160° Fahr. All forms of pork should therefore be cooked thoroughly before eating. (Chester.) Poisoning (vomiting, cramps, and diarrhœa) produced by meat is generally caused by some kind of preserved meat (sausages, pickled meats, etc.), and is probably due to the presence of fungi.

Milk.—Frauds consist generally in adding water or removing fat (skimming). As the milk of healthy cows varies in composition within certain limits, it is necessary to have a standard of purity, which has been fixed upon in New York as follows: Nearly 1,000 cows have been examined, with reference to the specific gravity of their milk, in New York, New Jersey, and Connecticut. The maximum specific gravity was 1.039 in milk of an Alderney cow. The minimum for normal milk from a healthy cow was 1.029. The specific gravity is determined by an instrument called a lactometer, on which 0 stands for[Pg 81] 1,000, the specific gravity of water, and 100 for 1,029, that of the poorest milk from a healthy cow. The composition of such milk, adopted by the English Society of Public Analysts and the New York City Board of Health, as a result of fifty analyses, is as follows:

Fat 2.5
Solids, not fat (sugar, salt, etc.) 9.0
Water 88.5
100.0

Method of using the Lactometer.—Put the milk in a vessel so deep that the lactometer, when introduced and allowed to float, shall not touch the bottom. Notice the reading of the scale at the surface of the milk. If it is less than 100, it gives the percentage of milk in the sample. For example, if the reading be 80, the sample contains 80 per cent of milk and 20 per cent of water.

Sources of Error.—Milk very rich in cream may possibly, though not probably, register less than 100, but its very appearance will show that it has not been thinned by water or by skimming.

Skimmed milk, especially if a little salt has been added, may register high above 100, but its thinness and blueness will show that it has been doctored.

Condensed milk was carefully analyzed, and found to be unobjectionable. (C. E. Munsell, Ph. D.)

Olive-Oil.—Often adulterated with poppy, cotton-seed, ground or peanut, sesame, rape-seed, colza[Pg 82] or beechnut oil, all harmless. Sixteen samples; nine adulterated. (Caldwell.)

Pickles.—Nine samples. None contained copper or any other metal. The only sample that possessed a suspiciously green appearance was found to contain alum. (Lattimore.)

Rum.—Twenty-five samples. No objectionable additions found. (Engelhardt.)

Sirups.—Three samples of maple-sirup. Two were pure, and one, manufactured in Chicago and sold in cans, contained 35 per cent of artificial glucose. In 1870 Dr. Chandler found .02 per cent of tin in each of two samples of sugar-house sirups. This represents .8 grain of tin to the gallon. A common adulterant of sirups is glucose, which diminishes their sweetening power, but is not considered injurious.

Spices.—One hundred and eighty samples, comprising mustard, ginger, allspice, cinnamon, cassia, cloves, white, black, and red pepper, mace, and nutmeg. One hundred and twelve were adulterated from 40 to 81.8 per cent. All the adulterations were harmless (wheat and buckwheat bran, hulls of different seeds, middlings of corn-meal, stale ship’s bread, peas, beans, etc.). No poisonous substance was found. (Lattimore.)

Sugar.—One hundred and sixteen samples, principally collected in New York city. Care was taken to secure the samples from different sections of the city and from all classes of stores. Of these, [Pg 83] thirty-four were microscopically clean, fifty-four slightly contaminated with dust, twenty-two contained considerable dirt, and six were very dirty. But in no case was there an intentional addition of insoluble mineral matters. Of forty-nine white sugars, all were pure; of sixty-seven brown sugars, four were adulterated with glucose. (A. L. Colby, Ph. B.)

There have been many exaggerated statements put forth regarding the adulteration of sugar. In 1870 Dr. Chandler reported to the New York City Board of Health that sixty samples of sugar bought at small groceries were found pure and unadulterated without exception. In 1872, Elwyn Waller, for the same board, examined one hundred and nine samples of powdered sugar, but found no adulteration.

Powdered sugar is quite generally believed to be adulterated with gypsum or flour. As both of these adulterants are insoluble in water, it is easy for any one to convince himself of the purity of sugar by dissolving it in water.

Teas.—Forty-three samples of green tea, and eighteen of black. Many were cheap and of very inferior quality, some mere tea rubbish, yet no leaf, or fragment of a leaf, which was examined, could be considered anything but tea. No adulterations were found, and even the admixture of exhausted leaves could not be positively asserted. (Lattimore.) Suspected leaves should be wet and spread out, and then compared with leaves known to be genuine. It[Pg 84] is said that exhausted leaves of green tea are often colored or “faced” with plumbago, Prussian blue, soapstone, etc., so artfully that only an expert can detect the fraud. Black tea is generally pure.

Vinegar.—Four samples, all poor, but not adulterated, unless with water. (Lattimore.)

Whisky.—Twenty-five samples. Fusel-oil decided in twenty, and traces in the rest. No injurious adulteration found. “It is evident that the addition of water and coloring-matter is practiced more than any other adulteration.” (Engelhardt.)

Wine.—“A good wine should be transparent, and should have a bouquet. When pouring it into a glass, it should sparkle. A sour taste is always a sign of poor wine. Dizziness and headache are not produced by drinking pure wine. Cloudy, discolored, highly colored wines are suspicious.” There are various substances used in the manufacture of wine which should be classed as adulterations, e.g., calcined plaster is added to the grape-juice during fermentation (so-called plastering); in this way is formed an insoluble tartrate of lime, and a soluble sulphate of potash, the latter having a bitter taste and acting as a purgative even in small doses. The French Government forbids the sale of wine containing over 0.2 per cent of sulphate of potash. This process also leads to the formation of acid sulphates and free sulphuric acid in wines. Plastering of wines is practiced in Spain, Portugal, and the south of France.

Wines are often fortified by the addition of[Pg 85] brandy, cologne spirit, or French spirit, to arrest fermentation. Ports and sherries are almost invariably so.

Red wines are often colored with logwood, Brazil-wood, fuchsine, cochineal, black hollyhock and red poppy flowers, alkana-root, red beets, cherries, whortleberries, elderberries, pokeberries, etc. It is very difficult to detect these, and fuchsin is the only one that is poisonous. Carpené gives the following very simple method to decide whether a red wine is naturally or artificially colored: Take a piece of good, white burned lime, break it into two pieces, smooth the surfaces by a knife or file, and place a few drops in succession on the same spot of the smooth surface, and observe after a few minutes the color produced. Natural red wines give a yellowish-brown spot; colored with fuchsine, or Brazil-wood, a rose-colored spot; colored with logwood, a dark-violet spot; colored with cochineal, a reddish-violet spot; colored with black hollyhock, a yellowish-brown spot; colored with pokeberries, a yellowish somewhat red spot. (Engelhardt.)

Another test is to concentrate the wine, and dip in a piece of pure white woolen-yarn. The natural red coloring-matter of wine does not dye without a mordant, while fuchsine and cochineal dye it red or pink.


[Pg 86]

CHAPTER V.
WATER.

In cities and towns which have a common water-supply, the water sometimes contains impurities dissolved from the pipes through which it runs, or dirt and vegetable débris stirred up from the bottom of the sources of supply, or brought down into them by heavy storms or melting snows.

Service-pipes are usually made of lead, and, after moderate use, become coated on their internal surface with insoluble compounds (sulphate of lead), which prevent contamination of the water by them. When the water is not very hard, however, a slight amount of lead may be dissolved by it. It is said that Cochituate water (Boston) always contains traces of lead, but that no well-authenticated case of poisoning from this source has ever been reported. Croton water (New York), which has stood overnight in the pipes, is said to contain one tenth of a grain of lead per gallon—sufficient to produce poisoning in some instances. One case of this sort has been known. If drinking-water is drawn from tanks, they should never be lined with lead, but should be made of iron, or of wood lined with tinned and planished copper. (See “Plumbing Regulations,” 44.)

Water passing through galvanized-iron pipes always contains zinc salts—not, however, in injurious amount. Such pipes soon rust.

[Pg 87]

Dirt and other suspended matters should be removed by means of a filter. A good household filter must be made of a material which can not communicate any injurious or offensive quality to the water that passes through it; it must remove all suspended particles, so as to render the water bright and clear; it must be easy to clean, or so arranged that the filtering material can be readily renewed. The action of a filter is either mechanical or chemical; in the latter case, the organic matters contained in the water are oxidized in the filter. There are innumerable patent filters in the market, to be attached to the faucet, but these can only act as strainers. There is no material known which can be introduced into the small space of a tap-filter and accomplish any real purification of the water which passes through at the ordinary rate of flow. (Nichols.) The only points to be looked to, therefore, in purchasing a tap-filter, are its efficiency as a strainer, and the facility of cleansing or renewing the filtering material. Where the pressure is not too great, a closely woven cotton-flannel bag, fastened to the tap, makes as good a filter as any. For large filters (in cisterns, etc.), those which contain animal charcoal are the most efficient.

In places where the drinking-water is drawn from wells, it is sometimes polluted by leakage from cesspools, privy-vaults, stables, and refuse matters lying on the surface of the ground in their vicinity. It has been demonstrated beyond a doubt that epi[Pg 88]demics of typhoid fever have often originated and spread in this way. Even when no specific disease is caused, water polluted from such sources often causes diarrhœal disorders and various forms of indigestion in those who drink it.

The determination of such pollution is a matter of great delicacy and difficulty, and can only be trusted to an expert. Waters polluted by organic matters often contain an excess of gaseous constituents, and are clear, sparkling, and palatable, presenting to the uninstructed eye no indication of impurity. There are certain tests, however, which can be used by any person of intelligence, when, if positive results are obtained, an expert should be called in to determine the source and character of the contamination.

The pollution of water by decomposing animal matters is always to be suspected, if there are evidences of the presence of chlorine or nitrogen in the water, as these are invariable constituents of animal excreta. These substances are found in combination—the former in chloride of sodium, and the latter in the so-called nitrites and nitrates.[2] Their presence is determined as follows:

[2] The albuminoid ammonia test is too technical for insertion here.

Chlorine.Tests: Nitrate of silver (twenty-five cents a drachm), twenty-four grains to one ounce of distilled water, and dilute nitric acid (ten cents an ounce). Pour a few drops of each into the suspected[Pg 89] water. If chlorine is present, there will be a cloudy-white precipitate of chloride of silver, which will gradually turn darker. One grain of chlorine to a gallon of water gives a haze; four grains a marked turbidity, and ten grains a considerable precipitate. In case chlorine is found, and any particular source is suspected, a pailful of salt (chloride of sodium) and water may be thrown into the place from which the leakage is supposed to come, and the water again examined, after a few hours, to see whether the amount of chlorine has increased.

Nitrates.Tests: Pure sulphuric acid and a saturated solution of sulphate of iron (copperas). Add an equal bulk of the acid to any quantity of the water in a test-tube. The mixture will become very hot. Wait until it is cool, and then pour in the iron solution gently, so that it will float above the mixed acid and water. If nitrates are present, there will be an olive-colored layer where the fluids meet.

Nitrites.Test-mixture: Iodide of potassium (fifty cents per ounce), one part; starch, twenty parts; water, five hundred parts. Make the starch-solution first, and filter when cold; then add the iodide of potash. Add to the suspected water this mixture, and then a little dilute sulphuric acid. If nitrites are present, there will be an immediate blue color.

Organic Matters in general.Test: Eight grains of chemically pure permanganate of potash in one ounce of distilled water. In half a pint of[Pg 90] the suspected water in a tumbler, put one drop of the solution. If the red color disappears in one half hour, add more. For every drop that loses color in the half-pint there will be found one and a half to two grains of putrid organic matter in a gallon of the water. If the action is rapid, the matter is probably animal; if slow, vegetable.

To purify such water, if it must be used, drop in the solution until a slight red tinge remains. The organic matter is then all oxidized and rendered harmless. It is better, however to boil such water before using it for drinking.

Precautions with regard to Drinking-Water.

Do not drink water that has been standing long in lead pipes, or lead cisterns or tanks.

Filter it before drinking.

See that the current of ground-water in the well from which you get your drinking-water is from the well toward any possible source of contamination (privy-vault, cesspool, etc.), and not vice versa.

If the use of a suspected water is unavoidable, boil it first. It can be rendered palatable by an infusion of tea or coffee.


[Pg 91]

APPENDIX A.

ALPHABETICAL LIST OF THE COMMON DISINFECTANTS, WITH A BRIEF DESCRIPTION OF EACH, AND THE AVERAGE PRICE AT RETAIL.

Carbolic Acid.—A product of the distillation of coal-tar. When pure and free from water, a transparent crystalline solid. Dissolves in twenty parts of cold water. Coagulates albuminous matters. A one-per-cent solution of it in water arrests putrefaction. For disinfection use at least a one-per-cent solution. The chief objection to its use is its odor. This may be modified to some extent by mixing the pure acid with camphor, forming a liquid, which may then be diluted. This acid is often used in combination with other disinfectants. A preparation much used by the New York City Board of Health for the disinfection of clothing contains eight ounces of sulphate of zinc and three ounces of carbolic acid to three gallons of water. Another for privies, water-closets, etc., is composed of ten pounds of copperas, one pint of carbolic acid, and five gallons of water.[Pg 92] The strong acid injures iron pipe. Do not use in combination with the permanganate of potash or the chloride of zinc. “Dead Oil” (heavy oil of coal-tar) contains from 5 to 15 per cent of carbolic acid mingled with impurities. It is used for the disinfection of drains, streets, stables, etc. Thymol also occurs in coal-tar, but is usually obtained from oil of thyme. Its action is similar to that of carbolic acid. Carbolic Powders are made by mixing five parts of the pure acid, or ten parts of the crude, with one hundred parts of sawdust, clay, or lime. Squibb’s Carbolic Acid (No. 1), containing 77.90 per cent of pure acid, costs $1 a pint; (No. 2), with 37.46 per cent of pure acid, 75 cents a pint. Different samples examined (Waller), containing from .20 to .78 per cent, cost from 50 cents to $1 a pint. Crude acid, containing 50 per cent of acid, with many tarry impurities, costs less than $1 a gallon. Thymol, $1 per ounce.

Charcoal.—Absorbs putrid gases. See Lime.

Chloride of Lime. See Chlorine.

Chloride of Zinc. See Zinc.

Chlorine.—A pale, yellowish-green gas, of a suffocating quality, possessing great bleaching and disinfecting powers. When dry, it does not bleach. When moist, it combines with the hydrogen of water or of organic substances, and sets free the oxygen, which constitutes its disinfecting power. It decomposes sulphureted hydrogen, ammonia, and in general compounds arising from the putrid fermentation of[Pg 93] organic matter. It is obtained as follows: Pour one pound of sulphuric acid, previously diluted with four times its volume of water, on three pounds of chloride of lime. Mix in a large earthen dish to allow for frothing up. Or mix two parts, by weight, of the black oxide (dioxide) of manganese with three parts, by weight, of strong hydrochloric acid. The gas is evolved very rapidly, so that it is difficult to make the mixture complete before the fumes drive away the person manipulating it. The colors of hangings, etc., are apt to be bleached out by it, and metals are corroded. (See also Sulphurous Acid.) Chloride of Lime.—Made by saturating slaked lime with chlorine-gas. It contains on an average about 30 per cent of available chlorine, to be set free by an acid. Very useful for disinfection of cellars, damp yards, and areas. One half pound in a gallon of water may be used for washing floors of sick-rooms, etc. Heat destroys its disinfecting properties. Chloride of Aluminum.—Action similar to but weaker than the iron and zinc salts, q. v. Sulphuric acid, black oxide of manganese, and hydrochloric acid, each 5 cents an ounce. Chloride of lime, 15 cents a pound.

Copperas. (Green vitriol, sulphate of iron.)—Comes in pale-green crystals. It is an efficient disinfectant for privies, water-closets, stables, etc. Stains white goods. Acts by destroying sulphureted hydrogen and ammonia. Also oxidizes organic compounds and coagulates albuminous matters. A[Pg 94] good mixture is four pounds of copperas and three ounces of carbolic acid to a gallon of water. Ten cents a pound. One hundred pounds for $3 or less.

Corrosive Sublimate. (Mercuric chloride.)—The most powerful disinfectant known. Coagulates albuminous substances. A solution of one part in 2,000 of water kills microscopic organisms. Two drachms of this substance in a gallon of water (1 to 500) makes a solution sure to destroy any disease-germ. It is a deadly poison, and can only be purchased under legal restrictions. Fifteen cents an ounce.

Dead Oil. See Carbolic Acid.

Green Vitriol. See Copperas.

Gypsum. See Lime.

Heat.—Boiling is a good disinfectant. Boil for at least an hour. If dry air is used, the temperature must be from 250° to 300° for five or six hours. Cotton and silk will stand a temperature of 295° for three hours without harm. Woolen suffers more.

Iron, Sulphate of. See Copperas.

Lime.—Twenty parts of quicklime, mixed with two parts of dry, fresh charcoal, form the calx-powder, as sold in the shops. It is useful to absorb putrid gases, when sprinkled in cellars, etc. Sulphate of lime, or gypsum (plaster of Paris), mingled with coal-tar or impure carbolic acid, is an effective deodorant for stables and manure-heaps. It absorbs and retains ammonia, and therefore pre[Pg 95]serves to the manure its most valuable constituent. Chloride of lime. See Chlorine. Quicklime, 5 cents a pound. Gypsum, 10 cents a pound.

Nitrate of Lead.—Theoretically a good disinfectant, but practically of little use. Five cents an ounce.

Nitrous Acid.—Evolved in the form of brownish-red fumes, when nitric acid is poured on copper turnings. Very dangerous to inhale, and little used as a disinfectant.

Ozone.—Is a form of oxygen, supposed to be three volumes condensed into two. Is a powerful oxidizer. Corrodes cork, paper, and other organic substances. Oxidizes very rapidly compounds of ammonia, phosphorus, and sulphur, which are offensive, instantly removing the odor. Simple vegetables, like mould, are completely destroyed by it. Obtained by gradually mixing three parts of sulphuric acid with two parts of permanganate of potash. This mixture will continue to give off ozone for several months. Or, put a piece of phosphorus on a plate, and pour in water sufficient to cover two thirds of it. These methods are used in the patented ozone generators. Phosphorus, 40 cents an ounce; sulphuric acid, 5 cents an ounce.

Permanganate of Potash.—Dark purple crystals, almost black. A solution is of a beautiful purple color, but stains brown almost everything it touches. Can not be used with carbolic acid or the coal-tar disinfectants. Is a powerful oxidizer, and is[Pg 96] used to disinfect excreta, and to purify drinking-water. Fifty cents an ounce.

Sulphate of Iron. See Copperas.

Sulphate of Lime. See Lime.

Sulphate of Zinc. See Zinc.

Sulphurous Acid. An irrespirable gas, produced by burning sulphur. Powerful disinfectant. Coagulates albuminous matters and probably destroys germs. Destroys sulphureted hydrogen and ammonia. Dry articles are not hurt by it, but wet clothes are bleached. Can not be used with chlorine, as they neutralize each other. Chlorine is as effective, but is so destructive that it can only be used in empty rooms. It requires about a tablespoonful of alcohol to light a pound of sulphur. Sulphur (roll-brimstone), 10 cents a pound.

Thymol. See Carbolic Acid.

Zinc Salts.—The sulphate and the chloride of zinc are excellent disinfectants. They are colorless, and can therefore be used on clothing. They form, with albuminous matters, extremely insoluble compounds, and also absorb gases from putrefying material. They are the best disinfectants of their class. The sulphate is cheaper, but the chloride more efficient. Sulphate of zinc, 10 cents an ounce; chloride of zinc, 20 cents an ounce.

It is better and cheaper to buy and mix one’s own disinfectants. The many proprietary articles are no more efficient, and are very expensive. The composition of some of those most in use is here[Pg 97] given. (Analyses by Waller, of the New York City Health Department.)

The first column gives parts in 100, and the second, ounces in a gallon in the case of liquids, and ounces in a pound in case of powders.

Bromo-chloralum (Tilden & Co.), 50 cents a pint.

Chloride of aluminum 8.152 12.71
Water, bromide of aluminum, lime salts, etc. 91.848 143.25
100.000 155.96

Burnett’s Fluid is a solution of chloride of zinc (25 grains to the drachm).

Carbolate of lime, in three-quarter pound boxes, at 25 cents.

Lime 64.245 10.28
Magnesia 0.602 0.09
Sand, oxide of iron, etc. 0.670 0.11
Carbolic acid 0.472 0.07
Carbonic acid and organic impurities 34.021 5.45
100.000 16.00

Chloralum (English Chloralum Co.), 50 cents a pint.

Chloride of aluminum 13.213 20.14
Sulphate of lime 0.197 0.30
Water, chloride of calcium, etc. 86.590 131.99
100.000 152.43

Chloride of lime, 20 cents a pound.

Available chlorine 31.38 5.02
Lime salts, water, etc. 68.62 10.98
100.00 16.00

Condy’s Fluid is a solution of permanganate of[Pg 98] potash (9.26 grains to a fluid ounce, about 2½ drachms to the pint).

Darby’s Prophylactic Fluid, 50 cents a half-pint.

Permanganate of potash 0.055 0.08
Sulphate of potash 1.750 2.50
Chloride of potassium 1.270 1.81
Carbonate of potash 6.570 9.40
Water 90.355 129.24
100.000 143.03

Egyptian Disinfectant, 25 cents a pound.

Clay 87.810 14.05
Lime 0.354 0.06
Carbolic acid 0.320 0.05
Other constituents of dead oil 5.685 0.91
Organic matter and water 5.831 0.93
100.000 16.00

Excelsior Disinfectant, 15 cents a pound.

Protosulphate of iron (copperas) 31.464 5.03
Chloride of sodium (salt) 19.251 3.08
Flowers of sulphur 7.800 1.25
Water of crystallization, cassia-oil, etc. 41.485 6.64
100.000 16.00

The Germicide is a patented apparatus for discharging chloride of zinc into the bowl of the water-closet, and impregnating the air at the same time with the vapor of thymol.

Girondin Disinfectant, 75 cents a quart.

Sulphate of zinc 19.692 32.64
Sulphate of copper 1.202 1.99
Sulphate of lime 0.480 0.79
Water, traces of calcium chloride, etc. 78.626 130.34
100.000 165.76

[Pg 99]

Labarraque’s Solution, 50 cents a pint.

Available chlorine 1.423 1.96
Water and soda salts 98.577 135.54
100.000 137.50

Metropolitan Disinfectant, 30 cents a quart.

Protosulphate of iron (copperas) 11.413 17.10
Carbolic acid (about) 3.330 4.99
Water, dead oil, and impurities 85.257 127.74
100.000 149.83

Phenix Disinfectant, 35 cents a pound.

Silicate of alumina (clay) 56.876 9.10
Sesquichloride of iron 1.192 0.19
Sesquioxide of iron 7.102 1.14
Lime 2.470 0.39
Carbolic acid 0.400 0.06
Carbonic acid and organic impurities 31.960 5.12
100.000 16.00

Phenol Sodique, 50 cents a half pint.

Carbolic acid 1.177 1.61
Soda salts, water, and impurities 98.823 134.29
100.000 135.90

Platt’s Chlorides, 50 cents a quart.

Solution chloride of zinc (saturated) 40 parts.
lead 20
calcium 15
aluminum 15
magnesium 5
potassium 5
100

[Pg 100]

APPENDIX B.

List of the prices of plumber’s materials and labor, from which a rough estimate may be formed of the probable cost of proposed plumbing. The prices given are wholesale ones, and it must be remembered that every plumber is also a retail merchant, who obtains his materials at a discount, and charges them to his customer at an average advance of 10 or 15 per cent on the prices here given.

All measurements are of inside diameters.

Bands.—Ordinary thickness, 2 by 2 inches, 75 cents; 6 by 6 inches, $1.90. Intermediate sizes at corresponding prices.

Bends and Offsets.—Two inches in diameter, 40 cents; extra heavy, 50 cents. Six inches in diameter, $1.20; extra heavy, $1.75.

Cisterns and Service-boxes (for water-closets), $10 to $20; (waste-preventing), $13 to $26.

Offsets. See Bends.

Pipe.—Tile or earthenware (vitrified), in lengths of 2½ feet each, 2-inch, 13 cents a foot; 3-inch, 16 cents a foot; 4-inch, 20 cents a foot; and 5 cents more per foot for each additional inch of diameter.

[Pg 101]

Iron, in lengths of 5 feet each: Ordinary, about 10 cents a foot for every inch of diameter. Extra heavy, about twice as much. Double-hub pipe, about 6 cents a foot more. The tar-coating costs about 3 cents a foot for 2-inch pipe, 4 cents for 3-inch pipe, etc.

Lead, about 9 cents a pound. Manufactured pipe (traps, etc.), 10 cents a pound. Qualities are marked according to thickness—i. e., weight for each size, AAA (best), AA, A, B, C, D, and E. ⅜-inch pipe, AAA weighs 1 pound 12 ounces per foot; B weighs 1 pound per foot; C weighs 14 ounces per foot; D weighs 7 ounces per foot. ⅝-inch pipe, AAA weighs 3 pounds 8 ounces per foot; AA weighs 2 pounds 12 ounces per foot; B weighs 2 pounds per foot. ¾-inch pipe, AAA weighs 4 pounds 14 ounces per foot; B weighs 2 pounds 3 ounces per foot. 1-inch pipe, AAA weighs 6 pounds per foot; AA weighs 4 pounds 8 ounces per foot; A weighs 4 pounds per foot; B weighs 3 pounds 4 ounces per foot; D weighs 2 pounds 4 ounces per foot. 2-inch pipe, AAA weighs 10 pounds 11 ounces per foot; AA weighs 8 pounds 14 ounces per foot; A weighs 7 pounds per foot; B weighs 6 pounds per foot; D weighs 4 pounds per foot. 3-inch pipe, ⅜ thick, weighs 19 pounds 9 ounces per foot. 4-inch pipe, ⅜ thick, weighs 25 pounds 6 ounces per foot, and so on.

For supply-pipes, AA pipe is generally used.

[Pg 102]

Privy-Sinks.—About $5 for every foot in length.

Saddle-Hubs.—2 by 2 inches, 30 cents; extra heavy, 40 cents. 6 by 6 inches, $1.10; extra heavy, $1.40.

School-Sinks. See Privy-Sinks.

Traps.—Adee traps about 5 cents apiece less than ordinary S-traps, and Bower traps about twice as much.

Earthenware, 2-inch, $1 each; 6-inch, $3.25 each.

Iron (S-traps), 2-inch, 80 cents; extra heavy, $1.25; 6-inch, $3.75; extra heavy, $5. Running traps, with or without hand-holes, about the same.

Lead, made of 6-pound lead (lead weighing 6 pounds to the square foot), 1¼-inch, 65 cents; 1½-inch, 80 cents; 2-inch, $1.10; 4½-inch, $3.25, etc.

Urinals.—(Earthenware), $5 to $6 each.

Wash-Basins.—(Iron, enameled or marbled), $1.50 to $4.50.

Water-Closets.—Demarest’s (plunger), $15 to $40. Earthenware hopper, $10 to $12. Earthenware hopper, with trap, waste-preventing cistern, chain and bracket, wood-seat, etc., $30. Hopper-valve closet, with self-raising, round seat, $9.

Pan-Closets.—$4.50 to $22.

A journeyman and helper are charged for at the rate of from $5 to $6 per day.


[Pg 103]

INDEX.

THE END.


[Pg 111]

WORKS ON HYGIENE.

Health Primers. Edited by J. Langdon Down, M. D., F. R. C.P., Henry Power, M. B., F. R. C. S., J. Mortimer-Granville, M. D., John Tweedy, F. R. C. S. In square 16mo. volumes. Cloth, 40 cents each.

Hygiene for Girls. By Irenæus P. Davis, 16mo. Cloth, $1.25.

Dangers to Health: A Pictorial Guide to Domestic Sanitary Defects. By T. Pridgin Teale, M. A., Surgeon to the General Infirmary at Leeds. With 70 Lithographic Plates. 8vo. Cloth, $3.00.

Health and Education. By Rev. C. Kingsley. 12mo. Cloth, $1.75.

Physical Education; or, The Health Laws of Nature. By Felix L. Oswald, 12mo. Cloth, $1.00.


[Pg 112]

THE POPULAR SCIENCE MONTHLY.

CONDUCTED BY E. L. AND W. J. YOUMANS.

The Popular Science Monthly was established a dozen years ago to bring before the general public the results of scientific thought on many large and important questions which could find no expression in the current periodicals. Scientific inquiry was penetrating many new fields, extending important knowledge, and profoundly affecting opinion upon numberless questions of speculative and practical interest. It was the policy of this magazine at the outset, and has been constantly adhered to since, to obtain the ablest statements from the most distinguished scientific men of all countries in their bearing upon the higher problems of investigation. Leaving the dry and technical details of science, which are of chief concern to specialists, to the journals devoted to them, The Popular Science Monthly has dealt with those more general and practical subjects which are of the greatest interest and importance to the people at large.

Science is the great agency of improvement in this age, private and public, individual, social, professional, and industrial. In its irresistible progress it touches everywhere, and affects everybody. It gives law to the material interests of the community, and modifies its ideas, opinions, and beliefs, so that all have an interest in being informed of its advancement. Those, therefore, who desire to know what is going on in the world of thought in these stirring times, when new knowledge is rapidly extending, and old errors are giving way, will find that they can keep informed only by subscribing for The Popular Science Monthly.

Terms: $5.00 per annum, or 50 cents a number; cloth covers for the volumes, 50 cents each.

The volumes begin with May and November of each year, and subscriptions may begin at any time.

A club of five will be supplied for $20.00 per annum.

New York: D. APPLETON & CO., 1, 3, & 5 Bond Street.

*** END OF THE PROJECT GUTENBERG EBOOK 67768 ***