Project Gutenberg's Collotype and Photo-lithography, by Julius Schnauss

This eBook is for the use of anyone anywhere in the United States and most
other parts of the world at no cost and with almost no restrictions
whatsoever.  You may copy it, give it away or re-use it under the terms of
the Project Gutenberg License included with this eBook or online at
www.gutenberg.org.  If you are not located in the United States, you'll have
to check the laws of the country where you are located before using this ebook.



Title: Collotype and Photo-lithography

Author: Julius Schnauss

Translator: Edwin C. Middleton

Release Date: September 3, 2015 [EBook #49866]

Language: English

Character set encoding: UTF-8

*** START OF THIS PROJECT GUTENBERG EBOOK COLLOTYPE AND PHOTO-LITHOGRAPHY ***




Produced by Chris Curnow and the Online Distributed
Proofreading Team at http://www.pgdp.net (This file was
produced from images generously made available by The
Internet Archive)







COLLOTYPE
AND
Photo-Lithography


Cover

COLLOTYPE
AND
Photo-Lithography

PRACTICALLY ELABORATED BY
DR. JULIUS SCHNAUSS,
Member of the Imperial German Academy of Naturalists, &c.

TRANSLATED, WITH THE AUTHOR’S SANCTION AND ASSISTANCE,
BY
EDWIN C. MIDDLETON.

TOGETHER WITH AN APPENDIX ON
STEAM PRESSES,
BY THE TRANSLATOR.

LONDON:
ILIFFE AND SON, 3, ST. BRIDE STREET, LUDGATE CIRCUS,
1889.


PRINTED BY ILIFFE AND SON, 3, ST. BRIDE STREET, LUDGATE CIRCUS, LONDON, E.C. WORKS: COVENTRY.


CONTENTS.

CHAPTER. PAGE.
I. Introductory 9
II. Bichromates in Conjunction with Organic Substances 12
III. Summary of the more important Printing Processes with Chromated Gelatine 18
IV. Collotype Apparatus 25
V. Chemicals and Materials for Collotype 46
VI. Preparation of the Collotype Plate 59
VII. Negatives suitable for Collotype 72
VIII. Printing in the Press 88
IX. Finishing and Varnishing Collotype Prints 96
X. Other Collotype Processes 102
XI. Failures in Collotype: In the Preparation of the Plates 107
XII. Investigations on Collotype 114
XIII. Collotype in Natural Colours 119
XIV. Magic Prints 122
XV. Photo “Glass” Printing 124
XVI. Allgeyer’s Collotype Process 127
XVII. Practice of Photo-Lithography 130
XVIII. Autography 135
XIX. Negatives for Photo-Lithography 149
XX. Application of the Carbon Process to Photo-Lithography 155
Appendix.
Steam Presses 162

TRANSLATOR’S PREFACE.

The impossibility of obtaining any work in the English language on the subject of Collotype first led to my translation of the German work of Dr. Schnauss, and the fact that no work has hitherto appeared fully dealing with the matter is the excuse I offer for the present publication. The translation is necessarily one of considerable freedom, but it is offered as containing all the information to be found in the original, and in addition, considerable extensions, made with the author’s consent. The omission of the chapter dealing at length with the steam machine was necessitated by the fact that the rotary machine there described is no longer manufactured.

Without pointing to the frontispiece in any sense as a high-class work, it may serve to show that I have made some practical acquaintance with the subject. The illustration, printed on ordinary paper, was produced from the instructions found in this work, and I may add that at the time of writing I have printed over 500 impressions from the first plate, and it still remains in fair working condition.

EDWIN C. MIDDLETON.

Stanmore Road,
Birmingham.


9 COLLOTYPE AND PHOTO-LITHOGRAPHY.


CHAPTER I.


Introductory.

THE observation by Mungo Ponton of the sensitiveness to light of bichromate of potassium in conjunction with organic substances is but little more recent than the discovery of photography itself. If sized paper is saturated with an aqueous solution of this salt and then exposed under any transparent design, the latter will be reproduced as a negative of a brown colour on a yellow ground. If the exposed paper is placed in water, the bichromate salt will be removed from the unexposed, and consequently unaltered portions; the image will remain brown after this treatment, though somewhat bleached. The sensitiveness to light is proportionately increased by the addition of larger quantities of organic substances, as starch, paste, glue, sugar or gum, as first observed by Becquerel. This arises in consequence of the organic matter being oxidised by the chromic acid, a corresponding decomposition and reduction of the chromate salt to chromate of chromium taking place.

In the year 1853 an Englishman—Fox-Talbot, the gifted discoverer of calotype (i.e., the production of photographic negatives on paper by means of10 silver salts)—followed up the lines of these important observations, and discovered that the mixture of bichromate of potassium and glue entirely lost its solubility and power of swelling in cold water after exposure to light, and on this he based his process (heliography) of etching on metal plates. The plate, after receiving a coating of the chromated gelatine solution, was dried, exposed under a positive, and afterwards developed or washed out in warm water, all unexposed and consequently soluble portions being removed, while the exposed and therefore insoluble portions covered as a negative[A] the metal plate, and so protected it in those parts from the etching mordant employed, usually chloride of potassium or perchloride of iron. His successor in these researches was a Frenchman, Poitevin, who invested these processes with even greater practical importance. He, however, worked chiefly on paper with the bichromate mixed with albumen or gelatine, and attained results which were the first practical steps towards photo-lithography and carbon or pigment printing. Further on we shall return with more detail to these subjects. In the hands of Tessié du Motay and Marechal, of Metz, the discoveries of Poitevin derived further practical value, and to them we are indebted for the first advances in collotype, they in their practice using metal plates as a support. Joseph Albert,11 of Munich, followed, and introduced further and considerable modifications, amongst others utilising glass plates as a foundation. The want of adhesiveness of the chromated gelatine layer to its support was a source of great trouble to the earlier experimentalists, and was a matter giving rise to innumerable difficulties, which were, however, finally surmounted by the researches of Husnik, Albert, and Obernetter.

[A] For the production of an intaglio plate the impression on the chromated gelatine must be printed from a positive, which will naturally give a negative on the copper plate.


12 CHAPTER II.


The Bichromates in Conjunction with Organic Substances.

CHROMIC Acid, now usually known as chromium-trioxide—CrO3—is found in beautiful red needles, which are slightly deliquescent. According to the present accepted theory, water containing such crystals in solution contains the true chromic acid, H2CrO4, which cannot be produced as crystals. Both the crystals and a concentrated solution in water give up with facility a part of their oxygen, sometimes with explosions accompanied by the appearance of fire, and green chromium oxide, now called sesquioxide, Cr2O3, is formed. Bichromates of alkalies act in a similar manner, but in a lesser degree. If, for instance, a few drops of sulphuric acid be added to a solution of potassium bichromate, and then a little alcohol, or, instead of that, a piece of sugar be added and moderate heat applied, the solution will be violently agitated, its yellow-red colour will disappear, the bichromate be decomposed, and chromium oxide be formed, which, combining with the sulphuric acid, forms a solution of a violet green colour. If a sufficient quantity of sulphuric acid be present, the chromium sulphate and the potassium sulphate combine, forming chrome13 alum crystals, octahedron in form, similar to those of ordinary alum, but of a beautiful dark violet colour. The same are used in both the carbon and collotype processes. Bichromate of ammonium is easily decomposed by fire by heating it in a dry state. It will be understood that in consequence of the decomposition, or rather reduction, of chromic acid by organic matter, the latter is also decomposed and oxidised in a corresponding degree. The agent producing this effect may be either heat or light, or both together; but of special interest to the collotypist is the action of light upon different combinations of chromic acid, in the shape of alkali bichromates in conjunction with organic matters.

Glue or Gelatine, in a solution containing about five per cent. of one of the bichromates spread upon glass plates, and exposed to light, will, where exposed, become dark brown, at the same time become insoluble in water, and also lose its power of absorbing the same. According to the researches of Dr. Eder, this brown substance consists of chromium chromate and unaltered gelatine. The oxidised portion of the latter remains soluble and may be entirely removed by treating with warm water. During the exposure to light formic acid is undoubtedly formed. Ammonium bichromate, with gelatine, is in the dry state much more sensitive than the potassium salt; it also decomposes more readily when heated in the gelatine solution, a matter which must not be lost sight of in the preparation of the collotype plate.

14 Isinglass—a tolerably pure glutin. In conjunction with the bichromates it presents the same characteristics as gelatine.

Albumen, when mixed with a solution of a bichromate, is not thereby coagulated, as occurs upon the addition of pure chromic acid. If poured upon glass and dried it also becomes insoluble in water after a sufficient exposure to light. This solution is used with great advantage in photo-lithography, as the unexposed parts are readily soluble in cold water. The older method, which consisted of using gelatine in conjunction with bichromate, rendered hot water necessary in the development of the fatty ink image upon the transfer paper, and as a consequence of the rubbing at times necessary, the ink, already softened by the warm water, became smeared, the resulting image considerably impaired, and the transfer thereby rendered altogether useless. In collotype a bichromated albumen substratum is still used by many operators, this coating when dry being exposed through the glass plate, the latter placed coated side downwards upon a flat black support, preferably of velvet. After this exposure the gelatine layer—from which the prints are produced—is applied. This method was first published by Albert, who originated it. The chromated albumen solution will not keep long even in the dark,[B] as the albumen coagulates, and on this15 account photo-lithographic papers coated with this solution must be used within a few hours of their preparation. Such papers are now conveniently prepared with the albumen,[C] and sensitised as required by floating upon an aqueous solution of one of the bichromates, to which has been added twenty-five per cent. of methylated spirit.

[B] I have found this solution keep a considerable time—a month at least.—Trans.

[C] I believe Husnik has now discontinued to prepare his photo-litho transfer paper with an albumen coating. Recent issues of his paper have been simply coated with gelatine.—Trans.

The chromated gelatine used in collotype may be kept as a jelly in the dark room, but is better prepared fresh.

Of carbon hydrates only gum chromate is of interest to the collotypist, its employment being restricted to the “dusting on” process, and the occasional addition of titles, &c., to the otherwise finished plate. As with all mixtures of the bichromates and organic substances, it is only sensitive to light when in a dry condition, and solutions of it may, without harm, be exposed for some time to diffused daylight. Aqueous solutions of gum arabic soon become sour and mouldy, and in this condition are useless for the “dusting on,” or, in fact, any other photographic process. As a preventive a few grains of sulphate of quinine may be added, which will preserve it effectually, and is quite inert in photographic operations.

This solution applied to glass and dried is, in its dry condition, extremely sensitive to light. If printed under a negative, and then exposed to a16 damp atmosphere, it absorbs moisture, and becomes “tacky” upon the portions fully protected by the densest portions of the negative, while the parts exposed under the clear glass of the negative will be free from any such tendency. The gradations of the negative between these two extremes will be represented by the surface of the gum being more or less adhesive, and it is this property which renders it valuable in various processes. After exposure under a negative finely-ground colour—for instance, graphite—is carefully dusted over the surface of the plate by means of a camel-hair brush, and the powder will adhere in exact proportion to the protection afforded by the negative. A picture is thus produced in graphite powder possessing all the gradations of the original. From a negative a second negative is produced, while from an exposure under a positive a positive will result, each, however, reversed as regards left and right when compared with the original. Advantage is taken of this process to produce reversed negatives, a subject more fully dealt with in another chapter.

Bichromate and Sugar are never used alone, but as an addition to heighten the sensitiveness and increase the hygroscopic properties of the gelatine or gum-chromate solutions. By the addition of sugar and a little ammonia to chromated gelatine the solubility of the gelatine in hot water is increased. The addition of acetic acid instead of ammonia acts in a contrary direction. It is advisable to become acquainted with the action of certain substances, the17 application of which to the printed layer increases its solubility after exposure to light, and of others having a contrary or hardening influence on the same, such oft-times proving of service in the case of under or over exposure. To the former class belong all alkalies, as chloride of lime and cyanide of potassium; while among the latter, which have a tanning or hardening effect on gelatine, may be particularly mentioned tannin, alum, chrome alum, and chloride of zinc.

To remove spots, which print dark, from collotype plates a solution of chloride of lime is used. To produce dark spots without exposure to light a solution of tannin is used, which is also available for adding descriptive titles or other matter to the plates. The ink will “take” as well on the spots or parts touched with the tannin solution as if exposed to light. A collotype plate which has been prepared for printing from may also have writing executed upon it with a bichromated gum solution, once more exposed to light, the writing will then readily take the ink, and appear in the impression as a black inscription.

Gum chromated solutions reduced to proper proportions, and applied to different textures and the same subsequently exposed to the light, render them completely waterproof.


18 CHAPTER III.

Summary of the More Important Printing Processes with Chromated Gelatine.

THESE processes are all based upon the change in the hygroscopic properties of chromated gelatine brought about by the action of light, which renders the parts exposed insoluble.

Carbon or Pigment Printing.—In this interesting process finely ground colouring matter is added to the solution of chromated gelatine, and spread upon paper; or the paper may be coated with the gelatine and pigment, and afterwards excited by immersion in a solution or bath of one of the bichromates. If, after drying such paper or tissue, it be exposed under a negative in an ordinary printing frame, and then immersed in warm water (90° to 130° F.), the water will dissolve only such portions as may not have been affected or hardened by the action of light through the negative, while the parts that have been exposed to its action will be insoluble, and remain attached to the paper support, forming a positive picture. Images produced in such a manner, however, are devoid of half-tone, and this procedure is only suitable for line subjects, while even for such the paper must have been very evenly19 coated, or portions of the picture may be washed away. For the production of half-tone subjects it is necessary that the picture be developed from the back. This may be effected by transferring the printed tissue, after first soaking in cold water, to a surface, usually either of paper or glass, and developing it in contact with, and allowing it to remain upon, such surface. This procedure is known in carbon printing as single transfer. Unless the negative be a reversed one—or a film printed from the reverse side—the resulting print will be subject to the disadvantage of being reversed as regards left and right. In cases where ordinary negatives have to be used, and this reversal cannot be tolerated, it is overcome by the “double transfer” method of printing, the print in such cases being developed upon a so-called “temporary support,” and again transferred to its “final support,” when it appears as a non-reversed image in permanent pigment.[D]

[D] For further details of this interesting process see the “Autotype Manual,” by J. R. Sawyer; or Liesegang’s “Carbon Process.”

The “Powder” Process.—Take, instead of gelatine, a solution of gum arabic and sugar, to which is added a solution of bichromate of potassium or ammonium. With this a glass plate is coated, dried, and exposed under a negative, if it be desired to produce a negative; or, if a positive be desired, the exposure must be made under a positive. After a short exposure the plate is dusted over with a powder in an extremely fine state of division, such as graphite if for negatives; if for burnt-in enamels, a20 specially-prepared enamel, ground extremely fine, must be used. Such powders will only adhere to the plate in exact proportion to the action of the light during the exposure in the printing frame, and a reversed copy of the original will be produced.

Collotype and Glasstype.[E]—In these processes the printing depends upon the property possessed by the bichromated gelatine film, which has been properly exposed under a negative, of absorbing water in varying proportions, in exact accord with, but in inverse ratio to, the action of the light. The application of a roller charged with fatty ink of a suitable consistency, will deposit upon the gelatine surface a layer of ink in exact proportion to the action of the light and in inverse proportion to the amount of water absorbed by the film. In this manner a picture is produced in ink which by printing is transferred to paper, and will exhibit all—even the finest—gradations of light and shade.

[E] Glasstype, more fully described later on, has never been practised commercially in England.

Woodburytype.—If an especially thick film of gelatine, containing a small proportion of pigment, be sensitised, exposed under a negative, and subjected to prolonged soaking in warm water, a picture exhibiting considerable relief will be obtained, which, after drying, may, by pressing into lead or treated by the galvanoplastic method, yield a matrix from which casts may be produced in a coloured gelatine solution, or ink, which is poured into the mould; on this is placed a waterproof paper; the press, which is21 of special construction, is closed, and the ink allowed to set; the paper is then removed, bearing upon its surface the printed Woodburytype, which is hardened by alum, and then scarcely distinguishable from a silver print.

Stannotype is a modification of the last-described process by the same inventor. A positive is first produced from the original negative, and from the positive a print is made on a thick gelatine tissue. This is developed by long washing in warm water, the resulting relief being a negative; this is coated with tinfoil of extreme thinness, and used as a mould for printing from with the gelatine ink, as previously described. This obviates the use of hydraulic pressure and special and expensive appliances.

Heliogravure; Photogravure.—If, instead of printing from the Woodbury mould in the gelatinous solution, a fatty ink is used, the process is known under these titles. The exact methods of roughing the depths of the plates to facilitate their retention of the ink are regarded as secrets by the most successful operators.

Photo-Lithography and Photo-Zincography.—In dealing with a subject in lines, dots, or stipple, a paper may be coated with a solution of chromated gelatine, dried, exposed under a suitable negative, coated with a film of fatty ink, and allowed to soak in cold or tepid water; this, penetrating the unhardened portions of the film, causes them readily to part with the ink, which, however, adheres22 tenaciously upon the hardened portions, representing the picture. This image, when properly cleared, may be transferred to stone or zinc, and printed from in the lithographic manner upon a suitable press, or if the image upon the zinc be etched into relief by the process known as Gillotage, and mounted on a wood block of suitable height, it presents a printing surface which may be used in conjunction with type.

Gelatinotype.—It has long been felt as a desideratum to make use of the photogenic properties of the gelatino-bichromate for letterpress printing, i.e., to find out a simple and satisfactory method by which collotype plates could be transformed in letterpress printing plates. There have been made many attempts in this direction, but hitherto without any practical results; the difficulties seemed to be too great. Recently, however, Professor J. Husnik, of Prague, has overcome these difficulties, his new patented process, called by him “Leimtypie,” that is to say, Gelatinotype, being one of the greatest practical value, quick, cheap, and giving most satisfactory results. The process consists in the production of high relief blocks in gelatine. Husnik exposes a gelatino-bichromate tissue under a negative, and then develops the relief picture in a peculiar manner.

The method consists in the application of a saturated solution of bichromate salts for developing, a new and previously unknown property of the chrome salts thus coming into employment. These salts, in comparison with the acids, have the advantage not23 only of dissolving all unexposed gelatine during development, but also in hardening the already exposed parts of the picture upon the copy to be developed, the impression received from the light being increased by contact with the chrome salt solutions. In this way the relief can be developed a longer time, and becomes deeper.

Another new phase is the manner of the second development. The first development is interrupted before the fine parts have been injured, the relief allowed to dry, the white parts (the sub-ground) covered with printing ink diluted with turpentine, using a fine brush quite near to the lines, and then the whole relief exposed once more to light. The relief, on account of its having taken up much chrome salt during the first development, is very sensitive to light, and hardens not only on the surface, but also on the sides of the lines. After removal of the black ink it can be developed to any depth, particularly if the larger white parts have before been cut out with a knife.

This process has lately been further improved by the inventor, by the use of gutta-percha films, which are placed between the gelatine film and the zinc plate on which the gelatine relief has to be fastened. This is effected as follows:—The zinc plate, after having been well cleaned and rubbed over with emery paper, is coated with a gutta-percha solution and dried. It is then heated to about 212° F., and allowed to cool. During this cooling process the bichromated gelatine film, before being24 developed, is laid on at a temperature of between 111° and 77° F., whereby the hardening gutta-percha film secures a perfect combination with the zinc plate. When this has been done the gelatine film is developed in the above described manner to a relief. By this improvement the gelatine blocks become so solid that they will yield more than 50,000 prints in the printing machine without being injured.


25 CHAPTER IV.


Collotype.—Apparatus.

BEFORE commencing any practical work it will, of course, be necessary to procure various utensils and material not usually found in the photographic studio. All these should be procured from reliable dealers and of the best quality, for the evil consequences of false economy will make themselves felt in endless failures. The best to be obtained are none too good for collotype. In the practice of photography the whole success depends on a series of apparent trifles, and the same may be said to hold good, but in a far greater degree, in this process, which is one in which the difficulties can scarcely be overestimated.

The photographer will most likely be already in possession of many pieces of apparatus he may utilise—for instance, dishes. The best and dearest are those of china; but for many—in fact, most—collotype purposes, those of tin or zinc may be used.

For warming or cooking the gelatine solutions tin vessels are the handiest, as they easily conduct the heat and are unbreakable. Although the chromated gelatine may remain in them for a short period without harm, it is not advisable to allow it to do so for any length of time, but to remove the solution and wash the vessel thoroughly with hot water, and at26 once carefully dry, otherwise they will soon corrode, and contaminate the gelatine solutions. The best utensils to use are wide-mouthed shallow jugs, as they are easily kept clean, and in them the chromated gelatine solution keeps well, and with their use no fear of decomposition need be entertained.

Filtering the gelatine solutions is a somewhat troublesome matter, and should be effected at a high temperature and as quickly as possible. The simplest method is to procure a piece of perfectly clean flannel of suitable size, thoroughly moisten it, and insert into a brass ring, which is provided on the outside with small barbel hooks, to which the flannel is fixed, as in the retinaculum of the chemist. The ring is provided with a clip and handle, by the former of which it may be attached to a vessel of almost any size, and the latter is a convenience in holding it over plates to which the gelatine has to be applied. A careful filtering is obviously essential to the production of clean plates. Many complicated filtering appliances have been devised for gelatine and other solutions difficult of filtration, as, for instance, those of albumen or gum. Baron Szretter describes in the “Photographische Correspondenz,” 1878, an apparatus constructed by him. It consists of two vessels, an upper and a lower one, which by means of longer or shorter tubes communicate with each other in accordance to the stronger or weaker pressure required by the liquid to be filtered. Soldered round the upper rim of the lower vessel is a ring of sheet brass, about two to three cm. in width27; over this ring the filter paper is placed, which again is covered with a piece of strong felt enveloped in flannel. To prevent the liquid escaping round the sides of the ring a strong iron ring is applied, which by means of a screw presses against the felt so that no space exists between the ring and the paper. To prevent the pressure of the liquid forcing the felt out of position, and so tearing the paper, a metal wire gauge is used to keep the felt in place. The liquid placed in the upper vessel passes through the tube into the lower vessel through the paper and felt layer. When it is necessary to warm the solution to be filtered, as in the case of gelatine, the whole apparatus is covered with an outer covering, and on the other side a pipe is applied for the purpose of effecting a circulation of the heated liquid, which is thus kept constantly rising through the one pipe and returning through the other.[F] 28 Heat is sustained at an even temperature during the whole operation by means of a small lamp. A simple method of filtering such solutions is to pass them through purified sheep’s wool, or spun glass, a quantity of which is placed in the tube of the funnel. The whole apparatus may be placed in a warm oven during the process, or the drying box may be utilised for the purpose.

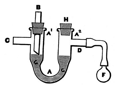
Fig. 1.

[F] The above description not perhaps being perfectly clear, and having been unable to obtain any further description, I give a sketch (Fig. 1.) of an apparatus found to answer well for the filtration of gelatine solutions and other viscid bodies. A is a glass flask, B a rubber stopper, C a funnel containing a filtering medium of washleather, D a tube attached to a three-way cock E; one hand manipulates the latter, while the other works the piston F of a syringe G.—Trans.

Printing Frames of different sizes will be found to hand in the photographic studio, and may be utilised without alteration for printing the collotype plates, if they are deep and strong enough to bear the necessary pressure, which is usually applied through the medium of springs; these are better removed, and wooden wedges inserted in their stead between the cross-bars and the loose wooden back of the frames, as by these means far more pressure may be applied. By lifting the one half of the hinged back of the printing frame an examination by transmitted light of the collotype plate may be made and an experienced operator will in this manner judge the exposure of the plate.

The Actinometer is, however, recommended, particularly for a beginner, as it greatly aids in forming a correct idea of the exposure.

The Drying Box is of great importance to the successful working of the process. The opinions of the various practitioners with regard to the temperature at which the drying of the plates should be effected differ as widely as upon the advisability or29 otherwise of admitting a current of air through the box during the operation. The drying should be completed as rapidly as possible from the commencement of the operation, care being taken that the heat never exceeds 50°C. Many plate-makers simply dry the plates in an open apartment—of course, only illuminated by a non-actinic light—simply placing the plates on a horizontal surface, which may be maintained at the temperature indicated by a water bath, a lithographic stone, or merely a cast-iron plate arranged in a suitable manner for heating from below. This method of drying is open to many objections: the surface of the plate is seldom free from dust, and the gelatine coating is too liable to irregularities from draughts admitted to the apartment during the process. They are more frequently dried in specially-constructed boxes provided with screws for accurately levelling the plates, and through which only a small circulation of air takes place. These boxes are usually rectangular in shape, the upright sides being of wood and the bottom of sheet iron. The lid is an open framework covered with a close orange or black cotton material, the whole standing upon four iron legs over a spirit or gas flame. In the upper part of the box a thermometer is fixed, about the centre of either the side or lid, in such a position that it may be readily observed without the necessity of opening the box. Strong horizontal iron bars are placed across at about the centre, and are provided with30 thumbscrews, upon which may be placed a plate of glass bearing a circular spirit level, by which means the plates may be levelled with the greatest accuracy. The sheet-iron bottom of the box being heated unevenly, it becomes necessary to mitigate this inconvenience as far as possible, which is easily done by covering the plate to a depth of about half-an-inch with dry river sand, over which should be placed tissue paper to keep down any possible dust.

Fig. 2.

An Automatic Regulator of practical value is that devised by Ruegheimer. It consists of a glass tube, A, A1, A2. A1 is closed with an indiarubber stopper, through which passes a glass tube B, the lower end of which is cut off at an angle. It is attached to the gas supply pipe. The tube C is connected to the burners. To D is attached, by means of rubber tubing, a glass bulb F, which is placed inside the drying-box. G G is mercury, and H a rubber stopper by which the pressure on the mercury and quantity of air in F may be regulated.31 The action of the instrument is obvious. The gas passes down B, over the surface of the mercury and by the tube C to the burner. On the bulb F reaching a certain temperature, the mercury will allow just sufficient gas to pass from the tube B to maintain the box at a given heat. If it should fall, the mercury recedes from the aperture of the tube B, a larger quantity of gas passes to the burner, and the temperature is restored to a normal degree. If the air in the ball F expands to too great an extent, the mercury rises, and would eventually entirely close the aperture and cut off the gas supply, unless the tube B is provided with a small hole acting as a by-pass. The tube B may be moved up and down through the rubber stopper at A1 as a means of adjustment.

Fig. 3.

M. Thiel, of Paris, uses a very convenient drying-box, which, with his permission, is here explained. In a brick-lined receptacle under the laboratory floor lies the water-heating apparatus, which is constructed of sheet copper, and is capable of containing about four litres of water, utilised in the production of steam for heating the box. a, fig. 3, is the pipe passing through the wall into the32 drying-box; b is the gas supply pipe to the two atmospheric burners. Fig. 4 represents a plan of the drying-box; c c c c the perpendicular sides of the same, a a a gives a plan and position and arrangement of the earthenware heating pipes lying in a serpentine form at the bottom of the box, entirely covered with dry sand, and this again covered, as before described, with tissue paper. b is the outlet of the steam pipe. d d d d are movable horizontal iron bars with adjusting screws, on which the plates are levelled. The box is covered by a hinged lid, which is raised about a couple of inches during the drying to allow the air to circulate. The dimensions of the box will be determined by the size of the plates to be used, several of which may be placed side by side. Its height is about half a metre inside, and the plates are placed about its centre.

Fig. 4.

Glass Plates, to be used for printing from, must as a first consideration have their surfaces33 ground quite true and parallel. Since the introduction of special collotype presses requiring less pressure, the thickness is of less consequence than formerly, but for convenience of handling and to withstand the necessary pressure, in the printing frames, plates of at least four millimetres in thickness are desirable. Many use them from 8 to 10 millimetres in thickness; this, in the larger sizes, means a weight both inconvenient and difficult to handle. It is probably easier to work upon plain glass surfaces, and since means have been discovered of causing the chromated gelatine to adhere to polished glass with sufficient tenacity to produce several hundred impressions, the employment of ground glass plates is much more a matter of choice than formerly. The ground surface, however, assists the formation of a grain in the case of thin layers, and the operation of grinding serves to remove accidental scratches from the surface of the plates. As in practice these damages constantly arise, it will in the long run be found both desirable and economical to employ the ground plates.

Ink Rollers are also of great consequence in both collotype and lithographic operations. For printing from stone leather rollers have always been exclusively employed, and they are still used in some collotype establishments, more particularly where hand presses are yet worked.

The Leather Roller consists of a wooden cylinder or stock of about 21 to 42 cm. in length and34 9 to 11 cm. in diameter, with handles at either end, usually turned in one piece with the cylinder. Boxwood handles are sometimes let into the ends of the cylinder, but although smoother to work, they not infrequently work loose. In using these rollers the handles do not come in direct contact with the hands, but are covered with a protection of stout leather, which not only protects the printer’s hands from heating, but enables him by a heavier or lighter grip of the handles to apply a heavier or lighter pressure of the roller—a point of great value in inking the plate.

The wooden stock of the roller is first covered with a double thickness of woollen material—flannel or Melton cloth—and over this is drawn the cover of calf-skin, flesh side outwards. The manipulation of the seam must be managed with extreme care, as any unevenness would render the roller useless. At both ends of the cylinder the leather projects, and is usually drawn tight with string or nailed on. There are two descriptions of leather rollers—smooth and coarse. The latter are only used to apply ink to the stone or plate, and then, with the smooth roller, the proper distribution of the ink is effected. For the latter purpose, in collotype, hard glue or indiarubber rollers are employed, being considered far preferable. When a leather roller is in good order, and its use has been thoroughly mastered, it is looked upon by many printers as indispensable. A serious disadvantage is that when new they are35 almost unusable for collotype, and after prolonged use the leather stretches, they become wrinkled, and this, of course, affects the even distribution of the ink. A new leather roller needs a special preparation or “breaking in” before it may be considered fit for use. It should be well saturated with a fatty matter, a very effectual way of doing which is to roll it well at intervals in a moderate supply of thin varnish as used for thinning printing ink, this process being persevered with so long as the roller continues capable of absorption. A better but more troublesome method is to roll the rollers twice daily in thin varnish, continuing the operation for a week, at the end of which time the roller may be well rolled upon the inking slab in stiff black printing ink, the superfluous ink being occasionally removed from both the roller and slab by scraping with a blunt knife, and a fresh supply of ink applied. This troublesome and tedious operation should be continued for a period extending over several weeks until it has become quite smooth and even, though it will still be found better to use it only for common work, or, if possible, on stone. To keep the roller in good condition it should, on each occasion after use, be carefully scraped with a clean, smooth-edged knife—not too sharp. Some practice in this operation is required to avoid cutting the leather. Great care should be taken to avoid this, the blade of the knife being held almost flat upon the roller during the process. The scraping should always be in one36 direction, to ensure which it is advisable to place a mark upon one of the handles.

Unless these precautions be observed the ink will dry in, and completely spoil the leather. If not to be used again for some time tallow should be carefully and thoroughly rubbed into the surface of the roller as a preservative, but before again using this coating must be removed either by means of a knife or washing with turpentine.

Glue Rollers have long been in use, but chiefly for letterpress work and steam machines in general. A soft composition of a very elastic nature is quite useless for collotype; its substance must, on the contrary, be tolerably hard, and of a brown colour, as usually employed on the steam letterpress jobbing machines. For hand rollers for collotype it is preferable to have a strong iron frame with double handles, as used by letterpress printers. Such rollers are preferable to those of leather, and will answer perfectly for laying on the first stiff ink, and also for rolling up the half-tones. To clean they should on no account be scraped, but simply washed with turpentine, and on this account are much easier cleaned than leather rollers. Schaarwächter gives the following as an excellent composition for collotype rollers: Brown glue, three parts, steeped for two days in cold water. The pieces should then be dried in a cloth, and afterwards dissolved. When melted add, with constant stirring, one part of treacle, which has been previously boiled, allow the whole to boil,37 and skim. The composition is then run into a thin copper cylinder or mould, which must be polished smooth, clean, and well oiled; and in the centre of which has been placed the wooden cylinder or stock. After cooling, the roller is pushed out of the mould, and washed with alcohol or turpentine to remove any trace of greasiness due to oiling the mould, placed in a bath of tannic acid, washed with water, and dried. The composition rollers, as used in typographic printing, are made with glycerine instead of treacle, and may be used for collotype if not too soft.

Indiarubber Rollers are more expensive, but possess special properties rendering them particularly suitable for photo-lithography. In construction a wooden stock with suitable handles is covered with very thick well-vulcanised indiarubber, which has a fine smooth surface, rendering it easy to clean by means of turpentine. If it becomes “tacky” on the surface it should be well rubbed with French chalk, or soap-stone, which will readily absorb the turpentine, but this coating must be thoroughly removed before again using the roller. An excellent suggestion appeared in one of the polytechnical periodicals, that the rollers should before use be coated with a solution of pure or bottle rubber in benzole or bisulphide of carbon after having been well washed with turpentine.

These indiarubber rollers are not suited for the first inking of the plate, but are invaluable for rolling up the half-tints of the collotype plate. As they38 somewhat readily take colour off the plate they must be first rolled up in a thinner ink and a separate slab. According to “Lithographia” these indiarubber rollers may be cleaned with lye, or strong alcoholic spirit. If cleaned with turpentine it may be advantageously followed by rinsing with soap and water; by so doing the application of French chalk is unnecessary. These rollers are, by comparison with others, nearly indestructible, and therefore cheap, notwithstanding their high first cost.

Fig. 5.

Velvet Rollers have latterly come much into use, and are very successfully used for inking-up the transfers in photo-lithography. They may be also used in photo-xylography and photo-ceramic processes, and also for certain purposes in collotype. A necessary precaution is that the seam of the velvet should always be kept off the surface subjected to the rolling, and this may be carried out if the roller is, say, 10-1/2 centimetres in diameter, a length of 31·2 centimetres may then be rolled without using the seam. The sketch will explain the construction. The cylinder or stock is of pear-wood, and the handles of box; first covering serge, which before sewing on should be well shrunk in hot water; over this comes the velvet, the edges of which must not overlap, but must be drawn together as close as39 possible by means of thread. One advantage of this roller is that it is ready for immediate use; it must, after use, be carefully cleaned before being placed aside; this is best done by repeated rollings on a clean slab, and the judicious application of a little turpentine. Turpentine only may be used to thin ink for use with this roller.

Drying Rollers.—In addition to those already enumerated, all of which are intended for the application of the ink to the plate, other rollers are required, similar in construction, but covered with wash-leather or cloth, and used for the purpose of absorbing superfluous moisture. For these it is necessary, or at least advisable, that the frames be so constructed that the rollers may be readily removed when by continued use they have become too damp. This method of drying the plates is far preferable to the customary one of wiping with a cloth, for even with the greatest care, if the printing should extend over hundreds of copies, the layer upon the plate will inevitably get scratched when wiping or rubbing is resorted to, especially if isinglass—which tends to soften the film—be present.

Palette Knife or Spatula.—It is unnecessary to describe; they are used for mixing the ink and applying it to the slab and rollers, and for cleaning the latter. They may be either of hard wood or metal.

The Ink Slab may be either of slate, a lithographic stone, or a sheet of strong zinc securely attached to a block of wood truly planed.

40 The Press is an indispensable requisite for printing operations. There are small wooden hand-presses, especially constructed for collotype, which may be purchased at a very low price—£4 to £5; but the more economical way is to procure a small lithographic press constructed of iron. This will not only be found more durable, but it may, if occasion arise, be used either for lithographic or zincographic printing, as it will bear the necessary pressure, which is greatly in excess of that applied in collotype printing. The hand-press constructed by Sutter is a form that may be strongly recommended. If the output of prints is to be large, a steam machine will be necessary, the cost of which will be not less than £200 to £250. Fig. 6 represents a press which has been largely used for collotype. D is the bed or carriage upon which the plate is fixed in the manner described further on. By turning the crank handle C the bed is carried under the scraper, which is secured in the scraper-box A. The scraper is kept in position by the lever B. The scraper-box is represented as closed down in the illustration, but in actual practice it would not be in the position shown until the tympan-frame E had been lowered.

The Tympan, of either leather or thin sheet zinc or brass, is marked F in the illustration. All iron portions of the press subject to friction should be frequently cleaned and carefully oiled with a good machine-oil.

41
Fig. 6.

The Scrapers should be of either pear tree, lime, maple, or preferably box, with a blunt bottom edge, which should be planed true, and finally finished by rubbing on a sheet of glass-paper placed upon a perfectly flat surface. They must be adjusted with even more precision than is necessary in lithography, as owing to the difference in the printing surface, the same pressure cannot with safety be applied. With plates or stones of large size it will be found that the pressure of the scraper will be unequal, greater pressure being42 exerted in the centre than upon the edges of the printing surface. Many printers, to counteract this tendency, slightly scrape away or hollow out by means of a piece of glass the centre of the scraper. With sufficient pressure and plenty of elastic packing between the printing paper and the tympan, this slight difference may be easily overcome. Several scrapers should be provided of various lengths, so that one of suitable size may be always available to suit the particular work in hand. It should always be slightly longer than the width of the picture, but shorter than the width of the stone or plate. By pressing the edge of the scraper to the surface of the latter and looking towards a window no light should be visible between the two surfaces. If the edges of the scraper are carefully rounded, it may be covered with a strip of wash-leather,[G] smooth side outwards, and secured by means of tacks, by which arrangement the pull will be easier, the impression more even, and the tympan and scraper will last longer. The accompanying sketch represents one of Poirier’s special collotype presses, constructed entirely of iron. The details are so clearly shown in the engraving that after the description already given it will be unnecessary to point out further details.

[G] This is necessary only with metal tympans.

White Margins to Pictures.—To facilitate the production of pictures with white margins, instead of using a mask of paper either oiled or treated with a varnish, an arrangement has been introduced, as represented in fig. 7, the design of which is due to43
44
Mr. Raph. Schlegel. The drawing is not perspectively correct, but is made to show as clearly as possible the arrangement and manner of working. The scraper—not shown in the illustration—works on the tympan O. A, carriage or bed of the press, carrying the printing plate. B, a slide of light wood. This prevents the frame D and the printing paper M coming in contact with the plate before the impression is actually being taken by the scraper. The wooden slide bridges over the plate, and may be 15 to 25 millimetres higher than the plate itself. When the rolling up or inking of the plate has taken place the slide is pushed so far forwards as to allow only just sufficient room for the scraper to rest upon the plate. The action of the scraper during the taking of the impression causes the slide to work out, and allows the paper to come in contact with the print layer. E E are adjustable buttons to regulate the traverse of the carriage when printing. D is a second frame necessary to carry the strips of thin zinc, Ef Ef, Eg Eg, which entirely protect the edges of the paper to be printed upon, and so produce an impression with a white margin. These strips may be almost instantly adjusted to give any required size. The frame D must be so much smaller than the frame L as to be easily covered by the latter, allowing for the projecting screws and nuts of the clamps f. The zinc strips should be reduced to a feather edge on the sides next the picture, and should have secured to them strips of fine paper (foreign letter-paper), which45 should extend over the edges about three millimetres, to prevent damage to the gelatine layer. f f are clamps for the zinc strips Ef. They are put through the slots, and the tension adjusted by the nuts. The zinc strips are perforated by two holes at each end, and secured to the clamps by means of screws. Eg are also zinc strips; g clamps provided with two holes, in each of which a hook is inserted. Corresponding with these a second pair of hooks are inserted in holes in the frame I, the hooks being connected together by the strong indiarubber bands h. This gives to the strips Eg a certain amount of elastic tension. The clamps K are also adjustable in slots, and similar to f; L, frame for the reception of the tympan; M, large clamp for stretching the elastic sheet O; N, zinc tympan, greased to facilitate its movement under the scraper, it also prevents grease penetrating the sheet O; P, a bracket on bed A, against which the tympan frame rests when raised and thrown back. The arrangement is used as follows: When the plate has been satisfactorily inked or rolled in, the slide or bridge B is adjusted over the plate, leaving a strip of about three mm. uncovered to allow of adjustment of the scraper. Lower the frame D in which the zinc strips have been adjusted to the size of picture; the printing paper is placed over this slide, and covered with a few sheets of paper backing. The tympan frame L, together with the sheeting and greased zinc plate, are lowered upon the work, the scraper adjusted, and an impression taken.

Fig. 7.
46

CHAPTER V.


Chemicals and Materials for Collotype.

GELATINE.—The basis of the Collotype process is gelatine—the finest purified animal glue—and the important part it plays in the process demands an acquaintance with its properties, which are found to differ widely, according to its origin and method of preparation. Gelatine suitable for Collotype should be free from all impurities—particularly alum, which is not infrequently added in small quantities during manufacture. Dr. Eder, in particular, has made most minute examinations of various samples, more especially with regard to their suitability for Collotype, Carbon, and the Galvanographic processes, and his opinion, agreeing with that of other experimentalists, is here quoted:—

The two principal modifications of gelatine are those produced from bones, sinews and skins of animals, and from the air bladder of the sturgeon, the latter variety, better known under the name of isinglass, represents, from a chemical point of view, glue in the purest form. On account of its high price and ever-varying quality as found in commerce, it must in practice give place to a glue or size containing chondrin, and prepared from bone and gristle. Another objection47 is, that plates prepared with an admixture of isinglass are less durable than those containing gelatine only. On the other hand, it certainly possesses advantages of its own, which will be more fully considered hereafter. A gelatine suitable for collotype must absorb plenty of water and swell out, but not liquefy after having been soaked in cold water for twenty-four hours. Gelatine or isinglass prepared from the bladder will not stand this test, but, on the contrary, partially disintegrate. The consistency and bearing capacity of a jelly formed by dissolving gelatine in water by means of heat and allowing it to cool, form, in the opinion of Lipowitz, a safe and reliable means of forming a judgment as to its suitability for collotype. Dissolve by first soaking five grammes in 45 cm. of distilled water for several hours, afterwards apply heat, and allow to stand twelve hours to set. For purposes of comparison this should always be done in a glass of the same diameter. A small tin or zinc slip is placed across the top of the glass vessel containing the jelly; through the centre of the tin a hole is pierced, through which a wire moves easily up and down. To its bottom end is soldered a piece of tin, of about 15 cm. diameter, the convex side lying upon the surface of the gelatine. On the other or upper end a small funnel is placed, large enough to contain 1-1/2 kilo. of small shot. The weight of the wire and funnel being ascertained, it will be a simple matter, by also weighing the shot, to calculate the weight required to sink the instrument48 into the jelly, and to ascertain with accuracy its weight-bearing capacity and proof of the relative value of various samples for Collotype printing. If otherwise suitable, the variety capable of supporting the greatest weight before yielding will be the one to select. The power of absorption of different samples varies considerably; for example, the Collotype gelatine of Creutz absorbs in two hours 30 parts of cold water poured over it. Nelson’s patent opaque, in the meantime, only absorbs five parts, but after a further period of 4-1/2 hours the difference is equalised, as it will absorb 25 parts more of water, making altogether exactly 30 parts. This experiment proves the latter to be a harder quality than that of Creutz, and it necessarily requires a somewhat different treatment for the production of the best results.

Isinglass or fish glue, although, as before stated, a finer quality of glutin than the ordinary gelatine of commerce, is, on account of its high price and varying quality, comparatively little used. The addition of this substance also softens the gelatine layer. On the other hand, it possesses certain properties which render its use at times desirable; for instance, it does not dry so completely as gelatine, the layer prepared with it consequently gives cleaner and more even proofs, a point particularly noticeable in the earlier impressions. Such prints will also exhibit greater brilliancy, and this is of especial consequence in work produced from photographs from nature, in which class of work the half-tones are too49 often wanting. Some operators take even equal parts of isinglass and gelatine, but such layers must be very thin, and dried quickly. Thick layers are liable to crack or fly, and in use to refuse to take the ink, which must for such film be used in greater quantity and thinner than when gelatine alone is employed. A solution of isinglass is not so readily prepared as one of gelatine. It is necessary to allow it to soak in cold water for from twelve to twenty hours, and the temperature then gradually raised to nearly boiling point, at which heat it should be maintained for some time longer, and then filtered through flannel into the gelatine solution. In printing from these plates, particularly when the proportion of isinglass exceeds one-third the amount of gelatine, there is a disagreeable tendency of the printing paper to adhere in the high lights—that is, in those parts of the print layer which are represented in the negative by entire opacity—as in the sky of a landscape or a background which has been “stopped out” on the negative. On other portions of the plate where the light has more fully acted—during the printing in the printing frame—this troublesome defect will not be observed. The fault is more noticeable when the dull enamel paper is used, while a hard, well-sized letter paper presents the other extreme. Further details of printing papers will be found in another chapter.

In the introductory chapter of this work the photo-chemical qualifications of the bichromates of50 ammonium and potassium with regard to collotype are considered.

Bichromate of Potassium is found in the well-known rich orange-red crystals. It is readily soluble in cold water (1.10). It may be easily recrystallised and purified readily out of either a hot, warm, or cold solution, and forms in thin layers of fine crystals. Therefore, in using it for collotype, care is needed not to exceed the strictly necessary proportion, as the plate may be hopelessly spoiled by the partial crystallisation of the salt, which will probably show during the process of drying. The maximum addition of bichromate of potassium in proportion to the weight of the gelatine may differ according to the peculiarities of the latter. Dr. Eder considers about 3/10 to 4/10 by weight of this salt in a dry state may be added to a gelatine, which will absorb from six to ten times its weight of water, without fear of crystallisation. There are, however, many gelatines that are incapable of working with more than 2/10. Rapid drying of the plate in a current of air, and at a temperature of 40° C., will, to some extent, obviate this objectionable feature. By reason of its comparative insensitiveness to light and this facility of crystallisation, and notwithstanding its comparative low price, it is now far less used in collotype than

Bichromate of ammonium, the crystals of which somewhat resemble those of the potassium salt. In colour they are of a browner hue, and readily51 distinguishable, since when heated on platinum deflagrates, emitting sparks and leaving a residuum of very finely-divided oxide of chromium. The ammonium salt does not, however, so readily crystallise on account of its considerably greater solubility in water compared with bichromate of potassium. By comparison, 12 parts of the ammonium salt are equal to 15 parts of that of potassium. At least 1/3 to 1/4 more of the former may be used without disadvantage or fear of it crystallising out; it will, on the contrary, improve the quality of the film or layer. The ammonium salt will also be found comparatively more soluble in hot water, but care must be exercised that the solution never reaches the boiling point, neither should the heat of the drying box ever exceed 50° to 60° C., or the films will present a pale brown appearance, and will prove alike insensitive and partially insoluble. The single and tri-salts, offering no advantages over those already described, may be dismissed without further consideration. It may be remarked for non-chemists that the addition of any acid to the chromated gelatine solutions inclines to the formation of trichromates of the alkalis; and, on the contrary, the addition of free ammonia, or any other free alkali, produces simple chromates. The addition of ammonia to the chromated solution has been strongly advocated in many quarters, but as the result of numerous experiments, it may be definitely stated that the supposed advantages are more than counter-balanced52 by the numerous disadvantages arising from such addition. The mixing, in equal or other proportions, of the potassium and ammonium salts has been recommended, but there is no real gain or sufficient reason for preferring any of these combinations to the ammonium salt alone. Besides the chromates of the alkalis, several other salts as well as acids are used in Collotype printing, although seldom, and then only in small quantities and for special purposes, such, for instance, as hardening the print layer, or for the purpose of facilitating the retention of moisture in the film. For the former purpose small quantities of chrome alum are sometimes added; while for the latter chloride of sodium or chloride of calcium are sometimes added to the chromated gelatine solution at the time of coating the plates, or are added as ingredients to the so-called etching or damping solution which is frequently applied to the plates during the printing. Glycerine answers for this purpose, and is to be preferred. It should be borne in mind that all additions to the film to facilitate its retention of moisture lessen its adhesiveness to its support. And with regard to the direct addition of the substances mentioned to the film during the preparation of the plates, it is not very apparent how such readily-soluble matters can remain in the film after the prolonged and careful washing the plates should be subjected to after exposure in the printing frame. On these grounds the addition of such substances53 to the damping solution is more rational and certainly more effective.

Alum and Chrome-Alum causes the gelatine to set sooner without precipitation, and harden the layer considerably after drying, and although gelatine, as well as glue, always contains more or less chondrin, which is precipitated by alum, great care is necessary in the addition of the latter; and it is better that such addition should be made immediately before the hot solution be poured upon the plates, otherwise a precipitation will ensue, which, although very finely divided and at first scarcely visible, will become more apparent during the drying of the plates, and finally show in the picture in innumerable white spots.

Silicate of Soda is almost indispensable as a substratum in the preparation of collotype plates, although many practical workers still adhere to the method originally proposed and practised by J. Albert, of Munich, who used as a substratum a chromated solution of gelatine and albumen, rendered either partially or wholly insoluble by exposure to light. The silicate is here considered as having about the consistency of syrup. If more fluid the adhesive power of the substratum will not realise expectations, and the plates will require very careful handling if even a few hundred impressions are required.

The composition of the film, the exposure of the plate through the back, and the careful treatment54 of the layer in the actual printing operations are all matters which considerably affect the “life” of the plate, and to which we shall again return.

Chloride of Zinc is used for hardening special parts of the collotype plate, and is easily prepared by dissolving—to saturation—sheet zinc in hydrochloric acid, filtering, and reducing as circumstances may demand.

Tannin and Tannic Acid in strong solution harden the film, and may be applied to certain parts to cause it to “take” the ink. For instance, to remove, or rather harden, spots which refuse the ink and consequently show upon a dark ground; and also to write names or titles to the plates. Written additions of this character must, of course, be reversed, as in lithography. The addition of tannin to the chromated gelatine before coating the plate is recommended by Waterhouse, he considering such addition confers greater lasting power to the films so treated.

Cyanide of Potassium and Ammonia.—All alkalis or carbonates of the alkalis have a directly opposite effect upon the printed layer to that last referred to. By the judicious use of one or the other of these agents spots printing light or dark may be either removed or considerably modified.

Glycerine and Sugar and similar easily soluble organic substances, added to the chromated gelatine, would assist the easier and evener damping of the plate, but render it more susceptible to55 damage, and the desired effect is better attained by suitable additions to the damping water.

Organic Acids.—Citric acid and tartaric acid are recommended as additions to the chromated gelatine, partially as influencing the so-called “grain,” and also as additions to the damping solution to facilitate the production of cleaner prints. Experience with these substances shows that the print layer suffers from their use, and for clearing up a plate inclined to yield dirty impressions a weak solution of ammonia is far preferable.

Nitric Acid has even been recommended for occasionally damping the plate in certain cases, after which the most delicate half-tones should be reproducible. An experienced collotypist ought never to be under the necessity of adopting such desperate remedies, which more often than not rapidly and entirely spoil the plate, and it is better to at once prepare a new one.

Ox Gall remains to be mentioned as exercising a beneficial influence upon the print layer under certain circumstances. It considerably hardens the gelatine, and tends to reduce the annoying tendency of the film to adhere to the paper in the high lights. Ox gall was first used at the Royal Printing Works in the “glass” printing process there utilised for the reproduction of line subjects. Some operators of eminence consider that in collotype its use should be strictly confined to lineal representations, as by its continued use the half-tones are partially lost.

56 Ink and Paper.

Of great importance is the careful selection of the materials for the printing proper—i.e., the printing inks and papers, and the sometimes necessary admixtures of the former.

Printing Ink.—The most simple and suitable of all greasy or oily printing ink is the best chalk ink, as used in lithography. It is composed of finest lamp black thoroughly incorporated with boiled linseed oil (varnish). The collotypist must, in addition to different coloured ink for mixing with the black, be provided with thin boiled oil (middle varnish), and also turpentine and olive oil, the latter being used to thin or reduce the printing inks, which, as usually supplied to the trade, are too stiff for immediate use. When in printing it is necessary or intended to use an admixture of several colours, they must be first well ground in turpentine and the latter allowed to evaporate. A small addition to the chalk ink of indigo or Prussian blue greatly improves its colour and printing power, but may be considered more suitable for the reproduction of line or stipple subjects. A dash of Venetian red or carmine imparts to the chalk ink a warmer tone, resembling the colour of an ordinary silver print. Whoever ventures on colour printing must be able to prepare all the necessary combinations with the greatest exactness, and should use for each a special inking slab and roller. In the chapter dealing with the printing, further particulars will be given as to the mixing and thinning of the colours.

57 The Quality of Paper suitable for collotype may be next considered. Without doubt the best is that known as dull enamel, or chalk paper, which is now supplied of a pink tone as well as of the ordinary white quality. It should not be glossy or adhere too strongly to the printing surface, as the enamel will, under such circumstances, be partially or wholly torn from the paper, a difficulty equally observable whether the paper be used damp or dry. As previously observed, the adhesive power of the printing surface increases with the softness of the same. This may arise from using a small percentage of bichromate or a short exposure to light, in which cases it is always more apparent in such parts, as the densest portion of the negative may have been entirely protected during the copying in the printing frame, or it may arise from the addition of too great a proportion of isinglass. On the other hand, a gelatine film strongly chromated, proportionately longer exposed, and in which there is no isinglass, will be less likely to exhibit this annoying tendency.

Well-sized fine glazed papers generally adhere least, and are usually laid on dry. When the impressions are to be issued without glaze very thin fine-surfaced cardboard—not enamelled—is frequently used, and the margin of the printing plate covered with a suitable mask. Any well-sized paper possessing a fine surface may be used. Impressions58 on such paper may be passed through a weak solution of gelatine, and after drying, rolled, varnished, mounted and again rolled. Any retouching must be done immediately after the sizing, and before the application of the varnish. Enamelled papers require a special glaze, not a lacquer, or are finished without glaze at all.


59 CHAPTER VI.


Preparation of the Collotype Plate.


THE well-polished glass plate must be thoroughly cleaned with alcohol and ammonia, and it should be ascertained that the surface is entirely free from scratches. It is then coated with the substratum, consisting of a dilute solution of silicate of soda and albumen. The following formula is in constant use by many practical workers of experience, and answers every requirement:—

Distilled water 8 parts.
White of egg—whisked 7
Silicate of soda (of the consistency of syrup) 3

This mixture should be well beaten to a froth or put in a bottle with pieces of broken glass, well shaken, and placed aside to settle for half-a-day. Then filter through paper, which should be replaced so soon as the pores become choked. To facilitate the operation the filter paper should before use be moistened with distilled water. The surface of the plate should be flooded with water, and coated as evenly as possible with the above solution, a small glass rod being made use of to assist the flow. Air bubbles must be removed, and by quickly tilting the plate the superfluous solution run off; this should not be used to60 coat other plates without being again carefully filtered. If the substratum be thin, it is not necessary to wash the plate after drying, but after standing aside two days to harden, with dusting and warming, they may be coated with the chromated solution of gelatine. If small crystal formations appear on the surface the plate should be well washed and again dried before proceeding further. The following formula for substratum is due to M. Thiel, senior; it contains less silicate, and the washing before applying the sensitive coating is never necessary:—

Distilled water 36 parts.
White of egg 20
Silicate of soda 6·2

Stale Beer.—Albumen is sometimes replaced by beer, from which by frequent outpourings the carbonic acid has been removed, and to which caustic potash has been added until it fails to show an acid reaction when tested with blue litmus paper (about three to five grammes of caustic potash to the litre of beer will be necessary). To a litre of beer so prepared is added 1/3 kilo. of silicate of soda. The main points in this and also the following operations are careful filtration, even coating and drying in a clean place entirely free from dust. Plates previously used or somewhat scratched must before further use be thoroughly cleaned and the face reground with the finest emery powder.

The Sensitising Solution.—This is manifestly the most important matter in the Collotype process, for on it depends not only the durability of the61 printing plate, but also the method of procedure in the subsequent operations. It may be here intimated that plates prepared by the very best formula cannot be expected to yield good impressions if the whole of the manipulations are not carried out with the greatest care, and it should be noted

1. That neither too much nor too little of the chromated gelatine should be allowed to remain upon the plate. It is impossible to lay down a hard and fast rule, and the exact amount must be determined by the experience of the operator. Of equal importance, and naturally connected with this operation, is

2. The even distribution of the solution, the flow of which may be assisted or directed by the aid of a small glass rod, and by allowing it to run off more or less at each of the four corners of the plate. Considerable experience has demonstrated that the coating is applied most easily and in the evenest manner by resting the plate—previously warmed to about 45° C.—as horizontally as possible on the cork of a heavy bottle, the latter standing in the centre of an earthenware dish. A sufficient quantity of the solution, carefully filtered, and heated to 45° to 50° C., is then poured on to the centre of the plate and rapidly spread over it with a glass rod, previously well warmed. So soon as the surface of the plate has been entirely covered a further supply of the hot gelatine solution is quickly poured on and partially run off at each corner. A scarcely perceptible inclination62 should be given to the plate, otherwise the layer will be too thin; it ought to be about the thickness of four or five sheets of Rive paper of 8 kilo. per ream. It should be borne in mind that the addition of isinglass will necessitate a comparatively thinner layer than when gelatine is used alone.

To obviate the gelatine coating becoming uneven great care must be exercised in removing the plates—when coated—to the drying-box, the levelling screws of which have been adjusted with great accuracy. The box should be heated to a temperature not exceeding 50° C.

To satisfy the adherents of isinglass, two eminently satisfactory formulæ are here given—

With Gelatine only.
Collotype gelatine 6 grams.
Water 700 ccm.

The gelatine is first soaked in the water for one hour, and then complete solution effected at a moderate temperature, and the solution filtered through best filter paper. Boiling heat is never required. Japanese filter paper is the very best. Heat will be necessary during the operation, which may be conducted either in the drying box or a warm oven. When filtered, add, with constant stirring, 8 ccm. of a solution of bichromate of ammonium in water (1 in 8, so that 8 ccm. solution contains 1 gramme of the ammonium salt), which should also be thoroughly filtered before addition to the gelatine.

63 The combined solutions being well incorporated, clear and free from air bubbles, should, as previously described, be heated to 40° or 50° C., poured upon the warmed plate, and at once conveyed to the drying box, the temperature of which has been slightly raised. The box should be closed, and gradually increased to 50° C., at which heat it should be steadily maintained until the drying is complete, which usually occupies one to one and a-half hours, varying somewhat according to the thickness of the coating and the strength of air current, which is necessary to the proper and rapid drying of the films. It may, under some circumstances, be necessary to augment the admission of air; this may be done by slightly raising the lid of the drying box. The current must freely circulate in all parts of the box, and remain as constant as possible. If subjected to sudden fluctuations in the air current or temperature, the plates will dry unevenly, and endless troubles ensue.

The Grain.—The so-called grain which is necessary for the printing first shows itself on the completion of the washing of the plates after printing in the copying frame. It is a peculiar, net-like formation, varying in fineness, and similar in character to the unwelcome appearance known to carbon printers as reticulation. It arises in consequence of the uneven distribution of the soluble layer in comparison to the substratum. In Collotype, its production is promoted by thicker layers and slower drying at a temperature of 45° to 50° C. The64 addition of isinglass also seems to aid the production of grain. Certain varieties of gelatine which possess great power of absorption give a smaller grain. Creutz’s gelatine may be mentioned as an example of this class. An addition in small quantities of dilute acid, particularly those of organic origin, as acetic or tartaric, tend likewise to the production of grain. Insoluble powders, as of glass or flint stone, may be added, but only in the very finest state of division, and in very small quantities.

Formula with Isinglass. Two grammes of the best Russian isinglass are cut up into the smallest possible pieces with a pair of sharp scissors, soaked in 25 cc. of water for 12 hours, heated nearly to boiling point until solution is effected, and then filtered while hot through close flannel. Cover six grammes of good Collotype gelatine with 50 ccm. of water and allow to stand, heat nearly to boiling point and thoroughly incorporate the two solutions, again, while hot, filter through paper or close flannel. To this is added 11 cc. of the filtered solution (1·8) of bichromate of ammonium, as previously referred to. The complete solution is then heated to 50° C., or should it exceed that temperature it is allowed to cool to it, and the plates warmed, coated, and dried in the manner previously described. It is not advisable to overcrowd the drying-box by attempting to dry too many plates at the same time: it necessitates a too frequent examination of the contents and so interferes with the65 evenness of the drying, and as this is a point of even vital importance no risk should be incurred.

The plates being properly dried allow them to remain in the box for some time longer, the source of heat being either removed or extinguished, and the whole allowed to cool gradually. If the plates are removed too quickly in their fully-heated condition—particularly when thickly coated—the too rapid contraction of the glass will crack and destroy the film; by gradual cooling such accidents are avoided. When finished the plates may be kept in a cool, dry place for two or three days. Many operators keep them this length of time purposely, believing they thereby obtain finer results. The plates so kept must, of course, be thoroughly shielded from actinic light.

Negatives, with regard to their suitability for Collotype, may here be considered, as the after result naturally depends considerably on their adaptability to the process. They should be quite free from fog or yellow stain, and for half-tone subjects not too intense. The greatest difficulties will present themselves in the production of portraits or such work from nature by the Collotype process. Photographer and printer ought, so to speak, to work hand-in-hand. The negative must show the finest gradation from clear glass in the shadows to the necessary density in the high lights, quite free from veil or fog, and intensified very little, if at all. They should be produced in a studio where the light is thoroughly66 under control. If not to be stripped all negatives should be taken on patent plate and protected by a coat of varnish, sufficiently thin to offer no obstacle to the production of sharp prints, and yet sufficient to obviate in a great measure the risk of damage by the pressure it is subjected to in the pressure frame in contact with the unyielding surface of the Collotype plate. The risk of breakage at this stage always renders stripped films preferable, their elasticity better enabling them to withstand the pressure. The gelatine layer applied to the negative before stripping must be as thin and even as possible, as from thick or uneven films it is almost impossible to produce a sharp print. If the negative is of a line subject, and it is desirable to have clear whites that the impressions may resemble as much as possible the original, the lines in the negative must be clear, but the remaining portions of great density. The ink for such work should consist only of pure chalk printing ink, which will be generally found to give stronger contrasts than the usual mixed Collotype inks.

Retouching Negatives and Plates.—The negatives must have all defects made good by the retoucher, all blemishes being moderated as far as possible. Retouching on the Collotype plate or print should not be required; but this is seldom so, as during the printing the negatives frequently sustain slight damages. Retouching the printing surface is seldom very successful. The alteration easiest67 effected is the removal of small light spots which refuse to take the ink, and such may be removed by touching with a fine brush dipped in a strong aqueous solution of tannin, this alteration being made upon the finished plate after it has been washed and dried. With this tannin solution inscriptions may be inserted which have to appear black in the print. Or a solution of gum arabic, to which has been added a solution of bichromate of potassium, may be used, and after such addition the plate is once again exposed to light. Writing which has received too much exposure, and which should appear in the finished print black on a white or light ground, often appears white. This defect arises from the gelatine on which the light has had little or no action swelling to such an extent that the letters are buried or sunk into the plate too deep to be touched by the roller when the plate is inked. It may be rectified by further thinning the ink with varnish. The removal of dark spots from the print layer can never be completely effected. Ammonia, cyanide of potassium, oxalic and other acids have from time to time been recommended, but this treatment will prove effective for only a few impressions.

Negatives should therefore be very carefully and systematically retouched and carefully preserved from damage during the printing. Another method of applying writing, such as the names of firms, &c., is to get them printed from small type on thin gelatine films and attach them to a clear or erased portion68 of the negative during the printing in the pressure frame. Writing so added will appear as white letters on a black ground. It will often be found practicable to attach the written or printed matter to the original while photographing, and so include it in the negative at one operation.

Printing under the Negative.—The printing of half-tone plates is best performed in diffused light; to hit the exact exposure is as important as it is difficult, and depends not only on the actinic power of the prevailing light, but also on the quality of the negative and the sensitiveness of the layer. The greater the amount of bichromate the latter contains, the greater its sensitiveness, and consequently the exposure is shorter than for one containing less of the sensitising salt. A thinner layer must not be printed so long as a thicker one, or dark prints, lacking in contrast, will result. On the other hand, a thicker layer may be submitted to a comparatively longer exposure without harm; the exact time must not be greatly exceeded or it will happen that the blackest portions, written titles for instance, will not take the ink. During printing, one may with advantage shade such portions a little. The examination of the back of the Collotype plate is the safest method of judging the correct exposure during the copying, but every precaution must be observed during such examinations that neither the plate nor negative be moved from their original position. Only when the negative is very clear may the picture be69 seen by reflected light as a positive; it will in such cases appear on a dark ground. It will be found difficult, particularly for a beginner, when making an examination in the copying frame, to distinguish between the dark original picture and the pale brown image of the Collotype plate, as they naturally completely cover each other. By the dark brown tone of the uncovered margin of the print layer a certain indication is afforded of the completion of the copying.

An Actinometer may be used as an exposure gauge, as in carbon printing, and as a slight indication of the necessary exposure. When using the small cube[H] photometer with chloride of silver paper, five to seven tints may be printed, but the different modifying circumstances previously referred to must all be duly considered. Under a clouded sky in winter, using a dense negative, it may take a whole day to complete the copying, while in clear direct sunlight, perhaps, from the same negative, a quarter of an hour would suffice.

[H] The scale actinometer is one requiring less attention.—Trans.

Masking should be resorted to to form a margin at least an inch wide round the four sides of the negative, either by painting round the same with Indian ink, or by attaching to the negative strips of opaque paper, or, better still, thin tinfoil.

Sunning.—When sufficiently exposed, i.e., when the brown picture with all its half-tones and details is complete, the plate is removed from the copying70 frame and placed, face downwards, upon a piece of black velvet, and exposed for a short time—five to ten minutes—to a good but not direct sunlight, so that it may pass through the glass plate and harden the back of the print layer. A sheet of ground glass may be placed over the plate to thoroughly diffuse the light, and prevent any scratches or damages to the back of the glass plate producing any detrimental effect upon the printing surface.

Washing the Plate is the next operation. The plate is removed into the dark room and placed in clean cold water, which should be often changed—every half-hour—unless an automatic washing apparatus[I] is used; this is continued until the plate no longer has a yellow appearance, and the picture is visible only as a slight brown image.

[I] Jefferies’s Patent “Perfect” Washer is a very suitable appliance, and may be used for Collotype plates, negatives, or paper prints.—Trans.

Hardening the Film is effected by soaking it for a quarter of an hour in a one per cent. solution of alum. The plate is again washed, and the surface evenly dried with fine tissue paper, and placed aside for at least two days that it may thoroughly dry.

An Alcohol Bath is used by many operators to immerse the plate in for half an hour after drying it with paper, perhaps with the intention of drying the film quicker, or to strengthen the layer and assist the formation of the grain, but there is no gain by this procedure, and, as the bath is an expense, it may be omitted.

71 The Damping Solution, or so-called etching fluid, is of much greater importance, and it is necessary that the plate be submitted to it before printing be attempted.

Tinted Grounds often enhance the appearance of prints, and may be imparted to them by the addition of an aqueous solution of red, yellow, or other suitable colour, to the damping solution, which is applied in the ordinary manner. The plate is superficially dried, inked up, and printed from in the usual way.

72

CHAPTER VII.


Negatives Suitable for Collotype.

A COLLOTYPE plate may be readily produced from any negative, but the highest results are naturally only obtained when the negative is prepared with a view to its special use. First should be considered the question—May the negative, without detriment to the finished print, be utilised without a reversal? In the not very frequent case of this important point being immaterial, it is simply necessary to produce the negative on patent plate, and it is at once available for printing from. As the negative may easily sustain damage in any of the various operations, it should be thinly and evenly varnished; this, while affording protection, does not mar the sharpness of the resulting print to any appreciable extent.

Reversed Negatives.—In the majority of cases, the resulting copy has to exactly correspond with the original as regards the position left and right, and in such cases the negatives will have to be reversed. This is usually effected in one of four different ways—

1. Reversal of the image by reflection with a prism or mirror, or reversing the plate.

73 2. Stripping the negative from the glass.

3. By the dusting on or powder process.

4. By the use of negative films.

The second is that usually adopted. With regard to the special features desirable in negatives for Collotype, one giving a good silver print will answer equally well for Collotype—they should incline rather to softness than the other extreme. It has been remarked that they should be as free from veil or fog as possible, and may be intensified or not according to the judgment of the operator.

Portraits from Nature, with their fine half-tone, and at the same time necessary contrast of light and shade, are the most difficult to reproduce in Collotype. The negatives should be perfect in gradation, and such as are usually only obtainable from a talented operator who has the lighting of his studio entirely under his control.

Black and White subjects, on the contrary, for their satisfactory reproduction, require a negative of the utmost density, but perfectly clear in the lines. Such are better produced by the collodion process, as directed for photo-lithography. For subjects in lines or dots entirely free from half-tone, photo-lithography is more suitable for reproduction than Collotype, where price is a consideration.

Reversal by Reflection, by means of a mirror or prism, necessitates a special and rather expensive apparatus, and the exposure being somewhat lengthened, it is, although quite successful, more suitable for lifeless objects.

74 Stripping the Collodion Film is a safe and cheap procedure for producing the necessary reversal, and in the subsequent printing operations the danger of breakage, when compared with glass, is reduced to a minimum. The glass plate, free from defects, must be well cleaned, and it is safer, and renders the stripping more certain, if it be covered with a fine film of pure beeswax. This is best applied by rubbing over the surface a few drops of a solution of beeswax in benzole and carefully polishing, at the same time avoiding the entire removal of the wax. The piece of linen used in the operation should be rubbed upon a lump of wax previous to the polishing. The plate must on no account be gelatinised or albumenised, except round the edge only, as a precaution against premature slipping.[J] Use a tough collodion, and otherwise proceed as usual for the wet process. After the negative is finally washed and dried it should be varnished with a thin solution of gum arabic, to which has been added a few drops of a solution of chrome alum. After complete drying the margin or edges of the plate are rubbed with a little tallow. To prevent overflow the plate is accurately levelled and flooded with a solution of 10 parts gelatine soaked in 60 parts of water and dissolved by heat, to which is added 20 parts of alcohol and 6 parts of75 glycerine, using 1 dram of the solution to each four square inches. A few drops of phenyl, carbolic or salicylic acid may be added to the solution as a preservative, and the whole before use well filtered, while hot, through linen. The hotter the solution during the pouring on the more evenly the coating will run upon the glass, and it may be assisted in its flow by careful tilting of the plate. The use of paper strips is dangerous, and, notwithstanding the gum, extremely liable to damage the negative.

[J] Instead of wax the plate may be dusted over with powdered French chalk, all traces of which are removed before applying the collodion. After such treatment the film is scarcely likely to leave the plate before required. But as a further precaution, if the edges of two plates be drawn across each other a rough edge will be produced, to which the collodion coating will adhere tenaciously.—Trans.

Reversal of the Plate, either collodion or gelatine, is another method of securing reversed negatives, and consists simply in inserting the sensitised plate in the dark slide with the uncoated side towards the interior of the camera. A modification of the dark slide may be necessary, and it will be obvious that the ground glass focussing screen must be reversed, or the focus corrected after the insertion of the dark slide by shortening the camera a distance equal to the thickness of the sensitive plate. Dry plates present great advantages in this method, but, in development, density must be judged entirely by transmitted light, as the image is formed in, not upon, the film. As the rays of light pass through the glass to the sensitive surface, it is necessary that the uncoated surface be quite clean, and the glass itself should be perfectly free from bubbles, scratches, or other marks.

The plate should remain in its levelled position for about fifteen minutes to set and then be carefully76 removed to a safe and airy position, gelatine side outwards, and allowed to dry. This operation will probably take two days; the hot gelatine layer should be about 3 mm. thick. The negative may then be coated with a toughened collodion (one or two per cent. of castor oil added to plain collodion). The plate is placed aside, and in an hour will probably be dry and ready for the next and final operation. Cut with a knife through the film, take it by one corner, and, without pause or hesitation, strip it from the glass.

Any necessary retouching should be done upon the gelatine surface after roughing it sufficiently with pumice powder to enable it to take the pencil, and all such work must be completed before removing the film, particularly if it has been damaged, as in such places the colour used in retouching would cause an adherence, and the film would almost assuredly tear in stripping.

Upon the quantity of gelatine solution used the nature of the film depends. It should be entirely free from air bubbles. Too thick a layer almost always cockles, and does not lie flat during printing, in consequence of which portions of the picture will not be sharp in the print. On the other hand, too thin a layer is extremely awkward to handle in the larger sizes, and it is preferable to transfer it in a reversed position to a sheet of plate glass coated with indiarubber solution.

Gelatine Plates for Stripping are in the market.77 In their preparation it is necessary to first coat the glass with a solution of yellow wax in benzole, or an indiarubber solution, before coating with emulsion, such plates being known as strippers in America and Germany. When finished, the negative is placed, together with a gelatine film—or “skin”—in a solution of glycerine and water, both are withdrawn together, a squeegee applied to remove the superfluous solution, and the negative, with its adhering skin, placed aside to dry. Afterwards the edges of the film are cut through, and the negative removed from the glass.

Stripping the Film off Gelatine Negatives for Collotype.

In the Photographisches Archiv, Mr. Wilh. Otto, a well-known German Collotype printer, describes the following process:—

“The glass plates are first cleaned by being well rubbed with a solution of caustic potash, after which they are thoroughly rinsed and polished with tripoli. The next proceeding is to wax them by rubbing one face over with a solution of 12 grains of beeswax to one ounce of ether, this being applied by means of a piece of cotton or linen cloth saturated with the solution. In polishing off the excess of waxing solution, care must be taken not to destroy the continuity of the extremely thin and almost invisible film of wax which it is necessary to leave on the glass to ensure the easy and complete separation of the film. Some operators prefer to wax78 the plates by warming them to a temperature somewhat over the melting point of wax, then rubbing one face over with a lump of the article, the excess being now polished off with a piece of flannel before the temperature of the glass falls below the melting point of the wax. It may be mentioned that, before waxing, it is as well to mark the working surface of each plate by making a diamond scratch in one corner.

“A small piece of cloth, moistened with ether or benzole, is now used to remove all traces of wax from the edges of the plates, a margin of the width of an inch being sufficient; and it is well to paint this margin with albumen and to allow it to dry. Unless the edges of the plate are entirely free from all traces of wax, there will be a great probability of the film separating from the glasses at too early a stage, and adhesion at the edges is made more certain by the use of albumen. A moderately diluted solution of silicate of soda may be used instead of albumen.

“The waxed side of each glass is now coated with collodion containing a little castor oil; eight grains of tough pyroxyline and three drops of castor oil to each ounce of mixed solvents (equal volume of alcohol and ether) being a convenient preparation.

“The collodion being dry, the plates are coated with emulsion. The emulsion flows very badly on the collodionised surface, but by using a bow made of a piece of sewing cotton stretched across an arc of thin iron wire the difficulty may be readily overcome.79 The thread is to be drawn over the surface of the plate after the required quantity of emulsion has been poured on, and it is scarcely necessary to say that the glass should be supported on a levelling stand.

“Plates prepared in this way are developed and fixed in the ordinary manner, and when a plate is dry it is sufficient to cut through the film inside the edge which has been cleaned of wax, when the film negative can be easily stripped off. In this case, however, the film is very thin, and it is often desirable to thicken it somewhat before stripping. For this purpose a piece of thin commercial sheet gelatine is taken, and soaked in water till it becomes quite flaccid, and this is laid on the negative, care being taken that no air is enclosed between them. A sheet of wet paper, or of mackintosh, is now laid on the gelatine film, and all excess of water expelled from between the negative and the soft gelatine film by stroking the upper surface of the paper, or of the mackintosh cloth, with a squeegee—that is to say, with a strip of indiarubber set in a wooden handle.

“It is now easy to remove the paper or the indiarubber cloth which was used to protect the soft gelatine from the action of the squeegee, and the plate can be set up to dry. When dry, the film is cut through within the border from which the wax was cleared off, and the film will separate readily; but should there be any tendency towards a too early separation, owing to the contractile force of the fresh80 thickness of gelatine, the edges of the plate may be bound with strips of gummed paper.” (Photographic News.)

Stripping Ordinary Gelatine Plates.—Any make of dry plate may be stripped by the following method:—The plate is coated with strong tough collodion upon the gelatine side; as soon as the collodion has set, it is plunged into cold water and washed until all greasiness disappears. In the meantime, a piece of “flexible support,” as used in carbon printing, is carefully waxed by rubbing upon its surface a solution of turpentine 140 cc., beeswax 2 gm., resin 6.5 gm. This should be applied evenly by means of a piece of flannel, the solvent allowed to evaporate, and the waxed surface polished with a second piece of flannel. The support should then be placed in cold water and allowed to become quite flexible, in which state it may be used at any time. Remove the negative from the clean water, and place in a bath of methylated spirits 150 cc., glycerine 3 cc., water 30 cc., hydrofluoric acid 3 cc. An ebonite, guttapercha, or lead dish should be used to contain this solution, with which the fingers should come in contact as little as possible. The film should be watched narrowly, and when loose upon the glass—but not actually detached—the plate, still bearing the film, should be placed in a bath of clean water, well washed, and all surface moisture absorbed by careful blotting. Take the flexible support from the water in which it has been standing, and without81 removing any adherent moisture, carefully lower it upon the film, which is still resting upon its original glass plate, squeegee it into contact with the negative film, avoiding air bubbles, place under a weight, and allow to stand for ten minutes or a quarter of an hour. The film will then be found to adhere to the flexible support, and may be readily removed from the glass. It should be allowed to dry spontaneously upon the support, no attempt being made to remove the film until it is “bone” dry, when it will readily part with the temporary support, remain perfectly flat, and may be printed from either side with perfectly satisfactory results. Should any of the waxing solution remain on the surface of the film, it may be removed by the careful application of a little turpentine applied on a small linen pad. Do not use methylated spirit for this purpose, as it may cause the film to “buckle.” Any stripped films may be conveniently preserved and kept flat between the leaves of a book.

The Powder Process is one of importance for reproducing and, at the same time and at one operation, reversing negatives, but for some reason is far more resorted to upon the Continent than in England, where few only have been able to thoroughly master it. Failures are usually attributed to changeability in the climate, but, although success is by no means uniform, it is a thoroughly workable process. The basis is a chromated solution of gum arabic, with which a plate is coated, dried, and in a thoroughly82 dry condition exposed to the light under a negative. The greater the extent to which the light acts, the smaller will be the amount of moisture the coating of the plate will absorb when exposed to a damp atmosphere. If the surface of the plate be now dusted over with a fine powder, as drop black, or graphite, the greater the amount of moisture certain parts of the film have absorbed, the greater will be the amount of colour such parts will retain, and so exactly reproduce the light and shade of the original negative. Simple as this process reads, the difficulties must not be underrated, and the operator will probably find plenty of opportunity for the exercise of his patience and ingenuity. A consideration of the process as just described will show that a plate which has only been subjected to a short exposure will, on dusting over and development, be found to exhibit greater density than one that has received a longer exposure, a careful adjustment of which will give to the operator great control over the density and characteristics of the reproduced negative, a power certainly too important to be overlooked. A reliable formula for the preparation of a gum-chromate solution for this process is due to Dr. Leisegang:—

Rain water 1 litre.
Dextrin or glucose 50 gr.
Gum arabic 50 gr.
Honey 10 gr.
White sugar 20 gr.
Glycerine 5 gr.
Cold saturate solution of bichromate of ammonia 100 gr.

83 which, after careful filtration, is poured over a well cleaned and dusted glass plate. After draining a little by standing on blotting paper, dry over a spirit lamp, and place, while still warm, under a negative in the printing frame—one minute in the sun, 10 to 20 minutes in the shade, is about the necessary exposure. As previously mentioned, the shorter the exposure, the denser will be the resulting negative, a result at variance to any other photographic printing operation. To develop the picture the glass plate is placed, coated side upwards, upon a sheet of clean white paper, then, with a soft camel-hair brush, dust over the picture some very finely-ground Siberian graphite, working the same backwards and forwards over the plate until the necessary strength is attained. If the picture should develop too quickly, and take the colour all over, the cause is under exposure; should the powder adhere unevenly, or the picture present a smudgy appearance, the coating must have absorbed too much moisture, and must be again warmed before further development. This precaution is particularly necessary during the winter months. If a prolonged development be necessary, and after continuous dusting a picture lacking in contrast be the result, it is occasioned by over exposure. On completion of the development the picture should be finally and carefully dusted with a soft brush to remove the superfluous powder, coated with a thin plain collodion, and placed in water, which should be frequently changed, until it fails to84 show any trace of yellowness. The plate should be afterwards retouched and varnished.

Negative Films have now been before the public some time, and have been considerably used as reversed negatives by printing with the back of the film in contact with the plate. The four principal varieties are, in the order of their introduction—1st, Eastman’s; 2nd, Froedman’s; 3rd, Pumphrey’s.

Eastman’s Stripping Film consists of a substantial paper coated with a layer of soluble gelatine, upon which is spread a coating of insoluble gelatine emulsion; they may be exposed in contact with a sheet of glass in an ordinary dark slide in the film carriers or on the roller slide. There are no special precautions necessary in the development, except that no alum may be used previous to stripping. For use as reversed negatives the ordinary operations are greatly shortened and simplified. A sheet of plate glass is coated with collodion, allowed to set, and then placed in a dish of cold water until all greasiness has disappeared. After fixing and washing, the negative, still supported upon the paper, is placed over the collodionised plate in the same dish, and the two brought out face to face. Upon the back of the negative paper place a piece of blotting paper, cover it with a sheet of oiled paper—as used in copying letters—and apply the squeegee; place a dry sheet of blotting paper upon the back of the film, cover it with a sheet of glass or other flat surface, upon85 which place a weight. In fifteen minutes the plate may be placed in warm water—about 130° F.—and in a short time the paper backing will float off. By gentle washing with hot water remove the soluble gelatine from the film resting upon the glass, and place the negative aside to dry. It is then complete, and reversed.

Froedman’s Films consist entirely of gelatine, require no stripping, and may be printed from either side. The film is somewhat difficult to handle in the developer, and has to be dried by spirit. One feature against their employment in Collotype is a yellow stain, which probably arises from the bichromate with which the film is hardened, and although more apparent where the negative is protected by the rebate of the dark slide, it undoubtedly pervades the whole picture.

Pumphrey’s Lifting Films are the latest and best of a series of films introduced by the same maker. They consist of a basis of paper coated with a waterproof varnish on one side, upon the other being spread an indiarubber coating possessing considerable adhesive power; to this is attached the gelatine film proper, which consists of two layers, one of plain gelatine, and the other the sensitive emulsion. The films should be exposed in the camera between two glass plates, and the spring of the dark slide should be of considerable strength to insure flatness of the film, and consequent sharpness of the image. The films during development may86 be treated exactly as an ordinary plate, the manufacturer recommending Beach’s developer. When in the bath they seem little liable to damage, and may be handled with great freedom and facility. Upon completion of the development, fixing, and washing, the paper backing or support is attached by means of paste to a substantial and smooth card. As a precaution, not always necessary, but usually advisable, against the film prematurely separating from its support, around the edges gummed paper strips may be attached to the card, and allowed to extend over the edges of the gelatine film to the extent of 3 mm. When dry the film may be varnished, and afterwards lifted from its support by first cutting through the gelatine and passing the blade of the knife round the edges between the film and the temporary paper backing, the latter remaining attached to the card. The two are by these means readily separated, and the resulting negative film may be printed from either side without disadvantage, and is of sufficient strength to withstand a considerable amount of rough handling.

Other Methods of Reversal.—There are processes of copying, usually by first producing a transparency and from that again a negative. If the wet process is used throughout, a copying camera is essential in both stages. Should dry plates, however, be used, the transparency may be produced in the camera and the negative by contact in a printing frame, or vice versa, or both may be produced by87 means of the camera. If the transparency be produced by the carbon process a negative may then be made from it by contact, and the necessary reversal will be brought about without the use of the copying camera.

88

CHAPTER VIII.


Printing in the Press.

THE etching or damping and rolling-up of the Collotype plate presents difficulties which are greater even than those met with in the preparation of the plate. These remarks also apply with equal force in photo-lithography, and whoever stops at the preparation of the plates or the photo-lithographic transfer, and leaves the subsequent operations to be performed by another, should not be considered either as a collotypist or photo-lithographer. The whole success depends upon a succession of apparent trifles; many errors it is impossible, or at any rate difficult, to rectify, and great care should be taken that nothing is overlooked, or from some trivial cause the whole may result in failure.

Firstly, remove all adherent matter from the back of the plate, as the smallest amount of dried gelatine, particle of grit or other hard matter will suffice to cause the fracture of the strongest glass plate on the first application of pressure.

The Etching or Damping Solution in most common use consists of a stock solution of five parts water, one part liquid ammonia, three parts glycerine, and one-tenth part of nitrate of lime.89 For use add five or six parts of this solution to 100 parts of water, sufficient of this being used to well cover the plate when placed in a clean dish. Another reliable formula is one litre glycerine, 600 cc. water, chloride of sodium three grammes. Plates may be immersed in these solutions for a time extending from ten minutes to five hours, or they may be well flooded with it, wiped off, and dried with blotting paper.

The press having been examined, oiled, and put in thorough working order, the next consideration will be

Fixing the Collotype Plate, which may be performed in several ways. Immersing the plate in the etching fluid precludes the old method of cementing it on with plaster of Paris, or glue and whitening, but it may be fixed by adhesion to a bed of glass or a polished iron plate, or a special and somewhat complicated frame may be procured for securing the thick printing plate by means of adjustable clips secured by screws. Should the printing surface be upon a thin glass adhesion alone will be found sufficient, a few drops of water causing the printing plate to adhere to the thicker glass plate underneath. This method has the disadvantage that it is most difficult to ensure the position of the plate being in keeping with the mask on the frame. Should the mask be placed directly upon the gelatine surface of the plate it will not last many impressions without either tearing or causing damage to the surface90 through the formation of creases or wrinkles. If the picture has to be trimmed without margin, and mounted—either with or without varnish—the masking is altogether unnecessary. The preparation of the ink and rollers should next be proceeded with. Supposing the work in hand to be one of a simple character—say the reproduction of an impression from a copperplate in black—take a piece of the best chalk ink about the size of a hazel nut, in an unthinned condition, as supplied to the printing trade, and with an iron spatula or palette knife spread it upon the inking slab. Add one-quarter the amount of middle varnish (refined and odourless), one drop of olive oil, and one or two drops of best French turpentine, incorporate thoroughly by means of the palette knife, divide, and apply one-half to the roller. The next operation is the important one of

Distributing the Ink.—A really good leather roller, the handles of which should be encased with easy fitting leather covers, is most suitable for the purpose. The ink, by careful manipulation of the roller, should be gradually distributed over the entire surface of both roller and slab in a perfectly even and regular manner. Should any small lumps be observable upon either surface they should be carefully removed with the palette knife and the rolling and distributing again proceeded with, as on careful attention to this matter the excellence of the resulting print greatly depends. The printing plate being well secured, its moistened surface should be very91 evenly dried. This is best effected by means of a roller covered either with fine cloth or washleather, or a fine soft linen cloth may be used as a substitute.

Rolling up.—Apply the inking roller with light pressure to the nearest edge of the plate, and roll backwards and forwards over its surface several times; an experienced printer will at once perceive the condition of the surface. For the first inking a stiffish ink should be used, as the plate will not then so readily become dirty. By repeated rolling in different directions, and what is of equal importance, with varying pressure, endeavour to distribute the ink with perfect evenness, and with a view of producing a clear and vigorous inking, which will yield a similar perfect impression. It should be remembered that

1. A slow rolling with heavy pressure deposits ink on the plate; and

2. Light and quick rolling removes the ink from the print layer.

By modifying the treatment of the plate, and varying the application of the roller and damping solution, an experienced printer will demonstrate his power of producing from the same plate flat, weak, and unsatisfactory impressions, or prints as clear and vigorous as may be desired. The first application of the ink having been made with a leather roller, it should be distributed, and the half-tones improved by the application of a smooth roller, preferably of glue composition. Without this second inking, it will92 be found impossible to produce the highest results in half-tone.

The Second, or Composition Roller, must be lightly charged with ink considerably thinner than that applied in the first instance, the remarks concerning the pressure applied to the leather roller applying with equal force in this case. By light, quick rolling, the ink is partially removed from the plate, while heavier pressure and slower movement will deposit ink and strengthen the shadows.

When the inking is complete, the frame with the mask is placed in position. The printing paper, which may be either strong, well-sized letter-paper, thin cardboard, or the paper known in the trade as “dull enamel,” cut to a suitable size, is adjusted over the mask, and backed with a couple of thicknesses of smooth paper. This again is covered, with the tympan attached to its frame. Push the bed of the press so far under the scraper that the latter, when pressure is applied, will nip the plate about one centimetre from the commencement of the picture. This position has to be ascertained by trial before covering with the second or tympan frame.

The Scraper being regulated so that it will give a sufficient pressure, pass the bed quickly through the press to the extent necessary to produce a complete impression. The length of traverse of the bed during printing can on most presses be regulated by side screws, or the tympan may be lightly marked. After releasing the pressure, the bed is withdrawn,93 the tympan and masking frames thrown back, and the printing paper cautiously raised by one corner. It often adheres slightly to the printing surface, and this is usually an indication of a good plate. The adhesion may, however, at times be so strong as to tear the paper, or, in the case of enamel paper, remove the chalk coating. As previously mentioned, the scraper should be selected of a width somewhat exceeding that of the picture, but never exceeding that of the glass plate. It may be left plain and moderately sharp, or covered with leather.

Damping the Plate between each impression will usually be unnecessary, providing a good sample of gelatine is used, and the damping solution contain a sufficient quantity of glycerine. In cases where the Collotype plate has been over exposed, or the subject be one which requires an absolutely white background, damping between each impression will be absolutely essential. Where it is omitted for any length of time, the whites of the pictures will always be more or less degraded or tinted. Should the early impressions not be satisfactory, patience should be exercised, and by careful treatment with the roller or rollers, and care in the damping, favourable results will often ensue after the first few impressions have been pulled. Only from actual damage to the print layer, or excessive over exposure in the copying frame, need the plate be placed aside as in a hopeless condition. The beginner should guard particularly against mechanical damages in damping; drying and rolling. Lithographers94 are inclined to treat the delicate printing surface with the same vigour and energy that they would apply to the more substantial lithographic stone to which they are accustomed.

The following directions from “Kleffel’s Manual of Photography” are to be recommended in printing line subjects, particularly in “glass” printing direct from the negative:—“The chromated layer of gelatine must have been submitted to a sufficiently long exposure to ensure it taking the ink over the whole surface. For the first rolling in of the plate, the ink should be composed as follows: White wax, 45 parts; middle varnish, 5 parts; gum elemi, 15 parts; litho ink (about 5s. per lb.), 20 parts.

“After the plate has been thoroughly rolled in and blackened, it must be rubbed with a piece of unbleached muslin, previously saturated with the following solution: 30 parts of ammonia and oxgall (about equal parts), 30 parts gum arabic, 90 parts water, until the picture develops perfectly clear. Dry with a clean piece of muslin, and roll in for the printing proper with ordinary thin copper plate printing ink. Plate paper, similar to that used in printing from the copper plate, is most suitable.”

When printing operations are complete, the rollers, printing plates, and inking slabs should be at once cleaned, as the varnish colours soon harden and create difficulties.

Cleaning Leather Rollers without damaging them requires considerable practice. They are95 always scraped with a clean knife, and the operation should be performed in one direction, to ensure which it is advisable to mark one of the roller handles. Leather rollers not in constant use, before being put aside, should have their surfaces carefully and thoroughly rubbed over with tallow, which must, of course, be scraped off before the roller is again used.

Cleaning Composition and Indiarubber Rollers should not be effected by means of scraping, but their surfaces should be cleaned with turpentine, applied with a linen rag free from lint.

Cleaning the Plates.—Turpentine is used to free the surface from every particle of ink, and after the thorough evaporation of the spirit, the plates should be well washed in water to remove all trace of the damping solution, dried, and stored in a cool place. It is sometimes a matter of difficulty to remove ink from Collotype plates that have been printed from, but a simple method is to pour over the plate—as in developing a collodion picture—some lukewarm water. This will dissolve a thin layer of gelatine, and enable one to at once proceed with the work.


96 CHAPTER IX.


Finishing and Varnishing Collotype Prints.

RETOUCHING Prints.—Under the above heading Leon Vidal, in his work “Traité Pratique le Phototypie,” gives the following directions, which I reproduce from the “Photographic Archives.” Even with the utmost possible care in the preparation of the printing surfaces there will be required in most impressions a little retouching, if only to hide a few white spots. In large orders this cannot be carried to the extent it is in silver prints. It happens in printing that particles of dust find their way to the plate, and cause either light or dark spots in the impressions; the former are covered by touching with ink, the latter are removed with the erasing knife, and the white spot resulting from the operation is toned down with ink. This spotting is quickly performed. The paper being dull a colour should be used containing only a small proportion of gum; it will then be invisible. Prints which it is intended to varnish should not be spotted until they have been sized, unless printed upon a paper already impervious to the varnish. The colour most suitable of all is the actual printing ink thinned with turpentine, by using which the trouble is avoided of97 mixing any special colour to match the tone of the impression, as the two colours are necessarily identical. Another advantage gained by adopting this method is that the spotting may be completed before sizing, as the aqueous solution of gelatine will not cause it to run. For impressions in pure black the lithographic chalk is probably the best medium for correcting proofs, as the colouring matter will be found to well harmonise with the general appearance of the picture. A blacklead pencil, on the other hand, is quite unsuited for the purpose on account of the highly metallic appearance visible wherever the pencil has been applied to the print. Retouching or spotting should not extend beyond the removal of light and dark spots; the correction of larger faults should not be entertained, but a fresh printing surface produced. Faults present in the original negative should be carefully retouched and removed or reduced as far as possible. Should the white margins of the picture become soiled by contact with the inky mask or by finger marks, they may be cleaned with indiarubber ink eraser. The backs of impressions may also be cleaned in the same manner.

When copies have to be mounted on cardboard they may be either left with a matt surface or varnished. In the first case, the edges are trimmed, and they are then mounted upon the cardboard mounts. If the latter have been previously damped they will retain their flatness.

98 Rolling or Burnishing must not be done until the prints have completely dried, or the picture may be torn from the mount.

Sizing and Varnishing.—Prints to be varnished may be printed on prepared or sized paper, and in such cases may be at once varnished. If, on the contrary, the paper is not sized, they require a special preparation, as follows:—A 10 per cent. solution of gelatine is laid on with a broad camel-hair brush, avoiding air bubbles and streaks. After a little practice this operation will be found both easy and rapid. The sized pictures are pinned in pairs back to back on a wooden frame, to which strips of cork are attached; when the prints are quite dry the operation of varnishing may be proceeded with. A good varnish, probably the best for the purpose, which possesses the double advantage of remaining colourless and setting very hard, consists of a solution of 15 parts of white (bleached) lac in 100 parts of wood spirit (vegetable or wood naphtha). On dissolving the shellac it will be found that the solution is clouded on account of the suspended fatty matter, the removal of which is always desirable; the varnish will then filter more rapidly and give a more glossy coating. By adding powdered lime three parts of the solution may be decanted clear, and the remainder may also be used after filtration through felt. Or if to three parts of varnish one part of benzine or petroleum ether be added, the solution will resolve itself into two layers, and the99 upper one, which will contain the fatty matter, may be poured off. The varnish is best applied by means of a ball or dabber, care being exercised to avoid air bubbles; the print is next placed in

The Drying-box (see fig. 8), which is a four-sided tin box 1 m. long by 0·25 m. high. A gas-pipe, perforated with small holes drilled about 6 to 8 cm. apart, runs through the upper part of the box, the front of which is open to two-thirds its height. A plate, finely perforated, divides the upper third from the lower two-thirds, and forms an inner division, through the upper of which the gas-pipe passes. The flat perforated division is hinged to allow of being opened for the purpose of igniting the gas. The pictures placed on the bottom of the box dry very rapidly, while the perforated division prevents the possibility of the ignition of the vapour of the spirit employed. With such an apparatus it is possible to varnish and dry a large number of prints in a very short time.

Fig. 8.

Sizing may be Avoided if each picture, after well drying, be dipped into the following solution: Water 500 g., borax 130 g., white shellac 100 g.,100 carbonate of soda 6g. The borax and carbonate of soda are dissolved in boiling water, and the powdered shellac then added in small quantities; when solution is complete carefully filter and allow to cool. The impressions, two and two, back to back, are pinned on frames, dipped in the varnish, and afterwards dried. By this procedure a shellac coating is given to the surface only of the print; there is no gelatine substratum to soften through atmospheric influences, and so crack and destroy the layer of varnish. In winter the temperature must be kept high, and the solution should be heated 15° to 20° C.

Parchmentising to a slight degree may also be adopted to close the pores of the paper. Add one part by volume of water to two parts of sulphuric acid, allow it to become quite cold, immerse the pictures for one second only, and at once wash in a copious supply of clean water to which has been added a small quantity of ammonia to effectually neutralise the acid. The action of the acid must not be carried too far, as it is merely necessary to act on the surface. To prevent paper so treated from cockling while drying, it must be put under pressure or stretched upon a frame; when quite dry it has to be varnished and dried by heat.

Varnishing Enamel Paper without previous sizing is best done by means of an alkaline solution of shellac prepared as follows: Place in a six litre tin flask 1/2 kilo of bleached and powdered shellac, pour over it 1-1/2 kilo of alcohol and 1-1/4 kilo of strongest101 ammonia. In the course of a few days the solution of the shellac will be complete, then add, with constant stirring, 2-1/2 kilo of hot water, and when cold filter. It may be applied to the print with a broad Blanchard brush,[K] and left to dry in a horizontal position. The prints may also be floated on the varnish for about half a minute, and then suspended to dry by means of clips. After a few minutes have elapsed a piece of blotting paper should be applied to the bottom edge to absorb the superfluous varnish.

[K] Made as follows: Take a piece of glass, say 20 cm. long by 6 or 7 cm. wide, and a piece of swansdown calico the same width as the glass but only 6 cm. long, fold this over the one end of the glass, 3 cm. being on each side, and bind round with thread or spring on a rubber band.

Rolling or Burnishing must on no account be attempted until the mounted prints are perfectly dry, otherwise they may be seriously damaged or even completely torn from the mounts.


102 CHAPTER X.


Other Collotype Processes.

THE Artotype Company, of New York, which has acquired Obernetter’s process, proceed on somewhat different lines to those laid down in this work, and an abstract of their proceedings is here given as interesting to those about to experiment. According to Bachrach, “Photographic Archives, 1879,” p. 66, they proceed as follows:—

Fig. 9.

Plates coated with Husnik’s silicate of soda substratum are dried rapidly in a box heated to 65° C. This causes the solution to coagulate, the plates are dried in half-an-hour, and as it adheres with great tenacity to the glass plate, the latter may be at once coated with the chromated gelatine solution, or it may be kept till the next day. Before the second coating is applied the plate is well washed and allowed to dry spontaneously. The drying-box is of wood, 2-1/2 feet square and 5 feet high, the entire front being a large door, as shown in the sketch (fig. 9), and the bottom a flat water tank about four inches deep fitted with two pipes, one to allow the escape of steam, and the other of use in filling the tank with water. It may be heated by means of gas or a petroleum lamp. After the bottom of the box has103 been accurately levelled, it is covered with a few sheets of blotting paper, on which are placed the albumenised plates. Occupying the upper part of the box are adjustable racks, on which other plates are dried. The box is heated to 82° C., the plates are levelled in their places, and just sufficient hot chromatised gelatine solution poured on each to spread up to the edges—not more. The Artotype Co. takes one-third each of gelatine, isinglass, and the so-called Magdebourg isinglass. Plates are allowed to remain in the drying-box about 20 to 30 minutes, during which time the door must not be opened, and particular importance is attached to the high temperature, reaching even to 93° C., at which the drying is completed, as it is considered by these means printing plates of much finer grain are obtained. (The Author believes the temperature given is much too high, as it would be sufficient, without exposure to light, to bring about a partial decomposition.) When dry, the plates may at once be printed104 under the negative. To etch the plate it is immersed in a solution of 5 gr. alum in 1 litre of water, rinsed, allowed to dry, and put in a bath consisting of 150 ccm. of water, 1 litre of glycerine, 300 ccm. of ammonia, 30 g. nitrate of lime. Plates that have been exposed under the negative too long are treated with a solution of 20 parts of ammonia, 20 parts of glycerine, and one part of Venetian turpentine; with this they are flooded. The remainder of the process is very similar to that already described.

Seignior Carlos Relvas.—Vidal publishes the following method of procedure as that adopted in the studio of this eminent Portuguese amateur collotypist, where it was introduced by Jacobi:—Very thick glass plates, finely ground on one side, are used; they are cleaned with nitric acid, and rinsed in distilled water. The drying box used is provided with iron bars, fitted with adjustable screws for the purpose of accurately levelling the plates. Midway between the top and bottom of the box is an iron plate, underneath which are fitted gas jets. The doors by which access to the box is gained for the plates consists of very fine wire gauze, allowing the escape of steam, but preventing the access of insects. After a thorough cleansing, the plates are levelled on the adjusting screws, allowed to thoroughly dry, and then coated on the ground side with the following solution—

White of egg 160 ccm.
Bichromate of potassium 8 g.
Distilled water 480 ccm.
Glycerine 16 drops.

105 To which is added sufficient ammonia to give the liquid a pale yellow tint, somewhat less being used where a hard negative is to be employed. This substratum is filtered, and the plates afterwards coated and placed upon the levelling screws in the drying box, which is heated to a regular temperature of 40° C. In about two hours the plates will be dry, and are then placed, coated side downwards, upon a black cloth, the back of the plate being exposed to diffused light for half-an-hour. It is again placed in the drying box, and the second coating, as follows, applied—

Gelatine 27 g.
Water 400 ccm.
Bichromate of potassium 9 g.
Preparation A 15 ccm.
Preparation B 15 ccm.
Ammonia a few drops.

The preparations A and B are as follow:

A.— Chloride of sodium 1 g.
Water 500 ccm.
B.— Sulphate of alumina 1 g.
Water 100 ccm.

To each square decimetre of surface should be allowed 2 ccm. of the above solution. The plates are replaced in the drying box, which is heated to 45° or 50° C. They should be dry in three hours, and are then ready for printing under a negative in the copying frame. They are afterwards well washed in filtered water, and allowed to dry spontaneously in a dust-proof situation. In two or three days the printing may be proceeded with, the surface having been106 softened by allowing the plate to stand for seven hours in the following solution—

Glycerine 500 ccm.
Distilled water 200 ccm.
Preparation C 100 ccm.
Preparation C. Sulphate of magnesia 50 g.
Distilled water 500 ccm.

All solutions are filtered through flannel. From the face of the plate the superfluous moisture should be removed with a sponge. A very thick glass plate is fixed to the face of a lithographic stone by means of glue and whiting, and adhesion is secured between the face of the thick glass plate so fixed and the back of the Collotype plate by means of a few drops of water. The whole, so arranged, is placed upon the bed of the press. Should the prints lose their contrast while the printing is in progress, they are lightly sponged over with a sponge dipped in the last-mentioned solution. If this fails to produce sufficient effect, the plate is first washed with turpentine, and then with the glycerine solution. Care should be taken to prevent the two liquids becoming mixed on the plate, to prevent which different sponges and drying cloths should be used.


107 CHAPTER XI.


Failures in Collotype.

IN THE PREPARATION OF THE PLATES.

AIR bubbles in the albumen substratum. These must either by filtration or by the aid of a piece of paper be carefully removed from the solution before it is applied to the plates. The latter must be well cleaned and dusted, and freed of emery powder if they have been re-ground.

To Prevent Dust or other matter rising from the edge of the plates by capillary attraction while standing, they should be allowed to rest on clean blotting paper, and preferably on one corner only.

Coating Plates.—Great difficulties are experienced by the beginner in coating the plates with the chromated gelatine. He seldom knows beforehand the exact quantity required, or the temperature of the solution. The latter ought to be ascertained, as it is an important factor in the thickness and flow of the coating; with a solution only just warm it is impossible to apply a very thin coating, while the hotter the gelatine the thinner the layer. Considerable dexterity and judgment are necessary to spread an even layer of the requisite thickness, which is a matter most essential to success, but,108 unfortunately, only to be mastered by actual experience.

Plates are not unfrequently spoiled by inclining them while conveying them to the drying box, as in this way the coating is frequently rendered uneven.

All solutions must be carefully filtered, and the plates freed entirely from dust. The drying box, particularly the lid, must be carefully dusted and cleaned, but not immediately before use.

Other necessary precautions have been pointed out while describing the preparation of the plates. By strictly adhering to the rules laid down it will be found possible, after a certain amount of practice, to avoid the pitfalls here enumerated, while with regard to faults in the plates, there only remain to be mentioned the consequences of drying at too high a temperature.

Thick Films are extremely liable to fly off the glass and damage its surface, if dried at too great a heat. The thicker the film the lower should be the temperature of the drying box.

Thin Films, dried at too high a temperature, even without exposure to light, present a brown appearance, their sensitiveness is impaired, and they take too much ink over their entire surface.

FAILURES IN PRINTING.

It is generally an advantage to work the press in a cool and somewhat damp apartment.

Breakage of the Plate.—Notwithstanding its thickness, the glass plate sometimes flies to pieces109 on pulling the first impression. If the plate and its foundation are perfectly level the breakage must arise from the presence of some foreign substance having found its way between the two surfaces.

This may occur from such a trivial matter as a grain of sand, perhaps introduced between when moistening the under side of the plate to secure adhesion. Or traces of chromated gelatine may be found attached to the under surface of the plate, either of which causes is quite sufficient to account for a breakage with even moderate pressure. In Collotype the pressure need not be by any means so heavy as in lithographic printing; it should be evenly distributed, and may be moderated by placing the stone or glass plate, or whatever the Collotype plate may be attached to, on some comparatively elastic bedding, which may consist of several layers of printing paper, thin felt, thick indiarubber sheeting, or linoleum, any of which may be used.

Spotted Impressions.—The plate yields unsatisfactory copies covered with white spots resembling drops of water. This most frequently occurs at the commencement of the printing, and is nearly always caused by uneven damping of the surface. Old plates which have been dried very often give perfect negative impressions at first. In such cases, after the removal of the ink by turpentine, soak the plate for a quarter of an hour in water, to which has been added a little glycerine and ammonia (see “Etching Fluid”). Dry the plate110 with a clean roller covered with cloth or chamois leather—or, as a substitute for the roller, a soft linen cloth may be used—and again roll in with ink which has been thoroughly well distributed on the inking slab.

Too Much Ink is taken by the plate over the whole surface, and notwithstanding slow or rapid rolling, it refuses to leave the high lights. Cause—over-exposure in proportion to the thickness of the layer, which is probably too thin. In such cases washing with dilute solution of ammonia will often improve matters. Another proceeding to be recommended in the case of a plate taking too much ink is to remove all ink by means of a sponge damped in water containing a little petroleum—not benzine or turpentine—and afterwards wash the plate with a sponge containing glycerine and water. It is then ready for immediate printing from, and ought to give about 200 copies without further damping if the press be in a moist situation.

Loss of Half-tone arises from the print layer becoming too moist, when the more delicate half-tones fail to print. Dry with blotting paper, and immerse for five minutes in a bath of alcohol; this will take up the water, and the succeeding impressions will be greatly improved.

Uneven Inking.—It sometimes occurs, particularly in pictures which should show a white ground, that the latter takes more ink in one part than another. This usually arises from an unequal111 thickness of the sensitive coating. The plate will take most ink where the coating is thinnest, and for this fault there is no remedy.

Ink Refused by the Plate.—Sometimes, after a few impressions have been pulled, the plate refuses to properly take the ink, from the layer being too thick and having been too freely moistened. Further damping should be discontinued and a thinner ink used, which will better take upon the deep-lying shades. This fault will be found most pronounced in the cases of written or printed titles to pictures, and other cases exhibiting extremely disproportionate action of light. Therefore, when there is writing to a picture, it should be shaded somewhat during printing in the printing frame, or if the contrast be very violent it may fail to print entirely.

Flat Prints.—After a number of satisfactory prints have been produced the succeeding ones become flat, this fault will be especially noticeable with thin layers devoid of isinglass, and in cases where the negative has been too flat and lacked contrast. Dampen more frequently with dilute ammonia and glycerine.

Paper Adhering to the Gelatine—Those layers which yield the best and most brilliant impressions, showing plenty of contrast, which have been fully printed under a vigorous negative, most often exhibit a disagreeable tendency to adhere to the paper in the high lights. The greater the proportion of isinglass present in the film the more will112 this fault manifest itself, particularly with an enamel paper. An application of a diluted solution of ox-gall to the film, the use of a thick well-sized or glazed paper, lighter pressure while printing, and less frequent damping will all tend to diminish this evil. Layers of this nature are extremely liable to damage, and the adhesive portions will soon suffer unless the greatest care is exercised.

Ink Remains upon the Plate.—Through too light or uneven pressure it sometimes happens, especially when using a stiff ink, that the latter will, after the impression has been pulled, partially adhere to the darkest portions of the printing surface, particularly on the edges of plates deeply copied. If this fault is not corrected at once, and the printing allowed to proceed, these portions giving a light, faulty impression will gradually increase in size, and the corresponding portions of the Collotype plate gradually darken. When first observed the whole plate must at once be cleaned with turpentine and again rolled up with thinner ink, a greater and perfectly even pressure being applied. Small faults of this nature occurring on the edges of the plate can be corrected after each faulty impression by means of a small piece of sponge moistened with gum water or with a turpentine rag.

Displacement of the Paper under the scraper will create a double impression, and sometimes wrinkles, the latter invariably leading to the destruction of the plate. By adopting the use of the113 bridge now used in conjunction with most Collotype hand presses, this fault is avoided, as the paper is only in contact with the printing surface immediately under the scraper.


114 CHAPTER XII.


Investigations on Collotype.

AUGUST ALBERT[L] is of opinion that it is by no means a matter of indifference whether bichromate of potassium or bichromate of ammonia is used in the preparation of the Collotype plates; on the contrary, he believes that the latter salt materially conduces to interruptions in printing, especially in unsettled weather. The results of his experiments with the two salts in the Collotype process, and of their behaviour in combination with different sorts of gelatine, are as follows:—

To 1000 cc. of water are added ten drops of a saturated solution of chrome alum; this mixture, after having stood for a quarter of an hour, must, if shaken up, show an opalescent appearance, and a slight milky turbidity; if too much chrome alum has been added, the water acquires a greenish colour. The gelatine is now added, and, for about fifteen minutes, kept at a temperature of 134°, when the chrome salt is added, stirring all the while, and the temperature of the water bath raised to 150° to115 160°. The temperature and time must strictly be adhered to. The jelly thus prepared should be kept at least ten hours in a solidified state previous to using.

[L] This experimentalist has evidently been confused with the late Joseph Albert, of Munich, by some writers. It may be mentioned that Joseph Albert, whose business is still carried on by his widow, was father of Dr. Eugene Albert, known in the photographic world for his orthochromatic collodion emulsion. August Albert, of Vienna, is of another family.

Hard Gelatine.—Plates prepared with this, show after drying, a shiny, transparent film, more or less according to the quality. Such plates give hard prints, and are soon used up in printing, the finest and even the middle tints becoming weaker, and the shadows gradually coalescing, specially in the case of short exposure and very dense negatives, and they are generally useless after a few impressions have been taken. If ammonium bichromate is used, together with hard gelatine, then, as a general rule, it is impossible to obtain more than one or two prints from each plate. By washing the gelatine, these inconveniences are not at all removed, no matter which of the two salts has been used.

Soft Gelatine.—If this is prepared with potassium bichromate, then the plates will have a dull but rough and untransparent film, which will be found very unserviceable for printing, as the prints will lack vigour; the high lights will tone, and the whole picture appear blurred. If, however, ammonium bichromate is used in conjunction with soft gelatine, the plates will also have a dull appearance, but though they work somewhat better than those prepared with potassium bichromate, they will not be of sufficient durability, the finer tones soon disappearing during printing. Therefore, neither116 hard nor soft gelatine are suitable for Collotype work, as the printing operations are rendered more difficult. If both sorts are mixed, the results will be somewhat better, but not like those obtainable with middle hard gelatine, which must be accepted as the most suitable kind for Collotype work.

Middle Hard Gelatine, manufactured by Ferd. Friedr. Creutz, absorbs five times its own weight of water at 66°, without signs of disintegration after standing therein for thirty-six hours. If prepared with it and with chemically pure potassium bichromate, the plates after drying have a beautiful matt surface, from which long numbers can be printed without any falling off of the half tints, and, if the printing is done carefully, even the details in the shadows will be maintained to the last. This bichromated gelatine requires also only a very small amount of re-damping, reproduces faithfully the character of the negative, and the jelly can be used even after a period of four days. If, however, the work in hand requires a harder bichromated gelatine—as, for instance, reproductions of black and white—then the addition of a small quantity of ammonium bichromate will have the desired effect; in some cases equal quantities of the bichromates of potassium and ammonium. If ammonium bichromate is used instead of potassium in conjunction with middle hard gelatine, then the plates will acquire a shining, transparent coating, the manipulation of which is very difficult in printing, and which work too hard, being117 serviceable, at any rate, for reproductions without half-tint. If, however, the middle hard gelatine is washed before use, it will give, when mixed with the chromic salt, transparent films of insufficient durability. Middle hard gelatine should therefore be used unwashed for Collotype work, and mixed with chemically pure potassium bichromate.

The Production of Grain in Collotype plates takes place in the last instant of drying the plates in the drying-cupboard; it depends entirely upon the larger or smaller quantity, and the consistency of the bichromated gelatine used. If the latter is of good quality, all artificial means for the production of grain are not only superfluous, but also disadvantageous. A larger addition of chrome salt generally gives rise to the crystallisation of the salt; chloride of sodium produces plates highly sensitive to moisture, but no grain; a larger addition of chrome alum gives plates which will lack vigour, and the manipulation of which, during printing, will be difficult, as they often will require an “after-etching,” so that even printing is made impossible.

To test the suitability of gelatine for Collotype work, two small portions of the gelatine to be tested may be made up, adding chemically pure potassium bichromate to the one, and ammonia bichromate to the other, and a plate prepared with each solution. If both plates show a dull and untransparent coating, this indicates that it is a soft gelatine; if, on the contrary, both plates appear glossy and transparent,118 then the gelatine is hard. Should it, however, be middle hard, then the dried film prepared with potassium will be dull, but not rough; that with ammonia, however, shiny and transparent.


119 CHAPTER XIII.


Collotype in Natural Colours.

A SHORT chapter may be devoted to the various suggested processes for producing Collotype in natural colours, with which are associated the names of Vidal, Albert, and Obernetter. To give a complete resume is altogether impossible, as up to the present time the inventors have only published their method of procedure with very considerable reservations, and notwithstanding the fact that a great deal has been written and published in current literature on the subject, little is actually known. The methods of Vidal and Albert are essentially alike, both being founded upon an opti-chemical basis. By careful registration and printing from three Collotype plates, representing fragments of the same subject upon one sheet of paper, and making use of inks corresponding with the three primary colours, a total effect should be produced which ought, theoretically, to resemble the coloured original. In preparing the three negatives for reproducing the three colour plates a special mode of procedure must be adopted. Each of the three negatives must give a resulting Collotype plate capable of retaining varying amounts of ink when rolled up, according to the predomination in the original of one or the other of the primary120 colours—red, blue, or yellow.[M] This is effected in the production of the negative for the red plate, by making the exposure through a green glass screen, while the negative intended to produce the plate from which the yellow is to be printed is exposed through a screen of violet.

[M] Pictures produced in the three primary colours are extremely crude. Dr. Vogel has proposed a large number of negatives, using for their production sensitisers corresponding with every region of the spectrum. For example—Napthol blue for red, cyanin for orange, rozin for yellow, and fluorescein for bluish green, the ordinary sensitiveness of the plate being sufficient for blue and violet, the latter, however, being exposed through a yellow screen. The images thus obtained are printed from lithographic stones or Collotype plates, each of which is printed in a colour complimentary to that part of the spectrum to which the particular plate was sensitive. The greater the number of separate images produced in this way the more complete will be the reproduction of the various shades in the original, and the more pleasing the resulting print.

The green screen allowing to pass so few chemically active rays the exposure has to be prolonged to such an extent that gelatine bromide dry plates stained with eosine must of necessity be used.

Obernetter’s method is entirely different, depending more upon mechanical assistance of a non-photographic character in the production of the unlimited number of negatives he uses for producing his printing surfaces, and the results more closely resemble those of chromo-lithography. What particulars Obernetter himself has from time to time communicated are here given. He first produces, by the dusting-on process, as many copies of the original negatives as there are colours to be reproduced. The negative intended to produce the plate from which the blue will be printed is obtained by a long exposure and only slight dusting of the reproduced121 negative. That intended to reproduce the plate for the non-actinic colours—yellow or brown—should be correctly exposed and dusted in; while that intended for the red should be subjected to a shorter exposure and more vigorous dusting. By retouching, the densities of the various negatives may be modified by strengthening them in parts, other portions are stopped out, and the negatives so manipulated that they will produce plates capable of giving impressions—when printed in their proper colours—giving a facsimile reproduction of the original work. Much will depend upon the artistic qualifications of the operator, who may, by extending the number of plates, finally produce copies of considerable artistic value.

Hösch, of Munich, has patented a process in which the same result is attained in a somewhat different manner. A negative is produced, and from that a Collotype plate from which a number of impressions are taken equal to the number of printing desired or necessary in the finished chromo-collotype picture. Each print has certain portions painted over in a neutral tint, such portions depending upon the colour of the ink in which it is intended to print the corresponding plate. Other portions are stopped out white in the print, or black in the negative, and from the prints so treated a set of negatives are taken; these are utilised for the production of a set of Collotype plates, which, printed from in suitable colours, yield impressions of great excellence.


122 CHAPTER XIV.


Magic Prints.

TO Professor Husnik (to whom collotypists are greatly indebted for so many unselfish publications), we owe the origination of this interesting method of producing “magic” prints. It is founded on the reaction well known to chemists that two substances, each colourless in itself, when mixed, enter into fresh chemical combinations and produce other substances of intense colour. Herschel and Hunt made use of many of these reactions, both to develop the invisible image, and to give to others, already visible a more agreeable colour or tone. Impressions other than those in fatty ink may be obtained from the Collotype plate—as in the process patented by Edwards—by means of colour, soluble in water, to which the addition of a small amount of gum has been made. In such cases it will not be those portions of the layer which have been rendered insoluble by the action of light which will give the impression (as it would if ink were used) but on the contrary, the unexposed parts, or those which remain soluble. On this account the resulting print will be a negative, and to obtain a positive, the printing must take place under a positive. If a Collotype plate so123 produced be damped with a linen rag which has been moistened with an aqueous solution of a salt readily absorbed by gelatine, and which will produce in combination with a second solution an intensely coloured compound (the use of the ink roller being entirely omitted), the impression on the printing paper will be almost or even entirely invisible until brought in contact with the second solution, when the picture will be immediately developed and rendered visible. For instance, dampen the plate with an aqueous solution of red prussiate of potash, surface dry it, print upon paper, allow to dry thoroughly, and place upon a solution of protosulphate of iron, when the picture will immediately appear of an intense blue colour. Solutions of bichromate of potassium or nitrate of silver will produce brown images; the former developed with extract of logwood, alazarine or sugar of lead, all produce different colours. Not only is this process interesting, applied in the manner already described, but it is of use in calico printing. Care must however be exercised in the selection of a suitable solution for damping the plate, as many salts would tan the gelatine layer, and such are of course utterly unsuited for the purpose. Among the mordants in common use, salts of tin, alum, iron, &c., may be mentioned as exercising a hardening influence upon gelatine, and therefore useless for moistening the layer. There remain, however, many others which produce no damaging effect upon the plate, and at the same time produce useful colours.


124 CHAPTER XV.


Photo “Glass” Printing.[N]

[N] This process has never been practised in this country so far as I am aware.—Trans.

THERE remains to be mentioned another variation of the Collotype process known under the above vague title, the distinctive characteristic of which method of preparing the plate is that the negative is taken upon a sheet of glass sufficiently thick to stand the necessary pressure in printing when converted direct into a Collotype plate. After the completion and drying of the collodion negative it is coated upon the film side with the chromated gelatine solution, dried in the drying-box, laid face downwards upon a black velvet surface, and exposed through the back of the glass. The first publication of this method of preparing plates emanated from the State Printing Works at Berlin, and the following is an outline of the method there practised; it is scarcely necessary to state that it is only available for line subjects. The collodion used in the preparation of the negative should be one capable of producing clear, hard negatives entirely free from fog; probably some modification of the dark slide may be necessary to enable it to receive a plate of125 sufficient strength to stand printing from. The collodion negative being completed it is flooded with the chromated gelatine as applied to Collotype plates, dried, and exposed through the negative until the print layer has assumed a dark brown colour; it is well washed in cold water and damped before printing by an application of gum water containing a little ox-gall; this is done to facilitate the production of perfectly clear impressions. The same end may be attained by the application of dilute ammonia and glycerine. The author has experimented for several years in the same direction with the object of producing heliographic printing plates in copper, for which purpose this method of producing reliefs in gelatine is well suited. From the negative printing plate described, which is treated in all respects as a Collotype plate, impressions may be taken upon transfer paper, and transferred to stone or zinc. Before coating the negative with the chromated gelatine the plate should be allowed to dry. In consequence of printing from the back the lines will always be slightly wider than the original, to meet which difficulty Brandt has proposed putting the negative, when fixed and washed, but still wet, into a weak solution of chromated gelatine, which will, if a suitable collodion has been employed, entirely penetrate the latter. This variation appears worthy of commendation; it is, therefore, here given in the abstract:—“Having produced a negative in the usual manner, on a plate which has been lightly126 but carefully albumenised, and having fixed and washed the same, it is placed for five minutes in a solution prepared as follows: Allow 45 parts of gelatine to swell in water, and pour off the surplus, add 50 parts of distilled water, and apply sufficient heat to completely liquify the gelatine, adding a solution of 5·5 parts of bichromate of ammonium in 100 parts of water, and heat again to 60° Réamur. With plates of large size the solution may be poured over the plate, and it may be necessary to repeat this operation several times to ensure an even and sufficient coating. Immediately previous to the application of the chromated layer the negative should be rapidly washed over with warm water. A sufficient quantity of the chromated solution must be allowed to remain upon the plate, and the latter warmed in a horizontal position over a spirit lamp. When steam arises the plate has to be held in a perpendicular position for a minute, restored to its horizontal state, and again warmed until the coating of the plate is quite dry, care being taken that at no time the plate is so heated that it becomes unpleasant when placed upon the hand. Place the plate face downwards upon a black support, print until the fine lines are plainly visible, when the plate may be washed and further treated as in Collotype.”


127 CHAPTER XVI.


Allgeyer’s Collotype Process.

HALF-TONE Negatives must be softer, and possess more half-tone than requisite for silver printing. When examined by transmitted light, they should appear clear in the shadows, and not too dense in the half-tones.

Line Negatives.—Negatives for the reproduction of line subjects need not possess the absolute opacity requisite for silver printing, but the lines should be clear glass, entirely free from fog or deposit.

Stripping the Negative.—The fixed and washed negative is flooded over with a solution of gum arabic in water (1 to 20), to which has been added a few drops of a solution of chrome alum (1 to 60). Allow to dry, retouch with lead pencil, and edge with tallow to prevent overflow, place upon a levelling stand, warm moderately, and coat with a solution of gelatine 100 parts, glycerine 15 parts, alcohol 100 parts, water 400 parts, allow to set, and place against a wall to dry, the coated side outwards, the plate standing upon clean blotting paper. The operation of drying will probably take a day or two, and when quite complete, it is again coated with collodion, and again dried. After allowing to remain in a damp place for two or three hours, cut around the edges with a knife, and strip off the film, which128 may then be printed from either side, and after use may be stored in a book, the leaves of which consist of smooth paper.

Reproduced Negatives.—Coat a plate with a solution of gum arabic 50 parts, dextrine 50 parts, honey 10 parts, sugar 25 parts, glycerine 5 parts, bichromate of ammonium 15 parts, ammonia 50 parts, water 1,000 parts. After drying, expose under a negative, dust over with graphite, coat with plain collodion, and wash in clean water until all yellowness disappears.

Substratum.—(1.) Water 300 parts, white of egg 300 parts, ammonia 50 parts. (2.) Water 300 parts, gelatine 10 parts, bichromate of potassium 10 parts. Filter both solutions, and mix, taking care that the temperature never exceeds 32° C.; pour upon glass plates heated to 30° C., and dry at a temperature of 22° C. After thoroughly cleaning the back of the plate, place, face downwards, upon a black cloth, and expose to light through the glass till the coating becomes brownish. To test if sufficiently exposed, dampen a portion of the film with the finger, scratch with the nail, and the scratch should stand out perfectly sharp.

The intermediate layer is to ensure the better adhesion to the glass of the print layer proper, and to facilitate the retention of moisture while printing. It consists of gelatine 100 parts, water 1,500 to 1,800 parts, alcohol 150 parts, glycerine 5 parts, bichromate of potassium 5 parts. This is spread over the substratum, allowed to dry, and129 exposed to diffused light, or allowed to stand for twenty-four hours, well washed, and allowed to dry spontaneously, after which it may be kept for weeks.

The Print Layer consists of water 1,500 parts, gelatine 100 parts, bichromate of ammonium 30 parts, complete solution being effected by means of a water bath; the drying box heated to 45° to 50° C. Place the levelling stand upon a sheet of white paper, carefully dust and accurately level the glass plate, and coat, using 30 ccm. of solution to cover 25 × 35 cm. of surface, avoiding any overflow of solution.

The Washing Water used after printing in the copying frame should not exceed 22° C. in the summer, or fall below 10° to 11° C. in the winter. Washing should be continued until the film is free from colour, and a final rinse should be given under a rose. Allow to dry slowly.

Etching Solution.—Water 500 parts, glycerine 500 parts, chloride of sodium 15 parts, or hyposulphite of soda 15 parts.

Rolling Up.—If the picture take too much ink, wash off with turpentine, carefully wipe with a cloth, and continue the etching. If it take little, wash off the ink with etching fluid, and place in a hardening solution of chrome alum 1 part, water 6 parts, wash, dry, and once more etch for a quarter of an hour.

Varnish for Prints.—Bleached shellac 100 parts, dissolved in alcohol 300 parts, adding ammonia 300 parts, further adding, with constant agitation, 600 parts of boiling water.


130 CHAPTER XVII.


Practice of Photo-Lithography.

IN photo-lithographic operations, quite a different set of conditions has to be considered as compared with Collotype. An explanation is, of course, not far to seek, as both the chemical and physical properties of the lithographic stone and the exposed chromated gelatine layer are so extremely different. To the better understanding of the operations, the composition of the lithographic stone and the principles underlying the process may be first considered.

Senefelder is a name inseparably connected with lithography, as it was he who, after a continuous and laborious research, discovered the remarkable properties of the Solenhofen limestone, who thoroughly worked out the conditions under which printing with fatty inks could be carried out, and so thorough and conclusive were whose researches that the process as now practised may be said to be actually identical with those of the discoverer. He was by inclination a dramatic author, but failing to find a publisher for the productions of his brain, he conceived the idea of publishing his own works. At a printer’s he acquired the necessary knowledge to perform the131 work, but lacked the funds to purchase press or type. He then turned his attention to copperplate, made many unsuccessful attempts with an old one he possessed, and when that was unfit for further experiment, extended his operations to the pewter plates of his mother’s dining service, but still without success.

By accident, his next experiments were made upon a stone procured from Cellheim (Solenhofen), and which up to the present had served him as a slab for his ink. For want of paper and ink to write a domestic account for his mother, he casually used the surface of this stone in lieu of paper, using as an ink a mixture of soap, wax, and soot, with the intention of copying upon paper later on. When about to clean the slab, the thought flashed across his mind why not etch the stone with a dilute solution of nitric acid? The experiment was tried, and succeeded beyond expectation. Upon this simple accident has been built up the whole process of lithography. It was only in 1799, after a prolonged and severe struggle, that he was granted protection for his art in Bavaria.

The acid etches away a very thin layer of the unprotected stone, while the writing is not attacked, but left slightly in relief. Senefelder—first with a dabber, and later with a piece of wood covered with cloth—inked in the writing, and so produced impressions, the earliest of which were sheets of music. The etching of a lithographic stone bearing132 a drawing or transfer in lithographic ink has a twofold action, each of which facilitates the printing. In addition to the slight relief already mentioned, as resulting from the application of the acid, the latter forms upon the surface of the stone, where attacked, nitrate of calcium, which resists and refuses the fatty ink upon the surface of the roller, and if the surface of the stone be kept constantly damp it becomes possible to roll up the drawing, to which alone the ink adheres.

Lithographic stones do not consist merely of carbonate of lime, but contain also silica, alumina, and some iron; the colour is a useful indication of quality, those presenting a bluish grey appearance being most highly prized, while those of a yellow colour are somewhat inferior. The stone may be split into various thicknesses, and prepared for use by grinding either one or both surfaces. They are placed face to face, and the first grinding is completed with coarse sand, for the second grinding a finer sand is employed between the two surfaces, and this is succeeded by a grinding with pumice stone and water, the stone being finally polished with snake stone. The so-called lithographic chalk, with which the drawing on stone is sometimes executed, is composed of finest lamp black (merely added for colour), soap, wax, tallow, and shellac; during the etching, these ingredients undergo a change, and form with the stone a chemical compound of great stability. Since the fatty acids of the soap133 and tallow-namely, oleic and margaric acid—set free by the nitric acid, combine in the nascent state with the lime to form oleo-margarate of lime. This adheres tenaciously to the stone, and the whole picture may, by the application of turpentine, to all appearances be completely removed from the stone. If the ink roller be again applied, it will be found that even the finest details remain intact, and will reappear of their original strength, the ink only adhering to the oleo-margarate of lime, and not to the surface of the stone, which owing to the etching is wet with nitrate of calcium.

This is the theory of lithographic etching and printing, to which it has only to be added that soap and tallow must always be present in the inks or chalks used in drawing to produce the combinations referred to. Wax and shellac are only present as binding material. Transfer ink, as used in photo-lithography, must be slightly thinned, and this is best done by means of turpentine, and, if necessary, the occasional addition of a few drops of olive oil. Should the ink be too stiff, or be allowed to dry too much upon the transfer paper, the transfer will probably be faulty, as the ink will only partially leave the paper. If the ink remains in a soft condition it will be absorbed very readily by the clean dry litho stone (not etched). Owing to the avidity with which all grease is absorbed by the stone, it is necessary to keep it perfectly free from all such contaminations. To keep the stone in a clean condition134 while printing it must be etched, kept damp during working, and, on completion or suspension of work, the surface should be coated with a thick solution of gum arabic. Before resuming printing operations, it is of course necessary to remove the gum from the surface of the stone, which is done with a damp sponge.

As an introduction to the practical work of lithographic transferring and printing the following description of the autographic method will be found of interest, especially as it bears some similarity to the more difficult process of photo-lithography, and enables everyone possessing a lithographic press and stones to print their own circulars, price lists, &c.


135 CHAPTER XVIII.


Autography.

THERE are several methods of transferring from specially prepared, or even any strong well-sized paper.[O] As the latter may be most convenient, proceed as follows: Write with autographic transfer ink, readily procurable from dealers in litho requisites; this will keep for years, and may be used with any clean steel pen. After the writing has dried, damp the back of the paper with dilute nitric acid—1 to 3 of water. When the writing is visible through the back of the paper, the sizing has been acted upon sufficiently; the sheet should be placed in a porcelain dish, washed in several changes of water, and blotted off, leaving it evenly damp without being exactly wet. In the meantime a stone should be adjusted upon the bed of the press, rubbed over with pumice powder, and warmed—this may be easily effected by pouring spirits over the stone and igniting it. A suitable scraper—one which, when pressed against the stone, allows no light to pass between, and which should not be wider than the stone—is adjusted in the scraper box. The screw or other appliance for regulating the pressure is then136 adjusted. The transfer is carefully and accurately placed upon the warm dry stone, with the writing or drawing face downwards in contact with the polished surface, a few sheets of waste paper are placed over the whole, the tympan (the upper surface of which has been freely rubbed with tallow) is lowered into position, the bed is then pushed, with the stone so covered, under the scraper box, so that the scraper may come down, not upon the extreme edge of the stone, but about four or five cm. from the end, lower the scraper (or, according to the construction of the press, raise the bed) and pull through under gentle pressure. Release the pressure of the scraper, withdraw the bed, and raising the corners of the waste sheets used as backing paper, convince yourself that the transfer is in a proper position and has not moved; replace the covering paper, change the position of the stone so that it passes under the scraper in a reversed position, pass through the press again, this time with greater pressure. Repeat these operations three or four times, on each occasion under steadily increasing pressure; remove the transfer carefully by one corner, and allow the stone to become cold; sponge over with thick gum solution, and in this condition it may be left for any length of time. Great care must be taken that none of the tallow used on the tympan, or other grease, comes in contact with the stone, either by the hand, covering paper, or other means.

[O] Transfer paper is more reliable.

If the transfer should exhibit any signs of weakness137 while the stone is still covered with plain gum water, take, upon a small linen pad, a little ink thinned either with tallow or a few drops of turpentine; by careful rubbing in different directions the lines will be considerably strengthened. Plenty of gum must be kept upon the surface of the stone during this operation, at the completion of which it may be removed with a sponge and water, and the inking-up completed with the roller and the stone gummed in.

Before printing, the gum has to be removed by water, and the stone rolled up with a moderately stiff ink; it is then etched with gum water rendered slightly acid by a few drops of nitric acid. The best test for the acidity of this solution is to add just so much acid to the gum water that, after its application to the edge of the stone for two or three seconds, scarcely perceptible bubbles of carbonic acid gas will show. This is applied evenly to the drawing with a sponge, and allowed to act for a few seconds.

Should the ink “take” to the stone in places other than the design or writing, rub the spot at once with woollen material moistened with gum water; this will clear away the superfluous ink, but the part should be carefully watched during the printing for any recurrence. After the removal of each impression the stone is damped over the whole surface with a damping cloth before another application of the inking roller.

For the production of perfect impressions avoid138 contact of the hands with the face of the paper or stone, and care must be exercised that all matters connected with the printing are kept scrupulously clean, any contamination of a fatty or greasy nature especially being strenuously avoided. The paper used in lithographic printing is usually slightly damped by placing between sheets of damp blotting paper; such proceeding is not absolutely necessary, as dry sized paper may also be used.

The above detailed description of the necessary sequence of operations in the Autographic transfer process will assist in understanding that of photo-lithographic transfer, which requires still more care, and the use of a special transfer paper so prepared that it is sensitive to light.

THE BITUMEN METHOD.

This, the earliest photographic process, was discovered and described by Niepee even before the discovery of photography or silvered plates. It depends on the peculiar property asphalt possesses of losing its solubility in ether, benzine, or turpentine after prolonged exposure to light. If it be dissolved in turpentine in a photographically dark room and the solution poured upon a well-polished metal plate or lithographic stone, dried, and exposed under a reversed negative (otherwise the impression yielded in printing will be reversed) for two or three days[P] in sunlight, the picture may be developed with139 turpentine or benzine, either of which solvents will remove the layer from such portions as have been unexposed to the light and reveal a picture in asphalt that may be rolled or inked-in and capable of withstanding etching. This direct process, as applied to photo-lithography, is now of little practical value owing to the introduction and perfection of the transfer process. It is, however, most valuable in heliographic engraving or etching and for the production of zinc and copper printing plates.

[P] The bitumen most suitable is that variously known as Syrian asphalt, Jew’s pitch and bitumen of Judea. This is finely powdered and placed in a bottle with twice the bulk of ether and occasionally agitated for five hours, at the end of which time the ether may be poured off and fresh supplies added so long as any portion soluble in the ether remains. The purified residuum maybe dried and dissolved in benzole or chloroform; this will yield a solution which may be used as above, but poisoning, perhaps, twenty times its sensitiveness. The picture is developed with turpentine.

DIRECT PHOTO-LITHOGRAPHY.

This method is little known, and it may be said that it has never been developed to a practical issue. It is here only incidentally referred to, but at the same time the fact may be pointed out that these two direct photo-lithographic processes possess a value, inasmuch as they may be utilised in a comparatively easy manner for the production of grained or half-toned pictures, presenting less difficulties than by the transfer process.

On to a well-cleaned stone, the surface of which may be either finely grained or polished, a solution of gum arabic and bichromate is spread, dried in the dark, and exposed for a sufficiently long time under a negative; if the latter be a film it will facilitate the examination from time to time of the progress of the copying. On completion of the exposure the140 stone should be well washed with water and rolled in with ink.

Morvan’s process is of a similar nature; a stone is coated with an admixture of albumen 200 g., water 300 g., bichromate of potassium 50 g., dried and exposed under a stripped or paper negative. The stone is then first washed with soap, and afterwards distilled water, and then rolled up, gummed, and the ink allowed to set awhile, after which printing may be at once commenced. In none of these methods is mention made of etching the stone after inking-in, as is usual in lithography; it may be here noted that photo transfers will not withstand so vigorous an etching as drawings executed upon stone in the usual manner. A photo-lithographic transfer may be quite ruined, even entirely destroyed, by careless etching; this is therefore a point of great moment, and one which has not usually been considered or dealt with in published methods of procedure. We shall have occasion to again refer to it.

PHOTO TRANSFER FROM PAPER.

In this method, now universally employed, success may be said to depend more particularly upon two points. (1.) The paper for the transfer. (2.) The suitability of the negative for the purpose in view. The properties and preparation of a suitable transfer paper demand a few words. It should be of substantial body, smooth and well sized; that known as bank post is usually employed in this country. Professor Husnik in his patented process141 proceeds as follows: 1 part of finest gelatine is swelled, and then dissolved in 24 parts of water a solution of chrome alum 1-100 in water is added, and the solution while still warm is poured into a large zinc dish heated to 34° R. by means of a petroleum or spirit lamp. Remove any scum from the surface of the solution, float the paper one sheet at a time, and suspend to dry. The sheet is floated upon the gelatine solution a second time, and once more suspended, this time by the diagonal corner to that by which it was previously hung. Prepare a solution of white of egg 1 part, water 2 parts, and on this float the paper on one side. After again drying it is ready for sensitising, for which operation prepare a bath of water 14 parts, bichromate of potassium 1 part, methylated spirits 4 parts, adding sufficient ammonia to turn the reddish solution a bright yellow. If the paper is not prepared in large quantities, but only for immediate use, the ordinary gelatine paper of commerce[Q] may be employed with advantage, if further prepared by floating upon a bath of albumen (beaten to a froth and allowed to stand) 50 parts, water 50 parts, bichromate of potassium or ammonium 7 parts (Märkl), upon which bath the paper should be floated for five minutes. This solution is subject to the disadvantage that even in the dark it will not keep for more than a day or two, therefore it must be142 used at once. All photo-lithographic transfer papers, after sensitising, should be used within a few hours of their preparation or their good qualities are partially sacrificed, the solubility of the albumen layer in cold water being impaired. Photo-lithographic transfer paper prepared as above described has been for some time in the market, and may be procured as an article of commerce, in an unsensitised condition; it will keep indefinitely in this state, and may be sensitised as required. The surface should not be allowed to remain in contact with the bath, neither should the immersion be lengthy, as in either case the surface of the paper would probably suffer. After drying by suspending by one corner in the dark, the chromated paper is exposed under a suitable negative—if possible to the sun—for a few minutes only; it may be examined by non-actinic light, and when the image appears brown or grey upon a yellow ground, and all details are visible, it is removed from the copying frame and entirely covered with a thin coating of transfer ink. This as purchased is much too stiff for use, and must be reduced by means of turpentine to such a consistency that it is possible to distribute an even and quite thin layer upon the surface of the print, without its penetrating to the paper. The ink should be so thin that it presents a grey, not black, appearance.

[Q] For instance, the double transfer paper as used in the carbon process.—Trans.

Those who may find it necessary, or who care to prepare their own ink, should take—chalk ink (printing) 4 parts, beeswax 10 parts, resin 7 parts,143 turpentine 40 parts, tallow 8 parts, Prussian blue 6 parts, ground and mixed in a paste. The chalk printing ink should be melted by gentle heat, then add the wax and resin in a molten condition, then the tallow, and lastly the Prussian blue and turpentine; on account of the inflammable nature of the latter these operations should not be conducted at an open fire. If, after prolonged keeping, this ink becomes tough, and does not readily leave the transfer paper when transferring to stone, the addition of a few drops of olive oil will restore it to a usable condition. The ink is best applied by means of a fine, dry sponge,[R] with which it should be spread on the transfer as evenly as possible, during which operation the print must be protected from actinic light; on its completion the print is placed aside to allow the turpentine to evaporate. This in a warm room will be about ten to fifteen minutes; the print is then placed in cold water, care being taken to remove any air-bubbles from its surface. After remaining for about half an hour the uppermost layer will have become sufficiently loose to allow of its removal, together with the adherent ink not forming part of the picture, upon the application of slight friction.

[R] A smooth composition roller answers equally well.—Trans.

The Development is readily effected by means of a small, fine wet sponge, or a pad of cotton wool well moistened, which is passed over the print a few times with gentle pressure; it will be found convenient144 during these operations to place the transfer face upwards upon a sheet of glass.

Judgment may be formed at this stage as to the suitability of the negative, and also as to the correctness or otherwise of the exposure under it of the sensitised paper; if it should have been too short the finest lines will not be firm, but appear broken or “rotten,” as it is technically termed. On the contrary, should the exposure have been too long, the spaces between the lines, which should be quite free from ink, will retain a certain amount, in attempting to remove which the transfer will be damaged.

Washing.—Exposure, inking, and development being satisfactory, the print is thoroughly washed to remove the chrome salt. Dry the transfer by means of repeated applications of blotting-paper, and it is then ready for transferring.

Transferring.—The print should retain a little moisture, but be by no means wet. It should adhere to the warmed stone to prevent any probability of it moving while passing through the press.

Transfer too Adhesive.—Should the gelatine surface, in the judgment of the operator, appear likely to prove too adhesive, it may be further dried before use, or placed for two minutes in a one per cent. solution of tannin, and again dried between blotting-paper.

Preparation of Gelatine Transfer Paper, as used in the Imperial Military Geographical Institute in Vienna, is described as follows in the145 “Photographic Correspondence”:—A sheet of well-sized paper is soaked in a dish of water, and when thoroughly limp is allowed to drain, and then placed on a horizontal glass plate. All air bubbles and superfluous moisture are removed by blotting-paper and a squeegee, the edges of the paper are turned up to the depth of about 2 cm., and a warm gelatine solution (1 to 30) poured upon the paper. It sets in a few minutes, and the sheets are placed upon wire gauze to dry, this operation usually occupying about two days. A day before using the gelatine paper is sensitised by immersing for three minutes in a cold bath of bichromate of potassium (1 to 15). On removal from the bath it is allowed to drain, and the gelatine side placed upon a glass plate. The back is dried with blotting-paper, and all air bubbles removed. These operations and the subsequent drying must be performed in a non-actinic light. It may occur that after these operations the sheets when dry adhere partially or wholly to the glass plate. To prevent such an occurrence it is well to wax the plate, as in the carbon process, or to apply to the surface a weak solution of ox-gall.[S] When dry the sheets are cut to the required size and printed under the negative. On removal from the printing frame they are placed in cold water until quite limp, removed, placed face upwards upon a glass plate, and surface dried with blotting-paper. Should the146 gelatine swell too much the sheet is placed for two minutes in a chrome-alum solution (1 to 200) and again blotted. Ordinary transfer ink, thinned with turpentine, is now thoroughly rolled up on the inking slab by means of a leather roller (as previously described in the instructions under Collotype); a fine velvet roller, lightly charged with ink, is then passed over the still moist transfer. Should the latter become dry in places it is again passed through the water bath, and the inking is again proceeded with. If the ink adhere to other parts than the design it is easily removed by the application of a damp sponge or the tip of the finger. The process of transferring to stone is as previously described. The stone itself is prepared in the manner described for the autographic process (see page 135). Damp the back of the transfer with water only, and after passing through the press several times, remove the paper from the stone; if of good quality this may be done without tearing. The transferred impression being still easily obliterated, it is better to let the stone stand for a few hours without gumming; this will allow the ink to dry deeper into it. Coat the whole of the surface with a moderately thick solution of gum, and again allow to dry. In this condition it may remain indefinitely, but under any circumstances it is advisable to allow it to remain a day before etching and printing. The gum solution used should be freshly prepared, as when old it becomes acid and acts as a mild etching medium. Remove the gum147 with a clean sponge previously to printing, and while the stone is evenly damp with gum solution the picture may be either rolled up with stiff chalk ink, applied by means of a leather roller, or, as preferred by many, rubbed in with a sponge containing thinned transfer ink. When the drawing appears clean and perfect the stone is washed with a wet sponge, coated with gum, placed aside to dry, and allowed to stand for a day. After the removal of the gum proceed as previously described, viz., roll up with stiffish ink, nowhere allowing the stone to become dry, and etch. This operation must be conducted with care and judgment, or there will be a probability of losing the finer lines of the drawing. The best mordant to use is nitric acid, so dilute as to taste no stronger than lemon juice, and which, placed upon the edge of the stone for a few seconds, will show only slight effervescence. To this is added a little gum-water, and it is then evenly and quickly spread over the stone. After being allowed to act a few seconds, the stone is sponged over with clean water, and is then ready for printing from.[T] There are many practical lithographers who prefer to entirely remove the visible image from the stone by means of turpentine before printing. A little gum is left upon the stone, and while the latter is still moist148 the drawing is removed by means of turpentine upon a piece of rag; the latter must not be too frequently changed, or a too liberal supply of turpentine made use of, or the drawing may be irreparably damaged. Unless the latter be the case the picture will reappear upon applying the roller charged with chalk ink. As may be expected, the first few impressions are seldom so perfect as the later productions. After each impression is removed the stone is at once slightly moistened. For this purpose a soft, clean sponge is suitable, or damping cloth, as supplied by dealers in printing materials. The sponge or cloth should be thoroughly wetted, wrung as dry as possible, and in that condition will possess the necessary dampness. In rolling it should be borne in mind that as in Collotype a stronger grip of the roller handles and heavy pressure with slow rolling will deposit ink upon the drawing—while, on the other hand, light quick rolling of the drawing will tend to remove the ink. To leave the stone without gumming after transferring is a convenient method of rendering the transfer more receptive of the ink. In lithographic as compared with Collotype printing the ink is reduced to a far greater extent with varnish, while both the inking slab and roller are charged far more heavily. The paper may be damp, or a dry, well-sized paper may be used.

[S] A more reliable method of imparting to the surface of the paper a high gloss is to squeegee it down upon a ferrotype plate, the surface of which requires no preparation, and the risk of sticking is nil.—Trans.

[T] For etching extremely delicate transfers a decoction of Aleppo gall with gum is to be recommended. 15 gr. of crushed nut galls are boiled for one hour in half a kilo of water and strained through a cloth. To etch the transfer add a few drops of this solution to a solution of gum of a syrupy consistency; spread over the stone with a soft sponge, and allow to dry.


149 CHAPTER XIX.


Negatives for Photo-lithography.

AN unconditionally good negative is required for photo-lithography, and those who have not seen one produced for the purpose by an expert should endeavour as a first step to do so, or they will scarcely be likely to devote the attention necessary for producing one of a thoroughly suitable character. Not only must the lines of the copy be represented in the negative by clear glass, and the white ground of the original be represented by opacity, but the utmost sharpness of definition of the finest dots and lines to the very corners of the plate is absolutely necessary to render the negative thoroughly serviceable. To produce such a negative a lens entirely free from distortion, and capable of giving microscopic definition, is, of course, a first necessity.[U]

[U] Lenses of the rectilinear or symmetrical class are best.

The Wet Collodion Process is better adapted than any other for the production of suitable negatives, possessing the necessary density and freedom from fog or veil. The bath must work with the utmost cleanliness, and the collodion should not be used too soon after iodising. The developer works150 better when not quite fresh, and should contain a sufficiency of acid, and the negative, after fixing, should be subjected to a vigorous intensification.

Professor Husnik thus comments upon negatives for photo-lithography:—

“As in photo-lithography only subjects in black and white line or stipple can be reproduced, to the entire exclusion of half-tone, the negatives should represent the copy by clear lines and opaque spaces. This is seldom the case except in instances where the drawings are specially prepared, and the subjects somewhat bold and coarse. For example, in copying a proof from a fine steel engraving the graduated, grey, hair-lines, appear in the negative somewhat veiled, whereas the intermediate spaces between close shading, and which are somewhat toned in the print, are not developed actually opaque in the negative. On this account the fine hair-lines will take longer to print in the copying-frame than the bolder shadow lines. The latter may develop faultlessly, while the ink may leave the hair-lines. The intermediate spaces between close shading may not be sufficiently opaque in the negative, consequently the print is over-exposed in these portions, and during development remains covered with ink. Such faults must be overcome as far as possible by shading the negative during printing in the usual well-known manner.”

The Colour and condition of the original copy will greatly influence the class of negative it is151 possible to obtain, and if allowable it will be advisable

To Bleach old engravings or other copies, either yellow from age or stained, by immersing them in eau-de-javelle[V] 10 cc., water 100 cc., wash in water for two hours, and finally in a weak solution of hyposulphite of soda.

[V] Chloride of lime 1 oz.
Water 15 oz.
Carbonate of potash 2
Water 5

Mix the two solutions together, boil, and filter before use.

Intensifying.—Having developed a clear, sharp negative, wanting only in density, it must be intensified to the utmost limit—without fogging—first with citric acid, pyrogallic acid, and silver. This solution may be applied either before or after fixing, preferably the former; if this course is adopted, after washing and fixing, and again thoroughly washing, the final intensifying operations may be proceeded with. Opinions vary as to the actual best method to adopt, but preference is usually given to an intensification by a salt of mercury or lead; under any circumstances there must be a good deposit of silver to work upon, or the necessary density cannot be obtained. In fact, a negative too thin, submitted to mercurial combinations, particularly the bichloride, will become more bleached and spotty, and the after application of sulphide of potassium will not again restore it; the deposit will assume a dark brown appearance, but the spots arising from the mercurial salts will still be apparent. The two152 mercurial salts referred to are—(1) Bichloride of mercury, corrosive sublimate, a well-known and highly-poisonous substance used in solution in water, and (2) iodide of mercury, which, used in intensification, acts more evenly, though with somewhat less energy. This substance, which is of a beautiful red colour, is insoluble in water, but is soluble in sublimate, and also in a solution of iodide of potassium. It is recommended for intensification, and is easily obtained by dropping into a solution of bichloride of mercury—with agitation—a concentrated solution of iodide of potassium until the red precipitate as first formed is again dissolved. This yellow solution may be diluted as required by an addition of ten times its volume of water. If, instead of flowing the solution over the negative, a dipping bath be used, into which the negative is steadily lowered for a few seconds, a more uniform intensification is likely to ensue. Carefully watch the plate, and stop the action before it goes too far, or the silver deposit will lose strength in parts. An important gain in density may be obtained by exposing to sun or daylight a negative which has been developed and intensified with pyrogallic acid, fixation taking place after drying. The negative must be thoroughly washed before exposure to light, and with ordinary care there is little danger of fogging.

Illumination of the Copy should be perfectly even, a front light being made use of, and direct sunlight if possible. The latter is seldom admitted153 direct into the studio, and against outside work wind and rain are almost fatal objections. Where much copying has to be done it will be found an advantage, if at certain hours of the day the sun shines direct upon the studio, to remove all blinds, screens, or other obstructions, and so allow the rays to fall direct upon the print or drawing to be copied.

A Side Light, particularly if direct sunlight, must be avoided, as any unevenness or grain of the paper will be exaggerated and rendered more apparent if lighted in such a manner.

Under Exposure, if slight, is a fault much to be preferred to an error in the opposite direction.

New Transfer Paper for Photo-lithography.—In the photographic office, Calcutta, a new method of preparing the photo-lithographic transfer paper with arrowroot has quite recently been introduced, which, as is said, has the advantage of being much cheaper than the method of coating with gelatine usually adopted, and of giving results quite as good, if not even better, than by the old proofs. Bank post paper is coated in the usual way with two coats of the following mixture:—

Arrowroot 140 parts
Bichromate of potash 70
Water 3,500

After exposure to light, the prints are coated with transfer ink in the press as usual, the transfer ink used being composed of—

Hard re-transfer ink (plate to stone) 100 parts
Lithographic chalk ink 100
Palm oil 7

154 After inking in the prints are washed off with hot water, hotter than is required for gelatine transfers. The arrowroot transfer prints are found to go down well on the zinc without sticking, and give clear, sharp transfers.

Gelatine Plates have hitherto been considered almost useless for photo-lithography. Messrs. Mawson and Swan, however, have recently introduced a special make, known as the “Photo-mechanical” plate, which gives negatives of great density, and at the same time clearness in the shadows. The makers recommend the ammonia-pyro developer, with meta-bisulphite of potash. It will be found of considerable advantage if, before proceeding with the development, the plate be submitted for one minute to a bath of water 2 ounces, gallic acid 6 grains; this, without prolonging the development, will add considerably to the density of the resulting negative.


155 CHAPTER XX.


Application of the Carbon Process to Photo-lithography.

AN Ingenious Process, capable of yielding satisfactory results, is one in which a carbon print is transferred to and developed upon the stone direct. Such operation will present no difficulty to those familiar with the details of the process. In the “Photographic Archives,” vol. 17, page 193, are to be found working details, and it is there shown that by this method it is possible to directly transfer to stone pen and ink sketches, impressions from woodcuts, or copper-plates, without the necessity of a photographic negative. This process may, therefore, be available in cases where anastatic[W] printing is not applicable.

[W] The anastatic process consists in reproducing by zincography a copy of any recently printed matter. The subject for reproduction is moistened on the back with dilute nitric acid. It is then laid face downwards upon a freshly polished sheet of zinc and passed through the press. Printing is then proceeded with as in zincography. A lithographic stone may also be used, if, before laying down the impression, the face is moistened with turpentine, and allowed nearly to dry.

To those unacquainted with carbon printing it may be pointed out that it is a most valuable process, affording great facilities for the reproduction and reversal of negatives for Collotype. A knowledge156 of the process is here presumed, as it would necessitate too wide a digression to give an ample idea of the many useful applications of this beautiful and permanent method of printing. Very complete instructions will be found in Dr. Leisegang’s “Carbon Process.”[X] As regards the application of this process to lithography, only pictures devoid of half-tone, such as drawings in line and dot or impressions from engravings, are suitable for reproduction by this method, if upon clean paper (not too thick) and printed on one side only. The sensitised tissue may be printed from the original by contact, in the printing frame, instead of producing a negative in the camera by contact upon a dry plate. Should it be decided to print direct from the copy surround the edges of the same with strips of black paper or tinfoil, half-an-inch wide, and in a weakly actinic light. So adjust the ordinary sensitised carbon tissue that its edges are about in the centre of the surrounding strips, care being taken that the edges of the tissue nowhere extend beyond them.

[X] Translated by R. B. Marston, and published by Sampson, Low and Co., Fleet Street, E.C. The “A B C of Pigment Printing,” published by the Autotype Co., Oxford Street, W.C., may also be recommended.

Expose to Daylight for a time, gauging the exposure by means of the actinometer. Probably it will be necessary to print till the 7 shows.

A Finely-polished Stone is dusted and adjusted in a horizontal position, and flowed over with cold water.

157 The Exposed Tissue is placed in cold water, and allowed to soak till quite limp. It is then placed face downwards upon the wet stone, covered with indiarubber sheeting, and squeegeed into close contact with the stone; allow to remain under pressure for half-an-hour to an hour.

Development is effected by pouring warm water about 100° F. over the back of the exposed tissue. So soon as the colour exudes around the edges of the paper backing, the latter may be removed, and the development proceeded with by continuing to pour warm water over the surface. Only a slight impression should remain—the lines showing the bare stone perfectly clear and clean. Allow the stone to dry in a cool, shady place without the application of artificial heat.

Roll Up with lithographic chalk ink until the surface presents a solid black appearance, stand the stone aside for a few hours to allow the ink to penetrate its surface, and then

Remove the Negative carbon print from the stone by means of a piece of woollen cloth moistened with a thin solution of gum. This takes some time, but it will be found that the fatty ink has penetrated where unprotected by the carbon negative, and has formed a complete positive.

Gum In, etch, and proceed as in ordinary lithographic operations. It cannot be expected that the operation, as conducted above, will produce the finest results; the drawing will usually require a certain158 amount of retouching at the hands of the lithographic artist, who will, however, often be saved a vast amount of trouble. It is obvious that if the proceedings, as described, be carried out, using, however, a photographic glass positive in place of the printed impression, the process will be found capable of giving much finer results, and the exposure will be very materially decreased.

Transposing—Black and White.

A modification of the foregoing process may be utilised for the reversal or transposition of black to white, or vice versa, of any subject of which a print may be obtained in printing ink.

An Impression is first obtained either upon sensitised carbon tissue or, preferably, on a thinner paper, coated and sensitised as for photo-lithography. Such paper must not be submitted to a light of much actinic power during or before printing, and as much ink as possible should be used without risk of filling up the work.

Dust Over the impression while still wet any dense opaque colour, applied by means of wool or camel-hair brush, carefully going over every part and piling on as much colour as possible, after which

Expose the Paper bearing the print so treated to the light for a short period, dependent upon the light and sensitiveness of the paper. If it be a full impression, well dusted, the latitude in exposure will be very considerable.

159 Ink Up the whole surface of the paper with lithographic transfer ink, thinned with turpentine, and applied by means of a sponge or roller.

Develop, as in photo-lithography, either by means of warm or cold water, according to the coating upon the transfer-paper. The sensitised paper, where protected by the ink impression, has not been hardened by the action of the light, and readily parts with the ink and colouring matter. If the impression has been one from ordinary type it will now show in the form of white letters on a black ground.

Transfer to Stone, and otherwise treat as an ordinary photo-lithographic transfer.

Engraved Negatives for Photo-lithography.

In certain processes for the production of photo-relief blocks many operators prefer artificial negatives, in the production of which photography has played no part, but which are, on the contrary, the direct production of the artist’s hand.

Factitious Negatives may be produced by coating a plate with a transparent but non-actinic coating, and by removing or erasing in a suitable manner designs may be copied without the use of a camera or lens. Professor Husnik and others have published different methods whereby the artist is enabled to transfer the creations of his pencil to zinc or stone, without resorting to the aid of the photographic negative process, although the subsequent160 operations may still entitle it to be styled photo-lithography.

The process most likely to lead to success consists of first coating a glass plate with a strongly iodised collodion, sensitising as usual, well washing on both sides and drying. To engrave, lay the plate upon a black cloth, and the design may be traced and engraved upon the surface by means of etching points or needles. Remove all loose particles of collodion from the plate by gentle brushing when the drawing is completed. Immerse the plate a second time in the silver bath, and develop with either pyrogallic acid or sulphate of iron developer.

Husnik proposes to first coat the plate with a solution of pure fuchsin, and afterwards with one of gum, and then engrave as previously indicated.[Y]

[Y] Major Waterhouse has published the following ingenious method of transforming a drawing on paper into a photographic negative:—“A tracing, or drawing, is made in lithographic ink on tracing paper, using plenty of ink on the lines. The drawing is then placed on a board over a piece of blotting-paper, and brushed all over with a strong solution of aniline brown in water; when dry it is rubbed over with a tuft of cotton wool soaked in turpentine, which removes the ink without altering the coloured ground. The lines then appear clear on a dark reddish brown ground. The negatives thus obtained are good, but more suited for coarse than fine work.” It may be suggested, why not transfer the drawing direct to stone, and produce the necessary copies by lithography?—Trans.

By either of these methods negatives of extreme density and absolute clearness in the lines may be produced and used for obtaining impressions in ink, the transfer of which to stone presents no difficulty.

It remains to be added that there are several methods of producing grained negatives for photo-lithography161 in half-tone, and therefrom a transfer for stone, and so obtaining impressions at a much greater rate than is possible from a Collotype plate. They may each produce results with a certain amount of success; but even those from the best methods indicated cannot be compared with Collotype. The too obtrusive grain of the half-tone pictures so produced destroys much of the finer details, and it is to be regretted that all such processes leave so much to be desired.162


163 APPENDIX.


THE STEAM COLLOTYPE MACHINE.

THE earliest steam machines for Collotype printing were made by Faber & Co., of Offenbach; they were, however, so complicated and delicate in construction that other machines have entirely supplanted them. The three principal varieties are those of Alauzet & Co., of Paris; Koch, of Leipzig; and Schmiers, Werner & Stein, each of which may be considered entirely successful; they possess features of great similarity, differing not in principle, but only in details of construction. Contrasting the work of the machine with that of the press, the printing is much more rapid, and the prints more uniform and regular, while the “life” of the plate is greatly lengthened; one capable of yielding 250 impressions on the scraper press would, in all probability, give 1,000 on the machine—a fact easily accounted for when it is considered that the one is produced by a scraping pressure while the other is made by the rotation of a cylinder. As will be seen by the illustrations, the machines bear a considerable resemblance to those used in lithography—they may, in fact, be used for lithographic164 printing—with very greatly increased inking power. The machines are so constructed that the plate may be inked once, twice, or three times, each inking giving more vigour, but, of course, a corresponding decrease in the number of impressions yielded; the output may be relatively estimated at 1,500, 1,000, and 800 per day. It is, of course, an impossibility to teach machine printing by means of instructions such as may be conveyed in a work like the present, and the following remarks are added more with a view of giving a general idea of the nature of the necessary operations than with any idea of making the reader a competent machine minder.

The Preparation of the Plate for the machine is identical with its preparation for the hand-press, but greater uniformity, both in the negative, exposure, and etching, are demanded than by the hand-press. For the latter considerable latitude is permissible, as the intelligent printer may, by varying his rollers, his rate of rolling and other little dodges, produce perfect impressions from plates which would, under the entirely mechanical action of the machine, fail lamentably.

Adjustment of the Rollers is so effected that they are lifted about 2 mm. when passing over the inking slabs and the printing plate; if a greater lift is necessary to bring them upon the printing surface marks will be produced upon the plate, and if arranged for a less lift they will probably skid over the plate, damaging the printing surface. They165 should also be adjusted perfectly parallel with the surface of the inking tables, or one side only may come in contact with the work.

Fixing the Plate to the bed of the machine is effected in several ways, but usually with small clips, as described for the hand-press. All adhering gelatine, etc., must be removed from the plate, and a thin sheet of white paper inserted between it and the bed of the press. The faces of the metal clips must be protected with strips of leather, cork, or some such elastic bodies, otherwise the pressure exerted would cause the glass to fly. A straight edge is placed across the machine, and the bed lowered by means of inclined planes attached to suitable gearing until the surface of the plate is well below the circumference of the cylinder, and from this position it is brought up to its proper level, raising each side equally, that the pressure may be perfectly uniform.

Packing the Cylinder.—The cylinders are so constructed that the iron surface does not come in actual contact with the printing paper. In fact, there is a deficiency between the actual and necessary diameter of the cylinder of a few mm., sometimes as much as 7 mm. This is compensated for by the addition to its surface of “packing,” which gives a more elastic pressure than the unyielding surface of iron. This packing is not applied to the entire surface of the cylinder, but is so devised that it exerts pressure upon the surface of the picture only. A166 sheet of smooth four-ply cardboard is attached to the cylinder by means of thin glue, this first sheet usually exceeding the size of the picture. To this is attached a second piece, cut of the exact size of the image, and attached by means of the glue, forming a raised block in exact register with the position of the picture on the printing plate; this is covered with a thickness or two of fine blotting-paper, and over the whole the sheeting of the cylinder is tightly stretched in the usual well-known manner. It is self-evident that the circumference of the cylinder must traverse at exactly the same speed as the bed of the machine, or there will be a horizontal rubbing or friction between the surface of the printing paper and that of the printing layer, which will result in impressions lacking in sharpness, and ultimate destruction of the plate.

Masking the Prints for the production of white margins is usually performed by one of two methods, each having advantages and disadvantages which should be carefully considered before adopting either; both are in practical use. In one is used a light rectangular iron framework or “frisket,” conforming to the size of the cylinder, to which it is attached by hinges. This framework is opened and closed automatically, remaining open during the period the cylinder is resting and the inking is taking place. At this point the “layer-on” inserts the paper, it is seized by the grippers, and the masking frame closes down into suitable grooves in the circumference167 of the cylinder, such grooves being useful to prevent any lateral movement of the frame. To the latter are attached four movable strips of thin zinc, which may be adjusted by means of set screws to form an opening of any desired size. The printing paper being inserted in the grippers, the frame closes, holding the paper upon the cylinder, the strips of zinc at the same time protecting the edges of the paper from immediate contact with the printing layer, the cylinder revolves, and the printing is effected. In large sizes the zinc strips are necessarily of such strength that the edges would cut and damage the printing layer; it is therefore usual to adjust the strips to within about 5 mm. of the edges of the picture, and by attaching strips of varnished tissue paper to the zinc, reducing the aperture to the size of the picture in hand. In large sizes—where thin paper is used, or where narrow margins are desired—this system of masking is best, as the whole of the operation is entirely automatic. The layer-on may devote the whole of his attention to removing impressions and inserting fresh paper.

Another System of masking frequently made use of is one in which an aperture of suitable size is cut in a piece of cardboard, such aperture being, say, 2 mm. larger than the print. The portion removed is reduced in size by 2 mm. all round, leaving it exactly the size of the impression desired. This piece is utilised for packing by attaching to the cylinder as previously described. The cardboard168 mask, presenting the exact appearance of a sunk mount, is affixed by means of a bar to the cylinder, and when folded down upon the latter, the “cut out” used as packing exactly occupies the centre of the mask, leaving a marginal space all round of 2 mm. Before printing, the mask must be varnished with negative varnish, bitumen in benzol, or otherwise waterproofed, to prevent adhesion to the print layer. The mask has to be turned back by hand at the insertion of each sheet—a considerable disadvantage when compared with the automatic frame. On the other hand, its advantages are simplicity of preparation, and the possibility it allows of masking and printing several irregularly-disposed pictures on one sheet.

Damping the Plate.—The use of the cylinder pressure has further advantages than merely prolonging the life of the plate—the operation of damping is much less needed than on the hand-press. The printing paper does not come in contact with the plate before the instant of printing or remain upon it after the operation, but is held to the cylinder by the grippers and mask, and so carried over the inked plate, consequently little opportunity is afforded for absorption of the etching fluid. With chalk paper and a new plate damping may be necessary every twenty-five impressions, but as the plate becomes older fifty or even one hundred may be printed between the etchings. On plain paper of hard surface much longer numbers may be expected.

169 The Inking Tables, two in number, are provided one at either end of the machine, necessitating two sets of inking rollers—one of leather for applying the thick ink, and another of composition for supplying the “half-tone,” the latter set requiring such light application to the plate that no riders are required. There are also the usual distributing rollers, to which the ink is generally supplied by the printer as may be necessary, the quantity being so small that no actually satisfactory automatic duct has yet been devised. A proper adjustment of the consistency of the two inks to the requirements of the plate in hand is a matter of considerable delicacy, for should the ink supplied to the leather rollers be too thin it is immediately removed from the printing plate by the composition rollers; these again transfer it to the table devoted to the thin ink, and a general “wash up” is the necessary result. The ink first supplied to the leather rollers should be as stiff as possible, afterwards reducing as experience may dictate, while to the composition or tone rollers merely coloured varnish, or even varnish alone, is applied, as the latter often remove enough colour from the printing plate to sufficiently tint the varnish applied to their surface. The leather rollers should be cleaned daily by scraping, and the composition set washed, unless the weather be very cold or damp. In such cases they may be allowed to stand under ink, as they will in that condition be less susceptible to atmospheric changes.

170 Double Printing is sometimes resorted to for work of a high class, and when negatives too thin to produce good results otherwise are unavoidably used, such work is usually printed on chalk paper and without masking. The printing plate is usually inked up twice and an impression taken; without removing the impression from the cylinder the plate is again twice inked and a second impression pulled on the same piece of paper, the two images being exactly super-imposed. The great gain in contrast will be understood when it is considered that while the high lights of the picture gain absolutely nothing, the strength of the shadows is exactly doubled. The results produced in this way are simply astonishing when contrasted with silver prints from the same negatives.


ADVERTISEMENTS.


171
Advertisement

HUGO KOCH,

LEIPZIG-CONNEWITZ, GERMANY,

MANUFACTURER OF

Collotype Steam Presses.

Awarded First Prizes at all Exhibitions where our Presses have competed.

Index pointer right World’s Exhibition, Antwerp, 1885, Diploma of Honour.Index pointer right

THE
KOCH COLLOTYPE STEAM PRESS IS THE BEST IN THE MARKET

MADE IN FOUR SIZES.

AUTOMATIC FEED BOARD, FRISKET, AND INK DUCT.


If desired, the press can be arranged also for litho or type printing


***That these machines have been adopted, to the exclusion of all others, in establishments of such repute as those of Albert, of Munich, and the “Phototypisches Institute” of Berlin, are facts of the greatest significance.


PRICES AND PARTICULARS ON APPLICATION TO

HUGO KOCH, Leipzig-Connewitz, GERMANY,

OR

BEESLEY & CO., YORK PASSAGE, BIRMINGHAM.


172
Advertisement

SCHMIERS, WERNER AND STEIN,

MANUFACTURERS OF
PRINTING MACHINERY

OUR COLLOTYPE MACHINES have now been introduced for upwards of twelve years, during which period they have been adopted by the most renowned Collotype establishments in all countries.

They are manufactured in four sizes, with all recent improvements, and may be ordered either with or without masking frames, the utmost satisfaction being guaranteed.

They may be utilised for Lithographic Printing.

Further information in reply to all questions on application to

SCHMIERS, WERNER & STEIN,
DÖSENER WEG, LEIPZIG.


173
Advertisement

ESTABLISHED 1823.

BERGER & WIRTH,

LEIPZIG, GERMANY,

Ink Manufacturers.


SPECIALITIES—

COLLOTYPE INKS

In all Shades.


PRICES AND SAMPLES

FORWARDED UPON APPLICATION.


174
Advertisement

THE MAWSON

“Photo-Mechanical” Plates

ARE SPECIALLY MADE FOR


Collodions, Varnishes, Chemicals, and other requisites for Photo-Engravers, etc.


MAWSON & SWAN,
33, SOHO SQUARE, LONDON, W.,

AND

15, Mosley Street, NEWCASTLE-ON-TYNE.


175
Advertisement

GELATINE.


NELSON’S PHOTOGRAPHIC GELATINE
IS RECOGNISED AS
THE BEST for all Photographic purposes.

Nelson’s “Special X Opaque,” for Dry Plates.


Sold Retail by all Dealers in Photographic Materials. Wholesale by the Manufacturers—

GEO. NELSON, DALE and CO., LIMITED,

14, DOWGATE HILL, LONDON, E.C.


EASTMAN’S
STRIPPING FILMS

Produce the most perfect Reversed Negatives for Collotype and Photo-Lithography, and, when used in EASTMAN’S ROLLER SLIDES, reduce the bulk and weight immensely.


EASTMAN’S PERMANENT BROMIDE PAPER.
EASTMAN’S TRANSFEROTYPE PAPER.


The Eastman Dry Plate & Film Co.,
115, OXFORD STREET, LONDON, W.


176
Advertisement

AN INTRODUCTION TO

THE

SCIENCE AND PRACTICE

OF PHOTOGRAPHY:

BY
CHAPMAN JONES, F.I.C., F.C.S.,

Demonstrator of Practical Chemistry in the Normal School of Science and Royal School of Mines;
Member of the Photographic Society of Great Britain, &c.


Cloth, price 3/6; post free, 3/10-1/2. Paper Covers, 2/6; post free, 2/10-1/2;

ILIFFE & SON, 3, St. Bride St., Ludgate Circus, London, E.C.


THE BEST FIRST BOOK FOR PHOTOGRAPHERS TO BE HAD.


PHOTOGRAPHY FOR ALL:

An Elementary Text Book and Introduction to the Art of Taking Photographs;

BY
W. JEROME HARRISON, F.G.S.,

Author of “A History of Photography,” and European Editor of “The International Annual of Anthony’s Photographic Bulletin.”

PRICE ONE SHILLING. Post free, 14 Stamps.


LONDON: ILIFFE & SON, 3, St. Bride St., Ludgate Circus.


177
Advertisement

ALL ARTICLES FOR

COLLOTYPE, PHOTO-LITHOGRAPHY, AND ETCHING PROCESSES,

AS

PRESSES, PAPERS, INKS, ROLLERS, CHEMICALS, &c.
MAY BE OBTAINED THROUGH

ROMAIN TALBOT, Brüderstrasse 10, BERLIN C.


SPECIAL GENERAL PRICE LIST GRATIS ON DEMAND.


E. T. GLEITSMANN

(Established 1851.) DRESDEN, (Established 1851.)

INK MANUFACTURER.


SPECIALITY—

BLACK & COLOURED COLLOTYPE INKS

AND

Composition for Collotype Rollers.


F. DRESCHER & CO.,

GELATINE WORKS,

OBERNDORF, Schweinfurt a/ Main, GERMANY,

MANUFACTURERS OF


Special Gelatines for all Photographic purposes.


178
Advertisement

THE INDISPENSABLE HANDBOOK
TO
The Optical Lantern:

A COMPLETE CYCLOPÆDIA ON THE SUBJECT OF

OPTICAL LANTERNS, SLIDES, AND ACCESSORY APPARATUS.

Compiled by
WALTER D. WELFORD.
Edited by
HENRY STURMEY.

CONTENTS.

SECTION I.

Part 1.—The Cheaper Oil Lanterns. Better Class Oil Lanterns. Double or Dissolving Oil Lanterns.

Part 2.—Single Limelight Lanterns. Biunials. Triunials. Special Lanterns.

Part 3.—Scientific Lanterns.

SECTION II.

Part 1.Illuminants—Lamps, Jets, and Accessories.

Part 2.—Lenses, Condensers, &c.

Part 3.—Gas, Apparatus, Retorts, Purifiers, &c. Bags, Cylinders, Valves, Pressure Boards, &c.

Part 4.—Exhibition. Screens. Screen Frames. Reading Lamps. Desks. Tripods. Boxes. Tables, &c.

Part 5.—Accessories. Microscope. Polariscope. Aphengescope, &c.

SECTION III.

Part 1.—Carriers. Frames. Tinters, Registering Apparatus, Grooved Boxes, &c.

Part 2.Slide Makers and Slide Painters—Notices of their Productions and Specialities.

Part 3.Slides—Temperance, Tales, Scriptural, Scenery, Nursery Tales, Historical, Entertainments, Pantomimes, Educational, Comic, Movable, Effect and Dissolving, Mechanical.

SECTION IV.

General Articles.—Hints to Lecturers, by Andrew Pringle; and other articles

400 PAGES. NUMEROUS ILLUSTRATIONS.

PRICE 2/6; post free, 2/10-1/2.


London: ILIFFE & SON, 3, St. Bride St., Ludgate Circus.


179
Advertisement

KLIMSCH & Co.,
FRANKFORT-ON-THE-MAIN, GERMANY.

MANUFACTURERS AND AGENTS FOR ALL
Special Materials AND Requisites
FOR
COLLOTYPE & PHOTO-LITHOGRAPHIC PROCESSES.

COLLOTYPE MACHINES,
ROLLERS, COLORS, INKS
Printing and Transfer Papers, &c.


WE FURNISH ENTIRE STUDIOS AT ADVANTAGEOUS RATES


Write for particulars and Price Lists.


180
Advertisement

An unequalled guide to the latest Developments and Processes.

THE INTERNATIONAL ANNUAL

Anthonys Photographic Bulletin.

EDITED BY
W. JEROME HARRISON, F.G.S., AND A. H. ELLIOTT, PL.O.

PRICE 2/-; post free 2/4-1/2.


ILIFFE & SON, 3, ST. BRIDE STREET, LONDON, E.C.


181
Advertisement

A GREAT DIFFICULTY,

And one experienced by all photo-mechanical experimentalists, has been that of obtaining SUITABLE and RELIABLE material and appliances. A prolonged visit to the best known photo-mechanical establishments of Austria and Germany enables us to guarantee that the articles we recommend are the best obtainable for the purposes for which they are supplied. We are in a position to supply—

COLLOTYPE:

Collotype Machines—Hand Presses—Drying Boxes—Inks—Varnishes—Printing and Masking Papers—Leather, Rubber and Composition Rollers—Gelatine Plates—Iron Beds for Presses—Printing Frames—Reversing Mirrors and Prisms, &c., &c.


ZINC ETCHING:

Zinc Plates—Etching and Tapping Inks—Rollers—Etching Boxes—Transfer Papers—Printing Frames—Scratch Papers—Whirlers—Ruled Tints, &c.


PHOTO-LITHO.

SOLE AGENTS FOR

Jaffé & Albert’s Transfer Ink and Papers.

The only Photo-transfer Paper to which a GOLD MEDAL has ever been awarded.

USED ALMOST EXCLUSIVELY ON THE CONTINENT.


BEESLEY & CO.,
York Passage, BIRMINGHAM.


182
Advertisement

THE PHOTOGRAPHERS’ INDISPENSABLE HANDBOOK:

A COMPLETE CYCLOPÆDIA OF

Photographic Apparatus, Material AND Processes

COMPILED AND EDITED BY

W. D. WELFORD and HENRY STURMEY.

THIS work aims at being for size and weight the most PRACTICALLY USEFUL of any publication on Photography yet issued. No practitioner, whether professional or amateur, whose time is of the slightest value, should fail to possess a copy. It consists of 422 handsomely printed pages, demy 8vo., and 500 illustrations, crammed full of information, the result of several months’ steady labour. Descriptions and prices of every photographic accessory, over 200 cameras, 150 lenses, 40 tripods and stands, 140 plates, 40 lamps, shutters, complete sets, burnishers, special solutions, etc., etc., etc. Numerous press and other opinions sent on application.


“Will prove of great assistance.”—Proceedings of the Camera Club.

“The Laxton of the Photographer.”—Photographic News Almanac.

“This is an excellent guide to the purchaser of Photographic Apparatus.”—The Camera.


PRICE, 2/6; post free, 2/10-1/2.


ILIFFE & SON, 3, St. Bride St., Ludgate Circus, LONDON, E.C.


183
Advertisement

CH. LORILLEUX & CO.,

Printing Ink Manufacturers


BLACK AND COLOURED VARNISHES, ROLLER COMPOSITION, ETC.

SPECIAL INKS for COLLOTYPE

GOLD MEDALS.


PARIS 1855.

PARIS 1878.

MELBOURNE 1881.

LONDON 1884.

DIPLOMAS OF
HONOUR.


VIENNA 1873.

AMSTERDAM 1883.

ANTWERP 1884.

PARIS: 16, Rue Suger. LONDON: 27, Bouverie St., Fleet St.

Works: Puteaux and Nanterre.


To Collotypists


We strongly recommend our
ROSE-TINTED DULL ENAMEL PAPER.


Quality the Best.

Samples and Proofs on application.


Gust. & Heinr. Beneke,
Löban, Saxony.

HEINRICHS’
CELEBRATED
GELATINES

FOR

Photo-Lithography, Collotype,

—ETC.—

A. & M. ZIMMERMANN

SOLE AGENTS,
6 & 7, Cross Lane,
LONDON, E.C.,

Or direct from the Manufacturer

CH. W. HEINRICHS,
Gelatine Works, Hoechst-on-the-Main,
GERMANY.


184
Advertisement

Index pointer right The OLDEST Penny Photographic Paper in the World.


EVERY THURSDAY—ONE PENNY.


PHOTOGRAPHY:

The Journal of the Amateur, the Profession, and the Trade,

IS

ACCURATE, NEWSY, ENTERPRISING.


EDITORIAL CONTRIBUTORS—
Capt. W. de W. ABNEY, C.B., F.R.S.; Prof. W. K. BURTON, C.E.; GEORGE DAVISON; CHAPMAN JONES; ANDREW PRINGLE; FRANK M. SUTCLIFFE.

Editor—HENRY STURMEY.
Sub-editor—WALTER D. WELFORD.

The special features are:—Scientific and Technical Articles by well-known writers—The Question Box, with a series of prizes for the senders of replies—Prize Competitions—Snap Shots—Items of Interest—Interviews with Prominent Members of the Trade; and the price—One Penny.


A SPECIMEN COPY WILL BE SENT GRATIS AND POST FREE.


WHAT THEY THINK OF IT:

Photography is a positive success.”—Wilson’s Photographic Magazine.

“A stirring, newsy journal, which bids fair to a successful career.”—St. Louis Photographer.

“It is very interesting, and far ahead of the other photographic papers.”—Gerald Stoney, Gateshead.

“I look upon Photography now as part of my weekly diet, as it suits my constitution.”—Moore, Dartford.

“When I have read the pages of one week’s issue I am anxious to see the next.”—F. Lewis, Derby.

“Your new journal, like the ‘Pickwick’ pen, ‘comes as a boon and a blessing to men.’”—J. C. Christie, Old Cathcart.

“You may be sure I shall prize this, my first silver medal, and I shall not want to look at it to remind me of Photography, as I always have this paper for dessert on Thursdays.”—J. W. Evans, Wolverhampton.

“I think your paper a marvel of cheapness. I had great difficulty in getting it regularly, or even at all, at first; but since I have succeeded I think all my early trouble has been liberally repaid.”—A. C. Anderson, Arbroath.

“I must say Photography is proving a decided success; it seems to be improving every week. Since taking in your paper I have entirely given up a journal which is published on the same subject, which, though more mature in years, still takes a leaf from its infant friend.”—M. Tillicouthy.


London: ILIFFE & SON, 3, St. Bride St., E.C.

AND ALL BOOKSELLERS AND BOOKSTALLS

Editorial and Advertisement Offices: VICAR LANE, COVENTRY.


Transcriber’s Note:

Punctuation has been standardised. Spelling and hyphenation have been retained as they appear in the original publication except as follows:






End of Project Gutenberg's Collotype and Photo-lithography, by Julius Schnauss

*** END OF THIS PROJECT GUTENBERG EBOOK COLLOTYPE AND PHOTO-LITHOGRAPHY ***

***** This file should be named 49866-h.htm or 49866-h.zip *****
This and all associated files of various formats will be found in:
        http://www.gutenberg.org/4/9/8/6/49866/

Produced by Chris Curnow and the Online Distributed
Proofreading Team at http://www.pgdp.net (This file was
produced from images generously made available by The
Internet Archive)


Updated editions will replace the previous one--the old editions will
be renamed.

Creating the works from print editions not protected by U.S. copyright
law means that no one owns a United States copyright in these works,
so the Foundation (and you!) can copy and distribute it in the United
States without permission and without paying copyright
royalties. Special rules, set forth in the General Terms of Use part
of this license, apply to copying and distributing Project
Gutenberg-tm electronic works to protect the PROJECT GUTENBERG-tm
concept and trademark. Project Gutenberg is a registered trademark,
and may not be used if you charge for the eBooks, unless you receive
specific permission. If you do not charge anything for copies of this
eBook, complying with the rules is very easy. You may use this eBook
for nearly any purpose such as creation of derivative works, reports,
performances and research. They may be modified and printed and given
away--you may do practically ANYTHING in the United States with eBooks
not protected by U.S. copyright law. Redistribution is subject to the
trademark license, especially commercial redistribution.

START: FULL LICENSE

THE FULL PROJECT GUTENBERG LICENSE
PLEASE READ THIS BEFORE YOU DISTRIBUTE OR USE THIS WORK

To protect the Project Gutenberg-tm mission of promoting the free
distribution of electronic works, by using or distributing this work
(or any other work associated in any way with the phrase "Project
Gutenberg"), you agree to comply with all the terms of the Full
Project Gutenberg-tm License available with this file or online at
www.gutenberg.org/license.

Section 1. General Terms of Use and Redistributing Project
Gutenberg-tm electronic works

1.A. By reading or using any part of this Project Gutenberg-tm
electronic work, you indicate that you have read, understand, agree to
and accept all the terms of this license and intellectual property
(trademark/copyright) agreement. If you do not agree to abide by all
the terms of this agreement, you must cease using and return or
destroy all copies of Project Gutenberg-tm electronic works in your
possession. If you paid a fee for obtaining a copy of or access to a
Project Gutenberg-tm electronic work and you do not agree to be bound
by the terms of this agreement, you may obtain a refund from the
person or entity to whom you paid the fee as set forth in paragraph
1.E.8.

1.B. "Project Gutenberg" is a registered trademark. It may only be
used on or associated in any way with an electronic work by people who
agree to be bound by the terms of this agreement. There are a few
things that you can do with most Project Gutenberg-tm electronic works
even without complying with the full terms of this agreement. See
paragraph 1.C below. There are a lot of things you can do with Project
Gutenberg-tm electronic works if you follow the terms of this
agreement and help preserve free future access to Project Gutenberg-tm
electronic works. See paragraph 1.E below.

1.C. The Project Gutenberg Literary Archive Foundation ("the
Foundation" or PGLAF), owns a compilation copyright in the collection
of Project Gutenberg-tm electronic works. Nearly all the individual
works in the collection are in the public domain in the United
States. If an individual work is unprotected by copyright law in the
United States and you are located in the United States, we do not
claim a right to prevent you from copying, distributing, performing,
displaying or creating derivative works based on the work as long as
all references to Project Gutenberg are removed. Of course, we hope
that you will support the Project Gutenberg-tm mission of promoting
free access to electronic works by freely sharing Project Gutenberg-tm
works in compliance with the terms of this agreement for keeping the
Project Gutenberg-tm name associated with the work. You can easily
comply with the terms of this agreement by keeping this work in the
same format with its attached full Project Gutenberg-tm License when
you share it without charge with others.

1.D. The copyright laws of the place where you are located also govern
what you can do with this work. Copyright laws in most countries are
in a constant state of change. If you are outside the United States,
check the laws of your country in addition to the terms of this
agreement before downloading, copying, displaying, performing,
distributing or creating derivative works based on this work or any
other Project Gutenberg-tm work. The Foundation makes no
representations concerning the copyright status of any work in any
country outside the United States.

1.E. Unless you have removed all references to Project Gutenberg:

1.E.1. The following sentence, with active links to, or other
immediate access to, the full Project Gutenberg-tm License must appear
prominently whenever any copy of a Project Gutenberg-tm work (any work
on which the phrase "Project Gutenberg" appears, or with which the
phrase "Project Gutenberg" is associated) is accessed, displayed,
performed, viewed, copied or distributed:

  This eBook is for the use of anyone anywhere in the United States and
  most other parts of the world at no cost and with almost no
  restrictions whatsoever. You may copy it, give it away or re-use it
  under the terms of the Project Gutenberg License included with this
  eBook or online at www.gutenberg.org. If you are not located in the
  United States, you'll have to check the laws of the country where you
  are located before using this ebook.

1.E.2. If an individual Project Gutenberg-tm electronic work is
derived from texts not protected by U.S. copyright law (does not
contain a notice indicating that it is posted with permission of the
copyright holder), the work can be copied and distributed to anyone in
the United States without paying any fees or charges. If you are
redistributing or providing access to a work with the phrase "Project
Gutenberg" associated with or appearing on the work, you must comply
either with the requirements of paragraphs 1.E.1 through 1.E.7 or
obtain permission for the use of the work and the Project Gutenberg-tm
trademark as set forth in paragraphs 1.E.8 or 1.E.9.

1.E.3. If an individual Project Gutenberg-tm electronic work is posted
with the permission of the copyright holder, your use and distribution
must comply with both paragraphs 1.E.1 through 1.E.7 and any
additional terms imposed by the copyright holder. Additional terms
will be linked to the Project Gutenberg-tm License for all works
posted with the permission of the copyright holder found at the
beginning of this work.

1.E.4. Do not unlink or detach or remove the full Project Gutenberg-tm
License terms from this work, or any files containing a part of this
work or any other work associated with Project Gutenberg-tm.

1.E.5. Do not copy, display, perform, distribute or redistribute this
electronic work, or any part of this electronic work, without
prominently displaying the sentence set forth in paragraph 1.E.1 with
active links or immediate access to the full terms of the Project
Gutenberg-tm License.

1.E.6. You may convert to and distribute this work in any binary,
compressed, marked up, nonproprietary or proprietary form, including
any word processing or hypertext form. However, if you provide access
to or distribute copies of a Project Gutenberg-tm work in a format
other than "Plain Vanilla ASCII" or other format used in the official
version posted on the official Project Gutenberg-tm web site
(www.gutenberg.org), you must, at no additional cost, fee or expense
to the user, provide a copy, a means of exporting a copy, or a means
of obtaining a copy upon request, of the work in its original "Plain
Vanilla ASCII" or other form. Any alternate format must include the
full Project Gutenberg-tm License as specified in paragraph 1.E.1.

1.E.7. Do not charge a fee for access to, viewing, displaying,
performing, copying or distributing any Project Gutenberg-tm works
unless you comply with paragraph 1.E.8 or 1.E.9.

1.E.8. You may charge a reasonable fee for copies of or providing
access to or distributing Project Gutenberg-tm electronic works
provided that

* You pay a royalty fee of 20% of the gross profits you derive from
  the use of Project Gutenberg-tm works calculated using the method
  you already use to calculate your applicable taxes. The fee is owed
  to the owner of the Project Gutenberg-tm trademark, but he has
  agreed to donate royalties under this paragraph to the Project
  Gutenberg Literary Archive Foundation. Royalty payments must be paid
  within 60 days following each date on which you prepare (or are
  legally required to prepare) your periodic tax returns. Royalty
  payments should be clearly marked as such and sent to the Project
  Gutenberg Literary Archive Foundation at the address specified in
  Section 4, "Information about donations to the Project Gutenberg
  Literary Archive Foundation."

* You provide a full refund of any money paid by a user who notifies
  you in writing (or by e-mail) within 30 days of receipt that s/he
  does not agree to the terms of the full Project Gutenberg-tm
  License. You must require such a user to return or destroy all
  copies of the works possessed in a physical medium and discontinue
  all use of and all access to other copies of Project Gutenberg-tm
  works.

* You provide, in accordance with paragraph 1.F.3, a full refund of
  any money paid for a work or a replacement copy, if a defect in the
  electronic work is discovered and reported to you within 90 days of
  receipt of the work.

* You comply with all other terms of this agreement for free
  distribution of Project Gutenberg-tm works.

1.E.9. If you wish to charge a fee or distribute a Project
Gutenberg-tm electronic work or group of works on different terms than
are set forth in this agreement, you must obtain permission in writing
from both the Project Gutenberg Literary Archive Foundation and The
Project Gutenberg Trademark LLC, the owner of the Project Gutenberg-tm
trademark. Contact the Foundation as set forth in Section 3 below.

1.F.

1.F.1. Project Gutenberg volunteers and employees expend considerable
effort to identify, do copyright research on, transcribe and proofread
works not protected by U.S. copyright law in creating the Project
Gutenberg-tm collection. Despite these efforts, Project Gutenberg-tm
electronic works, and the medium on which they may be stored, may
contain "Defects," such as, but not limited to, incomplete, inaccurate
or corrupt data, transcription errors, a copyright or other
intellectual property infringement, a defective or damaged disk or
other medium, a computer virus, or computer codes that damage or
cannot be read by your equipment.

1.F.2. LIMITED WARRANTY, DISCLAIMER OF DAMAGES - Except for the "Right
of Replacement or Refund" described in paragraph 1.F.3, the Project
Gutenberg Literary Archive Foundation, the owner of the Project
Gutenberg-tm trademark, and any other party distributing a Project
Gutenberg-tm electronic work under this agreement, disclaim all
liability to you for damages, costs and expenses, including legal
fees. YOU AGREE THAT YOU HAVE NO REMEDIES FOR NEGLIGENCE, STRICT
LIABILITY, BREACH OF WARRANTY OR BREACH OF CONTRACT EXCEPT THOSE
PROVIDED IN PARAGRAPH 1.F.3. YOU AGREE THAT THE FOUNDATION, THE
TRADEMARK OWNER, AND ANY DISTRIBUTOR UNDER THIS AGREEMENT WILL NOT BE
LIABLE TO YOU FOR ACTUAL, DIRECT, INDIRECT, CONSEQUENTIAL, PUNITIVE OR
INCIDENTAL DAMAGES EVEN IF YOU GIVE NOTICE OF THE POSSIBILITY OF SUCH
DAMAGE.

1.F.3. LIMITED RIGHT OF REPLACEMENT OR REFUND - If you discover a
defect in this electronic work within 90 days of receiving it, you can
receive a refund of the money (if any) you paid for it by sending a
written explanation to the person you received the work from. If you
received the work on a physical medium, you must return the medium
with your written explanation. The person or entity that provided you
with the defective work may elect to provide a replacement copy in
lieu of a refund. If you received the work electronically, the person
or entity providing it to you may choose to give you a second
opportunity to receive the work electronically in lieu of a refund. If
the second copy is also defective, you may demand a refund in writing
without further opportunities to fix the problem.

1.F.4. Except for the limited right of replacement or refund set forth
in paragraph 1.F.3, this work is provided to you 'AS-IS', WITH NO
OTHER WARRANTIES OF ANY KIND, EXPRESS OR IMPLIED, INCLUDING BUT NOT
LIMITED TO WARRANTIES OF MERCHANTABILITY OR FITNESS FOR ANY PURPOSE.

1.F.5. Some states do not allow disclaimers of certain implied
warranties or the exclusion or limitation of certain types of
damages. If any disclaimer or limitation set forth in this agreement
violates the law of the state applicable to this agreement, the
agreement shall be interpreted to make the maximum disclaimer or
limitation permitted by the applicable state law. The invalidity or
unenforceability of any provision of this agreement shall not void the
remaining provisions.

1.F.6. INDEMNITY - You agree to indemnify and hold the Foundation, the
trademark owner, any agent or employee of the Foundation, anyone
providing copies of Project Gutenberg-tm electronic works in
accordance with this agreement, and any volunteers associated with the
production, promotion and distribution of Project Gutenberg-tm
electronic works, harmless from all liability, costs and expenses,
including legal fees, that arise directly or indirectly from any of
the following which you do or cause to occur: (a) distribution of this
or any Project Gutenberg-tm work, (b) alteration, modification, or
additions or deletions to any Project Gutenberg-tm work, and (c) any
Defect you cause.

Section 2. Information about the Mission of Project Gutenberg-tm

Project Gutenberg-tm is synonymous with the free distribution of
electronic works in formats readable by the widest variety of
computers including obsolete, old, middle-aged and new computers. It
exists because of the efforts of hundreds of volunteers and donations
from people in all walks of life.

Volunteers and financial support to provide volunteers with the
assistance they need are critical to reaching Project Gutenberg-tm's
goals and ensuring that the Project Gutenberg-tm collection will
remain freely available for generations to come. In 2001, the Project
Gutenberg Literary Archive Foundation was created to provide a secure
and permanent future for Project Gutenberg-tm and future
generations. To learn more about the Project Gutenberg Literary
Archive Foundation and how your efforts and donations can help, see
Sections 3 and 4 and the Foundation information page at
www.gutenberg.org Section 3. Information about the Project Gutenberg
Literary Archive Foundation

The Project Gutenberg Literary Archive Foundation is a non profit
501(c)(3) educational corporation organized under the laws of the
state of Mississippi and granted tax exempt status by the Internal
Revenue Service. The Foundation's EIN or federal tax identification
number is 64-6221541. Contributions to the Project Gutenberg Literary
Archive Foundation are tax deductible to the full extent permitted by
U.S. federal laws and your state's laws.

The Foundation's principal office is in Fairbanks, Alaska, with the
mailing address: PO Box 750175, Fairbanks, AK 99775, but its
volunteers and employees are scattered throughout numerous
locations. Its business office is located at 809 North 1500 West, Salt
Lake City, UT 84116, (801) 596-1887. Email contact links and up to
date contact information can be found at the Foundation's web site and
official page at www.gutenberg.org/contact

For additional contact information:

    Dr. Gregory B. Newby
    Chief Executive and Director
    gbnewby@pglaf.org

Section 4. Information about Donations to the Project Gutenberg
Literary Archive Foundation

Project Gutenberg-tm depends upon and cannot survive without wide
spread public support and donations to carry out its mission of
increasing the number of public domain and licensed works that can be
freely distributed in machine readable form accessible by the widest
array of equipment including outdated equipment. Many small donations
($1 to $5,000) are particularly important to maintaining tax exempt
status with the IRS.

The Foundation is committed to complying with the laws regulating
charities and charitable donations in all 50 states of the United
States. Compliance requirements are not uniform and it takes a
considerable effort, much paperwork and many fees to meet and keep up
with these requirements. We do not solicit donations in locations
where we have not received written confirmation of compliance. To SEND
DONATIONS or determine the status of compliance for any particular
state visit www.gutenberg.org/donate

While we cannot and do not solicit contributions from states where we
have not met the solicitation requirements, we know of no prohibition
against accepting unsolicited donations from donors in such states who
approach us with offers to donate.

International donations are gratefully accepted, but we cannot make
any statements concerning tax treatment of donations received from
outside the United States. U.S. laws alone swamp our small staff.

Please check the Project Gutenberg Web pages for current donation
methods and addresses. Donations are accepted in a number of other
ways including checks, online payments and credit card donations. To
donate, please visit: www.gutenberg.org/donate

Section 5. General Information About Project Gutenberg-tm electronic works.

Professor Michael S. Hart was the originator of the Project
Gutenberg-tm concept of a library of electronic works that could be
freely shared with anyone. For forty years, he produced and
distributed Project Gutenberg-tm eBooks with only a loose network of
volunteer support.

Project Gutenberg-tm eBooks are often created from several printed
editions, all of which are confirmed as not protected by copyright in
the U.S. unless a copyright notice is included. Thus, we do not
necessarily keep eBooks in compliance with any particular paper
edition.

Most people start at our Web site which has the main PG search
facility: www.gutenberg.org

This Web site includes information about Project Gutenberg-tm,
including how to make donations to the Project Gutenberg Literary
Archive Foundation, how to help produce our new eBooks, and how to
subscribe to our email newsletter to hear about new eBooks.