*** START OF THE PROJECT GUTENBERG EBOOK 47446 ***

TRANSCRIBER'S NOTES

Compared to the original version, some changes were made to the html-file. Click for more details.

UNIVERSITY OF CALIFORNIA PUBLICATIONS
IN
AMERICAN ARCHAEOLOGY AND ETHNOLOGY

Vol. 12, No. 10, pp. 397-441, 8 text-figuresJuly 6, 1917


CEREMONIES OF THE POMO INDIANS

BY
S.A. BARRETT

UNIVERSITY OF CALIFORNIA PRESS
BERKELEY


[Pg 397] UNIVERSITY OF CALIFORNIA PUBLICATIONS
IN
AMERICAN ARCHAEOLOGY AND ETHNOLOGY

Vol. 12, No. 10, pp. 397-441, 8 text-figuresJuly 6, 1917


CEREMONIES OF THE POMO INDIANS

BY
S.A. BARRETT


CONTENTS

PAGE
Introduction 397
Ceremonial organization 398
Officials 399
General Features of the Pomo Ceremonies 401
Invitations to Ceremonies 402
The Ghost or Devil Ceremony 403
Stephen Powers on the Ghost Dance 404
The Ghost Ceremony Proper 406
Fire Eating 418
The Purification Rite 421
Summary of the Principal Features of the Ghost Ceremony 422
The Guksu Ceremony 423
The Scarifying Ceremony 425
Stephen Powers on the Guksu Ceremony 427
Completion of the Guksu Ceremony 429
Treatment of Disease 430
Dances 431
Dances in which Men and Women Participated 433
Dances in which only Men performed 438
Dances in which only Women performed 439
Additional Dances 440
The Messiah Cult 440
Conclusion 441

INTRODUCTION

It has been at least twenty years since the last of the Pomo ceremonies was held in a truly aboriginal fashion. Elaborate ceremonies of a more recently introduced "Messiah" cult were held as late as perhaps fifteen years ago, but these "Messiah" ceremonies contain only a few features common to the indigenous tribal observances. [Pg 398]Dances are even yet to be seen in connection with some celebrations, principally on the Fourth of July, but there now remains so little that is really primitive about these that they are virtually worthless to the student. Information obtained through direct observation is at present, therefore, impossible, and we must depend for our knowledge of Pomo ceremonies and ceremonial organization upon the statements of the older men, and particularly those concerned with such matters in former days. From such sources rather full information concerning some of the ceremonies and dances is obtainable, but, under the circumstances, it is impossible to secure exhaustive data concerning all of them. In many instances informants recall only a few of the details of a given ceremony or dance. Sometimes only its name is remembered. Doubtless even the recollection of some ceremonies and dances has been lost.

During a residence in the Pomo region from 1892 to 1904 the existing vestiges of some of these Pomo ceremonies were observed whenever possible, but no attempt at a systematic collection of data on the subject was made until 1903 and 1904, when this work was undertaken in conjunction with the collection of Pomo myths, as part of the investigations of the Ethnological and Archaeological Survey of California, maintained by the Department of Anthropology of the University of California through the generosity of Mrs. Phoebe A. Hearst. This information was obtained from informants of three Pomo dialects—Northern, Central, and Eastern. Where a native term is used in the following pages, therefore, the dialect is indicated by N, C, or E, in parentheses directly after it. The phonetic system employed is fully explained in "The Ethno-Geography of the Pomo Indians."[1]


CEREMONIAL ORGANIZATION

The ceremonial organization of the Pomo was very loose. There was no secret society of importance, as there was among the Maidu and presumably among the neighboring Wintun, and no organized priesthood vested with control over ceremonies. The ordinary chiefs, however (or "captains," as they are more often called), were prominently concerned with all ceremonies, and there were other officials in charge of particular rites. We may begin therefore by mentioning the various officials in the order of their importance.

[Pg 399]

OFFICIALS

As has been elsewhere pointed out,[2] the social organization of the Pomo is based primarily upon blood relationship, the blood relatives who resided in a definite village grouping themselves into a political unit under the leadership of an hereditary "captain." Usually several of these consanguineal units comprise a village, and their captains form its governing body. From among these the people elect a head captain. Not even the head captain has absolute authority, nor has any captain important judicial power, or power to inflict punishment. In short, the function of the captain is primarily that of adviser to the group. The special duties of the head captain in olden times were to welcome and entertain visitors from other villages, and to meet in council with the other captains concerning matters of general public welfare, and to arrange for and preside over ceremonies.

What may be termed an honorary captainship was accorded any man who, through his wealth or his prowess as a hunter, made himself very popular by providing large quantities of food and numerous feasts for the people. A similar honorary office, that of female captain, da´ xalik (E), was based upon a woman's popularity, which depended in turn on her good-heartedness and her fame as a cook. Neither of these honorary offices, however, was hereditary. In spite of the ambiguous nature of the office, incumbents were accorded great respect at ceremonies and other public functions.

The other officials had duties almost, if not quite, exclusively connected with ceremonies and had nothing directly to do with governmental affairs. We may recognize the fire-tenders, the head singers, the chorus singers, the drummers, and the masters of ceremonies. Such offices were considered very honorable and were, as a rule, hereditary. This was particularly true of the offices of fire-tender, head singer, and drummer, in which the succession followed precisely the same rules as did the chieftainship.

The fire-tenders, called me´dze (N) and la´imoc (E), were officials of very great importance. Connected with each of the large, semi-subterranean "dance-houses"[3] there were two fire-tenders, who saw to all matters concerning the fire and the preparation of the dance-house except actually procuring the firewood. All the men [Pg 400]participating in the ceremony were supposed to bring wood, which they placed just outside the dance-house. One of the fire-tenders then carried it up and dropped it through the smoke-hole, while the other stacked it in ricks in the proper places within the house. As remuneration for their labor, they received the beads which were thrown at the dancers[4] by the people during the ceremony and which were swept up when the dance-house was cleaned.

The head singer, called ke´ kai tca (C) and ke´ūya (E), was a man of great importance in ceremonies, though he was very inconspicuous. It was his duty to plan previously the proper sequence of the dances and songs, and it was also his duty to start all songs and to carry the air. The head singer had to possess a very good voice, and had to make it his business to know the songs for the various ceremonies. Now and then he was at a loss for the proper song for a particular occasion. He was allowed to consult some other singer, or, upon occasion, he might ask for suggestions from the audience. Any one who knew a song which fitted the occasion might come to the head singer and sing it for him in an undertone, until he caught it and was ready to lead in the singing. As a rule he kept time with a split-stick rattle, or a rattle made of cocoons.

The chorus or burden-singers, called skam (E), gave volume to the music and marked time with their split-stick rattles, hai mitamitaka (N). Their usual burden was "he, he, he, he, ..." sung in a heavy monotone.

The drummers, called tsīlo´ gaūk (E), tsīlo´ tca (C), and tsīlo´ matūtsī (E), were always two in number, and as a rule they took turns in playing the large wooden drum which was set in the ground at the rear of the dance-house, and which was beaten by the stamping of the feet. The office of drummer was considered one of the most important, and second only to that of fire-tender.

The master of ceremonies, called xabē´ dima (E), xabē´gaūk (E), and he´līma (C), started and stopped all songs and dances by certain signals. The participants in the dance usually maintained certain positions, but the master of ceremonies ran about from place to place supervising the activities and giving directions as required. His [Pg 401]presence was absolutely necessary at all ceremonies, and without him a dance could not proceed. He acted under the general direction of the head captain, but that official himself never served as master of ceremonies. Very rarely did the same individual serve as master of ceremonies and head singer. While as a rule the drummers and the singers wore no special dress for ceremonial occasions, the masters of ceremonies were almost always painted and dressed according to different requirements for each ceremony (see below). They were usually among the dancers who impersonated supernatural beings.

GENERAL FEATURES OF POMO CEREMONIES

A ceremony always centered about the dance-house,[5] and lasted four nights, or some multiple of four, beginning usually soon after sunset. In the case of the "ghost ceremony," which began at sunrise, the preceding night was spent in performing other dances. Such ceremonies were made up of a varying number of dances.

There was usually no prescribed sequence, but the ceremony took the name of the dance which was its special feature, though this need not necessarily open the ceremony. In a few instances it was recognized that certain dances should be performed together.

A ceremony consisted of (1) an introductory procedure, accompanied by more or less ritual, such as the initiation of the children through the gū´ksū ceremony (see below, p. 425); (2) a series of dances; (3) a series of speeches by officials and men of importance concerning the religious life or other matters of public interest; (4) a final purification rite; and (5) various feasts, particularly one held in the morning after the final night of the ceremony.

There were certain special ceremonies, such as the gū´ksū ceremony, in which a definite opening procedure was required, but after this almost any desired dance might be held at any time, day or night, throughout the duration of the ceremonial period. The procedure of the final night of the ceremony was also usually fixed.

The principal ceremonies of the Pomo were:

The xahlū´īgax xaikīlgaiagība[6] (the "ghost" or "devil" ceremony).

The kalīmatōtō xaikīlgaiagība (the thunder ceremony).

The gū´ksū xaikīlgaiagība.

The da´ma xaikīlgaiagība.

[Pg 402]

INVITATIONS TO CEREMONIES

The captains of the village discussed with other important men the question of holding a ceremony, just as they discussed other matters relating to the general public good. Having agreed upon the date and other details, the head captain usually walked through the village delivering an oration, as was customary upon occasions of importance, in which he announced to the people the decision of their captains. This oration might, however, be delivered as he stood before the door of his own house or before the door of the dance-house.

Invitations were then sent to the people of other villages to attend the ceremony. This was done by means of a special invitation string. Wormwood or willow sticks about two inches in length were tied, each separately, into a short string, the number of sticks being equal, according to some informants, to the number of days intervening before the ceremony was to begin, usually not fewer than two or more than eight. Other informants stated that this number was equal to these intervening days plus the number of days during which the ceremony was to be held. For instance, if a four-day ceremony was to begin four days hence, these being the usual numbers in both instances, eight sticks were tied into the invitation string. According to another informant, if the number of sticks was from two to five, the guests were invited for the first of two or more ceremonies. If six or more sticks were present, they were to come for a later ceremony. This latter, however, seems to be rather improbable. To one end of the string was tied, as an ornament, a small section of forehead-band made of yellow-hammer feathers. This string might be presented as such, but frequently it was tied to the end of a wand about two feet long. Its general name among the Central Pomo was haidel. Before sending, it was called ha'iebū; after it had been sent out, it was termed ha'idakaū.

A messenger took this string or wand to the captain of the village invited and, if it was necessary for him to make a journey of any considerable length, he broke off a stick for each day of his journey. According to most informants, he simply delivered the string to the head captain of the invited village and immediately returned home with the message of acceptance from that village. According to one informant, however, he remained as the guest of the head captain, and himself broke a stick each day from the invitation string and finally conducted the visitors to the ceremony.

As a rule, visitors arrived at least one day before the ceremony [Pg 403]began, but they never entered the village itself until the morning of the first ceremonial day, making camp meanwhile at some convenient spot within a short distance. The visitors collected a present of a considerable number of shell beads, which was carried by their head captain as he led them into the village. Some, at least, of the younger men among the visitors attired themselves in their dance costumes and danced into the village, usually following a little apart from the rest of their people.

As soon as the visitors appeared in sight, a watchman, stationed on the roof of the dance-house, gave notice to the head captain, who was inside. He at once came out and, taking a position directly in front of the dance-house, delivered a short oration inviting the visitors to enter and making them welcome. As the visitors entered each group was assigned to its particular position in the dance-house, and all seated themselves with their head captain, captains, fire-tenders, and other officials in front. When the head captain of the host village finally entered the dance-house, which was not until after all the visitors had taken their seats, he was called by the visiting head captain to their position. The visiting head captain then made a short speech of presentation and gave the beads to the host head captain, who made, in return, a second and more lengthy speech of welcome. He then took these beads to his own house, and they were later divided among his people. A present of equal value was returned to the visitors, either immediately or at some time before the close of the ceremony.

This formality of welcome over, some dance might be held at once or the guests and hosts might enjoy a general visit. If one of the secret ceremonies was to be held, all the women and children and the uninitiated men retired from the dance-house before it commenced.

FOOTNOTES:

[1] Present series, VI, pp. 51-54.

[2] "The Ethno-Geography of the Pomo and Neighboring Indians," present series, VI, pp. 15-17.

[3] An article by the present writer called "Pomo Buildings," in the Holmes Memorial Volume, fully describes these structures, which were erected especially for ceremonial purposes and which formed the religious centers of Pomo villages.

[4] The reason for the throwing of the beads is as follows: Pomo custom prescribes a period of mourning lasting one year. If a dancer so far forgets his sorrow as actively to participate in a ceremony of this kind before the expiration of the prescribed mourning period after the death of a friend or relative some atonement is required. It is customary under such circumstances for some one in the audience to throw some loose shell-beads at the dancer, these being evidently intended as an offering to the spirits and having nothing directly to do with the dancer himself.

[5] For a description of this large semi-subterranean structure see "Pomo Buildings," by the present author in the Holmes Anniversary Volume.

[6] These words are in the Eastern Pomo dialect.


THE GHOST OR DEVIL CEREMONY

This ceremony was perhaps the most important of the four-day ceremonies of the Pomo. It was usually held in the spring and was witnessed only by properly initiated men, never by women or children. The uninitiated men, as well as the women and children, were much afraid of these dancers and kept a very respectful distance when they entered the village. This was due to the belief that to approach closely would produce serious illness.

Such esoteric ceremonies are unusual among the Pomo, though [Pg 404] they occur among other California tribes. As examples might be mentioned the Hesi ceremony among the Wintun and Maidu, especially among the Maidu, who have a definite secret society.

STEPHEN POWERS ON THE GHOST DANCE

The ghost dance of the Pomo has been attributed by Powers [7] to a secret society. In speaking of the subject of chastity among the Pomo, he describes a "devil-raising" ceremony conducted by what he terms a "secret society" which had several branches in the various Pomo villages. His description of this ceremony is given from information obtained by him from an old resident closely connected with the Indians of the region in early days, and, while his assumptions and deductions are in many respects incorrect, it is plainly a description of the ghost dance.

After speaking of the "secret society ... whose simple purpose is to conjure up infernal terrors and render each other assistance in keeping their women in subjection," Powers says: [8]

Their meetings are held in an assembly-house erected especially for the purpose, constructed of peeled pine-poles. It is painted red, black, and white (wood color) on the inside in spiral stripes reaching from the apex to the ground. Outside it is thatched and covered with earth. When they are assembled in it there is a doorkeeper at the entrance who suffers no one to enter unless he is a regular member, pledged to secrecy. Even Mr. Potter, though a man held in high honor by them, was not allowed to enter, though they offered to initiate him, if he desired. They do not scruple to avow to Americans who are well acquainted with them, and in whose discretion they have confidence, that their object is simply to "raise the devil," as they express it, with whom they pretend to hold communication; and to carry on other demoniacal doings, accompanied by frightful whooping and yelling, in order to work on the imaginations of the erring squaws, no whit more guilty than themselves.

Once in seven years these secret woman-tamers hold a grand devil-dance (cha-du-el-keh), which is looked forward to by the women of the tribe with fear and trembling as the scourging visit of the dreadful Yu-ku-ku-la (the devil). As this society has its ramifications among the many Pomo tribes, this great dance is held one septennium in one valley, another in another, and so on through the circuit of the branch societies.

Every seven years, therefore, witnesses the construction of an immense assembly-house which is used for this special occasion only. I have seen the ruins of one which was reared in Potter Valley somewhere about the year 1860. The pit, or cellar, which made a part of it was circular, sixty-three feet in diameter and about six feet deep, and all the enormous mass of earth excavated from it was gouged up with small, fire-hardened sticks and carried away in baskets by both men and women, chiefly men. It was about eighteen feet high [Pg 405]in the center, and the roof was supported on five posts, one a center pole and four others standing around it, equidistant from it and the perimeter of the pit. Timbers from six to nine inches in diameter were laid from the edge of the pit to the middle posts, and from these to the center pole. Over these were placed grass and brush, and the whole was heavily covered with earth. Allowing four square feet of space to each person, such a structure would contain upward of seven hundred people. In their palmy days hundreds and even thousands of Indians attended one of these grand dances.

When the dance is held, twenty or thirty men array themselves in harlequin rig and barbaric paint and put vessels of pitch on their heads; then they secretly go out into the surrounding mountains. These are to personify the devils. A herald goes up to the top of the assembly-house and makes a speech to the multitude. At a signal agreed upon in the evening the masqueraders come in from the mountains, with the vessels of pitch flaming on their heads, and with all the frightful accessories of noise, motion, and costume which the savage mind can devise in representation of demons. The terrified women and children flee for life, the men huddle them into a circle, and, on the principle of fighting the devil with fire, they swing blazing firebrands in the air, yell, whoop, and make frantic dashes at the marauding and bloodthirsty devils, so creating a terrific spectacle, and striking great fear into the hearts of the assembled hundreds of women, who are screaming and fainting and clinging to their valorous protectors. Finally the devils succeed in getting into the assembly-house, and the bravest of the men enter and hold a parley with them. As a conclusion of the whole farce, the men summon courage, the devils are expelled from the assembly-house, and with a prodigious row and racket of sham fighting are chased away into the mountains.

After all these terrible doings have exercised their due effect upon the wanton feminine mind, another stage of the proceedings is entered upon. A rattlesnake was captured some days beforehand, its fangs were plucked out, and it was handled, stroked, fed, and tamed, so that it could be displayed with safety. The venerable, white-haired peace-chief now takes his station before the multitude, within the great assembly-house, with the rattlesnake before him as the visible incarnation of the dreadful Yukukula. Slowly and sonorously he begins, speaking to them of morality and feminine obedience. Then warming with his subject, and brandishing the horrid reptile in his hand full in the faces and over the heads of his shuddering auditors, with solemn and awful voice he warns them to beware, and threatens them with the dire wrath of Yukukula if they do not live lives of chastity, industry, and obedience, until some of the terrified squaws shriek aloud and fall swooning upon the ground.

Referring again to the "devil dance," as practiced among the Gualala, Powers says:[9]

In the midst of the ordinary dances there comes rushing upon the scene an ugly apparition in the shape of a man, wearing a feather mantle on his back reaching from the armpits down to the mid-thighs, zebra-painted on his breast and legs with black stripes, bearskin shako on his head, and his arms stretched out at full length along a staff passing behind his neck. Accoutered in this harlequin rig, he dashes at the squaws, capering, dancing, whooping; and they and the children flee for life, keeping several hundred yards between him and themselves. If they are so unfortunate as to touch even his stick, all their children will perish out of hand.

[Pg 406]

THE GHOST CEREMONY PROPER

The dancers were of two classes, the ordinary ghost-dancers, or "devils," called xahluigak (E), and the "ash-devils," or fire-eaters, called nō xahlūigak (E). The former danced almost exclusively during the day, and the latter at night, though these regulations were not quite absolute. The ash-devils were always present at the ghost ceremony and during the ghost dance proper they served, in a way, as sergeants-at-arms and as clowns.

According to some informants, a new dance-house was especially built for each ghost ceremony. Other informants did not particularly mention this fact and it seems probable that in more recent times, after the ceremonial procedure of the Pomo had become somewhat lax, this rule was not observed, and the same dance-house may have been used for more than one ghost ceremony, and for other ceremonies as well.

In this ceremony the dancers impersonated the spirits of the dead, as is indicated by the speech of the chief devil-dancer made just before disrobing.[10] The dance is said to have had its origin in mythical times when the birds and mammals had human attributes. The Pomo account is as follows:

Hawk, the captain of a village, was killed by Vulture. After being absent from the village for some time Hawk suddenly returned, came into the dance-house, and sat down in front of the center pole, at its foot. A ceremony was about to begin, and the people noticed nothing out of the ordinary about Hawk and were perfectly willing to allow him to participate in the dancing. Meadowlark, however, noticed an odor about Hawk which showed that he had just returned from the realm of the dead. With his characteristic garrulity, he commenced to chatter about the improprieties of mortals dancing with dead people. Hawk was a chief and one of an important family and felt especially offended at these reflections upon him and left at once, never again returning to the village. According to one version of the myth, Meadowlark had, in those days, a long tail like most other birds. His action upon this occasion, however, so enraged the other members of the village that some one struck at him with a fire poker which happened to be near at hand. Meadowlark was able to dodge the blow, but the poker clipped off a large part of his tail. He has, therefore, had only a stub of a tail since that day. The people then fell to discussing what could be done to atone in some way for this insult to Hawk. A number of men immediately went out into the woods and dressed themselves as the devil-dancers now do, returning to the village to personate the spirits of the departed. From this mythical source has descended the present-day ghost or devil ceremony.

The ceremony was directly under the supervision of the chief "gū´ksū doctor," and it was he who safeguarded the ghost-dance [Pg 407]paraphernalia during the long interval between ceremonies. The ghost-dancers and the ash-devils were actually assisted in dressing by the gū´ksū doctors.

The dress of the ghost-dancer proper was quite elaborate. Each ghost-dancer repaired to some secluded place in the woods or brush, preferably back in the hills about the village, where he dressed. This going into seclusion to dress is called tsūma´kabek in the Eastern Pomo dialect. He first rubbed his body with chewed angelica root, at the same time making a prayer for long life, good health, and prosperity for himself, his fellow dancers, and the people of the village. He also made a prayer to a certain supernatural being [11] to lend him a striped skin. He next painted his body with white, red, and black paints. A man might paint his body entirely one color. The upper half of the body might be of one color, while the lower half was of another. The same difference in color might obtain between the right and the left sides, and bands and stripes might also be freely used.

Before finally finishing the painting of the face and arms, however, the remainder of the attire was put on. This included, for the head, (1) a head-net with which to confine the hair; (2) a down-filled head-net; (3) a feather tuft on top of the head; (4) a yellow-hammer quill forehead-band fastened at the top of the forehead, passing back through the parted feather-tuft and hanging down the back; and (5) a fillet of pepperwood leaves. The remainder of the costume consisted of a short girdle of pepperwood branches worn about the waist and, if desired, a similar adornment about the neck.

The ash-devils, or fire-eaters, dressed more simply. According to some informants, they were entirely nude except for a coat of blue paint. According to others, their attire was somewhat more elaborate. The face was painted red, black, or white, two colors never being used together. The legs were painted white, then scratched with the fingernails so as to remove some of the paint and produce longitudinal stripes. The hair was bound up with the usual head-net into which a single black feather was inserted, [12] or a feather tuft was attached to it. As a screen or mask before the face, the dancer also wore a fringe of green twigs further to disguise his identity. Otherwise he was completely naked.

[Pg 408] When everything was in readiness in the village, the head captain sent out a messenger to notify the dancers. When the latter were ready to enter the village, a small fire was built in the hills to give notice of the fact. They made their first entry just about daybreak on the first day. A crier, who was always one of the captains or a fire-tender detailed to this duty, took his position on the roof of the dance-house just below the smoke-hole, where he gave the ghost call "yē ..." four times. At once answering calls were heard from the ghost-dancers in their several locations, for they had scattered to a number of different places, each man by himself, or in groups of not more than two or three individuals. The ghost response was a loud "waū wa´i," repeated four times. If the ghost-dancers were sufficiently close together, this was given by their leader only. The crier continued his calling until one or more of the dancers appeared on the outskirts of the village. They came running in, [13] each carrying in his hands two bunches of grass or twigs a foot or so in length, [14] behind which he at times pretended to hide. Each suddenly stopped as he came in sight of the dance-house and stood for a moment with outstretched arms. Thereupon the crier shouted, "ō, ō, ō, ō," after which he delivered an invocation to the ghost-dancers, asking them to come running into the village bringing health and happiness to the people. This invocation was as follows:

napō´
village
pūtsa´l
healthy
gīwa´lē
run to
ma´yawala
girls
kale pūtsa´l
healthy
gīwa´lē
run to
xā´xalik
chiefs
pūtsa´l
healthy
gīwa´lē
run to
da´xalik
chieftainesses
pūtsa´l
healthy
gīwa´lē
run to
kawi´k
children
pūtsa´l
healthy
gīwa´lē
run to

Then, according to one informant, all the people who were assembled in the dance-house shouted, while the drummer beat rapidly for a minute or two. The head singers took their cocoon rattles and [Pg 409]intoned a song as they marched outside to meet the dancers. After singing outside for a short time, they re-entered the dance-house.

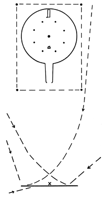
The dancers then came running in, making a loud noise produced by a voiced expulsion of breath through the relaxed but closed lips, "bū ..." and ran to a point about one hundred yards directly in front of the dance-house door (see fig. 1). While the dancers were running into the village, the singers sang the following song:

yōhīya´, yōhīya´, yōhīya´,

yōhīya´, yōhīya´, yōhīya´,

yōhīkōlī kōlē, yōhīkōlī kōlē.

(Repeat indefinitely.)

Fig. 1—Paths of the ghost-dancers as they enter the village, and their ceremonial course before the dance-house.

Fig. 2—Positions taken and course traveled by ghost-dancers in approaching dance-house.

[Pg 410] Meantime the crier and the dancers continued their respective cries. The head ghost-dancer always dressed at a place north (i.e., in the rear) of the dance-house, so that in entering the village he ran past the dance-house to take up his position. Here he bowed very low, and quickly dropped his arms with the bunches of grass above mentioned, at the same time crying "wē...." He then trotted perhaps twenty feet in one direction, where he repeated this motion and cry, and then to a point an equal distance in the opposite direction from his central position, repeating the same motion and cry there. This he did four times, finally stopping in the middle of the forty-foot line thus blocked out, and directly in front of the dance-house door. The next dancer to enter the village might come from any direction. He ran toward the head dancer and crossed, if possible, in front of him, though if necessary he passed behind him. In this case the head dancer turned around so as to face the runner. The newcomer began to pass back and forth along the line, making the motions and cries as above described. He then took up his position at one side or the other of the chief dancer. These dancers were at liberty to laugh, talk, and play at will. Frequently they performed various comical antics, such as pretending to be stung by wasps, and doctoring one another.

The crier continued his calls until finally the leader of the dancers walked along a zigzag path to a position about one-quarter of the distance between the line of dancers and the dance-house (see fig. 2). Here he halted and cried "wuī´ ..." after which the crier at the dance-house called all the initiated men of the village to assemble.

There was a fixed restriction against the presence of the uninitiated in this assembly. One informant maintained that the ceremony, as held in his locality (the coast of the Central Pomo area), required that four posts be set up, each at a distance of several yards from the dance-house, as is shown in figures 1 and 2, the imaginary lines from post to post forming an inclosure for the dance-house and its immediate vicinity, within which none but the initiated dared venture.

The singers and others officially concerned with the dance came from within the dance-house and formed two lines, one on each side of the outer door of the tunnel, as indicated by the small crosses in figure 2. As the crier gave his call, the initiates answered with a cry of "ye ..." after which they formed these two lines between which the ghost-dancers must pass to enter the dance-house.

At the outer ends of these lines were two masters of ceremonies who directed the ceremony from this point on to its close. They first [Pg 411]chased each of the dancers[15] as he came to enter the house, returning each time to the heads of the two lines, there to await the arrival of the next dancer. These masters of ceremonies were called xahlū´īgak käldaiyaū (E) or masa´n käldaiyaū (E), and were entirely nude except for a head-net and a feather tuft on their heads.

Fig. 3—Course of each ghost-dancer entering dance-house.

The chief ghost-dancer entered the house backwards and started towards the drum, passing, however, on the west or wrong side of the fire. Before he had gone very far, he stopped and groped around with one foot, as if to find his way, and finally inquired which way he should go. Ghost-dancers used the same words in speaking that ordinary people did, except that they inverted their statements and reversed the meanings of words. In this case the spectators replied, "You must go on the west side," [16] meaning, of course, that the dancer was expected actually to go down the east side of the dance-house. He then reversed his direction, as is shown in figure 3, and circled four times about the fire, finally passing to a position in front of the [Pg 412] center pole. The spectators meanwhile constantly called out to each dancer to pass down the "east" side of the house.

When the dancer entered through the tunnel, the spectators all cried, "ye´-ye." He at first advanced very slowly backwards until he reached the point at which he inquired his way. As soon as he received this direction he sprang up and ran the prescribed four times around the fire and finally reached the foot of the center pole, making meanwhile the same "bū ..." noise which he had made upon entering the village. He here awaited the arrival of the other dancers, who went through the same succession of movements.

The chief ghost-dancer, upon arriving in front of the center pole, said, "mamūle´" (E), to which the spectators replied, "hehē´...." Then he made a short speech in a more or less archaic language. Its purport was: "I do not come to do any one harm, but rather to take all sickness away and to make everybody strong."

habadūtkīya
-
gahnū
-
kūdī´
good
pūtsa´lwal
-
gakba
-
ga´kalik
chiefs
gaba
-
da´kalik
chieftainesses
gaba,
rich
ka´lnīne
people
gaba
-
bēkal
-
sīma
-
bexba
-
gahnū
-
cama
-
īhīwala
-

He next marked off, according to one informant, two or three places on the east side of the floor, saying that he and his followers would dance there. This was contrary to the usual procedure in dances, for the regular dancing area in front of the center pole was always used. As a matter of fact, the ghost dance itself was actually performed in the usual area also, but this indicating of another area, and this announcement, are only other evidences that the spirits must always do things differently from mortals. In fact, the whole dress and conduct of these dancers, their reversal of terms of direction, their groping their way, etc., typify the conduct of the spirits of the departed, who find everything strange when they return to the realm of mortals.

Throughout the entire ceremony, and especially during the time that the ghost-dancers were entering, the spectators were obliged to use great care not to obstruct their passage in any way, or otherwise to interfere with them, else they were likely to be very roughly handled by the dancers.

As the last ghost-dancer entered the tunnel leading into the dance-house, the men in the two lines outside cried "yūhē´" four times, after which they entered and took up their positions.

[Pg 413] The above described entry of the dancers was according to the regular procedure. However, these dancers, especially the ash-devils, were privileged to perform many comical antics, and it not infrequently happened that one or more of them would run up on to the roof of the dance-house and dive through the smoke-hole. In fact, this was one of the usual modes of deception practiced in this ceremony. A special net, cko´l tabiū käle hai (N), was stretched about two feet below the smoke-hole to catch the dancer. A special post was set in the ground beside this net for the dancer to slide down. He would then go through the usual series of movements, running four times around the fire. After this he usually took up a position at one of the posts near the door, there to levy tribute upon the spectators. This tribute might be in the form of firewood, tobacco, or other commodities.

The music for this ceremony was provided by a drummer, two chief singers, and a number of burden-singers. The ghost-dancers sometimes sang a kind of burden of their own while dancing. This was simply "hī, hī, hī, hī," etc., in a very high key. The chief singers were provided with cocoon rattles. These and the drum were the only instruments used. The dancers carried no whistles, although these were ordinarily used by performers in other dances. The burden-singers also used no split-stick rattles, but clapped their hands instead in time to their singing.

After the performers had in this way entered the dance-house, the chief ghost-dancer called to the singers to start. The drummer then jumped upon the drum, crying "hūtsaiya´hīī" (E). [17] With the first cry of the drummer, the chief singers sounded their rattles. After an interval of perhaps a minute, the drummer repeated his jump and call. The song started and the dance began.

The song as given by one of the informants is as follows:

yōhīya´ yōhīya´, yōhīya´ yōhīya´,

kūlī kūlē kūlē ....

kūlī kūlē kūlē ....

hūtsaiya´ hūtsaiya´

hīī ....

(Repeat indefinitely.)

The two masters of ceremonies took up their respective positions at A and C (fig. 3) and danced back and forth along the lines AB [Pg 414]and CD. In starting the movement, they stood with hands outstretched and bent their bodies sidewise toward the drum as they shouted "hūtsaiya´hīī." They then ran rapidly sidewise to the opposite ends of their respective courses, where they repeated the same bending, this time in the opposite direction. When they had gone back and forth over these courses and had returned to their original positions for the fourth time, they again shouted as at first. This particular set of the dance was repeated four times, thus completing this part. After any such part had ended, it occasionally happened that one dancer would continue his steps just as though the music were in full swing. Ultimately one of his fellow-dancers would strike him lightly to call his attention to the fact that the dance was over, and he also would stop.

Four such parts completed the first division of the dance. After this the masters of ceremonies advanced toward the ghost-dancers, motioning them back toward the center pole with the palms of their hands turned outward and held in front of them, while they said "hahyū´, hahyū´" (repeated indefinitely).

The singers, masters of ceremonies, and the drummer then seated themselves or stood a short distance away from the drum, and the ghost-dancers proceeded with their ceremonial disrobing.

The chief ghost-dancer proceeded from the foot of the center pole by a path, as is indicated in figure 4, leading around the center pole and fire and back to the east side of the drum, which the ghost-dancers term cūna´ bilat (E), literally "canoe worn out." Upon his arrival at the drum the chief ghost-dancer made a speech in which he said that he and his fellows "had come from the hollow stems of the grass, crawling like snakes," to visit the people.

katsa´ mūtō´lai
grass hollow
waha badūt´kiū (E)
travel like a snake

He told them that he had come for their good and with no evil motives, that he had come to bring them good health and happiness, not sickness and misfortune. With a cry of "mē ..." he then jumped across the drum to its west side. The spectators cried "mī´bax bō´wōwa" (E), literally "go on your west side," indicating the west side of the drum, according to the ghost-dancers' inverted method of speech. In compliance with this instruction, the chief ghost-dancer jumped across the drum, after which he sometimes felt around with his foot as if in search of something. Thus he jumped back and [Pg 415] forth four times across the drum. He had really been in search of the drum all the time and had feigned his inability to find it. He finally, however, jumped upon it and stamped rapidly for a minute or so to indicate his satisfaction. Throughout this whole performance the singers and others near the drum continually cried "hō ... hō ..." etc. While standing on the drum, the chief ghost-dancer faced toward the wall, thus bringing his back toward the fire. Frequently he made some comic observation to those near by, [18] and from time to time turned his head toward the right so as almost to face the fire, the while he made the peculiar noise, "bū ..." characteristic of this dance. Meanwhile he turned his head slowly, first to the right and then to the left, until he had done this four times in each direction.

Fig. 4—Ghost-dancer's course in disrobing.

He next took the brush or grass, which he had throughout the ceremony been carrying in his hands, first in his left hand and passed it downward over the right side of his body until he had passed it down and up four times. He then took it in his right hand and passed it in the same manner over his left side. He next took part of it again in each hand and passed both hands back and forth sidewise over his legs while standing in a bent posture, until he had done this also four times. The brush or grass was then placed upon the ground.

[Pg 416] He next took off the girdle of twigs about his waist and dropped it to the ground, usually without ceremony, though if he chose he might pass this through the same series of motions as the twigs carried in his hand. He next took off his entire head-gear at once. This he held in his left hand and passed from his right shoulder up over his head four times, repeating the same motions with the right hand on the left side. He then placed this with the other paraphernalia on the ground.

He next left the drum and went directly back to the foot of the center pole, where he rejoined the rest of the ghost-dancers. The remaining dancers went, one by one, or in small groups, and performed exactly the same ceremony as that just described. When all had disrobed, each took his costume and retired to the woods or brush, redressed himself, endeavoring to change his painting to one as different as possible from that which he wore before. Later the same performance was repeated: the calling by the crier, entry of the dancers, series of dances, and ceremonial disrobing.

On the first day this entire series of dances was repeated four times in all—at about 5 a.m., 10 a.m., 2 p.m., and 5 p.m., respectively. After the ceremonial disrobing at the end of the fourth series, the ghost-dancers left their suits in the dance-house and repaired to the river or lake to swim, after which they returned to the dance-house. During the other three days of the ceremony they might appear any desired number of times during the day.

The dancers were forbidden to eat or drink on any particular day as long as the dance continued, but as soon as they had gone down to swim this restriction was removed.

As a rule, fire-eating and fire-handling were only incidental to the ghost dance proper. However, if occasion arose, the ghost-dancers themselves might handle fire, though they could not eat it. This privilege was especially reserved to the ash-devils, nō' xahlūīgak (E). In case something was done to offend the ghost-dancers, such as an inadequate provision of wood or some inattention on the part of the officials, they might attempt to show their displeasure by throwing fire about the dance-house. It then became the duty of the two fire-tenders to hold sticks of wood across the fire. This operated as a taboo to the ghost-dancers, who were prevented from touching the fire. If there were any of the ash-devils present, even though not regularly participating in this particular ceremony, they at once brought their special bird-shaped staffs, which served as their badges of authority, [19] [Pg 417] and gave them absolute control over the entire assemblage, including even the head captain. This caused the fire-tenders to remove their restriction, and the ghost-dancers were then privileged to do as they wished as long as they were under the patronage of the ash-devils.

While serving, during the regular ghost dance, as messengers, sergeants-at-arms, and collectors of fines, the ash-devils were called katsa´tala (E), and were the special clowns who performed all manner of antics in their endeavors to provoke an outward expression of mirth from some unfortunate spectator. Should he so forget himself as to laugh or even smile at the antics, one of these katsa´tala ran at him with his wand and levied tribute in the form of a payment of beads or some other commodity, or imposed a penalty requiring the offender to bring wood or water for the dancers. Furthermore, if some one of the dancers should see a spectator in possession of something desirable, he sent one of these katsa´tala with his wand to this spectator to demand the desired article. The spectator must then bring it to the foot of the center pole and deposit it for the dancers.

In order to provoke the spectators to mirth, these katsa´tala did many odd things and made themselves as grotesque as possible. For instance, one of them would prop his eyelids open with small wooden pegs (an action called ū´ībatak (E)), or he would hold his mouth open and stretch it out of shape (an action called katsī´da batak (E)), or he would fill his cheeks very full and puff them out with grass (called kawe´ts kale (E)).

These ash-devils never actually danced in the ghost dance proper, but accompanied the regular ghost-dancers when they appeared. The intervals between dances were filled and greatly enlivened by their antics, and it was during these intervals that they made good their name by rolling in the ashes of the fire, and by sometimes throwing live coals about, and "eating" them.

From time to time during the "rests," or ceremonial pauses, one of these katsa´tala would seize a cocoon rattle, run four times about the fire and center pole, and throw the rattle at the chief singer, calling upon him for a song. This must be at once forthcoming, and the ghost dance itself was then resumed. If some one in the audience wished to have the singing and dancing resumed, he threw a cocoon rattle at one of the fire-tenders, who passed it to one of the katsa´tala, who then ran about the fire and presented it to the chief singer as just described.

Songs were sometimes sung independently and unaccompanied by [Pg 418]dancing. This was especially the case in what may be termed singing contests. Upon receiving the rattle, a singer was obliged at once to sing some song. He then passed the rattle to another singer, who did likewise. Thus each of the renowned singers was given an opportunity to prove his merit. Each man's song was accompanied by a parade of the performers, which carried the party, including the singer, four times around the dancing area.

FIRE EATING

Fire-eating was restricted, as above stated, to the ash-devils, and, while sometimes practiced during intermissions in the regular ghost dance, it was usually held as a separate ceremony in the evening and was preceded by a short dance.

The dress of the ash-devils consisted of a coat of paint and a very simple headdress.[20] In addition, however, they carried special ceremonial staffs called tōa bīla´t (E), kasa´ūsaūa (E), and kasa´Isala (E). To one end of this ceremonial staff was fixed the head of a crane. Grass was used to stuff the neck part, bits of abalone (Haliotis) shell made the eyes, and bluejay feathers were made into a topknot. It was permissible to use wands of slightly different forms, but all were crooked in some way, and the crane-headed staff was the recognized variety.

When this special ceremony commenced, the ash-devils became supreme and took precedence over everybody. A guard was posted at the foot of the side post to the east of the door, and no one was permitted to leave the dance-house after the ceremony had begun except upon payment of a certain sum of what was termed upon this occasion "bead money" (cata´ne (E)). As a matter of fact, two or three stems of rush, from four to six feet in length, were bound together and were given to the guard as payment. He took this "money" and hung it on the wall near the drum, after having danced a few quick steps upon the drum with it in his hands. These rushes were legal tender during this ceremony; and if the dancers asked a favor of any one else in the dance-house they paid him for the service in this same legal tender. Their authority was especially shown by their use of the crane-head wands, which no one else was permitted to touch. They could be handled only after a long fast involving complete abstinence from water and from meat or grease in any form.

[Pg 419] As soon as the ash-devils entered the dance-house absolute silence fell upon all. Except the ash-devils, no one, not excepting the head captain, was permitted to speak during the ceremony. The rule was that the ash-devils themselves must consult one another in low tones.

Immediately upon entering the dance-house the main group of ash-devils took up a position at the foot of the center pole and, in case some one of the spectators did not almost immediately start a song for their dance, they might jump into the fire and begin to throw brands and live coals about among the spectators. This drastic action quickly called forth a protest, and some one volunteered to sing.

The actual dancing lasted for perhaps half an hour, after which the ash-devils sat down and began to "eat fire," jump into it, and perform other miraculous feats with it. They, to all appearances, actually picked up live coals, which they called bū (E), and devoured them, preferring the coals of manzanita wood, as these were the strongest and hottest. This term bū is translated by the Pomo as "potatoes," a term applied to the many species of bulbs and corms formerly an important part of their food supply. The word for coals is masi´k (E).

During the progress of the dancing a fire-tender had been preparing the fire for the special benefit of the ash-devils, and had selected a considerable quantity of live coals, which he had piled at one side of the main fire. Suddenly one of the fire-dancers put his hand into these coals and scattered them out over the dancing floor. Then he pretended to be burned and danced about as if in pain. Finally, however, he struck the center pole with his hand and evinced great satisfaction, for to him the center pole was as cold water. During this fire-eating ceremony many other feats were performed, such as catching with the mouth a live coal which had been thrown into the air, then running back to the drum and dancing upon it. The dancer usually turned toward the audience, opened his mouth, and exhaled his breath in such a way as to cause the coal to glow between his teeth or farther back in his mouth. Such comical antics would in ordinary life provoke an outburst of merriment, but the rules of the ceremony absolutely forbade a sound of any kind, mirthful or otherwise, from the audience, and if the rule were violated a fine was exacted.

During this ceremony, and apparently as an initiation of novices, little boys were thrown by the ash-devils back and forth a number of times through the blaze of a large fire.

Finally, after about half an hour of this eating and handling of [Pg 420]fire, the ash-devils formed at the drum and danced over a course such as that shown in figure 5. This was repeated four times, and as each dancer stepped upon the drum he danced a few short, quick steps, as did the regular drummer in producing music for an ordinary dance. Upon completing this cycle of four, the dancers reversed their direction and traveled over the same course four times. They next passed over the course represented in figure 6, stopping at the four points marked I, where each dancer waved his wand, which he held with both hands, above and in front of his head in such a manner as to describe with it a semicircle, while the spectators cried "hee´...."

Fig. 5—Course in first part of final fire dance.

Fig. 6—Course in second part of final fire dance.

The dancers then returned to the drum, removed their head-dresses and nets, and danced back and forth four times along the line indicated in figure 7. At the end of each journey along this line, the dancers blew their breath forcibly through their lips and waved their hands from their mouths. At the end of this cycle they sat down and became ordinary persons[21] once more. The spectators were then permitted [Pg 421]to do as they wished. They could resume their normal ways, including smoking, which had been prohibited because the fire and everything pertaining to it belonged exclusively to the fire-dancers during this ceremony.

THE PURIFICATION RITE

During the first three days and nights of the ghost ceremony, either the ghost dance itself or some other dance associated with it might be held. On the fourth night it was necessary that the entire night be spent in dancing, and near dawn there occurred a purification rite accompanied by special songs. Every ceremonial object about the dance-house, whether it had been used during the preceding days or not, had to undergo this purification, and in case the owner of such a ceremonial object was not present, some near relative performed the ceremony with it.

Fig. 7—Course in third part of final fire dance.

Just before sunrise each dancer, holding up his personal ceremonial paraphernalia in his right hand, danced back and forth in time to the songs. He danced four times looking toward each of the six cardinal directions in the following order: east, north, west, south, up, down. [Pg 422]All the ceremonial objects were then hung up in the dance-house and later stored away secretly by the chief Gū´ksū doctor.

The ceremony ended during the following forenoon with a grand feast, which differed materially from other feasts held at times during the ceremony, in that each separate class of individuals dined by itself in the order of rank—captains, fire-tenders, singers, drummers, masters of ceremonies, ash-devils, ghost-dancers, and spectators. The food served to each class was, however, of the same kind and quality.

Certain restrictions were imposed upon the dancers after the ceremony was over. The regular ghost-dancers were not allowed to eat meat for eight days. Those who wore the chaplet of twigs upon the head were obliged to abstain from meat for four days. The Gū´ksū doctor who assisted a dancer in dressing might ask him for some article, such as a powerful poison. This had to be given the Gū´ksū and, in that case, the dancer was forced to abstain from meat for eight days. A dancer who wore certain kinds of feather ornaments abstained from meat for a month. The chief Gū´ksū doctor, who knew all about the ghost dance and who was called yō´mta bate (E), was compelled to abstain from meat for several months. It was his duty to care for the ceremonial paraphernalia between dances. This had to be carefully hidden away in some lonely spot where no one could find it except this chief Gū´ksū doctor and his two or three assistants.

Whenever any one of these individuals ate meat or fish for the first time after this period of restriction had expired he was enjoined to say a short prayer over it.

SUMMARY OF THE PRINCIPAL FEATURES OF THE GHOST CEREMONY

The following are the most characteristic features of the ghost or devil ceremony:

  1. The ceremony is supposed to have had its origin in mythical times and to have been instituted as an atonement for an offense against the dead.
  2. It lasted four days, ending with an all-night dance, and, on the morning of the fifth day, a purification rite followed by a feast in which each class of individuals dined by itself.
  3. The participants were several ghost-or devil-dancers personating the spirits of the departed and accompanied frequently, though not always, by one or more ash-devils or ash-ghosts, who filled the double office of clown and sergeant-at-arms, and who usually performed their special fire dance and fire-eating ceremony.[Pg 423]
  4. The officials particularly concerned with the ceremony were two head singers, an indefinite number of burden-singers, a drummer, two fire-tenders, and two masters of ceremonies. The village captains retained their full authority in this ceremony except when the ash-devils were performing.
  5. The audience consisted of initiated men only, and silence was the rule. Any exhibition of mirth was absolutely prohibited under penalty.
  6. The attire of the ghost-dancer consisted of several pieces of headgear, supplemented in some cases by a chaplet of leaves, a girdle, and sometimes a neck-ring of leaves. The body was otherwise nude except for very elaborate painting in black, white, and red. The dancers dressed secretly in the woods and came to the village carrying bunches of grass or twigs in their hands, behind which they at times pretended to hide.
  7. The ash-devils wore only a simple head-dress and a coat of paint.
  8. The special crane-head shaped wand of the ash-devil gave him absolute authority.
  9. The dancers entered the village at the call of a crier stationed on top of the dance-house, performed an elaborate ceremony in front of the dance-house, and finally entered it backwards, groping their way, using an inverted style of speech, and in every other manner showing that the spirits of the departed were unaccustomed to the ways of mortals.
  10. The dancing was elaborate and was characterized by the occurrence of movements in cycles of four, followed by an elaborate ceremonial disrobing at the drum, and then by swimming.
  11. During the fire dance the ash-devils initiated novices.
  12. The dancers were subject to certain restrictions for varying periods of time following the ceremony.

FOOTNOTES:

[7] Contr. N.A. Ethn., III, 158-160, 1877.

[8] Loc. cit.

[9] Op. cit., pp. 193-194.

[10]See below, p. 414.

[11] The exact identity of this supernatural being could not be determined from informants.

[12] According to one informant, two feathers instead of one were worn by these dancers. These were placed so that they projected laterally from the forehead.

[13] One informant stated that each dancer was ablaze on his back, head, and arms, and that smoke issued from his mouth. This accords with Power's statements, quoted above.

[14] According to one informant, some of these dancers carried stones, long sticks, or even snakes with which to frighten the spectators. Note also Power's reference to the use of the rattlesnake in the ghost dance, quoted above.

[15] Two or three dancers sometimes came together.

[16] Mibax bōl malīdai (E).

[17] This expression was said by informants to be untranslatable, simply an expression used to start the song. This jumping upon the drum and calling by the drummer were called tehe´sba (E).

[18]Compare below, p. 419.

[19]See below, p. 418.

[20]See below, p. 420.

[21] According to the above information, which was obtained from an Eastern Pomo informant, the fire-dancers evidently did not make an attempt to hide their identity. However, a Central Pomo informant was very specific in his statements that the dancers of his locality were more particular in this respect, and instead of remaining in the dance-house after the ceremony they ran out and returned to their respective places of seclusion, there to dress in daily attire and return to the village.


THE GUKSU CEREMONY

Gū´ksū or kū´ksū, as he is called in the different Pomo dialects, was a supernatural being living at the end of the world toward the south, one of six supernatural beings living at the ends of the world in the six cardinal directions. The term is also applied to a large mosquito-like insect, called locally "gallinipper."

[Pg 424] Toward the east lived Ca´lnis, the only one of these deities who was associated especially with Gū´ksū in the ceremonies of the Pomo.

Toward the north lived Sū´ūpadax (whirlwind).

Toward the west lived Xa´-matū´tsī (water-occupation). The connection is here very readily seen when we know that the territory of the Pomo reached to the Pacific Ocean, and that this great body of water formed an important element in certain phases of their mythology. It was only toward the west that the world was supposed by the Pomo to be bounded by water.

Above lived Kalī´-matūtsī (sky-occupation).

Below lived Ka´i-matū´tsī (earth-occupation).

Some of these terms really referred to groups of several deities each. The deities of all six quarters were particularly concerned with medicine practices. Healing was, however, especially the province of the Gū´ksūs, and the Pomo medicine-men, or "doctors," made their prayers particularly to them, although all the remaining deities of the cardinal points were invoked.

Nothing very definite seems to be known concerning the places of abode or manners of living of most of these deities. Each was supposed to dwell, at his own "end of the world," in a sweat-house or dance-house of one kind or another. Each was also supposed to be distinctly malevolent at times and to be a man-killer unless properly placated. Under the proper circumstances they were regarded as benevolent, as was indicated by the prayers of the medicine-men invoking the aid of these deities in curing the sick.

Concerning the personal appearance of Gū´ksū and Ca´lnis, more was known than of the others. Gū´ksū himself was said to be of about normal human size and his most characteristic feature was a very long, large, sharp, red nose. He was usually very good natured. Ca´lnis, on the other hand, while resembling Gū´ksū in most respects except that of the abnormal nose, was at all times a testy individual, and in the Gū´ksū ceremony his impersonator pursued people and tripped them up.

Gū´ksū was impersonated by a number of dancers, while only a single one represented Ca´lnis. Those personating Gū´ksū were dressed as follows: They painted their entire bodies black, according to some informants; according to others, with horizontal red, white, and black stripes. The feet were painted black and the under side of the chin and the sides of the face were painted white. On their heads they wore either a "big-head" headdress (a very bulky type of feather [Pg 425]bonnet) or a large feather tuft on top of the head, and a yellow-hammer feather forehead-band. The large nose of Gū´ksū was represented by one made of feathers and of such a size as completely to cover the nose and mouth of the dancer. When painted red, this was said to represent very well this characteristic of the deity as he existed in the imagination of the Indians. The connection with the proboscis of the gallinipper is especially apt. Each Gū´ksū-dancer carried a cakō´ik (E), or staff, about two inches in diameter and from six to eight feet in length, on the top of which was a feather tuft. The Gū´ksū-dancer, being supposedly a supernatural being, never spoke. The only sound made by him throughout this ceremony was produced by his whistle.

The Ca´lnis-dancer was painted entirely black and carried a black staff very much like that of the Gū´ksū, except that it was somewhat shorter and bore no feathers. On his head he wore an ordinary feather cape so drawn together that it formed an immense feather topknot which normally fell in all directions over his head. This was held in place by means of skewers passing through a headnet. Another point in which these two dancers differed was that while the Gū´ksū-dancer was provided with a double bone whistle the Ca´lnis-dancer had none.

The Gū´ksū ceremony itself, called gū´ksū xaikilga (E), gaxa´gaxaū xaixilga (E), kūksū haitcilaū (C), and djaka´djakaū (N), lasted for six days, during the first and the last two of which there was celebrated the special ceremony called gaxa´gaxa (E), in which the children of the village were scarified.

THE SCARIFYING CEREMONY

Two or three days before the time appointed for the scarifying ceremony the men of the village went into the woods and cut a pole, perhaps from thirty to forty feet in length, which they trimmed and peeled preparatory to its erection. A hole a foot or two deep and large enough to receive the pole was dug directly in front of, and a short distance from, the dance-house.

On the morning of the first ceremonial day a considerable number of men went out from the village dressed in a special ceremonial attire. This consisted of a body-painting either of black stripes or spots (no particular number being prescribed), and of a head decoration composed of a headnet, a down headnet, two trembler plumes, a yellow-hammer, feather forehead-band, and a small feather tuft.

[Pg 426] They brought in the pole to the area directly in front of the dance-house, and here the following ceremony was performed: To the upper end of the pole a streamer was attached. The fastest runner among the participants took the end of this streamer, and the other men, arranged usually in the order of their ability as runners, grasped the pole at different points down to its butt. Behind this line certain women who participated formed a second line. The pole was then carried, at the top speed of the runners, four times around in a contra-clockwise direction, the pivotal point being the hole in which the pole was to rest, and over which its base was held. As they ran the runners swayed the pole up and down, and the women threw upon the men handfuls of a small, parched, black seed called gēhe´ (E).

Upon the completion of the fourth round some one of the runners shouted loudly "ha ... ū ..." and at this signal all lifted the pole vertically into place in the hole. The call was repeated as the pole was about half way up. When in place, the pole was fixed by tramping earth and stones about it.

Within a few minutes after the erection of the pole the Gū´ksū-dancers appeared and stopped about two or three hundred yards away from the dance-house. Some of the men had been attempting to climb the pole, both men and women meanwhile throwing at them balls, gala´l (E), of uncooked meal made of a certain grass seed.

As the Gū´ksū-dancers appeared in the distance the climbing ceased, and the children who were to be initiated were collected about the base of the pole. Boys who were to be thus initiated were called yō´mta (E), while girls were called masa´nta (E). They ranged in age from perhaps five to ten years. The dancers proceeded to the foot of the pole, took the children in hand, and performed the following ceremony, the object of which was to secure for the children good health and to make them grow rapidly. The children were first made to lie down upon the ground and were covered with blankets. Then, under the supervision of the dancers, each child had two cuts made with a broken shell across the small of its back and about an inch apart. The cutting was done by the gaxa´ xale (E), an old man selected for the purpose by the people of the village on account of his long life, good health, and particularly his good heartedness. This was one of the most important phases of the initiation, and upon it depended the effect upon the life of the child. The children were in each case covered completely with the blanket and were not permitted, under any consideration, to look up during this part of the [Pg 427]ceremony. They might make any outcry they pleased, but if they attempted to look up from the ground they were threatened and even beaten with the staffs of the dancers. The cutting was done quite deeply, so that blood was always drawn. The children were also prohibited from looking up into a tree from under its branches until after these scarifications had completely healed, else the tree would bear no fruit.

The entire assemblage next entered the dance-house, the dancers going directly to their positions in the rear without the preliminary ceremony of entry which was required in most other ceremonies. The children were made to lie on the floor and were again covered with their blankets. The dancers then performed for their benefit, making a great deal of fun both of the children and of the scarification ceremony. They danced thus for a short time, then went on the west side of the fire, where they turned their heads slowly to the left four times, after which the people cried "ya...." The dancers then ran out and into the brush, where they took off and left their dancing paraphernalia. This ceremonial leaving of the dance-house was supposed to remove all illness from the village, the dancers taking it with them as they went out. The spirits which they represented supposedly returned at that time to their supernatural home at the south end of the world.

Another feature of the initiation in the Gū´ksū ceremony is described by a Central Pomo informant, who says that young men were initiated by being ceremonially shot with the bow and arrow.

STEPHEN POWERS ON THE GUKSU CEREMONY

Powers describes what he terms a "spear dance" among the Gallinomero (which evidently refers to this same ceremony), as follows:[22]

First they all unite, men and squaws together, in a pleasant dance, accompanied by a chant, while a chorister keeps time by beating on his hand with a split stick. In addition to their finest deerskin chemises and strings of beads, the squaws wear large puffs of yellowhammers' down over their eyes. The men have mantles of buzzards', hawks', or eagles' tail-feathers, reaching from the armpits down to the thighs, and circular headdresses of the same material, besides their usual breech-clouts of rawhide, and are painted in front with terrific splendor. They dance in two circles, the squaws in the outside one; the men leaping up and down as usual, and the squaws simply swaying their bodies and waving their handkerchiefs in a lackadaisical manner. Occasionally an Indian will shoot away through the interior of the circle and caper like a [Pg 428]harlequin for a considerable space of time, but he always returns to his place in front of his partner.

After this is over, the coward or clown is provided with a long, sharp stick, and he and his prompter take their places in the ring ready for performances. A woman as nearly nude as barbaric modesty will permit is placed in the center, squatting on the ground. Then some Indian intones a chant, which he sings alone, and the sport, such as it is, begins. At the bidding of the prompter, the coward makes a furious sally in one direction, and with his spear stabs the empty air. Then he dashes back in the opposite direction and slashes into the air again. Next he runs some other way and stabs again. Now perhaps he makes a feint to pierce the woman. Thus the prompter keeps him chasing backward and forward, spearing the thin air toward every point of the compass, or making passes at the woman, until nearly tired out, and the patience of the American spectators is exhausted, and they begin to think the whole affair will terminate in "mere dumb show." But finally, at a word from the prompter, the spearman makes a tremendous run at the woman and stabs her in the umbilicus. She falls over on the ground, quivering in every limb, and the blood jets forth in a purple stream. The Indians all rush around her quickly and hustle her away to another place, where they commence laying her out for the funeral pyre, but huddle around her so thickly all the while that the Americans cannot approach to see what is done. Thus they mystify matters and hold some powwow over her for a considerable space of time, when she somehow mysteriously revives, recovers her feet, goes away to her wigwam, encircled by a bevy of her companions, dons her robe, and appears in the circle as well as ever, despite that terrible spear-thrust.

Men who have witnessed this performance tell me the first time they saw it they would have taken their oaths that the woman was stabbed unto death, so perfect was the illusion. Although this travesty of gladiatorial combat is intended merely for amusement, yet all the Indians, these stoics of the woods, gaze upon it with profound and passionless gravity. If they laugh at all it is only after it is all over, and at the mystification of the Americans.

Referring to another phase of the same dance, as practiced in another division of the Pomo, Powers says:

Their fashion of the spear dance is different from the Gallinomero. The man who is to be slain stands behind a screen of hazel boughs with his face visible through an aperture; and the spearman, after the usual protracted dashing about and making of feints, strikes him in the face through the hole in the screen. He is then carried off, revives, etc.[23]

The novices who were thus shot were called tcō´ktcōk (C) [plural tcō´ktcōkau], and the person who did the shooting, at the direction of the head captain, was called yo´mta (C). The informant did not state just where the shooting was performed and was not explicit as to its exact nature, but it appears probable that it occurred in the dance-house. These novices were forbidden to eat fresh manzanita berries and the flesh of the fawn, the gray squirrel, and the red-headed woodpecker. After the shooting ceremony the novices were taken out into the area directly in front of the dance-house, and here a ceremony [Pg 429]of healing was performed over them by the one who shot them. He told them that they would have long life and health, and that a feast would be held for them in the course of a few days.

COMPLETION OF THE GUKSU CEREMONY

The Gū´ksū-dancers appeared only once each day in this Gū´ksū ceremony, though various other dances might be held during the day, and it was only upon the first morning that the ceremony about the pole and the scarification above described were held. The ceremony lasted, all told, six days. The ceremonies of the first day have just been described. Those of the following three days consisted of one appearance of the Gū´ksūs each day, accompanied by a simple dance.

On the morning of the fifth day, however, the children who underwent the scarification on the first day were again assembled and driven by the dancers as rapidly as possible about the village and out into the valley. The children held one another's hands as they were driven, making a continuous line. When they had become quite fatigued, they were made to lie down and the dancers covered them with branches. They remained here throughout the day and were again driven about in the same manner just after sundown, being again covered with branches, under which they stayed until morning. They were then brought in by the dancers and made to perform a short dance in a brush inclosure, called ma´le (E), which was built just outside the dance-house for this special purpose. After this, an old man, probably the same who performed the scarification, sang over the children. During this dance each child carried a small willow twig, which he threw onto a pile at the end of the dance, after which he was free to go his way, and the entire ceremony was ended. The fire-tender bore these twigs away and deposited them at some distance from the village.

A Gū´ksū-dancer appeared at other ceremonies, but only for the purpose of removing sickness from the village. He was sometimes called in, as were other dancers, but often he appeared unannounced. He, however, always notified at least one individual, whose duty it was to assist him and direct his movements. Apparently this individual was not a particular official, but might be any friend of the Gū´ksū-dancer. The ceremony was a very short one. The Gū´ksū ran rapidly in and passed in a contra-clockwise direction four times around the fire. He then hurried to a position directly in front of the center pole and here ran swiftly back and forth four times over a [Pg 430]short, straight course. He then ran around back of the center pole and stopped on its west side. Here he turned his head slowly to the left; then ran a short distance toward the door, stopping and repeating this motion, making in all four such stops. After this he ran swiftly out through the tunnel and back to the woods, where he undressed and returned as an ordinary civilian to the village. As he started to run out of the tunnel, the people said, "ya ... s ... pūtsa´l kam" (E), that is, "ya ... s ... healthy make us." The prolonged "s" was simply a hissing expulsion of breath, and as it was blown out in this fashion any disease which might possibly have found lodgment in the body of the individual was supposed to depart with it and to be taken by Gū´ksū to his home in the south.

Before dressing, the Gū´ksū-dancers always chewed up and rubbed upon their bodies the very sweet-scented seed of a certain species of conifer, kawa´cap (E), growing plentifully in the region of Clear Lake. A Gū´ksū-dancer was forbidden to eat meat or drink anything before the ceremony or before doctoring a patient, as described below. The Gū´ksū-dancer might, however, eat vegetable foods and drink water after the ceremonial swim, which always occurred directly after his dance. He could not eat meat or greasy food of any kind for four days after a ceremony.

TREATMENT OF DISEASE

In addition to their part in the scarifying ceremony just described, the Gū´ksū-dancers formed a class of medicine-men, and were often called in to minister to the sick. These "doctors," when curing the sick, dressed themselves in the costume of the regular Gū´ksū ceremony. As in the ceremony also, the Gū´ksū doctor had to be ceremonially summoned, and he came in from the woods impersonating the supernatural Gū´ksū. The latter was pictured, to all intents and purposes, as coming from his home in the south to perform the "medicine" rite and carry away with him the disease from the sick person. A special call was used in this case as follows: "hyō ... hyō´ ..." repeated four times.

The Gū´ksū doctor never spoke and never sang over his patients, but constantly blew a double bone whistle in a characteristic way, a very short blast followed by a very long one. Upon reaching the patient, who might be either in or out of doors, he ran around him several times. He then inserted the point of his staff under the neck of the patient and made motions four times as if prying upwards. [Pg 431] He next inserted the staff under the shoulder and repeated this prying motion four times. He did the same at the hips, and finally at the knees.

He next tapped and pressed down with his staff; first upon the forehead, then upon the chest, then upon the belly, and finally upon the knees of the patient. After this he ran rapidly out of the village and into the hills, where he stopped and turned his head toward the left four times. He then disappeared and was supposed to have returned to his supernatural abode in the south, carrying with him the ailment of the patient.

While the above was the typical procedure of one of these doctors in curing a patient, he had great latitude, and might, at his own option, omit altogether certain of the above mentioned movements or use others in their places. For instance, he might pry as above, or he might press and pat the body of the patient. On the other hand, he might simply pass his staff down over the body of the patient a number of times, usually four or some multiple of four, or he might omit the use of the staff entirely and "doctor" with his whistle only, in which case he bent over or knelt beside the patient and blew his whistle over the various parts of his body, particularly those recognized by the patient as the seats of pain.

FOOTNOTES:

[22] U.S. Dept. of Interior, Contr. N.A. Ethn., III, 179-180, 1877.

[23] Op. cit., p. 194.


DANCES

The dances either formed integral parts of the above ceremonies or, as stated, might be incidental and entirely unrelated to them. The word for dance is xe in the Eastern Pomo dialect, and ke in that of the Central and Northern Pomo. The following is a list of the Pomo dances:

[Pg 432] In a large measure the various dances were very similar to one another so far as the steps were concerned. The characteristic step of the men was a rhythmic stamping of the feet, with the body held in a half-crouching posture. Sometimes this dancing was done "in place," that is, without moving from one situation. As a rule, however, the dancer moved over a definite course in each dance. The movement was varied slightly in accordance with the songs. Some songs were very lively and the steps correspondingly rapid, while others were much slower. All were usually sung to the accompaniment of the large foot-drum, and split-stick, or cocoon rattle. Sometimes the dancers used single or double bone whistles.

The women usually danced in place, twisting the body about and swaying slightly from side to side with little or no motion of the feet. In some instances, however, they moved over a definite course as did the men.

The dance paraphernalia of the men consisted of the following articles:

  1. The feather skirt.
  2. The head-net, bōlmakī (E).
  3. The down-filled head-net, ī´bōlmakī (E).
  4. The skewer, called kanō (N, C, E), with which the feather headdresses, tufts, etc., were pinned to the head-net.
  5. The feather tuft, biterk (E), kaa´itcil (C).
  6. The big-head headdress.
  7. The yellow-hammer feather forehead-band, tsō´lōpa (N, C, E).
  8. The trembler plume, kata´s (N, C, E).
  9. Loose down, te (E), which was sometimes scattered about over the freshly painted skin.
  10. A fillet of pepperwood leaves, bēhe´p marīt (E).
  11. A small green twig or a bunch of shredded tule, used in certain dances. Any object of this kind carried in the hand while dancing was called kato´hle (E).

Certain of these objects were prescribed for certain dances. In addition, various items of ordinary personal adornment were worn which do not specifically belong to dance paraphernalia—ear plugs, pendants, necklaces of beads, etc.

The dance paraphernalia of the women was the same as that of the men, though, as a rule, the men dressed much more elaborately than the women. The latter had, however, one special type of forehead-band which they alone used. This was a fur band or roll provided with a number of beaded, yellow-hammer quill bangles.

An important part of the attire for any dance was the painting, which varied greatly and was usually carefully prescribed for each [Pg 433] dance. The body, or a large part of it, might be covered with one solid color, and longitudinal or horizontal stripes of various widths and also dots of various sizes might be used.

Black paint, masi´k (E) (literally, coals or charcoal), was most easily obtainable and most freely used. It consisted of ordinary charcoal from the fire. If a large surface was to be painted, the charcoal was pulverized in the palms of the hands and rubbed on. If lines were desired, this powder might be applied with the finger, or a piece of charcoal might be used as a pencil. Also stripes were sometimes produced by scraping off part of the paint with the fingernails, leaving the skin exposed along these lines. In case a sticky surface was required, as, for instance, when down was to be later applied, the paint was mixed with saliva.

White paint, wala´lac (E), made from a whitish or very light blue earth, was also considerably used. It was applied as was the black paint.

Red paint, ōhma´r (E), was made by pulverizing cinnabar, which was a rather rare mineral in the Pomo region and was much prized and used very sparingly.

For purposes of presentation it is simplest to divide the dances into three classes: (1) those danced by men and women together; (2) those danced by men; (3) those danced by women. Fairly full information was obtained about some of these dances, while in other cases barely the names were remembered. The following dances come under the first heading:

DANCES IN WHICH MEN AND WOMEN PARTICIPATED

Gī´lak.—The Gī´lak dance differed from most other Pomo dances in that it consisted of two performances: one used for opening and closing proceedings; the other, or main dance, coming in between.

The men painted with a single color (black, white, or red) all of the face below the eyebrows, after which they scattered eagle-down upon it. This gave the face a white, fluffy appearance. They painted the chest and shoulders black. The legs were painted either all black [Pg 434] or all white. Then longitudinal stripes were scratched through the paint with the fingernails. The arms were painted with three bands, each four fingers in width; one about the middle of the upper arm, one about the elbow, and one about the middle of the forearm.

Upon the top of the head each wore a feather tuft. This was parted from front to rear, and the yellowhammer-feather forehead-band, which was attached to the hair so as to hang down to the eyebrows, passed through the part in this and hung down the back to about the hips. A feather skirt tied just under the arms, and entirely covering the back, completed the costume, except for a few green twigs which were held in both hands directly in front of the face while the dance was actually in progress. No whistle was used by these dancers.

Fig. 8

Fig. 8—Position of dancers in gī´lak ke.

The women painted the upper part of the body in the same way as the men and wore a feather tuft and the regular woman's forehead-band with bangles. They wore no feather skirt, but otherwise attired themselves as did the men.

The men were divided into two groups at A, A (fig. 8) on both sides of the rear of the dance-house, the women dancers being likewise divided into two groups at F, F on each side of the drum.

When all was ready for the dance, the head singer started an air and sang alone for several minutes. Then, at a given signal, the burden-singers joined in with the chorus, all accompanying their [Pg 435] singing with split-stick rattles. This was the signal for the beginning of the first or preliminary division of the dance. The men went to a position about midway between the center pole and the drum, where they formed a line BC, the women forming a group in the position G, directly behind the line BC. Here was held the preliminary division of the dance, called tehe´sbax (E), in which the participants danced in place for a few minutes.

The men next moved to the position DE, passing on each side of the center pole, the women following them to the position HI. They thus formed two lines, facing the center pole. Here the principal part of the dance was held. The chief singer again started the air, being joined at the proper time by the burden-singers. Simultaneously with the latter, the master of ceremonies gave the signal for the dancers to begin. During the dancing he repeated the proper dance formula[24] four times, finally saying, "ī, ī´ ..." and the dance stopped. At the beginning of the dance, upon the signal from the master of ceremonies, the dancers, both men and women, whirled around and faced the fire, and as the dance stopped at the above signal they whirled back again so as to face the center pole. The dancers moved sidewise back and forth four times in all, along the lines DE and HI. Standing in their original positions, they then performed for the second time the movement first described, thus ending the dance.

This entire dance might be repeated as many times as desired, no definite number being prescribed; but when each set of three divisions, as above stated, was finished, the dancers returned to A, A and F, F, retracing as nearly as possible the courses which they had traversed in coming from these two positions. After the last set of this dance, they removed their dance costumes near the drum.

hō´hō ke.—The hōh´ō or hō´hōwa dance, which may be taken as a type of many of those dances which follow, lasted from one-half to three-quarters of an hour and could be danced at any time of year. The men were dressed as follows: The lower part of the face (i.e., below a line running from just under the ear to a point just under the nose) was painted black. A black band, about four fingers in width, ran from each of the acromia to the sternum. Four similar bands encircled each arm, two above and two below the elbow, while four such bands were placed upon each leg. Upon the head each man wore a feather tuft, a yellow-hammer feather forehead-band and a pair of trembler plumes, and upon the back a feather skirt. Each dancer carried a bone whistle also.

[Pg 436] Each woman wore a feather tuft and the usual woman's forehead-band. In each hand she carried a small bunch of shredded tule. These bundles, called kato´hle (E), were made by tying together at one end several stems, perhaps six or eight inches long, and then shredding the loose ends with a basketry awl. This dance was a very lively one and took its name, as did several others, from some of the words of the song accompanying it. Part of the burden of this song is a high-keyed "hō, hō, hō, hō ..." very rapidly spoken by the burden-singers in unison.

The music was provided by a head singer, several burden-singers, and a drummer. Each of the singers used a split-stick rattle.

cō´kin ke.—The cō´kin dance was very similar, in many respects, to the hō´hō ke. One informant said that the dress and painting were exactly the same, except that the upper arm and thigh bore one painted band each, instead of two as in the hō´hō ke.

dūtū´ka ke.—The same might be said of the dūtū´ka ke (C), or dūtū´ga xe (E). The dress of the men was identical with that of the hō´hō-dancers. The men used no whistles. The women wore the regular woman's forehead-band. From one to perhaps eight or ten persons danced at once, and the dance had no stated duration. As one informant expressed it, they simply danced until they were tired.

ya´ya ke.—Little could be learned concerning the ya´ya dance, except that it was danced by both men and women, and that the painting and attire were the same as for the hō´hō. The feather skirt was worn, but no whistle was used.

yō´ ke.—The men decorated themselves for this dance as for the hō´hō dance, except that there were three stripes around the arm instead of four, and with the addition of some down scattered over their heads and faces. Each woman had a narrow, black line running down the chin and a similar line running out from each corner of the mouth toward the ear. Otherwise her decorations consisted of a feather tuft and a yellow-hammer feather forehead-band. A considerable number of men and women sang, each keeping time with a split-stick rattle.

matcō´ ke.—In the matcō´ dance the music was provided by one man, who accompanied his song with a split-stick rattle. The dancers painted themselves as in the yō´ dance. Each wore a feather skirt.

lēhū´ye ke.—The lēhū´ye dance was sometimes called the ka´tcaha. The term lēhū´ye is the correct one for this dance. In fact, the term ka´tcaha has been applied to it only recently and was derived from the [Pg 437] fact that whenever certain of the Pomo men became intoxicated they almost always sang the songs of this dance; hence the name "whiskey dance," or ka´tcaha ke. If paint was employed it usually consisted of a coat of black on the lower part of the face and three bands about each arm and each leg. Other designs were used, however. Upon the head the dancer wore a feather tuft, a yellow-hammer feather forehead-band, and a very large trembler plume, worn erect at the back of the head. Each man wore a feather skirt. The women painted the lower part of the face and wore a feather tuft and a yellow-hammer feather forehead-band.

kalī´matōtō ke.—The kalī´matōtō or kalī´mataūtaū, the thunder dance, was danced each morning and each evening during four successive days. It could be danced at other times of the day in addition if desired, and other dances might meanwhile be performed at any time of the day except morning and evening. The men painted their naked bodies with vertical stripes. Upon the face but one stripe appeared, running from ear to ear and just below the nose. Upon the head each man wore a down head-net, a feather tuft, and a pair of trembler plumes. No yellow-hammer feather forehead-band, down, or feather skirt was used. The women dressed very simply. They wore the same stripe on the face as did the men, and upon the head a head-net of down and a feather tuft. Both men and women had bone whistles, and each man had a light staff [25] four or five feet long, with one or more cocoons attached as a rattle at its upper end.

īwī´ ke.—In the īwī´ (C) or Coyote dance the men were nude except for a coat of white paint over the entire body. Upon the head there was a feather tuft, parted from front to rear to permit the passage of a large yellow-hammer feather forehead-band from the root of the nose over the head and down the back. The women were similarly painted and attired, except that each wore an ordinary skirt of shredded tule or other material. Each dancer carried a small bunch of green twigs in the hand, so held as to obscure the face as much as possible. This perhaps typified the crafty and slinking nature of the coyote. The music was provided by one singer, who used a cocoon rattle.

gūnū´la xe.—In the gūnū´la xe (E) or Coyote dance the women dressed as in the hō´hō dance. The men painted themselves as did the performers in the ghost dance, and wore the parted feather tuft [Pg 438] with the yellow-hammer feather forehead-band passing through the part and down the back. They also wore feather skirts, and used whistles.

he´lehela ke.—The painting for this dance was the same as for the hō´hō. Each man wore upon his head a down head-net, a pair of trembler plumes, and a yellowhammer-feather forehead-band. Each had a bone whistle and a ke´cīge. Neither whistles nor feather skirts were used. Each woman wore a feather tuft and a down head-net.

A fairly high pole similar to the one employed in the initiation rite of the Gū´ksū ceremony was erected in the area directly in front of the dance-house. The participants gathered about its base and each man attempted to climb it, while the women danced in a circle about its base. The wife of the climber, and sometimes other women, threw balls of "pinole" (grass-seed meal) at him as he ascended.

da´ma ke.—Concerning the da´ma dance, little could be learned save that it was connected with some sort of esoteric organization and was very rarely danced. There was but one woman who was said to know all the details of this dance, but the opportunity did not present itself to interview her. She is now deceased.

dja´ne ke.—The dja´ne dance was always danced by two men and four women, the men forming the middle of the line, two of the women being at each end. They wore similar costumes, which were very simple. All that could be learned concerning the details, however, was that the mouth was painted black with a short line running out from each corner, and that each dancer wore a feather skirt upon his back and used a whistle.

kara´iya ke.—The kara´iya dance was danced by two men and two women, and only once during any given ceremony. Men and women dressed alike, except that the women wore the ordinary woman's skirt. No paint was used. Upon the head was a feather tuft, a yellowhammer-feather forehead-band, two trembler plumes and some down. Each dancer carried a bone whistle.

sawe´t ke.—No details were learned concerning this dance.

DANCES IN WHICH ONLY MEN PERFORMED

There are known among the Pomo at least five dances in which the performers were always men. They are the hī´we, the ī´dam, and the xō or fire dance and the ghost and the Gū´ksū dances mentioned above.

hī´we ke.—While this was danced by men only, women were privileged to witness it. The dancers first painted the entire body black [Pg 439] and then added many white spots irregularly placed all over the body. Each dancer carried a staff six or seven feet long and similarly painted. The face of the dancer was painted black, and each wore a large feather tuft on his head. This was, however, not so large as that worn by the Gū´ksū-dancer. The music for this dance was quite unusual in that the drum was not used. The head singer also acted as master of ceremonies. The dancers formed a straight line and danced in place without any forward or lateral motion, and all joined in the singing.

ī´dam ke.—Little could be learned of the ī´dam dance, except that it was danced by men, with women participating in the singing. One unique feature was that while it was in progress no one in the village might keep water in his house. Also if any one ate meat during a ceremony in which this dance was used he would become insane and could be cured only through the ministrations of the chief dancer of the ī´dam. While no further evidence was obtained in substantiation, these facts point to the existence of an esoteric society connected with this dance. One informant maintained that the last man who knew the details of this dance died some years ago.

xo ke.—The xo ke, or fire dance, was held at any desired time during a ceremony. It usually followed the feast of welcome, as it may be called, which was tendered the guests immediately after their arrival. It required no special paraphernalia. In fact, it amounted to little more than a regular sweat-bath, such as was taken in the sudatory,[26] except that it was on a larger and more elaborate scale.

xahlū´īgak ke.See under Ghost Ceremony, above.

gū´ksū ke.See under Gū´ksū Ceremony, above.

DANCES IN WHICH ONLY WOMEN PERFORMED

Two dances are still remembered which come under this heading. They are the ma´ta and the lo´le.

ma´ta ke.—One man acted as master of ceremonies and another sang to the accompaniment of a cocoon rattle. The dancers painted the cheeks and lower part of the face black and then scratched vertical lines in the paint. The only headdress worn was the yellowhammer-feather forehead-band. In each hand was held a small green branch. The arms hung down, but with a flexure at the elbow which brought these green sprigs directly in front of the dancer. The dancers formed a line and danced back and forth sidewise over a short, straight [Pg 440] course. This is one of the very few dances which may yet be seen, though in a modernized form, at Fourth of July celebrations.

lo´le ke.—As before, a man acted as master of ceremonies and another man sang, accompanying himself with the cocoon rattle. The informant was not certain just what kind of costume was worn, but knew that no paint was employed.

ADDITIONAL DANCES

The names of several other dances are remembered, but nothing in regard to detail. These are mo´mīmomī, toto, ta´ūgū, badjū´ca, and sīta´iya. The last of these was said by one informant to make up, along with the gī´lak and hō´hō and dūtū´ka dances, a special ceremony, about which nothing further is known.

FOOTNOTES:

[24] Any dance formula such as this was called bakū´mhwakil (E).

[25] The general term xe´ dakōik (E), signifying anything held in the hand while dancing, is applied to this staff.

[26] See the article on "Pomo Buildings," in the Holmes Anniversary Volume, mentioned above.


THE MESSIAH CULT

During the latter years of the nineteenth century a "Messiah" cult has been introduced among the Pomo by the Wintun of the Sacramento Valley. In comparatively recent times the "prophets" of this cult acquired great importance and, while the cult flourished, to a certain extent superseded the leaders of the old ceremonies. This cult first appeared among the Pomo at Upper Lake, then at Sulphur Bank, then at Long Valley, and finally in the Ukiah Valley. The function of the prophet, or dreamer, as he is commonly styled by the Indians, was to have dreams or waking visions concerning dances and other matters in which the people were interested. The prophets were supposed to receive through these visions direct revelations from presiding spirits, and the people formerly gave much credit to their teachings. They virtually formed a priesthood which replaced the old "captains" in the direction of all ceremonial matters.

One of the characteristic features of this cult was the painted designs upon the interior of the dance-house. The last truly primitive dance-house of this type in the Pomo region was photographed by the author in 1901, 1902, and is described and illustrated elsewhere.[27]

Another important feature was the erection before the dance-house of a pole bearing banners and streamers decorated with the particular designs which the priest had seen in his vision.

FOOTNOTES:

[27] "Pomo Buildings," Holmes Anniversary Volume.


[Pg 441]

CONCLUSION

Pomo ceremonies were in general quite simple and the ceremonial life was characterized by an absence (1) of any fixed ceremonial season or sequence of ceremonies, and (2) of any extensive priesthood or secret order controlling ceremonial matters. Some of the ceremonial performances possessed certain esoteric features, such as initiation rites and special restrictions on the part of the uninitiated.

We note the presence of a few fairly elaborate ceremonies and a considerable number of dances, some of which were employed as integral parts of certain ceremonies, others as merely incidental to them. These dances usually followed one another without any definite order or relation, though in certain cases definite dances were prescribed as parts of given ceremonies.

One ceremony has a definite mythological background, but this has been lost elsewhere. No myths are told today to account for the other performances.

In most of the dances an indefinite number of both men and women might participate. In two dances the number of performers of each sex was definitely prescribed. In five, only men might participate, and two were strictly women's dances. In other words, there is patent in Pomo ceremonies a rather thorough going democracy regarding the positions of the sexes.

Transmitted September 21, 1916.


[Pg 442]

UNIVERSITY OF CALIFORNIA PUBLICATIONS,
DEPARTMENT OF ANTHROPOLOGY

The following publications dealing with archaeological and ethnological subjects issued under the direction of the Department of Anthropology are sent in exchange for the publications of anthropological departments and museums, and for journals devoted to general anthropology or to archaeology and ethnology. They are for sale at the prices stated. Exchanges should be directed to The Exchange Department, University Library, Berkeley, California, U.S.A. All orders and remittances should be addressed to the University of California Press.

European agent for the series in American Archaeology and Ethnology, Classical Philology, Education, Modern Philology, Philosophy, and Semitic Philology, Otto Harrassowitz, Leipzig. For the series in Botany, Geology, Pathology, Physiology, Zoology and also American Archaeology and Ethnology, R. Friedlaender & Sohn, Berlin.

AMERICAN ARCHAEOLOGY AND ETHNOLOGY.—A.L. Kroeber, Editor. Prices, Volume 1, $4.25; Volumes 2 to 11, inclusive, $3.50 each; Volume 12 and following $5.00 each.

Cited as Univ. Calif. Publ. Am. Arch. Ethn. Price
Vol. 1. 1. Life and Culture of the Hupa, by Pliny Earle Goddard. Pp. 1-88; plates 1-30. September, 1903 $1.25
2. Hupa Texts, by Pliny Earle Goddard. Pp. 89-368. March, 1904 3.00
Index, pp. 369-378.
Vol. 2. 1. The Exploration of the Potter Creek Cave, by William J. Sinclair. Pp. 1-27; plates 1-14. April, 1904 .40
2. The Languages of the Coast of California South of San Francisco, by A.L. Kroeber. Pp. 29-80, with a map. June, 1904 .60
3. Types of Indian Culture in California, by A.L. Kroeber. Pp. 81-103. June, 1904 .25
4. Basket Designs of the Indians of Northwestern California, by A.L. Kroeber. Pp. 105-164; plates 15-21. January, 1905 .75
5. The Yokuts Language of South Central California, by A.L. Kroeber. Pp. 165-377. January, 1907 2.25
Index, pp. 379-392.
Vol. 3. The Morphology of the Hupa Language, by Pliny Earle Goddard. 344 pp. June, 1905 3.50
Vol. 4. 1. The Earliest Historical Relations between Mexico and Japan, from original documents preserved in Spain and Japan, by Zelia Nuttall. Pp. 1-47. April, 1906 .50
2. Contribution to the Physical Anthropology of California, based on collections in the Department of Anthropology of the University of California, and in the U.S. National Museum, by Ales Hrdlicka. Pp. 49-64, with 5 tables; plates 1-10, and map. June, 1906 0.75
3. The Shoshonean Dialects of California, by A.L. Kroeber. Pp. 65-166. February, 1907 1.50
4. Indian Myths from South Central California, by A.L. Kroeber. Pp. May, 1907 .75
5. The Washo Language of East Central California and Nevada, by A.L. Kroeber. Pp. 251-318. September, 1907 .75
6. The Religion of the Indians of California, by A.L. Kroeber. Pp. 319-356. September, 1907 .50
Index, pp. 357-374.
Vol. 5. 1. The Phonology of the Hupa Language; Part I, The Individual Sounds, by Pliny Earle Goddard. Pp. 1-20, plates 1-8. March, 1907 .35
2. Navaho Myths, Prayers and Songs, with Texts and Translations, Washington Matthews, edited by Pliny Earle Goddard. Pp. 21-63. September, 1907 .75
3. Kato Texts, by Pliny Earle Goddard. Pp. 65-238, plate 9. December, 1909 2.50
4. The Material Culture of the Klamath Lake and Modoc Indians of Northeastern California and Southern Oregon, by S.A. Barrett. Pp. 239-292, plates 10-25. June, 1910 .75
5. The Chimariko Indians and Language, by Roland B. Dixon. Pp. 293-380. August, 1910 1.00
Index, pp. 381-384.
Vol. 6. 1. The Ethno-Geography of the Pomo and Neighboring Indians,by Samuel Alfred Barrett. Pp. 1-332, maps 1-2. February, 1908 3.25
2. The Geography and Dialects of the Miwok Indians, by Samuel Alfred Barrett. Pp. 333-368, map 3. ?
3. On the Evidence of the Occupation of Certain Regions by the Miwok Indians, by A.L. Kroeber. Pp. 369-380. Nos. 2 and 3 in one cover. February, 1908 .50
Index, pp. 381-400.
Vol. 7. 1. The Emeryville Shellmound, by Max Uhle. Pp. 1-106, plates 1-12, with 38 text figures. June, 1907 1.25
2. Recent Investigations bearing upon the Question of the Occurrence of Neocene Man in the Auriferous Gravels of California, by William J. Sinclair. Pp. 107-130, plates 13-14. February, 1908 .35
3. Pomo Indian Basketry, by S.A. Barrett. Pp. 133-306, plates 15-30, 231 text figures. December, 1908 1.75
4. Shellmounds of the San Francisco Bay Region, by N.C. Nelson. Pp. 309-356, plates 32-34. December, 1909 .50
5. The Ellis Landing Shellmound, by N.C. Nelson. Pp. 357-426, plates 36-50. April, 1910 .75
Index, pp. 427-443.
Vol. 8. 1. A Mission Record of the California Indians, from a Manuscript in the Bancroft Library, by A.L. Kroeber. Pp. 1-27. May, 1908 .25
2. The Ethnography of the Cahuilla Indians, by A.L. Kroeber. Pp. 29-68, plates 1-15. July, 1908 .75
3. The Religion of the Luiseño and Diegueño Indians of Southern California, by Constance Goddard Dubois. Pp. 69-186, plates 16-19. June, 1908 1.25
4. The Culture of the Luiseño Indians, by Philip Stedman Sparkman. Pp. 187-234, plate 20. August, 1908 .50
5. Notes on Shoshonean Dialects of Southern California, by. A.L. Kroeber. Pp. 235-269. September, 1909 .35
6. The Religious Practices of the Diegueño Indians, by T.T. Waterman. Pp. 271-358, plates 21-28. March, 1910 .80
Index, pp. 359-369.
Vol. 9. 1. Yana Texts, by Edward Sapir, together with Yana Myths collected by Roland B. Dixon. Pp. 1-235. February, 1910 2.50
2. The Chumash and Costanoan Languages, by A.L. Kroeber. Pp. 237-271. November, 1910 .35
3. The Languages of the Coast of California North of San Francisco, by A.L. Kroeber. Pp. 273-435, and map. April, 1911 1.50
Index, pp. 437-439.
Vol. 10. 1. Phonetic Constituents of the Native Languages of California, by A.L. Kroeber. Pp. 1-12. May, 1911 .10
2. The Phonetic Elements of the Northern Paiute Language, by T.T. Waterman. Pp. 13-44, plates 1-5. November, 1911 .45
3. Phonetic Elements of the Mohave Language, by A.L. Kroeber. Pp. 45-96, plates 6-20. November, 1911 .65
4. The Ethnology of the Salinan Indians, by J. Alden Mason. Pp. 97-240, plates 21-37. December, 1912 1.75
5. Papago Verb Stems, by Juan Dolores. Pp. 241-263. August, 1913 .25
6. Notes on the Chilula Indians of Northwestern California, by Pliny Earl Goddard. Pp. 265-288, plates 38-41. April, 1914 .30
7. Chilula Texts, by Pliny Earle Goddard. Pp. 289-379. November, 1914 1.00
Index, pp. 381-385.
Vol. 11. 1. Elements of the Kato Language, by Pliny Earle Goddard. Pp. 1-176, plates 1-45. October, 1912 2.00
2. Phonetic Elements of the Diegueño Language, by A.L. Kroeber and J.P. Harrington. Pp. 177-188. April, 1914 .10
3. Sarsi Texts, by Pliny Earle Goddard. Pp. 189-277. February, 1915 1.00
4. Serian, Tequistlatecan, and Hokan, by A.L. Kroeber. Pp. 279-290. February, 1915 .10
5. Dichotomous Social Organization in South Central California, by Edward Winslow Gifford. Pp. 291-296. February, 1916 .05
6. The Delineation of the Day-Signs in the Aztec Manuscripts, by T.T. Waterman. Pp. 297-398. March, 1916 1.00
7. The Mutsun Dialect of Costanoan Based on the Vocabulary of De la Cuesta, by J. Alden Mason. Pp. 399-472. March, 1916 .70
Index, pp. 473-479.
Vol. 12. 1. Composition of California Shellmounds, by Edward Winslow Gifford. Pp. 1-29. February, 1916 .30
2. California Place Names of Indian Origin, by A.L. Kroeber. Pp. 31-69. June, 1916 .40
3. Arapaho Dialects, by A.L. Kroeber. Pp. 71-138. June, 1916 .70
4. Miwok Moieties, by Edward Winslow Gifford. Pp. 139-194. June, 1916 .55
5. On Plotting the Inflections of the Voice, by Cornelius B. Bradley. Pp. 195-218, plates 1-5. October, 1916 .25

TRANSCRIBER'S NOTES

Compared to the original, some alterations were made:

Typos

Readability

Consistency

Go Back to Top

*** END OF THE PROJECT GUTENBERG EBOOK 47446 ***