*** START OF THE PROJECT GUTENBERG EBOOK 45825 ***

The Project Gutenberg eBook, The Aeroplane, by Claude Grahame-White and Harry Harper

 

 

Note: Images of the original pages are available through Internet Archive. See https://archive.org/details/aeroplane00grahrich

 


 

cover image

“ROMANCE OF REALITY” SERIES
Edited by Ellison Hawks  

THE AEROPLANE

    VOLUMES ALREADY ISSUED

 1. THE AEROPLANE. By Grahame White and Harry Harper.
 2. THE MAN-OF-WAR. By Commander E. H. Currey, R.N.
 3. MODERN INVENTIONS. By V. E. Johnson, M.A.
 4. ELECTRICITY. By W. H. McCormick.
 5. ENGINEERING. By Gordon D. Knox. [Pg ii]


_

THE AIR LINER OF THE FUTURE.

By the use of such a machine as this, twenty years hence, we shall be able to spend a week-end in New York, as we do now in Paris or Scotland. Flying at immense heights, and at speeds of 200 miles an hour, these huge aircraft—carrying hundreds of passengers in vibrationless luxury—will pass from London to New York in less than twenty hours.

[Pg iii]


“ROMANCE OF REALITY” SERIES

THE AEROPLANE

BY

CLAUDE GRAHAME-WHITE

AND

HARRY HARPER

[Pg iv]

JOINT AUTHORS OF
“THE AEROPLANE; PAST, PRESENT, AND FUTURE”
“THE AEROPLANE IN WAR” “HEROES OF THE AIR”
“WITH THE AIRMEN” “THE AIR KING’S TREASURE”
ETC. ETC.

_

LONDON: T. C. & E. C. JACK

67 LONG ACRE, W.C., & EDINBURGH

Printed in Great Britain [Pg v]


PREFACE

Our aim in these pages is to tell a complete story of the aerial conquest, beginning from crude experiments, made hundreds of years ago; passing thence to the first serious experimenters, with their difficulties and triumphs; and so carrying on the tale to present-day achievements and the latest-type machines.

There is one aspect of this history which has an especial fascination; and it is the personality of the men who—braving ridicule and scorn and surmounting obstacles without number—laid the foundation-stones of flight. Instead of being a compilation of dates, with certain explanatory matter added, our book endeavours to make these men live: to show what induced them to embark upon their seemingly hopeless quest; to tell of their dreams and longings, and how they built their first frail craft; to trace them to their boyhood and their play with kites; to reveal them, in a word, as living beings, and not merely as names.

With this strongly human note, emphasizing the romance of the tale, there goes also a series of explanations—made clearer by drawings and diagrams—and tending always to show how, link by link and step by step, data and experience were secured; how each pioneer, however humble, played his individual and [Pg vi] useful part; and how in the end, by sifting all such knowledge and carrying experiment to its final stage, the Wrights achieved the apparent miracle, and flew safely and successfully in a power-driven machine.

The book divides itself naturally into sections. First there is the story of the very early and haphazard tests, and of the notes and speculations of scientists; then of the advent of the practical, patient experimenter—the man who, taking a hint from the birds, realized that ere he could hope to fly he must learn first to balance himself when in the air. This stage, of course, introduces Otto Lilienthal—the German engineer who, by his gliding flights from hilltops with outstretched, bird-like wings, has won the honour of being styled “the father of the aeroplane.”

From a narration of his work, so vital a link in the chain of progress, the story passes to those two men—unflurried, reserved, and infinitely painstaking—who at last evolved order out of chaos: Wilbur and Orville Wright. Their diligent study is described; their perfected glider; the building of their own motor; and, finally, that great day of triumph which came in 1903—just eleven years ago.

The world being given thus an aeroplane which would fly, the steps which followed were mainly those of perfection and improvement. One by one the limitations were removed. At first men dared only to fly above a smooth-surfaced aerodrome, in case their motors should stop and send them gliding back to earth; but soon, gaining confidence in themselves and in their engines, they were passing high across country. So, also, in regard to their enemy the wind. Dreading even [Pg vii] a gentle gust at first, for fear it might overturn them, they have gained so rapidly in skill that, thanks to their experience and the stability of their machines, the airmen of to-day will do battle with a gale. In this section of our book is a description of the greatest feats, both of early days and of modern times—such as speed flying, altitude records, and the touring of continents by air.

Thus logically may the tale be told: with digressions of course to cover the risks of aviation, and to explain how they are being overcome; to deal with aerial warfare and its many problems; to describe the advent of the sea-plane; and to discuss the day when—a perfected passenger craft being available—men will journey by air as they do now by land or sea.


CLAUDE GRAHAME-WHITE.


HARRY HARPER.      

London, 1914.

Note.The authors thank most cordially the proprietors of The Daily Mirror for permission to reproduce certain photographs, of an historical interest, which depict incidents from the cross-Channel flying both of Latham and Bleriot; also F. N. Birkett, Esq., the Topical Postcard Company, and The Central News for permission to use photographs illustrative of modern aviation.


[Pg viii]
[Pg ix]

CONTENTS

CHAP.    PAGE
I.  What Early History Tells   1
II.  The Work of Scientists   8
III.  First Fruits of Study  21
IV.  Otto and Gustav Lilienthal  31
V.  Gliding Flight  41
VI.  The Bird Man  53
VII.  Wilbur and Orville Wright  62
VIII.  The Wright Motor-driven Plane  71
IX.  Dawn of Flight  84
X.  Rival Airmen  93
XI.  A Year of Triumph 100
XII.  Perils of the Air 130
XIII.  Military and Cross-Country Flying   149
XIV. [Pg x] Sea-Planes and Airships 169
XV.  Aerial Warfare 188
XVI.  At a Modern Aerodrome 209
XVII.  The Flying School 226
XVIII.  Touring by Air 247
XIX.  Twenty Years Hence 270

[Pg xi]


LIST OF PLATES

  The Air Liner of the Future Frontispiece

PLATE

 

FACING PAGE
I.   The Langley Machine  26
II.   Santos-Dumont’s First Flights  46
III.   Farman’s Voisin Biplane  68
IV.   Latham’s Fall into the Sea  84
V.   Bleriot leaving the French Coast  96
VI.   Bleriot reaches Dover 110
VII.   A Farman in Flight 116
VIII.   The Gnome Motor 122
IX.   The First High-powered Bleriot 134
X.   Maurice Farman Biplane 150
XI.   An Airman’s Point of View 164
XII.   The London Aerodrome from Above 188
XIII.   An Aeroplane Factory 202
XIV.   Biplane circling a Pylon 230
XV.   View from a Craft ascending 240
XVI.   The Grahame-White “Aerobus” 252

[Pg 1]


THE AEROPLANE

CHAPTER I
WHAT EARLY HISTORY TELLS

Simon the magician—A monk who sprang from a tower—The Saracen who “rose like a bird.”

In learning to fly, men have passed through five definite and clearly-marked stages which have extended over centuries, and cost many lives. These five stages may be summarized thus:

1. Haphazard and foolhardy tests—ending generally in death.

2. A period of scientific research, in which the flight of birds was studied and experiments made with lifting planes of various shapes.

3. A phase during which engineers built large, power-driven machines, but had not the skill to control them when in flight.

4. A stage in which, making a simple apparatus of wings, men glided from hilltops, and learned to balance themselves while in the air.

5. The stage in which, perfecting the gliding machines they had learned to control, men fitted petrol motors to them, and achieved at last a power-driven flight.

In dim, remote ages, watching winged creatures as they skimmed above the earth, men longed passionately to fly; instead of scaling hills or creeping through woods, they desired to pass high above them; to spurn [Pg 2] the obstructions of creatures earth-bound, and fly over mountains and seas. This longing to fly, even at the risk of life itself, was expressed beautifully by Otto Lilienthal, the greatest of the pioneers. He wrote:

“With each advent of spring, when the air is alive with innumerable happy creatures; when the storks, on their arrival at their old northern resorts, fold up the imposing flying apparatus which carries them thousands of miles, lay back their heads and announce their arrival by joyfully rattling their beaks; when the swallows have made their entry and hurry through our streets and pass our windows in sailing flight; when the lark appears as a dot in the ether and manifests its joy of existence by its song; then a certain desire takes possession of man. He longs to soar upward and to glide free as a bird over smiling fields, leafy woods, and mirror-like lakes, and so enjoy the fairy landscape as only a bird can do.”

But man’s first attempts to fly were ill-judged and foolish. He failed to understand the problems involved; he forgot that, even were he able to build a machine which would navigate the air, he must learn to control this craft; must learn to steer and balance it, and make it ride the gusts. One might, for example, take a bicycle and say to a man: “Here is a machine that can be propelled along the road; mount it and ride away.” But if the man had not learned to handle a bicycle, and balance himself on one, he would swerve for a few yards and then fall. So with the man who, without forethought or study, sought to navigate the air.

Probing the recesses of history we find that, even as far back as the reign of the Emperor Nero, there was one Simon the magician who—if legend can be credited—sought “to rise towards Heaven.” Simon, [Pg 3] it would seem, actually lifted himself into the air by the use of some apparatus; but what this device was legend does not state. The spectators seem to have been horrified, and Simon’s ascent into the air was attributed to “the assistance of Beelzebub.” His triumph was short-lived, for, as the legend goes on to record, he fell to the earth and was killed. And this fate befell many who, in those very early days, made flimsy wings and threw themselves from towers or the tops of hills. Simon, it is thought, may have had some method in his apparent madness. He may, for instance, have made a lifting plane and discovered that, if he placed himself in a rising current of air, the effect would be to raise him from the ground; and this suggestion has a greater probability when we remember that in warm, southern lands there are often strong up-currents of air upon which birds will soar, with wings motionless. But what machine Simon used, and how he made his flight—if he did—are questions that remain unanswered.

_

Fig. 1.

Looking back into history, one fact is striking; and this is the part that monks played in studying flight. They had leisure to think, and time in which to make tests; and in many a monastery, hundreds of years ago, quaint theories were propounded and queer craft planned. In the eleventh century, at Malmesbury in England, there was a Benedictine monk named Elmerus, or Oliver, more ambitious than many of his brethren. He built himself a machine with wings; then, in order to put it to the test, he ascended a tall tower, faced the wind, and sprang into the air. That he had studied weighting and balance to some purpose [Pg 4] was evident, for he glided a short distance without accident; then, struck perhaps by a sudden gust, lost equilibrium and came crashing to the ground. He was not killed, as were many less rash than he; but broke his legs, and nothing more is read of him as an experimenter. Of the doings of another of these brave but reckless men—a Saracen who tried to fly in the twelfth century—there is fuller information. He provided himself with wings which he stiffened with wooden rods, and held out upon either side of his body. Wearing these, he mounted to the top of a tower in Constantinople (Fig. 1) and stood waiting for a favourable gust of wind. When this came and caught his wings, he “rose into the air like a bird.” And then, of course, seeing that he had no idea of balancing himself when actually aloft, he fell pell-mell and “broke his bones.” People who had gathered to watch, seeing this inglorious ending to the flight, burst into laughter: ridicule rather than praise, indeed, was the fate of the pioneers, even to the days when the first real flights were made.

In the fifteenth century, working upon more sensible lines of thought, Leonardo da Vinci—an Italian genius who was painter, inventor, sculptor, writer, and musician [Pg 5] —devised several machines by which men might navigate the air. Success did not come to him, as he had no motive power with which he could equip a craft; but how keen a watcher he was of the birds is shown by a passage from one of his manuscripts:

“The kite and other birds, which beat their wings little, go seeking the course of the wind, and when the wind prevails on high then will they be seen at a great height, and if it prevails low they will hold themselves low. When the wind does not prevail at all, then the kite beats its wings several times in its flight in such a way that it raises itself high and acquires a start, descending afterwards a little and progressing without beating its wings, repeating the same performance time after time.”

Da Vinci, too, had some notion as to the need for balancing a machine while in the air, and did not seem—like most others of the early pioneers—to imagine that once a man had launched himself from a height he would be able to control his craft by instinct. He wrote, indeed, suggesting the position of a pilot in a flying machine, that “he should be free from the waist upwards, in order that he might keep himself in equilibrium, as one does in a boat.”

He realised, too, a fact that the modern airman always bears in mind; and that is the value of flying high. Da Vinci wrote in this regard: “Safety lies in flying at a considerable height from the ground, so that if equilibrium be temporarily upset there may be time and space for regaining it.”

Among the machines Da Vinci planned was an ornithopter, or craft with arched wings which would flap like those of a bird; and a helicopter, or apparatus in which revolving screws are used to draw it up into [Pg 6] the air. He devised mechanism by which a man might move two wings, shaped like those of the bird, and thus imitate natural fight. These wings were planned ingeniously, so that they would contract on the up-stroke and expand when forced downward. In one of his notebooks, too, he made a sketch of a helicopter machine which was to have a lifting propeller 96 feet in diameter, and to be built of iron with a bamboo framework. He made paper helicopters, or whirling screws, and sent them spinning into the air; and to him, also, was due the first suggestion for the use of a parachute.

_

Fig. 2.—Besnier’s Apparatus.

From this time, until the beginning of the nineteenth century, men still strove to fly, but all of them failed to see a vital point: that they must learn gradually to balance themselves in the air, even as the young birds have to do. So those who were not killed were badly injured, and those who persisted in experiments were looked upon either as madmen or fools. Some, however, were not so foolish as they seemed. They brought forward schemes so as to attract the attention of kings and those in high places; and this was particularly the case in France, during the reigns of Louis XIV. and Louis XV. [Pg 7] But the notoriety they won was short-lived. The day came when they needed to make good their claims—when they were called upon to fly; and then they met death, disablement, or disgrace, and were forgotten quickly. Of the devices suggested many showed ingenuity; and some were quaint, in view of what we know of flight to-day. In the machine, for instance, designed by an experimenter named Besnier—who was a locksmith by trade—there were four lifting planes, closing on the up-stroke and opening on the down, and these the operator was to flap by the use of his hands and feet (Fig. 2). A rather similar idea was suggested as long ago as 1744, by the inventor De Bacqueville; his plan was to fix four planes or wings to his hands and feet, and then propel himself through the air by vigorous motions of his arms, and kickings of his legs (Fig. 3). He made a flight from a balcony overlooking a river, but finished his trial ingloriously by falling into a barge. Such schemes, indeed, were doomed to failure; and they are only interesting because they show how, even in those far-off days, men were ready to risk their lives in attempts to conquer the air.

_

Fig. 3.—De Bacqueville (1744).

[Pg 8]


CHAPTER II
THE WORK OF SCIENTISTS

Sir George Cayley’s forecasts—A steam-driven model which flew—The shape and curve of planes.

So passed the haphazard stage of flight; and now history moves to a second and more important period, that in which men of science were attracted to the problem. They worked upon theories, and made experiments with models; they studied the shape which Nature has given the birds; they sifted false notions and showed where error lay. But they did not fly. They were merely clearers of the ground, gathering information and classifying it, and paving the way for those daring workers who were to follow them—men who, by putting science to the test, were willing to risk their lives.

_

Fig. 4.—Sir George Cayley’s
suggestion for an
Arched Plane.

To England goes the distinction of the first practical attempts to solve the problems of flight; and it is the work of Sir George Cayley, an eminent scientist and engineer, that next merits attention. In a series of articles, published in Nicholson’s Journal during the years 1809-10, he forecasted many of the principles that go to the making of a modern-type aeroplane. He advised the construction of machines with fixed, outstretched wings like those of a bird; but he did more than this, for it is admitted generally he was first to [Pg 9] point out that, to increase their lifting power as they were moved through the air, these wings should not be flat, but should be curved from front to back, or arched upward (Fig. 4). How important this suggestion was, subsequent experimenters were to show. Sir George Cayley realised also that a tail-plane, carried at the rear of a machine, would give it equilibrium, and might be moved up and down to control ascent or descent; and he used a rudder upon models, to steer them from side to side. He advised the use of steam engines as a motive power, and of revolving propellers to drive a craft through the air. But, like many another man, he was before his time. He built experimental craft—one, a model glider, which would sail down gracefully from the top of a hill; and another, a far larger machine, which would bear a man through the air, for a distance of several yards, if he ran forward with it against the wind. But the difficulty of obtaining a sufficiently light and practical motor, either of steam or other power, was an obstacle that proved insurmountable. One light engine, which Sir George Cayley planned, was to be driven by a series of gunpowder explosions in a cylinder; but the suggestion came to no practical issue.

This scientist did not write or work in vain. He compiled data which was invaluable, and interested and encouraged other men—even those, indeed, who in due course made the conquest. One of the first to work upon Sir George Cayley’s theories was an experimenter [Pg 10] named Henson. He planned an ambitious machine weighing about a ton. It was to have planes of canvas stretched over a rigidly trussed frame of bamboo rods and hollow wooden spars; and these planes were to contain 4500 square feet of lifting surface, and be driven by screws operated by a steam engine of 30 h.p. (Fig. 5).

But this craft did not take practical shape, although in its appearance and many of its details it bore a resemblance to machines which ultimately were to fly. In the specification of the patent he took out for his invention, Henson indicated that it was for

“Improvements in locomotive apparatus and machinery for conveying letters, goods, and passengers from place to place through the air.”

_

Fig. 5.—Henson’s proposed Machine.

Explaining his theories in this same specification he wrote:

“If any light and flat or nearly flat article be projected or thrown edgewise in a slightly inclined position, the same will rise into the air till the force exerted is expended, when the article so thrown or projected will descend; and it will readily be conceived that, if the article so projected or thrown possessed in itself a continuous power or force equal to that used in throwing or projecting it, the article would continue to ascend so long as the forward part of the surface was upwards in respect to the hinder part.” [Pg 11]

Had Henson been able to carry out his ideas, it is almost certain that this experimental machine would have been wrecked in its tests, and probably several more after it, seeing that he would have had to learn to control them when in flight, and remembering also that, even with aircraft as they are built to-day, many details have to be studied and improved before a successful model is evolved.

All such work, of course, entails heavy expense. It was, indeed, the cost of experiments which prevented many an early inventor from building a full-sized machine. The designing and construction of a man-carrying craft, and the employment of skilled workmen and mechanics, to say nothing of repairs that may have to be made during a series of tests, represent an expenditure that may amount to thousands of pounds. As a rule, the inventor is not a man of wealth; and so far as flying was concerned, at any rate in the early days,—and to a more limited extent even at the present time,—people with money thought the difficulties so great that they would not advance funds for the carrying out of trials. So men with ideas had to do the best they could, and this resolved itself generally into writing and lecturing, and endeavouring to interest the public. But the public was not easily interested; ordinary folk did not believe that men would ever fly, while many people declared that it was going against Nature for us to try to imitate the birds, and that nothing but mischief would come of so doing.

Henson, failing to make definite progress with his scheme for a man-carrying craft—despite the fact that a company was floated to assist him—co-operated with [Pg 12] another enthusiast named Stringfellow in a plan which was not so elaborate. They began to experiment with a series of models driven by tiny and most ingenious steam engines built by Stringfellow; and so cleverly did he construct them that the Aeronautical Society awarded him a prize of £100. The model which won him this recognition was a little plant which, while it weighed only 13 lbs., without water or fuel, would develop one horse-power.

What, by the way, is meant by a horse-power? The answer is as follows: in the early days of engineering, when it was found necessary to establish some well-recognised unit of power, a large number of experiments were carried out with horses, which were made to raise a weight from the ground by means of an arrangement of pulleys and ropes. The experiments showed this: that a horse can exert sufficient power to raise 33,000 lbs., or about 15 tons, to a height of 1 foot in the space of one minute. This, therefore, was called “one horse-power.”

In Stringfellow’s days, it must be remembered, there was no petrol engine; an engine so extremely light for the power that it will give, and with its liquid fuel and oil carried conveniently in tanks—an engine which, as Sir Hiram Maxim puts it, will give one horse-power of energy “for the weight of a barn-door fowl.”

The question of motive-power was, indeed, the great obstacle for the pioneers. When a man builds an aeroplane he must drive it through the air; and to drive it through the air he requires an engine. But he knows that his planes, owing to the small density or sustaining power of the air through which they pass, will raise only a limited load. And the machine itself, even if it is [Pg 13] built of wood and canvas, represents an appreciable weight; to say nothing of that of the pilot. So, if his engine is heavy in proportion to the power it gives, and its fuel weighty, he may be prevented altogether from rising from the ground; or if he does rise, he may be able only to carry sufficient fuel for a flight of a short distance.

_

Fig. 6.—Henson and Stringfellow’s Model.

Henson and Stringfellow built in 1845 a model which weighed about 30 lbs. (Fig. 6); and although its stability was not perfect, it was an interesting machine—a forecast of the monoplane of the future. Here one saw the lifting planes take shape; the body between the wings; the tail-planes at the rear; and, above all, a suggestion of the means by which machines would be driven through the air: the fitting to the model, that is to say, of revolving propellers or screws. When an inventor has fitted an engine to an aircraft, means must be devised for using its power to drive the machine through the air; and to make the wings flap like those of a bird, has been found so complicated, owing to the mechanism necessary to imitate natural movements, that much of [Pg 14] the power is wasted. Inventors such as Henson and Stringfellow, realising this difficulty, made wings that were outstretched and immovable, like those of a bird when it is soaring, and relied upon screw propellers—which they set spinning at great speed by means of their engines—to thrust their craft forward through the air.

_

Fig. 7.

In an early and simple form, the aerial propeller was as shown in Fig. 7. Here are two curved blades, so shaped that, when the propeller is made to revolve quickly, these blades will act powerfully upon the air. What the propeller does is to screw itself forward through the air, as one might revolve a corkscrew and drive it into a cork, or force a gimlet into a piece of wood. Each time you twist the gimlet for instance, as you drive it inwards, it forces itself a certain distance through the wood; and in a like manner the air-propeller, each time it revolves, tends to bore its way through the air (Fig. 8) and so push, or draw with it, the flying machine to which it is attached. But with air, seeing that its density is small, it is necessary to use a large screw, and to turn it fast, before power can be obtained.

_

Fig. 8.

[Pg 15] In 1845, Stringfellow, who was now working alone—Henson having abandoned the tests and gone abroad—met with a definite success. He obtained actual flights with a steam-driven model in the form of a monoplane, weighing 8½ lbs. These tests attracted attention among scientists, but they led to nothing else—that is to say, no full-sized machine was the result. But Stringfellow’s model interested many people in the problems of flight. It showed, indeed, although in miniature, that a flying machine could be built and driven through the air; and so this patient experimenter did not labour in vain.

Following Stringfellow, upon the list of those who forged links in the aerial conquest, came Francis Herbert Wenham. His interest in flying, as with many other men, was aroused by watching the birds. Wenham, an engineer by profession, made a voyage up the Nile; and his study of the movement of birds, as they flew near his yacht, caused him to take up aviation in earnest, and carry out experiments for the Aeronautical Society. Wenham was interested largely in the lifting power of planes, and sought efficient shapes. He recommended the building of arched surfaces, so arranged that they had considerable span, but were narrow from front to back; and he suggested also that they should, when fitted to a machine, be placed one above another. Thus Wenham was the inventor of the biplane, as we know that craft to-day. [Pg 16]

In explaining this point he wrote:

“Having remarked how thin a stratum of air is displaced between the wings of a bird in rapid flight, it follows that, in order to obtain the necessary length of plane for supporting heavy weights, the surfaces may be superposed, or placed in parallel rows with an interval between them” (Fig. 9).

_

Fig. 9.—Superposed Lifting Planes.

To illustrate his theory, he built a model which had six long, narrow planes, arranged one above the other, rather like the slats of a Venetian blind. Wenham’s experiments were highly important, because they cleared a great deal of ground, and removed many misunderstandings. By showing that a long, narrow plane was more efficient—would, that is to say, carry a greater load through the air than one which was deep from front to back, owing to the fact that it is the front section of an inclined plane that provides the most “lift”; and by illustrating how, in a full-sized machine, such a row of planes could be arranged one above another, Wenham directed men’s thoughts towards a definite goal. By his work, and chiefly by his sifting of data, an outline was obtained of that aeroplane of the future which was actually to fly.

While Wenham was experimenting, an inventor named Penaud, in France, testing a series of models, made one which was driven by the twisting of elastic, and flew quite well. Penaud’s work in this respect is interesting, because small elastic-driven machines, such as he designed, were used afterwards in demonstration, and are flown to-day. For a miniature aeroplane, [Pg 17] elastic is an ideal motive force—light and yet providing ample power, and with only one disadvantage: it unwinds itself rapidly, and then the model must descend.

In experiments of permanent value, after the discoveries of Wenham, important work was that of Horatio Phillips. Like Wenham, he devoted his attention mainly to a study of lifting planes, and tested many shapes and curves. Sir George Cayley, it may be remembered, had suggested a curved and not a flat plane; but Phillips went one better than this, for in 1881 he devised a plane with what has been termed a dipping front edge.

_

Fig. 10.—The Phillips Wing-Curve.

The shape and curve of a plane, is of vital importance. A machine may be built, and an engine and propellers fitted, but the question is: Will the planes support through the air the load they have been given to carry? Phillips made many experiments, and in the end he produced a wing-shape which he patented. He pointed out that an advantage might be gained in lifting effect if the main curve or camber was situated near the front edge of the plane, and not in the centre (Fig. 10). The theory Phillips worked upon was this—and it is interesting if it can be expressed clearly. Taking a plane curved as he recommended, with this “hump” towards the front, and forcing it through the air as would be the case were an aeroplane in flight, the rush of wind which meets the edge of the plane is split into two currents—one [Pg 18] sweeping above and one below. The air current below the plane, following its curve, is thrust downward, and in being so thrust down imparts a lift to the plane; while the current thrown above the plane—rushing up and over the “hump” which, as has been shown, is situated close to the front edge—will sweep rearwards in such a way that there is a partial vacuum or air space between the fast-moving wind current and the curved-down section of the plane behind the “hump.” The value of such a vacuum is this: it has a raising effect upon the surface of the plane, which is thus not only pushed up from below, but drawn from above.

_

Fig. 11.—Suction above a Cambered Surface.

How a vacuum is caused, by air passing over such an arched surface as Phillips recommended, may be shown in a simple experiment. Take a sheet of paper and curve it in the way shown in Fig. 11, allowing the rear portion to hinge in such a way that it will move freely up and down. Then, if the sheet of paper is held between the finger and thumb and one blows across the top edge, the hinged flap at the rear will be found to raise itself—drawn up by the influence of the vacuum, such as Phillips describes.

Apart from his theory as to the dipping front edge of a plane, Phillips agreed with a suggestion made by Wenham; and this was that a plane, in order to be most effective in its “lift,” should be narrow from front to back. This theory meant that, as a plane moved [Pg 19] forward, it was the curving front section which gripped and acted up the air; and that, if the plane was carried too far towards the rear, its lifting influence fell away, while the surface that was superfluous acted as so much resistance to the machine’s progress through the air.

_

Fig. 12.—Phillips’s Experimental Craft.

In furtherance of his views, Phillips built the strange-looking machine which is seen in Fig. 12. It resembled, more than anything else, a huge Venetian blind; and he adopted this form so as to introduce as many narrow planes as possible. There were, as a matter of fact, fifty in the machine, each 22 feet long and only 1½ inch wide. The craft, as can be seen, was mounted on a light carriage which, having wheels fitted to it, ran round and round upon a railed track. A steam engine was used as motive power, driving a two-bladed propeller at the rate of 400 revolutions a minute. The machine was so arranged on its metals that, although the rear wheels could raise themselves and show whether the planes exercised a lift, the front one was fixed to its track—thus [Pg 20] preventing the apparatus from leaping into the air, overturning, and perhaps wrecking itself. Tests with the machine were successful. The lifting influence of the planes, when the engine drove them forward, was sufficient to raise the rear wheels from the track; and they did so even when a weight of 72 lbs., in addition to that of the apparatus, had been placed upon the carriage. In his main object, then, Phillips succeeded; and that was to show the lifting power of his planes. But his apparatus had not the makings of a practical aeroplane. He gained for himself, nevertheless, a name that has lived and will live. Even to-day, in discussing the wing-shape of some machine, draughtsmen will speak of the “Phillips entry.” Other workers did not pin themselves exactly to his shapes or theories, but these paved the way for a series of further tests.

Science was forging link by link indeed the chain that would lead to an ultimate conquest. Sir George Cayley suggested an arched plane; Wenham devised a machine in which narrow planes should be fitted one above another; and Phillips laid down the rule for a curve or camber of special shape, which should exercise most “lift” when thrust through the air. But still men lacked many things; all the links in the chain were far from being in their place; and one of the greatest flaws was that no man, even supposing he was able to build a machine that would fly, had learned as yet to balance that machine when it was in the air. [Pg 21]


CHAPTER III
FIRST FRUITS OF STUDY

The building of large machines—Sir Hiram Maxim’s costly work—A steam-driven French craft which flew—Professor Langley’s research in America.

Of the way research next tended, it may be said that it was the first putting into practice of the theories science had laid down; for now, having an idea as to the shape of planes, and knowing that these planes could be made to carry a load through the air, there were engineers who began to build man-carrying, power-driven machines. In so doing, however, they may be said to have tried to run before they could walk. What they did was to provide the world with powerful flying craft before there were men who could handle them.

One of the most interesting and ambitious designs was that of Sir Hiram Maxim; and it was one to which he devoted years of labour and large sums of money. He is said, indeed, to have expended £20,000 upon aerial research. After a number of experiments with plane shapes, following the theories of Phillips, he began to build a very large machine, which he set upon a miniature railway as Phillips had done, using the same precaution of a check-rail to prevent it from rising more than a certain distance in the air. His apparatus, when [Pg 22] built at Baldwin’s Park, Kent, weighed 8000 lbs.: it was, in fact, the largest machine ever built. The span of its planes was 105 feet, and they offered a total supporting surface of 6000 square feet.

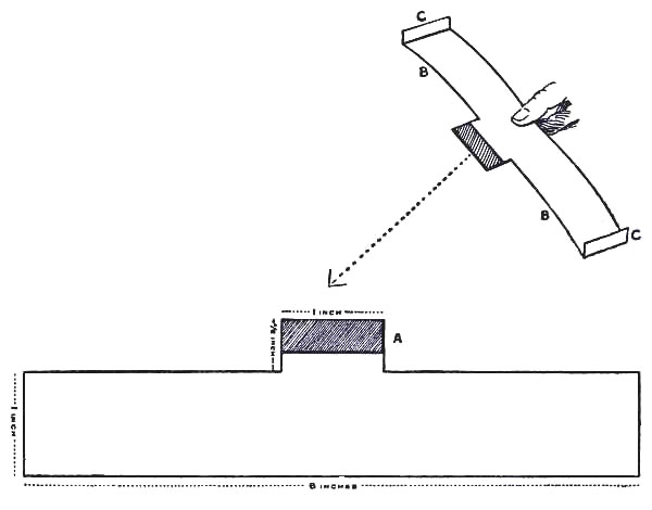
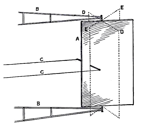
_

Fig. 13.

A. Elevating Plane; B.B. Outriggers; C.C. Operating Wires;
D.D. Position for ascending; E.E. Position for descending.

The inventor employed the suggestion made by Wenham, and fitted his lifting planes one above the other; while he used a horizontal plane in front of the machine to act as an elevator. This plane could be tilted up and down; and the idea was that, when it was tilted upward as the machine ran forward upon its rails, it would exercise such a lifting influence that the front of the craft itself would be raised, and so cause the main-planes to assume a steeper angle to the air; and the result of the planes being inclined thus more steeply would be to give them a greater lift, and so induce the whole machine to raise itself from the ground. This system is explained in Fig. 13, and is important because [Pg 23] such lifting planes, for rising or descending, have now come into general use.

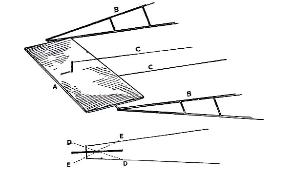
Sir Hiram Maxim employed another controlling surface which has become a feature of present-day aircraft, and this was an upright plane, which could be swung from side to side, and by which his craft was to be steered. Such a rudder-plane is illustrated in Fig. 14. By this means, as will be shown later, practically all aeroplanes are steered to-day. The action of the aerial rudder, when it is moved from side to side, is like that of swinging the rudder of a ship; but for the same reason that propellers have to be made large—owing to the small density of the air—so an aeroplane rudder needs to be a comparatively large plane, in proportion to the size of the craft, before it will exercise an adequate turning influence.

_

Fig. 14.

A. Vertical steering rudder; B.B. Outriggers; C.C. Operating wires;
D.D., E.E. Positions assumed in turning.

To drive his machine Sir Hiram used two specially-built and lightened steam engines, which developed a total of 360 h.p., and yet weighed only 640 lbs.; that is to say, they gave one h.p. of energy for each 1¾ lb. of weight. But they were only suitable for purposes of experiment. Sir Hiram himself wrote: [Pg 24]

“The quantity of water consumed was so large that the machine could only remain in the air for a few minutes, even if I had had room to manœuvre and learn the knack of balancing it in the air. It was only too evident to me that it was no use to go on with the steam engine.”

The engines drove two canvas-covered wooden screws, each 18 feet in length, and the general appearance of the machine is indicated by Fig. 15. In these trials, although it was always captive, the aeroplane demonstrated much that its inventor had set himself to prove. In Sir Hiram Maxim’s own words, it showed that it had “a lifting effect of more than a ton, in addition to the weight of three men and 600 lbs. of water.” He adds: “My machine demonstrated one very important fact, and that was that very large aeroplanes had a fair degree of lifting power for their area.”

_

Fig. 15.—The Maxim Machine.

[Pg 25] So unmistakably did this craft show its lifting power, that—in one fierce effort to rise—it broke a check rail which kept it upon its metals, with the consequence that it became unmanageable, swerved sideways, and was wrecked. At this stage Sir Hiram, having no faith in the future of such steam engines as he was using, and having spent a large sum of money, was compelled to relinquish his tests. His trouble was that he was, as the saying goes, “before his time.” The machine was too ambitious and too large. That it would have lifted itself into the air was proved; but there was no man living who could have controlled it. To put in charge of such a craft a man who knew nothing of the navigation of the air, would have been like placing a novice at the levers of a 60-mile-an-hour express. Picture such a huge aircraft in the hands of a man who had never flown. It would rise, it is true; but how could one who was not an expert so adjust the angle of its lifting plane that it would glide smoothly from the ground and not rear itself upward and fall with a crash? A machine is struck by wind-gusts, too, when it is aloft; and there is the delicate art of making a descent, without damaging one’s craft by a rough contact with the ground. Besides, it would have been unlikely that this machine, being purely experimental, would have been perfectly balanced as it flew: it might have shown a tendency to slip sideways when in the air, or dive steeply. All of which goes to show this: that the inventor might have wrecked one costly machine after another before he obtained a practical model, even were he lucky enough to escape with his life. Sir Hiram Maxim’s machine, while it settled [Pg 26] problems as to weight-lifting and power, lacked the man who could fly it; and so did others of these man-lifting craft which were built before their time. A child must learn to walk before it can run, and must learn to crawl before it can walk. And what had not been realised, at this stage of the conquest, was that there must be some stage between building a model and a full-sized, motor-driven machine: some step, in a word, by which a man might learn, without too great a risk of death, to balance himself when in the air.

While Sir Hiram Maxim in England was devoting time and money to the quest, there was another skilled engineer, a Frenchman, who was working at the problem, and also by means of large machines. This was Clement Ader, one of the European pioneers of the telephone, and he experimented for many years. One of his first machines had wings like those of a bird, and these the would-be flier was to operate by his own muscular power. But this failed, seeing that men are not provided with sufficient power, by their unaided efforts, to wing their way through the air in a flapping flight. As Giovanni Borelli, a seventeenth century writer, quaintly puts it: “It is impossible that men should be able to fly craftily by their own strength.”

_

PLATE I.—THE LANGLEY MACHINE.

This craft, a double monoplane, was launched from a platform over the river Potomac, loaded with a weight equivalent to that of a man. The trials were unsuccessful; but recently—after a lapse of many years—the Langley machine has been tested again, and has proved its ability to fly.

[Pg 27] Ader next turned to steam-driven craft, and built a series of queer, bat-like machines, which he called “Avions,” one of which is illustrated in Fig. 16. Its wings were built up lightly and with great strength by means of hollow wooden spars, and had a span of 54 feet, being deeply arched. The whole machine weighed 1100 lbs., and was thus far smaller and lighter than Maxim’s mighty craft. To propel it, Ader used a couple of horizontal, compound steam engines, which gave 20 h.p. each and drew the machine through the air by means of two 4-bladed screws. The craft was controlled by altering the inclination of its wings, and also by a rudder, the pilot sitting in a carriage below the planes. In 1890, after its inventor had spent a large sum of money, the machine—which, unlike those of Phillips and Maxim, ran upon wheels and was free to rise—did actually make a flight, or rather a leap into the air, covering a distance of about fifty yards. But then, on coming into contact with the ground again, it was wrecked. Ader’s experiments were regarded by the French Government as being so important that he received a grant equalling £20,000 to assist him in continuing his tests; and this goes to show how, even from the first, the French nation was—by reason of its enthusiasm and imagination—able to appreciate what its inventors were striving to attain, and eager to encourage them in their quest. For just an opposite reason—because, that is to say, it had not this imagination nor intuition—England neglected her experimenters, or merely regarded their efforts with an amused tolerance, as though they were children playing with toys.

_

Fig. 16.—Ader’s “Avion.”

[Pg 28] Ader’s greatest success came in 1897. With an improved machine, he obtained a flight through the air of nearly 300 yards; and this goes down to history as being the first ascent by a power-driven aeroplane having a man on board. Ader’s name will never be forgotten, and one of his machines is exhibited, as a relic beyond price, at the Institute of Arts and Science in Paris. But the flight ended in damage to the machine, as the other had done. A wind gust threatened to overturn the craft, its engines were shut off, and it descended so heavily that it was wrecked. Through constant difficulties in regard to motive power, and the heavy cost of his experimental work, Ader was unable to make a definite success, or produce a machine which could be called a practical craft. In his case again, as in that of Maxim, there was a great and apparently insurmountable defect. The aeroplane would rise; its engines and propellers would drive it through the air; but the steersman had not his machine under control: he had not, in a word, learned to fly. The prospect, therefore, was unpromising, because one machine after another might share the same fate—rising into the air, flying a hundred yards or so, and then over-balancing and crashing to earth: thus, in fact, might thousands of pounds be squandered.

But this stage of putting into practice what science had taught, although disheartening for those who passed through it, was still of value; it made a stepping-stone to the next. One of the men who thus laboured, without himself seeing his work brought to the goal of success, was Professor S. P. Langley, an American scientist connected with the Smithsonian [Pg 29] Institution, and a man of original ideas and great resource. He made a methodical investigation of the action of lifting planes and the shape of propellers, using a large revolving table so that he could test the latter while they were moving through the air. Then he began building models which took a double monoplane form, as indicated by Fig. 17, with wings set at dihedral or upturned angle. This uptilting of the wings was to give the models stability while in flight: and the fixing of planes at the dihedral angle was tested, by later experimenters, in regard to full-sized machines. But while it gave an undoubted stability when a craft was flying under fair conditions, it was declared by some experts to be a disadvantage in gusty winds. There seemed also a risk that a machine so built might slip sideways when upon a turn. But in some machines to-day a modified dihedral angle is used, and with satisfactory results.

_

Fig. 17.—Langley’s Steam-driven Model.

Professor Langley’s models, tested over the river Potomac, flew many times for distances of half a mile. One, weighing 25 lbs., flew for appreciably more than half a mile, and at a speed of 20 miles an hour; [Pg 30] and with another, which was slightly larger and weighed 30 lbs., a three-quarters of a mile flight was obtained. This model measured a little more than 12 feet across its wing tips, and was about 16 feet long. The miniature steam engine which drove it, developing 1½ h.p., weighed about 7 lbs., and operated a couple of two-bladed propellers which were fitted behind the main wings, and turned in opposite directions at the rate of 1200 revolutions a minute.

So successful were Professor Langley’s models that the United States War Department became interested; and the result was that an official grant was made for the building, according to the Professor’s plans, of a machine of man-carrying size. But with this craft, which weighed 830 lbs., and was driven by a 52 h.p. engine—and is shown in Plate I—there was a record of failure: launched from the roof of a house-boat over the Potomac, it fell several times into the water; and ultimately, and largely owing to the heavy cost of tests with such large machines, the trials had to be abandoned.

But that the Langley machine would have flown, had it been launched more carefully, has been demonstrated recently, and in a remarkable way. On June 28th, 1914, obtaining permission to make tests with the actual Langley machine, which had been preserved as a relic. Mr. Glenn Curtiss fitted the craft with floats, and drove it across the surface of the water at Hammondsport, New York, using the same engine that had been in the machine during its early and unsuccessful trials. After skimming the water for a short distance the monoplane rose, flying steadily and well, and vindicating its constructor’s theories, although he himself was dead. [Pg 31]


CHAPTER IV
OTTO AND GUSTAV LILIENTHAL

How two German schoolboys built wings which they tested on moonlit nights—The beginnings of a great and patient quest—Otto Lilienthal’s theories and study of the birds.

Much of the ground has now been cleared, and—apart from such a story as may be told merely from facts and figures, and is apt to prove unsatisfying—we have striven to show the inner meaning of this great quest: how each of these pioneers, although he may have seemed to spend money in vain, and build models only to meet with failure, was really playing a useful part; was in fact—although he himself did not realise it—forging one of the links in the chain.

It has been shown how men passed from an ill-judged, haphazard stage; how science threw upon the problem the clear, cold light of wisdom; and then, further encouraged by the data that was to hand, how there were engineers who were ready to build large machines and demonstrate that, even in a crude and early form, an apparatus with curved planes would lift itself from the ground.

But still there remained this problem: how were men to learn to balance themselves when in the air? [Pg 32] And, in considering the equilibrium of the aeroplane, it must be remembered that the air in which a machine must fly is a disturbed and turbulent sea. So, even were a man to build himself a craft which would, without the need of a hand upon its levers, balance itself accurately when in still air, there would still be the problem of the wind gusts; there would, that is to say, still be the risk of a machine being struck by an air-wave, particularly when flying near the ground, and being thrown out of its balance and dashed to earth.

_

Fig. 18.—Flow of the wind over hills.

As waves roll across the surface of the sea, so in the aerial ocean are there breakers and eddies and many dangers unknown; and men cannot see, but only feel them. The air does not flow in regular streams over the earth’s surface; could we follow its movements with our eyes, we should see that it is full of whirls and eddies, with currents of warm air flowing upward, streams of cool air moving downward; and with all the obstructions on the face of the earth, such as hills and woods, causing an interruption and a disturbance in the air flowing over them (Fig. 18). The face of a cliff, for instance, will deflect a current upward, leaving a partial void at its summit; and into this void the air will rush in the form of a whirling eddy. [Pg 33]

The man who would learn to fly has to launch himself into a treacherous, quickly-moving element; and one which, to add to his perils, he cannot see. The rower in a boat, who sets out upon a stormy sea, can watch the flow of the waves and turn the prow of his vessel to a breaker that threatens him. But the aerial navigator moves in a medium that is invisible; gusts that rush upon him are unseen; he is unaware of their onslaught until his craft heels before the shock. This risk, from the sudden sweeping up of an air-wave, was put clearly by Wilbur Wright when he wrote:

“A gust, coming on very suddenly, will strike the front of a machine and will throw it up before the back part is acted on at all. Or the right wing may encounter a wind of very different velocity and trend to the left wing.”

In the aerial sea a machine will pitch and roll as does a ship upon the water; and the man who would fly must learn to check his craft, should it threaten to overturn; must be ready instantly with some system of controlling gear so as to correct the influence of each driving gust. And his task is made the harder because his machine, when struck suddenly by a gust, may fall towards the earth at any angle. On the road, when one learns to ride a bicycle, the machine will topple to one side or the other; but a craft in the air may fall forward or backward as well as from side to side, or partly forward and partly backward—or may slip and dive at any possible angle, either forward or backward or upon either side. A pioneer wrote, after his first experience in learning to fly: [Pg 34]

“It is rather like trying to steer a motor-car along an exceptionally greasy road; you seem to slip all ways at once; and to slip so quickly also that, unless you make the right balancing movements without an instant’s delay, you find your machine has gone beyond control.”

If he were to succeed, if he were to fly like a bird, then a man had to learn this art of balancing himself in the air. Futile it was, as has been shown, to build some powerfully-engined machine that no one could control; futile also, and perilous as well, to make a pair of wings and jump from a tower. Another way must be found, or the quest abandoned and admitted hopeless. Here was the need; and here too, as we shall tell, came the man; a man who was not famous, who worked without reward and struggled to find time for his experiments; who died before he could see the final triumph; yet who won a fame that cannot die, and whom men call “the father of the aeroplane.”

To Germany one turns in telling the story of this man’s work. He was an engineer, Otto Lilienthal by name, and from the days of his boyhood he and his brother Gustav, living in Anklam, a small German town, were builders of model aeroplanes and students of the flight of birds. When the boys were thirteen and fourteen years of age respectively, they designed a flying machine; and in describing it afterwards, Gustav Lilienthal wrote:

“Our wings consisted of beech veneer with straps on the under sides through which we pushed our arms. It was our intention to run down a hill and to rise against the wind like a stork. In order to escape the gibes of our schoolmates, we experimented at night-time on the drill-ground outside the town; but there being no wind on these clear, star-lit summer nights, we met with no success.”

[Pg 35]

But they were not discouraged, and continued to build simple, easily-constructed machines—from each of which, although it would not fly, they learned a useful lesson. One, for instance, they made with wings of goose feathers, sewn upon tape and fixed to wooden spars. These wings, when finished, they fastened upon hoops which were strapped to the operator’s chest and hips; and he could, by means of a lever and a stirrup arrangement, beat the wings up and down by movements of his legs. This machine they hung from a beam in an attic in their house; but although the wings did flap, and actually showed some tendency to lift, the apparatus was soon consigned to a lumber-room, and they were busy with plans for another.

What impressed Otto Lilienthal was the fact that, even when provided by Nature with a perfect flying apparatus, the birds of the air had to learn to use it. They could not just leap upward and “ride the wind” as men had tried to do; they needed to take their first fluttering flights—beating their wings anxiously and often falling back to earth, because they did not know as yet how to use these wings. Particularly did Lilienthal study the flight of storks. He obtained young birds from neighbouring villages, and fed them in his garden with meat and fish while he watched their efforts to learn to fly, and studied that marvellous piece of mechanism—the wing Nature had given them. Writing of his observations in a book he afterwards prepared, called Birdflight as the Basis of Aviation, Lilienthal describes the antics of young storks upon the lawn behind his house: [Pg 36]

“When the actual flying practice begins, the first attention is devoted to the determination of the wind direction; all the exercises are practised against the wind, but since the latter is not so constant on the lawn as on the roofs, progress is some-what slower. Frequently a sudden squall produces eddies in the air, and it is most amusing to watch the birds dancing about with lifted wings in order to catch the wind which changes from one side to another, all round. Any successful short flight is announced by joyful manifestations. When the wind blows uniformly from an open direction over the clearing, the young stork meets it, hopping and running; then turning round, he gravely walks back to the starting-point and again tries to rise against the wind.

“Such exercises are continued daily: at first only one single wing-beat succeeds, and before the wings can be raised for the second beat, the long, cautiously placed legs are again touching ground. But as soon as this stage is passed, i.e. when a second wing-beat is possible without the legs touching the ground, progress becomes very rapid, because the increased forward velocity facilitates flight, and three, four, or more double beats follow each other in one attempt, maybe awkward and unskilled, but never attended by accident, because of the caution exercised by the bird.”

Lilienthal was fascinated by the mechanism of the bird’s wing. He and his brother built one machine after another to determine the exact amount of lifting effort that a man could obtain by imitating the wing-beat of a bird. One such apparatus is illustrated in Fig. 19. This had a double set of wings; a wide pair in the centre and narrower ones in front and at the rear. These wings beat alternately, by movements of the operator’s legs; and the machine was suspended by a rope and pulleys from a beam, being counterbalanced by a weight. The tests showed this: that, after some practice in working the wings, a man could raise with them just half the weight of himself and of the machine; but the muscular effort proved so great that he could [Pg 37] only maintain this rate of wing-beating for a few seconds. Here, incidentally, a fact may be mentioned: the energy a man can produce, at all events for a prolonged effort, has been estimated at about a quarter of a horse-power; and this—in tests so far made—has been insufficient for the purpose of wing-flapping flight. Lilienthal himself thought that, with some perfect form of apparatus, a man might fly with an expenditure of 1·5 h.p. of energy; but other experimenters have put the minimum power necessary, even if mechanism could be devised, at 2 h.p. And another fact must be remembered: even had Lilienthal been able, with such a machine, actually to raise himself in the air, he would still have had the problem of balancing himself, in addition to the working of his wings.

_

Fig. 19.

_

Fig. 20.—Lilienthal Kite.

After many tests such as these, carried out over a number of years, during which the brothers grew from boys to men, Lilienthal decided that no good results could be obtained unless a machine was made to move [Pg 38] forward through the air, instead of seeking to rise straight upward. By such forward motion if rapidly made, and with a suitably shaped wing or surface, he calculated that a definite support might be obtained from the air, and without any great output of energy. The value of forward motion is seen when a large bird seeks to rise. The first few flaps are heavy and laboured; but after this, as soon as it begins to travel forward, the wings exercise a lifting influence apart from their beat; and, as the bird flies faster, so its wing-beats become less violent. An instance of the need for a bird to move forward when it begins to fly, is provided in the case, say, of a sparrow imprisoned in a chimney: even if the chimney is wide, and there is plenty of room for the bird to fly straight upward and escape, it has not the power to lift itself vertically for any appreciable distance, because it cannot obtain the lifting assistance of a leap forward through the air; it is in fact a prisoner within the chimney.

Lilienthal studied the gliding or soaring flight of many birds; that form of flight in which, with its wings outstretched and held almost motionless, a bird such as the falcon will hover in the air, using no apparent effort and yet supporting itself with ease; diving, rising again, and wheeling in a perfect mastery of the medium in which it moves. Lilienthal built and flew kites, to which he gave curved wings in imitation of those of birds (Fig. 20). With one of these he obtained, although [Pg 39] only for a few moments, an actual gliding flight. The incident is described by his brother Gustav:

“It (the kite) was held by three persons, one of whom took hold of the two lines which were fastened to the front cane and to the tail respectively, whilst the other two persons each held the line which was fastened to each wing. In this way it was possible to regulate the floating kite, as regards its two axes. Once, in the autumn of 1874, during a very strong wind, we were able to so direct the kite that it moved against the wind. As soon as its long axis was approximately horizontal the kite did not come down, but moved forward at the same level. I held the cords controlling the longitudinal axis, and my brother and my sister each one of the cords for the adjustment of the cross-axis. As the kite maintained its lateral equilibrium, they let go the cords; the kite then stood almost vertically above me and I also had to free it. After another thirty steps forward my cords got entangled in some bushes, the kite lost its balance, and in coming down was destroyed. Yet, having gained another experience, we easily got over the loss.”

From kites, in quest of a curved surface which should give a maximum lift with a minimum resistance to its own passage through the air, Lilienthal embarked upon a series of tests with wing shapes; setting these up in the wind upon suitable recording machines, and noting patiently the data that could be procured. There are many problems to be considered when planning a wing for flight. If it is given a deep curve or camber from front to back this may, while exercising a powerful lift, offer too high a resistance as it passes through the air, and thus waste the energy needed to propel the craft; or, if its front edge is dipped too sharply, this may cause the air to act upon its upper surface, and send a machine diving headlong to the ground. The planning of a successful wing becomes a compromise, [Pg 40] having for its object a surface which shall give the greatest lifting influence with the least resistance. Lilienthal, after much experiment and the examination of the wings of many birds, decided that the curve, camber, or upward arch of a plane should measure, at its maximum depth, about one-twelfth of whatever width the plane might have from front to back. [Pg 41]


CHAPTER V
GLIDING FLIGHT

How a man may use gravity as a motor—Theory of the “glider”—The craft Lilienthal built—A problem of balance—The centres of gravity and pressure.

Up to this point in his research Lilienthal had moved more or less upon the lines of other experimenters. Had he continued to follow in their footsteps, he would have planned some large and impracticable machine—and perhaps gone no further. But although he desired to test the lifting power of the planes he had built, Lilienthal had always in mind this vital fact—that a man must learn to balance himself in the air before he can hope to fly. His own words, in summing up this problem, were: “stability first; propulsion afterwards”; and by this he meant a man must acquire the art of handling a craft in the air, before he dares to fit a motor and attempt power-driven flight.

But if a man used neither wing-beats nor a motor to drive him through the air, how was such practice to be obtained? Lilienthal solved the problem—and made his name immortal—by devising a system in which he used the force of gravity as his motor. [Pg 42] His plan was this: first he would build a pair of large, light wings—so light in fact that, even with the woodwork that was in them and with the additional weight of a balancing tail, he could raise them to his shoulders and run forward. With these wings he would go to the summit of a sloping hill and face what wind might be blowing—as he had seen the young storks do. Then he would run forward with his wings, so as to obtain the lifting influence necessary before they could act upon the air. And then, when the wind was sweeping under his curved wings, he would raise his legs from the ground and seek to soar or glide; his own weight, and that of his machine, providing a gravity motor or downward pulling influence, while the sustaining power of his planes, resisting this drag, would send him gliding through the air, only a few feet from the ground, at an angle which tended gradually earthward.

_

Fig. 21.

Paper glider, in which the cardboard weight (A.) should be 3/10 inch wide, and 1/16 inch thick, slightly arch planes upward (B.B.). Turn up a little flap at each end (C.C.). An eighth inch is sufficient. Hold between finger and thumb (the cardboard weight uppermost); then allow to dive, as indicated by the dotted line.

This power of a weighted plane to glide, even when no motive power is attached to it, may be demonstrated quite simply by the little paper model seen in Fig. 21. If, when you have made this, you allow it to flutter from your hand without any weight attached, the model plunges, dips, and dives; it has no forward motion, therefore it has no stability or poise. But when you gum the small cardboard weight to its fore-plane, the action of the model is changed. By the use of this tiny strip of cardboard you have, so to say, given it an engine; you have provided it with means whereby it can obtain forward motion, and so glide through the air. When you [Pg 43] hold it as shown in the sketch, with the weighted fore-plane tilted downward, and release it without a jerk, the tendency for the model is to fall to the ground as it did before. But now there is the weight to reckon with: this pulls the model forward and downward, tending to fall more quickly, of course, than the paper by itself would do. But there is also the plane behind the falling weight to be taken into consideration: jerked forward and downward through the air, this begins to exercise a sustaining influence, and so resists the falling movement of the weight. Still the weight, actuated by the force of gravity, pulls downward. But the plane refuses to fall sheer to the ground; and yet the weight must have its way. So, as in most situations of this kind, there [Pg 44] is a compromise. The falling weight pulls; the plane resists; and in a flash the model starts upon a graceful glide. Its plane is fulfilling its task of bearing it through the air; and the weight is carrying out its mission also, in causing the glide to tend earthward. So, pulled down by its weight and yet partly sustained by its plane, the model will pass across a room; and if its plane and its weight are in a nice adjustment, one may see a pretty manœuvre before it reaches the floor. As it is swept faster through the air, owing to the increasing drag of the weight, the plane of the model acquires a greater lifting influence; and the moment comes when this “lift,” reaching a maximum, checks altogether the descending movement, and causes the model actually to ascend. Up indeed it goes, for a second, in a sudden swerve. But this ascending impulse is soon checked; gravity cannot be denied. The model loses speed; and, as it loses speed, so does its plane lose lift. Hence the weight is again the predominating partner; it pulls down the fore-plane, converts the rise into a fall, and brings the model with another dive to the floor.

But here, at all events, is a demonstration of this theory of gliding flight—one that can be carried out without a motor. Of course such flying has its restrictions: a man must start from the summit of a hill, and the glide is in the form of a descent towards the ground below; but still he is passing through the air; and above all—and this proved the advantage of the scheme for such a pioneer as Lilienthal—there is no need, during any such glide, [Pg 45] to pass high above the ground. The operator may, in fact, if the side of his hill slopes gently, skim within only a few feet of its surface; and this means that, should he lose his balance at first, as he may expect to do, he will not share the fate of those who leapt from towers, but will be able to alight without mishap.

_

Fig. 22.—Lilienthal Glider.

This, then, was Lilienthal’s plan; he would build a machine with wings and a tail, stand facing the wind as the storks had done, then seek to glide through the air in the manner of a soaring bird. The idea underlying his scheme was that he hoped, by a series of such gliding flights, to learn the adjusting movements he knew would be necessary to preserve his balance in the air. The gliding craft Lilienthal built, as illustrated in Fig. 22, has become an historical machine. The framework of its wings and the supports of its tail were of willow, and the wings and tail, to give them their grip upon the air, were covered with a smoothly stretched fabric. Then the whole structure was braced and tightened; and though it weighed less than 50 lbs., it was strong enough to bear its operator though the air. Lilienthal could raise the apparatus upon his shoulders—passing his head through the aperture between the planes, which will be noted in the sketch—and walk or run forward; and to hold the machine, as he carried it thus, he gripped two wooden rods. The tail was flexible, being allowed an automatic movement, thus giving the craft a certain [Pg 46] natural stability. The main wings had a span of 24 feet, and the machine measured 18 feet from front to tail. The wings were cambered, according to the curve Lilienthal had decided most efficient, and contained about 180 square feet of lifting surface. In giving them this area, Lilienthal was relying upon experiments he had made; these showed that, as his machine glided through the air, each square foot of its surface should bear a weight equal to about 1 lb.

Although enthusiastic, Lilienthal was not impatient: he had the priceless gift of judgment, allied to common-sense. So, when he had his glider built, he made no wild nor dangerous tests. He contented himself, in fact, with a leap from a springboard no more than 3 feet high; and this height he increased gradually to 8 feet. By such humble beginnings, and without risking his life, he proved that his glider would sustain his weight in the air; or, to be more precise, that its wings would exercise a lift sufficient to permit him to glide rather than fall to the ground. So now he began more elaborate tests, seeking hills which had gently-sloping sides, so that he might glide down them. But with many the difficulty was this: the winds near the surface, being broken and disturbed, blew fitfully and in gusts, while what Lilienthal needed was a steady, uniform wind. At length he found favourable conditions at some gravel-pits at Südende; and here, on the brink of a pit, he built a shed and housed his gliders.

_

PLATE II.—SANTOS-DUMONT’S FIRST FLIGHTS.

Here, actually in the air, and with its pilot clearly visible at the controls, is seen the craft in which—at Bagatelle in 1906—the airman flew a distance of 230 yards.

[Pg 47] Now, patient and assiduous, he began to teach himself the art of aerial balance. Raising his wings to his shoulders he would face the wind—which in his first tests he did not care to be blowing at more than ten or fifteen miles an hour. Then, running against the wind to increase the pressure beneath his wings, he would raise his legs and begin to glide, moving forward and at the same time downward. How he appeared when in flight is indicated by Fig. 23.

_

Fig. 23.—Lilienthal gliding.

His first tests were brief, for the reason that his craft would either dip too sharply, or incline its planes steeply and so check its forward speed. In either event the result was the same: the glide came to an end. But Lilienthal’s caution saved him from being injured in an involuntary descent. It must be remembered he was always moving close to the earth; therefore he had only a short distance to fall. To safeguard himself still further he fitted below his machine a shock absorber, which came into contact with the ground first and lessened the force of any impact.

But the difficulties of preserving his balance were great, as he had foreseen; for not only did his glider dip down, or rear itself up, but also—under the influence of wind-gusts—threatened to slip sideways. It was [Pg 48] Wilbur Wright, lecturing afterwards upon problems of aerial equilibrium, who said crisply:

“The balancing of a gliding or flying machine is very simple in theory; it merely consists in causing the centre of pressure to coincide with the centre of gravity; but in actual practice there seems to be an almost boundless incompatibility of temperament between the two, which prevents their remaining peaceably together for a single instant.”

_

Fig. 24.—Centres of gravity and pressure.

Here, in a sentence, is the problem. As a cambered plane is moved in flight, the air-pressure upon it is not disposed equally over the surface, but tends to locate itself at a spot to the front of the middle line of the plane. When a plane is at a normal inclination to the air, indeed, this centre of pressure, as it is called, is at a point upon the surface about one-third of the distance between the front and rear edges. As to the centre of gravity, the second factor in the problem, this may be explained best, perhaps, by a practical illustration. Take a small sheet of cartridge paper, cut to represent the plane of a flying machine, and lay this along the blade of a knife. By moving it to and fro and adjusting its equilibrium, you will be able to make it rest upon the knife-edge without falling forward or backward; this point at which it balances itself represents its centre of gravity. Here, then, are the forces: the centre of pressure, which is the thrust of the air, and the centre of gravity, which is the pull of the earth seeking to drag down a machine when in flight. These two forces must, as we have been told, be made to coincide. In the next illustration (Fig. 24) the problem is made clearer. In diagram A is seen a plane A.B. which is moving through the air in the direction indicated by the arrow. [Pg 49] The two forces—that is to say, the centre of pressure (C.P.) and the centre of gravity (C.G.)—coincide with each other: therefore the plane is in equilibrium. But now suppose a gust of wind strikes the plane. This tends to tilt it upward; and the result is that the centres of pressure and gravity show that “boundless incompatibility of temperament” of which Wilbur Wright complained. The impact of the gust, making the plane rear up, throws the centre of pressure farther back along its surface, as is shown in diagram B. The plane is at once out of balance. Or it may be argued that, as it passes through the air, the wind pressure under the plane is suddenly lessened. This would cause its front edge to drop; whereupon the centre of pressure would, as is seen in diagram C, move immediately forward upon the plane—and so throw it out of balance again.

This is the problem of the man who would navigate the air. He launches himself in a treacherous, unstable element: constantly, beneath his wings, the air pressure changes and varies in its strength; constantly is he losing his balance—and as constantly must he regain it. Imagine a man walking a tight-rope, and seeking [Pg 50] incessantly to keep himself in equilibrium, and you have a notion of what the first man faced when he strove to fly. And his case, really, was worse than that of the tight-rope walker. The latter is concerned mainly with the danger of falling to one side or the other; he need not trouble himself unduly with the problem of his fore and aft stability. But the aerial acrobat may fall forward or backward, or from side to side. Hence his trick, once he masters it, is the more skilful.

The art, as has been shown, is to bring together these centres of gravity and pressure; and it can be done in either of two ways. One is to alter the centre of gravity should the machine begin to fall, and the other to move the centre of pressure. Lilienthal, and others of the early gliders, adopted the plan first mentioned; they shifted the centre of gravity. But others who followed them, and notably the Wright brothers, finding that they needed to build larger craft, made use of movable planes by which they could shift the centre of pressure; but this, of course, will be dealt with in its place.

To alter the centre of gravity of a machine it is necessary to move in some way the weight it carries—to shift the load forward or backward, say, or from side to side. In Lilienthal’s glider the load was the weight of his own body, and he learned to move this when wind-gusts struck his craft. His body, as he passed through the air in flight, hung free from the shoulders below the wings of his machine; he was therefore able to swing himself forward or backward, or from side to side. And this he did, counteracting the rolling movements of his machine, and seeking always to prolong the glide. [Pg 51] Should his craft be struck by a sudden gust, for example, and heel to one side, he swung the weight of his body towards the rising wing; should he dive abruptly, or threaten to rise at an acute angle, he was ready with a movement of his body to check the falling tendency and restore the machine to an even keel. But the point to be considered is this: all these movements, when a craft is in flight, have to be made with a lightning rapidity. There is not an instant to lose; not a fraction of a second to be wasted while a man thinks what he is to do. His balancing, if he would glide through the air with wings, must be instinctive—instantaneous; as, indeed, is the balancing of the birds. Here, then, is the difficulty: to learn to make these balancing movements with sufficient quickness; and this Lilienthal found to be the stumbling-block. Time after time, while gliding close to the ground, his machine lost its balance and, before he could correct the slip or dive, had come to earth. But these falls did not hurt him, nor did they damage his machine; so he was able, like the storks, to try again and again.

It is not easy to realise this difficulty of learning to fly. The first airmen found their rate of thinking too slow. For all earthly actions they could think quickly enough; but when they came to pass through the air they found the sending of a command from their brains to their limbs was not done fast enough. They found they could not rely upon thinking what to do when a craft threatened to fall. They had to practise until they acquired the power of making a balancing movement without thinking at all; they learned, that is to say, to keep their equilibrium by sub-conscious [Pg 52] movements—or, to use a simpler word, by “instinct”; to balance themselves as they passed through the air, like a man balances himself when he rides a bicycle, without giving the action a thought.

Lilienthal probed all these difficulties, and saw that—as with other problems—it was not so much brilliant daring that would bring him success, as a painstaking course of practice, along right and sensible lines. So, whenever the weather was favourable and the wind not too high, he made his running leaps down the sides of hills, being content as a rule, in all his early trials, if he remained only a second or so in the air. Here, indeed, was another difficulty of learning to fly. No experience was possible unless a machine was in flight; and yet, in making his first tests, Lilienthal had to be content with a second’s practice here and a second there; to be glad in fact if, after a whole month’s work, he had been for one clear minute in the air. [Pg 53]


CHAPTER VI
“THE BIRD MAN”

Construction of an artificial hill—The building of larger craft—Peril of gusty winds—The accident which caused Lilienthal’s death.

So determined was Lilienthal to obtain the best conditions for his gliding that, finding no natural slope to meet his purpose, he ordered the construction of an artificial hill. This was built at Gross-Lichterfelde, near Berlin, and was 50 feet high and had gently sloping sides from which, at any direction of the wind, he could make a soaring flight. On the top of the hill, which is illustrated in Fig. 25, Lilienthal had a roomy chamber, and in it he stored his craft. In this illustration, also, the airman may be observed standing upon the hilltop, ready for a trial. By means of dotted lines, and representations of machines in flight, it is possible to show how he glided through the air.

In the upper of the two flights shown, profiting by a day when there were rising currents in the wind, Lilienthal had allowed himself to be lifted, for a moment or so, to a point in the air actually higher than that from which he started. Then, in order to obtain forward speed, he dived, only to incline his wings more steeply again, and allow the wind to bear him upward. In this way, [Pg 54] by exercising skill in the balancing of his machine, he was able to prolong a glide, and under favourable conditions to traverse, before touching ground, a distance through the air of nearly 1000 feet.

_

Fig. 25.—Lilienthal’s artificial hill.

In the second of the glides shown in Fig. 25, Lilienthal is making a swift, low flight—one of those during which he was never far from the ground, and with which he contented himself in early tests. On glancing again at this sketch it will be noted that the upper of the craft shown has two main sustaining wings, placed one over the other in the girder construction already described. It is in fact a biplane, whereas the lower machine is a monoplane—such a craft as was illustrated in Fig. 22. It was when Lilienthal became expert at balancing himself in the air that he built a machine on the biplane principle. His reason for doing so was that he required more surface in the sustaining wings, so that they might carry him farther through the air. What he wanted to do in each of his glides was to remain in the air as long as possible, and thus gain a maximum of experience. The difficulty, as explained, was to obtain enough practice. In five years, for instance, although assiduous in his experiments, Lilienthal was not more than five hours in the air. [Pg 55]

_

Fig. 26.—Lilienthal’s
Biplane Glider.

Thus it was that he built a biplane, each of the wings being 18 feet in span, and containing 100 square feet of surface. The craft is shown in Fig. 26. Lilienthal did with it what he expected he would be able to do; he increased materially the length of his glides. But there were drawbacks in the use of this machine, and one introduced an element of danger. With the monoplane, so soon as he made balancing movements by instinct, Lilienthal found he could control his craft quite well; it was small, and responded quickly when he threw the weight of his body from side to side. But the biplane, being considerably larger, and having more surface upon which the wind could act, was sluggish in its response to his controlling movements. In the case of both monoplane and biplane, Lilienthal relied merely upon the weight of his body to counteract falling movements. In the biplane, therefore, although it required a greater leverage to restore its balance, he was unable to increase the correcting influence. This difficulty, in the use of a large machine, was faced subsequently by the Wrights, and how they solved it will be shown.

Lilienthal recognised the position, of course, and saw there might be peril in the use of a biplane; but he was content, none the less, to rely upon his skill. In each glide he made he became more expert; instead of allowing [Pg 56] his machine to slip to the ground when struck by a gust, he restored its equilibrium by an instantaneous movement of his body: he was, in fact, like a man who had learned to ride a bicycle—balancing himself without pausing to think what he should do. But Lilienthal, in his navigation of the air, was facing a danger the cyclist has not to fear. He was braving dangerous wind-gusts; and he did not know, and had no means of knowing, with just what strength these gusts would strike his craft. Also—and this too was a danger no man on earth need fear—he had empty air below him should he fall. The peril grew greater as his skill increased, because he soared higher, and left greater distances between him and the ground below. In another way, also, he courted greater risk; and this was through gliding in stronger winds. At first, when he was unskilled, he had cared only to brave a wind of a velocity, say, of 10 or 15 miles an hour. But soon, feeling his balancing power grow greater, he ventured into the air when there was a wind of from 20 to 25 miles an hour.

In regard to this question of the strength of the wind, uncertainty often exists. What, for example, is a “stiff breeze”? What is a “strong wind”? And at what velocity must the wind blow before it is called a gale? Such questions are often asked, and the table below should prove instructive: [Pg 57]

Velocity of wind  
(miles per hour).
Description given
such strength.
—————— ——————
  0-5   Calm.
 6-10   Light air.
11-15   Light breeze.
16-20   Gentle breeze.
21-25   Moderate breeze.
26-30   Fresh breeze.
31-36   Strong breeze.
37-44   Moderate gale.
45-53   Fresh gale.
54-60   Strong gale.
61-69   Whole gale.
70-80   Storm.
    80 upwards   Hurricane.
_

Fig. 27.—Lilienthal combating a wind-gust.

In gliding in a breeze, say of 25 miles an hour, Lilienthal had to face this danger, and it is one all airmen meet: whereas the average strength of a wind may be maintained at 25 miles an hour, there is no assurance that there will not be a sudden and heavy gust of a greater force than this. Sometimes, when the wind is uncertain, there will come a gust which has double the force of the normal pressure; and such a gust, sweeping unexpectedly against an aircraft, threatens to blow it over and send it headlong to the ground. Thus Lilienthal, having no more control over his machine than could be brought to bear by movements of his body, was running a considerable risk when he soared in gusty winds—particularly if using the biplane form of craft. Sometimes, when struck by a gust, his glider would heel and assume a dangerous position in the air such as is illustrated in Fig. 27. Here the craft threatens to [Pg 58] fall backwards and partly sideways; and the operator can be seen throwing his body and legs forward, in a quick effort to check this overturning impulse.

One incident, indicating the risks Lilienthal ran, should be mentioned: he was gliding 50 feet high one day, in a fresh wind, when one of the wooden arm supports, which he gripped while in flight, broke suddenly and threw his craft out of balance. The machine, before he could right it, fell heavily to the ground; but, thanks to the shock-absorber below the wings, Lilienthal escaped with nothing worse than bruises.

He had set himself to master this art of balance, and master it he did, and was ready to risk his life in so doing. In the year 1896 he was bold enough to glide from hills 250 feet high; and from such a height he would come sweeping through the air, often traversing before alighting a distance of 750 feet. Sometimes, too, on a day when the wind was high, he would stand upon the hilltop and allow the wind pressure under his wings to raise him in the air; then, throwing his weight forward, he would start his craft on a downward glide. Frequently, when experimenting in strong winds, he would find himself higher than his starting-point, and would hang almost motionless for a moment or so, soaring in the air. But such hovering flight, though he practised assiduously, he found difficult to maintain. He could not keep his machine poised in an ascending current of wind; he had not that instinct of the birds which enables them to profit instantly by each rising gust, and hold themselves in it as they allow it to bear them upward. Soaring flight has a fascination [Pg 59] for those who study the navigation of the air; but no man, as yet, has been able to indulge in it for more than the briefest space of time. It is only possible to hover thus, without effort or the use of a motor, when the forces that govern a machine are exactly in balance; that is to say, the power of gravity which is pulling downwards must be balanced perfectly by the strength of the wind, which is blowing under the planes of the machine and tending to force it upward. Should the wind fail in its thrust, then the craft will move forward and downward; should the wind blow more strongly, then it will drive the machine backward, and tend to throw it out of equilibrium. Some birds, profiting by the skill they have in the minute adjustment of their wings, are able to hover over a given spot at will, remaining motionless in the air, without flap or visible effort.

But Lilienthal, although he never attained such proficiency as might enable him to soar indefinitely above the hill from which he sprang, was always confident that some perfect glider would be invented, and men thus be able to imitate the birds. It was when writing upon this problem of soaring flight that he expressed the thought: [Pg 60]

“It is not to be wondered at that birds are able to perceive the slightest variations in the movements of the air, because the whole of their body surface acts as an organ for this sensation; the long and widely extended wings constitute a sensitive feeling lever, and minute sensibility will be particularly concentrated in the follicles from which the feathers issue, just as is the case with our finger-tips.... Should it ever become possible for man to imitate the splendid sailing movements of birds, he will not require to use steam engines or electro-motors for the purpose; a light, properly shaped, and sufficiently moveable wing, and the necessary practice in its manipulation is all that will be required of him. He should, unconsciously, be able to draw the greatest advantages from whatever wind may be blowing, by properly presenting the wings.”

When three years of gliding lay behind him, Lilienthal thought he could go little farther in this research. He was able to balance himself in the air; he could glide in high winds; but always, seeing that he had no motive power with which to drive his craft, he must start from a hilltop and descend to the ground. Now he sought longer and bolder flight; and so he and his brother discussed the building of an engine which might propel a glider through the air. No petrol motor, unfortunately for Lilienthal, was then available; so he planned to construct a carbonic acid motor, and make this drive his craft by flapping the ends of its wings.

During the summer of 1896 he was busy with plans for this motor, while still continuing his flights; but in August he decided to cease gliding for a while, and await a test of the power-driven craft. So on Sunday, August 9th, he said he would travel out to Stollen, make one or two final flights, and pack up his machine. His brother Gustav was to have accompanied him as usual, but had a mishap with his bicycle, and so remained behind. What happened is described, in few but expressive words, by Gustav Lilienthal: [Pg 61]

“Our families, whom we had intended to take with us, remained at home, and my brother drove out, accompanied by a servant. He intended to make some change on the rudder, but at the very first glide, the wind being uncertain, the apparatus, when at a considerable height, lost its balance. Unfortunately my brother had not fitted the shock-absorber, and the full shock of the fall took effect, so that the apprehension of our uncle was fulfilled. My brother fell, a victim to the great idea which—although at that time so little recognised—is now acknowledged in its full bearing by the whole civilised world.”

At the moment his machine lost balance, Lilienthal was more than 100 feet in the air. Striking the ground with great violence, he sustained injuries which were almost immediately fatal. In his work, to which he sacrificed his life, he had met with no encouragement or recognition. He suffered the fate of pioneers; his theories were so far ahead of his time that folk did not grasp their significance. Little interest seems to have been taken in his glides; there was no sensation; there were no crowds. Nobody, in fact, realised what he was doing, or appreciated the vast importance of these seemingly simple tests. But in the years that followed, when other men came to grips with the problem as Lilienthal had done, when they were able to use the data he had compiled and to profit by his experiences in actual flight, then this pioneer came into his own.

His work, summarised, may be said to lie in this: he provided a stepping-stone to power-driven flight. He showed men that they should learn to balance themselves in the air before, and not after, they had built themselves costly craft. How his example acted as a spur upon others, and how the work he had begun was carried to its triumph, will be the purpose of our next chapters to show.[1] [Pg 62]


CHAPTER VII
WILBUR AND ORVILLE WRIGHT

How two American engineers followed up Lilienthal’s work—Their biplane glider and its ingenious control—First experiments and successes.

For those who might care to study them, Lilienthal had written papers and essays as explanations of his work, and when the news of his death was flashed round the world, inventors were induced to turn to these teachings and read for themselves what he had done. Among those who were interested were two young Americans, unknown then, but now world-famous—Wilbur and Orville Wright. Living in Dayton, Ohio, they were the sons of Milton Wright, a prominent church worker of that city, and they carried on a bicycle store and engineer’s shop. Both were born engineers—keen, clever, patient, and enthusiastic in their work; and they had discussed many times—before they read of Lilienthal’s death—the problem of building an aeroplane. Now this interest was re-awakened; and as Wilbur Wright himself said: [Pg 63]

“The brief notice of his (Lilienthal’s) death which appeared in the telegraphic news at that time, aroused a passive interest which had existed from my childhood, and led me to take down from the shelves of our home library a book on “Animal Mechanism” by Professor Marey, which I had already read several times. From this I was led to read more modern works, and as my brother soon became equally interested with myself, we passed from the reading to the thinking, and finally to the working stage.”

What the Wrights first set themselves to do was to investigate previous data. They wanted to prove, if they could, whether this data was sound or badly reasoned: they needed a firm and definite basis of their own before they would build any large machine. So they tested the theories of their predecessors and made experiments, particularly as to the sustaining power of surfaces of various shapes and curves. To this end they built and flew kites, studying the lift they exercised; then they decided to build a light gliding machine, such as Lilienthal had used. But there was a drawback to be faced in all such practical work, and the Wrights saw it clearly; this was to get a sufficient amount of actual flying. It was Wilbur who wrote:

“It seemed to us that the main reason why the problem had remained so long unsolved was that no one had been able to obtain any adequate practice. It would not be considered at all safe for a bicycle rider to attempt to ride through a crowded city street after only five hours’ practice, spread out in bits of 10 seconds each over a period of five years; yet Lilienthal, with this brief practice, was remarkably successful in meeting the fluctuations and eddies of the wind gusts.”

They made up their minds to build a glider with ample wing-surface, so that it would be sustained in light breezes, and to take the machine to where they might be sure of a steady wind, and there fly it as a kite; [Pg 64] allow it, that is to say, to ascend into the air at the end of a rope, and hold it steady against the wind while the operator practised his balancing movements.

_

Fig. 28.—The 1900 Wright Glider (operator’s position).

Their first glider was a biplane, with 165 square feet of lifting surface, as illustrated in Fig. 28; several of its features need explanation. First there is the position of the operator; he can be seen lying prone across the centre of the lower plane. This attitude was adopted by the Wrights to minimise wind-pressure. Should a man be upright in his machine, they calculated that his body would, as the glider passed through the air, offer an appreciable resistance; while, in lying flat, he would offer scarcely any resistance at all.

A small horizontal plane will be noted in front of the main-planes; this was to govern the rising and descending of the machine. The Wrights came to the conclusion that any body-moving method for controlling their craft, such as Lilienthal had adopted, would not be sufficiently powerful in a wind. Lilienthal, it will be remembered, had found his control weaken when he [Pg 65] used a machine of large surface. So the Wrights decided that, instead of altering the centre of gravity of their machine when gusts struck it, they would leave the centre of gravity immovable and shift the centre of pressure upon their planes. This was done partly by the elevating plane, as it came to be called. Tilted upward, this had the effect of raising the front of the glider, and causing the centre of pressure to travel backward upon the planes. Tilted down, it made the planes dip forward, and brought the centre of pressure nearer their front edge. When he wanted to rise, the pilot raised the elevator; when he wished to glide earthward, he inclined it down. Here, indeed, was the method such as was described in Fig. 13, when dealing with the machine Sir Hiram Maxim built; and this system of the lifting plane is worthy of special mention. In one way or another, fitted in front of the planes or behind them, it is the recognised method for controlling the rise or descent of an aeroplane.

Apart from governing the ascending or descending movement, there was the question of preventing a machine from slipping sideways; and this the Wrights solved ingeniously. They saw, of course, that when their glider lurched to one side or the other, they would need some power to tilt it back again. So they devised a system by which the plane-ends of their machine—being made flexible—might be warped, or caused to shift up and down. This action the operator controlled, as he lay across the lower plane, by a movement of cords, and its operation is shown in Fig. 29. The effect upon the machine may be described thus: should a wind-gust tilt down one plane-end, the “warp” upon [Pg 66] that side of the machine was drawn down also, and the effect of this—seeing that it caused the plane to assume a steeper angle to the air and exercise a greater lift—was to raise the plane-ends that had been driven down by the gust. By a system of connecting the control cords, this balancing influence was made to act with double force; when one wing warped down, the other moved up; and, in this way, while the side of the machine tilted down was made to rise, the other plane-ends, which had been lifted, were made to descend. A dual righting influence was thus obtained. This system, which imitates the flexing movements made by a bird, was an important device; the Wrights patented it—combining the movement with an action of the rudder—and brought cases at law to enforce their rights.

_

Fig. 29.—The Wright Wing-warp.

In the summer of 1900, with their first machine, the brothers went for experiments to Kitty Hawk, North Carolina. They had chosen this lonely settlement, located on a strip of land that divides Albemarle Sound from the Atlantic Ocean, because they hoped it would provide them with a strong, steady wind; there were also, fairly close to the settlement, suitable sand-hills for gliding.

Upon the first day of their trials the wind was blowing at nearly 30 miles an hour, and they allowed the glider to rise as a kite. Flown in this way, it bore the weight of a man; but they were disappointed at the [Pg 67] position it assumed when in the air. Its planes set themselves at an angle which was too steep, and it seemed to give less lifting power than they had expected. They tested their system of control, and found that the wing-warping for sideway balance acted extremely well, proving quicker and more certain than would the shifting from side to side of the operator’s body. The elevating plane was also efficient.

_

Fig. 30.—Launching the Wright Glider.

Then they took the glider to the sand-hills. At first the wind was too high, but after waiting a day it dropped to 14 miles an hour, and they were able to make nearly a dozen glides down the side of a slope which had a drop of 1 foot in 6. It had been their idea, in building the machine, that the operator should run before gliding, as Lilienthal had done, and only lie upon the plane when the speed was sufficient to give the surfaces their lift. But in practice they found a better method than this. Two assistants, as illustrated in Fig. 30, took the machine by its plane-ends and ran [Pg 68] forward with it, the pilot assuming beforehand his position upon the plane; then, when they had gained a pace sufficient for the machine to soar, they released their hold and it glided forward. Beneath the glider, under the centre of the lower plane, there were two wooden skates or runners, and these took the weight of the machine when it alighted, and allowed it to slide forward across the ground before coming to rest. By the use of these landing skids, and by steering at as fine an angle as possible, the Wrights found they could touch ground, even at 20 miles an hour and lying across the machine, without injury either to themselves or the craft.

The first glides were short, and all close to the ground; but they bore out the tests when the machine had been flown as a kite, and showed that the elevating plane and wing-warp would do their work. The Wrights were, indeed, astonished at the celerity with which the glider responded to the fore-plane.

Writing afterwards of this first visit to Kitty Hawk, Wilbur summarised the experiments thus:

“Although the hours and hours of practice we had hoped to obtain finally dwindled down to about two minutes, we were very much pleased with the general results of the trip, for setting out as we did with almost revolutionary theories on many points and an entirely untried form of machine, we considered it quite a point to be able to return without having our pet theories completely knocked on the head by the hard logic of experience, and our own brains dashed out into the bargain.”

_

PLATE III.—FARMAN’S VOISIN BIPLANE.

The airman is seen making one of his first flights over the parade-ground at Issy-les-Moulineaux, the machine flying low as it was its wont, and a scattered crowd of spectators watching from afar.

[Pg 69] When they came to plan a new craft for the summer of 1901, they agreed they could not better either the theory or the manipulation of their first machine; but they decided to make one nearly double the size. Their reason for doing this was that, having a greater lifting surface, they hoped to fly in quite light breezes and also prolong their glides; and they were encouraged to build a larger machine by the readiness with which the first had responded to its controls. They therefore constructed a biplane which had 308 instead of 165 square feet of surface, and was the largest machine of its kind that had been built.

In July they went into camp on their remote sand-hills, housing the new machine in a wooden shed. The first tests were made in a 13-mile-an-hour wind, but proved disappointing. The machine dived, in spite of a quick movement of the elevator, and landed after gliding only a short distance. The cause was found to be this: the centre of gravity was too far forward. Therefore the pilot took his place some few inches farther back. But in the next glide the craft behaved alarmingly. It reared almost vertically in the air, and would have slipped backwards had not the operator turned down the elevator to its limit, and moved his body forward as well. The machine, when he did this, recovered its balance and settled without injury.

Further tests were made and the curve of the planes reduced—a change which could be effected by altering the trussing of the ribs. Then they obtained striking success. One glide, for instance, measured a distance of 366 feet; and this was bettered by one of 389 feet; while the operator found that he had [Pg 70] perfect control over his machine in a wind of 14 miles an hour. A day or so later an attempt was made in a wind of 22 miles an hour, and was successful. Then, in subsequent tests, they glided in a wind as strong as 27 miles an hour.

The success of these trials led them to think of fitting a motor to their machine; and they calculated at first that a petrol engine of about 6 h.p., weighing 100 lbs., would be sufficient to drive a craft through the air; but they hoped to obtain one more powerful than this. Here it should be pointed out that, owing to the experiments of motor-car builders, and the spending of many thousands of pounds, there was now available a petrol motor which might be adapted to aviation. Such engines were heavily built—when considered, that is, from the point of view of fitting to aeroplanes; and the brothers agreed that, as they wanted such a motor for aerial use, and not for placing in a car, they would probably need to build one, specially lightened, in their own workshops. [Pg 71]


CHAPTER VIII
THE WRIGHT MOTOR-DRIVEN PLANE

Final gliding tests—Building of the motor—How a petrol engine works—Driving, control, and launching of the Wright machine.

Although everything induced them to hasten—for they feared another inventor might forestall them with a power-driven craft—the Wrights still went methodically to work, refusing to use a motor until they had gained a fuller knowledge of the air. So they built more gliders, and with one of them—that used in 1902—they were able to make over a thousand flights. Only once, in all their practice, did they come near disaster; and this was one day when Orville was testing a machine. The accident was described by Wilbur Wright:

“My brother Orville started on a flight with one wing slightly higher than the other. This caused the machine to veer to the left. He waited a moment to see whether it would right itself, but finding that it did not, then decided to apply the control. At the very instant he did this, however, the right wing most unexpectedly rose much higher than before, and led him to think that possibly he had made a mistake. A moment of thought was required to assure himself that he had made the right motion, and another to increase the movement. Meanwhile he had neglected the front rudder, by which the [Pg 72] fore-and-aft balance was maintained. The machine turned up in front more and more till it assumed a most dangerous attitude. We who were on the ground noticed this in advance of the aviator, who was thoroughly absorbed in the attempt to restore the lateral balance, but our shouts of alarm were drowned by the howling of the wind. It was only when the machine came to a stop and started backward that he at length realised the true situation. From the height of nearly 30 feet the machine sailed diagonally backward till it struck the ground. The unlucky aeronaut had time for one hasty glance behind him, and the next instant found himself the centre of a mass of fluttering wreckage. How he escaped injury I do not know, but afterwards he was unable to show a scratch or bruise anywhere, though his clothes were torn in one place.”

The amount of practice the brothers obtained began to tell its tale, and they became sufficiently experienced to glide in winds of 37 miles an hour. It was Wilbur who, emphasising this need for constant flying, declared: “By long practice, the management of a machine should become as instinctive as the balancing movements a man unconsciously employs with every step in walking.”

After the experience with the 1902 machine, and not before, did the brothers feel encouraged to build a craft with a motor. They decided to construct the engine themselves, so that they might have it ready for use in 1903. They were capable engineers, they had their own workshops, and above all they knew just what they wanted. So they made a petrol engine with four cylinders, developing about 25 horse-power. It was water-cooled, and followed upon the lines of a motor-car engine—save that it was lightened where they considered weight could be spared. As a matter of fact, when compared with the light and ingenious [Pg 73] motors afterwards made in France, this engine was a heavy and clumsy piece of work, weighing as it did about 200 lbs. But they had calculated what load their machine would bear; and they wanted to ensure that the motor should run reliably. They attempted, therefore, no drastic cutting down of weight.

_

Fig. 31.—Man lifting
a 100 horse-power
aeroplane motor.

An explanation may well be interposed as to the working of the petrol motor, seeing that it plays so large a part in aviation. First should be remembered the steam engine and its disadvantages—its boiler, weight of water, and need for a heating agent to make this water boil. In the petrol-motor none of these are required—none, at least, save a tank with liquid fuel and another, a smaller tank, containing lubricating oil. Beyond these tanks and their contents, the weight of the engine is no more than the weight of metal which composes it; and so it is possible, with a specially-lightened motor, to deliver one horse-power of energy for a weight of less than 3 lbs. How lightly a petrol engine can be made was demonstrated by the firm constructing the Antoinette motor, with which many of the pioneers fitted their craft. A 16-cylinder engine was made so that a man could raise it upon his shoulders—as shown in Fig. 31—and carry it without much difficulty; and yet this same motor, which one man could lift from the ground, developed 100 horse-power. [Pg 74]

The principle of the petrol engine is simple. From the tank containing petrol runs a pipe, and the liquid passes through this into the carburettor,—a small chamber in which the petrol is vapourised and made to mix with air and so become explosive. Petrol is a liquid which, when in contact with air, evaporates in the form of vapour, and this forms a powerful explosive, only needing a spark to ignite it. In the carburettor, therefore, the petrol and air are mingled until they form an explosive mixture, then they pass through another pipe to the engine itself.

_

Fig. 32.—The working of a petrol motor.

The petrol engine resembles a steam engine in these respects: it has a cylinder in which the driving force is compressed, a piston-rod this driving power pushes down, and a fly-wheel the piston actuates, and which carries round the piston-rod by its momentum, pushing it towards the top of the cylinder again after one down stroke, so that it may obtain another thrust. What the fly-wheel does, in a word, is to store up energy [Pg 75] between each thrust upon the piston, and thus keep the motor in regular motion.

In starting an engine, the petrol tap is turned on, and some of the spirit allowed to run into the carburettor. Then, usually with a handle, the engine is made to revolve so that the piston-rod moves down inside the cylinder and sucks in the explosive mixture. As the piston sinks in the cylinder, it draws in a charge of the gas; then rising again, it compresses this charge between the head of the piston and the top of the cylinder. Now comes the moment when, if the most forcible thrust is to obtained from the air and gas, it should be ignited, and this is done by causing an electric spark to jump between two metal points on what is called the sparking-plug. This plug is screwed into the head of the cylinder; the sparking end is inside the cylinder where the gas charge is compressed, and to the outside are fixed wires which run to the magneto—a small electrical machine which, driven by the motor, makes sparks in the plug each time the gas is to be fired. Just at the right instant, therefore, the spark flashes in the cylinder, and the gas is exploded. Being compressed within the walls and top of the cylinder, the explosion can only exert its force in one way—upon the head of the piston, to which it gives a sudden downward thrust. The power is transmitted to the fly-wheel, which is set in motion, and thus the engine runs, driven by the series of explosions which takes place in the cylinder.

The majority of petrol engines operate upon what is known as the four-stroke principle. This action is as follows: First the pistons are driven down by a charge of gas, then they ascend in the cylinders so that the [Pg 76] spent and useless gas fumes may be forced out through valve ports; then the pistons descend again so that a fresh charge may be drawn into the cylinders, and then, for a fourth time, the pistons move so that the gas may be compressed and fired. During the period the engine is not driven by the explosions, the fly-wheel has to do its work, carrying the piston up and down while it expels waste gas and obtains a new supply. In Fig. 32 is a diagram to illustrate the principle of the petrol engine and it amplifies this explanation.

An additional point is needed to explain how motors were lightened for aviation work. The fly-wheel has been described as vital to the engine, and so it is, unless a number of cylinders are used. But if a maker builds a motor with, say, eight cylinders, the driving impulses are so frequent that there is no danger of the engine ceasing to revolve between explosions, even if no fly-wheel is fitted. It can be so arranged, indeed, by the timing of the explosions, that there is a smooth, even thrust upon the crank-shaft, and by omitting the fly-wheel there is a perceptible lessening in the weight of the motor.

When the Wrights had built an engine, there was still the question how they should make it drive their aeroplane. They inclined naturally to the idea of an aerial propeller such as that illustrated in Fig. 7. Two courses lay open to them; they could fit one propeller running at high speed and coupled directly to the motor, or they could use two propellers, revolving at slower speed and geared in some way to the engine. They decided upon the latter course, placing two propellers behind the main planes of their machine and driving them from the engine by means of light chains, these running in guiding tubes. This system of propulsion is shown in Fig. 33. [Pg 77]

_

Fig. 33.—Wright Motor and Propellers.

A. Motor; B. Gear-wheels upon motor crank-shaft; C.C. Tubes carrying driving chains; D.D. Sprocket-wheels over which chains pass; E.E. Propellers.

The propellers revolved in opposite directions, and in order to gain this effect one chain, as will be seen from the sketch, had to be crossed in its tube. The Wrights preferred the use of two propellers, even though this necessitated gearing such as might have been avoided had a single propeller been coupled directly to the motor. They considered the thrust upon the aeroplane would be smoother with two screws. By using a couple of large propellers also, and running them rather slowly, they reckoned to obtain more [Pg 78] efficiency than with a single high-speed screw. In illustration of this it may be mentioned that, whereas the single propellers upon some of the French machines made 1000 or 1500 revolutions a minute, the Wrights’ two screws made only 450 a minute. That their system was extremely efficient they were able to prove beyond question. Many critics condemned as clumsy the use of gearing chains, and pointed out the danger that existed should a chain break—causing one propeller to stop, while the other, by continuing its thrust, tended to throw the machine out of equilibrium. Such a system, indeed, never came into general use, but in fairness to the Wrights it should be said that very few accidents were ever attributed to the breaking of a chain.

_

Fig. 34.—The Wright Biplane.

A.A.—Main-planes; B. Double front elevator; C. Rudder (two narrow vertical planes); D. Motor; E. Propellers; F. Pilot’s lever; G. Skids upon which machine landed.

It is now possible to describe, as a completed craft, the Wright power-driven plane; Fig. 34 shows its appearance; and in looking at it one is struck by the fact that, save for one or two modifications, and the fitting of motor and propellers, the machine is practically a glider, such as the Wrights used for soaring tests. Of the changes to be observed, the most interesting concern [Pg 79] the elevator and rear-rudder. The former, it will be seen, has a double plane; it is, in fact, a smaller biplane on the principle of the main-planes. Needing to increase the surface of the elevator, the brothers fixed one plane above another so as to make the construction stronger and occupy less space. The rear-rudder, acting like that of a ship, worked upon the system described in Fig. 14. With this, as with the elevator, in order to economise space and obtain rigidity, two narrow planes were fitted side by side.

So now the practical aircraft stood complete—each part adapted and perfected; and, having traced its development step by step, we see how the pioneers had helped the Wrights to their conquest. Sustaining planes, propellers, controlling surfaces—all had been foreshadowed, all hinted at and sketched crudely; but what had been lacking was the skill which should put these theories into shape; and this skill, and also this patience, Wilbur and Orville Wright provided to the full.

Having discussed the construction of the machine, the method by which it was controlled when in the air may be described. In Fig. 35 the operator is seen in the driving seat; and near him will be observed the motor which drives the craft. In his left hand—that is to say in the one nearest us—he grasps the lever which operates the elevating planes. The rod from lever to plane can be seen, and the motions the pilot makes are these: should he wish to rise, he draws the lever towards him and tilts up the elevating planes in the manner already described, increasing the lifting power of the main-planes and so causing the machine to ascend; by a reverse movement of the lever—by pushing it away [Pg 80] from him, that is to say—he makes the craft glide downward.

_

Fig. 35.—Driving seat of Wright Biplane.

A. Motor; B. Lever operating elevating planes; C. Lever working rudder and wing-warp.

In the pilot’s right hand is another lever; this combines two actions in an ingenious way. It actuates not only the rear-rudder of the machine, but also the wing-warping for the control of sideway balance. How the one rod combines these operations is shown by Fig. 36. Here, looking from behind, one sees the lever which the aviator holds. Towards the lower end is a rod projecting rearwards, and this is coupled to the extremity of another rod set at right angles to it, and pivoted in its centre; while from this pivoted rod run the wires which operate the rudder-planes. If the pilot swings his hand-lever either forward or backward, it moves to and [Pg 81] fro the rod which is connected with it, and this imparts a forward or backward movement to the pivoted rod, with the result that one or other of the rudder wires is drawn forward—thus turning the rudder-planes from side to side.

The hand-lever is free also to move from side to side; and if it is so moved it will draw with it the swinging rod which projects from the end of it—below that operating the rudders—and to the upright section of which the wing-warping wires are fixed. A movement either side upon the hand-level will pull over the wing-warping wires, therefore, and bring the flexible plane-ends into operation. Thus the dual movement of the lever is obtained—forward and backward for the rudder, from side to side for the warp.

_

Fig. 36.—Rudder and wing-warp control (Wright Biplane).

A. Controlling handle; B. Pivoted rod carrying wires to rudder; C.C. Rudder wires; D. Sideway swinging rod carrying wing-warp wires; E.E. Wing-warp wires.

The Wrights did not use their feet in any controlling movement, although in practically all modern aeroplanes, as will be explained later, the airman’s feet are utilized for pushing upon a bar and operating the rudder of the machine; but the Wrights preferred to make all actions with their hands. [Pg 82]

_

Fig. 37.—Wright Launching Rail.

A. Biplane; B. Rail; C. Rope passing from the aeroplane round the pulley-wheel (D.) and thence to the derrick (E.); (F.) Falling weight.

Details of propulsion and control being arranged, there remained the question of how the machine should be launched into the air. In their gliding tests, it will be remembered, the Wrights employed assistants, who held the machine by the wing-tips and ran forward with it. But the weight of the power-driven machine, and its greater size, prevented such a plan as this. They decided, therefore, to launch it from a rail, and to aid its forward speed, at the moment of taking the air, by a derrick and a falling weight. This method is illustrated in Fig. 37. The biplane is seen mounted upon a truck, or under-carriage, which runs upon wheels along a rail. To the front of the aeroplane is fixed a rope, which passes round a pulley some distance ahead of it, and is then carried back to the derrick, from which can be seen hanging a heavy weight. Before making a flight the engine was set in motion, whirling the two propellers; then, at a given signal, the weight upon the derrick was released. Drawn forward by the pull of this weight, and aided by the thrust of its propellers, the biplane moved rapidly along the rail, and soon attained a speed of more [Pg 83] than thirty miles an hour. Then, just before the end of the rail was reached, the pilot released a catch which freed the aeroplane from its trolley, tilted up his elevating plane and the machine, now moving fast enough for its planes to sustain it in flight, glided from earth to air, flying low at first but gradually increasing his altitude. [Pg 84]


CHAPTER IX
DAWN OF FLIGHT

The Wrights complete their conquest—First trials of the power-driven machine—Their negotiations with Governments—How these hung fire and caused delay—Activity in France—Santos-Dumont, Farman, and Delagrange.

Now, as they stood upon the threshold of success, the method and patience of the Wrights came strikingly to their aid. Their machine was not strange to them—not a monster they had no notion of controlling, as the first of the large machines had been to those who built them. They had flown almost precisely similar craft in their gliding tests; they knew the system of control; knew how to make a landing after flight. All this experience they had gained before attempting to drive a machine with a motor; and herein lay the secret of their success. They were not superhuman; they were instead talented, patient, assiduously-careful men; and their triumph goes to prove what can be done if a man will work in the right way, is quietly and persistently enthusiastic, and ignores all disappointments and rebuffs.

It was in December 1903 that the power-driven machine was piloted in its first flights, the longest of which lasted for one second less than a minute. But the ascents from the earth were made without mishap, the machine was under control while it flew, and it landed without injury.

_

   Photo, “Daily Mirror.”

PLATE IV.—LATHAM’S FALL INTO THE SEA.

The Antoinette is seen above, just after its descent upon the water. The torpedo-boat which followed its flight is standing by, and efforts are being made to prevent the aircraft from sinking, and to draw it on board.

[Pg 85] And this was the beginning. Here was a machine that would not merely glide from a hilltop; it would sweep in any direction, and sustain its flight without falter or flag, so long as its engine drove it through the air. The craft was crude; its motor awkward to “tune” for a spell of running; and the brothers were novices in the element they invaded. They did not proclaim their triumph, therefore, or declare themselves conquerors. They said nothing. In their gliding tests, and even with the power-driven machine, they had attracted little public attention. Mild interest had been taken; but the scene of their work was remote and lonely; and what news leaked to the cities was disbelieved or treated with unconcern. The world did not know what had been accomplished.

At the end of 1903, as stated, they first flew with the motor-driven machine; and during the next two years they did nothing to exploit the invention, being content to increase their skill and lengthen their flights: even with the problem solved, they refused to hurry. The best performance in 1904 was a flight of 5 minutes 4 seconds. Circles in the air were now effected, and the aeroplane was instantly responsive to its controls. Then in 1905 a great stride was made, Wilbur remaining in the air for 38 minutes—wheeling, circling, rising, and falling; showing, in fact, that he had perfect mastery over his machine.

But now rumours of the Wrights’ triumph began to reach the world; and at a meeting of the Aeronautical [Pg 86] Society in England a sensation was caused one evening when Mr. Patrick Alexander, reading a letter he had received from the Wrights, was able to announce that their aeroplane had flown for 24 miles. Interest was aroused everywhere, and newspaper correspondents hastened to interview the Wrights and photograph their machine. But they were disappointed. Having proved to their own satisfaction that their biplane was a success, the Wrights dismantled it and packed it away, doing no more flying. Thus the reports that were telegraphed round the world were mainly hearsay, and people refused to believe that the Wrights had done what was claimed. They themselves said little, but were busy with plans; and what they sought was to sell the secret of their aeroplane to a Government. They foresaw the future of the aeroplane as a weapon of war, and reckoned that some country would pay handsomely for the sole rights to their machine.

Upon coming into touch with Governments, they found the French most interested. The French War Department, in fact, sent an agent to America to see the brothers; and this agent, on his return to France, reported favourably upon the invention. But experimenters were now nearing success in France, and the Wrights would consider nothing but a large cash payment; so negotiations fell through.

During the next two years, practically nothing was heard of the Wrights. They were, as a matter of fact, still perfecting their machine, still negotiating for its sale; but they declined to come into the open and show what their craft would do. There was method, of course, in this attitude; they aimed for one definite [Pg 87] goal—that being a large sum as a reward for their labours. But there is no doubt that precious time was lost. Had the Wrights been able to place confidence in some agent or manager, he would have acted for them and advised them; their position would have been strengthened and vital years would not have slipped away. They were ready, as we have seen, to fly long distances in 1905; and yet it was not until 1908 that, persuaded at last to emerge from their seclusion, they demonstrated effectually what their machine could do. But others had been busy during those wasted years; and, when the Wrights did appear, their triumph was not so sweeping as it might have been. Other men, in fact, could fly; and though neither they, nor their machines, represented the skill and progress of the Wrights, still they had flown; and this, at anyrate in the public mind, depreciated the performance of the two Americans. Had the Wrights come forward when no one else could fly, they would have been hailed as unchallenged conquerors of the air; but as it was, they were recognised only as being a certain distance ahead of their French rivals.

Progress in France, though many inventors were at work, had been slow. The Wrights, in fact, by the sureness of their methods, had far outstripped those Frenchmen who had followed up the problem at Lilienthal’s death. Yet French experiments moved along the same path as had those of the Wrights. First there had come tests to find wing-curves; then the flying of gliders. [Pg 88]

_

Fig. 38.—Voisin Glider towed by a motor-car.

_

Fig. 39.—Voisin Glider on the river Seine.

In the launching of gliders, some French experimenters showed ingenuity. The brothers Voisin, for instance, who played a prominent part in the early tests in France, adopted the plan illustrated in Fig. 38. The gilder was towed by a motor-car across an open stretch of ground; then, when its speed was sufficient for the planes to lift, it rose and flew behind the car like a kite. Another form of glider, seen in Fig. 39, was mounted upon hollow wooden floats—anticipating the sea-plane of to-day—and towed upon the river Seine by a motor-boat. This gilder also, when its speed became sufficient, rose into the air. In the construction of the machine, a biplane, one notes resemblances to the method of the Wrights; and yet generally the craft is dissimilar. There are, of course, the two main-planes—characteristic [Pg 89] of all machines of this type. Projecting in front of the planes, also, there is an elevator on the same principle as that of the Wrights. But between the main-planes are fixed four upright planes, or curtains as they were called. These were to preserve sideway balance, and prevent the machine from rolling when in flight. Should the craft tend to heel over, the surfaces of these planes—acting sideways upon the air—resisted such a movement. No wing-warping, such as the Wrights used, was fitted to this glider; the vertical planes alone were relied upon for sideway balance. The tail of the machine was a reproduction of the main-planes on a smaller scale, having two horizontal and three vertical surfaces. The theory of these rear-planes was that of the balancing tail such as is fitted to a kite; they steadied the machine automatically when in the air, and checked any tendency to dive.

In 1905 a glider of this type was tested on the Seine; but it was not until 1906, at a time when the Wright aeroplane was capable of long flights, that a real French success was obtained; and then the flights made were brief, and carried out with a craft that was admittedly crude. It was a biplane of curious construction, built by the Voisin brothers for M. Santos-Dumont—a rich Brazilian who had spent money freely upon airships, and had been occupied, for some time before the Voisins made him this machine, with a craft having propellers to lift it vertically from the ground. Abandoning this idea, he devoted himself to the machine the Voisins built, which is seen in Fig. 40. Here are the same box-kite main-planes, with vertical curtains between them, as shown in the illustration of the Voisin [Pg 90] glider. But now, to give the machine more sideway stability, these main-planes are tilted up at a pronounced dihedral angle.

_

Fig. 40.—Santos-Dumont’s Biplane which flew at Bagetelle.

A curious feature of the machine was the large box-kite elevator, set in front of the main-planes. This, as can be seen in the figure is tilted down—the position it would occupy were the craft descending from a flight. The machine, it should be mentioned, flew with its elevator forward, there being no tail behind the main-planes. This elevator played a double part; it was intended not only to make the machine rise and descend, but also—by means of its side surfaces—to increase its stability when in flight.

Following on lines upon which French inventors had worked, the craft was fitted with light bicycle wheels, and upon these it was intended it should run, until its speed was sufficient for the planes to lift. This plan, of course, had an advantage over the starting-rail of the Wrights, seeing that a craft so equipped could re-ascend from a spot at which it might alight without having to be transported on a trolley to its rail—as was the case with the Wright machine. But there was this [Pg 91] disadvantage of the wheel system of launching; in order to obtain a running speed, sufficient for the planes to lift, the craft had to be fitted with a powerful motor. In the Santos-Dumont biplane, an engine of 50 h.p. was used, and even then the machine appeared under-powered. But this was not so much the fault of the engine as of the machine; it was heavy, and inefficient.

From July to October 1906, Santos-Dumont was experimenting with this biplane, using a stretch of grass-land at Bagetelle. Then, having the motor well tuned, he gave notice to the French Aero Club that he would make a flight on 23rd October. The Club’s officials came together, and after some hours delay, owing to unexpected trouble with the engine, the pilot said he would attempt a flight. At 4.45 p.m. his machine ran forward across the ground, driven by its two-bladed propeller; then rose gradually, foot by foot, and flew very low for a distance of about 80 yards. Almost immediately it left ground the craft began to roll from side to side, showing that its equilibrium was faulty; and this roll became so pronounced that the pilot switched off his motor and made rather a heavy landing, breaking the gear beneath his planes. How the biplane appeared when in flight is shown on Plate II.

The damage, however, was soon repaired, and some alterations made to the machine; and on 12th November Santos-Dumont flew 160 yards, and then 230 yards. These flights made a sensation, particularly in view of the fact that, although the Wrights had surpassed them, the stories of their trials were thought exaggerated. But Santos-Dumont did not follow up his success with sufficient patience. Instead of seeking to perfect his [Pg 92] machine, he soon abandoned it, and turned his attention to a craft that should move upon the water before rising into the air.

But the Voisins, not discouraged by the failure of an experimental craft, soon had another in hand. It was a biplane, with a front elevating-plane and a box-kite balancing tail, and ran on wheels as the other machine had done, being driven also by a 50-h.p. motor. This craft, early in 1907, was acquired by M. Leon Delagrange, a sculptor who had taken interest in aviation. Transported to Vincennes, it was tested on 28th February, M. Charles Voisin being the pilot. But the under-carriage proved too light, collapsing while the machine was running upon the ground. At Bagatelle, later, having in the meantime been improved, the craft was again upon trial; but this time its sideway stability was found to be faulty, and there was another delay. Then on 30th March the machine flew for a distance of 60 yards. But Delagrange, like Santos-Dumont, did nor persevere; he abandoned this machine in order to carry out a new series of tests. While he was so engaged M. Henri Farman came into touch with the Voisins, and acquired a biplane which was practically identical with that Delagrange had used. Farman was a man of the same mould as the Wrights—quiet, persevering, determined to succeed; and succeed he did. [Pg 93]


CHAPTER X
RIVAL AIRMEN

Henri Farman flies, and wins £2000—Delagrange and Bleriot—The Wrights emerge from their obscurity—Wilbur’s triumph in France—The flights of December 1908.

Henri Farman, who was to achieve fame as a pilot, was in many respects an ideal man for the task he had in hand. Small, light, quick, with a sure eye for distances and speed, and a sound knowledge of engines, he had won renown as a driver of racing motor-cars before turning to aviation. As soon as he obtained delivery of his Voisin, he had it taken to the military parade ground at Issy-les-Moulineaux, near Paris; and here he built a shed to house it, and began systematically to learn to fly.

For a month he was content to run the biplane up and down the ground, accustoming himself to its controls and tuning up the motor—which in early machines was so apt to prove refractory. Exceedingly light, and running at very high speeds, these first aviation motors tended to become over-heated or break some working part. But Farman, although he had more than his share of engine trouble, was persevering; and on 30th September 1907 he was rewarded by a flight of 90 yards. [Pg 94] This he increased to 100 and then 150 yards; but now he found his elevating-plane was not in adjustment, and this caused delay. By the middle of October, however, he had flown a distance of 311 yards—beating Santos-Dumont’s record of the year before; and on 27th October, still improving, he flew 843 yards.

Now all eyes turned to Issy, and crowds came to watch the airman in his tests. Progressing steadily, and with uninterrupted success, Farman was ready at the beginning of 1908 to bid for a £2000 prize which had been offered under the following conditions: The aeroplane was to fly across a line 50 yards in length, marked out across the ground; to fly straight ahead for 540 yards; to circle a flagstaff without touching ground; and then to fly back again to its starting-point, and pass above the line. This flight, it will be seen, necessitated a half-circle in the air; and the making of such a turn was for some time Farman’s difficulty. His biplane was heavy, and its engine would only just keep it in the air; and when he came to turn, the machine lost speed a little and—seeing that it flew low—showed a tendency to touch ground. But Farman was always successful in tuning up his engine, and on 13th January 1908 he made the out-and-home flight without difficulty, and won the £2000 prize. A photograph of him in flight in his biplane is seen on Plate III.

Here was one definite rival for the Wrights, and soon they had another. Delagrange, coming again to the Voisins after Farman had won this prize, obtained another biplane, and flew with it on 14th March for a distance of 328 yards. Then on 11th April, having [Pg 95] become more proficient, he made a circular flight of 2½ miles, following this by a flight in which he remained aloft for 18 minutes 30 seconds. Farman, gaining skill from day to day, managed to fly for 19 minutes without descending, and then took up a passenger for short flights.

_

Fig. 41.—The Bleriot Double Monoplane.

A.A. Sustaining-planes; B.Pilot’s seat;
C. Balancing side flaps; D. Rudder;
E. Landing wheels.

Yet another aviator, soon to become well known, had now begun to fly; this was M. Louis Bleriot, a maker of motor-car head-lights, who spent money and risked his life in the testing of monoplane machines. Some of these experimental craft had two main wings; others four—one of the latter being illustrated in Fig. 41. An interesting feature of this machine was the use of narrow, pivoted planes at the extremities of the front main-planes, which could be swung up and down to control sideway balance. With a craft of this type, after many failures, Bleriot began to make short flights. Then the machine was wrecked; but Bleriot, indomitable as Farman and the Wrights, soon built another; and with this he flew for 8 minutes 24 seconds.

Meanwhile—what of the Wrights? Their interests had, at last, been placed in the hands of a syndicate; and to this syndicate it became obvious, as one after another of the French successes was chronicled, that [Pg 96] some definite display should be made. The Wrights possessed an aeroplane at this time which, in controllability and efficiency, was far in advance of any French machine; but the need was to demonstrate this. So it was arranged that, while Orville Wright remained in America, and flew in a series of tests before the military authorities, Wilbur should take a biplane to France and challenge the Frenchmen on their own ground—or rather in their own air.

Wilbur’s first experiences in France were not pleasant. His machine, to begin with, made an unfavourable impression. In comparison with the ingenious, scrupulously-neat construction of the French engineers, it appeared clumsy and amateurish. The brothers had not, in fact, wasted any time upon the finish of their machines. They were sufficiently strong, and they knew that they would fly. Beyond this they did not concern themselves, disdaining all perfections of woodwork or of detail. The Wright engine, when contrasted with the specially-lighted, beautifully-constructed French motors, was a heavy piece of machinery which could have been rendered more efficient in several ways. But the Wrights understood their motor, and would use no other.

Wilbur Wright said little; made no boasts or idle claims. Putting his machine together at Le Mans, where he had come to make his trials, he flew on 8th August 1908 for 1 minute 45 seconds, during which he rose about 40 feet high and made two circles in the air. He would have flown longer, but his motor was not working well. On 13th August he was in the air for 8 minutes 13 seconds. This he improved upon by a flight, on 5th September, of 19 minutes 48 seconds; and on 21st September, feeling greater confidence in his machine, he flew for 1 hour 31 minutes 25 seconds.

_

   Photo, “Daily Mirror.”

PLATE V.—BLERIOT LEAVING THE FRENCH COAST.

Rising from Les Baraques, near Calais, on the memorable flight to Dover, Bleriot passed over the sand-hills at the brink of the Channel, and steered out boldly across the water, his monoplane receding quickly until it was a speck in the sky.

He had now rendered of small account the successes of his rivals. But it was not so much the length of time he remained in the air, as the control he had over his machine, which impressed those who saw his tests. The French aeroplanes had, up to this time, flown sluggishly and with no certainty in their movement. They rose, and that was all; they were barely controllable; they flew falteringly, and caused anxiety in the minds of those who saw them aloft. But with Wilbur Wright there was none of this. His biplane rose smoothly from its rail and soared here and there, absolutely under control, and responsive instantly to its pilot’s levers—climbing, sinking, wheeling, and diving, with a swift ease and precision that won the admiration of all.

After his hour’s flight in September, Wilbur undertook the teaching of two pupils to fly—the Comte de Lambert and M. Tissandier. With the former as a passenger he flew for seven minutes, and then took up M. Tissandier for eleven minutes. These flights, however, he eclipsed on 3rd October, when he flew with a newspaper correspondent for fifty-five minutes; and on the next day, seeking to improve upon this, he remained in the air with another passenger for 1 hour 4 minutes 26 seconds.

Such flights were, at the time, quite beyond the capacity of French machines, and Wilbur Wright—appearing so unassumingly upon the scene—had everything in his hands. Farman, however, was not inactive Practising now at Chalons, and having his motor well in [Pg 97] tune, he decided to attempt a cross-country flight—the first in aerial history. Rising from his test-ground at Chalons, he attained a height of 130 feet, and flew a distance of 17 miles to Rheims, passing above rows of poplar trees and being twenty minutes on his journey. This feat, as showing the reliability of the aeroplane, was greeted with acclamation.

A point against the Wright machine—which was criticised by experts in spite of its success—was the fact that it could ascend only from its starting-rail. This, it was said, made it less practicable than the machines of the French builders—which were, as explained, constructed so that they would run on wheels. Point was lent to this criticism on 31st October 1908, by a feat of M. Bleriot. Using a new monoplane—the eighth he had built—he said he would fly from Toury to Arteney and back, a distance of about 19 miles, alighting when he reached Arteney and then ascending again. This programme he carried out. Eleven minutes after leaving Toury he reached Arteney, and then had to descend rather hurriedly owing to a defect in his magneto. This took an hour and a half to repair; then the airman set off on his return flight to Toury. But he had flown only 3 miles when his magneto again gave trouble, and he had to glide to the ground, alighting safely upon an open stretch of land. After a few minutes delay he rose again, and this time reached his starting-point without mishap. Such a cross-country journey as this, with two halts, would not have been practicable with the Wright machine; that is to say, had it descended in a field owing to engine trouble, and at some distance from its starting-point, it would have been necessary either to [Pg 98] take it back by road to its launching apparatus or bring this gear to the field in which it lay. The starting system of the Wrights, although excellent in its way, and making for efficiency and low engine-power, had the drawback of limiting the use of the machine to an aerodrome; or, should the pilot attempt a cross-country flight, he knew he must return to his starting-point without alighting, or run the risk of being stranded at some distant point, and having to dismantle his machine. It is not surprising, therefore, that the launching rail fell into disfavour. No one used it except the Wrights, and in later models of their machine even they abandoned the system, and fitted craft with running wheels and more powerful motors.

Wilbur Wright, although he made no effort to compete with Farman or Bleriot in cross-country flying, achieved remarkable flights in the last month of 1908. Two prizes were on offer—one for the longest flight of the year, the other for the greatest height attained. Making an attempt to win the former on 18th December, he flew for 99 kilometres (61 miles) round a triangular course, his time in the air being 1 hour 53 minutes 59 seconds. This feat dwarfed all those of his rivals; and, in another flight on the same day, he showed still further the superiority of his machine. Ascending in an attempt for the height prize, he reached an altitude of 377 feet.

Not content with these flights, and fearing some opponent might beat him at the eleventh hour, Wilbur ascended again on 31st December. Flying steadily round a course marked by flags, he remained in the air from early in the afternoon until sunset, having covered [Pg 99] a distance of 76½ miles and being aloft for 2 hours 20 minutes 23 seconds.

So the year ended. The Wrights, coming late upon the scene, had proved that their machine, save for the limitation of its starting rail, was the most efficient in existence, and far ahead of those of the Frenchmen. One serious accident, however, marred the Wrights’ triumph. Orville, after excellent flights in America, was carrying a military officer as passenger when a chain driving a propeller broke in mid-air. The biplane passed beyond control and fell, and the officer, Lieutenant Selfridge, was killed—the first victim of an aeroplane disaster. Orville sustained a broken thigh. [Pg 100]


CHAPTER XI
A YEAR OF TRIUMPH

Crossing the Channel by air—Contest of three rivals—Bleriot’s triumph—Latham and the Antoinette—The first flying carnival—Farman’s success with a new machine and motor—The British pioneers.

Up to this time the public, reading of the flights of the first airmen, had not realised what these flights meant. They had not grasped the significance of the aeroplane; its possibilities as a weapon of war; its use as a vehicle for passing from place to place—high in the air, at great speed, and with an ability to soar above land or sea, mountains or woods, hills or valleys. But they were no longer to remain in doubt. The year 1908, as shown, closed in rivalry between several airmen, and with a flight lasting more than two hours. In 1909, the most memorable year in the history of the conquest, these feats sank into insignificance, and the world began to understand what was being done, and what flying would mean in peace and war. [Pg 101]

_



MACHINE SEEN FROM ABOVE,
showing the wing-spread and the box-kite tail.

_

Fig. 42.—The Voisin Biplane.

A. Elevating plane; B. Pilot’s seat; C.C. Main-planes; D. Engine and propeller; E. Landing chassis; F. Balancing tail; G. Rudder.

At the beginning of 1909 there were two types of successful aeroplane—the Wright and the Voisin. Bleriot had flown with his monoplane and flown well; but he was still in the process of evolving a practical machine, and several other inventors were in a similar stage. It was the Wright and the Voisin which had proved their worth; and the Wright, as has been said, was the better of the two. Of the Voisin, as flown in 1909, a reproduction is given in Fig. 42. It was a heavier aeroplane than the Wrights’, owing largely to [Pg 102] the weight of its alighting gear (250 lbs.) and of its big balancing tail (more than 100 lbs.); hence the necessity for using a 50-h.p. motor, which drove a two-bladed metal propeller at the rate of 1200 revolutions a minute. The Voisin brothers, and other French makers, did not approve of the two-propeller system of the Wrights: they preferred one screw, revolving at high speed. But there was no doubt—at any rate in this stage of aviation—that the Wright method was more efficient than that of the Frenchmen. It was calculated, indeed, that the Wright biplane, when actually in the air, could be driven at an expenditure of only 15 h.p.; whereas the Voisin, even with its 50-h.p. motor running at full speed, had only just enough power to fly.

There were in 1909 two memorable events, and both impressed the public with the progress of aviation. One was the crossing of the English Channel by aeroplane; the other the flying meeting—the first of its kind in the world—which was held upon the plain of Betheny, near Rheims. To be first to cross the channel by air was the ambition of more than one of the rivals; and the flight was rendered attractive by a prize of £1000, offered by the London Daily Mail. Preparing to attempt the feat, early in the summer of 1909, were three competitors, the names of two of whom are familiar. One was the Comte de Lambert; he, it will be remembered, was Wilbur Wright’s pupil. Now an accomplished airman, he had a Wright biplane at Wissant on the French coast. Another competitor was M. Bleriot, whose early exploits have been chronicled. The monoplane he had now evolved was an ingenious craft, and merits careful description. Its main features may be [Pg 103] seen in Fig. 43. The machine was remarkable chiefly for its smallness and lightness. While the Voisin biplane weighed just upon 1000 lbs., the weight of Bleriot’s monoplane was only 484 lbs. The span of its main wings was not more than 28 feet, and they contained only 150 square feet of lifting surface. Driving the machine was a motor of 25 horse-power; and the propeller, being placed at the bow, was what is known as a “tractor.” Instead of pushing the machine, as in the case of the Wright and the Voisin, this propeller drew the monoplane through the air.

_

MACHINE SEEN FROM ABOVE,
showing its bird-like shape and the position of the pilot.

_

Fig. 43.—The Bleriot Monoplane.

A. Propeller; B. Motor; C. Sustaining-plane; D. Pilot’s seat; E. Landing chassis; F. Combined tail and elevating-planes; G. Rudder.

Sitting within the body of his machine, at a point between the main wings and level with their rear edges, Bleriot controlled his craft by a simple mechanism. His feet rested upon a pivoted bar; this, by a movement of either foot, operated the rudder at the rear of the machine. In front of the [Pg 104] pilot was an upright lever, which he grasped with both hands. At the bottom of it, attached to a bell-shaped piece of metal, were four controlling wires, two running to the wings and two towards the tail. Those fixed to the wings caused the rear edges of the planes, which were flexible, to move up and down. A side-to-side action of the lever, which drew upon the wires and caused the wings to warp, prevented the monoplane from rolling while in flight. The Wrights, it may be recalled, adopted a similar method, although their system of leverage was different. A forward or backward movement of this same lever controlled the rising or descending of the monoplane. Its elevating-planes, instead of being at the front of the machine, as in a biplane, formed part of the tail. This tail was one narrow, horizontal plane, with a section at either end working up or down upon a pivoted rod. When the hand-lever was drawn back, the elevating-planes were tilted, and the monoplane rose. A reverse movement was used for descent.

Chief interest, at the early stages of the race to be first across the Channel, was centred in a newcomer—Mr. Hubert Latham. He was a young man of leisure, whose family, formerly an English one, had settled in France. Being fond of sport, and particularly of the shooting of big game, he had been attracted to flying through the medium of some balloon ascents.

At the beginning of 1909 a new monoplane made its appearance in France—a powerful, finely constructed, and very stable machine. It was the Antoinette, designed by a famous engineer, and it was this craft which interested Latham. M. Levavasseur was the designer [Pg 105] of it and of a specially lightened motor, first applied to motor-boats, and afterwards to the experimental biplane of M. Santos-Dumont and also to the aeroplane with which Farman first flew. The Antoinette, which M. Levavasseur also fitted with one of his motors, was a large monoplane—far larger than the Bleriot; and built not with the idea of being a fair-weather machine, but to fly in winds. The craft is illustrated in Fig. 44. The span of its wings was 46 feet, and they contained 365 square feet of sustaining surface, while the total weight was 1040 lbs.

The monoplane, in its method of control, differed from other machines. Upon either side of the pilot, as he sat in the tapering, boat-shaped body, was a hand-wheel. One operated the elevating plane; the other controlled the warping of the wings; while to steer from side to side the airman pushed pedals at his feet, and so swung the rudder at the stern.

Driven by its 50-h.p. Antoinette motor, the monoplane showed itself capable of flying well; but it found no successful pilot until Latham took it in hand. He associated himself financially with its constructors, and went to Mourmelon in France to learn to fly the machine, and his skill became evident. On 5th June he flew for 1 hour 7 minutes without alighting, and afterwards made flights in wind and rain. Latham was slight of figure and deft in movement, had a cool, quiet judgment, and was courageous sometimes to the point of being reckless.

After his success at Mourmelon, it was decided to attempt the cross-Channel flight; and the monoplane was transferred to a temporary shed at Sangatte, a few miles from Calais. First on the scene, Latham was ready for flight early in July; but the weather proved unfavourable. There was fog in the Channel and he had to wait. In the meantime—on 13th July—Bleriot made a cross-country flight of 25 miles; then he, too, packed up his monoplane and dispatched it to Calais. [Pg 106]

_

A. Propeller; B. Motor; C. Sustaining-plane; D. Pilot’s seat and controlling wheel; E.E. Vertical rudders; F. Elevating-plane; G. Landing gear.

_

MACHINE SEEN FROM ABOVE,
showing the spread of the planes and tail, and the delicate taper of the long, canoe-shaped body.

_

THE CRAFT IN FLIGHT.

Fig. 44.—The Antoinette Monoplane.

[Pg 107] On the morning of 19th July, there being little wind and practically no fog, Latham said he would attempt the crossing. Rising from the slope of a hill a little way inland, he passed out over the cliffs and steered for Dover—a torpedo-boat destroyer, placed at his disposal by the French Government, following him across Channel, so as to be ready to pick him up should he make an involuntary descent into the water. It was fortunate this vessel did steam upon his track. When he had reached a point not quite half-way between the French and English coasts, flying 1000 feet high, Latham’s motor began to miss-fire; then, without further warning, it stopped altogether. There was only one thing to do, and the airman did it. Piloting his machine in a slanting glide, he alighted upon the surface of the water. Fortunately there was no high sea, and the monoplane floated with its wings flat upon the water. Tucking up his feet to avoid getting them wet, Latham lit a cigarette and waited for the destroyer, the captain of which had seen his fall and came steaming at full speed. How the machine appeared, as it lay in the water, is shown in the photograph on Plate IV.

So much damage was done to the monoplane in retrieving it from the sea, that it was practically destroyed, and Latham was left without a machine, with his rival Bleriot now upon the scene. But the Antoinette Company, having a craft in reserve at Rheims, decided that [Pg 108] this should be hurried to the coast, and Latham given the opportunity of making another attempt. This second machine was telegraphed for, accordingly, and assembled with all speed, and on the morning of 25th July both Latham and Bleriot were ready for flight. Farther down the coast at Wissant was the Comte de Lambert; he had met with an accident, however. In testing his biplane he side-slipped near the ground and the machine was wrecked; this spelt delay while he was procuring and tuning another craft.

On 25th July, a Sunday, there was a stiff breeze soon after it became light, and nobody imagined that flying would take place. Bleriot, however, motored from Calais to the spot where his monoplane was housed, and after a short trial flight, during which his motor ran well, said he should attempt the Channel crossing. Latham had not then left his hotel.

There was a dramatic moment before Bleriot started his engine. Standing up in his machine and peering over the Channel, he asked:

“Where is Dover?”

A friend stretched out an arm, pointing across the water, and the airman nodded and sat back in his machine.

Rising in a half-circle to pass above some telegraph wires, Bleriot sped out across the water—as shown on Plate V—and his machine receded until it was a speck. He flew low and the wind was strong enough to bring white crests to the waves. This wind, furthermore, was seen momentarily to be rising, and anxiety was expressed. In a few minutes, to those watching from the French coast, the monoplane and its pursuing destroyer passed [Pg 109] out of sight. And then came a period of waiting, crowds gathering about the wireless telegraph station which, installed temporarily on the cliffs, was in touch with Dover. And while his friends waited thus in suspense, the lonely airman fought a rising wind—poised perilously above the waves, and with no sign of land either before him or behind. Those on the torpedo-destroyer, although she was steaming fast, lost sight of the airman before mid-Channel was reached. He had said that, should he out-distance this vessel, he would circle in the air and wait till she overtook him, so as to have the certainty of being picked up should his engine fail. But when in actual flight, although he saw his escort left far behind, Bleriot did not swing round and wait, but instead bore swiftly on; and his reason for so doing was this: the wind was rising steadily and he reckoned his only hope of reaching the English shore was to fly straight on, and seek to make a landing before the gusts became too violent.

For ten minutes, in this historic flight, Bleriot flew through a sea-fog, seeing nothing above or below him, and with instinct only to guide him upon his course. Had his motor stopped then, causing him to plane into the sea, his position would have been almost hopeless. It is true that in the body of his monoplane had been placed an air-bag, to help it float should he alight upon the water; but even with such buoyancy it is doubtful whether the machine would have withstood the buffetings of the waves for more than a few minutes; and Bleriot himself was handicapped by the fact that, as the result of the igniting of some petrol a week or so before, he had a burned foot which made him limp painfully. But his motor did not falter—although, in this cross-Channel flight, the airman was asking it to run longer than it had done before. [Pg 110]

_

   Photo, “Daily Mirror.”

PLATE VI.—BLERIOT REACHES DOVER.

Wind-tossed and exhausted, after his flight from Calais, the airman planed down near Dover Castle; descending so abruptly, owing to the gusts, that he broke his running-gear and propeller. He is seen above in his overalls, a few minutes after landing—a crowd having already gathered on the scene.

[Pg 111] Passing from sea-mist into open sky, Bleriot saw the English coast-line; but it was not Dover that lay before him, but a point considerably north-east of it; and he realised that, as he had flown across the water with no landmark to guide his eye, he had been borne off his course by the pressure of a south-westerly wind. Holding on till he came within planing distance of the shore, he turned his craft towards Dover; but the wind, which he was now facing, seemed to gain in strength. The monoplane pitched and swayed and made little headway, and the pilot became anxious as to his landing. It had been arranged that he should alight upon the Shakespeare Cliff; but now, approaching Dover upon the side opposite to this cliff, he decided to land somewhere without a moment’s delay, and not wait until he gained the farther point. So he turned suddenly towards an opening in the cliffs which lay below Dover Castle. Descending in passing above the land, he met the full brunt of the gusts as they played over the cliff. The monoplane was caught and twirled completely round; and the airman straightened it only to be tossed again like a leaf before the wind. A second time he regained control, and once more his machine was flung from its course. But now, being well over the land, and with an open stretch of grass below him, he planed steeply down. The landing was abrupt—in fact, made with desperate haste; and the chassis of the machine was broken by the shock and the propeller splintered. But Bleriot was not concerned at this. He [Pg 112] clambered stiffly from his seat, the great flight done; and soon motor-cars came, and he was carried in triumph to the town. The scene upon the cliff, showing the monoplane a few minutes after it had landed, with Bleriot being interviewed by a journalist, is seen on Plate VI. The course the airman flew in crossing the Channel is indicated by Fig. 45.

_

Fig. 45.—Bleriot’s course
when flying the Channel.

Meanwhile, on the French shore, the news was received by wireless; and so overjoyed was M. Anzani, the builder of Bleriot’s motor, that he suddenly burst into tears. One of those who stood waiting for a message was Latham; and when the word came that Bleriot had made the flight and won the prize, he took off his cap and cried, “Bravo!” Then he ordered his mechanics to bring out his machine, saying that, although there was nothing to be won, he intended to make the crossing to show what his machine could do. But when he [Pg 113] reached the starting-point the wind had risen and was blowing in heavy gusts; whereupon, although he seemed determined to fly, M. Levavasseur and others persuaded him that the idea was hopeless.

In two days’ time, however, his chance came. Upon a fine, perfectly calm evening he started upon a second crossing, and this time flew fast and well. The watchers at Dover saw him approach—saw him reach a point within little more than a mile of the Admiralty pier. And then, just as it had done before, his motor broke down and he had to plane into the sea. But this time, failing to make a smooth contact with the water, he was thrown forward from his seat against a wooden upright, cutting his head badly and sustaining shock. Picked up by a motor-boat he was brought into Dover; then, after a doctor had attended him, he returned to France. Again his monoplane was wrecked in its recovery from the water. The Antoinette Company had fared badly in this contest, losing two machines and having their chief pilot injured. The Comte de Lambert, after hearing of Bleriot’s success, did not attempt a flight. [Pg 114]

Henri Farman had played no part in this cross-Channel flying; he was busy with the tests of a biplane of his own construction. In July, at Rheims, there was to be the great flying meeting; and Farman had made up his mind to wait for this. Aided by the experience he had gained with the Voisin machine, he had designed a craft which should be generally more efficient and faster in flight, and more quickly responsive to its controls. The biplane he produced, marking as it did a step forward in construction, is a machine that needs description. The general appearance of the craft is indicated by Fig. 46, while an illustration of this type of machine in flight will be found on Plate VII. A feature [Pg 115] of the Voisin that Farman discarded was the vertical panel fitted between the main-planes to give sideway stability. An objection to these planes was that they added to the weight of the machine and checked its speed, tending also to drive it from its course should there be a side wind. But in taking away such fixed balancing-planes, Farman had to substitute another device; and what he did was to work upon the same theory as the Wrights had done, and obtain a similar result in a different way. They, it will be remembered, had warped the rear portions of their main-planes. Farman kept his planes rigid, but fitted to their rear extremities four narrow, hinged planes, or flaps, which could be moved up and down and were called ailerons. Their effect was the same as with the Wright wing-warp. When a gust tilted the machine, the pilot drew down the ailerons upon the side that was inclined downward; whereupon the air-pressure, acting upon the drawn-down surfaces, restored the machine to an even keel.

_

A. Elevating-plane; B.B. Main-planes; C. Pilot’s seat; D. Motor and propeller; E. Petrol tank; F.F. Hinged balancing-planes, or ailerons; G.G. Tail-planes; H.H. Twin vertical rudders; I. Landing wheels and skids.

_

MACHINE SEEN FROM ABOVE,
showing the span of main-planes, elevator, and tail, also the positions of landing gear and pilot’s seat.

Fig. 46.—The Farman Biplane.

The control was simple. At the pilot’s right hand there was a lever; this, when moved forward or backward, operated the elevating-plane; and a sideway action controlled the ailerons. At the pilot’s feet was a pivoted rod, and this, as he pressed upon it with one foot or the other, swung the twin rudders at the tail.

Such a system of hand-and-foot control has become general in aeroplanes. The pilot uses as a rule a hand-lever or wheel for governing the ascent or descent of his craft, and for sideway balancing, and employs his feet for operating the rudder. This leaves him a hand free for the manipulation of his engine throttle and switch. [Pg 116]

A feature of Farman’s biplane was the landing gear, as shown in Fig. 46. It comprised two long skids, which projected in front of the main-planes beneath the machine, and continued some distance rearward; while mounted upon each of these skids, at a point below the front edge of the lower main-plane, was a short metal axle which bore two small bicycle wheels, fitted with pneumatic tyres. Holding the axle to the skid were thick india-rubber bands, and the working of this apparatus was as follows: when the machine moved across the ground, the bicycle wheels bore its weight, and the skids were prevented from making contact with the surface. But when alighting from a flight, should the biplane strike ground heavily, then the wheels were pushed up by the yielding of the elastic bands, and the skids took the shock of the impact. Light, and with no complications, this form of gear proved remarkably efficient; and by degrees it came to be used, not only in the Farman, but upon other types as well. The necessity in any such device was lightness; when the machine was in the air, and until it landed from its flight, the alighting gear was so much dead weight—and not only this, but the air-pressure on struts and stays acted as a check upon the speed of the machine. Any landing gear to be useful and efficient, therefore, must be light and yet strong, and have few parts which can offer resistance to the air.

_

PLATE VII.—A FARMAN IN FLIGHT.

Here, using the biplane with which he first flew in England, Mr. Grahame-White is seen ascending from a field near Rugby during his attempts to win the £10,000 London-Manchester prize.

[Pg 117] Farman planned to win prizes at the Rheims flying meeting, and he succeeded. But the flights he made would hardly have been possible had not he obtained the use of a new motor—one destined to play a vital part in the development of flying. This was the Gnome; and to understand its triumph an explanation is necessary. Before Farman fitted the first of these motors to his biplane, engines in aeroplanes had been troublesome and unreliable. The difficulty was that they must be very light, and yet capable of running at high speeds and under heavy loads. Working, say, at 1000 revolutions a minute or even more, they drove the propeller of an aeroplane at full speed for the whole of the time it was in the air, and enjoyed no occasional rest, or slackening of power, as was the case with motor-car engines on the road. The result was that, being light and experimental—and at the same time so heavily worked—they either broke small but vital parts, such as a valve or connecting-rod, or became over-heated and failed to deliver their power.

To prevent overheating, there were two cooling systems available. In one, known as water-cooling, a stream of water flowed through metal chambers round the cylinders, and tended to reduce their heat. But this implied extra weight, and the carrying also of a radiator, or framework of thin pipes exposed to the air, through which the water was pumped, so as to cool it after it had passed round the heated cylinders. The second system, which obviated the use of water or radiators, was known as air-cooling. In this the tops of the cylinders were ringed with metal flanges, or fins, upon which the air impinged as the machine flew. This method is adopted in most motor-cycle engines, and answers admirably. But with aeroplane motors, in the early days, the high speed at which they worked, and the fact that they obtained no rest in flight, or slackening in the number of their revolutions, made them overheat [Pg 118] very often, in spite of their cooling fins. One might liken their work to taking a motor-cycle and running it at top speed up a hill without end.

_

Fig. 47.—The seven-cylinder
50-h.p. Gnome motor.

The difficulty with air-cooling—although it had obvious advantages over water-cooling—was to bring enough air to play upon the surfaces of the cylinders; and it was here that the Gnome won so complete a success. In other engines the cylinders were stationary, and their pistons, moving up and down in the cylinders, turned a crank-shaft to the end of which the propeller was fixed. Therefore the only air the cylinders obtained was what rushed upon them through the speed of the machine in flight. But in the Gnome, instead of the cylinders remaining stationary and the crank-shaft revolving, the cylinders themselves spun round, and the crank-shaft did not move. An illustration of this motor with one end of the crank-chamber removed, so that the piston-rods can be seen, is given in Fig. 47. It will be noted that there are seven cylinders, set in the form of a star, and that the seven piston-rods projecting from them come together upon a single crank-pin, which is attached to the stationary crank-shaft and turns round it. The propeller, instead of being fitted to the crank-shaft, as was the case with other motors, was bolted to a plate upon the engine [Pg 119] itself, so that when this turned around its crank-shaft, it carried the propeller with it.

A difficulty in this engine lay in feeding its cylinders with their petrol and air. We showed, in Fig. 32, how this mixture is delivered to an ordinary motor, which has its cylinder stationary. But with the Gnome the mixture could not be supplied from a pipe to the cylinder-head, for the reason that the cylinder was revolving. The problem was solved by making the stationary crank-shaft hollow, and by delivering the mixture through this to the interior in the engine; thence it was sucked into the cylinder-heads through a valve in the pistons. There were other complications, inevitable to this ingenious motor, which led critics to declare it would prove unreliable. But their judgment was wrong, for by making every working part with scrupulous care, and sparing no expense in the quality of the materials used, the builders of the Gnome did render it reliable. They achieved another triumph as well; they eliminated overheating. Revolving more than 1000 times a minute, the cylinders of the Gnome cooled themselves automatically, and the engine proved that it would run for hours without becoming too hot, or the pistons seizing in the cylinders. Furthermore, seeing that the weight of water and of radiators was avoided, the Gnome was remarkably light. The 50-h.p. engine weighed no more than 165 lbs., which meant that it gave one h.p. of energy for each 3.3 lbs. of its weight. A photograph of the Gnome, as fitted to a Farman biplane, is seen on Plate VIII.

The Gnome, when first built, was regarded with [Pg 120] scepticism. Farman, however, showed the acuteness of his judgment. He obtained a Gnome and fitted it to the biplane which he flew at Rheims; and the wisdom of this choice was soon made clear. The chief prize at Rheims was for the longest flight, and this Farman won easily, remaining in the air for 3 hrs. 4 mins. and covering a distance of about 112 miles. The flight represented a world’s record; and by this feat alone Farman made his biplane famous, and demonstrated the reliability of the Gnome. Those who watched the flight will not forget it. Farman started rather late in the afternoon and flew low round the great aerodrome, his landing-wheels appearing sometimes to be a few feet only above the grass. He sat leaning forward in his seat and circled close to the wooden towers marking the course, losing no ground and steering his machine with perfect accuracy. So he flew for lap after lap, never rising higher or flying lower, and with the Gnome behind him emitting a booming hum as it whirled the propeller without falter or flag. Only the approach of darkness, in fact, caused the airman to descend. [Pg 121]

_

A. Elevating-planes; B. Pilot’s seat and control-wheel; C.C. Main-planes; D. Ailerons; E. Motor and propeller; F. Tail-plane and rudder.

_

MACHINE SEEN FROM IN FRONT,
showing the chassis and the position between the planes of the two ailerons (A.A.).

_

THE CRAFT IN FLIGHT

_

MAKING A TURN.

Fig. 48.—The Curtiss Biplane.

[Pg 122]

_

Fig. 49.—The Curtiss aileron control.

A. Pilot’s seat;
B. Wheel for operating elevator;
C. Shoulder-pieces and vertical rod for aileron control.

Of famous aeroplanes at Rheims, five types stood out by themselves—the Farman, the Voisin, the Wright, the Bleriot, and the Antoinette, all of which have been described. But there was one other, which few people had heard of before it appeared here. This was the Curtiss biplane, built by an American named Glenn H. Curtiss, and engined with a motor which also bore his name. Curtiss had experimented with many power-driven machines—motor-cycles, motor-cars, airships, and aeroplanes—and had won a prize in America with a small, light biplane, and it was a craft of this type—as seen in Fig. 48—that he brought with him to Rheims, his idea being to compete for the speed prize. The machine had a front elevator and tail-planes, according to the practice in biplane construction; but an innovation was the setting of the ailerons midway between the main-planes—a position that will be noted in the sketch; another novelty was the way these ailerons operated. At the pilot’s back, as he sat in his driving seat, was an upright rod with two shoulder-pieces—by means of which, should he shift his body, he could swing the rod from side to side. Wires ran from the rod to the ailerons; and if the pilot leaned over, say, to the right, he drew down the ailerons on the left side of the machine. The merit of such a control was that it was instinctive; that is to say, should the biplane tip down on one side, it was natural for the pilot to lean away from the plane-ends that were sinking; and he operated the ailerons automatically, as he did this, and so brought the machine level again. This ingenious system is illustrated in Fig. 49.

_

   Photo, F. N. Birkett.

PLATE VIII.—THE GNOME MOTOR.

This engine—of which Mr. Grahame-White is testing an exhaust valve—is here seen fitted to a Farman biplane, the three tanks above it containing petrol and oil.

[Pg 123] Features of the Curtiss biplane were its smallness and lightness. The span of its main-planes was only 28 feet 9 inches—no more than the span of the Bleriot; and it weighed, with its pilot on board, a total of only 710 lbs. Driving the machine was an 8-cylindered 30-h.p. motor; therefore it was expected to be fast in flight. The speed contest, as a matter of fact, became a duel between Curtiss—who flew his machine himself—and Bleriot, who piloted his fastest monoplane; and in the end Curtiss won, attaining a speed of a little more than 47 miles an hour. Bleriot had built for the contest a new racing monoplane, which had a motor of 80 h.p., and in which the pilot sat below the wings. The photograph on Plate IX shows the appearance of this type of craft.

Latham, in his Antoinette, won the height prize at Rheims, rising to an altitude of 500 feet. Others who distinguished themselves were Paulhan and Rougier, on Voisin biplanes—the former to become famous afterwards as the winner of the Daily Mail £10,000 prize for the flight from London to Manchester. But the Voisins, although they flew steadily, seemed slow, clumsy machines in comparison with the Farman. The Wright biplanes, of which there were three in competition, did not distinguish themselves particularly. The pilots who had charge of them, and had been taught to fly by Wilbur Wright, were the Comte de Lambert and M. Tissandier, who have been mentioned already, and M. Lefevre—a pilot who was the first to make trick flights, wheeling, diving, and swinging in circles, and astonishing people who watched him from the stands. Not long after the Rheims [Pg 124] meeting, while testing a new machine, this airman met with an accident that proved fatal, his craft diving suddenly and being wrecked.

The Wright machines, to tell the truth, were not regarded favourably in France. Many men were attracted by the speed and simplicity of the monoplane; many others, again, championed the Farman with its Gnome. The chain-drive of the Wright propellers was said to be a source of danger, and their need to start from a rail was, in view of the wheeled under-carriages of the French machines, declared a clumsy makeshift. So, although the machine was the first power-driven craft to fly successfully, and despite the feats of Wilbur in 1908, the Wright biplane did not conquer France. Although they had lagged behind the Wrights in the building of practicable machines, the enthusiasm of French makers soon carried them ahead of their rivals. The Wrights handicapped themselves; they would not, for a long time, discard the starting-rail; they would not adopt the Gnome motor; they were averse from making alterations in the construction of their machine. So their biplane, although its efficiency was always granted, never took the place to which it seemed entitled.

It was after the Rheims meeting that the building of aeroplanes commenced as an industry. Farman established a factory and began to produce biplanes in considerable numbers; Bleriot had received orders for monoplanes after the cross-Channel flight; and the Voisins were building too. There were French firms, also, who had been given permission to manufacture the Wright biplane; and in England, at a factory in [Pg 125] the Isle of Sheppey, Messrs. Short Brothers were building Wright machines.

_

Fig. 50.—The Roe Triplane.

A.A.A. Three main-planes; B. Motor; C. Four-bladed propeller; D.D.D. Triplane tail; E. Rudder; F. Landing gear.

It is necessary now to consider the growth of flying in England. While mighty deeds were done in America and France, there had been pioneers at work here—painstaking and enthusiastic, but handicapped sadly by the public indifference that prevailed. They met with no encouragement—no financial help; they had to build their machines as best they could, and whether they succeeded or failed seemed the concern of none. An experimenter who braved this apathy and won his way until he became a constructor of aircraft, was Mr. A. V. Roe. For some time he was an advocate of the triplane form of machine—a craft, that is to say, with three main-planes fitted one above another. The machine with which he obtained flights, although they were very brief, is seen in Fig. 50. Subsequently, however, Mr. Roe adopted the biplane form. His distinction in the pioneer days was that he managed to make his triplane lift into the air and fly a short [Pg 126] distance, with the aid of a motor-cycle engine developing no more than 9 h.p.

Another ardent worker in England, and one destined to become famous, was Mr. S. F. Cody. After developing a system of man-lifting kites which the British War Office acquired, he joined the military aircraft factory that had been established at Farnborough. Here, after tests with dirigible balloons, he began the construction of experimental biplanes—all machines of large size. Early in 1909 he made brief flights—the longest being one of about 250 yards. Then, after alterations to his machine, he managed in July to fly a distance of 4 miles. This he increased afterwards to 8 miles; and then on 1st September flew for 1 hour 3 minutes, rising to a height of 300 feet. Cody’s biplane was a very large machine, having 1000 square feet of lifting surface—twice that of the Farman or Voisin. Driving it was an 80-h.p. engine, which operated two propellers on the system used by the Wrights. With its pilot on board the machine weighed 2170 lbs. It is illustrated in Fig. 51.

_

A. Elevating-planes and vertical-plane; B. Pilot’s control lever; C.C. Main-planes; D. Motor; E. Propellers; F. Rudder; G. Landing gear; H. Rear skid.

_

MACHINE SEEN FROM ABOVE,
showing the large size of the elevators, the position of the pilot, and the placing of the propellers.

Fig. 51.—The Cody Biplane.

In the control of the machine Cody introduced original devices, notably as to sideway balance. Instead of using ailerons or wing-warping, he arranged his two elevating-planes so that they would move up and down independently of each other. In this way, by making one tilt up and the other down, he was able to obtain the same effect as with ailerons. When raised or lowered in unison, these planes acted as elevators. Cody managed also to combine all controlling movements in [Pg 127] one lever, and did not use his feet for steering. Before him, as he sat in his driving seat, he had a rod which ended in a hand-wheel. Pushed forward or backward, this rod moved the elevating-planes; swung over from side to side, it altered the angle of one or other of the elevating-planes and so controlled sideway balance; while by turning the wheel at the top of the rod, the pilot could operate the rudder at the rear of the machine. Cody made little progress until he obtained a powerful motor, his machine being too large and heavy for the engines fitted to other craft. Acquiring a motor of 120 h.p. in 1912, he won the War Office competition on Salisbury Plain, his biplane showing its superiority—as a purely military craft—even over those of the famous French builders. It was in the summer of 1913, while flying a new machine, that the airman and a passenger fell to their death—expert evidence showing that the craft collapsed in the air.

[Pg 128] Two other Englishmen prominent in the early days of aviation were the Hon. C. S. Rolls and Mr. J. T. C. Moore-Brabazon. The former, having learned to glide as the Wrights had done, obtained a British-built Wright biplane and made excellent flights at Shellbeach, Isle of Sheppey. During the season of 1912, still piloting a Wright, he took part in several aviation meetings; and it was at Bournemouth, owing to the collapse of a tail-plane, that he fell 90 feet and was almost instantly killed. Towards the end of 1909, Mr. Moore-Brabazon, after buying and learning to pilot a Voisin, ordered a British-built biplane from Messrs. Short Brothers, and with this machine on 30th October 1909 he won a £1000 prize offered by The Daily Mail for the first circular mile flight by a British aviator upon an all-British machine.

Now indeed, once the first obstacles had been overcome, the building of aeroplanes and the training of [Pg 129] men progressed astonishingly. New champions appeared almost every day; many aviation meetings were held; and Henri Farman, to complete the triumphs of a wonderful year, flew in November for 4 hours 17 minutes 35 seconds, covering a distance of 150 miles through the air, and breaking all records for duration of flight. [Pg 130]


CHAPTER XII
PERILS OF THE AIR

How pilots fought the wind—Military demands for an “airworthy” machine—Value of the air-scout—Dangers in wind-flying—The “side-slip”—Aeroplanes that are automatically stable.

It has been shown how aeroplanes were built and made to fly, and not machines of one particular make, but biplanes and monoplanes of various types of construction; also how, granted he had a reliable motor, a man might fly for hours without alighting. These were the lessons of 1909; these, and the fact that flying was proved an art that could be learned by any man who was active and had sound nerves. After Wilbur Wright had taught his first pupils, and Bleriot and Farman had established training schools, men in rapidly increasing numbers came to learn to fly; so that, quite early in 1910, it was possible to list the names of more than 200 pilots.

Progress was now revealed in two directions: firstly, encouraged by engine reliability, airmen made cross-country flights; and secondly, becoming more used to being in the air, and gaining confidence in the handling of their machines, they began to fly in gusty winds. This was shown by the fact that, fearing any breeze at [Pg 131] first that was higher than 10 or 15 miles an hour, pilots soon combated winds of 20 and 25 miles an hour.

Flights of 100 miles were made across country; one historic example, of course, was M. Paulhan’s 183-mile journey from London to Manchester, made in 242 minutes and with but one halt, by which he won The Daily Mail £10,000 prize, and in which—meeting him in keen but friendly rivalry as the representative of England—he had the joint author of this book, Mr. Claude Grahame-White.

The confidence of pilots in the reliability of their machines was demonstrated conclusively by the Comte de Lambert. Rising from the aerodrome at Juvisy, near Paris, he flew over the city and circled the Eiffel Tower, returning afterwards without accident to his starting-point.

Several more airmen had, by this time, succeeded in crossing the Channel, and a notable feat was that of the Hon. C. S. Rolls, who flew from Dover till he reached the French coast near Calais; then, circling without a descent, he returned to his starting-point—a flight over-sea that lasted an hour and a half. In high flying, too, the confidence of airmen was displayed. At Rheims in 1909, it may be remembered, Latham rose 500 feet, and this was considered remarkable. But the record, during 1910, was beaten and beaten again, until it stood at nearly 10,000 feet. In speed also, using monoplanes with 50-h.p. motors, pilots made records day by day; and an English airman, Mr. Radley, flying over a measured course in August 1910, in a Bleriot monoplane, attained a speed of more than 70 miles an hour.

In the duration of flight, which proved the reliability of engines, great strides also were made. From Farman’s [Pg 132] 4-hour record at the end of 1909, the figure was carried till it stood at 6 hours 1 minute 35 seconds. This flight was made by Tabuteau, an airman flying a Maurice Farman biplane. Maurice was a brother of the famous Henri, and he built a biplane which, while resembling the Henri Farman in general aspect, was different in detail. In the first machines he built,—and it is one of these the sketch (Fig. 52) shows,—Maurice Farman used, in addition to ailerons, two side curtains or panels, as the Voisins had done; but these he afterwards abandoned, retaining ailerons alone. A feature of this machine was the way in which the landing skids were continued upward, so as to form the supports for the elevating-plane. The Maurice Farman developed into a stable and remarkably successful craft, greatly used for cross-country flying and by military pilots.

_

Fig. 52.—Maurice Farman Biplane (early type).

A. Elevating-plane; B. Seats for pilot and passenger; C.C. Main-planes; D. Motor with two-bladed propeller; E. Vertical panel; F. Aileron; G. Tail-planes; H.H. Rudders; I. Landing chassis.

The chief triumph of 1910 was the fight airmen waged against the wind. This was their enemy—an enemy which sought to chain them to the ground, and prevent their craft from becoming of practical use. One point, indeed, became clear: it was of little value to [Pg 133] fly high or for long distances, if one could only do so in favourable weather. The aeroplane, if it was to play a practical part in the affairs of the world, must ascend in high winds as well as in calms. This being recognised, there was strenuous effort to produce an “all-weather” machine. Particularly was wind-flying of value in the military use of aeroplanes; and it is here that we reach a vital aspect of aviation. Immediately craft could fly across country, and ascend high enough for a view of the land to be obtained from them, it was seen they would have a great value as scouts in time of war.

There has, from the earliest days of battle, been a need for scouting—a need for news as to what the enemy is doing. Picture two armies about to engage. They approach each other cautiously, troops spread out and dotted here and there; while in front of each force is thrown a screen of outposts. These form a protective fence, through which the scouts of the enemy find it difficult to penetrate. What the scouts seek to discover is how many men there are in the army moving forward, how many guns, and how these men and guns are being massed and drawn up for the battle that impends. But the outposts head them off and shoot them down; and as both armies have outposts, and as both sets of scouts find the same difficulty in obtaining news, the two forces may grope and blunder into battle without knowing such facts as to numbers and positions as might spell the difference between victory and defeat. Of course, the scouts do their best, some on foot, some horsed; but it was Napoleon who wrote: [Pg 134]

“Nothing is more contradictory, nothing more bewildering, than the multitude reports of spies or of officers sent out to reconnoitre. Some locate army corps where they have seen only detachments; others see only detachments where they ought to have seen army corps.”

But now came the aeroplane, and strategists seized the opportunities it offered. Outposts could do nothing against such a scout as this; instead of seeking to dodge them through a wood, or round a hill, it could pass thousands of feet above their heads; and the earth below, as viewed by the spy sitting in his machine, would be spread out like a panorama; he would see the troops of the enemy in motion, and note their strength and the positions to which they moved. No wonder the War Departments of Europe were ready to buy aeroplanes. Buy them they did, indeed, in growing numbers; but the drawback of the early machines was that they were fair-weather craft; they would not fly in winds. Imagine that a battle impends, and that the Commander-in-Chief of one army seeks news as to the movements of some division of his enemy; so he orders the air-scouts to ascend. But the wind may be blowing hard; and if it is, and the aeroplanes are only fair-weather machines, they will have to remain on the ground till the wind drops, and perhaps miss their greatest chance during a whole campaign.

But it was astonishing how, feeling greater confidence in the handling of their machines, airmen began to join issue with this enemy the wind. They were helped, too, by a growing efficiency in the construction of their craft. Machines were built more strongly, engines were more staunchly made; in all details that spelt reliability, were aircraft improved. But the wind, none the less, took its toll. It was not combated without loss of life; and we find that, before the end of 1910, nearly thirty men had been killed while flying. In many cases, struck by a heavy gust, a machine collapsed in flight; in others, beaten over by the force of the wind, but with his craft intact, the pilot had fallen to earth, powerless to regain the control of his machine.

_

PLATE IX.—THE FIRST HIGH-POWERED BLERIOT.

This type of monoplane, in which Mr. Grahame-White learned to fly—being seen with a passenger above—was built by Bleriot for the speed contests at Rheims in 1909. It had an 80-h.p. motor, as compared with the 25-h.p. engine which was then fitted to ordinary Bleriots, and attained a speed of 60 miles an hour.

[Pg 135] In wind-flying there were these two distinct dangers: a man might be dashed to earth by a gust when rising or descending; or he might be struck by a rush of wind when at a considerable height, and find his craft driven over until it began to slip sideways instead of flying forward. In “side-slips,” as they are called, there lies a grave risk. What happens is this. A man flying in a wind may, by vigorous use of his ailerons, recover the balance of his machine time after time; but as the wind rises, he may be struck ultimately by a gust that tilts his planes to an abnormal angle, despite his efforts to check them. The machine will then heel till it stands almost vertical—till it reaches such an angle, in fact, that it ceases to move forward and begins to slip sideways—skidding away, beyond the pilot’s control, like a motor on a greasy road. How an abnormal gust may cause a side-slip is illustrated by Fig. 53.

 
_

IN NORMAL FLIGHT.

Fig. 53.—Machine “side-slipping” in a gust.

_

STRUCK BY AN ABNORMAL GUST.

 
_

MACHINE SLIPPING SIDEWAYS.

 

In such a predicament, two things only can save the airman; one his height above the ground, the other his nerve and presence of mind. If he is flying low when his machine side-slips, nothing can avert disaster. Falling at first sideways in a helpless lurch, then diving violently, the craft will strike ground with shattering force—completely beyond its pilot’s control. But if the airman is flying high, and granted he is a man of experience, he may escape even the worst of side-slips, and how he [Pg 136] does so is as follows: as his machine slips he puts forward his elevating-lever as far as it will go, throws over his rudder to help the action of the elevator, and sets his motor at its fullest power—these actions seeming, in themselves, merely to aggravate the peril by causing the craft to fall more quickly. But the pilot knows what he is doing; he knows that, so long as his craft slips sideways, it is impossible for his controlling planes to act, seeing that they are effective only when the machine moves forward through the air. What he seeks to do, therefore, is to convert the side-slip into a forward dive. If he can do this—if he has space for the manœuvre before the machine strikes ground—he knows he can avert disaster.

In throwing over his elevating-lever, and accelerating his motor, his aim would be to make his machine fall [Pg 137] forward more rapidly than it is slipping sideways; and, as a rule, under the combined thrust of the motor, and the extreme angles of elevating-plane and rudder, the craft will—after a sickening slip, perhaps of several hundred feet—begin to lose its sideway motion and plunge straight downward. His elevating plane will then become operative, tending to check this dive and bring up the bow of the machine; and at the same time, feeling he has regained control, the pilot will throttle down his motor so as to reduce the speed of his machine. In this way, responding to the action of its elevator, the craft will pause in its downward rush, and sweep forward again upon an even keel. But the actions of the pilot, in such a quandary, need to be accurately and boldly made; and unless his craft flies high, no skill can save it. If he has not a thousand feet or more below him, he will be dashed to death before his manœuvre has time to take effect.

The moral, therefore, lay in flying high, and it was one that pilots respected. Instead of passing across country at a few hundred feet, they began soon to ascend 3000 feet and more; and at such altitudes, apart from the greater safety in case of side-slip, an airman found usually a steadier and less gusty wind, and was in a better position to choose some landing-point should his motor fail suddenly.

When starting across country, particularly in the early days, a pilot had to consider very seriously the question of the failing of his motor. So long as he had an aerodrome below him, its smooth surface providing an alighting spot, he felt no great concern. But in flying across country, should his motor stop, he might [Pg 138] find himself above a forest, or a sheet of water, or such rough and broken land that his machine would be damaged were he to alight upon it. But here again, as in the case of side-slip, altitude would tend to safety.

In the stoppage of its motor, when a craft is in flight, several factors need consideration; but one should clearly be understood: even if his engine does fail while he is passing through the air, a pilot is not helpless, nor does his machine fall to the ground. As he flies, of course, it is the thrust of his motor, acting through the medium of the propeller, that keeps his craft moving forward; and so long as this thrust is there, forcing his planes against the air and causing them to lift their load, the machine will fly ahead. But what happens should the engine fail, and the machine cease to be propelled? The first effect is that the craft begins to lose its speed, and as it does this its planes are less operative. Unless he can restore his forward speed, therefore, and so maintain the lift of his planes, the pilot is in peril. Were he merely to sit still after his engine failed, and do nothing to save himself, he would be in a position of the greatest risk. What would happen would be that his craft, having no power thrusting it against the air, would come gradually to a standstill; then, its planes exercising no further lift, it would lose equilibrium and fall. [Pg 139]

But there is another force the airman can use, even when his motor fails entirely; and this is the downward pull of gravity, which acts unceasingly upon his machine. He must, at all costs, restore the speed of his craft; not only that its main-wings may bear their weight, but that its controlling-planes may continue operative, and enable him to steer towards a landing-point. What he does, therefore, when he hears his motor stop, is to tilt his elevating lever and send his machine upon a dive. Thus, even with no motor to propel him, he can still fly. It is gravity now that moves his machine, and so long as he keeps his lever forward, and sends his craft downward upon a gradually sloping path, he has perfect control and need not fear a fall. Air is still being forced under his planes; therefore, they bear their load; and, seeing that the machine is moving forward, its rudder and other controlling planes are able to do their work. The airman is, in fact, as much in command of his machine as he was before its motor stopped—save for one vital difference. While his motor ran he could fly where he pleased; but now he is obliged to glide downward. He is, indeed, in the same position as was Lilienthal, or any of the men who soared from hilltops. But, being say 1000 feet or more high when his engine stops, he has the advantage of a long glide before he reaches ground; and this gives him a chance, surveying the land below him, to pick a smooth landing-point that may lie in his path. If well-designed, an aeroplane will glide a long way after its motor has failed, as is indicated by Fig. 54. In this [Pg 140] case, representing an actual test with a military machine, the motor has stopped at an altitude of between 1200 and 1400 feet, and the craft glides, before touching ground, a distance of nearly 9000 feet.

_

Fig. 54.—The gliding angle of a plane.

The motor is switched off at a height of between 1200 and 1400 feet, and the craft glides nearly 9000 feet before landing.

This gliding without motive power is a safeguard to the airman when he flies across country. Should he attain a sufficient altitude, he has little to fear, even if his engine does fail. As he glides down, he can steer from side to side, or make a half circle and land upon a spot that lies behind him. An aeroplane with a gliding path of 1 foot in 10, and at a height of a mile when its engine stopped, would glide ten miles before alighting. Taking an extreme case, one might imagine an airman flying over a city. Suddenly, while above a network of streets and houses, his engine stops. But even in such a quandary as this, granted he has the wisdom to be several thousand feet high, he need not fear disaster. Glancing keenly below him, he sights some park or open space like an oasis among the close-packed buildings, and glides swiftly and accurately towards it, landing without difficulty or injury to his machine.

The making of a gliding descent, or vol-plané, is an art all airmen learn; and the vital thing to remember in connection with it is, that the machine must always move swiftly forward. Sometimes, checking his glide too soon, a pupil at the schools will make what is called a “pancake” landing: that is to say, misjudging his height above the ground, he stops the glide of his craft, by a movement of the elevating plane, when he is still 15 or 20 feet in the air. The result is that the machine comes to a standstill, then drops flat upon its wheels; and in doing so it may break its chassis supports, and give [Pg 141] the pupil a shaking. The art, in a gliding descent, is to lessen the steepness of the dive, by throwing up the elevating plane only a second or so before the landing-wheels make their contact with the ground. Then, its downward speed checked—in the same way that a bird checks itself, just before its feet touch earth—the wheels of the craft will meet the surface smoothly, and there will be no shock or rebound.

_

A. Upper main plane; B.B. Lower main plane; C.C. Hinged flaps which act as air brakes.

_

SEEN FROM ABOVE.

_

AS VIEWED FROM ONE SIDE.

Fig. 55.—An air brake.

In most cases, a machine with a good gliding angle is regarded with favour; but there are circumstances—such, for instance, as when a pilot seeks to alight in a small [Pg 142] field—when a gradual descending angle is a disadvantage. The field may be bounded by trees; hence, if the machine prolongs its glide, and he cannot make a quick landing, the pilot may find himself threatened by a collision. To check the forward glide of a craft, when necessary, and bring it to earth at a steep angle, air brakes are now being tested, as illustrated in Fig. 55. When not in use, they form sections of the lower main-plane, and are operated by the pilot with a lever. Their action is simple: pivoted in the centre, they swing until they expose themselves at right angles; and their surface, when thus exposed, tends very materially to check the glide. The descent of a machine into a small field, with and without brakes, is shown in Fig. 56; and from this the value of the brake may be seen.

_

Fig. 56.—Action of an air brake.
A.A. Trees enclosing a small field; B. Gliding angle of a machine with an air brake; C. Angle of a machine without a brake.

The chief peril of the air, when pilots came to understand their risks, was seen to be this: that a machine might be caught by a wind-gust when flying near the ground, and dashed to earth before its pilot could check the helpless dive; and this peril still presents itself. Combating a breeze at first, then gusty winds, the airman has so progressed to-day that he will [Pg 143] face a 60-mile-an-hour gale. When well aloft, indeed, he hardly cares how the wind may blow. It may turn him completely over, but he is not lost; as shown by “looping the loop,” in fact, a pilot can perform a somersault in the air and not lose control of his machine.

“Looping the loop,” which has made so great a sensation, has taught airmen one definite lesson; and it is this: no matter how their machines may be beaten and tossed by the wind, they need not fear a fall—provided they are high enough above ground. The movements of a machine, as it makes a series of “loops,” are shown in Fig. 57. The pilot reaches a high speed before he rears up his machine to begin the “loop,” and this downward velocity is attained by diving; then, when he estimates his pace sufficient, he pulls his elevating-lever back and the machine leaps upward, rearing itself vertically towards the sky, turning over on its back, then diving again and coming right-side-up—thus achieving a complete somersault. A skilled trick-flyer, also, will allow his machine to drop sideways or tail first, deliberately working the controls so that it shall do so. Then, just as it seems to spectators that he is falling to destruction, he will dive or twist, regain the mastery of his machine, and descend in a normal glide.

An airman, flying in a wind, is rather in the position of a man who puts to sea in a small boat when waves are high. Once he can clear the shore, the boatman feels at ease; but should a breaker catch him before he reaches the smooth, rolling billows a little distance from the beach, his craft may be overturned and dashed to pieces. So with the airman; his moments of peril, when flying in a gusty wind, come just as he is soaring from the ground, and when descending from a flight. Then an air-wave, like a sea-wave, may lift his craft and drive it with a crash to earth. [Pg 144]

_

Fig. 57.—Looping the loop.

[Pg 145] And there is the peril, when near the ground, of a down-rush of wind caused by hills or woods. More than once, when making a landing near trees, a pilot has found his machine swept in a descending current. What happens, in such a case, is that the wind curls over the wood or hill that may form the obstruction, and sends a strong eddy downward; should a machine be caught in such a trend, it may be carried to earth, pell-mell, before the pilot can check its dive. Again—as another unseen danger—there are “holes in the air.” The atmosphere is in constant movement, it must be remembered; currents of warm air ascending and currents of cold air descending; and sometimes, between a layer of warm air and a layer of cold, there may be violent swirls and eddies. An aeroplane may fly into such a disturbed area and fall suddenly a distance of many feet, through being caught and swept earthward in a rapidly descending current.

But such dangers, like others which threaten, are being surely but steadily lessened. Machines are now built and flown which, owing to the shape and angle of their planes, have a stability which is almost automatic. This means that, when flying in a wind, the pilot need not be working incessantly at his levers. His machine, once a suitable height has been reached, will fly with no more control than a touch upon the rudder-bar. Apart from questions of safety, such stability enables long flights to be made without fatigue. Should he be flying a machine which needs constant work at the controls, and should the wind be high, a pilot becomes often so exhausted that he is compelled to descend. An automatic stable biplane, called the D.F.W., is illustrated [Pg 146] in Fig. 58. Its main-planes are swept back in the shape of an arrow-head; the rear extremities of the top-plane, forming large ailerons that are locked in position or movable at the pilot’s will, are uptilted at their ends; while the lower main-plane is given a dihedral or sloped-up stabilising angle. The uptilted ailerons, which bring a negative or top pressure to bear upon each wing-tip, and the dihedral angle of the lower plane, which acts in conjunction with them, produce an effect which checks automatically any tendency to a sideway roll.

_

Fig. 58.—D.F.W. (German-designed) Biplane.

A. Hull, which is steel-built, containing pilot and passenger; B.B. Main-planes—the lower at a dihedral angle; C.C. Uptilted stabilising ailerons, which may be locked in position; D. Stabilising fin; E. Rudder; F. Elevating-plane; G. 100-h.p. motor (which is enclosed) and propeller.

The arrow formation of the planes preserves the stability of the machine in a fore-and-aft direction. Should its pilot force it up at too steep an angle, it will merely come to a halt in the air and then dive forward and resume its normal flight; while, if it is [Pg 147] made to plunge too steeply downward, its bow will rise automatically and the machine resume an even keel.

Another machine which is stable in flight, owing to the peculiar formation of its wings, which resist a diving or plunging movement, or a lateral swing, is the Dunne biplane—as designed by Lieutenant J. W. Dunne. This craft is seen in Fig. 59. Using such a machine, pilots have flown for long distances with the control levers locked, the biplane adapting itself automatically to the wind-gusts and preserving its equilibrium without aid of any kind. It has neither fore-plane nor tail; it is made to ascend by elevators which are in the form of hinged flaps, or ailerons, and is steered by two rudders at the extremities of the main-planes.

_

Fig. 59.—Dunne inherently stable Biplane.

A. Hull containing pilot and passenger; B.B. Main-planes; C.C.C.C. Flaps used as elevators; D.D. Side-planes which act as rudders; E. Engine and propeller; F. Alighting gear.

In the future, it is now clear, the automatically stable aeroplane will play a highly important part. Large machines, with duplicate engines, will be so [Pg 148] constructed that, beyond causing them to rise and descend, and move to right or left, the steersman will have nothing to do; to all wind-gusts and inequalities in the air the machine will adapt itself automatically. In this way it will be possible to build very large craft, carrying a number of passengers or a consignment of goods, and to fly in any winds save such raging gales as drive ships for shelter into port. [Pg 149]


CHAPTER XIII
MILITARY AND CROSS-COUNTRY FLYING

Aerial scouting—Types of machines used—The high-speed monoplane—Steering across country—An airman’s map and compass.

When they could fly in high winds, and their motors were reliable, it was seen that aircraft would become vital factors in time of war; so vital, indeed, that no army or navy could afford to be without them. Successful aeroplane builders, consequently, such as the brothers Farman and Louis Bleriot, became busy with the construction of military craft. France threw herself with enthusiasm into the creation of an aerial fleet. Germany, more methodical, studied cautiously and yet thoroughly the problems involved; while in England, for several years, the subject received scant attention.

It was in the autumn of 1910, when one or two aeroplanes were used in the manœuvres in France, that interest was first focussed upon their power as scouts. These machines were not built specially for military work, and there was little organisation or foresight in their use; but observers accompanied the pilots upon long cross-country flights, during which they hovered above the enemy, and noted the location and movements of troops. By being able to pass through the [Pg 150] air, and evade the enemy’s patrols, these observers brought back news it would have been impossible to obtain by use of cavalry scouts; and, owing to the speed of their flight, they were able to glean such reports, and fly back with them to headquarters, in a far shorter time than would have been possible by any other means. These first observers were officers, who sat behind the pilots as passengers. They carried with them field-glasses and notebooks, and the pilot obeyed their orders as to the direction in which he should fly. Peering down upon the land that lay below, an observer made rough notes of all he saw; then, upon returning to his starting-point, he prepared and handed in such a report as is printed below:

 5.56 a.m.—At —— a cyclist company.
  5.59 a.m.——, sixteen squadrons of cavalry and six batteries at the south-west entrance to ——.
  6.5 a.m.—South-west of ——, at the north point of —— Wood, a company of two batteries of artillery.
  6.7 a.m.—Northern entrance to the village of ——, one company of infantry to the right and one to the left of the wood; one company at point 188; one company in the village of ——.
  6.9 a.m.—At the cross roads to ——, a squadron of dragoons concealed behind the edge of the wood.
  6.14 a.m.—On the road south of ——, a squadron on the march towards ——, and a troop in the village of ——.
  6.16 a.m.—On the —— road a squadron and two machine guns marching towards ——.
  6.19 a.m.—South-west entrance to ——, three regiments of cavalry, including cuirassiers, and six batteries of artillery in assembly formation.

_

   Photo, F. N. Birkett.

PLATE X.—MAURICE FARMAN BIPLANE.

Mr. Grahame-White is seen in the driving-seat of the machine he often flies at Hendon. Behind him are the passengers’ seat, fuel tanks, engine, and propeller. In front of the pilot will be observed a screen, which protects him from the rush of wind when in flight.

[Pg 151]


_

MACHINE SEEN FROM ABOVE,

showing shape and spread of planes and tail, and position of pilot and passenger.

_

VIEW FROM IN FRONT,

showing the position of the body and the construction of the landing gear.

_

A. Covered-in body, with seats for pilot and passenger; B. Motor (to minimise wind resistance, only the lower cylinders are exposed to the air); C. Propeller; D.D. Main-planes; E. Rudder; F. Elevator; G. Landing gear.

Fig. 60.—Grahame-White Military Biplane.

[Pg 152] This report was one actually prepared, after an early morning flight, by an officer-observer in the French manœuvres of 1910, and it shows how successfully an air-scout may detect a movement of troops. The report has an additional significance. Before he sent out his aeroplanes, on this particular morning, the Commander-in-Chief had assumed, but could not substantiate, the theory that his opponent was retreating. And now this report by aeroplane, showing that nothing save cavalry and rear-guards had been seen over a specific tract of country, served to confirm the rumour that the enemy was giving ground.

Once the value of aerial reconnaissance had been proved, France proceeded to the development of a scouting aeroplane; and the need, in such a machine, is that the observer shall have a clear view ahead and below. The construction of machines was, for this reason, modified. The front elevating plane was moved to the rear, where it was fitted in the form of a flap—as in the case of monoplanes—and the pilot and observer placed in a covered-in body, which projected in front of the main-planes, as shown in Fig. 60. By placing the body before the planes, the observer has a clear view ahead and on either side; and even when he leans over the side, and looks directly downward, there is no surface to obstruct him. [Pg 153]

_

Fig. 61.—Single-seated Air Scout.

A. Propeller; B. Motor (partly hidden by shield); C. Pilot’s seat; D. Sustaining plane; E. Rudder; F. Elevating-plane; G. Chassis.

This scouting biplane is intended for detailed reconnaissance; for a careful flight above an enemy’s position, that is to say, in which every movement of troops is observed and noted. Another machine becomes necessary for the making of a quick and general survey—such, for instance, as that in which a pilot would be asked to fly to some definite point, and see whether a body of troops is stationary or on the march. Speed, for such a task, is the chief requirement. Hence there is a type of fast scouting monoplane, in which a pilot can ascend alone, and fly at 100 miles an hour. With such a craft, sweeping rapidly above an enemy’s position, the pilot-observer can return with his information at surprising speed. In Fig. 61 an air-scout of this type is seen. The tapering, covered-in body will be observed; this is to reduce wind resistance as the machine rushes through the air. The Gnome engine is, for the same reason, covered by an aluminium shield, which only allows the lower cylinders to project; they must, of course, be exposed in some way to the air, or they would not cool themselves. The landing-carriage has been reduced to its simplest form; this, again, is to reduce wind resistance; and the pilot, sitting deep in the body, shows only his head as the machine flies. Here, again, apart from the greater comfort in being so shielded, the placing of the pilot within the machine spells a lessening of pressure. This question of the resistance of the air is vital in the designing of high-speed craft. Every projecting surface must be “stream-lined,” as it is called; it must, that is to say, have such a tapering shape as will offer least resistance as it passes through the air. The atmosphere is [Pg 154] viscous—or, to use a commoner word, “sticky.” It clings to anything that is passed quickly through it, as treacle might adhere to the back of a knife; therefore the body of an aeroplane—like the hull of an airship—slopes away to a point astern, so that friction may be minimised.

What the pressure of the wind may mean, when high speeds are reached, one may prove by holding a hand from the window of an express, say while it is running at 60 miles an hour. The rush is so fierce that the arm will ache from the mere effort of holding it outstretched. Whereas the train is running at 60 miles an hour, a monoplane may be flying at more than 100 miles an hour. Therefore the thrust of the wind against wires, struts, and body may be imagined; it reaches the violence of a hurricane. Even the pilot, glancing above the wind-screen to steer his course, finds the pressure so tremendous that, in some racing machines, he is provided with a padded rest against which he can lean his head.

In the development of speed, some remarkable craft are built. Each year there is an international air race for the possession of the Gordon-Bennett trophy, and to win this designers build special craft. In tiny monoplanes, engines of high power are installed; and the sustaining wings are so reduced, to give a maximum speed, that the machines appear more like projectiles than flying craft. A purely racing-type monoplane is seen in Fig. 62. It represents a Deperdussin, which, with an engine of 160 horse-power, reached a speed of 130 miles an hour. How small this machine was, in relation to its engine-power, will be realised from the fact that the sustaining surface of its wings amounted to only 104 square feet—far less lifting area, in fact, than Lilienthal used in his gliders. Wires and struts are reduced to a minimum; the body is tapered and smoothed. Such a machine, although it carries speed to an extreme, and is in reality a “freak,” teaches useful lessons. But though it provides data for the construction of high-speed scouts, a monoplane of this type would be useless for cross-country flying; and for the reason that it cannot be manœuvred, prior to an ascent, upon anything save the smoothest of ground. Its wings being so small, to ensure a maximum of speed, the machine will not rise until it has run forward a long distance across the ground; and during this run it attains a speed of nearly 90 miles an hour. At such a pace, unless the ground below its wheels was level, it would leap, swerve, and probably overturn. When alighting from a flight, also, again owing to the smallness of its wings, the craft has to plane down so fast that its pilot could not land safely unless he had below him a surface that was absolutely smooth. [Pg 155]

_

A. Propeller; B. Shield to lessen wind resistance; C. Sloping shield which encloses engine (also to minimise wind-pressure). Air passes between the shields B and C to cool the motor. D. Pilot’s seat; E. Padded projection against which, when at high speed, the pilot rests his head, F. Sustaining-plane, very slightly cambered; G. Rudder; H. Elevating-plane; I. Landing wheels.

_

SEEN FROM THE BOW,

showing the “stream-line” effect which is gained by tapering the body, also the simplification of the landing chassis, and the use of a minimum of wires.

_

VIEWED FROM ABOVE.

The shape of main-planes and tail are shown also the exact position of the pilot’s seat.

Fig. 62.—Racing Deperdussin Monoplane (160 h.p.).

[Pg 156] What is needed, in the high-speed machine, is a power to vary its pace. If it will fly slowly, as well as at high speed, landing difficulties are overcome; and as a scouting machine it has the added advantage that, should he be passing over a spot where he wishes to make careful notes, the pilot can reduce his speed and so gain leisure in which to survey. In the provision of variable speed, aeroplane designers have achieved already a striking success. By constructing a machine lightly, increasing the efficiency of its planes, and reducing head resistance to a minimum, and at the same time by fitting an engine of ample horse-power, the modern builder has, in some instances, produced a craft which will fly at 90 miles an hour as its high speed, and at 30 miles an hour for a low, when its engine is throttled down.

[Pg 157] Contributing to this efficiency, there is the study that has been made of the curve of planes. It will be remembered that, according to early experiments, there was a pressure below a cambered plane, and a vacuum or lifting influence upon the top. The first students of plane-curves reckoned that the pressure from below was the more important of the two. But modern and scientific research has shown that top suction is the really powerful influence. It has been proved that the upper part of a plane will yield a lifting effect which is from three to five times as great as the pressure from below. Hence, in the latest type of machine, the planes are given two separate curves or cambers. The one on the lower surface is designed to obtain a maximum up-thrust; while on the upper surface the plane is so shaped that, according to scientific research, it will extract the strongest possible up-lift as it passes through the air. The “hump” or arch, as advised by Phillips, is still preserved; but in many cases it is less pronounced, and is continued farther towards the rear of the plane. What modern builders do is to design a wing-curve, and then send it to a laboratory to be tested. Here it is put in a wind tunnel—a tube through which a current of air is driven by a fan—and its lifting influence tested by instruments of precision.

The pilot slackens his speed when flying by throttling down his motor, and so reducing the pull or thrust of his propeller; or he sets his engine at full power, and so attains his maximum speed. For military work such variation is, as has been said, of great importance. An [Pg 158] air-scout needs to reach a given point quickly, and return to headquarters at high speed. Every moment’s delay in bringing the Commander-in-Chief some vital piece of news, may spell the difference between victory or defeat. It is here, in fact, that cavalry scouts have failed. They may obtain important tidings, but before they can make their way to headquarters and report, the aspect of affairs has changed, perhaps, and their news—which would have been valuable had it been received at once—has lost its significance through delay. An air-scout who can vary his speed will fly fast till he needs to make an observation; then he will slow down and study what lies below him; and, his survey completed, he will return at top speed to headquarters.

Wireless telegraphy, for communicating between an aeroplane in flight and its headquarters, is now adopted for urgent reports—a cypher being used to prevent messages being “tapped” by an enemy. At first poor results were obtained, signals being audible on the ground, when sent from a machine flying low, at a distance of only about a mile. This was due to the difficulty of producing a sufficiently light apparatus; but now, with transmitting mechanism weighing from 70 to 80 lbs., messages may be dispatched from an aeroplane to a land station 100 miles away, although problems still remain to be solved in regard to the tapping and jamming of signals. The dynamo generating the electric current is driven by a small petrol motor, which develops about 2¾ horse-power; and the antenna or aerial wire, by means of which the message is sent forth—a wave length of from 200 to 500 metres being adopted—may be arranged between the planes and tail, or unwound [Pg 159] from a reel below the landing chassis when a machine is in flight, and allowed to trail earthward. Apparatus weighing 20 lbs., is also being tested, by means of which—using a magnifying receiver—an operator in an aeroplane may receive a message as well as send one. This allows communication, not only between a machine and an earth-station, but also between two craft when in flight.

Another ingenious system of signalling, from an aeroplane to its headquarters, when the former is flying within view, is by means of smoke signals from the exhaust of the engine. As the exhaust gases are shot forth into the air they are rendered black by the mixing with them of a powder, the admission of which to the exhaust pipes the pilot can regulate by a lever. In this way he is able to send black puffs of smoke into the air, and spell out a message in the Morse code, which an observer on the ground can read with field-glasses. A more simple method, when an observer wishes to communicate with those below, and yet avoid the delay of a descent, is to drop a written message in a little bag, to which a flag and a weight are attached. This is seen as it falls, and is retrieved and carried to headquarters. [Pg 160]

_

Fig. 63.—Sopwith Military Biplane.

A. Propeller; B. Motor, partly hidden by shield; C.C. Main-planes; D. Pilot’s seat; E. Observer’s seat; F. Outlook windows in side of hull; G. Rudder; H. Elevating-plane; I. Landing gear.

A machine that has achieved success, owing to its power of varying speed, is the Sopwith military biplane, as shown in Fig. 63. Adopting a practice that has become general, its wings are fitted upon what is practically a monoplane body. Tail-planes and rudder are the same as in a monoplane. The top main-plane, as will be seen, is set slightly in advance of the lower. The system is called “staggering”; and the idea is that, by placing the upper plane ahead of the lower, the total lifting power will be increased. It has been proved a disadvantage of the biplane that, when the main-planes are placed one above another, there is a slight loss of lift owing to the fact that, acting upon the air as they do quite close to each other, a certain amount of interference occurs between them—one tending to disturb the air-stream in which the other moves. By “staggering” the two planes this interference is overcome; but some makers regard it as a small consideration, and build their planes in the ordinary way, allowing as large a gap as possible between them. In the Sopwith military machine, engine and propeller are in front of the main-planes; then come the places for pilot and observer. The pilot sits first, and the body of the machine is so high that only his head appears above it, while just in front of his face, to deflect the wind-rush from the propeller, there is a raised section of the hull which acts as a screen. Behind the pilot, sitting in a second opening in the hull, is the observer. He has a view forward, rendered the [Pg 161] better by setting back the lower-plane; while at the point at which it joins the body of the machine, immediately below him, this plane is hollowed out, so that he can look directly upon the earth below. Small windows are also fitted upon either side of the hull. Through those in front the pilot may glance when descending from a flight, so as to judge his distance from the ground, while the others are utilised by the observer, as he turns to look from side to side. This biplane, and many others, is balanced against sideway roll by ailerons, and not by warping the wings. Constant warping, such as is necessary in the everyday use of machines, has been declared to strain a plane and render it weak; therefore the use of ailerons is now favoured.

_

Fig. 64.—Scouting Monoplane, with occupants below the wings.

A. Engine and propeller; B. Plane raised above hull; C. Seats for pilot and passenger; D. Rudder; E. Elevating-plane.

To meet the demand for a purely scouting machine, in which pilot and passenger shall have a clear field for observation, both above and below, a monoplane has been designed which is called the “parasol.” This [Pg 162] machine, a Morane-Saulnier, is shown in Fig. 64. The two sustaining wings, forming a single surface, are raised above the body so that its occupants have nothing to impede their view earthward; and they can also see above them—an advantage of course in time of war, seeing that an enemy might be hovering overhead.

_

Fig. 65.—The Control of a Biplane.

A. Pilot’s seat; B. Hand-wheel (pushed forward or backward operates elevator; twisted sideways works ailerons); C. Foot-bar actuating rudder; D. Compass; E. Dial showing number of revolutions per minute that engine is making; F. Gauge showing pressure in petrol tank; G. Speed indicator; H. Dial showing altitude; I. Clock; J. Switch for cutting off ignition.

The driver of a modern-type aeroplane, sitting snugly within its hull, has a wheel and instrument-board before him, as sketched in Fig. 65. As he flies across country he has many things to think of. Holding the control-wheel in both hands, his feet resting upon the rudder-bar, his eyes rove constantly among the instruments [Pg 163] on the dashboard before him. He glances at the compass often, for it is by this that he steers; and when the air is clear, and the earth below plainly seen, he will every now and then glance over the side of the hull, so as to be on the look-out for a landmark that may tell him he is on his course.

But sometimes, when the air is thick and misty, or there are low-lying clouds and the earth is shrouded in a fog, the pilot flies in an empty void. Nothing is to be seen above, below, or on either hand; he must rely entirely upon his instruments. The altitude meter tells him whether he is rising or descending; his compass tells him he is flying accurately to his goal; while his own ear, and the tell-tale dial of the engine indicator, informs him that his motor is doing its work. So he sits within the hull of his craft, perhaps 5000 feet above the earth—unseen by those below, and himself seeing nothing of the land over which he flies. Should the wind be steady, he has little to do save keep an eye upon his instruments, and listen to the beat of his engine. But if there are gusts and eddies his hand-wheel is busy; each lurch must be corrected by a movement of the ailerons, each dive checked by a pull upon the elevator.

The aeroplane compass, nowadays, has been made accurate and reliable; but pioneers found it a dangerous instrument. Vibrations from the engine, and the nearness to the compass of such large masses of metal as the motor and its fittings, made the needle deviate and give false readings. Once, when upon a cross-Channel flight and out of sight of land, a pilot glanced down at his compass and saw that the needle, instead of pointing northward, was spinning slowly round and round; and [Pg 164] so it continued until he had by guesswork groped his way to land. But experience showed how a compass may be mounted upon rubber shock-absorbers to guard it against vibration; how fittings that are near it, such as the steering-column and rudder-bar, can be made of brass, or some other non-magnetic metal; while, as to the attraction of the motor, the compass is corrected against this by introducing scraps of metal into its case, so that the needle can be drawn back to an accurate reading from any deviation it may show.

But, even with an accurate compass, the cross-country airman may have anxiety in his mind. He may be flying in a side wind; and this, should it be strong and steady, will have an insidious effect upon his path, tending always to drift him sideways even while he keeps his bow upon a compass course. Fig. 66 should make this clear. The airman seeks to fly from A to B, a distance say of 60 miles; so he sets his course due east and passes steadily across country at the rate of 60 miles an hour, the bow of his machine always upon its compass line. But while he is flying, a southerly wind blowing at the rate of 20 miles an hour is pushing him sideways; and, unless he corrects this leeway, he will find himself after an hour’s flying, not at the point B, towards which he imagined he had been making, but at C, 20 miles north of the spot at which he had wished to alight. The wind, blowing at 20 miles an hour across his course, has pushed him these 20 miles to the north, although he has steered accurately eastward.

_

PLATE XI.—AN AIRMAN’S POINT OF VIEW.

Sheets of water are excellent guides when flying. Trees show up clearly, too; also roads—as may be seen from the one curving at the extreme right of this photograph, which was taken from a biplane piloted by Mr. Grahame-White.

[Pg 165] When flying above land, the making of leeway may be nothing more than an annoyance; but should the pilot be passing above the sea, between coasts many miles apart, this side sweep of the wind may be a peril. One of the grim tragedies of aviation is attributed to leeway in a wind. Leaving France on a flight to England, Mr. Cecil Grace was driven from his course by a wind which blew up Channel towards the North Sea. There was fog, too; and as the pilot was using an early type compass, it may have failed to register accurately. At all events, he never reached the English shore. Seen once while in flight—and this by a fishing-smack—he was lost in the mist, flew wide of his course, and passed out to the North Sea instead of towards the cliffs at Dover. From that day to this his fate has been a mystery, although it is true that not long after he vanished his flying cap and goggles were washed upon the beach near Ostend—mute but tragic witnesses to the ending of his flight. But of the airman’s body, or of the wreckage of his machine, nothing was ever found.

_

Fig. 66.—Effect of a side wind.

A. Starting-point; B. Point steered for; C. Point actually reached; D. The course flown by the machine, owing to the pressure of a southerly wind.

It is possible, with a modern-type compass, to make an allowance for leeway. The airman studies a gauge before he ascends, ascertaining the strength at which the wind is blowing. Then he sets a pointer upon his compass by which he may correct, even while passing through the air, the sideway thrust of the wind; that is [Pg 166] to say, should he be flying to some point due east of his starting-point, as was assumed in Fig. 66, and should the wind—blowing from the south across his path—tend to force him towards the north, then he would set his pointer so that he was steering not due east, but to a point a certain number of miles south of east. In this way, with the wind driving him always north, he would arrive not at the imaginary destination towards which he steered, but at the real point due east which he desired to make. The drawback of the method may be this: should the pilot leave ground in a 10-mile-an-hour wind, and should the strength of this wind increase say to 20 miles an hour, his allowance for leeway would be insufficient; but against this may be set the fact that the airman, becoming aware probably, by the increased rolling of his machine, that the wind was tending to strengthen, would steer still wider of his goal. Compasses are being tested, also, which allow pilots to make an accurate and mechanical allowance, even while in flight, for risings or fallings of a side wind. There is one, a form of transparent compass, made so that the airman can look down through it, and see the ground passing away below. Selecting landmarks with his eye which are a little distance apart, he is able to note—by contrasting his compass-course with that his machine makes when in relation with these objects—just how much drift he should allow for. Then he alters his leeway indicator and makes another observation later on, should he think the wind has changed again. [Pg 167]

_

Fig. 67.—An Airman’s Map.

Vital to the equipment of a pilot is his map. In the infancy of flying, when airmen first began to venture upon journeys between cities, they had neither maps nor compasses, and contented themselves as a rule with following a railway—the metals of which, gleaming below and appearing as though ruled across the country, provided an excellent guide. But soon, making longer flights and passing perhaps over districts where there were no railways, pilots found they needed a map; but not an ordinary map, such as a tourist upon the earth might use. Flying thousands of feet high, the airman’s view of the land is bird-like. The country stretches [Pg 168] away on all sides below, apparently almost flat, and with its hills so dwarfed that they hardly catch the eye (see Plates XI and XII).

A river, or a sheet of water, is a conspicuous guide, and must figure plainly upon the airman’s map. Main roads, too, are clearly seen—stretching like white ribbons across the country. Railways also, and woods; while churches, chimneys, and isolated buildings may be seen from great distances when a voyager is in the air.

So the airman’s map is made up of landmarks that are likely to catch his eye, remembering always his point of view from above—and remembering also that as he rushes through the air at a speed faster than an express train, he needs to identify quickly any feature of the landscape below. A sketch showing what an airman’s map is like, will be seen in Fig. 67. Here we have railways, roads, rivers, lakes, and woods all made to show plainly, and with a large building or chimney indicated here and there. With such maps, and aided by a compass, a pilot will fly for hours without losing his way. When long flights are undertaken, and it would be inconvenient for an airman to change from one map section to another, he uses a narrow strip-map, mounted upon a couple of rollers, and fitted in a case with a transparent cover. As he passes across country he unrolls his map, section by section, so that the district he is traversing lies always before his eye. [Pg 169]


CHAPTER XIV
SEA-PLANES AND AIRSHIPS

Biplanes and monoplanes with floats—A flying boat—The airship—Its growth from the balloon and development into types—Large craft with rigid hulls.

As military flying produces special forms of aircraft, so the needs of the Navy make themselves felt; and the first task set the designers of aeroplanes was to provide a machine which should alight upon water. They did so by fitting floats, or pontoons, below an ordinary land aeroplane, these taking the place of the wheeled chassis; and then by degrees a special type of air and water craft was developed, and came to be known as the flying boat.

In Fig. 39, it may be remembered, was illustrated a biplane which would rest on wooden pontoons, and so ride upon the water; and this method of a hollow float was adopted and improved by the modern builders. In Fig. 68 will be seen a typical hydro-biplane, water-plane, or sea-plane—the name last mentioned being that adopted by our Admiralty when referring to such craft. The machine is an Avro, and its appearance is that of a land aeroplane, save that it has a set of three pontoons to support it on the water—two main floats beneath the sustaining planes, and a third to bear the weight of the [Pg 170] tail. Several needs have to be considered when such floats are built. One is that they should be buoyant enough to bear upon the water the weight of the machine, and its pilot, passenger, and fuel. In the case of the craft shown, this represents a total of 2200 lbs. Another point is that the float should detach itself readily from the surface of the water.

_

Fig. 68.—An Avro Sea-Plane.

A. Propeller; B. 100-h.p. Gnome motor, hidden by shield; C.C. Main-planes; D. Observer’s seat; E. Pilot’s seat; F. Rudder; G. Elevating-plane; H. Float to support tail; I. Main floats to bear the weight of the machine.

The sea-plane, when a flight is made, is launched upon the water down a slipway; then the pilot and his passenger embark, the motor is started, and the propeller draws the machine across the water at a rapidly increasing pace. The floats raise themselves higher and higher upon the water, as the air-planes exercise a growing lift, until they only just skim the surface. And now comes the moment when the airman, drawing back his elevating lever, seeks to raise his craft from the water into the air. At first only the front of the floats rise, the rear sections clinging to the surface; then, in another instant, the whole float frees itself from the [Pg 171] water in a scatter of spray, and the craft glides at a gently-sloping angle into the air. It is the aim of builders, by the curve they impart, to make the floats leave the water with as little resistance as possible. In the floats of the Avro (Fig. 68) will be noticed a notch, or cut-away section, which occurs at about the centre of the float upon its lower side. This is called a “step,” and is to help the float to lift from the water. When the main-planes draw upward, as the craft moves prior to its flight, the floats tend, as has been said, to raise themselves in the water; and as they do so, lifting first towards the bow, there comes a space between the upward-cut “step” and the surface of the water. Into this space air finds its way and, by helping still further to free the float from the surface, aids greatly at the moment when the pilot—operating his hand-lever—seeks the final lift which will carry him aloft.

When in flight, as when skimming upon the surface of the water, a sea-plane must carry its floats with it; and this introduces a complication, inasmuch as the floats offer a resistance to the air and tend to reduce speed. Another need is thus shown; the builder of a float must so shape it that it will move through the air with the least possible friction. This is accomplished by making it long and tapering in form and by curving and polishing its surface.

England, in the building and handling of sea-planes has come well to the fore, and our machines are more advanced than those of other countries. The Admiralty has recognised that, acting as a coastal scout in time of war, such craft would be of the utmost value; thus we find air-stations dotted round our seaboard, from which [Pg 172] machines may fly in a regular patrol. By the employment of hundreds of craft, operating upon a well-ordered plan, it will be possible in the future to girdle our shores completely; and such machines would not only spy out the approach of an enemy’s fleet, but give battle to hostile aeroplanes or airships which might seek to pass inland. The type of machine we have just described was a biplane, but there are monoplane sea-craft, and a Bleriot fitted for alighting upon the water is shown in Fig. 69.

_

Fig. 69.—A Bleriot Sea-plane.

Another form of craft is being developed successfully—the flying boat. This is not merely a land aeroplane with floats instead of wheels; it is a boat with a sea-going hull, which has lifting planes upon it; and it assumes the distinctive form seen in Fig. 70. When on the surface of the water the machine floats like a ship; then, when driven rapidly across the surface, its planes raise it into the air and it flies. A closer view of the hull of such a craft is given in Fig. 71.

Flying boats are at present small and lightly built, and they have difficulty in weathering rough waves when floating upon the water; but already the tendency is to make them larger, and to give them more powerful [Pg 173] motors, and such machines for naval work, as developed in the future, may be as large as a torpedo-boat-destroyer and capable of high speeds both on water and in the air.

_

THE MACHINE SEEN FROM ABOVE,
showing the shape of wings and tail, and the positions of the pilot and passenger within the hull.

_

A. Hull; B. seats for crew; C.C. Planes; D. Motor; E. Propeller; F. Rudder; G. Elevators.

_

MACHINE SEEN FROM IN FRONT,

showing the span of the main-planes, and the curve of the boat-shaped hull.

Fig. 70.—A Flying Boat.


_

Fig. 71.—The hull of a Flying-Boat.

A. Pilot’s seat and controlling wheel; B. Passenger’s seat; C. Movable flap to facilitate entering the hull; D. Handle, like that of a car, for starting the engine; E. The engine; F.F. Fuel tanks; G. The propeller.

There is another type of craft that is being adapted and improved for naval use, and this is the airship. Although it is costly to build, requires a huge shed in which to house it, and needs also the service of trained crews to handle it when ascending or alighting, the airship is a vastly important [Pg 174] machine for the purposes of war. Its ability to make flights lasting several days, and the power of its pilot to manœuvre it at night, render it particularly suitable for naval use. Our Admiralty is buying large machines, aiming at a preliminary fleet of fifteen, and the German Navy is organising a squadron of Zeppelins.

The airship, although in use before the aeroplane, has developed more slowly, and is even to-day in a crude form. This has been due to the cost of experiments. Whereas a new aeroplane may be built and tested for £1000 or so, the construction of an airship and the provision of its shed spells an expenditure of many thousands. This money may, as in the case of the [Pg 175] aeroplane, be lost as a result of one mishap. In Germany Count Zeppelin spent a fortune upon airships, before the Government and the nation helped him with funds. With very few exceptions, none but Governments—which have long purses to draw upon—can afford to build large airships.

_

Fig. 72.—A modern Balloon.

The airship is a development of the balloon; and the balloon we owe to Stephen and Joseph Montgolfier—two French brothers who, after watching clouds floating in the sky, had the notion that if they could fill a light envelope with “some substance of a cloud-like nature” it would raise itself into the air. Their father was a paper manufacturer, and so they had facilities for making a number of very large paper bags. Under these they lit fires of chopped straw, allowing the hot air and smoke to rush up into the bags, and, when they were released the bags ascended, carried up by the lifting influence of the heated air within them. Thus was invented the hot-air balloon; and we buy paper replicas of it to-day.

Delighted with their first success, the Montgolfiers built a paper balloon 30 ft. in diameter, and this was sent up at Annonay, in France, on 5th June 1783. It flew for ten minutes before the heated air inside it became cold, and reached a height estimated at more than a mile. After this came the ascent of a spherical balloon—one, that is to say, the shape of a modern-type balloon. It was made of linen, covered with paper, and had a small car attached. At Versailles, in France, on 19th September 1783, this balloon was sent up with passengers in the car; not human beings, though, for no man cared to ascend, fearing that the upper atmosphere [Pg 176] might have some strange effect upon him. The actual occupants were a sheep, a cock, and a duck; and these three unwilling voyagers made a flight which lasted eight minutes. When they descended the sheep and the duck were found to be unharmed, although greatly perturbed; but the cock showed symptoms of not being well! At first, when learned men examined him, it was thought the rarefied atmosphere had in some way affected him, and this view was held until practical folk were able to show that the bird had been trampled upon by the sheep.

From this, of course, the next step was the ascent of a man, and on 15th October 1783 an adventurous youth named Pilatre de Rozier went up in a balloon built by the Montgolfiers. The balloon was attached to a rope and not allowed to ascend more than 100 feet; and at this altitude the aeronaut remained for about four minutes. A month later de Rozier and a passenger—the Marquis d’Arlandes—were bold enough to risk a flight in a Montgolfier balloon. This time the ascent [Pg 177] was made from Paris, and the balloonists flew for five minutes before descending, reaching a height of 500 feet.

_

Fig. 72a.—The car of a modern Balloon.

A.A. Ballast bags filled with sand; B. Instruments (such as a statoscope, which shows at any moment whether the balloon is rising or falling; and an altitude meter); C. Ring by which car is attached to balloon.

[Pg 178] Coal-gas superseded hot air in the filling of balloons, the latter being unsatisfactory, seeing that it cooled rapidly and allowed the balloon to descend; the only alternative being to do what some of the first aeronauts did, and burn a fire below the neck of their balloon even when in the air. But the dangers of this were great, seeing that the whole envelope might easily become ignited. With balloons filled with coal-gas—modern examples of which are seen in Figs. 72 and 72A—long flights were possible, but they had always this disadvantage—the voyagers were at the mercy of the wind, and could not fly in any direction they might choose. If the wind blew from the north then they were driven south, the balloon being a bubble in the air, wafted by every gust. Aeronauts became disgusted with this inability to guide the flight of a balloon, and many quaint controls were tested; such, for example, as the use of a large pair of oars with which the [Pg 179] balloonist, sitting in the car of his craft, rowed vigorously in the air. But this method found little favour; and it was followed in due course by the use of small steam engines and electric motors, which were made to turn propellers such as are used in aeroplanes. For such experimental craft, the rounded form of gas-container was abandoned and a cigar-shaped envelope adopted, pointed at both ends, which could be more easily driven through the air. An airship of a crude and early type is seen in Fig. 73. It was built by an experimenter named Gifford, and in 1852 it flew at the rate of seven miles an hour.

_

Fig. 73.—An Experimental Airship.

A. Gas-containing envelope; B. Car suspended below envelope, which carried the aeronaut and a 3-horse-power steam engine; C. Two-bladed propeller driven by the engine; D. Rudder (in the form of a sail) by which the machine could be steered from side to side.

When petrol engines became available, they gave an impetus to the building of airships; for, like the aeroplane, the airship needed a motive agent which gives a high power for a low weight. One of the first to use a petrol motor in an airship with success was M. Santos-Dumont, whose name has been mentioned in connection with aeroplanes. He tested small, light airships, driven by [Pg 180] petrol engines and two-bladed propellers—as illustrated in Fig. 74; and with one of these, on a calm, still day, he flew over Paris and round the Eiffel Tower.

_

Fig. 74.—Santos-Dumont’s Airship.

A. Gas envelope; B. Wheeled framework which carried motor, propeller, and pilot’s seat; C. Elevating-plane; D. Horizontal rear-plane; E. Rudder.

Then by degrees came larger craft, more powerfully engined, and built to attain greater speed. Hydrogen, far more buoyant than coal-gas, was used to inflate their envelopes, and so they obtained a greater “lift.” Speed with the airship was recognised as vital. If it could not fly fast it was at the mercy of the wind, gusts striking powerfully against its envelope, and driving it off its course.

_

Fig. 75.—Early-type Airship.

A. Gas envelope; B. Car suspended below envelope; C. Motor, which drives propeller (D) through a shaft; E. Small horizontal plane for rising or descending; F. Fixed fin, or keel plane, to give stability; G. Rudder.

[Pg 181]

_

Fig. 76.—Airship “ballonette.”

A. Gas envelope; B. The interior
ballonette, or collapsible chamber,
which is filled with air
through the pipe C.

A typical craft, representing the first of those navigated with any certainty, is shown in Fig. 75. A gas-containing envelope, made of a light, strong, varnished fabric, is kept taut by the pressure of the gas within; the car, constructed of wood or metal tubing, is suspended by ropes from the envelope, and contains engine and crew, with a two-bladed propeller revolving astern. Such a machine, in its control, had an elevating-plane and rudder, upon the same principle as those of the aeroplane. One of the difficulties to be overcome was the expansion and contraction of gas in the envelope owing to differences in altitude and temperature. When the craft ascended, its envelope completely inflated, the gas began to dilate owing to the outer air becoming less dense; and some had to be allowed to escape through automatic valves. Then, should the machine descend to a lower level, there was not sufficient gas in the envelope to keep it tightly stretched, and it tended to sag at the bow as it was driven through the air. To prevent this kinking, which would have reduced the speed of the airship, and made it difficult to control, an interior chamber, called the “ballonette,” was fitted to the envelope, as shown in Fig. 76. When the gas-container was tightly filled, this ballonette lay empty upon its lower surface; but, should the envelope tend to become flaccid, through a loss of gas, a fan pumped air into the ballonette; and, swelling out within the balloon, it compensated for the gas which had escaped, and prevented the envelope from losing its shape. [Pg 182]

[Pg 183] The craft shown in Fig. 75 is of the non-rigid type; its car, that is to say, is hung by ropes from the envelope; and when the envelope is deflated it can be detached from the car and the machine packed away in a relatively small space. But as airships were built larger, and [Pg 184] greater speeds were obtained, it became necessary to strengthen the envelopes with some form of keel; and this led to a type which is known as the semi-rigid, and is developed successfully in France. Fig. 77 illustrates an airship of this build. Along the lower side of its envelope is placed a light, rigid framework or keel, and from this is suspended the car which contains engines and crew.

_

Fig. 77.—Semi-rigid Airship.

A. Gas-containing envelope; B. Strengthening keel; C.C. Stabilising-planes; D. Rudder; E. Car carrying engines, propeller, and crew.

The car of an airship, showing its construction and the disposition of motors and propellers, is sketched in Fig. 78; while in Fig. 79 may be seen the pilot’s driving platform with wheels, dials, and speaking-tube to the engineers.

_

Fig. 78.—The Car of an Airship.

A.A. Propellers; B. Motors; C. Engineer’s platform; D. Pilot’s controlling platform; E. Elevating-planes; F. Fuel tanks; G. Passenger’s platform.

_

Fig. 79.—Control platform of an Airship.

A.A. Wheels operating elevating-planes and rudder; B. Height recorder; C. Speaking-tube to communicate with engineers.

_

Fig. 80.—Hull of a Zeppelin during construction.

Craft of the semi-rigid type provide a link between [Pg 185] small, non-rigid ships and the very large machine which is built with an entirely rigid framework, and has its example in the Zeppelin. The maker forms a skeleton hull of aluminium or some light metal alloy, a method that is shown in Fig. 80. The hull of a Zeppelin, slightly more than 500 feet in length, is sheathed with tightly stretched fabric; and within it are the gas-containers—a row of seventeen separate balloons, each in a compartment by itself, and containing a total of nearly 1,000,000 cubic feet of gas—which give these airships a lifting power of close upon 30 tons. The arrangement of the gas-holders, and the general outline of the machine, may be observed from Fig. 81. The vessel offers comparatively little resistance to the air, despite its size, and this is due to the finely tapering shape of the hull; while its rigidity allows it to be driven at speeds of more than 50 miles an hour. The lifting capacity, also, enables long flights to be made. Taking up crew and petrol, such a craft can remain aloft for several days, and travel distances of more than 1000 miles.

_

Fig. 81.—A Zeppelin Airship.

A.A. Rigid hull covered by fabric; B. Section showing the skeleton framework of hull; C. Arrangement of the interior gas chambers; D. Elevating-planes; E.E. Rudders; F.F. The two cars containing engines and crew; G. Passage-way between the cars; H. One of the propellers, of which the craft has four—two at the front of the hull, upon either side, and two at the rear.

[Pg 186] At first, flying slowly and with unreliable motors, these very large airships were at the mercy of the wind, particularly when manœuvring near the ground. Trained crews were necessary to handle them, and they had to be housed in huge and expensive sheds, as will be realised from a glance at Fig. 82. But for the one ardent pioneer, Count Zeppelin, it is doubtful whether large, rigid craft would have been built at all. After costing many thousands, they ran the risk of being dashed to earth in a squall and hopelessly wrecked. Such a fate, indeed, befell one ship after another that Count Zeppelin launched. But he refused to be discouraged, and went on doggedly until his private fortune was gone. Then, magnificent flights having been made, the Government came to his aid; while the German people, immensely proud of his achievements, subscribed more than £300,000 for the furtherance of his tests. And so now the Zeppelin—powerfully engined, better built, and handled by expert crews—is the Dreadnought of the German air-fleet, flying hundreds of miles over the North Sea, co-operating with warships as a scout, [Pg 187] and flashing messages by wireless for distances of 300 miles.

_

Fig. 82.—An Airship leaving its shed.

A. The machine emerging stern first; B. A sister craft in dock; C.C. The launching crews; D.D. Rails upon which the cars of the airship move, so as to prevent its swinging sideways in a gust; E. Outlook station upon the roof of the shed; F. Workshops; living quarters for the crews; plant for making hydrogen gas.

The airship, for long-distance reconnoitring, stands at present unrivalled. It can remain in the air for days, sweeping over sea or land, and reporting constantly to its headquarters. For night flying, also, it is at present the superior of the aeroplane, being navigable in darkness, and having an ability to hover above a given spot, its engines silent, and its presence undetected by those below. [Pg 188]


CHAPTER XV
AERIAL WARFARE[2]

Guns and bomb tubes—Launching a plane from a ship at sea—Transporting troops by aeroplane—Battles in the air.

Nations, in their preparations for war, make a succession of moves and counter-moves. For instance, a torpedo-boat is perfected; immediately it is launched, and ready for its deadly rôle, a larger and swifter craft is built which may sink it or chase it off the seas. A huge battleship, supreme in its might to-day, is eclipsed to-morrow and made to appear obsolete.

_

   Photo, “Central News.”

PLATE XII.—THE LONDON AERODROME FROM ABOVE.

This photograph, taken by a passenger in a Grahame-White biplane, gives an excellent idea of the view that may be obtained from a machine in flight. Another aeroplane is flying past the enclosures, and there is a Midland railway train in the distance.

[Pg 189] As soon as they became reliable, and could be used in war, aeroplanes and airships were pressed into service as scouts—their task being to ascend, spy out the land below, and return with news to their starting-points. That was the first conception of their use, and War Departments looked no farther. But when machines were built in numbers, and air fleets began to form, strategists saw the complications that would ensue. If A has a fleet of aircraft and B also, and A and B are at war, then the aim of each will be to hamper the other’s air-scouts, and destroy them whenever possible. Here, again, is the theory of move and counter-move. The air-scout, flying above an army, may see its secret at a glance; therefore steps must be taken to keep him off, to drive him away, to blow him to pieces and all of his kind.

This may be done with a cannon from the ground, but the method is not certain. Special guns have been built which will point into the air, can be sighted quickly, and will fire a shell to a great height. If an aircraft comes within range of them, and the gunner has time to aim correctly, a bursting shell may bring the machine to ground. But there are the “ifs” to be remembered. The scout—favoured by a clear day and using his own judgment—may be able to do his spying without venturing within range of a land gun; and, even should he come into firing distance, he may be shot at and missed. Such guns are valuable, of course—mounted upon motor-cars for speedy transport from place to place, and used also to guard fortifications, and against aerial foes by a ship at sea.

Other guns are possible, besides those which fire shells. Attention has been directed to the feasibility of using a form of vortex-gun. This is a weapon rather like a huge air-gun. It compresses a charge of air and discharges it at a high velocity in a whirling vortex or ring. This, invisible but immensely destructive, strikes its target like a cyclone, and has been known—even with the use of an experimental gun—to tear up fences at a distance of several hundred yards. If such a gun was discharged at an aircraft, and the aim was accurate, it is argued that the machine would be hurled over and wrecked by the force of the artificial hurricane. [Pg 190]

But something more than a land gun is necessary to fight this new foe—something more certain; it must, in a word, be sought and attacked in its own element, the air. There are two ways at present in which aircraft can engage each other; one machine may rise above its adversary, and drop bombs upon it, or two craft may seek to cripple each other by a fire from machine-guns. Other and more deadly methods are discussed, and may even be employed. Attacking an airship, for instance, a man might ascend in a fast monoplane and charge directly at his bulky foe; then, just before the impact, he might spring from his machine and descend by means of a parachute, leaving his empty craft to crash into the airship and cut a gash through its hull. Many things may be done, in fact, when aerial war is faced; but as tactics are now discussed, and plans made, machine-guns and bombs are the weapons reckoned feasible.

When one imagines two craft manœuvring for position, and about to engage in a duel in the air, speed would seem a vital need; and here, when opposed to the airship, an aeroplane has advantage. But airships are being built larger and faster in flight; and the speed of an aeroplane, when it has to carry the burden of a gun, is lessened perceptibly; added to which is the fact that, owing to its weight-lifting capacity, the airship can raise a heavier type of gun. The airship may be likened to the battleship of the sky, and the fighting aeroplane to a cruiser; and it seems likely that, in actual warfare, several of the latter will be detailed to attack an airship.

Already, anticipating war in the air, a fighting aeroplane has been evolved; and a machine of this type is shown in Fig. 83. The body, in which pilot and gunner [Pg 191] sit, is armoured lightly with plates which will resist the penetration of a bullet. Such armouring was found necessary after the use of aeroplanes in Tripoli and the Balkans. When flying unavoidably low in these campaigns, and when fired at from the ground, the wooden bodies of machines were pierced by shot, and in several instances their occupants wounded.

_

Fig. 83.—A Fighting Aeroplane (the Vickers’).

A. Machine-gun projecting from opening in bow; B. Gunner’s position; C. Pilot’s seat; D.D. Side windows for observation; E. Engine and propeller.

_

Fig. 84.—Bomb-releasing mechanism.
A. Lower part of aeroplane’s hull;
B. Revolving barrel to which bombs are clipped;
C. Bombs; D. Releasing mechanism operated
by marksman in machine.

The fighting aeroplane sketched is an experimental machine—as are all those built at present for aerial war. It carries no very powerful gun, and is not the formidable craft the future will evolve; but it would have, none the less, a definite value in time of war. When used with an army in the field it would drive off an enemy’s scouts, attack armed and hostile craft, and harass and cripple an airship should it chance to meet one. It need not rely solely upon its gun. Bombs may be carried and dropped when opportunity offers; and as an improvement upon the early method, which was simply to throw these from the machine, there are releasing mechanisms now devised which carry a number of projectiles and drop them one [Pg 192] by one as a lever is moved (see Fig. 84). The bombs, which are long, pointed, and balanced so that they will fall head first, are clipped round a barrel rather like that of a revolver, which is fixed beneath the aeroplane’s hull just below the occupants’ seat. Mechanism causes the carrying chamber to revolve and bring each bomb against a releasing catch, which—at a movement of the marksman’s lever—throws it outwards and downward.

Bomb-sighting instruments are now being tested, so that a pilot may drop a missile with accuracy upon a given spot. In the early experiments, when a pilot merely leaned forward as he flew, bomb in hand, and guessed his aim, the majority went wide of their mark. Several factors enter into this problem of aim. There is the speed of the machine, its height above the ground, and the question whether a wind may affect the fall of the bomb. Dropped haphazard, a bomb is unlikely to reach its mark. In sighting instruments now provided the marksman finds his altitude, estimates his speed by the time his craft takes to pass between two points on the land below, and then makes an allowance for side-drifting owing to the influence of the wind.

Bombs of many types are being made. Some weigh about 10 lbs., and are filled with several pounds of an [Pg 193] extremely high explosive. Others are what is known as incendiary bombs; when they strike an object they burst into flames, and are intended to cause fires on the roofs of buildings or supply stores. A single aeroplane, dropping bombs in war, would not be likely to have much effect; but the plan will be to equip squadrons of these machines, their crews trained to sweep in unison over the point attacked, and rain down bombs in a ceaseless and destructive stream.

There is a risk for airmen when they carry a load of explosives. Should they make a bad landing, or fall to the ground and wreck their craft, there is the probability that their bombs would explode from the impact and blow them to pieces. This danger has been realized, and a form of safety bomb is now being used in tests. Each bomb is fitted with a safety catch, and unless this is released the bomb cannot explode, no matter how hard it strikes the ground. The manner in which the catch disengages itself is ingenious. Upon the rear of the bomb is a tiny propeller, which spins in the air as the bomb drops from the machine; and as it turns it uncoils a spring, which releases the safety catch and makes the bomb operative—but not until after it has fallen about 100 feet.

Airships, like aeroplanes, are being armed with guns and bombs; and their power of raising weights enables them to carry heavy weapons. Large and highly destructive bombs have been tested in the German airships, being released over the sea and aimed at targets in the form of rafts. Latest-type airships also carry guns in their cars; and the Zeppelins have a platform upon the tops of their hulls, reached by [Pg 194] a ladder through the middle of the ship, from which a machine-gun can be fired upward. This is a very necessary precaution, and is intended to frustrate the attack of an aeroplane. It would be the aim of the latter, whenever possible, to manœuvre above its big enemy—as suggested in Fig. 85—and drop a bomb upon its hull. Hence the construction of the top platform of the airship, from which her gunners can direct a vigorous fire aloft.

_

Fig. 85.—Aeroplanes attacking an airship from above.

The ability of an airship to navigate at night, and steal unobserved above the land, gives it grim possibilities as a weapon of destruction. It motors [Pg 195] quiet, and no lights showing, it can drift with the wind over a harbour or fortification, and drop bombs which will fall upon those below out of an empty sky. Searchlights would be used, of course, from the positions attacked, and artillery fired upward, but the airship would be a silent, elusive shape—difficult to see and more difficult to hit.

Here, though, would be work for land or sea planes. It would be the aim of our Admiralty, upon the outbreak of war, to patrol the coast with a service of armed aircraft. A number of air-stations, at which machines are housed, are already in existence—mainly along the north-east coast. Between station and station the craft would fly in war, providing a continuous patrol, the aim being to shut out hostile craft, and attack a squadron of the enemy, should it approach land.

The observer in a sea-plane, under favourable conditions, can also detect the movements of a sub-marine, his height above the water enabling him to see beneath its surface and discern the shape of the vessel, even when it is submerged. This would be of value in war, as proved in manœuvres with our fleets. A sea-plane, patrolling the entrance to a harbour, can send a warning by wireless should hostile submarines—invisible to all save the aerial watcher—seek to steal in upon a destructive raid.

The air-patrol would play its part, too, if an enemy attempted to land troops. Flying above transports as they neared the coast, the planes would drop bombs upon them. Many of the patrols, also, would be equipped with wireless, and would scout in search [Pg 196] of an enemy’s fleet, reporting constantly to the land stations as they flew.

_

Fig. 86.—Sea-plane to carry a crew of seven.

A. Hull upon which the machine floats when in the sea; B.B.B. Wheels upon which it may move when on land, and which fold upward when it is on the water; C. Pilot’s controlling wheel; D.D. Main sustaining planes; E. Four-bladed propeller driven by chain-gearing from engine within the hull.

A coastal sea-plane, as now planned, is a craft having, say, two engines, each devolving 120 h.p., with a wing span of some 80 feet, and an accommodation in its hull for three men—the pilot, a combatant with a machine-gun, and an observer with an installation of wireless. But types are changing constantly, and the tendency is to build larger craft. A machine weighing a couple of tons is shown in Fig. 86, and a novelty in regard to it is that it has wheels upon either side of its boat-shaped car, upon which it can [Pg 197] move on land, and which fold upward when it rests upon the water.

Long flights over-sea, in search, say, of the assembling point of an enemy’s fleet, would be undertaken by the naval airships. They will be relied upon, for example, to scour the North Sea by day and night; and, poised high above the water, they would be able to locate an enemy’s fleet when at an immense distance. [Pg 198]

There is a type of aeroplane which will be carried to sea when a fleet sails, stowed in sections within the hull of a transport ship. This machine—a light, high-speed craft—will be assembled upon the deck of its parent ship, and launched into the air by special mechanism, as there is not room for a machine to run upon wheels, and leave the ship’s deck as it might do upon land; the vessel, besides, might be rolling in a high sea. In some cases a platform is built upon the deck, either at the bow or stern, and along this the aircraft moves, so as to gain speed for its planes to lift. In one device, seen in Fig. 87, the machine is mounted upon a light wheeled cradle, and this is placed upon the starting-rail. Then, driven by its propeller, the plane runs forward upon the cradle till it reaches the end of the rail, when it glides into the air, the cradle falling from it and dropping into the sea, from which it is retrieved and drawn back on board the ship. By another method, shown in Fig. 88, the sea-plane is launched from a cable suspended between two masts, and can come to rest upon the cable again after a flight has been made. The machine is hung upon the cable prior to making an ascent; then the pilot starts his engine, and as his machine glides forward along the cable he releases a catch and soars into the air. Upon returning he flies [Pg 199] beneath the cable, and makes his craft rise until the “V”-shaped apparatus above his head is caught by the cable and the catch becomes operative; then he stops his motor, and his craft hangs from the cable as it did before.

_

Fig. 87.—Launching sea-planes from a ship’s deck.

The sea-plane (A.) is seen taking flight, having glided upon its cradle along the platform (B.). The cradle (C.) is just falling away below the aircraft’s hull.

_

A. Sea-plane; B.B. Cable; C. The “V”-shaped apparatus which guides the cable into the clip (D.) and so suspends the machine from the wire.

Fig. 88.—Launching a sea-plane from a wire.

A flying scout, operating with a fleet at sea and rising from the deck of a ship, would be of very distinct value. When approaching an enemy he would be sent aloft to reconnoitre, and would locate hostile craft before men could see them from the ships below. The utility of such a scout is proved by the lessons of history. On one occasion, for instance—it was in 1805—Nelson was waiting to intercept a French fleet at Toulon. But they managed to steal out unobserved, and Nelson chased them to the West Indies before he caught them. If he had had an aeroplane to send up and keep watch, he would not have missed his enemy.

The air-scouts of a fleet would note also the approach of airships, and could spy upon harbours or fortifications when an attack was being made upon them from the sea.

At present, it must be remembered, the possibilities of an air-fleet are vague—all at least save one; and that is the utility of an airship or plane for scouting. The value of aircraft in this direction has been proved, not only in peace manœuvres but in war; but as to what destructive work an aeroplane can accomplish, or how machines will fight when they meet in mid-air, there is only theory for a guide. That an aircraft may carry explosives, and drop them with accuracy, is now an established fact; also that a machine-gun [Pg 200] can be mounted upon a machine, and fired successfully at a target while the craft is in flight. But no country, as yet, has equipped itself with a squadron of fighting aeroplanes. For one thing, owing to the fact that powerful aviation motors are only just becoming available, craft are still small in size; and this limits them to the carrying of a light gun. What is wanted, and what will be built in time, is a large, armoured, high-speed craft, having more than one engine, carrying a crew, and being able to bear the load of a powerful gun. In war, had a Commander a squadron of such machines, he would use them for attacking an enemy’s supply stores and ammunition parks, for blowing up railway lines, and for harassing troops when they were on the march; and he would launch them, of course, when necessary against hostile aircraft which might approach his own lines.

In the first instance, in the case of a great war, there will be a battle in the air; and how severe this will be must depend upon the strengths of the air-fleets opposed to each other. Command of the air, like command of the sea, will be all-important. If one Commander-in-Chief can cripple and disorganise his opponent’s air-fleet, it will be like blinding his enemy. He himself, still well served by his air-scouts, will note all the movements of his enemy; but this enemy, with an air fleet driven back, and most of its machines disabled, will be enveloped in what has been called “the fog of war”; he will glean no more as to his enemy’s tactics, that is to say, than can be obtained by cavalry or foot scouts.

Not only the fighting aeroplanes, but the general [Pg 201] equipment of the air-fleet, will play a part in the aerial battles of the future. Surprisingly intricate, and little known, is the organisation of a squadron of war machines. There must be trained mechanics in large numbers, and they must be driven from place to place in motors, according to the movements of the machines they serve. Then the aeroplanes, if necessary, must be packed on lorries and taken across country by road; and there must be portable sheds upon the landing grounds, in which they may be housed at night. There needs to be an equipment of spare machines also; and a number of travelling workshops with skilled engineers, which can be rushed from place to place for the repair of damaged craft. A sketch of one of these workshops on wheels, which are vital to the organisation, is seen in Fig. 89.

_

Fig. 89.—Travelling workshop for the repair of military aeroplanes.

It seems likely that the air-fleet of the future will be composed of craft of many types. There will be the long-distance scout—a machine capable of flying for [Pg 202] many hours at moderate speed and surveying wide tracts of country. Then there will be a flotilla of very fast, single-seated machines, used for a dash above an enemy’s force. These high-speed scouts will run the gauntlet of the enemy’s destroyers, rushing into the danger zone and sweeping out again, rather like a torpedo-boat in naval war. Then there will be the fighting squadron—machines armoured and carrying powerful guns, which will fight the enemy’s war-planes and give battle to hostile airships; and there may be a further type of destructive plane for use against the forces on land. This would be a machine well armoured, with its motors silenced, and perhaps with transparent wings. It would steal upon ammunition parks and supply trains, firing with its guns and raining down bombs; and such a craft would be used, also, to seek and attack the aircraft stations of the enemy. These would be protected, of course, by high-angle guns and patrol planes. Immense damage might be wrought by bombs were hostile craft to discover, and attack without resistance, a squadron of machines in their sheds.

_

   Photo, Topical.

PLATE XIII.—AN AEROPLANE FACTORY.

In this picture, which shows one of the workshops at Hendon, the wooden framework of a main-plane is seen in the foreground; and at the rear of the shop is the hull and centre wing-section of a biplane.

[Pg 203] A machine which does not exist now, but which may be built before long, is an aeroplane transport for troops. This would be a very large craft, built entirely for weight-lifting. It would raise a load of say ten or more men; and such machines would be held in readiness so that a relief column could be embarked in them and carried at high speed to some point, perhaps a number of miles distant, at which reinforcements were needed urgently. Could such aeroplane transport be organised, and handled with success, it might be of the highest value during a battle. If a thousand machines were built, each carrying ten men, and they made three flights to some given spot, a force of 30,000 men could be transported by air; and even with a slow-flying, weight-carrying machine, a distance of say 30 miles should be transversed in half-an-hour. Battles have been won by virtue of forced marches, thus bringing troops to some vantage-point before an enemy expects them. Napoleon, for example, was a master of such quickly-delivered blows. Day and night, on many occasions, he hurried his tired troops across country; and what would he have given to embark a column upon aeroplanes, and send them high over hills and forests at the speed of an express train?

Experts do not care to prophesy what will happen, say in the next great war, if flying machines fight in large numbers. That there will be such fighting is agreed; but what form it will take, and what damage the combatants will do each other, are problems time alone can solve. When the tactics of fighting aircraft are studied there is one point always to be remembered; and this is, that machines can steer not only to and fro and from side to side, but can also move up and down; and this introduces a confusion which does not exist in any other form of war. On the land, and upon the sea, two machines fighting must move always on the same plane; but in the air one may rise above the other, or dive swiftly below it, in addition to the manœuvres possible by wheeling and circling, and sweeping in suddenly to an attack.

Mr. H. G. Wells, in his novel The War in the Air, considers that aerial battles will develop into a series of duels, fought between isolated machines. By this he [Pg 204] means that, although a squadron of fighting craft may move into action in regular formation, the speed at which they are able to fly, and the fact that they can rise or descend, will soon scatter them in all directions; with the consequence that a couple of machines, singling each other out for combat, will wheel and circle away from the other craft and fight their duel alone. Such a scattered, indecisive form of fighting would undoubtedly take place to-day were aircraft called to meet in war, and for the reason that the machines forming a squadron would have no satisfactory means of communicating with each other. In a fleet of warships, when it fights, the discipline is perfect, and the signals from the flagship instantly obeyed. A number of units can in this way be made to fight as one. But in the air, until wireless telegraphy is applied with greater certainty, it will be difficult for a commander to guide the movements of his craft. Flag-signalling would be slow; the flags might not be seen. What would be needed is some almost instantaneous method of altering a battle position, or of turning and sweeping suddenly upon an enemy. An ideal communication, in the delivery of some swift blow, would be by wireless telephone. Then a Commander, taking up his instrument as he flew high above the contending craft, could speak an order in an easily-read code, which would make the vessels of his fleet turn swiftly and correctly upon any new course.

First of all, in aerial warfare, there will come a chase between the light, fast-flying scouts and the armoured planes which will be on watch for them. As two armies approach each other, upon the eve of battle, there will be one definite question which a Commander-in-Chief [Pg 205] will ask of the officer who is in command of his aeroplanes. He will say: “Find out for me how the enemy is massing his men.” This information will be needed as quickly as it can be obtained; unless he knows, approximately, the formation of his opponent’s troops, he will be unable to plan the disposition of his own forces. To obtain this news, without a moment’s waste of time, the officer in charge of the aeroplanes will send out high-speed scouts—expert officers, mounted upon single-seated craft; just as, in the days before flying, the Duke of Wellington would choose special men, mount them upon picked horses, and send them out to obtain news at all costs.

These high-speed scouts, flying at more than 100 miles an hour, will sweep in towards the enemy, seeking the shelter of clouds or of banks of mist, and making long detours when necessary so as to try and avoid the patrols. It will be the same story in the air as was told formerly on land; there will be the spy trying to creep through, and the chain of flying outposts making it their business to stop him. Speedy in flight, and yet carrying a formidable gun, these patrols will rush upon the unarmed scout and strive to put him out of action. His only protection will be his speed. He will wheel, dodge, and eventually turn tail. All the time his aim will be to see what lies below him, to watch the marchings of the troops which will look so tiny and remote, and form an opinion in his mind as to what the battle line will be. These single scouts will need to be picked men. A great responsibility will be theirs, and a great risk also. They will, in fact, take their lives in their hands, and nothing will save them from being sent crashing to their [Pg 206] death but their own wit and skill in the handling of their machines.

This perilous work done, there may come a clash between the lighter fighting craft—the machines which form the screens of outposts, as they move gradually nearer to each other. One or other may be forced to yield and fly, scattering in confusion; and after this there may be the aerial battle proper, in which the large, heavily-armed craft, and the giant airships with their batteries of guns, will come into action. The aeroplane, in fighting an airship, will have the advantage that it offers a smaller mark, and one also which is moving rapidly through the air. It may also be struck many times before it is crippled or put out of action. Shot passing through its planes will make little difference to it; and the occupants will sit in a hull which is armoured. But an accurately-placed shell, bursting in the heart of the machine—that is to say, among its machinery and crew—will no doubt prove disastrous; and the airship, with its long fragile hull, must prove vulnerable also. Well-aimed shots will pierce it; a bomb from above may set it on fire. In the case of the Zeppelin, though carrying its gas in a series of compartments, a number of hits may be sustained before the vessel is out of action. But, when all is said and done, both aeroplanes and airships are frail machines—the one with slender, lightly built planes, and the other with a hull which is protected by nothing stouter than a rubbered fabric. So if guns are well handled, craft must suffer. To reflect upon such fighting reminds one of a remark of Mr. Churchill, First Lord of the Admiralty. Commenting upon the growing power of a warship’s guns, [Pg 207] and showing how the armour with which craft are protected has not grown in efficiency to keep pace with the striking force of a modern projectile, he said that the fighting between two heavily armed leviathans would be like “two egg-shells battering at each other with hammers.” So with armed aircraft; well-placed shells will rip and tear; and the destruction of a hard-fought engagement must undoubtedly be heavy.

Straight shooting, as in naval war, will be the vital need—that and a cool, quick skill in the manœuvring of a machine. The airship gunners, having a steady firing platform, will be at an advantage over aeroplane crews; but the latter in their turn will have quick manœuvring power and high speed. In the engagement between an airship and several planes, such as is certain to take place, the latter will be in the position of torpedo-boats when they attack a battleship. They will dash in, relying upon speed and the suddenness of their onslaught; and the saving of the craft attacked will rest upon the skill of her gunners. By a vicious, accurate fire they will seek to check the rush; and one or more of their assailants will crumple and fall headlong. The survivors, delivering their fire point-blank into the hull and cars of their opponent, will dive and swerve out of range; and while they are engaging the airship upon either side, one or more of their consorts will climb to a higher altitude, and endeavour to drop bombs upon the airship from above. To prevent them swooping near, as they circle above, marksman will be busy with machine-guns upon the top platform of the airship.

Before and after the meeting of the main air-fleets, there will be duels and scattered fighting. Swift raids [Pg 208] will be made by bomb-dropping craft, which will sweep above the supply stores of their enemy, attack his troops on the march, or seek to blow up the railway lines along which he is bringing his reinforcements. To drive off these raiders there will be the vigilant patrols; all vulnerable points being guarded by air as well as by land.

This aerial fighting, which will wax and wane, dying down only to be renewed with a greater fierceness, must precede the battles of land or sea; and so, while the aerial armies are struggling for supremacy, those moving upon the land, or the fleets steaming upon the water, will be manœuvring for position and creeping stealthily nearer. A conquest in the air, if it be decisive, may spell also a victory upon land and sea. A nation which has its air-fleet destroyed or crippled will lie helpless before the attacks of hostile craft, and will lose also the aid of its aerial scouts and spies. It will fight, therefore, in the dark, assailed by a foe against which it cannot defend itself.

All-important will be these aerial battles; granted a country wins supremacy in the air, its blows by land or sea can be delivered with a crushing force, unhampered either by attacks or spying from above. This fact is realised by every War Department of Europe. Aerial warfare is being studied closely; and the first armed craft, though they carry small guns, will pave the way for a powerful, armoured, multi-engined cruiser of the clouds. [Pg 209]


CHAPTER XVI
AT A MODERN AERODROME

The workshops—Some problems of construction—The building of a wing—Aeroplane races—The Aerial Derby—Passenger flights.

The first flying grounds were merely open tracts of land, chosen more or less haphazard, and offering no more than a smooth landing-point and an absence of treacherous gusts. But as flying developed, men came together with their machines, and groups of sheds were built. Then pupils arrived to learn to fly, and gradually an organisation was evolved. From a single rough shelter, perched perhaps at the brink of some stretch of waste land, pilots found themselves promoted to a row of neatly-built sheds, with a workshop attached to them in which aeroplanes might be built or repaired. And from this stage, not being contented with what could be found in the way of natural flying grounds, men uprooted trees, filled up ditches and hollows, erected fences, barriers, and gates, and created what we know as the modern aerodrome—a centre, that is to say, where machines are designed, constructed, and flown, where there are regular schools for pupils and apprentices, and to and from which the airmen pass when making cross-country flights. Public interest has also aided the [Pg 210] growth of aerodromes; people are eager to see aeroplanes fly, and will come in thousands to an air meeting. So, as at the London Aerodrome, Hendon, there are public enclosures and pavilions, in addition to the buildings concerned solely with flight; and flying races and other contests are arranged, in which the pilots at the aerodrome, as well as those who come from other grounds, meet each other in friendly rivalry.

To-day, the aerodrome is the rendezvous of those who fly, or build machines, or seek to learn the art; while the general public, thronging the stands on racing days, learns more of aviation in an hour than it would in a month by merely reading of flights that have been made. All day, from the moment it grows light until the final dusk, there is activity upon the aerodrome. Machines are brought out and tested; pilots arrive from other flying grounds; there is a hum of activity in the workshops; and in regular batches, with this instructor and that, are pupils taught to handle a craft in flight. It is, to those who have only a vague knowledge of aviation, a surprise indeed to spend a day at an aerodrome. They imagine that the industry is no more than haphazard; that a few machines are built—mostly in small workshops, and that there is neither method nor organisation in their making. And then, perhaps, they are taken through a modern factory, and hold such views no more.

By the work of trained men, who have become highly skilled in their art, are the parts of a flying machine built and assembled; and no sooner is one machine wheeled from the shops and takes the air, than another is being made ready. Governments give orders [Pg 211] for large batches of craft; aeroplanes of new types are built and tested. And, in all departments of the factory, the output of work is constant and well ordered.

First, of course, the machine is designed; and those in the drawing office are specially trained men. The planning of an aeroplane is a matter of no simplicity. First of all there is to be considered what may be termed the main feature of the machine; whether, that is to say, it is to be built for speed, for weight-lifting, or for aerial touring. For high-speed flying it will need small sustaining wings; for weight-lifting, its area must be large; while in aerial touring there is need for a medium-paced, highly reliable craft, which will ascend quickly or plane slowly to earth. The characteristic of the machine determined, there are other problems to be studied—such, for example, as the placing of the engine and propeller, the position of the body containing the pilot and passenger, and the arrangement of the control surfaces. And, above all, the craft must be built strongly. No matter how well a machine may fly, or how skilled its pilot, there is peril should its structure have a weakness, or some hidden defect. For months, perhaps, in the early days of aviation, a faulty machine would fly; and then some day, subjected to an abnormal strain, a wing or a tail would break, and the airman would fall to his death. Should an aeroplane dive suddenly, there may be a tremendous strain upon its planes; and in a violent wind, while its motor is thrusting it through the gusts, it is sustaining shocks and jars which may be of tremendous force. It is not, indeed, the ordinary wear of flying that a designer needs to guard against, but those excessive strains—caused perhaps by reckless [Pg 212] flying, or the onslaught of a gale—to which a machine may be exposed.

Security lies in one direction only; and that is to give a machine such a factor of safety as may be equal to all demands—normal or abnormal. So a designer calculates, before he draws out the plan of a wing, just what pressure it may have to resist in ordinary flight; and then to this he adds such strains as might be caused by diving or by violent gusts. To be completely on the safe side, to be guarded beyond question from any excessive shock, a modern-type aeroplane will be given a factor of safety that may be ten or twelve times more than is necessary in the ordinary passage of the machine through the air; and this security lies not only in its planes, say, or its controlling gear, but in every wire and bolt and stay which goes to its construction. And, by this precaution alone, has one of the gravest risks of aviation been removed. Formerly, when men built machines, they did so by what is termed rule-of-thumb; the builder, that is to say, relied upon his own judgment and experience—small though these were—and submitted his plans to no rigorous or scientific test. And so lives were lost. But now, even when he “loops the loop,” or fights a 60-mile-an-hour gale, a pilot has confidence in the machine he flies. He knows it is strong as a whole; that it has no hidden weakness or faulty spar; that he may rely upon it implicitly, even under the acutest strain.

The building of an aeroplane is a problem of great difficulty—such a problem, in fact, as no other designers of craft, either for land or sea, are called upon to face. The machine must be immensely strong, and yet it is [Pg 213] essential that it should be light. Its planes cannot bear through the air more than a certain number of pounds per square foot; and so if it is to be a practical craft, and raise a useful load, every pound that can be saved in its construction has a definite value. It is because such work is so intricate that there is special interest in a visit to an aeroplane factory. Here, in large, well-lighted workrooms, are skilled craftsmen employed. Some of the men, now risen to be foremen of their departments, made their first acquaintance with aviation in the very early days. Then there were no factories, and an inventor, regarded invariably as a “crank,” found a mechanic who was intelligent to help him, and built his craft humbly in some outhouse or shed. Now these handy mechanics, who perhaps forsook a post in a motor works to join some scheme to build an aeroplane, find themselves in positions of trust in a large and flourishing factory—turning out aircraft for Governments and for private use, and with a staff of workers under their control.

An impression of one of the workrooms in a modern factory may be gained from a study of the photograph on Plate XIII. This was obtained in the Grahame-White factory at Hendon. In the foreground of the picture, resting upon trestles, is one of the sustaining planes of a machine. It is in its rough stage, prior to being covered with fabric, and the method of construction may be seen. The system is to use two or more main-spars, which run the whole length of the wing; and above and below these pass the thin wooden strips which form a series of ribs. Fig. 90, representing a monoplane wing in skeleton, should make clear this method of building. [Pg 214] Although such a wing may appear frail, it has in reality a surprising strength. English ash and silver spruce, in carefully selected lengths, are the woods used chiefly in aeroplane construction, and calculations have shown them able to bear a greater strain, weight for weight, than would a framework made of mild steel. In the future, of course, when aircraft are built far larger, wood will cease to be employed—and partly for the reason that, when wing constructions of great sizes are needed, it will be impossible to obtain timber that can be cut into spars of a sufficient length and soundness. Then, probably, will come the day of high-tension steel, and we shall have a liner of the air built almost after the fashion of a leviathan of the sea; but for the making of a small machine, at any time, there should be an advantage in the use of wood.

_

Fig. 90.—Construction of a
Monoplane wing.

Returning to an inspection of Plate XIII, one may observe, immediately behind the men who are working upon the wing-frame, two completed floats for a hydro-aeroplane; while behind these there is a workbench; and in the far distance, the hull and the centre wing-sections of a craft under construction. To the [Pg 215] right of the centre work-table may be seen a man seated at a sewing machine; he is busy with the lengths of fabric which will cover the wooden framework of the wings. Upon the extreme left of the photograph, partly completed and in the form of a girder construction of wood, is the body of an aeroplane. Put together scientifically and from sections of wood specially tested, a remarkable strength may be obtained by such a method of building. Fig. 91 shows how a girder aircraft body, supported by trestles only at its ends, may support from its centre, without yielding, a tray containing a number of heavy weights.

_

Fig. 91.—Testing the girder-built body of an aircraft.

When the wings of a machine are ready and have been sheathed with their fabric, and when its hull and chassis have been built, it finds its way into the assembling shop. The motor is bolted in its framework, the propeller fitted, and the whole construction receives a final overhaul. And then one morning it is wheeled out upon the aerodrome—its planes spotless and gleaming in the sun—and is tested for the first time in [Pg 216] flight. In many cases, so great has been the progress in aeroplane building, that a new machine will do just what its designer intended it should; there is no longer any doubt as to the craft’s ability to take the air. But minor adjustments have usually to be made, none the less, before a machine is delivered to its purchaser; and in the case of a war machine, bought, say, for the Admiralty or the Army, it needs to perform—prior to being taken over—a series of special tests. It must show that it can ascend rapidly and fly at a certain speed, and it must raise a specified weight of fuel, in addition to that of its pilot and passenger. The War Office has prepared a list of its requirements for military machines of different types; and aeroplane builders, if they plan craft for Government acceptance, must be prepared to submit them to the trials arranged. A light scouting machine, when it is tested, must be able to lift its pilot and fuel sufficient for a flight of 300 miles, and it needs to vary its speed from 30 to 85 miles an hour. Larger machines, built for scouting, have to carry the weight of a pilot and observer and 80 lbs. of wireless apparatus; while a craft to be used in fighting must raise—in addition to its crew—the weight of a gun and ammunition; this is estimated to represent 300 lbs.

What the maker usually does, when a craft intended for the Government has been built and given a preliminary testing, is to send it by way of the air either to Farnborough, where the Royal Aircraft Factory is situated, or to Eastchurch, in the Isle of Sheppey, where the Royal Naval Air Service has its headquarters. Then, with the pilot employed by the firm at its levers, and some military or naval airman as his [Pg 217] passenger, the machine is subjected to its trials; and if it fails, say, to rise fast enough, or lifts an insufficient weight, it is returned to its constructor to be adjusted and improved. With sea-planes, naturally, there are tests upon the water, both as to a craft’s ability to rise and descend.

Apart from the factory, or factories, upon a modern aerodrome, there are the offices of the company which controls it; and in addition the sheds of various firms which, renting accommodation from the owners of the ground, are operating flying schools or experimenting with new machines. So that a day spent at an aerodrome, and particularly at such grounds as Hendon or Brooklands, is never for a moment dull. Even when there is no air-racing, a fund of interest may be found in the doings at the sheds; while on those days when a programme of contests is carried out, and racing craft are “banking” round the pylons, there is so much to be seen that a spectator becomes almost bewildered. Air-racing, as made popular by the proprietors of the Hendon aerodrome, forms so fascinating a sight that, on a day of public holiday, as many as 50,000 people will assemble in the enclosures.

To stand near one of the pylons—wooden towers which mark the turning-points of the course—and see the air-racers come rushing by, is to gain such an impression of speed as almost makes the watcher hold his breath. The pilot in a flying race has one chief aim: to fly the shortest way. Every fraction of a second is of importance; and if he can circle the pylons more skilfully than his rivals, he may win the race, even though his machine—in its actual speed—may be no faster than theirs. So a flying race, from the moment [Pg 218] the timekeeper waves his flag and the machines leap from the starting line, is a contest of sheer nerve and skill. To fly a winning course, upon a high-powered craft, requires, indeed, a judgment that is exceptional. Towards each of the mark-towers, hurtling through the air at perhaps 100 miles an hour or more, comes the airman with a roar and rush. Peering above his screen, in the fierce wind-blast, he seeks to gauge distance and speed; and here, if ever there was one, is a crucial test of airmanship. The pilot knows that, if he would hope to win the race, he must pass as close to each tower as his skill can take him; and yet, even while he strains to this end both nerve and eye, he must not forget for an instant what is the penalty for error. Were he to press too hard upon the rudder-bar, were the wing-tip to strike the tower instead of sweeping past it, his machine would swerve sideways with the momentum of its rush, and break itself to fragments as it crashed upon the ground. [Pg 219]

Flying low, and with his motor emitting a deep-throated roar, the airman comes tearing for a turn. Some distance before reaching the pylon, he will begin to “bank” his craft; he will, that is to say, incline downward his inner wing-tip. Were he not to heel his craft it would skid outwards through its pace, and swing wide at the turn, thus losing a second or so of time. Down, therefore, he dips this inner wing, until there may seem no more than a foot or so between it and the ground. The speed of the machine appears tremendous. It has come up out of the distance, growing larger moment by moment; and now it seems, as it rushes towards the pylon, as though it must strike this structure instead of wheeling past it. Those on the ground, indeed, standing at the turn, find this illusion strong: it seems to them certain that the airman will strike the tower. But he, seated midway between the planes, and with his eye ever watching his inner wing-tip, has a better view-point and a clearer means of judgment, than the watchers who are grouped beside the tower. Steeper he banks his planes, until they seem nearly vertical; and then, with a swift, powerful swing upon his rudder-bar, he sends his craft round. The inner wing-tip appears almost to be sweeping the turf at the foot of the tower. And those who may be standing against it, watching this flashing wing-tip, feel an instinct to recoil; it seems as though, with its fine-cut edge, it might sweep among them like a scythe. But in reality there is no risk. The airman, although he has swung for the turn at lightning speed, has displayed an accuracy that is [Pg 220] perfect. A foot or two of clearance—no more—there may be between his wing-tip and the tower; but it is enough. In a flash he has circled and gone, and has whirled away towards another turn—the roar of his motor dwindling to a heavy drone. And so he flies for lap after lap, controlling his machine so superbly that it is difficult to realize that it is a man’s hand, and not some mechanism, that guides the craft upon its flight. A pylon on the flying track, with a craft circling it, is seen in Fig. 92, and a photograph of a biplane, “banking” heavily as it rounds a tower, on Plate XIV.

_

Fig. 92.—A pylon, or mark-tower, on the flying track.

Often, after a close-flown race, two perfectly-handled monoplanes will rush round the last pylon and into the finishing straight, and roar together past the judge’s box in a flash of planes.

There is an international speed race, for the Gordon-Bennett trophy, held every year, and to which reference was made in regard to the first contest in 1909. Then, it may be recalled, the speed of Curtiss the winner was less than 50 miles an hour. But, mainly by a use of more powerful engines, the pace of the competing craft has been increased very largely from year to year, as will be seen from the table below:

  Year.  
 
Winner.
 
  H.P. of Motor.
 
Speed
  (Miles per Hour).
1909   Curtiss 30 48
1910   Grahame-White 100 61
1911   Weymann 100 78
1912   Vedrines 140 105
1913   Prevost 160 126

[Pg 221] With such a growth in speed there has been, naturally, a greater risk should some mishap occur; and there are two pilots who, meeting with disaster while flying in this great race, had cause to thank Providence that they were not killed outright. One is the French champion, Leblanc, who went to America with a 100-h.p. Bleriot for the contest of 1910. When flying at high speed, having nearly completed his course, Leblanc’s motor stopped suddenly, owing to the failure of his petrol. A strong wind was blowing across the track, and, as he came planing down, the airman was swept away sideways. Rushing steeply earthward, his craft only partly in hand, he came into violent collision with a telegraph pole. The bow of his machine struck the pole, low down near its base; and so fierce was the impact that the pole was snapped in two, despite the fact that it was thick round as a man’s body. The front of the monoplane was crumpled by the shock, and to those who saw the accident, and heard the crash which accompanied it, there seemed no chance that the pilot should escape alive. And yet in reality, save for some cuts and bruises, Leblanc was unhurt. At the moment of the collision he had been hurled from his seat; shooting out sideways over one wing, he had missed striking the telegraph pole, and had avoided also any entanglement with the wreckage of his machine. For some distance he whirled through the air, so great was the force of the collision; then, when he did touch ground, it was upon a grassy bank, down which he rolled without breaking a limb.

The late Gustave Hamel, whose tragic fate has been so heavy a blow to aviation, lost control of a Bleriot [Pg 222] when rounding a pylon in the 1911 race. The machine side-slipped, and struck ground at 90 miles an hour. So tremendous was the shock that the motor, torn from its supports, went rolling far away across the ground, and the body of the craft was reduced to a tangled wreckage. Hamel, like Leblanc, was projected from his driving seat by the impact. He slid out upon one wing, rolled across this, and then went sprawling over the turf. Had he not been thrown clear, had he remained within the hull and been pinned amidst its fragments, it is almost certain that he would have been killed; but as it was—striking neither his head nor limbs against any obstruction—he sustained a slight concussion and nothing more, and was soon flying again.

An air-race which is more popular than any other, and is seen each year by millions of spectators, is the Aerial Derby. This was established in 1912, and it was arranged that it should follow within a week after the great horse-race which takes place on Epsom Downs. For 81 miles, making a complete circuit of London, ran the course of the first year’s race, the turning-points being such towers or large buildings as might catch the airman’s eye. There were seven competitors, six of them with monoplanes, and the winner was T. O. M. Sopwith, who flew the course in a 70-h.p. Bleriot in a few minutes less than an hour and a half. Machines, then, were not so reliable as they are now; nor were pilots so expert; and there were quaint happenings in this first race. Verrier, who flew a Maurice-Farman biplane, took up with him a photographer, so that views might be obtained from the air; but fog was encountered and heavy cloud-banks, and the airman lost his way. [Pg 223] For hours he flew without any idea where he was going, and once in the distance he caught sight of the sea. Eventually, just as dusk had begun to fall, he groped his way back to Hendon—which is the starting and finishing point of each year’s race. Moorhouse, another of the racers, lost his way also, wandering away over Sevenoaks; while Valentine, uncertain as to his direction, landed to make inquiries, and had an amusing experience. A smooth field presented itself, and towards this he planed, noticing that a solitary man was standing in it. From him, after he had alighted, Valentine sought to obtain guidance; but the man, dumbfounded by the advent of the machine, which had swooped suddenly towards him out of the empty air, seemed to lose all power of speech. He stood in the field and merely waved his arms, amazement written upon his face; and, after trying in vain to make sense of his gestures, Valentine had to fly farther on and alight again.

In 1913 the course was lengthened to a distance of 94½ miles, and this time Hamel, who flew at a speed of 76 miles an hour, and proved the winner, met with a strange mishap while in the air. A brass petrol cap was, by the vibration of the engine, shaken from the top of a fuel tank in front of him; and the result was that the spirit bubbled out and blew back into his face with the rush of wind. He groped, half blinded, for the cap, which had fallen upon the floor-boards of the machine. But it was just beyond his reach, and he could not of course relinquish his hold upon the controlling lever. Prudence suggested a descent, but the time taken in landing would, he reckoned, cost him his chance of [Pg 224] winning the race. To fly on, however, with the petrol streaming into his eyes, was impossible; and yet he could not, even by the most strenuous groping—and with his machine swerving dangerously as he bent within the hull—recapture this elusive cap. What was to be done? Hamel, after a moment’s thought, solved the problem neatly. He found that he could just reach the tank with one hand; whereupon, leaning far forward in his seat, he slipped a finger into the aperture from which the petrol was escaping. The position was cramped and awkward, and he could barely use his controls. But descend he would not; and so he flew for nearly 30 miles, crouching half out of his seat, and with one arm thrust rigidly forth. His determination was rewarded, for he won the race.

But the pilot of a racing plane is no ordinary man; none, indeed, but the most expert will dare to handle a high-speed craft. With 160 h.p. within its frail, light hull, and sustained in flight by the smallest of wings, the machine must have a master hand upon its levers—a hand light and yet sure, delicate and yet as strong as steel. Those in France who fly these racing craft are called the “record” men. Others, who do trick-flying such as “looping the loop,” are known as the “artists.”

A daily feature of work upon the aerodrome is the giving of passenger flights. People of all ages, and in all walks of life, are now eager to fly. Some telephone beforehand, and arrange an aerial journey with a pilot whose skill they may admire; then they motor to the aerodrome, find a plane standing ready, and are soon aloft. Others, coming on days when there is racing, walk to one of the booking-offices in the enclosures and [Pg 225] pay their fee for an immediate flight. At Hendon, for the convenience of those who want to fly, there is now a scale of regular charges. A visitor may, by paying two guineas, ascend and circle the flying ground twice. For a flight outside the limits of the aerodrome, say in the direction of Edgware, returning towards the Welsh Harp, a fee of five guineas is charged; while an air journey to Elstree and back, representing a distance of 16 miles, costs ten guineas. A flight enjoyed sometimes by passengers who can afford the luxury, is from Hendon to Brooklands and back; for this, a distance of about 38 miles, the fee is £26, 5s. Anyone who seeks to hire an aeroplane and its pilot, as he might a motor-car, for a long cross-country journey by air, will find the novelty expensive: 20s. a mile is the fee charged, although this is reduced to 15s. a mile if the return flight is made by the passenger. On a popular day at the aerodrome, when stands and enclosures are thronged, flights are booked in great numbers, and several pilots may be busy, taking one passenger after another.

Building and testing machines, holding air-races, giving passenger flights; to these is the modern aerodrome devoted. But there is another, and perhaps an even more important, task, and this is to teach men how to fly. Schools for tuition are numerous in these days, and special machines are used and expert instructors employed. The pupils who come to the flying schools—naval and military officers and civilians from all walks of life—increase largely in numbers from day to day. [Pg 226]


CHAPTER XVII
THE FLYING SCHOOL

A pupil’s troubles in the early days—How schools are organised to-day—Types of men who learn to fly—Amusing things that happen—The stages of tuition.

In the early morning and in the evening are the flying schools busy, for it is then as a rule that the wind blows softly; and for his first flights, when he is new to the control of a machine, the pupil needs conditions that are favourable. Summer and winter, therefore, directly it is light enough to see, the instructors bring out their craft, and practice goes on until all the beginners have had their turn, or perhaps until the wind rises and prevents further flying until just before dusk. At the large schools there are now two complete staffs of teachers and mechanics: one takes the morning spell of work, and is then free for the day, while the second staff comes on duty in the evening. It is possible in this way to avoid over-fatigue, and to ensure that both instructors and helpers are fresh for their work.

It is amusing, nowadays, to look back, say, to the year 1908, and recall some of the statements that were made about learning to fly. It was, for instance, when the Wrights began to train pupils, declared impossible to teach an ordinary man to balance himself in the air. [Pg 227] The Wrights could do it—yes; but they, contended the critics, were altogether abnormal men. It was argued, indeed, quite seriously, that the brothers had some phenomenal gift—that they could move far more quickly than ordinary men; that they were, in a word, two aerial acrobats. But, when put to a practical test, such arguments were proved idle. The first pupils who went to the Wrights did learn to fly. They learned easily, and without accident; and after this, growing in numbers with rapidity, the world’s airmen were numbered in fifties and hundreds, and then in thousands.

But there were some quaint happenings, none the less, in these early days. The Wright machine, it will be remembered, ran forward upon a length of rail before it took the air; and the day came when, after a number of flights with his instructor, a pupil was allowed to glide by himself from the rail, and soar upward as gracefully as he could. Some, being men of a cool temperament, did in fact do just what was required: they tilted their elevators very gently, and skimmed from the rail with lightness and ease. But others, nervous and a little over-anxious, drew back their levers too sharply. The aircraft shot from the rail; then, robbing itself of forward motion by the abruptness of the ascent, it came to a standstill in the air and slid back tail-first towards the ground—much to the discomfiture of the pilot, and generally to the detriment of its rear-planes. The penalty of a too sudden rise is illustrated by Fig. 93.

_

Fig. 93.—Too abrupt an ascent.

One astonishing fact, however, was soon proved by such mishaps; it was that one could fall in an aeroplane, and wreck perhaps both planes and landing gear, and yet in no way damage one’s own person. When many [Pg 228] men came to learn to fly, in fact, and some proved careless or foolhardy, there were smashes so violent that the novice in the machine was—at any rate by those who saw what had happened—reckoned to be a dead man. Yet when the rescuers reached the wreckage, expecting the worst, they found the pilot crawling from beneath it—looking a little dazed perhaps and worried, but quite unhurt. What saves a man so often in an aeroplane fall, is the fact that struts and spars break all around him; and each, as it rips or splits, absorbs some fraction of the shock. Before the blow reaches him, therefore, it has lost its force; the breaking of the woodwork has had a cushioning effect; and if he is well placed in his machine, and is wearing a safety belt, he may survive without injury such a smash as may reduce his craft to fragments.

In the first of the flying schools, before a regular fee was charged to cover all a pupil’s expenses, the breakages he incurred were charged upon a separate bill; and in some instances, when a man proved clumsy, these items [Pg 229] reached a surprising total. There was one pupil, humorously inclined, who went to a famous French school in the very early days of aviation. He was impetuous in handling his machine, and broke landing gear and propellers with disconcerting frequency. And for all these breakages bills were sent in to him—long, formidable bills, very carefully totalled, and with each mishap represented upon them by so many hundreds of francs. Before long, indeed, regarding these bills with a rueful smile, the novice had papered the walls of his shed with them; and there they hung in long festoons, almost in every direction that one looked. How much it cost that unlucky pupil to learn to fly, none of his friends could say; but he himself, perhaps humorously, put it at a figure of several thousand pounds. He declared, in fact, that what he paid for breakages amounted to a sum sufficient to buy two or three aeroplanes, all brand new.

But at the present time, should he damage his machine, the pupil need not concern himself. Before beginning his tuition he pays his fee; and this is made to include any breakage he may cause. It will insure him, also, against any claim from a third party—from anyone, that is to say, who might be injured in some mishap for which he was responsible. This inclusive fee for learning to fly, at the principal schools to-day, is represented by a sum of £75; and the pupils who are most numerous are naval and military officers, who go through their course of training so as to become eligible for the Government air service. There is, and always will be, a constant demand for such pilots. At present, having regard to the strain which is incurred by flying [Pg 230] war machines, a naval or military airman is relieved from active duty after a period of four years. Then he may join a reserve or—as is now proposed—continue in the less nerve-trying work of handling airships. Regular air service, in either the Navy or Army, is reckoned more exacting than ordinary flying, and for the reason that—say when upon manœuvres or special tests—the pilot of war-craft may have to make long flights in treacherous, blustering winds. Frequently, after he has risen upon some special flight on a stormy day, the force of the wind may so increase that a pilot runs the gravest of risks when he seeks to alight. While upon one of his trials, for instance, with a Government-built biplane, a military airman found that the wind had risen suddenly from 30 or 40 miles an hour until it was blowing at more than 70. His machine, although a fast one, was blown to a standstill and occasionally forced backwards; and he fought the wind for more than an hour, creeping cautiously nearer the earth, before he could seize upon a lull and make his landing. Another pilot—this was in the days before “looping the loop”—was blown completely over by a fierce rush of wind, and descended upside down for more than a thousand feet—clinging grimly to his machine, and escaping injury.

_

   Photo, Topical.

PLATE XIV.—BIPLANE CIRCLING A PYLON.

The machine seen above, a Maurice Farman, is taking part in an air-race at Hendon, and is “banking” heavily as it rounds one of the wooden towers that mark the course.

[Pg 231] Naval and military airmen predominate at the schools; but there are many civilians, also, who come to learn to fly. Some of them, after they are skilled, become professional pilots, being employed by an aeroplane company to demonstrate its machines: others, having money to invest, will buy one or two craft and start a flying school of their own; others again, after purchasing a machine, will take it abroad with them and give exhibition flights, visiting places if possible where aviation has not been seen before. Some men, adopting this plan in early days, had experiences which were the reverse of pleasant. High winds blew occasionally, thus preventing them from flying upon the day arranged; whereupon the spectators, having come long distances perhaps to see a man ascend, were so furious at their disappointment that they broke from their enclosures and wrecked the aeroplane in its tent. It happened sometimes, too, that a man—rendered foolhardy by the clamour of a crowd—would ascend when conditions were dangerous, and be blown to the ground and killed. But large sums of money were to be made by demonstration flights, and so pilots were found ready to run grave risks—ascending often from cramped and awkward grounds, and making flights over localities upon which, had their motors failed, they would have found no safe alighting point.

Among those who meet at a flying school—instructors, pupils, and mechanics—there is a feeling of friendly regard; and most men, after they have learned to fly, look back upon their training with a feeling of regret that it is ended. There is good fellowship in the adventures of the day—much laughter, too, at the mistakes which are made; and some of them, without doubt, prove distinctly amusing. It happens occasionally, for instance, that a pupil will, after being given control of a machine for the first time, lose his head completely in a panic, and do just the things which he has been instructed to avoid. In gliding down from a flight, for instance, the engine should be switched off; but sometimes the [Pg 232] novice—engrossed by his movements of the elevating lever—will forget all about his motor. Descending at a tremendous pace, and with the engine still running, he will strike the ground with a crash and crumple up his chassis; and then no one is more surprised than he is at what has occurred. It may happen also that a novice, when he is merely running a machine across the ground, will be seized by panic, or some form of mental paralysis. Perhaps he may fail to shift his rudder and so collide with some obstruction or another machine; or he may—as was the case with one pupil at a well-known school—simply sit helpless in his seat and allow his craft, with its motor running at full speed, to charge pell-mell into the fence which bordered the aerodrome. Then, standing up in the wrecked machine, and staring blankly at those who ran to him, he confessed that he had forgotten, utterly, each and all of the things he should have done.

There is an unconscious humour sometimes in a pupil’s remark after he has met with a mishap. One, attempting too steep a turn, side-slipped and fell with a crash, wrecking his machine completely. The instructor hurried to the spot, fearing he might be hurt; but he scrambled from the wreckage without a scratch. Then walking up to the instructor, he observed very gravely:

“I say, I’m so sorry: I’m afraid I’ve damaged your machine.”

But it was in the early days, more than at the present time, that learning to fly proved an adventure. Now it is a business, and one conducted so admirably that a pupil passes from stage to stage with a real pleasure. He knows, before he begins his tuition, [Pg 233] exactly what his fee will be. If he wrecks an aeroplane, if he knocks a hole in the side of a shed, if he rushes full-tilt into another machine—all such misdemeanours mean nothing to him financially. But it should be mentioned, incidentally, that such wild deeds are mostly things of the past; such exploits, for instance, of that of the happy-go-lucky pupil who, after insisting upon being allowed to use a craft with an abnormally powerful motor, sprang into the air at his first attempt, and flew for nearly a mile in a wavering flight—landing eventually, strange to say, without in any way damaging himself or his machine. Experience now proves so valuable in the art of learning to fly, that even a clumsy pupil is safeguarded from accident. A serious mishap at a flying school is very rare. There are small breakages, of course; but any injury to pupil, or to anyone else connected with the school, is most satisfactorily averted: and this safety is gained by so carefully planning his course of instruction that the novice is doing always something that is well within his powers.

Matters were entirely different in the pioneer days; then a man was given a machine, after a little preliminary tuition, and allowed to do pretty much as he liked—with results, as may be imagined, which were sometimes remarkable. At one of the French schools, after making a short flight in a monoplane, a novice sprang from his machine before it had come to a standstill, and with his motor still running, although he had throttled it down. His idea was to bring the craft to a temporary halt by holding it back, and then to turn it round by swinging its tail—and with its engine still in operation—so that he might leap in again and fly back [Pg 234] across the aerodrome. This daring manœuvre, attempted because he had not as yet mastered the trick of circling while in the machine, was quite successful up to a point. Unfortunately, however, while holding to the side of the hull, and digging his heels into the ground to check the momentum of the craft, the pupil happened to push over the lever which controlled the motor. Accelerating rapidly, the engine drew forward the monoplane with a jerk; the pupil was thrown from his feet and fell prone, and the machine, without a guiding hand upon its levers, rushed across the ground and then rose into the air. An extraordinary flight it made, watched breathlessly by those who stood upon the aerodrome; first upwards, then downwards, and then sideways, until finally, losing its balance in a wavering turn, it fell with a crash and was destroyed.

The first thing one must do in learning to fly, is to become familiar with the position and movements of the levers of a machine; and these, as we have explained, are simple. Experience, indeed, after one method and another has been tried, has brought all systems so that they bear a resemblance to each other. In one machine a hand-wheel may be employed, in another perhaps a lever; but the idea underlying all of them is the same. It is that a pilot’s actions, while he balances his craft, should be natural and instinctive—that his lever should swing in the direction he would turn, were he controlling his machine by a movement of the body. Upon a typical school biplane, such as a pupil learns first to fly, he has only two levers with which he need concern himself. One, which he holds in his right hand, controls the rising and alighting and the balance of his [Pg 235] machine; the other, which is in the form of a bar upon which he rests his feet, swings the rudder and steers him from side to side. There are, in addition, convenient to his left hand, the switch and small throttle-lever which operate the motor. The simplicity of the control is shown by Fig. 94. What the pupil does—as a first stage in his tuition—is to seat himself in the machine, while it stands at rest on the ground, and move the levers so that he becomes accustomed to their action.

_

Fig. 94.—Control of a School Biplane.

After this, taking his turn one morning with others who are at the school, he seats himself behind the instructor and is borne into the air upon his first flight. In this—and in several subsequent ascents—he does nothing himself; he is merely a passenger. From his position behind the pilot, however, he can watch the [Pg 236] former’s movement of the levers as he rises, turns in the air, or descends; and this gives the pupil an idea as to how far and how quickly a lever must be shifted to gain a controlling effect. He sees that delicacy is required, chiefly, in the handling of an aeroplane; and it surprises him to observe that a movement of a few inches one way or another is all the pilot need make with his lever. Apart from watching such controlling actions he becomes accustomed, in these trial flights, to the sensation of being in the air. It is necessary above all else, that he should learn to feel at home in an aircraft, and not be flurried by the speed at which it passes through the air, or by the strangeness of looking downward upon the ground from a machine in flight. It is important, too, that he should learn to gauge distances and speed. These, when an aeroplane is in question, are apt to prove deceiving; it is very necessary, for instance, that the novice should be able to estimate how far his craft will travel in a descent, after he has stopped his engine and is gliding, before it comes in contact with the ground.

Sometimes, through a failure to judge correctly what distance his machine will glide before alighting, a pupil may find himself in an awkward position. In one case, for example, switching off his motor while some distance above the sheds at an aerodrome, the novice began to plane down, intending to land in the centre of the ground. But he found as he descended that he had misjudged his height, and was likely to over-shoot the mark. He steepened the glide, but it was of no avail; his machine had been much higher, when he stopped his motor, than [Pg 237] he had imagined; and now, instead of alighting where he had planned, he found himself sweeping rapidly across the aerodrome, still some distance from the ground, and with trees and other obstructions looming before him. Down he came till he was about 30 feet from the grass; but his craft—being a biplane and lightly loaded—seemed almost to resist his efforts to bring it to earth, and still skimmed through the air in a graceful glide. He saw now that he could not land in time—that, even if he managed to touch ground before reaching the end of the aerodrome, his craft would run on, by reason of its impetus, and collide with a fence and trees. There seemed only one thing to do—start the motor again, rise above the trees, and circle round and attempt another landing. But then the pupil—still sweeping nearer danger—had an unpleasant surprise: the engine, when he turned the switch, refused for some reason to start. He fumbled for a second or so, but it was no good; and now he was rushing upon the trees. Swinging his rudder in a panic, he attempted to turn. But the pace of the machine had lessened; and, there being no motive-power behind it, the abruptness of the turn robbed it suddenly of its forward speed. It wavered, came to a standstill in the air, and then side-slipped heavily, falling upon one wing-tip, and becoming an almost total wreck. But the pupil, although shaken, was not injured.

A novice, in landing from a flight, has not only to gauge just where his machine will touch ground, but must estimate also how far the craft will roll upon its running wheels before it comes finally to a [Pg 238] standstill. One beginner, alighting correctly but rather too near the rails of an aerodrome, found that his machine ran forward till it struck them, and then turned a somersault, pinning him down within his machine, but not causing him any injury. On some aircraft nowadays, so as to control this movement over the ground after alighting, a form of brake is fitted between the landing-wheels, which can be lowered by the pilot from his seat, and digs a steel prong into the ground, bringing a powerful checking influence upon the machine. A device of this kind is illustrated in Fig. 95. Such a means of stopping a machine is often very necessary, particularly in cross-country flying, for a pilot may land, say, upon a sloping field, and find that his craft is running downhill quite beyond his control, and threatening to collide either with a wall or fence.

_

Fig. 95.—Ground-brake for aeroplane.

A.A. Running wheels of chassis; B.B. Axle-rods; C. Brake; D. Prong which plunges into the ground; E. Wire which operates brake.

After he has flown several times as a passenger, and watched all that his instructor does while in the air, the pupil reaches the second stage of his tuition; [Pg 239] and in this he is seated alone in a machine, and allowed to drive it here and there across the aerodrome. The biplane is adjusted, as a rule, so that it will not fly; and this process of the training—which is called “rolling” at the schools—is to enable a novice to handle his craft neatly while on the ground, to learn to steer to right or left, to keep it when necessary upon a straight course, and to accustom himself to the starting and stopping and control of his engine. This practice is important. With his motor giving just sufficient power to make the controls of the machine effective, but not enough to lift it into the air, the pupil “rolls” from one side of the aerodrome to the other; then he turns by a movement of his rudder, which swings the tail of the machine, and returns again to his starting-point, striving always to keep his craft from swinging sideways. He finds, while making these long, straight runs, that the machine shows a tendency, if the controls are untouched, to swerve a little to the left; and this is caused by the influence of the propeller, which is revolving to the left. But the inclination may be checked quite easily by a movement of the rudder to the right.

With a school biplane, adapted for its work, a novice may soon learn to steer while on the ground; but with some other types of machine—notably a fast monoplane—“rolling” is by no means easy. A racing craft, for instance, when it is moving across the aerodrome, needs most expert handling: even the smallest error of judgment in the use of the rudder may send it whirling round upon itself in a violent [Pg 240] turn—rather like an angry bird; while if the pilot attempts to swerve too abruptly, in avoiding any obstacle before him, the machine may reel sideways and overturn—and, seeing that it is travelling at a speed greater than that of an express, the resulting smash may be a serious one.

“Rolling” accomplished, and a facility gained with his control levers, the pupil is subjected to his first real test. Again alone in the machine, and with the instructor watching him from the sheds, he attempts a short, straight flight. There is nothing ambitious about this journey through the air; those on the aerodrome, in fact, call it a “hop.” What the pupil does is to accelerate his motor, attain a flying speed, and very cautiously move his elevator until he is skimming through the air a few feet above the ground. Then, after flying a short distance in this way, he pushes forward his lever and descends. He attempts no turns; rises no height in the air; the idea, indeed, is to learn the art of ascending and alighting with the least possible risk. Occasionally, and more often in the early days, a novice has shown an abnormal skill. One, ascending for the first time and ignoring the advice of his instructor, passed straight away from the aerodrome, rising as he flew, and disappeared above a clump of trees, his landing wheels almost brushing their tops. His instructor, and the officials of the ground, were naturally perturbed; particularly when, a minute or so later, the pupil was seen to be returning towards the aerodrome, flying now so low that he could not hope to clear the trees. Towards them he came, making no attempt to turn, and those who watched feared a fatal smash. But then an extraordinary thing happened. Despite the fact that he was an utter novice, and had made no flight like this before, the pupil steered coolly for a gap between two trees, and although there was barely room for his wing-tips, and he actually brushed against the branches upon one side, he managed to pass through safely and landed upon the aerodrome without mishap. When the instructor and others came over to him, expressing their astonishment, he appeared surprised that his performance should have provoked comment. Quite calm and unmoved, he seemed to think he had done nothing at all peculiar; although, as a matter of fact, such a flight between two trees—with practically no margin for error—would have been a feat considered perilous even by an experienced airman. [Pg 241]

_

PLATE XV.—VIEW FROM A CRAFT ASCENDING.

In this picture the machine has only just left the ground, and its occupants, peering down as it rises slantingly, see the spectators below grow smaller and more remote.

[Pg 242] Once he can make a short, straight flight and land neatly, the pupil is ready to attempt a turn while in the air. A half-turn to the left is first essayed, and for the reason that it is more easily accomplished than a swing to the right. This is due to the fact that the engine and propeller, revolving to the left, tend naturally to incline a craft in that direction. The pupil finds as he turns that he must—in addition to putting over the rudder—move the ailerons at his wing-tips; and he needs to make this movement because the biplane, while it is in the act of swinging, begins to heel inwards. The outer plane-ends of a machine, when it is forced thus upon a turn, have indeed a natural inclination to “bank,” or rise. This is because, as the craft swings, the outer wing-tips move more rapidly through the air than do those upon the inside of the turn; they exercise, for the moment, therefore, a greater lifting power; and the result is that, with this sudden and extra “lift,” they force up the outer side of the machine. On a very rapid turn, if this movement went unchecked, a machine might heel to such an angle that it slipped inwards and fell to the ground; but there is no fear of this if the pilot, moving over his hand-lever, draws at the ailerons upon the side of the craft that is tilting down. This causes the plane-ends to rise, and the machine swings upon a normal path. Fig. 96 shows a school biplane making a “banked” turn. A certain amount of “banking” is necessary when turning; it helps a craft to incline smoothly and prevents it from skidding outwards, as it might do were its planes not heeling to the swing. Any pronounced degree of “banking” must not, however, be indulged in by a pupil. In even an acute “bank,” to a skilled pilot, there is no element of risk; experience has told him, in a way nothing else could, just what angle may be safe, or what [Pg 243] not; but the beginner, remembering that any steep inclination of his planes may cause a side-slip, must not venture so to heel his craft. Sometimes, becoming over-bold, a novice may “bank” steeply once or twice without mishap; but then perhaps, while attempting to repeat the manœuvre he had made before, he may pass without knowing it over the danger-line, and find his craft slipping helplessly beneath him. If flying quite near the ground, as probably he will be, the mishap may mean a crumpled wing and nothing worse; and it will serve the purpose of teaching him a greater caution.

_

Fig. 96.—Banked turn on a biplane.

A.A. Represent the ailerons, which are drawn down by the pilot to prevent the machine from heeling too far inwards.

Although, under favourable conditions, a modern machine requires little control, and though he meets with few difficulties when he is learning to fly, a pupil must remember always that no liberties can be taken while he is in the air; every instant he is aloft he needs caution. The greatest of the world’s airmen—the Wrights, say, or Bleriot or Farman—never lost for one moment what may be termed their respect for the air. A man who is haphazard or careless should not turn to aviation; he is a danger to himself, and to others also.

After making turns to the left, until he can accomplish them with ease, the novice attempts a similar manœuvre to the right; but he needs to remember, while at this stage of his tuition, that a turn must never be attempted while a machine is ascending. If this mistake is made, and a craft is swung sideways while its planes are inclined at a steep angle to the air, it may lose its forward speed and slide tail-first towards the ground.

When turning to the right, as soon as he attempts this manœuvre, the pupil finds that his craft has a [Pg 244] tendency to rise: this is due to the gyroscopic effect of engine and propeller, which are revolving in the opposite direction to the turn. To counteract the influence, however, which is slight, the pilot should move his elevator so that it is in the position for a descent. The machine, if he does this, will resist the gyroscopic motion and maintain an even keel. In early days, when little was known about this gyroscopic influence, a turn to the right was considered difficult and even dangerous, and there were men who would not attempt it if they could avoid doing so. But nowadays, thanks to greater knowledge and experience, the right-hand turn proves as easy almost as a similar movement to the left.

Reaching the stage when he can turn with facility either right or left, the pupil combines these manœuvres in a single flight, and learns also to stop his motor while in the air and descend in a glide. The point to be remembered in making a vol-plané is that, when its motor is stopped, the only force which keeps an aeroplane moving is that of gravity. If it stands still in the air its planes are inoperative, and it falls. So, as he switches off the motor, the airman must push forward his elevating lever, tilt down the front of his machine, and set it gliding earthward; and, if the speed of his glide is maintained, the craft is perfectly controllable. The actual landing is a matter of skill. Just before his craft touches ground, the novice must tilt back his elevating plane; this checks the glide, raises the front of the machine, and brings his wheels into a smooth contact with the ground. Should such a checking movement not be made—and some nervous pupils have been known to forget it—a machine may strike ground sharply, at [Pg 245] an awkward angle, and damage its chassis. The landing-gear of a school biplane is, however, made specially strong, and will resist a heavy shock.

Now the pupil is ready for his official tests. These are conducted by the Royal Aero Club, which has officials at the aerodrome. Two posts are fixed in the ground, not more than 500 metres (547 yards) apart, and round these the pupil must fly, altering the direction of his flight at each turn, so that he is making in the air a series of figures of eight. Two such flights is he called upon to make, each of a distance of 5 kilometres (3 miles 185 yards); and he is asked also to ascend 100 metres (328 feet), and from this altitude descend with his motor stopped. In alighting from each of his tests the pupil must, so as to show his judgment of distance and speed, bring his machine to rest within 160 feet of a mark upon the aerodrome that is indicated to him. The representatives of the Aero Club, when these trials are completed, send to headquarters their official report; and the committee of the club, after considering this and finding it in order, issues to the pupil a numbered certificate, which contains his photograph for purposes of identification and a printed list of the rules which, as a duly qualified pilot, he must now observe. Once he has gained his certificate—or “ticket” as it is called at the aerodrome—the pupil ceases indeed to be a novice, the period of his tuition ends, and he becomes entitled to take part in the races at Hendon, or in any other contests that may be organised under the jurisdiction of the Club.

Naturally, even when he has gained his certificate, the pilot has much to learn. The passing of his tests does not imply, for instance, that he is a flyer of experience, [Pg 246] able to grapple instantly with any difficulty that may arise. What the granting of his certificate does actually show, is that he has learned how to handle an aeroplane, and may be relied upon to make no elementary mistakes. The art of cross-country flying is still a closed book to him; and to this, as a rule, he next turns his attention, first making short trips near the aerodrome, and then increasing gradually the length and boldness of his flights. Then he must learn to combat a wind, and to steer by his maps and compass; he must, in fact, teach himself to be an all-round man. And none of these stages must be gone through hurriedly. In aviation, more than in any other art in the world, the whole of a man’s knowledge must be dependable and sound. [Pg 247]


CHAPTER XVIII
TOURING BY AIR

Machines and alighting grounds—The cost of flying—An imaginary tour—The sensations of a passenger—How laws will be framed to govern flight—Aerial smugglers and spies.

The joys of aerial touring are such that it is difficult to do them justice. Free from the earth and its obstructions, free from police traps and dust, and the noise and traffic of the roads, the aerial tourist wings his way—serenely and with ease, a panorama spread below and upon either hand, and with a wine-like freshness in the air. Who would be chained to a road, winding here and there, when he might pass high above the earth upon the aerial highway? The day is already dawning when, housing his aircraft say at Hendon as a convenient starting-point, the most modern of travellers will tour regularly by air, using a plane as he would a motor-car, and throwing himself with zest into the new amusement that is offered him. [Pg 248]

Prejudices of course die hard; there are still the occasional accidents which are reported in the daily press; still there is the lurking notion that because a flying craft passes through the air and not upon the ground, it can never be safe. But facts must speak, and are speaking; and daily, and almost hourly, this mountain of prejudice is being moved. For every mishap that happens men are now flying many thousands of miles, and flying not only in safety, but with comfort and pleasure. Nor do craft any longer collapse while in the air, nor motors fail constantly; nor does the wind hold those terrors that it did at first. Touring aircraft that are both scientific and airworthy may be obtained, and as a practical means of transit from point to point—speedier and more pleasant than the motor-car—the aeroplane now finds frequent use. The pleasure use of planes is encouraged, also, by their growing comfort. Pilots and passengers sat formerly upon bare, open seats exposed to the rush of air: but a modern touring craft has a neatly enclosed body, like that of a motor-car with padded seats, and screens to protect its occupants from the rush of wind. How snug it is within the hull of a latest-type machine may be seen from Fig. 97. Of course the air tourist, like the motorist, needs some objective for his day’s journey—some place to which he [Pg 249] may fly and alight, and at which he may house his machine; and here and there even to-day, at the dozen or more flying grounds dotted about England, such facilities may be found; even, for instance, at Lanark, in far-off Scotland. But France is still greatly ahead of us in this respect—and Germany too: they have, already, a very large number of air-stations, and are adding to them rapidly. All that is needed, to form an alighting spot, is a suitable stretch of open land with some sheds, a repair shop, a telephone, and one or two mechanics in attendance. The establishment of such landing grounds for the aerial tourist, which would correspond to the halts of the motorist, will form one of the next great developments of flying. Like stations on a railway, or garages upon a main road, will be the landing-points for aeroplanes; no growth in touring can be expected without them.

_

Fig. 97.—Driving-seat of a touring plane.

A. Raised wind-screen; B. Instrument board; C. Hand lever; D. Rudder bar; E. Pilot’s seat.

It is not so expensive as some might imagine to tour by air. A man may, for an expenditure of £1200, buy a two-seated 80-h.p. monoplane, or a biplane seating three people; and the running expenses, for such craft as these, should represent a figure of about 5-1/2d. per mile. Then upon a tour, say, of three months, covering a distance of 4000 miles, there would be incidental expenses to reckon with, as follows: £36 for the services of a mechanic; £12 for garaging; £50 for repairs; and £10 as insurance against any third-party risks. In the future, of course, when machines are built in large numbers, and standardised in their output like cars, the cost of flying will be reduced greatly; but even to-day, with aerial touring in its infancy, a man need not be a millionaire to enjoy it. And one must, [Pg 250] when cost is being considered, remember the sheer thrill that is experienced by the man who flies, and the invigoration of the air, say, at 3000 feet, which acts as a pure, splendid tonic for those who have jaded nerves. There is, too, the wonderful bird’s-eye view which may be obtained by those in an aeroplane. They see the land below them, stretching for mile after mile till it is shrouded in delicate mist; moving away slowly, appearing far-distant and quite remote, and yet revealed in all its detail—roads seem like ribbons, railways like tiny glistening threads, and rivers and lakes shining mirror-like. The day will soon dawn upon which, secure from any haunting fear of accident, the tourist will sweep up in his machine at Hendon, sail smoothly to the sea-coast, thence to some beauty spot inland, and so on till he has toured the kingdom.

Already, granted he has a suitable machine, a man may roam the air pleasantly in England; and it may prove of interest to picture such a tour—with the airmen leaving Hendon early, just as the first summer’s mist has gone, and the sun is mounting to another glorious day. There are, let us say, three of you in the party; and you are ready, after a cup of hot and welcome coffee, to take your seats within the machine—which stands waiting upon the grass, its planes glinting in the sun. Mechanics have appeared from the sheds as your motor-car approached, and the pilot of the machine, wearing his flying garb, has come forward with a greeting; and now, while you are finishing your coffee, the mechanics have filled the fuel tanks and, under the supervision of the pilot, given a final glance here and there. [Pg 251]

“Ready?” the airman questions; then with a smile he orders: “all aboard!”

You climb up into the hull of the craft, and find yourselves in neat, armchair seats, which prove extremely comfortable. Then, after a final word to the mechanics, the pilot mounts to his place before you—his driving-seat being in the bow of the machine.

Now he calls an order, and the mechanics walk behind the machine; then, breaking upon the stillness of the morning, comes the roar of the motor. You feel the machine strain suddenly forward; but it is held back; and for a moment or so there is nothing but the harsh clamour of the engine. Then, watching the pilot, you see him turn slightly in his seat and raise an arm; and at the same instant there is a movement of the craft. You glance over the side of the hull, and see that the ground has begun to race away sternwards. The swift, steady forward impulse continues; there is a rush of wind past the hull; and then, the transition from earth to air being so gentle that it is imperceptible, and before your senses can register an impression, the machine has glided free of the ground, and is in actual flight. It is not until your eyes, still turned downward, see that the aerodrome with its sheds has begun to sink away below, that you realise you are in the air. Plate XV shows how people who may be waving you farewell, appear when viewed from an aircraft that is ascending.

Down, as though drawn by some giant, unseen hand, sinks the surface of the land; and you yourself, save for the wind which comes whistling past the hull, might be suspended motionless in the air. Smooth, seemingly quite effortless, is the progress of the machine; and the [Pg 252] air aloft is—well, such air as, for sheer exhilaration, you have never breathed before; and, although it has an early-morning chill, you are shielded by the snug, covered-in body of your craft. The machine as it thrusts its way forward, is rising steadily—now 500, now 1000 feet; and as you fix your eyes again upon the pilot, you see that he is making a turn. He is in fact swinging his craft so as to steer for Kempton Park, where a tall chimney forms a landmark for many miles; and the reason for the manœuvre is this: you are bound, as a first flight, for the aerodrome by the sea which has been established at Shoreham; but to fly there straight from Hendon would mean passing above London, and this by aerial law is not allowed. For the safety of the public, indeed, all flights over towns are prohibited, it being held that there might be danger, for those below, from the fall or collapse of a machine. So pilots make detours round areas that are populated; and your steersman, having no desire to infringe the rules, points his bow south-west and soon covers the fourteen miles to Kempton Park. Round the chimney to which he has been flying you make your turn; then he corrects his course due south and steers steadily for the sea-coast, still rising gently; while around and below—like a scene from fairyland—lies the panorama of the landscape.

_

   Photo, F.N. Birkett.

PLATE XVI.—THE GRAHAME-WHITE AEROBUS.

This machine, which is seen above with Mr. Grahame-White at the steering wheel, holds a world’s record for weight-lifting, having flown for 19 minutes at Hendon, carrying nine passengers. The craft has a wing-span of 60 feet, and is driven by a motor of 100 horse-power.

[Pg 253] A flight of 40 miles now lies before you. The motor throbs rhythmically, the altitude is 3000 feet, and your craft sways a little sometimes, ever so slightly, as it encounters a gust of wind. Below lies Surrey, with its commons, parks, and woods; and the effect of your height is now peculiar. You have a fixed delusion that the aeroplane is standing still, and that you are moving neither forward nor sideways; and yet your speed, as a matter of fact, is more than 50 miles an hour, and the sea-coast creeps nearer mile by mile. This illusion, this strong belief that you are motionless, is due to your height above the ground. Looking down upon the earth, from an altitude of several thousand feet, you have no near object by which you can gauge your speed. It is the same when one glances from the window of an express, and catches sight of some distant hill. Even in a train running at sixty miles an hour, if you watch a landmark that is remote, it will seem that your pace is slow; and yet if you note the telegraph poles close beside the track, you see that they are flying past your carriage window.

Soon, after peering steadily ahead, your pilot turns towards you with a call: “Look—the sea!”

Your eyes follow the direction of his outstretched arm, and there, faint upon the sky-line but quite distinct, and reflecting the glint of the sun, lie the waters of the Channel. The land at its brink is only dimly visible at first: there is a slight sea-mist; but soon, as your craft speeds closer, the wide sweep of the coast is open to your view. Westward lies Selsey Bill, at the extremity of a stretch of shore which juts boldly to the sea; and then from west to east, as you turn your head, you follow the line of the coast until Beachy Head, standing clear-cut and distinct, caps to the eastward this fine-drawn curve. You call an inquiry, and your pilot points ahead: almost in the centre of the bay, at a point where a glint of water, seen a little way inland, reveals the location of Shoreham Harbour, lies the aerodrome that is your goal. [Pg 254]

_

Fig. 98.—Hendon to Shoreham, 55 miles.

Quite soon, still driven smoothly by your motor, you hover above the alighting point; and then moving over a little switch upon the dashboard before him, the airman cuts off his power. The booming drone of the engine dies away, and at the same moment you feel the craft tilt forward, and see the aerodrome below, fringed by the roofs of its sheds. And, in the sudden stillness which has fallen, you hear the wail of the wind, shrieking past your struts and planes. Down quite gently glides the craft, and you see a movement of little figures near some sheds; then you touch ground without shock, and the machine runs forward a short distance and halts. This stage of your flight is shown in Fig. 98.

The pilot glances at a little clock that is fixed on his dashboard; then stands up to stretch his limbs.

“Just over an hour,” he says. “Not so bad. With the 14 miles to Kempton Park and then the 41 here—that makes 55. She’s been doing a steady 50 an hour.”

Now a little group surrounds the machine, and calls up questions about your flight.

“What sort of a trip, old man?” queries a brother pilot of the driver of your craft. [Pg 255]

“Is the wind steady up above?” asks a young man in a flying helmet, who is one of the pupils of the flying school.

Answering the eager questioners as best you can, you clamber down from the hull. Several aeroplanes, you now observe, are out upon the aerodrome, and here and there a novice is at work—either “rolling” his craft to and fro, or attempting a short, straight flight; and, even though it is still early, visitors may be seen near the sheds; they have motored out from Brighton to watch the practice flights.

But your chief concern, you find, is in the matter of breakfast; the air has given you an appetite that will not brook delay. A motor-car stands in readiness; so you take your seats and drive into Brighton, where you enjoy a leisurely meal. Then comes a drive along the sea-front in the beauty of the morning sun: and after this you return to the aerodrome, where the biplane stands waiting for its second flight. You have decided—wishing to remain by the sea—that you will fly on along the coast to Eastbourne, where there is another aerodrome at which you may alight. So, with a shout of farewell ringing in your ears, the big machine sweeps skyward—up swiftly and steadily, circling as she climbs; and then your pilot turns eastward, and you fly above the fringe of the sea. Along past Brighton the aircraft makes her way, and you note the people on the beach—looking no bigger than ants upon a path—as they stand in little groups and watch your progress. High above the piers the biplane flies, and you see the town lying mapped away inland, with the electric railway skirting the water’s edge. Then on swiftly, following the line [Pg 256] of the cliffs, a cool sea-breeze beating into your face. The earth below seems to fade into insignificance; far-distant, skirting the brink of the cliffs like a thin, white ribbon, you see a lonely road; and all the time, climbing higher and higher through the sunshine, your pilot forces his plane aloft Three thousand feet, four thousand feet—still you ascend; and soon the needle of the height recorder stands at 5000 feet. Newhaven is now below, with its river winding away inland; and a superb view, which includes water, sea, and land, is spread at your feet.

On you fly, with the machine swaying a little every now and then, as it encounters such wind eddies as are formed where sea meets land. With the heat increasing, these aerial disturbances grow marked, and your pilot swings more seaward, so as to avoid the influence of the swirls which rise upward above the cliffs. Beachy Head is quickly reached, with its lighthouse showing clearly. Now your pilot turns north-east, and quite soon you are over Eastbourne, and planing down to reach the flying ground. This second stage of your tour is shown in Fig. 99. Again, when you have alighted, there is a [Pg 257] greeting from airmen and their friends; then, while you examine some aeroplanes in their sheds, and discuss the pleasures of your trip with those about you, the pilot of your machine has made an overhaul and is ready again to take the air.

_

Fig. 99.—Shoreham to Eastbourne, 33 miles.

This time, still hugging the coast, you have decided to fly to Dover. Here at Whitfield, a mile or two out of the town, there is an excellent aerodrome, and the flight from Eastbourne is one of 52 miles. But a point to be remembered is that Dover, with its fortifications, which might be spied from the air, has now been declared out of bounds by aerial law, and no pilot—unless he obtains a permit—is allowed to fly nearer than within three miles of its castle. For a British aircraft, however, when bent upon a pleasure tour, there should be no difficulty in securing such an exemption as is required; and we will assume you have been granted one, and have a right to cross the harbour and pass the castle on the hill. Rising quickly, therefore, and with your motor running sweetly, you steer eastward from the aerodrome, and are soon at Bexhill. This gives place to Hastings as the coast sweeps below; and then you see Dungeness, 15 miles ahead, jutting out upon the sea. This reached, and left behind, and you have Dover ahead, with not more than 20 miles to fly; and your pilot, steering a course directly for his goal, takes you out several miles to sea, so that you observe Romney and Dymchurch lying away upon your left.

It is now that, turning a moment from his control-wheel, the airman points south-east across the Channel.

“Look!” he calls; “France!”

Distinctly, indeed, away upon the sky-line, you can [Pg 258] see the outline of the French coast; and as you look, Cape Grisnez, stretching its arm of land towards England, quite clearly takes the eye.

On, with the engine singing its sleepy song, the biplane speeds; and when you glance earthward again it is the Shakespeare Cliff that is passing away below; then Dover, with its steamboat pier and harbour works, lies directly beneath your feet. You see the square outline of the harbour hotel, looking like a doll’s house from some children’s game; and along a shining ribbon of rail, with a tiny jet of steam behind it, a little toy engine is busily shunting a miniature train. A second or so later, and the noise of the motor has ceased; then—rushing earthward in a long, swift, perfect glide—you reach your landing at Whitfield, and another stage, as seen in Fig. 100, has been accomplished safely.

_

Fig. 100.—Eastbourne to Dover, 54 miles.

At Dover, while resting and taking a meal, you discuss your next flight; and it is decided to make for Eastchurch, in the Isle of Sheppey, where there is a busy and important aerodrome, and the naval airmen have their school. This, as seen by Fig. 101, [Pg 259] represents a flight of only 27 miles. Away again, therefore, and flying now inland, you pass Canterbury and some belts of woodland: then, flying above the river Swale, you find you are over Sheppey and with Eastchurch right before you. Here, in the middle of the sleepy little island, where an active colony of airmen has been formed, the Royal Aero Club has its flying ground; and it is here, too, that Messrs. Short Brothers, after moving from Leysdown, a few miles away, established an aeroplane factory in which—after building Wright biplanes under licence from the famous brothers—they developed those splendid sea-planes which are used in the naval service.

_

Fig. 101.—Dover to Eastchurch, 27 miles.

From Eastchurch, where there is much to be seen, many routes may be chosen upon the aerial highway. One may fly to Brooklands or Uphaven, to Farnborough or Amesbury or Huntingdon. But you determine probably that, returning to Hendon for the night, you will house your aircraft there, and so be ready next day for some other tour afield. Your course lies to East Tilbury, a distance of 19 miles; then to Enfield, 25 miles—so as [Pg 260] to avoid passing above London; and thence, an 8-mile stretch, steering W.S.W., to the landing ground at Hendon. The route is shown in Fig. 102. It makes, in all, a flight of slightly more than 50 miles; and as it necessitates crossing the Thames—a flight out of bounds according to aerial law—you will need to have obtained a permit, as was the case with your journey to Dover.

_

Fig. 102.—Eastchurch to Hendon, 53 miles.

In the cool of the summer’s evening, refreshed by a cup of tea, you leave Eastchurch behind you and set off upon your final flight. Your course lies W.N.W., and soon you pass from the island and have the waters of the Medway below your feet. Then on again over land, with the mouth of the Thames upon your right. East Tilbury is now ahead, and you cross above the Thames, with Gravesend to the left and a wide, open stretch of river behind. Then with Essex beneath, and the river still winding to his left, your pilot steers towards Enfield. Soon the smoke of London looms in the distance to the west, and you pass near districts where the houses stand close-packed. Now Enfield is reached, and the steersman makes his turn: then, ten minutes or so later, the [Pg 261] song of the engine is stilled; and in the gathering dusk—impressively and without a sound—you begin your downward glide. Round in a wide, smooth circle, and with his planes “banked” steeply, does your pilot wheel. Then you come finally to rest, and climb a little stiffly from your seats: the day’s air-tour is done. Visiting four aerodromes, three of them at the brink of the sea, you have flown a total distance of just over 200 miles.

On another day, perhaps, you will fly to Oxford; or tour above the West of England and alight at Filton, near Bristol; here and there even now, at the grounds dotted about the country, you will find facilities for landing. Should there be no aerodrome near, and a descent becomes inevitable, then your pilot must choose the best field he can see, and alight in that: it is all part of the adventure. Sometimes, certainly, a motor will fail in awkward circumstances—say when a pilot is over wooded or precipitous country. But with the airman, always, it is a point of honour that he should see the humorous side of things; and this gayness of outlook he will, even under most trying circumstances, strive manfully to maintain. Flying across country one day with a passenger, a pilot heard a sound from his motor that told him some valve or rod had broken; and the next moment, without further warning, the engine stopped. The wind at the time was gusty, and the ground below unsuitable for landing; but the pilot remained unperturbed. Perceiving beneath him an orchard, which seemed to offer the least of many evils as an alighting point, he leaned towards his passenger with a smile.

“I hope,” he said, “you’re fond of apples.”

_

Fig. 103.— Landing areas for foreign aircraft.
The portions of the map shaded heavily in
black indicate the alighting points.

So far, when he tours the air, a pilot has few restrictions. [Pg 262] He must not fly above certain areas, it is true, but in the main the sky is free to him, and as yet he need not register or number the craft he buys, like the owner of a motor vehicle has to do. The fact is, however, that laws for the air have been studied, and in some cases a schedule prepared; but no definite scheme of rules has, up to the present, been placed upon the Statute books. The intention is, indeed, to allow the science to develop with as few limitations as may be possible. There are so many problems to be solved in regard to the governing of flight, that they can only be dealt with as they arise. The air, as an element in which men may navigate a craft, has aspects which are unique. Oceans and continents, for example, all have their limitations: the land ends and the sea begins, and then the sea in its turn gives place again to land. The traveller from London, say, to Paris, first passing from inland to the sea, has to leave the train and embark upon a boat, only to change again into a train and finish his journey—as he began—by way of the land. But an aerial voyager between the two cities finds no restrictions such as these: the air has only one boundary—the point at which it touches the surface of the earth; and so he may rise from London, and fly with equal facility above land or sea.

Although the air has no limitations, such as are encountered by land or sea, there has been discussion between nations as to the rules they should impose to control the flight of craft. It has been agreed, without question, that the air-space over the high seas should be regarded as free, and also above territory that is unoccupied. The idea of an aerial law which is thought [Pg 263] most reasonable, indeed, is that the sky over the whole globe should be declared free for traffic, but that each nation should be allowed to enforce rules to prevent attack or spying from above, and to check aerial smuggling. But that flying over a frontier might be controlled by a corps of aerial police is considered hardly feasible: it would be almost impossible indeed—had he made up his mind to do so—to prevent an airman from crossing above some boundary. Even were there patrol craft on duty, he could rise high among the clouds and so escape detection.

Such difficulties as these will, sooner or later, have to be faced; but at present there are in existence only the simplest of laws, and these have been framed for the safety of the public, and to protect strategical areas from the attentions of foreign spies. Flying over towns is—as has been stated—declared a dangerous practice, and is no longer allowed; while the officials of our Home Office, after consultation with the naval and military authorities, have imposed restrictions upon the entry into this country of foreign craft. A machine reaching our shores from abroad can only land, [Pg 264] for instance, between the points specified below, and outlined upon Fig. 103, and then only after its pilot has given eighteen hours’ notice to the Home Office, either by letter or telegram, of his intended flight:[3]

Fraserburgh and   Ythan River.
Holy Island "   Newbiggin.
Sutton (Lincolnshire) "   Holkham (Norfolk).
Stansgate Abbey "   Burnham-on-Crouch.
  (on the Blackwater)    
Margate "   Walmer.
Rye "   Eastbourne.
Hove "   Bognor.
Bridport "   Dawlish.

It is declared unlawful for an aircraft entering England from abroad to carry any goods upon which Customs duty is payable, or the importation of which is prohibited by law; any photographic apparatus, carrier pigeons, explosives, or firearms, or any mails. Upon arrival in one of the landing areas prescribed, the airman fills up an official report, and obtains a permit which allows him to continue his flight inland. Before leaving the country, upon his return abroad, he must alight in one of the coastal areas. No exemptions are granted to these rules unless by the authority of the Home Office, and no foreign naval and military aircraft are permitted to fly over or land in England unless upon a Government invitation.

A number of points in the United Kingdom have been specified over which, for strategical reasons, no flying is permitted—although such rules do not apply of [Pg 265] course to British naval and military craft. The mouth of the Thames is closed to aviation; fortifications like those at Dover are declared out of bounds; also dock-yards such as that at Portsmouth. The question arises naturally: how are these rules to be enforced? What is to prevent an aircraft infringing them? By the Act of Parliament in which they are set forth, there is a clause which reads:

“If an aircraft flies or attempts to fly over any area prescribed under this Act for the purposes of the defence or safety of the realm ... it shall be lawful for any officer designated for the purpose by regulations made by the Secretary of State, to cause such signal as may be prescribed by those regulations to be given, and, if after such signal has been given the aircraft fails to respond to the signal ... it shall be lawful for the officer to fire at or into such aircraft, and to use any and every other means necessary to compel compliance.”

Guns for use against aircraft have already been placed around our coasts, and some of these would be employed no doubt to fire upon a pilot who seemed deliberately to break the law; but this assumes of course that he is visible; were he flying very high, or were clouds to obscure the view, he might defy the officials who watched below. Just what may happen, when such laws are required for daily use, time alone will show; at present, beyond the bringing to our police courts of certain foreign pilots who have flown above prohibited areas on their way from France to Hendon, no data is available; and these offending airmen, pleading that they had no knowledge of the new laws, have been treated leniently by magistrates.

The whole question of aerial law must be considered [Pg 266] seriously by the nations; and in view of the preparation of some general code of rules the International Aeronautical Federation—which is the central authority upon aviation, and represents the world’s Aero Clubs—has held many meetings and drafted a number of proposals. It is held, to begin with, that all aircraft must be registered, and that an international list of machines must be compiled; also that craft must be marked with letters indicating their nationality—such as “G.B.” for Great Britain and “F” for France. By such means, and particularly by use of an international register, any craft could be identified, even if flying in a foreign country; and should it escape observation while in the air by flying high, it would need ultimately to land, and would then have its identity revealed. The pilot in charge would have identification papers, and a certificate showing his proficiency. The rules for obtaining such a certificate, in days when men take charge of large passenger machines, will need to be more exacting than they are at the present time; and it is argued that, before he is put in control of such a craft, an airman should pass a medical examination so as to show he is organically sound, and fit both in eyesight and nerve to steer a high-speed, powerful machine.

When a craft is registered, and its pilot has his certificate, it is considered necessary that—before he has a right to fly—he should apply for an official form, which would be known as a permit to travel. This would contain all necessary details for the identification of himself and his machine, and would allow him to fly anywhere within his own country: but it would not be [Pg 267] available for an aerial tour abroad. He would be required, before starting upon a foreign flight, to give up this home permit, and obtain in place of it a special Customs’ bulletin. This would specify the nationality of the machine, give particulars of its registration, and provide details as to its passengers, goods, and baggage; also the date and place of its departure from England, with the destination to which it was bound. On landing abroad, the airman would hand to the authorities his bulletin, and receive in exchange a document showing that the Customs’ officers had examined his machine and that he had paid what duty might be claimed on any goods he carried; then, once he had this new document, he would be free to fly in the country visited.

It is in regard to the Customs that the greatest problem must be faced. Rules may be made, alighting points insisted upon, but how are aerial smugglers to be caught? It has been suggested that there should be a Customs’ police, provided with fast-flying machines; also that if a machine failed to descend when it ought, they should go in chase of it. But in days when, without once alighting, a flight of twenty-four hours will be easily accomplished, such officers might find themselves upon a wearisome pursuit; besides the probability that, either during the night or in a fog, they would be given the slip. Rendering easier aerial smuggling is the fact that, to discharge a small cargo of contraband over a given spot, the pilot need not alight. Fixing the package to a parachute, he could cast it free from his machine and continue swiftly upon his way—the parachute being secured with its burden by the confederates who were [Pg 268] below. So difficult, in regard to aircraft, is this question of applying the Customs, that it has been argued air-borne traffic should—to save endless trouble and great expense—be allowed to go duty free.

A matter which is easier, and for which straightforward ruling may be framed, concerns the navigation of craft upon the airway. At present, with comparatively few machines, there is no great need for any code of rules: one pilot, should he sight another, can easily steer clear. But as the air becomes peopled, and there are streams of traffic between landing grounds, it will be very necessary to have a scheme of rules—rules, say, for meeting and passing, and for flying by day or night. What is suggested is that, with some modifications, the laws of the sea should be adapted to the air. Craft approaching each other should, it is held, bear away to the right, and never pass nearer than 300 metres (328 yards). When flying at night, a system of lights is recommended: white showing ahead, green to starboard, red to port, and another white light astern. Just before alighting when travelling by day, it is suggested that a pilot should show a red triangular flag; or, at night-time, wave a white light. When flying in daylight, and finding himself in distress, it is advised that a pilot should show a red triangular flag, and at the same time suspend from his machine two black balls, hung one above another; or, in the same circumstances at night-time, wave a white lamp and extinguish his side lights. The reason, in such a case, for extinguishing the side lights would be so as to show to other pilots only one lamp—the white one. This single white light will be the night signal of an ordinary balloon, and [Pg 269] it will be the rule for all power-driven craft to make way for it, and an aeroplane or an airship, say when its machinery has broken down, being in the same position as a free balloon, will wave this white-light signal so as to warn other pilots to keep clear.

By degrees, as air-traffic grows, new laws and regulations will need to be applied. But at present, save for restrictions such as have been cited, an aerial tourist wings unfettered flight. The motorist has a speed limit of 20 miles; but the airman, 3000 feet aloft, has none; and, save for certain areas out of bounds, the sky is free wherever he may fly. Presently, however, the law must have its say, and air transit will be regulated as is the traffic of the land or sea. Already, in fact, our Home Office, after consulting experts, has its scheme of rules on paper; but these will not be enforced till the need comes. [Pg 270]


CHAPTER XIX
TWENTY YEARS HENCE

The air, our future highway—Crossing the Atlantic—New York, for the week-end, by flying Pullman—Mail-carrying by air—The organisation of airways and air-stations.

It was in 1903 that the Wrights flew; and after this there were some years of waiting: then, in 1909, the world became aware that the air was conquered—not a conquest complete and absolute, but the first fruits of man’s victory. And now another five years have elapsed, and men ascend in gales of wind, fly between the capitals of Europe in a few hours, and travel 1000 miles without alighting. Above all, flying has been rendered safe: with a sound machine to-day, and a competent pilot, it is as safe in the air as it is on the ground. So much for five years: but aeroplanes are still small, and their engine-power is low; and airmen may be likened perhaps to the first navigators of the sea. They paddled tiny boats, and found they could control them; then longed for larger craft, with which they might cross the ocean, and bear passengers from land to land. And the aviator, weary of such planes as he must steer, longs also for a finer craft—larger, more powerful, capable of carrying heavy loads, and of crossing the Atlantic in a day. [Pg 271]

The world’s demand is all for quicker transport; yet, either by land or sea, the speed of travel has almost reached its limit. To save a minute upon a time-table, even with express trains, is now a problem; while with a liner upon the sea, should a knot or so be gained, it is only at an expenditure which is costly both of money and of coal. But daily the cry is heard—speed, more speed; time, which represents money, is growing always more valuable. Men can speak to one another upon an instant, by the use of the telephone, even when many miles apart; they can flash messages across continents by cable, or through the air by wireless waves; but when they themselves seek to travel, or when they send their goods from place to place, they must rely still upon a train or steamer, and the best speed that these can make. Larger sums of money would be earned if passengers, letters, and merchandise could be moved more quickly. Business men become irritable when on long journeys, even in a 60-mile-an-hour dining-car train; and from merchants there is the cry always that mail services should be more rapid, and the transport of goods speeded up. In meeting this demand for high-speed transit lies the vast future of the aeroplane. Along the highways of the air, thousands of feet aloft—above mountains, forests, rivers, or seas—will pass the high-speed traffic of the future. No rails or permanent way need be built for the aeroplane; it provides its own. All the air service requires, indeed, is a chain of landing stations.

Already, by aeroplane, a speed of 140 miles an hour has been reached—more than two miles a minute; and this represents no limit. Higher-powered engines [Pg 272] are needed, and are now being built—although at the present time a motor giving 200 h.p. is approximately the best that can be obtained. What aeroplane constructors hope to procure, as soon as engine makers can provide them, are motors yielding thousands of horse-power—similar to those which are available for ships; and when such engines are produced, although large sums must be expended upon their development, the possibilities of aviation will be almost beyond belief. Aeroplanes will leap in size from that of a cockleshell to a liner; we shall have huge aerial vessels which will carry hundreds of passengers; and within twenty years—seated in comfortable, Pullman-car saloons, 10,000 feet above the water—we shall be crossing the wide Atlantic in less than twenty hours. Already, as shown by the photograph on Plate XVI, it is possible to build a biplane which will carry a crew of nine.

Air travel will have a luxury which is unknown by land or sea. Machines will rush forward with a smooth, vibrationless ease, and only the subdued hum from the power-plant, and the hissing of air past the polished hull, will indicate the speeds that are attained. In 1934, leaving London say on Friday in the afternoon, one will ascend in an air-liner and eat and sleep on board, arriving at New York on Saturday morning. Then, assuming you are a business man, and calls have been made and your interviews done, you will leave New York on Sunday afternoon and be in London again on Monday morning. There will be no more inconvenience in visiting America in the future, than there is to-day in going to Scotland or spending a week-end in [Pg 273] Paris. Mr. Rudyard Kipling, picturing the coming of this air age, has said:

“The time is near when men will receive their normal impressions of a new country suddenly and in plan, not slowly and in perspective; when the most extreme distances will be brought within the compass of one week’s—one hundred and sixty-eight hours—travel; when the word inaccessible, as applied to any given spot on the surface of the globe, will cease to have any meaning.”

Problems, of course, have still to be solved; but none are insurmountable or so difficult as was the initial problem of making an aeroplane fly. Granted in due course that greater engine-power will be obtained, a problem outstanding concerns the wing area of a machine. For bearing a heavy load, when a craft is ascending and its speed is low, a large area is needed; but once the machine is well aloft, has ceased climbing, and is driving straight ahead, then its surface may be curtailed. A bullet rushes through the air by its own momentum; and with an aeroplane, as the speed grows high, only a small wing area is required. If a craft cannot curtail its surface, if it exposes when in full flight just as much area as it used when climbing, then the power of its motors is wasted and its efficiency impaired. What is wanted for high-speed flight, and what time and experiment should provide, is a method of reefing the planes of a machine. This would mean that, rising from the ground with its maximum surface, a machine would telescope its plane-ends gradually when a height had been reached, and continue so to reduce them until there came a limit of speed. In this way, and with multiple engines, a flying speed should be attained—even [Pg 274] with large, heavily laden craft—of quite 200 miles an hour. Wind resistance, of course, will need to be considered, and “stream-lining” brought to its perfection. In the future, indeed, sloped delicately and trimmed to their finest lines, the hulls of high-speed craft should become pictures of grace.

In the carrying of mails, and for bearing urgently-consigned goods, there will be another field for reliable, fast-flying craft; and already, in actual tests which have been made, the value of the air-mail has been demonstrated. At Hendon, for instance, towards the end of 1911, an experiment was performed in which the Post Office showed interest. The object was to carry special letters and postcards, packed in ordinary mail-bags, between the aerodrome and a landing ground at Windsor; and in spite of bad weather, with treacherous winds and rain, flights were made almost daily and at high rates of speed. Letters and postcards borne thus through the air had reached, when the experiment ended, a total of 130,000. But before a public service could be installed machines would need, of course, to be reliable. They would be required to start punctually to the minute and to fly day after day without mishap, defying all weather save the worst of gales. And such efficiency will in fact be reached: it is a question merely of time. The aeroplanes used in this Hendon test were small and of low power; hence, despite the courage and experience of their pilots, they were at the mercy of gusty winds. But the air-mail of the future—large, metal-built, and driven by many motors—will thrust its way, unscathed, into the teeth of a gale of wind. Picture the start of such a craft, in the days when there [Pg 275] is, say, an air-service between London and St. Petersburg. The mail-bags are borne swiftly to the aerodrome, and here stands the machine. Its widespread sustaining planes are fashioned from plates of metal—a metal light and yet amazingly strong; and between the planes, with a wedge-shaped bow, lies the car or body of the machine, with outlook windows along its front, and doors upon either side. Behind the lifting wings there are metal propellers; and sternwards the craft tapers until it ends with the control planes and rudder. In the hull, just behind the fore-car, men of the postal service are busy with the storage of mails; then, when her load is all aboard, appear the crew of three who are to voyage through the air. First comes the air-mail driver; he is in supreme control; and with him is a mechanic, a highly skilled man, whose task it is to tend the motors and see that they, and all the other working parts, are running smoothly during the hours that the machine is in flight. The third man to enter the fore-car is an official of the Post Office, who travels in charge of the mails.

The sliding door in the hull is closed; men step back away from the machine; and upon her controlling platform the pilot, leaning forward slightly, pulls over a lever. Instantly, as he does so, there comes a throb and a hum; the engines wake to life and the big propellers, flickering faster and faster, drive astern a screaming gale of wind. Then, moving forward gracefully and with quickly gathering speed, the air-mail rises and is lost to view.

In the engine-car, the floor of which vibrates very slightly with the hum of the motors and the rush of the [Pg 276] machine’s speed, stands the driver upon a raised platform. Immediately before him, as the craft rises slantingly, are the outlook windows; and convenient to hand and eye, as he looks first ahead and then back to his controls, are the wheels, levers, dials, and gauges by which he governs all the movements of his swift-flying charge. Bending forward, he moves his steering-wheel; then watches attentively the needle of the compass, which is fitted in an upright stand just before him. Then from the compass dial he turns to a map, which is stretched neatly upon a frame. Again he glances at the compass; then straightens himself and turns to speak to the mechanic. He has now adjusted the craft’s path, and she is flying accurately upon her compass course. After this, with an even, monotonous throb of sound, and a faint clamour from the wind around the hull, the craft rushes upon her way; and while the driver is absorbed upon his platform the mechanic, moving deftly here and there, tends the great, sleepily-humming motors.

Already, in the desire to build large, high-powered machines, some remarkable craft have been produced; and one of the most striking is the Sykorsky, a huge and highly successful Russian biplane. This machine has flown to a height of 3000 feet with sixteen passengers, whose combined weight was nearly a ton and a quarter. In its original form the machine had four motors, each developing 100 horse-power, which were mounted on the lower plane upon either side of the hull, one being placed behind the other and all driving independent screws. But the rear engines were afterwards brought alongside the front ones; and now, in its most recent form, the machine employs three motors, giving a total [Pg 277] of nearly 1000 horse-power. The craft has a metal hull, and boasts a cabin with windows.

The fitting of several motors, a principle tested in this biplane, has been shown to be practical; and it has the obvious advantage that, should one fail while in the air, the other or others will maintain a craft in flight. In such a machine as would fly the Atlantic, for example, it is proposed to fit four motors developing 800 h.p., and to carry a couple of mechanics who would constantly be tending them. Thus, should one engine develop trouble, its repair could be effected without [Pg 278] descent, and with no worse result than a temporary fall in speed. In Fig. 104 is shown a method by which three Gnome motors may be fitted to a biplane.

_

Fig. 104.—Multiple-engined craft.

A. First engine (a 50-h.p. Gnome); B. Second engine (which is on the same shaft, but will run independently); C. Third Gnome engine, also an independent unit; D. Four-bladed propeller (mounted higher than the crank-shaft bearing the engines, and driven by a chain gearing).

First probably for mails, and after this for passenger-carrying, will aeroplanes of the future be employed; and they will find a scientific use, too, in exploring remote corners of the earth, and in passing above forests which are now impenetrable. Small, fast machines, much cheaper than those of to-day, will be bought also for private use—many of them, as suggested by Fig. 105, having room for only one man within their hulls. Then there will be flying clubs; and to these, after their day’s work, will come a city’s toilers. Through the cheapening of craft, as time goes on, practically all members of the community will experience the joys of flight. Thus, say on a summer’s evening, the doors of the sheds will be pushed aside, and the machines wheeled out and overhauled; then, one by one, these small, fast-moving [Pg 279] craft will rise into the air and dart here and there—circling, manœuvring, dipping, and diving. So, one after another, either as pilots or passengers, will the members of the club ascend; and before the sheds are closed and the aerodrome deserted, each and all will have soared in flight, and tasted that thrill and exultation which comes of a rush in a plane through the cool of the evening air. But to-day, if we try to grasp such a notion as this, our state of mind is very like that of our grandfathers had some prophet dared tell them the day would dawn when, seated comfortably at dinner in a car on wheels, men would be drawn by an engine at 60 miles an hour: and yet the man or woman who has not, say twenty years hence, made a journey through the air, will be in exactly the same position as one who, at the present time, has never been by train.

_

Fig. 105.—The single-seated “air-car”—a suggested type.

A. Enclosed body; B. Driver’s position; C. Steering wheel; D. Foot-controlled throttle lever for engine; E.E. The two sustaining-planes; F. The motor; G. Propeller; H. Rudder; I. Elevating-plane; J. Landing gear.

We shall, with the coming of this air age, have to alter our notions both of distance and of time. From the air-stations which will girdle London, machines will be leaving hourly upon non-stop flights. All over England, in fact, towns and cities will be linked by air. London and Manchester, for example, will be then connected by a regular service, and the journey made in less than two hours. Dotted across country, and following the track of the main airways, will be a well-planned chain of landing grounds; and here local passenger craft will descend, and goods-carrying machines pause to set down their burdens. The national air service, in all details of its operation, will need to be well organised. Towns which are upon the air routes will set aside tracts of land, and upon these will be provided the facilities of an air-station. From London to York; from London to Chester; from London to Bristol; from London to [Pg 280] Portsmouth—thus, with their landing grounds en route, will the airways radiate. And passing constantly along these routes will be a volume of air-borne traffic—neat, privately owned planes; large and speedy passenger machines; multi-winged craft for the transport of goods; and here and there, flying swiftly and high, some slim-built war machine. Upon the land in the day-time, to indicate the direction of the airways, will be signs which may be read from high aloft; while at night, from signal towers, will flash forth lights, differing in the frequency and the colour of the beams they throw skyward, to guide the airman on his path.

In this way, and in due time, will the air yield its benefits and pleasures. It is towards this final conquest that we toil to-day—braving dangers that are deadly, overcoming difficulties that appear unsurmountable—ready to sacrifice our money and machines, and even the lives of men. And in the end, repaying us for our perils and our sorrows, the fairest of victories will be won. First Europe, and then the globe, will be linked by flight, and nations so knit together that they will grow to be next-door neighbours. This conquest of the air will prove, ultimately, to be man’s greatest and most glorious triumph. What railways have done for nations, airways will do for the world.

Morrison & Gibb Limited, Edinburgh

4/15               2


FOOTNOTES:

[1] In addition to the work of the Wright brothers, which was carried to the triumph of actual flight—and with which we shall concern ourselves—valuable gliding tests were made in England by Filcher, and in America by Chanute.

[2] This chapter was written before the outbreak of the great war, and was intended as a forecast of aerial warfare say five or ten years hence. At the present time, seeing that gun-carrying and bomb-dropping machines are still purely experimental, it is as flying scouts, and not as instruments of destruction, that aircraft are doing their vital work.

[3] Since this list was compiled by the authorities, an additional landing area, in the neighbourhood of Folkestone, has been prescribed by law.

 

 


Transcriber's Note:

The illustrations have been moved so that they do not break up paragraphs and so that they are as close as possible to the text they illustrate.

Obvious spelling and punctuation errors were corrected but older spellings of words were retained as is.

Internal links to the photographic plates have been provided.

 

*** END OF THE PROJECT GUTENBERG EBOOK 45825 ***