*** START OF THE PROJECT GUTENBERG EBOOK 44067 ***
Copertina
Inserzione pubblicitaria

Testo dell'inserzione

Testo dell'inserzione

Testo dell'inserzione

Testo dell'inserzione

Testo dell'inserzione

Testo dell'inserzione

Testo dell'inserzione

Testo dell'inserzione


Ing. ALAMANNO DE-MARIA


La Vettura Automobile

Sue parti — Suo funzionamento


Con 121 figure nel testo.

TORINO
S. LATTES & C., Librai-Editori
Via Garibaldi, Num. 3 (piazza Castello)
Firenze: R. Bemporad e Figlio


1907


PROPRIETÀ LETTERARIA

Torino — Vincenzo Bona, Tip. di S. M. e dei RR. Principi (10209)


 

[v]

La presente pubblicazione è destinata a quei lettori che desiderano acquistare con facilità e in breve tempo una nozione abbastanza esatta delle varie specie di vetture automobili.

Vi sono molte opere pregevolissime sull'argomento, ma la maggior parte o trattano solo distesamente dei motori, o solamente di un tipo di vettura, oppure sono troppo sviluppate e dettagliate e sono quindi più adatte a quelle persone che dell'automobilismo fanno la parte principale delle loro ordinarie occupazioni.

Ho cercato, il più che mi era possibile, di essere chiaro e breve, senza lasciare di toccare sufficientemente, per lo scopo che mi sono prefisso, i punti più importanti dell'argomento.

Per evitare citazioni nel testo ho riunito alla fine in nota bibliografica le opere delle quali mi sono servito nella compilazione di questo modesto lavoro, alle quali rimando il lettore per maggiori e più complete cognizioni.

L'Autore.

[vi]

OPERE CONSULTATE

Baudry de Saunier, Les recettes du chauffeur. — Éléments d'Automobile (Paris, Dunod).

Marchis, Les Moteurs à essence pour automobiles (Paris, Dunod).

Marchesi, L'Automobile (Torino, Lattes).

H. Rodier, Automobiles-Vapeur-Pétrole-Électricité.

Manuale dell'automobile, Raccolta delle lezioni dettate alla Scuola per meccanici e conduttori d'automobili in Torino.

Pedretti, L'automobilista (Manuali Hoepli).

Knap, Les secrets de fabrication des moteurs à essence (Troyes).

Witz, Traité théorique et pratique des moteurs à gaz (Paris, Bernard).

Riviste: La Locomotion.

» La Vie Automobile.

» La Locomotion automobile.

[vii]

INDICE

PREMESSA Pag. 1
 
Automobilismo militare 10
 
PARTE PRIMA
 
Generalità. — Scelta di un corpo produttore di energia 16
Carburazione. — Varie specie di carburatori 20
Motore 32
Considerazioni sull'accensione 68
Raffreddamento 72
Motori policilindrici 81
Regolazione 86
Condizioni di funzionamento di un motore d'automobile a quattro tempi 103
   
PARTE SECONDA
 
Trasmissione del movimento 107
Innesto 108
Meccanismo per il cambiamento di velocità e per la marcia indietro 116
Differenziale 126
Trasmissione flessibile 130
Altre parti della vettura automobile 132
Varie specie di châssis 154
Châssis “Itala„ 161
 
PARTE TERZA
 
Automobili a vapore 167
Automobili elettrici e misti 181
 
PARTE QUARTA
 
Carrozzeria 195
Motori leggeri per areonautica 200
Carri automobili 207
Vetture da corsa 217
L'industria automobilistica e il nostro paese 224

[1]

LA VETTURA AUTOMOBILE

Sue parti — Suo funzionamento.


PREMESSA

L'industria degli automobili ha preso un enorme sviluppo in tutti i paesi, nè ancora si può dire che essa abbia raggiunto il vertice della parabola.

Fino al 1895 l'automobilismo si era mantenuto in un cerchio molto ristretto; fu solamente dopo la corsa Parigi-Bordeaux andata e ritorno (1200 Km.), compiuta dal Levassor conducente una vettura Panhard-Levassor a due posti, in 48 ore e 48 minuti, che l'automobilismo cominciò a svilupparsi con attività febbrile ovunque.

Ingenti capitali furono da quell'epoca impiegati nella costruzione degli automobili, a cui si dedicarono con uno spirito di ricerca ammirabile numerosi e valenti ingegneri non che abilissimi costruttori.

[2] Pare che il primo che abbia costruito un veicolo meccanico per strada ordinaria sia stato Cugnot, ingegnere militare francese.

Verso la fine del secolo XVIII egli infatti, per ordine del ministro della guerra francese, costruì un carro a tre ruote per trasporto di artiglierie; la ruota anteriore era nello stesso tempo direttrice e motrice; era munita di caldaia e motore a vapore. Avvenimenti politici impedirono a questa vettura di perfezionarsi ad onta che anche Bonaparte se ne fosse interessato.

Il tentativo di Cugnot trovò seguito in Inghilterra e negli Stati Uniti.

Evan riuscì a costruire una vettura a vapore che fece circolare per Filadelfia.

Nel 1803 Trevitick costruì una vettura a vapore che percorse nella Contea di Galles 150 Km. e che portava la prima trasmissione di forza mediante ingranaggi.

Trevitick abbandonò lo studio della locomozione su strade ordinarie per dedicarsi a quella su rotaia e fu bene per il mondo, che vide in meno di 25 anni, mercè lo studio di benemeriti costruttori seguaci del Trevitick, fra i quali primeggia lo Stephenson, la prima ferrovia in servizio del pubblico.

Lo studio della locomozione su strada ordinaria, condusse in Inghilterra alla costruzione di locomotive stradali destinate alla trazione a velocità ridotta di carichi rilevanti, mentre nella Francia condusse alle vetture [3] leggere pel trasporto delle persone a grande velocità.

In Inghilterra si tentò ancora per qualche anno la costruzione di vetture automotrici per trasporto di persone.

Hancock aveva stabilito infatti nel 1833 servizi regolari con vetture aventi una caldaia a tubi d'acqua ad alta pressione a tirante forzato con ventilatore, una motrice a due cilindri verticali che comandava l'asse posteriore mediante catena di Galle. Le ruote posteriori motrici avevano una disposizione che permetteva ad una di esse di ruotare di 100 gradi rispetto all'altra, angolo sufficiente per le voltate ordinarie.

Sebbene il servizio in queste vetture procedesse regolarmente, tuttavia la rottura di un asse, per la quale si ebbe qualche ferito, dette luogo a leggi talmente restrittive per parte del governo inglese che la trazione a vapore per trasporto di persone venne completamente abbandonata in Inghilterra.

I costruttori inglesi si dedicarono alla trazione per servizio di merci; quindi si ebbero le locomotive stradali per trainare carri comuni carichi di merci e con velocità non superiore a 8-10 Km. all'ora.

Impieghi delle locomotive stradali negli eserciti. — Nella campagna di Crimea l'esercito inglese fece uso di una locomotiva stradale rudimentale, tipo Boydell, che rese tuttavia qualche servizio rimorchiando altri carri.

[4] Nel 1870 i Tedeschi impiegarono due locomotive del sistema Fowler e nel 1877 nella guerra russo-turca, i Russi fecero uso di questo sistema con risultati pratici positivi.

Nel 1899 e 1900 gl'Inglesi nella guerra del Transwal impiegarono locomotive stradali blindate e non blindate, che a detta dei critici militari, fecero buona prova. Con tutto ciò, questo genere di locomozione non ha preso grande sviluppo sebbene sia stato oggetto di esperienze sistematiche. L'avvenire sorriderà probabilmente alle vetture automotrici con motori a scoppio,

Vetture con motore a scoppio. — Anche in Francia la trazione con locomotive stradali, sebbene avesse destato qualche speranza, fu di poi abbandonata.

Nel primo periodo, e cioè fino al 1860, il motore a scoppio ad essenza non era ancora conosciuto; l'unico fluido impiegato era il vapore. Questa è una delle ragioni per le quali non si ebbe il progresso nelle vetture leggere; la necessità della caldaia, del motore a vapore, delle pompe d'alimentazione, non permetteva una soluzione della questione quale la permette il motore a scoppio più leggero e più semplice.

La ragione però principale noi la vediamo specialmente nelle condizioni alle quali deve soddisfare una vettura automobile pel trasporto di persone. Alla necessità di una grande leggerezza e semplicità fa contrasto [5] il bisogno di meccanismi numerosi e complessi per regolare la marcia e per avere un funzionamento scevro d'inconvenienti; da ciò consegue che nella costruzione occorre materiale di qualità superiore e una lavorazione accurata di ogni parte, quale non si sarebbe potuto ottenere nel periodo di sviluppo della locomotiva stradale, quando la metallurgia dell'acciaio e la lavorazione meccanica dei metalli erano ancora nel loro nascere.

Portiamo opinione che le vetture automobili pratiche non potevano nascere prima, perchè desse, piuttosto che frutto di un'idea geniale e dell'uso dei motori a scoppio, è il risultato naturale e immediato del progresso e dello sviluppo meraviglioso della metallurgia e della lavorazione meccanica dei metalli.

Oggi infatti anche l'automobile a vapore ha trovato nella soluzione del Serpollet una pratica attuazione.

La prima vettura con motore a gas è dovuta a Lenoir francese, il quale non solamente è l'inventore del motore a gas, ma precursore fortunato; nel 1862 costruì una vettura munita di motore a gas che circolò su strada; la sua vettura era munita di un serbatoio di gas d'illuminazione compresso a 10 atmosfere.

Però, essendo il peso relativamente grande, e piccolo il numero dei colpi del pistone (100 circa) per minuto, e quindi la potenza insufficiente, il tentativo non ebbe seguito.

[6] Nel 1877 si ha il primo tentativo d'impiego del petrolio per opera di Siegfried Marcus.

Si può dire però che solo nel 1883 l'impiego della gazzolina è un fatto compiuto per opera specialmente di Delamarre Debouteville a Parigi e di Daimler a Camstatt che applicarono il primo carburatore all'ordinario motore a gas Otto, detto a quattro tempi.

Il motore a petrolio o a benzina, ecc., applicabile alla locomozione, leggero, robusto, era così trovato.

Il Delamarre si dette allo studio di motori per impianti fissi, il Daimler invece abbandonò la ditta Otto e Langen per dedicarsi interamente al motore leggero nella sua officina di Camstatt.

Nel 1886 Daimler costrusse la prima macchina per strada a due ruote una di seguito all'altra, delle quali quella posteriore era azionata da un motore di potenza di mezzo cavallo.

Subito dopo costrusse un char à bancs con motore a benzina e all'esposizione di Parigi (1889) espose un piccolo tramway azionato da un motore a un cilindro.

Nel 1890 si hanno le prime vetture; così il Daimler si afferma come il vero inventore pratico dell'automobilismo.

Panhard e Levassor acquistarono quindi il brevetto Daimler e costrussero il primo motore a due cilindri inclinati a V, disposizione questa che fu poi abbandonata.

[7] Nel 1891 essi costruirono poi una vettura di indiscutibile praticità.

Il Peugeot nello stesso anno si dette alla costruzione di vetture leggere con motore brevetto Daimler. Contemporaneamente il Serpollet perfezionava il motore a vapore per vetture automotrici togliendo gran parte dei difetti dovuti all'impiego del vapore e costruiva vetture che potevano competere con quelle munite di motore a scoppio.

La Francia in questo genere d'industria ha precorso le altre nazioni e già nel 1894 si avevano in servizio vetture pratiche automotrici a vapore, a benzina ed anche elettriche.

Ad invogliare i compratori occorse un esperimento che mettesse in evidenza le qualità del nuovo sistema di locomozione.

La corsa Parigi-Bordeaux andata e ritorno (1200 Km.) che fece seguito a quella Parigi-Rouen indetta dal Petit Journal, impressionò favorevolmente il mondo sportivo e da quell'avvenimento, l'industria automobilistica ha trovato in una richiesta sempre crescente il mezzo di svilupparsi grandemente. A detta gara 46 veicoli concorsero, di cui 29 a petrolio, 15 a vapore e 2 elettrici.

Le vetture a petrolio vinsero sulle altre con molto vantaggio.

Dal 1895 in poi le corse sono venute ripetendosi e ad esse si debbono in gran parte i maggiori perfezionamenti portati a questo genere di locomozione.

[8] Le velocità sono sempre venute accrescendosi e dai 24 Km. all'ora del 1895 si è giunti alla velocità di 170 Km.

Impiego dei motori a scoppio. — Oltre che alle vetture da corsa e da viaggio per turismo, il motore a scoppio ha trovato utile applicazione alla locomozione per scopi industriali. Il servizio di corriere e di posta lo troviamo già in molti casi affidato ad omnibus con motori a benzina; nelle città il servizio merci è fatto sovente con camions a motore a benzina.

Giova notare che una vettura automotrice ha sempre un motore al quale si può domandare un lavoro supplementare quando la vettura è ferma, staccandola dal comando delle ruote, e facendogli mettere in azione un altro meccanismo.

Così nelle pompe per incendi, dopo aver compiuto il trasporto delle pompe col motore, si può, una volta sul luogo dell'incendio, comandare l'aspirazione e compressione dell'acqua.

Due altre applicazioni sull'automobilismo che datano appena dal 1900 e che hanno già preso una grande estensione, sono quelle alla piccola navigazione e all'areonautica.

Il motore a esplosione rende utili servizi non solo nei piccoli canotti, ma anche nei piccoli battelli da pesca e nei battelli per navigazione interna.

Si pensa già di applicare il motore a scoppio [9] anche nelle torpediniere, mentre è già adottato per i battelli sottomarini quando navigano in emersione.

Nella navigazione aerea il motore a scoppio ha pure trovato un'applicazione importante.

Gli esperimenti di Santos Dumont e di Lebaudy e quelli con gli aeroplani dei fratelli Wright, non sarebbero stati possibili senza i motori a scoppio leggerissimi coi quali si ha il cavallo-vapore con 3 o 4 kg. di peso[1].

Uno dei dirigibili Lebaudy, che ha dato risultati soddisfacenti, era mosso da un motore a scoppio di 40 cavalli. Il pallone Santos Dumont Nº 6 portava un motore di 20 cavalli Clément.

Tuttavia il pericolo di scoppio del gas, le trepidazioni proprie di tal genere di motore, le variazioni di peso per il consumo del combustibile, ne limitano alquanto l'impiego all'areonautica e alcuni fra i migliori areonauti danno ancora la preferenza al motore elettrico ad onta dell'enorme peso da sollevare corrispondente al cavallo-ora, perchè più facilmente regolabile e perchè evita tutti gli inconvenienti accennati.

[10]

Automobilismo militare.

Negli eserciti dei paesi più civili, si seguono continuamente per trarne profitto i progressi di tutte le applicazioni scientifiche, di tutte le industrie, di tutte le arti dalla chimica alla fotografia, dall'addestramento dei cani alla telegrafia senza fili, dall'allevamento dei piccioni viaggiatori all'areonautica, ecc.

Era quindi naturale che la bicicletta e l'automobile, questi due importanti mezzi di locomozione meccanica sopra strade ordinarie, attirassero in modo particolare l'attenzione dell'elemento militare.

La bicicletta è già usata presso tutti gli eserciti e reparti di ciclisti sono destinati ad operare colla cavalleria nel servizio di avanscoperta. Nel servizio di staffetta la bicicletta pure può dare ottimi risultati. L'obbiezione maggiore che si fa ai reparti ciclisti è che essi sono troppo legati alla strada e quindi soggetti a sorprese sui fianchi. Si ritengono meglio utilizzabili in unione alla cavalleria e come scorta all'artiglieria piuttosto che isolati nel servizio di esplorazione. La motocicletta non ha potuto ancora sostituire la bicicletta; sono però in corso esperimenti presso tutti gli Stati.

Dato l'enorme sviluppo degli eserciti moderni, la fugacità delle situazioni in guerra, i fronti di battaglia estesissimi, le profondità [11] enormi delle colonne, è facile intuire quanto difficile sia ai comandanti dei grandi reparti di trovarsi laddove la loro presenza sarebbe necessaria in determinati momenti e quanto pregevole potrebbe essere un mezzo di locomozione atto a trasportarli rapidamente.

L'automobile ha già dato prova nella guerra d'Oriente delle sue ottime qualità come mezzo di trasporto pei comandanti dei grandi reparti e anche da noi, nelle grandi manovre, si è cercato di studiare la questione; ovunque, gli automobili si mostrano di grande utilità e sopratutto d'impiego sicuro, quando siano ben tenuti.

Nè solo nel trasporto delle persone hanno trovato utile impiego gli automobili nella guerra d'Oriente, ma anche nel servizio di rifornimento delle munizioni, non che in quello viveri.

Non tarderà molto che questo mezzo di trasporto veloce entrerà anche nel nostro esercito per il servizio di vettovagliamento, data specialmente la deficienza delle nostre razze equine.

Per fortuna, in Italia, l'industria automobilistica ha saputo prontamente porsi alla testa e gareggiare per bontà di prodotti colle migliori marche straniere; d'altra parte la passione per l'automobilismo è grande; gli stessi industriali e commercianti e varie società hanno cominciato ad usare carri con motori a benzina per trasporti pesanti, omnibus [12] pel trasporto dei passeggeri, ecc.; è evidente quindi che in caso di mobilitazione si potranno requisire molte vetture automobili con che ne verranno molto avvantaggiati i servizi logistici in guerra.

Nelle ultime grandi manovre si è fatto un esperimento assai interessante di reclutamento di varie vetture private coi relativi proprietari e chauffeurs.

Tutte le nazioni del resto si sono poste su questo cammino.

Gli eserciti di Germania, Francia, Inghilterra, ecc., hanno in servizio automobili per il trasporto di personale e fanno uso di camions speciali automotori per trasporto di materiali di artiglieria, di derrate e per servizi varî dell'arma del Genio.

Nel Portogallo, per armare prontamente fronti di difesa, si sono esperimentate vetture automotrici con motore a scoppio capace di trainare una batteria di obici da 120[2].

Dovendo superare grandi pendenze, si ancorava il carro automotore alla cima della salita e si trainavano gli obici mediante fune avvolgentesi attorno ad un verricello azionato dal motore della vettura motrice.

Le applicazioni e gli esperimenti con automobili hanno preso grande sviluppo in tutti gli eserciti ed a questo genere di locomozione [13] è riserbato un grande avvenire negli usi militari, specialmente quando sarà creato il carro automobile veramente pratico.

I sistemi finora esperimentati si sono dimostrati di praticità molto discutibile e certamente inferiori al sistema con motore a scoppio.

Le locomotive stradali hanno avuto brevissima esistenza negli eserciti. Vennero sostituite coi così detti automobili a vapore, destinati, come le prime, al traino di una serie di carri collegati tra loro.

Difetto principale di questo sistema è quello della necessità di una grande aderenza della vettura motrice, aderenza che manca, sia quando si tratta di pendenze rilevanti, sia quando la strada è bagnata. La necessità dell'aderenza porta ad un aumento considerevole del peso della vettura motrice, e quindi a facili affondamenti in strade a fondo non troppo solido e alla necessità di costruire sui corsi d'acqua passaggi improvvisati di maggior resistenza.

Nell'industria privata, tali generi di automobili a vapore non hanno avuto alcun sviluppo; quindi, in caso di mobilitazione, non sarebbe possibile requisirne per sopperire anche in minima parte ai bisogni dell'esercito.

Pel nostro paese poi, a frontiere montuose, sembra non vi sia molto da attendere dall'impiego delle ferrovie da campo, che potrà convenire solamente per alcuni casi speciali.

[14] Il nuovo sistema adunque a camioni con motori a benzina s'impone per l'esercito; riguardo alla modalità dell'adozione, noi diamo la preferenza alle vetture automotrici isolate o trainanti al massimo un solo carro.

Il motore a scoppio ha un funzionamento che non si presta al rimorchio, specialmente di un numero ragguardevole di vetture; lo sforzo che deve fare il motore è troppo variabile quando si abbiano a rimorchiare molti carri, dipendendo il detto sforzo dalle condizioni diverse delle strade anche in brevi tratti; il motore a scoppio manca di elasticità sufficiente per il rimorchio e questo abbiamo potuto constatarlo in uno esperimento di traino con una sola vettura rimorchiata.

Non vogliamo lasciare questo argomento senza ricordare un sistema di locomozione speciale che ha lo scopo di sfruttare l'aderenza di tutte le vetture collegate con la vettura di testa, nella quale si ha la sorgente dell'energia.

Questo sistema ha avuto due soluzioni; l'una in Francia per opera del fu colonnello Renard e l'altra in Italia per opera del capitano Douhet di Stato Maggiore.

Colla prima, si ha su un carro di testa un motore a benzina, che dà l'energia motrice necessaria alla propulsione e che viene trasmessa alle singole vetture mediante un lungo albero di acciaio a snodi cardanici che corre sotto le vetture stesse. I singoli elementi del [15] treno seguono nei risvolti lo stesso percorso della prima vettura.

Colla seconda soluzione, si ha sul carro di testa, oltre che un motore a benzina, una dinamo la cui corrente viene mandata mediante conduttura flessibile ai motori elettrici situati su ciascuna vettura. Per lo sterzo ogni vettura necessita di un conduttore.

Varie obbiezioni sono state mosse a questo sistema; noi attenderemo i risultati dell'esperienza che si faranno pare fra non molto, per giudicare.

Il treno Renard, negli esperimenti fatti a Berlino, pare non abbia fatto troppo buona prova.

[16]

AUTOMOBILI


PARTE PRIMA

Generalità.

Scelta di un corpo produttore di energia.

Fin ora, gli agenti impiegati praticamente nell'automobilismo, sono la benzina (petrolio e derivati), l'alcool, il vapore e l'elettricità.

La scelta di un corpo produttore di energia per automobili dipende dalle seguenti considerazioni:

1º Il corpo deve avere una potenza specifica la più grande possibile, vale a dire un chilogrammo di questo corpo deve contenere il più grande numero di calorie (motore termico) o produrre il più grande numero possibile di watts (motore elettrico);

2º Il corpo deve essere di facile rifornimento, scevro di pericoli, poco costoso e poco voluminoso. Un corpo, anche ottimo dal punto di vista dell'energia che tiene immagazzinata, ma di difficile rifornimento, sarebbe da scartarsi; anche un esplosivo per i pericoli che presenta non è da impiegarsi; il [17] carbone pure è da scartarsi perchè occupa molto posto;

3º Se il corpo non è produttore di energia, ma ne è solo un accumulatore deve avere un grande rendimento.

Quindi non sarà conveniente ricorrere a molle per il movimento degli automobili, perchè il lavoro fornito nella distensione è di molto inferiore a quello fornito per porle in tensione.

Nè l'aria liquida si potrebbe impiegare praticamente, perchè il lavoro che può dare è piccolissimo rispetto a quello fornito per la compressione.

Finalmente potremo anche dire che un corpo, sia pure ricco in energia, sarà da scartarsi quando la sua utilizzazione richieda complicazioni.

Così l'acetilene, che dà circa 4000 calorie per chilogrammo, non è impiegato perchè le miscele prodotte da questo gas sono esplosive e dilaniatrici. Non mancano tuttavia i tentativi d'impiego di questo composto carburato negli automobili.

Il corpo impiegato di preferenza nei motori a scoppio applicati agli automobili è la benzina, più di rado s'impiega il petrolio e l'alcool. Con essa si forma un gas tonante, cioè un miscuglio di corpi gassosi suscettibili di scomporsi in elementi capaci di combinarsi e aventi in determinate condizioni una grande affinità. La trasformazione è accompagnata [18] da grande quantità di calore utilizzata industrialmente nei motori a scoppio.

Nel commercio si hanno due qualità di benzina, l'una derivata dal catrame ottenuto nella fabbricazione del gas illuminante, l'altra ottenuta distillando i petroli naturali a temperatura fra i 70° e i 150°.

Entrambe le qualità sono adoperate nell'automobilismo. Il potere calorifico della benzina è di 11.500 calorie circa.

Il petrolio del commercio, che proviene dalla distillazione del petrolio naturale fatta alla temperatura da 150° ai 300°, comincia ad essere usato, sebbene presenti qualche inconveniente, per il suo prezzo relativamente moderato e per la facilità di ritrovarlo ovunque. Anche gli oli pesanti, ottenuti nella distillazione del petrolio, tendono a sostituire il petrolio nei motori per impianti fissi.

L'alcool è pure adoperato nell'automobilismo, il più delle volte e con maggior vantaggio mescolato in parti eguali con la benzina; richiede però l'avviamento del motore con benzina.

Il gas di benzina, mescolato coll'aria in proporzione conveniente, forma un miscuglio tonante; il detto miscuglio deve essere tale da contenere l'ossigeno necessario alla completa combustione degli idrocarburi.

Lo scoppio può avvenire, sia per la presenza di un corpo scaldato ad alta temperatura, sia per effetto di scintilla elettrica, sia per [19] effetto dell'elevata temperatura prodotta per compressione molto spinta della miscela.

Nella combustione si produce vapore acqueo e anche acido carbonico, i quali si dilatano bruscamente per la elevata temperatura, producendosi ciò che comunemente si dice lo scoppio.

Il maggior effetto del miscuglio tonante si ottiene colla proporzione di una parte in volume di gas di benzina e 14 parti d'aria.

Nei motori a scoppio, onde avere un andamento economico, è conveniente avere esuberanza d'aria, non deficienza, a ciò non avvenga che parte del combustibile non trovi ossigeno sufficente alla combustione e vada in pura perdita con tutti gli inconvenienti che ne derivano, quali deposito di carbonio sulle pareti del motore, sulle sedi delle valvole, sulla candela di accensione, scoppi nel silenziatore, ecc.

D'altra parte un eccesso d'aria esporta parte delle calorie di combustione e talvolta la miscela resta povera di combustibile a tal punto che non si accende e va in pura perdita per lo scappamento.

Dunque in entrambi i casi si ha una perdita nel rendimento; conviene quindi cercare di ottenere un dosamento esatto costante della miscela, ciò che è sommamente difficile alle varie velocità.

In alcuni automobili si ha la libertà di variare la miscela; per dosarla però, occorre [20] molta pratica. Si può, col modificare la sua composizione, variare il numero dei giri in limiti molto estesi, però sempre a scapito del rendimento.

Le combustioni incomplete danno luogo ad inconvenienti più gravi nei motori ad alcool causa ai prodotti acidi che deteriorano le valvole e le loro sedi.

CARBURAZIONE

Varie specie di carburatori.

La carburazione, è l'operazione compiuta per opera di un apparecchio speciale detto carburatore, facente parte dei motori a scoppio per automobili, per la quale si viene ad ottenere la miscela della benzina allo stato volatile coll'aria atmosferica nella proporzione voluta per ottenere la completa combustione del combustibile.

È dal carburatore che il motore aspira continuamente miscela indispensabile al suo funzionamento.

La benzina racchiusa in un apposito recipiente va, per mezzo di un tubo, al carburatore dove si volatilizza e si mescola all'aria che vi è introdotta da apposita apertura; [21] mediante poi tubazione speciale, la miscela viene aspirata nel cilindro del motore.

I carburatori più usati si possono raggruppare in tre categorie:

1º Il combustibile contenuto in un recipiente a livello costante va ad un tubo verticale da cui lo stantuffo del motore, aspirando, lo fa uscire fuori con veemenza e lo conduce ad urtare, e quindi a polverizzarsi in minutissime particelle, contro un cono rovesciato, oppure reticella di metallo o di amianto, posti sopra al foro di uscita; mentre succede questa polverizzazione, una corrente d'aria, in generale calda, vi si mescola, producendone l'evaporazione.

Questo tipo di carburatore, che ormai è quello più usato, è detto a polverizzazione;

Fig. 1.

2º Il combustibile è disposto sopra sottile strato in ampio recipiente; su di esso si ha una lamina; una forte corrente d'aria aspirata dal motore lambisce la superfice della benzina e ne produce l'evaporazione. Tale tipo è detto a lambimento (fig. 1);

[22] 3º Il combustibile viene attraversato da una corrente d'aria calda aspirata dal motore che entra per un tubo che pesca fino quasi al fondo; in contatto di questa aria la benzina si evapora, la miscela così formata va al motore (fig. 2). Tale tipo è detto a gorgoglio.

Fig. 2.

Queste due ultime categorie sono quasi del tutto abbandonate, perchè se il liquido non è omogeneo si ha il trasporto nella miscela dei prodotti più volatili sicché non resta nel recipiente che la parte più densa, onde la carburazione diviene sempre più difettosa.

D'altronde, mentre la pressione atmosferica, la temperatura-ambiente e dell'aria che entra nel carburatore, il grado igrometrico della stessa, possono modificare il potere evaporante di quest'aria, influiscono invece assai poco sul potere comburente, quindi è assai più facile che il titolo della miscela sia costante quando è prodotta col carburatore a polverizzazione che non con gli altri due tipi.

Nel tipo a polverizzazione (fig. 3) si ha:

1º Un recipiente a livello costante o camera del galleggiante;

2º Una camera di miscela o di carburazione, nella quale arriva il tubetto della polverizzazione detto polverizzatore, spruzzatore [23] (gicleur) e nella quale entra per apposita bocca una corrente d'aria;

3º Una camera di riscaldamento;

4º L'apparecchio che regola la qualità o quantità di miscela aspirata dal motore.

Fig. 3.

Nella camera a livello costante una spina solidale ad un galleggiante, o sulla quale poggia un galleggiante contrappesato e munito di una punta conica, chiude più o meno il foro per il quale entra nel carburatore la benzina proveniente dal serbatoio, in modo da mantenere il livello costante.

[24] La benzina passa dalla camera a livello costante in quella di carburazione per un tubetto il cui orifizio è di qualche millimetro più alto del livello della benzina nella prima camera affinchè il passaggio avvenga per aspirazione.

Da apposita apertura laterale entra nella camera di miscela aria riscaldata, la quale si mescola alla benzina che esce dall'orifizio e si polverizza battendo contro la parete rugosa di un cono rovesciato che si suole chiamare fungo. Nel tipo rappresentato nella fig. 3, la mescolanza intima dell'aria colla benzina avviene per effetto della suddivisione prodotta nell'incontro di diverse reticelle poste superiormente al gicleur[3].

Giova notare che il liquido, prima di giungere alla camera a galleggiante, ha attraversato una reticella che funziona da filtro, che lo libera da materie diverse.

Il tubetto che serve da polverizzatore (gicleur) porta alla estremità un foro molto piccolo calcolato in modo che la quantità di benzina che esso può dare sia quella corrispondente alla massima potenza del motore.

Questo sistema di carburatore ha il vantaggio [25] di dare rapidamente tutte le quantità di gas che gli si domandano; però ha il difetto di dare troppa benzina a piccole velocità, quindi si ha uno spreco di combustibile.

Detto carburatore è facilmente smontabile e si può assai rapidamente ripulire.

Alcuni costruttori, fra i quali Longuemare, per ottenere una facile polverizzazione hanno adottato un polverizzatore a fungo, la cui testa è munita di finissime scanalature che producono nella corrente d'aria piccoli getti.

In altri carburatori come in quello Sthénos, l'orificio del polverizzatore è otturato mediante un cono che si solleva solo ad ogni aspirazione del motore lasciando un passaggio anulare conveniente per il passaggio del combustibile liquido; si ha cioè, invece di un getto unico di essenza, una serie di getti e quindi una più facile polverizzazione.

Nel carburatore Gillet Forest adottato dalla Fiat, il polverizzatore è regolabile a volontà[4] da un ago, l'altezza del quale può essere variata convenientemente.

Fig. 4.

Il Richard Brasier e qualche altro, fanno uso di polverizzatori doppi (fig. 4), che producono getti fra loro inclinati e urtantisi in modo da avere una polverizzazione più efficace.

[26] Aria necessaria alla carburazione. — Per ottenere adunque la carburazione, occorre far entrare dell'aria per apposita apertura alla quale in genere si danno dimensioni sufficienti per la carburazione quando il motore gira a piccola velocità.

Quest'aria può entrare con direzioni differenti da quelle del getto di benzina; è difficile scegliere la più conveniente.

Alcuni poi preferiscono usare aria riscaldata o mediante i gas di scarico o col calore abbandonato dalle pareti del motore. Attualmente si preferisce scaldare il carburatore coll'acqua di circolazione pel raffreddamento dei cilindri.

Un difetto grave dei carburatori a polverizzazione è che la composizione della miscela, che conviene alla migliore combustione dell'essenza, non resta costante col cambiare della velocità del motore.

In detti carburatori l'uscita dell'essenza dal polverizzatore e l'entrata dell'aria sono provocate dalla depressione prodottasi nel movimento del pistone nel cilindro.

Questa depressione varia colla velocità ed è tanto maggiore quanto la seconda è più grande. Coll'aumento della depressione viene alterata la proporzione dell'essenza aspirata rispetto alla quantità d'aria pure aspirata e precisamente aumenta la prima (perchè di maggior densità), che viene a trovarsi così in eccedenza rispetto alla seconda.

[27] Conviene quindi, per avere una composizione della miscela il più che possibile costante, aumentare la quantità d'aria coll'aumentare della velocità; la regolazione della detta quantità d'aria addizionale è in alcuni carburatori ottenuta automaticamente.

Nel carburatore Krebs è affidata ad una valvola a stantuffo speciale, il cui sollevamento dipende appunto dalla depressione del carburatore, ossia dalla velocità del motore.

Esso è caratterizzato dal fatto che il gambo della valvola per l'aria addizionale portante una specie di stantuffo K, è unito alle pareti mediante una lamina elastica ubbidiente alla depressione.

Un piccolo foro S mette in comunicazione la camera formata dalle pareti e dallo stantuffo mobile coll'atmosfera. L'aria che può uscire ed entrare dal foro S è sufficiente ad impedire brusche variazioni nel funzionamento.

Nella fig. 5 è indicato in sezione il detto carburatore: D è il polverizzatore, per A entra la quantità d'aria invariabile conveniente per circa 200 giri al minuto.

I due organi che permettono di modificare da un lato la quantità di miscela introdotta nel cilindro e dall'altro di regolare la carburazione, sono due pistoni senza fondo che ostruiscono o scoprono appositi orifici. Il primo F è comandato dal regolatore a forza centrifuga; esso porta su uno dei suoi bordi [28] degli intagli a forma di V onde si abbia un'aspirazione graduale.

La regolazione si fa aprendo o chiudendo completamente l'entrata della miscela nel cilindro.

Fig. 5.

Il conduttore può agire su di esso col ritardatore (o moderatore), o coll'acceleratore che impareremo a conoscere più avanti.

L'aria addizionale è regolata dallo stantuffo K verticale e che secondo la depressione più o meno grande, chiude più o meno gli orifici di entrata M. Perchè lo stantuffo obbedisca alla variazione della depressione nel carburatore, si munisce il suo gambo nella [29] parte superiore d'una lamina elastica Q che è unita al coperchio della scatola O e fissato da un pezzo di caoutchouc circolare. Una molla R mantiene sollevato lo stantuffo.

Il funzionamento del carburatore si comprende dalla figura.

Altri carburatori, come quello Mors e Clément, sono muniti di questa valvola semplificata.

Nel carburatore Fiat (1906), l'entrata d'aria addizionale è regolata dal regolatore a forza centrifuga, il quale agisce su una valvola a cannocchiale che varia contemporaneamente anche l'ammissione della miscela che va al motore.

Per variare la velocità del motore da 300 giri a circa 1200, si agisce col moderatore (che è anche acceleratore) col piede o colla manetta posta sul volante di direzione che non fa che agire sulla molla del regolatore a forza centrifuga (vedi regolazione).

Nel carburatore Fiat si può pure, mediante apposita leva, agire su di una spina che chiude più o meno l'uscita della benzina dal gicleur e marciare con consumo minimo di benzina. La detta spina funziona anche automaticamente.

Nei carburatori a valvola automatica è difficile regolare la tensione della molla.

Si è cercato pure da alcuni costruttori di regolare nello stesso tempo la quantità d'aria contenuta nella miscela e la quantità di miscela [30] mandata nei cilindri mediante valvole a farfalla collegate fra loro[5].

Camera di carburazione. — Per impedire che quando aumenta la velocità del motore si produca una miscela troppo ricca di combustibile, invece delle reticelle che si ponevano sul cammino della miscela, quando non si usano carburatori automatici del genere di quelli del Krebs, si preferisce dare conveniente forma alla camera di carburazione.

Quando una miscela gazosa passa in un tubo conico, nell'attraversare la sezione ristretta, si contrae, dimodochè la vena gazosa ha un massimo di velocità in corrispondenza della contrazione; se in tal punto si fa arrivare la benzina dallo gicleur, si ha una mescolanza molto intima; oltre a ciò, in seguito ad una serie di esperimenti, fu trovato che se si pone il gicleur al disopra della luce minore, ad una distanza da questa eguale al terzo del suo diametro, l'orificio di uscita della benzina viene a trovarsi in una regione nella quale la depressione che dà luogo alla sortita della benzina stessa varia proporzionalmente alla velocità dell'efflusso dell'aria, cosicché può ottenersi, per tutte le diverse velocità del motore, una miscela combustibile di composizione presso a poco costante. [31] L'esperienza dimostra che la forma a tronco di cono, colle generatrici inclinate a 7° coll'asse e colla base minore rivolta sul polverizzatore, è la più conveniente.

Col carburatore Sthénos (fig. 6), variando il foro d'uscita dal polverizzatore e il tronco di cono, si può avere una miscela costante col variare della velocità per motori di differente potenza.

Fig. 6.

Regolatori della quantità di miscela. — Nel carburatore Krebs abbiamo visto affidato allo stantuffo F (fig. 5) l'ufficio di variare la quantità di miscela alimentante il motore.

Altri per regolare la detta quantità di miscela fanno uso di valvole a farfalla di forma elittica che permette un'apertura più graduale che la circolare.

[32] Questo sistema ha l'inconveniente di variare la compressione iniziale della miscela nei cilindri, con che resta diminuito il rendimento termico come vedremo.

MOTORE

I motori usati nell'automobilismo appartengono alla categoria dei motori a scoppio con compressione.

Essi possono essere a due, a quattro o a sei fasi.

Di uso generale sono quelli a quattro fasi e rappresentano un'applicazione del così detto ciclo di Otto.

Le quattro fasi sono:

1ª Aspirazione della miscela;

2ª Compressione della miscela tonante;

3ª Scoppio della miscela tonante ed espansione dei prodotti della combustione;

4ª Scarico dei prodotti della combustione.

Il ciclo si sviluppa in un cilindro chiuso ad un'estremità del quale si muove uno stantuffo aderente alle sue pareti; lo stantuffo nella sua corsa non va a toccare il fondo del cilindro, ma lascia uno spazio interno libero che costituisce la camera di scoppio.

[33] Ad ogni corsa dello stantuffo corrisponde una fase del ciclo.

Le quattro figure seguenti indicano le varie fasi.

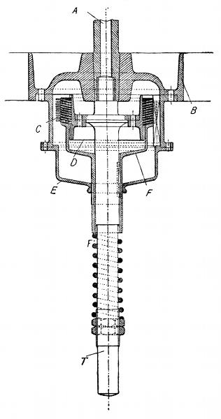
Primo tempo. — Aspirazione della miscela. — Il pistone P crea una depressione (fig. 7) nel cilindro C e sollecita la valvola di ammissione A ad aprirsi; la miscela arriva dall'apertura E e si spande nel cilindro.

Fig. 7. Fig. 8.

Secondo tempo. — Compressione della miscela. — Alla fine della corsa di aspirazione, il [34] pistone ritorna indietro, spinge in avanti i gas contenuti nel cilindro che vanno a chiudere la valvola A (fig. 8) e li comprime.

La compressione prodotta nella camera si eleva fino al limite calcolato dal costruttore.

Fig. 9. Fig. 10.

Terzo tempo. — Esplosione ed espansione. — Alla fine della seconda corsa, la miscela compressa nella camera K è infiammata in T da una scintilla elettrica.

L'esplosione dei gas esercita una pressione sul pistone che è lanciato in basso, l'espansione [35] dei gas di scoppio si produce e la loro pressione diminuisce.

Quarto tempo (fig. 10). — Alla fine del terzo tempo, la biella B lavorando sopra la manovella M, le ha già fatto descrivere un giro e mezzo. Sopra l'albero della manovella è calettata una ruota dentata C che ne comanda un'altra H di diametro doppio calettata sopra un albero secondario.

Questo albero secondario porta un eccentrico (camma) D; l'azione di questa sporgenza sopra il gambo della valvola si manifesta ogni due giri.

Ora, quest'azione si produce appunto nel momento che il pistone è al fondo della corsa; nell'istante in cui il pistone ritorna, l'asta solleva la valvola O spingendo il gambo e i gas bruciati sfuggono nell'atmosfera per l'apertura S.

L'eccentrico è calcolato in modo che alla fine della corsa esso non agisce più sopra la valvola O, la quale è richiamata nella sua sede da una molla. Di poi si ripetono le stesse fasi.

Ciclo teorico. — Se OV e OP sono gli assi coordinati cui si riferiscono i volumi e le pressioni, il diagramma teorico di un ciclo a 4 tempi può essere rappresentato dalla fig. 11, in cui AB è l'aspirazione della miscela tonante (aumento di volume a pressione costante); BC è la compressione della miscela (diminuzione di volume con aumento di pressione); [36] CD è lo scoppio e DE l'espansione dei prodotti della combustione (aumento rapido di pressione, poi aumento di volume con diminuzione di pressione); EA è lo scarico dei prodotti della combustione (diminuzione di volume a pressione sensibilmente costante).

Fig. 11.

Questo è il così detto ciclo teorico pel quale si suppone che, durante la compressione e l'espansione, non vi siano disperdimenti di calore e che quindi avvengano adiabaticamente. In realtà però, durante la compressione, le pareti del cilindro, calde per gli scoppi precedenti, cedono calore al miscuglio gassoso [37] e durante l'espansione, dopo lo scoppio, ne assorbono.

Così pure l'esplosione non è istantanea e quindi il punto D viene ad essere spostato verso destra e tanto più quanto è stato più grande il tempo durante il quale l'esplosione si è propagata a tutta la massa.

Fig. 12.

Ciclo reale. — In realtà quindi il ciclo è quello rappresentato in fig. 12.

In questo diagramma si è anche tenuto conto del così detto avanzo allo scappamento per evitare il lavoro resistente di compressione dei gas già combusti al principio del quarto tempo; ed infatti il pistone non è arrivato ancora alla fine del terzo tempo quando comincia lo scappamento in e[6]. [38] Siccome nei motori di automobili si fa anche molto uso dell'avanzo all'accensione per avere una completa combustione della miscela, così nelle figure 13, 14 sono indicati [39] i diagrammi reali nel caso di avanzo più o meno grande.

Fig. 13.

Fig. 14.

Indichiamo anche il diagramma con ritardo (fig. 15) all'accensione, dal quale si vede come il lavoro indicato è più piccolo che con avanzo[7].

Fig. 15.

Come si è già visto, nel cilindro si ha una sola corsa motrice su quattro; e se allo stantuffo è aggiunta una biella con manovella, si ha una sola corsa motrice ogni due giri della manovella. Per regolare la velocità del motore è necessario quindi unire all'albero motore un volante sufficentemente grande e pesante.

[40] La terza fase nella quale si ha la produzione di gas con forte pressione e forte sviluppo di calore succede nel cilindro stesso anzichè nella caldaia come nelle macchine a vapore, e succede con trasformazione quasi istantanea e quindi con una perdita piccolissima di calore.

Per rendere possibile la lubrificazione e anche perchè non avvengano dilatazioni troppo grandi delle pareti del motore, si è costretti a raffreddare le pareti del cilindro, onde gran parte delle calorie sviluppate nello scoppio, circa metà, va perduta; un'altra parte considerevole di calore va perduta perchè i gas sono a temperatura elevata anche quando la loro pressione differisce di poco da quella atmosferica al momento dello scappamento.

Sommando a queste due perdite principali di calore quelle che avvengono per radiazione, conducibilità, ecc., si trova che più dei 34 dell'energia disponibile va perduta. Pare infatti che la parte utilizzata sia dal 15 al 20%. Risulterebbe che su 100 calorie prodotte dalla combustione dei gas solo 16 sono usufruite per il lavoro esterno.

Dell'energia corrispondente alle calorie utilizzate, parte viene consumata nel vincere le resistenze interne della vettura, il resto è quello che va impiegato a vincere lo sforzo di traslazione e in parte consumato nella forza viva delle trepidazioni.

[41] Distribuzione. — Abbiamo visto che durante il primo tempo, la valvola detta d'ammissione è aperta per permettere alla miscela d'entrare nel cilindro; nel quarto tempo invece resta aperta la valvola detta di scappamento per lasciare sortire i gas nell'atmosfera.

Valvola di scappamento. — Questa dovrebbe aprirsi alla fine del terzo tempo, cioè al termine della corsa motrice. In queste condizioni, allorchè lo stantuffo comincia la sua quarta corsa, spinge avanti all'esterno una massa gassosa che è ad una pressione superiore alla pressione atmosferica. Ne risulta che si produce al principio del quarto tempo una contro-pressione che diminuisce considerevolmente il lavoro utile prodotto; conviene quindi aprire la valvola di scappamento prima della fine del terzo tempo, ciò che porta ad un vantaggio tanto maggiore quanto è più grande la velocità del motore[8].

La valvola di scappamento si deve poi aprire verso l'interno del cilindro in modo che la pressione che si produce al momento dell'esplosione non tenda ad aprirla in momento inopportuno.

Per quanto si è detto sopra, la detta valvola [42] deve essere comandata meccanicamente, non potendo funzionare automaticamente. I canali di scarico dei gas devono essere di diametro superiore delle valvole.

Per tenere la valvola chiusa nel primo tempo si munisce di robusta molla a spirale.

La valvola d'ammissione può essere automatica o comandata. Nei piccoli motori è spesso automatica, nei grandi motori invece è comandata, a meno che non sia multipla, cioè formata da più valvole di dimensioni ridotte anziché da una di grandi dimensioni.

Il comando meccanico delle grosse valvole impedisce gli effetti dannosi dell'inerzia. La valvola d'ammissione è in generale munita di molle di poca resistenza.

Il comando delle valvole si fa con un albero il quale, mediante ingranaggio conveniente, fa un giro ogni due dell'albero motore e porta eccentrici (camme) o scanalature speciali che comandano le aste delle valvole.

Se la valvola di ammissione non è automatica, essa si trova in generale nella stessa scatola della valvola di scappamento ma dalla parte opposta e il suo comando è affidato ad un altro albero; qualche volta le dette valvole si trovano dalla stessa parte, allora un solo albero basta per il comando.

Stantuffo. — Lo stantuffo dei motori d'automobili è formato da un cilindro cavo, ad un sol fondo, munito nella parte cilindrica di tre o quattro scanalature nelle quali vengono [43] messi degli anelli di ghisa o di acciaio che hanno un diametro esterno un po' più grande di quello dello stantuffo e che portano un taglio trasversale obliquo rispetto alle generatrici che li rende elastici.

Lo stantuffo in generale è molto lungo perchè così risulta ben guidato. La biella è articolata ad un perno fissato allo stantuffo. Gli stantuffi nei motori colle compressioni usuali, strisciano nei loro cilindri con un giuoco di circa 15 di millimetro.

Accensione. — L'accensione delle miscele compresse si può fare o mediante tubetti di platino, nichel, o porcellana, che penetrano nell'interno della camera di scoppio resi incandescenti dall'esterno per mezzo di fiamma di becchi tipo Bunsen (bruleur), oppure col mezzo assai più usato della scintilla elettrica fatta scoccare nella camera di scoppio.

L'accensione è di grande importanza e si cerca di assicurarla in ogni caso anche raddoppiando i mezzi per produrla.

L'accensione elettrica si può avere mediante scintilla d'induzione, cioè prodotta fra due punte metalliche distanti di qualche decimo di millimetro, producendo una differenza di potenziale elevata fra le due punte. Oppure si può avere con scintille prodotte nella rottura di un circuito dalla extracorrente di rottura.

Col 1º metodo occorre un generatore, un elevatore di tensione costituito in genere da [44] un ordinario rocchetto di Rumhkorff, un interruttore magnetico o meccanico (trembleur) e finalmente una parte che porta le due punte metalliche x ed y fra di loro isolate della candela, e che si avvita al motore in corrispondenza della camera di scoppio. — Nelle figure 16, 17, 18, 19, 20 sono indicati vari tipi di candela.

Fig. 16. Candela de Dion-Bouton.

Fig. 17. Candela Hydra.

Il generatore il più delle volte è costituito da pile o da accumulatori di grande capacità [45] o da una piccola dinamo. Quattro elementi di pila Leclanché o due accumulatori sono sufficenti allo scopo. Questi generatori debbono avere il liquido immobilizzato.

Come già sappiamo, pel buon funzionamento del rocchetto, si fa uso di condensatore che ha l'ufficio di diminuire la scintilla al trembleur.

Fig. 18. Cand. Bassie et Michel.

Fig. 19. Candela Reclus.

Fig. 20. Candela Bisson.

(Verby Beaumont, Motor Vehicles and Motor).

Per produrre la scintilla fra due punte della candela, si sogliono adoperare anche macchine magnetiche ad alta tensione, nelle quali la casa Bosch, specialista, ha riunito la sorgente di elettricità, il rocchetto con relativo condensatore e l'interruttore.

[46] Nel 2º modo di accensione con scintilla di extracorrente di rottura, la sorgente di elettricità è costituita da un magnete a bassa tensione.

Fig. 21.

Si fa percorrere la corrente fornita dalla [47] dinamo in un circuito suscettibile di essere interrotto in un punto determinato dove scocca la scintilla.

Nella figura 21 è indicato il cilindro collo stantuffo in fin del 2º tempo. Nel coperchio del cilindro è posta un'asticciuola c isolata elettricamente e posta in comunicazione con un polo della sorgente di elettricità di cui l'altro polo è in comunicazione colla massa della macchina.

Una leva p montata sopra un asse a può appoggiarsi sopra l'asta isolata. L'asse a prolungato, porta inoltre calettata alla sua estremità una appendice esterna sulla quale agisce un'asta A sollevata ogni due giri dal motore per mezzo dell'eccentrico (o camma), montata sull'albero D che fa un numero di giri uguale alla metà di quelli fatti dall'albero motore.

Si vede dunque che ogni volta che l'esplosione deve essere prodotta, la leva p è staccata da c e una scintilla si produce determinando l'infiammazione della miscela.

Nella figura 22 è indicato lo schema del tampone che s'applica alla testa del motore nel punto più conveniente per produrre l'accensione. Il tampone è in ghisa, raramente avvitato, il più sovente assicurato con viti. Il tampone porta due organi; l'uno immobile I, che costituisce l'accenditore o candela, è formato da una semplice asta di nikel o d'acciaio alla quale arriva la corrente dal magnete [48] a bassa tensione. Ha un ingrossamento dalla parte del motore nella camera di scoppio di 10 mm. di diametro. Quest'asta è isolata mediante un doppio cono h di materia isolante (steatite, mica, ecc.). A formar chiusura contro i gas e impedire il deterioramento dell'accenditore, un giunto separa la sostanza isolante dalla testa dell'accenditore stesso.

Fig. 22 (Locomotion, 2º anno, pag. 773).

L'altro organo è la leva del tampone a due braccia LL' in ferro.

Dalla parte interna termina con una lunga sporgenza ad angolo retto che viene a contatto coll'accenditore. Il suo asse di articolazione è nella sua parte media; una parte conica ll serve di chiusura automatica ai gas compressi.

Quando il braccio L' della leva è a contatto dell'estremità I allora non si ha scintilla; ma se produciamo il distacco repentino [49] della prima parte dalla seconda, si forma per l'extracorrente di rottura una scintilla che produce l'accensione della miscela.

La rottura bisogna che sia molto brusca: essa può avvenire col cadere, oppure coll'oscillazione di un'asta. Nella figura 23 è indicato il sistema ad asta cadente adottato dalla Mercédès; sull'albero di distribuzione vi è il solito eccentrico e calettato. La scintilla scocca fra I ed L'. Dalle quattro figure s'intuisce il modo di funzionare e dall'ultima come si possa avere l'avanzo ed il ritardo dell'accensione, che, come vedremo, si rendono spesso convenienti.

Fig. 23 (Schema di accensione della Mercédès).

Riportiamo in fig. 24 il sistema di accensione della Fiat ad asta cadente per 4 cilindri. Dopo quanto si è detto per il sistema adottato dalla Mercédès si comprende facilmente il suo modo di funzionare. Prima che avvenga la rottura del circuito, questo si forma [50] attraverso il contatto fra l'estremità della leva e l'asta di nikel; poi si ha distacco e quindi scintilla di extracorrente.

Fig. 24 (Schema dell'accensione del motore a 4 cilindri Fiat). (Dal vol. Marchesi, L'Automobile, come funziona e come è costruito).

L'interruzione con asta oscillante è indicata nella figura 25. L'asta di rottura A gira su se stessa e dà un urto orizzontalmente invece di darlo verticalmente come al sistema precedente.

Dalla figura stessa si vede pure chiaramente come si possa colla leva V dare l'avanzo e il ritardo all'accensione. La molla M [51] lavora anche per torsione e mantiene il contatto tra la leva S e la coda della leva L del tampone.

Fig. 25.

Fig. 26.

Per produrre la corrente si adopera il magnete Simms-Bosch (fig. 26) che è una modificazione di quella Siemens, la quale si compone di un induttore costituito da magneti permanenti a ferro di cavallo, e di un indotto formato da un avvolgimento disposto a matassa attorno al gambo di un'armatura di ferro dolce fatta a doppio T per facilitare il passaggio delle linee di flusso. La modificazione [52] consiste nel tenere l'indotto fisso e nel fare girare due settori di ferro dolce che variano la resistenza magnetica nell'interferro (disposizione a ferro rotante). Il vantaggio è quello di evitare contatti mobili striscianti per la presa di corrente.

Fig. 27.

Nelle figure 27 di seguito è indicato il modo di funzionare della magnete Simms-Bosch. Nelle posizioni 1 e 3 la f. e. m. d'induzione è minima, e nelle posizioni 2 e 4 è massima perchè ivi la variazione di flusso è massima attraverso alle spire dell'indotto. Le variazioni che avvengono nelle posizioni [53] 5, 6, 7 e 8 sono le medesime di quelle delle posizioni 1, 2, 3 e 4.

Fig. 28.

Nella figura 28 è rappresentata la curva della f. e. m. per ogni giro del settore. Giova notare che per effetto della reazione d'indotto il massimo della corrente si trova spostato alquanto nel senso del movimento rispetto alle posizioni indicate nella figura 27.

Nella figura 25 è indicato lo schema del magnete e l'apparecchio di accensione a rottura ad asta oscillante. Uno dei fili conduttori è in comunicazione coll'accenditore, l'altro colla massa del motore.

Come vedremo, i motori sono per varie ragioni a più cilindri, i grossi sono a 4 cilindri; la Panhard, la Darraq ed altre case hanno costruito motori da corsa con 6 cilindri ed anche con 8. Quando i cilindri fossero 4 allora il conduttore va ai quattro accenditori.

Il comando delle aste d'interruzione è affidato ad uno stesso albero che porta i 4 eccentrici (o camme) necessarî allo scopo.

Il sistema di accensione ad alta tensione [54] richiede un isolamento assai migliore che non l'altro. Oltre a ciò, quando nel primo si adopera il magnete come generatore di corrente, è sovente necessario avere anche il sistema con pile ed accumulatori per l'avviamento.

Nell'avviamento infatti il magnete non è mosso che con velocità molto ridotta e quindi non sviluppa f. e. m. abbastanza elevata per dare una scintilla sufficentemente calda da produrre lo scoppio.

Fig. 29. Vibratore meccanico Dion-Bouton.

Giova notare che i sistemi a magnete hanno il vantaggio di produrre coll'aumentare della velocità del motore e quindi anche del magnete una scintilla più calda, più intensa che produce una accensione più rapida, il che corrisponde per gli effetti ad un avanzo nell'accensione stessa.

Nelle figure 29, 30, 31, 32 sono indicati due sistemi di accensione con pile od accumulatori, [55] rocchetto con vibratore meccanico e con vibratore magnetico per un motore ad un sol cilindro.

Fig. 30. Disposizione con vibratore meccanico (Dion-Bouton).

Fig. 31. Vibratore magnetico.

Per l'avanzo o il ritardo dell'accensione, siccome il vibratore meccanico è fissato su [56] una placca Z che è folle sull'albero di distribuzione, si comprende che se noi facciamo rotare la placca isolante attorno all'albero, l'eccentrico n viene a spostarsi rispetto alla lamina E e si viene in tal modo a variare il momento in cui scocca la scintilla rispetto al moto dello stantuffo.

Fig. 32. Disposizione tipo Benz con vibratore magnetico.

Anche col sistema a vibratore magnetico si può ottenere lo stesso effetto girando la placca Z, con che si varia il momento nel quale la corrente si stabilisce attraverso al primario e quindi anche l'istante nel quale scocca la scintilla.

Vediamo ora come si può produrre l'accensione in due o quattro cilindri d'uno stesso motore.

[57] La figura 33 rappresenta l'apparecchio per un motore a due cilindri e consiste nell'accoppiamento di due apparecchi d'accensione per motori monocilindrici con vibratori magnetici. Siccome si fa uso di una sola sorgente di elettricità E, per motore a due cilindri è necessario un organo detto distributore calettato sull'albero di distribuzione che stabilisca prima la chiusura del circuito per uno dei rocchetti, e poi per l'altro, in modo da avere una scintilla nell'interno di ogni cilindro ogni due giri dell'albero motore.

Fig 33. B1 B2 Bobine. C1 C2 Condensatori. D Distributore.

Nella figura 34 è indicato l'apparecchio per un motore a quattro cilindri. In esso si ha un'unica sorgente di elettricità E, quattro bobine, un unico trembleur o vibratore, un solo condensatore e un distributore a quattro contatti striscianti k1 k2 k3 k4 disposti in modo da far avvenire uno scoppio ogni mezzo giro dell'albero motore.

Fig. 34. B1 B2 B3 B4 Bobine. T Vibratore. C Condensatore.

Si potrebbe porre il distributore anche sul circuito secondario, con ciò necessiterebbe un solo rocchetto, però [58] l'isolamento dei contatti riuscirebbe molto più difficile.

Prima di por termine a questa parte è opportuno dire dei difetti dei 2 tipi di interruttori usati, cioè del meccanico e del magnetico. Il primo dà luogo ad un avviamento piuttosto difficile, perchè colla mano dell'uomo non si può far girare velocemente l'albero di distribuzione e quindi l'eccentrico che fa funzionare il vibratore, il quale non produce la serie di interruzioni volute per dare scintille convenienti per l'accensione; nel funzionamento del motore a grande velocità, però funziona bene.

L'interruttore a tremolo magnetico invece dà un avviamento più sicuro[9], occorrendo un semplice contatto strisciante e non vibrante per stabilire il circuito; però a grande velocità dà luogo a degli scoppi mancati, perchè durante il tempo che dura la chiusura del circuito per effetto del contatto strisciante, non produce una serie di vibrazioni, [59] essendo queste di lungo periodo, a meno di non ricorrere a speciali disposizioni onde avere vibrazioni di corto periodo ed interruzioni più brusche.

Vibratore Lacoste senza vite. Vibratore a riposo. Vibratore in azione.
Fig. 35 (Locomotion, 3º anno, pag. 151).

Una di queste disposizioni è quella che si ha nel vibratore di Lacoste (fig. 35). Per avere interruzioni molto rapide, egli ha diminuito l'inerzia della lamina diminuendo il peso col togliere il martelletto. Per evitare poi che questa lamina così alleggerita sia troppo facilmente attirata dal nocciolo magnetico induttore delle bobine e non rompa il circuito primario prima che la corrente primaria non abbia raggiunto la sua intensità di regime normale, il costruttore impiega nel suo vibratore due lamine di differente flessibilità disposte l'una sopra l'altra. Allorché il vibratore è a riposo, la lamina inferiore C2 è a [60] contatto colla lamina superiore e questa colla vite che conduce la corrente e che serve di regolazione. Quando si fa passare la corrente nel circuito induttore, la lamina C2 è attirata per prima, s'incurva e durante questo tempo il circuito primario è stabilito per mezzo della lamina C1; allorché la lamina C2 ha fatto una corsa conveniente ed ha una certa forza viva, distacca la lamina C1 e il circuito primario è interrotto bruscamente. La corsa della C2, che corrisponde alla rottura del circuito primario, è regolata in modo che la corrente induttrice acquista la sua intensità di regime prima della rottura.

È sempre possibile, unire in un motore, al vibratore meccanico, un vibratore magnetico.

Per completare questa parte relativa all'accensione credo opportuno dare un cenno anche del magnete Gianoli ad alta tensione. Nel magnete Bosch (ad alta tensione), tanto favorevolmente conosciuto, si ha l'indotto girevole che comprende due bobine, una primaria e una secondaria. La rottura del circuito primario è prodotta da un interruttore meccanico. Nel magnete Gianoli la detta interruzione è prodotta da vibratore magnetico.

Ma vediamo in che consiste questo magnete (fig. 36).

Fig. 36. Magnete Gianoli.

Esso ha l'induttore costituito da calamite permanenti a ferro di cavallo come le Simms [61] Bosch. Fra le espansioni polari gira un indotto del tipo Siemens a spola con nucleo a doppio T il quale ha due avvolgimenti, l'uno per la bassa tensione fatto di poche spire di filo grosso e l'altro per l'alta tensione formato di molte spire di filo sottile. La corrente che si genera nel primario è alternata; per produrre effetto molto sentito d'induzione nel secondario, si ha un interruttore magnetico con condensatore in derivazione il quale funziona per effetto del magnetismo del nucleo dell'indotto. Due settori di ferro dolce possono spostarsi tra i poli e l'indotto e conservare con leggerissima variazione [62] lo stesso valore del flusso magnetico massimo concatenato coll'indotto anche nell'avanzo all'accensione, sicchè anche con spostamenti di 40° si ha una scintilla sempre della stessa potenza.

Questo fatto è importante e unito all'altro di potere ottenere all'avviamento del motore[10] una serie di scintille coll'interruttore [63] magnetico e quindi una partenza più sicura costituisce uno dei pregi di questo magnete.

Vorremmo discutere più a lungo sul medesimo, ma l'indole di questa pubblicazione non ce lo permette. Aggiungeremo però che il Gianoli ha unito al suo magnete uno speciale distributore che può servire anche per [64] doppia accensione e cioè con magnete e con accumulatori e bobina. Le parti costituenti la doppia accensione sono:

Il magnete ad alta tensione, un distributore misto e una bobina speciale;

Il distributore (fig. 37) misto, serve per distribuire la corrente secondaria alle candele ed anche come distributore della corrente primaria. Come si vede, esso si compone di una calotta metallica, sulla periferia della quale, si trovano fissati dei pezzi isolanti che servono di sopporto alle viti platinate regolabili e raccoglienti la corrente ad alta tensione per ridarla alle candele.

Fig. 37. LEGGENDA: 1. Morsetti d'unione alle candele. 2. Carbone strisciante. 3. Supporto isolante. 4. Canna. 5. Eccentrico distributore. 6. Vite platinata primaria. 7. Isolante della vite platinata. 8. Molla platinata. 9. Bilanciere di rottura. 10. Collare. 11. Camma a 4 effetti primaria. 12. Collettore del secondario.

All'interno di questa calotta si muove un pezzo isolante fissato sopra una canna in acciaio. Sopra questo pezzo isolante un collettore avente un eccentrico, riceve da un contatto in carbone la corrente proveniente dal magnete o dal secondario della bobina, che l'eccentrico distribuisce successivamente alle viti platinate davanti alle quali essa passa senza toccarle, con produzione di scintille.

La corrente primaria della bobina d'induzione è distribuita egualmente nel medesimo apparecchio per mezzo di un eccentrico in acciaio temprato fissato sopra la medesima canna dell'eccentrico distributore del secondario. Questo eccentrico comporta tante sporgenze quanti sono i cilindri e agisce sopra un bilancere in acciaio fuso che serve di sopporto a una lamina platinata che viene in [65] [66] contatto con una vite pure platinata che conduce la corrente primaria della bobina d'induzione.

Bobina. — La bobina (fig. 38) con vibratore magnetico e con due condensatori l'uno per il vibratore, l'altro avente un'armatura in comunicazione col primario, assicura il funzionamento nel caso che la rottura del primario avvenisse al distributore.

Fig. 38.

Sopra una faccia porta un commutatore di alta e bassa tensione. È sufficente di condurre un indice davanti alla lettera A per interrompere la corrente. Se lo si mette in faccia alla lettera B si agisce colla bobina, [67] in corrispondenza della lettera M col magnete. Nella fig. 39 è segnato lo schema di connessione dei fili per la doppia accensione descritta.

Fig. 39.

[68]

CONSIDERAZIONI SULL'ACCENSIONE

Qualunque sia il sistema di accensione adoperato, è necessario di poter, coll'aumentare della velocità del motore, aumentare pure l'anticipo nell'accensione. Molti costruttori lasciano all'arbitrio del conduttore la modificazione dell'anticipo (od avanzo); altri invece affidano ad un regolatore speciale tale mansione, sicchè il conduttore non ha a preoccuparsene.

Giova osservare che sarebbe conveniente ottenere che anche coll'avanzo si avesse sempre la stessa intensità di scintilla.

Fra le fabbriche che hanno l'avanzo automatico ricorderò la Junior con regolatore a forza centrifuga e sistema di leve che agisce sugli organi di rottura.

La Fiat già da tempo fa uso di un sistema (Enrico) di avanzo automatico con scintilla sempre della stessa intensità. L'accensione è a rottura con magnete Bosch.

Crediamo di far cosa utile riportare integralmente dal Marchesi l'anticipazione all'accensione:

“L'anticipazione automatica della accensione proporzionale al numero dei giri del [69] motore, forma oggetto di uno dei brevetti più importanti e più caratteristici della Fiat sulle cui macchine fu applicata fino dal 1903„.

Come si vede nella fig. 40, l'albero della distribuzione c che porta gli eccentrici di aspirazione, è cavo; nell'interno di esso vi è un altro albero D, al quale sono solidali gli eccentrici dell'accensione mediante le coppiglie E (fig. 23) e P (fig. 40); siccome sull'albero cavo C sono praticate delle finestre di una certa ampiezza, l'albero D può ruotare di un certo angolo rispetto all'albero C.

Fig. 40.

L'albero C è solidale all'ingranaggio di distribuzione A che ingrana col pignone posto sull'albero a gomito ed ha quindi una posizione fissa rispetto all'asse motore; l'albero D è solidale all'ingranaggio di distribuzione A che ingrana col pignone posto sull'albero a [70] gomito ed ha quindi una posizione fissa rispetto all'asse motore; l'albero D è solidale all'ingranaggio B che ingrana solo col magnete.

Tra la ruota A e la ruota B esiste un collegamento così costituito: la ruota A porta i perni fissi aa' (fig. 40) sui quali sono imperniate le masse cc' che hanno la forma di una leva a squadra alla cui estremità ee' sono attaccati dei biscottini ff', alla loro volta uniti alle molle mm' fisse ad un punto della stessa ruota A; la ruota B porta dei perni dd' infilati nei biscottini ff'. Allorquando il sistema gira con piccola velocità, le masse stanno raccolte nella posizione che vedesi punteggiata in figura, ma quando la velocità aumenta, esse, per la forza centrifuga, si allontanano dal centro di rotazione, le loro estremità ee' descrivono un certo arco, e il biscottino f, che da una parte è fisso ad e, e dall'altra a d, obbliga la ruota B a ruotare di un certo angolo rispetto ad A; quindi gli eccentrici di accensione ad essa solidali sono costretti a fare un certo angolo di anticipazione rispetto agli altri eccentrici della distribuzione spostando in anticipazione anche la parte rotante dell'elettro-magnete, che ingrana con B in modo che, corrispondentemente alla fase di accensione, si sviluppa sempre il massimo potenziale del magnete stesso.

Ciò costituisce la particolarità più saliente di questo apparecchio. Le molle sono calcolate [71] in modo che l'allontanamento delle masse sia proporzionale alla velocità del motore D.

Prima di por termine a questo argomento importantissimo, dirò che molte Case costruttrici hanno un avanzo costante, si contentano dell'effetto prodotto dall'aumento di f. e. m. del magnete coll'aumentare della velocità, e stabiliscono un avanzo medio per tutte le velocità; solamente hanno un dispositivo per produrre un leggero ritardo per la messa in moto. In vetture di ragguardevole potenza questa manovra si fa contemporaneamente a quella del decompressore.

La Brasier ha avanzo meccanicamente fisso ed ha il dispositivo per l'avviamento.

Prima di lasciare questo argomento riteniamo utile accennare al sistema di accensione spontanea.

Fig. 41.

Consiste in generale in una camera fusa insieme al cilindro motore in corrispondenza della camera di scoppio (fig. 41). La parete di questa camera viene portata, prima di avviare, all'incandescenza mediante fiamma esterna come negli ordinari bruleurs. Una volta avviato il motore, la fiamma esterna viene spenta. Durante la compressione penetra dentro la camera una piccola parte di miscela gassosa [72] che al contatto delle pareti molto calde della camera A e così compressa si accende. Il calore poi dello scoppio è sufficiente a sopperire alle perdite e mantiene le pareti sempre calde a sufficienza per produrre gli scoppi successivi. Il funzionamento è regolare in marcia; presenta però l'inconveniente che non si può sopprimere l'accensione, quando lo si desideri; occorrono inoltre dispositivi molto complessi per renderlo atto a produrre l'avanzo o il ritardo dell'accensione; con esso poi si ha sempre bisogno di una fiamma, la quale costituisce un pericolo d'incendio.

Raffreddamento.

Le esplosioni, secondo il Witz, avvengono ad una temperatura che si può ritenere di circa 2000° e per quanto nell'espansione si abbia un abbassamento sensibile, ne verrebbe che in breve tempo gli oli di lubrificazione si decomporrebbero, dilatazioni assai sensibili si produrrebbero nelle varie parti del motore; le valvole, e specialmente quella di scappamento, non funzionerebbero più regolarmente e il motore presto sarebbe fuori servizio.

Ad evitare questo fatto si ricorre al raffreddamento delle pareti del cilindro e delle valvole mediante dispositivi convenienti.

Giova notare però, che il raffreddamento [73] non deve essere spinto oltre un certo grado, perchè, come si è già fatto notare, esso porta ad una diminuzione nel rendimento del motore producendo una perdita nella utilizzazione delle calorie del combustibile.

Pei motori di piccola potenza per motociclette, il raffreddamento è generalmente ottenuto mediante alette piane od ondulate, le quali hanno lo scopo di aumentare la superfice lambita dall'aria. Queste alette possono essere di ghisa fuse col cilindro, oppure di rame od alluminio applicate al cilindro di riporto.

Quando la potenza del motore non oltrepassa i 3 o 4 cavalli, si suole usare il raffreddamento ad alette, limitando le alette alla sola camera di compressione per le potenze inferiori. In America invece, si suole usare il raffreddamento ad alette anche per motori di potenza ragguardevole oltre i 20 HP a più cilindri.

Nella fig. 42 è indicato in sezione un motore per motociclette da 2 34 HP col relativo raffreddamento ad alette e tutti gli accessori: carburatore, candela, volante, distribuzione a valvola di ammissione automatica e valvola di scappamento comandata.

Fig. 42.

Pei motori a più cilindri e talvolta anche per quelli ad un sol cilindro per motocicletta, si fa uso in generale di raffreddamento ad acqua e i cilindri vengono muniti di intercapedine, sulla quale viene a circolare l'acqua [74] o per il principio della differenza di densità che presentano l'acqua fredda e l'acqua calda o per l'azione di una pompa; l'acqua poi, una volta riscaldata al contatto delle pareti del cilindro, va a raffreddarsi in un apposito [75] recipiente a grande superfice di raffreddamento, dove spesso si fa passare corrente d'aria con ventilatore e che si chiama radiatore.

Fig. 43.

Col primo sistema detto a termosifone, indicato schematicamente nella fig. 43, l'acqua calda, più leggera della fredda, si viene a portare nella parte più alta del radiatore, il quale è posto ad un'altezza superiore al motore e la parte più alta di esso comunica colla parte più alta dell'intercapedine del motore e la parte inferiore colla parte più bassa, come si vede nella figura. L'acqua del recipiente R del radiatore, per differenza di livello, riempie l'intercapedine dei cilindri, si scalda, e si porta alla parte superiore del radiatore dove si raffredda.

Per avere circolazione d'acqua attiva, occorre [76] una differenza di livello fra la parte superiore dell'intercapedine e il livello dell'acqua nel radiatore e comunicazioni fatte con tubi di grosso diametro senza gomiti di piccolo raggio.

La circolazione d'acqua con pompa è quella più usata.

Fig. 44.

Nella fig. 44 è indicato schematicamente il complesso degli organi di raffreddamento con pompa. Si ha un recipiente R, una pompa P, un radiatore e le tubazioni di comunicazione. Il più delle volte il radiatore fa da recipiente.

I vari apparecchi possono occupare posizioni relative differenti da quelle indicate in figura.

Le pompe possono essere rotative (fig. 45) o centrifughe (fig. 46). Le prime sono semplici, ma non possono girare a velocità superiore ai 600 giri al primo, quindi occorre un ingranaggio [77] di riduzione girando il motore a 1000 e più giri; si ha in esse un consumo grande dei denti, sono però semplici e di funzionamento sicuro; quelle centrifughe sono pure semplici ed hanno meno usura e possono girare a grande velocità, però esse debbono essere poste sotto al recipiente d'acqua e hanno minor regolarità e sicurezza di funzionamento delle altre.

Fig. 45.

Fig. 46.

Altro tipo di pompa molto usato è quello a palette; le palette sono spinte per mezzo di molle (fig. 47).

[78]

Fig. 47.

Raffreddatore o radiatore. — Dovendo il raffreddatore diminuire la temperatura dell'acqua che esce dalla camicia del motore in misura sufficiente prima che rientri nella camicia stessa, devesi ritenere migliore quel radiatore nel quale questo effetto si ottiene nel grado conveniente e colla minor quantità d'acqua, e in modo che l'acqua si mantenga sempre ad una temperatura di alquanto inferiore al grado di ebollizione; praticamente l'acqua dovrebbe uscire dal raffreddatore con una temperatura non superiore a 60° o 70°.

Il radiatore può essere costituito da un tubo piegato a serpentino sul quale sono poste di riporto tante alette piane od ondulate, le quali hanno l'ufficio di aumentare la superficie di raffreddamento. L'aria fredda è talvolta spinta da apposito ventilatore.

I radiatori più usati sono quelli a nido d'api (fig. 48) che consistono in un recipiente attraversato da un numero grandissimo di tubi (varie migliaia) per i quali passa una corrente [79] d'aria attivata da un ventilatore comandato con cinghia o catena dall'albero motore. Pel passato occorreva il cambio dell'acqua ogni 20 Km., oggi invece con tale sistema si possono percorrere circa 660 Km. senza bisogno di cambiarla nè di aggiungerne; 10 litri d'acqua sono sufficienti per raffreddare un motore di 24 HP.

Fig. 48.

Smorzatore o silenziatore. — Alla fine della corsa motrice dello stantuffo, i gas di scoppio hanno una pressione ancora superiore all'atmosferica e una temperatura ancora elevata.

I detti gas, uscendo dalla valvola di scappamento, ed espandendosi bruscamente nell'atmosfera senza alcun intermediario, darebbero luogo ad un rumore simile a quello di una esplosione; si comprende quanto disturbo arrecherebbe questo fatto tanto più pronunziato [80] quanto maggiore è la velocità con cui marcia il motore. Ad impedirlo si fa uso di un apparecchio detto silenziatore o smorzatore. Con esso si cerca di attenuare il detto rumore, coll'impedire ai gas di espandersi in modo brusco nell'atmosfera, col farli prima immagazzinare in un recipiente di diametro maggiore del tubo di scappamento e coll'obbligarli a percorrere un cammino sinuoso col mezzo di tramezzi posti in modi differentissimi dentro al detto tubo o col farli attraversare pareti forate. In conclusione, collo smorzatore si viene a diminuire di alquanto la velocità di uscita dei gas e contemporaneamente a raffreddarli e a far loro perdere la forza viva gradatamente prima di espandersi liberamente nell'atmosfera[11].

Fig. 49.

[81] Nella fig. 49 sono indicati varî tipi di silenziatori. Le frecce indicano il percorso dei gas.

MOTORI POLICILINDRICI

I motori policilindrici si sono imposti da qualche tempo e si può dire che negli automobili moderni il motore a un cilindro è un'eccezione. Anche nelle migliori motociclette si fa uso di motori a due ed anche a quattro cilindri. Le ragioni di questo fatto sono varie, le principali però sono le seguenti: Avendosi in un solo cilindro una corsa motrice ogni 4, si comprende che il moto è estremamente irregolare e per avere una velocità dell'albero motore il più che possibile costante si rende necessario l'uso di un volano; il peso del volano è minore se si fa uso di motori policilindrici, perchè, ad esempio, con uno a quattro cilindri, si possono disporre i varî gomiti dell'albero motore in maniera da avere una esplosione ad ogni mezzo giro.

La ragione però più importante è quella relativa alle vibrazioni; nei motori a quattro [82] cilindri si ottiene l'effetto di equilibrare la macchina e di ridurre di molto le trepidazioni che sono uno degli inconvenienti principali dei motori a scoppio e specialmente dei monocilindrici.

I cilindri possono essere opposti cogli assi coincidenti, oppure cogli assi inclinati fra di loro, oppure anche cogli assi paralleli ed in questo caso orizzontali, inclinati all'orizzonte o verticali. La disposizione a V di due cilindri che, come abbiamo visto, fu una delle prime adottate da Levassor, e ora del tutto abbandonata, eliminerebbe i punti morti.

Le trepidazioni essendo in massima parte dovute all'azione preponderante nella direzione del moto degli stantuffi, ne deriva che un motore con cilindri orizzontali dovrebbe dare minori trepidazioni; se i cilindri poi fossero anche opposti, le trepidazioni non dovrebbero esservi.

I motori orizzontali sono però poco impiegati, sia per una maggior difficoltà nella lubrificazione, sia perchè, se esigono poco spazio in altezza, ne pretendono molto in senso orizzontale; essi si prestano ad essere posti sotto al sedile della vettura e non nel davanti come quelli a cilindri verticali; il loro uso ormai è ristretto alle sole vetture “Olsmobile„.

I motori verticali sono invece quelli ormai usati da tutti i costruttori e trovano posto molto conveniente sul davanti della vettura.

[83] Nelle fig. 50 e 51 è indicato un motore a quattro cilindri colle valvole d'ammissione comandate e colla regolazione sistema Hautier.

Fig. 50.

Nella fig. 52 abbiamo rappresentato una sezione del motore Richard Brasier per la particolarità che esso presenta di avere l'asse del cilindro spostato rispetto all'asse di rotazione del motore, allo scopo di ottenere, con dimensioni abbastanza ridotte, un angolo d'attacco molto acuto della biella coll'asse [84] verticale (nel periodo di espansione) e quindi un minor attrito dello stantuffo contro le pareti.

Fig. 51.

Fino a poco tempo fa si usava raggruppare i quattro cilindri due a due calettando le due bielle a due gomiti dell'albero motore a 180°.

Oggi molti tengono i quattro cilindri separati per avere maggior facilità di riparazione e condizioni migliori di appoggio dell'albero [85] motore perchè si può portare il numero dei cuscinetti da 3 a 5[12].

Fig. 52. — Motore Richard-Brasier.

I motori con un numero di cilindri superiore a quattro sono in genere, sebbene raramente, impiegati nelle vetture da corsa. La Casa Levassor ha costruito ultimamente appunto una vettura con motore a 6 cilindri da 100 HP. La Napier costruisce motori da 40 HP a 6 cilindri. La Darracq ha costruito ultimamente una vettura con motore da 200 HP a 8 cilindri, non pesante più di 1000 kg.

[86]

REGOLAZIONE

Ad evitare variazioni di velocità si è visto che occorre l'uso di un volano, meno pesante nei motori policilindrici di quello che non sia nei monocilindrici. Quando le condizioni di una strada su cui marcia un automobile fossero sempre le medesime, non si presentassero nè variazioni di pendenza, nè asperità di sorta, l'automobile mosso da un motore a scoppio potrebbe conservare una velocità costante che sarebbe quella per la quale la potenza del motore è eguale alla resistenza al moto da vincere.

In generale però, su qualunque strada, si presentano ad ogni istante piccole pendenze e asperità per cui la resistenza al moto varia. A voler mantenere la velocità costante, occorre che il motore possa variare la sua potenza in corrispondenza delle variazioni della detta resistenza; è necessario quindi che anche quando si sono disposti gli ingranaggi del cambio di velocità per la massima, il motore abbia una eccedenza di potenza per poter mantenere la detta velocità costante [87] anche nel superare le inevitabili piccole accidentalità di qualunque strada.

Con tale potenza però, quando la strada fosse a fondo buono senza asperità sensibili e presentasse anche qualche leggera discesa, il motore, e quindi anche la vettura, aumenterebbero la loro velocità finchè l'aumento fosse tale da avere eguaglianza fra la resistenza al moto e la potenza che è capace di sviluppare il motore.

Ne verrebbe adunque che la velocità non potrebbe essere più regolata (col cambio) dal conduttore, ma varierebbe continuamente dipendentemente dalle condizioni della strada percorsa; ad evitare un simile inconveniente è necessario un apparecchio che renda in ogni istante la potenza sviluppata dal motore eguale alla resistenza al moto. L'apparecchio in parola può avere un funzionamento automatico e allora prende il nome di regolatore, o essere maneggiato dal conduttore e in tal caso suolsi chiamare moderatore.

Questi dispositivi hanno anche un altro ufficio; quando la vettura è ferma e il motore in moto, impediscono al motore di raggiungere velocità eccessive (come si suol dire, di imballarsi) per la sicurezza dei meccanismi in moto.

Varie specie di regolatori. — Un regolatore è dunque un apparecchio destinato ad impedire che il motore sorpassi una velocità [88] determinata pur lasciandolo capace di dare in un istante qualsiasi tutta la potenza per cui è stato costruito.

La regolazione di un motore a scoppio si può ottenere: 1º variando il punto della corsa nella quale si fa l'accensione della miscela. A questo sistema di regolazione si presta molto bene l'accensione elettrica, anzi si può dire che è la sola che si presta con molta precisione all'avanzo o al ritardo dell'accensione corrispondentemente alle variazioni di velocità che si desiderano.

Abbiamo già visto come si può produrre meccanicamente questo fatto.

La posizione del punto di accensione per quanto concerne il rendimento del motore è quella che corrisponde a un poco prima della fine del terzo tempo, cioè un poco prima del punto morto, perchè in tal modo ha luogo l'esplosione a volume costante e nel momento della massima compressione della miscela.

Se si ritarda l'accensione a dopo che lo stantuffo ha oltrepassato il punto morto si ha l'esplosione, non più a volume costante, di una miscela ad uno stato di compressione inferiore al massimo e decrescente, quindi assai poco favorevole alla combustione, tanto che può avvenire che per ritardo d'accensione molto grande la miscela non sia suscettibile di accendersi ed esca incombusta in piena perdita; in tal caso diminuisce la velocità, ed anche il rendimento del combustibile.

[89] Con tutto ciò questo sistema di regolazione è talmente comodo che la maggior parte delle vetture automobili hanno dispositivi per il ritardo o per l'avanzo all'accensione.

2º La regolazione del motore si può ottenere variando la qualità o la quantità della miscela stessa.

Se si varia la qualità si deve modificare la composizione della miscela diminuendo la proporzione della benzina rispetto alla quantità di aria aspirata.

Con questo sistema dunque s'impoverisce la miscela e questa può anche divenire tale da non bruciare o bruciare solo parzialmente, risulta quindi poco economico e per questo è raramente usato.

Il sistema di variare la quantità della miscela introdotta è invece ormai adottato da quasi tutti i costruttori di automobili, sebbene presenti l'inconveniente di variazione nella pressione della miscela che può portare a scoppi mancati o a combustioni incomplete con relativi depositi dannosi. Lo strozzamento poi della conduttura, necessario per diminuire la quantità di miscela introdotta, altera il modo di funzionare del carburatore e quindi anche la composizione della miscela; il motore per tali fatti qualche volta prende un'andatura irregolare con accelerazioni intermittenti, si dice allora che galoppa.

Infine è bene notare che la diminuzione di pressione nella miscela porta ad un abbassamento [90] nel rendimento termico del motore.

3º Un altro modo di regolazione consiste nel variare l'evacuazione dei gas combusti agendo sulla valvola di scappamento.

Si può aumentare l'avanzo allo scappamento che abbiamo visto adottato in quasi tutti i motori; allora i gas di esplosione cominciano ad espandersi all'esterno prima del tempo normale quando essi potrebbero ancora produrre lavoro, con ciò si ottiene una diminuzione di potenza del motore, ma anche un minor rendimento.

Si può anche ottenere la diminuzione di velocità col ritardare l'apertura della valvola di scappamento. Con questo sistema i gas trovando chiusa la valvola nel 4º tempo vengono compressi a spese della potenza del motore.

Si può ottenere lo stesso effetto agendo sullo scappamento in altro modo, e cioè producendo il sollevamento più o meno grande della valvola di scappamento, il che porta all'inconveniente di corrosioni nella detta valvola e nella sua sede; oppure sollevando completamente la detta valvola, ma variando la durata del sollevamento; quest'ultima maniera evita la corrosione ed è stata applicata nella vettura dell'Hautier, il quale ha cercato di ottenere un volume di miscela costante (sebbene impoverita da gas di scarico) per avere sempre lo stesso grado di compressione.

[91] 4º La regolazione si può finalmente ottenere con un altro sistema chiamato del “tutto o niente„ agendo sull'ammissione e sullo scappamento.

Si può tenere la valvola di ammissione chiusa durante alcuni giri del motore.

Con questo sistema mancano, durante quel tempo, gli scoppi e quindi le corse motrici e il motore rallenta.

Tenendo chiusa la valvola di scappamento, i gas di scoppio sono compressi nella camera di compressione a spese della potenza del motore, il quale è costretto a diminuire la sua velocità anche perchè durante il tempo in cui la detta valvola è chiusa, lo è pure quella di aspirazione, la quale non può aprirsi se automatica e viene bloccata se comandata.

Questo modo di regolazione ha il difetto di chiudere nel cilindro una massa di gas che è ad altissima temperatura e che sovrariscalda le pareti del cilindro stesso, non che lo stantuffo con conseguente decomposizione dei lubrificanti e consumo di acqua di raffreddamento in pura perdita.

Il modo di regolazione a chiusura della valvola di ammissione, si avvicina a quello che consiste nel far cessare l'iniezione del combustibile nel motore arrestando ad esempio l'uscita della benzina dal polverizzatore del carburatore, o facendo uso di carburatori a distribuzione meccanica.

[92] I sistemi fondati sul “tutto o niente„ hanno poi l'inconveniente che, durante il tempo nel quale non si producono esplosioni, la circolazione d'acqua continua a raffreddare il cilindro; se questo raffreddamento è troppo forte si producono scoppi difettosi, incompleti, anzi qualche volta non avviene neppure l'accensione della miscela quando l'alimentazione è di nuovo stabilita dal regolatore.

Al momento poi nel quale le esplosioni ricominciano, la velocità angolare essendo divenuta molto debole, lo stantuffo e la biella si trovano sottoposti a urti assai più violenti che in marcia normale.

I regolatori adoperati negli automobili sono del tipo Watt a forza centrifuga.

Ad un albero orizzontale mosso dall'albero motore, è fissata normalmente una traversa, alle cui estremità sono articolate due braccia che portano all'altro estremo due masse metalliche, il più delle volte a forma di sfera; mediante due piccole bielle e traverse, le due braccia vengono a trasmettere un movimento lungo l'albero ad un collare. Il movimento del collare è in un senso o nell'altro a seconda che le masse del regolatore si allontanano o si avvicinano, il che dipende dalla velocità del motore. Al collare è unita una leva che agisce mediante altre leve sull'organo regolatore.

Le fig. 53, 54, 55 sono abbastanza chiare per poter comprendere prontamente il funzionamento [93] dei regolatori che funzionano sull'ammissione.

Fig. 53.

Attualmente, oltre alla regolazione automatica, nelle vetture automobili si ha la possibilità di variare l'ammissione anche colla mano o col piede agendo sulla valvola [94] P con manetta o pedale mediante sistema di leve, si ha cioè anche il moderatore e l'acceleratore.

Fig. 54.

Nelle vetture leggere si usa spesso il solo moderatore e nella fig. 56 è appunto rappresentato quello usato nelle piccole vetture Darracq che si aziona mediante una manetta a leva posta sotto al volantino di direzione.

Fig. 55.

Col moderatore si può rendere nulla l'ammissione e arrestare il motore, oppure si può limitare l'ammissione in maniera da limitare la velocità del motore quando questo funziona sulla vettura o ne è distaccato e non ha quindi da vincere che [95] le resistenze passive che s'oppongono alla sua rotazione.

Fig. 56.

Dovremmo ora vedere i dispositivi degli altri modi di regolazione; ci limitiamo a riportare il regolatore Déchamp funzionante a “tutto o niente„ e precisamente fermando bruscamente l'ammissione. Nella fig. 57 si ha il dispositivo generale e nella 58 i particolari del rubinetto.

La manovra si fa con una leva fissata a D (fig. 58), i gas aspirati dal tubo A penetrano nel rubinetto dagli orifizi m ed n in forma di lame sottili; allorché si manovra la leva D di cui la corsa è limitata dagli arresti F, i seguenti m' ed n' vengono a chiudere gli orifizi [96] m ed n ed il motore non riceve più miscela.

Fig. 57.

Prima di por termine a questo argomento ricorderemo ancora il sistema di regolazione della Fiat rappresentato nelle fig. 59 e 59 bis.

Il carburatore ha una valvola a cannocchiale sulla quale agisce, mediante un conveniente sistema di leve, il regolatore a forza centrifuga.

Il sistema di regolazione è quello a variazione della quantità di miscela introdotta nel motore; gli è appunto alla valvola a cannocchiale che è affidato l'ufficio di variare l'ingresso per M della miscela nel motore proporzionalmente alla potenza che questo sviluppa. [97] La detta valvola proporziona pure la grandezza della luce PP' dell'aria supplementare allo scopo di avere una costante composizione a tutte le velocità.

Fig. 58.

Il carburatore a cui detta valvola è applicata, riceve dal tubo F l'aria riscaldata in vicinanza del tubo di scappamento[13].

Nelle Vetture Fiat si ha l'acceleratore e il moderatore. Esso può funzionare sia col piede mediante apposito pedalino compreso fra i due pedali del freno e dell'innesto, sia colla mano per mezzo di manetta situata sul volante di direzione.

Fig. 59 e 59 bis.

Con detto apparecchio si viene ad agire [98] mediante sistema di leve sulla molla antagonista del regolatore, che come abbiamo visto, funziona sulla valvola a cannocchiale del carburatore. Si comprende come si possa variare la sensibilità del regolatore agendo sulla detta molla e come in conseguenza sia possibile variare la quantità di miscela che va al motore e quindi la velocità di quest'ultimo che può passare da un minimo di 300 giri al minuto ad un massimo di 1200 giri.

[99] Moderatore-Acceleratore. — Col moderatore abbiamo visto che nelle piccole vetture Darracq si può benissimo agire colla mano sull'ammissione della miscela e rallentare come si vuole la marcia del motore sia nella marcia ordinaria, sia quando si distacca il motore dalla vettura, sia quando s'incontrano animali che si spaventano per il rumore del funzionamento, sia infine quando occorra improvvisamente o per poco tempo rallentare la vettura senza ricorrere al cambiamento di trasmissione[14].

Quando non esiste il moderatore funzionante direttamente sull'ammissione, si ha un congegno a disposizione che si maneggia colla mano, come nella Fiat, il quale con un intermediario elastico controbilancia la molla antagonista della massa del regolatore; ciò corrisponde in ultima analisi alla modificazione dell'apparecchio di regolazione che limita la velocità ad un valore minore di quello della marcia normale. Generalmente si può, con questo organo, anche arrestare il motore.

Vi è un altro organo sulle vetture, il quale ha un ufficio inverso, detto acceleratore. Con esso si agisce col piede per mezzo di tiranti e leve sulla molla del regolatore nel senso di aumentarne l'azione fino a paralizzare addirittura [100] il regolatore stesso. Il motore funziona ad una velocità superiore alla normale.

Si lavora sull'acceleratore quando si vuole ad esempio percorrere una strada colla massima velocità che il motore può imprimere all'automobile, senza curarsi della regolarità della velocità stessa e senza preoccupazione del deterioramento dei pezzi in movimento.

Si può pure usare l'acceleratore quando, essendo in salita, si vuole sfruttare una potenza maggiore della normale, oppure quando su qualunque strada ed a qualunque velocità si trovi, si vuole momentaneamente accelerarne la marcia senza servirsi del cambio di velocità che obbliga ad una manovra abbastanza complessa e forse anche più dannosa per i meccanismi che il semplice uso dell'acceleratore. Giova però notare che non sarebbe consigliabile usare per lungo tempo l'acceleratore, perchè è noto che il massimo rendimento dei motori a scoppio si ha alla velocità di regime.

Incamminamento. — Si è tentato con dispositivi speciali di incamminare il motore a benzina stando seduti sulla vettura, ma con risultato pratico discutibile.

Crediamo tuttavia di far cosa gradita al lettore riportando succintamente due sistemi coi quali si può ottenere l'avviamento in tal maniera.

L'uno consiste in un ingranaggio che fa muovere l'albero del motore quando per [101] mezzo del piede si agisce sul pedale di disinnesto; un sistema di leve riunisce il pedale all'ingranaggio.

Di funzionamento più pronto e sicuro è il sistema detto “Cinogène„ del quale diamo un'idea nella fig. 60. Consiste in un recipiente R di acciaio contenente acido carbonico a 60 atmosfere.

Fig. 60.

Un rubinetto alla portata del conduttore e da questi maneggiato, lascia passare, una volta aperto, l'acido carbonico che, sfuggendo dal recipiente, entra nel cilindro C, contenente uno stantuffo di cui l'asta è a cremagliera. La cremagliera spostandosi, comunica un rapido movimento di rotazione ad un ingranaggio che lancia effettivamente il motore per circa 6 giri. Per aumentare la velocità si hanno tre ruote dentate invece di una sola.

[102] Alla fine della corsa, il gas sfugge automaticamente e il pistone a cremagliera è ricondotto alla sua posizione primitiva mediante una molla a spirale.

Un Kg. di acido carbonico liquido è sufficente per 100 messe in marcia di un motore a cilindri di 35 cavalli. Il detto apparecchio è disposto anteriormente alla vettura trasversalmente all'albero del motore.

Il motore si mette in moto avviandolo a mano, facendo fare per mezzo di una manovella alcuni giri all'albero a gomiti.

Pei motori di potenza rilevante, è necessario talvolta aprire col “decompressore„, momentaneamente, la valvola di scarico di uno o più cilindri per evitare la compressione dei gas che si trovano nei cilindri stessi, la quale opporrebbe una resistenza grande alla rotazione dell'albero a gomiti per mezzo della manovella.

È necessario, per l'avviamento, almeno un giro completo di manovella, perchè occorre aspirare la miscela, comprimerla e accenderla.

Giova notare che nell'avviamento deve essere nulla o quasi l'anticipazione dell'accensione, perchè se questa si produce prima del passaggio al punto morto, si ha un contraccolpo e il motore non si avvia.

Lubrificazione. — Per la buona lubrificazione del motore, sotto la sua base, sta una scatola (carter) in generale di alluminio, a chiusura perfetta, contenente olio, nel quale [103] vengono a pescare ad ogni giro le teste delle bielle, che movendosi, spruzzano olio anche sulle pareti dei cilindri.

Queste ad ogni modo vengono lubrificate per mezzo di apparecchi speciali (oleopolimetri, lubrificatori a pressione di gas, oliatori a pressione d'acqua, ecc.).

Osservazione. — Per evitare il congelamento dell'acqua di raffreddamento e la conseguente rottura della tubazione si può adoperare acqua mescolata col 20% di glicerina neutralizzata con carbonato di soda. Tale mescolanza resiste senza congelarsi fino a 9°.

Condizioni di funzionamento di un motore d'automobile a quattro tempi.

Noi sappiamo ormai in che consista un motore d'automobile a quattro tempi; vediamo di studiare alcune condizioni del suo funzionamento.

La miscela gassosa portata ad un'alta temperatura dall'esplosione, cede, durante l'espansione alle pareti del cilindro, una quantità di calore tanto più grande quanto più l'espansione stessa si compie in più lungo tempo, ossia quanto minore è la velocità del motore.

Ora questa quantità di calore ceduta alle pareti, non solo è spesa in pura perdita, ma può anche essere dannosa sotto altri riguardi se non si ha cura di raffreddare artificialmente il cilindro.

[104] Il Witz ha dato le leggi seguenti:

1º Il rendimento termico indicato d'un motore cresce colla velocità lineare dello stantuffo, ossia col numero dei giri al minuto del volante;

2º La combustione della miscela introdotta nel cilindro si fa in un tempo tanto più breve quanto maggiore è la velocità lineare dello stantuffo.

Oltre a questi vantaggi il motore a grande velocità a pari potenza è molto più leggero di quello a piccola velocità.

In pratica però vi è un limite della velocità lineare dello stantuffo che non bisogna oltrepassare, limite imposto dalla conservazione degli organi in moto e anche dalla necessità di ottenere l'infiammazione di tutta la massa gassosa durante il terzo tempo. La detta velocità lineare dev'essere di non molto superiore ai quattro metri.

Vi è un altro elemento da considerare legato alla velocità ed è la compressione della miscela.

Un aumento di compressione della miscela ne favorisce l'esplosione. Una miscela gassosa che non esplode a una certa temperatura alla pressione atmosferica, può scoppiare nelle stesse condizioni se si eleva la pressione.

In un motore a petrolio, o benzina, ecc., la miscela può infiammarsi spontaneamente qualora la pressione arrivi a un determinato [105] limite, alla temperatura raggiunta dopo la compressione.

Un aumento di pressione della miscela diminuisce il tempo durante il quale si produce l'esplosione e aumenta la pressione alla fine della esplosione stessa.

Con compressione di 2,7 Kg., 4,25 Kg. e 5,4 Kg. si sono ottenute rispettivamente le pressioni massime alla fine dell'espansione di 11,9 Kg., 14,35 Kg., 19,70 Kg.

In corrispondenza degli aumenti della pressione di scoppio si hanno aumenti del lavoro indicato.

Possiamo dunque dire che un motore che marcia a una determinata velocità, ha una potenza tanto più grande e funziona più economicamente quanto maggiore è la compressione.

Siccome poi l'aumento di compressione della miscela diminuisce la durata dello scoppio, così è possibile aumentare la velocità dello stantuffo e far fare un numero di giri più grande al motore aumentando in tal maniera anche la potenza.

Nei motori attuali si potrebbe giungere impunemente e con grande vantaggio a compressioni che diano una pressione della miscela di 6 ed anche 8 Kg. per cm2.

Per aumentare la compressione della miscela si cerca innanzi tutto che la tenuta sia il più che possibile perfetta, poi si diminuisce il volume della camera di esplosione.

[106] Con questa diminuzione si diminuisce pure la quantità di gas bruciati, che alla fine dello scappamento restano nel cilindro; si aumenta la depressione del primo tempo e per conseguenza si aumenta il volume di miscela fresca introdotta; infine si comprime in una camera più piccola una più grande quantità di miscela.

Giova notare però che l'aumento di compressione porta i suoi inconvenienti, fra i quali principale è l'eccessivo riscaldamento del motore, che bisogna evitare con una più attiva circolazione d'acqua di raffreddamento facilitando l'espulsione dei gas bruciati.

Si è pensato da alcuni, di scacciare i gas bruciati completamente, facendo arrivare un getto d'aria nella camera di esplosione prima di introdurre la miscela; ma con questo sistema, se si otteneva lo scopo dell'eliminazione dei gas combusti, si veniva ad avere però una miscela eterogenea nel cilindro a strati di aria pura e aria mescolata a benzina e quindi di difficile esplosione.

Charles Caillé pensò di evitare anche questo inconveniente coll'introdurre, invece di un getto di aria pura, un getto supplementare di miscela; si comprende però che la costruzione del motore in tal caso diventa più complessa.

[107]

PARTE SECONDA


TRASMISSIONE DEL MOVIMENTO

Il lavoro sviluppato dal motore viene trasmesso all'albero delle ruote motrici della vettura automobile, che in generale sono le posteriori, mediante una serie di organi cinematici, le cui velocità possono essere opportunamente modificate a volontà del conduttore.

Il complesso dei meccanismi consta in generale di:

Un apparecchio di collegamento (innesto o embrayage dei Francesi).

Un apparecchio per il cambiamento della velocità e per la marcia indietro.

Il differenziale che è collegato mediante trasmissione flessibile alle ruote motrici.

A completare poi l'automobile per tutto ciò che concerne il suo movimento vi sono ancora:

Un meccanismo che serve a dare la direzione del moto di traslazione della vettura.

Dei meccanismi destinati ad arrestare rapidamente la vettura.

Organi portanti e di collegamento delle diverse parti della macchina.

[108] Diremo la ragione d'essere di ciascuno di questi meccanismi; cominciamo intanto dall'innesto.

Innesto.

Il motore a scoppio non può avviarsi sotto carico e deve essere messo in movimento colla mano a vettura ferma, distaccato dal rimanente della trasmissione cinematica; colla vettura in marcia su strada volendo cambiare la velocità (col cambio) o frenare la vettura è pure necessario distaccare il motore dalla detta trasmissione.

Il meccanismo destinato in questi casi a distaccare o attaccare il motore a piacere del conduttore è detto appunto innesto.

L'innesto serve tanto meglio quanto più la sua azione è progressiva, perchè così l'avviamento (démarrage dei Francesi) è dolce, senza urti e scosse brusche.

Deve poi essere elastico affinchè gli sforzi subìti dalla vettura non si trasmettano integralmente al motore con pericolo di produrre guasti.

Molti sono i sistemi o frizioni state escogitate; le più usate e che presentano in maggior grado le caratteristiche desiderate, sono quelle a cono con guernizioni di cuoio, e quelle metalliche a più o meno grande superficie di sfregamento.

Sono notevoli per la genialità della concezione: l'innesto elettromagnetico del Krebs [109] e quello a pressione d'olio dell'Herschmann; finora però non hanno avuto estesa applicazione.

Innesti conici. — L'albero del motore, appena fuori del supporto posteriore, termina in una piastra circolare di ferro alla quale è unito con bulloni il disco centrale del volante.

Fig. 61.

La corona del volante V, nella sua parte interna, è lavorata a superficie conica (base maggiore posteriormente); in essa entra il cono della frizione, in generale di acciaio fuso e talvolta in alluminio, spinto da una molla a spirale sufficientemente robusta, registrabile mediante il dado D e che viene infilata sull'albero A che dalla parte anteriore può girare folle in apposita bronzina B [110] che fa corpo coll'albero del motore e dalla parte posteriore è fissato rigidamente all'albero del cambio di velocità che è l'albero principale della macchina (fig. 61). La superficie del cono di frizione è eguale alla corrispondente del volano ed è guernita di cuoio fissato con chiodi di rame.

Per avere un'azione dolce e progressiva della frizione, fra i tanti dispositivi impiegati, il più usato è quello che consiste nel disporre nel cono in apposite cavità radiali asticciole a che portano una piastrina d'acciaio spinta da piccole molle spirali.

Il cuoio viene così spinto in fuori e si vengono ad avere sull'anello di cuoio, nella parte anteriore, delle sporgenze che sono quelle che vengono a toccare per le prime la superfice interna del volante, rendendo l'innesto dolce e graduale.

Il cono scorre su una parte quadra dell'albero A mediante apposita leva a forcella azionata per mezzo di tiranti e leve, su cui poggia il piede del conduttore per mezzo di un pedale. La molla spinge fortemente a contatto le due superfice coniche in modo che l'attrito gradualmente cresce finchè l'albero del volante trascina quello del cambio alla stessa velocità.

Per staccare il motore dalla trasmissione della vettura, bisogna spostare il cono vincendo la pressione della molla col pedale.

Conviene, una volta che il motore è in [111] funzione distaccato dalla vettura (il che avviene sia nell'incamminamento, sia in marcia quando si vuol mutare la velocità, sia quando si vuol frenare la vettura) e si vuol produrre di nuovo l'attacco col cono, sollevare il piede dal pedale gradatamente per rendere sempre più dolce e più graduale l'innesto.

Raramente le frizioni coniche si accoppiano anche al freno; in tal caso il cono di innesto è doppio, il cono anteriore spinto dalla molla produce l'unione dei due alberi, ma agendo coll'apposito pedale si può impegnare il cono posteriore in una cavità di conveniente conicità fissata all'intelaiatura della vettura in modo che, per l'attrito che si sviluppa fra questi ultimi, si ha una azione frenante molto forte.

Fig. 62.

Oltre all'innesto a coni diritti vi è anche quello a coni rovesci (fig. 62). I due coni sono disposti nello stesso modo sopra gli alberi, ma le loro generatrici sono inclinate in sensi opposti. [112] Per produrre l'innesto dei 2 coni bisogna allontanarli l'uno dall'altro, cioè il contatto si produce per trazione. Per facilità di costruzione, la superficie di contatto del fisso è una lamina B conica che si introduce fra C e C' e che si fissa per mezzo di viti sopra C'.

Fig. 63.

Frizioni metalliche a piccola superfice di sfregamento. — Schematicamente questa specie di innesti si può rappresentare nel modo seguente (fig. 63).

Si ha calettato sull'albero motore un disco A di ghisa la cui posizione non si può cambiare: sull'albero del cambio di velocità si ha un altro disco pure di ghisa B che gira con A condotto da appositi pioli che tuttavia gli permettono di avvicinarsi ed allontanarsi dal disco A; tra questi dischi se ne trova un altro di acciaio C solidale coll'albero del cambio; il disco B è folle sul detto albero.

Se il motore gira e le cose stanno come in fig. 63, il disco A trascina il disco B, ma l'albero del cambio non gira (posizione di disinnesto o di débrayage); se invece avviciniamo il disco B, per mezzo della solita molla, al disco A in modo da stringere fortemente fra i medesimi il disco C, per l'attrito sviluppato sulle due facce del disco C [113] si avrà movimento dell'albero del cambio. Per il disinnesto c'è il solito pedale e sistema di leve e tiranti. A rendere graduale l'innesto sulla faccia esterna del disco B, vi è posta tutta all'intorno una rilevante quantità di piccole molle.

Per evitare che i dischi compressi fra loro abbiano ad unirsi in maniera da rendere troppo difficile il distacco, si annegano nei dischi stessi dei piccoli cilindretti di grafite che sfiorano in modo da lubrificare le superfice di sfregamento.

Frizione a spirale. — Alla categoria delle frizioni a piccola superfice di sfregamento, appartengono anche gli innesti a spirale che sono basati sul principio del freno a corda. L'aderenza necessaria per la trasmissione del movimento, è cioè ottenuta da una lama metallica, disposta a parecchi giri esternamente ad un tamburo cilindrico. Tali frizioni non sono in genere reversibili, ma sono semplici e di facile registrazione e la loro azione è dolce e progressiva.

Frizioni a grande superfice di sfregamento. — Questo sistema è stato adottato dalla Fiat[15] ed ha dato ottimi risultati. Consiste in un tamburo in genere di bronzo B fissato al volante di acciaio fuso che suole funzionare anche da ventilatore.

[114]

Fig. 64.

Il tamburo porta quattro scanalature secondo [115] due piani normali fra loro e passanti per l'asse della frizione, nelle quali sono fissate quattro chiavette di acciaio duro, sulle quali scorrono longitudinalmente dei dischi di acciaio di piccolo spessore e vengono quindi trascinati dal moto di rotazione del tamburo, una custodia in alluminio (fig. 64) chiude l'apparecchio, nel cui interno si trova una puleggia di ghisa D fissata con bulloni sull'albero principale del cambio.

La puleggia D porta sul suo contorno, lungo le generatrici, una serie di dodici tagli di chiavetta nei quali s'impegnano i denti di dischi di bronzo intercalati alternativamente con quelli di acciaio. I dischi di bronzo non toccano la superficie interna del tamburo, nè le sue quattro chiavette.

Una coppa F spinta dalla molla a spirale portata dall'albero del cambio, comprime fra di loro i dischi di acciaio e di bronzo in modo che per l'aderenza sviluppantesi sulle loro facce, il tamburo conduce la puleggia D e l'albero del cambio formando l'innesto. Premendo sul pedale si allontana la coppa F comprimendo la molla M e si produce il disinnesto.

L'apparecchio è lubrificato nel suo interno e riparato dalla polvere. Il numero delle coppie dei dischi di acciaio e bronzo può variare dai 20 ai 50 a seconda della potenza del motore. L'apparecchio è convenientemente lubrificato. Meritevole di menzione è l'innesto [116] De Dion-Bouton consistente in due piatti di acciaio dello spessore di qualche millimetro, fissati all'albero del motore per quanto riflette il movimento di rotazione. Questi due dischi sono muniti di blocchetti di grafite per impedire gli aggrippamenti. Fra questi due dischi si trova un terzo disco di acciaio che gira coll'albero del cambio. Uno dei piatti di ghisa è mobile e chiude coll'intermezzo di molle periferiche il piatto di acciaio contro l'altro di ghisa, col che si viene a produrre l'innesto.

Meccanismo per il cambiamento di velocità e per la marcia indietro.

I motori a scoppio, come si è più volte ripetuto, hanno il loro massimo rendimento quando girano costantemente con una data velocità che è quella, diremo, di regime.

Siccome il lavoro sviluppato da un motore a scoppio è proporzionale, a parità di altre condizioni, al volume d'aria carburata consumata nell'unità di tempo, e quindi al numero dei giri dell'albero a gomiti, si comprende facilmente che ogni diminuzione di velocità del motore porta ad una diminuzione della sua potenza, quindi non si potrà variare la velocità di traslazione di una vettura modificando la velocità di rotazione del motore, specialmente quando il lavoro resistente corrisponde alla potenza massima del motore.

[117] Per le dette ragioni, volendosi colla vettura marciare alla velocità che si desidera, dalla minima alla massima permessa dalla potenza del motore, è necessario un meccanismo col quale il conduttore possa variare la velocità della vettura, pur compiendo sempre il motore approssimativamente lo stesso numero di giri nell'unità di tempo.

Gli apparecchi per il cambiamento di velocità possono essere a variazione continua o a variazione discontinua.

I primi teoricamente sarebbero i più indicati, ma per gli inconvenienti che essi presentano praticamente non hanno avuto che fuggevole applicazione. Fra di essi erano preferiti quelli a dischi e coni di frizione e quelli con pulegge estensibili.

I meccanismi a variazione discontinua sono quelli comunemente usati, sebbene non sia loro dato che di trasmettere alla vettura due, tre o quattro velocità, corrispondentemente ad una data velocità del motore.

Essi possono essere:

per cinghie e pulegge;

e per ingranaggi.

Le trasmissioni per cinghie e pulegge sono le più semplici e furono adottate nei primordi dell'automobilismo.

Si hanno due alberi paralleli di cui uno è il condotto e l'altro il motore; due pulegge sono calettate una per ciascun albero e sono riunite per mezzo di cinghie; l'albero condotto [118] prende una velocità dipendente da quella dell'albero motore e dal rapporto del diametro delle due pulegge. Combinando due o tre coppie di diametri differenti si ottengono due, tre diversi rapporti di velocità.

I cambiamenti di velocità si ottengono mediante pulegge folli e il trasporto di cinghia per mezzo di forchette manovrate dal conduttore; si ottengono anche mediante la manovra di un tenditore scorrevole, che tende la cinghia dell'una o dell'altra coppia di pulegge. Nel 1º caso le cinghie sono tese e, generalmente, a tratti incrociati, per avere colle pulegge la maggior superfice di contatto; nel secondo sono lente e a tratti paralleli.

La marcia indietro si ottiene con una disposizione inversa dei tratti della cinghia.

Le cinghie di cuoio hanno l'inconveniente di allungarsi ed anche di slittare sulle pulegge. Esse debbono venire talvolta raccorciate, se non v'è la possibilità di spostare l'albero condotto. Inoltre esse si consumano facilmente e si rompono e debbono sovente venir cambiate. Per questa ragione alcuni costruttori hanno sostituito, alle cinghie di cuoio, delle cinghie speciali di tela e gomma resistente flessibile, leggermente elastiche, poco estensibili.

Il cambio di velocità per cinghie occupa anche troppo posto; ha però il vantaggio di essere semplice, economico, silenzioso, elastico e di permettere l'utilizzazione della marcia indietro come freno.

[119] Usati ormai generalmente sono i meccanismi per ingranaggi che si possono classificare in queste tre categorie:

1º Con ingranaggi sempre in presa e comandati o da innesti a denti o da nottolini;

2º Con ingranaggi sempre in presa e comandati con frizioni;

3º Con albero condotto mobile unitamente cogli ingranaggi calettati su di esso e detto a train baladeur; con tal sistema si viene ad ottenere che ciascun ingranaggio dell'albero motore possa successivamente venire in presa coll'ingranaggio corrispondente dell'albero condotto.

In tutti questi tre sistemi la velocità dell'albero condotto è inversamente proporzionale al rapporto dei diametri degli ingranaggi in azione.

La trasmissione per ingranaggi presenta poco disperdimento di forza ed occupa poco spazio, non è però scevra di inconvenienti, quali rumore, la mancanza di elasticità, il maggior costo, il cambiamento brusco della velocità. Il rapporto di riduzione della velocità è generalmente inferiore a 18.

Nel primo tipo il motore comanda l'albero principale A; l'albero B è il condotto e trasmette il suo moto al differenziale. Le ruote che sono montate sull'albero A sono ad esse solidali, invece quelle su B sono folli, ma portano delle sporgenze che corrispondono esattamente ai vani dei manicotti c e d che [120] girano coll'albero C, sul quale però possono scorrere e spostarsi.

Fig. 65.

Nella figura 65 il meccanismo è in posizione da non dar luogo a trasmissione di movimento all'albero B. Quando si mettano in presa i manicotti c e d con una delle ruote vicine, allora vi è trasmissione di movimento e velocità differenti a seconda della ruota condotta.

[121] Le ruote 1 dànno la velocità più piccola, le 2 la velocità media e finalmente le 3 la velocità grande.

Per la marcia indietro vi sono le ruote 4 le quali però si comunicano il movimento mediante un rocchetto supplementare detto satellite disposto al disotto.

Fig. 66.

I cambi con ingranaggi sempre in presa, comandati da nottolini, sono da noi del tutto abbandonati. La Fiat nel passato usava questo sistema che ha poi prontamente abbandonato.

Anche i cambi con frizione sono poco usati.

Riteniamo opportuno ricordare in questo punto il cambio con ingranaggi sempre in presa del Rosselli.

Due alberi colle ruote dentate sempre in presa. Le corone delle ruote, come si vede nella fig. 66, sono molto larghe, in modo da [122] dar luogo ad un'usura moderata; profilato secondo ogni regola d'arte, questo cambio è silenzioso anche dopo lungo uso.

Sull'albero condotto, le ruote sono folli e ciascuna viene resa fissa da un'asta con apposito meccanismo interno che scorre lungo l'asse stesso.

Unito al cambio si ha il differenziale ed il freno; le velocità sono quattro oltre a quella corrispondente alla marcia indietro.

Il tutto è al solito immerso nell'olio e grasso.

I detti cambiamenti di velocità occupano poco spazio, però si logorano rapidamente e presentano una certa complicazione nei nottolini e leve di manovra: con tutto ciò sono usati molto in America.

Il tipo ormai usato da tutti i costruttori è quello a train baladeur ad uno o più trains.

Quello a più treni è il più sparso.

Nella fig. 67 è rappresentato il cambio di velocità adottato dalla Fiat; è molto semplice.

Vi sono al solito due alberi, l'uno principale e l'altro condotto che è quello che porta gli ingranaggi fissi e dà il moto al differenziale.

Sull'albero principale mosso dal motore si hanno i due train baladeur costituiti dalle due coppie di ruote 1, 2, 3 e 4. Queste ruote possono scorrere lungo l'albero col quale sono costrette a muoversi.

[123]

Fig. 67.

Quando la 1 ingrana colla 1' si ha la prima velocità, quando 2 ingrana colla 2' la seconda, 3 con 3' ci dànno la terza, 4 con 4' la quarta. La marcia indietro si ottiene con un pignone satellite non rappresentato in figura, che viene a ingranare coll'ingranaggio della 1ª velocità. Come si vede, la Fiat non fa uso di presa diretta per la massima velocità ed il differenziale è spostato rispetto all'asse della vettura.

Cambio ad un solo train baladeur. — Nella fig. 68 è rappresentato il cambio ad un solo train baladeur usato nelle piccole vetture Peugeot.

È a tre velocità colla terza in presa diretta.

In M si ha il manicotto d'attacco, in B (il baladeur), cioè la coppia di ruote spostabili lungo l'asse A di sezione quadrata — in G si ha il giunto cardanico; A' è l'albero con ingranaggi fissi; in a ed a' gli attacchi per [124] la presa diretta per la 3ª velocità, in R l'ingranaggio per la marcia indietro.

Fig. 68.

Fra le Case che hanno il cambio ad un solo train baladeur ricorderemo la Richard Brasier e la Renault.

Fra i cambi di velocità, ricorderemo ancora quello della Zust a quattro velocità e marcia indietro, a tre train baladeur, due per la marcia diretta e uno per la marcia indietro. La quarta velocità è in presa diretta.

Notevole in questo cambio è il fatto che le tre prime velocità si trasmettono il movimento al differenziale con una coppia d'ingranaggi conici ad angolo CC' e la quarta con un'altra coppia DD'. La fig. 69 rappresenta un ingranaggio simile a quello della Zust.

1 1' prima velocità — 2 2' seconda — 3 3' terza — spingendo la ruota 3 indietro si mette in presa diretta per la 4ª velocità.

[125] Il satellite S serve per la marcia indietro.

Tutti i cambî sono chiusi in carter d'alluminio o di lamiera d'acciaio e sono immersi in grasso ed olio.

Fig. 69.

Prima di por termine a questo argomento ricorderemo che la Richard-Brasier ha adottato nelle sue vetture un riduttore di velocità — che può essere montato sulle vetture dietro richiesta del cliente. — Esso è posto tra il cambio e il differenziale; con detto apparecchio, le velocità vengono ridotte nel rapporto da 100 a 56, si possono cioè avere 8 velocità, con ciò resta più facile al conduttore adattare la velocità al profilo della strada.

[126] Nei paesi di montagna, specialmente, può essere molto indicato il riduttore. Molte volte infatti si è costretti a marciare in prima velocità, sfruttando solo in parte la potenza del motore, perchè non si può adottare una velocità intermedia tra la prima e la seconda. Nelle vetture per corse in terreno montuoso, la questione del rapporto delle velocità è molto importante.

Differenziale.

Quando il moto di una vettura automobile è rettilineo, le ruote motrici compiono nello stesso tempo un numero eguale di giri; ma quando la vettura debba percorrere una curva, siccome la carreggiata della ruota esterna diventa maggiore in sviluppo della carreggiata della ruota interna, ne viene che quella dovrà dare un maggior numero di giri di questa.

Qualora le due ruote motrici fossero riunite rigidamente dallo stesso albero, non potrebbero soddisfare a queste condizioni e la ruota interna dovrebbe strisciare sul terreno con grande sciupìo dei pneumatici e con pericolo di ribaltare la vettura, specialmente se la curva è ristretta, e la velocità è grande.

Da ciò la impellente necessità di riunire le ruote motrici con un apparecchio che riceva il movimento dal motore e lo trasmetta alle medesime in maniera che esse facciano [127] lo stesso numero di giri nella marcia diretta e che la esterna giri con maggior velocità dell'altra, quando l'automobile è in curva.

Il meccanismo che serve a questo scopo è il differenziale che può essere ad ingranaggi conici o cilindrici.

Il tipo ad ingranaggi conici è in generale preferito all'altro, sebbene gl'ingranaggi cilindrici siano di più facile costruzione.

Il movimento trasmesso dal motore all'albero condotto del cambio di velocità viene a sua volta trasmesso in generale, per mezzo di un doppio ingranaggio conico, ad un albero spezzato perpendicolare all'asse della vettura detto albero del differenziale; questo albero porta alle sue estremità due pignoni che per mezzo di catena comunicano il movimento alle due ruote motrici. Altre volte, la trasmissione del movimento dall'albero del cambio di velocità all'albero del differenziale, si fa con albero centrale e giunti cardanici; in tal caso alle due estremità dell'albero spezzato del differenziale si hanno le ruote motrici.

Ecco in che consiste il differenziale ad ingranaggi conici (fig. 70).

Fig. 70.

L'albero del differenziale, come si vede in figura, è spezzato; sulle due estremità interne sono calettati due ingranaggi conici che vengono così a trasmettere il loro movimento ai due semi-alberi.

I due ingranaggi sopradetti sono tenuti [128] discosti l'uno dall'altro da due, tre o quattro ingranaggi conici più piccoli, detti satelliti, ingrananti coi precedenti, e folli su assi disposti simmetricamente secondo i raggi di un cerchio avente il centro sull'asse dell'albero del differenziale.

Fig. 71.

Nella fig. 70 è rappresentato il differenziale nel suo insieme, e nella fig. 71 si hanno i due ingranaggi calettati sulle estremità interne dei due semialberi, e fra essi 4 satelliti conici.

[129] Come si vede nella fig. 72, l'insieme dei detti organi è racchiuso dentro una scatola d'acciaio divisa in due pezzi semisferici sul cui bordo di unione sono praticate delle cavità semicilindriche nelle quali trovano posto le estremità dei perni portanti i satelliti. La scatola è sempre piena di grasso lubrificante.

Fig. 72.

Se la resistenza di rotolamento incontrata dalle ruote motrici della vettura in marcia, è uguale come quando la vettura cammina in linea retta, il movimento che il motore comunica, per mezzo dell'albero del cambio e delle due ruote coniche (fig. 72), alla scatola del differenziale, viene dai satelliti trasmesso integralmente ai due semialberi del differenziale e alle ruote motrici in modo che queste compiono uno stesso numero di giri; in tal caso i satelliti non fanno che rendere solidali le due porzioni dell'albero.

Se una delle ruote invece incontra una resistenza al rotolamento maggiore dell'altra, [130] ciò che avviene quando la vettura è in curva, allora una delle parti dell'albero è soggetta ad uno sforzo maggiore dell'altra, gl'ingranaggi piccoli (satelliti) ruoteranno sul loro asse sviluppandosi sugl'ingranaggi grandi che li comprendono; in tal modo il semi-albero, che deve vincere una resistenza maggiore, può ritardare più o meno il suo movimento rispetto all'altro semi-albero, obbligando questo nello stesso tempo per mezzo dei satelliti ad affrettare il suo movimento in misura equivalente.

L'apparecchio, come si vede, funziona automaticamente e non dà luogo a slittamento dei pneumatici.

Trasmissione flessibile.

Il motore, il cambio di velocità, il differenziale vengono fissati all'intelaiatura della vettura e formano con questo un tutto rigido soggetto alle inevitabili deformazioni elastiche dei materiali di cui sono costruiti; l'intelaiatura poi a sua volta è portata dalle ruote coll'intermezzo di molle in generale a balestra che hanno lo scopo di attutire il più che è possibile le scosse e gli urti dovuti alle asperità del suolo stradale; si ha quindi un continuo oscillamento dell'intelaiatura e quindi una variazione delle distanze tra la trasmissione del movimento e la sala delle ruote motrici, ciò che obbliga a fare la detta trasmissione [131] in parte flessibile onde evitare sforzi dannosi al materiale e avere un moto di trasmissione regolare; questa necessità è anche imposta dall'estrema variabilità della coppia motrice dei motori a scoppio.

La trasmissione può essere fatta con catene del tipo Gall a maglia semplice o a maglia raddoppiata, oppure può essere fatta con un albero centrale a snodi cardanici.

Questi due sistemi hanno pregi e difetti proprii e i costruttori sono ancora indecisi nella scelta, la trasmissione a catena era la più usata, ora però la trasmissione a cardano va di giorno in giorno guadagnando terreno.

Alla trasmissione a catena si attribuisce il vantaggio di potere più convenientemente disporre le varie parti della macchina sulla intelaiatura, e l'inconveniente di dar luogo a resistenze passive grandi sia negli ingranaggi che nelle catene stesse soggette a facili deformazioni e logoramenti.

L'albero del differenziale essendo spezzato, se una catena si rompe, la vettura non può più marciare in linea retta, e la ruota ancor collegata al pignone dell'albero del differenziale, gira in circolo intorno al punto d'appoggio dell'altra.

La rottura di una catena poi può essere causa di disgrazie; converrà quindi esaminare sovente il loro stato di conservazione.

Alle trasmissioni di cui sopra vi sarebbe [132] da aggiungere quelle elettro-magnetiche, le quali, se rese pratiche, avrebbero il vantaggio di una elasticità senza pari e di evitare in conseguenza una grande quantità di urti e vibrazioni dannose al materiale.

ALTRE PARTI DELLA VETTURA AUTOMOBILE

Sale. — In ogni vettura automobile si ha una sala motrice, che è in generale la posteriore, ed una sala direttrice.

Vi è qualche esempio che la sala anteriore è motrice e direttrice nello stesso tempo.

Le sale debbono essere di ferro o acciaio dolce e fibroso che non salti per urti e scosse: gli acciai duri, sebbene abbiano coefficiente di resistenza molto più grande, sono tuttavia da escludersi perchè un urto un po' forte potrebbe produrre la rottura della sala, specialmente se essa presenta qualche difetto anche piccolo.

Le sale possono essere diritte o a gomiti; le sale direttrici sono formate da tre parti, di cui le estreme sono girevoli attorno a perni e rese solidali fra loro per mezzo delle leve di direzione.

I perni sono in generale o verticali o inclinati in modo che il prolungamento del loro [133] asse tagli il suolo in corrispondenza del piano mediano della ruota, o paralleli al piano della ruota, nel qual caso è bene che siano vicini alla ruota il più possibile; talvolta anzi, sono compresi nell'interno di un fuso cavo, in modo che il loro asse coincida col piano mediano della ruota.

Fig. 73. Sterzo della vettura Rapid.

La parte più delicata della sala è il fuso che deve essere perfettamente cilindrico; esso viene stampato, poi cementato e temprato e rettificato.

I fusi hanno una inclinazione rispetto alla orizzontale dal 3 al 4% a seconda della campanatura, onde le razze sopportino il peso nel senso normale al terreno. Si suole tenere la detta inclinazione un po' minore per compensare ad un'eventuale flessione dell'asse.

[134]

Sopporto a biglie. Fig. 73 bis.

Per le estremità delle sale si usano i sistemi patent ad olio e più comunemente quelli a biglie o a rulli, che hanno il vantaggio di dar luogo ad un minor attrito, ma che per contro sono più complicati, più costosi e anche più soggetti a guasti.

Nella fig. 73 è rappresentata una sala anteriore d'automobili insieme al sistema pel cambiamento di direzione.

Cambio di direzione-Sterzo. — L'inventore della sala direttrice spezzata fu Lankensperger di Monaco, il quale cedette il suo trovato a M. I. Akermann di Londra, che lo fece brevettare nel 1818.

Fig. 74.

Chi rese pratico però il sistema Akermann fu Icontand, il quale lo modificò in maniera che gli assi dei fusi s'incontrassero sull'asse della sala motrice o sul suo prolungamento onde ottenere che le due ruote girassero secondo cerchi concentrici.

[135] In che consista si vede dalle fig. 73 e 74. Una traversa parallela alla parte intermedia della sala direttrice riunisce due bracci di leva solidali al perno delle parti mobili della sala stessa; nella posizione normale della vettura colle ruote parallele all'asse della vettura stessa, i prolungamenti degli assi di questi bracci vanno ad incontrarsi sull'asse della sala posteriore come risulta nella figura schematica 74[16].

[136]

Il braccio di destra è unito rigidamente ad angolo ad un altro braccio, il quale è accoppiato alla leva di comando verticale mediante un tirante OD, le cui estremità sono foggiate a snodo sferico.

La leva di comando verticale riceve movimento da una vite senza fine montata sull'asta della guida, la quale è manovrata da un volante chiamato appunto volante di direzione, che è quello che si trova sul davanti e un po' alla destra del conduttore.

Manovrando il volante e facendo descrivere alla detta leva un angolo più o meno grande su d'un piano verticale, il tirante OD si sposta longitudinalmente e trascina l'estremità D della leva ad angolo, la quale ruoterà attorno al suo asse verticale passante per C; per mezzo del tirante parallelo alla sala, i fusi si inclineranno rispetto all'asse della vettura. Nella fig. 75 si vede come, girando le ruote anteriori, i fusi vadano ad incontrarsi sul prolungamento della sala posteriore.

[137] Il comando della guida si può fare in vari modi: con settore dentato e vite senza fine, con vite e madrevite a ruota dentata; con vite, madrevite e tirantini.

Il sistema più usato e che noi descriveremo è quello con settore e vite senza fine rappresentato dalle due figure 77 e 78.

Fig. 77.

Fig. 78.

L'albero inclinato porta all'estremità superiore il volante di direzione e all'estremità inferiore è solidale con una vite senza fine che agisce sul settore dentato al quale è rigidamente collegata la leva di comando delle ruote direttrici.

Tutto l'apparecchio è racchiuso dentro una scatola di acciaio fuso ed è lubrificato con grasso consistente.

[138] Come si è già detto, fra l'organo di comando della direzione e le ruote, deve esservi un intermediario flessibile per permettere al telaio, cui è solidale quell'organo, i movimenti relativi rispetto alle ruote concessi dalla sospensione elastica della vettura.

Il cambio di direzione deve potersi fare facilmente e con prontezza; non debbono formarsi giuochi tra i varî organi di trasmissione e quindi si deve il tutto poter registrare; si deve poter dare alle ruote la direzione desiderata senza che le disuguaglianze della strada, gli ostacoli incontrati possano cambiare la direzione delle ruote ed agire sul volante della guida della direzione.

Deve esistere un rapporto conveniente tra l'angolo di rotazione del volante e l'angolo di orientamento della ruota; il detto rapporto non deve essere troppo piccolo, affinchè la guida non sia eccessivamente dura; non troppo grande, affinchè essa non abbia una manovra troppo lenta.

Ruote. — Le ruote degli automobili si compongono del mozzo, delle razze, dei garelli, dei cerchioni e della guarnitura.

Il mozzo si fa in generale di bronzo o di ferro; le razze[17] si fanno di legno di acacia o di frassino ed hanno sezione elittica coll'asse [139] maggiore nel senso dello spessore della ruota; i gavelli dello stesso legno delle razze e qualche volta anche in quercia; il cerchione è di ferro o di acciaio.

Le ruote posteriori motrici essendo soggette a variazioni brusche di sforzo debbono avere la massima solidità.

Per dare alle ruote una certa elasticità si fanno colla campanatura.

In generale le ruote si fanno di eguale diametro e piuttosto basse perchè più solide.

Nel caso di vetture pesanti da trasporto, le guarniture delle ruote sono costituite da cerchioni di ferro, oppure da inviluppi di gomma sostenuti da cerchi metallici.

Nelle vetture automobili si usano in generale guarniture pneumatiche (fig. 79).

Fig. 79.

Le guarniture pneumatiche sono composte di un apposito cerchio di ferro o di acciaio ad orli rientranti, di un copertone costituito da gomma (croissant) e da varî strati di tela con tallone od orli sporgenti fissati alla ruota con dei galletti a vite, con testa cuneiforme che spingono lateralmente gli speroni ad incastrarsi, di una camera d'aria o budello di gomma con valvola. L'aria viene introdotta nel budello con una pompa fino ad una pressione variabile fra 4 ad 8 chilogrammi.

[140] Le guarniture di gomma vanno tenute con molta cura; l'umidità, la luce, i lubrificanti, sono dannosi alle gomme; le chiusure rapide dei freni, le voltate ristrette e a forte velocità dànno luogo a grande consumo delle guarniture pneumatiche.

I vantaggi dei pneumatici sono i seguenti: diminuzione di lavoro necessario alla marcia della vettura, attutimento delle scosse dovute alle ineguaglianze della strada e quindi maggior comodità per quelli che occupano la vettura e maggior conservazione del motore e degli altri meccanismi.

Su strade perfettamente liscie e con velocità limitate, la gomma piena è un rivale del pneumatico, perchè deformandosi meno dà luogo ad un minore attrito volvente.

Ma su strade ordinarie e con velocità forti il pneumatico, risparmiando i numerosi ed intensi urti e la conseguente perdita di energia, ha una superiorità grande ed indiscutibile sulla gomma piena.

Quando una vettura marcia su una strada bagnata, si verifica uno slittamento nel senso del movimento, tanto maggiore quanto più grande è la velocità colla quale si vuol andare. Quando poi la vettura è in curva, per effetto della forza centrifuga, od anche su strada trasversalmente convessa, per semplice effetto della gravità, si ha una tendenza della vettura stessa a spostarsi lateralmente (donde il termine francese dérapage).

[141] Per evitare le due specie di slittamento tanto nel senso della marcia che in quello trasversale, si sono adottate varie specie di coperture (antidérapants), le quali, se riducono il detto slittamento, hanno però l'inconveniente di sottomettere il pneumatico al quale sono applicati, ad una azione trasversale che ne compromette la conservazione. Con tutto ciò gli antidérapants si impongono per varie considerazioni, e specialmente per la sicurezza delle persone che si fanno trasportare in automobile.

In generale queste coperture sono costituite da striscie di cuoio sulle quali vengono ribaditi chiodi o altri organi metallici. Con tale sistema si ha in generale un forte riscaldamento tra il pneumatico e la striscia di cuoio quando non vi sia stata unione molto intima tra l'uno e l'altra.

Sovente si usa come antidérapants solamente il metallo, il più delle volte sotto forma di catena avvolta intorno al pneumatico.

Altro sistema di antidérapants è quello che consiste nel modificare il profilo del pneumatico con convenienti solcature, le quali toccano il terreno solo quando il pneumatico per effetto della forza centrifuga perde la sua forma simmetrica.

Per evitare lo slittamento si è fatto uso anche di pneumatici fatti tutti di cuoio ricoperto di una striscia doppia con rondelle [142] di cuoio e chiodi in acciaio. Tali pneumatici sono elastici quasi come quelli di gomma ed hanno il vantaggio di impedire lo slittamento, causa la forma della superficie che è a contatto del terreno.

La striscia armata di cuoio e ferro è attaccata al pneumatico con un croissant di cuoio al cromo che è molto tenace e difficilmente perforabile dai sassi a spigoli vivi.

Comunque, il punto debole delle vetture automobili è sempre il pneumatico; si è tentato di sostituirlo colle gomme piene applicate a tipi speciali di ruote elastiche. Sebbene tutto faccia sperare in una non lontana soluzione del problema, ancora non si sono conseguiti risultati completamente soddisfacenti.

Molle. — La sospensione in generale negli automobili è formata da 4 molle a balestra molto lunghe ed elastiche costituite da un certo numero di lame di acciaio di varia lunghezza e di differente spessore, piegate secondo determinate curve, congiunte fra di loro con bulloni e ribaditure.

Le molle hanno per ufficio di sostenere la vettura sulle sale alle quali sono fissate rigidamente con staffe e controstaffe apposite, mentre si uniscono al telaio con speciali reggimolle e sopporti bullonati.

Altro ufficio importante delle molle è quello di attutire le scosse provenienti dalla ineguaglianza [143] del suolo, di impedire che l'inerzia della massa della vettura concorra nelle scosse stesse e di economizzare nella forza motrice e di risparmiare i pneumatici.

Le molle possono essere a balestra semplice o doppia, cioè formata di due molle a balestra semplice articolata.

La sospensione della vettura si può fare in diversi modi:

Si può appoggiare, come si fa più comunemente, il telaio sulla sala coll'intermezzo delle 4 molle e fissare rigidamente la cassa al telaio.

In questo caso il motore non risente delle ineguaglianze della strada; chi siede sull'automobile risente però le trepidazioni del motore.

Si può invece collegare rigidamente (come si fa nelle vetture pesanti di piccola velocità) il telaio sulle sale e sospendere la cassa sul telaio per mezzo delle molle.

In questo caso la trasmissione del movimento può essere rigida, il motore risente delle disuguaglianze del suolo, la cassa che porta il peso non è soggetta nè a urti, nè alle trepidazioni del motore.

Finalmente si può negli automobili pel trasporto di persone, sospendere il telaio, il quale porta motore e trasmissione sulla sala anteriore ed appoggiarlo sulla sala posteriore; così il motore è sottratto agli urti dovuti alle ineguaglianze della strada, e chi siede [144] sull'automobile è sottratto alle trepidazioni del motore.

Sospensione Truffault. — Per evitare le grandi oscillazioni delle vetture, le scosse, le trepidazioni dovute alle forti velocità su strade a fondo disuguale, inghiaiate, ecc., si è adottata da alcune case la sospensione dolce Truffault.

Fig. 80.

La Peugeot è stata la prima che l'ha applicata sulle sue vetture.

La detta sospensione è basata sul principio dei freni a disco, e consiste in due lamine di acciaio 4 e 4' terminate al centro con due dischi di bronzo con interposizione di cuoio (fig. 80).

Per variare l'attrito si ha una vite centrale che può stringere il cuoio più o meno fra i due dischi. Nella fig. 80 bis è indicata la sua [145] applicazione all'asse delle ruote e al telaio della vettura.

Si comprende facilmente come funziona la sospensione.

Fig. 80 bis.

All'urto ricevuto dalla ruota la molla si inflette ed il compasso formato dai due bracci 4 e 4' si chiude. Dopo l'urto la molla tende a riprendere la forma primitiva, ma l'attrito fra i dischi e il cuoio oppone resistenza, così che il ritorno della molla si fa gradatamente. Questo sistema è stato applicato dalla Richard-Brasier anche nelle sue vetture da corsa.

Telaio. — Il telaio appoggia sulle sale e ad esso sono uniti il motore ed accessori, il cambio di velocità e la trasmissione flessibile con i relativi apparecchi di manovra.

I telai in generale si fanno con lamiere di acciaio stampato; raramente si costruiscono dl legno armato, di acciaio o ferro, oppure con tubi di acciaio presentanti molte saldature e poca elasticità.

Si possono fare sagomati, ora però la [146] forma più usata è la rettangolare; consistono in generale in due longheroni di lamiera di 3-4 mm. di spessore e formati a foggia di U con stampo. Nella parte centrale le dette lamiere sono alte circa 10 a 12 cm. e vanno abbassandosi verso le estremità dove l'altezza si riduce a 5 cm.

I due longheroni sono tenuti ad una distanza dai 75 ai 90 cm. da apposite traverse di lamiera imbottite, inchiodate rigidamente nelle testate; altre traverse riuniscono la parte centrale.

Nella parte anteriore il telaio è più ristretto per ampliare lo sterzo.

I telai moderni sono molto lunghi, per dare maggior stabilità alla marcia, per ottenere un'andatura più dolce, più elastica e per potere adattare una carrozzeria più elegante; spesso la distanza fra le due sale sorpassa i tre metri. Essendo il telaio soggetto a sforzi e trepidazione d'ogni specie, dovrà essere costruito con dimensioni abbondanti.

Freni. — I freni sono apparecchi indispensabili per la sicurezza delle persone e debbono essere in quantità sufficiente e funzionare con tale energia da ottenere l'arresto della vettura colla massima prontezza.

In generale i freni sono tre: due agiscono sulle ruote motrici ed uno sull'albero del differenziale. Talvolta si ha anche un freno sull'albero secondario del cambio.

I primi due sono comandati da una leva [147] che si trova lateralmente a quella per il cambio di velocità; entrambe alla portata del conduttore; il terzo è comandato per mezzo del pedale destro, il quale qualche volta agisce contemporaneamente sulla frizione disinnestando il motore.

I freni più adoperati negli automobili sono quelli a nastro, i quali sono molto potenti e sono costituiti da nastri di acciaio fissi ad un estremo e liberi dall'altro, che agiscono sopra puleggie solidali colle ruote motrici o calettate sull'albero del differenziale; l'estremo del nastro può venire tirato mediante un opportuno giuoco di leve manovrato dal manubrio della leva o dal pedale.

Di uso meno frequente sono i freni a corda; sebbene sviluppino una resistenza d'attrito più potente dei primi, essi hanno l'inconveniente di non aprirsi abbastanza bene e di agire sulla vettura anche quando non si richieda, a meno di non munirli di apparecchi speciali, molle antagoniste od altro per facilitarne il distacco.

Di uso quasi generale sono poi i freni ad espansione, costituiti in generale da un anello di ferro a sezione a forma di U tornito esternamente, o da due segmenti di ghisa o di bronzo riuniti da apposite molle di richiamo poste nell'interno e concentricamente ad un tamburo solidale col mozzo delle ruote motrici o coll'albero da frenare. L'anello od i segmenti sono portati e mantenuti a posto [148] da apposito perno, mentre che dalla parte opposta a questo terminano in due rigonfiamenti guerniti generalmente da due ingranature di acciaio temperato: tra queste due [149] può girare un alberino appiattito di bloccamento solidale con una levetta.

Fig. 81. — Tendi-catene e freno ad espansione di una vettura Germain-Standart.

Se con opportuna manovra della levetta si vengono ad aprire i due segmenti (fig. 81), la superficie esterna di questi verrà a sfregare contro l'interno del tamburo immobilizzandolo più o meno rapidamente. Ritornando la levetta nella primitiva posizione, le molle di richiamo chiudono i segmenti ed il tamburo rimane libero di ruotare.

I freni, consumandosi nelle loro parti, darebbero luogo ad azione frenante tardiva, se non si munissero i tiranti e leve di comando dei freni stessi di speciali dispositivi in modo da rendere possibile la registrazione.

L'azione poi sui due freni, si fa sentire in maniera eguale anche quando l'uno sia più consumato dell'altro e ciò col mezzo di speciali dispositivi di compensazione, corde metalliche scorrevoli (fig. 81), bilanceri, ecc.

Lubrificazione-Manutenzione. — Non sarà mai abbastanza raccomandata l'accuratezza sia nella lubrificazione che nella manutenzione delle varie parti dell'automobile.

È condizione assolutamente indispensabile alla sicurezza del funzionamento della macchina.

Nell'automobilismo militare poi, dove il tempo è preziosissimo e quindi una fermata obbligata dal cattivo stato di conservazione dell'automobile, potrebbe avere serie conseguenze, le cure da aversi debbono essere assidue [150] e diligenti in ogni circostanza. In generale, per la lubrificazione, si escludono gli olii vegetali e si preferiscono i minerali od oleonafte e alcuni grassi minerali.

Per le catene, il sego fuso è spesso consigliato; il grasso minerale per le ruote dentate, l'olio di piede di bue per le coppe dei mozzi e le oleonafte per i cilindri sono di uso generale.

La lubrificazione dei cilindri si fa generalmente con oliatori a più vie, che per mezzo di tubetti mandano l'olio nella parte inferiore dei cilindri. Gli oliatori sono azionati da un apparecchio meccanico e funzionano automaticamente, oppure mediante la compressione a mano, o l'intervento di una pompa; altri sono azionati dalla pressione esercitata dall'acqua di circolazione o dai gas di scarico.

Nella fig. 82 abbiamo rappresentato un tipo di oliatore nel quale gli efflussi dell'olio possono per mezzo delle punte HHHH essere regolati separatamente a seconda del bisogno degli organi che devono lubrificare.

Il meccanismo che serve a sollevare l'olio in G e poi a spingerlo, è messo in azione dal motore in virtù di una puleggia esterna I. Questa puleggia aziona una pompa F che fa rimontare l'olio in G di dove ridiscende goccia a goccia per i tubi iiii. Questi 4 tubi sono terminati ciascuno con un condotto. Nella figura non si vedono che i condotti m ed n, [151] perchè gli altri due sono ad essi perpendicolari. Ciascuno di questi condotti può essere successivamente messo in comunicazione col suo proseguimento naturale che porta l'olio fino alla sortita dell'oliatore in K e di là all'organo da ingrassare.

Fig. 82.

Queste due porzioni di ciascuna canalizzazione sono separate da una colonna centrale [152] montata sopra un disco rotativo D e che porta in un sol punto un'apertura sufficiente a ciò le due porzioni della canalizzazione comunichino fra di loro. Ne risulta che allorchè l'apertura girando si trova orifizio contro orifizio con le due porzioni della canalizzazione, [153] l'olio passa; è il caso, ad es., dell'olio che viene da n e che discende sopra lo stantuffo di destra C'.

Fig 83.

Il disco girante porta al disotto della colonna centrale che chiude ed apre gli orifici di cui sopra, un pezzo L eccentrico che passando successivamente sotto ciascuno dei 4 stantuffi, di cui due solamente sono visibili, li fa alternativamente alzare e discendere.

Ne risulta, ad esempio, che mentre lo stantuffo C di sinistra aspira l'olio, lo stantuffo C' di destra spinto da L caccia l'olio verso l'uscita e così di seguito.

Altro oliatore è quello indicato nella figura 83; esso non richiede nessun meccanismo e funziona per la semplice pressione dei gas di scappamento del motore.

Una parte di gas derivata dallo scappamento sale in F, esercita pressione sopra l'olio racchiuso nell'oliatore e lo fa salire nel distributore B. Il liquido discende pel suo peso nei tubi DD e nei raccordi GG verso gli organi da ingrassare, in quantità più o meno grande a seconda che CC sono più o meno sollevate. Quando il motore si arresta, le goccie cessano di cadere.

[154]

Varie specie di “châssis„.

Riteniamo opportuno descrivere succintamente lo châssis di due delle principali fabbriche italiane (Fiat e Itala), tanto più che l'una ci dà il tipo con trasmissione a catena e l'altra con trasmissione a cardano.

Della prima abbiamo già descritto parti importanti delle vetture, quali il carburatore, il sistema di accensione, il sistema adoperato per variare la velocità del motore, l'innesto, il cambio di velocità e il differenziale. Ci limiteremo quindi a una descrizione sintetica.

Nelle figure 84 e 85 è rappresentato lo châssis Fiat 24/40 HP, modello 1906.

Le vetture per turismo costruite da questa Società sono di tre potenze, da 16/24 cavalli, da 24/40 e da 50/60.

Dette tre specie di vetture non differiscono che nelle dimensioni del motore e dello châssis.

I tipi di châssis preferiti sono quello allungato al quale si può adattare sia una carrozzeria aperta, sia una carrozzeria chiusa, e quello molto allungato al quale si può adattare una carrozzeria molto comoda ed elegante per gran turismo; le limousines della Fiat con motore da 50 HP sono veramente splendide sotto tutti i riguardi.

Fig. 84. — Châssis, Fiat (1906) 24/40 HP con trasmissione a catena.

Fig 85. — Châssis, Fiat (1906) 24/40 HP, con trasmissione a catena.

Motore. — Il motore ha 4 cilindri accoppiati due a due in ghisa speciale. Un [155] [156] [157] coperchio di lamiera d'acciaio stampata, assicurato con due bulloni, permette la visita e la pulizia delle camere di circolazione d'acqua per il raffreddamento.

Le valvole sono tutte comandate e intercambiabili; quelle di aspirazione sono poste a destra e quelle di scappamento a sinistra. L'albero è montato su tre cuscinetti guarniti di metallo antifrizione.

Il carter del motore è in alluminio.

Le aste delle valvole sono regolabili in modo da sopprimere ogni rumore. Gli ingranaggi di comando degli alberi di distribuzione del magnete e della pompa sono di fibra, e tutti sono riparati da apposito carter in alluminio.

Circa l'accensione abbiamo detto già le particolarità del sistema, il quale ha il grande vantaggio di essere automatico per quanto concerne l'avance proporzionale alla velocità e per quanto riguarda la produzione della scintilla, sempre in corrispondenza del massimo della corrente del magnete.

Un dispositivo semplice che non esisteva negli anni scorsi, costituito da un pomo di pressione a molla, serve per arrestare il motore, stabilendo un corto circuito e togliendo la corrente ai cilindri.

Del carburatore e del suo funzionamento automatico abbiamo già parlato in altra parte, come pure del modo di variare la velocità da 300 a 1300 giri al minuto.

[158] Lubrificazione. — La lubrificazione si fa proporzionalmente alla velocità con un ingrassatore automatico a noria e mediante un fascio di 8 piccoli tubi in rame che vanno ai 4 cilindri e ai cuscinetti dell'albero. Il serbatoio del lubrificante ne può contenere per 300 Km. di marcia.

Raffreddamento. — Il raffreddamento è ottenuto con acqua fatta circolare mediante pompa e mantenuta a bassa temperatura con radiatore a nido d'api, attraverso al quale si mantiene un attivo scambio d'aria per mezzo del volante-ventilatore. Il radiatore è stato munito d'un nuovo sopporto oscillante per evitare gli effetti dannosi prodotti dalle deformazioni eventuali dello châssis causate dalle asperità del terreno.

Innesto e cambio di velocità. Differenziale. — Di questo abbiamo già parlato in altra parte; come è noto, la Fiat non fa uso di presa diretta. Il differenziale è a satelliti conici, come abbiamo visto[18].

[159]

Châssis. — Lo châssis è in lamiera di acciaio stampato. Esso ha una larghezza di 90 cm. che all'avanti si riduce a soli 80 per permettere uno sterzo più ampio. La direzione è demoltiplicata, irreversibile e regolabile; il dispositivo è a quadrilatero interno.

[160] Freni. — Freno a doppia mascella, comandato da un pedale agente successivamente sopra due puleggie calettate, l'una sopra l'albero del differenziale, l'altra sopra l'albero secondario del cambiamento di velocità; la chiusura delle due mascelle sopra le due pulegge è uniforme e a compensazione. Questi freni sono raffreddati da un getto d'acqua proveniente per effetto dei gas di scappamento da un serbatoio di capacità di 2 litri posto al lato dello châssis e limitato da una valvola. La loro azione è istantanea e crescente.

L'altro freno è quello ad espansione, comandato dalla leva a destra del conduttore e agente sui tamburi delle corone dentate delle ruote posteriori. I freni possono agire nei due sensi.

Il recipiente della benzina è posto all'indietro e in basso dello châssis; esso può contenere 110 litri; l'essenza è spinta nel carburatore per mezzo di una derivazione dei gas di scappamento.

Nelle vetture di grande potenza da 50/60 HP in su si ha un decompressore che apre lo scappamento per rendere facile l'avviamento. Dette vetture sono poi munite d'un innesto a frizione a doppia spirale avvolta su un tamburo.

[161]

Châssis “Itala„.

I caratteri principali delle vetture Itala sono i seguenti: lo châssis (fig. 86) è in lamiera d'acciaio stampato, al solito, ristretto in avanti per avere uno sterzo maggiore delle ruote anteriori. La carreggiata è di m. 1,40 per tutti i tipi di vettura. La lunghezza dei telai è tale da permettere sempre l'entrata laterale.

Le vetture dell'Itala sono di tre potenze differenti: 18-24-50 HP; in esse il motore ha 4 cilindri con valvole di ammissione e scappamento intercambiabili, comandate, poste le prime a sinistra e le seconde a destra. L'albero a gomiti è montato su tre cuscinetti. Tutti gl'ingranaggi anteriori per la distribuzione, comando del magnete e della pompa sono chiusi in apposito carter.

L'accensione è ad extracorrente di rottura, quindi con magnete a bassa tensione, posto a sinistra del motore e lontano dallo scappamento. Il movimento dei martelletti d'accensione è ottenuto per mezzo di eccentrici montati su un alberino verticale che ingrana con l'albero di distribuzione per mezzo di una vite senza fine.

Per regolare l'avanzo all'accensione si ha una manetta sul volante di direzione, colla quale si varia l'angolo di calettamento degli eccentrici.

[162]

Fig. 86.

[163] Il carburatore è automatico, per avere, qualunque sia la velocità del motore, la composizione della miscela costante.

Per variare la velocità del motore, si adopera una manetta posta sul volante di direzione, la quale agisce sopra una valvola che regola la quantità di miscela introdotta nel motore. Per accelerare oltre il limite normale la velocità, si ha l'acceleratore sul quale si agisce mediante un piccolo pedale a portata del conduttore.

Il serbatoio della benzina è posto all'indietro, sotto il telaio.

La benzina arriva al carburatore per azione di parte dei gas di scappamento.

La lubrificazione è fatta con oliatore che distribuisce olio in quantità proporzionale alla velocità del motore.

Per facilitare l'avviamento, si ha una manetta di decompressione che produce l'apertura parziale delle valvole di scappamento.

Il raffreddamento è ottenuto con acqua fatta circolare con pompa e mantenuta a bassa temperatura con radiatore a nido d'api, attraverso al quale si mantiene un attivo scambio d'aria per mezzo del volante-ventilatore a due serie di palette.

Un dispositivo sul tubo di scappamento permette di servirsi dello scappamento libero in aperta campagna.

L'innesto a frizione è costituito dal volante che nella parte interna cilindrica riceve dei [164] dischi in acciaio destinati all'accoppiamento dell'albero motore con quello di trasmissione. Una molla a spirale produce l'aderenza dei dischi e quindi l'innesto; il disinnesto si ottiene agendo sul pedale di sinistra.

Cambio di direzione. — Dispositivo a quadrilatero interno e comando a vite senza fine.

Cambio di velocità. — Nella trasmissione dal motore al cambio, è intercalato un giunto speciale che evita agli alberi gli sforzi anormali derivanti dalle deformazioni elastiche del telaio. Il cambio è a tre trains-baladeurs, di cui uno per la marcia indietro; la quarta velocità in presa diretta.

Trasmissione. — Le vittorie riportate dall'Itala dimostrano come essa abbia saputo applicare molto bene la trasmissione a cardano, la quale, se studiata e costruita con cura, è meccanicamente più razionale della trasmissione a catena ed atta a dare miglior rendimento, senza richiedere la sorveglianza e la registrazione della seconda, ad onta che il rapporto delle velocità degl'ingranaggi che muovono il differenziale sia più grande nella prima.

L'albero di trasmissione nelle Itala è molto lungo e porta all'estremità giunti cardanici compensati. Due coppe in ottone proteggono i giunti dalla polvere e dal fango e li mantengono lubrificati.

Il differenziale è a satelliti conici; le due parti dell'asse del differenziale sono inviluppate [165] per tutta la loro lunghezza in tubi che vengono a costituire un robusto ponte che impedisce alle ruote d'inclinarsi e di perdere il parallelismo, mentre resta possibile sostenere carrozzeria anche molto pesante[19].

I pattini delle molle sono articolati sull'asse posteriore, ciò che permette alle molle tutta la loro flessibilità. Con tale disposizione lo sforzo del motore e dei colpi di freno è sopportato da una gamba di forza costituita da due tiranti che collegano la parte superiore ed inferiore del carter della scatola del differenziale ad un supporto situato verso il centro del telaio e articolato su questo.

La gamba di forza è articolata mediante un giunto a sfera che lascia completamente libero nei suoi movimenti l'asse posteriore. Questo sistema è molto simile a quello delle vetture Renault.

Le vetture Itala sono munite di 3 freni agenti tanto nella marcia avanti che in quella indietro.

[166] Uno dei freni agisce su un tamburo fissato sull'albero motore prima del cambio ed è comandato dal pedale centrale, il quale produce il disinnesto.

Un altro freno, comandato dal pedale di destra, agisce su un tamburo all'uscita del cambio; esso viene raffreddato da un getto d'acqua prodotto dal movimento stesso del pedale.

Finalmente un freno ad espansione, agente su tamburi fissati alle ruote posteriori, è comandato da una leva posta all'esterno di quelle del cambio.

[167]

PARTE TERZA


AUTOMOBILI A VAPORE

I primi tentativi di automobilismo furono fatti, come è noto, servendosi del motore a vapore, il quale ha in realtà qualità molto indicate per tal genere di locomozione: grande elasticità e facilità di condotta, bastando aprire più o meno il rubinetto di ammissione per produrre sopra lo stantuffo uno sforzo più o meno considerevole, l'assenza totale del rumore, la estrema semplicità, non essendovi bisogno del carburatore nè del cambio di velocità per le vetture.

I difetti però sono anche numerosi.

Il vapore immagazzinato nelle caldaie e di cui la tensione cresce coll'intensità del riscaldamento, il deterioramento della caldaia medesima in seguito ai colpi di fuoco, ai depositi, ecc., costituiscono un serio pericolo di scoppio.

[168] Il consumo poi nei motori a vapore raggiungeva fino a poco tempo fa le 10000 calorie per HP, mentre nei motori a scoppio è meno della metà.

Per aumentare il rendimento termico del motore a vapore si pensò dapprima ad aumentare la pressione del vapore, ma non si ebbero risultati di entità; più tardi si riconobbe che conveniva aumentare la temperatura del vapore fino a 400° circa anzichè elevarne la pressione. Col surriscaldamento, il consumo di calorie per HP è stato ridotto alla metà. Si pensò poi a studiare un tipo conveniente di caldaia che fosse scevro dagli inconvenienti accennati.

Il vapore surriscaldato si può ottenere generando da una massa d'acqua del vapore saturo e facendolo poi passare per tubi ad alta temperatura; per l'automobilismo si è ricorso ad un mezzo molto più conveniente; si è soppressa quella gran massa d'acqua e il relativo recipiente, adottando un tubo riscaldato nel quale si inietta con una pompa l'acqua necessaria per la motrice e si regola il fuoco in modo da ottenere all'altra estremità del tubo del vapore a 350 od a 400°; si è creato cioè il generatore a vaporizzazione istantanea che sarà probabilmente la caldaia dell'avvenire. Il Serpollet in Francia è stato fra tutti il più geniale innovatore.

Ha dunque soppressa la caldaia a vapore [169] e l'ha sostituita con un apparecchio composto di un tubo a pareti molto grosse, di diametro interno piccolissimo, che egli pone al disopra del focolare avvolgendolo sopra sè stesso a zig-zag in modo da presentare alla fiamma la più grande superficie possibile (fig. 87 schematica).

Adoperando poi come combustibile il petrolio, ha potuto, invece di un riscaldamento costante, fare uso di un riscaldamento variabile a seconda del consumo di vapore, e variabile pure a seconda del bisogno ha resa l'alimentazione dell'acqua.

Ecco come funziona teoricamente il sistema (fig. 87).

Fig. 87.

Facendo muovere la pompa P si viene ad aspirare per la valvola m (che si apre sotto lo sforzo d'aspirazione che chiude la valvola n), dell'acqua contenuta nel serbatoio, e la si manda nei tubi agendo sulle valvole in senso inverso. Al contatto della superficie sovrariscaldata dei tubi, l'acqua si trasforma istantaneamente in vapore e più questo procede nei tubi più si sovrariscalda. Il vapore arriva in tal modo al motore con una tensione molto grande, e con tale dispositivo non si ha più alcun pericolo, perchè il vapore è prodotto in piccole quantità, e di mano in mano che si utilizza; si ha poi una grande elasticità nella produzione del vapore.

Serpollet comprese che bisognava anche [171] regolare il focolare in modo che il calore fornito fosse proporzionale alla quantità di vapore domandata.

Il carbone fossile non permetteva una soluzione pratica, e quindi ricorse all'impiego del petrolio costituendo il focolare di più becchi alimentati da una pompa speciale funzionante come quella ad acqua.

Le due pompe, nei tipi meno recenti del Serpollet, erano entrambe mosse dal motore e le cose erano disposte in modo che la pompa ad acqua desse 10 litri d'acqua mentre quella a petrolio ne dava uno di petrolio.

Nella fig. 87 è schematicamente rappresentata la vecchia disposizione del Serpollet. La trasmissione del movimento era a catena.

Nel tipo più recente del Serpollet le due pompe sono comandate da un cavallino costituito da un piccolo motore orizzontale a doppio effetto a cassetto (fig. 88).

Nella fig. 88 che rappresenta questo meccanismo, A è l'albero del motore, B è un pezzo verticale solidale all'albero A e che si sposta lateralmente da sinistra a destra, la molla r mantenuta dal braccio S articolato in o si troverà compressa fino a che B appoggia per mezzo del suo dito d sopra il secondo braccio b di S. A questo momento S abbandona la molla r che fissata in n si distende bruscamente e rimanda il pezzo P [172] verso destra. Un'articolazione C cambia il senso di questo movimento che l'asta t trasmette al cassetto di modo che quest'ultimo per effetto della molla r si trova vivamente respinto verso la sinistra. Il movimento seguente di B essendo identico, ma di senso contrario, ne segue che il cassetto sarà condotto alternativamente da sinistra a destra e viceversa finchè il motore funziona.

Fig. 88.

Per quanto concerne l'alimentazione di questo piccolo apparecchio mentre la vettura è in servizio, e cioè a dire quando il generatore è ancora caldo, basta fare eseguire qualche movimento di va e vieni alla leva L; questa manovra corrisponde alla marcia della macchina, vale a dire che si produce per mezzo della pompa una leggera aspirazione d'acqua di alimentazione del generatore. [173] Quest'acqua, nella caldaia ancora caldissima, determina una evaporazione sufficiente per la messa in marcia definitiva dell'apparecchio.

Fig. 89. — BBB Brûleurs. — P Pompa ad acqua. — p Pompa a petrolio. — V Arrivo del vapore al cavallino. — E Scappamento al camino. — LL Luci di alimentazione del vapore al cavallino. — T Cassetto del regolatore. — C Corpo del regolatore. — m Manetta per comandare la regolazione del cavallino.

Dal momento che la messa in marcia ha avuto luogo, le pompe alimentatrici entrano in azione e il veicolo può avviarsi. Una deviazione presa dalla canalizzazione del motore della vettura alimenta il cavallino. Nella figura 89 sono indicati la caldaia, il cavallino, il regolatore e le tubazioni di alimentazione.

Appena la pressione si eleva nella canalizzazione al valore massimo fissato, il pistone dell'apparecchio regolatore vince lo sforzo di una molla antagonista e discende nel suo cilindro. Esso trascina discendendo un otturatore che chiude uno ad uno gli orifizi d'entrata del vapore nel cavallino. Se [174] quest'ultimo, alimentato sempre di meno, rallenta la sua andatura, pompa più dolcemente, la pressione si abbassa, il pistone risale e gli orifizi si scoprono nuovamente.

Il lavoro del cavallino riprenderà allora il suo valore primitivo finchè un nuovo arresto o rallentamento gli sia automaticamente trasmesso. Uno degli orifizi rimane sempre aperto affinchè la soffieria nel camino del generatore non sia interrotta e che il focolare a becchi non manchi d'aria al momento nel quale esso riceve molto petrolio.

La fig. 89 mostra come l'asta dello stantuffo del cavallino comanda le due pompe per l'acqua e pel petrolio.

Il regolatore, molto ingegnoso, impedisce dunque totalmente un eccesso d'alimentazione ad onta della trascuratezza del conduttore che può far a meno di maneggiare la manetta che ha sotto il suo volano.

Le pompe di alimentazione non dipendono più, come per il passato, dalla vettura; non è necessario che questa sia in moto perchè la caldaia e il focolare abbiano la loro alimentazione. Un economizzatore costituito da una specie di rubinetto manovrato dal conduttore, permette di mettere il focolare in pieno funzionamento, oppure in posizione di economia per la marcia in città, ad esempio, o per gli arresti prolungati (il consumo del petrolio è allora di un mezzo litro per ora).

[175] Negli ultimi motori Serpollet l'aria per la combustione è chiamata dall'alto della caldaia; lo scappamento del cavallino fa l'ufficio soffiante e chiama una quantità d'aria tanto più grande quanto più il focolare ne esige, poichè esso fornisce anche una quantità grande di petrolio.

La soffieria fatta collo scappamento ha permesso di disporre il camino rovesciato.

Fig. 90. — AA Ammissione. — BB' Scappamento. — CC Valvole d'ammissione. — DD Valvole di scappamento. — EFGH Eccentrici di comando della marcia. — I Albero di distribuzione. — J Albero motore.

Motore. — Il motore Serpollet è semplicissimo, la distribuzione è a valvole comandate che hanno sulle valvole dei motori a petrolio il vantaggio di aprirsi poco e d'essere condotte lentamente sulle loro sedi.

La fig. 87 spiega il funzionamento sommario [176] del motore Serpollet. Sopra l'albero A è calettata una ruota dentata che ingrana con un'altra B del medesimo diametro, che porta l'eccentrico che comanda la distribuzione.

L'asta della valvola S porta una piccola rotella in contatto costante con questo eccentrico appoggiato sopra esso per azione della molla R; la detta valvola si apre e si chiude per lasciare entrare (se d'ammissione) e sortire (se di scappamento), il vapore che va a lavorare o se ne va dopo aver lavorato.

Il motore Serpollet è a semplice effetto, ma a 4 cilindri orizzontali (fig. 90), opposti due a due che lavorano tutti sul medesimo albero. Vi sono dunque 8 valvole.

Il conduttore può spostare longitudinalmente gli eccentrici di distribuzione dei 4 cilindri posti sull'albero I e produrre a suo talento variazioni nell'ammissione, o anche sulla marcia indietro.

Si può con tale motore ottenere l'aumento o la diminuzione della potenza del motore pur mantenendo invariato il numero dei giri.

Il vapore di scappamento del motore va dapprima in un separatore d'olio che lo spoglia di questo, poi arriva nel condensatore che generalmente è costituito da una serie di tubi di rame raffreddati esternamente dall'aria spinta da un ventilatore mosso mediante cinghia dal motore. Il condensatore è [177] una specie di radiatore ed è pur esso posto sul davanti della vettura.

Il vapore condensato ritorna nel recipiente in cui pesca la pompa di alimentazione dell'acqua.

Sebbene si abbia il ricupero della maggior parte dell'acqua, si comprende che è necessario durante la marcia provvederne una certa quantità.

Nelle due fig. 91 e 92 è rappresentata la disposizione delle parti dello châssis.

Fig. 91.

C è il condensatore, V il ventilatore, S il serbatoio dell'acqua, R il recipiente del petrolio, C' caldaia tubolare, M motore, L leva di marcia in avanti ed indietro e di espansione variabile, L' leva del freno del differenziale, p pedale del freno delle ruote posteriori, p' pedale agente sull'ammissione del vapore, A albero di trasmissione, V' volantino di direzione con manette per l'apertura e chiusura [178] dell'ammissione del vapore al cavallino per aumentare e diminuire la velocità.

Fig. 92.

La messa in marcia si opera collo spingere l'albero degli eccentrici finchè è possibile. La trasmissione del movimento dal motore alle ruote motrici nel tipo più recente, come si vede, è fatta a cardano senza l'intermediario del cambio di velocità non essendo necessario nei motori a vapore.

Riproduciamo qui di seguito un camione automobile a vapore Serpollet con motore di 20 HP (fig. 93 e 94).

In queste vetture per trasporti pesanti la caldaia è situata nella parte anteriore; per il resto il tutto è presso a poco disposto come nelle vetture descritte più sopra.

L'acqua condensata nel radiatore è spinta alla parte superiore del serbatoio per effetto della contropressione dello scappamento.

Il peso totale della vettura vuota col solo [179] conduttore e con approvvigionamento è di 2200 kg., dei quali 1050 sull'asse anteriore e 1150 su quello posteriore.

La velocità maggiore di un camione Serpollet è di 21 km. all'ora.

Fig. 93.

Il consumo varia a seconda del profilo del percorso. L'omnibus a 30 posti che fa servizio sopra la linea di Saint-Germain-des-Près consuma 0,8 litri d'olio pesante per chilometro.

In Francia il prezzo di tale materia è di circa 10 centesimi al litro, sembrerebbe adunque che la vettura Serpollet fosse molto economica.

Nell'ultimo Salon il Serpollet ha presentato [180] un tipo di automobile a vapore con motore a doppio effetto e a due cilindri, il che, sotto il riguardo dell'equilibrio, equivale ad un motore a petrolio di 8 cilindri. Ha poi aggiunto un ricuperatore composto di tre tubi di rame uniti in tensione e costruiti come una caldaia tubolare. Attraverso alle pareti si ha un continuo scambio di temperatura tra il vapore di scappamento e l'acqua di alimentazione, di modo che quest'ultima entra in caldaia a temperatura elevata.

Fig. 94.

[181]

AUTOMOBILI ELETTRICI E MISTI

Il principale difetto dei motori a scoppio è la mancanza di elasticità per la quale si è obbligati ad adottare motori di potenza maggiore di quella che sarebbe necessaria per il servizio normale delle vetture, potenza che viene utilizzata soltanto raramente per l'avviamento, nelle salite e per superare le piccole accidentalità che s'incontrano su qualsiasi strada alla massima velocità. Questo eccesso di potenza che si deve dare al motore, porta ad un eccesso di peso che viene trasportato inutilmente.

Il motore elettrico è, al contrario, dotato di grande elasticità che gli permette di sviluppare la quantità di energia corrispondente alle resistenze da vincere, per cui rimangono inutili gli apparecchi abbastanza complessi pel cambio di velocità. La vettura elettrica è silenziosa, inodora, senza fumo, si avvia dolcemente, non dà luogo a trepidazioni, non comporta tubazioni, serbatoi per essenza, per acqua e per olio, nè pompe, nè trasmissioni, è insomma estremamente semplice e di facilissima condotta.

Il gran difetto delle vetture elettriche sta come è noto nel non potere portare che una [182] piccola provvista di energia e con grande peso (accumulatori).

Il motore a scoppio con tutti i suoi difetti ha l'enorme vantaggio di potere trasportare con sè in piccolo volume e con poco peso una grande quantità di energia facilmente rinnovabile.

Gli automobili esclusivamente elettrici sono generalmente impiegati nel servizio di città dove non si richiedono che velocità ridotte e dove è facilissimo ricaricare gli accumulatori.

È sembrato ad alcuni che l'accoppiamento del motore a scoppio col motore elettrico costituisca una buona soluzione per l'automobile da strada, potendosi con esso sommare i vantaggi dei due motori eliminando alcuni dei loro difetti; utilizzare meglio cioè l'energia del motore a scoppio per mezzo di una trasmissione semplice, elastica, con cui si ottengono variazioni graduali di velocità.

Vetture elettriche. — I miglioramenti degli accumulatori aumenteranno certamente il loro impiego, perchè quando una batteria non presenterà più nè fragilità, nè eccesso di peso, nè troppo grande spesa di esercizio, gli automobili elettrici detti anche “accumobili„ costituiranno la locomozione dell'avvenire.

Nella fig. 95 è rappresentato lo châssis di una vettura elettrica Milde, la quale può essere ad accumulatori semplicemente od avere [183] anche il gruppo elettrogeno (motore a scoppio e dinamo). Il motore elettrico è del sistema differenziale Milde a due indotti indipendenti in un campo magnetico unico a eccitazione Compound. È chiuso in un carter facilmente accessibile; il motore si può smontare con somma facilità. La trasmissione è ottenuta con due rocchetti calettati alle estremità dei due alberi d'indotto, che ingranano direttamente colle corone dentate centrali delle ruote posteriori.

Il combinatore è disposto nell'asse della direzione. Una manetta permette di fare tutte le differenti combinazioni che corrispondono a tutti i bisogni della marcia, da 3 a 30 chilometri all'ora, 7 a 9 velocità avanti, 1 e 2 posizioni di ricupero, 2 freni elettrici e 2 a 3 velocità a marcia indietro.

La direzione è demoltiplicata nel rapporto da 1 a 4 con volante pignone e settore dentato.

I freni. — Oltre la ricuperazione che permette un frenaggio continuato in una lunga discesa e il freno elettrico che ha un'azione molto energica, queste vetture sono munite d'un freno meccanico a lama estensibile agente nei due sensi di marcia all'interno della corona d'ingranaggio.

Gli accumulatori sono del sistema Heintz.

Il consumo specifico di energia delle vetture Milde in terreno piano è di circa 55 watt-ora per tonnellata-chilometro.

[184] Nella fig. 95 abbiamo: AA gli accumulatori, B il motore elettrico, C il combinatore, E volante di direzione, F manetta del combinatore, G pedale del freno, P corona del freno e dell'ingranaggio, a amperometro e voltametro, p rocchetto di comando del motore, h freno esterno ad avvolgimento.

Fig. 95. — Vettura ad accumulatori.

Nella detta figura è pure rappresentato in DD' il gruppo elettrogeno costituito da motore a benzina e dalle dinamo, in b si ha un recipiente per acqua, in c il silenziatore, in e il radiatore ed in d il recipiente per la benzina.

Con queste ultime parti, costituenti il gruppo elettrogeno, la vettura Milde diventa elettrogena e permette di impiegarla oltre che nei servizi urbani anche all'esterno, senza la preoccupazione di dover ricaricare la batteria in [185] una stazione determinata. Questa soluzione è preferibile a quella a semplice batteria di accumulatori pesante dai 1200 ai 1300 Kg., colla quale non si arriva a percorrere che una distanza limitata con un veicolo di peso considerevole. Il sistema elettrogeno invece permette di realizzare con una batteria di 480 chili e un gruppo (motore e dinamo) di 200 chili una vettura a 4 posti, due esterni e due interni, che non sorpassa il peso delle vetture elettriche ordinarie e che può compiere un percorso illimitato ad una buona andatura senza scaricare completamente la batteria. Il gruppo elettrogeno, composto d'un motore ad essenza a raffreddamento d'acqua e di una dinamo, è nascosto dal sedile anteriore col suo quadro di carica e gli accessori per l'essenza e per l'acqua. La batteria serve da regolatore ed a fornire la differenza di energia esistente tra il gruppo e il motore della vettura in modo che, in piano e in discesa, la batteria si carica e in salita essa fornisce il necessario a che la vettura si muova come se fosse munita di un motore da 20 HP.

Il rendimento del sistema pare elevato perchè il motore a petrolio lavora costantemente nelle migliori condizioni di potenza e di rendimento.

Vettura Krieger. — Nelle vetture Krieger ad accumulatori (fig. 96) ciascuna ruota davanti è azionata da un motore distinto sospeso per mezzo di una molla cedevole che [186] ha per iscopo di rendere dolce l'avviamento e di evitare troppo lavoro al meccanismo.

Fig. 96.

Questi motori hanno un forte rendimento, sono robustissimi e comportano piccola spesa di esercizio.

La trasmissione è fatta con un solo ingranaggio contenuto in apposito carter.

Il combinatore per la sua posizione al disotto della direzione, è di semplice manovra e di facile sorveglianza. Esso permette un numero di combinazioni sufficiente per tutte [187] le esigenze della marcia conservando alla vettura un consumo economicamente conveniente.

Le combinazioni sono:

Marcia indietro, freno elettrico, zero e carica, avviamento, piccola velocità, ricuperazione ad andatura lenta, velocità di regime in salita, velocità media, ricuperazione a grande velocità, grande velocità in dolce salita, grande velocità.

La direzione è del solito sistema irreversibile.

I freni sono di tre specie:

1º Il ricupero che rallenta ordinariamente la vettura senza arrestarla totalmente;

2º Un freno elettrico istantaneo per messa in corto circuito dei motori;

3º Un freno ad avvolgimento agente sopra i mozzi delle ruote di dietro della vettura di forte azione.

Tutti questi freni agiscono nei due sensi.

Gli accumulatori sono disposti in una o due casse di legno duro. La capacità delle batterie è variabile secondo la natura della vettura; essa permette ordinariamente di fare un percorso di 60 a 150 Km. senza ricaricare.

Il vantaggio principale delle vetture Krieger risiede sulla disposizione detta “avantreno motore a due motori„; questa disposizione annulla lo strisciamento delle ruote e ogni movimento dannoso nel frenare la vettura.

[188] L'impiego di due motori è preferibile a quello di uno solo per la soppressione del differenziale e perchè si possono ottenere più variazioni di velocità pur mantenendo una marcia economica. Quando si arresta casualmente un motore, si ferma anche l'altro e resta evitato qualunque disquilibrio per effetto d'un apparecchio posto tra i due motori.

Fig. 97. — G Generatrice di corrente. — A Leva del freno ruote posteriori. — B Leva del cambiamento di marcia e di partenza. — C Manetta per regolare la miscela. — D Manetta per il reostato di comando. — P Pedale del freno elettrico ed interruttore. — Q Pedale del freno meccanico.

Vettura mista Krieger. — In questa vettura i motori sono sospesi alla sala posteriore: essi ingranano con due rocchetti direttamente con una corona dentata fissa al mozzo. Il gruppo elettrogeno è formato da un motore ad essenza, o ad alcool, verticale a 4 cilindri ben equilibrati; valvole comandate, accensione con magnete. Esso dà una potenza di 20 HP con 1200 giri. Questo motore è accoppiato con giunto elastico direttamente [189] all'indotto di una dinamo che gli serve di volante; questo costituisce il gruppo elettrogeno (fig. 97 e 98).

La dinamo è fissata direttamente allo châssis: un carter di alluminio protegge dal fango il gruppo elettrogeno.

Fig. 98. — V Combinatore. — M Giunto elastico. E Silenziatore. — S Resistenza per la carica delle batterie.

La corrente prodotta dalla dinamo è inviata ai due motori che azionano indipendentemente l'uno dall'altro le ruote motrici.

Il radiatore sul davanti della vettura presenta una grande superficie di raffreddamento. La circolazione dell'acqua ha luogo per termosifone, ciò che ha il vantaggio della soppressione della pompa. Un ventilatore posto tra il motore e il radiatore attiva la circolazione dell'aria.

La leva comanda un freno differenziale potentissimo agente nell'interno delle corone [190] fisse sopra i mozzi delle ruote motrici tanto in un senso che nell'altro.

La leva D può prendere cinque posizioni differenti sopra un settore al quale corrisponde andando dal di dietro all'avanti: 1º La marcia indietro; 2º L'avviamento del motore a essenza; 3º Il punto morto; 4º L'accoppiamento dei motori in serie per le salite; 5º L'accoppiamento dei motori in parallelo per la marcia normale. Queste due leve sono sulla destra del conduttore.

Sul volante di direzione sono poste due manette:

C colla quale si comanda lo strozzamento dei gas nell'ammissione e che permette di far variare la velocità della vettura da 10 a 75 chilometri all'ora senza fare alcun'altra manovra;

D colla quale si comanda il regolatore della generatrice eccitata in derivazione, la di cui manovra permette l'avviamento facile del gruppo elettrogeno e la concordanza delle potenze tra il motore a essenza e la generatrice variando l'autoregolazione del gruppo.

A sinistra un pedale P col quale si agisce sopra un secondo freno elettrico, per la messa in corto circuito progressiva dei motori sopra delle resistenze R. Inoltre questo pedale, al principio della sua corsa, interrompe la corrente per mezzo di un disgiuntore speciale.

L'altro pedale Q di destra agisce sopra [191] un freno meccanico equilibrato posto in prolungamento dell'asse di ciascun motore. La manovra dei freni meccanici non interrompe la corrente, ciò che permette il rallentamento della vettura col minimo strisciamento.

Il combinatore V è fissato ad una traversa posta dietro alla generatrice. Detto apparecchio serve per il cambiamento della marcia ed ai due accoppiamenti in serie ed in derivazione dei due motori corrispondenti alle due posizioni della leva B.

Dal combinatore partono i conduttori che vanno ai motori.

Una piccola batteria di accumulatori del peso di 25 Kg. circa, serve di avviamento al gruppo elettrogeno ed evita l'impiego della manovella d'avviamento del motore a essenza. Questa batteria si trova sotto al sedile. La batteria serve anche per l'eccitazione indipendente della generatrice; è continuamente ricaricata dalle dinamo sebbene essa non consumi corrente e serva solamente a mantenere costante la eccitazione, non c'è da occuparsi della carica della batteria.

Avviamento della vettura. — Al momento dell'avviamento, la leva B deve essere nel punto morto; si introduce una spina di contatto in apposito foro del quadro che si trova avanti e si fa avviare il motore a essenza colla batteria tirando indietro la leva B; una volta avviato il motore la batteria riceve corrente e si porta la leva B avanti.

[192] Per avviare la vettura, si porta la leva B nella posizione 4 che è quella corrispondente ai due motori in serie, poi nella posizione 5 che è quella della marcia normale.

Al momento dell'avviamento del gruppo elettrogeno, la leva D deve essere condotta completamente in avanti, poi una volta in marcia nella posizione che corrisponde ad un più alto rendimento del motore a essenza.

La lubrificazione è fatta servendosi dei gas di scappamento. Sopra il quadro si ha il voltometro e l'amperometro per la generatrice, si può avere la potenza elettrica ad ogni istante e si può regolare in conseguenza il gas e il reostato della generatrice in modo da ottenere, se si vuole, la potenza massima del motore. Un piccolo voltometro dà il voltaggio della batteria.

Dalla descrizione fatta delle vetture miste Krieger si potrebbe concludere che i vantaggi che esse presentano per potenze di 20 a 24 HP sarebbero i seguenti: Avviamento automatico colla piccola batteria di accumulatori. Possibilità di utilizzare il motore a benzina in ogni istante, col suo massimo sviluppo di potenza e ciò senza pericolo di arresto del motore anche con sforzi resistenti molto grandi (qualità questa che rende il sistema pregevole negli spunti specialmente nei trasporti pesanti). Soppressione della frizione, dei meccanismi pel cambio di velocità, del differenziale, delle catene o del cardano. Freno elettrico. [193] Grande elasticità e dolcezza nel funzionamento della vettura.

Fig. 99.

Circa il rendimento noi non possiamo asserire nulla di positivo, perchè non abbiamo potuto assistere a prove di confronto. Se questo si potrà dimostrare più elevato che nelle vetture con solo motore a scoppio, non vi ha dubbio che le Krieger dovrebbero presto imporsi sul mercato automobilistico, ad onta che esse siano alquanto più pesanti e più costose a pari potenza delle vetture semplicemente a benzina.

Un'applicazione importante e conveniente di questo sistema potrebbe aversi in quei [194] casi nei quali, stando la vettura ferma, necessitasse usufruire della corrente elettrica prodotta dalla dinamo. Così un carro (fig. 99) con motore e dinamo per proiettori potrebbe servire al trasporto del personale e accessori e una volta in stazione fornirebbe la corrente per l'arco voltaico del proiettore.

[195]

PARTE QUARTA


CARROZZERIA

La carrozzeria degli automobili è venuta di mano in mano perfezionandosi sia per l'estetica, sia per quanto riguarda la comodità dei viaggiatori. L'aumento di lunghezza dei telai ha permesso di dare alle vetture forma più slanciata, con entrata laterale, in generale preferita in quelle di potenza rilevante.

Fig. 100. — Fiat. Tonneau o “Double Phaéton„.

L'abbassare il telaio facendo le ruote di piccolo diametro, mentre porta ad una maggiore [196] stabilità, specialmente nelle grandi velocità, permette pure di dare all'insieme delle vetture una forma più gradevole.

Fig. 101. — Fiat. “Landaulet„ con bagaglieria, aperto.

Fig. 102. — Itala. Milor da città.

L'alluminio, leggerissimo, in lamiera, è in generale il materiale più conveniente nella costruzione della carrozzeria, permettendo [197] esso di realizzare delle forme eleganti senza diminuire la robustezza.

Fig. 103. — Fiat. Limousine.

Fig. 104. — Vettura Benzo elettrica Tonneau (Krieger).

Adoperare il legno insieme all'alluminio non è consigliabile, perchè mentre il primo aumenta di volume coll'umidità e col freddo [200] e diminuisce invece col caldo, il secondo si comporta in modo affatto opposto. Attualmente s'impiega con successo anche la lamiera di ferro e ciò con risparmio di spesa rispetto all'alluminio che viene adoperato solo nella carrozzeria di lusso.

Fig. 105. Landaulet da gran tourismo. Itala con motore da 50-65 HP.

Fig. 106. — Vettura a vapore 18 HP White Landaulet.

Fig. 107. — Vettura Krieger ad accumulatori Landaulet a 4 posti.

Fig. 108. — Vettura Benzo-elettrica. Krieger Limousine.

Nelle figure 100-101 fino alla 108, sono indicate le forme più usate di carrozzeria per automobili a benzina, a vapore, ad accumulatori e benzo-elettrici.

MOTORI LEGGERI PER AREONAUTICA

È noto ormai alla generalità, che per la soluzione del problema della navigazione aerea sia col più pesante che col più leggero dell'aria, si richiedono motori potenti di piccolissimo peso e nei quali le trepidazioni siano ridotte al minimo; se oggi si può dire che gli esperimenti del dirigibile Lebaudy (1905), dell'areoplano dei fratelli Wright e dell'elicoptero dei Dufaux sono riusciti, ciò è dovuto al grande perfezionamento portato nei motori a scoppio e al progresso in genere delle industrie metallurgiche e meccaniche.

Mi pare quindi non del tutto privo d'interesse che io descriva succintamente alcuni [201] tipi di motori che per il piccolo peso per ogni cavallo di potenza costituiscono un vero miracolo meccanico.

Fig. 109.

Motore per l'elicoptero dei fratelli Dufaux. — Il compianto colonnello francese Renard, in un comunicato all'Accademia delle Scienze di Parigi il 23 marzo 1903, affermava e stabiliva, col calcolo, che il peso utile che si poteva sostenere in aria con un elicoptero usando motori a scoppio e una data specie di eliche da lui provate e facilmente costruibili, cresceva in proporzioni enormi col diminuire del peso specifico del motore. I fratelli Dufaux di Ginevra riuscirono a costruire un elicoptero con eliche di peso minimo e con un motore di 3 HP e 110 che pesava 4 Kg. e mezzo. Il detto motore rappresentato nelle fig. 109 e 110 insieme all'elicoptero è a due cilindri sovraposti a doppio effetto a quattro accensioni distinte.

[202] Il raffreddamento è ad alette. Carburatore speciale in alluminio e rame. Accensione con bobina. Il ventilatore è a due ali formate di leggera armatura in legno ricoperta di seta. Valvole comandate, lubrificazione automatica del motore utilizzando la depressione precedente ciascuna esplosione. Serbatoio d'essenza formato da due calotte emisferiche saldate, in alluminio; 1800 giri al minuto.

Fig. 110. — Elicoptero dei fratelli Dufaux.

Nel peso di 4 Kg. 12 è compreso il carburatore, il serbatoio d'essenza, le tubature, il volante, ecc., ecc.

Si comprende che per ottenere questo risultato molti artifizi si sono usati; le valvole e le aste di comando e tutte le parti vuotate, o scavate convenientemente e costruite con ottimo materiale.

[203] Si dice che i Dufaux abbiano in cantiere un motore di 100 HP che dovrebbe pesare molto meno di 1 Kg. per cavallo.

Motore Buchet della potenza di 30 HP. — Competitore fortunato dei Dufaux il Buchet, specialista in motori per apparecchi destinati alla navigazione aerea, ha presentato al Salon 1905 un motore a scoppio a 4 tempi della potenza di 30 HP e del peso di 45 Kg. compresi gli accumulatori, bobine, carburatore.

Fig. 111. — Motore Buchet della potenza di 30 HP e del peso di 45 kg.

Il motore è ad 8 cilindri calettati a V a 90° come il primo tipo di motore del Levassor, l'alesaggio è di 75 mm., la corsa di 100 mm. (fig. 111 e 112).

Fig. 112.

I cilindri perchè risultino molto leggeri sono fatti di acciaio molto resistente (al nikelio) [204] e ottenuti per trapanazione[20]. I detti cilindri con bulloni sono riuniti al carter di lamiera di acciaio al nichelio di cui le unioni sono fatte con saldatura autogena. I supporti dell'albero fissati al carter sono 3. Gli stantuffi sono di acciaio stampato e portano 3 anelli di bronzo per la tenuta.

Le valvole di ammissione sono automatiche e quelle di scappamento comandate [205] col solito sistema ad aste mosse dagli eccentrici dell'albero di distribuzione.

Le culatte pure di acciaio molto resistente portano da una stessa parte le valvole e le candele.

Sopra le valvole di ammissione sono fissate delle specie di pipe di alluminio.

L'accensione è ad accumulatori e bobine con distributore.

Fig. 113. — Motore da 22 HP del peso di 62 kg.

Le bielle e l'albero del motore sono di acciaio al nichelio. La leggerezza anche in questi motori è conseguita coll'artifizio di vuotare e scavare tutte le parti, conservando però loro la sezione di forma più conveniente [206] per resistere agli sforzi a cui sono sottoposte. Per ottenere un sufficiente raffreddamento senza la circolazione d'acqua, si ha un ventilatore in alluminio montato sull'albero del motore, il quale invia l'aria per appositi tubi sopra i gruppi delle valvole.

Speciale dispositivo impedisce la dispersione dei prodotti della combustione e una tela metallica avvolge tutto all'intorno il motore.

Altra ditta specialista per motori adatti alla navigazione aerea è la “Levavasseur„ la quale ha in costruzione un motore di 40 HP per il dirigibile del Conte da Schio; detto motore non dovrà pesare completo più di 2 Kg. per HP.

Pare che la “Buchet„ intenda costruire un motore da 100 HP che pesi 1 Kg. per ogni cavallo di potenza. Questo motore, pure ad 8 cilindri disposti a V, avrà un diametro di 140 mm., una corsa di 150 mm. e il numero dei giri 1300 ed il raffreddamento ad aria.

La Levavasseur ha costruito per l'areostave Bertelli, un motore di 22 HP del peso di 62 Kg., che rappresentiamo nella Fig. 113.

[207]

CARRI AUTOMOBILI

Prima di por termine a questo modestissimo lavoro col quale ci siamo prefissi unicamente di dare un'idea generale della vettura automobile, dovremmo dire dei carri a benzina, ma l'industria automobilistica, riguardo a questa specie di veicoli, non ha fatto che progressi molto limitati.

L'avere adottato un motore del tipo di quelli usati in automobili per persone ad un carro non vuol dire avere creato l'automobile da trasporto.

La mancanza poi di ruote elastiche o con mozzo elastico veramente resistenti e pratiche e il non potere usare cerchioni di gomma piena se non in caso di veicoli piuttosto leggeri e circolanti su strade con fondo buono, limita la velocità dei carri da trasporto, perchè, come è noto, le asperità della strada danno luogo a scosse dannosissime alla conservazione di tutti i meccanismi e tanto più sentite quanto maggiore è la velocità del veicolo e il suo peso.

Altro grave inconveniente che si oppone allo sviluppo dei carri automobili da trasporto pesanti coi quali si avrebbe una maggiore utilizzazione della potenza, è la conservazione delle strade.

[208] Il motivo principale però pel quale noi riteniamo che il carro da trasporto non è ancora perfezionato, gli è che l'industria automobilistica ha trovato sinora largo profitto nelle vetture per persone.

Fig. 114.

Quando questo campo sarà sfruttato, allora le molte fabbriche sorte si daranno allo studio serio di tal genere di carri. Questo avverrà in un prossimo avvenire. Allora avremo la vettura semplice, robusta, elastica, di facile manutenzione e conduzione a piccolo consumo di combustibile quale si richiede nel trasporto pesante.

In generale i carri automobili finora costrutti hanno motori a due o a quattro cilindri e sono dotati di 4 velocità (2, 5, 8 o 12 Km. all'ora); i tipi più leggeri possono andare anche a velocità alquanto maggiore.

[209] Le ruote sono o del tipo artiglieria o del tipo Arbel, costituite come è noto da una doppia parete piana in lamiera di acciaio e sagomate in modo che ciascuna lamiera presenta una campanatura verso l'interno ed una gola verso l'orlo; stretto fra le due pareti si ha un anello di legno duro sul quale è forzato il cerchione di ferro; il legno rende più elastica la ruota.

Fig. 115.

Nella fig. 114, è rappresentato un carro Fiat con ruote in acciaio e motore da 24 HP.

Camione Pantz. — Fra i pochi tipi di carri da trasporto automobili studiati di pianta, citeremo quello Pantz sebbene non tutti i particolari di costruzione del medesimo ci sembrino completamente soddisfacenti.

[210] Questo veicolo non è un semplice derivato delle automobili per persone ed ha qualche dispositivo interessante e veramente originale degno di nota.

Nella fig. 115 è rappresentato nel suo insieme il carro e nella fig. 116 si ha la vista in piano.

Fig. 116. — Vista in piano del camione Pantz.

A motore. — BB pulegge di comando. — C leve e forchette d'innesto. — D carburatore. — F pignone del treno baladeur. — G ruote dentate del differenziale. — H pompa. — I' canale di circolazione d'acqua. — R radiatore. — S recipiente dell'acqua. — S' recipiente dell'essenza. — M freno sul differenziale. — N freno sulle ruote. — O pedale di comando dei freni. — P volante di direzione. — L' del comando del treno baladeur.

Lo châssis del camione è formato da due longheroni e da sei traverse in acciaio aventi profilo ad U.

Le sue dimensioni estreme sono: lunghezza m. 4,50 e larghezza m. 1,06.

Le tre traverse avanti portano il sedile del conduttore e tutti gli organi di direzione, comando dell'innesto e dei freni, il serbatoio dell'acqua S, il Radiatore R, e il serbatoio dell'essenza S' il quale è costituito dal recipiente [211] stesso di 50 litri che s'infila sotto il sedile, ciò che porta ad una semplificazione [212] nel rifornimento del combustibile. Alla parte posteriore dello châssis si trovano due linguette sopra le quali riposa lo châssis mobile portante il motore; detto châssis ausiliario, viene fissato ai longheroni con 6 bulloni.

Fig. 117. — Insieme del sistema motore fissato allo châssis ausiliario.

Nella fig. 117 è indicato il detto châssis in acciaio che porta il motore e accessori.

Le ruote sono del tipo artiglieria e sono montate su sfere. I cerchioni sono d'acciaio ed hanno da 80 a 120 mm di larghezza a seconda della potenza del camione. Il diametro è di 750 mm per le anteriori e 850 mm per le posteriori.

La carreggiata è di 1,50 e la distanza fra gli assi di 2,50 m.

Il motore è a due cilindri, con valvole di ammissione automatiche, e quelle di scappamento comandate; l'albero del motore e le bielle sono chiuse in un carter contenente una certa quantità d'olio che assicura la lubrificazione per gorgoglio.

Il motore è posto all'indietro dello châssis e il tipo da 12-15 HP ha i cilindri di 125×150 e le valvole di 48. La velocità è di 750 giri al minuto.

Il carburatore a polverizzazione del sistema Longuemare, è posto contro il silenziatore con presa d'aria molto vicina al motore in modo da essere riscaldata. Le leve del carburatore sono comandate dal sedile con delle manette.

L'accensione è fatta con accumulatori e [213] bobine con vibratore magnetico che dà una partenza più sicura del vibratore meccanico. Gli accumulatori sono di ragguardevole capacità, possono dare 60 ampères-ora, ciò che rende meno frequenti le ricariche.

Il raffreddamento è a circolazione d'acqua, i tubi sono molto lunghi perchè il motore è indietro e il serbatoio dell'acqua e radiatore sono avanti, per contro essi hanno sezione molto abbondante (27 mm di diametro).

Fig. 118. — Pulegge per l'innesto.

La lubrificazione si fa con oliatore contagoccie a tre direzioni, due per il cilindro e una per il carter. Una serie di ingrassatori a grasso sono disposti convenientemente per gli organi di trasmissione e i diversi assi.

La trasmissione è mista, e cioè per ingranaggi e per cinghie. L'albero del motore si prolunga fuori del carter, fig. 118, e porta oltre il volante una puleggia di grande velocità [214] ed un tamburo per piccola velocità e marcia indietro.

Il movimento è trasmesso all'albero intermediario con cinghie aventi rispettivamente 40 e 75 mm di larghezza per la grande e piccola velocità, e 50 mm per la marcia indietro; quest'ultima cinghia è incrociata. Ciascuna cinghia può servire a percorrere 5000 chilometri all'incirca.

Il disinnesto si fa con pulegge folli di cui il diametro è di 5 mm più piccolo di quello delle pulegge fisse in modo da allentare le cinghie quando non lavorano.

L'albero intermediario porta un treno baladeur a due pignoni che ingranano a volontà colle corone dentate fisse al differenziale.

Questo sistema costituisce una specialità del camione Pantz. Colle cinghie si evita per mezzo di ingranaggi ausiliari la troppo grande differenza di diametro delle pulegge che diminuirebbe l'aderenza; la cinghia serve solo parzialmente come demoltiplicatore mentre costituisce la parte principale dell'innesto. Con tale sistema si vorrebbe conseguire una trasmissione semplice, silenziosa ed elastica; giova però notare che l'impiego delle cinghie porta agli inconvenienti già esposti.

L'azione del differenziale è trasmessa alle ruote con catene. Gli alberi dei pignoni e del differenziale sono fissati allo châssis con tre sopporti, di cui gli estremi sono molto lunghi e montati a rotola. Gl'ingranaggi del [215] differenziale sono protetti dal fango e dalla polvere da un carter in lamiera.

Fig. 119. — Châssis in acciaio portante il sistema motore.

Come risulta dalla fig. 117 il sistema motore, comprendente motore, trasmissione per pulegge, pompe, accensione, carburatore, oliatori, silenziatore, ecc., è fissato sopra uno châssis (fig. 119) indipendente da quello del carro. Questo châssis si compone di due telai laterali in acciaio colato, riuniti da traverse in acciaio, il tutto formante un insieme rigido che riceve il sistema motore cioè tutti gli organi che permettono di far funzionare il motore all'infuori dello châssis del carro. Questo dispositivo lo si ritiene molto vantaggioso tanto dal punto di vista della facilità di riparazione, delle visite e verifiche dei vari organi, quanto da quello del cambio, che in una grande azienda può farsi tra differenti châssis di carri.

I quadri laterali del sistema motore portano [216] sopra i lati esteriori delle scanalature che corrispondono alle linguette dello châssis del carro; il montaggio si fa facendo passare il sistema fra i longheroni in modo che le linguette entrino nelle scanalature; un arresto limita la posizione del sistema nello châssis al momento nel quale i pignoni del treno baladeur sono in contatto con gli ingranaggi del differenziale di cui l'albero resta fissato allo châssis del camione.

Le diverse trasmissioni per manovrare il carburatore e l'accensione sono allora riunite con catenelle e quelle degl'innesti con bulloni; l'operazione si fa rapidamente.

Il freno del differenziale è doppio e si compone di una lamina di acciaio guernita di tasselli in rame che fanno frizione sopra corone di acciaio. Questi freni agiscono nei due sensi per il semplice spostamento del punto fisso.

I due freni sopra il differenziale e quelli sulle ruote posteriori sono manovrati coi piedi agendo sui pedali.

Due puntelli fissi all'asse posteriore e che possono essere abbassati dal sedile assicurano l'arresto in pendenza.

Questo carro si fa d'un solo tipo, ma con due motori di differente potenza.

Camione da 1500 Kg.: motore 9-11 HP (4-7-12-18 Km. all'ora).

Camione di 2000 Kg.: motore 9-11 HP (3,5-5-9-14,5 Km. all'ora).

[217] Camione di 2800 Kg.: motore 12-15 HP (3,5-5-9-14,5 Km. all'ora).

Camione di 3500 Kg.: motore 12-15 HP (3-4,5-8-12 Km. all'ora).

Questi camioni, su strada buona, possono superare pendenze dell'11 al 12 per cento col loro carico completo.

Oltre ad essere di facile conduzione sono di costruzione robusta e semplice; buono poi il dispositivo per ottenere la facilità del cambio del sistema motore; in conclusione, nell'insieme, il camione Pantz ci sembra un progresso nella costruzione dei carri automobili.

VETTURE DA CORSA

Non vi ha dubbio che uno degli effetti più importanti dell'accurata lavorazione delle varie parti delle vetture automobili e della bontà delle materie prime impiegate nella loro costruzione è l'aumento della velocità.

Si può anzi dire che indice sicuro del progresso conseguito in tal genere di macchine è la velocità che con esse si può conseguire.

Oggi si è arrivati alla velocità di 180 chilometri all'ora[21]. Si pensa già a velocità superiori; [218] vi ha chi spera si possa raggiungere i 200 chilometri anche con vetture di peso non superiore ai 1000 chilogrammi, sebbene alcuni dubitino che con vetture così poco pesanti possa mancare l'aderenza necessaria.

Le corse internazionali di velocità o di gran turismo fatte in Francia, come pure quella della Coppa d'oro indetta ultimamente in occasione dell'Esposizione di Milano, sono e saranno sempre il migliore incentivo ai progressi in questo genere d'industria.

Per il raggiungimento di grandi velocità è necessaria una grande potenza motrice, e poichè, in generale, nelle corse più importanti si è prescritto che il peso delle vetture non debba sorpassare i 1000 chilogrammi, così si comprende che gli studi si sono diretti ad ottenere non solo motori potentissimi e leggeri, ma tutti gli organi della maggiore resistenza e del minor peso possibile.

Si sono quindi impiegati i metalli più scelti e si sono studiati accuratamente gli sforzi a cui sono assoggettate le varie parti della vettura automobile, dando a queste ultime sezioni convenienti per resistere col minimo peso.

Mentre che nel 1895 le vetture che concorsero nella Parigi-Bordeaux pesavano 185 chilogrammi per cavallo, oggigiorno si hanno vetture che pesano appena 5 chilogrammi per cavallo (vettura Darracq da 200 cavalli ad 8 cilindri).

[219] I progressi di cui sopra, realizzati nella sostanza, nella leggerezza e nella semplicità nelle vetture da corsa, si fanno sentire nelle automobili da turismo e di uso corrente.

Nelle vetture da corsa tuttavia si sono dovute prendere disposizioni affatto speciali che non trovano riscontro negli automobili di servizio comune.

Le grandi velocità delle prime non potrebbero essere ottenute anche con motori di grande potenza e di costruzione speciale, se non modificando convenientemente la forma della vettura in modo da diminuire la resistenza dell'aria.

Alla velocità di 40 ed anche di 50 chilometri all'ora, la detta resistenza non ha influenza che di poco conto sopra la marcia della vettura, ma quando la velocità oltrepassa i 100 km., allora il consumo di potenza per vincere la resistenza dell'aria diventa assai grande[22].

Per diminuire la resistenza opposta dall'aria alla marcia delle vetture da corsa, si è pensato innanzi tutto di munire la parte anteriore di uno sperone tagliavento; poi traendo ammaestramento dalla forma dei pesci, che [220] sono più grossi dalla parte anteriore, si è pensato di munire le vetture di un tagliavento anche nella parte posteriore. Sempre per diminuire la resistenza dell'aria, si sono soppressi sui fianchi tutti gli organi suscettibili di urtare l'aria, le vetture da corsa non hanno quindi i parafanghi.

Anche le ruote si sono costruite in alcuni tipi di vetture a dischi, sopprimendo le razze che incontrano maggior resistenza.

In complesso quindi alcune vetture hanno assunto la forma di un vero siluro, la cui superfice esterna è verniciata in modo da non presentare scabrosità di sorta.

Nelle vetture da corsa, per avere massima stabilità di marcia, le ruote sono distanziate ed il telaio molto lungo e in generale rettangolare; in poche esso è ristretto in avanti.

Il telaio poi si fa di lamiera di acciaio stampata.

Le ruote delle vetture da corsa sono di diametri uguali, allo scopo di facilitare il cambio dei pneumatici.

In generale si preferiscono i pneumatici di maggior diametro che si gonfiano a forte pressione quando la strada è buona, e a minor pressione su strada cattiva, onde il pneumatico possa assorbire facilmente l'ostacolo.

Alcune Case, la Mors, la Richard Brasier, la Peugeot, muniscono le molle della sospensione frenante Truffault.

La direzione in generale a quadrilatero [221] esterno è irreversibile e comandata con volante molto inclinato, munito di vite perpetua agente su settore dentato.

Fig 120. — Vettura da corsa Fiat.

Il comando poi della direzione nelle vetture da corsa è in generale progressivo, è cioè fatto in modo che pei piccoli spostamenti del volano di direzione non si hanno cambiamenti di direzione sensibili, mentre si può avere rapidità di cambio, perchè la sua azione aumenta coll'angolo formato dal piano delle ruote coll'asse longitudinale della vettura; resta così evitato il grave inconveniente che potrebbe derivare con vetture a così grande velocità per un leggero e involontario spostamento della mano del conduttore.

Si comprende facilmente come nelle vetture automobili in genere e in quelle da corsa in ispecie, i freni debbono essere di funzionamento pronto e progressivo e quelli delle ruote motrici a compensazione.

[222] Nelle figure 120 e 121 abbiamo rappresentate due vetture da corsa, una della Fiat e l'altra dell'Itala.

La vettura da corsa Fiat per la corsa Gordon Bennet, 1905, era della potenza di 120 HP.

Fig. 121. — Vettura da corsa Itala da 109 HP.

La vettura Richard Brasier, che vinse la coppa nel circuito d'Alvernia, forma un tipo a sè, come in generale lo formano le automobili normali di detta Casa. Molte sono le particolarità veramente originali che in esse si riscontrano, di alcune delle quali ho già fatto cenno più indietro; la vettura vincitrice era del peso di 1000 chilogr., con motore di 90 cavalli, con cilindro di 150 millimetri di diametro e 140 millimetri di corsa.

Il motore poteva fare da 200 a 1200 giri al minuto in modo che la velocità della vettura variava da 40 a 140 km. all'ora sempre colla presa diretta.

[223] Il raffreddamento nelle vetture da corsa deve essere molto attivo, in modo da mantenere la temperatura dell'acqua intorno ai 70° e agli 80°.

Alcune vetture da corsa, per semplicità, non hanno cambio di velocità e la velocità della vettura si regola col variare quella del motore da 80 a 1200 giri.

Un ultimo dispositivo che si adotta nelle vetture da corsa, e che si va estendendo anche negli automobili di uso corrente, è quello destinato ad evitare gli effetti di ritardazione dei turbini di aria e di polvere che si producono sotto la vettura quando questa marcia a grande velocità; consiste nell'inviluppare con una lamiera convenientemente incurvata tutti i meccanismi dalla parte inferiore, col che si viene a diminuire la resistenza passiva di laminaggio dei turbini d'aria e a proteggere i meccanismi stessi dal fango e dalla polvere.

[224]

L'INDUSTRIA AUTOMOBILISTICA E IL NOSTRO PAESE

Giunto al fine di questa nostra modesta descrizione, colla quale ci siamo prefissi unicamente di far conoscere in modo generale la vettura automobile a quelle persone che non hanno della medesima ancora alcuna nozione, riteniamo opportuno considerare l'industria automobilistica in riguardo al nostro paese, perchè a noi sembra destinata a costituire un elemento di grande importanza nella sua vita economica.

Mentre l'Italia si stava formando politicamente, si sviluppavano grandemente nelle altre nazioni le industrie metallurgiche e meccaniche. I forni Martin Siemens e Bessemer per la produzione dei lingotti di acciaio, venivano in aiuto alla metallurgia e dal giorno in cui cominciarono a funzionare, nelle costruzioni, nelle industrie meccaniche si potè fare largo uso di acciaio di ottima qualità a prezzi convenienti. Conseguenza del modico prezzo della materia prima fu il grande sviluppo e il grande perfezionamento conseguito in poco più di 25 anni nelle lavorazioni meccaniche dei metalli e nelle macchine in genere.

L'Italia disgraziatamente, sia per la mancanza [225] di carbone, sia per il fatto che fino al momento della sua formazione nei vari Staterelli in cui era divisa, la coltura tecnica era stata negletta, non partecipò che assai più tardi a questo grande movimento, che io senza tema di esagerare attribuisco in massima alla comparsa dei forni Martin e Bessemer, sicchè le industrie metallurgiche e meccaniche rimasero molto indietro rispetto all'Inghilterra, Germania, Francia ed Austria.

D'altronde si può dire, che nel momento di cui trattasi, i più importanti stabilimenti d'Italia del genere e che furono una vera scuola per la nazione, erano quelli militari, nei quali poi si ebbe il torto di non introdurre, almeno in qualcuno, la fabbricazione dell'acciaio coi nuovi metodi, perchè non si intravvide che con questo fatto, come diretta conseguenza, anche le lavorazioni meccaniche e la produzione dei materiali avrebbero progredito colla celerità che volevano i tempi.

Detti stabilimenti restarono colla ghisa e col bronzo come per lo addietro e cessò malauguratamente anche la importante funzione che sino allora essi avevano esercitato di trasfondere la tecnica nel paese.

La nostra inferiorità nella metallurgia e nella meccanica fu riconosciuta dal Governo, che ritenne di dovere intervenire per aiutare questa industria.

Fortunatamente la costruzione del naviglio da guerra, alcune lodevoli iniziative private [226] vennero a salvarci da una decadenza irreparabile e sorsero stabilimenti che in questi ultimi anni dimostrarono la loro rigogliosa vitalità, dando prodotti che salvarono il credito industriale del nostro paese.

Questo fatto si è verificato ad onta che nelle industrie metallurgiche noi fossimo di molto inferiori alle nazioni estere più progredite.

Gli è solo da poco tempo che da noi si cominciano a studiare e conoscere gli acciai e i ferri buoni e quelli speciali e si comincia ad introdurli nelle lavorazioni.

Direi anzi che ciò avviene in modo sensibile solamente da che è nata l'industria automobilistica nel nostro paese.

L'essersi questa industria così sviluppata, l'essersi affermata in modo così favorevole nei mercati stranieri, dimostra come il nostro paese sia ormai in grado di intraprendere qualunque nuova industria; esso è preparato nel più largo senso della parola a riceverla.

Il personale tecnico superiore, le maestranze sono formate e l'Italiano ha cominciato ad avere maggior fiducia in se stesso e nella produzione del suo paese, risultato questo assai più difficile da conseguirsi che non fosse la conquista della fiducia degli stranieri.

L'industria automobilistica è appena nata ed ha ancora altri campi da sfruttare, ma [227] se anche, per dannata ipotesi, avvenisse fra qualche tempo una crisi, parte delle molte fabbriche saprebbero trasformarsi e darsi con successo ad altra produzione.

Ad ogni modo quello che si può affermare gli è che fra le industrie sorte nessuna è stata maggiormente vantaggiosa pel nostro paese non solo considerata in se stessa, ma anche in relazione con tutta la sua produzione, perchè ha fatto nascere ed ha dato nuova vita ad industrie metallurgiche e meccaniche affini. Questo stato di cose alimenta il nostro cuore d'Italiani di una speranza e cioè che sia terminato il periodo della nostra inferiorità dal lato industriale rispetto agli altri popoli.

Conviene però che in questa nostra ascensione le aspirazioni delle masse operaie si mantengano in giusti confini camminando di pari passo col progresso dell'industria e colla ricchezza nazionale; necessita poi di lavorare senza posa specialmente dal lato metallurgico per renderci indipendenti dall'estero, condizione questa che noi riteniamo assolutamente necessaria per poter progredire con maggiore celerità e far vera concorrenza alle grandi nazioni industriali.

Testo dell'inserzione

Testo dell'inserzione

Testo dell'inserzione

Testo dell'inserzione

Elenco di Opere sull'Automobilismo
in vendita presso la
Libreria S. LATTES & C. — Torino

Annual Baudry de Saunier. — Ouvrage annuel renfermant, par ordre alphabétique, l'explication des expressions et des termes employés dans les industries et les arts de la locomotion: automobile, cyclisme, électricité, chimie, physique, mathématiques, tourisme, sports, canots automobiles, arts de l'ingénieur, procédés divers. In-8º, avec nombreuses gravures, relié, L. 20 —

Aucamus E. et Galine L.Tramways et automobiles. — In-8º, avec 234 fig. » 13 —

Auscher L.Le tourisme en automobile. — Préface de Baudry de Saunier. In-8º, con 140 figure, » 8 —

Baldini U.Automobili stradali e ferroviari per trasporti industriali. — Descrizione dei principali tipi e mezzo di servirsene per impianti di pubblici e privati esercizi. In-8º, con 117 illustrazioni nel testo e 34 tavole separate, » 10 —

Baudry de Saunier.L'Automobile théorique et pratique. — Nuova edizione. (In corso di stampa).

Baudry de Saunier.Éléments d'Automobiles.Voitures à vapeur, électriques, à pétrole. — In-8º, avec 29 figures, cartonné, » 2 75

Baudry de Saunier.Les recettes du chauffeur. — Recueil de tous les tours de main indispensables à un propriétaire d'automobiles. Conseils, remèdes aux pannes, etc. Nouvelle édition revue et augmentée. In-8º, avec figures, relié, » 11 —

Baudry de Saunier.L'allumage dans les moteurs à explosions. — Explication détaillée des phénomènes électriques et du fonctionnement des appareils électriques d'automobiles (Piles, accus, bobines, trembleurs, montages divers, etc.). Magnétos à basse et à haute tension (leur description, leur entretien, leur réglage). In-8º, avec 300 gravures, » 16 —

Beaumont W. W.Motor-Vehicles and Motor. — Their Design, Construction, and Working by Steam, Oil, and Electricity. 2ª Edizione. In-4º, con circa 800 illustrazioni, » 58 —

Beaumont W. W. — Vol. II. In-4º, con moltissime illustr. » 58 —

Bochet L.Les automobiles à pétrole. — Essai de description méthodique générale. Réservoirs et carburateurs, moteur, transmissions, appareils de sûreté, vitesse des automobiles à pétrole. In-8º, avec 48 fig. » 3 30

Bommier R.Le bréviaire du chauffeur. — Anatomie, physiologie, pathologie, thérapeutique et hygiène de la voiture automobile et des motocycles. — In-12º, avec 152 figures, relié, » 6 50

Bottone S. R.Ignition Devices for Gas and Petrol Motors. — With an Introductory Chapter treating specially of Structural Details, Choice, and Management of Automobiles. In-8º, con figure, » 5 —

Chaffeur A.Two Thousand on an Automobile. — Desultory narrative of a Trip through New-England, New-York, etc. In-8º, con molte illustrazioni, » 15 —

Champly R.Comment on construit, conduit et entretient une voiture automobile. — In-8º, avec 260 figures, » 4 50

Champly R.Les bateaux automobiles à pétrole. — In-8º, avec nombreuses gravures, » 5 —

Champly R.Manuel de pratique mécanique à l'usage des chauffeurs d'automobiles, mécaniciens et amateurs. — Mesures. — Outillage. — Tours de main. — Démontage. — Remontage. — Réparation et entretien de l'automobile et des mécanismes en général. — Recettes et documents utiles. In-12º, avec 40 gravures, relié, » 3 30

Champly R.Les petits trucs du chauffeur en panne. — In-12º, avec gravures, » 1 20

Champly R.Le moteur d'automobiles.Théorie et pratique. — Description, marche et entretien. In-8º, avec gravures, » 1 20

Champly R.Le trésor du chauffeur. Recettes et procédés utiles aux chauffeurs d'automobiles, mécaniciens et amateurs. — In-12º, avec gr. » 2 75

Chryssochoïdès N.Construction et montage des automobiles, contenant l'historique, l'étude détaillée des pièces constituant les automobiles, la construction des voitures à pétrole, à vapeur et électriques, les renseignements sur leur montage et leur conduite. — 2 vol. in-18º, avec 340 figures, » 8 50

Dainotti A. — Come è fatto e come funziona il motore a benzina. — Come funziona un motore a gas. — Carburazione e carburatore. — Come funziona il motore a 4 tempi. — Condizioni di funzionamento dei motori. — Apparecchio di accensione elettrica. — Silenziatore. — Raffreddamento del motore. — Lubrificazione. — Potenza di un motore. — Il motore com'è oggigiorno. — Motore a 2 tempi. In-8º, con 30 fig. » 1 50

De Maria A.La Vettura Automobile. — Sue parti. Suo funzionamento. In-12º, con 121 figure, » 3 —

— Legato in tela, » 4 —

Douhet G.L'automobilismo sotto il punto di vista militare. — In-12º, » O 80

Fanor L. B.Le rôle de l'électricité dans l'automobile, expliqué aux chauffeurs. — In-12º, avec figures, » 1 75

Farman D.A B C du conducteur d'automobiles. — In-12º, avec 52 fig. » 2 50

Farman D.Les automobiles. — Voitures, tramways et petits véhicules. 2e édit. entièrement refondue et augmentée. In-12º, avec 200 fig. » 5 50

Farman M.Manuel pratique du constructeur d'automobiles à pétrole. — In-12º, avec gravures et atlas in-4º, » 10 00

Ford R. M.The Motor-Car Manual. — 3ª Edizione. In-8º, illustrato, » 4 50

Forest F.Les bateaux automobiles. — In-8º, avec 692 figures, relié, » 28 —

Gobiet L.Les moteurs à pétrole. — Étude théorique et pratique. Historique. Le pétrole; son origine et sa chimie. Propriétés du gaz. Généralités sur les Moteurs. Capsulismes. Distribution. Carburation. Allumage. Régulation. Refroidissement. Graissage. Joints. Bruit et odeur. Mise en train. Corps divers utilisables dans les moteurs à explosion. Monographie des principaux moteurs. In-8º, avec 6 figures, » 5 —

Gottwald H.Der Automobilist. — Prakt. Handbuch über den Benzin-Motor und seine Behandlung. In-8º, con figure, leg. » 2 60

Graffigny H.Catéchisme de l'automobile à la portée de tout le monde. — In-12º, avec 64 figures, cartonné, » 2 25

Graffigny H.L'électricité dans l'automobile.Fonctionnement des moteurs d'automobiles. — Différents systèmes d'allumage. — Piles. — Accumulateurs. — Magnétos. — Dynamos. — Instruments de mesure. — Appareils d'allumage. — Appareils de réglage. — Emplois divers. In-12º, avec 65 fig. » 3 25

Graffigny H.Les moteurs légers applicables à l'industrie, aux cycles et automobiles, à la navigation, à l'aéronautique, à l'aviation. — In-12º, avec 216 figures, » 11 —

Grand-Carteret J.La voiture de demain. — Histoire de l'automobilisme. In-12º, avec 250 figures, » 5 50

Güldner H. — Calcul et construction des moteurs à combustion. — Manuel pratique à l'usage des ingénieurs et constructeurs des moteurs à gaz et à pétrole. In-8º, avec 11 pl. et 50 figures, relié, » 37 —

Harmsworth A. C.Motors and Motor-Driving. — In-8º, con molte figure e tavole, » 14 —

Hasluck P. M.The Automobile. — A Practical Treatise on the Construction of modern Motor-Cars, Steam, Petrol, Electric and Petrol-Electric. Nuova ediz. completamente rifatta. In-8º, con più di 800 figure, » 32 —

Hiscox G. D.Horseless Vehicles, Automobiles, Motor-Cycles, operated by Steam, Hydro-Carbon, Electric and Pneumatic Motors. Practical Treatise on the Development, Use and Care of the Automobile. Including a special Chapter on How to build an Electric Cab, with Detail Drawing. In-8º, con 316 fig. » 22 —

Homans J. E.Self-Propelled Vehicles. — A Practical Treatise on the Theory, Construction, Operation, Care and Management of all Forms of Automobiles. In-8º, con molte illustrazioni, » 30 —

Imbrecq J.L'automobile devant la justice. — Accidents, responsabilités, procès, difficultés diverses. In-8º, » 5 50

Jenkins R.Motor-Cars and the application of Mechanical Power to Road Vehicles. In-8º, con 100 figure, » 30 —

Knap G.Les secrets de fabrication des moteurs à essence pour motocycles et automobiles. — In-8º, avec nombreuses gravures, » 22 —

Knight J. H.Light Motor-Cars and Voiturettes. — In-8º, con 68 figure, » 6 —

Krausz S.Dictionnaire pratique de l'Automobile (Français, Anglais, Allemand — Anglais, Français, Allemand — Allemand, Français, Anglais): 12.000 termes techniques et renseignements divers indispensables aux touristes, chauffeurs et industriels. In-12º, cartonné toile avec pochette, » 6 —

Lavergne G.Manuel théorique et pratique de l'Automobile sur route. — In-8º, avec 329 figures, » 18 50

Le Grand G.Les omnibus automobiles. — Conseils pratiques sur l'organisation des transports en commun par omnibus automobiles. In-8º, avec 16 fig. » 1 60

Lieckfeld G.Die Petroleum und Benzinmotoren, ihre Entwicklung, Konstruktion und Verwendung. — 2ª edizione. — In-8º, con 188 figure, » 12 —

Livermore V. B. e Williams J.How to become a competent Motorman. — A Practical Treatise on the Proper Method of operating a Street Railway Motor-Car. In-12º, con figure, » 7 25

Lucas F.Dictionnaire anglais-français et français-anglais des termes usités dans les industries des automobiles, cycles et bateaux (Motor-Car, Cycle and Boat). — In-12º, relié, » 7 50

Manuale dell'automobilista. — Raccolta delle lezioni dettate alla Scuola per meccanici e conduttori d'automobili in Torino. In-12º, con 112 fig., legato, » 6 —

Marchesi E.L'automobile. — Come funziona e come è costruito. 3ª ed. completamente rifatta. — In-4º, con 52 figure nel testo e grande tavola colorata scomponibile, » 5 —

Marchis L.Les moteurs à essence pour automobiles. — In-8º, avec 231 fig. » 16 —

Michotte F.Connaissances pratiques pour conduire les automobiles à pétrole et électriques. — Cours professé à l'Association polytechnique. In-12º, avec 100 fig. » 3 50

Moreau G.Les moteurs à explosion. — Étude à l'usage des constructeurs et conducteurs d'automobiles. In-8º, avec 104 figures dans le texte, » 22 —

Mortimer-Mégret.Manuel pour les automobiles de Dion-Bouton. — Description, conduite, réglage, entretien et remontage de tous les tipes. In-12º, avec 32 fig. » 8 —

O'Gorman M. e Cozen-Hardy H.The Motor Pocket-Book. — In-8º, » 11 50

Pedretti G.Manuale dell'automobilista e guida pei meccanici conduttori di automobili. Trattato sulla costruzione dei veicoli semoventi per gli automobilisti italiani, amatori d'automobilismo in genere, inventori, dilettanti di meccanica ciclistica, automobile, colle norme pel compratore d'automobili. — 2ª ediz. in-18º, con 837 fig., legato, » 8 50

Perissé A.Les Automobiles sur routes. — In-12º, avec 57 figures, » 2 75

Perissé A.Les moteurs à alcool. — In-8º, avec figures, » 3 75

Rhotert L.Schienenloser Betrieb Statt Kleinbahnen. — Verwertung der Selbstfahrer im Offentlichen Verkehr. In-8º, con 2 figure e 8 tavole, » 4 75

Rodier H.Automobiles (Vapeur, Pétrole, Électricité). — In-8º, con numerose fig. » 16 —

Ravigneaux P. et Izart J.Bibliothèque du chauffeur. Principes et recettes. — In-12º, avec gravures, » 8 —

Sencier G. et Delasalle A.Les automobiles électriques. — In-8º, avec 192 fig. » 16 —

Sorel E.Carburation et combustion dans les moteurs à alcool. — In-8º, avec fig. » 8 50

Thomson H.Motor-Car: Elementary Hand-Book on its Nature, Use, Management. In 8º, con figure, » 4 —

Vincent M.Les excès de vitesse en automobile et leur répression. Réglementation, jurisprudence, historique et conseils pratiques. — In-8º, » 2 25

Zechlin U. R.Automobil-Kritik, herausgegeben vom Mitteleuropaïschen Motorwagen-Verein. — In-8º, con 76 fig., leg. » 9 50

Zerolo M.Manuel pratique d'automobilisme.Voitures à essence, motocyclettes, voitures à vapeur, canots automobiles; pannes et leurs remèdes. 2e édit. revue et augmentée. In-12º, avec 16 figures, relié, » 5 50

Zerolo M.Comment on construit une automobile. — Tome I. L'outillage, machines-outils et outils divers. In-12º, avec 252 figures, relié, » 5 50

Wilson A. I.Motor Cycles and how to manage them. 5ª edizione riveduta, » 4 —

Lire Quattro

NOTE:

1. Ultimamente si sono costrutti motori, veri miracoli della meccanica, pesanti 1 kg 12 per ogni cavallo-vapore di potenza compresi gli accessori (elicoptero dei fratelli Dufaux) con motore di 3 cavalli e 110 (Vedi motori leggeri).

2. Non sembra che i risultati siano stati troppo soddisfacenti.

3. Le numerose reticelle poste sul cammino della miscela impediscono anche che la benzina col crescere della velocità aumenti, rispetto alla quantità di aria, onde il detto carburatore può dirsi abbia funzionamento automatico (vedi più avanti).

4. ed anche automaticamente.

5. Non sembra sistema privo d'inconvenienti.

6. Non tutti i costruttori ammettono il vantaggio dell'avanzo allo scappamento.

7. Per maggiori particolari leggere il Marchis “Moteurs à essences pour automobiles„.

8. Non tutti sono di questo parere, perchè si ritiene da molti che lasciando sfuggire prima della fine del terzo tempo i gas non se ne sfrutta tutta la energia.

9. A tale proposito giova osservare che col sistema ad accumulatori con interruttore magnetico, si può ottenere l'avviamento facile del motore anche senza ricorrere alla manovella d'avviamento quando il motore sia fermo da non molto tempo, sia ancora caldo, e uno dei cilindri si sia conservato nelle fasi di compressione (cioè la miscela non sia sfuggita dopo la fermata). Col sistema ad interruttore meccanico o col magnete ciò non è possibile evidentemente.

10. Ecco come il Gianoli spiega la formazione di varie scintille alla partenza.

La lama di ferro dolce trovandosi sempre attirata per una stessa forza magnetizzante, ne risulta che avanti di avere raggiunto l'induzione massima, la lama funziona una prima volta provocando una scintilla. Il circuito si ristabilisce istantaneamente; l'indotto si trova ancora nella fase favorevole, quindi una nuova induzione e seconda scintilla, poi una terza, ecc. Ciò non si può produrre che ad una debole velocità, giacchè la velocità angolare crescendo, l'inerzia della lamina aumenta, il tempo della fase diminuisce e non si può più produrre che una sola scintilla. Ci si renderà conto più facilmente di questo fatto esaminando la curva qui sotto:

Ampères, giri induttori.

Io traccio una curva degli ampères giri induttori dal punto A al punto B; questa curva corrisponde ad una velocità supposta di 100 giri al minuto.

La linea punteggiata, parallela alle ascisse, rappresenta i punti nei quali la curva raggiunge un valore d'induzione sufficiente per il funzionamento dell'interruttore automatico.

Dunque al punto E noi avremo funzionamento, cioè a dire rottura della corrente primaria; ma stante la debole velocità angolare, l'interruttore ristabilisce immediatamente il circuito, si produce al punto F un secondo funzionamento dell'interruttore, poi un terzo in G e un quarto in H.

La curva d'induzione AI rappresenta il funzionamento supposto a 1500 giri, ne risulta una brusca elevazione della curva, perchè il tempo è diminuito proporzionalmente; è facile rendersi conto che ad una tale velocità l'interruttore non funziona che una sol volta, giacchè il tempo è divenuto cortissimo, la self-induzione è aumentata, l'isteresi è divenuta più importante, ciò che ha per risultato di elevare leggermente il punto C, di cui la conseguenza è una scintilla migliore.

11. Per aumentare il rendimento dei motori si usano anche silenziatori raffreddati con circolazione d'acqua (canotti), con che diminuisce la contropressione.

12. Sono cominciati ad apparire anche motori con 4 cilindri riuniti in un sol pezzo. Con tale sistema si ha molta semplificazione negli attacchi, minor volume e minor peso, ma alcuni temono che il raffreddamento non sia uniforme nè sufficiente.

13. La leva L, manovrata da apposita levetta a portata di mano del conduttore, agisce sulla vite senza fine I e può regolare l'efflusso della benzina e moderarne il consumo.

14. In generale quando non si sfrutta tutta la potenza del motore, conviene marciare col cambio in quarta e moderare la velocità col moderatore.

15. Per vetture di grande potenza la Fiat adopera un innesto a doppia spirale speciale.

16. Il sistema della fig. 74 è detto a quadrilatero esterno e serve per angoli superiori ai 30° fino ai 45° massimo sterzo pratico; nella figura 75 è indicato il tipo a quadrilatero interno più usato del primo; esso non permette un angolo di sterzo superiore ai 30°, ha il vantaggio però che l'asta unente i due bracci di leva è riparata dagli urti accidentali, dalla sala.

Fig. 75.

Per sterzi superiori a 30° si potrebbe usare anche il sistema a doppio quadrilatero (fig. 76) con bracci di leva centrali riuniti. Altri sistemi di sterzo a catene o misti ad ingranaggi e catene non ebbero impiego duraturo.

Fig. 76.

17. In alcune vetture da corsa, ad es. in quella Darracq da 200 HP, le ruote sono a raggi di acciaio come nelle biciclette; in altre alle razze sono sostituiti dischi.

18. Differenziale a ruote cilindriche. — Nel parlare del differenziale abbiamo accennato anche al tipo a ruote cilindriche; sebbene assai meno usato di quello a ruote coniche crediamo utile darne una sommaria descrizione.

Esso è rappresentato schematicamente nella fig. x. La ruota b è dentata esteriormente e ingrana col pignone motore a. Questa ruota b porta due o più pignoni folli CC' ingrananti con una ruota dentata internamente d e montata sopra l'asse di una delle ruote del veicolo; gli stessi pignoni C e C' ingranano con una seconda ruota dentata esternamente l e montata sopra l'asse dell'altra ruota del veicolo.

Fig. x. — Differenziale a ruote cilindriche.

In questo caso d ed l debbono essere grandi il più che è possibile, mentre C e C' debbono essere d'un diametro molto ridotto.

Delle Fabbriche di Torino, la Rapid aveva gli anni passati il differenziale a ruote cilindriche; oggi la sola Junior, se non erriamo, munisce le sue vetture di un tal sistema alquanto differente nel dettaglio.

19. Alcune case muniscono il ponte posteriore di tiranti di rinforzo, costituendo come una trave armata per resistere meglio agli sforzi di flessione.

Altre Ditte, per es., la Chenard Valkers, vanno più oltre e muniscono le loro vetture di un asse portante, oltre che dell'asse motore. Detto asse portante è unito alle ruote coll'intermezzo dei mozzi.

L'asse spezzato del differenziale porta alle estremità, verso le ruote, due pignoni cilindrici che ingranano con una corona dentata internamente, ribadita sopra i mozzi.

20. Alcune Case usano questo sistema anche pei motori d'automobili (la Germain Standard del Belgio ad es.) e vi adattano una camicia riportata in rame od ottone per la refrigerazione.

21. Per tratti di un chilometro e la vettura in piena velocità.

22. Un piano verticale di un metro quadrato di superfice per procedere in direzione orizzontale colla velocità di 58 Km. all'ora, richiede una potenza di 3 cavalli; per procedere invece alla velocità di 120 Km. richiede una potenza di 42 cavalli circa.

Nota del Trascrittore

Ortografia e punteggiatura originali sono state mantenute, così come le grafie alternative (garelli/gavelli, nichelio/nikelio, orifici/orifizi, contro-pressione/contropressione, vari/varî e simili), correggendo senza annotazione minimi errori tipografici.

Di seguito si riporta, per comodità di lettura, il testo delle inserzioni pubblicitarie.

Fratelli NASI

Telefono Intercomunale N. 895 Provveditori delle più importanti Fabbriche d'Automobili d'Italia. TORINO Via Arsenale, 31.

Alluminio — Alpacca — Antimonio — Argentana Nichel — Ottone — Pacfong Piombo Rame — Similoro — Stagno — Zinco, ecc.

Assortimento completo:

Tubi tipo Mannesmann, in acciaio dolce, senza saldatura, laminati a freddo, qualità speciale per automobili. Tubi tipo Mannesmann, in acciaio senza saldatura, laminati a caldo per caldaie; da mm. 32 a mm. 170. Tubi tipo Mannesmann, senza saldatura, con vite e manicotto; da mm. 21 a mm. 127. Tubi di rame, senza saldatura, dello spessore di mm. 1, 1 12, 2, 2 12 e da mm. 3 a mm. 80 di diametro. Tubi di ottone, della Casa James Booth & C. di Birmingham, del diametro esterno da mm. 2 a mm. 75. Lamiere, in acciaio, extra lucide, dolcissime, atte a lavorarsi al tornio. Ribattini e Rosette in rame. Saldatori, lampade per saldare, chiavi di forza, filiere, ecc., ecc. Contatori per gas, acqua ed elettricità.

S. SINIGAGLIA e C.

Studio Tecnico Industriale TORINO, Via Andrea Doria, 8

Ferrovie portatili — Automobili e Quadricicli Ferroviari della “Geselschaft für Bahnbedarf-Hamburg„ — Tubi flessibili in metallo della “Metallschlauch Fabrik Pforzeim„.

ECCO COSA PUÒ FARE UN AUTOMOBILE LUBRIFICATO COLL'“OLEOBLITZ„

·BREVETTO N.º 4914·E. REINACH·MILANO·

INGROSSO DETTAGLIO

MANIFATTURA F. N. ACCONCIAMESSA & Cº Via Cavour, 12 — TORINO

Impermeabili e Confezioni Sport

La più importante Manifattura di Confezioni Sportive esistente in Italia.

RAYNERI & CIA

TORINO Via Arsenale, 39 angolo via S. Quintino, 3

FABBRICA: Corso Regina Margherita, 168.

Metalli — Ferri — Acciai Tubi ferro e acciaio Tubi rame senza saldatura. Fabbrica di Tubi e Lastre di piombo e stagno Alluminio in Pani e Lastre Ottone, Rame, Zinco, ecc. Poutrelles.

PESSIONE e PATETTA

Premiate Manifatture a Settimo Torinese e Montanaro di STOFFE DI CRINE

Tessuti di Crine per Mobili, Vetture ferroviarie, ecc. Specialità: CRINOLINO PER FODERE

Uffizio di vendita presso la Ditta PATETTA e DECKER di Torino, Corso Re Umberto, 17.

Fabbrica Torinese di Carrozzeria Telefono N. 22-20 Carrozzerie per Automobili

ROSSI, BUSSOLOTTI & C.

TORINO — Via Petrarca, 10 — TORINO

Premiata Officina Metallurgica ad energia elettrica

CROSASSO PIETRO

TORINO, Via Madama Cristina, 115.

SPECIALITÀ Parafanghi in Ferro ed Alluminio d'ogni genere. Si eseguiscono lamiere in alluminio su qualunque sagoma per Vetture-Automobili.Coffani speciali per Automobili in rilievo di novità. — Perfezionata spianatura lamiere al maglio (sistema proprio).

Provveditore delle Ferrovie dello Stato.

“PRIMUS„

Fabbrica Italiana di MOTORI, CICLI e MOTOCICLI Ditta BONARDI TORINO Via Piazzi, 3.

MOTORI per Automobili e Canotti. MOTORI FISSI per Gruppi Industriali.

Rendimento elevato. — Massima Garanzia. Fabbrica Premiata con due Medaglie e Grand Prix.

CORRADO & TAVERNA

TORINO, Via S. Teresa, 2

Completo Assortimento GUERNITURE e UTENSILI per AUTOMOBILI

Telefono 11-66

Ferramenta — Ottonami — Chincaglierie Specialità Casse Forti Utensili per Elettricisti e per Industrie.

Michelin

CLERMONT-FERRAND

Pneumatici per Automobili, Motocicli, Velocipedi

i migliori per Resistenza, Solidità, Elasticità

Agenzia Italiana Pneumatici MICHELIN MILANO 67 — Foro Bonaparte — 67

F.I.A.T.

Fabbrica italiana Automobili

TORINO 35 — Corso Dante — 35

Vetture da città, da viaggio e da corsa. OMNIBUS per Alberghi e Servizi pubblici — CARRI da trasporto fino a 4 tonn. — Canotti automobili.

La FIAT è la più antica e la più grande fabbrica di automobili in Italia ed una delle più importanti del mondo per la bontà dei suoi prodotti e l'entità della sua produzione. Essa fornisce le Case Regnanti d'Italia, Germania, Spagna, Portogallo, Olanda, Serbia e i Sovrani Italiano, Portoghese, Rumeno, Argentino e Messicano.

Società Italiana Automobili

“KRIEGER„

Uffici Garage Officine TORINO Corso regina Margherita, 46. Telefono 21-69.

VETTURE ELETTRICHE AD ACCUMULATORI.

La vettura KRIEGER è l'ideale delle vetture da città — Perfezione e semplicità di meccanismi — Eleganza e comodità — Silenziosità — Elevato rendimento — Possibilità di superare forti salite — Ricarica della batteria nella discesa — Freno elettrico.

VETTURE A BENZINA CON TRASMISSIONE ELETTRICA.

Avviamento automatico del motore, senza complicazione di meccanismi e di assoluta sicurezza di funzionamento — Facilità di guida — Soppressione della frizione, del cambio di velocità, del cardano o delle catene e del differenziale — Graduale variazione della velocità della vettura da zero al suo massimo. — Frenatura elettrica.

CAMIONS e OMNIBUS ELETTRICI

con motori a benzina o ad accumulatori.

Società Torinese Automobili

“RAPID„

Società Anonima — Sede a Torino OFFICINE: Barriera di Nizza e Barriera di S. Paolo.

Vetture da Sport HP 9, 12, 16-24, 24-40, 50-70 Omnibus-Camions MOTORI per Imbarcazioni Inaffiatrici.

Consegne rapidissime ed a scadenza secondo richiesta dei Clienti.

SOCIÉTÉ ANONYME DES Aciéries Liégeoises (Bressoux-lez-Liége).

MAURICE D'ANDRIMONT, Amministratore delegato.

Getti su modello in ferro-acciaio al crogiuolo (processo brevettato), saldabile e fucinabile, speciale per Automobili. Metallo di grande resistenza e di malleabilità ed omogeneità perfette.

SOCIÉTÉ ANONYME DES Fonderies et Ateliers Simonon (Herstal-lez-Liége).

Getti in ghisa malleabile di Svezia per Automobili, Biciclette ed Industrie affini.

SOCIÉTÉ ANONYME DES Fonderies du Barrage de Suresnes (Anciennement A. MIRLORET e C.).

Getti in ghisa e ferro fuso. — Specialità Cilindri per Automobili e motori a scoppio.

Agente Generale per l'Italia: Alberto Goletti TORINO 64 — Via S. Chiara — 64

Fornitori delle prime Marche Italiane ed Estere.

Società Automobili

DIATTO — A. CLÉMENT

TORINO Licenza A. CLÉMENT-BAYARD, LEVALLOIS (Paris).

Fabbrica d'Automobili Marca TORINO

Via Fréjus, Num. 21 — TORINO

Vetture da Turismo 8 e 10 HP, 2 cilindri — 12, 20, 24, 35, 50 HP, 4 cilindri. Camions della portata di 1500 e 3000 Kg. Omnibus della capacità di 12 e 36 posti. Furgoni e Furgoncini per trasporti in tutti i generi.

Agenzia Generale di vendita per l'Italia delle Automobili Marche “TORINO„ e “BAYARD„

Società FABBRE & GAGLIARDI (Capitale versato L. 1.750.000).

con Garages: a MILANO — Piazza Macello, 21-23 e Via Montevideo a TORINO — Via Maria Vittoria, 22-24 e Via Saluzzo, 11 a GENOVA — Via A. Maragliano, 17 e Via XX Settembre, 5 a ROMA — Piazza Cavour, 10 e PADOVA.

CINOGENO

Società Italiana G. BOSIO & C. TORINO — Via Giovanni Prati, 1 — TORINO

Apparecchio di messa in marcia AUTOMATICO per Automobili e Canotti.

= 1º Premio al Salon di Parigi 1905. =

Economia di consumo. — Regolarità e prontezza di avviamento. Gonfiamento immediato dei pneus.

*** END OF THE PROJECT GUTENBERG EBOOK 44067 ***