This eBook is for the use of anyone anywhere at no cost and with almost no restrictions whatsoever. You may copy it, give it away or re-use it under the terms of the Project Gutenberg License included with this eBook or online at www.gutenberg.org
Title: Recherches sur les substances radioactives
Author: Marie Curie
Release Date: July 16, 2013 [eBook #43233]
Language: French
Character set encoding: ISO-8859-1
***START OF THE PROJECT GUTENBERG EBOOK RECHERCHES SUR LES SUBSTANCES RADIOACTIVES***
| Note: | Images of the original pages are available through Internet Archive. See http://archive.org/details/recherchessurles00curi |
PARIS.—IMPRIMERIE GAUTHIER-VILLARS,
35119——Quai des Grands-Augustins, 55.
Le présent travail a pour but d'exposer les recherches que je poursuis depuis plus de 4 ans sur les substances radioactives. J'ai commencé ces recherches par une étude du rayonnement uranique qui a été découvert par M. Becquerel. Les résultats auxquels ce travail me conduisit parurent ouvrir une voie si intéressante, qu'abandonnant ses travaux en train, M. Curie se joignit à moi, et nous réunîmes nos efforts en vue d'aboutir à l'extraction des substances radioactives nouvelles et de poursuivre leur étude.
Dès le début de nos recherches nous avons cru devoir prêter des échantillons des substances découvertes et préparées par nous à quelques physiciens, en premier lieu à M. Becquerel, à qui est due la découverte des rayons uraniques. Nous avons ainsi nous-mêmes facilité les recherches faites par d'autres que nous sur les substances radioactives nouvelles. A la suite de nos premières publications, M. Giesel en Allemagne se mit d'ailleurs aussi à préparer de ces substances et en prêta des échantillons à plusieurs savants allemands. Ensuite ces substances furent mises en vente en France et en Allemagne, et le sujet prenant de plus en plus d'importance donna lieu à un mouvement scientifique, de sorte que de nombreux Mémoires 2 ont paru et paraissent constamment sur les corps radioactifs, principalement à l'étranger. Les résultats des divers travaux français et étrangers sont nécessairement enchevêtrés, comme pour tout sujet d'études nouveau et en voie de formation. L'aspect de la question se modifie, pour ainsi dire, de jour en jour.
Cependant, au point de vue chimique, un point est définitivement établi; c'est l'existence d'un élément nouveau fortement radioactif: le radium. La préparation du chlorure de radium pur et la détermination du poids atomique du radium constituent la partie la plus importante de mon travail personnel. En même temps que ce travail ajoute aux corps simples actuellement connus avec certitude un nouveau corps simple de propriétés très curieuses, une nouvelle méthode de recherches chimiques se trouve établie et justifiée. Cette méthode, basée sur la radioactivité, considérée comme une propriété atomique de la matière, est précisément celle qui nous a permis, à M. Curie et moi, de découvrir l'existence du radium.
Si, au point de vue chimique, la question que nous nous sommes primitivement posée peut être considérée comme résolue, l'étude des propriétés physiques des substances radioactives est en pleine évolution. Certains points importants ont été établis, mais un grand nombre de conclusions portent encore le caractère du provisoire. Cela n'a rien d'étonnant, si l'on considère la complexité des phénomènes auxquels donne lieu la radioactivité et les différences qui existent entre les diverses substances radioactives. Les recherches des divers physiciens qui étudient ces substances viennent constamment se rencontrer et se croiser. Tout en cherchant à me conformer au but précis de ce travail et à exposer surtout mes propres recherches, j'ai été obligée d'exposer en même temps les résultats d'autres travaux dont la connaissance est indispensable.
J'ai d'ailleurs désiré faire de ce travail un Mémoire d'ensemble sur l'état actuel de la question.
J'ai exécuté ce Travail dans les laboratoires de l'École de Physique et de Chimie industrielles de la Ville de Paris avec l'autorisation de Schützenberger, le regretté Directeur de cette École, et de M. Lauth, le Directeur actuel. Je tiens à exprimer ici toute ma reconnaissance pour l'hospitalité bienveillante que j'ai reçue dans cette École.
La découverte des phénomènes de la radioactivité se rattache aux recherches poursuivies depuis la découverte des rayons Röntgen sur les effets photographiques des substances phosphorescentes et fluorescentes.
Les premiers tubes producteurs de rayons Röntgen étaient ces tubes sans anticathode métallique. La source de rayons Röntgen se trouvait sur la paroi de verre frappée par les rayons cathodiques; en même temps cette paroi était vivement fluorescente. On pouvait alors se demander si l'émission de rayons Röntgen n'accompagnait pas nécessairement la production de la fluorescence, quelle que fût la cause de cette dernière. Cette idée a été énoncée tout d'abord par M. Henri Poincaré[1].
Peu de temps après, M. Henry annonça qu'il avait obtenu des impressions photographiques au travers du papier noir à l'aide du sulfure de zinc phosphorescent[2]. M. Niewenglowski obtint le même phénomène avec du sulfure de calcium exposé à la lumière[3]. Enfin, M. Troost obtint de fortes impressions photographiques avec de la 4 blende hexagonale artificielle phosphorescente agissant au travers du papier noir et un gros carton[4].
Les expériences qui viennent d'être citées n'ont pu être reproduites malgré les nombreux essais faits dans ce but. On ne peut donc nullement considérer comme prouvé que le sulfure de zinc et le sulfure de calcium soient capables d'émettre, sous l'action de la lumière, des radiations invisibles qui traversent le papier noir et agissent sur les plaques photographiques.
M. Becquerel a fait des expériences analogues sur les sels d'uranium dont quelques-uns sont fluorescents[5]. Il obtint des impressions photographiques au travers du papier noir avec le sulfate double d'uranyle et de potassium.
M. Becquerel crut d'abord que ce sel, qui est fluorescent, se comportait comme le sulfure de zinc et le sulfure de calcium dans les expériences de MM. Henry, Niewenglowski et Troost. Mais la suite de ses expériences montra que le phénomène observé n'était nullement relié à la fluorescence. Il n'est pas nécessaire que le sel soit éclairé; de plus, l'uranium et tous ses composés, fluorescents ou non, agissent de même, et l'uranium métallique est le plus actif. M. Becquerel trouva ensuite qu'en plaçant les composés d'urane dans l'obscurité complète, ils continuent à impressionner les plaques photographiques au travers du papier noir pendant des années. M. Becquerel admit que l'uranium et ses composés émettent des rayons particuliers: rayons uraniques. Il prouva que ces rayons peuvent traverser des écrans métalliques minces et qu'ils déchargent les corps électrisés. Il fit aussi des expériences d'après lesquelles il conclut que les rayons uraniques éprouvent la réflexion, la réfraction et la polarisation.
Les travaux d'autres physiciens (Elster et Geitel, lord Kelwin, Schmidt, Rutherford, Beattie et Smoluchowski) sont venus confirmer et étendre les résultats des recherches de M. Becquerel, sauf en ce qui concerne la réflexion, la réfraction et la polarisation des rayons uraniques, lesquels, à ce point de vue, se comportent comme les rayons Röntgen, comme cela a été reconnu par M. Rutherford d'abord et ensuite par M. Becquerel lui-même.
Rayons de Becquerel.—Les rayons uraniques, découverts par M. Becquerel, impressionnent les plaques photographiques à l'abri de la lumière; ils peuvent traverser toutes les substances solides, liquides et gazeuses, à condition que l'épaisseur en soit suffisamment faible; en traversant les gaz, ils les rendent faiblement conducteurs de l'électricité[6].
Ces propriétés des composés d'urane ne sont dues à aucune cause excitatrice connue. Le rayonnement semble spontané; il ne diminue point d'intensité quand on conserve les composés d'urane dans l'obscurité complète pendant des années; il ne s'agit donc pas là d'une phosphorescence particulière produite par la lumière.
La spontanéité et la constance du rayonnement uranique se présentaient comme un phénomène physique tout à fait extraordinaire. M. Becquerel a conservé un morceau d'uranium pendant plusieurs années dans l'obscurité et il a constaté qu'au bout de ce temps l'action sur la plaque photographique n'avait pas varié sensiblement. MM. Elster et Geitel ont fait une expérience analogue et ont trouvé également que l'action était constante[7].
J'ai mesuré l'intensité du rayonnement de l'uranium en 7 utilisant l'action de ce rayonnement sur la conductibilité de l'air. La méthode de mesures sera exposée plus loin. J'ai ainsi obtenu des nombres qui prouvent la constance du rayonnement dans les limites de précision des expériences, c'est-à-dire à 2 pour 100 ou 3 pour 100 près[8].
On utilisait pour ces mesures un plateau métallique recouvert d'une couche d'uranium en poudre; ce plateau n'était d'ailleurs pas conservé dans l'obscurité, cette condition s'étant montrée sans importance d'après les observateurs cités précédemment. Le nombre des mesures effectuées avec ce plateau est très grand, et actuellement ces mesures portent sur un intervalle de temps de 5 années.
Des recherches furent faites pour reconnaître si d'autres substances peuvent agir comme les composés d'urane. M. Schmidt publia le premier que le thorium et ses composés possèdent également cette faculté[9]. Un travail analogue fait en même temps m'a donné le même résultat. J'ai publié ce travail, n'ayant pas encore eu connaissance de la publication de M. Schmidt[10].
Nous dirons que l'uranium, le thorium et leurs composés émettent des rayons de Becquerel. J'ai appelé radioactives les substances qui donnent lieu à une émission de ce genre[11]. Ce nom a été depuis généralement adopté.
Par leurs effets photographiques et électriques les rayons de Becquerel se rapprochent des rayons de Röntgen. Ils ont aussi, comme ces derniers, la faculté de traverser toute matière. Mais leur pouvoir de pénétration est extrêmement différent: les rayons de l'uranium et du thorium sont arrêtés par quelques millimètres de matière solide et ne peuvent franchir dans l'air une distance supérieure à 8 quelques centimètres; tout au moins en est-il ainsi pour la grosse partie du rayonnement.
Les travaux de divers physiciens, et, en premier lieu, de M. Rutherford, ont montré que les rayons de Becquerel n'éprouvent ni réflexion régulière, ni réfraction, ni polarisation[12].
Le faible pouvoir pénétrant des rayons uraniques et thoriques conduirait à les assimiler aux rayons secondaires qui sont produits par les rayons Röntgen, et dont l'étude a été faite par M. Sagnac[13], plutôt qu'aux rayons Röntgen eux-mêmes.
D'autre part, on peut chercher à rapprocher les rayons de Becquerel de rayons cathodiques se propageant dans l'air (rayons de Lenard). On sait aujourd'hui que ces divers rapprochements sont tous légitimes.
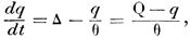
Mesure de l'intensité du rayonnement.—La méthode employée consiste à mesurer la conductibilité acquise par l'air sous l'action des substances radioactives; cette méthode a l'avantage d'être rapide et de fournir des nombres qu'on peut comparer entre eux. L'appareil que j'ai employé à cet effet se compose essentiellement d'un condensateur à plateaux AB (fig. 1). La substance active finement pulvérisée est étalée sur le plateau B; elle rend conducteur l'air entre les plateaux. Pour mesurer cette conductibilité, on porte le plateau B à un potentiel élevé, en le reliant à l'un des pôles d'une batterie de petits accumulateurs P, dont l'autre pôle est à la terre. Le plateau A étant maintenu au potentiel du sol par le fil CD, un courant électrique s'établit entre les deux plateaux. Le potentiel du plateau A est indiqué par un électromètre E. Si l'on interrompt en C la communication avec le sol, le plateau A se charge, et cette charge fait dévier l'électromètre. La 9 vitesse de la déviation est proportionnelle à l'intensité du courant et peut servir à la mesurer.
Mais il est préférable de faire cette mesure en compensant la charge que prend le plateau A, de manière à maintenir l'électromètre au zéro. Les charges, dont il est question ici, sont extrêmement faibles; elles peuvent être compensées au moyen d'un quartz piézo-électrique Q, dont une armature est reliée au plateau A, et l'autre armature est à terre. On soumet la lame de quartz à une traction connue produite par des poids placés dans un plateau π; cette traction est établie progressivement et a pour effet de dégager progressivement une quantité d'électricité connue pendant un temps qu'on mesure. L'opération peut être réglée de telle manière, qu'il y ait à chaque instant compensation entre la quantité d'électricité qui traverse le condensateur et celle de signe contraire que fournit le quartz[14]. On peut ainsi mesurer en valeur absolue la 10 quantité d'électricité qui traverse le condensateur pendant un temps donné, c'est-à-dire l'intensité du courant. La mesure est indépendante de la sensibilité de l'électromètre.
En effectuant un certain nombre de mesures de ce genre, on voit que la radioactivité est un phénomène susceptible d'être mesuré avec une certaine précision. Elle varie peu avec la température, elle est à peine influencée par les oscillations de la température ambiante; elle n'est pas influencée par l'éclairement de la substance active. L'intensité du courant qui traverse le condensateur augmente avec la surface des plateaux. Pour un condensateur donné et une substance donnée le courant augmente avec la différence de potentiel qui existe entre les plateaux, avec la pression du gaz qui remplit le condensateur et avec la distance des plateaux (pourvu que cette distance ne soit pas trop grande par rapport au diamètre). Toutefois, pour de fortes différences de potentiel, le courant tend vers une valeur limite qui est pratiquement constante. C'est le courant de saturation ou courant limite. De même pour une certaine distance des plateaux assez grande, le courant ne varie plus guère avec cette distance. C'est le courant obtenu dans ces conditions qui a été pris comme mesure de radioactivité dans mes recherches, le condensateur étant placé dans l'air à la pression atmosphérique.
Voici, à titre d'exemple, des courbes qui représentent l'intensité du courant en fonction du champ moyen établi entre les plateaux pour deux distances des plateaux différentes. Le plateau B était recouvert d'une couche mince d'uranium métallique pulvérisé; le plateau A, réuni à l'électromètre, était muni d'un anneau de garde.
La figure 2 montre que l'intensité du courant devient constante pour les fortes différences de potentiel entre les plateaux. La figure 3 représente les mêmes courbes à une autre échelle, et comprend seulement les résultats relatifs aux faibles différences de potentiel. Au début, la 11 courbe est rectiligne; le quotient de l'intensité du courant par la différence de potentiel est constant pour les tensions faibles, et représente la conductance initiale entre les plateaux.
On peut donc distinguer deux constantes 12 importantes caractéristiques du phénomène observé: 1º la conductance initiale pour différences de potentiel faibles; 2º le courant limite pour différences de potentiel fortes. C'est le courant limite qui a été adopté comme mesure de la radioactivité.
En plus de la différence de potentiel que l'on établit entre les plateaux, il existe entre ces derniers une force électromotrice de contact, et ces deux causes de courant ajoutent leurs effets; c'est pourquoi la valeur absolue de l'intensité du courant change avec le signe de la différence de potentiel extérieure. Toutefois, pour des différences de potentiel notables, l'effet de la force électromotrice de contact est négligeable, et l'intensité du courant est alors la même, quel que soit le sens du champ entre les plateaux.
L'étude de la conductibilité de l'air et d'autres gaz soumis à l'action des rayons de Becquerel a été faite par plusieurs physiciens[15]. Une étude très complète du sujet a été publiée par M. Rutherford[16].
Les lois de la conductibilité produite dans les gaz par les rayons de Becquerel sont les mêmes que celles trouvées avec les rayons Röntgen. Le mécanisme du phénomène paraît être le même dans les deux cas. La théorie de l'ionisation des gaz par l'effet des rayons Röntgen ou Becquerel rend très bien compte des faits observés. Cette théorie ne sera pas exposée ici. Je rappellerai seulement les résultats auxquels elle conduit:
1º Le nombre d'ions produits par seconde dans le gaz est considéré comme proportionnel à l'énergie du rayonnement absorbé par le gaz;
2º Pour obtenir le courant limite relatif à un rayonnement 13 donné, il faut, d'une part, faire absorber intégralement ce rayonnement par le gaz, en employant une masse absorbante suffisante; d'autre part, il faut utiliser pour la production du courant tous les ions créés, en établissant un champ électrique assez fort pour que le nombre des ions qui se recombinent devienne une fraction insignifiante du nombre total des ions produits dans le même temps, qui sont presque tous entraînés par le courant et amenés aux électrodes. Le champ électrique moyen nécessaire pour obtenir ce résultat est d'autant plus élevé que l'ionisation est plus forte.
D'après des recherches récentes de M. Townsend, le phénomène est plus complexe quand la pression du gaz est faible. Le courant semble d'abord tendre vers une valeur limite constante quand la différence de potentiel augmente; mais, à partir d'une certaine différence de potentiel, le courant recommence à croître avec le champ, et cela avec une rapidité très grande. M. Townsend admet que cet accroissement est dû à une ionisation nouvelle produite par les ions eux-mêmes quand ceux-ci, sous l'action du champ électrique, prennent une vitesse suffisante pour qu'une molécule du gaz, rencontrée par un de ces projectiles, se trouve brisée et divisée en ses ions constituants. Un champ électrique intense et une pression faible favorisent cette ionisation par les ions déjà présents, et, aussitôt que celle-ci commence à se produire, l'intensité du courant croît constamment avec le champ moyen entre les plateaux[17]. Le courant limite ne saurait donc être obtenu qu'avec des causes ionisantes, dont l'intensité ne dépasse pas une certaine valeur, de telle façon que la saturation corresponde à des champs pour lesquels l'ionisation par choc des ions ne peut encore avoir lieu. Cette condition se trouvait réalisée dans mes expériences.
L'ordre de grandeur des courants de saturation que l'on obtient avec les composés d'urane est de 10-11 ampères pour un condensateur dont les plateaux ont 8cm de diamètre et sont distants de 3cm. Les composés de thorium donnent lieu à des courants du même ordre de grandeur, et l'activité des oxydes d'uranium et de thorium est très analogue.
Radioactivité des composés d'uranium et de thorium.—Voici les nombres que j'ai obtenus avec divers composés d'urane; je désigne par i l'intensité du courant en ampères:
| i × 1011. | |
| Uranium métallique (contenant un peu de carbone) | 2,3 |
| Oxyde d'urane noir U2 O5 | 2,6 |
| Oxyde d'urane vert U3 O4 | 1,8 |
| Acide uranique hydraté | 0,6 |
| Uranate de sodium | 1,2 |
| Uranate de potassium | 1,2 |
| Uranate d'ammonium | 1,3 |
| Sulfate uraneux | 0,7 |
| Sulfate d'uranyle et de potassium | 0,7 |
| Azotate d'uranyle | 0,7 |
| Phosphate de cuivre et d'uranyle | 0,9 |
| Oxysulfure d'urane | 1,2 |
L'épaisseur de la couche du composé d'urane employé a peu d'influence, pourvu que la couche soit continue. Voici quelques expériences à ce sujet:
| Épaisseur de la couche. mm |
i × 1011. | |
| Oxyde d'urane | 0,5 | 2,7 |
| » | 3,0 | 3,0 |
| Uranate d'ammonium | 0,5 | 1,3 |
| » | 3,0 | 1,4 |
On peut conclure de là, que l'absorption des rayons uraniques par la matière qui les émet est très forte, puisque les rayons venant des couches profondes ne peuvent pas produire d'effet notable.
Les nombres que j'ai obtenus avec les composés de thorium[18] m'ont permis de constater:
1º Que l'épaisseur de la couche employée a une action considérable, surtout avec l'oxyde;
2º Que le phénomène n'est régulier que si l'on emploie une couche active mince (0mm,25 par exemple). Au contraire, quand on emploie une couche de matière épaisse (6mm), on obtient des nombres oscillant entre des limites étendues, surtout dans le cas de l'oxyde:
| Épaisseur de la couche. mm |
i × 1011. | ||
| Oxyde de thorium | 0,25 | 2,2 | |
| » | 0,5 | 2,5 | |
| » | 2,5 | 4,7 | |
| » | 3,0 | 5,5 | en moyenne |
| » | 6,0 | 5,5 | » |
| Sulfate de thorium | 0,25 | 0,8 |
Il y a dans la nature du phénomène une cause d'irrégularités qui n'existe pas dans le cas des composés d'urane. Les nombres obtenus pour une couche d'oxyde de 6mm d'épaisseur variaient entre 3,7 et 7,3.
Les expériences que j'ai faites sur l'absorption des rayons uraniques et thoriques ont montré que les rayons thoriques sont plus pénétrants que les rayons uraniques et que les rayons émis par l'oxyde de thorium en couche épaisse sont plus pénétrants que ceux qu'il émet en couche mince. Voici, par exemple, les nombres qui 16 indiquent la fraction du rayonnement que transmet une lame d'aluminium dont l'épaisseur est 0mm,01:
| Substance rayonnante. | Fraction du rayonnement transmise par la lame. | |
| Uranium | 0,18 | |
| Oxyde d'urane U2 O5 | 0,20 | |
| Uranate d'ammonium | 0,20 | |
| Phosphate d'urane et de cuivre | 0,21 | |
| mm | ||
| Oxyde de thorium sous épaisseur | 0,25 | 0,38 |
| » » | 0,5 | 0,47 |
| » » | 3,0 | 0,70 |
| » » | 6,0 | 0,70 |
| Sulfate de thorium | 0,25 | 0,38 |
Avec les composés d'urane, l'absorption est la même quel que soit le composé employé, ce qui porte à croire que les rayons émis par les divers composés sont de même nature.
Les particularités de la radiation thorique ont été l'objet de publications très complètes. M. Owens[19] a montré que la constance du courant n'est obtenue qu'au bout d'un temps assez long en appareil clos, et que l'intensité du courant est fortement réduite par l'action d'un courant d'air (ce qui n'a pas lieu pour les composés d'uranium). M. Rutherford a fait des expériences analogues et les a interprétées en admettant que le thorium et ses composés émettent non seulement des rayons de Becquerel, mais encore une émanation, constituée par des particules extrêmement ténues, qui restent radioactives pendant quelque temps après leur émission et peuvent être entraînées par un courant d'air[20].
Les caractères de la radiation thorique qui sont relatifs à l'influence de l'épaisseur de la couche employée et à l'action des courants d'air ont une liaison étroite avec le phénomène de la radioactivité induite et de sa propagation de proche en proche. Ce phénomène a été observé pour la première fois avec le radium et sera décrit plus loin.
La radioactivité des composés d'uranium et de thorium se présente comme une propriété atomique. M. Becquerel avait déjà observé que tous les composés d'uranium sont actifs et avait conclu que leur activité était due à la présence de l'élément uranium; il a montré également que l'uranium était plus actif que ses sels[21]. J'ai étudié à ce point de vue les composés de l'uranium et du thorium et j'ai fait un grand nombre de mesures de leur activité dans diverses conditions. Il résulte de l'ensemble de ces mesures que la radioactivité de ces substances est bien effectivement une propriété atomique. Elle semble ici liée à la présence des atomes des deux éléments considérés et n'est détruite ni par les changements d'état physique ni par les transformations chimiques. Les combinaisons chimiques et les mélanges contenant de l'uranium ou du thorium sont d'autant plus actifs qu'ils contiennent une plus forte proportion de ces métaux, toute matière inactive agissant à la fois comme matière inerte et matière absorbant le rayonnement.
La radioactivité atomique est-elle un phénomène général?—Comme il a été dit plus haut, j'ai cherché si d'autres substances que les composés d'uranium et de thorium étaient radioactives. J'ai entrepris cette recherche dans l'idée qu'il était fort peu probable que la radioactivité, considérée comme propriété atomique, appartînt à 18 une certaine espèce de matière, à l'exclusion de toute autre. Les mesures que j'ai faites me permettent de dire que pour les éléments chimiques actuellement considérés comme tels, y compris les plus rares et les plus hypothétiques, les composés étudiés par moi ont été toujours au moins 100 fois moins actifs dans mon appareil que l'uranium métallique. Dans le cas des éléments répandus, j'ai étudié plusieurs composés; dans le cas des corps rares, j'ai étudié les composés que j'ai pu me procurer.
Voici la liste des substances qui ont fait partie de mon étude sous forme d'élément ou de combinaison:
1º Tous les métaux ou métalloïdes que l'on trouve facilement et quelques-uns, plus rares, produits purs, provenant de la collection de M. Etard, à l'École de Physique et de Chimie industrielles de la Ville de Paris;
2º Les corps rares suivants: gallium, germanium, néodyme, praséodyme, niobium, scandium, gadolinium, erbium, samarium et rubidium (échantillons prêtés par M. Demarçay); yttrium, ytterbium avec nouvel erbium (échantillons prêtés par M. Urbain[22]);
3º Un grand nombre de roches et de minéraux.
Dans les limites de sensibilité de mon appareil je n'ai pas trouvé de substance simple autre que l'uranium et le thorium, qui soit douée de radioactivité atomique. Il convient toutefois de dire quelques mots sur ce qui est relatif au phosphore. Le phosphore blanc humide, placé entre les plateaux du condensateur, rend conducteur l'air entre les plateaux[23]. Toutefois, je ne considère pas ce corps comme radioactif à la façon de l'uranium et du thorium. 19 Le phosphore, en effet, dans ces conditions, s'oxyde et émet des rayons lumineux, tandis que les composés d'uranium et de thorium sont radioactifs sans éprouver aucune modification chimique appréciable par les moyens connus. De plus, le phosphore n'est actif ni à l'état de phosphore rouge, ni à l'état de combinaison.
Dans un travail récent, M. Bloch vient de montrer que le phosphore, en s'oxydant en présence de l'air, donne naissance à des ions très peu mobiles qui rendent l'air conducteur et provoquent la condensation de la vapeur d'eau[24].
Certains travaux récents conduiraient à admettre que la radioactivité appartient à toutes les substances à un degré extrêmement faible[25]. L'identité de ces phénomènes très faibles avec les phénomènes de la radioactivité atomique ne peut encore être considérée comme établie.
L'uranium et le thorium sont les deux éléments qui possèdent les plus forts poids atomiques (240 et 232); ils se rencontrent fréquemment dans les mêmes minéraux.
Minéraux radioactifs.—J'ai examiné dans mon appareil plusieurs minéraux[26]; certains d'entre eux se sont montrés actifs, entre autres la pechblende, la chalcolite, l'autunite, la monazite, la thorite, l'orangite, la fergusonite, la clévéite, etc. Voici un Tableau qui donne en ampères l'intensité i du courant obtenu avec l'uranium métallique et avec divers minéraux.
| i × 1011. | ||
| Uranium | 2,3 | |
| Pechblende de Johanngeorgenstadt | 8,3 | |
| » de Joachimsthal | 7,0 | |
| » de Pzibran20 | 6,5 | |
| » de Cornwallis | 1,6 | |
| Clévéite | 1,4 | |
| Chalcolite | 5,2 | |
| Autunite | 2,7 | |
| Thorites diverses | 0,1 | |
| 0,3 | ||
| 0,7 | ||
| 1,3 | ||
| 1,4 | ||
| Orangite | 2,0 | |
| Monazite | 0,5 | |
| Xenotime | 0,03 | |
| Aeschynite | 0,7 | |
| Fergusonite, 2 échantillons | 0,4 | |
| 0,1 | ||
| Samarskite | 1,1 | |
| Niobite, 2 échantillons | 0,1 | |
| 0,3 | ||
| Tantalite | 0,02 | |
| Carnotite[27] | 6,2 | |
Le courant obtenu avec l'orangite (minerai d'oxyde de thorium) variait beaucoup avec l'épaisseur de la couche employée. En augmentant cette épaisseur depuis 0mm,25 à 6mm, on faisait croître le courant de 1,8 à 2,3.
Tous les minéraux qui se montrent radioactifs contiennent de l'uranium ou du thorium; leur activité n'a donc rien d'étonnant, mais l'intensité du phénomène pour certains minéraux est inattendue. Ainsi, on trouve des pechblendes (minerais d'oxyde d'urane) qui sont 4 fois plus actives que l'uranium métallique. La chalcolite (phosphate de cuivre et d'urane cristallisé) est 2 fois plus active que l'uranium. L'autunite (phosphate d'urane et de chaux) est aussi active que l'uranium. Ces faits étaient en désaccord 21 avec les considérations précédentes, d'après lesquelles aucun minéral n'aurait dû se montrer plus actif que l'uranium ou le thorium.
Pour éclaircir ce point, j'ai préparé de la chalcolite artificielle par le procédé de Debray, en partant de produits purs. Ce procédé consiste à mélanger une dissolution d'azotate d'uranyle avec une dissolution de phosphate de cuivre dans l'acide phosphorique, et à chauffer vers 50° ou 60°. Au bout de quelque temps, des cristaux de chalcolite se forment dans la liqueur[28]. La chalcolite ainsi obtenue possède une activité tout à fait normale, étant donnée sa composition; elle est deux fois et demie moins active que l'uranium.
Il devenait dès lors très probable que si la pechblende, la chalcolite, l'autunite ont une activité si forte, c'est que ces substances renferment en petite quantité une matière fortement radioactive, différente de l'uranium, du thorium et des corps simples actuellement connus. J'ai pensé que, s'il en était effectivement ainsi, je pouvais espérer extraire cette substance du minerai par les procédés ordinaires de l'analyse chimique.
Méthode de recherches.—Les résultats de l'étude des minéraux radioactifs, énoncés dans le Chapitre précédent, nous ont engagés, M. Curie et moi, à chercher à extraire de la pechblende une nouvelle substance radioactive. Notre méthode de recherches ne pouvait être basée que sur la radioactivité, puisque nous ne connaissions aucun autre caractère de la substance hypothétique. Voici comment on peut se servir de la radioactivité pour une recherche de ce genre. On mesure la radioactivité d'un produit, on effectue sur ce produit une séparation chimique; on mesure la radioactivité de tous les produits obtenus, et l'on se rend compte si la substance radioactive est restée intégralement avec l'un d'eux, ou bien si elle s'est partagée entre eux et dans quelle proportion. On a ainsi une indication qui peut être comparée, en une certaine mesure, à celle que pourrait fournir l'analyse spectrale. Pour avoir des nombres comparables, il faut mesurer l'activité des substances à l'état solide et bien desséchées.
Polonium, radium, actinium.—L'analyse de la pechblende, avec le concours de la méthode qui vient d'être exposée, nous a conduits à établir l'existence, dans ce minéral, de deux substances fortement radioactives, chimiquement différentes: le polonium, trouvé par nous, et le radium, que nous avons découvert en collaboration avec M. Bémont[29].
Le polonium est une substance voisine du bismuth au point de vue analytique et l'accompagnant dans les séparations. On obtient du bismuth de plus en plus riche en polonium par l'un des procédés de fractionnement suivants:
1º Sublimation des sulfures dans le vide; le sulfure actif est beaucoup plus volatil que le sulfure de bismuth.
2º Précipitation des solutions azotiques par l'eau; le sous-nitrate précipité est beaucoup plus actif que le sel qui reste dissous.
3º Précipitation par l'hydrogène sulfuré d'une solution chlorhydrique extrêmement acide; les sulfures précipités sont considérablement plus actifs que le sel qui reste dissous.
Le radium est une substance qui accompagne le baryum retiré de la pechblende; il suit le baryum dans ses réactions et s'en sépare par différence de solubilité des chlorures dans l'eau, l'eau alcoolisée ou l'eau additionnée d'acide chlorhydrique. Nous effectuons la séparation des chlorures de baryum et de radium, en soumettant leur mélange à une cristallisation fractionnée, le chlorure de radium étant moins soluble que celui de baryum.
Une troisième substance fortement radioactive a été caractérisée dans la pechblende par M. Debierne, qui lui a donné le nom d'actinium[30]. L'actinium accompagne certains corps du groupe du fer contenus dans la pechblende; il semble surtout voisin du thorium dont il n'a pu encore être séparé. L'extraction de l'actinium de la pechblende est une opération très pénible, les séparations étant généralement incomplètes.
Toutes les trois substances radioactives nouvelles se 24 trouvent dans la pechblende en quantité absolument infinitésimale. Pour les obtenir à l'état concentré, nous avons été obligés d'entreprendre le traitement de plusieurs tonnes de résidus de minerai d'urane. Le gros traitement se fait dans une usine; il est suivi de tout un travail de purification et de concentration. Nous arrivons ainsi à extraire de ces milliers de kilogrammes de matière première quelques décigrammes de produits qui sont prodigieusement actifs par rapport au minerai dont ils proviennent. Il est bien évident que l'ensemble de ce travail est long, pénible et coûteux[31].
D'autres substances radioactives nouvelles ont encore été signalées à la suite de notre travail. M. Giesel, d'une part, MM. Hoffmann et Strauss, d'autre part, ont annoncé l'existence probable d'une substance radioactive voisine du plomb par ses propriétés chimiques. On ne possède encore que peu de renseignements sur cette substance[32].
De toutes les substances radioactives nouvelles, le 25 radium est, jusqu'à présent, la seule qui ait été isolée à l'état de sel pur.
Spectre du radium.—Il était de première importance de contrôler, par tous les moyens possibles, l'hypothèse, faite dans ce travail, de l'existence d'éléments nouveaux radioactifs. L'analyse spectrale est venue, dans le cas du radium, confirmer d'une façon complète cette hypothèse.
M. Demarçay a bien voulu se charger de l'examen des substances radioactives nouvelles, par les procédés rigoureux qu'il emploie dans l'étude des spectres d'étincelle photographiés.
Le concours d'un savant aussi compétent a été pour nous un grand bienfait, et nous lui gardons une reconnaissance profonde d'avoir consenti à faire ce travail. Les résultats de l'analyse spectrale sont venus nous apporter la certitude, alors que nous étions encore dans le doute sur l'interprétation des résultats de nos recherches[33].
Les premiers échantillons de chlorure de baryum radifère médiocrement actif, examinés par Demarçay, lui montrèrent, en même temps que les raies du baryum, une raie nouvelle d'intensité notable et de longueur d'onde λ = 381µµ,47 dans le spectre ultra-violet. Avec des produits plus actifs, préparés ensuite, Demarçay vit la raie 381µµ,47 se renforcer; en même temps d'autres raies nouvelles apparurent, et dans le spectre les raies nouvelles et les raies du baryum avaient des intensités comparables. Une nouvelle concentration a fourni un produit, pour 26 lequel le nouveau spectre domine, et les trois plus fortes raies du baryum, seules visibles, indiquent seulement la présence de ce métal à l'état d'impureté. Ce produit peut être considéré comme du chlorure de radium à peu près pur. Enfin j'ai pu, par une nouvelle purification, obtenir un chlorure extrêmement pur, dans le spectre duquel les deux raies dominantes du baryum sont à peine visibles.
Voici, d'après Demarçay[34], la liste des raies principales du radium pour la portion du spectre comprise entre λ = 500,0 et λ = 350,0 millièmes de micron (µµ). L'intensité de chaque raie est indiquée par un nombre, la plus forte raie étant marquée 16.
| λ. | Intensité. | λ. | Intensité. |
| 482,63 | 10 | 453,35 | 9 |
| 472,69 | 5 | 443,61 | 8 |
| 469,98 | 3 | 434,06 | 12 |
| 469,21 | 7 | 381,47 | 16 |
| 468,30 | 14 | 364,96 | 12 |
| 464,19 | 4 |
Toutes les raies sont nettes et étroites, les trois raies 381,47, 468,30 et 434,06 sont fortes; elles atteignent l'égalité avec les raies les plus intenses actuellement connues. On aperçoit également dans le spectre deux bandes nébuleuses fortes. La première, symétrique, s'étend de 463,10 à 462,19 avec maximum à 462,75. La deuxième, plus forte, est dégradée vers l'ultra-violet; elle commence brusquement à 446,37, passe par un maximum à 445,52; la région du maximum s'étend jusqu'à 445,34, puis une bande nébuleuse, graduellement dégradée, s'étend jusque vers 439.
Dans la partie la moins réfrangible non photographiée du spectre d'étincelle, la seule raie notable est 27 la raie 566,5 (environ), bien plus faible cependant que 482,63.
L'aspect général du spectre est celui des métaux alcalino-terreux; on sait que ces métaux ont des spectres de raies fortes avec quelques bandes nébuleuses.
D'après Demarçay, le radium peut figurer parmi les corps ayant la réaction spectrale la plus sensible. J'ai, d'ailleurs, pu conclure, d'après mon travail de concentration, que, dans le premier échantillon examiné qui montrait nettement la raie 381,47, la proportion de radium devait être très faible (peut-être de 0,02 pour 100). Cependant, il faut une activité 50 fois plus grande que celle de l'uranium métallique pour apercevoir nettement la raie principale du radium dans les spectres photographiés. Avec un électromètre sensible, on peut déceler la radioactivité d'un produit quand elle n'est que 1/100 de celle de l'uranium métallique. On voit que, pour déceler la présence du radium, la radioactivité est un caractère plusieurs milliers de fois plus sensible que la réaction spectrale.
Le bismuth à polonium très actif et le thorium à actinium très actif, examinés par Demarçay, n'ont encore respectivement donné que les raies du bismuth et du thorium.
Dans une publication récente, M. Giesel[35], qui s'est occupé de la préparation du radium, annonce que le bromure de radium donne lieu à une coloration carmin de la flamme. Le spectre de flamme du radium contient deux belles bandes rouges, une raie dans le bleu vert et deux lignes faibles dans le violet.
Extraction des substances radioactives nouvelles.—La première partie de l'opération consiste à extraire des 28 minerais d'urane le baryum radifère, le bismuth polonifère et les terres rares contenant l'actinium. Ces trois premiers produits ayant été obtenus, on cherche, pour chacun d'eux, à isoler la substance radioactive nouvelle. Cette deuxième partie du traitement se fait par une méthode de fractionnement. On sait qu'il est difficile de trouver un moyen de séparation très parfait entre des éléments très voisins; les méthodes de fractionnement sont donc tout indiquées. D'ailleurs, quand un élément se trouve mélangé à un autre à l'état de trace, on ne peut appliquer au mélange une méthode de séparation parfaite, même en admettant que l'on en connaisse une; on risquerait, en effet, de perdre la trace de matière qui aurait pu être séparée dans l'opération.
Je me suis occupée spécialement du travail ayant pour but l'isolement du radium et du polonium. Après un travail de quelques années, je n'ai encore réussi que pour le premier de ces corps.
La pechblende étant un minerai coûteux, nous avons renoncé à en traiter de grandes quantités. En Europe, l'extraction de ce minerai se fait dans la mine de Joachimsthal, en Bohême. Le minerai broyé est grillé avec du carbonate de soude, et la matière résultant de ce traitement est lessivée d'abord à l'eau chaude, puis à l'acide sulfurique étendu. La solution contient l'uranium qui donne à la pechblende sa valeur. Le résidu insoluble est rejeté.
Ce résidu contient des substances radioactives; son activité est 4 fois et demie plus grande que celle de l'uranium métallique. Le gouvernement autrichien, auquel appartient la mine, nous a gracieusement donné une tonne de ce résidu pour nos recherches, et a autorisé la mine à nous fournir plusieurs autres tonnes de cette matière.
Il n'était guère facile de faire le premier traitement 29 du résidu à l'usine par les mêmes procédés qu'au laboratoire. M. Debierne a bien voulu étudier cette question et organiser le traitement dans l'usine. Le point le plus important de la méthode qu'il a indiquée consiste à obtenir la transformation des sulfates en carbonates par l'ébullition de la matière avec une dissolution concentrée de carbonate de soude. Ce procédé permet d'éviter la fusion avec le carbonate de soude.
Le résidu contient principalement des sulfates de plomb et de chaux, de la silice, de l'alumine et de l'oxyde de fer. On y trouve, en outre, en quantité plus ou moins grande, presque tous les métaux (cuivre, bismuth, zinc, cobalt, manganèse, nickel, vanadium, antimoine, thallium, terres rares, niobium, tantale, arsenic, baryum, etc.). Le radium se trouve, dans ce mélange, à l'état de sulfate et en constitue le sulfate le moins soluble. Pour le mettre en dissolution, il faut éliminer autant que possible l'acide sulfurique. Pour cela, on commence par traiter le résidu par une solution concentrée et bouillante de soude ordinaire. L'acide sulfurique combiné au plomb, à l'alumine, à la chaux, passe, en grande partie, en dissolution à l'état de sulfate de soude que l'on enlève par des lavages à l'eau. La dissolution alcaline enlève en même temps du plomb, de la silice, de l'alumine. La portion insoluble lavée à l'eau est attaquée par l'acide chlorhydrique ordinaire. Cette opération désagrège complètement la matière et en dissout une grande partie. De cette dissolution on peut retirer le polonium et l'actinium: le premier est précipité par l'hydrogène sulfuré, le second se trouve dans les hydrates précipités par l'ammoniaque dans la dissolution séparée des sulfures et peroxydée. Quant au radium, il reste dans la portion insoluble. Cette portion est lavée à l'eau, puis traitée par une dissolution concentrée et bouillante de carbonate de soude. S'il ne restait plus que peu de sulfates non attaqués, cette opération 30 a pour effet de transformer complètement les sulfates de baryum et de radium en carbonates. On lave alors la matière très complètement à l'eau, puis on l'attaque par l'acide chlorhydrique étendu exempt d'acide sulfurique. La dissolution contient le radium, ainsi que du polonium et de l'actinium. On la filtre et on la précipite par l'acide sulfurique. On obtient ainsi des sulfates bruts de baryum radifère contenant aussi de la chaux, du plomb, du fer et ayant aussi entraîné un peu d'actinium. La dissolution contient encore un peu d'actinium et de polonium qui peuvent en être retirés comme de la première dissolution chlorhydrique.
On retire d'une tonne de résidu 10kg à 20kg de sulfates bruts, dont l'activité est de 30 à 60 fois plus grande que celle de l'uranium métallique. On procède à leur purification. Pour cela, on les fait bouillir avec du carbonate de soude et on les transforme en chlorures. La dissolution est traitée par l'hydrogène sulfuré, ce qui donne une petite quantité de sulfures actifs contenant du polonium. On filtre la dissolution, on la peroxyde par l'action du chlore et on la précipite par de l'ammoniaque pure.
Les oxydes et hydrates précipités sont très actifs, et l'activité est due à l'actinium. La dissolution filtrée est précipitée par le carbonate de soude. Les carbonates alcalino-terreux précipités sont lavés et transformés en chlorures.
Ces chlorures sont évaporés à sec et lavés avec de l'acide chlorhydrique concentré pur. Le chlorure de calcium se dissout presque entièrement, alors que le chlorure de baryum radifère reste insoluble. On obtient ainsi, par tonne de matière première, 8kg environ de chlorure de baryum radifère, dont l'activité est environ 60 fois plus grande que celle de l'uranium métallique. Ce chlorure est prêt pour le fractionnement.
Polonium.—Comme il a été dit plus haut, en faisant passer l'hydrogène sulfuré dans les diverses dissolutions chlorhydriques obtenues au cours du traitement, on précipite des sulfures actifs dont l'activité est due au polonium.
Ces sulfures contiennent principalement du bismuth, un peu de cuivre et de plomb; ce dernier métal ne s'y trouve pas en forte proportion, parce qu'il a été en grande partie enlevé par la dissolution sodique, et parce que son chlorure est peu soluble. L'antimoine et l'arsenic ne se trouvent dans les oxydes qu'en quantité minime, leurs oxydes ayant été dissous par la soude. Pour avoir de suite des sulfures très actifs, on employait le procédé suivant: les dissolutions chlorhydriques très acides étaient précipitées par l'hydrogène sulfuré: les sulfures qui se précipitent dans ces conditions sont très actifs, on les emploie pour la préparation du polonium; dans la dissolution il reste des substances dont la précipitation est incomplète en présence d'un excès d'acide chlorhydrique (bismuth, plomb, antimoine). Pour achever la précipitation, on étend la dissolution d'eau, on la traite à nouveau par l'hydrogène sulfuré et l'on obtient une seconde portion de sulfures beaucoup moins actifs que les premiers, et qui, généralement, ont été rejetés. Pour la purification ultérieure des sulfures, on les lave au sulfure d'ammonium, ce qui enlève les traces restantes d'antimoine et d'arsenic. Puis on les lave à l'eau additionnée d'azotate d'ammonium et on les traite par l'acide azotique étendu.
La dissolution n'est jamais complète; on obtient toujours un résidu insoluble plus ou moins important que l'on traite à nouveau si on le juge utile. La dissolution est réduite à un petit volume et précipitée soit par l'ammoniaque, soit par beaucoup d'eau. Dans les deux cas le plomb et le cuivre restent en dissolution; dans le second 32 cas un peu de bismuth à peine actif reste dissous également.
Le précipité d'oxydes ou de sous-azotates est soumis à un fractionnement de la manière suivante: on dissout le précipité dans l'acide azotique, on ajoute de l'eau à la dissolution, jusqu'à formation d'une quantité suffisante de précipité; pour cette opération il faut tenir compte de ce que le précipité ne se forme, quelquefois, qu'au bout d'un certain temps. On sépare le précipité du liquide surnageant, on le redissout dans l'acide azotique; sur les deux portions liquides ainsi obtenues on refait une précipitation par l'eau, et ainsi de suite. On réunit les diverses portions en se basant sur leur activité, et l'on tâche de pousser la concentration aussi loin que possible. On obtient ainsi une très petite quantité de matière dont l'activité est énorme, mais qui, néanmoins, n'a encore donné au spectroscope que les raies du bismuth.
On a malheureusement peu de chances d'aboutir à l'isolement du polonium par cette voie. La méthode de fractionnement qui vient d'être décrite présente de grandes difficultés, et il en est de même pour d'autres procédés de fractionnement par voie humide. Quel que soit le procédé employé, il se forme avec la plus grande facilité des composés absolument insolubles dans les acides étendus ou concentrés. Ces composés ne peuvent être redissous qu'en les ramenant préalablement à l'état métallique, par la fusion avec le cyanure de potassium, par exemple.
Étant donné le nombre considérable des opérations à effectuer, cette circonstance constitue une difficulté énorme pour le progrès du fractionnement. Cet inconvénient est d'autant plus grave que le polonium est une substance qui, une fois retirée de la pechblende, diminue d'activité.
Cette baisse d'activité est d'ailleurs lente; c'est ainsi 33 qu'un échantillon de nitrate de bismuth à polonium a perdu la moitié de son activité en onze mois.
Aucune difficulté analogue ne se présente pour le radium. La radioactivité reste un guide fidèle pour la concentration: cette concentration elle-même ne présente aucune difficulté, et les progrès du travail ont pu, depuis le début, être constamment contrôlés par l'analyse spectrale.
Quand les phénomènes de la radioactivité induite, dont il sera question plus loin, ont été connus, il a paru naturel d'admettre que le polonium, qui ne donne que les raies du bismuth et dont l'activité diminue avec le temps, n'est pas un élément nouveau, mais du bismuth activé par le voisinage du radium dans la pechblende. Je ne suis pas convaincue que cette manière de voir soit exacte. Au cours de mon travail prolongé sur le polonium, j'ai constaté des effets chimiques que je n'ai jamais observés ni avec le bismuth ordinaire, ni avec le bismuth activé par le radium. Ces effets chimiques sont, en premier lieu, la formation extrêmement facile des composés insolubles dont j'ai parlé plus haut (spécialement sous-nitrates), en deuxième lieu, la couleur et l'aspect des précipités obtenus en ajoutant de l'eau à la solution azotique du bismuth polonifère. Ces précipités sont parfois blancs, mais plus généralement d'un jaune plus ou moins vif, allant au rouge foncé.
L'absence de raies, autres que celles du bismuth, ne prouve pas péremptoirement que la substance ne contient que du bismuth, car il existe des corps dont la réaction spectrale est peu sensible.
Il serait nécessaire de préparer une petite quantité de bismuth polonifère à l'état de concentration aussi avancé que possible, et d'en faire l'étude chimique, en premier lieu, la détermination du poids atomique du métal. Cette recherche n'a encore pu être faite à cause des difficultés de travail chimique signalées plus haut.
S'il était démontré que le polonium est un élément nouveau, il n'en serait pas moins vrai que cet élément ne peut exister indéfiniment à l'état fortement radioactif, tout au moins quand il est retiré du minerai. On peut alors envisager la question de deux manières différentes: 1º ou bien toute l'activité du polonium est de la radioactivité induite par le voisinage de substances radioactives par elles-mêmes; le polonium aurait alors la faculté de s'activer atomiquement d'une façon durable, faculté qui ne semble pas appartenir à une substance quelconque; 2º ou bien l'activité du polonium est une activité propre qui se détruit spontanément dans certaines conditions et peut persister dans certaines autres conditions qui se trouvent réalisées dans le minerai. Le phénomène de l'activation atomique au contact est encore si mal connu, que l'on manque de base pour se former une opinion cohérente sur ce qui touche à cette question.
Tout récemment a paru un travail de M. Marckwald, sur le polonium[36]. M. Marckwald plonge une baguette de bismuth pur dans une solution chlorhydrique du bismuth extrait du résidu du traitement de la pechblende. Au bout de quelque temps la baguette se recouvre d'un dépôt très actif, et la solution ne contient plus que du bismuth inactif. M. Marckwald obtient aussi un dépôt très actif en ajoutant du chlorure d'étain à une solution chlorhydrique de bismuth radioactif. M. Marckwald conclut de là que l'élément actif est analogue au tellure et lui donne le nom de radiotellure. La matière active de M. Marckwald semble identique au polonium, par sa provenance et par les rayons très absorbables qu'elle émet. Le choix d'un nom nouveau pour cette matière est certainement inutile dans l'état actuel de la question.
Préparation du chlorure de radium pur.—Le procédé que j'ai adopté pour extraire le chlorure de radium pur du chlorure de baryum radifère consiste à soumettre 35 le mélange des chlorures à une cristallisation fractionnée dans l'eau pure d'abord, dans l'eau additionnée d'acide chlorhydrique pur ensuite. On utilise ainsi la différence des solubilités des deux chlorures, celui de radium étant moins soluble que celui de baryum.
Au début du fractionnement on emploie l'eau pure distillée. On dissout le chlorure et l'on amène la dissolution à être saturée à la température de l'ébullition, puis on laisse cristalliser par refroidissement dans une capsule couverte. Il se forme alors au fond de beaux cristaux adhérents, et la dissolution saturée, surnageante, peut être facilement décantée. Si l'on évapore à sec un échantillon de cette dissolution, on trouve que le chlorure obtenu est environ cinq fois moins actif que celui qui a cristallisé. On a ainsi partagé le chlorure en deux portions: A et B, la portion A étant beaucoup plus active que la portion B. On recommence sur chacun des chlorures A et B la même opération, et l'on obtient, avec chacun d'eux, deux portions nouvelles. Quand la cristallisation est terminée, on réunit ensemble la fraction la moins active du chlorure A et la fraction la plus active du chlorure B, ces deux matières ayant sensiblement la même activité. On se trouve alors avoir trois portions que l'on soumet à nouveau au même traitement.
On ne laisse pas augmenter constamment le nombre des portions. A mesure que ce nombre augmente, l'activité de la portion la plus soluble va en diminuant. Quand cette portion n'a plus qu'une activité insignifiante, on l'élimine du fractionnement. Quand on a obtenu le nombre de portions que l'on désire, on cesse aussi de fractionner la portion la moins soluble (la plus riche en radium), et on l'élimine du fractionnement.
On opère avec un nombre constant de portions. Après chaque série d'opérations, la solution saturée provenant d'une portion est versée sur les cristaux provenant de la 36 portion suivante; mais si, après l'une des séries, on a éliminé la fraction la plus soluble, après la série suivante on fera, au contraire, une nouvelle portion avec la fraction la plus soluble, et l'on éliminera les cristaux qui constituent la portion la plus active. Par la succession alternative de ces deux modes opératoires on obtient un mécanisme de fractionnement très régulier, dans lequel le nombre des portions et l'activité de chacune d'elles restent constants, chaque portion étant environ cinq fois plus active que la suivante, et dans lequel on élimine d'un côté (à la queue) un produit à peu près inactif, tandis que l'on recueille de l'autre côté (à la tête) un chlorure enrichi en radium. La quantité de matière contenue dans les portions va, d'ailleurs, nécessairement en diminuant, et les portions diverses contiennent d'autant moins de matière qu'elles sont plus actives.
On opérait au début avec six portions, et l'activité du chlorure éliminé à la queue n'était que 0,1 de celle de l'uranium.
Quand on a ainsi éliminé en grande partie la matière inactive et que les portions sont devenues petites, on n'a plus intérêt à éliminer à une activité aussi faible; on supprime alors une portion à la queue du fractionnement et l'on ajoute à la tête une portion formée avec le chlorure actif précédemment recueilli. On recueillera donc maintenant un chlorure plus riche en radium que précédemment. On continue à appliquer ce système jusqu'à ce que les cristaux de tête représentent du chlorure de radium pur. Si le fractionnement a été fait d'une façon très complète, il reste à peine de très petites quantités de tous les produits intermédiaires.
Quand le fractionnement est avancé et que la quantité de matière est devenue faible dans chaque portion, la séparation par cristallisation est moins efficace, le refroidissement étant trop rapide et le volume de solution à 37 décanter trop petit. On a alors intérêt à additionner l'eau d'une proportion déterminée d'acide chlorhydrique; cette proportion devra aller en croissant à mesure que le fractionnement avance.
L'avantage de cette addition consiste à augmenter la quantité de la dissolution, la solubilité des chlorures étant moindre dans l'eau chlorhydrique que dans l'eau pure. De plus, le fractionnement est alors très efficace; la différence entre les deux fractions provenant d'un même produit est considérable; en employant de l'eau avec beaucoup d'acide, on a d'excellentes séparations, et l'on peut opérer avec trois ou quatre portions seulement. On a tout avantage à employer ce procédé aussitôt que la quantité de matière est devenue assez faible pour que l'on puisse opérer ainsi sans inconvénients.
Les cristaux, qui se déposent en solution très acide, ont la forme d'aiguilles très allongées, qui ont absolument le même aspect pour le chlorure de baryum et pour le chlorure de radium. Les uns et les autres sont biréfringents. Les cristaux de chlorure de baryum radifère se déposent incolores, mais, quand la proportion de radium devient suffisante, ils prennent au bout de quelques heures une coloration jaune, allant à l'orangé, quelquefois une belle coloration rose. Cette coloration disparaît par la dissolution. Les cristaux de chlorure de radium pur ne se colorent pas, ou tout au moins pas aussi rapidement, de sorte que la coloration paraît due à la présence simultanée du baryum et du radium. Le maximum de coloration est obtenu pour une certaine concentration en radium, et l'on peut, en se basant sur cette propriété, contrôler les progrès du fractionnement. Tant que la portion la plus active se colore, elle contient une quantité notable de baryum; quand elle ne se colore plus, et que les portions suivantes se colorent, c'est que la première est sensiblement du chlorure de radium pur.
J'ai remarqué parfois la formation d'un dépôt composé de cristaux dont une partie restait incolore, alors que l'autre partie se colorait. Il semblait possible de séparer les cristaux incolores par triage, ce qui n'a pas été essayé.
A la fin du fractionnement, le rapport des activités des portions successives n'est ni le même, ni aussi régulier qu'au début; toutefois il ne se produit aucun trouble sérieux dans la marche du fractionnement.
La précipitation fractionnée d'une solution aqueuse de chlorure de baryum radifère par l'alcool conduit aussi à l'isolement du chlorure de radium qui se précipite en premier. Cette méthode que j'employais au début a été ensuite abandonnée pour celle qui vient d'être exposée et qui offre plus de régularité. Cependant, j'ai encore quelquefois employé la précipitation par l'alcool pour purifier le chlorure de radium qui contient une petite quantité de chlorure de baryum. Ce dernier reste dans la dissolution alcoolique légèrement aqueuse et peut ainsi être enlevé.
M. Giesel, qui, dès la publication de nos premières recherches, s'est occupé de la préparation des corps radioactifs, recommande la séparation du baryum et du radium par la cristallisation fractionnée dans l'eau du mélange des bromures. J'ai pu constater que ce procédé est en effet très avantageux, surtout au début du fractionnement.
Quel que soit le procédé de fractionnement dont on se sert, il est utile de le contrôler par des mesures d'activité.
Il est nécessaire de remarquer qu'un composé de radium qui était dissous, et que l'on vient de ramener à l'état solide, soit par précipitation, soit par cristallisation, possède au début une activité d'autant moins grande qu'il est resté plus longtemps en dissolution. L'activité augmente ensuite pendant plusieurs mois pour atteindre une certaine limite, toujours la même. L'activité finale est 39 cinq ou six fois plus élevée que l'activité initiale. Ces variations, sur lesquelles je reviendrai plus loin, doivent être prises en considération pour la mesure de l'activité. Bien que l'activité finale soit mieux définie, il est plus pratique, au cours d'un traitement chimique, de mesurer l'activité initiale du produit solide.
L'activité des substances fortement radioactives est d'un tout autre ordre de grandeur que celle du minerai dont elles proviennent (elle est 106 fois plus grande). Quand on mesure cette radioactivité par la méthode qui a été exposée au début de ce travail (appareil fig. 1), on ne peut pas augmenter, au delà d'une certaine limite, la charge que l'on met dans le plateau du quartz. Cette charge, dans nos expériences, était de 4000g au maximum, correspondant à une quantité d'électricité dégagée égale à 25 unités électrostatiques. Nous pouvons mesurer des activités qui varient, dans le rapport de 1 à 4000, en employant toujours la même surface pour la substance active. Pour étendre les limites des mesures, nous faisons varier cette surface dans un rapport connu. La substance active occupe alors sur le plateau B une zone circulaire centrale de rayon connu. L'activité n'étant pas, dans ces conditions, exactement proportionnelle à la surface, on détermine expérimentalement des coefficients qui permettent de comparer les activités à surface active inégale.
Quand cette ressource elle-même est épuisée, on est obligé d'avoir recours à l'emploi d'écrans absorbants et à d'autres procédés équivalents sur lesquels je n'insisterai pas ici. Tous ces procédés, plus ou moins imparfaits, suffisent cependant pour guider les recherches.
Nous avons aussi mesuré le courant qui traverse le condensateur quand il est mis en circuit avec une batterie de petits accumulateurs et un galvanomètre sensible. La nécessité de vérifier fréquemment la sensibilité du galvanomètre 40 nous a empêchés d'employer cette méthode pour les mesures courantes.
Détermination du poids atomique du radium[37].—Au cours de mon travail, j'ai, à plusieurs reprises, déterminé le poids atomique du métal contenu dans des échantillons de chlorure de baryum radifère. Chaque fois qu'à la suite d'un nouveau traitement j'avais une nouvelle provision de chlorure de baryum radifère à traiter, je poussais la concentration aussi loin que possible, de façon à obtenir de 0g,1 à 0g,5 de matière contenant presque toute l'activité du mélange. De cette petite quantité de matière je précipitais par l'alcool ou l'acide chlorhydrique quelques milligrammes de chlorure qui étaient destinés à l'analyse spectrale.
Grâce à son excellente méthode, Demarçay n'avait besoin que de cette quantité minime de matière pour obtenir la photographie du spectre de l'étincelle. Sur le produit qui me restait je faisais une détermination de poids atomique.
J'ai employé la méthode classique qui consiste à doser, à l'état de chlorure d'argent, le chlore contenu dans un poids connu de chlorure anhydre. Comme expérience de contrôle, j'ai déterminé le poids atomique du baryum par la même méthode, dans les mêmes conditions et avec la même quantité de matière, 0g,5 d'abord, 0g,1 seulement ensuite. Les nombres trouvés étaient toujours compris entre 137 et 138. J'ai vu ainsi que cette méthode donne des résultats satisfaisants, même avec une aussi faible quantité de matière.
Les deux premières déterminations ont été faites avec des chlorures, dont l'un était 230 fois et l'autre 600 fois 41 plus actif que l'uranium. Ces deux expériences ont donné, à la précision des mesures près, le même nombre que l'expérience faite avec le chlorure de baryum pur. On ne pouvait donc espérer de trouver une différence qu'en employant un produit beaucoup plus actif. L'expérience suivante a été faite avec un chlorure dont l'activité était environ 3500 fois plus grande que celle de l'uranium; cette expérience permit, pour la première fois, d'apercevoir une différence petite, mais certaine; je trouvais, pour le poids atomique moyen du métal contenu dans ce chlorure, le nombre 140, qui indiquait que le poids atomique du radium devait être plus élevé que celui du baryum. En employant des produits de plus en plus actifs et présentant le spectre du radium avec une intensité croissante, je constatais que les nombres obtenus allaient aussi en croissant, comme on peut le voir dans le Tableau suivant (A indique l'activité du chlorure, celle de l'uranium étant prise comme unité; M le poids atomique trouvé):
| A. | M. | |||
| 3500 | 140 | le spectre du radium est très faible | ||
| 4700 | 141 | |||
| 7500 | 145,8 | le spectre du radium est fort, mais celui du baryum domine de beaucoup | ||
| Ordre de grandeur, 106. | 173,8 | les deux spectres ont une importance à peu près égale | ||
| 225 | le baryum n'est présent qu'à l'état de trace. |
Les nombres de la colonne A ne doivent être considérés que comme une indication grossière. L'appréciation de l'activité des corps fortement radioactifs est, en effet, difficile, pour diverses raisons dont il sera question plus loin.
A la suite des traitements décrits plus haut, j'ai obtenu, en mars 1902, 0g,12 d'un chlorure de radium, dont Demarçay a bien voulu faire l'analyse spectrale. Ce 42 chlorure de radium, d'après l'opinion de Demarçay, était sensiblement pur; cependant son spectre présentait encore les trois raies principales du baryum avec une intensité notable.
J'ai fait avec ce chlorure quatre déterminations successives dont voici les résultats:
| Chlorure de radium anhydre. | Chlorure d'argent. | M. | |
| I | 0,1150 | 0,1130 | 220,7 |
| II | 0,1148 | 0,1119 | 223,0 |
| III | 0,11135 | 0,1086 | 222,8 |
| IV | 0,10925 | 0,10645 | 223,1 |
J'ai entrepris alors une nouvelle purification de ce chlorure, et je suis arrivée à obtenir une matière beaucoup plus pure encore, dans le spectre de laquelle les deux raies les plus fortes du baryum sont très faibles. Étant donnée la sensibilité de la réaction spectrale du baryum, Demarçay estime que ce chlorure purifié ne contient que «des traces minimes de baryum incapables d'influencer d'une façon appréciable le poids atomique». J'ai fait trois déterminations avec ce chlorure de radium parfaitement pur. Voici les résultats:
| Chlorure de radium anhydre. | Chlorure d'argent. | M. | |
| I | 0,09192 | 0,08890 | 225,3 |
| II | 0,08936 | 0,08627 | 225,8 |
| III | 0,08839 | 0,08589 | 224,0 |
Ces nombres donnent une moyenne de 225. Ils ont été calculés, de même que les précédents, en considérant le radium comme un élément bivalent, dont le chlorure a la formule RaCl2, et en adoptant pour l'argent et le chlore les nombres Ag = 107,8; Cl = 35,4.
Il résulte de ces expériences que le poids atomique du 43 radium est Ra=225. Je considère ce nombre comme exact à une unité près.
Les pesées étaient faites avec une balance apériodique Curie, parfaitement réglée, précise au vingtième de milligramme. Cette balance, à lecture directe, permet de faire des pesées très rapides, ce qui est une condition essentielle pour la pesée des chlorures anhydres de radium et de baryum, qui absorbent lentement de l'eau, malgré la présence de corps desséchants dans la balance. Les matières à peser étaient placées dans un creuset de platine; ce creuset était en usage depuis longtemps, et j'ai vérifié que son poids ne variait pas d'un dixième de milligramme au cours d'une opération.
Le chlorure hydraté obtenu par cristallisation était introduit dans le creuset et chauffé à l'étuve pour être transformé en chlorure anhydre. L'expérience montre que, lorsque le chlorure a été maintenu quelques heures à 100°, son poids ne varie plus, même lorsqu'on fait monter la température à 200° et qu'on l'y maintient pendant quelques heures. Le chlorure anhydre ainsi obtenu constitue donc un corps parfaitement défini.
Voici une série de mesures relatives à ce sujet: le chlorure (1dg) est séché à l'étuve à 55° et placé dans un exsiccateur sur de l'acide phosphorique anhydre; il perd alors du poids très lentement, ce qui prouve qu'il contient encore de l'eau; pendant 12 heures, la perte a été de 3mg. On reporte le chlorure dans l'étuve et on laisse la température monter à 100°. Pendant cette opération, le chlorure perd 6mg,3. Laissé dans l'étuve pendant 3 heures 15 minutes, il perd encore 2mg,5. On maintient la température pendant 45 minutes entre 100° et 120°, ce qui entraîne une perte de poids de 0mg,1. Laissé ensuite 30 minutes à 125°, le chlorure ne perd rien. Maintenu ensuite pendant 30 minutes à 150°, il perd 0mg,1. Enfin, chauffé pendant 4 heures à 200°, il éprouve une perte de poids 44 de 0mg,15. Pendant toutes ces opérations, le creuset a varié de 0mg,05.
Après chaque détermination de poids atomique, le radium était ramené à l'état de chlorure de la manière suivante: la liqueur contenant après le dosage l'azotate de radium et l'azotate d'argent en excès était additionnée d'acide chlorhydrique pur, on séparait le chlorure d'argent par filtration; la liqueur était évaporée à sec plusieurs fois avec un excès d'acide chlorhydrique pur. L'expérience montre qu'on peut ainsi éliminer complètement l'acide azotique.
Le chlorure d'argent du dosage était toujours radioactif et lumineux. Je me suis assurée qu'il n'avait pas entraîné de quantité pondérable de radium, en déterminant la quantité d'argent qui y était contenue. A cet effet, le chlorure d'argent fondu contenu dans le creuset était réduit par l'hydrogène résultant de la décomposition de l'acide chlorhydrique étendu par le zinc; après lavage, le creuset était pesé avec l'argent métallique qui y était contenu.
J'ai constaté également, dans une expérience, que le poids du chlorure de radium régénéré était retrouvé le même qu'avant l'opération. Dans d'autres expériences, je n'attendais pas, pour commencer une nouvelle opération, que toutes les eaux de lavage fussent évaporées.
Ces vérifications ne comportent pas la même précision que les expériences directes; elles ont permis toutefois de s'assurer qu'aucune erreur notable n'a été commise.
D'après ses propriétés chimiques, le radium est un élément de la série des alcalino-terreux. Il est dans cette série l'homologue supérieur du baryum.
D'après son poids atomique, le radium vient se placer également, dans le Tableau de Mendeleeff, à la suite du baryum dans la colonne des métaux alcalino-terreux et sur la rangée qui contient déjà l'uranium et le thorium.
Caractères des sels de radium.—Les sels de radium: chlorure, azotate, carbonate, sulfate, ont le même aspect que ceux de baryum, quand ils viennent d'être préparés à l'état solide, mais tous les sels de radium se colorent avec le temps.
Les sels de radium sont tous lumineux dans l'obscurité.
Par leurs propriétés chimiques, les sels de radium sont absolument analogues aux sels correspondants de baryum. Cependant le chlorure de radium est moins soluble que celui de baryum; la solubilité des azotates dans l'eau semble être sensiblement la même.
Les sels de radium sont le siège d'un dégagement de chaleur spontané et continu.
Le chlorure de radium pur est paramagnétique. Son coefficient d'aimantation spécifique K (rapport du moment magnétique de l'unité de masse à l'intensité du champ) a été mesuré par MM. P. Curie et C. Chéneveau au moyen d'un appareil établi par ces deux physiciens[38]. Ce coefficient a été mesuré par comparaison avec celui de l'eau et corrigé de l'action du magnétisme de l'air. On a trouvé ainsi
K = 1,05 × 10-6.
Le chlorure de baryum pur est diamagnétique, son coefficient d'aimantation spécifique est
K = - 0,40 × 10-6.
On trouve d'ailleurs, conformément aux résultats précédents, qu'un chlorure de baryum radifère contenant environ 17 pour 100 de chlorure de radium est diamagnétique et possède un coefficient spécifique
K = - 0,20 × 10-6[39].
Fractionnement du chlorure de baryum ordinaire.—Nous avons cherché à nous assurer si le chlorure de baryum du commerce ne contenait pas de petites quantités de chlorure de radium inappréciables à notre appareil de mesures. Pour cela, nous avons entrepris le fractionnement d'une grande quantité de chlorure de baryum du commerce, espérant concentrer par ce procédé la trace de chlorure de radium si elle s'y trouvait.
50kg de chlorure de baryum du commerce ont été dissous dans l'eau; la dissolution a été précipitée par de l'acide chlorhydrique exempt d'acide sulfurique, ce qui a fourni 20kg de chlorure précipité. Celui-ci a été dissous dans l'eau et précipité partiellement par l'acide chlorhydrique, ce qui a donné 8kg,5 de chlorure précipité. Ce chlorure a été soumis à la méthode de fractionnement employée pour le chlorure de baryum radifère, et l'on a éliminé à la tête du fractionnement 10g de chlorure correspondant à la portion la moins soluble. Ce chlorure ne montrait aucune radioactivité dans notre appareil de mesures; il ne contenait donc pas de radium; ce corps est, par suite, absent des minerais qui fournissent le baryum.
Procédés d'étude du rayonnement.—Pour étudier le rayonnement émis par les substances radioactives, on peut se servir de l'une quelconque des propriétés de ce rayonnement. On peut donc utiliser soit l'action des rayons sur les plaques photographiques, soit leur propriété d'ioniser l'air et de le rendre conducteur, soit encore leur faculté de provoquer la fluorescence de certaines substances. En parlant dorénavant de ces diverses manières d'opérer, j'emploierai, pour abréger, les expressions: méthode radiographique, méthode électrique, méthode fluoroscopique.
Les deux premières ont été employées dès le début pour l'étude des rayons uraniques; la méthode fluoroscopique ne peut s'appliquer qu'aux substances nouvelles, fortement radioactives, car les substances faiblement radioactives telles que l'uranium et le thorium ne produisent pas de fluorescence appréciable. La méthode électrique est la seule qui comporte des mesures d'intensité précises; les deux autres sont surtout propres à donner à ce point de vue des résultats qualitatifs et ne peuvent fournir que des mesures d'intensité grossières. Les résultats obtenus avec les trois méthodes considérées ne sont jamais que très grossièrement comparables entre eux et peuvent ne pas être comparables du tout. La plaque sensible, le gaz qui s'ionise, l'écran fluorescent sont autant de récepteurs auxquels on demande d'absorber l'énergie 48 du rayonnement et de la transformer en un autre mode d'énergie: énergie chimique, énergie ionique ou énergie lumineuse. Chaque récepteur absorbe une fraction du rayonnement qui dépend essentiellement de sa nature. On verra d'ailleurs plus loin que le rayonnement est complexe; les portions du rayonnement absorbées par les différents récepteurs peuvent différer entre elles quantitativement et qualitativement. Enfin, il n'est ni évident, ni même probable, que l'énergie absorbée soit entièrement transformée par le récepteur en la forme que nous désirons observer; une partie de cette énergie peut se trouver transformée en chaleur, en émission de rayonnements secondaires qui, suivant le cas, seront ou ne seront pas utilisés pour la production du phénomène observé, en action chimique différente de celle que l'on observe, etc., et, là encore, l'effet utile du récepteur, pour le but que nous nous proposons, dépend essentiellement de la nature de ce récepteur.
Comparons deux échantillons radioactifs dont l'un contient du radium et l'autre du polonium, et qui sont également actifs dans l'appareil à plateaux de la figure 1. Si l'on recouvre chacun d'eux d'une feuille mince d'aluminium, le second paraîtra considérablement moins actif que le premier, et il en sera de même si on les place sous le même écran fluorescent, quand ce dernier est assez épais, ou qu'il est placé à une certaine distance des deux substances radioactives.
Énergie du rayonnement.—Quelle que soit la méthode de recherches employée, on trouve toujours que l'énergie du rayonnement des substances radioactives nouvelles est considérablement plus grande que celle de l'uranium et du thorium. C'est ainsi que, à petite distance, une plaque photographique est impressionnée, pour ainsi dire, instantanément, alors qu'une pose de 24 heures 49 est nécessaire quand on opère avec l'uranium et le thorium. Un écran fluorescent est vivement illuminé au contact des substances radioactives nouvelles, alors qu'aucune trace de luminosité ne se voit avec l'uranium et le thorium. Enfin, l'action ionisante sur l'air est aussi considérablement plus intense, dans le rapport de 106 environ. Mais il n'est, à vrai dire, plus possible d'évaluer l'intensité totale du rayonnement, comme pour l'uranium, par la méthode électrique décrite au début (fig. 1). En effet, dans le cas de l'uranium, par exemple, le rayonnement est très approximativement absorbé dans la couche d'air qui sépare les plateaux, et le courant limite est atteint pour une tension de 100 volts. Mais il n'en est plus de même pour les substances fortement radioactives. Une partie du rayonnement du radium est constituée par des rayons très pénétrants qui traversent le condensateur et les plateaux métalliques, et ne sont nullement utilisés à ioniser l'air entre les plateaux. De plus le courant limite ne peut pas toujours être obtenu pour les tensions dont on dispose; c'est ainsi que, pour le polonium très actif, le courant est encore proportionnel à la tension entre 100 et 500 volts. Les conditions expérimentales qui donnent à la mesure une signification simple ne sont donc pas réalisées, et, par suite, les nombres obtenus ne peuvent être considérés comme donnant la mesure du rayonnement total; ils ne constituent, à ce point de vue, qu'une approximation grossière.
Nature complexe du rayonnement.—Les travaux de divers physiciens (MM. Becquerel, Meyer et von Schweidler, Giesel, Villard, Rutherford, M. et Mme Curie) ont montré que le rayonnement des substances radioactives est un rayonnement très complexe. Il convient de distinguer trois espèces de rayons que je désignerai, suivant la notation adoptée par M. Rutherford, par les lettres α, β et γ.
1º Les rayons α sont des rayons très peu pénétrants qui semblent constituer la plus grosse partie de rayonnement. Ces rayons sont caractérisés par les lois suivant lesquelles ils sont absorbés par la matière. Le champ magnétique agit très faiblement sur ces rayons, et on les a considérés tout d'abord comme insensibles à l'action de ce champ. Cependant, dans un champ magnétique intense, les rayons α sont légèrement déviés; la déviation se produit de la même manière que dans le cas des rayons cathodiques, mais le sens de la déviation est renversé; il est le même que pour les rayons canaux des tubes de Crookes.
2º Les rayons β sont des rayons moins absorbables dans leur ensemble que les précédents. Ils sont déviés par un champ magnétique de la même manière et dans le même sens que les rayons cathodiques.
3º Les rayons γ sont des rayons pénétrants insensibles à l'action du champ magnétique et comparables aux rayons de Röntgen.
Les rayons d'un même groupe peuvent avoir un pouvoir de pénétration qui varie dans des limites très étendues, comme cela a été prouvé pour les rayons β.
Imaginons l'expérience suivante: le radium R est placé au fond d'une petite cavité profonde creusée dans un bloc de plomb P (fig. 4). Un faisceau de rayons rectiligne et peu épanoui s'échappe de la cuve. Supposons que, dans la région qui entoure la cuve, on établisse un champ magnétique uniforme, très intense, normal au plan de la figure et dirigé vers l'arrière de ce plan. Les trois groupes de rayons α, β, γ se trouveront séparés. Les rayons γ peu intenses continuent leur trajet rectiligne sans trace de déviation. Les rayons β sont déviés à la façon de rayons cathodiques et décrivent dans le plan de la figure des trajectoires circulaires dont le rayon varie dans des limites étendues. Si la cuve est placée sur une plaque photographique 51 AC, la portion BC de la plaque qui reçoit les rayons β est impressionnée. Enfin, les rayons α forment un faisceau très intense qui est dévié légèrement et qui est assez rapidement absorbé par l'air. Ces rayons décrivent, dans le plan de la figure, une trajectoire dont le rayon de courbure est très grand, le sens de la déviation étant l'inverse de celui qui a lieu pour les rayons β.
Si l'on recouvre la cuve d'un écran mince en aluminium, (0mm,1 d'épaisseur), les rayons α sont en très grande partie supprimés, les rayons β le sont bien moins et les rayons γ ne semblent pas absorbés notablement.
L'expérience que je viens de décrire n'a pas été réalisée sous cette forme, et l'on verra dans la suite quelles sont les expériences qui montrent l'action du champ magnétique sur les divers groupes de rayons.
Action du champ magnétique.—On a vu que les rayons émis par les substances radioactives ont un grand 52 nombre de propriétés communes aux rayons cathodiques et aux rayons Röntgen. Aussi bien les rayons cathodiques que les rayons Röntgen ionisent l'air, agissent sur les plaques photographiques, excitent la fluorescence, n'éprouvent pas de réflexion régulière. Mais les rayons cathodiques diffèrent des rayons Röntgen en ce qu'ils sont déviés de leur trajet rectiligne par l'action du champ magnétique et en ce qu'ils transportent des charges d'électricité négative.
Le fait que le champ magnétique agit sur les rayons émis par les substances radioactives a été découvert presque simultanément par MM. Giesel, Meyer et von Schweidler et Becquerel[40]. Ces physiciens ont reconnu que les rayons des substances radioactives sont déviés par le champ magnétique de la même façon et dans le même sens que les rayons cathodiques; leurs observations se rapportaient aux rayons β.
M. Curie a montré que le rayonnement du radium comporte deux groupes de rayons bien distincts, dont l'un est facilement dévié par le champ magnétique (rayons β) alors que l'autre reste insensible à l'action de ce champ (rayons α et γ dont l'ensemble était désigné par le nom de rayons non déviables)[41].
M. Becquerel n'a pas observé d'émission de rayons genre cathodique par les échantillons de polonium préparés par nous. C'est, au contraire, sur un échantillon de polonium, préparé par lui, que M. Giesel a observé pour la première fois l'effet du champ magnétique. De tous les échantillons de polonium, préparés par nous, aucun n'a jamais donné lieu à une émission de rayons genre cathodique.
Le polonium de M. Giesel n'émet des rayons genre cathodique que quand il est récemment préparé, et il est probable que l'émission est due au phénomène de radioactivité induite dont il sera question plus loin.
Voici les expériences qui prouvent qu'une partie du rayonnement du radium et une partie seulement est constituée par des rayons facilement déviables (rayons β). Ces expériences ont été faites par la méthode électrique[42].
Le corps radioactif (fig. 5) envoie des radiations suivant la direction AD entre les plateaux P et P'. Le plateau P est maintenu au potentiel de 500 volts, le plateau P' est relié à un électromètre et à un quartz piézoélectrique. On mesure l'intensité du courant qui passe dans l'air sous l'influence des radiations. On peut à volonté établir le champ magnétique d'un électro-aimant normalement au plan de la figure dans toute la région EEEE. Si les rayons sont déviés, même faiblement, ils ne pénètrent plus entre les plateaux, et le courant est 54 supprimé. La région où passent les rayons est entourée par les masses de plomb B, B', B" et par les armatures de l'électro-aimant; quand les rayons sont déviés, ils sont absorbés par les masses de plomb B et B'.
Les résultats obtenus dépendent essentiellement de la distance AD du corps radiant A à l'entrée du condensateur en D. Si la distance AD est assez grande (supérieure à 7cm), la plus grande partie (90 pour 100 environ) des rayons du radium qui arrivent au condensateur sont déviés et supprimés pour un champ de 2500 unités. Ces rayons sont des rayons β. Si la distance AD est plus faible que 65mm, une partie moins importante des rayons est déviée par l'action du champ; cette partie est d'ailleurs déjà complètement déviée par un champ de 2500 unités, et la proportion de rayons supprimés n'augmente pas quand on fait croître le champ de 2500 à 7000 unités.
La proportion des rayons non supprimés par le champ est d'autant plus grande que la distance AD entre le corps radiant et le condensateur est plus petite. Pour les distances faibles les rayons qui peuvent être déviés facilement ne constituent plus qu'une très faible fraction du rayonnement total.
Les rayons pénétrants sont donc, en majeure partie, des rayons déviables genre cathodique (rayons β).
Avec le dispositif expérimental qui vient d'être décrit, l'action du champ magnétique sur les rayons α ne pouvait guère être observée pour les champs employés. Le rayonnement très important, en apparence non déviable, observé à petite distance de la source radiante, était constitué par les rayons α; le rayonnement non déviable observé à grande distance était constitué par les rayons γ.
Lorsque l'on tamise le faisceau au travers d'une lame absorbante (aluminium ou papier noir), les rayons qui passent sont presque tous déviés par le champ, de telle 55 sorte qu'à l'aide de l'écran et du champ magnétique presque tout le rayonnement est supprimé dans le condensateur, ce qui reste n'étant alors dû qu'aux rayons γ, dont la proportion est faible. Quant aux rayons α, ils sont absorbés par l'écran.
Une lame d'aluminium de 1/100 de millimètre d'épaisseur suffit pour supprimer presque tous les rayons difficilement déviables, quand la substance est assez loin du condensateur; pour des distances plus petites (34mm et 51mm), deux feuilles d'aluminium au 1/100 sont nécessaires pour obtenir ce résultat.
On a fait des mesures semblables sur quatre substances radifères (chlorures ou carbonates) d'activité très différente; les résultats obtenus ont été très analogues.
On peut remarquer que, pour tous les échantillons, les rayons pénétrants déviables à l'aimant (rayons β) ne sont qu'une faible partie du rayonnement total; ils n'interviennent que pour une faible part dans les mesures où l'on utilise le rayonnement intégral pour produire la conductibilité de l'air.
On peut étudier la radiation émise par le polonium par la méthode électrique. Quand on fait varier la distance AD du polonium au condensateur, on n'observe d'abord aucun courant tant que la distance est assez grande; quand on rapproche le polonium, on observe que, pour une certaine distance qui était de 4cm pour l'échantillon étudié, le rayonnement se fait très brusquement sentir avec une assez grande intensité; le courant augmente ensuite régulièrement si l'on continue à rapprocher le polonium, mais le champ magnétique ne produit pas d'effet appréciable dans ces conditions. Il semble que le rayonnement du polonium soit délimité dans l'espace et dépasse à peine dans l'air une sorte de gaine entourant la substance sur l'épaisseur de quelques centimètres.
Il convient de faire des réserves générales importantes 56 sur la signification des expériences que je viens de décrire. Quand j'indique la proportion des rayons déviés par l'aimant, il s'agit seulement des radiations susceptibles d'actionner un courant dans le condensateur. En employant comme réactif des rayons de Becquerel la fluorescence ou l'action sur les plaques photographiques, la proportion serait probablement différente, une mesure d'intensité n'ayant généralement un sens que pour la méthode de mesures employée.
Les rayons du polonium sont des rayons du genre α. Dans les expériences que je viens de décrire, on n'a observé aucun effet du champ magnétique sur ces rayons, mais le dispositif expérimental était tel qu'une faible déviation passait inaperçue.
Des expériences faites par la méthode radiographique ont confirmé les résultats de celles qui précèdent. En employant le radium comme source radiante, et en recevant l'impression sur une plaque parallèle au faisceau primitif et normale au champ, on obtient la trace très nette de deux faisceaux séparés par l'action du champ, l'un dévié, l'autre non dévié. Les rayons β constituent le faisceau dévié; les rayons α étant peu déviés se confondent sensiblement avec le faisceau non dévié des rayons γ.
Rayons déviables β.—Il résultait des expériences de MM. Giesel et de MM. Meyer et von Schweidler que le rayonnement des corps radioactifs est au moins en partie dévié par un champ magnétique, et que la déviation se fait comme pour les rayons cathodiques. M. Becquerel a étudié l'action du champ sur les rayons par la méthode radiographique[43]. Le dispositif expérimental employé était celui de la figure 4. Le radium était placé dans la 57 cuve en plomb P, et cette cuve était posée sur la face sensible d'une plaque photographique AC enveloppée de papier noir. Le tout était placé entre les pôles d'un électro-aimant, le champ magnétique étant normal au plan de la figure.
Si le champ est dirigé vers l'arrière de ce plan, la partie BC de la plaque se trouve impressionnée par des rayons qui, ayant décrit des trajectoires circulaires, sont rabattus sur la plaque et viennent la couper à angle droit. Ces rayons sont des rayons β.
M. Becquerel a montré que l'impression constitue une large bande diffuse, véritable spectre continu, montrant que le faisceau de rayons déviables émis par la source est constitué par une infinité de radiations inégalement déviables. Si l'on recouvre la gélatine de la plaque de divers écrans absorbants (papier, verre, métaux), une portion du spectre se trouve supprimée, et l'on constate que les rayons les plus déviés par le champ magnétique, autrement dit ceux qui donnent la plus petite valeur du rayon de la trajectoire circulaire, sont le plus fortement absorbés. Pour chaque écran l'impression sur la plaque ne commence qu'à une certaine distance de la source radiante, cette distance étant d'autant plus grande que l'écran est plus absorbant.
Charge des rayons déviables.—Les rayons cathodiques sont, comme l'a montré M. Perrin, chargés d'électricité négative[44]. De plus ils peuvent, d'après les expériences de M. Perrin et de M. Lenard[45], transporter leur charge à travers des enveloppes métalliques réunies à la terre et à travers des lames isolantes. En tout point, où les rayons cathodiques sont absorbés, se fait un dégagement 58 continu d'électricité négative. Nous avons constaté qu'il en est de même pour les rayons déviables β du radium. Les rayons déviables β du radium sont chargés d'électricité négative[46].
Étalons la substance radioactive sur l'un des plateaux d'un condensateur, ce plateau étant relié métalliquement à la terre; le second plateau est relié à un électromètre, il reçoit et absorbe les rayons émis par la substance. Si les rayons sont chargés, on doit observer une arrivée continue d'électricité à l'électromètre. Cette expérience, réalisée dans l'air, ne nous a pas permis de déceler une charge des rayons, mais l'expérience ainsi faite n'est pas sensible. L'air entre les plateaux étant rendu conducteur par les rayons, l'électromètre n'est plus isolé et ne peut accuser que des charges assez fortes.
Pour que les rayons α ne puissent apporter de trouble dans l'expérience, on peut les supprimer en recouvrant la source radiante d'un écran métallique mince; le résultat de l'expérience n'est pas modifié[47].
Nous avons sans plus de succès répété cette expérience dans l'air en faisant pénétrer les rayons dans l'intérieur d'un cylindre de Faraday en relation avec l'électromètre[48].
On pouvait déjà se rendre compte, d'après les expériences qui précèdent, que la charge des rayons du produit radiant employé était faible.
Pour constater un faible dégagement d'électricité sur le conducteur qui absorbe les rayons, il faut que ce conducteur 59 soit bien isolé électriquement; pour obtenir ce résultat, il est nécessaire de le mettre à l'abri de l'air, soit en le plaçant dans un tube avec un vide très parfait, soit en l'entourant d'un bon diélectrique solide. C'est ce dernier dispositif que nous avons employé.
Un disque conducteur MM (fig. 6) est relié par la tige métallique t à l'électromètre; disque et tige sont complètement entourés de matière isolante iiii; le tout est recouvert d'une enveloppe métallique EEEE qui est en communication électrique avec la terre. Sur l'une des faces du disque, l'isolant pp et l'enveloppe métallique sont très minces. C'est cette face qui est exposée au rayonnement du sel de baryum radifère R, placé à l'extérieur dans une auge en plomb[49]. Les rayons émis par le radium traversent l'enveloppe métallique et la lame isolante pp, et sont absorbés par le disque métallique MM. Celui-ci est alors le siège d'un dégagement continu et constant d'électricité négative que l'on constate à l'électromètre et que l'on mesure à l'aide du quartz piézoélectrique.
Le courant ainsi créé est très faible. Avec du chlorure de baryum radifère très actif formant une couche de 2cm²,5 60 de surface et de 0cm,2 d'épaisseur, on obtient un courant de l'ordre de grandeur de 10-11 ampère, les rayons utilisés ayant traversé, avant d'être absorbés par le disque MM, une épaisseur d'aluminium de 0mm,01 et une épaisseur d'ébonite de 0mm,3.
Nous avons employé successivement du plomb, du cuivre et du zinc pour le disque MM, de l'ébonite et de la paraffine pour l'isolant; les résultats obtenus ont été les mêmes.
Le courant diminue quand on éloigne la source radiante R, ou quand on emploie un produit moins actif.
Nous avons encore obtenu les mêmes résultats en remplaçant le disque MM par un cylindre de Faraday rempli d'air, mais enveloppé extérieurement par une matière isolante. L'ouverture du cylindre, fermée par la plaque isolante mince pp, était alors en face de la source radiante.
Enfin nous avons fait l'expérience inverse, qui consiste à placer l'auge de plomb avec le radium au milieu de la matière isolante et en relation avec l'électromètre (fig. 7), le tout étant enveloppé par l'enceinte métallique reliée à la terre.
Dans ces conditions, on observe à l'électromètre que le radium prend une charge positive et égale en grandeur à la charge négative de la première expérience. Les rayons du radium traversent la plaque diélectrique mince pp et 61 quittent le conducteur intérieur en emportant de l'électricité négative.
Les rayons α du radium n'interviennent pas dans ces expériences, étant absorbés presque totalement par une épaisseur extrêmement faible de matière. La méthode qui vient d'être décrite ne convient pas non plus pour l'étude de la charge des rayons du polonium, ces rayons étant également très peu pénétrants. Nous n'avons observé aucun indice de charge avec du polonium, qui émet seulement des rayons α; mais, pour la raison qui précède, on ne peut tirer de cette expérience aucune conclusion.
Ainsi, dans le cas des rayons déviables β du radium, comme dans le cas des rayons cathodiques, les rayons transportent de l'électricité. Or, jusqu'ici on n'a jamais reconnu l'existence de charges électriques non liées à la matière. On est donc amené à se servir, dans l'étude de l'émission des rayons déviables β du radium, de la même théorie que celle actuellement en usage pour l'étude des rayons cathodiques. Dans cette théorie balistique, qui a été formulée par Sir W. Crookes, puis développée et complétée par M. J.-J. Thompson, les rayons cathodiques sont constitués par des particules extrêmement ténues qui sont lancées à partir de la cathode avec une très grande vitesse, et qui sont chargées d'électricité négative. On peut de même concevoir que le radium envoie dans l'espace des particules chargées négativement.
Un échantillon de radium renfermé dans une enveloppe solide, mince, parfaitement isolante, doit se charger spontanément à un potentiel très élevé. Dans l'hypothèse balistique le potentiel augmenterait, jusqu'à ce que la différence de potentiel avec les conducteurs environnants devînt suffisante pour empêcher l'éloignement des particules électrisées émises et amener leur retour à la source radiante.
Nous avons réalisé par hasard l'expérience dont il est question ici. Un échantillon de radium très actif était enfermé depuis longtemps dans une ampoule de verre. Pour ouvrir l'ampoule, nous avons fait avec un couteau à verre un trait sur le verre. A ce moment nous avons entendu nettement le bruit d'une étincelle, et en observant ensuite l'ampoule à la loupe, nous avons aperçu que le verre avait été perforé par une étincelle à l'endroit où il s'était trouvé aminci par le trait. Le phénomène qui s'est produit là est exactement comparable à la rupture du verre d'une bouteille de Leyde trop chargée.
Le même phénomène s'est reproduit avec une autre ampoule. De plus, au moment où l'étincelle a éclaté, M. Curie qui tenait l'ampoule ressentit dans les doigts la secousse électrique due à la décharge.
Certains verres ont de bonnes propriétés isolantes. Si l'on enferme le radium dans une ampoule de verre scellée et bien isolante, on peut s'attendre à ce que cette ampoule à un moment donné se perce spontanément.
Le radium est le premier exemple d'un corps qui se charge spontanément d'électricité.
Action du champ électrique sur les rayons déviables β du radium.—Les rayons déviables β du radium étant assimilés à des rayons cathodiques doivent être déviés par un champ électrique de la même façon que ces derniers, c'est-à-dire comme le serait une particule matérielle chargée négativement et lancée dans l'espace avec une grande vitesse. L'existence de cette déviation a été montrée, d'une part, par M. Dorn[50], d'autre part, par M. Becquerel[51].
Considérons un rayon qui traverse l'espace situé entre les deux plateaux d'un condensateur. Supposons la direction du rayon parallèle aux plateaux. Quand on établit entre ces derniers un champ électrique, le rayon est soumis à l'action de ce champ uniforme sur toute la longueur du trajet dans le condensateur, soit l. En vertu de cette action le rayon est dévié vers le plateau positif et décrit un arc de parabole; en sortant du champ il continue son chemin en ligne droite suivant la tangente à l'arc de parabole au point de sortie. On peut recevoir le rayon sur une plaque photographique normale à sa direction primitive. On observe l'impression produite sur la plaque quand le champ est nul et quand le champ a une valeur connue, et l'on déduit de là la valeur de la déviation δ, qui est la distance des points, où la nouvelle direction du rayon et sa direction primitive rencontrent un même plan normal à la direction primitive. Si h est la distance de ce plan au condensateur, c'est-à-dire à la limite du champ, on a, par un calcul simple,

m étant la masse de la particule en mouvement, e sa charge, v sa vitesse et F la valeur du champ.
Les expériences de M. Becquerel lui ont permis de donner une valeur approchée de δ.
Rapport de la charge à la masse pour une particule, chargée négativement, émise par le radium.—Quand une particule matérielle, ayant la masse m et la charge négative e, est lancée avec une vitesse v dans un champ magnétique uniforme normal à sa vitesse initiale, cette particule décrit dans un plan normal au champ et passant par sa vitesse initiale un arc de cercle de rayon ρ 64 tel que, H étant la valeur du champ, on a la relation
![]()
Si l'on a mesuré pour un même rayon la déviation électrique δ et le rayon de courbure ρ dans un champ magnétique, on pourra, de ces deux expériences, tirer les valeurs du rapport e/m de la vitesse v.
Les expériences de M. Becquerel ont fourni une première indication à ce sujet. Elles ont donné pour le rapport e/m une valeur approchée égale à 107 unités électromagnétiques absolues, et pour v une grandeur égale à 1,6 × 1010. Ces valeurs sont du même ordre de grandeur que pour les rayons cathodiques.
Des expériences précises ont été faites sur le même sujet par M. Kaufmann[52]. Ce physicien a soumis un faisceau très étroit de rayons du radium à l'action simultanée d'un champ électrique et d'un champ magnétique, les deux champs étant uniformes et ayant une même direction, normale à la direction primitive du faisceau. L'impression produite sur une plaque normale au faisceau primitif et placée au-dessus des limites du champ par rapport à la source prend la forme d'une courbe, dont chaque point correspond à l'un des rayons du faisceau primitif hétérogène. Les rayons les plus pénétrants et les moins déviables sont d'ailleurs ceux dont la vitesse est la plus grande.
Il résulte des expériences de M. Kaufmann que pour les rayons du radium, dont la vitesse est notablement supérieure à celle des rayons cathodiques, le rapport e/m va en diminuant quand la vitesse augmente.
D'après les travaux de J.-J. Thomson et de Townsend[53] nous devons admettre que la particule en mouvement, qui constitue le rayon, possède une charge e égale à celle transportée par un atome d'hydrogène dans l'électrolyse, cette charge étant la même pour tous les rayons. On est donc conduit à conclure que la masse de la particule m va en augmentant quand la vitesse augmente.
Or, des considérations théoriques conduisent à concevoir que l'inertie de la particule est précisément due à son état de charge en mouvement, la vitesse d'une charge électrique en mouvement ne pouvant être modifiée sans dépense d'énergie. Autrement dit, l'inertie de la particule est d'origine électromagnétique, et la masse de la particule est au moins en partie une masse apparente ou masse électromagnétique. M. Abraham[54] va plus loin et suppose que la masse de la particule est entièrement une masse électromagnétique. Si dans cette hypothèse on calcule la valeur de cette masse m pour une vitesse connue v, on trouve que m tend vers l'infini quand v tend vers la vitesse de la lumière, et que m tend vers une valeur constante quand la vitesse v est très inférieure à celle de la lumière. Les expériences de M. Kaufmann sont en accord avec les résultats de cette théorie dont l'importance est grande, puisqu'elle permet de prévoir la possibilité d'établir les bases de la mécanique sur la dynamique de petits centres matériels chargés en état de mouvement[55].
Voici les nombres obtenus par M. Kaufmann pour e/m et v:
| e/m unités électromagnétiques. | v cm/sec. | ||
| 1,865 × 107 | 0,7 × 1010 | pour les rayons cathodiques. | |
| 1,31 × 107 | 2,36 × 1010 | pour les rayons du radium (Kaufmann). | |
| 1,17 » | 2,48 » | ||
| 0,97 » | 2,59 » | ||
| 0,77 » | 2,72 » | ||
| 0,63 » | 2,83 » |
M. Kaufmann conclut de la comparaison de ses expériences avec la théorie, que la valeur limite du rapport e/m pour les rayons du radium de vitesse relativement faible serait la même que la valeur de e/m pour les rayons cathodiques.
Les expériences les plus complètes de M. Kaufmann ont été faites avec un grain minuscule de chlorure de radium pur, que nous avons mis à sa disposition.
D'après les expériences de M. Kaufmann certains rayons β du radium possèdent une vitesse très voisine de celle de la lumière. On comprend que ces rayons si rapides puissent jouir d'un pouvoir pénétrant très grand vis-à-vis de la matière.
Action du champ magnétique sur les rayons α.—Dans un travail récent, M. Rutherford a annoncé[56] que, dans un champ magnétique ou électrique puissant, les rayons α du radium sont légèrement déviés à la façon de particules électrisées positivement et animées d'une grande vitesse. M. Rutherford conclut de ses expériences 67 que la vitesse des rayons α est de l'ordre de grandeur 2,5 × 109 cm/sec et que le rapport e/m pour ces rayons est de l'ordre de grandeur 6 × 103, soit 104 fois plus grand que pour les rayons déviables β. On verra plus loin que ces conclusions de M. Rutherford sont en accord avec les propriétés antérieurement connues du rayonnement α, et qu'elles rendent compte, au moins en partie, de la loi d'absorption de ce rayonnement.
Les expériences de M. Rutherford ont été confirmées par M. Becquerel. M. Becquerel a montré, de plus, que les rayons du polonium se comportent dans un champ magnétique comme les rayons α du radium et qu'ils semblent prendre, à champ égal, la même courbure que ces derniers. Il résulte aussi des expériences de M. Becquerel que les rayons α ne semblent pas former de spectre magnétique, mais se comportent plutôt comme un rayonnement homogène, tous les rayons étant également déviés[57].
M. Des Coudres a fait une mesure de la déviation électrique et de la déviation magnétique des rayons α du radium dans le vide. Il a trouvé pour la vitesse de ces rayons v = 1,65 × 109 cm/sec et pour le rapport de la charge à la masse e/m = 6400 en unités électromagnétiques[58]. La vitesse des rayons α est donc environ 20 fois plus faible que celle de la lumière. Le rapport e/m est du même ordre de grandeur que celui que l'on trouve pour l'hydrogène dans l'électrolyse: e/m = 9650. Si donc on admet que la charge de chaque projectile est la même que celle d'un atome d'hydrogène dans l'électrolyse, on en conclut que 68 la masse de ce projectile est du même ordre de grandeur que celle d'un atome d'hydrogène.
Or nous venons de voir que, pour les rayons cathodiques et pour les rayons β du radium les plus lents, le rapport e/m est égal à 1,865 × 107; ce rapport est donc environ 2000 fois plus grand que celui obtenu dans l'électrolyse. La charge de la particule chargée négativement étant supposée la même que celle d'un atome d'hydrogène, sa masse limite pour les vitesses relativement faibles serait donc environ 2000 fois plus petite que celle d'un atome d'hydrogène.
Les projectiles qui constituent les rayons β sont donc à la fois beaucoup plus petits et animés d'une vitesse plus grande que ceux qui constituent les rayons α. On comprend alors facilement que les premiers possèdent un pouvoir pénétrant bien plus grand que les seconds.
Action du champ magnétique sur les rayons des autres substances radioactives.—On vient de voir que le radium émet des rayons α assimilables aux rayons canaux, des rayons β assimilables aux rayons cathodiques et des rayons pénétrants et non déviables γ. Le polonium n'émet que des rayons α. Parmi les autres substances radioactives, l'actinium semble se comporter comme le radium, mais l'étude du rayonnement de ce corps n'est pas encore aussi avancée que celle du rayonnement du radium. Quant aux substances faiblement radioactives, on sait aujourd'hui que l'uranium et le thorium émettent aussi bien des rayons α que des rayons déviables β (Becquerel, Rutherford).
Proportion des rayons déviables β dans le rayonnement du radium.—Comme je l'ai déjà dit, la proportion des rayons β va en augmentant, à mesure qu'on s'éloigne de la source radiante. Toutefois, ces rayons ne se montrent 69 jamais seuls, et pour les grandes distances on observe aussi toujours la présence de rayons γ. La présence de rayons non déviables très pénétrants dans le rayonnement du radium a été, pour la première fois, observée par M. Villard[59]. Ces rayons ne constituent qu'une faible partie du rayonnement mesuré par la méthode électrique, et leur présence nous avait échappé dans nos premières expériences, de sorte que nous croyions alors à tort que le rayonnement à grande distance ne contenait que des rayons déviables.
Voici les résultats numériques obtenus dans des expériences faites par la méthode électrique avec un appareil analogue à celui de la figure 5. Le radium n'était séparé du condensateur que par l'air ambiant. Je désigne par d la distance de la source radiante au condensateur. En supposant égal à 100 le courant obtenu sans champ magnétique pour chaque distance, les nombres de la deuxième ligne indiquent le courant qui subsiste quand le champ agit. Ces nombres peuvent être considérés comme donnant le pourcentage de l'ensemble des rayons α et γ, la déviation des rayons α n'ayant guère pu être observée avec le dispositif employé.
Aux grandes distances on n'a plus de rayons α, et le rayonnement non dévié est alors du genre γ seulement.
Expériences faites à petite distance:
| d en centimètres. | 3,4 | 5,1 | 6,0 | 6,5 |
| Pour 100 de rayons non déviés. | 74 | 56 | 33 | 11 |
Expériences faites aux grandes distances, avec un produit considérablement plus actif que celui qui avait servi pour la série précédente:
| d en centimètres. | 14 | 30 | 53 | 80 | 98 | 124 | 157 |
| Pour 100 de rayons déviés. | 12 | 14 | 17 | 14 | 16 | 14 | 11 |
On voit, qu'à partir d'une certaine distance, la proportion des rayons non déviés dans le rayonnement est approximativement constante. Ces rayons appartiennent probablement tous à l'espèce γ. Il n'y a pas à tenir compte outre mesure des irrégularités dans les nombres de la seconde ligne, si l'on envisage que l'intensité totale du courant dans les deux expériences extrêmes était dans le rapport de 660 à 10. Les mesures ont pu être poursuivies jusqu'à une distance de 1m,57 de la source radiante, et nous pourrions aller encore plus loin actuellement.
Voici une autre série d'expériences, dans lesquelles le radium était enfermé dans un tube de verre très étroit, placé au-dessous du condensateur et parallèlement aux plateaux. Les rayons émis traversaient une certaine épaisseur de verre et d'air, avant d'entrer dans le condensateur.
| d en centimètres. | 2,5 | 3,3 | 4,1 | 5,9 | 7,5 | 9,6 | 11,3 | 13,9 | 17,2 |
| Pour 100 de rayons non déviés. | 33 | 33 | 21 | 16 | 14 | 10 | 9 | 9 | 10 |
Comme dans les expériences précédentes, les nombres de la seconde ligne tendent vers une valeur constante quand la distance d croît, mais la limite est sensiblement atteinte pour des distances plus petites que dans les séries précédentes, parce que les rayons α ont été plus fortement absorbés par le verre que les rayons β et γ.
Voici une autre expérience qui montre qu'une lame d'aluminium mince (épaisseur 0mm,01) absorbe principalement les rayons α. Le produit étant placé à 5cm du condensateur, on trouve en faisant agir le champ magnétique que la proportion des rayons autres que β est de 71 pour 100. Le même produit étant recouvert de la lame d'aluminium, et la distance restant la même, on trouve que le rayonnement transmis est presque totalement dévié par le champ magnétique, les rayons α ayant été absorbés par la 71 lame. On obtient le même résultat en employant le papier comme écran absorbant.
La plus grosse partie du rayonnement du radium est formée par des rayons α qui sont probablement émis surtout par la couche superficielle de la matière radiante. Quand on fait varier l'épaisseur de la couche de la matière radiante, l'intensité du courant augmente avec cette épaisseur; l'augmentation n'est pas proportionnelle à l'accroissement d'épaisseur pour la totalité du rayonnement; elle est d'ailleurs plus notable sur les rayons β que sur les rayons α, de sorte que la proportion de rayons β va en croissant avec l'épaisseur de la couche active. La source radiante étant placée à une distance de 5cm du condensateur, on trouve que, pour une épaisseur égale à 0mm,4 de la couche active, le rayonnement total est donné par le nombre 28 et la proportion des rayons β est de 29 pour 100. En donnant à la couche active l'épaisseur de 2mm, soit 5 fois plus grande, on obtient un rayonnement total égal à 102 et une proportion de rayons déviables β égale à 45 pour 100. Le rayonnement total qui subsiste à cette distance a donc été augmenté dans le rapport 3,6 et le rayonnement déviable β est devenu environ 5 fois plus fort.
Les expériences précédentes ont été faites par la méthode électrique. Quand on opère par la méthode radiographique, certains résultats semblent, en apparence, être en contradiction avec ce qui précède. Dans les expériences de M. Villard, un faisceau de rayons du radium soumis à l'action d'un champ magnétique était reçu sur une pile de plaques photographiques. Le faisceau non déviable et pénétrant γ traversait toutes les plaques et marquait sa trace sur chacune d'elles. Le faisceau dévié β produisait une impression sur la première plaque seulement. Ce faisceau paraissait donc ne point contenir de rayons de grande pénétration.
Au contraire, dans nos expériences, un faisceau qui se propage dans l'air contient aux plus grandes distances accessibles à l'observation 9/10 environ de rayons déviables β, et il en est encore de même, quand la source radiante est enfermée dans une petite ampoule de verre scellée. Dans les expériences de M. Villard, ces rayons déviables et pénétrants β n'impressionnent pas les plaques photographiques placées au delà de la première, parce qu'ils sont en grande partie diffusés dans tous les sens par le premier obstacle solide rencontré et cessent de former un faisceau. Dans nos expériences, les rayons émis par le radium et transmis par le verre de l'ampoule étaient probablement aussi diffusés par le verre, mais l'ampoule étant très petite, fonctionnait alors elle-même comme une source de rayons déviables β partant de sa surface, et nous avons pu observer ces derniers jusqu'à une grande distance de l'ampoule.
Les rayons cathodiques des tubes de Crookes ne peuvent traverser que des écrans très minces (écrans d'aluminium jusqu'à 0mm,01 d'épaisseur). Un faisceau de rayons qui arrive normalement sur l'écran est diffusé dans tous les sens; mais la diffusion est d'autant moins importante que l'écran est plus mince, et pour des écrans très minces il existe un faisceau sortant qui est sensiblement le prolongement du faisceau incident[60].
Les rayons déviables β du radium se comportent d'une manière analogue, mais le faisceau déviable transmis éprouve, à épaisseur d'écran égale, une modification beaucoup moins profonde. D'après les expériences de M. Becquerel, les rayons β très fortement déviables du radium (ceux dont la vitesse est relativement faible) sont fortement diffusés par un écran d'aluminium de 0mm,1 d'épaisseur; mais les rayons pénétrants et peu déviables (rayons 73 genre cathodique de grande vitesse) traversent ce même écran sans aucune diffusion sensible, et sans que le faisceau qu'ils constituent soit déformé, et cela quelle que soit l'inclinaison de l'écran par rapport au faisceau. Les rayons β de grande vitesse traversent sans diffusion une épaisseur bien plus grande de paraffine (quelques centimètres), et l'on peut suivre dans celle-ci la courbure du faisceau produite par le champ magnétique. Plus l'écran est épais et plus sa matière est absorbante, plus le faisceau déviable primitif est altéré, parce que, à mesure que l'épaisseur de l'écran croît, la diffusion commence à se faire sentir sur de nouveaux groupes de rayons de plus en plus pénétrants.
L'air produit sur les rayons β du radium qui le traversent une diffusion, qui est très sensible pour les rayons fortement déviables, mais qui est cependant bien moins importante que celle qui est due à des épaisseurs égales de matières solides traversées. C'est pourquoi les rayons déviables β du radium se propagent dans l'air à de grandes distances.
Pouvoir pénétrant du rayonnement des corps radioactifs.—Dès le début des recherches sur les corps radioactifs, on s'est préoccupé de l'absorption produite par divers écrans sur les rayons émis par ces substances. J'ai donné dans une première Note relative à ce sujet[61] plusieurs nombres cités au début de ce travail indiquant la pénétration relative des rayons uraniques et thoriques. M. Rutherford a étudié plus spécialement la radiation uranique[62] et prouvé qu'elle était hétérogène. M. Owens a conclu de même pour les rayons thoriques[63]. Quand 74 vint ensuite la découverte des substances fortement radioactives, le pouvoir pénétrant de leurs rayons fut aussitôt étudié par divers physiciens (Becquerel, Meyer et von Schweidler, Curie, Rutherford). Les premières observations mirent en évidence l'hétérogénéité du rayonnement qui semble être un phénomène général et commun aux substances radioactives[64]. On se trouve là en présence de sources, qui émettent un ensemble de radiations, dont chacune a un pouvoir pénétrant qui lui est propre. La question se complique encore par ce fait, qu'il y a lieu de rechercher en quelle mesure la nature de la radiation peut se trouver modifiée par le passage à travers les substances matérielles et que, par conséquent, chaque ensemble de mesures n'a une signification précise que pour le dispositif expérimental employé.
Ces réserves étant faites, on peut chercher à coordonner les diverses expériences et à exposer l'ensemble des résultats acquis.
Les corps radioactifs émettent des rayons qui se propagent dans l'air et dans le vide. La propagation est rectiligne; ce fait est prouvé par la netteté et la forme des ombres fournies par l'interposition de corps, opaques au rayonnement, entre la source et la plaque sensible ou l'écran fluorescent qui sert de récepteur, la source ayant des dimensions petites par rapport à sa distance au récepteur. Diverses expériences qui prouvent la propagation rectiligne des rayons émis par l'uranium, le radium et le polonium ont été faites par M. Becquerel[65].
La distance à laquelle les rayons peuvent se propager dans l'air à partir de la source est intéressante à connaître. Nous avons constaté que le radium émet des 75 rayons qui peuvent être observés dans l'air à plusieurs mètres de distance. Dans certaines de nos mesures électriques, l'action de la source sur l'air du condensateur s'exerçait à une distance comprise entre 2m et 3m. Nous avons également obtenu des effets de fluorescence et des impressions radiographiques à des distances du même ordre de grandeur. Ces expériences ne peuvent être faites facilement qu'avec des sources radioactives très intenses, parce que, indépendamment de l'absorption exercée par l'air, l'action sur un récepteur donné varie en raison inverse du carré de la distance à une source de petites dimensions. Ce rayonnement, qui se propage à grande distance du radium, comprend aussi bien des rayons genre cathodique que des rayons non déviables; cependant, les rayons déviables dominent de beaucoup, d'après les expériences que j'ai citées plus haut. Quant à la grosse masse du rayonnement (rayons α), elle est, au contraire, limitée dans l'air à une distance de 7cm environ de la source.
J'ai fait quelques expériences avec du radium enfermé dans une petite ampoule de verre. Les rayons qui sortaient de cette ampoule franchissaient un certain espace d'air et étaient reçus dans un condensateur, qui servait à mesurer leur pouvoir ionisant par la méthode électrique ordinaire. On faisait varier la distance d de la source au condensateur et l'on mesurait le courant de saturation i obtenu dans le condensateur. Voici les résultats d'une des séries de mesures:
| d cm. | i. | (i × d2) × 10-3. |
| 10 | 127 | 13 |
| 20 | 38 | 15 |
| 30 | 17,4 | 16 |
| 40 | 10,5 | 17 |
| 50 | 6,9 | 17 |
| 60 | 4,7 | 17 |
| 70 | 3,8 | 19 |
| 100 | 1,65 | 17 |
A partir d'une certaine distance, l'intensité du rayonnement varie sensiblement en raison inverse du carré de la distance au condensateur.
Le rayonnement du polonium ne se propage dans l'air qu'à une distance de quelques centimètres (4cm à 6cm) de la source radiante.
Si l'on considère l'absorption des radiations par les écrans solides, on constate là encore une différence fondamentale entre le radium et le polonium. Le radium émet des rayons capables de traverser une grande épaisseur de matière solide, par exemple quelques centimètres de plomb ou de verre[66]. Les rayons qui ont traversé une grande épaisseur d'un corps solide sont extrêmement pénétrants, et, pratiquement, on n'arrive plus, pour ainsi dire, à les faire absorber intégralement par quoi que ce soit. Mais ces rayons ne constituent qu'une faible fraction du rayonnement total, dont la grosse masse est, au contraire, absorbée par une faible épaisseur de matière solide.
Le polonium émet des rayons extrêmement absorbables qui ne peuvent traverser que des écrans solides très minces.
Voici, à titre d'exemple, quelques nombres relatifs à l'absorption produite par une lame d'aluminium d'épaisseur égale à 0mm,01. Cette lame était placée au-dessus et presque au contact de la substance. Le rayonnement direct et celui transmis par la lame étaient mesurés par la méthode électrique (appareil fig. 1); le courant de saturation était sensiblement atteint dans tous les cas. Je désigne par a l'activité de la substance radiante, celle de l'uranium étant prise comme unité.
| a. | Fraction du rayonnement transmise par la lame. | |
| Chlorure de baryum radifère | 57 | 0,32 |
| Bromure » | 43 | 0,30 |
| Chlorure » | 1200 | 0,30 |
| Sulfate » | 5000 | 0,29 |
| Sulfate » | 10000 | 0,32 |
| Bismuth à polonium métallique | 0,22 | |
| Composés d'urane | 0,20 | |
| Composés de thorium en couche mince | 0,38 | |
On voit que des composés radifères de nature et d'activité différentes donnent des résultats très analogues, ainsi que je l'ai indiqué déjà pour les composés d'urane et de thorium au début de ce travail. On voit aussi que si l'on considère toute la masse du rayonnement, et pour la lame absorbante considérée, les diverses substances radiantes viennent se ranger dans l'ordre suivant de pénétration décroissante de leurs rayons: thorium, radium, polonium, uranium.
Ces résultats sont analogues à ceux qui ont été publiés par M. Rutherford dans un Mémoire relatif à cette question[67].
M. Rutherford trouve, d'ailleurs, que l'ordre est le même quand la substance absorbante est constituée par l'air. Mais il est probable que cet ordre n'a rien d'absolu et ne se maintiendrait pas indépendamment de la nature et de l'épaisseur de l'écran considéré. L'expérience montre, en effet, que la loi d'absorption est très différente pour le polonium et le radium et que, pour ce dernier, il y a lieu de considérer séparément l'absorption des rayons de chacun des trois groupes.
Le polonium se prête particulièrement à l'étude des rayons α, puisque les échantillons que nous possédons 78 n'émettent point d'autres rayons. J'ai fait une première série d'expériences avec des échantillons de polonium extrêmement actifs et récemment préparés. J'ai trouvé que les rayons du polonium sont d'autant plus absorbables, que l'épaisseur de matière qu'ils ont déjà traversée est plus grande[68]. Cette loi d'absorption singulière est contraire à celle que l'on connaît pour les autres rayonnements.
J'ai employé pour cette étude notre appareil de mesures de la conductibilité électrique avec le dispositif suivant:
Les deux plateaux d'un condensateur PP et P'P' (fig. 8) sont horizontaux et abrités dans une boîte métallique BBBB en relation avec la terre. Le corps actif A, situé dans une boîte métallique épaisse CCCC faisant corps avec le plateau P'P', agit sur l'air du condensateur au travers d'une toile métallique T; les rayons qui traversent la toile sont seuls utilisés pour la production du courant, le champ électrique s'arrêtant à la toile. On peut faire varier la distance AT du corps actif à la toile. Le champ entre les plateaux est établi au moyen d'une pile; la mesure 79 du courant se fait au moyen d'un électromètre et d'un quartz piézoélectrique.
En plaçant en A sur le corps actif divers écrans et en modifiant la distance AT, on peut mesurer l'absorption des rayons qui font dans l'air des chemins plus ou moins grands.
Voici les résultats obtenus avec le polonium:
Pour une certaine valeur de la distance AT (4cm et au-dessus), aucun courant ne passe: les rayons ne pénètrent pas dans le condensateur. Quand on diminue la distance AT, l'apparition des rayons dans le condensateur se fait d'une manière assez brusque, de telle sorte que, pour une petite diminution de la distance, on passe d'un courant très faible à un courant très notable; ensuite le courant s'accroît régulièrement quand on continue à rapprocher le corps radiant de la toile T.
Quand on recouvre la substance radiante d'une lame d'aluminium laminé de 1/100 de millimètre d'épaisseur, l'absorption produite par la lame est d'autant plus forte que la distance AT est plus grande.
Si l'on place sur la première lame d'aluminium une deuxième lame pareille, chaque lame absorbe une fraction du rayonnement qu'elle reçoit, et cette fraction est plus grande pour la deuxième lame que pour la première, de telle façon que c'est la deuxième lame qui semble plus absorbante.
Dans le Tableau qui suit, j'ai fait figurer: dans la première ligne, les distances en centimètres entre le polonium et la toile T; dans la deuxième ligne, la proportion de rayons pour 100 transmise par une lame d'aluminium; dans la troisième ligne, la proportion de rayons pour 100 transmise par deux lames du même aluminium.
| Distance AT | 3,5 | 2,5 | 1,9 | 1,45 | 0,5 |
| Pour 100 de rayons transmis par une lame | 0 | 0 | 5 | 10 | 25 |
| Pour 100 de rayons transmis par deux lames | 0 | 0 | 0 | 5 | 0,7 |
Dans ces expériences, la distance des plateaux P et P' était de 3cm. On voit que l'interposition de la lame d'aluminium diminue l'intensité du rayonnement en plus forte proportion dans les régions éloignées que dans les régions rapprochées.
Cet effet est encore plus marqué que ne l'indiquent les nombres qui précèdent. Ainsi, la pénétration de 25 pour 100, pour la distance 0cm,5, représente la moyenne de pénétration pour tous les rayons qui dépassent cette distance, ceux extrêmes ayant une pénétration très faible. Si l'on ne recueillait que les rayons compris entre 0cm,5 et 1cm, par exemple, on aurait une pénétration plus grande encore. Et, en effet, si l'on rapproche le plateau P à une distance 0cm,5 de P', la fraction du rayonnement transmise par la lame d'aluminium (pour AT = 0cm,5) est de 47 pour 100 et, à travers deux lames, elle est de 5 pour 100 du rayonnement primitif.
J'ai fait récemment une deuxième série d'expériences avec ces mêmes échantillons de polonium dont l'activité était considérablement diminuée, l'intervalle de temps qui sépare les deux séries d'expériences étant de 3 ans.
Dans les expériences anciennes, le polonium était à l'état de sous-nitrate; dans celles récentes il était à l'état de grains métalliques, obtenus par fusion du sous-nitrate avec le cyanure de potassium.
J'ai constaté que le rayonnement du polonium avait conservé les mêmes caractères essentiels, et j'ai trouvé quelques résultats nouveaux. Voici, pour diverses valeurs de la distance AT, la fraction du rayonnement transmise par un écran formé par 4 feuilles très minces d'aluminium battu superposées:
| Distance AT en centimètres | 0 | 1,5 | 2,6 |
| Pour 100 de rayons transmis par l'écran | 76 | 66 | 39 |
J'ai constaté de même que la fraction du rayonnement 81 absorbée par un écran donné croît avec l'épaisseur de matière qui a déjà été traversée par le rayonnement, mais cela a lieu seulement à partir d'une certaine valeur de la distance AT. Quand cette distance est nulle (le polonium étant tout contre la toile, en dehors ou en dedans du condensateur), on observe que, de plusieurs écrans identiques superposés, chacun absorbe la même fraction du rayonnement qu'il reçoit, autrement dit, l'intensité du rayonnement diminue alors suivant une loi exponentielle en fonction de l'épaisseur de matière traversée, comme cela aurait lieu pour un rayonnement homogène et transmis par la lame sans changement de nature.
Voici quelques résultats numériques relatifs à ces expériences:
Pour une distance AT égale à 1cm,5, un écran en aluminium mince transmet la fraction 0,51 du rayonnement qu'il reçoit quand il agit seul, et la fraction 0,34 seulement du rayonnement qu'il reçoit quand il est précédé par un autre écran pareil à lui.
Au contraire, pour une distance AT égale à 0, ce même écran transmet dans les deux cas considérés la même fraction du rayonnement qu'il reçoit et cette fraction est égale à 0,71; elle est donc plus grande que dans le cas précédent.
Voici, pour une distance AT égale à 0 et pour une succession d'écrans très minces superposés, des nombres qui indiquent pour chaque écran le rapport du rayonnement transmis au rayonnement reçu:
| Série de 9 feuilles de cuivre très minces. |
Série de 7 feuilles d'aluminium très minces. |
| 0,72 | 0,69 |
| 0,78 | 0,94 |
| 0,75 | 0,95 |
| 0,77 | 0,91 |
| 0,70 | 0,92 |
| 820,77 | 0,93 |
| 0,69 | 0,91 |
| 0,79 | |
| 0,68 |
Étant données les difficultés d'emploi d'écrans très minces et de la superposition d'écrans au contact, les nombres de chaque colonne peuvent être considérés comme constants; seul, le premier nombre de la colonne relative à l'aluminium indique une absorption plus forte que celle indiquée par les nombres suivants.
Les rayons α du radium se comportent comme les rayons du polonium. On peut étudier ces rayons à peu près seuls en renvoyant les rayons bien plus déviables β de côté par l'emploi d'un champ magnétique; les rayons γ semblent, en effet, peu importants par rapport aux rayons α. Toutefois, on ne peut opérer ainsi qu'à partir d'une certaine distance de la source radiante. Voici les résultats d'une expérience de ce genre. On mesurait la fraction du rayonnement transmise par une lame d'aluminium de 0mm,1 d'épaisseur; cette lame était placée toujours au même endroit, au-dessus et à petite distance de la source radiante. On observait, au moyen de l'appareil de la figure 5, le courant produit dans le condensateur pour diverses valeurs de la distance AD, en présence et en absence de la lame.
| Distance AD | 6,0 | 5,1 | 3,4 |
| Pour 100 de rayons transmis par l'aluminium | 3 | 7 | 24 |
Ce sont encore les rayons qui allaient le plus loin dans l'air qui sont le plus absorbés par l'aluminium. Il y a donc une grande analogie entre la partie absorbable α du rayonnement du radium et les rayons du polonium.
Les rayons déviables β et les rayons non déviables pénétrants 83 γ sont, au contraire, de nature différente. Les expériences de divers physiciens, notamment de MM. Meyer et von Schweidler[69], montrent clairement que, si l'on considère l'ensemble du rayonnement du radium, le pouvoir pénétrant de ce rayonnement augmente avec l'épaisseur de matière traversée, comme cela a lieu pour les rayons de Röntgen. Dans ces expériences, les rayons α interviennent à peine, parce que ces rayons sont pratiquement supprimés par des écrans absorbants très minces. Ce qui traverse, ce sont, d'une part, les rayons β plus ou moins diffusés, d'autre part, les rayons γ, qui semblent analogues aux rayons de Röntgen.
Voici les résultats de quelques-unes de mes expériences à ce sujet:
Le radium est enfermé dans une ampoule de verre. Les rayons qui sortent de l'ampoule traversent 30cm d'air et sont reçus sur une série de plaques de verre d'épaisseur de 1mm,3 chacune; la première plaque transmet 49 pour 100 du rayonnement qu'elle reçoit, la deuxième transmet 84 pour 100 du rayonnement qu'elle reçoit, la troisième transmet 85 pour 100 du rayonnement qu'elle reçoit.
Dans une autre série d'expériences, le radium était enfermé dans une ampoule de verre placée à 10cm du condensateur qui recevait les rayons. On plaçait sur l'ampoule une série d'écrans de plomb identiques dont chacun avait une épaisseur de 0mm,115.
Le rapport du rayonnement transmis au rayonnement reçu est donné pour chacune des lames successives par la série des nombres suivants:
| 0,40 | 0,60 | 0,72 | 0,79 | 0,89 | 0,92 | 0,94 | 0,94 | 0,97 |
Pour une série de 4 écrans en plomb dont chacun avait 84 1mm,5 d'épaisseur, le rapport du rayonnement transmis au rayonnement reçu était donné pour les lames successives par les nombres suivants:
| 0,09 | 0,78 | 0,84 | 0,82 |
De ces expériences il résulte que, quand l'épaisseur de plomb traversée croît de 0mm,1 à 6mm, le pouvoir pénétrant du rayonnement va en augmentant.
J'ai constaté que, dans les conditions expérimentales indiquées, un écran de plomb de 1cm,8 d'épaisseur transmet 2 pour 100 du rayonnement qu'il reçoit; un écran de plomb de 5cm,3 d'épaisseur transmet encore 0,4 pour 100 du rayonnement qu'il reçoit. J'ai constaté également que le rayonnement transmis par une épaisseur de plomb égale à 1mm,5 comprend une forte proportion de rayons déviables (genre cathodique). Ces derniers sont donc capables de traverser non seulement de grandes distances dans l'air, mais aussi des épaisseurs notables de substances solides très absorbantes telles que le plomb.
Quand on étudie avec l'appareil de la figure 2 l'absorption exercée par une lame d'aluminium de 0mm,01 d'épaisseur sur l'ensemble du rayonnement du radium, la lame étant toujours placée à la même distance de la substance radiante, et le condensateur étant placé à une distance variable AD, les résultats obtenus sont la superposition de ce qui est dû aux trois groupes du rayonnement. Si l'on observe à grande distance, les rayons pénétrants dominent et l'absorption est faible; si l'on observe à petite distance, les rayons α dominent et l'absorption est d'autant plus faible qu'on se rapproche plus de la substance; pour une distance intermédiaire, l'absorption passe par un maximum et la pénétration par un minimum.
| Distance AD | 7,1 | 6,5 | 6,0 | 5,1 | 3,4 |
| Pour 100 de rayons transmis par l'aluminium | 91 | 82 | 58 | 41 | 48 |
Toutefois, certaines expériences relatives à l'absorption mettent en évidence une certaine analogie entre les rayons α et les rayons déviables β. C'est ainsi que M. Becquerel a trouvé que l'action absorbante d'un écran solide sur les rayons β augmente avec la distance de l'écran à la source, de sorte que, si les rayons sont soumis à un champ magnétique comme dans la figure 4, un écran placé contre la source radiante laisse subsister une portion plus grande du spectre magnétique que le même écran placé sur la plaque photographique. Cette variation de l'effet absorbant de l'écran avec la distance de cet écran à la source est analogue à ce qui a lieu pour les rayons α; elle a été vérifiée par MM. Meyer et von Schweidler, qui opéraient par la méthode fluoroscopique; M. Curie et moi nous avons observé le même fait en nous servant de la méthode électrique. Les conditions de production de ce phénomène n'ont pas encore été étudiées. Cependant, quand le radium est enfermé dans un tube de verre et placé à assez grande distance d'un condensateur qui est lui-même enfermé dans une boîte d'aluminium mince, il est indifférent de placer l'écran contre la source ou contre le condensateur; le courant obtenu est alors le même dans les deux cas.
L'étude des rayons α m'avait amenée à considérer que ces rayons se comportent comme des projectiles lancés avec une certaine vitesse et qui perdent de leur force vive en franchissant des obstacles[70]. Ces rayons jouissent pourtant de la propagation rectiligne comme l'a montré M. Becquerel dans l'expérience suivante. Le polonium émettant les rayons était placé dans une cavité linéaire très étroite, creusée dans une feuille de carton. On avait ainsi une source linéaire de rayons. Un fil de cuivre de 1mm,5 de diamètre était placé parallèlement en face de la source 86 à une distance de 4mm,9. Une plaque photographique était placée parallèlement à une distance de 8mm,65 au delà. Après une pose de 10 minutes, l'ombre géométrique du fil était reproduite d'une façon parfaite, avec les dimensions prévues et une pénombre très étroite de chaque côté correspondant bien à la largeur de la source. La même expérience réussit également bien en plaçant contre le fil une double feuille d'aluminium battu que les rayons sont obligés de traverser.
Il s'agit donc bien de rayons capables de donner des ombres géométriques parfaites. L'expérience avec l'aluminium montre que ces rayons ne sont pas diffusés en traversant la lame, et que cette lame n'émet pas, tout au moins en quantité importante, des rayons secondaires analogues aux rayons secondaires des rayons de Röntgen.
Les rayons α sont ceux qui semblent actifs dans la très belle expérience réalisée dans le spinthariscope de M. Crookes[71]. Cet appareil se compose essentiellement d'un grain de sel de radium maintenu à l'extrémité d'un fil métallique en face d'un écran au sulfure de zinc phosphorescent. Le grain de radium est à une très petite distance de l'écran (0mm,5, par exemple), et l'on regarde au moyen d'une loupe la face de l'écran tournée vers le radium. Dans ces conditions l'œil aperçoit sur l'écran une véritable pluie de points lumineux qui apparaissent et disparaissent continuellement. L'écran présente l'aspect d'un ciel étoilé. Les points brillants sont plus rapprochés dans les régions de l'écran voisines du radium, et dans le voisinage immédiat de celui-ci la lueur paraît continue. Le phénomène ne semble pas altéré par les courants d'air; il se produit dans le vide; un écran même très mince placé entre le radium et l'écran phosphorescent le supprime; il semble donc bien que le phénomène soit 87 dû à l'action des rayons α les plus absorbables du radium.
On peut imaginer que l'apparition d'un des points lumineux sur l'écran phosphorescent est provoquée par le choc d'un projectile isolé. Dans cette manière de voir, on aurait affaire, pour la première fois, à un phénomène permettant de distinguer l'action individuelle d'une particule dont les dimensions sont du même ordre de grandeur que celles d'un atome.
L'aspect des points lumineux est le même que celui des étoiles ou des objets ultra-microscopiques fortement éclairés qui ne produisent pas sur la rétine des images nettes, mais des taches de diffraction; et ceci est bien en accord avec la conception que chaque point lumineux extrêmement petit est produit par le choc d'un seul atome.
Les rayons pénétrants non déviables γ semblent être de tout autre nature et semblent analogues aux rayons Röntgen. Rien ne prouve, d'ailleurs, que des rayons peu pénétrants de même nature ne puissent exister dans le rayonnement du radium, car ils pourraient être masqués par le rayonnement corpusculaire.
On vient de voir combien le rayonnement des corps radioactifs est un phénomène complexe. Les difficultés de son étude viennent s'augmenter par cette circonstance, qu'il y a lieu de rechercher si ce rayonnement éprouve de la part de la matière une absorption sélective seulement, ou bien aussi une transformation plus ou moins profonde.
On ne sait encore que peu de choses relativement à cette question. Toutefois, si l'on admet que le rayonnement du radium comporte à la fois des rayons genre cathodique et des rayons genre Röntgen, on peut s'attendre à ce que ce rayonnement éprouve des transformations en traversant les écrans. On sait, en effet: 1º que les rayons cathodiques qui sortent du tube de Crookes à travers une fenêtre d'aluminium (expérience de Lenard) sont fortement 88 diffusés par l'aluminium, et que, de plus, la traversée de l'écran entraîne une diminution de la vitesse des rayons; c'est ainsi que des rayons cathodiques d'une vitesse égale à 1,4 × 1010 centimètres perdent 10 pour 100 de leur vitesse en traversant 0mm,01 d'aluminium[72]; 2º les rayons cathodiques, en frappant un obstacle, donnent lieu à la production de rayons Röntgen; 3º les rayons Röntgen, en frappant un obstacle solide, donnent lieu à une production de rayons secondaires, qui sont en partie des rayons cathodiques[73].
On peut donc, par analogie, prévoir l'existence de tous les phénomènes précédents pour les rayons des substances radioactives.
En étudiant la transmission des rayons du polonium à travers un écran d'aluminium, M. Becquerel n'a observé ni production de rayons secondaires ni transformation en rayons genre cathodique[74].
J'ai cherché à mettre en évidence une transformation des rayons du polonium, en employant la méthode de l'interversion des écrans: deux écrans superposés E1 et E2 étant traversés par les rayons, l'ordre dans lequel ils sont traversés doit être indifférent, si le passage au travers des écrans ne transforme pas les rayons; si, au contraire, chaque écran transforme les rayons en les transmettant, l'ordre des écrans n'est pas indifférent. Si, par exemple, les rayons se transforment en rayons plus absorbables en traversant du plomb, et que l'aluminium ne produise pas un effet du même genre avec la même importance, alors le système plomb-aluminium paraîtra plus opaque que le système aluminium-plomb; c'est ce qui a lieu pour les rayons Röntgen.
Mes expériences indiquent que ce phénomène se produit avec les rayons du polonium. L'appareil employé était celui de la figure 8. Le polonium était placé dans la boîte CCCC et les écrans absorbants, nécessairement très minces, étaient placés sur la toile métallique T.
| Écrans employés. | Épaisseur. mm |
Courant observé. | |
| Aluminium | 0,01 | 17,9 | |
| Laiton | 0,005 | ||
| Laiton | 0,005 | 6,7 | |
| Aluminium | 0,01 | ||
| Aluminium | 0,01 | 150 | |
| Étain | 0,005 | ||
| Étain | 0,005 | 125 | |
| Aluminium | 0,01 | ||
| Étain | 0,005 | 13,9 | |
| Laiton | 0,005 | ||
| Laiton | 0,005 | 4,4 | |
| Étain | 0,005 |
Les résultats obtenus prouvent que le rayonnement est modifié en traversant un écran solide. Cette conclusion est d'accord avec les expériences dans lesquelles, de deux lames métalliques identiques et superposées, la première se montre moins absorbante que la suivante. Il est probable, d'après cela, que l'action transformatrice d'un écran est d'autant plus grande que cet écran est plus loin de la source. Ce point n'a pas été vérifié, et la nature de la transformation n'a pas encore été étudiée en détail.
J'ai répété les mêmes expériences avec un sel de radium très actif. Le résultat a été négatif. Je n'ai observé que des variations insignifiantes dans l'intensité de la radiation transmise lors de l'interversion de l'ordre des écrans. Les systèmes d'écrans essayés ont été les suivants:
| mm | mm | ||
| Aluminium, épaisseur | 0,55 | Platine, épaisseur | 0,01 |
| » » | 0,55 | Plomb » | 0,1 |
| » » | 0,55 | Étain » | 0,005 |
| 90 » » | 1,07 | Cuivre » | 0,05 |
| » » | 0,55 | Laiton » | 0,005 |
| » » | 1,07 | Laiton » | 0,005 |
| » » | 0,15 | Platine » | 0,01 |
| » » | 0,15 | Zinc » | 0,05 |
| » » | 0,15 | Plomb » | 0,1 |
Le système plomb-aluminium s'est montré légèrement plus opaque que celui aluminium-plomb, mais la différence n'est pas grande.
Je n'ai pu mettre ainsi en évidence une transformation notable des rayons du radium. Cependant, dans diverses expériences radiographiques, M. Becquerel a observé des effets très intenses dus aux rayons diffusés ou secondaires, émis par les écrans solides qui recevaient les rayons du radium. La substance la plus active, au point de vue de ces émissions secondaires, semble être le plomb.
Action ionisante des rayons du radium sur les liquides isolants.—M. Curie a montré que les rayons du radium et les rayons de Röntgen agissent sur les diélectriques liquides comme sur l'air, en leur communiquant une certaine conductibilité électrique[75]. Voici comment était disposée l'expérience (fig. 9).
Le liquide à expérimenter est placé dans un vase métallique CDEF, dans lequel plonge un tube de cuivre mince AB; ces deux pièces métalliques servent d'électrodes. Le vase est maintenu à un potentiel connu, au moyen d'une batterie de petits accumulateurs, dont un pôle est à terre. Le tube AB est en relation avec l'électromètre. Lorsqu'un courant traverse le liquide, on maintient l'électromètre au zéro à l'aide d'un quartz piézoélectrique 91 qui donne la mesure du courant. Le tube de cuivre MNM'N', relié au sol, sert de tube de garde pour empêcher le passage du courant à travers l'air. Une ampoule contenant le sel de baryum radifère peut être placée au fond du tube AB; les rayons agissent sur le liquide après avoir traversé le verre de l'ampoule et les parois du tube métallique. On peut encore faire agir le radium en plaçant l'ampoule en dessous de la paroi DE.
Pour agir avec les rayons de Röntgen, on fait arriver ces rayons au travers de la paroi DE.
L'accroissement de conductibilité par l'action des rayons du radium ou des rayons de Röntgen semble se produire pour tous les diélectriques liquides; mais, pour constater cet accroissement, il est nécessaire que la conductibilité propre du liquide soit assez faible pour ne pas masquer l'effet des rayons.
En opérant avec le radium et les rayons de Röntgen, M. Curie a obtenu des effets du même ordre de grandeur.
Quand on étudie avec le même dispositif la conductibilité de l'air ou d'un autre gaz sous l'action des rayons de Becquerel, on trouve que l'intensité du courant obtenu est proportionnelle à la différence de potentiel entre les électrodes, tant que celle-ci ne dépasse pas quelques volts; mais pour des tensions plus élevées, l'intensité du courant croît de moins en moins vite, et le courant de saturation est sensiblement atteint pour une tension de 100 volts.
Les liquides étudiés avec le même appareil et avec le même produit radiant très actif se comportent différemment; l'intensité du courant est proportionnelle à la tension quand celle-ci varie entre 0 et 450 volts, et cela même quand la distance des électrodes ne dépasse pas 6mm. On peut alors considérer la conductivité provoquée dans divers liquides par le rayonnement d'un sel de radium agissant dans les mêmes conditions.
Les nombres du Tableau suivant multiplié par 10-14 donnent la conductivité en mhos (inverse d'ohm) pour 1cm³:
| Sulfure de carbone | 20 |
| Éther de pétrole | 15 |
| Amylène | 14 |
| Chlorure de carbone | 8 |
| Benzine | 4 |
| Air liquide | 1,3 |
| Huile de vaseline | 1,6 |
On peut cependant supposer que les liquides et les gaz se comportent d'une façon analogue, mais que, pour les liquides, le courant reste proportionnel à la tension jusqu'à une limite bien plus élevée que pour les gaz. On pouvait, par analogie avec ce qui a lieu pour les gaz, chercher à abaisser la limite de proportionnalité en employant un rayonnement beaucoup plus faible. L'expérience a vérifié cette prévision; le produit radiant employé était 150 fois moins actif que celui qui avait servi pour les 93 premières expériences. Pour des tensions de 50, 100, 200, 400 volts, les intensités du courant étaient représentées respectivement par les nombres 109, 185, 255, 335. La proportionnalité ne se maintient plus, mais le courant varie encore fortement quand on double la différence de potentiel.
Quelques-uns des liquides examinés sont des isolants à peu près parfaits, quand ils sont maintenus à température constante, et qu'ils sont à l'abri de l'action des rayons. Tels sont: l'air liquide, l'éther de pétrole, l'huile de vaseline, l'amylène. Il est alors très facile d'étudier l'effet des rayons. L'huile de vaseline est beaucoup moins sensible à l'action des rayons que l'éther de pétrole. Il convient peut-être de rapprocher ce fait de la différence de volatilité qui existe entre ces deux hydrocarbures. L'air liquide qui a bouilli pendant quelque temps dans le vase d'expérience est plus sensible à l'action des rayons que celui que l'on vient d'y verser; la conductivité produite par les rayons est de 1/4 plus grande dans le premier cas. M. Curie a étudié sur l'amylène et sur l'éther de pétrole l'action des rayons aux températures de + 10° et de - 17°. La conductivité due au rayonnement diminue de 1/10 seulement de sa valeur, quand on passe de 10° à - 17°.
Dans les expériences où l'on fait varier la température du liquide on peut soit maintenir le radium à la température ambiante, soit le porter à la même température que le liquide; on obtient le même résultat dans les deux cas. Cela tient à ce que le rayonnement du radium ne varie pas avec la température, et conserve encore la même valeur même à la température de l'air liquide. Ce fait a été vérifié directement par des mesures.
Divers effets et applications de l'action ionisante des rayons émis par les substances radioactives.—Les rayons des nouvelles substances radioactives ionisent l'air 94 fortement. On peut, par l'action du radium, provoquer facilement la condensation de la vapeur d'eau sursaturée, absolument comme cela a lieu par l'action des rayons cathodiques et des rayons Röntgen.
Sous l'influence des rayons émis par les substances radioactives nouvelles, la distance explosive entre deux conducteurs métalliques pour une différence de potentiel donnée se trouve augmentée; autrement dit, le passage de l'étincelle est facilité par l'action des rayons. Ce phénomène est dû à l'action des rayons les plus pénétrants. Si, en effet, on entoure le radium d'une enveloppe en plomb de 2cm, l'action du radium sur l'étincelle n'est pas considérablement affaiblie, alors que le rayonnement qui traverse n'est qu'une très faible fraction du rayonnement total.
En rendant conducteur, par l'action des substances radioactives, l'air au voisinage de deux conducteurs métalliques, dont l'un est relié au sol et l'autre à un électromètre bien isolé, on voit l'électromètre prendre une déviation permanente, qui permet de mesurer la force électromotrice de la pile formée par l'air et les deux métaux (force électromotrice de contact des deux métaux, quand ils sont séparés par l'air). Cette méthode de mesures a été employée par lord Kelwin et ses élèves, la substance radiante étant l'uranium[76]; une méthode analogue avait été antérieurement employée par M. Perrin qui utilisait l'action ionisante des rayons Röntgen[77].
On peut se servir des substances radioactives dans l'étude de l'électricité atmosphérique. La substance active est enfermée dans une petite boîte en aluminium mince, fixée à l'extrémité d'une tige métallique en relation avec l'électromètre. L'air est rendu conducteur au voisinage 95 de l'extrémité de la tige, et celle-ci prend le potentiel de l'air qui l'entoure. Le radium remplace ainsi avec avantage les flammes ou les appareils à écoulement d'eau de lord Kelwin, généralement employés jusqu'à présent dans l'étude de l'électricité atmosphérique[78].
Effets de fluorescence, effets lumineux.—Les rayons émis par les nouvelles substances radioactives provoquent la fluorescence de certains corps. M. Curie et moi, nous avons tout d'abord découvert ce phénomène en faisant agir le polonium au travers d'une feuille d'aluminium sur une couche de platinocyanure de baryum. La même expérience réussit encore plus facilement avec du baryum radifère suffisamment actif. Quand la substance est fortement radioactive, la fluorescence produite est très belle.
Un grand nombre de substances sont susceptibles de devenir phosphorescentes ou fluorescentes par l'action des rayons de Becquerel. M. Becquerel a étudié l'action sur les sels d'urane, le diamant, la blende, etc. M. Bary a montré que les sels des métaux alcalins et alcalino-terreux, qui sont tous fluorescents sous l'action des rayons lumineux et des rayons Röntgen, sont également fluorescents sous l'action des rayons du radium[79]. On peut également observer la fluorescence du papier, du coton, du verre, etc., au voisinage du radium. Parmi les différentes espèces de verre, le verre de Thuringe est particulièrement lumineux. Les métaux ne semblent pas devenir lumineux.
Le platinocyanure de baryum convient le mieux quand on veut étudier le rayonnement des corps radioactifs par la méthode fluoroscopique. On peut suivre l'effet des rayons du radium à des distances supérieures à 2m. Le sulfure 96 de zinc phosphorescent est rendu extrêmement lumineux, mais ce corps a l'inconvénient de conserver la luminosité pendant quelque temps, après que l'action des rayons a été supprimée.
On peut observer la fluorescence produite par le radium quand l'écran fluorescent est séparé du radium par des écrans absorbants. Nous avons pu observer l'éclairement d'un écran au platinocyanure de baryum à travers le corps humain. Cependant, l'action est incomparablement plus intense, quand l'écran est placé tout contre le radium et qu'il n'en est séparé par aucun écran solide. Tous les groupes de rayons semblent capables de produire la fluorescence.
Pour observer l'action du polonium il est nécessaire de mettre la substance tout près de l'écran fluorescent sans interposition d'écran solide, ou tout au moins avec interposition d'un écran très mince seulement.
La luminosité des substances fluorescentes exposées à l'action des substances radioactives baisse avec le temps. En même temps la substance fluorescente subit une transformation. En voici quelques exemples:
Les rayons du radium transforment le platinocyanure de baryum en une variété brune moins lumineuse (action analogue à celle produite par les rayons Röntgen et décrite par M. Villard). Ils altèrent également le sulfate d'uranyle et de potassium en le faisant jaunir. Le platinocyanure de baryum transformé est régénéré partiellement par l'action de la lumière. Plaçons le radium au-dessous d'une couche de platinocyanure de baryum étalée sur du papier, le platinocyanure devient lumineux; si l'on maintient le système dans l'obscurité, le platinocyanure s'altère, et sa luminosité baisse considérablement. Mais, exposons le tout à la lumière; le platinocyanure est partiellement régénéré, et si l'on reporte le tout dans l'obscurité, la luminosité reparaît assez forte. On a donc, au moyen d'un corps fluorescent et d'un corps radioactif, réalisé un système 97 qui fonctionne comme un corps phosphorescent à longue durée de phosphorescence.
Le verre, qui est rendu fluorescent par l'action du radium, se colore en brun ou en violet. En même temps, il devient moins fluorescent. Si l'on chauffe ce verre ainsi altéré, il se décolore et, en même temps que la décoloration se produit, le verre émet de la lumière. Après cela le verre a repris la propriété d'être fluorescent au même degré qu'avant la transformation.
Le sulfure de zinc qui a été exposé à l'action du radium pendant un temps suffisant s'épuise peu à peu et perd la faculté d'être phosphorescent, soit sous l'action du radium, soit sous celle de la lumière.
Le diamant est rendu phosphorescent par l'action du radium et peut être distingué ainsi des imitations en strass, dont la luminosité est très faible.
Tous les composés de baryum radifère sont spontanément lumineux[80]. Les sels haloïdes, anhydres et secs, émettent une lumière particulièrement intense. Cette luminosité ne peut être vue à la grande lumière du jour, mais on la voit facilement dans la demi-obscurité ou dans une pièce éclairée à la lumière du gaz. La lumière émise peut être assez forte pour que l'on puisse lire en s'éclairant avec un peu de produit dans l'obscurité. La lumière émise émane de toute la masse du produit, tandis que, pour un corps phosphorescent ordinaire, la lumière émane surtout de la partie de la surface qui a été éclairée. A l'air humide les produits radifères perdent en grande partie leur luminosité, mais ils la reprennent par desséchement (Giesel). La luminosité semble se conserver. Au bout de plusieurs années aucune modification sensible ne semble s'être produite dans la luminosité de produits faiblement actifs, 98 gardés en tubes scellés à l'obscurité. Avec du chlorure de baryum radifère, très actif et très lumineux, la lumière change de teinte au bout de quelques mois; elle devient plus violacée et s'affaiblit beaucoup; en même temps le produit subit certaines transformations; en redissolvant le sel dans l'eau et en le séchant à nouveau, on obtient la luminosité primitive.
Les solutions de sels de baryum radifères, qui contiennent une forte proportion de radium, sont également lumineuses; on peut observer ce fait en plaçant la solution dans une capsule de platine qui, n'étant pas lumineuse elle-même, permet d'apercevoir la luminosité faible de la solution.
Quand une solution de sel de baryum radifère contient des cristaux qui s'y sont déposés, ces cristaux sont lumineux au sein de la solution, et ils le sont bien plus que la solution elle-même, de sorte que, dans ces conditions, ils semblent seuls lumineux.
M. Giesel a préparé du platinocyanure de baryum radifère. Quand ce sel vient de cristalliser, il a l'aspect du platinocyanure de baryum ordinaire, et il est très lumineux. Mais peu à peu le sel se colore spontanément et prend une teinte brune, en même temps que les cristaux deviennent dichroïques. A cet état, le sel est bien moins lumineux, quoique sa radioactivité ait augmenté[81]. Le platinocyanure de radium, préparé par M. Giesel, s'altère encore bien plus rapidement.
Les composés de radium constituent le premier exemple de substances spontanément lumineuses.
Dégagement de chaleur par les sels de radium.—Tout récemment MM. Curie et Laborde ont trouvé que les sels de radium sont le siège d'un dégagement de 99 chaleur spontané et continu[82]. Ce dégagement de chaleur a pour effet de maintenir les sels de radium à une température plus élevée que la température ambiante; l'excès de température dépend d'ailleurs de l'isolement thermique de la substance. Cet excès de température peut être mis en évidence par une expérience grossière faite au moyen de deux thermomètres à mercure ordinaires. On utilise deux vases isolateurs thermiques à vide, identiques entre eux. Dans l'un des vases on place une ampoule de verre contenant 7dg de bromure de radium pur; dans le deuxième vase on place une autre ampoule de verre toute pareille qui contient une substance inactive quelconque, par exemple du chlorure de baryum. La température de chaque enceinte est indiquée par un thermomètre dont le réservoir est placé au voisinage immédiat de l'ampoule. L'ouverture des isolateurs est fermée par du coton. Quand l'équilibre de température est établi, le thermomètre qui se trouve dans le même vase que le radium indique constamment une température supérieure à celle indiquée par l'autre thermomètre; l'excès de température observé était de 3°.
On peut évaluer la quantité de chaleur dégagée par le radium à l'aide du calorimètre à glace de Bunsen. En plaçant dans ce calorimètre une ampoule de verre qui contient le sel de radium, on constate un apport continu de chaleur qui s'arrête dès qu'on éloigne le radium. La mesure faite avec un sel de radium préparé depuis longtemps indique que chaque gramme de radium dégage environ 80 petites calories pendant chaque heure. Le radium dégage donc pendant une heure une quantité de chaleur suffisante pour fondre son poids de glace, et un atome gramme (225g) de radium dégagerait en une heure 18000cal, soit une quantité de chaleur comparable à 100 celle qui est produite par la combustion d'un atome gramme (1g) d'hydrogène. Un débit de chaleur aussi considérable ne saurait être expliqué par aucune réaction chimique ordinaire, et cela d'autant plus que l'état du radium semble rester le même pendant des années. On pourrait penser que le dégagement de chaleur est dû à une transformation de l'atome de radium lui-même, transformation nécessairement très lente. S'il en était ainsi, on serait amené à conclure que les quantités d'énergie mises en jeu dans la formation et dans la transformation des atomes sont considérables et dépassent tout ce qui nous est connu.
On peut encore évaluer la chaleur dégagée par le radium à diverses températures en l'utilisant pour faire bouillir un gaz liquéfié et en mesurant le volume du gaz qui se dégage. On peut faire cette expérience avec du chlorure de méthyle (à - 21°). L'expérience a été faite par MM. Dewar et Curie avec l'oxygène liquide (à - 180°) 101 et avec l'hydrogène liquide (à - 252°). Ce dernier corps convient particulièrement bien pour réaliser l'expérience. Une éprouvette A, entourée d'un isolateur thermique à vide, contient de l'hydrogène liquide H (fig. 10); elle est munie d'un tube de dégagement t qui permet de recueillir le gaz dans une éprouvette graduée E remplie d'eau. L'éprouvette A et son isolateur plongent dans un bain d'hydrogène liquide H'. Dans ces conditions aucun dégagement gazeux ne se produit dans l'éprouvette A. Lorsque l'on introduit, dans l'hydrogène liquide contenu dans cette éprouvette, une ampoule qui contient 7dg de bromure de radium, il se fait un dégagement continu de gaz, et l'on recueille 73cm³ de gaz par minute.
Un sel de radium solide qui vient d'être préparé dégage une quantité de chaleur relativement faible; mais ce débit de chaleur augmente continuellement et tend vers une valeur déterminée qui n'est pas encore tout à fait atteinte au bout d'un mois. Quand on dissout dans l'eau un sel de radium et qu'on enferme la solution en tube scellé, la quantité de chaleur dégagée par la solution est d'abord faible; elle augmente ensuite et tend à devenir constante au bout d'un mois; le débit de chaleur est alors le même que celui dû au même sel à l'état solide.
Quand on a mesuré à l'aide du calorimètre Bunsen la chaleur dégagée par un sel de radium contenu dans une ampoule de verre, certains rayons pénétrants du radium traversent l'ampoule et le calorimètre sans y être absorbés. Pour voir si ces rayons emportent une quantité d'énergie appréciable, on peut refaire une mesure en entourant l'ampoule d'une feuille de plomb de 2mm d'épaisseur; on trouve que, dans ces conditions, le dégagement de chaleur est augmenté de 4 pour 100 environ de sa valeur; l'énergie émise par le radium sous forme de rayons pénétrants n'est donc nullement négligeable.
Effets chimiques produits par les nouvelles substances radioactives. Colorations.—Les radiations émises par les substances fortement radioactives sont susceptibles de provoquer certaines transformations, certaines réactions chimiques. Les rayons émis par les produits radifères exercent des actions colorantes sur le verre et la porcelaine[83].
La coloration du verre, généralement brune ou violette, est très intense; elle se produit dans la masse même du verre, elle persiste après l'éloignement du radium. Tous les verres se colorent en un temps plus ou moins long, et la présence du plomb n'est pas nécessaire. Il convient de rapprocher ce fait de celui, observé récemment, de la coloration des verres des tubes à vide producteurs des rayons de Röntgen après un long usage.
M. Giesel a montré que les sels haloïdes cristallisés des métaux alcalins (sel gemme, sylvine) se colorent sous l'influence du radium, comme sous l'action des rayons cathodiques. M. Giesel montre que l'on obtient des colorations du même genre en faisant séjourner les sels alcalins dans la vapeur de sodium[84].
J'ai étudié la coloration d'une collection de verres de composition connue, qui m'a été obligeamment prêtée à cet effet par M. Le Chatelier. Je n'ai pas observé de grande variété dans la coloration. Elle est généralement violette, jaune, brune ou grise. Elle semble liée à la présence des métaux alcalins.
Avec les sels alcalins purs cristallisés on obtient des colorations plus variées et plus vives; le sel, primitivement blanc, devient bleu, vert, jaune brun, etc.
M. Becquerel a montré que le phosphore blanc est transformé en phosphore rouge par l'action du radium.
Le papier est altéré et coloré par l'action du radium. Il devient fragile, s'effrite et ressemble enfin à une passoire criblée de trous.
Dans certaines circonstances il y a production d'ozone dans le voisinage de composés très actifs. Les rayons qui sortent d'une ampoule scellée, renfermant du radium, ne produisent pas d'ozone dans l'air qu'ils traversent. Au contraire, une forte odeur d'ozone se dégage quand on ouvre l'ampoule. D'une manière générale l'ozone se produit dans l'air, quand il y a communication directe entre celui-ci et le radium. La communication par un conduit même extrêmement étroit est suffisante; il semble que la production d'ozone soit liée à la propagation de la radioactivité induite, dont il sera question plus loin.
Les composés radifères semblent s'altérer avec le temps, sans doute sous l'action de leur propre radiation. On a vu plus haut que les cristaux de chlorure de baryum radifères qui sont incolores au moment du dépôt prennent peu à peu une coloration tantôt jaune ou orangée, tantôt rose; cette coloration disparaît par la dissolution. Le chlorure de baryum radifère dégage des composés oxygénés du chlore: le bromure dégage du brome. Ces transformations lentes s'affirment généralement quelque temps après la préparation du produit solide, lequel, en même temps, change d'aspect et de couleur, en prenant une teinte jaune ou violacée. La lumière émise devient aussi plus violacée.
Les sels de radium purs semblent éprouver les mêmes transformations que ceux qui contiennent du baryum. Toutefois les cristaux de chlorure, déposés en solution acide, ne se colorent pas sensiblement pendant un temps qui est suffisant, pour que les cristaux de chlorure de baryum radifères, riches en radium, prennent une coloration intense.
Dégagement de gaz en présence des sels de radium.—Une solution de bromure de radium dégage des gaz d'une manière continue[85]. Ces gaz sont principalement de l'hydrogène et de l'oxygène, et la composition du mélange est voisine de celle de l'eau; on peut admettre qu'il y a décomposition de l'eau en présence du sel de radium.
Les sels solides de radium (chlorure, bromure) donnent aussi lieu à un dégagement continu de gaz. Ces gaz remplissent les pores du sel solide et se dégagent assez abondamment quand on dissout le sel. On trouve dans le mélange gazeux de l'hydrogène, de l'oxygène, de l'acide carbonique, de l'hélium; le spectre des gaz présente aussi quelques raies inconnues[86].
On peut attribuer à des dégagements gazeux deux accidents qui se sont produits dans les expériences de M. Curie. Une ampoule de verre mince scellée, remplie presque complètement par du bromure de radium solide et sec, a fait explosion deux mois après la fermeture sous l'effet d'un faible échauffement; l'explosion était probablement due à la pression du gaz intérieur. Dans une autre expérience une ampoule contenant du chlorure de radium préparé depuis longtemps communiquait avec un réservoir d'assez grand volume dans lequel on maintenait un vide très parfait. L'ampoule ayant été soumise à un échauffement assez rapide vers 300°, le sel fit explosion; l'ampoule fut brisée, et le sel fut projeté à distance; il ne pouvait y avoir de pression notable dans l'ampoule au moment de l'explosion. L'appareil avait d'ailleurs été soumis à un essai de chauffage dans les mêmes conditions en l'absence du sel de radium, et aucun accident ne s'était produit.
Ces expériences montrent qu'il y a danger à chauffer du sel de radium préparé depuis longtemps et qu'il y a aussi danger à conserver pendant longtemps du radium en tube scellé.
Production de thermoluminescence.—Certains corps, tels que la fluorine, deviennent lumineux quand on les chauffe; ils sont thermoluminescents; leur luminosité s'épuise au bout de quelque temps; mais la faculté de devenir de nouveau lumineux par la chaleur est restituée à ces corps par l'action d'une étincelle et aussi par l'action du radium. Le radium peut donc restituer à ces corps leurs propriétés thermoluminescentes[87]. Lors de la chauffe la fluorine éprouve une transformation qui est accompagnée d'une émission de lumière. Quand la fluorine est ensuite soumise à l'action du radium, une transformation se refait en sens inverse, et elle est encore accompagnée d'une émission de lumière.
Un phénomène absolument analogue se produit pour le verre exposé aux rayons du radium. Là aussi une transformation se produit dans le verre, pendant qu'il est lumineux sous l'action des rayons du radium; cette transformation est mise en évidence par la coloration qui apparaît et augmente progressivement. Quand on chauffe ensuite le verre ainsi modifié, la transformation inverse se produit, la coloration disparaît, et ce phénomène est accompagné de production de lumière. Il paraît fort probable qu'il y a là une modification de nature chimique, et la production de lumière est liée à cette modification. Ce phénomène pourrait être général. Il pourrait se faire que la production de fluorescence par l'action du radium et la luminosité des substances radifères fussent nécessairement liées à un phénomène de transformation chimique ou physique de la substance qui émet la lumière.
Radiographies.—L'action radiographique des nouvelles substances radioactives est très intense. Toutefois la manière d'opérer doit être très différente avec le polonium et le radium. Le polonium n'agit qu'à très petite distance, et son action est considérablement affaiblie par des écrans solides; il est facile de la supprimer pratiquement au moyen d'un écran peu épais (1mm de verre). Le radium agit à des distances considérablement plus grandes. L'action radiographique des rayons du radium s'observe à plus de 2m de distance dans l'air, et cela même quand le produit radiant est enfermé dans une ampoule de verre. Les rayons qui agissent dans ces conditions 107 appartiennent aux groupes β et γ. Grâce aux différences qui existent entre la transparence de diverses matières pour les rayons, on peut, comme avec les rayons Röntgen, obtenir des radiographies de divers objets. Les métaux sont, en général, opaques, sauf l'aluminium qui est très transparent. Il n'existe pas de différence de transparence notable entre les chairs et les os. On peut opérer à grande distance et avec des sources de très petites dimensions; on a alors des radiographies très fines. Il est très avantageux, pour la beauté des radiographies, de renvoyer les rayons β de côté, au moyen d'un champ magnétique, et de n'utiliser que les rayons γ. Les rayons β, en traversant l'objet à radiographier, éprouvent, en effet, une certaine diffusion et occasionnent un certain flou. En les supprimant, on est obligé d'employer des temps de pose plus grands, mais les résultats sont meilleurs. La radiographie d'un objet, tel qu'un porte-monnaie, demande un jour avec une source radiante constituée par quelques centigrammes de sel de radium, enfermé dans une ampoule de verre et placé à 1m de la plaque sensible, devant laquelle se trouve l'objet. Si la source est à 20cm de distance de la plaque, le même résultat est obtenu en une heure. Au voisinage immédiat de la source radiante, une plaque sensible est instantanément impressionnée.
Effets physiologiques.—Les rayons du radium exercent une action sur l'épiderme. Cette action a été observée par M. Walkhoff et confirmée par M. Giesel, puis par MM. Becquerel et Curie[88].
Si l'on place sur la peau une capsule en celluloïd ou en caoutchouc mince renfermant un sel de radium très 108 actif et qu'on l'y laisse pendant quelque temps, une rougeur se produit sur la peau, soit de suite, soit au bout d'un temps qui est d'autant plus long que l'action a été plus faible et moins prolongée; cette tache rouge apparaît à l'endroit qui a été exposé à l'action; l'altération locale de la peau se manifeste et évolue comme une brûlure. Dans certains cas il se forme une ampoule. Si l'exposition a été prolongée, il se produit une ulcération très longue à guérir. Dans une expérience, M. Curie a fait agir sur son bras un produit radiant relativement peu actif pendant 10 heures. La rougeur se manifesta de suite, et il se forma plus tard une plaie qui mit 4 mois à guérir. L'épiderme a été détruit localement, et n'a pu se reconstituer à l'état sain que lentement et péniblement avec formation d'une cicatrice très marquée. Une brûlure au radium avec exposition d'une demi-heure apparut au bout de 15 jours, forma une ampoule et guérit en 15 jours. Une autre brûlure, faite avec une exposition de 8 minutes seulement, occasionna une tache rouge qui apparut au bout de 2 mois seulement et son effet fut insignifiant.
L'action du radium sur la peau peut se produire à travers les métaux, mais elle est affaiblie. Pour se garantir de l'action, il faut éviter de garder longtemps le radium sur soi autrement qu'enveloppé dans une feuille de plomb.
L'action du radium sur la peau a été étudiée par M. le Dr Danlos, à l'hôpital Saint-Louis, comme procédé de traitement de certaines maladies de la peau, procédé comparable au traitement par les rayons Röntgen ou la lumière ultra-violette. Le radium donne à ce point de vue des résultats encourageants; l'épiderme partiellement détruit par l'action du radium se reforme à l'état sain. L'action du radium est plus profonde que celle de la lumière, et son emploi est plus facile que celui de la lumière ou des rayons Röntgen. L'étude des conditions de l'application est nécessairement un peu longue, parce 109 qu'on ne peut se rendre compte immédiatement de l'effet de l'application.
M. Giesel a remarqué l'action du radium sur les feuilles des plantes. Les feuilles soumises à l'action jaunissent et s'effritent.
M. Giesel a également découvert l'action des rayons du radium sur l'œil[89]. Quand on place dans l'obscurité un produit radiant au voisinage de la paupière fermée ou de la tempe, on a la sensation d'une lumière qui remplit l'œil. Ce phénomène a été étudié par MM. Himstedt et Nagel[90]. Ces physiciens ont montré que tous les milieux de l'œil deviennent fluorescents par l'action du radium, et c'est ce qui explique la sensation de lumière perçue. Les aveugles chez lesquels la rétine est intacte, sont sensibles à l'action du radium, tandis que ceux dont la rétine est malade n'éprouvent pas la sensation lumineuse due aux rayons.
Les rayons du radium empêchent ou entravent le développement des colonies microbiennes, mais cette action n'est pas très intense[91].
Récemment, M. Danysz a montré que les rayons du radium agissent énergiquement sur la moelle et sur le cerveau. Après une action d'une heure, des paralysies se produisent chez les animaux soumis aux expériences, et ceux-ci meurent généralement au bout de quelques jours[92].
Action de la température sur le rayonnement.—On n'a encore que peu de renseignements sur la manière dont varie l'émission des corps radioactifs avec la température. Nous savons cependant que l'émission subsiste aux basses températures. M. Curie a placé dans l'air 110 liquide un tube de verre qui contenait du chlorure de baryum radifère[93]. La luminosité du produit radiant persiste dans ces conditions. Au moment où l'on retire le tube de l'enceinte froide, il paraît même plus lumineux qu'à la température ambiante. A la température de l'air liquide, le radium continue à exciter la fluorescence du sulfate d'uranyle et de potassium. M. Curie a vérifié par des mesures électriques que le rayonnement, mesuré à une certaine distance de la source radiante, possède la même intensité quand le radium est à la température ambiante, ou quand il est dans une enceinte à la température de l'air liquide. Dans ces expériences, le radium était placé au fond d'un tube fermé à un bout. Les rayons sortaient du tube par le bout ouvert, traversaient un certain espace d'air et étaient recueillis dans un condensateur. On mesurait l'action des rayons sur l'air du condensateur, soit en laissant le tube dans l'air, soit en l'entourant d'air liquide jusqu'à une certaine hauteur. Le résultat obtenu était le même dans les deux cas.
Quand on porte le radium à une température élevée, sa radioactivité subsiste. Le chlorure de baryum radifère qui vient d'être fondu (vers 800°) est radioactif et lumineux. Toutefois, une chauffe prolongée à température élevée a pour effet d'abaisser temporairement la radioactivité du produit. La baisse est très importante, elle peut constituer 75 pour 100 du rayonnement total. La baisse proportionnelle est moins grande sur les rayons absorbables que sur les rayons pénétrants, qui sont sensiblement supprimés par la chauffe. Avec le temps, le rayonnement du produit reprend l'intensité et la composition qu'il avait avant la chauffe; ce résultat est atteint au bout de 2 mois environ à partir de la chauffe.
Communication de la radioactivité à des substances primitivement inactives.—Au cours de nos recherches sur les substances radioactives, nous avons remarqué, M. Curie et moi, que toute substance qui séjourne pendant quelque temps au voisinage d'un sel radifère devient elle-même radioactive[94]. Dans notre première publication à ce sujet, nous nous sommes attachés à prouver que la radioactivité, ainsi acquise par des substances primitivement inactives, n'est pas due à un transport de poussières radioactives qui seraient venues se poser à la surface de ces substances. Ce fait, actuellement certain, est prouvé en toute évidence par l'ensemble des expériences qui seront décrites ici, et notamment par les lois suivant lesquelles la radioactivité provoquée dans les substances naturellement inactives disparaît quand on soustrait ces substances à l'action du radium.
Nous avons donné au phénomène nouveau ainsi découvert le nom de radioactivité induite.
Dans la même publication, nous avons indiqué les caractères essentiels de la radioactivité induite. Nous avons activé des lames de substances diverses, en les plaçant au voisinage de sels radifères solides et nous avons étudié la radioactivité de ces lames par la méthode électrique. Nous avons observé ainsi les faits suivants:
1º L'activité d'une lame exposée à l'action du radium augmente avec le temps de l'exposition en se rapprochant d'une certaine limite, suivant une loi asymptotique.
2º L'activité d'une lame qui a été activée par l'action du radium et qui a été ensuite soustraite à cette action disparaît en quelques jours. Cette activité induite tend vers zéro en fonction du temps, suivant une loi asymptotique.
3º Toutes conditions égales d'ailleurs, la radioactivité induite par un même produit radifère sur diverses lames est indépendante de la nature de la lame. Le verre, le papier, les métaux s'activent avec la même intensité.
4º La radioactivité induite sur une même lame par divers produits radifères a une valeur limite d'autant plus élevée que le produit est plus actif.
Peu de temps après, M. Rutherford publia un travail, duquel il résulte que les composés du thorium sont capables de produire le phénomène de la radioactivité induite[95]. M. Rutherford trouva pour ce phénomène les mêmes lois que celles qui viennent d'être exposées, et il découvrit en plus ce fait important, que les corps chargés d'électricité négative s'activent plus énergiquement que les autres. M. Rutherford observa d'ailleurs que l'air qui a passé sur de l'oxyde de thorium conserve pendant 10 minutes environ une conductibilité notable. L'air qui est dans cet état communique la radioactivité induite à des substances inactives, surtout à celles chargées négativement. M. Rutherford interprète ses expériences en admettant que les composés du thorium, et surtout l'oxyde, émettent une émanation radioactive particulière, susceptible d'être entraînée par les courants d'air et chargée d'électricité positive. Cette émanation serait la cause de la radioactivité induite. M. Dorn a 113 reproduit, avec les sels de baryum radifères, les expériences que M. Rutherford avait faites avec de l'oxyde de thorium[96].
M. Debierne a montré que l'actinium provoque, d'une façon extrêmement intense, l'activité induite des corps placés dans son voisinage. De même que pour le thorium, il se produit un entraînement considérable de l'activité par les courants d'air[97].
La radioactivité induite se présente sous des aspects très variés, et quand on produit l'activation d'une substance au voisinage du radium à l'air libre, on obtient des résultats irréguliers. MM. Curie et Debierne ont remarqué que le phénomène est, au contraire, très régulier quand on opère en vase clos; ils ont donc étudié l'activation en enceinte fermée[98].
Activation en enceinte fermée.—La radioactivité induite est à la fois plus intense et plus régulière quand on opère en vase clos. La matière active est placée dans une petite ampoule en verre a ouverte en o (fig. 11) au milieu d'une enceinte close. Diverses plaques A, B, C, D, E placées dans l'enceinte deviennent radioactives au bout d'un jour d'exposition. L'activité est la même, quelle que soit la nature de la plaque, à dimensions égales plomb, cuivre, aluminium, verre, ébonite, cire, carton, paraffine. L'activité d'une face de l'une des lames est d'autant plus grande, que l'espace libre en regard de cette face est plus grand.
Si l'on répète l'expérience précédente avec l'ampoule a complètement fermée, on n'obtient aucune activité induite.
Le rayonnement du radium n'intervient pas directement 114 dans la production de la radioactivité induite. C'est ainsi que, dans l'expérience précédente, la lame D, protégée du rayonnement par l'écran en plomb épais PP, est activée autant que B et E.
La radioactivité se transmet par l'air de proche en proche depuis la matière radiante jusqu'au corps à activer. Elle peut même se transmettre au loin par des tubes capillaires très étroits.
La radioactivité induite est à la fois plus intense et plus régulière, si l'on remplace le sel radifère activant solide par sa dissolution aqueuse.
Les liquides sont susceptibles d'acquérir la radioactivité induite. On peut, par exemple, rendre radioactive l'eau pure, en la plaçant dans un vase à l'intérieur d'une enceinte close qui renferme également une solution d'un sel radifère.
Certaines substances deviennent lumineuses, quand on les place dans une enceinte activante (corps phosphorescents et fluorescents, verre, papier, coton, eau, solutions salines). Le sulfure de zinc phosphorescent est particulièrement brillant dans ces conditions. La radioactivité de ces corps lumineux est cependant la même que celle d'un morceau de métal ou autre corps qui s'active dans les mêmes conditions sans devenir lumineux.
Quelle que soit la substance que l'on active en vase clos, cette substance prend une activité qui augmente avec le temps et finit par atteindre une valeur limite, toujours la même, quand on opère avec la même matière activante et le même dispositif expérimental.
La radioactivité induite limite est indépendante de la nature et de la pression du gaz qui se trouve dans l'enceinte activante (air, hydrogène, acide carbonique).
La radioactivité induite limite dans une même enceinte dépend seulement de la quantité de radium qui s'y trouve à l'état de solution, et semble lui être proportionnelle.
Rôle des gaz dans les phénomènes de radioactivité induite. Émanation.—Les gaz présents dans une enceinte qui renferme un sel solide ou une solution de sel de radium sont radioactifs. Cette radioactivité persiste si l'on aspire les gaz avec une trompe et qu'on les recueille dans une éprouvette. Les parois de l'éprouvette deviennent alors elles-mêmes radioactives, et le verre de l'éprouvette est lumineux dans l'obscurité. L'activité et la luminosité de l'éprouvette disparaissent ensuite complètement, mais fort lentement, et l'on peut au bout d'un mois constater encore la radioactivité.
Dès le début de nos recherches, nous avons, M. Curie et moi, extrait en chauffant la pechblende un gaz fortement radioactif, mais, comme dans l'expérience précédente, l'activité de ce gaz avait fini par disparaître complètement[99].
Ainsi, pour le thorium, le radium, l'actinium, la radioactivité induite se propage de proche en proche à travers les gaz, depuis le corps actif jusqu'aux parois de l'enceinte qui le renferme, et la propriété activante est 116 entraînée avec le gaz lui-même, quand on extrait celui-ci de l'enceinte.
Quand on mesure la radioactivité de matières radifères par la méthode électrique au moyen de l'appareil (fig. 1) l'air entre les plateaux devient également radioactif; cependant, en envoyant un courant d'air entre les plateaux, on n'observe pas de baisse notable dans l'intensité du courant, ce qui prouve que la radioactivité répandue dans l'espace entre les plateaux est peu importante par rapport à celle du radium lui-même à l'état solide.
Il en est tout autrement dans le cas du thorium. Les irrégularités que j'avais observées en mesurant la radioactivité des composés du thorium provenaient du fait qu'à cette époque je travaillais avec un condensateur ouvert à l'air; or le moindre courant d'air produit un changement considérable dans l'intensité du courant, parce que la radioactivité répandue dans l'espace au voisinage du thorium est importante par rapport à la radioactivité de la substance.
Cet effet est encore bien plus marqué pour l'actinium. Un composé très actif d'actinium paraît beaucoup moins actif quand on envoie un courant d'air sur la substance.
L'énergie radioactive est donc renfermée dans les gaz sous une forme spéciale. M. Rutherford suppose que certains corps radioactifs dégagent constamment un gaz matériel radioactif qu'il appelle émanation. C'est ce gaz qui aurait la propriété de rendre radioactifs les corps qui se trouvent dans l'espace où il est répandu. Les corps qui émettent de l'émanation sont le radium, le thorium et l'actinium.
Désactivation à l'air libre des corps solides activés.—Un corps solide, qui a été activé par le radium dans une enceinte activante pendant un temps suffisant, et qui a été ensuite retiré de l'enceinte, se désactive à l'air libre 117 suivant une loi d'allure exponentielle qui est la même pour tous les corps et qui est représentée par la formule suivante[100]:
![]()
I0 étant l'intensité initiale du rayonnement au moment où l'on retire la lame de l'enceinte, I l'intensité au temps t; a est un coefficient numérique a = 4.20; Θ1 et Θ2 sont des constantes de temps: Θ1 = 2420 secondes, Θ2 = 1860 secondes. Au bout de 2 ou 3 heures cette loi se réduit sensiblement à une exponentielle simple: l'influence de la seconde exponentielle sur la valeur de I ne se fait plus sentir. La loi de désactivation est alors telle que l'intensité du rayonnement baisse de la moitié de sa valeur en 28 minutes. Cette loi finale peut être considérée comme caractéristique de la désactivation à l'air libre des corps solides activés par le radium.
Les corps solides activés par l'actinium se désactivent à l'air libre suivant une loi exponentielle voisine de la précédente. Mais cependant la désactivation est un peu plus lente[101].
Les corps solides activés par le thorium se désactivent beaucoup plus lentement; l'intensité du rayonnement baisse de moitié en 11 heures[102].
Désactivation en enceinte close. Vitesse de destruction de l'émanation[103].—Une enceinte fermée activée par le radium et soustraite ensuite à son action, se désactive suivant une loi beaucoup moins rapide que celle de la désactivation à l'air libre. On peut, par exemple, faire l'expérience avec un tube en verre que l'on active 118 intérieurement, en le mettant pendant un certain temps en communication avec une solution d'un sel de radium. On scelle ensuite le tube à la lampe, et l'on mesure l'intensité du rayonnement émis à l'extérieur par les parois du tube, pendant que la désactivation se produit.
La loi de désactivation est une loi exponentielle. Elle est donnée avec une grande exactitude par la formule
![]()
I0 intensité du rayonnement initial;
I, intensité du rayonnement au temps t;
Θ, une constante de temps Θ = 4.970 × 105 secondes.
L'intensité du rayonnement diminue de moitié en 4 jours.
Cette loi de désactivation est absolument invariable, quelles que soient les conditions de l'expérience (dimensions de l'enceinte, nature des parois, nature du gaz dans l'enceinte, durée de l'activation, etc.). La loi de désactivation reste la même, quelle que soit la température entre - 180° et + 450°. Cette loi de désactivation est donc tout à fait caractéristique et pourrait servir à définir un étalon de temps absolument indépendant.
Dans ces expériences, c'est l'énergie radioactive accumulée dans le gaz qui entretient l'activité des parois. Si, en effet, on supprime le gaz en faisant le vide dans l'enceinte, on constate que les parois se désactivent ensuite suivant le mode rapide de désactivation, l'intensité du rayonnement diminuant de moitié en 28 minutes. Ce même résultat est obtenu en substituant dans l'enceinte de l'air ordinaire à l'air activé.
La loi de désactivation avec baisse de moitié en 4 jours est donc caractéristique de la disparition de l'énergie radioactive accumulée dans le gaz. Si l'on se sert de l'expression adoptée par M. Rutherford, on peut dire que 119 l'émanation du radium disparaît spontanément en fonction du temps avec baisse de moitié en 4 jours.
L'émanation du thorium est d'une autre nature et disparaît beaucoup plus rapidement. Le pouvoir d'activation diminue de moitié en 1 minute 10 secondes environ.
L'émanation de l'actinium disparaît encore plus rapidement; la baisse de moitié a lieu en quelques secondes.
MM. Elster et Geitel ont montré qu'il existe toujours dans l'air atmosphérique, en très faible proportion, une émanation radioactive analogue à celles émises par les corps radioactifs. Des fils métalliques tendus dans l'air et maintenus à un potentiel négatif s'activent sous l'influence de cette émanation. L'air que l'on aspire au moyen d'un tube enfoncé dans le sol est particulièrement chargé d'émanation[104]. L'origine de cette émanation est encore inconnue.
L'air extrait de certaines eaux minérales contient de l'émanation tandis que l'air contenu dans l'eau de la mer et des rivières en est à peu près exempt.
Nature des émanations.—Suivant M. Rutherford l'émanation d'un corps radioactif est un gaz matériel radioactif qui s'échappe de ce corps. En effet, à bien des points de vue, l'émanation du radium se comporte comme un gaz ordinaire.
Quand on met en communication deux réservoirs en verre dont l'un contient de l'émanation tandis que l'autre n'en contient pas, l'émanation passe en se diffusant dans le deuxième réservoir, et quand l'équilibre est établi, on constate que l'émanation s'est partagée entre les deux réservoirs comme le ferait un gaz ordinaire: si les deux réservoirs sont à la même température, l'émanation se partage entre eux dans le rapport de leurs volumes; s'ils sont 120 à des températures différentes, elle se partage entre eux comme un gaz parfait obéissant aux lois de Mariotte et de Gay-Lussac. Pour établir ce résultat il suffit de mesurer le rayonnement du premier réservoir avant et après le partage; ce rayonnement est proportionnel à la quantité d'émanation contenue dans le réservoir. Mais, comme la diffusion de l'émanation demande un certain temps jusqu'à ce que l'équilibre soit établi, il est nécessaire, pour l'exactitude du calcul relatif à l'expérience, de tenir compte de la destruction spontanée de l'émanation avec le temps[105].
L'émanation du radium se diffuse le long d'un tube étroit suivant les lois de la diffusion des gaz, et son coefficient de diffusion est comparable à celui de l'acide carbonique[106].
MM. Rutherford et Soddy ont montré que les émanations du radium et du thorium se condensent à la température de l'air liquide, comme le feraient des gaz qui seraient liquéfiables à cette température. Un courant d'air chargé d'émanation perd ses propriétés radioactives en traversant un serpentin qui plonge dans l'air liquide; l'émanation reste condensée dans le serpentin, et elle se retrouve à l'état gazeux quand on réchauffe celui-ci. L'émanation du radium se condense à - 150°, celle du thorium à une température comprise entre - 100° et - 150°[107]. On peut faire l'expérience suivante: deux réservoirs de verre fermés, l'un grand, l'autre petit, communiquent ensemble par un tube court muni d'un robinet; ils sont remplis de gaz activé par le radium et sont par suite tous les deux lumineux. On plonge le petit réservoir dans l'air liquide, toute l'émanation s'y condense; au bout d'un certain 121 temps on sépare les deux réservoirs l'un de l'autre en fermant le robinet, et l'on retire ensuite le petit réservoir de l'air liquide. On constate que c'est le petit réservoir qui contient toute l'activité. Pour s'en assurer il suffit d'observer la phosphorescence du verre des deux réservoirs. Le grand réservoir n'est plus lumineux, tandis que le petit est plus lumineux qu'au début de l'expérience. L'expérience est particulièrement brillante si l'on a eu soin d'enduire les parois des deux réservoirs de sulfure de zinc phosphorescent.
Toutefois, si l'émanation du radium est tout à fait comparable à un gaz liquéfiable, la température de condensation par refroidissement devrait être fonction de la quantité d'émanation contenue dans un certain volume d'air; ce qui n'a pas été signalé.
On doit aussi faire remarquer que l'émanation passe avec une grande facilité à travers les trous ou les fissures les plus ténues des corps solides, dans des conditions où les gaz matériels ordinaires ne peuvent circuler qu'avec une lenteur extrême.
Enfin, l'émanation du radium se distingue d'un gaz matériel ordinaire en ce qu'elle se détruit spontanément quand elle est enfermée en tube de verre scellé; tout au moins observe-t-on, dans ces conditions, la disparition de la propriété radioactive. Cette propriété radioactive est d'ailleurs encore actuellement la seule qui caractérise l'émanation à notre connaissance, car jusqu'à présent on n'a encore établi avec certitude ni l'existence d'un spectre caractéristique de l'émanation, ni une pression due à l'émanation.
Toutefois tout récemment MM. Ramsay et Soddy ont observé, dans le spectre des gaz extraits du radium, des raies nouvelles qui pourraient, à leur avis, appartenir à l'émanation du radium. Ils ont aussi constaté que les gaz extraits du radium contiennent de l'hélium, et que ce dernier 122 gaz se forme spontanément en présence de l'émanation du radium[108]. Si ces résultats, dont l'importance est considérable, se confirment, on pourra être amené à considérer l'émanation comme un gaz matériel instable, et l'hélium serait peut-être un des produits de la désagrégation de ce gaz.
Les émanations du radium et du thorium ne semblent pas être altérées par divers agents chimiques très énergiques, et pour cette raison MM. Rutherford et Soddy les assimilent à des gaz de la famille de l'argon[109].
Variation d'activité des liquides activés et des solutions radifères.—Un liquide quelconque devient radioactif lorsqu'il est placé dans un vase dans une enceinte activante. Si l'on retire le liquide de l'enceinte et qu'on le laisse à l'air libre, il se désactive rapidement en transmettant son activité aux gaz et aux corps solides qui l'entourent. Si l'on enferme un liquide activé dans un flacon fermé, il se désactive bien plus lentement et l'activité baisse alors de moitié en 4 jours, comme cela arriverait pour un gaz activé enfermé dans un vase clos. On peut expliquer ce fait en admettant que l'énergie radioactive est emmagasinée dans les liquides sous une forme identique à celle sous laquelle elle est emmagasinée dans un gaz (sous forme d'émanation).
Une dissolution d'un sel radifère se comporte en partie d'une façon analogue. Tout d'abord, il est fort remarquable que la solution d'un sel de radium, qui est placée depuis quelque temps dans une enceinte close, n'est pas plus active que de l'eau pure placée dans un vase contenu dans la même enceinte, lorsque l'équilibre d'activité s'est établi. Si l'on retire de l'enceinte la solution radifère et 123 qu'on la laisse à l'air dans un vase largement ouvert, l'activité se répand dans l'espace, et la solution devient à peu près inactive, bien qu'elle contienne toujours le radium. Si alors on enferme cette solution désactivée dans un flacon fermé, elle reprend peu à peu, en une quinzaine de jours, une activité limite qui peut être considérable. Au contraire, un liquide activé qui ne renferme pas de radium et qui a été désactivé à l'air libre, ne reprend pas son activité quand on le met dans un flacon fermé.
Théorie de la radioactivité.—Voici, d'après MM. Curie et Debierne, une théorie très générale qui permet de coordonner les résultats de l'étude de la radioactivité induite, résultats que je viens d'exposer et qui constituent des faits indépendants de toute hypothèse[110].
On peut admettre que chaque atome de radium fonctionne comme une source continue et constante d'énergie, sans qu'il soit, d'ailleurs, nécessaire de préciser d'où vient cette énergie. L'énergie radioactive qui s'accumule dans le radium tend à se dissiper de deux façons différentes: 1º par rayonnement (rayons chargés et non chargés d'électricité); 2º par conduction, c'est-à-dire par transmission de proche en proche aux corps environnants, par l'intermédiaire des gaz et des liquides (dégagement d'émanation et transformation en radioactivité induite).
La perte d'énergie radioactive, tant par rayonnement que par conduction, croît avec la quantité d'énergie accumulée dans le corps radioactif. Un équilibre de régime doit s'établir nécessairement quand, la double perte, dont je viens de parler, compense l'apport continu fait par le radium. Cette manière de voir est analogue à celle qui est en usage dans les phénomènes calorifiques. Si, dans 124 l'intérieur d'un corps, il se fait, pour une raison quelconque, un dégagement continu et constant de chaleur, la chaleur s'accumule dans le corps, et la température s'élève, jusqu'à ce que la perte de chaleur par rayonnement et par conduction fasse équilibre à l'apport continu de chaleur.
En général, sauf dans certaines conditions spéciales, l'activité ne se transmet pas de proche en proche à travers les corps solides. Lorsqu'on conserve une dissolution en tube scellé, la perte par rayonnement subsiste seule, et l'activité radiante de la dissolution prend une valeur élevée.
Si, au contraire, la dissolution se trouve dans un vase ouvert, la perte d'activité de proche en proche, par conduction, devient considérable, et, lorsque l'état de régime est atteint, l'activité radiante de la dissolution est très faible.
L'activité radiante d'un sel radifère solide, laissé à l'air libre, ne diminue pas sensiblement, parce que, la propagation de la radioactivité par conduction ne se faisant pas à travers les corps solides, c'est seulement une couche superficielle très mince qui produit la radioactivité induite. On constate, en effet, que la dissolution du même sel produit des phénomènes de radioactivité induite beaucoup plus intenses. Avec un sel solide l'énergie radioactive s'accumule dans le sel et se dissipe surtout par rayonnement. Au contraire, lorsque le sel est en dissolution dans l'eau depuis quelques jours, l'énergie radioactive est répartie entre l'eau et le sel, et si on les sépare par distillation, l'eau entraîne une grande partie de l'activité, et le sel solide est beaucoup moins actif (10 ou 15 fois) qu'avant dissolution. Ensuite le sel solide reprend peu à peu son activité primitive.
On peut chercher à préciser encore davantage la théorie qui précède, en imaginant que la radioactivité du radium 125 lui-même se produit au moins en grande partie par l'intermédiaire de l'énergie radioactive émise sous forme d'émanation.
On peut admettre que chaque atome de radium est une source continue et constante d'émanation. En même temps que cette forme d'énergie se produit, elle éprouve progressivement une transformation en énergie radioactive de rayonnement Becquerel; la vitesse de cette transformation est proportionnelle à la quantité d'émanation accumulée.
Quand une solution radifère est enfermée dans une enceinte, l'émanation peut se répandre dans l'enceinte et sur les parois. C'est donc là qu'elle est transformée en rayonnement, tandis que la solution n'émet que peu de rayons Becquerel,—le rayonnement est, en quelque sorte, extériorisé. Au contraire, dans le radium solide, l'émanation, ne pouvant s'échapper facilement, s'accumule et se transforme sur place en rayonnement Becquerel; ce rayonnement atteint donc une valeur élevée[111].
Si cette théorie de la radioactivité était générale, il faudrait admettre que tous les corps radioactifs émettent de l'émanation. Or, cette émission a été constatée pour le radium, le thorium et l'actinium; ce dernier corps en émet énormément même à l'état solide. L'uranium et le polonium ne semblent pas émettre d'émanation, bien qu'ils émettent des rayons Becquerel. Ces corps ne produisent pas la radioactivité induite en vase clos comme les corps radioactifs cités précédemment. Ce fait n'est pas en contradiction absolue avec la théorie qui précède. Si, en effet, l'uranium et le polonium émettaient des émanations qui se détruisent avec une très grande rapidité, il serait très difficile d'observer l'entraînement de ces émanations 126 par l'air et les effets de radioactivité induite produits par elles sur les corps voisins. Une telle hypothèse n'est nullement invraisemblable, puisque les temps pendant lesquels les quantités d'émanation du radium et du thorium diminuent de moitié sont entre eux comme 5000 est à 1. On verra d'ailleurs que dans certaines conditions l'uranium peut provoquer la radioactivité induite.
Autre forme de la radioactivité induite.—D'après la loi de désactivation à l'air libre des corps solides activés par le radium, l'activité radiante au bout d'une journée est à peu près insensible.
Certains corps cependant font exception: tels sont le celluloïd, la paraffine, le caoutchouc, etc. Quand ces corps ont été activés assez longtemps, ils se désactivent plus lentement que ne le veut la loi, et il faut souvent quinze ou vingt jours pour que l'activité devienne insensible. Il semble que ces corps aient la propriété de s'imprégner de l'énergie radioactive sous forme d'émanation; ils la perdent ensuite peu à peu en produisant la radioactivité induite dans leur voisinage.
Radioactivité induite à évolution lente.—On observe encore une tout autre forme de radioactivité induite, qui semble se produire sur tous les corps, quand ils ont séjourné pendant des mois dans une enceinte activante. Quand ces corps sont retirés de l'enceinte, leur activité diminue d'abord jusqu'à une valeur très faible suivant la loi ordinaire (diminution de moitié en une demi-heure); mais, quand l'activité est tombée à 1/20000 environ de la valeur initiale, elle ne diminue plus ou du moins elle évolue avec une lenteur extrême, quelquefois même elle va en augmentant. Nous avons des lames de cuivre, d'aluminium, de verre qui conservent ainsi une activité résiduelle depuis plus de six mois.
Ces phénomènes d'activité induite semblent être d'une tout autre nature que ceux ordinaires, et ils offrent une évolution beaucoup plus lente.
Un temps considérable est nécessaire aussi bien pour la production que pour la disparition de cette forme de radioactivité induite.
Radioactivité induite sur des substances qui séjournent en dissolution avec le radium.—Quand on traite un minerai radioactif contenant du radium, pour en extraire ce corps, et tant que le travail n'est pas avancé, on réalise des séparations chimiques, après lesquelles la radioactivité se trouve entièrement avec l'un des produits de la réaction, l'autre produit étant entièrement inactif. On sépare ainsi d'un côté des produits radiants qui peuvent être plusieurs centaines de fois plus actifs que l'uranium, de l'autre côté du cuivre, de l'antimoine, de l'arsenic, etc., absolument inactifs. Certains autres corps (le fer, le plomb) n'étaient jamais séparés à l'état complètement inactif. A mesure que les corps radiants se concentrent, il n'en est plus de même; aucune séparation chimique ne fournit plus de produits absolument inactifs; toutes les portions résultant d'une séparation sont toujours actives à des degrés variables.
Après la découverte de la radioactivité induite, M. Giesel essaya le premier d'activer le bismuth inactif ordinaire en le maintenant en solution avec du radium très actif. Il obtint ainsi du bismuth radioactif[112], et il en conclut que le polonium extrait de la pechblende était probablement du bismuth activé par le voisinage du radium contenu dans la pechblende.
J'ai également préparé du bismuth activé en maintenant le bismuth en dissolution avec un sel radifère très actif.
Les difficultés de cette expérience consistent dans les soins extrêmes qu'il faut prendre pour éliminer le radium de la dissolution. Si l'on songe à la quantité infinitésimale de radium qui suffit pour produire dans un gramme de matière une radioactivité très notable, on ne croit jamais avoir assez lavé et purifié le produit activé. Or, chaque purification entraîne une baisse d'activité du produit activé, soit que réellement on en retire des traces de radium, soit que la radioactivité induite dans ces conditions ne résiste pas aux transformations chimiques.
Les résultats que j'obtiens semblent cependant établir avec certitude que l'activation se produit et persiste après que l'on a séparé le radium. C'est ainsi qu'en fractionnant le nitrate de mon bismuth activé par précipitation de la solution azotique par l'eau, je trouve que, après purification très soigneuse, il se fractionne comme le polonium, la partie la plus active étant précipitée en premier.
Si la purification est insuffisante, c'est le contraire qui se produit, indiquant que des traces de radium se trouvaient encore avec le bismuth activé. J'ai obtenu ainsi du bismuth activé pour lequel le sens du fractionnement indiquait une grande pureté et qui était 2000 fois plus actif que l'uranium. Ce bismuth diminue d'activité avec le temps. Mais une autre partie du même produit, préparée avec les mêmes précautions et se fractionnant dans le même sens, conserve son activité sans diminution sensible depuis un temps qui est actuellement de trois ans environ.
Cette activité est 150 fois plus grande que celle de l'uranium.
J'ai activé également du plomb et de l'argent en les laissant en dissolution avec le radium. Le plus souvent la radioactivité induite ainsi obtenue ne diminue guère avec le temps, mais elle ne résiste généralement pas à plusieurs transformations chimiques successives du corps activé.
M. Debierne[113] a activé du baryum en le laissant en solution avec l'actinium. Ce baryum activé reste actif après diverses transformations chimiques, son activité est donc une propriété atomique assez stable. Le chlorure de baryum activé se fractionne comme le chlorure de baryum radifère, les parties les plus actives étant les moins solubles dans l'eau et l'acide chlorhydrique étendu. Le chlorure sec est spontanément lumineux; son rayonnement Becquerel est analogue à celui du chlorure de baryum radifère. M. Debierne a obtenu du chlorure de baryum activé 1000 fois plus actif que l'uranium. Ce baryum n'avait cependant pas acquis tous les caractères du radium, car il ne montrait au spectroscope aucune des raies les plus fortes du radium. De plus son activité diminua avec le temps, et au bout de trois semaines elle était devenue trois fois plus faible qu'au début.
Il y a toute une étude à faire sur l'activation des substances en dissolution avec les corps radioactifs. Il semble que, suivant les conditions de l'expérience, on puisse obtenir des formes de radioactivité induite atomique plus ou moins stables. La radioactivité induite dans ces conditions est peut-être la même que la forme à évolution lente que l'on obtient par activation prolongée à distance dans une enceinte activante. Il y a lieu de se demander jusqu'à quel degré la radioactivité induite atomique affecte la nature chimique de l'atome, et si elle peut modifier les propriétés chimiques de celui-ci, soit d'une façon passagère, soit d'une façon stable.
L'étude chimique des corps activés à distance est rendue difficile par ce fait que l'activation est limitée à une couche superficielle très mince, et que, par suite, la proportion de matière qui a pu être atteinte par la transformation est extrêmement faible.
La radioactivité induite peut aussi être obtenue en laissant certaines substances en dissolution avec l'uranium. L'expérience réussit avec le baryum. Si, comme l'a fait M. Debierne, on ajoute de l'acide sulfurique à une solution qui contient de l'uranium et du baryum, le sulfate de baryum précipité entraîne de l'activité; en même temps le sel d'uranium perd une partie de la sienne. M. Becquerel a trouvé qu'en répétant cette opération plusieurs fois, on obtient de l'uranium à peine actif. On pourrait croire, d'après cela, que dans cette opération on a réussi à séparer de l'uranium un corps radioactif différent de ce métal, et dont la présence produisait la radioactivité de l'uranium. Cependant il n'en est rien, car au bout de quelques mois l'uranium reprend son activité primitive; au contraire, le sulfate de baryum précipité perd celle qu'il avait acquise.
Un phénomène analogue se produit avec le thorium. M. Rutherford précipite une solution de sel de thorium par l'ammoniaque; il sépare la solution et l'évapore à sec. Il obtient ainsi un petit résidu très actif, et le thorium précipité se montre moins actif qu'auparavant. Ce résidu actif, auquel M. Rutherford donne le nom de thorium x, perd son activité avec le temps, tandis que le thorium reprend son activité primitive[114].
Il semble qu'en ce qui concerne la radioactivité induite en dissolution, les divers corps ne se comportent pas tous de la même façon, et que certains d'entre eux sont bien plus susceptibles de s'activer que les autres.
Dissémination des poussières radioactives et radioactivité induite du laboratoire.—Lorsqu'on fait des études sur les substances fortement radioactives, il faut prendre des précautions particulières si l'on veut pouvoir continuer à faire des mesures délicates. Les divers objets 131 employés dans le laboratoire de chimie, et ceux qui servent pour les expériences de physique, ne tardent pas à être tous radioactifs et à agir sur les plaques photographiques au travers du papier noir. Les poussières, l'air de la pièce, les vêtements sont radioactifs. L'air de la pièce est conducteur. Dans le laboratoire, où nous travaillons, le mal est arrivé à l'état aigu, et nous ne pouvons plus avoir un appareil bien isolé.
Il y a donc lieu de prendre des précautions particulières pour éviter autant que possible la dissémination des poussières actives, et pour éviter aussi les phénomènes d'activité induite.
Les objets employés en chimie ne doivent jamais être emportés dans la salle d'études physiques, et il faut autant que possible éviter de laisser séjourner inutilement dans cette salle les substances actives. Avant de commencer ces études nous avions coutume, dans les travaux d'électricité statique, d'établir la communication entre les divers appareils par des fils métalliques isolés protégés par des cylindres métalliques en relation avec le sol, qui préservaient les fils contre toute influence électrique extérieure. Dans les études sur les corps radioactifs, cette disposition est absolument défectueuse; l'air étant conducteur, l'isolement entre le fil et le cylindre est mauvais, et la force électromotrice de contact inévitable entre le fil et le cylindre tend à produire un courant à travers l'air et à faire dévier l'électromètre. Nous mettons maintenant tous les fils de communication à l'abri de l'air en les plaçant, par exemple, au milieu de cylindres remplis de paraffine ou d'une autre matière isolante. Il y aurait aussi avantage à faire usage, dans ces études, d'électromètres rigoureusement clos.
Activation en dehors de l'action des substances radioactives.—Des essais ont été faits en vue de produire 132 la radioactivité induite en dehors de l'action des substances radioactives.
M. Villard[115] a soumis à l'action des rayons cathodiques un morceau de bismuth placé comme anticathode dans un tube de Crookes; ce bismuth a été ainsi rendu actif, à vrai dire, d'une façon extrêmement faible, car il fallait 8 jours de pose pour obtenir une impression photographique.
M. Mac Lennan expose divers sels à l'action des rayons cathodiques et les chauffe ensuite légèrement. Ces sels acquièrent alors la propriété de décharger les corps chargés positivement[116].
Les études de ce genre offrent un grand intérêt. Si, en se servant d'agents physiques connus, il était possible de créer dans des corps primitivement inactifs une radioactivité notable, nous pourrions espérer de trouver ainsi la cause de la radioactivité spontanée de certaines matières.
Variations d'activité des corps radioactifs. Effets de dissolution.—Le polonium, comme je l'ai dit plus haut, diminue d'activité avec le temps. Cette baisse est lente, elle ne semble pas se faire avec la même vitesse pour tous les échantillons. Un échantillon de nitrate de bismuth à polonium a perdu la moitié de son activité en 11 mois et 95 pour 100 de son activité en 33 mois. D'autres échantillons ont éprouvé des baisses analogues.
Un échantillon de bismuth à polonium métallique fut préparé avec un sous-nitrate, lequel, après sa préparation, était 100000 fois plus actif que l'uranium. Ce métal n'est plus maintenant qu'un corps moyennement radioactif 2000 fois plus actif que l'uranium. Sa radioactivité est 133 mesurée de temps en temps. Pendant 6 mois ce métal a perdu 67 pour 100 de son activité.
La perte d'activité ne semble pas être facilitée par les réactions chimiques. Dans des opérations chimiques rapides on ne constate généralement pas de perte considérable d'activité.
Contrairement à ce qui se passe pour le polonium, les sels radifères possèdent une radioactivité permanente qui ne présente pas de baisse appréciable au bout de quelques années.
Quand on vient de préparer un sel de radium à l'état solide, ce sel n'a pas tout d'abord une activité constante. Son activité va en augmentant à partir de la préparation et atteint une valeur limite sensiblement invariable au bout d'un mois environ. Le contraire a lieu pour la solution. Quand on vient de la préparer, elle est d'abord très active, mais laissée à l'air libre elle se désactive rapidement, et prend finalement une activité limite qui peut être considérablement plus faible que la valeur initiale. Ces variations d'activité ont été tout d'abord observées par M. Giesel[117]. Elles s'expliquent fort bien en se plaçant au point de vue de l'émanation. La diminution de l'activité de la solution correspond à la perte de l'émanation qui s'échappe dans l'espace; cette baisse est bien moindre si la dissolution est en tube scellé. Une solution désactivée à l'air libre reprend une activité plus grande quand on l'enferme en tube scellé. La période de l'accroissement de l'activité du sel qui, après dissolution, vient d'être ramené à l'état solide, est celle pendant laquelle l'émanation s'emmagasine à nouveau dans le radium solide.
Voici quelques expériences à ce sujet:
Une solution de chlorure de baryum radifère laissée à l'air libre pendant 2 jours devient 300 fois moins active.
Une solution est enfermée en vase clos; on ouvre le vase, on verse la solution dans une cuve et l'on mesure l'activité:
| Activité mesurée immédiatement | 67 |
| » au bout de 2 heures | 20 |
| » » 2 jours | 0,25 |
Une solution de chlorure de baryum radifère qui est restée à l'air libre est enfermée dans un tube de verre scellé, et l'on mesure le rayonnement de ce tube. On trouve les résultats suivants:
| Activité mesurée immédiatement | 27 |
| » après 2 jours | 61 |
| » » 3 jours | 70 |
| » » 4 jours | 81 |
| » » 7 jours | 100 |
| » » 11 jours | 100 |
L'activité initiale d'un sel solide après sa préparation est d'autant plus faible que le temps de dissolution a été plus long. Une plus forte proportion de l'activité est alors transmise au dissolvant. Voici les activités initiales obtenues avec un chlorure dont l'activité limite est 800 et que l'on maintenait en dissolution pendant un temps donné; puis on séchait le sel et l'on mesurait son activité immédiatement:
| Activité limite | 800 |
| Activité initiale après dissolution et dessiccation immédiate | 440 |
| Activité initiale après que le sel est resté dissous 5 jours | 120 |
| » » 18 jours | 130 |
| » » 32 jours | 114 |
Dans cette expérience le sel dissous se trouvait dans un vase simplement couvert d'un verre de montre.
J'ai fait avec le même sel deux dissolutions que j'ai conservées en tube scellé pendant 13 mois; l'une de ces 135 dissolutions était 8 fois plus concentrée que l'autre:
| Activité initiale du sel de la solution concentrée après dessiccation | 200 |
| Activité initiale du sel de la solution étendue après dessiccation | 100 |
La désactivation du sel est donc d'autant plus grande que la proportion du dissolvant est plus grande, l'énergie radioactive transmise au liquide ayant alors un plus grand volume de liquide à saturer et un plus grand espace à remplir. Les deux échantillons du même sel, qui avaient ainsi une activité initiale différente, ont d'ailleurs augmenté d'activité avec une vitesse très différente au début; au bout d'un jour ils avaient la même activité, et l'accroissement d'activité se continua exactement de la même façon pour tous les deux jusqu'à la limite.
Quand la dissolution est étendue, la désactivation du sel est très rapide; c'est ce que montrent les expériences suivantes: trois portions égales d'un même sel radifère sont dissoutes dans des quantités égales d'eau. La première dissolution a est laissée à l'air libre pendant une heure, puis séchée. La deuxième dissolution b est traversée pendant une heure par un courant d'air, puis séchée. La troisième dissolution c est laissée pendant 13 jours à l'air libre, puis séchée. Les activités initiales des trois sels sont:
| Pour la portion a | 145,2 |
| » b | 141,6 |
| » c | 102,6 |
L'activité limite du même sel est environ 470. On voit donc qu'au bout d'une heure la plus grande partie de l'effet était produite. De plus, le courant d'air qui a barboté pendant une heure dans la dissolution b n'a produit que peu d'effet. La proportion du sel dans la dissolution était d'environ 0,5 pour 100.
L'énergie radioactive sous forme d'émanation se propage difficilement du radium solide dans l'air; elle éprouve de même une résistance au passage du radium solide dans un liquide. Quand on agite du sulfate radifère avec de l'eau pendant une journée entière, son activité après celle opération est sensiblement la même que celle d'une portion du même sulfate laissée à l'air libre.
En faisant le vide sur du sel radifère on retire toute l'émanation disponible. Toutefois la radioactivité d'un chlorure radifère sur lequel nous avions fait le vide pendant 6 jours ne fut pas sensiblement modifiée par cette opération. Cette expérience montre que la radioactivité du sel est due principalement à l'énergie radioactive utilisée dans l'intérieur des grains, laquelle ne peut être enlevée en faisant le vide.
La perte d'activité que le radium éprouve quand on le fait passer par l'état dissous est relativement plus grande pour les rayons pénétrants que pour les rayons absorbables. Voici quelques exemples:
Un chlorure radifère, qui avait atteint son activité limite 470 est dissous et reste en dissolution pendant une heure; on le sèche ensuite et l'on mesure sa radioactivité initiale par la méthode électrique. On trouve que le rayonnement initial total est égal à la fraction 0,3 du rayonnement total limite. Si l'on fait la mesure de l'intensité du rayonnement en recouvrant la substance active d'un écran d'aluminium de 0mm,01 d'épaisseur, on trouve que le rayonnement initial qui traverse cet écran n'est que la fraction 0,17 du rayonnement limite traversant le même écran.
Quand le sel est resté en dissolution pendant 13 jours, on trouve pour le rayonnement initial total la fraction 0,22 du rayonnement limite total et pour le rayonnement qui traverse 0mm,01 d'aluminium la fraction 0,13 du rayonnement limite.
Dans les deux cas le rapport du rayonnement initial après dissolution au rayonnement limite est de 1,7 fois plus grand pour le rayonnement total que pour le rayonnement qui traverse 0mm,01 d'aluminium.
Il faut d'ailleurs remarquer que, en séchant le produit après dissolution, on ne peut éviter une période de temps pendant laquelle le produit se trouve à un état mal défini, ni entièrement solide, ni entièrement liquide. On ne peut non plus éviter de chauffer le produit pour enlever l'eau rapidement.
Pour ces deux raisons il n'est guère possible de déterminer la vraie activité initiale du produit qui passe de l'état dissous à l'état solide. Dans les expériences qui viennent d'être citées des quantités égales de substances radiantes étaient dissoutes dans la même quantité d'eau, et ensuite les dissolutions étaient évaporées à sec dans des conditions aussi identiques que possible et sans chauffer au-dessus de 120° ou 130°.
J'ai étudié la loi suivant laquelle augmente l'activité d'un sel radifère solide, à partir du moment où ce sel est séché après dissolution, jusqu'au moment où il 138 atteint son activité limite. Dans les Tableaux qui suivent j'indique l'intensité du rayonnement I en fonction du temps, l'intensité limite étant supposée égale à 100, et le temps étant compté à partir du moment où le produit a été séché. Le Tableau I (fig. 13, courbe I) est relatif au rayonnement total. Le Tableau II (fig. 13, courbe II) est relatif seulement aux rayons pénétrants (rayons qui ont traversé 3cm d'air et 0mm,01 d'aluminium).
| Tableau I. | Tableau II. | ||
| Temps. | I. | Temps. | I. |
| 0 | 21 | 0 | 1,3 |
| 1 jour | 25 | 1 jour | 19 |
| 3 » | 44 | 3 » | 43 |
| 5 » | 60 | 6 » | 60 |
| 10 » | 78 | 15 » | 70 |
| 19 » | 93 | 23 » | 86 |
| 33 » | 100 | 46 » | 94 |
| 67 » | 100 | ||
J'ai fait plusieurs autres séries de mesures du même genre, mais elle ne sont pas absolument en accord les unes avec les autres, bien que le caractère général des courbes obtenues reste le même. Il est difficile d'obtenir des résultats bien réguliers. On peut cependant remarquer que la reprise d'activité met plus d'un mois à se produire, et que les rayons les plus pénétrants sont ceux qui sont le plus profondément atteints par l'effet de la dissolution.
L'intensité initiale du rayonnement qui peut traverser 3cm d'air et 0mm,01 d'aluminium n'est que 1 pour 100 de l'intensité limite, alors que l'intensité initiale du rayonnement total est 21 pour 100 du rayonnement total limite.
Un sel radifère, qui a été dissous et qui vient d'être séché, possède le même pouvoir pour provoquer l'activité induite (et, par conséquent, laisse échapper au 139 dehors autant d'émanation) qu'un échantillon du même sel qui, après avoir été préparé à l'état solide est resté dans cet état un temps suffisant pour atteindre la radioactivité limite. L'activité radiante de ces deux produits est pourtant extrêmement différente; le premier est, par exemple, 5 fois moins actif que le second.
Variations d'activité des sels de radium par la chauffe.—Quand on chauffe un composé radifère, ce composé dégage de l'émanation et perd de l'activité. La perte d'activité est d'autant plus grande que la chauffe est à la fois plus intense et plus prolongée. C'est ainsi qu'en chauffant un sel radifère pendant 1 heure à 130° on lui fait perdre 10 pour 100 de son rayonnement total: au contraire, une chauffe de 10 minutes à 400° ne produit pas d'effet sensible. Une chauffe au rouge de quelques heures de durée détruit 77 pour 100 du rayonnement total.
La perte d'activité par la chauffe est plus importante pour les rayons pénétrants que pour les rayons absorbables. C'est ainsi qu'une chauffe de quelques heures de durée détruit environ 77 pour 100 du rayonnement total, mais la même chauffe détruit la presque totalité (99 pour 100) du rayonnement qui est capable de traverser 3cm d'air et 0mm,1 d'aluminium. En maintenant le chlorure de baryum radifère en fusion pendant quelques heures (vers 800°), on détruit 98 pour 100 du rayonnement capable de traverser 0mm,3 d'aluminium. On peut dire que les rayons pénétrants n'existent sensiblement pas après une chauffe forte et prolongée.
Quand un sel radifère a perdu une partie de son activité par la chauffe, cette baisse d'activité ne persiste pas: l'activité du sel se régénère spontanément à la température ordinaire et tend vers une certaine valeur limite. J'ai observé le fait fort curieux que cette limite est plus 140 élevée que l'activité limite du sel avant la chauffe, du moins en est-il ainsi pour le chlorure. En voici des exemples: un échantillon de chlorure de baryum radifère qui, après avoir été préparé à l'état solide, a atteint depuis longtemps son activité limite, possède un rayonnement total représenté par le nombre 470, et un rayonnement capable de traverser 0mm,01 d'aluminium, représenté par le nombre 157. Cet échantillon est soumis à une chauffe au rouge pendant quelques heures. Deux mois après la chauffe, il atteint une activité limite avec un rayonnement total égal à 690, et un rayonnement à travers 0mm,01 d'aluminium égal à 227. Le rayonnement total et le rayonnement qui traverse l'aluminium sont donc augmentés respectivement dans le rapport 690/470 et 227/156. Ces deux rapports sont sensiblement égaux entre eux et égaux à 1,45.
Un échantillon de chlorure de baryum radifère qui, après avoir été préparé à l'état solide, a atteint une activité limite égale à 62, est maintenu en fusion pendant quelques heures; puis le produit fondu est pulvérisé. Ce 141 produit reprend une nouvelle activité limite égale à 140, soit plus de 2 fois plus grande que celle qu'il pouvait atteindre, quand il avait été préparé à l'état solide sans avoir été notablement chauffé pendant la dessiccation.
J'ai étudié la loi de l'augmentation de l'activité des composés radifères après la chauffe. Voici, à titre d'exemple, les résultats de deux séries de mesures. Les nombres des Tableaux I et II indiquent l'intensité du rayonnement I en fonction du temps, l'intensité limite étant supposée égale à 100, et le temps étant compté à partir de la fin de la chauffe. Le Tableau I (fig. 14, courbe I) est relatif au rayonnement total d'un échantillon de chlorure de baryum radifère. Le Tableau II (fig. 3, courbe II) est relatif au rayonnement pénétrant d'un échantillon de sulfate de baryum radifère, car on mesurait l'intensité du rayonnement qui traversait 3cm d'air et 0mm,01 d'aluminium. Les deux produits ont subi une chauffe au rouge cerise pendant 7 heures.
| Tableau I. | Tableau II. | ||
| Temps. | I. | Temps. | I. |
| 0 | 16,2 | 0 | 0,8 |
| 0,6 jour | 25,4 | 0,7 jour | 13 |
| 1 » | 27,4 | 1 » | 18 |
| 2 » | 38 | 1,9 » | 26,4 |
| 3 » | 46,3 | 6 » | 46,2 |
| 4 » | 54 | 10 » | 55,5 |
| 6 » | 67,5 | 14 » | 64 |
| 10 » | 84 | 18 » | 71,8 |
| 24 » | 95 | 27 » | 81 |
| 57 » | 100 | 36 » | 91 |
| 50 » | 95,5 | ||
| 57 » | 99 | ||
| 84 » | 100 | ||
J'ai fait encore plusieurs autres séries de déterminations, mais, de même que pour la reprise d'activité après 142 dissolution, les résultats des diverses séries ne sont pas bien concordants.
L'effet de la chauffe ne persiste pas quand on dissout la substance radifère chauffée. De deux échantillons d'une même substance radifère d'activité 1800, l'un a été fortement chauffé, et son activité a été réduite par la chauffe à 670. Les deux échantillons ayant été à ce moment dissous et laissés en dissolution pendant 20 heures, leurs activités initiales à l'état solide ont été 460 pour le produit non chauffé et 420 pour celui chauffé; il n'y avait donc pas de différence considérable entre l'activité de ces deux produits. Mais, si les deux produits ne restent pas en dissolution un temps suffisant, si, par exemple, on les sèche immédiatement après les avoir dissous, le produit non chauffé est beaucoup plus actif que le produit chauffé; un certain temps est nécessaire pour que l'état de dissolution fasse disparaître l'effet de la chauffe. Un produit d'activité 3200 a été chauffé et n'avait plus après la chauffe qu'une activité de 1030. Ce produit a été dissous en même temps qu'une portion du même produit non chauffée, et les deux portions ont été séchées immédiatement. L'activité initiale était de 1450 pour le produit non chauffé et de 760 pour celui chauffé.
Pour les sels radifères solides, le pouvoir de provoquer la radioactivité induite est fortement influencé par la chauffe. Pendant que l'on chauffe les composés radifères, ils dégagent plus d'émanation qu'à la température ordinaire; mais, quand ils sont ensuite ramenés à la température ordinaire, non seulement leur radioactivité est bien inférieure à celle qu'ils avaient avant la chauffe, mais aussi leur pouvoir activant est considérablement diminué. Pendant le temps qui suit la chauffe, la radioactivité du produit va en augmentant et peut même dépasser la valeur primitive. Le pouvoir activant se rétablit aussi partiellement; cependant, après une chauffe prolongée au rouge, 143 la presque totalité du pouvoir activant se trouve supprimée, sans être susceptible de reparaître spontanément avec le temps. On peut restituer au sel radifère son pouvoir activant primitif en le dissolvant dans l'eau et en le séchant à l'étuve à une température de 120°. Il semble donc que la calcination ait pour effet de mettre le sel dans un état physique particulier, dans lequel l'émanation se dégage bien plus difficilement que cela n'a lieu pour le même produit solide qui n'a pas été chauffé à température élevée, et il en résulte tout naturellement que le sel atteint une radioactivité limite plus élevée que celle qu'il avait avant la chauffe. Pour remettre le sel dans l'état physique qu'il avait avant la chauffe, il suffit de le dissoudre et de le sécher, sans le chauffer, au-dessus de 150°.
Voici quelques exemples numériques à ce sujet:
Je désigne par a l'activité induite limite provoquée en vase clos sur une lame de cuivre par un échantillon de carbonate de baryum radifère d'activité 1600.
Posons pour le produit non chauffé:
a = 100.
On trouve:
| 1 jour après la chauffe | a = 3,3 |
| 4 » » | a = 7,1 |
| 10 » » | a = 15 |
| 20 » » | a = 15 |
| 37 » » | a = 15 |
La radioactivité du produit avait diminué de 90 pour 100 par la chauffe, mais, au bout d'un mois, elle avait déjà repris la valeur primitive.
Voici une expérience du même genre faite avec un chlorure de baryum radifère d'activité 3000. Le pouvoir activant est déterminé de la même façon que dans l'expérience précédente.
Pouvoir activant du produit non chauffé:
a = 100.
Pouvoir activant du produit après une chauffe au rouge de trois heures:
| 2 jours après chauffe | 2,3 |
| 5 » » | 7,0 |
| 11 » » | 8,2 |
| 18 » » | 8,2 |
| Pouvoir activant du produit non chauffé qui a été dissous, puis séché à 150° | 92 |
| Pouvoir activant du produit chauffé qui a été dissous, puis séché à 150° | 105 |
Interprétation théorique des causes des variations d'activité des sels radifères, après dissolution et après chauffe.—Les faits qui viennent d'être exposés peuvent être, en partie, expliqués par la théorie d'après laquelle le radium produit l'énergie sous forme d'émanation, cette dernière se transformant ensuite en énergie de rayonnement. Quand on dissout un sel de radium, l'émanation qu'il produit se répand au dehors de la solution et provoque la radioactivité en dehors de la source dont elle provient; lorsqu'on évapore la dissolution, le sel solide obtenu est peu actif, car il ne contient que peu d'émanation. Peu à peu l'émanation s'accumule dans le sel, dont l'activité augmente jusqu'à une valeur limite, qui est obtenue quand la production d'émanation par le radium compense la perte qui se fait par débit extérieur et par transformation sur place en rayons de Becquerel.
Lorsqu'on chauffe un sel de radium, le débit d'émanation en dehors du sel est fortement augmenté, et les phénomènes de radioactivité induite sont plus intenses que quand le sel est à la température ordinaire. Mais quand le sel revient à la température ordinaire, il est épuisé, comme dans le cas où on l'avait dissous, il ne contient que peu 145 d'émanation, l'activité est devenue très faible. Peu à peu l'émanation s'accumule de nouveau dans le sel solide et le rayonnement va en augmentant.
On peut admettre que le radium donne lieu à un débit constant d'émanation, dont une partie s'échappe à l'extérieur, tandis que la partie restante est transformée, dans le radium lui-même, en rayons de Becquerel. Lorsque le radium a été chauffé au rouge, il perd la plus grande partie de son pouvoir d'activation; autrement dit, le débit d'émanation à l'extérieur est diminué. Par suite, la proportion d'émanation utilisée dans le radium lui-même doit être plus forte, et le produit atteint une radioactivité limite plus élevée.
On peut se proposer d'établir théoriquement la loi de l'augmentation de l'activité d'un sel radifère solide qui a été dissous ou qui a été chauffé. Nous admettrons que l'intensité du rayonnement du radium est, à chaque instant, proportionnelle à la quantité d'émanation q présente dans le radium. Nous savons que l'émanation se détruit spontanément suivant une loi telle que l'on ait, à chaque instant,
(1) ![]()
q0 étant la quantité d'émanation à l'origine du temps, et θ la constante de temps égale à 4,97 × 105 sec.
Soit, d'autre part, Δ le débit d'émanation fourni par le radium, quantité que je supposerai constante. Voyons ce qui se passerait, s'il ne s'échappait pas d'émanation dans l'espace ambiant. L'émanation produite serait alors entièrement utilisée dans le radium pour y produire le rayonnement. On a d'ailleurs, d'après la formule (1),
![]()
et, par suite, à l'état d'équilibre, le radium contiendrait 146 une certaine quantité d'émanation Q telle que l'on ait
(2) ![]()
et le rayonnement du radium serait alors proportionnel à Q.
Supposons qu'on mette le radium dans des conditions où il perd de l'émanation au dehors; c'est ce que l'on peut obtenir en dissolvant le composé radifère ou en le chauffant. L'équilibre sera troublé et l'activité du radium diminuera. Mais aussitôt que la cause de la perte d'émanation a été supprimée (le corps est revenu à l'état solide, ou bien on a cessé de chauffer), l'émanation s'accumule à nouveau dans le radium, et nous avons une période, pendant laquelle le débit Δ l'emporte sur la vitesse de destruction q/θ. On a alors
![]()
d'où
![]()
(3) ![]()
q0 étant la quantité d'émanation présente dans le radium au temps t = 0.
D'après la formule (3) l'excès de la quantité d'émanation Q que le radium contient à l'état d'équilibre sur la quantité q qu'il contient à un moment donné, décroît en fonction du temps suivant une loi exponentielle qui est la loi même de la disparition spontanée de l'émanation. Le rayonnement du radium étant d'ailleurs proportionnel à la quantité d'émanation, l'excès de l'intensité du rayonnement limite sur l'intensité actuelle doit décroître en 147 fonction du temps suivant cette même loi; cet excès doit donc diminuer de moitié en 4 jours environ.
La théorie qui précède est incomplète, puisqu'on a négligé la perte d'émanation par débit à l'extérieur. Il est, d'ailleurs, difficile de savoir comment celle-ci intervient en fonction du temps. En comparant les résultats de l'expérience à ceux de cette théorie incomplète, on ne trouve pas un accord satisfaisant; on retire cependant la conviction que la théorie en question contient une part de vérité. La loi d'après laquelle l'excès de l'activité limite sur l'activité actuelle diminue de moitié en 4 jours représente, avec une certaine approximation, la marche de la reprise d'activité après chauffe pendant une dizaine de jours. Dans le cas de la reprise d'activité après dissolution cette même loi semble convenir à peu près pendant une certaine période de temps, qui commence deux ou trois jours après la dessiccation du produit et se poursuit pendant 10 à 15 jours. Les phénomènes sont d'ailleurs complexes; la théorie indiquée n'explique pas pourquoi les rayons pénétrants sont supprimés en plus forte proportion que les rayons absorbables.
Dès le début des recherches sur les corps radioactifs, et alors que les propriétés de ces corps étaient encore à peine connues, la spontanéité de leur rayonnement s'est posée comme un problème, ayant pour les physiciens le plus grand intérêt. Aujourd'hui, nous sommes plus avancés au point de vue de la connaissance des corps radioactifs, et nous savons isoler un corps radioactif d'une très grande puissance, le radium. L'utilisation des propriétés remarquables du radium a permis de faire une étude approfondie des rayons émis par les corps radioactifs; 148 les divers groupes de rayons qui ont été étudiés jusqu'ici présentent des analogies avec les groupes de rayons qui existent dans les tubes de Crookes: rayons cathodiques, rayons Röntgen, rayons canaux. Ce sont encore les mêmes groupes de rayons que l'on retrouve dans le rayonnement secondaire produit par les rayons Röntgen[118], et dans le rayonnement des corps qui ont acquis la radioactivité induite.
Mais si la nature du rayonnement est actuellement mieux connue, la cause de la radioactivité spontanée reste mystérieuse et ce phénomène est toujours pour nous une énigme et un sujet d'étonnement profond.
Les corps spontanément radioactifs, en premier lieu le radium, constituent des sources d'énergie. Le débit d'énergie auquel ils donnent lieu nous est révélé par le rayonnement de Becquerel, par les effets chimiques et lumineux et par le dégagement continu de chaleur.
On s'est souvent demandé si l'énergie est créée dans les corps radioactifs eux-mêmes ou bien si elle est empruntée par ces corps à des sources extérieures. Aucune des nombreuses hypothèses, qui résultent de ces deux manières de voir, n'a encore reçu de confirmation expérimentale.
On peut supposer que l'énergie radioactive a été emmagasinée antérieurement et qu'elle s'épuise peu à peu comme cela arrive pour une phosphorescence de très longue durée. On peut imaginer que le dégagement d'énergie radioactive correspond à une transformation de la nature même de l'atome du corps radiant qui serait en voie d'évolution; le fait que le radium dégage de la chaleur d'une manière continue plaide en faveur de cette hypothèse. On peut supposer que la transformation est 149 accompagnée d'une perte de poids et d'une émission de particules matérielles qui constitue le rayonnement. La source d'énergie peut encore être cherchée dans l'énergie de gravitation. Enfin, on peut imaginer que l'espace est constamment traversé par des rayonnements encore inconnus qui sont arrêtés à leur passage au travers des corps radioactifs et transformés en énergie radioactive.
Bien des raisons sont à invoquer pour et contre ces diverses manières de voir, et le plus souvent les essais de vérification expérimentale des conséquences de ces hypothèses ont donné des résultats négatifs. L'énergie radioactive de l'uranium et du radium ne semble pas jusqu'ici s'épuiser ni même éprouver une variation appréciable avec le temps. Demarçay a examiné au spectroscope un échantillon de chlorure de radium pur à 5 mois d'intervalle; il n'a observé aucun changement dans le spectre au bout de ces 5 mois. La raie principale du baryum qui se voyait dans le spectre et indiquait la présence du baryum à l'état de trace, ne s'était pas renforcée pendant l'intervalle de temps considéré; le radium ne s'était donc pas transformé en baryum d'une manière sensible.
Les variations de poids signalées par M. Heydweiller pour les composés du radium[119] ne peuvent pas encore être considérées comme un fait établi.
MM. Elster et Geitel ont trouvé que la radioactivité de l'uranium n'est pas changée au fond d'un puits de mine de 850m de profondeur; une couche de terre de cette épaisseur ne modifierait donc pas le rayonnement primaire hypothétique qui provoquerait la radioactivité de l'uranium.
Nous avons mesuré la radioactivité de l'uranium à midi et à minuit, pensant que si le rayonnement primaire hypothétique 150 avait sa source dans le soleil, il pourrait être en partie absorbé en traversant la terre. L'expérience n'a donné aucune différence pour les deux mesures.
Les recherches les plus récentes sont favorables à l'hypothèse d'une transformation atomique du radium. Cette hypothèse a été mise dès le début des recherches sur la radioactivité[120]; elle a été franchement adoptée par M. Rutherford qui a admis que l'émanation du radium est un gaz matériel qui est un des produits de la désagrégation de l'atome du radium[121]. Les expériences récentes de MM. Ramsay et Soddy tendent à prouver que l'émanation est un gaz instable qui se détruit en donnant lieu à une production d'hélium. D'autre part, le débit continu de chaleur fourni par le radium ne saurait s'expliquer par une réaction chimique ordinaire, mais pourrait peut-être avoir son origine dans une transformation de l'atome.
Rappelons enfin que les substances radioactives nouvelles se trouvent toujours dans les minerais d'urane; nous avons vainement cherché du radium dans le baryum du commerce (voir page 46). La présence du radium semble donc liée à celle de l'uranium. Les minerais d'urane contiennent d'ailleurs de l'argon et de l'hélium, et cette coïncidence n'est probablement pas non plus due au hasard. La présence simultanée de ces divers corps dans les mêmes minerais fait songer que la présence des uns est peut-être nécessaire pour la formation des autres.
Il est toutefois nécessaire de remarquer que les faits qui viennent à l'appui de l'idée d'une transformation atomique du radium peuvent aussi recevoir une interprétation différente. Au lieu d'admettre que l'atome de radium se transforme, on pourrait admettre que cet atome est lui-même stable, mais qu'il agit sur le milieu qui l'entoure 151 (atomes matériels voisins ou éther du vide) de manière à donner lieu à des transformations atomiques. Cette hypothèse conduit tout aussi bien à admettre la possibilité de la transformation des éléments, mais le radium lui-même ne serait plus alors un élément en voie de destruction.
FIN.
| Pages | |
Introduction |
1 |
Historique |
3 |
| I.—Radioactivité de l'uranium et du thorium. Minéraux radioactifs. |
|
Rayons de Becquerel |
6 |
Mesure de l'intensité du rayonnement |
8 |
Radioactivité des composés d'uranium et de thorium |
14 |
La radioactivité atomique est-elle un phénomène général? |
17 |
Minéraux radioactifs |
19 |
| II.—Les nouvelles substances radioactives. | |
Méthode de recherches |
22 |
Polonium, radium, actinium |
22 |
Spectre du radium |
25 |
Extraction des substances radioactives nouvelles |
27 |
Polonium |
31 |
Préparation du chlorure de radium pur |
34 |
Détermination du poids atomique du radium |
40 |
Caractères des sels de radium |
45 |
Fractionnement du chlorure de baryum ordinaire |
46 |
| III.—Rayonnement des nouvelles substances radioactives. | |
Procédés d'étude du rayonnement |
47 |
Energie du rayonnement |
48 |
Nature complexe du rayonnement |
49 |
Action du champ magnétique |
51 |
Rayons déviables β |
56 |
Charge des rayons déviables β |
57 |
Action du champ électrique sur les rayons β du radium |
62 |
Rapport de la charge à la masse pour une particule chargée négativement, émise par le radium |
63 |
Action du champ magnétique sur les rayons α |
66 |
Action du champ magnétique sur les rayons des autres substances radioactives |
68 |
Proportion des rayons déviables β dans le rayonnement du radium |
68 |
Pouvoir pénétrant du rayonnement des corps radioactifs |
73 |
Action ionisante des rayons du radium sur les liquides isolants |
90 |
Divers effets et applications de l'action ionisante des rayons émis par les substances radioactives |
93 |
Effets de fluorescence, effets lumineux |
95 |
Dégagement de chaleur par les sels de radium |
98 |
Effets chimiques produits par les nouvelles substances radioactives. Colorations |
102 |
Dégagement de gaz en présence des sels de radium |
104 |
Production de thermoluminescence |
105 |
Radiographies |
106 |
Effets physiologiques |
107 |
Action de la température sur le rayonnement |
109 |
| IV.—La radioactivité induite. | |
Communication de la radioactivité à des substances primitivement inactives |
111 |
Activation en enceinte fermée |
113 |
Rôle des gaz dans les phénomènes de radioactivité induite. Emanation |
115 |
Désactivation à l'air libre des corps solides activés |
116 |
Désactivation en enceinte close. Vitesse de destruction de l'émanation |
117 |
Nature des émanations |
119 |
Variations d'activité des liquides activés et des solutions radifères |
122 |
Théorie de la radioactivité |
123 |
Autre forme de la radioactivité induite |
126 |
Radioactivité induite à évolution lente |
126 |
Radioactivité induite sur des substances qui séjournent en dissolution avec le radium |
127 |
Dissémination des poussières radioactives et radioactivité induite du laboratoire |
130 |
Activation en dehors de l'action des substances radioactives |
131 |
Variations d'activité des corps radioactifs. Effets de dissolution |
155 |
Variations d'activité des sels de radium par la chauffe |
139 |
Interprétation théorique des causes de variation d'activité des sels radifères après dissolution et après chauffe |
144 |
Nature et cause des phénomènes de radioactivité |
147 |
FIN DE LA TABLE DES MATIÈRES.
PARIS.—IMPRIMERIE GAUTHIER-VILLARS,
35119 Quai des Grands-Augustins, 55.
| LIBRAIRIE GAUTHIER-VILLARS QUAI DES GRANDS-AUGUSTINS, 55, A PARIS (6e). —————— |
|
BLONDLOT (R.), Correspondant de l'Institut, Professeur à l'Université de Nancy.—Rayons «N». Recueil des Communications faites à l'Académie des Sciences, avec des Notes complémentaires et une Instruction pour la construction des écrans phosphorescents. In-16 (19 × 12) de VI-75 pages, avec 3 figures, 2 planches et un écran phosphorescent; 1904 |
2 fr. |
BERTHELOT (M.), Sénateur, Secrétaire perpétuel de l'Académie des Sciences, Professeur au Collège de France.—Les carbures d'hydrogène (1851-1901). Recherches expérimentales. Trois volumes grand in-8; 1901, se vendant ensemble |
45 fr. |
Tome I: L'Acétylène: synthèse totale des carbures d'hydrogène. Volume de X-414 pages. |
|
Tome II: Les Carbures pyrogénés.—Séries diverses. Volume de IV-558 pages. |
|
Tome III: Combinaison des carbures d'hydrogène avec l'hydrogène, l'oxygène, les éléments de l'eau. Volume de IV-459 pages. |
|
GUILLAUME (Ch.-Ed.), Docteur ès Sciences, Adjoint au Bureau international des Poids et Mesures.—Les Radiations nouvelles.—Les Rayons X et la Photographie à travers les corps opaques. 2e édition. In-8, avec 22 figures et 8 planches; 1897 |
3 fr. |
HALLER (Albin), Membre de l'Institut, Professeur à la Faculté des Sciences de Paris, Rapporteur du Jury de la Classe 87 à l'Exposition universelle de 1900.—Les industries chimiques et pharmaceutiques. Deux vol. gr. in-8 de XC-405 et 445 pages avec 108 fig; 1903 |
20 fr. |
LONDE (A.), Directeur du Service photographique et radiographique à la Salpêtrière (Clinique des maladies du système nerveux), Lauréat de l'Académie de Médecine, de la Faculté de Médecine de Paris.—Traité pratique de Radiographie et de Radioscopie. Technique et applications médicales. Grand in-8, avec 113 fig; 1898 |
7 fr. |
MOISSONNIER (P.), Pharmacien principal de l'Armée, Chef des laboratoires des usines de Billancourt et du Service de l'Intendance du Gouvernement militaire de Paris, ex-Secrétaire de la Commission de l'aluminium au Ministère de la Guerre.—L'aluminium. Ses propriétés. Ses applications. Historique. Minerais. Fabrication. Propriétés. Applications générales. Grand in-8, avec 2 figures et un titre tiré sur aluminium; 1903 |
7 fr. 50 c. |
| 35119 Paris.—Imprimerie GAUTHIER-VILLARS, quai des Grands-Augustins, 55. | |
[1] Revue générale des Sciences, 30 janvier 1896.
[2] Comptes rendus, t. CXXII, p. 312.
[3] Comptes rendus, t. CXXII, p. 386.
[4] Comptes rendus, t. CXXII, p. 564.
[5] Becquerel, Comptes rendus, 1896 (plusieurs Notes).
[6] Becquerel, Comptes rendus, 1896 (plusieurs Notes).
[7] Becquerel, Comptes rendus, t. CXXVIII, p. 771.—Elster et Geitel, Beibl., t. XXI, p. 455.
[8] Mme Curie, Revue générale des Sciences, janvier 1899.
[9] Schmidt, Wied. Ann., t. LXV, p. 141.
[10] Mme Curie, Comptes rendus, avril 1898.
[11] P. Curie et Mme Curie, Comptes rendus, 18 juillet 1898.
[12] Rutherford, Phil. Mag., janvier 1899.
[13] Sagnac, Comptes rendus, 1897, 1898, 1899 (plusieurs Notes).
[14] On arrive très facilement à ce résultat en soutenant le poids à la main et en ne le laissant peser que progressivement sur le plateau π, et cela de manière à maintenir l'image de l'électromètre au zéro. Avec un peu d'habitude on prend très exactement le tour de main nécessaire pour réussir cette opération. Cette méthode de mesure des faibles courants a été décrite par M. J. Curie dans sa thèse.
[15] Becquerel, Comptes rendus, t. CXXIV, p. 800, 1897.—Kelwin, Beattie et Smolan, Nature, t. LVI, 1897.—Beattie et Smoluchowski, Phil. Mag., t. XLIII, p. 418.
[16] Rutherford, Phil. Mag., janvier, 1899.
[17] Townsend, Phil. Mag., 1901, 6e série, t. I, p. 198.
[18] Mme Curie, Comptes rendus, avril 1898.
[19] Owens, Phil. Mag., octobre 1899.
[20] Rutherford, Phil. Mag., janvier 1900.
[21] Becquerel, Comptes rendus, t. CXXII, p. 1086.
[22] Je suis très reconnaissante aux savants cités plus haut, auxquels je dois des échantillons qui ont servi pour mon étude. Je remercie également M. Moissan qui a bien voulu donner pour cette étude de l'uranium métallique.
[23] Elster et Geitel, Wied. Ann., 1890.
[24] Bloch, Société de Physique, 6 février 1903.
[25] Mac Lennan et Burton, Phil. Mag., juin 1903.—Strutt, Phil. Mag., juin 1903.—Lester Cooke, Phil. Mag., octobre 1903.
[26] Plusieurs échantillons de minéraux de la collection du Muséum ont été obligeamment mis à ma disposition par M. Lacroix.
[27] La carnotite est un minerai de vanadate d'urane récemment découvert par Friedel et Cumenge.
[28] Debray, Ann. de Chim. et de Phys., 3e série, t. LXI, p. 445
[29] P. Curie et Mme Curie, Comptes rendus, juillet 1898.—P. Curie, Mme Curie et G. Bémont, Comptes rendus, décembre 1898.
[30] Debierne, Comptes rendus, octobre 1899 et avril 1900.
[31] Nous avons de nombreuses obligations envers tous ceux qui nous sont venus en aide dans ce travail. Nous remercions bien sincèrement MM. Mascart et Michel Lévy pour leur appui bienveillant. Grâce à l'intervention bienveillante de M. le professeur Suess, le gouvernement autrichien a mis gracieusement à notre disposition la première tonne de résidu traitée (provenant de l'usine de l'État, à Joachimsthal, en Bohème). L'Académie des Sciences de Paris, la Société d'Encouragement pour l'Industrie nationale, un donateur anonyme, nous ont fourni le moyen de traiter une certaine quantité de produit. Notre ami, M. Debierne, a organisé le traitement du minerai, qui a été effectué dans l'usine de la Société centrale de Produits chimiques. Cette Société a consenti à effectuer le traitement sans y chercher de bénéfice. A tous nous adressons nos remerciments bien sincères. Plus récemment, l'Institut de France a mis à notre disposition une somme de 20000fr pour l'extraction des matières radioactives. Grâce à cette somme, nous avons pu mettre en train le traitement de 5t de minerai.
[32] Giesel, Ber. deutsch. chem. Gesell., t. XXXIV, 1901, p. 3775.—Hoffmann et Strauss, Ber. deutsch. chem. Gesell., t. XXXIII, 1900, p. 3126.
[33] Tout récemment, nous avons eu la douleur de voir mourir ce savant si distingué, alors qu'il poursuivait ses belles recherches sur les terres rares et sur la spectroscopie, par des méthodes dont on ne saurait trop admirer la perfection et la précision. Nous conservons un souvenir ému de la parfaite obligeance avec laquelle il avait consenti à prendre part à notre travail.
[34] Demarçay, Comptes rendus, décembre 1898, novembre 1899 et juillet 1900.
[35] Giesel, Phys. Zeitschrift, 15 septembre 1902.
[36] Berichte d. deutsch. chem. Gesell., juin 1902 et décembre 1902.
[37] Mme Curie, Comptes rendus, 13 novembre 1899, août 1900 et 21 juillet 1902.
[38] Société de Physique, 3 avril 1903.
[39] En 1899, M. St. Meyer a annoncé que le carbonate de baryum radifère était paramagnétique (Wied. Ann., t. LXVIII). Cependant M. Meyer avait opéré avec un produit très peu riche en radium, et ne contenant probablement que 1/1000 de sel de radium. Ce produit aurait dû se montrer diamagnétique. Il est probable que ce corps contenait une petite impureté ferrifère.
[40] Giesel, Wied. Ann., 2 novembre 1899.—Meyer et von Schweidler, Acad. Anzeiger Wien, 3 et 9 novembre 1899.—Becquerel, Comptes rendus, 11 décembre 1899.
[41] P. Curie, Comptes rendus, 8 janvier 1900.
[42] P. Curie, Comptes rendus, 8 janvier 1900.
[43] Becquerel, Comptes rendus, t. CXXX, p. 206, 372, 810.
[44] Comptes rendus, t. CXXI, p. 1130. Annales de Chimie et de Physique, t. II, 1897.
[45] Lenard, Wied. Ann., t. LXIV, p. 279.
[46] M. et Mme Curie, Comptes rendus, 5 mars 1900.
[47] A vrai dire, dans ces expériences, on observe toujours une déviation à l'électromètre, mais il est facile de se rendre compte que ce déplacement est un effet de la force électromotrice de contact qui existe entre le plateau relié à l'électromètre et les conducteurs voisins; cette force électromotrice fait dévier l'électromètre, grâce à la conductibilité de l'air soumis au rayonnement du radium.
[48] Le dispositif du cylindre de Faraday n'est pas nécessaire, mais il pourrait présenter quelques avantages dans le cas où il se produirait une forte diffusion des rayons par les parois frappées. On pourrait espérer ainsi recueillir et utiliser ces rayons diffusés, s'il y en a.
[49] L'enveloppe isolante doit être parfaitement continue. Toute fissure remplie d'air allant du conducteur intérieur jusqu'à l'enveloppe métallique est une cause de courant dû aux forces électromotrices de contact utilisant la conductibilité de l'air sous l'action du radium.
[50] Dorn, Abh. Halle, mars 1900.
[51] Becquerel, Comptes rendus, t. CXXX, p. 819.
[52] Kaufmann, Nachrichten d. k. Gesell. d. Wiss. zu Gœttingen, 1901, Heft 2.
[53] Thomson, Phil. Mag., t. XLVI, 1898.—Townsend, Phil. Trans., t. CXCV, 1901.
[54] Abraham, Nachrichten d. k. Gesell. d. Wiss. zu Gœttingen, 1902, Heft 1.
[55] Quelques développements sur cette question ainsi qu'une étude très complète des centres matériels chargés (électrons ou corpuscules) et les références des travaux relatifs se trouvent dans la Thèse de M. Langevin.
[56] Rutherford, Physik. Zeitschrift, 15 janvier 1903.
[57] Becquerel, Comptes rendus des 26 janvier et 16 février 1903.
[58] Des Coudres, Physik. Zeitschrift., 1er juin 1903.
[59] Villard, Comptes rendus, t. CXXX, p. 1010.
[60] Des Coudres, Physik. Zeitschrift, novembre 1902.
[61] Mme Curie, Comptes rendus, avril 1898.
[62] Rutherford, Phil. Mag., janvier 1899.
[63] Owens, Phil. Mag., octobre 1899.
[64] Becquerel, Rapports au Congrès de Physique, 1900.—Meyer et von Schweidler, Comptes rendus de l'Acad. de Vienne, mars 1900 (Physik. Zeitschrift, t. I, p. 209).
[65] Becquerel, Comptes rendus, t. CXXX, p. 979 et 1154.
[66] M. et Mme Curie, Rapports au Congrès 1900.
[67] Rutherford, Phil. Mag., juillet 1902.
[68] Mme Curie, Comptes rendus, 8 janvier 1900.
[69] Meyer et von Schweidler, Physik. Zeitschrift, t. I, p. 209.
[70] Mme Curie, Comptes rendus, 8 janvier 1900.
[71] Chem. News, 3 avril 1903.
[72] Des Coudres, Physik. Zeitschrift, novembre 1902.
[73] Sagnac, Thèse de doctorat.—Curie et Sagnac, Comptes rendus, avril 1900.
[74] Becquerel, Rapports au Congrès de Physique, 1900.
[75] P. Curie, Comptes rendus de l'Académie des Sciences, 17 février 1902.
[76] Lord Kelwin, Beattie et Smolan, Nature, 1897.
[77] Perrin, Thèse de doctorat.
[78] Paulsen, Rapports au Congrès de Physique, 1900.—Witkowski, Bulletin de l'Académie des Sciences de Cracovie, janvier 1902.
[79] Bary, Comptes rendus, t. CXXX, 1900, p. 776.
[80] Curie, Soc. de Physique, 3 mars 1899.—Giesel, Wied. Ann., t. LXIX, p. 91.
[81] Giesel, Wied. Ann., t. LXIX, p. 91.
[82] Curie et Laborde, Comptes rendus, 16 mars 1903.
[83] M. et Mme Curie, Comptes rendus, t. CXXIX, novembre 1899, p. 823.
[84] Giesel, Soc. de Phys. allemande, janvier 1900.
[85] Giesel, Ber., 1903, p. 347.—Ramsay et Soddy, Phys. Zeitschr., 15 septembre 1903.
[86] Ramsay et Soddy, loc. cit.
[87] Becquerel, Rapports au Congrès de Physique, 1900.
[88] Walkhoff, Phot. Rundschau, octobre 1900.—Giesel, Berichte d. deutsch. chem. Gesell., t. XXIII.—Becquerel et Curie, Comptes rendus, t. CXXXII, p. 1289.
[89] Giesel, Naturforscherrersammlung, München, 1899.
[90] Himstedt et Nagel, Ann. der Physik, t. IV, 1901.
[91] Aschkinass et Caspari, Ann. der Physik, t. VI, 1901, p. 570.
[92] Danysz, Comptes rendus, 16 février 1903.
[93] Curie, Société de Physique, 2 mars 1900.
[94] M. et Mme Curie, Comptes rendus, 6 novembre 1899.
[95] Rutherford, Phil. Mag., janvier et février 1900.
[96] Dorn, Abh. Naturforsch. Gesell. Halle, juin 1900.
[97] Debierne, Comptes rendus, 30 juillet 1900; 16 février 1903.
[98] Curie et Debierne, Comptes rendus, 4 mars 1901.
[99] P. Curie et Mme Curie, Rapports au Congrès de Physique, 1900.
[100] Curie et Danne, Comptes rendus, 9 février 1903.
[101] Debierne, Comptes rendus, 16 février 1903.
[102] Rutherford, Phil. Mag., février 1900.
[103] P. Curie, Comptes rendus, 17 novembre 1902.
[104] Elster et Geitel, Physik. Zeitschrift, 15 septembre 1902.
[105] P. Curie et J. Danne, Comptes rendus, 2 juin 1903.
[106] P. Curie et J. Danne, Comptes rendus, 2 juin 1903.
[107] Rutherford et Soddy, Phil. Mag., mai 1903.
[108] Ramsay et Soddy, Physikalische Zeitschrift, 15 septembre 1903.
[109] Phil. Mag., 1902, p. 580; 1903, p. 457.
[110] Curie et Debierne, Comptes rendus, 29 juillet 1901.
[111] Curie, Comptes rendus, 26 janvier 1903.
[112] Giesel, Société de Physique de Berlin, janvier 1900.
[113] Debierne, Comptes rendus, juillet 1900.
[114] Rutherford et Soddy, Zeitschr. für physik. Chemie., t. XLII, 1902, p. 81.
[115] Villard, Société de Physique, juillet 1900.
[116] Mac Lennan, Phil. Mag., février 1902.
[117] Giesel, Wied. Ann., t. LXIX, p. 91.
[118] Sagnac, Thèse de doctorat.—Curie et Sagnac, Comptes rendus, avril 1900.
[119] Heydweiller, Physik. Zeitschr., octobre 1902.
[120] Mme Curie, Revue générale des Sciences, 30 janvier 1899.
[121] Rutherford et Soddy, Phil. Mag., mai 1903.
Cette version numérisée reproduit dans son intégralité la version originale.
L'orthographe a été conservée. Seules les erreurs de typographie manifestes ont été corrigées.
La ponctuation n'a pas été modifiée hormis quelques corrections mineures.
***END OF THE PROJECT GUTENBERG EBOOK RECHERCHES SUR LES SUBSTANCES RADIOACTIVES***
******* This file should be named 43233-h.txt or 43233-h.zip *******
This and all associated files of various formats will be found in:
http://www.gutenberg.org/4/3/2/3/43233
Updated editions will replace the previous one--the old editions will be renamed.
Creating the works from public domain print editions means that no one owns a United States copyright in these works, so the Foundation (and you!) can copy and distribute it in the United States without permission and without paying copyright royalties. Special rules, set forth in the General Terms of Use part of this license, apply to copying and distributing Project Gutenberg-tm electronic works to protect the PROJECT GUTENBERG-tm concept and trademark. Project Gutenberg is a registered trademark, and may not be used if you charge for the eBooks, unless you receive specific permission. If you do not charge anything for copies of this eBook, complying with the rules is very easy. You may use this eBook for nearly any purpose such as creation of derivative works, reports, performances and research. They may be modified and printed and given away--you may do practically ANYTHING with public domain eBooks. Redistribution is subject to the trademark license, especially commercial redistribution.
To protect the Project Gutenberg-tm mission of promoting the free distribution of electronic works, by using or distributing this work (or any other work associated in any way with the phrase "Project Gutenberg"), you agree to comply with all the terms of the Full Project Gutenberg-tm License available with this file or online at www.gutenberg.org/license.
1.A. By reading or using any part of this Project Gutenberg-tm electronic work, you indicate that you have read, understand, agree to and accept all the terms of this license and intellectual property (trademark/copyright) agreement. If you do not agree to abide by all the terms of this agreement, you must cease using and return or destroy all copies of Project Gutenberg-tm electronic works in your possession. If you paid a fee for obtaining a copy of or access to a Project Gutenberg-tm electronic work and you do not agree to be bound by the terms of this agreement, you may obtain a refund from the person or entity to whom you paid the fee as set forth in paragraph 1.E.8.
1.B. "Project Gutenberg" is a registered trademark. It may only be used on or associated in any way with an electronic work by people who agree to be bound by the terms of this agreement. There are a few things that you can do with most Project Gutenberg-tm electronic works even without complying with the full terms of this agreement. See paragraph 1.C below. There are a lot of things you can do with Project Gutenberg-tm electronic works if you follow the terms of this agreement and help preserve free future access to Project Gutenberg-tm electronic works. See paragraph 1.E below.
1.C. The Project Gutenberg Literary Archive Foundation ("the Foundation" or PGLAF), owns a compilation copyright in the collection of Project Gutenberg-tm electronic works. Nearly all the individual works in the collection are in the public domain in the United States. If an individual work is in the public domain in the United States and you are located in the United States, we do not claim a right to prevent you from copying, distributing, performing, displaying or creating derivative works based on the work as long as all references to Project Gutenberg are removed. Of course, we hope that you will support the Project Gutenberg-tm mission of promoting free access to electronic works by freely sharing Project Gutenberg-tm works in compliance with the terms of this agreement for keeping the Project Gutenberg-tm name associated with the work. You can easily comply with the terms of this agreement by keeping this work in the same format with its attached full Project Gutenberg-tm License when you share it without charge with others.
1.D. The copyright laws of the place where you are located also govern what you can do with this work. Copyright laws in most countries are in a constant state of change. If you are outside the United States, check the laws of your country in addition to the terms of this agreement before downloading, copying, displaying, performing, distributing or creating derivative works based on this work or any other Project Gutenberg-tm work. The Foundation makes no representations concerning the copyright status of any work in any country outside the United States.
1.E. Unless you have removed all references to Project Gutenberg:
1.E.1. The following sentence, with active links to, or other immediate access to, the full Project Gutenberg-tm License must appear prominently whenever any copy of a Project Gutenberg-tm work (any work on which the phrase "Project Gutenberg" appears, or with which the phrase "Project Gutenberg" is associated) is accessed, displayed, performed, viewed, copied or distributed:
This eBook is for the use of anyone anywhere at no cost and with almost no restrictions whatsoever. You may copy it, give it away or re-use it under the terms of the Project Gutenberg License included with this eBook or online at www.gutenberg.org
1.E.2. If an individual Project Gutenberg-tm electronic work is derived from the public domain (does not contain a notice indicating that it is posted with permission of the copyright holder), the work can be copied and distributed to anyone in the United States without paying any fees or charges. If you are redistributing or providing access to a work with the phrase "Project Gutenberg" associated with or appearing on the work, you must comply either with the requirements of paragraphs 1.E.1 through 1.E.7 or obtain permission for the use of the work and the Project Gutenberg-tm trademark as set forth in paragraphs 1.E.8 or 1.E.9.
1.E.3. If an individual Project Gutenberg-tm electronic work is posted with the permission of the copyright holder, your use and distribution must comply with both paragraphs 1.E.1 through 1.E.7 and any additional terms imposed by the copyright holder. Additional terms will be linked to the Project Gutenberg-tm License for all works posted with the permission of the copyright holder found at the beginning of this work.
1.E.4. Do not unlink or detach or remove the full Project Gutenberg-tm License terms from this work, or any files containing a part of this work or any other work associated with Project Gutenberg-tm.
1.E.5. Do not copy, display, perform, distribute or redistribute this electronic work, or any part of this electronic work, without prominently displaying the sentence set forth in paragraph 1.E.1 with active links or immediate access to the full terms of the Project Gutenberg-tm License.
1.E.6. You may convert to and distribute this work in any binary, compressed, marked up, nonproprietary or proprietary form, including any word processing or hypertext form. However, if you provide access to or distribute copies of a Project Gutenberg-tm work in a format other than "Plain Vanilla ASCII" or other format used in the official version posted on the official Project Gutenberg-tm web site (www.gutenberg.org), you must, at no additional cost, fee or expense to the user, provide a copy, a means of exporting a copy, or a means of obtaining a copy upon request, of the work in its original "Plain Vanilla ASCII" or other form. Any alternate format must include the full Project Gutenberg-tm License as specified in paragraph 1.E.1.
1.E.7. Do not charge a fee for access to, viewing, displaying, performing, copying or distributing any Project Gutenberg-tm works unless you comply with paragraph 1.E.8 or 1.E.9.
1.E.8. You may charge a reasonable fee for copies of or providing access to or distributing Project Gutenberg-tm electronic works provided that
1.E.9. If you wish to charge a fee or distribute a Project Gutenberg-tm electronic work or group of works on different terms than are set forth in this agreement, you must obtain permission in writing from both the Project Gutenberg Literary Archive Foundation and Michael Hart, the owner of the Project Gutenberg-tm trademark. Contact the Foundation as set forth in Section 3 below.
1.F.
1.F.1. Project Gutenberg volunteers and employees expend considerable effort to identify, do copyright research on, transcribe and proofread public domain works in creating the Project Gutenberg-tm collection. Despite these efforts, Project Gutenberg-tm electronic works, and the medium on which they may be stored, may contain "Defects," such as, but not limited to, incomplete, inaccurate or corrupt data, transcription errors, a copyright or other intellectual property infringement, a defective or damaged disk or other medium, a computer virus, or computer codes that damage or cannot be read by your equipment.
1.F.2. LIMITED WARRANTY, DISCLAIMER OF DAMAGES - Except for the "Right of Replacement or Refund" described in paragraph 1.F.3, the Project Gutenberg Literary Archive Foundation, the owner of the Project Gutenberg-tm trademark, and any other party distributing a Project Gutenberg-tm electronic work under this agreement, disclaim all liability to you for damages, costs and expenses, including legal fees. YOU AGREE THAT YOU HAVE NO REMEDIES FOR NEGLIGENCE, STRICT LIABILITY, BREACH OF WARRANTY OR BREACH OF CONTRACT EXCEPT THOSE PROVIDED IN PARAGRAPH 1.F.3. YOU AGREE THAT THE FOUNDATION, THE TRADEMARK OWNER, AND ANY DISTRIBUTOR UNDER THIS AGREEMENT WILL NOT BE LIABLE TO YOU FOR ACTUAL, DIRECT, INDIRECT, CONSEQUENTIAL, PUNITIVE OR INCIDENTAL DAMAGES EVEN IF YOU GIVE NOTICE OF THE POSSIBILITY OF SUCH DAMAGE.
1.F.3. LIMITED RIGHT OF REPLACEMENT OR REFUND - If you discover a defect in this electronic work within 90 days of receiving it, you can receive a refund of the money (if any) you paid for it by sending a written explanation to the person you received the work from. If you received the work on a physical medium, you must return the medium with your written explanation. The person or entity that provided you with the defective work may elect to provide a replacement copy in lieu of a refund. If you received the work electronically, the person or entity providing it to you may choose to give you a second opportunity to receive the work electronically in lieu of a refund. If the second copy is also defective, you may demand a refund in writing without further opportunities to fix the problem.
1.F.4. Except for the limited right of replacement or refund set forth in paragraph 1.F.3, this work is provided to you 'AS-IS', WITH NO OTHER WARRANTIES OF ANY KIND, EXPRESS OR IMPLIED, INCLUDING BUT NOT LIMITED TO WARRANTIES OF MERCHANTABILITY OR FITNESS FOR ANY PURPOSE.
1.F.5. Some states do not allow disclaimers of certain implied warranties or the exclusion or limitation of certain types of damages. If any disclaimer or limitation set forth in this agreement violates the law of the state applicable to this agreement, the agreement shall be interpreted to make the maximum disclaimer or limitation permitted by the applicable state law. The invalidity or unenforceability of any provision of this agreement shall not void the remaining provisions.
1.F.6. INDEMNITY - You agree to indemnify and hold the Foundation, the trademark owner, any agent or employee of the Foundation, anyone providing copies of Project Gutenberg-tm electronic works in accordance with this agreement, and any volunteers associated with the production, promotion and distribution of Project Gutenberg-tm electronic works, harmless from all liability, costs and expenses, including legal fees, that arise directly or indirectly from any of the following which you do or cause to occur: (a) distribution of this or any Project Gutenberg-tm work, (b) alteration, modification, or additions or deletions to any Project Gutenberg-tm work, and (c) any Defect you cause.
Project Gutenberg-tm is synonymous with the free distribution of electronic works in formats readable by the widest variety of computers including obsolete, old, middle-aged and new computers. It exists because of the efforts of hundreds of volunteers and donations from people in all walks of life.
Volunteers and financial support to provide volunteers with the assistance they need are critical to reaching Project Gutenberg-tm's goals and ensuring that the Project Gutenberg-tm collection will remain freely available for generations to come. In 2001, the Project Gutenberg Literary Archive Foundation was created to provide a secure and permanent future for Project Gutenberg-tm and future generations. To learn more about the Project Gutenberg Literary Archive Foundation and how your efforts and donations can help, see Sections 3 and 4 and the Foundation information page at www.gutenberg.org
The Project Gutenberg Literary Archive Foundation is a non profit 501(c)(3) educational corporation organized under the laws of the state of Mississippi and granted tax exempt status by the Internal Revenue Service. The Foundation's EIN or federal tax identification number is 64-6221541. Contributions to the Project Gutenberg Literary Archive Foundation are tax deductible to the full extent permitted by U.S. federal laws and your state's laws.
The Foundation's principal office is located at 4557 Melan Dr. S. Fairbanks, AK, 99712., but its volunteers and employees are scattered throughout numerous locations. Its business office is located at 809 North 1500 West, Salt Lake City, UT 84116, (801) 596-1887. Email contact links and up to date contact information can be found at the Foundation's web site and official page at www.gutenberg.org/contact
For additional contact information:
Dr. Gregory B. Newby
Chief Executive and Director
gbnewby@pglaf.org
Project Gutenberg-tm depends upon and cannot survive without wide spread public support and donations to carry out its mission of increasing the number of public domain and licensed works that can be freely distributed in machine readable form accessible by the widest array of equipment including outdated equipment. Many small donations ($1 to $5,000) are particularly important to maintaining tax exempt status with the IRS.
The Foundation is committed to complying with the laws regulating charities and charitable donations in all 50 states of the United States. Compliance requirements are not uniform and it takes a considerable effort, much paperwork and many fees to meet and keep up with these requirements. We do not solicit donations in locations where we have not received written confirmation of compliance. To SEND DONATIONS or determine the status of compliance for any particular state visit www.gutenberg.org/donate
While we cannot and do not solicit contributions from states where we have not met the solicitation requirements, we know of no prohibition against accepting unsolicited donations from donors in such states who approach us with offers to donate.
International donations are gratefully accepted, but we cannot make any statements concerning tax treatment of donations received from outside the United States. U.S. laws alone swamp our small staff.
Please check the Project Gutenberg Web pages for current donation methods and addresses. Donations are accepted in a number of other ways including checks, online payments and credit card donations. To donate, please visit: www.gutenberg.org/donate
Professor Michael S. Hart was the originator of the Project Gutenberg-tm concept of a library of electronic works that could be freely shared with anyone. For forty years, he produced and distributed Project Gutenberg-tm eBooks with only a loose network of volunteer support.
Project Gutenberg-tm eBooks are often created from several printed editions, all of which are confirmed as Public Domain in the U.S. unless a copyright notice is included. Thus, we do not necessarily keep eBooks in compliance with any particular paper edition.
Most people start at our Web site which has the main PG search facility: www.gutenberg.org
This Web site includes information about Project Gutenberg-tm, including how to make donations to the Project Gutenberg Literary Archive Foundation, how to help produce our new eBooks, and how to subscribe to our email newsletter to hear about new eBooks.