The Project Gutenberg EBook of The Methods of Glass Blowing and of Working
Silica in the Oxy-Gas Flame, by W. A. Shenstone
This eBook is for the use of anyone anywhere at no cost and with
almost no restrictions whatsoever. You may copy it, give it away or
re-use it under the terms of the Project Gutenberg License included
with this eBook or online at www.gutenberg.org
Title: The Methods of Glass Blowing and of Working Silica in the Oxy-Gas Flame
For the use of chemical and physical students
Author: W. A. Shenstone
Release Date: October 6, 2010 [EBook #33941]
Language: English
Character set encoding: ISO-8859-1
*** START OF THIS PROJECT GUTENBERG EBOOK THE METHODS OF GLASS BLOWING ***
Produced by Harry Lamé and the Online Distributed
Proofreading Team at http://www.pgdp.net (This file was
produced from images generously made available by The
Internet Archive/American Libraries.)
With 25 Illustrations. Crown 8vo, 2s.
A Practical Introduction to Chemistry. Intended to
give a practical acquaintance with the Elementary Facts
and Principles of Chemistry.
LONGMANS, GREEN, AND CO.
LONDON, NEW YORK, BOMBAY, CALCUTTA, AND MADRAS.
FOR THE USE OF CHEMICAL AND PHYSICAL
STUDENTS
BY
W. A. SHENSTONE, F.R.S.
FORMERLY LECTURER ON CHEMISTRY IN CLIFTON COLLEGE
NINTH IMPRESSION
LONGMANS, GREEN, AND CO.
39 PATERNOSTER ROW, LONDON
FOURTH AVENUE & 30TH STREET, NEW YORK
BOMBAY, CALCUTTA, AND MADRAS
1916
This book consists of a reprint of the third edition of my Methods of Glass-blowing, together with a new chapter in which I have described the comparatively new art of working vitreous silica.
The individual operations of glass-blowing are much less difficult than is usually supposed, and considerable success in the performance of most of them may be attained by any one who is endowed with average powers of manipulation and who is moderately persistent. Constructing finished apparatus is often more difficult, as it may involve the performance of several operations under disadvantageous conditions, and may demand a little ingenuity on the part of the operator. But I think the suggestions in Chapter IV. will make this comparatively easy also to those who have mastered the operations described in Chapter III.
The working of vitreous silica, though more tedious [vi]and expensive than glass-blowing, is not really more difficult, and as it seems certain that this new material will soon play a useful part in chemical and physical research, I believe the addition now made to the earlier book will add considerably to its value.
As glass is much less expensive to work with than silica, the beginner will find it best to spend a few days working with the common gas blow-pipe and glass before he attempts to manipulate the new and more refractory material. Therefore, in writing the new chapter, I have assumed that the reader is already more or less familiar with the rest of the book, and have given only such instructions and advice as will be required by one who is already able to carry out simple work at the blow-pipe.
W. A. SHENSTONE.
Clifton College,
Dec. 1901.
GLASS-BLOWER’S APPARATUS.
Introductory.—I shall endeavour to give such an account of the operations required in constructing glass apparatus as will be useful to chemical and other students; and as this book probably will come into the hands of beginners who are not in a position to secure any further assistance, I shall include descriptions even of the simple operations which are usually learned during the first few hours of practical work in a chemical or physical laboratory. I shall not give any particular account of the manufacture of such apparatus as thermometers, taps, etc., because, being in large demand, they can be bought so cheaply that time is not profitably spent in making them. But it will be found that what is included will enable any one, who will devote sufficient time to acquiring the necessary manipulative dexterity, to prepare such apparatus as test-tubes, distillation flasks, apparatus for washing gases, ozone generating tubes, etc., when they are required, as they often are, without delay or for special purposes. The amateur probably will not succeed in turning out apparatus so finished in appearance as that of the professional glass-blower until after long practice, but after a little daily practice for the space of a few weeks, any one who is fairly skilful in ordinary[2] manipulation, and who perseveres in the face of failure at first, will find himself able to make almost all the apparatus he needs for lecture or other experiments, with a considerable saving in laboratory expenses, and, which very often is more important, without the delay that occurs when one depends upon the professional glass-worker. In the case of those who, like myself, work in the provinces, this latter advantage is a very weighty one.
After the description of the instruments used in glass-blowing, which immediately follows, the following arrangement of the subject has been adopted. In the first place, an account of the two chief kinds of glass is given, and of the peculiarities in the behaviour of each of them before the blow-pipe, which is followed by a tolerably minute description of the method of performing each of the fundamental operations employed in fashioning glass apparatus. These are not very numerous, and they should be thoroughly mastered in succession, preferably upon tubes of both soda and lead glass. Then follows, in Chapter IV., an account of the application of these operations to setting up complete apparatus, full explanations of the construction of two or three typical pieces of apparatus being given as examples, and also descriptions of the modes of making various pieces of apparatus which in each case present one or more special difficulties in their construction; together with an account, which, I think, will be found valuable, of some apparatus that has been introduced, chiefly during recent years, for experimenting upon gases under reduced pressure, e.g. vacuum taps and joints. Finally, in Chapter V., there is a short account of the methods of graduating and calibrating glass apparatus for use in quantitative experiments.
The Working-place.—The blow-pipe must be placed in a position perfectly free from draughts. It should not face[3] a window, nor be in too strong a light, if that can be avoided, for a strong light will render the non-luminous flames, which are used in glass-blowing, almost invisible, and seriously inconvenience the operator, who cannot apply the various parts of the flames to his glass with the degree of certainty that is necessary; neither can he perceive the condition of the glass so correctly in a strong light, for though in many operations the glass-worker is guided by feeling rather than by seeing, yet sight plays a very important part in his proceedings.
My own blow-pipe is placed near a window glazed with opaque glass, which looks southwards, but is faced by buildings at a short distance. In dull weather the light obtained is good; but on most days I find it advantageous to shade the lower half of the window with a green baize screen. Some glass-blowers prefer gaslight to daylight.
The form of the table used is unimportant, provided that it is of a convenient height, and allows free play to the foot which works the blower underneath it. The blower should be fixed in a convenient position, or it will get out of control at critical moments. The table, or that part of it which surrounds the blow-pipe, should be covered with sheet-iron to protect it from the action of the fragments of hot glass that will fall upon it. The tubes that supply air and gas to the blow-pipe should come from beneath the table, and may pass through holes cut for the purpose.
Many glass-blowers prefer to work at a rather high table, and sit on a rather high stool, so that they are well above their work. No doubt this gives extra command over the work in hand, which is often valuable. On the other hand, it is somewhat fatiguing. For a long spell of labour at work which is not of a novel character nor specially difficult, I am disposed to recommend sitting on a chair or low stool, at a table of such height as will enable the elbows to rest easily upon it whilst the glass is held in the flame. The precise[4] heights that are desirable for the table and stool, and the exact position of the blow-pipe, will depend upon the height and length of arm of the individual workman, and it must therefore be left to each person to select that which suits him best. A moveable rest made of wood, for supporting the remote end of a long piece of glass tube a few inches above the table, whilst the other end is being heated in the flame, will be found convenient.
The Blow-pipe.—Formerly a lamp, in which sweet oil or tallow was burnt, was employed for glass-working, and such lamps are still occasionally used. Thus, lamps burning oil or tallow were used on board the Challenger for hermetically sealing up flasks of water collected at various depths to preserve them for subsequent examination. I shall not, however, give an account of such a lamp, for the gas apparatus is so much more convenient for most purposes that it has now practically superseded the oil lamps. Fig. 1 shows a gas blow-pipe of exceedingly simple construction, which can be easily made, and with which good work can be done.
The tube A is of brass, and has a side tube B brazed to it, ten to twelve centimetres from the end E, according to the dimensions of the tube. A tube of glass, EC, is fitted into[5] A by a cork at D. B is connected to a supply of gas by a flexible tube, C is similarly connected to the blower. By means of CE a stream of air can be forced into gas burning at the mouth of the blow-pipe G, and various flames, with the characters described in a later section, can be produced with this instrument. For producing the pointed flame (Fig. 3, p. 9) the opening E of the air-tube should be contracted to the size of a large knitting needle. For producing a flame of large size, rich in air (Fig. 4, p. 9), the internal diameter of E may be nearly half as great as that of A without disadvantage.
This blow-pipe may be fixed in position by the spike F, which will fit into holes in a block of wood or a large cork. Several of these holes in various positions should be made in the block, so that the position of the blow-pipe may be varied easily. Two taps must be provided in convenient positions near the edge of the table to enable the workman to regulate the supplies of air and gas. These taps should be fixed to the table and be connected with the gas and air supplies respectively on one side, and with the blow-pipe on the other, by flexible tubes. If blow-pipes of this kind be used, at least two of them should be provided; one of small dimensions for working on small tubes and joints, the other of larger size for operations on larger tubes. It will be convenient to have both of them ready for use at all times, as it is sometimes necessary to employ large and small flames on the same piece of work in rapid succession. By having several air-tubes of different sizes fitted to each blow-pipe, a greater variety of work may be done.
For the larger blow-pipe, the internal diameter of A may be fifteen to seventeen millimetres.
For the smaller instrument, eleven millimetres for the diameter of A would be a useful size.
When a slightly greater outlay can be afforded it will[6] be most convenient to purchase the blow-pipe. They can be obtained of compact form, supported on stands with universal joints giving great freedom of movement, and with taps for regulating the supplies of gas and air, at comparatively small cost.
As figures of various blow-pipes can be seen in the price-lists of most dealers in apparatus, they are not given here. Their introduction would be of but little service, for the construction of that which is adopted can be readily ascertained by taking it to pieces. The simplest blow-pipe usually used for glass-working is that of Herapath. This has two taps to regulate the air and gas supplies respectively, and will give a considerable variety of flames, which will be discussed subsequently.
An excellent blow-pipe, made on the same principle as that shown in Fig. 1, but more substantially and with interchangeable jets, can be obtained from Messrs. Muller of Holborn for a moderate outlay.
Another very good blow-pipe is the Automaton blow-pipe of Mr. Fletcher of Warrington. In this, one tap regulates the supply both of air and gas, which is a great gain when difficult work is in hand. Automaton blow-pipes are made of two sizes. I have found that the larger size, with a powerful bellows, heats large pieces of lead glass very satisfactorily. On the other hand, the fine-pointed oxidising flame of the Herapath blow-pipe is, perhaps, the most suitable for working joints of lead glass. Therefore a good equipment would be a small Herapath blow-pipe and a large-sized Automaton. If only one blow-pipe is purchased it should be either a medium-sized Herapath, or the smaller Automaton, as those are most useful for general work.
Mr. Fletcher also makes an ingenious combination of two blow-pipes in which the gas and air supplies are regulated by[7] a single lever-handle. This is very convenient, and gives flames that answer well with tubes made of soft soda glass, and it is very useful for general work. For use with lead glass the supply of air is rather too small, and does not enable one to get such good results. This can be easily amended, however. By slightly increasing the size of the air-tube of the smaller blow-pipe, and having increased the supply of air to the larger blow-pipe also, by reducing the external diameter of the end of the innermost tube, I now get medium-sized brush flames and pointed flames with this blow-pipe, that are equal to any I have used for heating lead glass.
For small laboratories the inexpensive No. 5 Bunsen burner of Mr. Fletcher, which is convertible into a blow-pipe, will be very useful.
Jets of several sizes to fit the air-tubes of blow-pipes may be obtained with them, and will serve for regulating the supply of air to the flame.
The Bellows.—The usual blowing apparatus is some form of foot-blower. These may be obtained fitted to small tables with sheet-iron tops. But a much less expensive apparatus is the large foot-blower made by Mr. Fletcher of Warrington, which can be used at an ordinary table or laboratory bench. Good foot-blowers can also be obtained from makers of furnace bellows.
No part of the glass-blower’s equipment exceeds the bellows in importance. The best blower procurable should therefore be adopted. A bellows which, when used with a large blow-pipe, will not enable you to heat large pieces of lead glass tube to redness without blackening the glass when the directions for heating lead glass on pages 17-21 are followed, should on no account be received. I am told that at some places, where the water-supply is at very high pressure, it is utilised for working blow-pipes by means of the apparatus described[8] below, and that some glass-workers find it advantageous to use such automatic blowers. But after a little practice, the effort of working the blower with the foot whilst manipulating the glass is not a source of serious inconvenience. Indeed, as it gives a certain degree of control over the flame without the use of the hands, the foot-blower is preferable. It is worth while to describe an automatic blower, however.
Automatic Blower (Fig. 2).—A strong glass tube A is welded into a somewhat larger tube B so that its end is about 2 mm. from the contraction at G. B has a side tube C joined to it. The narrow end of B is fixed by an india-rubber cork to a strong bottle D of two or three litres capacity. The india-rubber cork also carries an exit tube E, and D is pierced near its bottom by a small hole at F.
In using the apparatus A is connected with the water-supply, and water passing through G, carries air with it into D. The water escapes from D by the opening at F, and the air is allowed to pass out by the tube E, its passage being regulated by a tap. Fresh supplies of air enter B by C.
Blow-pipe Flames—The Pointed Flame.—If the gas tap of a Herapath blow-pipe be adjusted so that comparatively little gas can pass, and if the foot-blower be then worked cautiously, a long tongue of flame ending in a fine point will be produced (Fig. 3). This flame will subsequently be described as the pointed flame. It should be quite free from luminosity, and as the amount of air necessary for securing a[9] pointed flame is large, in proportion to the gas, there is excess of oxygen towards the end C. By adjusting the proportions of air and gas, pointed flames of various dimensions can be obtained with the same blow-pipe. The part of a pointed flame to be used in glass-working is the tip, or in some cases the space slightly beyond the tip.
The Brush Flame.—If a large supply of gas be turned on and a considerable blast of air sent into the flame, a non-luminous flame of great size will be obtained (Fig. 4). In form it somewhat resembles a large camel’s hair pencil, and may[10] conveniently be described as a brush flame. The chief advantage of a large-sized blow-pipe is, that with it a large brush flame may be produced, which is often invaluable. By gradually diminishing the supply of gas and air smaller brush flames may be produced.
The jet used to supply air to the Herapath blow-pipe is usually too fine, and consequently does not permit the passage of sufficient air to produce a brush flame that contains excess of oxygen, even with the aid of a very powerful blower. My own Herapath blow-pipe only gives a satisfactory oxidising brush flame when the jet is removed altogether from the end of the air-tube. For producing pointed flames the finer jet of the air-tube must be used, but when a highly oxidising flame of large size is required it must be removed. The internal diameter of the central air-tube should be nearly half as great as that of the outer or gas-supply tube. Fletcher’s Automaton with the large air jet gives a very liberal supply of air, and produces an excellent oxidising brush flame. In the case of the larger-sized Automaton a consequence of this is, however, that when fitted with the large jet it will not give so good a pointed flame as the Herapath, which, in its turn, gives an inferior oxidising brush. By fitting finer jets to the air-tube of Fletcher’s apparatus pointed flames can be secured when necessary.
The Smoky Flame.—By turning on a very free supply of gas, and only enough air to give an outward direction to the burning gas, a smoky flame, chiefly useful for annealing and for some simple operations on lead glass, is produced.
The Gimmingham blow-pipe and Fletcher’s combination blow-pipe, in addition to the above flames, are also adapted to produce a non-luminous flame, resembling that of the Bunsen gas-burner, which is very convenient for the preliminary heating of the glass, and also for gradually cooling finished apparatus. It is not necessary to describe the method[11] of using these last-mentioned blow-pipes. With the more complicated of them directions for its use are supplied.
Mr. Madan has suggested the use of oxygen in place of air for producing the oxidising flame required for working lead glass, and to produce a flame of high temperature for softening tubes of hard, or combustion, glass. For the latter purpose the employment of oxygen may be adopted with great advantage. For working lead glass, however, it is quite unnecessary if the directions already given are followed.
The student’s subsequent success will so largely depend upon his acquaintance with the resources of his blow-pipe, and on the facility with which he can take advantage of them, that no pains should be spared in the effort to become expert in its management as soon as possible. A few experiments should now be made, therefore, upon the adjustment of the flame, until the student is able to produce and modify any form of flame with promptness and certainty.
The remaining apparatus used in glass-working consists of triangular and other files, charcoal pastils for cutting glass, pieces of sound charcoal of various diameters with conical ends; it is convenient to have one end somewhat less pointed than the other (Fig. 5). Corks of various sizes; the smallest, which are most frequently needed, should be carefully cut with sharpened cork borers from larger corks. Besides these there should be provided some freshly distilled turpentine in which camphor has been dissolved,[1] fine and coarse emery powder, and some sheets of cotton-wadding, an india-rubber blowing-bottle, glass tubes, a little white enamel, and a pair of iron tongs.
[1]Half an ounce of camphor to about six ounces of turpentine will do very well.
VARIETIES OF GLASS AND THEIR MANAGEMENT.
All the varieties of glass that are ordinarily met with contain silica (SiO2) associated with metallic oxides. In a true glass there are at least two metallic oxides. The unmixed silicates are not suitable for the purposes of glass. They are not so capable of developing the viscous condition when heated as mixtures—some of them are easily attacked by water, and many of those which are insoluble are comparatively infusible. There is generally excess of silica in glass, that is, more than is necessary to form normal silicates of the metals present. The best proportions of the various constituents have been ascertained by glass-makers, after long experience; but the relation of these proportions to each other, from a chemical point of view, is not easy to make out.
The varieties of glass from which tubes for chemical glass-blowing are made may be placed under three heads, and are known as[2]—
| Soft soda glass. | Also known as French glass. |
| Lead glass. | Also known as English glass. |
| Hard glass. |
In purchasing glass tubes, it is well to lay in a considerable[13] stock of tubes made of each of the two first varieties, and, if possible, to obtain them from the manufacturer, for it frequently happens that pieces of glass from the same batch may be much more readily welded together than pieces of slightly different composition. Yet it is not well to lay in too large a stock, as sometimes it is found that glass deteriorates by prolonged keeping.
As it is frequently necessary to make additions, alterations, or repairs to purchased apparatus, it is best to provide supplies both of soft soda glass and lead glass, for though purchased glass apparatus is frequently made of lead glass, yet sometimes it is formed from the soda glass, and as it is a matter of some difficulty to effect a permanent union between soda glass and lead glass, it is desirable to be provided with tubes of both kinds.
Many amateurs find that soda glass is in some respects easier to work with than lead glass. But, on the other hand, it is somewhat more apt to crack during cooling, which causes much loss of time and disappointment. Also, perhaps in consequence of its lower conductivity for heat, it very often breaks under sudden changes of temperature during work. If, however, a supply of good soda glass is obtained, and the directions given in this book in regard to annealing it are thoroughly carried out, these objections to the use of soda glass will, to a great extent, be removed. I find, however, that when every precaution has been taken, apparatus made of soda glass will bear variations of temperature less well than that made of lead glass. Therefore, although the comparatively inexpensive soda glass may be employed for most purposes without distrust, yet I should advise those who propose to confine themselves to one kind of glass, to take the small extra trouble required in learning to work lead glass.
In order to secure glass of good quality, a few pieces should be obtained as a sample, and examined by the directions[14] given below. When the larger supply arrives, a number of pieces, taken at random, should be examined before the blow-pipe, to compare their behaviour with that of the sample pieces, and each piece should be separately examined in all other respects as described subsequently.
Hard glass is used for apparatus that is required to withstand great heat. It is difficult to soften, especially in large pieces. It should only be employed, therefore, when the low melting points of soda or lead glass would render them unsuitable for the purpose to which the finished apparatus is to be put. What is sold as Jena combustion tube should be preferred when this is the case.
Characters of good Glass.—Glass tubes for glass-blowing should be as free as possible from knots, air-bubbles, and stripes. They should be in straight pieces of uniform thickness, and cylindrical bore. It is not possible to obtain glass tubes of absolutely the same diameter from one end to the other in large quantities, but the variations should not be considerable.
When a sharp transverse scratch is made with a good file on a piece of tube, and the scratch is touched with a rather fine point of red-hot glass (this should be lead glass for a lead glass tube, and soda glass for a tube of soda glass), the crack which is started should pass round the glass, so that it may be broken into two pieces with regular ends. If the crack proceeds very irregularly, and especially if it tends to extend along the tube, the glass has been badly annealed, and should not be employed for glass-blowing purposes. It is important that the point of hot glass used shall be very small, however. Even good glass will frequently give an irregular fracture if touched with a large mass of molten glass.
Finally, glass tube which is thin and of small diameter[15] should not crack when suddenly brought into a flame. But larger and thicker tubes will not often withstand this treatment. They should not crack, however, when they are brought into a flame gradually, after having been held in the warm air in front of it for a minute or so.
Good glass does not readily devitrify when held in the blow-pipe flame. As devitrified glass very often may be restored to its vitreous condition by fusion, devitrification most frequently shows itself round the edges of the heated parts, and may be recognised by the production of a certain degree of roughness there. It is believed to be due to the separation of certain silicates in the crystallised form. Hard glass, which contains much calcium, is more apt to devitrify than the more fusible varieties.[3]
Glass tubes are made of various sizes. When purchasing a supply, it is necessary to be somewhat precise in indicating to the vendor the sizes required. I have therefore placed at the end of the book, in an appendix, a table of numbered diagrams. In ordering tubes it will usually only be necessary to give the numbers of the sizes wished for, and to specify the quantity of each size required. In ordering glass tubes by weight, it must be remembered that a great many lengths of the smaller sizes, but very few lengths of the larger sizes, go to the pound. Larger-sized tubes than those on the diagram are also made. In ordering them the external diameter and thickness of glass preferred should be stated.
Cleaning and Preparing a Tube.—It is frequently much easier to clean the tube from which a piece of apparatus[16] is to be made than to clean the finished apparatus. A simple method of cleaning a tube is to draw a piece of wet rag which has been tied to a string through the tube once or twice, or, with small tubes, to push a bit of wet paper or cotton wool through them. If the dirt cannot be removed in this way, the interior of the tube should be moistened with a little sulphuric acid in which some bichromate of potassium has been dissolved. In any case, it must finally be repeatedly rinsed with distilled water, and dried by cautiously warming it, and sucking or blowing air through it. In order to avoid heating delicate apparatus which has become damp and needs drying, the water may be washed out with a few drops of spirit, which is readily removed at a low temperature.
Before using a glass tube for an operation in which it will be necessary to blow into it, one end of it must be contracted, unless it is already of such a size that it can be held between the lips with perfect ease; in any case, its edges must be rounded. For descriptions of these operations, see page 35. The other end must be closed. This may be done by means of a cork.
Presenting Glass to the Flame.—Glass tubes must never be brought suddenly into the flame in which they are to be heated. All glass is very likely to crack if so treated. It should in all cases be held for a little while in front of the flame, rotated constantly in the hot air and moved about, in order that it may be warmed over a considerable area. When it has become pretty hot by this treatment, it may be gradually brought nearer to the flame, and, finally, into contact with it, still with constant rotation and movement, so as to warm a considerable part of the tube. When the glass has been brought fairly into contact with the flame, it will be safe to apply the heat at the required part only. Care must be taken in these preliminary[17] operations to avoid heating the more fusible glasses sufficiently to soften them.
Methods of working with Lead and soft Soda Glass respectively.—When lead glass is heated in the brush flame of the ordinary Herapath blow-pipe, or within the point of the pointed flame, it becomes blackened on its surface, in consequence of a portion of the lead becoming reduced to the metallic state by the reducing gases in the flame. The same thing will happen in bending a lead glass tube if it is made too hot in a luminous flame. A practical acquaintance with this phenomenon may be acquired by the following experiment:—
Take a piece of lead glass tube, bring it gradually from the point of a pointed flame to a position well within the flame, and observe what happens. When the glass reaches the point A (Fig. 3), or thereabouts, a dark red spot will develop on the glass, the area of the spot will increase as the glass is brought further in the direction A to B. If the glass be then removed from the flame and examined, it will be found that a dark metallic stain covers the area of the dark red spot previously observed. Repeat the experiment, but at the first appearance of the dark spot slowly move the glass in the direction A to C. The spot will disappear, and, if the operation be properly performed, in its place there will be a characteristically greenish-yellow luminous spot of highly heated glass. In this proceeding the reduced lead of the dark spot has been re-oxidised on passing into the hot gases, rich in oxygen, which abound at the point of the flame. If one end of the tube has been previously closed by a piece of cork, and if air be forced into the tube with the mouth from the open end before the luminous spot has become cool, the glass will expand. If the experiment be repeated several times, with pointed flames of various sizes, the operator will quickly learn how to[18] apply the pointed flame to lead glass so that it may be heated without becoming stained with reduced lead.
If the spot of reduced metal produced in the first experiment be next brought into the oxidising flame, it also may gradually be removed. On occasion, therefore, apparatus which has become stained with lead during its production, may be rendered presentable by suitable treatment in the oxidising flame. The process of re-oxidising a considerable surface in this way after it has cooled down is apt to be very tedious, however, and, especially in the case of thin tubes or bulbs, often is not practicable. In working with lead glass, therefore, any reduction that occurs should be removed by transferring the glass to the oxidising flame at once.
Small tubes, and small areas on larger tubes of English glass, may be softened without reduction by means of the pointed oxidising flame; but it is not easy to heat any considerable area of glass sufficiently with a pointed flame. And though it is possible, with care, to employ the hot space immediately in front of the visible end of an ordinary brush flame, which is rich in air, yet, in practice, it will not be found convenient to heat large masses of lead glass nor tubes of large size, to a sufficiently high temperature to get the glass into good condition for blowing, by presenting them to the common brush flame.
It may seem that as glass which has become stained with reduced lead can be subsequently re-oxidised by heating it with the tip of the pointed flame, the difficulty might be overcome by heating it for working in the brush flame, and subsequently oxidising the reduced lead. It is, however, difficult, as previously stated, to re-oxidise a large surface of glass which has been seriously reduced by the action of the reducing gases of the flame, after it has cooled. Moreover, there is this very serious objection, that if, as may be[19] necessary, the action of the reducing flame be prolonged, the extensive reduction that takes place diminishes the tendency of the glass to acquire the proper degree of viscosity for working it, the glass becomes difficult to expand by blowing, seriously roughened on its surface, and often assumes a very brittle or rotten condition.
When it is only required to bend or draw out tubes of lead glass, they may be softened sufficiently by a smoky flame, which, probably owing to its having a comparatively low temperature, does not so readily reduce the lead as flames of higher temperature. But for making joints, collecting masses of glass for making bulbs, and in all cases where it is required that the glass shall be thoroughly softened, the smoky flame does not give good results.
In the glass-works, where large quantities of ornamental and other glass goods are made of lead or flint glass, the pots in which the glass is melted are so constructed that the gases of the furnace do not come into contact with the glass;[4] and as the intensely-heated sides of the melting-pot maintain a very high temperature within it by radiation, the workman has a very convenient source of heat to his hand,—he has, in fact, only to introduce the object, or that part of it which is to be softened, into the mouth of the melting-pot, and it is quickly heated sufficiently for his purpose, not only without contact of reducing gases, but in air. He can therefore easily work upon very large masses of glass. In a special case, such a source of heat might be devised by the amateur. Usually, however, the difficulty may be overcome without special apparatus. It is, in fact, only necessary to carry out the instructions given below to obtain a considerable brush flame rich in air, in which the lead glass can be worked, not only without discoloration, but with the greatest facility.
[20]To Produce an Oxidising Brush Flame.—The blower used must be powerful, the air-tube of the blow-pipe must be about half as great in diameter as the outer tube which supplies the gas. The operator must work his bellows so as to supply a strong and steady blast of air, and the supply of gas must be regulated so that the brush flame produced is free from every sign of incomplete combustion,[5] which may be known by its outer zone being only faintly visible in daylight, and quite free from luminous streaks (see Fig. 4, p. 9). When a suitable flame has been produced, try it by rotating a piece of lead glass at or near the end of the inner blue part of the flame (A Fig. 4); the appearance of the glass will quickly indicate reduction. When this occurs move the glass forward to the end of the outer zone B, but keep it sufficiently within the flame to maintain it at a high temperature. If all is right the metallic reduction will quickly disappear, the glass will become perfectly transparent once more, and will present the appearance previously observed in the experiments with the pointed flame, or, if very hot, assume a brownish-red appearance. If this does not occur, the supply of air must be increased or the supply of gas diminished until the proper effects are secured.
In working upon lead glass with the highly oxidising brush flame, it is a good plan to heat it in the reducing part of the flame A for thoroughly softening the glass, and to remove it to the oxidising flame B to burn away the reduced metal. In prolonged operations, in order that reduction may never go too far, hold the glass alternately in the hot reducing flame and in the oxidising flame. The inferiority of the outer oxidising flame to those portions nearer the inner blue zone for[21] softening the glass, may perhaps be accounted for by the presence of a larger proportion of unconsumed air in the former, which being heated at the expense of the hot gases produced by combustion, thereby lowers the temperature of the flame. At or near A (Fig. 4) where the combustion is nearly complete, but no excess of air exists, the temperature will naturally be highest.
If a very large tube be rotated in the oxidising flame at B (Fig. 4) it may happen that the flame is not large enough to surround the tube, and that as it is rotated those parts of it which are most remote from the flame will cool down too considerably to allow all parts of the tube to be simultaneously brought into the desired condition. This difficulty may be overcome by placing two blow-pipes exactly opposite to each other, at such a distance that there is an interval of about an inch between the extremities of their flames, and rotating the tube between the two flames. It may be necessary to provide two blowers for the blow-pipes if they are large.
Again, if a very narrow zone of a tube of moderate size is to be heated, two pointed flames may be similarly arranged with advantage. Occasionally more than two flames are made to converge upon one tube in this manner.
Another method of preventing one side of a tube from cooling down whilst the other is presented to the flame, is to place a brick at a short distance from the extremity of the flame. The brick checks the loss of heat considerably. A block of beech wood may be used for the same purpose, the wood ignites and thereby itself becomes a source of heat, and is even more effective than a brick.
Fuller details of the management of lead glass under various circumstances will be found in the subsequent descriptions of operations before the blow-pipe.
Before proceeding to work with soda glass, the student[22] should not only verify by experiments what has been already said, but he should familiarise himself with the action of the blow-pipe flame on lead glass by trying the glass in every part of the flame, varying the proportions of gas and air in every way, repeating, and repeating, his experiments until he can obtain any desired effect with certainty and promptitude. He should practice some of the simpler operations given in Chapter III. in order to impress what he has learned well on his mind.
Management of Soda Glass.—In working with soda glass the following points must be constantly kept in mind. That as it is much more apt than lead glass to crack when suddenly heated, great caution must be exercised in bringing it into the flame; and that in making large joints or in making two joints near each other, all parts of the tube adjacent to that which, for the moment, is being heated, must be kept hot, as it is very apt to crack when adjacent parts are unequally heated. This may be effected by stopping work at short intervals and warming the cooler parts of the tube, or by the use of the brick or block of wood to check radiation, or even by placing a supplementary blow-pipe or Bunsen burner in such a position that its flame plays upon the more distant parts of the work, not coming sufficiently into contact to soften the glass, however, but near enough to keep it well heated. Lastly, to prevent the finished work from falling to pieces after or during cooling, the directions given under the head of annealing must be carefully carried out.
In very much of his work the glass-blower is guided more by the feel of the glass than by what he sees. The power of feeling glass can only be acquired by practice, and after a certain amount of preliminary failure. As a rule I have observed that beginners are apt to raise their glass to a higher temperature than is necessary, and that they employ larger[23] flames than are wanted. If glass be made too soft it may fall so completely out of shape as to become unworkable except in very skilful hands. The following rules, therefore, should be strictly adhered to. Always employ in the first instance the smallest flame that is likely to do the work required. In operations involving blowing out viscous glass, attempt to blow the glass at low temperatures before higher ones are tried. After a little experience the adoption of the right-sized flame for a given purpose, and the perception of the best condition of glass for blowing it, become almost automatic.
I may add that glass which is to be bent needs to be much less heated than glass which is to be blown.
Annealing.—If apparatus, the glass of which is very thin and of uniform substance, be heated, on removal from the source of heat it will cool equally throughout, and therefore may often be heated and cooled without any special precautions. If the glass be thick, and especially if it be of unequal thickness in various parts, the thinner portions will cool more quickly than those which are more massive; this will result in the production of tension between the thicker and thinner parts in consequence of inequality in the rates of contraction, and fractures will occur either spontaneously or upon any sudden shock. Thus, if a hot tube be touched with cold or wet iron, or slightly scratched with a cold file, the inequality of the rate of cooling is great, and it breaks at once. It is therefore necessary to secure that hot glass shall cool as regularly as possible. And this is particularly important in the case of articles made of soda glass. Some glass-blowers content themselves with permitting the glass to cool gradually in a smoky flame till it is covered with carbon, and then leave it to cool upon the table. But under this treatment many joints made of soda glass which are not quite uniform in[24] substance, but otherwise serviceable, will break down. In glass-works the annealing is done in ovens so arranged that the glass enters at the hottest end of the oven where it is uniformly heated to a temperature not much below that at which it becomes viscous, and slowly passed through the cooler parts of the chamber so that it emerges cold at the other end. This method of annealing is not practicable in a small laboratory. But fortunately very good results can be obtained by the following simple device, viz.:—
By wrapping the hot apparatus that is to be annealed closely in cotton wool, and leaving it there till quite cold. The glass should be wrapped up immediately after it is blown into its final shape, as soon as it is no longer soft enough to give way under slight pressure. And it should be heated as uniformly as possible, not only at the joint, but also about the parts adjacent to the joint, at the moment of surrounding it with the cotton. Lead glass appears to cool more regularly than soda glass, and these precautions may be more safely neglected with apparatus made of lead glass; but not always. At the date of writing I have had several well-blown joints of thick-walled capillary tube to No. 16 (see diagram, p. 82), break during cooling, in consequence of circumstances making it dangerous to heat the neighbourhood of the joint so much as was necessary.
The black carbonaceous coat formed on hot glass when it is placed in cotton wool may be removed by wiping with methylated spirit, or, if it be very closely adherent, by gently rubbing with fine emery, moistened with the spirit.
Cotton wool is rather dangerously inflammable; it should therefore be kept out of reach of the blow-pipe flame, and care should be taken that the glass is not placed in contact with it at a sufficiently high temperature to cause its ignition.
Another method of annealing is to cover the hot glass with hot sand, and allow it to cool therein.
[25]As in the case of lead glass, so with soda glass. A thorough acquaintance with the effect of the various parts of the flame upon it should be gained before further work is entered upon, for which purpose an hour or more spent in observing its behaviour in the flame will be fully repaid by increased success subsequently.
The Use of Combustion Tube.—It is often necessary to construct apparatus of what is known as hard glass or combustion tube. It is almost as easy to work combustion tube as to deal with lead and soda glass if the oxy-hydrogen flame be employed.
It is not necessary to set up a special apparatus for this purpose; many of the ordinary blow-pipes can be used with oxygen instead of with air. It is only necessary to connect the air-tube of the blow-pipe with a bottle of compressed oxygen instead of with the bellows. The connecting tube should not be too wide nor too long, in order to avoid the accumulation in it, by accident, of large quantities of explosive mixtures.
Two precautions are necessary in manipulating hard glass in the oxy-hydrogen flame. The glass must not be overheated. At first one is very apt to go wrong in this direction. The supply of oxygen must not be too great; a small hissing flame is not what is wanted. If either of these precautions are neglected most glass will devitrify badly. With a little care and experience, devitrification can be absolutely avoided. Ordinary combustion tube can be used, but I find that the glass tube (Verbrennungsröhr) made by Schott & Co. of Jena, which can be obtained through any firm of dealers in apparatus, is far better than the ordinary tube.
By following these instructions, any one who has learned how to work with lead or soda glass will find it easy to manipulate hard glass.
[2] For details of the composition of the various glasses, some work on glass-making may be consulted.
[3] The presence of silicates of calcium and aluminum are considered to promote a tendency to devitrification in glass; and glasses of complex composition are more apt to devitrify than the simpler varieties. See Glass-making, by Powell, Chance, and Harris, Chap. IV.
[4] See Principles of Glass-making, p. 31.
[5] Nevertheless the supply of air must not be so excessive as to reduce the temperature of the flame sufficiently to prevent the thorough softening of the glass, which will occur if the bellows is worked with too much zeal.
CUTTING AND BENDING GLASS—FORMING GLASS APPARATUS BEFORE THE BLOW-PIPE—MAKING AND GRINDING STOPPERS TO APPARATUS, ETC.
In the later pages of this Chapter it will be assumed that the operations first described have been mastered. The beginner should therefore practise each operation until he finds himself able to perform it with some degree of certainty. Generally speaking, however, after the failure of two or three attempts to perform any operation, it is best to give up for a few hours, and proceed to the work next described, returning to that upon which you have failed subsequently. If, unfortunately, it should happen that the work next in order involves the performance of the operation in which the failure has occurred, it is best to pass on to some later work which does not demand this particular accomplishment, or to rest a while, and re-attack the difficulty when refreshed.
Cutting Glass Tubes.—The simplest method of cutting a glass tube is to make a sharp scratch with a file across the glass at the point where it is desired to cut it, and on pulling apart the two ends, it will break clean off. It is important that the file be sharp. In pulling apart the ends the scratch should be held upwards, and the pull should have a downward direction, which will tend to open out the scratch. In the case of a large tube, a scratch will not ensure its breaking clean across. The tube must be filed to some depth, half-way, or even all round it. A good[27] way of breaking a tube is to place the file in the table after scratching the glass, to hold the glass tube above its edge with one hand on each side of the scratch, and to strike the under side of the tube a sharp blow upon the edge of the file, directly beneath the scratch. In this way very even fractures of large and moderately thin tubes may be made. It answers particularly well for removing short ends of tube, not long enough to hold; the tube is held firmly upon the file, and a sharp blow given to the short end with a piece of large tube or a key.
A file whose faces have been ground till they are nearly smooth, so as to leave very finely-serrated edges, will be found useful for cutting glass tubes. Such a file should be used almost as a knife is used for cutting a pencil in halves.
The simple methods just described are too violent to be applied to delicate apparatus, too tedious when employed upon the largest tubes, and very difficult to apply when the tube to be cut is very thin, or too short to permit the operator to get a good grip of it on either side of the file mark. In such cases, one or other of the following methods will be useful:—
1. Make a scratch with a file, and touch it with the end of a very small piece of glass drawn out and heated at the tip to its melting point. It is important that the heated point of glass be very small, or the fracture is likely to be uneven, or to spread in several directions. Also, it is best to use hot soda glass for starting cracks in tubes of soda glass, and lead glass for doing so in lead glass tubes. If the crack does not pass quite round the tube, you may pull it asunder, as previously described, or you may bring the heated piece of glass with which the crack was started to one end of the crack, and slowly move it (nearly touching the glass) in the required direction; the crack will extend, following the movements of the hot glass. Instead of hot glass, pastils of charcoal are sometimes employed for this purpose. They continue to burn[28] when once lighted, and there is no need to re-heat them from time to time. They should be brought as close to the glass as is possible without touching it, and, when no longer needed, should be extinguished by placing the lighted end under sand, or some other incombustible powder, for they must not be wetted.
2. A method much practised by the makers of sheet glass, and suitable for large objects, is to wrap a thread of hot glass round the tube, at once removing it, and touching any point of the glass which the thread covered with water or a cold iron, when a crack will be started and will pass round the glass where it was heated by the thread.
3. Tubes which are large and slightly conical may have a ring of red-hot iron passed over them till it comes into contact with the glass, then, the iron being removed, and a point on the heated glass being at once touched with cold iron as before, it will break as desired. Or a string, moistened with turpentine, may be loosely twisted round the tube, and the turpentine ignited, afterwards the application of sudden cold to any point on the zone of hot glass will usually start a crack, which, if necessary, may be continued in the usual manner. The last three methods are chiefly useful in dealing with the largest and thickest tubes, and with bottles.
A fairly stout copper wire, bent into the form of a bow so that it can be applied when hot to a considerable surface of a glass tube, will be found superior to the point of hot glass or metal usually employed, for leading cracks in glass tubes. With such a wire a tube can be cut so that the cross section of the end is at any desired angle to the axis of the tube, with considerable precision. I am indebted for this suggestion to Mr. Vernon Boys and Dr. Ebert.
Bending Glass Tubes.—The blow-pipe flame is not a suitable source of heat for bending tubes, except in certain cases which will be mentioned in a subsequent paragraph.[29] For small tubes, and those of moderate size, a fish-tail burner, such as is used for purposes of illumination, will answer best. Use a flame from one to two inches in breadth—from A to A (Fig. 6), according to the size of the tube which is to be bent. If the length of tube that is heated be less than this, the bend will probably buckle on its concave side.
The tube to be heated should be held in the position shown in Fig. 6, supported by the hands on each side. It should be constantly rotated in the flame, that it may be equally heated on all sides. In the figure the hands are represented above the tube, with their backs upwards. A tube can be held equally well from below, the backs of the hands being then directed downwards, and this, I think, is the more frequent habit. It is difficult to say which position of the hands is to be preferred. I lately observed how a tube was held by three skilful amateurs and by a professional glass-blower. All the former held the tube with the hands below it. The latter, however, held it from above, as in Fig. 6. He, however, was working with a rather heavy piece of tube, and I am inclined myself to recommend that position in such cases. During a long spell of work, the wrist may be rested from time to time by changing the position of the hands.
When the tube has softened, remove it from the flame, and[30] gently bend it to the desired angle. The side of the tube last exposed to the flame will be slightly hotter, and therefore softer, than that which is opposite to it. This hotter side should form the concave side of the bent tube.
The exact condition in which the glass is most suitable for bending can only be learned by making a few trials. If it is too soft in consequence of being overheated, the sides will collapse. If, in the endeavour to heat the side A of Fig. 7 a little more than B, B is insufficiently heated, the tube will be likely to break on the convex side B. If the bent tube be likely to become flattened, and this cannot always be prevented in bending very thin tubes, the fault may be avoided by blowing gently into one end of the tube whilst bending it, for which purpose the other end should be closed beforehand. A tube already flattened may, to some extent, be blown into[31] shape after closing one end and re-heating the bent portion, but it is not easy to give it a really good shape.
When making a bend like that in Fig. 7, to secure that the arms of the tube C and D, and the curve at B, shall be in one plane, the tube should be held in a position perpendicular to the body, and brought into the position shown in the figure during bending, by which means it will be found easy to secure a good result. Lead glass tubes must be removed from the flame before they become hot enough to undergo reduction. If they should become blackened, however, the stain may be removed by re-heating in the oxidising flame (see p. 18).
When a very sharp bend is to be made, it is sometimes best to heat a narrow zone of the glass rather highly in the blow-pipe flame, and to blow the bend into shape at the moment of bending it, as previously described, one end having been closed for that purpose beforehand. Lead glass should be heated for this purpose in the oxidising flame (pp. 17 to 22).
The processes of bending large tubes, making U-tubes and spiral tubes, are more difficult operations, and will be explained in Chap. IV.
Rounding and Bordering the Ends of Tubes.—After cutting a piece of glass tube in two pieces, the sharp edges left at its ends should be rounded by holding them in a flame for a few moments till the glass begins to melt. The oxidising point of a pointed flame may be used for both kinds of glass. The flame will be coloured yellow by soda glass at the moment of melting. This indication of the condition of soda glass should be noted, for it serves as a criterion of the condition of the glass. The ends of soda glass tubes may also be rounded in the flame of a common Bunsen’s burner.
When the end of a tube is to be closed with a cork or[32] stopper, its mouth should be expanded a little, or bordered. To do this, heat the end of the tube by rotating it in the flame till it softens, then remove it from the flame, at once introduce the charcoal cone (Fig. 5, p. 11), and rotate it with gentle pressure against the softened glass till the desired effect is produced. In doing this it is very important that the end of the tube shall be uniformly heated, in order that the enlargement shall be of regular form. If the tube cannot be sufficiently expanded at one operation, it should be re-heated and the process repeated.
Borders, such as are seen on test-tubes, are made by pressing the softened edge of the tube against a small iron rod. The end of the rod should project over the softened edge of the tube at a slight angle, and be pressed against it, passing the rod round the tube, or rotating the tube under the rod.
Sealing, that is closing the ends of tubes, or other openings, in glass apparatus.
In performing this and all the other operations of glass blowing, the following points must be constantly kept in mind:—
(a.) That it is rarely safe to blow glass whilst it is still in the flame, except in certain special cases that will be mentioned subsequently. Therefore always remove apparatus from the flame before blowing.
(b.) That when heating glass tubes, unless it is specially desired to heat one portion only, the tube must be constantly rotated in the flame to ensure that it shall be uniformly heated, and to prevent the tube or mass of glass from assuming an irregular form.
(c.) Always blow gently at first, and slowly increase the force applied till you feel or see the glass giving way. It is a good plan to force the air forward in successive short blasts rather than in one continued stream.
[33] (d.) When it is necessary to force air into tubes of fine bore, such as thermometer tubes, the mouth must not be used, for moisture is thereby introduced into the tube, which it is very difficult to remove again in many cases. All tubes of very small bore should be blown with the aid of an india-rubber blowing-bottle, such as are used for spray-producers, Galton’s whistles, etc. The tube to be blown must be securely fixed to the neck of the bottle, which is then held in one hand, and air is forced from it into the tube as it is required. These bottles are frequently of service to the glass-blower—e.g., when tubes of very fine bore have to be united, it is necessary to maintain an internal pressure slightly exceeding that of the air throughout the operation, in order to prevent the viscous glass from running together and closing the tube. An india-rubber blowing-ball is very convenient for this purpose.
To seal the end of a glass tube (Fig. 8), adjust the flame so that it will heat a zone of glass about as broad as the diameter of the tube to be sealed (see A, Fig. 8). Hold the tube on each side of the point where it is to be sealed in the manner described in the description of bending glass tubes (p. 28). Bring the tube gradually into the flame, and heat it with constant rotation, till the glass softens (for lead glass the oxidising flame must be used, as has been already explained).[6] When the glass begins to thicken, gently pull asunder the two ends, taking care not to pull out the softened glass too much, but to allow the sides to fall together, as shown at A. When this has occurred, heat the glass at the narrow part till it melts, and pull asunder[34] the two ends. The closed end should present the appearance shown at D. If the glass be drawn out too quickly its thickness will be unduly reduced, and it will present the appearance shown at B. In that case apply a pointed flame at b, and repeat the previous operation so as to contract the tube as at c, taking care not to allow the glass to become much increased nor decreased in thickness.
If a considerable mass of glass be left at d, it may be removed by heating it to redness, touching it with the pointed end of a cold glass tube, to which it will adhere, and by which it may be pulled away.
When the end of the tube presents the appearance shown in the diagram D, and the mass of glass at d is small, the small lump that remains must be removed by heating it till it softens, and gently blowing with the mouth, so as to round the end and distribute the glass more regularly, as shown in E. The whole end, from the dotted line e, must then be heated with constant rotation in the flame. If this final heating of the end e be done skilfully, the glass will probably collapse and flatten, as at F. The end must then be gently blown into the form shown at G.
If a flat end to the tube be desired, the tube may be left[35] in the condition shown by F, or a thin rounded end may be flattened by pressure on a plate of iron.
If a concave end be wished for, it is only necessary to gently suck air from the tube before the flattened end has become solid.
In each case, immediately after the tube is completed, it must be closely wrapped in cotton wool and left to cool. With good lead glass this last process, though advantageous, is not absolutely necessary; and as glass cools slowly when enveloped in cotton wool, this precaution may frequently be neglected in the case of apparatus made from lead glass.
In order to draw out tubes for sealing, close to one end, and thus to avoid waste of material, it is a good plan to heat simultaneously the end of the glass tube A which is to be sealed, and one end of a piece of waste tube E of about the same diameter, and when they are fused to bring them together as at DD (Fig. 9). E will then serve as a handle in the subsequent operations on A. Such a rough joint as that at D must not be allowed to cool too much during the work in hand, or E and A may separate at an inconvenient moment. Or the glass at the end of the tube may be pressed together to close the tube, and the mass of glass may be seized with a pair of tongs and drawn away.
Choking, or Contracting the Bore of a Glass Tube.—If it be not desired to maintain the uniformity of external dimensions of the tube whilst decreasing the diameter of the bore, the tube may be heated and drawn out as described in the description of sealing tubes on pp. 32-35. This may be done as shown at A or B in Fig. 8, according to the use to which the contracted tube is to be put.
[36]Greater strength and elegance will be secured by preserving the external diameter of the tube unchanged throughout, as shown in Fig. 10. For this purpose heat the tube with the pointed flame, if it be small, or in the brush flame if it be of large size, constantly rotating it till the glass softens and the sides show an inclination to fall together, when this occurs, push the two ends gently towards A. If the tube should become too much thickened at A, the fault may be corrected by removing it from the flame and gently pulling the two ends apart till it is of the proper size. If the bore at the contracted part of the tube should become too much reduced, it may be enlarged by closing one end of the tube with a small cork, and blowing gently into the open end after sufficiently heating the contracted part. The tube should be rotated during blowing or the enlargement produced may be irregular.
When the external diameter of the tube is to be increased as well as its bore diminished, press together the ends of a tube heated at the part to be contracted, as already described, and regulate the size of the bore by blowing into the tube if at any time it threatens to become too much contracted.
Widening Tubes.—Tubes may be moderately expanded at their extremities by means of the charcoal cone (see Bordering, p. 31). They may be slightly expanded at any other part by closing one end and gently blowing into the open end of the tube, after softening the glass at the part to be widened before the blow-pipe. But the best method of obtaining a wide tube with narrow extremities (Fig. 11) is to join pieces[37] of narrow tube AA to the ends of a piece of wider tube B of the desired dimensions. The method of performing this operation is described under welding, on pp. 39-47.
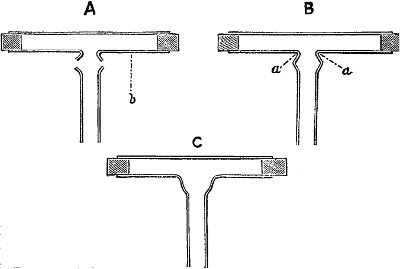
Piercing Tubes.—The glass-blower very frequently requires to make a large or small opening in some part of a tube or other piece of apparatus. This is known as piercing. Suppose it is desired to make a small hole at the point a in A (Fig. 12). When the tube has been brought to the flame with the usual precautions, allow the end of the pointed flame to touch it at a till an area corresponding to the desired size of the opening is thoroughly softened. Then expand the softened glass by blowing to the form shown at B. Re-heat a, blow a small globe as at C, and carefully break the thin glass, then smooth the rough edges by rotating them in the flame till they form a mouth like that of D. Instead of leaving the bulb to be broken at the third stage C, it is a good plan to blow more strongly, so that the bulb becomes very thin and bursts, the removal of the thin glass is then accompanied by less risk of producing a crack in the thicker parts of the glass. Openings may be made in a similar manner in the sides of tubes or in globes, in fact, in almost any position on[38] glass apparatus. If another tube is to be attached at the opening, it is a good plan to proceed to this operation before the tube has cooled down.
The openings obtained by the method above described are too large when platinum wires are to be sealed into them. Suppose that it is necessary to pierce the tube A of Fig. 13 in order to insert a platinum wire at a; direct the smallest pointed flame that will heat a spot of glass to redness on the point a. When the glass is viscous, touch it with the end of a platinum wire w, to which the glass will adhere; withdraw the wire and the viscous glass will be drawn out into a small tube, as shown at B; by breaking the end of this tube a small opening will be made. Introduce a platinum wire into the opening, and again allow the flame to play on the glass at that point; it will melt and close round the wire. Before the hot glass has time to cool, blow gently into the mouth of the tube to produce a slightly curved surface, then heat the neighbouring parts of the tube till the glass is about to soften, and let it cool in cotton wool. Unless this is done, I find that glass tubes into which platinum wires have been sealed are very apt to break during or after cooling.
To ensure that the tube shall be perfectly air-tight, a small[39] piece of white enamel should be attached to the glass at a before sealing in the wire.
Uniting Pieces of Glass to Each Other, known as Welding, or Soldering.—The larger and more complicated pieces of glass apparatus are usually made in separate sections, and completed by joining together the several parts. This is therefore a very important operation, and should be thoroughly mastered before proceeding to further work.
In order to produce secure joints, the use of tubes made of different kinds of glass must be avoided. Soda glass may be joined securely to soda glass, especially if the tubes belong to the same batch, and lead glass to lead glass. But, though by special care a joint between lead glass and soda glass, if well made, will often hold together, yet it is never certain that it will do so.
To join two Tubes of Equal Diameters.—Close one end of one of the tubes with a small cork. Heat the open end of the closed tube, and either end of the other tube in a small flame until they are almost melted, taking care that only the ends of the tubes are heated, and not to let the glass be thickened; bring the two ends together with sufficient pressure to make them adhere, but not sufficient to compress the glass to a thickened ring. Before the joint has time to cool too much, adjust your blow-pipe for a pointed flame, if you are not already working with that kind of flame, and allow the point of the flame to play on any spot on the joint till it is heated to redness; rotate the tube a little so as to heat the glass adjacent to that which is already red-hot, and repeat this till the whole circumference of the rough joint has been[40] heated.[7] Repeat the operation last described, but, when each spot is red-hot, blow gently into the open end of the tube so as to slightly expand the viscous glass. Finally, rotate the whole joint in the flame till the glass is softened, and blow gently as before into the open end of the tube, still rotating it, in order that the joint may be as symmetrical as possible. If in the last operation the diameter of the joint becomes greater than that of the rest of the tube, it may be cautiously re-heated and reduced by pulling it out, or this may be secured by gently pulling apart the two ends, whilst the operator blows it into its final shape.
When small tubes, or tubes of fine bore, are to be joined, in order to prevent the fused glass from running together and closing the tube, it is a good plan to border and enlarge the ends that are to be united, as at A (Fig. 14). Some glass-blowers prefer to border all tubes before uniting them.
When a narrow tube is to be joined to one that is only slightly wider, expand the end of the narrow tube till it corresponds in size to the larger tube. If the tube be too narrow to be enlarged by inserting a charcoal cone, seal one end and pierce it as directed (on p. 37).
For joining small thin-walled tubes Mr. Crookes recommends the use of a small Bunsen flame.
In welding pieces of lead glass tube, take care that the heated glass is perfectly free from reduced lead at the[41] moment when the two ends of viscous glass are brought into contact.
To join Tubes of Unequal Sizes End to End (Fig. 15).—Draw out the larger tube and cut off the drawn-out end at the part where its diameter is equal to that of the smaller tube, then seal the smaller tube to the contracted end of the larger according to the directions given for joining tubes of equal size. When a good joint has been made, the tube presents the appearance of A, Fig. 15, the union being at about bb. Next heat the whole tube between the dotted lines aa, and blow it into the shape of B in which the dotted line dd should correspond to the actual line of junction of the two tubes.
In making all joints it is important to leave no thick masses of glass about them. If the glass be fairly thin and uniformly distributed, it is less likely to break during or after annealing under any circumstances, and especially if it has to bear alternations of temperature.
Joining a Tube to the Side of another Tube (Fig. 16).—One of the tubes must be pierced as at A in Fig. 16 (for the method, see p. 37), and its two ends closed with small pieces of cork. The edges of the opening, and one end of the other tube,[42] must then be heated till they melt, and united by pressing them together. The joint may then be finished as before.
A properly blown joint will not present the appearance of B (Fig. 16), but rather that of C. This is secured by directing the pointed flame upon the glass at aa (B) spot by spot, and blowing out each spot when it is sufficiently softened. If the tubes are large, the whole joint should subsequently be heated and blown, but in the case of small tubes this is of less importance. Finally it is to be wrapped whilst hot in cotton wool for the annealing process.
If a second tube has to be joined near to the first one, say at b, it is well to proceed with it before the joint first made cools down, and the joint first made, especially if soda glass be used, must be held in the flame from time to time during the process of making the second joint to keep it hot; if this be not done the first joint is very likely to break. A joint previously made may, however, be re-heated, if well made and well annealed.
A three-way tube, like that in Fig. 17, is made by bending A (Fig. 16) to an angle, and joining B to an opening blown [43] on the convex side of the angle; or, A of Fig. 16 may be bent as desired after attaching B in the ordinary way.
Tubes may also be joined to openings made in the sides of globes or flasks; great care must be taken, however, especially if the walls of the globe be thin, to secure that the tube is well attached to the mouth of the opening when the melted ends are first brought into contact, for, with thin glass, any hole that may be left will probably increase whilst the joint is being blown into shape, owing to cohesion causing the glass to gather in a thickened ring round an enlargement of the original opening.[8]
In order to unite a tube of soda glass to a tube of lead glass, the end of the soda glass tube must be carefully covered with a layer of soft arsenic glass.[9] This must be done so perfectly that when the ends to be united are brought together the lead and soda glass are separated by the enamel at every point.
To Seal a Tube inside a Larger Tube or Bulb.—Suppose that an air-trap (3 of Fig. 18) is to be constructed from a small bulb (A) blown on a glass tube (1).
Either cut off the tube close to the bulb at B, or better, remove the end by melting the glass and pulling it away[44] from B, and then pierce A at B, No. 2, by heating the glass there and blowing out a small bulb as described under Piercing.
Prepare a tube (4) drawn out at E with a bulb blown at D. Insert E into the opening B, press D well against the mouth B and slowly rotate before the blow-pipe till D adheres to B. Then heat and blow the joint spot by spot as in other cases, taking care that the glass is blown out on each side of the joint; lastly, heat the whole joint between aa, and blow it into its final shape.
These joints are very apt to break after a few minutes or hours if the glass of D be much thicker than that of the bulb A. They should be wrapped in cotton wool for annealing as soon as possible, as the rate at which the tube E cools is likely to be less rapid than that of the parts of the apparatus which are more freely exposed to the air; therefore all such internal joints require very careful annealing, and they should always be made as thin as is consistent with the use to which they are to be put.
Tubes may also be sealed into the ends or sides of larger tubes by piercing them at the point at which the inserted tube is to be introduced, and proceeding as in the case of the air-trap just described.
Ozone generators of the form shown on next page (Fig. 19), afford an interesting example of the insertion of smaller tubes into larger.
On account of the small space that may be left between the inner and outer tubes of an ozone generator, and of the length of the inner tube, its construction needs great care. I find the following mode of procedure gives good results. Select the pieces of tube for this instrument as free from curvature as possible. For the inner tube, a tube 12 mm., or rather more, in external diameter, and of rather thin glass, is drawn out, as for closing, until only a very narrow tube remains at C, the end of C is closed the area[45] round C is carefully blown into shape, so that by melting off C the tube A will be left with a well-rounded end. A small bulb of glass is next blown on A at B. This bulb must be of slightly greater diameter than the contracted end E of the larger tube (II.), so that B will just fail to pass through E. The length from B to C must not be made greater than from E to G on the outside tube. The end at C is then to be cut off so as to leave a pin-hole in the end of A.
The outer tube (II.), whose diameter may be 5 or 6 mm. greater than that of A, is prepared by sealing a side tube on it at F, after previously contracting the end E. For this purpose the end E should be closed and rounded, and then re-heated and blown out till the bulb bursts. To ensure that the diameter of the opening is less than that of the tube, care must be taken not to re-heat too large an area of the end before blowing it out. It is very important that the cross[46] section at E shall be in a plane at right angles to the axis of the tube.
Wrap a strip of writing paper, one inch in breadth, closely round the end of A at C till the tube and paper will only just pass easily into the mouth D of the outer tube, push the inner tube A, with the paper upon it, into D, and when the paper is entirely within D, withdraw A, and cautiously push the paper a little further into the outer tube. Insert A into DE through E, so that the bulb B is embraced by E. Close D with a cork. Ascertain that the paper does not fit sufficiently tightly between the two tubes to prevent the free passage of air, by blowing into the mouth K of A. Air should escape freely from E when this is done. Gradually bring the line of contact of B and E and the surrounding parts of the tube before a pointed flame, after previously warming them by holding near a larger flame, and rotate them before the flame so that the glass may soften and adhere. Then heat the joint spot by spot as usual. In blowing this joint, take care that the glass on each side of the actual joint is slightly expanded. It should present the form shown by the dotted lines in III. (these are purposely exaggerated, however). Finally, heat the whole joint between the lines JI till it softens, and simultaneously blow and draw it into its final shape as seen at III.
The side tube F should not be too near the end E. If, however, it is necessary to have them close together, the joint F must be very carefully annealed when it is made; it must also be very cautiously warmed up before the construction of the joint at H is begun, and must be kept warm by letting the flame play over it from time to time during the process of making the latter joint.
A good joint may be recognised by its freedom from lumps of glass, its regularity of curve, and by a sensibly circular line at H, where the two tubes are united.
[47]When the joint after annealing has become quite cold, the pin-hole at C on the inner tube may be closed, after removing the paper support, by warming the outer tube, and then directing a fine pointed flame through D on to C. And the end D of the outer tube may be closed in the ordinary manner, or a narrow tube may be sealed to it. As the end of glass at D will be too short to be held by the fingers when hot, another piece of tube of similar diameter must be attached to it to serve as a handle (see p. 35, Fig. 9).
Blowing a Bulb or Globe of Glass.—For this purpose it is very important that the glass tube employed shall be of uniform substance. The size and thickness of the tube to be employed depends partly on the dimensions of the bulb desired, and partly on the size of neck that is required for the bulb. It is easier to blow large bulbs on large-sized tubes than on those of smaller size. When it is necessary to make a large globe on a small tube, it can be done, however, if great care be taken to avoid overheating that part of the small tube which is nearest to the mass of viscous glass from which the bulb is to be formed. For the purpose of blowing a very large bulb on a small tube, it is best to unite a wide tube to that which is to serve as the neck, as it will save some time in collecting the necessary mass of glass from which to form the globe.
To blow a Bulb at the End of a Tube.—Select a good piece of tube, say 1·5 cm. in diameter, and about 30 cm. long; draw out one end to a light tail (a, Fig. 20) about 3 inches in length. Then heat up a short length of the tube at b, with a small brush flame, by rotating the glass in the flame, and gently press it together when soft to thicken it; blow into it if necessary to preserve the regularity of its figure. Repeat this process on the portion of tube nearest to that which[48] has been first thickened, and so on, till as much glass has been heated and thickened as you judge will serve to make a bulb of the size desired. You should have a mass of glass somewhat resembling that shown at B (Fig. 20), but probably consisting of the results of more successive operations than are suggested in that diagram. Apply the flame as before to the narrower parts cc of B, gently compress and blow until all the small bulbs first made are brought together into a mass still somewhat resembling the enlarged end of B, but more nearly cylindrical, with the glass as regularly distributed as possible, and of such length from d to the contracted part that the whole of it may easily be heated simultaneously with the large brush flame of your blow-pipe. Take great care in the foregoing operations not to allow the sides of the mass of glass to fall in and run together, and, on the other hand, do not reduce the thickness of the glass needlessly by blowing it more than is necessary to give the glass as regular a form as possible. When you are satisfied with the mass of glass you have collected, melt off the tail a, and[49] remove the pointed end of glass that remains, as directed on page 33. Turn on as large a brush flame as is necessary to envelop the whole mass of glass that you have collected, and heat it with constant rotation, so that it may gradually run together to the form seen at C (Fig. 20), taking care that it does not get overheated near d, or the tube which is to form the neck will soften and give way.
The position in which the mass of heated glass is to be held will depend upon circumstances; if the mass of glass be not too great, it is best to keep it in a nearly horizontal position. If the mass of glass be very large, it may be necessary to incline the end B downwards; but as that is apt to result in an excess of glass accumulating towards d, avoid doing so if possible by rotating the glass steadily and rapidly. If at any time the glass shows indications of collapsing, it must be removed from the flame and gently blown into shape, during which operation it may be rotated in the perpendicular position; indeed, to promote a regular distribution of the glass by allowing it plenty of time to collect, it is well from time to time to remove the heated mass of glass from the flame, and slightly expand it by blowing. Finally, when a regular mass of glass, such as is shown at C (Fig. 20) has been obtained, remove it from the flame, and blow it to its final dimensions. A succession of gentle puffs quickly succeeding each other should be employed, in order that the progress of the bulb may be more easily watched and arrested at the right moment. During the process of blowing, the hot glass must be steadily rotated.
To collect the glass for blowing a bulb of lead glass, employ the flame described on pp. 17-22 for heating lead glass.
If the tube be held horizontally whilst the globe is blown, its form will most nearly approach that of a true globe. If it be held in the perpendicular position, with the mass of glass depending from it, the form of the bulb will usually be[50] somewhat elongated. If it be held perpendicularly, with the mass of glass upwards, the resulting bulb will be flattened.
When a bulb is not of a sufficiently regular form, it may sometimes be re-made by re-collecting the glass, and re-blowing it. The greatest care is needed at the earlier stages of re-heating to prevent the glass from collapsing into a formless and unworkable mass. This is to be prevented in all such cases by gently blowing it into shape from time to time whilst gathering the glass.
To blow a Bulb between two Points (Fig 21).—Select a piece of suitable tube, seal or cork one end, gather together a mass of glass at the desired part, as directed for blowing a bulb at the end of a tube; when a mass of glass has been collected of sufficient thickness, blow it into shape from the open end of the tube by a rapid succession of short blasts of air, till the expanding glass attains the desired dimensions. The tube must be held horizontally, and must be rotated steadily during the process. By slightly pressing together the glass while blowing, the bulb will be flattened; by slightly drawing apart the two ends of the tube, it will be elongated.
A pear-shaped bulb may be obtained by gently re-heating an elongated bulb, say from a to a, and drawing it out. It is easiest to perform this operation on a bulb which is rather thick in the glass.
If the tubes bb are to be small, and a globe of considerable size is wanted, contract a tube as shown in Fig. 22, taking care that the narrow portions of the tube are about the same axis as the wider portions, for if this be not the case, the mouths of the bulb will not be symmetrically placed; seal at C, cut off the wider tube at B, and make the bulb, as[51] previously described, from the glass between AA. If, as probably will be the case, the contracted portions of the tube be not very regular, they may be cut off, one at a time, near the bulb, and replaced by pieces of tube of the size desired.
When a bulb has to be blown upon a very fine tube, for example upon thermometer tubing, the mouth should not be employed, for the moisture introduced by the breath is extremely difficult to remove afterwards. A small india-rubber bottle or reservoir, such as those which are used in spray-producers, Galton’s whistles, etc., securely attached to the open end of the tube, should be used. With the help of these bottles bulbs can be blown at the closed ends of fine tubes with ease, though some care is necessary to produce them of good shape, as it is difficult to rotate the hot glass properly when working in this way.
Making and Grinding Stoppers.—Apparatus which is to contain chemicals that are likely to be affected by the free admission of air, needs to have stoppers fitted to it. Making a good stopper is a much less tedious process than is commonly supposed.
Suppose that the tube I. of Fig. 23 is to be stoppered at A, it must be slightly enlarged by softening the end and opening it with a pointed cone of charcoal; or a conical mouth for the stopper may be made by slightly contracting the tube near one end, as at B, cutting off the cylindrical end of the tube at the dotted line C, and then very slightly expanding the end at C with a charcoal cone after its edges have been[52] softened by heat. In either case the conical mouth should be as long and regular as possible.
For the stopper take a piece of rather thick tube, of such size that it will pass easily, but not too easily, into A or B. Expand this tube at D, as shown in II., by softening the glass and gently compressing it. The configuration of the enlarged tube as shown at D may be obtained by heating and compressing two or more zones of the tube that are adjacent, one zone being less expanded than the other, so as to give the sides of the imperfect stopper as nearly as possible the form shown at D, which, however, is much less regular than may easily be obtained. Seal off the head of the tube at H, and heat the glass till it runs together into a nearly solid mass; compress this with a pair of iron tongs to the flattened head E. In making D, aim at giving it a form which will as nearly as possible correspond to that of the tube into which it is to be ground, and make it slightly too large, so that only the lower part at D can be introduced into the mouth of A or B. Before it is ground, the stopper must be heated nearly to its softening-point and annealed.
Moisten D with a solution of camphor in recently distilled[53] turpentine, and dust the wet surface with finely-ground emery, then gently grind it into its place till it fits properly. In this operation the tail G, which should fit loosely into the tube A, will be of assistance by preventing D from unduly pressing in any direction on A in consequence of irregular movements. The stopper should be completely rotated in grinding it. It must not be worked backwards and forwards, or a well-fitting stopper will not be produced. Renew the emery and camphorated turpentine frequently during the earlier part of the grinding; when the stopper almost fits, avoid using fresh emery, but continue to remove the stopper frequently at all stages of the operation. That added at the earlier stages will be reduced to a state of very fine division, and will therefore leave the stopper and mouth of A with smoother surfaces than fresh emery.[10]
Note.—The addition of camphor to the turpentine used for grinding glass is very important. Notwithstanding its brittle nature, glass will work under a file moistened with this solution almost as well as the metals. Small quantities should be made at a time, and the solution should be kept in a well-closed vessel, for after long exposure to the air it is not equally valuable.
If the stopper is to fit a tube contracted like B, it must be constructed from a piece of tube that will pass through the contraction at B. The tail GF will not do such good service as it does in the case of a tube which has been opened out to receive its stopper, but it will help to guide the stopper, and should be retained.
When the stopper has been ground into its place, melt off the tail at F. The flame must be applied very cautiously, as[54] glass which has been ground is particularly apt to crack on heating. To avoid all risk of this, the tail may simply be cut off, and its edges filed smooth with a file moistened freely with camphorated turpentine.
The stoppers of bottles are not made exactly in the manner described above, though, on occasion, a new stopper may be made for a bottle by following those directions. Ill-fitting stoppers, which are very common, can be very easily re-ground with emery and camphorated turpentine.
[6] Remember that when the lead glass is heated to the proper temperature it will present an appearance which may be described as a greenish phosphorescence. At higher temperatures it assumes an orange-red appearance. If it loses its transparency and assumes a dull appearance, it must be moved further into the oxidising parts of the flame.
[7] Some glass-blowers at once work on the glass as next described, without this preliminary treatment. I find that some glass, usually soda glass, will not always bear the necessary movements without breaking unless first heated all round.
[8] If such an opening be observed, it may usually be closed by touching its edges with a fused point of glass at the end of a drawn out tube.
[9] This can be obtained from Messrs. Powells, Whitefriars Glassworks.
[10] Mr. Gimmingham recommends giving stoppers a final polish with rotten-stone (Proceedings of the Royal Society, p. 396, 1876).
MAKING THISTLE FUNNELS, U-TUBES, ETC.—COMBINING THE PARTS OF COMPLICATED APPARATUS—MERCURY, AND OTHER AIR-TIGHT JOINTS—VACUUM TAPS—SAFETY TAPS—AIR-TRAPS.
In Chapter III. the simpler operations used in making the separate parts of which apparatus is composed have been described. In this Chapter finished apparatus will be described, and the combination of the separate parts into the more or less complicated arrangements used in experiments will be so far explained as to enable the student to set up such apparatus as he is likely to require. I have thought it would be useful that I should add a short account of various contrivances that have come much into use of late years for experimenting under reduced pressure, such as safety taps, air-traps, vacuum joints, etc.
Electrodes.—On page 38 (Fig. 13) is shown a simple form of electrode sealed into a glass tube, which for many purposes answers very well. But frequently, in order that there may be less risk of leakage between the glass and the metal, the latter is covered for a considerable part of its length with solid glass, which at one extremity is united to the apparatus. In Fig. 24 W is the metal core of the electrode, and G the glass covering around it. The wire[56] is fused into the glass, and the glass is then united to the apparatus; a little white enamel should be applied at one end and combined with the glass by fusion.
U-Tubes.—A U-tube is but a particular case of a bent glass tube. It is scarcely possible when bending very large tubes in the manner described on p. 29 to produce regular curves of sufficient strength.
To make a U-tube, or to bend a large tube, close one end of the tube selected with a cork, soften and compress the glass in the flame at the part where it is to be bent till a sufficient mass of glass for the bend is collected, then remove the mass of glass from the flame, let it cool a little, and simultaneously draw out the thickened glass, bend it to the proper form, and blow the bend into shape from the open end of the tube. Small irregularities may be partly corrected afterwards.
To make a good U-tube of large size, and of uniform diameter from end to end, requires much practice, but to make a tolerably presentable piece of apparatus in which the two limbs are bent round till they are parallel, without any considerable constriction at the bend, can be accomplished without much difficulty.[11]
Spiral Tubes.—These may be made by twisting a tube gradually softened by heat round a metal cylinder. Spiral tubes made of small thin tubes possess considerable elasticity,[57] and have been used by Mr. Crookes for making air-tight connections between separate pieces of apparatus when a rigid connection would have been unnecessary and inconvenient. By the use of such spiral tubes it is possible to combine comparatively free movement with all the advantages attached to hermetically-sealed joints.
To make a flexible spiral tube, mount a copper cylinder on a screw, so that the cylinder will travel in the direction of its axis when it is rotated. Fix a fine glass tube to the cylinder, and direct a flame towards the cylinder so as to heat and soften the glass, which will then bend to the form of the cylinder. Gradually rotate the cylinder before the source of heat, so that fresh portions of tube are successively brought into position, softened, and bent. Useful spirals may also be made by hand without a cylinder. As each length of tube is bent, a fresh length may be united to it until the spiral is completed. The fine tubes employed are prepared by heating and drawing out larger tubes.
Thistle Funnels (Fig. 25).—Seal a moderately thick piece of small glass tube at A, then heat a wide zone of it a little below A by rotating it horizontally in the blow-pipe flame till the glass softens, and expand the glass to a bulb, as shown[58] at B of 1; during the operation of blowing this bulb, the end A must be directed to the ground.
Soften the end A and a small portion of B as before, and, holding the tube horizontally from the mouth, blow out the end C as at 2. Heat the end of C gradually, till the glass softens and collapses to the dotted line dd, and at once blow a steady stream of air into the open end of the tube, rotating it steadily, till it is about to burst; finally clean off the thin glass from round the edges of the funnel, which should have the form shown at 3, and round them. An inspection of a purchased thistle funnel will generally show that the head B has been formed from a larger tube sealed to E at f.
Closing Tubes containing Chemicals for experiments at high temperatures.—Tubes of the hard glass used for organic analyses answer best for this purpose; the operation of drawing out the end of such a tube is practically identical with what has been described under the head of choking, p. 35. A well-sealed tube presents the appearance of that shown by Fig. 26.
In order to secure a thick end to the point of the tube a, about an inch or so of the tube near the contracted part should be warmed a little, if it is not already warm, at the moment of finally sealing it; the contraction of the air in the tube, in consequence of the cooling of the warm tube, will then ensure the glass at a running together to a solid end when it is melted in the flame.
If it will be necessary to collect a gas produced during a chemical action from such a tube, make the contracted end several inches long, and bend it into the form of a delivery[59] tube. It will then be possible to break the tip of this under a cylinder in a trough of liquid.
In order to explain the construction of apparatus consisting of several parts, it will be sufficient to take as examples, two very well-known instruments, and to describe their construction in detail. From what is learned in studying these, the student will gather the information that is wanted.
1. To make Hofman’s Apparatus for the electrolysis of water (Fig. 27).
Take two tubes about 35 cm. in length, and 14 mm. in diameter for AA, join taps TT to the end B of each of them, draw out the other end, as shown at D, after sheets of platinum foil with wires attached to them[12] have been introduced into the tubes, and moved by shaking to BB. Then allow the platinum wires to pass through the opening D left for the purpose, and seal the glass at D round the platinum as at E. Pierce the tubes at JJ, and join them by a short piece of tube K, about 14 mm. in diameter, to which the tube T, carrying the reservoir R, has been previously united. R may be made by blowing a bulb from a larger piece of tube attached to the end of T. The mouth M of the reservoir[60] being formed from the other end of the wide tube afterwards. One of the taps can be used for blowing through at the later stages. Each joint, especially those at JJ, must be annealed after it is blown. Some operators might prefer to join AA by the tube K in the first instance, then to introduce the electrodes at E and D. In some respects this plan would be rather easier than the other, but, on the whole, it is better to make the joints at JJ last in order, as they are more apt to be broken than the others during the subsequent manipulations.
2. I have before me the vacuum tube shown by Fig. 28, in which the dotted lines relate to details of manipulation only.
It is usually possible to detect the parts of which a piece of apparatus has been built up, for even the best-made joints exhibit evidence of their existence. Thus, although I did not make the tube that is before me, and cannot therefore pretend to say precisely in what order its parts were made and put together, the evidence which it exhibits of joints at the dotted lines A, B, C, D, E, F, enables me to give a general idea of the processes employed in its construction, and to explain how a similar tube might be constructed. I should advise proceeding as follows:—
Join a piece of tube somewhat larger than M to its end A, draw out the other end of the larger tube, and blow a bulb L as directed on p. 47. Then seal the electrode R into the bulb L (p. 55).
Blow a similar but larger bulb N from a large piece of[61] tube sealed between two tubes of similar size to M, as described at p. 50. Cut off one of the tubes at B, and join the bulb N to M at B. Form the bulb Q in the same manner as in the case of L, seal into it the electrode R, and add the tube marked by the dotted lines at F.
Seal a narrow tube P to the end of a larger tube, and blow out the tube at the joint till the glass is thin and regular. Take a tube O, of similar size to M, slightly longer than P, contract its mouth slightly to meet the wide end of P at D, and after loosely supporting P inside O with a cork, or otherwise, close the end N of O by sealing or corking it, and join P to O at D. Cut off O just above D at E, and join it to the bulb Q, closing either O or F for the purpose. Cut off the end of O at C parallel to the end of P, and connect O to N, using F for blowing the joint at C. F may be used subsequently for introducing any gas into the tube, and, when a vacuum has been established, may be sealed before the blow-pipe.
Modes of combining the Parts of Heavy Apparatus.—It is often necessary to connect pieces of apparatus which are too heavy to be freely handled before the blow-pipe, and which, therefore, cannot be welded together as described on p. 39, by some more effective method than the ordinary one of connecting by india-rubber tubing. For example, apparatus which is to be exhausted by a Sprengel air-pump must be attached to the pump by a joint as perfectly air-tight as can be obtained. This, indeed, often may be done by welding the apparatus to be exhausted to the air-pump before the blow-pipe. But such a method is open to the obvious objection that it is very troublesome to connect and disconnect the parts as often as may be necessary, and that there is some risk of accidental breakages. Nevertheless it may be done on occasion, especially if there be no objection to[62] the use of the flexible spiral tubes already alluded to. When the use of a spiral connecting-tube is not admissible the difficulty is considerably increased. For example, the author has lately required to attach an ozone generator, of the form shown by Fig. 19, which previously had been cemented into a heavy copper jacket, to a pressure-gauge rigidly fixed to a support, and of considerable size. The employment of a flexible spiral connection was prohibited by the fact that it was necessary that the volume of the connecting-tube should be but a small fraction of that of the ozone generator, a condition which compelled the use of a tube of almost capillary bore, and of inconsiderable length. At the same time the frailness of such a connection made it necessary to fix the generator and pressure-gauge rigidly to their supports, in order to avoid the possibility of breakage by slight accidental movements of either of them, and it was obviously necessary to fix the pieces of apparatus in their final positions before joining them, lest the fine tube which connected them should be fractured during adjustment. The possibility of a strain being caused by the contraction that would occur during the cooling down of the joint last made had to be provided for also. The desired object was effected as follows. In Fig. 29 A represents a section of the ozone generator at the point where the tube to connect it to the gauge was fixed. B represents the top of the gauge, with the side tube C, which was to be connected with that from A, viz. D. The ends of C and D were expanded as shown at D (by melting them and blowing them out), so that one of them, made rather smaller than the other, could be overlapped by the larger one. A and B being rigidly fixed in their final positions, with C and D in[63] contact, as shown in the figure, all openings in the apparatus were closed, except one, to which was attached an india-rubber blowing-bottle by means of a tube of india-rubber long enough to be held in the hand of the operator, and to allow him to observe the operation of joining the tubes at D. When everything was in readiness, a very small-pointed flame from a moveable blow-pipe held in the hand was directed upon the glass at D till it melted and the two tubes united. To prevent the fine tube when melted from running into a solid mass of glass, and so becoming closed, a slight excess of pressure was maintained inside the apparatus during the operation by forcing air into it with the india-rubber blower from the moment at which C and D united. A point of charcoal was kept in readiness to support the softened glass at D in case it showed any tendency to fall out of shape.
The V-tube at C served to prevent the subsequent fracture of the joint in consequence of any strain caused by the contraction of the glass in cooling.[13]
It is not difficult to connect several pieces of apparatus successively in this manner, nor is this method only useful in such cases as that just described. Pieces of apparatus of great length and weight may be joined in a similar manner, irrespective of the size of the tubes to be united.
The ends to be joined, prepared as before, so that one slightly overlaps the other, must be held firmly in contact by clamps, and heated in successive portions by a blow-pipe held in the hand of the operator, each patch of glass being re-heated and gently blown, after a rough joint has been made. Finally, a larger flame may be used to heat up the whole joint for its final blowing. It is important to place the apparatus so that the operator has free access to it on all sides. A revolving table might be employed. An assistant[64] to work the bellows is necessary. Or, better still, air may be admitted to the blow-pipe from a large gas-bag placed in some convenient position.
But in most cases one or other of the following air-tight joints can be employed, and will be found to be very convenient:—
Mercury Joints.—The simplest form of mercury joint is shown at Fig. 30. A and B are the two tubes which are to be connected. A larger tube or cup F is attached to A by the india-rubber tube E, and placed on A so that the end of B may be brought into contact with A at C, and connected to it by a well-fitting piece of india-rubber tube C. The cup E is then brought into the position shown in Fig. 30, and mercury is introduced till the india-rubber tube at C is covered. As mercury and glass do not come into true contact, however, such a joint, though said to give good results in practice, is not theoretically air-tight, for air might gradually find its way between the liquid and the glass. By covering the mercury with a little sulphuric acid or glycerine the risk of this occurring may be removed. The same result may be attained by the use of glycerine in place of the mercury in the cup F; but glycerine is less pleasant to work with than mercury.[14]
When sulphuric acid is to be employed in such a joint, or when for any other reason the use of an india-rubber tube is undesirable, the joint may consist of a hollow stopper B (Fig. 31), made of glass tube, and ground to fit the neck of a thistle funnel A. A and B are joined respectively to the pieces of apparatus to be connected, and connection is made by placing B in position in the neck of A; the joint is made air-tight by introducing mercury with strong[65] sulphuric acid above it into the cup A. The joint may be rendered air-tight by introducing sulphuric acid only into the cup. But this plan must not be adopted if the interior of the apparatus is to be exhausted, as sulphuric acid is easily forced between the ground glass surfaces by external pressure. Mercury, however, will not pass between well-ground glass surfaces, and is therefore to be employed for connecting apparatus which is to be exhausted, and, if necessary, protected by a layer of strong sulphuric acid to completely exclude air.
Tubes placed horizontally may be joined by a glycerine or mercury joint such as is shown in Fig. 32. The two tubes A and B are joined as before by an india-rubber connection C, or one may be ground to fit the other, and the joint is then enclosed within a larger jacketing-tube D, with a mouth at F, which is filled with glycerine or mercury. D is easily made by drawing out both ends of a piece of tube, leaving them large enough to pass over the connection at C, however, and piercing one side at F.
Vacuum Taps.—It is not necessary to enter into a description of the construction of ordinary glass taps, which can be purchased at very reasonable prices. It may be remarked here, however, as a great many of them are very imperfectly ground by the makers, that they may easily be made air-tight by hand-grinding with camphorated turpentine and fine emery, finishing with rotten-stone. A well-ground tap, which is well[66] lubricated, should be practically air-tight under greatly reduced pressure for a short period; but when it is necessary to have a tap which absolutely forbids the entrance of air into apparatus, one of the following may be employed:—
(1.) Mr. Cetti’s Vacuum Tap (Fig. 34): This tap is cupped at A and sealed at B, and the cup A is filled with mercury when the tap is in use, so that if, for example, the end C be attached to a flask, and D to an apparatus for exhausting the flask, it will be possible to close the flask by turning off the tap E, and if no air be allowed access through D, the vacuum produced in the flask at C cannot be affected by air leaking through the tap at A or B.
A passage F must be drilled from the bottom of the plug E to meet G, in order that when the plug is in position no residue of air shall be confined within B, whence it might gradually leak into any apparatus connected to it.
It is obvious, however, that this tap does not protect a flask[67] sealed to C from the entrance of air through D, which, in fact, is the direction in which air is most likely to effect an entrance. When using one of these taps as part of an apparatus for supplying pure oxygen, I have guarded against this by attaching a trap (Fig. 33) to the end D, C being joined to the delivery tube from the gas-holder. The structure and mode of action of the trap are as follows:—
A narrow tube G is joined to D of Fig. 34, and terminates in the wide tube I, which is connected above to H, and below to the air-trap J. J is connected at K, by a piece of flexible tube, to a reservoir of mercury, from which mercury enters the air-trap, and passing thence to I, can be employed for filling the V-trap HLG. The air-trap J is in the first instance filled with mercury, and then serves to intercept any stray bubbles of air that the mercury may carry with it. The particular form of the trap shown at HLG was adopted because with it the arm LG is more readily emptied of mercury than with any other form of trap made of small tube that I have tried. It has been used in my apparatus in the following manner:—H was connected with a vessel to be filled with pure oxygen, the tap E closed, and the rise of mercury above L prevented by a clamp on the flexible tube; the vessel to be filled and the trap were then exhausted by a Sprengel pump, and oxygen allowed to flow into the exhausted space by opening E, the operation of exhausting the tubes and admitting oxygen being repeated as often as necessary.
To prevent access of air to E on disconnecting the vessel at H, the mercury was allowed to flow into the trap till it reached to MM. E was then closed, and H exposed without danger of air reaching E, the length of the arms of the trap being sufficient to provide against the effects of any changes of temperature and pressure that could occur.
A delivery tube may be connected to H and filled with mercury, by closing E and raising the mercury reservoir. All[68] air being in that way expelled from the delivery tube, and the supply of mercury cut off by clamping the tube from the reservoir, oxygen can be delivered from the tube by opening E, when it will send forward the mercury, and pass into a tube placed to receive it without any risk of air being derived from the delivery tube.
(2.) Gimmingham’s Vacuum Tap,[15] shown in Fig. 35, consists of three parts. A tube A is ground to fit the neck of B. B is closed at its lower end, and has a hole d drilled through it; when B is fitted to C, d can be made to coincide with the slit e. When A, B, C are fitted together, if d meet e, there is communication between any vessels attached to A and any other vessel attached to C, entrance of external air being prevented by mercury being placed in the cups of C and B. The tap may be opened and closed at pleasure by rotating B.
If A has to be removed, C may be converted into a mercury joint pro tem. by letting a little mercury from the upper cup fall into the tube and cover d, the tap being closed. This mercury must be removed by a fine pipette in order to use the tap again. It should be noted, however, that though external air cannot enter by way of the ground glass joints, there is no absolute protection against the passage of air between A and C, or vessels joined to A and C, even when the tap is closed. The passage of air from A to C depends upon the grinding and lubrication of the joint at C.
Lubricating Taps.—For general purposes resin cerate answers very well. In special cases burnt india-rubber, or a[69] mixture of burnt india-rubber and vaseline will answer well, or vaseline may be used alone. Sulphuric acid and glycerine are too fluid. When a lubricant is wanted that will withstand the action of ether, the tap may be lubricated by sprinkling phosphorus pentoxide upon it, and exposing it to air till the oxide becomes gummy. The joint must then be protected from the further action of the air if possible. For example, if a safety tap be used the cup may be filled with mercury.
Air-Traps.—In Fig. 33, p. 66, an air-trap (J) is shown. An air-trap is a device for preventing the mercury supplied to Sprengel pumps, etc., from carrying air into spaces that are exhausted, or are for any reason to be kept free from air. Figs. 36 and 37 give examples of air-traps. In the simpler of the two (Fig. 36) mercury flowing upwards from C that may carry bubbles of air with it passes through the bulb A, which is filled with mercury before use.[16] Any air which accompanies the mercury will collect at a, the mercury will flow on through b. So long as the level of the mercury in A is above b, the trap remains effective.
In the trap shown by Fig. 37, the tube d, which corresponds to b in Fig. 36, is protected at its end by the cup E. E prevents the direct passage of minute bubbles of air through d. This trap, like the other, must be filled with mercury before it is used, and it will then remain effective for some time.
[11] Large tubes may also be bent by rotating a sufficient length of the tube in a large flame till it softens, and bending in the same manner as in the case of smaller tubes, and after filling them with sand, closing one end completely, and the other so that the sand cannot escape, though heated air can do so.
[12] Red-hot platinum welds very well. The wire may be joined to the sheet of foil by placing the latter on a small piece of fire-brick, holding the wire in contact with it at the place where they are to be united, directing a blow-pipe flame upon them till they are at an intense heat, and smartly striking the wire with a hammer. The blow should be several times repeated after re-heating the metal.
[13] For a method of joining soda glass to lead glass, see p. 81.
[14] If the india-rubber tube C be secured by wires, iron wire, not copper wire, should be employed.
[15] From Proceedings of Royal Society, vol. XXV. p. 396.
[16] This may be done by clamping the tube which supplies mercury below C, exhausting A, and then opening the clamped tube and allowing the mercury to rise.
GRADUATING AND CALIBRATING GLASS APPARATUS.
Although the subjects to which this concluding chapter is devoted do not, properly speaking, consist of operations in glass-blowing, they are so allied to the subject, and of such great importance, that I think a brief account of them may advantageously be included.
Graduating Tubes, etc.—It was formerly the custom to graduate the apparatus intended for use in quantitative work into parts of equal capacity; for example, into cubic centimetres and fractions of cubic centimetres. For the operations of volumetric analysis by liquids this is still done. But for most purposes it is better to employ a scale of equal divisions by length, usually of millimetres, and to determine the relative values of the divisions afterwards, as described under calibration. It rarely happens that the tube of which a burette or eudiometer is made has equal divisions of its length of exactly equal capacities throughout its entire length, and indeed, even for ordinary volumetric work, no burette should be employed before its accuracy has been verified. An excellent method for graduating glass tubes by hand[17] has been described in Watts’s Dictionary of Chemistry, and elsewhere. Another excellent plan, which I have permission[71] to describe, has been employed by Professor W. Ramsay. It will be sufficient if I explain its application to the operation of graduating a tube or strip of glass in millimetre divisions.
The apparatus required consists of a standard metre measure,[18] divided into millimetres along each of its edges, with centimetre divisions between them, a ruler adapted to the standard metre, as subsequently explained, and a style with a fine point for marking waxed surfaces.
Fig. 38 represents the standard measure, and the ruler.
[72]At AA are the millimetre divisions on the edges of the measure, the longer transverse lines at BB are placed at intervals of five millimetres and of centimetres. The ruler is in the form of a right-angled triangle; it is shown, by the dotted lines, in position on the standard metre measure at I; and again, with its under surface upwards, in the smaller figure at 2. It consists of a perfectly flat sheet of metal, about ten centimetres in length from C to C, sufficiently thick to be rigid, and has a ledge, DD in each figure, which is pressed against the side of the measure when using it, to ensure that the successive positions of the edge (LL) shall be parallel to each other. At GG are two small holes, into which fit small screws with fine points. These must be in a line parallel to the edge (LL), so that when the ruler is in position on the scale, the points of the two screws, which project slightly, shall fall into corresponding cuts on the divided scales (AA).
To graduate a strip of glass, or a glass tube (HH), the surface to be marked must first be coated with wax, which should be mixed with a little turpentine, and be applied to the surface of the glass, previously made warm and dry, by means of a fine brush, so as to completely cover it with a thin, closely-adherent, and evenly-distributed coat of wax, which must be allowed to cool.
Fix HH firmly on a table, and fix the standard measure by the side of HH. If the thickness of HH be about equal to, but not greater than that of the standard measure, this may be done by large drawing-pins. If, however, a large tube or thick sheet of glass is to be graduated, fix it in position by two strips of wood screwed to the table on each side of it. One of these wooden strips, on which the measure may be placed, may be about as broad as the standard measure, and of such thickness that when the measure lies upon it beside the tube to be graduated, the ruler, when moved along[73] the measure, will move freely above the tube, but will not be elevated more than is necessary to secure free movement. The second strip of wood may be narrower, and of the same thickness as the broader piece on which the standard measure rests. In any case, let the standard measure and the object to be graduated be very firmly secured in their places. Bring the ruler into position at any desired part of the tube by placing the points of the screws (GG) in corresponding divisions of the scales (AA). With the style, which may be a needle mounted in a handle, make a scratch in the wax along the edge of the ruler at F, move the ruler so that the screws rest in the next divisions, and repeat the operation till the required number of lines has been ruled. Longer marks may be made at intervals of five and ten millimetres. Great care must be taken to hold the needle perpendicularly, and to press it steadily against the edge (LL) of the ruler in scratching the divisions.[19] The length of the lines marking the millimetre divisions should not be too long; about 1 mm. is a good length. If they are longer than this, the apparent distance between them is diminished, and it is less easy to read fractions of millimetres. Before removing the scale to etch the glass, carefully examine it to see that no mistakes have been made. If it is found that any lines have been omitted, or that long lines have been scratched in the place of short ones, remelt the wax by means of a heated wire, and make new marks. Finally, mark the numbers on the scale with a needle-point, or better, with a fine steel pen.
The marks on the wax should cut through it. When they[74] are satisfactory, they may be etched by one of the following processes:—
(1.) By moistening some cotton wool, tied to a stick, with solution of hydrofluoric acid, and gently rubbing this over the scratched surface for a minute or so; then washing away the acid with water, and cleaning off the wax. This is the simplest method, but the marks made are generally transparent, and therefore not very easy to read. The simplicity of this method is a great recommendation, however.
(2.) Expose the tube to the fumes of hydrofluoric acid generated from a mixture of powdered fluor-spar and strong sulphuric acid, in a leaden trough. The marks produced in this way are usually opaque, and are therefore very visible, and easily read.
After the above detailed account it will only be necessary to give an outline of the other process of graduating tubes.
The standard scale to be copied, A, which may in this case be another graduated tube, or even a paper scale, and the object to be ruled, B, are securely fixed, end to end, a little distance apart, in a groove made in a board or in the top of a table. A stiff bar of wood, C, has a point fixed at D, and a knife edge at E, D is placed in any division of A, C is held firmly at E and D, and a cut is made by the knife through the wax on B, the point D is then moved into the next division, and the operation is repeated. To regulate the length and position of the cuts, B is usually held in position by two sheets of brass projecting over the edges of the groove in which it lies; the metal sheets have notches cut into them at the intervals at which longer marks are to be made.
[75]When the scale is completed, the equality of the divisions in various parts of it may be, to some extent, verified as follows:—Adjust a compass so that its points fall into two divisions 5, 10, or 20 mm. apart. Then apply the points of the compass to various parts of the scale. In every part the length of a given number of divisions should be exactly the same. The individual divisions should also be carefully inspected by the eye; they should be sensibly equal. If badly ruled, long and short divisions will be found on the scale. Very often a long and a short division will be adjacent, and will be the more easily observed in consequence.
To Divide a Given Line into Equal Parts.—Occasionally it is necessary to divide a line of given length into x equal parts. For instance, to divide the stem of a thermometer from the freezing-point to the boiling-point into one hundred degrees.
The following outline will explain how a line may be so divided. Suppose the line AB (Fig. 40) is to be divided into nine equal parts. Adjust a hinged rule so that the points A and B coincide with the inside edges of the limbs, one of them, A, being at the ninth division (e.g. the ninth inch) of CE. Then if lines parallel to ED be drawn from each division of the scale to meet AB, AB will be divided into nine equal parts.
A very convenient and simple arrangement on this[76] principle for dividing a line into any number of equal parts with considerable accuracy, is described by Miss S. Marks in the Proceedings of the Physical Society, July 1885.[20] One limb of a hinged rule D is made to slide upon a plain rule fixed to it; the plain rule carries needles on its under surface which hold the paper in position. The position of the divided rule and line to be divided being adjusted, the hinged rule is gently pushed forwards, as indicated by the arrow in Fig. 40, till division eight coincides with the line AB. A mark is made at the point of coincidence, and division seven on the scale is similarly brought to the line AB, and so on. The inner edge of EC should have the divisions marked upon it, that their coincidence with AB maybe more accurately noted. The joint E must be a very stiff one.
A line drawn of given length or a piece of paper may be divided into any given number of equal parts, and will then serve as the scale A of Fig. 39, p. 74, the thermometer or other object to be graduated taking the place of B.
Scales carefully divided according to any of the methods described will be fairly accurate if trustworthy instruments have been employed as standards.
It will be found possible when observing the volume of a gas over mercury, or the height of a column of mercury in a tube, to measure differences of one-sixth to one-eighth of a millimetre with a considerable degree of accuracy. To obtain more delicate measurements a vernier[21] must be employed.
To Calibrate Apparatus.—The glass tubes of which graduated apparatus is made are, as already stated, very[77] rarely truly cylindrical throughout their entire lengths. It follows that the capacities of equal lengths of a tube will usually be unequal, and therefore it is necessary to ascertain by experiment the true values of equal linear divisions of a tube at various parts of it.
A burette may be calibrated by filling it with distilled water, drawing off portions, say of 5 c.c. in succession, into a weighing bottle of known weight, and weighing them.
Great care must be taken in reading the level of the liquid at each observation. The best plan is to hold a piece of white paper behind the burette, and to read from the lower edge of the black line that will be seen. Each operation should be repeated two or three times, and the mean of the results, which should differ but slightly, may be taken as the value of the portion of the tube under examination.
If the weights of water delivered from equal divisions of the tube are found to be equal, the burette is an accurate one, but if, as is more likely, different values are obtained, a table of results should be drawn up in the laboratory book showing the volume of liquid delivered from each portion of the tube examined. And subsequently when the burette is used, the volumes read from the scale on the burette must be corrected. Suppose, for example, that a burette delivered the following weights of water from each division of 5 c.c. respectively:—
| C.C. | Grams. | |||
| 0 | to | 5 | gave | 4·90 |
| 5 | „ | 10 | „ | 4·91 |
| 10 | „ | 15 | „ | 4·92 |
| 15 | „ | 20 | „ | 4·93 |
| 20 | „ | 25 | „ | 4·94 |
| 25 | „ | 30 | „ | 4·95 |
| 30 | „ | 35 | „ | 4·96 |
| 35 | „ | 40 | „ | 4·97 |
| 40 | „ | 45 | „ | 4·98 |
| 45 | „ | 50 | „ | 4·99 |
[78] and that in two experiments 20 c.c. and 45 c.c. respectively of a liquid re-agent were employed. The true volumes calculated from the table would be as 19·66 to 44·46.
If the temperature remained constant throughout the above series of experiments, and if the temperature selected were 4° C., the weights of water found, taken in grams, give the volumes in cubic centimetres, for one gram of water at 4° C. has a volume of one cubic centimetre. If the temperature at which the experiments were made was other than 4° C., and if great accuracy be desired, a table of densities must be consulted, with the help of which the volume of any weight of water at a known temperature can be readily calculated.
Pipettes which are to be used as measuring instruments should also have the relation one to another of the volumes of liquid which they deliver determined, and also the proportions these bear to the values found for the divisions of the burettes in conjunction with which they will be employed.
To Calibrate Tubes for Measuring Gases.—Prepare a small glass tube sealed at one end and ground at the other to a plate of glass. The tube should hold about as much mercury as will fill 10 mm. divisions of the graduated tube. Fill this tube with mercury, removing all bubbles of air that adhere to the sides by closing the open end of the tube with the thumb, and washing them away with a large air-bubble left for the purpose. If any persistently remain, remove them by means of a fine piece of bone or wood. Then completely fill the tube with mercury, removing any bubbles that may be introduced in the operation, and remove the excess of mercury by placing the ground-glass plate on[79] the mouth of the tube, and pressing it so as to force out all excess of mercury between the two surfaces. Clean the outside of the tube, and place it on a small stand (this may be a small wide-mouthed glass bottle), with which it has been previously weighed when empty, and re-weigh. Repeat this operation several times. From the mean of the results, which should differ one from another but very slightly, the capacity of the tube can be calculated.
The purest mercury obtainable should be used. Since the density of pure mercury at 0° C. is 13·596, the weight of mercury required to fill the tube at 0° C., taken in grams, when divided by 13·596, will give the capacity of the tube at 0° C. in cubic centimetres. If the experiment be not made at 0° C., and if a very exact determination of the capacity of the tube be required, the density of mercury must be corrected for expansion or contraction.
Having now a vessel of known capacity, it can be employed for ascertaining the capacities of the divisions of a graduated tube in the following manner:—The graduated tube is fixed perpendicularly, mouth upwards, in a secure position. The small tube of known capacity is filled with mercury as previously described, and its contents are transferred to the divided tube. The number of divisions which the known volume of mercury occupies is noted after all air-bubbles have been removed. This process is repeated until the divided tube is filled. A table of results is prepared, showing the number of divisions occupied by each known volume of mercury introduced.
In subsequently using the tube the volumes of the gases measured in it must be ascertained from the table of values thus prepared.
In observing the level of the mercury, unless a cathetometer is available, a slip of mirror should be held behind the mercury close to the tube, in such a position that the pupil[80] which is visible on the looking-glass is divided into two parts by the surface of the mercury.
A correction must be introduced for the error caused by the meniscus of the mercury. As the closed end of the tube was downwards when each measured volume of mercury was introduced, and as the surface of mercury is convex, the volume of mercury in the tube when it is filled to any division l (Fig. 41) is represented by A of 1. But in subsequently measuring a gas over mercury in the same tube, when the mercury stands at the same division l, the volume of the gas will be as represented by B of 2, which is evidently somewhat greater than A. This will be seen still more clearly in 3, where a represents the boundary of the mercury, and b the boundary of the air, when the tube is filled to the mark l with mercury or a gas over mercury respectively.
It is plain that when the level of the mercury in measuring a gas is read at l, the volume of the gas is greater than the volume of the mercury recorded, by twice the difference between the volume A of mercury measured, and that which would fill the tube to the level l, if its surface were plane.
The usual mode of finding the true volume of a gas collected over mercury is as follows:—
Place the graduated tube mouth upwards, introduce some mercury, and, after removing all bubbles, note the division at[81] which it stands. Then add a few drops of solution of mercuric chloride; the surface of the mercury will become level, read and record its new position. Then, in any measurement, having observed that the mercury stands at n divisions of the tube, add twice the difference between the two positions of the mercury to n, and ascertain the volume which corresponds to this reading from the table of capacities.
To Calibrate the Tube of a Thermometer.—Detach a thread of mercury from half an inch to one inch in length from the body of the mercury. Move it from point to point throughout the length of the tube, and note its length in each position. If in one part it occupies a length of tube corresponding to eight degrees, and at another only seven degrees, then at the former point the value of each division is only seven-eighths of those at the latter position.
From the results obtained, a table of corrections for the thermometer should be prepared.
It is sometimes necessary to join soda glass to lead glass. In this case the edge of the lead glass tube may be bordered with white enamel before making the joint. Enough enamel must be used to prevent the lead and soda glasses from mingling at any point. The enamel is easily reduced, and must be heated in the oxidising flame. Dr. Ebert recommends Verre d’urane for this purpose. It is supplied by Herr Götze of Leipzig (Liebigstrasse).
[17] Originally suggested by Bunsen.
[18] Such measures can be obtained of steel for about fifteen shillings each. They are made by Mr. Chesterman of Sheffield. They can be obtained also from other makers of philosophical instruments, at prices depending upon their delicacy. Those of the greatest accuracy are somewhat costly.
[19] To avoid variations of the position in which the needle is held when marking the divisions, the edge (LL) should not be bevelled; and an upright support may be placed upon the ruler, with a ring through which the handle of the needle passes, thereby securing that the angle formed by the needle and surface of the ruler is constant, and that equal divisions are marked.
[20] Since this was printed I have observed that the above method is not identical with that described by Miss Marks, but for ordinary purposes I do not think it will be found to be inferior.
[21] For the nature and use of the vernier, a treatise on Physics or Physical Measurements may be consulted.
GLASS TUBING.
The diagrams given below show the sizes and thickness of the glass tubes most frequently required. In ordering, the numbers of these diagrams may be quoted, or the exact dimensions desired may be stated.
Glass tubes are usually sold by weight, and therefore the weight of tube of each size that is wished for should be indicated, and also whether it is to be of lead or soda glass.

VITREOUS SILICA.
Introductory.—Vitreous Silica was made in fine threads by M. Gaudin in 1839,[22] and small tubes of it were made in 1869 by M. A. Gautier, but its remarkable qualities were not really recognised till 1889, when Professor C. V. Boys rediscovered the process of making small pieces of apparatus of this substance, and used the torsion of “quartz fibres” for measuring small forces. More recently the author of this book has devised a process for preventing the “splintering” of quartz which gave so much trouble to the earlier workers, and jointly with Mr. H. G. Lacell, has produced a variety of apparatus of much larger dimensions than had been attempted previously. At the time of writing we can produce by the processes described in the following pages tubes 1 to 1·5 cm. in diameter and about 750 cm. in length, globes or flasks capable of containing about 50 c.c., masses of vitreous silica weighing 100 grams or more, and a variety of other apparatus.
Properties of Vitreous Silica.—For the convenience of those who are not familiar with the literature of this[85] subject, I may commence this chapter with a brief account of the properties and applications of vitreous silica, as far as they are at present ascertained. Vitreous silica is less hard than chalcedony, but harder than felspar. Tubes and rods of it can be cut with a file or with a piece of sharpened and hardened steel, and can afterwards be broken like similar articles of glass. Its conducting power is low, and Mr. Boys has shown that fine fibres of silica insulate remarkably well, even in an atmosphere saturated with moisture. The insulating qualities of tubes or rods of large cross sections have not yet been fully tested; one would expect them to give good results provided that they are kept scrupulously clean. A silica rod which had been much handled would probably insulate no better than one of glass in a similar condition. The density of vitreous silica is very near to that of ordinary amorphous silica. In the case of a small rod not absolutely free from minute bubbles it was found to be 2·21.
Vitreous silica is optically inactive, when homogeneous, and is highly transparent to ultraviolet radiations.
The melting point of vitreous silica cannot be definitely stated. It is plastic over a considerable range of temperature. Professor Callendar has succeeded in measuring the rate of contraction of fine rods in cooling from 1200° to 1500° C., so that its plasticity must be very slight below the latter temperature. If a platinum wire embedded in a thick silica tube be heated from without by an oxy-hydrogen flame the metal may be melted at temperatures at which the silica tube will retain its form for a moderate length of time, but silica softens to a marked extent at temperatures a little above the melting point of platinum.
It has been observed by Boys, Callendar, and others that fine rods of silica, and also the so-called “quartz fibres,” are apt to become brittle after they have been heated to redness.[86] But I have not observed this defect in the case of more massive objects, such as thick rods or tubes; and as I have repeatedly observed that mere traces of basic matter, such as may be conveyed by contact with the hand, seriously injure the surface of silica, and have found that silica quickly becomes rotten when it is heated to about 1000° in contact with an infusible base such as lime, I am disposed to ascribe the above-mentioned phenomenon to chemical rather than to purely physical causes.[23] It is certain, however, that silica apparatus must never be too strongly heated in contact with basic substances. Silica is easily attacked by alkalis and by lime, less readily by copper oxide, and still less by iron oxide.
The rate of expansion of vitreous silica has been studied by H. le Chatelier, and more recently by Callendar. The former found its mean coefficient of expansion to be 0·0000007 between 0° and 10000°,[24] and that it contracted when heated above 700°.
Professor Callendar used rods of silica prepared by the author from “Brazil crystal”; these were drawn in the oxy-gas flame and had never been heated in contact with solid foreign matter, so that they consisted, presumably, of very pure silica. His results differ in some respects from those obtained by Le Chatelier, for he finds the mean coefficient of expansion to be only 0·00000059, i.e. about one seventeenth as great as that of platinum. Callendar found the rods of silica expanded very regularly up to 1000° but less regularly above that temperature. Above 1200° they contracted when heated.
[87]The behaviour of vitreous silica under sudden changes of temperature is most remarkable. Large masses of it may be plunged suddenly when cold into the oxy-gas flame, and tubes or rods at a white heat may be thrust into cold water, or even into liquid air, with impunity. As a consequence of this, it is in one respect much more easily worked in the flame than any form of glass. Difficult joints can be thrust suddenly into the flame, or removed from it, at any stage, and they may be heated unequally in different parts with impunity. It is safe to say that joints, etc., in silica never crack whilst one is making them nor during the subsequent cooling. They may be set aside in an unfinished state and taken up again without any precautions. Therefore it is possible for an amateur to construct apparatus in silica which he would be quite unable to produce from glass.
The behaviour of vitreous silica with solvents has not yet been fully investigated, but Mr. H. G. Lacell has this subject in hand. If it behaves like the other forms of anhydrous silica it will withstand the action of all acids except hydrofluoric acid. It is, of course, very readily acted upon by solutions of alkalis and alkaline salts.
As regards the use of silica in experiments with gases, it must be remarked that vitreous silica, like platinum, is slightly permeable to hydrogen when strongly heated. One consequence of this is that traces of moisture are almost always to be found inside recently-made silica tubes and bulbs, however carefully we may have dried the air forced into them during the process of construction. Owing to the very low coefficient of expansion of silica, it is not possible to seal platinum wires into silica tubes. Nor can platinum be cemented into the silica by means of arsenic enamel, nor by any of the softer glasses used for such purposes. I have come near to success by using kaolin, but the results with[88] this material do not afford a real solution of the problem, though they may perhaps point to a hopeful line of attack. Possibly platinum wires might be soldered into the tubes (see Laboratory Arts, R. Threlfall), but this also is uncertain.
The process of preparing silica tubes, etc., from Lumps of Brazil Crystal may be described conveniently under the following headings. I describe the various processes fully in these pages, as those who are interested in the matter will probably wish to try every part of the process in the first instance. But I may say that in practice I think almost every one will find it advantageous to start with purchased silica tubes, just as a glass-worker starts with a supply of purchased glass tubes. The manufacturer can obtain his oxygen at a lower price than the retail purchaser, and a workman who gives much time to such work can turn out silica tube so much more quickly than an amateur, that I think it will be found that both time and money can be saved by purchasing the tube. At the same time the beginner will find it worth while to learn and practise each stage of the process at first, as every part of the work described may be useful in the production of finished apparatus from silica tubes.
This being so, I am glad to be able to add that a leading firm of dealers in apparatus[25] has commenced making silica goods on a commercial scale, so that the new material is now available for all those who need it or wish to examine its properties.
Preparing non-splintering Silica from Brazil Pebble.—The best variety of native Silica is Brazil Pebble, which may be obtained in chips or larger masses. These[89] should be thoroughly cleaned, heated in boiling water, and dropped into cold water, the treatment being repeated till the masses have cracked to such an extent that they may be broken easily by blows from a clean steel pestle or hammer.
The fragments thus produced must be hand-picked, and those which are not perfectly free from foreign matter should be rejected. The pure and transparent pieces must then be heated to a yellow-red heat in a covered platinum dish in a muffle or reverberatory furnace and quickly plunged into a deep clean vessel containing clean distilled water; this process being repeated, if necessary, till the product consists of semi-opaque friable masses, very much like a white enamel in appearance. After these have been washed with distilled water, well drained and dried, they may be brought into the hottest part of an oxy-gas flame safely, or pressed suddenly against masses of white hot silica without any preliminary heating, such as is necessary in the case of natural quartz. Quartz which has not been submitted to the above preparatory process, splinters on contact with the flame to such an extent that very few would care to face the trouble and expense of working with so refractory a material. But after the above treatment, which really gives little trouble, all the difficulties which hampered the pioneer workers in silica disappear as if by magic.
Apparatus.—Very little special apparatus need be provided for working with silica, but it is absolutely essential to protect the eyes with very dark glasses. These should be so dark as to render it a little difficult to work with them at first. If long spells of work are undertaken, two pairs of spectacles should be provided, for the glasses quickly become hot enough to cause great inconvenience and even injury to the eyes.
[90]Almost any of the available oxy-gas burners may be used, but they vary considerably in efficiency, and it is economical to obtain a very efficient burner. The ’blow-through’ burners are least satisfactory, and I have long since abandoned the use of them. Some of the safety ’mixed-gas jets’ have an inconvenient trick of burning-back, with sharp explosions, which are highly disconcerting, if the work be brought too near the nozzle of the burner. I have found the patent burner of Mr. Jackson (Brin’s Oxygen Company, Manchester) most satisfactory, and it offers the advantage that several jets can be combined in a group easily and inexpensively for work on large apparatus. The large roaring flames such as are used, I understand, for welding steel are very expensive, and not very efficient for the work here described.
The method of making Silica Tubes.—Before commencing to make a tube a supply of vitreous silica in rods about one or two millimetres in diameter must be prepared. To make one of these, hold a fragment of the non-splintering silica described above in the oxy-gas flame by means of forceps tipped with platinum so as to melt one of its corners, press a small fragment of the same material against the melted part till the two adhere and heat it from below upwards,[26] till it becomes clear and vitreous, add a third fragment in a similar manner, then a fourth, and so on till an irregular rod has been formed. Finally re-heat this rod in sections and draw it out whilst plastic into rods or coarse threads of the desired dimensions. If one works carefully the forceps do not suffer much. I have had one pair in almost constant use for several years; they have been used in the training of five beginners and are still practically uninjured.
[91]The beginner should work with a gauge and regulator on the bottle of oxygen, and should watch the consumption of oxygen closely. A large expenditure of oxygen does not by any means necessarily imply a corresponding output of silica, even by one who has mastered the initial difficulties.
When a supply of the small rods of vitreous silica has been provided, bind a few of them round a rod of platinum (diameter say, 1 mm.) by means of platinum wires at the two ends and heat the silica gradually, beginning at one end after slightly withdrawing the platinum core from that end, till a rough tube about four or five centimetres in length has been formed. Close one end of this, expand it, by blowing, into a small bulb, attach a silica rod to the remote end of the bulb, re-heat the bulb and draw it out into a fine tube. Blow a fresh bulb on one end of this and again draw it out, proceeding in this way till you have a tube about six or eight centimetres in length. All larger tubes and vessels are produced by developing this fine tube suitably.
Precautions.—The following points must be carefully kept in mind, both during the making of the first tube and afterwards:—
(1) The hottest spot in the oxy-gas flame is at a point very near the tip of the inner cone of the flame, and silica can be softened best at this hot spot. The excellence of a burner does not depend on the size of its flame, so much as on the temperature of its “hot spot,” and the success of the worker depends on his skill in bringing his work exactly to this part of the flame. Comparatively large masses of silica may be softened in a comparatively small jet if the hot spot is properly utilised.
(2) Silica is very apt to exhibit a phenomenon resembling[92] devitrification during working. It becomes covered with a white incrustation, which seems to be comparatively rich in alkali.[27] This incrustation is very easily removed by re-heating the whitened surface, provided that the material has been kept scrupulously clean. If the silica has been brought into the flame when dusty, or even after much contact with the hands of the operator, its surface is very apt to be permanently injured. Too much attention cannot be given to cleanliness by the workman.
(3) When a heated tube or bulb of silica is to be expanded by blowing, it is best not to remove it from the flame, for if that is done it will lose its plasticity quickly unless it be large. The better plan is to move it slightly from the “hot spot” into the surrounding parts of the flame at the moment of blowing.
It is best to blow the bulb through an india-rubber tube attached to the open end of the silica tube. At first one frequently bursts the bulbs when doing this, but holes are easily repaired by stopping them with plastic silica applied by the softened end of a fine rod of silica and expanding the lump, after re-heating it, by blowing. After a few hours’ practice these mishaps gradually become rare.
I find it a good plan to interpose a glass tube packed with granulated potash between the mouth and the silica tube. This prevents the interior of the tube from being soiled. The purifying material must not be packed so closely in the tube as to prevent air from passing freely through it under a very low pressure.
It may be mentioned here that a finished tube usually contains a little moisture, and a recognisable quantity of nitric peroxide. These may be removed by heating the[93] tube and drawing filtered air through it, but not by washing, as it is difficult to obtain water which leaves no residue on the silica.
Making larger tubes and other apparatus of Silica.—In order to convert a small bulb of silica into a larger one or into a large tube, proceed as follows:—Heat one end of a fine rod of silica and apply it to the bulb so as to form a ring as shown in the figure. Then heat the ring and the end of the bulb till it softens, and expand the end by blowing. If this process is repeated, the bulb first becomes ovate and then forms a short tube which can be lengthened at will, but the most convenient way to obtain a very long tube is to make several shorter tubes of the required diameter, and say 200 to 250 mm. in length, and to join these end to end. It does not answer to add lumps of silica to the end of the bulb, for the sides of the tube made in this way become too thin, and blow-holes are constantly formed during the making of them. These can be mended, it is true, but they spoil the appearance of the work.

Tubes made in the manner described above are thickened by adding rings of silica and blowing them when hot to spread the silica. If a combination of several jets is employed, very large tubes can be constructed in this way. One of Messrs. Baird and Tatlock’s workmen lately blew a bulb about 5 cm. in diameter, and it was clear that he could have converted it into a long cylindrical tube of equal diameter had it been necessary to do so.
Very thin tubes of 1·5 cm. diameter, and tubes of considerable thickness and of equal size, are easily made after some[94] practice, and fine capilliaries and millimetre tube can be made with about equal readiness.
If a very fine tube of even bore is required, it may be drawn from a small thick cylinder after a little practice.
When a tube becomes so large that it cannot be heated uniformly on all sides by rotating it in the flame, it is convenient to place a sheet of silica in front of the flame a little beyond the object to be heated, in order that the former may throw back the flame on those parts of the tube which are most remote from the jet. A suitable plate may be made by sticking together small lumps of silica rendered plastic by heat.
The silica tubes thus made can be cut and broken like glass, they can be joined together before the flame, and they can also be drawn into smaller tubes when softened by heat.
In order to make a side connection as in a T piece, a ring of silica should be applied to the tube in the position fixed upon for the joint. This ring must then be slightly expanded, a new ring added, and so on, till a short side tube is formed. To this it is easy to seal a longer tube of the required dimensions. It is thus possible to produce Geissler tubes, small distilling flasks, etc. Solid rods of silica are easily made by pressing together the softened ends of the fine rods or threads previously mentioned. Such rods and small masses can be ground and polished without annealing them.
Quartz Fibres.—These were introduced into physical work by Mr. Boys in 1889. They may be made by attaching a fine rod of vitrified quartz to the tail of a small straw arrow provided with a needle-point; placing the arrow in position on a cross-bow, heating the rod of silica till it is thoroughly softened and then letting the arrow fly from the bow, when it will carry with it an extremely fine thread of silica. A little practice is necessary to ensure success, but[95] a good operator can produce threads of great tenacity and great uniformity. Fuller accounts of the process and of the various properties and uses of quartz fibres will be found in Mr. Boys’ lectures (Roy. Inst. Proc. 1889, and Proc. Brit. Assn. 1890), and in Mr. Threlfall’s Laboratory Arts.
[22] A brief summary of the history of this subject will be found in Nature, Vol. 62, and in the Proceedings of the Royal Institution, 1901.
[23] In a recent communication Professor Callendar tells me that the devitrification commences at the outside and is hastened by particles of foreign matter.
[24] The silica blocks used were prepared by fusion in an electric furnace; it is therefore probable that they were not quite pure.
[25] Messrs. Baird and Tatlock.
[26] This is to avoid bubbles in the finished glass.
[27] The rock crystal exhibits a yellow flame when first heated in the oxy-gas flame, and most samples contain spectroscopic quantities of lithium.
| Air-traps, | 69. | |
| Annealing, | 23. | |
| Apparatus needed for Glass-working, | 11. | |
| Appendix, | 82. | |
| Beginners, Failures of, | 22. | |
| Bellows, Position of, | 3. | |
| —— Various forms of, | 7. | See also Blower. |
| Bending Glass Tubes, | 28. | |
| Blower, Automatic, | 8. | |
| Blow-pipe, Cheap form of, | 4. | |
| —— Dimensions of, | 4-5. | |
| —— Fletcher’s Automaton, | 6. | |
| —— Fletcher’s Compound, | 6. | |
| —— Gimmingham’s, | 6. | |
| —— Herapath’s, | 6. | |
| —— Jets for the, | 7. | |
| —— Use of the, | 8. | See also Flames. |
| Blow-pipes, Use of several in combination, | 21. | |
| Brush Flame, | 9. | |
| —— Oxidising, | 20. | |
| Bulbs, Methods of blowing, | 47. | |
| Calibrating Apparatus, | 76-81. | |
| Camphorated Turpentine, | 11. | |
| Cetti’s Vacuum Tap, | 66. | |
| Charcoal Pastils, | 11. | |
| Choking or Contracting the Bores of Tubes, | 35. | |
| Combining the Parts of Complicated Apparatus, | 61. | |
| Combustion Tube, how to work it, | 25. | |
| Contracting the Bore of a Tube, | 35. | |
| Cotton Wool for Annealing, | 24. | |
| Cutting Glass Tubes, | 26, 27, 28. | |
| Dividing a Line into Equal Parts, | 75. | |
| Electrodes, | 38, 55. | |
| Electrolysis, Making Apparatus for, | 59. | |
| Files for Cutting Glass, | 27. | |
| Flame, the Pointed, | 8. | |
| —— the Brush, | 9. | |
| —— the Oxidising Brush, | 20. | |
| —— the Smoky, | 10. | |
| Fletcher’s Automaton Blow-pipe, | 6. | |
| Fletcher’s Compound Blow-pipe, | 6. | |
| Funnels, Thistle-headed, | 57. | |
| Gimmingham’s Blow-pipe, | 6. | |
| Gimmingham’s Vacuum Tap, | 68. | |
| Glass, Annealing, | 23. | |
| —— Devitrification of, | 15. | |
| —— Method of Working with Lead, | 17. | |
| —— Method of Working with Soda, | 22. | |
| —— Nature of, | 12. | |
| —— Presenting to the Flame, | 16. | |
| Glass Tubes, Bending, | 28. | |
| —— Bordering, | 31. | |
| —— Characters of good, | 14. | |
| —— Choking, | 35. | |
| —— Cleaning, | 15. | |
| [98]—— Cutting, | 26, 27, 28. | |
| —— Piercing, | 37. | |
| —— Purchase of, | 12. | |
| —— Sealing, | 32. | |
| —— Sealing Hermetically, | 58. | |
| —— Sizes of, | 82. | |
| —— Welding or Soldering, | 39, 62. | |
| —— Widening the Ends of, | 36. | |
| Graduating Apparatus, | 70. | |
| Grinding Stoppers, | 51. | |
| Herapath’s Blow-pipe, | 6. | |
| Hofman’s Apparatus for Electrolysis, | 59. | |
| Inside Joints, | 43. | |
| Jets for Blow-pipes, | 7. | |
| Joints, Air-tight, | 64. | |
| Lead Glass, Method of Working with, | 17. | |
| Lead Glass, Blackening of, | 17. | |
| Light, Effect of, in Working, | 3. | |
| Line, to Divide into Equal Parts, | 75. | |
| Mercury Joints, Various, | 64. | |
| Non-splintering Silica, Preparation of, from Quartz, | 88. | |
| Ozone Generator, To Make an, | 44. | |
| Pastils of Charcoal, | 11. | |
| Piercing Tubes, etc., | 37. | |
| Platinum Electrodes, Sealing in, | 38, 55. | |
| Pointed Flame, the, | 9. | |
| Quartz Fibres, | 94. | |
| Rounding Ends of Tubes, | 31. | |
| Sealing or Closing Openings in Tubes, | 32. | |
| Side-tubes, Fixing, | 41. | |
| Smoky Flame, | 10. | |
| Soda Glass, Method of Working, | 22. | |
| Soldering or Welding, | 39, 62. | |
| Spiral Tubes, | 56. | |
| Stoppers, Making and Grinding, | 51. | |
| Table for Glass-blower, | 3. | |
| Taps, Vacuum, | 65. | |
| Thistle-headed Funnels, | 57. | |
| Traps, Air, | 69. | |
| Tube, Combustion, how to work it, | 25. | |
| Tubes. | See Glass Tubes. | |
| —— T-, | 41. | |
| —— U-, | 56. | |
| Turpentine, Camphorated, for Grinding, | 11. | |
| U-Tubes, | 56. | |
| Vacuum Taps, | 65-68. | |
| —— Tube, To Make a, | 60. | |
| Vitreous Silica, Apparatus required for Making, | 89. | |
| —— Behaviour under sudden changes of Temperature, | 87. | |
| —— Bulbs, etc., Making Joints on, | 93. | |
| —— Expansion of, | 86. | |
| —— Hardness of, | 85. | |
| —— Insulating Power of, | 85. | |
| —— Melting Point of, | 85. | |
| —— Permeability to Gases, | 87. | |
| —— Properties of, | 84. | |
| —— Rods, Making Joints on, | 94. | |
| —— Tubes, Method of Making, | 90. | |
| —— Tubes, Making Joints on, | 94. | |
| Welding or Soldering Tubes together, | 39, 62. | |
| White Enamel, Uses of, | 39, 56. | |
| Widening the Ends of Tubes, | 36. | |
| Working-place, | 2. | |
Printed by T. and A. Constable, Printers to His Majesty
at the Edinburgh University Press, Scotland
End of the Project Gutenberg EBook of The Methods of Glass Blowing and of
Working Silica in the Oxy-Gas Flame, by W. A. Shenstone
*** END OF THIS PROJECT GUTENBERG EBOOK THE METHODS OF GLASS BLOWING ***
***** This file should be named 33941-h.htm or 33941-h.zip *****
This and all associated files of various formats will be found in:
http://www.gutenberg.org/3/3/9/4/33941/
Produced by Harry Lamé and the Online Distributed
Proofreading Team at http://www.pgdp.net (This file was
produced from images generously made available by The
Internet Archive/American Libraries.)
Updated editions will replace the previous one--the old editions
will be renamed.
Creating the works from public domain print editions means that no
one owns a United States copyright in these works, so the Foundation
(and you!) can copy and distribute it in the United States without
permission and without paying copyright royalties. Special rules,
set forth in the General Terms of Use part of this license, apply to
copying and distributing Project Gutenberg-tm electronic works to
protect the PROJECT GUTENBERG-tm concept and trademark. Project
Gutenberg is a registered trademark, and may not be used if you
charge for the eBooks, unless you receive specific permission. If you
do not charge anything for copies of this eBook, complying with the
rules is very easy. You may use this eBook for nearly any purpose
such as creation of derivative works, reports, performances and
research. They may be modified and printed and given away--you may do
practically ANYTHING with public domain eBooks. Redistribution is
subject to the trademark license, especially commercial
redistribution.
*** START: FULL LICENSE ***
THE FULL PROJECT GUTENBERG LICENSE
PLEASE READ THIS BEFORE YOU DISTRIBUTE OR USE THIS WORK
To protect the Project Gutenberg-tm mission of promoting the free
distribution of electronic works, by using or distributing this work
(or any other work associated in any way with the phrase "Project
Gutenberg"), you agree to comply with all the terms of the Full Project
Gutenberg-tm License (available with this file or online at
http://gutenberg.org/license).
Section 1. General Terms of Use and Redistributing Project Gutenberg-tm
electronic works
1.A. By reading or using any part of this Project Gutenberg-tm
electronic work, you indicate that you have read, understand, agree to
and accept all the terms of this license and intellectual property
(trademark/copyright) agreement. If you do not agree to abide by all
the terms of this agreement, you must cease using and return or destroy
all copies of Project Gutenberg-tm electronic works in your possession.
If you paid a fee for obtaining a copy of or access to a Project
Gutenberg-tm electronic work and you do not agree to be bound by the
terms of this agreement, you may obtain a refund from the person or
entity to whom you paid the fee as set forth in paragraph 1.E.8.
1.B. "Project Gutenberg" is a registered trademark. It may only be
used on or associated in any way with an electronic work by people who
agree to be bound by the terms of this agreement. There are a few
things that you can do with most Project Gutenberg-tm electronic works
even without complying with the full terms of this agreement. See
paragraph 1.C below. There are a lot of things you can do with Project
Gutenberg-tm electronic works if you follow the terms of this agreement
and help preserve free future access to Project Gutenberg-tm electronic
works. See paragraph 1.E below.
1.C. The Project Gutenberg Literary Archive Foundation ("the Foundation"
or PGLAF), owns a compilation copyright in the collection of Project
Gutenberg-tm electronic works. Nearly all the individual works in the
collection are in the public domain in the United States. If an
individual work is in the public domain in the United States and you are
located in the United States, we do not claim a right to prevent you from
copying, distributing, performing, displaying or creating derivative
works based on the work as long as all references to Project Gutenberg
are removed. Of course, we hope that you will support the Project
Gutenberg-tm mission of promoting free access to electronic works by
freely sharing Project Gutenberg-tm works in compliance with the terms of
this agreement for keeping the Project Gutenberg-tm name associated with
the work. You can easily comply with the terms of this agreement by
keeping this work in the same format with its attached full Project
Gutenberg-tm License when you share it without charge with others.
1.D. The copyright laws of the place where you are located also govern
what you can do with this work. Copyright laws in most countries are in
a constant state of change. If you are outside the United States, check
the laws of your country in addition to the terms of this agreement
before downloading, copying, displaying, performing, distributing or
creating derivative works based on this work or any other Project
Gutenberg-tm work. The Foundation makes no representations concerning
the copyright status of any work in any country outside the United
States.
1.E. Unless you have removed all references to Project Gutenberg:
1.E.1. The following sentence, with active links to, or other immediate
access to, the full Project Gutenberg-tm License must appear prominently
whenever any copy of a Project Gutenberg-tm work (any work on which the
phrase "Project Gutenberg" appears, or with which the phrase "Project
Gutenberg" is associated) is accessed, displayed, performed, viewed,
copied or distributed:
This eBook is for the use of anyone anywhere at no cost and with
almost no restrictions whatsoever. You may copy it, give it away or
re-use it under the terms of the Project Gutenberg License included
with this eBook or online at www.gutenberg.org
1.E.2. If an individual Project Gutenberg-tm electronic work is derived
from the public domain (does not contain a notice indicating that it is
posted with permission of the copyright holder), the work can be copied
and distributed to anyone in the United States without paying any fees
or charges. If you are redistributing or providing access to a work
with the phrase "Project Gutenberg" associated with or appearing on the
work, you must comply either with the requirements of paragraphs 1.E.1
through 1.E.7 or obtain permission for the use of the work and the
Project Gutenberg-tm trademark as set forth in paragraphs 1.E.8 or
1.E.9.
1.E.3. If an individual Project Gutenberg-tm electronic work is posted
with the permission of the copyright holder, your use and distribution
must comply with both paragraphs 1.E.1 through 1.E.7 and any additional
terms imposed by the copyright holder. Additional terms will be linked
to the Project Gutenberg-tm License for all works posted with the
permission of the copyright holder found at the beginning of this work.
1.E.4. Do not unlink or detach or remove the full Project Gutenberg-tm
License terms from this work, or any files containing a part of this
work or any other work associated with Project Gutenberg-tm.
1.E.5. Do not copy, display, perform, distribute or redistribute this
electronic work, or any part of this electronic work, without
prominently displaying the sentence set forth in paragraph 1.E.1 with
active links or immediate access to the full terms of the Project
Gutenberg-tm License.
1.E.6. You may convert to and distribute this work in any binary,
compressed, marked up, nonproprietary or proprietary form, including any
word processing or hypertext form. However, if you provide access to or
distribute copies of a Project Gutenberg-tm work in a format other than
"Plain Vanilla ASCII" or other format used in the official version
posted on the official Project Gutenberg-tm web site (www.gutenberg.org),
you must, at no additional cost, fee or expense to the user, provide a
copy, a means of exporting a copy, or a means of obtaining a copy upon
request, of the work in its original "Plain Vanilla ASCII" or other
form. Any alternate format must include the full Project Gutenberg-tm
License as specified in paragraph 1.E.1.
1.E.7. Do not charge a fee for access to, viewing, displaying,
performing, copying or distributing any Project Gutenberg-tm works
unless you comply with paragraph 1.E.8 or 1.E.9.
1.E.8. You may charge a reasonable fee for copies of or providing
access to or distributing Project Gutenberg-tm electronic works provided
that
- You pay a royalty fee of 20% of the gross profits you derive from
the use of Project Gutenberg-tm works calculated using the method
you already use to calculate your applicable taxes. The fee is
owed to the owner of the Project Gutenberg-tm trademark, but he
has agreed to donate royalties under this paragraph to the
Project Gutenberg Literary Archive Foundation. Royalty payments
must be paid within 60 days following each date on which you
prepare (or are legally required to prepare) your periodic tax
returns. Royalty payments should be clearly marked as such and
sent to the Project Gutenberg Literary Archive Foundation at the
address specified in Section 4, "Information about donations to
the Project Gutenberg Literary Archive Foundation."
- You provide a full refund of any money paid by a user who notifies
you in writing (or by e-mail) within 30 days of receipt that s/he
does not agree to the terms of the full Project Gutenberg-tm
License. You must require such a user to return or
destroy all copies of the works possessed in a physical medium
and discontinue all use of and all access to other copies of
Project Gutenberg-tm works.
- You provide, in accordance with paragraph 1.F.3, a full refund of any
money paid for a work or a replacement copy, if a defect in the
electronic work is discovered and reported to you within 90 days
of receipt of the work.
- You comply with all other terms of this agreement for free
distribution of Project Gutenberg-tm works.
1.E.9. If you wish to charge a fee or distribute a Project Gutenberg-tm
electronic work or group of works on different terms than are set
forth in this agreement, you must obtain permission in writing from
both the Project Gutenberg Literary Archive Foundation and Michael
Hart, the owner of the Project Gutenberg-tm trademark. Contact the
Foundation as set forth in Section 3 below.
1.F.
1.F.1. Project Gutenberg volunteers and employees expend considerable
effort to identify, do copyright research on, transcribe and proofread
public domain works in creating the Project Gutenberg-tm
collection. Despite these efforts, Project Gutenberg-tm electronic
works, and the medium on which they may be stored, may contain
"Defects," such as, but not limited to, incomplete, inaccurate or
corrupt data, transcription errors, a copyright or other intellectual
property infringement, a defective or damaged disk or other medium, a
computer virus, or computer codes that damage or cannot be read by
your equipment.
1.F.2. LIMITED WARRANTY, DISCLAIMER OF DAMAGES - Except for the "Right
of Replacement or Refund" described in paragraph 1.F.3, the Project
Gutenberg Literary Archive Foundation, the owner of the Project
Gutenberg-tm trademark, and any other party distributing a Project
Gutenberg-tm electronic work under this agreement, disclaim all
liability to you for damages, costs and expenses, including legal
fees. YOU AGREE THAT YOU HAVE NO REMEDIES FOR NEGLIGENCE, STRICT
LIABILITY, BREACH OF WARRANTY OR BREACH OF CONTRACT EXCEPT THOSE
PROVIDED IN PARAGRAPH 1.F.3. YOU AGREE THAT THE FOUNDATION, THE
TRADEMARK OWNER, AND ANY DISTRIBUTOR UNDER THIS AGREEMENT WILL NOT BE
LIABLE TO YOU FOR ACTUAL, DIRECT, INDIRECT, CONSEQUENTIAL, PUNITIVE OR
INCIDENTAL DAMAGES EVEN IF YOU GIVE NOTICE OF THE POSSIBILITY OF SUCH
DAMAGE.
1.F.3. LIMITED RIGHT OF REPLACEMENT OR REFUND - If you discover a
defect in this electronic work within 90 days of receiving it, you can
receive a refund of the money (if any) you paid for it by sending a
written explanation to the person you received the work from. If you
received the work on a physical medium, you must return the medium with
your written explanation. The person or entity that provided you with
the defective work may elect to provide a replacement copy in lieu of a
refund. If you received the work electronically, the person or entity
providing it to you may choose to give you a second opportunity to
receive the work electronically in lieu of a refund. If the second copy
is also defective, you may demand a refund in writing without further
opportunities to fix the problem.
1.F.4. Except for the limited right of replacement or refund set forth
in paragraph 1.F.3, this work is provided to you 'AS-IS' WITH NO OTHER
WARRANTIES OF ANY KIND, EXPRESS OR IMPLIED, INCLUDING BUT NOT LIMITED TO
WARRANTIES OF MERCHANTIBILITY OR FITNESS FOR ANY PURPOSE.
1.F.5. Some states do not allow disclaimers of certain implied
warranties or the exclusion or limitation of certain types of damages.
If any disclaimer or limitation set forth in this agreement violates the
law of the state applicable to this agreement, the agreement shall be
interpreted to make the maximum disclaimer or limitation permitted by
the applicable state law. The invalidity or unenforceability of any
provision of this agreement shall not void the remaining provisions.
1.F.6. INDEMNITY - You agree to indemnify and hold the Foundation, the
trademark owner, any agent or employee of the Foundation, anyone
providing copies of Project Gutenberg-tm electronic works in accordance
with this agreement, and any volunteers associated with the production,
promotion and distribution of Project Gutenberg-tm electronic works,
harmless from all liability, costs and expenses, including legal fees,
that arise directly or indirectly from any of the following which you do
or cause to occur: (a) distribution of this or any Project Gutenberg-tm
work, (b) alteration, modification, or additions or deletions to any
Project Gutenberg-tm work, and (c) any Defect you cause.
Section 2. Information about the Mission of Project Gutenberg-tm
Project Gutenberg-tm is synonymous with the free distribution of
electronic works in formats readable by the widest variety of computers
including obsolete, old, middle-aged and new computers. It exists
because of the efforts of hundreds of volunteers and donations from
people in all walks of life.
Volunteers and financial support to provide volunteers with the
assistance they need, are critical to reaching Project Gutenberg-tm's
goals and ensuring that the Project Gutenberg-tm collection will
remain freely available for generations to come. In 2001, the Project
Gutenberg Literary Archive Foundation was created to provide a secure
and permanent future for Project Gutenberg-tm and future generations.
To learn more about the Project Gutenberg Literary Archive Foundation
and how your efforts and donations can help, see Sections 3 and 4
and the Foundation web page at http://www.pglaf.org.
Section 3. Information about the Project Gutenberg Literary Archive
Foundation
The Project Gutenberg Literary Archive Foundation is a non profit
501(c)(3) educational corporation organized under the laws of the
state of Mississippi and granted tax exempt status by the Internal
Revenue Service. The Foundation's EIN or federal tax identification
number is 64-6221541. Its 501(c)(3) letter is posted at
http://pglaf.org/fundraising. Contributions to the Project Gutenberg
Literary Archive Foundation are tax deductible to the full extent
permitted by U.S. federal laws and your state's laws.
The Foundation's principal office is located at 4557 Melan Dr. S.
Fairbanks, AK, 99712., but its volunteers and employees are scattered
throughout numerous locations. Its business office is located at
809 North 1500 West, Salt Lake City, UT 84116, (801) 596-1887, email
business@pglaf.org. Email contact links and up to date contact
information can be found at the Foundation's web site and official
page at http://pglaf.org
For additional contact information:
Dr. Gregory B. Newby
Chief Executive and Director
gbnewby@pglaf.org
Section 4. Information about Donations to the Project Gutenberg
Literary Archive Foundation
Project Gutenberg-tm depends upon and cannot survive without wide
spread public support and donations to carry out its mission of
increasing the number of public domain and licensed works that can be
freely distributed in machine readable form accessible by the widest
array of equipment including outdated equipment. Many small donations
($1 to $5,000) are particularly important to maintaining tax exempt
status with the IRS.
The Foundation is committed to complying with the laws regulating
charities and charitable donations in all 50 states of the United
States. Compliance requirements are not uniform and it takes a
considerable effort, much paperwork and many fees to meet and keep up
with these requirements. We do not solicit donations in locations
where we have not received written confirmation of compliance. To
SEND DONATIONS or determine the status of compliance for any
particular state visit http://pglaf.org
While we cannot and do not solicit contributions from states where we
have not met the solicitation requirements, we know of no prohibition
against accepting unsolicited donations from donors in such states who
approach us with offers to donate.
International donations are gratefully accepted, but we cannot make
any statements concerning tax treatment of donations received from
outside the United States. U.S. laws alone swamp our small staff.
Please check the Project Gutenberg Web pages for current donation
methods and addresses. Donations are accepted in a number of other
ways including checks, online payments and credit card donations.
To donate, please visit: http://pglaf.org/donate
Section 5. General Information About Project Gutenberg-tm electronic
works.
Professor Michael S. Hart is the originator of the Project Gutenberg-tm
concept of a library of electronic works that could be freely shared
with anyone. For thirty years, he produced and distributed Project
Gutenberg-tm eBooks with only a loose network of volunteer support.
Project Gutenberg-tm eBooks are often created from several printed
editions, all of which are confirmed as Public Domain in the U.S.
unless a copyright notice is included. Thus, we do not necessarily
keep eBooks in compliance with any particular paper edition.
Most people start at our Web site which has the main PG search facility:
http://www.gutenberg.org
This Web site includes information about Project Gutenberg-tm,
including how to make donations to the Project Gutenberg Literary
Archive Foundation, how to help produce our new eBooks, and how to
subscribe to our email newsletter to hear about new eBooks.