The Project Gutenberg EBook of Dictionnaire raisonné de l'architecture française du XIe au XVIe siècle (2/9), by Eugène-Emmanuel Viollet-Le-Duc This eBook is for the use of anyone anywhere at no cost and with almost no restrictions whatsoever. You may copy it, give it away or re-use it under the terms of the Project Gutenberg License included with this eBook or online at www.gutenberg.org Title: Dictionnaire raisonné de l'architecture française du XIe au XVIe siècle (2/9) Author: Eugène-Emmanuel Viollet-Le-Duc Release Date: December 28, 2009 [EBook #30782] Language: French Character set encoding: ISO-8859-1 *** START OF THIS PROJECT GUTENBERG EBOOK DICTIONNAIRE *** Produced by Michel Laglasse, Rénald Lévesque and the Online Distributed Proofreaders Europe at http://dp.rastko.net.


PARIS
B. BANCE, ÉDITEUR
RUE BONAPARTE, 13.
L'auteur et l'éditeur se réservent le droit de faire traduire et
reproduire cet ouvrage
dans les pays où la propriété des ouvrages
français est garantie par des traités.

(Suite).
ARTS (libéraux), s. m. p. Les monuments des XIIe et XIIIe siècles représentent fréquemment les sept arts libéraux. La belle encyclopédie manuscrite intitulée: Hortus deliciarum, composée au XIIe siècle par Herrade de Landsberg, abbesse du monastère de Hohenbourg (sainte Odile), en Alsace, et conservée à la Bibliothèque de Strasbourg 1, renferme parmi ses vignettes une personnification de la philosophie et des sept arts libéraux. La figure principale, la Philosophie, est représentée assise; sept sources sortent de sa poitrine; ce sont les sept arts libéraux: la Grammaire, la Rhétorique, la Dialectique, la Musique, l'Arithmétique, la Géométrie et l'Astronomie. Cette figure, qui occupe le centre de la vignette, est couronnée d'un bandeau duquel sortent trois têtes; les trois noms: «Ethica, Logica, Physica,» les surmontent; sous ses pieds, Socrate et Platon écrivent; cette légende les accompagne: Naturam universoe rei queri docuit philosophia. Autour du cercle qui inscrit le sujet principal sont tracés les sept compartiments dans lesquels ses sept arts sont figurés. Au sommet, la Grammaire est représentée tenant des verges et un livre; en suivant de gauche à droite, la Rhétorique tient un style et des tablettes; la Dialectique, une tête de chien, caput canis, et cette légende: Argumenta sino concurrere more canino. La Musique porte une harpe, cithara; devant elle est une sorte de viole, nommée lira; derrière elle une vielle désignée par le mot organistrum. L'Arithmétique porte une verge demi-circulaire à laquelle sont enfilées des boules noires, sorte d'abaque encore en usage en Orient; la Géométrie, un compas et une règle. L'Astronomie tient un boisseau plein d'eau, probablement pour observer les astres par réflexion; au-dessus du boisseau sont figurés des astres. Quatre poëtes païens sont assis sous le cycle des arts; ils tiennent des plumes et des canifs ou grattoirs; sur leur épaule un oiseau noir (l'esprit immonde) semble les inspirer.
La porte de droite de la façade occidentale de la cathédrale de Chartres
présente, sculptés dans ses voussures, les arts libéraux.
Chaque science
ou chaque art est personnifié par une femme assise; au-dessous d'elle, un
homme est occupé à écrire sur un pupitre (scriptionale) posé sur ses
genoux. M. l'abbé Bulteau, dans sa Description de la cathédrale de
Chartres
2, désigne chacune de ces figures; et en effet la plupart
d'entre elles, sinon toutes, sont faciles à reconnaître aux attributs
qui les accompagnent. La Musique frappe d'un marteau trois clochettes;
sur ses genoux est posée une harpe à huit cordes; des violes sont
suspendues à ses côtés. Sous la Musique, Pythagore écrit; il tient un
grattoir de la main gauche. L'Arithmétique porte dans sa main droite un
dragon ailé, et dans sa gauche un sceptre. Gerbert écrit sous sa dictée;
il trempe sa plume dans son écritoire. La Rhétorique discourt;
Quintilien, placé au-dessous d'elle, taille sa plume. La Géométrie tient
un compas et une équerre; Archimède écrit. La Philosophie tient un livre
ouvert sur ses genoux. Platon semble parler. L'Astronomie regarde le
ciel et porte un boisseau, comme dans le manuscrit d'Herrade. Ptolémée
tient dans chaque main un objet cylindrique. La Grammaire tient dans sa
droite une verge, un livre ouvert dans sa gauche; deux écoliers sont
accroupis à ses pieds: l'un étudie, l'autre tend la main pour recevoir
une correction; sa figure est grimaçante. Sous la Grammaire, Chilon
écrit. Nous donnons (1) la copie de cette dernière sculpture du XIIe
siècle, remarquablement traitée. Chilon est fort attentif; penché sur
son pupitre, il se sert du grattoir; à sa droite, des plumes sont posées
sur un râtelier.

Les arts libéraux ne sont pas toujours seulement au nombre de sept. On
les rencontre figurés en plus ou moins grand nombre. À la porte centrale
de la cathédrale de Sens, qui date de la fin du XIIe siècle, les arts et
les sciences sont au nombre de douze; malheureusement, la plupart de ces
bas-reliefs, sculptés dans le soubassement de gauche, sont tellement
mutilés, qu'on ne peut les désigner tous.
On distingue la Grammaire; la
Médecine (probablement), représentée par une figure tenant des plantes;
la Rhétorique, qui semble discourir; la Géométrie; la Peinture,
dessinant sur une tablette posée sur ses genoux; l'Astronomie (2); la
Musique; la Philosophie ou la Théologie (3); la Dialectique (?) (4).
Sous chacune de ces figures est sculpté un animal réel ou fabuleux, ou
quelque monstre prodigieux, ainsi qu'on peut le voir dans la fig. 4. On
distingue un lion dévorant un enfant, un chameau, un griffon, un
éléphant portant une tour, etc.
Il ne faut pas oublier que l'esprit
encyclopédique dominait à la fin du XIIe siècle, et que dans les grands
monuments sacrés tels que les cathédrales, on cherchait à résumer toutes
les connaissances de l'époque. C'était un livre ouvert pour la foule,
qui trouvait là, sur la pierre, un enseignement élémentaire. Dans les
premiers livres imprimés à la fin du XVe siècle ou au commencement du
XVIe, tels que les cosmographies par exemple, on reproduisait encore un
grand nombre de ces figures que nous voyons sculptées sur les
soubassements de nos cathédrales, et qui étaient destinées à
familiariser les intelligences populaires non-seulement avec l'histoire
de l'ancien et du nouveau Testament, mais encore avec la philosophie et
ce qu'on appelait alors la physique, ou les connaissances naturelles.
Dans la Cosmographie universelle de Sébastien Munster
3, nous
trouvons des gravures sur bois qui reproduisent les singularités
naturelles sculptées dans beaucoup de nos églises du XIIe siècle; et
pour n'en citer qu'un exemple, Sébastien Munster donne, à la page 1229
de son recueil, l'homme au grand pied qui est sculpté sur les
soubassements de la porte centrale de la cathédrale de Sens (5)
4, et
voici ce qu'il en dit:
«...Similmente dicesi di alcuni altri populi, che ciascheduno di loro ha
ne piedi che sono grandissimi una gamba sola, sensa piegar giuocchio, et
pur sono di mirabili velocitade, li qua li si adimandono Sciopodi.
Questi, come attesta Plinio, nel tempo dell'estade, distesi in terra col
viso in su, si fanno ombra col piede.» Ces étranges figures, que nous
sommes trop facilement disposés à considérer comme des fantaisies
d'artistes, avaient leur place dans le cycle encyclopédique du moyen
âge, et les auteurs antiques faisaient la plupart du temps les frais de
cette histoire naturelle, scrupuleusement figurée par nos peintres ou
sculpteurs des XIIe et XIIIe siècles, afin de faire connaître au peuple
toutes les oeuvres de la création (voy. BESTIAIRE).
Mais revenons aux arts libéraux. Une des plus belles collections des arts libéraux figurés se voit au portail occidental de la cathédrale de Laon (de 1210 à 1230), dans les voussures de la grande baie de gauche, au-dessus du porche. Là, les figures sont au nombre de dix. La première, à gauche, représente la Philosophie ou la Théologie (6). Cette statuette tient un sceptre de la main gauche 5, dans la droite un livre ouvert; au-dessus un livre fermé. Il est à présumer que le livre fermé représente l'ancien Testament, et le livre ouvert le nouveau. Sa tête n'est pas couronnée comme à Sens, mais se perd dans une nuée; une échelle part de ses pieds pour arriver jusqu'à son col, et figure la succession de degrés qu'il faut franchir pour arriver à la connaissance parfaite de la reine des sciences. La seconde, au-dessus, représente la Grammaire (7). La troisième, la Dialectique (8); un serpent lui sert de ceinture. La quatrième, la Rhétorique (9). La cinquième, l'Arithmétique; la statuette tient des boules dans ses deux mains (10). La première figure à droite représente la Médecine (probablement); elle regarde à travers un vase (11). La seconde, la Peinture (12); c'est la seule statue qui soit figurée sous les traits d'un homme dessinant avec un style en forme de clou, sur une tablette pentagonale. La troisième, la Géométrie (13). La quatrième, l'Astronomie (14). Il est à propos de remarquer que le disque que tient cette statue de l'Astronomie est coupé par un double trait brisé; même chose à Sens. À Chartres, des anges tiennent également des disques coupés de la même façon. Est-ce une manière de figurer les solstices? C'est ce que nous laissons à chacun le soin de découvrir. La cinquième, la Musique (15).



Dans le socle de la statue du Christ qui décorait le trumeau de la cathédrale de Paris, étaient sculptés les arts libéraux. Sur l'un des piliers qui servent de supports aux belles statues du porche septentrional de la cathédrale de Chartres (1240 environ), on voit figurés le Philosophe (16), l'Architecte ou le Géomètre (17), le Peintre (18); il tient de la main gauche une palette, sur laquelle des couleurs épaisses paraissent posées; de la main droite, il tenait une brosse dont il ne reste qu'un morceau de la hampe, et les crins sur la palette. Le Médecin (probablement) (19); des plantes poussent sous ses pieds; le haut de la figure est mutilé 6.


Nous trouvons encore une série assez complète des arts libéraux figurés sous le porche de la cathédrale de Fribourg en Brisgau. Ici les noms des figures sont peints sous les pieds des statues. Cette collection est donc précieuse, en ce qu'elle peut, avec le manuscrit d'Herrade, faciliter l'explication des figures sculptées ailleurs et qui ne sont accompagnées que d'attributs. Ainsi, à Fribourg, la Dialectique semble compter sur ses doigts, la Rhétorique tient un paquet de fleurs, la Médecine regarde à travers une bouteille, la Philosophie foule un dragon sous ses pieds; elle est couronnée.
On voit par les exemples que nous donnons ici que, dans les grandes cathédrales, à la fin du XIIe siècle et au commencement du XIIIe, les arts libéraux occupaient une place importante; c'est qu'en effet, à cette époque, l'étude de la philosophie antique, des sciences et des lettres, était en grand honneur, et sur nos monuments les personnifications des arts libéraux se trouvaient de pair avec les saints, les représentations des vertus, la parabole des vierges sages et folles. L'idée de former un ensemble des arts, de les rendre tous sujets de la philosophie, était d'ailleurs heureuse, et expliquait parfaitement les tendances encyclopédiques des esprits élevés de cette époque.
Note 1: (retour) Voy. la notice sur le Hortus deliciarum, par M. A. Le Noble; Bibl. de l'école des Chartes, t. I, p. 238.
Note 2: (retour) Descript. de la cathéd. de Chartres, par M. l'abbé Bulteau, 1850.
Note 3: (retour) Sei libri della Cosmog. univ. Seb. Munstero, édit. de 1563.
Note 4: (retour) Nous donnons ici le fac-simile de cette gravure tirée du chapitre intitulé: «Delle maravigliose et monstruose creature che si trovano nel' interne parti der Africa.»
Note 5: (retour) Le sceptre est brisé.
Note 6: (retour) Il y a des lois qui prononcent des peines assez sévères contre ceux qui mutilent les édifices publics; les cathédrales et les églises, que nous sachions, ne sont pas exceptées. Tous les jours, cependant, des enfants, à la sortie des écoles, jettent des pierres, à heures fixes, contre leurs sculptures, et cela sur toute la surface de la France. Il nous est arrivé quelquefois de nous plaindre de cette habitude sauvage; mais la plainte d'un particulier désintéressé n'est guère écoutée. Les magistrats chargés de la police urbaine rendraient un service aux arts et aux artistes, et aussi à la civilisation, s'ils voulaient faire exécuter à cet égard les lois en vigueur. On le fait bien pour la destruction intempestive du gibier. Or un bas-relief vaut, sinon pour tout le monde, au moins pour quelques-uns, une perdrix, les lois s'exécutent d'ordinaire, quel que soit le petit nombre de ceux dont elles protègent les intérêts (voy. art. 257 du code Napoléon, code pénal). Toutes les mutilations des figures si curieuses, et belles souvent, que nous avons données ci-dessus, sont dues bien plus aux mains des enfants sortant de nos écoles publiques, qu'au marteau des démolisseurs de 1793.
ASSEMBLAGE, s. m. On désigne par ce mot la réunion de pièces de charpente (voy. CHARPENTE).
ASSISE, s. f. Chaque lit de pierre, de moellon ou de brique, prend, dans une construction, le nom d'assise. La hauteur des assises varie dans les édifices du moyen âge en raison de la qualité des matériaux dont pouvaient disposer les constructeurs. Chacun sait que les pierres calcaires se rencontrent sous le sol, disposées par bancs plus ou moins épais. Les architectes du moyen âge avaient le bon esprit de modifier leur construction en raison de la hauteur naturelle de ces bancs. Ils évitaient ainsi ces déchets de pierre qui sont si onéreux, aujourd'hui que l'on prétend soumettre la pierre à une forme d'architecture souvent en désaccord avec la hauteur des bancs naturels des pierres. Les constructeurs antérieurs à l'époque de la renaissance ne connaissaient pas les sciages qui permettent de débiter un banc calcaire en un plus ou moins grand nombre d'assises. La pierre était employée telle que la donnaient les carrières; aussi la hauteur naturelle des assises a-t-elle une influence considérable sur la forme de l'architecture des édifices d'une même époque (voy. CONSTRUCTION).
ASTRAGALE, s. m. C'est la moulure qui sépare le chapiteau du fût de la
colonne. Dans les ordres romains, l'astragale fait partie du fût; il
est composé d'un cavet, d'un filet et d'un tore (1).
Cette forme est
suivie généralement dans les édifices des premiers temps du moyen âge.
Le fût de la colonne porte l'astragale; mais, à partir du XIIe siècle,
on voit souvent l'astragale tenir au chapiteau, afin d'éviter
l'évidement considérable que son dégagement oblige de faire sur le fût.
Tant que la colonne est diminuée ou galbée, cet évidement ne se fait que
dans une partie du fût; mais quand la colonne devient un cylindre
parfait, c'est-à-dire lorsque son diamètre est égal du bas en haut, à
dater des premières années du XIIIe siècle, l'astragale devient, sans
exception, un membre du chapiteau. Son profil varie du Xe au XVIe
siècle, comme forme et comme dimension. Dans les édifices de l'époque
carlovingienne, l'astragale prend, relativement à la hauteur du
chapiteau et au diamètre de la colonne, une plus grande importance que
dans les ordres romains; le cavet s'amoindrit au dépend du tore, ou
disparaît complétement (2)
7, ou bien est remplacé par un ornement. La
forme de l'astragale romain faisant partie du fût de la colonne est
surtout conservée dans les contrées où les monuments antiques restaient
debout.

À Autun, à Langres, dans la Bourgogne, dans la Provence, en Auvergne, l'astragale conserve habituellement ses membres primitifs jusqu'au XIIIe siècle; seulement, pendant le XIIe siècle, ils deviennent plus fins, et le cavet, au lieu de se marier au fût, en est séparé par une légère saillie (3) 8. Quelquefois, à cette époque de recherche dans l'exécution des profils, le tore de l'astragale, au lieu de présenter en coupe un demi-cercle, est aplati (4) 9, ou est composé de fines moulures, ou taillé suivant un polygone (5) 10.



À mesure que la sculpture des chapiteaux devient plus élégante et refouillée, que les diamètres des colonnes deviennent moins forts, les astragales perdent de leur lourdeur primitive et se détachent bien réellement du fût. Voici (6) un astragale de l'un des chapiteaux du choeur de l'église de Vezelay (premières années du XIIIe siècle); (7) des chapiteaux de la galerie des rois de Notre-Dame de Paris (même époque). Puis enfin nous donnons (8) le profil de l'astragale adopté presque sans exception pendant le XIIIe siècle; profil qui, conformément à la méthode alors usitée, sert de larmier à la colonne.

Quelquefois dans les édifices de transition, l'astragale est orné; dans
le choeur de la cathédrale de Paris, quelques chapiteaux du triforium
sont munis d'astragales composés de rangées de petites feuilles d'eau
(9); plus tard encore trouve-t-on, surtout en Normandie, des astragales
décorés, ainsi qu'on peut le remarquer dans le choeur de la cathédrale
du Mans (10). Pendant le XIVe siècle, les astragales s'amaigrissent,
leurs profils deviennent moins accentués (11). Au XVe siècle, ils
prennent au contraire de la lourdeur et de la sécheresse, comme tous les
profils de cette époque; ils ont une forte saillie qui contraste avec
l'excessive maigreur des colonnettes ou prismes verticaux (12). Il n'est
pas besoin d'ajouter qu'au moment de la renaissance l'astragale romain
reparaît avec les imitations des ordres de l'antiquité.
Note 7: (retour) A, de la crypte de l'église Saint-Léger à Soissons; B, de la crypte de l'église de Saint-Denis en France; C, de la nef de l'église Saint-Menou (Bourbonnais).
Note 8: (retour) Cathédrale de Langres.
Note 9: (retour) Clocher vieux de la cathédrale de Chartres.
Note 10: (retour) Salle capitulaire de Vézelay, A; église de Montréal, B (Bourgogne).
ATTRIBUTS, s. m. p. Ce sont les objets empruntés à l'ordre matériel, qui accompagnent certaines figures sculptées ou peintes pour les faire reconnaître, ou que l'on introduit dans la décoration des édifices, afin d'accuser leur destination, quelquefois aussi le motif qui les a fait élever, de rappeler certains événements, le souvenir des personnages qui ont contribué à leur exécution, des saints auxquels ils sont dédiés. L'antiquité grecque et romaine a prodigué les attributs dans ses monuments sacrés ou profanes. Le moyen âge, jusqu'à l'époque de la renaissance, s'est montré au contraire avare de ce genre de décoration. Les personnages divins, les apôtres, les saints ne sont que rarement accompagnés d'attributs jusque vers le milieu du XIIIe siècle (voy. APÔTRE, SAINTS), ou du moins ces attributs n'ont pas un caractère particulier à chaque personnage; ainsi les prophètes portent généralement des phylactères; Notre-Seigneur, les apôtres, des rouleaux ou des livres 11; les martyrs, des palmes. La sainte Vierge est un des personnages sacrés que l'on voit le plus anciennement accompagné d'attributs (voy. VIERGE sainte). Mais les figures qui accompagnent la divinité ou les saints personnages, les vertus et les vices, sont plutôt des symboles que des attributs proprement dits. Les attributs ne se sont guère introduits dans les arts plastiques que lorsque l'art inclinait vers le réalisme, au commencement du XIVe siècle. C'est alors que l'on voit les saints représentés tenant en main les instruments de leur martyre, les personnages profanes les objets qui indiquent leur rang ou leur état, leurs goûts ou leurs passions.
Il est essentiel dans l'étude des monuments du moyen âge de distinguer les attributs des symboles. Ainsi, par exemple, le démon sous la figure d'un dragon qui se trouve sculpté sous les pieds de la plupart des statues d'évêques, mordant le bout du bâton pastoral, est un symbole et non un attribut. L'agneau, le pélican, le phénix, le lion, sont des figures symboliques de la divinité, mais non des attributs; les clefs entre les mains de saint Pierre sont un symbole, tandis que la croix en sautoir entre les mains de saint André, le calice entre les mains de saint Jean, le coutelas entre les mains de saint Barthélemy, l'équerre entre les mains de saint Thomas, sont des attributs.
Sur les monuments de l'antiquité romaine, on trouve fréquemment représentés des objets tels que des instruments de sacrifice sur les temples, des armes sur les arcs de triomphe, des masques sur les théâtres, des chars sur les hippodromes; rien d'analogue dans nos édifices chrétiens du moyen âge (voy. DÉCORATION, ORNEMENT), soit religieux, civils ou militaires. Ce n'est guère qu'à l'époque de la renaissance, alors que le goût de l'imitation des arts antiques prévalut, que l'on couvrit les édifices sacrés ou profanes d'attributs; que l'on sculpta ou peignit sur les parois des églises, des instruments religieux; sur les murs des palais, des trophées ou des emblèmes de fêtes, et même souvent des objets empruntés au paganisme et qui n'étaient plus en usage au milieu de la société de cette époque. Étrange confusion d'idées, en effet, que celle qui faisait réunir sur la frise d'une église des têtes de victimes à des ciboires ou des calices, sur les trumeaux d'un palais des boucliers romains à des canons.
Note 11: (retour) «... Et remarque, dit Guillaume Durand, que les patriarches et les prophêtes sont peints avec des rouleaux dans leurs mains, et certains apôtres avec des livres, et certains autres avec des rouleaux. Sans doute parce qu'avant la venue du Christ la foi se montrait d'une manière figurative, et qu'elle était enveloppée de beaucoup d'obscurités au-dedans d'elle-même. C'est pour exprimer cela que les patriarches et les prophètes sont peints avec des rouleaux, par lesquels est désignée en quelque sorte une connaissance imparfaite; mais, comme les apôtres ont été parfaitement instruits par le Christ, voilà pourquoi ils peuvent se servir des livres par lesquels est désignée convenablement la connaissance parfaite. Or, comme certain d'entre eux ont rédigé ce qu'ils ont appris pour le faire servir à l'enseignement des autres, voilà pourquoi ils sont dépeints convenablement, ainsi que des docteurs, avec des livres dans leurs mains, comme Paul, Pierre, Jacques et Jude. Mais les autres, n'ayant rien écrit de stable ou d'approuvé par l'Église, sont représentés non avec des livres, mais avec des rouleaux, en signe de leur prédication... On représente, ajoute-t-il plus loin, les confesseurs avec leurs attributs; les évêques mitrés, les abbés encapuchonnés, et parfois avec des lis qui désignent la chasteté; les docteurs avec des livres dans leurs mains, et les vierges (d'après l'Évangile) avec des lampes...» Guillaume Durand. Rational. trad. par M. C. Barthélemy. Paris, 1854; chap. III.
AUBIER, s. m. C'est la partie blanche et spongieuse du bois de chêne qui se trouve immédiatement sous l'écorce et qui entoure le coeur. L'aubier n'a ni durée ni solidité, sa présence a l'inconvénient d'engendrer les vers et de provoquer la carie du bois. Les anciennes charpentes sont toujours parfaitement purgées de leur aubier, aussi se sont-elles bien conservées. Il existait autrefois, dans les forêts des Gaules, une espèce de chêne, disparue aujourd'hui, qui possédait cet avantage de donner des pièces d'une grande longueur, droites, et d'un diamètre à peu près égal du bas en haut; ce chêne n'avait que peu d'aubier sous son écorce, et on l'employait en brins sans le refendre. Nous avons vu beaucoup de ces bois dans des charpentes exécutées pendant les XIIIe, XIVe et XVe siècles, qui, simplement équarris à la hache et laissant voir parfois l'écorce sur les arêtes, sont à peine chargés d'aubier. Il y aurait un avantage considérable, il nous semble, à tenter de retrouver et de reproduire une essence de bois possédant des qualités aussi précieuses (voy. CHARPENTE).
AUTEL, s. m. Tout ce que l'on peut savoir des autels de la primitive Église, c'est qu'ils étaient indifféremment de bois, de pierre ou de métal. Pendant les temps de persécution, les autels étaient souvent des tables de bois que l'on pouvait facilement transporter d'un lieu à un autre. L'autel de Saint-Jean de Latran était de bois. L'empereur Constantin ayant rendu la paix à l'Église chrétienne, saint Sylvestre fit placer ostensiblement dans cette basilique l'autel de bois qui avait servi dans les temps d'épreuves, avec défense qu'aucun autre que le pape n'y dît la messe. Ces autels de bois étaient faits en forme de coffre, c'est-à-dire qu'ils étaient creux. Saint-Augustin raconte que Maximin, évêque de Bagaï en Afrique, fut massacré sous un autel de bois que les Donatistes enfoncèrent sur lui. Grégoire de Tours se sert souvent du mot archa, au lieu d'ara ou d'altare, pour désigner l'autel. Ces autels de bois étaient revêtus de matières précieuses, or, argent et pierreries. L'autel de Sainte-Sophie de Constantinople, donné par l'impératrice Pulchérie, consistait en une table d'or garnie de pierreries.
Il est d'usage depuis plusieurs siècles d'offrir le saint sacrifice sur des autels de pierre, ou si les autels sont de bois ou de toute autre matière, faut-il qu'il y ait au milieu une dalle de pierre consacrée ou autel portatif. Il ne semble pas que les autels portatifs consacrés aient été admis avant le VIIIe siècle, et l'on pouvait dire la messe sur des autels d'or, d'argent ou de bois. Théodoret, évêque de Cyr, qui vivait pendant la première moitié du Ve siècle, célébra les divins mystères sur les mains de ses diacres, à la prière du saint ermite Maris, ainsi qu'il le dit dans son Histoire religieuse 12. Théodore, archevêque de Cantorbéry, mort en 690, fait observer, dans son Pénitentiel 13 qu'on peut dire la messe en pleine campagne sans autel portatif, pourvu qu'un prêtre, ou un diacre, ou celui même qui dit la messe, tienne le calice et l'oblation entre ses mains. Les autels portatifs paraissent avoir été imposés dans les cas de nécessité absolue dès le VIIIe siècle. Béde, dans son Histoire des Anglais, parle d'autels portatifs que les deux Ewaldes portaient avec eux partout où ils allaient 14. Hincmar, archevêque de Rheims, mort en 882, permit, dans ses Capitulaires, l'usage des autels portatifs 15 en pierre, en marbre, ou en mosaïques. Pendant les XIe et XIIe siècles, ces autels portatifs devinrent fort communs; on les emportait dans les voyages. Aussi l'Ordre romain les appelle-t-il tabulas itinerarias. Les inventaires des trésors d'églises font mention fréquemment d'autels portatifs.
Sur les tables d'autels fixes, il était d'usage, dès avant le IXe siècle, d'incruster des propitiatoires, qui étaient des plaques d'or ou d'argent sur lesquelles on offrait le saint sacrifice. Anasthase le Bibliothécaire dit, dans sa Vie du pape Pascal I, que ce souverain pontife fit poser un propitiatoire en argent sur l'autel de Saint-Pierre de Rome, un sur l'autel de l'église de Sainte-Praxède, sur les autels de Sainte-Marie de Cosmedin, de la basilique de Sainte-Marie-Majeure. Le pape Léon IV fit également faire un propitiatoire pesant 72 livres d'argent et 80 livres d'or pour l'autel de la basilique de Saint-Pierre.
Les autels primitifs, qu'ils fussent de pierre, de bois ou de métal, étaient creux. L'autel d'or dressé par l'archevêque Angelbert dans l'église de Saint-Ambroise de Milan était creux, et l'on pouvait apercevoir les reliques qu'il contenait par une ouverture percée par derrière 16.

L'évêque Adelhelme, qui vivait à la fin du IXe siècle, raconte qu'un soldat du roi Bozon, qui était devenu aveugle, recouvra la vue en se glissant sous l'autel de l'église de Mouchi-le-Neuf du diocèse de Paris, pendant que l'on célébrait la messe. Les monuments viennent à cet égard appuyer les textes nombreux que nous croyons inutile de citer 17; les autels les plus anciens connus sont généralement portés sur une ou plusieurs colonnes 18 (1 et 2). La plupart des autels grecs étaient portés sur une seule colonne. L'usage des autels creux ou portés sur des points d'appui isolés s'est conservé jusqu'au XVe siècle. L'autel n'était considéré jusqu'alors que comme une table sous laquelle on plaçait parfois de saintes reliques, ou qui était élevée au-dessus d'une crypte renfermant un corps saint, car à vrai dire les reliquaires étaient plutôt, pendant le moyen âge, posés, à certaines occasions, sur l'autel que dessous 19. Il n'existe plus, que nous sachions, en France, d'autels complets d'une certaine importance antérieurs au XIIe siècle.

On en trouve figurés dans des manuscrits ou des bas-reliefs avant cette
époque, mais ils sont très-simples, presque toujours sans retables,
composés seulement d'une table supportée par des colonnes et recouverte
de nappes tombant sur les deux côtés jusqu'au sol. L'usage des retables
est cependant fort ancien, témoin le retable d'or donné par l'empereur
Henri II à la cathédrale de Bâle, en 1019, et conservé aujourd'hui au
musée de Cluni (voy. RETABLE); le grand retable d'or émaillé et enrichi
de pierreries déposé sur le maître autel de l'église Saint-Marc de
Venise, connu sous le nom de la Pala d'oro, et dont une partie date de
la fin du Xe siècle; celui conservé autrefois dans le trésor de
Saint-Denis. L'autel étant consacré dès les premiers siècles, aucune
image ne devait y être déposée en présence de l'Eucharistie; mais le
retable ne l'étant point, on pouvait le couvrir de représentations de
personnages saints, de scènes de l'Ancien et du Nouveau Testament. Sauf
dans certaines cathédrales, à dater du XIIe siècle, les autels sont donc
surmontés de retables fort riches, et souvent d'une grande dimension.
Quant aux tables des autels, jusque vers la moitié du XIIe siècle, elles
sont très-fréquemment creusées en forme de plateau. Saint Remi,
archevêque de Lyon, avait donné à l'église Saint-Étienne, pendant le IXe
siècle, un autel de marbre dont la table était creusée de six
centimètres environ, avec de petits orifices à chacun des coins
20. D.
Mabillon reproduit, dans le troisième volume de ses Annales
Benedictini, une table d'autel de sept palmes de long sur quatre de
large, donnée par l'abbé Tresmirus à son monastère de Mont-Olivet, du
diocèse de Carcassonne, également creusée et remplie d'inscriptions et
d'ornements gravés, avec les quatre signes des évangélistes aux quatre
coins
21. La grande table du maître autel de l'église Saint-Sernin de
Toulouse retrouvée depuis quelques années dans l'une des chapelles, et
conservée dans cette église, était également entourée d'une riche
bordure d'ornements et creusée; cette table paraît appartenir à la
première moitié du XIIe siècle.
Il semble que ces tables aient été
creusées et percées de trous afin de pouvoir être lavées sans crainte de
répandre à terre l'eau qui pouvait entraîner des parcelles des Saintes
espèces. Voici (3) la figure de l'autel de la tribune de l'église de
Montréal près Avallon, dont la table portée sur une seule colonne est
ainsi creusée et percée d'un petit orifice
22. «Le grand autel de la
cathédrale de Lyon, dit le sieur de Moléon, dans ses Voyages
liturgiques
23, est ceint d'une balustrade de cuivre assez légère,
haute de deux pieds environ, et elle finit au niveau du derrière de
l'autel qui est large environ de cinq pieds. L'autel, dont la table de
marbre est un peu creusée par-dessus, est fort simple, orné seulement
d'un parement par devant et d'un autre au retable d'au-dessus. Sur ce
retable sont deux croix aux deux côtés; Scaliger dit qu'il n'y en avait
point de son temps.»
Guillaume Durand, dans son Rational, que l'on ne saurait trop lire et méditer lorsqu'on veut connaître le moyen âge catholique 24, s'étend longuement sur l'autel et la signification des diverses parties qui le composent. «L'autel, dit-il d'après les Écritures, avait beaucoup de parties, à savoir la haute et la basse, l'intérieure et l'extérieure... Le haut de l'autel c'est Dieu-Trinité, c'est aussi l'Église triomphante... Le bas de l'autel c'est l'Église militante; c'est encore la table du temple, dont il est dit: «Passez les jours de fêtes dans de saints repas, assis et pressés à ma table près du coin de l'autel...» L'intérieur de l'autel c'est la pureté du coeur....
L'extérieur de l'autel c'est le bûcher ou l'autel même de la croix... En second lieu, l'autel signifie aussi l'Église spirituelle; et ses quatre coins, les quatre parties du monde sur lesquelles l'Église étend son empire. Troisièmement, il est l'image du Christ, sans lequel aucun don ne peut être offert d'une manière agréable au Père. C'est pourquoi l'Église a coutume d'adresser ses prières au Père par l'entremise du Christ. Quatrièmement, il est la figure du corps du Seigneur; cinquièmement, il représente la table sur laquelle le Christ but et mangea avec ses disciples. Or, poursuit-il, on lit dans l'Exode que l'on déposa dans l'arche du Testament ou du Témoignage la déclaration, c'est-à-dire les tables sur lesquelles était écrit le témoignage, on peut même dire les témoignages du Seigneur à son peuple; et cela fut fait pour montrer que Dieu avait fait revivre par l'écriture des tables la loi naturelle gravée dans les coeurs des hommes. On y mit encore une urne d'or pleine de manne pour attester que Dieu avait donné du ciel du pain aux fils d'Israël, et la verge d'Aaron pour montrer que toute puissance vient du Seigneur-Dieu, et le Deutéronome en signe du pacte par lequel le peuple avait dit: «Nous ferons tout ce que le Seigneur nous dira.» Et à cause de cela l'arche fut appelée l'Arche du Témoignage ou du Testament, et, à cause de cela encore, le Tabernacle fut appelé le Tabernacle du Témoignage. Or, on fit un propitiatoire ou couverture sur l'Arche... C'est à l'imitation de cela que dans certaines églises on place sur l'autel une arche ou un tabernacle dans lequel on dépose le corps du Seigneur et les reliques des saints... Donc, ajoute Guillaume Durand plus loin, par l'autel il faut entendre notre coeur;... et le coeur est au milieu du corps comme l'autel est au milieu de l'église. C'est au sujet de cet autel que le Seigneur donne cet ordre dans le Lévitique: «Le feu brûlera toujours sur mon autel.» Le feu c'est la charité; l'autel c'est un coeur pur... Les linges blancs dont on couvre l'autel représentent la chair ou l'humanité du Sauveur...» Guillaume Durand termine son chapitre de l'Autel, en disant que jamais l'autel ne doit être dépouillé, ni revêtu de parements lugubres ou d'épines, si ce n'est au jour de la Passion du Seigneur (ce que, ajoute-t-il, réprouve aujourd'hui le concile de Lyon), ou lorsque l'Église est injustement dépouillée de ses droits. Dans son chapitre III (des Peintures, etc.), il dit: «On peint quelquefois les images des saints Pères sur le retable de l'autel... Les ornements de l'autel sont des coffres et des châsses (capsis), des tentures, des phylactères (philatteriis), des chandeliers, des croix, des franges d'or, des bannières, des livres, des voiles et des courtines. Le coffre dans lequel on conserve les hosties consacrées, signifie le corps de la Vierge glorieuse... Il est parfois de bois, parfois d'ivoire blanc, parfois d'argent, parfois d'or et parfois de cristal... Le même coffre, lorsqu'il contient les hosties consacrées et non consacrées, désigne la mémoire humaine; car l'homme doit se rappeler continuellement les biens qu'il a reçus de Dieu, tant les temporels, qui sont figurés par les hosties non consacrées, que les spirituels, représentés par les hosties consacrées ... Et les châsses (capsæ) posées sur l'autel, qui est le Christ, ce sont les apôtres et les martyrs; les tentures et les linges de l'autel, ce sont les confesseurs, les vierges et tous les saints, dont le Seigneur dit au prophète: «Tu te revêtiras d'eux comme d'un vêtement...» On place encore sur l'autel même, dans certaines églises, le tabernacle (tabernaculum), dont il a été parlé au chapitre de l'Autel.
«Aux coins de l'autel sont placés à demeure deux chandeliers, pour signifier la joie des deux peuples qui se réjouirent de la nativité du Christ; ces chandeliers, au milieu desquels est la croix, portent de petits flambeaux allumés; car l'ange dit aux pasteurs: «Je vous annonce une grande joie qui sera pour tout le peuple, parce qu'aujourd'hui vous est né le Sauveur du monde...»
«Le devant de l'autel est encore orné d'une frange d'or, selon cette parole de l'Exode (chap. XXV et XXVIII): «Tu me construiras un autel, et tu l'entoureras d'une guirlande haute de quatre doigts.
«Le livre de l'Évangile est aussi placé sur l'autel, parce que l'Évangile a été publié par le Christ lui-même et que lui-même en rend témoignage.» En parlant des voiles, l'évêque de Mende s'exprime ainsi: «Il est à remarquer que l'on suspend trois sortes de voiles dans l'église, à savoir: celui qui couvre les choses saintes, celui qui sépare le sanctuaire du clergé, et celui qui sépare le clergé du peuple... Le premier voile, c'est-à-dire les rideaux que l'on tend des deux côtés de l'autel, et dont le prêtre pénètre le secret, a été figuré d'après ce qu'on lit dans l'Exode (XXXIV)... Le second voile, ou courtine, que, pendant le carême et la célébration de la messe, on étend devant l'autel, tire son origine et sa figure de celui qui était suspendu dans le tabernacle et qui séparait le Saint des saints du lieu saint... Ce voile cachait l'arche au peuple, et il était tissu avec un art admirable et orné d'une belle broderie de diverses couleurs;... et, à son imitation, les courtines sont encore aujourd'hui tissues de diverses couleurs très-belles...
«Dans quelques églises, l'autel, dans la solennité de Pâques, est orné de couvertures précieuses, et l'on met dessus des voiles de trois couleurs: rouge, gris et noir, qui désignent trois époques. La première leçon et le répons étant finis, on ôte le voile noir, qui signifie le temps avant la loi. Après la seconde leçon et le répons, on enlève le voile gris, qui désigne le temps sous la loi. Après la troisième leçon, on ôte le voile rouge, qui signifie l'époque de la grâce, dans laquelle, par la Passion du Christ, l'entrée nous a été et nous est encore ouverte au Saint des saints et à la gloire éternelle.»
Quelque longues que soient ces citations, on comprendra leur importance et leur valeur; elles jettent une grande clarté sur le sujet qui nous occupe. Tant que le clergé maintint les anciennes traditions, et jusqu'au moment où il fut entraîné par le goût quelque peu désordonné du XVIe siècle, il sut conserver à l'autel sa signification première. L'autel demeura le symbole visible de l'ancienne et de la nouvelle loi. Chacune des parties qui le composaient rappelait les saintes Écritures, ou les grands faits de la primitive Église. Toujours simple de forme, que sa matière fût précieuse ou commune, il était entouré de tout ce qui devait le faire paraître saint aux yeux des fidèles, sans que ces accessoires lui ôtassent ce caractère de simplicité et de pureté que le faux goût des derniers siècles lui ont enlevé.
Nous allons essayer, soit à l'aide des textes, soit à l'aide des
monuments, de donner une idée complète des autels de nos églises du
moyen âge. Mais d'abord, il est nécessaire d'établir une distinction
entre les différents autels. Dans les églises cathédrales, le maître
autel non-seulement était simple de forme, mais souvent même il était
dépourvu de retable, entouré seulement d'une clôture avec voiles et
courtines, et surmonté au dossier d'une colonne avec crosse à laquelle
était suspendue la sainte Eucharistie. Sur les côtés étaient établies
des armoires dans lesquelles étaient renfermées les reliques;
quelquefois, au lieu de la suspension, sur l'autel, était posé un riche
tabernacle, ainsi que nous l'apprend Guillaume Durand, destiné à
contenir les hosties consacrées et non consacrées. Toutefois, il est à
présumer que ces tabernacles ou coffres, n'étaient pas fixés à l'autel
d'une manière permanente. Sur l'autel même se dressaient seulement la
croix et deux flambeaux.
Jusqu'au XIIIe siècle, les trônes des évêques
et les stalles des chanoines régulier étaient disposés généralement,
dans les cathédrales, au chevet; le trône épiscopal occupait le centre.
Cette disposition, encore conservée dans quelques basiliques romaines,
entre autres à Saint-Jean-de-Latran, à Saint-Laurent hors les murs
(4)
25, à Saint-Clément (5)
26, etc., et qui appartenait à la
primitive Église, devait nécessairement empêcher l'établissement des
contre-autels ou des retables, car ceux-ci eussent caché le célébrant.
Aussi ne voit-on guère les retables apparaître que sur les autels
adossés, sur ceux des chapelles, rarement sur les autels principaux des
cathédrales. Dans les églises monastiques, il y avait presque toujours
l'autel matutinal, qui était celui où se disait l'office ordinaire,
placé à l'entrée du sanctuaire au bout du choeur des religieux, et
l'autel des reliques, posé au fond du sanctuaire, et derrière ou sous
lequel étaient conservées les châsses des saints. C'était ainsi
qu'étaient établis les autels principaux de l'église de Saint-Denis en
France, dès le temps de Suger. Au fond du rond-point, l'illustre abbé
avait fait élever le reliquaire contenant les châsses des saints
martyrs, en avant duquel était placé un autel. Voici la description que
donne D. Doublet de ce monument remarquable... «En ceste partie est le
très-sainct autel des glorieux saincts martyrs (ou bien l'autel des
corps saincts, à raison que leurs corps reposent soubs iceluy), lequel
est de porphyre gris beau en perfection: et la partie d'au-dessus, ou
surface du même autel, couverte d'or fin, aussi enrichi de plusieurs
belles agathes, et pierres précieuses. Là se voit une excellente table
couverte d'or (un retable), ornée et embellie de pierreries, qu'a fait
faire jadis le roi Pepin, laquelle est quarrée, et sur les quatre costez
sont des lettres en émail sur or, les unes après les autres, en ces
termes: Bertrada Deum venerans Christoque sacrata. Et puis: Pro
Pippino rege fælicissimo quondam... Au derrière de cet autel est le
sacré cercueil des corps des saints martyrs, qui contient depuis l'aire
et pavé cinq pieds et demy de hault, et huict pieds de long sur sept
pieds de large, fait d'une assise de marbre noir tout autour du bas d'un
pied de hault, et sur la dicte assise huit pilliers quarrez aussi de
marbre noir de deux pieds et demy de hault, et sur iceux huit pilliers
une autre assise de marbre noir, à plusieurs moulures anciennes, et
entre les dicts huit pilliers, huit panneaux de treillis de fonte,
enchassez en bois, de plusieurs belles façons de deux pieds et demy de
long, le pillier du milieu de derrière, et pareillement le pillier de
l'un des coings du dit derrière, couverts chacun d'une bande de cuivre
doré, aussi iceux treillis et bois couverts de cuivre doré à feuillages,
avec plusieurs émaux ronds sur cuivre doré, et plusieurs clous dorés sur
iceux; et sur le marbre de la couverture, dedans ledit cercueil, une
voulte de pierre revestue au dedans de cuivre doré, qui prend jusque
soubs l'autel, qui est le lieu où reposent les sacrez corps des apôtres
de France saint Denys l'Aéropagite, saint Rustic, et saint Eleuthère, en
des châsses d'argent de très-ancienne façon, pendantes à des chainettes
aussi et boucles d'argent, pour lesquelles ouvrir il y a trois clefs
d'argent... Au-dessus dudit cercueil il y a un grand tabernacle de
charpenterie de ladite longueur et largeur en façon d'église, à haute
nef et basses voûtes, garny de huict posteaux, à savoir à chacun des
deux pignons quatre, les deux des coings ronds de deux pieds et demy de
hault, et les deux autres dedans oeuvre de six pieds et demy de hault,
aussi garny de bases et chapiteaux: et entre iceux trois beez et regards
de fenestres à demy ronds portans leur plein centre, et celle du milieu
plus haulte que les autres: le dessus des «pilliers de dedans oeuvre en
manière d'une nef d'église de ladite longueur, et de deux pieds et demy
de large, portant de costé et d'autre dix colombettes à jour, et deux
aux deux bouts à base et chapiteau d'ancienne façon: au-dessus de ladite
nef et colombettes de chacun costé est un appentil en manière de basses
chapelles, voûtes et allées, les costez et ceintres à demy ronds portans
quatre culs de lampe; à chacun des deux pignons de ladite nef cinq
petites fenestres, trois par haut à deux petits pilliers quarrez par
voye, et au-dessous deux, au milieu un pillier rond; le dedans de la nef
remply par bas d'une forme de cercueil, et les deux costez aussi remplis
par bas d'une même forme de cercueil de bois de la longueur dudit
tabernacle, celle du milieu plus haut eslevée que les autres. Le devant
du cercueil du milieu joignant ledit autel est garny en la bordure d'en
bas de plusieurs beaux esmaux sur cuivre doré, en façon d'applique de
diverses façons, et au-dessus desdits esmaux plusieurs belles agathes,
les unes en façon de camahieux à faces d'hommes (camées) et les autres
en fond de cuve (chatons)... Tout le devant de cet autel est couvert
d'or, et enrichy de belles perles rondes d'Orient, d'aigues marines en
fond de cuve, de topazes, grenats, saphirs, amatistes, cornalines,
presmes d'esmeraudes, esmaux d'applique et cassidoines, avec trois
belles croix posées sur la pointe de chacun pignon du cercueil, dont
celle du milieu est d'or, et les autres d'argent doré, enrichies de
beaux saphirs, de belles amatistes, de grenats et presmes d'esmeraudes.
Au derrière du cercueil préallégué ce vers-cy est escrit en lettres d'or
sur laiton, ainsi que s'ensuit:
«Facit utrumque latus, frontem, lectumque Suggerus 27. »

Cette description si minutieuse de l'autel des reliques de l'abbaye de Saint-Denis fait voir que, si le reliquaire était important et aussi riche par son ornementation que par la matière, l'autel placé en avant conservait la simplicité des formes primitives, que cet autel était indépendant du reliquaire, que les trois châsses des saints étaient placées de façon à pénétrer jusque sous la table, et que les cercueils supérieurs disposés dans le grand tabernacle à trois nefs, étaient feints, et ne faisaient que rappeler aux yeux des fidèles la présence des corps saints qu'ils ne pouvaient apercevoir. Sans prétendre faire ici une restauration de cet autel remarquable, nous croyons cependant devoir en donner un croquis aussi exactement tracé que possible d'après la description, afin de rendre le texte intelligible pour tous (6) 28. Cet autel et son reliquaire, placés au fond du rond-point de l'église abbatiale, n'étaient pas entourés d'une clôture particulière, car le sanctuaire était lui-même fermé et élevé au-dessus du sol de la nef et du transept, de trois mètres environ; il n'était accompagné que de deux armoires à droite et à gauche, contenant le trésor de l'église (voy. ARMOIRE). Quant à l'autel matutinal placé à l'extrémité de l'axe de la croisée et presque adossé à la tribune formée par l'exhaussement du sanctuaire, il était entouré de grilles de fer «faites par beaux compartiments,» composé d'une table de marbre portée sur quatre piliers de marbre blanc; il avait été consacré par le pape saint Étienne 29. À la fin du XVe siècle, cet autel était encore environné de colonnes de vermeil surmontées de figures d'anges tenant des flambeaux, et reliées par des tringles sur lesquelles glissaient les courtines. Derrière le retable, qui était d'or, avait été élevée la châsse renfermant les reliques du roi saint Louis.

Un délicieux tableau de Van Eyck, conservé à Londres dans la collection de lord ***, nous donne la disposition et la forme des parties supérieures de cet autel; le dessous de la table de l'autel est caché par un riche parement de tapisserie (7). On retrouve ici le retable donné par Charles le Chauve et la croix d'or donnée par l'abbé Suger 30. Le tableau de Van Eyck est exécuté avec une finesse et une exactitude si remarquables, que l'on distingue parfaitement jusqu'aux moindres détails du retable et du reliquaire. Les caractères particuliers aux styles différents sont observés avec une scrupuleuse fidélité. On voit que le retable appartient au IXe siècle; les colonnes, les anges et le reliquaire à la fin du XIIIe siècle.
D. Doublet donne, dans le chapitre XLV de ses Antiquitez de l'abbaye de Saint-Denis, une description minutieuse du retable d'or de cet autel, qui se rapporte entièrement au tableau de Van Eyck; il mentionne la qualité et le nombre des pierres précieuses, des perles, leur position, les accessoires qui accompagnent les personnages.
Guillaume Durand semble admettre que tous les autels de son temps fussent entourés de voiles et courtines, et en effet les exemples donnés par les descriptions ou les représentations peintes ou dessinées (car malheureusement de tous ces monuments pas un seul ne reste debout) viennent appuyer son texte. Du temps de Moléon (1718), il existait encore un certain nombre d'autels ayant conservé leur ancienne disposition. Cet auteur cite celui de Saint-Seine, de l'ordre de saint Benoit 31. «Le grand autel est sans retable. Il y a seulement un gradin et six chandeliers dessus. Au-dessus est un crucifix haut de plus de huit pieds, au-dessous duquel est la suspension du saint sacrement dans le ciboire; et aux deux côtés de l'autel il y a quatre colonnes de cuivre, et quatre anges de cuivre avec des chandeliers et des cierges et de grands rideaux.» À Saint-Étienne de Sens (la cathédrale), même disposition. À la cathédrale de Chartres, «le grand autel est fort large; il n'y a point de balustres, mais seulement des colonnes de cuivre et des anges au-dessus autour du sanctuaire. Le parement est attaché aux nappes un demi-pied sur l'autel; la frange du parement est tout au haut sur le bord de la table. Au-dessus de l'autel il y a seulement un parement au retable, et au-dessus est une image de la sainte Vierge d'argent doré. Par derrière est une verge de cuivre, et au haut un crucifix d'or de la grandeur d'un pied et demi, au pied duquel est une autre verge de cuivre qui avance environ d'un pied ou d'un pied et demi sur l'autel, au bout de laquelle est la suspension du saint ciboire, selon le second concile de Tours sub titulo crucis corpus Domini componatur.» À Saint-Ouen de Rouen, «le grand autel est simple, séparé de la muraille avec des rideaux aux côtés, une balustrade de bois, quatre piliers et quatre anges dessus, comme à celui de l'église cathédrale. Au-dessus du retable est la suspension du saint ciboire (au pied de la croix), et les images de saint Pierre et de saint Paul, premiers patrons, entre deux ou trois cierges de chaque côté. Il y a trois lampes ou bassins devant le grand autel avec trois cierges, comme à la cathédrale.» J. B. Thiers 32 démontre clairement que l'usage d'entourer les autels de voiles, encore conservé de son temps dans quelques églises, était général dans les premiers siècles du christianisme. Nous donnons ici la copie de l'ancien maître autel de la cathédrale d'Arras (8), représenté sur un tableau du XVIe siècle conservé dans la sacristie de cette église 33. Cet autel datait certainement du XIIIe siècle, sauf peut-être la partie supérieure de la suspension, la croix, qui paraît appartenir au XVe. Ce charmant monument était construit partie en marbre blanc partie en argent naturel ou doré. La pile postérieure derrière le retable était en marbre rehaussé de quelques dorures, elle portait une petite statue de la Vierge sous un dais couronné d'un crucifiement en argent avec saint Jean et la Vierge; trois anges reçoivent le précieux sang de Notre-Seigneur dans de petites coupes. Derrière le dais de la Vierge était un ange en vermeil sonnant de l'olifant. Une crosse en vermeil à laquelle s'attachait un ange aux ailes déployées soutenait le saint ciboire suspendu par une petite chaîne. Sur le retable étaient posés des reliquaires. Six colonnes d'argent et de vermeil portaient six anges entre les mains desquels on distingue les instruments de la Passion. Dans le tableau de la sacristie d'Arras, l'autel ainsi que le retable sont couverts de parements semés de fleurs de lis. Nous ne savons pas comment était décoré le retable sous le parement; quant à l'autel, il présentait une disposition très-remarquable, disposition que nous reproduisons dans la gravure (fig. 8), d'après un dessin de feu Garnerey 34.

Le maître autel de la cathédrale de Paris, qui est représenté dans une gravure de 1662 35, est disposé comme celui de la cathédrale d'Arras. Quatre anges tenant les instruments de la Passion sont posés sur quatre colonnes de cuivre portant les tringles sur lesquelles glissent les courtines. À Notre-Dame de Paris, l'autel était fort simple, revêtu d'un parement ainsi que le retable; derrière l'autel s'élevait le grand reliquaire contenant la châsse de saint Marcel. «Premièrement, dit le P. Du Breul 36, derrière et au hault du grand autel, sur une large table de cuivre, soutenue de quatre gros et fort haults pilliers de même estoffe est posée la châsse de saint Marcel, neufième évêque de Paris, laquelle est d'argent doré, enrichie d'une infinité de grosses perles et pierres précieuses... Plus hault d'icelle, est une fort grande croix, dont le crucifix est d'argent doré.»
À côté de ce reliquaire était un autre autel: «Au côté droit, poursuit Du Breul, sur l'autel de la Trinité, dict des Ardents, est la châsse de Notre-Dame, d'argent doré... À côté senestre dudict autel (principal) est une châsse de bois, ayant seulement le devant couvert d'argent doré, en laquelle est le corps de sainct Lucain, martyr... Au-dessus dudict autel de la Trinité sont plusieurs châsses...»

Voici, d'après la gravure dont nous avons parlé tout à l'heure, la vue de cet autel principal de Notre-Dame de Paris, avec la châsse de saint Marcel suspendue sous son grand baldaquin (9). Ce maître autel paraît avoir été élevé vers la fin du XIIIe siècle; peut-être était-il contemporain de la clôture du choeur, qui date du commencement du XIVe siècle.
L'autel des reliques de la cathédrale d'Arras disposé au chevet de cette église, et qui est reproduit dans les Annales archéologiques de M. Didron, d'après un tableau conservé dans la sacristie, présentait une disposition analogue à celle de l'autel du chevet de Notre-Dame de paris, si ce n'est que le reliquaire est suspendu au-dessus de l'autel, scellé aux deux piles extrêmes de l'abside, et qu'on y accède par un petit escalier en bois posé à la droite de cet autel 37.
L'usage de poser des parements 38 devant les autels, bien qu'ancien, ne fut pas adopté uniformément en France. Cela explique pourquoi, à partir du XIIe siècle, quelques tables d'autels anciens sont portées sur des massifs bruts, tandis que d'autres sont soutenues par des colonnettes riches de sculptures, des arcatures, des plaques de pierre ou de marbre incrustées ou sculptées. Le sieur de Moléon 39 observe «que dans les chapelles de l'église cathédrale d'Angers, les autels (selon l'ancien usage qui nous est encore resté le vendredi saint, et il n'y a pas encore longtemps, le samedi saint aussi) sont à nu, et ne sont couverts de quoi que ce soit; de sorte que ce n'est qu'un moment avant que d'y dire la messe qu'on y met les nappes, qui débordent comme celle qu'on met sur une table où l'on dîne; et il n'y a point de parement.» La forme la plus habituelle de l'autel, pendant le moyen âge, qu'il soit ou non revêtu de parements, est celle d'une table ou d'un coffre.
Il est certain que les beaux autels des chapelles de l'église abbatiale
de Saint-Denis en France dont nous donnons plus loin les dessins, et
tant d'autres, portés sur des colonnes ou présentant des faces richement
décorées de sculptures, de peintures et d'applications, n'étaient pas
destinés à recevoir des parements; tandis que très-anciennement déjà
certains autels en étaient garnis. L'autel majeur de la cathédrale de
Reims avait un parement en partie d'or fin, en partie de vermeil, donné
par les archevêques Hincmar et Samson des Prés. L'autel des reliques de
l'église de Saint-Denis était également revêtu sur la face d'un parement
d'or enrichi de pierres précieuses qui avait été donné par Suger. Mais
le plus souvent les parements étaient d'étoffes précieuses, pour les
devants d'autels comme pour les retables. Guillaume Durand
40 n'admet
pour les vêtements ecclésiastiques que quatre couleurs principales: le
blanc, le rouge, le noir et le vert; il ajoute, il est vrai, que
l'emploi de ces quatre couleurs n'est pas absolument rigoureux;
l'écarlate peut, selon lui, être substitué au rouge, le violet au noir,
la couleur bysse au blanc, et le safran au vert. Il est probable que
les parements des autels étaient soumis, comme les vêtements
ecclésiastiques, à ces lois, et il faut les distinguer des couvertures
ou nappes rouges, grises et noires dont parle l'évêque de Mende dans son
troisième chapitre, cité plus haut. En changeant la couleur des
vêtements ecclésiastiques suivant les différents temps de l'année, le
clergé changeait également, comme cela se pratique encore aujourd'hui,
la couleur des parements d'autels, lorsque ces parements étaient faits
en étoffes. Il en était de même des voiles et courtines entourant les
autels; ces tentures étaient variables. Nous ajouterons, au sujet des
voiles et courtines, qu'ils n'étaient pas uniformément disposés pendant
le moyen âge autour des autels. «Outre qu'aujourd'hui, dit Thiers (chap.
XIV)
41, il y a peu de ciboires au-dessus des autels, hors l'Italie, il
n'y a point d'autels qui aient des voiles ou rideaux tout autour. La
vérité est qu'en plusieurs anciennes églises, tant séculières que
régulières, les principaux autels ont des voiles au côté droit et au
côté gauche; mais ils n'en ont ni au devant, ni au derrière, parce qu'au
derrière il y a des retables, des tableaux ou des images en relief, et
que le devant est entièrement ouvert, si ce n'est qu'en carême on y met
ces voiles dont parlent Beleth
42, Durand
43, et les Uz de Citeaux
44.
En d'autres églises, les autels n'ont point du tout de voiles, quoiqu'il
y ait apparence qu'ils en ont eu autrefois, ou au moins à droite et à
gauche, ce qui se reconnoît par les pilastres ou colonnes de bois ou de
cuivre que l'on y voit encore à présent. Enfin il y a une infinité
d'autels qui non-seulement n'ont point du tout de voiles, mais qui ne
paraissent pas même en avoir eu autrefois, n'ayant aucun vestige de
pilastres ou colonnes. Il y en avoit cependant autour des anciens
autels, dans les églises d'Orient, comme dans celles d'Occident, et on
les y tenoit dépliés et étendus (fermés) au moins pendant la
consécration et jusqu'à l'élévation de la sainte hostie, afin de
procurer plus de vénération aux divins mystères.» Après une dissertation
étendue sur l'usage des voiles posés au devant des autels grecs, Thiers
termine son chapitre en disant: «À l'égard des églises d'Occident, nous
avons des preuves de reste comme les autels y étoient entourés de voiles
attachés aux ciboires, à leurs arcades, ou aux colonnes qui les
soutenoient. Il ne faut que lire les vies des papes écrites par
Anasthase le bibliothécaire pour en être convaincu, et surtout celles de
Serge I, de Grégoire III, de Zacharie, d'Adrien I, de Léon III, de
Pascal I, de Grégoire IV, de Serge II, de Léon IV, de Nicolas I; on y
verra que ces souverains pontifes ont fait faire en diverses églises de
Rome, les uns vingt-cinq, les autres huit, et la plupart quatre voiles
d'étoffes précieuses pour être tendus autour des autels; pour être
suspendus aux ciboires des autels; pour être attachés aux arcades des
ciboires autour des autels... Guillaume le bibliothécaire, «qui a ajouté
les vies de cinq papes, savoir: d'Adrien II, de Jean VIII, de Martin II,
ou Marin I, d'Adrien III et d'Étienne VI, à celles qu'Anasthase a finies
par Nicolas I, parle encore de ces mêmes voiles, dans la vie d'Étienne
VI, où il dit que ce pape donna un voile de lin et trois autres voiles
de soie pour mettre autour de l'autel de l'église de Saint-Pierre à
Rome...» Thiers, qui ne va guère chercher ses documents que dans les
textes, ne paraît pas certain que dans l'église d'Occident il y eût eu
des voiles devant les autels.
Le fait ne nous semble pas douteux
cependant, au moins dans un certain nombre de diocèses. Voici (10) comme
preuve la copie d'un ivoire du XIIIe siècle
45, sur lequel le voile
antérieur de l'autel est parfaitement visible. Dans cette petite
sculpture, que nous donnons grandeur d'exécution, le prêtre est assis
dans une chaire sous un dais; devant l'autel, trois clercs sont
également assis, le voile antérieur est relevé. La suspension du saint
sacrement est attachée sous le ciborium. On ne voit sur la table de
l'autel qu'un livre posé à plat, l'Évangile; des clercs tiennent trois
flambeaux du côté droit de l'autel. Nous trouvons des exemples analogues
dans des vitraux, dans des manuscrits et sculptures du XIe au XIIIe
siècle. Plus tard les voiles antérieurs des autels sont rares et on ne
les retrouve plus, en Occident, que sur les côtés, entre les colonnes,
ainsi que le font voir les fig. 7, 8 et 9. Il semblerait que les voiles
antérieurs aient cessé d'être employés pour cacher les autels des
églises d'Occident pendant la consécration, lorsque le schisme grec se
fut établi. C'est aussi à cette époque que le ciborium, ou baldaquin
recouvrant directement l'autel, cesse de se rencontrer dans les églises
de France, et n'est plus remplacé que par la clôture de courtines
latérales. En effet, dans tous les monuments de la fin du XIIIe siècle,
ainsi que dans ceux des XIVe et XVe, l'autel n'est plus couvert de cet
édicule, désigné encore en Italie sous le nom de ciborium (voy. ce
mot); tandis que, pendant la période romane et jusque vers le milieu du
XIIIe siècle, on trouve, soit dans les bas-reliefs, les peintures, les
vitraux ou les vignettes des manuscrits, des édicules portés sur des
colonnes et recouvrant l'autel, comme ceux qu'on peut encore voir à
Rome, dans les églises de Saint-Clément, de Sainte-Agnès (hors les
murs), de S. Georgio in Velabro; à Venise, dans l'église de Saint-Marc,
etc. Cependant du temps de Guillaume Durand, comme le fait remarquer
Thiers, les voiles antérieurs des autels étaient encore posés pendant le
carême, et Guillaume Durand écrivait son Rational à la fin du XIIIe
siècle. «Il est à remarquer, dit-il
46, que l'on suspend trois sortes de
voiles dans l'église, à savoir: celui qui couvre les choses saintes,
celui qui sépare le sanctuaire du clergé, et celui qui sépare le clergé
du peuple... Le premier voile, c'est-à-dire les rideaux que l'on tend
des deux côtés de l'autel, et dont le prêtre pénètre le secret, a été
figuré d'après ce qu'on lit dans l'Exode (XXXIV). «Moïse mit un voile
sur sa figure, parce que les fils d'Israël ne pouvaient soutenir l'éclat
de son visage...» Le second voile, ou courtine, que, pendant le carême
et la célébration de la messe, on étend devant l'autel, tire son origine
et sa figure de celui qui était suspendu dans le tabernacle qui séparait
le Saint des saints du lieu saint... Ce voile cachait l'arche au peuple,
et il était tissu avec un art admirable et orné d'une belle broderie de
diverses couleurs, et il se fendit lors de la Passion du Seigneur; et, à
son imitation, les courtines sont encore aujourd'hui tissues de diverses
couleurs très-belles...» Le troisième voile a tiré son origine du cordon
de muraille ou tapisserie qui, dans la primitive Église, faisait le tour
du choeur et ne s'élevait qu'à hauteur d'appui, ce qui s'observe encore
dans certaines églises...
47 Mais le vendredi saint, on ôte tous les
voiles de l'église, parce que, lors de la Passion du Seigneur, le voile
du temple fut déchiré... Le voile qui sépare le sanctuaire du clergé est
tiré ou enlevé à l'heure de vêpres de chaque samedi de carême, et quand
l'office du dimanche est commencé, afin que le clergé puisse regarder
dans le sanctuaire, parce que le dimanche rappelle le souvenir de la
résurrection... Voilà pourquoi cela a lieu aussi pendant les six
dimanches qui suivent la fête de Pâques...»

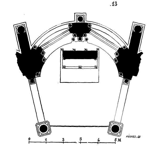
L'autel de la Sainte-Chapelle haute de Paris ne paraît pas avoir été disposé pour être voilé, et l'édicule qui portait le grand reliquaire était placé derrière et non au-dessus de lui. Nous donnons ici (11) le plan de cet autel et de son entourage. L'autel semble être contemporain de la sainte-Chapelle (1240 à 1250); quant à la tribune sur laquelle est posée la grande châsse, et dont tous les débris sont aujourd'hui replacés, elle date évidemment des dernières années du XIIIe siècle. Quatre colonnes portant des anges de bronze doré étaient placées aux quatre coins de l'emmarchement de l'autel; mais ces colonnes avaient été élevées sous Henri III. Au fond du rond-point, derrière le maître autel A, était dressé un petit autel B; suivant un ancien usage, ce petit autel était désigné sous le nom d'autel de retro. C'était, comme à la cathédrale de Paris, comme à Bourges, à Chartres, à Amiens, à Arras, l'autel des reliques, qui n'avait qu'une place secondaire, le maître autel ne devant avoir au-dessus de lui que la suspension de l'eucharistie. Voici l'élévation perspective de cet autel (12) avec la tribune, les deux petits escaliers en bois peint et doré qui accèdent à la plate-forme de cette tribune voûtée et à la grande châsse en vermeil posée sur une crédence de bois doré, surmontée d'un dais également en bois enrichi de dorures et de peintures.

Nous entrerons dans quelques détails descriptifs à propos de cet autel et de ses accessoires si importants, conservés au musée des Augustins et rétablis aujourd'hui à leur place. L'autel n'existe plus, mais des dessins et une assez bonne gravure faisant partie de l'ouvrage de Jérôme Morand 48, nous en donnent une idée exacte. Cet autel était fort simple; la table formée d'une moulure enrichie de roses, portée sur un dossier et trois colonnettes, n'était pas surmontée d'un retable. Derrière cet autel s'ouvre une arcade formant l'archivolte d'une voûte figurant une abside et s'étendant jusqu'au fond du chevet; la grande arcade est accompagnée et contre-buttée par une arcature à jour servant de clôture. Deux anges adorateurs sculptés et peints se détachent sur les écoinçons de la grande arcade, ornés d'applications de verre bleu avec fleurs de lis d'or. Sous la courbe ogivale de cet arc sont suspendus des anges plus petits; les deux du sommet tiennent la couronne d'épine, les quatre inférieurs les instruments de la Passion. L'arcature et les archivoltes en retour s'ouvrant sous la voûte, sont couverts d'applications de verre, de gaufrures dorées et de peintures. La voûte est composée de nervures également gaufrées, enrichies de pierres fausses, et de remplissages bleus avec étoiles d'or. Les deux petits escaliers en bois qui montent sur la voûte sont d'une délicatesse extrême et très-habilement combinés comme menuiserie. Au roi de France seul était réservé le privilége d'aller prendre la monstrance contenant la couronne d'épine renfermée dans la grande châsse, et de présenter la très-sainte relique à l'assistance ou au peuple dans la cour de la Sainte-Chapelle. À Cet effet, en bas de la grande verrière absidale, était laissé un panneau de vitres blanches, afin que le reliquaire pût être vu du dehors, entre les mains du roi. La suspension du saint sacrement était devant la grande châsse au-dessus de l'autel. Notre gravure ne peut donner qu'une bien faible idée de ce chef-d'oeuvre, où l'art l'emporte de beaucoup sur la richesse des peintures, des applications, des dorures. Il va sans dire que la grande châsse fut fondue et que nous n'en possédons plus que des dessins ou des représentations peintes. Derrière la clôture, l'arcature qui garnit le soubassement de la sainte chapelle continue; seulement à droite, sous la première fenêtre, est pratiquée une piscine d'un travail exquis (voy. PISCINE); à gauche une armoire. Deux des douze apôtres, dont les statues ont été adossées aux piliers, sont placés à côté des deux escaliers; ce sont les statues de saint Pierre et de saint Paul. Au-dessus du petit autel de retro, sous le formeret de la voûte de la tribune, est peint un crucifiement, avec le soleil et la lune et deux figures, dont l'une, couronnée, est probablement saint Louis 49. Deux marches montent à l'autel principal.
On observera que les autels derrière lesquels s'élèvent des reliquaires,
tels que ceux de l'église abbatiale de Saint-Denis, de Notre-Dame de
Paris et de la Sainte-Chapelle, sont placés de façon à ce que le dessous
du reliquaire forme comme une grotte ou crypte à rez-de-chaussée. À
Saint-Denis, cette petite crypte était occupée par les corps saints;
mais à Notre-Dame de Paris, à la Sainte-Chapelle, les châsses sont fort
élevées au-dessus du sol, comme suspendues en l'air, de manière à ce que
l'on puisse se placer au-dessous d'elles. Cette disposition paraît avoir
été adoptée fort anciennement. Il existe dans les cryptes de l'église de
Saint-Denis, du côté du nord, proche l'entrée du caveau central, une
arcature dépendant de l'église carlovingienne; sur l'un des chapiteaux
de cette arcature, est sculpté un autel (12 A), derrière lequel est posé
un édicule portant un reliquaire. Une petite église du midi de la
France, l'église de Valcabrère près Saint-Bertrand de Comminges, a
conservé dans son chevet, dont la construction appartient à l'époque
carlovingienne, un autel établi très-franchement au XIIIe siècle d'après
cette donnée. Le plan (12 B) de l'abside de cette église, l'élévation
(12 C) et la coupe (12 D) de l'autel, indiquent nettement la petite
crypte placée sous le reliquaire contenant la châsse. Un escalier
conduit sur la voûte qui reçoit la châsse, et les fidèles peuvent
circuler derrière l'autel sous cette voûte, pour se placer directement
sous la protection du saint. Nous verrons tout à l'heure comme ce
principe est appliqué aux autels secondaires de l'église abbatiale de
Saint-Denis.



Il est une chose digne de remarque lorsqu'on examine ces restes précieux, ainsi que ceux qui nous sont encore, et en si grand nombre, conservés à Saint-Denis; c'est que, dans les décorations des autels, dans tout ce qui semblait fait pour accompagner dignement le sanctuaire des églises, on s'est préoccupé au moyen âge, surtout en France, d'honorer l'autel, plus encore par la beauté du travail, par la perfection de la main-d'oeuvre que par la richesse intrinsèque des matières employées. À la Sainte-Chapelle, ce gracieux sanctuaire n'est composé que de pierre et de bois; les moyens de décorations employés sont d'une grande simplicité: du verre appliqué, des gaufrures faites dans une pâte de chaux, des peintures et des dorures, n'ont rien qui soit dispendieux. La valeur réelle de ce monument tient à l'extrême perfection du travail lie l'artiste. Toutes les sculptures sont traitées avec un soin, un art, et nous dirons avec un respect scrupuleux de l'objet, dont rien n'approche. N'était-ce pas, en effet, la plus noble manière d'honorer Dieu que de faire passer l'art avant toute chose dans son sanctuaire? et n'y avait-il pas un sentiment vrai et juste dans cette perfection que l'artiste cherchait à donner à la matière grossière? Nous avouerons que nous sommes bien plus touchés à la vue d'un autel de pierre sur lequel l'homme a épuisé toutes les ressources de son art, que devant ces morceaux de bronze ou d'argent grossièrement travaillés, dont la valeur consiste dans le poids, et qui excitent bien plutôt la cupidité qu'ils n'émeuvent l'âme. Nous avons déjà parlé des autels de l'église abbatiale de Saint-Denis, et nous avons cherché à donner une idée de ce que pouvait être l'autel des reliques élevé dans son sanctuaire; mais ce n'est là qu'une restauration dont chacun peut contester la valeur, heureusement plusieurs des autels secondaires de cette église célèbre ont été conservés jusqu'à nous en débris, ou nous sont donnés par de précieux dessins exécutés en 1797 par feu Percier 50. C'est surtout dans ces autels que l'oeuvre de l'artiste apparaît. Là point de retables ni de parements d'or ou de vermeil. La pierre est la seule matière employée, mais elle est travaillée avec un soin et un goût parfaits, recouverte de peintures, de dorures, de gravures remplies de mastics colorés ou d'applications de verre qui ajoutent encore à la beauté du travail, sans que jamais la valeur de l'oeuvre d'art puisse être dépassée par la richesse de la matière. Nous donnerons d'abord l'autel de la chapelle de la Vierge située au chevet dans l'axe de l'église. Cet autel, élevé sur un pavé en terre cuite d'une grande finesse et qui dépend de l'église bâtie par Suger, est posé sur une seule marche en pierre de liais gravée et incrustée de mastics. Les gravures forment, au milieu d'une délicate bordure d'ornements noirs, un semis de fleurs de lis et de tours de Castille sur champ bleu verdâtre et rouge (voy. DALLAGE). Portée sur trois colonnettes et sur un dossier richement peint, la table de l'autel est simple et surmontée d'un retable en liais représentant, au centre, la sainte Vierge couronnée tenant l'enfant Jésus; à droite, la naissance du Christ, l'adoration des Mages; à gauche, le massacre des Innocents et la fuite en Égypte. Ces figures, d'un travail remarquable, sont entièrement peintes sur fond bleu losangé et semé de fleurs de lis d'or. Derrière le retable, entre l'autel et le fond de la chapelle, est un petit édicule sous lequel on peut passer, et qui supporte au niveau du dessus du retable un tabernacle en pierre d'une excessive délicatesse. Deux colonnes à huit pans, terminées à leur sommet par des fleurons feuillus, posées aux deux côtés du retable, reçoivent des crosses en fer doré, auxquelles des lampes sont suspendues. Au-dessus du tabernacle, sur un cul-de-lampe incrusté dans la colonne centrale du fond de la chapelle, est posée une jolie statue de la sainte Vierge tenant l'enfant, en marbre blanc, demi-nature; sur sa tête est un dais.

Voici (13) un plan de cet autel avec la chapelle dans laquelle il est posé, et (13 bis) une vue de l'ensemble du petit monument. Dans le tabernacle, derrière l'autel, était placée une châsse contenant les corps de saint Hilaire, évêque de Poitiers, et de saint Patrocle, martyr, évêque de Grenoble. Cet autel, comme la plupart des autels secondaires de l'église abbatiale de Saint-Denis, avait été élevé par les soins de saint Louis lorsqu'il fit restaurer et rebâtir en partie cette église.

À l'entrée du rond-point de l'église abbatiale, du côté gauche (nord), était autrefois la chapelle dédiée à saint Firmin, premier évêque d'Amiens, martyr. Le pavé de cette chapelle et la marche de l'autel, qui est fort large, étaient en mosaïques, et dataient du XIIe siècle 51. L'autel est du commencement du XIIIe siècle, ainsi que son retable, qui existe encore en entier 52. D. Doublet mentionne le pavage en mosaïque de cette chapelle, dont nous avons dernièrement retrouvé des portions en place; il donne la légende de la châsse de saint Firmin conquise par Dagobert, légende qui était peinte sur le devant de l'autel entre l'arcature dont il était décoré 53. Il parle de la châsse en bois doré posée derrière l'autel, et d'une certaine «bande de broderie au-dessus de l'autel, toute pourfilée de perles et enrichie de pierreries, de la longueur d'yceluy, à laquelle sont suspendues soixante branslans (glands) d'argent doré.»

Voici (14) la face de l'autel avec son retable en pierre sculptée et peinte, représentant le Christ au centre, avec les quatre évangélistes; des deux côtés les douze apôtres avec leurs noms au-dessous. En commençant par la droite de l'autel, on lit: Simon, Bartholomeus, Jacobus, Johannès, Andreas, Petrus; sous le Christ, Apostolus; puis en suivant, Paulus, Jacobus, Thomas, Filipus, Matheus, Judas (Jude). Dans le quatre-feuilles qui entoure le Christ, on lit cette inscription: Hic Deus est et homo quem presens signal imago ergo rogabit homo quem sculta figurat imago. Le corps de l'autel est composé d'une arcature feuillue soutenue par des colonnettes engagées, cylindriques et prismatiques alternées; le tout est couvert de peintures; les feuillages sont colorés en vert ainsi que les chapiteaux; les colonnettes sont divisées par des compartiments très-fins simulant des mosaïques, assez semblables à celles qui couvrent les colonnettes des cloîtres de Saint-Jean de Latran et de Saint-Paul hors les murs à Rome; les intervalles entre les colonnettes sont couverts de sujets légendaires, ainsi qu'il vient d'être dit. La table de l'autel était bordée sur ses rives d'une inscription, perdue, et couverte sur le plat d'une mosaïque à compartiments.


Nous donnons ici (15) le plan de cet autel, avec la châsse de saint Firmin placée derrière le dossier, sous une table portée sur des colonnes; et (16) le côté de l'autel qui fait comprendre la disposition de cette châsse, des grilles dont elle était entourée et de la petite lampe qui brillait sur le corps saint. On voit combien, malgré la richesse des détails, la forme générale de ce petit monument est simple et digne. Comme dans toutes les oeuvres du moyen âge, surtout avant le XIVe siècle, on remarque dans le petit nombre d'autels qui nous sont conservés par des dessins ou des monuments et surtout dans leurs accessoires, tels que retables, tabernacles, reliquaires, une grande variété; que serait-ce si tous ces objets nous eussent été transmis intacts! Les deux derniers autels nous montrent des reliquaires disposés d'une façon très-différente et parfaitement justifiée par la situation. En effet, l'autel (fig. 13) de la chapelle de la Vierge de Saint-Denis est adossé, et, pour faire voir la châsse, il fallait nécessairement l'élever au-dessus du retable; au contraire, l'autel de Saint-Firmin est placé de manière que l'on peut tourner facilement tout autour (fig. 15); la châsse se trouvait alors au niveau du sol, protégée par un grillage. Au-dessus d'elle, suspendue à la grande tablette qui la recouvrait, se voit la petite lampe. Il existait encore à Saint-Denis un grand nombre d'autels secondaires dont les dispositions accessoires différaient de celles que nous venons de donner. Voici entre autres l'autel Saint-Eustache, qui se trouvait adossé au fond de la première chapelle carrée au nord, au-dessus de la chapelle de la Vierge Blanche (17).

Ici le tabernacle recouvrant la châsse du saint était complétement isolé du retable et porté sur deux colonnes et des consoles à figures. Il paraît difficile de donner une signification à ces monstres accroupis sur des hommes vêtus. Le sculpteur a-t-il voulu faire des syrènes, en se conformant aux textes des bestiaires si fort en vogue pendant les XIIe et XIIIe siècles 54, et rappeler ainsi aux fidèles le danger des séductions du siècle? Parmi les autels de Saint-Denis, il en est encore un autre dont la place n'a pu être jusqu'à présent reconnue 55, mais qui présente un grand intérêt: il se compose d'un massif en maçonnerie entièrement revêtu sur le devant et les côtés d'applications de verres taillés en losanges et à travers lesquels on aperçoit des tours de Castille sur fond écarlate, des fleurs de lis sur fond bleu, des rosaces et des aiglettes sur fond pourpre. Sur le dossier est un retable également incrusté de verre bleu taillé en polygones avec un crucifiement, saint Jean et la Vierge, l'Église et la Synagogue, en bas-relief. La marche de cet autel est en liais avec bordure de fleurs de lis et tours de Castille très-fines se détachant sur un fond de mastic bleu et rouge; le milieu présente des dessins d'une grande délicatesse, noirs, bleus et rouges, également en mastic. Le pavé de la chapelle était en mosaïque de terre cuite et de petites pierres de couleur avec carreaux menus de marbre blanc (voy. PAVAGES). Nous donnons ci-contre (18) une élévation perspective de cet autel.

Dans quelques-uns des exemples donnés ci-dessus, on ne voit pas que l'Eucharistie ait été placée autrement que dans un ciboire suspendu, et nous n'avons pas trouvé de tabernacles ou custodes posés sur les autels pour contenir les hosties consacrées et non consacrées, ainsi que le dit Guillaume Durand dans son Rational. L'usage de réserver l'Eucharistie dans des réduits tenant aux retables des principaux autels ne remonte pas à plus de deux cents ans, et encore, à la fin du XVIIIe siècle, conservait-on l'Eucharistie dans des boîtes en forme de pavillons ou de tours, ou dans des colombes d'argent, suspendues au-dessus des autels majeurs des grandes cathédrales et des églises monastiques. Souvent aussi apportait-on les hosties sur la communion dans des ciboires que l'on posait sur la table de l'autel au moment de dire la messe. Dans ce cas, le ciboire, la boîte de vermeil contenant l'Eucharistie, était habituellement déposée dans un sacraire ou petite sacristie voisine de l'autel. Thiers parle, dans ses Dissertations sur les principaux autels des églises, de tours destinées à contenir l'Eucharistie; il dit en avoir vu une de cuivre, assez ancienne, dans le choeur de l'église paroissiale de Saint-Michel de Dijon. Cet usage était fort ancien en effet, car saint Remi, archevêque de Reims, ordonna, par son testament, que son successeur ferait faire un tabernacle ou ciboire en forme de tour, d'un vase d'or pesant dix marcs, qui lui avait été donné par le roi Clovis. Fortunat, évêque de Poitiers, loue saint Félix, archevêque de Bourges, qui assista au quatrième concile de Paris en 573, de ce qu'il avait fait faire une tour d'or très-précieuse pour mettre le corps de Jésus-Christ. Les exemples abondent, aussi bien pour les tours transportables que pour les colombes suspendues au-dessus des autels et contenant l'Eucharistie. Peut-être Guillaume Durand, en parlant des tabernacles posés sur les autels, entend-il désigner ces tours ou custodes mobiles qui ne contenaient pas seulement les hosties consacrées, mais encore les non consacrées et même des reliques de saints; ces custodes, complétement indépendantes du retable, se posaient devant lui, sur l'autel même, au moment de la communion des fidèles. Mais il faut reconnaître que le texte de l'évêque de Mende est assez vague, et l'opinion de Thiers sur les custodes ou tours mobiles nous paraît appuyée sur des faits dont on ne peut contester l'authenticité. Thiers regarde les tours comme des coffres destinés non point à contenir l'Eucharistie, mais les ustensiles nécessaires pour l'oblation, la consécration et la communion, et il incline à croire que l'Eucharistie était toujours réservée dans une boîte suspendue au-dessus de l'autel, que cette boîte fût faite en forme de tour, de coupe ou de colombe. Saint Udalric parle d'une colombe d'or continuellement suspendue sur l'autel de la grande église de Cluny, dans laquelle on réservait la sainte Eucharistie. Mais ces suspensions affectaient diverses formes, sans parler de celle représentée dans la figure 8; il existe encore dans le trésor de la cathédrale de Sens un ciboire en forme de coupe recouverte, destiné à être suspendu au-dessus de l'autel; ce ciboire date du XIIIe siècle. Quant aux ustensiles nécessaires pour l'oblation, la consécration et la communion, tels que le calice, la patène, la fistule, les burettes, le voile, etc., ils étaient conservés ou dans ces coffres mobiles que l'on transportait près de l'autel au moment de l'oblation, ou dans ces petites armoires qui sont généralement pratiquées dans les murs des chapelles à la droite de l'autel en face de la piscine, ou dans de petits réduits pratiqués à cet effet dans les autels mêmes. Nous retrouvons un assez grand nombre d'autels figurés dans des peintures et des bas-reliefs où ces réduits sont indiqués. Voici entre autres (19) un autel provenant d'un bas-relief en albâtre conservé dans le musée de la cathédrale de Séez, sur la paroi duquel est ouverte une petite niche contenant les burettes.

Quant aux retables, ils prirent une plus grande importance à mesure que le goût du luxe pénétrait dans la décoration intérieure des églises (voy. RETABLE). Déjà très-riches au XIIIe siècle, mais renfermés dans des lignes simples et sévères, ils ne tardèrent pas à s'élever et à dominer les autels en présentant un échafaudage d'ornementation et de figures souvent d'une assez grande dimension, ou une succession de sujets couvrant un vaste champ. Les cathédrales seules conservèrent longtemps les anciennes traditions, et ne laissèrent pas étouffer leurs maîtres autels sous ces décorations parasites. Il faut rendre justice à l'Église française, cependant: elle fut la dernière à se laisser entraîner dans cette voie fâcheuse pour la dignité du culte. L'Italie, l'Espagne, l'Allemagne nous devancèrent et couvrirent dès le XIVe siècle leurs retables d'un fouillis incroyable de bas-reliefs, de niches, de clochetons, qui s'élevèrent bientôt jusqu'aux voûtes des églises. Les retables des autels des églises espagnoles notamment sont surmontés de retables, dont quelques-uns appartiennent au XIVe siècle, et un plus grand nombre aux XVe et XVIe siècles, qui dépassent tout ce que l'imagination peut supposer de plus riche et de plus chargé de sujets et de sculptures d'ornement. Sans tomber dans cette exagération, les autels de France perdent à la fin du XIVe siècle l'aspect sévère qu'ils avaient su conserver encore pendant le XIIIe. Les retables prennent assez d'importance (excepté, comme nous l'avons dit, dans quelques églises cathédrales) pour faire disparaître la belle disposition des autels de Saint-Denis. On n'établit plus cette distinction entre l'autel et le reliquaire s'élevant derrière lui; tout se mêle et devient confus; l'autel, le retable et le reliquaire ne forment plus qu'un seul édicule, contrairement à cette loi de la primitive Église, que rien ne doit être placé directement au-dessus de l'autel, si ce n'est le ciboire. Il ne nous appartient pas de décider si ces changements ont été favorables ou non à la dignité des choses saintes, mais il est certain qu'au point de vue de l'art, les autels ont perdu cette simplicité grave qui est la marque du bon goût, depuis qu'on a surchargé leurs dossiers d'ornements parasites, depuis qu'on a remplacé les suspensions du saint ciboire par des tabernacles qui s'ouvrent au milieu du retable, depuis que les retables eux-mêmes, convertis en gradins, ont été couverts d'une quantité innombrable de flambeaux, de vases de fleurs artificielles; depuis que des tableaux avec encadrements présentent des scènes réelles aux yeux, et viennent distraire plutôt qu'édifier les fidèles. Notre opinion sur un sujet aussi délicat pourrait au besoin s'appuyer sur celle d'un auteur ecclésiastique que nous avons déjà cité bien des fois dans le cours de cet article. Thiers, en parlant de ces movations qu'il regarde comme funestes, dit 56: «Les petits esprits, les esprits foibles, les dévots de mauvais goust, qui ont plus de zèle que de lumières, et qui ne sont pas prévenus de respect pour les antiquités ecclésiastiques, louent, approuvent ces nouvelles inventions, jusqu'à dire qu'elles entretiennent, qu'elles excitent leur dévotion. Comme s'il n'y avoit point eu de dévotion dans l'antiquité; comme si l'on ne pouvoit pas être dévot sans cela; comme s'il n'y avoit pas de dévotion dans les églises cathédrales, où les tabernacles sont extrêmement simples, aussi bien que les autels, quoique les embellissemens leur conviennent incomparablement mieux qu'aux églises des Réguliers entre autres.» Que dirait donc Thiers aujourd'hui, que toutes les églises cathédrales elles-mêmes ont laissé perdre la vénérable simplicité de leurs autels sous des décorations qui n'ont même pas le mérite de la richesse de la matière, ou de la beauté de la forme? Depuis l'époque où écrivait notre savant auteur, (1658), que de tristes changements dans les choeurs de nos églises mères, quelle monstrueuse ornementation est venue remplacer la grave et simple décoration de ces anciens autels, témoins des faits les plus émouvants de notre histoire nationale! Qu'eût dit Thiers en voyant le chapitre de la cathédrale de Chartres démolir son jubé et son autel du XIIIe siècle; le chapitre de Notre-Dame de Paris présider à la destruction de son ancien autel, de ses reliquaires, de ses tombes d'évêques; celui de la cathédrale d'Amiens remplacer par du stuc, du plâtre et du bois doré le magnifique maître autel dont nous donnons plus bas la description? Peut-on, après cet aveuglement qui entraînait, pendant le cours du dernier siècle, le clergé français à jeter au creuset ou aux gravats des monuments si vénérables et si précieux, pour mettre à leur place des décorations théâtrales où toutes les traditions étaient oubliées; peut-on, disons-nous, trouver le courage de blâmer les démolisseurs de 1793, qui renversaient à leur tour ce qu'ils avaient vu détruire quelques années auparavant par les chapitres et les évêques eux-mêmes? Ces pertes sont malheureusement irréparables, car, admettant qu'aujourd'hui, par un retour vers le passé, on tente de rétablir nos anciens autels, jamais on ne leur donnera l'aspect vénérable que le temps leur avait imprimé; on pourra faire des pastiches, on ne nous rendra pas tant d'oeuvres d'art accumulées par la piété des prélats et des fidèles sous l'influence d'une même pensée; car jusqu'à la réformation, sauf quelques légères modifications apportées par le goût de chaque siècle, les dispositions des autels étaient à très-peu de choses près restées les mêmes. En voici une preuve. Le maître autel de la cathédrale d'Amiens avait été érigé pendant le XVe siècle et au commencement du XVIe, soit que l'ancien autel n'eût été que provisoire, soit qu'il eût été ruiné pendant les guerres désastreuses des XIVe et XVe siècles. Ce nouvel autel rappelait les dispositions de celui de la Sainte-Chapelle, ce qu'il est facile de reconnaître en examinant le plan (20) 57 que nous présentons ici. Grâce au zèle d'un Amiénois dont tous les loisirs sont employés à faire connaître l'histoire de son pays 58 et dont les recherches ont déjà produit de précieux travaux sur la Picardie, nous pouvons donner à nos lecteurs une idée complète du maître autel de la cathédrale d'Amiens.

Cet autel était en pierre blanche, percé de trois niches destinées à contenir les châsses des trois saints les plus vénérés du diocèse d'Amiens; il avait été consacré en 1483 par l'évêque Versé, neveu de J. Coythier, médecin de Louis XI. La table en marbre noir avait 4m,54 de long sur 0m,66 de largeur; elle avait été donnée en 1413 par un chanoine de la cathédrale, Pierre Millet. Le retable, surélevé au centre, était couvert de panneaux de bois peint représentant la Passion, qui, en s'ouvrant comme des volets, laissaient voir des bas-reliefs d'argent exécutés de 1485 à 1493. Six colonnes de cuivre, dont les fûts étaient ornés de statuettes de saints, posées des deux côtés de l'autel, portaient six anges vêtus de chapes et tenant les instruments de la Passion. Des voiles glissant sur les tringles qui réunissaient les trois colonnes, de chaque côté, fermaient le sanctuaire. Ces voiles furent conservés jusqu'en 1671. Les colonnes avaient été données par un chanoine d'Amiens, Jehan Leclère, en 1511. Un lustre d'Argent à trois branches était suspendu devant l'autel. Trois grands chandeliers de cuivre étaient en outre placés dans le sanctuaire. Un dais en forme de carré long, couvert d'une étoffe de soie semée de fleurs de lis d'or, était suspendu à la voûte immédiatement au-dessus de la table de l'autel. Aux deux angles postérieurs de l'autel, aux extrémités du retable, étaient plantées, sur le dallage, deux colonnes de cuivre en forme d'arbres chargés de fleurs et de fruits. Les corolles des fleurs portaient des cierges que l'on allumait aux jours de fêtes devant les châsses des saints. Quant à la suspension du saint sacrement, elle avait été refaite pendant les XVIIe et XVIIIe siècles. Il n'est pas fait mention dans les registres capitulaires d'où sont tirés ces renseignements, de la clôture qui, comme à la Sainte-Chapelle de Paris, fermait le rond-point derrière l'autel; mais il y a tout lieu de croire que cette clôture double, voûtée, formait une galerie élevée sur laquelle étaient exposées les châsses qui, à la cathédrale d'Amiens, étaient nombreuses et d'une grande richesse. Derrière le maître autel, au fond du rond-point, s'élevait le petit autel de retro; il était décoré d'un groupe de statues représentant le Christ mis au tombeau, exécuté en 1484.
Pour clore dignement ce choeur, des tombes d'évêques surmontées d'arcatures à jour, terminées par des pignons et clochetons, étaient disposées entre les piles du rond-point. Ce fut seulement en 1755 que tout le sanctuaire de la cathédrale fut bouleversé pour faire place à des images de plâtre et à des rayons de bois doré, avec grosses cassolettes, draperies chiffonnées, gros anges effarouchés également en plâtre.
Il ne paraît pas que jusqu'au XVe siècle il fût d'usage dans le nord de
la France de placer des statues de saints, et à plus forte raison le
Christ ou la sainte Vierge, sur le devant des autels au-dessous de la
table
59. En admettant qu'il n'y eût pas là une question de convenance,
les nappes des autels anciens descendant fort bas (21)
60, il était
inutile de placer sur les faces, des bas-reliefs qui n'eussent point été
vus. Mais pendant les XVe et XVIe siècles on sculpta souvent des figures
de saints sur les devants d'autel, des anges, des scènes de la Passion;
on représenta même, sous la table de l'autel, le Christ au sépulcre en
ronde-bosse, avec les saintes femmes et les soldats endormis
61. Ce
n'est qu'au XVIe siècle que l'autel cesse d'affecter la forme d'une
table ou d'un coffre, pour adopter celle d'un tombeau, d'un sarcophage.
Jusqu'alors l'autel n'est pas le tombeau du Christ ou d'un martyr: il
recouvre le tombeau, c'est la table posée sur le tombeau ou devant lui,
et même sur la crypte renfermant le tombeau. Cette idée est dominante,
et les exemples que nous avons donnés le prouvent surabondamment. La
façon dont sont disposés les corps saints sous l'autel des reliques de
l'église de Saint-Denis, derrière les autels de Saint-Firmin, de la
Vierge, de Saint-Eustache de la même église, de Valcabrère, de la
cathédrale d'Amiens même, indique bien nettement que l'autel n'est pas
un tombeau, mais un meuble posé devant ou sur des reliques saintes. Un
bas-relief de la porte Sainte-Anne à Notre-Dame de Paris, donne d'une
manière naïve la véritable signification de l'autel (22). Là, on voit la
crypte exprimée par les arcs sous l'emmarchement; trois petites baies
s'ouvrent dans la partie supérieure de cette crypte et indiquent la
place de la châsse du saint; puis l'autel adossé s'élève sur la crypte
et la châsse, il est garni de ses nappes; seul le ciboire est posé sur
la table, et une lampe est suspendue au-dessus de lui
62. Mais à partir
du XVIe siècle c'est l'autel lui-même qui devient la représentation du
tombeau; il affecte de préférence la forme d'un sarcophage scellé. Les
autels pleins, antérieurs au XVIe siècle, tels que ceux de Saint-Germer,
de Paray-le-Monial (23) du XIIe siècle, l'autel en verres appliqués de
Saint-Denis (fig. 18), celui même de l'église du Foll-Goat (Bretagne)
(24)
63 qui date du commencement du XVIe siècle, conservent toujours
l'apparence d'un meuble. Cette forme traditionnelle se perd avec les
derniers vestiges des arts du moyen âge.



Note 12: (retour) ... «Ego vero libenter obtemperavi, et sacra vasa adferri jussi (nec enim procul aberat locus). Diaconumque manibus utens pro altari, mysticum et divinum ac salutare sacrificium obtuli.»
Note 13: (retour) Cap. II.
Note 14: (retour) Ducange, Gloss.
Note 15: (retour) Cap. III. «...Nemo presbyterorum in altario ab episcopo non consecrato cantare presumat. Quapropter si necessitas poposcerit, donec ecclesia vel altaria consecrentur, et in capellis etiam quæ consecrationem non merentur, tabulam quisque presbyter, cui necessarium fuerit, de marmore, vel nigra petra, aut titro honestissimo, secundum suam possibilitatem, honeste affectatam habeat, et nobis ad consecrandum offerat, quam secum, cum expedierit, deserat, in qua sacra mysteria secundum ritum ecclesiarum agere valeat.»
Note 16: (retour) Ughellus, t. IV.
Note 17: (retour) Voy. Dissert. ecclés. sur les princip. autels des églises, par J. B. Thiers, Paris, 1688. Nous ne pouvons mieux faire que de renvoyer nos lecteurs à ce curieux ouvrage, plein de recherches savantes.
Note 18: (retour) La figure (1) donne l'autel de la chapelle de la Vierge de l'église de Montréal (Bourgogne); cet autel est du XIIe siècle. La figure (2); le maître autel de l'église de Bois-Sainte-Marie (Saône-et-Loire); cet autel est du XIe siècle. A est le socle avec l'incrustement des colonnettes; B le chapiteau de la colonnette centrale; C la base d'une des quatre colonnes. Nous devons ce dessin à l'obligeance de M. Millet, l'architecte de la curieuse église de Bois-Sainte-Marie.
Note 19: (retour) «Rien ne nous porte à croire, dit Thiers dans ses Dissertat. sur les principaux autels des églises (p. 42), qu'on ait mis des reliques des saints sur les autels avant le IXe siècle; nul canon, nul décret, nul règlement, nul exemple, nul témoignage des écrivains ecclésiastiques, ne nous le persuade; ou, si l'on y en a mis, les saints de qui elles étoient s'en sont offensés et les ont fait ôter... Dans le Xe siècle même, quelques saints ont cru qu'il y avoit de l'irrévérence à mettre leurs reliques sur les autels. En voici un exemple qui ne peut pas raisonnablement être contesté. Bernon I, abbé de Cluni, rapporte (apud S. Odon, abb. Cluniac., L. 2) «qu'aussitôt qu'on eut mis, pour quelques jours seulement, les reliques de sainte Gauburge sur l'autel d'une église de son nom, et voisine de Cluni, les miracles qui s'y faisoient cessèrent; et que cette sainte, étant apparue à l'un des malades qui imploroit son assistance, lui dit que la raison pour laquelle il ne recouvroit pas la santé, étoit parce qu'on avoit mis ses reliques sur l'autel du Seigneur, qui ne doit servir qu'à la célébration des mystères divins. Ce qui donna occasion de les en ôter et de les rapporter dans le lieu où elles étoient auparavant. Et au même instant les miracles continuèrent de s'y faire» Guillaume Durand, dans son Rational des divins offices (chap. III, p. XXV), qui date du XIIIe siècle, admet les châsses des saints sur les autels. Il dit: «... Et les châsses (capsæ) posées sur l'autel, qui est le Christ, ce sont les apôtres et les martyrs...»
Note 20: (retour) Voyages liturgiques de France, par le sieur de Moléon. Paris, 1718, p. 80.
Note 21: (retour) L'inscription qui fait le tour de la table est ainsi conçue: «Tresmirus gratia dei abbas edificavit hanc domum, et jussit dedicare in honore sancte Trinitatis, id est patris, et filii, et spiritus sancti. Deo gratias.» Dans la longueur, on lit cette autre inscription: «Amelius nutu dei vicecomes.» En cercle sont gravées les inscriptions suivantes: autour de la tête de lion (saint Marc): «Vox per deserta frendens leo cujus imaginem Marcus tenet.» Autour de la tête de l'aigle (saint Jean): «More volatur aquila ad astra cujus figuram Johannes tenet.» Autour de la tête du veau (saint Luc): «Rile mactatur taorus ad aram cujus tipum Lucas tenet.» Autour de la tête de l'ange (saint Mathieu): «Speciem tenet et naturam Matheus ut homo.» (t. III, p. 495)
Note 22: (retour) Cet autel date de la deuxième moitié du XIIe siècle.
Note 23: (retour) Page 44.
Note 24: (retour) Rational, chap. II. Guillaume Durand, évêque de Mende, mourut à la fin du XIIIe siècle. Trad. par M. C. Barthélemy; Paris, 1854.
Note 25: (retour) Dans le plan que nous donnons ici, l'autel est élevé en A sur une crypte ou confession; le trône épiscopal est en B.
Note 26: (retour) Dans ce plan, l'autel est en A, le trône épiscopal en B.
Note 27: (retour) Antiq. de l'abbaye de Sainct-Denys en France, par F. J. Doublet, 1625, l. I, p. 289 et suiv.
Note 28: (retour) Nous donnons en A le plan de cet autel et reliquaire, dressé d'après les dimensions données par D. Doublet.
Note 29: (retour) D. Doublet, char. XXXVIII.
Note 30: (retour) On peut encore voir une représentation de cette croix dans le trésor de Saint-Denis, gravé dans l'ouvrage de D. Félibien; quant au reliquaire de vermeil, les huguenots s'en emparèrent lorsqu'ils prirent Saint-Denis.
Note 31: (retour) Saint-Seine près Dijon. Voyages liturgiques en France, p. 157.
Note 32: (retour) Dissert. ecclés. sur les princ. autels des églises, ch. XIV.
Note 33: (retour) Voy. Annales archéologiques, t. IX, p, 1, l'article de M. Lassus et les notes de M. Didron, ainsi que la gravure exécutée sur un calque de ce tableau.
Note 34: (retour) Nous devons la conservation de ce dessin à M. Lassus, qui, du vivant de M. Garnerey, en avait fait un calque. Ce dessin est reproduit dans les Annales archéologiques, t. IX.
Note 35: (retour) L'Entrée triomphante de Leurs Majestés Louis XIV et Marie-Thérèse dans la ville de Paris. Paris, 1662, in f°.
Note 36: (retour) Théât. des antiq. de Paris, par R. P. F. Jacques Du Breul, Paris, 1612, p. 36.
Note 37: (retour) Annales archéol., t. VIII. Nous ne pouvons mieux faire que de renvoyer nos lecteurs à la gravure donnée par MM. Lassus et Gaucherel.
Note 38: (retour) On entend par parements un revêtement mobile que l'on place devant et sur les côtés des autels ou retables, et que l'on change suivant les fêtes ou les époques de l'année.
Note 39: (retour) Page 79.
Note 40: (retour) Rationnal, C. XVIII, L. II.
Note 41: (retour) Thiers écrivait ceci en 1688.
Note 42: (retour) In explicat. divin. offic., C. LXXXV.
Note 43: (retour) Rational, C. III, L. I.
Note 44: (retour) C. 15.
Note 45: (retour) Moulage tiré du cabinet de M. Alf. Gérente. Cet ivoire paraît appartenir à la première moitié du XIIIe siècle et au style rhénan.
Note 46: (retour) Rational, chap. III, L. I.
Note 47: (retour) C'est par suite de cette tradition que nous voyons encore sur les murs de quelques églises des peintures simulant des tentures suspendues. (Voy. PEINTURE.)
Note 48: (retour) Hist. de la Sainte-Chapelle royale du Palais, par M. S. Jérôme Morand. Paris, 1790.
Note 49: (retour) Ces peintures étaient à peine visibles.
Note 50: (retour) M. Percier, dont la prédilection pour les arts de l'antiquité ne saurait être contestée, était avant tout un homme de goût, et mieux que cela encore, un homme de coeur et de sens; en revenant d'Italie, il vit l'église de Saint-Denis pillée, dévastée; il ne put regarder avec indifférence les restes épars de tant de monuments d'art amassés pendant plusieurs siècles, alors mutilés par l'ignorance ou le fanatisme; il se mit à l'oeuvre, et fit dans l'ancienne abbatiale un grand nombre de croquis. Ces travaux portèrent leur fruit, et bientôt, aidé de M. Lenoir, il sauva d'une destruction complète un grand nombre de ces débris, qui furent déposés au musée des monuments français. Nous eûmes quelquefois le bonheur d'entendre M. Percier parler de cette époque de sa vie d'artiste; il était, sans le savoir peut-être, le premier qui avait voulu voir et faire apprécier notre vieil art national; le souvenir des monuments mutilés de Saint-Denis, mais qu'il avait vus encore en place, avait laissé dans son esprit une impression ineffaçable. À sa mort, M. Vilain, son neveu, héritier de ses portefeuilles, eut l'obligeance de nous laisser calquer toutes les notes et croquis recueillis dans l'église Saint-Denis; grâce à ces renseignements si libéralement accordés, nous pûmes rassembler et recomposer les débris sortis du musée des Petits-Augustins. Quelques-uns des anciens autels de l'abbaye ont été ainsi facilement rétablis, beaucoup d'autres pourraient l'être à coup sûr; car les nombreuses traces encore existantes dans les chapelles et les fragments déposés en magasin, montrent combien les croquis de M. Percier sont fidèles.
Note 51: (retour) Une partie de ce pavage existe encore: c'est une mosaïque composée de pierres dures, porphyre, vert antique, serpentine, de pâtes colorées et dorées, et de petits morceaux de terre cuite (voy. MOSAÏQUE).
Note 52: (retour) Le corps de l'autel a été coupé en morceaux lors des restaurations entreprises de 1830 à 1840; heureusement tous ces fragments existent encore, et peuvent être facilement recomposés à l'aide d'un dessin très-complet et détaillé de M. Percier.
Note 53: (retour) On voit dans le dessin de M. Percier l'indication de cette peinture, l'armée de Dagobert au siége de Picquigny, etc.
Note 54: (retour) Voy. les Mélanges archéol. des RR. PP. Martin et Cahier, t. II, p. 173. «Physiologes dist que la seraine port samblance de feme de si al nombril, et la partie d'aval est oisel. La seraine a si doux chant qu'èle déchoit cels qui nagent en mer; et est lor mélodie tant plaisant à oïr, que nus ne les ot, tant soit loing, qu'il ne li conviegne venir. Et la seraine les fait si oblier quant èle les i a atrait, que il s'endorment; et quant il sont endormi, èles les assaillent et ocient en traïson que il ne s'en prennent garde. Ensi est de cels qui sont ès richoises de cest siècle, et ès délis endormis, qui lor aversaire ocient: ce sont li diable. Les seraines senefient les femes qui atraient les homes par lor blandissemens et par lor déchèvemens à els, de lor paroles; que èles les mainent à poverté et à mort. Les èles de la seraine, ce est l'amor de la feme qui tost va et vient.» (Manusc. Arsenal, n° 285.)
Note 55: (retour) Les fouilles faites sous le pavé actuel du choeur, en faisant retrouver les dallages ou carrelages anciens, permettent de replacer à coup sûr les autels dessinés par M. Percier avec leurs pavages. Malheureusement ces fouilles ne peuvent être entreprises que successivement par suite de la faiblesse des allocations annuelles, et l'autel dont nous parlons n'a pas encore retrouvé sa place, bien que son retable et une grande partie de son devant existent encore, ainsi que la marche.
Note 56: (retour) Dissert. sur les princip. autels des églises, chap. XXIV, P. 209.
Note 57: (retour) Ce plan nous a été communiqué par M. Duthoit, d'Amiens; il est copié sur un dessin fait en 1727, et déposé aujourd'hui dans la précieuse collection de M. Gilbert, l'infatigable historien de nos anciennes cathédrales du nord.
Note 58: (retour) M. Goze; c'est à cet archéologue, dont la complaisance ne nous a jamais fait défaut, que nous devons la description suivante, extraite des registres déposés aujourd'hui dans la bibliothèque communale d'Amiens.
Note 59: (retour) Nous disons: dans le nord, parce qu'il existe dans la cathédrale de Marseille un autel du XIIe siècle dont le devant est décoré d'une figure de la sainte Vierge, et de deux figures d'évêques en bas-relief; mais Marseille ne faisait point alors partie de la France. On voit encore dans l'église d'Avenas un autel sur la face duquel sont sculptés le Christ, les quatre évangélistes et les douze apôtres. Cet autel est fidèlement reproduit dans l'Architecture du Ve au XVIIe siècle, de M. Gailhabaud. Nous ne prétendons pas d'ailleurs affirmer qu'il n'y ait point eu en France de devants d'autels ornés de figures de saints ou de personnages divins; car les exemples d'autels anciens sont trop rares pour que l'on puisse rien affirmer à cet égard.
Note 60: (retour) L'autel que nous donnons ici est copié sur un des bas-reliefs du portail de la Vierge dorée de la cathédrale d'Amiens. Ce bas-relief appartient à la seconde moitié du XIIIe siècle.
Note 61: (retour) On voit un autel de ce genre dans le musée du Grand-Jardin à Dresde; cet autel appartient aux dernières années du XVe siècle.
Note 62: (retour) Cette sculpture appartient au second linteau de la porte Sainte-Anne; c'est une adjonction faite, au XIIIe siècle, à ce linteau, qui date du XIIe.
Note 63: (retour) L'autel de l'église du Foll-Goat est en pierre noire de Kersantun; les petites niches sont remplies par des figures d'anges tenant alternativement des phylactères et des écussons.
AUVENT, s. m. (Avant-vent). C'est le nom que l'on donne à un ouvrage charpente que l'on dresse d'une manière permanente ou provisoire devant une porte, devant une boutique, ou une salle s'ouvrant au rez-de-chaussée, pour abriter les personnes qui entrent ou qui sortent. Pendant le moyen âge on donnait aussi à l'auvent le nom d'ague. L'auvent se distingue du porche en ce que ce dernier est porté sur des piliers en plus ou moins grand nombre, tandis que l'auvent est comme suspendu à la muraille au-dessus de la porte ou claire-voie qu'il est destiné à abriter. La plupart des maisons élevées pendant les XIIe, XIIIe et XIVe siècles avaient leurs entrées et leurs boutiques surmontées d'auvents attachés à des corbeaux saillants que l'on rencontre encore en grand nombre aujourd'hui. Dans ce cas, l'auvent avait la forme d'un appentis, c'est-à-dire qu'il était à pente simple renvoyant les eaux pluviales dans le milieu de la rue. Les boutiques des marchands étaient généralement ouvertes, et les acheteurs se tenaient dans la rue devant l'étalage; force était donc de leur donner un abri, aussi bien qu'aux marchandises, au moyen d'un toit saillant ne pouvant gêner la circulation (voy. BOUTIQUE). Ces auvents étaient d'ailleurs fort simples, composés de potences accrochées aux corbeaux dont nous venons de parler (1).

Beaucoup d'édifices publics avaient leurs portes munies d'auvents. Les entrées des hôpitaux, des maisons d'asiles, des couvents, étaient abritées par des auvents pour permettre aux pauvres d'attendre à couvert les secours qu'ils venaient réclamer. On rencontre très-peu de ces ouvrages de charpente conservés aujourd'hui; leur fragilité, les saillies gênantes qu'ils formaient sur la voie publique, ont dû les faire supprimer. C'est surtout dans les manuscrits, les anciennes gravures, que l'on trouve des auvents figurés en grand nombre devant les portes des édifices publics ou privés. Nous en voyons un encore attenant à la porte principale de l'Hôtel-Dieu de Beaune, qui date du XVe siècle; nous le donnons ici (2) 64. Il y en avait un devant le portail de l'ancien Hôtel-Dieu de Paris, que l'on voit représenté dans d'anciennes gravures du parvis Notre-Dame.

Ces auvents étaient couverts presque toujours en matières légères, telles que l'ardoise, les bardeaux, ou en plomb orné et doré. Il est à présumer que ceux des boutiques accrochés à des corbeaux de pierre n'étaient même souvent composés que de toiles mobiles maintenues par des traverses et des perches inclinées, ainsi que cela se pratique encore aujourd'hui devant les magasins pour préserver les marchandises du soleil.
Note 64: (retour) Voy. l'Architecture civile et domestique de MM. Verdier et Cattois, In-4°; chez Victor Didron.
AVANT-BEC, s. m. On désigne ainsi les renforts saillants élevés en aval des piles des ponts et formant en plan un angle plus ou moins aigu pour rompre le courant ou garantir les piles contre l'effort des glaces (voy. PONT).
AXE, s. m. En architecture, c'est le nom que l'on donne à la ligne qui coupe un édifice en deux parties égales. C'est aussi la ligne qui passe verticalement par le centre d'un pilier, d'une colonne, qui en élévation, divise une travée, un membre symétrique d'architecture en deux portions semblables. Dans la plupart des plans des églises du moyen âge du XIe au XIVe siècle, on observe que l'axe de la nef et celui du choeur forment une ligne brisée au transept. On a voulu voir dans cette inclinaison de l'axe du choeur (ordinairement vers le nord) une intention de rappeler l'inclinaison de la tête du Christ mourant sur la croix. Mais aucune preuve certaine ne vient appuyer cette conjecture, qui n'a rien de contraire d'ailleurs aux idées du moyen âge, et que nous ne donnons ici que comme explication ingénieuse, sinon complétement satisfaisante.

BADIGEON, s. m. Le badigeon est une peinture d'un ton unique l'on passe indistinctement sur les murs et les divers membres d'architecture extérieurs ou intérieurs d'un édifice. Ce n'est guère que depuis deux siècles que l'on s'est mis à badigeonner à la colle ou à la chaux les édifices, afin de dissimuler leur vétusté et les inégalités de couleur de la pierre, sous une couche uniforme de peinture grossièrement appliquée. La plupart de nos anciennes églises ont été ainsi badigeonnées à l'intérieur à plusieurs reprises, de sorte que les couches successives de badigeon forment une épaisseur qui émousse tous les membres de moulures et la sculpture. Souvent le badigeon est venu couvrir d'anciennes peintures dégradées par le temps; il est donc important de s'assurer, lorsqu'on veut enlever le badigeon, s'il ne cache pas des traces précieuses de peintures anciennes; et dans ce cas il ne doit être gratté ou lavé qu'avec les plus grandes précautions 65.
Note 65: (retour) On peut enlever le badigeon, suivant sa qualité, de plusieurs manières. Lorsqu'il est épais et qu'il se compose de plusieurs couches, que la pierre sur laquelle il a été posé n'est pas poreuse, on le fait tomber facilement par écailles au moyen de râcloirs de bois dur. S'il cache d'anciennes peintures, ce procédé est celui qui réussit le mieux, car, alors il laisse à nu et n'entraîne pas avec lui les peintures appliquées directement sur la pierre. Si, au contraire, la couche de badigeon est très-mince, la méthode humide est préférable. Dans ce cas, on humecte à l'eau chaude, au moyen d'éponges ou de brosses, les parties de badigeon que l'on veut enlever, et lorsque l'humidité commence à s'évaporer, on râcle avec les ébauchoirs de bois. Presque toujours alors le badigeon tombe comme une peau. Le lavage à grande eau est le moyen le plus économique, et réussit souvent; on peut l'employer avec succès, si le badigeon est mince et s'il ne recouvre pas d'anciennes peintures. En tous cas, il faut se garder d'employer des grattoirs de fer qui, entre les mains des ouvriers, enlèvent avec le badigeon la surface de la pierre, émoussent et déforment les profils et altèrent les sculptures, surtout si la pierre est tendre.
BAÉE, BÉE, s. f. Ancien mot encore usité dans la construction, qui signifie le vide d'une porte, d'une fenêtre, d'une ouverture quelconque percée dans un mur ou une cloison (voy. FENÊTRE, PORTE).
BAGUE, s. f. On désigne par ce mot un membre de moulure qui divise horizontalement les colonnes dans leur hauteur. Lorsqu'au XIIe siècle on remplaça les grosses piles carrées ou cylindriques dans les édifices par des faisceaux de colonnettes d'un faible diamètre, ces colonnettes, durent être tirées de morceaux de pierre posés en délit, qui n'avaient pas une longueur suffisante pour ne former qu'un seul bloc de la base au chapiteau. Leur petit diamètre relativement à leur longueur obligeait les constructeurs à ménager un ou plusieurs joints dans leur hauteur; ces colonnettes étaient d'autant plus minces qu'elles se trouvaient adossées à une pile ou à un mur, et leurs joints devaient être d'autant plus fréquents qu'elles étaient plus minces. Les joints étaient une cause de dislocation; force était donc d'empêcher les ruptures ou les dérangements sur ces points.

La nécessité de parer à ces inconvénients devint immédiatement un motif de décoration. En intercalant entre les longs morceaux des colonnettes en délit une assise basse de pierre dure reliée au massif des piles ou des murs, les architectes du XIIe siècle les rendirent stables et les fixèrent à la construction. Pour nous faire mieux comprendre, nous donnons ici une bague disposée comme nous venons de l'indiquer (1); la figure A présente la bague avant la pose des fûts de colonnettes, et la figure B la bague après la pose des fûts. Ce principe une fois admis, on ne cessa de l'appliquer que lorsque les colonnettes firent partie des assises de la construction, lorsque les matériaux employés furent assez grands et assez résistants pour permettre d'éviter les joints dans leur hauteur, ou lorsqu'au milieu du XIIIe siècle on évita systématiquement de couper les lignes verticales de l'architecture par des lignes horizontales. Les raisons de construction qui avaient fait adopter les bagues bien comprises (voy. CONSTRUCTION), nous allons présenter une suite d'exemples de ce membre d'architecture, si fréquemment employé pendant le XIIe siècle et le commencement du XIIIe.

Au XIIe siècle, les bagues étaient souvent décorées par des feuilles, des perles, des pointes de diamant. Voici des exemples, 1° d'une bague ornée de feuilles tenant aux colonnettes du bas-côté du tour du choeur de la cathédrale de Langres (2) (milieu du XIIe siècle); et 2° d'une bague des colonnettes des bas-côtés de la nef de la cathédrale de Sens (3) (fin du XIIe siècle) présentant un large profil avec billettes. Au commencement du XIIIe siècle, les bagues ne se composent plus que de profils minces sans ornements, ainsi qu'on peut l'observer dans le bas-côté du croisillon sud de la cathédrale de Soissons, dans la nef de la cathédrale de Laon, dans le choeur de l'église de Vézelay (4) et dans un grand nombre d'édifices du nord et de l'est de la France. Quelquefois aussi les bagues tiennent à des colonnes isolées et ne sont alors qu'un ornement, un moyen de décorer la jonction de deux morceaux de fûts. Un des plus beaux exemples de ce genre de bagues se trouve dans le réfectoire du prieuré de Saint-Martin-des-Champs à Paris (5).


Les
colonnes qui portent les grandes voûtes divisent la salle en deux
travées. Ces colonnes sont très-hautes
et composées de deux morceaux de
pierre réunis par une bague; la bague est d'autant plus nécessaire ici,
que le morceau inférieur est d'un diamètre plus fort que le fût
supérieur (voy. COLONNE). Voici encore un exemple d'une bague ou tambour
mouluré, divisant une colonne en deux portions de fûts (5 bis). La bague
est ici une véritable assise entre deux morceaux de pierre posés en
délit. Cette colonne appartient à l'une des maisons du XIIIe siècle de
la ville de Dol en Bretagne
66. Nous ne pouvons omettre les bagues de
métal qui maintiennent les colonnettes de la cathédrale de Salisbury,
bien que cet édifice n'appartienne pas à l'architecture française; mais
cet exemple est trop précieux pour ne pas être mentionné. La cathédrale
de Salisbury, comme chacun sait, est construite avec un grand soin; les
piles de la nef, élevées par assises, et qui, en plan, donnent une
figure composée de quatre demi-cercles, sont cantonnées, dans les angles
curvilignes rentrants, de quatre colonnettes dont les fûts sont en deux
morceaux dans leur hauteur. Les joints qui réunissent ces fûts, placés
au même niveau pour toutes les piles, sont maintenus par des bagues ou
colliers de bronze scellés dans la pile au moyen d'une queue de carpe
(6); A représente une de ces bagues avec sa queue de carpe, et B la
coupe du cercle de bronze.
On donne aussi le nom de bague aux moulures saillantes, ornées ou simples, qui entourent la base des fleurons des couronnements de pinacles ou de pignons, etc. (Voyez FLEURON.)
Note 66: (retour) Nous devons ce curieux dessin à M. Ruprich Robert.
BAGUETTE, s. f. C'est un membre de moulure cylindrique d'un petit diamètre, qui fait partie des corniches, des bandeaux, des archivoltes, des nervures. La baguette n'a guère qu'un diamètre de 0,01 à 0,05; au-dessus de cette grosseur, elle prend le nom de boudin (voy. ce mot). Mais ce qui distingue surtout la baguette du boudin c'est sa fonction secondaire. Ainsi dans les profils que nous donnons ici d'arcs-ogives du XIIIe siècle (1), A est une baguette et B un boudin. Dans l'architecture romane du Poitou et de la Normandie, la baguette est parfois décorée de perles (2); son profil C dans ce cas est souvent méplat, pour que la lumière découpe nettement chacune des perles ou petits besans. Dans l'architecture des XIIe, XIIIe et XIVe siècles, les architectes se sont servis de la baguette parmi les faisceaux de colonnes pour faire valoir leur diamètre par opposition, et leur donner plus de force (3) à l'oeil. On trouve souvent dans les édifices des XIIIe et XIVe siècles des baguettes dégagées dans les angles des piles carrées, et surtout dans les pieds-droits des portes, pour éviter les vives arêtes qui se dégradent facilement ou des aiguités qui peuvent blesser (4).

La baguette alors ne descend pas jusqu'au sol, mais s'arrête sur l'angle vif réservé à la partie inférieure, soit en pénétrant un bizeau D, soit en tombant carrément E, soit en se perdant derrière un ornement F, ce qui se rencontre très-fréquemment dans les édifices de Bourgogne qui datent de la fin du XIIe siècle ou du commencement du XIIIe (voy. CONGÉ). Dans la menuiserie, la baguette est un des membres de moulures les plus souvent employés.
BAHUT, s. m. C'est le nom que l'on donne à un mur bas qui est destiné à porter un comble au-dessus d'un chéneau, l'arcature à jour d'un cloître, une grille, une barrière. Lorsqu'au XIIIe siècle on établit sans exception, dans tous les édifices de quelque importance, des chéneaux en pierre décorés de balustrades à la chute des combles, on éleva ceux-ci (afin d'éviter les dégradations que le passage dans les chéneaux devait faire subir aux couvertures) sur de petits murs qui protégeaient leur base, et empêchaient les filtrations causées par des amas de neige ou de fortes pluies. Les grands combles du choeur et de la nef de la cathédrale de Paris sont ainsi portés sur des bahuts de 1m,25 de hauteur, dont nous donnons ici la figure (1).

Ces bahuts, décorés d'une assise de damiers sous les sablières, sont en outre percés d'ajours pour éclairer et aérer la charpente du comble. Plus tard, vers le milieu du XIIIe siècle, les bahuts furent pourvus d'une dernière assise formant larmier pour éviter que les eaux descendant de la couverture ne dégradassent les parements de pierre et pour les faire tomber directement dans le chéneau (2).

On trouve à Amiens, à Beauvais, à la Sainte-Chapelle du Palais, des bahuts ainsi couronnés. Ce profil saillant permettait d'ailleurs d'établir des coyaux A, et en laissant une circulation d'air entre les pieds des chevrons, les sablières et la couverture, il préservait ces pièces de bois de la pourriture. Les bahuts des grands combles n'ont guère que 0,40 ou 0,60 centimètres d'épaisseur et portent sur les formerets des voûtes hautes (voy. CONSTRUCTION, CHARPENTE), en laissant le plus de largeur possible à la tête des murs pour l'établissement des chéneaux. Quelquefois même les bahuts des combles sont établis sur des arcs de décharge reportant le poids de la charpente sur les sommiers des voûtes intérieures; alors toute l'épaisseur des murs est réservée pour le placement des chéneaux. Les colonnes des galeries intérieures, pendant l'époque romane et au commencement de la période ogivale, sont souvent dressées sur de petits murs d'appui qui sont de véritables bahuts. Les colonnettes du triforium du porche de l'église de Vézelay sont ainsi disposées. Dans la nef et le choeur de la cathédrale d'Amiens même, c'est encore sur un bahut que sont posées les colonnes du triforium (voy. TRIFORIUM).
BAINS, s. m. (Voy. ÉTUVE.)
BAIN DE MORTIER. On désigne ainsi, dans les ouvrages de maçonnerie, le lit de mortier sur lequel on pose une pierre de taille ou des moellons. À Paris, depuis le commencement du XVIIe siècle, on pose les pierres de taille sur des cales de bois et on les fiche au mortier, c'est-à-dire que l'on fait entrer du mortier dans l'espace vide laissé entre ces deux pierres par l'exhaussement des cales, au moyen de lames de fer mince découpées en dents de scie. Ce procédé a l'inconvénient de ne jamais remplir les lits d'un mortier assez compacte pour résister à la pression. Les ficheurs étant obligés, pour introduire le mortier entre les pierres par une fente étroite, de le délayer beaucoup, lorsque la dessiccation a lieu, ce mortier diminue de volume et les pierres ne portent plus que sur leurs cales. Heureusement pour nos édifices modernes qu'on a le soin de mettre en oeuvre un cube de pierre trois ou quatre fois plus fort qu'il n'est besoin, et que, grâce à cet excès de force, chaque pierre ne subit qu'une faible pression; mais lorsqu'on bâtissait au moyen âge, les architectes étaient portés à mettre en oeuvre un cube de pierre plutôt trop faible que trop fort; il devenait donc nécessaire de faire poser ces pierres sur toute la surface de leur lit, afin de profiter de toute leur force de résistance. On posait alors les pierres à bain de mortier, c'est-à-dire qu'après avoir étendu sur le lit supérieur d'une première assise de pierre une épaisse couche de mortier peu délayé, on asseyait la seconde assise sur cette couche, en ayant le soin de la bien appuyer au moyen de masses de bois jusqu'au refus, ce qui, en terme de maçons, veut dire jusqu'à ce que le mortier, après avoir débordé sous les coups de la masse, refuse de se comprimer davantage. On obtenait ainsi des constructions résistant à une pression considérable sans craindre de voir les pierres s'épauffrer, et on évitait des tassements qui, dans des édifices très-élevés sur des points d'appui légers, eussent eu des conséquences désastreuses (voy. CONSTRUCTION).
BALCON, s. m. (Voy. BRETÈCHE.)
BALUSTRADE, s. f. Chancel, Gariol. Le nom de balustrade est seul employé aujourd'hui pour désigner les garde-corps à hauteur d'appui, le plus souvent à jour, qui couronnent les chéneaux à la chute des combles, qui sont disposés le long de galeries ou de terrasses élevées, pour garantir des chutes. On ne trouve pas de balustrades extérieures surmontant les corniches des édifices avant la période ogivale, par la raison que jusqu'à cette époque les combles ne versaient pas leurs eaux dans des chéneaux, mais les laissaient égoutter directement sur le sol. Sans affirmer qu'il n'y ait eu des balustrades sur les monuments romans, ne connaissant aucun exemple à citer, nous nous abstiendrons. Mais il convient de diviser les balustrades en balustrades intérieures, qui sont destinées à garnir le devant des galeries, des tribunes, et en balustrades extérieures, disposées, sur les chéneaux des combles ou à l'extrémité des terrasses dallées des édifices.
Ce n'est guère que de 1220 à 1230 que l'on établit à l'extérieur des grands édifices une circulation facile, à tous les étages, au moyen de chéneaux ou de galeries, et que l'on sentit, par conséquent, la nécessité de parer au danger que présentaient ces coursières, étroites souvent, en les garnissant de balustrades; mais avant cette époque, dans les intérieurs des églises ou de grandes salles, on établissait des galeries, des tribunes, dont l'accès était public, et qu'il fallait par conséquent munir de garde-corps. Il est certain que ces garde-corps furent souvent, pendant l'époque romane, faits en bois; lorsqu'ils étaient de pierre, c'était plutôt des murs d'appui que des balustrades. La tribune du porche de l'église abbatiale de Vézelay (porche dont la construction peut être comprise entre 1150 et 1160), est munie d'un mur d'appui que nous pouvons à la rigueur classer parmi les balustrades, ce mur d'appui étant décoré de grandes dents de scie qui lui donnent l'aspect d'un couronnement plus léger que le reste de la construction (1). Les galeries intérieures des deux pignons du transept de la même église, construit pendant les dernières années du XIIe siècle ou au commencement du XIIIe, possèdent de belles balustrades pleines ou bahuts décorés d'arcatures, sur lesquels sont posées les colonnettes de ce triforium. Nous donnons ici (2) la balustrade de la galerie sud, dont le dessin produit un grand effet.


Mais on ne tarda pas, lorsque l'architecture prit des formes plus légères, à évider les balustrades; un reste des traditions romanes fit que l'on conserva pendant un certain temps les colonnettes avec chapiteaux dans leur composition. Les balustrades n'étaient que des arcatures à jour, construites au moyen de colonnettes ou petits piliers espacés, sur lesquels venait poser une assise évidée par des arcs en tiers-point. Les restes du triforium primitif de la nef de la cathédrale de Rouen (1220 à 1230) présentent à l'intérieur une balustrade ainsi combinée, se reliant aux colonnes portant la grande arcature formant galerie, afin d'offrir une plus grande résistance (3). On concevra facilement, en effet, qu'une claire-voie reposant sur des points d'appui aussi grêles, ne pouvait se maintenir sur une grande longueur, sans quelques renforts qui pussent lui donner de la rigidité. Mais c'est surtout à l'extérieur des monuments que les balustrades jouent un rôle important à partir du XIIIe siècle, car, ainsi que nous l'avons dit plus haut, c'est à dater du commencement de ce siècle que l'on établit des chéneaux et des galeries de circulation à tous les étages. Les balustrades exécutées pendant cette période présentent une extrême variété de formes et de constructions. La nature de la pierre influe beaucoup sur leur composition. Là où les matériaux étaient durs et résistants, mais d'un grain fin et faciles à tailler, les balustrades sont légères et très-ajourées; là où la pierre est tendre, au contraire, les vides sont moins larges, les pleins plus épais. Leur dimension est également soumise aux dimensions des matériaux, car on renonça bientôt aux balustrades composées de plusieurs morceaux de pierre placés les uns sur les autres, comme n'offrant pas assez d'assiette, et on les évida dans une dalle posée en délit. En Normandie, en Champagne, où la pierre ne s'extrait généralement qu'en morceaux d'une petite dimension, les balustrades sont basses et n'atteignent pas la hauteur d'appui (1 m,00 au moins). Dans les parties de la Bourgogne où la pierre est très-dure, difficile à tailler, et ne s'extrait pas facilement en bancs minces, les balustrades sont rares et n'apparaissent que fort tard, lorsque l'architecture imposa les formes qu'elle avait adoptées dans le domaine royal, à toutes les provinces environnantes, c'est-à-dire vers la fin du XIIIe siècle. Les bassins de la Seine et de l'Oise offraient aux constructeurs des qualités de matériaux très-propres à faire des balustrades; aussi est-ce dans ces contrées qu'on trouve des exemples variés de cette partie importante de la décoration des édifices. Comme l'usage de scier les bancs en lames minces n'était pas pratiqué au XIIIe siècle, il fallait trouver dans les carrières des bancs naturellement assez peu épais, pour permettre d'exécuter ces claires-voies légères. Le cliquart de Paris, le liais de l'Oise, certaines pierres de Tonnerre et de Vernon, qui pouvaient s'extraire en bancs de 0,15 à 0,20 centimètres d'épaisseur, se prêtaient merveilleusement à l'exécution des balustrades construites en grands morceaux de pierre posés de champ et évidés. Partout ailleurs les architectes s'ingénièrent à trouver un appareil combiné de manière à suppléer à l'insuffisance des matériaux qu'ils possédaient, et ces appareils ont eu, comme on doit le penser, une grande influence sur les formes adoptées. Il en est des balustrades comme des meneaux de fenêtres, comme de toutes les parties délicates de l'architecture ogivale des XIIIe et XIVe siècles: la nature de la pierre commande la forme jusqu'à un certain point, ou du moins la modifie. Ce n'est donc qu'avec circonspection que l'on doit étudier ces variétés, qui ne peuvent indifféremment s'appliquer aux diverses provinces dans lesquelles l'architecture ogivale s'est développée.

Dans l'Ile de France, une des plus anciennes balustrades que nous connaissions est celle qui couronne la galerie des Rois de la façade occidentale de la cathédrale de Paris; elle appartient aux premières années du XIIIe siècle (1215 à 1225) comme toute la partie inférieure de cette façade (4). Avant la restauration du portail, cette balustrade n'existait plus qu'au droit des deux contreforts extrêmes, ainsi qu'on peut s'en assurer 67; elle est construite en plusieurs morceaux, au moins dans la partie à jour, et se compose d'une assise portant les bases, de colonnettes posées en délit avec renfort par derrière, et d'une assise de couronnement évidée en arcatures, décorées de fleurettes en pointes de diamant. Il existe encore sur les galeries intermédiaires des tours du portail de la Calende à la cathédrale de Rouen une balustrade du commencement du XIIIe siècle, de même construite par morceaux superposés (5). Ici les colonnettes reposent directement sur le larmier de la corniche formant passage, et laissent entre elles les eaux s'écouler naturellement sans chenal. Ce n'est guère que vers 1230 que l'on établit des chéneaux conduisant les eaux dans des gargouilles; jusqu'alors les eaux s'égouttaient sur le larmier des corniches, comme à la cathédrale de Chartres à la chute des grands combles; mais ces balustrades, composées de petits piliers ou colonnettes isolées et scellées sur le larmier, conservaient difficilement leur aplomb. Les constructeurs avaient tenté quelquefois de les réunir à leur base au moyen d'une assise continue évidée par dessous pour l'écoulement des eaux, ainsi qu'on peut le voir à la base du haut choeur nord de la cathédrale de Chartres (6); mais ce moyen ne faisait que rendre le quillage plus dangereux en multipliant les lits, et ne donnait pas à ces claires-voies la rigidité nécessaire pour éviter le bouclement; on dut renoncer bientôt aux colonnettes ou petits piliers isolés réunis seulement par l'assise supérieure continue, et on se décida à prendre les balustrades dans un seul morceau de pierre; dès lors les colonnettes avec chapiteaux n'avaient pas de raison d'être, car au lieu d'une arcature construite, il s'agissait simplement de dresser des dalles percées d'ajours affectant des formes qui ne convenaient pas à des assises superposées.

C'est ainsi que le sens droit, l'esprit logique qui dirigeaient les architectes de ces époques, leur commandaient de changer les formes des détails, comme de l'ensemble de leur architecture, à mesure qu'ils modifiaient les moyens de construction. Dans les balustrades construites, c'est-à-dire composées de points d'appui isolés et d'une assise de couronnement, on remarquera que la partie supérieure des balustrades est, comparativement aux points d'appuis, très volumineuse. Il était nécessaire en effet de charger beaucoup ces points d'appui isolés pour les maintenir dans leur aplomb. Quand les balustrades furent prises dans un seul morceau de pierre, au contraire, on donna de la force, du pied à leur partie inférieure, et de la légèreté à leur partie supérieure, car on n'avait plus à craindre alors les déversements causés par la multiplicité des lits horizontaux.

Les balustrades des grandes galeries de la façade et du sommet des deux tours de la cathédrale de Paris sont taillées conformément à ce principe (7); leur pied s'empatte vigoureusement et prolonge le glacis du larmier de la corniche; un ajour en quatre-feuilles donne une décoration continue qui n'indique plus des points d'appuis séparés, mais qui laisse bien voir que cette décoration est découpée dans un seul morceau de pierre; un appui saillant, ménagé dans l'épaisseur de la pierre, sert de larmier et préserve la claire-voie. Aux angles, la balustrade de la grande galerie est renforcée par des parties pleines ornées de gros crochets saillants et de figures d'animaux, qui viennent rompre la monotonie de la ligne horizontale de l'appui (voy. ANIMAUX). La balustrade extérieure du triforium de la même église, plus légère parce qu'elle couronne un ouvrage de moindre importance, est encore munie de l'empattement inférieur nécessaire à la solidité. Cet empattement, pour éviter les dérangements, est posé en feuillure dans l'assise du larmier (8).

Il ne faudrait pas cependant considérer les principes que nous posons ici comme absolus; si les architectes du XIIIe siècle étaient soumis aux règles de la logique, ils n'étaient pas ce que nous appelons aujourd'hui des rationalistes; le sentiment de la forme, l'à-propos avaient sur leur esprit une grande prise, et ils savaient au besoin faire plier un principe à ces lois du goût qui, ne pouvant être formulées, sont d'autant plus impérieuses qu'elles s'adressent à l'instinct et non au raisonnement. C'est surtout dans les accessoires de l'architecture commandés par un besoin et nécessaires en même temps à la décoration, que le goût doit intervenir et qu'il intervenait alors. Ainsi, en cherchant à donner à leurs balustrades prises dans des dalles découpées l'aspect d'un objet taillé dans une seule pièce, il fallait que ces parties importantes de la décoration ne vinssent pas, par leur forme, contrarier les lignes principales de l'architecture. Si les ajours obtenus au moyen de trèfles ou de quatre-feuilles juxtaposés convenaient à des balustrades continues non interrompues par des divisions verticales rapprochées, ces ajours produisaient un mauvais effet lorsqu'ils se développaient par petites travées coupées par des pinacles ou des points d'appui verticaux; alors il fallait en revenir aux divisions multipliées et dans lesquelles la ligne verticale était rappelée, surtout si les balustrades servaient de couronnement supérieur à l'architecture. D'ailleurs les divisions des ajours de balustrades par trèfles ou quatre-feuilles étaient impérieuses, ne pouvaient se rétrécir ou s'élargir à volonté; si une travée permettait de tracer cinq quatre-feuilles par exemple, une travée plus étroite ou plus large de quelques centimètres dérangeait cette combinaison, ou obligeait le traceur à laisser seulement aux extrémités de sa travée de balustrade une portion de trèfle ou de quatre-feuilles; ce qui n'était pas d'un heureux effet. Les divisions de balustrades par arcatures verticales permettaient au contraire d'avoir un nombre d'ajours complets, et il était facile alors de dissimuler les différences de largeur de travées.

Nous ferons comprendre facilement par une figure ce que nous disons ici. Soit A B (9) une travée de balustrade comprenant trois quatre-feuilles; si la travée suivante A C est un peu moins longue, il faudra que l'un des trois ajours soit en partie engagé. Mais si la travée A B (9 bis) est divisée en cinq arcatures, la travée A C pourra n'en contenir que quatre, et l'oeil, retrouvant des formes complètes dans l'une comme dans l'autre, ne sera pas choqué. Les divisions verticales permettent même des différences notables dans l'écartement des axes, sans que ces différences soient appréciables en exécution; leur dessin est plus facile à comprendre dans des espaces resserrés qui ne permettraient pas à des combinaisons de cercle de se développer en nombre suffisant, car il en est de l'ornementation architectonique comme des mélodies, qui, pour être comprises et produire tout leur effet, doivent être répétées. La balustrade supérieure de la nef et du choeur de Notre-Dame de Paris, exécutés vers 1230, est divisée par travées inégales de largeur, et c'est conformément à ce principe qu'elle a été tracée (10).

De distance
en distance, au droit des arcs-boutants et des gargouilles, un pilastre
surmonté d'un gros fleuron sépare ces travées, sert en même temps de
renfort à la balustrade, et maintient le déversement qui, sans cet
appui, ne manquerait pas d'avoir lieu sur une aussi grande longueur
68.
Mais que l'on veuille bien le remarquer, si cette balustrade a quelque
rapport avec celles qui, peu d'années auparavant, étaient construites
par assises, on voit cependant que c'est un évidement, un ajour percé
dans une dalle et non un objet construit au moyen de morceaux de pierre
superposés; cela est si vrai, que l'on a cherché à éviter dans les
ajours les évidements à angle droit qui peuvent provoquer les ruptures.
Le pied des montants retombe sur le profil du bas, non point
brusquement, mais s'y réunit par un bizeau formant un empattement
destiné à donner de la force à ce pied et à faciliter la taille (11).
On
voit ici en A la pénétration des montants sur le profil formant traverse
inférieure, et en B la naissance des trilobes sur ces montants. Si les
formes sont nettement accusées, si les lignes courbes sont franchement
séparées des lignes verticales, cependant, soit par instinct, soit par
raison, on a cherché à éviter ici toute forme pouvant faire supposer la
présence d'un lit, d'une soudure. Mais, nous le répétons, les artistes
de ce temps savaient, sans renoncer aux principes basés sur la raison,
faire à l'art une large part, se soumettre aux lois délicates du goût.
Si nous croyons devoir nous étendre ainsi sur un détail de
l'architecture ogivale qui semble très-secondaire, c'est que, par le
fait, ce détail acquiert en exécution une grande importance, en tant que
couronnement. L'architecture du XIIIe siècle veut que la balustrade
fasse partie de la corniche; on ne saurait la plupart du temps l'en
séparer; sa hauteur, les rapports entre ses pleins et ses vides, ses
divisions, sa décoration, doivent être combinés avec la largeur des
travées, avec la hauteur des assises et la richesse ou la sobriété des
ornements des corniches. Telle balustrade qui convient à tel édifice et
qui fait bon effet là où elle fut placée, semblerait ridicule ailleurs.
Ce n'est donc pas une balustrade qu'il faut voir dans un monument,
c'est la balustrade de ce monument; aussi ne prétendons-nous pas
donner un exemple de chacune des variétés de balustrades exécutées de
1200 à 1300, encore moins faire supposer que telle balustrade de telle
époque, appliquée à tel édifice d'une province, peut être appliquée à
tous les édifices de cette même époque et de cette province. Nous voyons
ici (fig. 10) une balustrade exécutée de 1230 à 1240. Cette balustrade
est posée sur une corniche d'un grand édifice, où tout est conçu
largement et sur une grande échelle. Aussi ses espacements de
pieds-droits sont larges, ses trilobes ouverts, pas de détails; de
simples bizeaux, des formes accentuées pour obtenir des ombres et des
lumières vives et franches, pour produire un effet net et facile à
saisir à une grande distance. Or, voici qu'à la même époque, à cinq ans
de distance peut-être, on élève la Sainte-Chapelle du Palais, édifice
petit, dont les détails par conséquent sont fins, dont les travées, au
lieu d'être larges comme à la cathédrale de Paris, sont étroites et
coupées par des gâbles pleins surmontant les archivoltes des fenêtres.

L'architecte fera-t-il la faute de placer sur la corniche supérieure une balustrade lâche, qui par les grands espacements de ses pieds-droits rétrécirait encore à l'oeil la largeur des travées, dont on saisirait difficilement le dessin, visible seulement entre des pinacles et pignons rapprochés? Non pas; il cherchera, au contraire, à serrer l'arcature à jour de sa balustrade, à la rendre svelte et ferme cependant pour soutenir son couronnement; il obtiendra des ombres fines et multipliées par la combinaison de ses trilobes, par des ajours délicats percés entre eux; il fera cette balustrade haute pour relier les gâbles aux pinacles (12), et pour empêcher que le grand comble ne paraisse écraser la légèreté de la maçonnerie, pour établir une transition entre ce comble, ses accessoires importants et la richesse des corniches et fenêtres; mais il aura le soin de laisser à cette balustrade son aspect de dalle découpée, afin qu'elle ne puisse rivaliser avec les fortes saillies, les ombres larges de ces gâbles et pinacles. Dans le même édifice, l'architecte doit couronner un porche couvert en terrasse par une balustrade. Prendra-t-il pour modèle la balustrade du grand comble? Point; conservant encore le souvenir de ces belles claires-voies du commencement du XIIIe siècle, composées de colonnettes portant une arcature ferme et simple comme celle que nous avons donnée (fig. 4); comprenant que sur un édifice couvert d'une terrasse il faut un couronnement qui ait un aspect solide, qui prenne de la valeur autant par la combinaison des lignes et des saillies que par sa richesse, et qu'une dalle plate percée d'ajours avec de simples bizeaux sur les arêtes ne peut satisfaire à ce besoin de l'oeil, il élèvera une balustrade ornée de chapiteaux supportant une arcature découpée en trilobes, refouillée, dont les ombres vives viendront ajouter à l'effet de la corniche en la complétant, à celui des pinacles en les reliant (13).

Mais nous sommes au milieu du XIIIe siècle; et si la balustrade du porche de la Sainte-Chapelle est un dernier souvenir des primitives claires-voies construites au moyen de points d'appui isolés supportant une arcature, elle restera, comme construction, une balustrade de son époque, c'est-à-dire que les colonnettes reliées à leur base par une traverse, et les arcatures trilobées, seront prises dans un même morceau de pierre évidé. La tablette d'appui A sera seule rapportée. C'est ainsi qu'à chaque pas nous sommes arrêtés par une transition, un progrès qu'il faut constater, et que nous devons presque toujours rendre justice au goût sûr de ces praticiens du XIIIe siècle qui savaient si bien tempérer les lois sèches et froides du raisonnement par l'instinct de l'artiste, par une imagination qui ne leur faillait jamais.

Longtemps les balustrades furent évidemment l'un des détails de l'architecture ogivale sur lesquels on apporta une attention particulière; mais il faut convenir qu'à la fin du XIIIe siècle déjà, si elles présentent des combinaisons ingénieuses, belles souvent, on ne les trouve plus liées aussi intimement à l'architecture; elles sont parfois comme une oeuvre à part ne participant plus à l'effet de l'ensemble, et le choix de leurs dessins, de leurs compartiments ne paraît pas toujours avoir été fait pour la place qu'elles occupent. La balustrade supérieure du choeur de la cathédrale de Beauvais en est un exemple (14); l'alternance des quatre-feuilles posés en carré et en diagonale est heureuse; mais cette balustrade est beaucoup trop maigre pour sa place, les ajours en sont trop grands, et, de loin, elle ne prête pas assez de fermeté au couronnement. Sous cette balustrade, la corniche, bien que délicate, paraît lourde et pauvre en même temps. Nous retrouvons cette combinaison de balustrades, amaigrie encore, au-dessus des chapelles de l'église de Saint-Ouen de Rouen (15).

Les défauts sont encore plus choquants ici, malgré que cette balustrade, en elle-même, et comme taille de pierre, soit un chef-d'oeuvre de perfection; mais, étant placée sur des côtés de polygones peu étendus, elle ne donne que quatre ou cinq compartiments; leur dessin ne se comprend pas du premier coup, parce que l'oeil ne peut saisir cette combinaison alternée, qui serait heureuse si elle se développait sur une grande longueur. L'excessive maigreur de cette balustrade lui donne l'apparence d'une claire-voie de métal, non d'une découpure faite dans de la pierre. Du reste, à partir de la fin du XIIIe siècle, on ne rencontre plus guère de balustrades composées d'une suite de petits montants avec arcature; on semble préférer alors les balustrades formées de trèfles, de quatre-feuilles, de triangles, ou de carrés posés sur la pointe avec redents, comme celle qui couronne le choeur et la nef de la cathédrale d'Amiens. Nous avons fait voir comme à la Sainte-Chapelle du Palais on avait heureusement rompu les lignes inclinées des gâbles couronnant les fenêtres par une balustrade à points d'appui verticaux très-multipliés (voy. fig. 12), comme on avait tenu cette balustrade haute pour qu'elle ne fût pas écrasée par l'élévation des pinacles et gâbles. Cette balustrade, indépendante de ces pinacles et gâbles, passe derrière eux, ne fait que s'y appuyer; elle leur laisse toute leur valeur, et parait ce qu'elle doit être: une construction légère, ayant une fonction à part, et n'ajoutant rien à la solidité de la maçonnerie, pouvant être supprimée en laissant à l'édifice les formes qui tiennent à sa composition architectonique. On ne s'en tint pas longtemps à ces données si sages. De 1290 à 1310, on construisait à Troyes l'église de Saint-Urbain. Les fenêtres supérieures du choeur de ce remarquable édifice sont surmontées de gâbles à jour qui viennent, non pas comme à la Sainte-Chapelle de Paris, faire saillie sur la corniche de couronnement et son chéneau, mais qui les pénètrent. Et telle est la combinaison recherchée de cette construction, que les deux pentes de ces gâbles et les cercles appareillés dans les écoinçons portent cette corniche formant chéneau comme le feraient des liens en charpente. Il y avait à craindre que ces gâbles à jour qui n'étaient pas reliés au mur, et cette corniche-chéneau qui reposait seulement sur la tête de ce mur, sans être retenue dans sa partie engagée par une forte charge supérieure, ne vinssent à se déverser en dehors. Le constructeur imagina de se servir de la balustrade pour maintenir ce dévers (16); et voici comment il s'y prit.

Il faut dire d'abord qu'entre chaque travée s'élève un contre-fort avec pinacle bien relié à la masse de la construction; prenant ce pinacle ou contre-fort comme point fixe (il l'est en effet), l'architecte fit ses demi-travées de balustrades A d'un seul morceau chacune, et, ayant eu le soin de poser ses pinacles sur un plan plus avancé que celui dans lequel se trouvent les gâbles, il maintint le sommet de ceux-ci en les étrésillonnant avec les balustrades, ainsi que l'indique le plan (16 bis).

Soit B le pinacle rendu fixe par sa base portant chéneau fortement engagée dans la construction, et C C les têtes des gâbles; les demi-travées de balustrades B C étant d'un seul morceau chacune, et formant en plan un angle rentrant en C, viennent étrésillonner et butter les têtes des gâbles C C, de manière à rendre impossible leur déversement en dehors. Mais pour rendre sa balustrade à jour très-rigide, tout en la découpant délicatement, l'architecte de Saint-Urbain la composa d'une suite de triangles chevauchés réunis par leurs côtés, et formant comme autant de petits liens inclinés se contre-buttant mutuellement de manière à éviter les chances de rupture. C'était là, il faut le dire, plutôt une combinaison de charpente qu'une construction de maçonnerie; mais il faut dire aussi que la pierre à laquelle on imposait cette fonction anormale est de la pierre de Tonnerre, d'une qualité, d'une fermeté et d'une finesse extraordinaires, qui lui donnent, une fois taillée, l'aspect du métal. Certes, cela était ingénieux et bien raisonné comme appareil; il était impossible de dominer la matière d'une façon plus complète que ne le fit avec succès le savant architecte de Saint-Urbain (voy. CONSTRUCTION); mais pour ne parler que de la balustrade dont il est ici question, cette suite de petits triangles semblables aux grands triangles formés par les gâbles est fâcheuse au point de vue de l'art. L'oeil est tourmenté par ces figures géométriques semblables mais inégales; l'harmonie qui doit résulter, non de la similitude des diverses parties d'un édifice, mais de leur contraste, est détruite. Ici, comme dans toutes les formes de l'architecture adoptées à partir de cette époque, le raisonnement, la combinaison géométrique prennent une place trop importante; le sentiment, l'instinct de l'artiste disparaissent étouffés par la logique. L'amour des détails, les raffinements dans leur application vinrent encore ôter aux balustrades leur sévérité de formes. Les architectes du XIIIe siècle, mus par ce sentiment d'art qu'on retrouve à toutes les belles époques, avaient compris que plus les membres de l'architecture sont d'une petite dimension, et plus leurs formes veulent être largement composées, afin de ne pas détruire l'aspect de grandeur que doivent avoir les édifices; car en multipliant les détails sans mesure, on rapetisse au lieu de grandir l'architecture. Si parfois, au XIIIe siècle, dans quelques monuments exécutés avec un grand luxe, on s'était permis de faire des balustrades très-riches par leur combinaison et leur sculpture, sentiment de la grandeur apparaissait toujours, et les détails ne venaient pas détruire les masses; témoin la balustrade qui couronne le passage réservé au-dessus de la porte sud de Notre-Dame de Paris (17), élevée en 1257. Il est impossible de grouper plus d'ornements et de moulures sur une balustrade, et cependant on remarque qu'ici Jean de Chelles, l'auteur de ce portail, avait compris que l'excès de richesse prodigué sur un petit espace pouvait détruire l'unité de sa composition, car il avait eu le soin de relier cette balustrade aux divisions générales de l'architecture par des colonnettes engagées qui viennent la pénétrer et la forcer, pour ainsi dire, à participer à l'ensemble de la décoration 69.

Aussi raffinés, mais moins adroits, les architectes du XIVe siècle arrivèrent promptement à la maigreur ou à la lourdeur (car ces deux défauts vont souvent de compagnie dans les compositions d'art), en surchargeant les balustrades de profils et de combinaisons plus surprenantes que belles. Ils cherchèrent souvent des dispositions neuves et ne se contentèrent pas toujours de la claire-voie percée dans une dalle de champ, et couverte par un appui horizontal. Parmi ces nouvelles formes, nous devons citer les crénelages. Les créneaux avec leurs merlons se découpaient vivement au sommet des édifices, et donnaient déjà, par leur simple silhouette, une décoration. On se servit parfois, pendant le XIVe siècle, de cette forme générale, pour l'appliquer aux balustrades. C'est ainsi que fut couronnée la corniche supérieure du choeur de la cathédrale de Troyes 70. Cet exemple de balustrade crénelée ne manque pas d'originalité, mais il a le défaut de n'être nullement en harmonie avec l'édifice; nous ne le donnons d'ailleurs que comme une exception (18).

Les merlons de cette balustrade crénelée sont alternativement pleins et à jour; les appuis des créneaux sont tous à jour. Derrière chaque merlon plein est un renfort A qui donne du poids à l'ensemble de la construction et retient son dévers. On remarquera que cette balustrade est composée d'assises de pierre d'un assez petit échantillon, et cela vient à l'appui de ce que nous avons dit au commencement de cet article: que les matériaux et leurs dimensions exerçaient une influence sur les formes données aux balustrades. Et, en effet, à Troyes on ne se procurait que difficilement alors des pierres basses, mais longues et larges, propres à la taille des balustrades à jour posées en délit. Il fallait les faire venir de Tonnerre; elles devaient être chères, et ces réparations faites au XIVe siècle à la cathédrale de Troyes sont exécutées avec une extrême parcimonie. À l'église Saint-Urbain de la même ville, presque contemporaine de ces restaurations de la cathédrale, mais où la question d'économie avait été moins impérieuse, nous avons vu, au contraire, comme l'architecte avait profité de la qualité et de la dimension des pierres de Tonnerre, pour faire des balustrades minces et composées de grands morceaux.

Il n'est pas rare de trouver dans les édifices du commencement du XIVe siècle des balustrades pleines, décorées d'un simulacre d'ajour. C'est surtout dans les pays où la pierre, trop tenace ou trop grossière, ne se prêtait pas aux dégagements délicats des redents, et ne conservait pas ses arêtes, que ces sortes de balustrades ont été adoptées. Dans la haute Bourgogne, par exemple, où le calcaire est d'une qualité ferme et difficile à évider, on ne fit des balustrades à jour que fort tard, et lorsque le style d'architecture adopté en France envahissait les provinces voisines, c'est-à-dire vers le commencement du XIVe siècle; et même alors les tailleurs de pierre se contentèrent-ils souvent de balustrades pleines, de dalles posées de champ, décorées de compartiments se détachant sur un fond. C'est ainsi qu'est taillée la balustrade qui surmonte les deux chapelles du transept de l'église Saint-Bénigne de Dijon (18 bis). Le cloître de l'église cathédrale de Béziers, dont la construction date des premières années du XIVe siècle, est couronné d'une balustrade composée de la même manière comme compartiments et comme appareil, ce qui est motivé par la nature grossière de la pierre du pays, qui est un calcaire alpin poreux, tenant mal les arêtes.

Seulement ici (18 ter) l'appui forme recouvrement, il est rapporté sur le corps de la balustrade. L'assise d'appui, taillée dans une pierre d'un grain plus serré, protége les dalles de champ, et (fait qui doit être noté) cet appui porte une dentelure, sorte d'amortissement fleuronné couronnant la balustrade. Celle-ci, étant pleine, terminait lourdement les arcades du cloître; sa ligne horizontale se détachant sur le ciel (car ce cloître est couvert par une terrasse), reliait mal les pinacles qui terminent les contre-forts; et c'est évidemment pour rompre la sécheresse de cette ligne horizontale, à laquelle la balustrade pleine n'apportait aucun allégement, que fut ménagée cette dentelure supérieure. On trouve plusieurs exemples de ces balustrades fleuronnées, même lorsque celles-ci sont à jour, dans quelques églises de Bretagne, surtout pendant les XVe et XVIe siècles (voy. fig. 27). Ce qui caractérise les balustrades exécutées pendant le XIVe siècle, c'est l'adoption du système de panneaux de pierre percés chacun de leur ajour, séparés par un montant le long du joint, et recouverts d'un appui les reliant tous ensemble. Si l'appareil y gagnait, la succession de divisions verticales séparant chacun des panneaux juxtaposés ôtait aux balustrades l'aspect qu'elles avaient au XIIIe siècle, d'un couronnement continu, d'une sorte de frise à jour, laissant aux lignes horizontales leur simplicité calme; nécessaire dans des monuments de cette étendue pour reposer les yeux, que les divisions régulières verticales, trop répétées, fatiguent bientôt.

Les architectes étaient conduits à sacrifier l'art au raisonnement; ils perdaient cette liberté qui avait permis à leurs prédécesseurs de mêler les inspirations du goût aux nécessités de la construction ou de l'appareil. L'exercice de la liberté dans les arts n'appartient qu'au génie, et le génie avait fait place au calcul, aux méthodes, dès le commencement du XIVe siècle, dans tout ce qui tenait à l'architecture. Nous donnons ici (19) un exemple d'une balustrade exécutée en panneaux de pierre, tiré du bras de croix méridional de l'ancienne cathédrale de la cité de Carcassonne. La construction de cette balustrade remonte à 1325 environ. Il faut dire cependant que les formes des balustrades adoptées par les architectes du XIIIe siècle furent longtemps employées; on les amaigrissait, ainsi que nous l'avons vu dans l'exemple présenté dans la fig. 18, on les surchargeait de moulures et de redents évidés; mais le principe était souvent conservé; toutefois, on préférait les formes anguleuses aux formes engendrées par des combinaisons de demi-cercles; les courbes brisées étaient en honneur; et des voûtes, des fenêtres, elles pénétraient jusque dans les plus menus détails de l'architecture. Le simple bizeau qui, au XIIIe siècle, était seul destiné à produire des jeux d'ombre et de lumière dans les balustrades, parut trop simple, lorsque tous les membres de l'architecture se subdivisèrent à l'infini; on le doubla par un temps d'arrêt, et les balustrades eurent deux plans de moulures; l'un donnait la forme générale, le thème, le second était destiné à former les redents, la broderie. Un exemple est nécessaire pour faire comprendre l'emploi de ce nouveau mode.

Voici (20) la balustrade qui couronne la corniche du choeur de l'église que nous venons de citer, la cathédrale de Carcassonne 71. La forme génératrice de cette balustrade, le thème, pour nous servir d'un mot qui rend parfaitement notre pensée, est une suite de triangles équilatéraux curvilignes.

Si nous examinons la coupe sur A B de cette balustrade, nous voyons que
le bizeau C est divisé par un arrêt résultant d'une petite coupe à angle
droit D. Cette coupe produit un listel, parallèle à la face de la
balustrade. C'est ce listel qui dessine les redents E, et le second
membre du bizeau qui leur donne leur modelé. Mais les parties pleines de
l'architecture, les points d'appui, se perdaient de plus en plus sous
les subdivisions des moulures, des colonnettes; les meneaux des fenêtres
s'amaigrissaient chaque jour sous la main de constructeurs; les
balustrades chargées de ce double bizeau taillé suivant un angle de 45
degrés, et de ce listel du second plan, recevaient trop de lumière;
elles paraissaient lourdes comparativement aux autres membres de
l'architecture, dont les plans renfoncés découpaient seulement quelques
lignes fines de lumière, sur des ombres larges. Dès lors on renonça aux
bizeaux coupés suivant un angle de 45 degrés dans le profil des
balustrades, et l'on voulut avoir des plans plus vivement accusés. Soit
(21) fig. A: si le rayon lumineux B C tombe sur le bizeau E F, lui étant
parallèle, il le frisera et ne produira qu'une demi-teinte. Mais si,
fig. D, le bizeau E F donne un angle moindre de 45 degrés, le même rayon
lumineux B C laissera toute la partie E F dans une ombre franche. Les
balustrades étant composées presque toujours de petites courbes, la
lumière frappe sur une grande partie des surfaces fuyantes; pour obtenir
des ombres larges, il était donc nécessaire de rapprocher, autant que
possible, la coupe de ces surfaces fuyantes de la ligne horizontale,
afin de les dérober à la lumière; et comme on ne donne de la finesse aux
parties éclairées que par l'opposition d'ombres larges, que les parties
éclairées, dans les formes de l'architecture, comptent seules, et
qu'elles produisent, suivant la largeur ou la maigreur de leurs
surfaces, la lourdeur ou la finesse, les architectes, voulant obtenir la
plus grande finesse possible dans la coupe des balustrades, arrivèrent à
dérober de plus en plus les surfaces fuyantes aux rayons lumineux. À la
fin du XIVe siècle déjà, ils avaient entièrement renoncé aux bizeaux
qui, sur quelques points, par le glissement de la lumière, donnaient
toujours des demi-teintes, et ils les remplaçaient par des profils
légèrement concaves (22) qui donnent plus d'ombre et découpent plus
vivement les plans. Mais alors ils amaigrissaient tellement les dalles à
jour, qu'elles n'offraient plus de solidité; pour remédier à cet
inconvénient, ils leur donnèrent plus d'épaisseur, et les balustrades
qui, en moyenne, au XIIIe siècle, n'avaient guère que 0,12 centimètres
d'épaisseur dans leur partie à jour, prirent jusqu'à 0,20 centimètres.
Par l'effet de la perspective, ces balustrades, vues de bas en haut ou de côté, présentaient de si larges surfaces de champ, qu'elles laissaient à peine voir les ajours. Il fallut encore dissimuler ce défaut, et, pour y arriver, on profila les balustrades en dedans comme en dehors. On avait voulu d'abord dérober à la lumière les surfaces fuyantes des épaisseurs pour obtenir des ombres accentuées; par ce dernier moyen, on dérobait une partie de ces surfaces aux yeux (23).
On nous pardonnera la longueur d'une théorie qu'il nous a paru nécessaire d'exposer, afin de faire comprendre les motifs des diverses transformations que l'on fit subir aux balustrades jusqu'au XVe siècle. Nous l'avons dit déjà, et nous le répétons, cet accessoire de l'architecture du moyen âge est d'une grande importance; il a préoccupé nos anciens architectes, et cela avec raison.

Une balustrade de couronnement complète heureusement ou gâte un édifice, selon qu'elle est bien ou mal composée, qu'elle est ou n'est pas, dans son ensemble et ses détails, à l'échelle des divers membres architectoniques de cet édifice, qu'elle aide ou contrarie son système général de décoration. Une balustrade bien liée à la corniche qui lui sert de base, en rapport de proportions avec le monument qu'elle couronne, qui rappelle ses formes de détail sans les reproduire à une plus petite échelle, dont les divisions font valoir les dimensions de ce monument, est une oeuvre assez rare pour qu'il soit permis de croire que c'est là un des écueils de l'architecture du moyen âge, et pour qu'il soit nécessaire d'étudier avec grand soin les quelques beaux exemples qui nous sont restés.
L'adoption du système de panneaux divisés à chaque joint par des montants verticaux dans l'appareil des balustrades fit quelquefois ajouter des terminaisons en forme de fleurons ou d'aiguilles sur ces montants, car les architectes du XIIIe siècle et, à plus forte raison, du XIVe siècle n'admettaient pas dans les formes de l'architecture un montant vertical d'une certaine largeur sans le couronner par quelque chose. Pour eux, le pilastre venant se perdre dans une moulure horizontale était un membre tronqué. Mais c'est au commencement du XVIe siècle surtout que les balustrades à panneaux séparés par des montants verticaux le long du joint, furent adoptées sans exception. Les compartiments à jour dont elles se composaient ne permettaient plus, par la complication de leur forme, un autre appareil.
Pendant le XVe siècle, les balustrades à panneaux se rencontrent fréquemment, mais ne sont pas les seules. Ce sont alors les losanges, les triangles rectilignes qui dominent dans la composition des balustrades. Il faut remarquer que ces formes se prêtaient mieux à l'assemblage d'ajours en pierre, étaient plus solides que les formes curvilignes; et au XVe siècle, l'architecte était surtout appareilleur.

Un morceau de balustrade, taillé suivant la fig. 24, présentait beaucoup de résistance et s'assemblait facilement par les extrémités A B. L'appui, souvent d'un autre morceau, recouvrait et reliait ces claires-voies. Lorsque, pendant le XVe siècle, les balustrades étaient composées de panneaux, les montants verticaux étaient parfois saillants en forme de petits contre-forts, ainsi que l'indiquent les fig. 25 et 26.

Ce fut aussi pendant le XVe siècle que l'on eut l'idée de sculpter dans les ajours des balustrades, des attributs, des pièces principales d'armoiries 72. Nous donnons (25) des panneaux de la balustrade couronnant la nef de la cathédrale de Troyes, et dans lesquels les tailleurs de pierre du XVe siècle ont figuré alternativement les clefs de saint Pierre et des fleurs de lis. La balustrade refaite, au XVe siècle, à la base du pignon de la Sainte-Chapelle du Palais, à Paris, présente également, dans chacun de ses panneaux, une belle et grande fleur de lis inscrite dans un cercle (26). Un grand K couronné tenu par deux anges se détache au milieu de cette balustrade; c'est le chiffre ou la première lettre du nom de Charles VII (Karolus), qui la fit refaire (voy. CHIFFRE). La balustrade de l'oratoire, bâti par Louis XI sur le flanc sud du même édifice, porte également un grand L couronné. Cet usage de placer des chiffres, des lettres dans les balustrades fut assez généralement adopté à la fin du XVe siècle et au commencement du XVIe; le château de Blois porte, sur la façade élevée par François Ier, des balustradès dans lesquelles on voit des F couronnées et des salamandres. On alla même jusqu'à y sculpter de grandes inscriptions à jour, comme au choeur de l'église de la Ferté-Bernard près du Mans, comme au château de Josselin en Bretagne, sur les balustrades duquel on lit la devise: A PLUS (27) 73.

Dans l'architecture civile de la fin du XVe siècle et du commencement du XVIe, on fit souvent aussi des balustrades aveugles qui n'étaient, sous les appuis des fenêtres, que des bandeaux larges formant une riche décoration. Telles étaient les balustrades qui réunissaient les alléges des fenêtres du premier étage de l'hôtel la Trémoille à Paris (28), balustrades qui sont toutes variées soit comme dessin, soit comme division; car il n'est pas rare de trouver une grande variété dans la composition d'une même balustrade de la fin du XVe siècle et du commencement du XVIe.

Lorsque le goût de l'architecture romaine antique eut effacé, vers le milieu du XVIe siècle, les derniers vestiges des formes adoptées par le moyen âge dans les détails de l'architecture, on se complut à faire des balustrades composées d'ordres réduits. Il existe une balustrade de ce genre à la base du pignon de la petite église de Belloy près Beaumont; c'est une suite de colonnettes doriques surmontées d'une corniche à denticules avec soffites sculptés entre les chapiteaux. À Saint-Eustache de Paris, on voit des balustrades formées de petits pilastres doriques ou composites séparés par des arcades portées sur des pieds-droits avec leurs impostes 74. Mais cette succession de lignes verticales données par les colonnettes ou pilastres rapprochés prenait trop d'importance dans l'ensemble de la décoration, et avait l'inconvénient de rappeler en petit les grandes divisions et décorations de l'architecture alors en honneur; c'était là un défaut majeur, qui ne manqua pas de frapper les architectes de la renaissance; on voulut rendre aux balustrades leur échelle, et pour que les colonnettes formant la partie principale de leur décoration ne parussent pas un diminutif des ordres de l'architecture, on leur donna un galbe particulier, qui les fait ressembler à un potelet de bois tourné au tour. Les profils de ces supports se divisent en bagues, gorges, panses, etc. Quelquefois même les renflements des colonnettes ainsi galbées furent décorés de sculptures; celles-ci prirent dès lors le nom de balustres qui leur est resté. Peu à peu ces balustres s'alourdirent et arrivèrent à ce profil bizarre qui rappelle la forme d'un flacon avec son goulot, et dont la réunion, comprise entre des pilastres et de lourds appuis, couronne assez désagréablement depuis le XVIIe siècle la plupart de nos édifices. Il faut croire que ces morceaux de pierre tournés parurent être la dernière expression du goût, car, une fois adoptés, les architectes ne se mirent plus en frais d'imagination pour composer des balustrades en harmonie avec leur architecture; que celle-ci fut simple ou riche, plate ou accusant de fortes saillies, basse ou élevée, religieuse ou civile, la balustrade fut toujours la même ou peu s'en faut, bien que les architectes du XVIIe siècle aient prétendu la diviser en balustrade toscane, ionique, corinthienne, etc. On ne se contenta pas d'en placer là où le besoin demandait une barrière à hauteur d'appui, on s'en servit comme d'un motif de décoration. Rien cependant n'autorisait, dans l'architecture romaine antique que l'on voulait imiter, un pareil abus de la balustrade, ni comme emploi ni comme forme. Il faut dire même que la corniche saillante de l'entablement romain porte mal ces rangées de morceaux de pierre tournés, posés à l'aplomb de la frise, et qui, par leur retraite, n'indiquent pas la présence du chéneau. La balustrade de l'architecture du moyen âge, posée sur l'arête supérieure du glacis du larmier portant le chéneau, est non-seulement un garde-corps pour ceux qui passent dans ces chéneaux, mais elle arrête la chute des tuiles ou des ardoises, et est une sécurité pour les couvreurs qui sont obligés de poser des échelles sur la pente des combles lorsqu'il est nécessaire de les réparer; elle fait partie de la corniche, car le glacis du larmier demande un couronnement; tandis que la balustrade moderne, posée sur l'entablement romain, à l'aplomb de la frise, est un grossier contre-sens, puisque, d'après la configuration de cet entablement, le chéneau se trouverait en dehors de la balustrade et non en dedans. Aussi, jamais les architectes Romains, qui possédaient cette qualité précieuse qu'on appelle le sens-commun, n'ont eu l'idée bizarre de placer des balustrades sur les corniches supérieures de leurs édifices, faites pour porter les premières tuiles des combles.

Nous ne devons pas omettre de parler des balustrades de bois fréquemment employées pendant les XVe et XVIe siècles. Quant aux balustrades en métal, il en est fait mention dans le mot GRILLE. C'est à l'intérieur des édifices ou à couvert qu'étaient posées les balustrades de bois. Le peu d'exemples qui nous restent de ces claires-voies à hauteur d'appui, antérieures au XVIe siècle, sont d'une grande simplicité; ce sont presque toujours de petits potelets assemblés haut et bas dans deux traverses, ainsi que le démontre la fig. 29, copiée sur une balustrade du XVe siècle, posée encore aujourd'hui le long du triforium de l'église paroissiale de Flavigny (Côte-d'Or). Au XVIe siècle, la forme des balustres tournés convenait parfaitement aux balustrades de bois; c'était le cas de l'employer et les architectes ne s'en firent pas faute (voy. MENUISERIE).
Note 67: (retour) Cette balustrade est rétablie aujourd'hui sur toute la longueur de la façade, et remplace celle qui avait été refaite au XIVe siècle et qui tombait en ruine.
Note 68: (retour) Cette balustrade n'appartient pas à la construction première de la nef, qui remonte à 1210 au plus tard; elle a été refaite vers 1230, lorsque après un incendie la partie supérieure de la nef fut complétement remaniée et rhabillée (voy. CATHÉDRALE).
Note 69: (retour) Il n'existe plus que deux fragments de cette charmante balustrade sur les deux contreforts du portail, mais ces fragments indiquent clairement la disposition de l'ensemble. La richesse de cette balustrade est motivée par l'extrême délicatesse des parties d'architecture qu'elle accompagne et couronne.
Note 70: (retour) Le choeur de la cathédrale de Troyes fut construit de 1240 à 1250, mais tous les couronnements extérieurs furent refaits au XIVe siècle.
Note 71: (retour) Toutes les fois que nous aurons à parler des édifices du XIVe siècle, on ne s'étonnera pas si nous mettons en première ligne la cathédrale de Carcassonne, qui est un chef-d'oeuvre de cette époque, et qui comme style appartient à l'architecture du Nord.
Note 72: (retour) Voir l'hôtel de Jacques Coeur à Bourges, sur les balustrades duquel on a sculpté des coeurs, des coquilles, et cette devise «A VAILLANS RIENS IMPOSSIBLE.»
Note 73: (retour) Cete baluslrade est taillée dans des dalles de granit; elle est surmontée d'une dentelure présentant des couronnes et des fleurons alternés.
Note 74: (retour) Voy. L'Église Saint-Eustache à Paris, par Victor Calliat. Paris, 1850.
BANC, s. m. Il n'était pas d'usage, avant la fin du XVIe siècle, de placer dans les églises, des chaises ou bancs en menuiserie pour les fidèles. Les femmes riches qui se rendaient à l'église se faisaient suivre de valets qui portaient des pliants et coussins pour s'asseoir et se mettre à genoux. Le menu peuple, les hommes, se tenaient debout ou s'agenouillaient sur les dalles. À Rome, dans presque toute l'Italie et une partie de l'Allemagne catholique, encore aujourd'hui, on ne voit aucun siége dans les églises. Mais quand, au XVIe siècle, des prêches se furent établis sur toute la surface de la France, les réformistes placèrent dans leurs temples des bancs séparés par des cloisons à hauteur d'appui destinés aux fidèles. Le clergé catholique, craignant sans doute que la rigidité de la tradition ancienne ne contribuât encore à éloigner le peuple des églises, imita les réformistes et introduisit les bancs et les chaises. L'effet intérieur des édifices sacrés perdit beaucoup de sa grandeur par suite de cette innovation; et pour qui a pu voir la foule agenouillée sur le pavé de Saint-Pierre de Rome ou de Saint-Jean-de-Latran, cet amas de chaises, ou ces bancs cellulaires de nos églises françaises, détruisent complétement l'aspect religieux des réunions de fidèles. Il n'y avait autrefois, dans nos églises, de bancs que le long des murs des bas-côtés ou des chapelles; ces bancs formaient comme un soubassement continu entre les piles engagées sous les arcatures décorant les appuis des fenêtres de ces bas-côtés ou chapelles (voy. ARCATURE).

Quelquefois même ces bancs fixes en pierre s'élevaient sur un emmarchement, comme on peut le voir à l'intérieur de la cathédrale de Poitiers (fin du XIIe siècle) (1), et le long des murs de la nef de la cathédrale de Reims. On en plaçait presque toujours aussi sous les porches des églises, dans les ébrasements des portails, dans les galeries des cloîtres, soit le long des claires-voies, soit le long des murs.

Voici (2) quelle est la disposition des bancs formant soubassement intérieur de la claire-voie du cloître de Fontfroide près Narbonne (commencement du XIIIe siècle). Ces bancs se combinent adroitement avec la construction des piles principales de ce cloître, ainsi que nous le voyons dans la figure. Le bahut de la claire-voie lui tient lieu de dossier. On voit encore des bancs avec une marche au devant dans les salles capitulaires, dans les chauffoirs des monastères, et dans les parloirs.
Les grandes salles des palais royaux, des châteaux, les salles synodales étaient toujours garnies de bancs au pourtour, ainsi que les salles des gardes et les vestibules des habitations princières (voy. SALLE). On plaçait aussi à demeure des bancs de pierre le long des jambages des cheminées, particulièrement dans les habitations de campagne, dans les maisons de paysans, les fermes, dont l'unique cheminée servait à faire la cuisine et à chauffer les habitants.

Des deux côtés des portes des maisons, il était également d'usage de placer des bancs de pierre sur la voie publique, soit taillés dans une seule pierre, soit composés d'une dalle et de montants avec ou sans accoudoirs. Nous avons encore vu de ces sortes de bancs de pierre très-simples, avec accoudoir, le long de quelques maisons anciennes du midi de la France (3), à Cordes, à Saint-Antonin près Alby; c'était là que se reposaient les piétons fatigués, les pauvres; que le soir, après le travail, on venait s'asseoir et causer entre voisins. Si les façades des maisons étaient garanties par des contreforts très-saillants portant des galeries et les charpentes du comble, les bancs étaient alors posés le long de ces contreforts perpendiculairement au mur de face (voy. MAISON). Lorsque les murs des maisons ou châteaux présentaient une assez forte épaisseur, on réservait des bancs en pierre dans les ébrasements, à l'intérieur des fenêtres.

Voici (4) l'un de ces bancs tenant à la fenêtre de premier étage d'une des maisons construites pendant le XIIIe siècle dans la ville de Flavigny (Bourgogne). Il est placé dans l'ébrasement de la baie; le meneau A sépare ce banc en deux stalles et se termine en accoudoir; les personnes assises tournaient le dos au jour. Mais ordinairement, quand les murs sont très-épais, comme par exemple dans les châteaux fortifiés, les bancs sont disposés perpendiculairement au jour, le long des deux ébrasements si la fenêtre est large (5), ou d'un seul côté si la fenêtre est étroite (6).

Ce dernier exemple de banc est fréquent dans les tours de guet, où l'on plaçait des sentinelles pour observer ce qui se passait à l'extérieur par des fenêtres étroites. Les meurtrières percées à la base des courtines sous de grands arcs formant comme de petites chambres pouvant contenir facilement deux hommes, sont toujours garnies de bancs posés le long des deux côtés du réduit, perpendiculairement au mur de face. Cette disposition de bancs à demeure dans les ébrasements des fenêtres se conserva jusqu'au XVIe siècle (voy. FENÊTRE, MEURTRIÈRE).
BANDEAU, s. m. C'est une assise de pierre saillante décorée de moulures ou d'ornements sculptés ou peints qui sépare horizontalement les étages d'un monument. Le bandeau indique un plancher, un sol; il ne peut être indifféremment placé sur une façade ou dans un intérieur; c'est un repos pour l'oeil, c'est l'arase d'une construction superposée. Dans les églises de l'époque romane, un bandeau intérieur indique presque toujours le sol du triforium, il est interrompu par la ligne verticale des colonnes engagées, ou passe devant elles. Dans l'architecture domestique, le niveau des planchers est marqué souvent, à l'extérieur, par un bandeau de pierre. Sur les façades, des bandeaux séparent les ordonnances d'architecture superposées. Ils ont cet avantage de garantir les parements extérieurs, leur saillie empêchant les eaux pluviales de laver les murs; aussi les a-t-on fait généralement en pierre plus dure que celle dont on se servait pour la construction des parements, et leurs profils étaient-ils, surtout à partir du XIIIe siècle, tracés de manière à former une mouchette ou un larmier. L'influence des profils antiques romains se fait sentir dans les bandeaux comme dans tous les autres membres de l'architecture romane. Pris dans une assise assez basse, les bandeaux affectent, jusqu'au XIIe siècle, à l'extérieur ou à l'intérieur, des formes très-simples, et se composent ordinairement d'un bizeau A, d'un cavet B légèrement concave, ou d'une doucine C sous un plan horizontal (1).

Ces bandeaux sont fréquemment ornés de sculptures, surtout à partir de la fin du XIe siècle, et ils passent devant les saillies verticales de l'architecture, piles, contre-forts, etc. Tels sont les bandeaux intérieurs de la nef de l'église abbatiale de Vézelay posés à l'arase du dessus des archivoltes des bas-côtés (2) (commencement du XIIe siècle).

Le lit supérieur de ces bandeaux forme encore une saillie horizontale. On remarqua bientôt que ces saillies à l'intérieur des édifices masquaient, par leur projection, une partie des parements élevés au-dessus d'elles. Soit A le profil d'un bandeau intérieur (3), la plus forte reculée du point visuel étant suivant la ligne D C, toute la hauteur sera perdue pour l'oeil, la proportion de l'ordonnance architectonique placée au-dessus de B sera détruite par la perte de cet espace B C. Décorant les bandeaux de sculptures, surtout à l'intérieur, les architectes tenaient à présenter les ornements sur une surface perpendiculaire à la ligne visuelle; ils ne renoncèrent pas facilement aux plans inclinés E F, et se contentèrent de diminuer peu à peu les saillies E B.

Tel est le profil (4) des bandeaux intérieurs du bras de croix sud de la cathédrale de Soissons, du choeur de Saint-Remy de Reims (fin du XIIe siècle).

À l'extérieur, on avait également reconnu que les bandeaux saillants dont le lit supérieur était laissé horizontal avaient l'inconvénient de ne pas donner un écoulement prompt aux eaux pluviales. Les bandeaux extérieurs taillés suivant le profil A (5) retenaient la neige, faisaient rejaillir les gouttes de pluie projetées suivant C D jusqu'en E, se détérioraient facilement et étaient une cause de ruine pour la base des parements F G élevés au-dessus de leur saillie, à cause de ce rejaillissement. Jusqu'au commencement du XIIIe siècle, on décorait volontiers les bandeaux extérieurs, comme ceux intérieurs, d'ornements sculptés, particulièrement dans les provinces de la Normandie, du Poitou, de la Saintonge, du Languedoc et de l'est; on tenait à ce que les sculptures fussent vues, et en même temps préservées des dégradations causées par les eaux pluviales. Ces ornements étaient taillés sur un bizeau, une doucine ou un talon très-plats et protégés par le lit horizontal supérieur; les ornements les plus ordinaires étaient des dents de scie, des billettes, des damiers (voy. ces mots). Mais lorsque au XIIe siècle, dans les provinces du nord particulièrement, tous les membres de l'architecture furent soumis à un système général de construction, tendant à ne jamais présenter à la pluie des surfaces horizontales, on protégea les bandeaux eux-mêmes par des talus en pierre et une mouchette.

C'est ainsi que sont disposés les bandeaux de la tour Saint-Romain (6) de la cathédrale de Rouen (XIIe siècle). À la même époque, dans les provinces méridionales, on se contentait de donner aux bandeaux extérieurs une faible saillie, mais on ne les surmontait pas d'une pente très-prononcée comme on le faisait dans l'Ile de France, la Picardie et la Normandie, et leurs ornements n'étaient pas abrités par une saillie formant mouchette.

Entre autres exemples, nous donnons ici (7) un des bandeaux extérieurs du bas-côté nord de l'église Saint-Euthrope de Saintes, qui, sans offrir à la pluie des aspérités pouvant être facilement détruites, ne sont pas cependant garantis par une assise ou un profil formant larmier. Il n'est pas besoin de dire que ces détails d'architecture présentent une grande variété, soit comme profils, soit comme ornementation; nous ne prétendons donner dans cet article que leurs dispositions générales. Nous ne saurions cependant passer sous silence les bandeaux extérieurs qui servent de soubassement au triforium des églises d'Autun, de Beaune et de Langres; leur ornementation est trop empreinte des traditions romaines, pour que nous ne reproduisions pas un de ces exemples. Voici le bandeau qui pourtourne le choeur de l'église de Beaune, à la hauteur du sol des galeries surmontant les bas-côtés (8). Le même bandeau, à peu de différences près, se retrouve à la cathédrale d'Autun; à Langres, les rosaces sont remplacées par un enroulement évidemment copié sur des fragments antiques.

Au XIIIe siècle, les bandeaux deviennent plus rares dans l'architecture que pendant la période romane. Déjà, à cette époque, les architectes semblaient exclure la ligne horizontale, et ils ne lui donnaient qu'une importance relativement secondaire. Cependant l'architecte de la cathédrale d'Amiens avait cru devoir accuser très-vigoureusement la hauteur du sol du triforium dans l'intérieur de la nef, par un large bandeau richement décoré de feuillages très-saillants; ce bandeau prend d'autant plus d'importance dans l'ordonnance architectonique de cet intérieur, qu'il passe devant les faisceaux de colonnes et les coupe vers le milieu de leur hauteur (9).

A indique la coupe de ce bandeau avec l'appui du triforium. Évidemment, ici, le maître de l'oeuvre a voulu rompre les lignes verticales qui dominent dans cette nef, dont la construction remonte à 1230 environ (voy. ARCHITECTURE RELIGIEUSE, fig. 35). Il y avait là comme un dernier souvenir de l'architecture romane 75. Sans avoir une aussi grande importante, il arrive presque toujours que les bandeaux, dans les édifices du commencement du XIIIe siècle, passent devant les faisceaux de colonnes, et servent de bagues pour maintenir leurs fûts posés en délit (voy. BAGUE). Quelquefois aussi les bandeaux s'arrondissent en corbeille, et, soutenus par un cul-de-lampe, servent de point d'appui à des faisceaux de colonnettes ne naissant qu'au-dessus des colonnes du rez-de-chaussée entre les archivoltes. Cette disposition est particulièrement adoptée lorsque les piles de rez-de-chaussée sont monocylindriques mais non composées de la réunion des colonnes qui doivent porter les voûtes supérieures. L'intérieur de l'église de Notre-Dame de Semur en Auxois présente de ces bandeaux devenant tablettes de cul-de-lampe sous les bases des colonnettes supérieures (10).

Pendant le XIIIe siècle, à l'extérieur, les bandeaux ne sont plus guère que des moulures avec larmiers sans ornements; car les architectes de cette époque craignaient évidemment de détruire l'effet des lignes verticales, en donnant aux membres horizontaux de leur architecture une trop grande importance, et la sculpture, en occupant les yeux, aurait prêté aux bandeaux trop de valeur. Cependant on voit encore quelquefois, à cette époque, des bandeaux avec ornements; mais c'est lorsque l'on a voulu indiquer un étage ou sol. C'est ainsi qu'à l'extérieur de la Sainte-Chapelle de Paris il existe un grand bandeau décoré de feuilles et de crochets au niveau du sol de la chapelle haute.
Si séduisante que soit l'architecture romane du Poitou et des provinces de l'ouest, il faut convenir qu'elle n'est pas si scrupuleuse, et ses monuments sont parfois couverts de bandeaux sculptés dont la place est déterminée seulement par le goût ou la fantaisie de l'artiste, non par un étage, une ordonnance d'architecture distincte. Pendant la période romane, beaucoup de membres horizontaux d'architecture dont la fonction est très-secondaire, comme les impostes des archivoltes, les tailloirs des chapiteaux de colonnes engagées, des appuis de croisées, où les tablettes basses des arcatures de couronnement, deviennent de véritables bandeaux, c'est-à-dire qu'ils pourtournent toutes les saillies de la construction, tels que les contre-forts, par exemple. Jusqu'à la fin du XIIe siècle, cette méthode persiste; mais quand le système de l'architecture ogivale est développé, on ne voit jamais ces membres secondaires horizontaux devenir des bandeaux. Cela est bien évident à la Sainte-Chapelle de Paris; seul, le profil dont nous venons de parler, et qui indique le niveau du sol de la chapelle haute, pourtourne l'édifice, passe sur les nus des murs comme sur les contre-forts. À la cathédrale d'Amiens, à la cathédrale de Reims et à celle de Chartres, les appuis des fenêtres du rez-de-chaussée forment bandeau, mais sans ornements (voy. CHAPELLE); à partir de ce profil, les contre-forts montent verticalement sans ressauts ni interruption horizontale sur les côtés, leurs faces étant seules munies de larmiers qui empêchent les eaux de laver leurs parements exposés à la pluie. Il ne peut en être autrement; lorsqu'on examine la structure des édifices dans lesquels le système ogival est franchement adopté et suivi, toute la construction ne se composant que de contre-forts entre lesquels des fenêtres s'ouvrent dans toute la hauteur des étages, il n'y avait pas de murs; les bandeaux indiquent des repos horizontaux, des arases, étaient contraires à ce système vertical; leur effet eût été fâcheux; leurs profils saillants sur les faces latérales des contre-forts seraient venus pénétrer gauchement les piédroits des fenêtres, sans utilité ni raison (voy. ARCHITECTURE RELIGIEUSE, CONTREFORT). À partir du XIIIe siècle, dans l'architecture religieuse, le bandeau n'existe plus par le fait, les murs pleins étant supprimés; on ne les rencontre, comme dans le dernier exemple que nous venons de donner, que lorsqu'ils sont le prolongement horizontal des appuis des fenêtres; seulement, leurs profils se modifient suivant le goût du moment (voy. PROFIL). Dans l'architecture civile, où les murs sont conservés forcément, où la construction ne se compose pas uniquement de contre-forts laissant de grands jours entre eux, des bandeaux indiquent le niveau des planchers (voy. CHÂTEAU, MAISON). Parfois alors les bandeaux sont décorés de sculptures, particulièrement pendant le XVe siècle. Composés de simples moulures profilées dans une assise basse pendant les XIIe, XIIIe et XIVe siècles, ils prennent, au contraire, de la hauteur et une saillie prononcée au XVe siècle, coupent les façades horizontalement, par une ornementation plus ou moins riche. Au XVIe siècle, les bandeaux perdent leur aspect d'arase, pour devenir de véritables entablements avec leur architrave, leur frise et leur corniche, même lorsque l'absence d'un ordre antique devrait exclure l'emploi de tous ces membres. Les façades ne sont plus alors que des bâtiments superposés (voy. ORDRE).
Note 75: (retour) Nous avons entendu souvent louer ou blâmer la disposition du grand bandeau de la cathédrale d'Amiens, par des personnes compétentes. Mais la vérité nous force d'ajouter que les louanges étaient données par des amateurs de l'architecture gothique, à son apogée, elle blâme par des enthousiastes du style roman. Comme dans l'un ou l'autre cas il y avait contradiction entre les goûts et les jugements de chacun, nous ne savons trop quel jugement porter nous-même. Nous dirons seulement que le parti adopté à Amiens est franc, qu'il dénote une intention bien arrêtée, que cet intérieur de nef nous paraît être le plus beau spécimen que nous possédions en France de l'architecture du XIIIe siècle, que nous nous rendons difficilement compte de l'effet que produirait cet intérieur dépourvu de cette riche ceinture de feuillages vigoureusement refouillés, s'il y gagnerait ou s'il y perdrait; et prenant la chose pour for-belle, exécutée par des artistes aussi bons connaisseurs que nous, et plus familiers avec les grands effets, nous ne pouvons qu'approuver cette hardiesse de l'architecte de la nef d'Amiens.
BARBACANE, barbequenne. s. f. On désignait pendant le moyen âge, par ce mot, un ouvrage de fortification avancé qui protégeait un passage, une porte ou poterne, et qui permettait à la garnison d'une forteresse de se réunir sur un point saillant à couvert, pour faire des sorties, pour protéger une retraite ou l'introduction d'un corps de secours. Une ville ou un château bien munis étaient toujours garnis de barbacanes, construites simplement en bois, comme les antemuralia, procastria des camps romains, ou en terre avec fossé, en pierre ou moellon avec pont volant, large fossé et palissades antérieures (voy. ARCHITECTURE MILITAIRE). La forme la plus ordinaire donnée aux barbacanes était la forme circulaire ou demi-circulaire, avec une ou plusieurs issues masquées par la courbe de l'ouvrage. Les armées qui campaient avaient le soin d'élever devant les entrées des camps de vastes barbacanes, qui permettaient aux troupes de combiner leurs mouvements d'attaque, de retraite ou de défense. Au moment d'un siége, en dehors des murs des forteresses, on élevait souvent des barbacanes, qui n'étaient que des ouvrages temporaires, et dans lesquels on logeait un surcroît de garnison.
«Hordéiz ot et bon et bel,
Par defors les murs dou chastel
Ses barbacanes fist drecier
Por son chastel miauz enforcier.
Sodoiers mande por la terr
Qu'il vaingnent à li por conquerre.
Sergens à pié et à cheval:
Tant en y vint que tot un val
En fu covert, grant joie en fist
Renart, et maintenant les mist
Es barbacanes por deffense 76.»
Mais, le plus souvent, les barbacanes étaient des ouvrages à demeure autour des forteresses bien munies.
«Haut sont li mur, et parfont li fossé,
Les barbacanes de fin marbre listé,
Hautes et droites, ja greignors ne verrés 77.»
Parmi les barbacanes temporaires, une des plus célèbres est celle que le roi saint Louis fit faire pour protéger la retraite de son corps d'armée et passer un bras du Nil, après la bataille de la Massoure. Le sire de Joinville parle de cet ouvrage en ces termes: «Quant le roy et ses barons virent celle chouse, et que nul autre remède n'y avoit (le camp était en proie à la peste et à la famine), tous s'accordèrent, que le roy fist passer son ost devers la terre de Babilonne, en l'ost du duc de Bourgoigne, qui estoit de l'autre part du fleuve, qui alloit à Damiette. Et pour retraire ses gens aisément, le roy fist faire une barbacane devant le poncel, dont je vous ai devant parlé. Et estoit faite en manière, que on pouvoit assez entrer dedans par deux coustez tout à cheval. Quant celle barbacanne fut faite et apprestée, tous les gens de l'ost se armèrent; et là y eut ung grant assault des Turcs, qui virent bien que nous en allions oultre en l'ost du duc de Bourgoigne, qui estoit de l'autre part. Et comme on entroit en icelle barbacanne, les Turcs frappèrent sur la queue de nostre ost: et tant firent, qu'ils prindrent messire Errart de Vallery. Mais tantoust fut rescoux par messire Jehan son frère. Toutesfoiz le roy ne se meut, ne toute sa gent, jusques à ce que tout le harnois et armeures fussent portez oultre. Et alors passâmes tous après le roy, fors que messire Gaultier de Chastillon, qui faisoit l'arrière garde en la barbacanne. Quant tout l'ost fut passé oultre, ceulx qui demourerent en la barbacanne, qui estoit l'arrière garde, furent à grant malaise des Turcs, qui estoient à cheval. Car ilz leur tiroient de visée force de trect, pour ce que la barbacanne n'estoit pas haulte. Et les Turcs à pié leur gectoient grosses pierres et motes dures contre les faces, et ne se povoient deffendre ceulx de l'arrière garde. Et eussent été tous perduz et destruitz, si n'eust esté le conte d'Anjou, frère du roy, qui depuis fut roy de Sicille, qui les alla rescourre asprement, et les amena à sauveté 78.»

Cette barbacane n'était évidemment qu'un ouvrage en palissades, puisque les hommes à cheval pouvaient voir par-dessus. Dans la situation où se trouvait l'armée de saint Louis à ce moment, ayant perdu une grande partie de ses approvisionnements de bois, campée sur un terrain dans lequel des terrassements de quelque importance ne pouvaient être entrepris, c'était tout ce qu'on avait pu faire que d'élever une palissade servant de tête de pont, pouvant arrêter l'armée ennemie, et permettre au corps d'armée en retraite de filer en ordre avec son matériel. La vue à vol d'oiseau que nous donnons ici (1) fera comprendre l'utilité de cet ouvrage.
Une des plus importantes barbacanes construites en maçonnerie était celle qui protégeait le château de la cité de Carcassonne, et qui fut bâtie par saint Louis (voy. ARCHITECTURE MILITAIRE, fig. 11, 12 et 13). Cette barbacane, très-avancée, était fermée; c'était un ouvrage isolé. Mais le plus souvent les barbacanes étaient ouvertes à la gorge et formaient comme une excroissance, un saillant semi-circulaire, tenant aux enceintes extérieures, aux lices. C'est ainsi que sont construites la barbacane élevée en avant de la porte Narbonnaise à Carcassonne (voy. PORTE), celle du château du côté de la cité, et celle qui protége la poterne sud de l'enceinte extérieure de la même ville. Cette dernière barbacane communique aux chemins de ronde des courtines de l'enceinte extérieure par deux portes qui peuvent être fermées. En s'emparant de la poterne ou des deux courtines, les assiégeants ne pouvaient se jeter immédiatement sur le chemin de ronde de l'ouvrage saillant, et se trouvaient battus en écharpe en pénétrant dans les lices. Étant ouverte à la gorge, cette barbacane était elle-même commandée par l'enceinte intérieure.


Nous donnons (2 A) les vues cavalières de l'extérieur et (2 B) de l'intérieur de cet ouvrage de défense. Jusqu'à l'invention des bouches à feu, la forme donnée aux barbacanes dès le XIIe siècle ne fut guère modifiée, encore les établit-on même souvent sur un plan semi-circulaire; cependant, vers le milieu du XVe siècle, on ne les regarda pas seulement comme un flanquement pour les portes extérieures; on chercha à les flanquer elles-mêmes, soit par d'autres ouvrages élevés devant elles, soit par la configuration de leur plan, La barbacane qui défend la principale entrée du château de Bonaguil, élevé au XVe siècle, près Villeneuve d'Agen, est une première tentative en ce sens (voy. CHÂTEAU). Des pièces d'artillerie étaient disposées à rez-de-chaussée et les parties supérieures conservaient leurs crénelages destinés aux archers et arbalétriers. En perdant leur ancienne forme, à la fin du XVe siècle, avec l'adoption d'un nouveau système approprié aux bouches à feu, ces ouvrages perdirent leur ancien nom, pour prendre la dénomination de boulevard. Lorsque les barbacanes du moyen âge furent conservées, on les renforça extérieurement, pendant les XVIe et XVIIe siècles, par des ouvrages d'une grande importance.

C'est ainsi que les dehors de la barbacane A (3) du faubourg Sachsenhausen de Francfort sur le Mein furent protégés au commencement du XVIIe siècle; vers la même époque, la barbacane A du château de Cantimpré de Cambrai (4) devint l'occasion de la construction d'un ouvrage à couronne B très-étendu (voy. BOULEVARD).

Note 76: (retour) Roman du Renard, t. II, p. 327, vers 18495.
Note 77: (retour) Le Roman de Garin.
Note 78: (retour) Histoire du roy saint Loys, par J. sire de Joinvile. Édit. de Dufresne Du Cange, 1678. Paris, in-folio.
BARD, s. m. Est un chariot à deux roues sur l'essieu desquelles porte un tablier et un timon armé de deux ou trois traverses. Ce chariot, employé de temps immémorial dans les chantiers de construction, sert à transporter les pierres taillées à pied d'oeuvre; on le désigne aussi sous le nom de binard. Six ou huit hommes s'attellent à ce chariot, et le font avancer en poussant avec les mains sur les traverses, et en passant des courroies en bandoulière qui vont s'attacher à des crochets en fer disposés à l'extrémité antérieure du tablier et sur le timon. Lorsqu'on veut charger ou décharger les pierres, on relève le timon, l'extrémité postérieure du tablier porte à terre, et forme ainsi un plan incliné qui facilite le chargement ou déchargement des matériaux. On dit bardage pour exprimer l'action du transport des pierres à pied d'oeuvre, et les ouvriers employés à ce travail sont désignés dans les chantiers sous le nom de bardeurs. Par extension on dit barder des pierres sur les échafauds, c'est-à-dire les amener de l'équipe qui sert à les monter, au point de la pose, sur des plateaux et des rouleaux de bois. Ces dénominations sont fort anciennes. Le bardage des pierres, du sol au point de pose, se faisait souvent autrefois au moyen de plans inclinés en bois. Le donjon cylindrique du château de Coucy, construit en pierres de taille d'un très-fort volume de la base au faîte, fut élevé au moyen d'un plan incliné en spirale qui était maintenu le long des parements extérieurs par des traverses et des liens engagés dans la maçonnerie (voy. CONSTRUCTION, ÉCHAFAUD).
BARDEAU, s. m. Bauche, Essente, Esseau. C'est le nom que l'on donne à de petites tuiles en bois de chêne, de châtaignier, ou même de sapin, dont on se servait beaucoup autrefois pour couvrir les combles et même les pans de bois des maisons et des constructions élevées avec économie. Dans les pays boisés, le bardeau fut surtout employé. Ce mode de couverture est excellent; il est d'une grande légèreté, résiste aux efforts du vent, et, lorsque le bois employé est d'une bonne qualité, il se conserve pendant plusieurs siècles. Quelquefois les couvertures en bardeaux étaient peintes en brun rouge, en bleu noir, pour imiter probablement les tons de la tuile ou de l'ardoise. Ces fonds obscurs étaient relevés par des lignes horizontales, des losanges de bardeaux peints en blanc.
Le bardeau est toujours plus long que large, coupé carrément, ou en dents de scie, ou en pans, ou arrondis au pureau; il est généralement retenu sur la volige par un seul clou. Voici quelles sont les formes les plus ordinaires des bardeaux employés dans les couvertures des XVe et XVIe siècles (1).

Leur longueur n'excède guère 0,22 c. et leur largeur 0,08 c. Ils sont souvent taillés en bizeau à leur extrémité inférieure, ainsi que l'indiquent les deux figures A, afin de donner moins de prise au vent et de faciliter l'écoulement des eaux. Les bardeaux étaient refendus et non sciés, de manière à ce que le bois fût toujours parfaitement de fil; cette condition de fabrication est nécessaire à leur conservation. Le sciage permet l'emploi de bois défectueux, tandis que le débitage de fil exige l'emploi de bois sains, à mailles régulières et dépourvues de noeuds. La scie contrarie souvent la direction du fil; il en résulte, au bout de peu de temps, sur les sciages exposés à la pluie, des éclats, des esquilles entre lesquelles l'eau s'introduit. Lorsque les bardeaux sont posés sur des surfaces verticales telles que les pans de bois, ils affectent les formes que l'on donnait aux ardoises dans la même position (voy. ARDOISE); le bois se découpant avec plus de facilité que le schiste, les dentelures des bardeaux posés le long des rampants des pignons, sur les sablières ou les poteaux corniers, présentent parfois des dentelures ouvragées et même des ajours.

Nous avons encore vu à Honfleur, en 1831 79, une maison de bois sur le port, dont les sablières étaient couvertes de bardeaux découpés en forme de lambrequins (2). On voit beaucoup de moulins à vent en France qui sont totalement couverts en bardeaux. En Allemagne, on fait encore usage des bardeaux de sapin, particulièrement en Bavière, dans le voisinage du Tyrol 80.
Note 79: (retour) Nous donnons cette date, parce que tous les jours ces restes de revêtements de maisons disparaissent, et que la maison dont nous parlons peut avoir perdu son ornementation d'essente ou même être démolie aujourd'hui.
Note 80: (retour) Le bardeau cloué sur les pans de bois les préserve parfaitement de l'humidité extérieure, et on ne saurait trop recommander son emploi pour les constructions isolées, exposées aux vents de pluie. Trempé avant la pose dans une dissolution d'alun, il devient incombustible.
BARRE, BARRIÈRE, s. f. Depuis les premiers temps du moyen âge jusqu'à nos jours, il est d'usage de disposer devant les ouvrages de défense des villes ou châteaux, tels que les portes, des palissades de bois avec parties mobiles pour le passage des troupes. Mais c'est surtout pendant les XIe, XIIe, XIIIe et XIVe siècles que les barrières jouent un grand rôle dans l'art de la fortification. Les parties ouvrantes de ces barrières se composaient ou de vantaux à claire-voie, roulant sur des gonds; ou de tabliers à bascule (voy. ARCHITECTURE MILITAIRE, fig. 30); ou de simples barres de bois qui se tiraient horizontalement, comme nos barrières de forêts, se relevaient au moyen d'un contre-poids (1), et s'abaissaient en pesant sur la chaine.

Ces dernières sortes de barres ne servaient que pour empêcher un corps de cavalerie de forcer brusquement un passage. On les établissait aussi sur les routes, soit pour percevoir un péage, soit pour empêcher un poste d'être surpris par des gens à cheval 81. Lorsqu'une armée venait mettre le siége devant une forteresse, il ne se passait guère de jour sans qu'il se fit quelque escarmouche aux barrières; et les assiégeants attachaient une grande importance à leur prise, car une fois les défenses extérieures en leur pouvoir, ils s'y retranchaient et gênaient beaucoup les sorties des assiégés. Ces barrières, souvent très-avancées et vastes, étaient de véritables barbacanes, qui permettaient à un corps nombreux de troupes de se réunir pour se jeter sur les ouvrages et les engins des assaillants; une fois prises, les assiégés ne pouvaient sortir en masses compactes par les portes étroites des défenses construites en maçonnerie; forcés de passer à la file par ces issues, ils étaient facilement refoulés à l'intérieur. Dans toutes les relations des siéges des XIIe, XIIIe et XIVe siècles, il est sans cesse question de combats aux barrières extérieures des places fortes; elles sont prises et reprises avec acharnement et souvent en perdant beaucoup de monde, ce qui prouve l'importance de ces défenses avancées. Pour éviter que les assaillants n'y missent le feu, on les couvrait extérieurement, comme les bretèches et les beffrois, de peaux fraîches, et même de boue ou de fumier.
«...Or avint ainsi que messire Henri de Flandre, en sa nouvelle chevalerie, et pour son corps avancer et accroître son honneur, se mit un jour en la compagnie et cueillette de plusieurs chevaliers, desquels messire Jean de Hainaut étoit chef, et là étoient le sire de Fauquemont, le sire de Berghes, le sire de Baudresen, le sire de Kuck et plusieurs autres, tant qu'ils étoient bien cinq cents combattans; et avoient avisé une ville assez près de là, que on appeloit Honnecourt, où la plus grand partie du pays étoit sur la fiance de la forteresse, et y avoient mis tous leurs biens. Et jà Y avoient été messire Arnoul de Blakeben et messire Guillaume de Duvort et leurs routes; mais rien n'y avoient fait: donc, ainsi que par esramie (promptement), tous ces seigneurs s'étoient cueillis en grand désir de là venir, et faire leur pouvoir de la conquérir. Adonc avoit dedans Honnecourt, un abbé de grand sens et de hardie entreprise, et étoit moult hardi et vaillant homme en armes; et bien y apparut, car il fit au dehors de la porte de Honnecourt faire et charpenter en grand' hâte une barrière, et mettre et asseoir au travers de la rue; et y pouvoit avoir, entre l'un banc (banchart) et l'autre, environ demi-pied de creux d'ouverture (c'est-à-dire que les pieux étaient écartés l'un de l'autre d'un demi-pied); et puis fit armer tous ses gens et chascun aller es guérites, pourvu de pierres, de chaux, et de telle artillerie qu'il appartient pour là déffendre. Et si très tôt que ces seigneurs vinrent à Honnecourt, ordonnés par bataille, et en grosse route et épaisse de gens d'armes durement, il se mit entre les barrières et la porte de ladite ville, en bon convenant, et fit la porte de la ville ouvrir toute arrière, et montra et fit bien chère manière de défense.
«Là vinrent messire Jean de Hainaut, messire Henri de Flandre, le sire de Fauquemont, le sire de Berghes et les autres, qui se mirent tout à pied et approchèrent ces barrières, qui étoient fortes durement, chacun son glaive en son poing; et commencèrent à lancer et à jeter grands coups à ceux de dedans; et ceux de Honnecourt à eux défendre vassalment. Là était damp abbé, qui point ne s'épargnoit, mais se tenoit tout devant en très bon convenant, et recueilloit les horions moult vaillamment, et lançoit aucune fois aussi grands horions et grands coups moult apertement. Là eut fait mainte belle appertise d'armes; et jetoient ceux des guérites contreval, pierres et bancs, et pots pleins de chaux, pour plus essonnier les assaillans. Là étoient les chevaliers et les barons devant les barrières, qui y faisoient merveilles d'armes; et avint que, ainsi que messire Henri de Flandre, qui se tenoit tout devant, son glaive empoigné, et lançoit les horions grands et périlleux, damp abbé, qui étoit fort et hardi, empoigna le glaive dudit messire Henri, et tout paumoiant et en tirant vers lui, il fit tant que parmi les fentes des barrières il vint jusques au bras dudit messire Henri, qui ne vouloit mie son glaive laisser aller pour son honneur. Adonc quand l'abbé tint le bras du chevalier, il le tira si fort à lui qu'il l'encousit dedans les barrières jusques aux épaules, et le tint là à grand meschef, et l'eut sans faute saché dedans, si les barrières eussent été ouvertes assez. Si vous dis que le dit messire Henri ne fut à son aise tandis que l'abbé le tint, car il étoit fort et dur, et le tiroit sans épargner. D'autre part les chevaliers tiroient contre lui pour rescourre messire Henri; et dura cette lutte et ce tiroi moult longuement, et tant que messire Henri fut durement grévé. Toutes fois par force il fut rescous; mais son glaive demeura par grand' prouesse devers l'abbé, qui le garda depuis moult d'années, et encore est-il, je crois, en la salle de Honnecourt. Toutes fois il y étoit quand j'écrivis ce livre; et me fut montré un jour que je passai par là et m'en fut recordée la vérité et la manière de l'assaut comment il fut fait, et le gardoient encore les moines en parement (comme trophées) 82.»
Les barrières étaient un poste d'honneur; c'était là que l'élite de la garnison se tenait en temps de guerre. «À la porte Saint-Jacques (de Paris) et aux barrières étoient le comte de Saint-Pol, le vicomte de Rohan, messire Raoul de Coucy, le sire de Cauny, le sire de Cresques, messire Oudart de Renty, messire Enguerran d'Eudin. Or avint ce mardi au matin (septembre 1370) qu'ils se délogèrent (les Anglais) et boutèrent le feu ès villages où ils avoient été logés, tant que on les véoit tout clairement de Paris. Un chevalier de leur route avoit voué, le jour devant, qu'il viendroit si avant jusques à Paris qu'il hurteroit aux barrières de sa lance. Il n'en mentit point, mais se partit de son conroi, le glaive au poing, la targe au col, armé de toutes pièces; et s'en vint éperonnant son coursier, son écuyer derrière lui sur un autre coursier, qui portoit son bassinet. Quant il dut approcher Paris, il prit son bassinet et le mit en sa tête: son écuyer lui laça par derrière. Lors se partit cil brochant des éperons, et s'en vint de plein élai férir jusques aux barrières. Elles étoient ouvertes; et cuidoient les seigneurs qui là étoient qu'il dût entrer dedans; mais il n'en avoit nulle volonté. Ainçois quand il eut fait et hurté aux barrières, ainsi que voué avoit, il tira sur frein et se mit au retour. Lors dirent les chevaliers de France qui le virent retraire: Allez-vous-en, allez, vous vous êtes bien acquitté... 83»
Il n'est pas besoin de dire qu'autour des camps on établissait des barrières (voy. LICE, ENCLOSURE) 84. Dans les tournois, il y avait aussi le combat à la barrière. Une barrière de cinq pieds environ séparait la lice en deux. Les jouteurs, placés à ses extrémités, à droite et à gauche, lançaient leurs chevaux l'un contre l'autre, la lance en arrêt, et cherchaient à se désarçonner; la barrière, qui les séparait, empêchait les chevaux de se choquer, rendait le combat moins dangereux en ne laissant aux combattants que leurs lances pour se renverser. Ces barrières de tournois étaient couvertes d'étoffes brillantes ou peintes, et parfaitement planchéiées des deux côtés pour que les chevaux ou les combattants ne pussent se heurter contre les saillies des poteaux ou traverses.
Quant aux barres proprement dites, c'étaient des pièces de bois qui
servaient à clore et renforcer les ventaux des portes que l'on tenait à
fermer solidement. Les portes extérieures des tours, des ouvrages isolés
de défense, lorsqu'elles ne se ferment que par un vantail, sont souvent
munies de barres de bois qui rentrent dans l'épaisseur de la muraille.
En cas de surprise, en poussant le vantail et tirant la barre de bois,
on le maintenait solidement clos et on se donnait le temps de
verrouiller. Voici (2) une des portes des tours de la cité de
Carcassonne fermée par ce moyen si simple. Du côté opposé au logement de
la barre est pratiqué, dans l'ébrasement de la porte, une entaille
carrée qui reçoit le bout de cette barre, lorsqu'elle est complétement
tirée: le vantail se trouvait ainsi fortement barricadé; pour tirer
cette barre, un anneau était posé à son extrémité, et, pour la faire
rentrer dans sa loge, une mortaise profonde, pratiqué en dessous,
permettait à la main de la faire sortir de l'entaille dans laquelle elle
s'engageait (3).


Les portes à deux vantaux des forteresses se barricadaient au moyen d'une barre en bois à fléau, comme cela se pratique encore aujourd'hui dans bien des cas. Ce fléau, pivotant sur un axe, entrait dans deux entailles faites dans les ébrasements en maçonnerie de la porte (4) lorsque les vantaux étaient poussés. Quelquefois, comme à la porte Narbonnaise de la cité de Carcassonne, la barre des vantaux doubles était fixée horizontalement à l'un des deux vantaux, venait battre sur l'autre et était maintenue à son extrémité par une forte clavette passant à travers deux gros pitons en fer (5).

Les deux vantaux se trouvaient ainsi ne former qu'une clôture rigide, pendant que l'on prenait le temps de pousser les verroux et de poser d'autres barres mobiles engagées à leurs extrémités dans des trous carrés pratiqués dans les ébrasements.
Note 81: (retour) Les barrières à contre-poids sont encore en usage dans le Tyrol autrichien. On défendait les faubourgs des villes avec de simples barrières, et souvent même les rues de ces faubourgs, en avant des portes. L'attaque devenait alors très-dangereuse, car on garnissait les logis à l'entour de combattants, et les assaillants se trouvaient arrêtés de face et pris de flanc et en revers. Froissart rend compte d'une attaque de ces sortes de barrières, et son récit est trop curieux pour que nous ne donnions pas ce passage tout au long. Le roi d'Angleterre est campé entre Saint-Quentin et Péronne (1339).
Note 82: (retour) Les Chroniques de Froissart, liv. I, p. 78. Édit. Buclion.
Note 83: (retour) Les Chroniques de Froissart, liv. I, IIe partie, p. 618.
Note 84: (retour) En 1386, lors du projet d'expédition en Angleterre, «le connétable de France Olivier de Clisson fit ouvrer et charpenter l'enclosure d'une ville, tout de bon bois et gros, pour asseoir en Angleterre là où il leur plairoit, quand ils y auroient pris terre, pour les seigneurs loger et retraire de nuit, pour eschiver les périls des réveillemens (surprises)... On la pouvoit défaire par charnières ainsi que une couronne et rasseoir membre à membre. Grand foison de charpentiers et d'ouvriers l'avoient compassée et ouvrée...» Les Chroniques de Froissart, liv. III, p. 498.
BART, s. m. Vieux mot employé pour moellon, pavé.
BAS-COTÉ, s. m. C'est le nom que l'on donne aux nefs latérales des églises (voy. ARCHITECTURE RELIGIEUSE, CATHÉDRALE, ÉGLISE).
BASE, s. f. On nomme ainsi l'empatement inférieur d'une colonne ou d'un pilier. Les Grecs de l'antiquité ne plaçaient une assise formant base que sous les colonnes des ordres ionique et corinthien; l'ordre dorique en était dépourvu. Sous l'empire, les Romains adoptèrent la base pour tous leurs ordres, et cette tradition fut conservée pendant les premiers siècles du moyen âge. L'ordre toscan, qui n'est que le dorique modifié par les Romains, fut très-rarement employé pendant le Bas-Empire; on donnait alors la préférence aux ordres corinthien et composite, comme plus somptueux. Les bases appliquées aux colonnes de ces ordres se composaient, avec quelques variétés de peu d'importance, d'une tablette inférieure carrée ou plinthe, d'un tore, d'une ou deux scoties séparées par une baguette, et d'un second tore; le fût de la colonne portait le listel et le congé. Souvent la base était posée sur un dé ou stylobate, simple ou décoré de moulures. Rien n'égale la grossièreté des bases de colonnes appartenant aux édifices des époques mérovingienne et carlovingienne, comme profil et comme taille. On y trouve encore les membres des bases romaines, mais exécutés avec une telle imperfection qu'il n'est pas possible de définir leur forme, de tracer leur profil. Leur proportion, par rapport au diamètre de la colonne, est complétement arbitraire; ces bases sont parfois très-hautes pour des colonnes d'un faible diamètre, et basses pour de grosses colonnes. Tantôt elles ne se composent que d'un biseau, tantôt on y voit une série de moulures superposées sans motif raisonnable. Il nous serait difficile de donner une suite complète de bases de ces temps de barbarie; car il semble que chaque tailleur de pierre n'ait été guidé que par sa fantaisie ou une tradition fort vague des formes adoptées pendant les bas temps. Nous ne pouvons que signaler les particularités que présentent certaines bases de l'époque carlovingienne, et surtout nous nous appliquerons à expliquer la transition de la base romaine corrompue à la base définitivement adoptée à la fin du XIIe siècle et pendant la période ogivale.
Un détail très-remarquable distingue la base antique romaine de la base
du moyen âge dès les premiers temps; la colonne romaine porte à son
extrémité inférieure une saillie composée d'un congé et d'un listel,
tandis que la colonne du moyen âge, sauf quelques rares exceptions dont
nous tiendrons compte, ne porte aucune saillie inférieure, et vient
poser à cru sur la base. Ainsi, dans la colonne antique, entre le tore
supérieur de la base et le fût de la colonne, il y a une moulure
dépendant de celle-ci qui sert de transition. Cette moulure est
supprimée dès l'époque romane. Le congé et le filet inférieur du fût de
la colonne exigeaient, pour être conservés, un évidement dans toute la
hauteur de ce fût; ces membres supprimés, les tailleurs de pierre
s'épargnaient un travail considérable. C'est aussi pour éviter cet
évidement à faire sur la longueur du fût que l'astragale fut réunie au
chapiteau au lieu de tenir à la colonne (voyez ASTRAGALE).
Nous donnons tout d'abord quelques-unes des variétés de bases adoptées du VIIe au Xe siècle. La fig. 1 est une des bases trouvées dans les substructions de l'église collégiale de Poissy, substructions qui paraissent appartenir à l'époque mérovingienne 85. La fig. 1 bis reproduit le profil de la plupart des bases de l'arcature carlovingienne; visible encore dans la crypte de l'église abbatiale de Saint-Denis en France (Xe siècle).

On retrouve dans ces deux profils une
grossière imitation de la base romaine des bas temps.
La fig. 2 donne
une des bases des piliers à pans coupés de la crypte de Saint-Avit à
Orléans: c'est un simple biseau orné d'un tracé grossièrement ciselé
(VIIe ou VIIIe siècle); la fig. 3, les bases des piliers de la crypte de
l'église Saint-Étienne d'Auxerre (IXe siècle). Ici les piliers se
composent d'une masse à pan carré cantonnée de quatre demi-colonnes; la
base n'est qu'un biseau reposant sur un plateau circulaire. Ce fait est
intéressant à constater, car c'est une innovation introduite dans
l'architecture par le moyen âge. L'idée de faire reposer les piliers
composés de colonnes sur une première assise offrant une assiette unique
aux diverses saillies que présentent les plans de ces piliers, ne cesse
de dominer dans la composition des bases des époques romane et ogivale.


Nous en trouvons un autre exemple dans l'église Saint-Remy de Reims. Les piliers de la nef de cette église datent du IXe siècle; ils sont formés d'un faisceau de colonnes (4) avec leur base romaine corrompue reposant sur une assise basse circulaire (voy. PILIER). Dans les contrées où les monuments antiques restaient debout, il va sans dire que la base romaine persiste, est conservée plus pure que dans les provinces où ces édifices avaient été détruits. Dans le midi de la France, sur les bords du Rhône, de la Saône et du Rhin, on retrouve le profil de la base antique jusque vers les premières années du XIIIe siècle; les innovations apparaissent plus tôt dans le voisinage des grands centres d'art, tels que les monastères. Jusqu'au XIe siècle cependant, les établissements religieux ne faisaient que suivre les traditions romaines en les laissant s'éteindre peu à peu; mais quand, à cette époque, la règle de Cluny eut formé des écoles, relevé l'étude des lettres et des arts, elle introduisit de nouveaux éléments d'architecture, parmi les derniers restes des arts romains. Dans les détails comme dans l'ensemble de l'architecture, Cluny ouvrit une voie nouvelle (voy. ARCHITECTURE MONASTIQUE); pendant que le chaos règne encore sur la surface de l'Occident, Cluny pose des règles, et donne aux ouvriers qui travaillent dans ses établissements certaines formes, impose une exécution qui lui appartiennent. C'est dans ses monastères que nous voyons la base s'affranchir de la tradition romaine, adopter des profils nouveaux et une ornementation originale. Les bases des colonnes engagées de la nef de l'église abbatiale de Vézelay fournissent un nombre prodigieux d'exemples variés; quelques-uns rappellent encore la base antique, mais déjà les profils ne subissent plus l'influence stérile de la décadence; ils sont tracés par des mains qui cherchent des combinaisons neuves et souvent belles; d'autres sont couverts d'ornements (5) et même de figures d'animaux (6). À la même époque (vers la fin du XIe siècle), on voit ailleurs l'ignorance et la barbarie admettre des formes sans nom, confuses et sans caractère déterminé.


Les bases de piliers appartenant à la nef romane de l'église Saint-Nazaire de Carcassonne (fin du XIe siècle) dénotent et l'oubli des traditions romaines et le plus profond mépris pour la forme, l'invention la plus pauvre: (7) est une des bases des piles monocylindriques, et (8) une base des colonnes engagées de cette nef. Toutes portent sur un dé carré qui les inscrit.


Ailleurs, dans le Berry, dans le Nivernais, on faisait souvent alors des bases tournées, c'est-à-dire profilées au tour; ce procédé était également appliqué aux colonnes (voy. COLONNE).
Nous donnons (9) le profil de l'une des bases supportant les colonnes du
tour du choeur de l'église Saint-Étienne de Nevers, qui est taillé
d'après ce procédé (XIe siècle). Le tour invitait à donner aux profils
une grande finesse; il permettait de multiplier les arêtes, les filets;
et les tourneurs de bases usaient de cette faculté. La base tournée B,
composée d'une assise, repose sur un socle à huit pans A qui inscrit son
plus grand diamètre.
Dans le nord, en Normandie, dans le Maine, déjà dès le Xe siècle les tailleurs de pierre avaient laissé de côté les moulures romaines corrompues, et s'appliquaient à exécuter des profils fins, peu saillants, d'un galbe doux et délicat. Naturellement les bases subissaient cette nouvelle influence. C'est par la finesse du galbe et le peu de saillie que les profils normands se distinguent pendant l'époque romane (voyez PROFIL).
Voici une des bases des piédroits de l'arcature intérieure de la nef de la cathédrale du Mans (Xe siècle) (10), qui se rapproche plutôt des profils des bas temps orientaux que de ceux adoptés par les Romains d'occident. Toutefois, nous pourrions multiplier les exemples de bases antérieures au XIIe siècle, sans trouver un mode général, l'application d'un principe. Un monument antique encore debout, un fragment mal interprété, le goût de chaque tailleur de pierre influaient sur la forme des bases de tel monument, sans qu'il soit possible de reconnaître parmi tous ces exemples, d'une exécution souvent très-négligée, une idée dominante. Nous mettons cependant, comme nous l'avons dit déjà, les monuments clunisiens en dehors de ce chaos.

Dans les provinces où le calcaire dur est commun, la taille de la pierre atteignit, vers le commencement du XIIe siècle, une rare perfection. Cluny était le centre de contrées abondantes en pierre dure, et les ouvriers attachés à ses établissements mirent bientôt le plus grand soin à profiler les bases des édifices dont la construction leur était confiée. Ce membre de l'architecture, voisin de l'oeil, à la portée de la main, fut un de ceux qu'ils traitèrent avec le plus d'amour. Il est facile de voir dans la taille des profils des bases l'application d'une méthode régulière; on procède par épannelages successifs pour arriver du cube à la forme circulaire moulurée.

Comme principe de la méthode appliquée au XIIe siècle, nous donnons une des bases si fréquentes dans les édifices du centre de la France et du Charolais (11) 86. Les deux disques A et B sont, comme la figure l'indique, exactement inscrits dans le plan carré du socle D. À partir du point E, le tailleur de pierre a commencé par dégager un cylindre E F, puis il a évidé la scotie C et ses deux listels, se contentant d'adoucir les bords des deux disques A B, sans chercher à donner autrement de galbe à son profil par la retraite du second tore B ou des tailles arrondies en boudins. Ce profil est lourd toutefois, et ne peut convenir qu'à des bases appartenant à des colonnes d'un faible diamètre; mais ce système de taille est appliqué pendant le cours du XIIe siècle et reste toujours apparent; il commande la coupe du profil.

Soit (12) un morceau de pierre O destiné à une base: 1° laissant la hauteur AB pour la plinthe, on dégage un premier cylindre AC, comme dans la fig. 11, puis un second cylindre ED; on obtient l'évidement DEP. 2° on évide la scotie F. 3° On abat les deux arêtes GH. 4° On cisèle les filets IKLM. 5° On arrondit le premier tore, la scotie et le second tore. Quelquefois même, ainsi que nous le verrons tout à l'heure, la base reste taillée conformément au quatrième épannelage en tout ou partie. Le profil des bases du XIIe siècle conserve, grâce à cet épannelage simple dont on sent toujours le principe, quelque chose de ferme qui convient parfaitement à ce membre solide de l'architecture et qui contraste, il faut l'avouer, avec la mollesse et la forme indécise de la plupart des profils des bases romaines. Le tore inférieur, au lieu d'être coupé suivant un demi-cercle et de laisser entre lui et la plinthe une surface horizontale qui semble toujours prête à se briser sous la charge, s'appuie et semble comprimé sur cette plinthe. Mais les architectes du XIIe siècle vont plus loin, observant que, malgré son empatement, le tore inférieur de la base laisse les quatre angles de la plinthe carrée vides, que ces angles peu épais s'épaufrent facilement pour peu que la base subisse un tassement; les architectes, disons-nous, renforcent ces angles par un nerf, un petit contre-fort diagonal qui, partant du tore inférieur, maintient cet angle saillant. Cet appendice, que nous nommons griffe aujourd'hui (voy. ce mot), devient un motif de décoration et donne à la base du XIIe siècle un caractère qui la distingue et la sépare complétement de la base romaine.

Nous donnons (13) le profil d'une des bases des colonnes monocylindriques du tour du choeur de l'église de Poissy taillé suivant le procédé indiqué par la fig. 12, et le dessin de la griffe d'angle de cette base partant du tore inférieur pour venir renforcer la saillie formée par la plinthe carrée. Il n'est pas besoin d'insister, nous le croyons, sur le mérite de cette innovation si conforme aux principes du bon sens et d'un aspect si rassurant pour l'oeil. Quand on s'est familiarisé avec cet appendice, dont l'apparence comme la réalité présentent tant de solidité, la base romaine, avec sa plinthe isolée, a quelque chose d'inquiétant; il semble (et cela n'arrive que trop souvent) que ses cornes maigres vont se briser au moindre mouvement de la construction, ou au premier choc. C'est vers le commencement du XIe siècle que l'on voit apparaître les premières griffes aux angles des bases; elles se présentent d'abord comme un véritable renfort très-simple, pour revêtir bientôt des formes empruntées à la flore ou au règne animal (voy. GRIFFE).
Il nous serait difficile de dire dans quelle partie de l'Occident cette innovation prit naissance, mais il est incontestable qu'on la voit adoptée presque sans exception dans toutes les provinces françaises, à partir de la première moitié du XIIe siècle. Sur les bords du Rhin, comme en Provence et dans le nord de l'Italie, les bases des colonnes sont presque toujours dès cette époque, et pendant la première moitié du XIIIe siècle, munies de griffes.

Nous représentons (14) une des bases des colonnes de la nef de l'église
de Rosheim, près Strasbourg (rive gauche du Rhin), qui est renforcée de
griffes très-simples (première moitié du XIIe siècle); et (15) une base
des colonnes engagées de l'église de Schelestadt, même époque, qui offre
la même particularité, bien que, de ces deux profils, l'un soit
très-saillant et l'autre très-peu accentué. Mais on remarquera que dans
ces deux exemples, comme dans tous ceux que nous pourrions tirer des
monuments rhénans, le goût fait complétement défaut.
Les bases des
colonnes de l'église de Rosheim sont ridiculement empatées et lourdes,
celles de l'église de Schelestadt sont au contraire trop plates et leurs
griffes fort pauvres d'invention.
C'est toujours dans l'Ile de France ou les provinces avoisinantes qu'il faut chercher les beaux exemples de l'architecture du moyen âge, soit comme ensemble soit comme détails. Tandis que dans ces contrées, centre des arts et du mouvement intellectuel au XIIe siècle, la base se soumettait, ainsi que tous les membres de l'architecture, à des règles raisonnées, l'anarchie ou les vieilles traditions régnaient encore dans les provinces du centre, qui ne suivaient que tardivement l'impulsion donnée par les artistes du XIIe siècle. En Auvergne, dans le Berry, le Bourbonnais et une partie du Poitou, la base reste longtemps dépourvue de son nouveau membre, la griffe, et les architectes paraissent livrés aux fantaisies les plus étranges. C'est ainsi que nous voyons au clocher d'Ébreuil (Allier) des colonnes dont les chapiteaux et les bases sont identiques de forme (16). Même chose à la porte de l'église de Neuvy-Saint-Sépulcre (Indre), à l'église de Cusset, qui nous laisse voir encore une base dont la forme et la sculpture appartiennent à un chapiteau (17) 87.
Là même où les traditions romaines avaient conservé le plus d'empire, à Langres, par exemple, mais où l'influence des écoles d'art de la France pénétrait, nous voyons, au XIIe siècle, la base antique adopter la griffe. Les bases des colonnes du tour du choeur de la cathédrale de Langres sont pourvues de griffes finement sculptées (18). Le profil A de ces bases est presque romain, sauf la scotie, qui semble seulement épannelée; la plinthe (voir le plan B), au lieu d'être tracée sur un plan carré, est brisée suivant l'angle du polygone sur lequel les colonnes du choeur s'élèvent. Il y a là une recherche qui dénote de la part des constructeurs de cet édifice un soin tout particulier 88.

Cette recherche dans les détails se retrouve poussée fort loin dans les bases des colonnettes du triforium du choeur de la cathédrale de Langres. Les colonnettes jumelles qui reposent sur des bases taillées dans un même morceau de pierre, lorsqu'elles sont très-chargées, portent toutes la charge aux deux extrémités de ce morceau de pierre, et manquent rarement de le faire casser au milieu, là où il est le plus faible, puisqu'il n'a sur ce point que l'épaisseur de la plinthe. Pour éviter cet inconvénient, les constructeurs du choeur de la cathédrale de Langres ont eu l'idée de réserver entre les deux colonnettes jumelles, sur la plinthe, un renfort pris dans la hauteur d'assise de la base (19). Cela est fort ingénieux, et ce principe est également appliqué aux chapiteaux de ce triforium (voy. CHAPITEAU).

Il ressort déjà de ces quelques exemples que nous venons de donner un
fait remarquable: c'est la propension croissante des architectes du XIIe
siècle à établir des transitions entre la ligne verticale et la ligne
horizontale, à ne jamais laisser porter brusquement la première sur la
seconde sans un intermédiaire. Et pour nous faire comprendre par une
figure (20): soient A A deux assises horizontales d'une construction et
B un point d'appui vertical; les constructeurs ne laisseront jamais les
angles C C vides, mais ils les rempliront par des renforts inclinés D D,
des transitions qui sont des épaulements, contreforts, glacis, quand on
part de la ligne horizontale pour arriver à la ligne verticale; des
encorbellements, quand on part de la ligne verticale pour arriver à
l'horizontale. Tout est logique dans l'architecture du moyen âge, à
dater de la grande école du XIIe siècle, dans les ensembles comme dans
les moindres détails; le principe qui conduisait les architectes à
élever sur la colonne cylindrique un chapiteau évasé pour porter les
membres divers des constructions supérieures, à multiplier les
encorbellements pour passer, par une succession de saillies, du point
d'appui vertical à la voûte, les amenait naturellement à procéder de la
même manière lorsqu'il s'agissait de poser un point d'appui vertical
mince sur un large empalement. Aussi, mettant à part les marches, les
bancs qui doivent nécessairement, dans les soubassements des édifices,
présenter des surfaces horizontales, voyons-nous toujours la surface
horizontale exclue comme ne fonctionnant pas, ne portant pas.
En effet: soit (21) A une colonne et B une assise servant d'empatement
inférieur, de base. Toute la charge de la colonne porte seulement sur la
surface C D. Si forte que soit l'assise de pierre B, pour peu que la
surface C D s'affaisse sous la charge, les extrémités C F, D G non
chargées ne suivront pas ce mouvement, et la pierre ne possédant aucune
propriété élastique cassera en E E. Mais si (21 bis), entre la colonne A
et l'empatement B, on place une assise O, les chances de rupture
n'existeront plus, car la charge se répartira sur une surface C D
beaucoup plus large. Les angles E seront abattus comme inutiles; dès
lors, plus de surface horizontale apparente. Telle est la loi qui
commande la forme de toutes les bases de l'époque ogivale
89.
Voyons maintenant comment cette loi une fois établie, non-seulement les architectes ne s'en écartent plus, mais encore l'appliquent jusque dans ses dernières conséquences, sans dévier jamais, avec une rigueur de logique qui, dans les arts, à aucune époque ne fut poussée aussi loin; telle enfin, que chaque tentative, chaque essai nouveau dans cette voie, n'est qu'un degré pour aller au delà. Mais, d'abord, observons que la qualité des matériaux, leur plus ou moins de dureté, influe sur les profils des bases. Lorsque les architectes du XIIe siècle employèrent le marbre ou des calcaires compactes et d'une nature fière, ils se gardèrent de refouiller les scoties des bases; ils multiplièrent les arêtes fines, les plans, pour obtenir des ombres vives, minces, et de l'effet à peu de frais. Dans le Languedoc, où les marbres et les pierres calcaires compactes froides se rencontrent à peu près seules, on trouve beaucoup de profils de bases taillés au XIIe siècle avec un grand soin, une grande finesse de galbe, mais où les refouillements profonds si fréquents dans le Nord sont évités.

Nous prenons comme exemple une des bases des colonnes jumelles de la galerie du premier étage de l'hôtel de ville de Saint-Antonin près Montauban (22). La pierre employée est tellement compacte et fière qu'elle éclate sous le ciseau, à moins de la tailler à très-petits coups, sans engager l'outil.

Or le profil A de cette base montre avec
quelle adresse les tailleurs de pierre ont évité les refouillements, les
membres saillants des moulures, comme ils ont tiré parti de la finesse
du grain de la pierre pour obtenir, par des ciselures faites à petits
coups, des plans nettement coupés, des arêtes vives quoique peu
accentuées. Les traditions antiques, là où elles étaient vivantes, comme
en Provence, conservaient encore, à la fin du XIIe siècle, leur
influence, tout en permettant l'introduction des innovations. Parmi un
grand nombre d'exemples que nous pourrions citer, il en est un fort
remarquable: ce sont les bases des piliers du tour du choeur de l'église
de Saint-Gilles (23).
Les griffes d'angle viennent s'attacher au tore
inférieur de la base ionique romaine; leur sculpture rappelle la
sculpture antique. Cette base qui, en se retournant entre les piles,
forme le socle d'une clôture, porte sur le sol du choeur et n'est
surélevée que du côté du bas-côté en A. Il est à présumer que les
colonnes portaient le filet et le congé comme la colonne antique
90.
Dans le choeur de l'église de Vézelay, peu postérieur à celui de
Saint-Gilles (dernières années du XIIe siècle), nous retrouvons encore
la tradition romaine, mais seulement dans le fût de la colonne qui porte
en B un tore, un filet et un cavet (24). Quant à la base elle-même,
outre ses griffes, qui sont bien caractérisées et n'ont rien d'antique
(voy. GRIFFE), son profil est le profil de la fin du XIIe siècle; le
bahut, qui surélève cette base sur le bas-côté, n'est pas couronné par
le quart de rond antique de Saint-Gilles, mais par un profil beaucoup
mieux approprié à cette place, en ce qu'au lieu de former une arête
coupante, il présente un adouci. Ces quelques exceptions mises de côté,
la base ne dévie plus de la forme rationnelle que lui avaient donnée les
architectes français du XIIe siècle; elle ne fait que la perfectionner
jusqu'à l'abus du principe logique qui avait commandé sa composition.
Un des plus beaux et derniers exemples de la base du XIIe siècle se rencontre dans une petite église de Bourgogne, l'église de Montréal près Avallon 91. Nous donnons ici (25) une des bases des colonnes engagées de la nef de cette église et son profil A moitié d'exécution. L'épannelage indiqué par la ligne ponctuée est encore parfaitement respecté ici. Les piles de cette église présentent parfois des pilastres à pans coupés au lieu de colonnes engagées.


Ces pilastres ne portent pas sur un profil de base répétant celui des colonnes: ils ont leur base spéciale (26), dont la composition vient appuyer notre théorie expliquée par la fig. 21 bis. Ce n'est guère que dans les monuments élevés sous une influence romaine, comme les cathédrales de Langres et d'Autun, comme beaucoup d'édifices du Charolais et de la haute Bourgogne, que les pilastres (fréquents dans ces constructions pendant le XIIe siècle) posent sur des profils de bases semblable à ceux des colonnes. La véritable architecture française, naissante alors, n'admettait pas qu'un même profil de base pût convenir à un pilastre carré et à un cylindre. Et en cela, comme en beaucoup d'autres choses, la nouvelle école avait raison. Les tores et filets des bases, fins, détachés, présentent dans les retours d'équerre des aiguités désagréables à la vue, et surtout fort gênants à la hauteur où ils se trouvent placés; car il est rare que le niveau supérieur des bases, à dater du XIIe siècle, excède 1m,20 au-dessus du pavé. Les arêtes saillantes des bases de pilastres se fussent donc trouvées à la hauteur des hanches ou du coude d'un homme; et si les architectes du moyen âge avaient toujours en vue l'échelle humaine dans leurs compositions (voy. ARCHITECTURE), s'ils tenaient à ce qu'une base fût plutôt proportionnée à la dimension humaine qu'à celle de l'édifice, on ne doit pas être surpris qu'ils évitassent avec soin ces angles dont les vives arêtes menacent le passant. Tenant compte de la dimension humaine, ils devaient naturellement penser à ne pas gêner ou blesser l'homme, pour lequel leurs édifices étaient faits 92. Ces raisons, celles non moins impérieuses déduites du nouveau système de construction adopté dès le commencement du XIIIe siècle, amenèrent successivement les architectes à modifier les bases.

C'est dans l'Ile de France qu'il faut étudier ces transformations suivies avec persistance. Les architectes de cette province ne tardèrent pas à reconnaître que le plan carré de la plinthe et du socle était gênant sous le tore inférieur, quoique ses angles fussent adoucis et rendus moins dangereux par la présence des griffes. S'ils conservèrent les plinthes carrées pour les bases des colonnes hors de portée, ils les abattirent aux angles pour les grosses colonnes du rez-de-chaussée. Témoin les colonnes monocylindriques du tour du choeur de la cathédrale de Paris (fin du XIIe siècle); celles de la nef de la cathédrale de Meaux, du tour du choeur de l'église Saint-Quiriace de Provins, dont les bases sont élevées sur des socles et des plinthes donnant en plan un octogone à quatre grands côtés et quatre petits. Toutefois, comme pour conserver à la base son caractère de force, un empatement considérable sous le fût de la colonne, les constructeurs reculent encore devant l'octogone à côtés égaux; ils conservent la griffe, mais en lui donnant moins d'importance puisqu'elle couvre une plus petite surface. La fig. 26 bis indique le plan, et l'angle abattu avec sa griffe d'une des bases du tour du choeur dans la cathédrale de Paris, taillée d'après ce principe.

Mais que l'on veuille bien remarquer que ces bases, à plan octogonal irrégulier, ne sont placées que sous les grosses colonnes isolées du rez-de-chaussée; ces angles abattus ne se trouvent pas aux bases des colonnes engagées d'un faible diamètre. L'intention de ne pas gêner la circulation est ici manifeste 93. Autour du choeur de la cathédrale de Chartres (commencement du XIIIe siècle), les grosses colonnes qui forment la précinction du deuxième bas-côté sont portées sur des bases dont le socle est cubique, et la plinthe octogonale régulière (27). Mais la position de ces colonnes accompagnant un emmarchement justifie la présence du socle à pan carré. En effet, ces marches interdisant la circulation en tous sens, il était inutile d'abattre les angles des carrés. Ici la griffe est descendue d'une assise; elle dégage la base dont la plinthe à la portée de la main est franchement octogone. Déjà même le tore inférieur de cette base, pour garantir par sa courbure les arêtes du polygone, éviter la saillie des angles obtus, déborde les faces de ce polygone, ainsi que l'indique en A le profil pris sur une ligne perpendiculaire au milieu de l'une d'elles. En si beau chemin de raisonner, les architectes du XIIIe siècle ne s'arrêtent plus. À la cathédrale de Reims (28), nous les voyons conserver la plinthe carrée avec ses griffes, mais garder les passants des arêtes par la première assise du socle B, qui est taillée sur un plan octogonal; le tore inférieur C déborde les faces D.


À la même époque, on construisait la nef de la cathédrale d'Amiens et une quantité innombrable d'édifices dont les bases des gros piliers sont profilées sur des plinthes et socles octogones. La griffe alors disparaît. Voici un exemple de ces sortes de bases à socle octogone tiré des colonnes monocylindriques des bas-côtés du choeur de l'église Notre-Dame de Semur en Auxois (29). Pendant que l'on abattait partout, de 1230 à 1240, les angles des plinthes et les socles des grosses piles, afin de laisser une circulation plus facile autour de ces piliers isolés, on maintenait encore les bases à plinthes et socles carrés pour les colonnes engagées le long des murs, pour les colonnettes des fenêtres, des arcatures, et toutes celles qui étaient hors de la circulation; seulement, pour les colonnes engagées, on posait, lorsqu'elles étaient triples (ce qui arrivait souvent afin de porter l'arc doubleau et les deux arcs ogives des voûtes), les bases ainsi que l'indique la fig. 30.

Il y avait à cela deux raisons: la première, que les tailloirs des chapiteaux étant souvent à cette époque posés suivant la direction des arcs des voûtes, les faces B des tailloirs étaient perpendiculaires aux diagonales A; que dès lors les bases prenaient en plan une position semblable à celle des chapiteaux; la seconde, que les bases ainsi placées présentaient des pans coupés B ne gênant pas la circulation. Déjà, dès 1230, la direction et le nombre des arcs des voûtes commandaient non-seulement le nombre et la force des colonnes, mais la position des bases (voy. CONSTRUCTION). Supprimant les griffes aux bases des piliers isolés, on ne pouvait les laisser aux bases des colonnes engagées et des colonnettes des galeries, des fenêtres, etc. Les architectes du XIIIe siècle tenaient trop à l'unité de style pour faire une semblable faute; mais nous ne devons pas oublier leur aversion pour toute surface horizontale découverte et par conséquent ne portant rien. Les griffes enlevées, l'angle de la plinthe carrée redevenait apparent, sec, contraire au principe des épaulements et transitions. Pour éviter cet écueil, les architectes commencèrent par faire déborder de beaucoup le tore inférieur de la base sur la plinthe (31) 94; mais les angles A, malgré le bizeau C, laissaient encore voir une surface horizontale, et le tore B ainsi débordant (quoique le bizeau C ne fût pas continué sous la saillie en D) était faible, facile à briser; il laissait voir par-dessous, si la base était vue de bas en haut, une surface horizontale E.

On ne tarda guère à éviter ces deux inconvénients en entaillant les angles et en ménageant un petit support sous la saillie du tore.

La fig. 32 A indique en plan l'angle de la plinthe dissimulé par un congé, et B le support réservé sous la saillie du tore inférieur.

La fig. 33 donne les bases d'une pile engagée du cloître de la cathédrale de Verdun taillées d'après ce principe. On voit que là les angles saillants, contre lesquels il eût été dangereux de heurter les pieds dans une galerie destinée à la promenade ou à la circulation, ont été évités par la disposition à pan coupé des assises inférieures P. Toutes ces tentatives se succèdent avec une rapidité incroyable; dans une même construction, élevée en dix ans, les progrès, les perfectionnements apparaissent à chaque étage. De 1235 à 1245, les architectes prirent le parti d'éviter les complications de tailles pour les plinthes et socles des bases des colonnes secondaires, comme ils l'avaient fait déjà pour les grosses colonnes des nefs, c'est-à-dire qu'ils adoptèrent partout, sauf pour quelques bases de colonnettes de meneaux, la plinthe et le socle octogones. À la cathédrale d'Amiens, dans les parties inférieures du choeur, à la Sainte-Chapelle de Paris, dans la nef de l'église de Saint-Denis, dans le choeur de la cathédrale de Troyes, etc., toutes les bases des colonnes engagées ou isolées sont ainsi taillées (34).

Quelques provinces cependant avaient, à la même époque, pris un autre parti. La Normandie, le Maine, la Bretagne établissaient les bases de leurs piliers, colonnes ou colonnettes isolées ou engagées, sur des plinthes et socles circulaires concentriques à ces tores.

Telles sont les bases des piles de la nef de la cathédrale de Séez (35), les bases des colonnes de la partie de l'église d'Eu qui date de 1240 environ, du choeur de la cathédrale du Mans de la même époque, etc.; car il est à remarquer que, pendant les premières années du XIIIe siècle, ces détails de l'architecture normande ne diffèrent que bien peu de ceux de l'architecture de l'Ile de France, et qu'au moment où, dans les diocèses de Paris, de Reims, d'Amiens, d'Auxerre, de Tours, de Bourges, de Troyes, de Sens, on faisait passer le plan inférieur de la base du carré à l'octogone, on adoptait en Normandie et dans le Maine le socle circulaire. Cette dernière forme est molle, pauvre, et est loin de produire l'effet encore solide de la base sur socle octogone. C'est aussi à la forme circulaire que s'arrêtèrent les architectes anglais, à la même époque. L'influence du style français se fait sentir en Normandie à la fin du règne de Philippe-Auguste; plus tard, le style anglo-normand semble prévaloir, dans cette province, dans les détails sinon dans l'ensemble des constructions.
Cependant le profil de la base avait subi des modifications essentielles de 1220 à 1240. Le tore inférieur (fig. 34) A s'était aplati; la scotie C se creusait et arrivait parfois jusqu'à l'aplomb du nu de la colonne; le tore supérieur B, au lieu d'être tracé par un trait de compas, subissait une dépression qui allégeait son profil et lui donnait de la finesse. Le but de ces modifications est bien évident: les architectes voulaient donner plus d'importance au tore inférieur aux dépens des autres membres de la base, afin d'arrêter la colonne par une moulure large et se dérobant le moins possible aux yeux. Mais ce n'est que dans les provinces mères de l'architecture ogivale que ces détails sont soumis à des règles dictées par le bon sens et le goût; ailleurs, en Normandie, par exemple, où la dernière période romane jette un si vif et bel éclat, on voit que l'école ogivale est flottante, indécise; elle mêle ses profils romans au nouveau système d'architecture; elle trace ses moulures souvent au hasard, ou cherche des effets dans lesquels l'exagération a plus de part que le goût. Le profil de la base que nous donnons (fig. 35) en est un exemple: c'est un profil roman; la scotie est maladroitement remplie par un perlé qui amollit encore ce profil, déjà trop plat pour une pile de ce diamètre. Ce n'est pas ainsi que procédaient les maîtres, les architectes tels que Robert de Luzarches, Pierre de Corbie, Pierre de Montereau et tant d'autres sortis des écoles de l'Ile de France, de la Champagne, de la Picardie et de la Bourgogne; ils ne donnaient rien au hasard, et ils se rendaient compte, dans leurs compositions d'ensemble comme dans le tracé des moindres profils, en praticiens habiles qu'ils étaient, des effets qu'ils voulaient produire.
Qu'on ne s'étonne pas si, à propos des bases, nous entrons dans des considérations aussi étendues. Les bases, leur compositions leurs profils, ont, dans les édifices, une importance au moins égale à celle des chapiteaux; elles donnent l'échelle de l'architecture. Celles qui sont posées sur le sol étant près de l'oeil deviennent le point de comparaison, le module qui sert à établir des rapports entre les moulures, les faisceaux de colonnes, les nervures des voûtes. Trop fines ou trop accentuées, elles feront paraître les membres supérieurs d'un monument lourds ou maigres 95.
Aussi les bases sont-elles traitées par les grands maîtres des oeuvres du XIIIe siècle avec un soin, un amour tout particulier. Si elles sont posées très-près du sol et vues de haut en bas, leurs profils s'aplatiront, leurs moindres détails se prêteront à cette position (36 A). Si, au contraire, elles portent des colonnes supérieures telles que celles des fenêtres hautes, des triforiums, et si, par conséquent, on ne peut les voir que de bas en haut, leurs moulures, tores, scoties et listels prendront de la hauteur (36 B), de manière que, par l'effet de la perspective, les profils de ces bases inférieures et supérieures paraîtront les mêmes. Cette étude de l'effet des profils des bases est bien évidente dans la nef de la cathédrale d'Amiens, bâtie d'un seul jet de 1225 à 1235. Là, plus les bases se rapprochent de la voûte et plus leurs profils sont hauts, tout en conservant exactement les mêmes membres de moulures.

Depuis les premiers essais de l'architecture du XIIe siècle, dans les provinces de France, jusque vers 1225 environ, lorsque des piles se composent de faisceaux de colonnes inégales de diamètre, la réunion des bases donne des profils différents de hauteur en raison de la grosseur des diamètres des colonnes; du moins cela est fréquent; c'est-à-dire que la grosse colonne a sa base et la colonne fine la sienne, les profils étant semblables mais inégaux. Ce fait est bien remarquable à la cathédrale de Laon 96, dont quelques piles de la nef se composent de grosses colonnes monocylindriques flanquées de colonnettes détachées, d'un faible diamètre (37). A donne le profil de la grosse colonne centrale et B le profil des colonnettes reposant tous deux sur un socle et une plinthe de même épaisseur. Mais déjà, de 1230 à 1240, nous voyons les piles composées de colonnes de diamètres inégaux posséder le même profil de base pour ces colonnes, indépendamment de leur diamètre. Il est certain que, quelle que fût la composition de la pile, les architectes du XIIIe siècle voulaient qu'elle eût sa base, et non ses bases; c'était là une question d'unité. À la Sainte-Chapelle de Paris (voy. fig. 34), les trois colonnes des piles engagées et les colonnettes de l'arcature ont le même profil de base, qui se continue entre ces colonnettes le long du pied de la tapisserie; seulement le profil appliqué aux colonnettes de l'arcature et courant le long du parement est plus camard que celui des grosses colonnes. Les architectes du XIIIe siècle, artistes de goût autant au moins que logiciens scrupuleux, avaient senti qu'il fallait, dans leurs édifices composés de tant de membres divers, nés successivement du principe auquel ils s'étaient soumis, rattacher ces membres par de grandes lignes horizontales, d'autant mieux accusées qu'elles étaient plus rares. La base placée presque au niveau de l'oeil était, plus que le sol encore, le véritable point de départ de toute leur ordonnance; ils cherchaient si bien à éviter, dans cette ligne, les ressauts, les démanchements de niveaux, qu'ils réunissaient souvent les bases des piles adossées aux murs par une assise continuant le profil de ces bases, ainsi qu'on peut le voir à la Sainte-Chapelle de Paris.
Lorsque les édifices se composent, comme les grandes églises, de rangées de piles isolées et de piles engagées dans les murs latéraux, les bases atteignent des niveaux différents, celles des grandes piles isolées étant plus hautes que celles des piles des bas-côtés; cela est fort bien raisonné, car un niveau unique pour les bases des piles courtes et des piles élancées devait être choquant; ce niveau eût été trop élevê pour les piles des bas-côtés ou trop bas pour les piles isolées qui montent jusqu'à la grande voûte. Ainsi, pour les grandes piles, la base se compose généralement de trois membres: 1° d'un socle inférieur circonscrivant les polygones, 2° d'un second socle avec moulure, 3° de la base proprement dite avec sa plinthe; tandis que pour les piles des bas-côtés, la base ne se compose guère que de deux membres: 1° d'un socle à la hauteur du banc, 2° de la base avec sa plinthe. Si le bas-côté est double, le second rang de piles isolées est porté sur des bases dont le niveau est le même que celui des bases des piles engagées, puisque ce second rang de piles n'a que la hauteur de celles adossées aux murs latéraux. Si grand que soit l'édifice, les bases dont le niveau est le plus élevé ne dépassent jamais et atteignent rarement, dans les monuments construits par les artistes de France au XIIIe siècle, la hauteur de l'oeil, c'est-à-dire 1m,60. La hauteur de la base est donc le véritable module de l'architecture ogivale; c'est le point de comparaison, l'échelle; c'est comme une ligne de niveau tracée au pied de l'édifice, qui rappelle partout la stature humaine. Si le sol s'élève de quelques marches, comme dans les choeurs des églises, le niveau de la base ressaute d'autant, retrace une seconde ligne de niveau, indique un autre sol. Ces règles sont bien éloignées de celles qu'on a voulu baser sur les ordres romains, et qui sont du reste rarement confirmées par les faits; mais n'oublions pas qu'il faut étudier l'architecture antique et l'architecture ogivale à deux points de vue différents.
En soumettant ainsi toutes les piles et les membres de ces piles à un seul profil de bases, sans tenir compte des diamètres des colonnes, les architectes obéissaient à leur instinct d'artiste plutôt qu'à un raisonnement de savants; ils avaient dévié de l'ornière logique. Nous ne saurions trop le dire (parce que dans les arts, et surtout dans l'art de l'architecture, entre la science pure et le caprice, il est un chemin qui n'est ouvert qu'aux hommes de génie), ce qui nous porte à tant admirer nos architectes français du XIIIe siècle, c'est qu'ils ont suivi ce chemin, comme dans leur temps les Grecs l'avaient parcouru; mais malheureusement cette voie, dans l'histoire des arts, n'est jamais longue. Le goût, le génie, l'instinct ne se formulent pas, et l'heure des pédants, des raisonneurs, succède bientôt à l'inspiration qui possède la science, mais la possède prisonnière et soumise.
Avant de passer outre et de montrer ce que devient ce membre si important de l'architecture ogivale, la base, nous ne devons pas omettre une observation de détail qui a son importance. Si les bases des piles de rez-de-chaussée exécutées de 1230 à 1260 ne présentent que peu de variétés dans la composition de leurs profils et de leurs plans; si les architectes pendant cette période attachaient une grande importance à ces bases inférieures, le point de départ, le module de leurs édifices, il semble qu'ils aient abandonné souvent l'exécution des bases des colonnes secondaires des ordonnances supérieures aux tailleurs de pierre. Les ouvriers sortis de divers ateliers, réunis en grand nombre lorsqu'il s'agissait de construire un vaste édifice (et à cette époque on construisait avec une rapidité qui tient du prodige) (voy. CONSTRUCTION), se permettaient de modifier certains profils de détails suivant leur goût. Il n'est pas rare (et ceci peut être observé surtout dans les grands monuments) de trouver, dans les édifices qui datent de 1240 à 1270, des bases de colonnettes, de meneaux de fenêtres, de galeries supérieures, présentant des rangs de pointes de diamant dans la scotie, des bases sans scoties, avec tore supérieur d'une coupe circulaire, avec plinthe carrée simple ou avec angles abattus et supports sous la saillie du tore inférieur. Il y a donc encore à cette époque une certaine liberté, mais elle se réfugie dans les parties des édifices qui sont hors de la vue, et se produit sans la participation de l'architecte.
Au commencement du XIVe siècle, la base s'appauvrit, ses profils perdent
de leur hauteur et de leur saillie. Dans l'église Saint-Urbain de Troyes
déjà, qui ouvre le XIVe siècle, les bases des piliers et colonnettes
comptent à peine; les deux tores se sont réunis et la scotie a disparu
(38); les moulures des socles sont maigres; et partout, au
rez-de-chaussée comme dans les galeries supérieures, le profil est le
même. On voit qu'alors les architectes cherchaient à dissimuler ce
membre d'architecture, si important dans les édifices des premiers temps
de la période ogivale, à éviter des empatements dont l'importance était
en désaccord avec le système vertical des constructions. En progressant,
l'architecture ogivale multiplie ses lignes verticales et efface ses
membres horizontaux; ceux-ci se réduisent de plus en plus pour
disparaître complétement au XVe siècle. Telle est la puissance d'un
principe logique poursuivi à outrance dans les arts, qu'il finit par
étouffer ses propres origines.
Pendant les premières années du XIVe siècle, les piliers possèdent encore la base à niveaux et profils uniques. Non-seulement les colonnes formant faisceaux se subdivisent (voy. PILIER), mais elles commencent à porter des arêtes saillantes destinées à multiplier les lignes verticales. Le profil des bases obéit au contour donné par le plan de ces piliers; et, dans ce cas, la plinthe conserve son plan carré, dont l'angle saillant est couvert par l'excroissance que forme le tore inférieur de la base.

Dans le choeur de l'église Saint-Nazaire de Carcassonne (39), les piles engagées présentent en section horizontale A des réunions de colonnettes portant, la plupart, des arêtes saillantes; le profil de la base contourne ces arêtes, et les saillies des tores inférieurs sont accompagnées encore de petits supports. Les surfaces horizontales sont soigneusement évitées ici, car les plinthes carrées des bases pénètrent un bizeau continu dépendant du socle qui circonscrit le plan de ces plinthes. Toutefois un fait curieux doit être signalé ici: le choeur de l'église Saint-Nazaire de Carcassonne conserve encore de grosses colonnes cylindriques, et, par exception, l'architecte de cet édifice n'ayant pas admis la plinthe polygonale sous les tores des bases, fut entraîné à faire encore des griffes pour couvrir les angles saillants des plinthes que le tore des bases des grosses colonnes ne pouvait masquer (40).

Ces exemples indiquent parfaitement la transition entre la base du XIIIe siècle et la base du XIVe, car la plinthe à plan carré et la griffe ne se retrouvent plus à partir de cette dernière époque. À Saint-Nazaire de Carcassonne, nous voyons encore, sous la plinthe, le profil B (40), qui figure une assise sous cette plinthe, bien que par le fait ce profil B soit pris dans l'assise même de la base.


C'était là un contre-sens qui ne fut pas souvent répété. Bientôt, en effet, le profil B du socle et la plinthe ne firent plus qu'un; les deux profils des tores de la base arrivèrent également à ne former qu'une seule moulure. Soit A (41) le profil d'une base de la fin du XIIIe siècle; la scotie D est encore visible; ce n'est plus qu'un trait gravé; l'ancienne moulure du socle E tient à la plinthe et lui donne un empatement détaché comme s'il y avait un joint en F, qui n'existe pas cependant. La base se modifie encore; B, la scotie, disparaît entièrement; le profil E s'amaigrit, son membre supérieur se détache. Puis enfin, vers 1230, C, les deux tores, se réunissent, et le profil E s'est fondu dans la plinthe. Les petits supports sous les saillies du tore inférieur sont conservés lorsque la plinthe à plan carré persiste, ce qui est rare. La plinthe devient polygonale pour mieux circonscrire les tores. Ne comprenant plus les raisons d'art qui avaient engagé les architectes du milieu du XIIIe siècle à faire régner la même hauteur et le même profil de base sous toutes les colonnes, quel que fût leur diamètre, et tendant à soumettre tous les détails architectoniques à une logique impérieuse, les constructeurs du XIVe siècle reviennent aux bases inégales de hauteur en raison des diamètres des colonnes réunies en un seul faisceau. On peut en voir un exemple à la cathédrale de Paris, dont les chapelles absidales ont été construites de 1325 à 1330; les piles de tête de ces chapelles sont portées sur des bases ainsi taillées (42). Toutefois, ici, les inégalités entre les hauteurs des bases sont peu sensibles, et les tores sont profilés au même niveau. L'oeil est ramené à une seule ligne horizontale de laquelle les piles s'élancent. Pendant toute la durée du XIVe siècle, cette méthode est suivie sans déviations sensibles. Ce n'est qu'à la fin de ce siècle et au commencement du XVe que les architectes imaginent de faire ressauter les bases et de ne conserver ni les tores ni les plinthes au même niveau. Mais disons d'abord que les deux tores de la base, après l'abandon de la scotie, s'étaient si bien soudés qu'on avait fini par oublier l'origine de ce profil; des deux moulures, pendant le XVe siècle, on n'en formait plus qu'une seule; et comme cette moulure se trouvait prise dans la même pierre que la plinthe, on ne la sépara plus de celle-ci par une coupe vive à angle droit, coupe qui, pour les raisonneurs de cette époque, indiquait un lit qui n'avait jamais existé.

Du profil A (43) on arriva au profil B, et le membre C qui remplaçait l'ancien tore, au lieu d'être tracé sur un plan circulaire, prit la forme polygonale de l'ancienne plinthe D, la colonne restant cylindrique. Les architectes affectèrent de profiler les bases d'une même pile à des niveaux différents, comme pour mieux séparer chaque colonnette ou membre de ces piles, et pour éviter la continuité des lignes horizontales.

Voici (44) un exemple de bases d'une pile du XVe siècle tiré de la nef de la cathédrale de Meaux. Ces exemples sont très-fréquents, et nous ne croyons pas avoir besoin de les multiplier; d'ailleurs il en est des bases du XVe siècle comme de tous les détails et ensembles architectoniques de cette époque, la complication des formes arrive à la monotonie. Plus d'originalité, plus d'art; tout se réduit à des formules d'appareilleur. À la fin du XVe siècle, les piles, au lieu de se composer de faisceaux de colonnes cylindriques, reviennent à la forme monocylindrique ou aux groupes de prismes curvilignes. Dans le premier cas, une seule base à socle polygonal porte le gros cylindre (45), dans le second, on retrouve la base principale, celle du corps du pilier, dans laquelle viennent pénétrer les petites bases partielles et ressautantes des prismes groupés autour de ce pilier. On se fait difficilement une idée de la confusion qui résulte de ce tracé; mais les appareilleurs et tailleurs de pierre de ce temps se faisaient un jeu de ces pénétrations de corps (voy. TRAIT).


Nous donnons ci-contre (46) la base d'une pile provenant du portique de l'hôtel de la Trémoille à Paris; cet exemple confirme ce que nous disons 97. On voit, en coupe, le profil principal D de la base du pilier, exprimé en D' dans le plan P. Les bases ressautantes des prismes accolés à ce pilier viennent pénétrer dans le profil D de manière à ce que les angles saillants A E F G C H des plinthes tombent sur la circonférence de la courbe du socle inférieur. La colonne engagée B, qui a une fonction particulière, qui porte la retombée de l'arc doubleau et de deux arcs ogives, possède sa base distincte. Les petites surfaces I restant entre le profil D de base et le fond des gorges, sont taillées en pente, ainsi que l'indique la coupe I'. On en était donc venu, au XVe siècle, à donner à chaque membre des piliers sa base propre, indépendante, tout en laissant sous le corps du pilier une base principale destinée à recevoir les pénétrations des bases secondaires (voy. PILIER, PÉNÉTRATION).
Lorsqu'au commencement du XVIe siècle on fit un retour vers les formes de l'architecture romaine, on reprit le profil de la base antique; pendant quelque temps encore, le système de bases appliqué à la fin du XVe siècle se trouva mêlé avec le profil de la base romaine, ce qui produit une singulière confusion; mais du moment que les ordres furent régulièrement admis, les dernières traces des profils des bases du XVe siècle disparurent (voy. PROFIL).
Note 85: (retour) C'est au-dessous du sol de l'église reconstruite au XIIe siècle que ces bases ont été découvertes à leur ancienne place; autour d'elles ont été trouvés de nombreux fragments de chapiteaux et tailloirs du travail le plus barbare, des débris de tuiles romaines. Il n'est pas douteux que ces restes dépendent de l'église bâtie à Poissy par les premiers rois mérovingiens. Le sol de ces bases est à 0m,60 en contre-bas du sol de l'église du XIIe siècle.
Note 86: (retour) Cette base provient de l'église d'Ebreuil (Allier).
Note 87: (retour) Ces deux derniers exemples appartiennent au XIIe siècle. C'est à M. Millet, architecte, que nous devons les dessins de ces deux bases.
Note 88: (retour) Le choeur de la cathédrale de Langres ouvre un large champ à l'étude de la construction pendant le XIIe siècle; nous avons l'occasion d'y revenir aux mots CONSTRUCTION, VOUTE.
Note 89: (retour) Cette loi, bien entendu, ne s'applique pas seulement aux bases, mais à tout l'ensemble comme aux détails des constructions du moyen âge, à partir du XIIe siècle (voy. CONSTRUCTION).
Note 90: (retour) Ce choeur est malheureusement détruit, et les bases restent seules à leur place, ainsi que l'indique notre dessin.
Note 91: (retour) Les profils de l'église de Montréal sont d'une pureté et d'une beauté très-remarquables, et leur exécution est parfaite. Dans ce monument, toutes les bases et profils à la portée de la main sont polis, tandis que les parements sont taillés au taillant simple d'une façon assez rustique. Ce contraste entre la taille des moulures et des parements est fréquent à la fin du XIIe siècle et au commencement du XIIIe; il prête un charme tout particulier aux détails de l'architecture (voy. TAILLE).
Note 92: (retour) Combien ne voyons-nous pas dans nos édifices modernes de ces corniches de stylobates présenter leurs angles vifs à la hauteur de l'oeil? de ces arêtes de pilastres ou de bases que l'on maudit avec raison lorsque la foule vous précipite sur elles?
Note 93: (retour) Ces bases de la cathédrale de Paris doivent avoir été taillées et mises en place entre les années 1175 et 1180.
Note 94: (retour) Base de l'église de Notre-Dame de Semur, de Notre-Dame de Dijon, etc. Voyez aussi(37) la figure d'une base de la cathédrale de Laon, commencement du XIIIe siècle.
Note 95: (retour) Combien d'édifices, dont l'effet intérieur était détruit par ces amas de chaises ou de bancs encombrant leurs bases, paraissent cent fois plus beaux une fois ces meubles enlevés.
Note 96: (retour) Commencement du XIIIe siècle.
Note 97: (retour) Cette construction datait des dernières années du XVe siècle.
BASILIQUE, S. f. Chez les Grecs et les Romains de l'antiquité, la basilique était une salle plus longue que large, souvent avec bas-côtés et tribune au-dessus, terminée, à l'extrémité opposée à l'entrée, par un hémicycle. C'était là qu'on rendait la justice, que se traitaient les affaires commerciales comme dans nos Bourses modernes. Parmi les édifices qui entouraient le forum, la basilique tenait une des premières places. Vitruve la décrit, en indique l'usage et les dimensions.
Les basiliques antiques possédaient quelquefois des doubles bas-côtés; telle était la basilique Émilienne dont le plan est tracé sur les fragments de marbre du grand plan de Rome levé sous Septime-Sévère. Lorsque les chrétiens purent pratiquer leur culte ostensiblement, ils se servirent de la basilique antique comme convenant mieux aux réunions de fidèles que tout autre édifice du paganisme; les premières églises qu'ils élevèrent en adoptèrent la forme. À proprement parler, il n'y a pas en France, depuis le Xe siècle, de basilique (voy. ARCHITECTURE, ARCHITECTURE RELIGIEUSE).
Ce nom fut seulement appliqué à quelques églises primitives de Rome, telles que Saint-Pierre 98, Sainte-Marie-Majeure, Saint-Jean-de-Latran, qui sont les trois grandes basiliques chrétiennes de premier ordre. Saint-Laurent, Sainte-Agnès, Saint-Paul (hors les murs) et plusieurs autres églises de la cité antique, conservent aussi le titre de basilique. En France, quelques-unes de nos églises obtinrent des papes le privilége d'être désignées comme basiliques; mais, au point de vue architectonique, on ne peut leur donner ce nom. Le plan et les dispositions générales de la basilique antique peuvent convenir aux églises chrétiennes; mais ces monuments ne doivent être considérés que comme l'appropriation d'un édifice antique à un besoin moderne, non comme la réalisation d'un programme arrêté; cela est si vrai, que les constructeurs du moyen âge, du moment qu'ils abandonnèrent les traditions abâtardies de l'antiquité, cherchèrent de nouvelles dispositions comme plan, et un nouveau système de construction; c'est ce qui a fait dire à beaucoup de personnes s'occupant des arts religieux, que les églises romane et ogivale étaient les seules qui fussent vraiment chrétiennes.
Si cela n'est pas soutenable au fond, puisque dans la ville chrétienne par excellence il n'existe pas une église bâtie suivant la donnée romane ou ogivale, nous sommes bien forcés de reconnaître que le christianisme, en Occident, a trouvé une forme nouvelle qu'il a merveilleusement appliquée aux besoins du culte. On peut adopter ou repousser cette forme, elle n'appartient pas moins au catholicisme; bonne ou mauvaise, c'est son oeuvre.
Note 98: (retour) Si Saint-Pierre de Rome a conservé son nom de basilique, il n'est pas besoin de dire que la disposition de l'édifice actuel ne rappelle en rien celle des basiliques primitives.
BASSYE, vieux mot employé pour latrines, privé (voy. PRIVÉ).
BAS-RELIEF, s. m. (voy. IMAGERIE).
BASTARDE, s. f. Vieux mot employé pour désigner une pièce de bois de moyenne grandeur.
BASTIDE, s. f. Bastille. On entendait par bastide, pendant le moyen âge, un ouvrage de défense isolé, mais faisant cependant partie d'un système général de fortification: On doit distinguer les bastilles permanentes des bastilles élevées provisoirement; les bastilles tenant aux fortifications d'une place, de celles construites par les assiégeants pour renforcer une enceinte de circonvallation ou de contrevallation. Le mot bastide est plutôt employé jusqu'à la fin du XIIIe siècle pour désigner des ouvrages provisoires destinés à protéger un campement que des constructions à demeure; ce n'est que par extension que l'on désigne, à partir de cette époque, par bastide ou bastille, des forts en maçonnerie se reliant à une enceinte. Le mot bastide est souvent appliqué à une maison isolée, bâtie en dehors des murs d'une ville 99.
Lorsque les Romains investissaient une place forte, et se trouvaient dans la nécessité de faire un siége en règle, leur premier soin était d'établir des lignes de circonvallation et de contrevallation, renforcées de distance en distance par des tours en bois ou même en maçonnerie. S'il était facile d'élever les tours des lignes de circonvallation, on comprendra que les assiégés s'efforçaient d'empêcher l'établissement des tours tenant aux lignes de contrevallation, de détruire ces ouvrages que l'on dressait en face des remparts de la place, souvent à une très-petite distance. Cependant les armées romaines attachaient la plus grande importance à ces ouvrages, que nous ne pouvons comparer qu'à nos batteries de siége et à nos places d'armes. Élever en face des tours d'une ville assiégée des tours plus hautes afin de dominer les fortifications, d'empêcher les défenseurs de se tenir sur les chemins de ronde, et de protéger ainsi le travail du mineur, était le moyen lent mais sûr que les armées romaines mettaient en pratique, avec autant de méthode et de persévérance que d'habileté. Nous ne pourrions nous occuper en détail de la bastide, sans avoir au préalable indiqué l'origine de cet ouvrage d'après les données antiques. Il faut convenir d'ailleurs que jamais les armées du moyen âge ne présentèrent un corps aussi discipliné et homogène que les armées romaines, et que, par conséquent, les moyens d'attaque régulière qu'elles mirent en pratique ne purent rivaliser avec ceux employés par les Romains.
Lorsque le lieutenant C. Trébonius fut laissé par César au siége de Marseille, les Romains durent élever des ouvrages considérables pour réduire la ville, qui était forte et bien munie. L'un de leurs travaux d'approche, véritable bastide, est d'une grande importance; nous donnons ici la traduction du passage des Mémoires de César qui le décrit, en essayant de la rendre aussi claire que possible:
«Les légionnaires, qui dirigeaient la droite des travaux, jugèrent qu'une tour de briques, élevée au pied de la muraille (de la ville), pourrait leur être d'un grand secours contre les fréquentes sorties des ennemis, s'ils parvenaient à en faire une bastille ou un réduit. Celle qu'ils avaient faite d'abord était petite, basse; elle leur servait cependant de retraite. Ils s'y défendaient contre des forces supérieures, ou en sortaient pour repousser et poursuivre l'ennemi. Cet ouvrage avait trente pieds sur chaque côté, et l'épaisseur des murs était de cinq pieds; on reconnut bientôt (car l'expérience est un grand maître) qu'on pourrait au moyen de quelques combinaisons tirer un grand parti de cette construction, si on lui donnait l'élévation d'une tour.
«Lorsque la bastille eut été élevée à la hauteur d'un étage, ils (les Romains) placèrent un plancher composé de solives dont les extrémités étaient masquées par le parement extérieur de la maçonnerie, afin que le feu lancé par les ennemis ne pût s'attacher à aucune partie saillante de la charpente. Au-dessus de ce plancher ils surélevèrent les murailles de brique autant que le permirent les parapets et les mantelets sous lesquels ils étaient à couvert; alors, à peu de distance de la crête des murs, ils posèrent deux poutres en diagonale pour y placer le plancher destiné à devenir le comble de la tour. Sur ces deux poutres, ils assemblèrent des solives transversales comme une enrayure, et dont les extrémités dépassaient un peu le parement extérieur de la tour, pour pouvoir suspendre en dehors des gardes destinées à garantir les ouvriers occupés à la construction du mur. Ils couvrirent ce plancher de briques et d'argile pour qu'il fut à l'épreuve du feu, et étendirent dessus des couvertures grossières, de peur que le comble ne fût brisé par les projectiles lancés par les machines, ou que les pierres envoyées par les catapultes ne pussent fracasser les briques. Ils façonnèrent ensuite trois nattes avec des câbles servant aux ancres des vaisseaux, de la longueur de chacun des côtés de la tour et de la hauteur de quatre pieds, et les attachèrent aux extrémités extérieures des solives (du comble), le long des murs, sur les trois côtés battus par les ennemis. Les soldats avaient souvent éprouvé, en d'autres circonstances, que cette sorte de garde était la seule qui offrit un obstacle impénétrable aux traits et aux projectiles lancés par les machines. Une partie de la tour étant achevée et mise à l'abri de toute insulte, ils transportèrent les mantelets dont ils s'étaient servis sur d'autres points des ouvrages d'attaque. Alors, s'étayant sur le premier plancher, ils commencèrent à soulever le toit entier, tout d'une pièce, et l'enlevèrent à une hauteur suffisante pour que les nattes de câbles pussent encore masquer les travailleurs. Cachés derrière cette garde, ils construisaient les murs en briques, puis élevaient encore le toit, et se donnaient ainsi l'espace nécessaire pour monter peu à peu leur «construction. Quand ils avaient atteint la hauteur d'un nouvel étage, ils faisaient un nouveau plancher avec des solives dont les portées étaient toujours masquées par la maçonnerie extérieure; et de là ils continuaient à soulever le comble avec ses nattes. C'est ainsi que, sans courir de dangers, sans s'exposer à aucune blessure, ils élevèrent successivement six étages. On laissa des meurtrières aux endroits convenables pour y placer des machines de guerre.
«Lorsqu'ils furent assurés que de cette tour ils pouvaient défendre les ouvrages qui en étaient voisins, ils commencèrent à construire un rat (musculus) 100, long de soixante pieds, avec des poutres de deux pieds d'équarrissage, qui du rez-de-chaussée de la tour les conduiraient à celle des ennemis et aux murailles. On posa d'abord sur le sol deux sablières d'égale longueur, distantes l'une de l'autre de quatre pieds; on assembla dans des mortaises faites dans ces poutres des poteaux de cinq pieds de hauteur. On réunit ces poteaux par des traverses en forme de frontons peu aigus pour y placer les pannes destinées à soutenir la couverture du rat. Par-dessus on posa des chevrons de deux pieds d'équarrissage, reliés avec des chevilles et des bandes de fer. Sur ces chevrons on cloua des lattes de quatre doigts d'équarrissage, pour soutenir les briques formant couverture. Cette charpente ainsi ordonnée, et les sablières portant sur des traverses, le tout fut recouvert de brique et d'argile détrempée, pour n'avoir point à craindre le feu qui serait lancé des murailles. Sur ces briques on étendit des cuirs, afin d'éviter que l'eau dirigée dans des canaux par les assiégés ne vînt à détremper l'argile; pour que les cuirs ne pussent être altérés par le feu ou les pierres, on les couvrit de matelas de laine. Tout cet ouvrage se fit au pied de la tour, à l'abri des mantelets, et tout-à-coup, lorsque les Marseillais s'y attendaient le moins, à l'aide de rouleaux usités dans la marine, le rat fut poussé contre la tour de la ville, de manière à joindre son pied.
«Les assiégés, effrayés de cette manoeuvre rapide, font avancer, à force de leviers, les plus grosses pierres qu'ils peuvent trouver, et les précipitent du haut de la muraille sur le rat. Mais la charpente résiste par sa solidité, et tout ce qui est jeté sur le comble est écarté par ses pentes. À cette vue, les assiégés changent de dessein, mettent le feu à des tonneaux remplis de poix et de goudron et les jettent du haut des parapets. Ces tonneaux roulent, tombent à terre de chaque côté du rat et sont éloignés, avec des perches et des fourches. Cependant nos soldats à couvert sous le rat ébranlent avec des leviers les pierres des fondations de la tour des ennemis. D'ailleurs le rat est défendu par les traits lancés du haut de notre tour de briques: les assiégés sont écartés des parapets de leurs tours et de leurs courtines; on ne leur laisse pas le temps de «s'y montrer pour les défendre. Déjà une grande quantité des pierres des soubassements sont enlevées, une partie de la tour s'écroule tout à coup. 101»

Afin d'éclaircir ce passage, nous donnons (1) une coupe perspective de la tour ou bastille décrite ci-dessus par César, au moment où les soldats romains sont occupés à la surélever à couvert sous le comble mobile. Celui-ci est soulevé aux quatre angles au moyen de vis de charpente, dont le pas s'engage successivement dans de gros écrous assemblés en deux pièces et maintenus par les premières solives latérales de chacun des étages, et dans les angles de la tour; de cette façon ces vis sont sans fin, car lorsqu'elles quittent les écrous d'un étage inférieur, elles sont déjà engagées dans les écrous du dernier étage posé; des trous percés dans le corps de ces vis permettent à six hommes au moins de virer à chacune d'elles au moyen de barres, comme à un cabestan. Au fur et à mesure que le comble s'élève, les maçons le calent sur plusieurs points et s'arasent. Aux extrémités des solives du comble sont suspendues les nattes de câbles pour abriter les travailleurs. Quant au rat ou galerie destinée à permettre aux pionniers de saper à couvert le pied des murailles des assiégés, sa description est assez claire et détaillée pour n'avoir pas besoin de commentaires.
Protéger les travaux des mineurs, posséder près des murailles attaquées un réduit considérable, bien muni, propre à contenir un poste nombreux destiné à couvrir les parapets de projectiles et à prendre en flanc les détachements qui tentaient des sorties, telle était la fonction de la bastille romaine, que nous voyons employée, avec des moyens moins puissants, il est vrai, aux siéges d'Alésia et de Bourges. Là ce ne sont que des ouvrages en terre en forme de fer à cheval, avec fossés et palissades, sortes de barbacanes destinées à permettre à des corps de troupes de sortir en masse sur le flanc des assaillants jetés sur les lignes. Il va sans dire que ces bastides étaient garnies de machines de jet propres soit à battre les tours de la place assiégée, soit à enfiler les fossés des lignes de circonvallation et de contrevallation.

Ce système est également appliqué dès les premiers temps du moyen âge par les armées assiégeantes et assiégées pour battre les remparts et défendre des points faibles, ou plutôt il ne cesse d'être employé; car vaincre un ennemi c'est l'instruire, et les Romains, en soumettant les barbares, leur enseignaient l'art de la guerre. Charles le Chauve, pour empêcher les Normands de remonter la Seine, avait fait élever à Pistes, aux deux extrémités d'un pont, qui est probablement le Pont-de-l'Arche, deux forts, véritables bastilles. Dans l'enceinte de l'abbaye de Saint-Denis, le même prince, en 866, afin de mettre le monastère, à l'abri d'un coup de main, fit élever une petite bastide qui suffit pour empêcher les Normands de s'emparer désormais de ce poste. À la même époque, les ponts situés aux embouchures de la Marne et de l'Oise, à Charenton et à Auvers, furent également munis de bastides 102. Toutefois, si les textes font mention d'ouvrages de ce genre pendant l'époque carlovingienne, si quelques vignettes de manuscrits représentent des bastides, nous ne connaissons aucun monument qui donne une idée aussi nette de la construction d'une bastide offensive que le texte de César précité. Nous en sommes réduits à constater simplement que ces ouvrages sont généralement élevés en bois, qu'ils affectent de préférence la forme carrée, qu'ils sont à plusieurs étages avec plate-forme pour le jeu des machines, et crénelages pour garantir les soldats. Une des représentations les plus claires de bastides provisoires élevées en dehors des murailles d'une place forte, se trouve sculptée sur le cintre de la porte nord de la cathédrale de Modène. C'est un bas-relief du XIe siècle retraçant l'histoire d'Artus de Bretagne (2) 103. Les deux bastides figurées dans ce bas-relief sont évidemment en bois et à plusieurs étages. Nous ne saurions dire si elles appartiennent à la ville, ou si elles dépendent d'une ligne de contrevallation; mais ce point est de médiocre importance; elles servent de refuge à des soldats soit pour défendre, soit pour attaquer la ville. Car si les assiégeants élevaient des bastides sur la circonférence de leurs lignes, souvent aussi les assiégés, lorsque les murailles ne présentaient pas une défense très-forte, en construisaient en dehors des murs, de distance en distance, pour protéger ces murs, éloigner les assaillants ou les prendre en flanc et en revers, s'ils se présentaient pour livrer l'assaut. Dans ce cas, ces bastides étaient entourées de palissades et de fossés; elles se reliaient aux barbacanes des portes, ou les surmontaient. Quelquefois même les portes et les bastides ne faisaient qu'un seul corps d'ouvrages derrière une barbacane; on en élevait aussi pour commander une tête de pont, un défilé, un passage, comme le fit Charles le Chauve au IXe siècle. L'enceinte de Paris, commencée sous le roi Jean et achevée sous Charles V, était défendue par des bastides reliées entre elles par une courtine et de doubles fossés avec une braie entre eux deux 104. Ces bastides avaient la forme en plan d'un parallélogramme dont le grand côté faisait face à l'extérieur. Les portes principales de Paris sont aussi désignées quelquefois par le mot bastide, la bastide Saint-Denis 105, la bastide Saint-Antoine. Nous nous occuperons plus particulièrement de cette dernière, qui conserva le nom de bastide ou bastille par excellence.
Dès le temps du roi Jean, ou même avant cette époque, il existait à l'entrée de la rue Saint-Antoine une porte flanquée de deux hautes tours; Charles V résolut de faire de cette porte une forte bastide. Vers 1369, ce prince donna ordre à Hugues Aubriot, prévôt de Paris, d'ajouter à ces deux tours un ouvrage considérable, composé de six autres tours reliées entre elles par d'épaisses courtines. Dès lors il paraîtrait que la Bastille ne fut plus une porte mais un fort protégeant la porte Saint-Antoine construite vers le faubourg au nord. La bastille Saint-Antoine conserva toutefois son ancienne entrée; dans la partie neuve, trois autres portes furent percées dans les deux axes, afin de pouvoir entrer dans le fort ou en sortir par quatre ponts jetés sur les fossés. C'était là un véritable fort isolé, fermé à la gorge, commandant la campagne et la ville au loin, indépendant de l'enceinte mais l'appuyant. Le nom de bastille par excellence donné à ce poste indique clairement ce que l'on entendait par bastide au moyen âge.

Nous donnons (3) le plan de la bastille Saint-Antoine. Les deux tours H I dépendaient de la porte primitive A. En B s'ouvrait la porte du côté de l'Arsenal, au sud; en F la porte en face la rue Saint-Antoine, et en C la porte du côté du nord se reliant à l'enceinte de Paris (les boulevards actuels) 106. La grande tapisserie de l'hôtel de ville représentant Paris à vol d'oiseau tel qu'il existait sous Charles IX, fait voir la bastille Saint-Antoine avec ses alentours.

Nous avons essayé, à l'aide de ce plan, de donner une vue cavalière de cette forteresse (4), prise du côté sud. En A on aperçoit le sommet de la porte Saint-Antoine, en B les murailles de la ville; en C le pont de la Bastille jeté en face la rue Saint-Antoine, et en D un gros ouvrage en terre intitulé, sur la tapisserie en question, le bastillon, ouvrage qui datait probablement de la fin du XVe siècle. Ce bastillon est un cavalier assez élevé commandant les dehors et flanquant les vieilles murailles de Charles V. Dans le même plan déposé à l'hôtel de ville, on voit un gros bastillon à peu près semblable à celui-ci, construit à côté et en dehors de la porte du Temple. Mais nous reviendrons tout à l'heure sur ces sortes d'ouvrages.
Pendant les XIVe et XVe siècles il est fort souvent question de bastilles en terre, en pierres sèches ou en bois élevées par des armées pour protéger leurs camps et battre des murailles investies, pour couper les communications ou tenir la campagne. Les Anglo-Normands paraissent surtout avoir adopté ce système pendant leurs guerres, et il semblerait même que chez eux cette habitude était venue du nord plutôt que par la tradition romaine. Lors de leurs grandes invasions sur le continent occidental au IXe siècle, les Normands choisissent une île sur un fleuve, un promontoire, un lieu défendu par la nature; là ils établissent des campements fortifiés par de véritables blockaus, y laissent des garnisons et remontent les fleuves sur leurs bateaux, vont piller le pays, attaquer les villes ouvertes, les monastères, et reviennent déposer leur butin dans ces camps, où parfois ils hivernent. Plus tard, lorsque les Normands établis dans les provinces du nord de la France vont faire la conquête de l'Angleterre, ils couvrent le pays de bastilles; ils ne se sont pas plus tôt emparé d'une ville ou d'une bourgade, qu'ils y élèvent des ouvrages isolés, des postes militaires solidement construits, au moyen desquels ils maintiennent les habitants. C'est en grande partie à ces précautions, à cette défiance salutaire à la guerre, qu'il faut attribuer le succès incroyable des armées de Guillaume le Conquérant au milieu d'un pays toujours prêt à se soulever, la réussite d'une conquête odieuse aux populations galloises et saxonnes de la Grande-Bretagne. C'est encore à ces moyens que les Anglo-Normands ont recours lorsqu'ils font invasion sur le sol français pendant les XIVe et XVe siècles. Lorsque Édouard assiége Calais, il entoure ses lignes de bastilles; il en garnit les passages (voy. ARCHITECTURE MILITAIRE). Quand enfin la ville d'Orléans est investie, en 1428, «le comte de Sallebery y mis des bastilles du côté de la Beausse 107.» Les bourgeois d'Orléans et la Pucelle à leur tête sont obligés, pour faire lever le siége, d'attaquer ces bastilles et d'y mettre le feu. L'organisation des armées anglo-normandes, leur génie pendant le moyen âge, se prêtaient à ces travaux; en France, au contraire, la gendarmerie les dédaignait, et l'infanterie, indisciplinée, recrutée de tous côtés, n'en soupçonnait pas l'utilité; elle eût été d'ailleurs incapable de les exécuter. Les bastilles de campagne ou d'assiégeants étaient couronnées par une plate-forme afin de permettre l'établissement de machines de jet et de pouvoir ainsi, ou commander la campagne, ou battre les tours des assiégés. Il est à croire qu'il en était de même pour les bastilles permanentes, et que la grande bastille Saint-Antoine eut, de tout temps, ses tours terminées par des plates-formes. Sous Charles V on faisait usage déjà de l'artillerie à feu, et il est possible que ces plates-formes aient reçu dès l'origine quelques bombardes. Assiégés comme assiégeants, au moment de l'emploi de l'artillerie à feu, plaçaient de préférence leurs pièces destinées à l'attaque ou à la défense sur des points élevés, et dans la position que l'on donnait aux machines de jet; en substituant le canon aux trébuchets, aux machines lançant des projectiles en bombe au moyen de contre-poids, on ne changeait que le moteur, et l'on conservait la position de l'engin. Les premières bombardes ne lançaient pas des projectiles de plein fouet, mais suivant une parabole comme les trébuchets; il y avait dès lors avantage à dominer les points que l'on voulait battre, et ce ne fut qu'au XVe siècle que l'artillerie à feu fut placée près du sol et que l'on reconnut l'avantage du tir rasant (voy. ARCHITECTURE MILITAIRE). La bastille, en tant qu'ouvrage élevé et isolé, devint donc la défense appropriée à l'artillerie à feu. Pendant les guerres du XVe siècle, les vieilles enceintes du moyen âge parurent bientôt insuffisantes pour résister au canon; des bastilles ou bastillons furent élevés autour de ces enceintes, soit en dehors, soit en dedans, mais de préférence en dehors, pour mettre des pièces en batterie. On était pressé par le temps; les malheurs publics ne permettaient pas d'employer des sommes considérables à la construction de ces sortes d'ouvrages, et ils furent presque toujours élevés en terre avec revêtissement de bois ou de pierre sèche.

Les bastillons de Paris, dont nous avons vu un exemple dans la fig. 4, peuvent donner l'idée des essais tentés pour flanquer les vieilles murailles et placer de l'artillerie à feu. Plus tard, sous Louis XI, Charles VIII et François Ier, beaucoup de ces ouvrages furent solidement établis en maçonnerie et prirent le nom, conservé jusqu'à nos jours, de bastions. Quant aux bastilles de campagne, nous les voyons encore employées au commencement du XVIe siècle: ce sont, comme nous l'avons dit plus haut, de véritables blockaus propres à contenir un poste et de l'artillerie. Voici (5) un de ces ouvrages en bois entouré d'un fossé et d'une palissade, représenté dans le Récit des actions de l'empereur Maximilien Ier 108. Toutefois, le nom de bastille cesse d'être appliqué, à partir du XVIe siècle, aux ouvrages isolés ou flanquants; ils prennent dès lors le nom de bastions, et, dans certains cas, de boulevards (voy. ces mots). Seule peut-être, la bastille Saint-Antoine de Paris conserva son nom jusqu'au jour de sa démolition. Il n'est pas besoin de rappeler que cette forteresse servit de prison d'État depuis l'époque de sa construction jusqu'à la fin du dernier siècle, et, commandant un faubourg populeux, reliée à l'Arsenal par des murs et des fossés, elle était restée le signe visible de la suzeraineté royale au centre de Paris, depuis la reconstruction du vieux Louvre.
Note 99: (retour) Ducange, Gloss.
Note 100: (retour) Isidorus, libro duodevigesimo Etymologiarum, capite de Ariete: Musculus, inquit, cuniculo similis sit, quo murus perfoditur: ex quo et appelatur, quasi murusculus. (Godesc. Stewec. Comm. ad lib. IV Veget, 1492.)
Note 101: (retour) Cæs., De Bello civ., lib. II, cap. VIII, IX, X, XI.
Note 102: (retour) Voy. Hist. des expéd. marit. des Normands, par M. Depping. Paris, 1844.
Note 103: (retour) Ce curieux bas-relief nous a été signalé par M. Didron, qui l'a fait dessiner pendant son séjour à Modène; nous le croyons inédit; la communication obligeante de M. Didron est donc d'un grand intérêt.
Note 104: (retour) Dans les extraits des comptes imprimés à la suite du Mémoire de Bouquet, il est question des «Eschiffles et des Bastides étant sur les murs de Paris, sur les fossés pleins d'eau, par devers la porte Saint-Denys en France (p. 176.)» Voy. les Dissert. archéol. sur les anciennes enceintes de Paris, par Bonnardot, 1852.
Note 105: (retour) Mémoire de Bouquet, et Journ. de Paris sous Charles VI, 1429.
Note 106: (retour) La tour G était nommée tour du Puits, les tours H de la Chapelle, I du Trésor, K de la Comté, O de la Bazinière, N de la Bertaudière, M de la Liberté, L du Coin; P Q étaient des bâtiments d'une époque assez récente, mais qui peut-être remplaçaient un ancien logis. D était la grande cour, E la cour du Puits, R un corps de garde et S des magasins. Les portes A C F étaient murées depuis longtemps lorsque la Bastille fut démolie.
Note 107: (retour) Alain Chartier, Hist. de Charles VII.
Note 108: (retour) Le Roi sage, Récit, etc., par M. Treitzaurwein, grav. par Haunsen Burgmayr. Vienne, publ. en 1775, p. 144.
BASTION, s. m. Ouvrage saillant de fortification, adopté depuis le XVIe siècle pour flanquer les enceintes et empêcher les approches par des feux croisés (voy. ARCHITECTURE MILITAIRE). Les bastions remplacèrent les tours du moyen âge. Les mots bastide, bastille, bastillon, expliquent l'origine du bastion. La plupart des anciennes enceintes que l'on voulut renforcer à la fin du XVe siècle, lorsque l'artillerie de siége eut acquis une grande puissance de destruction, furent entourées de bastions en terre gazonnée ou revêtue de maçonnerie, lorsque le temps et les ressources le permettaient. Dans ce dernier cas, on donna aux bastions primitifs plusieurs étages de feux, afin de commander la campagne au loin et de battre les assiégeants lorsqu'ils s'emparaient des fossés. En France, en Allemagne et en Italie, on voit apparaître le bastion dès la fin du XVe siècle; les Italiens prétendent être les inventeurs de ce genre de défense; mais nous ne voyons pas que les faits viennent appuyer cette prétention. En France et en Allemagne, les bastions ronds s'élèvent en même temps, de 1490 à 1520. Il nous semblerait plus raisonnable, de supposer que, pendant les guerres d'Italie de la fin du XVe siècle, Français, Italiens, Suisses et Allemands, perfectionnèrent à l'envi les moyens d'attaque et de défense. Le texte de Machiavel que nous avons cité dans l'article Architecture militaire 109 est loin de donner à l'Italie cette prédominance sur les autres contrées occidentales de l'Europe 110. Quoi qu'il en soit, la France et l'Allemagne, qui, pendant toute la durée du XVIe siècle, eurent de longues et terribles guerres à soutenir, guerres civiles, guerres étrangères, ne cessèrent de fortifier à nouveau leurs anciennes places, de munir les châteaux de défenses propres à résister à l'artillerie. En France, les armées royales et les armées de la réforme, assiégeantes et assiégées tour à tour dans les mêmes villes, à quelques mois de distance, instruites par l'expérience, ajoutaient tous les jours de nouveaux ouvrages de défense aux forteresses ou perfectionnaient les anciens; et il faut dire que si, pendant ces temps malheureux, un certain nombre d'ingénieurs italiens montrèrent un véritable talent, ce fut souvent au service des rois de France. Tous les hommes qui s'occupaient de construction dans notre pays, pendant ce siècle, étaient familiers avec l'art de la fortification, et Bernard Palissy lui-même prétendit avoir trouvé un système de défense des places à l'abri des attaques les plus formidables 111.


Parmi les premiers ouvrages à demeure qui peuvent être considérés comme de véritables bastions, nous citerons les quelques grosses tours rondes qui flanquent les angles saillants de la ville de Langres 112. Le plus important de ces bastions est un ouvrage circulaire qui défend une porte; il est à trois étages de batteries, dont deux sont casematées. La fig. 1 donne le plan du rez-de-chaussée de ce bastion, la fig. 2 le plan du premier étage, et la fig. 3 la coupe. Les embrasures des deux étages casematés sont ouvertes de manière à flanquer les courtines. La batterie supérieure seule devait être réservée pour battre la campagne au loin. Les bastions de la ville de Langres ne sont pas élevés en terre; ce sont encore en réalité des tours en maçonnerie d'un fort diamètre, et dont les murs sont assez épais pour résister au boulet. La vue extérieure (4) du bastion dont nous venons de donner les plans et la coupe, a conservé l'apparence d'une tour du moyen âge, si ce n'est que cet ouvrage est bas eu égard à son diamètre, et que les parements sont dressés en talus pour mieux résister aux boulets de fer. Les gargouilles qui garnissent le pourtour de l'ouvrage démontrent bien clairement qu'il n'était point autrefois couvert par un comble, mais par une plate-forme. Ce bastion fut d'ailleurs remanié peu de temps après sa construction première, et exhaussé; à l'intérieur les voûtes indiquent un changement, et les deux rangs superposés des gargouilles (fig. 4) ne peuvent faire douter que la plate-forme n'ait été surélevée.

Les premiers bastions circulaires n'étaient pas toujours cependant dépourvus de combles, sans parler des grosses tours rondes de la ville de Nuremberg bâties par Albert Durer (voy. TOUR), qui peuvent passer pour de véritables bastions dans l'acception primitive du mot, et ont toujours été couvertes; voici (5) des bastions de l'ancienne enceinte de Soleure également couronnés par des combles 113. On reconnut bientôt que ces bastions circulaires n'étaient pas assez vastes, que leurs feux divergents ne pouvaient contrarier les approches des assiégeants, qu'ils ne flanquaient les courtines que par deux ou trois bouches à feu, qu'ils n'opposaient pas des faces étendues aux batteries de siége. Ils subirent dès le commencement du XVIe siècle diverses transformations. Quelques-uns, pour bien flanquer les deux côtés d'un angle saillant, s'avancèrent sur les dehors, ainsi que l'indique la fig. 6 114, et allongèrent leurs flancs; d'autres, au contraire, étendirent leurs faces pour protéger un front.

Albert Durer, dans son Art de fortifier les villes et citadelles 115, adopte un système de bastions qui mérite d'être étudié avec soin; cet artiste, peintre et architecte, ne fut pas seulement un ingénieux théoricien, il présida à la construction d'une partie des défenses de la ville de Nuremberg; et ces défenses sont, pour l'époque où elles furent élevées, un travail très-remarquable. On doit même supposer que son système eut une grande vogue dans une partie de l'Allemagne et de la Suisse au commencement du XVIe siècle, car on trouve encore dans ces contrées des restes nombreux de défenses qui rappellent les principes développés par Albert Durer dans son oeuvre, et nous citerons entre autres la forteresse de Schaffhausen (voy. BOULEVARD). Pour renforcer et flanquer un front, Albert Durer construit de larges et hauts bastions avec batterie casematée au niveau du fond des fossés, et batterie découverte au sommet. Ces bastions présentent un énorme cube de maçonnerie; il les isole des remparts ou les y réunit à la gorge. Le plan de son bastion est un arc de cercle ayant pour base un parallélogramme.

Nous figurons (7) ce plan au niveau du fond du fossé; du terre plein A au niveau du sol de la ville, il communique à la batterie casematée B par un ou deux escaliers C. Les deux escaliers D communiquent du terre-plein A, à la batterie supérieure et aux batteries inférieures. La fig. 8 donne le plan du bastion sous le sol de la batterie supérieure, et la fig. 9 le plan de cette batterie. La construction se compose de murs concentriques éperonnés et reliés par des murs rayonnants ou parallèles dans la partie rectangle du bastion, de manière à former un grillage terrassé présentant une grande force de résistance aux projectiles. La batterie casematée peut contenir quatre bouches à feu pour flanquer les deux courtines, et huit bouches à feu pour protéger la face en arc de cercle. La batterie découverte du sommet qui commande les glacis et la campagne contient deux bouches à feu flanquantes, et neuf bouches à feu sur la face cintrée. Ce bastion peut avoir environ 130 mètres de largeur d'un flanc à l'autre, et 60 mètres de flèche à la base. La coupe transversale de cet ouvrage faite sur l'un des deux escaliers droits C est très-curieuse (10).

Les murs, de la base au sommet, tendent à un centre commun posé sur le prolongement de l'axe E, et les assises de maçonnerie sont perpendiculaires aux rayons, en formant ainsi un angle plus ou moins ouvert avec l'horizon, selon que les murs sont plus ou moins éloignés du centre de tout l'ouvrage: Albert Durer regarde ce moyen de construction comme présentant une grande cohésion, comme épaulant puissamment le noyau du bastion; et il ne se trompe pas. Il établit un plancher de bois pour le service de la batterie supérieure, afin de faciliter le mouvement des pièces de canon. Les détails de cet ouvrage sont assez bien étudiés et expliqués; la batterie casematée, outre ses embrasures F, est percée d'évents G pour la fumée et de cheminées H, afin d'obtenir un tirage. Le parapet supérieur est bâti suivant un arc de cercle en coupe, pour faire ricocher les boulets ennemis; les embrasures sont munies de mantelets en madriers tournant sur un axe et masquant les pièces pendant que les canonniers sont occupés à les charger (voy. EMBRASURE). Ce bastion isolé peut tenir encore si la courtine est au pouvoir de l'ennemi; on retrouve encore là un reste de la fortification du moyen âge; et ce bastion est une bastille que l'on suppose moins prenable que les courtines. Le fossé est très-large, 200 pas, et sa cumette est creusée le long du bastion, ainsi que l'indique le profil général X, fig. 10. La contrescarpe du fossé est revêtue.

La fig. 11 donne l'élévation extérieure de la moitié de ce bastion. On remarquera les grands arcs de décharge qui accusent les embrasures et reportent tout le poids du mur extérieur sur les têtes des murs convergents. Cette élévation fait également voir les trous des évents et cheminées, les mantelets de bois des embrasures supérieures et les courtines de la ville, dont les chemins de ronde sont couverts par un appentis continu. C'est là une fort belle construction, et ce qu'on peut lui reprocher, c'est l'énorme dépense qu'elle exigerait. Il semble qu'Albert Durer ait attaché une grande importance aux fossés; il les fait très-larges et profonds, et les défend souvent par de petits bastions circulaires isolés, comme nos ravelins modernes. Il laisse ces petits ouvrages au-dessous du niveau de la crête de la contrescarpe, et ne les considère que comme des défenses propres à battre un ennemi débouchant par un boyau de tranchée au niveau dufond du fossé, et se disposant à le passer pour attacher le mineur au pied des murailles, ou pour les escalader au moyen d'échelles. Dans le chapitre de son oeuvre intitulé: Antiquæ civitatis muniendæ ratio, où il explique comment on doit renforcer par des défenses extérieures une ville dont on veut conserver l'ancienne enceinte munie de tours, il construit de ces petits bastions isolés au fond des fossés (12) 116.

Le nom de bastion, ou plutôt de bastillon, ne fut guère appliqué aux défenses avancées importantes pendant le XVIe siècle. On désigna plutôt ces ouvrages par les noms de boulevard, de plate-forme, qu'ils ne perdirent que vers les premières années du XVIIe siècle, pour reprendre définitivement la dénomination de bastion, conservée jusqu'à nos jours (voy. BOULEVARD).
Note 109: (retour) T. I, p. 129.
Note 110: (retour) On est trop disposé à croire généralement que nous ayons tout emprunté à l'Italie au commencement du XVIe siècle. Peut-être quelques capitaines italiens ayant étudié les auteurs romains avaient-ils à cette époque certaines idées sur la tactique militaire qui n'avaient pas cours en France; mais ce n'est pas dans Végèce qu'ils avaient pu apprendre l'art de fortifier les places contre l'artillerie à feu.
Note 111: (retour) OEuvres complètes de Bernard Palissy, chap. De la ville de Forteresse, Édition Dubochet, 1844, p. 113.
Note 112: (retour) Voy. le plan général de la ville de Langres, ARCHITECTURE MILITAIRE, p, 411.
Note 113: (retour) Della Cosmog. univers. di Seb. Munster.
Note 114: (retour) Angle Est de la ville de Huy, sur la Meuse. Introd. à la fortif., par de Fer. 1722, Paris.
Note 115: (retour) Alberti Dureri, pict. et archit. præstantissimi de urb. arcib. castellisque condendis, etc., nunc recens è lingua germanica in latinam traductæ? Parisiis, 1535.
Note 116: (retour) Voici le passage indiquant l'utilité de ces ouvrages... «Inter hæc deinde propugnacula ad fossæ alia passim construentur rotunda, quæ et ipsa humilia et sursum versus non nihil fastigiata, tecti rationem à superioribus non absimilem sortiantur. In hæc nimirum propugnacula seu fossæ stationes secretiora itinera quasi diffugia agentur, quæ aditus reditusque clancularios præstent. Est enim hoc genus munitionum non modo utile, sed necessarium quoque, cum hostis in fossam provolutus, catervatim muris scalas admolitur...» (Voyez, au mot BOULEVARD, des petits bastions analogues à ceux dont parle Albert Durer, attachés aux flancs de la forteresse de Schaffhausen.)
BATONS-ROMPUS, zigzags. C'est un boudin ou une baguette brisée que l'on rencontre fréquemment dans les arcs, archivoltes, cintres, bandeaux et pilastres même de l'architecture du XIIe siècle. Les tailleurs de pierre de cette époque étaient arrivés à une exécution parfaite, et ils se plaisaient à varier les membres nombreux des archivoltes, les réunions de moulures, au moyen de combinaisons de tracés qui produisaient un grand effet par le jeu des lumières et des ombres. Les bâtons-rompus les plus ordinaires sont ceux que nous donnons dans la fig. 1, reproduisant l'archivolte d'une des fenêtres de la cathédrale de Tulle. Cette ornementation se combine avec l'appareil des claveaux; ceux-ci étant taillés et ravalés avant la pose, rien n'était plus simple que le tracé du boudin rompu sur chacun d'eux, comme le démontre le voussoir A; l'assemblage de ces voussoirs produisait beaucoup d'effet à peu de frais. Mais c'est en Normandie surtout que ce moyen de décorer les archivoltes est fort employé du XIe au XIIIe siècle. La pierre de taille employée dans cette contrée se prêtait à ces recherches de moulures. Non-seulement en Normandie on trouve un grand nombre d'arcs moulurés, tracés suivant la fig. 1, mais les bâtons-rompus se doublent, se contrarient (2) 117, se pénètrent même parfois. Les monuments normands de l'Angleterre nous donnent les plus nombreux et riches exemples de ce genre de décoration 118.

Les architectes de l'Ile de France n'usèrent qu'avec discrétion de la moulure en bâtons-rompus. Ils évitaient les bizarreries, les recherches, et semblaient prendre à tâche dans leurs édifices de laisser aux grandes lignes de l'architecture leur fonction, de repousser les formes qui pouvaient détruire leur simplicité. S'ils adoptèrent le boudin ou la baguette brisée dans certains cas, ce n'était qu'en les subordonnant à des membres de moulures conservant la pureté des courbes principales, en leur faisant jouer un rôle très-secondaire. Nous citerons cependant le grand arc doubleau de l'entrée du choeur de l'église de Saint-Martin des Champs à Paris, qui est flanqué de deux gros boudins présentant des zigzags très-accentués et d'une dimension peu ordinaire; mais il faut dire que cet arc doubleau n'est pas à l'échelle de l'architecture du choeur, et que le maître de l'oeuvre a voulu dissimuler la lourdeur de cet arc par une dentelure qui lui donne de la légèreté; c'est là une exception 119. L'abus de la moulure en bâtons-rompus, dans les édifices de la dernière période romane en Normandie et en Angleterre, fatigue et donne un aspect monotone à l'architecture de cette époque.

Cette moulure en zigzags porte mal sur les tailloirs des chapiteaux lorsqu'elle prend une certaine importance; elle ne produit un bon effet que lorsqu'elle est comprise entre des nerfs accusant la courbe de l'arc, comme dans le choeur de la cathédrale de Canterbury (3) 120, lorsque ses dentelures ne sont pas assez saillantes pour rompre cette courbe. On voit encore des bâtons-rompus dans l'architecture de la première période ogivale, comme à la cathédrale de Noyon, dans le choeur de l'église Saint-Germer. Ils disparaissent complétement lorsque le système de l'architecture adopté à la fin du XIIe siècle se développe, c'est-à-dire vers 1200.
Note 117: (retour) Porte du clocher de Saint-Loup, à Bayeux.
Note 118: (retour) Voy. A Gloss. of Terms used in Greec., Rom., Ital, and Gothic. Archit. Oxford, J. H. Parker, 1850.
Note 119: (retour) Cet arc doubleau a été déposé et reposé avec surélévation au XIIIe siècle, lorsque la nef de cette église fut reconstruite, ainsi que les voûtes hautes du choeur.
Note 120: (retour) En parlant de l'architecture française, on ne s'étonnera pas si nous citons souvent la cathédrale de Canterbury. Le choeur de cette cathédrale a été élevé par des architectes sortis de France (voy. The Architect. Histor. of Canterbury cathedral, par le Rév. R. Willis. London, 1845.)
BEFFROI, s. m. Baffraiz. On désigne par ce mot un ouvrage de charpente destiné à contenir et à permettre de faire mouvoir des cloches; prenant le contenant pour le contenu, on a donné le nom de beffroi aux tours renfermant les cloches de la commune. Les tours roulantes en bois destinées à l'attaque des places fortes pendant le moyen âge, et jusqu'à l'emploi de l'artillerie à feu, sont aussi nommées beffrois ou bretèches (voy. ce mot).
Beffrois de charpente. Les clochers des églises sont toujours disposés pour contenir des beffrois en charpente, au milieu desquels manoeuvrent les cloches. Ces beffrois sont posés sur une retraite ou sur des corbeaux ménagés dans la construction des tours, et s'élèvent en se rétrécissant vers leur sommet, afin de ne pas toucher les parois intérieures de la maçonnerie lorsque le mouvement imprimé aux cloches les fait osciller, et aussi pour présenter une plus grande résistance à l'action de va-et-vient de ces cloches mises en branle. Dès que l'usage des cloches d'un poids considérable fut adopté, on dut les suspendre dans des beffrois de charpente indépendants de la construction en maçonnerie. En France, en Belgique, en Allemagne, on construisait déjà, au Xe siècle, des clochers d'un diamètre tel, qu'il fait supposer l'emploi de fortes et nombreuses cloches, la construction de beffrois intérieurs de charpente très-importants. Il ne nous reste pas une seule de ces charpentes antérieures au XVIe siècle. Nous ne pourrions donc donner un exemple appuyé sur un monument existant.

Avant 1836, le clocher vieux de la cathédrale de Chartres contenait un
beffroi considérable du XIVe siècle; malheureusement, cette curieuse
charpente fut brûlée à cette époque, et nous n'en possédons qu'un dessin
donnant l'enrayure basse (1) avec le premier étage. Deux gros poinçons
divisaient ce beffroi en deux travées dans toute la hauteur, et les
cloches étaient suspendues dans chacune de ces deux travées; les
tourillons de leurs moutons posaient sur les deux pans de bois latéraux
et sur les chapeaux assemblés dans ces poinçons portés par les liens
courbes inférieurs et soulagés par des arbalétriers à chaque étage,
ainsi que l'indique la fig. 2. Un escalier en bois posé dans un des
angles desservait tous les étages du beffroi et tait destiné aux
sonneurs.
Avant le XVe siècle, les charpentiers paraissent s'être préoccupés, dans la construction des beffrois, de maintenir le pan de bois central (car les anciennes charpentes de beffrois sont toujours divisées en deux travées) par des arbalétriers ou pièces inclinées reportant la charge centrale sur les pans de bois latéraux. Mais on dut reconnaître que des fermes taillées conformément à la fig. 2, posées les unes sur les autres, étaient insuffisantes pour résister à la charge et surtout aux oscillations causées par le mouvement des cloches; que les assemblages devaient se fatiguer, étant successivement refoulés ou arrachés par le balancement des cloches dont tout le poids se porte brusquement d'un coté à l'autre.
À la fin du XVe siècle, les pans de bois des beffrois furent composés
d'une succession de croix de Saint-André, dont l'assemblage à mi-bois
les rendait beaucoup plus rigides, et arrêtait les effets de
l'oscillation sur les tenons et mortaises.
En effet, lorsque les étages
des pans de bois des beffrois se composaient seulement du poinçon
central E, des deux poteaux corniers F et des deux arbalétriers A B, la
cloche étant en branle et dans la position indiquée par la fig. 3,
l'assemblage D était refoulé et l'assemblage C arraché; il en résultait
que le chapeau K faisait bientôt un mouvement de va-et-vient fort
dangereux de L en M. L'adjonction des deux pièces G H arrêta ce
mouvement en reportant toujours le poids de la cloche, quelle que fût sa
position, sur la verticale E. Partant de ce principe, les charpentiers
composèrent les pans de bois des beffrois de grillages en lozange d'une
grande résistance (4), moisés en X par des moises doubles avec clefs
pour éviter la poussée des pièces P P sur les poteaux corniers.
L'oscillation des beffrois fut très-réduite par cette combinaison.

Mais le mouvement des grosses cloches est tellement puissant que ces pans de bois rendus rigides, entraînés tout d'une pièce, tantôt d'un côté, tantôt de l'autre, avaient pour effet, à la longue, de faire pivoter l'ensemble de la charpente de façon à placer l'enrayure basse et l'enrayure haute sur deux plans non parallèles, ainsi que l'indique la fig. 5. Les quatre pans de bois latéraux et le pan de bois central gauchissaient, et la dernière enrayure du sommet arrivait à battre les parois de maçonnerie des tours en A; les cloches manoeuvraient mal entre ces surfaces gauches, et leurs battants, prenant un léger mouvement de rotation, frappaient les bords du bronze à faux et brisaient les cloches.

Pour parer à cet inconvénient, on établit des goussets R aux angles de chaque enrayure à tous les étages (6); dès lors les pans de bois furent maintenus dans leurs plans. Ces perfectionnements apportés successivement par les charpentiers habiles du XVe siècle furent oubliés un siècle plus tard, et les beffrois, en grand nombre, qui datent du XVIIe siècle, sont, malgré l'équarrissage démesuré du bois, de pauvres charpentes fort mal combinées, mal exécutées, et qui s'affaissent sous leur propre poids.
Les incendies, le défaut d'entretien, de maladroites réparations ont détruit ou altéré les beffrois que les XIIIe, XIVe et XVe siècles avaient élevés; ce que nous donnons ici ne peut être que le résultat de quelques observations faites sur des débris informes aujourd'hui. Toutefois ces observations nous ont permis de reconstituer un énorme beffroi d'après ces données, celui de la tour sud de la cathédrale de Paris; et, à défaut d'une ancienne, charpente complète, nous croyons pouvoir représenter celle-ci, dans laquelle nous avons cherché à profiter de l'expérience des charpentiers du moyen âge, et qui résume les principales règles posées ci-dessus 121.
La fig. 7 présente le plan de l'enrayure basse de ce beffroi, qui repose
sur une saillie de la maçonnerie ménagée à cet effet. Au lieu d'un seul
pan de bois intermédiaire, ici il y en a deux, se coupant à angle droit,
à cause de l'énorme hauteur de cette charpente et pour donner plus de
fixité au poinçon central. L'un de ces deux pans de bois ne s'élève que
jusqu'au second étage; les deux derniers étages restants ne conservent
plus qu'un seul pan de bois de refend pour permettre le jeu des grosses
cloches. La fig. 8 donne le plan de l'enrayure supérieure de ce beffroi,
au sommet duquel est posé un chemin de service et une galerie vitrée
recouverte de plomb. La fig. 9 donne l'un des quatre pans de bois
latéraux, la fig. 10 le pan de bois de refend s'élevant jusqu'au faîte
de la charpente. Le second pan de bois de refend, à angle droit, est en
tout semblable à celui-ci, si ce n'est qu'il n'existe que jusqu'au point
A.
L'ensemble de l'ouvrage est garni tout autour d'abat-sons recouverts
de plomb, et ces abat-sons tenant seulement à la charpente, suivent ses
mouvements sans que les oscillations puissent agir sur les piliers en
pierre de la tour. C'est donc là, conformément à la méthode ancienne, un
ouvrage complétement indépendant de la maçonnerie, garni de ses
accessoires et garanti des intempéries par les ouïes qui sont destinées
à rabattre le son des cloches. La pluie qui s'introduit par les longues
baies de la tour, fouettée par le vent, rencontre une construction
isolée bien couverte, s'égoutte d'un abat-son sur l'autre jusqu'au point
B où un trottoir libre, isolé de la maçonnerie et recouvert également de
plomb, la renvoie sur les galeries en pierre extérieures. Lorsque le
bourdon suspendu en C est en branle, à grande volée, l'oscillation de ce
beffroi à son sommet est de cinq centimètres environ, à peine sensible
au niveau B des galeries, et inappréciable au-dessus de l'enrayure
basse
122.

Dans le nord, il était d'usage souvent d'établir des beffrois dans les charpentes mêmes des flèches en bois recouvrant des tours d'une dimension médiocre; ce système fatiguait beaucoup les murs en maçonnerie, et on dut renoncer à l'employer lorsque les cloches étaient d'un poids considérable.
Les flèches des cathédrales de Reims, de Paris, de Beauvais, de Rouen,
de la Sainte-Chapelle du Palais, etc., contenaient un grand nombre de
cloches, mais d'une petite dimension. La cathédrale d'Amiens, qui a
conservé sa flèche du commencement du XVIe siècle, contient un petit
beffroi indépendant de la charpente dans sa basse lanterne. Dans ce cas,
les beffrois n'étaient pas munis d'abat-sons; leurs bois étaient
simplement garnis de plomb et posaient sur un terrasson recevant les
eaux de pluie chassées par le vent au milieu de ces charpentes à l'air
libre.
Beffroi de commune. Lorsqu'au XIe siècle s'établirent les premières communes, elles s'assemblaient au son des cloches, et presque toujours alors c'était des tours des églises que partait le signal des réunions. Le clergé régulier et séculier était généralement opposé à ces conquêtes de la bourgeoisie, à ces conjurations qui tendaient à secouer le joug féodal 123. Les laïques, les abbés interdisaient les clochers des églises aux nouveaux citoyens, et ne permettaient pas de sonner les cloches pour un autre motif que celui des offices.
Souvent cette opposition était la cause de scènes de violence que déploraient les chefs des villes affranchies. Plutôt que de provoquer des luttes continuelles, les bourgeois installèrent des cloches au-dessus des portes des villes, sur des tours destinées à tout autre usage qu'à celui de clocher, et ce ne fut qu'à la fin du XIIe siècle et au commencement du XIIIe que certaines communes purent songer à élever les tours uniquement réservées aux cloches de la ville. Ces tours prirent le nom de beffrois. Elles furent d'abord isolées; elles étaient comme le signe visible de la franchise de la commune. Plus tard, elles furent réunies à la maison de ville; c'était le donjon municipal. Il ne nous reste plus en France qu'un bien petit nombre de ces monuments, témoins des premiers et des plus légitimes efforts des populations urbaines pour conquérir la liberté civile, et encore ces rares exemples que nous possédons ne remontent pas au delà du XIVe siècle.
Les premiers beffrois isolés se composaient d'une grosse tour carrée, le plus souvent surmontée d'un comble en charpente recouvert d'ardoises ou de plomb, dans lequel étaient suspendues plusieurs cloches. Une galerie ou étage percé de fenêtres sur les quatre faces servait de poste pour les guetteurs qui, le jour et la nuit, avertissaient les citadins de l'approche des ennemis, découvraient les incendies, réveillaient les habitants au son des cloches ou des trompes. C'était du haut du beffroi que sonnaient les heures du travail ou du repos pour les ouvriers, le lever du soleil, le couvre-feu, que l'on annonçait au bruit des fanfares les principales fêtes de l'année. La tour contenait ordinairement des prisons, une salle de réunion pour les échevins et quelques dépendances telles que dépôt d'archives, magasin des armes que l'on distribuait aux bourgeois dans les temps de trouble, ou lorsqu'il fallait défendre la cité.
Pendant le XIVe siècle, lorsque les grandes horloges furent devenues communes, les beffrois reçurent des cadrans marquant les heures. Le beffroi est longtemps la seule maison de ville, le monument municipal par excellence. Lorsque le pouvoir féodal est le plus fort, son premier acte d'autorité est la démolition du beffroi. En 1322, l'évêque et le chapitre de Laon obtiennent de Charles IV une ordonnance dans laquelle il est dit: «Qu'à l'avenir, en la ville, cité et faubourg de Laon, il ne pourra y avoir, commune, corps, université, échevinage, maire, jurés, coffre commun, beffroi, cloche, sceau ni autre chose appartenant à l'état de la commune. 124» Et plus tard, en 1331, Philippe VI rend une seconde ordonnance confirmative de la première, se terminant par cette clause: «Il n'y aura plus à Laon de tour du beffroi; et les deux cloches qui y étaient en seront ôtées et confisquées au roi. Les deux autres cloches qui sont en la tour de la Porte-Martel y resteront, dont la grande servira à sonner le couvre-feu au soir, le point du jour au matin, et le tocsin; et la petite pour faire assembler le guet 125.»
Noyon, Laon, Reims, Amiens possédaient des beffrois. Cette dernière
ville a conservé le sien jusqu'à nos jours; mais reconstruit à plusieurs
reprises et dénaturé pendant le dernier siècle, la base seule de la tour
carrée présente encore quelques traces de constructions élevées pendant
les XIIIe et XVe siècles
126. Les autres grandes cités que nous venons de
nommer ont laissé détruire complétement les leurs. Ce n'est plus, en
France, que dans quelques villes de second ordre qu'on trouve encore des
beffrois.
Nous donnons ici (11) celui de la ville de Béthune (Pas-de-Calais) qui est assez bien conservé et peut donner une idée de ces constructions municipales au XIVe siècle. L'étage inférieur, masqué derrière des maisons particulières, contenait les services mentionnés ci-dessus. Une grande salle percée de huit baies renfermait les grosses cloches; au-dessus était une salle percée de meurtrières et de petites ouvertures. Un escalier à vis posé sur l'un des angles monte à la galerie supérieure, flanquée aux angles d'échauguettes crénelées. Un comble recouvert d'ardoise et de plomb contient un carillon et une lanterne supérieure avec galerie pour le guetteur. Suivant l'usage, une girouette couronne la flèche. Les villes d'Auxerre, de Beaune ont encore leurs beffrois. Voici (12) celui d'Évreux, construit au XVe siècle et qui est complet. Nous en donnons les plans, avec la vue perspective, aux trois étages ABC. Les municipalités déployaient un certain luxe dans ces constructions urbaines; elles tenaient à ce que leurs couronnements élevés, souvent ornés de clochetons, d'aiguilles, de grandes lucarnes, fussent aperçus de loin, et témoignassent de la richesse de la cité.
Nous avons dit, en commençant, que les cloches de la commune étaient suspendues, dans certains cas, au-dessus d'anciennes portes de villes. Peut-être est-ce en souvenir de cette disposition provisoire que beaucoup de beffrois isolés furent construits à dessein sous forme de porte surmontée d'une ou deux tours. Nous citerons parmi les beffrois servant de porte, bâtis à cheval sur une rue, les tours de beffroi de Saint-Antonin, de Troyes (démolie aujourd'hui), d'Avallon, de Bordeaux. Ce dernier beffroi est fort remarquable; il se compose de deux grosses tours entre lesquelles s'ouvre un arc laissant un passage public. Au-dessus, un second arc couronné par un crénelage et un comble couvre la sonnerie (voy. PORTE).

Dans quelques villes, l'une des tours de l'église principale servit et sert encore de beffroi. À Metz, à Soissons, à Saint-Quentin, une des tours de la cathédrale est restée destinée à cet usage. Quant aux beffrois tenant aux hôtels de ville, nous renvoyons nos lecteurs au mot HÔTEL DE VILLE.
Beffroi, machine de guerre. Pendant les siéges du moyen âge, on se servait de tours de bois mobiles pour jeter, sur les murailles attaquées, des troupes de soldats qui livraient ainsi l'assaut de plain pied (voy. ARCHITECTURE MILITAIRE). Ces tours prenaient le nom de beffrois. Cet engin de guerre était en usage dans l'antiquité. César, dans ses Mémoires, indique souvent leur emploi. Après avoir élevé des terrassements qui permettaient d'approcher de grosses machines des murailles attaquées, comblé les fossés et établi des mantelets qui couvraient les travailleurs, l'armée de César, au siége d'une place forte défendue par les Nerviens, construit une tour de bois hors de la portée des traits des assiégés.
«Lorsqu'ils nous virent dresser la tour, dit César 127, après avoir posé des mantelets et élevé la terrasse, les Nerviens se mirent à rire du haut de leurs murailles, et demandèrent à grands cris ce que nous voulions faire, à une si grande distance, d'une si énorme machine; avec quelles mains et quels efforts des hommes d'une si petite taille pourraient la remuer (car les Gaulois, à cause de leur haute stature, méprisent notre petite taille); prétendions-nous approcher cette masse de leurs murs? Mais lorsqu'ils la virent s'ébranler et s'avancer vers leurs défenses, étonnés d'un spectacle si nouveau, ils envoyèrent à César des députés pour traiter de la paix...»
Les Gaulois imitateurs, d'après le dire de César lui-même, ne tardèrent pas à adopter, eux aussi, les tours de bois mobiles. Lorsque le camp des Romains est assiégé par les Nerviens révoltés 128, «le septième jour du siége, un grand vent s'étant élevé, les ennemis lancèrent dans le camp des dards enflammés, et avec la fronde des balles d'argile rougies au feu. Les baraques de nos soldats, couvertes en paille à la manière gauloise, eurent bientôt pris feu, et en un instant le vent porta la flamme sur tout le camp. Alors, poussant de grands cris comme si déjà la victoire eût été pour eux, ils firent avancer leurs tours et leurs tortues, et commencèrent à escalader les retranchements. Mais tels furent le courage et la solidité de nos troupes, que, de toutes parts environnées de flammes, accablées d'une grêle de traits, sachant que l'incendie dévorait leur bagage et leur fortune, aucun soldat ne quitta son poste et ne songea même à regarder en arrière, tous combattirent avec acharnement. Cette journée fut rude pour nous; cependant beaucoup d'ennemis y furent tués ou blessés; entassés au pied du rempart, les derniers venus empêchaient les autres de se retirer. Quand l'incendie fut un peu apaisé, les assaillants ayant roulé une de leurs tours près du retranchement, les centurions de la troisième cohorte postés sur ce point s'éloignèrent, emmenèrent tout leur monde, et, appelant les ennemis du geste et de la voix, les invitèrent à entrer s'ils voulaient; aucun n'osa se porter en avant. On les dispersa par une grêle de pierres, et on brûla leur tour....»
Depuis lors, et jusqu'à l'emploi de l'artillerie à feu, on ne cessa, dans les Gaules, d'employer ce moyen d'attaque pendant les siéges. Il n'est pas besoin de dire qu'il ne nous reste aucun renseignement pratique sur ces énormes machines. Nous devons nous en tenir aux descriptions assez vagues qui nous sont restées, à quelques vignettes de manuscrits exécutées de façon qu'il est impossible de constater les moyens employés pour les faire mouvoir. Pendant le moyen âge, ces tours mobiles étaient assez vastes pour contenir une troupe nombreuse; elles étaient divisées par des planchers formant plusieurs étages percés de meurtrières, et leur sommet crénelé, dont la hauteur était calculée de manière à dominer la crête des tours ou murailles attaquées, recevait un pont s'abattant sur les parapets des assiégés, lorsque le beffroi était amené le long des murs. On garnissait extérieurement ces grandes charpentes de peaux fraîches, de grosses étoffes de laine mouillées pour les préserver des projectiles incendiaires (voy. ARCHITECTURE MILITAIRE, fig. 15 et 16).
C'est au siége du château de Breteuil par le roi Jean (1356), qu'il est fait mention une des dernières fois d'un beffroi mobile, et la description que Froissart donne de ce siége mérite d'être transcrite, car l'artillerie à feu commence à jouer un rôle important en détruisant les anciens engins d'assaut, si formidables jusqu'alors.
«Et sachez que les François qui étoient devant Breteuil ne séjournoient mie de imaginer et subtiller plusieurs assauts pour plus gréver ceux de la garnison. Aussi les chevaliers et écuyers qui dedans étoient, subtilloient nuit et jour pour eux porter dommage; et avoient ceux de l'ost fait lever et dresser grands engins qui jetoient nuit et jour sur les combles des tours, et ce moult les travailloit. Et fit le roi de France faire par grand'foison de charpentiers un grand beffroy à trois étages que on menoit à roues quelle part que on vouloit. En chacun étage pouvoit bien entrer deux cents hommes et tous eux aider; et étoit breteskié et cuiré pour le trait trop malement fort; et l'appeloient les plusieurs un cas, et les autres un atournement d'assaut. Si ne fut mie si tôt fait, charpenté ni ouvré. Entrementes que on le charpenta et appareilla, on fit par les vilains du pays, amener, apporter et acharger grand'foison de bois et tout renverser en ses fossés, et estrain et trefs (paille et pièces de bois) sus pour amener ledit engin sur les quatre roues jusques aux murs pour combattre à ceux de dedans. Si mit-on bien un mois à remplir les fossés à l'endroit où on vouloit assaillir et à faire le char (le charroi). Quand tout fut prêt, en ce beffroy entrèrent grand'foison de bons chevaliers et écuyers qui se désiroient à avancer. Si fut ce beffroy sur ces quatre roues abouté et amené jusques aux murs. Ceux de la garnison avoient bien vu faire ledit beffroy, et savaient bien l'ordonnance en partie comment on les devoit assaillir. Si étoient pourvus selon ce de canons jetant feu et grands gros carreaux pour tout dérompre. Si se mirent tantôt en ordonnance pour assaillir ce beffroy et eux défendre de grand'volonté. Et de commencement, ainçois que ils fesissent traire leurs canons, ils s'en vinrent combattre à ceux du beffroy franchement, main à main. Là eut fait plusieurs grands appertises d'armes. Quand ils se furent plenté ébattus, ils commencèrent à traire de leurs canons et à jeter feu sur ce beffroy et dedans, et avec ce feu traire épaissement grands carreaux et gros qui en blessèrent et occirent grand'foison, et tellement les enfoncèrent que ils ne savoient auquel entendre. Le feu, qui étoit grégeois, se prit au toit de ce beffroy, et convint ceux qui dedans étoient issir de force, autrement ils eussent été tout ars et perdus. Quand les compagnons de Breteuil virent ce, si eut entre eux grand'huerie, et s'écrièrent haut: «Saint-George! Loyauté et Navarre! Loyauté!» Et puis dirent: «Seigneurs françois, par Dieu, vous ne nous aurez point ainsi que vous cuidez.» Si demeura la greigneure partie de ce beffroy en ces fossés, ni onques depuis nul n'y entra... 129»
Lorsqu'à la fin du XVe siècle, les auteurs de l'antiquité furent en honneur, on fit de nombreuses traductions de Végèce, de Vitruve, et leurs traducteurs ou commentateurs s'ingénièrent à trouver dans ces auteurs des applications à l'art militaire de leur temps. Ces travaux, utiles peut-être quant à la tactique, ne pouvaient s'appliquer à l'art des siéges en face de l'artillerie à feu, et les combinaisons plus ou moins ingénieuses de machines de guerre que quelques savants s'amusaient à mettre sur le papier, restèrent dans les livres; ils ne pouvaient avoir et n'eurent aucun résultat pratique; nous n'en parlerons donc pas 130.
Note 121: (retour) Notre Dictionnaire tendant avant tout vers un but pratique, on ne nous saura pas mauvais gré, nous l'espérons, de donner un exemple d'une construction neuve, élevée d'après les règles et des principes que les anciens exemples ne sauraient nous fournir dune manière complète. Le beffroi neuf de Notre-Dame de Paris fonctionne bien depuis cinq ans, et sans qu'il soit possible de remarquer la plus légère altération dans tout le système.
Note 122: (retour) Cette charpente, qui a remplacé un beffroi du XVIIe siecle, a été exécutée en beau bois de chêne par M. Bellu, entrepreneur.
Note 123: (retour) Voy. ARCHITECTURE CIVILE.
Note 124: (retour) A. Thierry. Lettres sur l'histoire de France, lett. XVIII.
Note 125: (retour) Ibid.--Les cloches étaient placées «inter insignia de natura consulatus existentia.» (Les Olim, ordonnance XI, 68, art. IX.) Retirer à une ville ses cloches, c'était retirer au corps municipal de cette ville, non-seulement le moyen, mais le droit de s'assembler. Pendant toute la durée de l'interdiction, les affaires restaient suspendues, ou étaient dévolues à la décision des officiers royaux. Un tel état de choses ne durait pas longtemps, et la ville pouvait d'ordinaire abréger sa durée en rachetant le droit des cloches. (Les Olim, I, p. 836 du texte, note 126.)
Note 126: (retour) Voy. la Description du beffroi de la ville d'Amiens, par M.H. Dusevel. Amiens, 1847.
Note 127: (retour) Livre II, De Bello gallico.
Note 128: (retour) Livre V. De Bello gallico.
Note 129: (retour) Chron. de Froissart, liv. I, part. II, chap. XXI. Édit. Buchon.
Note 130: (retour) Voy. entre autres Roberti Valturii de re militari, lib. XII; 1493. Édit. de 1534; Paris, pet. in-f° latin, avec de nombreuses planches en bois, donnant les plus étranges inventions de machines pour attaquer et prendre les places fortes.
BÉNITIER, s. m. Benoistier. Petite cuve dans laquelle on laisse séjourner l'eau bénite pour l'usage des fidèles, à l'entrée ou à la sortie des églises. Il y a deux sortes de bénitiers: les bénitiers portatifs et les bénitiers fixes. Nous ne nous occuperons que de ces derniers, les premiers faisant partie des ustensiles à l'usage du culte. Il nous serait difficile de dire à quelle époque les bénitiers fixes furent posés à la porte des églises. Nous connaissons quelques bénitiers informes qui paraissent avoir été très-anciennement scellés dans les piédroits des portes d'églises d'une date reculée; mais il nous paraît difficile de dire si ces bénitiers appartiennent à l'époque de la construction de ces édifices, ou s'ils ont été placés après coup. Ces bénitiers, en tant qu'ils soient primitifs, ne sont guère que de très-petites cuves en pierre et en forme d'une demi-sphère. Nous serions tenté de croire (bien que nous ne puissions appuyer notre opinion sur aucune preuve certaine) que, dans les églises antérieures au XIIe siècle, le bénitier était un vase de métal que l'on plaçait près de l'entrée des églises lorsque les portes étaient ouvertes. Cette conjecture n'est basée que sur l'absence de toute disposition indiquant la place de cet accessoire. Sous le porche des églises primitives de l'ordre de Cluny, il y avait presque toujours une table de pierre d'une dimension médiocre posée près de la porte. Cette table était-elle destinée à recevoir un bénitier portatif? C'est ce que nous n'oserions affirmer. Était-elle, comme semblent le croire quelques auteurs, entre autres Mabillon, un autel? L'absence de monuments existant aujourd'hui nous laisse à cet égard dans le doute.
Une gravure donnée par Dom. Plancher 131, dans son Histoire de Bourgogne, et représentant le porche de l'église abbatiale de Moutier-Saint-Jean, montre un bénitier fort important placé devant le trumeau de la porte centrale. La façade de cette église avait été élevée vers 1130, et le bénitier semble appartenir à la même époque; autant qu'on peut en juger par la gravure, fort grossièrement exécutée, ce bénitier paraît être en bronze et posé immédiatement sous les pieds de la statue de la Vierge qui fait partie du trumeau. Nous donnons ici (1) une copie de ce bénitier avec son entourage 132. Il était porté sur une colonne dont l'excessive maigreur nous fait supposer qu'elle était en métal.
L'absence des bénitiers d'une époque ancienne dans nos églises n'aurait pas lieu de surprendre, s'il était constaté qu'ils eussent été généralement exécutés en bronze. En effet, les bénitiers en pierre, que nous trouvons tenant à des monuments des XIIe et XIIIe siècles, sont d'une extrême simplicité, et nous ne les rencontrons que dans des églises pauvres. On peut donc supposer avec assez de raison que les bénitiers des églises riches, étant en bronze, ont été volés, détruits et fondus à l'époque des guerres religieuses. Dans les petites églises du Soissonnais, de l'Oise, construites à la fin du XIIe siècle et au commencement du XIIIe, il existe un grand nombre de bénitiers taillés comme l'indique la fig. 1 bis. 133.

Mais les architectes du XIIIe siècle aimaient à faire tenir aux édifices tous les accessoires nécessaires; ils étaient portés à prévoir, dans la construction, des objets qui jusqu'alors avaient été regardés comme des meubles; ils durent disposer des bénitiers faisant partie de l'édifice, près des portes, de même qu'ils accusaient franchement les piscines, les crédences. Ces accessoires devenaient pour eux autant de motifs de décoration. Près de la porte méridionale de l'église de Villeneuve-le-Roi, on voit encore un bénitier tenant au pilier de droite; ce bénitier est combiné avec la construction (2).

Ses assises règnent avec les assises du pilier; ce n'est pas un accessoire rapporté après coup: il est prévu en bâtissani. La cuve polygonale est surmontée d'un dais finement taillé. Cet édicule, comme la construction à laquelle il tient, date de la première moitié du XIIIe siècle 134.
Plus tard, pendant les XIVe et XVe siècles, les bénitiers reprennent leur apparence de meubles, et se composent presque toujours d'une cuve polygonale ou circulaire portée sur une colonne; ils ne font plus partie de l'édifice. Quelquefois les sculpteurs se sont plu à figurer, au fond des cuves des bénitiers, des serpents, des grenouilles, des poissons, puérilités d'assez mauvais goût et qui font l'admiration de beaucoup de gens. Si ces fantaisies avaient pour but de rappeler aux fidèles qu'ils doivent prendre de l'eau bénite en entrant dans l'église, il faut avouer que cette singulière façon d'attirer l'attention eut un plein succès. À l'époque où le zèle religieux se refroidissait, les artistes s'ingéniaient souvent à exciter la curiosité, à défaut d'autre sentiment. Nous pensons qu'il faut classer ces sculptures d'animaux au fond des cuves des bénitiers parmi les fantaisies, parfois burlesques, des sculpteurs du XVe siècle, quoiqu'on ait voulu trouver à ces figures un sens symbolique.
Au pied des tombes, dans les cimetières, il était d'usage de placer ou de creuser dans la pierre même recouvrant la sépulture de petits bénitiers; on en voit encore un grand nombre en Bretagne, dans le Poitou et le Maine, où cet usage s'est conservé jusqu'à nos jours. Ces petits bénitiers étaient quelquefois en métal, en fer ou en bronze, accompagnés d'un goupillon attaché à la cuve avec une chaînette.
Le siècle de la renaissance sculpta des bénitiers en marbre d'une grande richesse, supportés par des figures. Mais malheureusement les guerres religieuses détruisirent en France ces petits monuments. L'Italie et l'Espagne nous en ont conservé un grand nombre d'exemples.
Note 131: (retour) Hist. génér. et partic. de Bourgogne. Dijon, 1739; t. I, p. 517.
Note 132: (retour) Nous nous sommes permis, tout en conservant aussi fidèlement que possible les formes indiquées par la gravure, de rapprocher notre dessin du style du XIIe siècle, la gravure étant complétement dépourvue de caractère.
Note 133: (retour) Ce bénitier provient de l'église de Saint-Jean-aux-Bois, près Compiègne.
Note 134: (retour) Le dessin de ce bénitier nous a été communiqué par M. Millet, architecte, à qui nous devons déjà de précieux renseignements.
BERCEAU, s. m. (Voy. ARCHITECTURE, CONSTRUCTION, VOÛTE).
BESANTS, s. m. Le besant, en termes de blason, est un disque de métal posé sur le champ ou sur les pièces principales de l'écu. On désigne, en architecture, par besants, une série de disques plats sculptés dans une moulure. Cet ornement est fréquent dans les édifices du XIIe siècle; il est toujours d'une petite dimension, plus gros que la perle, plus petit que le bouton; il décore les bandeaux, les archivoltes, les canelures des pilastres; c'est dans le Poitou, la Saintonge et sur les bords de la Loire qu'on le rencontre de préférence.
On verra ci-contre (1) un fragment d'une des arcatures du clocher de
l'église de la Charité-sur-Loire, dont l'archivolte et les pilastres
sont ornés de besants délicatement sculptés. Le besant diffère surtout
de la perle et du bouton en ce qu'il est plat au lieu de présenter
une portion de sphère.
Il est généralement taillé, ainsi que l'indique
la fig. 2, quelque peu biseauté sur les bords pour éviter la sécheresse
et la maigreur produites par des coupes à angle droit. Les besants ont
cet avantage, dans la décoration, de donner, à peu de frais, beaucoup de
richesse et de légèreté aux membres de l'architecture auxquels ils sont
appliqués; leur surface plane, accrochant vivement la lumière, les fait
distinguer à une grande distance malgré leur ténuité; ils rompent la
monotonie des moulures fines répétées et d'un profil plat, préférées par
les architectes du XIIe siècle; ils ont enfin, malgré leur peu
d'importance comme dimension, une fermeté qui convient parfaitement à
des constructions de pierre. Les besants disparaissent au XIIIe siècle,
pour ne plus reparaître dans la décoration architectonique.
BESTIAIRES, s. m. On désigne par bestiaires les recueils, fort en vogue pendant le moyen âge, qui contiennent la description des animaux réels ou fabuleux de la création. Ces descriptions sont presque toujours accompagnées de vignettes. Pendant les XIe, XIIe et XIIIe siècles, ces bestiaires, copiés et annotés dans les monastères, sur les auteurs de l'antiquité, avec force variantes et nouvelles histoires, avaient un sens symbolique. Les qualités ou les défauts de chaque animal étaient présentés comme une figure de l'état de l'âme humaine, de ses vices ou de ses vertus, comme une personnification de l'Église ou même de Jésus-Christ. Le bestiaire en prose picarde du commencement du XIIIe siècle, donné tout au long dans les Mélanges archéologiques des RR. PP. A. Martin et Cahier 135, est précédé d'un court prologue qui indique parfaitement le but que les compilateurs des bestiaires se proposaient d'atteindre. «Chi commence, dit l'auteur, li livres c'on apèle Bestiaire. Et par ce est il apelés ensi, qu'il parole (parle) des natures des bestes; car totes les créatures que Dex créa en terre, cria il por home, et por prendre essanple et de foi en eles et de créance.» Du moment qu'il était admis que les animaux de la création avaient été créés pour l'homme et afin que l'étude de leurs moeurs fût pour lui un exemple, on ne doit pas s'étonner si nous voyons sculptés sous les portails des églises, autour des chapiteaux et jusque sur les meubles sacrés, une foule d'animaux destinés à rappeler les vertus que les chrétiens devaient pratiquer ou les vices qu'ils devaient éviter. Au moyen âge, l'homme est le rentre de toutes choses sur la terre, et l'Église lui montre sans cesse cette vérité dans les monuments qu'elle élève. Après avoir représenté Dieu, ses rapports avec l'homme, l'histoire de son sacrifice et la hiérarchie céleste, l'Église n'oublie aucun des êtres secondaires, et les fait entrer dans le grand concert de la création. C'est là le signe le plus évident de la tendance des idées du moyen âge vers l'unité, l'ordre, le classement. Tout a sa place dans la création, tout a un but et une fonction, tout se rapporte à l'homme, qui doit compte à Dieu, comme responsable à cause de son intelligence, de toute chose créée pour lui. Ne regardons pas, dans nos monuments, ces sculptures d'animaux, souvent étranges, comme des caprices d'artistes, des bizarreries sans signification; voyons-y, au contraire, l'unité vers laquelle tendait la pensée du moyen âge, les premiers efforts encyclopédiques des intelligences du XIIIe siècle, les premiers pas de la science moderne dont nous sommes si fiers 136 (voy. CATHÉDRALE, IMAGERIE).
Note 135: (retour) Manusc. de la bibliot. de l'Arsenal, n°283, fol. CCIII.
Note 136: (retour) Nous renvoyons nos lecteurs aux Mélanges archéologiques des RR. PP. Martin et Cahier, pour l'étude détaillée des bestiaires du moyen âge. Cette portion de l'ouvrage des RR. PP. est très-complète et accompagnée de planches nombreuses, copiées sur les manuscrits.
BÉTON, s. m. C'est une maçonnerie faite de mortier de chaux et sable et de caillou ou de pierres cassées menu. Les Romains ont fait grand usage du béton dans leurs constructions; ils employaient des chaux bien cuites et bien éteintes, presque toujours hydrauliques, des sables ou pouzzolanes parfaitement purs; avec ces premiers éléments, ils ne pouvaient manquer de faire du béton excellent (voy. CONSTRUCTION).
Les traditions romaines touchant la construction se conservèrent assez bien jusqu'à l'époque carlovingienne, et on voit encore, dans les constructions antérieures au Xe siècle, des massifs exécutés en béton grossier conservés sans altération. Depuis le Xe siècle jusqu'à la fin de la période ogivale, les constructions élevées en pierre ou en moellon ne laissent guère de place au béton, que l'on ne rencontre que dans les intérieurs des massifs ou dans les fondations. Généralement ces bétons ou remplissages en maçonnerie sont mal faits pendant la période romane; ils sont inégaux, mal corroyés et pilonnés; les chaux employées sont de mauvaise qualité, les sables mélangés de terre. D'ailleurs les bétons veulent être coulés en grandes masses pour conserver leurs qualités; et ces remplissages en mortier et débris de pierres, que l'on trouve au milieu des massifs romans revêtus de pierre de taille, se desséchaient trop rapidement pour pouvoir acquérir de la dureté.

Dans les provinces méridionales, là où le mode de construire des Romains s'était le mieux conservé, nous trouvons, jusqu'au XIIe siècle, le béton employé pour les fondations, pour les aires sur les voûtes. Il faut croire que dans ces contrées on avait acquis même une expérience consommée dans la fabrication du béton; car nous voyons au château de la cité de Carcassonne des fenêtres et des portes de la fin du XIe siècle dont les linteaux, d'une grande portée, sont en béton coulé dans une forme. Nous donnons ici (1) une de ces fenêtres; le linteau A est en béton d'une extrême dureté, et nous n'avons pas vu un seul de ces linteaux brisés par la charge, qui cependant est considérable. Ce béton, coulé et pilonné dans un encaissement, est composé d'une chaux hydraulique mêlée avec le sable limoneux de l'Aude et de petits fragments de brique; le caillou est cassé très-menu et presque entièrement composé de grès vert. Ici, l'intention bien évidente des constructeurs a été de réserver ces pierres factices pour les grandes portées; ils les estimaient donc plus résistantes que le grès du pays, qui cependant est très-dur; et ils ne se sont pas trompés, car ces linteaux n'ont subi aucune altération 137. Lorsqu'au XIIIe siècle les constructions ne se composèrent plus que de murs minces et de points d'appui grêles, le béton ne trouvait plus d'emploi qu'en fondation, et encore on ne saurait donner ce nom aux maçonneries bloquées alors en usage (voy. BLOCAGE).
Note 137: (retour) La colonnette qui divise en deux cette fenêtre est en marbre blanc des Pyrénées, ainsi que la base et le chapiteau; les piédroits et le second linteau B sont en grès vert. Les constructeurs ont donc admis qu'un morceau de béton était moins fragile que les pierres naturelles, étant seulement soutenu à ses extrémités et chargé sur le milieu. Ce linteau n'a que 0m,25 d'épaisseur sur une longueur de 1m,20 de portée et une largeur de 0m,30 environ.
BIBLIOTHÈQUE, s. f. Jusqu'au moment où l'imprimerie fut inventée, les bibliothèques, composées de manuscrits, ne pouvaient être très-nombreuses, les salles pour les contenir très-vastes. Les monastères possédaient tous des bibliothèques que les frères copistes augmentaient lentement. Ces bibliothèques n'occupaient guère qu'une salle dit couvent, de médiocre étendue, autour de laquelle des armoires en bois étaient destinées à contenir les manuscrits. Les rois, les grands personnages, dès le XIVe siècle, voulurent avoir des bibliothèques dans leurs palais. Charles V réunit au Louvre une bibliothèque fort nombreuse pour l'époque. Charles d'Orléans avait formé une bibliothèque dans son château de Blois. En 1427, ce prince, prisonnier en Angleterre, ayant su que les Anglais mettaient le siége devant Montargis, donna pouvoir au sire de Mortemart d'enlever de Blois ses meubles et sa bibliothèque, et de tout transporter à Saumur 138.
Toutefois, les salles dans lesquelles les manuscrits étaient déposés ne paraissent pas avoir présenté, avant l'invention de l'imprimerie, des dispositions particulières.
Note 138: (retour) École des chartes, t. V, p. 59. Voir l'inventaire de cette bibliothèque.
BIEF, s. m. Canal qui va prendre l'eau d'un ruisseau ou d'une rivière en aval, pour la conduire à niveau au-dessus de la roue d'un moulin, en profitant de la différence de niveau qui existe entre le point de la prise et celui où l'usine est établie. Le bief est ordinairement formé par des digues en terre; mais autrefois ce n'était souvent qu'un canal formé de planches posées sur des chevalets.
Les grands établissements monastiques du XIIe siècle possédaient des usines considérables pour l'époque, et l'on voit encore la trace des travaux d'endiguement qu'ils exécutèrent pour diriger les cours d'eau sur leurs moulins et obtenir de puissants moteurs. Beaucoup de nos usines de la Champagne et de la Bourgogne profitent encore de ces ouvrages, exécutés souvent avec une grande intelligence et à l'aide de labeurs immenses.
BIENFAITURE. Vieux mot qui signifie une bonne construction.
BILLETTES. s, f. C'est un terme de blason pour désigner de petits parallélogrammes posés sur le champ ou les pièces principales de l'écu. En architecture, on entend par billettes une série de petits parallélogrammes ou portions de cylindres séparés par des vides, et dont les rangs plus ou moins nombreux chevauchent. Cet ornement se rencontre très-anciennement sur les tailloirs des chapiteaux, autour des archivoltes, sur les bandeaux. Nous trouvons déjà des billettes taillées sur des membres d'architecture de la période mérovingienne. Parmi les fragments de cette époque découverts sous le sol de la partie romane de l'église de Poissy, s'est rencontré un tailloir décoré de billettes que nous donnons ici (1).

Mais c'est surtout pendant les XIe et XIIe siècles que cet ornement prend une grande importance dans la décoration des membres moulurés des édifices. Les archivoltes, bandeaux et corniches des monuments de cette époque, reçoivent une ou plusieurs rangées de billettes, presque toujours cylindriques.

La fig. 2 représente l'un des bandeaux extérieurs de l'église Saint-Étienne Nevers de décoré d'un rang de billettes (XIe siècle), et la fig. 3 l'une des corniches extérieures de l'église de Saint-Sernin de Toulouse, qui en contient plusieurs. Les coupes des deux figures font voir comment sont taillés ces ornements, qui, malgré leur simplicité, donnent une grande richesse aux membres d'architecture auxquels ils sont appliqués, en leur laissant leur fermeté. C'est surtout dans les provinces du Centre et du Midi, dans le Poitou et la Saintonge, que les billettes sont employées par rangées nombreuses, au XIIe siècle. En Normandie et dans l'Ile de France, l'emploi des billettes est fréquent à la même époque; mais il est rare qu'elles se présentent en rangs répétés, et qu'elles couvrent les bandeaux, archivoltes et corniches, comme dans les provinces du centre.

Les billettes alternent avec des moulures et n'ont guère qu'une importance secondaire. Comme exemple de ce que nous avançons ici, nous donnons (4) l'une des archivoltes des fenêtres de la tour Saint-Romain de la cathédrale de Rouen sur lequel les billettes à une seule rangée alternent avec des surfaces plates et des boudins sans ornements. Dans ce cas, les billettes, comme les besans, les boutons, les perles (voy. ces mots), ne font que rompre la monotonie des moulures fines et à peu près égales, répétées. Les billettes disparaissent avec les dernières traces de l'architecture romane.
BISEAU, s. m. Se dit d'une arête abattue. Les constructeurs, pendant la période ogivale, évitaient les arêtes vives, à angle droit, surtout dans les parties inférieures des édifices; et lorsque ces arêtes n'étaient pas masquées par des colonnettes ou adoucies par des moulures, ils se contentaient souvent de les tailler en biseau. Les tableaux des portes, des fenêtres, dans l'architecture civile, sont presque toujours biseautés à l'extérieur; on évitait ainsi les écornures, et plus encore les saillies gênantes des arêtes vives sur les points des édifices où la circulation est active. Ce principe se trouve appliqué également à la charpente et à la menuiserie; les bois équarris sont souvent biseautés sur leurs arêtes.

Voici (1) un exemple d'une baie, dont toutes les arêtes extérieures sont biseautées. Parfois le biseau n'existe que là seulement où l'arête saillante gênerait le passage; le linteau et l'extrémité supérieure des piédroits hors de la portée de la main conservent leurs arêtes pures (2). Dans les ouvrages de charpente, les biseaux s'arrêtent au droit des assemblages, afin de laisser aux bois toute leur force sur ces points.
La fig. 3 donne un poinçon et un entrait biseautés, conformément à cette
méthode. Les retraites de soubassements de la maçonnerie sont toujours,
dans l'architecture ogivale, ou moulurées, ou biseautées, en raison de
ce principe qui n'admettait pas les surfaces horizontales, telles
petites qu'elles fussent (voy. BASE). Sur les arêtes horizontales, ces
biseaux, forment presque toujours un angle au-dessus de 45 degrés (4),
tandis que les biseaux sur les arêtes verticales sont taillés suivant un
angle de 45 degrés. Cette loi est trop naturelle pour avoir besoin
d'être commentée. On voulait dérober, autant que possible, les arêtes
horizontales; il était tout simple de donner une forte inclinaison au
biseau, et l'angle à 45 degrés eût encore présenté une trop grande
acuité, surtout dans les retours d'équerre saillants; tandis qu'il
fallait abattre les arêtes verticales par une face formant, avec les
deux autres faces se coupant à angle droit, deux angles égaux (5).
Les arcs doubleaux, arcs ogives et formerets des voûtes construites avec économie, sont biseautés au lieu d'être moulurés; et, dans ce cas, le biseau est taillé suivant un angle de 45 degrés pour les arcs doubleaux larges A et de plus de 45 degrés pour les arcs ogives B ou formerets (6). On laissait ainsi plus de force aux arcs doubleaux, et on donnait de la légèreté aux arcs ogives.

Le biseau n'est, par le fait, qu'un épannelage, et, dans l'architecture ogivale, il est taillé en raison de la moulure qu'il est destiné à préparer (voy. ÉPANNELAGE).
BLOCAGE, s. m. On désigne par ce mot un massif en maçonnerie formé de blocs de pierre gros ou menus jetés pêle-mêle dans un bain de mortier. Toutes les constructions romanes ne se composent généralement que d'un revêtement de pierre renfermant un blocage. Pendant la période ogivale, les membres résistants de l'architecture, sauf les contre-forts ou les soubassements des tours, étant réduits à la plus petite section horizontale possible, ne contiennent généralement pas de blocages; on ne trouve alors les blocages qu'au centre des grosses piles, des contre-forts épais ou dans les fondations (voy. CONSTRUCTION).
BLOCHET, s. m. Terme de charpente (voy. CHARPENTE).
BOIER, s. m. Vieux mot qui signifie égout, cloaque (voy. ÉGOUT).
BOIS, s. m. On désigne par ce mot, en architecture, la partie ligneuse des arbres propres à la charpente ou à la menuiserie. Le bois de construction par excellence est le bois de chêne. Le sol des Gaules était renommé dans l'antiquité pour l'abondance et la qualité de ses bois de chêne. Les Romains tiraient de cette contrée les bois qu'ils employaient dans la construction de leurs édifices ou dans la marine; et telle était l'immense étendue de ses forêts, que longtemps après eux les constructeurs firent usage du bois de chêne avec une incroyable profusion dans les constructions religieuses, civiles et militaires. Pendant les périodes mérovingienne et carlovingienne, les églises, les monastères, les palais, les maisons, les chaussées, les ponts et même les enceintes des villes étaient en grande partie élevés en bois, ou du moins cette matière entrait pour beaucoup dans la construction. Les premières chroniques françaises mentionnent sans cesse des désastres terribles causés par le feu; des villes tout entières sont consumées. Ce fléau devint tellement fréquent, surtout pendant les expéditions normandes, que l'on dut songer à rendre les édifices publics et les habitations privées plus durables, en remplaçant le bois par de la maçonnerie. Les voûtes furent substituées aux charpentes apparentes. Les palais et maisons eurent des murs de brique et de pierre au lieu de ces pans de bois si fréquents du temps de Grégoire de Tours et longtemps encore après lui.
À partir du XIe siècle, le bois n'est plus guère employé dans les édifices publics, que pour couvrir les voûtes et recevoir la tuile ou le plomb; dans les habitations, que pour les planchers et les combles. Lorsque ces désastres causés par la négligence, le défaut d'ordre et les guerres, furent oubliés; lorsque les villes prirent une grande importance commerciale; que le terrain municipal eut acquis de la valeur par suite de l'augmentation de la population dans des enceintes fortifiées que l'on ne pouvait étendre, les constructions privées en bois reparurent, comme plus faciles à élever, et surtout perdant moins de terrain que les constructions de maçonnerie. Et, en effet, c'est dans les villes commerçantes du XVe siècle, telles que Rouen, Caen, Paris, Reims, Troyes, Amiens, Beauvais, que s'élèvent surtout des maisons de bois à la place des maisons de pierre des XIIe et XIIIe siècles.
Depuis le XIIIe siècle, les provinces du midi étaient en décroissance; les enceintes des villes à peine remplies ne nécessitaient pas ces économies de l'espace; les habitants continuèrent à élever des maisons de pierre ou de brique; d'ailleurs les forêts de ces contrées étaient déjà dévastées en grande partie dès l'époque des guerres religieuses du XIIIe siècle, et le climat est moins favorable à la reproduction des bois durs que le nôtre. C'est donc surtout dans les provinces situées au nord de la Loire qu'il faut aller chercher les constructions de bois, que cette matière fut employée avec une parfaite connaissance de ses qualités précieuses. Or, si aujourd'hui nous possédons des ouvrages pleins d'observations savantes sur les bois, si nous connaissons parfaitement leur pesanteur spécifique, leur dureté, leur degré de résistance; si de nombreuses expériences ont été faites sur les moyens de les conserver, sur la meilleure culture et l'aménagement des forêts, il faut cependant reconnaître que dans la pratique nous ne pensons guère à ces savantes recherches, à ces observations approfondies; que nous discourons à merveille sur les bois, et que nous les employons trop souvent en dépit de leurs qualités, et comme si nous ne connaissions pas la nature de cette matière. Malheureusement, de nos jours, le praticien dédaigne l'observation scientifique; le savant n'est pas praticien. Le savant travaille dans son cabinet, et ne descend pas sur le chantier; le praticien n'observe pas, il cherche à produire vite et à bon marché. Les mauvaises habitudes introduites par l'amour du lucre, l'ignorance et la routine suivent leur cours, pendant que le savant observateur compose ses livres, établit ses formules.
Le moyen âge, qui, pour beaucoup de gens, non praticiens il est vrai, est encore une époque d'ignorance et de ténèbres, n'a, que nous sachions, laissé aucun livre sur la nature des bois et les meilleurs moyens de les employer dans les constructions; cette époque a fait mieux que cela: elle a su les mettre en oeuvre, elle a su élever des ouvrages de charpente dont la conservation est encore parfaite; tandis que nos bois employés il y a vingt ou trente ans à peine sont pourris.
Nous allons essayer de nous servir des observations purement pratiques des charpentiers du moyen âge sur les bois; cet aperçu aura peut-être son utilité. On a prétendu que beaucoup de charpentes du moyen âge étaient faites en bois de châtaignier; nous sommes obligé d'avouer que nous n'avons, jusqu'à présent, rencontré aucune pièce de charpente de cette époque dont le tissu ressemble à celui de cette essence. Toutes les charpentes que nous avons visitées, celles des cathédrales de Chartres et de Paris, de Saint-Georges de Bocherville, de l'évêché d'Auxerre, de l'église de Saint-Denis, qui datent du XIIIe siècle 139, celles des cathédrales de Reims, d'Amiens, de l'église Saint-Martin des Champs, de la chapelle Saint-Germer, de l'hôpital de Tonnerre, et tant d'autres qu'il serait trop long d'énumérer et qui datent des XIVe, XVe et XVIe siècles, nous ont paru être en chêne, et n'avoir aucune ressemblance avec le bois de châtaignier que nous possédons aujourd'hui dans nos forêts. Cependant il faut dire que le bois de chêne employé alors était d'une autre essence que celui généralement admis dans les constructions modernes. Les caractères particuliers de ces anciens bois sont ceux-ci: égalité de grosseur d'un bout à l'autre des pièces, peu d'aubier, tissu poreux, soyeux, fil droit, absence presque totale de noeuds, de gerçures, rigidité, égalité de couleur au coeur et à la surface; couches concentriques fines et égales, légèreté (ce qui tient probablement à leur sécheresse). Il est certain que l'on possédait encore au moyen âge et jusqu'au XVIIe siècle, dans nos forêts, une essence de chênes parfaitement droits, égaux de la base aux branches supérieures, et très-élevés quoique d'un diamètre assez faible. Ces chênes, qui semblaient poussés pour faire de la charpente, n'avaient pas besoin d'être refendus à la scie pour faire des entraits, des arbalétriers, des poinçons; on se contentait de les équarrir avec soin; n'étant pas refendus, et le coeur n'étant pas ainsi mis à découvert, ils étaient moins sujets à se gercer, à se tourmenter, et conservaient leur force naturelle. Ces bois (ce qu'il est facile de reconnaître au nombre des couches concentriques) ne sont pas vieux; ils comptent habituellement soixante, quatre-vingts ou cent années au plus pour les pièces d'un fort équarrissage. Les chevrons portant ferme sont eux-mêmes des bois de brin non refendus, et ces chevrons, qui ne comptent guère que soixante années, atteignent rependant parfois douze et quinze mètres de longueur sur un équarrissage de 0,20 X 0,20. Évidemment nos forêts ne produisent plus de ces bois.
Les charpentiers du moyen âge semblent avoir craint d'employer, même dans les plus grandes charpentes, des bois d'un fort équarrissage, et très-vieux par conséquent; s'ils avaient besoin d'une grosse pièce, telle qu'un poinçon de flèche par exemple, ils réunissaient quatre brins; c'était encore un moyen d'éviter les torsions si fréquentes dans les pièces uniques. Avait-on une grande charpente à exécuter, on allait à la forêt choisir les bois; on les écorçait avant de les abattre; on les emmagasinait plusieurs années à l'avance, à l'air libre, mais abrités et tout équarris. L'abatage se faisait en hiver, et pendant la durée d'une certaine lune 140. Vraie ou fausse, cette croyance démontre l'importance que l'on attachait à ces opérations préliminaires. Les bois bien secs, après un très-long séjour à l'air, ou une immersion destinée à dissoudre et enlever la séve, étaient mis sur chantier. A la pose, on redoublait de soins; le bois coupé debout et posé contre la maçonnerie aspire l'humidité de la pierre; pour éviter la pourriture qui résulte bientôt de cette aspiration, on clouait quelquefois aux extrémités des pièces touchant à la maçonnerie, soit une lame de plomb, soit une petite planchette coupée de fil; d'ailleurs on prenait les plus grands soins pour tenir les sablières isolées de la pierre, pour laisser circuler l'air autour du pied des arbalétriers ou des chevrons. On évitait autant que possible les assemblages, tant pour ne pas affaiblir les bois que pour éloigner les chances de pourriture. Il arrivait souvent que les bois de charpente recevaient une couche de peinture qui semble n'être qu'une dissolution d'ocre dans de l'eau salée ou alunée; et, en effet, une lessive de sel marin ou d'alun empêche les insectes de s'attacher à la surface du bois; elle leur donne une belle teinte gris-jaune d'un aspect soyeux. On a supposé que le bois de châtaignier avait la propriété d'éloigner les araignées, et on a conclu de l'absence des araignées dans les anciens combles que ceux-ci étaient en bois de châtaignier; mais les araignées ne se logent que là où elles peuvent vivre, et les bois bien purgés de séve, quelle que soit leur essence, produisant peu ou point de vers, de mouches, ne peuvent servir de logis aux araignées.
Quant aux bois employés dans les planchers et pans de bois pendant le moyen âge, ils n'étaient jamais enfermés, comme ils le sont aujourd'hui, entre des enduits; deux de leurs faces au moins restaient toujours à l'air libre; or cette condition est nécessaire à leur conservation. Les planchers se composaient d'une série de poutrelles ou solives apparentes recouvertes d'une aire, sur laquelle on posait le carrelage; les pans de bois laissaient voir leurs deux faces intérieure et extérieure. Dans cette situation, la durée des bois est illimitée, tandis qu'ils s'échauffent, fermentent et se pourrissent avec rapidité, lorsqu'ils sont complétement enfermés. Tous les jours nous voyons des planchers qui n'ont pas plus de vingt et trente ans d'âge, dont les solives sont totalement pourries. On objectera que ces planchers ont été exécutés avec des bois verts; cela est possible. Mais nous avons vu des poutres de planchers restées apparentes pendant deux ou trois siècles en parfait état, se pourrir en quelques années lorsqu'on les avait enfermées dans des enduits; ce n'est donc pas seulement à la verdeur des bois qu'il faut attribuer leur décomposition lorsqu'ils sont enfermés, mais au défaut d'air qui produit leur fermentation.
On a cru, surtout depuis le XVIIe siècle, que plus les bois étaient gros et mieux ils résistaient à la destruction; c'est là une erreur que ne partageaient pas les charpentiers du moyen âge. Nous l'avons dit déjà: les bois qu'ils employaient généralement dans les charpentes n'étaient pas d'un très-fort équarrissage; ils tenaient plus à leur qualité, à l'égalité de leur tissu, à leur longueur et rectitude naturelles, qu'à la grosseur du diamètre des pièces. Le bois de chêne ne devient très-gros qu'après cent cinquante ou deux cents ans d'âge; alors le coeur tend à se décomposer, et c'est par le coeur que commence la pourriture si dangereuse des gros bois. Nous renvoyons nos lecteurs à l'article CHARPENTE, dans lequel nous démontrons, par des exemples, que si les charpentiers du moyen âge choisissaient les bois de construction avec grand soin, ils n'étaient pas moins scrupuleux dans la manière de les tailler, de les monter et les poser.
Note 139: (retour) L'ancienne charpente de la cathédrale de Chartres fut incendiée en 1836; celle de l'église de Saint-Denis est démolie, mais il en existe de nombreux fragments.
Note 140: (retour) cette croyance à l'influence de la lune sur les bois au moment de l'abatage s'est encore conservée dans quelques provinces du centre en France, à ce point que les bois abattus pendant la lune favorable se vendent plus cher que les autres.
BOISERIE, s. f. (voy. MENUISERIE).
BOSSAGE, s. m. C'est le nom que l'on donne au parement saillant brut
d'une pierre, dont les arêtes seulement sont relevées
par une tiselure,
ainsi que le démontre la fig. 1. Dans des constructions de pierre de
taille que l'on veut élever rapidement, en n'employant que la
main-d'oeuvre rigoureusement nécessaire pour permettre de poser les
assises sans perte de temps, on s'est quelquefois contenté de tailler
les lits, joints et les arêtes des pierres, sans se préoccuper de
parementer les surfaces comprises entre ces arêtes. Les Romains ont fait
usage de ce mode rapide de construire, et, pendant le moyen âge, nous
voyons certaines bâtisses dans lesquelles on a laissé des bossages bruts
sur la face vue de chaque pierre. C'est particulièrement dans les
ouvrages de fortification de la fin du XIIIe siècle que ce genre de
construction apparaît, surtout dans les contrées où la qualité très dure
de la pierre ne se prête pas à la taille. Toutes les parties de
l'enceinte de la cité de Carcassonne, bâties sous Philippe le Hardi, ont
des parements à bossages; nous en voyons également, vers la même époque,
à la grosse tour de l'ancien archevêché de Narbonne, à Aigues-Mortes,
etc.

Les bossages disparaissent des parements de pierre pendant les XIVe et XVe siècles, pour reparaître au XVIe, avec l'imitation de l'architecture italienne. Ils deviennent même alors un motif de décoration dans l'architecture civile et militaire; ils sont ou bruts, ou taillés en tables (2), en pointes de diamant (3), en demi-sphères (4), comme on peut le voir dans quelques tours fortifiées de la fin du XVe siècle ou du commencement du XVIe 141, et notamment sur les parements de la grosse tour de la porte nord de l'enceinte de Vézelay, bâtie au commencement du règne de François Ier.
Pendant le développement de l'architecture de la renaissance, on voit les bossages se couvrir de divers ornements, tels que vermiculures 142, emblèmes, chiffres, réseaux, etc. Le rez-de-chaussée de la grande galerie du Louvre, du pavillon d'Apollon au pavillon Lesdiguières, nous fournit de nombreux exemples de ce genre de décoration de bossages.
Note 141: (retour) Ces bossages hémisphériques se trouvent souvent sur les parements des fortifications élevées au moment de l'emploi régulier de l'artillerie à feu. Ils figuraient évidemment des boulets.
Note 142: (retour) Ce genre d'ornementation est une imitation des effets que produit le salpêtre sur certaines pierres calcaires tendres, particulièrement à l'exposition du sud. Les tailleurs de pierre et les carriers attribuent encore aujourd'hui cet effet singulier de décomposition à l'influence de la lune.
BOSSIL, s. m. Vieux mot qui signifie une braie, un dos d'âne au milieu d'un fossé; aussi l'escarpement que produit la terre d'un fossé jetée sur berge (voy. BRAIE).
BOUDIN, s. m. C'est un membre d'architecture de forme cylindrique qui décore les archivoltes, les arcs-doubleaux, arcs-ogives, bandeaux, etc. Dès le IXe siècle, on voit apparaître le boudin dans les arcs-doubleaux pour les alléger. La crypte de l'église cathédrale de Saint-Étienne d'Auxerre présente déjà de gros boudins ou demi-cylindres saillants sur un arc-doubleau à arêtes vives (1).

On voit aussi, dans la crypte de l'église Saint-Euthrope de Saintes (commencement du XIIe siècle), des arcs-doubleaux qui ne sont que de gros boudins (2). Lorsque la voûte en arcs-d'ogives est adoptée pendant le XIIe siècle, la coupe des arcs-doubleaux reste souvent rectangle, et les arcs-ogives prennent un ou trois boudins (3) 143.

Mais les coupes rectangles ne devaient pas être longtemps conservées pour les arcs-doubleaux; dès le milieu du XIIe siècle, nous voyons les boudins remplacer les arêtes vives (voy. ARC-DOUBLEAU, ARC-OGIVE).
Pendant le XIIIe siècle, les moulures des divers membres de l'architecture deviennent de plus en plus délicates, et les boudins donnent une forme trop molle pour être longtemps conservés; ils reçoivent une arête saillante A (4).
Au XIVe siècle, l'arête aiguë du boudin ne semble pas assez accusée; on lui donne un méplat A (5) 144.
Dans les meneaux, c'est un boudin qui forme le principal nerf de la combinaison des courbes (voy. MENEAU); dans ce cas, il ne fait que continuer le diamètre de la colonnette. Le boudin disparaît au XVe siècle et fait place à des formes prismatiques curvilignes (voy. PROFIL).
Note 143: (retour) Porche de l'église abbatiale de Vézelay.
Note 144: (retour) Déjà on trouve, dans des édifices du XIIIe siècle, des boudins taillés suivant la coupe donnée par la fig. 5.
BOULEVARD, s. m. Boluvert, boulevert. On désignait par ce mot, à la fin du XVe siècle et pendant le XVIe, un ouvrage de fortification avancé qui remplaçait les barbacanes des anciennes forteresses (voy. ARCHITECTURE MILITAIRE). Le boulevard apparaît en même temps que l'application régulière de l'artillerie à feu. Il est d'abord élevé en terre gazonnée, et c'est peut-être à son apparence verdoyante à l'extérieur qu'il doit son nom; bientôt, d'ouvrage provisoire élevé à la hâte en dehors des vieilles murailles, il passe à l'état de terrassement permanent revêtu de pierre ou de construction de maçonnerie épaisse, défendue par des fossés, des batteries couvertes et barbettes. Le boulevard devient la principale défense des places; il protége les anciens murs, ou bien, établi sur un point faible, il forme un saillant considérable et ne se relie à l'ensemble de la forteresse que par des lignes étendues.
Parmi les essais qui furent tentés, à la fin du XVe siècle et au commencement du XVIe, pour mettre la défense des places au niveau de l'attaque, nous devons citer en première ligne la belle forteresse de Schaffhausen, véritable boulevard, qui présente tout un ensemble d'ouvrages fort remarquable pour l'époque, et parfaitement complet encore aujourd'hui. Mais pour faire comprendre l'importance de cet ouvrage, il est nécessaire de se rendre compte de son assiette. En sortant du lac de Constance, le Rhin se dirige par Stein vers l'ouest; arrivé à Schaffhausen, il se détourne brusquement vers le sud jusqu'à Kaiserstuhl. Ce coude est causé par de hautes collines rocheuses qui ont présenté un obstacle au fleuve et l'ont contraint de changer son cours. Stein, Schaffhausen et Kaiserstuhl forment les trois angles d'un triangle équilatéral dont Schaffhausen est le sommet. Il était donc d'une grande importance de fortifier ce point avancé, frontière d'un État, d'autant mieux que la rive gauche du fleuve, celle qui est dans le triangle, est dominée par les collines de la rive droite qui ont présenté au fleuve un obstacle insurmontable. En cas d'invasion, l'ennemi ne pouvait manquer d'occuper les deux côtés du triangle et de tenter le passage du fleuve au point où il forme un coude; il ne risquait pas ainsi d'être pris en flanc. Ceci posé, les Suisses établirent dès lors un pont reliant les deux rives du Rhin et les deux parties de la ville de Schaffhausen, et sur la rive droite ils plantèrent une grande forteresse au sommet de la colline commandant le fleuve, en reliant cette citadelle au Rhin par deux murs et des tours. Ces deux murs forment un vaste triangle, sorte de tête de pont commandée par la forteresse.

Voici (1) l'aspect général de cette fortification, que nous devons étudier dans ses détails. La citadelle, ou plutôt le grand boulevard qui couronne la colline, est à trois étages de batteries, deux couvertes et une à ciel ouvert. La batterie inférieure est placée un peu au-dessus du fond du fossé, qui est très-profond; en voici le plan (2). On arrive au chemin de ronde pentagonal A par une rampe spirale en pente douce B permettant le charroi de pièces de canon. À chaque angle de ce chemin de ronde, d'une largeur de 2m,00 environ, sont percées des embrasures biaises pour l'artillerie battant le fossé; en avant des côtés du polygone sont élevés trois petits ouvrages isolés, sortes de bastions dont nous donnons (3) l'élévation perspective.

En supposant que l'assiégeant fût parvenu à détruire un de ces bastions au moyen d'une batterie de brèche établie sur la contrescarpe du fossé (car le sommet de ces bastions ne dépasse pas le niveau de la crète de cette contrescarpe, et ils sont complétement masqués du dehors), on ne pouvait s'introduire dans la place; non-seulement ces bastions sont isolés et n'ont de communication qu'avec le fossé, mais ils sont armés d'embrasures de canon C à la gorge, percées dans le chemin de ronde (fig. 2), et leur destruction ne faisait que démasquer ces embrasures. Les bastions, complétement bâtis en pierre, sont couverts par des coupoles avec lanternons percés d'évents pour permettre à la fumée des pièces de s'échapper.

Le premier étage (4), auquel on arrive par la même
pente douce spirale B, laquelle est alors supportée par quatre colonnes
montant de fond, présente à l'extérieur un plan parfaitement circulaire,
la tour contenant la rampe formant seule une saillie sur ce pâté, du
côté du fleuve. Vers le point opposé en E est un pont volant traversant
le fossé; c'est de ce côté que l'architecte à cru devoir renforcer son
boulevard par une énorme masse de maçonnerie pleine, et cela avec
raison, la forteresse ne pouvant être battue en brèche des plateaux
voisins que sur ce point. Sur la droite du boulevard, en amont du
fleuve, du côté où une attaque pouvait aussi être tentée, est une
batterie F casematée, séparée de la salle principale par une épaisse
maçonnerie. Une brèche faite en G ne pouvait permettre à l'ennemi de
s'introduire dans la place. En H est une immense salle dont les voûtes
d'arêtes sont soutenues par quatre gros piliers cylindriques. Quatre
embrasures s'ouvrent dans cette salle, deux flanquant les deux courtines
qui descendent au fleuve, et deux donnant dans le triangle. Outre les
évents percés au-dessus de chacune des embrasures, dans les voûtes de la
grande salle s'ouvrent quatre lunettes M de près de trois mètres de
diamètre, destinées à donner du jour et de l'air, et à laisser échapper
promptement la fumée de la poudre. En I est un puits, et en K deux
petits escaliers à vis communiquant à la plate-forme supérieure pour le
service de la garnison. Près de la rampe est un troisième escalier à vis
qui monte de fond. Nous présentons ici (5) une des embrasures de la
grande salle, ingénieusement combinée pour permettre à des pièces de
petit calibre de tirer dans toutes les directions sans démasquer ni ces
pièces ni les servants. La fig. 6 donne le plan de l'étage supérieur ou
plate-forme dont le parapet est percé de dix embrasures pour du canon,
et de quatre échauguettes flanquant la circonférence de la forteresse,
percées de meurtrières plongeantes et horizontales, pour poster des
arquebusiers. On voit que les deux premières embrasures à droite et à
gauche battent l'intérieur du triangle et flanquent la tour de la rampe
qui sert de donjon ou de guette à tout l'ouvrage.

On retrouve sur ce plan les quatre grandes lunettes M, le puits I et les petits escaliers de service. Les eaux de la plate-forme s'écoulent par dix gargouilles placées sous les embrasures. En N, O (fig. 4), sont les deux courtines qui vont rejoindre le fleuve. Celle N, en amont, est plus fortement défendue que l'autre; sous les arcs qui portent le chemin de ronde et les hourds de bois, encore en place aujourd'hui, sont percées des embrasures qui battent les rampes du coteau, du côté où l'ennemi devait se présenter, l'autre côté étant protégé par la muraille du faubourg de Schaffhausen.

Pour bien faire comprendre l'ensemble de cette belle forteresse, nous en donnons une vue (7), prise en dedans du triangle formé par les deux courtines descendant au fleuve. On voit que la courtine N en amont est flanquée par une haute tour carrée. Nous avons rétabli la tour qui se trouvait à la tête du pont, et qui est aujourd'hui détruite. Il ne reste plus que quelques traces des ouvrages qui environnaient cette tour. L'ancien pont a été remplacé par un pont moderne. Quant au corps principal de la forteresse, aux courtines, fossés, etc., rien n'y a été retranché ni ajouté depuis le XVIe siècle. La maçonnerie est grossière, mais excellente, et n'a subi aucune altération. Les voûtes de la grande salle sont épaisses, bien faites, et paraissent être en état de résister aux bombes.
Cette défense de Schaffhausen a un grand air de puissance, et nous n'avons rien conservé de cette époque, en France, qui soit aussi complet et aussi habilement combiné. Pour le temps, les flanquements sont très-bons, et le plan du rez-de-chaussée au niveau du fond du fossé est réellement tracé d'une manière remarquable. Si l'on trouve encore ici un reste des traditions de la fortification antérieure aux bouches à feu, il faut dire cependant que les efforts faits pour s'en affranchir sont très-sensibles, et la forteresse de Schaffhausen nous paraît supérieure aux ouvrages analogues exécutés à la même époque en Italie.

À l'instar des tours du moyen âge, la forme circulaire est préférée pour les premiers boulevards comme pour les premiers bastions. Albert Durer trace des boulevards semi-circulaires avec flancs droits en avant des angles saillants des murailles. Il les compose d'une batterie barbette battant les dehors, la contrescarpe et les glacis, et d'une batterie couverte battant les fossés, ainsi que l'indique le plan (8) que nous donnons ici d'après son oeuvre. Le boulevard d'Albert Durer est isolé de la courtine par un boyau DD, sorte de fossé couvert par un plancher. Derrière le boulevard sont établies, au niveau du sol de la place, de vastes casemates E (9) destinées au logement de la garnison et au dépôt des munitions (voyez la coupe sur A B du plan, fig. 8). La batterie couverte est munie de grandes embrasures pour du canon et d'autres plus petites pour les arquebusiers. Des évents et cheminées sont percés au-dessus de chaque embrasure. Les casemates E sont éclairées et aérées par des lunettes percées au milieu de chaque voûte d'arête, comme à Schaffhausen. Contrairement à l'usage adopté jusqu'alors, Albert Durer ne fait pas commander les courtines par le boulevard; au contraire, ainsi que l'indique la face extérieure (10), il semble admettre que le boulevard étant pris, en détruisant le plancher posé sur le fossé D (fig. 8 et 9), les courtines pourront commander cet ouvrage avancé et empêcher l'assaillant de s'y maintenir 145.

Quelle que fût l'étendue des boulevards semi-circulaires, leurs feux divergents flanquaient mal les courtines; on comprit bientôt qu'il fallait se préoccuper de défendre les saillants des boulevards plutôt par les feux croisés des boulevards voisins que par leur armement propre; que l'assaillant tendant toujours à battre les points saillants, il fallait faire converger sur le point attaqué des batteries prenant l'ennemi en écharpe; c'est alors que l'on renonça aux boulevards semi-circulaires pour adopter les faces formant un angle, ou que l'on renforça les batteries circulaires supérieures par des batteries basses avec redents, comme à Augsbourg (voy. ARCHITECTURE MILITAIRE, fig. 68). Le plan général des fortifications de cette ville, au commencement du XVIe siècle, que nous donnons ici (11), fait voir comme on entendait, à cette époque, disposer les boulevards en avant des angles saillants des vieilles défenses, et comme on cherchait dès lors à rendre ces boulevards plus forts par des redents flanquant leurs faces.

Mais c'est en France que nous trouvons les boulevards les mieux conçus dès le commencement du XVIe siècle. Il existe un plan (manuscrit sur vélin) de la ville de Troyes, conservé dans les archives de cette ville, qui indique de la manière la plus évidente des grands bastions ou boulevards à orillons et faces formant des angles aigus ou obtus; et ce plan ne peut être postérieur à 1530, car il fut dressé au moment où François Ier fit réparer les fortifications de Troyes, en 1524.
Voici (12) un fac-simile d'un des ouvrages projetés sur ce plan. Le fossé est plein d'eau; on voit en A de petites batteries masquées, à double étage, probablement réservées en contrebas et en arrière des flancs couverts B construits derrière les orillons. Les batteries B enfilent le devant des anciennes tours conservées. On remarquera que la maçonnerie qui revêt le boulevard est plus épaisse à la pointe qu'aux épaules, présentant ainsi sa plus grande résistance au point où la brèche devait être faite; des contreforts viennent encore maintenir, sous le terrassement, tous les revêtements. Cet ouvrage est intitulé: Boulevard de la porte Saint-Jacques.

En donnant, chaque jour, aux boulevards une plus grande étendue, en protégeant leurs faces par des feux croisés, en augmentant et masquant leurs flancs pour enfiler les fossés, on cherchait encore, à la fin du XVIe siècle, à les isoler du corps de la place dans le cas où ils tomberaient au pouvoir de l'ennemi. Dans le traité de fortification de Girolamo Maggi et du capitaine Jacomo Castriotto, ingénieur au service du roi de France 146, on voit des boulevards très-étroits à la gorge, et pouvant être facilement remparés; d'autres sont, au contraire, fort larges à la gorge, mais celle-ci est casematée, et la galerie inférieure, étant détruite au moyen de fourneaux, forme un fossé entre le boulevard et le corps de la place.

Voici le plan (13) de ces ouvrages qui méritent d'être mentionnés. Girolamo Maggi dit 147 qu'un boulevard de ce genre avait été construit en 1550 près de la porte Liviana, à Padoue, par San Michele de Vérone. Ce boulevard était entièrement isolé par une galerie casematée inférieure A au niveau du fossé, pouvant servir au besoin de logement pour la troupe et de magasins. Dans les piles de cette galerie étaient ménagées des excavations propres à recevoir des fourneaux; si les faces du boulevard tombaient au pouvoir de l'ennemi, on mettait le feu à ces fourneaux, et l'ouvrage avancé se trouvait tout à coup isolé des courtines B par un fossé impraticable. Pour la défense des fossés, des pièces d'artillerie étaient placées en C aux deux extrémités de la galerie et masquées par les épaules D. Il faut convenir que des ouvrages de ce genre, construits en assez grand nombre autour d'une place importante, auraient occasionné des dépenses énormes, et qui n'eussent peut-être pas été proportionnées aux avantages que l'on aurait pu en retirer; mais, jusqu'au commencement du XVIIe siècle, les ingénieurs militaires, encore imbus des traditions du moyen âge, ne craignaient pas, comme on a pu le voir par les exemples que nous avons donnés ci-dessus, de projeter et d'exécuter même des travaux de fortification exigeant des amas considérables de matériaux et des combinaisons de construction dispendieuses. Les progrès de l'artillerie à feu obligèrent peu à peu les ingénieurs à simplifier les obstacles défensifs des places, à donner un plus grand développement aux ouvrages saillants et à les rendre solidaires.
Les boulevards ne sont encore, au commencement du XVIe siècle, que des fortifications isolées se défendant par elles-mêmes, mais se protégeant mal les unes les autres. Le principe «ce qui défend doit être défendu» n'est pas encore appliqué. Ce n'est guère que vers le milieu de ce siècle que l'on commence à protéger les places autant par le tracé des ouvrages saillants, l'ouverture des angles de leurs faces et de leurs flancs, que par la solidité des constructions.
Il est curieux de suivre pas à pas toutes les tentatives des architectes et ingénieurs de cette époque: comme toujours, les dispositions les plus simples sont celles qui sont adoptées en dernier lieu. L'art de battre en brèche faisait des progrès rapides, il fallait, chaque jour, opposer de nouveaux obstacles aux feux convergents des assiégeants. Longtemps les constructeurs militaires se préoccupèrent de couvrir leurs batteries, de les masquer jusqu'au moment de l'assaut, plutôt que de battre au loin les abords des forteresses, et d'opposer à une armée d'investissement un grand nombre de bouches à feu pouvant faire converger leurs projectiles sur tous les points de la circonférence. Ce ne fut que quand l'artillerie de siége fut bien montée, nombreuse, qu'elle eut perfectionné son tir, et que les batteries de ricochet purent atteindre des défenses masquées, que l'on sentit la nécessité d'allonger les faces des boulevards, de remplacer les orillons, qui ne préservaient plus les pièces destinées à enfiler les courtines, par des flancs étendus et enfilant les faces des boulevards voisins; mais alors les boulevards prirent le nom de bastions 148. La dénomination de boulevard fut conservée aux promenades plantées d'arbres qui s'établirent sur les anciens ouvrages de défense.
La grande artère qui, à Paris, entoure la rive droite, de la Madeleine à la Bastille, a longtemps laissé voir la trace des anciens boulevards sur lesquels elle passait. Les nivellements et alignements opérés depuis une vingtaine d'années ont à peu près détruit ces derniers vestiges des défenses de l'enceinte du nord commencée en 1536, et successivement augmentée jusque sous Louis XIII. «En ce temps-là, dit Sauval 149, les ennemis étoient si puissans en Picardie, qu'ils ne menaçoient pas moins que de venir forcer Paris; le cardinal du Bellay, lieutenant général pour le roy, tant dans la ville que par toute l'Isle de France, en étant averti, pour les mieux recevoir, outre plusieurs tranchées, fit faire des fossés et des boulevards, depuis la porte Saint-Honoré jusqu'à celle de Saint-Antoine, et afin que ce travail allât vite, en 1536, les officiers de la ville s'étant assemblés le 29 juillet, deffendirent à tous les artisans l'exercice de leur métier deux mois durant, avec ordre aux seize quarteniers de lever seize mille manoeuvres, et de plus à ceux des faux-bourgs, d'en fournir une fois autant, sinon que leurs maisons seroient rasées... En 1544, François I ayant appris que Charles-Quint avec son armée étoit à Château-Thierry, aussitôt il envoya à Paris le duc de Guise, qui revêtit de remparts les murs de la ville, tant du côté des faux-bourgs du Temple, de Montmartre et de Saint-Antoine, que de ceux de Saint-Michel et de Saint-Jacques...»
La plupart de ces ouvrages n'étaient point revêtus, mais simplement gazonnés. Les buttes que l'on remarque encore entre la rue Montmartre et la rue Saint-Fiacre, entre la rue Poissonnière et la rue de Cléry, au droit de la rue de Bondy, au boulevard du Temple, l'emplacement aujourd'hui bâti du Jardin Beaumarchais, étaient autant de boulevards élevés en dehors de l'enceinte de Charles V.
Note 145: (retour) Alb. Dureri, pict. et archit. De struend. aggerib. Parisiis, 1535.
Note 146: (retour) Della fortif. delle Città, di M. Girol. Maggi, et del capit. Jac. Castriotto, 1583. In Venetia.
Note 147: (retour) Lib. II, p. 59.
Note 148: (retour) Voy. l'article ARCHITECTURE MILITAIRE. Parmi les ouvrages à consulter: Della fortif. delle Città, di M. Girol. Maggi, et del capitan Jacomo Castriotto; 1583, Venetia.--Disc. sur plusieurs poincts de l'architecture de guerre, par M. Aurel. de Pasino; 1579, Anvers.--Delle fortif., di Giov. Scala; 1596, Rome.--Le fortif., di Buonaiuto Lorini; 1609, Venetia.--La fortif. démonstrée, par Errard de Bar-le-Duc; 1620.--Les Fortifications, du chev. Ant. Deville; 1641, Lyon.--La fort. Guardia difesa et expug. delle fortezze. Tensini; 1655, Venetia.--Fortif. ou Archit. milit., par S. Marolois; 1627, Amsterdam.
Note 149: (retour) T. I, p. 43.
BOURSE, s. f. Dans les anciennes villes franches du nord, des Flandres et de la Hollande, le commerce prit, dès le XIVe siècle, une si grande importance, que les négociants établirent des locaux destinés à leurs réunions journalières afin de faciliter les transactions. Ces bâtiments, véritable forum des marchands, se composaient de vastes portiques entourant une cour. Au-dessus des portiques étaient ménagées des galeries couvertes. Un beffroi, muni d'une horloge, accessoire indispensable de tout établissement municipal, était joint aux bâtiments. Les villes de France ne prirent pas, pendant le moyen âge, une assez grande importance commerciale, ou plutôt les négociants ne composaient pas un corps assez homogène et compacte pour élever des bourses. À Paris, on se réunissait aux halles ou sous les piliers de l'hôtel-de-ville. Dans les grandes villes du Midi, qui conservèrent leur régime municipal au milieu de la féodalité, comme Toulouse par exemple, c'était sur la place publique que se traitaient, en plein air, les affaires de négoce. Mais, en France, c'était surtout dans les grandes assemblées connues sous le nom de foires que toutes les transactions du gros commerce avaient lieu; et ces foires, établies à certaines époques fixes de l'année sur plusieurs points du territoire, dans le voisinage des grands centres industriels ou agricoles, attiraient les négociants des contrées environnantes. Là, non-seulement on achetait et l'on vendait des produits et denrées apportés sur place, mais on traitait d'affaires à long terme, on faisait d'importantes commandes, dont les délais de livraison et les payements étaient fixés presque toujours à telle ou telle autre foire; car le commerce, pendant le moyen âge, n'avait pas d'intermédiaires entre le fabricant et le débitant. Les juifs, qui alors étaient les seuls capitalistes, faisaient plutôt l'usure que la banque. Un tel état de choses, qui existait sur tout le territoire de la France, ne nécessitait pas, dans les grandes villes, l'établissement d'un forum commercial, tandis que les villes libres du nord, dès le XIVe siècle, villes la plupart maritimes ou en communication directe avec la mer, avaient déjà des correspondants à l'étranger, des comptoirs, et spéculaient, au moyen de billets, sur la valeur des denrées ou produits dont la livraison était attendue. En France, le négociant faisait ses affaires lui-même, recevait et payait, revendait au débitant sans intermédiaire; un local public destiné à l'échange des valeurs ne lui était pas nécessaire; traitant directement dans les foires avec le fabricant ou le marchand nomade, payant comptant la marchandise achetée, ou à échéance la marchandise commandée à telle autre foire, il n'avait de relations qu'avec la clientèle qu'il s'était faite, et ne connaissait pas le mécanisme moderne du haut négoce; mécanisme au moyen duquel le premier venu qui n'a jamais vendu un gramme d'huile et n'en vendra jamais, peut acheter plusieurs milliers de kilogrammes de cette denrée, et, sans en toucher un baril, faire un bénéfice de dix pour cent. Les grands marchés périodiques ont longtemps préservé le négoce en France de ce que nous appelons la spéculation, ont contribué à lui conserver, jusqu'au commencement du siècle, une réputation de probité traditionnelle.
Nous ne pouvons donner à nos lecteurs un exemple de bourse française du moyen âge, ces établissements n'existant pas et n'ayant pas de raison d'exister. Nous devons dire, à l'honneur des monastères (car c'est toujours là qu'il faut revenir lorsque l'on veut comprendre et expliquer la vie du moyen âge en France), que ces centres de religieux réguliers furent les premiers à établir des foires sur le territoire de la France. Possesseurs de vastes domaines, d'usines, agriculteurs et fabricants, ils formaient le noyau de ces agglomérations périodiques de marchands; certes, ils tiraient un profit considérable de ces réunions, soit par la vente de leurs produits et denrées, soit par la location des terrains qu'ils abandonnaient temporairement; vastes camps pacifiques dont la foire de Beaucaire peut seule aujourd'hui nous donner l'idée. Mais ce profit, outre qu'il était fort légitime, était une sauvegarde pour le commerce; voici comment: les monastères conservaient un droit de contrôle sur les objets apportés en foire, et ils ne laissaient pas mettre en vente des marchandises de mauvaise qualité; cela eût peu à peu discrédité le centre commercial; quant aux denrées ou produits sortis de leurs mains, ils avaient intérêt et tenaient à coeur de leur maintenir une supériorité sur tous les autres. Les bois, les céréales, les vins, les fers, les tissus, les pelleteries, les laines sortant des établissements religieux étaient toujours de qualité supérieure, recherchés, et achetés de confiance; car le couvent n'était pas un fabricant ou un agriculteur qui passe et cherche à gagner le plus possible sa vie durant, quitte à laisser après lui un établissement discrédité; c'était, au contraire, un centre perpétuel de produits, travaillant plus pour conserver sa réputation de supériorité, et par conséquent un débit assuré à tout jamais, que pour obtenir un gain exagéré, accidentel, en livrant des produits falsifiés ou de médiocre qualité, au détriment de l'avenir. Les établissements religieux, à la fin du siècle dernier, n'étaient plus ce que les XIe et XIIe siècles les avaient faits; et cependant cette époque n'est pas assez éloignée de nous pour que nous ayons oublié la réputation méritée dont jouissaient encore les vins, par exemple, des grands monastères, pendant ces dernières années de leur existence.
Si des villes comme Amsterdam, Anvers, Londres, qui n'étaient et ne sont, par le fait, que de grands entrepôts, ont besoin de bourses pour établir la valeur journalière des produits qu'elles reçoivent et exportent, il n'en était pas de même en France, pays plus agricole qu'industriel et commerçant, qui consomme chez lui la plus grande partie de ses produits.
BOULON, s. m. C'est le nom que l'on donne à une tige de fer rond, munie d'une tête à un bout et d'un écrou à l'autre bout. Les boulons sont communément employés aujourd'hui dans la charpente et la serrurerie. Avant le XVIIe siècle, ils n'étaient pas munis d'un filet avec écrou et pas-de-vis pour serrer, mais simplement d'une clavette passant à travers l'extrémité opposée à la tête, ainsi qu'on le voit ici (1).

Du reste, les charpentes anciennes ne sont maintenues que par la combinaison des assemblages, des clefs de bois, et ne recevaient pas de ferrures. Quelquefois, cependant, les sablières, les longrines sont retenues ensemble par des broches de fer ou boulons avec clavettes, comme celui représenté ici. Mais ces sortes de boulons ne permettaient pas de serrer les pièces de bois l'une contre l'autre comme on le fait aujourd'hui au moyen des écrous. Le boulon moderne est un véritable perfectionnement; il permet d'assembler des pièces de charpente avec facilité, économie et précision. À notre sens, on en abuse comme de toute invention d'un usage commode et économique; on en est venu à compter trop sur la puissance des boulons à écrous, à négliger les assemblages, et ces clefs de bois qui possédaient, avec une grande élasticité, l'avantage de ne pas endommager les bois par des trous et des tiges de fer qui souvent les font éclater. Les boulons sont munis aujourd'hui de têtes carrées, afin qu'étant engagées dans le bois, la tige ne puisse tourner lorsque l'on serre l'écrou. Autrefois, les têtes des boulons étaient généralement rondes comme des têtes de clous.
BOUTIQUE, s. f. Salle ouverte sur la rue, au rez-de-chaussée, dans laquelle les marchands étalent leurs marchandises. Il n'est pas besoin de dire que l'usage des boutiques appartient à tous les pays, à toutes les époques et à toutes les civilisations. Dans l'antiquité grecque et romaine, des boutiques occupaient le rez-de-chaussée des maisons des villes; il en fut de même en France pendant le moyen âge. Ces boutiques se composaient ordinairement d'une salle s'ouvrant sur la rue par un grand arc prenant toute la largeur de la pièce, avec un mur d'appui pour poser les marchandises. Ce mur d'appui était interrompu d'un côté pour laisser un passage. Un arrière-magasin (ouvroir) était souvent annexé à la boutique; les ouvriers et apprentis travaillaient soit dans l'ouvroir, soit dans la boutique elle-même; quelquefois aussi un escalier privé montait au premier étage, et descendait sous le sol dans une cave. Les exemples anciens de boutiques ne sont pas rares, et on peut en citer un grand nombre appartenant aux XIIe, XIIIe et XIVe siècles. Rarement les boutiques, jusqu'à la fin de ce siècle, étaient fermées par une devanture vitrée. Les volets ouverts, le marchand était en communication directe avec la rue. La fermeture la plus ordinaire, pendant la période que nous venons d'indiquer, se composait de volets inférieurs et supérieurs, les premiers attachés à l'appui, s'abaissant en dehors de manière à former une large tablette propre aux étalages, les seconds attachés à un linteau de bois, se relevant comme des châssis à tabatière. La fig. 1 explique ce genre de fermeture. La nuit, les volets inférieurs étant relevés et les supérieurs abaissés, deux barres de fer, engagées dans des crochets tenant aux montants, venaient serrer les vantaux et étaient maintenus par des boulons et des clavettes, comme cela se pratique encore de nos jours. Au-dessus du linteau, sous l'arc, restait une claire-voie vitrée et grillée pour donner du jour dans la salle. Presque tous les achats se faisaient dans la rue, devant l'appui de la boutique, l'acheteur restant en dehors et le marchand à l'intérieur; la boutique était un magasin dans lequel on n'entrait que lorsqu'on avait à traiter d'affaires. Cette habitude, l'étroitesse des rues expliquent pourquoi, dans les règlements d'Étienne Boileau, il est défendu souvent aux marchands d'appeler l'acheteur chez eux avant qu'il n'ait quitté l'étal du voisin. D'ailleurs, pendant le moyen âge et jusqu'à la fin du XVIIe siècle, les marchands et artisans d'un même état étaient placés très-proches les uns des autres, et occupaient quelquefois les deux côtés d'une même rue; de là ces noms de rues de la Tixeranderie, de la Mortellerie, où étaient établis les maçons, de la Charonnerie, où habitaient les charpentiers, de la Huchette, de la Tannerie, etc., que nous trouvons dans presque toutes les anciennes villes du moyen âge.
Le samedi, le commerce de détail cessait dans presque tous les quartiers pour se rassembler aux halles (voy. HALLE). Les journaux, les affiches et moyens d'annonce manquant, les marchands faisaient crier par la ville les denrées qu'ils venaient de recevoir. Il y avait à Paris une corporation de crieurs établie à cet effet; cette corporation dépendait de la prévôté, et l'autorité publique se servit des crieurs pour percevoir les impôts, particulièrement chez les marchands de vin ou taverniers, qui furent obligés d'avoir un crieur public, chargé en même temps de constater la quantité de vin débitée par jour dans chaque taverne. Le roi saint Louis ayant interdit le débit du vin dans les tavernes, les crieurs de vin se firent débitants, c'est-à-dire qu'ils se tenaient dans la rue, un broc d'une main un hanap de l'autre, et vendaient le vin aux passants pour le compte du tavernier 150.

On rencontre encore beaucoup de boutiques des XIIe, XIIIe et XIVe siècles, à Cluny, à Cordes (Tarn), à Saint-Yriex, à Périgueux, à Alby, à Saint-Antonin (Tarn-et-Garonne), à Montferrand près Clermont, à Riom, et dans des villes plus septentrionales, telles que Reims, Beauvais, Chartres, etc.

La disposition indiquée fig. 1 était également adoptée à Paris, autant qu'on peut en juger par d'anciennes gravures. Dans quelques villes du littoral de la Manche, il paraîtrait toutefois que l'obscurité ordinaire du ciel avait obligé les marchands à ouvrir davantage les devantures des boutiques sur la rue. À Dol, en Bretagne, il existe encore un certain nombre de maisons des XIIIe et XIVe siècles dont les boutiques se composent de colonnes en granit, portant, comme aujourd'hui, des poitraux en bois (2); et bien que les devantures primitives aient été remplacées par des fermetures récentes, il n'est pas douteux que, dans l'origine, ces grandes ouvertures carrées n'eussent été destinées à recevoir de la boiserie posée en arrière des piliers. Dans les villes méridionales, des corbeaux en pierre saillants portaient des auvents en bois ou en toile, posés devant l'ouverture des arcades (voy. AUVENT).
Déjà, au XVe siècle, les marchands demandaient des jours plus larges sur la rue; les boutiques ouvertes par des arcs plein cintre, en tiers-point ou bombés, ne leur permettaient pas de faire des étalages assez étendus. Les constructeurs civils cherchaient, par de nouvelles combinaisons, à satisfaire à ce besoin impérieux; mais cela était difficile à obtenir avec la pierre, sans le secours du bois et du fer, surtout lorsqu'on était limité par la hauteur des rez-de-chaussée, qui ne dépassait guère alors trois ou quatre mètres, et lorsqu'il fallait élever plusieurs étages au-dessus de ces rez-de-chaussée.

Voici un exemple d'une de ces tentatives (3). C'est une boutique d'une des maisons de Saint-Antonin; son ouverture n'a pas moins de sept mètres; sa construction remonte au XVe siècle. L 'arc surbaissé, obtenu au moyen de quatre cintres, est double dans les reins, simple en se rapprochant de la clef; celle-ci est soulagée par une colonne. Quoique cet arc porte deux étages et un comble, il ne s'est pas déformé; ses coupes sont d'ailleurs exécutées avec une grande perfection, et la pierre est d'une qualité fort dure.
Mais au XVe siècle, dans les villes du Nord surtout, les constructions de bois furent presque exclusivement adoptées pour les maisons des marchands, et ce mode permettait d'ouvrir largement les boutiques sur la rue au moyen de poteaux et de poitraux dont la portée était soulagée par des écharpes ou des croix de saint André disposées au-dessus d'eux dans les pans de bois. Les villes de Rouen, de Chartres, de Reims, de Beauvais, ont conservé quelques-unes de ces maisons de bois avec boutiques. La fig. 4 donne une de ces boutiques, complétée au moyen de renseignements pris dans plusieurs maisons des villes citées ci-dessus (voy. MAISON). Les devantures des boutiques du XVe siècle étaient encore fermées soit par des volets relevés et abattus comme ceux représentés dans la fig. 1, soit par des feuilles de menuiserie se repliant les unes sur les autres (voy. fig. 4).

Dans quelques villes de Flandre, les boutiques étaient situées parfois au-dessous du sol; il fallait descendre quelques marches pour y entrer, et ces marches empiétaient même sur la voie publique. La rampe était bordée de bancs sur lesquels des échantillons de marchandises étaient posés; un auvent préservait la descente et les bancs de la pluie. Il est bon de remarquer que, dans les villes marchandes, les boutiquiers cherchaient autant qu'ils pouvaient à barrer la voie publique, à arrêter le passant en mettant obstacle à la circulation. Cet usage, ou plutôt cet abus, s'est perpétué longtemps; il n'a fallu rien moins que l'établissement des trottoirs et des règlements de voirie rigoureusement appliqués à grand'peine pour le faire disparaître. Les rues marchandes, pendant le moyen âge, avec leurs boutiques ouvertes et leurs étalages avancés sur la voie publique, ressemblaient à des bazars. La rue, alors, devenait comme la propriété du marchand, et les piétons avaient peine à se faire jour pendant les heures de vente; quant aux chevaux et chariots, ils devaient renoncer à circuler au milieu de rues étroites encombrées d'étalages et d'acheteurs. Pendant les heures des repas, les transactions étaient suspendues; bon nombre de boutiques se fermaient. Lorsque le couvre-feu sonnait et les jours fériés, ces rues devenaient silencieuses et presque désertes.
Quelques petites villes de Bretagne, d'Angleterre et de Belgique peuvent encore donner l'idée de ces contrastes dans les habitudes des marchands du moyen âge. Sur ces petits volets abattus, ne présentant qu'une surface de quatre ou cinq mètres, des fortunes solides se faisaient. Les fils restaient marchands comme leurs pères, et tenaient à conserver ces modestes devantures, connues de toute une ville. Un marchand eût éloigné ses clients, s'il eût remplacé les vieilles grilles et les vieux volets de son magasin, changé son enseigne, ou déployé un luxe qui n'eût fait qu'exciter la défiance. Nous sommes bien éloignés de ces moeurs. Les boutiques, dans les villes du Nord particulièrement, étaient plus connues par leurs enseignes que par le nom des marchands qui les possédaient de père en fils. On allait acheter des draps à la Truie qui file, et la Truie qui file maintenait intacte sa bonne réputation pendant des siècles. Beaucoup de ces enseignes n'étaient que des rébus; et bon nombre de rues, même dans les grandes villes, empruntèrent leurs noms aux enseignes de certains magasins célèbres.
Les corps de métiers étaient, comme chacun sait, soumis à des règlements particuliers. Un patron huchier, bouclier, potier, gantier, etc., ne pouvait avoir qu'un certain nombre d'apprentis à la fois, et ne devait les garder en apprentissage qu'un certain temps; les locaux destinés à contenir les ouvriers de chaque maître restaient donc toujours les mêmes, n'avaient pas besoin d'être agrandis. On ne connaissait pas, pendant le moyen âge, ce que nous appelons aujourd'hui le marchandage, l'ouvrier en chambre, tristes innovations qui ont contribué à démoraliser l'artisan, à avilir la main-d'oeuvre, et à rompre ces liens intimes, et presque de famille, qui existaient entre l'ouvrier et le patron. Les moeurs impriment leurs qualités et leurs défauts sur l'architecture domestique, plus encore que sur les monuments religieux ou les édifices publics. Les boutiques du moyen âge reflètent l'organisation étroite, mais sage, prudente et paternelle, qui régissait les corps de métiers. Il n'était pas possible de voir alors des magasins de débitants occuper un jour de vastes espaces, puis disparaître tout à coup, laissant une longue liste de mauvaises créances sur la place, et, dans toute une ville, des marchandises défectueuses ou falsifiées. Nous n'avons pas à discuter, dans cet ouvrage, sur ces matières étrangères à notre sujet; nous voulions seulement faire ressortir, en quelques mots, le caractère des anciens magasins de nos villes marchandes, afin qu'en passant on ne jette pas un coup d'oeil trop méprisant sur ces petites devantures de boutique qui, tout étroites et simples qu'elles soient, ont abrité des fortunes patientes, laborieuses, ont vu croître et se développer la prospérité des classes moyennes.
Note 150: (retour) Voy. l'Introd. au Livre des métiers, d'Étienne Boileau, par G. B. Depping. Coll. des Doc. inéd. sur l'hist. de France. Paris, 1837.
BOUTISSE, s. f. On entend par ce mot des pierres de taille qui, de distance en distance, prennent toute l'épaisseur d'un mur, et relient ses deux parements extérieur et intérieur. Quand un mur ne se compose pas seulement de pierres faisant parpaing (c'est-à-dire portant toutes l'épaisseur du mur), soit parce qu'on ne peut disposer de matériaux d'un volume assez gros, soit par économie, on l'élève au moyen de carreaux de pierre reliés de distance en distance par des boutisses; on dit alors un mur construit en carraudages et boutisses. La pierre A (1) est une boutisse (voy. CONSTRUCTION).

BOUTON, s. m. On entend désigner par ce mot un ornement de sculpture qui figure un bouton de fleur.

Le bouton est fréquemment employé dans la
décoration architecturale pendant le XIIe siècle et au commencement du
XIIIe. Il est destiné à décorer les gorges qui séparent des baguettes ou
des boudins dans les bandeaux et les arcs; les boutons sont réunis comme
les grains d'un chapelet, ou espacés, simples ou façonnés. Simples, ils
affectent la forme indiquée dans la fig. 1; façonnés, ils sont recoupés
en trois, en quatre ou cinq feuilles (2).
Dans les monuments du Poitou, élevés pendant le XIIe siècle, on rencontre souvent des boutons qui sont divisés par côtes, comme le pistil de certaines fleurs (3) 151. Quelquefois le bouton est percé d'un trou carré au milieu et strié sur les bords. Ces sortes de boutons sont fréquents dans la décoration des archivoltes des édifices normands du XIIe siècle (4) 152.
Les roses qui s'ouvraient au-dessus du triforium de la cathédrale de Paris, avant le percement des grandes fenêtres du XIIIe siècle, sont décorées de boutons rapprochés taillés en forme de petit mamelon avec un trou au centre (5) 153. Les riches arcatures de la grande galerie extérieure qui ceint les tours de la même cathédrale, ont leurs gorges décorées de gros boutons trifoliés qui font un fort bel effet, en jetant des lumières et des ombres au milieu des courbes concentriques, et rompent ainsi leur monotonie (6). Les boutons disparaissent de la sculpture ornementale des édifices pendant le XIIIe siècle; alors on ne cherche à imiter que les fleurs ou feuilles épanouies (voy. FLORE).


On désigne aussi par bouton une pomme de fer ou de bronze qui, étant fixée aux vantaux des portes, sert à les tirer à soi pour les fermer. Pendant le moyen âge, les vantaux de portes sont plutôt garnis d'anneaux que de boutons; cependant, vers la fin du XVe siècle, l'usage des boutons de porte n'est pas rare; ils sont généralement composés d'un champignon de fer forgé, sur le disque duquel on a rapporté des plaques de tôle découpée et formant, par leur superposition, des dessins en relief et à plusieurs plans (voy. SERRURERIE).
Note 151: (retour) De l'église de Surgère.
Note 152: (retour) De la tour Saint-Romain, cathédrale de Rouen.
Note 153: (retour) Cette singulière ornementation se voit aujourd'hui sur les roses, de la fin du XIIe siècle, qui ont été replacées au-dessous des fenêtres hautes, dans les bras de croix.
BRAIE, s. f, Braye. C'est un ouvrage de défense élevé en avant d'un front de fortification, laissant entre le pied des murailles et le fossé une circulation plus ou moins large, servant de chemin de ronde, et destiné à empêcher l'assaillant d'attacher le mineur. Les braies étaient le plus souvent un ouvrage palissadé, renforcé de distance en distance d'échauguettes propres à protéger des sentinelles. Lorsque l'artillerie à feu fut employée à l'attaque des places fortes, on éleva autour des courtines, des boulevards ou bastions, des murs peu élevés, des parapets au niveau de la crête de la contrescarpe des fossés, pour y placer des arquebusiers. Ces défenses, connues sous le nom de fausses braies, avaient l'avantage de présenter un front de fusiliers en avant et au-dessous des pièces d'artillerie placées sur les remparts, et de gêner les approches; on dut y renoncer lorsque l'artillerie de siége eut acquis une grande puissance, car alors, les parapets des fausses braies détruits, celles-ci formaient une banquette qui facilitait l'assaut (voy. ARCHITECTURE MILITAIRE).
BRETÈCHE, s. f. Bretesche, bretesce, bertesche, berteiche, bretreske. On désignait ainsi, au moyen âge, un ouvrage de bois à plusieurs étages, crénelé, dont on se servait pour attaquer et défendre les places fortes. Quand il s'agit de l'attaque, la bretèche diffère du beffroi en ce qu'elle est immobile, tandis que le beffroi est mobile (voy. BEFFROI). La bretèche se confond souvent avec la bastide; la dénomination de bretèche paraît être la plus ancienne. On disait, dès le XIe siècle, bretescher pour fortifier, garnir de créneaux de bois, ou de hourds (voy. HOURD).
«La cité (Rouen) esteit close de mur è de fossé.
Franceiz et Alemanz, quant il furent armé,
Ont à cels de Roen un grant assalt doné:
Normanz se desfendirent come vassal prové;
As berteiches montent et al mur quernelé;
N'i ont rienz par assalt cil de fors conquesté... 154»
Ces bretèches étaient souvent des ouvrages de campagne élevés à la hâte.
«De cele part el chief del pont,
Par où la gent vienent è vont,
Aveit à cel tems un fossé
Haut è parfont è réparé;
Sor li fossé ont heriçun (chevaux de frise),
Et dedenz close une maison;
Encore unt bertesches levées,
Bien planchies è kernelées... 155.»
Les bretèches se démontaient et pouvaient être transportées d'un lieu à un autre, suivant les besoins. Guillaume de Normandie, après s'être emparé de Domfront, veut fortifier Ambrières sur la Mayenne.
«E li Dus fist sun gonfanon
Lever è porter el dangon (donjon):
El chastel a altres miz
Od ki il out Danfront assiz.
Li bertesches en fist porter,
Por Ii Conte Giffrei grever,
A Anbrieres les fist lever:
Un chastel fist iloec fermer... 156»
Le duc prétend défendre un château, ou plutôt un poste, au moyen de bretèches qu'il fait charrier de Domfront à Ambrières. Beaucoup plus tard, «le roy d'Angleterre, qui ne pouvoit conquester la ville de Calais fors par famine, fit charpenter un chastel grand et haut de longs mesrins, tant fort et si bien bretesché, qu'on ne l'eust pu grever 157.»
Quand on voulait défendre une brèche faite par l'assiégeant, on établissait, le plus promptement possible, en dedans de la ville, un pâlis en arrière de cette brèche, et on renforçait ce pâlis d'une ou plusieurs bretèches (voy. ARCHITECTURE MILITAIRE, fig. 10). Ces ouvrages s'établissaient aussi pour protéger un passage, une tête de pont.
«Et par devant le pont dont je vous ai parlé
Furent faites défences, brestèques ou terré,
A la fin qu'il ne soient souspris ne engingnié.
. . . . . . .
Quant Englois ont véu jus chéoir une tour,
A l'autre tour s'en sont fui pour le secour;
Barrières y ont fait à force et à vigour,
S'ont sur arbalestrier et maint bon arc à tour.
La tour fu bretechée noblement tout entour... 158»
On breteschait des défenses fixes en maçonnerie, soit par des charpentes à demeure, soit par des saillies provisoires en bois qui permettaient de battre le pied de ces défenses, des passages, des portes. Dans ce cas, ce qui distingue la bretèche du hourd, c'est que le hourd est une galerie continue qui couronne une muraille ou une tour, tandis que la bretèche est un appentis isolé, saillant, adossé à l'édifice, fermé de trois côtés, crénelé, couvert et percé de machicoulis.

Voici (1) une porte de ville surmontée d'une bretèche 159 posée en temps de guerre et pouvant se démonter. Nous connaissons quelques très-rares exempIes encore existants de bretèches à demeure posées au niveau des combles des tours, se combinant avec leurs charpentes, et destinées à flanquer leurs faces; et, parmi ceux-ci, nous citerons les bretèches de la tour des deniers de Strasbourg, qui sont fort belles et paraissent appartenir aux dernières années du XIVe siècle (2).

Ces ouvrages de charpente sont assez saillants sur le nu des faces en maçonnerie pour ouvrir de larges machicoulis et des créneaux latéraux; ceux-ci sont encore garnis de leurs volets. Leurs appuis sont couverts de tuiles en écaille et leurs combles en tuiles creuses hourdées en mortier. Les poinçons ont conservé leur plomberie et leurs épis avec girouettes.

Les bretèches en bois étaient aussi posées sur des édifices civils qui n'étaient pas spécialement affectés à la défense; telles sont les deux bretèches qui sont encore conservées aux angles du bâtiment de la Douane de Constance (fig. 3), au-dessus de hourds également en bois. Ce bâtiment fut élevé en 1388, et ces ouvrages de charpente datent de la construction primitive; les bretèches sont posées en diagonale aux angles des hourds, et donnent ainsi, outre les faces diagonales destinées à protéger les angles, deux machicoulis triangulaires doublant les machicoulis du hourdage.
Dès le XIVe siècle, les bretèches ne furent pas seulement des ouvrages d'architecture militaire; les maisons de ville étaient garnies, sur la façade du côté de la place publique, d'une bretèche, en bois ou maçonnée, sorte de balcon d'où l'on faisait les criées, où on lisait les actes publics, les proclamations et condamnations judiciaires. On disait bretéquer pour proclamer. On voit encore à l'hôtel de ville d'Arras les restes d'une bretèche couverte qui était posée en encorbellement sur le milieu de la façade. La bretèche de l'hôtel de ville de Luxeuil est encore entière. Cette disposition fut adoptée dans tous les édifices municipaux d'Europe. En Italie, ce sont des loges élevées au-dessus du sol au moyen d'un emmarchement, comme au palais de Sienne, ou des portiques supérieurs, ou des balcons, comme au palais des Doges de Venise. En Allemagne, non-seulement les édifices publics sont garnis de bretèches, mais les palais, les maisons particulières ont presque toujours une bretèche à plusieurs étages, sorte de demi-tourelle saillante posée souvent au-dessus de la porte. À Nuremberg, à Insbruck, à Augsbourg, à Prague, les maisons des XIVe, XVe et XVIe siècles ont toutes une ou plusieurs bretèches fermées sur leur façade, qui permettent de voir à couvert tout ce qui se passe d'un bout à l'autre de la rue. En France, les bretèches affectent plus particulièrement la forme de tourelles (voy. TOURELLES), et sont alors posées de préférence aux angles des habitations. On peut considérer comme de véritables bretèches les petits balcons à deux étages en encorbellement qui flanquent la façade extérieure du château de Blois (aile de François Ier).
Note 154: (retour) Le Roman de Rou, Ire part., vers 4059 et suiv.
Note 155: (retour) Le Rom. de Rou, IIe part., vers 9444 et suiv.
Note 156: (retour) Le Rom. de Rou, IIe part., vers 9625 et suiv.
Note 157: (retour) Froissart, chap. CXLIV.
Note 158: (retour) Chron. de B. Duguesclin, vers 19525 et suiv.
Note 159: (retour) Man. de Froissart, XVe siècle; Bib. imp. «Cy parle de la bataille à Meaux en Brye où les Jacques furent desconfitz par le Conte de Foix et le Captal de Beus; et est le IX-xx Ve chapitre.»
BRETTURE, s. f. Outil de tailleur de pierre, façonné en forme de marteau tranchant et dentelé (1).

Les tailleurs de pierre du moyen âge commencent à employer la bretture pour layer les parements vers le milieu du XIIe siècle. Jusqu'alors les parements étaient dressés au taillant droit ou au ciseau sans dents. La bretture cesse d'être employée au XVIe siècle pour la taille des parements vus. Elle est à dents larges dans l'origine, c'est-à-dire vers la fin du XIIe siècle et le commencement du XIIIe (2). Les dents se rapprochent à la fin du XIIIe, et sont très-serrées au XIVe (3) (voy. TAILLE).

La façon des tailles des moulures et parements est donc un des moyens de reconnaître la date de la construction des édifices.
BRIQUE, s. f. On désigne par ce mot des tablettes de terre battues, moulées, séchées au soleil et cuites au four. L'emploi de la brique remonte à la plus haute antiquité. Les Romains en firent grand usage, surtout dans les contrées où la pierre n'est pas commune. Pendant le Bas-Empire, ils élevèrent souvent les maçonneries au moyen de blocages avec parements de petits moellons taillés, alternés avec des lits de briques posées de plat. Les constructions gallo-romaines et mérovingiennes conservent encore ce mode. Mais, à partir du IXe siècle, on rencontre très-rarement des briques mêlées aux autres matériaux; la brique n'est plus employée ou est employée seule. Nous devons toutefois excepter certaines bâtisses du midi de la France, où l'on trouve la brique réservée pour les remplissages, les voûtes, les parements unis, et la pierre pour les piles, les angles, les tableaux de fenêtres, les arcs, les bandeaux et corniches. C'est ainsi que la brique fut mise en oeuvre, au XIIe siècle, dans la construction de l'église Saint-Sernin de Toulouse. Cette partie du Languedoc étant à peu près la seule contrée de la France où la pierre fasse complétement défaut, les architectes des XIIIe et XIVe siècles prirent franchement le parti d'élever leurs édifices en brique, n'employant la pierre que pour les meneaux des fenêtres, les colonnes, et quelques points d'appui isolés et d'un faible diamètre.
Un des plus beaux exemples de construction du moyen âge, en brique, est certainement l'ancien couvent des Jacobins de Toulouse, qui date de la fin du XIIIe siècle. Plus tard, au XIVe siècle, nous voyons élever en brique la jolie église fortifiée de Simorre (Gers), le collége Saint-Rémond et les murailles de Toulouse, des maisons de cette même ville, le pont de Montauban; plus tard encore, la cathédrale d'Alby, grand nombre d'habitations privées de cette ville, les églises de Moissac, de Lombez, le clocher de Caussade, etc. La brique employée dans cette partie de la France, pendant les XIIIe, XIVe et XVe siècles, est grande, presque carrée (ordinairement 0,33 centimètres sur 0,25 centimètres et 0,06 centimètres d'épaisseur). Souvent les lits de mortier qui les séparent ont de 0,04 à 0,05 centimètres d'épaisseur. La brique moulée est rarement employée en France, pendant le moyen âge, tandis qu'elle est fréquente en Italie et en Allemagne; cependant on rencontre parfois de petits modillons dans les corniches, des moulures simples, telles que des cavets et quart-de-rond. La brique du Languedoc étant très-douce, les constructeurs préféraient la tailler; ou bien ils obtenaient une ornementation en la posant en diagonale sous les corniches, de manière à faire déborder les angles, ou en épis, ou de champ et de plat alternativement (voy. CONSTRUCTION). La brique fut très-fréquemment employée, pendant le moyen âge, pour les carrelages intérieurs; elle était alors émaillée sur incrustations de terres de diverses couleurs (voy. CARRELAGE). Dans les constructions en pans de bois du nord de la France, des XVe et XVIe siècles, la brique est utilisée comme remplissage entre les poteaux, décharges et tournisses; et la manière dont elle est posée forme des dessins variés. Dans ce cas, elle est quelquefois émaillée (voy. PAN DE BOIS).
Nous trouvons encore dans le Bourbonnais, au château de la Palisse, à Moulins même, des constructions élevées en brique et mortier qui datent du XVe siècle et dont les parements présentent (par l'alternance de briques rouges et noires) des dessins variés, tels que lozanges, zigzags, chevrons, etc. La façon dont ces briques sont posées mérite l'attention des constructeurs; les lits et joints en mortier ont une épaisseur égale à celle des briques, c'est-à-dire 0,034. Ces briques présentent, à l'extérieur, leur petit côté, qui n'a que 0,12 c., et leur grand côté, de 0,24 c., forme queue dans le mur. La fig. 1 fait voir comment sont montés ces parements briquetés 160.

Pendant la renaissance, les constructions de pierre et brique mélangées jouirent d'une grande faveur; on obtenait ainsi, à peu de frais, des parements variés de couleur, dans lesquels l'oeil distingue facilement les parties solides de la bâtisse, des remplissages. Les exemples de ces sortes de constructions abondent. Il nous suffira de citer l'aile de Louis XII du château de Blois, certaines parties du château de Fontainebleau, et le célèbre château de Madrid, bâti par François Ier, près de Paris, où la terre cuite émaillée venait se marier avec la pierre, et présenter à l'extérieur une inaltérable et splendide peinture 161. Tout le monde sait quel parti Bernard de Palissy sut tirer de la terre cuite émaillée. De son temps, les nombreux produits sortis de ses fourneaux servirent non-seulement à orner les dressoirs des riches particuliers et des seigneurs, mais ils contribuèrent à la décoration extérieure des palais et des jardins.
Note 160: (retour) M. Millet, architecte, à qui nous devons ces renseignements sur les briques du Bourbonnais, reconnaît que les briquetages avec lits épais de mortier ont une force extraordinaire; cela doit être. La brique, étant très-âpre et poreuse, absorbe une grande quantité d'eau; lorsqu'elle se trouve séparée par des lits minces de mortier, elle a bientôt desséché ceux-ci, et nous n'avons pas besoin de rappeler que les mortiers, pour conserver leur force, doivent contenir, à l'état permanent, une quantité assez notable d'eau.
Note 161: (retour) Quelques fragments de ces terres cuites émaillées, du château de Madrid, sont déposés au musée de Cluny.
BUFFET (D'ORGUES), s. m. On désigne ainsi les armatures en charpente et menuiserie qui servent à renfermer les orgues des églises. Jusqu'au XVe siècle, il ne paraît pas que les grandes orgues fussent en usage. On ne se servait guère que d'instruments de dimensions médiocres, et qui pouvaient être renfermés dans des meubles, posés dans les choeurs, sur les jubés, ou sur des tribunes plus ou moins vastes destinées à contenir non-seulement les orgues, mais encore des chantres et musiciens. Ce n'est que vers la fin du XVe siècle et au commencement du XVIe que l'on eut l'idée de donner aux orgues des dimensions inusitées jusqu'alors, ayant une grande puissance de son et exigeant, pour les renfermer, des charpentes colossales. Les buffets d'orgues les plus anciens que nous connaissions ne remontent pas au-delà des dernières années du XVe siècle; et ces orgues ne sont rien auprès des instruments monstrueux que l'on fabrique depuis le XVIIe siècle. Cependant, dès le XIVe siècle, certaines orgues étaient déjà composées des mêmes éléments que celles de nos jours: claviers superposés et pouvant se réunir, tuyaux d'étain en montre, trois soufflets, jeux de mutation, et ce qui doit être noté ici particulièrement, ces orgues avaient un positif placé derrière l'organiste et dans lequel on avait mis des flûtes dont l'effet est signalé comme très-agréable.
M. Félix Clément, à qui nous devons des renseignements précieux sur l'ancienne musique et sur les orgues, nous fait connaître qu'il a trouvé, dans les archives de Toulouse, un document fort curieux sur la donation faite à une confrérie, par Bernard de Rosergio, archevêque de Toulouse, d'un orgue, à la date de 1463. Il résulte de cette pièce que cinq orgues furent placées sur le jubé dans l'ordre suivant: un grand orgue s'élevait au milieu, derrière un petit orgue disposé comme l'est actuellement le positif; un autre orgue, de petite dimension, était placé au haut du grand buffet et surmonté d'un ange; à droite et à gauche au jubé se trouvaient deux autres orgues, dont deux confréries étaient autorisées à se servir, tandis que l'usage des trois premiers était exclusivement réservé aux chanoines et au chapitre de la cathédrale. Les cinq instruments pouvaient, du reste, résonner ensemble à la volonté de l'archevêque 162.
«L'église de Saint-Severin, dit l'abbé Lebeuf 163, est une des premières de Paris où l'on ait vu des orgues: il y en eut dès le règne du roi Jean, mais c'était un petit buffet; aussi l'église n'étoit-elle alors ni si longue ni si large. J'ai lu dans un extrait du nécrologe manuscrit de cette église que, l'an 1358, le lundi après l'Ascension, maître Reynaud de Douy, écolier en théologie à Paris et gouverneur des grandes écoles de la parouesse Saint-Severin, donna à l'église une bonne orgues et bien ordenées. Celles que l'on a vu subsister jusqu'en 1747, adossées à la tour de l'église, n'avoient été faites qu'en 1512...»
Au XVe siècle, on parle, pour la première fois, d'orgues de seize et même de trente-deux pieds; les buffets durent donc prendre, dès cette époque, des dimensions monumentales.
Au XVIe siècle, tous les jeux de l'orgue actuel étaient en usage et formaient un ensemble de quinze cents à deux mille tuyaux. L'orgue qui passe pour le plus ancien en France est celui de Soliès-Ville dans le Var 164. Celui de la cathédrale de Perpignan date des premières années du XVIe siècle; nous en donnons ici (fig. 1) la montre. Le buffet se ferme au moyen de deux grands volets couverts de peintures représentant l'Adoration des Mages, le baptême de Notre-Seigneur et les quatre Évangélistes. Un positif, placé à la fin du XVIe siècle, est venu défigurer la partie inférieure de la montre; le dessin que nous donnons ici le suppose enlevé. Le positif n'est pas, d'ailleurs, indispensable dans les grandes orgues. Lorsque le facteur peut disposer son mécanisme sur une tribune assez spacieuse pour placer ses sommiers dans le corps principal du buffet, le positif n'est plus qu'une décoration qui cache l'organiste aux regards de la foule. Un clavier à consoles est préférable, car il est nécessaire que l'artiste puisse voir ce qui se passe dans le choeur. Il est probable, cependant, que les anciens facteurs trouvaient plus commode de placer le sommier du positif à une certaine distance des claviers, à cause du peu de largeur du mécanisme, tandis qu'en plaçant leurs sommiers dans l'intérieur du grand buffet, ils étaient obligés d'établir la correspondance par des abrégés, des registres, etc., dont la longueur devait amener des irrégularités dans la transmission des mouvements. Le buffet de la cathédrale de Perpignan est bien exécuté, en beau bois de chêne, et sa construction, comme on peut le voir, établie sur un seul plan, est fort simple; elle ne se compose que de montants et de traverses avec panneaux à jour. Presque tous les tuyaux de montre sont utilisés. L'organiste, placé derrière la balustrade, au centre, touchait les claviers disposés dans le renfoncement inférieur; la soufflerie est établie par derrière dans un réduit.


On va voir (fig. 2) le buffet et la tribune des orgues de l'église d'Hombleux (Picardie), qui datent du commencement du XVe siècle. Ici, l'instrument est porté par des encorbellements, la partie inférieure n'ayant guère que la largeur nécessaire aux claviers et aux registres. Cette disposition permettait à des musiciens, joueurs d'instruments ou chanteurs, de se placer dans la tribune autour de l'organiste, assis dans la petite chaire portée sur un cul-de-lampe; et, sous ce rapport, elle mérite d'être signalée. Du reste, même système de menuiserie qu'à Perpignan et à Soliès. Ce sont les tuyaux qui commandent la forme de la boiserie, celle-ci les laissant apparents dans toute leur hauteur et suivant leur déclivité. Nous citerons encore les buffets d'orgues de la cathédrale de Strasbourg, des églises de Gonesse, de Moret près Fontainebleau, de Clamecy, de Saint-Bertrand de Comminges, de la cathédrale de Chartres, qui datent de la fin du XVe siècle et du XVIe. La menuiserie de tous ces buffets est soumise à l'instrument et ne fait que le couvrir; les panneaux à jour ne remplissent que les vides existant entre l'extrémité supérieure de ces tuyaux et les plafonds, afin de permettre l'émission du son; quant au mécanisme et aux porte-vent, ils sont complétement renfermés entre les panneaux pleins des soubassements. Il arrivait souvent que, pour donner plus d'éclat aux montres, les tuyaux visibles étaient gauffrés et dorés, rehaussés de filets noirs ou de couleur; la menuiserie elle-même était peinte et dorée: tel est le buffet des grandes orgues de la cathédrale de Strasbourg. Presque tous les anciens buffets, comme celui de la cathédrale de Perpignan, étaient clos par des volets peints, que l'organiste ouvrait lorsqu'il touchait de l'orgue.
Note 162: (retour) Rapport adressé par M. Felix Clément à M. le Ministre de l'Instruction publique et des Cultes, sur l'orgue de Toulouse, 1849.
Note 163: (retour) Hist. de la ville et du diocèse de Paris, t. I, p. 168.
Note 164: (retour) L'orgue de Soliès-Ville est fort petit. Sa montre n'a pas plus de 2m,50 sur 2m,60 de haut; cette montre est datée de 1499. Nous préférons donner à nos lecteurs la montre de l'orgue de Perpignan, qui est plus grande et plus belle comme travail et comme composition, et qui date de la même époque. D'ailleurs, et malgré que l'attention des archéologues ait été fixée sur les orgues de Soliès (voy. le 3e vol. du Bulletin archéol., pub. par le Min. de l'Inst. publique, p. 176.), l'instrument a été enlevé du buffet et refondu par un Polonais. L'inscription curieuse qui était sculptée à la base de la montre a été arrachée, et le curé actuel de Soliès médite de faire de ce buffet vide un confessional.
BUIZE, s. f. Vieux mot encore usité en Picardie et qui signifie canal, conduit d'eau (voy. TUYAU de descente).
BYZANTIN (style) (v. STYLE). BYZANTINE (architecture) (v. ARCHITECTURE).

CABARET, s. m. Cabaust. Vieux mot qui signifie lieu fermé de barreaux, d'où vient le nom de cabaret donné aux boutiques de débitants de vin.
CAGE, s. f. Désigne l'espace dans lequel est établi un escalier (v. ESCALIER).
CAMINADE, s. f. Vieux mot employé pour chambre à feu, chambre dans laquelle est une cheminée.
CALVAIRE, s. m. Il était d'usage, pendant les XVe et XVIe siècles, de représenter les scènes de la Passion de Jésus-Christ dans les cloîtres, les cimetières, ou même dans une chapelle attenant à une église, au moyen de figurines ronde-bosse sculptées sur pierre ou bois, et rangées soit dans un vaste encadrement, soit sur une sorte de plate-forme s'élevant en gradins jusqu'à un sommet sur lequel se dressaient les trois croix portant Notre-Seigneur et les deux larrons. On voit encore un grand nombre de ces monuments, qui datent du XVe ou du XVIe siècle, dans les cimetières de la Bretagne. Beaucoup de retables en bois, du commencement du XVIe siècle, représentent également toutes les scènes de la Passion, en commençant par celle du Jardin des Oliviers et finissant au Crucifiement. Depuis le XVIe siècle, on a remplacé ces représentations groupées par des stations élevées de distance en distance, en plein air, sur les pentes d'une colline, ou sculptées ou peintes dans des cadres accrochés aux piliers des églises 165.
Note 165: (retour) L'idée de présenter aux fidèles les quatorze stations de Notre-Seigneur, depuis le moment où il fut livré par Judas jusquà sa mort, est certainement de nature à inspirer les sentiments les plus fervents; la vue des souffrances supportées avec patience par le fils de Dieu est bien propre à raffermir les âmes affligées: aussi, n'est-il pas, à notre sens, de spectacle plus touchant, dans nos églises, que la vue de ces femmes venant silencieusement s'agenouiller devant les terribles scènes de la Passion, et les suivre ainsi une à une jusqu'à la dernière. Pourquoi faut-il que ces prières si respectables (car elles ne sont inspirées ni par un désir ambitieux, ni par des souhaits indiscrets, mais par la douleur et le besoin de consolation) soient adressées à Dieu devant des images presque toujours hideuses ou ridicules, qui déshonorent nos églises? Ces tableaux des stations sont fabriqués en bloc, à prix fixes, se paient au mètre ou en raison du plus ou moins de couleur dont elles sont barbouillées; elles sortent des mêmes ateliers qui envoient en province des devants de cheminée graveleux, des scènes bachiques pour les tavernes, et, il faut bien le dire, au point de vue de l'art, ces peintures n'ont même pas le mérite des papiers peints les plus vulgaires. Il nous semble que les images qui doivent trouver place dans les églises, même les plus humbles, pourraient être soumises à un contrôle sévère de la part des membres éclairés du haut clergé; qu'elles soient parfaites, cela est difficile; mais faudrait-il au moins quelles ne fussent jamais ridicules ou repoussantes; qu'elles ne fussent pas, comme art, au-dessous de ce que l'on voit dans les cabarets. Sinon, mieux vaut une simple inscription; si pauvre que soit l'imagination de celui qui prie, elle lui peindra les scènes de la Passion d'une manière plus noble et plus digne que ne le font ces tableaux grotesques.
CANNELURE, s. f. C'est une moulure en forme de petit canal creusé verticalement sur la circonférence des colonnes ou sur les faces des pilastres. Les Grecs avaient adopté la cannelure sur les fûts des colonnes des ordres dorique, ionique et corynthien; les Romains l'employèrent également, autant que les matières dont étaient composées leurs colonnes le permettaient; aussi voyons-nous, en France, la cannelure appliquée aux colonnes et pilastres de l'époque romane dans les contrées où l'architecture romaine avait laissé de nombreux vestiges. En Provence, le long du Rhône et de la Saône, et jusqu'en Bourgogne, des cannelures sont parfois creusées, pendant le XIIe siècle, sur les colonnes, mais plus particulièrement sur les faces des pilastres. Il se faisait alors une sorte de renaissance, qui, dans ces contrées couvertes de fragments antiques, conduisait les architectes à imiter la sculpture romaine, que la filiation romane avait peu à peu dénaturée. Ce retour vers les détails de la sculpture antique est très-sensible au portail de l'église de Saint-Gilles, dans le cloître de Saint-Trophyme à Arles, au Thor, à Pernes, à Cavaillon en Provence, dans toutes ces églises qui bordent le Rhône; puis, plus au Nord, à Langres, à Autun, à Beaune, à Semur en Brionnais, à la Charité sur Loire, à Cluny. Dans l'architecture de ces pays, le pilastre est préféré à la colonne engagée, et toujours le pilastre est cannelé; et, il faut le dire, sa cannelure est d'un plus beau profil que la cannelure romaine, trop maigre et trop creuse, mal terminée au sommet par un demi-cercle dont la forme est molle, confuse près de la base, lorsqu'elle est remplie par une baguette. La cannelure occidentale du XIIe siècle se rapproche des profils et de l'échelle des cannelures grecques, comme beaucoup d'autres profils de cette époque.


Nous donnons (fig. 1) un des pilastres du triforium de la cathédrale de Langres, dont la face présente une seule cannelure; et (fig. 2) un des grands pilastres des piles intérieures de cette même église, dont la face est ornée de deux cannelures. Entre les cannelures, des baguettes sont dégagées; l'ensemble de ces surfaces concaves et convexes alternées produit beaucoup d'effet. À la cathédrale d'Autun, dont la construction précéda de quelques années l'érection de celle de Langres, les cannelures des pilastres se rapprochent davantage de la cannelure romaine (3).
Lorsque les cannelures sont traînées sur des colonnes au XIIe siècle, il est rare qu'elles soient simples; elles sont ou chevronnées ou en zigzags, ou torses, ou rompues, ou remplies par des ornements (voy. COLONNE); telles sont les cannelures d'une des colonnes de la porte principale de la cathédrale d'Autun (fig. 4); ce n'est guère qu'en Provence que l'on rencontre des colonnes cannelées simples. Au XIIIe siècle, la cannelure disparaît lorsque l'architecture ogivale est adoptée.
Un des derniers exemples de cannelures appliquées à des colonnes se voit à l'extérieur du choeur de l'église Saint-Rémy de Reims, dont la construction remonte aux dernières années du XIIe siècle. Mais il ne faut pas oublier qu'à Reims il existe de nombreux fragments d'antiquités romaines, et que la vue de ces monuments eut une influence sur l'architecture et la sculpture de cette partie de la Champagne.
Les cannelures reparaissent sur les pilastres et sur les colonnes au moment de la Renaissance; souvent alors, comme à la façade du Louvre, côté de la rivière, ou comme au rez-de-chaussée de la galerie de Philibert Delorme au palais des Tuileries, elles alternent avec des assises formant bossage.
CANTON, s. m. Terme de blason. CANTONNÉ se dit, en architecture, des piliers dont les quatre faces sont renforcées de colonnes engagées ou de pilastres; on dit alors: pilier cantonné de quatre colonnes, de quatre pilastres (voy. PILIER).
CARREAU, s. m. C'est le nom que l'on donne à des tablettes de pierre, de marbre ou de terre cuite, qui servent à paver l'intérieur des édifices (voy. CARRELAGE). On désigne aussi par carreaux les morceaux de pierre peu profonds qui forment les parements d'un mur. Un mur est bâti en carreaux ou carreaudages et boutisses (voy. BOUTISSE).
CARRELAGE, s, m. Assemblage de carreaux de pierre, de marbre ou de terre cuite. Les Romains couvraient ordinairement l'aire des salles à rez-de-chaussée de mosaïques composées de petits cubes de marbre de diverses couleurs, formant, par leur juxtaposition, des dessins colorés, des ornements et même des sujets. Ils employaient souvent aussi de grandes tables de marbre ou de pierre carrées, oblongues, polygonales et circulaires, pour daller les salles qui devaient recevoir un grand concours de monde; car la mosaïque ne pouvait durer longtemps sous les pas de la foule. La brique était réservée pour les pavages les plus vulgaires. Pendant les premiers siècles du moyen âge, en France, ces traditions furent conservées; mais les marbres, dans le Nord, n'étaient pas communs, la façon de la mosaïque dispendieuse; elle ne fut que rarement employée pour les pavages (voy. MOSAÏQUE); on lui préféra les dalIages gravés et incrustés de mastics de couleur, ou les terres cuites émaillées. Partout, en effet, on pouvait fabriquer de la brique, et rien n'est plus aisé que de lui donner des tons variés par une couverte cuite au four. Il est vraisemblable que, dès l'époque carlovingienne, les carrelages en briques de couleur étaient en usage; on pouvait ainsi, à peu de frais, obtenir des pavages présentant à peu près l'aspect des mosaïques. Cependant nous devons dire que nous ne connaissons aucun carrelage de terre cuite antérieur au XIIe siècle; on n'en doit pas être surpris, quand on observe combien peu durent les émaux dont on revêt cette matière; promptement usés, les carrelages en terre cuite devaient être souvent remplacés.
Les carrelages les plus anciens que nous connaissions sont ceux que nous avons découverts, il y a quelques années, dans les chapelles absidales de l'église abbatiale de Saint-Denis; ces carrelages sont du temps de Suger; ils furent laissés la plupart en place, à cause probablement de leur beauté, lorsque, sous le règne de saint Louis, ces chapelles furent remises à neuf. Ils sont en grande partie composés de très-petits morceaux de terre cuite émaillés en noir, en jaune, en vert foncé et en rouge, coupés en triangles, en carrés, en lozanges, en portion de cercle, en polygones, etc.; ils forment, par leur assemblage, de véritables mosaïques d'un dessin charmant. Le carrelage de la chapelle de la Vierge, publié dans les Annales archéologiques de M. Didron et dans l'Encyclopédie d'Architecture de M. Bance, celui de la chapelle de saint-Cucuphas, également reproduit dans ce dernier ouvrage et dans les Études sur les carrelages historiés de M. Alfred Ramé, et restaurés aujourd'hui, sont deux très-beaux spécimen des carrelages mosaïques du XIIe siècle. Nous croyons inutile de reproduire ici les ensembles de ces carrelages, et nous nous bornerons à en donner des fragments, afin de faire connaître la méthode suivie par les architectes de ce temps. Ces carrelages se composent généralement de bandes formant des dessins variés, séparées par des bordures étroites. L'influence de la mosaïque antique se fait encore sentir dans ces combinaisons, car chaque carreau porte sa couleur, et c'est par leur assemblage que les dessins sont obtenus. Les briquetiers du XIIe siècle avaient poussé fort loin l'art de mouler ces petits morceaux de terre, et souvent ils composaient des dessins assez compliqués, des ornements même, par l'enchevêtrement de courbes les unes dans les autres.

L'exemple que voici (fig. 1) d'un fragment de carrelage de la chapelle de la Vierge de l'église de Saint-Denis, nous fait voir des bandes formées de cercles noirs et rouges qui se pénètrent, et des compartiments très-fins composés de morceaux triangulaires, carrés, ou en fuseaux qui n'ont pas plus de 0,03 centimètres de côté 166. Nous trouvons même dans le carrelage de la chapelle Saint-Cucuphas de l'église de Saint-Denis des fleurs de lis jaune sur fond noir-vert ainsi combinées (2). La fig. 2 bis présente la disposition des morceaux dont est formée cette sorte de mosaïque. Quelquefois les carreaux sont pénétrés d'une petite pièce de terre cuite d'une autre couleur qui vient s'adapter dans le creux ménagé pour la recevoir (3). Ces exemples sont tirés de la même chapelle, dont tout le carrelage est jaune et noir-vert.


M. Percier nous a laissé, parmi ses précieux croquis faits en 1797 dans l'église de Saint-Denis, quelques-uns de ces carrelages du XIIe siècle dont la composition est si originale. Nous donnons ici (4) l'un des plus beaux; l'exactitude de ces croquis nous est confirmée par la découverte de carreaux qui, quoique dérangés, coïncident parfaitement avec l'ensemble que nous reproduisons. Dans ce dernier carrelage, beaucoup de morceaux de terre cuite simulent un marbre vert jaspé 167. Évidemment, les artistes du XIIe siècle, imbus des traditions antiques, cherchaient à rendre l'effet des mosaïques romaines des bas-temps, dont ils possédaient encore de nombreux exemples; n'ayant pas de marbres à leur disposition, ils les imitaient au moyen de l'émail dont ils revêtaient leurs carreaux.

Nous avons encore trouvé en Allemagne des combinaisons de carreaux de terre cuite de couleur formant des dessins variés par leur silhouette et leur assemblage. Ces carreaux datent des premières années du XIIIe siècle; il ne faut pas oublier que les arts de l'Allemagne étaient alors en retard d'une cinquantaine d'années sur les arts de la France. Nous pensons qu'il est utile de présenter ici quelques-uns de ces exemples qui, d'ailleurs, appartiennent bien nettement au style du XIIe siècle, et cela d'autant mieux que ces carreaux proviennent des environs de Dresde, et que ces contrées recevaient alors tous leurs arts de l'Occident. Ces fragments (fig. 5 et 5 bis) sont aujourd'hui déposés dans le musée du Grand Jardin, à Dresde, et appartiennent au cloître de Tzelle, situé à vingt-quatre kilomètres de cette ville. Les figures A et B font voir comment ces carreaux sont fabriqués et comment ils s'assemblent; ils sont noirs et rouges; les petites pièces C sont seules bordées d'un filet blanc. On remarquera que, dans tous les exemples que nous venons de donner ci-dessus, le noir-vert joue un grand rôle; c'est là un des traits caractéristiques des carrelages du XIIe siècle, tandis qu'au XIIIe siècle c'est le rouge qui domine. En règle générale, dans les décorations intérieures, au XIIe siècle, les pavages sont d'un ton très-soutenu et chargé, tandis que les peintures sont claires; le vert, le jaune, l'ocre rouge et le blanc sont les couleurs qu'elles préfèrent. Au XIIIe siècle, au contraire, les surfaces horizontales, les pavages sont brillants, clairs, tandis que les peintures des parements sont très-vigoureuses de ton, et il n'est pas rare même, vers la fin du XIIIe siècle et pendant le XIVe, de voir le noir occuper des surfaces importantes dans la décoration des parements verticaux (voy. PEINTURE).
Mais ce n'est pas seulement par l'harmonie des tons que les carrelages du XIIe siècle diffèrent de ceux du XIIe, c'est aussi par le mode de fabrication; en cela, comme en toute chose, le XIIIe siècle rompt franchement avec les traditions; au lieu de composer les dessins des carrelages au moyen de pièces assemblées de formes variées, il adopta un système de carreaux ordinairement carrés, ornés au moyen d'incrustations de terres de couleurs différentes, rouges sur jaunes, ou jaunes sur rouges. Les carreaux noirs furent employés, le plus souvent alors, comme encadrements; le noir-vert devint plus rare, pour reparaître au XIVe siècle. Les exemples de carrelages du XIIIe siècle abondent dans nos anciennes églises, dans les châteaux, palais et maisons. Il faut toutefois remarquer ici que le carrelage en terre cuite émaillée n'est guère employé que dans les choeurs, les chapelles, ou les salles qui n'étaient pas faites pour recevoir un grand concours de monde. L'émail s'enlevant assez facilement par le frottement des chaussures, on n'employait pas les carreaux émaillés dans les nefs ou collatéraux, dans les galeries ou grandes salles des châteaux et palais. Si la terre cuite était mise en oeuvre dans les lieux très-fréquentés, elle était posée sans émail et alternée souvent avec des dalles de pierre et même des carreaux de marbre. D'ailleurs, il ne faut pas oublier qu'à partir du XIIe siècle le sol des nefs servait de sépulture, et qu'étant ainsi bouleversé sans cesse et recouvert de dalles funéraires, il n'était guère possible d'y maintenir un dessin général composé de petites pièces de terre cuite.
Nous avons dit que le XIIIe siècle avait remplacé le carrelage en terre cuite mosaïque par des carreaux incrustés d'ornements. L'origine de ce mode de fabrication est facile à découvrir: dès l'époque mérovingienne, on cuisait des briques pour pavage, présentant en creux des dessins plus ou moins compliqués; ces dessins s'obtenaient au moyen d'une estampille appliquée sur la terre encore molle. On retrouve dans l'église de l'ancien prieuré de Laître-sous-Amance, consacré en 1076, des carreaux qui ne sont pas recouverts d'émail, mais simplement estampés en creux. «Ces briques 168 sont carrées ou barlongues; ces dernières ont 0,09 c. de largeur sur 0,18 c. de longueur. Elles offrent soit des lignes droites qui se coupent de manière à former des carrés, soit des rinceaux enfermés entre deux bandes chargées de hachures. Les briques barlongues formaient des encadrements dans lesquels on rangeait, l'une à côté de l'autre, un certain nombre de briques carrées.»

Nous avons trouvé, dans des fouilles faites à Saint-Denis, quelques carreaux ainsi gravés de cercles et de lozanges recouverts d'un émail tendre, opaque, blanc sale, produit par une légère couche de terre plus fusible que le corps de la brique. Voici une copie, moitié d'exécution, de carreaux ainsi estampillés provenant des fouilles faites sur l'emplacement de l'ancienne église de Sainte-Colombe à Sens, et dont la date paraît fort ancienne (6) 169. Ils sont composés d'une terre blanc jaunâtre assez résistante, mais sans couverte. Du moment qu'on possédait des carreaux gravés en creux, il était naturel de chercher à remplir cette gravure par une terre d'une autre couleur, et de recouvrir le tout d'un émail transparent; c'est ce que l'on fit dès le XIIe siècle et peut-être même antérieurement à cette époque; cette méthode de fabrication devint générale au XIIIe. Par ce procédé, en supposant l'émail enlevé, la terre incrustée ayant une épaisseur de quelques millimètres, le carreau conservait longtemps son dessin. La gravure du carrelage étant remplie, la poussière n'était plus arrêtée par les intailles, et on pouvait maintenir ces carrelages propres en les lavant et les balayant. Posés dans des chapelles ou dans des salles capitulaires, ou des appartements intérieurs dans lesquels on n'entrait qu'avec des chaussures molles et légères, on ne risquait pas de glisser sur leur surface émaillée.
L'un des plus anciens carrelages incrustés connus est celui de l'église de Saint-Pierre-sur-Dive; il est reproduit avec une scrupuleuse exactitude dans les Annales archéologiques 170. Le carrelage de Saint-Pierre-sur-Dive (près Caen) se compose d'une grande rosace de carreaux concentriques, coupée par une croix de dalles de pierre, et encadrée de même. Nous partageons complétement l'opinion de M. Alfred Ramé qui, contrairement à celle de M. de Caumont, admet ce mélange de dalles de pierre et de carrelage de terre cuite, comme étant de l'époque primitive, c'est-à-dire de la fin du XIIe siècle. Les irrégularités que l'on observe dans ce carrelage ne prouvent pas qu'il y ait eu remaniement, mais simplement restauration; nous avons remarqué, d'ailleurs, dans tous les anciens carrelages, des défauts de pose très-fréquents. Cela est facile à expliquer; les fabriques envoyaient, sur commande, un certain nombre de carreaux cuits depuis longtemps et emmagasinés; lorsqu'on les mettait en place, à moins de se résoudre à faire une commande partielle et spéciale, et à attendre une nouvelle cuisson, ce qui pouvait retarder l'achèvement du pavage de deux ou trois mois, il fallait se résoudre à employer tels quels les carreaux envoyés par le briquetier; de là souvent des combinaisons commencées avec un dessin et achevées avec un autre, des carreaux posés pêle-mêle, ou par rangées sans relations entre elles. À Saint-Pierre-sur-Dive, le sujet principal, la rosace centrale, croisée de dalles de pierre, est régulière; mais le grand encadrement carré qui la cerne n'est composé que de rangs de briques de dessins divers, la plupart de la même époque cependant et fort beaux. D'ailleurs, il faut bien reconnaître que les artistes du moyen âge n'étaient pas pénétrés de ce besoin de symétrie puérile qui fait loi aujourd'hui; ils étaient guidés par une idée toute opposée: la variété. Rien n'est plus ordinaire que de voir, dans les carrelages anciens, jusqu'à l'époque de la renaissance, de ces mélanges de dessins, de ces divisions inégales de bandes, de bordures, de compartiments.

Le carrelage de Saint-Pierre-sur-Dive est incrusté jaune sur noir-brun; il est en cela conforme, comme couleur, aux carrelages mosaïques du XIIe siècle, où le noir domine, où le rouge n'est qu'accessoire quand on le rencontre. Le procédé de fabrication du carrelage de Saint-Pierre-sur-Dive mérite d'être mentionné; il consiste en une couche de terre fine noircie, posée sur une argile rouge grossière, estampée, incrustée d'une terre jaunâtre et couverte d'un émail transparent; le dessin de ces carreaux est noir sur jaune, ou jaune sur noir. La terre blanc-jaunâtre pénètre à travers l'engobe brune et vient s'incruster jusque dans l'argile rouge, ainsi que l'indique la coupe (fig. 7); l'émail, étant safrané, donne un éclat d'or à la terre blanche.

Nous présentons (Fig. 8) une portion de la rosace en terre cuite émaillée de Saint-Pierre-sur-Dive, qui est certainement une des belles compositions de ce genre. Les carreaux qui forment cette rosace excèdent les dimensions ordinaires; quelques-uns ont 0,18 c. de côté, ceux octogones des écoinçons ont jusqu'à 0,23 c.
On voit encore, dans la chapelle Saint-Michel de l'ancienne collégiale de Saint-Quentin, un carrelage de la fin du XIIe siècle, composé également de bandes de pierre encadrant des briques de couleur brun foncé. De même à Saint-Denis, si nous en croyons les croquis de M. Percier, quelques carrelages des chapelles présentaient des encadrements de pierres unies. Ce système paraît donc avoir été adopté au XIIe siècle, tandis qu'au XIIIe siècle les deux matières ne se trouvent plus réunies, le carrelage de terre cuite couvre sans mélanges les salles pour le pavage desquelles il est réservé, et les dalles ne viennent plus s'y mêler.
Ainsi que nous l'avons dit déjà, le rouge domine dans, les carrelages du XIIIe siècle; c'est qu'aussi le procédé de fabrication change, et se simplifie. Il est à remarquer que, dans tous les arts et industries qui se rattachent à l'architecture, le XIIe siècle a, sur le XIIIe, une grande supériorité d'exécution; les vitraux, les peintures, les sculptures, dallages incrustés et carrelages du XIIe siècle, et nous dirons même la construction des édifices, dénotent un soin et une recherche que le XIIIe siècle, préoccupé de ses grandes conceptions, abandonne bientôt. Le procédé de fabrication des carrelages du XIIe siècle, soit qu'ils fussent composés de pièces enchevêtrées, soit qu'ils fussent incrustés, exigeait beaucoup de temps, un grand nombre d'opérations successives, une main-d'oeuvre lente. Au XIIIe siècle, on se contente de la brique rouge estampée, incrustée d'une terre blanc-jaune, et couverte d'un émail transparent. Quelquefois la terre blanche fait le fond, plus fréquemment elle fait le dessin; dans l'un comme dans l'autre cas, le procédé de fabrication est le même. Les carreaux noirs, pour être incrustés comme ceux de Saint-Pierre-sur-Dive, exigeaient cinq opérations successives, sans la cuisson: 1° le moulage de la brique; 2° une première couverte d'une terre fine, noircie par un oxyde métallique; 3° l'estampage du dessin en creux; 4° le remplissage du creux par une terre blanche, le battage; 5° l'émaillage. Les carreaux rouges incrustés de blanc n'en exigeaient que quatre: 1° le moulage de la brique; 2° l'estampage; 3° le remplissage du creux, le battage; 4° l'émaillage. Aussi, pendant le XIIIe siècle, les carreaux noirs sont généralement unis et ne sont employés que comme encadrements. L'émail des carrelages du XIIIe siècle est toujours, comme celui du XIIe, coloré en jaune; il contribue à donner ainsi de l'éclat au blanc et au rouge.
Les carreaux de brique rouge carrée incrustée, si fort en vogue au XIIIe siècle, forment des dessins isolés ou par quatre. Il n'est pas besoin de démontrer comment ce système permettait de trouver des combinaisons, de dessins à l'infini.

Voici des carreaux incrustés et émaillés provenant du château de Coucy, façonnés d'après cette donnée. La fig. 9 présente deux carreaux dont le dessin est isolé; l'un d'eux est un écusson armoyé. Les fig. 10 et 11 donnent chacune un assemblage de quatre carreaux complétant un dessin circulaire 171. La fabrication de ces carreaux est grossière; nous sommes ici bien éloignés de la finesse et de la pureté des carreaux de Saint-Pierre-sur-Dive. Mais cependant, en simplifiant l'exécution pour obtenir des produits plus nombreux et moins longs à fabriquer, le XIIIe siècle sut faire d'admirables carrelages, et nous citerons entre autres ceux des chapelles de la cathédrale de Laon, dont nous figurons ici (fig. 12 et 13) quelques échantilIons, et le beau pavé de la salle du trésor de l'ancienne cathédrale de Saint-Omer, reproduit en entier dans les Annales archéologiques de M. Didron 172.

Ce dernier carrelage, qui date de la fin du XIIIe siècle, présente une suite de compartiments de seize carreaux rouges incrustés de jaune avec encadrements noirs unis. Les compartiments sont posés sur la diagonale, et les carreaux ont environ 0,12 c. de côté. De deux en deux, les compartiments offrent un mélange de carreaux noirs et blancs, à dessins mosaïques très-fins, qui jettent de l'éclat au milieu de cette riche composition. Les carreaux rouges et jaunes sont variés à chaque compartiment, et leurs dessins se combinent par quatre ou sont complets dans chaque brique.

Au XIIIe siècle, les dessins des carrelages incrustés sont encore larges, simples comme disposition générale; ils deviennent plus confus et plus maigres pendant le XIVe siècle. Une difficulté de nature à embarrasser les archéologues, lorsqu'il s'agit de reconnaître l'époque des carrelages, se présente fréquemment à partir du XIIIe siècle. Les briquetiers, qui possédaient dans leurs ateliers ces matrices en bois propres à imprimer les dessins destinés à orner les carreaux, s'en servirent longtemps après que ces estampilles avaient été gravées, et souvent des carrelages furent fabriqués au XIVe siècle avec des matrices faites pendant le XIIIe; cela explique comment on retrouve, dans des carrelages posés évidemment à une certaine époque, des échantillons de carreaux beaucoup plus anciens que les édifices auxquels ils appartiennent. Comme principe décoratif, les carrelages ne se modifient guère du XIIIe au XVe siècle; leur dessin s'amaigrit de plus en plus; à la fin du XIVe siècle, on introduit à profusion dans les carrelages des chiffres, des inscriptions, des armoiries, quelquefois même de petites scènes; on voit apparaître les tons verts, bleu clair; le noir devient plus rare.

Voici (fig. 14 et 15) deux portions de carrelages de cette époque qui proviennent des fouilles exécutées en 1840 dans les jardins de l'hôtel des Archives à Paris (ancien hôtel Soubise), et dont les dessins rouges sur jaunes sont exécutés avec une rare perfection. Des fragments d'une bordure bleue et blanche furent découverts en même temps.
Les carrelages des XIVe et XVe siècles abondent; les villes de la Champagne, de la Brie, de la Bourgogne en sont encore remplies, et les ouvrages spéciaux sur cette matière, nous en présenteront des exemples assez nombreux pour que nous nous dispensions de les reproduire ici.


Pendant le XVIe siècle, le carrelage en brique incrustée se rencontre encore, et nous en trouvons de beaux spécimen dans la ville de Troyes (fig. 16) 173. Mais alors apparaissent les carrelages en faïence peints, dans lesquels les tons blancs, bleus, jaunes et verts dominent. Tout le monde connaît les carrelages des châteaux d'Écouen, de Blois, de l'église de Brou; nous en citerons un toutefois qui surpasse tous ceux que nous avons vus de cette époque; c'est le carrelage en faïence de la chapelle située au nord de la nef de la cathédrale de Langres. Il est difficile de rencontrer une décoration de pavage à la fois plus riche, mieux composée et plus harmonieuse de tons.
On ne se contenta pas, pendant le moyen âge, de faire des carreaux mosaïques ou incrustés de terres de couleurs différentes, on en fabriqua aussi avec des dessins en relief. Ces sortes de carrelages ne pouvaient s'exécuter qu'avec des terres très-dures, autrement les dessins eussent été promptement usés par les chaussures. Ces dessins en relief avaient l'avantage d'empêcher de glisser sur la surface du carrelage; mais il devait être difficile de le maintenir en bon état de propreté, la poussière se trouvant arrêtée par les aspérités des dessins.

Nous possédons un échantillon de carreaux fabriqués suivant ce système et qui nous paraissent appartenir au XVe siècle 174. La fig. 17 en donne le dessin; les saillies n'ont pas plus de deux millimètres; la terre en est fort compacte, bien battue et bien cuite.
Les carrelages en faïence furent encore employés en France pendant le XVIIe siècle, et l'usage s'en est perpétué en Italie, en Espagne, en Afrique et en Orient jusqu'à nos jours. Chez nous, on ne les emploie plus guère que pour carreler des fourneaux de cuisine, et, dans le midi, des salles de bain ou des offices 175.
Note 166: (retour) Nous avons rendu les tons noir ou vert sombre par du noir, le rouge par des hachures, et le jaune par le blanc. Le rouge est couleur brique, le jaune est d'un ton d'ocre clair fort doux.
Note 167: (retour) Ces morceaux sont rendus dans la gravure par un travail irrégulier.
Note 168: (retour) Voir l'Essai sur le pavage des églises antér. au XVe siècle, par M. Deschamps du Pas (Annales archéol., t. X). Bullet. monum. de M. de Caumont, 1848, p. 742.
Note 169: (retour) Le monastère de Sainte-Colombe, fondé en 630 par Clotaire II, est situé à deux kilomètres de Sens, ces briques nous paraissent appartenir à ces premières constructions.
Note 170: (retour) Annales archéol., pub. par M. Didron aîné, t. XII, p. 281. M. Alfred Ramé fait paraître en ce moment un ouvrage spécial sur les carrelages émaillés (voy. Étud. sur les carrelages historiés du XIIe au XVIIe siècle). Cet ouvrage, accompagné de nombreuses planches exécutées avec le plus grand soin, ne saurait trop être recommandé. C'est une étude complète de cette partie importante de la décoration des édifices au moyen âge. Un de nos jeunes architectes, M. Amé, fait également paraître un volume contenant les plus beaux carrelages des provinces de la Bourgogne et de la Champagne.
Note 171: (retour) Ces carreaux, aujourd'hui déposés dans l'ancienne abbaye de Prémontré, ont 0,12 c. de côté; ils nous ont été donnés par M. de Violaine. Ils servaient certainement de pavage aux salles du château de Coucy, qui datent de la première moitié du XIIIe siècle.
Note 172: (retour) Voy. Annales archéol., pub. par M. Didron aîné, t. Xl, p. 65. Nous renvoyons nos lecteurs aux belles planches de ce recueil; elles donnent l'ensemble de ce carrelage.
Note 173: (retour) De l'église de Saint-Nicolas à Troyes. Ce carrelage, qui se compose de briques circulaires enfermées dans d'autres briques carrées entaillées en quart de cercle, représente le monogramme du Christ entouré de la couronne d'épines. La date de 1552 est incrustée au-dessous du monogramme.
Note 174: (retour) Ces carreaux nous ont été donnés par M. Mallay, architecte du Puy-de-Dôme; ils proviennent de Riom.
Note 175: (retour) Quelques fabricants briquetiers ont fait renaître l'art du carreleur émailleur avec succès. Nous citerons, entre autres fabriques, celles de M. Dubois à Paris, qui a fourni les carrelages neufs de l'église de Saint-Denis, restaurés sur les fragments anciens; celle de M. Millard à Troyes, dont les produits sont beaux; la fabrique de terres cuites émaillées de Langeais. Nous renvoyons nos lecteurs, pour de plus amples renseignements sur cet article spécial, à l'ouvrage de M. Alfred Ramé cité ci-dessus.
CARRIÈRE, s. f. Originairement ce mot est employé comme chemin où peut passer un char, puis comme lieu d'où l'on extrait de la pierre à bâtir. De tous temps, en France, on a extrait la pierre à bâtir soit à ciel ouvert, soit dans des galeries creusées sous le sol. La colline Saint-Jacques à Paris est complétement excavée par les constructeurs parisiens depuis les premiers siècles du christianisme. C'est de cette colline et des environs d'Arcueil que furent tirés tous les matériaux calcaires employés dans les constructions de la cité, et notamment ceux qui ont servi à l'édification de Notre-Dame. On employait alors, comme aujourd'hui, pour extraire les bancs calcaires, des treuils munis de grandes roues posés à l'orifice des puits. On trouve, dans le recueil des Olim 176, quelques arrêts touchant l'extraction des pierres à bâtir; ils sont relatifs aux indemnités à payer par les carriers ou constructeurs pour réparations des chemins défoncés. Nous citons ici un fragment d'un de ces arrêts royaux qui date de 1273.
«Cependant l'abbé et les moines du couvent de Saint-Port se plaignaient de ce que ceux qui réparaient le pont de Melun étaient venus dans leurs terres, et y avaient creusé pour faire une carrière de laquelle ils tiraient, malgré eux moines, des pierres nécessaires à la construction dudit pont; que par cela même un tort considérable leur avait été fait, en détruisant presque entièrement un chemin sur lequel on arrivait à leur abbaye; c'est pourquoi les moines demandaient qu'on poursuivit ces carriers pour faire cesser l'abus, et leur faire réparer les dommages qu'ils avaient causés au couvent. Le bailli de la Seine fut donc invité à faire réparer le chemin de telle sorte que les moines pussent se rendre facilement et en toute sûreté à l'abbaye, comme auparavant, et à les indemniser des dommages qu'ils avaient soufferts par suite de l'exploitation de ladite carrière; savoir, en leur payant des deniers royaux une somme égale à celle de la pierre extraite, ou en leur faisant restituer cette somme par les entrepreneurs dudit pont...»
À une époque où il n'existait pas une législation uniforme, propre à régler l'exploitation des carrières, ces contestations étaient fréquentes; les abbayes, les seigneurs féodaux, possesseurs du sol, faisaient payer des droits pour permettre l'exploitation sur leurs terres, ou exigeaient un charriage gratuit d'une portion des matériaux exploités pour leur usage particulier. Souvent même les couvents faisaient exploiter eux-mêmes et vendaient les matériaux. Les cottaux de carrière de Saint-Denis appartenaient à l'abbé et aux moines de Saint-Denis; ceux-ci possédaient aussi des carrières près Pontoise. Les abbayes de Royaumont, du Val-sur-l'Oise, tiraient profit des vastes et belles carrières dont leur sol est rempli. Les établissements religieux se faisaient souvent un revenu considérable par l'extraction de la pierre, car ils avaient, autant que faire se pouvait, le soin de bâtir leurs monastères dans le voisinage de dépôts calcaires; et, sur le sol de la France, on peut être assuré de trouver, proche des abbayes, de bonnes terres, des cours d'eau et de la pierre propre à bâtir. Agriculteurs, industriels et constructeurs, les moines furent les premiers à ouvrir le sol et à lui faire rendre tout ce qui est nécessaire aux besoins d'un peuple civilisé. Les constructions qu'ils nous ont laissées font voir que les moyens d'exploitation qu'ils employaient étaient bien organisés et d'une grande puissance, car il n'est pas rare de trouver dans les églises abbatiales des blocs énormes. Ainsi, par exemple, on voit, dans le choeur de l'abbaye de Vézelay, des colonnes monolythes qui ne cubent pas moins de quatre mètres; or, ces colonnes proviennent des carrières de Coutarnoux, qui sont distantes de vingt-huit kilomètres de l'abbaye, et il a fallu monter ces blocs au sommet d'une montagne escarpée, et cela avec des efforts inouis. Dans beaucoup d'églises de Bourgogne, du Mâconnais, on trouve des monolythes qui, pour le cube, ne le cèdent en rien à ceux-ci. On ne peut douter que l'attention des moines ne se soit portée d'une manière toute particulière sur l'exploitation des carrières, car ils ont su extraire des matériaux de choix en grande quantité, et les faire transporter par des moyens mécaniques assez énergiques pour causer encore aujourd'hui notre étonnement.
Nous n'avons pu jusqu'à présent savoir s'il n'existait pas, pendant les XIIe et XIIIe siècles, des corporations de carriers, comme il existait des corporations de constructeurs de ponts (pontifices); la vue des monuments nous le ferait croire, car nous avons trouvé, en examinant des matériaux de gros volume, des traces de moyens de transport identiques dans des contrées très-éloignées les unes des autres, des choix de matériaux en raison de la place qu'ils occupent, indiquant un système d'extraction suivi avec méthode; mais nous avons l'occasion de nous étendre sur ce sujet dans le mot CONSTRUCTION, auquel nous renvoyons nos lecteurs. Il est certain, par exemple, que les carriers du moyen âge devaient posséder une méthode simple pour extraire des pierres d'une grande longueur, quoique faibles d'épaisseur et de largeur.
Pendant les XIIe et XIIIe siècles, on a mis en oeuvre, dans les constructions, avec une profusion extraordinaire, des colonnettes, des meneaux de fenêtres, dont le diamètre n'excède pas 0,20 c. et dont la longueur varie de quatre à cinq mètres, quelquefois plus; or, aujourd'hui, nous avons souvent de la peine à faire extraire des matériaux, remplissant ces conditions, des mêmes carrières d'où autrefois on les tirait en grande quantité. En cela, comme en bien d'autres choses, nos progrès, dont nous sommes si fiers, ressembleraient fort à une infériorité dans la pratique. Jusqu'au XVe siècle, on n'employait pas la scie pour débiter la pierre dure; la pierre arrivait de la carrière dans les dimensions demandées par le constructeur; il fallait donc, pour extraire et transporter ces blocs longs et fragiles, des précautions et des ressources négligées ou perdues. Il est vraisemblable que, pour obtenir ces pierres longues et minces, on employait un procédé encore usité dans quelques provinces en France, et qui consiste à faire une tranchée étroite dans le banc que l'on veut fendre; à placer dans cette tranchée, de distance en distance, des coins de bois de frêne séchés au four, sur lesquels on laisse tomber de l'eau goutte à goutte; les coins, en se gonflant par l'humidité qui les pénètre également, font fendre le bloc longitudinalement, sans risquer de le casser par tronçons comme le ferait infailliblement la percussion sur des coins de fer. Trop dédaigneux d'un passé que nous laissons dénigrer par quelques esprits étroits et paresseux, nous négligeons aujourd'hui ces détails qui, autrefois, préoccupaient avec raison les constructeurs. Si les architectes regardent comme un de leurs devoirs de s'enquérir des carrières et de les visiter, ils ne cherchent à avoir aucune action sur la manière de les exploiter; c'est, nous le croyons, un grand tort; car la qualité de la pierre dépend parfois autant de son gisement que des procédés employés pour l'extraire, ou de la saison pendant laquelle on l'extrait. Beaucoup de carrières sont gâchées par des carriers ignorants ou malhabiles, et ce serait un service à rendre que d'établir une police sur l'exploitation des pierres; si cette police n'avait pas autrefois une action uniforme sur toute la surface de la France, on ne saurait douter, rien qu'en examinant les anciennes carrières abandonnées, que chaque centre religieux, ou peut-être chaque province, avait la sienne; car presque toujours, dans ces carrières anciennes, on retrouve les traces d'une exploitation méthodique. Le même fait nous frappa lorsque nous visitâmes les carrières antiques de l'Italie et de la Sicile. Et, en effet, si les constructeurs du moyen âge avaient rompu avec la forme de l'architecture antique, ils en avaient conservé l'esprit pratique beaucoup plus qu'on ne le croit peut être. Ce qu'on ne saurait trop dire, c'est que précisément les amateurs exclusifs de la forme antique, depuis la renaissance, ont dédaigné ces bonnes et sages traditions qu'avaient su conserver les architectes du moyen âge. Il est probable que le maître des oeuvres, Pierre de Montereau (à voir les matériaux admirables choisis pour bâtir la Sainte-Chapelle, on peut l'affirmer), allait à la carrière, et voulait savoir d'où et comment étaient tirés les grands blocs qu'il allait mettre en oeuvre.
Note 176: (retour) Les Olim, docum, inéd. sur l'hist. de France, t. I.
CATHÉDRALE, s. f. De cathedra, qui signifie siége, ou trône épiscopal. Cathédrale s'entend comme église dans laquelle est placé le trône de l'évêque du diocèse 177. Dans les églises primitives, le trône de l'évêque (cathedra) était placé au fond de l'abside, dans l'axe, comme le siége du juge de la basilique antique, et l'autel s'élevait en avant de la tribune, ordinairement sur le tombeau d'un martyr 178. L'évêque, entouré de son clergé, se trouvait ainsi derrière l'autel isolé et dépourvu de retable; il voyait donc l'officiant en face (voy. AUTEL). Cette disposition primitive explique pourquoi, jusque vers le milieu du dernier siècle, dans certaines cathédrales, le maître autel n'était qu'une simple table sans gradins, tabernacles ni retables 179. La cathédrale du monde chrétien, Saint-Pierre de Rome, conserve encore le siége du prince des apôtres enfermé dans une chaire de bronze, au fond de l'abside. C'était dans les églises cathédrales, dans ce lieu réservé à la cathedra, que les évêques faisaient les ordinations. Lorsque ceux-ci étaient invités par l'abbé d'un monastère, on plaçait une cathedra au fond du sanctuaire. Ce jour-là, l'église abbatiale était cathédrale. Le siége épiscopal était et est encore le signe, le symbole de la juridiction des évêques. La juridiction épiscopale est donc le véritable lien qui unit la basilique antique à l'église chrétienne. La cathédrale n'est pas seulement une église appropriée au service divin, elle conserve, et conservait bien plus encore pendant les premiers siècles du christianisme, le caractère d'un tribunal sacré; et comme alors la constitution civile n'était pas parfaitement distincte de la constitution religieuse, il en résulte que les cathédrales sont restées longtemps, et jusqu'au XIVe siècle, des édifices à la fois religieux et civils. On ne s'y réunissait pas seulement pour assister aux offices divins, on y tenait des assemblées qui avaient un caractère purement politique; il va sans dire que la religion intervenait presque toujours dans ces grandes réunions civiles ou militaires.
Jusqu'à la fin du XIIe siècle, les cathédrales n'avaient pas des dimensions extraordinaires; beaucoup d'églises abbatiales étaient d'une plus grande étendue; c'est que, jusqu'à cette époque, le morcellement féodal était un obstacle à la constitution civile des populations; l'influence des évêques était gênée par ces grands établissements religieux du XIe siècle. Propriétaires puissants, jouissant de priviléges étendus, seigneurs féodaux, protégés par les papes, tenant en main l'éducation de la jeunesse, participant à toutes les grandes affaires politiques, les abbés attiraient tout à eux, richesse et pouvoir, intelligence et activité. Lorsque les populations urbaines, instruites, enrichies, laissèrent paraître les premiers symptômes d'émancipation, s'érigèrent en communes, il se fit une réaction contre la féodalité monastique et séculière dont les évêques, appuyés par la monarchie, profitèrent avec autant de promptitude que d'intelligence. Ils comprirent que le moment était venu de reconquérir le pouvoir et l'influence que leur donnait l'Église, et qui étaient tombés en partie entre les mains des établissements religieux. Ce que les abbayes firent pendant le Xle siècle, les évêques n'eussent pu le faire; mais, au XIIe siècle, la tâche des établissements religieux était remplie; le pouvoir monarchique avait grandi, l'ordre civil essayait ses forces et voulait se constituer. C'est alors que l'épiscopat entreprit de reconstruire et reconstruisit ses cathédrales; et il trouva dans les populations un concours tellement énergique, qu'il dut s'apercevoir que ses prévisions étaient justes, que son temps était venu, et que l'activité développée par les établissements religieux, et dont ils avaient profité, allait lui venir en aide. Rien, en effet, aujourd'hui, si ce n'est peut-être le mouvement intellectuel et commercial qui couvre l'Europe de lignes de chemins de fer, ne peut donner l'idée de l'empressement avec lequel les populations urbaines se mirent à élever des cathédrales. Nous ne prétendons pas démontrer que la foi n'entrât pas pour une grande part dans ce mouvement, mais il s'y joignait un instinct très-juste d'utilité, de constitution civile.
À la fin du XIIe siècle, l'érection d'une cathédrale était un besoin, parce que c'était une protestation éclatante contre la féodalité. Quand un sentiment instinctif pousse ainsi les peuples vers un but, ils font des travaux qui, plus tard, lorsque cette sorte de fièvre est passée, semblent être le résultat d'efforts qui tiennent du prodige. Sous un régime théocratique absolu, les hommes élèvent les pyramides, creusent les hypogées de Thèbes et de Nubie; sous un gouvernement militaire et administratif, comme celui des Romains pendant l'empire, ils couvrent les pays conquis de routes, de villes, de monuments d'utilité publique. Le besoin de sortir de la barbarie et de l'anarchie; de défricher le sol, fait élever, au XIe siècle, les abbayes de l'Occident. L'unité monarchique et religieuse, l'alliance de ces deux pouvoirs pour constituer une nationalité, font surgir les grandes cathédrales du nord de la France. Certes, les cathédrales sont des monuments religieux, mais ils sont surtout des édifices nationaux. Le jour où la société française a prêté ses bras et donné ses trésors pour les élever, elle a voulu se constituer et elle s'est constituée. Les cathédrales des XIIe et XIIIe siècles sont donc, à notre point de vue, le symbole de la nationalité française, la première et la plus puissante tentative vers l'unité. Si, en 1793, elles sont restées debout, sauf de très-rares exceptions, c'est que ce sentiment était resté dans le coeur des populations, malgré tout ce qu'on avait fait pour l'en arracher.
Où voyons-nous les grandes cathédrales s'élever à la fin du XIIe siècle et au commencement du XIIIe? c'est dans des villes telles que Noyon, Soissons, Laon, Reims, Amiens, qui toutes avaient, les premières, donné le signal de l'affranchissement des communes; c'est dans la ville capitale de l'Ile de France, centre du pouvoir monarchique, Paris; c'est à Rouen, centre de la plus belle province reconquise par Philippe-Auguste. Mais il est nécessaire que nous entrions à ce sujet dans quelques développements.
Au commencement du XIIe siècle, le régime féodal était constitué; il enserrait la France dans un réseau dont toutes les mailles, fortement nouées, semblaient ne devoir jamais permettre à la nation de se développer. Le clergé régulier et séculier n'avait pas protesté contre ce régime; il s'y était associé; toutefois, quoique seigneurs féodaux, les abbés des grands monastères conservaient, par suite des priviléges exorbitants dont ils jouissaient, une sorte d'indépendance au milieu de l'organisation féodale. Il n'en était pas de même des évêques; ceux-ci n'avaient pas profité de la position exceptionnelle que leur donnait le pouvoir spirituel; ils venaient se ranger, comme les seigneurs laïques, sous la bannière de leurs suzerains. «Qui ne s'étonnerait pas, disait saint Bernard 180, de voir que la même personne qui, l'épée à la main, commande une troupe de soldats, puisse, revêtu de l'étole, lire l'Évangile au milieu d'une église?» Mais les évêques ne tardèrent pas à reconnaître que cette position douteuse ne convenait pas au caractère dont ils étaient revêtus. Lorsque la monarchie eut laissé voir que son intention était de dompter la féodalité, «le clergé sentit aisément 181 que, dans la lutte qui allait s'engager, les seigneurs seraient vaincus; dès lors il rompit avec eux, sépara sa cause de la leur, renonça à tout engagement, déposa ses moeurs guerrières, et même, abjurant tout souvenir, il ne craignit pas de rivaliser d'ardeur avec le trône, pour dépouiller les seigneurs de leurs prérogatives. Il commença par étendre au delà de toutes limites sa juridiction, qui, dans l'origine, était toute spirituelle; il lui suffit pour cela d'un mauvais raisonnement, dont le succès fut prodigieux; il consistait à dire: que l'Église, en vertu du pouvoir que Dieu lui a donné, doit prendre connaissance de tout ce qui est péché, afin de savoir si elle doit remettre ou retenir, lier ou délier. Dès lors, comme toute contestation judiciaire peut prendre sa source dans la fraude, le clergé soutenait avoir le droit de juger tous les procès; affaires réelles, personnelles ou mixtes, causes féodales ou criminelles... Le peuple ne voyait pas ces envahissements d'un mauvais oeil; il trouvait dans les cours ecclésiastiques une manière de procéder moins barbare que celle dont on faisait usage dans les justices seigneuriales: le combat n'y avait jamais été admis; l'appel y était reçu; on y suivait le droit canonique, qui se rapproche, à beaucoup d'égards, du droit romain; en un mot, toutes les garanties légales que refusaient les tribunaux des seigneurs, on était certain de les obtenir dans les cours ecclésiastiques.» C'est alors que, soutenus par le pouvoir monarchique déjà puissant, forts des sympathies des populations qui se tournaient rapidement vers les issues qui leur faisaient entrevoir une espérance d'affranchissement, les évêques voulurent donner une forme visible à un pouvoir qui leur semblait désormais appuyé sur des bases inébranlables; ils réunirent des sommes énormes, et jetant bas les vieilles cathédrales devenues trop petites, ils les employèrent sans délai à la construction de monuments immenses faits pour réunir à tout jamais autour de leur siége épiscopal ces populations désireuses de s'affranchir du joug féodal. Cela se passait sous Philippe-Auguste, et c'est en effet sous le règne de ce prince que nous voyons commencer et élever rapidement les grandes cathédrales de Soissons, de Paris, de Bourges, de Laon, d'Amiens, de Chartres, de Reims. C'est alors aussi que l'architecture religieuse sort de ses langes monacals; ce n'est pas aux couvents que les évêques vont demander leurs architectes, c'est à ces populations laïques dont les trésors apportés avec empressement vont servir à élever le premier édifice vraiment populaire en face du château féodal, et qui finira par le vaincre.
Nous ne voudrions pas que cette origine à la fois politique et religieuse donnée par nous à la grande cathédrale pût faire supposer que nous prétendons diminuer la valeur de cet élan qui se manifeste en France à la fin du XIIe siècle. Il y a dans le haut clergé séculier de cette époque une pensée trop grande, dont les résultats ont été trop vastes, pour qu'elle ne prenne pas sa source dans la religion; mais il ne faut pas oublier que, chez les peuples naissants, la religion et la politique vont de pair; il n'est pas possible de les séparer; d'ailleurs les faits parlent d'eux-mêmes. On était aussi religieux en France au commencement du XIIe siècle qu'à la fin; cependant, c'est précisément au moment où les évêques font cause commune avec la monarchie, veulent se séparer de la féodalité, qu'ils trouvent les ressources énormes dont l'emploi va leur permettre d'élargir l'enceinte de leurs cathédrales pour contenir tout entières les populations des villes. Non-seulement alors la cathédrale dépasse les dimensions des plus vastes églises d'abbayes, mais elle se saisit d'une architecture nouvelle; son iconographie n'est plus celle des églises monastiques; elle parle un nouveau langage; elle devient un livre pour la foule, elle instruit le peuple en même temps qu'elle sert d'asile à la prière.
Nous allons étudier tout à l'heure, sur les monuments mêmes, les phases de ce mouvement qui se manifeste vers la fin du XIIe siècle.
Poursuivons. L'alliance du clergé avec la monarchie ne tarda pas à inquiéter les barons; saint Louis reconnut bientôt que le pouvoir royal ne faisait que changer de maître. En 1235, la noblesse de France et le roi s'assemblèrent à Saint-Denis pour mettre des bornes à la puissance que les tribunaux ecclésiastiques s'étaient arrogée. En 1246, les barons rédigèrent un acte d'union «et nommèrent une commission de quatre des plus puissants d'entre eux 182, pour décider dans quels cas le baronnage devait prendre fait et cause pour tout seigneur vexé par le clergé; de plus, chaque seigneur s'était engagé à mettre en commun la centième partie de son revenu, afin de poursuivre activement le but de l'union. Ainsi l'on voit l'attitude du clergé français quand saint Louis monta sur le trône; elle était hostile et menaçante.»
Au milieu de ces dangers, par sa conduite à la fois ferme et prudente, le saint roi sut contenir les prétentions exorbitantes du clergé dans de justes bornes, et faire prévaloir l'autorité monarchique sur la féodalité. Dès 1250, le peuple, rassuré par la prédominance du pouvoir royal, s'habituant à le considérer comme la représentation de l'unité nationale, trouvant sous son ombre l'autorité avec la justice, ne montra plus le même empressement pour jeter dans l'un des plateaux de la balance ces trésors qui, cinquante ans auparavant, avaient permis de commencer, sur des proportions gigantesques, les cathédrales. Aussi est-ce à partir de cette époque que nous voyons ces constructions se ralentir, ou s'achever à la hâte sur de moins vastes patrons, s'atrophier pour ainsi dire. Faut-il attribuer cela à un refroidissement religieux? nous ne le pensons pas; la nation, sentant désormais un pouvoir supérieur à la féodalité, portait ses regards vers lui, et n'éprouvait plus le besoin si vif, si pressant, d'élever la cathédrale en face de la forteresse féodale.
À la fin du XIIIe siècle, celles de ces vastes constructions qui étaient tardivement sorties de terre n'arrivèrent pas à leur développement; elles s'arrêtèrent tout à coup; si elles furent achevées, ce ne fut plus que par les efforts personnels d'évêques ou de chapitres qui employèrent leurs propres biens pour terminer ce que l'entraînement de toute une population avait permis de commencer. Il n'est pas une seule cathédrale qui ait été finie telle qu'elle avait été projetée; et cela se comprend; la période pendant laquelle les grandes cathédrales eussent dû être conçues et élevées, celle pendant laquelle leur existence est pour ainsi dire un besoin impérieux, l'expression d'un désir national irrésistible, est comprise entre les années 1180 et 1240. Soixante ans! Si l'on peut s'étonner d'une chose, c'est que dans ce court espace de temps, on ait pu obtenir, sur tout un grand territoire, des résultats aussi surprenants; car ce n'était pas seulement des manoeuvres qu'il fallait trouver, mais des milliers d'artistes qui, la plupart, étaient des hommes dont le talent d'exécution est pour nous aujourd'hui un sujet d'admiration.
Tel était alors, en France, le besoin d'agrandir les cathédrales, que, pendant leur construction même, les premiers travaux, déjà exécutés en partie, furent parfois détruits pour faire place à des projets plus grandioses. En dehors du domaine royal, le mouvement n'existe pas, et ce n'est que plus tard, vers la fin du XIIIe siècle, lorsque la monarchie eut à peu près réuni toutes les provinces des Gaules à la France, que l'on entreprend la reconstruction des cathédrales. C'est alors que quelques diocèses remplacent leurs vieux monuments par des constructions neuves élevées sur des plans sortis du domaine royal. Mais ce mouvement est restreint, timide, et il s'arrête bientôt par suite des malheurs politiques du XIVe siècle.
À la mort de Philippe-Auguste, en 1223, les principales cathédrales comprises dans le domaine royal étaient celles de Paris, de Chartres, de Bourges, de Noyon, de Laon, de Soissons, de Meaux, d'Amiens, d'Arras, de Cambrai, de Rouen, d'Évreux, de Séez, de Bayeux, de Coutances, du Mans, d'Angers, de Poitiers, de Tours; or tous ces diocèses avaient rebâti leurs cathédrales, dont les constructions étaient alors fort avancées. Si certains diocèses sont politiquement unis au domaine royal et se reconnaissent vassaux, leurs cathédrales s'élèvent rapidement sur des plans nouveaux comme celles de la France; les diocèses de Reims, de Sens, de Chalons, de Troyes en Champagne, sont les premiers à suivre le mouvement. En Bourgogne, ceux d'Auxerre et de Nevers, les plus rapprochés du domaine royal, reconstruisent leurs cathédrales; ceux d'Autun et de Langres, plus éloignés, conservent leurs anciennes églises élevées vers le milieu du XIIe siècle.
Dans la Guyenne, restée anglaise, excepté Bordeaux qui tente un effort vers 1225, Périgueux, Angoulême, Limoges, Tulle, Cahors, Agen, gardent leurs vieux monuments.
À la mort de Philippe le Bel, en 1314, le domaine royal s'est étendu: il a englobé la Champagne; il possède le Languedoc, le marquisat de Provence; il tient l'Auvergne et la Bourgogne au milieu de ses provinces. Montpellier, Carcassonne, Narbonne, Lyon, exécutent dans leurs cathédrales des travaux considérables et tentent de les renouveler. Clermont en Auvergne cherche à suivre l'exemple. Les provinces anglaises et la Provence résistent seules.
À la mort de Charles V, en 1380, les Anglais ne possèdent plus que Bordeaux, le Cotentin et Calais; mais la séve est épuisée: les cathédrales dont la reconstruction n'a pas été commencée pendant le XIIIe siècle demeurent ce qu'elles étaient; celles restées inachevées se terminent avec peine.
Nous avons essayé de tracer sommairement un historique général de la construction de nos cathédrales françaises; si incomplet qu'il soit, nous espérons qu'il fera comprendre l'importance de ces monuments pour notre pays, de ces monuments qui ont été la véritable base de notre unité nationale, le premier germe du génie français. À nos cathédrales, se rattache toute notre histoire intellectuelle; elles ont abrité, sous leurs cloîtres, les plus célèbres écoles de l'Europe pendant les XIIe et XIIIe siècles; elles ont fait l'éducation religieuse et littéraire du peuple; elles ont été l'occasion d'un développement dans les arts qui n'est égalé que par l'antiquité grecque. Si les derniers siècles ont laissé périr dans leurs mains ces grands témoins de l'effort le plus considérable qui ait été fait depuis le christianisme en faveur de l'unité, espérons que, plus juste et moins ingrat, le nôtre saura les conserver.
Puisque nous prétendons démontrer que la cathédrale française, dans le sens moral du mot, est née avec le pouvoir monarchique, il est juste que nous commencions par nous occuper de celle de Paris; d'ailleurs, c'est la première qui ait été commencée sur un plan vaste destiné à donner satisfaction aux tendances à la fois religieuses et politiques de la fin du XIIe siècle.
La cathédrale de Paris se composait, en 860, de deux édifices, l'un du titre de Saint-Étienne, martyr, l'autre du titre de Sainte-Marie; nous ne savons pas quelles étaient les dimensions exactes de ces monuments, dont l'un, Saint-Étienne, fut épargné par les Normands moyennant une somme d'argent. Les fouilles qui furent faites au midi, en 1845, laissèrent à découvert un mur épais qui venait se prolonger, en se courbant, sous les chapelles actuelles du choeur. La portion visible du cercle donne lieu de croire que l'abside de cette première église n'avait guère plus de huit à neuf mètres de diamètre. En 1140 environ, Étienne de Garlande, archidiacre, fit faire d'importants travaux à l'église de la Vierge. De ces ouvrages, il ne reste plus que les bas-reliefs du tympan et une portion des voussures de la porte Sainte-Anne, replacés au commencement du XIIIe siècle, lorsqu'on construisit la façade actuelle, probablement parce que ces sculptures semblèrent trop remarquables pour être détruites. C'était d'ailleurs un usage assez ordinaire, au moment de cet entraînement qui faisait reconstruire les cathédrales, de conserver un souvenir des édifices primitifs, et l'exemple cité ici n'est pas le seul, ainsi que nous le verrons. En 1160, Maurice de Sully, évêque de Paris, résolut de réunir les deux églises en une seule, et il fit commencer la cathédrale que nous voyons aujourd'hui 183, sous l'unique vocable de Sainte-Marie. En 1196, Maurice de Sully mourut en laissant cinq mille livres pour couvrir le choeur en plomb; donc, alors, le choeur était achevé jusqu'au transsept, ce que vient confirmer le caractère archéologique de cette partie de Notre-Dame de Paris. Il y a tout lieu de croire même que la nef était élevée alors jusqu'à la troisième travée après les tours, à quelques mètres au-dessus du sol. Eude de Sully, successeur de Maurice, continua l'oeuvre jusqu'en 1208, époque de sa mort. La grande façade et les trois premières travées de la nef furent seulement commencées à la fin de l'épiscopat de Pierre de Nemours, vers 1218; car ce fut seulement à cette époque, d'après le Martyrologe de l'église de Paris cité par l'abbé Lebeuf, qu'on détruisit les restes de la vieille église de Saint-Étienne qui gênaient les travaux. À la mort de Philippe-Auguste, en 1223, le portail était achevé jusqu'à la base de la grande galerie à jour qui réunit les deux tours. Il y eut évidemment, à cette époque, une interruption dans les travaux; le style du sommet de la façade et la nature des matériaux employés ne peuvent faire douter que les tours, avec la grande galerie qui enceint leur base, aient été élevés, vers 1235, fort rapidement. Alors la cathédrale était complétement terminée, sauf les flèches qui devaient surmonter les deux tours.

Nous donnons (fig. 1) 184 le plan de cette église primitive dépouillé des adjonctions faites depuis cette époque. Comme on peut le voir, cette vaste église était dépourvue de chapelles, ou, s'il en existait, elles n'étaient qu'au nombre de trois, fort petites, et situées derrière l'abside en L; car nous avons retrouvé la corniche extérieure du double bas-côté sur presque tous les points de la circonférence de ce double bas-côté absidal; ces chapelles ne pouvaient donc être percées qu'au-dessous de cette corniche, et, par conséquent, n'occuper qu'une faible hauteur et un petit espace. Nous serions plutôt portés à croire que trois autels étaient placés contre la paroi de ce double bas-côté: l'un dédié à la Vierge, l'autre à saint-Étienne, et le troisième à la sainte-Trinité. Mais ce qu'on avait voulu surtout obtenir en traçant ce plan si simple, c'était un vaste espace pour contenir le clergé et la foule devant et autour de l'autel principal placé au centre du sanctuaire. En E était une galerie à deux étages, dont les traces ont été retrouvées, communiquant de l'évêché au choeur et aux larges galeries qui s'élèvent sur le premier bas-côté. En G, les treize marches qui descendaient du parvis à la berge de la Seine. À gauche, du côté nord, contre le flanc de la façade, s'élevait la petite église de Saint-Jean-le-Rond, probablement un ancien baptistère; et, de cette église à la ligne ponctuée A, les cloîtres et dépendances de la cathédrale qui s'étendaient assez loin. Ce n'était pas assez de cette vaste surface couverte 185 à rez-de-chaussée; comme nous l'avons dit tout à l'heure; une large galerie pourtourne l'église au-dessus du collatéral intérieur 186; on y arrive par quatre grands escaliers à vis d'un emmarchement de 1m,50 environ. Les galeries supérieures, de la même largeur que le bas-côté et voûtées, n'apparaissent guère pendant la première partie de la période ogivale, que dans les cathédrales de l'Ile de France; on les retrouve à Noyon, à Laon, à Soissons (voy. ARCHITECTURE RELIGIEUSE). Dans ces villes riches et populeuses, on avait probablement senti le besoin d'offrir aux fidèles ce supplément de surface, pour les jours de grandes cérémonies; mais ces galeries avaient encore cet avantage de permettre d'ouvrir des jours larges propres à éclairer le centre de la nef, et de donner une plus grande solidité aux constructions.

La coupe transversale que nous présentons (fig. 2) fera comprendre le système de construction adopté par l'architecte de la cathédrale de Paris, de 1160 à 1220. Des découvertes récentes du plus haut intérêt nous engagent à reproduire cette coupe, tracée déjà, mais d'une manière incomplète, dans l'article ARCHITECTURE RELIGIEUSE. On voit en A les fenêtres de la galerie ou triforium, dont la position indique nettement l'intention de donner du jour dans la nef, que les fenêtres B du double bas-côté et les fenêtres C supérieures eussent laissée dans l'obscurité. Mais cette disposition inclinée des voûtes du triforium forçait de relever le chéneau D et par conséquent le comble E; il restait un espace FG, que nous supposions plein, nous en tenant à la première travée de la nef laissée dans son état primitif 187. Or cet intervalle entre l'appui de la fenêtre haute et l'arc du triforium était percé de roses J à meneaux très-singuliers, et destinées autant à alléger la construction qu'à donner de la lumière sous le comble E. Les jours de grandes cérémonies, ces roses étaient utilisées pour décorer l'édifice à l'intérieur. La grande élévation du mur du triforium portant le chéneau D avait permis de construire les arcs-boutants H I à double volée avec une pile K intermédiaire. De plus, la naissance des grandes voûtes était maintenue par des sous arcs-boutants L portant les pannes du comble E. Ces arcs-boutants L étaient eux-mêmes contrebuttés par les arcs-boutants inférieurs M, qui maintenaient en même temps les voûtes du triforium. Cette construction, solide, ingénieuse et belle en même temps, était rendue stable à tout jamais par les énormes contreforts N, qui seuls présentent un cube considérable de matériaux posés à l'extérieur de l'édifice.


La figure 3 donne l'aspect extérieur, et la figure 4 l'aspect intérieur (coupe longitudinale) de deux travées primitives de la cathédrale et d'une travée modifiée pendant le cours du XIIIe siècle. La coupe fait voir avec quel soin le poids des constructions était réparti sur les piles, et combien déjà, à cette époque, les constructeurs cherchaient à éviter les murs. En effet, sous l'appui des grandes fenêtres A du triforium, faites pour être vues de la nef, sont ménagés des arcs de décharge.
La tradition de la construction romane est donc déjà complétement abandonnée dans la cathédrale de Paris de la fin du XIIe siècle; il n'y a plus que des piles et des arcs. Le système de la construction ogivale est franchement écrit dans ce remarquable monument.
Malheureusement, cette église reçut très-promptement d'importantes modifications qui sont venues en altérer le caractère si simple et grandiose. De 1235 à 1240 188 un incendie, dont l'histoire ne fait nulle mention, mais dont les traces sont visibles sur le monument, détruisit les charpentes supérieures et les combles E du triforium de la cathédrale (voyez la coupe transversale fig. 2 et la coupe longitudinale fig. 4); les meneaux des roses J furent calcinés ainsi que leurs claveaux et les bahuts O du grand comble. Il est probable que la seconde volée I des arcs-boutants et les voûtes du triforium furent endommagées.
Déjà, à cette époque, d'autres cathédrales avaient été élevées, et on les avait percées de fenêtres plus grandes, garnies de brillants vitraux; cette décoration prenait chaque jour plus d'importance. Au lieu de réparer le dommage survenu aux constructions de Notre-Dame de Paris, on en profita pour supprimer les roses J percées au-dessus du triforium, faire descendre les fenêtres hautes, en sapant leurs appuis jusqu'au point P (voyez la coupe fig. 2, la face extérieure fig. 3 et la coupe fig. 4); on enleva le chéneau D, on démolit les arcs-boutants H I à double volée; on descendit le chéneau D au niveau R, on abaissa les triangles S des voûtes; on fit sur ces voûtes un dallage à double pente; les grandes fenêtres A de la galerie furent coupées, ainsi qu'il est indiqué en Q, fig. 3; et, n'osant plus laisser isolées les piles K, fig. 2, qui ne se trouvaient plus suffisamment étrésillonnées par les couronnements D abaissés, on établit de grands arcs-boutants à une seule volée de T en V. Les arcs-boutants sous-comble L, détruits par le feu, furent supprimés, et les arcs-boutants M restèrent seuls en place dans une situation anormale, car ils étaient trop hauts pour contrebutter les voûtes du triforium seulement. Les corniches et les couronnements supérieurs X furent refaits, les pinacles Z changés. Les fenêtres hautes, agrandies, furent garnies de meneaux (fig. 3 et 4) très-simples, dont la forme et la sculpture nous donnent précisément l'époque de ce travail. À peine cette opération était-elle terminée à la hâte (car l'examen des constructions dénote une grande précipitation), que l'on entreprit, vers 1245, de faire des chapelles U, entre les saillies formées à l'extérieur par les gros contreforts de la nef 189. Ces chapelles furent élevées également avec une grande rapidité; leur construction eut pour résultat de faire disparaître la claire-voie A' (voyez les fig. 2 et 3) 190 qui donnait du jour au-dessus des voûtes du deuxième bas-côté, et de rendre l'écoulement des eaux plus difficile. En examinant le plan (fig. 1), on peut se rendre compte du fâcheux effet produit par cette adjonction. Les deux pignons du transsept se trouvaient alors débordés par la saillie de ces chapelles. Comparativement à la nouvelle décoration extérieure de la nef, ces deux pignons devaient présenter une masse lourde; on les démolit, et, en 1257, on les reconstruisit à neuf, ainsi que le constate l'inscription sculptée à la base du portail sud. Entre les contreforts du choeur, trois chapelles au nord et trois chapelles au sud, compris la petite porte rouge qui donnait dans le cloître, furent bâties en même temps, pour continuer la série des chapelles de la nef. Ces travaux, vu leur importance et le soin apporté dans leur exécution, durent exiger plusieurs années. En 1296, Matiffas de Bucy, évêque de Paris, commença la construction des chapelles du choeur, entre les contreforts du XIIe siècle, en les débordant de 1m,50 environ. Ce fut alors aussi que l'on refit les grands pinacles des arcs-boutants de cette partie de l'édifice, et que l'on ouvrit, dans la partie circulaire du triforium, de grandes fenêtres surmontées de gâbles à jour, à la place des fenêtres coupées précédemment. Ces ouvrages durent être terminés vers 1310. En même temps que l'on reconstruisait les pignons du transsept (c'est-à-dire vers 1260), on refit, au nord, un arc-boutant à double volée, le premier après le croisillon. C'était un essai de reconstruction des anciens arcs-boutants du XIIe siècle, probablement conservés jusqu'alors autour du choeur, bien que l'on eût fait subir aux fenêtres hautes, vers 1230, le même changement qu'on avait imposé à celles de la nef. Il n'était plus possible de rien ajouter à ce vaste édifice, achevé vers 1230 et remanié pendant près d'un siècle. Son plan ne fut plus modifié depuis lors; nous le donnons ici (fig. 0) tel qu'il nous est resté 191. Les tours de la façade demeurèrent inachevées; les flèches en pierre dont la souche existe au sommet, à l'intérieur, ne furent jamais montées. Une flèche en bois, élevée au commencement du XIIIe siècle, recouverte de plomb, surmonta la croisée du transsept jusqu'à la fin du siècle dernier (voy. FLÈCHE). Ces changements, faits à un monument complet, immédiatement après sa construction, donnent l'histoire des programmes de cathédrales qui se succédèrent en France pendant tout le cours du XIIIe siècle.

Dans l'origine, peu ou point de chapelles, un seul autel principal, le trône de l'évêque placé derrière à l'abside. Tout autour, dans des collatéraux larges, la foule; à l'entrée du choeur, donnant sur le transsept, une tribune pour lire l'épître et l'évangile; les stalles du chapitre dans le choeur des deux côtés de l'autel. La cathédrale, dans cet état, c'est-à-dire au moment où elle prend une grande importance morale et matérielle, se rapproche plus de la basilique antique que des églises monastiques, déjà toutes munies, à l'abside au moins, de nombreuses chapelles. C'est une immense salle, dont l'objet principal est l'autel, et la cathedra, le siége du prélat, signe de la justice épiscopale. Le monument vient donc ici pleinement justifier ce que nous avons dit au commencement de cet article. Mais un seul exemple n'est pas une preuve; ce peut être une exception. Examinons d'autres cathédrales de la France d'alors.

À Bourges, il existait encore, au milieu du XIIe siècle, une cathédrale bâtie pendant le XIe, d'une dimension assez restreinte, si l'on en juge par la crypte qui existe encore au centre du choeur et qui donne le périmètre de l'ancienne abside. En 1172, l'évêque Étienne projette de bâtir un nouvel edifice 192. Toutefois, il ne paraît pas que l'exécution de ce grand monument ait été commencée avant les premières années du XIIIe siècle. En voici le plan (fig. 6) 193. À l'abside, seulement cinq très-petites chapelles; doubles collatéraux comme à Notre-Dame de Paris; pas de transsept; l'unité d'objet, dans ce plan, est encore plus marquée que dans le plan de la cathédrale de Paris. Outre les entrées de la façade, deux portes sont ménagées en A et B; et c'est (comme à Notre-Dame de Paris, à la porte Sainte-Anne) avec des fragments de sculpture appartenant au XIIe siècle que ces portes sont bâties 194. On élève, vers le milieu du XIIIe siècle, deux porches en avant de ces portes. À côté sont ménagés deux larges escaliers qui descendent à une église souterraine, à doubles bas-côtés, enveloppant l'ancienne crypte de la cathédrale du XIe siècle. Les petites chapelles absidales n'apparaissent pas dans l'église inférieure; elles sont portées en encorbellement (voy. CHAPELLE) Sur un pilier accosté de deux colonnes dégagées. Cette église inférieure n'est pas une nécessité du culte, mais une nécessité de construction; à la fin du XIIe siècle, les remparts romains de la ville de Bourges s'élevaient à quelques mètres de l'abside de l'ancienne cathédrale, qui ne dépassait pas le sanctuaire de celle actuelle. Voulant faire pourtourner les doubles collatéraux, les constructeurs se trouvaient obligés de descendre dans les fossés de la ville; il y avait donc nécessité de faire un étage inférieur, ce qui fut fait avec un luxe de construction remarquable; car de toute la cathédrale de Bourges, c'est cet étage inférieur qui est le mieux bâti; là, rien n'a été épargné, ni les matériaux qui sont d'une belle qualité, ni la taille, ni même la sculpture, qui est du plus beau caractère. Mais la cathédrale de Bourges était en retard. Sa partie orientale, sortie de terre seulement vers 1220, était à peine élevée à la hauteur des voûtes du deuxième collatéral, que les ressources étaient moins abondantes. La construction s'en ressentit, et toutes les parties supérieures de cet immense vaisseau furent terminées tant bien que mal, à la hâte, et probablement en réduisant la hauteur de la nef, qui, nous le croyons, avait été projetée sur une coupe plus élancée (voy. ARCHITECTURE RELIGIEUSE, fig. 34, la coupe de cette cathédrale). La partie antérieure de la nef ne fut achevée qu'au XIVe siècle, et le sommet de la façade avec ses deux tours qu'au XVIe. Des chapelles latérales vinrent gâter ce beau plan, et entourer le colosse d'une décoration parasite; mais, à partir de la fin du XIIIe siècle, bien peu de cathédrales en France purent se soustraire à la manie de ces chapelles latérales. La grande idée première qui les avait fait élever était sortie de l'esprit du clergé pendant le cours de ce siècle. Les confréries, les corporations, des familles même, en donnant des sommes pour achever ou réparer le monument national, voulaient avoir leur chapelle; on n'obtenait plus d'argent qu'à ce prix.
Les parties supérieures de la cathédrale de Bourges se ressentent du défaut d'unité; défigurées aujourd'hui par des restaurations barbares qui n'appartiennent à aucune époque, à aucun style, on n'en peut plus juger; mais nous les avons vues encore, il y a quinze ans, telles que les siècles nous les avaient laissées; il semblait que l'emploi des sommes successives eût été fait sans tenir compte du projet primitif; c'était comme une montagne sur laquelle chacun élève à son gré la construction qui lui convient. Les architectes appelés successivement à la terminer ou à consolider des constructions élevées avec des moyens insuffisants, y ajoutèrent, l'un un arc-boutant, l'autre un couronnement de contrefort incomplétement chargé. Certainement celui qui avait conçu le plan et élevé le choeur jusqu'à la hauteur des voûtes avait projeté un édifice qui ne présentait pas ces superfétations et cette confusion; et il faut se garder de juger l'art des hommes du commencement du XIIIe siècle avec ce que nous donne aujourd'hui la cathédrale de Bourges 195.
La cathédrale de Bourges nous représente mieux encore une salle destinée à une grande assemblée que la cathédrale de Paris, non-seulement dans son plan, par l'absence du transsept, mais dans sa coupe, par la disposition des deux galeries étagées, l'une au-dessus du second bas-côté donnant dans le premier bas-côté, l'autre au-dessus des voûtes de ce premier bas-côté donnant dans la nef centrale. C'était là un moyen de ménager des vues sur le milieu du vaisseau, et de permettre à de nombreux spectateurs de voir ce qui se passait dans la grande nef. Ne perdons pas de vue que les cathédrales n'étaient pas, au XIIIe siècle, seulement destinées au culte; on y tenait des assemblées, on y discutait, on y représentait des mystères, on y plaidait, on y vendait, et les divertissements profanes n'en étaient pas exclus 196, par exemple, la fête des Innocents à Laon, qui se célébrait le 28 décembre; la fête des Fous, etc.; ces farces furent difficilement supprimées, et nous les voyons encore persister pendant le XVe siècle.
Mais les dispositions particulières à la cathédrale de Bourges nous ont fait sortir de la voie chronologique, dans laquelle il est nécessaire de revenir pour mettre de l'ordre dans notre sujet.
En 1131, un incendie terrible détruit la ville de Noyon et sa cathédrale. L'évêque Simon, qui occupait alors le siége épiscopal de Noyon, n'était pas en état de réparer le désastre; ses finances étaient épuisées par la construction de l'abbaye d'Ourscamp; alors, le mouvement qui, quelques années plus tard, allait porter le haut clergé séculier et les fidèles à élever des cathédrales sur de vastes plans, n'était pas prononcé. Le successeur de Simon, Beaudoin II, prélat rempli de prévoyance, prudent, régulier, sut administrer son diocèse avec autant de sagesse que d'énergie; il était lié d'amitié avec saint Bernard, honoré de la confiance et de la faveur de Suger. Dans son excellente notice archéologique sur Notre-Dame de Noyon, M. Vitet croit devoir faire remonter la construction de cette église, telle que nous la voyons aujourd'hui, à l'épiscopat de Beaudoin; non-seulement nous partageons l'opinion émise par M. Vitet, mais nous serons plus affirmatif que lui, car nous appuierons ses preuves historiques de preuves plus sûres encore, tirées de l'examen du monument même. Nous venons de dire que Suger honorait l'évêque Beaudoin d'une confiance particulière, et Suger était, comme chacun sait, fort préoccupé de la construction des églises; il fit rebâtir entièrement celle de son abbaye, et les portions qui nous restent de ces constructions ont un caractère remarquable pour l'époque où elles furent élevées. Elles font un grand pas vers le système ogival; elles abandonnent presque entièrement la tradition romane. Qui Suger employa-t-il pour élever l'église abbatiale de Saint-Denis? cela nous serait difficile à savoir. L'illustre abbé et ses successeurs ne nous en disent rien; ils conservent pour eux (et cela se conçoit) tout l'honneur de cette entreprise; à les en croire, les moines suffirent à tout. Mais il y a, dans l'histoire de cette édification, tant de fables, de faits évidemment présentés avec l'intention de frapper la foule de respect et d'admiration, que nous ne pouvons y attacher une véritable importance historique 197. Suger était aussi bon politique que religieux sincère; il était plus qu'aucun autre à même de se servir des hommes que pourait lui fournir l'époque où il vivait; c'était un esprit éclairé, et, comme on dirait aujourd'hui, amateur du progrès. Son église le prouve; elle est en avance de vingt ou trente ans sur les constructions que l'on élevait alors, même dans le domaine royal. Qu'il ait été le premier à former cette école nouvelle de constructeurs, ou qu'il ait su voir le premier qu'à côté de l'école monacale il se formait une école laïque d'architectes, à nos yeux le mérite serait le même; mais ce qui est incontestable, c'est la physionomie, nouvelle pour le temps, des constructions élevées par lui à Saint-Denis. Or nous retrouvons, à la cathédrale de Noyon, la même construction, les mêmes procédés d'appareil, les mêmes profils, les mêmes ornements qu'à Saint-Denis. Nous y voyons ce singulier mélange du plein cintre et de l'ogive. L'église de Saint-Denis de Suger et la cathédrale de Noyon semblent avoir été bâties par le même atelier d'ouvriers. L'abbé et l'évêque sont liés d'amitié; Suger est à la tête du pays: quoi de plus naturel que de supposer que l'évêque Beaudoin, le voyant rebâtir l'église de son abbaye sur des dispositions et avec des moyens de construction neufs pour l'époque, se soit adressé à lui pour avoir les maîtres des oeuvres et ouvriers nécessaires à la reconstruction de sa cathédrale ruinée par un incendie? Si ce ne sont pas là des preuves, il nous semble que ce sont au moins des présomptions frappantes. M. Vitet a compris toute l'importance qu'il y a à préciser d'une manière rigoureuse la date de la construction de la cathédrale de Noyon. Cette importance est grande en effet, car la cathédrale de Noyon est un monument de transition, et un monument de transition en avance sur son temps. Il précède de quelques années la construction des cathédrales de Paris et de Soissons. Faudrait-il donc voir, dans l'église de Saint-Denis et dans les cathédrales de Noyon et de Senlis, le berceau de l'architecture ogivale? Et Suger, à la fois abbé et ministre, serait-il le premier qui eût été chercher les constructeurs en dehors des monastères, qui eût compris que les arts et les sciences étouffaient dans les cloîtres et ne pouvaient plus se développer sous leur ombre? Voilà des questions que nous laissons à résoudre à plus habiles que nous.
Mais avant d'entamer la description des monuments, que l'on nous permette encore un argument. Saint-Bernard s'était, à plusieurs reprises, élevé contre le goût des sculptures répandues dans les églises clunisiennes; son esprit droit, positif, éclairé, était choqué par ces représentations des scènes singulièrement travesties de l'Ancien et du Nouveau Testament, ces légendes, cette façon barbare de figurer les vices et les vertus qui tapissaient les chapiteaux des églises romanes. À Vézelay même, au milieu de ces images les plus étrangement sculptées, il n'avait pas craint de qualifier ces arts de barbares et d'impies, de les stigmatiser comme contraires à l'esprit chrétien; aussi, lorsqu'il établit la règle de Cîteaux, voulut-il protester contre ce qu'il regardait comme une monstruosité, en s'abstenant de toute représentation sculptée.
Les âmes de la trempe de celle de saint-Bernard sont rarement comprises par la foule; quand elles sont soutenues par des vertus éclatantes, une conviction inébranlable et une éloquence entraînante, tant qu'elles demeurent au milieu de la société, elles exercent une pression sur ses goûts et ses habitudes; mais sitôt qu'elles ont disparu, ces goûts et ces habitudes reprennent leur empire; toutefois, de la protestation d'un esprit convaincu, il reste une trace ineffaçable. Faites honte à un homme de ses goûts dépravés, montrez-les-lui sous le côté odieux et ridicule, il ne se corrigera peut-être pas, mais il modifiera la forme, l'expression de ces goûts. La protestation de saint-Bernard ne changea pas les goûts de la nation pour les arts plastiques, heureusement; mais il est certain qu'elle les modifia, et les modifia en les forçant de se diriger vers le vrai, vers le beau. Cette révolution se fait précisément au moment où les arts se répandent en dehors du cloître, et deviennent le partage des laïques.
À Saint-Denis, les étrangetés contre lesquelles saint-Bernard s'était élevé ont déjà disparu. Dans nos cathédrales des XIIe et XIIIe siècles, il n'en reste plus trace. Sur les chapiteaux et dans les intérieurs, des ornements empruntés à la Flore locale; jamais ou très-rarement des figures, des scènes sculptées; il semble que la voix de saint-Bernard tonnait encore aux oreilles des imagiers.
Dans nos cathédrales, l'iconographie se règle sous la haute direction des évêques; les ouvriers laïques ne tombent plus dans ces bizarreries affectionnées par les moines des XIe et XIIe siècles. La sculpture cherche moins à surprendre ou terrifier, qu'à instruire et expliquer; ce n'est plus de la superstition, c'est de la foi, de la poésie, de la science.
Ainsi, constatons bien ce fait: avec le besoin d'élever nos grandes cathédrales, naît un système de construction nouveau, apparaît un art nouveau, en dehors de l'influence des ordres monastiques, et presqu'en opposition avec l'esprit de ces ordres.
Revenons à la cathédrale de Noyon. C'est donc vers 1150 qu'elle fut commencée; l'église de Saint-Denis, bâtie par Suger, avait été dédiée en 1140 et 1144.

Nous donnons (fig. 7) le plan de la cathédrale de Noyon 198. Le choeur, le transsept appartiennent à la construction de Beaudoin; la nef paraît n'avoir été terminée que vers la fin du XIIe siècle. Nous ne pouvons mieux faire ici que de citer M. Vitet 199, pour expliquer la forme de ce plan et le mélange prononcé du plein cintre et de l'ogive dans cette église déjà toute ogivale comme construction:
«Lorsque Beaudoin II entreprit la reconstruction de sa cathédrale, il existait à Noyon une commune depuis longtemps établie, et consacrée par une paisible jouissance, mais placée en quelque sorte sous la tutelle de l'évêque. C'est le reflet de cette situation que nous présente l'architecture de l'église. Le nouveau style avait déjà fait trop de chemin à cette époque pour qu'il ne fût pas franchement adopté, surtout dans un édifice séculier et dans une ville en possession de ses franchises; mais en même temps le pouvoir temporel de l'évêque avait encore trop de réalité pour qu'il ne fût pas fait une large part aux traditions canoniques. Nous ne prétendons pas que cette part ait été réglée par une transaction explicite, ni même qu'il soit intervenu aucune convention à ce sujet: les faits de ce genre se passent souvent presque à l'insu des contemporains. Que de fois nous agissons sans nous douter que nous obéissons à une loi générale; et cependant cette loi existe, c'est elle qui nous fait agir, et d'autres que nous viendront plus tard en signaler l'existence et en apprécier la portée. C'est ainsi que l'évêque et les chanoines, tout en confiant la conduite des travaux à quelque maître de l'oeuvre laïque, parce que le temps le voulait ainsi, tout en le laissant bâtir à sa mode, lui auront recommandé de conserver quelque chose de l'ancienne église, d'en rappeler l'aspect en certaines parties, et de là tous ces pleins cintres dont l'extérieur de l'édifice est percé, de là ces grandes arcades circulaires qui lui servent de couronnement tant au dedans qu'au dehors. Il est vrai que les profils déliés de ces arcades les rendent aussi légères que des ogives; l' obéissance de l'artiste laïque ne pouvait pas être plus complète; elle consistait dans la forme et non pas dans l'esprit.
«C'est encore pour complaire aux souvenirs et aux prédilections des chanoines que le plan semi-circulaire des transsepts aura été maintenu: la vieille église avait probablement ses bras ainsi arrondis, suivant l'ancien type byzantin. Mais tout en conservant cette forme, on semble avoir voulu racheter l'antiquité du plan par un redoublement de nouveauté dans l'élévation. Remarquez en effet que ces transsepts en hémicycles sont percés de deux rangs de fenêtres à ogive, tandis que, dans la nef, bien qu'elle soit évidemment postérieure, toutes les fenêtres sont à plein cintre.
«Il est très-probable aussi que la forme arrondie de ces deux transsepts a été conservée en souvenir de la cathédrale de Tournay, cette soeur de notre cathédrale. À Tournay, en effet, les deux transsepts byzantins subsistent encore aujourd'hui dans leur majesté primitive, avec leur ceinture de hautes et massives colonnes. En 1153, la séparation des deux siéges n'était prononcée que depuis sept années. La mémoire de ces «admirables transsepts était encore toute fraîche, et c'est peut-être en témoignage de ses regrets, et comme une sorte de protestation contre la bulle du Saint-Père 200, que le chapitre de Noyon voulut que les transsepts de sa nouvelle église lui rappelassent, au moins par leur plan, ceux de la cathédrale qu'il avait perdue...»
L'incendie de 1131 ne fut pas le seul qui attaqua la cathédrale de Noyon; en 1152, la ville fut brûlée, et la cathédrale fut probablement atteinte; mais alors ou l'église de Beaudoin n'était pas commencée, ou elle était à peine sortie de terre, et l'incendie ne put détruire que des constructions provisoires faites pour que le culte ne fût pas interrompu pendant la construction du nouveau choeur. En 1238, le feu dévasta, pour la troisième fois, une grande partie de la ville. En 1293, quatrième incendie, qui brûla les charpentes de la nouvelle cathédrale et lui causa des dommages considérables. Ces dévastations successives expliquent certaines singularités que l'on remarque dans les constructions de la cathédrale de Noyon. Nous allons y revenir.
Observons d'abord que le plan du choeur de la cathédrale de Noyon est
accompagné de cinq chapelles circulaires et de quatre chapelles carrées;
or ces chapelles sont la partie la plus ancienne de toute l'église. Nous
avons vu et nous verrons que les plans des cathédrales bâties vers la
fin du XIIe siècle et le commencement du XIIIe, comme Notre-Dame de
Paris, Bourges, Laon, Chartres, sont totalement ou presque totalement
dépourvues de chapelles. Mais Noyon précède le grand mouvement qui porte
les évêques et les populations à élever de nouvelles cathédrales, mais
le plan de Noyon est encore soumis à l'influence canonique ou
conventuelle, mais enfin Noyon suit la construction de l'église de
Saint-Denis, qui possède de même des chapelles circulaires et des
chapelles carrées à l'abside. Si nous examinons le plan de Notre-Dame de
Noyon, nous voyons encore qu'à l'entrée du choeur, après les deux piles
des transsepts, sont élevées deux piles aussi épaisses. En regard, les
maçonneries des bas-côtés ont également une grande force, et contiennent
des escaliers. Des tours sont commencées sur ce point, elles ne furent
jamais terminées. Dans la nef, dont la construction parait être comprise
entre les années 1180 et 1190, nous voyons cinq travées presque carrées
portées par des piles formées de faisceaux de colonnes, et divisées par
des colonnes monocylindriques.
Cette disposition indique nettement des
voûtes composées d'arcs ogives portant sur les grosses piles, avec arcs
doubleaux simples sur les piles intermédiaires (fig. 8). C'est, en
effet, le mode adopté pour la construction des voûtes de Notre-Dame de
Paris, de Bourges et de Laon; cependant, contrairement à cette
disposition si bien écrite dans le plan de la nef, les voûtes sont
construites conformément à l'usage adopté au XIIIe siècle, c'est-à-dire
que chaque pile, grosse ou fine, porte arcs doubleaux et arcs ogives
(voy. fig. 7); seulement les arcs doubleaux des grosses piles sont plus
épais que ceux posés sur les piles intermédiaires. Il y a lieu de croire
que ces voûtes de la nef furent en partie refaites après l'incendie de
1238, les gros arcs doubleaux seuls auraient été conservés; et, au lieu
de refaire ces voûtes ainsi qu'elles avaient existé, c'est-à-dire avec
arcs ogives portant seulement sur les grosses piles, on aurait suivi
alors la méthode adoptée partout. Si nous examinons les profils de ces
arcs ogives et des arcs doubleaux portant sur les piles intermédiaires,
nous voyons qu'en effet ces profils ne paraissent pas appartenir à la
fin du XIIe siècle. Les voûtes du choeur et des chapelles absidales
seules sont certainement de la construction primitive; leurs nervures
sont ornées de perles, de rosettes très-délicates, comme les arcs des
voûtes de la partie antérieure de l'église de Saint-Denis. Quoi qu'il en
soit, la cathédrale de Noyon était complétement terminée à la fin du
XIIe siècle, et, sauf quelques adjonctions et restaurations faites après
l'incendie de 1293 et après les guerres du XVIe siècle, elle est
parvenue jusqu'à nous à peu près dans sa forme première.
À Noyon, comme à la cathédrale de Paris, et comme dans l'église de Saint-Denis construite par Suger, les collatéraux sont surmontés d'une galerie voûtée au premier étage 201. En examinant la coupe du choeur, on voit que l'arcature qui surmonte la galerie du premier étage n'est qu'un faux triforium, simple décoration plaquée sur le mur qui est élevé dans la hauteur du comble en appentis recouvrant les voûtes du premier étage. Dans la nef, cette arcature est isolée; c'est un véritable triforium comme à la cathédrale de Soissons dans le croisillon sud (voy. ARCHITECTURE RELIGIEUSE, fig. 31). Une belle salle capitulaire et un cloître du XIIIe siècle accompagnent, du côté nord, la nef de la cathédrale de Noyon (voy. CLOÎTRE, SALLE CAPITULAIRE). Deux grosses tours, fort défigurées par des restaurations successives, et dont les flèches primitives ont été remplacées, si jamais elles ont été faites, par des combles en charpente, sont élevées sur la façade. Quant au porche, il date du commencement du XIVe siècle; mais cette partie de l'édifice n'offre aucun intérêt.
Il est une cathédrale qui remplit exactement les conditions imposées aux reconstructions de ces grands édifices à la fin du XIIe siècle et au commencement du XIIIe, c'est celle de Laon. On a voulu voir, dans la cathédrale actuelle de Laon, celle qui fut reconstruite ou réparée après les désastres qui signalèrent, en 1112, l'établissement de la commune. Cela n'est pas admissible; le monument est là, qui, mieux que tous les textes, donne la date précise de sa reconstruction, et nous n'avons pas besoin de revenir là-dessus après les observations que M. Vitet a insérées sur la cathédrale de Laon dans sa Monographie de Notre-Dame de Noyon.

La cathédrale de Laon (fig. 9) présente en plan une grande nef avec collatéraux, coupée à peu près vers son milieu par des transsepts; l'abside se termine carrément. Deux chapelles sont seulement pratiquées vers l'est aux deux extrémités des bras de croix. La ville de Laon était, pendant les XIIe et XIIIe siècles, une ville riche, populeuse, turbulente; elle s'établit à main armée une des premières en commune, et obtint de Philippe-Auguste, après bien des tumultes et des violences, en 1191, une paix, ou confirmation de la commune, moyennant une rente annuelle de deux cents livres parisis 202. C'est probablement peu de temps après l'octroi de cette paix que les citoyens de Laon, possesseurs tranquilles de leurs franchises, aidèrent les évêques de ce diocèse à élever l'admirable édifice que nous voyons encore aujourd'hui.
De toutes les populations urbaines qui, dans le nord de la France, s'établirent en commune, celle de Laon fut une des plus énergiques, et dont les tendances furent plus particulièrement démocratiques. Le plan donné à leur cathédrale fut-il une sorte de concession à cet esprit? Nous n'oserions l'affirmer; il n'en est pas moins certain que ce plan est celui de toutes nos grandes cathédrales qui se prête le mieux, par sa disposition, aux réunions populaires. C'est dans ce vaisseau, qui conserve tous les caractères d'une salle immense, que pendant plus de trois siècles, se passèrent, à certaines époques de l'année, les scènes les plus étranges. Nous avons dit déjà «qu'on y célébrait, le 28 décembre, la fête des Innocents 203, où les enfants de choeur, portant chapes, occupaient les hautes stalles et chantaient l'office avec toute espèce de bouffonneries; le soir, ils étaient régalés aux frais du chapitre 204. Huit jours après, venait la fête des Fous. La veille de l'Épiphanie, les chapelains et choristes se réunissaient pour élire un pape, qu'on appelait le patriarche des Fous. Ceux qui s'abstenaient de l'élection payaient une amende. On offrait au patriarche le pain et le vin de la part du chapitre, qui donnait, en outre, à chacun, huit livres parisis pour le repas. Toute la troupe se revêtait d'ornements bizarres, et avait, les deux jours suivants, l'église entière à sa disposition. Après plusieurs cavalcades par la ville, la fête se terminait par la grande procession des rabardiaux. Ces farces furent abolies en 1560; mais le souvenir s'en conserva dans l'usage, qui subsista jusqu'au dernier siècle, de distribuer, à la messe de l'Épiphanie, des couronnes de feuilles vertes aux assistants 205... Au XVe siècle, de nombreux mystères furent représentés dans la cathédrale de Laon, et les chanoines eux-mêmes ne dédaignèrent pas d'y figurer comme acteurs 206. En 1462, aux fêtes de la Pentecôte, on joua la passion de N.-S. Jésus-Christ, distribuée en cinq journées... Le 26 août 1476, on représenta un mystère intitulé: Les Jeux de la vie de Monseigneur saint Denys. Afin de faciliter la représentation, la messe fut dite à huit heures et les vêpres chantées à midi 207...»
Si le chapitre et les évêques de Laon croyaient nécessaire de faire de semblables concessions morales aux citoyens, ne peut-on admettre que cette tolérance influa sur les dispositions primitives du plan de la cathédrale? Après les luttes et les scènes tragiques qui ensanglantèrent l'établissement de la commune de Laon, lorsque, par l'entremise du pouvoir royal, cette commune fut définitivement constituée, il est probable que, d'un commun accord, le chapitre, l'évêque et les bourgeois élevèrent cet édifice à la fois religieux et civil. C'est par des concessions de ce genre que le clergé put amener les citoyens d'une ville riche à faire les sacrifices d'argent nécessaires à la construction d'un monument qui devait servir non-seulement au culte, mais même à des assemblées profanes. Nous ne nous dissimulons pas combien ces conjectures paraîtront étranges aux personnes qui n'ont pas, pour ainsi dire, vécu dans la société du moyen âge, qui croient que cette société était soumise à un régime purement féodal et théocratique; mais quand on pénètre dans cette civilisation qui se forme au XIIe siècle et se développe au XIIIe, on voit à chaque pas naître un besoin de liberté si prononcé à côté de priviléges monstrueux, une tendance si active vers l'unité nationale, qu'on n'est plus étonné de trouver le haut clergé disposé à aider à ce mouvement et cherchant à le diriger pour ne pas être entraîné et débordé. Les évêques aimaient mieux ouvrir de vastes édifices à la foule, sauf à lui permettre parfois des saturnales pareilles à celles dont nous venons de donner un aperçu, plutôt que de se renfermer dans le sanctuaire, et de laisser bouillonner en dehors les idées populaires. Sous les voûtes de la grande cathédrale, quoique profanes, les assemblées des citoyens étaient fortement empreintes d'un caractère religieux. Les populations urbaines s'habituaient ainsi à considérer la cathédrale comme le centre de toute manifestation publique. Les évêques et les chapitres avaient raison; ils comprenaient leur époque; ils savaient que, pour civiliser des esprits encore grossiers, faciles à entraîner, unis par un profond sentiment d'union et d'indépendance, il fallait que le monument religieux par excellence fût le pivot de tout acte public.
Laon est une ville turbulente qui, pendant un siècle, est en lutte ouverte avec son seigneur, l'évêque. Après ces troubles, ces discussions, le pouvoir royal qui, par sa conduite, commence à inspirer confiance en sa force, parvient à établir la paix; mais on se souvient, de part et d'autre, de ces luttes dans lesquelles seigneurs et peuple ont également souffert; il faut se faire des concessions réciproques pour que cette paix soit durable; la cathédrale se ressent de cette sorte de compromis; sa destination est religieuse, son plan conserve un caractère civil.
À Noyon, d'autres précédents amènent des résultats différents.
«En l'année 1098, dit M. A. Thierry 208, Baudri de Sarchainville, archidiacre de l'église cathédrale de Noyon, fut promu, par le choix du clergé de cette église, à la dignité épiscopale. C'était un homme d'un caractère élevé, d'un esprit sage et réfléchi. Il ne partageait point l'aversion violente que les personnes de son ordre avaient en général contre l'institution des communes. Il voyait dans cette institution une sorte de nécessité sous laquelle, de gré ou de force, il faudrait plier tôt ou tard, et croyait qu'il valait mieux se rendre aux voeux des citoyens que de verser le sang pour reculer de quelques jours une révolution inévitable... De son propre mouvement, l'évêque de Noyon convoqua en assemblée tous les habitants de la ville, clercs, chevaliers, commerçants et gens de métier. Il leur présenta une charte qui constituait le corps des bourgeois en association perpétuelle, sous des magistrats appelés jurés, comme ceux de Cambrai...»
M. Vitet a donc raison de dire 209 que «lorsque Beaudoin II entreprit la reconstruction de sa cathédrale, il existait à Noyon une commune depuis longtemps établie, et consacrée par une paisible jouissance, mais placée en quelque sorte sous la tutelle de l'évêque.»
Aussi la cathédrale de Noyon présente-t-elle le plan d'un édifice religieux: abside avec chapelles, transsepts avec croisillons arrondis. Là, le clergé est resté le directeur de l'oeuvre, il n'a besoin de faire aucune concession; il n'a pas eu recours, non plus que la commune, lorsqu'il commença l'oeuvre, à l'intervention du pouvoir royal. Il entre dans la cathédrale de Noyon moins d'éléments laïques que dans celle de Senlis, par exemple, construite en même temps, et où l'ogive domine sans partage. Mais la cathédrale de Noyon est de près de cinquante années antérieure à celle de Laon; il n'est pas surprenant, objectera-t-on, que son plan se rapproche davantage des traditions cléricales; cela est vrai. Cependant, nous avons vu le plan de la cathédrale de Bourges, contemporaine de celle de Laon, où la tradition cléricale est encore conservée; nous verrons tout à l'heure le plan de la cathédrale de Chartres, où, plus qu'à Bourges encore, les données religieuses de l'architecture romane sont observées. Laon, au contraire, possède un plan dont le caractère est tranché; il a fallu faire une large part aux idées laïques. Peut-être voudra-t-on prétendre encore que les évêques de Laon, ayant eu de fréquents rapports avec l'Angleterre, leur cathédrale aurait pris la disposition carrée du plan de l'abside aux monuments de ce pays; l'observation ne saurait être admise, par la raison que les absides carrées anglaises sont postérieures à celle de la cathédrale de Laon; le choeur de la cathédrale de Cantorbéry, qui date du XIIe siècle, est circulaire; les absides carrées d'Ély, de Lincoln, ne sont pas antérieures à 1230.
Ce n'est pas seulement cette abside carrée qui nous frappe dans le plan de la cathédrale de Laon (fig. 9), c'est encore la disposition des collatéraux avec galeries supérieures voûtées, comme à Notre-Dame de Paris, comme à Noyon, comme à la cathédrale de Meaux dans l'origine; c'est la place qu'occupent les chapelles circulaires des transsepts, chapelles à deux étages; c'est la présence de quatre tours aux quatre angles des deux croisillons et d'une tour carrée sur les piles de la croisée; c'est cette grande et belle salle capitulaire qui s'ouvre au sud des premières travées de la nef; ce sont ces deux salles, trésors et sacristies, qui avoisinent le choeur et sont réservées entre les collatéraux et les chapelles circulaires. On voit en tout ceci un plan conçu et exécuté d'un seul jet, une disposition bien franche commandée par un programme arrêté. Quant au style d'architecture adopté dans la cathédrale de Laon, il se rapproche de celui des parties de Notre-Dame de Paris qui datent du commencement du XIIIe siècle; il est cependant plus lourd, plus trapu; il faut dire aussi que les matériaux employés sont plus grossiers.
À la fin du XIIIe siècle, ce beau plan fut défiguré par l'adjonction de chapelles élevées entre les saillies des contreforts de la nef. Une salle fut érigée au milieu du préau du cloître. C'est aussi pendant le cours du XIIIe siècle que les dispositions premières du porche furent modifiées. Les sept tours étaient surmontées de flèches, détruites aujourd'hui (voy. CLOCHER).
Malgré son importance, la cathédrale de Laon fut élevée avec une précipitation telle, que, sur quelques points, et particulièrement sur la façade, les constructeurs dédaignèrent de prendre les précautions que l'on prend d'ordinaire, lorsque l'on bâtit des édifices de cette dimension: les fondations furent négligées, ou bloquées au milieu des restes de substructions antérieures; on ne laissa pas le temps aux constructions inférieures des tours de s'asseoir avant de terminer leurs sommets. Il en résulta des tassements inégaux, des déchirements qui compromirent la solidité de la façade 210.
La cathédrale de Laon conserve quelque chose de son origine démocratique; elle n'a pas l'aspect religieux des églises de Chartres, d'Amiens ou de Reims. De loin, elle paraît un château plutôt qu'une église; sa nef est, comparativement aux nefs ogivales et même à celle de Noyon, basse; sa physionomie extérieure est quelque peu brutale et sauvage; et jusqu'à ces sculptures colossales d'animaux, boeufs, chevaux, qui semblent garder les sommets des tours de la façade (voy. ANIMAUX), tout concourt à produire une impression d'effroi plutôt qu'un sentiment religieux, lorsqu'on gravit le plateau sur lequel elle s'élève. On ne sent pas, en voyant Notre-Dame de Laon, l'empreinte d'une civilisation avancée et policée, comme à Paris ou à Amiens; là, tout est rude, hardi: c'est le monument d'un peuple entreprenant, énergique et plein d'une mâle grandeur. Ce sont les mêmes hommes que l'on retrouve à Coucy-le-Château, c'est une race de géants.
Nous ne quitterons pas cette partie de la France sans parler de la cathédrale de Soissons. Cet édifice fut certainement conçu sur un plan dont les dispositions rappellent le plan de la cathédrale de Noyon (fig. 10). Comme à Noyon, le transsept sud de la cathédrale de Soissons, qui date de la fin du XIIe siècle, est arrondi, et il est flanqué à l'est d'une vaste chapelle circulaire à deux étages, comme celles des transsepts de Laon. À Soissons, ce croisillon circulaire possède un bas-côté avec galerie voûtée au-dessus et triforium dans la hauteur du comble de la galerie (voy. ARCHITECTURE RELIGIEUSE, fig. 30 et 31). L'étage supérieur de la chapelle circulaire servait de trésor avant la révolution; était-ce là sa destination primitive? C'est ce que nous ne pourrions dire aujourd'hui, n'ayant aucune donnée sur l'utilité de ces chapelles à deux étages, que nous retrouvons encore à Saint-Remy de Reims et dans la grande église de Saint-Germer.

Que la cathédrale de Soissons ait été élevée complétement pendant les dernières années du XIIe siècle, ou seulement commencée, toujours est-il que le choeur et la nef furent construits pendant les premières années du XIIIe siècle. Le choeur est accompagné de cinq chapelles circulaires et de huit chapelles carrées. C'est déjà une modification au plan des cathédrales de cette époque. Le transsept nord ne fut terminé que plus tard, ainsi que la façade.
Jusqu'à présent, nous voyons régner, dans ces édifices élevés depuis le milieu du XIIe siècle jusqu'au commencement du XIIIe 211, une sorte d'incertitude; les plans de ces cathédrales françaises sont comme autant d'essais subissant l'influence de programmes variés. On élève des cathédrales nouvelles plus vastes que les églises romanes, pour suivre le mouvement qui s'était si bien prononcé pendant les règnes de Louis le Jeune et de Philippe-Auguste; mais la cathédrale type n'est pas encore sortie de terre. Nous allons la voir naître définitivement et arriver, en quelques années, à sa perfection.
À la suite d'un incendie qui détruisit de fond en comble la cathédrale de Chartres, en 1020, l'évêque Fulbert voulut reconstruire son église. Les travaux furent continués par ses successeurs à de longs intervalles. En 1145, les deux clochers de la façade occidentale, que nous voyons encore aujourd'hui, étaient en pleine construction. En 1194, un nouvel incendie ruina l'édifice de Fulbert à peine achevé. Les parties inférieures de la façade occidentale, le clocher vieux terminé et la souche du clocher neuf resté en construction échappèrent à la destruction. Sur les débris encore fumants de la cathédrale, Mélior, cardinal-légat du pape Célestin III, fit assembler le clergé et le peuple de Chartres, et, à la suite de ses exhortations, tous se mirent à l'oeuvre pour reconstruire, sur un nouveau plan, l'ancienne église de Notre-Dame 212. L'évêque Reghault de Mouçon et les chanoines abandonnèrent le produit total de leurs revenus et de leurs prébendes pendant trois années.
Philippe-Auguste, Louis VIII et saint Louis contribuèrent par leurs dons à l'érection de la vaste église.
Déjà, en 1220, Guillaume le Breton parle de ses voûtes «que l'on peut comparer, dit-il, à une écaille de tortue,» et qui sont assez solides pour défier les incendies à venir.

La fig. 11 donne le plan de la cathédrale de Chartres. Ici, l'influence religieuse paraît tout entière. Trois grandes chapelles à l'abside, quatre autres moins prononcées entre elles, doubles bas-côtés d'une grande largeur; autour du choeur, vastes transsepts. Là, le culte peut déployer toutes ses pompes; le choeur, plus qu'à Paris, plus qu'à Bourges, plus qu'à Soissons et à Laon surtout, est l'objet principal; c'est pour lui que l'église est faite. Il faut supposer que l'église de Fulbert était très-vaste déjà, car les cryptes qui existent, et datent de son épiscopat, occupent la surface entière du premier bas-côté; la nef centrale et le choeur étant un terre-plein, le XIIIe siècle n'ajouta donc à l'édifice roman, comme surface, que le second bas-côté du choeur, les chapelles absidales et les extrémités des deux transsepts.
Nous voyons se reproduire à Notre-Dame de Chartres un fait analogue à ceux signalés dans la construction des cathédrales de Paris et de Bourges. Non-seulement les architectes du XIIIe siècle conservèrent les deux clochers occidentaux de l'église du XIIe siècle, mais ils ne voulurent pas laisser perdre les trois belles portes qui donnaient entrée dans la nef et étaient autrefois placées au fond d'un porche en A (voyez le plan). On voit encore entre les deux tours la trace des constructions de ce porche et l'amorce du mur de face. Les trois portes, avec leurs belles statues, les tympans, voussures et fenêtres qui les surmontent, replacées sur l'alignement des deux clochers, furent couronnées par une rose s'ouvrant sous la voûte de la nef centrale. La construction de la cathédrale de Chartres fut conduite avec une incroyable rapidité. L'empressement des populations, des seigneurs et souverains, à mener l'oeuvre à fin ne fut nulle part plus actif. Aussi, cet édifice présente-t-il une grande homogénéité de style; il devait être complétement achevé vers 1240 214. De 1240 à 1250, on ajouta des porches aux deux entrées des transsepts; la sacristie fut bâtie au nord, proche le choeur, à la fin du XIIIe siècle, et, vers le milieu du XIVe siècle, on éleva, derrière l'abside, la chapelle Saint-Piat à deux étages. C'est aussi pendant la seconde moitié du XIIIe siècle que fut posé l'admirable jubé qui fermait l'entrée du choeur il y a encore un siècle 215.
À Notre-Dame de Chartres, la nef est courte comparativement au choeur; c'est probablement pour lui donner deux travées de plus que l'ancien porche de la façade fut supprimé et les portes avancées au nu du mur extérieur des tours. Voulant conserver, pour bâtir le choeur, la crypte qui lui sert de fondations et les deux belles tours occidentales, il n'était pas possible de donner à l'église une plus grande longueur.

Aux quatre angles du transsept, quatre tours B furent commencées (voy. fig. 12, présentant le plan du premier étage de la moitié du choeur et des transsepts de la cathédrale de Chartres); elles restèrent inachevées, ainsi que la tour centrale qui, probablement, devait s'élever sur les quatre gros piliers C de la croisée. Deux autres tours A furent élevées sur les deux dernières travées du second bas-côté du choeur précédant les chapelles absidales; ces tours restèrent également inachevées à la hauteur des corniches supérieures du choeur. C'étaient donc neuf tours qui accompagnaient la grande cathédrale du pays chartrain. Les tours situées en A, en avant du rond-point, appartiennent à une disposition normande; beaucoup d'églises de cette province possédaient des tours ainsi élevées sur les bas-côtés au delà des transsepts. Ce monument, complétement achevé avec ses neuf flèches se surpassant en hauteur jusqu'à la flèche centrale, eût produit un effet prodigieux.
Une seule chapelle fut élevée au sud, entre les contreforts de la nef, en 1413. Au commencement du XVIe siècle, on termina le clocher nord du portail qui était resté inachevé, et on dressa la gracieuse clôture du choeur que nous voyons encore aujourd'hui et qui seule a résisté en partie aux mutilations que les chanoines firent subir au sanctuaire pendant le dernier siècle. Toutes les verrières de cet édifice sont de la plus grande magnificence et datent du XIIIe siècle, sauf celles des trois fenêtres du portail occidental, qui furent replacées avec leurs baies et proviennent de l'église du XIIe siècle.
Guillaume le Breton avait raison lorsque, en 1220, il disait que la cathédrale de Chartres n'avait plus rien à craindre du feu. En 1836, un terrible incendie consuma toute la charpente supérieure et le beau beffroi du clocher vieux (voy. BEFFROI). La vieille cathédrale put résister à cette épreuve; elle est encore debout telle que les constructeurs du XIIIe siècle nous l'ont laissée; elle demeure comme un témoin de l'énergique puissance des arts de cette époque; et, du haut de la colline qui lui sert de base, sa mâle silhouette, qui de neuf flèches n'en possède que deux, est une cause d'étonnement et d'admiration pour les étrangers qui traversent la Beauce.
Nous ne trouvons plus à Chartres la galerie supérieure voûtée; un simple triforium, décoré d'une arcature, laisse une circulation intérieure tout au pourtour de la cathédrale, derrière les combles en appentis des bas-côtés. Cette église, la plus solidement construite de toutes les cathédrales de France 216, ne présente, dans sa coupe transversale, rien qui lui soit particulier, si ce n'est la disposition des arcs-boutants (voy. ARCS-BOUTANTS, fig, 54).
Afin de conserver un ordre logique dans cet article, nous devons, quant à présent, laisser de côté certains détails sur lesquels nous aurons à revenir, et poursuivre notre examen sommaire des cathédrales élevées au commencement du XIIIe siècle. Jusqu'à présent, nous avons présenté des plans dans lesquels il se rencontre des indécisions, des tâtonnements, l'empreinte de traditions antérieures. À Chartres même, les fondations de l'église de Fulbert et la conservation des vieux clochers ne laissent pas aux architectes toute leur liberté.
En 1211, l'ancienne cathédrale de Reims, bâtie par Ebon, et qui datait du IXe siècle, fut détruite de fond en comble par un incendie. Cette église était lambrissée, et affectait probablement la forme d'une basilique. Dès l'année suivante, en 1212, Albéric de Humbert, qui occupait le siége archiépiscopal de Reims, posa la première pierre de la cathédrale actuelle; l'oeuvre fut confiée à un homme dont le nom nous est resté, Robert de Coucy. Si le monument était champenois, l'architecte était d'une ville voisine du domaine royal; il ne faut pas oublier ce fait. Le plan, conçu par Robert de Coucy, était vaste, établi sur des bases solides; cet architecte doutait de pouvoir l'exécuter tel qu'il l'avait projeté; il doutait de l'étendue des ressources, et peut-être de la constance des Rémois. Ses doutes n'étaient que trop fondés. Cependant le projet de Robert fut rapidement exécuté jusqu'à la hauteur des voûtes des bas-côtés, depuis le choeur jusqu'à la moitié de la nef environ. Nous présentons (13) le plan de la cathédrale de Reims.

Si nous comparons ce plan avec ceux de Notre-Dame de Paris, des cathédrales de Bourges, de Noyon, de Laon et de Chartres, nous serons frappés de l'épaisseur proportionnelle des constructions formant le périmètre de l'édifice. C'est que Robert de Coucy appartenait à une école de constructeurs robustes, que cette école s'était élevée dans un pays où la pierre est abondante; c'est, bien plus enrore, que Robert avait conçu un édifice devant atteindre des dimensions colossales. La bâtisse avait à peine atteint la hauteur des basses nefs, que l'on dut renoncer à exécuter, dans tous leurs développements, les projets de Robert, qu'il fallut faire certains sacrifices, probablement à cause de l'insuffisance reconnue des ressources futures. Le plan du premier étage de la cathédrale de Reims est loin de répondre à la puissance des soubassements. Cependant il est certain que l'on suivit, autant que possible, en diminuant le volume des points d'appuis, les projets primitifs; et il faut une attention particulière, et surtout la connaissance des constructions de cette époque, pour reconnaître ces changements apportés aux plans de Robert de Coucy. Nous essayerons toutefois de les rendre saisissables pour tout le monde, car ce fait ne laisse pas d'avoir une grande importance pour l'histoire de nos cathédrales, d'autant plus qu'il se reproduit partout à cette époque.

Voici d'abord (fig. 14) une coupe transversale de la nef de la cathédrale de Reims. Il est facile de reconnaître que les contreforts, dans la hauteur du collatéral, ont une puissance, une saillie que ne motive pas la légèreté de la partie supérieure recevant les arcs-boutants; on sera plus frappé encore de la différence de force qu'il y a entre les parties inférieures et supérieures de ces contreforts, en examinant la vue perspective extérieure d'un contrefort de la nef (fig. 15).

Dans la construction des deux pignons des transsepts, la différence entre le rez-de-chaussée et les étages supérieurs est encore plus marquée. Robert de Coucy avait probablement projeté, sur ce point, des tours dont il fallut réduire la hauteur par des raisons d'économie. Une observation de détail vient appuyer la conjecture d'une modification dans les projets. Le larmier du couronnement des corniches qui passent au niveau des bas-côtés devant les contreforts des transsepts et du choeur, est muni de petits repos horizontaux, espacés les uns des autres de 0,40 c. à 0,50 c., qui forment comme des créneaux, et que Villart de Honnecourt, contemporain et ami de Robert de Coucy, appelle, dans ses curieuses notes, des carniaux réservés sur la pente des larmiers pour permettre aux ouvriers de circuler autour des contreforts, à l'extérieur (fig. 16). Cela est fort ingénieux et bien entendu, puisque la pente des larmiers ne permettrait pas, sans ce secours, de passer devant les parements des contreforts à toutes hauteurs. Or ces carniaux, dont parle Villart, n'existent que sur les larmiers couronnant le rez-de-chaussée. Robert de Coucy eût cependant, s'il eût continué l'oeuvre, réservé à plus forte raison des passages semblables dans les parties élevées de l'édifice; mais les parements qui se dressent au-dessus de ces larmiers à carniaux, au lieu d'affleurer l'arête supérieure du lit du larmier, ainsi que l'indique la fig. 17, sont en retraite, comme l'indique la fig. 17 bis.

Donc, alors, les carniaux deviennent inutiles, puisque derrière eux reste une partie horizontale permettant la circulation; donc, si Robert eût voulu retraiter ainsi brusquement ses contreforts à partir du premier étage, il n'eût pas réservé des carniaux sur ses larmiers; et puisqu'il les avait réservés, c'est qu'il entendait continuer à donner à ses gros points d'appui une saillie, et par conséquent une force plus grande que celle laissée après l'abandon des premiers projets. Il y a donc lieu d'admettre que Robert de Coucy éleva la cathédrale de Reims jusqu'à la hauteur des corniches des chapelles du choeur et bas-côtés, sauf les quatre premières travées de la nef, qu'il ne commença même pas; qu'après lui, la construction fut continuée en faisant subir des changements aux projets primitifs afin de réduire les dépenses; que cette nécessité de terminer l'édifice à moins de frais était le résultat d'une diminution dans les dons faits par les populations. L'ornementation des parties inférieures du choeur et des transsepts de la cathédrale de Reims, jusques et y compris la corniche des chapelles rayonnantes, porte encore le cachet de la sculpture de la fin du XIIe siècle; tandis qu'immédiatement au-dessus du niveau des corniches de ces chapelles apparaît une ornementation qui a tous les caractères de celle du milieu du XIIIe siècle. Dans la travée de droite du pignon du transsept nord, est percée une porte donnant aujourd'hui dans la petite sacristie établie entre les contreforts; cette porte, dont les sculptures sont peintes, date évidemment des premières constructions commencées par Robert de Coucy, et les bas-reliefs pourraient même être attribués à l'école des sculpteurs de la fin du XIIe siècle. Les parties inférieures du pignon du transsept sud, qui ne furent pas modifiées par l'ouverture de portes, affectent une sévérité de style qui ne le cède en rien aux constructions inférieures de la façade de Notre-Dame de Paris. Tout, enfin, dans le rez-de-chaussée de la cathédrale de Reims, du choeur à la moitié de la nef, dénote l'oeuvre d'un artiste appartenant à l'école laïque d'architectes née à la fin du XIIe siècle. Au-dessus, le style ogival a pris son entier développement, mais la transition entre les deux caractères architectoniques est habilement ménagée. Nous ne savons en quelle année Robert de Coucy cessa de travailler à la cathédrale; cependant lui-même, en construisant, modifia probablement quelques détails de son projet primitif. Cet architecte n'en était pas à son coup d'essai lorsqu'il commença l'oeuvre en 1212, et peut-être était il déjà d'un âge assez avancé; toutefois (et les notes de Villart de Honnecourt sont là pour le prouver) il cherchait sans cesse, comme tous ses contemporains, des perfectionnements à l'art laissé par le XIIe siècle; il ne pouvait ignorer ce que l'on tentait autour de lui; c'est ainsi qu'il fut amené à terminer les chapelles du choeur, commencées sur un plan circulaire comme celles de la cathédrale de Noyon, par des pans coupés. Les ornements de la corniche de ces chapelles, les carniaux des larmiers dont parle Villart, le style des statues d'anges qui surmontent les petits contreforts, ne peuvent laisser douter qu'elles n'aient été achevées par Robert de Coucy, de 1220 à 1230. Il avait fallu plusieurs années pour jeter les fondements de cet édifice commencé d'après un projet aussi robuste, d'autant plus que le sol sur lequel la cathédrale de Reims est assise n'est pas égal, et ne devient bon qu'à plusieurs mètres au-dessous du pavé (de quatre à sept mètres d'après quelques fouilles faites au pourtour). Il n'est pas surprenant donc que ces énormes constructions, quelle que fût l'activité apportée à leur exécution, ne fussent pas, en 1230, c'est-à-dire dix-huit ans après leur mise en train, élevées au-dessus des voûtes basses. À la première vue, le rez-de-chaussée des pignons des deux transsepts 217 paraît plus ancien que les chapelles du choeur; les fenêtres basses sont sans meneaux et encadrées de profils et ornements qui rappellent l'architecture de transition; tandis que les fenêtres des chapelles du choeur sont déjà pourvues de meneaux dont les formes, la disposition particulière et l'appareil sont identiquement semblables aux meneaux des bas-côtés de la nef de la cathédrale d'Amiens, qui datent de l'année 1230 environ. Robert de Coucy avait bien pu amender lui-même certains détails de son projet, en même temps qu'il adoptait les pans coupés pour ces chapelles au-dessus de la forme circulaire de leur soubassement. Quoi qu'il en soit, le maître de l'oeuvre, en mourant ou en abandonnant les constructions à des architectes plus jeunes, peut-être après une interruption de quelques années, avait laissé des projets dont ses successeurs, malgré les réductions dont nous avons parlé, se rapprochèrent autant que possible. C'est ce qui donne à cet édifice un caractère d'unité si remarquable, quoiqu'il ait fallu un siècle pour conduire le travail jusqu'aux voûtes hautes. À Reims, plus que partout ailleurs, on respecta la conception du premier maître de l'oeuvre. Aussi, lorsque l'on veut se faire une idée de ce que devait être une cathédrale conçue par un architecte du commencement du XIIIe siècle, de la plus belle époque de l'art ogival, c'est à Reims qu'il faut aller. Et cependant, combien ce grand monument ne subit-il pas de modifications importantes; et, tel que nous le voyons aujourd'hui, combien il est loin des projets de Robert de Coucy et même de ce qu'il fut avant l'incendie de la fin du XVe siècle.
Le plan de la cathédrale de Reims est simple (voy. fig. 13); les chapelles rayonnantes du choeur sont larges, profondes; la nef longue et dépourvue de chapelles. Les coupes et élévations des parties latérales de l'édifice répondent à la simplicité du plan; les contreforts et arcs-boutants, adrables de conception et de grandeur; les piles sont épaisses, les fenêtres supérieures profondément encadrées. Cet édifice a toute la force de la cathédrale de Chartres, sans en avoir la lourdeur; il réunit enfin les véritables conditions de la beauté dans les arts, la puissance et la grâce; il est d'ailleurs construit en beaux matériaux, savamment appareillés, et on retrouve dans toutes ses parties un soin et une recherche fort rares à une époque où l'on bâtissait avec une grande rapidité et souvent avec des ressources insuffisantes. Ce ne fut guère qu'en 1240 que l'on continua les parties supérieures du choeur, que l'on commença les premières travées de la nef et la façade. Celle-ci ne fut achevée, sauf les deux flèches des deux tours occidentales, que vers le commencement du XIVe siècle; on y travaillait encore pendant le XVe siècle, mais en suivant les dispositions et détails des XIIIe et XIVe siècles. Un cloître s'élevait au nord de la nef et du transsept; et c'était probablement pour donner entrée dans ce cloître qu'avait été faite la porte ouverte dans la travée de droite du pignon nord, porte dont nous avons parlé tout à l'heure. Deux autres portes publiques furent ouvertes, dans les deux autres travées de ce pignon, vers le milieu du XIIIe siècle, et richement décorées de voussures, bas-reliefs et statues 218. Deux tours s'élèvent sur la façade occidentale; quatre tours surmontent les quatre angles des transsepts, et une tour centrale se dressait, au centre de l'édifice, sur les quatre piles de la croisée. Une flèche en plomb couronnait le poinçon de la croupe du comble au-dessus du sanctuaire. Le pignon du transsept sud donnant du côté de l'archevêché ne fut jamais percé de grandes portes. On arrivait du palais archiépiscopal au choeur par des portes secondaires, percées dans les soubassements de ce pignon (voyez le plan). Pendant les XIVe et XVe siècles, de petites chapelles furent bâties du côté nord, entre les contreforts de la nef et dans l'intervalle laissé par le cloître; mais ces petites chapelles, qui ne dépassent pas l'appui des fenêtres, ne dérangent en rien l'ordonnance intérieure du vaisseau; elles ne s'ouvrent, dans le bas-côté, que par de petites portes.
Si les projets de Robert de Coucy furent modifiés, c'est surtout dans la construction de la façade occidentale, qui présente tous les caractères de l'architecture la plus riche de la seconde moitié du XIIIe siècle. Comme décoration, elle se relie encore aux faces latérales par ces admirables couronnements de contreforts dans lesquels sont placées des statues colossales. Mais la multiplicité des détails nuit à l'ensemble; cette façade, quelque belle qu'elle soit, n'a pas la grandeur des faces latérales. L'archivolte de la porte principale vient entamer la base des contreforts intermédiaires, ce qui tourmente l'oeil; les nus, les parties tranquilles font défaut. Cependant, et telle qu'elle est, la façade occidentale de la cathédrale de Reims est une des plus splendides conceptions du XIIIe siècle; elle a pour nous, d'ailleurs, l'avantage d'être la seule. Notre-Dame de Paris est encore une façade de l'époque de transition. Il en est de même à Laon. Nous ne pouvons considérer ces portails comme appartenant au style purement ogival. Amiens n'a qu'une façade tronquée, non terminée, sur laquelle des époques différentes sont venues se superposer.
Chartres n'est qu'une réunion de fragments. Bourges et Rouen sont des mélanges de styles de trois et quatre siècles. Les façades de Bayeux, de Coutances, de Soissons, de Noyon, de Sens, de Séez, sont restées inachevées, ont été dénaturées, ou présentent des amas de constructions sans ensemble, élevées successivement sans projet arrêté. La façade principale de Notre-Dame de Reims, malgré cet excès de richesse, a donc pour nous l'avantage de nous donner une conception franche en style ogival, et, sous ce point de vue, elle mérite toute l'attention des architectes. Son iconographie est complète, et ce fait seul est d'une grande importance. Mais nous reviendrons sur cette partie de la décoration des cathédrales. Afin de donner une idée de ce que devait être une cathédrale du XIIIe siècle, complète, achevée telle qu'elle avait été conçue, nous donnons ici (18) une vue cavalière d'un édifice de cette époque, exécutée d'après le type adopté à Reims. Faisant bon marché des détails, auxquels nous n'attachons pas ici d'importance, on peut admettre que le monument projeté par Robert de Coucy devait présenter cet ensemble, si ce n'est que les flèches occidentales ne furent jamais terminées et que les flèches centrale et des transsepts étaient en bois et plomb. Le 24 juillet 1481, des ouvriers plombiers, dont les noms nous sont restés 219, mirent le feu à la toiture par négligence. L'incendie dévora toutes les charpentes. C'était, autour de l'édifice, un tel déluge de plomb, que l'on ne pouvait en approcher pour porter secours. Le dévouement des Rémois ne put maîtriser le fléau, et ce fut une veritable désolation non-seulement dans la province, mais dans la France, entière. Louis XI prit fort mal la nouvelle de ce sinistre, qu'on lui apporta au Plessis-lès-Tours; il fut question de remplacer le chapitre par des moines 220. Quels que fussent les sacrifices que s'imposèrent le chapitre et l'archevêque, les dons royaux, qui furent considérables, on ne put songer à rétablir le monument dans l'état où il était avant l'incendie. La sève qui, au XIIIe siècle, se répandait dans ces grands corps était épuisée. On dut se borner à refaire la charpente, les galeries supérieures, les pignons, à réparer les tours du portail et à raser les quatre tours des transsepts au niveau du pied du grand comble. C'est dans cet état que nous trouvons aujourd'hui ce monument, si splendide encore malgré les mutilations qu'il a subies.

La cathédrale d'Amiens, dévastée par le feu et les invasions normandes, en 850, 1019 et 1107, fut totalement détruite par un incendie en 1218. En 1220, Evrard de Fouilloy, quarante-cinquième évêque d'Amiens, fit jeter les fondements de la cathédrale actuelle. Le maître de l'oeuvre était Robert de Luzarches. L'évêque picard alla chercher son architecte dans l'Ile de France. Les nouvelles constructions furent commencées par la nef; probablement les restes de l'ancien choeur furent conservés provisoirement afin de ne pas interrompre le culte. En 1223, l'évêque Evrard mourut; les fondations étaient achevées sous la nef, et probablement le pignon du transsept sud était élevé de quelques mètres au-dessus du sol. Sous l'épiscopat du successeur de l'évêque Evrard, Geoffroy d'Eu, nous voyons déjà les travaux confiés à un second architecte, Thomas de Cormont. Robert de Luzarches n'avait pu que laisser les plans de l'édifice qu'il avait fondé. Le second maître de l'oeuvre éleva les constructions de la nef jusqu'à la naissance des grandes voûtes; nous arrivons alors à l'année 1228. Son fils, Renault de Cormont, continua l'oeuvre et passe pour l'avoir achevée en 1288, ce qui n'est guère admissible, si nous observons les différences profondes de style qui existent entre le rez-de-chaussée et les parties hautes du choeur. En 1237, l'évêque Geoffroy mourut; son successeur Arnoult termina les voûtes de la nef et fit élever sur la partie centrale de la croisée une tour de pierre surmontée d'une flèche en bois et plomb. Ce fut probablement aussi cet évêque qui fit élever les chapelles du choeur 221. En 1240, l'évêque Arnoult avait poussé les travaux avec une telle activité que les fonds étaient épuisés; il fallut suspendre les constructions et amasser de nouvelles sommes. En 1258, un incendie consuma les charpentes des chapelles de l'abside; on voit parfaitement, encore aujourd'hui, les traces de ce sinistre au-dessus des voûtes de ces chapelles. Ce désastre dut contribuer encore à ralentir l'achèvement du choeur. Il est certain que le triforium de l'abside, et par conséquent toute l'oeuvre haute, ne fut commencé qu'après cet incendie, car, sur les pierres calcinées en 1258, sont posées les premières assises parfaitement pures de ce triforium. Les successeurs d'Arnoult, Gérard ou Evrard de Couchy (pour COucy) et Aléaume de Neuilly, ne purent que réunir les fonds nécessaires à la continuation des travaux. À Amiens, comme partout ailleurs, les populations montraient moins d'empressement à voir terminer le monument de la cité; on mit un temps assez long à recueillir les dons nécessaires à l'achèvement du choeur, et ces dons ne furent pas assez abondants pour permettre de déployer dans cette construction la grandeur et le luxe que l'on trouve dans la nef et les chapelles absidales. En 1269, cet évêque faisait placer les verrières des fenêtres hautes du choeur 222, et son successeur, Guillaume de Mâcon, en 1288, mit la dernière main aux voûtes et parties supérieures du chevet. En construisant la nef, de 1220 à 1228, on avait voulu clore, avant tout, le vaisseau, et on ne s'était pas préoccupé de la façade laissée en arrachement. La porte centrale seule avait été percée au bas du pignon et la rose supérieure ouverte. Ce ne fut guère qu'en 1238, lorsqu'une nouvelle impulsion fut donnée aux travaux par l'évêque Arnoult, que l'on songea à terminer la façade occidentale. Mais déjà, probablement, on pressentait l'épuisement des ressources, si abondantes pendant le règne de Philippe-Auguste, et les projets primitifs furent restreints. L'examen de l'édifice ne peut laisser de doutes à cet égard.
En jetant les yeux sur le plan (fig. 19) nous voyons une ligne E F tirée parallèlement au pignon du portail; c'est la limite de l'arrachement de l'ancienne façade projetée contre lequel on est venu plaquer le portail actuel. De cette modification au projet primitif, il résulte que les deux tours G H, au lieu d'être élevées sur un plan carré comme toutes les tours des cathédrales de cette époque, sont barlongues, moins épaisses que larges; ce ne sont que des moitiés de tours dans toute leur hauteur, et les deux contreforts, qui devaient se trouver, latéralement, dans les milieux de ces tours, sont devenus contreforts d'angles. La preuve la plus certaine de cette moditication apportée au projet de Robert de Luzarches, c'est que les fondations existent sous le périmètre total des tours telles qu'elles sont indiquées sur le plan présenté ici. De la façade primitive, il ne reste que le trumeau et les deux pieds-droits de la porte centrale, sur lesquels sont sculptées les vierges sages et folles, et l'entourage de la grande rose percée sous la maîtresse voûte. Les trois porches, si remarquables d'ailleurs, les pinacles qui les surmontent, la galerie à jour et la galerie des rois, datent de 1240 environ, ainsi que l'étage inférieur des tours. Quant aux parties supérieures de ces tours et à la galerie entre deux, ce sont des constructions successivement élevées pendant le XIVe siècle. Ce fut aussi pendant le XIVe siècle que l'on ferma les parties supérieures des pignons des deux transsepts qui probablement étaient restées inachevées, et que l'on construisit des chapelles entre les contreforts de la nef, adjonction funeste à la conservation de l'édifice et qui détruisit l'unité et la grandeur de cet admirable vaisseau. Le XIVe siècle vit encore exécuter les balustrades supérieures du choeur et de la nef. Les balustrades des chapelles et les meneaux des deux roses occidentale et méridionale, la consolidation de la rose septentrionale furent entrepris au commencement du XVIe siècle. Le clocher central en pierre et charpente, posé sur les quatre piliers de la croisée, sous l'épiscopat d'Arnoult, vers 1240, fut détruit par la foudre le 15 juillet 1527. On craignit un instant que le sinistre ne s'étendît à toute la cathédrale; heureusement les progrès du feu furent promptement arrêtés, grâce au dévouement des habitants d'Amiens.
Ce fut en 1529 que fut reconstruite la flèche actuelle, en charpente recouverte de plomb, par deux charpentiers picards, Louis Cordon et Simon Taneau (voy. FLÈCHE).

Nous avons dit que Robert de Luzarches avait pu voir non-seulement les fondations de sa cathédrale, mais aussi quelques mètres du pignon du transsept sud, élevés au-dessus du sol. En effet, le portail percé à la base de ce pignon, dit portail de la Vierge dorée, présente des détails d'architecture plus anciens que tous ceux des autres parties de l'édifice; ce portail fut cependant remanié vers 1250; le tympan et les voussures datent de cette époque et furent reposés après coup sur les pieds-droits et le trumeau du commencement du XIIIe siècle. La Vierge qui décore ce trumeau ne peut être antérieure à 1250; le trumeau fut lui-même alors doublé à l'intérieur, afin de recevoir une décoration en placage qui n'existait pas dans l'origine.
Le plan de la cathédrale d'Amiens n'indique pas que les premiers maîtres de l'oeuvre aient eu la pensée d'élever, comme à Chartres, à Laon et à Reims, quatre tours aux angles des transsepts; de sorte que nous voyons aujourd'hui la cathédrale d'Amiens à peu près telle qu'elle fut originairement conçue, si ce n'est que les deux tours de la façade eussent dû avoir une base plus large et une beaucoup plus grande hauteur. Cependant on remarque sur ce plan les escaliers posés à l'extrémité des doubles bas-côtés du choeur, et précédant les chapelles. Ces escaliers sont comme un dernier reflet des tours placées sur ces points dans les églises normandes, et qui, comme nous l'avons dit, se voient encore à Chartres. Nous les retrouvons dans les cathédrales de Beauvais, de Cologne, de Narbonne, de Limoges, qui sont toutes des filles de la cathédrale d'Amiens. Du côté du nord s'élevaient les anciens bâtiments de l'évêché, qui étaient mis en communication avec la cathédrale par la grande porte du pignon septentrional et par une petite porte percée sous l'appui de la fenêtre de la première travée du bas-côté. Sur le flanc nord du choeur était placée une sacristie avec trésor au-dessus. Un cloître du XIVe siècle, dans les galeries duquel on entrait par les deux chapelles A et B, pourtournait le rond-point irrégulièrement, en suivant les sinuosités données par d'anciens terrassements. En D sont placées des dépendances et une chapelle, ancienne salle capitulaire qui date également de la première moitié du XIVe siècle. Ce cloître et la chapelle étaient désignés sous la dénomination de cloître et chapelle Macabre, des Macabrés, et, par corruption, des Machabées. Les arcades vitrées de ce cloître, ou peut-être les murs, étaient probablement décorés autrefois de peintures représentant la danse macabre 223.

Voici (20) la coupe transversale de la nef de cette immense église, la plus vaste des cathédrales françaises, dont le plan couvre une surface, tant vides que pleins, de 8000 mètres environ 224. Il est intéressant de comparer les deux coupes transversales des cathédrales de Reims et d'Amiens. La nef de la cathédrale d'Amiens, élevée rapidement d'un seul jet, dix ans environ avant celle de Reims, présente une construction plus légère, mieux entendue. À Reims, non-seulement dans le plan et les parties inférieures de l'édifice on retrouve encore quelques traces des traditions romanes, mais dans la coupe de la nef il y a un luxe d'épaisseurs de piles qui indique, chez les constructeurs, une certaine appréhension. À Reims (voy. fig. 14), les arcs-boutants sont placés trop haut; on ne comprend pas, par exemple, quelle est la fonction du deuxième arc. Le triforium est petit, mesquin; les arcs doubleaux, afin de diminuer la poussée des voûtes, sont trop aigus, et prennent, par conséquent, trop de hauteur; leur importance donne de la lourdeur à la nef principale; il semble que ces voûtes, qui occupent une énorme surface, vous étouffent. La construction préoccupe. Dans la nef d'Amiens, au contraire, on respire à l'aise; à peine si l'on songe aux piles, aux constructions; on ne voit pas, pour ainsi dire, le monument; c'est comme un grand réservoir d'air et de lumière.
Bien que la cathédrale de Reims soit un édifice ogival, on y sent encore l'empreinte du monument antique; que cette influence soit due au génie de Robert de Coucy, ou aux restes d'édifices romains répandus sur le sol de Reims, elle n'en est pas moins sensible. La cathédrale d'Amiens, comme plan et comme structure, est l'église ogivale par excellence. En examinant la coupe (fig. 20), on n'y trouve nulle part d'excès de force 225. Les piles des bas-côtés, plus hautes que celles de Reims, ont près d'un tiers de moins d'épaisseur. Le triforium B est élancé et permet de donner aux combles des bas-côtés une forte inclinaison. Les arcs-boutants sont parfaitement placés de façon à contrebutter la grande voûte. La charge sur les piles infêrieures est diminuée par l'évidement des contreforts adossés aux piles supérieures; les arcs doubleaux sont moins aigus que ceux de Reims.
On ne voit plus, au sommet de la nef d'Amiens, cette masse énorme de maçonnerie, qui n'a d'autre but que de charger les piles afin d'arrêter la poussée des voûtes. Ici, toute la solidité réside dans la disposition des arcs-boutants et l'épaisseur des culées ou contreforts A. Cependant cette nef, dont la hauteur est de 42m,50 sous clef, et la largeur d'axe en axe des piles de 14m,60, ne s'est ni déformée, ni déversée. La construction n'a subi aucune altération sensible; elle est faite pour durer encore des siècles, pour peu que les moyens d'écoulement des eaux soient maintenus en bon état. À Amiens, les murs ont disparu; derrière la claire-voie du triforium en C, ce n'est qu'une cloison de pierre, rendue plus légère encore par des arcs de décharge; sous les fenêtres basses en D, ce n'est qu'un appui évidé par une arcature; au-dessus des fenêtres supérieures en E, il n'y a qu'une corniche et un chéneau, partout entre la lumière. Les eaux du grand comble s'écoulent simplement, facilement et par le plus court chemin, sur les chaperons des arcs-boutants supérieurs. Celles reçues par les combles des collatéraux sont déversées à droite et à gauche des contreforts par des gargouilles 226. Il est difficile de voir une construction plus simple et plus économique, eu égard à sa dimension et à l'effet qu'elle produit.
Dans les parties hautes du choeur de la cathédrale d'Amiens, on voulut pousser le principe si simple, adopté pour la nef, aux dernières limites, et on dépassa le but. Lorsque la construction de l'oeuvre haute du choeur fut reprise après une interruption de près de vingt ans, on avait déjà, dans l'église de l'abbaye de Saint-Denis, dans les cathédrales de Troyes et même de Beauvais, adopté le système des galeries de premier étage à claire voie prenant des jours extérieurs. Le triforium se trouvait ainsi participer des grandes fenêtres supérieures et prolongeait leurs ajours et leur riche décoration de verrières jusqu'au niveau de l'appui de la galerie. Ce parti était trop séduisant pour ne pas être adopté par l'architecte du haut choeur d'Amiens.

Mais examinons d'abord le plan de cette partie de l'édifice, qui sortait de terre seulement un peu avant 1240, c'est-à-dire au moment où l'on commençait aussi la Sainte-Chapelle du Palais à Paris 227. On reconnaît, dans le plan du choeur de Notre-Dame d'Amiens, une main savante; là, plus de tâtonnements, d'incertitudes; aussi, nos lecteurs ne nous sauront pas mauvais gré de leur faire connaître la façon de procéder employée par le troisième maître de l'oeuvre de la cathédrale d'Amiens, Renault de Cormont, pour tracer le rez-de-chaussée du plan de l'abside. Soit A B la ligne de base de la moitié de l'abside (fig. 21); les espaces A C, C B les écartements des axes des rangées de piles; soit la ligne A X l'axe longitudinal du vaisseau. Sur cette ligne d'axe, le traceur a commencé par poser le centre O à 2m,50 de la ligne A B; les deux cercles C E, B D ont été tracés en prenant comme rayons les lignes O C, O B. L'arc de cercle, dont B O est la moitié, a été divisé en sept parties égales; le rayon F O prolongé a été tiré; ce rayon vient couper l'arc C E au point d'intersection du prolongement de l'axe C C'; et, passant par le centre O, rencontre le point correspondant à C. Comment le traceur aurait-il obtenu ce résultat? Est-ce par des tâtonnements ou par un moyen géométrique? Les côtés B F G H n'appartiennent pas à un polygone divisant le cercle en parties égales. Il y a lieu de croire que c'est le tracé primitif de l'abside qui a commandé l'ouverture de la nef principale, et que Renault de Cormont n'a fait que suivre, quant à la plantation de cette abside, ce que ses prédécesseurs avaient tracé sur l'épure 228. Si le tracé de l'abside n'avait pas commandé l'espace A C, le hasard n'aurait pu faire que le point d'intersection de la ligne F O, se prolongeant jusqu'au point correspondant à C avec l'axe C C', se rencontrât sur l'arc C E. Il est donc vraisemblable que la largeur A B étant donnée, le centre O a été posé sur le grand axe; que le grand arc de cercle B D a été tracé et divisé en sept parties, et que le prolongement du rayon F O a donné, par son intersection avec la ligne A B, la largeur A C de la nef centrale. Dès lors, traçant l'arc C E, la perpendiculaire C C' devait nécessairement rencontrer le rayon F O sur un point K de ce cercle, qui devenait le centre de la deuxième pile du rond-point. Il ne faut pas oublier, d'ailleurs, que, généralement, la construction des cathédrales était commencée par le choeur. Amiens fait exception; mais tous les tracés et la plantation avaient dû être préparés par Robert de Luzarches, le premier architecte. Quoi qu'il en soit, ce fait indique clairement que les tracés de cathédrales étaient commencés par le rond-point; c'était la disposition de l'abside qui commandait l'écartement relatif des piles de la nef et des bas-côtés.
Les rayons G O, H O tirés donnaient, par leur rencontre avec le petit arc C E, les centres des autres piles du sanctuaire. Quant aux chapelles, celles de la cathédrale d'Amiens présentent cinq côtés d'un octogone régulier. Voici comment on s'y prit pour les tracer: la ligne N P, axe de la chapelle, étant tirée, les lignes G G', F F' ont été conduites parallèles à cet axe. La base F G du polygone étant reculée pour dégager la pile, la ligne L M a été tirée, divisant en deux angles égaux l'angle droit F' L S. L'angle M L S a été divisé en deux angles égaux par une ligne L R. L'intersection de cette ligne L R avec l'axe N P est le centre T de l'octogone. Les lignes T R, T M, T Z, T F' donnent la projection horizontale de quatre des arcs de la voûte. Il en est de même des lignes O C, O K F, O G, etc.
Pour tracer les arcs ogives des voûtes des bas-côtés, soit I le devant de la pile séparative des chapelles, la ligne I I' a été divisée en deux parties égales, et, prenant O J comme rayon, un cercle a été décrit. La rencontre de ce cercle avec les axes des chapelles a donné le centre des clefs des voûtes (voy. VOÛTE).
Voulant avoir une chapelle plus profonde que les six autres dans l'axe, on a pris la distance H U sur le prolongement de la ligne tirée du point H parallèlement au grand axe; puis, à partir du point U, on a procédé comme nous l'avons indiqué à partir du point L.
La fig. 21 bis présente le tracé des arcs des voûtes et piles des chapelles, ainsi que des contreforts extérieurs qui viennent tous s'inscrire dans un grand plateau circulaire en maçonnerie V Q, s'élevant d'un mètre environ au-dessus du sol extérieur.
Tout ce grand ensemble de constructions est admirablement planté, régulier, solide; les différences dans les ouvertures des chapelles sont de trois ou quatre centimètres en moyenne au plus. On voit que ce sont les projections horizontales des arcs des voûtes qui ont commandé la disposition du plan (voy. CHAPELLE, CONSTRUCTION, PILIER, TRAVÉE, VOÛTE, pour les détails de cette partie de la cathédrale d'Amiens).

La cathédrale d'Amiens n'était pas la seule qui se construisait sur ce plan, dans cette partie de la France, de 1220 à 1260. À Beauvais, en 1225, on jetait les fondements d'une église aussi vaste; mais la bâtisse était, suivant l'usage ordinaire, commencée, dans cette dernière ville, par le choeur; et le plan de ce choeur vient appuyer l'opinion que nous émettions ci-dessus au sujet du tracé de ces monuments, à savoir: que c'était le tracé du sanctuaire qui donnait la largeur comparative des bas-côtés et de la nef centrale.
Si nous jetons les yeux sur le plan de la cathédrale de Beauvais (22) 229, nous voyons que si la largeur du choeur de la cathédrale de Beauvais, compris les bas-côtés, est moindre que celle du choeur de la cathédrale d'Amiens, cependant la largeur du sanctuaire de Beauvais, d'axe en axe des piles, est plus grande que celle d'Amiens 230. Procédant, pour le tracé des parties rayonnantes de l'abside, comme nous l'avons indiqué fig. 21, le centre étant porté à Beauvais, comme à Amiens, de 2m,50 environ sur le grand axe au-delà de la ligne de base, et le cercle extérieur à diviser en sept parties égales étant plus petit, il en résultait nécessairement (ces divisions n'étant pas d'ailleurs les côtés de polygones réguliers) que le rayon, passant par la première de ces divisions et le centre, venait couper la ligne de base à une distance plus grande du grand axe.

Une figure fera comprendre ce que nous voulons dire: soit (23) la ligne de base A B, le grand axe C D; O le point de centre, traçant deux arcs de cercle A D B, G F E. Si nous divisons chacun de ces arcs de cercle en sept parties égales, le rayon H O, tiré du point diviseur H de l'arc du grand cercle prolongé, viendra couper la corde A B au point K; tandis que le rayon, tiré du point diviseur I de l'arc du petit cercle prolongé, viendra couper cette même corde en L. D'où l'on doit conclure, si nous suivons la méthode adoptée par les architectes des cathédrales d'Amiens et de Beauvais, pour tracer une abside avec bas-côtés et chapelles rayonnantes, que le centre de l'abside étant fixé à une distance invariable de la ligne de base sur le grand axe, la largeur du sanctuaire sera en raison inverse de la largeur totale comprise entre les axes des piles extérieures des bas-côtés, du moment que la portion du cercle absidal sera divisée en sept parties.
Nous avons vu, dans le plan de l'abside de la cathédrale de Chartres (fig. 12), que les chapelles sont mal plantées; les arcs-boutants ne sont pas placés sur le prolongement de la ligne de projection horizontale des arcs rayonnants du sanctuaire; que l'on trouve encore là les suites d'une hésitation, des tâtonnements. Rien de pareil à Amiens et à Beauvais; la position des arcs-boutants venant porter sur les massifs entre les chapelles rayonnantes est parfaitement indiquée par le prolongement des rayons tendant au centre de l'abside. À Amiens, à Beauvais, on ne rencontre aucune irrégularité dans la plantation des constructions absidales.
L'architecte de la cathédrale de Beauvais avait voulu surpasser l'oeuvre des successeurs de Robert de Luzarches. Non-seulement (fig. 22) il avait tenté de donner plus de largeur au sanctuaire de son église, mais il avait pensé pouvoir donner aussi une plus grande ouverture aux arcades parallèles du choeur, en n'élevant que trois travées au lieu de quatre entre le rond-point et la croisée. Aux angles des transsepts, il projetait certainement quatre tours, sans compter la tour centrale qui fut bâtie. Ses chapelles absidales, moins grandes que celles d'Amiens et moins élevées, laissèrent, entre leurs voûtes et celles des bas-côtés, régner un triforium avec fenêtres au-dessus 231. En élévation, il donna plus de hauteur à ses constructions centrales, et surtout plus de légèreté. Ses efforts ne furent pas couronnés de succès; la construction du choeur était à peine achevée avec les quatre piles de la croisée et la tour centrale, que cette construction, trop légère, et dont l'exécution était d'ailleurs négligée, s'écroula en partie. À la fin du XIIIe siècle, des piles durent être intercalées entre les piles des trois travées du choeur (fig. 22) en A, en B et en C (voy. CONSTRUCTION).
Une sacristie fut élevée en D comme à Amiens, et ce ne fut qu'au commencement du XVIe siècle que l'on put songer à terminer ce grand monument. Toutefois, ces dernières constructions ne purent s'étendre au delà des transsepts, ainsi que l'indique notre plan; les guerres religieuses arrêtèrent à tout jamais leur achèvement 232.
La cathédrale d'Amiens et celle de Beauvais produisirent un troisième édifice, dans l'exécution duquel on profita avec succès des efforts tentés, par les architectes de ces deux monuments; nous voulons parler de la cathédrale de Cologne. Nous avons vu que le choeur de la cathédrale d'Amiens avait dû être commencé de 1235 à 1240; celui de la cathédrale de Beauvais fut fondé en 1225; mais nous devons avouer que nous ne voyons, dans les parties moyennes de cet édifice, rien qui puisse être antérieur à 1240; cependant, en 1272, ce choeur était achevé, puisqu'on s'occupait déjà, à cette époque, de relever les voûtes écroulées. En 1248, on commençait la construction du choeur de la cathédrale de Cologne 233; en 1322, ce choeur était consacré. On a prétendu que les projets primitifs de la cathédrale de Cologne avaient été rigoureusement suivis lors de la continuation de ce vaste édifice; si cette conjecture n'est pas admissible dans l'exécution des détails architectoniques, nous la croyons fondée en ce qui touche aux dispositions générales.

Voici le plan de cette cathédrale (24) 234. Si nous comparons ce plan avec ceux d'Amiens et de Beauvais, nous voyons entre eux trois un degré de parenté incontestable; non-seulement les dispositions, mais les dimensions sont à peu de chose près les mêmes. À Amiens, si ce n'est la chapelle de la Vierge qui fait exception, nous voyons le choeur composé de quatre travées parallèles comme à Cologne; dans l'une et l'autre église, les bas-côtés sont doubles en avant des chapelles absidales; ils se retournent dans les transsepts. La différence la plus remarquable entre ces deux édifices consiste dans les transsepts et la nef. La nef du dôme de Cologne possède quatre collatéraux; celle de la cathédrale d'Amiens n'en possède que deux. Les transsepts, à Cologne, se composent de quatre travées chacun, ceux d'Amiens n'en ont que trois. À Beauvais, la nef du XIIIe siècle devait-elle avoir quatre bas-côtés? c'est ce que nous ne pourrions affirmer; mais le plan des chapelles absidales de Cologne semble calqué sur celui de Beauvais. Cependant l'architecte du dôme de Cologne avait élargi ses bas-côtés et donné plus de force aux contreforts extérieurs; il s'était écarté de la règle suivie à Amiens et à Beauvais, pour le tracé de la grande voûte du rond-point; il avait su éviter les témérités qui causèrent la ruine du choeur de Beauvais; si ses élévations et ses coupes se rapprochent de celles d'Amiens, elles s'éloignent de celles de Beauvais. De ces trois choeurs élevés en même temps, ou peut s'en faut, celui de Cologne est certainement le moins ancien; et le maître de l'oeuvre de ce dernier monument sut profiter des belles dispositions adoptées à Beauvais et à Amiens, en évitant les défauts dans lesquels ses deux devanciers étaient tombés. Mais, nous devons le dire, malgré la perfection d'exécution du choeur de la cathédrale de Cologne, malgré la science pratique déployée par le constructeur de cet édifice, dans lequel il ne se manifesta aucun mouvement sérieux, la conception du choeur de Beauvais nous paraît supérieure. Si l'architecte du choeur de Beauvais avait pu disposer de moyens assez puissants, de matériaux d'un fort volume; s'il n'eût pas été contraint, par le manque évident de ressources financières, d'employer des procédés trop au-dessous de l'oeuvre projetée; s'il n'eût pas été gêné par l'emplacement trop étroit qui lui était donné, il eût accompli une oeuvre incomparable; car ce n'est pas par la théorie que pèche la construction du choeur de la cathédrale de Beauvais, mais par l'exécution, qui est médiocre, pauvre. N'oublions pas que la cathédrale de Beauvais fut commencée au moment où déjà s'était ralenti le mouvement politique et religieux qui avait provoqué l'exécution des grandes cathédrales du Nord.
Cet art français du XIIIe siècle arrive si rapidement à son développement, que déjà, vers le milieu de ce siècle, on sent qu'il étouffera l'imagination de l'artiste; il se réduit souvent à des formules qui tiennent plus de la science que de l'inspiration; il tend à devenir banal. Des tâtonnements, il tombe presque sans transition dans la rigueur mathématique. Le moment pendant lequel on peut le saisir est compris entre des essais dans lesquels on sent une surabondance de force et d'imagination, et un formulaire toujours logique, mais souvent sec et froid. Cela tient non pas seulement aux arts de cette époque, mais à l'esprit de notre pays, qui tombe sans cesse des excès de l'imagination dans l'excès de la méthode, de la règle; qui, après s'être passionné pour les formes extérieures de l'art, se passionne pour un principe abstrait; qui, pour tout dire en un mot, ne sait se maintenir dans le juste milieu en toutes choses.
On nous a répété bien des fois que nous étions latins: par la langue, nous en tombons d'accord; par l'esprit, nous penchons plutôt vers les Athéniens. Comme eux, une fois au pied de l'échelle, nous arrivons promptement au sommet, non pour nous y tenir, mais pour en descendre. Si nous passons en revue l'histoire des arts de tous les peuples (qui ont eu des arts), nous ne trouverons nulle part, si ce n'est à Athènes et dans le coin de l'Occident que nous occupons, ce besoin incessant de faire pencher les plateaux de la balance tantôt d'un côté, tantôt de l'autre, sans jamais les maintenir en équilibre.
Ce qu'on a toujours paru redouter le plus en France, c'est l'immobilité; au besoin de mouvement, l'on a sacrifié de tout temps, chez nous, le vrai et le bien, lorsque par hasard on y était arrivé. Et pour ne pas sortir des questions d'art, nous avons toujours fait succéder à une période d'invention, de recherche, de développement de l'imagination, de poésie, si l'on veut, une période de raisonnement; aux égarements de la fantaisie et de la liberté, la règle absolue. De l'architecture si variée et si pleine d'invention du commencement du XIIIe siècle, de cette voie si large qui permettait à l'esprit d'arriver à toutes les applications de l'art, on se jette tout à coup dans la science pure, dans une suite de déductions impérieuses qui font passer cet art des mains des artistes inspirés aux mains des appareilleurs. Des abus de ce prinpipe naissent les architectes de la renaissance, ceux-ci laissent pleine carrière à leur imagination; la fantaisie règne en maîtresse absolue; mais bientôt, s'appuyant sur une interprétation judaïque de l'architecture antique, on veut être plus Romain que les Romains, on circonscrit l'art de l'architecture dans la connaissance des ordres, soumis à des règles impérieuses que les anciens se gardèrent bien de reconnaître 235. Cependant, les excès en France sont presque toujours couverts d'un vernis, d'une sorte d'enveloppe qui les rend supportables; on appellera cela le goût si l'on veut. On arrive promptement à l'abus, et l'abus persiste parce qu'on le rend presque toujours séduisant.
L'architecture française était en chemin, dès le milieu du XIIIe siècle, de franchir en peu de temps les limites du possible; cependant on s'arrête aux hardiesses, on n'atteint pas l'extravagance. L'architecte du choeur de la cathédrale de Beauvais, si ce monument eût été exécuté avec soin, fût arrivé, cinquante ans après l'inauguration de l'art ogival, à produire tout ce que cet art peut produire; il est à croire que les fautes qu'il commit dans l'exécution arrêtèrent l'élan de ses confrères: il y eut réaction; à partir de ce moment, l'imagination cède le pas aux calculs, et les constructions religieuses qui s'élèvent à la fin du XIIIe siècle sont l'expression d'un art arrivé à sa maturité, basé sur l'expérience et le raisonnement, et qui n'a plus rien à trouver.
Mais avant de donner des exemples de ces derniers monuments, nous ne pouvons omettre de parler de certaines cathédrales qui doivent être classées à part.
Nous avons d'abord fait connaître les édifices de premier ordre élevés pendant une période de soixante ans environ, pour satisfaire aux besoins nouveaux du clergé et des populations, dans des villes riches, et au moyen de ressources considérables. Mais si l'entraînement qui portait les évêques à rebâtir leurs cathédrales était le même sur toute la surface du domaine royal et des provinces les plus voisines, les ressources n'étaient pas, à beaucoup près, égales dans tous les diocèses. Pendant que Reims, Chartres et Amiens élevaient leur église mère sur de vastes plans, après en avoir assuré la durée par des travaux préliminaires exécutés avec un grand luxe de précautions, d'autres diocèses, entourés de populations moins favorisées, moins riches, en se laissant entraîner dans le mouvement irrésistible de cette époque, ne pouvaient réunir des sommes en rapport avec la grandeur des entreprises, quelle que fût d'ailleurs la bonne volonté des fidèles.
De ce besoin de construire des églises vastes avec des moyens insuffisants, il résultait des édifices qui ne pouvaient présenter des garanties de durée. Pour pouvoir élever, au moins partiellement, les constructions sans épuiser toutes les ressources disponibles dès les premiers travaux, on se passait de fondations, ou bien on les établissait avec tant de parcimonie, qu'elles n'offraient aucune stabilité. Lorsqu'on a vu comme sont fondées les cathédrales de Paris, de Reims, de Chartres ou d'Amiens, on ne peut admettre que les maîtres des oeuvres des XIIe et XIIIe siècles ne fussent pas experts dans la connaissance de ces éléments de la construction. Mais tel évêque voulait une cathédrale vaste, promptement élevée, qui pût rivaliser avec celles des diocèses voisins, et ses ressources étaient proportionnellement minimes; il n'entendait pas qu'on enfouît sous le sol une grande partie de ces sommes réunies à grande peine, il fallait paraître; le maître de l'oeuvre se contentait de jeter, dans des tranchées mal faites, du mauvais moellon que l'on pilonnait; puis il élevait à la hâte, sur cette base peu résistante, un grand édifice. Habile encore dans son imprudence, il achevait son oeuvre.
Ces derniers monuments ne sont pas les moins intéressants à étudier, car ils prouvent, beaucoup mieux que ceux élevés avec luxe, deux choses: la première, c'est que le nouveau système d'architecture adopté par l'école laïque se prêtait à ces imperfections d'exécution, et pouvait, à la rigueur, se passer de précautions regardées comme nécessaires; la seconde, que, dans des cas pareils, les maîtres des oeuvres du moyen âge arrivaient, par des artifices de construction qui dénotent une grande subtilité et beaucoup d'adresse, à élever à peu de frais des édifices vastes et d'une grande apparence. Si ces édifices tombent aujourd'hui, s'ils ont subi des altérations effrayantes, ils n'en ont pas moins duré six siècles; les évêques qui les ont bâtis ont obtenu le résultat auquel ils tendaient: eux et leurs successeurs les ont vus debout.

Parmi les cathédrales qui furent construites dans des conditions aussi défavorables, il faut citer en première ligne la cathédrale de Troyes. Le choeur et les transsepts de la cathédrale de Troyes, dont nous présentons le plan (25), appartiennent, par leurs dimensions, à un monument du premier ordre. Le vaisseau principal n'a pas moins de 14m50 d'axe en axe; or, que l'on compare le plan du choeur de la cathédrale de Troyes avec celui du choeur de la cathédrale de Reims, par exemple, qui, dans oeuvre, est à peu près de la même dimension comme largeur; quelle énorme différence de cube de matériaux à rez-de-chaussée, entre ces deux édifices. L'architecte de la cathédrale de Troyes a établi ce vaste monument sur des fondations composées uniquement de mauvais sable et de débris de craie; mais, avec une connaissance parfaite du défaut de sa construction, il a cherché à reporter ses pesanteurs sur le milieu du choeur, en donnant aux piliers intérieurs une assiette comparativement large, et aux contreforts extérieurs un volume moindre que dans les édifices analogues. Il espérait ainsi, en ne chargeant pas le périmètre de son monument, éviter le déversement que devait nécessairement produire le poids des contreforts, augmenté de la poussée des grandes voûtes. Il va sans dire qu'il ne réussit qu'imparfaitement dans l'exécution. Malgré leur peu de pesanteur, les contreforts extérieurs se déversèrent sous la pression oblique des arcs-boutants, et, au XIVe siècle, il fallut déjà prendre des mesures pour arrêter les fâcheux effets causés par le vice radical de la construction de la cathédrale de Troyes. Ce n'est pas seulement dans les fondations que l'on remarque l'extrême parcimonie avec laquelle la partie orientale de cet édifice fut élevée; en élévation, tous les membres résistants et épais de la bâtisse sont construits en matériaux petits, inégaux, d'une mauvaise qualité; les meneaux, corniches et colonnes sont seuls en pierre de taille; les voûtes sont en craie. Le fondateur n'en vit pas moins ce vaste choeur élevé; son but était atteint. Le choeur de la cathédrale de Troyes est d'ailleurs fort beau comme composition; à l'intérieur on ne s'aperçoit pas de cette pauvre exécution. La galerie ou triforium est, comme dans le choeur de la cathédrale d'Amiens, à claire-voie, et toutes les fenêtres sont garnies de beaux vitraux. La sculpture intérieure est sobre, mais large et belle; les chapelles sont d'une heureuse proportion. Vers le commencement du XIVe siècle, la nef fut élevée avec des doubles bas-côtés; peu après, c'est-à-dire vers le milieu du XIVe siècle, des chapelles vinrent encore s'ajouter à cette nef. La façade ne fut commencée qu'au XVIe siècle et resta inachevée. Ces constructions des XIVe et XVIe siècles sont solidement fondées et savamment combinées 236.
Le choeur de la cathédrale de Troyes présente quelques particularités que nous devons signaler (fig. 25). Si la chapelle de la Vierge (dans l'axe de l'abside) n'est pas aussi profonde qu'à Amiens, cependant elle se distingue des quatre autres chapelles absidales; elle possède deux travées en avant du rond-point au lieu d'une seule. Du côté du nord, deux chapelles plus petites s'ouvrent à l'extrémité des bas-côtés, avant les chapelles absidales; l'une des deux est ouverte dans le second collatéral. Au sud, est une sacristie et un double bas-côté terminé par une sorte d'abside peu prononcée. La grande voûte n'est pas tracée comme le sont celles d'Amiens et de Beauvais. Le centre du rond-point est posé sur le dernier arc doubleau, et la poussée des arcs arêtiers est contrebuttée par deux demi-arcs ogives franchissant la largeur de la dernière travée. Enfin, si le choeur de la cathédrale de Troyes est champenois, bâti à une époque où cette province n'était pas encore réunie à la France, il appartient, comme architecture, au domaine royal. Sa construction fut certainement confiée à l'un de ces maîtres des oeuvres appartenant à l'école des Thomas de Cormont, des architectes qui rebâtirent, au XIIIe siècle, le haut choeur de l'église abbatiale de Saint-Denis 237, qui élevèrent le choeur de la cathédrale de Tours, dont nous présentons ici le plan (26). Comparativement aux plans que nous avons donnés jusqu'à présent, celui de la cathédrale de Tours est petit 238; mais les constructions sont excellentes. Le triforium est à claire-voie comme ceux de Troyes et d'Amiens.
Tours était cependant une ville très-importante au XIIIe siècle; mais nous ne trouvons plus dans les populations des bords de la Loire cet esprit hardi, téméraire des populations de l'Ile de France, de Champagne et de Picardie. Plus sages, plus mesurés, les riverains de la Loire n'exécutent leurs monuments que dans les limites de leurs ressources. La cathédrale de Tours, dans ses dimensions restreintes, en est un exemple remarquable.

Ce charmant édifice est exécuté avec un soin tout particulier; on n'y voit, dans aucune de ses parties, de ces négligences si fréquentes dans nos grandes cathédrales du nord. Les cathédrales de Chartres et d'Amiens particulièrement, paraissent avoir été élevées avec une hâte qui tient de la fièvre; il semble, lorsqu'on parcourt ces édifices, que leurs architectes aient eu le pressentiment du peu de durée de cette impulsion à laquelle ils obéissaient. À Tours, on sent l'étude, le soin, la lenteur dans l'exécution; le choeur de la cathédrale est l'oeuvre d'un esprit rassis, qui possède son art et n'exécute qu'en vue des ressources dont il peut disposer. On peut dire que ce gracieux monument suit pas à pas les progrès de l'art de son temps; mais aussi n'y sent-on pas l'inspiration du génie qui conçoit et devance l'exécution, qui anime la pierre, et la soumet sans cesse à de nouvelles idées.
Il est nécessaire que nous revenions sur nos pas pour reprendre, à sa souche, une autre branche des grandes constructions religieuses du XIIIe siècle. À Autun, il existe encore une cathédrale bâtie vers le milieu du XIIe siècle; ce monument rappelle les constructions religieuses de Cluny; il avait été élevé sous l'influence des églises de cet ordre et des traditions romaines vivantes encore dans cette ville.

Son plan, que nous donnons ici (27), couvre une surface médiocre comme étendue 239; il est d'une grande simplicité; la nef et les collatéraux se terminent par trois absides semi-circulaires; le vaisseau principal est voûté en berceau ogival, avec arcs doubleaux; les bas-côtés en voûtes d'arêtes sans arcs ogives 240. Un vaste porche, bâti peu de temps après la construction de la nef, la précède, comme dans les églises clunisiennes.

Cet édifice en produisit bientôt un autre; c'est la cathédrale de Langres (28). À Langres, le bas-côté pourtourne le sanctuaire; une seule chapelle existait à l'abside 241; dans les murs est des croisillons, s'ouvrent deux petites absides. Le rond-point était encore voûté en cul-de-four; mais, dans la travée qui le précède et dans le collatéral circulaire, apparaissent les voûtes d'arêtes avec arcs ogives. Les fenêtres et les galeries sont plein cintre; tous les archivoltes, formerets et arcs doubleaux, en tiers point (voy. VOÛTE). Des arcs-boutants, qui datent de la construction primitive, contre-buttent les poussées reportées sur les contreforts.

Le choeur de la cathédrale de Langres date de la seconde moitié du XIIe siècle; la nef, des dernières années de ce siècle ou des premières du XIIIe. Nous présentons (29) la coupe transversale de ce monument. En examinant cette coupe, il est facile de voir qu'il y a là tous les éléments d'un art qui se développe, des dispositions simples et sages. Si la cathédrale d'Autun, avec son grand berceau ogival sans arcs-boutants, n'offrait pas des conditions de stabilité suffisantes 242, à Langres, le problème était résolu, les conditions de stabilité excellentes.
Cette école de constructeurs, dont nous retrouvons les oeuvres à la Charité-sur-Loire, dans le porche de Vézelay, dans celui de Cluny, dans la belle église de Montréale (Yonne), dans une grande partie du Lyonnais, de la Bourgogne et du fond de la Champagne, s'élevait parallèlement à l'école sortie de l'Ile de France; elle fut absorbée par celle-ci.
La cathédrale de Langres est la dernière expression originale de cette branche de l'art ogival issue des provinces du sud-est; les deux rameaux se rencontrèrent à Sens pour se mêler et produire un édifice d'un caractère particulier, mais où cependant l'influence française prédomine.

Nous présentons le plan (30) de la cathédrale de Sens 243, terminée à la fin du XIIe siècle. En comparant le choeur de cette cathédrale avec celui de Langres, on trouve entre eux deux une certaine analogie. Le sanctuaire est entouré d'un collatéral; une seule chapelle est disposée dans l'axe; dans les transsepts, les absides, dont nous trouvons l'embryon à Langres, se dévelopent à Sens. Dans les détails, on rencontre également, entre les deux édifices, des points de rapport. Les arcs ogives, par exemple, des voûtes des bas-côtés, à Sens comme à Langres, reposent sur des culs-de-lampes ménagés au-dessus des chapiteaux, ceux-ci ne recevant que les retombées des archivoltes et des arcs doubleaux.
Mais, à Sens, plus de pilastres cannelés; déjà le système de la voûte française est adopté dans les bas-côtés 244. Autour du sanctuaire, ce n'est plus, comme à Langres, une simple rangée de colonnes qui porte les parties supérieures, mais des colonnes accouplées suivant les rayons de la courbe, et des piles formées de faisceaux de colonnettes. Ce système de colonnes accouplées entre des piles plus fortes, se reproduit dans toute l'oeuvre intérieure de la cathédrale de Sens, et s'adapte parfaitement à la combinaison des voûtes dont les diagonales ou arcs ogives comprennent deux travées; c'est une disposition analogue à celle de la nef de la cathédrale de Noyon, et qui fut généralement adoptée dans les églises de l'Ile-de-France de la fin du XIIe siècle. Malheureusement, la cathédrale de Sens subit bientôt de graves modifications; des reconstructions et adjonctions postérieures à sa construction changèrent profondément ses belles dispositions premières. Pour bien nous rendre compte de l'édifice primitif, il nous faut passer la Manche et aller à Canterbury.
Nous ne possédons aucun renseignement précis sur la fondation de la cathédrale actuelle de Sens, et le nom du maître de l'oeuvre qui la conçut nous est inconnu; on sait seulement que sa construction était en pleine activité sous l'épiscopat de Hugues de Toucy, de 1144 à 1168, dates qui s'accordent parfaitement avec le caractère archéologique du monument. Nos voisins d'outre-mer sont plus soigneux que nous lorsqu'il s'agit de l'histoire de leurs grands monuments du moyen âge. Les documents abondent chez eux, et depuis longtemps ont été recueillis avec soin; grâce à cet esprit conservateur, nous allons trouver à Canterbury l'histoire de la cathédrale sénonaise.
En 1174, un incendie détruisit le choeur et le sanctuaire de la cathédrale de Canterbury; l'année suivante, après que les restes de la partie incendiée eurent été dérasés et qu'on eut établi provisoirement les stalles dans l'ancienne nef, on commença le nouveau choeur. L'oeuvre fut confiée à un certain Guillaume de Sens 245. Ce maître de l'oeuvre ne quitta l'Angleterre qu'en 1179, à la suite d'une chute qu'il fit sur ses travaux, après avoir élevé la partie antérieure du nouveau choeur et les deux transsepts de l'est 246. Avant de partir, étant blessé et ne pouvant quitter son lit, Guillaume de Sens, voyant l'hiver (1778-1779) approcher, et ne voulant pas laisser la grande voûte inachevée, donna la conduite du travail à un moine habile et industrieux qui lui servait de conducteur de travaux. Ce fut ainsi que put être terminée la voûte de la croisée et des deux transsepts orientaux.
Mais «le maître, s'apercevant qu'il ne recevait aucun soulagement des
médecins, abandonna l'oeuvre, et, traversant la mer, retourna chez lui
en France. Un autre lui succéda dans la direction des travaux William de
nom, Anglais de nation, petit de corps, mais probe et habile dans toutes
sortes d'arts.» Ce fut ce second maître, anglais de nation, qui
termina le choeur, le chevet, la chapelle de la Trinité et la chapelle
dite la couronne de Becket. Or cette extrémité orientale, dont nous
donnons le plan au niveau de la galerie du rez-de-chaussée (31), quoique
élevée par un architecte anglais, conserve encore tous les caractères de
l'abside de la cathédrale de Sens, non-seulement dans son plan, mais
dans sa construction, ses profils et sa sculpture d'ornement, avec plus
de finesse et de légèreté; ce qui s'explique par l'intervalle de
quelques années qui sépare ces deux constructions. William l'Anglais n'a
fait que suivre, nous le croyons, les projets de son malheureux
prédécesseur, qui pourrait bien être le maître de l'oeuvre de la
cathédrale de Sens. Le chevet de la cathédrale de Canterbury nous donne
le moyen de restituer le chevet de la cathédrale de Sens, ainsi que nous
l'avons fait (fig. 30)
247.
Ce qui caractérise la cathédrale de Sens, c'est l'ampleur et la simplicité des dispositions générales. La nef est large, les points d'appui résistants, élevés seulement sous les retombées réunies des grandes voûtes; le choeur est vaste et profond. L'architecte avait su allier la mâle grandeur des églises bourguignonnes du XIIe siècle aux nouvelles formes adoptées par l'Ile-de-France. Mais il ne faut pas croire que ce monument nous soit conservé tel que l'avait laissé l'évêque Hugues de Toucy. Dévasté par un incendie vers le milieu du XIIIe siècle, les voûtes, les fenêtres hautes et les couronnements furent refaits, puis la chapelle absidale. Des colonnes furent ajoutées entre les colonnes accouplées du rond-point, afin de porter de fond les archivoltes qui devaient, comme à Canterbury, porter sur des culs-de-lampe saillants entre les deux chapiteaux (voy. PILE).
À la fin de ce siècle, on pratiqua des chapelles entre les contreforts de la nef; cette malheureuse opération, que subirent toutes nos cathédrales françaises, sauf celles de Reims et de Chartres, eut pour résultat d'affaiblir les points d'appui extérieurs et de rendre l'écoulement des eaux difficile. Vers 1260, la tour sud de la façade s'écroula sur la belle salle synodale bâtie vers 1240, en C; cette tour fut remontée à la fin du XIIIe siècle et achevée seulement au XVIe siècle. La tour du nord, élevée vers la fin du XIIe siècle, n'était terminée que par un beffroi de bois, recouvert de plomb, monté vers le commencement du XIVe siècle 248. Au commencement du XVIe siècle, le pignon du transsept sud, qui datait du XIIIe siècle, fut repris dans toute sa partie supérieure; celui du nord, complétement rebâti; les fenêtres hautes des croisillons, refaites avec leurs vitraux; enfin, deux chapelles de forme irrégulière vinrent s'accoter, à la fin du XVIe et au XVIIe siècle, contre les flancs du collatéral de l'abside. Une salle du trésor et des sacristies qui communiquent avec l'archevêché s'élevèrent en B. L'entrée principale du palais archiépiscopal était sous la salle synodale en A.
Dans la cathédrale de Sens, le plein cintre vient se mêler à l'ogive, comme dans le choeur de la cathédrale de Canterbury. C'est encore là une influence de l'école bourguignonne.
Les constructions achevées en 1168 avaient dû s'arrêter à la seconde travée de l'entrée de la nef. Les parties les plus anciennes de la façade ne remontent pas plus loin que les dernières années du XIIe siècle; il ne reste, de cette époque, que les deux portes centrale et nord et la tour nord tronquée. À l'intérieur et à l'extérieur, sur ce point, c'est un mélange incompréhensible de constructions reprises pendant les XIIIe, XIVe et XVIe siècles.
Ce qui reste des vitraux du commencement du XIIIe siècle et du XVIe, dans la cathédrale de Sens, est fort remarquable (voy. VITRAIL).
Saint-Étienne de Sens est une cathédrale à part, comme plan et comme style d'architecture; contemporaine de la cathédrale de Noyon, elle n'en a pas la finesse et l'élégance. On y trouve, malgré l'adoption du nouveau système d'architecture, l'ampleur des constructions romanes, bourguignonnes et de Langres, comme un dernier reflet de l'antiquité romaine. Ce qui caractérise la cathédrale sénonaise, c'est surtout l'unique chapelle absidale et les deux absidioles des transsepts. Quoique Sens et Langres dépendissent de la Champagne, ces deux églises appartiennent bien moins à cette province qu'à la Bourgogne, comme disposition et style d'architecture.
Nous en trouvons la preuve dans les substructions de la cathédrale
d'Auxerre. La cathédrale d'Auxerre, rebâtie après un incendie par
l'évêque Hugues, vers 1030, possédait un sanctuaire circulaire avec
bas-côtés et chapelle unique dans l'axe; la crypte de cette église,
encore existante aujourd'hui, est, sous ce point de vue, du plus grand
intérêt. Nous en donnons ici le plan (32)
249, dépouillé des contreforts
extérieurs ajoutés au XIIIe siècle. En comparant ce plan de crypte avec
le plan du choeur et du chevet de la cathédrale de Langres, et surtout
avec celui de la cathédrale de Sens, il est facile de reconnaître le
degré de parenté intime qui lie ces trois édifices, construits à des
époques fort différentes; et on peut conclure, nous le croyons, de cet
examen, que les diocèses d'Autun, de Langres, d'Auxerre et de Sens,
possédaient, depuis le XIe siècle, certaines dispositions de plan qui
leur étaient particulières, et qui furent adoptées dans la partie
orientale de la cathédrale de Canterbury.
Nous retrouvons encore les traces de cette école, au XIIIe siècle, à Auxerre même. En 1215, l'évêque Guillaume de Seignelay commença la reconstruction de toute la partie orientale de la cathédrale d'Auxerre; l'ancienne crypte fut conservée, et c'est sur son périmètre, augmenté seulement de la saillie de quelques contreforts, que s'éleva la nouvelle abside. Sur la petite chapelle absidale de la crypte, on bâtit une seule chapelle carrée dans l'axe, en renforçant par des piliers, à l'extérieur, le petit hémicycle du XIe siècle (fig. 32).
Certes, à cette époque, si l'on n'avait pas regardé cette forme de plan comme consacrée par l'usage, même en conservant la crypte, on aurait pu, comme à Chartres, s'étendre au dehors de son périmètre, soit pour élever un second bas-côté, soit pour ouvrir un plus grand nombre de chapelles absidales. Le plan du XIe siècle fut conservé, et le choeur de la cathédrale auxerroise du XIIIe siècle respecta sa forme traditionnelle. Cependant la construction du choeur de Saint-Étienne d'Auxerre fut assez longue à terminer.
Guillaume de Seignelay, en prenant possession du siége épiscopal de Paris, en 1220, laissa des sommes assez importantes pour continuer l'oeuvre; son successeur, Henri de Villeneuve, qui mourut en 1234, paraît avoir achevé l'entreprise; c'est l'opinion de l'abbé Lebeuf 250, opinion qui se trouve d'accord avec le style de cette partie de la cathédrale. Quant aux transsepts et à la nef de l'église Saint-Étienne d'Auxerre, commencés vers la fin du XIIIe siècle, on ne les acheva que pendant les XIVe et XVe siècles. La façade occidentale resta incomplète; la tour nord seule fut terminée vers le commencement du XVIe siècle.

Si les diocèses méridionaux de la Champagne avaient subi l'influence des arts bourguignons, l'un de ceux du nord avait pris certaines dispositions aux édifices religieux des bords du Rhin. Au commencement du XIIIe siècle, on reconstruisit la cathédrale de Châlons-sur-Marne, dont le sanctuaire (33) était dépourvu de bas-côtés, et dont les transsepts allongés étaient accompagnés, à l'est, de deux chapelles carrées; de deux petits sacraires et de tours, restes d'un édifice roman. Nous ne pouvons savoir si, comme dans les églises rhénanes, la nef était terminée, à l'ouest, par des transsepts et par une seconde abside; nous serions tentés de le croire en examinant les dispositions rhénanes de ce plan du côté de l'est 251. Toutefois, si la cathédrale de Châlons-sur-Marne rappelle, dans le plan de son chevet, celle de Verdun, par exemple, qui est entièrement rhénane, les détails, le système de construction et l'ornementation, se rapprochent de l'école de Reims. C'est là un monument exceptionnel, sorte de lien entre deux styles fort différents, mais qui se réduit à un seul exemple. Ne pouvant nous occuper des admirables cathédrales de Cambrai et d'Arras 252, détruites aujourd'hui, et qui auraient pu nous fournir des renseignements précieux sur la fusion de l'école rhénane avec l'école française, nous ferons un détour vers les provinces du nord-ouest et de l'ouest.
Dans le Nord, les voûtes avaient paru tardivement; les grandes églises du centre de la France, des provinces de l'est et de l'ouest, étaient déjà voûtées au XIe siècle, quand on couvrait encore les nefs principales des églises par des charpentes apparentes dans une partie de la Picardie et de la Champagne, dans la Normandie, le Maine et la Bretagne.
Pendant le XIIe siècle, la Normandie et le Maine n'étaient pas réunis au domaine royal; et, quoique les ducs de Normandie tinssent leur province en fief de la couronne, chacun sait combien ils reconnaissaient peu, de fait, la suzeraineté des rois de France. Ce qui reste des cathédrales normandes du XIe au XIIe siècle, en Angleterre et sur le continent, donne lieu de supposer que ces monuments, dont le plan se rapprochait beaucoup de la basilique romaine, étaient, en grande partie, couverts par des lambris; les voûtes n'apparaissaient que sur les bas-côtés et les sanctuaires. L'ancienne cathédrale du Mans fut construite d'après ce principe au commencement du XIe siècle. Nous en donnons le plan (34) 253. Les bas-côtés A étaient fermés par des voûtes d'arêtes romaines, les absides par des culs-de-four, les transsepts B et la nef C par des charpentes lambrissées. Sur les quatre piles de la croisée, dans les églises normandes, s'élevait toujours une haute tour portée sur quatre arcs doubleaux. Au Mans, la façade occidentale existe encore, ainsi que les murs latéraux et la base du pignon du transsept nord. On aperçoit l'amorce des absidioles E.
La cathédrale de Péterborough en Angleterre, d'une date plus récente, mais qui cependant, sur presque toute son étendue, est antérieure au XIIe siècle, présente encore une disposition analogue à celle-ci.

Pendant le XIIe siècle, vers l'époque où l'on construisait les églises de l'abbaye de Saint-Denis et de Notre-Dame de Noyon, la nef romane de la cathédrale du Mans fut remaniée; on reprit les piles et les parties supérieures de la nef, qui fut alors voûtée ainsi que les transsepts. Ces voûtes se rapprochent, comme construction, non du système adopté dans l'Ile-de-France et le Soissonnais, mais de celui qui dérivait des coupoles des églises de l'Ouest (voy. VOÛTE). Une porte, décorée de sculptures et de statues qui ont avec celles du portail royal de la cathédrale de Chartres la plus grande analogie, fut ouverte au milieu de la nef au sud (35). On ne se contenta pas de ces changements importants. Vers 1220, les anciennes absides furent démolies, et on construisit l'admirable choeur que nous voyons figuré dans ce plan. Mais alors le Maine venait d'être réuni au domaine royal. Le diocèse du Mans payait sa bienvenue en reconstruisant un choeur qui, à lui seul, couvre une surface de terrain plus grande que tout le reste de l'ancienne cathédrale.

Le choeur de la cathédrale du Mans, si ce n'était la profondeur inusitée des chapelles absidales, présenterait une disposition absolument pareille à celle de la cathédrale de Bourges. C'est-à-dire qu'il possède deux rangs de galeries; le premier bas-côté, étant beaucoup plus élevé que le second, a permis de pratiquer des jours et un triforium dans le mur séparant ces deux bas-côtés au-dessus des archivoltes. Mais la construction, la disposition des chapelles, les détails de l'architecture sont beaucoup plus beaux au Mans qu'à Bourges. Les extérieurs sont traités d'une manière remarquable, avec luxe, et ne laissent pas voir la pauvreté des moyens comme la cathédrale de Bourges. Une belle sacristie s'ouvre au sud; elle date également du XIIIe siècle. Les deux pignons des transsepts, le seul clocher 254 bâti à l'extrémité du croisillon sud, ne furent terminés qu'au XIVe siècle. Il est à croire que le maitre de l'oeuvre du choeur de la cathédrale du Mans songeait à reconstruire la nef dans le même style; les travaux s'arrêtèrent aux transsepts, et si le monument y perd de l'unité, l'histoire de l'art y gagne des restes fort précieux de la cathédrale primitive.

Au Mans, la chapelle de la Vierge, dans l'axe, est beaucoup plus profonde que ses voisines et elle s'élève sur une crypte dans laquelle on descend par un petit escalier particulier. Cette disposition de chapelles absidales profondes, celle centrale étant accusée par une ou deux travées de plus que les autres, se retrouve également dans le choeur de la cathédrale de Séez. Cet édifice, complétement de style normand dans la nef, qui date des premières années du XIIIe siècle, se rapproche du style français dans sa partie orientale; il peut être classé parmi ceux qui, élevés au moyen de ressources insuffisantes, comme Troyes, Châlons-sur-Marne, Meaux, ne furent point fondés, ou le furent mal. La nef (36), bâtie au commencement du XIIIe siècle, fut remaniée dans sa partie supérieure cinquante ou soixante ans après sa construction; le choeur, élevé vers 1230, et presque entièrement détruit par un incendie, dut être repris, vers 1260, de fond en comble, sauf la chapelle de la Vierge, que l'on jugea pouvoir être conservée. Le maître de l'oeuvre du choeur, ne se fondant que sur des maçonneries très-insuffisantes, avait cherché, par l'extrême légèreté de sa construction, à diminuer le danger d'une pareille situation; et en ne considérant même le choeur de la cathédrale de Séez qu'à ce point de vue, il mériterait d'être étudié. Les chapelles profondes absidales, présentant des murs rayonnants étendus, se prêtaient d'ailleurs à une construction légère et bien empattée. En effet, les travées intérieures du sanctuaire sont d'une légèreté qui dépasse tout ce qui a été tenté en ce genre (voy. TRAVÉE), et la construction en élévation est des plus savantes; cependant, rien ne peut remplacer de bonnes fondations; vers la fin du XIVe siècle, on crut nécessaire de renforcer les contre-forts extérieurs du choeur; mais ces adjonctions, mal fondées elles-mêmes, contribuèrent encore, par leur poids, à entraîner la légère bâtisse du XIIIe siècle, qui ne fit, depuis lors, que s'ouvrir de plus en plus. Au commencement de notre siècle, les grandes voûtes du sanctuaire s'écroulèrent; il fallut les refaire en bois.
La façade de la cathédrale de Séez est couronnée par deux tours avec flèches élevées au commencement du XIIIe siècle et réparées ou reprises pendant les XIVe et XVe. Ces tours, ainsi que toute la nef, ont fait de très-sérieux mouvements, par suite de l'insuffisance des fondations. C'est aujourd'hui un monument fort compromis 255.
Nous ne quitterons pas la Normandie, sans parler des cathédrales de Bayeux et de Coutances.

La cathédrale de Bayeux, dont nous donnons le plan (37), est un édifice du XIIIe siècle enté sur une église du XIIe; et, de l'église du XIIe siècle, il ne reste que les piles, les archivoltes et les tympans du rez-de-chaussée de la nef. Comme au Mans, comme à Séez, les transsepts sont simples, sans collatéraux; à Bayeux, deux chapelles très-peu profondes, dont nous trouvons également la trace dans le mur oriental du croisillon sud de la cathédrale de Séez, s'ouvraient, à l'est, sur les deux transsepts nord et sud. C'est là un dernier souvenir des chapelles romanes des transsepts normands que l'on voit développées dans le plan primitif de la cathédrale du Mans (fig. 34). À Bayeux encore, dans le plan du choeur du XIIIe siècle, on voit les deux tours normandes (sur une petite échelle, puisqu'elles ne contiennent que des escaliers) qui terminaient la série des chapelles carrées avant les chapelles absidales 256. Sur la façade, deux grands clochers romans avec flèches. Sur les quatre piles de la croisée, une tour existait dès le XIIe siècle; elle fut rebâtie au XIIIe, puis continuée pendant les XIVe et XVe siècles, pour être terminée, pendant le siècle dernier, par une coupole avec lanterne. Ces quatre piles de la croisée furent successivement enveloppées de placages pendant les XIIIe et XIVe siècles 257. On remarquera la disposition des clochers romans de la façade occidentale; ils sont complétement fermés à rez-de-chaussée et portent de fond; c'est là une disposition normande, que nous retrouvons à Rouen, à Chartres même, encore indiquée à Béez et à Coutances (voy. CLOCHER) 258.
À Bayeux, il n'y a plus trace, dans le style de l'architecture, de l'influence française. Le mode normand domine seul; c'est celui que nous retrouvons à Westminster, à Lincoln, à Salisbury, à Ely, en Angleterre; et cependant, comme disposition de plan, la cathédrale de Bayeux se rapproche plus des cathédrales françaises du XIIIe siècle, au moins dans sa partie orientale, que des cathédrales anglaises. C'est qu'au XIIIe siècle, si la Normandie possédait son style d'architecture propre, elle subissait alors l'influence des édifices du domaine royal.
La cathédrale de Dol seule, en Bretagne, paraît s'être affranchie complétement de l'empire qu'exerçaient, sur tout le territoire occidental du continent, les dispositions de plan adoptées, à la fin du règne de Philippe-Auguste, dans la construction des cathédrales, La cathédrale de Dol est terminée, à l'orient, par un mur carré, dans lequel s'ouvre un immense fenestrage, comme les cathédrales d'Ely et de Lincoln.
La cathédrale de Coutances, fondée en 1030 et terminée en 1083, soit qu'elle menaçât ruine comme la plupart des grandes églises du Nord de cette époque, soit qu'elle parût insuffisante, soit enfin que le diocèse de Coutances, nouvellement réuni à la couronne de France, voulût entrer dans le grand mouvement qui alors faisait reconstruire toutes les cathédrales au nord de la Loire; la cathédrale de Coutances, disons-nous, fut complétement réédifiée dès les premières années du XIIIe siècle. Le choeur, avec ses chapelles rayonnantes, qui rappellent celles du choeur de la cathédrale de Chartres, paraît avoir été fondé vers la fin du règne de Philippe-Auguste. Les constructions de la nef durent suivre presque immédiatement celles du sanctuaire; mais il est probable que les transsepts furent élevés sur les anciennes fondations romanes du XIe siècle, et que même les énormes piliers de la croisée ne font, comme à Bayeux, qu'envelopper un noyau de construction romane.

En effet, si nous examinons le plan (38) de cette partie de l'édifice, nous y trouvons une sorte de gêne dans l'ensemble des dispositions, et la trace encore bien marquée des chapelles normandes des croisillons. Quelle que fût la charge que le maître de l'oeuvre voulait faire porter aux quatre piliers de la croisée (charge énorme, il est vrai), il nous paraît difficile d'admettre, qu'en plein XIIIe siècle, s'il n'eût pas été commandé par des substructions antérieures, il ne se fût pas tiré avec plus d'adresse de cette partie importante de son projet. Quoi qu'il en soit, il ne reste plus de traces visibles de constructions romanes dans la cathédrale de Coutances; c'est un édifice entièrement de style ogival pur; la chapelle de la Vierge, à l'extrémité de l'abside, et les chapelles de la nef furent seules ajoutées après coup, au XIVe siècle 259. La façade occidentale est surmontée de deux clochers avec flèches en pierre, sous lesquels, outre les trois portes principales, s'ouvrent deux porches latéraux au nord et au sud, d'un grand effet. Sur les quatre piles de la croisée s'élève une énorme tour octogonale, flanquée, sur les quatre faces diagonales, de quatre tourelles servant d'escaliers. Cette tour centrale, qui devait certainement être couronnée par une flèche, est restée inachevée. Aux deux extrémités des croisillons sont adossées, au sud, une chapelle, au nord, une vaste sacristie. On retrouve encore, à Coutances, en avant des chapelles rayonnantes, les deux tourelles carrées normandes, qui, comme à Bayeux, contiennent des escaliers et séparent si heureusement l'abside du choeur proprement dit. Comme style d'architecture, la cathédrale de Coutances est complétement normande.
Le diocèse dans lequel le mélange du style normand et du style français est le plus complet, ce doit être, et c'est en effet le diocèse de Rouen. La cathédrale de Rouen occupait déjà, au XIIe siècle, la surface de terrain qu'elle occupe encore aujourd'hui. Rebâtie, pour la troisième fois, pendant le cours du XIe siècle, elle fut entièrement réédifiée pendant la seconde moitié du XIIe siècle dans le style normand de transition.

De ces constructions (39), il ne reste que la tour dite de Saint-Romain, qui s'élève au nord du portail occidental, les deux chapelles de l'abside, celles des transsepts et les deux portes de la façade s'ouvrant dans les deux collatéraux; ces derniers ouvrages même paraissent appartenir aux dernières années du XIIe siècle. Ainsi donc, lorsque Richard Coeur-de-Lion mourut, en 1199, la cathédrale de Rouen avait déjà l'étendue actuelle.
C'est en 1204 que Philippe-Auguste arracha des mains de Jean sans Terre la Normandie, et qu'il réunit à la couronne de France cette belle province, ainsi que l'Anjou, le Maine et la Touraine, avec une partie du Poitou. Peu après, de grands travaux furent entrepris dans la cathédrale de Rouen. La nef, les transsepts et le sanctuaire durent être reconstruits, à la suite d'un incendie, qui, probablement, endommagea gravement l'église du XIIe siècle. Là, comme dans les autres diocèses français, s'élève une cathédrale au commencement du XIIIe siècle, sous l'influence du pouvoir monarchique, et, chose remarquable, à Rouen, les constructions qui paraissent avoir été élevées sous le règne de Philippe-Auguste, c'est-à-dire de 1210 à 1220 environ, appartiennent au style français, tandis que celles qui datent du milieu du XIIIe siècle sont empreintes du style ogival normand. Ce fait curieux, écrit avec plus de netteté encore dans l'église d'Eu, est d'une grande importance pour l'étude de l'histoire de notre architecture nationale.
La Normandie possède, pendant toute la Période romane et de transition, c'est-à-dire du XIe au XIIIe siècle, une architecture propre, dont les caractères sont parfaitement tranchés. Dans les édifices élevés pendant ce laps de temps, la disposition des plans, la construction, l'ornementation et les proportions de l'architecture normande, se distinguent entre celles des provinces voisines, l'Ile de France, la Picardie, l'Anjou et le Poitou.
Au commencement du XIIIe siècle, lorsque l'architecture ogivale atteint, pour ainsi dire, sa puberté, en sortant de son domaine elle étouffe les écoles provinciales; si elle respecte parfois certaines traditions, certains usages locaux qui n'ont d'influence que sur la composition générale des plans, elle impose tout ce qui tient à l'art, savoir: les proportions, la construction, les dispositions de détails et la décoration. Cette sorte de tyrannie ne dure pas longtemps, car, de 1220 à 1230, nous voyons l'architecture normande se réveiller et s'emparer du style ogival pour se l'approprier, comme un peuple conquis modifie bientôt une langue imposée, pour en faire un patois. Disons tout de suite, pour ne pas soulever contre nous, non-seulement la Normandie, mais toute l'Angleterre, que le patois ogival de ces contrées a des beautés et des qualités originales qui le mettent au-dessus des autres dérivés, et qui pourraient presque le faire passer pour une langue. Mais nous aurons l'occasion de développer notre pensée à la fin de cet article.
La cathédrale de Rouen, reconstruite au commencement du XIIIe siècle, adopta cependant certaines dispositions qui indiquent une singulière hésitation de la part des architectes, probablement français, qui furent appelés pour exécuter les nouveaux travaux. Dans la nef, le maître de l'oeuvre semble avoir voulu figurer une galerie de premier étage, comme dans presque toutes les grandes églises de l'Ile de France et du Soissonnais, mais s'être arrêté à moitié chemin, et, au lieu d'une galerie voûtée, avoir fait un simple passage sur des arcs bandés au-dessous des archivoltes des bas-côtés, et pourtournant les piles (voy. GALERIE) au moyen de colonnettes portées en encorbellement.
Dans l'église d'Eu, même étrangeté, mais parfaitement expliquée. Le choeur, les transsepts et la dernière travée de la nef de cet édifice furent élevés dès les premières années de la conquête de Philippe-Auguste, c'est-à-dire de 1205 à 1210, en style français parfaitement pur, avec galerie voûtée au premier étage, comme à Notre-Dame de Paris. De 1210 à 1220 environ, interruption; de 1220 à 1230, reprise des travaux; la nef est continuée conformément aux dispositions premières, c'est-à-dire que tout est préparé pour recevoir une galerie voûtée de premier étage au-dessus des collatéraux; mais déjà les tailloirs des chapiteaux et les socles des bases sont circulaires, les ornements et moulures sont devenus normands; puis, en construisant, on se reprend, on coupe les chapiteaux destinés à recevoir les voûtes formant galerie, on laisse seulement subsister les archivoltes dans le sens de la longueur de la nef entre les piles; on ne construit pas les voûtes devant servir de sol à la galerie de premier étage, et ce sont les voûtes hautes de cette galerie qui deviennent voûtes des collatéraux; les fenêtres de cette galerie supprimée et celles du rez-de-chaussée se réunissent, en formant ainsi des baies démesurément longues.
La nef de la cathédrale de Rouen est de quelques années antérieure à celle de l'église d'Eu. A-t-on voulu, dans ce dernier édifice, imiter la disposition adoptée à Rouen, seulement quant à l'effet produit (les sous-archivoltes de la nef de l'église d'Eu étant sans utilité puisqu'on ne peut communiquer de l'un à l'autre, tandis qu'à Rouen ils forment une galerie)? C'est probable... Quel que fut le motif qui dirigeât l'architecte de la cathédrale de Rouen, toujours est-il que la disposition de sa nef ne fut plus imitée ailleurs en Normandie, et que, dans cette province, dès que l'art ogival se fut affranchi de l'influence française et eut acquis un caractère propre, on ne voit plus de galeries voûtées de premier étage, ni rien qui les rappelle; un simple triforium couronne les archivoltes des bas-côtés.
La cathédrale de Rouen, rebâtie presque totalement en style ogival français, est terminée, à partir du niveau des voûtes des collatéraux, en style ogival normand. Les quatre tours qui flanquent les transsepts, les fenêtres, les corniches et les balustrades supérieures sont normandes. Mais la nef de la cathédrale de Rouen était, comme toutes les nefs des cathédrales françaises du commencement du XIIIe siècle, dépourvue de chapelles. À la fin de ce siècle, on en construisit entre les contreforts (39), comme à la cathédrale de Paris. En 1302, on commença la reconstruction de la chapelle de la Vierge, située dans l'axe au chevet, en lui donnant de grandes dimensions, à la place de la chapelle du XIIe siècle, qui n'était pas plus grande que les deux autres chapelles absidales encore existantes. Vers cette époque, on refit les deux pignons nord et sud des transsepts (portail de la Calende et portail des Libraires). Ces travaux, du commencement du XIVe siècle, surpassent comme richesse et beauté d'exécution tout ce que nous connaissons en ce genre de cette époque.
Alors, la Normandie possède une école de constructeurs, d'appareilleurs et de sculpteurs, qui égale l'école de l'Ile de France.
Les portails de la Calende et des Libraires, la chapelle de la Vierge de la cathédrale de Rouen, sont des chefs-d'oeuvre 260.
Mais la cathédrale du XIIIe siècle, dont les dispositions primitives étaient déjà altérées au commencement du XIVe siècle, subit encore des changements importants qui, malheureusement, ne furent pas aussi heureux que ceux dont nous venons de parler. En 1430, les chanoines firent agrandir les fenêtres du choeur, non par nécessité, mais parce que, comme le dit Pommeraye 261, le choeur paraissait «sombre et ténébreux.» Les fenêtres de la nef et une grande partie des couronnements extérieurs, des galeries intérieures, furent également modifiés pendant le XVe siècle. En 1485 fut commencée la construction de la tour qui flanque le portail au sud, connue sous le nom de tour de Beurre 262. Le cardinal George d'Amboise commença la reconstruction de la façade occidentale, qui ne fut jamais achevée. Déjà, au XIIIe siècle, il existait, sur les quatre piliers de la croisée, une haute tour carrée, dont deux étages subsistent encore; endommagée par le vent en 1353, puis réparée et brûlée en 1514 par la négligence des plombiers; l'étage supérieur de cette tour fut reconstruit et surmonté d'une immense flèche en bois recouvert de plomb, qui ne fut achevée qu'en 1544. La foudre y mit le feu en 1821, et on l'a voulu remplacer de nos jours par une flèche en fonte de fer 263.
Les dépendances de la cathédrale de Rouen étaient considérables, et, sous son ombre, l'archevêché, un beau cloître, des écoles, des bibliothèques, des sacristies, salles capitulaires et trésors étaient venus successivement se grouper du côté du nord et de l'est. Il reste encore de beaux fragments de ces divers bâtiments (voy. CLOÎTRE).
Jusqu'à présent, nous avons vu l'architecture, née en France à la fin du XIIe siècle, se développer avec le pouvoir royal et pénétrer, à la suite de ses conquêtes ou à l'aide de son influence politique, dans les provinces voisines de l'Ile de France. Cette révolution s'accomplit dans l'espace de peu d'années, c'est-à-dire pendant la durée du règne de Philippe-Auguste. Mais, jusqu'à la fin du XIIIe siècle, elle ne dépasse pas les territoires que nous venons de parcourir. Dans d'autres provinces, au sud et à l'ouest, l'architecture romane suit paisiblement son cours naturel; si elle se modifie, ce n'est pas dans son principe, mais dans les détails de son ornementation.
L'église abbatiale de Saint-Front de Périgueux avait été élevée, vers la fin du Xe siècle, à l'imitation de l'église de Saint-Marc de Venise (voy. ARCHITECTURE RELIGIEUSE). Peu après, ou en même temps peut-être, on élevait l'église cathédrale de Périgueux 264 et l'église cathédrale de Cahors, toutes deux sans transsepts, et présentant seulement une seule nef avec abside.

Nous donnons (40) le plan de ce dernier édifice. Il se compose de deux coupoles portées sur six gros piliers, huit pendentifs et des arcs doubleaux. L'abside est voûtée en cul-de-four, et trois petites chapelles s'ouvrent dans le mur du sanctuaire.
L'église abbatiale de Saint-Front était plus étendue et plus riche que les deux pauvres cathédrales de Cahors et de la cité de Périgueux.
Dans les provinces de l'ouest, comme en Bourgogne, en Champagne, en Normandie, les églises abbatiales, pendant les Xe et XIe siècles, attiraient tout à elles; mais si, dans les provinces du centre et de l'ouest, la renaissance épiscopale fut moins active au XIIe siècle que dans le nord et l'est, elle fit cependant de grands efforts, sans trouver une école d'architectes laïques toute prête à la seconder, et, dans les populations, un désir prononcé de se constituer en corps de nation. D'ailleurs, l'architecture romane de ces dernières provinces avait adopté, pour ses monuments religieux, un mode de construction durable, solide, qui excluait les charpentes et, par conséquent annulait les causes d'incendie; et nous voyons que, dans le nord, à la fin du XIIe siècle, la reconstruction de la plupart des cathédrales romanes est provoquée par des incendies, comme si ce fléau avait voulu venir en aide aux tendances de l'épiscopat et des populations urbaines.

À Angoulême, une cathédrale avait été bâtie au commencement du XIIe siècle, elle se composait d'une nef à quatre coupoles, avec une abside et quatre chapelles rayonnantes (41). Vers le milieu de ce siècle, alors que sur une grande partie du territoire de la France actuelle on élevait ou on songeait à élever de nouvelles cathédrales plus vastes, on se contenta d'agrandir la cathédrale d'Angoulême, par l'adjonction des deux transsepts surmontés de deux tours 265, et on enrichit l'intérieur de la nef en incrustant des colonnes engagées, et quelques détails d'architecture. La façade occidentale fut reconstruite et couverte de sculpture. De la primitive église, la première travée de la nef demeure seule intacte. À l'extérieur, les couronnements furent refaits.

Nous donnons (42), en A, la coupe sur le transsept nord de cette église, et en B la coupe transversale sur la nef 266. Les adjonctions et les réparations à l'église primitive de Saint-Pierre d'Angoulême ne modifient pas le système de construction. La tradition romane est conservée pure. En se rapprochant des provinces du Nord, le style byzantin des églises de l'Ouest allait, dès le milieu du XIIe siècle, subir l'influence des écoles de l'Ile de France et de Picardie.

De 1145 à 1165, on bâtissait, à Angers, la nef de la cathédrale 267. Le plan de cette nef (43) se rapproche beaucoup de celui de la nef de la cathédrale d'Angoulême (fig. 41). Mais, à Saint-Maurice d'Angers, la coupole a fait place à la voûte d'arêtes. Au commencement du XIIIe siècle, on élève les transsepts et le choeur, en suivant encore le système adopté au XIIe. L'architecture du Nord n'impose ici ni ses dispositions de plans, ni même son système de construction; car ces voûtes d'arêtes sont plutôt des coupoles nervées que des voûtes en arcs d'ogives (voy. VOÛTE). Les nervures diagonales sont une décoration plutôt qu'un moyen de construction. Point de collatéraux, point de chapelles, une nef, des transsepts et un sanctuaire.
Saint-Front de Périgueux avait été l'origine de tous les monuments à coupole bâtis dans les provinces de l'Ouest pendant un siècle 268. Mais, dans le Poitou et les provinces du centre, il s'était, dès le XIe siècle, formé une école de constructeurs dont le mode différait essentiellement de ceux adoptés par les architectes romano-byzantins de l'ouest ou par ceux du Nord. Une grande partie des églises romanes du Poitou, du Limousin, de la Saintonge, de la Vendée et même du Berry, possèdent une nef avec bas-côtés, dont les voûtes atteignent à peu près le même niveau; celles des collatéraux, plus étroites, en berceau ou d'arêtes, servent de buttée aux voûtes centrales en berceau (voy. ARCHITECTURE RELIGIEUSE, fig. 12). C'est conformément à ce principe que sont construites les églises de Saint-Savin près Poitiers, de Notre-Dame la Grande, de Melle, de Surgère, de Saint-Euthrope de Saintes, et même dans des provinces éloignées, de la cité de Carcassonne au XIe siècle, de Brives et de Limoges au XIIIe. Ces trois nefs, égales en hauteur, sinon en largeur, ne permettaient de prendre des jours que dans les murs des collatéraux, la voûte centrale restant dans l'obscurité. Ce mode de construction fut adopté pour l'édification de la cathédrale de Poitiers, au commencement du XIIIe siècle. Seulement, l'architecte donna à ses trois nefs une largeur à peu près égale, et les voûtes furent faites en arcs d'ogives avec nerf portant des clefs centrales aux clefs des arcs doubleaux.

Voici (44) le plan de la cathédrale de Poitiers. Là encore, dans les dispositions comme dans le système de la construction, l'influence du Nord est nulle, quoique tous les arcs soient en tiers-points, ainsi que dans la cathédrale d'Angers; elle se fait sentir dans le style des moulures et dans l'ornementation. Grâce à la largeur et à la hauteur des travées, à la grandeur des fenêtres jumelles ouvertes au-dessus de l'arcature des bas-côtés, cet intérieur est fort clair. Les transsepts ne sont, à vrai dire, que des chapelles latérales orientées, et les absides, tracées suivant une courbe peu prononcée, ne paraissent pas à l'extérieur.
Du dehors, la cathédrale de Poitiers, couverte par un comble à deux pentes, terminée à l'orient par un énorme mur pignon sans saillies et à peine percé, paraît être plutôt une salle immense qu'une église avec nef et collatéraux. Rien, dans le plan, n'indique ni le choeur, ni le sanctuaire. Nous sommes disposés à croire que, comme à Saint-Pierre d'Angoulême, des tours avaient été projetées sur les deux transsepts. Une façade de style français du Nord fut commencée, vers le milieu du XIIIe siècle, à l'ouest, et flanquée de deux petites tours non achevées. Les constructions supérieures de cette façade ne datent que des XIVe et XVe siècles. Malgré sa grandeur, la beauté de sa construction et de ses détails, c'est là, nous l'avouons, un monument étrange, une exception qui ne trouve pas d'imitateurs.

Nous donnons (45) la coupe transversale de la cathédrale de Poitiers, dont les voûtes se rapprochent plutôt, comme à Saint-Maurice d'Angers, de la coupole nervée que de la voûte en arcs d'ogives (voy. VOÛTE). Dans la cathédrale de Poitiers viennent se réunir et s'éteindre les anciennes dispositions de plan et de coupe des églises romanes du Poitou, à trois nefs égales de hauteur, et les traditions de la construction des coupoles byzantines.
À partir du milieu du XIIIe siècle, l'architecture ogivale française s'impose dans toutes les provinces réunies à la couronne, et même dans quelques-unes de celles qui ne sont encore que vassales. Excepté en Provence et dans quelques diocèses du Midi, les styles provinciaux s'effacent, et les efforts des évêques tendent à élever des cathédrales dans le style de celles qui faisaient l'orgueil des villes du Nord.
C'est de 1260 à 1275 que nous voyons trois villes importantes du Midi jeter bas leurs cathédrales romanes pour élever des édifices dont la direction fut évidemment confiée à un même architecte du Nord, Clermont en Auvergne, Limoges et Narbonne. Ces trois diocèses commencent leurs, cathédrales, la première en 1268 et la dernière en 1272, sur des plans tellement identiques, qu'il est difficile de ne pas voir, dans ces trois monuments, la main d'un même maître. Peut-être, cependant, la cathédrale de Narbonne, tout en appartenant à la même école que les deux autres, fut-elle élevée par un autre architecte; mais, quant aux cathédrales de Clermont et de Limoges, non-seulement ce sont les mêmes plans, mais les mêmes profils, les mêmes détails d'ornementation, le même système de construction.

Nous représentons ici (46) le plan de la cathédrale de Clermont, la première en date 269.
La construction de la cathédrale de Clermont fut commencée par le choeur. L'ancienne église romane avait été laissée debout, son abside ne venant guère que jusqu'à l'entrée du choeur nouveau 270. Le sanctuaire achevé vers la fin du XIIIe siècle, l'église romane fut démolie, sauf la façade occidentale, et on continua l'oeuvre pendant les premières années du XIVe siècle. Quatre travées de la nef furent complétées. Le travail, alors suspendu, ne fut plus repris, et on voit encore les restes de la façade du XIe siècle 271. La partie orientale de la cathédrale de Clermont, entièrement bâtie en lave de Volvic, est admirablement construite, bien que l'on s'aperçoive de l'extrême économie imposée au maître de l'oeuvre. Absence d'arcature dans les soubassements des chapelles, sculpture rare, pas de formerets aux voûtes. Ce qui est surtout remarquable, à Clermont comme à Limoges et à Narbonne, c'est la concession faite évidemment aux traditions méridionales par l'architecte du Nord. Ainsi, les bas-cotés et les chapelles sont couverts en terrasses dallées, quoique le triforium ne soit point à claire-voie. Les fenêtres hautes ne remplissent pas complétement l'intervalle entre les piliers, mais laissent entre elles des trumeaux d'une certaine largeur, ce qui est tout à fait contraire au système adopté dans toutes les églises du Nord de cette époque. Deux des chapelles carrées du choeur, au nord, sont consacrées au service de la sacristie, avec trésor au-dessus.

À la cathédrale de Limoges, dont nous donnons le plan (47), c'est au sud et de la même manière que sont placés les services pris aux dépens de deux chapelles. Dans les chapelles absidales de ces deux plans, qui présentent non-seulement des dispositions, mais encore des dimensions semblables, on remarquera la petite travée d'entrée qui precède le polygone; c'est là un parti que nous ne trouvons adopté que dans les chapelles absidales de la cathédrale de Reims. Du reste, comme à Reims, comme à Beauvais, les chapelles rayonnantes sont toutes égales entre elles; il n'y a pas de chapelle plus profonde dans l'axe, comme à Amiens, à Troyes, etc.
La nef de la cathédrale de Clermont appartient au XIVe siècle; celle de la cathédrale de Limoges au XVe et même au XVIe 272, ainsi que le pignon du transsept nord. L'histoire de la construction de ces deux monuments est donc semblable. Les ressources que les chapitres et les évêques de Clermont et de Limoges avaient pu réunir, vers la fin du XIIIe siècle, pour rebâtir leurs cathédrales, furent promptement épuisées; et, à Limoges, ce ne fut qu'à la fin du XVe siècle que les travaux purent être repris, pour être de nouveau abandonnés.

À Narbonne, siége archiépiscopal, la cathédrale de Saint-Just, dont nous admirons aujourd'hui le choeur, ne sortit de terre que vers les dernières années du XIIIe siècle; entre cet édifice et ceux de Clermont et de Limoges, on remarque une différence notable dans le style des moulures et des détails de la construction. La cathédrale de Narbonne, conçue d'après des données beaucoup plus vastes que ses deux devancières, ne vit élever, de 1272 à 1330 environ, que son choeur (48) 273.
Vers cette époque, Narbonne perdit son antique importance par suite de l'ensablement de son port. Là cathédrale resta inachevée; les transsepts ne furent même pas élevés 274. La construction de ce vaste choeur est admirablement traitée, par un homme savant et connaissant parfaitement toutes les ressources de son art. Il semble même qu'on ait voulu, avant tout, à Narbonne, faire preuve de savoir. Les chapiteaux des piles sont complétetement dépourvus de sculpture; le triforium est d'une simplicité rare; mais, en revanche, l'agencement des arcs, les pénétrations des moulures, les profils, sont exécutés avec une perfection qui ne le cède à aucun de nos édifices du nord. Les voûtes sont admirablement appareillées et construites. Celles des chapelles et des bas-côtés qui reçoivent, comme à Limoges et à Clermont, un dallage presque horizontal, ont 0m,40 d'épaisseur et sont maçonnées en pierres dures. L'ensemble de la construction, bien pondéré, dont les poussées et les buttées sont calculées avec une adresse incomparable, n'a pas fait le moindre mouvement; les piles sont restées parfaitement verticales. L'architecte, afin de ne pas affaiblir ses points d'appui principaux par les passages des galeries, a fait tourner le mur extérieur du triforium autour des piles (voy. ARCHITECTURE RELIGIEUSE, fig. 38). Cette même disposition se retrouve également à la cathédrale de Limoges. Mais outre la grandeur de son plan, ce qui donne à la cathédrale de Narbonne un aspect particulier, c'est la double ceinture de créneaux qui remplace les balustrades sur les chapelles, et qui réunit les culées des arcs-boutants terminées en forme de tourelles (voy. ARC-BOUTANT, fig. 65). C'est qu'en effet cette abside se reliait aux fortifications de l'archevêché et contribuait, du côté du nord, à la défense de ce palais (voy. ÉVÊCHÉ). C'était, dans les villes du Midi, un usage fréquent de fortifier les cathédrales. Celle de Béziers, outre ses fortifications de la fin du XIIIe siècle, laisse voir encore des traces nombreuses de ses fortifications du XIIe. La partie de la cathédrale de Carcassonne qui date du XIe siècle se reliait aux fortifications de la cité.
Au XIVe siècle, nous voyons encore les archevêques d'Alby élever une cathédrale qui présente tous les caractères d'une forteresse. Ce fait n'a rien d'extraordinaire, quand on se rappelle les guerres féodales, religieuses et politiques qui ne cessèrent de bouleverser le Languedoc pendant les XIIe, XIIIe et XIVe siècles. Pour en revenir à la cathédrale de Narbonne, on remarquera la disposition neuve et originale des chapelles nord du choeur, laissant entre elles et le collatéral un étroit bas-côté qui produit un grand effet, en donnant à la construction beaucoup de légèreté, sans rien ôter de la solidité. Il est vraisemblable que cette disposition devait être adoptée dans la nef, qui, comme celles de Clermont et de Limoges, avait été projetée avec des chapelles latérales.
À Narbonne, la sacristie et le trésor sont disposés dans deux des chapelles du choeur, au sud; c'est encore là un point de ressemblance avec Clermont et Limoges (voy. fig. 46 et 47). Les fenêtres de ces trois monuments furent garnies de vitraux; mais ceux de la cathédrale de Narbonne, posés seulement pendant le XIVe siècle, ne présentent, dans toutes les chapelles, excepté dans celle de la Vierge, que des grisailles avec entrelacs de couleur et écussons armoyés; il semble que l'on ait tenu à bannir la sculpture et la peinture de cette église; aussi est-elle d'un aspect passablement froid. C'est plutôt là l'oeuvre d'un savant que d'un artiste. Le sanctuaire de Narbonne, comme celui de Limoges, a conservé sa clôture formée de tombeaux d'évêques (voy. TOMBEAU). La cathédrale de Narbonne possède encore son cloître du XVe siècle, au flanc sud du choeur, comme celle de Béziers (voy. CLOÎTRE), et des dépendances, entre autres une salle capitulaire d'un fort bon style.
Saint-Just de Narbonne est un édifice unique dans cette contrée du sol français et par son style et par ses dimensions; car les cathédrales du Languedoc sont généralement peu étendues, et la plupart ne sont que des édifices antérieurs aux guerres des Albigeois, réparées ou reconstruites en partie à la fin du XIIIe siècle et pendant le XIVe siècle.
Toulouse, seule peut-être, possédait, au XIIe siècle, une grande cathédrale à nef unique sans collatéraux, autant qu'on peut en juger par le tronçon qui nous reste de ce vaste et bel édifice 275. Mais Toulouse était, au XIIe siècle, une ville riche, très-populeuse, et fort avancée dans la culture des arts.

Avec celle de Béziers, la cathédrale de Carcassonne 276 est une de celles qui nous présente cette invasion du style ogival, du Nord, dans un monument roman du Midi. Nous donnons (49) le plan de ce curieux monument. La nef et ses deux collatéraux, jusqu'aux transsepts, appartiennent à une église de la fin du XIe siècle. Immédiatement après que Carcassonne eut été réunie à la couronne de France sous saint Louis, l'évêque Radulphe fit construire, à l'extrémité du transsept sud (qui alors était roman et devait avoir l'étendue actuelle), la chapelle teintée en gris sur le plan, en style ogival quelque peu bâtard, et la salle voisine 277. Au commencement du XIVe siècle, l'évêque Pierre de Roquefort ou Rochefort démolit le choeur, les transsepts romans, et bâtit la partie orientale de la cathédrale que nous voyons aujourd'hui, en style ogival pur français. Cependant, soit qu'on ait voulu se tenir sur les fondations anciennes du chevet et des transsepts romans, soit qu'on ait voulu conserver une disposition traditionnelle et que nous ne voyons guère adoptée, en dehors de Carcassonne, que dans l'église d'Obazine, on donna à la nouvelle construction un plan qui ne trouve d'analogue nulle part dans le Nord; mieux encore: dans la nef romane, il existe des piles alternativement carrées, cantonnées de demi-colonnes, et cylindriques. Cette forme de pilier, qui n'est pas ordinaire dans les constructions d'églises du XIIIe et du XIVe siècle, fut adoptée pour les six piliers formant têtes des chapelles et du sanctuaire, c'est-à-dire que les deux piles de la croisée, à l'entrée de l'abside, rebâties en face des deux piliers romans laissés en place, prirent la section horizontale en plan de ces derniers, et que les quatre autres piles séparant les chapelles des transsepts prirent la forme cylindrique, comme pour se relier avec la vieille église; partout ailleurs les sections des piliers du XIVe siècle adoptent les formes usitées à cette époque. L'évêque Pierre de Roquefort, en faisant rebâtir la partie orientale de sa cathédrale, avait donc l'intention de borner là son entreprise et de respecter la nef romane, puisqu'il cherchait à conserver, entre les deux constructions, une certaine harmonie, malgré la différence de style. Ce n'était plus cette confiance des évêques du Nord, qui, au XIIIe siècle, lorsqu'ils laissaient subsister, pour le service du culte, une portion d'église antérieure, ne le faisaient qu'à titre provisoire, et ne songeaient guère à raccorder leurs nouveaux projets avec ces débris romans destinés à être jetés bas aussitôt que l'avancement de l'oeuvre nouvelle l'aurait permis. On voit, d'ailleurs, combien les constructions dernières de la cathédrale de Carcassonne sont exiguës; on rebâtissait l'église pour se conformer au goût du temps, mais on ne pensait pas à l'agrandir 278; tandis qu'à Clermont et à Limoges encore, bien que ces cathédrales ne soient pas d'une grande dimension, on avait cependant beaucoup augmenté, au XIIIe siècle, le périmètre des églises romanes 279. Si, à la fin du XIIIe siècle, dans le Nord, la puissance qui avait fait élever les cathédrales commençait à s'affaiblir, il est évident que, dans les provinces du Midi, et même dans celles alors réunies à la couronne de France, il n'y avait plus qu'un reste de l'impulsion provoquée par le grand mouvement de la fin du XIIe siècle.
L'évêque Pierre de Roquefort sembla vouloir, du moins, faire de sa petite cathédrale de Saint-Nazaire, si modeste comme étendue, un chef-d'oeuvre d'élégance et de richesse. Contrairement à ce que nous voyons à Narbonne, où la sculpture fait complétement défaut, l'ornementation fut prodiguée dans l'église Saint-Nazaire. Les verrières immenses et nombreuses (car ce chevet et ces transsepts sont une véritable lanterne) sont de la plus grande magnificence (voy. VITRAIL) comme composition et couleur. Le sanctuaire, décoré des statues des apôtres, était entièrement peint. Les deux chapelles latérales de l'extrémité de la nef, au nord et au sud, ne furent probablement élevées qu'après la mort de Pierre de Rochefort, car elles ne se relient pas aux transsepts comme construction, et dans l'une d'elles, celle du nord, est placé, non pas après coup, le tombeau de cet évêque, l'un des plus gracieux monuments du XIVe siècle que nous connaissions (voy. TOMBEAU).
Les grands vents du sud-est et de l'ouest qui règnent à Carcassonne avaient fait ouvrir la porte principale au nord de la nef romane; une autre porte est percée dans le pignon du transsept nord. Le clocher de l'église, qui datait du XIe siècle, s'élevait sur la première travée de la nef et servait de défense, car il dominait la muraille de la cité, qui, alors, passait au raz du mur occidental.
En A est le cloître; il reliait les bâtiments du chapitre et de l'évêché à l'église. Des deux côtés du sanctuaire, entre les contreforts, sont réservés deux petits sacraires qui ne s'élèvent que jusqu'au-dessous de l'appui des fenêtres. Ces sacraires sont garnis d'armoires doubles fortement ferrées et prises aux dépens du mur. Ils servaient de trésors, car il était d'usage de placer, des deux côtés de l'autel principal des églises abbatiales ou des cathédrales, des armoires destinées à contenir les vases sacrés, les reliquaires et tous les objets précieux. À Saint-Nazaire, on avait habilement profité des dispositions de la construction pour établir d'une manière fixe ces sacraires qui, le plus souvent, n'étaient que des meubles (voy. AUTEL).
Les cathédrales des diocèses de la France actuelle avaient tous, ou peu s'en faut, reconstruit leurs cathédrales pendant les XIIe, XIIIe et XIVe siècles; ceux dont l'oeuvre de reconstruction n'avait été commencée que tardivement ne purent, la plupart, la terminer. Les guerres qui, pendant la dernière moitié du XIVe siècle et le commencement du XVe, ensanglantèrent le sol français, ne permirent pas de continuer ces monuments tardifs. Ce fut seulement à la fin du XVe siècle et au commencement du XVIe que l'on reprit les travaux. Alors, comme nous l'avons dit en décrivant quelques-uns de ces grands édifices, on fit de nouveaux efforts; à Troyes, à Auxerre, à Tours, à Évreux, à Rouen, à Beauvais, à Limoges, à Bourges, à Nevers, etc., les évêques et les chapitres consacrèrent des sommes considérables à parfaire des monuments que le refroidissement du zèle des populations et les guerres avaient laissés incomplets. Quelques cathédrales, en bien petit nombre, furent commencées à cette époque. Le XVe siècle vit fonder la cathédrale de Nantes, celles d'Auch, de Montpellier, de Rhodez, de Viviers; les guerres religieuses du XVIe siècle firent de nouveau suspendre les travaux.
Nous ne devons pas quitter ce sujet sans parler de la cathédrale d'Alby; monument exceptionnel, tant à cause du principe de sa construction et de ses dispositions particulières, que par la nature des matériaux employés, la brique.

Nous donnons (50) le plan de la cathédrale d'Alby 280. Déjà nous avons parlé de deux cathédrales du midi de la France qui pouvaient, au besoin, servir de forteresses: Narbonne et Béziers; ce parti est plus franchement accusé encore dans l'église Sainte-Cécile d'Alby. La tour occidentale est un véritable donjon, sans ouvertures extérieures à rez-de-chaussée. Du côté méridional, une porte fortifiée se reliant à une enceinte défendait l'entrée qui longeait le flanc de la cathédrale et s'élevait au niveau du sol intérieur au moyen d'un large emmarchement. Du côté du nord, des sacristies fortifiées reliaient la cathédrale à l'archevêché, fort bien défendu par d'épaisses murailles et un magnifique donjon.
Sainte-Cécile d'Alby, commencée vers le milieu du XIVe siècle, n'est qu'une salle immense terminée par une abside et complétement entourée de chapelles, polygonales au chevet, carrées dans la nef. Ces chapelles sont prises entre les contreforts qui contrebuttent la grande voûte; à deux étages, ces chapelles communiquent toutes entre elles, au premier étage, par des portes percées dans les contreforts, et forment ainsi une galerie. Ces chapelles du rez-de-chaussée sont, les unes voûtées en berceau ogival, les autres en arcs d'ogives, irrégulièrement, ainsi que l'indique le plan. Les voûtes du premier étage des chapelles sont toutes en arcs d'ogives. Les contreforts, ou séparation des chapelles, au-dessus du soubassement continu, se dégagent en tourelles flanquantes dont la section horizontale donne un arc de cercle dont la flèche est courte. Des fenêtres étroites et longues, percées seulement au premier étage, dans les murs, entre les contreforts, éclairent le vaisseau.
La construction de cette église fut interrompue vers le commencement du XVe siècle; les couronnements projetés, et qui certainement ne devaient être qu'un crénelage, ne furent pas montés. Au commencement du XVIe siècle, on se contenta de placer des balustrades aux différents étages de la tour, de faire quelques travaux intérieurs, le porche sud, et la clôture du choeur avec un jubé qui occupe la moitié du vaisseau, et forme ainsi comme un bas-côté autour du sanctuaire. Ce grand édifice, entièrement bâti en briques, excepté les meneaux des fenêtres, les balustrades et la clôture du choeur qui sont en pierre, fut enduit à l'intérieur, et complètement couvert de peintures de la fin du XVe siècle et du XVIe 281.
La cathédrale d'Alby est certainement l'édifice ogival le plus imposant des provinces du Midi; il est d'ailleurs original, et n'a pas subi, comme Narbonne, Rhodez, Mende, Béziers, les influences du Nord. Il dérive des églises de la ville basse de Carcassonne, de l'ancienne cathédrale de Toulouse, monuments religieux sans bas-côtés, qui n'étaient eux-mêmes qu'une application des constructions quasi-romaines de Fréjus, de Notre-Dame des Dons d'Avignon, de la Major de Marseille, églises rappellant le système de construction adopté dans la basilique de Constantin à Rome.
Si la cathédrale d'Alby est un édifice ogival dans les moyens d'exécution, il faut reconnaître qu'il est, comme disposition de plan, comme structure, complétement roman et même antique. Le style ogival n'est là qu'une concession faite au goût du temps, l'application d'une forme étrangère, nullement une nécessité. La voûte de la cathédrale d'Alby pourrait être un grand berceau plein-cintre, pénétré par les petits berceaux transversaux fermant les travées entre les contreforts; la stabilité de l'édifice n'eût rien perdu à l'adoption de ce dernier système roman ou romain; et nous dirons même que les voûtes en arcs d'ogives qui couvrent les travées entre les contreforts, à la hauteur de la grande voûte, sont un non-sens; la véritable construction de ces voûtes eût dû être faite en berceaux, bandés perpendiculairement à la nef et portant sur ces contreforts. Ce parti eût été plus solide et surtout plus logique.
C'est en étudiant les monuments qui ont admis les formes de l'architecture ogivale sans en bien comprendre l'esprit, que l'on reconnaît combien le style adopté, à la fin du XIIe siècle, dans le nord de la France est impérieux; combien il se sépare nettement de tous les autres modes d'architecture antérieurs.
L'architecture romane est multiple; dérivée du principe antique romain, elle a pu pousser des rameaux divers, ayant chacun leur caractère particulier; il n'en est pas et ne peut en être de même de l'architecture ogivale; il n'y a qu'une architecture ogivale, il y a dix, vingt architectures romanes. Nous voyons en Aquitaine, en Auvergne, en Poitou, en Normandie, en Bourgogne, en Alsace, en Provence, en Picardie, dans l'Ile de France, dans le Maine, en Champagne, des écoles romanes qui se développent chacune dans leur propre sphère, bien qu'elles soient filles de la même mère, comme les langues italienne, française, espagnole se sont développées chacune de leur côté, quoique dérivées du latin. Pourquoi? C'est que dans l'architecture romane, comme dans l'architecture antique, la forme d'art, l'enveloppe ne dépend pas absolument de la construction, du besoin à satisfaire; l'art est libre, il ne dépend que de la tradition et de l'inspiration; il n'est pas une déduction d'un principe absolu. Veut-on des exemples? Nous ne répéterons pas ici ce qu'on a dit du temple grec, qui reproduit en pierre ou en marbre une construction de bois; nous estimons trop ces maîtres dans tous les arts, pour les accuser d'avoir ainsi manqué aux règles les plus simples du bon sens, et par conséquent du bon goût; mais il est certain que, dans l'architecture grecque, les ordres prennent une importance, comme art, qui domine l'architecte; l'art est le maître de son imagination, plus fort que son raisonnement; aussi, que fait l'artiste? Il fait tendre toutes les facultés de son esprit à perfectionner cette forme qui l'étreint; ne pouvant l'assouplir, il la polit. Les Romains, peu artistes de leur nature, prennent la forme de l'art grec pour l'appliquer à des monuments qui n'ont aucun rapport avec les principes de cet art. Ils trouvent des ordres; entre tous, ils adoptent volontiers le plus riche; confondant, comme tous les parvenus, la richesse avec la beauté, et ces ordres, dont l'origine est parfaitement rigoureuse et définie, ils les appliquent au rebours de cette origine; les Romains veulent des arcs et des voûtes; les Grecs ne connaissaient que la plate-bande. On devrait conclure de ceci que les Romains ont trouvé ou cherché une forme nouvelle propre à leur nouveau système de construction; point. Les Romains prennent la forme grecque, l'architecture grecque, les ordres grecs, et les plaquent, comme une dépouille, contre leur construction; peu leur importe que la raison soit choquée de ce contresens; ils sont les maîtres, mais ce sont des maîtres qui font passer le besoin, la nécessité avant la satisfaction des yeux; il leur faut de vastes monuments voûtés; ils les construisent d'abord, puis, leur programme rempli, trouvant un art tout fait, ils s'en emparent, et l'accrochent à leurs murailles comme on accroche un tableau. Que ceux qui voudraient nous taxer d'exagération nous expliquent comment, par exemple, on trouve, autour du Colysée, des ordres complets avec leurs plates-bandes (des plates-bandes sur des arcs!); dans l'intérieur des salles des Thermes, des ordres complets, avec leurs corniches saillantes, sous des voûtes (des corniches saillantes à l'intérieur, comme s'il pleuvait dans l'intérieur d'une salle!). Il est évident que les Grecs, amants avant tout de la forme, ayant trouvé cette admirable combinaison des ordres, étant parvenus, guidés par un goût parfait, à donner à ces ordres des proportions inimitables, se sont mis à adorer leur oeuvre et à lui sacrifier souvent la nécessité et la raison; car, pour eux, le premier de tous les besoins était de plaire aux sens; que les Romains, indifférents au fond en matière d'art, mais désireux de s'approprier tout ce qui dans le monde avait une valeur, ont voulu habiller leur architecture à la grecque, croyant que l'art n'est qu'une parure extérieure qui embellit celui qui la porte, quelle que soit sa qualité ou son origine.
L'habitude prise par les Romains de se vêtir des habits d'autrui a fini par produire, on le conçoit facilement, les costumes les plus étranges. L'architecture romane, dérivée de l'architecture romaine, n'ayant plus même sous les yeux ces principes grecs pillés par les Romains, a interprété les traditions corrompues de cent façons différentes. La forme n'étant pas intimement liée à la matière, n'en étant pas la déduction logique, chacun l'interprétait à sa guise. C'est ainsi que l'art roman a pu, à son tour, s'emparer des lambeaux du vêtement romain, sans en comprendre l'usage, puisqu'il n'était qu'une parure empruntée, et arriver, dans les différentes provinces des Gaules, à former des écoles séparées et qui pouvaient se diviser à l'infini. Il n'en est pas ainsi de l'architecture qui, naît au XIIe siècle; fille du rationalisme moderne, chez elle le calcul précède l'application de la forme; bien plus, il la commande, il la soumet; si, par ce besoin naturel à l'homme, il veut qu'elle soit belle, il faut que ce soit suivant la loi d'unité.
En entrant dans le domaine d'un autre art, nous pourrons peut-être nous faire mieux comprendre... L'architecture antique, c'est la mélodie; l'architecture du moyen âge, c'est l'harmonie. L'harmonie, dans le sens que nous attachons à ce mot, c'est-à-dire l'arrangement et la disposition des sons simultanés, était inconnue chez les anciens Grecs; l'antiphonie, au temps d'Aristote, était seule pratiquée, c'est-à-dire les octaves produits par des voix d'hommes et de femmes ou d'enfants chantant la même mélodie. Ce ne fut que pendant les premiers siècles de notre ère que l'usage des quartes et des quintes fut admis dans la musique grecque, et encore l'échelle tonale de ses modes se prêtait si peu aux sons simultanés, que la pratique de l'harmonie était hérissée de difficultés et son emploi fort restreint. M. Vincent 282, malgré des efforts persevérants pour découvrir les traces de l'harmonie chez les Grecs, n'a encore pu arriver à aucun résultat concluant.
Dans l'Église latine, au contraire, l'harmonie n'a cessé de prendre des développements rapides, et c'est principalement au moyen âge qu'il faut rapporter l'invention et l'établissement des règles qui ont élevé cet art à la plus merveilleuse puissance.
Dès l'époque de Charlemagne, on trouve des traces de l'art de combiner les sons simultanés, et cet art s'appelle organum, ars organandi. Il était réservé à Huchald, moine de Saint-Amand au Xe siècle, de donner une grande impulsion à l'harmonie, en établissant des règles fixes et fécondes. Aux diaphonies à mouvements semblables succéda, au XIe siècle, la diaphonie à mouvements contraires et à intervalles variés, comme le prouvent les ouvrages de Jean Cotton et d'autres auteurs. Enfin, pendant les XIIe et XIIIe siècles, l'harmonie s'enrichit successivement de tous les accords qui forment la base de la composition musicale moderne; et les traités de Jean de Garlande, de Pierre Picard, de Jérôme de Moravie, etc., prouvent surabondamment l'emploi, dans la symphonie, des tierces, des quartes, des quintes, des sixtes, des septièmes même, la résolution des intervalles dissonants sur des consonnances par mouvement contraire; et bien plus encore, l'existence des notes de passage, du contrepoint double et des imitations 283.
Or, s'il est deux arts qui peuvent être comparés, ce sont certainement la musique et l'architecture; ils s'expliquent l'un par l'autre; ils ne procèdent ni l'un ni l'autre de l'imitation de la nature; ils créent. Pour créer, il faut calculer, prévoir, construire. Le musicien qui seul, sans instruments, sans articuler un son, entend, la plume à la main et le papier réglé devant lui, la composition harmonique la plus compliquée, qui calcule et combine l'effet des sons simultanés; l'architecte qui, à l'aide d'un compas et d'un crayon, trace des projections sur sa planchette, et voit, dans ces tracés géométriques et dans des chiffres, tout un monument, les effets des pleins et des vides, de la lumière et des ombres; qui prévoit, sans avoir besoin de les peindre, les mille moyens d'élever ce qu'il conçoit; tous deux, musicien et architecte, sont bien forcés de soumettre l'inspiration au calcul. Les peuples primitifs trouvent tous des mélodies; c'est la création d'instinct, l'épanchement extérieur par les sons d'un sentiment; mais à notre civilisation moderne seule appartient l'harmonie; c'est la création voulue, préméditée, calculée, raisonnée de l'homme qui est tourmenté par l'éternel «Pourquoi?» qui cherche, travaille, et veut, en produisant un effet, en obtenant un résultat, que son labeur paraisse, qu'on apprécie les efforts de sa raison et la science qu'il lui a fallu déployer pour créer... Vanité!... soit; mais plus l'homme mordra au fruit de l'arbre de la science, plus sa vanité croîtra; peut-être (Dieu veuille que nous nous trompions!) le jour n'est-il pas éloigné où l'amour de l'art sera remplacé par la vanité de l'art.
L'architecture grecque est une mélodie rhythmée; mais ce n'est qu'une mélodie, admirable, nous en tombons d'accord. Enlevez d'une mélodie un membre, ce qui restera n'en sera pas moins un fragment de mélodie; enlevez un ordre d'un temple grec, ce sera toujours un ordre que vous pourrez appliquer à un palais, à une maison, à un tombeau. D'un morceau d'harmonie, d'une symphonie, retirez une partie, il ne reste rien, puisque l'harmonie n'est telle que par la simultanéité des sons.
De même, dans un édifice ogival, toutes les parties se tiennent; elles n'ont adopté certaines formes que par suite d'un accord d'ensemble. La lecture de ce Dictionnaire le prouverait; nous ne pouvons nous occuper d'un détail de l'architecture ogivale, et expliquer sa fonction, qu'en indiquant sa place, les circonstances qui ont imposé sa forme, sa raison d'être, indépendamment du goût de l'artiste ou du style dominant. Le même souffle moderne qui faisait substituer l'harmonie à la mélodie dans la musique, faisait, au XIIe siècle, remplacer, dans l'architecture, les traditions plus ou moins corrompues de l'art antique, par une succession de combinaisons soumises à un principe absolu. Les cathédrales sont le premier et le plus grand effort du génie moderne appliqué à l'architecture, elles s'élèvent au centre d'un ordre d'idées opposé à l'ordre antique. Et, pendant qu'on les construisait, les études de la philosophie grecque, du droit romain, de l'administration romaine, étaient en grande faveur.
Au XIIe siècle, l'esprit moderne prit à l'antiquité certains principes de vérité éternelle pour se les approprier et les transformer. Au XVIe siècle, on s'empara de la forme antique, sans trop se soucier du fond. C'est donc une erreur, nous le croyons, de présenter, comme quelques écrivains de notre temps ont voulu le faire, l'architecture née au XIIe siècle comme une sorte de déviation de l'esprit humain; déviation brusque, sans relations avec ce qui a précédé et ce qui doit suivre. Si l'on prend la peine d'étudier sérieusement cet art, en mettant de côté ces reproches banals engendrés par la prévention, répétés par tous les esprits paresseux, on y trouvera, au contraire, développés avec une grande énergie, les éléments de ce que nous appelons nos conquêtes modernes, l'ordre général avec l'indépendance individuelle, l'unité dans la variété; l'harmonie, le concours de tous les membres vers un centre commun; la science qui s'impose à la forme; la raison qui domine la matière; la critique enfin, pour nous servir d'un mot de notre temps, qui veut que la tradition et l'inspiration soient soumises à certaines lois logiques. Et ce n'est pas seulement dans la combinaison géométrique des lignes de l'architecture ogivale que nous trouvons l'expression de ces principes, c'est encore dans la sculpture, dans la statuaire.
L'ornementation et l'iconographie de nos grandes cathédrales du Nord se soumettent à ces idées d'ordre, d'harmonie universelle. Ces myriades de figures, de bas-reliefs qui décorent la cathédrale composent un cycle encyclopédique, qui renferme non-seulement toute la nature créée, mais encore les passions, les vertus, les vices et l'histoire de l'humanité, ses connaissances intellectuelles et physiques, ses arts et même ses aspirations vers le bien absolu. Le temple grec est dédié au culte de Minerve, ou de Neptune, ou de Diane; et, considérant ces divinités au point de vue mythologique le plus élevé, on ne peut disconvenir qu'il y a là comme un morcellement de la Divinité. Le temple de Minerve est à Minerve seule; son culte ne satisfait qu'à un ordre d'idées. Le Grec qui désire se rendre propices les divinités, c'est-à-dire la puissance surnaturelle maîtresse de l'univers et de sa propre existence, doit aller successivement sacrifier à la porte des douze dieux de l'Olympe; il ne peut, à son point de vue, croire qu'un sacrifice fait à Cérès pour obtenir de bonnes récoltes, lui rendra Neptune favorable, s'il doit faire un voyage sur mer.
Nous admettons volontiers que les grands esprits du paganisme voyaient, dans les différents mythes qu'ils adoraient, les qualités diverses et personnifiées d'une puissance divine; mais, enfin, il fallait une mélodie pour chacun de ces mythes. L'harmonie moderne ne pouvait entrer dans le cerveau d'un Grec; elle n'avait pas de raisons d'exister; au contraire, tout la repoussait. Avec le christianisme, l'idée du morcellement des qualités de la divinité disparaît; en priant, le chrétien implore la protection de Dieu pour lui, pour les siens, pour ce qu'il possède, pour l'humanité tout entière; son Dieu embrasse l'univers sous son regard. Or cette idée chrétienne, chose singulière, nous ne la voyons matériellement développée qu'au XIIe siècle. Il semble que, jusqu'à ce réveil de l'esprit moderne, la tradition païenne laissait encore des traces dans les esprits, comme elle en laissait dans les formes de l'architecture. Jusqu'au XIIe siècle, les églises, même monastiques, conservent quelque chose du morcellement de la Divinité antique. En voyant les nombreuses sculptures romanes qui décorent nos monuments occidentaux, on ne sait trop comment rattacher ces imageries à une idée commune. Les traditions locales, le saint vénéré, les tendances ou l'histoire des populations, dirigent le sculpteur. L'Ancien et le Nouveau Testament se mêlent aux légendes. Si nous nous trouvons dans une église clunisienne, saint Antoine, saint Benoit, l'archange saint Michel jouent un rôle important dans l'iconographie; on retrouve ces personnages partout, en dedans et en dehors, sans qu'il soit possible d'assigner un ordre hiérarchique à ces représentations. Tout cela est entremêlé de figures d'animaux bizarres, et nous ne croyons pas que la symbolique romane puisse jamais être claire pour nous, puisque saint Bernard lui-même traitait la plupart de ces sculptures de monstruosités païennes. Admettant, si l'on veut, que la fantaisie de l'imagier n'ait pas été pour beaucoup dans le choix des sujets, toujours est-il que chaque église, sauf certaines représentations invariables, possède son iconographie propre.
Avec la cathédrale de la fin du XIIe siècle, surgit l'iconographie méthodique; et, pour en revenir à notre comparaison musicale, chaque sculpteur, en faisant sa partie, concourt à l'ensemble harmonique; il est astreint à certaines lois dont il ne s'écarte pas, comme pour laisser à la symphonie sa parfaite unité.
Beaucoup d'églises cathédrales, avant cette grande époque de l'art français, se composaient de plusieurs églises et oratoires. Comme premier pas vers l'unité, les évêques qui reconstruisent ces monuments, aux XIIe et XIIIe siècles, englobent ces églises et ces chapelles dans la grande construction; puis ils adoptent une iconographie dont nous allons essayer de présenter sommairement le vaste et magnifique tableau. Disons d'abord que les cathédrales qui nous donnent un ensemble de sculptures à peu près complet sont les cathédrales de Paris, de Reims, d'Amiens et de Chartres, toutes les quatre dédiées à la sainte Vierge.
Trois portes s'ouvrent à la base de la façade occidentale. Sur le trumeau de la porte centrale est placé, debout, et bénissant de la droite, tenant l'Évangile de la main gauche, le Christ homme 284; ses pieds reposent sur le dragon. Les douze apôtres sont rangés des deux côtés contre les ébrasements 285. Sur le socle du Christ est la figure de David 286, ou les prophètes qui ont annoncé sa naissance, et les arts libéraux 287 en bas-relief. Sous les apôtres sont sculptés, en bas-relief, les vertus et les vices, chaque vertu placée au-dessus du vice contraire 288. Les quatre signes des évangélistes occupent les angles des ébrasements 289. On voit s'élever, sur les deux pieds-droits, à la droite du Christ, les vierges sages; à la gauche, les vierges folles 290; au-dessous d'elles, un arbre feuillu, auquel sont suspendues des lampes, du côté des vierges sages; du côté des folles, un arbre mort frappé d'une cognée 291. Le linteau, qui ferme la porte au-dessus du trumeau, représente la résurrection, le pèsement des âmes et la séparation des élus des damnés. Au-dessus, dans le tympan, le Christ au jour du jugement, nu, montrant ses plaies; des anges tiennent les instruments de la Passion; la Vierge et saint Jean à genoux implorent le divin Juge 292. Dans les voussures, des anges 293; à la gauche du Christ, les supplices des damnés; à la droite, les élus; puis les martyrs, les confesseurs, les vierges martyres, les rois, les patriarches, ou des prophètes, quelquefois un arbre de Jessé 294. Des deux côtés de la porte, l'Église et la Synagogue 295. Le trumeau de l'une des deux portes latérales est occupé par la statue de la Vierge tenant l'enfant Jésus 296; ses pieds portent sur le serpent à tête de femme. Sur le socle est sculptée la création de l'homme et de la femme, et l'histoire de la tentation 297. Sur la tête de la Vierge, et lui servant de dais, l'arche d'alliance, soutenue par des anges 298. Des deux côtés, dans les ébrasements, les rois Mages, l'Annonciation, la Visitation, la Circoncision, David 299. Sur le linteau de la porte, on voit les rois et les prophètes 300, ou Moïse et Aaron et des prophètes 301. Au-dessus, la mort de la Vierge 302 ou son ensevelissement par les apôtres et l'enlèvement de son corps par les anges 303. Dans le tympan, son couronnement 304. Les voussures contiennent des anges, les rois ancêtres de la Vierge, et les prophètes qui ont annoncé sa venue 305. La troisième porte est ordinairement réservée au saint patron du diocèse; à Amiens, c'est saint Firmin qui occupe le trumeau; des deux côtés, dans les ébrasements, viennent les représentants de l'ordre religieux dans l'ancienne et la nouvelle loi; Aaron, Melchisedech et l'Ange; les premiers prêtres martyrs, saint Étienne, saint Denis, etc.; quelquefois des saints vénérés dans la localité, comme sainte Ulphe, saint Honoré et saint Salve à Amiens. Les linteaux et tympans de ces portes, consacrées au saint patron du diocèse, contiennent sa légende et l'histoire de la translation de ses reliques 306. Sur les soubassements ou les pieds-droits de l'une de ces portes latérales sont sculptés, en bas-relief, un zodiaque et les travaux de l'année 307. À Amiens, sur les faces des contreforts, en avant des trois portes, sont posées les statues des prophètes, et, au-dessous, les prophéties dans des médaillons; c'est comme une sorte de prologue aux scènes sculptées autour des portes et qui tiennent à la nouvelle loi. Sur les façades des grandes cathédrales du titre de sainte Marie, mère de Dieu, au-dessus des portes, on voit une série de statues colossales de rois ancêtres de la Vierge 308. Ils assistent à sa glorification. Une galerie supérieure reçoit la statue de la sainte Vierge entourée d'anges 309. C'était de ce balcon élevé qu'au Dimanche des Rameaux le clergé entonnait, en plein air, le Gloria devant le peuple assemblé sur le parvis. Le sommet du pignon de la nef reçoit une statue du Christ bénissant, ou un ange sonnant de la trompette, comme pour rappeler la scène du Jugement dernier tracée sur le tympan de la porte centrale. Les sculptures des portes nord et sud des transsepts sont ordinairement réservées aux saints particulièrement vénérés dans le diocèse, ou, comme à Paris, du côté sud, consacrent le souvenir de l'une des églises annexées à la cathédrale avant sa reconstruction 310. Autour de la cathédrale, sur les contreforts, contre les parois des chapelles 311, des statues d'anges tiennent les ustensiles nécessaires au service religieux, des instruments de musique 312, comme pour indiquer que l'Église est un concert éternel à la gloire de Dieu.
Nous ne pouvons ici entrer dans tous les détails de la statuaire de nos grandes cathédrales du Nord; ce serait sortir du cadre déjà très-large que nous nous sommes tracé. Nous avons seulement voulu faire comprendre le principe d'unité qui avait dû diriger les sculpteurs. On a pu le voir, par cet exposé sommaire, non contents de tracer l'histoire de la naissance du Sauveur, les évêques voulaient, aux yeux de tous, établir la généalogie de la Vierge, sa victoire sur le démon, sa glorification, les rapports qui existent entre l'ancienne et la nouvelle loi par les prophéties, et surtout frapper les imaginations par la représentation du jugement dernier; de la récompense des bons et de la punition des méchants. Comme épisodes de ce grand poëme, la parabole des vierges sages, celle de l'enfant prodigue, quelquefois des scènes tirées de l'Ancien Testament, la tentation et la chute d'Adam, la mort d'Abel, le déluge, l'histoire de Joseph, de Job, celle de David, les principaux exemples de la faiblesse, de la résignation ou du courage humain, de la vengeance divine. Puis ces figures énergiques des vertus et des vices personnifiés; puis, enfin, l'ordre naturel, les saisons, les éléments, les travaux de l'agriculture, les sciences et les arts. L'iconographie de la cathédrale, à l'extérieur, embrassait donc toute la création.
Dans l'église, la statuaire était remplacée par les peintures des verrières; sur ces splendides tapisseries, on retrouvait, dans le choeur, la passion de Jésus-Christ, les apôtres, les évangélistes et les prophètes, les rois de Juda; dans la nef, les saints évêques. Les fenêtres basses retraçaient aux yeux les légendes des saints, des paraboles, l'Apocalypse, des scènes du jugement dernier. Celles de la chapelle du chevet consacrée à la Vierge, son histoire, ses légendes, l'arbre de Jessé, les prophéties, les sibylles. Le pavage venait à son tour ajouter à la décoration en entrant dans le concert universel; au centre de la nef était incrusté un labyrinthe (voyez ce mot), figure symbolique, probablement, des obstacles que rencontre le chrétien et de la patience dont il doit être armé; c'était au centre de ce labyrinthe que les noms et les portraits des maîtres des oeuvres étaient tracés, comme pour indiquer qu'ils avaient eu, les premiers, à traverser de longues épreuves avant d'achever leur ouvrage. Sur les dallages des cathédrales, on voyait aussi, gravés, des zodiaques 313, des scènes de l'Ancien Testament 314, des bestiaires 315. Si nous ajoutons, à ces décorations tenant aux monuments, les tapisseries et les voiles qui entouraient les sanctuaires, les jubés enrichis de fines sculptures, les peintures légendaires des chapelles, les autels de marbre, de bronze ou de vermeil, les stalles, les châsses, les grilles admirablement travaillées, les lampes d'argent et les couronnes de lumière suspendues aux voûtes, les armoires peintes ou revêtues de lames d'or renfermant les trésors, les statues en métal ou en cire, les tombeaux, les clôtures de choeur couvertes de bas-reliefs, les figures votives adossées aux piliers, nous pourrons avoir une idée de ce qu'était la cathédrale, au XIIIe siècle, un jour de grande cérémonie, lorsque les cloches de ses sept tours étaient en branle, lorsqu'un roi y était reçu par l'évêque et le chapitre, suivant l'usage, aussitôt son arrivée dans une ville.
Dépouillées aujourd'hui, mutilées par le temps et la main des hommes, méconnues pendant plusieurs siècles par les successeurs de ceux qui les avaient élevées, nos cathédrales apparaissent, au milieu de nos villes populeuses, comme de grands cercueils; cependant elles inspirent toujours aux populations un sentiment de respect inaltérable; à certains jours de solennités publiques, elles reprennent leur voix, une nouvelle jeunesse, et ceux mêmes qui répétaient, la veille, sous leurs voûtes, que ce sont là des monuments d'un autre âge sans signification aujourd'hui, sans raison d'exister, les trouvent belles encore dans leur vieillesse et leur pauvreté 316.
Note 177: (retour) Cathedra, proprie est sedes, seu sessio honestior et augustior episcoporum in Ecclesia, cæteris aliorum presbyterorum sedilibus excelsior: Ut in mentem revocarent, inquit S. August. in Psalm. 126, altiore se in loco, tanquam in specula constitutos, quo oculorum acie pervigili, atque indefessa, in tutelam gregis incumbant, tanto cæteris virtute et probitate clariores, quanto magis essent sedis honore ac sublimitate conspicui. (Ducange, Gloss.)
Note 178: (retour) Il existe encore quelques-uns de ces siéges épiscopaux. En Provence, à Avignon, on en voit un dans l'église cathédrale; il est en marbre, et fut enlevé de sa place primitive pour être rangé à la droite de l'autel. Dans la cathédrale d'Augsbourg, le siége épiscopal est resté à sa place, au fond de l'abside, comme ceux que l'on voit encore dans les basiliques de Saint-Clément et de Saint-Laurent (extra muros) à Rome (voy. CHAIRE).
Note 179: (retour) À Lyon, le trône épiscopal occupait encore, il y a un siècle, le fond de l'abside de la cathédrale, et l'autel était dépourvu de tout ornement au-dessus de la table; une croix et deux flambeaux devaient seuls y être placés.
Note 180: (retour) Lettre 78.
Note 181: (retour) Instit. de saint Louis, p. 172. Le comte Beugnot.
Note 182: (retour) Instit. de saint Louis. Le comte Beugnot.
Note 183: (retour) Voir, pour de plus amples détails, l'Itinér. archéol. de Paris, par M. le baron de Guilhermy.--Paris, 1855.
Note 184: (retour) L'échelle de ce plan, ainsi que de tous ceux qui vont suivre, est de 0,001m pour mètre.
Note 185: (retour) La surface couverte de l'église de Notre-Dame de Paris était de 4,370 mèt.; déduisant les pleins et le sanctuaire, restait environ 3,800 mèt. à rez-de-chaussée, pouvant contenir, en supposant les espaces laissés libres pour les passages, 7,500 personnes.
Note 186: (retour) Ces galeries peuvent contenir 1500 personnes, en supposant qu'elles soient placées seulement sur quatre rangs.
Note 187: (retour) C'est en réparant les fenêtres hautes de la nef de la cathédrale, pendant le cours de la campagne de 1854, que nous avons découvert les roses s'ouvrant dans la nef au-dessus de la galerie du premier étage, et éclairant le comble de cette galerie. Des fragments de ces roses ont pu être replacés dans la dernière travée de la nef et les deux travées ouest du croisillon sud.
Note 188: (retour) Nous n'avons, pour donner ces dates, que le caractère architectonique des constructions; mais, dans l'Ile de France, les progrès sont si rapides, que l'on aperçoit, dans un espace de dix ans, des changements assez sensibles pour pouvoir, à coup sûr, fixer la date d'une construction.
Note 189: (retour) Époque de la construction de la Sainte-Chapelle. Ces chapelles présentent des détails et des profils identiques avec ceux de ce monument.
Note 190: (retour) Cette claire-voie est restée du côté nord, derrière les couvertures de ces chapelles.
Note 191: (retour) Ce plan est le plan actuel, avec la sacristie bâtie depuis 1845 à la place de l'ancien archevêché au sud.
Note 192: (retour) En 1160, on jette les fondements de la cathédrale actuelle de Paris; en 1172, on projette la reconstruction de celle de Bourges. L'évêque Étienne donne à Odon, clerc, cette année 1172, une place située devant la porte de l'église, pour y bâtir une maison, à la condition de rendre l'emplacement «aussitôt que la construction de l'église projetée l'exigera.» La Cathédrale de Bourge, par A. de Girardot et Hip. Durand. Moulins, 1849.
Note 193: (retour) Nous avons enlevé de ce plan quelques chapelles ajoutées le long du bas-côté de la nef pendant les XIVe et XVe siècles.
Note 194: (retour) Nous avons entendu exprimer l'opinion que ces portes étaient les restes, demeurés en place, d'une église du XIIe siècle; il n'est pas besoin d'être très-familier avec les détails de sculpture et les moulures des XIIe et XIIIe siècles, pour reconnaître qu'à la porte B du sud, par exemple, le trumeau portant la figure du Christ est du XIIIe siècle, que les moulures de soubassements et quelques colonnes servant de supports aux statues sont du XIIIe siècle, tandis que les figures des ébrasements, les linteaux et tympans sont du XIIe. C'est encore là, comme à Paris, une collection de fragments précieux, un souvenir d'un édifice antérieur qu'on a voulu conserver et enchâsser dans la construction même. Du reste, comme à Paris, ces sculptures méritaient bien cet honneur; elles sont de la plus grande beauté.
Note 195: (retour) On a reproché, et on reproche chaque jour aux architectes de cette époque, d'avoir conçu des édifices qui n'étaient pas possibles; et, confondant les styles, les époques, ne tenant pas compte de l'épuisement des sources financières qui se tarirent au milieu du XIIIe siècle, on les accuse de n'avoir pas su achever ce qu'ils avaient commencé. Mais les architectes qui, en 1490, élevaient une cathédrale, ne pouvaient supposer alors (tel était l'entraînement général) que les moyens dont ils disposaient viendraient à s'amoindrir. Lorsqu'ils ont pu, par hasard, terminer l'oeuvre qu'ils avaient conçue, nous verrons avec quelle puissance de moyens et avec quelle science soutenue ils l'ont fait. Déjà l'exemple de la cathédrale de Paris que nous avons donné le prouve; nous allons voir qu'il n'est pas le seul. Un fait curieux fait comprendre ce que c'était que la construction dune cathédrale au commencement du XIIIe siècle. Ce fait étant plus rapproché de nous, bien connu, convaincra, nous le croyons, les esprits les plus enclins au doute. La cathédrale d'Orléans fut détruite de fond en comble par les protestants, à la fin du XVIe siècle. Les Orléanais voulurent avoir non-seulement une cathédrale, mais leur cathédrale, celle qui avait été démolie, et pendant deux siècles ils poursuivirent cette idée, malgré que le goût des constructions ogivales ne fût guère de mode alors. La cathédrale d'Orléans fut rebâtie, et ce n'est pas la faute des populations si les architectes ne surent leur élever qu'un monument bâtard. Certes, nous n'avons pas l'intention de donner cet édifice comme un modèle d'architecture ogivale; mais sa reconstruction est un fait moral d'une grande portée. Orléans, la ville centrale de la France, avait seule peut-être conservé, en plein XVIIe siècle, le vieil esprit national; seule elle était restée attachée à son monument, qui lui rappelait une grande époque, de grands souvenirs, les premiers efforts de la société française pour se constituer. Nous l'avons dit déjà, si les châteaux, si les abbayes furent brûlés et dévastés en 1793, toutes nos grandes cathédrales restèrent debout, et beaucoup même ne subirent pas de mutilations.
Note 196: (retour) Ces usages ne furent guère abolis qu'à la fin du XIIIe siècle. Jean de Courtenai, archevêque de Reims, donna, en 1260, des lettres de réformation pour la cathédrale de Laon, dans lesquelles on lit ce passage: «Ecclesiam quoque, quæ domus orationis esse debet, locum negociationis fieri prohibemus, nec in eadem rerum quarumlibet merces vendi, causas audiri vel decidi volumus, seu mundana celebrari: imo mundanis exclusis negotiis, solum ibidem divinum negotium fiat.» Cartul. Laudun., Essai sur l'égl. de N.-D. de Laon, par J. Marion, 1843.
Note 197: (retour) Tels sont, par exemple, les faits relatifs aux fondations, que Suger dit avoir fait exécuter avec le plus grand soin; or ces fondations sont aussi négligées que possible: aux colonnes du choeur, qui auraient été rapportées d'Italie, elles proviennent des carrières de l'Oise; aux vitraux, dans la fabrication desquels il entra une quantité considérable de pierres précieuses, saphirs, émeraudes, rubis, topazes: or ces vitraux, dont nous possédons heureusement de nombreux fragments, quoique fort beaux, sont, bien entendu, en verre coloré par des oxydes métalliques. On objectera peut-être que les fabricants chargés de faire ces vitraux firent croire à Suger que, pour obtenir des verrières d'une belle couleur, il fallait y jeter des pierres précieuses; mais alors ces vitraux auraient donc été faits en dehors de l'abbaye, et Suger se servait donc d'artistes laïques? Nous sommes plus disposé à croire que ce récit est une exagération. Suger, tel que nous le représente l'histoire, ne parait pas être homme à se laisser tromper d'une façon aussi grossière. On devait savoir, dans son abbaye, comment se fabriquaient les vitraux.
Note 198: (retour) Ces plans sont tous à la même échelle, 0,001m pour mètre. Il est entendu que lorsque nous parlons du côté sud, c'est la droite que nous prétendons indiquer; du nord, c'est la gauche pour celui qui regarde la planche, toutes les cathédrales étant orientées de la même manière, sauf de très-rares exceptions.
Note 199: (retour) Monog. de l'égl. N.-D. de Noyon, par M. L. Vitet, 1845.
Note 200: (retour) La réunion des deux évêchés de Tournay et de Noyon fut maintenue jusque vers 1135; à cette époque, les chanoines de Tournay obtinrent une bulle qui prononçait la séparation des deux diocèses et donnait à Tournay un évêque propre.
Note 201: (retour) Voyez la Monog. de l'égl. N.-D. de Noyon, par M. L. Vitet, et l'atlas de planches, par M. D. Ramée; 1845.
Note 202: (retour) Lettres sur l'hist. de France, Aug. Thierry (Lettre XVIII).
Note 203: (retour) Essai hist. et archéol. sur l'égl. cathéd. de N.-D. de Laon, par J. Marion, 1843.
Note 204: (retour) Dom Bugnâtre.
Note 205: (retour) Dom Bugnâtre.
Note 206: (retour) Regist. capit.
Note 207: (retour) Idem.
Note 208: (retour) Lettres sur l'Hist. de France, par Aug. Thierry (Lettre XV).
Note 209: (retour) Monog. de la cathéd. de Noyon.
Note 210: (retour) Cette partie de la cathédrale de Laon est aujourd'hui en pleine restauration, sous la direction de M. Boeswiswald, architecte des monuments historiques. La cathédrale de Laon n'est plus siége épiscopal depuis la révolution; elle dépend du siége de Soissons.
Note 211: (retour) Nous comprenons la cathédrale de Bourges dans cette période, parce qu'il y a lieu de présumer, en examinant son plan, que les architectes du XIIIe siècle qui la construisirent exécutèrent un projet antérieur, peut-être celui qui avait été conçu dans la seconde moitié du XIIe siècle.
Note 212: (retour) Descript. de la cathéd. de Chartres, par l'abbé Bulteau, 1850.
Note 213: (retour) Poëme des Miracles, p. 27. (Jehan le Marchant.)
Note 214: (retour) Notre-Dame de Chartres fut dédiée seulement le 17 octobre 1260.
Note 215: (retour) Des fragments de ce jubé ont été découverts en grand nombre sous le dallage; ils sont de la plus grande beauté, et déposés aujourd'hui dans la crypte et sous la chapelle Saint-Piat (voy. JUBÉ).
Note 216: (retour) La cathédrale de Chartres est bâtie en pierre de Berchère; c'est un calcaire dur, grossier d'aspect, mais d'une solidité à toute épreuve. Les blocs employés sont d'une grandeur extraordinaire. Nous aurons l'occasion de revenir sur ces détails (voy. ARC-BOUTANT, BASE, CONSTRUCTION, PORCHE, PILIER, SOUBASSEMENT).
Note 217: (retour) Il est entendu que, pour le pignon nord, nous ne parlons pas des deux portes percées vers le milieu du XIIIe siècle.
Note 218: (retour) Seule, la porte centrale est ouverte aujourd'hui.
Note 219: (retour) Jean et Remi Legoix.
Note 220: (retour) Anquetil.
Note 221: (retour) «Le nécrologe du chapitre en la fondation de l'obit de cet évesque le faict origenaire de la ville d'Amiens, fort débonnaire et de grande estude, et croyrois que c'est luy qui gist en marbre noir, tout au plus haut, s'il faut ainsi dire, de l'église, vis-à-vis de la chapelle paroissiale (la chapelle de la Vierge dans l'axe) justement derrière le choeur, en mémoire qu'il acheva la summité d'icelle...» Antiquitez de la ville d'Amiens. Adrian de la Morlière, chan., 1627.
Note 222: (retour) L'inscription qui constate ce fait existe encore sur la verrière haute située dans l'axe du choeur.
Note 223: (retour) De ces dépendances, il ne reste aujourd'hui que la chapelle qui sert de grande sacristie; elle est décorée par une belle tribune en bois sculpté de la fin du XVe siècle. Une portion du cloître a été reconstruite depuis 1848, ainsi que le petit bâtiment placé en D. Les restes anciens étaient en ruine.
Note 224: (retour) Le plan de la cathédrale de Cologne terminée couvre une surface de 8,900 m, environ; celui de la cathédrale de Reims une surface de 6,650 mètres; celui de la cathédrale de Bourges une surface de 6200 mètres; celui de la cathédrale de Paris une surface de 5500 mètres.
Note 225: (retour) Voy. ARCHITECTURE RELIGIEUSE, fig. 35, un ensemble perspectif de cette coupe.
Note 226: (retour) Il est entendu que nous parlons ici de la nef de la cathédrale d'Amiens telle qu'elle existait avant la construction des chapelles du XIVe siècle. Cette adjonction laisse d'ailleurs voir foute la disposition ancienne, et à l'intérieur, dans le transsept, les fenêtres des bas-côtés sont restées en place.
Note 227: (retour) L'architecture des chapelles absidales de la cathédrale d'Amiens a la plus grande ressemblance avec celle de la Sainte-Chapelle de Paris. Ce sont les mêmes profils, les mêmes meneaux de fenêtres, le même système de construction. L'arcature de la Sainte-Chapelle basse
Note 228: (retour) Il faut se rappeler que la nef était entièrement élevée lorsque le choeur était à peine commencé.
Note 229: (retour) À l'échelle de 0,001m pour mètre, comme tous les autres plans contenus dans cet article.
Note 230: (retour) La nef centrale, d'axe en axe des piles, porte, à Amiens, 14m,60; à Beauvais, 15m,60.
Note 231: (retour) Voy. ARC-BOUTANT, fig. 61.
Note 232: (retour) Dans notre plan fig. 22, la teinte grise indique les constructions du XVIe siècle, et le trait le projet de la nef qui ne fut jamais mis à exécution.
Note 233: (retour) Voyez l'excellente Notice de M. Félix de Verneilh sur la cathédrale de Cologne, dans les Annales archéologiques de M. Didron, tirée à part; 1848. (Librairie archeol. de M. V. Didron.)
Note 234: (retour) Comme tous les autres, ce plan est à l'échelle de 0,004m pour mètre.
Note 235: (retour) Dans le temps où l'on croyait très-sérieusement faire en France de l'architecture romaine, on portait des perruques colossales et des souliers à talons, des canons couverts de rubans, des aiguillettes et des baudriers larges de six pouces, nous n'y voyons pas de mal; mais on nous dit, très-sérieusement aussi, lorsque nous croyons qu'on peut tirer quelque chose de l'architecture française du XIIIe siècle, et lorsque nous engageons les jeunes architectes à l'étudier, pour combattre cette opinion et ce désir, que nous ne nous habillons plus comme du temps de Philippe-Auguste. Est-ce que nos habits se rapprochent davantage du costume romain que de celui de Louis XIV?
Note 236: (retour) En 1845, il fallut rebâtir le pignon du transsept sud qui s'était écroulé en partie; déjà, au XVe siècle, on avait consolidé celui du nord. En 1849, il fallut étayer les voûtes du choeur, et, depuis cette époque, des travaux de reprise en sous-oeuvre des fondations ont été exécutés avec une grande adresse; les chapelles furent restaurées, et on reconstruit aujourd'hui toute la partie supérieure du sanctuaire.
Note 237: (retour) Le haut choeur de l'église abbatiale de Saint-Denis a la plus grande analogie avec le choeur de la cathédrale de Troyes.
Note 238: (retour) Le choeur seul de cet édifice date du XIIIe siècle (première moitié). La nef appartient, ainsi que les chapelles, aux siècles suivants; la façade ne fut élevée qu'au commencement du XVIe siècle.
Note 238: (retour) Ce plan est à 0,001m pour mètre. La cathédrale d'Autun est mal orientée; l'abside est tournée vers le sud-sud-est.
Note 240: (retour) Voy. ARCHITECTURE RELIGIEUSE, fig. 20.
Note 241: (retour) Ce collatéral circulaire a été entouré, au XIVe siècle, de chapelles informes; mais on retrouve facilement, au-dessus des voûtes de ces chapelles, fort légèrement construites, les dispositions primitives du bas-côté.
Note 242: (retour) Quoique la cathédrale d'Autun ait été bâtie en excellents matériaux, bien appareillés, d'un fort volume, et posés avec soin, le grand berceau ogival fit déverser les murs latéraux immédiatement après le décintrage; on dut soutenir ces murs par des arcs-boutants, qui furent refaits ou rhabillés au XVe siècle. Il y a dix ans, il fallut reconstruire les grandes voûtes en poterie et fer; elles menaçaient ruine.
Note 243: (retour) À l'échelle de 0,001m pour mètre.
Note 244: (retour) Nous ne parlons pas des voûtes hautes du choeur et de la nef qui, dans la cathédrale de Sens, furent refaites, vers la fin du XIIIe siècle, à la suite d'un incendie.
Note 245: (retour) Il ne faut pas oublier que la cathédrale de Canterbury avait conservé avec la France des relations suivies. Lanfranc, Saint-Anselme, tous deux Lombards, tous deux sortis de l'abbaye du Bec en Normandie, devinrent successivement archevêques de Canterbury, primats d'Angleterre. Saint Thomas Becket demeura longtemps à Pontigny et à Sens; le trésor de cette cathédrale conserve encore ses vêtements épiscopaux.
Note 246: (retour) La cathédrale de Canterbury est à doubles croisillons; les croisillons de l'ouest dépendent de la Basilique primitive; ceux de l'est appartiennent à la construction commencée par Guillaume de Sens (voy. The architectural history of Canterbury cathedral, par le professeur Willis, auquel nous empruntons ce curieux passage, que l'auteur a lui-même extrait de la chronique de Gervase).
Note 247: (retour) La seule partie contestable de cette restitution serait la chapelle circulaire dans l'axe, remplacée par une chapelle plus profonde élevée, après l'incendie, à la fin du XIIIe siecle. Mais il y a tant d'analogie entre le chevet de Canterbury et celui de Sens, que nous sommes fort disposés à croire que la couronne de Becket n'est qu'une imitation d'une chapelle semblable bâtie à Sens par le maître Guillaume, avant son départ pour l'Angleterre. N'oublions pas que c'est en 1168 que la cathédrale de Sens est terminée, et que c'est en 1175 que Guillaume commence les constructions du choeur de Canterbury. Nous renvoyons nos lecteurs, pour de plus amples renseignements sur ce sujet, à l'excellent ouvrage déjà cité du Profr Willis.
Note 248: (retour) Ce beffroi n'existe plus; il fut descendu, pour cause de vétusté, il y a une dizaine d'années.
Note 249: (retour) À l'échelle de 0,001m pour mètre.
Note 250: (retour) Mém. concern. l'hist. civ. et eccl. d'Auxerre, par l'abbé Lebeuf, 1848, t. I, p. 402 et suiv. Pour les dispositions intérieures de l'édifice du XIIIe siècle, voyez au mot CONSTRUCTION. Ces dispositions appartiennent franchement à l'école bourguignonne.
Note 251: (retour) Au XIVe siècle, un collatéral circulaire et des chapelles furent levées autour du sanctuaire de la cathédrale de Châlons, et la nef fut presque entièrement reconstruite. La partie occidentale de cette cathédrale date du dernier siècle. Après un incendie qui causa les plus graves dommages à cet édifice et qui détruisit la voûte du sanctuaire, une restauration, entreprise sous le règne de Louis XIV, acheva de dénaturer ce qui restait du monument du XIIIe siècle. Cependant on peut encore facilement reconnaître le plan primitif enté sur un édifice roman.
Note 252: (retour) La belle cathédrale d'Arras ne fut détruite que depuis la révolution de 1792; elle existait encore au commencement du siècle. Celle de Cambrai était l'oeuvre de Villart de Honnecourt, ce maître dont nous avons parlé plusieurs fois, l'ami de Robert de Coucy. Vienne possède un modèle de cette cathédrale dépendant d'un plan en relief enlevé, en 1815, du musée des Invalides, par les généraux autrichiens.
Note 253: (retour) Ce plan est à l'échelle de 0,001m pour mètre. Il est entendu que nous n'avons eu, pour le tracé de l'abside principale, que des données fort vagues. Mais nous présentons ce plan comme un type plutôt que comme un édifice particulier.
Note 254: (retour) La position inusitée de ce clocher ne peut être expliquée que par la détermination, prise à la fin du XIIIe siècle, de ne pas étendre plus loin que les transsepts les nouvelles constructions, et de conserver la nef romane restaurée au XIIe siècle. Dans l'église primitive, dont nous avons donné le plan fig. 34, le clocher unique devait être posé sur les quatre piles de la croisée, suivant la méthode normande. Démoli lorsqu'on refit le choeur, en renonçant à la reconstruction totale, on ne trouva pas d'autre place pour recevoir les cloches que l'extrémité du croisillon sud.
Note 255: (retour) De funestes restaurations furent entreprises sur la façade et autour de la nef de la cathédrale de Séez, de 1818 à 1849; elles n'ont fait qu'empirer un état de choses déjà fort dangereux. Des travaux, exécutés avec intelligence et soin depuis cette époque, permettent d'espérer que ce remarquable édifice pourra être sauvé de la ruine dont il est menacé depuis longtemps.
Note 256: (retour) Voir le plan du premier étage de la cathédrale de Chartres, où ce parti est largement développé.
Note 257: (retour) Par suite de ces constructions successives, faites d'ailleurs en matériaux peu résistants, des écrasements si graves se sont manifestés dans les quatre points d'appui, sous l'énorme charge qu'ils ont à porter, qu'il a fallu cintrer les quatre arcs doubleaux, étayer les piliers, et procéder à la démolition des parties supérieures.
Note 258: (retour) La cathédrale de Bayeux possède encore, des deux côtés du choeur, ses sacristies et salle de trésor, et, au nord de la façade occidentale, une belle salle capitulaire du XIIIe siècle (voy. SALLE CAPITULAIRE).
Note 259: (retour) Les chapelles de la nef présentent une disposition si belle et si rare, que nous avons cru devoir les donner sur ce plan, bien qu'elles dénaturent les dispositions primitives. Ces chapelles sont mises en communication les unes avec les autres à une hauteur de trois mètres environ, par des claires-voies ou meneaux sans vitraux; c'est comme un collatéral qui serait divisé par des cloisons transversales peu élevées.
Note 260: (retour) Le portail des Libraires (nord) vient d'être restauré par MM. Desmarets et Barthélemy, avec un soin et une perfection qui font le plus grand honneur à ces deux architectes.
Note 261: (retour) Hist. de l'égl. cathéd. de Rouen, 1696, Rouen.
Note 262: (retour) «Chacun sçait (dit Pommeraye dans son Hist. de l'égl. cathéd. de Rouen, p. 35) qu'elle a eü ce nom à cause de la permission que le cardinal Guillaume d'Estouteville obtint pour les fidelles du diocèse de Roüen et d'Évreux d'user de beurre et de laict pendant le carême... Robert de Croismare (archevêque de Rouen) destina au bâtiment de cette tour les deniers qui furent offerts par les fidelles pour reconnoissance de cette faveur... La tour ne fut achevée qu'en 1507...»
Note 263: (retour) À la suite de l'incendie de 1821, une partie de la toiture des grands combles et les voûtes de la nef furent refaites à neuf.
Note 264: (retour) Nous désignons ici l'ancienne cathédrale de Périgueux et non la cathédrale actuelle, rétablie dans l'église abbatiale de Saint-Front.
Note 265: (retour) Seule la tour du nord existe aujourd'hui.
Note 266: (retour) Nous devons ces dessins à notre ami, M. Abadie, architecte de la cathédrale d'Angoulême, qui vient de terminer avec autant de bonheur que de talent le démontage et la reconstruction pièce par pièce de la belle tour dont nous donnons la coupe.
Note 267: (retour) Voyez L'Archit. byzantine en France, par M. Félix de Verneilh. Paris, 1851, p. 283 et suiv.
Note 268: (retour) Voyez le même ouvrage, et l'article ARCHITECTURE RELIGIEUSE.
Note 269: (retour) Comme tous les autres plans, celui-ci est à l'échelle de 0,001m pour mètre.
Note 270: (retour) En faisant quelques fouilles, M. Mallay, architecte, a retrouvé exactement le plan de la cathédrale du Xe au XIe siècle, dont les dispositions se rapportaient à celles de toutes les églises romanes d'Auvergne.
Note 271: (retour) Deux tours qui subsistaient encore sur cette façade, mais qui avaient été dénaturées depuis longtemps, ont dû être démolies parce qu'elles menaçaient de s'écrouler.
Note 272: (retour) La nef de la cathédrale de Limoges resta inachevée comme celle de la cathédrale de Clermont. À l'ouest (voy. fig. 47), on a laissé subsister un débris de l'ancienne nef romane et les soubassements de la tour du XIe siècle, renforcés et surélevés au XIIIe et au XIVe siècle (voy. CLOCHER).
Note 273: (retour) Ce choeur est à peu près aussi élevé que celui des cathédrales de Beauvais et de Cologne.
Note 274: (retour) L'un des archevêques de Narbonne, pendant le dernier siècle, voulut reprendre cette construction et élever l'église au moins jusqu'à la première travée en avant des transsepts; l'entreprise fut bientôt suspendue; les constructions, reprises de nouveau il y a quinze ans, n'ont fait qu'ajouter quelques assises à celles laissées en attente à la fin du XVIIIe siècle. Dans notre plan, la teinte grise indique les constructions dernières, et le trait le projet probable.
Note 275: (retour) Cette nef dans oeuvre n'a pas moins de 24 mètres; les voûtes sont en arcs d'ogives, portées sur des piles et contrebuttées par des contreforts formant des travées intérieures profondes ou des chapelles entre eux. Il est probable que cette disposition était une de celles adoptées dans ces provinces avant l'invasion du style français, après les guerres des Albigeois.
Note 276: (retour) Aujourd'hui l'église de la Cité, le siége épiscopal ayant, depuis le concordat, été transféré dans la ville basse.
Note 277: (retour) Cette salle a été modifiée au XVe siècle. Le tombeau de l'évêque Radulphe est placé dans la chapelle (voy. TOMBEAU).
Note 278: (retour) Ce plan est à la même échelle que les autres, 0,001m pour mètre.
Note 279: (retour) La crypte romane de l'église cathédrale de Limoges, qui existe encore et était placée sous le chevet, n'arrive guère qu'au milieu du sanctuaire actuel. Les fondations de la cathédrale romane de Clermont ne dépassent pas la première travée du choeur.
Note 280: (retour) À l'échelle de 0,001m pour mètre.
Note 281: (retour) Voir la coupe de la cathédrale d'Alby, à l'article ARCHITECTURE RELIGIEUSE, fig. 51.
Note 282: (retour) Membre de l'Institut.
Note 283: (retour) Si l'on doute de nos assertions, on peut consulter l'excellent ouvrage de M. de Coussemaker sur cette matière, et les travaux de M. Félix Clément, qui a bien voulu nous fournir tous ces renseignements scientifiques (voy. les Annales archéol. de M. Didron).
Note 284: (retour) Paris, Amiens, Chartres, portail méridional; Reims, portail septentrional.
Note 285: (retour) Idem.
Note 286: (retour) Amiens.
Note 287: (retour) Paris.
Note 288: (retour) Paris, Amiens. À Chartres, les vertus et les vices sont sculptés sur les piles du porche méridional.
Note 289: (retour) Paris.
Note 290: (retour) Paris, Amiens, Sens.
Note 291: (retour) Amiens.
Note 292: (retour) Paris, Amiens, Reims, Chartres.
Note 293: (retour) Paris, Amiens, Reims, Chartres.
Note 294: (retour) Amiens.
Note 295: (retour) Paris.
Note 296: (retour) À Paris, la Vierge est à la porte de gauche, en regardant le portail; à Amiens, à la porte de droite.
Note 297: (retour) Paris, Amiens.
Note 298: (retour) Idem.
Note 299: (retour) Amiens, Reims.
Note 300: (retour) Paris.
Note 301: (retour) Amiens.
Note 302: (retour) Paris.
Note 303: (retour) Amiens, Senlis.
Note 304: (retour) Paris, Amiens, Senlis, Reims.
Note 305: (retour) Amiens.
Note 306: (retour) Reims, portail septentrional; Amiens; Paris, Meaux, portail méridional.
Note 307: (retour) Paris, Reims, Amiens.
Note 308: (retour) À Paris, à Reims, à Amiens, on a voulu voir, dans ces statues de rois, la série des rois de France; et cette idée populaire date de fort loin, puisqu'elle est déjà exprimée au XIIIe siècle. L'une de ces statues, invariablement posée sur un lion, est alors prise pour Pepin. Dans les XXIII manières de vilains, manuscrit qui date de la fin du XIIIe siècle, on lit ce passage: «Li vilains Babuins est cil ki va devant Notre-Dame à Paris, et regarde les rois et dist: «Vés-la Pépin, vés-la Charlemainne.» Et on li coupe sa borse par derière.» Nous ne voyons pas cependant que les évèques qui, à la fin du XIIe siècle fixèrent les règles générales de l'iconographie des cathédrales, aient voulu représenter les rois de France sur les portails des églises du titre de Sainte-Marie, mais bien plutôt les rois de Juda; car rien ne rappelle l'histoire contemporaine dans ces grands monuments, ou, quand par hasard, elle s'y montre, ce n'est que d'une manière très-accessoire; le manuscrit cité ici est une satyre et son auteur a bien pu d'ailleurs, en faisant ainsi parler le badaud parisien devant le portail de Notre-Dame de Paris, vouloir rappeler une erreur populaire. Il nous parait bien plus conforme à l'esprit de l'époque d'admettre que les statues des rois sont des rois de Juda, puisqu'ils complètent, par leur présence, les représentations des personnages qui participent à la venue du Christ. Le roi toujours posé sur un lion, et tenant une croix et une épée, ne peut ètre que David; l'autre roi, tenant également une croix et un anneau, Salomon. D'ailleurs, avant le règne de Philippe-Auguste, et mème jusqu'à celui de saint Louis, les évèques ne pouvaient avoir, de la puissance royale, les idées admises à la fin du XIIIe siècle. Il nous suffira, pour faire comprendre ce qu'était, au XIIe siècle, un roi de France aux yeux de l'évêque et du chapitre de Paris, de citer un fait rapporté par un écrivain contemporain, Étienne de Paris. «J'ai vu, dit-il, que le roi Louis (VII), qui voulait arriver un jour à Paris, étant surpris par la nuit, se retira dans un village des chanoines de la cathédrale appelé Creteil (Cristolium). Il y coucha; et les habitants fournirent la dépense. Dès le grand matin, on le vint rapporter aux chanoines; ils en furent fort affligés et se dirent l'un à l'autre: «C'en est fait de l'Église, les priviléges sont perdus: il faut ou que le roi rende la dépense, ou que l'office cesse dans notre église.» Le roi vint à la cathédrale dès le mème jour, suivant la coutume où il étoit d'aller à la grande église, quelque temps qu'il fit. Trouvant la porte fermée, il en demanda la raison, disant que si quelqu'un avoit offensé cette église, il vouloit la dédommager. On lui répondit: «Vraiment, sire, c'est vous-même qui, contre les coutumes et libertés sacrées de cette sainte église, avez soupé hier à Creteil; non à vos frais, mais à ceux des hommes de cette église: c'est pour cela que l'office est cessé ici, et que la porte est fermée, les chanoines étant résolus de plutôt souffrir toutes sortes de tourments que de laisser de leur temps enfreindre leurs libertés.» Ce roi très-chrétien fut frappé de ces paroles. «Ce qui est arrivé, dit-il, n'a point été fait de dessein prémédité. La nuit m'a retenu en ce lieu, et je n'ai pu arriver à Paris comme je me l'étois proposé. C'est sans force ni contrainte que les habitants de Creteil ont fait de la dépense pour moi; je suis fâché maintenant d'avoir accepté leurs offres. Que l'évêque Thibaud vienne, avec le doyen Clément, que tous les chanoines approchent, et surtout le chanoine qui est prévôt de ce village: si je suis en tort, je veux donner satisfaction; si je n'y suis pas, je veux m'en tenir à leur avis.» Le roi resta en prière devant la porte en attendant l'évêque et les chanoines. On fit l'ouverture des portes; il entra en l'église, y donna pour caution du dédommagement la personne de l'évêque même. Le prélat remit en gage aux chanoines ses deux chandeliers d'argent; et le roi, pour marquer par un acte extérieur qu'il vouloit sincèrement payer la dépense qu'il avait causée, mit de sa propre main une baguette sur l'autel, laquelle toutes les parties convinrent de faire conserver soigneusement, à cause que l'on avoit écrit dessus, qu'elle étoit en mémoire de la conservation des libertés de l'Église.» (Hist. des Dioc. de Paris, l'abbé Lebeuf, t. XII.) Nous le demandons, est-il possible d'admettre que, quarante ou cinquante ans après une scène de ce genre, l'évêque et le chapitre de Paris eussent fait placer, sur le portail de la cathédrale neuve, au-dessus des trois portes, au-dessus du Christ, des statues colossales des rois de France, quand on commençait à peine à se faire une idée du pouvoir monarchique?
Note 309: (retour) A Paris. Autrefois à Amiens.
Note 310: (retour) On n'a pas oublié qu'à Paris l'une des deux églises cathédrales était placée sous le titre de saint Étienne. Le tympan de la porte sud retrace la prédication et le martyre de ce saint, dont la statue était posée sur le trumeau; dans les ébrasements étaient rangées les statues de saint Denis, de ses deux compagnons, et de quelques autres saints évêques du diocèse. La statue de saint Étienne se voyait encore dans l'une des niches latérales de la façade. Ce fut, en effet, pour bâtir cette façade que l'on détruisit les restes de la vieille église de Saint-Étienne; et lors de la construction de cette façade, le portail sud actuel n'était point élevé.
Note 311: (retour) Reims.
Note 312: (retour) Paris, sur les pignons des fenêtres des chapelles du choeur; Reims.
Note 313: (retour) Canterbury.
Note 314: (retour) Saint-Omer.
Note 315: (retour) Genève; Canterbury.
Note 316: (retour) Un jour quelqu'un nous dit, en parcourant l'intérieur de Notre-Dame d'Amiens: «Oui, c'est fort beau: mais c'est folie de vouloir conserver, quand même, ces monuments d'un autre âge qui ne disent plus rien aujourd'hui; vous pourrez galvaniser ces grands corps; la manie de l'archéologie et du gothique leur donnera quelques années d'existence de plus; mais, cette mode passée, ils tomberont dans l'oubli, au milieu de populations qui ont besoin de chemins de fer, d'écoles, de marchés, d'abattoirs, de tout, enfin, ce qui est nécessaire à la vie journalière.» A quelques jours de là, une grande solennité publique appelait dans la cathédrale un immense concours de monde; elle était parée de quelques maigres tentures, son choeur étincelait de lumières. Notre interlocuteur ne se souvenait plus de son discours précédent; il s'écriait alors: «Vraiment, c'est bien là le monument de la cité; tout ce qu'on peut faire pour donner de l'éclat à une cérémonie publique n'a jamais cet aspect imposant du vieux monument qui appelle toute la population de la ville sous ses voûtes. Voyez comme cette foule donne la vie à ce grand vaisseau si bien disposé pour la contenir! Combien d'illustres personnages ont abrités ces arceaux! Quelle idée merveilleuse d'avoir voulu et su élever la cathédrale comme un témoin éternel de tous les grands événements d'une cité, d'un pays; d'avoir fait que ce témoin vit, parle, en présentant au peuple ces exemples tirés de l'histoire de l'humanité, ou plutôt du coeur humain!» Pour un peu, notre interlocuteur, entraîné par la grandeur du sujet, nous eût accusé de froideur. Telle est aujourd'hui la cathédrale française: aimée au fond du coeur par les populations; tour à tour flattée et honnie par ceux qui sont charmés de s'en servir, mais qui ne songent guère à la conserver; occupée par un clergé sans ressources, et souvent insouciant; énigme pour la plupart, dernier vestige des temps d'ignorance, de superstition et de barbarie pour quelques-uns, texte de phrases creuses pour ces rêveurs, amateurs de poésie nébuleuse, qui ne voient qu'ogives élancées vers le ciel, dentelles de pierre, sculpture mystérieuse ou fantastique, dans des monuments où tout est méthodique, raisonné, clair, ordonné et précis; où tout a sa place marquée d'avance, et retrace l'histoire morale de l'homme, les efforts persévérants de son intelligence contre la force matérielle et la barbarie, ses épreuves et son dernier refuge dans un monde meilleur.
CAVALIER, s. m. On désigne ainsi un ouvrage en terre élevé au milieu des bastions ou boulevards, pour en doubler le feu et commander la campagne. Ce n'est guère qu'au XVIe siècle que l'on eut l'idée d'exécuter ces ouvrages pour renforcer des points faibles ou pour dominer des fronts. On en exécuta beaucoup, pendant les guerres de siége de cette époque, en dedans des anciens fronts fortifiés du moyen âge, et on leur donnait alors généralement le nom de plate-forme; ils présentaient comme une suite de fortins détachés, possédant des feux de face et de flanc, avec une pente douce du côté de la ville pour amener les pièces et pouvoir les mettre en batteries. Les cavaliers étaient ou semi-circulaires ou carrés. Les plus anciennes représentations de cavaliers se voient figurées sur les bas-reliefs en marbre du commencement du XVIe siècle qui garnissent les parois du tombeau de Maximilien, à Inspruck.

Voici (1) un de ces cavaliers copié sur l'un de ces bas-reliefs représentant la ville d'Arras. Il est en portion de cercle, établi en arrière d'un bastion A possédant un orillon avec deux batteries découvertes C et une batterie casematée au niveau du fond du fossé. Le cavalier B est revêtu et planté à cheval sur la gorge du bastion; il commande ainsi les dehors, le bastion et les deux courtines voisines. La fig. 2 nous montre un autre cavalier carré fermé sur ses quatre faces, élevé au milieu d'un bastion dont les parapets sont munis de fascines et de gabions. Ce cavalier est également revêtu, percé d'une porte; ses parapets sont garnis de fascines. Cette seconde figure est copiée sur le bas-relief représentant l'enceinte de la ville de Vérone.

Lorsque l'on éleva, au XVIe siècle, des bastions en avant des anciennes enceintes du moyen âge, on conserva souvent, de distance en distance, les tours les plus fortes de ces enceintes, en détruisant seulement les courtines; on remplit ces tours de terre, on enleva leurs crénelages, et on établit des plates-formes sur leur sommet pour recevoir une ou plusieurs pièces de canon. Les tours furent ainsi converties en cavaliers. Mais en France, ces dispositions ne furent prises qu'accidentellement et pour profiter d'anciennes défenses, tandis qu'en Allemagne, nous les trouvons, dès le XVIe siècle, érigées en système, ainsi qu'on peut le voir encore à Nuremberg. Dans la fortification moderne même, les Allemands n'ont pas renoncé aux tours isolées, bâties, de distance en distance, en arrière des ouvrages extérieurs. À la Rochelle, pendant les siéges que cette ville eut à subir à la fin du XVIe siècle, des cavaliers en terre d'une grande importance furent élevés en arrière des anciennes enceintes, et, étant armés de pièces à longue portée, firent beaucoup de mal aux assiégeants.

Les cavaliers tiennent lieu aussi, dans certains cas, de traverses, c'est-à-dire que leur élévation au-dessus des courtines et des bastions empêche l'artillerie des assiégeants d'enfiler des ouvrages dominés du dehors; ou bien, comme à Saint-Omer encore, au XVIIe siècle, du côté de la porte Sainte-Croix (3), ils commandent au loin des plaines s'abaissant vers les abords d'une place, et forcent l'assiégeant à ne commencer ses travaux d'approche qu'à une grande distance. Ce cavalier de la porte Sainte-Croix de Saint-Omer se composait d'une haute batterie semi-circulaire revêtue A, protégée par un fossé plein d'eau: elle doublait les feux du saillant E C de la ville le plus facilement attaquable, et, au moyen du fossé qui l'entourait presque entièrement, donnait aux assiégés une dernière défense assez forte pour arrêter l'ennemi qui eût pu se loger dans le bastion saillant, et le forcer, pour passer outre, de faire un nouveau siége. C'est encore là une dernière trace du donjon du moyen âge.
CAVE, s. f. Étage souterrain voûté, pratiqué sous le rez-de-chaussée des habitations. De tout temps, les palais, les maisons ont été bâtis sur caves. Les caves ont l'avantage d'empêcher l'humidité naturelle du sol d'envahir les rez-de-chaussée des habitations, et procurent un lieu dont la température égale, fraîche, permet de conserver des provisions de bouche qui entreraient en fermentation si elles restaient exposées aux changements de la température extérieure. Mais c'est surtout dans les pays de vignobles que les caves ont été particulièrement pratiquées sous les maisons. En Bourgogne, en Champagne, dans le centre et le sud-ouest de la France, on voit des maisons anciennes, d'assez chétive apparence, qui possèdent jusqu'à deux étages de caves voûtées, construites avec soin, quelquefois même taillées dans le roc.
Pendant le moyen âge, les villes, étant entourées de murailles, ne pouvaient s'étendre; il en résultait que les terrains réservés aux constructions particulières, lorsque la population augmentait, devenaient fort chers; on prenait alors en hauteur et sous le sol la place que l'on ne pouvait obtenir en surface, et les caves étaient quelquefois habitées. On y descendait ordinairement par une ouverture pratiquée devant la façade sur la voie publique. Dans quelques villes de province, et particulièrement en Bourgogne, on voit encore un grand nombre de ces descentes de caves qui empiètent sur la rue, et sont fermées par des volets légèrement inclinés pour faire écouler les eaux pluviales (voy. MAISON).
CAVEL, s. m. Vieux mot qui signifie une cheville de bois, une clef (voy. CLEF).
CÈNE (la). Dernier repas de Jésus-Christ entouré de ses apôtres. La Cène est quelquefois sculptée sur les tympans des portes de nos églises du moyen âge. On la voit figurée en bas-relief sur le linteau de la porte occidentale de l'église abbatiale de Saint-Germain des Prés (XIIe siècle). Une des plus belles représentations de la Cène se trouve sur le linteau de la porte principale de l'église de Nantua (XIIe siècle). Cette sculpture est fort remarquable; on ne voit à la table de Jésus-Christ que onze apôtres; Judas est absent. Le nom de chaque apôtre est gravé au-dessus de lui. Voici l'ordre dans lequel sont placés les apôtres, en commençant par la gauche du spectateur: Simon, Taddæus, Bartholomeus, Jacobus, Matheus, Petrus, (le Christ), Johannes, Andreas, Jacobus, Philippus, Thomas. Saint Jean appuie sa tête sur la poitrine de Notre-Seigneur. Dans le tympan au-dessus, on voit le Christ entouré des quatre signes des évangélistes; mais ce bas-relief a été complétement mutilé, ainsi que les anges qui garnissaient la première voussure. Sur les chapiteaux qui portent les voussures, on voit, sculptés, l'Annonciation, la Visitation, la naissance du Sauveur, le voyage des Mages et l'Adoration des bergers et des Mages. Sur le linteau de la porte de droite de la façade de Notre-Dame de Dijon (XIIIe siècle), au-dessous du crucifiement sculpté dans le tympan, on voit aussi une représentation de la Cène, malheureusement fort mutilée. La passion de Notre-Seigneur est fréquemment représentée en sujets légendaires sur les verrières des églises. La Cène ouvre la série de ces sujets, et l'apôtre saint Jean, placé le plus souvent à la droite du Christ, y est encore représenté incliné sur la poitrine de son maître. Dans les monastères, on peignait souvent la Cène sur un des murs du réfectoire; mais nous n'avons jamais pu rencontrer en France une seule de ces peintures complète.
CERPELIÈRE, s. f. Vieux mot qui est employé comme cercle, enceinte circulaire.
CHAFFAUT, s. m. Vieux mot dont on a fait échafaud. Chaffaut s'employait principalement pour désigner un appentis, un hourd (voyez ce mot). En Champagne, en Bourgogne, on dit encore chaffaut pour échafaud.
CHAÎNAGE, s. m. Ce mot s'applique aux longrines de bois, aux successions de crampons de fer posés comme les chaînons d'une chaîne, ou même aux barres de fer noyés dans l'épaisseur des murs, horizontalement, et destinés à empêcher les écartements, la dislocation des constructions en maçonnerie.
Les Romains et, même avant eux, les Grecs avaient l'habitude, lorsqu'ils construisaient en assises de pierres de taille ou de marbre, de relier les assises entre elles par de gros goujons de fer, de bronze ou même de bois, et les blocs entre eux par des crampons ou des queues d'aronde. Mais les Grecs et les Romains posaient les blocs de pierre taillés à côté les uns des autres et les uns sur les autres saus mortier (voy. JOINT, LIT). Le mortier n'était employé, chez les Romains, que pour les blocages, les ouvrages de moellon ou de brique, jamais avec la pierre de taille.
Dès l'époque mérovingienne, on avait adopté une construction mixte, qui n'était plus le moellon smillé des Romains et qui n'était pas l'ouvrage antique en pierre de taille: c'était une sorte de grossier blocage revêtu de parements de carreaux de pierre assez mal taillés et réunis entre eux par des couches épaisses de mortier (voy. CONSTRUCTION).
Du temps de César, les Gaulois posaient, dans l'épaisseur de leurs murailles de défense, des longrines et des traverses de bois assemblées entre les rangs de pierre. Peut-être cet usage avait-il laissé des traces même après l'introduction des arts romains dans les Gaules. Ce que nous pouvons donner comme certain, c'est que l'on trouve, dans presque toutes les constructions mérovingiennes et carlovingiennes, des pièces de bois noyées longitudinalement dans l'épaisseur des murs, en élévation et même en fondation 317. Ces pièces de bois présentent un équarrissage qui varie de 0,12c. × 0,12c. à 0,20c. × 0,20c.
Jusqu'à la fin du XIIe siècle, cette habitude persiste, et ces chaînages sont posés, comme nos chaînages modernes, à la hauteur des bandeaux indiquant des étages, à la naissance des voûtes et au-dessons des couronnements supérieurs. Les travaux de restauration que nous eûmes l'occasion de faire exécuter dans des édifices des XIe et XIIe siècles nous ont permis de retrouver un grand nombre de ces chaînages en bois, assez bien conservés pour ne pas laisser douter de leur emploi. Dans la nef de l'église abbatiale de Vézelay, qui date de la fin du XIe siècle, il existe un premier chaînage de bois au-dessus des archivoltes donnant dans les collatéraux, et un second chaînage, interrompu par les fenêtres hautes, au niveau du dessus des tailloirs des chapiteaux à la naissance des grandes voûtes. Ce second chaînage de bois offre cette particularité qu'il sert d'attache à des crampons en fer destinés à recevoir des tirants transversaux d'un mur de la nef à l'autre à la base des arcs doubleaux. Ces tirants étaient-ils destinés à demeurer toujours en place pour éviter l'écartement des grandes voûtes? nous ne le pensons pas. Il est à croire qu'ils ne devaient rester posés que pendant la construction, jusqu'à ce que les murs goutterols fussent chargés, ou jusqu'à ce que les mortiers des voûtes eussent acquis toute leur dureté, c'est-à-dire jusqu'au décintrage (voy. CONSTRUCTION).

Voici (1) comment sont posées les chaînes de bois et les grands crampons ou crochets destinés à recevoir un tirant, en supposant les assises supérieures enlevées; et (2) la coupe du mur avec la position du chaînage A et du crochet en fer B sous le sommier des grands arcs doubleaux.
En démolissant la tour de l'eglise abbatiale de Saint-Denis, qui datait du milieu du XIIe siècle, on trouva, à chaque étage, un chaînage en bois d'un fort équarrissage chevillé par des chevilles en fer aux retours d'équerre, ainsi que l'indique la fig. 3, et noyé dans le milieu des murs. La pourriture de ce chaînage formant un vide de près de 0,30 c. de section dans l'épaisseur de la maçonnerie et sur tout son pourtour, n'avait pas peu contribué à déterminer l'écrasement des parements intérieurs et extérieurs. Des croix horizontales en bois venaient en outre s'assembler dans les milieux des longrines, à chaque étage, comme l'indique la fig. 4, et devaient relier les quatre trumeaux de la tour entre les baies; mais ces croix, visibles à l'intérieur, avaient été brûlées, au XIIIe siècle, avant la construction de la flèche.

Nous trouvons encore, pendant la première moitié du XIIIe siècle, des chaînages en bois dans les constructions militaires et civiles. Le donjon du château de Coucy laisse voir, à tous ses étages, au niveau du sommet des voûtes, des chaînages circulaires en bois, de 0,30 × 0,25 c. d'équarrissage environ, sortes de ceintures noyées dans la maçonnerie, desquelles partent des chaînes rayonnantes également en bois, passant sous les bases des piles engagées portant les arcs de la voûte et venant se réunir au centre (voy. DONJON).

Cependant, à la fin du XIIe siècle déjà, on reconnut probablement le peu de durée des chaînages en bois, car on tenta de les remplacer par des chaînages en fer. La grande corniche à damiers qui couronne le choeur de la cathédrale de Paris, et qui dut être posée vers 1195, se compose de trois assises de pierre dure formant parpaing, dont les morceaux sont tous réunis ensemble par deux rangs de crampons, ainsi que l'indique la fig. 5. Cela constituait, au sommet de l'édifice, au-dessus des voûtes, un puissant chaînage; mais ces crampons, en s'oxydant, et prenant, par suite de cette décomposition, un plus fort volume, eurent pour effet de fêler presque toutes ces pierres longitudinalement, et de faire, de cette tête de mur homogène, trois murs juxtaposés.

En construisant la Sainte-Chapelle de Paris, Pierre de Montereau se rapprocha davantage du système des chaînages modernes. Au niveau du dessous des appuis des fenêtres de la chapelle haute, à la naissance des voûtes et au-dessous de la corniche supérieure, il posa une suite de crampons de 0,30 c. à 0,50 c. de longueur, qui, au lieu d'être scellés dans chaque morceau de pierre, vinrent s'agrafer les uns dans les autres, conformément à la fig. 6. Cette chaîne, posée dans une rigole taillée dans le lit de l'assise, fut coulée en plomb. Le chaînage, au niveau de la naissance de la voûte, se reliait, à chaque travée, à une forte barre de fer de 0,05 c. d'équarrissage, passant au-dessus des chapiteaux des meneaux à travers ceux-ci et faisant ainsi partie de l'armature des vitraux. À mi-hauteur des fenêtres, il existe des barres semblables, qui sont reliées entre elles dans l'épaisseur des piles. Ce système de chaînage était certainement moins dangereux que celui employé au sommet du choeur de la cathédrale de Paris; cependant il eut encore, malgré la masse de plomb dont il est enveloppé, l'inconvénient de faire casser un grand nombre de pierres. Pour donner une idée de la puissance du gonflement du fer, lorsqu'il passe à l'état d'oxyde ou de carbonate de fer, nous ferons observer que le chaînage placé au-dessous des appuis des grandes fenêtres de la Sainte-Chapelle, en gonflant, souleva les assises composant ces appuis et les meneaux qu'elles supportent, au point de faire boucler ces meneaux et de les briser sur quelques points, bien qu'ils soient d'une grande force.
Au XIIIe siècle, le fer ne se travaillait qu'à la main, et on ne possédait pas des forges comme celles d'aujourd'hui, qui fournissent des fers passés au cylindre, égaux et d'une grande longueur. Pierre de Montereau eût pu cependant chaîner la Sainte-Chapelle au moyen de pièces de fer d'une plus grande longueur que celles indiquées dans la fig. 6, puisque, dans le vide des fenêtres, les traverses se reliant aux chaînages ont plus de quatre mètres de long; mais il faut croire qu'alors la difficulté de faire forger des fers de cette longueur et d'une forte épaisseur était telle qu'on évitait d'en employer, à moins de nécessité absolue.
Au XIVe siècle, on voit déjà de longs morceaux de chaînes en fer posés dans les constructions. Nous citerons, entre autres exemples, la façade de la cathédrale de Strasbourg, qui, de la base jusqu'à la hauteur du pied de la flèche, est chaînée avec un grand soin à tous les étages, au moyen de longues barres de fer plat bien forgées, noyées entre les lits des assises; le choeur de l'ancienne cathédrale de Carcassonne, qui est de même solidement chaîné au moyen de longues et fortes barres de fer passant à travers les baies, et servant d'armatures aux vitraux; l'église Saint-Ouen de Rouen, la cathédrale de Narbonne.
Les architectes du XIIIe siècle n'employèrent pas seulement les chaînages à demeure, noyés dans les constructions, ils s'en servirent aussi comme d'un moyen provisoire pour maintenir les poussées des arcs des collatéraux sur les piles intérieures, avant que celles-ci ne fussent chargées. Dans le choeur et la nef des cathédrales de Soissons et de Laon, dans la nef de la cathédrale d'Amiens, dans le choeur de celle de Tours, constructions élevées de 1210 à 1230, on observe, au-dessus des chapiteaux portant les archivoltes et les voûtes en arcs d'ogives des bas-côtés, entaillées dans le lit inférieur des sommiers, des pièces de bois sciées au ras du ravalement; ces pièces de bois n'ont guère que 0,12 c. × 0,12 c. d'équarrissage. Ce sont des tirants posés, en construisant les voûtes, entre les cintres doubles sur lesquels on bandait les archivoltes et les arcs doubleaux et laissés jusqu'à l'achèvement de l'édifice, c'est-à-dire jusqu'au moment où les piles intérieures étaient chargées au point de ne plus faire craindre un bouclement produit par la poussée des voûtes des bas-côtés. On pouvait ainsi, sans risques, décintrer ces voûtes, se servir des bois pour un autre usage, et livrer même ces bas-côtés à la circulation. La construction terminée, on sciait les tirants en bois.

La fig. 7 318 fera comprendre l'emploi de ce procédé fort ingénieux et simple. On voit en A le bout du chaînage de bois scié; Ce moyen avait été indiqué par l'expérience; beaucoup de piles intérieures d'églises, bâties à la fin du XIIe siècle, sont sorties de la verticale, sollicitées par la poussée des voûtes des bas-côtés avant l'achèvement de la construction; car, pour interrompre le culte le moins longtemps possible, à peine les bas-côtés étaient-ils élevés, on fermait les voûtes, on les décintrait, on établissait un plafond sur la nef centrale à la hauteur du triforium, et on entrait dans l'église.
À la cathédrale de Reims, dont la construction est exécutée avec un grand luxe, on avait substitué aux chaînes provisoires en bois posées sous les sommiers des arcs des piles des bas-côtés, des crochets en fer dans lesquels des tirants en fer, portant un oeil à chaque extrémité, venaient s'adapter; la construction chargée autant qu'il était nécessaire pour ne plus craindre un bouclement des piles, on enleva les tirants; les crochets sont restés en place. On retrouve les traces de ces chaînages provisoires jusqu'à la fin du XIVe siècle.
Les chaînages en fer noyés dans la maçonnerie à demeure et dont nous avons parlé plus haut étaient, autant que les ressources des constructeurs le permettaient, coulés en plomb dans les scellements ou les rigoles qui les renfermaient, quelquefois scellés simplement au mortier. Nous avons vu aussi de ces chaînes scellées à leurs extrémités et dans leur longueur au moyen d'un mastic gras qui paraît être composé de grès pilé, de minium, de litharge et d'huile, ou dans un bain de résine. Les tirants scellés par ce procédé, dans des édifices de la fin du XIIIe siècle, se sont moins oxydés que ceux scellés au plomb ou au mortier. La présence du plomb paraît même avoir hâté quelquefois la décomposition du fer, surtout lorsque les chaînes sont placées au coeur de la maçonnerie, loin des parements.

Pendant le XVe siècle, les constructeurs ont préféré souvent placer leurs chaînes libres le long des murs, au-dessus des voûtes, transversalement ou longitudinalement. On avait dû reconnaître déjà, à cette époque, les effets funestes que produisait le fer noyé dans la maçonnerie par les maîtres des oeuvres des XIIIe et XIVe siècles. Ces chaînes libres sont ordinairement composées de barres de fer carré de deux à six mètres de longueur, réunies à leurs extrémités par des boucles et des clavettes, ainsi que l'indique la fig. 8 319. On tendait la chaîne fortement en frappant sur les clavettes, comme on le fait aujourd'hui pour les chaînages dont les bouts sont assemblés à traits-de-Jupiter.
Note 317: (retour) Il n'est pas besoin de dire que le bois a disparu, et se trouve réduit en poussière; mais son moule existe dans les maçonneries. Le bois, totalement privé d'air et entouré de l'humidité permanente de la maçonnerie, est bientôt pourri.
Note 318: (retour) De l'une des piles de la nef de la cathédrale d'Amiens.
Note 319: (retour) Ce détail est copié sur le grand chaînage qui fut placé, à la fin du XVe siècle, sur le sol du triforium de la cathédrale d'Amiens pour arrêter le bouclement des quatre piles de la croisée, fatiguées par la charge de la tour centrale, avant l'incendie de cette tour.
CHAINE. Pendant le moyen âge et jusque vers le commencement du XVIIe siècle, il était d'usage de placer aux angles des rues, aux portes des villes et des faubourgs, à l'entrée des ponts, des chaînes que l'on tendait la nuit, ou lorsqu'on craignait quelque surprise. Ces chaînes, fort lourdes, étaient scellées d'un bout à un gros anneau fixe et de l'autre venaient s'accrocher à un crochet 320 ou à une barre de fer, sorte de verrou garni d'un moraillon entrant dans une serrure que l'on fermait à clef pour empêcher les premiers venus de détendre la chaîne. Lorsque les chaînes étaient tendues dans une ville, il devenait impossible à de la cavalerie de circuler; les piétons même se trouvaient ainsi arrêtés à chaque pas 321. Dans les rues, les maisons permettaient de sceller les chaînes à leurs parois; mais sur les routes, à l'entrée des ponts ou des faubourgs, en dehors des portes et passages, les chaînes étaient attachées à des poteaux de bois avec contrefiches. Ces supports étaient désignés sous le nom d'estaques. En temps de paix, les portes des villes restaient souvent ouvertes la nuit, et on se contentait de tendre les chaînes, attachées à l'extérieur, d'une tour à l'autre. On voit encore, à la porte Narbonnaise de Carcassonne, la place de la chaîne; elle était scellée d'un bout à la paroi de l'une des tours; l'autre bout était introduit, par un trou pratiqué à cet effet, dans la salle basse de la tour en face; on passait une barre de fer dans le dernier chaînon, et, du dehors, il n'était plus possible de détendre la chaîne. La fig. 1 explique cette manoeuvre très-simple.

Note 320: (retour) On voit encore un de ces grands crochets à l'angle du mur sud de la cathédrale d'Amiens, près de la façade.
Note 321: (retour) «Deniers payez pour la coutence des kaisnes que on a fait en aucunes rues.»--Compte de recette et dépense de Valenciennes, année 1414.--Les chaînes nouvellement faites, sans compter les anciennes; étaient au nombre de quatre-vingt-treize.
CHAÎNE (DE PIERRE). Dans la bâtisse on désigne, par chaînes, des piles
formées d'assises de pierre ou de matériaux résistants se reliant aux
maçonneries et ne présentant pas de saillies sur le nu des murs. On ne
trouve que rarement ce procédé employé dans les constructions du moyen
âge. Quand les murs sont en maçonnerie ordinaire, et qu'on veut les
renforcer par des points d'appui espacés plus résistants, la chaîne de
pierre forme presque toujours une saillie extérieure, et prend alors le
nom de contrefort. Cependant les constructions rurales, militaires ou
civiles, bâties avec économie présentent quelquefois des chaînes de
pierre noyées dans les murs et ne portant pas une saillie à l'extérieur,
mais formant un pilastre intérieur pour porter une poutre, une charge
quelconque. Alors, pour économiser les matériaux et pour éviter les
évidements, ces chaînes sont appareillées et posées ainsi que l'indique
la fig. 1; les pierres A formant boutisse, les pierres B parement
extérieur, les pierres C morceau du pilastre sans liaisons; ainsi de
suite de la base au sommet du mur.
Dans les constructions militaires de Normandie qui datent des XIIe et XIIIe siècles, on rencontre des chaînes de pierre destinées à renforcer des angles obtus lorsque les murs sont bâtis en moellons. Le donjon de la Roche-Guyon en présente un exemple remarquable (voy. DONJON).
CHAIRE A PRÊCHER, s. f. Pupitre. Sorte de petite tribune élevée au-dessus du sol des églises, des cloîtres ou des réfectoires de monastères, destinée à recevoir un lecteur ou prédicateur. Dans les églises primitives, il n'y avait pas, à proprement parler, de chaires à prêcher, mais deux ambons ou pupitres placés des deux côtés du choeur pour lire l'épître et l'Évangile aux fidèles. On voit encore cette disposition conservée dans la petite basilique de Saint-Clément à Rome et dans celle de Saint-Laurent hors les murs. Dès le XIIe siècle, cependant, il paraîtrait qu'outre les ambons destinés à la lecture de l'épître et de l'Évangile, on avait aussi parfois, dans l'église, un pupitre destiné à la prédication.
Guillaume Durand, dans son Rational, s'exprime ainsi à l'égard du pupitre 322: «Le pupitre placé dans l'église, c'est la vie des hommes parfaits, et on l'appelle ainsi pour signifier en quelque sorte un pupitre public ou placé dans un lieu public et exposé aux regards de tous. En effet, nous lisons ces mots dans les Paralipomènes: «Salomon fit une tribune d'airain, la plaça au milieu du temple, et, se tenant debout dessus et étendant la main, il parlait au peuple de Dieu.» Esdras fit aussi un degré de bois pour y parler, et lorsqu'il y montait, il était élevé au-dessus de tout le peuple... On donne encore à ce pupitre le nom d'analogium, parce qu'on y lit et qu'on y annonce la parole de Dieu On... l'appelle aussi ambon, de ambiendo, entourer, parce qu'il entoure comme d'une ceinture celui qui y monte.»
Mais le plus souvent c'était sur une estrade mobile que se tenait le prédicateur lorsqu'une circonstance voulait que l'on exhortât les fidèles réunis dans une église ou dans le préau d'un cloître.
Les églises italiennes ont conservé des chaires à prêcher d'une époque assez ancienne, des XIIIe et XIVe siècles; elles sont en pierre, ou plutôt en marbre, ou en bronze. Celle de la cathédrale de Sienne, qui date du XIIIe siècle 323 est fort belle; elle est portée sur des colonnes posées sur des lions, et son garde-corps est orné de bas-reliefs représentant la Nativité. A Saint-Marc de Venise, les ambons placés à droite et à gauche des jubés affectent la forme de chaires à prêcher et sont composés de marbres précieux, de porphyre et de jaspe. On voit également, dans l'église San-Miniato de Florence, dans la chapelle royale de Palerme, des pupitres pouvant servir de chaires, placés à la gauche de l'autel, à l'entrée du choeur.
Mais en France, aucune de nos anciennes églises n'a conservé, que nous sachions, de chaires à prêcher, ou pupitres pouvant en tenir lieu, antérieurs au XVe siècle. L'usage, à partir du XIIe siècle surtout, était, dans nos églises du Nord, de disposer à l'entrée des choeurs des jubés, sur lesquels on montait pour lire l'épître et l'Évangile et pour exhorter les fidèles, s'il y avait lieu (voy. JUBÉ). Toutefois ces prédications, avant l'institution des frères prêcheurs, ne se faisaient qu'accidentellement. Jacques de Vitry, écrivain du XIIIe siècle, dit «que Pierre, chantre de Paris, voulant faire connaître les talents extraordinaires de Foulques, son disciple, le fit prêcher en sa présence et devant plusieurs habiles gens dans l'église de Saint-Severin; et que Dieu donna une telle bénédiction à ses sermons, quoiqu'ils fussent d'un style fort simple, que même tous les sçavans de Paris s'excitoient les uns les autres à venir entendre le prêtre Foulques, qui preschoit, disoient-ils, comme un second saint Paul.. Ces faits sont d'environ l'an 1180... 324» Il est probable que, dans ces cas particuliers, les prédicateurs se plaçaient dans une chaire mobile disposée en quelque lieu de l'église pour la circonstance. La chaire n'était alors, ainsi que l'indique la fig. 1 325, qu'une petite estrade en bois fermée de trois côtés par un garde-corps recouvert sur le devant d'un tapis.

Mais, au XIIIe siècle, quand les ordres prêcheurs se furent établis pour combattre l'hérésie et expliquer au peuple les vérités du christianisme, la prédication devint un besoin auquel les dispositions architectoniques des édifices religieux durent obéir. Pour remplir exactement ces conditions, les dominicains, les jacobins entre autres, bâtirent des églises à deux nefs, l'une étant réservée pour le choeur des religieux et le service divin, l'autre pour la prédication (voy. ARCHITECTURE MONASTIQUE, fig. 24 et 24 bis). Alors les chaires devinrent fixes et entrèrent dans la construction. Elles formaient comme un balcon saillant à l'intérieur de l'église, porté en encorbellement, accompagné d'une niche prise aux dépens du mur, et ordinairement éclairée par de petites fenêtres; on y montait par un escalier pratiqué dans l'épaisseur de la construction. La nef sud de la grande église du couvent des jacobins de Toulouse possédait, à son extrémité occidentale, une chaire de ce genre à laquelle on montait par un escalier s'ouvrant en dehors de l'église dans le petit cloître; nous en avons vu encore les traces, quoique la saillie du cul-de-lampe eût été coupée et la niche bouchée. C'est ainsi qu'étaient disposées les chaires des réfectoires des monastères, destinées à contenir le lecteur pendant les repas des religieux. L'une des plus anciennes et des plus belles chaires de réfectoire qui nous soient conservées est celle de l'abbaye Saint-Martin-des-Champs; nous en donnons ici (2) le plan, (2 bis) la coupe, et (3) l'élévation perspective.



On remarquera la disposition ingénieuse de l'escalier montant à cette chaire: pratiqué dans l'épaisseur du mur, il n'est clos du côté de l'intérieur que par une claire-voie; mais pour éviter que la charge du mur au-dessus n'écrasât cette claire-voie, le constructeur a posé un arc de décharge A qui vient la soulager, et, afin que cet arc ne poussât pas à son arrivée en B, les deux premiers pieds-droits C C de la claire-voie ont été inclinés de façon à opposer une butée à cette poussée. Aujourd'hui on trouverait étrange qu'un architecte se permit une pareille hardiesse; incliner des pieds-droits! On lui demanderait d'user d'artifices pour obtenir ce résultat de butée sans le rendre apparent; au commencement du XIIIe siècle, on n'y mettait pas autrement de finesses.
Sauval cite la chaire du réfectoire de l'abbaye Saint-Germain-des-Prés, bâti par Pierre de Montereau, comme un chef-d'oeuvre en ce genre. Elle était, dit-il, «portée sur un gros cul-de-lampe, chargé d'un grand cep de vigne coupé et fouillé avec une patience incroyable 326.» Lebeuf parle aussi de la chaire du réfectoire de Saint-Maur-des-Fossés, comme étant remarquable et «revêtue de dix images ou petites statues de saints d'un travail antique, mais grossier 327.» Les exemples de ces chaires de réfectoires ne sont pas rares; elles sont toujours disposées à peu près comme celle représentée fig. 2 et 3.
En 1109, un morceau considérable de la vraie croix fut rapporté de Jérusalem à Paris par la voie de terre, en traversant la Grèce, la Hongrie, l'Allemagne et la Champagne. Il fut provisoirement déposé à Fontenet-sous-Louvre, puis transporté en grande pompe à Saint-Cloud pour y être gardé jusqu'au premier d'août, jour désigné pour sa réception solennelle dans la cathédrale de Paris. Il y eut une grande affluence de peuple dans la plaine de Saint-Denis pendant la translation de cette précieuse relique de Fontenet à Saint-Cloud, pour la voir passer. Depuis lors, tous les ans, le second mercredi du mois de juin, le morceau de la vraie croix était rapporté dans la plaine située entre la Chapelle, Aubervilliers et Saint-Denis, afin d'être exposé à la vénération des fidèles, trop nombreux pour pouvoir être reçus dans la cathédrale.
«Au sortir de Notre-Dame, dit l'abbé Lebeuf 328, on passoit au cimetière de Champeaux, dit depuis des Innocens. Après une pause faite en ce lieu, et employée à quelques prières pour les morts, l'évêque commençoit la récitation du Pseautier qui étoit continuée jusqu'au lieu indiqué (ci-dessus) usque ad indictum. Là, après une antienne de la croix, l'évêque ou une autre personne en son nom, étant au haut d'une tribune dressée exprès, faisoit un sermon au peuple: après quoi le même prélat, aidé de l'archidiacre, donnoit la bénédiction à toute la multitude avec la croix apportée de Paris, se tournant d'abord à l'orient d'où cette relique est venue, puis au midi vers Paris, ensuite au couchant, et enfin au septentrion du côté de Saint-Denis...»
Cet exemple de prédication en plein air n'est pas le seul. Saint Bernard prêcha, monté sur une estrade, du haut de la colline de Vézelay, devant l'armée des croisés rassemblés dans la vallée d'Asquin, en présence de Louis le Jeune. La chaire du prédicateur n'était alors qu'une petite plate-forme sans garde-corps; car, au milieu d'un vaste espace, en plein air, le prédicateur devait être vu en pied; sa posture dans une boîte semblable à nos chaires eût été ridicule 329.
Les prédications en plein air étaient fréquentes au moyen âge et jusqu'au moment de la réformation. Les prédicateurs se retirèrent sous les voûtes des églises quand ils purent craindre de trouver parmi la foule assemblée des contradicteurs. Ceux qui se seraient permis de provoquer un scandale au milieu d'un champ ou sur une place publique, n'osaient et ne pouvaient le faire dans l'enceinte d'une église.
Nous trouvons encore des chaires élevées dans les cloîtres et cimetières pendant les XIVe et XVe siècles, et même sur la voie publique tenant à l'église. Le cloître de la cathédrale de Saint-Dié en contient une en pierre, placée vers le commencement du XVIe siècle, et que nous donnons figure 4. Ce petit monument est recouvert par un auvent également en pierre, destiné à garantir le prédicateur contre les ardeurs du soleil et surtout à rabattre la voix sur l'assistance: car, pour les chaires élevées en plein air ou dans les églises, on sentit bientôt la nécessité de suspendre au-dessus du prédicateur un plafond pour empêcher la voix de se perdre dans l'espace; cet appendice de la chaire prit le nom d'abat-voix.
À l'un des angles de l'église Saint-Lô, sur la rue, on trouve encore une de ces chaires extérieures en pierre, dont la porte communique avec un escalier intérieur, et qui est recouverte d'un riche abat-voix terminé en pyramide 330. Cette chaire date de la fin du XVe siècle. Mais c'est particulièrement pendant le XVIe siècle et au moment de la réformation que l'on établit des chaires dans la plupart des églises françaises. La prédication était, à cette époque, un des moyens de combattre l'hérésie avec ses propres armes; on plaça les chaires dans les nefs (ce qui ne s'était pas fait jusqu'alors), afin que le prédicateur se trouvat au milieu de l'assistance. Les cathédrales de Strasbourg et de Besançon ont conservé des chaires en pierre de cette époque; celle de Strasbourg particulièrement est d'une excessive richesse et du travail le plus précieux. Son abat-voix est couronné par une pyramide chargée de détails et découpures infinies; ce monument est d'ailleurs, comme composition et ornementation, d'un assez mauvais goût, se rapprochant du style adopté en Allemagne à la fin de l'ère ogivale.

Bientôt on cessa de faire des chaires en marbre ou en pierre; on se contenta de les établir en bois, en les adossant et les accrochant même parfois aux piliers.
Nous ne saurions donner à nos lecteurs des chaires dont la construction remonterait aux XIIIe et XIVe siècles, par la raison qu'il n'y en avait point alors dans les églises se rapprochant de la forme adoptée depuis le XVIe siècle. Ce meuble est cependant aujourd'hui indispensable, et si les architectes des XIIe et XIIIe siècles eussent dû exécuter des chaires, ils leur auraient certainement donné des formes parfaitement en harmonie avec leur destination et les matériaux employés, marbre, pierre, métal ou bois. En l'absence de tout document, nous croyons devoir nous abstenir, laissant à chacun le soin de satisfaire à ce nouveau programme.
Note 322: (retour) Rational ou Manuel des divins offices, par Guill. Durand, évêque de Mende, chap. Ier, parag. XXXIII. XIIIe siècle. Trad. Barthélemy.
Note 323: (retour) L'escalier est du XVIe siècle. Cette chaire est placée dans le choeur et non dans la nef.
Note 324: (retour) Hist. de la ville et du diocèse de Paris, par l'abbé Lebeuf, t. I, p. 160.
Note 325: (retour) Le Miroir historial. Manusc. de la Bib. imp., n° 6731. XVe siècle. Prédic. de saint Paul.
Note 326: (retour) Hist. de Paris, Sauval, t. I, p. 341.
Note 327: (retour) Hist. de la ville et du diocèse de Paris, par l'abbé Lebeuf, t. V, p. 154. Ce réfectoire datait du XIVe siècle.
Note 328: (retour) Hist. de la ville et du diocèse de Paris, t. III, p. 253.
Note 329: (retour) En Italie, certaines prédications en plein air se font encore sur des estrades; les gestes et la pose de l'orateur produisent alors un grand effet, pour peu qu'il soit doué de quelque talent.
Note 330: (retour) Ce monument est reproduit dans le grand ouvrage de MM. Taylor et Nodier, France pittoresque.
CHAIRE, s. f. Siége épiscopal (cathedra). Dans les églises primitives, le siége de l'évêque était placé au fond de l'abside, derrière l'autel (voy. CATHÉDRALE). Cette disposition existe encore dans quelques basiliques italiennes; on la retrouve conservée dans la cathédrale de Lyon, le sanctuaire étant fermé et dépourvu de collatéraux. Le siége de l'abbé, dans les églises abbatiales antérieures au XIIe siècle, était placé de la même manière. Ces chaires étaient généralement fixes (c'est pourquoi nous nous en occupons ici), en marbre, en métal, en pierre ou en bois, et se reliaient à des bancs ou stalles disposés de chaque côté le long des murs de l'abside. Nous possédons encore en France quelquès exemples, en petit nombre, de ces meubles fixes tenant à la disposition architectonique du sanctuaire; seulement ils ont été déplacés. Nous avons vu encore en Allemagne une de ces chaires absidales en pierre, demeurée en place, quoique mutilée, dans la cathédrale d'Augsbourg. Le style de ce monument, fort ancien 331, n'est pas tellement particulier au pays d'outre-Rhin que nous ne puissions le considérer comme appartenant à l'époque carlovingienne d'Occident.
Nous croyons donc devoir donner cette chaire (1), l'un des plus anciens meubles fixes que possède l'architecture romane du Nord. Sa forme se rapproche beaucoup de celle des chaises antiques que possèdent les musées d'Italie et de France.
Dans la sacristie de l'église de l'ancien prieuré de Saint-Vigor près Bayeux, il existe une chaire en marbre rouge autrefois placée au fond du sanctuaire. Le nouvel évêque venait s'asseoir dans cette chaire la veille de son entrée à Bayeux. De là, le prélat, avant son intronisation, donnait sa première bénédiction au peuple, revêtu de ses habits pontificaux 332, puis s'acheminait à cheval, processionnellement, vers la ville.

On voit dans l'église Notre-Dame-des-Dons, cathédrale d'Avignon, la chaire en marbre blanc veiné qui était autrefois fixée au fond du sanctuaire; elle est aujourd'hui posée à la droite de l'autel, et sert encore, nous le croyons, de siège épiscopal. Cette chaire date du XIIe siècle; elle est fort belle comme composition et travail (2).

D'un côté est sculpté le lion de saint Marc, de l'autre le boeuf de saint Luc. On sent encore l'influence antique dans ce meuble, comme dans l'architecture de la Provence à cette époque. Mais il existe une chaire en pierre, du XIIIe siècle, conservée dans la cathédrale de Toul, et connue sous le nom de chaire de saint Gérard, dont la forme ainsi que les détails sont étrangers aux traditions antiques. Les accoudoirs sont composés avec ce respect pour les usages ou les besoins qui caractérise les arts de cette époque. La sculpture est franche, parfaitement à l'échelle de ce petit monument, riche sans être chargée. Il est difficile de rencontrer une composition à la fois plus simple et mieux décorée 333. Des coussins épais étaient naturellement posés sur la tablette de ces meubles.
«Au fond du sanctuaire de la cathédrale de Reims, dit M. Didron dans ses Annales archéologiques 334, derrière le maître autel, on voyait, avant 1793, un siége en pierre, haut d'un mètre soixante-dix centimètres, et large de soixante-dix centimètres. C'est là qu'on intronisait les nouveaux archevêques. Ce monument de Reims s'appelait la chaire de saint Rigobert... Dans cette chaire, on plaçait, pendant la vacance du siége archiépiscopal, la crosse la plus ancienne de tout le trésor de la cathédrale. Par là, saint Nicaise, saint Remi, saint Rigobert ou même Hincmar, auxquels cette crosse pouvait avoir appartenu, étaient censés gouverner le diocèse en attendant la nomination d'un nouvel archevêque.»
On suspendait au-dessus de la chaire épiscopale un dais en étoffe; mais plus tard, pendant les XIVe et XVe siècles, ces dais entrèrent dans la composition même du monument, et furent faits comme eux en pierre ou en bois. Il existe encore, dans l'église Saint-Seurin ou Saint-Severin de Bordeaux, une chaire épiscopale en pierre de la fin du XIVe siècle, ainsi complétée d'une façon magnifique (3). Au centre du dais, sur le devant, entre les deux gâbles, est sculptée une mitre d'évêque soutenue par deux anges. Le siége et les accoudoirs sont délicatement ajourés. Les quatre pieds-droits qui supportent le dais étaient autrefois décorés de statuettes, aujourd'hui détruites. Deux autres figures devaient être placées également sur deux consoles incrustées dans la muraille, sous le dais, au-dessus du dossier. Cette chaire est aujourd'hui déplacée; elle était autrefois fixée au fond du sanctuaire, suivant l'usage.
En Normandie, en Bretagne, et plus fréquemment en Angleterre, on voit, dans les sanctuaires des églises dépourvues de bas-côtés, des siéges ménagés dans l'épaisseur de la muraille, à la gauche de l'autel, et formant une arcature renfoncée, sous laquelle s'asseyaient l'officiant et ses deux acolytes. Ces chaires à demeure sont quelquefois de hauteurs différentes, comme pour indiquer l'ordre hiérarchique dans lequel on devait s'asseoir. Le Glossaire d'Architecture, de M. Parker d'Oxford, en donne un assez grand nombre d'exemples, depuis l'époque romane jusqu'au XVIe siècle. Nous renvoyons nos lecteurs à cet excellent ouvrage. En France, ces sortes de siéges sont fort rares, et il est probable que, dès une époque assez reculée, on les fit en bois, ou tout au moins indépendants de la construction, comme celui que nous donnons (fig. 3). Ces chaires, ou formes anglaises, se combinent ordinairement avec la piscine; dans ce cas, il y a quatre arcatures au lieu de trois, la piscine étant sous la travée la plus rapprochée de l'autel.

Mais à la fin du XVe siècle, on établit de préférence les chaires épiscopales, les trônes, à la tête des stalles du choeur, à la gauche de l'autel (voy. STALLE).
Dans les salles capitulaires, il y avait aussi, au milieu des sièges, la chaire du président du chapitre, de l'évêque ou de l'archevêque. À Mayence, on voit encore une de ces chaires qui date du XIIe siècle, dans la salle carrée attenante au cloître de la cathédrale.
On donnait aussi le nom de chaires, pendant le moyen âge et jusqu'au XVIIe siècle, aux stalles des religieux ou des chapitres.
Note 331: (retour) Nous le croyons du IXe siècle. Le siége, son appui et son socle sont sculptés dans un seul bloc; les lions tiennent des rouleau dans leurs pattes de devant.
Note 332: (retour) Voir le Bullet. monument., pub. par M. de Caumont, 1847, p. 528.
Note 333: (retour) Voir dans les Annales archéol., t. II, p. 175, une gravure de cette belle chaire.
Note 334: (retour) T. II, p. 175.
CHAMBRE, s. f. Pièce retirée dans un palais, un hôtel ou une maison, destinée à recevoir un lit. Par suite de cette destination, on donna le nom de chambre aux salles dans lesquelles le roi tenait ou pouvait tenir un lit de justice; aux salles dans lesquelles, chez les grands, était placé le dais sous lequel s'asseyait le seigneur lorsqu'il exerçait ses droits de justicier; on appelait ces chambres: chambre du dais, chambre de parement.
La grand'chambre du Palais à Paris avait été bâtie par Enguerrand de Marigny, sous Philippe le Bel 335; elle fut richement décorée en 1506 336.
Jean sans Peur, duc de Bourgogne, fit faire, dans l'hôtel d'Artois, après le meurtre du duc d'Orléans, une chambre «toute de pierres de taille, pour sa sûreté, la plus forte qu'il put, et terminée de machicoulis, où toutes les nuits il couchait 337.» Dans les donjons, il y avait la chambre du châtelain, qui se trouvait toujours près du sommet et bien munie; quelquefois même on ne pouvait y arriver que par des couloirs détournés, ou au moyen d'échelles ou de ponts volants que l'on relevait la nuit.
Les chambres des riches hôtels étaient somptueusement décorées.
Les solives des plafonds en étaient sculptées, peintes et dorées; les fenêtres garnies de vitraux et de volets quelquefois doubles, ajourés de fines découpures et pleins; les parements tendus de tapisseries, les lambris en bois travaillés avec art et se reliant à des bancs fixes (banquiers) garnis de dossiers en étoffe et de coussins; le pavé de carreaux de terre cuite émaillée avec tapis; une grande cheminée, souvent avec bas-reliefs sculptés, armoiries peintes, occupait l'un des côtés: elle était accompagnée de ses accessoires, de tablettes latérales pour poser un flambeau, quelquefois d'une petite fenêtre s'ouvrant près de l'un des jambages ou sous le manteau même de la cheminée, pour voir le dehors en se chauffant; de ses écrans et escabeaux. Les portes perdues derrière la tapisserie étaient étroites et basses. Le lit, placé perpendiculairement à la face opposée à la cheminée, était large, garni de courtines et d'un dais à gouttières; il se trouvait ordinairement plus rapproché d'un mur que de l'autre, de façon à laisser un petit espace libre qu'on appelait la ruelle. Quelquefois, dans l'ébrasement profond de l'une des fenêtres, on plaçait une volière et des fleurs, car les oiseaux devenaient les compagnons ordinaires des femmes nobles, dont les distractions, hormis les grandes fêtes publiques, étaient rares. Une chaire (chaise à dossier) se trouvait au fond de la ruelle; un dressoir, une petite table, des escabeaux et carreaux pour s'asseoir, complétaient l'ameublement (voy. le Dictionnaire du Mobilier).
«Adonc est li sires levé
Et est entrez dedenz sa chambre
Qui tote estoit ovrée à l'ambre.
N'a el monde beste n'oisel
Qui n'i soit ovré à cisel,
Et la procession Renart
Qui tant par sot engin et art,
Que rien a fere n'i lessa
Cil qui si bel la conpassa.
Qu'en li séust onques nomer 338.
. . .

Nous donnons (1) un plan d'une de ces chambres privées, que l'on avait le soin, autant que faire se pouvait, de placer à l'angle des bâtiments et de mettre, par ce moyen, en communication avec une tourelle qui servait de boudoir ou de cabinet de retraite. La disposition que nous indiquons ici se retrouve fréquemment, à quelques détails près, dans les châteaux des XIIIe, XIVe et XVe siècles. En A est le lit, en B la ruelle avec sa chaire C et ses carreaux D; en E le dressoir, en F des bancs fixes, bahuts destinés à contenir la garderobe; en G la cheminée avec sa petite fenêtre H et sa tablette I; en K les portes, en L la tourelle, en M la petite table avec son banc à dossier N, en O des escabeaux mobiles, en X une armoire destinée au linge et aux objets de toilette. Les femmes recevaient souvent le matin ou le soir couchées, et alors ce n'était que les intimes et les membres de la famille qui étaient admis dans la ruelle. Le jour, on recevait les visites sur le banc à plusieurs places posé près de la cheminée; les hommes se tenaient sur les escabeaux ou carreaux; les gens que l'on faisait attendre ou les inférieurs s'asseyaient près de l'entrée sur les bancs bahuts. Les femmes de haut rang tendaient leurs chambres en noir pendant les quinze premiers jours de grand deuil et restaient couchées, les contrevents fermés. Pendant leurs couches, les chambres étaient richement décorées, mais également fermées et éclairées aux flambeaux 339. Les époux, même dans les classes élevées, n'avaient habituellement qu'une chambre; chez les bourgeois, les enfants couchaient, pendant leurs premiers ans, dans des berceaux que l'on plaçait tout à côté du lit dans la ruelle. Aussi ne trouve-t-on qu'un petit nombre de chambres dans des maisons, même vastes, souvent une seule; les familiers couchaient dans les galetas. Quand on recevait un parent ou un étranger auquel on voulait faire honneur, les maîtres, dans la bourgeoisie comme chez les paysans, abandonnaient leur chambre et allaient coucher dans la salle, c'est-à-dire dans la grande pièce qui servait à la fois de salon, de lieu de réunion et de salle à manger; ou bien, ce qui arrivait souvent, on dressait un lit dans la chambre des maîtres, et maîtres et étrangers couchaient dans la même chambre (voy. HÔTEL, MAISON).
Note 335: (retour) Sauval, t. III, p. 8.
Note 336: (retour) Dubreul, liv. I.
Note 337: (retour) Sauval, t. II, p. 64.
Note 338: (retour) Roman du Renart, vers 22162 et suiv.
Note 339: (retour) Les Honneurs de la Cour. Aliénor de Poictiers, XVe siècle.
CHANCEL, s. m. Canchel, chaingle. Enceinte, clôture; le chancel du choeur, pour la clôture du choeur d'une église; s'employait aussi comme balustrade.
CHANFREIN, s. m. Arête abattue suivant un angle de 45 degrés. Dans l'architecture du moyen âge, surtout à dater de l'époque ogivale, les arêtes à la portée de la main, au lieu d'être laissées à angle droit, sont souvent abattues. Les chanfreins sont très-fréquemment appliqués à la charpente et à la menuiserie de cette époque (voy. BIZEAU, CHARPENTE, MENUISERIE).
CHANTIER, s. m. Place vague, espace découvert sur lequel on dépose les matériaux qui doivent servir à la construction d'un édifice (voy. CONSTRUCTION). On désigne aussi par ce mot des pièces de bois que l'on pose à terre horizontalement, pour isoler et soustraire à l'humidité du sol des charpentes ou des planches, des tonneaux contenant des boissons.
CHANTIGNOLLE, s. f. Petite pièce de charpente qui sert à empêcher les pannes de glisser sur l'arbalétrier. La pièce A (1) est une chantignolle.

La chantignolle est toujours assemblée dans l'arbalétrier à tenon et mortaise et chevillée, pour éviter qu'elle ne se relève par suite de la pression que la panne exerce sur sa partie supérieure. Souvent, dans les charpentes de la période ogivale, les pièces verticales sont moisées; mais, comme alors on n'employait pas de boulons mais simplement des clefs de bois pour serrer les moises contre les pièces moisées, on posait des chantignolles A sous ces moises pour que leur poids ne fatiguât pas les clefs, ainsi que l'indique la fig. 2 (voy. CHARPENTE).
CHAPE, s. f. Crouste. Vieux mot employé pour voûte, lieu voûté. Aujourd'hui on entend par chape l'enduit que l'on pose sur l'extrados d'une voûte pour le protéger. Toutes les voûtes ogivales étaient couvertes d'une chape en mortier ou en plâtre. En cas d'incendie, cette précaution suffit pour empêcher la braise de calciner l'extrados des voûtes, surtout si la chape est en plâtre. Nous avons vu aussi des chapes de voûtes faites en ciment de brique dans les édifices du Languedoc. La chape a cet avantage encore de garantir les voûtes des filtrations d'eau pluviale, lorsque les couvertures sont en mauvais état ou lorsqu'on fait des réparations aux toitures. Sur les voûtes ogivales, les chapes sont faites avec soin; elles étaient surtout destinées à les garantir pendant le laps de temps qui s'écoulait entre leur achèvement et le montage des charpentes. À cet effet, dans les reins des voûtes, sont ménagées des cuillers en pierre avec gargouille extérieure, qui ne servaient que pendant cet intervalle de temps et aussi dans le cas de dégradations à la couverture 340 (v. GARGOUILLE, VOÛTE).
Note 340: (retour) Ces gargouilles existent encore à la Sainte-Chapelle du Palais sous les pignons des fenêtres, et à Amiens; dans ce dernier édifice, ce sont des baies assez grandes pour qu'un homme puisse y passer; ces baies correspondent aux gargouilles qui desservent les chéneaux à l'arrivée des arcs-boutants.
CHAPELLE, s. f. «Dans Plusieurs endroits on appelle les prêtres, dit Guillaume Durand 341, chapelains (capellani), car de toute antiquité les rois de France, lorsqu'ils allaient en guerre, portaient avec eux la chape (capam) du bienheureux saint Martin, que l'on gardait sous une tente qui, de cette chape, fut appelée chapelle (a capa, capella). Et les clercs à la garde desquels était confiée cette chapelle reçurent le nom de chapelains (capellani a capella); et par une conséquence nécessaire, ce nom se répandit, dans certains pays, d'eux à tous les prêtres. Il y en a même qui disent que de toute antiquité, dans les expéditions militaires, on faisait, dans le camp, de petites maisons de peaux de chèvre qu'on couvrait d'un toit, et dans lesquelles on célébrait la messe, et que de là a été tiré le nom de chapelle (a caprarum pellibus, capella).»
La première de ces deux étymologies est établie sur un fait. La petite cape que saint Martin revêtit après avoir donné sa tunique à un pauvre, était religieusement conservée dans l'oratoire de nos premiers rois, d'où cet oratoire prit le nom de capella. L'oratoire, depuis lors appelé chapelle, se trouvait compris dans l'enceinte du palais royal 342. Le nom de chapelle fut, par extension, donné aux petites églises qui ne contenaient ni fonts baptismaux ni cimetières 343; aux oratoires dans lesquels on renfermait les trésors dès églises, des monastères, des châteaux ou des villes 344, les chartes, les archives 345 des reliques considérables; puis aux succursales, des paroisses, aux édicules annexés aux grandes églises cathédrales, conventuelles ou paroissiales, et contenant un autel, et même la cuve baptismale; aux oratoires élevés dans l'enceinte des cimetières, sur un emplacement sanctifié par un miracle ou par la présence d'un saint.
Nous diviserons donc cet article 1° en chapelles (saintes); 2° chapelles ou oratoires de châteaux, d'évêchés; 3° isolées, des morts, votives; 4° annexes d'églises; 5° chapelles faisant partie des églises, et renfermées dans leur périmètre.
Note 341: (retour) Rational, liv. II, chap. X, parag. 8.
Note 342: (retour) «Capella, postmodum appellata ædes ipsa, in qua asservata est capa, seu capella S. Martini, intra Palatii ambitum inedificata: in quam etiam præcipua Sanctorum aliorum [Grec leiphana] illata, unde ob ejusmodi Reliquiarum reverentiam ædiculæ istæ sanctæ capellæ vulgo appellantur.» Ducange, Gloss.
Note 343: (retour) Ibid. Joan. de Janua.
Note 344: (retour) Ibid.
Note 345: (retour) «Cancellaria: ita vero dicta qnod in Capella Principis, seu oratorio Archivum, diplomata et regni monumenta olim, ut hodie, asservarentur. In Francia enim Chartarum Regiarum, ut vocant, thesaurus, in Sacra Capella Parisiensi etiamnum asservatur.» (Ibid.)
CHAPELLES (SAINTES). Dès les premiers siècles du christianisme, on avait élevé un grand nombre d'oratoires sur les emplacements témoins du martyre des saints. Ces oratoires se composaient le plus souvent d'une crypte avec petite église au-dessus. «Lorsque les saincts Denis, Rustic, et Eleuthère, souffrirent le martyre, dit Dubreul 346, une bonne dame chrétienne nommée Catulle, demeuroit en un village, que l'on surnommoit de son nom: laquelle ensevelit et enterra les corps des susnommés martyrs en une petite chapelle (au-bas de la butte Montmartre), jusques en laquelle (par grand mirâcle) sainct Denys avoit apporté sa teste entre ses bras, après que l'on la luy eust tranchée, laquelle (chapelle) fut rebastie du temps de saincte Geneviefve... Cette chapelle est double, sçavoir la plus petite qui est presque dans terre, et l'autre plus grande qui est érigée au dessus d'icelle. Mais au dessoubs de tout ce bastiment il y avoit encore une chapelle ou cave sousterraine, qui toutefois a demeurée incogneüe à nos pères jusques en l'an 1611...»
Cette disposition de chapelle double en hauteur demeure traditionnelle pendant les premiers siècles du moyen âge. Nous la voyons conservée encore dans la célèbre Sainte-Chapelle du Palais bâtie par saint Louis à Paris; mais ce n'était pas avec l'intention de consacrer la chapelle inférieure au dépôt des reliques. Au contraire, à Paris, c'est dans la chapelle haute que la couronne d'épines, les morceaux de la vraie croix et les saintes reliques recueillies par Louis IX furent déposés; la chapelle basse était réservée aux familiers du palais et au public; elle servit aussi de sépulture aux chanoines. De toutes les chapelles palatines qui existaient en France, celle de Paris est aujourd'hui la plus complète et l'une des plus anciennes. Elle fut commencée en 1242 ou 1245 et terminée en 1247, sur l'emplacement de deux oratoires, l'un bâti en 1154 en l'honneur de Notre-Dame, l'autre bâti en 1160 sous le titre de Saint-Nicolas. Jérôme Morand 347 prétend que c'est pour rappeler ces deux fondations que la Sainte-Chapelle actuelle est double. Nous voyons là plutôt l'influence de traditions antérieures, comme nous l'avons dit, et surtout une nécessité commandée par la disposition même du palais. Ainsi, la chapelle haute communiquait de plein pied avec les salles du premier étage et les appartements royaux, tandis que la chapelle basse, au niveau du sol extérieur, pouvait être abandonnée au public.
De tous temps, cet édifice, dû au maître Pierre de Montereau, fut considéré avec raison comme un chef-d'oeuvre. Le roi saint Louis n'épargna rien pour en faire le plus brillant joyau de la capitale de ses domaines; et si une chose a lieu de nous étonner, c'est le peu de temps employé à sa construction. En prenant les dates les plus larges, on doit admettre que la Sainte-Chapelle fut fondée et complétement achevée dans l'espace de cinq ans; huit cent mille livres tournois auraient été employées à sa construction, à sa décoration et à l'acquisition des précieuses reliques qu'elle renfermait. Si l'on observe avec une scrupuleuse attention les caractères archéologiques de la Sainte-Chapelle, on est forcé de reconnaître l'exactitude des dates historiques. Le mode de construction et l'ornementation appartiennent à cette minime fraction du XIIIe siècle. Pendant les règnes de Philippe-Auguste et de saint Louis, les progrès de l'architecture sont si rapides, qu'une période de cinq années y introduit des modifications sensibles; or la plus grande unité règne dans l'édifice, de la base au sommet. Ce n'est plus la fermeté un peu rude des sommets de la façade de Notre-Dame de Paris (1230), et ce n'est pas encore, il s'en faut de beaucoup, la maigreur des deux extrémités des transsepts de la même église (1257).
Pierre de Montereau fut également chargé d'élever une chapelle dédiée à la Vierge, dans l'enceinte de l'abbaye de Saint-Germain-des-Prés. Cette chapelle avait été fondée, en 1245, par l'abbé Hugues; or les fragments assez nombreux qui nous restent de cette construction 348 accusent une certaine recherche, un travail déjà maigre dans l'ornementation et les moulures, qui se rapproche de l'exécution du portail Saint-Étienne de Notre-Dame de Paris et s'éloigne de celle de la Sainte-Chapelle; c'est qu'en effet la chapelle de la Vierge de Saint-Germain-des-Prés n'avait été achevée que sous l'abbé Thomas, mort en 1255. Il y avait donc cinq années de différence environ entre la construction de la Sainte-Chapelle du Palais et la chapelle de Saint-Germain-des-Prés; cette différence se fait sentir dans le style des deux édifices; donc, la sainte-Chapelle du Palais a dû être élevée en quatre ou cinq années au plus, puisqu'elle ne laisse pas voir, même dans ses parties supérieures, cette tendance à la recherche et à la maigreur. On nous pardonnera d'insister sur ce point; nous désirons constater ainsi, une fois de plus, la rapidité avec laquelle les maîtres des oeuvres construisaient leurs édifices au XIIIe siècle, lorsqu'ils n'étaient pas entravés par le manque de ressources, et détruire une opinion trop généralement accréditée, même parmi les personnes éclairées, savoir: que les édifices de cette époque n'ont pu être élevés qu'avec lenteur. Lorsqu'on parcourt la Sainte-Chapelle du Palais, on ne peut concevoir comment ce travail, surprenant par la multiplicité et la variété des détails, la pureté d'exécution, la richesse de l'ornementation et la beauté des matériaux, a pu être achevé pendant un laps de temps aussi court. De la base au faîte, elle est entièrement bâtie en pierre dure de choix, liais cliquart; chaque assise est cramponnée par des agrafes en fer, coulées en plomb; les tailles et la pose sont exécutées avec une précision rare; la sculpture en est composée et ciselée avec un soin particulier. Sur aucun point on ne peut constater ces négligences, résultat ordinaire de la précipitation; et cependant, telle qu'elle est aujourd'hui, la Sainte-Chapelle du Palais est privée d'une annexe importante qui, à elle seule, était un monument: nous voulons parler du trésor des chartes accolé à son flanc nord, bâti et terminé en même temps qu'elle.

Nous donnons (1) le plan de la chapelle basse du Palais 349. Un porche précède la porte principale; un bas-côté étroit fait le tour du vaisseau. L'architecte a dû l'établir pour ne pas être contraint ou de trop élever le sommet de la voûte, ou de poser les naissances des arcs près du sol. Il était commandé par la hauteur des sols des appartements du premier étage, qui déjà existaient, et il tenait à placer le dallage de la chapelle haute de plain-pied avec ces appartements et galeries. Deux escaliers de service communiquent du rez-de-chaussée au premier étage et au comble. La chapelle basse est éclairée par des fenêtres occupant tout l'espace compris entre les formerets et l'appui décoré d'une arcature, de sorte que ces fenêtres affectent la forme de triangles dont deux côtés sont curvilignes; elles sont admirablement composées pour la place (voy. FENÊTRE), et étaient autrefois garnies de vitraux colorés ou en grisaille.

Cette chapelle laisse voir de nombreuses traces de peintures du XIIIe siècle 350, et, dans l'arcature, des médaillons enrichis d'incrustations de verre avec dorures d'une finesse rare, de gaufrures et de petites figures d'apôtres en bas-relief sculptées dans un stuc autrefois peint. Le dallage de cette chapelle est entièrement composé de pierres tombales. Au premier étage (fig. 2), un porche précède le vaisseau, comme au rez-de-chaussée. Avant 1793, au trumeau de la porte était adossée une statue du Christ bénissant et tenant l'Évangile. Au-dessus, dans le linteau, était sculpté un Jugement dernier, le Pèsement des âmes, et, dans le tympan, le Fils de l'Homme montrant ses plaies, ayant la sainte Vierge à sa droite, saint Jean à sa gauche, tous deux agenouillés comme à la porte centrale de la cathédrale de Paris. Toutes ces sculptures ont été complétement détruites. Le porche servait de communication, du côté du nord, avec les galeries du paiais royal, et formait comme un vaste balcon couvert, de plain-pied avec l'église. Lorsqu'on entre dans la Sainte-Chapelle haute, ce qui frappe surtout, c'est l'extrême légèreté apparente de la construction. Au-dessus d'une arcature très-riche, s'ouvrent de grandes fenêtres qui occupent tout l'espace compris entre les contreforts sous les formerets des voûtes; de sorte que la construction ne paraît consister qu'en légers faisceaux de colonnes portant ces voûtes. Les vitraux qui garnissent les fenêtres, à cause de leur puissante coloration, ne laissent pas voir les contreforts extérieurs qui constituent à eux seuls la solidité de l'édifice. L'arcature régnant sous les appuise des grandes fenêtres repose sur un banc continu, et présente, dans des quatre-feuilles, des scènes de martyres (voy. ARCATURE, fig. 8). Les statues des douze apôtres, portées sur des culs-de-lampe, sont adossées aux piliers. À l'abside, un édicule avec clôture fut élevé derrière l'autel après la mort de saint Louis, pour porter la grande châsse contenant les saintes reliques (voy. AUTEL, fig. 11 et 12). L'intérieur de la Sainte-Chapelle était entièrement couvert de riches peintures et de dorures avec incrustations de verres colorés et dorés. Mais les vitraux forment certainement la partie la plus brillante de cette décoration; ils sont, comme couleur et composition, d'une grande beauté, quoique, dans l'exécution, on s'aperçoive de la précipitation avec laquelle ils durent être fabriqués.

Nous présentons (3) la coupe transversale de la Sainte-Chapelle du Palais, qui fera comprendre mieux qu'aucune description la construction simple et hardie en même temps de ce charmant édifice.
Le plan 2 indique en A l'annexe, le trésor des chartes, avec le passage B communiquant à la chapelle. Cet annexe était divisé en trois étages; celui du rez-de-chaussée servait de sacristie à la chapelle basse; celui du premier, de trésor et de sacristie à la chapelle haute; et le dernier étage, auquel on arrivait par un escalier à vis, de dépôt des chartes. Une autre porte de service, percée dans l'arcature en C, mettait la galerie du nord longeant les premières travées en communication avec la chapelle haute. Sous les deux fenêtres D D, deux renfoncements d'un mètre environ de profondeur sur la largeur de la travée étaient les places d'honneur réservées au roi et à la reine. Mais Louis XI, qui probablement trouva ces places trop en évidence, fit bâtir en E un réduit entre les contreforts, dans lequel il se retirait pour entendre les offices; une petite ouverture biaise et grillée lui permettait de voir l'autel sans être vu.
Sous Charles VII, des travaux importants vinrent modifier certaines parties de la Sainte-Chapelle. Ce prince fit refaire la rose en pierre et ses vitraux, les couronnements des deux escaliers et les crochets du grand pignon. Déjà, au XIVe siècle, on avait changé la décoration des pignons ou gâbles des fenêtres; des crochets dans le goût de cette époque et des statues d'anges étaient venus remplacer les fleurons et les crochets du XIIIe siècle. Charles VII fit également exécuter la flèche en charpente recouverte de plomb qui surmontait le comble, ainsi que les crêtes et décorations de la toiture. Nous ne savons pas si la Sainte-Chapelle de saint Louis possédait une flèche; aucune vignette antérieure au XVe siècle ne la représente, aucun texte n'en parle 351. Le fait paraît douteux, car, contrairement aux habitudes des architectes du XIIIe siècle, rien, dans la construction en maçonnerie, n'indique que cette flèche ait dû être élevée. Peut-être quelque tour du palais, dans le voisinage de la Sainte-Chapelle, tenait-elle lieu de clocher, Louis XII, étant goutteux et ne pouvant monter à la Sainte-Chapelle par les escaliers du palais qu'il n'habitait pas, fit faire le long du flanc sud un vaste degré couvert par des voûtes et un comble. Ce degré était assez doux pour que des porteurs pussent monter sa litière jusque sous le porche. Les voûtes de cet escalier furent détruites par l'incendie de 1630 352, et remplacées par un appentis en charpente.
À l'imitation du roi de France, les grands vassaux de la couronne se
firent bâtir, dans leur résidence habituelle, une sainte chapelle, et le
roi lui-même en éleva quelques autres. Celle du château de
Saint-Germain-en-Laye est même antérieure de quelques années à celle du
Palais; son achèvement ne saurait ètre postérieur à 1240. Ce
très-curieux monument, fort peu connu, engagé aujourd'hui au milieu des
constructions de François Ier et de Louis XIV, est assez complet
cependant pour que l'on puisse se rendre un compte exact, non-seulement
de ses dimensions, mais aussi de sa coupe, de ses élévations latérales
et des détails de sa construction et décoration. La sainte chapelle de
Saint-Germain-en-Laye a cela de particulier qu'elle n'appartient pas au
style ogival du domaine royal, mais qu'elle est un dérivé des écoles
champenoise et bourguignonne.
Nous en donnons (4) le plan 353. Conformément aux constructions champenoises et bourguignonnes, les voûtes portent sur des piles saillantes à l'intérieur, laissant au-dessus du soubassement une circulation. La coupe transversale (5), faite sur le milieu d'une travée, explique la disposition principale de cet édifice. Les formerets A des voûtes, au lieu de servir d'archivoltes aux fenêtres, sont isolés, laissent entre eux et les baies un espace B couvert par le chéneau. Les fenêtres sont alors prises sous la corniche et mettent à jour tout l'espace compris entre les contreforts. Si nous examinons la coupe longitudinale (6), faite sur une travée, et (6 bis), faite sur la pile intérieure en B C (voy. fig. 5), nous pourrons nous rendre un compte exact du système de construction adopté. Les fenêtres n'étant plus circonscrites par les formerets sont carrées; les tympans, étant ajourés et faisant partie des meneaux, ne laissent comme pleins visibles que les contreforts. À l'extérieur, chaque travée est conforme à la fig. 6 ter; le monument tout entier ne consiste donc qu'en un soubassement, des contreforts et une claire-voie fort belle et combinée d'une manière solide; car les contreforts (très-minces) sont étrésillonnés par ces puissants meneaux portant l'extrémité de la corniche supérieure et le chéneau. Ces meneaux ne sont réellement que de grands châssis vitrés posés entre des piles et les maintenant dans leurs plans.


Le système de la construction ogivale admis, nous devons avouer que le parti de construction adopté à la sainte chapelle de Saint-Germain nous semble supérieur à celui de la Sainte-Chapelle de Paris, en ce qu'il est plus franc et plus en rapport avec l'échelle du monument. La richesse de l'architecture de la Sainte-Chapelle de Paris, le luxe de la sculpture ne sauraient faire disparaître des défauts graves évités à Saint-Germain. Ainsi, à Paris, les contreforts, entièrement reportés à l'extérieur, gênent la vue par leur saillie; ils sont trop rapprochés; la partie supérieure des fenêtres est quelque peu lourde et encombrée de détails; les gâbles qui les surmontent sont une superfétation inutile, un de ces moyens de décoration qui ne sont pas motivés par le besoin. Si l'effet produit par les verrières entre des piles minces et peu saillantes à l'intérieur est surprenant, il ne laisse pas d'inquiéter l'oeil par une excessive légèreté apparente. À Saint-Germain, on comprend comment les voûtes sont maintenues par ces piles qui se prononcent à l'intérieur. Les meneaux ne sont qu'un accessoire, qu'un châssis vitré indépendant de la grosse construction. Ce petit passage champenois ménagé au-dessus de l'arcature inférieure, en reculant les fenêtres, donne de l'air et de l'espace au vaisseau; il rompt les lignes verticales dont, à la Sainte-Chapelle de Paris, on a peut-être abusé. Les fenêtres elles-mêmes, au lieu d'être relativement étroites comme à Paris, sont larges; leurs meneaux sont tracés de main de maître, et rappellent les beaux compartiments des meilleures fenêtres de la cathédrale de Reims. Les fenêtres de la Sainte-Chapelle de Paris ont un défaut, qui paraîtrait bien davantage si elles n'éblouissaient pas par l'éclat des vitraux, c'est que les colonnettes des meneaux sont démesurément longues et que les entrelacs supérieurs ne commencent qu'à partir de la naissance des ogives (voy. FENÊTRE). Cela donne à ces fenêtres une apparence grêle et pauvre que l'architecte a voulu dissimuler à l'extérieur, où les vitraux ne produisent aucune illusion, par ces détails d'archivoltes et ces gâbles dont nous parlions tout à l'heure. À la chapelle de Saint-Germain, aucun détail superflu: c'est la construction seule qui fait toute la décoration; et sans vouloir faire tort à Pierre de Montereau, on peut dire que si l'architecte (champenois probablement) de la chapelle de Saint-Germain eût eu à sa disposition les trésors employés à la construction de celle de Paris, il eût fait un monument supérieur, comme composition, à celui que nous admirons dans la Cité. Il a su (chose rare) conformer son architecture à l'échelle de son monument, et, disposant de ressources modiques, lui donner toute l'ampleur d'un grand édifice. À la Sainte-Chapelle de Paris, on trouve des tâtonnements, des recherches qui occupent l'esprit plutôt qu'elles ne charment. À Saint-Germain, tout est clair, se comprend au premier coup d'oeil. Le maître de cette oeuvre était sûr de son art; c'était en même temps un homme de goût et un savant de premier ordre 354. L'intérieur de ce monument était peint et les fenêtres garnies probablement de vitraux. Inutile de dire que leur effet devait être prodigieux à cause des larges surfaces qu'ils occupaient. Rien n'indique qu'une flèche surmontât cette chapelle. On ne voit point non plus que des places spéciales aient été réservées dans la nef, comme à la Sainte-Chapelle du Palais, pour des personnages considérables. Il faut dire que la chapelle de Saint-Germain-en-Laye n'était que le vaste oratoire d'un château de médiocre importance. Tous les détails de ce charmant édifice sont traités avec grand soin; la sculpture en est belle et entièrement due à l'école champenoise, ainsi que les profils.
De riches abbayes voulurent aussi rivaliser avec le souverain en élevant de grands oratoires indépendants de leur église. Nous avons dit que les abbés de Saint-Germain-des-Prés chargèrent l'architecte Pierre de Montereau de leur bâtir la chapelle de la sainte Vierge près de leur réfectoire (voy. Architecture monastique, fig. 15). Les abbés étaient seigneurs féodaux, et, comme tels, voulaient imiter ce que faisait le suzerain dans ses domaines; beaucoup d'abbayes virent donc, vers le milieu du XIIIe siècle, élever, dans leur enceinte, de grandes chapelles isolées, dont la construction n'était pas toujours justifiée par un besoin urgent. Le prieuré de Saint-Martin-des-Champs à Paris bâtit aussi, vers cette époque, deux grandes chapelles, l'une dédiée à Notre-Dame, l'autre à saint Michel.

Voici (7) le plan de la chapelle de la Vierge de l'abbaye Saint-Germain-des-Prés 355, qui se distingue surtout de celui de la Sainte-Chapelle du Palais par la disposition de ses voûtes, dont les arcs ogives, s'il faut en croire un dessin de M. Alexandre Lenoir relevé avant la destruction de ce beau monument, comprenaient deux travées, et dont l'abside était plantée d'une façon peu conforme aux habitudes des constructeurs du milieu du XIIIe siècle. Mais Pierre de Montereau avait certainement, dans la construction de la chapelle de la Vierge, été forcé de se renfermer dans une dépense assez peu élevée, relativement à la dimension donnée à l'édifice. Ce genre de voûtes est moins dispendieux que celui adopté pour la Sainte-Chapelle du Palais, et les fragments des couronnements qui existent encore accusent une exécution peu dispendieuse. L'abbaye Saint-Germain-des-Prés n'avait pas, telle riche qu'elle fût, les ressources du roi de France. À ce point de vue, la comparaison de ces deux édifices, élevés presque en même temps par le même architecte, est intéressante.
Mais saint Louis ne fut pas le seul roi de France qui éleva des saintes chapelles. Le vaste château de Vincennes, commencé par le roi Jean, était achevé, au point de vue militaire, sous Charles V. Son fils commença, sur de grandes proportions, la construction d'une sainte chapelle, au milieu de son enceinte. Charles VI éleva le bâtiment vers l'abside jusqu'aux corniches supérieures, dans la nef jusqu'aux naissances des archivoltes des fenêtres, et sur la façade jusqu'au-dessous de la rose. Les malheurs de la fin de ce règne ne permirent pas de continuer l'édifice, qui resta en souffrance pendant un siècle. François Ier reprit les constructions vers 1525, elles ne furent achevées que sous Henri II. Les deux sacraires et le trésor à deux étages annexés à la chapelle étaient terminés à la fin du XIVe siècle ou au commencement du XVe. Deux époques bien distinctes ont donc concouru à l'édification de la sainte chapelle de Vincennes, et cependant, au premier abord, ce monument présente une grande unité. Les architectes de la renaissance chargés de l'achever ont, autant qu'il était possible à cette époque, cherché à conserver l'ordonnance de l'ensemble, le caractère des détails. Il faut examiner la sculpture, reconnaître les dégradations causées aux parties supérieures des constructions laissées inachevées pendant un siècle, par les pluies et la gelée, pour trouver les points de soudure des deux époques.

La fig. 8 donne le plan de la sainte chapelle de Vincennes 356, avec ses annexes. Ce sont d'abord deux oratoires à double étage ayant vue sur le sanctuaire par deux petites ouvertures biaises. À la suite, à droite, un escalier conduisant à l'étage supérieur de l'oratoire, aux terrasses et aux combles. À gauche, la sacristie avec son trésor, également à deux étages, le trésor ayant, comme à la Sainte-Chapelle du Palais, la forme, en plan et en élévation, d'une petite chapelle. Un escalier particulier conduit au premier étage du trésor et au comble.
Il est vraisemblable que l'oratoire construit par Louis XI entre deux des contreforts de la Sainte-Chapelle de Paris, pendant la seconde moitié du XVe siècle, est une imitation de ceux de la sainte chapelle, de Vincennes, cette disposition ayant paru plus commode que celle adoptée par saint Louis, et ne consistant qu'en deux renfoncements dans l'épaisseur de la muraille (voy. fig. 2, en D). Le roi, la reine se trouvaient ainsi séparés des assistants, et voyaient le prêtre à l'autel sans être vus.
À Vincennes, une tribune large est portée par une voûte au-dessus de l'entrée; elle occupe toute la première travée. À Paris, cette tribune n'est qu'une simple galerie d'un mètre de largeur tout au plus. Les statues des apôtres et de quatre anges, derrière l'autel, étaient, à Vincennes comme à Paris, adossées aux piliers, à la hauteur de l'appui des fenêtres, supportées par des culs-de-lampe et surmontées de dais 357. Les murs d'appui sous les meneaux n'étaient point décorés d'arcatures à Vincennes, mais probablement garnis autrefois de bancs en bois avec des tapisseries. Les fenêtres de l'abside ont seules conservé leurs vitraux, qui sont peints, au XVIe siècle, par Jean Cousin et représentent le Jugement dernier. Parmi les vitraux de la renaissance, ceux-ci peuvent prendre le premier rang; ils sont bien composés et d'une belle exécution. Le comble de la sainte chapelle de Vincennes, construit en bois de chêne, est combiné avec une grande perfection; il ne fut jamais surmonté que d'une flèche fort petite et simple, qui n'existe plus.

Voici (9) la coupe transversale de la sainte chapelle de Vincennes; si elle couvre une superficie plus grande que celle de Paris, elle est loin de présenter en coupe une proportion aussi heureuse. Sous clef, la Sainte-Chapelle du Palais a un peu plus de deux fois sa largeur, tandis que celle de Vincennes n'a, du sommet de la voûte au pavé, que les neuf cinquièmes de sa largeur. À ce sujet, qu'il nous soit permis de faire remarquer combien on se laisse entraîner à propager les erreurs les plus faciles à constater cependant, lorsqu'on parle des édifices de l'époque ogivale. On veut toujours que ces édifices affectent des proportions élancées, et qu'ils aient des hauteurs exagérées relativement à leur base; d'une part, on loue les architectes de ces temps d'avoir ainsi accumulé des matériaux sur une base étroite; d'autre part, on les blâme. Or ces monuments ne méritent ni cette louange ni ce blâme; les rapports de leur hauteur avec leur largeur sont ceux que, de tous temps, on a donnés aux édifices voûtés: une fois et demie, deux fois la largeur. S'ils adoptent des proportions plus sveltes, c'est pour prendre des jours au-dessus des collatéraux, lorsqu'ils en possèdent. Ce dont il faut louer ou blâmer les architectes du moyen âge, suivant les goûts de chacun, c'est d'avoir eu le mérite ou le tort de faire paraître les intérieurs de leurs édifices beaucoup plus élevés qu'ils ne le sont réellement.
Note 346: (retour) Dubreul, liv. IV, p. 1152. Édit de 1612.
Note 347: (retour) Hist. de la Sainte-Chapelle roy., par Jérôme Marand, chanoine; Paris, 1790.
Note 348: (retour) La porte principale déposée dans le cimetière des Valois à Saint-Denis; des gargouilles et portions de couronnements déposés dans une cour d'une des maisons de la rue de l'Abbaye, côté nord.
Note 349: (retour) Ce plan est à l'échelle de 0,0025 pour mètre, ainsi que tous les plans suivants.
Note 350: (retour) Elle fut eu grande partie repeinte sous Louis XIII.
Note 351: (retour) La flèche de Charles VII vient d'être rétablie sous la direction de notre confrère M. Lassus (voy. FLÈCHE); elle avait été brûlêe en 1630 et remplacée par une flèche dans le goût de ce temps, qui fut détruite à la fin du dernier siècle.
Note 352: (retour) Nous avons encore vu quelques restes de cet escalier que les dernières restaurations ont fait disparaître. Voy. les gravures d'Israël Sylvestre, le tableau déposé au musée de Versailles représentant la visite de Louis XV enfant au palais.
Note 353: (retour) À l'échelle de 0,0025 pour mètre. Nous devons ces dessins à M. Millet, architecte du château de Saint-Germain-en-Laye.
Note 354: (retour) La chapelle du château de Saint-Germain-en-Laye est aujourd'hui fort dénaturée; les contreforts ont été revêtus, au XVIIe siècle, de placages dans le goût du temps; le sol intérieur a été relevé de plus d'un mètre. L'arcature a été détruite, ainsi que la balustrade extérieure. Cependant nos dessins (sauf la décoration des contreforts, sur laquelle nous n'avons aucune donnée) présentent rigoureusement l'ensemble et les détails de cette belle construction. Des fouilles faites avec intelligence par l'architecte M. Millet, ont mis à nu les bases intérieures. Des fragments de l'arcature et de la balustrade ont été retrouvés; les piles ont été dégagées. Quant aux autres parties de l'édifice, elles sont conservées, et la construction n'a subi aucune altération. On ne saurait trop étudier cette chapelle, qui nous paraît être un des exemples les plus caractérisés de cet art du XIIIe siècle, au moment de sa splendeur. Si l'on avait quelques doutes sur la date, il surfirait de comparer ses profils et sa sculpture avec les profils et la sculpture des monuments champenois du XIIIe siècle, pour être assuré que la chapelle du château de Saint-Germain est contemporaine des chapelles absidales de la cathédrale de Reims, des parties inférieures du choeur de la cathédrale de Troyes, de la chapelle de l'archevêché de Reims, constructions qui sont antérieures à 1240. La corniche supérieure et la balustrade dont on a retrouvé des fragments peuvent même remonter à 1230.
Note 355: (retour) À l'échelle de 0,0025 pour mètre.
Note 356: (retour) À l'échelle de 0,0025 pour mètre.
Note 357: (retour) Ces figures ont été brisées; leur trace est seule visible, ainsi que les culs-de-lampe et des amorces des dais.
CHAPELLES DE CHATEAUX, D'ÉVÊCHÉS. Chaque seigneur féodal voulait posséder, dans l'enceinte de son château, une chapelle, desservie par un chapelain ou même par un chapitre tout entier. Ces chapelles ne furent donc pas seulement de simples oratoires englobés dans l'ensemble des constructions, mais de petits monuments presque toujours isolés, ayant leurs dépendances particulières, ou se reliant aux bâtiments d'habitation par une galerie, un porche, un passage. Très-fréquemment, ces chapelles sont à double étage, afin de placer l'oratoire du maître au niveau des appartements qui se trouvaient toujours au-dessus du rez-de-chaussée, de séparer le seigneur et sa famille des domestiques et gens à gages qui habitaient l'enceinte du château, et aussi par suite de cette tradition dont nous avons parlé au commencement de cet article. Il va sans dire que les évêques, dans l'enceinte du palais épiscopal, avaient leur chapelle. L'évêque Maurice de Sully en avait élevé une à Paris, à deux étages, du côté de la rivière, et qui existait encore avant le sac de l'archevêché en 1831.

L'archevêché de Reims possède la sienne, qui est fort belle, à deux étages, et dont la construction remonte à 1230 environ. Son rez-de-chaussée, dont nous donnons le plan (10), est construit avec une grande simplicité, tandis que le premier étage est richement décoré à l'iniérieur par de fines sculptures. La fig. 11 présente le plan de ce premier étage.
Suivant le mode de construction adopté en Champagne, les piles forment saillie à l'intérieur, de façon à diminuer à l'extérieur la saillie des contre-forts; ces piles, isolées de la muraille jusqu'à quatre mètres du sol, donnent un étroit bas-côté autour de la chapelle et produisent un charmant effet. Les murs sont décorés par une arcature posée sur un banc continu, et les fenêtres ouvertes au-dessus de cette arcature sont sans meneaux.

Voici (12) la coupe de ce petit édifice, d'une bonne exécution, et qui, malgré les plus regrettables mutilations, passe avec raison pour un chef-d'oeuvre; on y trouve, en effet, toutes les qualités à la fois gracieuses et solides de la bonne architecture champenoise, et, à côté de Notre-Dame de Reims, la chapelle de l'archevêché paraît encore une des meilleures conceptions du XIIIe siècle.
Pendant l'époque romane, les chapelles de châteaux ou d'évêchés sont géneralement d'une grande simplicité, comprenant une nef courte avec une abside; quelquefois de petits bras de croix formant deux réduits pour le châtelain et sa famille, des bas-côtés étroits accompagnent la nef, et deux absidioles flanquent l'abside centrale. Telle était la chapelle du château de Montargis (voy. CHATEAU).
Certains châteaux d'une grande importance possédaient deux chapelles; l'une située dans la basse-cour pour les gens de service et la garnison, l'autre au milieu des bâtiments d'habitation intérieurs pour le seigneur du lieu. Cette disposition existait à Coucy, ainsi que le fait voir le plan de Ducerceau 358. La chapelle de la basse-cour paraît être de l'époque romane; celle du château, dont le rez-de-chaussée est encore visible, datait du commencement du XIIIe siècle; elle communiquait directement, au premier étage, avec la grande salle; c'était un admirable édifice, à en juger par les nombreux fragments qui jonchent le sol autour des piles ruinées du rez-de-chaussée, quoique d'une simplicité de plan peu ordinaire (voy. CHATEAU).
À dater du milieu du XIIIe siècle, la construction de la Sainte-Chnpelle du Palais eùt une influence sur les chapelles seigneuriales, et son plan servit de type. À l'exemple du saint roi, les fondateurs de chapelles seigneuriales les décoraient de la façon la plus somptueuse, et augmentaient leurs trésors de vases et d'ornements précieux. L'hôtel Saint-Pol, à Paris, qui devint une des résidences les plus habituelles des rois pendant les XIVe et XVe siècles, possédait une chapelle «dans laquelle Charles V avoit fait placer des figures de pierre représentant les apôtres, dit Sauval; Charles VI les fit peindre richement par François d'Orliens, le plus célèbre peintre de ce temps-là; leurs robes et leurs manteaux étoient rehaussés d'or, d'azur et de vermillon glacé de fin sinople; leurs têtes, accompagnées d'un diadème (nimbe) rond de bois, que l'on avait oublié, qui portoit un pied de circonférence, brilloient encore d'or, de vert, de rouge et de blanc, le plus fin qui se trouvât... Au Louvre, Charles V entoura encore la principale chapelle de treize grands prophètes, qui tenoient chacun un rouleau dans un petit clocher de menuiserie terminé d'une tourelle, où il fit mettre une petite cloche: les vitres furent peintes d'images de saints et de saintes couronnées d'un dais, et assises dans un tabernacle.»
Les oratoires tenant aux chapelles royales, comme ceux encore existant à Vincennes, contenaient eux-mêmes des reliques, et étaient munis d'une cheminée, de tapis et de prie-Dieu.
La chapelle de l'hôtel de Bourbon était une des plus riches parmi celles des résidences princières à Paris. «Louis II (duc de Bourbon), dit encore Sauval, comme prince dévot et libéral, prit un soin tout particulier du bâtiment de la chapelle, aussi bien que de ses ornemens: sa voûte rehaussée d'or, les enrichissements dont elle est couverte, ses croisées qui l'environnent coupées si délicatement, ses vitres chargées de couleurs si vives, dont elle est éclairée; enfin les fleurs de lis de pierre qui terminent chacune de ses croisées, et si bien pensées pour la chapelle d'un prince du sang, témoignent assés qu'il ne plaignoit pas la dépense... Il fit faire à côté gauche de l'autel un oratoire de menuiserie à claire-voie où il arbora quatre grands écussons; dans le premier étoient gravées les armes de Charles VI à cause que cette chapelle fut achevée sous son règne; celles de Charles, dauphin, remplissoient le second; dans le troisième étoient les siennes; et dans le dernier celles d'Anne, dauphine d'Auvergne, sa femme. C'est dans cet oratoire que le roi se retire ordinairement pour entendre la messe.»
Ce n'est pas seulement à Paris qu'on déployait ce luxe de peinture et de sculpture dans les chapelles particulières. Le château de Marcouci, dit l'abbé Lebeuf, «possédait deux chapelles l'une sur l'autre, peintes toutes deux; celle du rez-de-chaussée étoit dédiée à la sainte Trinité, l'autre étoit au niveau du premier étage... À la voûte sont peints les apôtres, chacun avec un article du symbole, et des anges qui tiennent chacun une antienne de la Trinité notée en plein-chant. Sur les murs sont les armes de Jean de Montaigu et celles de Jacqueline de la Grange, sa femme; il y a aussi des aigles éployées et des feuilles de courge...»
On peut encore voir aujourd'hui la charmante chapelle de l'hotel de Jacques Coeur, à Bourges, dont les voûtes sont peintes d'azur avec des anges vêtus de blanc portant des phylactères, comme ceux du château de Marcouci. Mais nous ne multiplierons pas les citations; il suffit de celles-ci pour donner une idée de la recherche que l'on apportait dans la décoration des chapelles privées pendant le moyen-âge.
Vers la fin du XVe et le commencement du XVIe seulement, on s'écarta parfois du plan type de la Sainte-Chapelle de Paris, pour adopter les plans à crois grecque 359, les rotondes avec croisillons 360, les salles carrées 361 avec tribune pour le seigneur du lieu.
Note 358: (retour) Des plus excellens bastimens de France.
Note 359: (retour) Voy. la chapelle du château d'Amboise.
Note 360: (retour) Anet.
Note 361: (retour) Écouen.
CHAPELLES ISOLÉES, DES MORTS, VOTIVES. Beaucoup de nos grandes églises conventuelles ne furent d'abord que des oratoires, successivement agrandis par la munificence des rois ou de puissants seigneurs. Le sol des Gaules, pendant les premiers temps mérovingiens, étaient couverts d'oratoires bâtis souvent à la hâte, pour perpétuer le souvenir d'un miracle et la présence d'un saint. Ces édicules furent le centre autour duquel vinrent se fonder les premiers établissements monastiques. Plus tard, des évêques, des abbés ou des seigneurs fondèrent des chapelles autour de ces abbayes, dans le voisinage des églises, soit pour remplir un voeu, soit pour y trouver un lieu de sépulture pour eux et leurs successeurs. Saint Germain fit bâtir, près le portail de l'église Saint-Vincent (Saint-Germain-des-Prés), une chapelle en l'honneur de Saint Symphorien, et voulut y être enterré 362. En 754, sous le règne de Pépin, les restes de ce saint évêque furent transférés de cette chapelle dans la grande église.
Le cardinal Pierre Bertrand fonda plusieurs chapelles, et, entre autres, une, vers 1300, au couvent des Cordeliers, à Annonay, où fut enterrée sa mère 363. Philippe de Maisières, conseiller du roi Charles V, se retire aux Célestins en 1380, sans toutefois prendre l'habit; il y mourut en 1405, dans «la même infirmerie qu'il avoit fait bastir à ses propres cousts et déspens, avec une belle chapelle et un petit cloître pour recréer les malades 364.» Les maisons d'asile, les maladreries, les collèges et hôtels-Dieu possédaient des chapelles plus ou moins vastes, mais toutes fort riches des dons des fidèles et, par conséquent, décorées avec luxe et remplies d'ornements précieux. Des oratoires plus modestes, et qui n'étaient souvent qu'une petite salle couverte d'un comble en charpente ou d'une voûte en moellons surmontée d'un campanile ou seulement d'un pignon percé d'une baie pour recevoir une cloche, s'élevaient près d'un ermitage ou dans les passages difficiles des montagnes, sur quelque sommet escarpé. Ces monuments isolés consacrés par quelque tradition religieuse, ou élevés par suite d'un voeu, étaient et sont encore, dans certaines provinces de France, en grande vénération; on s'y rendait, processionnellement, un jour de l'année, pour y entendre la messe; l'assistance se tenait dans la campagne, autour du monument, et la porte ouverte laissait voir le prêtre à l'autel. Ces chapelles sont souvent bâties sur des plans assez étranges, imposés soit par les dispositions du terrain, comme la chapelle de Saint-Michel du Puy-en-Velay, par exemple, soit par un souvenir, une tradition, la présence d'un tombeau, les traces de quelque miracle, peut-être même les restes d'un réticule antique. Il serait donc difficile de classer ces monuments qui, la plupart d'ailleurs, n'ont aucun caractère architectonique.
Nous devons cependant faire connaître à nos lecteurs quelques-unes de ces étrangetés monumentales, et nous choisirons, parmi elles, les exemples présentant des formes qui permettent de leur donner une date à peu près certaine, ou qui sortent des données ordinaires.
La chapelle de Planès, dans le Roussillon, située à six kilomètres de Mont-Louis, peut passer pour un de ces caprices de construction que l'on rencontre en recueillant ces monuments élevés au milieu des déserts. Elle se compose d'une coupole portée sur une base triangulaire et sur trois grandes niches ou culs-de-four. Construite grossièrement en moellons, il serait assez difficile de lui assigner une date précise. Cependant le système de la bâtisse et la forme du plan ne nous permettent pas de la regarder comme antérieure au XIIIe siècle.

Voici le plan (13) de cet édicule. La porte est percée en A près de l'un des angles du triangle équilatéral. La fig. 14 présente sa vue extérieure, et la fig. 15 sa coupe sur la ligne B C. À moins de supposer que la chapelle de Planès ait été élevée en l'honneur de la sainte Trinité, nous ne saurions expliquer la disposition trilobée du plan. Quoi qu'il en soit, nous ne donnons cet exemple que comme une de ces exceptions dont nous avons parlé.

Il existe, dans l'enceinte de l'abbaye de Montmajour près Arles, une chapelle élevée sous le titre de la Sainte-Croix, et qui mérite toute l'attention des architectes et archéologues. C'est un édifice composé de quatre culs-de-four égaux en diamètre, dont les arcs portent une coupole à base carrée; un porche précède l'une des niches qui sert d'entrée.

En voici (16) le plan. L'intérieur n'est éclairé que par trois petites fenêtres percées d'un seul côté. La porte A donne entrée dans un petit cimetière clos de murs. La chapelle de Sainte-Croix de Montmajour est bien bâtie en pierres de taille, et son ornementation, très-sobre, exécutée avec une extrême délicatesse, rappelle la sculpture des églises grecques des environs d'Athènes. Sur le sommet de la coupole s'élève un campanile.


La fig. 17 présente l'élévation extérieure de cette chapelle, et la fig. 18 sa coupe sur la ligne B C. L'intérieur est complétement dépourvu de sculpture, et devait probablement être décoré par des peintures. Nous voyons, dans cet édifice, une de ces chapelles des morts que l'on élevait, pendant le moyen âge, au milieu ou proche des cimetières, non point une église pouvant être utilisée pour le service journalier d'une communauté, même provisoirement, ainsi que le suppose M. Vitet 365. Sa forme ni ses dimensions n'eussent pu permettre de réunir, dans son enceinte, les moines d'une abbaye comme celle de Montmajour, et de disposer les religieux d'une façon convenable près de l'autel. Pourquoi, d'ailleurs, adopter un plan en forme de croix grecque pour une église destinée aux religieux d'une abbaye qui doivent être placés dans un choeur suivant un ordre hiérarchique et sur deux lignes parallèles? Pourquoi cette absence presque totale de fenêtres? Pourquoi cette porte latérale donnant sur un petit terrain clos de murs et complétement rempli de tombes creusées dans le roc, si l'on ne veut voir dans l'église Sainte-Croix de Montmajour la chapelle funéraire de l'abbaye? Si, au contraire, nous admettons cette hypothèse, sa forme, ses dispositions et sa dimension sont parfaitement expliquées. Les moines apportent le mort, processionnellement; on le dépose sous le porche; les frères restent en dehors. La messe dite, on bénit le corps et on le transporte à travers la chapelle, en le faisant passer par la porte latérale A pour le déposer dans la fosse. On traverse la chapelle pour entrer dans le cimetière, qui cependant avait une porte extérieure. Les seules fenêtres qui éclairent cette chapelle s'ouvrent toutes trois sur l'enclos servant de champ de repos. La nuit, une lampe brûlait au centre du monument, et, conformément à l'usage admis dans les premiers siècles du moyen âge, ces trois fenêtres projetaient la lueur de la lampe dans le charnier. Pendant l'office des morts, un frère sonnait la cloche suspendue dans le clocher au moyen d'une corde passant par un oeil, réservé, à cet effet, au centre de la coupole.
La chapelle Sainte-Croix de Montmajour fut bâtie en 1019 366. Ce n'était pas seulement dans le voisinage des cimetières particuliers, des établissements religieux que l'on élevait des chapelles des morts. Tous les charniers placés au milieu des villes ou près des églises possédaient un oratoire; quelquefois même cet oratoire n'était qu'une sorte de dais ou de pyramide en pierre portée sur des colonnes, laissant des ajours entre elles, de manière à permettre à l'assistance de voir le prêtre qui, le jour des Morts, disait la messe et donnait ainsi la bénédiction en plein air.



Il existe encore une très-jolie chapelle de ce genre à Avioth (Meuse), qui date du XVe siècle. Nous en donnons le plan (19), la coupe (20) et la vue perspective (21) 367. Cette chapelle est placée près de la porte d'entrée du cimetière; elle s'élève sur une plate-forme élevée d'un mètre environ au-dessus du sol; l'autel est enclavé dans la niche A, fig. 19 et 20; à côté est une petite piscine. Au milieu de la chapelle est placé un tronc en pierre B, d'une grande dimension, pour recevoir les dons que les assistants s'empressaient d'apporter pour le repos des âmes du purgatoire. La messe dite, le prêtre sortait de la chapelle, s'avançait sur la plate-forme pour exhorter les fidèles à prier pour les morts, et donnait la bénédiction. On remarquera que cette chapelle est adroitement construite pour laisser voir l'officiant à la foule et pour l'abriter autant que possible du vent et de la pluie. Au-dessus des colonnes courtes, qui, avec leur base et chapiteau n'ont plus de deux mètres de haut, est posée une claire-voie; sorte de balustrade qui porte des fenêtres vitrées. Il est à croire que du sommet de la voûte pendait un fanal allumé la nuit, suivant l'usage; la partie supérieure de la chapelle devenait ainsi une grande lanterne (voy. LANTERNE des morts).
On trouve encore, dans quelques cimetières de Bretagne, de ces chapelles ou abris pour dire la messe le jour des Morts.
Le petit monument, composé d'un mur d'appui avec un comble en pavillon élevé sur quatre colonnes, que l'on voyait encore, à la fin du siècle dernier, dans l'enceinte du charnier des Innocents à Paris, et qui se trouve reproduit dans la Statistique monumentale de M. Alb. Lenoir, sous le nom de Préchoir, n'est autre chose qu'une de ces chapelles des morts destinées à abriter le prêtre, le jour de la fête des Morts, pendant la messe et la bénédiction 368.
Note 362: (retour) Dubreul, Antiq. de Paris, 1, II.
Note 363: (retour) Ibid.
Note 364: (retour) Ibid., 1 III.
Note 365: (retour) L'Archit. byzant. en France, réponse à M. Félix de Verneilh, par M. L. Vitet. (Journal des Savants, janv., fév. et mai 1853.)
Note 366: (retour) Voy. des fragments de la charte de fondation de cette chapelle et d'une histoire manuscrite de la ville d'Arles, cités dans les Notes d'un voyage dans le midi de la France, par M. Mérimée; pièces communiquées par M. C. Lenormant.
Note 367: (retour) Nous devons ces dessins à l'obligeance de M. Boeswilwald.
Note 368: (retour) Ce monument paraît remonter au XIVe siècle.
CHAPELLES ANNEXES des grandes églises. Jusqu'au XIIIe siècle, les églises les plus importantes ne possédaient qu'un petit nombre de chapelles; les cathédrales elles-mêmes en étaient souvent dépourvues (voy. CATHÉDRALE, ÉGLISE).
Lorsqu'au XIIIe siècle il se fut établi des modificatious importantes dans les habitudes du clergé, que l'on sentit la nécessité de multiplier les offices pour se conformer aux désirs des fidèles, qui ne pouvaient tous, à une même heure, assister au service divin, ou pour satisfaire les corps privilégiés qui voulaient avoir leur chapelle, leur église particulière, on bâtit des chapelles plus ou moins vastes sur les flancs ou à l'abside des grandes églises, dans leur voisinage, et en communication avec elles. Les églises conventuelles avaient un choeur fermé par des stalles et des jubés; l'assistance ne pouvait que difficilement voir les offices. Les monastères bâtirent donc des chapelles où les religieux ordinés pouvaient dire les offices pour les fidèles en dehors du choeur clôturé. Quelquefois aussi, des chapelles anciennes, en grande vénération, furent laissées près des églises nouvelles. C'est ainsi que les religieux de Saint-Bénigne de Dijon conservèrent la curieuse rotonde qui renfermait les reliques de ce saint en reconstruisant leur nouveau choeur (voy. SÉPULCRE (saint)), et qu'une chapelle à deux étages, qui date du Xe siècle, fut laissée debout, à la fin du XIIe siècle, par les religieux qui rebâtirent l'église de Neuwiller (Bas Rhin).

Cette chapelle, dont nous donnons le plan (22), était placée sous le vocable du fondateur, saint Adelphe, et présente une disposition des plus curieuses. C'est une petite basilique, à deux étages, dont le rez-de-chaussée est voûté et le premier étage couvert par une charpente apparente. Ce premier étage est presque de plain-pied avec le sanctuaire de la grande église, tandis que le rez-de-chaussée est, relativement au sol du choeur de l'église, une véritable crypte.

Nous en présentons (23) la coupe transversale 369.
Vers la fin du XIIIe siècle, on éleva, derrière l'abside de la grande église abbatiale de Saint-Germer (près Gournay), une grande chapelle copiée sur la Sainte-Chapelle haute de Paris, et communiquant avec le sanctuaire de l'église au moyen d'une charmante galerie. Ce monument, exécuté avec un grand soin, était décoré de vitraux en grisailles et de peintures; son autel portait le beau retable en pierre peinte qui est aujourd'hui déposé dans le musée de Cluny à Paris, et qui est un des chefs-d'oeuvre de la statuaire de cette époque 370.
La cathédrale de Mantes, bâtie à la fin du XIIe siècle, ne posséda aucune chapelle jusqu'au XIVe; à cette époque, on éleva contre le bas-côté sud du choeur une belle chapelle, composée de quatre voûtes retombant sur une pile centrale, mise en communication avec ce bas-côté par l'ouverture de deux arceaux percés entre les anciennes piles.


Nous donnons (24) une vue extérieure de cette chapelle, l'un des meilleurs exemples de l'architecture du commencement du XIVe siècle qu'il y ait dans l'Île de France, et (25) une vue intérieure prise de l'ancien bas-côté du XIIe siècle. Cette adjonction fut faite avec adresse; en conservant les voûtes du bas-côté, dont les arcs A B sont anciens, l'architecte du XIVe siècle remplaça la pile C en sous-oeuvre, accola les deux piles d'entrée D D aux piles E du collatéral du XIIe siècle, conserva les anciens contreforts F; et, supprimant celui qui existait derrière la pile C, y substitua un arc aigu venant reporter le poids des constructions supérieures sur la pile G. Une charmante arcature décore l'appui des quatre grandes fenêtres dont les meneaux offrent un dessin d'une pureté remarquable.
Les XIVe, XVe et XVIe siècles bâtirent à proximité, ou attenant aux grandes églises, une quantité innombrable de chapelles; parmi les plus belles, on doit citer la chapelle de la Vierge bâtie à l'abside de la cathédrale de Rouen (XIVe siècle), les grandes chapelles élevées sur le flanc sud de la cathédrale de Lyon et nord des cathédrales de Châlons et de Langres (XVIe siècle).
CHAPELLES (comprises dans le plan général des églises). À quelle époque précise des chapelles vinrent-elles entourer le sanctuaire des églises? Il serait difficile, nous le croyons, de répondre d'une façon catégorique à cette question dans l'état actuel des connaissances archéologiques; nous n'essayerons même pas de la discuter; nous nous bornerons à constater quelques faits. Mais, avant tout, nous devons dire que nous ne donnons le nom de chapelles qu'aux absidioles plus ou moins profondes et larges, circulaires, carrées ou à pans, qui s'ouvrent sur les bas-côtés d'une église; nous rangeons les chapelles posées à l'extrémité des bas-côtés, comme dans la fig. 22 de cet article, ou celles qui s'ouvrent des deux côtés du sanctuaire sur les transsepts, au nombre des absides secondaires. Or nous voyons des chapelles absidales donnant sur le bas-côté qui pourtourne le sanctuaire, dans des églises dont la construction remonte au IXe ou Xe siècle, comme, par exemple, l'église de Vignory. Dans le centre de la France, nous trouvons des chapelles absidales dès le Xe siècle 371. L'église de Saint-Savin (Poitou) nous donne cinq chapelles s'ouvrant dans le bas-côté du sanctuaire (XIe siècle). L'église Saint-Étienne de Nevers (XIe siècle) en présente trois; celle de Notre-Dame-du-Port de Clermont (XIe siècle), quatre. Dans d'autres provinces, les chapelles absidales apparaissent beaucoup plus tard. En Normandie, par exemple, les sanctuaires demeurent longtemps, jusqu'à la fin du XIIe siècle, sans bas-côtés et, par conséquent, sans chapelles absidales. En Bourgogne, nous ne les voyons adoptées qu'au XIIe siècle. Les abbayes commencent, dans les provinces du Nord et de l'Est, à élever des chapelles absidales dès le XIe siècle 372. Au XIIe siècle, elles se développent en nombre et en étendue 373.
La cathédrale française, qui naît à la fin du XIIe siècle, semble protester contre ce besoin de multiplier les autels. Érigée sous une pensée dominante, l'unité, elle n'admet les chapelles qu'assez tard (voy. CATHÉDRALE). Si nous les voyons poindre, au XIIe siècle, dans les deux cathédrales de Noyon et de Senlis, c'est que ces deux monuments s'élèvent sous l'influence évidente de l'église abbatiale de Saint-Denis, et encore, à la cathédrale de Senlis, par exemple, dont la construction n'est pas aussi directement soumise à celle de l'abbaye que la construction de la cathédrale de Noyon, ces chapelles absidales osent à peine se développer; elles ne forment en plan, à l'extérieur, qu'un arc de cercle très-ouvert; elles peuvent difficilement contenir un petit autel, et ne présentent qu'une faible excroissance en dehors du périmètre du bas-côté. Bientôt, cependant, il y a réaction contre le principe qui avait fait exclure les chapelles des cathédrales; on augmente en nombre et en étendue d'abord celles de l'abside, puis on en construit après coup le long des bas-côtés des nefs. Cet exemple est suivi dans les églises paroissiales. Nous ne nous occuperons pas des chapelles élevées entre les contreforts des bas-côtés des nefs, car elles ne consistent réellement qu'en une voûte et une fenêtre; mais nous essayerons de présenter une série de chapelles absidales en prenant les types principaux classés par ordre chronologique, ou suivant leur ordonnance.


Les chapelles absidales romanes ne consistent à l'intérieur qu'en une demi-tour ronde voûtée en cul-de-four, percée d'une, de deux ou trois fenêtres cintrées, simples, ou ornées de colonnettes des deux côtés de l'ébrasement. Ces chapelles, destinées à être peintes, ne sont pas décorées de sculptures. Quelquefois le soubassement reçoit une arcature 374. À l'extérieur, au contraire, elles sont enrichies de moulures, de délicates sculptures et quelquefois d'incrustations de pierres de diverses couleurs. Telles sont les chapelles absidales de l'église de Notre-Dame-du-Port à Clermont, dont nous donnons (26) une vue intérieure, et (27) une vue extérieure. Ces chapelles sont à double étage, c'est-à-dire qu'elles règnent dans la crypte comme au rez-de-chaussée; cela leur donne à l'extérieur une proportion très-allongée, les voûtes de la crypte étant au-dessus du niveau du sol extérieur afin d'obtenir des jours par de petites baies percées dans le soubassement. Les deux figures 26 et 27 font voir que l'ordonnance des chapelles est indépendante de celle du bas-côté. Les corniches ne sont pas posées au même niveau. Cependant, à Notre-Dame-du-Port, la différence du niveau entre la corniche du bas-côté et celle des chapelles n'est pas telle, que la couverture en dalle de ces chapelles ne dépasse l'arase de la corniche du bas-côté. Pour éviter le mauvais effet des pénétrations des couvertures des chapelles sur les dallages du collatéral, on a élevé les petits pignons A (fig. 27) qui arrêtent le dallage des chapelles et masquent une couverture à deux égouts pénétrant le dallage continu du bas-côté. Cela est adroitement combiné, quoique un peu recherché; mais les dispositions les plus simples ne sont pas celles qu'on adopte tout d'abord. Les formes primitives des chapelles absidales romanes des provinces du centre et de l'Aquitaine varient peu; et si nous avons choisi cet exemple, c'est qu'il est un des plus anciens et des plus beaux. Les chapelles absidales de Notre-Dame-du-Port sont encore empreintes d'un certain parfum de bonne antiquité qui leur donne à nos yeux un caractère particulier. Ce n'est plus l'architecture antique, mais ce n'est pas l'architecture romane du Nord et de l'Est. D'où venait cet art, comment était-il né dans ces provinces centrales de la France? Comment se fait-il que, dès le XIe siècle, il se distingue entre tous les styles d'architecture des autres provinces par son extrême finesse; par son exécution délicate, la pureté de ses profils et l'harmonie parfaite de ses proportions? La façon dont est disposée la décoration de l'extérieur de ces chapelles dénote un art arrivé à un haut degré. La sculpture n'est pas prodiguée, elle est fine et cependant produit un grand effet par son judicieux emploi. Les incrustations de pierre noire (lave) entre les modillons et au-dessus des archivoltes des fenêtres contribuent à donner de l'élégance à la partie supérieure de ces chapelles, sans leur rien enlever de leur fermeté.




Lorsqu'au XIIe siècle on abandonne les voûtes en cul-de-four pour adopter définitivement la voûte en arcs d'ogive, les constructeurs profitent de ce nouveau mode pour agrandir les fenêtres des chapelles et pour les orner de colonnes dégagées qui reçoivent les arcs et les formerets. C'est d'après ce principe que sont construites les chapelles de l'église abbatiale de Saint-Denis et celles de la cathédrale de Noyon (milieu du XIIe siècle), dont nous avons présenté (28) l'aspect intérieur. Quant aux chapelles de la cathédrale de Senlis, elles ne se composent que de deux travées dont une seule est percée d'une fenêtre. En voici (29) le plan, (30) la vue extérieure et (31) l'aspect intérieur. À Noyon, l'arc doubleau d'entrée est plein cintre; à Saint-Leu d'Esserent et à Senlis, il est ogival; cependant ces chapelles sont construites à la même époque, ou peu s'en faut. Les chapelles de Noyon sont décorées d'une petite arcature plein cintre, celles de Saint Leu et de Senlis en sont dépourvues.
Il faut mentionner un fait important: soit que ces chapelles se composent de deux travées, comme à Senlis, ou de quatre traviées, comme à Noyon et à Saint-Leu, l'autel de chacune d'elles est placé suivant l'axe du chevet, de façon à être toujours orienté, et, par conséquent, dans l'une des travées latérales, ainsi que l'indique la fig. 31. Cependant les chapelles absidales de l'église abbatiale de Saint-Denis faisaient exception à cette règle; leurs autels étaient tous posés perpendiculairement au rayon partant du centre du sanctuaire et formant l'axe de chacune des chapelles. Dans les grandes églises de l'ordre de Cluny et dans les cathédrales de l'Oise citées plus haut, bâties vers le milieu du XIIe siècle, les chapelles absidales sont semi-circulaires; elles sont carrées dans les églises de l'ordre de Citeaux. À Clairvaux, à Pontigny, c'est un parti franchement adopté, et qui nous paraît commandé par la règle de cet ordre, qui voulait que les constructions monastiques se renfermassent dans les données les plus simples. En effet, les chapelles circulaires entraînent des dépenses importantes, parce qu'elles compliquent les constructions, nécessitent des développements considérables de murs, exigent une main-d'oeuvre dispendieuse, des couvertures difficiles à exécuter, des pénétrations, des coupes particulières, et, par suite, un grand détail de précautions. Les chapelles carrées, au contraire, ne font qu'ajouter une précinction au bas-côté, ne demandent qu'un mur de clôture très-simple et des couvertures qui ne sont que le prolongement de celles du collatéral de l'abside; les contre-forts nécessaires à la buttée des voûtes supérieures leur servent de murs de séparation; les voûtes composées de deux arcs ogives se construisent plus économiquement que les voûtes couvrant une surface semi-circulaire, une seule fenêtre les éclaire au lieu de deux. Ces chapelles carrées ne sont donc réellement qu'un second bas-côté divisé par des murs de refend construits suivant les rayons partant du point centre du sanctuaire 375.
Les constructeurs de l'église de Pontigny (Yonne) voulurent cependant, tout en se conformant à cette donnée de l'ordre, faire une concession au goût du temps. Le choeur de cette église abbatiale, élevé pendant les dernières années du XIIe siècle, conserve le principe des chapelles absidales carrées à l'extérieur, tandis qu'à l'intérieur ces chapelles sont plantées sur un polygone irrégulier.

Voici (32) le plan d'une de ces chapelles. La couverture ne tient pas compte de cette forme polygonale; elle passe uniformément sur toutes, laissant seulement les souches des arcs-boutants percer l'appentis. Nous devons reconnaître toutefois qu'il y eut de l'indécision dans la façon de couvrir les chapelles absidales de l'église de Pontigny, car les filets solins des combles, ménagés sur les flancs des souches des arcs-boutants, ne suivent pas la direction de ces combles, et donnent à croire qu'on avait voulu faire, soit des combles brisés, soit un appentis sur le bas-côté, pénétré par des combles à double pente avec pignon sur chacune des chapelles. Ces tâtonnements, quant à la manière de couvrir les chapelles absidales des églises monastiques, ne sont pas seulement apparents à Pontigny. Il y avait là une difficulté qui, évidemment, embarrassa longtemps les architectes des grandes églises d'abbayes pendant les XIe et XIIe siècles. On arrivait à couvrir ces chapelles par des procédés qui n'ont rien de franc et accusent une certaine indécision. Cela est visible dans le choeur de l'église Saint-Martin-des-Champs de Paris, dans le choeur de l'église de Vézelay, où les couvertures des chapelles circulaires, au lieu d'être coniques, forment une surface gauche qu'il n'était possible d'obtenir que par un massif posé sur les voûtes. Dans les églises de l'Auvergne, du Poitou et de l'Aquitaine, les chapelles absidales étant plus basses que le collatéral, les couvertures venaient naturellement buter contre le mur de ce collatéral, sous sa corniche; mais, dans l'Est et le Nord, on voulut de bonne heure donner aux chapelles absidales la hauteur du collatéral, et les constructeurs, après avoir arasé les corniches, ne savaient plus trop comment couvrir ces surfaces inégales, et reculaient devant les difficultés que présentent des pénétrations de combles en charpente.
Dans l'Île de France et les provinces voisines, les églises de quelque importance possédaient toutes, au-dessus des bas-côtés, une galerie aussi large que lui, formant au premier étage un second collatéral. Cette disposition permettait d'éviter les difficultés que nous venons de signaler, puisque le mur de précinction de la galerie du premier étage présentait une surface verticale assez haute pour permettre d'appuyer une couverture contre elle. Ce que nous disons ici est parfaitement expliqué par la vue extérieure des chapelles absidales de la cathédrale de Senlis (fig. 30). Mais aussi ces chapelles n'avaient-elles qu'une faible profondeur, et n'étaient-elles pas, à cause de leur exiguïté, d'un usage commode.
Avant de passer outre, nous devons revenir sur ce que nous venons de dire des chapelles absidales des églises du Poitou et de l'Aquitaine. Dans ces provinces, les bas-côtés des églises ont à peu près la hauteur du vaisseau principal (voy. ARCHITECTURE RELIGIEUSE, CATHÉDRALE), afin de contrebuter la poussée des voûtes centrales; quoique ce mode eût l'inconvénient d'empêcher d'ouvrir des jours au-dessus des collatéraux sous les voûtes hautes, il avait l'avantage d'éviter la construction des arcs-boutants, et de donner des bas-côtés fort élevés contre lesquels on pouvait adosser des chapelles d'une bonne dimension comme diamètre et hauteur, sans que leur couverture vînt dépasser le niveau des corniches de ces collatéraux. La chapelle était alors une absidiole semi-circulaire accolée à un mur élevé; elle était un appendice à l'édifice, un édicule indépendant pour ainsi dire, ayant son ordonnance particulière.


L'exemple pris sur le plus beau monument de ce genre qu'il y ait en Saintonge, et que nous donnons (33), expliquera nettement ce qu'est la chapelle absidale dans les églises romanes de l'Ouest. À Saintes, il existe une charmante église du XIIe siècle, Saint-Euthrope, qui possède une vaste crypte, ou plutôt une église basse, à rez-de-chaussée, sous le choeur. L'abside de cette église est flanquée de trois chapelles dont nous reproduisons l'aspect extérieur. Ces chapelles règnent dans la crypte comme au niveau du choeur, ainsi que le fait voir notre gravure; leurs fenêtres ne sont pas de la même dimension que celles du collatéral A; elles sont plus petites. Les chapelles de Saint-Euthrope de Saintes sont donc, comme nous le disions, un petit édifice accolé à un autre plus grand. Si ce parti peut être adopté dans l'architecture romane de l'Ouest, dont l'échelle n'est pas soumise à des proportions fixes, qui ne tient pas compte de l'unité dans ses dispositions architectoniques, il n'aurait pu être admis par les architectes des provinces du Nord à la fin du XIIe siècle, alors que l'architecture ne se permettait plus ces désaccords d'échelle, et que l'on revenait à des lois impérieuses d'unité. D'ailleurs on n'avait pas, dans le Nord, cette ressource des collatéraux élevés; il fallait les tenir assez bas pour pouvoir éclairer largement le vaisseau central au-dessus de leur couverture. Force fut donc, lorsqu'on voulut, au commencement du XIIIe siècle, ouvrir des chapelles à l'abside des églises, de leur donner la hauteur des bas-côtés et de les couvrir sans trop de difficultés, sans gêner l'écoulement des eaux et sans nuire à l'ordonnance générale. On procéda timidement d'abord; à Bourges, par exemple, les chapelles absidales ne formèrent que des demi-tourelles attachées au bas-côté, couvertes par des terrassons coniques en dalles 376. À Chartres, les chapelles absidales ne furent guère aussi que des niches couronnées par des pavillons dallés. C'est en Champagne que les chapelles absidales paraissent prendre, dès la fin du XIIe siècle, un développement considérable. Le choeur de l'église Saint-Remy de Reims est contemporain de celui de la cathédrale de Paris, c'est-à-dire qu'il dut être élevé vers 1180; il y a même entre ces deux édifices une très-grande analogie. Cependant les doubles bas-côtés du choeur de Notre-Dame de Paris n'avaient pas de chapelles ou n'en possédaient que de très petites, tandis qu'à Saint-Remy de Reims on voit apparaître autour de l'abside une disposition particulière à la Champagne, disposition que nous retrouvons amoindrie dans les chapelles du tour du choeur de Notre-Dame de Châlons-sur-Marne, et qui consiste à ouvrir les chapelles sur le bas-côté, de façon à ce que leur voûte soit inscrite dans un cercle. Ainsi, à Saint-Remy de Reims (33 bis) 377, les chapelles absidales sont parfaitement circulaires, voûtées au moyen de quatre arcs ogives, de cinq formerets et de trois arcs doubleaux ouverts sur le bas-côté. Deux colonnes A A séparent la chapelle du collatéral et complètent les huit points d'appui sur lesquels reposent les quatre arcs ogives. Ces chapelles, à l'extérieur, ne laissent voir qu'un segment de cercle assez peu étendu, à cause de la saillie des gros contreforts qui les séparent et sont destinés à contrebuter les arcs-boutants des voûtes hautes. Dans l'axe, une chapelle beaucoup plus profonde B termine le chevet. Au-dessus de l'arcature qui décore à l'intérieur le soubassement de ces chapelles règne un passage traversant les piles qui portent les arcs; les fenêtres occupent tout l'espace laissé entre ces piles et sont terminées à leur sommet par des berceaux ogives concentriques aux formerets. Les voûtes sont contrebutées par les piles formant contreforts à l'intérieur. À Châlons-sur-Marne, les chapelles présentent, à l'extérieur, des contreforts qui ne sont qu'une demi-colonne cannelée terminée par une statue et un dais (voy. CONTREFORT). Ce plan circulaire, les piles formant contreforts intérieurs, les deux colonnes posées à l'entrée de la chapelle sur le collatéral, et jusqu'aux demi-colonnes cannelées extérieures, sont des dispositions qui rappellent encore l'architecture antique romaine. Son influence, surtout apparente dans la Haute Marne, à Langres, et le long de la Saône, se fait encore sentir jusqu'à Reims (ville qui possède encore un monument antique), et même jusqu'à Chalons, pendant les premières années du XIIIe siècle. Les chapelles absidales de la cathédrale de Reims, élevées vingt ou vingt-cinq ans après celles de l'église de Saint-Remy, sont évidemment dérivées de ces dernières. Mais à la cathédrale de Reims, Robert de Coucy a supprimé les colonnes isolées de l'entrée, et a donné à son plan plus d'ampleur.
Les chapelles absidales de la cathédrale de Reims méritent d'être étudiées avec soin. Commencées sur un plan circulaire, comme celles de Saint-Remy, elles deviennent polygonales au niveau de l'appui des fenêtres; c'est la transition entre les deux systèmes roman et ogival. Les architectes soumis aux principes de l'école ogivale reconnaissaient: 1° que les archivoltes des fenêtres percées dans un mur cylindrique poussaient au vide; 2° que les meneaux ne pouvaient être établis solidement qu'autant qu'ils se trouvaient dans un plan droit; que leur taille, suivant un plan courbe, présentait des difficultés insurmontables. Ainsi, en adoptant les meneaux comme châssis de fenêtres et pour maintenir les vitraux, on se trouvait forcément entraîné à abandonner la forme cylindrique dans les absidioles aussi bien que dans les grandes absides. Mais la rencontre des meneaux avec les talus circulaires du soubassement nécessitait des pénétrations compliquées, un raccordement présentant certaines difficultés; on trouva bientôt plus naturel de prolonger la forme polygonale jusqu'au sol. Pour nous résumer, l'habitude des constructions romanes fait commencer, au XIIIe siècle, des chapelles sur plan circulaire; le principe de la construction adoptée fait renoncer au plan circulaire en construisant les fenêtres, surtout lorsque celles-ci sont garnies de meneaux; ce principe, une fois admis, fait abandonner la forme cylindrique même pour les soubassements, et commande la forme polygonale ou prismatique dans les plans des chapelles. Il y avait dans tout le système ogival des données impérieuses qui forçaient ainsi les architectes, de déductions en déductions, à l'appliquer avec plus de rigueur, quelle que fût la force des traditions antérieures. Toutefois, à Reims, l'architecte sut se tirer avec adresse du mauvais pas où il s'était engagé en fondant les chapelles sur plan circulaire; mais la tentative de concilier les deux systèmes ne fut guère renouvelée depuis; on avait fait là, évidemment, ce que nous appelons une école 378.

Nous donnons (34) le plan inférieur d'une des chapelles absidales de la cathédrale de Reims 379, et (35) le plan au niveau des fenêtres, qui indique comment les meneaux viennent pénétrer le talus conique couronnant le soubassement à l'extérieur. Suivant le mode champenois, il existe une circulation au-dessus du soubassement décoré d'une arcature à l'intérieur.



Les fenêtres se trouvent ainsi, comme à Saint-Remy, comme à la chapelle de l'archevêché de Reims, comme à la chapelle du château de Saint-Germain-en-Laye, ouvertes dans un renfoncement produit par la saillie intérieure des piles. À Reims, cependant, on ne retrouve pas le formeret isolé de la fenêtre par un plafond portant le chéneau (ce qui est du reste une disposition bourguignonne); c'est un ébrasement concentrique au formeret qui sépare celui-ci de la baie. La fig. 36, donnant la vue intérieure de l'une de ces chapelles, nous dispensera de plus longues explications à ce sujet; elle fait voir le passage pratiqué au-dessus de l'arcature et toute l'ordonnance intérieure. La proportion de ces chapelles est des plus heureuses; leur aspect est solide, les détails de la sculpture et les profils sont traités avec la plus rare perfection. À l'extérieur, ces chapelles ne sont pas moins belles et simples, et n'était la malencontreuse galerie à jour placée, vers le milieu du XIIIe siècle, sur la corniche supérieure, dont le moindre inconvénient est de faire paraître ces chapelles petites, on pourrait les présenter comme un modèle parfait et complet d'architecture ogivale primitive. La fig. 37 reproduit leur aspect extérieur. S'élevant jusqu'au niveau supérieur du collatéral, elles sont couvertes par des charpentes formant pavillons pyramidaux isolés, revêtues de plomb. Entre ces pavillons et l'appentis recouvrant le bas-côté, est un beau chéneau de pierre posé sur les arcs doubleaux d'entrée des chapelles, et rejetant les eaux à travers les gros contreforts séparatifs, par des canaux dans lesquels un homme peut entrer debout, et des gargouilles. Ce canal principal est coupé en croix par un autre canal d'égale hauteur, recevant les eaux des chéneaux posés sur la corniche du couronnement des chapelles.
Malgré que les chapelles absidales de la cathédrale de Reims soient fort bien composées, elles n'ont pas encore complétement abandonné les traditions romanes; on en retrouve la trace dans le soubassement circulaire, dans les piles saillantes à l'intérieur, dans ce bandeau horizontal qui, couronnant l'arcature, coupe les colonnettes, et dans la construction qui est quelque peu lourde. Si nous voulons voir des chapelles absidales de l'époque ogivale arrivées à leur complet développement, il faut nous transporter dans la cathédrale d'Amiens; celles-ci sont d'autant plus intéressantes à étudier qu'elles ont servi de type à toutes les constructions élevées depuis lors, entre autres pour les chapelles des cathédrales de Beauvais, de Cologne, de Nevers, de Séez, et, plus tard, de Clermont, de Limoges, de Narbonne, de l'église de Saint-Ouen de Rouen, etc. Les chapelles absidales de la cathédrale d'Amiens sont hautes, largement ouvertes et éclairées; leur construction ne comporte exactement que le volume de matériaux nécessaires à leur stabilité; elles sont aussi simplement conçues qu'élégantes d'aspect.



Nous donnons (38) le plan d'une de ces chapelles pris au niveau des fenêtres, (39) une vue intérieure, et (40) une vue extérieure. Trois grandes verrières, qui n'ont pas moins de quatorze mètres de hauteur, et l'arcature inférieure avec sa piscine, font toute leur décoration à l'intérieur; les fenêtres, comme à la Sainte-Chapelle de Paris, occupent tout l'espace compris entre cette arcature, les piles et les voûtes, auxquelles leurs archivoltes servent de formerets. À l'extérieur, une belle corniche à crochets et feuilles les couronne; les contreforts, dont toute la saillie est reportée en dehors, reçoivent des archivoltes abritant les fenêtres et dont l'épaisseur porte le chéneau supérieur. Les bahuts de la charpente reposent directement sur les formerets des voûtes. Il est impossible d'imaginer une construction voûtée plus simple et plus sage. Les sommets des contreforts sont brusquement terminés par des talus sur lesquels viennent se reposer des animaux, chevaux, griffons et dragons. À la chapelle de la Vierge, ces animaux sont remplacés par des rois de Juda (voy. AMORTISSEMENT). Nous ne pensons pas que ce couronnement soit complet, car on aperçoit, au sommet des contreforts, comme des assises recoupées, des repentirs, des négligences qui marquent une certaine hâte de finir tant bien que mal, et qui ne répondent pas à l'exécution soignée, précise des constructions jusques et y compris la corniche. Ce qui nous confirme dans l'opinion que les couronnements des contreforts des chapelles de la cathédrale d'Amiens 380 n'ont pas été terminés comme ils avaient été projetés, ou que l'incendie qui détruisit leur couverture, avant l'érection de la partie haute du choeur, les ayant calcinés, ils furent refaits avec parcimonie et à la hâte, c'est qu'à Beauvais et à la cathédrale de Cologne particulièrement, les chapelles copiées sur celles d'Amiens portent des pinacles très-élevés et dont la proportion élancée forme un complément indispensable au bon effet de ces contreforts saillants et minces, et plus encore, assurent leur parfaite stabilité par leur poids. Il est intéressant de comparer ces deux édifices, Amiens et Cologne, qui ont entre eux des rapports si intimes. Les chapelles absidales de Cologne, comme celles d'Amiens, reposent sur un plateau circulaire qui les inscrit et sert de base à tout le chevet; leur proportion est pareille, les meneaux des fenêtres identiques. À Amiens, deux gargouilles prises dans la hauteur du larmier rejettent les eaux des chéneaux à chaque contrefort; à Cologne, c'est une seule gargouille prise dans la hauteur de la corniche feuillue sous le larmier qui remplit cet office. À Amiens, les balustrades refaites au XVIe siècle devaient, nous le croyons, rappeler la balustrade de la Sainte-Chapelle de Paris; à Cologne, la balustrade est semblable à celle de Beauvais. Restent les sommets des contreforts, incomplets ou inachevés à Amiens, terminés à Cologne, quelques années après la construction des chapelles, vers le commencement du XIVe siècle, par de hauts pinacles à jour renfermant des statues. Dans l'une comme dans l'autre de ces deux cathédrales, les chapelles absidales sont couvertes par des pavillons en charpente isolés et pyramidaux. À Beauvais, les couvertures des chapelles étaient en dalles; mais il ne faut pas oublier que, dans ce dernier monument, il y a un double triforium; et que l'architecte avait voulu laisser à cette belle disposition toute son importance à l'extérieur, et ne point la masquer par des combles.
À Clermont en Auvergne, à Limoges et à Narbonne, et plus tard à Évreux, les chapelles absidales furent protégées par un dallage formant une seule et même pente, très-faible, avec celui établi sur le bas-côté; mais nous ne pouvons considérer ce mode de couverture comme définitif; il nous sera facile de le démontrer. À Clermont, à Limoges et à Narbonne, ces dallages sans ressauts, mais presque planes, sont couverts d'épures tracées sur la pierre comme sur une aire. Ces épures sont celles, naturellement, de constructions postérieures à l'érection des chapelles; ce sont les tracés des arcs-boutants, des portails des transsepts, des fenêtres hautes. Dans les villes du moyen âge, l'espace manquait pour établir des chantiers avec tous leurs accessoires. Sitôt les chapelles et bas-côtés du chevet achevés, on les recouvrait d'une aire dallée, et cette surface servait de chantier aux appareilleurs pour tracer leurs épures; ce qu'ils faisaient avec le plus grand soin, puisque, encore aujourd'hui, nous pouvons les relever exactement et tailler dessus des panneaux. Or, à Clermont, quoiqu'il y ait un dallage, on voit tout autour des souches des arcs-boutants qui percent l'aire, des chéneaux disposés pour recevoir des combles; bien mieux, le mur du triforium porte un filet de comble et des corbeaux destinés à soutenir les faîtages de l'appentis en charpente que l'on projetait sur le bas-côté. À Limoges, des restaurations récentes ont fait disparaître des traces analogues dont probablement on n'a pas compris l'importance au point de vue archéologique. Ces dispositions indiquent évidemment qu'au XIIIe siècle on ne songeait pas à élever des chapelles absidales polygonales sans combles pyramidaux, et que ces dallages n'étaient que des couvertures provisoires destinées à fournir un emplacement aux traceurs d'épures pendant la construction des parties supérieures, et en même temps à protéger les voûtes jusqu'au moment où on aurait pu, l'oeuvre achevée, établir des combles définitifs. La forme polygonale des chapelles de chevet adoptée depuis le XIIIe siècle jusqu'au XVIe demande une couverture pyramidale, et les architectes de ces temps avaient un sentiment trop juste de l'effet des masses architectoniques pour ne pas être choqués par l'absence de ce couronnement indispensable; car c'est un principe général, l'architecture ogivale, que toute partie d'un monument doit porter sa couverture propre, lorsqu'elle se détache tant soit peu de la masse. Nous voulons bien admettre qu'à la cathédrale de Narbonne on n'a jamais songé à couvrir autrement les chapelles absidales que par une plate-forme dallée, mais ces chapelles étaient couronnées par un crénelage au lieu d'une balustrade. La cathédrale de Narbonne était presque une forteresse en même temps qu'une église, et dans ce cas les plates-formes étaient justifiées; c'est là une exception. Quant aux chapelles absidales de la cathédrale de Limoges, l'absence de combles pyramidaux jure avec leur composition, qui appartient exclusivement à l'école d'architecture du Nord. L'une de ces chapelles, celle du chevet (fig. 41), offre une particularité rare, même au XIVe siècle, c'est que les fenêtres sont couronnées par des gâbles à jour; or cette partie de la cathédrale de Limoges date de la fin du XIIIe siècle. Pour le reste de la composition de la chapelle du chevet de la cathédrale de Limoges, on retrouve les éléments fournis par Amiens, Beauvais et Cologne.

La fig. 41 fera reconnaître la parenté qui existe entre ces monuments. Toutefois, outre les gâbles à jour qui font exception, à Limoges comme à Clermont, la balustrade des chapelles absidales passe au-devant des gros contreforts séparatifs, et on peut regretter que cette disposition n'ait pas été adoptée antérieurement par les architectes d'Amiens et de Cologne, car elle sert de transition entre le gros contrefort inférieur et celui supérieur servant de buttée aux arcs-boutants; et de plus, elle rend l'entretien facile, ainsi que le nettoyage des gargouilles. Les chapelles du chevet de la cathédrale de Limoges portent sur un énorme soubassement en granit qui englobe leur base dans sa masse. À partir de ce moment (les dernières années du XIIIe siècle), on ne voit plus que des dispositions particulières aient été prises pour la construction des chapelles absidales; les mêmes errements sont suivis par les architectes jusqu'au XVIe siècle, quant à l'ensemble, et les différences que l'on pourrait signaler, entre les chapelles du XVe et celles du XIIIe, ne tiennent qu'aux détails de l'architecture qui se modifient.
Nous terminerons donc ici cet article, puisque nous avons, dans le cours du Dictionnaire, l'occasion de revenir sur chacun de ces détails.
Note 369: (retour) Ce monument vient d'être restauré et déblayé par M. Boeswilwald, à qui nous devons encore ces dessins.
Note 370: (retour) Ce retable est reproduit aussi complétement que possible dans la Revue d'architecture de M. C. Daly.
Note 371: (retour) Une importante découverte vient ajouter un fait nouveau à ceux déjà connus. Des fouilles, exécutées dans le sanctuaire de la cathédrale de Clermont, sous la direction de M. Mallay et la nôtre, viennent de faire reconnaître l'ancien plan de la cathédrale primitive, qui date du Xe au XIe siècle; ces fouilles ont laissé voir quatre chapelles autour du bas-côté du sanctuaire, comme dans l'église de Notre-Dame-du-Port.
Note 372: (retour) Prieuré de Saint Martin-des-Champs.
Note 373: (retour) Cluny, Clairvaux, Saint-Denis; à la fin du XIIe siècle, Pontigny; Vézelay, l'abbaye aux hommes de Caen, Saint-Remi de Reims.
Note 374: (retour) Saint-Savin près Poitiers.
Note 375: (retour) Voir le plan de l'abbaye de Clairvaux, Architecture monastique, fig. 6.
Note 376: (retour) Plus tard, ces couvertures furent remplacées par des pyramides en pierre fort élevées qui ne sont pas d'un heureux effet.
Note 377: (retour) Plan à l'échelle de 0,005 pour mètre.
Note 378: (retour) Les chapelles du chevet de la cathédrale de Tours sont de même prismatiques sur un soubassement circulaire.
Note 379: (retour) À l'échelle de 0,005 pour mètre.
Note 380: (retour) Voy. au mot CATHÉDRALE l'historique de la construction de la cathédrale d'Amiens. À peine les chapelles de l'abside sont-elles terminées, que les travaux restent suspendus et ne sont repris qu'après un incendie des couvertures inférieures.
CHAPITEAU, s. m. Nom que l'on donne à l'évasement que forme la partie supérieure d'une colonne ou d'un pilastre, et qui sert de transition entre le support et la chose portée.
Les Romains, à partir de l'époque impériale, n'employaient plus, sauf de rares exceptions, dans leurs édifices, que l'ordre corinthien. Plus riche que les autres, se prêtant aux grandes dimensions des monuments, il convenait au goût et aux programmes romains. Mais, dans les derniers temps de la décadence, les sculpteurs étaient arrivés à pervertir étrangement les formes des chapiteaux antiques. Des chapiteaux ionique et corinthien, on avait fait un mélange que l'on est convenu d'appeler le chapiteau composite, mais qui, par le fait, n'est qu'un amalgame assez disgracieux de deux éléments destinés à rester séparés. Déjà même les Romains avaient introduit dans le chapiteau composite des figures, des victoires ailées, des aigles; ils avaient chargé le tailloir d'ornements, et cherché, dans cette partie importante de la décoration architectonique, la richesse plutôt que la pureté du galbe, si bien comprise par les Grecs. Lorsque dans les Gaules, sous les rois mérovingiens, on voulut élever de nouveaux édifices sur les ruines qui couvraient le sol, les matériaux ne manquaient pas; la sculpture était un art perdu; on employa donc tous les anciens fragments que l'on put recueillir dans la construction des bâtisses nouvelles. Des colonnes et des chapiteaux, différents de diamètre et de hauteur, vinrent se ranger tant bien que mal dans un même monument. Les anciennes basiliques de Rome ne sont elles-mêmes qu'une réunion de fragments antiques. Cette variété d'ornementation, imposée par la nécessité, fut cause que les yeux s'habituèrent à voir, dans un même édifice, des chapiteaux fort différents par la composition, l'âge, le style et la provenance. Lorsque les fragments antiques vinrent à manquer, il fallut y suppléer par des oeuvres nouvelles, et les sculpteurs, depuis le VIe siècle jusqu'au IXe, cherchèrent à imiter les vieux débris romains qu'ils avaient sous les yeux. Ces imitations, faites par des mains inhabiles, avec des outils grossiers, sans aucune idée de la mise au point régulière, ne furent que d'informes réminiscences des arts antiques, dans lesquelles on chercherait vainement des règles, des principes d'art. Toutefois, il faut reconnaître que, dès cette époque reculée, il se fit une véritable révolution dans la manière d'employer le chapiteau; ce membre de la colonne reçut une destination plus vraie que celle qui lui avait été affectée par les Grecs et les Romains.
Certains développements sont nécessaires pour faire comprendre toute l'importance de ce changement de destination donnée au chapiteau.
Les ordres grecs se composent, comme on sait, de la colonne avec son chapiteau supportant un entablement, autrement dit, une superposition de plates-bandes comprenant l'architrave, la frise et la corniche. Il en est de même des ordres romains. Avant les dernières années du Bas-Empire, pas de colonnes grecques ou romaines sans l'entablement, et ce n'est que fort tard, dans quelques édifices de la décadence, que l'on voit, par exception, l'archivolte romain posé sur le chapiteau sans entablement. Dans les ordres grecs et romains, le chapiteau est plutôt un arrêt destiné à satisfaire les yeux, qu'un appendice nécessaire à la solidité de l'édifice, car la première plate-bande ne dépasse pas l'aplomb du diamètre supérieur de la colonne, et le chapiteau est ainsi (au point de vue de la solidité) un membre inutile, dont la forte saillie ne porte rien sur deux de ses faces.

La fig. 1, qui donne un chapiteau d'un des temples d'Agrigente avec son entablement, exprime clairement ce que nous voulons indiquer. Supposant les parties A du chapiteau coupées, l'architrave portera tout aussi bien sur le fût de la colonne. En gens de sens et de goût, les Athéniens furent évidemment frappés de ce défaut, car, dans la construction du Parthénon, ils firent saillir l'architrave sur le nu de la colonne, ainsi que l'indique la fig. 2. La fonction du chapiteau est là bien marquée; c'est un encorbellement placé sur le fût cylindrique de la colonne pour donner une large assiette à la plate-bande. Ces finesses échappèrent aux Romains; ils ne virent dans le chapiteau qu'un simple ornement, et ne profitèrent pas de son évasement pour porter une plate-bande plus large que le diamètre supérieur du fût de la colonne.
Dès les premiers temps du moyen âge, l'entablement disparaît totalement, pour ne plus reparaître qu'au XVIe siècle, et le chapiteau avec son tailloir porte l'archivolte sans intermédiaire. Alors, le chapiteau prend un rôle utile; du cylindre il passe au carré par un encorbellement, et reçoit le sommier de l'arc; ce rôle, il le conserve jusqu'à l'époque de la renaissance. Cependant, jusqu'au XIe siècle, en posant un sommier d'arcs sur le tailloir du chapiteau, on n'osait pas toujours profiter de l'évasement donné par la saillie de ce tailloir, et on tenait le lit de pose du sommier à l'aplomb de la colonne. C'est ainsi que sont disposés les chapiteaux de la nef de l'église Saint-Menoux (Allier), qui datent du IXe ou Xe siècle (3).

Ce n'était que successivement qu'on arrivait à se servir de l'évasement du chapiteau comme d'un encorbellement pouvant être utilisé pour porter un sommier dont le lit de pose débordait le diamètre de la colonne. Nous verrons quelles furent les conséquences importantes de cette innovation dans la construction des édifices, et comme le chapiteau dut peu à peu abandonner les formes antiques pour se prêter à cette fonction imposée par les principes de l'architecture du moyen âge. Dans les édifices mérovingiens et carlovingiens, on plaçait souvent des colonnes aux angles saillants, ainsi que l'indique la fig. 4, afin de dégager et d'orner ces angles; si une voûte en berceau venait se reposer sur le mur A B, le chapiteau de la colonne formait support de la tête du berceau et venait affleurer le nu A B suivant la ligne B B' C; le tailloir seul formait saillie sur le nu du mur. C'est dans cette position que nous voyons les premiers chapiteaux porter une maçonnerie en encorbellement; car, dans un même édifice, les colonnes isolées portent des sommiers d'archivoltes dont le lit de pose inscrit exactement le diamètre supérieur du fût, tandis que les colonnes d'angle sont déjà surmontées de chapiteaux dont l'évasement, comme dans la fig. 4, sert à supporter un sommier saillant.
La crypte de l'église Saint-Étienne d'Auxerre nous présente ces deux exemples, qui datent de la même époque (IXe ou Xe siècle).

La fig. 4 bis est l'élévation perspective du plan 4, et la fig. 5 le chapiteau d'une colonne isolée. On voit que si le chapiteau de la colonne d'angle porte un sommier plus saillant que le nu de la colonne, il n'en est pas encore de même pour la colonne isolée. Ces trois chapiteaux, fig. 3, 4 bis et 5, font voir comment les sculpteurs carlovingiens interprétaient le feuillé du chapiteau romain; les uns, ne sachant comment réserver et dégager dans la pierre le revers de la feuille, posaient celle-ci de profil et comme rabattue sur la corbeille; les autres se contentaient de quelques cannelures ciselées en éventail pour simuler les nerfs et découpures de la feuille romaine. Ces artistes primitifs tentaient cependant de se soustraire parfois à la tradition antique, et taillaient déjà, dès le Xe siècle, des figures sur les corbeilles de leurs chapiteaux, ou des formes dont il serait difficile de découvrir l'origine, des traits, des zigzags, de grossiers linéaments; souvent aussi ils se contentaient de les épanneler. Mais nous ne voulons pas fatiguer nos lecteurs par des reproductions de ces premiers et informes essais, qui n'ont qu'un attrait de curiosité; nous arriverons au XIe siècle, époque pendant laquelle la forme des chapiteaux, leur fonction et leur sculpture peuvent être parfaitement définies.

Il nous faut d'abord distinguer les chapiteaux, à partir de cette époque, en chapiteaux de colonnes isolées, monocylindriques, et en chapiteaux de colonnes engagées.
Dans les églises, les colonnes monocylindriques sont ordinairement réservées pour le tour des sanctuaires; partout ailleurs la colonne est presque toujours engagée au moins d'un tiers dans une pile, un pilastre ou un mur. La fonction de la colonne engagée étant, dans l'intérieur des monuments, de supporter un archivolte, et son diamètre ne dépassant guère un pied (de 0,33 c. à 0,40 c., voy. COLONNE), il fallait donner au chapiteau un évasement assez considérable pour recevoir le lit du sommier de cet archivolte qui devait soutenir un mur épais ou tout au moins un contrefort. Dès l'instant que le système de la construction des voûtes romanes était adopté, le chapiteau n'était plus un simple ornement, il entrait dans la construction comme une des parties les plus importantes, puisqu'il devenait l'assiette, le point de départ des voûtes (voy. CONSTRUCTION, PILE). Donc, après ces tâtonnements et ces grossiers essais des architectes et sculpteurs, nous voyons tout à coup, au XIe siècle, le chapiteau composé pour remplir une fonction nouvelle et utile. Cela est particulièrement sensible dans les édifices de l'Auvergne, du Nivernais et de la Bourgogne, qui datent de cette époque. Dans ces provinces, les archivoltes présentent une section carrée qui exige un point d'appui solide pour recevoir le sommier; le chapiteau est alors muni d'un double tailloir, le premier tenant à l'assise même du chapiteau, et le second formant tablette saillante; or c'est ce premier tailloir qui embrasse exactement la surface donnée par le lit de pose du sommier.

La fig. 6, copiée sur l'un des chapiteaux du tour du choeur de l'église de Saint-Étienne de Nevers (seconde moitié du XIe siècle), fera comprendre le rôle utile du chapiteau roman.
Dans l'Île de France et la Normandie, l'indécision dure plus longtemps; les archivoltes sont munis souvent de gros boudins, sont maigres et ne viennent pas franchement se reposer sur la saillie du chapiteau. Cela est apparent dans la nef de la cathédrale d'Évreux, où quelques piles du XIe siècle, qui ont conservé leurs chapiteaux et archivoltes primitifs, nous présentent une disposition reproduite ici (7).

C'est toujours dans le voisinage des grands centres monastiques qu'il faut étudier l'architecture romane, c'est là qu'elle se développe avec le plus de vigueur et de franchise. En Bourgogne, l'ordre de Cluny forme une école, au XIe siècle, à nulle autre comparable; c'est donc à lui que nous irons demander les exemples les plus beaux de cette époque. C'est à Vézelay, puisque l'église mère de Cluny est détruite aujourd'hui. La nef de l'église de Sainte-Madeleine de Vézelay présente une série de quatre-vingt-quatorze chapiteaux décorés d'ornements et de figures; leur galbe, leur proportion et la façon monumentale dont la sculpture est traitée, sont un riche sujet d'études auquel on revient toujours après avoir examiné d'autres édifices du même temps. Parmi ces chapiteaux, on en remarque quelques-uns, vers les transsepts, qui appartiennent à une époque antérieure, et ont été replacés, lors de la reconstruction de la nef, à la fin du XIe siècle. Il ne semble pas que le maître de l'oeuvre ait suivi un ordre méthodique dans le classement de ces chapiteaux; étant tous appareillés de la même manière et sculptés, comme toujours, avant la pose, il est vraisemblable que les poseurs les ont montés et scellés à leur place sans suivre un ordre, mais au fur et à mesure qu'ils sortaient des mains des sculpteurs. Outre les chapiteaux feuillus et qui n'ont aucune signification, il en est un grand nombre, parmi ceux à figures, qu'il est difficile, pour nous du moins, d'expliquer. Quelques-uns représentent des scènes de l'Ancien Testament; par exemple, la bénédiction de Jacob, la mort d'Absalon, David et Goliath, Moïse descendant du Sinaï (8). Ce chapiteau est un de ceux qui sont traités avec le plus de verve; son tailloir est décoré de gros boutons orlés qui rappellent les oves antiques. Le démon s'échappe par la bouche du Veau d'or à la vue de Moïse, un homme apporte un chevreau pour le sacrifier à l'idole et paraît interdit. Les gestes sont justes, bien sentis et fortement accentués; la figure du démon est d'une énergie sauvage qui ne manque pas de style. En somme, si les détails de ces sculptures sont souvent barbares, jamais on ne peut leur reprocher d'être vulgaires. Dans les compositions, il y a toujours quelque chose de grand, de vrai, de dramatique qui captive l'attention et fait songer. Beaucoup de ces chapiteaux représentent des paraboles: le mauvais riche, l'enfant prodigue; des légendes: celles de Caïn, tué par son fils Tubal, de saint Eustache; des scènes de la vie de saint Antoine et de saint Benoît; puis des vices et leur punition (le diable joue un grand rôle dans ces compositions); des travaux de l'année: la moisson, la mouture du grain, la vendange, etc.; des animaux bizarres tirés des bestiaires (9); des lions et des oiseaux adossés ou affrontés au milieu de feuillages. Tous ces ornements et figures se renferment dans le même épannelage, consistant en un cône tronqué renversé pénétré par un cube donnant en projection horizontale (10) le tracé A, et en projection verticale le tracé B. L'astragale tient toujours au fût, et le second tailloir saillant est pris dans une autre assise; du reste, tous les tailloirs sont variés comme profil ou décoration. Si les chapiteaux à figures de la nef de l'église de Vézelay sont d'un style tant soit peu sauvage, il n'en est pas ainsi de ceux composés uniquement de feuillages; ces derniers sont d'une pureté d'exécution et d'une beauté incomparable.



Mais c'est surtout pendant le XIIe siècle que la sculpture des chapiteaux atteignit une singulière perfection. Leur fonction désormais arrêtée, supports avant d'être ornements, ils conservent cette forme dominante en se couvrant de la parure la plus riche, la plus délicate et la plus variée. Depuis longtemps déjà il était admis que les chapiteaux d'un même monument, en se renfermant dans un galbe uniforme, devaient tous être variés; c'était donc là, pour les sculpteurs, une occasion de se surpasser les uns les autres, de faire preuve de talent dans la composition, de finesse d'exécution, de patience et de soin. C'étaient, dans les intérieurs des monuments, de nombreuses pages à remplir, destinées à captiver l'attention et à instruire la foule. Les chapiteaux à figures tiennent essentiellement à l'architecture romane, surtout dans les provinces éloignées de l'Île de France. Ils persistent, jusque vers la fin du XIIe siècle, dans le Poitou, le Berry, la Bourgogne, l'Aquitaine et l'Auvergne, tandis que les feuillages, les entrelacs sont adoptés de préférence dans les provinces dépendant du domaine royal. Nous ne trouvons ces grands chapiteaux avec tailloirs très saillants et large sculpture qu'à Vézelay et dans le voisinage de cette célèbre abbaye. Ailleurs, pendant les XIe et XIIe siècles, ils sont plus trapus, moins saillants sur la colonne, moins hauts, et ne sont pas couronnés par ces énormes tailloirs d'un effet si monumental. À Vézelay, les chapiteaux des colonnes engagées des bas-côtés ont en hauteur, compris le tailloir, le quart de la hauteur du fût, tandis que généralement, en Auvergne et dans le Berry, ils n'ont guère que le cinquième ou le sixième de la hauteur du fût. En Normandie, dans le Maine, l'Anjou et le Poitou, ils sont plus bas encore, comparativement à la longueur de la colonne.
La dimension des matériaux employés était pour quelque chose dans ces différences de proportion. En Bourgognes, les bancs de pierre sont hauts et ont toujours été extraits en blocs d'une grande dimension, tandis que, dans les provinces que nous venons de désigner, la pierre était, de temps immémorial, extraite par bancs d'une faible épaisseur. Or, pendant la période romane, les chapiteaux sont toujours sculptés dans une hauteur d'assise; jamais un lit ne vient les séparer en deux assises. Les chapiteaux étant, comme tous les membres de l'architecture, taillés et terminés avant la pose, il eût été impossible de raccorder des sculptures faites sur deux pierres. Ce ne fut que plus tard que l'on composa des chapiteaux en deux ou trois assises, et nous verrons comment s'y prirent les appareilleurs et sculpteurs pour rassembler ces divers morceaux terminés sur le chantier. Il va sans dire que, si la hauteur des bancs calcaires influe sur la proportion donnée aux chapiteaux, la qualité de la pierre, pendant toute la période romane, vient en aide au sculpteur si elle est fine et compacte, gêne son travail si elle est grossière et poreuse. Là où les matériaux permettent une grande délicatesse de ciseau, les chapiteaux sont sculptés avec une rare perfection; ils se couvrent de détails à peine visibles à la distance où ils sont placés. Il est tel chapiteau, du XIIe siècle, des provinces favorisées par la nature des matériaux, qui peut passer pour une oeuvre destinée à être vue de près comme le serait un meuble. Les exemples abondent; nous en choisirons un entre tous, tiré des ruines de l'église de Déols (Bourg-Dieu) près Châteauroux (11).

Ce chapiteau est, comparativement à ceux de la Bourgogne de la même époque, bas; son tailloir est fin, peu saillant, les ornements exécutés avec une délicatesse remarquable; il présente ces singuliers enchevêtrements d'animaux que l'on rencontre si souvent dans les provinces voisines de la Loire et jusque dans l'Angoumois. Ce n'est plus là cet art imposant de la Bourgogne, ce galbe hardi des chapiteaux du porche de Vézelay, contemporain de l'église de Déols. La sculpture n'est pas découpée sur le fond, mais très-modelée; les traditions antiques ne paraissent pas avoir dominé l'artiste, qui semble plutôt inspiré par ces dessins d'étoffes, ces ivoires, ces bijoux vernis d'Orient et si fort prisés au XIIe siècle (voy. SCULPTURE).

Mais c'est surtout dans les contrées méridionales comprises entre la Garonne, la Loire et la mer, que, dès le XIe siècle, les chapiteaux se couvrent d'animaux traités avec une rare énergie, modelés simplement, d'un caractère étrange et plein de style. On en jugera par l'exemple que nous donnons (12), copié sur un chapiteau du porche de l'église de Moissac (partie du XIe siècle). Cette sculpture, dessinée avec vigueur, coupée dans une pierre dure par une main habile, n'est cependant pas exempte de finesse; la netteté de la composition, la franche disposition des masses, n'excluent pas la délicatesse des détails, comme le fait voir, autant que possible, notre gravure. Les articulations, les mouvements de ces lions fantastiques ayant une seule tête pour deux corps sont vrais, bien compris dans le sens de la décoration monumentale; la sculpture est peu saillante, afin de ne pas déranger la silhouette du chapiteau, dont la forme est trapue comme celle de tous les chapiteaux de grosses colonnes. Car il est, dès l'époque romane, un fait à remarquer, c'est que la hauteur d'assises commandant la hauteur du chapiteau, il en résulte que, dans le même édifice, les chapiteaux des grosses colonnes sont bas, larges, écrasés, tandis que ceux des colonnettes sont sveltes, élancés. Il ne faut pas croire que ce principe est adopté d'une façon absolue, mais il a toujours une influence sur les proportions des chapiteaux qui sont d'autant plus allongées, relativement au diamètre des colonnes, que celles-ci sont plus grêles.
Nous avons dit qu'à partir des temps mérovingiens, les chapiteaux portent directement les sommiers des arcs et ne sont plus, comme dans l'architecture antique grecque et romaine, destinés à soutenir une plate-bande. À cette règle, quelque générale qu'elle soit, il y a cependant des exceptions.

Dans les provinces du centre, en Auvergne, dans le Poitou et l'Aquitaine, dès le XIe siècle, on rencontre souvent des colonnes tenant lieu de contreforts sur les parois extérieures des absides ou chapelles circulaires (voy. au mot CHAPELLE, les fig, 27 et 34). Les chapiteaux alors portent directement la corniche sous la couverture, l'intervalle entre ces chapiteaux étant soulagé par des corbeaux. On trouve de beaux exemples de ces chapiteaux autour des absides des église d'Issoire, de Saint-Necttaire, de Chamaillères, de Notre-Dame du Port à Clermont (13), qui datent du XIe siècle; nous les rencontrons encore au Mas-d'Agenais, sur les bords de la Garonne, à Saint-Sernin de Toulouse, à la cathédrale d'Agen, et jusqu'à Saint-Papoul sur les frontières du Roussillon. La corniche n'est, dans ce cas, qu'une simple tablette destinée à recevoir les premières dalles de la couverture et à protéger les murs par sa saillie. On sent encore l'influence antique dans le chapiteau (fig. 13) d'une des chapelles de Notre-Dame du Port; mais ces réminiscences sont peu communes, et les chapiteaux appartenant à ce style et à l'architecture des XIe et XIIe siècles de ces provinces, ont un caractère original.
Pour rencontrer des chapiteaux dans la composition desquels les traditions gallo-romaines ont une grande influence jusqu'au commencement du XIIIe siècle, il faut aller dans certaines localités de l'Est et du Sud-Est, à Autun, à Langres, le long de la Saône et du Rhône. Les chapiteaux des colonnes monocylindriques du sanctuaire de la cathédrale de Langres, qui datent de la seconde moitié du XIIe siècle, sont évidemment imités de chapiteaux corinthiens gallo-romains; on y retrouve même le faire de la sculpture, les trous nombreux de trépan percés pour dessiner les séparations des membres des feuilles, la découpure dentelée des feuillages, les volutes, culots et retroussis, le tailloir curviligne avec ses quatre fleurons et la corbeille corinthienne. Souvent, à côté de ces chapiteaux imités de l'antiquité, le goût particulier à l'époque apparaît, et les feuillages corinthiens sont remplacés par des figures, comme à la cathédrale d'Autun, par des entrelacs ou des rosaces, genre d'ornement fréquemment adapté aux chapiteaux pendant le XIIe siècle, ainsi que le fait voir la fig. 14, reproduisant un chapiteau de l'ancien cloître roman de l'abbaye de Vézelay 381. Il faut reconnaître que, même dans les contrées où la tradition gallo-romaine persiste, à cause surtout du voisinage de fragments antiques qui couvraient encore le sol, cette influence n'a d'effet que sur les chapiteaux posés sur des colonnes monocylindriques comme les colonnes antiques, et sur des pilastres disposés comme le sont les pilastres antiques. Sur les colonnes engagées, d'angles, et les colonnettes, le chapiteau roman prend sa place, comme si ces genres de supports appartenaient exclusivement à ce style et ne pouvait admettre de mélanges. Cela est bien visible dans la cathédrale de Langres.

Ce monument ne présente à l'intérieur et à l'extérieur que les colonnes monocylindriques du choeur, dont nous avons parlé tout à l'heure, et des pilastres. Les chapiteaux de ces colonnes et pilastres rappellent avec plus ou moins de fidélité la sculpture et la composition des chapiteaux corinthiens romains. Mais le triforium du choeur présente une suite d'arcatures supportées par des colonnettes accouplées. Ces colonnettes sont surmontées de chapiteaux jumeaux portant les sommiers des petits archivoltes. Cela est une disposition toute romane; or les chapiteaux jumeaux des colonnes accouplées ont, la plupart, un caractère étranger aux arts antiques; on en jugera par l'exemple que nous donnons ici (15).

Le mur supportant le triforium du choeur de la cathédrale de Langres est épais; pour le porter sans avoir des colonnettes d'un fort diamètre, l'architecte a dû éloigner passablement ces colonnettes l'une de l'autre, suivant la section du mur; voulant aussi que les chapiteaux jumeaux fussent pris dans une seule pierre, afin de ne pas donner trop de quillage à ses colonnettes, il les a réunis par une grosse tête de lion, ainsi que le fait voir notre figure.
Un procédé analogue avait été suivi pour la taille des bases jumelles de ces colonnettes, qui sont également dégagées dans un seul morceau de pierre (voy. BASE, fig. 19). Ainsi, d'une part, nous voyons la forme primitive de la colonne ou des pilastres antiques faire conserver, à Langres, la forme et la composition du chapiteau corinthien; et, de l'autre, l'adoption d'une disposition toute romane de colonnettes, faire adopter le chapiteau roman dans lequel les traditions antiques ne sont plus apparentes.
C'est, nous le répétons, pendant la seconde moitié du XIIe siècle, que ces influences diverses agissent à Langres. Mais il fallait que cette tradition de la forme antique fût bien forte dans cette contrée, puisque, pendant les dernières années du XIIe siècle ou les premières du XIIIe, lorsque l'on construit la nef de la cathédrale, en conservant le pilastre antique cantonnant les piles, on voit encore, dans la composition des chapiteaux de ces pilastres, la disposition corinthienne conservée avec certains détails et ornements qui appartiennent à la sculpture la plus belle et la plus caractérisée de la première période ogivale.

Ainsi nous trouvons (16) dans un même chapiteau, comme masse, les divisions des feuilles sur la corbeille corinthienne, les restes des volutes avec leurs caulicoles et bagues, puis les retroussis, et un beau crochet appartenant franchement à la sculpture des premières années du XIIIe siècle.
Un autre chapiteau de la même nef présente, avec un souvenir plus effacé mais persistant encore du chapiteau corinthien, des détails qui, quoique fort étranges, sont empreints du style des premières années du XIIIe siècle; c'est ce chapiteau dont les retroussis des feuilles viennent couvrir des têtes humaines (17).

La Bourgogne nous présente quelques autres exemples de chapiteaux de cette époque décorés de têtes en guise de crochets; nous en avons vu un dans la petite église de Sainte-Sabine (Côte-d'Or), entre Saint-Thibaut et Arnay le-Duc. La Normandie et le Maine en possèdent aussi en assez grand nombre, mais d'une date plus reculée.
Aucune époque de notre architecture ne fournit une aussi grande quantité de chapiteaux variés de forme et de détails que le XIIe siècle. À aucune époque aussi la sculpture de ce membre important de la colonne ne fut exécutée avec plus d'amour. Nous ne pouvons que donner quelques types bien caractérisés et en petit nombre, en essayant de les classer méthodiquement.
Puisque nous en sommes à l'interprétation plus ou moins exacte des formes antiques, nous ne saurions passer sous silence ces chapiteaux des bords de la Haute-Garonne qui ont une physionomie bien tranchée, et qui, en conservant à peu près les masses du chapiteau corinthien, subdivisent les grandes feuilles en gracieux fleurons s'enroulant les uns près des autres comme une sorte de damasquinage. L'église de Saint-Sernin de Toulouse en fournit de beaux échantillons exécutés avec une rare perfection.

Voici (18) un de ces chapiteaux. Dans le même monument, il en est d'autres qui ne donnent que l'épannelage de cette riche ornementation; quelques-uns, posés sur les colonnes monocylindriques du sanctuaire, sont des copies assez fidèles de chapiteaux romains, copies dans lesquelles cependant on trouve un style, un goût et une pureté d'exécution, qui rendent ces sculptures supérieures aux chapiteaux des bas-temps.
Il est un fait que nous devons signaler, car il est particulier à l'église de Saint-Sernin ainsi qu'à certaines églises méridionales du XIIe siècle, c'est qu'à l'intérieur de ces édifices les chapiteaux sont seulement décorés de feuillages, sauf de rares exceptions, tandis que ceux qui décorent les portails à l'extérieur sont presque tous couverts de figures légendaires, symboliques, ou d'animaux bizarres. Les colonnes du portail s'ouvrant à l'extrémité du transsept sud de l'église de Saint-Sernin sont surmontées de chapiteaux sur lesquels on a figuré la personnification des vices et leur punition. Le portail de la nef, du même côté, reproduit, sur ses chapiteaux, l'Annonciation, la Visitation, le massacre des Innocents, etc. Cette méthode de figurer des scènes de l'Ancien et du Nouveau Testament sur les chapiteaux des portails est généralement adoptée, au XIIe siècle, non-seulement dans le Midi, mais encore dans quelques-unes de nos églises du Nord. Le portail royal de la cathédrale de Chartres, par exemple, développe sur ses chapiteaux une série de scènes sacrées qui se suivent et forment comme une frise pourtournant les ressauts produits par la disposition des colonnes en retraite les unes sur les autres.
Mais c'est dans les cloîtres surtout que les chapiteaux sont, au XIIe siècle, couverts de scènes empruntées à l'histoire sacrée ou aux légendes des saints. Les cloîtres de Saint-Trophyme d'Arles, de Moissac, d'Elne, sont particulièrement riches en représentations de ce genre, ainsi que les admirables cloîtres, détruits aujourd'hui, des églises de Toulouse et d'Avignon. Les musées de ces villes renferment encore quelques-uns de ces fragments qui sont de la plus grande beauté et d'une finesse d'exécution incomparable. Les chapiteaux des cloîtres romans sont presque toujours doubles, les colonnes supportant les arcatures des galeries étant jumelles; et, dans ce cas, ces chapiteaux ne sont souvent qu'une frise sculptée supportée par un rang de feuilles au-dessus de chacune des astragales. Quelques-uns des chapiteaux déposés dans le musée de Toulouse et provenant, dit-on, du cloître de Saint-Sernin (XIIe siècle), sont ainsi composés.

Nous donnons (19) une copie de l'un d'eux. Il représente une chasse à l'ours au milieu d'enroulements d'un goût exquis. L'ours est remarquablement imité, contrairement aux habitudes des sculpteurs du XIIe siècle, qui donnaient presque toujours à leurs animaux une forme conventionnelle; on voit que le voisinage des Pyrénées a permis à l'artiste de prendre la nature sur le fait. Quant aux chapiteaux du cloître de Moissac, ils représentent des scènes diverses, dont les figurines sont sculptées avec la plus grande délicatesse, ou des ornements dans le genre de ceux du chapiteau de Saint-Sernin (fig. 18).
Mais, dans ces provinces méridionales, l'école des sculpteurs qui étaient arrivés, au XIIe siècle, à une si rare habileté, s'éteint pendant les guerres des Albigeois, et il nous faut retourner vers le Nord pour trouver la transition entre le chapiteau roman et le chapiteau appartenant au style ogival. Cette transformation suit pas à pas celle de l'architecture; elle est, à cause de cela même, fort intéressante à étudier. Dans les provinces septentrionales, et particulièrement dans le domaine royal, la sculpture avait atteint, au XIIe siècle, une perfection d'exécution qui ne le cède guère aux écoles méridionales. Toutefois, dans les chapiteaux de cette époque et appartenant aux édifices de ces contrées, les figures sont rares, l'ornementation, composée de feuillages ou d'enroulements, domine. L'influence du chapiteau corinthien antique se fait souvent sentir, mais elle est déjà soumise à des formes particulières; c'est plutôt un souvenir qu'une imitation. L'artiste adopte un galbe, certaines dispositions des masses qui lui appartiennent; il ne tâtonne plus, il a trouvé un type auquel il se soumettra de plus en plus jusqu'au moment où il abandonnera complétement les dernières traces de l'art romain. La transition entre le chapiteau roman plus ou moins fidèlement inspiré de la tradition antique, et le chapiteau appartenant à l'art ogival, peut être observée dans un assez grand nombre d'édifices construits pendant la première moitié du XIIe siècle.

Nous prendrons un exemple, entre beaucoup d'autres analogues, dans l'église de Sainte-Madeleine de Châteaudun (20). Les piliers de la nef de cette église (côté nord) sont cantonnés de colonnes engagées de diamètres différents; cependant tous les chapiteaux pris dans la même assise sont de la même hauteur, qu'ils appartiennent aux grosses ou minces colonnes. La corbeille du chapiteau de la colonne mince s'entoure de feuilles peu recourbées à leur extrémité, tandis que déjà le chapiteau de la grosse colonne retourne vigoureusement les bouts de ses feuilles de façon à former, à chaque extrémité, une masse assez volumineuse pour accrocher la lumière et faire prévaloir ainsi, au milieu du groupe de feuillages, certaines masses fortement accentuées. C'est, en effet, dans les gros chapiteaux que l'on voit se développer d'abord ces extrémités de feuilles qui peu à peu prennent une grande importance, jusqu'à figurer ces volumineux bourgeons, ces paquets de folioles que l'on désigne aujourd'hui sous le nom de crochets.
Les puissants tailloirs carrés des chapiteaux romans, encore conservés dans l'architecture du XIIe siècle, supportant des sommiers d'arcs dont le lit était lui-même inscrit dans des angles droits, obligeaient les sculpteurs à donner aux angles du chapiteau une grande résistance pour ne pas être brisés sous la charge. Ces retroussis de feuilles, non point évidés comme les volutes du chapiteau corinthien antique qui n'ont rien à porter, mais pleins, formaient comme une console, un encorbellement nécessaire à la solidité. C'est pourquoi nous voyons ces retroussis adoptés d'abord dans les gros chapiteaux portant les arcs principaux, tandis qu'ils ne paraissent pas nécessaires dans les chapiteaux plus grêles qui n'ont que des arcs ogives à soutenir. À plus forte raison donnait-on aux angles des chapiteaux des colonnes isolées, portant de très-lourdes charges et répartissant cette charge sur un fût assez mince comparativement, un très-grand développement.
Cela est bien accusé dans les chapiteaux des colonnes monocylindriques du tour du choeur de l'église de Saint-Denis, quoique là encore on sente l'influence de la sculpture romane. Le développement est complet dans les chapiteaux du sanctuaire de l'église de Saint-Leu d'Esserent (21).

Nous n'avons pas besoin de faire ressortir les belles qualités de cette dernière sculpture, qui réunit au plus haut degré la finesse à la fermeté. Dans cet exemple, nulle confusion, pas de tâtonnements. Les angles de l'épais tailloir sont puissamment soutenus par les gros crochets, composés avec un art infini; entre eux on voit paraître la corbeille circulaire qui fait le fond du chapiteau; des têtes d'animaux sortant à la réunion des larges feuilles découpées occupent et décorent la partie moyenne. Les feuilles, afin de présenter à l'oeil une masse plus ferme, sont cernées par deux nerfs qui servent de tige au crochet d'angle, en s'enroulant sur eux-mêmes.
Pour tout artiste de goût, c'est là, quelle que soit l'école à laquelle il appartienne, une oeuvre digne de servir d'exemple, autant par la manière dont elle est composée que par son exécution, à la fois sobre, fine et monumentale.
La révolution qui s'opère dans la forme et les détails des chapiteaux, vers la fin du XIIe siècle, arrive promptement, dans le domaine royal et les provinces environnantes, à son entier développement, comme nous le verrons tout à l'heure; elle se fait moins rapidement en Bourgogne. L'influence romane persiste plus longtemps. Dans les provinces de l'Est, sur les bords du Rhin et de la Moselle, le chapiteau roman se décore de détails plus délicats, mais conserve sa forme primitive. Le chapiteau roman rhénan est bien connu; c'est une portion de sphère posée sur l'astragale et pénétrée par un cube.

La fig. 22 nous dispensera de plus longues explications au sujet de cette forme singulière que l'on rencontre dans presque toute l'Allemagne, et dont on trouve la trace dans certains édifices du Xe siècle, du nord-est de l'Italie et en Lombardie. Ces chapiteaux ont leurs faces plates décorées souvent, soit par des peintures, soit par des ornements déliés, découpés, peu saillants, comme une sorte de gravure.
Au XIIe siècle, lorsque tous les profils de l'architecture prirent plus de finesse, la forme cubique de ces chapiteaux dut paraître grossière; on divisa donc les gros chapiteaux en quatre portions de sphères se pénétrant et pénétrées ensemble par un cube, ainsi que l'indique la fig. 23; puis on orna chacune de ces parties qui formaient comme un groupe de quatre chapiteaux réunis.

La nef de l'église de Rosheim près Strasbourg, qui date du XIIe siècle, nous donne un bel exemple de ces sortes de chapiteaux (24). On voit que l'ornementation n'est qu'accessoire dans les chapiteaux rhénans; ce n'est guère qu'une gravure à peine modelée qui ne modifie pas le galbe géométrique du sommet de la colonne; on sent là l'influence byzantine, car si l'on veut examiner les chapiteaux de Saint-Vital de Ravenne et de Saint-Marc de Venise, on reconnaîtra que dans ces édifices la plupart des chapiteaux, appartenant aux constructions primitives, ne sont décorés que par des sculptures très-plates, découpées, ou même quelquefois, comme dans le bas-côté nord de cette dernière église, par des incrustations de couleur. Quelle que soit la beauté de travail de ces sculptures, la forme romane, même à la fin du XIIIe siècle, reste maîtresse; il ne semble pas que cet art puisse se transformer.
L'architecture comme la sculpture romane du Rhin ne peuvent se débarrasser de leurs langes carlovingiennes; elles tournent dans le même cercle jusqu'au moment où les arts français importés viennent prendre leur place. Cette immobilité ou ce respect pour les traditions, si l'on veut, existent, quoique avec moins de force, en Normandie. La forme du chapiteau normand roman persiste, sans modification sensible dans les masses, jusqu'au moment où le style français fait invasion dans cette province lors de la conquête de Philippe-Auguste. Le chapiteau cubique simple ou divisé se rencontre aussi dans cette province; il est souvent décoré de peintures, comme on peut le voir encore dans l'église de Saint-Georges de Boscherville et dans celle de l'abbaye de Jumièges. Nous retrouvons même ces chapiteaux dans des parties carlovingiennes des églises françaises de l'Est. La crypte de l'église Saint-Léger de Soissons contient encore un chapiteau cubique peint, fort remarquable, qui paraît dater du Xe siècle. Nous en donnons une copie (25). Les ornements sont blancs sur fond jaune ocre.

La pénétration du cube dans la sphère est tracée par une légère entaille double, ainsi que l'indique le profil fait sur l'axe A B, ce qui donne à ce chapiteau une physionomie particulière. Ce n'est pas là le pur chapiteau rhénan.
De tous ces divers styles romans, dont la variété est infinie et dont nous n'avons pu que tracer les caractères les plus saillants, un seul arrive à une transformation à la fin du XIIe siècle; c'est le style français proprement dit, car les chapiteaux suivaient naturellement les progrès de l'architecture (voy. ARCHITECTURE, CATHÉDRALE). Les autres se traînent sur des traces vieillies, se perdent, ou tombent dans des raffinements puérils. Nous allons donc pouvoir suivre pas à pas les transformations successives du chapiteau français, sans plus faire d'excursions, comme dans la première partie de cet article.
Ainsi que nous l'avons fait voir, il avait toujours existé une différence marquée dans la composition des chapiteaux romans appartenant à des colonnes isolées monocylindriques d'un diamètre assez fort par conséquent, et des chapiteaux de colonnettes et colonnes engagées. Toutefois, cette différence est plutôt le résultat d'un instinct naturel d'artiste que d'un système arrêté. En abandonnant la tradition romane pour entrer dans l'ère ogivale inaugurée, à la fin du XIIe siècle, dans les provinces du domaine royal, de la Champagne, de la Picardie et de la Bourgogne, la composition des chapiteaux se soumet à un mode fixe; elle devient logique comme le principe général de l'architecture. Ce sera dorénavant le sommier des arcs supporté par le chapiteau qui commandera la forme du tailloir; ce sera la forme du tailloir qui commandera la composition du chapiteau. Notons encore une fois ce fait, sur lequel nous reviendrons souvent, et dont nous ne saurions trop faire ressortir l'importance: dans l'architecture ogivale, c'est la voûte et ses divers arcs qui imposent aux membres inférieurs de l'architecture, aux supports, leur nombre, leur place et leur forme jusque dans les moindres détails.
À la fin du XIIe siècle, le chapiteau devient, comme tous les membres nombreux de l'architecture, un moyen de construction; il est comme une expansion intelligente de la pile; il prend ses fonctions de support au sérieux.
Dans l'Île de France on avait, à la fin du XIIe siècle, adopté fréquemment la colonne monocylindrique comme pile, non-seulement autour des sanctuaires, mais aussi dans les nefs, peut-être parce que cette forme est celle qui prend le moins d'espace, gêne moins que toute autre la circulation, et démasque le mieux les diverses parties intérieures d'un édifice. Mais la colonne cylindrique d'une nef devait porter: 1° deux archivoltes de travées, 2° l'arc doubleau et les deux arcs ogives du collatéral, 3° le faisceau de colonnettes montant jusqu'aux naissances des grandes voûtes. Ces membres compliqués, se pénétrant, ayant chacun leur fonction, demandaient une assiette large, sur laquelle ils devaient s'asseoir, et qui ne pouvait se renfermer dans la section horizontale d'un cylindre, dans un cercle, ni même dans le carré qui aurait inscrit ce cercle.

À la cathédrale de Paris, par exemple, dont le choeur et la nef sont portés sur des colonnes monocylindriques, la section de la colonne étant un cercle dont le centre est en A (26), les lits de sommiers des archivoltes tracent la projection horizontale B; ceux de l'arc doubleau du bas-côté et des deux arcs ogives, les projections C, D D; et, enfin, les bases des faisceaux de colonnettes montant jusqu'aux grandes voûtes, la projection horizontale E. Qu'ont fait les constructeurs? Ils ont tracé simplement le tailloir du chapiteau suivant le carré F G H I qui inscrit tous les lits de ces divers membres, et se sont contentés d'abattre ses angles pour éviter des aiguités désagréables, lorsque l'on regarde le chapiteau parallèlement à ses diagonales. Mais ce tailloir n'inscrit pas exactement les traces données, sur plan horizontal, par le lit des sommiers et bases des colonnettes; il reste deux surfaces K inutiles; on ne tarda pas à les éviter.

Avant de passer outre, nous faisons voir (27) l'élévation de ces chapiteaux des gros piliers cylindriques de la cathédrale de Paris, du côté de la nef. Les bancs de beau cliquart dont sont composés ces piles et leurs chapiteaux sont bas d'assises et ne portent guère plus de 0,40 c. à 0,45 c. de hauteur. Force était donc, pour donner aux chapiteaux une proportion convenable par rapport au diamètre de la colonne, de les sculpter dans deux assises. Notre fig. 27 montre comment l'ornementation de ces chapiteaux concorde avec la hauteur des assises, et comment on a pu raccorder les deux tambours des chapiteaux très-facilement, quoiqu'ils aient été sculptés avant la pose 382. Les chapiteaux des piles du choeur, sculptés et posés quelques années avant ceux de la nef, présentent les mêmes dispositions d'ensemble; seulement leurs crochets d'angles sont plus forts, plus larges, les feuilles plus grasses et moins découpées. Il est, du reste, une observation à faire au sujet des chapiteaux du choeur de Notre-Dame de Paris, que nous ne devons pas omettre, c'est que les chapiteaux des colonnettes isolées de la galerie du premier étage paraissent d'un travail plus ancien que les chapiteaux des grosses piles cylindriques du rez-de-chaussée. Ils ont dû tous cependant être taillés en même temps, et s'il y a quelques années de différence entre leur sculpture, évidemment ceux du triforium sont postérieurs à ceux du rez-de-chaussée. Mais, à cette époque de transition, encore rapprochée de la période romane, il n'est pas rare de rencontrer de ces sortes d'anachronismes en sculpture. Noyon, Senlis nous en offrent des exemples. Cela tenait à ce que l'on employait en même temps, pour sculpter les nombreux chapiteaux de ces grands monuments, des artistes d'âge différent; les uns appartenaient encore à la vieille école romane, d'autres plus jeunes suivaient les nouveaux errements. Or, comme en France on a toujours été enclin à préférer la nouveauté aux traditions, on confiait les sculptures les plus en vue, les plus importantes, aux artistes appartenant à la nouvelle école, et les oeuvres des vieux sculpteurs étaient reléguées dans les parties des édifices le moins en vue. Les corporations laïques d'artisans ou d'artistes qui, à la fin du XIIe siècle, étaient à l'origine de leur puissance, avaient cette intelligence des corps qui s'organisent dans le but de produire et de progresser; elles ne cherchaient pas à monopoliser les oeuvres d'art entre les mains de quelques hommes dans un intérêt personnel; elles favorisaient, au contraire, les innovations, et les patrons étaient débordés et supplantés par leurs apprentis devenus rapidement plus hardis et plus habiles. Les corporations, pour tout dire en un mot, étaient des corps et non des coteries 383.
Dans le même monument, la cathédrale de Paris, nous voyons les chapiteaux des piles séparant les deux collatéraux déjà combinés pour recevoir exactement les retombées des différents arcs des voûtes. Mais nous reviendrons tout à l'heure sur les fonctions si bien écrites du chapiteau appartenant à la période ogivale.
Pour faire ressortir l'influence exercée par la nature des matériaux employés, sur la sculpture des chapiteaux, nous présenterons un exemple tiré du tour du choeur de la grande église de Mantes, contemporaine du choeur de Notre-Dame de Paris, et qui paraît avoir été élevée par les mêmes maîtres. Les murs du sanctuaire de l'église de Mantes sont portés sur des colonnes en grès qui n'ont pas plus de 0,50 c. de diamètre. Pour résister à la charge supérieure, les chapiteaux durent être également sculptés dans un grès très-résistant, difficile à travailler et qu'il eût été dangereux de trop évider; ils devaient encore présenter un évasement considérable pour recevoir, sur le lit supérieur du tailloir, le sommier de deux archivoltes, de deux arcs ogives, d'un arc doubleau, et le départ de la colonnette montant jusqu'à la naissance des voûtes hautes. Afin d'éviter les brisures qui pouvaient se manifester aux angles de ces chapiteaux très-évasés, il fallait que ces angles fussent soutenus par la sculpture entourant la corbeille, que cette sculpture formât comme un encorbellement reportant la charge d'un large sommier sur un fût très-mince. Les sculpteurs résolurent exactement ce problème, ainsi que le fait voir la fig. 28. A est l'arc doubleau du collatéral. La composition de ce chapiteau a cela d'étrange que, sur quatre volutes d'angles, deux se retournent dans un sens, deux dans l'autre, mais toutes quatre sont fortement épaulées sous le retroussis. Cette méthode avait déjà été employée, quelques années auparavant, autour du choeur de l'église de Saint-Denis, pour les chapiteaux des colonnes monocylindriques qui datent de la construction de Suger, et qui portent les culées des arcs-boutants reconstruits au XIIIe siècle. Il est donc facile de reconnaître qu'au moment où l'architecture ogivale se développe, le chapiteau se soumet au système de construction adopté, sa fonction est nécessaire et sa forme se modèle sur les membres des arcs dont il doit porter la charge.

Si rapides que soient les transformations dans un art, il est certains usages, certaines traditions qui persistent, dont on ne s'affranchit qu'avec peine. Déjà la section horizontale du pilier roman était abandonnée depuis longtemps, le pilier ogival, dans les nefs, se composait d'un cylindre cantonné de quatre colonnes, qu'autour des sanctuaires on conservait encore la colonne monocylindrique, soit parce que cette forme était traditionnelle et que le clergé y tenait, soit parce qu'elle dégageait mieux les bas-côtés du choeur et permettait aux fidèles assemblés autour du sanctuaire de mieux voir les cérémonies, soit enfin parce que les travées de rond-point étant plus étroites que les autres, on voulait donner une grande légèreté apparente aux points d'appui, et ne pas diminuer la largeur des vides (voy. PILE, PILIER).
Cependant le système général de la construction des voûtes ogivales franchement appliqué ne pouvait concorder avec la colonne monocylindrique. L'esprit impérieusement logique des constructeurs excluait les surfaces horizontales ne supportant rien, inutiles par conséquent, quelque peu étendues qu'elles fussent (voy. BASE).

Passer d'un lit de sommier tel que celui donné (29), par exemple, à un cercle, en évitant les surfaces horizontales sur le tailloir du chapiteau, devenait difficile; on pouvait bien inscrire le lit des différents arcs C C', D D', E dans un octogone régulier, et de l'octogone régulier passer au cercle, mais les trois colonnettes A B B', destinées à recevoir trois nerfs des voûtes hautes, sortaient avec leur base de l'octogone; il fallait ajouter un appendice au tailloir pour les soutenir, et cet appendice du tailloir devait être lui-même soutenu par un ornement du chapiteau; de là des combinaisons que les architectes faisaient concourir avec un art exquis à la décoration de l'ensemble.
Le plan de tailloir et la trace de sommier, fig. 29, provenant du choeur de la jolie église de Sémur en Auxois, donne, en élévation perspective, la fig. 30 384. On voit avec quel scrupule l'architecte a évité des angles saillants présentant des surfaces horizontales sans emploi, comment il a su conduire l'oeil du fût cylindrique à la rencontre compliquée des différents membres des voûtes et des colonnettes, de manière à faire voir que ce chapiteau porte réellement et qu'il n'est pas seulement une décoration banale. Une fois le principe admis, il y a dans ces combinaisons une sincérité et une grâce bien éloignées de notre architecture moderne, dont la plupart des membres se superposent sans qu'il soit possible de dire quelle est leur fonction, pourquoi ils occupent une place plutôt qu'une autre.
La pierre mise en oeuvre pour la construction des églises de Sémur en Auxois est, il faut le dire, fort résistante; c'est un gros grès (pierre de Pouillenay) qui, bien qu'il se taille assez facilement en sortant de la carrière, acquiert la dureté du granit.

L'assise du chapiteau représenté fig. 30 n'a pas moins de 0,86 c. de hauteur, non compris le tailloir pris dans une autre assise. Les constructeurs n'avaient pas partout des matériaux de cette hauteur de banc et de cette force. Alors, s'ils voulaient maintenir la colonne monocylindrique dans les sanctuaires (comme ils l'ont fait plus tard encore dans la Bourgogne), ils lui donnaient, comparativement au sommier, un plus fort diamètre, et ils sculptaient le chapiteau dans deux assises, ainsi qu'on peut le voir à la cathédrale d'Auxerre.
Cependant on ne tarda pas à s'affranchir de la difficulté résultant de la retombée des membres des voûtes sur un chapiteau unique, et à oublier ce dernier vestige des traditions romanes. Admettant définitivement, vers 1225, que les voûtes devaient commander la section horizontale des piliers, on cantonna les colonnes monocylindriques de deux ou de quatre colonnes; cette nouvelle combinaison vint déranger l'ordonnance des chapiteaux (voy. PILE, PILIER).
Un des premiers exemples de cette transformation se rencontre à l'entrée de la nef de la cathédrale de Paris; les premières travées de cette nef sont d'une époque un peu postérieure aux suivantes (voy. CATHÉDRALE). L'architecte, en laissant subsister au centre du groupe de colonnes le gros pilier monocylindrique adopté dans le reste du monument, lui conserva son chapiteau; seulement il l'interrompit au droit de chacune des colonnes engagées.

La fig. 31 rendra notre description plus claire. On voit en A la colonne qui porte, comme un renfort ajouté au pilier, les colonnettes montant jusqu'à la naissance des voûtes hautes; en B l'une des trois autres colonnes qui portent les deux archivoltes et l'arc doubleau du collatéral; les arcs ogives posent sur les sections circulaires du tailloir du gros chapiteau, laissées encore inutiles, en partie, du côté de la nef. Si le gros chapiteau est formé de deux assises, les trois chapiteaux des colonnes engagées B sont sculptés dans une seule. L'instinct de l'artiste lui commandait cette différence de hauteur donnée à des chapiteaux de colonnes de diamètres différents. Quant à la colonne engagée A ne portant pas d'arc, mais un groupe de colonnettes, elle n'a pas de chapiteaux. Ce fait indique bien clairement que l'on n'admettait alors le chapiteau (comme déjà pendant la période romane) que pour porter des arcs de voûtes, et servir de transition, d'encorbellement, entre le sommier large de ces arcs et les fûts minces des colonnes.
Ce moyen transitoire trouvé, les architectes ne purent manquer d'être choqués par ces démanchements d'assises ornées, ce tailloir d'une forme assez peu gracieuse et compliquée en plan. Ils cherchèrent à concilier l'effet d'unité donné par le chapiteau unique possédant un seul tailloir avec les nécessités de proportions qui obligeaient d'avoir des hauteurs de chapiteaux en rapport avec le diamètre des fûts des colonnes réunies. Ils résolurent ce problème avec beaucoup d'adresse dans la construction des piliers latéraux du choeur de la cathédrale d'Auxerre (1230 environ), ainsi que le fait voir la fig. 32. Les colonnes engagées ne viennent ici qu'épauler quatre des faces du tailloir octogone du chapiteau de la grosse colonne centrale. L'astragale des petits chapiteaux passe également sur le gros, indique le lit; et au-dessous, ce gros chapiteau, entre l'astragale fausse et sa véritable astragale, présente une sculpture plus simple, plus en rapport avec son diamètre. L'ornementation de la partie supérieure du gros chapiteau participe, comme échelle de celle des petits, tandis qu'elle lui appartient en propre dans la partie inférieure où il reste seul visible. Ce n'est pas là, il faut bien en convenir, l'effet du hasard ou d'une fantaisie d'artiste, mais la conséquence d'un principe qui cherche à devenir de plus en plus absolu jusque dans les moindres détails de la construction et de la décoration des édifices.

Entre le chapiteau de Notre-Dame de Paris (fig. 31) et celui que nous représentons ici (32), il y a un grand pas de fait vers l'unité d'aspect; mais les quatre colonnes engagées viennent encore couper le gros chapiteau, et le démanchement qui choque, dans la fig. 31, n'est pas évité malgré le passage de l'astragale des petits chapiteaux sur la corbeille du gros. On voulut tout concilier à Reims en construisant les piliers de la cathédrale (1230 à 1240) 385.
Le gros chapiteau conservera son ordonnance propre au milieu des quatre autres 386. Ceux-ci prirent toute la hauteur du gros chapiteau en deux assises; mais une seconde astragale vint les diviser à mi-hauteur (33).

On remarquera, en outre, dans les chapiteaux de la nef de la cathédrale de Reims, la forme des tailloirs; celui du gros chapiteau est un carré posé diagonalement, ceux des petits chapiteaux sont octogones; ils sont combinés de manière à circonscrire exactement la trace du lit du sommier des arcs et des bases des cinq colonnettes montant jusqu'à la naissance des grandes voûtes, ainsi que le démontre la section horizontale (34). La ligne ponctuée indique le pilier; en A, B B, C C sont les cinq colonnettes qui, posant sur un des quatre chapiteaux octogones, portent le gros arc doubleau, les deux arcs ogives et les deux formerets des voûtes hautes; en D D les traces des sommiers des archivoltes sur lesquels reposent les écoinçons entre les piles, le triforium et les grandes fenêtres supérieures; en E E les deux arcs ogives des voûtes des bas-côtés; en F l'arc doubleau de ces mêmes voûtes; Le tailloir du chapiteau principal avait ses deux diagonales G H, I K parallèles et perpendiculaires à l'axe de la nef, ce qui était motivé par la trace du sommier de tous les arcs. On arrivait ainsi successivement à prendre le lit inférieur du sommier comme générateur du tailloir du chapiteau. Ce que l'on ne saurait trop remarquer dans la structure de la cathédrale de Reims, c'est la méthode, la régularité de toutes les parties. Le tracé de ces sommiers d'arcs est très-savant, et nous avons l'occasion d'y revenir aux mots CONSTRUCTION, SOMMIER, VOÛTE.

Il nous suffira de faire observer ici que la disposition du groupe de chapiteaux, n'ayant pour eux tous qu'un seul tailloir, se soumettant déjà au nombre des arcs principaux et à leur section, est un acheminement vers les chapiteaux isolés appartenant à chaque colonne. La transition est encore plus sensible dans la disposition des chapiteaux du tour du choeur de la cathédrale d'Amiens (1240 environ). Leurs tailloirs prennent des formes rectangulaires qui, non-seulement se modèlent exactement sur la trace du lit inférieur du sommier, mais encore accusent chacun des arcs des voûtes.

Ainsi (35): soit la ligne ponctuée la section horizontale du pilier; en A est la colonnette qui monte jusqu'aux voûtes hautes, le tailloir ne fait que la pourtourner comme une bague sans chapiteau; en B les archivoltes et leurs doubles claveaux C; en D l'arc doubleau du collatéral, et en E les arcs ogives. On voit que chacun de ces arcs porte sur une portion du tailloir qui lui appartient en propre; ce n'est plus un tailloir commun pour plusieurs arcs. En élévation perspective du côté du collatéral, ces chapiteaux affectent la disposition donnée par la fig. 36. Si la naissance du chapiteau est composée comme celle des chapiteaux des piliers du choeur de la cathédrale d'Auxerre, son tailloir se découpe, se sépare en autant de membres qu'il y a d'arcs. Il n'y a encore que quatre chapiteaux, un gros et trois plus petits et il y a déjà six tailloirs. Du moment que les architectes se laissaient ainsi entraîner par une suite de raisonnements, la pente était irrésistible. Les arcs des voûtes (à cause de cette sorte d'horreur que les maîtres avaient pour les surfaces horizontales inoccupées), en forçant de subdiviser le tailloir du chapiteau, influèrent bientôt sur les piles. Dès 1250, on donnait déjà aux piles autant de colonnes qu'il y avait d'arcs, et par suite autant de chapiteaux; on arriva à donner aux piles autant de membres que les arcs avaient de nerfs, et les chapiteaux perdirent alors leur véritable fonction de support, d'encorbellement, pour ne plus devenir que des bagues ornées, mettant une assise de séparation entre les lignes verticales des piles et les naissances des arcs. Puis enfin, comprenant que les chapiteaux n'avaient plus de raisons d'exister, les maîtres les supprimèrent complétement, et les arcs, avec toutes leurs moulures, vinrent descendre jusque sur les bases des piliers. C'est ainsi que par l'observation rigoureuse d'un principe on tombe du vrai dans l'absurde, par l'excès même de la vérité; car la vérité (dans les arts du moins) a ses excès.

On est fondé à soutenir que l'art ogival, à son déclin, aboutit à des recherches ridicules; quand on le considère isolément, de 1400 à 1500, il est impossible, en effet, de deviner son origine et de prédire jusqu'à quelles extravagances il pourra s'abaisser; mais si l'on suit pas à pas les transformations par lesquelles il passe, de sa naissance à sa décrépitude, on est forcé de reconnaître que l'excès n'est, chez lui, que l'exagération d'un principe juste basé dans l'origine sur l'application du vrai absolu, trop absolu puisqu'il a conduit par une pente rapide à de tels résultats. Le goût peut seul, dans les arts, comme en toute chose, opposer une barrière à l'exagération, même dans l'application du vrai; mais le goût ne peut exister dans une société qui, ayant rompu avec les traditions, se trouve à l'état d'enfantement perpétuel; le goût n'est alors qu'un sens individuel propre à chaque artiste, il n'existe pas à l'état de doctrine. L'architecture de la fin du XIIe siècle prend sa source dans la raison des artistes; ceux-ci ne font que poser des principes matériels étrangers aux principes admis jusqu'alors; la forme, si belle qu'ils l'aient trouvée, n'est qu'un moyen, qu'une enveloppe soumise aux calculs de l'esprit. Une fois engagés dans cette voie, les artistes qui suivent ne cherchent qu'à la pousser plus avant; entraînés par une succession de lois qui se déduisent fatalement comme des problèmes de géométrie, ne possédant pas ce tempérament de l'esprit qu'on appelle le goût, ils ne peuvent revenir en arrière ni même s'arrêter, et ils étendent si loin leurs raisonnements qu'ils perdent de vue le point de départ. C'est toujours la même voie parcourue dans le même sens; mais elle va si avant, que ceux qui sont forcés de la suivre ne savent où elle les conduira. Les arts antiques conservent un étalon auquel ils peuvent recourir, car pour eux la forme domine le raisonnement; les arts du moyen âge n'ont d'autre guide qu'un principe abstrait auquel ils soumettent la forme; cela nous explique comment, dans un espace de temps très-court, des raisonnements justes, le savoir, l'expérience, peuvent aboutir à l'absurde, si une société n'est pas réglée par le goût (voy. GOÛT).
On voudra bien nous pardonner cette digression à propos de chapiteaux; mais c'est que, dans l'architecture ogivale, ce membre est d'une grande importance; il est comme la mesure servant à reconnaître les doses de science et d'art qui entrent dans les combinaisons architectoniques; il permet de préciser les dates, de constater l'influence de telle école, ou même de tel monument; il est comme la pierre de touche de l'intelligence des constructeurs, car, jusque vers le milieu du XIIIe siècle, le chapiteau est non-seulement un support, mais aussi le point sur lequel s'équilibrent et se neutralisent les pressions et poussées des constructions ogivales (voy. CONSTRUCTION).
L'histoire que nous avons tracée, de la transition entre le chapiteau roman et le chapiteau appartenant définitivement à l'ère ogivale, devait être trop succincte pour que nous n'ayons pas été forcés de négliger de nombreux détails. Du jour où chaque colonne ou colonnette porte son chapiteau propre, ce n'est plus qu'une question de décoration. Mais cette question a sa valeur, et nous devons la traiter. Elle ne peut cependant être séparée de la forme et des dispositions données aux tailloirs.
Vers le milieu du XIIIe siècle, lorsque, dans l'Île de France, la Champagne et la Picardie, les architectes s'efforçaient de tracer les tailloirs des chapiteaux suivant des figures qui inscrivaient méthodiquement les lits des sommiers des arcs, en Normandie on tranchait brusquement la difficulté; au lieu de formes anguleuses, on donnait aux tailloirs la figure d'un cercle sur lequel venaient s'asseoir les arcs avec leurs divers membres. L'architecture en Normandie et en Angleterre a cela de particulier, à cette époque, qu'elle emploie des moyens que nous pourrions appeler mécaniques dans l'exécution des détails. Ainsi se révélait déjà l'esprit pratique de ce peuple plus industrieux que raisonneur. Cette observation s'applique également à la sculpture qui, en Angleterre et en Normandie, à partir du XIIIe siècle devient d'une monotonie insupportable; on y sent le travail manuel, mais point l'empreinte de l'imagination de l'artiste. Nous reviendrons sur ce fait.
Les raisons qui font donner au chapiteau telle ou telle forme, qui
l'influent sur le tracé du tailloir étant connues d'une façon sommaire,
on remarquera que, pendant la seconde moitié du XIIe siècle,
l'ornementation tend de plus en plus à prendre une fonction utile. Les
retroussis ou crochets qui sont destinés à soutenir les angles du
tailloir deviennent plus volumineux, plus solidement greffés sur la
corbeille (voy. fig. 21); cependant la saillie de ces crochets ne
dépasse pas l'angle du carré du tailloir tenant au chapiteau:
c'est-à-dire que A étant le sommet de l'angle de la tablette du tailloir
tenant au chapiteau, le crochet sera pris dans l'épannelage B C D E
(37). On ne trouve que bien peu d'exceptions à cette règle jusqu'au
moment où les tailloirs commencent à être tracés sur des polygones, vers
1230. Au contraire, à partir de ce moment, les crochets débordent plus
ou moins les angles de la tablette supérieure du chapiteau, et il est
certaines provinces, par exemple, où ils sortent de sa corbeille comme
des végétations vigoureuses, pour s'épanouir en dehors de l'aplomb des
moulures les plus saillantes des tailloirs.
Cette première observation faite sur le plus ou le moins d'étendue que prend la sculpture dans les chapiteaux, il en est une autre, non moins importante, c'est celle relative au caractère même de cette sculpture. Pendant la période romane, la décoration des chapiteaux suit des traditions, répète ou arrange certains ornements pris soit à l'antiquité, soit aux meubles, aux bijoux, aux étoffes venus de Lombardie ou d'Orient, tout en s'appropriant ces ornements et leur donnant une allure française, bourguignonne, normande, champenoise, poitevine, etc.; cependant on voit bien qu'il y a là l'interprétation d'un autre art. Ce sont des plantes acclimatées, modifiées par la culture locale, mais ce ne sont pas des plantes indigènes.
Vers la fin du XIIe siècle, c'est tout autre chose; une nouvelle plante naît sur le sol même et finit par étouffer celle qui était exotique. On voit, vers le milieu du XIIe siècle, percer autour de la corbeille du chapiteau certains bourgeons peu développés d'abord, qui se mêlent aux entrelacs romans, à leurs feuilles, à leurs animaux fantastiques. Peu à peu ces bourgeons s'étendent, ils s'ouvrent en folioles grasses, encore molles de duvet; les tiges charnues, tendres, ont cette apparence vigoureuse des jeunes pousses. Mais déjà cette première végétation a expulsé les enroulements perlés et la feuille anguleuse, découpée, du commencement du XIIe siècle; elle est luxuriante, quoique encore chiffonnée et repliée sur elle-même comme le sont les premières feuilles qui crèvent leur enveloppe. Entre ces feuilles repliées, on aperçoit les boutons des fleurs. Déjà les tiges deviennent plus nervées, elles accusent des angles dans leur section. Mais, chose singulière, il ne faut pas croire que cette floraison de l'ornementation des chapiteaux, au commencement du XIIIe siècle, imite la floraison de telle ou telle plante; non, c'est une sorte de flore de convention qui ressemble à la flore naturelle et procède comme elle, mais à laquelle on ne pourrait donner un nom d'espèce.

Les beaux exemples de ce printemps de la sculpture française d'ornement sont innombrables; nous en choisirons un parmi les chapiteaux si remarquablement exécutés du choeur de l'église abbatiale de Vézelay (38).
Malheureusement la gravure ne peut donner l'idée de l'extrême finesse de modelé de ces feuilles repliées, qui ont toute la grasse souplesse et la pureté de contours des bourgeons qui s'épanouissent.
Jamais la sculpture d'ornement n'avait atteint ce degré de perfection dans l'exécution, avec une entente aussi complète de l'effet des masses. En Bourgogne et dans le Nivernais, ce commencement de végétation est abondant; puissant; il se développe dans le même sens. Dans l'ÎIe de France, et en Champagne surtout, il est plus délicat; la plante est moins vigoureuse, son développement est aussi plus maigre. Ces observations pourront paraître étranges; elles sont cependant établies sur des faits tellement nombreux, que chacun peut vérifier dans tous les monuments de la période ogivale, qu'on ne saurait en contester la réalité (voy. FLORE).
Mais en même temps que se développait cette sorte de végétation de pierre, l'esprit des maîtres, comme nous l'avons vu, ne restait pas inactif. La corbeille 387 du chapiteau roman était formée par la pénétration d'un cône dans un cube. En voulant donner plus de souplesse à la sculpture, et plus de grâce au chapiteau, on avait successivement, pendant la seconde moitié du XIIe siècle, supprimé le cube et creusé le cône. Mais le solide qui servait de transition entre le cylindre de la colonne et le carré du tailloir ne pouvait être géométriquement tracé; c'était un solide dont la forme n'était pas définie d'une façon rigoureuse, et qu'on laissait à chaque sculpteur la faculté de tailler à son gré. Il en résultait que les chapiteaux analogues d'un même édifice présentaient souvent des galbes très-différents. Cela ne devait point satisfaire les architectes du XIIIe siècle, qui tendaient chaque jour davantage à ne rien laisser au hasard et qui procédaient méthodiquement. On arriva donc à adopter pour les chapiteaux une corbeille indépendante du tailloir, et ne venant plus s'y relier tant bien que mal, comme on le voit dans la fig. 38, par des surfaces gauches. En cela, on se rapprochait de l'ordonnance du chapiteau corinthien antique. Mais, dans le chapiteau corinthien antique, le diamètre supérieur de la corbeille n'excède pas les côtés curvilignes du tailloir, et le tailloir n'est qu'une tablette horizontale par dessous, dont les angles saillants ne sont soutenus que par les volutes à jour qui terminent les caulicoles. Cela n'avait nul inconvénient, parce que les angles du chapiteau corinthien antique n'avaient rien à porter, et qu'on ne craignait pas, par conséquent, qu'une charge supérieure les fît casser. Mais toute autre est la fonction du chapiteau du XIIIe siècle; les angles de son tailloir sont utiles, ils reçoivent la charge considérable des sommiers des arcs; il était donc important de leur donner la plus grande solidité.
Nous avons vu qu'à Saint-Leu d'Esserent (voy. fig. 21), dès les dernières années du XIIe siècle, on avait adopté une corbeille circulaire dont le bord supérieur n'excédait pas les côtés du tailloir, et que les angles en porte-à-faux de ce tailloir n'étaient supportés que par des crochets auxquels on avait dû (à cause de ce porte-à-faux) donner un volume exagéré. Lorsqu'on voulut que les chapiteaux prissent un galbe plus élégant, une apparence moins écrasée, et qu'on sculpta des crochets d'angles plus fins, il fallut suppléer au manque de force qui en était la conséquence par un plus grand développement donné à la corbeille; on traça donc le bord supérieur de celle-ci de façon à le faire déborder les côtés du carré du tailloir, ainsi que l'indique la fig. 39. Il ne restait plus alors en porte-à-faux que les petits triangles A facilement soutenus par les crochets d'angles.


Ces petits triangles même ne furent pas laissés plats, mais vinrent pénétrer le revers des crochets d'angles et le bord supérieur de la corbeille par un biseau qui évita toute surface horizontale, toute maigreur, tout porte-à-faux si minime qu'il fût. Le tracé B explique cet arrangement de l'angle du tailloir sur le crochet destiné à le supporter. On conviendra que si le hasard a seul inspiré les architectes du XIIIe siècle, ainsi qu'on l'a quelquefois, prétendu, ceux-ci ont eu un rare bonheur; le hasard eût été cette fois bien prévoyant et subtil. Ces transformations, ces perfectionnements s'enchaînent si rapidement, qu'il faut une grande attention pour en suivre toutes les phases. La corbeille débordant les côtés du tailloir carré restait fort en vue; on décora son bord supérieur par un profil simple (40), ou même quelquefois par un profil orné de sculpture (41).
En Bourgogne, les tailloirs des chapiteaux sont très-développés par rapport au diamètre de la colonne, parce que dans cette contrée la pierre, étant forte, permettait de mettre en oeuvre des colonnes minces comparativement aux sommiers qu'elles avaient à supporter; aussi la corbeille s'évase-t-elle d'autant plus que le tailloir prend plus d'importance. En Champagne et en Picardie, au contraire, où la pierre n'a pas une très-grande résistance, les chapiteaux ne portent pas une grande saillie, et leurs corbeilles, par conséquent, ne sont pas très-évasées; les crochets se serrent contre elle et ne se projettent que peu en dehors de son bord supérieur.

Pendant que se produisaient ces diverses modifications dans la forme et la décoration des chapiteaux, les archivoltes, arcs doubleaux et arcs ogives changeaient leurs profils; au lieu d'être pris dans un épannelage rectangulaire dont les faces étaient parallèles aux faces des tailloirs carrés, on commençait à les tailler suivant un épannelage à pans abattus ou anguleux. Les cornes du tailloir carré excédaient alors inutilement les lits inférieurs des sommiers des arcs; on les abattit et on donna à ces tailloirs des formes polygonales, ou on les posa diagonalement. La corbeille alors n'eut plus besoin de prendre autant d'évasement; son bord supérieur fut seulement assez saillant pour inscrire à peu près exactement les angles du polygone du tailloir, ainsi que l'indique la fig. 42. Cependant on n'adopta pas sans transition le tailloir polygonal pour les chapiteaux. On commença par abattre les cornes du tailloir carré, de manière à former un octogone à quatre grands et quatre petits côtés, et l'on maintint seulement quatre crochets sous les petits côtés de l'octogone; pour meubler la partie moyenne de la corbeille, on posa un rang inférieur de feuilles ou crochets issant entre les tiges des crochets supérieurs à l'aplomb des quatre grandes faces du tailloir octogonal.

Le chapiteau que voici (43), l'un de ceux qui supportent les voûtes du réfectoire de Saint-Martin-des-Champs à Paris (1220 environ), explique ce premier pas vers le chapiteau à tailloir octogonal du milieu du XIIIe siècle. La transition est évidente dans les exemples tirés de Saint-Martin-des-Champs; quelques-uns ont déjà des corbeilles à bord supérieur mouluré, comme l'indique la fig. 40; d'autres, comme celui donné fig. 43, ont aussi une corbeille, mais sans bord supérieur, et dont la courbe vient se perdre sous le biseau du tailloir. Dès que la corbeille est bien distincte du tailloir, son galbe est tracé de façon à prolonger à peu près jusqu'aux deux tiers de sa hauteur le fût de la colonne, au-dessus de l'astragale; tandis que, pendant la période romane, et même encore à la fin du XIIe siècle, la corbeille commence à s'évaser tout de suite en sortant de l'astragale, ou quelque peu au-dessus d'elle. Il faut observer même, qu'au commencement du XIIIe siècle, la corbeille du chapiteau est légèrement étranglée au-dessus d'un filet qui surmonte l'astragale; cette forme est indiquée dans le chapiteau qu'on voit ici.
Dans la fig. 38, nous avons laissé les crochets et folioles qui entourent la corbeille du chapiteau à l'état de bourgeons à peine développés; nous les trouvons épanouis vers 1220; les feuilles sont ouvertes à la base du crochet (voy. fig. 43); celui-ci est plus refouillé, plus dégagé, les boutons de fleurs ne sont plus enveloppés dans le paquet de feuilles, ils poussent de leur côté. La sculpture conserve encore cependant quelque chose de monumental, de symétrique, de conventionnel qui n'exclut pas la souplesse, non cette souplesse molle de la jeune pousse, mais la souplesse vigoureuse, puissante de la végétation qui arrive à son développement et peut braver les intempéries.
Si nous ne consultions que notre goût particulier, nous dirions que c'est là le point où la sculpture eût dû s'arrêter. Car, malgré leur exubérance de végétation, ces magnifiques chapiteaux du réfectoire de Saint-Martin-des-Champs conservent un caractère de force, de résistance qui est en rapport avec leur fonction. Ce sont, en même temps, et de riches couronnements de colonnes, et des encorbellements dont la forme énergique est en rapport avec la charge énorme qui s'appuie sur leur tête. L'oeil est à la fois rassuré et charmé. Mais l'ornementation de l'époque ogivale ne pouvait s'arrêter en chemin, pas plus que le système général de l'architecture. Chaque jour les membres des moulures des arcs tendaient à se diviser; on excluait les plans planes, et on les remplaçait par des tores, des boudins nervés, séparés par de profondes gorges. Les chapiteaux qui portaient ces nerfs déliés devaient subir de nouvelles transformations. D'abord ces larges feuilles si monumentales parurent lourdes; on alla chercher dans les forêts des feuillages plus légers, plus découpés; les crochets perdirent peu à peu leur forme primitive de bourgeons pour n'être plus que des réunions de feuilles développées se recourbant à l'extrémité de la tige. Ces transitions sont si rapides qu'il faut les saisir au passage; d'une année à l'autre, pour ainsi dire, les changements se font sentir.
Dans la cathédrale de Nevers, monument qu'on ne saurait étudier avec trop de soin, à cause des curieuses modifications qu'il a subies, on voit encore, dans la nef, un triforium qui date de 1230 environ. Les chapiteaux de ce triforium sont exécutés par d'habiles sculpteurs, et ils présentent les dernières traces de l'ornementation plantureuse, grasse du commencement du XIIIe siècle, avec une tendance marquée vers l'imitation de la nature.
Nous donnons l'un de ces chapiteaux (44). Ses feuilles, bien qu'elles ne soient pas encore scrupuleusement reproduites d'après la flore, rappellent cependant déjà les feuilles des arbres forestiers de la France; cela peut passer pour du poirier sauvage. La grosse tige du crochet est encore apparente derrière la branche de feuillage. Les têtes des crochets ne sont plus des bourgeons, mais se développent. Le tailloir est un polygone irrégulier; c'est un carré dont les angles ont été abattus; ce chapiteau conserve encore ses quatre crochets primitifs sous les petits côtés du polygone.

Vers 1230, il s'opère un nouveau changement; on pose un crochet sous chacun des angles du tailloir; autant d'angles saillants, autant de crochets, ou, pour mieux dire, de supports; cela était logique. Mais alors aussi les crochets, se trouvant plus nombreux autour de la corbeille, diminuent de volume, deviennent moins puissants. Quand les chapiteaux étaient d'un fort diamètre, il fallut occuper l'intervalle laissé entre ces crochets par des feuillages multipliés (voy. fig. 32 et 33); lorsqu'ils étaient fins, posés sur des colonnettes grèles, on se contenta d'un crochet sous chaque angle du tailloir, d'abord avec une feuille en premier rang entre eux, puis, plus tard, vers 1240, la feuille fut remplacée par un crochet. Ce fait est remarquable dans les chapiteaux des meneaux des fenêtres, et peut servir à reconnaître leur date.
Nous devons à ce sujet entrer dans quelques explications. Tant que les meneaux ne se composèrent que d'un boudin avec deux biseaux, l'aspect de force que présentait ce genre de moulure exigeait que les chapiteaux portant les compartiments supérieurs conservassent eux-mêmes une apparence de résistance. D'un autre côté, le chapiteau adapté aux meneaux se trouvait en dehors de la règle commune imposée par le système ogival; il ne portait rien, puisque la moulure supérieure au chapiteau est identiquement semblable à la colonnette inférieure (voy. MENEAU). Cela embarrassa fort des architectes habitués à donner une fonction à chaque membre de l'architecture, si peu important qu'il fût. La raison eût indiqué de ne pas mettre de chapiteaux aux meneaux, mais cela eût été d'un aspect mou, désagréable; d'ailleurs le chapiteaux du meneau se trouvait à l'extrémité d'une colonnette posée en délit, servait d'assiette aux compartiments supérieurs, et de point de scellement pour la barre en fer transversale qui est toujours posée à la naissance des courbes. Admettant donc le chapiteau comme nécessaire sur ce point, on lui donna d'abord un tailloir carré suivant l'usage admis (45), comme dans les meneaux des fenêtres supérieures de la cathédrale de Paris (1225 à 1230), et un seul rang de crochets soutenant les angles de ce tailloir; mais les deux angles A ne portaient rien, n'avaient aucune raison d'exister; on changea de système. Ce chapiteau des colonnettes des meneaux était une bague, non point un support; on le reconnut promptement; on supprima le tailloir carré, qui fut remplacé par un tailloir circulaire (vers 1235); on maintint la corbeille saillante sous ce tailloir, l'astragale, et un rang de crochets comme ornement (46).

Des rationalistes du temps allèrent même jusqu'à supprimer les crochets et se contentèrent de la bague, qui seule marquait la transition entre les verticales et les courbes des meneaux. On peut voir de ces chapiteaux de meneaux à tailloirs circulaires aux fenêtres de la Sainte-Chapelle de Paris, des chapelles absidales de la cathédrale d'Amiens, des chapelles de la nef de la cathédrale de Paris (1240 environ). La section horizontale des meneaux commençait alors à donner, non plus seulement une ou trois colonnettes avec deux biseaux, mais des moulures plus compliquées; cela était motivé par des raisons que nous n'avons pas à examiner ici (voy. MENEAU). La multiplicité de ces nerfs verticaux, les ombres qu'ils projetaient absorbaient le chapiteau dont la décoration simple ne pouvait lutter avec ces effets de lumière et d'ombre; il fallut orner davantage la corbeille du chapiteau; on ajouta au-dessous des crochets un rang de feuilles qui épousaient la forme de la corbeille à leur naissance et s'en détachaient à leur extrémité supérieure; puis bientôt ces feuilles elles-mêmes ne parurent pas prendre assez d'importance, et on les remplaça par une première rangée de crochets épanouis (1245 à 1250) (46 bis, A et B).

Le chapiteau du meneau, par le relief de son ornementation, put ainsi arrêter le regard préoccupé de la multiplicité des ombres verticales. C'est ainsi que peu à peu la sculpture devenait plus détaillée, plus compliquée, à mesure que les membres de l'architecture se subdivisaient; les maîtres, en restant esclaves d'un principe, perdaient de vue l'effet général. Une moulure de plus ajoutée à un arc, à des meneaux, les obligeait à changer l'échelle de tous les détails de la sculpture. Dans certaines provinces même, de 1235 à 1245, en Champagne et en Normandie, on ne considéra le chapiteau des meneaux que comme un simple ornement destiné à marquer le point de départ des courbes; on supprima quelquefois le tailloir qui présentait une saillie, un encorbellement, l'assiette d'un corps plus large que le fût de la colonnette; les crochets ou feuillages vinrent seuls arrêter l'extrémité des colonnettes des meneaux.

Voici un exemple de ce dernier parti, tiré des fenêtres supérieures de la nef de la cathédrale d'Évreux (1240 environ) (47). Afin de produire plus d'effet, ces chapiteaux sont peints à l'intérieur; la corbeille (si on peut donner ce nom à ce qui n'est que la continuation du fût de la colonnette) reste couleur de pierre, les feuilles supérieures sont vert-olive bordées de noir et doublées de pourpre sombre; celles inférieures sont blanches bordées, côtelées de noir et doublées aussi de pourpre; l'astragale est vermillon. En Champagne, les meneaux des fenêtres supérieures de la nef de la cathédrale de Châlons-sur-Marne (même date) ont aussi des chapiteaux sans tailloirs.

Comme nous l'avons dit déjà souvent, les maîtres voulaient sans cesse perfectionner, donner plus d'unité à l'architecture. Les tailloirs circulaires avaient, au milieu des aiguités voisines, un aspect mou, indécis qui ne pouvait les satisfaire; ils voulurent leur trouver des angles, mais ne pas cependant tomber dans le défaut reconnu au tailloir carré (voy. fig. 45). Ils adoptèrent fréquemment le parti dont nous donnons un exemple (48); c'est-à-dire qu'ils posèrent le tailloir en angle saillant sur la face, comme l'indique la section horizontale A, ayant le soin de ne pas faire déborder ce tailloir et les ornements de la corbeille en dehors de l'épannelage du meneau, pour éviter les déchets ou évidement de pierre sur toute sa longueur; précaution d'appareilleur qui n'avait pas toujours été prise par les architectes de la première moitié du XIIIe siècle. Cette position donnée au tailloir du chapiteau n'est pas seulement réservée aux colonnettes des meneaux, elle est encore adoptée, dès 1240 à 1245, pour les chapiteaux d'arcs doubleaux dont les membres de moulures, comme à la Sainte-Chapelle du Palais, par exemple, s'inscrivent dans un angle droit présentant son sommet à l'intrados.
Plus tard, vers la fin du XIIIe siècle et le commencement du XIVe, l'angle droit présentant son aiguité sur la face du tailloir du chapiteau des meneaux parut trop vif, trop saillant, trop important, donnant une ombre trop prononcée; en conservant le principe de l'angle sur la face, on traça le tailloir des chapiteaux de meneaux suivant un hexagone régulier.
Nous présentons (voy. 48 bis) un chapiteau des montants simples appartenant aux fenêtres des chapelles absidales de Notre-Dame de Paris; son tailloir, ainsi que l'indique la section horizontale A, est un hexagone. Le fût de la colonnette se prolonge jusque sous le bord supérieur de la corbeille, ce qui est encore un des caractères particuliers aux chapiteaux de la fin du XIIIe siècle; cette corbeille est décorée de bouquets de feuilles empruntées à la flore indigène, le crochet a disparu. Ces chapiteaux datent des premières années du XIVe siècle; ils sont peints à l'intérieur; la corbeille est rouge, les feuilles or, ainsi que le bord supérieur de la corbeille, l'astragale pourpre, la gorge du tailloir bleu verdâtre, son filet est pourpre et son tore doré.
C'est vers 1240 que les feuilles décoratives des chapiteaux s'épanouissent complétement, et qu'au lieu d'être copiées sur des plantes grasses, des herbacées, elles sont de préférence cueillies sur les arbres à haute tige, le chêne, l'érable, le poirier, le figuier, le hêtre, ou sur des plantes vivaces, comme le houx, le lierre, la vigne, l'églantier, le framboisier. L'imitation de la nature est déjà parfaite, recherchée même, ainsi que le fait voir un des chapiteaux de l'arcature de la Sainte-Chapelle haute de Paris (49).

On trouve encore, dans cet exemple, le crochet du commencement du XIIIe siècle; mais sa tête n'a plus rien du bourgeon, c'est un bouquet de feuilles; sur la corbeille déjà serpentent des tigettes; la feuille ne tient plus à l'architecture, elle est indépendante; c'est comme un ornement attaché autour de la corbeille. On comprendra tout le parti que des mains aussi habiles que celles des sculpteurs de cette époque pouvaient tirer de ce système de décoration; et, en effet, une quantité innombrable de ces chapiteaux du milieu du XIIIe siècle sont, comme exécution et comme composition gracieuse, des oeuvres charmantes. Les ensembles architectoniques perdent de leur grandeur cependant du jour où la sculpture commence à s'attacher plutôt à l'imitation de la nature qu'à satisfaire aux données générales de l'art. Les chapiteaux de cette époque deviennent déjà confus; mais la corbeille bien visible, bien galbée, et le tailloir encore largement profilé (dans l'Île de France surtout) soutiennent les membres supérieurs que les chapiteaux sont destinés à porter.
En Champagne, la décadence se fait sentir plus tôt; dès 1240, les tailloirs des chapiteaux deviennent d'une excessive maigreur; les bouquets de feuilles, plus nombreux, plus serrés, plus découpés, apportent une extrême confusion dans ces parties importantes de la décoration des édifices. À la fin du XIIIe siècle, le chapiteau n'existe déjà plus que comme ornement, il n'a plus de fonction utile; les piles se sont divisées en faisceaux de colonnettes en nombre égal, au moins, au nombre des arcs; la forme d'encorbellement donnée aux chapiteaux du commencement de ce siècle n'avait plus de raison d'être; ils perdent de leur saillie et de leur hauteur; sculptés désormais dans une seule assise, le tailloir compris, pour les colonnettes de diamètres différents, ils ne forment plus guère qu'une sorte de guirlande de feuillages à la naissance des arcs. La trace des crochets ou des bouquets se fait longtemps sentir cependant, mais ceux-ci sont tellement serrés, leurs intervalles si bien bourrés de feuillages et de tiges, qu'à peine si l'on soupçonne la corbeille. Non contents d'avoir apporté la confusion dans ces belles compositions du commencement du XIIIe siècle, les sculpteurs se plaisent à chiffonner leurs feuillages, à les contourner et à en exagérer le modelé. De cette recherche et de cet oubli de l'effet d'ensemble dans l'exécution des détails, il résulte une monotonie qui fatigue, et autant on aime à voir, à étudier ces larges et plantureux chapiteaux primitifs de l'ère ogivale, autant il faut de courage, nous dirons, pour chercher à démêler ces fouillis de feuillages dont les artistes de la fin du XIIIe siècle garnissent les corbeilles de leurs chapiteaux. Il faut cependant les connaître, car rien ne doit être négligé dans l'étude d'un art; on n'arrive à en comprendre les beautés qu'après en avoir signalé les défauts et les abus, lorsque ces défauts et ces abus ne sont que l'exagération d'un principe poussé aux dernières limites.
Nous ne fatiguerons pas nos lecteurs en multipliant les exemples; ce serait inutile d'ailleurs, car s'il y a, dans les détails des chapiteaux de la fin du XIIIe siècle et du commencement du XIVe, une grande variété, ils ont une uniformité d'aspect qui doit nous dispenser d'en donner un grand nombre de copies.
Il n'est pas possible d'admettre qu'à la fin du XIIe siècle et jusqu'à la moitié du XIIIe les architectes ne se soient préoccupés de la composition et de la décoration des chapiteaux. Ce membre de l'architecture tenait trop alors à la construction; il avait, au point de vue de la solidité et de la répartition des forces, une trop sérieuse importance, pour que l'architecte n'imposât pas, non-seulement sa forme générale, son galbe, mais encore la disposition de ses détails. L'architecte créait alors une architecture; tous les divers ouvriers qui concouraient à l'oeuvre n'étaient que des mains travaillant sous l'inspiration d'une intelligence qui savait seule à quel résultat devaient tendre ces efforts isolés. À la fin du XIIIe siècle, il n'en était plus ainsi; l'architecture était créée; le maître de l'oeuvre pouvait désormais se reposer sur les appareilleurs et les sculpteurs pour exécuter des conceptions qui ne sortaient jamais d'une loi fixe. Un sommier d'arcs donné exigeait une pile tracée d'une certaine manière, des chapiteaux de telle forme, l'assise portant ces chapiteaux était livrée au sculpteur, et celui-ci, trouvant les angles du tailloir et les astragales taillés qui indiquaient les sommiers des arcs et la section de la pile, n'avait rien à demander; il pouvait travailler à son oeuvre personnelle en toute assurance; il s'y complaisait, ne se préoccupait guère, au fond de son atelier, de la place assignée à ce bloc de pierre, et souvent sculptait des feuillages délicats autour de chapiteaux destinés à une grande hauteur, des ornements larges autour de ceux qui devaient être placés près de l'oeil. Ainsi l'excès de la méthode, le prévu en toute chose amenait la confusion dans l'exécution des détails.
Nous choisirons donc parmi les chapiteaux de cette période de l'art ogival ceux qui paraissent avoir été plus judicieusement sculptés pour la place qu'ils occupent et l'apparence de fonction qu'ils remplissent encore.

La fig. 50 donne un chapiteau du triforium de la cathédrale de Limoges (dernières années du XIIIe siècle). Ce chapiteau ne porte rien; il n'est qu'un ornement, car les profils de l'arcature posés sur les tailloirs sont exactement ceux de la pile. On voit avec quelle finesse sont rendus et exagérés même les moindres détails des feuilles; ici plus de crochets, mais toujours deux rangs de feuillages; quant à la corbeille, son bord est perdu sous la couronne supérieure. Il faut dire en passant que cette sculpture est exécutée dans du granit; ainsi, à cette époque, l'architecture adoptée est tellement impérieuse, faite, qu'elle ne tient plus compte de la nature des matériaux, même dans l'exécution des détails de la sculpture.

La fig. 51 présente un chapiteau de naissance d'arc ogive de la cathédrale de Carcassonne (commencement du XIVe siècle). La sculpture en est large relativement à celle de cette époque, convenable pour la place, à l'échelle du monument; on voit encore dans ce chapiteau une dernière intention de faire paraître la masse du crochet; mais le désir d'imiter la souplesse de la plante, le réalisme enfin, comme on dit aujourd'hui, domine l'artiste et lui fait perdre de vue l'effet monumental. À distance, ce chapiteau, malgré les qualités qui distinguent sa sculpture, ne produit que confusion, et c'est, parmi les bons, un des meilleurs.
À la fin du XIVe siècle, les chapiteaux prennent, dans les monuments, si peu d'importance, qu'à peine on les distingue. Alors toute ligne horizontale, toute sculpture qui arrêtait le regard et l'empêchait de suivre sans interruption les lignes verticales de l'architecture, gênaient évidemment les maîtres; pour dissimuler l'importance déjà si minime des chapiteaux, les architectes réduisent le tailloir à un filet ou un boudin très-fin masqué par la saillie des feuillages; si ce tailloir existe encore, on le soupçonne à peine; il n'est plus qu'un guide pour le sculpteur, une assiette, pour qu'en posant le sommier, on ne brise pas les sculptures.
Vers le milieu du XVe siècle, on supprime généralement le chapiteau, qui ne reparaît qu'au commencement de la renaissance, en cherchant à se rapprocher des formes antiques. Si, par exception, le chapiteau existe encore de 1400 à 1480, il est bas, décoré de feuillages très-découpés, de chardons, de ronces, de passiflores; son astragale est lourde, épaisse, et son tailloir maigre. Ce dernier chapiteau n'est plus réellement qu'une bague. Parfois aussi, dans les édifices du XVe siècle, on rencontre des chapiteaux à figures, mais qui sont plutôt des caricatures ou des représentations de fabliaux en vogue que des légendes sacrées.
Nous avons dit un mot des chapiteaux normands du XIIIe siècle, lorsque l'architecture de cette province cesse d'être une copie de l'architecture française du règne de Philippe-Auguste. Au moment où les architectes de l'Île de France, de la Champagne, de la Picardie et de la Bourgogne abandonnent le tailloir carré pour adopter les formes polygonales se pénétrant en raison de la disposition des arcs des voûtes, et afin d'éviter les angles saillants et les surfaces horizontales inutiles, les appareilleurs normands ne prennent pas tant de soin; ils évitent ces tracés compliqués et qui ne pouvaient être arrêtés que lorsque les lits des sommiers, et par conséquent la place, la forme et la direction des arcs, étaient connus; ils prennent un parti qui supprime les combinaisons géométriques rectilignes, et donnent, vers 1230, aux tailloirs des chapiteaux, la forme circulaire toutes les fois que la disposition des piles le leur permet, et surtout (cela va sans dire) lorsque ces piles sont monocylindriques. Les cathédrales de Coutances, de Bayeux, de Dol, du Mans, de Séez, l'église d'Eu nous donnent de nombreux exemples de ces chapiteaux à tailloirs en forme de disque. Ce qu'ils font pour les chapiteaux, ils le font également pour les bases (voy. BASE).

Voici (52) un chapiteau en deux assises d'une des piles de la nef de la cathédrale de Séez, construite vers cette époque (1230), et (53) un chapiteau d'une des colonnettes de l'arcature intérieure de la même église appartenant aux mêmes constructions. Déjà, dans le gros chapiteau, les feuilles sont sculptées d'une façon sèche et maniérée, qui est bien éloignée de la souplesse des ornements du même genre appartenant à l'Île de France ou à la Bourgogne. Il y a quelque chose d'uniforme dans le faire et la composition de cette sculpture, une grande pauvreté d'invention et le désir de produire de l'effet par la multiplicité des détails et la recherche de l'exécution. Ce défaut est plus sensible encore dans les édifices anglais de cette époque. Il faut dire aussi que les sommiers des arcs paraissent mal soutenus par ces tailloirs circulaires qui n'indiquent plus, comme les faces anguleuses du tailloir du chapiteau français, l'assiette de chacun des arcs, et leur direction. Dans le choeur de la cathédrale du Mans, on trouve cependant des chapiteaux à tailloirs circulaires dont les rangs de crochets sont fort beaux. Mais, au Mans, la sculpture n'est pas normande; elle tient plutôt à l'école des bords de la Loire et du pays chartrain.
Les exemples donnés plus haut sont pris sur des chapiteaux ayant pour fonction de porter des arcs de voûte. Les architectes du moyen âge n'employaient pas seulement la colonne pour soutenir des voûtes; ils s'en servaient aussi comme de supports destinés à soulager des poitraux de maisons, des maîtresses poutres de planchers. Dans ce cas, il était nécessaire que le chapiteau fût très-évasé ou très-saillant dans le sens de la portée, tandis que, dans l'autre sens, il n'était pas nécessaire qu'il prît une largeur plus forte que celle de la pièce de bois supportée. En d'autres termes, le chapiteau n'était plus qu'un double corbeau posé à l'extrémité de la colonne, comme on pose un chapeau avec ses liens à la tête d'un poteau en bois, lorsqu'il s'agit de soulager la portée d'une pièce de charpente horizontale.
Les habitations privées des XIIe, XIIIe, XIVe et XVe siècles nous ont conservé un grand nombre de ces sortes de chapiteaux corbeaux. Généralement ils sont dépourvus d'ornements; on en voit encore dans les maisons de Dol en Bretagne, au mont Saint-Michel-en-Mer, en Normandie et en Picardie, dans les contrées enfin où le bois entrait pour beaucoup dans la construction des habitations privées.

Voici (54) un de ces chapiteaux que nous avons pu dessiner, il y a déjà plusieurs années, dans une maison que l'on démolissait à Gallardon, près de Chartres; il datait des premières années du XIVe siècle. L'assise superposée était évidemment destinée à porter une seconde colonne en pierre à l'étage supérieur. Le chapiteau est si bien admis, dans l'architecture civile, comme un chapeau destiné à soulager les portées des poutres, que nous en trouvons dans la cour de l'Hôtel-Dieu de Beaune (XVe siècle), qui, reposant sur des fûts à huit pans, se divisent à la tête en trois corbeaux, pour recevoir les poitraux de façade et la poutre transversale supportant les solives du portique (55).

Il n'est pas nécessaire, nous le pensons, de multiplier des exemples basés sur un principe aussi vrai. Avec les progrès de la renaissance du XVIe siècle disparaissent ces combinaisons ingénieuses et raisonnées toujours, belles quelquefois. Les ordres antiques modulés d'une façon beaucoup plus rigoureuse que les anciens ne l'avaient fait, prennent possession de l'architecture vers la fin du XVIe siècle, après de longues luttes entre le bon sens des constructeurs et les formules de quelques théoriciens qui avaient pour eux tous les gens qui se piquaient de bon goût.
Les chapiteaux du commencement de la renaissance nous donnent encore un grand nombre de charmantes compositions, dans lesquelles l'élément antique ne fait pas disparaître l'originalité native; mais ces chapiteaux ne sont plus qu'une décoration; leur fonction, comme support, est supprimée; la plate-bande reparaît avec l'entablement, et le chapiteau, pendant le cours du XVIIe siècle, n'est plus qu'une copie abâtardie de la sculpture antique.
Note 381: (retour) Ce chapiteau est le seul de ce cloître qui soit conservé intact; il est déposé dans le musée de l'église, et reproduit dans la nouvelle construction du cloître.
Note 382: (retour) Notre gravure ne peut donner qu'une idée fort incomplète de ces magnifiques chapiteaux dont la sculpture grassement traitée, quoique modelée avec un soin extrême, présente une série variée de compositions du meilleur style.
Note 383: (retour) Si des faits ne paraissent pas une preuve suffisante en faveur de notre opinion, on peut consulter les Règlements d'Étienne Boileau; on y verra avec quelle sollicitude ils s'occupent de l'apprenti: s'ils obligent celui-ci à rester auprès de son patron, ils veulent que le patron lui donne un travail assuré. Un labeur constant entre les mains de jeunes gens devait naturellement amener des progrès rapides, et il était de l'intérêt du patron de l'encourager.
Note 384: (retour) Cette partie du choeur de l'église de Sémur en Auxois dut être construite de 1220 à 1230.
Note 385: (retour) Nous parlons des piliers de la partie la plus ancienne de la nef avoisinant les transsepts.
Note 386: (retour) Par exception, les quatre colonnes engagées dans les piliers portent chacune un chapiteau au même niveau, les colonnettes supérieures reposant sur le chapiteau de la colonne engagée du côté de la nef (voy. CATHÉDRALE, fig. 14, PILIER).
Note 387: (retour) On désigne par corbeille, dans le chapiteau, l'évasement qui sert de transition entre le fût et le tailloir, évasement autour duquel vient se grouper la sculpture.

(suite)
|
Arts (libéraux) Assemblage Assise Astragale Attributs |
Aubier Autel Auvent Avant-bec Axe |


FIN DE LA TABLE PROVISOIRE DU TOME DEUXIÈME.
End of the Project Gutenberg EBook of Dictionnaire raisonné de
l'architecture française du XIe au XVIe siècle (2/9), by Eugène-Emmanuel Viollet-Le-Duc
*** END OF THIS PROJECT GUTENBERG EBOOK DICTIONNAIRE ***
***** This file should be named 30782-h.htm or 30782-h.zip *****
This and all associated files of various formats will be found in:
http://www.gutenberg.org/3/0/7/8/30782/
Produced by Michel Laglasse, Rénald Lévesque and the Online
Distributed Proofreaders Europe at http://dp.rastko.net.
Updated editions will replace the previous one--the old editions
will be renamed.
Creating the works from public domain print editions means that no
one owns a United States copyright in these works, so the Foundation
(and you!) can copy and distribute it in the United States without
permission and without paying copyright royalties. Special rules,
set forth in the General Terms of Use part of this license, apply to
copying and distributing Project Gutenberg-tm electronic works to
protect the PROJECT GUTENBERG-tm concept and trademark. Project
Gutenberg is a registered trademark, and may not be used if you
charge for the eBooks, unless you receive specific permission. If you
do not charge anything for copies of this eBook, complying with the
rules is very easy. You may use this eBook for nearly any purpose
such as creation of derivative works, reports, performances and
research. They may be modified and printed and given away--you may do
practically ANYTHING with public domain eBooks. Redistribution is
subject to the trademark license, especially commercial
redistribution.
*** START: FULL LICENSE ***
THE FULL PROJECT GUTENBERG LICENSE
PLEASE READ THIS BEFORE YOU DISTRIBUTE OR USE THIS WORK
To protect the Project Gutenberg-tm mission of promoting the free
distribution of electronic works, by using or distributing this work
(or any other work associated in any way with the phrase "Project
Gutenberg"), you agree to comply with all the terms of the Full Project
Gutenberg-tm License (available with this file or online at
http://gutenberg.org/license).
Section 1. General Terms of Use and Redistributing Project Gutenberg-tm
electronic works
1.A. By reading or using any part of this Project Gutenberg-tm
electronic work, you indicate that you have read, understand, agree to
and accept all the terms of this license and intellectual property
(trademark/copyright) agreement. If you do not agree to abide by all
the terms of this agreement, you must cease using and return or destroy
all copies of Project Gutenberg-tm electronic works in your possession.
If you paid a fee for obtaining a copy of or access to a Project
Gutenberg-tm electronic work and you do not agree to be bound by the
terms of this agreement, you may obtain a refund from the person or
entity to whom you paid the fee as set forth in paragraph 1.E.8.
1.B. "Project Gutenberg" is a registered trademark. It may only be
used on or associated in any way with an electronic work by people who
agree to be bound by the terms of this agreement. There are a few
things that you can do with most Project Gutenberg-tm electronic works
even without complying with the full terms of this agreement. See
paragraph 1.C below. There are a lot of things you can do with Project
Gutenberg-tm electronic works if you follow the terms of this agreement
and help preserve free future access to Project Gutenberg-tm electronic
works. See paragraph 1.E below.
1.C. The Project Gutenberg Literary Archive Foundation ("the Foundation"
or PGLAF), owns a compilation copyright in the collection of Project
Gutenberg-tm electronic works. Nearly all the individual works in the
collection are in the public domain in the United States. If an
individual work is in the public domain in the United States and you are
located in the United States, we do not claim a right to prevent you from
copying, distributing, performing, displaying or creating derivative
works based on the work as long as all references to Project Gutenberg
are removed. Of course, we hope that you will support the Project
Gutenberg-tm mission of promoting free access to electronic works by
freely sharing Project Gutenberg-tm works in compliance with the terms of
this agreement for keeping the Project Gutenberg-tm name associated with
the work. You can easily comply with the terms of this agreement by
keeping this work in the same format with its attached full Project
Gutenberg-tm License when you share it without charge with others.
1.D. The copyright laws of the place where you are located also govern
what you can do with this work. Copyright laws in most countries are in
a constant state of change. If you are outside the United States, check
the laws of your country in addition to the terms of this agreement
before downloading, copying, displaying, performing, distributing or
creating derivative works based on this work or any other Project
Gutenberg-tm work. The Foundation makes no representations concerning
the copyright status of any work in any country outside the United
States.
1.E. Unless you have removed all references to Project Gutenberg:
1.E.1. The following sentence, with active links to, or other immediate
access to, the full Project Gutenberg-tm License must appear prominently
whenever any copy of a Project Gutenberg-tm work (any work on which the
phrase "Project Gutenberg" appears, or with which the phrase "Project
Gutenberg" is associated) is accessed, displayed, performed, viewed,
copied or distributed:
This eBook is for the use of anyone anywhere at no cost and with
almost no restrictions whatsoever. You may copy it, give it away or
re-use it under the terms of the Project Gutenberg License included
with this eBook or online at www.gutenberg.org
1.E.2. If an individual Project Gutenberg-tm electronic work is derived
from the public domain (does not contain a notice indicating that it is
posted with permission of the copyright holder), the work can be copied
and distributed to anyone in the United States without paying any fees
or charges. If you are redistributing or providing access to a work
with the phrase "Project Gutenberg" associated with or appearing on the
work, you must comply either with the requirements of paragraphs 1.E.1
through 1.E.7 or obtain permission for the use of the work and the
Project Gutenberg-tm trademark as set forth in paragraphs 1.E.8 or
1.E.9.
1.E.3. If an individual Project Gutenberg-tm electronic work is posted
with the permission of the copyright holder, your use and distribution
must comply with both paragraphs 1.E.1 through 1.E.7 and any additional
terms imposed by the copyright holder. Additional terms will be linked
to the Project Gutenberg-tm License for all works posted with the
permission of the copyright holder found at the beginning of this work.
1.E.4. Do not unlink or detach or remove the full Project Gutenberg-tm
License terms from this work, or any files containing a part of this
work or any other work associated with Project Gutenberg-tm.
1.E.5. Do not copy, display, perform, distribute or redistribute this
electronic work, or any part of this electronic work, without
prominently displaying the sentence set forth in paragraph 1.E.1 with
active links or immediate access to the full terms of the Project
Gutenberg-tm License.
1.E.6. You may convert to and distribute this work in any binary,
compressed, marked up, nonproprietary or proprietary form, including any
word processing or hypertext form. However, if you provide access to or
distribute copies of a Project Gutenberg-tm work in a format other than
"Plain Vanilla ASCII" or other format used in the official version
posted on the official Project Gutenberg-tm web site (www.gutenberg.org),
you must, at no additional cost, fee or expense to the user, provide a
copy, a means of exporting a copy, or a means of obtaining a copy upon
request, of the work in its original "Plain Vanilla ASCII" or other
form. Any alternate format must include the full Project Gutenberg-tm
License as specified in paragraph 1.E.1.
1.E.7. Do not charge a fee for access to, viewing, displaying,
performing, copying or distributing any Project Gutenberg-tm works
unless you comply with paragraph 1.E.8 or 1.E.9.
1.E.8. You may charge a reasonable fee for copies of or providing
access to or distributing Project Gutenberg-tm electronic works provided
that
- You pay a royalty fee of 20% of the gross profits you derive from
the use of Project Gutenberg-tm works calculated using the method
you already use to calculate your applicable taxes. The fee is
owed to the owner of the Project Gutenberg-tm trademark, but he
has agreed to donate royalties under this paragraph to the
Project Gutenberg Literary Archive Foundation. Royalty payments
must be paid within 60 days following each date on which you
prepare (or are legally required to prepare) your periodic tax
returns. Royalty payments should be clearly marked as such and
sent to the Project Gutenberg Literary Archive Foundation at the
address specified in Section 4, "Information about donations to
the Project Gutenberg Literary Archive Foundation."
- You provide a full refund of any money paid by a user who notifies
you in writing (or by e-mail) within 30 days of receipt that s/he
does not agree to the terms of the full Project Gutenberg-tm
License. You must require such a user to return or
destroy all copies of the works possessed in a physical medium
and discontinue all use of and all access to other copies of
Project Gutenberg-tm works.
- You provide, in accordance with paragraph 1.F.3, a full refund of any
money paid for a work or a replacement copy, if a defect in the
electronic work is discovered and reported to you within 90 days
of receipt of the work.
- You comply with all other terms of this agreement for free
distribution of Project Gutenberg-tm works.
1.E.9. If you wish to charge a fee or distribute a Project Gutenberg-tm
electronic work or group of works on different terms than are set
forth in this agreement, you must obtain permission in writing from
both the Project Gutenberg Literary Archive Foundation and Michael
Hart, the owner of the Project Gutenberg-tm trademark. Contact the
Foundation as set forth in Section 3 below.
1.F.
1.F.1. Project Gutenberg volunteers and employees expend considerable
effort to identify, do copyright research on, transcribe and proofread
public domain works in creating the Project Gutenberg-tm
collection. Despite these efforts, Project Gutenberg-tm electronic
works, and the medium on which they may be stored, may contain
"Defects," such as, but not limited to, incomplete, inaccurate or
corrupt data, transcription errors, a copyright or other intellectual
property infringement, a defective or damaged disk or other medium, a
computer virus, or computer codes that damage or cannot be read by
your equipment.
1.F.2. LIMITED WARRANTY, DISCLAIMER OF DAMAGES - Except for the "Right
of Replacement or Refund" described in paragraph 1.F.3, the Project
Gutenberg Literary Archive Foundation, the owner of the Project
Gutenberg-tm trademark, and any other party distributing a Project
Gutenberg-tm electronic work under this agreement, disclaim all
liability to you for damages, costs and expenses, including legal
fees. YOU AGREE THAT YOU HAVE NO REMEDIES FOR NEGLIGENCE, STRICT
LIABILITY, BREACH OF WARRANTY OR BREACH OF CONTRACT EXCEPT THOSE
PROVIDED IN PARAGRAPH F3. YOU AGREE THAT THE FOUNDATION, THE
TRADEMARK OWNER, AND ANY DISTRIBUTOR UNDER THIS AGREEMENT WILL NOT BE
LIABLE TO YOU FOR ACTUAL, DIRECT, INDIRECT, CONSEQUENTIAL, PUNITIVE OR
INCIDENTAL DAMAGES EVEN IF YOU GIVE NOTICE OF THE POSSIBILITY OF SUCH
DAMAGE.
1.F.3. LIMITED RIGHT OF REPLACEMENT OR REFUND - If you discover a
defect in this electronic work within 90 days of receiving it, you can
receive a refund of the money (if any) you paid for it by sending a
written explanation to the person you received the work from. If you
received the work on a physical medium, you must return the medium with
your written explanation. The person or entity that provided you with
the defective work may elect to provide a replacement copy in lieu of a
refund. If you received the work electronically, the person or entity
providing it to you may choose to give you a second opportunity to
receive the work electronically in lieu of a refund. If the second copy
is also defective, you may demand a refund in writing without further
opportunities to fix the problem.
1.F.4. Except for the limited right of replacement or refund set forth
in paragraph 1.F.3, this work is provided to you 'AS-IS' WITH NO OTHER
WARRANTIES OF ANY KIND, EXPRESS OR IMPLIED, INCLUDING BUT NOT LIMITED TO
WARRANTIES OF MERCHANTIBILITY OR FITNESS FOR ANY PURPOSE.
1.F.5. Some states do not allow disclaimers of certain implied
warranties or the exclusion or limitation of certain types of damages.
If any disclaimer or limitation set forth in this agreement violates the
law of the state applicable to this agreement, the agreement shall be
interpreted to make the maximum disclaimer or limitation permitted by
the applicable state law. The invalidity or unenforceability of any
provision of this agreement shall not void the remaining provisions.
1.F.6. INDEMNITY - You agree to indemnify and hold the Foundation, the
trademark owner, any agent or employee of the Foundation, anyone
providing copies of Project Gutenberg-tm electronic works in accordance
with this agreement, and any volunteers associated with the production,
promotion and distribution of Project Gutenberg-tm electronic works,
harmless from all liability, costs and expenses, including legal fees,
that arise directly or indirectly from any of the following which you do
or cause to occur: (a) distribution of this or any Project Gutenberg-tm
work, (b) alteration, modification, or additions or deletions to any
Project Gutenberg-tm work, and (c) any Defect you cause.
Section 2. Information about the Mission of Project Gutenberg-tm
Project Gutenberg-tm is synonymous with the free distribution of
electronic works in formats readable by the widest variety of computers
including obsolete, old, middle-aged and new computers. It exists
because of the efforts of hundreds of volunteers and donations from
people in all walks of life.
Volunteers and financial support to provide volunteers with the
assistance they need, are critical to reaching Project Gutenberg-tm's
goals and ensuring that the Project Gutenberg-tm collection will
remain freely available for generations to come. In 2001, the Project
Gutenberg Literary Archive Foundation was created to provide a secure
and permanent future for Project Gutenberg-tm and future generations.
To learn more about the Project Gutenberg Literary Archive Foundation
and how your efforts and donations can help, see Sections 3 and 4
and the Foundation web page at http://www.pglaf.org.
Section 3. Information about the Project Gutenberg Literary Archive
Foundation
The Project Gutenberg Literary Archive Foundation is a non profit
501(c)(3) educational corporation organized under the laws of the
state of Mississippi and granted tax exempt status by the Internal
Revenue Service. The Foundation's EIN or federal tax identification
number is 64-6221541. Its 501(c)(3) letter is posted at
http://pglaf.org/fundraising. Contributions to the Project Gutenberg
Literary Archive Foundation are tax deductible to the full extent
permitted by U.S. federal laws and your state's laws.
The Foundation's principal office is located at 4557 Melan Dr. S.
Fairbanks, AK, 99712., but its volunteers and employees are scattered
throughout numerous locations. Its business office is located at
809 North 1500 West, Salt Lake City, UT 84116, (801) 596-1887, email
business@pglaf.org. Email contact links and up to date contact
information can be found at the Foundation's web site and official
page at http://pglaf.org
For additional contact information:
Dr. Gregory B. Newby
Chief Executive and Director
gbnewby@pglaf.org
Section 4. Information about Donations to the Project Gutenberg
Literary Archive Foundation
Project Gutenberg-tm depends upon and cannot survive without wide
spread public support and donations to carry out its mission of
increasing the number of public domain and licensed works that can be
freely distributed in machine readable form accessible by the widest
array of equipment including outdated equipment. Many small donations
($1 to $5,000) are particularly important to maintaining tax exempt
status with the IRS.
The Foundation is committed to complying with the laws regulating
charities and charitable donations in all 50 states of the United
States. Compliance requirements are not uniform and it takes a
considerable effort, much paperwork and many fees to meet and keep up
with these requirements. We do not solicit donations in locations
where we have not received written confirmation of compliance. To
SEND DONATIONS or determine the status of compliance for any
particular state visit http://pglaf.org
While we cannot and do not solicit contributions from states where we
have not met the solicitation requirements, we know of no prohibition
against accepting unsolicited donations from donors in such states who
approach us with offers to donate.
International donations are gratefully accepted, but we cannot make
any statements concerning tax treatment of donations received from
outside the United States. U.S. laws alone swamp our small staff.
Please check the Project Gutenberg Web pages for current donation
methods and addresses. Donations are accepted in a number of other
ways including checks, online payments and credit card donations.
To donate, please visit: http://pglaf.org/donate
Section 5. General Information About Project Gutenberg-tm electronic
works.
Professor Michael S. Hart is the originator of the Project Gutenberg-tm
concept of a library of electronic works that could be freely shared
with anyone. For thirty years, he produced and distributed Project
Gutenberg-tm eBooks with only a loose network of volunteer support.
Project Gutenberg-tm eBooks are often created from several printed
editions, all of which are confirmed as Public Domain in the U.S.
unless a copyright notice is included. Thus, we do not necessarily
keep eBooks in compliance with any particular paper edition.
Most people start at our Web site which has the main PG search facility:
http://www.gutenberg.org
This Web site includes information about Project Gutenberg-tm,
including how to make donations to the Project Gutenberg Literary
Archive Foundation, how to help produce our new eBooks, and how to
subscribe to our email newsletter to hear about new eBooks.