The Project Gutenberg EBook of The Garden, You, and I, by Mabel Osgood Wright This eBook is for the use of anyone anywhere at no cost and with almost no restrictions whatsoever. You may copy it, give it away or re-use it under the terms of the Project Gutenberg License included with this eBook or online at www.gutenberg.org Title: The Garden, You, and I Author: Mabel Osgood Wright Release Date: January 14, 2006 [EBook #17514] Language: English Character set encoding: ISO-8859-1 *** START OF THIS PROJECT GUTENBERG EBOOK THE GARDEN, YOU, AND I *** Produced by Janet Blenkinship and the Online Distributed Proofreading Team at http://www.pgdp.net

New York
THE MACMILLAN COMPANY
LONDON: MACMILLAN & CO., Ltd.
1906
All rights reserved
Copyright, 1906,
By THE MACMILLAN COMPANY.
Set up and electrotyped. Published June, 1906.
Norwood Press
J.S. Cushing & Co.—Berwick & Smith Co.
Norwood, Mass., U.S.A.
This book is for those who in treading the garden path have no thought of material gain; rather must they give,—from the pocket as they may,—from the brain much,—and from the heart all,—if they would drink in full measure this pure joy of living.
"Allons! the road is before us!
It is safe—I have tried it—my own feet
have tried it well—be not detained."
Walt Whitman.
| CONTENTS | ||
|---|---|---|
| CHAPTER | PAGE | |
| I. | The Ways of the Wind | 1 |
| II. | The Book of the Garden, You, and I | 7 |
| III. | Concerning Hardy Plants | 29 |
| IV. | Their Garden Vacation | 48 |
| V. | Annuals—Worthy and Unworthy | 70 |
| VI. | Their Fortunate Escape | 92 |
| VII. | A Simple Rose Garden | 117 |
| VIII. | A Midnight Adventure | 155 |
| IX. | Ferns, Fences, and White Birches | 183 |
| X. | Frankness—Gardening and Otherwise | 202 |
| List of Flower Combinations for the Table | ||
| from Barbara's Garden Boke | 230 | |
| XI. | A Seaside Garden | 233 |
| XII. | The Transplanting of Evergreens | 246 |
| XIII. | Lilies and their Whims | 262 |
| XIV. | Fragrant Flowers and Leaves | 281 |
| XV. | The Pink Family Outdoors | 305 |
| XVI. | The Frame of the Picture | 320 |
| XVII. | The Ins and Outs of the Matter | 336 |
| XVIII. | The Value of White Flowers | 352 |
| XIX. | Pandora's Chest | 365 |
| XX. | Epilogue | 374 |
| APPENDIX | ||
|---|---|---|
| For the Hardy Seed Bed | 375 | |
| Some Worthy Annuals | 387 | |
| A Seaside Garden (see p. 243) | Frontispiece |
| "The magnolias below at the road-bend" | 8 |
| English Larkspur Seven Feet High | 32 |
| Fraxinella—German Iris and Candy-tuft | 44 |
| Longfellow's Garden | 81 |
| The Summer Garden—Verbenas | 86 |
| Asters | 90 |
| The Pictorial Value of Evergreens | 102 |
| "My roses are scattered here, there, and everywhere" | 119 |
| Madame Plantier at Van Cortland Manor | 128 |
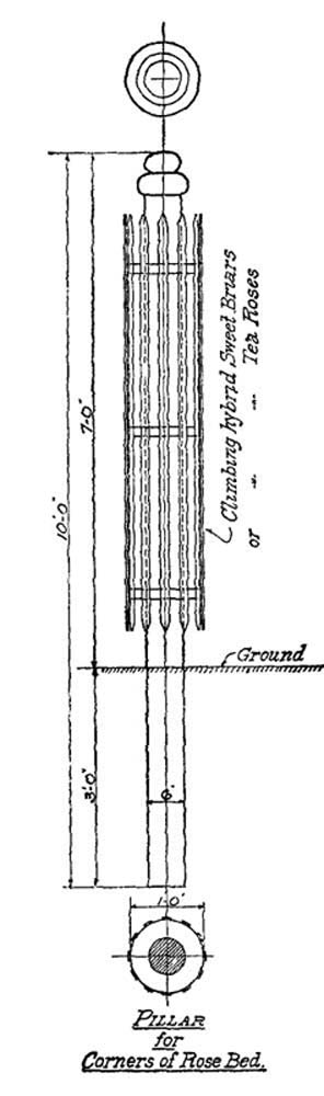
| A Convenient Rose-bed | 138 |
| "The last of the old orchard" | 156 |
| The Screen of White Birches | 166 |
| "An endless shelter for every sort of wild thing" | 184 |
| Speciosum Lilies in the Shade | 270 |
| The Poet's Narcissus | 278 |
| A Bed of Japan Pinks | 296 |
| Single and Double Pinks | 314 |
| "The silver maple by the lane gate" | 326 |
| "A curtain to the side porch" | 328 |
| An Iris Hedge | 358 |
| Daphne Cneorum | 360 |
| A Terrible Example | 362 |
| "The low snow-covered meadow" | 372 |
| "Punch ... has a cache under the syringa bushes" | 374 |
"Out of the veins of the world comes the blood of me;
The heart that beats in my side is the heart of the sea;
The hills have known me of old, and they do not forget;
Long ago was I friends with the wind; I am friends with it yet."
—Gerald Gould."
Whenever a piece of the land is to be set apart for a garden, two mighty rulers must be consulted as to the boundaries. When this earth child is born and flower garnished for the christening, the same two must be also bidden as sponsors. These rulers are the Sun and the Wind. The sun, if the matter in hand is once fairly spread before him and put in his charge, is a faithful guardian, meeting frankness frankly and sending his penetrating and vitalizing messengers through well-nigh inviolable shade. But of the wind, who shall answer for it or trust it? Do we really ever learn all of its vagaries and impossible possibilities?
If frankness best suits the sun, diplomacy must be [Pg 2]our shield of defence windward, for the wind is not one but a composite of many moods, and to lure one on, and skilfully but not insultingly bar out another, is our portion. To shut out the wind of summer, the bearer of vitality, the uplifter of stifling vapours, the disperser of moulds, would indeed be an error; therefore, the great art of the planters of a garden is to learn the ways of the wind and to make friends with it. If the soil is sodden and sour, it may be drained and sweetened; if it is poor, it may be nourished; but when all this is done, if the garden lies where the winds of winter and spring in passing swiftly to and fro whet their steel-edged tempers upon it, what avails?
What does it matter if violet or pansy frames are set in a sunny nook, if it be one of the wind's winter playgrounds, where he drifts the snow deep for his pastime, so that after each storm of snow or sleet a serious bit of engineering must be undergone before the sashes can be lifted and the plants saved from dampness; or if the daffodils and tulips lie well bedded all the winter through, if, when the sun has called them forth, the winds of March blight their sap-tender foliage? Yet the lands that send the north winds also send us the means to deter them—the cold-loving evergreens, low growing, high growing, medium, woven dense in warp [Pg 3]and woof, to be windbreaks, also the shrubs of tough, twisted fibre and stubborn thorns lying close to the earth for windbuffers.
Therefore, before the planting of rose or hardy herbs, bulbs or tenderer flowers, go out, compass in hand, face the four quarters of heaven, and, considering well, set your windbreaks of sweeping hemlocks, pines, spruces, not in fortress-like walls barring all the horizon, but in alternate groups that flank, without appearing to do so heavily, the north and northwest. Even a barberry hedge on two sides of a garden, wedge point to north, like the wild-goose squadrons of springtime, will make that spot an oasis in the winter valley of death.
A wise gardener it is who thinks of the winter in springtime and plants for it as surely as he thinks of spring in the winter season and longs for it! If, in the many ways by which the affairs of daily life are re-enforced, the saying is true that "forethought is coin in the pocket, quiet in the brain, and content in the heart," doubly does it apply to the pleasures of living, of which the outdoor life of working side by side with nature, called gardening, is one of the chief. When a garden is inherited, the traditions of the soil or reverence for those who planned and toiled in it may make one blind to [Pg 4]certain defects in its conception, and beginning with a priori set by another one does as one can.
But in those choosing site, and breaking soil for themselves, inconsistency is inexcusable. Follow the lay of the land and let it lead. Nature does not attempt placid lowland pictures on a steep hillside, nor dramatic landscape effects in a horizonless meadow, therefore why should you? For one great garden principle you will learn from nature's close companionship—consistency!
You who have a bit of abrupt hillside of impoverished soil, yet where the sky-line is divided in a picture of many panels by the trees, you should not try to perch thereon a prim Dutch garden of formal lines; neither should you, to whom a portion of fertile level plain has fallen, seek to make it picturesque by a tortuous maze of walks, curving about nothing in particular and leading nowhere, for of such is not nature. Either situation will develop the skill, though in different directions, and do not forget that in spite of better soil it takes greater individuality to make a truly good and harmonious garden on the flat than on the rolling ground.
I always tremble for the lowlander who, down in the depth of his nature, has a prenatal hankering for rocks, [Pg 5]because he is apt to build an undigested rockery! These sort of rockeries are wholly separate from the rock gardens, often majestic, that nowadays supplement a bit of natural rocky woodland, bringing it within the garden pale. The awful rockery of the flat garden is like unto a nest of prehistoric eggs that have been turned to stone, from the interstices of which a few wan vines and ferns protrude somewhat, suggesting the garnishing for an omelet.
Also, if you follow Nature and study her devices, you will alone learn the ways of the winds and how to prepare for them. Where does Spring set her first flag of truce—out in the windswept open?
No! the arbutus and hepatica lie bedded not alone in the fallen leaves of the forest but amid their own enduring foliage. The skunk cabbage raises his hooded head first in sheltered hollows. The marsh marigold lies in the protection of bog tussocks and stream banks. The first bloodroot is always found at the foot of some natural windbreak, while the shad-bush, that ventures farther afield and higher in air than any, is usually set in a protecting hedge, like his golden forerunner the spice-bush.
If Nature looks to the ways of the wind when she plants, why should not we? A bed of the hardiest [Pg 6]roses set on a hill crest is a folly. Much more likely would they be to thrive wholly on the north side of it. A garden set in a cut between hills that form a natural blowpipe can at best do no more than hold its own, without advancing.
But there are some things that belong to the never-never land and may not be done here. You may plant roses and carnations in the shade or in dry sea sand, but they will not thrive; you cannot keep upland lilies cheerful with their feet in wet clay; you cannot have a garden all the year in our northern latitudes, for nature does not; and you cannot afford to ignore the ways of the wind, for according as it is kind or cruel does it mean garden life or death!
"Men, they say, know many things;
But lo, they have taken wings,—
The arts and sciences,
And a thousand appliances;
The wind that blows
Is all that anybody knows."
—Thoreau."
April 30. Gray dawn, into which father and Evan vanished with their fishing rods; then sunrise, curtained by a slant of rain, during which the birds sang on with undamped ardour, a catbird making his début for the season as soloist.
It must not be thought that I was up and out at dawn. At twenty I did so frequently, at thirty sometimes, now at thirty-five I can do it perfectly well, if necessary, otherwise, save at the change of seasons, to keep in touch with earth and sky, I raise myself comfortably, elbow on pillow, and through the window scan garden, wild walk, and the old orchard at leisure, and then let my arm slip and the impression deepen through the magic of one more chance for dreams.
9 o'clock. The warm throb of spring in the earth, rising in a potent mist, sap pervaded and tangible, having a clinging, unctuous softness like the touch of unfolding beech leaves, lured me out to finish the transplanting of the pansies among the hardy roses, while the first brown thrasher, high in the bare top of an ash, [Pg 8]eyes fixed on the sky, proclaimed with many turns and changes the exact spot where he did not intend to locate his nest. This is an early spring, of a truth.
Presently pale sunbeams thread the mist, gathering colour as they filter through the pollen-meshed catkins of the black birches; an oriole bugling in the Yulan magnolias below at the road-bend, fire amid snow; a high-hole laughing his courtship in the old orchard.
Then Lavinia Cortright coming up to exchange Dahlia bulbs and discuss annuals and aster bugs. She and Martin browse about the country, visiting from door to door like veritable natives, while their garden, at first so prim and genteel, like one of Lavinia's own frocks, has broken bounds and taken on brocade, embroidery, and all sorts of lace frills, overflowed the south meadow, and only pauses at the stile in the wall of our old crab-apple orchard, rivalling in beauty and refined attraction any garden at the Bluffs. Martin's purse is fuller than of yore, owing to the rise in Whirlpool real estate, and nothing is too good for Lavinia's garden. Even more, he has of late let the dust rest peacefully on human genealogy and is collecting quaint garden books and herbals, flower catalogues and lists, with the solemn intent of writing a book on Historic Flowers. At least so he declares; but when Lavinia is [Pg 9]in the garden, there too is Martin. To-day, however, he joined my men before noon at the lower brook. Fancy a house-reared man a convert to fishing when past threescore! Evan insists that it is because, being above all things consistent, he wishes to appear at home in the company of father's cherished collection of Walton's and other fishing books. Father says, "Nonsense! no man can help liking to fish!"

Toward evening came home a creel lined with bog moss; within, a rainbow glimmer of brook trout, a posy of shad-bush, marsh marigolds, anemones, and rosy spring beauties from the river woods,—with three cheerfully tired men, who gathered by the den hearth fire with coffee cup and pipe, inside an admiring but sleepy circle of beagle hounds, who had run free the livelong day and who could doubtless impart the latest rabbit news with thrilling detail. All this and much more made up to-day, one of red letters.
Yesterday, Monday, was quite different, and if not absolutely black, was decidedly slate coloured. It is only when some one of the household is positively ill that the record must be set down in black characters, for what else really counts? Why is it that the city folk persist in judging all rural days alike, that is until they have once really lived in the country, not merely boarded [Pg 10]and tried to kill time and their own digestions at one and the same moment.
Such exceptional days as yesterday should only be chronicled now and then to give an added halo to happy to-morrows,—disagreeables are remembered quite long enough by perverse human nature.
Yesterday began with the pipe from the water-back bursting, thereby doing away with hot water for shaving and the range fire at the same time. The coffee resented hurry, and the contact with an oil stove developed the peanutty side of its disposition, something that is latent in the best and most equable of brands.
The spring timetable having changed at midnight Sunday, unobserved by Evan, he missed the early train, which it was especially important that he should take. Three other men found themselves in the same predicament, two being Bluffers and one a Plotter. (These are the names given hereabout to our two colonies of non-natives. The Bluffers are the people of the Bluffs, who always drive to the station; the Plotters, living on a pretty tract of land near the village that was "plotted" into house-lots a few years ago, have the usual newcomer's hallucination about making money from raising chickens, and always walk.)
After a hasty consultation, one of the Bluffers tele[Pg 11]phoned for his automobile and invited the others to make the trip to town with him. In order to reach the north turnpike that runs fairly straight to the city, the chauffeur, a novice in local byways, proposed to take a short cut through our wood road, instead of wheeling into the pike below Wakeleigh.
This wood road holds the frost very late, in spite of an innocent appearance to the contrary; this fact Evan stated tersely. Would a chauffeur of the Bluffs listen to advice from a man living halfway down the hill, who not only was autoless but frequently walked to the station, and therefore to be classed with the Plotters? Certainly not; while at the same moment the owner of the car decided the matter by pulling out his watch and murmuring to his neighbour something about an important committee meeting, and it being the one day in the month when time meant money!
Into the road they plunged, and after several hair-breadth lurches, for the cut is deep and in places the rocks parallel with the roadway, the turnpike was visible; then a sudden jolt, a sort of groan from the motor, and it ceased to breathe, the heavy wheels having settled in a treacherous spot not wholly free from frost, its great stomach, or whatever they call the part that holds its insides, wallowed hopelessly in the mud!
The gentlemen from the Bluffs deciding that, after all, there was no real need of going to town, as they had only moved into the country the week previous, and the auto owner challenged to a game of billiards by his friend, they returned home, while the Plotter and Evan walked back two miles to the depot and caught the third train!
At home things still sizzled. Father had an important consultation at the hospital at ten; ringing the stable call for the horses, he found that Tim, evidently forgetting the hour, had taken them, Evan's also being of the trio, to the shoer half an hour before. There was a moment's consternation and Bertel left the digging over of my hardy beds to speed down to the village on his bicycle, and when the stanhope finally came up, father was as nearly irritable as I have ever seen him, while Tim Saunders's eyes looked extra small and pointed. Evidently Bertel had said things on his own account.
Was an explosion coming at last to end twelve years of out-of-door peace, also involving my neighbour and domestic standby, Martha Corkle Saunders?
No; the two elderly men glanced at each other; there was nothing of the domineering or resentful attitude that so often renders difficult the relation of master and man—"I must be getting old and forgetful," quoth father, stepping into the gig.
"Nae, it's mair like I'm growin' deef in the nigh ear," said Tim, and without further argument they drove away.
I was still pondering upon the real inwardness of the matter, when the boys came home to luncheon. Two hungry, happy boys are a tonic at any time, and for a time I buttered bread—though alack, the real necessity for so doing has long since passed—when, on explaining father's absence from the meal, Ian said abruptly, "Jinks! grandpa's gone the day before! he told Tim Tuesday at 'leven, I heard him!"
But, as it chanced, it was a slip of tongue, not memory, and I blessed Timothy Saunders for his Scotch forbearance, which Evan insists upon calling prudence.
My own time of trial came in the early afternoon. During the more than ten years that I have been a gardener on my own account, I have naturally tried many experiments and have gradually come to the conclusion that it is a mistake to grow too many species of flowers,—better to have more of a kind and thus avoid spinkiness. The pink family in general is one of those that has stood the test, and this year a cousin of Evan's sent me over a quantity of Margaret carnation seed from prize stock, together with that of some exhibition single Dahlias.
Late in February I sowed the seed in two of the most protected hotbeds, muffled them in mats and old carpets every night, almost turned myself into a patent ventilator in order to give the carnations enough air during that critical teething period of pinks, when the first grasslike leaves emerge from the oval seed leaves and the little plants are apt to weaken at the ground level, damp off, and disappear, thinned them out with the greatest care, and had (day before yesterday) full five hundred lusty little plants, ready to go out into the deeply dug cool bed and there wax strong according to the need of pinks before summer heat gains the upper hand.
The Dahlias had also thriven, but then they are less particular, and if they live well will put up with more snubs than will a carnation.
Weather and Bertel being propitious, I prepared to plant out my pets, though of course they must be sheltered of nights for another half month. As I was about to remove one of the props that held the sash aloft, to let in air to the Dahlias, and still constitute it a windbreak, I heard a violent whistling in our grass road north of the barn that divides the home acres from the upper pastures and Martha's chicken farm. At first I thought but little of it, as many people use it as a [Pg 15]short cut from the back road from the Bluffs down to the village. Soon a shout came from the same direction, and going toward the wall, I saw Mr. Vandeveer struggling along, his great St. Bernard Jupiter, prize winner in a recent show and but lately released from winter confinement, bounding around and over him to such an extent that the spruce New Yorker, who had the reputation of always being on dress parade from the moment that he left bed until he returned to it in hand-embroidered pink silk pajamas, was not only covered with abundant April mud, but could hardly keep his footing.
At the moment I spied the pair, a great brindled cat, who sometimes ventures on the place, in spite of all the attentions paid her by the beagles, and who had been watching sparrows in the barnyard, sprang to the wall. Zip! There was a rush, a snarl, a hiss, and a smash! Dog and what had been cat crashed through the sash of my Dahlia frame, and in the rebound ploughed into the soft earth that held the carnations.
The next minute Mr. Vandeveer absolutely leaped over the wall, and seeing the dog, apparently in the midst of the broken glass, turned almost apoplectic, shouting, "Ah, his legs will be cut; he'll be ruined, and Julie will never forgive me! He's her best dog and cost $3000 spot cash! Get him out, somebody, why don't you?[Pg 16] What business have people to put such dangerous skylights near a public road?"
Meanwhile, as wrath arose in my throat and formed ugly words, Jupiter, a great friend of ours, who has had more comfortable meals in our kitchen during the winter than the careless kennel men would have wished to be known, sprang toward me with well-meant, if rough, caresses,—evidently the few scratches he had amounted to nothing. I forgave him the cat cheerfully, but my poor carnations! They do not belong to the grovelling tribe of herbs that bend and refuse to break like portulaca, chickweed, and pusley the accursed. Fortunately, just then, a scene of the past year, which had come to me by report, floated across my vision. Our young hounds, Bob and Pete, in the heat of undisciplined rat-catching (for these dogs when young and unbroken will chase anything that runs), completely undermined the Vandeveers' mushroom bed, the door of the pit having been left open!
When Mr. Vandeveer recovered himself, he began profuse apologies. Would "send the glazier down immediately"—"so sorry to spoil such lovely young onions and spinach!"
"What! not early vegetables, but flowers?" Oh, then he should not feel so badly. Really, he had quite for[Pg 17]gotten himself, but the truth was Julie thought more of her dogs and horses than even of himself, he sometimes thought,—almost, but not quite; "ha! ha! really, don't you know!" While, judging by the comparative behaviour of dog and man, the balance was decidedly in favour of Jupiter. But you see I never like men who dress like ladies, I had lost my young plants, and I love dogs from mongrel all up the ladder (lap dogs excepted), so I may be prejudiced.
After Bertel had carefully removed the splintered glass from the earth, so that I could take account of my damaged stock, about half seemed to be redeemable; but even those poor seedlings looked like soldiers after battle, a limb gone here and an eye missing there.
At supper father, Evan, and I were silent and ceremoniously polite, neither referring to the day's disasters, and I could see that the boys were regarding us with open-eyed wonder. When the meal was almost finished, the bell of the front door rang and Effie returned, bearing a large, ornamental basket, almost of the proportions of a hamper, with a card fastened conspicuously to the handle, upon which was printed "With apologies from Jupiter!" Inside was a daintily arranged assortment of hothouse vegetables,—cucumbers, tomatoes, eggplant eggs, artichokes,—with a separate basket in one [Pg 18]corner brimming with strawberries, and in the other a pink tissue-paper parcel, tied with ribbon, containing mushrooms, proving that, after all, fussy Mr. Vandeveer has the saving grace of humour.
My righteous garden-indignation dwindled; laughter caught me by the throat and quenched the remainder. Evan, knowing nothing of the concatenation, but scenting something from the card, joined sympathetically. Glancing at father, I saw that his nose was twitching, and in a moment his shoulders began to shake and he led the general confession that followed. It seems that he arrived at the hospital really the day of the consultation, but found that the patient, in need of surgical care, had been seized with nervous panic and gone home!
After such a thoroughly vulgar day there is really nothing to do but laugh and plan something pleasant for to-morrow, unless you prefer crying, which, though frequently a relief to the spirit, is particularly bad for eye wrinkles in the middle-aged.
May-day. I always take this as a holiday, and give myself up to any sort of outdoor folly that comes into my head. There is nothing more rejuvenating than to let one's self thoroughly go now and then.
Then, besides, to an American, May-day is usually a surprise in itself. You never can tell what it will bring, [Pg 19]for it is by no means the amiable and guileless child of the poets, breathing perfumed south wind and followed by young lambs through meadows knee deep in grass and flowers.
In the course of fifteen years I have seen four May-days when there was enough grass to blow in the wind and frost had wholly left for the season; to balance this there have been two brief snow squalls, three deluges that washed even big beans out of ground, and a scorching drought that reduced the brooks, unsheltered by leafage, to August shallowness. But to-day has been entirely lovable and full of the promise that after all makes May the garden month of the year, the time of perfect faith, hope, and charity when we may believe all things!
This morning I took a stroll in the woods, partly to please the dogs, for though they always run free, they smile and wag furiously when they see the symptoms that tell that I am going beyond the garden. What a difference there is between the north and south side of things! On the south slope the hepaticas have gone and the columbines show a trace of red blood, while on the north, one is in perfection and the other only as yet making leaves. This is a point to be remembered in the garden, by which the season of blooming can be length[Pg 20]ened for almost all plants that do not demand full, unalloyed sun, like the rose and pink families.
Every year I am more and more surprised at the hints that can be carried from the wild to the cultivated. For instance, the local soil in which the native plants of a given family nourish is almost always sure to agree better with its cultivated, and perhaps tropical, cousin than the most elaborately and scientifically prepared compost. This is a matter that both simplifies and guarantees better success to the woman who is her own gardener and lives in a country sufficiently open for her to be able to collect soil of various qualities for special purposes. Lilies were always a very uncertain quantity with me, until the idea occurred of filling my bed with earth from a meadow edge where Lilium Canadense, year after year, mounted her chimes of gold and copper bells on leafy standards often four feet high.
We may read and listen to cultural ways and methods, but when all is said and done, one who has not a fat purse for experiments and failures must live the outdoor life of her own locality to get the best results in the garden.
Then to have a woman friend to compare notes with and prove rules by is a comforting necessity. No living being can say positively, "I will do so and so;" or "I know," when coming in contact with the wise old earth!
Lavinia Cortright has only had a garden for half a dozen summers, and consults me as a veteran, yet I'm discovering quite as much from her experiments as she from mine. Last winter, when seed-catalogue time came round, and we met daily and scorched our shoes before the fire, drinking a great deal too much tea in the excitement of making out our lists, we resolved to form a horticulture society of only three members, of which she elected me the recording secretary, to be called "The Garden, You, and I."
We expect to have a variety of experiences this season, and frequent meetings both actual and by pen, for Lavinia, in combination with Horace and Sylvia Bradford, last year built a tiny shore cottage, three miles up the coast, at Gray Rocks, where they are going for alternate weeks or days as the mood seizes them, and they mean to try experiments with real seashore gardening, while Evan proposes that we should combine pleasure with business in a way to make frequent vacations possible and take driving trips together to many lovely gardens both large and small, to our mutual benefit, his eyes being open to construction and landscape effect, and mine to the soul of the garden, as it were; for he is pleased to say that a woman can grasp and translate this more easily and fully than [Pg 22]a man. What if the records of The Garden, You, and I should turn into a real book, an humble shadow of "Six of Spades" of jovial memory! Is it possible that I am about to be seized with Agamemnon Peterkin's ambition to write a book to make the world wise? Alas, poor Agamemnon! When he had searched the woods for an oak gall to make ink, gone to the post-office, after hours, to buy a sheet of paper, and caused a commotion in the neighbourhood and rumour of thieves by going to the poultry yard with a lantern to pluck a fresh goose quill for a pen, he found that he had nothing to say, and paused—thereby, at least, proving his own wisdom.
I'm afraid I ramble too much to be a good recording secretary, but this habit belongs to my very own garden books that no critical eyes can see. That reminds me! Father says that he met Bartram Penrose in town last week and that he seemed rather nervous and tired, and worried about nothing, and wanted advice. After looking him over a bit, father told him that all he needed was a long vacation from keeping train, as well as many other kinds of time, for it seems during the six years of his marriage he has had no real vacation but his honeymoon.
Mary Penrose's mother, my mother, and Lavinia Cortright were all school friends together, and since Mary married Bartram and moved to Woodridge we've [Pg 23]exchanged many little visits, for our husbands agree, and now that she has time she is becoming an enthusiastic gardener, after my own heart, having last season become convinced of the ugliness of cannas and coleus beds about a restored colonial farmhouse. Why might they not join us on our driving trips, by way of their vacation?
Immediately I started to telephone the invitation, and then paused. I will write instead. Mary Penrose is on the long-distance line,—toll thirty cents in the daytime! In spring I am very stingy; thirty cents means six papers of flower seeds, or three heliotropes. Whereas in winter it is simply thirty cents, and it must be a very vapid conversation indeed that is not worth so much on a dark winter day of the quality when neither driving nor walking is pleasant, and if you get sufficiently close to the window to see to read, you develop a stiff neck. Also, the difficulty is that thirty cents is only the beginning of a conversation betwixt Mary Penrose and myself, for whoever begins it usually has to pay for overtime, which provokes quarterly discussion. Is it not strange that very generous men often have such serious objections to the long-distance tails to their telephone bills, and insist upon investigating them with vigour, when they pay a speculator an extra dollar for a theatre ticket without a murmur? They must remem[Pg 24]ber that telephones, whatever may be said to the contrary, are one of the modern aids to domesticity and preventives of gadding, while still keeping one not only in touch with a friend but within range of the voice. Surely there can be no woman so self-sufficient that she does not in silent moments yearn for a spoken word with one of her kind.
When I had finished sowing my first planting of mignonette and growled at the prospective labour entailed by thinning out the fall-sown Shirley poppies (I have quite resolved to plant everything in the vegetable-garden seed beds and then transplant to the flowering beds as the easier task), Lavinia Cortright came up, note-book in hand, inviting herself comfortably to spend the day, and thoroughly inspect the hardy seed bed, to see what I had for exchange, as well as perfect her plan of starting one of her own.
By noon the sun had made the south corner, where the Russian violets grow, quite warm enough to make lunching out-of-doors possible, and promising to protect Lavinia's rather thinly shod feet from the ground with one of the rubber mats whereon I kneel when I transplant, she consented to thus celebrate the coming of the season of liberty, doors open to the air and sun, the soul to every whisper of Heart of Nature himself, [Pg 25]the steward of the plan and eternal messenger of God.
"Hard is the heart that loveth naught in May!" Yes, so hard that it is no longer flesh and blood, for under the spell of renewal every grass blade has new beauty, every trifle becomes of importance, and the humble song sparrow a nightingale.
The stars that blazed of winter nights have fallen and turned to dandelions in the grass; the Forsythias are decked in gold, a colour that is carried up and down the garden borders in narcissus, dwarf tulips, and pansies, peach blossoms giving a rosy tinge to the snow fall of cherry bloom.
To-day there are two catbirds, Elle et Lui, and the first Johnny Wren is inspecting the particular row of cottages that top the long screen of honeysuckles back of the walk named by Richard Wren Street. Why is the song sparrow calling "Dick, Dick!" so lustily and scratching so testily in the leaves that have drifted under an old rose shrub? The birds' bath and drinking basin is still empty; I pour out the libation to the day by filling it.
The seed bed is reached at last. It has wintered fairly well, and the lines of plants all show new growth. As I started to point out and explain, Lavinia Cortright [Pg 26]began to jot down name and quantity, and then, stopping, said: "No, you must write it out as the first record for The Garden, You, and I. I make a motion to that effect." As I was about to protest, the postman brought some letters, one being from Mary Penrose, to whom Mrs. Cortright stands as aunt by courtesy. I opened it, and spreading it between us we began to read, so that afterward Lavinia declared that her motion was passed by default.
"My Dear Mrs. Evan,
"I am going into gardening in earnest this spring, and I want you and Aunt Lavinia to tell me things,—things that you have done yourselves and succeeded or failed in. Especially about the failures. It is a great mistake for garden books and papers to insist that there is no such word in horticulture as fail, that every flower bed can be kept in full flower six months of the year, in addition to listing things that will bloom outdoors in winter in the Middle States, and give all floral measurements as if seen through a telephoto lens. It makes one feel the exceptional fool. It's discouraging and not stimulating in the least. Doesn't even nature meet with disaster once in a while as if by way of [Pg 27]encouragement to us? And doesn't nature's garden have on and off seasons? So why shouldn't ours?
"There is a quantity of Garden Goozle going about nowadays that is as unbelievable, and quite as bad for the constitution and pocket, as the guarantees of patent medicines. No, Garden Goozle is not my word, you must understand; it was invented by a clever professor of agriculture, whom Bart met not long ago, and we loved the word so much that we have adopted it. The mental quality of Garden Goozle seems to be compounded of summer squash and milkweed milk, and it would be quite harmless were it not for the strong catbriers grafted in the mass for impaling the purses of the trusting.
"Ah, if we only lived a little nearer together, near enough to talk over the garden fence! It seems cruel to ask you to write answers to all my questions, but after listing the hardy plants I want for putting the garden on a consistent old-time footing, I find the amount runs quite to the impossible three figures, aside from everything else we need, so I've decided on beginning with a seed bed, and I want to know before we locate the new asparagus bed how much ground I shall need for a seed bed, what and how to plant, and everything else!
"I like all the hardy things you have, especially those that are mice, lice, and water proof! If you will send [Pg 28]me ever so rough a list, I shall be grateful. Would I better begin at once or wait until July or August, as some of the catalogues suggest?
"Bart has just come in and evidently has something on his mind of which he wishes to relieve himself via speech.
"Your little sister of the garden,
"She must join The Garden, You, and I," said Lavinia Cortright, almost before I had finished the letter. "She will be entertainer in chief, for she never fails to be amusing!"
"I thought there were to be but three members," I protested, thinking of the possible complications of a three-cornered correspondence.
"Ah, well," Lavinia Cortright replied quickly, "make the Garden an Honorary member; it is usual so to rank people of importance from whom much is expected, and then we shall still be but three—with privilege of adding your husband as councillor and mine as librarian and custodian of deeds!"
So I have promised to write to Mary Penrose this evening.
When the Cortrights first came to Oaklands, expecting to remain here but a few months each summer, their garden consisted of some borders of old-fashioned, hardy flowers, back of the house. These bounded a straight walk that, beginning at the porch, went through an arched grape arbour, divided the vegetable garden, and finally ended under a tree in the orchard at the barrier made by a high-backed green wooden seat, that looked as if it might have been a pew taken from some primitive church on its rebuilding.
There were, at intervals, along this walk, some bushes of lilacs, bridal-wreath spirea, flowering almond, snowball, syringa, and scarlet flowering quince; for roses, Mme. Plantier, the half double Boursault, and some great clumps of the little cinnamon rose and Harrison's yellow brier, whose flat opening flowers are things of a day, these two varieties having the habit of travelling all over a garden by means of their root suckers. Here [Pg 30]and there were groups of tiger and lemon lilies growing out of the ragged turf, bunches of scarlet bee balm, or Oswego tea, as it is locally called, while plantain lilies, with deeply ribbed heart-shaped leaves, catnip, southernwood, and mats of grass pinks. Single hollyhocks of a few colours followed the fence line; tall phlox of two colours, white and a dreary dull purple, rambled into the grass and was scattered through the orchard, in company with New England asters and various golden rods that had crept up from the waste pasture-land below; and a straggling line of button chrysanthemums, yellow, white, maroon, and a sort of medicinal rhubarb-pink, had backed up against the woodhouse as if seeking shelter. Lilies-of-the-valley planted in the shade and consequently anæmic and scant of bells, blended with the blue periwinkle until their mingled foliage made a great shield of deep, cool green that glistened against its setting of faded, untrimmed grass.
This garden, such as it was, could be truly called hardy, insomuch as all the care it had received for several years was an annual cutting of the longest grass. The fittest had survived, and, among herbaceous things, whatsoever came of seed, self-sown, had reverted nearly to the original type, as in the case of hollyhocks, phlox, and a few common annuals. The long grass, [Pg 31]topped by the leaves that had drifted in and been left undisturbed, made a better winter blanket than many people furnish to their hardy plants,—the word hardy as applied to the infinite variety of modern herbaceous plants as produced by selection and hybridization not being perfectly understood.
While a wise selection of flowering shrubs and truly hardy roses will, if properly planted, pruned, and fertilized, live for many years, certain varieties even outlasting more than one human generation, the modern hardy perennial and biennial of many species and sumptuous effects must be watched and treated with almost as much attention as the so-called bedding-plants demand in order to bring about the best results.
The common idea, fostered by inexperience, and also, I'm sorry to say, by what Mary Penrose dubs Garden Goozle, that a hardy garden once planted is a thing accomplished for life, is an error tending to bitter disappointment. If we would have a satisfactory garden of any sort, we must in our turn follow Nature, who never rests in her processes, never even sleeping without a purpose. But if fairly understood, looked squarely in the face, and treated intelligently, the hardy garden, supplemented here and there with annual flowers, is more than worth while and a perpetual source of joy.[Pg 32] If money is not an object to the planter, she may begin by buying plants to stock her beds, always remembering that if these thrive, they must be thinned out or the clumps subdivided every few years, as in the case of hybrid phloxes, chrysanthemums, etc., or else dug up bodily and reset; for if this is not done, smaller flowers with poorer colours will be the result.
The foxglove, one of the easily raised and very hardy plants, of majestic mien and great landscape value, will go on growing in one location for many years; but if you watch closely, you will find that it is rarely the original plant that has survived, but a seedling from it that has sprung up unobserved under the sheltering leaves of its parent. The old plant grows thick at the juncture of root stock and leaf, the action of the frost furrows and splits it, water or slugs gain an entrance, and it disappears, the younger growth taking its place. Especially true is this also of hollyhocks. The larkspurs have different roots and more underground vigour, and all tap-rooted herbs hold their own well, the difficulty being to curb their spreading and undermining their border companions.

It is conditions like these that keep the gardener of hardy things ever on the alert. Beds for annuals or florists' plants are thoroughly dug and graded each [Pg 33]spring, so that the weeds that must be combated are of new and comparatively shallow growth. The hardy bed, on the contrary, in certain places must be stirred with a fork only and that with the greatest care, for, if well-planned, plants of low growth will carpet the ground between tall standing things, so that in many spots the fingers, with a small weeding hoe only, are admissible. Thus a blade of grass here, some chickweed there, the seed ball of a composite dropping in its aerial flight, and lo! presently weedlings and seedlings are wrestling together, and you hesitate to deal roughly with one for fear of injuring the constitution of the other. To go to the other extreme and keep the hardy garden or border as spick and span clean as a row of onions or carrots in the vegetable garden, is to do away with the informality and a certain gracious blending of form and colour that is one of its greatest charms.
Thus it comes about, with the most successful of hardy mixed borders, that, at the end of the third season, things will become a little confused and the relations between certain border-brothers slightly strained; the central flowers of the clumps of phloxes, etc., grow small, because the newer growth of the outside circle saps their vitality.
Personally, I believe in drastic measures and every [Pg 34]third or fourth year, in late September, or else April, according to season and other contingencies, I have all the plants carefully removed from the beds and ranged in rows of a kind upon the broad central walk. Then, after the bed is thoroughly worked, manured, and graded, the plants are divided and reset, the leavings often serving as a sort of horticultural wampum, the medium of exchange among neighbours with gardens, or else going as a freewill offering to found a garden for one of the "plotters" who needs encouragement.
The limitations of the soil of my garden and surroundings serve as the basis of an experience that, however, I have found carried out practically in the same way in the larger gardens of the Bluffs and in many other places that Evan and I have visited. So that any one thinking that a hardy garden, at least of herbaceous plants, is a thing that, once established, will, if not molested, go on forever, after the manner of the fern banks of the woods or the wild flowers of marsh and meadow, will be grievously disappointed.
Of course, where hardy plants are massed, as in nurseries, horticultural gardens, or the large estates, each in a bed or plot of its kind, this resetting is far simpler, as each variety can receive the culture best suited to it, and there is no mixing of species.
Another common error in regard to the hardy garden, aided and abetted by Garden Goozle, is that it is easy or even practicable to have every bed in a blooming and decorative condition during the whole season. It is perfectly possible always to have colour and fragrance in some part of the garden during the entire season, after the manner of the natural sequence of bloom that passes over the land, each bed in bloom some of the time, but not every bed all of the time. Artifice and not nature alone can produce this, and artifice is too costly a thing for the woman who is her own gardener, even if otherwise desirable. For it should appeal to every one having a grain of garden sense that, if the plants of May and June are to grow and bloom abundantly, those that come to perfection in July and August, if planted in their immediate vicinity, must be overshadowed and dwarfed. The best that can be done is to leave little gaps or lines between the hardy plants, so that gladioli, or some of the quick-growing and really worthy annuals, can be introduced to lend colour to what becomes too severely of the past.
There is one hardy garden, not far from Boston, one of those where the landscape architect lingers to study the possibilities of the formal side of his art in skilful adjustment of pillar, urn, pergola, and basin,[Pg 36]—this garden is never out of flower. At many seasons Evan and I had visited it, early and late, only to find it one unbroken sheet of bloom. How was it possible, we queried? Comes a day when the complex secret of the apparent simple abundance was revealed. It was as the foxgloves, that flanked a long alley, were decidedly waning when, quite early one morning, we chanced to behold a small regiment of men remove the plants, root and branch, and swiftly substitute for them immense pot-grown plants of the tall flower snapdragon (Antirrhinum), perfectly symmetrical in shape, with buds well open and showing colour. These would continue in bloom quite through August and into September. So rapidly was the change made that, in a couple of hours at most, all traces were obliterated, and the casual passer-by would have been unaware that the plants had not grown on the spot. This sort of thing is a permissible luxury to those who can afford and desire an exhibition garden, but it is not watching the garden growing and quivering and responding to all its vicissitudes and escapes as does the humble owner. Hardy gardening of this kind is both more difficult and costly, even if more satisfactory, than filling a bed with a rotation of florists' flowers, after the custom as seen in the parks and about club-houses: to wit, first tulips, then pansies and daisies, [Pg 37]next foliage plants or geraniums, and finally, when frost threatens, potted plants of hardy chrysanthemums are brought into play.
No, The Garden, You, and I know that hardy plants, native and acclimated, may be had in bloom from hepatica time until ice crowns the last button chrysanthemum and chance pansy, but to have every bed in continuous bloom all the season is not for us, any more than it is to be expected that every individual plant in a row should survive the frost upheavals and thaws of winter.
If a garden is so small that half a dozen each of the ten or twelve best-known species of hardy herbs will suffice, they may be bought of one of the many reliable dealers who now offer such things; but if the place is large and rambling, affording nooks for hardy plants of many kinds and in large quantities, then a permanent seed bed is a positive necessity.
This advice is especially for those who are now so rapidly taking up old farmsteads, bringing light again to the eyes of the window-panes that have looked out on the world of nature so long that they were growing dim from human neglect. In these places, where land is reckoned by the acre, not by the foot, there is no excuse for the lack of seed beds for both hardy and annual flowers (though these latter belong to another [Pg 38]record), in addition to space for cuttings of shrubs, hardy roses, and other woody things that may be thus rooted.
If there is a bit of land that has been used for a vegetable garden and is not wholly worn out, so much the better. The best seed bed I have ever seen belongs to Jane Crandon at the Jenks-Smith place on the Bluffs. It was an old asparagus bed belonging to the farm, thoroughly well drained and fertilized, but the original crop had grown thin and spindling from being neglected and allowed to drop its seed.
In the birth of this bed the wind and sun, as in all happy gardens, had been duly consulted, and the wind promised to keep well behind a thick wall of hemlocks that bounded it on the north and east whenever he was in a cruel mood. The sun, casting his rays about to get the points of compass, promised that he would fix his eye upon the bed as soon as he had bathed his face in mist on rising and turned the corner of the house, and then, after watching it until past noon, turn his back, so no wonder that the bed throve.
Any well-located bit of fairly good ground can be made into a hardy seed bed, provided only that it is not where frozen water covers it in winter, or in the way of the wind, coming through a cut or sweeping [Pg 39]over the brow of a hill, for flowers are like birds in this respect,—they can endure cold and many other hardships, but they quail before the blight of wind.
For all gardens of ordinary size a bit of ground ten feet by thirty feet will be sufficient. If the earth is heavy loam and inclined to cake or mould, add a little sifted sand and a thin sprinkling of either nitrate of soda or one of the "complete" commercial manures. Barn-yard manure, unless very well rotted and thoroughly worked under, is apt to develop fungi destructive to seedlings. This will be sufficient preparation if the soil is in average condition; but if the earth is old and worn out, it must be either sub-soiled or dug and enriched with barnyard (not stable) manure to the depth of a foot, or more if yellow loam is not met below that depth.
If the bed is on a slight slope, so much the better. Dig a shallow trench of six or eight inches around it to carry off the wash. An abrupt hillside is a poor place for such a bed, as the finer seeds will inevitably be washed out in the heavy rains of early summer. If the surface soil is lumpy or full of small stones that escape fine raking, it must be shovelled through a sand-screen, as it is impossible for the most ambitious seed to grow if its first attempt is met by the pressure of what would [Pg 40]be the equivalent of a hundred-ton boulder to a man.
It is to details such as these that success or failure in seed raising is due, and when people say, "I prefer to buy plants; I am very unlucky with seeds," I smile to myself, and the picture of something I once observed done by one of the so-called gardeners of my early married days flits before me.
The man scraped a groove half an inch deep in hard-baked soil, with a pointed stick, scattered therein the dustlike seeds of the dwarf blue lobelia as thickly as if he had been sprinkling sugar on some very sour article, then proceeded to trample them into the earth with all the force of very heavy feet. Of course the seeds thus treated found themselves sealed in a cement vault, somewhat after the manner of treating victims of the Inquisition, the trickle of moisture that could possibly reach them from a careless watering only serving to prolong their death from suffocation.
The woman gardener, I believe, is never so stupid as this; rather is she tempted to kill by kindness in overfertilizing and overwatering, but too lavish of seed in the sowing she certainly is, and I speak from the conviction born of my own experience.
When the earth is all ready for the planting, and the [Pg 41]sweet, moist odour rises when you open the seed papers with fingers almost trembling with eagerness, it seems second nature to be lavish. If a few seeds will produce a few plants, why not the more the merrier? If they come up too thick, they can be thinned out, you argue, and thick sowing is being on the safe side. But is it? Quite the contrary. When the seedlings appear, you delay, waiting for them to gain a good start before jarring their roots by thinning. All of a sudden they make such strides that when you begin, you are appalled by the task, and after a while cease pulling the individual plants, but recklessly attack whole "chunks" at once, or else give up in a despair that results in a row of anæmic, drawn-out starvelings that are certainly not to be called a success. After having tried and duly weighed the labour connected with both methods, I find it best to sow thinly and to rely on filling gaps by taking a plant here and there from a crowded spot. For this reason, as well as that of uniformity also, it is always better to sow seeds of hardy or annual flowers in a seed bed, and then remove, when half a dozen leaves appear, to the permanent position in the ornamental part of the garden.
With annuals, of course, there are some exceptions to this rule,—in the case of sweet peas, nasturtiums, [Pg 42]mignonette, portulaca, poppies, and the like, where great quantities are massed.
When you have prepared a hardy seed bed of the dimensions of ten by thirty feet, which will allow of thirty rows, ten feet long and a foot apart (though you must double the thirty feet if you intend to cultivate between the rows with any sort of weeding machine, and if you have room there should be two feet or even three between the rows), draw a garden line taut across the narrow way of the plot at the top, snap it, and you will have the drill for your first planting, which you may deepen if the seeds be large.
Before beginning, make a list of your seeds, with the heights marked against each, and put the tallest at the top of the bed.
"Why bother with this, when they are to be transplanted as soon as they are fist up?" I hear Mary Penrose exclaim quickly, her head tipped to one side like an inquisitive bird.
Because this seed bed, if well planned, will serve the double purpose of being also the "house supply bed." If, when the transplanting is done, the seedlings are taken at regular intervals, instead of all from one spot, those that remain, if not needed as emergency fillers, will bloom as they stand and be the flowers to be util[Pg 43]ized by cutting for house decoration, without depriving the garden beds of too much of their colour. At the commercial florists, and in many of the large private gardens, rows upon rows of flowers are grown on the vegetable-garden plan, solely for gathering for the house, and while those with limited labour and room cannot do this extensively, they can gain the same end by an intelligent use of their seed beds.
Many men (and more especially many women), many minds, but however much tastes may differ I think that a list of thirty species of herbaceous perennials should be enough to satisfy the ambition of an amateur, at least in the climate of the middle and eastern United States. I have tried many more, and I could be satisfied with a few less. Of course by buying the seeds in separate colours, as in the single case of pansies, one may use the entire bed for a single species, but the calculation of size is based upon either a ten-foot row of a mixture of one species, or else that amount of ground subdivided among several colours.
Of the seeds for the hardy beds themselves, the enticing catalogues offer a bewildering array. The maker of the new garden would try them all, and thereby often brings on a bit of horticultural indigestion in which gardener and garden suffer equally, and the resulting [Pg 44]plants frequently perish from pernicious anæmia. Of the number of plants needed, each gardener must be the judge; also, in spite of many warnings and directions, each one must finally work on the lines of personally won experience. What is acceptable to the soil and protected by certain shelter in my garden on one side of hill crest or road may not flourish in a different soil and exposure only a mile away. One thing is very certain, however,—it is time wasted to plant a hardy garden of herbaceous plants in shallow soil.
In starting the hardy seed bed it is always safe to plant columbines, Canterbury bells, coreopsis, larkspur, pinks in variety, foxgloves, hollyhocks, gaillardia, the cheerful evergreen candy-tuft, bee balm and its cousin wild bergamot, forget-me-nots, evening primroses, and the day-flowering sundrops, Iceland and Oriental poppies, hybrid phlox, the primrose and cowslips of both English fields and gardens, that are quite hardy here (at least in the coastwise New England and Middle states), double feverfew, lupins, honesty, with its profusion of lilac and white bloom and seed vessels that glisten like mother-of-pearl, the tall snapdragons, decorative alike in garden or house, fraxinella or gas plant, with its spikes of odd white flowers, and pansies, always pansies, for the open in spring and autumn, in rich, shady nooks [Pg 45]all summer, and even at midwinter a few tufts left in a sunny spot, at the bottom of a wall by the snowdrops, will surprise you with round, cheerful faces with the snow coverlet tucked quite under their chins.

It is well to keep a tabulated list of these old-time perennials in the Garden Boke, so that in the feverish haste and excitement of the planting season a mere glance will be a reminder of height, colour, and time of bloom. I lend you mine, not as containing anything new or original, but simply as a suggestion, a hint of what one garden has found good and writ on its honour list. Newer things and hybrids are now endless, and may be tested and added, one by one, but it takes at least three seasons of this adorably unmonotonous climate of alternate drought, damp, open or cold winter, to prove a plant hardy and worthy a place on the honour roll. (See p. 376.)
Before you plant, sit down by yourself with the packages spread before you and examine the seeds at your leisure. This is the first uplifting of the veil that you may see into the real life of a garden, a personal knowledge of the seed that mothers the perfect plant.
It may seem a trivial matter, but it is not so; each seed, be it seemingly but a dust grain, bears its own type and identity. Also, from its shape, size, and the hard[Pg 46]ness or thinness of its covering, you may learn the necessities of its planting and development, for nowhere more than in the seed is shown the miraculous in nature and the forethought and economy of it all.
The smaller the seed, the greater the yield to a flower, as if to guard against chances of loss. The stately foxglove springs from a dust grain, and fading holds aloft a seed spike of prolific invention; the lupin has stout, podded, countable seeds that must of necessity fall to the ground by force of weight. Also in fingering the seeds, you will know why some are slow in germinating: these are either hard and gritty, sandlike, like those of the English primrose, smooth as if coated with varnish, like the pansy, violet, columbine, and many others, or enclosed in a rigid shell like the iris-hued Japanese morning-glories and other ipomeas. Heart of Nature is never in a hurry, for him time is not. What matters it if a seed lies one or two years in the ground?
With us of seed beds and gardens, it is different. We wish present visible growth, and so we must be willing to lend aid, and first aid to such seeds is to give them a whiff of moist heat to soften what has become more hard than desirable through man's intervention. For in wild nature the seed is sown as soon as it ripens, and falls to the care of the ground before the vitality [Pg 47]of the parent plant has quite passed from it. That is why the seed of a hardy plant, self-sown at midsummer, grows with so much more vigour than kindred seed that has been lodged in a packet since the previous, season.
My way of "first aiding" these seeds is to tie them loosely in a wisp of fine cheese-cloth or muslin, leaving a length of string for a handle (as tea is sometimes prepared for the pot by those who do not like mussy tea leaves). Dip the bag in hot (not boiling) water, and leave it there at least an hour, oftentimes all night. In this way the seed is softened and germination awakened. I have left pansy seeds in soak for twenty-four hours with good results. Of course the seed should be planted before it dries, and rubbing it in a little earth (after the manner of flouring currants for cake) will keep the seeds from sticking either to the fingers or to each other.
What a contrast it all is, our economy and nature's lavishness; our impatience, nature's calm assurance! In the garden the sower feels a responsibility, the sweat beads stand on the brow in the sowing. With nature undisturbed it may be the blind flower of the wild violet perfecting its moist seed under the soil, a nod of a stalk to the wind, a ball of fluff sailing by, or the hunger of a bird, and the sowing is done.
(From Mary Penrose to Barbara Campbell)
"Dear Mrs. Evan,
"For the past week I have been delving in the seed bed, and until it was an accomplished fact, that is as far as putting on the top sheet of finely sifted dirt over the seeds sleeping in rows and rounding the edges after the most approved methods of bed-making, praying the while for a speedy awakening, I had neither fingers for pen, ink, and paper, nor the head to properly think out the answer to your May-day invitation.
"So you have heard that we are to take a long vacation this summer, and therefore ask us to join your driving and tramping trip in search of garden and sylvan adventure; in short to become your fellow-strollers in the Forest of Arden, now transported to the Berkshires.
"It was certainly a kind and gracious thought of yours to admit outsiders into the intimacies of such a journey, and on the moment we both cried, 'Yes, we will go!'[Pg 49] and then appeared but—that little word of three letters, and yet the condensation of whole volumes, that is so often the stumbling-block to enthusiasm.
"The translation of this particular but will take a quire of paper, much ink, and double postage on my part, and a deal of perusive patience on yours, so to proceed. Like much else that is hearable the report is partly true, insomuch that your father, Dr. Russell, thinks it necessary for Bart to take a real vacation, as he put it, 'An entire change in a place where time is not beaten insistently at the usual sixty-seconds-a-minute rate, day in and out,' where he shall have no train-catching or appointments either business or social hanging over him. At the same time he must not hibernate physically, but be where he will feel impelled to take plenty of open-air exercise, as a matter of course! For you see, as a lawyer, Bart breathes in a great deal of bad air, and his tongue and pen hand get much more exercise than do his legs, while all the spring he has 'gone back on his vittles that reckless it would break your heart,' as Anastasia, our devoted, if outspoken, Celtic cook puts it.
"The exact location of this desired valley of perfection, the ways and means of reaching it, as well as what shall become of the house and Infant during our absence, have formed a daily dialogue for the past fortnight, or[Pg 50] I should say triologue, for Anastasia has decided opinions, and has turned into a brooding raven, informing us constantly of the disasters that have overtaken various residents of the place who have taken vacations, the head of one family having acquired typhoid in the Catskills, a second injured his spine at the seaside by diving in shallow water, while the third was mistaken for a moose in Canada and shot. However, her interest is comforting from the fact that she evidently does not wish to part with us at present.
"It must be considered that if we take a really comfortable trip of a couple of months' duration, and Bart's chief is willing to allow him a three months' absence, as it will be his first real vacation since we were married six years ago, it will devour the entire sum that we have saved for improving the farm and garden.
"You live on the place where you were born, which has developed by degrees like yourselves, yet you probably know that rescuing, not an abandoned farm but the abode of ancient and decayed gentility, even though the house is oak-ribbed Colonial, and making it a tangible home for a commuter, is not a cheap bit of work.
"As to the Infant—to take a human four-and-a-half-year-old travelling, for the best part of a summer, [Pg 51]is an imposition upon herself, her parents, and the public at large. To leave her with Bart's mother, whose forte is Scotch crossed with Pennsylvania Dutch discipline, will probably be to find on her return that she has developed a quaking fear of the dark; while, if she goes to my mother, bless her! who has the beautiful and soothing Southern genius for doing the most comfortable thing for the moment, regardless of consequences, the Infant for months after will expect to be sung to sleep, my hand cuddled against her cheek, until I develop laryngitis from continued vocal struggles with 'Ole Uncle Ned,' 'Down in de Cane Brake,' and 'De Possum and de Coon.'
"This mental and verbal struggle was brought to an end yesterday by The Man from Everywhere. Do you remember, that was the title that we gave Ross Blake, the engineer, two summers ago, when you and Evan visited us, because he was continually turning up and always from some new quarter? Just now he has been put in charge of the construction of the reservoir that is to do away with our beloved piece of wild-flower river woods in the valley below Three Brothers Hills.
"As usual he turned up unexpectedly with Bartram Saturday afternoon and 'made camp,' as a matter of [Pg 52]course. A most soothing sort of person is this same Man from Everywhere, and a special dispensation to any woman whose husband's best friend he chances to be, as in my case, for a man who is as well satisfied with crackers, cheese, and ale as with your very best company spread, praises the daintiness of your guest chamber, but sleeps equally sound in a hammock swung in the Infant's attic play-room, is not to be met every day in this age of finnickiness. Then again he has the gift of saying the right thing at difficult moments, and meaning it too, and though a born rover, has an almost feminine sympathy for the little dilemmas of housekeeping that are so vital to us and yet are of no moment to the masculine mind. Yes, I do admire him immensely, and only wish I saw an opportunity of marrying him either into the family or the immediate neighbourhood, for though he is nearly forty, he is neither a misanthrope nor a woman hater, but rather seems to have set himself a difficult ideal and had limited opportunities. Once, not long ago, I asked him why he did not marry. 'Because,' he answered, 'I can only marry a perfectly frank woman, and the few of that clan I have met, since there has been anything in my pocket to back my wish, have always been married!'
"'I have noticed that too,' said Bart, whom I did not [Pg 53]know was listening; 'then there is nothing for us to do but find you a widow!'
"'No, that will not do, either; I want born, not acquired, frankness, for that is only another term for expediency,' he replied with emphasis.
"So you see this Man is not only somewhat difficult, but he has observed!
"Last night after dinner, when the men drew their chairs toward the fire,—for we still have one, though the windows are open,—and the fragrance from the bed of double English violets, that you sent me, mingled with the wood smoke, we all began to croon comfortably. As soon as he had settled back in the big chair, with closed eyes and finger tips nicely matched, we propounded our conundrum of taking three from two and having four remain.
"A brief summary of the five years we have lived here will make the needs of the place more clear.
"The first year, settling ourselves in the house and the arrival of the Infant completely absorbed ourselves, income, and a good bit of savings. Repairing the home filled the second year. The outdoor time and money of the third year was eaten up by an expensive and obliterative process called 'grading,' a trap for newly fledged landowners. This meant taking all the kinks [Pg 54]and little original attitudes out of the soil and reproving its occasional shoulder shrugs, so to speak,—Delsarte methods applied to the earth,—and you know that Evan actually laughed at us for doing it.
"Even in the beginning we didn't care much for this grading, but it was in the plan that father Penrose had made for us by a landscape gardener, renowned about Philadelphia at the time he gave us the place as a 'start in life,' so we felt in some way mysteriously bound by it. And I may as well assert right here that, though it is well to have a clear idea of what you mean to do in making a garden, or ever so small pleasure grounds, that every bit of labour, however trivial, may go toward one end and not have to be undone, a conventional plan unsympathetically made and blindly followed often becomes a cross between Fetish and Juggernaut. It has taken me exactly four years of blundering to find that you must live your garden life, find out and study its peculiarities and necessities yourself, just as you do that of your indoor home, if success is to be the result!
"As it was, the grading began behind the lilac bushes inside the front fence and proceeded in fairly graceful sweeps, dividing each side of the level bit where the old garden had been, the still remaining boxwood [Pg 55]bushes and outlines of walks and beds, saving this from obliteration, and meeting again at the drying yard.
"Here the proceeding stopped abruptly, as if it had received a shock, which it had, as at this point the family purse wholly collapsed with a shudder, for the next requirement of the plan was the turning of a long crest of rocky woodland, shaped like a three-humped camel, that bounded us on the northwest, into a series of terraces, to render the assent from a somewhat trim residential section to the pastures of the real farming country next door less abrupt.
"In its original state this spur of woodland had undoubtedly been very beautiful, with hemlocks making a windbreak, and all manner of shrubs, wild herbs, and ferns filling in the leaf-mould pockets between the boulders. Now it is bare of everything except a few old hemlocks that sweep the pasture and the rocks, wandering cattle and excursionists from the village, during the 'abandoned' period of the place, having caused havoc among the shrubs and ferns.
"Various estimates have been given, but $1000 seemed to be the average for carrying out the terrace plan even partially, as much blasting is involved, and $1000 is exactly one-fourth of the spendable part of Bart's yearly earnings!
"The flower garden also cries for proper raiment, for though the original lines have been preserved and the soil put in a satisfactory shape, in lieu of the hardy plants and old-time favourites that belong to such a place, in emergency we were reduced, last summer, to the quick-growing but monotonous bedding plants for fillers. Can you imagine anything more jarring and inconsistent than cannas, castor-oil beans, coleus, and nasturtiums in a prim setting of box?
"Then, too, last Christmas, Bart's parents sent us a dear old sundial, with a very good fluted column for a base. The motto reads 'Never consult me at night,' which Bart insists is an admonition for us to keep, chickenlike, early hours! Be this as it may, in order to live up to the dial, the beds that form its court must be consistently clothed—for cannas, coleus, and beans, read peonies, Madonna lilies, sweet-william, clove-pinks, and hollyhocks, which latter the seed bed I hope will duly furnish.
"All these details, and more too, I poured into the ears of The Man from Everywhere, while Bart kept rather silent, but I could tell by the way his pipe breathed, short and quick, that he was thinking hard. One has to be a little careful in talking over plans and wishes with Bart; his spirit is generous beyond his [Pg 57]pocket-power and he is a bit sensitive. He wants to do so much for the Infant, the home, and me, that when desire outruns the purse, he seems to feel that the limit lies somewhere within the range of his own incapacity, and that bare, camel-backed knoll outlining the horizon, as seen from the dining-room window, showing the roof of the abandoned barn and hen yards, and the difficulty of wrestling with it, is an especially tender spot.
"'If it was anything possible, I'd hump my back and do it, but it isn't!' he jerked, knocking his pipe against the chimney-side before it was half empty and then refilling it; 'it's either a vacation or the knoll—which shall it be?
"'I don't hanker after leaving home, but that's what a complete change means, I suppose, though I confess I should enjoy a rest for a time from travelling to and fro, like a weaver's shuttle! Mary hates to leave home too; she's a regular sit-by-the-fire! Come, which shall it be? This indecision makes the cure worse than the disease!' and Bart fingered a penny prior to giving it the decisive flip—'head, a vacation; tail, an attack on the knoll!' The penny spun, and then taking a queer backward leap fell into the ashes, where it lay buried.
"'That reads like neither!' said Bart, sitting up with a start.
"'No, both!' replied The Man from Everywhere, opening his eyes and gazing first at Bart and then at me with a quizzical expression.
"Instantly curiosity was piqued, for compared to this most domestic of travelled bachelors, the Lady from Philadelphia was without either foresight or resources.
"'You said that your riddle was to take three from two and have four. My plan is very simple; just add three to two and you have not only four but five! Take a vacation from business, but stay at home; do your own garden improvements with your head and a horse and cart and a pair of strong hands with a pick and spade to help you out, for you can't, with impunity, turn an office man, all of a sudden, into a day labourer. As to hewing the knoll into terraces up and down again, tear up that confounded plan. Restore the ground on nature's lines, and you'll have a better windbreak for your house and garden in winter than the best engineer could construct, besides having a retreat for hot weather where you can sit in your bones without being observed by the neighbours!'
"He spoke very slowly, letting the smoke wreaths [Pg 59]float before his eyes, as if in them he sought the solution he was voicing.
"'A terrace implies closely shorn turf and formal surroundings, out of keeping with this place; besides, young people with only a general maid and a useful man can't afford to be formal,—if they would, the game isn't worth the strain.' (Did I not tell you that he observes?)
"'Let us take a look at the knoll to-morrow and see what has grown there and guess at what may be coaxed to grow, and then you can spend a couple of months during this summer and autumn searching the woods and byways for native plants for the restoration. This reservoir building is your opportunity; you can rob the river valley with impunity, for the clearing will begin in October, consequently anything you take will be in the line of a rescue. So there you are—living in the fresh air, improving your place, and saving money at both ends.'
"'By George! It sounds well, as far as I'm concerned!' ejaculated Bart, 'but how will such a scheme give Mary a vacation from housekeeping and the everlasting three meals a day? She seldom growls, but the last month she too has confessed to feeling tired.'
"'I think it's a perfectly fascinating idea, but how [Pg 60]will it give Bart a "complete change, away from the sound of the beat of time," as the doctor puts it?' I asked with more eagerness than I realized, for I always dislike to be far away from home at night, and you see there has been whooping cough in the neighbourhood and there are also green apples to be reckoned with in season, even though the Infant has long ago passed safely through the mysteries of the second summer.
"The Man from Everywhere did not answer Bart at all, but, turning to me with the air of a paternal sage and pointing an authoritative forefinger, said, somewhat sarcastically, I thought, 'What greater change can an American have than leisure in which to enjoy his own home? For giving Time the slip, all you have to do is to stop the clocks and follow the sun and your own inclinations. As to living out of doors, the old open-sided hay barn on the pasture side of the knoll, that you have not decided whether to rebuild or tear down, will make an excellent camp. Aside from the roof, it is as open as a hawk's nest. Don't hurry your decision; incubate the idea over Sunday, Madam Penrose, and I'll warrant by Monday you will have hatched a really tangible plan, if not a brood of them.'
"I looked at Bart, he nodded back approvingly, so I slipped out, first to see that the Infant was sleeping properly, head up, and not down under the clothes, as I had once found her, and then to walk to and fro under the budding stars for inspiration, leaving the pair to talk the men's talk that is so good and nourishing for a married man like Bart, no matter how much he cares for the Infant and me.
"Jumbled up as the garden is, the spring twilight veils all deficiencies and releases persuasive odours from every corner, while the knoll, with its gnarled trees outlined against the sky, appealed to me as never before, a thing desirable and to be restored and preserved even at a cost rather than obliterated.
"'Oh, Mrs. Evan, I wish I could tell you how The Man's plan touches me and seems made for me especially this spring. I seem fairly to have a passion for home and the bit of earth about and sky above it that is all our own. And unlike other times when I loved to have my friends come and visit me, and share and return the hospitality of neighbours, I want to be alone with myself and Bart, to spend long days under the sky and trees and have nothing come between our real selves and God, not even the ticking and dictation of a clock! There is so much that I want to tell my [Pg 62]husband just now, that cannot be put in words, and that he may only read by intuition. When I was younger and first married, I did not feel this need so much, but now life seems to take on so much deeper a meaning! Do you understand? Ah, yes, I know you do! But I am wandering from the point, just as I yearn to wander from all the stringencies of life this summer.
"Evidently seeing me, the Rural Delivery man whistled from his cart, instead of leaving the evening mail in its wren box, as usual. I went to the gate rather reluctantly, I was so absorbed in garden dreams, took the letters from the carrier, and, as the men were still sitting in the dark, carried them up to the lamp in my own sitting room, little realizing that even at that moment I was holding the key to the 'really tangible plan' in my hand.
"The next morning. Two of the letters I received on Saturday night would have been of great importance if we were still planning to go away for a vacation, instead of hoping to stay at home for it. The first, from mother, told me that she and my brother expect to spend the summer in taking a journey, in which Alaska is to be the turning-point. She begs us to go [Pg 63]with them and offers to give me her right-hand-reliable, Jane McElroy, who cared for me when a baby, to stay here with the Infant. The second letter was from Maria Maxwell, a distant cousin of Bart's. She has also heard of our intended vacation,—indeed the rapidity with which the news travels and the interest it causes are good proofs of our stay-at-home tendencies and the general sobriety of our six years of matrimony!
"Maria is a very bright, adaptable woman of about thirty-five, who teaches music in the New York public schools, is alone in the world, and manages to keep an attractive home in a mere scrap of a flat. When she comes to visit us, we like her as well the last day of her stay as the first, which fact speaks volumes for her character! Though forced by circumstances to live in town, she has a deep love for the country, and wishes, if we intend to leave the house open, to come and care for it in our absence, even offering to cook for herself if we do not care to have the expense of a maid, saying, 'to cook a real meal, with a real fire instead of gas, will be a great and refreshing change for me, so you need feel under no obligation whatever!'
"Thinking of the pity of wasting such tempting offers as these, I went to church with my body only, my [Pg 64]mind staying outside under a horse-chestnut tree, and instead of listening as I should, I looked sidewise out of the window at my double in the shade and wondered if, after all, the stay-at-home vacation was not a wild scheme. There being a Puritan streak in me, via my father, I sometimes question the right of what I wish to do simply because I like to do it.
"At dinner I was so grumpy, answering in monosyllables, that sensitive Bart looked anxious, and as if he thought I was disappointed at the possible turn of affairs, but The Man from Everywhere laughed, saying, 'Let her alone; she is not through incubating the plan, and you know the best of setting hens merely cluck and growl when disturbed.'
"Immediately after dinner Bart and The Man went for a walk up the river valley, and I, going to the living room, seated myself by the window, where I could watch the Infant playing on the gravel outside, it being the afternoon out of both the general maid Anastasia and Barney the man, between whom I suspect matrimonial intentions.
"The singing of the birds, the hum of bees in the opening lilacs, and the garden fragrance blending with the Infant's prattle, as she babbled to her dolls, floated through the open door and made me drowsy, and I [Pg 65]turned from the light toward the now empty fireplace.
"A snap! and the air seemed suddenly exhilarating! Was it an electric spark from the telephone? No, simply the clarifying of the thoughts that had been puzzling me.
"Maria Maxwell shall come during our vacations,—at that moment I decided to separate the time into several periods,—she shall take entire charge of all within doors.
"Bart and I will divide off a portion of the old hay-barn with screens, and camp out there (unless in case of very bad thunder or one of the cold July storms that we sometimes have). Anastasia shall serve us a very simple hot dinner at noon in the summer kitchen, and keep a supply of cooked food in the pantry, from which we can arrange our breakfasts and suppers in the opposite side of the barn from our sleeping place, and there we can have a table, chairs, and a little oil stove for making tea and coffee.
"Maria, besides attending to domestic details, must also inspect the mail and only show us letters when absolutely necessary, as well as to say 'not at home,' with the impenetrable New York butler manner to every one who calls.
"Thus Bart and I will be equally free without the rending of heart strings—free to love and enjoy home from without, for it is really strange when one comes to think of it, we learn of the outside world by looking out the windows, but we so seldom have time to stand in another view-point and look in. Thus it occurred to me, instead of taking one long vacation, we can break the time into three or four in order to follow the garden seasons and the work they suggest. A bit at the end of May for both planning and locating the spring wild flowers before they have wholly shed their petals, and so on through the season, ending in October by the transplanting of trees and shrubs that we have marked and in setting out the hardy roses, for which we shall have made a garden according to the plan that Aunt Lavinia says is to be among the early Garden, You, and I records.
"May 15. Maria Maxwell has joyfully agreed to come the twenty-first, having obtained a substitute for her final week of teaching, as well as rented her 'parlor car,' as she calls her flat, to a couple of students who come from the South for change of air and to attend summer school at Columbia College. It seems that many people look upon New York as a summer watering place. Strange that a difference in climate can be merely a matter of point of view.
"Now that we have decided to camp out at home, we are beginning to realize the positive economy of the arrangement, for as we are not going among people,—neither are they coming to us,—we shall need no new clothes!
"We, a pair of natural spendthrifts, are actually turning miserly for the garden's sake.
"Last night Bart went to the attic with a lantern and dragged from obscurity two frightful misfit suits of the first bicycle cuff-on-the-pants period, that were ripening in the camphor chest for future missionary purposes, announcing that these, together with some flannel shirts, would be his summer outfit, while this morning I went into town and did battle at a sale of substantial, dollar shirt-waists, and turning my back upon all the fascinations of little girls' frills and fur-belows, bought stout gingham for aprons and overalls, into which I shall presently pop the Infant, and thus save both stitches and laundry work.
"Mother has sent a note expressing her pleasure in our plan and enclosing a cheque for $50, suggesting that it should be put into a birthday rose bed—my birthday is in two days—in miniature like the old garden at her home on the north Virginia border. I'm sending you the list of such roses as she remembered [Pg 68]that were in it, but I'm sure many, like Gloire de Dijon, would be winter killed here. Will you revise the list for me?
"Bart has arranged to shut off the back hall and stairs, so that when we wish, we can get to our indoor bedroom and bath at any hour without going through the house or disturbing its routine.
"Anastasia has been heard to express doubts as to our entire sanity confidentially to Barney, on his return from the removal of two cots from the attic to the part of the barn enclosed by some old piazza screens, thereby publicly declaring our intention of sleeping out in all seasonable weather.
"May 20. The Blakes, next door below, are going to Europe, and have offered us their comfortable family horse, the buggy, and a light-work wagon, if we will feed, shoe, pet, and otherwise care for him (his name, it seems, is Romeo). Could anything be more in keeping with both our desires and needs?
"To-day, half as a joke, I've sent out P.P.C. cards to all our formal friends in the county. Bart frowns, saying that they may be taken seriously and produce like results!
"May 22. Maria has arrived, taken possession of the market-book, housekeeping box, and had a satisfactory conference with Anastasia.
"Hurrah for Liberty and outdoors! It begins to-morrow. You may label it Their Garden Vacation, and admit it to the records of The Garden, You, and I, at your own risk and peril; but as you say that if you are to boil down the practical part of your garden-boke experiences for the benefit of Aunt Lavinia and me and I must send you my summer doings, I shall take this way of accomplishing it, at intervals, the only regular task, if gossiping to you can be so called, that I shall set myself this summer.
"A new moon to-night. Will it prove a second honeymoon, think you, or end in a total eclipse of our venture? I'm poppy sleepy!
"May 23. 10 A.M. (A postal.) Starting on vacation; stopped bedroom clock and put away watches last night, and so overslept. It seems quite easy to get away from Time! Please tell me what annuals I can plant as late in the season as this, while we are locating the rose bed.
Oaklands, May 25. A garden vacation! Fifty dollars to spend for roses! What annuals may be planted now to tide you easily over the summer? Really, Mary Penrose, the rush of your astonishing letter completely took away my breath, and while I was recovering it by pacing up and down the wild walk, and trying to decide whether I should answer your questions first, and if I did which one, or ask you others instead, Scotch fashion, about your unique summer plans, Evan came home a train earlier than usual, with a pair of horticultural problems for which he needed an immediate solution.
Last evening, in the working out of these schemes, we found that we were really travelling on lines parallel with your needs, and so in due course you shall have Evan's prescription and design for A Simple Rose Garden (if it isn't simple enough, you can begin with half, as the proportions will be the same), while I now [Pg 71]send you my plans for an inexpensive midsummer garden, which will be useful to you only as a part of the whole chain, but for which Evan has a separate need.
Over at East Meadow, a suburb of Bridgeton that lies toward the shore and is therefore attractive to summer people, a friend of Evan's has put up a dozen tasteful, but inexpensive, Colonial cottages, and Evan has planned the grounds that surround them, about an acre being allotted to each house, for lawn and garden of summer vegetables, though no arbitrary boundaries separate the plots. The houses are intended for people of refined taste and moderate means who, only being able to leave town during the school vacation, from middle June to late September, yet desire to have a bit of garden to tend and to have flowers about them other than the decorative but limited piazza boxes or row of geraniums around the porch.
The vegetable gardens consist of four squares, conveniently intersected by paths, these squares to be edged by annuals or bulbs of rapid growth, things that, planted in May, will begin to be interesting when the tenants come a month later.
But here am I, on the verge of rushing into another theme, without having expressed our disappointment [Pg 72]that you cannot bear us company this summer, yet I must say that the edge of regret is somewhat dulled by my interest in the progress and result of your garden vacation, which to us at least is a perfectly unique idea, and quite worthy of the inventive genius of The Man from Everywhere.
Plainly do I see by the scope of this same letter of yours that the records of The Garden, You, and I, instead of being a confection of undistinguishable ingredients blended by a chef of artistic soul, will be a home-made strawberry shortcake, for which I am to furnish the necessary but uninspired crust, while you will supply the filling of fragrant berries.
With the beginning of your vacation begin my questions domestic that threaten to overbalance your questions horticultural. If the Infant should wail at night, do you expect to stay quietly out "in camp" and not steal on tiptoe to the house, and at least peep in at the window? Also, you have put a match-making thought in a head swept clean of all such clinging cobwebs since Sukey Crandon married Carthy Latham and, turning their backs on his ranch experiment, they decided to settle near the Bradfords at the Ridge, where presently there will be another garden growing. If you have no one either in the family or neighbourhood likely to [Pg 73]attract The Man from Everywhere, why may we not have him? Jane Crandon is quite unexpectedly bright, as frank as society allows, this being one of his requirements, besides having grown very pretty since she has virtually become daughter to Mrs. Jenks-Smith and had sufficient material in her gowns to allow her chest to develop.
But more of this later; to return to the annuals, I understand that you have had your hardy beds prepared and that you want something to brighten them, as summer tenants, until early autumn, when the permanent residents may be transplanted from the hardy seed bed.
Annuals make a text fit for a very long sermon. Verily there are many kinds, and the topic forms easily about a preachment, for they may be divided summarily into two classes, the worthy and the unworthy, though the worth or lack of it in annuals, as with most of us humans, is a matter of climate, food, and environment, rather than inherent original sin. The truth is, nature, though eternally patient and good-natured, will not be hurried beyond a certain point, and the life of a flower that is born under the light cloud shelter of English skies, fed by nourishing mist through long days that have enough sunlight to stimulate and not scorch, has a different [Pg 74]consummation than with us, where the climate of extremes makes the perfection of flowers most uncertain, at least in the months of July and August when the immature bud of one day is the open, but often imperfect, flower of the next. As no one may change climatic conditions, the only thing to be done is to give to this class of flowers of the summer garden room for individual development, all the air they need to breathe both below ground, by frequent stirring of the soil, and above, by avoidance of over-crowding, and then select only those varieties that are really worth while.
This qualification can best be settled by pausing and asking three questions, when confronting the alluring portrait of an above-the-average specimen of annual in a catalogue, for Garden Goozle applies not only to the literature of the subject, but to the pictures as well, and a measurement of, for instance, a flower stalk of Drummond phlox, taken from a specimen pot-grown plant, raised at least partly under glass, is sure to cause disappointment when the average border plant is compared with it.
First—is the species of a colour and length of flowering season to be used in jungle-like masses for summer colour? Second—has it fragrance or decorative quality for house decoration? Thirdly, has it the back[Pg 75]bone to stand alone or will the plant flop and flatten shapelessly at the first hard shower and so render an array of conspicuous stakes necessary? Stakes, next to unsightly insecticides and malodorous fertilizers, are the bane of gardening, but that subject is big enough for a separate chronicle.
By ability to stand alone, I do not mean is every branchlet stiff as if galvanized, like a balsam, for this is by no means pretty, but is the plant so constructed that it can languish gracefully, petunia fashion, and not fall over stark and prone like an uprooted castor bean. Hybridization, like physical culture in the human, has evidently infused grace in the plant races, for many things that in my youth seemed the embodiment of stiffness, like the gladiolus, have developed suppleness, and instead of the stiff bayonet spike of florets, this useful and indefatigable bulb, if left to itself and not bound to a stake like a martyr, now produces flower sprays that start out at right angles, curve, and almost droop, with striking, orchid-like effect.
For making patches of colour, without paying special heed to the size of flower or development of individual plants, annuals may be sown thinly broadcast, raked in lightly, and, if the beds or borders are not too wide for reaching, thinned out as soon as four or five leaves [Pg 76]appear. Portulaca, sweet alyssum, Shirley poppies, and the annual gaillardias belong to this class, as well as single petunias of the inexpensive varieties used to edge shrubberies, and dwarf nasturtiums.
Sweet peas, of course, are to be sown early and deep, where they are to stand half an inch apart, like garden peas, and then thinned out so that there is not less than an inch between (two is better, but it is usually heartbreaking to pull up so many sturdy pealets) and reënforced by brush or wire trellising. Otherwise I plant the really worthy, or what might be called major annuals, in a seed bed much like that used for the hardy plants, at intervals during the month of May, according to the earliness of the season, and the time they are wanted to bloom. Later, I transplant them to their summer resting places, leaving those that are not needed, for it is difficult to calculate too closely without scrimping, in the seed bed, to cut for house decoration, as with the perennials. Of course if annuals are desired for very early flowering, many species may be started in a hotbed and taken from thence to the borders. Biennials that it is desired shall flower the first season are best hurried in this way, yet for the gardenerless garden of a woman this makes o'er muckle work. The occasional help of the "general useful" is not very efficient when it [Pg 77]comes to tending hotbeds, giving the exact quantity of water necessary to quench the thirst of seedlings without producing dropsy, and the consequent "damping off" which, when it suddenly appears, seems as intangible and makes one feel as helpless as trying to check a backing horse by helpless force of bit. A frame for Margaret carnations, early asters, and experiments in seedling Dahlias and chrysanthemums will be quite enough.
The woman who lives all the year in the country can so manage that her spring bulbs and hardy borders, together with the roses, last well into July. After this the annuals must be depended upon for ground colour, and to supplement the phloxes, gladioli, Dahlias, and the like. By the raising of these seeds in hotbeds they are apt to reach their high tide of bloom during the most intense heat of August, when they quickly mature and dry away; while, on the other hand, if they are reared in an open-air seed bed, they are not only stronger but they last longer, owing to more deliberate growth. Asters sown out-of-doors in May bloom well into October, when the forced plants barely outlast August.
Of many annuals it is writ in the catalogues, "sow at intervals of two weeks or a month for succession."[Pg 78] This sounds very plausible, for are not vegetables so dealt with, the green string-beans in our garden being always sown every two weeks from early April until September first? Yes, but to vegetables is usually given fresher and deeper soil for the crop succession than falls to flower seeds, and in addition the seeds are of a more rugged quality.
My garden does not take kindly to this successive sowing, and I have gradually learned to control the flower-bearing period by difference in location. Spring, and in our latitude May, is the time of universal seed vitality, and seeds germinating then seem to possess the maximum of strength; in June this is lessened, while a July-sown seed of a common plant, such as a nasturtium or zinnia, seems to be impressed by the lateness of the season and often flowers when but a few inches high, the whole plant having a weazened, precocious look, akin to the progeny of people, or higher animals, who are either born out of due season or of elderly parents. On the other hand, the plant retarded in its growth by a less stimulating location, when it blooms, is quite as perfect and of equal quality with its seed-bed fellows who were transplanted at once into full sunlight.
Take, for example, mignonette, which in the larger [Pg 79]gardens is always treated by successive sowings. A row sown early in April, in a sunny spot in the open garden and thinned out, will flower profusely before very hot weather, bloom itself out, and then leave room for some late, flowering biennial. That sown in the regular seed bed early in May may be transplanted (for this is the way by which large trusses of bloom may be obtained) early in June into three locations, using it as a border for taller plants, except in the bed of sweet odours, where it may be set in bunches of a dozen plants, for in this bed individuality may be allowed to blend in a universal mass of fragrance.
In order to judge accurately of the exact capabilities for shade or sunlight of the different portions of a garden, one must live with it, follow the shadows traced by the tree fingers on the ground the year through, and know its moods as the expressions that pass over a familiar face. For you must not transplant any of these annuals, that only live to see their sun father for one brief season, into the shade of any tree or overhanging roof, but at most in the travelling umbra of a distant object, such as a tall spruce, the northeastern side of a hedge, or such like.
In my garden one planting of mignonette in full sun goes in front of the March-planted sweet peas; of [Pg 80]the two transplantings from the seed, one goes on the southwest side of the rose arbour and the other on the upper or northeast side, where it blooms until it is literally turned into green ice where it stands.
This manipulation of annuals belongs to the realm of the permanent resident; the summer cottager must be content to either accept the conditions of the garden as arranged by his landlord, or in a brief visit or two made before taking possession, do his own sowing where the plants are to stand. In this case let him choose his varieties carefully and spare his hand in thickness of sowing, and he may have as many flowers for his table and as happy an experience with the summer garden, even though it is brief, as his wealthy neighbour who spends many dollars for bedding plants and foliage effects that may be neither smelled, gathered nor familiarized.
Among all the numerous birds that flit through the trees as visitors, or else stay with us and nest in secluded places, how comparatively few do we really depend upon for the aerial colour and the song that opens a glimpse of Eden to our eager eyes and ears each year, for our eternal solace and encouragement? There are some, like the wood thrush, song-sparrow, oriole, robin, barn-swallow, catbird, and wren, without [Pg 81]which June would not be June, but an imperfect harmony lacking the dominant note.

Down close to the earth, yes, in the earth, the same obtains. Upon how few of all the species of annuals listed does the real success of the summer garden rest? This is more and more apparent each year, when the fittest are still further developed by hybridization for survival and the indifferent species drop out of sight.
We often think erroneously of the beauty of old-time gardens. This beauty was largely that of consistency of form with the architecture of the dwelling and simplicity, rather than the variety, of flowers grown. Maeterlinck brings this before us with forcible charm in his essay on Old-Fashioned Flowers, and even now Martin Cortright is making a little biography of the flowers of our forefathers, as a birthday surprise for Lavinia. These flowers depended more upon individuality and association than upon their great variety.
First among the worthy annuals come sweet peas, mignonette, nasturtiums, and asters, each one of the four having two out of the three necessary qualifications, and the sweet pea all of them,—fragrance and decorative value for both garden and house. To be sure, the sweet pea, though an annual, must be planted before May if a satisfactory, well-grown hedge with flowers [Pg 82]held on long stems well above the foliage is to be expected, and in certain warm, well-drained soils it is practicable to sow seed the autumn before. This puts the sweet pea a little out of the running for the hirer of a summer cottage, unless he can have access to the place early in the season, but sown thinly and once fairly rooted and kept free from dead flowers and pods, the vines will go on yielding quite through September, though on the coming of hot weather the flower stems shorten.
I often plant seeds of the climbing nasturtium in the row with the sweet peas at a distance of one seed to the fist, the planting not being done until late May. The peas mature first, and after the best of their season has passed they are supplanted by the nasturtiums, which cover the dry vines and festoon the supporting brush with gorgeous colour in early autumn, keeping in the same colour scheme with salvia, sunflowers, gaillardias, and tritomas. This is excellent where space is of account, and also where more sweet peas are planted for their early yield than can be kept in good shape the whole season. Centaurea or cornflower, the bachelor's button or ragged sailor of old gardens, is in the front rank of the worthies. The flowers have almost the keeping qualities of everlastings, and are of easy culture, while the sweet sultan, also of this family, adds fragrance to [Pg 83]its other qualities. The blue cornflower is best sown in a long border or bed of unconventional shape, and may be treated like a biennial, one sowing being made in September so that the seedlings will make sturdy tufts before cold weather. These, if lightly covered with salt hay or rough litter (not leaves), will bloom in May and June, and if then replaced by a second sowing, flowers may be had from September first until freezing weather, so hardy is this true, blue Kaiser-blumen.
All the poppies are worthy, from the lovely Shirley, with its butterfly-winged petals, to the Eschscholtzia, the state flower of California.
One thing to be remembered about poppies is not to rely greatly upon their durability and make the mistake of expecting them to fill too conspicuous a place, or keep long in the marching line of the garden pageant. They have a disappointing way, especially the great, long-stemmed double varieties, of suddenly turning to impossible party-coloured mush after a bit of damp weather that is most discouraging. Treated as mere garden episodes and massed here and there where a sudden disappearance will not leave a gap, they will yield a feast of unsurpassed colour.
To me the Shirley is the only really satisfactory annual poppy, and I sow it in autumn and cover it after the [Pg 84]fashion of the cornflower, as it will survive anything but an open, rainy winter, and in the resulting display that lasts the whole month of June it rivals the roses in everything but perfume.
Godetia is a good flower for half-shady places that it is difficult to fill, and rings the colour change from white through pink to crimson and carmine. Marigolds hold their own for garden colour, but not for gathering or bringing near the nose, and zinnias meet them on the same plane.
The morning-glory tribe of ipomæa is both useful and decorative for rapid-growing screens, but heed should be taken that the common varieties be not allowed to scatter their seeds at random, or the next season, before you know it, every plant in the garden will be held tight in their insinuating grasp. Especially beautiful are the new Imperial Japanese morning glories that are exquisitely margined and fringed, and of the size and pattern of rare glass wine cups. Petunias, if judiciously used, and of good colour, belong in the second grade of the first rank. They have their uses, but the family has a morbid tendency to run to sad, half-mourning hues, and I have put a black mark against it as far as my own garden is concerned.
Drummond phlox deserves especial mention, for so [Pg 85]wide a colour range has it, and so easy is its growth (if only you give it plenty of water and elbow room, and remember that a crowded Drummond phlox is an unhappy plant of short life), that a very tasteful group of beds could be made of this flower alone by a careful selection of colours, while by constant cutting for the house the length of the blooming season is prolonged.
The dwarf salvias, too, grow readily from seed, and balsams, if one has room, line up finely along straight walks, the firm blossoms of the camelia-flowered variety, with their delicate rosettes of pink, salmon, and lavender, also serving to make novel table decorations when arranged in many ways with leaves of the laurel, English ivy, or fern fronds.
Portulaca, though cousin to the objectionable "pusley," is most useful where mere colour is wanted to cover the ground in beds that have held early tulips or other spring bulbs, as well as for covering dry, sandy spots where little else will grow. It should not be planted until really warm weather, and therefore may be scattered between the rows of narcissi and late tulips when their tops are cut off, and by the time they are quite withered and done away with, the cheerful portulaca, feeding upon the hottest sunbeams, will begin to cover the ground, a pleasure to the eye as well as a [Pg 86]decorative screen to the bulbs beneath, sucking the fiercest sun rays before they penetrate.
Chief among the low-growing worthies comes the verbena, good for bedding, good for cutting, and in some of the mammoth varieties subtly fragrant. Verbenas may be raised to advantage in a hotbed, but if the seed be soaked overnight in warm water, it will germinate freely out of doors in May and be a mass of bloom from July until late October. For beds grouped around a sundial or any other garden centre, the verbena has no peer; its trailing habit gives it grace, the flowers are borne erect, yet it requires no staking and it is easily controlled by pinching or pinning to the soil with stout hairpins.
One little fragrant flower, fraught with meaning and remembrance, belongs to the annuals, though its family is much better known among the half-hardy perennials that require winter protection here. This is the gold and brown annual wall-flower, slender sister of die gelbe violet, and having that same subtle violet odour in perfect degree. It cannot be called a decorative plant, but it should have plenty of room given it in the bed of sweet odours and be used as a border on the sunny side of wall or fence, where, protected from the wind and absorbing every ray of autumn sunlight, it [Pg 87]will often give you at least a buttonhole bouquet on Christmas morning.

The cosmos is counted by catalogues and culturists one of the most worthy of the newer annuals, and so it is when it takes heed to its ways and behaves its best, but otherwise it has all the terrible uncertainty of action common to human and garden parvenues. From the very beginning of its career it is a conspicuous person, demanding room and abundance of food. Thinking that its failure to bloom until frost threatened was because I had sown the seed out of doors in May, I gave it a front room in my very best hotbed early in March, where, long before the other occupants of the place were big enough to be transplanted, Mrs. Cosmos and family pushed their heads against the sash and insisted upon seeing the world. Once in the garden, they throve mightily, and early in July, at a time when I had more flowers than I needed, the entire row threatened to bloom. After two weeks of coquettish showing of colour here and there, up and down the line, they concluded that midsummer sun did not agree with any of the shades of pink, carmine, or crimson of which their clothes were fashioned, and as for white, the memory of recent acres of field daisies made it too common, so they changed their minds [Pg 88]and proceeded to grow steadily for two months. When they were pinched in on top, they simply expanded sidewise; ordinary and inconspicuous staking failed to restrain them, and they even pulled away at different angles from poles of silver birch with stout rope between, like a festive company of bacchantes eluding the embraces of the police. A heavy wind storm in late September snapped and twisted their hollow trunks and branches. Were they discouraged? Not a particle; they simply rested comfortably upon whatever they had chanced to fall and grew again from this new basis. Meanwhile the plants in front of them and on the opposite side of the way began to feel discouraged, and a fine lot of asters, now within the shadow, were attacked by facial paralysis and developed their blossoms only on one side.
The middle of October, the week before the coming of Black Frost, the garden executioner, the cosmos, now heavy with buds, settled down to bloom. Two large jars were filled with them, after much difficulty in the gathering, and then the axe fell. Sometimes, of course, they behave quite differently, and those who can spare ground for a great hedge backed by wall or fence and supported in front by pea brush deftly insinuated betwixt and between ground and plants, so that it [Pg 89]restrains, but is at the same time invisible, may feast their eyes upon a spectacle of billows of white and pink that, at a little distance, are reminiscent of the orchards of May.
But if you, Mary Penrose, are leaning toward cosmos and reading in the seed catalogue of their size and wonderful dawn-like tints, remember that the best of highly hybridized things revert unexpectedly to the commonest type, and somewhere in this family of lofty Mexicans there must have been a totally irresponsible wayside weed. Then turn backward toward the front of the catalogue, find the letter A, and buy, in place of cosmos, aster seeds of every variety and colour that your pocket will allow.
Of course the black golden-rod beetle may try to dwell among the aster flowers, and the aphis that are nursery maids to the ants infest their roots; you must pick off the one and dig sulphur and unslaked lime deeply into the soil to discourage the other, but whatever labour you spend will not be lost.
Other annuals there are, and their name is legion, that are pretty enough, perhaps, and well adapted to special purposes, like the decorative and curious tassel flower, cockscombs, gourds, four o'clocks, etc., and the great tribe of "everlastings" for those people, if such there [Pg 90]be, who still prefer dried things for winter bouquets, when an ivy-wreathed window filled with a succession of bulbs, ferns, or oxalis is so easily achieved! It is too harsh, perhaps, to call these minor annuals unworthy, but as they are unimportant and increase the labour rather than add to the pleasure, they are really unworthy of admission to the woman's garden where there is only time and room for the best results.
But here I am rambling at large instead of plainly answering your question, "What annuals can we plant as late as this (May 25) while we are locating the rose bed?" You may plant any or all of them up to the first of June, the success of course depending upon a long autumn and late frosts. No, not quite all; the tall-growing sweet peas should be in the ground not later than May 1 in this south New England latitude, though in the northern states and Canada they are planted in June as a matter of course. Blanche Ferry, of the brilliant pink-and-white complexion, however, will do very nicely in the light of a labour-saving afterthought, as, only reaching a foot and a half high, little, if any, brush is needed.

We found your rose list replete with charming varieties, but most of them too delicate for positive success hereabouts. I'm sending you presently the list for [Pg 91]a fifty-dollar rose garden, which it seems is much in demand, so that I've adapted my own experience to the simple plan that Evan drew to enlighten amateur rose lovers and turn them from coveting their wealthy neighbours' goods to spending their energy in producing covetable roses of their own!
By the way, I send you my own particular list of Worthy Annuals to match the hardy plants and keep heights and colours easily before you until your own Garden Book is formulated and we can compare notes. (See p. 387.)
You forgot to tell me whether you have decided to keep hens or not! I know that the matter has been discussed every spring since you have lived at Woodridge. If you are planning a hennery, I shall not encourage the rosary, for the days of a commuter's wife are not long enough for both without encountering nervous prostration on the immediate premises.
Some problems are ably solved by coöperation. As I am a devotee of the ornamental and comfortable, Martha Saunders née Corkle runs a coöperative hen-yard in our north pasture for the benefit of the Cortrights and ourselves to our mutual joy!
(Mary Penrose to Barbara Campbell)
June 5. I have not dipped pen in ink for an entire week, which has been one of stirring events, for not only have we wholly emerged from indoor life, but we have had a hair-breadth escape from something that not only threatened to mar the present summer, but to cast so heavy a shadow over the garden that no self-respecting flowers could flourish even under the thought of it. You cannot possibly guess with what we were threatened, but I am running ahead of myself.
The day that we began it—the vacation—by stopping the clocks, we overslept until nine o'clock. When we came downstairs, the house was in a condition of cheerful good order unknown to that hour of the day.
There is such a temperamental difference in this mere setting things to rights. It can be done so that every chair has a stiffly repellent look, and the conspicuous absence of dust makes one painfully conscious that [Pg 93]it has not always been thus, while the fingers inadvertently stray over one's attire, plucking a shred here and a thread there. Even flowers can be arranged in a vase so as to look thoroughly and reproachfully uncomfortable, and all the grace and meaning crushed out of them. But Maria Maxwell has the touch gracious that makes even a plainly furnished room hold out detaining hands as you go through, and the flowers on the greeting table in the hall (yes, Lavinia Cortright taught me that little fancy of yours during her first visit), though much the same as I had been gathering for a week past, wore an air of novelty!
For a moment we stood at the foot of the stairs looking about and getting our bearings, as guests in an unfamiliar place rather than householders. It flitted through my body that I was hungry, and one of the "must be's" of the vacation country was that we were to forage for breakfast. At the same time Bart sauntered unconsciously toward the mail-box under the hat-rack and then, suddenly putting his hands behind him, turned to me with a quizzical expression, saying: "Letters are forbidden, I know, but how about the paper? Even the 'Weekly Tribune' would be something; you know that sheet was devised for farmers!"
"If this vacation isn't to be a punishment, but a pleas[Pg 94]ure, I think we had both better 'have what we want when we want it'!" I replied, for at that moment I spied the Infant out on the porch, and to hug her ladyship was a swiftly accomplished desire. For some reason she seemed rather astonished at this very usual performance, and putting her hands, boy-fashion, into the pockets of her checked overalls, surveyed herself deliberately, and then looking up at me rather reproachfully remarked, "Tousin Maria says that now you and father are tumpany!"
"And what is company?" I asked, rather anxious to know from what new point we were to be regarded.
"Tumpany is people that comes to stay in the pink room wif trunks, and we play wif them and make them do somfing to amuse 'em all the time hard, and give 'em nicer things than we have to eat, and father shaves too much and tuts him and wears his little dinky coat to dinner. And by and by when they've gone away Ann-stasia says, 'Glory be!' and muvver goes to sleep. But muvver, if you are the tumpany, you can't go to sleep when you've gone away, can you?"
A voice joined me in laughter, Maria Maxwell's, from inside the open window of the dining room. Looking toward the sound, I saw that, though the dining table itself had been cleared, a side table drawn close [Pg 95]to the window was set with places for two, a posy of poets' narcissus and the last lilies-of-the-valley between, while a folded napkin at one place rested on a newspaper!
"I thought we were to get our own breakfasts," I said, in a tone of very feeble expostulation, which plainly told that, at that particular moment, it was the last thing I wished to do.
"You are, the very minute you feel like it, and not before! You must let yourselves down gradually, and not bolt out of the house as if you had been evicted. If Bart went paperless and letterless this very first morning, until he has met something that interests him more, he would think about the lack of the news and the mail all day until they became more than usually important!" So saying, Maria swept the stems and litter of the flowers she had been arranging into her apron, and annexing the Infant to one capable finger, all the other nine being occupied, she went down the path toward the garden for fresh supplies, leaving Ann-stasia, as the Infant calls her, to serve the coffee, a prerogative of which she would not consent to be bereft, not even upon the plea of lightening her labours!
"Isn't this perfect!" I exclaimed, looking toward a gap in the hills that was framed by the debatable [Pg 96]knoll on one side and reached by a short cut across the old orchard and abandoned meadows of the farm above, the lack of cultivation resulting in a wealth of field flowers.
"Entirely!" assented Bart, his spoon in the coffee cup stirring vigorously and his head enveloped in the newspaper. But what did the point of view matter: he was content and unhurried—what better beginning for a vacation? In fact in those two words lies the real vacation essence.
Meanwhile, as I munched and sipped, with luxurious irresponsibility, I watched Maria moving to and fro between the shrubs that bounded the east alley of the old garden. In her compressed city surroundings she had always seemed to me a very big sort of person, with an efficiency that was at times overpowering, whose brown eyes had a "charge bayonet" way of fixing one, as if commanding the attention of her pupils by force of eye had become a habit. But here, her most cherished belongings given room to breathe in the spare room that rambles across one end of the house, while her wardrobe has a chance to realize itself in the deep closet, Maria in two short days had become another person.
She does not seem large, but merely well built. The [Pg 97]black gowns and straight white collars that she always wore, as a sort of professional garb, have vanished before a shirtwaist with an openwork neck and half sleeves, while the flesh exposed thereby is pink and wholesome. Hair not secured for the wear and tear of the daily rounds of school, but allowed to air itself, requires only a few hair-pins, and, if it is naturally wavy, follows its own will with good effect. While as to her eyes, what in them seemed piercing at short range melted to an engaging frankness in the soft light under the trees. In short, if she had been any other than Maria Maxwell, music teacher, Bart's staid cousin and the avowed family spinster, I should have thought of her as a fine-looking woman who only needed a magic touch of some sort to become positively handsome. Coffee and paper finished, I became aware that Bart was gazing at me.
"Well," I said, extending my hand, "what next?" I had speedily made up my mind that Bart should take the initiative in our camping-out arrangement, and I therefore did not suggest that the first thing to be done was to set our camp itself in order.
"Come out," he said, taking my hand in the same way that the Infant does when she wishes to lead the way to the discovery of the fairyland that lies beyond the mead[Pg 98]ows of the farm. So we sauntered out. Once under the sun, the same delicious thought occurred to each that, certain prudences having been seen to, we were for the time without responsibilities, and the fact made us laugh for the very freedom of it and pull one another hither and thither like a couple of children.
Meanwhile the word knoll had not been uttered, but our feet were at once drawn in its direction by an irresistible force, and presently we found ourselves standing at the lower end of the ridge and looking up the slope!
"I wish we had a picture of it as it must have been before the land was cleared,—it would be a great help in replanting," I said; "it needs something dense and bold for a background to the rocks."
"The skeleton of the old barn on the other side spoils it; it ought to come down," was Bart's rejoinder. "It seems as if everything we wish to do hinges on some other thing."
This barn had been set back against the knoll so that from the house the hayloft window seemed like a part of a low shed. Certainly our forbears knew the ways of the New England wind very thoroughly, judging by the way they huddled their houses and outbuildings in hollows or under hillsides to avoid its stress. And [Pg 99]when they couldn't do that, they turned sloping, humpbacked roofs toward the northeast to shed the snow and tempt the wind in its wild moods to play leapfrog and thus pass over.
Such a roof as this has the house at the next farm, and judging by the location of the old hay barn, and the lay of the road, it must have once belonged to this adjoining property rather than to ours.
Slowly we circled the knoll, dropped into the hollow, and stood upon the uneven floor of wide chestnut planks that was to be our camp. Other lodgers had this barn besides ourselves and, unlike ourselves, hereditary tenants. Swallows of steel-blue wings hung their nests in a whispering colony against the beams, a pair of gray squirrels arched their tails at us and chattering whisked up aloft, where they evidently have a family in the dilapidated pigeon cote, while among some cornstalks and other litter in the low earth cellar beneath we could hear the rustling doubtless born of the swift little feet of mice. (Yes, I know that it is a feminine quality lacking in me, but I have never yet been able to conjure up any species of fear in connection with these playful little rodents.)
The cots, table, chairs, and screens were as I had placed them several days ago; but it was not the interior [Pg 100]that held us but the view looking eastward across the sunlit meadows. In fact this side of the barn had the wide openings of an observatory. The gnarled apple trees of the orchard still bore pink-and-white wreaths on the shady side, and the purling of bluebirds blended with the voice of the river that ran between the hills afar off—the same stream that further up country was to be pent between walls and prisoned to make a reservoir. Sitting there, we gazed upon the soft yet glowing beauty of it all, with never a thought of pick and spade, grub axe or crowbar, to pry between the rocks of the knoll to find the depth or quality of its soil or test the planting possibilities.
"Let us go up to the woods and see Blake; he wrote me that he is to be there to-day, and suggested we should both meet him and see the treasure-trove to be found there before the spring blossoms are quite shed," said Bart, suddenly, fumbling among the letters in his pocket; "and by the way, he said he would come back with us. He evidently forgets that we are not 'at home' to company!"
"But The Man from Everywhere is not company. He is simply a permanent institution and can go on dropping in as usual all summer if he likes. Ann-stasia adores him, for did he not bring her a beautiful sandal[Pg 101]wood rosary of carved beads from somewhere and a pair of real tortoise-shell combs not two months ago? And of course Maria Maxwell will not object; why should she? he will come and go as usual, and she will hardly know that he is in the house."
Barney harnessed the mild-faced horse of our neighbour's lending to that most comfortable of all vehicles, a buggy with an ample box behind and a top that can be dropped and made into a deep pocket to hold gleanings, or raised as a shield from sun and rain. Ah! dear Mrs. Evan, is there anything that turns a sober, settled married couple backward to the enchanted "engaged" region like driving away through the spring lanes in a buggy pulled by a horse who has had nature-loving owners, so that he seems to know by intuition when to pause and when it would be most acceptable to his passengers to have him wander from the beaten track and browse among the tender wayside grasses that always seem so much more tempting than any pasture grazing?
As you will infer from this, Romeo is not only of a gentle, meditative disposition, but his harness is destitute of a check rein, overdraw, or otherwise.
"Have you put in the trowels?" I asked, as we drove out the gate, the reins hanging so loosely from between[Pg 102] Bart's knees, as he lit his pipe, that it was by mere chance that Romeo took the right turn.
"No, I never thought of them; this is merely a prospecting trip. Did you put in the lunch?"
I was obliged to confess that I had not, but later on a box of sandwiches was found under the seat in company with Romeo's nose-bag of oats, this indication being that, as Barney alone knew directly of our destination, he must have informed Anastasia, who took pity, regarding us, as she does, as a cross between lunatics and the babes in the woods.
We chose byways, and only crossed the macadamized highroad, that haunt of automobiles, once, and after an hour's sauntering crossed the river and drove into the woodlots to the north of it, now the property of the water company, who have already posted warning to trespassers. We straightway began to trespass, seeing The Man from Everywhere on horseback coming down to meet us.
Without an apparent change of soil or altitude, the scenery at once grew more bold and dramatic.
"What is it?" I said. "We have been driving through lanes lined by dogwood and yet that little tree below and the scrubby bit of hillside make a more perfect picture than any we have seen!"

Bart, who had left the buggy and was walking beside it with The Man, who had dismounted and led his nag, turned and looked backward, but did not answer.
"It is the evergreens that give it the quality," said The Man, "even though they are only those stiff little Noah's-ark cedars. I notice it far and wide, wherever I go; a landscape is never monotonous so long as there is a pine, spruce, hemlock, or bit of a cedar to bind it together. I believe that is why I am never content for long in the land of palms!"
"I love evergreens in winter, but I've never thought much about them in the growing leafy season; they seem unimportant then," I said.
"Unimportant or not, they are still there. Look at that wall of trees rising across the river! Every conceivable tint of green is there, besides shades of pink and lavender in leaf case and catkin, but what dominates and translates the whole? The great hemlocks on the crest and the dark pointed cedars off on the horizon where the woodland thins toward the pastures. Whether you separate them or not, they are there. People are only just beginning to understand the value of evergreens in their home gardens, both as windbreaks and backgrounds. No, I don't mean stark, isolated specimens, stiff as Christmas trees. You have [Pg 104]a magnificent chance to use them on that knoll of yours that you are going to restore!"
As he was speaking I thought Bart paid very scant attention, but following his pointing finger I at once saw what had absorbed him. On the opposite side of the river, extending into the brush lots, was a knoll the size and counterpart of ours, even in the way that it lay by the compass, only this was untouched, as nature planned it, and the model for our restoration.
"Do you clear the land as far back as this?" Bart asked of The Man, eagerly.
"Yes, not for the sake of the land, but for the boulders and loose rock on those ledges; all the rock hereabout will be little enough for our masonry!"
"Then," said Bart, "I'm going to transplant the growth on this knoll, root and branch, herb and shrub, moss and fern, to our own, if it takes me until Christmas! It isn't often that a man finds an illustrated plan with all the materials for carrying it out under his hand for merely the taking. There are enough young hemlocks up there to windbreak our whole garden. The thing I'm not sure about is just when it will do to begin the transplanting. Meanwhile I'll make a list of the plants we know that we can add to as others develop and blossom."
So he set to work on his list then and there, The Man from Everywhere helping, because he can name a plant from its leaves or even the twigs.
I said that I would write to you at once and ask you or Evan to tell us about the best way to transplant all the wild things, except woody shrubs and trees, because we know it's best to wait for those until leaf fall. But as it turns out, I've waited six days—oh! such aggravating days when there is so much to decide and do!
That afternoon The Man rode home with us, as a matter of course, we quite forgetting that instead of late dinner, as usual, the meal would be tea, as the Infant and Maria Maxwell are to dine now at one! As a shower threatened, it seemed much more natural for us to turn into the house than the camp, and before I knew how it happened I was sitting at the head of my own table serving soup instead of tea! I dared not look at Maria, but as the meal was nearly ended she remarked demurely, looking out of the west window to where the shower was passing off slantwise, leaving a glorious sunset trail in its wake, "Wouldn't you like to have your coffee in camp, as the rain forced you to take dinner indoors?" by which I knew that Maria would not allow us to lose sight of our outdoor intentions.
Bart laughed, and The Man, gazing around the table [Pg 106]innocently said, "Oh, has it begun, and am I intruding and breaking up plans? Why didn't you tell me?"
So we went out through the sweet-smelling twilight, or rather the glow that comes before it, and as we idly sipped the coffee, lo and behold, the old farm lay before us—a dream picture painted by the twilight! The little window-panes, iridescent with age and bulged into odd shapes by yielding sashes, caught the sunset hues and turned to fire opals; the light mist rising over the green meadows where the flowers now slept with heads bent and eyes closed lent the green and pearl tints of those mysterious gems to which drops of rain or dew strung everywhere made diamond settings.
"By Jove!" exclaimed Bart, "how beautiful the Opie farm looks to-night! If a real-estate agent could only get a photograph of what we see, we should soon have a neighbour to rescue the place!"
"You mustn't call it the Opie farm any more; it is Opal Farm from to-night!" I cried, "and no one shall buy it unless they promise to leave in the old windows and let the meadow and crab orchard stay as they are, besides giving me right of way through it quite down to the river woods!"
But to get back by this circuitous route to the threatened danger with which I opened this letter—
The postman whistled, as he has an alluring way of doing when he brings the evening mail, always hoping that some one will come out for a bit of evening gossip, in which he is rarely disappointed.
We all started to our feet, but Maria, whose special duty it had become to look over the mail, distanced us all by taking a short cut, regardless of wet grass.
Talk branched into divers pleasant ways, and we had almost forgotten her errand when she returned and, breaking abruptly into the conversation, said to Bart, "Sorry to interrupt, but the postman reports that there are three large crates of live stock down at the station, and the agent says will you please send for them to-night, as he doesn't dare leave them out, there are so many strangers about, and they will surely stifle if he crowds them into the office!"
"Live stock!" exclaimed Bart, "I'm sure I've bought nothing!" Then, as light broke in his brain,—"Maybe it's that setter pup that Truesdale promised me as soon as it was weaned, which would be about now!"
"Would a setter pup come in three crates?" inquired The Man, solemnly.
"It must be live plants and not live stock!" I said, coming to Bart's rescue, "for Aunt Lavinia Cortright [Pg 108]wrote me last week that she was sending me some of her prize pink Dahlias, and some gladioli bulbs!"
"Possibly these might fill three large cases!" laughed Bart, in his turn.
"Why not see if any of those letters throw light upon the mystery, and then I'll help 'hook up,' as I suppose Barney has gone home, and we will bring up the crates even if they contain crocodiles!" said The Man, cheerfully. Complications always have an especially cheering effect upon him, I've often noticed.
The beams of a quarter moon were picturesque, but not a satisfactory light by which to read letters, especially when under excitement, so Bart brought out a carriage lantern with which we had equipped our camp, and proceeded to sort the mail, tossing the rejected letters into my lap.
Suddenly he paused at one, extra bulky and bearing the handwriting of his mother, weighed it on the palm of his hand, and opened it slowly. From it fell three of the yellow-brown papers upon which receipts for expressage are commonly written; I picked them up while Bart read slowly—
"My dear Son,
"We were most glad to hear through daughter Mary of your eminently sensible and frugal plan for passing [Pg 109]your summer vacation in the improvement of your land without the expense of travel.
"Wishing to give you some solid mark of our approval, as well as to contribute what must be a material aid to your income, father and I send you to-day, by express, three crates of Hens—one of White Leghorns, one of Plymouth Rocks, and one of Brown Dorkings, a male companion accompanying each crate, as I am told is usual. We did not select an incubator, thinking you might have some preference in the matter, but it will be forthcoming when your decision is made.
"Of course I know that you cannot usually spare the time for the care of these fowls, but it will be a good outdoor vocation for Mary, amusing and lucrative, besides being thoroughly feminine, for such poultry raising was considered even in my younger days.
"A book, The Complete Guide to Poultry Farming, which I sent Mary a year ago on her birthday, as a mere suggestion, will tell her all she need know in the beginning, and the responsibility and occupation itself will be a good corrective for giving too much time to the beauties of the flower garden, which are merely pleasurable.
"I need not remind you that the different breeds should be housed separately, but you who always had a gift [Pg 110]for carpentry can easily arrange this. Indeed it was only yesterday that in opening a chest of drawers I came across a small lead saw bought for sixpence, with which you succeeded in quite cutting through the large Wisteria vine on Grandma Bartram's porch! I wished to punish you, but she said—'No, Susanna, rather preserve the tool as a memento of his industry and patience.'
"I wish that I could be near to witness your natural surprise on receiving this token of our approval, but I must trust Mary to write us of it.
"Your mother,
"Susan Bartram Penrose."
With something between a groan and a laugh Bart dropped this letter into my lap, with the others.
"So, after a successful struggle all these five years of our country life against the fatal magnetism of Hens that has run epidemic up and down the population of commuting householders, bringing financial prostration to some and the purely nervous article to others; after avoiding 'The Wars of the Chickens, or Who scratched up those Early Peas,'—events as celebrated in local history as the Revolution or War of the Rebellion,—we are to be forced into the chicken business for the good of Bart's health and pocket, and my mental discipline, [Pg 111]and also that a thrifty Pennsylvania air may be thrown about our altogether too delightful and altruistic summer arrangements! It's t-o-o bad!" I wailed.
Of course I know, Mrs. Evan, that I was in a temper, and that my "in-laws" mean well, but since comfortable setting hens have gone out of fashion, and incubators and brooders taken their place, there is no more pleasure or sentiment about raising poultry than in manufacturing any other article by rule. It's a business, and a very pernickety one to boot, and it's to keep Bart away from business that we are striving. Besides, that chicken book tells how many square feet per hen must be allowed for the exercising yards, and how the pens for the little chicks must be built on wheels and moved daily to fresh pasture. All the vegetable garden and flower beds and the bit of side lawn which I want for mother's rose garden would not be too much! But I seem to be leaving the track again.
Bart didn't say a word, except that "At any rate we must bring the fowls up from the station," and as the stable door was locked and the key in Barney's pocket, Bart and The Man started to walk down to the village to look him up in some of his haunts, or failing in this to get the express wagon from the stable.
Maria and I sat and talked for some time about The[Pg 112] Man from Everywhere, the chickens, and the location of the rose beds. She is surprisingly keen about flowers, considering that it is quite ten years since her own home in the country was broken up, but then I think this is the sort of knowledge that stays by one the longest of all. I hope that I have succeeded in convincing her that The Man is not company to be bothered about, but a comfortable family institution to come and go as he likes, to be taken easily and not too seriously.
When the moon disappeared beyond the river woods, we went to the southwest porch, and there decided that the piece of lawn where we had some uninteresting foliage beds one summer was the best place for the roses and we might possibly have a trellis across the north wall for climbers. Would you plant roses in rows or small separate beds? And how about the soil? But perhaps the plan you are sending me will explain all this.
It was more than an hour before the men returned, and, not having found Barney, Bart had signed for the poultry in order to leave the express agent free to go home, and had left word at the stable for them to send the crates up as soon as the long wagon returned from Leighton, whither it had gone with trunks.
After much discussion we decided that the fowls [Pg 113]should be housed for the night in the small yard back of the stable, where the Infant's cow (a present from my mother) spends her nights under the shed.
"Did you find any signs of a chicken house on the place when you first came?" asked Maria, in a matter-of-fact tone, as if its location was the only thing now to be considered.
"Yes, there was one directly in the fence line at the eastern gap where we see the Three Brothers Hills," said Bart, "and I've always intended to plant a flower bed of some sort there both to hide the gap in the wall and that something may be benefited by the hen manure of decades that must have accumulated there!"
"How would the place do for the new hen-house?" pursued Maria, relentlessly.
"Not at all!" I snapped very decidedly: "it is directly in the path the cool summer winds take on their way to the dining room, and you know at best fowl houses are not bushes of lemon balm!"
"Then why not locate your bed of good-smelling things in the gap, and sup on nectar and distilled perfume," said The Man from Everywhere, soothingly.
"The very thing! and I will write Mrs. Evan at once for a list of the plants in her 'bed of sweet odours,'[Pg 114] as she calls it." Then presently, as the men sat talking, Maria having gone into the house, our summer work seemed to lie accomplished and complete before me, even as you once saw your garden of dreams before its making,—the knoll restored to its wildness, ending not too abruptly at the garden in some loose rock; the bed of sweet odours filling the gap between it and the gate of the little pasture in the rear; straight beds of hardy plants bordering the vegetable squares; the two seed beds topping the furthest bit, then a space of lawn with the straight walk of the old garden running through, to the sundial amid some beds of summer flowers at the orchard end, while the open lawn below the side porch is given up to roses!
I even crossed the fence in imagination, and took in the possibilities of Opal Farm. If only I could have some one there to talk flowers and other perplexities to, as you have Lavinia Cortright, without going through the front gate!
Two hours must have passed in pleasant chat, for the hall clock, the only one in the front part of the house we had not stopped, was chiming eleven when wheels paused before the house and the latch of the gate that swung both ways gave its double click!
"The hens have come!" I cried in dismay, the dream [Pg 115]garden vanishing before an equally imaginary chorus of clucks and crows.
Mr. Hale himself, the stable keeper, appeared at the house corner at the same moment that Bart and The Man reached it. Consternation sat upon his features, and his voice was fairly husky as he jerked out,—"They've gone,—clean gone,—Mr. Penrose, all three crates! and the dust is so kicked up about that depot that you can't read out no tracks. Some loafers must hev seen them come and laid to get in ahead o' you, as hevin' signed the company ain't liable! What! don't you want to drive down to the sheriff's?" and Mr. Hale's lips hung loose with dismay at Bart's apparent apathy.
"Mr. Hale," said Bart, in mock heroic tones, "I thank you for your sympathy, but because some troubles fall upon us unawares, it does not follow that we should set bait for others!"
Whereupon Mr. Hale the next day remarked that he didn't know whether or not Penrose was taking action in the matter, because you could never judge a good lawyer's meanings by his speech.
However, if the hens escaped, so did we, and the next morning Bart forgot his paper until afternoon, so eager was he to test the depth of soil in the knoll.
I'm sending you a list of the wild things at hand. Will you tell me in due course which of the ferns are best for our purpose? I've noticed some of the larger ones turn quite shabby early in August.
(Barbara Campbell to Mary Penrose)
Oaklands, June 5. Yesterday my roses began to bloom. The very old bush of thorny, half-double brier roses with petals of soft yellow crêpe, in which the sunbeams caught and glinted, took the lead as usual. Before night enough Jacqueminot buds showed rich colour to justify my filling the bowl on the greeting table, fringing it with sprays of the yellow brier buds and wands of copper beech now in its velvety perfection of youth. This morning, the moment that I crossed my bedroom threshold, the Jacqueminot odour wafted up. Is there anything more like the incense of praise to the flower lover? Not less individual than the voice of friends, or the song of familiar birds, is the perfume of flowers to those who live with them, and among roses none impress this characteristic more poignantly than the crimson Jacqueminot and the silver-pink La France, equally delicious and absolutely different.
As one who has learned by long and sometimes disastrous experience, to one who is now really plunging [Pg 118]headlong into the sea of garden mysteries and undercurrents for the first time, I give you warning! if you have a real rose garden, or, merely what Lavinia Cortright calls hers, a rosary of assorted beads, try as far as possible to have all your seed sowing and transplanting done before the June rose season begins, that you may give yourself up to this one flower, heart, soul, yes, and body also! It was no haphazard symbolist that, in troubadour days, gave Love the rose for his own flower, for to be its real self the rose demands all and must be all in all to its possessor.
As for you, Mary Penrose, who eschewed hen-keeping as a deceitful masquerade of labour, under the name of rural employment, ponder deeply before you have spade put to turf in your south lawn, and invest your birthday dollars in the list of roses that at this very moment I am preparing to send you, with all possible allurement of description to egg you on. For unless you have very poor luck, which the slope of your land, depth of soil, and your own pertinacity and staying qualities discount, many more dollars in quarters, halves, or entire will follow the first large outlay, and I may even hear of your substituting the perpetual breakfast prune of boarding-houses for your grapefruit in winter, or being overcome in summer by the prevail[Pg 119]ing health-food epidemic, in order that you may plunder the housekeeping purse successfully.

But this is the time and hour that one gardener, on a very modest scale, may be excused if she overrates the charms of rose possessing, for it is a June morning, both bright and overcast by turns. A wood thrush is practising his arpegios in the little cedar copse on one side, and a catbird is hurling every sort of vocal challenge and bedevilment from his ancestral syringa bush on the other, and all between is a gap filled with a vista of rose-bushes—not marshalled in a garden together, but scattered here, there, and everywhere that a good exposure and deep foothold could be found.
As far as the arrangement of my roses is concerned, "do as I say, not as I do" is a most convenient motto. I have tried to formalize my roses these ten years past, but how can I, for my yellow brier (Harrison's) has followed its own sweet will so long that it makes almost a hedge. The Madame Plantiers of mother's garden are stalwart shrubs, like many other nameless bushes collected from old gardens hereabout, one declining so persistently to be uprooted from a particularly cheerful corner that it finds itself in the modern company of Japanese iris, and inadvertently sheds its petals to make rose-water of the birds' bath.
An English sweetbrier of delicious leafage hobnobs with honeysuckle and clematis on one of the wren arbours, while a great nameless bush of exquisite blush buds, quite destitute of thorns (one of the many cuttings sent "the Doctor's wife" in the long ago), stands an unconscious chaperone between Marshall P. Wilder and Mrs. John Lang.
I must at once confess that it is much better to keep the roses apart in long borders of a kind than to scatter them at random. By so doing the plants can be easily reached from either side, more care being taken not to overshadow the dwarf varieties by the more vigorous.
Lavinia Cortright has left the old-fashioned June roses that belonged to her garden where they were, but is now gathering the new hybrids after the manner of Evan's little plan. In this way, without venturing into roses from a collector's standpoint, she can have representatives of the best groups and a continuous supply of buds of some sort both outdoors and for the house from the first week in June until winter.
To begin with, roses need plenty of air. This does not mean that they flourish in a draught made by the rushing of north or east wind between buildings or down a cut or roadway. If roses are set in a mixed border, the tendency is inevitably to crowd or flank them [Pg 121]by some succulent annual that overgrows the limit we mentally set for it, thereby stopping the circulation of air about the rose roots, and lo! the harm is done!
If you want good roses, you must be content to see a little bare, brown earth between the bushes, only allowing a narrow outside border of pansies, the horned bedding violets (cornuta), or some equally compact and clean-growing flower. To plant anything thickly between the roses themselves prevents stirring the soil and the necessary seasonal mulchings, for if the ground-covering plants flourish you will dislike to disturb them.
The first thing to secure for your rosary is sun—sun for all the morning. If the shadow of house, barn, or of distant trees breaks the direct afternoon rays in July and August, so much the better, but no overhead shade at any time or season. This does not prevent your protecting a particularly fine quantity of buds, needed for some special occasion, with a tentlike umbrella, such as one sees fastened to the seat in pedlers' wagons. A pair of these same umbrellas are almost a horticultural necessity for the gardener's comfort as well, when she sits on her rubber mat to transplant and weed.
Given your location, consideration of soil comes next, [Pg 122]for this can be controlled in a way in which the sun may not be, though if the ground chosen is in the bottom of a hollow or in a place where surface water is likely to settle in winter, you had better shift the location without more ado. It was a remark pertinent to all such places that Dean Hole made to the titled lady who showed him an elaborately planned rose garden, in a hollow, and waited for his praise. She heard only the remark that it was an admirable spot for ferns!
If your soil is clayey, and holds water for this reason, it can be drained by porous tiles, sunk at intervals in the same way as meadow or hay land would be drained, that is if the size of your garden and the lay of the land warrants it. If, however, the roses are to be in separate beds or long borders, the earth can be dug out to the depth of two and a half or three feet, the good fertile portion being put on one side and the clay or yellow loam, if any there be, removed. Then fill the hole with cobblestones, rubbish of old plaster, etc., for a foot in depth (never tin cans); mix the good earth thoroughly with one-third its bulk of well-rotted cow dung, a generous sprinkling of unslaked lime and sulphur, and replace, leaving it to settle for a few days and watering it thoroughly, if it does not rain, before planting.
One of the advantages of planting roses by themselves [Pg 123]is that the stirring of the soil and giving of special fertilizers when needful may be unhampered.
In the ordinary planting of roses by the novice, the most necessary rules are usually the first violated. The roses are generally purchased in pots, with a certain amount of foliage and a few buds produced by forcing. A hole is excavated, we will suppose, in a hardened border of hardy plants that, owing to the tangle of roots, can be at best but superficially dug and must rely upon top dressing for its nutriment. Owing to the difficulty of digging the hole, it is likely to be a tight fit for the pot-bound ball of calloused roots that is to fill it. Hence, instead of the woody roots and delicate fibres being carefully spread out and covered, so that each one is surrounded by fresh earth, they are jammed just as they are (or often with an additional squeeze) into a rigid socket, and small wonder if the conjunction of the two results in blighting and a lingering death rather than the renewal of vitality and increase.
Evan, who has had a wide experience in watching the development of his plans, both by professional gardeners and amateurs, says that he is convinced more and more each day that, where transplanting of any sort fails, it is due to carelessness in the securing of the root anchors, rather than any fault of the dealer who supplies the [Pg 124]plants, this of course applying particularly to all growths having woody roots, where breakage and wastage cannot be rapidly restored. When a rose is once established, its persistent roots may find means of boring through soil that in its first nonresistant state is impossible. While stiff, impervious clay is undesirable, a soil too loose with sand, that allows the bush to shift with the wind, instead of holding it firmly, is quite as undesirable.
In planting all hardy or half-hardy roses,—whether they are of the type that flower once in early summer, the hybrid perpetuals that bloom freely in June and again at intervals during late summer and autumn, or the hybrid teas that, if wisely selected and protected, combine the wintering ability of their hardy parents with the monthly blooming cross of the teas,—it is best to plant dormant field-grown plants in October, or else as early in April as the ground is sufficiently dry and frost free.
These field-grown roses have better roots, and though, when planted in the spring, for the first few months the growth is apparently slower than that of the pot-grown bushes, it is much more normal and satisfactory, at least in the Middle and New England states of which I have knowledge.
All roses, even the sturdy, old-fashioned damasks, Madame Plantier, and the like, should have some covering in winter, such as stable litter of coarse manure with the straw left in. Hybrid perpetuals I hill up well with earth after the manner of celery banked for bleaching, the trenches between making good water courses for snow water, while in spring cow manure and nitrate of soda is scattered in these ruts before the soil is restored to its level by forking.
The hybrid teas, of which La France is the best exponent, should be hilled up and then filled in between with evergreen branches, upland sedge grass, straw or corn stalks, and if you have the wherewithal, they may be capped with straw.
I do not care for leaves as a covering, unless something coarse underlies them, for in wet seasons they form a cold and discouraging poultice to everything but the bob-tailed meadow mice, who love to bed and burrow under them. Such tea roses as it is possible to winter in the north should be treated in the same way, but there is something else to be suggested about their culture in another place.
The climbing roses of arbours, if in very exposed situations, in addition to the mulch of straw and manure, may have corn stalks stacked against the slats, which [Pg 126]makes a windbreak well worth the trouble. But the more tender species of climbing roses should be grown upon pillars, English fashion. These can be snugly strawed up after the fashion of wine bottles, and then a conical cap of the waterproof tar paper used by builders drawn over the whole, the manure being banked up to hold the base firmly in place. With this device it is possible to grow the lovely Gloire de Dijon, in the open, that festoons the eaves of English cottages, but is our despair.
Not long ago we invented an inexpensive "pillar" trellis for roses and vines which, standing seven feet high and built about a cedar clothes-pole, the end well coated with tar before setting, is both symmetrical and durable, not [Pg 127]burning tender shoots, as do the metal affairs, and costing, if the material is bought and a carpenter hired by the day, the moderate price of two dollars and a half each, including paint, which should be dark green.
Evan has made a sketch of it for you. He finds it useful in many ways, and in laying out a new garden these pillars, set at corners or at intervals along the walks, serve to break the hot look of a wide expanse and give a certain formality that draws together without being too stiff and artificial.
For little gardens, like yours and mine, I think deep-green paint the best colour for pergola, pillars, seats, plant tubs, and the like. White paint is clean and cheerful, but stains easily. If one has the surroundings and money for marble columns and garden furniture, it must form part of a well-planned whole and not be pitched in at random, but the imitation article, compounded of cement or whitewashed wood, belongs in the region of stage properties or beer gardens!
The little plan I'm sending you needs a bit of ground not less than fifty feet by seventy-five for its development, and that, I think, is well within the limits of your southwest lawn. The pergola can be made of rough cedar posts with the bark left on. Evan says that there are any quantity of cedar trees in your river woods that [Pg 128]are to be cleared for the reservoir, and you can probably get them for a song.
The border enclosing the grass plots is four feet in width, which allows you to reach into the centre from either side. Two rows of hybrid perpetuals or three of hybrid tea or summer roses can be planted in these beds, according to their size, thus allowing, at the minimum, for one hundred hybrid perpetuals, fifty hybrid teas, fifty summer roses, and eighteen climbers, nine on either side of the pergola, with four additional for the corner pillars.
The irregular beds in the small lawns should not be planted in set rows, but after the manner of shrubberies. Rugosa roses, if their colours be well chosen, are best for the centre of these beds. They are striking when in flower and decorative in fruit, while the handsome leaves, that are very free from insects, I find most useful as green in arranging other roses the foliage of which is scanty. The pink-and-white damask roses belong here, and the dear, profuse, and graceful Madame Plantier,—a dozen bushes of this hybrid China rose of seven leaflets are not too many. For seventy years it has held undisputed sway among hardy white roses and has become so much a part of old gardens that we are inclined to place its origin too far back in [Pg 129]the past among historic roses, because we cannot imagine a time when it was not. This is a rose to pick by the armful, and grown in masses it lends an air of luxury to the simplest garden.

Personally, I object to the rambler tribe of roses for any but large gardens, where in a certain sense the personality of flowers must sometimes be lost in decorative effect. A scentless rose has no right to intrude on the tender intimacies of the woman's garden, but pruned back to a tall standard it may be cautiously mingled with Madame Plantier with good effect, lending the pale lady the reflected touch of the colour that gives life.
For the pergola a few ramblers may be used for rapid effect, while the slower growing varieties are making wood, but sooner or later I'm sure that they will disappear before more friendly roses, and even to-day the old-fashioned Gem of the Prairies, Felicité Perpetual, and Baltimore Belle seem to me worthier. Colour and profusion the rambler has, but equally so has the torrent of coloured paper flowers that pours out of the juggler's hat, and they are much bigger.
No, I'm apt to be emphatic (Evan calls it pertinacious), but I'm sure the time will come when at least the crimson rambler, trained over a gas-pipe arch, [Pg 130]except for purely decorative purposes, will be as much disliked by the real rose lover as the tripod with the iron pot painted red and filled with red geraniums!
The English sweetbrier is a climbing or pillar rose, capable of being pruned into a bush or hedge that not only gives fragrance in June but every time the rain falls or dew condenses upon its magic leaves. This you must have as well as some of its kin, the Penzance hybrid-sweetbriers, either against the pergola or trained to the corner pillars, where you will become more intimate with them.
You may be fairly sure of success in wintering well-chosen hybrid perpetual roses and the hybrid teas. If, for any reason, certain varieties that succeed in Lavinia Cortright's garden and ours do not thrive with you, they must be replaced by a gradual process of elimination. You alone may judge of this. I'm simply giving you a list of varieties that have thriven in my garden; others may not find them the best. Only let me advise you to begin with roses that have stood a test of not less than half a dozen years, for it really takes that long to know the influence of heredity in this highly specialized race. After the rose garden has shown you all its colours, it is easy to supplement a needed tint here or a proven newcomer there without [Pg 131]speculating, as it were, in garden stock in a bull market. Too much of spending money for something that two years hence will be known no more is a financial side of the Garden-Goozle question that saddens the commuter, as well as his wife. It is a continual proof of man's, and particularly woman's, innocency that such pictures as horticultural pedlers show when extolling their wares do not deter instead of encouraging purchasers. If the fruits and flowers were believable, as depicted, still they should be unattractive to eye and palate.
The hybrid perpetuals give their great yield in June, followed by a more or less scattering autumn blooming. It is foolish to expect a rose specialized and proven by the tests climatic and otherwise of Holland, England, or France, and pronounced a perpetual bloomer, to live up to its reputation in this country of sudden extremes: unveiled summer heat, that forces the bud open before it has developed quality, causing certain shades of pink and crimson to fade and flatten before the flower is really fit for gathering. Americans in general must be content with the half loaf, as far as garden roses are concerned, for in the cooler parts of the country, where the development of the flower is slower and more satisfactory, the winter lends added dangers.
Good roses—not, however, the perfect flowers of the connoisseur or even of the cottage exhibitions of England—may be had from early June until the first week of July, but the hybrid tea roses that brave the latter part of that month and August are but short lived, even when gathered in the bud. Those known as summer bedders of the Bourbon class, chiefly scentless, of which Appoline is a well-known example, are simply bits of decorative colour without the endearing attributes of roses, and garden colour may be obtained with far less labour.
In July and August you may safely let your eyes wander from the rosary to the beds of summer annuals, the gladioli, Japan lilies, and Dahlias, and depend for fragrance on your bed of sweet odours. But as the nights begin to lengthen, at the end of August, you may prepare for a tea-rose festival, if you have a little forethought and a very little money.
You have, I think, a florist in your neighbourhood who raises roses for the market. This is my method, practised for many years with comforting success. Instead of buying pot-grown tea roses in April or May, that, unless a good price (from twenty-five cents up) is paid for them, will be so small that they can only be called bushes at the season's end, I go to our florist [Pg 133]and buy fifty of the bushes that he has forced during the winter and being considered spent are cast out about June first, in order to fill in the new stock.
All such roses are not discarded each season, but the process is carried on in alternate benches and years, so that there are always some to be obtained. These plants, big, tired-looking, and weak in the branches, I buy for the nominal sum of ten dollars per hundred, five dollars' worth filling a long border when set out in alternating rows. On taking these home, I thin out the woodiest shoots, or those that interfere, and plant deep in the border, into which nitrate of soda has been dug in the proportion of about two ounces to a plant.
After spreading out the roots as carefully as possible, I plant firmly and water thoroughly, but do not as yet prune off the long branches. In ten days, having given meanwhile two waterings of liquid manure, I prune the bushes back sharply. By this time they will have probably dropped the greater part of their leaves, and having had a short but sufficient nap, are ready to grow, which they proceed to do freely. I do not encourage bloom in July, but as soon as we have dew-heavy August nights it begins and goes on, increasing in quality until hard frost. Many of these bushes have [Pg 134]wintered comfortably and on being pruned to within three inches of the ground have lasted many years.
As to the varieties so treated, that is a secondary consideration, for under these circumstances you must take what the florist has to offer, which will of course be those most suitable to the winter market. I have used Perle des Jardins, Catherine Mermet, Bride and Bridesmaid, Safrano, Souvenir d'un Ami, and Bon Silene (the rose for button-hole buds) with equal success, though a very intelligent grower affirms that both Bride and Bridesmaid are unsatisfactory as outdoor roses.
I do not say that the individual flowers from these bushes bear relation to the perfect specimens of greenhouse growth in anything but fragrance, but in this way I have roses all the autumn, "by the fistful," as Timothy Saunders's Scotch appreciation of values puts it, though his spouse, Martha Corkle, whose home memories are usually expanded by the perspective of time and absence, in this case speaks truly when she says on receiving a handful, "Yes, Mrs. Evan, they're nice and sweetish and I thank you kindly, but, ma'am, they couldn't stand in it with those that grows as free as corn poppies round the four-shillin'-a-week cottages out Gloucester way, and no disrespec' intended."
The working season of the rose garden begins the [Pg 135]first of April with the cutting out of dead wood and the shortening and shaping of last year's growth. With hardy roses the flowers come from fresh twigs on old growth. I never prune in the autumn, because winter always kills a bit of the top and cutting opens the tubular stem to the weather and induces decay. Pruning is a science in itself, to be learned by experience. This is the formula that I once wrote on a slate and kept in my attic desk with my first Boke of the Garden.
April 1. Uncover bushes, prune, and have the winter mulch thoroughly dug in. Place stakes in the centre of bushes that you know from experience will need them. Re-tie climbers that have broken away from supports, but not too tightly; let some sprays swing and arch in their own way.
May. As soon as the foliage begins to appear, spray with whale-oil soap lotion mixed hot and let cool: strength—a bit the size of a walnut to a gallon of water. Do this every two weeks until the rosebuds show decided colour, then stop. This is to keep the rose Aphis at bay, the little soft green fly that is as succulent as the sap upon which it feeds.
If the spring is damp and mildew appears, dust with sulphur flower in a small bellows.
June. The Rose Hopper or Thrip, an active little [Pg 136]pale yellow, transparent-winged insect that clings to the under side of the leaf, will now come if the weather is dry; dislodged easily by shaking, it immediately returns. Remedy, spraying leaves from underneath with water and applying powdered helebore with a bellows.
If Black Spot, a rather recent nuisance, appears on the leaves, spray with Bordeaux Mixture, bought of a horticultural dealer, directions accompanying.
Meanwhile the leaf worm is sure to put in appearance. This is also transparent and either brownish green, or yellow, seemingly according to the leaves upon which it feeds. Remedy, if they won't yield to helebore (and they seldom do unless very sickly), brush them off into a cup. An old shaving brush is good for this purpose, as it is close set but too soft to scrape the leaf.
June 15. When the roses are in bloom, stop all insecticides. There is such a thing as the cure being worse than the disease, and a rose garden redolent of whale-oil soap and phosphates and encrusted with helebore and Bordeaux Mixture has a painful suggestion of a horticultural hospital.
Now is the time for the Rose Chafer, a dull brownish beetle about half an inch long, who times his coming up out of the ground to feast upon the most fragrant and luscious roses. These hunt in couples and are wholly [Pg 137]obnoxious. Picking into a fruit jar with a little kerosene in the bottom is the only way to kill them. In one day last season Evan came to my rescue and filled a quart jar in two hours; they are so fat and spunky they may be considered as the big game among garden bugs, and their catching, if not carried to an extreme, in the light of sport.
July. See that all dead flowers are cut off and no petals allowed to mould on the ground. Mulch with short grass during hot, dry weather, and use liquid manure upon hybrid teas and teas every two weeks, immediately after watering or a rain. Never, at any season, allow a rose to wither on the bush!
August. The same, keeping on the watch for all previous insects but the rose beetle; this will have left. Mulch hybrid perpetuals if a dry season, and give liquid manure for the second blooming.
September. Stir the ground after heavy rains, and watch for tendencies of mould.
October. The same.
November. Begin to draw the soil about roots soon after black frost, and bank up before the ground freezes, but do not add straw, litter, or manure in the trenches until the ground is actually frozen, which will be from December first onward, except in the case [Pg 138]of teas, which should be covered gradually until the top is reached.
By this you will judge, Mary Penrose, that a rosary has its labours, as well as pleasures, and that like all other joys it is accompanied by difficulties. Yet you can grow good roses if you will, but the difficulty is that most people won't. I think, by the way, that remark belongs to Dean Hole of fragrant rose-garden memory, and of a truth he has said all that is likely to be spoken or written about the rose on the side of both knowledge and human fancy for many a day.
Modern roses of the hybrid-perpetual and hybrid-tea types may be bought of several reliable dealers for twenty-five dollars per hundred, in two conditions, either grown on their own roots or budded on Manette or brier stock. Personally I prefer the first or natural condition, if the constitution of the plant is sufficiently vigorous to warrant it. There are, however, many indispensable varieties that do better for the infusion of vigorous brier blood. A budded rose will show the junction by a little knob where the bud was inserted; this must be planted at least three inches below ground so that new shoots will be encouraged to spring from above the bud, as those below are merely wild, worthless suckers, to be removed as soon as they appear.

How can you tell wild suckers from the desired growth? At first by following them back to the root until you have taken their measure, but as soon as experience has enlightened you they will be as easily recognized at sight as the mongrel dog by a connoisseur. Many admirable varieties, like Jacqueminot, Anne de Diesbach, Alfred Colomb, Madame Plantier, and all the climbers, do so well on their own roots that it is foolish to take the risk of budded plants, the worse side of which is a tendency to decay at the point of juncture. Tea roses, being of rapid growth and flowering wholly upon new wood, are perfectly satisfactory when rooted from cuttings.
Of many well-attested varieties of hybrid perpetuals, hybrid China, or other so-called June roses, you may at the start safely select from the following twenty.
| [Pg 139] Pink, of various shades | |
| 1. Anne de Diesbach. | One of the most fragrant, hardy, and altogether satisfactory of hybrid perpetual roses. Forms a large bush, covered with large deep carmine-pink flowers. Should be grown on own root. |
| 2. Paul Neyron. | [Pg 140] Rose pink, of large size, handsome even when fully open. Fragrant and hardy. |
| 3. Cabbage, or Rose of 100 Leaves. | The Provence rose of history and old gardens, supposed to have been known to Pliny. Rich pink, full, fragrant, and hardy. Own roots. |
| 4. Magna Charta. | A fine fragrant pink rose of the hybrid China type. Not seen as often as it should be. Own roots. |
| 5. Clio. | A vigorous grower with flesh-coloured and pink-shaded blossoms. |
| 6. Oakmont. | Exquisite deep rose, fragrant, vigorous, and with a long blooming season. |
White |
|
| 7. Marchioness of Londonderry. | Free, full, and fragrant. Immense cream-white flowers, carried on long stems. Very beautiful. |
| 8. Madame Plantier (Hybrid China). | [Pg 141]A medium-sized, pure white rose, with creamy centre; flowers so profusely as to appear to be in clusters. Delicately fragrant, leaves deep green and remarkably free from blights. Perfectly hardy; forms so large a bush in time that it should be placed in the rose shrubbery rather than amid smaller species. |
| 9. Margaret Dickson. | A splendid, finely formed, fragrant white rose, with deep green foliage. |
| 10. Coquette des Blanches. | One of the very hardy white roses, an occasional pink streak tinting the outside petals. Cup-shaped and a profuse bloomer. |
| 11. Coquette des Alps. | A very hardy bush, coming into bloom rather later than the former and lasting well. Satisfactory. |
| [Pg 142]
Red and Crimson |
|
| 12. General Jacqueminot. | Bright velvety crimson. The established favourite of its colour and class, though fashion has in some measure pushed it aside for newer varieties. May be grown to a large shrub. Fragrant and hardy. Best when in bud, as it opens rather flat. |
| 13. Alfred Colomb. | Bright crimson. Full, sweet. A vigorous grower and entirely satisfactory. If you can grow but one red rose, take this. |
| 14. Fisher Holmes. | A seedling of Jacqueminot, but of the darkest velvety crimson; fragrant, and blooms very early. |
| 15. Marshal P. Wilder. | Also a seedling of Jacqueminot. Vigorous and of well-set foliage. Full, large flowers of a bright cherry red. Very fragrant. |
| 16. Marie Bauman. | [Pg 143] A crimson rose of delicious fragrance and lovely shape. This does best when budded on brier or Manette stock, and needs petting and a diet of liquid manure, but it will repay the trouble. |
| 17. Jules Margottin. | A fine, old-fashioned, rich red rose, fragrant, and while humble in its demands, well repays liberal feeding. |
| 18. John Hopper. | A splendid, early crimson rose, fragrant and easily cared for. |
| 19. Prince Camille de Rohan. | The peer of dark red roses, not large, but rich in fragrance and of deep colour. |
| 20. Ulrich Brunner. | One of the best out-of-door roses, hardy, carries its bright cerise flowers well, which are of good shape and substance; has few diseases. |
| [Pg 144]
Moss Roses |
|
| 1. Blanch Moreau (Perpetual). | A pure, rich white; the buds, which are heavily mossed, borne in clusters. |
| 2. White Bath. | The most familiar white moss rose, sometimes tinged with pink. Open flowers are attractive as well as buds. |
| 3. Crested Moss. | Rich pink, deeply mossed, each bud having a fringed crest; fragrant and full. |
| 4. Gracilis. | An exquisite moss rose of fairylike construction, the deep pink buds being wrapped and fringed with moss. |
| 5. Common Moss. | A hardy pink variety, good only in the bud. |
| The moss roses as a whole only bloom satisfactorily in June. | |
Climbers |
|
| 1. | |
| 1. English Sweetbrier. | Single pink flowers of the wild-rose type. Foliage of delicious fragrance, perfuming the garden after rain the season through. |
| [Pg 145]
Penzance Hybrid Sweetbriers, Having Fragrant Foliage and Flowers of Many Beautiful Colours |
|
| 2. Amy Robsart. | Pink. |
| 3. Anne of Geierstein. | Crimson. |
| 4. Minna. | White. |
| 5. Rose Bradwardine. | Deep rose. |
2. |
|
| 1. Climbing Jules Margottin. | Rosy carmine, very fragrant and full, satisfactory for the pergola, but more so for a pillar, where in winter it can be protected from wind by branches or straw. |
| 2. Baltimore Belle. | The old-fashioned blush rose, with clean leaves and solid flowers of good shape. Blooms after other varieties are over. Trustworthy and satisfactory, though not fragrant in flower or leaf. |
| 3. Gem of the Prairie. | Red flowers of large size, but rather flat when open. A seedling from Queen of the Prairie, and though not[Pg 146] as free as its parent, it has the desirable quality of fragrance. |
| 4. Climbing Belle Siebrecht (Hybrid Tea). | Fragrant, vigorous, and of the same deep pink as the standard variety. Grow on pillars. |
| 5. Gloire de Dijon. | Colour an indescribable blending of rose, buff, and yellow, deliciously fragrant, double to the heart of crumpled, crêpelike petals. A tea rose and, as an outdoor climber, tender north of Washington, yet it can be grown on a pillar by covering as described on page 126. |
Hybrid Tea Roses |
|
| 1. La France. | The fragrant silver-pink rose, with full, heavy flowers,—the combination of all a rose should be. In the open garden the sun changes its delicate[Pg 147] colour quickly. Should be gathered in the bud at evening or, better yet, early morning. Very hardy if properly covered, and grows to a good-sized bush. |
| 2. Kaiserin Augusta Victoria. | White, with a lemon tint in the folds; the fragrance is peculiar to itself, faintly suggesting the Gardenia. |
| 3. Gruss an Teplitz. | One of the newer crimson roses, vigorous, with well-cupped flowers. Good for decorative value in the garden, but not a rose of sentiment. |
| 4. Killarney. | One of the newer roses that has made good. Beautiful pointed buds of shell-pink, full and at the same time delicate. The foliage is very handsome. If well fed, will amply repay labour. |
| 5. Souvenir de Malmaison. | A Bourbon rose that should be [Pg 148] treated like a hybrid tea. Shell-pink, fragrant flowers, that have much the same way of opening as Gloire de Dijon. A constant bloomer. |
| 6. Clothilde Soupert. | A polyantha or cluster rose of vigorous growth and glistening foliage, quite as hardy as the hybrid tea. It is of dwarf growth and suitable for edging beds of larger roses. The shell-pink flowers are of good form and very double; as they cluster very thickly on the ends of the stems, the buds should be thinned out, as they have an aggravating tendency to mildew before opening. |
| 7. Souvenir de President Carnot. | A charming rose with shadows of all the flesh tints, from white through blush to rose; sturdy and free. |
| 8. Caroline Testout. | Very large, round flowers, of a [Pg 149] delicate shell-pink, flushed with salmon; sturdy. |
Teas |
|
| 1. Bon Silene. | The old favourite, unsurpassed for fragrance as a button-hole flower, or table decoration when blended with ferns or fragrant foliage plants. Colour "Bon Silene," tints of shaded pink and carmine, all its own. |
| 2. Papa Gontier. | A rose as vigorous as the hybrid teas, and one that may be easily wintered. Pointed buds of deep rose shading to crimson and as fragrant as Bon Silene, of which it is a hybrid. Flowers should be gathered in the bud. |
| 3. Safrano. | A true "tea" rose of characteristic shades of buff and yellow, with the tea fragrance in all its perfection.[Pg 150] Best in the bud. Vigorous and a fit companion for Papa Gontier and Bon Silene. |
| 4. Perle des Jardins. | An exquisite, fragrant double rose of light clear yellow, suggesting the Marechal Niel in form, but of paler colour. Difficult to winter out of doors, but worth the trouble of lifting to cold pit or light cellar, or the expense of renewing annually. One of the lovable roses. |
| 5. Bride. | The clear white rose, sometimes with lemon shadings used for forcing; clean, handsome foliage and good fragrance. Very satisfactory in my garden when old plants are used, as described. |
| 6. Bridesmaid. | The pink companion of the above with similar attributes. |
| [Pg 151] 7. Etoille de Lyon. | A vigorous, deep yellow rose, full and sweet. Almost as hardy as a hybrid tea and very satisfactory. |
| 8. Souvenir d'un Ami. | A deliciously fragrant light pink rose, with salmon shadings. Very satisfactory and as hardy as some of the hybrid teas. |
Miscellaneous Roses for the Shrubbery |
|
| 1. Harrison's Yellow. | An Austrian brier rose with clear yellow semi-double flowers. Early and very hardy. Should be grown on its own roots, as it will then spread into a thicket and make the rosary a mass of shimmering gold in early June. |
Damask Roses |
|
| Should be grown on own root, when they will form shrubs five feet high. | |
| 2. Madame Hardy. | [Pg 152] Pure white. Very fragrant, well-cupped flower, Time tried and sturdy. |
| 3. Rosa Damascena Triginitipela. | Rose colour. |
Rugosa |
|
| The tribe of Japanese origin, conspicuous as bushes of fine foliage and handsome shape, as well as for the large single blossoms that are followed by seed vessels of brilliant scarlet hues. | |
| 4. Agnes Emily Carman. | Flowers in clusters, "Jacqueminot" red, with long-fringed golden stamens. Continuous bloomer. Hardy and perfect. |
| 5. Rugosa alba. | Pure white, highly scented. |
| 6. Rugosa rubra. | Single crimson flowers of great beauty. |
| 7. Chedane Guinoisseau. | Flowers, satin pink and very large. Blooms all the summer. |
Now, Mary Penrose, having made up your mind to have a rosary, cause garden line and shovel to be set in that side lawn of yours without hesitation. Do not wait until autumn, because you cannot plant the hardy roses until then and do not wish to contemplate bare ground. This sight is frequently wholesome and provocative of good horticultural digestion. You need only begin with one-half of Evan's plan, letting the pergola enclose the walk back of the house, and later on you can add the other wing.
If the pergola itself is built during the summer, you can sit under it, and by going over your list and colour scheme locate each rose finally before its arrival. By the way, until the climbers are well started you may safely alternate them with vines of the white panicled clematis, that will be in bloom in August and can be easily kept from clutching its rose neighbours!
By and by, when you have planted your roses, tucked them in their winter covers, and can sit down with a calm mind, I will lend you three precious rose books of mine. These are Dean Hole's Book about Roses, for both the wit and wisdom o't; The Amateur Gardener's Rose Book, rescued from the German by John Weathers, F.R.H.S., for its common sense, well-arranged list of roses, and beautiful coloured plates, and H.B. Ell[Pg 154]wanger's little treatise on The Rose, a competent chronology of the flower queen up to 1901, written concisely and from the American standpoint. If I should send them now, you would be so bewildered by the enumeration of varieties, many unsuited to this climate, intoxicated by the descriptions of Rose-garden possibilities, and carried away by the literary and horticultural enthusiasm of the one-time master of the Deanery Garden, Rochester, that, like the child turned loose in the toy shop, you would lose the power of choosing.
Lavinia Cortright lost nearly a year in beginning her rosary, owing to a similar condition of mind, and Evan and I long ago decided that when we read we cannot work, and vice versa, so when the Garden of Outdoors is abed and asleep each year, we enter the Garden of Books with fresh delight.
Have you a man with quick wit and a straight eye to be the spade hand during the Garden Vacation? If not, make haste to find him, for, as you have had Barney for five years, he is probably too set in his ways to work at innovations cheerfully!
(Mary Penrose to Barbara Campbell)
June 21. The rosary has been duly surveyed, staked according to the plan, and the border lines fixed with the garden line dipped in whitewash, so that if we only plant a bed at a time, our ambition will always be before us. But as yet no man cometh to dig. This process is of greater import than it may seem, because with the vigorous three-year-old sod thus obtained do we purpose to turf the edges of the beds for hardy and summer flowers that border the squares of the vegetable garden. These strips now crumble earth into the walks, and the slightest footfall is followed by a landslide. We had intended to use narrow boards for edging, but Bart objects, like the old retainer in Kipling's story of An Habitation Enforced, on the ground that they will deteriorate from the beginning and have to be renewed every few years, whereas the turf will improve, even if it is more trouble to care for.
At present the necessity of permanence is one of the [Pg 156]things that is impressing us both, for after us—the Infant! Until a year ago I had a positive dread of being so firmly fixed anywhere that to spread wings and fly here and there would be difficult, but now it seems the most delightful thing to be rooted like the old apple tree on the side hill, the last of the old orchard, that has leaned against the upland winds so many years that it is well-nigh bent double, yet the root anchors hold and it is still a thing of beauty, like rosy-cheeked old folk with snowy hair. I do not think that I ever realized this in its fulness until I left the house and came out, though but a short way, to live with and in it all.
You were right in thinking that Barney would not encourage innovations,—he does not! He says that turf lifted in summer always lies uneasy and breeds worms.
This seems to be an age for the defiance of horticultural tradition, for we are finding out every day that you can "lift" almost anything of herbaceous growth at any time and make it live, if you are willing to take pains enough, though of course transplanting is done with less trouble and risk at the prescribed seasons.
The man-with-the-shovel question is quite a serious one hereabouts at present, for the Water Company has engaged all the rough-and-ready labourers for a long [Pg 157]season and that has raised both the prices and the noses of the wandering accommodators in the air. Something will probably turn up. Now we are transplanting hardy ferns; for though the tender tops break, there is yet plenty of time for a second growth and rooting before winter.

Copyright, 1903, H. Hendrickson.
Meanwhile there is a leisurely old carpenter who recently turned up as heir of the Opal Farm, Amos Opie by name, who is thinking of living there, and has signified his willingness to undertake the pergola by hour's work, "if he is not hustled," as soon as the posts arrive.
The past ten days have been full of marvellous discoveries for the "peculiar Penroses," as Maria Maxwell heard us called down at the Golf Club, where she represented me at the mid-June tea, which I had wholly forgotten that I had promised to manage when I sent out those P.P.C. cards and stopped the clocks!
It seems that the first impression was that financial disaster had overtaken us, when instead of vanishing in a touring car preceded by tooting and followed by a cloud of oil-soaked steam, we took to our own woods, followed by Barney with our effects in a wheelbarrow. It is a very curious fact—this attributing of every action a bit out of the common to the stress of pocket [Pg 158]hunger. It certainly proves that advanced as we are supposed to be to-day as links in the evolutionary chain, we have partially relapsed and certainly show strong evidences of sheep ancestry.
Haven't you noticed, Mrs. Evan, how seldom people are content to accept one's individual tastes or desire to do a thing without a good and sufficient reason therefor? It seems incomprehensible to them that any one should wish to do differently from his neighbour unless from financial incapacity; the frequency with which one is suspected of being in this condition strongly points to the likelihood that the critics themselves chronically live beyond their means and in constant danger of collapse.
If this was thought of us a few weeks ago, it seems to have been sidetracked by Maria Maxwell's contribution to, and management of, the golf tea. She is said not only to have compounded viands that are ordinarily sold in exchange for many dollars by New York confectioners, but she certainly made more than a presentable appearance as "matron" of the receiving committee of young girls. Certainly Maria with a music roll, a plain dark suit, every hair tethered fast, and common-sense shoes, plodding about her vocation in snow and mud, and Maria "let loose," as Bart calls it, are a [Pg 159]decided contrast. Except that she has not parted with her sunny common-sense, she is quite a new person. Of course I could not have objected to it, but I was afraid that she might take it into her head to instruct the Infant in vocal music after the manner of the locustlike sounds that you hear coming over the lowered tops of school windows as soon as the weather grows warm, or else take to practising scales herself, for we had only known the technical part of her calling. In short, we feared that we should be do-re-mi-ou'd past endurance. Instead of which, scraps of the gayest of ballads float over the knoll in the evening, and the Infant's little shrill pipe is being inoculated with real music, via Mother Goose melodies sung in a delightfully subdued contralto.
From the third day after her arrival people began to call upon Maria. I made such a positive declaration of surrender of all matters pertaining to the household, including curiosity, when Maria took charge,—and she in return promised that we should not be bothered with anything not "of vital importance to our interests,"—that, unless she runs through the housekeeping money before the time, I haven't a ghost of an excuse for asking questions,—but I do wonder how she manages! Also, to whom the shadows belong that cross the south piazza [Pg 160]at night or intercept the rays of the dining-room lamp, our home beacon of dark nights.
In addition to the usual and convenient modern shirt-waist-and-skirt endowment, Maria had when she came but two gowns, one of black muslin and the other white, with improvised hats to match,—simple, graceful gowns, yet oversombre.
But lo! she has blossomed forth like a spring seed catalogue, and Bart insists that I watched the gate with his field-glass an hour the afternoon of the tea, to see her go out. I did no such thing; I was looking at an oriole's nest that hangs in the elm over the road, but I could not help seeing the lovely pink flower hat that she wore atilt, with just enough pink at the neck and streamers at the waist of her dress to harmonize.
I visited the larder that evening for supper supplies,—yes, we have become so addicted to the freedom of outdoors that for the last few days Bart has brought even the dinner up to camp, waiting upon me beautifully, for now we have entirely outgrown the feeling of the first few days that we were taking part in a comedy, and have found ourselves, as it were—in some ways, I think, for the first time.
Anastasia seemed consumed with a desire for a dish of gossip, but was not willing to take the initiative. She [Pg 161]chuckled to herself and tried several perfectly transparent ways of attracting my attention, until I took pity on her, a very one-sided pity too, for, between ourselves, Anastasia is the domestic salt and pepper that gives the Garden Vacation a flavour that I should sadly miss.
"Miss Marie," she exclaimed, "do be the tastiest creaytur ever I set me eyes on." (She refused absolutely to call her Maria; that name, she holds, is only fit for a settled old maid, "and that same it's not sure and fair to mark any woman wid being this side the grave.")
Then I knew that I only had to sit down and raise my eyes to Anastasia's face in an attitude of attention, to open the word gates, and this I did.
"Well, fust off win she got the invite ter sing at the swarry that tops off the day's doings down to that Golf Club, she was that worried about hats you never seen the like! She wus over ter Bridgeton, and Barney swore he drove her ter every milliner in the place, and says she ter me, pleasant like, that evenin', when returned, in excuse fer havin' nothin' to show, 'Oh, Annie, Annie, it would break yer heart to see the little whisp of flowers they ask five dollars for; to fix me hats a trifle would part me from a tin-dollar bill!'"
(The sentiments I at once perceived might be Maria's, but their translation Anastasia's.)
"Now Miss Marie, she's savin' like,—not through meanness, but because she's got the good Irish heart that boils against payin' rint, and she's hoardin' crown by shillin' till she kin buy her a cabin and to say a pertaty patch for a garden, somewhere out where it's green! Faith! but she'll do it too; she's a manager! Yez had orter see the illigant boned turkey she made out o' veal, stuck through with shrivelled black ground apples, she called 'puffles'! an glued it up foine wid jelly. Sez I, 'They'll never know the difference,' but off she goes and lets it out and tells the makin' uv it ter every woman on the hill,—that's all I hev agin her. She's got a disease o' truth-telling when there's no need that would anguish the saints o' Hiven theirselves!
"'I kin make better 'n naturaler-lookin' hats fer nothin', here at home, than they keep in N' York,' she says after looking out the back window a piece. 'And who'll help yer?' says I, 'and where'll yer git the posies and what all?'
"'I bought some bolts o' ribbon to-day,' says she, smilin'; 'and fer the rest, the garden, you, and I will manage it together, if you'll lend me a shelf all to meself in the cold closet whenever I need it!' Sure fer a moment I wuz oneasy, fer I thought a wild streak run branchin' through all the boss's family!"
(At the words Garden, You, and I, there flashed through me the thought of some telepathic influence at work.)
"'The garden's full o' growin' posies that outshames the flower-makers; watch out and see, Anastasia!'
"Well and I did!! This mornin' early she picks a lot o' them sticky pink flowers by the stoop, the colour o' chiny shells, wid spokes in them like umbrellas, and the thick green leaves, and after leavin' 'em in water a spell, puts 'em in me cold closet, a small bit o' wet moss tied to each stem end wid green sewin' silk! A piece after dinner out she comes wid the hat that's covered with strong white lace, and she cocks it this way and pinches it that and sews the flowers to it quick wid a big thread and a great splashin' bow on behind, and into the cold box agin!
"'That's fer this afternoon,' says she, and before she wore it off (a hat that Eve, mother o' sin, and us all would envy), she'd another ready for the night! 'Will it spoil now and give yer away, I wonder?' says I, anxious like.
"'Not fer two hours, at least; and it'll keep me from stayin' too long; if I do, it'll wither away and leave me all forlorn, like Cinderella and her pumpkin coach!' she said a-smilin' kind uv to herself in me [Pg 164]kitchen mirror, when she put the hat on. 'But I'm not insultin' God's flowers tryin' to pass them off for French ones, Annie,' says she. 'I'm settin' a new garden fashion; let them follow who will!' and away wid her! That same other is in here now, and it's no sin to let yer peep, gin it's ye own posies and ye chest they're in." So, throwing open the door Anastasia revealed the slate shelf covered by a sheet of white paper, while resting on an empty pickle jar, for a support, was the second hat, of loosely woven black straw braid, an ornamental wire edging the brim that would allow it to take a dozen shapes at will. It was garlanded by a close-set wreath of crimson peonies grading down to blush, all in half bud except one full-blown beauty high in front and one under the brim set well against the hair, while covering the wire, caught firm and close, were glossy, fragrant leaves of the wild sweetbrier made into a vine.
Ah, well, this is an unexpected development born of our experiment and a human sort of chronicle for The Garden, You, and I.
One of the most puzzling things in this living out-of-doors on our own place is the reversal of our ordinary viewpoints. Never before did I realize how we look at the outdoor world from inside the house, where inani[Pg 165]mate things force themselves into comparison. Now we are seeing from outside and looking in at ourselves, so to speak, very much like the robin, who has his third nest, lop-sided disaster having overtaken the other two, in the old white lilac tree over my window.
Some of our doings, judged from the vantage point of the knoll, are very inconsistent. The spot occupied by the drying yard is the most suitable place for the new strawberry bed, and is in a direct line between the fence gap, where my fragrant things are to be, and the Rose Garden. Several of the walks that have been laid out according to the plan, when seen from this height, curve around nothing and reach nowhere. We shall presently satisfy their empty embraces with shrubs and locate various other conspicuous objects at the terminals.
Also, the house is kept too much shut up; it looks inhospitable, seen through the trees, with branches always tossing wide to the breeze and sun. Even if a room is unoccupied by people, it is no reason why the sun should be barred out, and at best we ourselves surely spend too much time in our houses in the season when every tree is a roof. We have decided not to move indoors again this summer, but to lodge here in the time between vacations and to annex the Infant.
Oh, Mrs. Evan, dear! there is one thing in which The Man from Everywhere reckoned without his host! Stopping the clocks when we went in camp did not dislodge Time from the premises; rather did it open the door to his entrance hours earlier than usual, when one of the chiefest luxuries we promised ourselves was late sleeping.
Stretched on our wire-springed, downy cots (there is positively no virtue in sleeping on hard beds, and Bart considers it an absolute vice), there is a delicious period before sleep comes. Bats flit about the rafters, and an occasional swallow twitters and shifts among the beams as the particular nest it guarded grew high and difficult to mount from the growth of the lusty brood within. The scuffle of little feet over the rough floor brings indolent, half-indifferent guessing as to which of the lesser four-foots they belonged. The whippoorwills down in the river woods call until they drop off, one by one, and the timid ditty of a singing mouse that lives under the floor by my cot is the last message the sandman sends to close our eyes before sleep. And such sleep! That first steel-blue starlit night in the open we said that we meant to sleep and sleep it out, even if we lost a whole day by it. It seemed but a moment after sleep had claimed us, when, struggling through the heavy darkness, [Pg 167]came far-away light strands groping for our eyes, and soft, half-uttered music questioning the ear. Returning I opened my eyes, and there was the sun struggling slowly through the screen of white birches in Opie's wood lot, and scattering the night mists that bound down the Opal Farm with heavy strands; the air was tense with flitting wings, bird music rose, fell, and drifted with the mist, and it was only half-past four! You cannot kill time, you see, by stopping clocks—with nature day Is, beyond all dispute. In two days, by obeying instead of opposing natural sun time, we had swung half round the clock, only now and then imitating the habits of our four-footed brothers that steal abroad in the security of twilight.

Copyright, 1901, H. Hendrickson.
June 24. Amos Opie, the carpenter, owner of Opal Farm, is now keeping widower's hall in the summer kitchen thereof. A thin thread of smoke comes idly from the chimney of the lean-to in the early morning, and at evening the old man sits in the well-house porch reading his paper so long as the light lasts, a hound of the ancient blue-spotted variety, with heavy black and tan markings, keeping him company.
These two figures give the finishing touch to the picture that lies beyond us as we look from the sheltered corner of the camp, and strangely enough, though old Opie [Pg 168]is not of the direct line and has never lived in this part of New England before, he goes about with a sort of half-reminiscent air, as if picking up a clew long lost, while Dave, the hound, at once assumed proprietary rights and shows an uncanny wisdom about the well-nigh fenceless boundaries. After his master has gone to bed, Dave will often come over to visit us, after the calm fashion of a neighbour who esteems it a duty. At least that was his attitude at first; but after a while, when I had told him what a fine, melancholy face he had, that it was a mistake not to have christened him Hamlet, and that altogether he was a good fellow, following up the conversation with a comforting plate of meat scraps (Opie being evidently a vegetarian), Dave began to develop a more youthful disposition. A week ago Bart's long-promised, red setter pup arrived, a spirit of mischief on four clumsy legs. Hardly had I taken him from his box (I wished to be the one to "first foot" him from captivity into the family, for that is a courtesy a dog never forgets) when we saw that Dave was sitting just outside the doorless threshold watching solemnly.
The puppy, with a gleeful bark, licked the veteran on the nose, whereat the expression of his face changed from one of uncertainty to a smile of indulgent if ma[Pg 169]ture pleasure, and now he takes his young friend on a daily ramble down the pasture through the bit of marshy ground to the river, always bringing him back within a reasonable length of time, with an air of pride. Evidently the hound was lonely.
The Man from Everywhere, who prowls about even more than usual, using Bart's den for his own meanwhile, says that the setter will be ruined, for the hound will be sure to trail him on fox and rabbit, and that in consequence he will never after keep true to birds, but somehow we do not care, this dog-friendship between the stranger and the pup is so interesting.
By the way, we have financially persuaded Opie to leave his straggling meadow, that carpets our vista to the river, for a wild garden this summer, instead of selling it as "standing grass," which the purchasers had usually mown carelessly and tossed into poor-grade hay, giving a pittance in exchange that went for taxes.
So many flowers and vines have sprung up under shelter of the tumble-down fences that I was very anxious to see what pictures would paint themselves if the canvas, colour, and brushes were left free for the season through. Already we have had our money's worth, so that everything beyond will be an extra dividend.[Pg 170] The bit of marshy ground has been for weeks a lake of iris, its curving brink foamed with meadow rue and Osmundas that have all the dignity of palms.
Now all the pasture edge is set with wild roses and wax-white blueberry flowers. Sundrops are grouped here and there, with yellow thistles; the native sweetbrier arches over gray boulders that are tumbled together like the relic of some old dwelling; and the purple red calopogon of the orchid tribe adds a new colour to the tapestry, the cross-stitch filling being all of field daisies. Truly this old farm is a well-nigh perfect wild garden, the strawberries dyeing the undergrass red, and the hedges bound together with grape-vines. It does not need rescuing, but letting alone, to be the delight of every one who wishes to enjoy.
On being approached as to his future plans, Amos Opie merely sets his lips, brings his finger-tips together, and says, "I'm open to offers, but I'm not bound to set a price or hurry my decisions."
Meanwhile I am living in a double tremor, of delight at the present and fear lest some one may snap up the place and give us what the comic paper called a Queen Mary Anne cottage and a stiff lawn surrounded by a gas-pipe fence to gaze upon. O for a pair of neighbours who would join us in comfortable vagabondage, [Pg 171]leave the white birches to frame the meadows and the wild flowers in the grass!
June 25. We have been having some astonishing thunder-storms of nights lately, and I must say that upon one occasion I fled to the house. Two nights ago, however, the sun set in an even sky of lead, there was no wind, no grumblings of thunder. We had passed a very active day and finished placing the stakes on the knoll in the locations to be occupied by shrubs and trees, all numbered according to the tagged specimens over in the reservoir woods.
The Man from Everywhere suggested this system, an adaptation, he says, from the usual one of numbering stones for a bit of masonry. It will prevent confusion, for the perspective will be different when the leaves have fallen, and as we lift the bushes, each one will go to its place, and we shall not lose a year's growth, or perhaps the shrub itself, by a second moving. Our one serious handicap is the lack of a pair of extra hands, in this work as in the making of the rose bed, for our transplanting has developed upon a wholesale plan. Barney does not approve of our passion for the wild; besides, between potatoes and corn to hoe, celery seedlings to have their first transplanting, vegetables to pick, turf grass to mow, and edges to keep trim, with a [Pg 172]horse and cow to tend in addition, nothing more can be expected of him.
I was half dozing, half listening, as usual, to the various little night sounds that constantly pique my curiosity, for no matter how long you may have lived in the country you are not wholly in touch with it until you have slept at least a few nights in the open,—when rain began to fall softly, an even, persevering, growing rain, entirely different from the lashing thunder-showers, and though making but half the fuss, was doubly penetrating. Thinking how good it was for the ferns, and venturing remarks to Bart about them, which, however, fell on sleep-deaf ears, I made sure that the pup was in his chosen place by my cot and drifted away to shadow land, glad that something more substantial than boughs covered me!
I do not know how long it was before I wakened, but the first sound that formulated itself was the baying of Dave, the hound, from the well-house porch, where he slept when his evening rambles kept him out until after Amos Opie had gone to bed. Having freed his mind, Dave presently stopped, but other nearer-by sounds made me again on the alert.
The rain, that was falling with increasing power, held one key; the drip from the eaves and the irregular gush [Pg 173]from a broken waterspout played separate tunes. I am well used to the night-time bravado of mice, who fight duels and sometimes pull shoes about, of the pranks of squirrels and other little wood beasts about the floor, but the noise that made me sit up in the cot and reach over until I could clutch Bart by the arm belonged to neither of these. There was a swishing sound, as of water being wrung from something and dropping on the floor, and then a human exclamation, blended of a sigh, a wheeze, and a cough, at which the pup wakened with a growl entirely out of proportion to his age and inexperience.
"I wonder, now, is that a dog or only uts growl ter sind me back in the wet fer luv av the laugh at me?" chirped a voice as hoarse as a buttery brogue would allow it to be.
My clutch had brought Bart to himself instantly, and at the words he turned the electric flashlight, that lodged under his pillow, full in the direction of the sound, where it developed a strange picture and printed it clearly on the opposite wall.
In the middle of the circle of light was a little barefoot man, in trousers and shirt; a pair of sodden shoes lay at different angles where they had been kicked off, probably making the sound that had wakened me, and at [Pg 174]the moment of the flash he was occupied in the wringing out of a coat that seemed strangely long for the short frame upon which it had hung. The face turned toward us was unmistakably Irish, comical even, entirely unalarming, and with the expression, blended of terror and doubt, that it now wore, he might have slipped from the pages of a volume of Lever that lay face down on the table. The nose turned up at the tip, as if asking questions of the eyes, that hid themselves between the half-shut lids in order to avoid answering. The skin was tanned, and yet you had a certain conviction that minus the tan the man would be very pale, while the iron-gray hair that topped the head crept down to form small mutton-chop whiskers and an Old Country throat thatch that was barely half an inch long.
Bart touched me to caution silence, and I, seeing at once that there was nothing to fear, waited developments.
As soon as he could keep his eyes open against the sudden glare, the little man tried to grasp the column of light in his fingers, then darted out of it, and I thought he had bolted from the barn; but no, he was instantly back again, and dilapidated as he was, he did not look like a professional tramp.
"No, yez don't fool Larry McManus agin! Yez are a [Pg 175]mane, cold light with all yer blinkin', and no fire beneath to give 'im the good uv a cup o' tay or put a warm heart in 'im! Two nights agone 'twas suspicion o' rats kep' me from shlapin', yesternight 'twas thought o' what wud become of poor Oireland (Mary rest her) had we schnakes there ter fill the drames o' nights loike they do here whin a man's a drap o'er full o' comfort. 'Tis a good roof above! Heth, thin, had I a whisp o' straw and a bite, wid this moonlight fer company, I'd not shog from out this the night to be King!
"Saints! but there's a dog beyant the bark!" he cried a minute after, as the pup crept over to him and began to be friendly,—"I wonder is a mon sinsible to go to trustin' the loight o' any moon that shines full on a pitch-black noight whin 'tis rainin'? Och hone! but me stomach's that empty, gin I don't put on me shoes me lungs'll lake trou the soles o' me fate, and gin I do, me shoes they're that sopped, I'll cough them up—o-whurra-r-a! whurra-a! but will I iver see Old Oireland agin,—I don't know!"
Bart shut off the light, slipped on his shoes, and drawing a coat over his pajamas lighted the oil stable lantern, hung it with its back toward me, on a long hook that reached down from one of the rafters, and bore down upon Larry, whose face was instantly wreathed [Pg 176]in puckered smiles at the sight of a fellow-human who, though big, evidently had no intention of being aggressive.
"Well, Larry McManus," said Bart, cheerfully, "how came you in this barn so far away from Oireland a night like this?"
"Seein' as yer another gintleman o' the road in the same ploice, what more loike than the misfortune's the same?" replied he, lengthening his lower lip and stretching his stubby chin, which he scratched cautiously. Then, as he raised his eyes to Bart's, he evidently read something in his general air, touselled and tanned as he was, that shifted his opinion at least one notch.
"Maybe, sor, you're an actor mon, sor, that didn't suit the folks in the town beyant, sor, but I'd take it as praise, so I would, for shure they're but pigs there,—I couldn't stop wid thim meself! Thin agin, mayhap yer jest a plain gintleman, a bit belated, as it were,—a little belated on the way home, sor,—loike me, sor, that wus moinded to be in Kildare, sor, come May-day, and blessed Peter's day's nigh come about an' I'm here yit!"
"You are getting on the right scent, Larry," said Bart, struggling with laughter, and yet, as he said after, not [Pg 177]wishing possibly to huff this curious person. "I hope I'm a gentleman, but I'm not tramping about; this is my barn, in which my wife and I are sleeping, so if I were you, I wouldn't take off that shirt until I can find you a dry one!"
The change that came over the man was comical. In a lightning flash he had fastened the few buttons in his blouse that it had taken his fumbling fingers several moments to unloose, and dropping one hand to his side, he held it there rigid as he saluted with two fingers at the brim of an imaginary hat; while his roving eye quickly took in the various motley articles of furniture of our camp,—a small kitchen table with oil-stove and tea outfit of plain white ware, some plates and bowls, a few saucepans, half a dozen chairs, no two alike, and the two cots huddled in the shadows,—his voice, that had been pitched in a confidential key, arose to a wail:—
"The Saints luv yer honor, but do they be afther havin' bad landlords in Meriky too, that evicted yer honor from yer house, sor? I thought here nigh every poor body owned their own bit, ground and roof, sor, let alone a foine man loike yerself that shows the breedin' down to his tin toes, sor. Oi feel fer yer honor, fer there wuz I meself set out wid pig and cow both, sor (for thim bein'[Pg 178] given Kathy by her aunt fer her fortin could not be took), six years ago Patrick's tide, sor, and hadn't she married Mulqueen that same week, sor (he bein' gardener a long time to his Riverence over in England, sor, and meetin' Kathy only at his mother's wakin'), I'd maybe been lodged in a barn meself, sor! Sure, hev ye the cow below ud let me down a drap o' milk?"
Then did Bart laugh long and heartily, for this new point of view in regard to our doings amused him immensely. Of all the local motives attributed to our garden vacation, none had been quite so naïve and unexpected as this!
"But we haven't been evicted," said Bart, unconsciously beginning to apologize to an unknown straggler. "I own this place and my home is yonder; we are camping here for our health and pleasure. Come, it's time you gave an account of yourself, as you are trespassing." That the situation suddenly began to annoy Bart was plain.
Ignoring the tail of the speech, Larry saluted anew: "Sure, sor, I knew ye at first fer gintleman and leddy, which this same last proves; a rale gintleman and his leddy can cut about doin' the loikes of which poor folks ud be damned fer! I mind well how Lord Kilmartin's youngest—she wid the wild red hair an' eyes that wud [Pg 179]shame a doe—used to go barefoot through the dew down to Biddie Macks's cabin to drink fresh buttermilk, whin they turned gallons o' it from their own dairy. Some said, underbreath, she was touched, and some wild loike, but none spoke loud but to wish her speed, fer that's what it is to be a leddy!
"Meself, is it? Och, it's soon told. Six years lived I there wid Kathy and Mulqueen, workin' in the garden, he keepin' before me, until one day his Riverence come face agin me thruble. Oh, yis, sor, that same, that bit sup that's too much for the stomick, sor, and so gets into the toes and tongue, sor! Four times a year the spell's put on me, sor, and gin I shlape it over, I'm a good man in between, sor, but that one time, sor, Mulqueen was sint to Lunnon, sor, and I missed me shlape fer mischief.
"Well, thinks I, I'll go to Meriky and see me Johnny, me youngest; most loike they're more used to the shlapin' spells out there where all is free; but they wasn't! Johnny's a sheriff and got money wid his woman, and she's no place in her house fit fer the old man resting the drap off. So he gives me money to go home first class, and says he'll sind another bit along to Kathy fer me keepin'.
"This was come Easter, and bad cess, one o' me shlapes was due, and so I've footed it to get a job to [Pg 180]take me back to Kathy. If I could strike a port just right, Hiven might get me home between times in a cattle boat.
"I'm that well risted now I could do good work if I had full feed, maybe till Michaelmas. Hiven rest ye, sor, but have ye ever a job o' garden work now on yer estate, sor, that would kape me until I got the bit to cross to Kathy?"
As Bart hesitated, I burst forth, "Have you ever tended flowers, Larry?"
"Flowers, me leddy?—that's what I did fer his Riverence, indoors and out, and dressed them fer the shows, mem, and not few's the prize money we took. His Riverence, he called a rose for Kathy, that is to say Kathleen; 'twas that big 'twould hide yer face. Flowers, is it? Well, I don't know!"
Bart, meanwhile, had made a plan, telling Larry that he would draw a cup of tea and give him something to eat, while he thought the matter over. He soon had the poor fellow wrapped in an old blanket and snoring comfortably in the straw, while, as the rain had stopped and dawn began to show the outlines of Opal Farm, Bart suggested that I had best go indoors and finish my broken sleep, while he had a chance to scrutinize Larry by daylight before committing himself.
When he rejoined me several hours later for an indoor breakfast, for it had turned to rain again and promised several days of the saturate weather that makes even a mountain camp utterly dreary, he brought me the news that Larry was to work for me especially, beginning on the rose bed,—that he would lodge with Amos Opie and take his meals with Anastasia, who thinks it likely that they are cousins on the mothers' side, as they are both of the same parish and name. The exact way of our meeting with him need not be dwelt upon domestically, for the sake of discipline, as he will have more self-respect among his fellows in the combination clothes we provided, "until his baggage arrives." He is to be paid no money, and allowed to "shlape" if a spell unhappily arrives. When the season is over, Bart agrees to see him on board ship with a prepaid passage straight to Kathy, and whatever else is his due sent to her! Meanwhile he promised to "fit the leddy with the tastiest garden off the old sod!"
So here we are!
This chronicle should have a penny-dreadful title, "Their Midnight Adventure, or How it Rained a Rose Gardener!" Tell me about the ferns next time; we have only moved the glossy Christmas and evergreen-crested wood ferns as yet, being sure of these.
How about our fencing? Ask Evan. You remember that we have a picket-fence toward the road, but on three sides the boundary is only a tumble-down stone wall in which bird cherries have here and there found footing. We have a chance to sell the stones, and Bart is thinking of it, as it will be too costly to rebuild on a good foundation. The old wall was merely a rough-laid pile.
(Barbara Campbell to Mary Penrose)
Hemlock Hills, July 3. For nearly a week we have been sauntering through this most entrancing hill country, practically a pedestrian trip, except that the feet that have taken the steps have been shod with steel instead of leather. Your last chronicle has followed me, and was read in a region so pervaded by ferns that your questions concerning their transplanting would have answered themselves if you could have only perched on the rock beside me. There is a fern-lined ravine below, a fern-bordered road in front; and above a log cottage, set in a clearing in the hemlocks which has for its boundaries the tumble-down fence piled by the settlers a century or two ago, its crevices now filled by leaf-mould, has become at once a natural fernery and a barrier. Why do you not use your old wall in a like manner? Of course your stones may be too closely piled and lack the time-gathered leaf-mould, but a little discretion in removing or tipping a stone here and [Pg 184]there, and a crowbar for making pockets, would work wonders. You might even exchange the surplus rocks for leaf-mould, load by load; at any rate large quantities of fern soil must be obtainable for the carting at the reservoir woods.
Imagine the effect, if you please, of that irregular line of rocks swathed in vines and sheltering great clumps of ferns, while it will afford an endless shelter for every sort of wild thing that you may pick up in your rambles. Of course you need not plant it all at once, but having made the plan, develop it at leisure.
You should never quite finish a country place unless you expect to leave it. The something more in garden life is the bale of hay before the horse's nose on the uphill road. Last year, for almost a week, we thought our garden quite as finished as the material and surroundings would allow,—it was a strange, dismal, hollow sort of feeling. However, it was soon displaced by the desire that I have to collect my best roses in one spot, add to them, and gradually form a rosary where the Garden Queen and all her family may have the best of air, food, and lodgings. You see I feared that the knoll, hardy beds, and rose garden were not sufficient food for your mind to ruminate, so I add the fern fence as a sort of dessert!

"Where is the shade that ferns need?" I hear you ask, "for except under some old apple trees and where the bird cherries grow (and they, though beautiful at blooming time and leaf fall, attract tent caterpillars), the stone wall lies in the sun!"
Yes, but in one of the woodland homes of this region I have seen a screen placed by such a rustic stone fence that it not only served the purpose of giving light shade, but was a thing of beauty in itself, dividing the vista into many landscapes, the frame being long or upright according to the planter's fancy.
Do you remember the old saying "When away keep open thine eyes, and so pack thy trunk for the home-going?"
On this drive of ours I've been cramming my trunk to overflowing, and yet the ideas are often the simplest possible, for the people of this region, with more inventive art than money, have the perfect gift of adapting that which lies nearest to hand.
You spoke in your last chronicle of the screen of white birches through which you saw the sun rise over the meadows of Opal Farm. This birch springs up in waste lands almost everywhere. We have it in abundance in the wood lot on the side of our hill, and it is scattered through the wet woods below our wild walk, showing that all it needs is a foothold.
Because it is common and the wood rather weak and soft, landscape gardening has rather passed it by, turning a cold shoulder, yet the slender tree is very beautiful. True, it has not the length of life, the girth and strength of limb, of the silver-barked canoe birch, but the white birch will grow in a climate that fevers its northern cousin. In spite of its delicate qualities, it is not a trivial tree, for I have seen it with a bole of more than forty feet in length, measuring eighteen inches through at the ground. When you set it, you are not planting for posterity, perhaps, but will gain a speedy result; and the fertility of the tree, when once established, will take care of the future.
What is more charming after a summer shower than a natural cluster of these picturesque birches, as they often chance to group themselves in threes, like the Graces—the soft white of the trunks, with dark hieroglyphic shadows here and there disappearing in a drapery of glossy leaves, green above and reflecting the bark colour underneath, all a-quiver and more like live things poised upon the russet twigs than delicate pointed leaves! Then, when the autumn comes, how they stand out in company with cedar bushes and sheep laurel on the hillsides to make beautiful the winter garden, and we stand in mute admiration when these white birches reach from [Pg 187]a snowbank and pencil their frosty tracery against a wall of hemlocks.
This is the simple material that has been used with such wonderful effect. In the gardens hereabout they have flanked their alleys with the birches, for even when fully grown their habit is more poplar-like than spreading, and many plants, like lilies, requiring partial shade flourish under them; while for fences and screens the trees are planted in small groups, with either stones and ferns, or shrubs set thick between, and the most beautiful winter fence that Evan says he has ever seen in all his wanderings amid costly beauty was when, last winter, in being here to measure for some plans, he came suddenly upon an informal boundary and screen combined, over fifty feet in length, made of white birches,—the groups of twos and threes set eight or ten feet apart, the gaps being filled by Japanese barberries laden with their scarlet fruit. Even now this same screen is beautiful enough with its shaded greens, while the barberries in their blooming time, and the crimson leaf glow of autumn, give it four distinct seasons.
The branches of the white birch being small and thickly set, they may be trimmed at will, and windows thus opened here and there without the look of artifice or stiffness.
Fences are always a moot question to the gardener, for if she has a pleasant neighbour, she does not like to raise an aggressive barrier or perhaps cut off the view, yet to a certain extent I like being walled in at least on two sides. A total lack of boundaries is too impersonal,—the eye travels on and on: there is nothing to rest it by comparison. Also, where there are no fences or hedges,—and what are hedges but living fences,—there is nothing to break the ground draught in winter and early springtime. The ocean is much more beautiful and full of meaning when brought in contact with a slender bit of coast. The moon has far more majesty when but distancing the tree-tops than when rolling apparently at random through an empty sky. A vast estate may well boast of wide sweeps and open places, but the same effect is not gained, present fashion to the contrary, by throwing down the barriers between a dozen homes occupying only half as many acres. Preferable is the cosey English walled villa of the middle class, even though it be a bit stuffy and suggestive of earwigs. The question should not be to fence or not to fence, but rather how to fence usefully and artistically, and any one who has an old stone wall, such as you have, moss grown and tumble-down, with the beginnings of wildness already achieved, has no excuse for failure. We have [Pg 189]seen other fences here where bushes, wire, and vines all take part, but they cannot compete with an old wall.
With ferns, a topic opens as long and broad and deep as the glen below us, and of almost as uncertain climbing, for it is not so much what ferns may be dug up and, as individual plants, continue to grow in new surroundings, but how much of their haunt may be transplanted with them, that the fern may keep its characteristics. Many people do not think of this, nor would they care if reminded. Water lilies, floating among their pads in the still margin of a stream, with jewelled dragon-flies darting over, soft clouds above and the odour of wild grapes or swamp azalea wafting from the banks, are no more to them than half a dozen such lilies grown in a sunken tub or whitewashed basin in a backyard; rather are they less desirable because less easily controlled and encompassed. Such people, and they are not a few, belong to the tribe of Peter Bell, who saw nothing more in the primrose by the river's brim than that it was a primrose, and consequently yellow. Doubtless it would have looked precisely the same to him, or even more yellow, if it had bloomed in a tin can!
We do not treat our native ferns with sufficient respect. Homage is paid in literature to the palm, and it is an emblem of honour, but our New England ferns, many [Pg 190]of them equally majestic, are tossed into heaps for hay and mown down by the ruthless scythe of the farmer every autumn when he shows his greatest agricultural energy by stripping the waysides of their beauty prior to the coming of the roadmender with his awful "turn-piking" process. If, by the way, the automobilists succeed in stopping this piking practice, we will print a nice little prayer for them and send it to Saint Peter, so that, though it won't help them in this world,—that would be dangerous,—it will by and by!
In the woods the farmer allows the ferns to stand, for are they not one of the usual attributes of a picnic? Stuck in the horses' bridle, they keep off flies; they serve to deck the tablecloth upon which the food is spread; gathered in armfuls, they somewhat ease the contact of the rheumatic with the rocks, upon which they must often sit on such occasions. They provide the young folks with a motive to seek something further in the woods, and give the acquisitive ladies who "press things" much loot to take home, and all without cost.
This may not be respectful treatment, but it is not martyrdom; the fern is a generous plant, a thing of wiry root-stock and prehistoric tenacity; it has not forgotten that tree ferns are among its ancestors; when it is discouraged, it rests and grows again. But imagine the [Pg 191]feelings of a mat of exquisite maidenhair rent from a shady slope with moss and partridge vine at its feet, and quivering elusive woodland shade above, on finding itself unceremoniously crowded into a bed, between cannas or red geraniums! Or fancy the despair of either of the wide-spreading Osmundas, lovers of stream borders opulent with leaf-mould, or wood hollows deep with moist richness, on finding themselves ranged in a row about the porch of a summer cottage, each one tied firmly to a stake like so many green parasols stuck in the dry loam point downward!
It is not so much a question of how many species of native ferns can be domesticated, for given sufficient time and patience all things are possible, but how many varieties are either decorative, interesting, or useful away from their native haunts. For any one taking what may be called a botanical interest in ferns, a semi-artificial rockery, with one end in wet ground and the other reaching dry-wood conditions, is extremely interesting. In such a place, by obtaining some of the earth with each specimen and tagging it carefully, an out-of-door herbarium may be formed and something added to it every time an excursion is made into a new region. Otherwise the ferns that are worth the trouble of transplanting and supplying with soil akin to that from which [Pg 192]they came, are comparatively few. Of decorative species the Osmundas easily lead; being natives of swampy or at least moist ground, they should have a like situation, and yet so strong are their roots and crown of leaves that they will flourish for years after the moisture that has fed them has been drained and the shading overgrowth cut away, even though dwarfed in growth and coarsened in texture. Thus people seeing them growing under these conditions in open fields and roadside banks mistake their necessities.
The Royal fern (Osmunda regalis) positively demands moisture; it will waive the matter of shade in a great degree, but water it must have.
The Cinnamon fern, that encloses the spongelike, brown, fertile fronds in the circle of green ones, gains its greatest size of five feet in roadside runnels or in springy places between boulders in the river woods; yet so accommodating is it that you can use it at the base of your knoll if a convenient rock promises both reasonable dampness and shelter.
The third of the family (Osmunda Claytonia) is known as the Interrupted fern, because in May the fertile black leaflets appear in the middle of the fronds and interrupt the even greenness. This fern will thrive in merely moist soil and is very charming early in the season, but [Pg 193]like the other two, out of its haunts, cannot be relied upon after August.
As a fern for deep soil, where walking room can be allowed it, the common brake, or bracken (Pteris aquilina) is unsurpassed. It will grow either in sandy woods or moist, and should have a certain amount of high shade, else its broad fronds, held high above the ground umbrella-wise, will curl, grow coarse, and lose the fernlike quality altogether. You can plant this safely in the bit of old orchard that you are giving over to wild asters, black-eyed Susan, and sundrops, but mind you, be sure to take both Larry and Barney, together with a long post-hole spade, when you go out to dig brakes,—they are not things of shallow superficial roots, I can assure you.
A few years ago Evan, Timothy Saunders, and I went brake-hunting, I selecting the groups and the menkind digging great solid turfs a foot or more in depth, in order to be sure the things had native earth enough along to mother them into comfortable growth. Proudly we loaded the big box wagon, for we had taken so much black peat (as the soil happened to be) that not a root hung below and success was certain.
When, on reaching home, in unloading, one turf fell from the cart and crumbled into fragments, to my [Pg 194]dismay I found that the long, tough stalk ran quite through the clod and we had no roots at all, but that (if inanimate things can laugh) they were all laughing at us back in the meadow and probably another foot underground. Yet brakes are well worth the trouble of deep digging, for if once established, a waste bit, where little else will flourish, is given a graceful undergrowth that is able to stand erect even though the breeze plays with the little forest as it does with a field of grain. Then, too, the brake patch is a treasury to be drawn from when arranging tall flowers like foxgloves, larkspurs, hollyhocks, and others that have little foliage of their own.
The fact that the brake does not mature its seeds that lie under the leaf margin until late summer also insures it a long season of sightliness, and when ripeness finally draws nigh, it comes in a series of beautiful mellow shades, varying from straw through deep gold to russet, such as the beech tree chooses for its autumn cloak.
Another plant there is, a low-growing shrub, having long leaves with scalloped edges, giving a spicy odour when crushed or after rain, that I must beg you to plant with these brakes. It is called Sweet-fern, merely by courtesy, from its fernlike appearance, for it is of [Pg 195]the bayberry family and first cousin to sweet gale and waxberry.
The digging of this also is a process quite as elusive as mining for brakes; but when once it sets foot in your orchard, and it will enjoy the drier places, you will have a liberal annex to your bed of sweet odours, and it may worthily join lemon balm, mignonette, southernwood, and lavender in the house, though in the garden it would be rather too pushing a companion.
Next, both decorative and useful, comes the Silvery Spleenwort, that is content with shade and good soil of any sort, so long as it is not rank with manure. It has a slender creeping root, but when it once takes hold, it flourishes mightily and after a year or so will wave silver-lined fronds three feet long proudly before you, a rival of Osmunda!
A sister spleenwort is the beautiful Lady fern, whose lacelike fronds have party-coloured stems, varying from straw through pink and reddish to brown, giving an unusual touch of life and warmth to one of the cool green fern tribe. In autumn the entire leaf of this fern, in dying, oftentimes takes these same hues; it is decorative when growing and useful to blend with cut flowers. It naturally prefers woods, but will settle down comfort[Pg 196]ably in the angle of a house or under a fence, and will be a standby in your wall rockery.
The ferns that seem really to prefer the open, one taking to dry and two to moist ground, are the hay-scented fern (Dicksonia punctilobula), the New York fern (Dryopteris Noveboracencis), and the Marsh Shield-fern. Dicksonia has a pretty leaf of fretwork, and will grow three feet in length, though it is usually much shorter. It is the fern universal here with us, it makes great swales running out from wood edges to pastures, and it rivals the bayberry in covering hillsides; it will grow in dense beds under tall laurels or rhododendrons, border your wild walk, or make a setting of cheerful light green to the stone wall; while if cut for house decoration, it keeps in condition for several days and almost rivals the Maidenhair as a combination with sweet peas or roses.
The New York fern, when of low stature, is one of the many bits of growing carpet of rich cool woods. If it is grown in deep shade, the leaves become too long and spindling for beauty. When in moist ground, quite in the open, or in reflected shade, the fresh young leaves of a foot and under add great variety to the grass and are a perfect setting for table decorations of small flowers. We have these ferns all through the dell. If they are [Pg 197]mown down in June, July sees a fresh crop, and their spring green is held perpetual until frost.
The Marsh Shield-fern of gentian meadows is the perfect small fern for a bit of wet ground, and is the green to be used with all wild flowers of like places. One day last autumn I had a bouquet of grass-of-Parnassus, ladies' tresses, and gentian massed thickly with these ferns, and the posey lived for days on the sunny window shelf of the den (for gentians close their eyes in shade),—a bit of the September marshland brought indoors.
The two Beech-ferns, the long and the broad, you may grow on the knoll; give the long the dampest spots, and place the broad where it is quite dry. As the rootstocks of both these are somewhat frail, I would advise you to peg them down with hairpins and cover well with earth. By the way, I always use wire hairpins to hold down creeping rootstocks of every kind; it keeps them from springing up and drying before the rootlets have a chance to grasp the soil.
The roots of Maidenhair should always be treated in this way, as they dry out very quickly. This most distinctive of our New England ferns will grow between the rocks of your knoll, as well as in deep nooks in the fence. It seems to love rich side-hill woods and craves [Pg 198]a rock behind its back, and if you are only careful about the soil, you can have miniature forests of it with little trouble. As for maidenhair, all its uses are beauty!
Give me a bouquet of perfect wild rosebuds within a deep fringe of maidenhair to set in a crystal jar where I may watch the deep pink petals unfold and show the golden stars within; let me breathe their first breath of perfume, and you may keep all the greenhouse orchids that are grown.
Though you can have a variety of ferns in other locations, those that will thrive best on the knoll and keep it ever green and in touch with laurel and hemlock, are but five,—the Christmas fern, the Marginal Shield-fern, the common Rock Polypody, the Ebony Spleenwort, and the Spinulose Wood-fern. Of the first pair it is impossible to have too many. The Christmas fern, with its glistening leaves of holly green, has a stout, creeping rootstock, which must be firmly secured, a few stones being added temporarily to the hairpins to give weight. The Evergreen Wood-fern and Ebony Spleenwort, having short rootstocks, can be tucked into sufficiently deep holes between rocks or in the hollows left by small decayed stumps, while the transplanting of the Rock Polypody is an act where luck, recklessness, and a pinch of magic must all be combined.
You will find vast mats of these leathery little Polypodys growing with rock-selaginella on the great boulders of the river woods. As these are to be split up for masonry, the experiment of transferring the polypody is no sin, though it savours somewhat of the process of skin-grafting. Evan and I have tried the experiment successfully, so that it is no fable. We had a bit of shady bank at home that proved by the mosses that grew on it that it was moistened from beneath the year through. The protecting shade was of tall hickories, and a rock ledge some twenty feet high shielded it from the south and east. We scraped the moss from a circle of about six feet and loosened the surface of the earth only, and very carefully. Then we spread some moist leaf-mould on the rough but flat surface of a partly exposed rock. Going to a near-by bit of woods that was being despoiled, as in your valley, we chose two great mats of polypody and moss that had no piercing twigs to break the fabric, and carefully peeled them from the rocks, as you would bark from a tree, the matted rootstocks weaving all together. Moistening these thoroughly, we wrapped them in a horse blanket and hurried home. The earth and rock already prepared were sprinkled with water and the fern fabric applied and gently but firmly pressed [Pg 200]down, that resting on the earth being held by the ever useful hairpin!
The rock graft was more difficult, but after many failures by way of stones that rolled off, a coarse network of cords was put across and fastened to whatever twigs or roots came in the way. Naturally a period of constant sprinkling followed, and for that season the rock graft seemed decidedly homesick, but the next spring resignation had set in, and two years later the polypodys had completely adopted the new location and were prepared to appropriate the whole of it.
So you see that there are comparatively only a few ferns, after all, that are of great value to The Garden, You, and I, and likewise there are but a few rules for their transplanting, viz.:—
Don't bother about the tops, for new ones will grow, but look to the roots, and do not let them be exposed to the air or become dry in travel. Examine the quality of soil from which you have taken the ferns, and if you have none like it nearer home, take some with you for a starter! Never dig up more on one day than you can plant during the next, and above all remember that if a fern is worth tramping the countryside for, it is worth careful planting, and that the moral remarks made about the care in setting out of roses [Pg 201]apply with double force to the handling of delicate wild flowers and ferns.
Good luck to your knoll, Mary Penrose, and to your fern fence, if that fancy pleases you. May the magic of fern seed fill your eyes and let you see visions, the goodly things of heart's desire, when, all being accomplished, you pause and look at the work of your hands.
"And nimble fay and pranksome elf
Flash vaguely past at every turn,
Or, weird and wee, sits Puck himself,
With legs akimbo, on a fern!"
(Mary Penrose to Barbara Campbell)
July 15.—Midsummer Night. Since the month came in, vacation time has been suspended, insomuch that Bart goes to the office every day, Saturdays excepted; but we have not returned to our indoor bedroom. Once it seemed the definition of airy coolness, with its three wide windows, white matting, and muslin draperies, but now—I fully understand the relative feelings of a bird in a cage and a bird in the open. The air blows through the bars and the sun shines through them, but it is still a cage.
In these warm, still nights we take down the slat screens that hang between the hand-hewn chestnut beams of the old barn, and with the open rafters of what was a hay-loft above us, we look out of the door-frame straight up at the stars and sometimes drag our cots out on the wide bank that tops the wall, overlooking the Opal Farm, and sleep wholly under the sky.
These two weeks past we have had the Infant with us at night, clad in a light woollen monkey-suit nighty with feet, her crib being, however, under cover. Her open-eyed wonder has been a new phase of the vacation. Knowing no fear, she has begun to develop a feeling of kinship with all the small animals, not only of the barn but dwellers on Opal Farm as well, and when she discovered a nest of small mice in an old tool-box under the eaves and proposed to take them, in their improvised house, to her very own room at the opposite end, this "room" being a square marked around her bed by small flower-pots, set upside down, I protested, as a matter of course, saying that mice were not things to handle, and besides they would die without their mother.
The Infant, still clutching the box, looked at me in round-eyed wonder: "I had Dinah and the kittens to play with in the nursery, didn't I, mother?"
"Certainly!"
"And when Ann-stasia brought them up in her ap'n, Dinah walked behind, didn't she?"
"Yes, I think so!"
"Ver-r-y well, the mouse mother will walk behind too, and I love mice better'n cats, for they have nicer hands; 'sides, mother, don't you know who mice really and truly are, and why they have to hide away? They [Pg 204]are the horses that fairlies drive, and I'm going to have these for the fairlies in my village!" making a sweep of her arm toward the encampment of flower-pots; "if you want fairlies to stay close beside your bed, you must give them horses to drive, 'cause when it gets cold weather cobwebs gets too sharp for them to ride on and there isn't always fireflies 'n candle worms to show 'em the way,—'n it's true, 'cause Larry says so!" she added, probably seeing the look of incredulity on my face.
"Larry knows fairlies and they're really trulies; if you're bad to them, you'll see the road and it won't be there, and so you'll get into Hen'sy's bog! Larry did,—and if you make houses for them like mine (pointing to the flower-pots) and give 'em drinks of milk and flower wine, they'll bring you lots of childrens! They did to Larry, so I'm trying to please 'em wif my houses, so's to have some to play wif!"
Larry's harmless folklore (for when he is quite himself, as he is in these days, he has a certain refinement and an endless fund of marvellous legends and stories), birds and little beasts for friends, dolls cut from paper with pansies fastened on for faces, morning-glories for cups in which to give the fairies drink, what could make a more blissful childhood for our little maid? That is [Pg 205]the everlasting pity of a city childhood. Creature comforts may be had and human friends, but where is the vista that reaches under the trees and through the long meadow-grass where the red-gold lily bells tinkle, up the brook bed to the great flat mossy rock, beneath which is the door to fairyland, the spotted turtle being warder. Fairyland, the country of eternal youth and possibility!
I wouldn't give up the fairies that I once knew and peopled the solemn woods with down in grandfather's Virginia home for a fortune, and even now, any day, I can put my ear to the earth, like Tommy-Anne, and hear the grass grow. It occurred to me yesterday that the Infant, in age, temperament, and heredity, is suited to be a companion for your Richard. Could you not bring him down with you before the summer is over? Though, as the unlike sometimes agree best, Ian and she might be more compatible, so bring them both and we will turn the trio loose in the meadows of Opal Farm with a mite of a Shetland pony that The Man from Everywhere has recently bestowed upon the Infant—crazy, extravagant man! What we shall do with it in winter I do not know, as we cannot yet run into the expense of keeping such live stock. But why bother? it is only midsummer now, grazing is plentiful and seems [Pg 206]to suit the needs of this spunky little beast, and the Infant riding him "across country," as Bart calls her wanderings about Opal Farm, is a spectacle too pretty to be denied us. Yes, I know I'm silly, and that you have the twins to rhapsodize about, but girls are so much more picturesque in the clothes! What! thought she wore gingham bloomers! Yes, but not all the time, for Maria will frill her up and run her with ribbons of afternoons!
Back to the house and garden! I'm wandering, but then I'm Lady Lazy this summer, as The Man from Everywhere calls me, and naturally a bit inconsequent! As I said, Bart is at the office daily, and will be for another week, but Lady Lazy has not returned to what Maria Maxwell calls "The Tyranny of the Three M's,"—the mending basket, the market book, and the money-box! I was willing, quite willing; in fact it is only fair that Maria should have her time of irresponsibility, for I know that she has half a dozen invitations to go to pleasant places and meet people, one being from Lavinia Cortright to visit her shore cottage. I'm always hoping that Maria may meet the "right man" some summer day, but that she surely will never do if she stays here.
"I've everything systematized, and it's easier for me to go on than drop the needles for a fortnight or so and then find, on coming back, that you have been knitting a mitten when I had started the frame of a sock," Maria said, laughing; "make flower hay while the crop is to be had for the gathering, my lady! Another year you may not have such free hands!"
Then my protests grew weaker and weaker, for the establishment had thriven marvellously well without my daily interference. The jam closet shows rows of everything that might be made of strawberries, cherries, currants, and raspberries, and it suddenly struck me that possibly if domestic machinery is set going on a consistent basis, whether it is not a mistake to do too much oiling and tightening of a screw here and there, unless distinct symptoms of a halt render it absolutely necessary.
"Very well," I said, with a show of spunk, "give me one single task, that I may not feel as if I had no part in the homemaking. Something as ornamental and frivolous as you choose, but that shall occupy me at least two hours a day!"
Maria paused a moment; we were then standing in front of the fireplace, where a jar of bayberry filled the place of logs between the andirons. First, [Pg 208]casting her eyes through the doors of dining room, living room, and den, she fixed them on me with rather a mischievous twinkle, as she said, "You shall gather and arrange the flowers for the house; and always have plenty of them, but never a withered or dropsical blossom among them all. You shall also invent new ways for arranging them, new combinations, new effects, the only restriction being that you shall not put vases where the water will drip on books, or make the house look like the show window of a wholesale florist. I will give you a fresh mop, and you can have the back porch and table for your workshop, and if I'm not mistaken, you will find two hours a day little enough for the work!" she added with very much the air of some one engaging a new housemaid and presenting her with a broom!
It has never taken me two hours to gather and arrange the flowers, and though of course we are only beginning to have much of a garden, we've always had flowers in the house,—quantities of sweet peas and such things, besides wild flowers. I began to protest, an injured feeling rising in my throat, that she, Maria Maxwell, music teacher, city bound for ten years, should think to instruct me of recent outdoor experience.
"Yes, you've always had flowers, but did you pick [Pg 209]the sweet peas or did Barney? Did you cram them haphazard into the first thing that came handy (probably that awful bowl decorated in ten discordant colours and evidently a wedding present, for such atrocities never find any other medium of circulation)? Or did you separate them nicely, and arrange the pink and salmon peas with the lavender in that plain-coloured Sevres vase that is unusually accommodating in the matter of water, then putting the gay colours in the blue-and-white Delft bowl and the duller ones in cut glass to give them life? Having plenty, did you change them every other day, or the moment the water began to look milky, or did you leave them until the flowers clung together in the first stages of mould? Meanwhile, the ungathered flowers on the vines were seriously developing peas and shortening their stems to be better able to bear their weight. And, Mary Penrose,"—here Maria positively glared at me as if I had been a primary pupil in the most undesirable school of her route who was both stone deaf and afflicted with catarrh, "did you wash out your jars and vases with a mop every time you changed the flowers, and wipe them on a towel separate from the ones used for the pantry glass? No, you never did! You tipped the water out over there at the end of the piazza by the honeysuckles, because you couldn't quite [Pg 210]bring yourself to pouring it down the pantry sink, refilled the vases, and that was all!"
In spite of a certain sense of annoyance that I felt at the way in which Maria was giving me a lecture, and somehow when a person has taught for ten years she (particularly she) inevitably acquires a rather unpleasant way of imparting the truth that makes one wish to deny it, I stood convicted in my own eyes as well as in Maria's. It had so often happened that when either Barney had brought in the sweet peas and left them on the porch table, or Bart had gathered a particularly beautiful wild bouquet in one of his tramps, I had lingered over a book or some bit of work upstairs until almost the time for the next meal, and then, seeing the half-withered look of reproach that flowers wear when they have been long out of water, I have jammed them helter-skelter into the first receptacle at hand.
Sometimes a little rough verbal handling stirs up the blood under a too-complacent cuticle. Maria's preachment did me good, the more probably because the time was ripe for it, and therefore the past two weeks have been filled with new pleasures, for another thing that the month spent in the open has shown me is the wonderful setting the natural environment and foliage gives to a flower. At first the completeness appeals insensibly, [Pg 211]and unless one is of the temperament that seeks the cause behind the effect, it might never be realized.
The Japanese have long since arrived at a method of arranging flowers which is quality and intrinsic value as opposed to miscellaneous quantity. The way of nature, however, it seems to me, is twofold, for there are flowers that depend for beauty, and this with nature that seems only another word for perpetuity, upon the strength of numbers, as well as those that make a more individual appeal. The composite flowers—daisies, asters, goldenrod—belong to the class that take naturally to massing, while the blue flag, meadow and wood lilies, together with the spiked orchises, are typical of the second.
By the same process of comparison I have decided that jars and vases having floral decorations themselves are wholly unsuitable for holding flowers. They should be cherished as bric-a-brac, when they are worthy specimens of the art of potter and painter, but as receptacles for flowers they have no use beyond holding sprays of beautiful foliage or silver-green masses of ferns.
Porcelain, plain in tint and of carefully chosen colours, such as beef-blood, the old rose, and peach-blow hues, in which so many simple forms and inexpensive bits of Japanese pottery may be bought, a peculiar creamy [Pg 212]yellow, a dull green, gobelin, and Delft blue and white, sacred to the jugs and bowls of our grandmothers, all do well. Cut glass is a fine setting for flowers of strong colour, but kills the paler hues, and above and beyond all is the dark moss-green glass of substantial texture that is fashioned in an endless variety of shapes. By chance, gift, and purchase we have gathered about a dozen pieces of this, ranging from a cylinder almost the size of an umbrella-stand down through fluted, hat-shaped dishes, for roses or sweet peas, to some little troughs of conventional shapes in which pansies or other short-stemmed flowers may be arranged so as to give the look of an old-fashioned parterre to the dining table.
I had always found these useful, but never quite realized to the full that green or brown is the only consistent undercolour for all field and grass-growing flowers until this summer. But during days that I have spent browsing in the river woods, while Bart and Barney, and more recently Larry, have been digging the herbs that we have marked, I have realized the necessity of a certain combination of earth, bark, and dead-leaf browns in the receptacles for holding wood flowers and the vines that in their natural ascent clasp and cling to the trunks and limbs of trees.
Several years ago mother sent me some pretty flower-[Pg 213]holders made of bamboos of different lengths, intended evidently to hang against door-jambs or in hallways. The pith was hollowed out here and there, and the hole plugged from beneath to make little water pockets. These did admirably for a season, but when the wood dried, it invariably split, and treacherous dripping followed, most ruinous to furniture.
A few weeks back, when looking at some mossed and gnarled branches in the woods, an idea occurred to Bart and me at the same moment. Why could we not use such pieces as these, together with some trunks of your beloved white birch, to which I, via the screen at Opal Farm, was becoming insensibly devoted at the very time that you wrote me?
Augur holes could be bored in them at various distances and angles, if not too acute; the thing was to find glass, in bottle or other forms, to fit in the openings. This difficulty was solved by The Man from Everywhere on his reappearance the night before the Fourth, after an absence of a whole week, laden with every manner of noise and fire making arrangement for the Infant, though I presently found that Bart had partly instigated the outfit, and the two overgrown boys revelled in fire-balloons and rockets under cover of the Infant's enthusiasm, much as the grandpa goes to the circus as an [Pg 214]apparent martyr to little Tommy's desire! A large package that, from the extreme care of its handling, I judged must hold something highly explosive, on being opened divulged many dozens of the slender glass tubes, with a slight lip for holding cord or wire, such as, filled with roses or orchids, are hung in the garlands of asparagus vines and smilax in floral decorations of either houses or florists' windows. These tubes varied in length from four to six inches, the larger being three inches in diameter.
"Behold your leak-proof interiors!" he cried, holding one up. "Now set your wits and Bart's tool-box to work and we shall have some speedy results!"
Dear Man from Everywhere, he had bought a gross of the glasses, thereby reminding me of a generous but eccentric great-uncle of ours who had a passion for attending auctions, and once, by error, in buying, as he supposed, twelve yellow earthenware bowls, found himself confronted by twelve dozen. Thus grandmother's storeroom literally had a golden lining, and my entire childhood was pervaded with these bowls, several finally falling into my possession for the mixing of mud pies! But between the durability of yellow bowls and blown-glass tubes there is little parallel, and already I have found the advantage of having a good supply in stock.
Our first natural flower-holder is a great success. Having found a four-pronged silver birch, with a broken top, over in the abandoned gravel-pit (where, by the way, are a score of others to be had for the digging, and such easy digging too), Larry sawed it off a bit below the ground, so as to give it an even base. The diameter of the four uprights was not quite a foot, all told, and these were sawn of unequal lengths of four, six, seven, and nine inches, care being taken not to "haggle," as Larry calls it, the clean white bark in the process.
Then Bart went to work with augur and round chisel, and bored and chipped out the holes for the glass tubes, incidentally breaking two glasses before we had comfortably settled the four, for they must fit snugly enough not to wiggle and tip, and yet not so tight as to bind and prevent removal for cleaning purposes. This little stand of natural wood was no sooner finished and mounted on the camp table than its possibilities began to crowd around it. Ferns being the nearest at hand, I crawled over the crumbling bank wall into the Opal Farm meadow and gathered hay-scented, wood, and lady ferns from along the fence line and grouped them loosely in the stand. The effect was magical, a bit of its haunt following the fern indoors.
Next day I gathered in the hemlock woods a basket [Pg 216]of the waxy, spotted-leaved pipsissewa, together with spikes and garlands of club moss. I had thought these perfect when steadied by bog moss in a flat, cut-glass dish, but in the birch stump they were entirely at home. If these midsummer wood flowers harmonize so well, how much more charming will be the blossoms of early spring, a season when the white birch is quite the most conspicuous tree in the landscape! Picture dog-tooth violets, spring beauties, bellwort, Quaker-ladies, and great tufts of violets, shading from white to deepest blue, in such a setting! Or, of garden things, poets' narcissus and lilies-of-the-valley!
Other receptacles of a like kind we have in different stages of progress, made of the wood of sassafras, oak, beech, and hackberry, together with several irregular stumps of lichen-covered cedar. Two long limbs with several short side branches Bart has flattened on the back and arranged with picture-hooks, so that they can be bracketed against the frame of the living-room door, opposite the flower-greeting table that I have fashioned after yours. These are to be used for vines, and I shall try to keep this wide, open portal cheerfully garlanded.
The first week of my flower wardenship was a most strenuous one. I use the word reluctantly, but having [Pg 217]tried half a dozen others, no equivalent seemed to fit. I had flowers in every room in the house, bedchambers included, using in this connection the cleanest-breathed and longest-lived blossoms possible.
Late as was the sowing, the annuals remaining in the seed bed have begun to yield a glorious crop. The fireplaces were filled with black-eyed Susans from the fields and hollyhocks from an old self-seeded colony at Opal Farm, and every available vase, bowl, and pitcher had something in it. How I laboured! I washed jars, sorted colours, and freshened still passable arrangements of the day before, and all the while I felt sure that Maria was watching me, with an amused twinkle in the tail of her eye!
One day, the middle of last week, the temperature dropped suddenly, and we fled from camp to the house for twenty-four hours, lighted the logs in the hall, and actually settled down to a serious game of whist in the evening, Maria Maxwell, The Man, Bart, and I. Yes, I know how you detest the game, but I—though I am not exactly amused by it—rather like it, for it gives occupation at once for the hands and thoughts and a cover for studying the faces and moods of friends without the reproach of staring.
By the way, The Man has hired half the house from[Pg 218] Amos Opie—it was divided several years ago—and established helter-skelter bachelor quarters at Opal Farm. Bart has told him, over and over again, how welcome he is to stay here, under any and all conditions, while he works in the vicinity, but he says that he needs a lot of room for his traps, muddy boots, etc., while Opie, a curious Jack-at-all-trades, gives him his breakfast. I'm wondering if The Man felt that he was intruding upon Maria by staying here, or if she has any Mrs. Grundy ideas and was humpy to him, or even suggested that he would better move up the road. She is quite capable of it!
However, he seems glad enough to drop in to dinner of an evening now, and the two are so delightfully cordial and unembarrassed in their talk, neither yielding a jot to the other, in the resolute spinster and bachelor fashion, that I must conclude that his going was probably a natural happening.
This evening, while Maria and I were waiting together for the men to finish toying with their coffee cups and match-boxes and emerge refreshed from the delightful indolence of the after-dinner smoke, the odour of the flowers—intensified both by dampness and the woodsmoke—was very manifest.
"How do you like your employment?" asked Maria.
"I like the decorative and inventive part of it," I said, thinking into the fire, "but I believe"—and here I hesitated as a chain of peculiar green flame curled about the log and held my attention. "That it is quite as possible to overdo the house decoration with flowers as it is to spoil a nice bit of lawn with too many fantastic flower beds!" Bart broke in quite unexpectedly, coming behind me and raising my face, one hand beneath my chin. "Isn't that what you were thinking, my Lady Lazy?"
"Truly it was, only I never meant to let it pop out so suddenly and rudely," I was forced to confess. "In one way it would seem impossible to have too many flowers about, and yet in another it is unnatural, for are not nature's unconscious effects made by using colour as a central point, a focus that draws the eye from a more sombre and soothing setting?"
"How could we enjoy a sunset that held the whole circle of the horizon at once?" chimed in The Man, suddenly, as if reading my thoughts. "Or twelve moons?" added Bart, laughing.
No, Mrs. Evan, I am convinced by so short a trial as two weeks that the art of arranging flowers for the house is first, your plan of having some to greet the guest as he enters, a bit of colour or coolness in each room [Pg 220]where we pause to read or work or chat, and a table garnishing to render æsthetic the aspect and surroundings of the human animal at his feeding time; otherwise, except at special seasons of festivity, a surplus of flowers in the house makes for restlessness, not peace. Two days ago I had thirty-odd vases and jars filled with flowers, and I felt, as I sat down to sew, as if I was trespassing in a bazaar! Also, if there are too many jars of various flowers in one room, it is impossible that each should have its own individuality.
To-day I began my new plan. I put away a part of my jars and vases and deliberately thought out what flowers I would use before gathering them.
The day being overcast though not threatening, merely the trail, as it were, of the storm that had passed, and the den being on the north side of the house and finished in dark woodwork and furniture, I gathered nasturtiums in three shades for it, the deep crimson, orange-scarlet, and canary-yellow, but not too many—a blue-and-white jar of the Chinese "ginger" pattern for one corner of the mantel-shelf, and for the Japanese well buckets, that are suspended from the central hanging lamp by cords, a cascade of blossoms of the same colour still attached to their own fleshy vines and interspersed with the foliage. Strange as it may seem, this little bit [Pg 221]of pottery, though of a peculiar deep pink, harmonizes wonderfully well with the barbaric nasturtium colours. There seems to be a kind of magic blended with the form and colour of these buckets, plain and severe in shape, that swing so gracefully from their silken cords, for they give grace to every flower that touches them. When filled with stiff stalks of lilies-of-the-valley or tulips, they have an equally distinguished air as when hung with the bells of columbines or garlands of flowering honeysuckles twisted about the cords climbing quite up to the lamp.
In the hall I placed my tallest green-glass jar upon the greeting table and filled it with long stalks of red and gold Canada lilies from the very bottom of Amos Opie's field, where the damp meadow-grass begins to make way for tussocks and the marshy ground begins.
The field now is as beautiful as a dream; the early grasses have ripened, and above them, literally by the hundreds,—rank, file, regiment, and platoon,—stand these lilies, some stalks holding twenty bells, ranged as regularly as if the will of man had set them there, and yet poised so gracefully that we know at once that no human touch has placed them. I wish that you could have stood with me in the doorway of the camp and [Pg 222]looked across that field this morning. Bart declared the sight to be the first extra dividend upon our payment to Amos Opie for leaving the grass uncut.
I left the stalks of the lilies full three feet long and used only their own foliage, together with some broad-leaved grasses, to break the too abrupt edge of the glass. This is a point that must be remembered in arranging flowers, the keeping the relative height and habit of the plant in the mind's eye. These lilies, gathered with short stems and massed in a crowded bunch, at once lose their individuality and become mere little freckled yellow gamins of the flower world.
A rather slender jar or vase also gives an added sense of height; long-stemmed flowers should never be put in a flat receptacle, no matter how adroitly they may be held in place. Only last month I was called upon to admire a fine array of long-stemmed roses that were held in a flat dish by being stuck in wet sand, and even though this was covered by green moss, the whole thing had a painfully artificial and embalmed look, impossible to overcome.
For the living room, which is in quiet green tones and chintz-upholstered wicker furniture, I gathered Shirley poppies. They are not as large and perfectly developed as those I once saw in your garden from fall-sown seed, [Pg 223]but they are so delicately tinted and the petals so gracefully winged that it seemed like picking handfuls of butterflies.
Maria Maxwell has shown me how, by looking at the stamens, I can tell if the flower is newly opened, for by picking only such they will last two full days. How lasting are youthful impressions! She remembers all these things, though she has had no very own garden these ten years and more. Will the Infant remember creeping into my cot in these summer mornings, cuddling and being crooned to like a veritable nestling, until her father gains sufficient consciousness to take his turn and delight her by the whistled imitation of a few simple bird songs? Yes, I think so, and I would rather give her this sort of safeguard to keep off harmful thoughts and influences than any worldly wisdom.
The poppies I arranged in my smallest frosted-white and cut-glass vases in two rows on the mantel-shelf, before the quaint old oblong mirror, making it look like a miniature shrine. Celia Thaxter had this way of using them, if I remember rightly, the reflection in the glass doubling the beauty and making the frail things seem alive!
For the library, where oak and blue are the prevailing tints, I filled a silver tankard with a big bunch of blue [Pg 224]cornflowers, encircled by the leaves of "dusty miller," and placed it on the desk.
The dining-room walls are of deep dark red that must be kept cool in summer. At all seasons I try to have the table decorations low enough not to oblige us to peer at one another through a green mist, and to-day I made a wreath of hay-scented ferns and ruby-spotted Japan lilies (Speciosum rubrum, the tag says—they were sent as extras with my seeds), by combining two half-moon dishes, and in the middle set a slender, finely cut, flaring vase holding two perfect stems, each bearing half a dozen lily buds and blossoms. These random bulbs are the first lilies of my own planting. There are a few stalks of the white Madonna lilies in the grass of the old garden and a colony of tiger lilies and an upright red lily with different sort of leaves, all clustered at the root, following the tumble-down wall, the rockery to be. I am fascinated by these Japanese lilies and desire more, each stalk is so sturdy, each flower so beautifully finished and set with jewels and then powdered with gold, as it were. Pray tell me something about the rest of the family! Do they come within my range and pocket, think you? The first cost of a fair-sized bed would be considerable, but if they are things that by care will endure, it is some[Pg 225]thing to save up for, when the rose bed is completed—take note of that!
When Bart came home this afternoon, he walked through the rooms before going out and commented on the different flowers, entirely simple in arrangement, and lingered over them, touching and taking pleasure in them in a way wholly different from last week, when each room was a jungle and I was fairly suffering from flower surfeit.
Now I find myself taking note of happy combinations of colour in other people's gardens and along the highways for further experiments. I seem to remember looking over a list of flower combinations and suggestions in your garden book. Will you lend it to me?
By the way, opal effects seem to circle about the place this season—the sunsets, the farm-house windows, and finally that rainy night when we were playing whist, when The Man, taking a pencil from his pocket, pulled out a little chamois bag that, being loose at one end, shed a shower of the unset stones upon the green cloth, where they lay winking and blinking like so many fiery coals.
"Are you a travelling jeweler's shop?" quizzed Bart.
"No," replied The Man, watching the stones where they lay, but not attempting to pick them up; "the [Pg 226]opal is my birth stone, and I've always had a fancy for picking them up at odd times and carrying them with me for luck!"
"I thought that they are considered unlucky," said Maria, holding one in the palm of her hand and watching the light play upon it.
"That is as one reads them," said The Man; "to me they are occasionally contradictory, that is all; otherwise they represent adaptation to circumstances, and inexpensive beauty, which must always be a consolation."
Then he gave us each one, "to start a collection," he said. I shall have mine set as a talisman for the Infant. I like this new interpretation of the stone, for to divine beauty in simple things is a gift equal to genius.
Maria, however, insisted upon giving an old-fashioned threepenny bit, kept as a luck penny in the centre of her purse, in exchange. How can any woman be so devoid of even the little sentiment of gifts as she is?
A moment later The Man from Everywhere electrified us by saying, in the most casual manner, "Now that we are on the subject of opals, did I tell you that, being in some strange manner drawn to the place, I have made Opie an offer for the Opal Farm?"
"Good enough! but what for?" exclaimed Bart, nearly exposing a very poor hand.
"How splendid!" I cried, checking an impulse to throw my arms around his neck so suddenly that I shied my cards across the room—"Then the meadow need never be cut again!"
"What a preposterous idea! Did he accept the offer?" jerked Maria Maxwell, with a certain eagerness.
The Man's face, already of a healthy outdoor hue, took a deeper colour above the outline of his closely cropped black beard, which he declined to shave, in spite of prevailing custom.
"I'm afraid my popularity as a neighbour is a minor quality, when even my Lady Lazy makes it evident that her enthusiasm is for meadow weeds and not myself!"
"When would you live there?" asked practical Bart.
"All the time, when I'm not elsewhere!" said The Man. "No, seriously, I want permanent headquarters, a house to keep my traps in, and it can easily be somewhat remodelled and made comfortable. I want to own a resting-place for the soles of my feet when they are tired, and is it strange that I should pitch my tent near two good friends?"
It was a good deal for The Man to say, and instantly there was hand-shaking and back-clapping between[Pg 228] Bart and himself, and the game became hopelessly mixed.
As for Maria, she as nearly sniffed audibly at the idea as a well-bred woman could. It is strange, I had almost fancied during the course of the past month, and especially this evening, that The Man's glance, when toward her, held a special approval of a different variety than it carried to Bart and me! If Maria is going to worry him, she shall go back to her flat! I've often heard Bart say that men's feelings are very woundable at forty, while at twenty-five a hurt closes up like water after a pebble has been dropped in it.
Yes, Maria has been rude to The Man, and in my house, too, where she represents me! Anastasia told me! I suppose I really ought not to have listened, but it was all over before I realized what she was saying.
"Yes, mem, for all Miss Marie do be fixed out, so tasty and pleasant like to everybody, and so much chicked up by the country air, she's no notion o' beaus or of troubling wid the men!"
"What do you mean, Anastasia?" said I, in perfect innocence. "Of course Miss Maria is not a young girl to go gadding about!"
"It's not gadding I mean, mem, but here on the porch, one foine night, jest before the last time Mister Blake went off fer good, they was sat there some toime, so still that, says I to meself, 'When they do foind spach, it'll be something worth hearing!'
"'Do I annoy you by staying here? Would you prefer I went elsewhere?' says he, and well I moind the words, for Oi thought an offer was on the road, and as 'twas the nearest I'd been to wan, small wonder I got excoited! Then Miss Marie spoke up, smooth as a knife cutting ice cream,—'To speak frankly,' says she, 'you do not exactly annoy me, but I'd much rather you went elsewhere!' Och, but it broke me heart, the sound of it!"
HEAVILY SCENTED FLOWERS, SUCH AS HYACINTHS, LEMON AND AURATUM LILIES, POLYANTHUS NARCISSUS, MAGNOLIAS, LILACS, AND THE LIKE, SHOULD BE AVOIDED.
(Barbara Campbell to Mary Penrose)
Gray Rocks, July 19. Your epistle upon the evils of an excess of flowers in the house found us here with the Cortrights and Bradfords, and I read it with Lavinia and Sylvia on either side, as the theme had many notes in it familiar to us all! There are certainly times and seasons when the impulse is overpowering to lay hold of every flower that comes in the way and gather it to one's self, to cram every possible nook and corner with this portable form of beauty and fairly indulge in a flower orgie. Then sets in a reaction that shows, as in so many things, the middle path is the best for every day. Also there are many enthusiastic gardeners, both among those who grow their own flowers and those who cause them to be grown, who spare neither pains nor money until the flowers are gathered; then their grip relaxes, and the house arrangement of the fruit of their labour is left to chance.
In many cases, where a professional gardener is in [Pg 234]charge, several baskets, containing a confused mass of blossoms, are deposited daily in porch or pantry, often at a time when the mistress is busy, and they are either overlooked or at the last moment crammed into the first receptacle that comes to hand, from their very inopportuneness creating almost a feeling of dislike.
When once lodged, they are frequently left to their fate until they become fairly noisome, for is there anything more offensive to æsthetic taste than blackened and decaying flowers soaking in stagnant water?
Was it not Auerbach, in his Poet and Merchant, who said, "The lovelier a thing is in its perfection, the more terrible it becomes through its corruption"? and certainly this applies to flowers.
Flowers, like all of the best and lasting pleasures, must be taken a little seriously from the sowing of the seed to the placing in the vase, that they may become the incense of home, and the most satisfactory way of choosing them for this use is to make a daily tour about the garden, or, if a change is desired, through the fields and highways, and, with the particular nook you wish to fill in mind, gather them yourself.
Even the woman with too wide a selection to gather from personally can in this way indicate what she wishes.
In the vegetable garden the wise man thinks out his crop and arranges a variety for the table; no one wishes every vegetable known to the season every day, and why should not the eye be educated and nourished by an equal variety?
We are all very much interested in your flower-holders of natural wood, and I will offer you an idea in exchange, after the truly coöperative Garden, You, and I plan. In the flower season, instead of using your embroidered centrepieces for the table, which become easily stained and defaced by having flowers laid upon them, make several artistic table centres of looking-glass, bark, moss, or a combination of all three.
Lavinia Cortright and I, as a beginning, have oval mirrors of about eighteen inches in length, with invisibly narrow nickel bindings. Sometimes we use these with merely an edge of flowers or leaves and a crystal basket or other low arrangement of flowers in the centre. The glass is only a beginning, other combinations being a birch-bark mat, several inches wider than the glass, that may be used under it so that a wide border shows, or the mat by itself as a background for delicate wood flowers and ferns. A third mat I have made of stout cardboard and covered with lichens, reindeer moss, and bits of mossy bark, and I never go [Pg 236]to the woods but what I see a score of things that fairly thrust themselves before me and offer to blend with one of these backgrounds, and by holding the eye help to render meal-times less "foody," as Sukey Latham puts it, though none the less nourishing.
Last night when we gathered at dinner, a few moments after our arrival and our first meeting at this cottage, I at once became aware that though host and hostess were the same delightful couple, we were not dining at Meadow's End, their Oaklands cottage, but at Gray Rocks, with silver sea instead of green grass below the windows. While the sea surroundings were brought indoors and on the centre of the dinner table the mirror was edged by a border of sea-sand, glistening pebbles and little shells were arranged as a background instead of mosses and lichens, and rich brown seaweeds still moist with the astringent tonic sea breath edged this frame, and the more delicate rose-coloured and pale green weeds seemed floating upon the glass, that held a giant periwinkle shell filled with the pink star-shaped sabbatia, or sea pink, of the near-by salt marshes. There was no effort, no strain after effect, but a consistent preparation of the eye for the simple meal of sea food that followed.
In front of the cottage the rocks slope quickly to the [Pg 237]beach, but on either side there is a stretch of sand pocketed among the rocks, and in the back a dune stops abruptly at the margin of wide salt meadows, creek-fed and unctuous, as befits the natural gardens of the sea.
The other cottages lying to the eastward are gay in red-and-white striped awnings, and porch and window boxes painted red or green are filled with geraniums, nasturtiums, petunias,—any flowers, in short, that will thrive in the broiling sun, while some of the owners have planted buoy-like barrels at the four corners of their enclosures and filled them with the same assortment of foliage plants with which they would decorate a village lawn. This use of flowers seemed at once to draw the coolness from the easterly breeze and intensify the heat that vibrates from the sand.
Have you ever noticed that the sea in these latitudes has no affinity for the brightest colours, save as it is a mirror for the fleeting flames of sunrise and sunset?
The sea-birds are blended tints of rock, sand, sky, and water, save the dash of coral in bill and foot of a few, just as the coral of the wild-rose hips blends with the tawny marsh-grasses. Scarlet is a colour abhorred even by the marshes, until late in autumn the blaze of samphire consumes them with long spreading tongues [Pg 238]of flame. How can people be so senseless as to come seaward to cool their bodies, and yet so surround themselves with scarlet that it is never out of range of the eye?
Lavinia Cortright and the botanical Bradfords, as Evan calls them, because though equally lovers of flowers, they go further than some for the reason why that lies hid beneath the colour and perfume, have laid out and are still developing a sand garden that, while giving the cottage home the restful air that is a garden's first claim, has still the distinct identity of the sand and sea!
To begin, with one single exception, they have drawn upon the wild for this garden, even as you are doing in the restoration of your knoll. Back of the cottage a dozen yards is a sand ridge covering some fairly good, though mongrel, loam, for here, as along most of the coasts of sounds and bays, the sea, year by year, has bitten into the soil and at the same time strewn it with sand. Considering this as the garden boundary, a windbreak of good-sized bayberry bushes has been placed there, not in a stiff line, but in blended groups, enclosing three sides, these bays being taken from a thicket of them farther toward the marshes.
An alley from the back porch into this enclosure is bordered on either side by bushes of beach plum, that, [Pg 239]when covered with feathery white bloom in May, before the leaves appear, gives the sandy shore the only orchard touch it knows. Of course the flowering period is over when the usual shore season begins, though nowadays there is no off time—people go to shore and country when they are moved; yet the beach plum is a picturesque bush at any time, especially when, in September, it is loaded with the red purple fruit. In the two spaces on either side the alley the sand is filled with massed plants that, when a little more time has been given them for stretching and anchoring their roots, will straightway weave a flower mat upon the sand.
Down beyond the next point, one day last autumn, Horace and Sylvia found a plantation of our one New England cactus, the prickly pear (Opuntia opuntia). We have it here and there in our rocky pasture; but in greater heat and with better underfeeding it seemed a bit of a tropical plain dropped on the eastern coast. Do you know the thing? The leaves are shaped like the fans of a lobster's tail and sometimes are several-jointed, smooth except for occasional tufts of very treacherous spikes, and of a peculiar semitranslucent green; the half-double flowers set on the leaf edges are three inches across and of a brilliant sulphur-yellow, with tasselled stamens; the fruit is fleshy, somewhat fig-shaped, and [Pg 240]of a dark red when ripe—altogether a very decorative plant, though extremely difficult to handle.
After surveying the plantation on all sides, the tongs used by the oyster dredges suggested themselves to Horace, and thus grasped, the prickly pears were safely moved and pegged in their new quarters with long pieces of bent wire, the giant equivalents of the useful hairpins that I recommended for pegging down your ferns.
Now the entire plot of several yards square, apparently untroubled by the removal, is in full bloom, and has been for well-nigh a month, they say, though the individual blossoms are but things of a day. Close by, another yellow flower, smaller but more pickable, is just now waving, the rock rose or frostweed, bearing two sorts of flowers: the conspicuous yellow ones, somewhat resembling small evening primroses, while all the ground between is covered with an humble member of the rock rose family—the tufted beach heather with its intricate branches, reminding one more of a club-moss than a true flowering plant. Not a scrap of sand in the enclosure is left uncovered, and the various plants are set closely, like the grasses and wild flowers of a meadow, the sand pinweed that we gather, together with sea lavender, for winter bouquets much resembling a flowering grass.
The rabbit-foot clover takes kindly to the sandy soil, and, as it flowers from late May well into September, and holds its little furry tails like autumn pussy-willows until freezing weather, makes a very interesting sort of bed all by itself, and massed close to it, as if recognizing the family relationship, is the little creeping bush clover with its purplish flowers.
Next, set thickly in a mass representing a stout bush, comes the fleshy beach pea with rosy purple flowers. When it straggles along according to its sweet will, it has a poor and weedy look, but massed so that the somewhat difficult colour is concentrated, it is very decorative, and it serves as a trellis for the trailing wild bean, a sand lover that has a longer flowering season.
A patch of a light lustrous purple, on closer view, proves to be a mass of the feathered spikes of blazing star or colic-root, first cousin of the gay-feather of the West, that sometimes grows six feet high and has been welcomed to our gardens.
On the opposite side of the beach-plum alley, the Bradfords have made preparations for autumn glory, such as we always drive down to the marsh lands from Oaklands not only to see but to gather and take home. Masses of the fleshy tufted seaside goldenrod, now just beginning to throw up its stout flowerstalks, flank a bed [Pg 242]of wild asters twenty feet across. Here are gathered all the asters that either love or will tolerate dry soil, a certain bid for their favour having been made by mixing several barrels of stiff loam with the top sand, as an encouragement until the roots find the hospitable mixture below.
The late purple aster (patens) with its broad clasping leaves, the smooth aster (lævis) with its violet-blue flowers, are making good bushes and preparing for the pageant. Here is the stiff white-heath aster, the familiar Michaelmas daisy, that is so completely covered with snowy flowers that the foliage is obliterated, and proves its hold upon the affections by its long string of names,—frostweed, white rosemary, and farewell summer being among them,—and also the white-wreath aster, with the flowers ranged garland-wise among the rigid leaves, and the stiff little savory-leaved aster or sand starwort with pale violet rays. Forming a broad, irregular border about the asters are stout dwarf bushes of the common wild rose (humilis), that bears its deep pink flowers in late spring and early summer and then wears large round hips that change slowly from green to deep glowing red, in time to make a frame of coral beads for the asters.
Outside the hedge of bays, where a trodden pathway [Pg 243]leads to the boat landing, the weathered rocks, washed with soft tints blended of the breath of sea mist and sunset rays, break through the sand. In the lee of these, held in place by a line of stones, is a long, low bed of large-flowered portulaca, borrowed from inland gardens, and yet so in keeping with its surroundings as to seem a native flower of sea sands.
The fleshy leaves at a little distance suggest the form of many plants of brackish marsh and creek edges, and even the glasswort itself. When the day is gray, the flowers furl close and disappear, as it were, but when the sun beats full upon the sand, a myriad upraised fleshy little arms stretch out, each holding a coloured bowl to catch the sunbeams, as if the heat made molten the sand of quartz and turned it into pottery in tints of rose, yellow, amber, scarlet, and carnation striped. It was a bold experiment, this garden in the sand, but already it is making good.
Then, too, what a refreshment to the eyes is it, when the unbroken expanse of sky and sea before the house tires, to turn them landward over the piece of flowers toward the cool green marshes ribboned with the pale pink camphor-scented fleabane, the almost intangible sea lavender, the great rose mallows and cat-tail flags of the wet ground, the false indigo that, in the distance, [Pg 244]reminds one of the broom of Scottish hills, the orange-fringed orchis, pink sabbatia, purple maritime gerardia, milkwort, the groundsel tree, that covers itself with feathers in autumn, until, far away beyond the upland meadows, the silver birches stand as outposts to the cool oak woods, in whose shade the splendid yellow gerardia, or downy false foxglove, nourishes. Truly, while the land garden excels in length of season and profusion, the gardens of the sea appeal to the lighter fancies and add the charmed spice of variety to out-of-door life.
One of the most interesting features of this cottage and its surroundings is the further transplanting of Martin Cortright from his city haunts. At Meadow's End, though he works in the garden in a dilettante sort of way with Lavinia, takes long walks with father, and occasionally ventures out for a day's fishing with either or both of my men, he is still the bookworm who dives into his library upon every opportunity and has never yet adapted his spine comfortably to the curves of a hammock! In short he seems to love flowers historically—more for the sake of those in the past who have loved and written of them than for their own sake.
But here, even as I began to write to you, Mary Penrose, entrenched in a nook among the steep rocks [Pg 245]between the cottage and the sea, a figure coming up the sand bar, that runs northward and at low water shows a smooth stretch a mile in length, caught my eye. Laboriously but persistently it came along; next I saw by the legs that it was a man, a moment later that he was lugging a large basket and that a potato fork protruded from under one arm, and finally that it was none other than Martin Cortright, who had been hoeing diligently in the sand and mud for a couple of hours, that his guests might have the most delectable of all suppers,—steamed clams, fresh from the water, the condition alone under which they may be eaten sans peur et sans reproche!
(Mary Penrose to Barbara Campbell)
Woodridge, August 8. Back again in our camp, we thought to pause awhile, rest on our oars, and drift comfortably with the gentle summer tide of things. We have transplanted all the ferns and wild herbs for which we have room, and as a matter of course trees and shrubs must wait until they have shed their leaves in October. That is, all the trees that do shed. The exceptions are the evergreens, of which the river woods contain any number in the shape of hemlocks, spruces, and young white pines, the offspring, I take it, of a plantation back of the Windom farm, for we have not found them anywhere else.
The best authorities upon the subject of evergreens say that trees of small size should be transplanted either in April, before they have begun to put on their dressy spring plumes, or, if the season be not too hot and dry, or the distance considerable, in August, after this growth has matured, time thus being [Pg 247]given for them to become settled in the ground before winter.
We weighed the matter well. The pros in favour of spring planting lay in the fact that rain is very likely to be plentiful in April, and given but half a chance, everything grows best in spring; the cons being that the spring rush is usually overpowering, that in a late season the frost would not be fairly out of the knoll and ground by the fence, where we need a windbreak, before garden planting time, and that during the winter clearing that will take place in the river valley, leaf fires may be started by the workmen that will run up the banks and menace our treasure-trove of evergreens.
The pros for August consisted mainly of the pith of a proverb and a bit of mad Ophelia's sanity: "There is no time like the present" and "We know what we are, but know not what we may be!"
At present we have a good horse, Larry, and plenty of time, the con being, suppose we have a dry, hot autumn. The fact that we have a new water-barrel on wheels and several long-necked water-pots is only a partial solution of the difficulty, for the nearest well is an old-fashioned arrangement with a sweep, located above the bank wall at Opal Farm. This well is an [Pg 248]extremely picturesque object in the landscape, but as a water-producer as inadequate as the shaving-mug with which the nervous gentleman, disturbed at his morning task, rushed out to aid in extinguishing a fire!
Various predictions as to the weather for the month have been lavished upon us, the first week having produced but one passing shower. Amos Opie foresees a muggy, rainless period. Larry declares for much rain, as it rained at new moon and again at first quarter; but, as he says, as if to release himself from responsibility, "That's the way we read it in Oireland, but maybe, as this is t'other side of the warld, it's all the other way round wid rain!" Barney was noncommittal, but then his temperament is of the kind that usually regrets whatever is.
For three or four days we remained undecided, and then The Man from Everywhere brought about a swift decision for August transplanting, by the information that the general clearing of the woodlands would begin November first, the time for fulfilling the contract having been shortened by six months at the final settlement.
We covet about fifty specimen pines and hemlocks for the knoll and fully two hundred little hemlocks [Pg 249]for the windbreaks, so we at once began the work and are giving two days a week to the digging and transporting and the other four to watering. That is, Bart and Larry are doing this; I am looking on, making suggestions as to which side of a tree should be in front, nipping off broken twigs, and doing other equally light and pleasant trifles.
Our system of transplanting is this: we have any number of old burlap feed bags, which, having become frayed and past their usefulness, we bought at the village store for a song. These Larry filled with the soft, elastic moss that florists use, of which there is any quantity in the low backwater meadows of the river. A good-sized tree (and we are not moving any of more than four or five feet in height; larger ones, it seems, are better moved in early winter with a ball of frozen earth) has a bag to itself, the roots, with some earth, being enveloped in the moss, the bag as securely bound about them as possible with heavy cord, and the whole thing left to soak at the river edge while the next one is being wrapped. Of the small hemlocks for the windbreak,—and we are using none over two or three feet for this purpose, as we want to pinch them in and make them stocky,—the roots of three or four will often go into a bag.
When enough for a day's planting is thus collected, we go home, stack them in the shade, and the next morning the resetting begins! The bags are not opened until they are by the hole in which the trees are to be placed, which, by the way, is always made and used after the directions you gave us for rose planting; and I'm coming to agree with you that the success in gardening lies more than half in the putting under ground, and that the proper spreading and securing of roots in earth thoroughly loosened to allow new roots to feel and find their way is one of the secrets of what is usually termed "luck"!
This may sound like a very easy way of acquiring trees, but it sometimes takes an hour to loosen a sturdy pine of four feet. Of course a relentless hand that stops at nothing, with a grub-axe and spade, could do it in fifteen minutes, but the roots would be cut or bruised and the pulling and tugging be so violent that not a bit of earth would cleave, and thus the fatal drying process set in almost before the digging was completed.
Larry first loosens the soil all about the tree with a crowbar, dislodging any binding surface stones in the meantime; then the roots are followed to the end and secured entire when possible, a bit of detec[Pg 251]tive work more difficult than it sounds in a bank where forest trees of old growth have knit roots with saplings for mutual protection.
Setting-out day sees a procession of three water-carriers going Indian file up one side of the knoll and down the other. Bart declares that by the time his vacation is over he will be sufficiently trained to become captain of the local fire company, which consists of an antique engine, of about the capacity of one water-barrel, and a bucket brigade.
This profuse use of water, upon the principle of imitation, has brought about another demand for it on the premises. The state of particularly clay-and-leaf-mouldy perspiration in which Bart finds himself these days cries aloud for a shower-bath, nor is he or his boots and clothing in a suitable condition for tramping through the house and turning the family bath-tub into a trough wherein one would think flower-pots had been washed.
With the aid of Amos Opie an oil-barrel has been trussed up like a miniature windmill tank in the end of the camp barn, one end of which rests on the ground, and being cellarless has an earth floor. Around the supports of this tank is fastened an unbleached cotton curtain, and when standing within and pulling a cord [Pg 252]attached to an improvised spray, the contents of the barrel descend upon Bart's person with hygienic thoroughness, the only drawback being that twelve pails of water have to be carried up the short ladder that leads from floor to barrel top each time the shower is used. Bart, however, seems to enjoy the process immensely, and Larry, by the way in which he lingers about the place and grins, evidently has a secret desire to experiment with it himself.
Larry has been a great comfort up to now, but we both have an undefined idea that one of his periods of "rest" is approaching. He works with feverish haste, alternating with times of sitting and looking at the ground, that I fear bodes no good. He also seems to take a diabolic pleasure in tormenting Amos Opie as regards the general make-up and pedigree of his beloved hound David.
David has human intelligence in a setting that it would be difficult to classify for a dog-show; a melancholy bloodhound strain certainly percolates thoroughly through him, and his long ears, dewlaps, and front legs, tending to bow, separate him from the fox "'ounds" of Larry's experience. To Amos Opie David is the only type of hound worthy of the name; consequently there has been no little language upon [Pg 253]the subject. That is, Larry has done the talking, punctuated by contemptuous "huhs" and sniffs from Amos, until day before yesterday. On this day David went on a hunting trip extending from five o'clock in the afternoon until the next morning, during which his voice, blending with two immature cries, told that he was ranging miles of country in company with a pair of thoroughbred fox-hound pups, owned by the postmaster, the training of which Amos Opie was superintending, and owing to an attack of rheumatism had delegated to David, whose reliability for this purpose could not be overestimated according to his master's way of thinking. For a place in some ways so near to civilization, the hills beyond the river woods abound in fox holes, and David has conducted some good runs on his own account, it seems; but this time alack! alack! he came limping slowly home, footsore and bedraggled, followed by his pupils and bearing a huge dead cat of the half-wild tribe that, born in a barn and having no owner, takes to a prowling life in the woods.
I cannot quite appreciate the enormity of the offence, but doubtless Dr. Russell and your husband can, as they live in a fox-hunting country. It seems that a rabbit would have been bad enough, something [Pg 254]however, to be condoned,—but not a cat! Instantly Amos fixed upon Larry as the responsible cause of the calamity,—Larry, who is so soaked in a species of folk-lore, blended of tradition, imagination, and high spirits that, after hearing him talk, it is easy to believe that he deals in magic by the aid of a black cat, and unfortunately the cat brought in by David was of this colour!
Then Amos spoke, for David's honour was as his own, and Larry heard a pronounced Yankee's opinion, not only of all the inhabitants of the Emerald Isle, but of one in particular! After freeing his mind, he threatened to free his house of Larry as a lodger, this being particularly unfortunate considering the near approach of one of that gentleman's times of retirement.
Last night I thought the sky had again cleared, for Amos discovered that the postmaster did not suspect the cat episode, and as Larry had no friends in the village through which it might leak out, the old man seemed much relieved; also, Larry apparently is not a harbourer of grievances. Within an hour, however, a second episode has further strained the relationship of lodger and host, and it has snapped.
Though still quite stiff in the joints, Amos came [Pg 255]over this morning to do some little tinkering in the barn camp, especially in strengthening the stays of the shower-bath tank, when, as he was on his knees fastening a brace to a post, in some inexplicable manner the string was pulled and the contents of the entire barrel of cold well-water were released, the first sprinkle so astonishing and bewildering poor Amos that he remained where he was, and so received a complete drenching.
Bart and Larry were up in the woods getting the day's load of hemlocks, and I, hearing the spluttering and groans, went to Amos's rescue as well as I could, and together with Maria Maxwell got him to the kitchen, where hot tea and dry clothes should have completely revived him in spite of age. As, however, to-day, it seems, is the anniversary of a famous illness he acquired back in '64, on his return from the Civil War, the peculiarities of which he has not yet ceased proclaiming, he is evidently determined to celebrate it forthwith, so he has taken to his bed, groaning with a stitch in his side. The doctor has been telephoned, and Maria Maxwell, as usual bursting with energy, which on this occasion takes a form between that of a dutiful daughter and a genuine country neighbour, has gone over to Opal Farm to tidy up a bit until [Pg 256]the doctor gives his decision and some native woman, agreeable to Amos's taste, can be found to look after the interesting yet aggravating crank.
But this is not all. Amos declines to allow Larry to lodge in the house for another night, attributing the ducking to him, in spite of the fact that he was at least six miles away. In this both Bart and I think Amos right, for Larry's eye had a most inquiring expression on his return, and I detected him slipping into the old barn at the first opportunity to see if the tank was empty, while Bart says that he has been talking to himself in a gleeful mood all the morning, and so he has decided that, as Larry has worked long enough to justify it, he will buy him a prepaid passage home to his daughter and see him off personally by to-morrow's steamer. As Amos will have none of Larry, to send the man into village lodgings would probably hasten his downfall. I did hope to keep him until autumn, for he has taught me not a little gardening in a genial and irresponsible sort of way, and the rose garden is laid out in a manner that would do credit to a trained man, Larry having the rare combination of seeing a straight line and yet being able to turn a graceful curve. But even if Amos had been willing to allow him to sleep over one of his attacks, [Pg 257]it would have been a dubious example for Barney, and in spite of the comfort he has been I now fully realize the limitations of so many of his race, at once witty, warm-hearted, soothing, and impossible; it is difficult not to believe what they say, even when you know they are lying, and this condition is equally demoralizing both to master and man.
August 11. Anastasia wept behind her apron when Larry left, but Barney assumed a cheerfulness and interest in his work that he has never shown before. Bart says that in spite of a discrepancy of twenty-odd years he thinks that Larry, by his fund of stories and really wonderful jig dancing, was diverting Anastasia's thoughts, and the comfortable savings attached, from Barney, who, though doubtless a sober man and far more durable in many ways, is much less interesting an object for the daily contemplation of an emotional Irishwoman.
While Bart was in town yesterday seeing Larry started on his journey, Maria and I, with the Infant tucked between in the buggy, went for an outing under the gentle guidance of Romeo, who through constant practice has become the most expert standing horse in the county. I'm only afraid that his owners on their return may not appreciate this accomplish[Pg 258]ment. Being on what Maria calls "a hunt for antiques," we drove in the direction of Newham village, which you know is away from railroads and has any number of old-time farms. We were not looking for spinning-wheels and andirons, but old-fashioned roses and peonies, especially the early double deep crimson variety that looks like a great Jack rose. We located a number of these in June and promised to return for our plunder in due season. Last year I bought some peony roots in August, and they throve so well, blooming this spring, that I think it is the best time for moving them.
In one of the houses where we bought pink-and-white peonies the woman said she had a bed, as big as the barn-door, of "June" lilies, and that, as they were going to build a hen-house next autumn on the spot where they grew, she was going to lift some into one of her raised mounds (an awful construction, being a cross between a gigantic dirt pie and a grave), and said that I might have all the spare lily bulbs that I wanted if I would give her what she termed a "hatching" of gladiolus bulbs. Just at present the lilies have entirely disappeared, and nothing but bare earth is visible, but I think from the description that they must be the lovely Madonna lilies of grandmother's Virginia garden that [Pg 259]made a procession from the tea-house quite down to the rose garden, like a bevy of slender young girls in confirmation array. If so, they do not take kindly to handling, and I have an indistinct remembrance of some rather unusual time of year when it must be done if necessary.
Please let me know about this, for I can be of little use in the moving of the evergreens and I want something to potter about in the garden. There are two places for a lily bed, but I am uncertain which is best until I hear from you. Either will have to be thoroughly renovated in the matter of soil, so that I am anxious to start upon the right basis. One of these spots is in full sun, with a slope toward the orchard; in the other the sun is cut off after one o'clock, though there are no overhanging branches; there is also a third place, a squashy spot down in the bend of the old wall.
On our return, toward evening, we met The Man from Everywhere driving down from the reservoir ground toward Opal Farm, a pink-cheeked young fellow of about twenty sharing the road wagon with him. As he has again been away for a few days, we drew up to exchange greetings and The Man said, rather aside, "I'm almost sorry that Larry fell from the skies to help out your gardening, for here is a young German [Pg 260]who has come from a distance, with a note from a man I know well, applying for work at the quarry; but there will be nothing suitable for him there for several months, for he's rather above the average. He would have done very well for you, as, though he speaks little English, I make out that his father was an under-forester in the fatherland. As it is, I'm taking him to the farm with me for the night and will try to think of how I may help him on in the morning."
Instantly both Maria and I began to tell of Larry's defection in different keys, the young man meanwhile keeping up a deferential and most astonishing bowing and smiling.
Having secured the seal of Bart's approval, Meyer has been engaged, and after to-day we must accustom our ears to a change from Larry's rich brogue to the juicy explosiveness of German; and worse yet, I must rack my brains for the mostly forgotten dialect of the schoolroom language that is learned with such pain and so quickly forgotten.
I'm wondering very much about The Man's sudden return to Opal Farm and if it will interfere with Maria Maxwell's daily care of Amos Opie; for, as it turns out, he is really ill, the chill resulting from Larry's [Pg 261]prank having been the final straw, and no suitable woman having been found, who has volunteered to tend the old man in the emergency, but Maria! That is, to the extent of taking him food and giving him medicines, for though in pain he is able to sit in an easy-chair. Maria certainly is capable, but so stupid about The Man. However, as the farm-house is now arranged as two dwellings, with the connecting door opening in the back hall and usually kept locked on Amos's side, she cannot possibly feel that she is putting herself in The Man's way!
(Barbara Campbell to Mary Penrose)
Oaklands, August 18. As a suitable text for this chronicle, as well as an unanswerable argument for its carrying out, combined with a sort of premium, I'm sending you to-day, freight paid, a barrel of lily-of-the-valley roots, all vigorous and with many next year's flowering pips attached.
No,—I hear your decorous protest,—I have not robbed myself, neither am I giving up the growing of this most exquisite of spring flowers, whose fragrance penetrates the innermost fastnesses of the memory, yet is never obtrusive. Simply my long border was full to overflowing and last season some of the lily bells were growing smaller. When this happens, as it does every half a dozen years, I dig two eight-inch trenches down the bed's entire length, and taking out the matted roots, fill the gap with rich soil, adding the plants thus dispossessed to my purse of garden wampum, which this time falls into your lap entire.[Pg 263] Of the treatment of the little flower, that is erroneously supposed to feast only upon leaf-mould in the deep shade, you shall hear later.
By all means begin your lily bed now, for the one season at which the Madonna lily resents removal the least is during the August resting time. Then, if you lift her gently while she sleeps, do not let the cool earth breath that surrounds her dry away, and bed her suitably, she will awaken and in a month put forth a leafy crown of promise to be fulfilled next June. Madonna does not like the shifting and lifting that falls to the lot of so many garden bulbs owing to the modern requirements that make a single flower bed often a thing of three seasonal changes. Many bulbs, many moods and whims. Hyacinths and early tulips blossom their best the first spring after their autumn planting (always supposing that the bob-tailed meadow-mice, who travel in the mole tunnels, thereby giving them a bad reputation, have not feasted on the tender heart buds in the interval).
The auratum lily of the gorgeous gold-banded and ruby-studded flower exults smilingly for a season or two and then degenerates sadly.
Madonna, if she be healthy on her coming, and is given healthy soil free from hot taint of manure, will [Pg 264]live with you for years and love you and give you every season increasing yield of silver-white-crowned stalks, at the very time that you need them to blend with your royal blue delphiniums. But this will be only if you obey the warning of "hands and spade off."
The three species of the well-known recurved Japan lily—speciosum roseum, s. rubrum, and s. album—have the same love of permanence; likewise the lily-of-the-valley and all the tribe of border narcissi and daffodils; so if you wish to keep them at their best, you must not only give them bits of ground all of their own, but study their individual needs and idiosyncrasies.
Lilies as a comprehensive term,—the Biblical grass of the field,—as far as concerns a novice or the Garden, You, and I, may be made to cover the typical lilies themselves, tulips, narcissi (which are of the amaryllis flock), and lilies-of-the-valley, a tribe by itself. You will wish to include all of them in your garden, but you must limit yourself to the least whimsical varieties on account of your purse, the labor entailed, and the climate.
Of the pieces of ground that you describe, take that in partial shade for your Madonna lilies and their kin, and that in the open sun for your lilies-of-the-[Pg 265]valley, while I would keep an earth border free from silver birches, on the sunny side of your tumble-down stone-wall rockery, for late tulips and narcissi; and grape hyacinths, scillas, trilliums, the various Solomon's seals, bellworts, etc., can be introduced in earth pockets between the rocks if, in case of the deeper-rooted kinds, connection be had with the earth below.
It is much more satisfactory to plant spring bulbs in this way,—in groups, or irregular lines and masses, where they may bloom according to their own sweet will, and when they vanish for the summer rest, scatter a little portulaca or sweet alyssum seed upon the soil to prevent too great bareness,—than to set them in formal beds, from which they must either be removed when their blooming time is past, or else one runs the risk of spoiling them by planting deep-rooted plants among them.
The piece of sunny ground in the angled dip of the old wall, which you call "decidedly squashy," interests me greatly, for it seems the very place for Iris of the Japanese type,—lilies that are not lilies in the exact sense, except by virtue of being built on the rule of three and having grasslike or parallel-veined leaves. But these closely allied plant families and their differ[Pg 266]ences are a complex subject that we need not discuss, the whole matter being something akin to one of the dear old Punch stories that adorn Evan's patriotic scrap-book.
A railway porter, puzzled as in what class of freight an immense tortoise shall be placed, as dogs are the only recognized standard, pauses, gazing at it as he scratches his head, and mutters, "Cats is dogs and rabbits is dogs, but this 'ere hanimal's a hinsect!" The Iris may be, in this respect, a "hinsect," but we will reckon it in with the lilies.
The culture of this Japan Iris is very simple and well worth while, for the species comes into bloom in late June and early July, when the German and other kinds are through. I should dig the wet soil from the spot of which you speak, for all muck is not good for this Iris, and after mixing it with some good loam and well-rotted cow manure replace it and plant the clumps of Iris two feet apart, for they will spread wonderfully. In late autumn they should have a top dressing of manure and a covering of corn stalks, but, mind, water must not stand on your Iris bed in winter; treating them as hardy plants does not warrant their being plunged into water ice. It is almost impossible, however, to give them too much water in[Pg 267] June and July, when the great flowers of rainbow hues, spreading to a size that covers two open hands, cry for drink to sustain the exhaustion of their marvellous growth. So if your "squashy spot" is made so by spring rains, all is well; if not, it must be drained in some easy way, like running a length of clay pipe beneath, so that the overplus of water will flow off when the Iris growth cannot absorb it.
Ah me! the very mention of this flower calls up endless visions of beauty. Iris—the flower of mythology, history, and one might almost say science as well, since its outline points to the north on the face of the mariner's compass; the flower that in the dawn of recorded beauty antedates the rose, the fragments of the scattered rainbow of creation that rests upon the garden, not for a single hour or day or week, but for a long season. The early bulbous Iris histriodes begins the season in March, and the Persian Iris follows in April. In May comes the sturdy German Iris of old gardens, of few species but every one worthy, and to be relied upon in mass of bloom and sturdy leafage to rival even the peony in decorative effect. Next the meadows are ribboned by our own blue flags; and the English Iris follows and in June and July meets the sumptuous Iris of Japan at its [Pg 268]blooming season, for there seems to be no country so poor as to be without an Iris.
There are joyous flowers of gold and royal blue, the Flower de Luce (Flower of Louis) of regal France, and sombre flowers draped in deep green and black and dusky purple, "The widow" (Iris tuberosa) and the Chalcedonian Iris (Iris Susiana), taking its name from the Persian Susa. Iris Florentina by its powdered root yields the delicate violet perfume orris, a corruption doubtless of Iris.
Many forms of root as well as blossom has the Iris, tuberous, bulbous, fibrous, and if the rose may have a garden to itself, why may not the Iris in combination with its sister lilies have one also? And when my eyes rest upon a bed of these flowers or upon a single blossom, I long to be a poet.
Now to begin: will your shady place yield you a bed four feet in width by at least twenty in length? If so, set Barney to work with pick and spade. The top, I take it, is old turf not good enough to use for edging, so after removing this have it broken into bits and put in a heap by itself. When the earth beneath is loosened, examine it carefully. If it is good old mellow loam without the pale yellow colour [Pg 269]that denotes the sterile, undigested soil unworked by roots or earthworms, have it taken out to eighteen inches in depth and shovelled to one side. When the bad soil is reached, which will be soon, have it removed so that the pit will be three feet below the level.
Next, let Barney collect any old broken bits of flower-pots, cobbles, or small stones of any kind, and fill up the hole for a foot, and let the broken turf come on top of this. If possible, beg or buy of Amos Opie a couple of good loads of the soil from the meadow bottom where the red bell-lilies grow, and mix this with the good loam, together with a scattering of bone, before replacing it. The bed should not only be full, but well rounded. Grade it nicely with a rake and wait a week or until rain has settled it before planting. When setting these lilies, let there be six inches of soil above the bulb, and sprinkle the hole into which it goes with fresh-water sand mixed with powdered sulphur.
This bed will be quite large enough for a beginning and will allow you four rows of twenty bulbs in a row, with room for them to spread naturally into a close mass, if so desired. Or better yet, do not put them in stiff rows, but in groups, alternating the early-flowering with the late varieties. A row of German Iris at the [Pg 270]back of this bed will give solidity and the sturdy foliage make an excellent windbreak in the blooming season. If your friendly woman in the back country will give you two dozen of the Madonna lily bulbs, group them in fours, leaving a short stake in the middle of each group that you may know its exact location, for the other lilies you cannot obtain before October, unless you chance to find them in the garden of some near-by florist or friend. These are—
Lilium speciosum album—white recurved.
Lilium speciosum rubrum—spotted with ruby-red.
Lilium speciosum roseum—spotted with rose-pink.
All three flower in August and September, rubrum being the latest, and barring accidents increase in size and beauty with each year.
In spite of the fact of their fickleness, I would buy a dozen or two of the auratum lilies, for even if they last but for a single year, they are so splendid that we can almost afford to treat them as a fleeting spectacle. As the speciosum lilies (I wish some one would give them a more gracious name—we call them curved-shell lilies here among ourselves) do not finish flowering sometimes until late in September, the bulbs are not ripe in time to be sold through the stores, until there is danger of the ground being frozen at night.

On the other hand, if purchased in spring, unless the bulbs have been wintered with the greatest care in damp, not wet, peat moss, or sand, they become so withered that their vitality is seriously impaired. There are several dealers who make a specialty of thus wintering lily bulbs,[A] and if you buy from one of these, I advise spring planting.
If, however, for any reason you wish to finish your bed this fall, after planting and covering each bulb, press a four or five inch flower-pot lightly into the soil above it. This will act as a partial watershed to keep the drip of rain or snow water from settling in the crown of the bulb and decaying the bud. Or if you have plenty of old boards about the place, they may be put on the bed and slightly raised in the centre, like a pitched roof, so as to form a more complete watershed, and the winter covering of leaves, salt, hay, or litter, free of manure, can be built upon this. Crocuses, snowdrops, and scillas make a charming border for a lily bed and may be also put between the lilies themselves to lend colour early in the season.
To cover your bed thoroughly, so that it will keep out cold and damp and not shut it in, is a must be of successful lily culture. Have you ever tried to grow [Pg 272]our hardiest native lilies like the red-wood, Turk's cap, and Canada bell-lily in an open border where the porous earth, filled by ice crystal, was raised by the frost to the consistency of bread sponge? I did this not many years ago and the poor dears looked pinched and woebegone and wholly unlike their sturdy sisters of meadow and upland wood edges. Afterward, in trying to dig some of these lilies from their native soil, I discovered why they were uncomfortable in the open borders; the Garden, You, and I would have to work mighty hard to find a winter blanket for the lily bed to match the turf of wild grasses sometimes half a century old.
Many other beautiful and possible lilies there are besides these four, but these are to be taken as first steps in lily lore, as it were; for to make anything like a general collection of this flower is a matter of more serious expense and difficulty than to collect roses, owing to the frailness of the material and the different climatic conditions under which the rarer species, especially those from India and the sea islands, originated; but given anything Japanese and a certain cosmopolitan intelligence seems bred in it that carries a reasonable hope of success under new conditions.
We have half a dozen species of beautiful native [Pg 273]lilies, but like some of our most exquisite ferns they depend much for their attractiveness upon the setting their natural haunts offer, and I do not like to see them caged, as it were, within strict garden boundaries.
The red wood-lily should be met among the great brakes of a sandy wood edge, where white leafless wands of its cousin, star-grass, or colic root, wave above it, and the tall late meadow-rue and white angelica fringe the background.
The Canada bell-lily needs the setting of meadow grasses to veil its long, stiff stalks, while the Turk's-cap lily seems the most at home of all in garden surroundings, but it only gains its greatest size in the deep meadows, where, without being wet, there is a certain moisture beneath the deep old turf, and this turf itself not only keeps out frost, but moderates the sun's rays in their transit to the ground.
Two lilies there are that, escaping from gardens, in many places have become half wild—the brick-red, black-spotted tiger lily with recurved flowerets, after the shape of the Japanese roseum, rubrum, and album, being also a native of Japan and China, and the tawny orange day lily, that is found in masses about old cellars and waysides, with its tubular flowers, [Pg 274]held on leafless stems, springing from a matted bed of leaves. This day lily (hemerocallis fulva) is sister to the familiar and showy lemon lily of old gardens (hemerocallis flava). If you have plenty of room by your wall, I should lodge a few good bunches by it when you find some in a location where digging is possible. It is a decorative flower, but hardly worthy of good garden soil. The same may be said of the tiger lily, on account of the very inharmonious shade of red it wears; yet if you have a half-wild nook, somewhere that a dozen bulbs of it may be tucked in company with a bunch of the common tall white phlox that flowers at the same time, you will have a bit of colour that will care for itself.
The lemon lily should have a place in the hardy border well toward the front row and be given enough room to spread into a comfortable circle after the manner of the white plantain lily (Funkia subcordata). This last lily, another of Japan's contributions to the hardy garden, blooms from August until frost and unlike most of the lily tribe is pleased if well-rotted manure is deeply dug into its resting-place.
As with humanity the high and lowly born are subject to the same diseases, so is it with the lily tribe, and because you choose the sturdiest and consequently [Pg 275]least expensive species for your garden, do not think that you may relax your vigilance.
There is a form of fungous mould that attacks the bulbs of lilies without rhyme or reason and is the insidious tuberculosis of the race. Botrytis cinerea is its name and it seizes upon stalk and leaves in the form of spots that are at first yellow and then deepen in colour, until finally, having sapped the vitality of the plant, it succumbs.
Cold, damp, insufficient protection in winter, all serve to render the lily liable to its attacks, but the general opinion among the wise is that the universal overstimulation of lilies by fertilizers during late years, especially of the white lilies used for church and other decorative purposes, has undermined the racial constitution and made it prone to attacks of the enemy. Therefore, if you please, Mary Penrose, sweet soil, sulphur, sand, and good winter covering, if you would not have your lily bed a consumptives' hospital!
Some lilies are also susceptible to sunstroke. When growing in the full light and heat of the sun, and the buds are ready to open, suddenly the flowers, leaves, and entire stalk will wither, as when in spring a tulip collapses and we find that a meadow-mouse has nipped [Pg 276]it in the core. But with the lily the blight comes from above, and the only remedy is to plant in half shade.
On the other hand the whims of the flower require that this be done carefully, for if the scorching sun is an evil, a soaking, sopping rain, coming at the height of the blooming season and dripping from overhanging boughs, is equally so. The gold-and-copper pollen turns to rusty tears that mar the petals of satin ivory or inlaid enamel, and a sickly transparency that bodes death comes to the crisp, translucent flower!
"What a pother for a bed of flowers!" I hear you say, "draining, subsoiling, sulphuring, sanding, covering, humouring, and then sunstroke or consumption at the end!" So be it, but when success does come, it is something worth while, for to be successful with these lilies is "aiming the star" in garden experience.
The plantain lilies and hemerocallis seem free from all of these whims and diseases, but it is when we come to the lily-of-the-valley that we have the compensation for our tribulations with the royal lilies of pure blood.
The lily-of-the-valley asks deep, very rich soil in the open sun; if a wall or hedge protects it from the north, so much the better. I do not know why people [Pg 277]preach dense shade for this flower; possibly because they prefer leaves to flowers, or else that they are of the sheeplike followers of tradition instead of practical gardeners of personal experience. One thing grows to perfection in the garden of this commuter's wife, and that is lilies-of-the-valley, and shade knows them not between eight in the morning and five at night, and we pick and pick steadily for two weeks, for as the main bed gives out, there are strips here and there in cooler locations that retard the early growth, but never any overhanging branches.
In starting a wholly new bed, as you are doing, it is best to separate the tangled roots into small bunches, seeing to it that a few buds or "pips" remain with each, and plant in long rows a foot apart, three rows to a four-foot bed. Be sure to bury a well-tarred plank a foot in width edgewise at the outer side of the bed, unless you wish, in a couple of years' time, to have this enterprising flower walk out and about the surrounding garden and take it for its own. Be sure to press the roots in thoroughly and cover with three inches of soil.
In December cover the bed with rotten cow manure for several inches and rake off the coarser part in April, taking care not to break the pointed "pips" that will [Pg 278]be starting, and you will have a forest of cool green leaves and such flowers as it takes much money to buy. Not the first season, of course, but after that—forever, if you thin out and fertilize properly.
In the back part of your lily-of-the-valley bed plant two or three rows of the lovely poets' narcissus (poeticus). It opens its white flowers of the "pheasant's eye" cup at the same time as the lilies bloom, it grows sufficiently tall to make a good upward gradation, and it likes to be let severely alone. But do not forget in covering in the fall to put leaves over the narcissi instead of manure. Of other daffodils and narcissi that I have found very satisfactory, besides the good mixtures offered by reliable houses at only a dollar or a dollar and a quarter a hundred (the poets' narcissi only costing eighty cents a hundred for good bulbs), are Trumpet Major, Incomparabilis, the old-fashioned "daffy," and the monster yellow trumpet narcissus, Van Sion.
The polyanthus narcissi, carrying their many flowers in heads at the top of the stalk, are what is termed half hardy and they are more frequently seen in florists' windows than in gardens. I have found them hardy if planted in a sheltered spot, covered with slanted boards and leaves, which should not be removed [Pg 279]before April, as the spring rain and winds, I am convinced, do more to kill the species than winter cold. The flowers are heavily fragrant, like gardenias, and are almost too sweet for the house; but they, together with violets, give the garden the opulence of odour before the lilacs are open, or the heliotropes that are to be perfumers-in-chief in summer have graduated from thumb pots in the forcing houses.

Unless one has a large garden and a gardener who can plant and tend parterres of spring colour, I do not set much value upon outdoor hyacinths; they must be lifted each year and often replaced, as the large bulbs soon divide into several smaller ones with the flowers proportionately diminished. To me their mission is, to be grown in pots, shallow pans, or glasses on the window ledge, for winter and spring comforters, and I use the early tulips much in the same way, except for a cheerful line of them, planted about the foundation of the house, that when in bloom seems literally to lift home upon the spring wings of resurrection!
All my tulip enthusiasm is centred in the late varieties, and chief among these come the fascinating and fantastic "parrots."
When next I have my garden savings-bank well filled, I am going to make a collection of these tulips [Pg 280]and guard them in a bed underlaid with stout-meshed wire netting, so that no mole may leave a tunnel for the wicked tulip-eating meadow-mouse.
It is these late May-flowering tulips of long stalks, like wands of tall perennials, that you can gather in your arms and arrange in your largest jars with a sense at once combined of luxury and artistic joy.
Better begin as I did by buying them in mixture; the species you must choose are the bizarre, bybloems, parrots, breeders, Darwin tulips, and the rose and white, together with a general mixture of late singles. Five dollars will buy you fifty of each of the seven kinds, three hundred and fifty bulbs all told and enough for a fine display. The Darwin tulips yield beautiful shades of violet, carmine, scarlet, and brown; the bizarres, many curious effects in stripes and flakes; the rose and white, delicate frettings and margins of pink on a white ground; but the parrots have petals fringed, twisted, beaked, poised curiously upon the stalks, splashed with reds, yellows, and green, and to come suddenly upon a mass of them in the garden is to think for a brief moment that a group of unknown birds blown from the tropics in a forced migration have alighted for rest upon the bending tulip stalks.
[A] F.H. Horsford of Charlotte, Vt., is very reliable in this matter.
(Mary Penrose to Barbara Campbell)
Woodridge, August 26. The heliotrope is in the perfection of bloom and seems to draw perfume from the intense heat of the August days only to release it again as the sun sets, while as long as daylight lasts butterflies of all sizes, shapes, and colours are fluttering about the flowers until the bed is like the transformation scene of a veritable dance of fairies!
Possibly you did not know that I have a heliotrope bed planted at the very last moment. I had never before seen a great mass of heliotrope growing all by itself until I visited your garden, and ever since I have wondered why more people have not discovered it. I think that I wrote you anent hens that the ancient fowl-house of the place had been at the point where there was a gap in the old wall below the knoll, and that the wind swept up through it from the river, across the Opal Farm meadows, and into the windows of the dining room? The most impossible [Pg 282]place for a fowl-house, but exactly the location, as The Man from Everywhere suggested, for a bed of sweet odours.
I expected to do nothing with it this season until one day Larry, the departed, in a desire to use some of the domestic guano with which the rough cellar of the old building was filled, carted away part of it, and supplying its place with loam, dug over and straightened out the irregular space, which is quite six feet wide by thirty long.
The same day, on going to a near-by florist's for celery plants, I found that he had a quantity of little heliotropes in excess of his needs, that had remained unpotted in the sand of the cutting house, where they had spindled into sickly-looking weeds. In a moment of the horticultural gambling that will seize one, I offered him a dollar for the lot, which he accepted readily, for it was the last of June and the poor things would probably have been thrown out in a day or two.
I took them home and spent a whole morning in separating and cutting off the spindling tops to an even length of six inches. Literally there seemed to be no end to the plants, and when I counted them I found that I had nearly a hundred and fifty heliotropes, [Pg 283]which, after rejecting the absolutely hopeless, gave me six rows for the bed.
For several weeks my speculation in heliotropes was a subject of much mirth between Bart and myself, and the place was anything but a bed of sweet odours! The poor things lost the few leaves they had possessed and really looked as if they had been haunted by the ghosts of all the departed chickens that had gone from the fowl-house to the block. Then we had some wet weather, followed by growing summer heat, and I did not visit the bed for perhaps a week or more, when I rubbed my eyes and pinched myself; for it was completely covered with a mass of vigorous green, riotous in its profusion, here and there showing flower buds, and ever since it is one of the places to which I go to feast my eyes and nose when in need of garden encouragement! Another year I shall plant the heliotrope in one of the short cross-walk borders of the old garden, where we may also see it from the dining room, and use the larger bed for the more hardy sweet things, as I shall probably never be able to buy so many heliotrope plants again for so little money.
Now also I have a definite plan for a large border of fragrant flowers and leaves. I have been on a [Pg 284]journey, and, having spent three whole days from home, I am able for once to tell you something instead of endlessly stringing questions together.
We also have been to the Cortrights' at Gray Rocks, and through a whiff of salt air, a touch of friendly hands, much conversation, and a drive to Coningsby (a village back from the shore peopled by the descendants of seafarers who, having a little property, have turned mildly to farming), we have received fresh inspiration.
You did not overestimate the originality of the Cortrights' seaside garden, and even after your intimate description, it contained several surprises in the shape of masses of the milkweeds that flourish in sandy soil, especially the dull pink, and the orange, about which the brick-red monarch butterflies were hovering in great flocks. Neither did you tell me of the thistles that flank the bayberry hedge. I never realized what a thing of beauty a thistle might be when encouraged and allowed room to develop. Some of the plants of the common deep purple thistle, that one associates with the stunted growths of dusty roadsides, stood full five feet high, each bush as clear cut and erect as a candelabrum of fine metal work, while another group was composed of a pale yellow [Pg 285]species with a tinge of pink in the centre set in very handsome silvery leaves. I had never before seen these yellow thistles, but Lavinia Cortright says that they are very plentiful in the dry ground back of the marshes, where the sand has been carried in drifts both by wind and tide.
The table and house decorations the day that we arrived were of thistles blended with the deep yellow blossoms of the downy false foxglove or Gerardia and the yellow false indigo that looks at a short distance like a dwarf bush pea.
We drove to Coningsby, as I supposed to see some gay little gardens, fantastic to the verge of awfulness, that had caught Aunt Lavinia's eye. In one the earth for the chief bed was contained in a surf-boat that had become unseaworthy from age, and not only was it filled to the brim, but vines of every description trailed over the sides.
A neighbour opposite, probably a garden rival of the owner of the boat but lacking aquatic furniture, had utilized a single-seated cutter which, painted blue of the unmerciful shade that fights with everything it approaches, was set on an especially green bit of side lawn, surrounded by a heavy row of conch shells, and the box into which the seat had been turned, as [Pg 286]well as the bottom of the sleigh itself, was filled with a jumble of magenta petunias and flame-coloured nasturtiums.
After we had passed down a village street a quarter of a mile long, bordered on either side by floral combinations of this description, the sight began to pall, and I wondered how it was possible that any flowers well watered and cared for could produce such a feeling of positive aversion as well as eye-strained fatigue; also, if this was all that the Cortrights had driven us many miles to see, when it was so much more interesting to lounge on either of the porches of their own cottage, the one commanding the sea and the other the sand garden, the low dunes, and the marsh meadows.
"It is only half a mile farther on," said Aunt Lavinia, quick to feel that we were becoming bored, without our having apparently given any sign to that effect.
"It! What is it?" asked Bart, while I, without shame it is confessed, having a ravenous appetite, through outdoor living, hoped that it was some quaint and neat little inn that "refreshed travellers," as it was expressed in old-time wording.
"How singular!" ejaculated Aunt Lavinia; "I thought I told you last night when we were in the [Pg 287]garden—well, it must have been in a dream instead. It is the garden of Mrs. Marchant, wholly of fragrant things; it is on the little cross-road, beyond that strip of woods up there," and she waved toward a slight rise in the land that was regarded as a hill of considerable importance in this flat country.
"It does not contain merely a single bed of sweet odours like Barbara's and mine, but is a garden an acre in extent, where everything admitted has fragrance, either in flower or leaf. We chanced upon it quite by accident, Martin and I, when driving ourselves down from Oaklands, across country, as it were, to Gray Rocks, by keeping to shady lanes, byways, and pent roads, where it was often necessary to take down bars and sometimes verge on trespassing by going through farmyards in order to continue our way.
"After traversing a wood road of unusual beauty, where everything broken and unsightly had been carefully removed that ferns and wild shrubs might have full chance of life, we came suddenly upon a white picket gate covered by an arched trellis, beyond which in the vista could be seen a modest house of the real colonial time, set in the midst of a garden.
"At once we realized the fact that the lane was also [Pg 288]a part of the garden in that it was evidently the daily walk of some one who loved nature, and we looked about for a way of retracing our steps. At the same moment two female figures approached the gate from the other side. At the distance at which we were I could only see that one was tall and slender, was dressed all in pure white, and crowned by a mass of hair to match, while the other woman was short and stocky, and the way in which she opened the gate and held it back told that whatever her age might be she was an attendant, though probably an intimate one.
"In another moment they discovered us, and as Martin alighted from the vehicle to apologize for our intrusion the tall figure immediately retreated to the garden, so quickly and without apparent motion that we were both startled, for the way of moving is peculiar to those whose feet do not really tread the earth after the manner of their fellows; and before we had quite recovered ourselves the stout woman had advanced and we saw by the pleasant smile her round face wore that she was not aggrieved at the intrusion but seemed pleased to meet human beings in that out-of-the-way place rather than rabbits, many of which had scampered away as we came down the lane.
"Martin explained our dilemma and asked if we might gain the highway without retracing our steps. The woman hesitated a moment, and then said, 'If you come through the gate and turn sharp to the right, you can go out across the apple orchard by taking down a single set of bars, only you'll have to lead your horse, sir, for the trees are set thick and are heavy laden. I'd let you cross the bit of grass to the drive by the back gate yonder but that it would grieve Mrs. Marchant to see the turf so much as pressed with a wheel; she'd feel and know it somehow, even if she didn't see it.'
"'Mrs. Marchant! Not Mrs. Chester Marchant?' cried Martin, while the far-away echo of something recalled by the name troubled the ears of my memory.
"'Yes, sir, the very same! Did you know Dr. Marchant, sir? The minute I laid eyes on you two I thought you were of her kind!' replied the woman, pointing backward over her shoulder and settling herself against the shaft and side of Brown Tom, the horse, as if expecting and making ready for a comfortable chat.
"As she stood thus I could take a full look at her without intrusiveness. Apparently well over sixty years old, and her face lines telling of many troubles, [Pg 290]yet she had not a gray hair in her head and her poise was of an independent landowner rather than an occupier of another's home. I also saw at a glance that whatever her present position might be, she had not been born in service, but was probably a native of local importance, who, for some reason perfectly satisfactory to herself, was 'accommodating.'
"'Dr. Marchant, Dr. Russell, and I were college mates,' said Martin, briefly, 'and after he and his son died so suddenly I was told that his widow was mentally ill and that none could see her, and later that she had died, or else the wording was so that I inferred as much,' and the very recollection seemed to set Martin dreaming. And I did not wonder, for there had never been a more brilliant and devoted couple than Abbie and Chester Marchant, and I still remember the shock of it when word came that both father and son had been killed by the same runaway accident, though it was nearly twenty years ago.
"'She was ill, sir, was Mrs. Marchant; too ill to see anybody. For a long time she wouldn't believe that the accident had happened, and when she really sensed it, she was as good as dead for nigh five years. One day some of her people came to me—'twas the year after my own husband died—and asked [Pg 291]if I would take a lady and her nurse here to live with me for the summer. They told me of her sickness and how she was always talking of some cottage in a garden of sweet-smelling flowers where she had lived one happy summer with her husband and her boy, and they placed the house as mine.
"'Her folks said the doctors thought if she could get back here for a time that it might help her. Then I recollected that ten years before, when I went up to Maine to visit my sister, I'd rented the place, just as it stood, to folks of the name of Marchant, a fine couple that didn't look beyond each other unless 'twas at their son. In past times my grandmother had an old-country knack of raising healing herbs and all sorts of sweet-smelling things, along with farm truck, so that folks came from all about to buy them and doctors too, for such things weren't sold so much in shops in those days as they are now, and so this place came to be called the Herb Farm. After that it was sold off, little by little, until the garden, wood lane, and orchard is about all that's left.
"'I was lonesome and liked the idea of company, and besides I was none too well fixed; yet I dreaded a mournful widow that wasn't all there anyway, according to what they said, but I thought I'd try. Well, [Pg 292]sir, she come, and that first week I thought I'd never stand it, she talked and wrung her hands so continual. But one day what do you think happened? I chanced to pick a nosegay, not so much fine flowers perhaps as good-smelling leaves and twigs, and put it in a little pitcher in her room.
"'It was like witchcraft the way it worked; the smell of those things seemed to creep over her like some drugs might and she changed. She stopped moaning and went out into the garden and touched all the posies with her fingers, as if she was shaking hands, and all of a sudden it seemed, by her talk, as if her dead were back with her again; and on every other point she's been as clear and ladylike as possible ever since, and from that day she cast off her black clothes as if wearing 'em was all through a mistake.
"'The doctors say it's something to do with the 'sociation of smells, for that season they spent in my cottage was the only vacation Dr. Marchant had taken in years, and they say it was the happiest time in her life, fussing about among my old-fashioned posies with him; and somehow in her mind he's got fixed there among those posies, and every year she plants more and more of them, and what friends of hers she [Pg 293]ever speaks of she remembers by some flowers they wore or liked.
"'Well, as it turned out, her trustees have bought my place out and fixed it over, and here we live together, I may say, both fairly content!
"'Come in and see her, won't you? It'll do no harm. Cortright, did you say your name was?' and before we could retreat, throwing Brown Tom's loose check-rein across the pickets of the gate, she led us to where the tall woman, dressed in pure white, stood under the trees, a look of perfectly calm expectancy in the wonderful dark eyes that made such a contrast to her coils of snow-white hair.
"'Cortright! Martin Cortright, is it not?' she said immediately, as her companion spoke the surname. 'And your wife? I had not heard that you were married, but I remember you well, Lavinia Dorman, and your city garden, and the musk-rose bush that ailed because of having too little sun. Chester will be so sorry to miss you; he is seldom at home in the mornings, for he takes long walks with our son. He is having the first entire half year's vacation he has allowed himself since our marriage. But you will always find him in the garden in the afternoon; he is so fond of fragrant flowers, and he is making new [Pg 294]studies of herbs and such things, for he believes that in spite of some great discoveries it will be proven that the old simples are the most enduring medicines.'
"As she spoke she was leading the way, with that peculiar undulating progress, like a cloud blown over the earth's surface, that I had noticed at first. Then we came out from under the shade of the trees into the garden enclosure and I saw borders and beds, but chiefly borders, stretching and curving everywhere, screening all the fences, approaching the house, and when almost there retreating in graceful lines into the shelter of the trees. The growth had the luxuriance of a jungle, and yet there was nothing weedy or awry about it, and as the breeze blew toward us the combination of many odours, both pungent and sweet, was almost overpowering.
"'You very seldom wore a buttonhole flower, but when you did it was a safrano bud or else a white jasmine,' Mrs. Marchant said, wheeling suddenly and looking at Martin with a gaze that did not stop where he stood, but went through and beyond him; 'it was Dr. Russell who always wore a pink! See! I have both here!' and going up to a tea-rose bush, grown to the size of a shrub and lightly fastened to the side of the house, she gathered a few shell-like buds and [Pg 295]a moment later pulled down a spray of the jasmine vine that festooned a window, as we see it in England but never here, and carefully cut off a cluster of its white stars by aid of a pair of the long, slender flower-picking scissors that hung from her belt by a ribbon, twisted the stems together, and placed them in Martin's buttonhole almost without touching it.
"Having done this, she seemed to forget us and drifted away among the flowers, touching some gently as she passed, snipping a dead leaf here and arranging a misplaced branch there.
"We left almost immediately, but have been there many times since, and though as a whole the garden is too heavily fragrant, I thought that it might suggest possibilities to you."
As Aunt Lavinia paused we were turning from the main road into the narrow but beautifully kept lane upon which the Herb Farm, as it was still called, was located, by one of those strange freaks that sometimes induces people to build in a strangely inaccessible spot, though quite near civilization. I know that you must have come upon many such places in your wanderings.
Of course my curiosity was piqued, and I felt, besides, as if I was about to step into the page of some [Pg 296]strange psychological romance, nor was I disappointed.
The first thing that I saw when we entered was a great strip of heliotrope that rivalled my own, and opposite it an equal mass of silvery lavender crowned by its own flowers, of the colour that we so frequently use as a term, but seldom correctly. There were no flagged or gravel walks, but closely shorn grass paths, the width of a lawn-mower, that followed the outline of the borders and made grateful footing.
Bounding the heliotrope and lavender on one side was a large bed of what I at first thought were Margaret carnations, of every colour combination known to the flower, but a closer view showed that while those in the centre were Margarets, those of the wide border were of a heavier quality both in build of plant, texture of leaf, and flower, which was like a compact greenhouse carnation, the edges of the petals being very smooth and round, while in addition to many rich, solid colours there were flowers of white-and-yellow ground, edged and striped and flaked with colour, and the fragrance delicious and reminiscent of the clove pinks of May.
Mrs. Puffin, the companion, could tell us little about them except that the seed from which they were [Pg 297]raised came from England and that, as she put it, they were fussy, troublesome things, as those sown one season had to be lifted and wintered in the cold pit and get just so much air every day, and be planted out in the border again in April. Aunt Lavinia recognized them as the same border carnations over which she had raved when she first saw them in the trim gardens of Hampton Court. Can either you or Evan tell me more of them and why we do not see them here? Before long I shall go garden mad, I fear; for after grooming the place into a generally decorative and floriferous condition of trees, shrubs, vines, ferns, etc., will come the hunger for specialties that if completely satisfied will necessitate not only a rosary, a lily and wild garden, a garden—rather than simply a bed—of sweet odours, and lastly a garden wholly for the family of pinks or carnations, whichever is the senior title. I never thought of these last except as a garden incident until I saw their possibilities in Mrs. Marchant's space of fragrant leaves and flowers.

The surrounding fences were entirely concealed by lilacs and syringas, interspersed with gigantic bushes of the fragrant, brown-flowered strawberry shrub; the four gates, two toward the road, one to the barn-yard, [Pg 298]and one entering the wood lane, were arched high and covered by vines of Wisteria, while similar arches seemed to bring certain beds together that would have looked scattered and meaningless without them. In fact next to the presence of fragrant things, the artistic use of vines as draperies appealed to me most.
The border following the fence was divided, back of the house, by a vine-covered arbour, on the one side of which the medicinal herbs and simples were massed; on the other what might be classed as decorative or garden flowers, though some of the simples, such as tansy with its clusters of golden buttons, must be counted decorative.
The plants were never set in straight lines, but in irregular groups that blended comfortably together. Mrs. Marchant was not feeling well, Mrs. Puffin said, and could not come out, greatly to my disappointment; but the latter was only too glad to do the honours, and the plant names slipped from her tongue with the ease of long familiarity.
This patch of low growth with small heads of purple flowers was broad-leaved English thyme; that next, summer savory, used in cooking, she said. Then followed common sage and its scarlet-flowered cousin [Pg 299]that we know as salvia; next came rue and rosemary, Ophelia's flower of remembrance, with stiff leaves. Little known or grown, or rather capricious and tender here, I take it, for I find plants of it offered for sale in only one catalogue. Marigolds were here also, why I do not know, as I should think they belonged with the more showy flowers; then inconspicuous pennyroyal and several kinds of mints—spearmint, peppermint, and some great plants of velvet-leaved catnip.
Borage I saw for the first time, also coriander of the aromatic seeds, and a companion of dill of vinegar fame; and strangely enough, in rotation of Bible quotation, cumin and rue came next.
Caraway and a feathery mass of fennel took me back to grandmother's Virginia garden; balm and arnica, especially when I bruised a leaf of the latter between my fingers, recalled the bottle from which I soothe the Infant's childish bumps, the odour of it being also strongly reminiscent of my own childhood.
Angelica spoke of the sweet candied stalks, but when we reached a spot of basil, Martin Cortright's tongue was loosed and he began to recite from Keats; and all at once I seemed to see Isabella sitting among the shadows holding between her knees the flower-pot from [Pg 300]which the strangely nourished plant of basil grew as she watered it with her tears.
A hedge of tall sunflowers, from whose seeds, Mrs. Puffin said, a soothing and nourishing cough syrup may be made, antedating cod-liver oil, replaced the lilacs on this side, and with them blended boneset and horehound; while in a springy spot back toward the barn-yard the long leaves of sweet flag or calamus introduced a different class of foliage.
On the garden side the border was broken every ten feet or so with great shrubs of our lemon verbena, called lemon balm by Mrs. Puffin. It seemed impossible that such large, heavily wooded plants could be lifted for winter protection in the cellar, yet such Mrs. Puffin assured us was the case. So I shall grow mine to this size if possible, for what one can do may be accomplished by another,—that is the tonic of seeing other gardens than one's own. Between the lemon verbenas were fragrant-leaved geraniums of many flavours—rose, nutmeg, lemon, and one with a sharp peppermint odour, also a skeleton-leaved variety; while a low-growing plant with oval leaves and half-trailing habit and odd odour, Mrs. Puffin called apple geranium, though it does not seem to favour the family. Do you know it?
Bee balm in a blaze of scarlet made glowing colour amid so much green, and strangely enough the bluish lavender of the taller-growing sister, wild bergamot, seems to harmonize with it; while farther down the line grew another member of this brave family of horsemints with almost pink, irregular flowers of great beauty.
Southernwood formed fernlike masses here and there; dwarf tansy made the edging, together with the low, yellow-flowered musk, which Aunt Lavinia, now quite up in such things, declared to be a "musk-scented mimulus!" whatever that may be! Stocks, sweet sultan, and tall wands of evening primrose graded this border up to another shrubbery.
Of mignonette the garden boasts a half dozen species, running from one not more than six inches in height with cinnamon-red flowers to a tall variety with pointed flower spikes, something of the shape of the white flowers of the clethra bush or wands of Culver's root that grow along the fence at Opal Farm. It is not so fragrant as the common mignonette, but would be most graceful to arrange with roses or sweet peas. Aunt Lavinia says that she thinks that it is sold under the name of Miles spiral mignonette.
Close to the road, where the fence angle allows for a deep bed and the lilacs grade from the tall white of the height of trees down to the compact bushes of newer French varieties, lies the violet bed, now a mass of green leaves only, but by these Aunt Lavinia's eye read them out and found here the English sweet wild violet, as well as the deep purple double garden variety, the tiny white scented that comes with pussy-willows, the great single pansy violet of California, and the violets grown from the Russian steppes that carpeted the ground under your "mother tree."
From this bed the lilies-of-the-valley start and follow the entire length of the front fence, as you preach on the sunny side, the fence itself being hidden by a drapery of straw-coloured and pink Chinese honeysuckle that we called at home June honeysuckle, though this is covered with flower sprays in late August, and must be therefore a sort of monthly-minded hybrid, after the fashion of the hybrid tea-rose.
If I were to tell of the tea-roses grown here, they would fill a chronicle by itself, though only a few of the older kinds, such as safrano, bon silene, and perle, are favourites. Mrs. Puffin says that some of them, the great shrubs, are wintered out-of-doors, and others [Pg 303]are lifted, like the lemon balms, and kept in the dry, light cellar in tubs.
But oh! Mrs. Evan, you must go and see Mrs. Marchant's lilies! They are growing as freely as weeds among the uncut grass, and blooming as profusely as the bell-lilies in Opal Farm meadows! And all the spring bulbs are also grown in this grass that lies between the shorn grass paths, and in autumn when the tops are dead and gone it is carefully burned over and the turf is all the winter covering they have.
Does the grass look ragged and unsightly? No, because I think that it is cut lightly with a scythe after the spring bulbs are gone and that the patient woman, whose life the garden is, keeps the tallest seeded grasses hand trimmed from between the lily stalks!
Ah, but how that garden lingers with me, and the single glimpse I caught of the deep dark eyes of its mistress as they looked out of a vine-clad window toward the sky!
I have made a list of the plants that are possible for my own permanent bed of fragrant flowers and leaves, that I may enjoy them, and that the Infant may have fragrant memories to surround all her youth and bind her still more closely to the things of outdoor life.
I chanced upon a verse of Bourdillon's the other day. Do you know it?
"Ah! full of purest influence
On human mind and mood,
Of holiest joy to human sense
Are river, field, and wood;
And better must all childhood be
That knows a garden and a tree!"
(Barbara Campbell to Mary Penrose)
Oaklands, September 1. So you have been away and in going discovered the possibilities of growing certain pinks and carnations out-of-doors that, in America at least, are usually considered the winter specialties of a cool greenhouse!
We too have been afield somewhat, having but now returned from a driving trip of ten days, nicely timed as to gardens and resting-places until the last night, when, making a false turn, ten o'clock found us we did not know where and with no prospect of getting our bearings.
We had ample provisions for supper with us, including two bottles of ginger ale; no one knew that we were lost but ourselves and no one was expecting us anywhere, as we travel quite con amore on these little near-by journeys of ours. The August moon was big and hot and late in rising; there was a rick of old hay in a clean-looking field by the roadside that had [Pg 306]evidently been used as winter fodder for young cattle, for what remained of it was nibbled about the base, leaving a protruding, umbrella-like thatch, not very substantial, but sufficient shelter for a still night. Then and there we decided to play gypsy and camp out, literally under the sky. Evan unharnessed the horse, watered him at a convenient roadside puddle, and tethered him at the rear of the stack, where he could nibble the hay, but not us! Then spreading the horse-blanket on some loose hay for a bed, with the well-tufted seat of the buggy for a pillow, and utilizing the lap robe for a cover against dew, we fell heavily asleep, though I had all the time a half-conscious feeling as if little creatures were scrambling about in the hay beneath the blanket and occasionally brushing my face or ears with a batlike wing, tiny paws, or whisking tail. When I awoke, and of course immediately stirred up Evan, the moon was low on the opposite side of the stack, the stars were hidden, and there was a dull red glow among the heavy clouds of the eastern horizon like the reflection of a distant fire, while an owl hooted close by from a tree and then flew with a lurch across the meadow, evidently to the destruction of some small creature, for a squeal accompanied the swoop. A mysterious thing, this flight [Pg 307]of the owl: the wings did not flap, there was no sound, merely the consciousness of displaced air.
We were not, as it afterward proved, ten miles from home, and yet, as far as trace of humanity was concerned, we might have been the only created man and woman.
Do you remember the old gypsy song?—Ben Jonson's, I think—
"The owl is abroad, the bat, the toad,
And so is the cat-a-mountain;
The ant and the mole both sit in a hole,
And frog peeps out o' the fountain;
The dogs they bay and the timbrels play
And the spindle now is turning;
The moon it is red, and the stars are fled
But all the sky is a-burning."
But we were still more remote, for of beaters of timbrels and turners of spindles were there none!
Your last chronicle interested us all. In the first place father remembers Mrs. Marchant perfectly, for he and the doctor used to exchange visits constantly during that long-ago summer when they lived on the old Herb Farm at Coningsby. Father had heard that she was hopelessly deranged, but nothing [Pg 308]further, and the fact that she is living within driving distance in the midst of her garden of fragrance is a striking illustration both of the littleness of the earth and the social remoteness of its inhabitants.
Father says that Mrs. Marchant was always a very intellectual woman, and he remembers that in the old days she had almost a passion for fragrant flowers, and once wrote an essay upon the psychology of perfumes that attracted some attention in the medical journal in which it was published by her husband. That the perfume of flowers should now have drawn the shattered fragments of her mind together for their comfort and given her the foretaste of immortality, by the sign of the consciousness of personal presence and peace, is beautiful indeed.
Your declaration that henceforth one garden is not enough for your ambition, but that you crave several, amuses me greatly. For a mere novice I must say that you are making strides in seven-league horticultural boots, wherein you have arrived at the heart of the matter, viz.:—one may grow many beautiful and satisfactory flowers in a mixed garden such as falls to the lot of the average woman sufficiently lucky to own a garden at all, but to develop the best possibilities of any one family, like the rose, carnation, [Pg 309]or lily, that is a bit whimsical about food and lodging, each one must have a garden of its own, so to speak, which, for the amateur, may be made to read as a special bed in a special location, and not necessarily a vast area.
This need is always recognized in the English garden books, and the chapter headings, The Rose Garden,—Hardy Garden,—Wall Garden,—Lily Garden,—Alpine Garden, etc., lead one at first sight to think that it is a great estate alone that can be so treated; but it is merely a horticultural protest, born of long experience, against mixing races to their mutual hurt, and this precaution, together with the climate, makes of all England a gardener's paradise!
What you say of the expansiveness of the list of fragrant flowers and leaves is also true, for taken in the literal sense there are really few plants without an individual odour of some sort in bark, leaf, or flower usually sufficient to identify them. In a recent book giving what purports to be a list of fragrant flowers and leaves, the chrysanthemum is included, as it gives out an aromatic perfume from its leaves! This is true, but so also does the garden marigold, and yet we should not include either among fragrant leaves in the real sense.
Hence to make the right selection of plants for the bed of sweet odours it is best, as in the case of choosing annuals, to adhere to a few tried and true worthies.
But at your rhapsody on the bed of carnations, I am also tempted to launch forth in praise of all pinks in general and the annual flowering garden carnation, early Marguerite, and picotee varieties in particular, especially when I think what results might be had from the same bits of ground that are often left to be overrun with straggling and unworthy annuals. For to have pinks to cut for the house, pinks for colour masses out-of-doors, and pinks to give away, is but a matter of understanding, a little patience, and the possession of a cold pit (which is but a deeper sort of frame like that used for a hotbed and sunken in the ground) against a sunny wall, for the safe wintering of a few of the tenderer species.
In touching upon this numerous family, second only to the rose in importance, the embarrassment is, where to begin. Is a carnation a pink, or a pink a carnation? I have often been asked. You may settle that as you please, since the family name of all, even the bearded Sweet-William, is Dianthus, the decisive title of Linnæus, a word from the Greek meaning "flower of Jove," while the highly scented species [Pg 311]and varieties of the more or less pungent clove breath remain under the old subtitle—Caryophyllus.
To go minutely into the differences and distinctions of the race would require a book all to itself, for in 1597, more than three hundred years ago, Gerarde wrote: "There are, under the name of Caryophyllus, comprehended diuers and sundrie sorts of plants, of such variable colours and also severall shapes that a great and large volume would not suffice to write of euery one in particular." And when we realize that the pink was probably the first flower upon which, early in the eighteenth century, experiments in hybridization were tried, the intricacy will be fully understood.
For the Garden, You, and I, three superficial groups only are necessary: the truly hardy perennial pinks, that when once established remain for years; the half-hardy perennials that flower the second year after planting, and require protection; and the biennials that will flower the first year and may be treated as annuals.
The Margaret carnations, though biennials, are best treated as annuals, for they may be had in flower in three to four months after the sowing of the seed, and the English perennial border carnations, bizarres, and picotees will live for several years, but in this [Pg 312]climate must be wintered in a dry wooden cold pit, after the manner of the perennial varieties of wallflowers, tender roses, and the like.
I emphasize the words dry wooden in connection with a cold pit from my experience in seeking to make mine permanent by replacing the planks, with which it was built and which often decayed, by stone work, with most disastrous results, causing me to lose a fine lot of plants by mildew.
The truly hardy pinks (dianthus plumarius), the fringed and clove-scented species both double and single of old-time gardens, that bloom in late spring and early summer, are called variously May and grass pinks. Her Majesty is a fine double white variety of this class, and if, in the case of double varieties, you wish to avoid the risk of getting single flowers, you would better start your stock with a few plants and subdivide. For myself, every three or four years, I sow the seed of these pinks in spring in the hardy seed bed, and transplant to their permanent bed early in September, covering the plants lightly in winter with evergreen boughs or corn stalks. Leaf litter or any sort of covering that packs and holds water is deadly to pinks, so prone is the crown to decay.
In the catalogues you will find these listed under the [Pg 313]names of Pheasant's Eye, Double Scotch pinks (Scotius), and Perpetual Pink (semperflorens). With this class belongs the Sweet-William (dianthus barbatus), which should be sown and treated in a like manner. It is also a hardy perennial, but I find it best to renew it every few years, as the flowers of young plants are larger, and in spite of care, the most beautiful hybrids will often decay at the ground. There is no garden flower, excepting the Dahlia, that gives us such a wealth of velvet bloom, and if you mean to make a specialty of pinks, I should advise you to buy a collection of Sweet-Williams in the separate colours, which range from white to deepest crimson with varied markings.
Directions for sowing the biennial Chinese and Japanese pinks were given in the chronicle concerning the hardy seed bed. These pinks are not really fragrant, though most of them have a pleasant apple odour that, together with their wonderful range of colour, makes them particularly suitable for table decoration.
In addition to the mixed colours recommended for the general seed bed, the following Japanese varieties are of special beauty, among the single pinks: Queen of Holland, pure white; Eastern Queen, enormous [Pg 314]rose-pink flowers, Crimson Belle, dark red. Among the double, Fireball, an intense scarlet; the Diadem pink, Salmon Queen, and the lovely Oriental Beauty with diversely marked petals of a crêpy texture.
The double varieties of course are more solid and lasting, if they do not insist upon swelling so mightily that they burst the calyx and so have a dishevelled and one sided look; but for intrinsic beauty of colour and marking the single Chinese and Japanese pinks, particularly the latter, reign supreme. They have a quality of holding one akin to that of the human eye and possess much of the power of individual expression that belongs to pansies and single violets.
By careful management and close clipping of withered flowers, a bed of these pinks may be had in bloom from June until December, the first flowers coming from the autumn-sown plants, which may be replaced in August by those sown in the seed bed in late May, which by this time will be well budded.
"August is a kittle time for transplanting border things," I hear you say. To be sure; but with your water-barrel, the long-necked water-pots, and a judicious use of inverted flower-pots between ten a.m. and four p.m., there is no such word as fail in this as in many other cases.

Upon the second and third classes you must depend for pinks of the taller growth ranging from one to two feet in height and flourishing long-stemmed clusters of deliciously clove-scented flowers. The hardy Margarets might be wintered in the pit, if it were worth the while, but they are so easily raised from seed, and so prone literally to bloom themselves to death in the three months between midsummer and hard frost, that I prefer to sow them each year in late March and April and plant them out in May, as soon as their real leaves appear, and pull them up at the general autumnal garden clearance. Upon the highly scented perpetual and picotee pinks or carnations (make your own choice of terms) you must depend for fragrance between the going of the May pinks and the coming of the Margarets; not that they of necessity cease blooming when their more easily perfected sisters begin; quite the contrary, for the necessity of lifting them in the winter gives them a spring set-back that they do not have in England, where they are the universal hardy pink, alike of the gardens of great estates and the brick-edged cottage border.
These are the carnations of Mrs. Marchant's garden that filled you with such admiration, and also awoke the spirit of emulation. Lavinia Cortright was correct [Pg 316]in associating them with the lavish bloom of the gardens of Hampton Court, for if anything could make me permanently unpatriotic (which is impossible), it would be the roses and picotee pinks of the dear old stupid (human middle-class, and cold bedroom-wise), but florally adorable mother country!
The method by which you may possess yourself of these crowning flowers of the garden, for coronations is one of the words from which carnation is supposed but to be derived, is as follows:—
Be sure of your seed. Not long ago it was necessary to import it direct, but not now. You may buy from the oldest of American seed houses fifty varieties of carnations and picotees, in separate packets, for three dollars, or twenty-five sorts for one dollar and seventy-five cents, or twelve (enough for a novice) for one dollar, the same being undoubtedly English or Holland grown, while a good English house asks five shillings, or a dollar and a quarter, for a single packet of mixed varieties!
Moral—it is not necessary that "made in England" should be stamped upon flower seeds to prove them of English origin!
If you can spare hotbed room, the seeds may be sown in April, like the early Margarets, and trans[Pg 317]planted into some inconspicuous part of the vegetable garden, where the soil is deep and firm and there is a free circulation of air (not between tall peas and sweet corn), as for the first summer these pinks have no ornamental value, other than the pleasurable spectacle made by a healthy plant of any kind, by virtue of its future promise. Before frost or not later than the second week in October the pinks should be put in long, narrow boxes or pots sufficiently large to hold all the roots comfortably, but with little space to spare, watered, and partly shaded, until they have recovered themselves, when they should be set in the lightest part of the cold pit. During the winter months they should have only enough water to keep the earth from going to dust, and as much light and air as possible without absolutely freezing hard, after the manner of treating lemon verbenas, geraniums, and wall-flowers.
By the middle of April they may be planted in the bed where they are to bloom, and all the further care they need will be judicious watering and the careful staking of the flower stalks if they are weak and the buds top-heavy,—and by the way, as to the staking of flowers in general, a word with you later on.
In the greenhouse, pinks are liable to many ailments, and several of these follow them out-of-doors, [Pg 318]three having given me some trouble, the most fatal being of a fungoid order, due usually to unhealthy root conditions or an excess of moisture.
Rust is one of these, its Latin name being too long for the simple vocabulary of The Garden, You, and I. It first shows itself in a brown spot that seems to have worked out from the inner part of the leaf. Sometimes it can be conquered by snipping the infected leaves, but if it seizes an entire bed, the necessary evil of spraying with Bordeaux mixture must be resorted to, as in the case of fungus-spotted hollyhocks.
Thrip, the little transparent, whitish fly, will sometimes bother border carnations in the same way as it does roses. If the flowers are only in bud, I sprinkle them with my brass rose-atomizer and powder slightly with helebore. But if the flowers are open, sprinkling and shaking alone may be resorted to. For the several kinds of underground worms that trouble pinks, of which the wireworm is the chief, I have found a liberal use of unslaked lime and bone-dust in the preparation of the soil before planting the best preventive.
Other ailments have appeared only occasionally. Sometimes an apparently healthy, full-grown plant will suddenly wither away, or else swell up close to the ground and finally burst so that the sap leaks [Pg 319]out and it dies like a punctured or girdled tree. The first trouble may come from the too close contact of fresh manure, which should be kept away from the main roots of carnations, as from contact with lily bulbs.
As to the swelling called gout, there is no cure, so do not temporize. Pull up the plant at once and disinfect the spot with unslaked lime and sulphur.
Thus, Mary Penrose, may you have either pinks in your garden or a garden of pinks, whichever way you may care to develop your idea. "A deal of trouble?" Y-e-s; but then only think of the flowers that crown the work, and you might spend an equal amount of time in pricking cloth with a steel splinter and embroidering something, in the often taken-in-vain name of decorative art, that in the end is only an elaborated rag—without even the bone and the hank of hair!
(Mary Penrose to Barbara Campbell)
Woodridge, September 10. Your chronicle of the Pink Family found me by myself in camp, dreaming away as vigorously as if it was a necessary and practical occupation. After all, are we sure that it is not, in a way, both of these? This season my dreams of night have been so long that they have lingered into the things of day and vice versa, and yet neither the one nor the other have whispered of idleness, but the endless hope of work.
Bart's third instalment of vacation ends to-morrow, though we shall continue to sleep out of doors so long as good weather lasts; the remaining ten days we are saving until October, when the final transplanting of trees and shrubs is to be made; and in addition to those for the knoll we have marked some shapely dogwoods, hornbeams, and tulip trees for grouping in [Pg 321]other parts of the home acres. There are also to be had for the digging good bushes of the early pink and clammy white azalea, mountain-laurel, several of the blueberry tribe, that have white flowers in summer and glorious crimson foliage in autumn, white-flowered elder, button-bush, groundsel tree, witchhazel, bayberry, the shining-leaved sumach, the white meadow-sweet, and pink steeplebush, besides a number of cornels and viburnums suitable for shrubberies. As I glance over the list of what the river and quarry woods have yielded us, it is like reading from the catalogue of a general dealer in hardy plants, and yet I suppose hundreds of people have as much almost at their doors, if they did but know it.
The commercial side of a matter of this kind is not the one upon which to dwell the most, except upon the principle of the old black woman who said, "Chillun, count yer marcies arter every spell o' pain!" and to-day, in assaying our mercies and the various advantages of our garden vacation, I computed that the trees, shrubs, ferns, herbaceous wild flowers, and vines (yes, we have included vines, of which I must tell you), if bought of the most reasonable of dealers, would have cost us at least three hundred dollars, without express or freight charges.
The reason for my being by myself at this particular moment is that Bart, mounted on solemn Romeo, has taken the Infant, astride her diminutive pony, by a long leader, for a long-promised ride up the river road, the same being the finale of the celebration of his birthday, that began shortly after daylight. The Infant, in order to be early enough to give him the first of his thirty-three kisses, came the night before, and though she has camped out with us at intervals all summer, the novelty has not worn off. She has a happy family of pets that, without being caged or in any way coerced or confined, linger about the old barn, seem to watch for her coming, and expect their daily rations, even though they do not care to be handled.
Punch and Judy, the gray squirrels of the dovecote, perch upon her shoulders and pry into the pockets of her overalls for nuts or kernels of corn, all the while keeping a bright eye upon Reddy, the setter pup, who, though he lies ever so sedately, nose between paws, they well know is not to be trusted. While as for birds, all the season we have had chipping-sparrows, catbirds, robins, and even a wood-thrush, leader of the twilight orchestra, all of whom the little witch has tempted in turn by a bark saucer spread with [Pg 323]leaves and various grains and small fruits, from strawberries to mulberries, for which she has had a daily hunt through the Opal Farm land the season through.
Toward the English sparrow she positively declines to harden her heart, in spite of my having repeated the story of its encroachments and crimes. She listens and merely shakes her head, saying, "We 'vited them to come, didn't we, mother? When we 'vites people, we always feed 'em; 'sides, they're the only ones'll let me put them in my pocket," which is perfectly true, for having learned this warm abiding-place of much oats and cracked corn, they follow her in a flock, and a few confiding spirits allow themselves to be handled.
At the birthday dinner party, arranged by the Infant, a number of these guests were present. We must have looked a motley crew, in whose company Old King Cole himself would have been embarrassed, for Bart wore a wreath of pink asters, while a gigantic sunflower made my head-dress, and the cake, made and garnished with red and white peppermints, an American and an Irish flag, by Anastasia, was mounted firmly upon a miscellaneous mass of flowers, with a superstructure of small yellow tomatoes, parsley, [Pg 324]young carrots, and beets, the colour of these vegetables having caught the Infant's eye.
The pony, Ginger, had a basket of second-crop clover flowers provided for him; Reddy some corned-beef hash, his favourite dish, coaxed from Anastasia; while for Punch, Judy, and as many of their children as would venture down from the rafters, the Infant had compounded a wonderful salad of mixed nuts and corn. As the Infant ordained that "the childrens shan't tum in 'til d'sert," we had the substantial part of our meal in peace; but the candles were no sooner blown out and the cake cut than Ginger left his clover to nibble the young carrots, the squirrels got into the nut dish bodily and began sorting over the nuts to find those they liked best, with such vigour that the others flew in our faces, and Reddy fell off the box upon which the Infant had balanced him with difficulty, nearly carrying the table-cloth with him, while at this moment, the feast becoming decidedly crumby, we were surrounded by the entire flock of English sparrows!
Now this is not at all what I started to tell you; quite the contrary. Please forgive this domestic excursion into the land of maternal pride and happen[Pg 325]ings. What I meant to write of was my conviction, that came through sitting on the hay rafters and looking down upon the garden, that as a beautiful painting is improved by proper framing, so should the garden be enclosed at different points by frames, to focus the eye upon some central object.
Though the greater part of the garden is as yet only planned and merely enough set out in each part to fix special boundaries, as in the case of the rose bed, I realize that as a whole it is too open and lacks perspective. You see it all at once; there are no breaks. No matter in what corner scarlet salvia and vermilion nasturtiums may be planted, they are sure to get in range with the pink verbenas and magenta phlox in a teeth-on-edge way.
From other viewpoints the result is no better. Looking from the piazza that skirts two sides of the house, where we usually spend much time, three portions of the garden are in sight at once, and all on different planes, without proper separating frames; the rose garden is near at hand, the old borders leading to the sundial being at right angles with it. At the right, the lower end of the knoll and the gap with its bed of heliotrope are prominent, while between, at a third distance, is the proposed location of the white-[Pg 326]birch screen, the old wall rockery, etc. The rockery and rose garden are in their proper relation, but the other portions should be given perspective by framing, and the result of my day-dreams is that this, according to nature, should be done by the grouping of shrubs and the drapery of vines.
I now for the first time fully understand the uses of the pergola in landscape gardening, the open sides of which form a series of vine-draped frames. I had always before thought it a stiff and artificial sort of arrangement, as well as the tall clipped yews, laurel trees in tubs, and marble vases and columns that are parts of the usual framework of the more formal gardens. And while these things would be decidedly out of place in gardens of our class, and at best could only be indulged in via white-painted wooden imitations, the woman who is her own gardener may exercise endless skill in bringing about equally good results with the rustic material at hand and by following wild nature, who, after all, is the first model.
I think I hear Evan laughing at my preachment concerning his special art, but the comprehension of it has all come through looking at the natural landscape effects that have happened at Opal Farm owing to the fact that the hand of man has there been stayed [Pg 327]these many years. On either side of the rough bars leading between our boundary wall and the meadow stands a dead cedar tree, from which the dry, moss-covered branches have been broken by the loads of hay that used to be gathered up at random and carted out this way. Wild birds doubtless used these branches as perches of vantage from which they might view the country, both during feeding excursions and in migration, and thus have sown the seed of their provender, for lo and behold, around the old trees have grown vines of wild grapes, with flowers that perfume the entire meadow in June. Here the woody, spiral-climbing waxwork holds aloft its clusters of berries that look like bunches of miniature lemons until on being ripe they open and show the coral fruit; Virginia creeper of the five-pointed fingers, clinging tendrils, glorious autumn colour, and spreading clusters of purple blackberries, and wild white clematis, the "traveller's joy" of moist roadside copses, all blending together and stretching out hands, until this season being undisturbed, they have clasped to form a natural arch of surpassing beauty.
Having a great pile of cedar poles, in excess of the needs of all our other projects, my present problem is to place a series of simple arches constructed on [Pg 328]this natural idea, that shall frame the different garden vistas from the best vantage-point. Rustic pillars, after the plan of Evan's that you sent me for the corners of the rose garden, will give the necessary formal touch, while groups of shrubs can be so placed as not only to screen colours that should not be seen in combination, but to make reasons for turns that would otherwise seem arbitrary.
Aunt Lavinia has promised me any number of Chinese honeysuckle vines from the little nursery bed of rooted cuttings that is Martin Cortright's special province, for she writes me that they began with this before having seed beds for either hardy plants or annuals, as they wished to have hedges of flowering shrubs in lieu of fences, and some fine old bushes on the place furnished ample cuttings of the old-fashioned varieties, which they have supplemented.
Aunt Lavinia also says that the purple Wisteria grows easily from the beanlike seed and blossoms in three years, and that she has a dozen of these two-year-old seedlings that she will send me as soon as I have place for them. Remembering your habit of giving every old tree a vine to comfort its old age, and in particular the silver maple by the lane gate of your garden, with its woodpecker hole and swinging [Pg 329]garniture of Wisteria bloom, I have promised a similar cloak to a gnarled bird cherry that stands midway in the fence rockery, and yet another to an attenuated poplar, so stripped of branches as to be little more than a pole and still keeping a certain dignity.

The honeysuckles I shall keep for panelling the piazza, they are such clean vines and easily controlled; while on the two-story portion under the guest-room windows some Virginia creepers can be added to make a curtain to the side porch.
As for other vines, we have many resources. Festooned across the front stoop at Opal Farm is an old and gigantic vine of the scarlet-and-orange trumpet creeper, that has overrun the shed, climbed the side of the house, and followed round the rough edges of the eaves, while all through the grass of the front yard are seedling plants of the vine that, in spring, are blended with tufts of the white star of Bethlehem and yellow daffies.
In the river woods, brush and swamp lots, near by, we have found and marked for our own the mountain fringe with its feathery foliage and white flowers shaded with purple pink, that suggest both the bleeding heart of gardens and the woodland Dutchman's breeches. It grows in great strings fourteen or fifteen [Pg 330]feet in length and seems as trainable as smilax or the asparagus vine. Here are also woody trailers of moonseed, with its minute white flowers in the axils of leaves that might pass at first glance for one of the many varieties of wild grapes; the hyacinth bean, with its deliciously fragrant chocolate flowers tinged with violet, that is so kind in covering the unsightly underbrush of damp places. And here, first, last, and always, come the wild grapes, showing so many types of leaf and fruit, from the early ripening summer grape of the high-climbing habit, having the most typical leaf and thin-skinned, purple berries, that have fathered so many cultivated varieties; the frost grape, with its coarsely-toothed, rather heart-shaped, pointed leaf and small black berries, that are uneatable until after frost (and rather horrid even then); to the riverside grape of the glossy leaf, fragrant blossoms and fruit.
One thing must be remembered concerning wild grapes: they should be planted, if in the open sunlight, where they will be conspicuous up to late summer only, as soon after this time the leaves begin to grow rusty, while those in moist and partly-shady places hold their own. I think this contrast was borne in upon me by watching a mass of grape-vines upon a [Pg 331]tumble-down wall that we pass on our way to the river woods. In August the leaves began to brown and curl at the edges, while similar vines in the cool lane shade were still green and growing. So you see, Mrs. Evan, that, in addition to our other treasure-trove, we are prepared to start a free vinery as well, and as our lucky star seems to be both of morning and evening and hangs a long while in the sky, Meyer, Larry's successor, we find, has enough of a labourer's skill at post setting and a carpenter's eye and hand at making an angled arch (this isn't the right term, but you know what I mean), so that we have not had to pause in our improvements owing to Amos Opie's rheumatic illness.
Not that I think the old man very ill, and I believe he could get about more if he wished, for when I went down to see him this morning, he seemed to have something on his mind, and with but little urging he told me his dilemma. Both The Man from Everywhere and Maria Maxwell have made him good offers for his farm, The Man's being the first! Now he had fully determined to sell to The Man, when Maria's kindness during his illness not only turned him in her favour, but gave him an attachment for the place, so that now he doesn't really wish to sell at all! It [Pg 332]is this mental perturbation, in his very slow nature, that is, I believe, keeping him an invalid!
What Maria wants of the farm neither Bart nor I can imagine. She has a little property, a few thousand dollars, enough probably to buy the farm and put it in livable repair, but this money we thought she was saving for the so-called rainy day (which is much more apt to be a very dry period) of spinsterhood! Of course she has some definite plan, but whether it is bees or boarders, jam or a kindergarten, we do not know, but we may be very sure that she is not jumping at random. Only I'm a little afraid, much as I should like her for a next-door neighbour, that, with her practical head, she would insist upon making hay of the lily meadow!
"Straying away again from the horticultural to the domestic things," I hear you say. Yes; but now that the days are shortening a bit, it seems natural to think more about people again. If I only knew whether Maria means to give up her teaching this winter, I would ask her to stay with us and begin to train the Infant's mind in the way it should think, for my head and hands will be full and my heart overflowing, I imagine. Ah! this happy, blessed summer! Yes, I know that you know, though I have never told you.[Pg 333] That's what it means to have real friends. But to the shrubs.
Will you do me one more favour before even the suspicion of frost touches my enthusiasm, that I may have everything in order in my Garden Boke against a planting season when Time may again hold his remorseless sway. This list of eighteen or more shrubs is made from those I know and like, with selections from that Aunt Lavinia sent me. Is it comprehensive, think you? Of course we cannot go into novelties in this direction, any more than we may with the roses.
There is the little pale pink, Daphne Mezereum, that flowers before its leaves come in April. I saw it at Aunt Lavinia's and Mrs. Marchant had a great circle of the bushes. Then Forsythias, with yellow flowers, the red and pink varieties of Japanese quince, double-flowering almond and plum, the white spireas (they all have strange new names in the catalogue), the earliest being what mother used to call bridal-wreath (prunifolia), with its long wands covered with double flowers, like tiny white daisies, the St. Peter's wreath (Van Houttei) with the clustered flowers like small white wild roses, two pink species, Billardii and Anthony Waterer, beautiful if gathered before [Pg 334]the flowers open, as the colour fades quickly, and a little dwarf bush, Fortune's white spirea, that I have seen at the florist's. Next the old-fashioned purple lilac, that seems to hold its own against all newcomers for garden use, the white tree lilac, the fragrant white mock orange or syringa (Coronarius), the Japanese barberry of yellow flowers and coral berries, the three deutzias, two being the tall crenata and scabra and the third the charming low-growing gracilis, the old-fashioned snowball or Guelder rose (viburnum opulus sterilis), the weigelias, rose-pink and white, the white summer-flowering hydrangea (paniculata grandiflora), and the brown-flowered, sweet-scented strawberry shrub (calycanthus floridus).
"Truly a small slice from the loaf the catalogues offer," you say. Yes; but you must remember that our wild nursery has a long chain to add to these.
In looking over the list of shrubs, it seems to me that the majority of them, like the early wild flowers, are white, but then it is almost as impossible to have too many white flowers as too many green leaves.
September 15. I was prevented from finishing this until to-day, when I have a new domestic event to relate. Maria, no longer a music mistress, has leased the Opal Farm, it seems, and will remain with [Pg 335]me this winter pending the repairing of the house, which Amos Opie himself is to superintend. I wish I could fathom the ins and outs of the matter, which are not at present clear, but probably I shall know in time. Meanwhile, I have Maria for a winter companion, and a mystery to solve and puzzle about; is not this truly feminine bliss?
Chronicled by the rays of light and sound waves upon the walls of the house at Opal Farm.
People Involved
The Man from Everywhere, keeping bachelor's hall in the
eastern half of the farm home.
Amos Opie, living in the western half of the house, the separating
door being locked on his side.
Maria Maxwell, who, upon hearing Opie is again ill, has
dropped in to give him hot soup and medicine.
Amos Opie was more than usually uncomfortable this particular September evening. It may have been either a rather sudden change in the weather or the fact that now that he was sufficiently well to get about the kitchen and sit in the well-house porch, of a sunny morning, Maria Maxwell had given up the habit of running over several times a day to give him his medicine and be sure that the kettle boiled and his tea was freshly drawn, instead of being what she called "stewed bitterness" that had stood on the leaves all day.
Whichever it was, he felt wretched in body and mind, and began to think himself neglected and was consequently aggrieved. He hesitated a few minutes before he opened the door leading to The Man's part of the house, took a few steps into the square hall, and called "Mr. Blake" in a quavering voice; but no answer came, as the bachelor had not yet returned from the reservoir.
Going back, he settled heavily into the rocking-chair and groaned,—it was not from real pain, simply he had relaxed his grip and was making himself miserable,—then he began to talk to himself.
"She doesn't come in so often now he's come home, and he fights shy o' the place, thinkin' mebbe she's around, and they both wants to buy. He's offered me thirty-five hundred cash, and she's offered me thirty hundred cash, which is all the place's worth, for it'll take another ten hundred to straighten out the house, with new winder frames, floorin' 'nd plaster 'nd shingles, beams and sills all bein' sound,—when the truth is I don't wish ter sell nohow, yet can't afford to hold! I don't see light noway 'nd I'm feelin' another turn comin' when I was nigh ready ter git about agin to Miss'ss Penrose flower poles. O lordy! lordy! I wish I had some more o' that settling [Pg 338]medicine Maria Maxwell brought me" (people very seldom spoke of that young woman except by her complete name). "If I had my wind, I'd yell over to her to come up! Yes, I vow I would!"
David, the hound, who had been lying asleep before the stove, in which the fire had died away, got up, stretched himself, and, going to his master, after gazing in his face for several minutes, licked his hands thoroughly and solemnly, in a way totally different from the careless and irresponsible licks of a joyous dog; then raising his head gave a long-drawn bay that finally broke from its melancholy music and degenerated into a howl.
Amos must have dozed in his chair, for it seemed only a moment when a knock sounded on the side door and, without waiting for a reply, Maria Maxwell entered, a cape thrown about her shoulders, a lantern in one hand, and in the other a covered pitcher from which steam was curling.
"I heard David howling and I went to our gate to look; I saw that there wasn't a light in the farm-house and so knew that something was the matter. No fire in the stove and the room quite chilly! Where is that neighbour of yours in the other half of the house? Couldn't he have brought you in a few sticks?"
"He isn't ter hum just now," replied Amos, in tones that were unnecessarily feeble, while at the same time an idea entered his brain that almost made him chuckle; but the sound which was quenched in his throat only came to Maria as an uncomfortable struggle for breath that hastened her exit to the woodpile by the side fence for the material to revive the fire. In going round the house, her arms laden with logs, she bumped into the figure of The Man leading his bicycle across the grass, which deadened his footfall, as the lantern she carried blinded her to all objects not within its direct rays.
"Maria Maxwell! Is Opie ill again? You must not carry such a heavy load!" he exclaimed all in one breath, as he very quickly transferred the logs to his own arms, and was making the fire in the open stove almost before she had regained the porch, so that when she had lighted a lamp and drawn the turkey-red curtains, the reflections of the flames began to dance on the wall and cheerfulness suddenly replaced gloom.
Still Amos sat in an attitude of dejection. Thanking The Man for his aid, but taking no further notice of him, Maria began to heat the broth which was contained in the pitcher, asking Amos at the same time [Pg 340]if he did not think that he would feel better in bed.
"I dunno's place has much to do with it," he grumbled; "this can't go on no longer, it's doing for me, that it is!"
Maria, thinking that he referred to bodily illness, hastened the preparations for bed, and The Man, feeling helpless as all men do when something active is being done in which they have no part, rose to go, and, with his hand on the latch of the porch door, said in a low voice: "If I might help you in any way, I should be very glad; I do not quite like leaving you alone with this old fellow,—you may need help in getting him to bed. Tell me frankly, would you like me to stay?"
"Frankly I would rather you would not," said Maria, yet in so cordial a tone that no offence could be gathered from it in any way.
So the door opened and closed again and Maria began the rather laborious task of coaxing the old man to bed. When once there, the medicine given, and the soup taken, which she could not but notice that he swallowed greedily, she seated herself before the fire, resolving that, if Amos did not feel better by nine o'clock, she would have Barney come over for the [Pg 341]night, as of course she must return to be near the Infant.
As she sat there she pictured for the hundredth time how she would invest her little capital and rearrange her life, if Amos consented to sell her the farm,—how best to restore the home without elaborating the care of it, and take one or two people to live with her who had been ill or needed rest in cheerful surroundings. Not always the same two, for that is paralyzing after a time when the freshness of energetic influence wears off; but her experience among her friends told her that in a city's social life there was an endless supply of overwrought nerves and bodies.
The having a home was the motive, the guests the necessity. Then she closed her eyes again and saw the upper portion of the rich meadow land that had lain fallow so long turned into a flower farm wherein she would raise blossoms for a well-known city dealer who had, owing to his artistic skill, a market for his wares and decorative skill in all the cities of the eastern coast. She had consulted him and he approved her plan.
The meadow was so sheltered that it would easily have a two weeks' lead over the surrounding country, and the desirability of her crop should lie in its [Pg 342]perfection rather than rarity. Single violets in frames, lilies-of-the-valley for Easter and spring weddings, sweet peas, in separate colours, peonies, Iris, Gladioli, asters, and Dahlias: three acres in all. Upon these was her hope built, for with a market waiting, what lay between her and success but work?
Yes, work and the farm. Then came the vision of human companionship, such as her cousin Bartram and Mary Penrose shared. Could flowers and a home make up for it? After all, what is home?
Her thoughts tangled and snapped abruptly, but of one thing she was sure. She could no longer endure teaching singing to assorted tone-deaf children, many of whom could no more keep on the key than a cow on the tight rope; and when she found a talented child and gave it appreciative attention, she was oftentimes officially accused of favouritism by some disgruntled parent with a political pull, for that was what contact with the public schools of a large city had taught her to expect.
A log snapped—she looked at the clock. It was exactly nine! Going to the window, she pulled back the curtain; the old moon, that has a fashion of working northward at this time, was rising from a location wholly new to her.
She looked at Amos; he was very still, evidently asleep, yet unnaturally so, for the regular breathing of unconsciousness was not there and the firelight shadows made him look pinched and strange. Suddenly she felt alone and panic stricken; she forgot the tests so well known to her of pulse taking, and all the countryside tales of strokes and seizures came back to her. She did not hesitate a moment; a man was in the same house and she felt entirely outside of the strength of her own will.
Going to the separating door, she found it locked, on which side she could not be sure; but seeing a long key hanging by the clock she tried it, on general principles. It turned hard, and the lock finally yielded with a percussive snap. Stepping into the hall, she saw a light in the front of the house, toward which she hurried. The Man was seated by a table that was strewn with books, papers, and draughting instruments; he was not working, but in his turn gazing at the flames from a smouldering hearth fire, though his coat was off and the window open, for it was not cold but merely chilly.
Hearing her step, he started, turned, and, as he saw her upon the threshold, made a grab for his coat and swung it into place. It is strange, this instinct in [Pg 344]civilized man of not appearing coatless before a woman he respects.
"Amos Opie is very ill, I'm afraid," she said gravely, without the least self-consciousness or thought of intrusion.
"Shall I go for the doctor?" said The Man, reaching for his hat and at the same time opening the long cupboard by the chimney, from which he took a leather-covered flask.
"No, not yet; please come and look at him. Yes, I want you very much!" This in answer to a questioning look in his eyes.
Standing together by the bed, they saw the old man's eyelids quiver and then open narrowly. The Man poured whiskey from his flask into a glass, added water, and held it to Amos's lips, where it was quickly and completely absorbed!
Next he put a finger on Amos's pulse and after a minute closed his watch with a snap, but without comment.
"You feel better now, Opie?" he questioned presently in a tone that, to the old man at least, was significant.
"What gave you this turn? Is there anything on your mind? You might as well tell now, as you will [Pg 345]have to sooner or later, and Miss Maxwell must go home presently. You'll have to put up with me for the rest of the night and a man isn't as cheerful a companion as a woman—is he, Amos?"
"No, yer right there, Mr. Blake, and it's the idee o' loneliness that's upsettin' me! Come down ter facts, Mr. Blake, it's the offers I've had fer the farm—yourn and hern—and my wishin' ter favour both and yet not give it up myself, and the whole's too much fer me!"
"Hers! Has Miss Maxwell made a bid for the farm? What do you want it for?" he said, turning quickly to Maria, who coloured and then replied quietly—"To live in! which is exactly what you said when I asked you a similar question a couple of months ago!"
"The p'int is," continued Amos, quickly growing more wide awake, and addressing the ceiling as a neutral and impartial listener, "that Mr. Blake has offered me five hundred more than Maria Maxwell, and though I want ter favour her (in buyin', property goes to the highest bidder; it's only contract work that's fetched by the lowest, and I never did work by contract—it's too darned frettin'), I can't throw away good money, and neither of 'em yet knows [Pg 346]that whichsomever of 'em buys it has got ter give me a life right ter live in the summer kitchen and fetch my drinkin' water from the well in the porch! A lone widder man's a sight helplesser 'n a widder, but yet he don't get no sympathy!"
The Man from Everywhere began to laugh, and catching Maria's eye she joined him heartily. "How do you mean to manage?" he asked in a way that barred all thought of intrusion.
"I'm going to have a flower farm and take in two invalids—no, not cranks or lunatics, but merely tired people," she added, a little catch coming in her voice.
"Then you had better begin with me, for I'm precious tired of taking care of myself, and here is Amos also applying, so I do not see but what your establishment is already complete!"
Then, as he saw by her face that the subject was not one for jest, he said, in his hearty way that Mary Penrose likes, "Why not let me buy the place, as mine was the first offer, put it in order, and then lease it to you for three years, with the privilege of buying if you find that your scheme succeeds? If the house is too small to allow two lone men a room each, I can add a lean-to to match Opie's summer [Pg 347]kitchen, for you know sometimes a woman finds it comfortable to have a man in the house!"
Maria did not answer at first, but was looking at the one uncurtained window, where the firelight again made opals of the panes. Then turning, she said, "I will think over your offer, Mr. Blake, if everything may be upon a strictly business basis. But how about Amos? He seems better, and I ought to be going. I do not know why I should have been so foolish, but for a moment he did not seem to breathe, and I thought it was a stroke."
"I'm comin' too all in good time, now my mind's relieved," replied the old man, with a chuckle, "and I think I'll weather to-night fer the sake o' fixin' that deed termorrow, Mr. Blake, if you'll kindly give me jest a thimbleful more o' that old liquor o' yourn—I kin manage it fust rate without the water, thank 'ee!"
The Man followed Maria to the door and out into the night. He did not ask her if he might go with her—he simply walked by her side for once unquestioned.
Maria spoke first, and rather more quickly and nervously than usual: "I suppose you think that my scheme in wishing the farm is a madcap one, but I'm [Pg 348]sure I could not see why you should wish to own it!"
"Yes and no! I can well understand why you should desire a broader, freer life than your vocation allows, but—well, as for reading women's motives, I have given that up long since; it often leads to trouble though I have never lost my interest in them.
"I think Amos Opie will revive, now that his mind is settled" (if it had been sufficiently light, Maria would have seen an expression upon The Man's face indicative of his belief that the recent attack of illness was not quite motiveless, even though he forgave the ruse). "In a few days, when the deeds are drawn, will you not, as my prospective tenant, come and look over the house by daylight and tell me what changes would best suit your purpose, so that I may make some plans? I imagine that Amos revived will be able to do much of the work himself with a good assistant.
"When would you like the lease to begin? In May? It is a pity that you could not be here in the interval to overlook it all, for the pasture should be ploughed at once for next year's gardening."
"May will be late; best put it at the first of March. As to overseeing, I shall not be far away. I'm think[Pg 349]ing of accepting cousin Mary's offer to stay with her and teach the Infant and a couple of other children this winter, which may be well for superintending the work, as I suppose you are off again with the swallows, as usual."
"Oh, no, you forget the reservoir and the tunnelling of Three Brothers for the aqueduct to Bridgeton!"
"Then let it be March first!" said Maria, after hesitating a moment, during which she stood looking back at Opal Farm lying at peace in the moonlight; "only, in making the improvements, please do them as if for any one else, and remember that it is to be a strictly business affair!"
"And why should you think that I would deal otherwise by you?" The Man said quickly, stepping close, where he could see the expression of her face.
Maria, feeling herself cornered, did not answer immediately, and half turned her face away,—only for a moment, however. Facing him, she said, "Because men of your stamp are always good to women,—always doing them kindnesses both big and little (ask Mary Penrose),—and sometimes kindness hurts!"
"Well, then, the lease and all pertaining to it shall be strictly in the line of business until you yourself ask for a modification,—but be careful, I may be a [Pg 350]hard landlord!" Then, dropping his guard, he said suddenly, "Why is it that you and I—man and woman—temperamentally alike, both interested in the same things, and of an age to know what in life is worth while, should stand so aloof? Is there no more human basis upon which I can persuade you to come to Opal Farm when it is mine? Give me a month, three months,—lessen the distance you always keep between us, and give me leave to convince you! Why will you insist upon deliberately keeping up a barrier raised in the beginning when I was too stupidly at home in your cousin's house to see that I might embarrass you? Frankly, do you dislike me?"
Maria began two different sentences, stumbled, and stopped short; then drawing herself up and looking The Man straight in the face, she said, "I have kept a barrier between us, and deliberately, as you say, but—" here she faltered—"it was because I found you too interesting; the barrier was to protect my own peace of mind more than to rebuff you."
"Then I may try to convince you that my plan is best?"
"Yes," said Maria, with a glint of her mischievous smile, "if you have plenty of time to spare."
"And you will give me no more encouragement than this? No good wish or omen?"
"Yes," said Maria again, "I wish that you may succeed—" here she slipped her hand in the belt of her gown and drew out a little chamois bag attached to her watch, "and for an omen, here is the opal you gave me—you give it a happy interpretation and one is very apt to lose an unset stone, you know!"
But as neither walls nor leaves have tongues, Mary Penrose never learned the real ins and outs of this matter.
(Barbara Campbell to Mary Penrose)
Oaklands, September 29. Michaelmas. The birthdays of our commuters are not far apart. This being Evan's festival, we have eaten the annual goose in his honour, together with several highly indigestible old-country dishes of Martha Corkle's construction, for she comes down from the cottage to preside over this annual feast. Now the boys have challenged Evan to a "golf walk" over the Bluffs and back again, the rough-and-ready course extending that distance, and I, being "o'er weel dined," have curled up in the garden-overlook window of my room to write to you.
It has been a good gardener's year, and I am sorry that the fall anemones and the blooming of the earliest chrysanthemums insist upon telling me that it is nearly over,—that is, as far as the reign of complete garden colour is concerned. And amid our vagrant summer wanderings among gardens of high or low degree, no one point has been so recurrent or [Pg 353]interesting as the distribution of colour, and especially the dominance of white flowers in any landscape or garden in which they appear.
In your last letter you speak of the preponderance of white among the flowering shrubs as well as the early blossoms of spring. That this is the case is one of the strong points in the decorative value of shrubs, and in listing seeds for the hardy or summer beds or sorting the bushes for the rosary, great care should be taken to have a liberal sprinkling of white, for the white in the flower kingdom is what the diamond is in the mineral world, necessary as a setting for all other colours, as well as for its own intrinsic worth.
Look at a well-cut sapphire of flawless tint. It is beautiful surely, but in some way its depth of colour needs illumination. Surround it with evenly matched diamonds and at once life enters into it.
Fill a tall jar with spires of larkspur of the purest blue known to garden flowers. Unless the sun shines fully on them they seem to swallow light; mingle with them some stalks of white foxgloves, Canterbury bells, or surround them with Madonna lilies, a fringe of spirea, or the slender Deutzia gracilis, more frequently seen in florists' windows than in the garden, [Pg 354]and a new meaning is given the blue flower; the black shadows disappear from its depth and sky reflections replace them.
The blue-fringed gentian, growing deep among the dark grasses of low meadows, may be passed over without enthusiasm as a dull purplish flower by one to whom its possibilities are unknown; but come upon it backgrounded by Michaelmas daisies or standing alone in a meadow thick strewn with the white stars of grass of Parnassus or wands of crystal ladies' tresses, and all at once it becomes,—
"Blue, blue, as if the sky let fall
A flower from its cerulean wall!"
The same white setting enhances the brighter colours, though in a less degree than blue, which is, next to magenta, one of the most difficult colours to place in the garden. In view of this fact it is not strange that it is a comparatively unusual hue in the flower world and a very rare one among our neighbourly eastern birds, the only three that wear it conspicuously being the bluebird, indigo bird, and the bluejay.
It is this useful quality as a setting that gives value to many white flowers lacking intrinsic beauty, like sweet alyssum, candy-tuft, the yarrows, and the double feverfew. In buying seeds of flowers in mixed varie[Pg 355]ties, such as asters, verbenas, Sweet-William, pansies, or any flower in short that has a white variety, it is always safe to buy a single packet of the latter, because I have often noticed that the usual mixtures, for some reason, are generally shy not only of the white but often of the very lightest tints as well.
In selecting asters the average woman gardener may not be prepared to buy the eight or ten different types that please her fancy in as many separate colours; a mixture of each must suffice, but a packet of white of each type should be added if the best results are to be achieved.
The same applies to sweet peas when planted in mixture; at least six ounces of either pure white or very light, and therefore quasi-neutral tints harmonizing with all darker colours, should be added. For it is in the lighter tints of this flower that its butterfly characteristics are developed. Keats had not the heavy deep-hued or striped varieties in mind when he wrote of
"... Sweet Peas on tiptoe for a flight,
With wings of gentle flush: o'er delicate white,
And taper fingers catching at all things
To bind them all about with tiny rings."
If you examine carefully the "flats" of pansies growing from mixed seed and sold in the market-places [Pg 356]or at local florists', you will notice that in eight out of ten the majority of plants are of the darker colours.
There are white varieties of almost every garden flower that blooms between the last frost of spring and winter ice. The snowdrop of course is white and the tiny little single English violet of brief though unsurpassing fragrance; we have white crocuses, white hyacinths, narcissus, lilies-of-the-valley, Iris, white rock phlox, or moss-pink, Madonna and Japan lilies, gladiolus, white campanulas of many species, besides the well-known Canterbury bells, white hollyhocks, larkspurs, sweet Sultan, poppies, phloxes, and white annual as well as hardy chrysanthemums.
Almost all the bedding plants, like the geranium, begonia, ageratum, lobelia, etc., have white species. There are white pinks of all types, white roses, and wherever crimson rambler is seen Madame Plantier should be his bride; white stocks, hollyhocks, verbenas, zinnias, Japanese anemones, Arabis or rock cress, and white fraxinella; white Lupins, nicotiana, evening primroses, pentstemons, portulaca, primulas, vincas, and even a whitish nasturtium, though its flame-coloured partner salvia declines to have her ardour so modified.
Among vines we have the white wisteria, several white clematis, the moon-flower, and other Ipomeas, many climbing and trailing roses, the English polygonum, the star cucumber, etc., so that there is no lack of this harmonizing and modifying colour (that is not a colour after all) if we will but use it intelligently.
Aside from the setting of flower to flower, white has another and wider function. As applied to the broader landscape it is not only a maker of perspective, but it often indicates a picture and fairly pulls it from obscurity, giving the same lifelike roundness that the single white dot lends in portraiture to the correctly tinted but still lifeless eye.
Take for instance a wide field without groups of trees to divide and let it be covered only with grass, no matter how green and luxuriant, and there is a monotonous flatness, that disappears the moment the field is blooming with daisies or snowy wild asters.
Follow the meandering line of a brook through April meadows. Where does the eye pause with the greatest sense of pleasure and restfulness? On the gold of the marsh marigolds edging the water? or on the silver-white plumes of shad-bush that wave and beckon across the marshes, as they stray from moist ground toward the light woods? Could any gay colour [Pg 358]whatsoever compete with the snow of May apple orchards?—the fact that the snow is often rose tinged only serving to accentuate the contrasting white.
In the landscape all light tints that at a distance have the value of white are equally to the purpose, and can be used for hedges, boundaries, or what may be called punctuation points. German or English Iris and peonies are two very useful plants for this purpose, flowering in May and June and for the rest of the season holding their substantial, well-set-up foliage. These two plants, if they receive even ordinary good treatment, may also be relied upon for masses of uniform bloom held well above the leaves; and while pure white peonies are a trifle monotonous and glaring unless blended with the blush, rose, salmon, and cream tints, there are any number of white iris both tall and dwarf with either self-toned flowers, or pencilled, feathered, or bordered with a variety of delicate tints, and others equally valuable of pale shades of lilac or yellow, the recurved falls being of a different tint.
Thus does Nature paint her pictures and give us hints to follow, and yet a certain art phase proclaims Nature's colour combinations crude and rudimentary forsooth!

Nature is never crude except through an unsuccessful human attempt to reproduce the uncopyable. Give one of these critics all the colour combinations of the evening sky and let him manipulate them with wires and what a scorched omelet he would make of the most simple and natural sunset!
While Nature does not locate the different colours on the palette to please the eye of man, but to carry out the various steps in the great plan of perpetuation, yet on that score it is all done with a sense of colour value, else why are the blossoms of deep woods, as well as the night-blooming flowers that must lure the moth and insect seekers through the gloom, white or light-coloured?
In speaking of white or pale flowers there is one low shrub with evergreen leaves and bluish-white flowers that I saw blooming in masses for the first time not far from Boston in early May. There was a slight hollow where the sun lay, that was well protected from the wind. This sloped gently upward toward some birches that margined a pond. The birches themselves were as yet but in tassel, the near-by grass was green in spots only, and yet here in the midst of the chill, reluctant promise of early spring was firmness of leaf and clustered flowers of [Pg 360]almost hothouse texture and fragrance. Not a single spray or a dozen, but hundreds of them, covered the bushes.
This shrub is Daphne cneorum, a sturdier evergreen cousin of Daphne mezereum, that brave-hearted shrub that often by the south wall of my garden hangs its little pink flower clusters upon bare twigs as early as the tenth of March. Put it on your list of desirables, for aside from any other situation it will do admirably to edge laurels or rhododendrons and so bring early colour of the rosy family hue to brighten their dark glossy leaves, for the sight and the scent thereof made me resolve to cover a certain nook with it, where the sun lodges first every spring. I am planting mine this autumn, which is necessary with things of such early spring vitality.
Another garden point akin to colour value in that it makes or mars has, I may say, run itself into my vision quite sharply and painfully this summer, and many a time have I rubbed my eyes and looked again in wonder that such things could be. This is the spoiling of a well-thought-out garden by the obtrusive staking of its plants. Of course there are many tall and bushy flowers—hollyhocks, golden glow, cosmos—that have not sufficient strength of stem [Pg 361]to stand alone when the weight of soaking rain is added to their flowers and the wind comes whirling to challenge them to a dizzy dance, which they cannot refuse, and it inevitably turns their heavy heads and leaves them prone.

Besides these there are the lower, slender, but top-heavy lilies, gladioli, carnations, and the like, that must not be allowed to soil their pretty faces in the mud. A little thinking must be done and stakes suitable to the height and girth of each plant chosen. If the purse allows, green-painted stakes of sizes varying from eighteen inches for carnations to six feet for Dahlias are the most convenient; but lacking these, the natural bamboos, that may be bought in bundles by the hundred, in canes of eight feet or more, and afterward cut in lengths to suit, are very useful, being light, tough, and inconspicuous.
In supporting a plant, remember that the object is as nearly as possible to supplement its natural stem. Therefore cut the stake a little shorter than the top of the foliage and drive it firmly at the back of the plant, fastening the main stem to the stake by loosely woven florist's string.
If, on the other hand, the plant to be supported is a maze of side branches, like the cosmos, or individual [Pg 362]bushes blended so as to form a hedge, a row of stout poles, also a little lower than the bushes, should be set firmly behind them, the twine being woven carefully in and out among the larger branches, and then tightened carefully, so that the whole plant is gradually drawn back and yet the binding string is concealed.
If it is possible to locate cosmos, hollyhocks, and Dahlias (especially Dahlias) in the same place for several successive years, a flanking trellis fence of light posts, with a single top and bottom rail and poultry wire of a three inch mesh between, will be found a good investment. Against this the plants may be tethered in several places, and thus not only separate branches can be supported naturally, but individual flowers as well, in the case of the large exhibition Dahlias.

Practicable as is the proper carrying out of the matter, in a score of otherwise admirable gardens we have seen the results of weeks and months of preparation either throttled and bound martyrlike to a stake or twisted and tethered, until the natural, habit of growth was wholly changed. In some cases the plants were so meshed in twine and choked that it seemed as if a spiteful fairy had woven a "cat's cradle" over them or that they had followed out the old proverb and, [Pg 363]having been given enough rope, literally hanged themselves. In other gardens green stakes were set at intervals (I noticed it in the case of gladioli and carnations especially) and strings carried from one stake to the other, leaving each plant in the centre of a twine square, like chessmen imprisoned on the board. But the most terrible example of all was where either the owner or the gardener, for they were not one and the same, had purchased a quantity of half-inch pine strips at a lumber yard and proceeded to scatter them about his beds at random, regardless of height or suitability, very much as if some neighbouring Fourth of July celebration had showered the place with rocket sticks.
If your young German has time in the intervals of tree-planting and trellis-making, get him to trim some of the cedars of a diameter of two or three inches and stack them away for Dahlia poles. Next season you will become a victim of these gorgeous velvet flowers, I foresee, especially as I have fully a barrel of the "potatoes" of some very handsome varieties to bestow upon you. Make the most of Meyer, for he will probably grow melancholy as soon as cool weather sets in and he thinks of winter evenings and a sweetheart he has left in the fatherland!
We have had several Germans and they all had lieber schatz, for jealousy or the scorn of whom they had left home, were for the same reason loath to stay away from it, and at the same time, owing to contending emotions, were unable to work so that they might return.
Are you not thinking about returning to your indoor bed and board again? With warm weather I fly out of the door as a second nature, but with a smart promise of frost I turn about again and everything—furniture, pictures, books, and the dear people themselves—seems refreshingly new and wholly lovable!
If you are thinking of making out a book list of your needs as an answer to your mother's or your "in-law's" query, "What do you want for Christmas?" write at the beginning—Bailey's Cyclopædia of American Horticulture, in red ink. Lavinia and Martin Cortright gave it to us last Christmas, the clearly printed first edition on substantial paper in four thick volumes, mind you, and it is the referee and court of appeals of the Garden, You, and I in general and myself in particular. Not only will it tell you everything that you wish or ought to know, but do it completely and truthfully. In short it is the perfect antidote to Garden Goozle!
(Mary Penrose to Barbara Campbell)
Woodridge, October 10. Nearly a month of pen silence on my part, during which I have felt many times as if I must go from one to another of our chosen trees in the river woods and shake the leaves down so that the transplanting might proceed forthwith, lest the early winter that Amos Opie predicts both by a goose bone and certain symptoms of his own shall overtake us. Be this as it may, the leaves thus far prefer their airy quarters to huddling upon the damp ground.
However, there is another reason for haste more urgent than the fear of frost—the melancholy vein that you predicted we should find in Meyer is fast developing, and as we wish to have him leave us in a perfectly natural way, we think it best that his stay shall not be prolonged. At first he seemed not only absorbed by his work and to enjoy the garden and especially the river woods, but the trees and water rushing by.
A week ago a change came over him; he became morose and silent, and yesterday when I was admiring, half aloud, the reflection of a beautiful scarlet oak mirrored in the still backwater of the river, he paused in the kneeling position in which he was loosening the grasp of a white flowering dogwood, and first throwing out his arms and then beating his chest with them, exclaimed—"Other good have trees and water than for the eye to see; they can surely hang and drown the man the heart of whom holds much sorrow, and that man is I!"
Of course I knew that it was something a little out of the ordinary state of affairs that had sent a man of his capability to tramp about as a vagrant sort of labourer, but I had no previous idea that melancholy had taken such a grip upon him. Much do I prefer Larry, with periods of hilarity ending in peaceful "shlape." Certain peoples have their peculiar racial characteristics, but after all, love of an occasional drink seems a more natural proposition than a tendency to suicide, while as to the relative value of the labour itself, that is always an individual not a racial matter.
I too am feeling the domestic lure of cooler weather. All the day I wish to be in the open, but when the earlier twilight closes in, the house, with its lamps, [Pg 367]hearth fires, and voices, weaves a new spell about me, though having once opened wide the door of outdoors it can never be closed.
Do you remember the Masque of Pandora, and the mysterious chest?
"Pandora
Hast thou neverLifted the lid?
Epimetheus
The oracle forbids.Safely concealed there from all mortal eyes
Forever sleeps the secret of the Gods.
Seek not to know what they have hidden from thee
Till they themselves reveal it."
Bart was reading it aloud to me last night. Prose read aloud always frets me, because one's mind travels so much faster than the spoken words and arrives at the conclusion, even if not always the right one, long before the printed climax is reached; but with good poetry it is different—the thoughts are so crystallized that the sound of a melodious voice liberates them more swiftly.
Verily Pandora's Chest has been opened this season here in the garden; the gods were evidently not unwilling and turned the lock for me, though perhaps[Pg 368] I have thrown back the cover too rashly, for out has flown, instead of dire disaster, ambition in a flock of winged ideals, hopes, and wishes masquerading cleverly as necessities, that will keep me alert in trying to overtake and capture them all my life long.
Last night, once again comfortably settled in the den, we took inventory of the season's doings, and unlike most ventures, find there is nothing to write upon the nether page that records loss. Of the money set aside for the improvement of the knoll half yet remains, allowing for the finishing of the tree transplanting. Into this remainder we are preparing to tuck the filling for the rose bed, a goodly store of lily bulbs, some flowering shrubs, an openwork wire fence to be a vine-covered screen betwixt us and the road, instead of the broken rattling pickets, a new harness for Romeo to wear when he returns home, as a thank offering for his comfortable services (really the bridle of the old one is quite scratched to bits upon the various trees and rough fence rails to which he has been tethered), and last of all, what do you think? Three guesses may be easily wasted without hitting the mark, for instead of, as we expected, tearing down the old barn, our summer camp, we are going to remodel it to be a permanent outdoor shelter. It is to have a wide [Pg 369]chimney and fireplace at one end, before which our beds may be drawn campfire fashion if it is too cool, and adjustable shutters so that it may be either merely a roof or a fairly substantial cabin and at all possible seasons a study and playroom for us all. Then too we shall overlook "Maria Maxwell's Experiment," as Bart calls her scheme of running the Opal Farm. We were heartily glad to know that she had leased and not bought it, but we were much surprised to learn, first through the village paper, and not the man and woman concerned, that "Mr. Ross Blake, the engineer in charge of the construction of the new reservoir, believing in the future of the real-estate boom in Woodridge (we didn't know there was one), has recently purchased the Amos Opie farm as an investment, the deed being to-day recorded in the town house. He has already leased it for a young ladies' seminary, pending its remodelling, for which he himself is drawing the plans."
Dear Man from Everywhere! much as I like Maria, I think he would be the more restful neighbour of the two. What a complete couple they might have made, but that is a bit of drift thought that I have put out of my head, for if any two people ever had a chance this summer to fall in love if they had the capacity, [Pg 370]it was Maria and The Man, and the strange part of it is that as far as may be known neither is nourishing the sentiment of a melancholy past and no other present man or woman stands between; perhaps it is some uncanny Opal spell that stays them. Yet even as it is, in this farm restoration both are unconsciously preparing to take a peep into Pandora's Chest full of the unknown, so let us hope the gods are willing.
Hallowe'en. The Infant and Anastasia, her memories revived by Larry's voluble and personally adapted folk-lore, are preparing all sorts of traps and feasts for good luck and fairies, while Lady Lazy is content to look at the log fire and plan for putting the garden to sleep. Yesterday I finished taking up my collection of peonies, Iris, and hardy chrysanthemums that had been "promised" at various farm gardens beyond the river woods, and duly cleared off my indebtednesses for the same with a varied assortment of articles ranging from gladioli bulbs, which seem to multiply by cube root here, to a pair of curling tongs, an article long coveted by a simple-minded woman of more than middle age, for the resuscitation of her Sunday front locks, and which though willing to acquire by barter she, as a deacon's wife, [Pg 371]had a prejudice against buying openly over the counter.
Meyer has gone, having relapsed into comparative cheerfulness a few days before his departure on the receipt of a bulky letter which, in spite of the wear and tear of travel, remained heavily scented, coupled with Bart's assurance that he could remain in America another four weeks and still be at a certain Baltic town of an unpronounceable name in time for Christmas.
In spite of heavy frosts my pansies are a daily cheer, but it is really of no use for even the flowers of very hardy plants to struggle on against nature's decree of a winter sleeping time; the wild animals all come more or less under its spell, and the dogs, the nearest creatures of all to man, as soon as snow covers the ground and they have their experience of ice-cut feet, drowse as near the fire as possible and in case of a stove almost under it. I wonder if nature did not intend that we also should have at least a half-drowsy brooding time, instead of making the cold season so often a period of stress and strain and short days stretched into long nights. If so, we have taken the responsibility of acting for ourselves, of flying in nature's face in this as in many other ways.
Does it ever seem to you strange that our contrariness began within the year of our legendary creation, when Eve came to misery not by gazing in a bonnet shop, but when innocently wandering in her garden, the most beautiful of earth? By which we women gardeners should all take warning, for though the Tree of Life may be found in every garden,
"Yet sin and sorrow's pedigree
Spring from a garden and a tree."
December 10. Snow a month earlier than last year, but we rejoice in it, for it will keep the winds from the roots of the trees not yet wholly settled and comfortable in their new homes. The young hemlocks are bewitching in their wreaths and garlands, and one or two older trees give warmth to the woods beyond the Opal Farm and sweep the low, snow-covered meadow, that looks like a crystal lake, with their feathery branches. The cedars were beautiful in the May woods and so are they now, where I see them through the gap standing sentinels against the white of the brush lot. It seems to me that we cannot have too many evergreens any more than we can have too much cheerfulness.

Copyright, 1902, H. Hendrickson
There are no paths in the garden now, a hint that our feet must travel elsewhere for a time, and I [Pg 373]confess that Lady Lazy has not yet redeemed herself, and at present likes her feet to fall upon soft rugs. The Infant's gray squirrels, Punch and Judy, and the persistent sparrows have found their way to the house, taking their daily rations from the roof of the shed. Punch, stuffed to repletion, has a cache under the old syringa bushes, the sparrows seeming to escort him in his travels to and fro, but whether for companionship or in hope of gain, who can say?
The plans for the remodelling of Opal Farm-house are really very attractive and yet it will be delightfully simple to care for. Maria and The Man have agreed better about them than over anything I have ever heard them discuss; but then, as it is purely a business arrangement, I suppose that Maria feels free from her usual pernickety restraint.
We surmise that either she has much more laid by than we supposed or she is waxing extravagant, for she has had the opal, that The Man gave her once in exchange for an old coin, surrounded with very good diamonds and set as a ring! Really I never before noticed what fine strong white hands she has.
I shall ask Father Penrose for the Cyclopædia—it has a substantial sound that may soften his suspicion that we are not practical and were not properly grieved over the loss of the hens!
Woodridge, January 3. In the face of circumstances that prevent my holding the pen in my own hand, I am resolved that the first chronicle of the New Year shall be mine,—for by me it has sent The Garden, You, and I a new member and our own garden a new tree, an oak we hope.
The Infant is exultant at the evident and direct result of her dealings with the fairies, and keeps a plate of astonishing goodies by the nursery hearth fire; these, if the fairies do not feast upon personally, are appreciated by their horses, the mice.
His name is John Bartram Penrose, a good one to conjure with gardenwise, though he is no kin to the original. He has fresh-air lungs, and if he does not wax strong of limb and develop into a naturalist of some sort, he cannot blame his parents or their garden vacation.
MARY PENROSE,
her mark.


| Name | Tender or Hardy |
Colour | Height | Season | Remarks |
| Aquilegia—Columbine |
H.P.* | 3 ft. | June | Columbines are among the most graceful and easily raised of hardy plants. They will thrive in open borders, but do better in partial shade, after the habit of our local species, the "Red Bells" of hillsides and rocky wood. | |
| Chrysantha | Golden yellow | ||||
| Cœrulea | Rich Blue | ||||
| Glandulosa vera |
Blue and white | ||||
| Canterbury-Bell | H.B.** | 2 ft. | June | Old-fashioned plants of decorative value. As with all biennials, the plant dies soon after maturing seed; a new sowing should be made each spring and seedlings transplanted as soon as the old plant dies; this secures strong growth before winter. | |
| Campanula media |
Blue, white, pink | ||||
| Chimney Bell-Flower Campanula pyramadalis |
H.P. | Blue | 3-4 ft. | Aug. to Oct. | Desirable because of of its late blooming combined with its striking appearance. Should be planted in connection with the tall white hardy phlox. |
| [Pg 376]Coreopsis lanceolata | H.P. | Yellow | 1-2 ft. | Summer | A sturdy plant either for massing or as a border to sunny shrubberies. Flowers carried on long stems suitable for cutting. |
| Candytuft—Iberis | H.P. | 1 ft. | Summer | When transplanted from seed bed, plants should be set eight inches apart to make the best effect, given room, they make fine compact bushes. The foliage is evergreen. | |
| Sempervirens | White | ||||
| Delphinium—Larkspur | H.P. Flowering first year | Blue, all shades | 3-7 ft. | June, July, and Oct. | Our most satisfactory blue flower, but like all of this colour should have a setting of white. If plants are cut down to the ground as soon as the blossoms fade, they will give a second crop in October. |
| D. Grandiflorum Chinensis | White and blue | 1-2 ft. | Summer | These flowers have a peculiar brilliancy, and if set in a bed edged by sweet alyssum, are very satisfactory. | |
| Siberian Larkspur | |||||
| [Pg 377]Dianthus plumarius | H.P. | 1 ft. | May and June " " |
There is nothing more suggestive of the old time gardens of sweet flowers than these fringed pinks. If once established in a well-drained spot, and not harassed, they will sow themselves and last for years. Her Majesty and Lord Lyon are new varieties, and as double as carnations. | |
| Scotch Clove Pink Her Majesty Lord Lyon |
Various White Pink |
||||
| Dianthus Chinensis China Pink |
H.P. first year |
Var. | 6 in.-1 ft. | Summer | Excellent for either bedding or edging. Have an apple fragrance. |
| Dianthus Heddewigii Japan Pink |
H.P. first year |
Var. | 9 in.-1 ft. | Summer | These summer pinks are not grown in masses as freely as as they deserve. They bloom with all the profusion of annuals without their frailty. For a succession the seed should be sown every year, as the old plants bloom earliest and the new follow them. |
| [Pg 378]Dianthus barbatus Sweet-William |
H.P. | Var. | 1 ft. | June | An old-time favourite with slightly fragrant blossoms that will keep a week in water when cut. A bed when once established will last a long time if a few of the finest heads of flowers are allowed to go to seed, as with many perennials the younger plants bloom more vigorously than the old. |
| Digitalis—Foxglove Variety gloxinoides |
H.P. | White, pink, purple, light yellow |
3 ft. | June | A dignified as well as a poetic flower if given its natural, half-wild surroundings. It will thrive best in partial shade if the soil be good. While if the stalks of seeds are saved and the contents scattered along wild walks or at the edge of woods, surprising results will follow. |
| [Pg 379]Feverfew Chrysanthemum parthenium, double |
H.P. first year |
White |
1-3 ft. | Summer | A very useful, double-flowered white composite, resembling a small chrysanthemum. It should be used freely as a setting for blue, pink, or magenta flowers. |
| Forget-Me-Not Myosotis alpestris Victoria |
H.P. | Blue |
1 ft. | Spring and autumn | Well-known flowers that do best in moist borders or places where they can be watered freely. If cut down after first flowering, will bloom again in autumn. |
| Gaillardia cristata Blanket Flower |
H.P. first year |
Yellow and red | 1 ft. | Until frost | Brilliant and hardy plants for edging shrubbery or in separate beds. Sprawl too much for the mixed border. |
| [Pg 380]
Hollyhocks Double and single |
H.P. | All colors |
4-7 ft. |
Summer | Of late years these decorative plants have suffered from a blight that turns
the leaves yellow and soon spreads to the stalks. Use great care that the soil be new and
well drained, sprinkle powdered sulphur and unslaked lime on surface and dig it in shortly
before setting out the seedlings. Also spray young plants well with diluted Bordeaux
mixture at intervals before the flowers show colour. A large bed should be given to this flower, with either a wall or hedge as a background, and they should be allowed to seed themselves from the best flowers. Thus a natural and artistic effect is produced unlike the stiff lines of tightly staked plants. |
| New Hybrid Hollyhock flowers first year from seed |
All colors | 4 ft. | |||
| [Pg 381]Honesty Lunaria biennis |
H.B. | White to lilac |
2 ft. |
June |
The old English flower of colonial gardens. Should be massed. The silvery moons of its seed vessels make unusual winter bouquets. |
| Lupins Lupinus polyphyllus |
H.P. | Rich blue |
3 ft. |
June |
Good for planting before the white flowering June shrubs. Flowers borne erect upon long spikes. Very difficult to transplant unless the long root is kept intact. |
| Horsemint Monada didyma-Bee balm or Oswego tea Monada fistulosa |
H.P. | Deep red |
2-3 ft. | Summer | Sturdy and somewhat coarse plants, their square stems telling the kinship with the familiar mints. Of good decorative effect, should be used as a background in the bed of sweet odours, as especially after a rain they yield the garden a clean fragrance of tonic quality. The bergamot grows wild in many places and is easily transplanted. |
| Wild Bergamot |
H.P. | Lavender | 3-6 ft. | Summer | |
| [Pg 382]Primula English Field Primrose |
H.P. | Primrose yellow |
6 in. | May | The beautiful tufted primrose of the English poets. Grows in this country best on moist, grassy banks under high or in partial shade. It has, during the ten years that I have grown it, proved entirely hardy. The seed may be in the ground a year before germinating, but once established the plant cares for itself. |
| Primula Japonica mixed border |
H.P. | Yellows and reds | 6 in.-1 ft. | May | The border primrose so freely used in England but rarely seen in everyday gardens here, where I have found it perfectly hardy. Makes a border of rich colour for the May garden. Must be watered freely in hot, dry seasons. |
| Primula Officinalis Cowslip |
H.P. | Yellow | 1 ft. | May | The English cowslip, a charming garden flower, but more at home in nooks of grassy banks, like the primrose, or in the open. |
| [Pg 383]Poppy { Iceland poppy { P. nudicale |
H.P. | Yellow and white |
1 ft. | Early Summer |
Poppies are very difficult to transplant, owing to their long, sensitive roots, though it can be done. It is easier, therefore, to sow them thinly where they are to remain and weed them out. |
| P. orientale | H.P. | Dazzling scarlet | 2-3 ft. | June | A gorgeous flower, subject to damping off if heavy rains come when it is in full bloom. Should be used to fill in between white shrubs, as its colour is impossible near any of the pink, purple, or magenta June flowers, and a single plant misplaced will ruin your garden. |
| [Pg 384]Phlox P. paniculata |
H.P. |
In variety, crimson, purple, salmon, carmine, and white with colored eye |
3-4 ft. |
July-Oct. Miss Lingard in June |
Offshoots of these hardy phloxes may be usually obtained by exchange from some friend, as they increase rapidly. But there is a charm in raising seedlings on the chance of growing a new species. These phloxes are the backbone of the hardy garden from July until frost, while Miss Lingard, a fine white variety, blooms in June to be a setting for the blue larkspurs. |
| Phlox subulata Moss Pink |
H.P. | Pink and white | 6 in. | The dwarf phlox that hides its foliage under sheets of pink or white bloom and makes the great mats of colour seen among rock work and on dry banks in parks and public gardens. | |
| Pentstemon European varieties. Mixed |
H.P. | Many rich colours |
3 ft. | Summer | Very fine border plants, almost as decorative as foxgloves, showing tints of reds through pink, white, blue and white cream, etc. |
| [Pg 385]Pansies in varieties | H.B. flowers first year |
Many rich colours | 1 ft. | April to Dec. | It is usual to sow pansies in frames during September and October, winter
them under cover, and transplant to beds the following spring. If pansies (well soaked previously) are sown in the seed bed in late August or early September, they will be compact little plants by November, when they may be transplanted to their permanent bed or else covered where they stand, protected by leaves between the rows and a few evergreen boughs or a little salt hay over them. If an entire bed is set apart set apart for pansies and only the finest flowers allowed to seed, the bed will keep itself going for several years by merely thinning and adjusting the seedlings. |
| [Pg 386]Day Primrose Œnothera fruticosa |
H.P. | Golden yellow | 1 ft. | Early summer | A day-flowering member of the evening-primrose family, resembling the golden sundrops of our June meadows. Very fragrant, and if once established, will sow itself. |
| Evening Primrose Œnothera biennis |
H.B. | Yellow | 3 ft. | All summer | The exquisitely scented silver-gold flower that unfurls at twilight to give a supper to the hawk moths, upon whom it depends for fertilization. Grows in dry soil and should be used in masses to fill in odd corners. |
| Violas Tufted Pansy-violets for bedding |
H.P. | Purple, yellow, rose, mauve, white |
6 in. | April to Oct. | A race of plants closely resembling pansies, that fill an important place in the gardens of Europe, but are as yet little known here, though they are as hardy as the primulas. As a border for shrubs or rose beds they are excellent, but when planted as a bed, should be in partial shade. |
* : Hardy Perennial.
** : Hardy Biennial.
| Name | Tender or Hardy |
Colour | Height | Remarks |
| Aster Most reliable varieties— Truffants Victoria Queen Of Market (very early) Comet (quaint and artistic) Emperor Frederick (best white) Hohenzollern (new large flowers.) |
H.A. | All shades of blues, purples, and pink up to deep blue, also white. | 18 in.-2 ft. | Asters are the standby of the late summer and autumn garden, and for this reason it is better to sow them in the outdoor seed bed than to attempt forcing. They require light, rich soil, mixed with old manure, as fresh manure breeds many aster ills. Two enemies—lice at the root and black goldenrod beetles on the flowers—must be guarded against—the first by digging sulphur powder, unslaked lime, nitrate of soda, or wood ashes into the soil both before sowing the seed and again into the place where they are transplanted; the beetle must be dislodged by careful hand picking. Cover the seeds with half an inch of soil, and in transplanting set the plants from a foot to eighteen inches apart, according to variety. |
| [Pg 388]Sweet Alyssum, Variety Maritimum |
H.A. | White, fragrant |
1 ft. | A cheerful little mustard-shaped flower borne in short, thick spikes, useful for edgings or to supply the white setting necessary to groups of party-coloured flowers. |
| Balsam Camellia flowered |
T.A. | White, peach, carmine, lavender, rose, scarlet, spotted, and straw | 18 in. | A rapid-growing, tender annual from India, and while rather stiff in form of growth, very decorative for the summer borders surrounding a sundial. The flowers, like compact, double roses, are very useful for set table decorations and may be used in many ways. |
| Calendula—Pot Marigold Calendula officinalis grandiflora Calendula Pongei. fl. pl. |
H.A. | Yellow and orange White |
1 ft. | Showy flowers for summer beds, not good for cutting, as they grow sleepy indoors and in cloudy weather. |
| Candytuft Iberis Coronaria Rocket Candytuft |
H.A. | White, fine erect form |
1 ft. | A sturdy white flower useful for edgings in the same way as sweet alyssum. May be sown in fall for early flowering. |
| [Pg 389]Cornflower Centaurea Centaurea Margaritæ, fragrant Sweet Sultan |
H.A. | White |
1-2 ft. | One of the most satisfactory of the taller growing annuals, the flowers having some of the qualities of an everlasting, and making fine buttonhole flowers or house bouquets. The Sweet Sultans are delightfully fragrant, and the Cornflower one of the finest of our blue flowers. They should be sown in borders or large beds where they are to bloom and while the Sweet Sultans must be spring sown, the Cornflower if sown in October will bloom in May. |
| Suaveolens Moschata Cyanus—Emperor William (Rich blue cornflower) |
Yellow Purple Deep blue |
|||
| Cosmos Giant fancy |
H.A. | White Pink Maroon |
4-8 ft. | A beautiful autumn flower if they are on their best behaviour and bloom on time, but like the little girl with the curl—when they are bad, they are horrid.—They take a great deal of room during a long season which can be often used to better advantage—planted with asters. |
| [Pg 390]Dahlia Single and cactus, mixed varieties |
H.H.P. | Various | 3-6 ft. | If sown either indoors or in a frame, these Dahlias may be as cheaply raised
as any common annual—with the chance of growing many beautiful and new varieties.
The roots may be stored in sand in the cellar during winter like other bulbs. I class this seed with annuals from the fact that it must be sown in spring and cannot be left over winter in the hardy bed though it is a half hardy perennial. |
| Gaillardia, called Blanket Flower from its habit of covering the ground with bloom Gaillardia, picta Lorenziania |
H.A. | Red and yellow | 1 ft. | Fine daisy-shaped flower for colour-masses or picking. May be sown in in the borders after bulbs have died away, and will and will bloom until hard frost. |
| Ipomæa | T.A. | 10-15 ft. | Our most beautiful annual vines. The common morning glories should be kept from seeding in flower or vegetable gardens, because before you know it the strong tendrils will have twined about vegetables and flowers alike and strangled them. | |
| [Pg 391]Ipomæa Ipomæa, Mexicana grandiflora alba—Large white moonflower |
T.A. | Satiny white |
15 ft. |
An early variety of the of the popular moonflower. |
| Ipomæa, Northern Light | T.A. | Pinkish heliotrope | 15 ft. | |
| Imperial Japanese morning-glories | T.A. | White, rose, crimson, all shades of purple | 30-40 ft. | One of the most artistic flowers of the modern garden, the seed must be must be sown early, preferably in a hotbed, and extra precautions taken to insure its germination, as the coverings are exceedingly hard. It is best to soak them over night in several changes of warm water or else very carefully notch the shell of the seed with a knife. This last performance is rather risky, if the knife slip ever so little, and it is best to trust to the soaking. For those who are in the country only from June to October and have little room for vines, these morning-glories will prove a new experience, for in flower and leaf they present an infinite variety of shape and marking. The flowers are both self-coloured as well as marbled, spotted, striped, margined, and fringed. |
| [Pg 392]Mignonette | H.A. | 1-2 ft. | These three species of mignonette I have found perfectly satisfactory. If quantity is desired rather than quality, the seed may be sown thinly where it is to remain. But for specimen stalks to come up to catalogue descriptions, each plant must have individual treatment, like the asters. | |
| Miles Spiral Giant Pyramidal Parson's White |
Green and white Green, deep White and buff |
18 in. 9 in. |
||
| Nasturtiums Tall Make your own mixture by buying the twenty named colours offered and blending them. |
H.A. | All shades of reds and yellows, chocolate, pink, and salmon | A showy climbing or trailing plant, useful for outdoor decorations and the
clean-smelling flowers being equally valuable for table decorations. Should be either planted on a bank, wall, or in front of a fence, stone or otherwise. If stone, a thick support of peabrush should be given, set slantwise toward the wall. Be careful not to place nasturtiums where you will look over them toward beds containing pink or magenta flowers or where they will form a background for the same, as in spite of some beautiful tints of straw-colour and maroon, the general nasturtium colour is dazzling, uncompromising vermilion-orange. |
|
| [Pg 393]Phlox Drummondii Best colours in tall flowering class |
H.A. | 1-1/2 ft. | A thoroughly satisfactory flower for the summer garden, whether sown broadcast to cover beds left empty by spring bulbs or sown in a seed bed and transplanted eight inches to a foot apart, when if the dead flowers are kept well picked off, they will make sturdy, compact bushes. | |
| Alba Coccinea Isabellina Rosea Stella Splendens Atropurpurea |
White Scarlet Light yellow Pink Crimson Purple |
|||
| Drummond Phlox Snowball Chamois Rose Fireball Surprise |
White Pink Flame Scarlet edged with white |
6-8 ft. | The dwarf varieties make charming edges for hardy rose beds or shrubberies. | |
| Poppies Shirley, the most satisfactory of poppies for outdoor decoration or cutting |
H.A. | All shades pinks and reds |
1 ft.-18 in. | Poppies are gorgeous flowers, but in our changeable climate, as a
class, are too short-lived to pay their way, except in summer gardens where a
brief period of bloom suffices, or in a garden so large that there need
be no economy of space. Shirley is sown in May and again in August for spring flowering. Even under adverse conditions the Shirley is always dainty and never makes a disagreeable, soppy exhibition after a rainy period like the carnation and peony flowered varieties. |
| [Pg 394]Portulaca Buy the separate colours and mix them yourself, as in the commercial mixtures both scarlet and pink appear in tints that set the teeth on edge |
T.A. | Red, white, pink, crimson, yellow | 6-8 in. | A most useful "filler" for sunny nooks,—rockwork,—
for covering bulb beds, and concealing mishaps and disappointments. Its fat, uninteresting
foliage, that makes mats a foot broad and proclaims it first cousin to "pusley," is covered
during bright sunshine by a wealth of gay flowers two inches across and of satiny texture. Heat, and plenty of it, is what Portulaca craves, backyards agree with it, also dry banks, and even seashore sand if there is a foothold of loam beneath. |
| Salvia Splendens—Flowering Sage Bonfire |
H.A. | Intense flame |
2-2½ ft. | The familiar flower that sends up its spikes of flame from August until frost—should be sown in seed beds and set out from one to two feet apart. Watch out and do not put your salvia where it will come in competition with the crimson-hued hardy phlox tribe. Scarlet geraniums and the crimson rambler rose in conjunction are not more painful. |
| [Pg 395] Sweet Peas, twelve good colours | H.A. | Various | 6 ft. | If sweet peas are to be grown in any quantity, they should be sown after the manner of tall garden peas and the colours kept separate. This is a great aid both to their gathering and artistic arrangement. |
| Apple blossom Black knight Boreatton Coquette Crown jewel |
Pink Maroon Deep Crimson Primrose Cream, violet veins |
|||
| Duke of Clarence Firefly Gorgeous Mrs. Kenyon (very large) King Edward VII Mrs. Dugdale Navy blue Primrose Senator |
Claret Dazzling scarlet Orange and rose Primrose-yellow Very fine crimson Best rose-pink Rich dark blue Light yellow White, purple, and maroon striped |
|||
| Mont Blanc, very early Stella Morse |
White Primrose flushed with pink |
2 ft. | ||
| [Pg 396]Sunflowers
Henry Wilde Primrose-coloured Cucumerifolius hybridus fl. pl., a fine mixture of new varieties, decorative and good for cutting |
H.A. | All shades of yellow | 4-8 ft. | Cheerful flowers to line up against fences or at the back of shrubberies, whose seeds, if left to ripen, will secure the company of many birds for your garden through the autumn and early winter. |
| Single Russian (The Henyard Sunflower), large head heavy with seeds | 8 ft. | |||
| Verbena Defiance, scarlet bedder Candidissima Auriculæflora, various, with white eye |
H.A. | 1-1/2 ft. | The best summer-bedding plant that is raised from seed, which must be well soaked before sowing. The mammoth varieties are the most satisfactory, and among them are to be found shaded tints of rose and lavender that have decided perfume. | |
| Mammoth, mixed, large flowers, often fragrant, of many beautiful colours. | Red, white, blue, purple, crimson, pink, striped | |||
| [Pg 397]Wallflower Paris single annual |
H.A. | Gold and brown | 1-1/2 ft. | While the most beautiful species of wallflowers are in this climate so tender that they must be wintered in pits or cold frames, this single species, if sown in spring and transplanted, will bloom until Christmas. It is one of the most valuable and characteristic plants of the bed of sweet odours and can be used to fill odd nooks, against stone walls, or the foundation of buildings. |
| Zinnia (Crabbed age and Youth) Salmon Snowball Sulphur Golden Fireball Rose |
H.A. | 1-16 in. | Bedding annual, of brilliant colours and vigorous growth. If room is lacking, the dwarf varieties are best unless the soil is very poor. It is best to buy the seed in separate colours, and when transplanting from the seed bed, combine as required. Avoid the purple and magenta shades, they are quite impossible. |
End of Project Gutenberg's The Garden, You, and I, by Mabel Osgood Wright
*** END OF THIS PROJECT GUTENBERG EBOOK THE GARDEN, YOU, AND I ***
***** This file should be named 17514-h.htm or 17514-h.zip *****
This and all associated files of various formats will be found in:
http://www.gutenberg.org/1/7/5/1/17514/
Produced by Janet Blenkinship and the Online Distributed
Proofreading Team at http://www.pgdp.net
Updated editions will replace the previous one--the old editions
will be renamed.
Creating the works from public domain print editions means that no
one owns a United States copyright in these works, so the Foundation
(and you!) can copy and distribute it in the United States without
permission and without paying copyright royalties. Special rules,
set forth in the General Terms of Use part of this license, apply to
copying and distributing Project Gutenberg-tm electronic works to
protect the PROJECT GUTENBERG-tm concept and trademark. Project
Gutenberg is a registered trademark, and may not be used if you
charge for the eBooks, unless you receive specific permission. If you
do not charge anything for copies of this eBook, complying with the
rules is very easy. You may use this eBook for nearly any purpose
such as creation of derivative works, reports, performances and
research. They may be modified and printed and given away--you may do
practically ANYTHING with public domain eBooks. Redistribution is
subject to the trademark license, especially commercial
redistribution.
*** START: FULL LICENSE ***
THE FULL PROJECT GUTENBERG LICENSE
PLEASE READ THIS BEFORE YOU DISTRIBUTE OR USE THIS WORK
To protect the Project Gutenberg-tm mission of promoting the free
distribution of electronic works, by using or distributing this work
(or any other work associated in any way with the phrase "Project
Gutenberg"), you agree to comply with all the terms of the Full Project
Gutenberg-tm License (available with this file or online at
http://gutenberg.org/license).
Section 1. General Terms of Use and Redistributing Project Gutenberg-tm
electronic works
1.A. By reading or using any part of this Project Gutenberg-tm
electronic work, you indicate that you have read, understand, agree to
and accept all the terms of this license and intellectual property
(trademark/copyright) agreement. If you do not agree to abide by all
the terms of this agreement, you must cease using and return or destroy
all copies of Project Gutenberg-tm electronic works in your possession.
If you paid a fee for obtaining a copy of or access to a Project
Gutenberg-tm electronic work and you do not agree to be bound by the
terms of this agreement, you may obtain a refund from the person or
entity to whom you paid the fee as set forth in paragraph 1.E.8.
1.B. "Project Gutenberg" is a registered trademark. It may only be
used on or associated in any way with an electronic work by people who
agree to be bound by the terms of this agreement. There are a few
things that you can do with most Project Gutenberg-tm electronic works
even without complying with the full terms of this agreement. See
paragraph 1.C below. There are a lot of things you can do with Project
Gutenberg-tm electronic works if you follow the terms of this agreement
and help preserve free future access to Project Gutenberg-tm electronic
works. See paragraph 1.E below.
1.C. The Project Gutenberg Literary Archive Foundation ("the Foundation"
or PGLAF), owns a compilation copyright in the collection of Project
Gutenberg-tm electronic works. Nearly all the individual works in the
collection are in the public domain in the United States. If an
individual work is in the public domain in the United States and you are
located in the United States, we do not claim a right to prevent you from
copying, distributing, performing, displaying or creating derivative
works based on the work as long as all references to Project Gutenberg
are removed. Of course, we hope that you will support the Project
Gutenberg-tm mission of promoting free access to electronic works by
freely sharing Project Gutenberg-tm works in compliance with the terms of
this agreement for keeping the Project Gutenberg-tm name associated with
the work. You can easily comply with the terms of this agreement by
keeping this work in the same format with its attached full Project
Gutenberg-tm License when you share it without charge with others.
1.D. The copyright laws of the place where you are located also govern
what you can do with this work. Copyright laws in most countries are in
a constant state of change. If you are outside the United States, check
the laws of your country in addition to the terms of this agreement
before downloading, copying, displaying, performing, distributing or
creating derivative works based on this work or any other Project
Gutenberg-tm work. The Foundation makes no representations concerning
the copyright status of any work in any country outside the United
States.
1.E. Unless you have removed all references to Project Gutenberg:
1.E.1. The following sentence, with active links to, or other immediate
access to, the full Project Gutenberg-tm License must appear prominently
whenever any copy of a Project Gutenberg-tm work (any work on which the
phrase "Project Gutenberg" appears, or with which the phrase "Project
Gutenberg" is associated) is accessed, displayed, performed, viewed,
copied or distributed:
This eBook is for the use of anyone anywhere at no cost and with
almost no restrictions whatsoever. You may copy it, give it away or
re-use it under the terms of the Project Gutenberg License included
with this eBook or online at www.gutenberg.org
1.E.2. If an individual Project Gutenberg-tm electronic work is derived
from the public domain (does not contain a notice indicating that it is
posted with permission of the copyright holder), the work can be copied
and distributed to anyone in the United States without paying any fees
or charges. If you are redistributing or providing access to a work
with the phrase "Project Gutenberg" associated with or appearing on the
work, you must comply either with the requirements of paragraphs 1.E.1
through 1.E.7 or obtain permission for the use of the work and the
Project Gutenberg-tm trademark as set forth in paragraphs 1.E.8 or
1.E.9.
1.E.3. If an individual Project Gutenberg-tm electronic work is posted
with the permission of the copyright holder, your use and distribution
must comply with both paragraphs 1.E.1 through 1.E.7 and any additional
terms imposed by the copyright holder. Additional terms will be linked
to the Project Gutenberg-tm License for all works posted with the
permission of the copyright holder found at the beginning of this work.
1.E.4. Do not unlink or detach or remove the full Project Gutenberg-tm
License terms from this work, or any files containing a part of this
work or any other work associated with Project Gutenberg-tm.
1.E.5. Do not copy, display, perform, distribute or redistribute this
electronic work, or any part of this electronic work, without
prominently displaying the sentence set forth in paragraph 1.E.1 with
active links or immediate access to the full terms of the Project
Gutenberg-tm License.
1.E.6. You may convert to and distribute this work in any binary,
compressed, marked up, nonproprietary or proprietary form, including any
word processing or hypertext form. However, if you provide access to or
distribute copies of a Project Gutenberg-tm work in a format other than
"Plain Vanilla ASCII" or other format used in the official version
posted on the official Project Gutenberg-tm web site (www.gutenberg.org),
you must, at no additional cost, fee or expense to the user, provide a
copy, a means of exporting a copy, or a means of obtaining a copy upon
request, of the work in its original "Plain Vanilla ASCII" or other
form. Any alternate format must include the full Project Gutenberg-tm
License as specified in paragraph 1.E.1.
1.E.7. Do not charge a fee for access to, viewing, displaying,
performing, copying or distributing any Project Gutenberg-tm works
unless you comply with paragraph 1.E.8 or 1.E.9.
1.E.8. You may charge a reasonable fee for copies of or providing
access to or distributing Project Gutenberg-tm electronic works provided
that
- You pay a royalty fee of 20% of the gross profits you derive from
the use of Project Gutenberg-tm works calculated using the method
you already use to calculate your applicable taxes. The fee is
owed to the owner of the Project Gutenberg-tm trademark, but he
has agreed to donate royalties under this paragraph to the
Project Gutenberg Literary Archive Foundation. Royalty payments
must be paid within 60 days following each date on which you
prepare (or are legally required to prepare) your periodic tax
returns. Royalty payments should be clearly marked as such and
sent to the Project Gutenberg Literary Archive Foundation at the
address specified in Section 4, "Information about donations to
the Project Gutenberg Literary Archive Foundation."
- You provide a full refund of any money paid by a user who notifies
you in writing (or by e-mail) within 30 days of receipt that s/he
does not agree to the terms of the full Project Gutenberg-tm
License. You must require such a user to return or
destroy all copies of the works possessed in a physical medium
and discontinue all use of and all access to other copies of
Project Gutenberg-tm works.
- You provide, in accordance with paragraph 1.F.3, a full refund of any
money paid for a work or a replacement copy, if a defect in the
electronic work is discovered and reported to you within 90 days
of receipt of the work.
- You comply with all other terms of this agreement for free
distribution of Project Gutenberg-tm works.
1.E.9. If you wish to charge a fee or distribute a Project Gutenberg-tm
electronic work or group of works on different terms than are set
forth in this agreement, you must obtain permission in writing from
both the Project Gutenberg Literary Archive Foundation and Michael
Hart, the owner of the Project Gutenberg-tm trademark. Contact the
Foundation as set forth in Section 3 below.
1.F.
1.F.1. Project Gutenberg volunteers and employees expend considerable
effort to identify, do copyright research on, transcribe and proofread
public domain works in creating the Project Gutenberg-tm
collection. Despite these efforts, Project Gutenberg-tm electronic
works, and the medium on which they may be stored, may contain
"Defects," such as, but not limited to, incomplete, inaccurate or
corrupt data, transcription errors, a copyright or other intellectual
property infringement, a defective or damaged disk or other medium, a
computer virus, or computer codes that damage or cannot be read by
your equipment.
1.F.2. LIMITED WARRANTY, DISCLAIMER OF DAMAGES - Except for the "Right
of Replacement or Refund" described in paragraph 1.F.3, the Project
Gutenberg Literary Archive Foundation, the owner of the Project
Gutenberg-tm trademark, and any other party distributing a Project
Gutenberg-tm electronic work under this agreement, disclaim all
liability to you for damages, costs and expenses, including legal
fees. YOU AGREE THAT YOU HAVE NO REMEDIES FOR NEGLIGENCE, STRICT
LIABILITY, BREACH OF WARRANTY OR BREACH OF CONTRACT EXCEPT THOSE
PROVIDED IN PARAGRAPH F3. YOU AGREE THAT THE FOUNDATION, THE
TRADEMARK OWNER, AND ANY DISTRIBUTOR UNDER THIS AGREEMENT WILL NOT BE
LIABLE TO YOU FOR ACTUAL, DIRECT, INDIRECT, CONSEQUENTIAL, PUNITIVE OR
INCIDENTAL DAMAGES EVEN IF YOU GIVE NOTICE OF THE POSSIBILITY OF SUCH
DAMAGE.
1.F.3. LIMITED RIGHT OF REPLACEMENT OR REFUND - If you discover a
defect in this electronic work within 90 days of receiving it, you can
receive a refund of the money (if any) you paid for it by sending a
written explanation to the person you received the work from. If you
received the work on a physical medium, you must return the medium with
your written explanation. The person or entity that provided you with
the defective work may elect to provide a replacement copy in lieu of a
refund. If you received the work electronically, the person or entity
providing it to you may choose to give you a second opportunity to
receive the work electronically in lieu of a refund. If the second copy
is also defective, you may demand a refund in writing without further
opportunities to fix the problem.
1.F.4. Except for the limited right of replacement or refund set forth
in paragraph 1.F.3, this work is provided to you 'AS-IS' WITH NO OTHER
WARRANTIES OF ANY KIND, EXPRESS OR IMPLIED, INCLUDING BUT NOT LIMITED TO
WARRANTIES OF MERCHANTIBILITY OR FITNESS FOR ANY PURPOSE.
1.F.5. Some states do not allow disclaimers of certain implied
warranties or the exclusion or limitation of certain types of damages.
If any disclaimer or limitation set forth in this agreement violates the
law of the state applicable to this agreement, the agreement shall be
interpreted to make the maximum disclaimer or limitation permitted by
the applicable state law. The invalidity or unenforceability of any
provision of this agreement shall not void the remaining provisions.
1.F.6. INDEMNITY - You agree to indemnify and hold the Foundation, the
trademark owner, any agent or employee of the Foundation, anyone
providing copies of Project Gutenberg-tm electronic works in accordance
with this agreement, and any volunteers associated with the production,
promotion and distribution of Project Gutenberg-tm electronic works,
harmless from all liability, costs and expenses, including legal fees,
that arise directly or indirectly from any of the following which you do
or cause to occur: (a) distribution of this or any Project Gutenberg-tm
work, (b) alteration, modification, or additions or deletions to any
Project Gutenberg-tm work, and (c) any Defect you cause.
Section 2. Information about the Mission of Project Gutenberg-tm
Project Gutenberg-tm is synonymous with the free distribution of
electronic works in formats readable by the widest variety of computers
including obsolete, old, middle-aged and new computers. It exists
because of the efforts of hundreds of volunteers and donations from
people in all walks of life.
Volunteers and financial support to provide volunteers with the
assistance they need, is critical to reaching Project Gutenberg-tm's
goals and ensuring that the Project Gutenberg-tm collection will
remain freely available for generations to come. In 2001, the Project
Gutenberg Literary Archive Foundation was created to provide a secure
and permanent future for Project Gutenberg-tm and future generations.
To learn more about the Project Gutenberg Literary Archive Foundation
and how your efforts and donations can help, see Sections 3 and 4
and the Foundation web page at http://www.pglaf.org.
Section 3. Information about the Project Gutenberg Literary Archive
Foundation
The Project Gutenberg Literary Archive Foundation is a non profit
501(c)(3) educational corporation organized under the laws of the
state of Mississippi and granted tax exempt status by the Internal
Revenue Service. The Foundation's EIN or federal tax identification
number is 64-6221541. Its 501(c)(3) letter is posted at
http://pglaf.org/fundraising. Contributions to the Project Gutenberg
Literary Archive Foundation are tax deductible to the full extent
permitted by U.S. federal laws and your state's laws.
The Foundation's principal office is located at 4557 Melan Dr. S.
Fairbanks, AK, 99712., but its volunteers and employees are scattered
throughout numerous locations. Its business office is located at
809 North 1500 West, Salt Lake City, UT 84116, (801) 596-1887, email
business@pglaf.org. Email contact links and up to date contact
information can be found at the Foundation's web site and official
page at http://pglaf.org
For additional contact information:
Dr. Gregory B. Newby
Chief Executive and Director
gbnewby@pglaf.org
Section 4. Information about Donations to the Project Gutenberg
Literary Archive Foundation
Project Gutenberg-tm depends upon and cannot survive without wide
spread public support and donations to carry out its mission of
increasing the number of public domain and licensed works that can be
freely distributed in machine readable form accessible by the widest
array of equipment including outdated equipment. Many small donations
($1 to $5,000) are particularly important to maintaining tax exempt
status with the IRS.
The Foundation is committed to complying with the laws regulating
charities and charitable donations in all 50 states of the United
States. Compliance requirements are not uniform and it takes a
considerable effort, much paperwork and many fees to meet and keep up
with these requirements. We do not solicit donations in locations
where we have not received written confirmation of compliance. To
SEND DONATIONS or determine the status of compliance for any
particular state visit http://pglaf.org
While we cannot and do not solicit contributions from states where we
have not met the solicitation requirements, we know of no prohibition
against accepting unsolicited donations from donors in such states who
approach us with offers to donate.
International donations are gratefully accepted, but we cannot make
any statements concerning tax treatment of donations received from
outside the United States. U.S. laws alone swamp our small staff.
Please check the Project Gutenberg Web pages for current donation
methods and addresses. Donations are accepted in a number of other
ways including checks, online payments and credit card donations.
To donate, please visit: http://pglaf.org/donate
Section 5. General Information About Project Gutenberg-tm electronic
works.
Professor Michael S. Hart is the originator of the Project Gutenberg-tm
concept of a library of electronic works that could be freely shared
with anyone. For thirty years, he produced and distributed Project
Gutenberg-tm eBooks with only a loose network of volunteer support.
Project Gutenberg-tm eBooks are often created from several printed
editions, all of which are confirmed as Public Domain in the U.S.
unless a copyright notice is included. Thus, we do not necessarily
keep eBooks in compliance with any particular paper edition.
Most people start at our Web site which has the main PG search facility:
http://www.gutenberg.org
This Web site includes information about Project Gutenberg-tm,
including how to make donations to the Project Gutenberg Literary
Archive Foundation, how to help produce our new eBooks, and how to
subscribe to our email newsletter to hear about new eBooks.