NEW AND REVISED EDITION.
[Transcriber's Note: Inconsistencies in chapter headings and numbering of paragraphs and illustrations have been retained in this edition.]
For some years past a new edition of this work has been called for, but I was unwilling to allow a new edition to go forth with all the original faults of the work upon its head, and I have been too much engaged in the practical construction of steam ships and steam engines to find time for the thorough revision which I knew the work required. At length, however, I have sufficiently disengaged myself from these onerous pursuits to accomplish this necessary revision; and I now offer the work to the public, with the confidence that it will be found better deserving of the favorable acceptation and high praise it has already received. There are very few errors, either of fact or of inference, in the early editions, which I have had to correct; but there are many omissions which I have had to supply, and faults of arrangement and classification which I have had to rectify. I have also had to bring the information, which the work professes to afford, up to the present time, so as to comprehend the latest improvements.
For the sake of greater distinctness the work is now divided into chapters. Some of these chapters are altogether new, and the rest have received such extensive additions and improvements as to make the book almost a new one. One purpose of my emendations has been to render my remarks intelligible to a tyro, as well as instructive to an advanced student. With this view, I have devoted the first chapter to a popular description of the Steam Engine--which all may understand who can understand anything--and in the subsequent gradations of progress I have been careful to set no object before the reader for the first time, of which the nature and functions are not simultaneously explained. The design I have proposed to myself, in the composition of this work, is to take a young lad who knows nothing of steam engines, and to lead him by easy advances up to the highest point of information I have myself attained; and it has been a pleasing duty to me to smooth for others the path which I myself found so rugged, and to impart, for the general good of mankind, the secrets which others have guarded with so much jealousy. I believe I am the first author who has communicated that practical information respecting the steam engine, which persons proposing to follow the business of an engineer desire to possess. My business has, therefore, been the rough business of a pioneer; and while hewing a road through the trackless forest, along which all might hereafter travel with ease, I had no time to attend to those minute graces of composition and petty perfection of arrangement and collocation, which are the attribute of the academic grove, or the literary parterre. I am, nevertheless, not insensible to the advantages of method and clear arrangement in any work professing to instruct mankind in the principles and practice of any art; and many of the changes introduced into the present edition of this work are designed to render it less exceptionable in this respect. The woodcuts now introduced into the work for the first time will, I believe, much increase its interest and utility; and upon the whole I am content to dismiss it into circulation, in the belief that those who peruse it attentively will obtain a more rapid and more practical acquaintance with the steam engine in its various applications, than they would be likely otherwise to acquire.
I have only to add that I have prepared a sequel to the present work, in the shape of a Hand-Book of the Steam Engine, containing the whole of the rules given in the present work, illustrated by examples worked out at length, and also containing such useful tables and other data, as the engineer requires to refer to constantly in the course of his practice. This work may be bound up with the "Catechism," if desired, to which it is in fact a Key.
I shall thankfully receive from engineers, either abroad or at home, accounts of any engines or other machinery, with which they may become familiar in their several localities; and I shall be happy, in my turn, to answer any inquiries on engineering subjects which fall within the compass of my information. If young engineers meet with any difficulty in their studies, I shall be happy to resolve it if I can; and they may communicate with me upon any such point without hesitation, in whatever quarter of the world they may happen to be.
JOHN BOURNE.
9 BILLITER STREET,
LONDON,
March 1st, 1856.
The last edition of the present work, consisting of 3,500 copies, having been all sold off in about ten months, I now issue another edition, the demand for the work being still unabated. It affords, certainly, some presumption that a work in some measure supplies an ascertained want, when, though addressing only a limited circle--discoursing only of technical questions, and without any accident to stimulate it into notoriety,--it attains so large a circulation as the present work has reached. Besides being reprinted in America, it has been translated into German, French, Dutch, and I believe, into some other languages, so that there is, perhaps, not too much vanity in the inference that it has been found serviceable to those perusing it. I can with truth say, that the hope of rendering some service to mankind, in my day and generation, has been my chief inducement in writing it, and if this end is fulfilled, I have nothing further to desire.
I regret that circumstances have prevented me from yet issuing the "Hand-Book" which I have had for some time in preparation, and to which, in my Preface of the last year, I referred. I hope to have sufficient leisure shortly, to give that and some other of my literary designs the necessary attention. Whatever may have been the other impediments to a more prolific authorship, certainly one of them has not been the coldness of the approbation with which my efforts have been received, since my past performances seem to me to have met with an appreciation far exceeding their deserts.
JOHN BOURNE.
February 2d, 1857.
In offering to the American public a reprint of a work on the Steam Engine so deservedly successful, and so long considered standard, the publishers have not thought it necessary that it should be an exact copy of the English edition; there were some details in which they thought it could be improved, and better adapted to the use of American engineers. On this account, the size of the page has been increased to a full 12mo, to admit of larger illustrations, which in the English edition are often on too small a scale; and some of the illustrations themselves have been supplied by others equally applicable, more recent, and to us more familiar examples. The first part of Chapter XI, devoted in the English edition to English portable and fixed agricultural engines, in this edition gives place entirely to illustrations from American practice, of steam engines as applied to different purposes, and of appliances and machines necessary to them. But with the exception of some of the illustrations and the description of them, and the correction of a few typographical errors, this edition is a faithful transcript of the latest English edition.
Velocity of falling Bodies and Momentum of moving Bodies.
Centres of Gravity, Gyration, and Oscillation.
Strength of materials and Strains subsisting in Machines.
CHAP. I.--GENERAL DESCRIPTION OF THE STEAM ENGINE.
CHAP. II.--HEAT, COMBUSTION, AND STEAM.
CHAP. III.--EXPANSION OF STEAM AND ACTION OF THE VALVES.
CHAP. IV.--MODES OF ESTIMATING THE POWER AND PERFORMANCE OF ENGINES AND BOILERS.
Dynamometer, Gauges, and Cataract.
CHAP. V.--PROPORTIONS OF BOILERS.
Heating and Fire Grate Surface.
Modern Marine and Locomotive Boilers.
CHAP. VI.--PROPORTIONS OF ENGINES.
Air Pump, Condenser, and Hot and Cold Water Pumps.
Strengths of Marine and Locomotive Engines.
CHAP. VII.--CONSTRUCTIVE DETAILS OF BOILERS.
Incrustation and Corrosion of Boilers.
CHAP. VIII.--CONSTRUCTIVE DETAILS OF ENGINES.
Various forms of Marine Engines.
Cylinders, Pistons, and Valves.
Details of the Screw and Screw Shaft.
Details of the Paddles and Paddle Shaft.
Resistance of Vessels in Water.
Experiments on the Resistance of Vessels.
Influence of the size of Vessels upon their Speed.
Structure and Operation of Paddle Wheels.
Configuration and Action of the Screw.
Comparative Advantages of Paddle and Screw Vessels.
Comparative Advantages of different kinds of Screws.
Screw Vessels with full and auxiliary Power.
CHAP. X.--EXAMPLES OF ENGINES OF RECENT CONSTRUCTION.
CHAP. XI.--ON VARIOUS FORMS AND APPLICATIONS OF THE STEAM ENGINE.
Governor.
Donkey Pumps.
Portable Steam Engines.
Stationary Engines.
Steam Fire Engines.
Steam Excavator.
CHAP. XII.--MANUFACTURE AND MANAGEMENT OF STEAM ENGINES.
1. Q.--What is meant by a vacuum?
A.--A vacuum means an empty space; a space in which there is neither water nor air, nor anything else that we know of.
2. Q.--Wherein does a high pressure differ from a low pressure engine?
A.--In a high pressure engine the steam, after having pushed the piston to the end of the stroke, escapes into the atmosphere, and the impelling force is therefore that due to the difference between the pressure of the steam and the pressure of the atmosphere. In the condensing engine the steam, after having pressed the piston to the end of the stroke, passes into the condenser, in which a vacuum is maintained, and the impelling force is that due to the difference between the pressure of the steam above the piston, and the pressure of the vacuum beneath it, which is nothing; or, in other words, you have then the whole pressure of the steam urging the piston, consisting of the pressure shown by the safety-valve on the boiler, and the pressure of the atmosphere besides.
3. Q.--In what way would you class the various kinds of condensing engines?
A.--Into single acting, rotative, and rotatory engines. Single acting engines are engines without a crank, such as are used for pumping water. Rotative engines are engines provided with a crank, by means of which a rotative motion is produced; and in this important class stand marine and mill engines, and all engines, indeed, in which the rectilinear motion of the piston is changed into a circular motion. In rotatory engines the steam acts at once in the production of circular motion, either upon a revolving piston or otherwise, but without the use of any intermediate mechanism, such as the crank, for deriving a circular from a rectilinear motion. Rotatory engines have not hitherto been very successful, so that only the single acting or pumping engine, and the double acting or rotative engine can be said to be in actual use. For some purposes, such, for example, as forcing air into furnaces for smelting iron, double acting engines are employed, which are nevertheless unfurnished with a crank; but engines of this kind are not sufficiently numerous to justify their classification as a distinct species, and, in general, those engines may be considered to be single acting, by which no rotatory motion is imparted.
4. Q.--Is not the circular motion derived from a cylinder engine very irregular, in consequence of the unequal leverage of the crank at the different parts of its revolution?
A.--No; rotative engines are generally provided with a fly-wheel to correct such irregularities by its momentum; but where two engines with their respective cranks set at right angles are employed, the irregularity of one engine corrects that of the other with sufficient exactitude for many purposes. In the case of marine and locomotive engines, a fly-wheel is not employed; but for cotton spinning, and other purposes requiring great regularity of motion, its use with common engines is indispensable, though it is not impossible to supersede the necessity by new contrivances.
5. Q.--You implied that there is some other difference between single acting and double acting engines, than that which lies in the use or exclusion of the crank?
A.--Yes; single acting engines act only in one way by the force of the steam, and are returned by a counter-weight; whereas double acting engines are urged by the steam in both directions. Engines, as I have already said, are sometimes made double acting, though unprovided with a crank; and there would be no difficulty in so arranging the valves of all ordinary pumping engines, as to admit of this action; for the pumps might be contrived to raise water both by the upward and downward stroke, as indeed in some mines is already done. But engines without a crank are almost always made single acting, perhaps from the effect of custom, as much as from any other reason, and are usually spoken of as such, though it is necessary to know that there are some deviations from the usual practice.
6. Q.--The pressure of a vacuum you have stated is nothing; but how can the pressure of a vacuum be said to be nothing, when a vacuum occasions a pressure of 15 lbs. on the square inch?
A.--Because it is not the vacuum which exerts this pressure, but the atmosphere, which, like a head of water, presses on everything immerged beneath it. A head of water, however, would not press down a piston, if the water were admitted on both of its sides; for an equilibrium would then be established, just as in the case of a balance which retains its equilibrium when an equal weight is added to each scale; but take the weight out of one scale, or empty the water from one side of the piston, and motion or pressure is produced; and in like manner pressure is produced on a piston by admitting steam or air upon the one side, and withdrawing the steam or air from the other side. It is not, therefore, to a vacuum, but rather to the existence of an unbalanced plenum, that the pressure made manifest by exhaustion is due, and it is obvious therefore that a vacuum of itself would not work an engine.
7. Q.--How is the vacuum maintained in a condensing engine?
A.--The steam, after having performed its office in the cylinder, is permitted to pass into a vessel called the condenser, where a shower of cold water is discharged upon it. The steam is condensed by the cold water, and falls in the form of hot water to the bottom of the condenser. The water, which would else be accumulated in the condenser, is continually being pumped out by a pump worked by the engine. This pump is called the air pump, because it also discharges any air which may have entered with the water.
8. Q.--If a vacuum be an empty space, and there be water in the condenser, how can there be a vacuum there?
A.--There is a vacuum above the water, the water being only like so much iron or lead lying at the bottom.
9. Q.--Is the vacuum in the condenser a perfect vacuum?
A.--Not quite perfect; for the cold water entering for the purpose of condensation is heated by the steam, and emits a vapor of a tension represented by about three inches of mercury; that is, when the common barometer stands at 30 inches, a barometer with the space above the mercury communicating with the condenser, will stand at about 27 inches.
10. Q.--Is this imperfection of the vacuum wholly attributable to the vapor in the condenser?
A.--No; it is partly attributable to the presence of a small quantity of air which enters with the water, and which would accumulate until it destroyed the vacuum altogether but for the action of the air pump, which expels it with the water, as already explained. All common water contains a certain quantity of air in solution, and this air recovers its elasticity when the pressure of the atmosphere is taken off, just as the gas in soda water flies up so soon as the cork of the bottle is withdrawn.
11. Q.--Is a barometer sometimes applied to the condensers of steam engines?
A.--Yes; and it is called the vacuum gauge, because it shows the degree of perfection the vacuum has attained. Another gauge, called the steam gauge, is applied to the boiler, which indicates the pressure of the steam by the height to which the steam forces mercury up a tube. Gauges are also applied to the boiler to indicate the height of the water within it so that it may not be burned out by the water becoming accidentally too low. In some cases a succession of cocks placed a short distance above one another are employed for this purpose, and in other cases a glass tube is placed perpendicularly in the front of the boiler and communicating at each end with its interior. The water rises in this tube to the same height as in the boiler itself, and thus shows the actual water level. In most of the modern boilers both of these contrivances are adopted.
12. Q.--Can a condensing engine be worked with a pressure less than that of the atmosphere?
A.--Yes, if once it be started; but it will be a difficult thing to start an engine, if the pressure of the steam be not greater than that of the atmosphere. Before an engine can be started, it has to be blown through with steam to displace the air within it, and this cannot be effectually done if the pressure of the steam be very low. After the engine is started, however, the pressure in the boiler may be lowered, if the engine be lightly loaded, until there is a partial vacuum in the boiler. Such a practice, however, is not to be commended, as the gauge cocks become useless when there is a partial vacuum in the boiler; inasmuch as, when they are opened, the water will not rush out, but air will rush in. It is impossible, also, under such circumstances, to blow out any of the sediment collected within the boiler, which, in the case of the boilers of steam vessels, requires to be done every two hours or oftener. This is accomplished by opening a large cock which permits some of the supersalted water to be forced overboard by the pressure of the steam. In some cases, in which the boiler applied to an engine is of inadequate size, the pressure within the boiler will fall spontaneously to a point considerably beneath the pressure of the atmosphere; but it is preferable, in such cases, partially to close the throttle valve in the steam pipe, whereby the issue of steam to the engine is diminished; and the pressure in the boiler is thus maintained, while the cylinder receives its former supply.
13. Q.--If a hole be opened into a condenser of a steam engine, will air rush into it?
A.--If the hole communicates with the atmosphere, the air will be drawn in.
14. Q.--With what Velocity does air rush into a vacuum?
A.--With the velocity which a body would acquire by falling from the height of a homogeneous atmosphere, which is an atmosphere of the same density throughout as at the earth's surface; and although such an atmosphere does not exist in nature, its existence is supposed, in order to facilitate the computation. It is well known that the velocity with which water issues from a cistern is the same that would be acquired by a body falling from the level of the head to the level of the issuing point; which indeed is an obvious law, since every particle of water descends and issues by virtue of its gravity, and is in its descent subject to the ordinary laws of falling bodies. Air rushing into a vacuum is only another example of the same general principle: the velocity of each particle will be that due to the height of the column of air which would produce the pressure sustained; and the weight of air being known, as well as the pressure it exerts on the earth's surface, it becomes easy to tell what height a column of air, an inch square, and of the atmospheric density, would require to be, to weigh 15 lbs. The height would be 27,818 feet, and the velocity which the fall of a body from such a height produces would be 1,338 feet per second.
15. Q.--How do you determine the velocity of falling bodies of different kinds?
A.--All bodies fall with the same velocity, when there is no resistance from the atmosphere, as is shown by the experiment of letting fall, from the top of a tall exhausted receiver, a feather and a guinea, which reach the bottom at the same time. The velocity of falling bodies is one that is accelerated uniformly, according to a known law. When the height from which a body falls is given, the velocity acquired at the end of the descent can be easily computed. It has been found by experiment that the square root of the height in feet multiplied by 8.021 will give the velocity.
16. Q.--But the velocity in what terms?
A.--In feet per second. The distance through which a body falls by gravity in one second is 16-1/12 feet; in two seconds, 64-4/12 feet; in three seconds, 144-9/12 feet; in four seconds, 257-4/12 feet, and so on. If the number of feet fallen through in one second be taken as unity, then the relation of the times to the spaces will be as follows:--
|
Number of seconds |
1 |
2 |
3 |
4 |
5 |
6 |
|
|
Units of space passed through |
1 |
4 |
9 |
16 |
25 |
36 |
&c. |
so that it appears that the spaces passed through by a falling body are as the squares of the times of falling.
17. Q.--Is not the urging force which causes bodies to fall the force of gravity?
A.--Yes; the force of gravity or the attraction of the earth.
18. Q.--And is not that a uniform force, or a force acting with a uniform pressure?
A.--It is.
19. Q.--Therefore during the first second of falling as much impelling power will be given by the force of gravity as during every succeeding second?
A.--Undoubtedly.
20. Q.--How comes it, then, that while the body falls 64-4/12 feet in two seconds, it falls only 16-1/12 feet in one second; or why, since it falls only 16-1/12 feet in one second, should it fall more than twice 16-1/12 feet in two?
A.--Because 16-1/12 feet is the average and not the maximum velocity during the first second. The velocity acquired at the end of the 1st second is not 16-1/12, but 32-1/6 feet per second, and at the end of the 2d second a velocity of 32-1/6 feet has to be added; so that the total velocity at the end of the 2d second becomes 64-2/6 feet; at the end of the 3d, the velocity becomes 96-3/6 feet, at the end of the 4th, 128-4/6 feet, and so on. These numbers proceed in the progression 1, 2, 3, 4, &c., so that it appears that the velocities acquired by a falling body at different points, are simply as the times of falling. But if the velocities be as the times, and the total space passed through be as the squares of the times, then the total space passed through must be as the squares of the velocity; and as the vis viva or mechanical power inherent in a falling body, of any given weight, is measurable by the height through which it descends, it follows that the vis viva is proportionate to the square of the velocity. Of two balls therefore, of equal weight, but one moving twice as fast as the other, the faster ball has four times the energy or mechanical force accumulated in it that the slower ball has. If the speed of a fly-wheel be doubled, it has four times the vis viva it possessed before--vis viva being measurable by a reference to the height through which a body must have fallen, to acquire the velocity given.
21. Q.--By what considerations is the vis viva or mechanical energy proper for the fly-wheel of an engine determined?
A.--By a reference to the power produced every half-stroke of the engine, joined to the consideration of what relation the energy of the fly-wheel rim must have thereto, to keep the irregularities of motion within the limits which are admissible. It is found in practice, that when the power resident in the fly-wheel rim, when the engine moves at its average speed, is from two and a half to four times greater than the power generated by the engine in one half-stroke--the variation, depending on the energy inherent in the machinery the engine has to drive and the equability of motion required--the engine will work with sufficient regularity for most ordinary purposes, but where great equability of motion is required, it will be advisable to make the power resident in the fly-wheel equal to six times the power generated by the engine in one half-stroke.
22. Q.---Can you give a practical rule for determining the proper quantity of cast iron for the rim of a fly-wheel in ordinary land engines?
A.--One rule frequently adopted is as follows:--Multiply the mean diameter of the rim by the number of its revolutions per minute, and square the product for a divisor; divide the number of actual horse power of the engine by the number of strokes the piston makes per minute, multiply the quotient by the constant number 2,760,000, and divide the product by the divisor found as above; the quotient is the requisite quantity of cast iron in cubic feet to form the fly-wheel rim.
23. Q.--What is Boulton and Watt's rule for finding the dimensions of the fly-wheel?
A.--Boulton and Watt's rule for finding the dimensions of the fly-wheel is as follows:--Multiply 44,000 times the length of the stroke in feet by the square of the diameter of the cylinder in inches, and divide the product by the square of the number of revolutions per minute multiplied by the cube of the diameter of the fly-wheel in feet. The resulting number will be the sectional area of the rim of the fly-wheel in square inches.
24. Q.--What do you understand by centrifugal and centripetal forces?
A.--By centrifugal force, I understand the force with which a revolving body tends to fly from the centre; and by centripetal force, I understand any force which draws it to the centre, or counteracts the centrifugal tendency. In the conical pendulum, or steam engine governor, which consists of two metal balls suspended on rods hung from the end of a vertical revolving shaft, the centrifugal force is manifested by the divergence of the balls, when the shaft is put into revolution; and the centripetal force, which in this instance is gravity, predominates so soon as the velocity is arrested; for the arms then collapse and hang by the side of the shaft.
25. Q.--What measures are there of the centrifugal force of bodies revolving in a circle?
A.--The centrifugal force of bodies revolving in a circle increases as the diameter of the circle, if the number of revolutions remain the same. If there be two fly-wheels of the same weight, and making the same number of revolutions per minute, but the diameter of one be double that of the other, the larger will have double the amount of centrifugal force. The centrifugal force of the same wheel, however, increases as the square of the velocity; so that if the velocity of a fly-wheel be doubled, it will have four times the amount of centrifugal force.
26. Q.--Can you give a rule for determining the centrifugal force of a body of a given weight moving with a given velocity in a circle of a given diameter?
A.--Yes. If the velocity in feet per second be divided by 4.01, the square of the quotient will be four times the height in feet from which a body must have fallen to have acquired that velocity. Divide this quadruple height by the diameter of the circle, and the quotient is the centrifugal force in terms of the weight of the body, so that, multiplying the quotient by the actual weight of the body, we have the centrifugal force in pounds or tons. Another rule is to multiply the square of the number of revolutions per minute by the diameter of the circle in feet, and to divide the product by 5,870. The quotient is the centrifugal force in terms of the weight of the body.
27. Q.--How do you find the velocity of the body when its centrifugal force and the diameter of the circle in which it moves are given?
A.--Multiply the centrifugal force in terms of the weight of the body by the diameter of the circle in feet, and multiply the square root of the product by 4.01; the result will be the velocity of the body in feet per second.
28. Q.--Will you illustrate this by finding the velocity at which the cast iron rim of a fly-wheel 10 feet in diameter would burst asunder by its centrifugal force?
A.--If we take the tensile strength of cast iron at 15,000 lbs. per square inch, a fly-wheel rim of one square inch of sectional area would sustain 30,000 lbs. If we suppose one half of the rim to be so fixed to the shaft as to be incapable of detachment, then the centrifugal force of the other half of the rim at the moment of rupture must be equal to 30,000 lbs. Now 30,000 lbs. divided by 49.48 (the weight of the half rim) is equal to 606.3, which is the centrifugal force in terms of the weight. Then by the rule given in the last answer 606.3 x 10 = 6063, the square root of which is 78 nearly, and 78 x 4.01 = 312.78, the velocity of the rim in feet per second at the moment of rupture.
29. Q.--What is the greatest velocity at which it is safe to drive a cast iron fly-wheel?
A.--If we take 2,000 lbs. as the utmost strain per square inch to which cast iron can be permanently subjected with safety; then, by a similar process to that just explained, we have 4,000 lbs./49.48 = 80.8 which multiplied by 10 = 808, the square root of which is 28.4, and 28.4 x 4.01 = 113.884, the velocity of the rim in feet per second, which may be considered as the highest consistent with safety. Indeed, this limit should not be approached in practice on account of the risks of fracture from weakness or imperfections in the metal.
30. Q.--What is the velocity at which the wheels of railway trains may run if we take 4,000 lbs. per square inch as the greatest strain to which malleable iron should be subjected?
A.--The weight of a malleable iron rim of one square inch sectional area and 7 feet diameter is 21.991 feet x 3.4 lbs. = 74.76, one half of which is 37.4 lbs. Then by the same process as before, 8,000/37.4 = 213.9, the centrifugal force in terms of the weight: 213.9 x 7, the diameter of the wheel = 1497.3, the square root of which, 38.3 x 4.01 = 155.187 feet per second, the highest velocity of the rims of railway carriage wheels that is consistent with safety. 155.187 feet per second is equivalent to 105.8 miles an hour. As 4,000 lbs. per square inch of sectional area is the utmost strain to which iron should be exposed in machinery, railway wheels can scarcely be considered safe at speed even considerably under 100 miles an hour, unless so constructed that the centrifugal force of the rim will be counteracted, to a material extent, by the centripetal action of the arms. Hooped wheels are very unsafe, unless the hoops are, by some process or other, firmly attached to the arms. It is of no use to increase the dimensions of the rim of a wheel with the view of giving increased strength to counteract the centrifugal force, as every increase in the weight of the rim will increase the centrifugal force in the same proportion.
31. Q.--What do you understand by the centre of gravity of a body?
A.--That point within it, in which the whole of the weight may be supposed to be concentrated, and which continually endeavors to gain the lowest possible position. A body hung in the centre of gravity will remain at rest in any position.
32. Q.--What is meant by the centre of gyration?
A.--The centre of gyration is that point in a revolving body in which the whole momentum may be conceived to be concentrated, or in which the whole effect of the momentum resides. If the ball of a governor were to be moved in a straight line, the momentum might be said to be concentrated at the centre of gravity of the ball; but inasmuch as, by its revolution round an axis, the part of the ball furthest removed from the axis moves more quickly than the part nearest to it, the momentum cannot be supposed to be concentrated at the centre of gravity, but at a point further removed from the central shaft, and that point is what is called the centre of gyration.
33. Q.--What is the centre of oscillation?
A.--The centre of oscillation is a point in a pendulum or any swinging body, such, that if all the matter of the body were to be collected into that point, the velocity of its vibration would remain unaffected. It is in fact the mean distance from the centre of suspension of every atom, in a ratio which happens not to be an arithmetical one. The centre of oscillation is always in a line passing through the centre of suspension and the centre of gravity.
34. Q.--By what circumstance is the velocity of vibration of a pendulous body determined?
A.--By the length of the suspending rod only, or, more correctly, by the distance between the centre of suspension and the centre of oscillation. The length of the arc described does not signify, as the times of vibration will be the same, whether the arc be the fourth or the four hundredth of a circle, or at least they will be nearly so, and would be so exactly, if the curve described were a portion of a cycloid. In the pendulum of clocks, therefore, a small arc is preferred, as there is, in that case, no sensible deviation from the cycloidal curve, but in other respects the size of the arc does not signify.
35. Q.--If then the length of a pendulum be given, can the number of vibrations in a given time be determined?
A.--Yes; the time of vibration bears the same relation to the time in which a body would fall through a space equal to half the length of the pendulum, that the circumference of a circle bears to its diameter. The number of vibrations made in a given time by pendulums of different lengths, is inversely as the square roots of their lengths.
36. Q.--Then when the length of the second's pendulum is known the proper length of a pendulum to make any given number of vibrations in the minute can readily be computed?
A.--Yes; the length of the second's pendulum being known, the length of another pendulum, required to perform any given number of vibrations in the minute, may be obtained by the following rule: multiply the square root of the given length by 60, and divide the product by the given number of vibrations per minute; the square of the quotient is the length of pendulum required. Thus if the length of a pendulum were required that would make 70 vibrations per minute in the latitude of London, then SQRT(39.1393) x 60/70 = (5.363)^2 = 28.75 in. which is the length required.
37. Q.--Can you explain how it comes that the length of a pendulum determines the number of vibrations it makes in a given time?
A.--Because the length of the pendulum determines the steepness of the circle in which the body moves, and it is obvious, that a body will descend more rapidly over a steep inclined plane, or a steep arc of a circle, than over one in which there is but a slight inclination. The impelling force is gravity, which urges the body with a force proportionate to the distance descended, and if the velocity due to the descent of a body through a given height be spread over a great horizontal distance, the speed of the body must be slow in proportion to the greatness of that distance. It is clear, therefore, that as the length of the pendulum determines the steepness of the arc, it must also determine the velocity of vibration.
38. Q.--If the motions of a pendulum be dependent on the speed with which a body falls, then a certain ratio must subsist between the distance through which a body falls in a second, and the length of the second's pendulum?
A.--And so there is; the length of the second's pendulum at the level of the sea in London, is 39.1393 inches, and it is from the length of the second's pendulum that the space through which a body falls in a second has been determined. As the time in which a pendulum vibrates is to the time in which a heavy body falls through half the length of the pendulum, as the circumference of a circle is to its diameter, and as the height through which a body falls is as the square of the time of falling, it is clear that the height through which a body will fall, during the vibration of a pendulum, is to half the length of the pendulum as the square of the circumference of a circle is to the square of its diameter; namely, as 9.8696 is to 1, or it is to the whole length of the pendulum as the half of this, namely, 4.9348 is to 1; and 4.9348 times 39.1393 in. is 16-1/12 ft. very nearly, which is the space through which a body falls by gravity in a second.
39. Q.--Are the motions of the conical pendulum or governor reducible to the same laws which apply to the common pendulum?
A.--Yes; the motion of the conical pendulum may be supposed to be compounded of the motions of two common pendulums, vibrating at right angles to one another, and one revolution of a conical pendulum will be performed in the same time as two vibrations of a common pendulum, of which the length is equal to the vertical height of the point of suspension above the plane of revolution of the balls.
40. Q.--Is not the conical pendulum or governor of a steam engine driven by the engine?
A.--Yes.
41. Q.--Then will it not be driven round as any other mechanism would be at a speed proportional to that of the engine?
A.--It will.
42. Q.--Then how can the length of the arms affect the time of revolution?

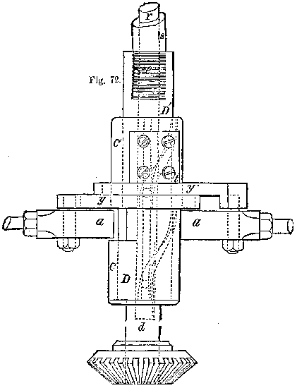
A.--By flying out until they assume a vertical height answering to the velocity with which they rotate round the central axis. As the speed is increased the balls expand, and the height of the cone described by the arms is diminished, until its vertical height is such that a pendulum of that length would perform two vibrations for every revolution of the governor. By the outward motion of the arms, they partially shut off the steam from the engine. If, therefore, a certain expansion of the balls be desired, and a certain length be fixed upon for the arms, so that the vertical height of the cone is fixed, then the speed of the governor must be such, that it will make half the number of revolutions in a given time that a pendulum equal in length to the height of the cone would make of vibrations. The rule is, multiply the square root of the height of the cone in inches by 0.31986, and the product will be the right time of revolution in seconds. If the number of revolutions and the length of the arms be fixed, and it is wanted to know what is the diameter of the circle described by the balls, you must divide the constant number 187.58 by the number of revolutions per minute, and the square of the quotient will be the vertical height in inches of the centre of suspension above the plane of the balls' revolution. Deduct the square of the vertical height in inches from the square of the length of the arm in inches, and twice the square root of the remainder is the diameter of the circle in which the centres of the balls revolve.
43. Q. Cannot the operation of a governor be deduced merely from the consideration of centrifugal and centripetal forces?
A.--It can; and by a very simple process. The horizontal distance of the arm from the spindle divided by the vertical height, will give the amount of centripetal force, and the velocity of revolution requisite to produce an equivalent centrifugal force may be found by multiplying the centripetal force of the ball in terms of its own weight by 70,440, and dividing the product by the diameter of the circle made by the centre of the ball in inches; the square root of the quotient is the number of revolutions per minute. By this rule you fix the length of the arms, and the diameter of the base of the cone, or, what is the same thing, the angle at which it is desired the arms shall revolve, and you then make the speed or number of revolutions such, that the centrifugal force will keep the balls in the desired position.
44. Q.--Does not the weight of the balls affect the question?
A.--Not in the least; each ball may be supposed to be made up of a number of small balls or particles, and each particle of matter will act for itself. Heavy balls attached to a governor are only requisite to overcome the friction of the throttle valve which shuts off the steam, and of the connections leading thereto. Though the weight of a ball increases its centripetal force, it increases its centrifugal force in the same proportion.
45. Q.--What do you understand by the mechanical powers?
A.--The mechanical powers are certain contrivances, such as the wedge, the screw, the inclined plane, and other elementary machines, which convert a small force acting through a great space into a great force acting through a small space. In the school treatises on mechanics, a certain number of these devices are set forth as the mechanical powers, and each separate device is treated as if it involved a separate principle; but not a tithe of the contrivances which accomplish the stipulated end are represented in these learned works, and there is no very obvious necessity for considering the principle of each contrivance separately when the principles of all are one and the same. Every pressure acting with a certain velocity, or through a certain space, is convertible into a greater pressure acting with a less velocity, or through a smaller space; but the quantity of mechanical force remains unchanged by its transformation, and all that the implements called mechanical powers accomplish is to effect this transformation.
46. Q.--Is there no power gained by the lever?
A.--Not any: the power is merely put into another shape, just as the contents of a hogshead of porter are the same, whether they be let off by an inch tap or by a hole a foot in diameter. There is a greater gush in the one case than the other, but it will last a shorter time; when a lever is used there is a greater force exerted, but it acts through a shorter distance. It requires just the same expenditure of mechanical power to lift 1 lb. through 100 ft., as to lift 100 lbs. through 1 foot. A cylinder of a given cubical capacity will exert the same power by each stroke, whether the cylinder be made tall and narrow, or short and wide; but in the one case it will raise a small weight through a great height, and in the other case, a great weight through a small height.
47. Q.--Is there no loss of power by the use of the crank?
A.--Not any. Many persons have supposed that there was a loss of power by the use of the crank, because at the top and bottom centres it is capable of exerting little or no power; but at those times there is little or no steam consumed, so that no waste of power is occasioned by the peculiarity. Those who imagine that there is a loss of power caused by the crank perplex themselves by confounding the vertical with the circumferential velocity. If the circle of the crank be divided by any number of equidistant horizontal lines, it will be obvious that there must be the same steam consumed, and the same power expended, when the crank pin passes from the level of one line to the level of the other, in whatever part of the circle it may be, those lines being indicative of equal ascents or descents of the piston. But it will be seen that the circumferential velocity is greater with the same expenditure of steam when the crank pin approaches the top and bottom centres; and this increased velocity exactly compensates for the diminished leverage, so that there is the same power given out by the crank in each of the divisions.
48. Q.--Have no plans been projected for gaining power by means of a lever?
A.--Yes, many plans,--some of them displaying much ingenuity, but all displaying a complete ignorance of the first principles of mechanics, which teach that power cannot be gained by any multiplication of levers and wheels. I have occasionally heard persons say: "You gain a great deal of power by the use of a capstan; why not apply the same resource in the case of a steam vessel, and increase the power of your engine by placing a capstan motion between the engine and paddle wheels?" Others I have heard say: "By the hydraulic press you can obtain unlimited power; why not then interpose a hydraulic press between the engines and the paddles?" To these questions the reply is sufficiently obvious. Whatever you gain in force you lose in velocity; and it would benefit you little to make the paddles revolve with ten times the force, if you at the same time caused them to make only a tenth of the number of revolutions. You cannot, by any combination of mechanism, get increased force and increased speed at the same time, or increased force without diminished speed; and it is from the ignorance of this inexorable condition, that such myriads of schemes for the realization of perpetual motion, by combinations of levers, weights, wheels, quicksilver, cranks, and other mere pieces of inert matter, have been propounded.
49. Q.--Then a force once called into existence cannot be destroyed?
A.--No; force is eternal, if by force you mean power, or in other words pressure acting though space. But if by force you mean mere pressure, then it furnishes no measure of power. Power is not measurable by force but by force and velocity combined.
50. Q.--Is not power lost when two moving bodies strike one other and come to a state of rest?
A.--No, not even then. The bodies if elastic will rebound from one another with their original velocity; if not elastic they will sustain an alteration of form, and heat or electricity will be generated of equivalent value to the power which has disappeared.
51. Q.--Then if mechanical power cannot be lost, and is being daily called into existence, must not there be a daily increase in the power existing in the world?
A.--That appears probable unless it flows back in the shape of heat or electricity to the celestial spaces. The source of mechanical power is the sun which exhales vapors that descend in rain, to turn mills, or which causes winds to blow by the unequal rarefaction of the atmosphere. It is from the sun too that the power comes which is liberated in a steam engine. The solar rays enable plants to decompose carbonic acid gas, the product of combustion, and the vegetation thus rendered possible is the source of coal and other combustible bodies. The combustion of coal under a steam boiler therefore merely liberates the power which the sun gave out thousands of years before.
52. Q.--What is friction?
A.--Friction is the resistance experienced when one body is rubbed upon another body, and is supposed to be the result of the natural attraction which bodies have for one another, and of the interlocking of the impalpable asperities upon the surfaces of all bodies, however smooth. There is, no doubt, some electrical action involved in its production, not yet recognized, nor understood; and it is perhaps traceable to the disturbance of the electrical equilibrium of the particles of the body owing to the condensation or change of figure which all bodies must experience when subjected to a strain. When motion in opposite directions is given to smooth surfaces, the minute asperities of one surface must mount upon those of the other, and both will be abraded and worn away, in which act power must be expended. The friction of smooth rubbing substances is less when the composition of those substances is different, than when it is the same, the particles being supposed to interlock less when the opposite prominences or asperities are not coincident.
53. Q.--Does friction increase with the extent of rubbing surface?
A.--No; the friction, so long as there is no violent heating or abrasion, is simply in the proportion of the pressure keeping the surfaces together, or nearly so. It is, therefore, an obvious advantage to have the bearing surfaces of steam engines as large as possible, as there is no increase of friction by extending the surface, while there is a great increase in the durability. When the bearings of an engine are made too small, they very soon wear out.
54. Q.--Does friction increase in the same ratio as velocity?
A.--No; friction does not increase with the velocity at all, if the friction over a given amount of surface be considered; but it increases as the velocity, if the comparison be made with the time during which the friction acts. Thus the friction of each stroke of a piston is the same, whether it makes 20 strokes in the minute, or 40: in the latter case, however, there are twice the number of strokes made, so that, though the friction per stroke is the same, the friction per minute is doubled. The friction, therefore, of any machine per hour varies as the velocity, though the friction per revolution remains, at all ordinary velocities, the same. Of excessive velocities we have not sufficient experience to enable us to state with confidence whether the same law continues to operate among them.
55. Q.--Can you give any approximate statement of the force expended in overcoming friction?
A.--It varies with the nature of the rubbing bodies. The friction of iron sliding upon iron, has generally been taken at about one tenth of the pressure, when the surfaces are oiled and then wiped again, so that no film of oil is interposed. The friction of iron rubbing upon brass has generally been taken at about one eleventh of the pressure under the same circumstances; but in machines in actual operation, where a film of some lubricating material is interposed between the rubbing surfaces, it is not more than one third of this amount or 1/33d of the weight. While this, however, is the average result, the friction is a good deal less in some cases. Mr. Southern, in some experiments upon the friction of the axle of a grindstone--an account of which may be found in the 65th volume of the Philosophical Transactions--found the friction to amount to less than 1/40th of the weight; and Mr. Wood, in some experiments upon the friction of locomotive axles, found that by ample lubrication the friction may be made as little as 1/60th of the weight. In some experiments upon the friction of shafts by Mr. G. Rennie, he found that with a pressure of from 1 to 5 cwt. the friction did not exceed 1/39th of the pressure when tallow was the unguent employed; with soft soap it became 1/34th. The fact appears to be that the amount of the resistance denominated friction depends, in a great measure, upon the nature of the unguent employed, and in certain cases the viscidity of the unguent may occasion a greater retardation than the resistance caused by the attrition. In watchwork therefore, and other fine mechanism, it is necessary both to keep the bearing surfaces small, and to employ a thin and limpid oil for the purpose of lubrication, for the resistance caused by the viscidity of the unguent increases with the amount of surface, and the amount of surface is relatively greater in the smaller class of works.
56. Q.--Is a very thin unguent preferable also for the larger class of bearings?
A.--The nature of the unguent, proper for different bearings, appears to depend in a great measure upon the amount of the pressure to which the bearings are subjected,--the hardest unguents being best where the pressure is greatest. The function of lubricating substances is to prevent the rubbing surfaces from coming into contact, whereby abrasion would be produced, and unguents are effectual in this respect in the proportion of their viscidity; but if the viscidity of the unguent be greater than what suffices to keep the surfaces asunder, an additional resistance will be occasioned; and the nature of the unguent selected should always have reference, therefore, to the size of the rubbing surfaces, or to the pressure per square inch upon them. With oil the friction appears to be a minimum when the pressure on the surface of a bearing is about 90 lbs. per square inch. The friction from too small a surface increases twice as rapidly as the friction from too large a surface, added to which, the bearing, when the surface is too small, wears rapidly away.
57. Q.--Has not M. Morin, in France, made some very complete experiments to determine the friction of surfaces of different kinds sliding upon one another?
A.--He has; but the result does not differ materially from what is stated above, though, upon the whole, M. Morin, found the resistance due to friction to be somewhat greater than it has been found to be by various other engineers. When the surfaces were merely wiped with a greasy cloth, but had no film of lubricating material interposed, the friction of brass upon cast iron he found to be .107, or about 1/10th of the load, which was also the friction of cast iron upon oak. But when a film of lubricating material was interposed, he found that the friction was the same whether the surfaces were wood on metal, wood on wood, metal on wood, or metal on metal; and the amount of the friction in such case depended chiefly on the nature of the unguent. With a mixture of hog's lard and olive oil interposed between the surfaces, the friction was usually from 1/12th to 1/14th of the load, but in some cases it was only 1/20th of the load.
58. Q.--May water be made to serve for purposes of lubrication?
A.--Yes, water will answer very well if the surface be very large relatively with the pressure; and in screw vessels where the propeller shaft passes through a long pipe at the stern, the stuffing box is purposely made a little leaky. The small leakage of water into the vessel which is thus occasioned, keeps the screw shaft in this situation always wet, and this is all the lubrication which this bearing requires or obtains.
59. Q.--What is the utmost pressure which may be employed without heating when oil is the lubricating material?
A.--That will depend upon the velocity. When the pressure exceeds 800 lbs. per square inch, however, upon the section of the bearing in a direction parallel with the axis, then the oil will be forced out and the bearing will necessarily heat.
60. Q.--But, with, a given velocity, can you tell the limit of pressure which will be safe in practice; or with a given pressure, can you tell the limit of velocity?
A.--Yes; that may be done by the following empirical rule, which has been derived from observations made upon bearings of different sizes and moving with different velocities. Divide the number 70,000 by the velocity of the surface of the bearing in feet per minute. The quotient will be the number of pounds per square inch of section in the line of the axis that may be put upon the bearing. Or, if we divide 70,000 by the number of pounds per square inch of section, then the quotient will be the velocity in feet per minute at which the circumference of the bearing may work.
61. Q.--The number of square inches upon which the pressure is reckoned, is not the circumference of the bearing multiplied by its length, but the diameter of the bearing multiplied by its length?
A.--Precisely so, it will be the diameter multiplied by the length of the bearing.
62. Q.--What is the amount of friction in the case of surfaces sliding upon one another in sandy or muddy water--such surfaces, for example, as are to be found in the sluices of valves for water?
A.--Various experiments have been made by Mr. Summers of Southampton to ascertain the friction of brass surfaces sliding upon each other in salt water, with the view of finding the power required for moving sluice doors for lock gates and for other similar purposes. The surfaces were planed as true and smooth as the planing machine would make them, but were not filed or scraped, and the result was as follows:
|
Area of slide rubbing surface. |
Weight or pressure on rubbing surface. |
Power required to move the slide slowly in muddy salt water, kept stirred up. |
|
Sq. in. |
Lb. |
Lb. |
|
8 |
56 |
21.5 |
|
" |
112 |
44. |
|
" |
168 |
65.5 |
|
" |
224 |
88.5 |
|
" |
336 |
140.5 |
|
" |
448 |
170.75 |
These results were the average of eight fair trials; in each case, the sliding surfaces were totally immersed in muddy salt water, and although the apparatus used for drawing the slide along was not very delicately fitted up, the power required may be considered as a sufficient approximation for practical purposes.
It appears from these experiments, that rough surfaces follow the same law as regards friction that is followed by smooth, for in each case the friction increases directly as the pressure.
63. Q.--In what way are the strengths of the different parts of a steam engine determined?
A.--By reference to the amount of the strain or pressure to which they are subjected, and to the cohesive strength of the iron or other material of which they are composed. The strains subsisting in engines are usually characterized as tensile, crushing, twisting, breaking, and shearing strains; but they may be all resolved into strains of extension and strains of compression; and by the power of the materials to resist these two strains, will their practical strength be measurable.
64. Q.--What are the ultimate strengths of the malleable and cast iron, brass, and other materials employed in the construction of engines?
A.--The tensile and crushing strengths of any given material are by no means the same. The tensile strength, or strength when extended, of good bar iron is about 60,000 lbs., or nearly 27 tons per square inch of section; and the tensile strength of cast iron is about 15,000 lbs., or say 6 3/4 to 7 tons per square inch of section. These are the weights which are required to break them. The crushing strain of cast iron, however, is about 100,000 lbs., or 44 1/2 tons; whereas the crushing strength of malleable iron is not more than 27,000 lbs., or 12 tons, per square inch of section, and indeed it is generally less than this. The ultimate tensile strength, therefore, of malleable iron is four times greater than that of cast iron, but the crushing strength of cast iron is between three and four times greater than that of wrought iron. It may be stated, in round numbers, that the tensile strength of malleable iron is twice greater than its crushing strength; or, in other words, that it will take twice the strain to break a bar of malleable iron by drawing it asunder endways, than will cripple it by forcing it together endways like a pillar; whereas a bar of cast iron will be drawn asunder with one sixth of the force that will be required to break or cripple it when forced together endways like a pillar.
65. Q.--What is the cohesive strength of steel?
A.--The ultimate tensile strength of good cast or blistered steel is about twice as great as that of wrought iron, being about 130,000 lbs. per square inch of section. The tensile strength of gun metal, such as is used in engines, is about 36,000 lbs. per square inch of section; of wrought copper about 33,000 lbs.; and of cast copper about 19,000 lbs. per square Inch of section.
66. Q.--Is the crushing strength of steel greater or less than its tensile strength?
A.--It is about twice greater. A good steel punch will punch through a plate of wrought iron of a thickness equal to the diameter of the punch. A punch therefore of an inch diameter will pierce a plate an inch thick. Now it is well known, that the strain required to punch a piece of metal out of a plate, is just the same as that required to tear asunder a bar of iron of the same area of cross section as the area of the surface cut. The area of the surface cut in this case will be the circumference of the punch, 3.1416 inches, multiplied by the thickness of the plate, 1 inch, which makes the area of the cut surface 3.1416 square inches. The area of the point of the punch subjected to the pressure is .7854 square inches, so that the area cut to the area crushed is as four to one. In other words, it will require four times the strain to crush steel that is required to tear asunder malleable iron, or it will take about twice the strain to crush steel that it will require to break it by extension.
67. Q.--What strain may be applied to malleable iron in practice?
A.--A bar of wrought iron to which a tensile or compressing strain is applied, is elongated or contracted like a very stiff spiral spring, nearly in the proportion of the amount of strain applied up to the limit at which the strength begins to give way, and within this limit it will recover its original dimensions when the strain is removed. If, however, the strain be carried beyond this limit, the bar will not recover its original dimensions, but will be permanently pulled out or pushed in, just as would happen to a spring to which an undue strain had been applied. This limit is what is called the limit of elasticity; and whenever it is exceeded, the bar, though it may not break immediately, will undergo a progressive deterioration, and will break in the course of time. The limit of elasticity of malleable iron when extended, or, in other words, the tensile strain to which a bar of malleable iron an inch square may be subjected without permanently deranging its structure, is usually taken at 17,800 lbs., or from that to 10 tons, depending on the quality of the iron. It has also been found that malleable iron is extended about one ten-thousandth part of its length for every ton of direct strain applied to it.
68. Q.--What is the limit of elasticity of cast iron?
A.--It is commonly taken at 15,300 lbs. per square inch of section; but this is certainly much too high, as it exceeds the tensile strength of irons of medium quality. A bar of cast iron if compressed by weights will be contracted in length twice as much as a bar of malleable iron under similar circumstances; but malleable iron, when subjected to a greater strain than 12 tons per square inch of section, gradually crumples up by the mere continuance of the weight. A cast-iron bar one inch square and ten feet long, is shortened about one tenth of an inch by a compressing force of 10,000 lbs., whereas a malleable iron bar of the same dimensions would require to shorten it equally a compressing force of 20,000 lbs. As the load, however, approaches 12 tons, the compressions become nearly equal, and above that point the rate of the compression of the malleable iron rapidly increases. A bar of cast iron, when at its breaking point by the application of a tensile strain, is stretched about one six-hundredth part of its length; and an equal strain employed to compress it, would shorten it about one eight-hundredth part of its length.
69. Q.--But to what strain may the iron used in the construction of engines be safely subjected?
A.--The most of the working parts of modern engines are made of malleable iron, and the utmost strain to which wrought iron should be subjected in machinery is 4000 lbs. per square inch of section. Cast iron should not be subjected to more than half of this. In locomotive boilers the strain of 4000 lbs. per square inch of section is sometimes exceeded by nearly one half; but such an excess of strain approaches the limits of danger.
70. Q.--Will you explain in what way the various strains subsisting in a steam engine may be resolved into tensile and crushing strains; also in what way the magnitude of those strains may be determined?
A.--To take the case of a beam subjected to a transverse strain, such as the great beam of an engine, it is clear, if we suppose the beam broken through the middle, that the amount of strain at the upper and lower edges of the beam, where the whole strain may be supposed to be collected, will, with any given pressure on the piston, depend upon the proportion of the length to the depth of the beam. One edge of the beam breaks by extension, and the other edge by compression; and the upper and lower edges may be regarded as pillars, one of which is extended by the strain, and the other is compressed. If, to make an extreme supposition, the depth of the beam is taken as equal to its length, then the pillars answering to the edges of the beam will be compressed, and extended by what is virtually a bellcrank lever with equal arms; the horizontal distance from the main centre to the end of the beam being one of the arms, and the vertical height from the main centre to the top edge of the beam being the other arm. The distance, therefore, passed through by the fractured edge of the beam during a stroke of the engine, will be equal to the length of the stroke; and the strain it will have to sustain will consequently be equal to the pressure on the piston. If its motion were only half that of the piston, as would be the case if its depth were made one half less, the strain the beam would have to bear would be twice as great; and it may be set down as an axiom, that the strain upon any part of a steam engine or other machine is inversely equal to the strain produced by the prime mover, multiplied by the comparative velocity with which the part in question moves. If any part of an engine moves with a less velocity than the piston, it will have a greater strain on it, if resisted, than is thrown upon the piston. If it moves with a greater velocity than the piston, it will have a less strain upon it, and the difference of strain will in every case be in the inverse proportion of the difference of the velocity.
71. Q.--Then, in computing the amount of metal necessary to give due strength to a beam, the first point is to determine the velocity with which the edge of the beam moves at that point were the strain is greatest?
A.--The web of a cast-iron beam or girder serves merely to connect the upper and lower edges or flanges rigidly together, so as to enable the extending and compressing strains to be counteracted in an effectual manner by the metal of those flanges. It is only necessary, therefore, to make the flanges of sufficient strength to resist effectually the crushing and tensile strains to which they are exposed, and to make the web of the beam of sufficient strength to prevent a distortion of its shape from taking place.
72. Q.--Is the strain greater from being movable or intermittent than if it was stationary?
A.--Yes it is nearly twice as great from being movable. Engineers are in the habit of making girders intended to sustain a stationary load, about three times stronger than the breaking weight; but if the load be a movable one, as is the case in the girders of railway bridges, they make the strength equal to six times the breaking weight.
73. Q.--Then the strain is increased by the suddenness with which it is applied?
A.--If a weight be placed on a long and slender beam propped up in the middle, and the prop be suddenly withdrawn, so as to allow deflection to take place, it is clear that the deflection must be greater than if the load had been gradually applied. The momentum of the weight and also of the beam itself falling through the space through which it has been deflected, has necessarily to be counteracted by the elasticity of the beam; and the beam will, therefore, be momentarily bent to a greater extent than what is due to the load, and after a few vibrations up and down it will finally settle at that point of deflection which the load properly occasions. It is obvious that a beam must be strong enough, not merely to sustain the pressure due to the load, but also that accession of pressure due to the counteracted momentum of the weight and of the beam itself. Although in steam engines the beam is not loaded by a weight, but by the pressure of the steam, yet the momentum of the beam itself must in every case be counteracted, and the momentum will be considerable in every case in which a large and rapid deflection takes place. A rapid deflection increases the amount of the deflection as well as the amount of the strain, as is seen in the cylinder cover of a Cornish pumping engine, into which the steam is suddenly admitted, and in which the momentum of the particles of the metal put into motion increases the deflection to an extent such as the mere pressure of the steam could not produce.
74. Q.--What will be the amount of increased strain consequent upon deflection?
A.--The momentum of any moving body being proportional to the square of its velocity, it follows that the strain will be proportional to the square of the amount of deflection produced in a specified time.
75. Q.--But will not the inertia of a beam resist deflection, as well as the momentum increase deflection?
A.--No doubt that will be so; but whether in practical cases increase of mass without reference to strength or load will, upon the whole, increase or diminish deflection, will depend very much upon the magnitude of the mass relatively with the magnitude of the deflecting pressure, and the rapidity with which that pressure is applied and removed. Thus if a force or weight be very suddenly applied to the middle of a ponderous beam, and be as suddenly withdrawn, the inertia of the beam will, as in the case of the collision of bodies, tend to resist the force, and thus obviate deflection to a considerable extent; but if the pressure be so long continued as to produce the amount of deflection due to the pressure, the effect of the inertia in that case will be to increase the deflection.
76. Q.--Will the pressure given to the beam of an engine in different directions facilitate its fracture?
A.--Iron beams bent alternately in opposite directions, or alternately deflected and released, will be broken in the course of time with a much less strain than is necessary to produce immediate fracture. It has been found, experimentally, that a cast-iron bar, deflected by a revolving cam to only half the extent due to its breaking weight, will in no case withstand 900 successive deflections; but, if bent by the cam to only one third of its ultimate deflection, it will withstand 100,000 deflections without visible injury. Looking, however, to the jolts and vibrations to which engines are subject, and the sudden strains sometimes thrown upon them, either from water getting into the cylinder or otherwise, it does not appear that a strength answering to six times the breaking weight will give sufficient margin for safety in the case of cast-iron beams.
77. Q.--Does the same law hold in the case of the deflection of malleable iron bars?
A.--In the case of malleable iron bars it has been found that no very perceptible damage was caused by 10,000 deflections, each deflection being such as was due to half the load that produced a large permanent deflection.
78. Q.--The power of a rod or pillar to resist compression becomes very little when the diameter is small and the length great?
A.--The power of a rod or pillar to resist compression, varies nearly as the fourth power of the diameter divided by the square of the length. In the case of hollow cylindrical columns of cast iron, it has been found, experimentally, that the 3.55th power of the internal diameter, subtracted from the 3.55th power of the external diameter, and divided by the 1.7th power of the length, will represent the strength very nearly. In the case of hollow cylindrical columns of malleable iron, experiment shows that the 3.59th power of the internal diameter, subtracted from the 3.59th power of the external diameter, and divided by the square of the length, gives a proper expression for the strength; but this rule only holds where the strain does not exceed 8 or 9 tons on the square inch of section. Beyond 12 or 13 tons per square inch of section, the metal cannot be depended upon to withstand the strain, though hollow pillars will sometimes bear 15 or 16 tons per square inch of section.
79. Q.--Does not the thickness of the metal of the pillars or tubes affect the question?
A.--It manifestly does; for a tube of very thin metal, such as gold leaf or tin foil, would not stand on end at all, being crushed down by its own weight. It is found, experimentally, that in malleable iron tubes of the respective thicknesses of .525, .272, and .124 inches, the resistances per square inch of section are 19.17, 14.47, and 7.47 tons respectively. The power of plates to resist compression varies nearly as the cube, or more nearly as the 2.878th power of their thickness; but this law only holds so long as the pressure applied does not exceed from 9 to 12 tons per square inch of section. When the pressure is greater than this the metal is crushed, and a new law supervenes, according to which it is necessary to employ plates of twice or three times the thickness, to obtain twice the resisting power.
80. Q.--In a riveted tube, will the riveting be much, damaged by heavy strains?
A.--It will be most affected by percussion. Long-continued impact on the side of a tube, producing a deflection of only one fifth of that which would be required to injure it by pressure, is found to be destructive of the riveting; but in large riveted structures, such as a ship or a railway bridge, the inertia of the mass will, by resisting the effect of impact, prevent any injurious action from this cause from taking place.
81. Q.--Will the power of iron to resist shocks be in all cases proportional to its power to resist strains?
A.--By no means. Some cast iron is very hard and brittle; and although it will in this state resist compression very strongly, it, will be easily broken by a blow. Iron which has been remelted many times generally falls into this category, as it will also do if run into very small castings. It has been found, by experiment, that iron of which the crushing weight per square inch is about 42 tons, will, if remelted twelve times, bear a crushing weight of 70 tons, and if remelted eighteen times it will bear a crushing weight of 83 tons; but taking its power to resist impact in its first state at 706, this power will be raised at the twelfth remelting to 1153, and will be sunk at the eighteenth remelting to 149.
82. Q.--From all this it appears that a combination of cast iron and malleable iron is the best for the beams of engines?
A.--Yes, and for all beams. Engine beams should be made deeper at the middle than they are now made; the web should be lightened by holes pierced in it, and round the edge of the beam there should be a malleable iron hoop or strap securely attached to the flanges by riveting or otherwise. The flanges at the edges of engine beams are invariably made too small. It is in them that the strength of the beam chiefly resides.
83. Q.--What are the chief varieties of the steam engine in actual practical use?
A.--There is first the single-acting engine, which is used for pumping water; the rotative land engine, which is employed to drive mills and manufactories; the rotative marine engine, which is used to propel steam vessels; and the locomotive engine, which is employed on railways. The last is always a high-pressure engine; the others are, for the most part, condensing engines.
84. Q.--Will you explain the construction and action of the single-acting engine, used for draining mines?
A.--Permit me then to begin with the boiler, which is common and necessary to all engines; and I will take the example of a wagon boiler, such as was employed by Boulton and Watt universally in their early engines, and which is still in extensive use. This boiler is a long rectangular vessel, with a rounded top, like that of a carrier's wagon, from its resemblance to which it derives its name. A fire is set beneath it, and flues constructed of brickwork encircle it, so as to keep the flame and smoke in contact with the boiler for a sufficient time to absorb the heat.

85. Q.--This species of boiler has not an internal furnace, but is set in brickwork, in which the furnace is formed?
A.--Precisely so. The general arrangement and configuration will be at once understood by a reference to the annexed figure (fig. 3), which is a transverse section of a wagon boiler. The line b represents the top of the grate or fire bars, which slope downward from the front at an angle of about 25°, giving the fuel a tendency to move toward the back of the grate. The supply of air ascends from the ash pit through the grate bars, and the flame passes over a low wall or bridge, and traverses the bottom of the boiler. The smoke rises up at the back of the boiler, and proceeds through the flue F along one side to the front, and returns along the other side of the boiler, and then ascends the chimney. The performance of this course by the smoke is what is termed a wheel draught, as the smoke wheels once round the boiler, and then ascends the chimney.
86. Q.--Is the performance of this course by the smoke universal in wagon boilers?
A.--No; such boilers sometimes have what is termed a split draught. The smoke and flame, when they reach the end of the boiler, pass in this case through an iron flue or tube, reaching from end to end of the boiler; and on arriving at the front of the boiler, the smoke splits or separates-- one half passing through a flue on the one side of the boiler, and the other half passing through a flue on the other side of the boiler--both of these flues having their debouch in the chimney.
87. Q.--What are the appliances usually connected with a wagon boiler?
A.--On the top of the boiler, near the front, is a short cylinder, with a lid secured by bolts. This is the manhole door, the purpose of which is to enable a man to get into the inside of the boiler when necessary for inspection and repair. On the top of this door is a small valve opening downward, called the atmospheric valve. The intention of this valve is to prevent a vacuum from being formed accidentally in the boiler, which might collapse it; for if the pressure in the boiler subsides to a point materially below the pressure of the atmosphere, the valve will open and allow air to get in. A bent pipe, which rises up from the top of the boiler, immediately behind the position of the manhole, is the steam pipe for conducting the steam to the engine; and a bent pipe which ascends from the top of the boiler, at the back end, is the waste-steam pipe for conducting away the steam, which escapes through the safety valve. This valve is set in a chest, standing on the top of the boiler, at the foot of the waste-steam pipe, and it is loaded with iron or leaden weights to a point answerable to the intended pressure of the steam.
88. Q.--How is the proper level of the water in the boiler maintained?
A.--By means of a balanced buoy or float. This float is attached to a rod, which in its turn is attached to a lever set on the top of a large upright pipe. The upper part of the pipe is widened out into a small cistern, through a short pipe in the middle of which a chain passes to the damper; but any water emptied into this small cistern cannot pass into the pipe, except through a small valve fixed to the lever to which the rod is attached. The water for replenishing the boiler is pumped into the small cistern on the top of the pipe; and it follows from these arrangements that when the buoy falls, the rod opens the small valve and allows the feed water to enter the pipe, which communicates with the water in the boiler; whereas, when the buoy rises, the feed cannot enter the pipe, and it has, therefore, to run to waste through an overflow pipe provided for the purpose.
89. Q.--How is the strength of the fire regulated?
A.--The draught through the furnaces of land boilers is regulated by a plate of metal or a damper, as it is called, which slides like a sluice up and down in the flue, and this damper is closed more or less when the intensity of the fire has to be moderated. In wagon boilers this is generally accomplished by self-acting mechanism. In the small cistern pipe, which is called a stand pipe, the water rises up to a height proportional to the pressure of the steam, and the surface of the water in this pipe will rise or fall with the fluctuations in the pressure of the steam. In this pipe a float is placed, which communicates by means of a chain with the damper. If the pressure of the steam rises, the float will be raised and the damper closed, whereas, if the pressure in the boiler falls, the reverse of this action will take place.


90. Q.--Are all land boilers of the same construction as that which you have just described?
A.--No; many land boilers are now made of a cylindrical form, with one or two internal flues in which the furnace is placed. A boiler of this kind is represented in Figs. 4 and 5, and which is the species of boiler principally used in Cornwall. In this boiler a large internal cylinder or flue runs from end to end. In the fore part of this cylinder the furnace is placed, and behind the furnace a large tube filled with water extends to the end of the boiler. This internal tube is connected to the bottom part of the boiler by a copper pipe standing vertically immediately behind the furnace bridge, and to the top part of the boiler by a bent copper pipe which stands in a vertical position near the end of the boiler. The smoke, after passing through the central flue, circulates round the sides and beneath the bottom of the boiler before its final escape into the chimney. The boiler is carefully covered over to prevent the dispersion of the heat.

91. Q.--Will you describe the construction of the boilers used in steam vessels?
A.--These are of two classes, flue boilers and tubular boilers, but the latter are now most used. In the flue boiler the furnaces are set within the boiler, and the flues proceeding from them wind backwards and forwards within the boiler until finally they meet and enter the chimney. Figs. 6, 7, and 8 are different views of the flue boilers of the steamer Forth. There are 4 boilers (as shown in plan, Fig. 6), with 3 furnaces in each, or 12 furnaces in all. Fig. 7 is an elevation of 2 boilers, the one to the right being the front view, and that to the left a transverse section. Fig. 8 is a longitudinal section through 2 boilers. The direction of the arrows in plan and longitudinal section, will explain the direction of the smoke current.

92. Q.--Is this arrangement different from that obtaining in tubular boilers?

A.--In tubular boilers, the smoke after leaving the furnace just passes once through a number of small tubes and then enters the chimney. These tubes are sometimes of brass, and they are usually about 3 inches in diameter, and 6 or 7 feet long.



Figs. 9, 10, and 11 represent a marine tubular boiler; fig. 9 being a vertical longitudinal section, fig. 10 half a front elevation and half a transverse section, and fig. 11 half a back elevation and half a transverse section near the end. There is a projecting part on the top of the boiler called the "steam chest," of which the purpose is to retain for the use of the cylinder a certain supply of steam in a quiescent state, in order that it may have time to clear itself of foam or spray. A steam chest is a usual part of all marine boilers. In fig. 9 A is the furnace, B the steam chest, and C the smoke box which opens into the chimney. The front of the smoke box is usually closed by doors which may be opened when necessary to sweep the soot out of the tubes.
The following are some forms of American boilers:


Figs. 12 and 13 are the transverse and longitudinal sections of a common form of American marine boiler.

Figs. 14 and 15 are the front and sectional elevation of one of the boilers of the U.S. steamer Water Witch.

Fig. 16 is a longitudinal section of a boiler of the drop flue variety. For land purposes the lowest range of tubes is generally omitted, and the smoke makes a last return beneath the bottom of the boiler.

Figs. 17 and 18 are the transverse and longitudinal sections of a tubular boiler, built in 1837 by R.L. Stevens for the steamboat Independence.

Fig. 19 is a longitudinal section of a common wood-burning locomotive.
93. Q.--The steam passes from the boiler through, the steam pipe into the cylinder of the engine?
A.--And presses up and down the piston alternately, being admitted alternately above and below the piston by suitable valves provided for that purpose.
94. Q.--This reciprocating motion is all that is required in a pumping engine?
A.--The prevailing form of the pumping engine consists of a great beam vibrating on a centre like the beam of a pair of scales, and the cylinder is in connection with one end of the beam and the pump stands at the other end. The pump end of the beam is usually loaded, so as to cause it to preponderate when the engine is at rest; and the whole effort of the steam is employed in overcoming this preponderance until a stroke is performed, when, the steam being shut off, the heavy end of the beam again falls and the operation is repeated.
95. Q.--in the double-acting engine the piston is pushed by the steam both ways, whereas in the single-acting engine it is only pushed one way?
A.--The structure and action of a double-acting land engine of the kind introduced by Mr. Watt, will be understood by a reference to the annexed figure (fig. 20), where an engine of this kind is shown in section. A is the cylinder in which a movable piston, T, is forced alternately up and down by the alternate admission, to each side, of the steam from the boiler. The piston, by means of a rod called the piston rod, gives motion to the beam V W, which by means of a heavy bar, P, called the connecting rod, moves the crank, Q, and with it the fly wheel, X, from which the machinery to be driven derives its motion.
96. Q.--Where does the steam enter from the boiler?

A.--At the steam pipe, B. The throttle valve in that pipe is an elliptical plate of metal swivelling on a spindle passing through its edge from side to side, and by turning which more or less the opening through the pipe will be more or less closed. The extent to which this valve is opened or closed is determined by the governor, D, the balls of which, as they collapse or expand, move up or down a collar on the governor spindle, which motion is communicated to the throttle valve by suitable rods and bell-cranks. The governor, it will be seen, consists substantially of two heavy balls attached to arms fixed upon an upright shaft, which is kept in revolution by means of a cord driven by a pulley on the fly wheel shaft. The velocity with which the balls of the governor revolve being proportional to that of the fly wheel, it will follow, that if by reason of too rapid a supply of steam, an undue speed be given to the fly wheel, and therefore to the balls, a divergence of the balls will take place to an extent corresponding to the excess of velocity, and this movement being communicated to the throttle valve it will be partly closed (see fig. 1), the supply of steam to the engine will be diminished, and the velocity of its motion will be reduced. If, on the other hand, the motion of the engine is slower than is requisite, owing to a deficient supply of steam through B, then the balls, not being sufficiently affected by centrifugal force, will fall towards the vertical spindle, and the throttle valve, C, will be more fully opened, whereby a more ample supply of steam will be admitted to the cylinder, and the speed of the engine will be increased to the requisite extent.
97. Q.--The piston must be made to fit the cylinder accurately so as to prevent the passage of steam?
A.--The piston is accurately fitted to the cylinder, and made to move in it steam tight by a packing of hemp driven tightly into a groove or recess round the edge of the piston, and which is squeezed down by an iron ring held by screws. The piston divides the cylinder into two compartments, between which there is no communication by which steam or any other elastic fluid can pass. A casing set beside the cylinder contains the valves, by means of which the steam which impels the piston is admitted and withdrawn, as the piston commences its motion in each direction. The upper steam box B, is divided into three compartments by two valves. Above the upper steam valve V, is a compartment communicating with the steam pipe B. Below the lower valve E is another compartment communicating with a pipe called the eduction pipe, which leads downwards from the cylinder to the condenser, in which vessel the steam is condensed by a jet of cold water. By the valve V, a communication may be opened or closed between the boiler and the top of the cylinder, so as to permit or prevent a supply of steam from the one to pass to the other. By the valve E a communication may be open or closed between the top of the cylinder and the condenser, so that the steam in the top compartment of the cylinder may either be permitted to escape into the condenser, or may be confined to the cylinder. The continuation of the steam pipe leads to the lower steam box B', which, like the upper, is divided into three compartments by two valves V' and E', and the action of the lower valves is in all respects the same as that of the upper.
98. Q.--Are all these valves connected together so that they act simultaneously?
A.--The four valves V, E, V', E' are connected by rods to a single handle H, which handle is moved alternately up and down by means of pins or tappets, placed on the rod which works the air pump. When the handle H is pressed down, the levers in connexion with it open the upper exhausting valve E, and the lower steam valve V', and close the upper steam valve V and the lower exhausting valve E'. On the other hand, when the handle H is pressed up it opens the upper steam valve V and the lower exhausting valve E', and at the same time closes the upper exhausting valve E, and the lower steam valve V'.
99. Q.--Where is the condenser situated?
A.--The condenser K is immerged in a cistern of cold water. At its side there is a tube I, for the admission of water to condense the steam, and which is governed by a cock, by opening which to any required extent, a jet of cold water may be made to play in the condenser. From the bottom of the condenser a short pipe leads to the air pump J, and in this pipe there is a flap valve, called the foot valve, opening towards the air pump. The air pump is a pump set in the same cistern of cold water that holds the condenser, and it is fitted with a piston or bucket worked by the rod L, attached to the great beam, and fitted with a valve opening upwards in the manner of a common sucking pump. The upper part of the air pump communicates with a small cistern S, called the hot well, through a valve opening outwards and called the delivery valve. A pump M, called the hot water pump, lifts hot water out of the hot well to feed the boiler, and another pump N lifts cold water from a well or other source of supply, to maintain the supply of water to the cold water cistern, in which the condenser and air pump are placed.
100. Q.--Will you explain now the manner in which the engine acts?
A.--The piston being supposed to be at the top of the cylinder, the handle H will be raised by the lower pin or tappet on the air pump rod, and the valves V and E' will be opened, and at the same time the other pair of valves V' and E will be closed. Steam will therefore be admitted above the piston and the steam or air which had previously filled the cylinder below the piston will be drawn off to the condenser. It will there encounter the jet of cold water, which is kept constantly playing there by keeping the cock I sufficiently open. It will thus be immediately condensed or reduced to water, and the cylinder below the piston will have a vacuum in it. The steam therefore admitted from the steam pipe through the open valve V to the top of the cylinder, not being resisted by pressure below, will press the piston to the bottom of the cylinder. As it approaches that position, the handle H will be struck down by the upper pin or tappet on the air pump rod, and the valves V and E', previously open, will be closed, while the valves V' and E, previously closed, will be opened. The steam which has just pressed down the piston, and which now fills the cylinder above the piston, will then flow off, through the open valve E, to the condenser, where it will be immediately condensed by the jet of cold water; and steam from the boiler, admitted through the open valve V', will fill the cylinder below the piston, and press the piston upwards. When the piston has reached the top of the cylinder, the lower pin on the air pump rod will have struck the handle upwards, and will thereby have closed the valves V' and E, and opened the valves V and E'. The piston will then be in the same situation as in the commencement, and will again descend, and so will continue to be driven up and down by the steam.
101. Q.--But what becomes of the cold water which is let into the condenser to condense the steam?
A.--It is pumped out by the air pump in the shape of hot water, its temperature having been raised considerably by the admixture of the steam in it. When the air pump piston ascends it leaves behind it a vacuum; and the foot valve being relieved from all pressure, the weight of the water in the condenser forces it open, and the warm water flows from the condenser into the lower part of the air pump, from which its return to the condenser is prevented by the intervening valve. When the air pump piston descends, its pressure on the liquid under it will force open the valve in it, through which the hot water will ascend; and when the bucket descends to the bottom of the pump barrel, the warm water which was below it will all have passed above it, and cannot return. When the bucket next ascends, the water above it, not being able to return through the bucket valve, will be forced into the hot well through the delivery valve S. The hot water pump M, pumps a small quantity of this hot water into the boiler, to compensate for the abstraction of the water that has passed off in the form of steam. The residue of the hot water runs to waste.
102. Q.--By what expedient is the piston rod enabled to pass through the cylinder cover without leaking steam out of the cylinder or air into it?
A.--The hole in the cylinder lid, through which the piston rod passes, is furnished with a recess called a stuffing box, into which a stuffing or packing of plaited hemp is forced, which, pressing on the one side against the interior of the stuffing box, and on the other side against the piston rod, which is smooth and polished, prevents any leakage in this situation. The packing of this stuffing box is forced down by a ring of metal tightened by screws. This ring, which accurately fits the piston rod, has a projecting flange, through which bolts pass for tightening the ring down upon the packing; and a similar expedient is employed in nearly every case in which packing is employed.
103. Q.--In what way is the piston rod connected to the great beam?
A.--The piston rod is connected to the great beam by means of two links, one at each side of the beam shown at f g, (fig. 21.) These links are usually made of the same length as the crank, and their purpose is to enable the end of the great beam to move in the arc of a circle while the piston rod maintains the vertical position. The point of junction, therefore, of the links and the piston rod is of the form of a knuckle or bend at some parts of the stroke.
104. Q.--But what compels the top of the piston rod to maintain the vertical position?
A.--Some engines have guide rods set on each side of the piston rod, and eyes on the top of the piston rod engage these guide rods, and maintain the piston rod in a vertical position in every part of the stroke. More commonly, however, the desired end is attained by means of a contrivance called the parallel motion.
105. Q.--What is the parallel motion?
A.--The parallel motion is an arrangement of jointed rods, so connected together that the divergence from the vertical line at any point in the arc described by the beam is corrected by an equal and opposite divergence due to the arc performed by the jointed rods during the stroke; and as these opposite deviations mutually correct one another, the result is that the piston rod moves in a vertical direction.
106. Q.--Will you explain the action more in detail?
A.--The pin, fig 21, which passes through the end of the beam at f has a link f g hung on each side of the beam, and a short cross bar, called a cross head, extends from the bottom of one of these links to the bottom of the other, which cross head is perforated with a hole in the middle for the reception of the piston rod. There are similar links b d at the point of the main beam, where the air pump rod is attached. There are two rods d g connecting the links b d with the links f g, and these rods, as they always continue parallel to the main beam throughout the stroke, are called parallel bars. Attached to the end of these two rods at d are two other rods c d, of which the ends at c are attached to stationary pins, while the ends at d follow the motion of the lower ends of the links b d. These rods are called the radius bars. Now it is obvious that the arc described by the point d, with c as a centre, is opposite to the arc described by the point g with d as a centre. The rod d g is, therefore, drawn back horizontally by the arc described at d to an extent equal to the versed sine of the arc described at g, or, in other words, the line described by the point g becomes a straight line instead of a curve.

107. Q.--Does the air pump rod move vertically as well as the piston rod?
A.--It does. The air pump rod is suspended from a cross head, passing from the centre of one of the links b d to the centre of the other link, on the opposite side of the beam. Now, as the distance from the central axis of the great beam to the point b is equal to the length of the rod c d, it will follow that the upper end of the link will follow one arc, and the lower end an equal and opposite arc. A point in the centre of the link, therefore, where these opposite motions meet, will follow no arc at all, but will move up and down vertically in a straight line.
108. Q.--The use of the crank is to obtain a circular motion from a reciprocating motion?
A.--That is the object of it, and it accomplishes its object in a very perfect manner, as it gradually arrests the velocity of the piston towards the end of the stroke, and thus obviates what would otherwise be an injurious shock upon the machine. When the crank approaches the lowest part of its throw, and at the same time the piston is approaching the top of the cylinder, the motion of the crank becomes nearly horizontal, or, in other words, the piston is only advanced through a very short distance, for any given distance measured on the circle described by the crank pin. Since, then, the velocity of rotation of the crank is nearly uniform, it will follow that the piston will move very slowly as it approaches the end of the stroke; and the piston is brought to a state of rest by this gradually retarded motion, both at the top and the bottom of the stroke.
109. Q.--What causes the crank to revolve at a uniform velocity?
A.--The momentum of the machinery moved by the piston, but more especially of the fly wheel, which by its operation redresses the unequal pressures communicated by the crank, and compels the crank shaft to revolve at a nearly uniform velocity. Everyone knows that a heavy wheel if put into rapid rotation cannot be immediately stopped. At the beginning and end of the stroke when the crank is vertical, no force of torsion can be exerted on the crank shaft by the crank, but this force is at its maximum when the crank is horizontal. From the vertical point, where this force is nothing, to the horizontal point, where it is at its maximum, the force of torsion exerted on the crank shaft is constantly varying; and the fly wheel by its momentum redresses these irregularities, and carries the crank through that "dead point," as it is termed, where the piston cannot impart any rotative force.
110. Q.--Are the configuration and structure of the steam engine, as it left the hand of Watt, materially different from those of modern engines?
A.--There is not much difference. In modern rotative land engines, the valves for admitting the steam to the cylinder or condenser, instead of being clack or pot-lid valves moved by tappets on the air pump rod, are usually sluice or sliding valves, moved by an eccentric wheel on the crank shaft. Sometimes the beam is discarded altogether, and malleable iron is more largely used in the construction of engines instead of the cast iron, which formerly so largely prevailed. But upon the whole the steam engine of the present day is substantially the engine of Watt; and he who perfectly understands the operation of Watt's engine, will have no difficulty in understanding the operation of any of the numerous varieties of engines since introduced.
111. Q.--Will you describe the principal features of the kind of steam engine employed for the propulsion of vessels?
A.--Marine engines are of two kinds,--paddle engines and screw engines. In the one case the propelling instrument is paddle wheels kept in rotation at each side of the ship: in the other case, the propelling instrument is a screw, consisting of two or more twisted vanes, revolving beneath the water at the stern. Of each class of engines there are many distinct varieties.
112. Q.--What are the principal varieties of the paddle engine?

A.--There is the side lever engine (fig. 26), and the oscillating engine (fig. 27), besides numerous other forms of engine which are less known or employed, such as the trunk (fig. 22), double cylinder (fig. 23), annular, Gorgon (fig. 24), steeple (fig. 25), and many others. The side lever engine, however, and the oscillating engine, are the only kinds of paddle engines which have been received with wide or general favor.

113. Q.--Will you explain the main distinctive features of the side lever engine?
A.--In all paddle vessels, whatever be their subordinate characteristics, a great shaft of wrought iron, s, turned round by the engine, has to be carried from side to side of the vessel, on which shaft are fixed the paddle wheels. The paddle wheels may either be formed with fixed float boards for engaging the water, like the boards of a common undershot water wheel, or they may be formed with feathering float boards as they are termed, which is float boards movable on a centre, and so governed by appropriate mechanism that they enter and leave the water in a nearly vertical position. The common fixed or radial floats, however, are the kind most widely employed, and they are attached to the arms of two or more rings of malleable iron which are fixed by appropriate centres on the paddle shaft. It is usual in steam vessels to employ two engines, the cranks of which are set at right angles with one another. When the paddle wheels are turned by the engines, the float boards engaging the water cause a forward thrust to be imparted to the shaft, which propels forward the vessel on the same principle that a boat is propelled by the action of oars.

114. Q.--These remarks apply to all paddle vessels?
A.--They do. With respect to the side lever engine, it may be described to be such a modification of the land beam engine already described, as will enable it to be got below the deck of a vessel. With this view, instead of a single beam being placed overhead, two beams are used, one of which is set on each side of the engine as low down as possible. The cross head which engages the piston rod is made somewhat longer than the diameter of the cylinder, and two great links or rods proceed one from each end of the cross head to one of the side levers or beams. A similar cross bar at the other end of the beams serves to connect them together and to the connecting rod which, proceeding from thence upwards, engages the crank, and thereby turns round the paddle wheels.
115. Q.--Will you further illustrate this general description by an example?
Q.--Fig. 26 is a side elevation of a side lever engine; x x represent the beams or keelsons to which the engines are attached, and on which the boilers rest. The engines are tied down by strong bolts passing through the bottom of the vessel, but the boiler keeps its position by its weight alone. The condenser and air pump are worked off the side levers by means of side rods and a cross head. A strong gudgeon, called the main centre, passes through the condenser at K, the projecting ends of which serve to support the side levers or beams. L is the piston rod, which, by means of the cross head and side rods, is connected to the side levers or beams, one of which is shown at H H. The line M represents the connecting rod, to which motion is imparted by the beams, through the medium of the cross tail extending between the beams, and which by means of the crank turns the paddle shaft S. The eccentric which works the slide valve is placed upon the paddle shaft. It consists of a disc of metal encircled by a hoop, to which a rod is attached, and the disc is perforated with a hole for the shaft, not in the centre, but near one edge. When, therefore, the shaft revolves, carrying the eccentric with it, the rod attached to the encircling hoop receives a reciprocating motion, just as it would do if attached to a crank in the shaft.

116. Q.--Will you describe the mode of starting the engine?
A.--I may first mention that when the engine is at rest, the connection between the eccentric and the slide valve is broken, by lifting the end of the eccentric rod out of a notch which engages a pin on the valve shaft, and the valve is at such times free to be moved by hand by a bar of iron, applied to a proper part of the valve gear for that purpose. This being so, the engineer, when he wishes to start the engine, first opens a small valve called the blow through valve, which permits steam from the boiler to enter the engine both above and below the piston, and also to fill the condenser and air pump. This steam expels the air from the interior of the engine, and also any water which may have accumulated there; and when this has been done, the blow through valve is shut, and a vacuum very soon forms within the engine, by the condensation of the steam. If now the slide valve be moved by hand, the steam from the boiler will be admitted on one side of the piston, while there is a vacuum on the other side, and the piston will, therefore, be moved in the desired direction. When the piston reaches the end of the stroke, the valve has to be moved in the reverse direction, when the piston will return, and after being moved thus by hand, once or twice, the connection of the valve with the eccentric is to be restored by allowing the notch on the end of the eccentric rod to engage the pin on the valve lever, when the valve will be thereafter moved by the engine in the proper manner. It will, of course, be necessary, when the engine begins to move, to open the injection cock a little, to enable water to enter for the condensation of the steam. In the most recent marine engines, a somewhat different mechanism from this is used for giving motion to the valves, but that mechanism will be afterwards described.
117. Q.--Are all marine engines condensing engines?
A.--Nearly all of them are so; but recently a number of gunboats have been constructed, with high pressure engines. In general, however, marine engines are low pressure or condensing engines.
118. Q.--Will you now describe the chief features of the oscillating paddle marine engine?
A.--In the oscillating paddle marine engine, the arrangement of the paddle shaft and paddle wheels is the same as in the case already described, but the whole of the side levers, side rods, cross head, cross tail, and connecting rod are discarded. The cylinder is set immediately under the crank; the top of the piston rod is connected immediately to the crank pin; and, to enable the piston rod to accommodate itself to the movement of the crank, the cylinder is so constructed as to be susceptible of vibrating or oscillating upon two external axes or trunnions. These trunnions are generally placed about half way up on the sides of the cylinder; and through one of them steam is received from the boiler, while through the other the steam escapes to the condenser. The air pump is usually worked by means of a crank in the shaft, which crank moves the air pump bucket up and down as the shaft revolves.
119. Q.--Will you give an example of a paddle oscillating engine?
A.--I will take as an example the oscillating engines constructed by Messrs. Ravenhill & Salked, for the Holyhead Packets. Fig. 27 is a longitudinal section of this vessel, showing an engine and boiler; and fig. 28 is a transverse section of one of the engines, showing also one of the wheels. There are two cylinders in this vessel, and one air pump, which lies in an inclined position, and is worked by a crank in the shaft which stretches between the cylinders, and which is called the intermediate shaft. A A, is one of the cylinders, B B the piston rod, and C C the crank. D is the crank in the intermediate shaft, which works the air pump E. There are double eccentrics fixed on the shaft, whereby the movement of the slide valves is regulated. The purpose of the double eccentrics is to enable an improved arrangement of valve gear to be employed, which is denominated the link motion, and which will be described hereafter. I I are the steam pipes leading to the steam trunnions K K, on which, and on the eduction trunnions connected with the pipe M, the cylinders oscillate.
120. Q.--By what species of mechanism are the positions of the paddle floats of feathering wheels governed?
A.--The floats are supported by spurs projecting from the rim of the wheel, and they may be moved upon the points of the spurs, to which they are attached by pins, by means of short levers proceeding from the backs of the floats, and connected to rods which proceed towards the centre of the wheel. The centre, however, to which these rods proceed is not concentric with the wheel, and the rods, therefore, are moved in and out as the wheel revolves, and impart a corresponding motion to the floats. In some feathering wheels the proper motion is given to the rods by means of an eccentric on the ship's side. The action of paddle wheels, whether radial or feathering, will be more fully described in the chapter on Steam Navigation.
121. Q.--What are the principal varieties of screw engines?

A.--The engines employed for the propulsion of screw vessels are divided into two great classes,--geared engines and direct acting engines; and each of these classes again has many varieties. In screw vessels, the shaft on which the screw is set requires to revolve at a much greater velocity than is required in the case of the paddle shaft of a paddle vessel; and in geared engines this necessary velocity of rotation is obtained by the intervention of toothed wheels,--the engines themselves moving with the usual velocity of paddle engines; whereas in direct acting engines the required velocity of rotation is obtained by accelerating the speed of the engines, and which are connected immediately to the screw shaft.

122. Q.--Will you describe some of the principal varieties of geared engines?
A.--A good many of the geared engines for screw vessels are made in the same manner as land engines, with a beam overhead, which by means of a connecting rod extending downwards, gives motion to the crank shaft, on which are set the cog wheels which give motion to pinions on the screw shaft,--the teeth of the wheels being generally of wood and the teeth of the pinions of iron. There are usually several wheels on the crank shaft and several pinions on the screw shaft; but the teeth of each do not run in the same line, but are set a little in advance of one another, so as to divide the thickness of the tooth into as many parts as there are independent wheels or pinions. By this arrangement the wheels work more smoothly than they would otherwise do.
123. Q.--What other forms are there of geared screw engines?
A.--In some cases the cylinders lie on their sides in the manner of the cylinders of a locomotive engine. In other cases vertical trunk engines are employed; and in other cases vertical oscillating engines.
124. Q.--Will you give an example of a geared vertical oscillating engine?
A.--The engines of a geared oscillating engine are similar to the paddle wheel engines (figs. 27 and 28), but the engines are placed lengthways of the ship, and instead of a paddle wheel on the main shaft, there is a geared wheel which connects with a pinion on the screw shaft. The engines of the Great Britain are made off the same patterns as the paddle engines constructed by Messrs. John Penn & Son, for H.M.S. Sphinx. The diameter of each cylinder is 82-1/2 inches, the length of travel or stroke of the piston is 6 feet, and the nominal power is 500 horses. The Great Britain is of 3,500 tons burden, and her displacement at 16 feet draught of water is 2,970 tons. The diameter of the screw is 15-1/2 feet, length of screw in the line of the shaft, 3 feet 2 inches, and the pitch of the screw, 19 feet.
125. Q.--What do you mean by the pitch of the screw?
A.--A screw propeller may be supposed to be a short piece cut off a screw of large diameter like a spiral stair, and the pitch of a spiral stair is the vertical height from any given step to the step immediately overhead.
126. Q.--What is the usual number of arms?
A.--Generally a screw has two arms, but sometimes it has three or more. The Great Britain had three arms or twisted blades resembling the vanes of a windmill. The multiple of the gearing in the Great Britain is 3 to 1, and there are 17-1/2 square feet of heating surface in the boiler for each nominal horse power. The crank shaft being put into motion by the engine, carries round with it the great cog wheel, or aggregation of cog wheels, affixed to its extremity; and these wheels acting on suitable pinions on the screw shaft, cause the screw to make three revolutions for every revolution made by the engine.
127. Q.--What are the principal varieties of direct acting screw engines?
A.--In some cases four engines have been employed instead of two, and the cylinders have been laid on their sides on each side of the screw shaft. This multiplication of engines, however, introduces needless complication, and is now but little used. In other cases two inverted cylinders are set above the screw shaft on appropriate framing; and connecting rods attached to the ends of the piston rods turn round cranks in the screw shaft.
128. Q.--What is the kind of direct acting screw engine employed by Messrs. Penn.
A.--It is a horizontal trunk engine. In this engine a round pipe called a trunk penetrates the piston, to which it is fixed, being in fact cast in one piece with it; and the trunk also penetrates the top and bottom of the cylinder, through which it moves, and is made tight therein by means of stuffing boxes. The connecting rod is attached at one end to a pin fixed in the middle of the trunk, while the other end engages the crank in the usual manner. The air pump is set within the condenser, and is wrought by a rod which is fixed to the piston and derives its motion therefrom. The air pump is of that species which is called double-acting. The piston or bucket is formed without valves in it, but an inlet and outlet valve is fixed to each end of the pump, through the one of which the water is drawn into the pump barrel, and through the other of which it is expelled into the hot well.
129. Q.--Will you describe the more important features of the locomotive engine?
A.--The locomotive employed to draw carriages upon railways, consists of a cylindrical boiler filled with brass tubes, through which the hot air passes on its progress from the furnace to the chimney, and attached to the boiler are two horizontal cylinders fitted with pistons, valves, connecting rods, and other necessary apparatus to enable the power exerted by the pistons to turn round the cranked axle to which the driving wheels are attached. There are, therefore, two independent engines entering into the composition of a locomotive, the cranks of which are set at right angles with one another, so that when one crank is at its dead point, the other crank is in a position to act with its maximum efficacy. The driving wheels, which are fixed on the crank shaft and turn round with it, propel the locomotive forward on the rails by the mere adhesion of friction, and this is found sufficient not merely to move the locomotive, but to draw a long train of carriages behind it.
130. Q.--Are locomotive engines condensing or high pressure engines.
A.--They are invariably high pressure engines, and it would be impossible or at least highly inconvenient, to carry the water necessary for the purpose of condensation. The steam, therefore, after it has urged the piston to the end of the stroke, escapes into the atmosphere. In locomotive engines the waste steam is always discharged into the chimney through a vertical pipe, and by its rapid passage it greatly increases the intensity of the draught in the chimney, whereby a smaller fire grate suffices for the combustion of the fuel, and the evaporative power of the boiler is much increased.
131. Q.--Can you give an example of a good locomotive engine of the usual form?
A.--To do this I will take the example of one of Hawthorn's locomotive engines with six wheels represented in fig. 29; not one of the most modern construction now in use, nor yet one of the most antiquated. M is the cylinder, R the connecting rod, C C the eccentrics by which the slide valve is moved; J J is the steam pipe by which the steam is conducted from the steam dome of the boiler to the cylinder. Near the smoke stack end of this pipe is a valve K or regulator moved by a handle p at the front of the boiler, and of which the purpose is to regulate the admission of the steam to the cylinder; f is a safety valve kept closed by springs; N is the eduction pipe, or, as it is commonly termed in locomotives, the blast pipe, by which the steam, escaping from the cylinder after the stroke has been performed, is projected up the chimney H. The water in the boiler of course covers the tubes and also the top of the furnace or fire box. It will be understood that there are two engines in each locomotive, though, from the figure being given in section, only one engine can be shown. The cylinders of this engine are each 14 inches diameter; the length of the stroke of the piston is 21 inches. There are two sets of driving wheels, 5 feet diameter, with outside connections.

132. Q.--What is the tender of a locomotive?
A.--It is a carriage attached to the locomotive, of which the purpose is to contain coke for feeding the furnace, and water for replenishing the boiler.
133. Q.--Can you give examples of modern locomotives?

A.--The most recent locomotives resemble in their material features the locomotive represented in fig. 29. I can, however, give examples of some of the most powerful engines of recent construction. Fig. 30 represents Gooch's express engine, adapted for the wide gauge of the Great Western Railway; and fig. 31 represents Crampton's express engine, adapted for the ordinary or narrow gauge railways. The cylinders of Gooch's engine are each 18 inches diameter, and 24 inches stroke; the driving wheels are 8 feet in diameter; the fire grate contains 21 square feet of area; and the heating surface of the fire box is 153 square feet. There are in all 305 tubes in the boiler, each of 2 inches diameter, giving a heating surface in the tubes of 1799 square feet. The total heating surface, therefore, is 1952 square feet. Mr. Gooch states that an engine of this class will evaporate from 300 to 360 cubic feet of water in the hour, and will convey a load of 236 tons at a speed of 40 miles an hour, or a load of 181 tons at a speed of 60 miles an hour. The weight of this engine empty is 31 tons; of the tender 8-1/2 tons; and the total weight of the engine when loaded is 50 tons. In one of Crampton's locomotives, the Liverpool, with one set more of carrying wheels than the fig., the cylinders are of 24 inches diameter and 18 inches stroke; the driving wheels are 8 feet in diameter; the fire grate contains 21-1/2 square feet of area; and the heating surface of the fire box is 154 square feet. There are in all 300 tubes in the boiler of 2-3/16 inches external diameter, giving a surface in the tubes of 2136 square feet, and a total heating surface of 2290 square feet. The weight of this engine is stated to be 35 tons when ready to proceed on a journey. Both engines were displayed at the Great Exhibition in 1851, as examples of the most powerful locomotive engines then made. The weight of such engines is very injurious to the railway; bending, crushing, and disturbing the rails, and trying very severely the whole of the railway works. No doubt the weight may be distributed upon a greater number of wheels, but if the weight resting on the driving wheels be much reduced, they will not have sufficient bite upon the rails to propel the train without slipping. This, however, is only one of the evils which the demand for high rates of speed has produced. The width of the railway, or, as it is termed, the gauge of the rails, being in most of the railways in this kingdom limited to 4 feet 8-1/2 inches, a corresponding limitation is imposed on the diameter of the boiler; which in its turn restricts the number of the tubes which can be employed. As, however, the attainment of a high rate of speed requires much power, and consequently much heating surface in the boiler, and as the number of tubes cannot be increased without reducing their diameter, it has become necessary, in the case of powerful engines, to employ tubes of a small diameter, and of a great length, to obtain the necessary quantity of heating surface; and such tubes require a very strong draught in the chimney to make them effective. With a draught of the usual intensity the whole of the heat will be absorbed in the portion of the tube nearest the fire box, leaving that portion nearest the smoke box nothing to do but to transmit the smoke; and with long tubes of small diameter, therefore, a very strong draught is indispensable. To obtain such a draught in locomotives, it is necessary to contract the mouth of the blast pipe, whereby the waste steam will be projected into the chimney with greater force; but this contraction involves an increase of the pressure on the eduction side of the piston, and consequently causes a diminution in the power of the engine. Locomotives with small and long tubes, therefore, will require more coke to do the same work than locomotives in which larger and shorter tubes may be employed.

134. Q.--What is meant by latent heat?
A.--By latent heat is meant the heat existing in bodies which is not discoverable by the touch or by the thermometer, but which manifests its existence by producing a change of state. Heat is absorbed in the liquefaction of ice, and in the vaporization of water, yet the temperature does not rise during either process, and the heat absorbed is therefore said to become latent. The term is somewhat objectionable, as the effect proper to the absorption of heat has in each case been made visible; and it would be as reasonable to call hot water latent steam. Latent heat, in the present acceptation of the term, means sensible liquefaction or vaporization; but to produce these changes heat is as necessary as to produce the expansion of mercury in a thermometer tube, which is taken as the measure of temperature; and it is hard to see on what ground heat can be said to be latent when its presence is made manifest by changes which only heat can effect. It is the temperature only that is latent, and latent temperature means sensible vaporization or liquefaction.
135. Q.--But when you talk of the latent heat of steam, what do you mean to express?
A.--I mean to express the heat consumed in accomplishing the vaporization compared with that necessary for producing the temperature. The latent heat of steam is usually reckoned at about 1000 degrees, by which it is meant that there is as much heat in any given weight of steam as would raise its constituent water 1000 degrees if the expansion of the water could be prevented, or as would raise 1000 times that quantity of water one degree. The boiling point of water, being 212 degrees, is 180 degrees above the freezing point of water--the freezing point being 32 degrees; so that it requires 1180 times as much heat to raise 1 lb. of water into steam, as to raise 1180 lbs. of water one degree; or it requires about as much heat to raise a pound of boiling water into steam, as would raise 5-1/2 lbs. of water from the freezing to the boiling point; 5-1/2 multiplied by 180 being 990 or 1000 nearly.
136. Q.--When it is stated that the latent heat of steam is 1000 degrees, it is only meant that this is a rough approximation to the truth?
A.--Precisely so. The latent heat, in point of fact, is not uniform at all temperatures, neither is the total amount of heat the same at all temperatures. M. Regnault has shown, by a very elaborate series of experiments on steam, which he has lately concluded, that the total heat in steam increases somewhat with the pressure, and that the latent heat diminishes somewhat with the pressure. This will be made obvious by the following numbers:
|
Pressure. |
Temperature. |
Total heat. |
Latent heat. |
|
15 lbs. |
213.1° |
1178.9° |
965.8° |
|
50 |
281.0 |
1199.6 |
918.6 |
|
100 |
327.8 |
1213.9 |
886.1 |
If, then, steam of 100 lbs. be expanded down to steam of 15 lbs., it will have 35 degrees of heat over that which is required for the maintenance of the vaporous state, or, in other words, it will be surcharged with heat.
137. Q.--What do you understand by specific heat?
A.--By specific heat, I understand the relative quantities of heat in bodies at the same temperature, just as by specific gravity I understand the relative quantities of matter in bodies of the same bulk. Equal weights of quicksilver and water at the same temperature do not contain the same quantities of heat, any more than equal bulks of those liquids contain the same quantity of matter. The absolute quantity of heat in any body is not known; but the relative heat of bodies at the same temperature, or in other words their specific heats, have been ascertained and arranged in tables,-- the specific heat of water being taken as unity.
138. Q.--In what way does the specific heat of a body enable the quantity of heat in it to be determined?
A.--If any body has only half the specific heat of water, then a pound of that body will, at any given temperature, have only half the heat in it that is in a pound of water at the same temperature. The specific heat of air is .2669, that of water being 1; or it is 3.75 times less than that of water. An amount of heat, therefore, which would raise a pound of water 1 degree would raise a pound of air 3.75 degrees.
139. Q.--What is the nature of combustion?
A.--Combustion is nothing more than an energetic chemical combination, or, in other words, it is the mutual neutralization of opposing electricities. When coal is brought to a high temperature it acquires a strong affinity for oxygen, and combination with oxygen will produce more than sufficient heat to maintain the original temperature; so that part of the heat is rendered applicable to other purposes.
140. Q.--Does air consist of oxygen?
A.--Air consists of oxygen and nitrogen mixed together in the proportion of 3.29 lbs. of nitrogen to 1 lb. of oxygen. Every pound of coal requires about 2.66 lbs. of oxygen for its saturation, and therefore for every pound of coal burned, 8.75 pounds of nitrogen must pass through the fire, supposing all the oxygen to enter into combination. In practice, however, this perfection of combination does not exist; from one-third to one-half of the oxygen will pass through the fire without entering into combination at all; so that from 16 to 18 lbs. of air are required for every pound of coal burned. 18 lbs. of air are about 240 cubic feet, which may be taken as the quantity of air required for the combustion of a pound of coal in practice.
141. Q.--What are the constituents of coal?
A.--The chief constituent of coal is carbon or pure charcoal, which is associated in various proportions with volatile and earthy matters. English coal contains 80 to 90 per cent. of carbon, and from 8 to 18 per cent. of volatile and earthy matters, but sometimes more than this. The volatile matters are hydrogen, nitrogen, oxygen, and sulphur.
142. Q.--What is the difference between anthracite and bituminous coal?
A.--Anthracite consists almost entirely of carbon, having 91 per cent. of carbon, with about 7 per cent. of volatile matter and 2 per cent. of ashes. Newcastle coal contains about 83 per cent. of carbon, 14 per cent. of volatile matter, and 3 per cent. of ashes.
143. Q.--Will you recapitulate the steps by which you determine the quantity of air required for the combustion of coal?
A.--Looking to the quantity of oxygen required to unite chemically with the various constituents of the coal, we find for example that in 100 lbs. of anthracite coal, consisting of 91.44 lbs. of carbon, and 3.46 lbs. of hydrogen, we shall for the 91.44 lbs. of carbon require 243.84 lbs. of oxygen--since to saturate a pound of carbon by the formation of carbonic acid, requires 2-2/3 lbs. of oxygen. To saturate a pound of hydrogen in the formation of water, requires 8 lbs. of oxygen; hence 3.46 Fibs. of hydrogen will take 27.68 lbs. of oxygen for its saturation. If then we add 243.84 lbs. to 27.68 lbs. we have 271.52 lbs. of oxygen required for the combustion of 100 lbs. of coal. A given weight of air contains nearly 23.32 per cent of oxygen; hence to obtain 271.52 lbs. of oxygen, we must have about four times that quantity of atmospheric air, or more accurately, 1164 lbs. of air for the combustion of 100 lbs. of coal. A cubic foot of air at ordinary temperature weighs about .075 lbs.; so that 100 lbs. of coal require 15,524 cubic feet of air, or 1 lb. of coal requires about 155 cubic feet of air, supposing every atom of the oxygen to enter into combination. If, then, from one-third to one-half of the air passes unconsumed through the fire, an allowance of 240 cubic feet of air for each pound of coal will be a small enough allowance to answer the requirements of practice, and in some cases as much as 300 cubic feet will be required,--the difference depending mainly on the peculiar configuration of the furnace.
144. Q.--Can you state the evaporative efficacy of a pound of coal?
A.--The evaporative efficacy of a pound of carbon has been found experimentally to be equivalent to that necessary to raise 14,000 lbs. of water through 1 degree, or 14 lbs. of water through 1000 degrees, supposing the whole heat generated to be absorbed by the water. Now, if the water be raised into steam from a temperature of 60°, then 1118.9° of heat will have to be imparted to it to convert it into steam of 15 lbs. pressure per square inch. 14,000 / 1118.9 = 12.512 Lbs. will be the number of pounds of water, therefore, which a pound of carbon can raise into steam of 15 lbs. pressure from a temperature of 60°. This, however, is a considerably larger result than can be expected in practice.
145. Q.--Then what is the result that may be expected in practice?
A.--The evaporative powers of different coals appear to be nearly proportional to the quantity of carbon in them; and bituminous coal is, therefore, less efficacious than coal consisting chiefly of pure carbon. A pound of the best Welsh or anthracite coal is capable of raising from 9-1/2 to 10 lbs. of water from 212° into steam, whereas a pound of the best Newcastle is not capable of raising more than about 8-1/2 lbs. of water from 212° into steam; and inferior coals will not raise more than 6-1/2 lbs. of water into steam. In America it has been found that 1 lb. of the best coal is equal to 2-1/2 lbs. of pine wood, or, in some cases to 3 lbs.; and a pound of pine wood will not usually evaporate more than about 2 1/2 lbs. of water, though, by careful management, it may be made to evaporate 4 1/2 lbs. Turf will generate rather more steam than wood. Coke is equal or somewhat superior to the best coal in evaporative effect.
146. Q.--How much water will a pound of coal raise into steam in ordinary boilers?
A.--From 6 to 8 lbs. of water in the generality of land boilers of medium quality, the difference depending on the kind of boiler, the kind of coal, and other circumstances. Mr. Watt reckoned his boilers as capable of evaporating 10.08 cubic feet of water with a bushel or 84 lbs. of Newcastle coal, which is equivalent to 7 1/2 lbs. of water evaporated by 1 lb. of coal, and this may be taken as the performance of common land boilers at the present time. In some of the Cornish boilers, however, a pound of coal raises 11.8 lbs. of boiling water into steam, or a cwt. of coal evaporates about 21 cubic feet of water from 212°.
147. Q.--What method of firing ordinary furnaces is the best?
A.--The coals should be broken up into small pieces, and sprinkled thinly and evenly over the fire a little at a time. The thickness of the stratum of coal upon the grate should depend upon the intensity of the draught: in ordinary land or marine boilers it should be thin, whereas in locomotive boilers it requires to be much thicker. If the stratum of coal be thick while the draught is sluggish, the carbonic acid resulting from combustion combines with an additional atom of carbon in passing through the fire, and is converted into carbonic oxide, which may be defined to be invisible smoke, as it carries off a portion of the fuel: if, on the contrary, the stratum of coal be thin while the draught is very rapid, an injurious refrigeration is occasioned by the excess of air passing through the furnace. The fire should always be spread of uniform thickness over the bars of the grate, and should be without any holes or uncovered places, which greatly diminish the effect of the fuel by the refrigeratory action of the stream of cold air which enters thereby. A wood fire requires to be about 6 inches thicker than a coal one, and a turf fire requires to be 3 or 4 inches thicker than a wood one, so that the furnace bars must be placed lower where wood or turf is burned, to enable the surface of the fire to be at the same distance from the bottom of the boiler.
148. Q.--Is a slow or a rapid combustion the most beneficial?
A.--A slow combustion is found by experiment to give the best results as regards economy of fuel, and theory tells us that the largest advantage will necessarily be obtained where adequate time has been afforded for a complete combination of the constituent atoms of the combustible, and the supporter of combustion. In many of the cases, however, which occur in practice, a slow combustion is not attainable; but the tendencies of slow combustion are both to save the fuel, and to burn the smoke.
149. Q.--Is not the combustion in the furnaces of the Cornish boilers very slow?
A.--Yes, very slow; and there is in consequence very little smoke evolved. The coal used in Cornwall is Welsh coal, which evolves but little smoke, and is therefore more favorable for the success of a smokeless furnace; but in the manufacturing districts, where the coal is more bituminous, it is found that smoke may be almost wholly prevented by careful firing and by the use of a large capacity of furnace.
150. Q.--Do you consider slow combustion to be an advisable thing to practise in steam vessels?
A.--No, I do not. When the combustion is slow, the heat in the furnaces and flues is less intense, and a larger amount of heating surface consequently becomes necessary to absorb the heat. In locomotives, where the heat of the furnace is very intense, there will be the same economy of fuel with an allowance of 5 or 6 square feet of surface to evaporate a cubic foot of water as in common marine boilers with 10 or 12.
151. Q.--What is the method of consuming smoke pursued in the manufacturing districts?
A.--In Manchester, where some stringent regulations for the prevention of smoke have for some time been in force, it is found that the readiest way of burning the smoke is to have a very large proportion of furnace room, whereby slow combustion may be carried on. In some cases, too, a favourable result is arrived at by raising a ridge of coal across the furnace lying against the bridge, and of the same height: this ridge speedily becomes a mass of incandescent coke, which promotes the combustion of the smoke passing over it.
152. Q.--Is the method of admitting a stream of air into the flues to burn the smoke regarded favorably?
A.--No; it is found to be productive of injury to the boiler by the violent alternations of temperature it occasions, as at some times cold air impinges on the iron of the boiler, and at other times flame,--just as there happens to be smoke or no smoke emitted by the furnace. Boilers, therefore, operating upon this principle, speedily become leaky, and are much worn by oxidation, so that, if the pressure is considerable, they are liable to explode. It is very difficult to apportion the quantity of air admitted, to the varying wants of the fire; and as air may at some times be rushing in when there is no smoke to consume, a loss of heat, and an increased consumption of fuel may be the result of the arrangement; and, indeed, such is the result in practice, though a carefully performed experiment usually demonstrates a saving in fuel of 10 or 12 per cent.
153. Q.--What other plans have been contrived for obviating the nuisance of smoke?
A.--They are too various for enumeration, but most of them either operate upon the principle of admitting air into the flues to accomplish the combustion of the uninflammable parts of the smoke, or seek to attain the same object by passing the smoke over or through the fire or other incandescent material. Some of the plans, indeed, profess to burn the inflammable gases as they are evolved from the coal, without permitting the admixture of any of the uninflammable products of combustion which enter into the composition of smoke; but this object has been very imperfectly fulfilled in any of the contrivances yet brought under the notice of the public, and in some cases these contrivances have been found to create weightier evils than they professed to relieve.
154. Q.--You refer, I suppose, to Mr. Charles Wye Williams' Argand furnace?
A.--I chiefly refer to it, though I also comprehend all other schemes in which there is a continuous admission of air into the flues, with an intermittent generation of smoke.
155. Q.--This is not so in Prideaux's furnace?
A.--No; in that furnace the air is admitted only during a certain interval, or for so long, in fact, as there is smoke to be consumed.
156. Q.--Will you explain the chief peculiarities of that furnace?
A.--The whole peculiarity is in the furnace door. The front of the door consists of metal Venetians, which are opened when the top lever is lifted up, and shut when that lever descends to its lowest position. When the furnace door is opened to replenish the fire with coals, the top lever is raised up, and with it the piston of the small cylinder attached to the side of the furnace. The Venetians are thereby opened, and a stream of air enters the furnace, which, being heated in its passage among the numerous heated plates attached to the back of the furnace door, is in a favorable condition for effecting the combustion of the inflammable parts of the smoke. The piston in the small cylinder gradually subsides and closes the Venetians; and the rate of the subsidence of the piston may obviously be regulated by a cock, or, as in this case, a small screw valve, so that the Venetians shall just close when there is no more smoke to be consumed;--the air or other fluid within the cylinder being forced out by the piston in its descent.
157. Q.--Had Mr. Watt any method of consuming smoke?
A.--He tried various methods, but eventually fixed upon the method of coking the coal on a dead plate at the furnace door, before pushing it into the fire. That method is perfectly effectual where the combustion is so slow that the requisite time for coking is allowed, and it is much preferable to any of the methods of admitting air at the bridge or elsewhere, to accomplish the combustion of the inflammable parts of the smoke.
158. Q.--What are the details of Mr. Watt's arrangement as now employed?
A.--The fire bars and the dead plate are both set at a considerable inclination, to facilitate the advance of the fuel into the furnace. In Boulton and Watt's 30 horse power land boiler, the dead plate and the furnace bars are both about 4 feet long, and they are set at the angle of 30 degrees with the horizon.
159. Q.--Is the use of the dead plate universally adopted in Boulton and Watt's land boilers?
A.--It is generally adopted, but in some cases Boulton and Watt have substituted the plan of a revolving grate for consuming the smoke, and the dead plate then becomes both superfluous and inapplicable. In this contrivance the fire is replenished with coals by a self-acting mechanism.
160. Q.--Will you explain the arrangement of the revolving grate?
A.--The fire grate is made like a round table capable of turning horizontally upon a centre; a shower of coal is precipitated upon the grate through a slit in the boiler near the furnace mouth, and the smoke evolved from the coal dropped at the front part of the fire is consumed by passing over the incandescent fuel at the back part, from which all the smoke must have been expelled in the revolution of the grate before it can have reached that position.
161. Q.--Is a furnace with a revolving grate applicable to a steam vessel?
A.--I see nothing to prevent its application. But the arrangement of the boiler would perhaps require to be changed, and it might be preferable to combine its use with the employment of vertical tubes, for the transmission of the smoke. The introduction of any effectual automatic contrivance for feeding the fire in steam vessels, would bring about an important economy, at the same time that it would give the assurance of the work being better done. It is very difficult to fire furnaces by hand effectually at sea, especially in rough weather and in tropical climates; whereas machinery would be unaffected by any such disturbing causes, and would perform with little expense the work of many men.
162. Q.--The introduction of some mechanical method of feeding the fire with coals would enable a double tier of furnaces to be adopted in steam vessels without inconvenience?
A.--Yes, it would have at least that tendency; and as the space available for area of grate is limited in a steam vessel by the width of the vessel, it would be a great convenience if a double tier of furnaces could be employed without a diminished effect. It appears to me, however, that the objection would still remain of the steam raised by the lower furnace being cooled and deadened by the air entering the ash-pit of the upper fire, for it would strike upon the metal of the ash-pit bottom.
163. Q.--Have any other plans been devised for feeding the fire by self-acting means besides that of a revolving grate?
A.--Yes, many plans, but none of them, perhaps, are free from an objectionable complication. In some arrangements the bars are made like screws, which being turned round slowly, gradually carry forward the coal; while in other arrangements the same object is sought to be attained by alternately lifting and depressing every second bar at the end nearest the mouth of the furnace. In Juckes' furnace, the fire bars are arranged in the manner of rows of endless chains working over a roller at the mouth of the furnace, and another roller at the farther end of the furnace. These rollers are put into slow revolution, and the coal which is deposited at the mouth of the furnace is gradually carried forward by the motion of the chains, which act like an endless web. The clinkers and ashes left after the combustion of the coal, are precipitated into the ash-pit, where the chain turns down over the roller at the extremity of the furnace. In Messrs. Maudslays' plan of a self-feeding furnace the fire bars are formed of round tubes, and are placed transversely across the furnace. The ends of the bars gear into endless screws running the whole length of the furnace, whereby motion is given to the bars, and the coal is thus carried gradually forward. It is very doubtful whether any of these contrivances satisfy all the conditions required in a plan for feeding furnaces of the ordinary form by self-acting means, but the problem of providing a suitable contrivance, does not seem difficult of accomplishment, and will no doubt be effected under adequate temptation.
164. Q.--Have not many plans been already contrived which consume the smoke of furnaces very effectually?
A.--Yes, many plans; and besides those already mentioned there are Hall's, Coupland's, Godson's, Robinson's, Stevens's, Hazeldine's, Indie's, Bristow and Attwood's, and a great number of others. One plan, which promises well, consists in making the flame descend through the fire bars, and the fire bars are formed of tubes set on an incline and filled with water, which water will circulate with a rapidity proportionate to the intensity of the heat. After all, however, the best remedy for smoke appears to consist in removing from it those portions which form the smoke before the coal is brought into use. Many valuable products may be got from the coal by subjecting it to this treatment; and the residuum will be more valuable than before for the production of steam.
165. Q.--Have experiments been made to determine the elasticity of steam at different temperatures?
A.--Yes; very careful experiments. The following rule expresses the results obtained by Mr. Southern:--To the given temperature in degrees of Fahrenheit add 51.3 degrees; from the logarithm of the sum, subtract the logarithm of 135.767, which is 2.1327940; multiply the remainder by 5.13, and to the natural number answering to the sum, add the constant fraction .1, which will give the elastic force in inches of mercury. If the elastic force be known, and it is wanted to determine the corresponding temperature, the rule must be modified thus:--From the elastic force, in inches of mercury, subtract the decimal .1, divide the logarithm of the remainder by 5.13, and to the quotient add the logarithm 2.1327940; find the natural number answering to the sum, and subtract therefrom the constant 51.3; the remainder will be the temperature sought. The French Academy, and the Franklin Institute, have repeated Mr. Southern's experiments on a larger scale; the results obtained by them are not widely different, and are perhaps nearer the truth, but Mr. Southern's results are generally adopted by engineers, as sufficiently accurate for practical purposes.
166. Q.--Have not some superior experiments upon this subject been lately made in France?
A.--Yes, the experiments of M. Regnault upon this subject have been very elaborate and very carefully conducted, and the results are probably more accurate than have been heretofore obtained. Nevertheless, it is questionable how far it is advisable to disturb the rules of Watt and Southern, with which the practice of engineers is very much identified, for the sake of emendations which are not of such magnitude as to influence materially the practical result. M. Regnault has shown that the total amount of heat, existing in a given weight of steam, increases slightly with the pressure, so that the sum of the latent and sensible heats do not form a constant quantity. Thus, in steam of the atmospheric pressure, or with 14.7 Lbs. upon the square inch, the sensible heat of the steam is 212 degrees, the latent heat 966.6 degrees, and the sum of the latent and sensible heats 1178.6 degrees; whereas in steam of 90 pounds upon the square inch the sensible heat is 320.2 degrees, the latent heat 891.4 degrees, and the sum of the latent and sensible heats 1211.0 degrees. There is, therefore, 33 degrees less of heat in any given weight of water, raised into steam of the atmospheric pressure, than if raised into steam of 90 Lbs. 1 pressure.
167. Q.--What expansion does water undergo in its conversion into steam?
A.--A cubic inch of water makes about a cubic foot of steam of the atmospheric pressure.
168. Q.--And how much at a higher pressure?
A.--That depends upon what the pressure is. But the proportion is easily ascertained, for the pressure and the bulk of a given quantity of steam, as of air or any other elastic fluid, are always inversely proportional to one another. Thus if a cubic inch of water makes a cubic foot of steam, with the pressure of one atmosphere, it will make half a cubic foot with the pressure of two atmospheres, a third of a cubic foot with the pressure of three atmospheres, and so on in all other proportions. High pressure steam indeed is just low pressure steam forced into a less space, and the pressure will always be great in the proportion in which the space is contracted.
169. Q.--If this be so, the quantity of heat in a given weight of steam must be nearly the same, whether the steam is high or low pressure?
A.--Yes; the heat in steam is nearly a constant quantity, at all pressures, but not so precisely. Steam to which an additional quantity of heat has been imparted after leaving the boiler, or as it is called "surcharged steam," comes under a different law, for the elasticity of such steam may be increased without any addition being made to its weight; but surcharged steam is not at present employed for working engines, and it may therefore be considered in practice that a pound of steam contains very nearly the same quantity of heat at all pressures.
170. Q.--Does not the quantity of heat in any body vary with the temperature?
A.--Other circumstances remaining the same the quantity of heat in a body increases with the temperatures.
171. Q.--And is not high pressure steam hotter than low pressure steam?
A.--Yes, the temperature of steam rises with the pressure.
172. Q.--How then comes it, that there is the same quantity of heat in the same weight of high and low pressure steam, when the high pressure steam has the highest temperature?
A.--Because although the temperature or sensible heat rises with the pressure, the latent heat becomes less in about the same proportion. And as has been already explained, the latent and sensible heats taken together make up nearly the same amount at all temperatures; but the amount is somewhat greater at the higher temperatures. As a damp sponge becomes wet when subjected to pressure, so warm vapor becomes hot when forced into less bulk, but in neither case does the quantity of moisture or the quantity of heat sustain any alteration. Common air becomes so hot by compression that tinder may be inflamed by it, as is seen in the instrument for producing instantaneous light by suddenly forcing air into a syringe.
173. Q.--What law is followed by surcharged steam on the application of heat?
A.--The same as that followed by air, in which the increments in volume are very nearly in the same proportion as the increments in temperature; and the increment in volume for each degree of increased temperature is 1/490th part of the volume at 32°. A volume of air which, at the temperature of 32°, occupies 100 cubic feet, will at 212° fill a space of 136.73 cubic feet. The volume which air or steam--out of contact with water--of a given temperature acquires by being heated to a higher temperature, the pressure remaining the same, may be found by the following rule:--To each of the temperatures before and after expansion, add the constant number 458: divide the greater sum by the less, and multiply the quotient by the volume at the lower temperature; the product will give the expanded volume.
174. Q.--If the relative volumes of steam and water are known, is it possible to tell the quantity of water which should be supplied to a boiler, when the quantity of steam expended is specified?
A.--Yes; at the atmospheric pressure, about a cubic inch of water has to be supplied to the boiler for every cubic foot of steam abstracted; at other pressures, the relative bulk of water and steam may be determined as follows:--To the temperature of steam in degrees of Fahrenheit, add the constant number 458, multiply the sum by 37.3, and divide the product by the elastic force of the steam in pounds per square inch; the quotient will give the volume required.
175. Q.--Will this rule give the proper dimensions of the pump for feeding the boiler with water?
A.--No; it is necessary in practice that the feed pump should be able to supply the boiler with a much larger quantity of water than what is indicated by these proportions, from the risk of leaks, priming, or other disarrangements, and the feed pump is usually made capable of raising 3-1/2 times the water evaporated by the boiler. About 1/240th of the capacity of the cylinder answers very well for the capacity of the feed pump in the case of low pressure engines, supposing the cylinder to be double acting, and the pump single acting; but it is better to exceed this size.
176. Q.--Is this rule for the size of the feed pump applicable to the case of high pressure engines?
A.--Clearly not; for since a cylinder full of high pressure steam, contains more water than the same cylinder full of low pressure steam, the size of the feed must vary in the same proportion as the density of the steam. In all pumps a good deal of the effect is lost from the imperfect action of the valves; and in engines travelling at a high rate of speed, in particular, a large part of the water is apt to return, through the suction valve of the pump, especially if much lift be permitted to that valve. In steam vessels moreover, where the boiler is fed with salt water, and where a certain quantity of supersalted water has to be blown out of the boiler from time to time, to prevent the water from reaching too high a degree of concentration, the feed pump requires to be of additional size to supply the extra quantity of water thus rendered necessary. When the feed water is boiling or very hot, as in some engines is the case, the feed pump will not draw from a depth, and will altogether act less efficiently, so that an extra size of pump has to be provided in consequence. These and other considerations which might be mentioned, show the propriety of making the feed pump very much larger than theory requires. The proper proportions of pumps, however, forms part of a subsequent chapter.
[1] A table containing the results arrived at by M. Regnault is given in the Key.
177. Q.--What is meant by working engines expansively?
A.--Adjusting the valves, so that the steam is shut off from the cylinder before the end of the stroke, whereby the residue of the stroke is left to be completed by the expanding steam.
178. Q.--And what is the benefit of that practice?
A.--It accomplishes an important saving of steam, or, what is the same thing, of fuel; but it diminishes the power of the engine, while increasing the power of the steam. A larger engine will be required to do the same work, but the work will be done with a smaller consumption of fuel. If, for example, the steam be shut off when only half the stroke is completed, there will only be half the quantity of steam used. But there will be more than half the power exerted; for although the pressure of the steam decreases after the supply entering from the boiler is shut off, yet it imparts, during its expansion, some power, and that power, it is clear, is obtained without any expenditure of steam or fuel whatever.
179. Q.--What will be the pressure of the steam, under such circumstances, at the end of the stroke?
A.--If the steam be shut off at half stroke, the pressure of the steam, reckoning the total pressure both below and above the atmosphere, will just be one-half of what it was at the beginning of the stroke. It is a well known law of pneumatics, that the pressure of elastic fluids varies inversely as the spaces into which they are expanded or compressed. For example, if a cubic foot of air of the atmospheric density be compressed into the compass of half a cubic foot, its elasticity will be increased from 15 lbs. on the square inch to 30 lbs. on the square inch; whereas, if its volume be enlarged to two cubic feet, its elasticity will be reduced to 7-1/2 lbs. on the square inch, being just half its original pressure. The same law holds in all other proportions, and with all other gases and vapors, provided their temperature remains unchanged; and if the steam valve of an engine be closed, when the piston has descended through one-fourth of the stroke, the steam within the cylinder will, at the end of the stroke, just exert one-fourth of its initial pressure.
180. Q.--Then by computing the varying pressure at a number of stages, the average or mean pressure throughout the stroke may be approximately determined?

A.--Precisely so. Thus in the accompanying figure, (fig. 32), let E be a cylinder, J the piston, a the steam pipe, c the upper port, f the lower port, d the steam pipe, prolonged to e the equilibrium valve, g the eduction valve, M the steam jacket, N the cylinder cover, O stuffing box, n piston rod, P cylinder bottom; let the cylinder be supposed to be divided in the direction of its length into any number of equal parts, say twenty, and let the diameter of the cylinder represent the pressure of the steam, which, for the sake of simplicity, we may take at 10 lbs., so that we may divide the cylinder, in the direction of its diameter, into ten equal parts. If now the piston be supposed to descend through five of the divisions, and the steam valve then be shut, the pressure at each subsequent position of the piston will be represented by a series, computed according to the laws of pneumatics, and which, if the initial pressure be represented by 1, will give a pressure of .5 at the middle of the stroke, and .25 at the end of it.
If this series be set off on the horizontal lines, it will mark out a hyperbolic curve--the area of the part exterior to which represents the total efficacy of the stroke, and the interior area, therefore, represents the diminution in the power of a stroke, when the steam is cut off at one-fourth of the descent. If the squares above the point, where the steam is cut off, be counted, they will be found to amount to 50; and if those beneath that point be counted or estimated, they will be found to amount to about 69. These squares are representative of the power exerted; so that while an amount of power represented by 50 has been obtained by the expenditure of a quarter of a cylinder full of steam, we get an amount of power represented by 69, without any expenditure of steam at all, merely by permitting the steam first used to expand into four times its original volume.
181. Q.--Then by working an engine expansively, the power of the steam is increased, but the power of the engine is diminished?
A.--Yes. The efficacy of a given quantity of steam is more than doubled by expanding the steam four times, while the efficacy of each stroke is made nearly one-half less. And, therefore, to carry out the expansive principle in practice, the cylinder requires to be larger than usual, or the piston faster than usual, in the proportion in which the expansion is carried out. Every one who is acquainted with simple arithmetic, can compute the terminal pressure of steam in a cylinder, when he knows the initial pressure and the point at which the steam is cut off; and he can also find, by the same process, any pressure intermediate between the first and the last. By setting down these pressures in a table, and taking their mean, he can determine the effect, with tolerable accuracy, of any particular measure of expansion. It is necessary to remark, that it is the total pressure of the steam that he must take; not the pressure above the atmosphere, but the pressure above a perfect vacuum.
182. Q.--Can you give any rule for ascertaining at one operation the amount of benefit derivable from expansion?
A.--Divide the length of stroke through which the steam expands, by the length of stroke performed with full pressure, which last call 1; the hyperbolic logarithm of the quotient is the increase of efficiency due to expansion. According to this rule it will be found, that if a given quantity of steam, the power of which working at full pressure is represented by 1, be admitted into a cylinder of such a size that its ingress is concluded when one-half the stroke has been performed, its efficacy will be raised by expansion to 1.69; if the admission of the steam be stopped at one-third of the stroke, the efficacy will be 2.10; at one-fourth, 2.39; at one-fifth, 2.61; at one-sixth, 2.79; at one-seventh, 2.95; at one-eighth, 3.08. The expansion, however, cannot be carried beneficially so far as one-eighth, unless the pressure of the steam in the boiler be very considerable, on account of the inconvenient size of cylinder or speed of piston which would require to be adopted, the friction of the engine, and the resistance of vapor in the condenser, which all become relatively greater with a smaller urging force.
183. Q.--Is this amount of benefit actually realized in practice?
A.--Only in some cases. It appears to be indispensable to the realization of any large amount of benefit by expansion, that the cylinder should be enclosed in a steam jacket, or should in some other way be effectually protected from refrigeration. In some engines not so protected, it has been found experimentally that less benefit was obtained from the fuel by working expansively than by working without expansion--the whole benefit due to expansion being more than counteracted by the increased refrigeration due to the larger surface of the cylinder required to develop the power. In locomotive engines, with outside cylinders, this condition of the advantageous use of expansion has been made very conspicuous, as has also been the case in screw steamers with four cylinders, and in which the refrigerating surface of the cylinders was consequently large.
184. Q.--The steam is admitted to and from the cylinder by means of a slide or sluice valve?

A.--Yes; and of the slide valve there are many varieties; but the kinds most in use are the D valve,--so called from its resemblance to a half cylinder or D in its cross section--and the three ported valve, shown in fig. 33, which consists of a brass or iron box set over the two ports or openings into the cylinder, and a central port which conducts away the steam to the atmosphere or condenser; but the length of the box is so adjusted that it can only cover one of the cylinder ports and the central or eduction port at the same time. The effect, therefore, of moving the valve up and down, as is done by the eccentric, is to establish a connection alternately between each cylinder port and the central passage whereby the steam escapes; and while the steam is escaping from beneath the piston, the position of the valve is such, that a free communication exists between the space above the piston and the steam in the boiler. The piston is thus urged alternately up and down--the valve so changing its position before the piston arrives at the end of the stroke, that the pressure is by that time thrown on the reverse side of the piston, so as to urge it into motion in the opposite direction.
185. Q.--Is the motion of the valve, then, the reverse of that of the piston?
A.--No. The valve does not move down when the piston moves down, nor does it move down when the piston moves up; but it moves from its mid position, to the extremity of its throw, and back again to its mid position, while the piston makes an upward or downward movement, so that the motion is as it were at right angles to the motion of the piston; or it is the same motion that the piston of another engine, the crank of which is set at right angles with that of the first engine, would acquire.
186. Q.--Then in a steam vessel the valve of one engine may be worked from the piston of the other?
A.--Yes, it may; or it may be worked from its own connecting rod; and in the case of locomotive engines, this has sometimes been done.
187. Q.--What is meant by the lead of the valve?
A.--The amount of opening which the valve presents for the admission of the steam, when the piston is just beginning its stroke. It is found expedient that the valve should have opened a little to admit steam on the reverse side of the piston before the stroke terminates; and the amount of this opening, which is given by turning the eccentric more or less round upon the shaft, is what is termed the lead.
188. Q.--And what is meant by the lap of the valve?
A.--It is an elongation of the valve face to a certain extent over the port, whereby the port is closed sooner than would otherwise be the case. This extension is chiefly effected at that part of the valve where the steam is admitted, or upon the steam side of the valve, as the technical phrase is; and the intent of the extension is to close the steam passage before the end of the stroke, whereby the engine is made to operate to a certain extent expansively. In some cases, however, there is also a certain amount of lap given to the escape or eduction side, to prevent the eduction from being performed too soon when the lead is great; but in all cases there is far less lap on the eduction than on the steam side, very often there is none, and sometimes less than none, so that the valve is incapable of covering both the ports at once.
189. Q.--What is the usual proportional length of stroke of the valve?
A.--The common stroke of the valve in rotative engines is twice the breadth or depth of the port, and the length of the valve face will then be just the breadth of the port when there is lap on neither the steam nor eduction side. Whatever lap is given, therefore, makes the valve face just so much longer. In some engines, however, the stroke of the valve is a good deal more than twice the breadth of the port; and it is to the stroke of the valve that the amount of lap should properly be referred.
190. Q.--Can you tell what amount of lap will accomplish any given amount of expansion?
A.--Yes, when the stroke of the valve is known. From the length of the stroke of the piston subtract that part of the stroke which is intended to be accomplished before the steam is cut off; divide the remainder by the length of the stroke of the piston, and extract the square root of the quotient, which multiply by half the stroke of the valve, and from the product take half the lead; the remainder will be the lap required.
191. Q.--Can you state how we may discover at what point of the stroke the eduction passage will be closed?
A.--To find how much before the end of the stroke the eduction passage will be closed:--to the lap on the steam side add the lead, and divide the sum by half the stroke of the valve; find the arc whose sine is equal to the quotient, and add 90° to it.; divide the lap on the eduction side by half the stroke of the valve, and find the arc whose cosine is equal to the quotient; subtract this arc from the one last obtained, and find the cosine of the remainder; subtract this cosine from 2, and multiply the remainder by half the stroke of the piston; the product is the distance of the piston from the end of the stroke when the eduction passage is closed.
192. Q.--Can you explain how we may determine the distance of the piston from the end of the stroke, before the steam urging it onward is allowed to escape?
A.--To find how far the piston is from the end of its stroke when the steam that is propelling it by expansion is allowed to escape to the atmosphere or condenser--to the lap on the steam side add the lead; divide the sum by half the stroke of the valve, and find the arc whose sine is equal to the quotient; find the arc whose sine is equal to the lap on the eduction side, divided by half the stroke of the valve; add these two arcs together and subtract 90°; find the cosine of the residue, subtract it from 1, and multiply the remainder by half the stroke of the piston; the product is the distance of the piston from the end of its stroke when the steam that is propelling it is allowed to escape into the atmosphere or condenser. In using these rules, all the dimensions are to be taken in inches, and the answers will be found in inches also.
193. Q.--Is it a benefit or a detriment to open the eduction passage before the end of the stroke?
A.--In engines working at a high rate of speed, such as locomotive engines, it is very important to open the exhaust passage for the escape of the steam before the end of the stroke, as an injurious amount of back pressure is thus prevented. In the earlier locomotives a great loss of effect was produced from inattention to this condition; and when lap was applied to the valves to enable the steam to be worked expansively, it was found that a still greater benefit was collaterally obtained by the earlier escape of the steam from the eduction passages, and which was incidental to the application of lap to the valves. The average consumption of coke per mile was reduced by Mr. Woods from 40 lbs. per mile to 15 lbs. per mile, chiefly by giving a free outlet to the escaping steam.
194. Q.--To what extent can expansion be carried beneficially by means of lap upon the valve?
A.--To about one-third of the stroke; that is, the valve may be made with so much lap, that the steam will be cut off when two thirds of the stroke have been performed, leaving the residue to be accomplished by the agency of the expanding steam; but if more lap be put on than answers to this amount of expansion, a very distorted action of the valve will be produced, which may impair the efficiency of the engine. If a further amount of expansion than this is wanted, it may be accomplished by wire drawing the steam, or by so contracting the steam passage that the pressure within the cylinder must decline when the speed of the piston is accelerated, as it is about the middle of the stroke.
195. Q.--Will you explain how this result ensues?
A.--If the valve be so made as to shut off the steam by the time two thirds of the stroke have been performed, and the steam be at the same time throttled in the steam pipe, the full pressure of the steam within the cylinder cannot be maintained except near the beginning of the stroke where the piston travels slowly; for, as the speed of the piston increases, the pressure necessarily subsides, until the piston approaches the other end of the cylinder, where the pressure would rise again but that the operation of the lap on the valve by this time has had the effect of closing the communication between the cylinder and steam pipe, so as to prevent more steam from entering. By throttling the steam, therefore, in the manner here indicated, the amount of expansion due to the lap may be doubled, so that an engine with lap enough upon the valve to cut off the steam at two-thirds of the stroke, may, by the aid of wire drawing, be virtually rendered capable of cutting off the steam at one-third of the stroke.
196. Q.--Is this the usual way of cutting off the steam?
A.--No; the usual way of cutting off the steam is by means of a separate valve, termed an expansion valve; but such a device appears to be hardly necessary in ordinary engines. In the Cornish engines, where the steam is cut off in some cases at one-twelfth of the stroke, a separate valve for the admission of steam, other than that which permits its escape, is of course indispensable; but in common rotative engines, which may realize expansive efficacy by throttling, a separate expansion valve does not appear to be required.
197. Q.--That is, where much expansion is required, an expansion valve is a proper appendage, but where not much is required, a separate expansion valve may be dispensed with?
A.--Precisely so. The wire drawing of the steam causes a loss of part of its power, and the result will not be quite so advantageous by throttling as by cutting off. But for moderate amounts of expansion it will suffice, provided there be lap upon the slide valve.
198. Q.--Will you explain the structure or configuration of expansion apparatus of the usual construction?

A.--The structure of expansion apparatus is very various; but all the kinds operate either on the principle of giving such a motion to the slide valve as will enable it to cut off the steam, at the desired point, or on the principle of shutting off the steam by a separate valve in the steam pipe or valve casing. The first class of apparatus has not been found so manageable, and is not in extensive use, except in that form known as the link motion. Of the second class, the most simple probably is the application of a cam giving motion to the throttle valve, or to a valve of the same construction, which either accurately fits the steam pipe, or which comes round to a face, which, however, it is restrained from touching by a suitable construction of the cam. A kind of expansion valve, often employed in marine engines of low speed, is the kind used in the Cornish engines, and known as the equilibrium valve. This valve is represented in fig. 34. It consists substantially of an annulus or bulging cylinder of brass, with a steam-tight face both at its upper and lower edges, at which points it fits accurately upon a stationary seat. This annulus may be raised or lowered without being resisted by the pressure of the steam, and in rotative engines it is usually worked by a cam on the shaft. The expansion cam is put on the shaft in two pieces, which are fastened to each other by means of four bolts passing through lugs, and is fixed to the shaft by keys. A roller at one end of a bell-crank lever, which is connected with the expansion valve, presses against the cam, so that the motion of the lever will work the valve. The roller is kept against the cam by a weight on a lever attached to the same shaft, but a spring is necessary for high speeds. If the cam were concentric with the shaft, the lever which presses upon it would remain stationary, and also the expansion valve; but by the projection of the cam, the end of the lever receives a reciprocating motion, which is communicated to the valve.
199. Q.--The cam then works the valve?
A.--Yes. The position of the projection of the cam determines the point in relation to the stroke at which the valve is opened, and its circumferential length determines the length of the time during which the valve continues open. The time at which the valve should begin to open is the same under all circumstances, but the duration of its opening varies with the amount of expansion desired. In order to obtain this variable extent of expansion, there are several projections made upon the cam, each of which gives a different degree, or grade as it is usually called, of expansion. These grades all begin at the same point on the cam, but are of different lengths, so that they begin to move the lever at the same time, but differ in the time of returning it to its original position.
200. Q.--How is the degree of expansion changed?
A.--The change of expansion is effected by moving the roller on to the desired grade; which is done by slipping the lever carrying the roller endways on the shaft or pin sustaining it.
201. Q.--Are such cams applicable in all cases?
A.--In engines moving at a high rate of speed the roller will be thrown back from the cam by its momentum, unless it be kept against it by means of springs. In some cases I have employed a spring formed of a great number of discs of India rubber to keep the roller against the cam, but a few brass discs require to be interposed to prevent the India rubber discs from being worn in the central hole.
202. Q.--May not the percussion incident to the action of a cam at a high speed, when the roller is not kept up to the face by springs, be obviated by giving a suitable configuration to the cam itself?
A.--It may at all events be reduced. The outline of the cam should be a parabola, so that the valve may be set in motion precisely as a falling body would be; but it will, nevertheless, be necessary that the roller on which the cam presses should be forced upward by a spring rather than by a counterweight, as there will thus be less inertia or momentum in the mass that has to be moved.
203. Q.--An additional slide valve is sometimes used for cutting off the steam?
A.--Yes, very frequently; and the slide valve is sometimes on the side or back of the valve casing, and sometimes on the back of the main or distributing valve, and moving with it.
204. Q.--Are cams used in locomotive engines?
A.--In locomotive engines the use of cams is inadmissible, and other expedients are employed, of which those contrived by Stephenson and by Cabrey operate on the principle of accomplishing the requisite variations of expansion by altering the throw of the slide valve.
205. Q.--What is Stephenson's arrangement?

A.--Stephenson connects the ends of the forward and backward eccentric rods by a link with a curved slot in which a pin upon the end of the valve rod works. By moving this link so as to bring the forward eccentric rod in the same line with the valve rod, the valve receives the motion due to that eccentric; whereas if the backward eccentric rod is brought in a line with the valve rod, the valve gets the motion proper for reversing, and if the link be so placed that the valve rod is midway between the two eccentric rods, the valve will remain nearly stationary. This arrangement, which is now employed extensively, is what is termed "the link motion." It is represented in the annexed figure, fig. 35, where e is the valve rod, which is attached by a pin to an open curved link susceptible of being moved up and down by the bell-crank lever f'' f'', supported on the centre g, and acting on the links f, while the valve rod e remains in the same horizontal plane; d d' are the eccentric rods, and the link is represented in its lowest position. The dotted lines h' h'' show the position of the eccentric rods when the link is in its highest position, and l l' when in mid position.
206. Q.--What is Cabrey's arrangement?
A.--Mr. Cabrey makes his eccentric rod terminate in a pin which works into a straight slotted lever, furnished with jaws similar to the jaws on the eccentric rods of locomotives. By raising the pin of the eccentric rod in this slot, the travel of the valve will be varied, and expansive action will be the result.
207. Q.--What other forms of apparatus are there for working steam expansively?
A.--They are too numerous for description here, but a few of them may be enumerated. Fenton seeks to accomplish the desired object by introducing a spiral feather on the crank axle, by moving the eccentric laterally against which the eccentric is partially turned round so as to cut off the steam at a different part of the stroke. Dodds seeks to attain the same end by corresponding mechanical arrangements. Farcot, Edwards, and Lavagrian cut off the steam by the application of a supplementary valve at the back of the ordinary valve, which supplementary valve is moved by tappets fixed to the valve casing. Bodmer, in 1841, and Meyer, in 1842, employed two slides or blocks fitted over apertures in the ordinary slide valve, and which blocks were approximated or set apart by a right and left handed screw passing through both. 1 Hawthorn, in 1843, employed as an expansion valve a species of frame lying on the ordinary cylinder face upon the outside of the valve, and working up against the steam side of the valve at each end so as to cut off the steam. In the same year Gonzenbach patented an arrangement which consists of an additional slide valve and valve casing placed on the back of the ordinary slide valve casing, and through this supplementary valve the steam must first pass. This supplementary valve is worked by a double ended lever, slotted at one end for the reception of a pin on the valve link, the position of which in the slot determines the throw of the supplementary valve, and the consequent degree of expansion.
208. Q.--What is the arrangement of expansion valve used in the most approved modern engines?
A.--In modern engines, either marine or locomotive, it is found that if they are fitted with the link motion, as they nearly all are, a very good expansive action can be obtained by giving a suitable adjustment to it, without employing an expansion valve at all. Diagrams taken from engines worked in this manner show a very excellent result, and most of the modern engines trust for their expansive working to the link motion and the throttle valve.
[1] In 1838 I patented an arrangement of expansion valve, consisting of two movable plates set upon the ordinary slide valve, and which might be drawn together or asunder by means of a right and left handed screw passing through both plates. The valve spindle was hollow, and a prolongation of the screw passed up through it, and was armed on the top with a small wheel, by means of which the plates might be adjusted while the engine was at work. In 1839 I fitted an expansion valve in a steam vessel, consisting of two plates, connected by a rod, and moved by tappets up against the steam edges of the valve. In another steam vessel I fitted the same species of valve, but the motion was not derived from tappets, but from a moving part of the engine, though at the moderate speed at which these engines worked I found tappets to operate well and make little noise. In 1837 I employed, as an expansion valve, a rectangular throttle valve, accurately fitting a bored out seat, in which it might be made to revolve, though it did not revolve in working. This valve was moved by a pin in a pinion, making two revolutions for every revolution of the engine, and the configuration of the seat determined the amount of the expansion. In 1855 I have again used expansion valves of this construction in engines making one hundred revolutions per minute, and with perfectly satisfactory results.-- J.B.
209. Q.--What do you understand by a horse power?
A.--An amount of mechanical force that will raise 33,000 lbs. one foot high in a minute. This standard was adopted by Mr. Watt, as the average force exerted by the strongest London horses; the object of his investigation being to enable him to determine the relation between the power of a certain size of engine and the power of a horse, so that when it was desired to supersede the use of horses by the erection of an engine, he might, from the number of horses employed, determine the size of engine that would be suitable for the work.
210. Q.--Then when we talk of an engine of 200 horse power, it is meant that the impelling efficacy is equal to that of 200 horses, each lifting 33,000 lbs. one foot high in a minute?
A.--No, not now; such was the case in Watt's engines, but the capacity of cylinder answerable to a horse power has been increased by most engineers since his time, and the pressure on the piston has been increased also, so that what is now called a 200 horse power engine exerts, almost in every case, a greater power than was exerted in Watt's time, and a horse power, in the popular sense of the term, has become a mere conventional unit for expressing a certain size of engine, without reference to the power exerted.
211. Q.--Then, each nominal horse power of a modern engine may raise much more than 33,000 lbs. one foot high in a minute?
A.--Yes; some raise 52,000 lbs., others 60,000 lbs., and others 66,000 lbs., one foot high in a minute by each nominal horse power. Some engines indeed work as high as five times above the nominal power, and therefore no comparison can be made between the performances of different engines, unless the power actually exerted be first discovered.
212. Q.--How is the power actually exerted by engines ascertained?
A.--By means of an instrument called the indicator, which is a miniature cylinder and piston attached to the cylinder cover of the main engine, and which indicates, by the pressure exerted on a spring, the amount of pressure or vacuum existing within the cylinder. From this pressure, expressed in pounds per square inch, deduct a pound and a half of pressure for friction, the loss of power in working the air pump, &c.; multiply the area of the piston in square inches by this residual pressure, and by the motion of the piston, in feet per minute, and divide by 33,000; the quotient is the actual number of horses power of the engine. The same result is attained by squaring the diameter of the cylinder, multiplying by the pressure per square inch, as shown by the indicator, less a pound and a half, and by the motion of the piston, in feet per minute, and dividing by 42,017.
213. Q. How is the nominal power of an engine ascertained?
A.--Since the nominal power is a mere conventional expression, it is clear that it must be determined by a merely conventional process. The nominal power of ordinary condensing engines may be ascertained by the following rule: multiply the square of the diameter of the cylinder in inches, by the velocity of the piston in feet per minute, and divide the product by 6,000; the quotient is the number of nominal horses power. In using this rule, however, it is necessary to adopt the speed of piston prescribed by Mr. Watt, which varies with the length of the stroke. The speed of piston with a 2 feet stroke is, according to his system, 160 per minute; with a 2 ft. 6 in. stroke, 170; 3 ft., 180; 3 ft. 6 in., 189; 4 ft., 200; 5 ft., 215; 6 ft., 228; 7 ft., 245; 8 ft., 256 ft.
214. Q.--Does not the speed of the piston increase with the length of the stroke?
A.--It does: the speed of the piston varies nearly as the cube root of the length of the stroke.
215. Q.--And may not therefore some multiple of the cube root of the length of the stroke be substituted for the velocity of the piston in determining the nominal power?
A.--The substitution is quite practicable, and will accomplish some simplification, as the speed of piston proper for the different lengths of stroke cannot always be remembered. The rule for the nominal power of condensing engines when thus arranged, will be as follows: multiply the square of the diameter of the cylinder in inches by the cube root of the stroke in feet, and divide the product by 47; the quotient is the number of nominal horses power of the engine, supposing it to be of the ordinary condensing description. This rule assumes the existence of a uniform effective pressure upon the piston of 7 lbs. per square inch; Mr. Watt estimated the effective pressure upon the piston of his 4 horse power engines at 6-8 lbs. per square inch, and the pressure increased slightly with the power, and became 6.94 lbs. per square inch in engines of 100 horse power; but it appears to be more convenient to take a uniform pressure of 7 lbs. for all powers. Small engines, indeed, are somewhat less effective in proportion than large ones, but the difference can be made up by slightly increasing the pressure in the boiler; and small boilers will bear such an increase without inconvenience.
216. Q.--How do you ascertain the power of high pressure engines?
A.--The actual power is readily ascertained by the indicator, by the same process by which the actual power of low pressure engines is ascertained. The friction of a locomotive engine when unloaded is found by experiment to be about 1 lb. per square inch on the surface of the pistons, and the additional friction caused by any additional resistance is estimated at about .14 of that resistance; but it will be a sufficiently near approximation to the power consumed by friction in high pressure engines, if we make a deduction of a pound and a half from the pressure on that account, as in the case of low pressure engines. High pressure engines, it is true, have no air pump to work; but the deduction of a pound and a half of pressure is relatively a much smaller one where the pressure is high, than where it does not much exceed the pressure of the atmosphere. The rule, therefore, for the actual horse power of a high pressure engine will stand thus: square the diameter of the cylinder in inches, multiply by the pressure of the steam in the cylinder per square inch less 1-1/2 lb., and by the speed of the piston in feet per minute, and divide by 42,017; the quotient is the actual horse power.
217. Q.--But how do you ascertain the nominal horse power of high pressure engines?
A.--The nominal horse power of a high pressure engine has never been defined; but it should obviously hold the same relation to the actual power as that which obtains in the case of condensing engines, so that an engine of a given nominal power may be capable of performing the same work, whether high pressure or condensing. This relation is maintained in the following rule, which expresses the nominal horse power of high pressure engines: multiply the square of the diameter of the cylinder in inches by the cube root of the length of stroke in feet, and divide the product by 15.6. This rule gives the nominal power of a high pressure engine three times greater than that of a low pressure engine of the same dimensions; the average effective pressure being taken at 21 lbs. per square inch instead of 7 lbs., and the speed of the piston in feet per minute being in both rules 128 times the cube root of the length of stroke. 1
218. Q.--Is 128 times the cube root of the stroke in feet per minute the ordinary speed of all engines?
A.--Locomotive engines travel at a quicker speed--an innovation brought about not by any process of scientific deduction, but by the accidents and exigencies of railway transit. Most other engines, however, travel at about the speed of 128 times the cube root of the stroke in feet; but some marine condensing engines of recent construction travel at as high a rate as 700 feet per minute. To mitigate the shock of the air pump valves in cases in which a high speed has been desirable, as in the case of marine engines employed to drive the screw propeller without intermediate gearing, India rubber discs, resting on a perforated metal plate, are now generally adopted; but the India rubber should be very thick, and the guards employed to keep the discs down should be of the same diameter as the discs themselves.
219. Q.--Can you suggest any eligible method of enabling condensing engines to work satisfactorily at a high rate of speed?
A.--The most feasible way of enabling condensing engines to work satisfactorily at a high speed, appears to lie in the application of balance weights to the engine, so as to balance the momentum of its moving parts, and the engine must also be made very strong and rigid. It appears to be advisable to perform the condensation partly in the air pump, instead of altogether in the condenser, as a better vacuum and a superior action of the air pump valves will thus be obtained. Engines constructed upon this plan may be driven at four times the speed of common engines, whereby an engine of large power may be purchased for a very moderate price, and be capable of being put into a very small compass; while the motion, from being more equable, will be better adapted for most purposes for which a rotary motion is required. Even for pumping mines and blowing iron furnaces, engines of this kind appear likely to come into use, for they are more suitable than other engines for driving the centrifugal pump, which in many cases appears likely to supersede other kinds of pumps for lifting water; and they are also conveniently applicable to the driving of fans, which, when so arranged that the air condensed by one fan is employed to feed another, and so on through a series of 4 or 5, have succeeded in forcing air into a furnace with a pressure of 2-1/2 lbs. on the square inch, and with a far steadier flow than can be obtained by a blast engine with any conceivable kind of compensating apparatus. They are equally applicable if blast cylinders be employed.
220. Q.--Then, if by this modification of the engine you enable it to work at four times the speed, you also enable it to exert four times the power?
A.--Yes; always supposing it to be fully supplied with steam. The nominal power of this new species of engine can readily be ascertained by taking into account the speed of the piston, and this is taken into account by the Admiralty rule for power.
221. Q.--What is the Admiralty rule for determining the power of an engine?
A.--Square the diameter of the cylinder in inches, which multiply by the speed of the piston in feet per minute, and divide by 6,000; the quotient is the power of the engine by the Admiralty rule. 2
222. Q.--The high speed engine does not require so heavy a fly wheel as common engines?
A.--No; the fly wheel will be lighter, both by virtue of its greater velocity of rotation, and because the impulse communicated by the piston is less in amount and more frequently repeated, so as to approach more nearly to the condition of a uniform pressure.
223. Q.--Can nominal be transformed into actual horse power?
A.--No; that is not possible in the case of common condensing engines. The actual power exerted by an engine cannot be deduced from its nominal power, neither can the nominal power be deduced from the power actually exerted, or from anything else than the dimensions of the cylinder. The actual horse power being a dynamical unit, and the nominal horse power a measure of capacity of the cylinder, are obviously incomparable things.
224. Q.--That is, the nominal power is a commercial unit by which engines are bought and sold, and the actual power a scientific unit by which the quality of their performance is determined?
A.--Yes; the nominal power is as much a commercial measure as a yard or a bushel, and is not a thing to be ascertained by any process of science, but to be fixed by authority in the same manner as other measures. The actual power, on the contrary, is a mechanical force or dynamical effort capable of raising a given weight through a given distance in a given time, and of which the amount is ascertainable by scientific investigation.
225. Q.--Is there any other measure of an actual horse power than 33,000 lbs. raised one foot high in the minute?
A.--There cannot be any different measure, but there are several equivalent measures. Thus the evaporation of a cubic foot of water in the hour, or the expenditure of 33 cubic feet of low pressure steam per minute, is reckoned equivalent to an actual horse power, or 528 cubic feet of water raised one foot high in the minute involves the same result.
[1] Tables of the horse power of both high and low pressure engines are given in the Key.
[2] Example.--What is the power of an engine of 42 inches diameter, 3-1/2 feet stroke, and making 85 strokes per minute? The speed of the piston will be 7 (the length of a double stroke) x 85 = 595 feet per minute. Now 42 x 42 = 1,764 x 595 = 1,049,580 ÷ 6,000 = 175 horses power.
226. Q.--What is meant by the duty of a engine?
A.--The work done in relation to the fuel consumed.
227. Q.--And how is the duty ascertained?
A.--In ordinary mill or marine engines it can only be ascertained by the indicator, as the load upon such engines is variable, and cannot readily be determined; but in the case of engines pumping water, where the load is constant, the number of strokes performed by the engine will represent the work done, and the amount of work done by a given quantity of coal represents the duty. In Cornwall the duty of an engine is expressed by the number of millions of pounds raised one foot high by a bushel, or 94 lbs. of Welsh coal. A bushel of Newcastle coal will only weigh 84 Lbs.; and in comparing the duty of a Cornish engine with the performance of an engine in some locality where a different kind of coal is used, it is necessary to pay regard to such variations.
228. Q.--Can you tell the duty of an engine when you know its consumption of coal per horse power per hour?
A.--Yes, if the power given be the actual, and not the nominal, power. Divide 166.32 by the number of pounds of coal consumed per actual horse power per hour; the quotient is the duty in millions of pounds. If you already have the duty in millions of pounds, and wish to know the equivalent consumption in pounds per actual horse power per hour, divide 166.32 by the duty in millions of pounds; the quotient is the consumption per actual horse power per hour. The duty of a locomotive engine is expressed by the weight of coke it consumes in transporting a ton through the distance of one mile upon a railway; but this is a very imperfect method of representing the duty, as the tractive efficacy of a pound of coke becomes less as the speed of the locomotive becomes greater; and the law of variation is not accurately known.
229. Q.--What amount of power is generated in good engines of the ordinary kind by a given weight of coal?
A.--The duty of different kinds of engines varies very much, and there are also great differences in the performance of different engines of the same class. In ordinary rotative condensing engines of good construction, 10 lbs. of coal per nominal horse power per hour is a common consumption; but such engines exert nearly twice their nominal power, so that the consumption per actual horse power per hour may be taken at from 5 to 6 lbs. Engines working very expansively, however, attain an economy much superior to this. The average duty of the pumping engines in Cornwall is about 60,000,000 lbs. raised 1 ft. high by a bushel of Welsh coals, which weighs 94 lbs. This is equivalent to a consumption of 3.1 lbs. of coal per actual horse power per hour; but some engines reach a duty of above 100,000,000, or 1.74 lbs. of coal per actual horse power per hour. Locomotives consume from 8 to 10 lbs. of coke in evaporating a cubic foot of water, and the evaporation of a cubic foot of water per hour may be set down as representing an actual horse power in locomotives as well as in condensing engines, if expansion be not employed. When the locomotive is worked expansively, however, there is of course a less consumption of water and fuel per horse power, or per ton per mile, than when the full pressure is used throughout the stroke; and most locomotives now operate with as much expansion as can be conveniently given by the slide valves.
230. Q.--But is not the evaporative power of locomotives affected materially by the proportions of the boiler?
A.--Yes, but this may be said of all boilers; but in locomotive boilers, perhaps, the effect of any misproportion becomes more speedily manifest. A high temperature of the fire box is found to be conducive to economy of fuel; and this condition, in its turn, involves a small area of grate bars. The heating surface of locomotive boilers should be about 80 square feet for each square foot of grate bars, and upon each foot of grate bars about 1 cwt. of coke should be burnt in the hour.
231. Q.--Probably the heat is more rapidly absorbed when the temperature of the furnace is high?
A.--That seems to be the explanation. The rapidity with which a hot body imparts heat to a colder, varies as the square of the difference of temperature; so that if the temperature of the furnace be very high, the larger part of the heat passes into the water at the furnace, thereby leaving little to be transmitted by the tubes. If, on the contrary, the temperature of the furnace be low, a large part of the heat will pass into the tubes, and more tube surface will be required to absorb it. About 16 cubic feet of water should be evaporated by a locomotive boiler for each, square foot of fire grate, which, with the proportion of heating surface already mentioned, leaves 5 square feet of heating surface to evaporate a cubic foot of water in the hour. This is only about half the amount of surface usual in land and marine boilers per cubic foot evaporated, and its small amount is due altogether to the high temperature of the furnace, which, by the rapidity of transmission it causes, is tantamount to an additional amount of heating surface.
232. Q.--You have stated that the steam and vacuum gauges are generally glass tubes, up which mercury is forced by the steam or sucked by the vacuum?
A.--Vacuum gauges are very often of this construction, but steam gauges more frequently consist of a small iron tube, bent like the letter U, and into which mercury is poured. The one end of this tube communicates with the boiler, and the other end with the atmosphere; and when the pressure of the steam rises in the boiler, the mercury is forced down in the leg communicating with the boiler and rises in the other leg, and the difference of level in the legs denotes the pressure of the steam. In this gauge a rise of the mercury one inch in the one leg involves a difference of the level between the two legs of two inches, and an inch of rise is, therefore, equivalent to two inches of mercury, or a pound of pressure. A small float of wood is placed in the open leg to show the rise or fall of the mercury, and this leg is surmounted by a brass scale, graduated in inches, to the marks of which the float points.
233. Q.--What other kinds of steam and vacuum gauges are there?
A.--There are many other kinds; but probably Bourdon's gauges are now in more extended use than, any other, and their operation has been found to be satisfactory in practice. The principle of their action may be explained to be, that a thin elliptical metal tube, if bent into a ring, will seek to coil or uncoil itself if subjected to external or internal pressure, and to an extent proportional to the pressure applied. The end of the tube is sharpened into an index, and moves to an extent corresponding to the pressure applied to the tube; but in the more recent forms of this apparatus, a dial and a hand, like those of a clock, are employed, and the hand is moved round by a toothed sector connected to the tube, and which sector acts on a pinion attached to the hand. Mr. Shank, of Paisley, has lately introduced a form of steam gauge like a thermometer, with a flattened bulb; and the pressure of the steam, by compressing the bulb, causes the mercury to rise to a point proportional to the pressure applied.
234. Q.--You have already stated that the actual power of an engine is ascertained by an instrument called the indicator, which consists of a small cylinder with a piston moving against a spring, and compressing it to an extent answerable to the pressure of the steam. Will you explain further the structure and mode of using that instrument?

A.--The structure of the common form of indicator will be most readily apprehended by a reference to fig. 36, which is a McNaught's indicator. Upon a movable barrel A, a piece of paper is wound, the ends of which are secured by the slight brass clamps shown in the drawing. The barrel is supported by the bracket b, proceeding from the body of the indicator, and at the bottom of the barrel a watch spring is coiled with one end attached to the barrel and the other end to the bracket, so that when the barrel is drawn round by a string wound upon its lower end like a roller blind, the spring returns the barrel to its original position, when the string is relaxed. The string is attached to some suitable part of the engine, and at every stroke the string is drawn out, turning round the barrel, and the barrel is returned again by the spring on the return stroke.
235. Q--But in what way can these reciprocations of the barrel determine the power of the engine?
A.--They do not determine it of themselves, but are only part of the operation. In the inside of the cylinder c there is a small piston moving steam tight in a cylinder of which d is the piston rod, and e a spiral spring of steel, which the piston, when forced upwards by the steam or sucked downwards by the vacuum, either compresses or extends; f is a cock attached to the cylinder of the indicator, and which is screwed into the cylinder cover. It is obvious that, so soon as this cock is opened, the piston will be forced up when the space above the piston of the engine is opened to the boiler, and sucked down when that space is opened to the condenser--in each case to an extent proportionate to the pressure of the steam or the perfection of the vacuum, the top of the piston c being open to the atmosphere. A pencil, p, with a knife hinge, is inserted into the piston rod, at e, and the point of the pencil bears upon the surface of the paper wound upon the drum A. If the drum A did not revolve, this pencil would merely trace on the paper a vertical line; but as the drum A moves round and back again every stroke of the engine, and as the pencil moves up and down again every stroke of the engine, the combined movements trace upon the paper a species of rectangle, which is called an indicator diagram; and the nature of this diagram determines the nature of the engine's performance.
236. Q.--How does it do this?
A.--It is clear that if the pencil was moved up instantaneously to the top of its stroke, and was also moved down instantaneously to the bottom of its stroke, and if it remained without fluctuation while at the top and bottom, the figure described by the pencil would be a perfect rectangle, of which the vertical height would represent the total pressure of the steam and vacuum, and therefore the total pressure urging the piston of the engine. But in practice the pencil will neither rise nor fall instantaneously, nor will it remain at a uniform height throughout the stroke. If the steam be worked expansively the pressure will begin to fall so soon as the steam is cut off; and at the end of the stroke, when the steam comes to be discharged, the subsidence of pressure will not be instantaneous, but will occupy an appreciable time. It is clear, therefore, that in no engine can the diagram described by an indicator be a complete rectangle; but the more nearly it approaches to a rectangle, the larger will be the power produced at every stroke with any given pressure, and the area of the space included within the diagram will in every case accurately represent the power exerted by the engine during that stroke.
237. Q.--And how is this area ascertained?
A.--It may be ascertained in various ways; but the usual mode is to take the vertical height of the diagram at a number of equidistant points on a base line, and then to take the mean of these several heights as representative of the mean pressure actually urging the piston. Now if you have the pressure on the piston per square inch, and if you know the number of square inches in its area, and the velocity with which it moves in feet per minute, you have obviously the dynamical effort of the engine, or, in other words, its actual power.
238. Q.--How is the base line you have referred to obtained?
A.--In proceeding to take an indicator diagram, the first thing to be done is to allow the barrel to make two or three reciprocations with the pencil resting against it, before opening the cock attached to the cylinder. There will thus be traced a horizontal line, which is called the atmospheric line, and in condensing engines, a part of the diagram will be above and a part of it below this line; whereas, in high pressure engines the whole of the diagram will be above this line. Upon this line the vertical ordinates may be set off at equal distances, or upon any base line parallel to it; but the usual course is to erect the ordinates on the atmospheric line.
239. Q.--Will you give an example of an indicator diagram?

A.--Fig. 37 is an indicator diagram taken from a low pressure engine, and the waving line a b c, forming a sort of irregular parallelogram, is that which is described by the pencil. The atmospheric line is represented by the line o o. The scale at the side shows the pressure of the steam, which in this engine rose to about 9 lbs. per square inch, and the vacuum fell to 11 lbs. The steam begins to be cut off when, about one-fourth of the stroke has been performed, and the pressure consequently falls.
240. Q.--Is this species of indicator which you have just described applicable to locomotive engines?
A.--It is no doubt applicable under suitable conditions; but another species of indicator has been applied by Mr. Gooch to locomotive engines, which presents several features of superiority for such a purpose.
This indicator has its cylinder placed horizontally; and its piston compresses two elliptical springs; a slide valve is substituted for a cock, to open or close the communication with the engine. The top of the piston rod of this indicator is connected to the short arm of a smaller lever, to the longer arm of which the pencil is attached, and the pencil has thus a considerably larger amount of motion than the piston; but it moves in the arc of a circle instead of in a straight line. The pencil marks on a web of paper, which is unwound from one drum and wound on to another, so that a succession of diagrams are taken without the necessity of any intermediate manipulation.
241. Q.--These diagrams being taken with a pencil moving in an arc, will be of a distorted form?
A.--They will not be of the usual form, but they may be easily translated into the usual form. It is undoubtedly preferable that the indicator should act immediately in the production of the final form of diagram.
242. Q.--What other gauges or instruments are there for telling the state, or regulating the power of an engine?
A.--There is the counter for telling the number of strokes the engine makes, and the dynamometer for ascertaining the tractive power of steam vessels or locomotives; then there are the gauge cocks, and glass tubes, or floats, for telling the height of water in the boiler; and in pumping engines there is the cataract for regulating the speed of the engine.
243. Q.--Will you describe the mechanism of the counter?
A.--The counter consists of a train of wheel work, so contrived that by every stroke of the engine an index hand is moved forward a certain space, whereby the number of strokes made by the engine in any given time is accurately recorded. In most cases the motion is communicated by means of a detent,--attached to some reciprocating part of the engine,--to a ratchet wheel which gives motion to the other wheels in its slow revolution; but it is preferable to derive the motion from some revolving part of the engine by means of an endless screw, as where the ratchet is used the detent will sometimes fail to carry it round the proper distance. In the counter contrived by Mr. Adie, an endless screw works into the rim of two small wheels situated on the same axis, but one wheel having a tooth more than the other, whereby a differential motion is obtained; and the difference in the velocity of the two wheels, or their motion upon one another, expresses the number of strokes performed. The endless screw is attached to some revolving part of the engine, whereby a rotatory motion is imparted to it; and the wheels into which the screws work hang down from it like a pendulum, and are kept stationary by the action of gravity.
244. Q.--What is the nature of the dynamometer?
A.--The dynamometer employed for ascertaining the traction upon railways consists of two flat springs joined together at the ends by links, and the amount of separation of the springs at the centre indicates, by means of a suitable hand and dial, the force of traction. A cylinder of oil, with a small hole through its piston, is sometimes added to this instrument to prevent sudden fluctuations. In screw vessels the forward thrust of the screw is measured by a dynamometer constructed on the principle of a weighing machine, in which a small spring pressure at the index will balance a very great pressure where the thrust is employed; and in each case the variations of pressure are recorded by a pencil on a sheet of paper, carried forward by suitable mechanism, whereby the mean thrust is easily ascertained. The tractive force of paddle wheel steamers is ascertained by a dynamometer fixed on shore, to which the floating vessel is attached by a rope. Sometimes the power of an engine is ascertained by a friction break dynamometer applied to the shaft.
345. Q.--What will determine the amount of thrust shown by the dynamometer?
A.--In locomotives and in paddle steamers it will be determined by the force turning the wheels, and by the smallness of the diameter of the wheels; for with small wheels the thrust will be greater than with large wheels. In screw vessels the thrust will be determined by the force turning round the screw, and by the smallness of the screw's pitch; for with any given force of torsion a fine pitch of screw will give a greater thrust than a coarse pitch of screw, just as is the case when a screw works in a solid nut.
246. Q.--Will you explain the use of the glass gauges affixed to the boiler?
A.--The glass gauges are tubes affixed to the fronts of boilers, by the aid of which the height of the water within the boilers is readily ascertainable, for the water will stand at the same height in the tube as in the boiler, with which there is a communication maintained both at the top and bottom of the tube by suitable stopcocks. The cocks connecting the glass tube with the boiler should always be so constructed that the tube may be blown through with the steam, to clear it of any internal concretion that may impair its transparency; and the construction of the sockets in which the tube is inserted should be such, that, even when there is steam in the boiler, a broken tube may be replaced with facility.
247. Q.--What then are the gauge cocks?
A.--The gauge cocks are cocks penetrating the boiler at different heights, and which, when opened, tell whether it is water or steam that exists at the level at which they are respectively inserted. It is unsafe to trust to the glass gauges altogether as a means of ascertaining the water level, as sometimes they become choked, and it is necessary, therefore, to have gauge cocks in addition; but if the boiler be short of steam, and a partial vacuum be produced within it, the glass gauges become of essential service, as the gauge cocks will not operate in such a case, for though opened, instead of steam and water escaping from them, the air will rush into the boiler. It is expedient to carry a pipe from the lower end of the glass tube downward into the water of the boiler, and a pipe from the upper end upward into the steam in the boiler, so as to prevent the water from boiling down through the tube, as it might otherwise do, and prevent the level of the water from being ascertainable. The average level of water in the boiler should be above the centre of the tube; and the lowest of the gauge cocks should always run water, and the highest should always blow steam.
248. Q.--Is not a float sometimes employed to indicate the level of the water in the boiler?
A.--A float for telling the height of water in the boiler is employed only in the case of land boilers, and its action is like that of a buoy floating on the surface, which, by means of a light rod passing vertically through the boiler, shows at what height the water stands. The float is usually formed of stone or iron, and is so counterbalanced as to make its operation the same as if it were a buoy of timber; and it is generally put in connection with the feed valve, so that in proportion as the float rises, the supply of feed water is diminished. The feed water in land boilers is admitted from a small open cistern, situated at the top of an upright or stand pipe set upon the boiler, and in which there is a column of water sufficiently high to balance the pressure of the steam.
249. Q.--What is the cataract which is employed to regulate the speed of pumping engines?

A.--The cataract consists of a small pump-plunger b and barrel, set in a cistern of water, the barrel being furnished on the one side with a valve, c, opening inwards, through which the water obtains admission to the pump chamber from the cistern, and on the other by a plug, d, through which, if the plunger be forced down, the water must pass out of the pump chamber. The engine in the upward stroke of the piston, which is accomplished by the preponderance of weight at the pump end of the beam, raises up the plunger of the cataract by means of a small rod,--the water entering readily through the valve already referred to; and when the engine reaches the top of the stroke, it liberates the rod by which the plunger has been drawn up, and the plunger then descends by gravity, forcing out the water through the cock, the orifice of which has previously been adjusted, and the plunger in its descent opens the injection valve, which causes the engine to make a stroke.
250. Q.--Suppose the cock of the cataract be shut?
A.--If the cock of the cataract be shut, it is clear that the plunger cannot descend at all, and as in that case the injection valve cannot be opened, the engine must stand still; but if the cock be slightly opened, the plunger will descend slowly, the injection valve will slowly open, and the engine will make a gradual stroke as it obtains the water necessary for condensation. The extent to which the cock is open, therefore, will regulate the speed with which the engine works; so that, by the use of the cataract, the speed of the engine may be varied to suit the variations in the quantity of water requiring to be lifted from the mine. In some cases an air cylinder, and in other cases an oil cylinder, is employed instead of the apparatus just described; but the principle on which the whole of these contrivances operate is identical, and the only difference is in the detail.
251. Q.--You have now shown that the performance of an engine is determinable by the indicator; but how do you determine the power of the boiler?
A.--By the quantity of water it evaporates. There is, however, no very convenient instrument for determining the quantity of water supplied to a boiler, and the consequence is that this element is seldom ascertained.
252. Q.--What are the considerations which must chiefly be attended to in settling the proportions of boilers?
A.--In the first place there must be sufficient grate surface to enable the quantity of coal requisite for the production of the steam to be conveniently burnt, taking into account the intensity of the draught; and in the next place there must be a sufficient flue surface readily to absorb the heat thus produced, so that there may be no needless waste of heat by the chimney. The flues, moreover, must have such an area, and the chimney must be of such dimensions, as will enable a suitable draught through the fire to be maintained; and finally the boiler must be made capable of containing such supplies of water and steam as will obviate inconvenient fluctuations in the water level, and abate the risk of water being carried over into the engine with the steam. With all these conditions the boiler must be as light and compact as possible, and must be so contrived as to be capable of being cleaned and repaired with facility.
253. Q.--Supposing, then, that you had to proportion a boiler, which should be capable of supplying steam sufficient to propel a steam vessel or railway train at a given speed, or to perform any other given work, how would you proceed?
A.--I would first ascertain the resistance which had to be overcome, and the velocity with which it was necessary to overcome it. I should then be in a position to know what pressure and volume of steam were required to overcome the resistance at the prescribed rate of motion; and, finally, I should allow a sufficient heating and fire grate surface in the boiler according to the kind of boiler it was, to furnish the requisite quantity of steam, or, in other words, to evaporate the requisite quantity of water.
254. Q.--will you state the amount of heating surface and grate surface necessary to evaporate a given quantity of water?
A.--The number of square feet of heating or flue surface, required to evaporate a cubic foot of water per hour, is about 70 square feet in Cornish boilers, 8 to 11 square feet in land and marine boilers, and 5 or 6 square feet in locomotive boilers. The number of square feet of heating surface per square foot of fire grate, is from 13 to 15 square feet in wagon boilers; about 40 square feet in Cornish boilers; and from 50 to 90 square feet in locomotive boilers. About 80 square feet in locomotives is a very good proportion.
255. Q.--What is the heating surface of boilers per horse power?
A.--About 9 square feet of flue and furnace surface per horse power is the usual proportion in wagon boilers, reckoning the total surface as effective surface, if the boilers be of a considerable size; but in the case of small boilers the proportion is larger. The total heating surface of a two horse power wagon boiler is, according to Boulton and Watt's proportions, 30 square feet, or 15 ft. per horse power; whereas, in the case of a 45 horse power boiler the total heating surface is 438 square feet, or 9.6 ft. per horse power. In marine boilers nearly the same proportions obtain. The original boilers of the Great Western steamer, by Messrs. Maudslay, were proportioned with about 10 square feet of flue and furnace surface per horse power, reckoning the total amount as effective; but in the boilers of the Retribution, by the same makers, but of larger size, a somewhat smaller proportion of heating surface was adopted. Boulton and Watt have found that in their marine flue boilers, 9 square feet of flue and furnace surface are requisite to boil off a cubic foot of water per hour, which is the proportion of heating surface that is allowed in their land boilers per horse power; but inasmuch as in most modern engines, and especially in marine engines, the nominal considerably exceeds the actual power, they allow 11 or 12 square feet of heating surface per nominal horse power in their marine boilers, and they reckon as effective heating surface the tops of the flues, and the whole of the sides of the flues, but hot the bottoms. For their land engines they still retain Mr. Watt's standard of power, which makes the actual and the nominal power identical; and an actual horse power is the equivalent of a cubic foot of water raised into steam every hour.
256. Q.--What is the proper proportion of fire grate per horse power?
A.--Boulton and Watt allow 0.64 of a square foot area of grate bars per nominal horse power in their marine boilers, and a good effect arises from this proportion; but sometimes so large an area of fire grate cannot be conveniently got, and the proportion of half a square foot per horse power, which is the proportion adopted in the original boiler of the Great Western, seems to answer very well in engines working with a moderate pressure, and with some expansion; and this proportion is now very widely adopted. With this allowance, there will be 22 to 24 square feet of heating surface per square foot of fire grate; and if the consumption of fuel be taken at 6 lbs. per nominal horse power per hour, there will be about 12 lbs. of coal consumed per hour on each square foot of grate. The furnaces should not be more than 6 ft. long, as, if much longer than this, it will be impossible to work them properly for any considerable length of time, as they will become choked with clinker at the back ends.
257. Q.--What quantity of fuel is usually consumed per hour on each square foot of fire grate?
A.--The quantity of fuel burned on each square foot of fire grate per hour, varies very much in different boilers; in wagon boilers it is from 10 to 13 lbs.; in Cornish boilers from 3-1/2 to 4 lbs.; and in locomotive boilers from 80 to 150 lbs.; but about 1 cwt. per hour is a good proportion in locomotives, as has been already explained.
258. Q.--In what manner are the proper sectional area and the proper capacity of the flue of a boiler determined?
A.--The proper collective area for the escape of the smoke and flame over the furnace bridges in marine boilers is 19 square inches per nominal horse power, according to Boulton and Watt's practice, and for the sectional area of the flue they allow 18 square inches per horse power. The sectional area of the flue in square inches is what is termed the calorimeter of the boiler, and the calorimeter divided by the length of the flue in feet is what is termed the vent. In marine flue boilers of good construction the vent varies between the limits of 20 and 25, according to the size of the boiler and other circumstances--the largest boilers having generally the largest vents; and the calorimeter divided by the vent will give the length of the flue in feet. The flues of all flue boilers diminish in their calorimeter as they approach the chimney, as the smoke contracts in its volume in proportion as it parts with its heat.
259. Q.--Is the method of determining the dimensions of a boiler flue, by a reference to its vent and calorimeter, the method generally pursued?
A.--It is Boulton and Watt's method; but some very satisfactory boilers have been made by allowing a proportion of 0.6 of a square foot of fire grate per nominal horse power, and making the sectional area of the flue at the largest part 1/7th of the area of fire grate, and at the smallest part, where it enters the chimney, 1/11th of the area of the fire grate. These proportions are retained whether the boiler is flue or tubular, and from 14 to 16 square feet of tube surface is allowed per nominal horse power.
260. Q.--Are the proportions of vent and calorimeter, taken by Boulton and Watt for marine flue boilers, applicable also to wagon and tubular boilers?
A.--No. In wagon and tubular boilers very different proportions prevail, yet the proportions of every kind of boiler are determinable on the same general principle. In wagon boilers the proportion of the perimeter of the flue which is effective as heating surface, is to the total perimeter as 1 to 3, or, in some cases as 1 to 2.5; and with any given area of flue, therefore, the length of the flue must be from 3 to 2.5 times greater than would be necessary if the total surface were effective, else the requisite quantity of heating surface will not be obtained. If, then, the vent be the calorimeter, divided by the length, and the length be made 3 or 2.5 times greater, the vent must become 3 or 2.5 times less; and in wagon boilers accordingly, the vent varies from 8 to 11 instead of from 21 to 25, as in the case of marine flue boilers. In tubular marine boilers the calorimeter is usually made only about half the amount allowed by Boulton and Watt for marine flue boilers, or, in other words, the collective sectional area of the tubes, for the transmission of the smoke, is from 8 to 9 square inches per nominal horse power. It is better, however, to make the sectional area larger than this, and to work the boiler with the damper sufficiently closed to prevent the smoke and flame from rushing exclusively through a few of the tubes.
261. Q.--What are the ordinary dimensions of the flue in wagon boilers?
A.--In Boulton and Watt's 45 horse wagon boiler the area of flue is 18 square inches per horse power, but the area per horse power increases very rapidly as the size of the boiler becomes less, and amounts to about 80 square inches per horse power in a boiler of 2 horse power. Some such increase is obviously inevitable, if a similar form of flue be retained in the larger and smaller powers, and at the same time the elongation of the flue in the same proportion as the increase of any other dimension is prevented; but in the smaller class of wagon boilers the consideration of facility of cleaning the flues is also operative in inducing a large proportion of sectional area. Boulton and Watt's 2 horse power wagon boiler has 30 square feet of surface, and the flue is 18 inches high above the level of the boiler bottom, by 9 inches wide; while their 12 horse wagon boiler has 118 square feet of heating surface, and the dimensions of the flue similarly measured are 36 inches by 13 inches. The width of the smaller flue, if similarly proportioned to the larger one, would be 6-1/2 inches, instead of 9 inches, and, by assuming this dimension, we should have the same proportion of sectional area per square foot of heating surface in both boilers. The length of flue in the 2 horse boiler is 19.5 ft., and in the 12 horse boiler 39 ft., so that the length and height of the flue are increased in the same proportion.
262. Q.--Will you give an example of the proportions of a flue, in the case of a marine boiler?
A.--The Nile steamer, with engines of 110 horse power by Boulton and Watt, is supplied with steam by two boilers, which are, therefore, of 55 horses power each. The height of the flue winding within the boiler is 60 inches, and its mean width 16-1/2 inches, making a sectional area or calorimeter of 990 square inches, or 18 square inches per horse power of the boiler. The length of the flue is 39 ft., making the vent 25, which is the vent proper for large boilers. In the Dee and Solway steamers, by Scott and Sinclair, the calorimeter is only 9.72 square inches per horse power; in the Eagle, by Caird, 11.9; in the Thames and Medway, by Maudslay, 11.34, and in a great number of other cases it does not rise above 12 square inches per horse power; but the engines of most of these vessels are intended to operate to a certain extent expansively, and the boilers are less powerful in evaporating efficacy on that account.
263. Q.--Then the chief difference in the proportions established by Boulton and Watt, and those followed by the other manufacturers you have mentioned is, that Boulton and Watt set a more powerful boiler to do the same work?
A.--That is the main difference. The proportion which one part of the boiler bears to another part is very similar in the cases cited, but the proportion of boiler relatively to the size of the engine varies very materially. Thus the calorimeter of each boiler of the Dee and Solway is 1296 square inches; of the Eagle, 1548 square inches; and of the Thames and Medway, 1134 square inches; and the length of flue is 57, 60, and 52 ft. in the boilers respectively, which makes the respective vents 22-1/2, 25, and 21. Taking then the boiler of the Eagle for comparison with the boiler of the Nile, as it has the same vent, it will be seen that the proportions of the two are almost identical, for 990 is to 1548 as 39 is to 60, nearly; but Messrs. Boulton and Watt would not have set a boiler like that of the Eagle to do so much work.
264. Q.--Then the evaporating power of the boiler varies as the sectional area of the flue?
A.--The evaporating power varies as the square root of the area of the flue, if the length of the flue remain the same; but it varies as the area simply, if the length of the flue be increased in the same proportion as its other dimensions. The evaporating power of a boiler is referable to the amount of its heating surface, and the amount of heating surface in any flue or tube is proportional to the product of the length of the tube and the square root of its sectional area, multiplied by a certain quantity that is constant for each particular form. But in similar tubes the length is proportional to the square root of the sectional area; therefore, in similar tubes, the amount of heating surface is proportional to the sectional area. On this area also depends the quantity of hot air passing through the flue, supposing the intensity of the draught to remain unaffected, and the quantity of hot air or smoke passing through the flue should vary in the same ratio as the quantity of surface.
265. Q.--A boiler, therefore, to exert four times the power, should have four times the extent of heating surface, and four times the sectional area of flue for the transmission of the smoke?
A.--Yes; and if the same form of flue is to be retained, it should be of twice the diameter and twice the length; or twice the height and width if rectangular, and twice the length. As then the diameter or square root of the area increases in the same ratio as the length, the square root of the area divided by the length ought to be a constant quantity in each type of boiler, in order that the same proportions of flue may be retained; and in wagon boilers without an internal flue, the height in inches of the flue encircling the boiler divided by the length of the flue in feet will be 1 very nearly. Instead of the square root of the area, the effective perimeter, or outline of that part of the cross section of the flue which is effective in generating steam, may be taken; and the effective perimeter divided by the length ought to be a constant quantity in similar forms of flues and with the same velocity of draught, whatever the size of the flue may be.
266. Q.--Will this proportion alter if the form of the flue be changed?
A.--It is clear, that with any given area of flue, to increase the perimeter by adopting a different shape is tantamount to a diminution of the length of the flue; and, if the perimeter be diminished, the length of the flue must at the same time be increased, else it will be impossible to obtain the necessary amount of heating surface. In Boulton and Watt's wagon boilers, the sectional area of the flue in square inches per square foot of heating surface is 5.4 in the two horse boiler; in the three horse it is 4.74; in the four horse, 4.35; six horse, 3.75; eight horse, 4.33; ten horse, 3.96; twelve horse, 3.63; eighteen horse, 3.17; thirty horse, 2.52; and in the forty-five horse boiler, 2.05 square inches. Taking the amount of heating surface in the 45 horse boiler at 9 square feet per horse power, we obtain 18 square inches of sectional area of flue per horse power, which is also Boulton and Watt's proportion of sectional area for marine boilers with internal flues.
267. Q.--If to increase the perimeter of a flue is virtually to diminish the length, then a tubular boiler where the perimeter is in effect greatly extended ought to have but a short length of tube?
A.--The flue of the Nile steamer if reduced to the cylindrical form would be 35-1/2 inches in diameter to have the same area; but it would then require to be made 47-3/4 feet long, to have the same amount of heating surface, excluding the bottom as non-effective. Supposing that with these proportions the heat is sufficiently extracted from the smoke, then every tube of a tubular boiler in which the same draught existed ought to have very nearly the same proportions.
268. Q.--But what are the best proportions of the parts of tubular boilers relatively with one another?
A.--The proper relative proportions of the parts of tubular boilers may easily be ascertained by a reference to the settled proportions of flue boilers; for the same general principles are operative in both cases. In the Nile steamer each boiler of 55 horse power has about 497 square feet of flue surface or 9 square feet per horse power, reckoning the total surface as effective. The area of the flue, which is rectangular is 990 square inches, therefore the area is equal to that of a tube 35-1/2 inches in diameter; and such a tube, to have a heating surface of 497 square feet, must be 53.4 feet or 640.8 inches in length. The length, therefore, of the tube, will be about 18 times its diameter, and with the same velocity of draught these proportions must obtain, whatever the absolute dimensions of the tube may be. With a calorimeter, therefore, of 18 square inches per horse power, the length of a tube 3 inches diameter must not exceed 4 feet 6 inches, since the heat will be sufficiently extracted from the smoke in this length, if the smoke only travels at the velocity due to a calorimeter of 18 square inches per horse power.
269. Q.--Is this, then, the maximum length of flue which can be used in tubular boilers with advantage?
A.--By no means. The tubes of tubular boilers are almost always more than 4 feet 6 inches long, but then the calorimeter is almost always less than 18 square inches per horse power--generally about two thirds of this. Indeed, tubular boilers with a large calorimeter are not found to be so satisfactory as where the calorimeter is small, partly from the propensity of the smoke in such cases to pass through a few of the tubes instead of the whole of them, and partly from the deposit of soot which takes place when the draught is sluggish. It is a very confusing practice, however, to speak of nominal horse power in connection with boilers, since that is a quantity quite indeterminate.
270. Q.--The main thing after all in boilers is their evaporative powers?
A.--The proportions of tubular boilers, as of all boilers, should obviously have reference to the evaporation required, whereas the demand upon the boiler for steam is very often reckoned contingent upon the nominal horse power of the engine; and as the nominal power of an engine is a conventional quantity by no means in uniform proportion to the actual quantity of steam consumed, perplexing complications as to the proper proportions of boilers have in consequence sprung up, to which most of the failures in that department of engineering may be imputed. It is highly expedient, therefore, in planning boilers for any particular engine, to consider exclusively the actual power required to be produced, and to apportion the capabilities of the boiler accordingly.
271. Q.--In other words you would recommend the inquiry to be restricted to the mode of evaporating a given number of cubic feet of water in the hour, instead of embracing the problem how an engine of a given nominal power was to be supplied with steam?
A.--I would first, as I have already stated, consider the actual power required to be produced, and then fix the amount of expansion to be adopted. If the engine had to work up to three times its nominal power, as is now common in marine engines, I should either increase correspondingly the quantity of evaporating surface in the boiler, or adopt such an amount of expansion as would increase threefold the efficacy of the steam, or combine in a modified manner both of these arrangements. Reckoning the evaporation of a cubic foot of water in the hour as equivalent to an actual horse power, and allowing a square yard or 9 square feet as the proper proportion of flue surface to evaporate a cubic foot of water in the hour, it is clear that I must either give 27 square feet of heating surface in the boiler to have a trebled power without expansion, or I must cut off the steam at one seventh of the stroke to obtain a three-fold power without increasing the quantity of heating surface. By cutting off the steam, however, at one third of the stroke, a heating surface of 13-1/2 square feet will give a threefold power, and it will usually be the most judicious course to carry the expansion as far as possible, and then to add the proportion of heating surface necessary to make good the deficiency still found to exist.
272. Q.--But is it certain that a cubic foot of water evaporated in the hour is equivalent to an actual horse power?
A.--An actual horse power as fixed by Watt is 33,000 lbs. raised one foot high in the minute; and in Watt's 40 horse power engine, with a 31-1/2 inch cylinder, 7 feet stroke, and making 17-1/2 strokes a minute, the effective pressure is 6.92 lbs. on the square inch clear of all deductions. Now, as a horse power is 33,000 lbs. raised one foot high, and as there are 6.92 lbs, on the square inch, it is clear that 33,000 divided by 6.92, on 4768 square inches with 6.92 lbs. on each if lifted 1 foot or 12 inches high, will also be equal to a horse power. But 4768 square inches multiplied by 12 inches in height is 57224.4 cubic inches, or 33.1 cubic feet, and this is the quantity of steam which must be expended per minute to produce an actual horse power.
273. Q.--But are 33 cubic feet of steam expended per minute equivalent to a cubic foot of water expended in the hour?
A..--Not precisely, but nearly so. A cubic foot of water produces 1669 cubic feet of steam of the atmospheric density of 15 lbs. per square inch, whereas a consumption of 33 cubic feet of steam in the minute is 1980 cubic feet in the hour. In Watt's engines about one tenth was reckoned as loss in filling the waste spaces at the top and bottom of the cylinder, making 1872 cubic feet as the quantity consumed per hour without this waste; and in modern engines the waste at the ends of the cylinder is inconsiderable.
274. Q.--What power was generated by a cubic foot of water in the case of the Albion Mill engines when working without expansion?
A.--In the Albion Mill engines when working without expansion, it was found that 1 lb. of water in the shape of steam raised 28,489 lbs. 1 foot high. A cubic foot of water, therefore, or 62-1/2 lbs., if consumed in the hour, would raise 1780562.5 lbs. one foot high in the hour, or would raise 29,676 lbs. one foot high in a minute; and if to this we add one tenth for waste at the ends of the cylinder, a waste which hardly exists in modern engines, we have 32,643 lbs. raised one foot high in the minute, or a horse power very nearly. In some cases the approximation appears still nearer. Thus, in a 40 horse engine working without expansion, Watt found that .674 feet of water were evaporated from the boiler per minute, which is just a cubic foot per horse power per hour; but it is not certain in this case that the nominal and actual power were precisely identical. It will be quite safe, however, to reckon an actual horse power as producible by the evaporation of a cubic foot of water in the hour in the case of engines working without expansion; and for boiling off this quantity in flue or wagon boilers, about 8 lbs. of coal will be required and 9 square feet of flue surface.
275. Q.--These proportions appear chiefly to refer to old boilers. I wish you to state what are the proportions of modern flue and tubular marine boilers.
A.--In modern marine boilers the area of fire grate is less than in Mr. Watt's original boilers, where it was one square foot to nine square feet of heating surface. The heat in the furnace is consequently more intense, and a somewhat less amount of surface suffices to evaporate a cubic foot of water. In Boulton and Watt's modern flue boilers they allow for the evaporation of a cubic foot of water 8 square feet of heating surface, 70 square inches of fire grate, 13 square inches sectional area of flues, 6 square inches sectional area of chimney, 14 square inches area over furnace bridges, ratio of area of flue to area of fire grate 1 to 5.4. To evaporate a cubic foot of water per hour in tubular boilers, the proportions are--heating surface 9 square feet, fire grate 70 square inches, sectional area of tubes 10 square inches, sectional area of back uptake 12 square inches, sectional area of front uptake 10 square inches, sectional area of chimney 7 square inches, ratio of diameter of tube to length of tube 1/28th to 1/30th, cubical content of boiler exclusive of steam chest 6.5 cubic feet, cubical content of steam chest 1.5 cubic feet.
276. Q.--These proportions do not apply to locomotive boilers?
A.--Not at all. In locomotive boilers the draught is maintained by the projection of the waste steam which escapes from the cylinders up the chimney, and the draught is much more powerful and the combustion much more rapid than in cases in which the combustion is maintained by the natural draught of a chimney, except indeed the chimney be of very unusual temperature and height. The proportions proper for locomotive boilers will be seen by the dimensions of a few locomotives of approved construction, which have been found to give satisfactory results in practice, and which are recorded in the following Table:
|
|
NAME OF ENGINE |
|||
|
Great Britain. |
Pallas. |
Snake. |
Sphinx. |
|
|
Diameter of cylinder |
18 in. |
15 in. |
14-1/4 in. |
18 in. |
|
Length of stroke |
24 in. |
20 in. |
21 in. |
24 in. |
|
Diameter of driving wheel |
8 ft. |
6 ft. |
6-1/2 ft. |
5 ft. |
|
Inside diameter of fire box |
53 in. |
55 in. |
41-1/3 in. |
44 in. |
|
Inside width of fire box |
63 in. |
42 in. |
43-1/4 in. |
39-1/2 in. |
|
Height of fire box above bars |
63 in. |
52 in. |
48-1/3 in. |
55-1/2 in. |
|
Number of fire bars |
29 |
..... |
32 |
16 |
|
Thickness of fire bars |
3/4 in. |
1-3/4 in. |
5/8 in. |
1 in. |
|
Number of Tubes |
305 |
134 |
181 |
142 |
|
Outside diameter of tubes |
2 in. |
2 in. |
1-7/8 in. |
2-1/8 in. |
|
Length of tubes |
11 ft 3 in |
10 ft 6 in |
10 ft 3-1/2 in. |
14 ft 3-1/4 in. |
|
Space between tubes |
1/2 in. |
3/4 in. |
1/2 in. |
|
|
Inside diameter of ferules |
1-9/16 in. |
1-1/2 in. |
1-5/16 in. |
1-5/8 in. |
|
Diameter of chimney |
17 in. |
15 in. |
13 in. |
15-1/2 in. |
|
Diameter of blast orifice |
5-1/2 in. |
4-5/8 in. |
4-1/2 in. |
4-3/4 in. |
|
Area of grate |
21 sq. ft. |
16.04 sq. ft. |
12.4 sq. ft. |
10.56 sq. ft |
|
Area of air space of grate |
11.4 sq. ft. |
4.08 sq. ft. |
5.54 sq. ft. |
5 sq. ft. |
|
Area of tubes |
5.46 sq. ft. |
2.40 sq. ft. |
2.8 sq. ft. |
2.92 sq. ft. |
|
Area though ferules |
4 sq. ft. |
1.64 sq. ft. |
2 sq. ft. |
2.04 sq. ft. |
|
Area of chimney |
1.77 sq. ft. |
1.23 sq. ft. |
921 sq. ft. |
1.31 sq. ft. |
|
Area of blast orifice |
23.76 sq.in. |
16.8 sq.in. |
14.18 sq. in. |
17.7 sq. in. |
|
Heating surface of tubes |
1627 sq.ft. |
668.7 sq. ft. |
823 sq. ft. |
864 sq. ft. |
277. Q.--What is the amount of draught produced in locomotive boilers in comparison with that existing in other boilers?
A.--A good chimney of a land engine will produce a degree of exhaustion equal to from 1-1/2 to 2-1/2 inches of water. In locomotive boilers the exhaustion is in some cases equal to 12 or 13 inches of water, but from 3 to 6 inches is a more common proportion.
278. Q.--And what force of blast is necessary to produce this exhaustion?
A.--The amount varies in different engines, depending on the sectional area of the tubes and other circumstances. But on the average, it may be asserted that such a pressure of blast as will support an inch of mercury, will maintain sufficient exhaustion in the smoke box to support an inch of water; and this ratio holds whether the exhaustion is little or great. To produce an exhaustion in the smoke box, therefore, of 6 inches of water, the waste steam would require to be of sufficient pressure to support a column of 6 inches of mercury, which is equivalent to a pressure of 3 lbs. on the square inch.
279. Q.--How is the force of the blast determined?
A.--By the amount of contraction given to the mouth of the blast pipe, which is a pipe which conducts the waste steam from the cylinders and debouches at the foot of the chimney. If a strong blast be required, the mouth of this pipe requires to be correspondingly contracted, but such contraction throws a back pressure on the piston, and it is desirable to obtain the necessary draught with as little contraction of the blast pipe as possible. The blast pipe is generally a breeches pipe of which the legs join just before reaching the chimney; but it is better to join the two cylinders below, and to let a single pipe ascend to within 12 or 18 inches of the foot of the chimney. If made with too short a piece of pipe above the joining, the steam will be projected against each side of the chimney alternately, and the draught will be damaged and the chimney worn. The blast pipe should not be regularly tapered, but should be large in the body and gathered in at the mouth.
280. Q.--Is a large and high chimney conducive to strength of draught in locomotives?
A.--It has not been found to be so. A chimney of three or four times its own diameter in height appears to answer fully as well as a longer one; and it was found that when in an engine with 17 inch cylinders a chimney of 15-1/4 inches was substituted for a chimney of 17-1/2 inches, a superior performance was the result. The chimney of a locomotive should have half the area of the tubes at the ferules, which is the most contracted part, and the blast orifice should have 1/10th of the area of the chimney. The sectional area of the tubes through the ferules should be as large as possible. Tubes without ferules it is found pass one fourth more air, and tubes with ferules only at the smoke box end pass one tenth more air than when there are ferules at both ends.
281. Q.--Is the exhaustion produced by the blast as great in the fire box as in the smoke box?
A.--Experiments have been made to determine this, and in few cases has it been found to be more than about half as great as ordinary speeds; but much depends on the amount of contraction in the tubes. In an experiment made with an engine having 147 tubes of 1-3/4 inches external diameter, and 13 feet 10 inches long, and with a fire grate having an area of 9-1/2 square feet, the exhaustion at all speeds was found to be three times greater in the smoke box than in the fire box. The exhaustion in the smoke box was generally equivalent to 12 inches of water, while in the fire box it was equivalent to only 4 inches of water; showing that 4 inches were required to draw the air through the grate and 8 inches through the tubes.
282. Q.--What will be the increase of evaporation in a locomotive from a given increase of exhaustion?
A.--The rate of evaporation in a locomotive or any other boiler will vary as the quantity of air passing through the fire, and the quantity of air passing through the fire will vary nearly as the square root of the exhaustion. With four times the exhaustion, therefore, there will be about twice the evaporation, and experiment shows that this theoretical law holds with tolerable accuracy in practice.
283. Q.--But the same exhaustion will not be produced by a given strength of blast in all engines?
A.--No; engines with contracted fire grates and an inadequate sectional area of tubes, will require a stronger blast than engines of better proportions; but in any given engine the relations between the blast exhaustion and evaporation, hold which have been already defined.
284. Q.--Is the intensity of the draught under easy regulation?
A.--The intensity of the draught may easily be diminished by partially closing the damper in the chimney, and it may be increased by contracting the orifice of the blast. A variable blast pipe, the orifice of which may be enlarged or contracted at pleasure, has been much used. There are various devices for this purpose, but the best appears to be that adopted in Stephenson's engine, where a conical nozzle is moved up or down within the blast pipe, which is made somewhat larger in diameter than the base of the cone, but with a ring projecting internally, against which the base of the cone abuts when the nozzle is pushed up. When the nozzle stands at the top of the pipe the whole of the steam has to pass through it, and the intensity of the blast is increased by the increased velocity thus given to the steam; whereas when the nozzle is moved downward the steam escapes through the annular opening left between the nozzle and the pipe, as well as through the nozzle itself, and the intensity of the blast is diminished by the enlargement of the opening for the escape of the steam thus made available.
285.Q.--What is the best diameter for the tubes of locomotive boilers?
A.--Bury's locomotive with 14 inch cylinders contains 92 tubes of 2-1/8th inches external diameter, and 10 feet 6 inches long; whereas Stephenson's locomotive with 15 inch cylinders contains 150 tubes of 1-5/8ths external diameter, 13 feet 6 inches long. In Stephenson's boiler, in order that the part of the tubes next the chimney may be of any avail for the generation of steam, the draught has to be very intense, which in its turn involves a considerable expenditure of power; and it is questionable whether the increased expenditure of power upon the blast, in Stephenson's long tubed locomotives, is compensated by the increased generation of steam consequent upon the extension of the heating surface. When the tubes are small in diameter they are apt to become partially choked with pieces of coke; but an internal diameter of 1-5/8ths may be employed without inconvenience if the draught be of medium intensity.
286. Q.--Will you illustrate the relation between the length and diameter of locomotive tubes by a comparison with the proportion of flues in flue boilers?
A.--In most locomotives the velocity of the draught is such that it would require very long tubes to extract the heat from the products of combustion, if the heat were transmitted through the metal of the tubes with only the same facility as through the iron of ordinary flue boilers. The Nile steamer, with engines of 110 nominal horses power each, and with two boilers having two independent flues in each, of such dimensions as to make each flue equivalent to 55 nominal horses power, works at 62 per cent. above the nominal power, so that the actual evaporative efficacy of each flue would be equivalent to 89 actual horses power, supposing the engines to operate without expansion; but as the mean pressure in the cylinder is somewhat less than the initial pressure, the evaporative efficacy of each flue may be reckoned equivalent to 80 actual horses power. With this evaporative power there is a calorimeter of 990 square inches, or 12.3 square inches per actual horse power; whereas in Stephenson's locomotive with 150 tubes, if the evaporative power be taken at 200 cubic feet of water in the hour, which is a large supposition, the engine will be equal to 200 actual horses power. If the internal diameter of the tubes be taken at thirteen eighths of an inch, the calorimeter per actual horse power will only be 1.1136 square inches, or in other words the calorimeter in the locomotive boiler will be 11.11 times less than in the flue boiler for the same power, so that the draught in the locomotive must be 11.11 times stronger, and the ratio of the length of the tube to its diameter 11.11 times greater than in the flue boiler, supposing the heat to be transmitted with only the same facility. The flue of the Nile would require to be 35- 1/2 inches in diameter if made of the cylindrical form, and 47-3/4 feet long; the tubes of a locomotive if 1-3/8ths inch diameter would only require to be 22.19 inches long with the same velocity of draught; but as the draught is 11.11 times faster than in a flue boiler, the tubes ought to be 246.558 inches, or about 20-1/2 feet long according to this proportion. In practice, however, they are one third less than this, which reduces the heating surface from 9 to 6 square feet per actual horse power, and this length even is found to be inconvenient. It is greatly preferable therefore to increase the calorimeter, and diminish the intensity of the draught.
287. Q.--By what process do you ascertain the dimensions of the chimney of a land boiler?
A.--By a reference to the volume of air it is necessary in a given time to supply to the burning fuel, and to the velocity of motion produced by the rarefaction in the chimney; for the area of the chimney requires to be such, that with the velocity due to that rarefaction, the quantity of air requisite for the combustion of the fuel shall pass through the furnace in the specified time. Thus if 200 cubic feet of air of the atmospheric density are required for the combustion of a pound of coal,--though 250 lbs. is nearer the quantity generally required,--and 10 lbs. of coal per horse power per hour are consumed by an engine, then 2000 cubic feet of air must be supplied to the furnace per horse power per hour, and the area of the chimney must be such as to deliver this quantity at the increased bulk due to the high temperature of the chimney when moving with the velocity the rarefaction within the chimney occasions, and which, in small chimneys, is usually such as to support a column of half an inch of water. The velocity with which a denser fluid flows into a rarer one is equal to the velocity a heavy body acquires in falling through a height equal to the difference of altitude of two columns of the heavier fluid of such heights as will produce the respective pressures; and, therefore, when the difference of pressure or amount of rarefaction in the chimney is known, it is easy to tell the velocity of motion which ought to be produced by it. In practice, however, these theoretical results are not to be trusted, until they have received such modifications as will make them representative of the practice of the most experienced constructors.
288. Q.--What then is the rule followed by the most experienced constructors?
A.--Boulton and Watt's rule for the dimensions of the chimney of a land engine is as follows:--multiply the number of pounds of coal consumed under the boiler per hour by 12, and divide the product by the square root of the height of the chimney in feet; the quotient is the area of the chimney in square inches in the smallest part. A factory chimney suitable for a 20 horse boiler is commonly made about 20 in. square inside, and 80 ft. high; and these dimensions are those which answer to a consumption of 15 lbs. of coal per horse power per hour, which is a very common consumption in factory engines. If 15 lbs. of coal be consumed per horse power per hour, the total consumption per hour in a 20 horse boiler will be 300 lbs., and 300 multiplied by 12 = 3600, and divided by 9 (the square root of the height) = 400, which is the area of the chimney in square inches. It will not answer well to increase the height of a chimney of this area to more than 40 or 50 yards, without also increasing the area, nor will it be of utility to increase the area much without also increasing the height. The quantity of coal consumed per hour in pounds, multiplied by 5, and divided by the square root of the height of the chimney, is the proper collective area of the openings between the bars of the grate for the admission of air to the fire.
289. Q.--Is this rule applicable to the chimneys of steam vessels?
A.--In steam vessels Boulton and Watt have heretofore been in the habit of allowing 8-1/2 square inches of area of chimney per horse power, but they now allow 6 square inches to 7 square inches. In some steam vessels a steam blast like that of a locomotive, but of a smaller volume, is used in the chimney, and many of the evils of a boiler deficient in draught may be remedied by this expedient, but a steam blast in a low pressure engine occasions an obvious waste of steam; it also makes an unpleasant noise, and in steam vessels it frequently produces the inconvenience of carrying the smaller parts of the coal up the chimney, and scattering it over the deck among the passengers. It is advisable, therefore, to give a sufficient calorimeter in all low pressure boilers, and a sufficient height of chimney to enable the chimney to operate without a steam jet; but it is useful to know that a steam jet is a resource in the case of a defective boiler, or where the boiler has to be urged beyond its power.
290. Q.--What is the capacity of steam room allowed in boilers per horse power?
A.--The capacity of steam room allowed by Boulton and Watt in their land wagon boilers is 8-3/4 cubic feet per horse power in the two horse power boiler, and 5-3/4 cubic feet in the 20 horse power boiler; and in the larger class of boilers, such as those suitable for 30 and 45 horse power engines, the capacity of the steam room does not fall below this amount, and, indeed, is nearer 6 than 5-3/4 cubic feet per horse power. The content of water is 18-1/2 cubic feet per horse power in the two horse power boiler, and 15 cubic feet per horse power in the 20 horse power boiler.
291. Q.--Is this the proportion Boulton and Watt allow in their marine boilers?
A.--Boulton and Watt in their early steam vessels were in the habit of allowing for the capacity of the steam, space in marine boilers 16 times the content of the cylinder; but as there were two cylinders, this was equivalent to 8 times the content of both cylinders, which is the proportion commonly followed in land engines, and which agrees very nearly with the proportion of between 5 and 6 cubic feet of steam room per horse power already referred to. Taking for example an engine with 23 inches diameter of cylinder and 4 feet stroke, which will be 18.4 horse power--the area of the cylinder will be 415.476 square inches, which, multiplied by 48, the number of inches in the stroke, will give 19942.848 for the capacity of the cylinder in cubic inches; 8 times this is 159542.784 cubic inches, or 92.3 cubic feet; 92.3 divided by 18.4 is rather more than 5 cubic feet per horse power.
292. Q.--Is the production of the steam in the boiler uniform throughout the stroke of the engine?
A.--It varies with the slight variations in the pressure within the boiler throughout the stroke. Usually the larger part of the steam is produced during the first part of the stroke of the engine, for there is then the largest demand for steam, as the steam being commonly cut off somewhat before the end of the stroke, the pressure rises somewhat in the boiler during that period, and little steam is then produced. There is less necessity that the steam space should be large when the flow of steam from the boiler is very uniform, as it will be where there are two engines attached to the boiler at right angles with one another, or where the engines work at a great speed, as in the case of locomotive engines. A high steam chest too, by rendering boiling over into the steam pipes, or priming as it is called, more difficult, obviates the necessity for so large a steam space; as does also a perforated steam pipe stretching through the length of the boiler, so as not to take the steam from one place. The use of steam of a high pressure, worked expansively, has the same operation; so that in modern marine boilers, of the tubular construction, where the whole or most of these modifying circumstances exist, there is no necessity for so large a proportion of steam room as 5 or 6 cubic feet per nominal horse power, and about one, 1-1/2, or 2 cubic feet of steam room per cubic foot of water evaporated, more nearly represents the general practice.
293. Q.--Is this the proportion of steam room adopted in locomotive boilers?
A.--No; in locomotive boilers the proportion of steam room per cubic foot of water evaporated is considerably less even than this. It does not usually exceed 1/5 of a cubic foot per cubic foot of water evaporated; and with clean water, with a steam dome a few feet high set on the barrel of the boiler, or with a perforated pipe stretching from end to end of the barrel, and with the steam room divided about equally between the barrel and the fire box, very little priming is found to occur even with this small proportion of total steam room. About 3/4 the depth of the barrel is usually filled with water, and 1/4 with steam.
294. Q.--What is priming?
A.--Priming is a violent agitation of the water within the boiler, in consequence of which a large quantity of water passes off with the steam in the shape of froth or spray. Such a result is injurious, both as regards the efficacy of the engine, and the safety of the engine and boiler; for the large volume of hot water carried by the steam into the condenser impairs the vacuum, and throws a great load upon the air pump, which diminishes the speed and available power of the engine; and the existence of water within the cylinder, unless there be safety valves upon the cylinder to permit its escape, will very probably cause some part of the machinery to break, by suddenly arresting the motion of the piston when it meets the surface of the water,--the slide valve being closed to the condenser before the termination of the stroke, in all engines with lap upon the valves, so that the water within the cylinder is prevented from escaping in that direction. At the same time the boiler is emptied of its water too rapidly for the feed pump to be able to maintain the supply, and the flues are in danger of being burnt from a deficiency of water above them.
295. Q.--What are the causes of priming?
A.--The causes of priming are an insufficient amount of steam room, an inadequate area of water level, an insufficient width between the flues or tubes for the ascent of the steam and the descent of water to supply the vacuity the steam occasions, and the use of dirty water in the boiler. New boilers prime more than old boilers, and steamers entering rivers from the sea are more addicted to priming than if sea or river water had alone been used in the boilers--probably from the boiling point of salt water being higher than that of fresh, whereby the salt water acts like so much molten metal in raising the fresh water into steam. Opening the safety valve suddenly may make a boiler prime, and if the safety valve be situated near the mouth of the steam pipe, the spray or foam thus created may be mingled with the steam passing into the engine, and materially diminish its effective power; but if the safety valve be situated at a distance from the mouth of the steam pipe, the quantity of foam or spray passing into the engine may be diminished by opening the safety valve; and in locomotives, therefore, it is found beneficial to have a safety valve on the barrel of the boiler at a point remote from the steam chest, by partially opening which, any priming in that part of the boiler adjacent to the steam chest is checked, and a purer steam than before pusses to the engine.
296. Q.--What is the proper remedy for priming?
A.--When a boiler primes, the engineer generally closes the throttle valve partially, turns off the injection water, and opens the furnace doors, whereby the generation of steam is checked, and a less violent ebullition in the boiler suffices. Where the priming arises from an insufficient amount of steam room, it may be mitigated by putting a higher pressure upon the boiler and working more expansively, or by the interposition of a perforated plate between the boiler and the steam chest, which breaks the ascending water and liberates the steam. In some cases, however, it may be necessary to set a second steam chest on the top of the existing one, and it will be preferable to establish a communication with this new chamber by means of a number of small holes, bored through the iron plate of the boiler, rather than by a single large orifice. Where priming arises from the existence of dirty water in the boiler, the evil may be remedied by the use of collecting vessels, or by blowing off largely from the surface; and where it arises from an insufficient area of water level, or an insufficient width between the flues for the free ascent of the steam and the descent of the superincumbent water, the evil may be abated by the addition of circulating pipes in some part of the boiler, which will allow the water to descend freely to the place from whence the steam rises, the width of the water spaces being virtually increased by restricting their function to the transmission of a current of steam and water to the surface. It is desirable to arrange the heating surface in such a way that the feed water entering the boiler at its lowest point is heated gradually as it ascends, until toward the superior part of the flues it is raised gradually into steam; but in all cases there will be currents in the boiler for which it is proper to provide. The steam pipe proceeding to the engine should obviously be attached to the highest point of the steam chest, in boilers of every construction.
297. Q.--Having now stated the proportions proper to be adopted for evaporating any given quantity of water in steam boilers, will you proceed to show how you would proportion a boiler to do a given amount of work? say a locomotive boiler which will propel a train of 100 tons weight at a speed of 50 miles an hour.
A.--According to experiments on the resistance of railway trains at various rates of speed, made by Mr. Gooch, of the Great Western Railway, it appears that a train weighing, with locomotive, tender, and carriages, about 100 tons, experiences, at a speed of 50 miles an hour, a resistance of about 3,000 lbs., or about 30 lbs. per ton; which resistance includes the resistance of the engine as well as that of the train. This, therefore, is the force which must be imparted at the circumference of the driving wheels, except that small part intercepted by the engine itself, and the force exerted by the pistons must be greater than that at the circumference of the driving wheel, in the proportion of their slower motion, or in the proportion of the circumference of the driving wheel to the length of a double stroke of the engine. If the diameter of the driving wheel be 5-1/2 feet, its circumference will be 17.278 feet, and if the length of the stroke be 18 inches, the length of a double stroke will be 3 feet. The pressure on the pistons must therefore be greater than the traction at the circumference of the driving wheel, in the proportion of 17.278 to 3, or, in other words, the mean pressure on the pistons must be 17,278 lbs.; and the area of cylinders, and pressure of steam, must be such as to produce conjointly this total pressure. It thus becomes easy to tell the volume and pressure of steam required, which steam in its turn represents its equivalent of water which is to be evaporated from the boiler, and the boiler must be so proportioned, by the rules already given, as to evaporate this water freely. In the case of a steam vessel, the mode of procedure is the same, and when the resistance and speed are known, it is easy to tell the equivalent value of steam.
298. Q.--What strain should the iron of boilers be subjected to in working?
A.--The iron of boilers, like the iron of machines or structures, is capable of withstanding a tensile strain of from 50,000 to 60,000 lbs. upon every square inch of section; but it will only bear a third of this strain without permanent derangement of structure, and it does not appear expedient in any boiler to let the strain exceed 4,000 lbs. upon the square inch of sectional area of metal, especially if it is liable to be weakened by corrosion.
299.Q.--Have any experiments been made to determine the strength of boilers?
A.--The question of the strength of boilers was investigated very elaborately a few years ago by a committee of the Franklin Institute, in America, and it was found that the tenacity of boiler plate increased with the temperature up to 550°, at which point the tenacity began to diminish. At 32°, the cohesive force of a square inch of section was 56,000 lbs.; at 570°, it was 66,500 lbs.; at 720°, 55,000 lbs.; at 1,050°, 32,000 lbs.; at 1,240°, 22,000 lbs.; and at 1,317°, 9,000 lbs. Copper follows a different law, and appears to be diminished in strength by every addition to the temperature. At 32° the cohesion of copper was found to be 32,800 lbs. per square inch of section, which exceeds the cohesive force at any higher temperature, and the square of the diminution of strength seems to keep pace with the cube of the increased temperature. Strips of iron cut in the direction of the fibre were found to be about 6 per cent. stronger than when cut across the grain. Repeated piling and welding was found to increase the tenacity of the iron, but the result of welding together different kinds of iron was not found to be favorable. The accidental overheating of a boiler was found to reduce the ultimate or maximum strength of the plates from 65,000 to 45,000 lbs. per square inch of section, and riveting the plates was found to occasion a diminution in their strength to the extent of one third. These results, however, are not precisely the same as those obtained by Mr. Fairbairn.
300. Q.--What were the results obtained by him?
A.--He found that boiler plate bore a tensile strain of 23 tons per square inch before rupture, which was reduced to 16 tons per square inch when joined together by a double row of rivets, and 13 tons, or about 30,000, when joined together by a single row of rivets. A circular boiler, therefore, with the ends of its plates double riveted, will bear at the utmost about 36,000 lbs. per square inch of section, or about 12,000 lbs. per square inch of section without permanent derangement of structure.
301. Q.--What pressure do cylindrical boilers sustain in practice?
A.--In some locomotive boilers, which are worked with a pressure of 80 lbs. upon the square inch, the thickness of the plates is only 5/16ths of an inch, while the barrel of the boiler is 39 inches in diameter. It will require a length of 3.2 inches of the boiler when the plates are 5/16ths thick to make up a sectional area of one square inch, and the separating force will be 39 times 3.2 multiplied by 80, which makes the separating force 9,984 lbs., sustained by two square inches of sectional area--one on each side; or the strain is 4,992 lbs. per square inch of sectional area, which is quite as great strain as is advisable. The accession of strength derived from the boiler ends is not here taken into account, but neither is the weakening effect counted that is caused by the rivet holes. Some locomotives of 4 feet diameter of barrel and of 3/8ths iron have been worked to as high a pressure as 200 lbs. on the inch; but such feats of daring are neither to be imitated nor commended.
302.Q.--Can you give a rule for the proper thickness of cylindrical boilers?
A.--The thickness proper for cylindrical boilers of wrought iron, exposed to an internal pressure, may be found by the following rule:-- multiply 2.54 times the internal diameter of the cylinder in inches by the greatest pressure within the cylinder per circular inch, and divide by 17,800; the result is the thickness in inches. If we apply this rule to the example of the locomotive boiler just given, we have 39 x 2.54 × 62.832 (the pressure per circular inch corresponding to 80 lbs. per square inch) = 6224.1379, and this, divided by 17,800, gives 0.349 as the thickness in inches, instead of 0.3125, or 5/16ths, the actual thickness. If we take the pressure per square inch instead of per circular inch, we obtain the following rule, which is somewhat simpler:--multiply the internal diameter of the cylinder in inches by the pressure in pounds per square inch, and divide the product by 8,900; the result is the thickness in inches. Both these rules give the strain about one fourth of the elastic force, or 4,450 lbs. per square inch of sectional area of the iron; but 3,000 lbs. is enough when the flame impinges directly on the iron, as in some of the ordinary cylindrical boilers, and the rule may be adapted for that strain by taking 6,000 as a divisor instead of 8,900.
303. Q.--In marine and wagon boilers, which are not of a cylindrical form, how do you procure the requisite strength?
A.--Where the sides of the boiler are flat, instead of being cylindrical, a sufficient number of stays must be introduced to withstand the pressure; and it is expedient not to let the strain upon these stays be more than 3,000 lbs. per square inch of section, as the strength of internal stays in boilers is generally soon diminished by corrosion. Indeed, a strain at all approaching that upon locomotive boilers would be very unsafe in the case of marine boilers, on account of the corrosion, both internal and external, to which marine boilers are subject. The stays should be small and numerous rather than large and few in number, as, when large stays are employed, it is difficult to keep them tight at the ends, and oxidation of the shell follows from leakage at the ends of the stays. All boilers should be proved, when new, to twice or three times the pressure they are intended to bear, and they should be proved occasionally by the hand pump when in use, to detect any weakness which corrosion may have occasioned.
304. Q.--Will you describe the disposition of the stays in a marine boiler?
A.--If the pressure of steam be 20 lbs. on the square inch, which is a very common pressure in tubular boilers, there will be a pressure of 2,880 lbs. on every square foot of flat surface; so that if the strain upon the stays is not to exceed 3,000 lbs. on the square inch of section, there must be nearly a square inch of sectional area of stay for every square foot of flat surface on the top and bottom, sides, and ends of the boiler. This very much exceeds the proportion usually adopted; and in scarcely any instance are boilers stayed sufficiently to be safe when the shell is composed of flat surfaces. The furnaces should be stayed together with bolts of the best scrap iron, 1-1/4 inch in diameter, tapped through both plates of the water space with thin nuts in each furnace; and it is expedient to make the row of stays, running horizontally near the level of the bars, sufficiently low to come beneath the top of the bars, so as to be shielded from the action of the fire, with which view they should follow the inclination of the bars. The row of stays between the level of the bars and the top of the furnace should be as near the top of the furnace as will consist with the functions they have to perform, so as to be removed as far as possible from the action of the heat; and to support the furnace top, cross bars may either be adopted, to which the top is secured with bolts, as in the case of locomotives, or stays tapped into the furnace top, with a thin nut beneath, may be carried to the top of the boiler; but very little dependence can be put in such stays as stays for keeping down the top of the boiler; and the top of the boiler must, therefore, be stayed nearly as much as if the stays connecting it with the furnace crowns did not exist. The large rivets passing through thimbles, sometimes used as stays for water spaces or boiler shells, are objectionable; as, from the great amount of hammering such rivets have to receive to form the heads, the iron becomes crystalline, so that the heads are liable to come off, and, indeed, sometimes fly off in the act of being formed. If such a fracture occurs between the boilers after they are seated in their place, or in any position not accessible from the outside, it will in general be necessary to empty the faulty boiler, and repair the defect from the inside.
305. Q.--What should be the pitch or numerical distribution of the stays?
A.--The stays, where the sides of the boiler are flat, and the pressure of the steam is from 20 to 30 lbs., should be pitched about a foot or 18 inches asunder; and in the wake of the tubes, where stays cannot be carried across to connect the boiler sides, angle iron ribs, like the ribs of a ship, should be riveted to the interior of the boiler, and stays of greater strength than the rest should pass across, above, and below the tubes, to which the angle irons would communicate the strain. The whole of the long stays within a boiler should be firmly riveted to the shell, as if built with and forming a part of it; as, by the common method of fixing them in by means of cutters, the decay or accidental detachment of a pin or cutter may endanger the safety of the boiler. Wherever a large perforation in the shell of any circular boiler occurs, a sufficient number of stays should be put across it to maintain the original strength; and where stays are intercepted by the root of the funnel, short stays in continuation of them should be placed inside.
306. Q.--What is the chief cause of boiler explosions?
A.--The chief cause of boiler explosions is, undoubtedly, too great a pressure of steam, or an insufficient strength of boiler; but many explosions have also arisen from the flues having been suffered to become red hot. If the safety valve of a boiler be accidentally jammed, or if the plates or stays be much worn by corrosion, while a high pressure of steam is nevertheless maintained, the boiler necessarily bursts; and if, from an insufficiency of water in the boiler, or from any other cause, the flues become highly heated, they may be forced down by the pressure of the steam, and a partial explosion may be the result. The worst explosion is where the shell of the boiler bursts; but the collapse of a furnace or flue is also very disastrous generally to the persons in the engine room; and sometimes the shell bursts and the flues collapse at the same time; for if the flues get red hot, and water be thrown upon them either by the feed pump or otherwise, the generation of steam may be too rapid for the safety valve to permit its escape with sufficient facility, and the shell of the boiler may, in consequence, be rent asunder. Sometimes the iron of the flues becomes highly heated in consequence of the improper configuration of the parts, which, by retaining the steam in contact with the metal, prevents the access of the water: the bottoms of large flues, upon which the flame beats down, are very liable to injury from this cause; and the iron of flues thus acted upon may be so softened that the flues will collapse upward with the pressure of the steam. The flues of boilers may also become red hot in some parts from the attachment of scale, which, from its imperfect conducting power, will cause the iron to be unduly heated; and if the scale be accidentally detached, a partial explosion may occur in consequence.
307. Q.--Does the contact of water with heated metal occasion an instantaneous generation of steam?
A.--It is found that a sudden disengagement of steam does not immediately follow the contact of water with the hot metal, for water thrown upon red hot iron is not immediately converted into steam, but assumes the spheroidal form and rolls about in globules over the surface. These globules, however high the temperature of the metal may be on which they are placed, never rise above the temperature of 205°, and give off but very little steam; but if the temperature of the metal be lowered, the water ceases to retain the spheroidal form, and comes into intimate contact with the metal, whereby a rapid disengagement of steam takes place. If water be poured into a very hot copper flask, the flask may be corked up, as there will be scarce any steam produced so long as the high temperature is maintained; but so soon as the temperature is suffered to fall below 350° or 400°, the spheroidal condition being no longer maintainable, steam is generated with rapidity, and the cork will be projected from the mouth of the flask with great force.
308. Q.--What precautions can be taken to prevent boiler explosions?
A.--One useful precaution against the explosion of boilers from too great an internal pressure, consists in the application of a steam gauge to each boiler, which will make the existence of any undue pressure in any of the boilers immediately visible; and every boiler should have a safety valve of its own, the passage leading to which should have no connection with the passage leading to any of the stop valves used to cut off the connection between the boilers; so that the action of the safety valve may be made independent of the action of the stop valve. In some cases stop valves have jammed, or have been carried from their seats into the mouth of the pipe communicating between them, and the action of the safety valves should be rendered independent of all such accidents. Safety valves, themselves, sometimes stick fast from corrosion, from the spindles becoming bent, from a distortion of the boiler top with a high pressure, in consequence of which the spindles become jammed in the guides, and from various other causes which it would be tedious to enumerate; but the inaction of the safety valves is at once indicated by the steam gauge, and when discovered, the blow through valves of the engine and blow off cocks of the boiler should at once be opened, and the fires raked out. A cone in the ball of the waste steam pipe to send back the water carried upward by the steam, should never be inserted; as in some cases this cone has become loose, and closed up the mouth of the waste steam pipe, whereby the safety valves being rendered inoperative, the boiler was in danger of bursting.
309. Q.--May not danger arise from excessive priming?
A.--If the water be carried out of the boiler so rapidly by priming that the level of the water cannot be maintained, and the flues or furnaces are in danger of becoming red hot, the best plan is to open every furnace door and throw in a few buckets full of water upon the fire, taking care to stand sufficiently to the one side to avoid being scalded by the rush of steam from the furnace. There is no time to begin drawing the fires in such an emergency, and by this treatment the fires, though not altogether extinguished, will be rendered incapable of doing harm. If the flues be already red hot, on no account must cold water be suffered to enter the boiler, but the heat should be maintained in the furnaces, and the blow off cocks be opened, or the mud hole doors loosened, so as to let all the water escape; but at the same time the pressure must be kept quite low in the boiler, so that there will be no danger of the hot flues collapsing with the pressure of the steam.
310. Q.--Are plugs of fusible metal useful in preventing explosions?
A.--Plugs of fusible metal were at one time in much repute as a precaution against explosion, the metal being so compounded that it melted with the heat of high pressure steam; but the device, though ingenious, has not been found of any utility in practice. The basis of fusible metal is mercury, and it is found that the compound is not homogeneous, and that the mercury is forced by the pressure of the steam out of the interstices of the metal combined with it, leaving a porous metal which is not easily fusible, and which is, therefore, unable to perform its intended function. In locomotives, however, and also in some other boilers, a lead rivet is inserted with advantage in the crown of the fire box, which is melted out if the water becomes too low, and thus gives notice of the danger.
311. Q.--May not explosion occur in marine boilers from the accumulation of salt on the flues?
A.--Yes, in marine boilers this is a constant source of danger, which is only to be met by attention on the part of the engineer. If the water in the boiler be suffered to become too salt, an incrustation of salt will take place on the furnaces, which may cause them to become red hot, and they may then be collapsed even by their own weight aided by a moderate pressure of steam. The expedients which should be adopted for preventing such an accumulation of salt from taking place within the boiler as will be injurious to it, properly fall under the head of the management of steam boilers, and will be explained in a subsequent chapter.
312. Q.--What size of orifice is commonly allowed for the escape of the steam through the safety valve in low pressure engines?
A.--About 0.8 of a circular inch per horse power, or a circular inch per 1-1/4 horse power. The following rule, however, will give the dimensions suitable for all kinds of engines, whether high or low pressure:--multiply the square of the diameter of the cylinder in inches by the speed of the piston in feet per minute, and divide the product by 375 times the pressure on the boiler per square inch; the quotient is the proper area of the safety valve in square inches. This rule of course supposes that the evaporating surface has been properly proportioned to the engine power.
313. Q.--Is this rule applicable to locomotives?
A.--It is applicable to high pressure engines of every kind. The dimensions of safety valves, however, in practice are very variable, being in some cases greater, and in some cases less, than what the rule gives, the consideration being apparently as often what proportions will best prevent the valve from sticking in its seat, as what proportions will enable the steam to escape freely. In Bury's locomotives, the safety valve was generally 2-1/2 inches diameter for all sizes of boiler, and the valve was kept down by a lever formed in the proportion of 5 to 1, fitted at one end with a Salter's balance. As the area of the valve was 5 square inches, the number of pounds shown on the spring balance denoted the number of pounds pressure on each square inch of the boiler.
314. Q.--Is there only one safety valve in a locomotive boiler?
A.--There are always two.
315. Q.--And are they always pressed down by a spring balance, and never by weights?
A.--They are never pressed down by weights; in fact, weights would not answer on a locomotive at all, as they would jump up and down with the jerks or jolts of the train, and cause much of the steam to escape. In land and marine boilers, however, the safety valve is always kept down by weights; but in steam vessels a good deal of steam is lost in stormy weather by the opening of the valve, owing to the inertia of the weights when the ship sinks suddenly in the deep recess between the waves.
316. Q.--What other sizes of safety valves are used in locomotives?
A.--Some are as large as 4 inches diameter, giving 12 square inches of area; and others are as small as 1-3/16 inch diameter, giving 1 square inch of area.
317. Q.--And are these valves all pressed down by a Salter's spring balance?
A.--In the great majority of cases they are so, and the lever by which they are pressed down is generally graduated in the proportion of the area of the valve to unity; that is, in the case of a valve of 12 inches area, the long end of the lever to which the spring balance is attached is 12 times the length of the short end, so that the weight or pressure on the balance shows the pressure per square inch on the boiler. In some cases, however, a spiral spring, and in other cases a pile of elliptical springs, is placed directly upon the top of the valve, and it appears desirable that one of the valves at least should be loaded in this manner. It is difficult when the lever is divided in such a proportion as 12 to 1, to get sufficient lift of the valve without a large increase of pressure on the spring; and it appears expedient, therefore, to employ a shorter lever, which involves either a reduction in the area of the valve, or an increased strength in the spring.
318. Q.--What are the proper dimensions of the steam passages?
A.--In slow working engines the common size of the cylinder passages is one twenty-fifth of the area of the cylinder, or one fifth of the diameter of the cylinder, which is the same thing. This proportion corresponds very nearly with one square inch per horse power when the length of the cylinder is about equal to its diameter; and one square inch of area per horse power for the cylinder ports and eduction passages answers very well in the case of engines working at the ordinary speed of 220 feet per minute. The area of the steam pipe is usually made less than the area of the eduction pipe, especially when the engine is worked expansively, and with a considerable pressure of steam. In the case of ordinary condensing engines, however, working with the usual pressure of from 4 to 8 lbs. above the atmosphere, the area of the steam pipe is not less than a circular inch per horse power. In such engines the diameter of the steam pipe may be found by the following rule: divide the number of nominal horse power by 0.8 and extract the square root of the quotient, which will be the internal diameter of the steam pipe.
319. Q.--Will you explain by what process of computation these proportions are arrived at?
A.--The size of the steam pipe is so regulated that there will be no material disparity of pressure between the cylinder and boiler; and in fixing the size of the eduction passage the same object is kept in view. When the diameter of the cylinder and the velocity with which the piston travels are known, it is easy to tell what the velocity of the steam in the steam pipe will be; for if the area of the cylinder be 25 times greater than that of the steam pipe, the steam in the steam pipe must travel 25 times faster than the piston, and the difference of pressure requisite to produce this velocity of the steam can easily be ascertained, by finding what height a column of steam must be to give that velocity, and what the weight or pressure is of such a column. In practice, however, this proportion is always exceeded from the condensation of steam in the pipe.
320. Q.--If the relation you have mentioned subsist between the area of the steam passages and the velocity of the piston, then the passages must be larger when the piston travels very rapidly?
A.--And they are so made. The area of the ports of locomotive engines is usually so proportioned as to be from 1/10th to 1/8th the area of the cylinder--in some cases even as much as 1/6th; and in all high speed engines the ports should be very large, and the valve should have a good deal of travel so as to open the port very quickly. The area of port which it appears advisable to give to modern engines of every description, is expressed by the following rule:--multiply the area of the cylinder in square inches by the speed of the piston in feet per minute, and divide the product by 4,000; the quotient is the area of each cylinder port in square inches. This rule gives rather more than a square inch of port per nominal horse power to condensing engines working at the ordinary speed; but the excess is but small, and is upon the right side. For engines travelling very fast it gives a good deal more area than the common proportion, which is too small in nearly every case. In locomotive engines the eduction pipe passes into the chimney and the force of the issuing steam has the effect of maintaining a rapid draught through the furnace as before explained. The orifice of the waste steam pipe, or the blast pipe as it is termed, is much contracted in some engines with the view of producing a fiercer draught, and an area of 1/22d of the cylinder is a common proportion; but this is as much contraction as should be allowed, and is greater than is advisable.
321. Q.--In engines moving at a high rate of speed, you have stated that it is important to give the valve lead, or in other words to allow the steam to escape before the end of the stroke?
A.--Yes, this is very important, else the piston will have to force out the steam from the cylinder, and will be much resisted. Near the end of the stroke the piston begins to travel slowly, and if the steam be then permitted to escape, very little of the effective stroke is lost, and time is afforded to the steam, before the motion of the piston is again accelerated, to make its escape by the port. In some locomotives, from inattention to this adjustment, and from a contracted area of tube section, which involved a strong blast, about half the power of the engine has been lost; but in more recent engines, by using enlarged ports and by giving sufficient lead, this loss has been greatly diminished.
322. Q.--What do you call sufficient lead?
A.--In fast going engines I would call it sufficient lead, when the eduction port was nearly open at the end of the stroke.
323. Q.--Can you give any example of the benefit of increasing the lead?
A.--The early locomotives were made with very little lead, and the proportions were in fact very much the same as those previously existing in land engines. About 1832, the benefits of lap upon the valve, which had been employed by Boulton and Watt more than twenty years before, were beginning to be pretty generally apprehended; and, in the following year, this expedient of economy was applied to the steamer Manchester, in the Clyde, and to some other vessels, with very marked success. Shortly after this time, lap began to be applied to the valves of locomotives, and it was found that not only was there a benefit from the operation of expansion, but that there was a still greater benefit from the superior facility of escape given to the steam, inasmuch as the application of lap involved the necessity of turning the eccentric round upon the shaft, which caused the eduction to take place before the end of the stroke. In 1840, one of the engines of the Liverpool and Manchester Railway was altered so as to have 1 inch lap on the valve, and 1 inch opening on the eduction side at the end of the stroke, the valve having a total travel of 4-1/4 inches. The consumption of fuel per mile fell from 36.3 lbs. to 28.6 lbs, or about 25 per cent., and a softer blast sufficed. By using larger exhaust passages, larger tubes, and closer fire bars, the consumption was subsequently brought down to 15 lbs. per mile.
324. Q.--Will you state the proper dimensions of the air pump and condenser in laud and marine engines?
A--Mr. Watt made the air pump of his engine half the diameter of the cylinder and half the stroke, or one eighth of the capacity, and the condenser was usually made about the same size as the air pump; but as the pressure of the steam has been increased in all modern engines, it is better to make the air pump a little larger than this proportion. 0.6 of the diameter of the cylinder and half the stroke answers very well, and the condenser may be made as large as it can be got with convenience, though the same size as the air pump will suffice.
325. Q.--Are air pumps now sometimes made double acting?
A.--Most of the recent direct acting marine engines for driving the screw are fitted with a double acting air pump, and when the air pump is double acting, it need only be about half the size that is necessary when it is single acting. It is single acting in nearly every case, except the case of direct acting screw engines of recent construction.
326. Q.--What is the difference between a single and a double acting air pump?
A.--The single acting air pump expels the air and water from the condenser only in the upward stroke of the pump, whereas a double acting air pump expels the air and water both in the upward and downward stroke. It has, therefore, to be provided with inlet and outlet valves at both ends, whereas the single acting pump has only to be provided with an inlet or foot valve, as it is termed, at the bottom, and with an outlet or delivery valve, as it is termed, at the top. The single acting air pump requires to be provided with a valve or valves in the piston or bucket of the pump, to enable the air and water lying below the bucket when it begins to descend, and which have entered from the condenser during the upward stroke, to pass through the bucket into the space above it during the downward stroke, from whence they are expelled into the atmosphere on the upward stroke succeeding. But in the double acting air pump no valve is required in the piston or bucket of the pump, and all that is necessary is an inlet and outlet valve at each end.
337. Q--What are the dimensions of the foot and discharge valves of the air pump?
A.--The area through the foot and discharge valves is usually made equal to one fourth of the area of the air pump, and the diameter of the waste water pipe is made one fourth of the diameter of the cylinder, which gives an area somewhat less than that of the foot and discharge valve passages. But this proportion only applies in slow engines. In fast engines, with the air pump bucket moving as fast as the piston, the area through the foot and discharge valves should be equal to the area of the pump itself, and the waste water pipe should be of about the same dimensions.
328. Q.--You have stated that double acting air pumps need only be of half the size of single acting ones. Does that relation hold at all speeds?
A.--It holds at all speeds if the velocity of the pump buckets are in each case the same; but it does not hold if the engine with the single acting pump works slowly, and the engine with the double acting pump moves rapidly, as in the case of direct acting screw engines. All pumps moving at a high rate of speed lose part of their efficiency, and such pumps should therefore be of extra size.
329. Q.--How do you estimate the quantity of water requisite for condensation?
A.--Mr. Watt found that the most beneficial temperature of the hot well of his engines was 100 degrees. If, therefore, the temperature of the steam be 212°, and the latent heat 1,000°, then 1,212° may be taken to represent the heat contained in the steam, or 1,112° if we deduct the temperature of the hot well. If the temperature of the injection water be 50°, then 50 degrees of cold are available for the abstraction of heat; and as the total quantity of heat to be abstracted is that requisite to raise the quantity of water in the steam 1,112 degrees, or 1,112 times that quantity one degree, it would raise one fiftieth of this, or 22.24 times the quantity of water in the steam, 50 degrees. A cubic inch of water therefore raised into steam will require 22.24 cubic inches of water at 50 degrees for its condensation, and will form therewith 23.24 cubic inches of hot water at 100 degrees. Mr. Watt's practice was to allow about a wine pint (28.9 cubic inches) of injection water, for every cubic inch of water evaporated from the boiler.
330. Q.--Is not a good vacuum in an engine conducive to increased power?
A.--It is.
331. Q.--And is not the vacuum good in the proportion in which the temperature is low, supposing there to be no air leaks?
A.--Yes.
332. Q.--Then how could Mr. Watt find a temperature of 100° in the water drawn from the condenser, to be more beneficial than a temperature of 70° or 80°, supposing there to be an abundant supply of cold water?
333. A.--Because the superior vacuum due to a temperature of 70° or 80° involves the admission of so much cold water into the condenser, which has afterward to be pumped out in opposition to the pressure of the atmosphere, that the gain in the vacuum does not equal the loss of power occasioned by the additional load upon the pump, and there is therefore a clear loss by the reduction of the temperature below 100°, if such reduction be caused by the admission of an additional quantity of water. If the reduction of temperature, however, be caused by the use of colder water, there is a gain produced by it, though the gain will within certain limits be greater if advantage be taken of the lowness of the temperature to diminish the quantity of injection.
334.Q.--How do you determine the proper area of the injection orifice?
A.--The area of the injection orifice proper for any engine can easily be told when the quantity of water requisite to condense the steam is known, and the pressure is specified under which the water enters the condenser. The vacuum in the condenser may be taken at 26 inches of mercury, which is equivalent to a column of water 29.4 ft. high, and the square root of 29.4 multiplied by 8.021 is 43.15, which is the velocity in feet per second that a heavy body would acquire in falling 29.4 ft., or with which the water would enter the condenser. Now, if a cubic foot of water evaporated per hour be equivalent to an actual horse power, and 28.9 cubic inches of water be requisite for the condensation of a cubic inch of water in the form of steam, 28.9 cubic feet of condensing water per horse power per hour, or 13.905 cubic inches per second, will be necessary for the engine, and the size of the injection orifice must be such that this quantity of water flowing with the velocity of 43.15 ft. per second, or 517.8 inches per second, will gain admission to the condenser. Dividing, therefore, 13.905, the number of cubic inches to be injected, by 517.8, the velocity of influx in inches per second, we get 0.02685 for the area of the orifice in square inches; but inasmuch as it has been found by experiment that the actual discharge of water through a hole in a thin plate is only six tenths of the theoretical discharge on account of the contracted vein, the area of the orifice must be increased in the proportion of such diminution of effect, or be made 0.04475, or 1/22d of a square inch per horse power. This, it will be remarked, is the theoretical area required per actual horse power; but as the friction and contractions in the pipe further reduce the discharge, the area is made 1/15th of a square inch per actual horse power, or rather per cubic foot of water evaporated from the boiler.
335. Q.--Cannot the condensation of the steam be accomplished by any other means than by the admission of cold water into the condenser?
A.--It may be accomplished by the method of external cold, as it is called, which consists in the application of a large number of thin metallic surfaces to the condenser, on the one side of which the steam circulates, while on the other side there is a constant current of cold water, and the steam is condensed by coming into contact with the cold surfaces, without mingling with the water used for the purpose of refrigeration. The first kind of condenser employed by Mr. Watt was constructed after this fashion, but he found it in practice to be inconvenient from its size, and to become furred up or incrusted when the water was bad, whereby the conducting power of the metal was impaired. He therefore reverted to the use of the jet of cold water, as being upon the whole preferable. The jet entered the condenser instead of the cylinder as was the previous practice, and this method is now the one in common use. Some few years ago, a good number of steam vessels were fitted with Hall's condensers, which operated on the principle of external cold, and which consisted of a faggot of small copper tubes surrounded by water; but the use of those condensers has not been persisted in, and most of the vessels fitted with them have returned to the ordinary plan.
336. Q.--You stated that the capacity of the feed pump was 1/240th of the capacity of the cylinder in the case of condensing engines,--the engine being double acting and the pump single acting,--and that in high pressure engines the capacity of the pump should be greater in proportion to the pressure of the steam. Can you give any rule that will express the proper capacity for the feed pump at all pressures?
A.--That will not be difficult. In low pressure engines the pressure in the boiler may be taken at 5 lbs. above the atmospheric pressure, or 20 lbs. altogether; and as high pressure steam is merely low pressure steam compressed into a smaller compass, the size of the feed pump in relation to the size of the cylinder must obviously vary in the direct proportion of the pressure; and if it be 1/240th of the capacity of the cylinder when the total pressure of the steam is 20 lbs., it must be 1/120th of the capacity of the cylinder when the pressure is 40 lbs. per square inch, or 25 lbs. per square inch above the atmospheric pressure. This law of variation is expressed by the following rule:--multiply the capacity of the cylinder in cubic inches by the total pressure of the steam in lbs. per square inch, or the pressure per square inch on the safety valve plus 15, and divide the product by 4,800; the quotient is the capacity of the feed pump in cubic inches, when the feed pump is single acting and the engine double acting. If the feed pump be double acting, or the engine single acting, the capacity of the pump must just be one half of what is given by this rule.
337. Q.--But should not some addition be made to the size of pump thus obtained if the pump works at a high rate of speed?
A.--No; this rule makes allowance for defective action. All pumps lift much less water than is due to the size of their barrels and the number of their strokes. Moderately good pumps lose 50 per cent. of their theoretical effect, and bad pumps 80 per cent.
338. Q.--To what is this loss of effect to be chiefly ascribed?
A.--Mainly to the inertia of the water, which, if the pump piston be drawn up very rapidly, cannot follow it with sufficient rapidity; so that there may be a vacant space between the piston and the water; and at the return stroke the momentum of the water in the pipe expends itself in giving a reverse motion to the column of water approaching the pump. Messrs. Kirchweger and Prusman, of Hanover, have investigated this subject by applying a revolving cock at the end of a pipe leading from an elevated cistern containing water, and the water escaped at every revolution of the cock in the same manner as if a pump were drawing it. With a column of water of 17 feet, they found that at 80 revolutions of the cock per minute, the water delivered per minute by the cock was 9.45 gallons; but with 140 revolutions of the cock per minute, the water delivered per minute by the cock was only 5.42 gallons. They subsequently applied an air vessel to the pipe beside the cock, when the discharge rose to 12.9 gallons per minute with 80 revolutions, and 18.28 gallons with 140 revolutions. Air vessels should therefore be applied to the suction side of fast moving pumps, and this is now done with good results.
339. Q.--What are the usual dimensions of the cold water pump of land engines?
A.--If to condense a cubic inch of water raised into steam 28.9 cubic inches of condensing water are required, then the cold water pump ought to be 28.9 times larger than the feed pump, supposing that its losses were equally great. The feed pump, however, is made sufficiently large to compensate for leaks in the boiler and loss of steam through the safety valve, so that it will be sufficient if the cold water pump be 24 times larger than the feed pump. This ratio is preserved by the following rule:--multiply the capacity of the cylinder in cubic inches by the total pressure of the steam per square inch, or the pressure on the safety valve plus 15, and divide the product by 200. The quotient is the proper capacity of the cold water pump in cubic inches when the engine is double acting, and the pump single acting.
340. Q.--By what considerations do you determine the dimensions of the fly wheel of an engine?
A.--By a reference to the power generated, each half stroke of the engine, and the number of half strokes that are necessary to give to the fly wheel its standard velocity, supposing the whole power devoted to that object. In practice the power resident in the fly varies from 2-1/2 to 6 times that generated each half stroke; and if the weight of the wheel be equal to the pressure on the piston, its velocity must be such as it would acquire by falling through a height equal to from 2-1/2 to 6 times the stroke, according to the purpose for which the engine is intended. If a very equable motion is required, a heavier or swifter fly wheel must be employed.
341. Q.--What is Boulton and Watt's rule for fly wheels?
A.--Their rule is one which under any given circumstances fixes the sectional area of the fly wheel rim, and it is as follows:--multiply 44,000 times the square of the diameter of the cylinder in inches by the length of the stroke in feet, and divide this product by the product of the square of the number of revolutions of the fly wheel per minute, multiplied by the cube of its diameter in feet. The quotient is the area of section of the fly wheel rim in square inches.
342. Q.--Can you give a rule for telling the proper thickness of the cylinders of steam engines?
A.--In low pressure engines the thickness of metal of the cylinder, in engines of a medium size, should be about 1/40th of the diameter of the cylinder, which, with a pressure of steam of 20 lbs. above the atmosphere, will occasion a strain of only 400 Lbs. per square inch of section of the metal; the thickness of the metal of the trunnion bearings of oscillating engines should be 1/32d of the diameter of the cylinder, and the breadth of the bearing should be about half its diameter. In high pressure engines the thickness of the cylinder should be about 1/16th its diameter, which, with a pressure of steam of 80 lbs. upon the square inch, will occasion a strain of 640 lbs. upon the square inch of section of the metal; and the thickness of the metal of the trunnion bearings of high pressure oscillating engines should be 1/13th of the diameter of the cylinder. The strength, however, is not the sole consideration in proportioning cylinders, for they must be made of a certain thickness, however small the pressure is within them, that they may not be too fragile, and will stand boring. While, also, an engine of 40 inches diameter would be about one inch thick, the thickness would not be quite two inches in an 80 inch cylinder. In fact there will be a small constant added to the thickness for all diameters, which will be relatively larger the smaller the cylinders become. In the cylinders of Penn's 12 horse power engines, the diameter of cylinder being 21-1/2 inches, the thickness of the metal is 9/16ths: in Penn's 40 inch cylinders, the thickness is 1 inch, and in the engines of the Ripon, Pottinger, and Indus, by Messrs. Miller, Ravenhill and Co., with cylinders 76 inches diameter, the thickness of the metal is 1-11/16. These are all oscillating engines.
343. Q.--What is the proportion of the piston rod?
A.--The diameter of the piston rod is usually made 1/10th of the diameter of the cylinder, or the sectional area of the piston rod is 1/100th of the area of the cylinder. This proportion, however, is not applicable to locomotive, or even fast moving marine engines. In locomotive engines the piston rod is made 1/7th of the diameter of the cylinder, and it is obvious that where the pressure on the piston is great, the piston rod must be larger than when the pressure on the piston is small.
344. Q.--What are the proper dimensions of the main links of a land beam engine?
A.--The sectional area of the main links in land beam engines is 1/113th of the area of the cylinder, and the length of the main links is usually half the length of the stroke.
345. Q.--What are the dimensions of the connecting rod of a land engine?
A.--In land engines the connecting rod is usually of cast iron with a cruciform section: the breadth across the arms of the cross is about 1/20th of the length of the rod, the sectional area at the centre 1/28th of the area of the cylinder, and at the ends 1/35th of the area of the cylinder: the length of the rod is usually 3-1/2 times the length of the stroke. It is preferable, however, to make the connecting rod of malleable iron, and then the dimensions will be those proper for marine engines.
346. Q.--What was Mr. Watt's rule for the connecting rod?
A.--Some of his connecting rods were of iron and some of wood. To determine the thickness when of wood, multiply the square of the diameter of the cylinder in inches by the length of the stroke in feet, and divide the product by 24. Extract the fourth root of the quotient, which is the thickness in inches. For iron the rule is the same, only the divisor was 57.6 instead of 24.
347. Q.--What are the dimensions of the end studs of a land engine beam?
A.--In low pressure engines the diameter of the end studs of the engine beam are usually made 1/9th of the diameter of the cylinder when of cast iron, and 1/10th when of wrought iron, which gives a load with low steam of about 500 lbs. per circular inch of transverse section; but a larger size is preferable, as with large bearings the brasses do not wear so rapidly and the straps are not so likely to be burst by the bearings becoming oval. These sizes, as also those which immediately follow, suppose the pressure on the piston to be 18 lbs. per circular inch.
348. Q.--How is the strength of a cast iron gudgeon computed?
A.--To find the proper size of a cast iron gudgeon adapted to sustain any given weight:--multiply the weight in lbs. by the intended length of bearing expressed in terms of the diameter; divide the product by 500, and extract the square root of the quotient, which is the diameter in inches.
349. Q.--What was Mr. Watt's rule for the strength of gudgeons?
A.--Supposing the gudgeon to be square, then, to ascertain the thickness, multiply the weight resting on the gudgeon by the distance between the trunnions, and divide the product by 333. Extract the cube root of the quotient, which is the thickness in inches.
350. Q.--How do you find the proper strength for the cast iron beam of a land engine?
A.--If the force acting at the end of an engine beam be taken at 18 lbs. per circular inch of the piston, then the force acting at the middle will be 36 lbs. per circular inch of the piston, and the proper strength of the beam at the centre will be found by the following rule:--divide the weight in lbs. acting at the centre by 250, and multiply the quotient by the distance between the extreme centres. To find the depth, the breadth being given:--divide this product by the breadth in inches, and extract the square root of the quotient, which is the depth. The depth of a land engine beam at the ends is usually made one third of the depth at the centre (the depth at the centre being equal to the diameter of the cylinder in the case of low pressure engines), while the length is made equal to three times the length of the stroke, and the mean thickness 1/108th of the length--the width of the edge bead being about three times the thickness of the web. In many modern engines the force acting at the end of the beam is more than 18 lbs. per circular inch of the piston, but the above rules are still applicable by taking an imaginary cylinder with an area larger in the proportion of the larger pressure.
351. Q.--What was Mr. Watt's rule for the main beams of his engines?
A.--Some of those beams were of wood and some of cast iron. The wood beams were so proportioned that the thickness was 1/58th of the circumference, and the depth 1/375. The side of the beam, supposing it square, was found by multiplying the diameter of the cylinder by the length of the stroke, and extracting the cube root of the quotient, which will be the depth or thickness of the beam. This rule allows a beam 16 feet long to bend 1/8th of an inch, and a beam 32 feet long to bend 1/4 of an inch. For cast iron beams the square of the diameter of the cylinder, multiplied by the length between the centres, is equal to the square of the depth, multiplied by the thickness.
352. Q.--What law does the strength of beams and shafts follow?
A.--In the case of beams subjected to a breaking force, the strength with any given cohesion of the material will be proportional to the breadth, multiplied by the square of the depth; and in the case of revolving shafts exposed to a twisting strain, the strength with any given cohesive power of the material will be as the cube of the diameter.
353. Q.--How is the strength of a cast iron shaft to resist torsion determined?
A.--Experiments upon the force requisite to twist off cast iron necks show that if the cube of the diameter of neck in inches be multiplied by 880, the product will be the force of torsion which will twist them off when acting at 6 inches radius; on this fact the following rule is founded: To find the diameter of a cast iron fly wheel shaft:--multiply the square of the diameter of the cylinder in inches, by the length of the crank in inches, and extract the cube root of the product, which multiply by 0.3025, and the result will be the proper diameter of the shaft in inches at the smallest part, when of cast iron.
354. Q.--What was Mr. Watt's rule for the necks of his crank shafts?
A.--Taking the pressure on the piston at 12 lbs. pressure on the square inch, and supposing this force to be applied at one foot radius, divide the total pressure of the piston reduced to 1 foot of radius by 31.4, and extract the cube root of the quotient, which is the diameter of the shaft: or extract the cube root of 13.7 times the number of cubic feet of steam required to make one revolution, which is also the diameter of the shaft.
355. Q.--Can you give any rule for the strength of the teeth of wheels?
A.--To find the proper dimensions for the teeth of a cast iron wheel:--multiply the diameter of the pitch circle in feet by the number of revolutions to be made per minute, and reserve the product for a divisor; multiply the number of actual horses power to be transmitted by 240, and divide the product by the above divisor, which will give the strength. If the pitch be given to find the breadth, divide the above strength by the square of the pitch in inches; or if the breadth be given, then to find the pitch divide the strength by the breadth in inches, and extract the square root of the quotient, which is the proper pitch in inches. The length of the teeth is usually about 5/8ths of the pitch. Pinions to work satisfactorily should not have less than 30 or 40 teeth, and where the speed exceeds 220 feet in the minute, the teeth of the larger wheel should be of wood, made a little thicker, to keep the strength unimpaired.
356. Q.--What was Mr. Watt's rule for the pitch of wheels?
A.--Multiply five times the diameter of the larger wheel by the diameter of the smaller, and extract the fourth root of the product, which is the pitch.
357. Q.--Cannot you give some rules of strength which will be applicable whatever pressure may be employed?
A.--In the rules already given, the effective pressure may be reckoned at from 18 to 20 lbs. upon every square inch of the piston, as is usual in land engines; and if the pressure upon every square inch of the piston be made twice greater, the dimensions must just be those proper for an engine of twice the area of piston. It will not be difficult, however, to introduce the pressure into the rules as an element of the computation, whereby the result will be applicable both to high and low pressure engines.
358. Q.--Will you apply this mode of computation to a marine engine, and first find the diameter of the piston rod?
A.--The diameter of the piston rod may be found by multiplying the diameter of the cylinder in inches, by the square root of the pressure on the piston in lbs. per square inch, and dividing by 50, which makes the strain 1/7th of the elastic force.
359. Q.--What will be the rule for the connecting rod, supposing it to be of malleable iron?
A.--The diameter of the connecting rod at the ends, may be found by multiplying 0.019 times the square root of the pressure on the piston in lbs. per square inch by the diameter of the cylinder in inches; and the diameter of the connecting rod in the middle may be found by the following rule:--to 0.0035 times the length of the connecting rod in inches, add 1, and multiply the sum by 0.019 times the square root of the pressure on the piston in lbs. per square inch, multiplied by the diameter of the cylinder in inches. The strain is equal to 1/6th of the elastic force.
360. Q.--How will you find the diameter of the cylinder side rods of a marine engine?
A.--The diameter of the cylinder side rods at the ends may be found by multiplying 0.0129 times the square root of the pressure on the piston in lbs. per square inch by the diameter of the cylinder; and the diameter of the cylinder side rods at the middle is found by the following rule:--to 0.0035 times the length of the rod in inches, add 1, and multiply the sum by 0.0129 times the square root of the pressure on the piston in lbs. per square inch, multiplied by the diameter of the cylinder in inches; the product is the diameter of each side rod at the centre in inches. The strain upon the side rods is by these rules equal to 1/6th of the elastic force.
361. Q.--How do you determine the dimensions of the crank?
A.--To find the exterior diameter of the large eye of the crank when of malleable iron:--to 1.561 times the pressure of the steam upon the piston in lbs. per square inch, multiplied by the square of the length of the crank in inches, add 0.00494 times the square of the diameter of the cylinder in inches, multiplied by the square of the number of lbs. pressure per square inch on the piston; extract the square root of this quantity; divide the result by 75.59 times the square root of the length of the crank in inches, and multiply the quotient by the diameter of the cylinder in inches; square the product and extract the cube root of the square, to which add the diameter of the hole for the reception of the shaft, and the result will be the exterior diameter of the large eye of the crank when of malleable iron. The diameter of the small eye of the crank may be found by adding to the diameter of the crank pin 0.02521 times the square root of the pressure on the piston in lbs. per square inch, multiplied by the diameter of the cylinder in inches.
362. Q.--What will be the thickness of the crank web?
A.--The thickness of the web of the crank, supposing it to be continued to the centre of the shaft, would at that point be represented by the following rule:--to 1.561 times the square of the length of the crank in inches, add 0.00494 times the square of the diameter of the cylinder in inches, multiplied by the pressure on the piston in lbs. per square inch; extract the square root of the sum, which multiply by the diameter of the cylinder squared in inches, and by the pressure on the piston in lbs. per square inch; divide the product by 9,000, and extract the cube root of the quotient, which will be the proper thickness of the web of the crank when of malleable iron, supposing the web to be continued to the centre of the shaft. The thickness of the web at the crank pin centre, supposing it to be continued thither, would be 0.022 times the square root of the pressure on the piston in lbs. per square inch, multiplied by the diameter of the cylinder. The breadth of the web of the crank at the shaft centre should be twice the thickness, and at the pin centre 1-1/2 times the thickness of the web; the length of the large eye of the crank would be equal to the diameter of the shaft, and of the small eye 0.0375 times the square root of the pressure on the piston in lbs. per square inch, multiplied by the diameter of the cylinder.
363. Q.--Will you apply the same method of computation to find the dimensions of a malleable iron paddle shaft?
A.--The method of computation will be as follows:--to find the dimensions of a malleable iron paddle shaft, so that the strain shall not exceed 5/6ths of the elastic force, or 5/6ths of the force iron is capable of withstanding without permanent derangement of structure, which in tensile strains is taken at 17,800 lbs. per square inch: multiply the pressure in lbs. per square inch on the piston by the square of the diameter of the cylinder in inches, and the length of the crank in inches, and extract the cube root of the product, which, multiplied by 0.08264, will be the diameter of the paddle shaft journal in inches when of malleable iron, whatever the pressure of the steam may be. The length of the paddle shaft journal should be 1-1/4 times the diameter; and the diameter of the part where the crank is put on is often made equal to the diameter over the collars of the journal or bearing.
364. Q.--How do you find the diameter of the crank pin?
A.--The diameter of the crank pin in inches may be found by multiplying 0.02836 times the square root of the pressure on the piston in lbs. per square inch, by the diameter of the cylinder in inches. The length of the pin is usually about 9/8th times its diameter, and the strain if all thrown upon the end of the pin will be equal to the elastic force; but in ordinary working, the strain will only be equal to 1/3d of the elastic force.
365. Q.--What are the dimensions of the cross head?
A.--If the length of the cross head be taken at 1.4 times the diameter of the cylinder, the dimensions of the cross head will be as follows:--the exterior diameter of the eye in the cross head for the reception of the piston rod, will be equal to the diameter of the hole, plus 0.02827 times the cube root of the pressure on the piston in lbs. per square inch, multiplied by the diameter of the cylinder in inches; and the depth of the eye will be 0.0979 times the cube root of the pressure on the piston in lbs. per square inch, multiplied by the diameter of the cylinder in inches. The diameter of each cross head journal will be 0.01716 times the square root of the pressure on the piston in lbs. per square inch, multiplied by the diameter of the cylinder in inches--the length of the journal being 9/8ths its diameter. The thickness of the web at centre will be 0.0245 times the cube root of the pressure on the piston in lbs. per square inch, multiplied by the diameter of the cylinder in inches; and the depth of web at centre will be 0.09178 times the cube root of the pressure on the piston in lbs. per square inch, multiplied by the diameter of the cylinder in inches. The thickness of the web at journal will be 0.0122 times the square root of the pressure on the piston in lbs. per square inch, multiplied by the diameter of the cylinder in inches; and the depth of the web at journal will be 0.0203 times the square root of the pressure upon the piston in lbs. per square inch, multiplied by the diameter of the cylinder in inches. In these rules for the cross head, the strain upon the web is 1/2.225 times the elastic force; the strain upon the journal in ordinary working is 1/2.33 times the elastic force; and if the outer ends of the journals are the only bearing points, the strain is 1/1.165 times the elastic force, which is very little in excess of the elastic force.
366. Q.--How do you find the diameter of the main centre when proportioned according to this rule?
A.--The diameter of the main centre may be found by multiplying 0.0367 times the square root of the pressure upon the piston in lbs. per square inch, by the diameter of the cylinder in inches, which will give the diameter of the main centre journal in inches when of malleable iron, and the length of the main centre journal should be 1-1/2 times its diameter; the strain upon the main centre journal in ordinary working will be about 1/2 the elastic force.
367. Q.--What are the proper dimensions of the gibs and cutters of an engine?
A.--The depth of gibs and cutters for attaching the piston rod to the cross head, is 0.0358 times the cube root of the pressure of the steam on the piston in lbs. per square inch, multiplied by the diameter of the cylinder; and the thickness of the gibs and cutters is 0.007 times the cube root of the pressure on the piston in lbs. per square inch, multiplied by the diameter of its cylinder. The depth of the cutter through the piston is 0.017 times the square root of the pressure on the piston in lbs. per square inch, multiplied by the diameter of the cylinder in inches; and the thickness of the cutter through the piston is 0.007 times the square root of the pressure on the piston in lbs. per square inch, multiplied by the diameter of the cylinder.
368. Q.--Are not some of the parts of an engine constructed according to these rules too weak, when compared with the other parts?
A.--It is obvious, from the varying proportions subsisting in the different parts of the engine between the strain and the elastic force, that in engines proportioned by these rules--which represent nevertheless the average practice of the best constructors--some of the parts must possess a considerable excess of strength over other parts, and it appears expedient that this disparity should be diminished, which may best be done by increasing the strength of the parts which are weakest; inasmuch as the frequent fracture of some of the parts shows that the dimensions at present adopted for those parts are scarcely sufficient, unless the iron of which they are made is of the best quality. At the same time it is quite certain, that engines proportioned by these rules will work satisfactorily where good materials are employed; but it is important to know in what parts good materials and larger dimensions are the most indispensable. In many of the parts, moreover, it is necessary that the dimensions should be proportioned to meet the wear and the tendency to heat, instead of being merely proportioned to obtain the necessary strength; and the crank pin is one of the parts which requires to be large in diameter, and as long as possible in the bearing, so as to distribute the pressure, and prevent the disposition to heat which would otherwise exist. The cross head journals also should be long and large; for as the tops of the side rods have little travel, the oil is less drawn into the bearings than if the travel was greater, and is being constantly pressed out by the punching strain. This strain should therefore be reduced as far as possible by its distribution over a large surface. In the rules which are contained in the answers to the ten preceding questions (358 to 367) the pressure on the piston in lbs. per square inch is taken as the sum of the pressure of steam in the boiler and of the vacuum; the latter being assumed to be 15 lbs. per square inch.
369. Q.--Will you explain the course of procedure in the construction and setting of wagon boilers?
A.--Most boilers are made of plates three eighths of an inch thick, and the rivets are from three eighths to three fourths of an inch in diameter. In the bottom and sides of a wagon boiler the heads of the rivets, or the ends formed on the rivets before they are inserted, should be large and placed next the fire, or on the outside; whereas on the top of the boiler the heads should be on the inside. The rivets should be placed about two inches distant from centre to centre, and the centre of the row of rivets should be about one inch from the edge of the plate. The edges of the plates should be truly cut, both inside and outside, and after the parts of the boiler have been riveted together, the edges of the plates should be set up or caulked with a blunt chisel about a quarter of an inch thick in the point, and struck by a hammer of about three or four pounds weight, one man holding the caulking tool while another strikes.
370. Q.--Is this the usual mode of caulking?
A.--No, it is not the usual mode; but it is the best mode, and is the mode adopted by Mr. Watt. The usual mode now is for one man to caulk the seams with a hammer in one hand and a caulking chisel in the other, and in some of the difficult corners of marine flue boilers it is not easy for two men to get in. A good deal of the caulking has also sometimes to be done with the left hand.
371. Q.--Should the boiler be proved after caulking?
A.--The boiler should be filled with water and caulked afresh in any leaky part. When emptied again, all the joints should be painted with a solution of sal ammoniac in urine, and so soon as the seams are well rusted they should be dried with a gentle fire, and then be painted over with a thin putty formed of whiting and linseed oil, the heat being continued until the putty becomes so hard that it cannot be readily scratched with the nail, and care must be taken neither to burn the putty nor to discontinue the fire until it has become quite dry.
372. Q.--How should the brickwork setting of a wagon boiler be built?
A.--In building the brickwork for the setting of the boiler, the part upon which the heat acts with most intensity is to be built with clay instead of mortar, but mortar is to be used on the outside of the work. Old bars of flat iron may be laid under the boiler chime to prevent that part of the boiler from being burned out, and bars of iron should also run through the brickwork to prevent it from splitting. The top of the boiler is to be covered with brickwork laid in the best lime, and if the lime be not of the hydraulic kind, it should be mixed with Dutch terrass, to make it impenetrable to water. The top of the boiler should be well plastered with this lime, which will greatly conduce to the tightness of the seams. Openings into the flues must be left in convenient situations to enable the flues to be swept out when required, and these openings may be closed with cast iron doors jointed with clay or mortar, which may be easily removed when required. Adjacent to the chimney a slit must be left in the top of the flue with a groove in the brickwork to enable the sliding door or damper to be fixed in that situation, which by being lowered into the flue will obstruct the passage of the smoke and moderate the draught, whereby the chimney will be prevented from drawing the flame into it before the heat has acted sufficiently upon the boiler.
373. Q.--Are marine constructed in the same way as land boilers?
A.--There is very little difference in the two cases: the whole of the shells of marine boilers, however, should be double riveted with rivets 11/16ths of an inch in diameter, and 2-3/8th inches from centre to centre, the weakening effect of double riveting being much less than that of single riveting. The furnaces above the line of bars should be of the best Lowmoor, Bowling, or Staffordshire scrap plates, and the portion of each furnace above the bars should consist only of three plates, one for the top and one for each side, the lower seam of the side plates being situated beneath the level of the bars, so as not to be exposed to the heat of the furnace. The tube plates of tubular boilers should be of the best Lowmoor, or Bowling iron, seven eighths to one inch thick: the shells should be of the best Staffordshire, or Thornycroft S crown iron, 7/16ths of an inch thick.
374. Q.--Of what kind of iron should the angle iron or corner iron be composed?
A.--Angle iron should not be used in the construction of boilers, as in the manufacture it becomes reedy, and is apt to split up in the direction of its length: it is much the safer practice to bend the plates at the corners of the boiler; but this must be carefully done, without introducing any more sharp bends than can be avoided, and plates which require to be bent much should be of Lowmoor iron. It will usually be found expedient to introduce a ring of angle iron around the furnace mouths, though it is discarded in the other parts of the boiler; but it should be used as sparingly as possible, and any that is used should be of the best quality.
375. Q.--Is it not important to have the holes in the plates opposite to one another?
A.--The whole of the plates of a boiler should have the holes for the rivets punched, and the edges cut straight, by means of self-acting machinery, in which a travelling table carries forward the plate with an equal progression every stroke of the punch or shears; and machinery of this kind is now extensively employed. The practice of forcing the parts of boilers together with violence, by means of screw-jacks, and drifts through the holes, should not be permitted; as a great strain may thus be thrown upon the rivets, even when there is no steam in the boiler. All rivets should be of the best Lowmoor iron. The work should be caulked both within and without wherever it is accessible, but in the more confined situations within the flues the caulking will in many cases have to be done with the hand or chipping hammer, instead of the heavy hammer previously prescribed.
376. Q.--How is the setting of marine boilers with internal furnaces effected?
A.--In the setting of marine boilers care must be taken that no copper bolts or nails project above the wooden platform upon which they rest, and also that no projecting copper bolts in the sides of the ship touch the boiler, as the galvanic action in such a case would probably soon wear the points of contact into holes. The platform may consist of three inch planking laid across the keelsons nailed with iron, nails, the heads of which are well punched down, and caulked and puttied like a deck. The surface may then be painted over with thin putty, and fore and aft boards of half the thickness may then be laid down and nailed securely with iron nails, having the heads well punched down. This platform must then be covered thinly and evenly with mastic cement and the boiler be set down upon it, and the cement must be caulked beneath the boiler by means of wooden caulking tools, so as completely to fill every vacuity. Coomings of wood sloped on the top must next be set round the boiler, and the space between the coomings and the boiler must be caulked full of cement, and be smoothed off on the top to the slope of the coomings, so as to throw off any water that might be disposed to enter between the coomings and the boiler.
377. Q.--How is the cement used for setting marine boilers compounded?
A.--Mastic cement proper for the setting of boilers is sold in many places ready made. Hamelin's mastic is compounded as follows:--to any given weight of sand or pulverized earthenware add two thirds such given weight of powdered Bath, Portland, or other similar stone, and to every 560 lbs. weight of the mixture add 40 lbs. weight of litharge, 2 lbs. of powdered glass or flint, 1 lb. of minium, and 2 lbs. of gray oxide of lead; pass the mixture through a sieve, and keep it in a powder for use. When wanted for use, a sufficient quantity of the powder is mixed with some vegetable oil upon a board or in a trough in the manner of mortar, in the proportion of 605 lbs. of the powder to 5 gallons of linseed, walnut, or pink oil, and the mixture is stirred and trodden upon until it assumes the appearance of moistened sand, when it is ready for use. The cement should be used on the same day as the oil is added, else it will be set into a solid mass.
378. Q.--What is the best length of the furnaces of marine boilers?
A.--It has already been stated that furnace bars should not much exceed six feet in length, as it is difficult to manage long furnaces; but it is a frequent practice to make the furnaces long and narrow, the consequence of which is, that it is impossible to fire them effectually at the after end, especially upon long voyages and in stormy weather, and air escapes into the flues at the after end of the bars, whereby the efficacy of the boiler is diminished. Where the bars are very long it will generally be found that an increased supply of steam and a diminished consumption of coal will be the consequence of shortening them, and the bars should always lie with a considerable inclination to facilitate the distribution of the fuel over the after part of the furnace. When there are two lengths of bars in the furnace, it is expedient to make the central cross bar for bearing up the ends double, and to leave a space between the ends of the bars so that the ashes may fall through between them. The space thus left enables the bars to expand without injury on the application of heat, whereas without some such provision the bars are very liable to get burned out by bending up in the centre, or at the ends, as they must do if the elongation of the bars on the application of heat be prevented; and this must be the effect of permitting the spaces at the ends of the bars to be filled up with ashes. At each end of each bed of bars it is expedient to leave a space which the ashes cannot fill up so as to cause the bars to jam; and care must be taken that the heels of the bars do not come against any of the furnace bearers, whereby the room left at the end of the bars to permit the expansion would be rendered of no avail.
379. Q.--Have you any remarks to offer respecting the construction and arrangement of the furnace bridges and dampers of marine boilers?
A.--The furnace bridges of marine boilers are walls or partitions built up at the ends of the furnaces to narrow the opening for the escape of heat into the flues. They are either made of fire brick or of plate iron containing water: in the case of water bridges, the top part of the bridge should be made with a large amount of slant so as to enable the steam to escape freely, but notwithstanding this precaution the plates of water bridges are apt to crack at the bend, so that fire brick bridges appear on the whole to be preferable. In shallow furnaces the bridges often come too near the furnace top to enable a man to pass over them; and it will save expense if in such bridges the upper portion is constructed of two or three fire blocks, which may be lifted off where a person requires to enter the flues to sweep or repair them, whereby the perpetual demolition and reconstruction of the upper part of the bridge will be prevented.
380. Q.--What is the benefit of bridges?
A.--Bridges are found in practice to have a very sensible operation in increasing the production of steam, and in some boilers in which the brick bridges have been accidentally knocked down by the firemen, a very considerable diminution in the supply of steam has been experienced. Their chief operation seems to lie in concentrating the heat within the furnace to a higher temperature, whereby the heat is more rapidly transmitted from the furnace to the water, and less heat has consequently to be absorbed by the flues. In this way the bridges render the heating surface of a boiler more effective, or enable a smaller amount of heating surface to suffice.
381. Q.--Are the bridges behind the furnaces the only bridges used in steam boilers?
A.--It is not an uncommon practice to place a hanging bridge, consisting of a plate of iron descending a certain distance into the flue, at that part of the flue where it enters the chimney, whereby the stratum of hot air which occupies the highest part of the flue is kept in protracted contact with the boiler, and the cooler air occupying the lower part of the flue is that which alone escapes. The practice of introducing a hanging bridge is a beneficial one in the case of some boilers, but is not applicable universally, as boilers with a small calorimeter cannot be further contracted in the flue without a diminution in their evaporating power. In tubular boilers a hanging bridge is not applicable, but in some cases a perforated plate is placed against the ends of the tubes, which by suitable connections is made to operate as a sliding damper which partially or totally closes up the end of every tube, and at other times a damper constructed in the manner of a venetian blind is employed in the same situation. These varieties of damper, however, have only yet been used in locomotive boilers, though applicable to tubular boilers of every description.
382. Q.--Is it a benefit to keep the flues or tubes appertaining to each furnace distinct?
A.--In a flue boiler this cannot be done, but in a tubular boiler it is an advantage that there should be a division between the tubes pertaining to each furnace, so that the smoke of each furnace may be kept apart from the smoke of the furnace adjoining it until the smoke of both enters the chimney, as by this arrangement a furnace only will be rendered inoperative in cleaning the fires instead of a boiler, and the tubes belonging to one furnace may be swept if necessary at sea without interfering injuriously with the action of the rest. In a steam vessel it is necessary at intervals to empty out one or more furnaces every watch to get rid of the clinkers which would otherwise accumulate in them; and it is advisable that the connection between the furnaces should be such that this operation, when being performed on one furnace, shall injure the action of the rest as little as possible.
383. Q.--Can any constructive precautions be taken to prevent the furnaces and tube plates of the boiler from being burned by the intensity of the heat?
A.--The sides of the internal furnaces or flues in all boilers should be so constructed that the steam may readily escape from their surfaces, with which view it is expedient to make the bottom of the flue somewhat wider than the top, or slightly conical in the cross section; and the upper plates should always be overlapped by the plates beneath, so that the steam cannot be retained in the overlap, but will escape as soon as it is generated. If the sides of the furnace be made high and perfectly vertical, they will speedily be buckled and cracked by the heat, as a film of steam in such a case will remain in contact with the iron which will prevent the access of the water, and the iron of the boiler will be injured by the high temperature it must in that case acquire. To moderate the intensity of the heat acting upon the furnace sides, it is expedient to bring the outside fire bars into close contact with the sides of the furnace, so as to prevent the entrance of air through the fire in that situation, by which the intensity of the heat would be increased. The tube plate nearest the furnace in tubular boilers should also be so inclined as to facilitate the escape of the steam; and the short bent plate or flange of the tube plate, connecting the tube plate with the top of the furnace, should be made with a gradual bend, as, if the bend be sudden, the iron will be apt to crack or burn away from the concretion of salt. Where the furnace mouths are contracted by bending in the sides and top of the furnace, as is the general practice, the bends should be gradual, as salt is apt to accumulate in the pockets made by a sudden bend, and the plates will then burn into holes.
384. Q.--In what manner is the tubing of boilers performed?
A.--The tubes of marine boilers are generally iron tubes, three inches in diameter, and between six and seven feet long; but sometimes brass tubes of similar dimensions are employed. When brass tubes are employed, the use of ferules driven into the ends of the tubes is sometimes employed to keep them tight; but when the tubes are of malleable iron, of the thickness of Russell's boiler tubes, they may be made tight merely by firmly driving them into the tube plates, and the same may be done with thick brass tubes. The holes in the tube plate next the front of the boiler are just sensibly larger in diameter than the holes in the other tube plate, and the holes upon the outer surfaces of both tube plates are very slightly countersunk. The whole of the tubes are driven through both tube plates from the front of the boiler,--the precaution, however, being taken to drive them in gently at first with a light hand hammer, until the whole of the tubes have been inserted to an equal depth, and then they may be driven up by degrees with a heavy hammer, whereby any distortion of the holes from unequal driving will be prevented. Finally, the ends of the tubes should be riveted up so as to fill the countersink; the tubes should be left a little longer than the distance between the outer surfaces of the tube plates, so that the countersink at the ends may be filled by staving up the end of the tube rather than by riveting it over; and the staving will be best accomplished by means of a mandril with a collar upon it, which is driven into the tube so that the collar rests upon the end of the tube to be riveted; or a tool like a blunt chisel with a recess in its point may be used, as is the more usual practice.
385. Q.--Should not stays be introduced in substitution of some of the tubes?
A.--It appears expedient in all cases that some of the tubes should be screwed at the ends, so as to serve as stays if the riveting at the tube ends happens to be burned away, and also to act as abutments to the riveted tube--or else to introduce very strong rods of about the same diameter as a tube, in substitution of some of the tubes; and these stays should have nuts at each end both within and without the tube plates, which nuts should be screwed up, with white lead interposed, before the tubes are inserted. If the tubes are long, their expansion when the boiler is being blown off will be apt to start them at the ends, unless very securely fixed; and it is difficult to prevent brass tubes of large diameter and proportionate length from being started at the ends, even when secured by ferules; but the brass tubes commonly employed are so small as to be susceptible of sufficient compression endways by the adhesion due to the ferules to compensate for the expansion, whereby they are prevented from starting at the ends. In some, of the early marine boilers fitted with brass tubes, a galvanic action at the ends of the tubes was found to take place, and the iron of the tube plates was wasted away in consequence, with rapidity; but further experience proved the injury to be attributable chiefly to imperfect fitting, whereby a leakage was caused that induced oxidation, and when, the tubes were well fitted any injurious action at the ends of the tubes was found to cease.
386. Q.--What is the best mode of constructing the chimney and the parts in connection therewith?
A.--In sea-going steamers the funnel plates are usually about nine feet long and 3/16ths thick; and where different flues or boilers have their debouch in the same chimney, it is expedient to run division plates up the chimney for a considerable distance, to keep the draughts distinct. The dampers should not be in the chimney but at the end of the boiler flue, so that they may be available for use if the funnel by accident be carried away. The waste steam pipe should be of the same height as the funnel, so as to carry the waste steam clear of it, for if the waste steam strikes the funnel it will wear the iron into holes; and the waste steam pipes should be made at the bottom with a faucet joint, to prevent the working of the funnel, when the vessel rolls, from breaking the pipe at the neck. There should be two hoops round the funnel, for the attachment of the funnel shrouds, instead of one, so that the funnel may not be carried overboard if one hoop breaks, or if the funnel breaks at the upper hoop from the corrosive action of the waste steam, as sometimes happens. The deck over the steam chest should be formed of an iron plate supported by angle iron beams, and there should be a high angle iron cooming round the hole in the deck through which the chimney ascends, to prevent any water upon the deck from leaking down upon the boiler. Around the lower part of the funnel there should be a sheet iron casing to prevent any inconvenient dispersion of heat in that situation, and another short piece of casing, of a somewhat larger diameter, and riveted to the chimney, should descend over the first casing, so as to prevent the rain or spray which may beat against the chimney from being poured down within the casing upon the top of the boiler. The pipe for conducting away the waste water from the top of the safety valve should lead overboard, and not into the bilge of the ship, as inconvenience arises from the steam occasionally passing through it, if it has its termination in the engine room.
387. Q.--Are not the chimneys of some vessels made so that they may be lowered when required?
A.--The chimneys of small river vessels which have to pass under bridges are generally formed with a hinge, so that they may be lowered backward when passing under a bridge; and the chimneys of some screw vessels are made so as to shut up like a spyglass when the fires are put out and the vessel is navigated under sails. In smaller vessels, however, two lengths of chimney suffice; and in that case there is a standing piece on deck, which, however, does not project above the bulwarks.
388. Q.--Will you explain any further details in the construction of marine boilers which occur to you as important?
A.--The man-hole and mud-hole doors, unless put on from the outside, like a cylinder cover, with a great number of bolts, should be put on from the inside with cross bars on the outside, and the bolts should be strong, and have coarse threads and square nuts, so that the threads may not be overrun, nor the nuts become round, by the unskilful manipulations of the firemen, by whom these doors are removed or replaced. It is very expedient that sufficient space should be left between the furnace and the tubes in all tubular boilers to permit a boy to go in to clear away any scale that may have formed, and to hold on the rivets in the event of repair being wanted; and it is also expedient that a vertical row of tubes should be left out opposite to each water space to allow the ascent of the steam and descent of the water, as it has been found that the removal of the tubes in that position, even in a boiler with deficient heating surface, has increased the production of steam, and diminished the consumption of fuel. The tubes should all be kept in the same vertical line, so as to permit the introduction of an instrument to scrape them; but they may be zig-zagged in the horizontal line, whereby a greater strength of metal will be obtained around the holes in the tube plates, and the tubes should not be placed too close together, else their heating efficacy will be impaired.
389. Q.--What is the cause of the formation of scale in marine boilers?
A.--Scale is formed in all boilers which contain earthy or saline matters, just in the way in which a scaly deposit, or rock, as it is sometimes termed, is formed in a tea kettle. In sea water the chief ingredient is common salt, which exists in solution: the water admitted to the boiler is taken away in the shape of steam, and the saline matter which is not vaporizable accumulates in process of time in the boiler, until its amount is so great that the water is saturated, or unable to hold any more in solution; the salt is then precipitated and forms a deposit which hardens by heat. The formation of scale, therefore, is similar to the process of making salt from sea water by evaporation, the boiler being, in fact, a large salt pan.
390. Q.--But is the scale soluble in fresh water like the salt in a salt pan?
A.--No, it is not; or if soluble at all, is only so to a very limited extent. The several ingredients in sea water begin to be precipitated from solution at different degrees of concentration; and the sulphate and carbonate of lime, which begin to be precipitated when a certain state of concentration is reached, enter largely into the composition of scale, and give it its insoluble character. Pieces of waste or other similar objects left within a marine boiler appear, when taken out, as if they had been petrified; and the scale deposited upon the flues of a marine boiler resembles layers of stone.
391. Q/--Is much inconvenience experienced in marine boilers from these incrustations upon the flues?
A.--Incrustation in boilers at one time caused much more perplexity than it does at present, as it was supposed that in some seas it was impossible to prevent the boilers of a steamer from becoming salted up; but it has now been satisfactorily ascertained that there is very little difference in the saltness of different seas, and that however salt the water may be, the boiler will be preserved from any injurious amount of incrustation by blowing off, as it is called, very frequently, or by permitting a considerable portion of the supersalted water to escape at short intervals into the sea. If blowing off be sufficiently practised, the scale upon the flues will never be much thicker than a sheet of writing paper, and no excuse should be accepted from engineers for permitting a boiler to be damaged by the accumulation of calcareous deposit.
392. Q.--What is the temperature at which sea water boils in a steam boiler?
A.--Sea water contains about 1/33rd its weight of salt, and in the open air it boils at the temperature of 213.2°; if the proportion of salt be increased to 2/33rds of the weight of the water, the boiling point will rise to 214.4°; with 3/33rds of salt the boiling point will be 215.5°; 4/33rds, 216.7°; 5/33rds, 217.9°; 6/33rds, 219°; 7/33rds, 220.2°; 8/33rds, 221.4°; 9/33rds, 222.5°; 10/33rds, 223.7°; 11/33rds, 224.9°; and 12/33rds, which is the point of saturation, 226°. In a steam boiler the boiling points of water containing these proportions of salt must be higher, as the elevation of temperature due to the pressure of the steam has to be added to that due to the saltness of the water; the temperature of steam at the atmospheric pressure being 212°, its temperature, at a pressure of 15 lbs. per square inch above the atmosphere, will be 250°, and adding to this 4.7° as the increased temperature due to the saltness of the water when it contains 4/33rds of salt, we have 254.7° as the temperature of the water in the boiler, when it contains 4/33rds of salt and the pressure of the steam is 15 lbs. on the square inch.
393. Q.--What degree of concentration of the salt water may be safely permitted in a boiler?
A.--It is found by experience that when the concentration of the salt water in a boiler is prevented from exceeding that point at which it contains 2/33rds its weight of salt, no injurious incrustation will take place, and as sea water contains only 1/33rd of its weight of salt, it is clear that it must be reduced by evaporation to one half of its bulk before it can contain 2/33rds of salt; or, in other words, a boiler must blow out into the sea one half of the water it receives as feed, in order to prevent the water from rising above 2/33rds of concentration, or 8 ounces of salt to the gallon.
394. Q.--How do you determine 8 ounces to the gallon to be equivalent to twice the density of salt water, or "two salt waters" as it is sometimes called?
A.--The density of the water of different seas varies somewhat. A gallon of fresh water weighs 10 lbs.; a gallon of salt water from the Baltic weighs 10.15 lbs.; a gallon of salt water from the Irish Channel weighs 10.28 lbs.; and a gallon of salt water from the Mediterranean 10.29 lbs. If we take an average saltness represented by a weight of 10.25 lbs., then a gallon of water concentrated to twice this saltness will weigh 10.5 lbs., or the salt in it will weigh .5 lbs or 8 oz., which is the proportion of 8 oz. to the gallon. However, the proportion of 2/33rds gives a greater proportion than 8 oz. to the gallon, for 2/33 = 1/16 nearly, and 1/16 of 10 lbs. = 10 oz. By keeping the density of the water in a marine boiler at the proportion of 8 or 10 oz. to the gallon, no inconvenient amount of scale will be deposited on the flues or tubes. The bulk of water, it may be remarked, is not increased by putting salt in it up to the point of saturation, but only its density is increased.
395. Q.--Is there not a great loss of heat by blowing off so large a proportion of the heated water from the boiler?
A.--The loss is not very great. Boilers are sometimes worked at a saltness of 4/33rds, and taking this saltness and supposing the latent heat of steam to be at 1000° at the temperature of 212°, and reckoning the sum of the latent and sensible heats as forming a constant quantity, the latent heat of steam at the temperature of 250° will be 962°, and the total heat of the steam will be 1212° in the case of fresh water; but as the feed water is sent into the boiler at the temperature of 100°, the accession of heat it receives from the fuel will be 1112° in the case of fresh water, or 1112° increased by 3.98° in the case of water containing 4/33ds of salt-- the 3.98° being the 4.7° increase of temperature due to the presence of 4/33rds of salt, multiplied by 0.847 the specific heat of steam. This makes the total accession of heat received by the steam in the boiler equal to 1115.98°, or say 1116°, which multiplied by 3, as 3 parts of the water are raised into steam, gives us 3348° for the heat in the steam, while the accession of heat received in the boiler by the 1 part of residual brine will be 154.7°, multiplied by 0.85, the specific heat of the brine, or 130.495°; and 3348° divided by 130.495° is about 1/26th. It appears, therefore, that by blowing off the boiler to such an extent that the saltness shall not rise above what answers to 4/33rds of salt, about 1/25th of the heat is blown into the sea; this is but a small proportion, and as there will be a greater waste of heat, if from the existence of scale upon the flues the heat can be only imperfectly transmitted to the water, there cannot be even an economy of fuel in niggard blowing off, while it involves the introduction of other evils. The proportion of 4/33rds of saltness, however, or 16 oz. to the gallon, is larger than is advisable, especially as it is difficult to keep the saltness at a perfectly uniform point, and the working point should, therefore, be 2/33rds as before prescribed.
396. Q.--Have no means been devised for turning to account the heat contained in the brine which is expelled from the boiler?
A.--To save a part of the heat lost by the operation of blowing off, the hot brine is sometimes passed through a number of small tubes surrounded by the feed water; but there is no very great gain from the use of such apparatus, and the tubes are apt to become choked up, whereby the safety of the boiler may be endangered by the injurious concentration of its contents. Pumps, worked by the engine for the extraction of the brine, are generally used in connection with the small tubes for the extraction of the heat from the supersalted water; and if the tubes become choked the pumps will cease to eject the water, while the engineer may consider them to be all the while in operation.
397.Q.--What is the usual mode of blowing off the supersalted water from the boiler?
A.--The general mode of blowing off the boiler is to allow the water to rise gradually for an hour or two above the lowest Working level, and then to open the cock communicating with the sea, and keep it open until the surface of the water within the boiler has fallen several inches; but in some cases a cock of smaller size is allowed to run water continuously, and in other cases brine pumps are used as already mentioned. In every case in which the supersalted water is discharged from the boiler in a continuous stream, a hydrometer or salt gauge of some convenient construction should be applied to the boiler, so that the density of the water may at all times be visible, and immediate notice be given of any interruption of the operation. Various contrivances have been devised for this purpose, the most of which operate on the principle of a hydrometer; but perhaps a more satisfactory principle would be that of a differential steam gauge, which would indicate the difference of pressure between the steam in the boiler and the steam of a small quantity of fresh water enclosed in a suitable vessel, and immerged in the water of the boiler.
398. Q.--What is the advantage of blowing off from the surface of the water in the boiler?
A.--Blowing off from a point near the surface of the water is more beneficial than blowing off from the bottom of the boiler. Solid particles of any kind, it is well known, if introduced into boiling water, will lower the boiling point in a slight degree, and the steam will chiefly be generated on the surface of the particles, and indeed will have the appearance of coming out of them; if the particles be small the steam generated beneath and around them will balloon them to the surface of the water, where the steam will be liberated and the particles will descend; and the impalpable particles in a marine boiler, which by their subsidence upon the flues concrete into scale, are carried in the first instance to the surface of the water, so that if they be caught there and ejected from the boiler, the formation of scale will be prevented.
399. Q.--Are there any plans in operation for taking advantage of this property of particles rising to the surface?
A.--Advantage is taken of this property in Lamb's Scale Preventer, which is substantially a contrivance for blowing off from the surface of the water that in practice is found to be very effectual; but a float in connection with a valve at the mouth of the discharging pipe is there introduced, so as to regulate the quantity of water blown out by the height of the water level, or by the extent of opening given to the feed cock. The operation, however, of the contrivance would be much the same if the float were dispensed with; but the float acts advantageously in hindering the water from rising too high in the boiler, should too much feed be admitted, and thereby obviates the risk of the water running over into the cylinder. In some boilers sheet iron vessels, called sediment collectors, are employed, which collect into them the impalpable matter, which in Lamb's apparatus is ejected from the boiler at once. One of these vessels, of about the size and shape of a loaf of sugar, is put into each boiler with the apex of the cone turned downwards into a pipe leading overboard, for conducting the sediment away from the boiler. The base of the cone stands some distance above the water line, and in its sides conical slits are cut, so as to establish a free communication between the water within the conical vessel and the water outside it. The particles of stony matter which are ballooned to the surface by the steam in every other part of the boiler, subside within the cone, where, no steam being generated, the water is consequently tranquil; and the deposit is discharged overboard by means of a pipe communicating with the sea. By blowing off from the surface of the water, the requisite cleansing action is obtained with less waste of heat; and where the water is muddy, the foam upon the surface of the water is ejected from the boiler--thereby removing one of the chief causes of priming.
400. Q.--What is the cause of the rapid corrosion of marine boilers?
A.--Marine boilers are corroded externally in the region of the steam chest by the dripping of water from the deck; the bottom of the boiler is corroded by the action of the bilge water, and the ash pits by the practice of quenching the ashes with, salt water. These sources of injury, however, admit of easy remedy; the top of the boiler may be preserved from external corrosion by covering it with felt upon which is laid sheet lead soldered at every joint so as to be impenetrable to water; the ash pits may be shielded by guard plates which are plates fitting into the ash pits and attached to the boiler by a few bolts, so that when worn they may be removed and new ones substituted, whereby any wear upon the boiler in that part will be prevented; and there will be very little wear upon the bottom of a boiler if it be imbedded in mastic cement laid upon a suitable platform.
401. Q.--Are not marine boilers subject to internal corrosion?
A.--Yes; the greatest part of the corrosion of a boiler takes place in the inside of the steam chest, and the origin of this corrosion is one of the obscurest subjects in the whole range of engineering. It cannot be from the chemical action of the salt water upon the iron, for the flues and other parts of the boiler beneath the water suffer very little from corrosion, and in steam vessels provided with Hall's condensers, which supply the boiler with fresh water, not much increased durability of the boiler has been experienced. Nevertheless, marine boilers seldom last more than for 5 or 6 years, whereas land boilers made of the same quality of iron often last 18 or 20 years, and it does not appear probable that land boilers would last a very much shorter time if salt water were used in them. The thin film of scale spread over the parts of a marine boiler situated beneath the water, effectually protect them from corrosion; and when the other parts are completely worn out the flues generally remain so perfect, that the hammer marks upon them are as conspicuous as at their first formation. The operation of the steam in corroding the interior of the boiler is most capricious--the parts which are most rapidly worn away in one boiler being untouched in another; and in some cases one side of a steam chest will be very much wasted away while the opposite side remains uninjured. Sometimes the iron exfoliates in the shape of a black oxide which comes away in flakes like the leaves of a book, while in other cases the iron appears as if eaten away by a strong acid which had a solvent action upon it. The application of felt to the outside of a boiler, has in several cases been found to accelerate sensibly its internal corrosion; boilers in which there is a large accumulation of scale appear to be more corroded than where there is no such deposit; and where the funnel passes through the steam chest the iron of the steam chest is invariably much more corroded than where the funnel does not pass through it.
402. Q.--Can you suggest no reason for the rapid internal corrosion of marine boilers?
A.--The facts which I have enumerated appear to indicate that the internal corrosion of marine boilers is attributable chiefly to the existence of surcharged steam within them, which is steam to which an additional quantity of heat has been communicated subsequently to its generation, so that its temperature is greater than is due to its elastic force; and on this hypothesis the observed facts relative to corrosion become to some extent explicable. Felt, applied to the outside of a boiler, may accelerate its internal corrosion by keeping the steam in a surcharged state, when by the dispersion of a part of the heat it would cease to be in that state; boilers in which there is a large accumulation of scale must have worked with the water very salt, which necessarily produces surcharged steam; for the temperature of steam cannot be less than that of the water from which it is generated, and inasmuch as the boiling point of water, under any given pressure, rises with the saltness of the water, the temperature of the steam must rise with the saltness of the water, the pressure remaining the same; or, in other words, the steam must have a higher temperature than is due to its elastic force, or be in the state of surcharged steam. The circumstance of the chimney flue passing through the steam will manifestly surcharge the steam with heat, so that all the circumstances which are found to accelerate corrosion, are it appears such as would also induce the formation of surcharged steam.
403. Q.--Is it the natural effect of surcharged steam to waste away iron?
A.--It is the natural effect of surcharged steam to oxidate the iron with which it is in contact, as is illustrated by the familiar process for making hydrogen gas by sending steam through a red hot tube filled with pieces of iron; and although the action of the surcharged steam in a boiler is necessarily very much weaker than where the iron is red hot, it manifestly must have some oxidizing effect, and the amount of corrosion produced may be very material where the action is perpetual. Boilers with a large extent of heating surface, or with descending flues circulating through the cooler water in the bottom of the boiler before ascending the chimney, will be less corroded internally than boilers in which a large quantity of the heat passes away in the smoke; and the corrosion of the boiler will be diminished if the interior of any flue passing through the steam be coated with fire brick, so as to present the transmission of the heat in that situation. The best practice, however, appears to consist in the transmission of the smoke through a suitable passage on the outside of the boiler, so as to supersede the necessity of carrying any flue through the steam at all; or a column of water may be carried round the chimney, into which as much of the feed water may be introduced as the heat of the chimney is capable of raising to the boiling point, as under this limitation the presence of feed water around the chimney in the steam chest will fail to condense the steam.
404. Q.--In steam vessels there are usually several boilers?
A.--Yes, in steam vessels of considerable power and size.
405. Q.--Are these boilers generally so constructed, that any one of them may be thrown out of use?
A.--Marine boilers are now generally supplied with stop valves, whereby one boiler may be thrown out of use without impairing the efficacy of the remainder. These stop valves are usually spindle valves of large size, and they are for the most part set in a pipe which runs across the steam chests, connecting the several boilers together. The spindles of these valves should project through stuffing boxes in the covers of the valve chests, and they should be balanced by a weighted lever, and kept in continual action by the steam. If the valves be lifted up, and be suffered to remain up, as is the usual practice, they will become fixed by corrosion in that position, and it will be impossible after some time to shut them on an emergency. These valves should always be easily accessible from the engine room; and it ought not to be necessary for the coal boxes to be empty to gain access to them.
406. Q.--Should each boiler have at least one safety valve for itself?
A.--Yes; it would be quite unsafe without this provision, as the stop valve might possibly jam. Sometimes valves jam from a distortion in the shape of the boiler when a considerable pressure is put upon it.
407. Q.--How is the admission of the water into the boiler regulated?
A.--The admission of feed water into the boiler is regulated by hand by the engineer by means of cocks, and sometimes by spindle valves raised and lowered by a screw. Cocks appear to be the preferable expedient, as they are less liable to accident or derangement than screw valves, and in modern steam vessels they are generally employed.
408. Q.--At what point of the boiler is the feed introduced?
A.--The feed water is usually conducted from the feed cock to a point near the bottom of the boiler by means of an internal pipe, the object of this arrangement being to prevent the rising steam from being condensed by the entering water. By being introduced near the bottom of the boiler, the water comes into contact in the first place with the bottoms of the furnaces and flues, and extracts heat from them which could not be extracted by water of a higher temperature, whereby a saving of fuel is accomplished. In some cases the feed water is introduced into a casing around the chimney, from whence it descends into the boiler. This plan appears to be an expedient one when the boiler is short of heating surface, and more than a usual quantity of heat ascends the chimney; but in well proportioned boilers a water casing round the chimney is superfluous. When a water casing is used the boiler is generally fed by a head of water, the feed water being forced up into a small tank, from whence it descends into the boiler by the force of gravity, while the surplus runs to waste, as in the feeding apparatus of land engines.
409. Q.--Suppose that the engineer should shut off the feed water from the boilers while the engine was working, what would be the result?
A.--The result would be to burst the feed pipes, except for a safety valve placed on the feed pipe between the engine and the boilers, which safety valve opens when any undue pressure comes upon the pipes, and allows the water to escape. There is, however, generally a cock on the suction side of the feed pump, which regulates the quantity of water drawn into the pump. But there must be cocks on the boilers also to determine into which boiler the water shall be chiefly discharged, and these cocks are sometimes all shut accidentally at the same time.
410. Q.--Is there no expedient in use in steam vessels for enabling the position of the water level in the boiler to determine the quantity of feed water admitted?
A.--In some steam vessels floats have been introduced to regulate the feed, but their action cannot be depended on in agitated water, if applied after the common fashion. Floats would probably answer if placed in a cylinder which communicates with the water in the boiler by means of small holes; and a disc of metal might be attached to the end of a rod extending beneath the water level, so as to resist irregular movements from the motion of the ship at sea, which would otherwise impair the action of the apparatus.
411. Q.--How is the proper level of the water in the boiler of a steam vessel maintained when, the engine is stopped for some time, and the boiler is blowing off steam?
A.--By means of a separate pump worked sometimes by hand, but usually by a small separate engine called the Donkey engine. This pump, by the aid of suitable cocks, will pump from the sea into the boiler; from the sea upon deck either to wash decks or to extinguish fire; and from the bilge overboard, through a suitable orifice in the side of the ship.
412. Q.--Will you recapitulate the general features of locomotive boilers?
A.--Locomotive boilers consist of three portions (see fig. 29): the barrel E, E, containing the tubes, the fire box B, and the smoke box F; of which the barrel smoke box, and external fire box are always of iron, but the internal fire box is generally made of copper, though sometimes also it is made of iron. The tubes are sometimes of iron, but generally of brass fixed in by ferules. The whole of the iron plates of a locomotive boiler Which are subjected to the pressure of steam, should be Lowmoor or Bowling plates of the best quality; and the copper should be coarse grained, rather than rich or soft, and be perfectly free from irregularities of structure and lamination.
413. Q.--What are the usual dimensions of the barrel?
A.--The thickness of the plates composing the barrel of the boiler varies generally from 5/16ths to 3/8ths of an inch, and the plates should run in the direction of the circumference, so that the fibres of the iron may be in the direction of the strain. The diameter of the barrel commonly varies from 3 ft. to 3 ft. 6 inches; the diameter of the rivets should be from 11/16ths to 3/4ths of an inch, and the pitch of the rivets or distance between their centres should be from 17/8th to 2 inches.
414. Q.--How are the fire boxes of a locomotive constructed?
A.--The space between the external and internal fire boxes forms a water space, which must be stayed every 4-1/2 or 5 inches by means of copper or iron stay bolts, screwed through the outer fire box into the metal of the inner fire box, and securely riveted within it: iron stay bolts are as durable as copper, and their superior tenacity gives them an advantage. Sometimes tubes are employed as stays. The internal and external fire boxes are joined together at the bottom by a N-shaped iron, and round the fire door they are connected by means of a copper ring 1-1/4 in. thick, and 2 in. broad,--the inner fire box being dished sufficiently outward at that point, and the outer fire box sufficiently inward, to enable a circle of rivets 3/4 of an inch in diameter passing through the copper ring and the two thicknesses of iron, to make a water-tight joint. The thickness of the plates composing the external fire box is in general 3/8ths of an inch if the fire box is circular, and from 3/8ths to 1/2 inch if the fire box is square; and the thickness of the internal fire box is in most cases 7/16ths if copper, and from 3/8ths to 7/16ths of an inch if of iron. Circular internal fire boxes, if made of iron, should be welded rather than riveted, as the rivet heads are liable to be burnt away by the action of the fire; and when the fire boxes are square each side should consist of a single plate, turned over at the edges with a radius of 3 inches, for the introduction of the rivets.
415. Q.--Is there any provision for stiffening the crown of the furnace in a locomotive?
A.--The roof of the internal fire box, whether flat as in Stephenson's engines, or dome shaped as in Bury's, requires to be stiffened with cross stay bars, but the bars require to be stronger and more numerous when applied to a flat surface. The ends of these stay bars rest above the vertical sides of the fire box; and to the stay bars thus extending across the crown, the crown is attached at intervals by means of stay bolts. There are projecting bosses upon the stay bars encircling the bolts at every point where a bolt goes through, but in the other parts they are kept clear of the fire box crown so as to permit the access of water to the metal; and, with the view of facilitating the ascent of the steam, the bottom of each stay bar should be sharpened away in those parts where it does not touch the boiler.
416. Q.--Is any inconvenience experienced from the intense heat in a locomotive furnace?
A.--The fire bars in locomotives have always been a source of trouble, as from the intensity of the heat in the furnace they become so hot as to throw off a scale, and to bend under the weight of the fuel. The best alleviation of these evils lies in making the bars deep and thin: 4 or 5 inches deep by five eighths of an inch thick on the upper side, and three eighths of an inch on the under side, are found in practice to be good dimensions. In some locomotives a frame carrying a number of fire bars is made so that it may be dropped suddenly by loosening a catch; but it is found that any such mechanism can rarely be long kept in working order, as the molten clinker by running down between the frame and the boiler will generally glue the frame into its place. It is therefore found preferable to fix the frame, and to lift up the bars by the dart used by the stoker, when any cause requires the fire to be withdrawn. The furnace bars of locomotives are always made of malleable iron, and indeed for every species of boiler malleable iron bars are to be preferred to bars of cast iron, as they are more durable, and may if thin be set closer together, whereby the small coal or coke is saved that would otherwise fall into the ash pit. The ash box of locomotives is made of plate iron, a quarter thick: it should not be less than 10 in. deep, and its bottom should be about 9 in. above the level of the rails. The chimney of a locomotive is made of plate iron one eighth of an inch thick: it is usually of the same diameter as the cylinder, but is better smaller, and must not stand more than 14 ft. high above the level of the rails.
417. Q.--Are locomotive boilers provided with a steam chest?
A.--The upper portion of the external fire box is usually formed into a steam chest, which is sometimes dome shaped, sometimes semicircular, and sometimes of a pyramidical form, and from this steam chest the steam is conducted away by an internal pipe to the cylinders; but in other cases an independent steam chest is set upon the barrel of the boiler, consisting of a plate iron cylinder, 20 inches in diameter, 2 feet high, and three eighths of an inch thick, with a dome shaped top, and with the seam welded and the edge turned over to form a flange of attachment to the boiler. The pyramidical dome, of the form employed in Stephenson's locomotives, presents a considerable extent of flat surface to the pressure of the steam, and this flat surface requires to be very strongly stayed with angle irons and tension rods; whereas the semiglobular dome of the kind employed in Bury's engines requires no staying whatever. Latterly, however, these domes over the fire box have been either much reduced in size or abandoned altogether.
418. Q.--Is any beneficial use made of the surplus steam of a locomotive?
A.--To save the steam which is formed when the engine is stationary, a pipe is usually fitted to the boiler, which on a cock being turned conducts the steam into the water in the tender, whereby the feed water is heated, and less fuel is subsequently required. This method of disposing of the surplus steam may be adopted when the locomotive is descending inclines, or on any occasion where more steam is produced than the engine can consume.
419.Q.--What means are provided to facilitate the inspection and cleaning of locomotive boilers?
A.--The man hole, or entrance into the boiler, consists of a circular or oval aperture of about 15 in. diameter, placed in Bury's locomotive at the apex of the dome, and in Stephenson's upon the front of the boiler, a few inches below the level of the rounded part; and the cover of the man hole in Bury's engine contains the safety valve seats. In whatever situation this man hole is placed, the surfaces of the ring encircling the hole, and of the internal part of the door or cover, should be accurately fitted together by scraping or grinding, so that they need only the interposition of a little red lead to make them quite tight when screwed together. Lead or canvas joints, if of any considerable thickness, will not long withstand the action of high pressure steam; and the whole of the joints about a locomotive should be such that they require nothing more than a little paint or putty, or a ring of wire gauze smeared with white or red lead to make them perfectly tight. There must be a mud hole opposite the edge of each water space, if the fire box be square, to enable the boiler to be easily cleaned out, and these holes are most conveniently closed by screwed plugs made slightly taper. A cock for emptying the boiler is usually fixed at the bottom of the fire box, and it should be so placed as to be accessible when the engine is at work, in order that the engine driver may blow off some water if necessary; but it must not be in such a position as to send the water blown off among the machinery, as it might carry sand or grit into the bearings, to their manifest injury.
420. Q.--Will you state the dimensions of the tube plate, and the means of securing the tubes in it?
A.--The tube plates are generally made from five eighths to three fourths of an inch thick, but seven eighths of an inch thick appears to be preferable, as when the plate is thick the holes will not be so liable to change their figure during the process of feruling the tubes: the distance between the tubes should never be made less than three fourths of an inch, and the holes should be slightly tapered so as to enable the tubes to hold the tube plates together. The tubes are secured in the tube plates by means of taper ferules driven into the ends of the tubes. The ferules are for the most part made of steel at the fire box end, and of wrought iron at the smoke box end, though ferules of malleable cast iron have in some cases been used with advantage: malleable cast iron ferules are almost as easily expanded when hammered cold upon a mandrel, as the common wrought iron ones are at a working heat. Spring steel, rolled with a feather edge, to facilitate its conversion into ferules, is supplied by some of the steel- makers of Sheffield, and it appears expedient to make use of steel thus prepared when steel ferules are employed. In cases where ferules are not employed, it may be advisable to set out the tube behind the tube plate by means of an expanding mandrel. There are various forms of this instrument. One form is that known as Prosser's expanding mandrel, in which there are six or eight segments, which are forced out by means of a hexagonal or octagonal wedge, which is forced forward by a screw. When the wedge is withdrawn, the segments collapse sufficiently to enable them to enter the tube, and there is an annular protuberance on the exterior circle of the segments, which protuberance, when the mandrel is put into the tube, just comes behind the inner edge of the tube plate. When the wedge is tightened up by the screw, the protuberance on the exterior of the segments composing the mandrel causes a corresponding bulge to take place in the tube, at the back of the tube plate, and the tube is thereby brought into more intimate contact with the tube plate than would otherwise be the case. There is a steel ring indented into the segments of Prosser's mandrel, to contract the segments when the central wedge is withdrawn. A more convenient form of the instrument, however, is obtained by placing the segments in a circular box, with one end projecting; and supporting each segment in the box by a tenon, which fits into a mortise in the cylindrical box. To expand the segments, a round tapered piece of steel, like a drift, is forced into a central hole, round which the segments are arranged. A piece of steel tube, also slit up to enable a central drift to expand it, answers very well; but the thickness of that part of the tube in which there requires to be spring enough to let the mandrel expand, requires to be sufficiently reduced to prevent the pieces from cracking when the central drift is driven in by a hammer. The drift is better when made with a globular head, so that it may be struck back by the hammer, as well as be driven in. An expanding mandrel, with a central drift, is more rapid in its operation than when the expansion is produced by means of a screw.
421. Q.--Will you explain the means that are adopted to regulate the admission of steam to the cylinders?
A.--In locomotives, the admission of the steam from the boiler to the cylinders is regulated by a valve called the regulator, which is generally placed immediately above the internal fire box, and is connected with two copper pipes;--one conducting steam from the highest point of the dome down to it, and the other conducting the steam that has passed through it along the boiler to the upper part of the smoke box. Regulators may be divided into two sorts, viz., those with, sliding valves and steam ports, and those with conical valves and seats, of which the latter kind are the best. The former kind have for the most part consisted of a circular valve and face, with radial apertures, the valve resembling the outstretched wings of a butterfly, and being made to revolve on its central pivot by connecting links between its outer edges, or by its central spindle. In some of Stephenson's engines the regulator consists of a slide valve covering a port on the top of the valve chests. A rod passes from this valve through the smoke box below the boiler, and by means of a lever parallel to the starting lever, is brought up to the engineer's reach. Cocks were at first used as regulators, but were given up, as they were found liable to stick fast. A gridiron slide valve has been used by Stephenson, which consists of a perforated square moving upon a face with an equal number of holes. This plan of a valve gives, with a small movement, a large area of opening. In Bury's engines a sort of conical plug is used, which is withdrawn by turning the handle in front of the fire box: a spiral grove of a very large pitch is made in the valve spindle, in which fits a pin fixed to the boiler, and by turning the spindle an end motion is given to it, which either shuts or opens the steam passage according to the direction in which it is turned. The best regulator would probably be a valve of the equilibrium description, such as is used in the Cornish engine: there would be no friction in such a regulator, and it could be opened or shut with a small amount of force. Such valves, indeed, are now sometimes employed for regulators in locomotives.
422. Q.--Will you explain the course of procedure in the erection of a pumping engine, such as Boulton and Watt introduced into Cornwall?
A.--The best instructions on this subject are those of Mr. Watt himself, which are as follows:--Having fixed on the proper situation of the pump in the pit, from its centre measure out the distance to the centre of the cylinder, from which set off all the other dimensions of the house, including the thickness of the walls, and dig out the whole of the included ground to the depth of the bottom of the cellar, so that the bottom of the cylinder may stand on a level with the natural ground of the place, or lower, if convenient, for the less the height of the house above the ground, the firmer it will be. The foundations of the walls must be laid at least two feet lower than the bottom of the cellar, unless the foundation be firm rock; and care must be taken to leave a small drain into the pit quite through the lowest part of the foundation of the lever wall, to let off any water that may be spilt in the engine house, or may naturally come into the cellar. If the foundation at that depth does not prove good, you must either go down to a better if in your reach, or make it good by a platform of wood or piles, or both.
423. Q.--These directions refer to the foundations?
A..--Yes; but I will now proceed to the other parts. Within the house, low walls must be built to carry the cylinder beams, so as to leave sufficient room to come at the holding down bolts, and the ends of these beams must also be lodged in the wall The lever wall must be built in the firmest manner, and run solid, course by course, with thin lime mortar, care being taken that the lime has not been long slaked. If the house be built of stone, let the stones be large and long, and let many headers be laid through the wall: it should also be a rule, that every stone be laid on the broadest bed it has, and never set on its edge. A course or two above the lintel of the door that leads to the condenser, build into the wall two parallel flat thin bars of iron equally distant from each other, and from the outside and inside of the wall, and reaching the whole breadth of the lever wall. About a foot higher in the wall, lay at every four feet of the breadth of the front, other bars of the same kind at right angles to the former course, and reaching quite through the thickness of the wall; and at each front corner lay a long bar in the middle of the side walls, and reaching quite through the front wall; if these bars are 10 feet or 12 feet long it will be sufficient. When the house is built up nearly to the bottom of the opening under the great beam another double course of bars is to be built in, as has been directed. At the level of the upper cylinder beams, holes must be left in the walls for their ends, with room to move them laterally, so that the cylinder may be got in; and smaller holes must be left quite through the walls for the introduction of iron bars, which being firmly fastened to the cylinder beams at one end, and screwed at the other or outer end, will serve, by their going through both the front and back walls, to bind the house more firmly together. The spring beams or iron bars fastened to them must reach quite through the back wall, and be keyed or screwed up tight; and they must be firmly fastened to the lever wall on each side, either by iron bars, firm pieces of wood, or long strong stones, reaching far back into the wall. They must also be bedded solidly, and the residue of the opening must be built up in the firmest manner.
424. Q.--If there be a deficiency of water for the purpose of condensation, what course should be pursued?
A.--If there be no water in the neighborhood that can be employed for the purpose of condensation, it will be necessary to make a pond, dug in the earth, for the reception of the water delivered by the air pump, to the end that it may be cooled and used again for the engine. The pond may be three or four feet deep, and lined with turf, puddled, or otherwise made water tight. Throwing up the water into the air in the form of a jet to cool it, has been found detrimental; as the water is then charged with air which vitiates the vacuum.
425. Q.--How is the piston of a pumping engine packed?
A.--To pack the piston, take sixty common-sized white or untarred rope-yarns, and with them plait a gasket or flat rope as close and firm as possible, tapering for eighteen inches at each end, and long enough to go round the piston, and overlapped for that length; coil this rope the thin way as hard as possible, and beat it with a sledge hammer until its breadth answers the place; put it in and beat it down with a wooden drift and a hand mallet, pour some melted tallow all around, then pack in a layer of white oakum half an inch thick, so that the whole packing may have the depth of five to six inches, depending on the size of the engine; finally, screw down the junk ring. The packing should be beat solid, but not too hard, otherwise it will create so great a friction as to prevent the easy going of the engine. Abundance of tallow should be allowed, especially at first; the quantity required will be less as the cylinder grows smooth. In some of the more modern pumping engines, the piston is provided with metallic packing, consisting for the most part of a single ring with a tongue piece to break the joint, and packed behind with hemp. The upper edge of the metallic ring is sharpened away from the inside so as to permit more conveniently the application of hemp packing behind it; and the junk ring is made much the same as if no metallic packing were employed.
426. Q.--Will you explain the mode of putting the engine into operation?
A.--To set the engine going, the steam must be raised until the pressure in the steam pipe is at least equal to three pounds on the square inch; and when the cylinder jacket is fully warmed, and steam issues freely from the jacket cock, open all the valves or regulators; the steam will then forcibly blow out the air or water contained in the eduction pipe, and to get rid of the air in the cylinder, shut the steam valve after having blown through the engine for a few minutes. The cold water round the condenser will condense some of the steam contained in the eduction pipe, and its place will be supplied by some of the air from the cylinder. The steam valve must again be opened to blow out that air, and the operation is to be repeated until the air is all drawn out of the cylinder. When that is the case shut all the valves, and observe if the vacuum gauge shows a vacuum in the condenser; when there is a vacuum equivalent to three inches of mercury, open the injection a very little, and shut it again immediately; and if this produces any considerable vacuum, open the exhausting valve a very little way, and the injection at the same time. If the engine does not now commence its motion, it must be blown through again until it moves. If the engine be lightly loaded, or if there be no water in the pumps, the throttle valve must be kept nearly closed, and the top and exhaustion regulators must be opened only a very little way, else the engine will make its stroke with violence, and perhaps do mischief. If there is much unbalanced weight on the pump end, the plug which opens the steam valve must be so regulated, that the valve will only be opened very slightly; and if after a few strokes it is found that the engine goes out too slowly, the valve may be then so adjusted as to open wider. The engine should always be made to work full stroke, that is, until the catch pins be made to come within half an inch of the springs at each end, and the piston should stand high enough in the cylinder when the engine is at rest, to spill over into the perpendicular steam pipe any water which may be condensed above it; for if water remain upon the piston, it will increase the consumption of steam. When the engine is to be stopped, shut the injection valve and secure it, and adjust the tappets so as to prevent the exhausting valve from opening and to allow the steam valve to open and remain open, otherwise a partial vacuum may arise in the cylinder, and it may be filled with water from the injection or from leaks. A single acting engine, when it is in good order, ought to be capable of going as slow as one stroke in ten minutes, and as fast as ten strokes in one minute; and if it does not fulfil these conditions, there is some fault which should be ascertained and remedied.
427. Q.--Your explanation has reference to the pumping engine as introduced into Cornwall by Watt: have any modifications been since made upon it?
A.--In the modern Cornish engines the steam is used very expansively, and a high pressure of steam is employed. In some cases a double cylinder engine is used, in which the steam, after having given motion to a small piston on the principle of a high pressure engine, passes into a larger cylinder, where it operates on the principle of a condensing engine; but there is no superior effect gained by the use of two cylinders, and there is greater complexity in the apparatus. Instead of the lever walls, cast iron columns are now frequently used for supporting the main beam in pumping engines, and the cylinder end of the main beam is generally made longer than the pump end in engines made in Cornwall, so as to enable the cylinder to have a long stroke, and the piston to move quickly, without communicating such a velocity to the pump buckets as will make them work with such a shock as to wear themselves out quickly. A high pressure of steam, too, can be employed where the stroke is long, without involving the necessity of making the working parts of such large dimensions as would otherwise be necessary; for the strength of the parts of a single acting engine will require to be much the same, whatever the length of the stroke may be.
428. Q.--What kind of pump is mostly used in draining deep mines?
A.--The pump now universally preferred is the plunger pump, which admits of being packed or tightened while the engine is at work; but the lowest lift of a mine is generally supplied with a pump on the suction principle, both with the view of enabling the lowest pipe to follow the water with facility as the shaft is sunk deeper, and to obviate the inconvenience of the valves of the pump being rendered inaccessible by any flooding in the mine. The pump valves of deep mines are a perpetual source of expense and trouble, as from the pressure of water upon them it is difficult to prevent them from closing with violence; and many expedients have been contrived to mitigate the evil, of which the valve known as Harvey and West's valve has perhaps gained the widest acceptation.
429. Q.--Will you describe Harvey and West's pump valve?
A.--This valve is a compromise between the equilibrium valve, of the kind employed for admitting the steam to and from the cylinder in single acting engines, and the common spindle valve formerly used for that purpose; and to comprehend its action, it is necessary that the action of the equilibrium valve, which has been already represented fig. 34, should first be understood. This valve consists substantially of a cylinder open at both ends, and capable of sliding upon a stationary piston fixed upon a rod the length of the cylinder, which proceeds from the centre of the orifice the valve is intended to close. It is clear, that when the cylinder is pressed down until its edge rests upon the bottom of the box containing it, the orifice of the pipe must be closed, as the steam can neither escape past the edge of the cylinder nor between the cylinder and the piston; and it is equally clear, that as the pressure upon the cylinder is equal all around it, and the whole of the downward pressure is maintained by the stationary piston, the cylinder can be raised or lowered without any further exertion of force than is necessary to overcome the friction of the piston and of the rod by which the cylinder is raised. Instead of the rubbing surface of a piston, however, a conical valve face between the cylinder and piston is employed, which is tight only when the cylinder is in its lowest position; and there is a similar face between, the edge of the cylinder and the bottom of the box in which it is placed. The moving part of the valve, too, instead of being a perfect cylinder, is bulged outward in the middle, so as to permit the steam to escape past the stationary piston when the cylindrical part of the valve is raised. It is clear, that if such a valve were applied to a pump, no pressure of water within the pump would suffice to open it, neither would any pressure of water above the valve cause it to shut with violence; and if an equilibrium valve, therefore, be used as a pump valve at all, it must be opened and shut by mechanical means. In Harvey and West's valves, however, the equilibrium principle is only partially adopted; the lower face is considerably larger in diameter than the upper face, and the difference constitutes an annulus of pressure, which will cause the valve to open or shut with the same force as a spindle valve of the area of the annulus. To deaden the shock still more effectually, the lower face of the valve is made to strike upon end wood driven into an annular recess in the pump bucket; and valves thus constructed work with very little noise or tremor; but it is found in practice, that the use of Harvey and West's valve, or any contrivance of a similar kind, adds materially to the load upon the pump, especially in low lifts where the addition of a load, to the valve makes a material addition to the total resistance which the engine has to overcome. Instead of end wood driven into a recess for the valve to strike upon, a mixture of tin and lead cast in a recess is now frequently used, and is found to be preferable to the wood.
430. Q.--Is there any other kind of pump valve which is free from the shocks incidental to the working of common valves?
A.--In some cases canvass valves are used for pumps, with the effect of materially mitigating the shock; but they require frequent renewal, and are of inferior eligibility in their action to the slide valve, which might in many cases be applied to pumps without inconvenience.
431. Q.--Could not a form of pump be devised capable of working without valves at all?
A..--It appears probable, that by working a common reciprocating pump at a high speed, a continuous flow of water might be maintained through the pipes in such a way as to render the existence of any valves superfluous after once the action was begun, the momentum of the moving water acting in fact as valves. The centrifugal pump, however, threatens to supersede pumps of every other kind; and if the centrifugal pump be employed there will be no necessity for pump valves at all. There is less loss of effect by the centrifugal pump than by the common pump.
432. Q.--What is the best form of the centrifugal pump?
A.--There are two forms in which the centrifugal pump may be applied to mines;--that in which the arms diverge from the bottom, like the letter V; and that in which revolving arms are set in a tight case near the bottom of the mine, and are turned by a shaft from the surface. Such pumps both draw and force; and either by arranging them in a succession of lifts in the shaft of the mine, or otherwise, the water may be drawn without inconvenience from any depth. The introduction of the centrifugal pump would obviously extinguish the single acting engine, as rotative engines working at a high speed would be the most appropriate form of engine where the centrifugal pump was employed.
433. Q.--This would not be a heavy deprivation?
A.--The single acting engine is a remnant of engineering barbarism which must now be superseded by more compendious contrivances. The Cornish engines, though rudely manufactured, are very expensive in production, as a large engine does but little work; whereas by employing a smaller engine, moving with a high speed, the dimensions may be so far diminished that the most refined machinery may be obtained at less than the present cost.
434. Q.--Are not the Cornish engines more economical in fuel than other engines?
A.--It is a mistake to suppose that there is any peculiar virtue in the existing form of Cornish engine to make it economical in fuel, or that a less lethargic engine would necessarily be less efficient. The large duty of the engines in Cornwall is traceable to the large employment of the principle of expansion, and to a few other causes which may be made of quite as decisive efficacy in smaller engines working with a quicker speed; and there is therefore no argument in the performance of the present engines against the proposed substitution.
435. Q.--What species of paddle engine do you consider to be the best?
A.--The oscillating engine.
436. Q.--Will you explain the grounds of that preference?
A.--The engine occupies little space, consists of few parts, is easily accessible for repairs, and may be both light and strong at the same time. In the case of large engines the crank in the intermediate shaft is a disadvantage, as it is difficult to obtain such a forging quite sound. But by forging it in three cranked flat bars, which are then laid together and welded into a square shaft, a sound forging will be more probable, and the bars should be rounded a little on the sides which are welded to allow the scoriae to escape during that operation. It is important in so large a forging not to let the fire be too fierce, else the surface of the iron will be burnt before the heart is brought to a welding heat. In some cases in oscillating engines the air pump has been wrought by an eccentric, and that may at any time be done where doubt of obtaining a sound intermediate shaft is entertained; but the precaution must be taken to make the eccentric very wide so as to distribute the pressure over a large surface, else the eccentric will be apt to heat.
437. Q.--Have not objections been brought against the oscillating engine?
A.--In common with every other improvement, the oscillating engine, at the time of its introduction, encountered much opposition. The cylinder, it was said, would become oval, the trunnion bearings would be liable to heat and the trunnion joints to leak, the strain upon the trunnions would be apt to bend in or bend out the sides of the cylinder; and the circumstance of the cylinder being fixed across its centre, while the shaft requires to accommodate itself to the working of the ship, might, it was thought, be the occasion of such a strain upon the trunnions as would either break them or bend the piston rod. It is a sufficient reply to these objections to say that they are all hypothetical, and that none of them in practice have been found to exist--to such an extent at least as to occasion any inconvenience; but it is not difficult to show that they are altogether unsubstantial, even without a recourse to the disproofs afforded by experience.
438. Q.--Is there not a liability in the cylinder to become oval from the strain thrown on it by the piston?
A.--There is, no doubt, a tendency in oscillating engines for the cylinder and the stuffing box to become oval, but after a number of years' wear it is found that the amount of ellipticity is less than that which is found to exist in the cylinders of side lever engines after a similar trial. The resistance opposed by friction to the oscillation of the cylinder is so small, that a man is capable of moving a large cylinder with one hand; whereas in the side lever engine, if the parallel motion be in the least untrue, which is, at some time or other, an almost inevitable condition, the piston is pushed with great force against the side of the cylinder, whereby a large amount of wear and friction is occasioned. The trunnion bearings, instead of being liable to heat like other journals, are kept down to the temperature of the steam by the flow of steam passing through them; and the trunnion packings are not liable to leak when the packings, before being introduced, are squeezed in a cylindrical mould.
439. Q.--Might not the eduction trunnions be immersed in water?
A.--In some cases a hollow, or lantern brass, about one third or one fourth the length of the packing space, and supplied with steam or water by a pipe, is introduced in the middle of the packing, so that if there be any leakage through the trunnion, it will be a leakage of steam or water, which will not vitiate the vacuum; but in ordinary cases this device will not be necessary, and it is not commonly employed. It is clear that there can be no buckling of the sides of the cylinder by the strain upon the trunnions, if the cylinder be made strong enough, and in cylinders of the ordinary thickness such an action has never been experienced; nor is it the fact, that the intermediate shaft of steam vessels, to which part alone the motion is communicated by the engine, requires to adapt itself to the altering forms of the vessel, as the engine and intermediate shaft are rigidly connected, although the paddle shaft requires to be capable of such an adaptation. Even if this objection existed, however, it could easily be met by making the crank pin of the ball and socket fashion, which would permit the position of the intermediate shaft, relatively with that of the cylinder, to be slightly changed, without throwing an undue strain upon any of the working parts.
440. Q.--Is the trunk engine inferior to the oscillating?
A.--A very elegant and efficient arrangement of trunk engine suitable for paddle vessels has latterly been employed by Messrs. Rennie, of which all the parts resemble those of Penn's oscillating engine except that the cylinders are stationary instead of being movable; and a round trunk or pipe set upon the piston, and moving steam tight through the cylinder cover, enables the connecting rod which is fixed to the piston to vibrate within it to the requisite extent. But the vice of all trunk engines is that they are necessarily more wasteful of steam, as the large mass of metal entering into the composition of the trunk, moving as it does alternately into the atmosphere and the steam, must cool and condense a part of the steam. The radiation of heat from the interior of the trunk will have the same operation, though in vertical trunk engines the loss from this cause might probably be reduced by filling the trunk with oil, so far as this could be done without the oil being spilt over the edge.
441. Q.--What species of screw engine do you consider the best?
A.--I am inclined to give the preference to a variety of the horizontal steeple engine, such as was first used in H.M.S. Amphion. In this engine the cylinders lie on their sides, and they are placed near the side of the vessel with their mouths pointing to the keel. From each cylinder two long piston rods proceed across the vessel to a cross head working in guides; and from this cross head a connecting rod returns back to the centre of the vessel and gives motion to the crank. The piston rods are so placed in the piston that one of them passes above the crank shaft, and the other below the crank shaft. The cross head lies in the same horizontal plane as the centre of the cylinder, and a lug projects upwards from the cross head to engage one piston rod, and downwards from the cross head to engage the other piston rod. The air pump is double acting, and its piston or bucket has the same stroke as the piston of the engine. The air pump bucket derives its motion from an arm on the cross head, and a similar arm is usually employed in engines of this class to work the feed and bilge pumps.
442. Q.--Is not inconvenience experienced in direct acting screw engines from the great velocity of their motion?
A.--Not if they are properly constructed; but they require to be much stronger, to be fitted with more care, and to have the bearing surfaces much larger than is necessary in engines moving slowly. The momentum of the reciprocating parts should also be balanced by a weight applied to the crank or crank shaft, as is done in locomotives. A very convenient arrangement for obtaining surface is to form the crank of each engine of two cast iron discs cast with heavy sides, the excess of weight upon the heavy sides being nearly equal to that of the piston and its connections. When the piston is travelling in one direction the weights are travelling in the opposite; and the momentum of the piston and its attachments, which is arrested at each reciprocation, is just balanced by the equal and opposite momentum of the weights. One advantage of the horizontal engine is, that a single engine may be employed, whereby greater simplicity of the machinery and greater economy of fuel will be obtained, since there will be less radiating surface in one cylinder than in two.
443. Q.--Is it a beneficial practice to make cylinders with steam jackets?
A.--In Cornwall, where great attention is paid to economy of fuel, all the engines are made with steam jackets, and in some cases a flue winds spirally round the cylinder, for keeping the steam hot. Mr. Watt, in his early practice, discarded the steam jacket for a time, but resumed it again, as he found its discontinuance occasioned a perceptible waste of fuel; and in modern engines it has been found that where a jacket is used less coal is consumed than where the use of a jacket is rejected. The cause of this diminished effect is not of very easy perception, for the jacket exposes a larger radiating surface for the escape of the heat than the cylinder; nevertheless, the fact has been established beyond doubt by repeated trials, that engines provided with a jacket are more economical than engines without one. The exterior of the cylinder, or jacket, should be covered with several plies of felt, and then be cased in timber, which must be very narrow, the boards being first dried in a stove, and then bound round the cylinder with hoops, like the staves of a cask. In many of the Cornish engines the steam is let into casings formed in the cylinder cover and cylinder bottom, for the further economisation of the heat, and the cylinder stuffing box is made very deep, and a lantern or hollow brass is introduced into the centre of the packing, into which brass the steam gains admission by a pipe provided for the purpose; so that in the event of the packing becoming leaky, it will be steam that will be leaked into the cylinder instead of air, which, being incondensable, would impair the efficiency of the engine. A lantern brass, of a similar kind, is sometimes introduced into the stuffing boxes of oscillating engines, but its use there is to receive the lateral pressure of the piston rod, and thus take any strain off the packing.
444. Q.--Will you explain the proper course to pursue in the production of cylinders?
A.--In all engines the valve casing, if made in a separate piece from the cylinder, should be attached by means of a metallic joint, as such a barbarism as a rust joint in such situations is no longer permissible. In the case of large engines with valve casings suitable for long slides, an expansion joint in the valve casing should invariably be inserted, otherwise the steam, by gaining admission to the valve casing before it can enter the cylinder, expands the casing while the cylinder remains unaltered in its dimensions, and the joints are damaged, and in some cases the cylinder is cracked by the great strain thus introduced. The chest of the blow-through valve is very commonly cast upon the valve casing; and in engines where the cylinders are stationary this is the most convenient practice. All engines, where the valve is not of such a construction as to leave the face when a pressure exceeding that of the steam is created in the cylinder by priming or otherwise, should be provided with an escape valve to let out the water, and such valve should be so constructed that the water cannot fly out with violence over the attendants; but it should be conducted away by a suitable pipe, to a place where its discharge can occasion no inconvenience. The stuffing boxes of all engines which cannot be stopped frequently to be repacked, should be made very deep; metallic packing in the stuffing box has been used in some engines, consisting in most instances of one or more rings, cut, sprung, and slipped upon the piston rod before the cross head is put on, and packed with hemp behind. This species of packing answers very well when the parallel motion is true, and the piston rod free from scratches, and it accomplishes a material saving of tallow. In some cases a piece of sheet brass, packed behind with hemp, has been introduced with good effect, a flange being turned over on the under edge of the brass to prevent it from slipping up or down with the motion of the rod. The sheet brass speedily puts an excellent polish upon the rod, and such a packing is more easily kept, and requires less tallow than where hemp alone is employed. In side lever marine engines the attachments of the cylinder to the diagonal stay are generally made of too small an area, and the flanges are made too thick. A very thick flange cast on any part of a cylinder endangers the soundness of the cylinder, by inducing an unequal contraction of the metal; and it is a preferable course to make the flange for the attachment or the framing thin, and the surface large--the bolts being turned bolts and nicely fitted. If from malformation in this part the framing works to an inconvenient extent, the best expedient appears to be the introduction of a number of steel tapered bolts, the holes having been previously bored out; and if the flanges be thick enough, square keys may also be introduced, half into one flange and half into the other, so as to receive the strain. If the jaw cracks or breaks away, however, it will be best to apply a malleable iron hoop around the cylinder to take the strain, and this will in all cases be the preferable expedient, where from any peculiarities of structure there is a difficulty in introducing bolts and keys of sufficient strength.
445. Q.--Which is the most eligible species of piston?
A.--For large engines, pistons with a metallic packing, consisting of a single ring, with the ends morticed into one another, and a piece of metal let in flush over the joint and riveted to one end of the ring, appears to be the best species of piston; and if the cylinder be oscillating, it will be expedient to chamfer off the upper edge of the ring on the inner side, and to pack it at the back with hemp. If the cylinder be a stationary one, springs may be substituted for the hemp packing, but in any case it will be expedient to make the vertical joints of the ends of the ring run a little obliquely, so as to prevent the joint forming a ridge in the cylinder. For small pistons two rings may be employed, made somewhat eccentric internally to give a greater thickness of metal in the centre of the ring; these rings must be set one above the other in the cylinder, and the joints, which are oblique, must be set at right angles with one another, so as to obviate any disposition of the rings, in their expansion, to wear the cylinder oval. The rings must first be turned a little larger than the diameter of the cylinder, and a piece is then to be cut out, so that when the ends are brought together the ring will just enter within the cylinder. The ring, while retained in a state of compression, is then to be put in the lathe and turned very truly, and finally it is to be hammered on the inside with the small end of the hammer, to expand the metal, and thus increase the elasticity.
446. Q.--The rings should be carefully fitted to one another laterally?
A.--The rings are to be fitted laterally to the piston, and to one another, by scraping--a steady pin being fixed upon the flange of the piston, and fitting into a corresponding hole in the lower ring, to keep the lower ring from turning round; and a similar pin being fixed into the top edge of the lower ring to prevent the upper ring from turning round; but the holes into which these pins fit must be made oblong, to enable the rings to press outward as the rubbing surfaces wear. In most cases it will be expedient to press the packing rings out with springs where they are not packed behind with hemp, and the springs should be made very strong, as the prevailing fault of springs is their weakness. Sometimes short bent springs, set round at regular intervals between the packing rings and body of the piston, are employed, the centre of each spring being secured by a steady pin or bolt screwed into the side of the piston; but it will not signify much what kind of springs is used, provided they have sufficient tension. When pistons are made of a single ring, or of a succession of single rings, the strength of each ring should be tested previously to its introduction into the piston, by means of a lever loaded by a heavy weight.
447. Q.--What kind of piston is employed by Messrs. Penn?
A.--Messrs. Penn's piston for oscillating engines has a single packing ring, with a tongue piece, or mortice end, made in the manner already described. The ring is packed behind with hemp packing, and the piece of metal which covers the joint is a piece of thick sheet copper or brass, and is indented into the iron of the ring, so as to offer no obstruction to the application of the hemp. The ring is fitted to the piston only on the under edge; the top edge is rounded to a point from the inside, and the junk ring does not bear upon it, but the junk ring squeezes down the hemp packing between the packing ring and the body of the piston.
448. Q.--How should the piston rod be secured to the piston?
A.--The piston rod, where it fits into the piston, should have a good deal of taper; for if the taper be too small the rod will be drawn through the hole, and the piston will be split asunder. Small grooves are sometimes turned out of the piston rod above and below the cutter hole, and hemp is introduced in order to make the piston eye tight. Most piston rods are fixed to the piston by means of a gib and cutter, but in some cases the upper portion of the rod within the eye is screwed, and it is fixed into the piston by means of an indented nut. This nut is in some cases hexagonal, and in other cases the exterior forms a portion of a cone which completely fills a corresponding recess in the piston; but nuts made in this way become rusted into their seat after some time, and cannot be started again without much difficulty. Messrs. Miller, Ravenhill & Co. fix in their piston rods by means of an indented hexagonal nut, which may be started by means of an open box key. The thread of the screw is made flat upon the one side and much slanted on the other, whereby a greater strength is secured, without creating any disposition to split the nut. In side lever engines it is a judicious practice to add a nut to the top of the piston rod, in addition to the cutter for securing the piston rod to the cross head. In a good example of an engine thus provided, the piston rod is 7 in. in diameter, and the screw 5 in.; the part of the rod which fits into the cross head eye is 1 ft. 5-1/2 in. long, and tapers from 6-1/2 in. to 6- 13/16 in. diameter. This proportion of taper is a good one; if the taper be less, or if a portion of the piston rod within the cross head eye be left untapered, as is sometimes the case, it is very difficult to detach the parts from one another.
449. Q.--Which is the most beneficial construction of slide valve?
A.--The best construction of slide valve appears to be that adopted by Messrs. Penn for their larger engines, and which consists of a three ported valve, to the back of which a ring is applied of an area equal to that of exhaustion port, and which, by bearing steam tight against the back of the casing, so that a vacuum may be maintained within the ring, puts the valve in equilibrium, so that it may be moved with an inconsiderable exercise of force. The back of the valve casing is put on like a door, and its internal surface is made very true by scraping. There is a hole through the valve so as to conduct away any steam which may enter within the ring by leakage, and the ring is kept tight against the back of the casing by means of a ring situated beneath the bearing ring, provided with four lugs, through which bolts pass tapped into bosses on the back of the valve; and, by unscrewing these bolts,--which may be done by means of a box key which passes through holes in the casing closed with screwed plugs,--the lower ring is raised upwards, carrying the bearing ring before it. The rings must obviously be fitted over a boss upon the back of the valve; and between the rings, which are of brass, a gasket ring is interposed to compensate by its compressibility for any irregularity of pressure, and each of the bolts is provided with a ratchet collar to prevent it from turning back, so that the engineer, in tightening these bolts, will have no difficulty in tightening them equally, if he counts the number of clicks made by the ratchet. Where this species of valve is used, it is indispensable that large escape valves be applied to the cylinder, as a valve on this construction is unable to leave the face. In locomotive engines, the valve universally employed is the common three ported valve.
450. Q.--Might not an equilibrium valve be so constructed by the interposition of springs, as to enable it to leave the cylinder face when an internal force is applied?
A.--That can no doubt be done, and in some engines has been done. In the screw steamer Azof, the valve is of the equilibrium construction, but the plate which carries the packing on which the top ring rests, is an octagon, and fits into an octagonal recess on the back of the valve. Below each side of the octagon there is a bent flat spring, which lifts up the octagonal plate, and with it the packing ring against the back of the valve casing; and should water get into the cylinder, it escapes by lifting the valve, which is rendered possible by the compressibility of the springs. An equivalent arrangement is shown in figs. 39 and 40, where the ring is lifted by spiral springs.
451. Q.--What species of valve is that shown in figs. 39 and 40?
A.--It is an equilibrium gridiron valve; so called because it lets the steam in and out by more than one port. A A are the ordinary steam passages to the top and bottom of the cylinder; B B is the ring which rubs against the back of the valve casing, and D is the eduction passage, S S S S shows the limits of the steam space, for the steam penetrates to the central chamber S S by the sides of the valve. When the valve is opened upon the steam side, the cylinder receives steam through both ports at that end of the cylinder, and both ports at the other end of the cylinder are at the same time open to the eduction. The benefit of this species of valve is, that it gives the same opening of the valve that is given in ordinary engines, with half the amount of travel; or if three ports were made instead of two, then it would give the same area of opening that is given in common engines with one third the amount of travel. For direct acting screw engines this species of valve is now extensively used.
452. Q.--Will you describe the configuration and mode of attachment of the eccentric by which the valve is moved?
A.--In marine engines, whether paddle or screw, if moving at a slow rate of speed, the eccentric is generally loose upon the shaft, for the purpose of backing, and is furnished with a back balance and catches, so that it may stand either in the position for going ahead, or in that for going astern. The body of the eccentric is of cast iron, and it is put on the shaft in two pieces. The halves are put together with rebated joints to keep them from separating laterally, and they are prevented from sliding out by round steel pins, each ground into both halves; square keys would probably be preferable to round pins in this arrangement, as the pins tend to wedge the jaws of the eccentric asunder. In some cases the halves of the eccentric are bolted together by means of flanges, which is, perhaps, the preferable practice. The eccentric hoop in marine and land engines is generally of brass; it is expedient to cast an oil cup on the eccentric hoop, and, where practicable, a pan should be placed beneath the eccentric for the reception of the oil droppings. The notch of the eccentric rod for the reception of the pin of the valve shaft is usually steeled, to prevent inconvenient wear; for when the sides of the notch wear, the valve movement is not only disturbed, but it is very difficult to throw the eccentric rod out of gear. It is found to be preferable, however, to fit this notch with a brass bush, for the wear is then less rapid, and it is an easy thing to replace this bush with another when it becomes worn. The eccentric catches of the kind usually employed in marine engines, sometimes break off at the first bolt hole, and it is preferable to have a bolt in advance of the catch face, or to have a hoop encircling the shaft with the catches welded on it, the hoop itself being fixed by bolts or a key. This hoop may either be put on before the cranks in one piece or afterwards in two pieces.
453. Q.--Are such eccentrics used in direct acting screw engines?
A.--No; direct acting screw engines are usually fitted with the link motion and two fixed eccentrics.
454. Q.--What are the details of the air pump?
A.--The air pump bucket and valves are all of brass in modern marine engines, and the chamber of the pump is lined with copper, or made wholly of brass, whereby a single boring suffices. When a copper lining is used, the pump is first bored out, and a bent sheet of copper is introduced, which is made accurately to fill the place, by hammering the copper on the inside. Air pump rods of Muntz's metal or copper are much used. Iron rods covered with brass are generally wasted away where the bottom cone fits into the bucket eye, and if the casing be at all porous, the water will insinuate itself between the casing and the rod and eat away the iron. If iron rods covered with brass be used, the brass casing should come some distance into the bucket eye; the cutter should be of brass, and a brass washer should cover the under side of the eye, so as to defend the end of the rod from the salt water. Rods of Muntz's metal are probably on the whole to be preferred. It is a good practice to put a nut on the top of the rod, to secure it more firmly in the cross head eye, where that plan can be conveniently adopted. The part of the rod which fits into the cross head eye should have more taper when made of copper or brass, than when made of iron; as, if the taper be small, the rod may get staved into the eye, whereby its detachment will be difficult.
455. Q.--What species of packing is used in air pumps?
A.--Metallic packing has in some instances been employed in air pump buckets, but its success has not been such as to lead to its further adoption. The packing commonly employed is hemp. A deep solid block of metal, however, without any packing, is often employed with a satisfactory result; but this block should have circular grooves cut round its edge to hold water. Where ordinary packing is employed, the bucket should always be made with a junk ring, whereby the packing may be easily screwed down at any time with facility. In slow moving engines the bucket valve is generally of the spindle or pot-lid kind, but butterfly valves are sometimes used. The foot and delivery valves are for the most part of the flap or hanging kind. These valves all make a considerable noise in working, and are objectionable in many ways. Valves on Belidor's construction, which is in effect that of a throttle valve hung off the centre, were some years ago proposed for the delivery and foot valves; and it appears probable that their operation would be more satisfactory than that of the valves usually employed.
456. Q.--Where is the delivery valve usually situated?
A.--Some delivery valve seats are bolted into the mouth of the air pump, whereby access to the pump bucket is rendered difficult: but more commonly the delivery valve is a flap valve exterior to the pump. If delivery valve seats be put in the mouth of the air pump at all, the best mode of fixing them appears to be that adopted by Messrs. Maudslay. The top of the pump barrel is made quite fair across, and upon this flat surface a plate containing the delivery valve is set, there being a small ledge all round to keep it steady. Between the bottom of the stuffing box of the pump cover and the eye of the valve seat a short pipe extends encircling the pump rod, its lower end checked into the eye of the valve seat, and its upper end widening out to form the bottom of the stuffing box of the pump cover. Upon the top of this pipe some screws press, which are accessible from the top of the stuffing box gland, and the packing also aids in keeping down the pipe, the function of which is to retain the valve seat in its place. When the pump bucket has to be examined the valve seat may be slung with the cover, so as to come up with the same purchase. For the bucket valves of such pumps Messrs. Maudslay employ two or more concentric ring valves with a small lift. These valves have given a good deal of trouble in some cases, in consequence of the frequent fracture of the bolts which guide and confine the rings; but this is only a fault of detail which is easily remedied, and the principle appears to be superior to that of any of the other metallic air pump valves at present in common use.

457. Q.--Are not air pump valves now very generally made of india rubber?
A.--They are almost invariably so made if the engines are travelling fast, as in the case of direct acting screw engines, and they are very often made of large discs or rings of india rubber, even when the engines travel slowly. A very usual and eligible arrangement for many purposes is that shown in fig. 41, where both foot and delivery valves are situated in the ends of the pump, and they, as well as the valve in the bucket are made of india rubber rings closing on a grating. The trunk in the air pump enables guide rods to be dispensed with.
458. Q.--The air pump, when double acting, has of course inlet and outlet valves at each end?
A.--Yes; and the general arrangement of the valves of double acting air pumps, such as are usual in direct acting screw engines, is that represented in the figure of Penn's trunk engine already described in Chapter I. Each inlet and outlet valve consists of a number of india rubber discs set over a perforated brass plate, and each disc is bound down by a bolt in the middle, which bolt also secures a brass guard set above the disc to prevent it from rising too high. The usual configuration of those valves is that represented in figs. 42, 43, and 44; figs. 42 and 43 being a section and ground plan of the species of valve used by Messrs. Penn, and fig. 44 being a section of that used by Messrs. Maudslay. It is important in these valves to have the india rubber thick,--say about an inch thick for valves eight inches in diameter. It is also advisable to make the central bolts with a nut above and a nut below, and to form the bolt with a counter sunk neck, so that it will not fall down when the top nut is removed. The lower point of the bolt should be riveted over on the nut to prevent it from unscrewing, and the top end should have a split pin through the point for the same purpose. The hole through which the bolt passes should be tapped, though the bolt is not screwed into it, so that if a bolt breaks, a temporary stud may be screwed into the hole without the necessity of taking out the whole plate. The guard should be large, else the disc may stretch in the central hole until it comes over it; but the guard should not permit too much lift of the valve, else a good deal of the water and air will return into the pump at the return stroke before the valve shuts. Penn's guard is rather small, and Maudslay's permits too much lift.



459. Q.--What is the proper area through the valve gratings?
A.--The collective area should be at least equal to the area of the pump piston, and the lower edges of the perforations should be rounded off to afford more free ingress or egress to the water.
460. Q.--Is there much strain thrown on the plates in which the valves are set?
A.--A good deal of strain; and in the earlier direct acting screw engines these plates were nearly in every case made too light. They should be made thick, have strong feathers upon them, and be very securely bolted down with split pins at the points of the bolts, to prevent them from unscrewing. The plate will be very apt to be broken should some of the bolts become loose. Of course all the bolts and split pins, as well as the plates and guards, must be of brass.
461. Q.--How are the plates to be taken out should that become necessary?
A.--They are usually taken out through a door in the top of the hot well provided for that purpose, which door should be as large as the plates themselves; and it is a good precaution to cast upon this door--which will be of cast iron--six or eight stout projecting feet which will press upon the top of the outlet or delivery valve plate when the door is screwed down. The upper or delivery valve plate and the lower or foot valve plate should have similar feet. A large part of the strain will thus be transferred from the plates to the door, which can easily be made strong enough to sustain it. It is advisable that the plates should lie at an angle so that the shock of the water may not come upon the whole surface at once.
462. Q.--Does the double acting air pump usual in direct acting screw engines, produce as good a vacuum as the single acting air pump usual in paddle engines?
A.--It will do so if properly constructed; but I do not know of any case of a double acting air pump, with india rubber valves, which has been properly constructed.
463. Q.--What is the fault of such pumps?
A.--The pump frequently works by starts, as if at times it did not draw at all, and then again on a sudden gorged itself with water, so as to throw a great strain upon the working parts. The vacuum, moreover, is by no means so good as it should be, and it is a universal vice of direct acting screw engines that the vacuum is defective. I have been at some pains to investigate the causes of this imperfection; and in a sugar house engine fitted with pumps like those of a direct acting screw engine to maintain a vacuum in the pans, I found that a better vacuum was produced when the engine was going slowly than when it was going fast; which is quite the reverse of what was to have been expected, as the hot water which had to be removed by the condensation of the steam proceeding from the pan, was a constant quantity. In this engine, too, which was a high pressure one, the irregularities of the engine consequent upon the fitful catching of the water by the pump, was more conspicuous, as the working of this vacuum pump was the only work that the engine had to perform.
464. Q.--And were you able to discover the cause of these irregularities?
A.--The main cause of them I found to be the largeness of the space left between the valve plates in this class of pumps, and out of which there is nothing to press the air or water which may be lying there. It consequently happens, that if there be the slightest leakage of air into the pump, this air is merely compressed, and not expelled, by the advance of the air pump piston. It expands again to its former bulk on the return of the pump piston, and prevents the water from entering until there is such an accumulation of pressure in the condenser as forces the water into the pump, when the air being expelled by the water, causes a good vacuum to be momentarily formed in the pump when it gorges itself by taking a sudden gulp of water. So soon, however, as the pressure falls in the condenser and some more air leaks into the pump, the former imperfect action recurs and is again redressed in the same violent manner.
465. Q.--Is this irregular action of the pump the cause of the imperfect vacuum?
A.--It is one cause. Sometimes one end of the pump will alone draw and the other end will be inoperative, although it is equally open to the condenser, and this will chiefly take place at the stuffing box end, where a leakage of air is more likely to occur. I find, however, that even when both ends of the pump are acting equally and there is no leakage of air at all, the vacuum maintained by a double acting horizontal pump with india rubber valves, is not so good as that maintained by a single acting pump of the kind usual in old engines.
466. Q.--Will you specify more precisely what were the results you obtained?
A.--When the vacuum pan was exhausted by the pumps without any boiling being carried on in the pan, but only a little cold water being let into it, and also into the pumps to enable them to act in their best manner, it was found that whereas with the old pump a vacuum of 114 on the sugar boiler's gauge could be readily obtained, equal to about 29-1/2 inches of mercury, the lowest that could possibly be got with the new horizontal pump was 122 degrees of the sugar boiler's gauge, or 29 inches of mercury, and to get that the engine must not go faster than 10 or 12 strokes per minute. The proper speed of the engine was 75 strokes per minute, but if allowed to go at that speed the vacuum fell to 130 of the sugar maker's gauge, or 28-1/2 inches of mercury. When the steam was let into the worms of the pan so as to boil the water in it, the vacuum was 134 at 75 revolutions of the engine, and went down to 132 at 40 revolutions, but rose again to 135, equal to about 28-1/4 inches of mercury, at 20 revolutions.
467. Q.--To what do you attribute the circumstance of a better vacuum being got at low speeds than at high speeds?
A.--It is difficult to assign the precise reason, but it appears to be a consequence of the largeness of the vacant space between the valve plates. When the piston of the air pump is drawn back, the air contained in this large collection of water will cause it to boil up like soda water; and when the piston of the pump is forced forward, this air, instead of being expelled, will be again driven into the water. There will consequently be a quantity of air in the pump which cannot be got rid of at all, and which will impair the vacuum as a matter of course.
468. Q.--What expedient did you adopt to improve the vacuum in the engine to which you have referred?
A.--I put blocks of wood on the air pump piston, which at the end of its stroke projected between the valve plates and forced the water out. I also introduced a cock of water at each end of the pump between the valve plates, to insure the presence of water at each end of the pump to force the air out. With these ameliorations the pump worked steadily, and the vacuum obtained became as good as in the old pump. I had previously introduced an injection cock into each end of the air pump in steam vessels, from which I had obtained advantageous results; and in all horizontal air pumps I would recommend the piston and valve plates to be so constructed that the whole of the water will be expressed by the piston. I would also recommend an injection cock to be introduced at each end of the pump.
469. Q.--Will you explain the arrangement of the feed pump?
A.--In steam vessels, the feed pump plunger is generally of brass, and the barrel of the pump is sometimes of brass, but generally of cast iron. There should be a considerable clearance between the bottom of the plunger and the bottom of the barrel, as otherwise the bottom of the barrel may be knocked out, should coal dust or any other foreign substance gain admission, as it probably would do if the injection water were drawn at any time from the bilge of the vessel, as is usually done if the vessel springs a leak. The valves of the feed pump in marine engines are generally of the spindle kind, and are most conveniently arranged in a chest, which may be attached in any accessible position to the side of the hot well. There are two nozzles upon this chest, of which the lower one leads to the pump, and the upper one to the boiler. The pipe leading to the pump is a suction pipe when the plunger ascends, and a forcing pipe when the plunger descends. The plunger in ascending draws the water out of the hot well through the lowest of the valves, and in descending forces it through the centre valve into the space above it, which communicates with the feed pipe. Should the feed cock be shut so as to prevent any feed water from passing through it, the water will raise the topmost valve, which is loaded to a pressure considerably above the pressure of the steam, and escape into the hot well. This arrangement is neater and less expensive than that of having a separate loaded valve on the feed pipe with an overflow through the ship's side, as is the more usual practice.
470. Q.--Will you describe what precautions are to be observed in the construction of the cocks used in engines?
A.--All the cocks about an engine should be provided with bottoms and stuffing boxes, and reliance should never be placed upon a single bolt passing through a bottom washer for keeping the plug in its place, in the case of any cock communicating with the boiler; for a great strain is thrown upon that bolt if the pressure of the steam be high, and if the plug be made with much taper; and should the bolt break, or the threads strip, the plug will fly out, and persons standing near may be scalded to death. In large cocks, it appears the preferable plan to cast the bottoms in; and the metal of which all the cocks about a marine engine are made, should be of the same quality as that used in the composition of the brasses, and should be without lead, or other deteriorating material. In some cases the bottoms of cocks are burnt in with hard solder, but this method cannot be depended upon, as the solder is softened and wasted away by the hot salt water, and in time the bottom leaks, or is forced out. The stuffing box of cocks should be made of adequate depth, and the gland should be secured by means of four strong copper bolts. The taper of blow-off cocks is an important element in their construction; as, if the taper be too great, the plugs will have a continual tendency to rise, which, if the packing be slack, will enable grit to get between the faces, while, if the taper be too little, the plug will be liable to jam, and a few times grinding will sink it so far through the shell that the waterways will no longer correspond. One eighth of an inch deviation from the perpendicular for every inch in height, is a common angle for the side of the cock, which corresponds with one quarter of an inch difference of diameter in an inch of height; but perhaps a somewhat greater taper than this, or one third of an inch difference in diameter for every inch of height, is a preferable proportion. The bottom of the plug must be always kept a small distance above the bottom of the shell, and an adequate surface must be left above and below the waterway to prevent leakage. Cocks formed according to these directions will be found to operate satisfactorily in practice, while they will occasion perpetual trouble if there be any malformation.
471. Q.--What is the best arrangement and configuration of the blow- off cocks?
A.--The blow-off cocks of a boiler are generally placed some distance from the boiler; but it appears preferable that they should be placed quite close to it, as there are no means of shutting off the water from the pipe between the blow-off cock and the boiler, should fracture or leakage there arise. Every boiler must be furnished with a blow-off cock of its own, independently of the main blow-off cocks on the ship's sides, so that the boilers may be blown off separately, and may be shut off from one another. The preferable arrangement appears to be, to cast upon each blow-off cock a bend for attaching the cock to the bottom of the boiler, and the plug should stand about an inch in advance of the front of the boiler, so that it may be removed, or re-ground, with facility. The general arrangement of the blow-off pipes is to run a main blow-off pipe beneath the floor plates, across the ship, at the end of the engines, and into this pipe to lead a separate pipe, furnished with a cock, from each boiler. The main blow-off pipe, where it penetrates the ship's side, is furnished with a cock: and in modern steam vessels Kingston's valves are also used, which consist of a spindle or plate valve, fitted to the exterior of the ship, so that if the internal pipe or cock breaks, the external valve will still be operative. Some expedient of this kind is almost necessary, as the blow-off cocks require occasional regrinding, and the sea cocks cannot be re-ground without putting the vessel into dock, except by the use of Kingston's valves, or some equivalent expedient.
472. Q.--What is the proper construction and situation of the injection cocks, and waste water valves?
A.--The sea injection cocks are usually made in the same fashion as the sea blow-off cocks, and of about the same size, or rather larger. The injection water is generally admitted to the condenser by means of a slide valve, but a cock appears to be preferable, as it is more easily opened, and has not any disposition to shut of its own accord. In paddle vessels the sea injection pipes should be put through the ship's sides in advance of the paddles, so that the water drawn in may not be injuriously charged with air. The waste water pipe passing from the hot well through the vessel's side is provided with a stop valve, called the discharge valve, which is usually made of the spindle kind, so as to open when the water coming from the air pump presses against it. In some cases this valve is a sluice valve, but the hot well is then almost sure to be split, if the engine be set on without the valve having been opened. The opening of the waste water pipe should always be above the load water line, as it will otherwise be difficult to prevent leakage through the engine into the ship when the vessel is lying in harbor.
473. Q.--What is the best arrangement of gauge cocks and glass gauges?
A.--Gauge cocks are generally very inartificially made, and occasion needless annoyance. They are rarely made with bottoms, or with stuffing boxes, and are consequently, for the most part, adorned with stalactites of salt after a short period of service. The water discharged from them, too, from the want of a proper conduit, disfigures the front of the boiler, and adds to the corrosion in the ash pits. It would be preferable to combine the gauge cocks appertaining to each boiler into a single upright tube, connected suitably with the boiler, and the water flowing from them could be directed downward into a funnel tube communicating with the bilge. The cocks of the glass tubes, as well as of the gauge cocks, should be furnished with stuffing boxes and with bottoms, unless the water enters through the bottom of the plug, which in gauge cocks is sometimes the case. The glass gauge tubes should always be fitted with a cock at each neck communicating with the boiler, so that the water and steam may be shut off if the tube breaks; and the cocks should be so made as to admit of the tubes being blown through with steam to clear them, as in muddy water they will become so soiled that the water cannot be seen. The gauge cocks frequently have pipes running up within the boiler, to the end that a high water level may be made consistent with an easily accessible position of the gauge cocks themselves. With the glass tubes, however, this species of arrangement is not possible, and the glass tubes must always be placed in the position of the water level.
474. Q.--What is the proper material of the pipes in steam vessels?
A.--Most of the pipes of marine engines should be made of copper. The steam pipes may be of cast iron, if made very strong, but the waste water pipes should be of copper. Cast iron blow-off pipes have in some cases been employed, but they are liable to fracture, and are dangerous. The blow-off and feed pipes should be of copper, but the waste steam pipe may be of galvanized iron. Every pipe passing through the ship's side, and every pipe fixed at both ends, and liable to be heated and cooled, should be furnished with a faucet or expansive joint; and in the case of the cast iron pipes, the part of the pipe fitting into the faucet should be turned. In the distribution of the faucets of the pipes exposed to pressure, care must be taken that they be so placed that the parts of the pipe cannot be forced asunder, or turned round by the strain, as serious accidents have occurred from the neglect of this precaution.
475. Q.--What is the best mode of making pipes tight where they penetrate the ship's side?
A.--In wooden vessels the pipes where they pierce the ship's side, should be made tight, as follows:--the hole being cut, a short piece of lead pipe, with a broad flange at one end, should be fitted into it, the place having been previously smeared with white lead, and the pipe should then be beaten on the inside, until it comes into close contact all around with the wood. A loose flange should next be slipped over the projecting end of the lead pipe, to which it should be soldered, and the flanges should both be nailed to the timber with scupper nails, white lead having been previously spread underneath. This method of procedure, it is clear, prevents the possibility of leakage down through the timbers; and all, therefore, that has to be guarded against after this precaution, is to prevent leakage into the ship. To accomplish this object, let the pipe which it is desired to attach be put through the leaden hause, and let the space between the pipe and the lead be packed with gasket and white lead, to which a little olive oil has been added. The pipe must have a flange upon it to close the hole in the ship's side; the packing must then be driven in from the outside, and be kept in by means of a gland secured with bolts passing through the ship's side. If the pipe is below the water line the gland must be of brass, but for the waste water pipe a cast iron gland will answer. This method of securing pipes penetrating the side, however, though the best for wooden vessels, will, it is clear, fail to apply to iron ones. In the case of iron vessels, it appears to be the best practice to attach a short iron nozzle, projecting inward from the skin, for the attachment of every pipe below the water line, as the copper or brass would waste the iron of the skin if the attachment were made in the usual way.
476. Q.--What is the best method of fixing the screw upon the shaft?
A.--The best way is to cut two large grooves in the shaft coming up to a square end, and two corresponding grooves or key seats in the screw boss opposite the arms. Fit into the grooves on the shaft keys with heads, the length of which is equal to half the depth of the boss, and with the ends of the keys bearing against the ends of the grooves in the shaft. Then ship on the propeller, and drive other keys of an equal length from the other side of the boss, so that the points of the keys will nearly meet in the middle; next burr up the edge of the grooves upon the heads of the keys, to prevent them from working back; and finally tap a bolt into the side of the boss to penetrate the shaft. Propellers so fitted will never get slack.
477. Q.--What is the best way of fitting in the screw pipe at the stern?
A.--It should have projecting rings, which should be turned; and cast iron pieces with holes in them, bored out to the sizes of these rings, should be secured to the stern frames, and the pipe be then shipped through all. Before this is done, however, the stern post must be bored out by a template to fit the pipe, and the pipe is to be secured at the end to the stern post either by a great external nut of cast iron, or by bolts passing through the stern post and through lugs on the pipe. The pipe should be bored throughout its entire length, and the shaft should be turned so as to afford a very long bearing which will prevent rapid wear.
478. Q.--How is the hole formed in the deadwood of the ship in which the screw works?
A.--A great frame of malleable iron, the size of the hole, is first set up, and the plating of the ship is brought to the edge of this hole, and is riveted through the frame. It is important to secure this frame very firmly to the rest of the ship, with which view it is advisable to form a great palm, like the palm of a vice, on its inner superior corner, which, projecting into the ship, may be secured by breast-hook plates to the sides, whereby the strain which the screw causes will be distributed over the stern, instead of being concentrated on the rivets of the frame.
479. Q.--Are there several lengths of screw shaft?
A.--There are.
480. Q.--How then are these secured to one another?
A.--The best mode of securing the several lengths of shaft together is by forging the shafts with flanges at the ends, which are connected together by bolts, say six strong bolts in each, accurately fitted to the holes.
481. Q.--How is the thrust of the shaft usually received?
A.--In some cases it is received on a number of metal discs set in a box containing oil; and should one of these discs stick fast from friction, the others will be free to revolve. This arrangement, which is represented in fig. 44, is used pretty extensively and answers the purpose perfectly. It is of course necessary that the box in which the discs A are set, shall be strong enough to withstand the thrust which the screw occasions. Another arrangement still more generally used, is that represented in figs. 55 and 56, p. 331. It is a good practice to make the thrust plummer block with a very long sole in the direction of the shaft, so as to obviate any risk of canting or springing forward when the strain is applied, as such a circumstance, if occurring even to a slight extent, would be very likely to cause the bearing to heat.
482. Q.--Are there not arrangements existing in some vessels for enabling the screw to be lifted out of the water while the vessel is at sea?
A.--There are; but such arrangements are not usual in merchant vessels. In one form of apparatus the screw is set on a short shaft in the middle of a sliding frame, which can be raised or lowered in grooves like a window and the screw shaft within the ship can be protruded or withdrawn by appropriate mechanism, so as to engage or leave free this short shaft as may be required. When the screw has to be lifted, the screw shaft is drawn into the vessel, leaving the short shaft free to be raised up by the sliding frame, and the frame is raised by long screws turned round by a winch purchase on deck. A chain or rope, however, is better for the purpose of raising this frame, than long screws; but the frame should in such case be provided with pall catches like those of a windlass, which, if the rope should break, will prevent the screw from falling.
483. Q.--What are the most important details of the construction of paddle wheels?
A.--The structure of the feathering wheel will be hereafter described in connection with an account of the oscillating engine; and it will be expedient now to restrict any account of the details to the common radial paddle, as applied to ocean steamers. The best plan of making the paddle centres is with square eyes, and each centre should be secured in its place by means of eight thick keys. The shaft should be burred up against the head of these keys with a chisel, so as to prevent the keys from coming back of their own accord. If the keys are wanted to be driven back, this burr must be cut off, and if made thick, and of the right taper, they may then be started without difficulty. The shaft must of course be forged with square projections on it, so as to be suitable for the application of centres with square eyes. Messrs. Maudslay & Co. bore out their paddle centres, and turn a seat for them on the shaft, afterward fixing them on the shaft with a single key. This plan is objectionable for the two reasons, that it is insecure when new, and when old is irremovable. The general practice among the London engineers is to fix the paddle arms at the centre to a plate by means of bolts, a projection being placed upon the plates on each side of the arm, to prevent lateral motion; but this method is inferior in durability to that adopted in the Clyde, in which each arm is fitted into a socket by means of a cutter--a small hole being left opposite to the end of each arm, whereby the arm may be forced back by a drift.
484. Q.--How are the arms attached to the outside rings?
A.--Some engineers join the paddle arms to the outer ring by means of bolts; but unless very carefully fitted, those bolts after a time become slack sideways, and a constant working of the parts of the wheel goes on in consequence. Sometimes the part of the other ring opposite the arm is formed into a mortise, and the arms are wedged tight in these holes by wedges driven in on each side; but the plan is an expensive one, and not satisfactory, as the wedges work loose even though riveted over at the point. The best mode of making a secure attachment of the arms to the ring, consists in making the arms with long T heads, and riveting the cross piece to the outer ring with a number of rivets, not of the largest size, which would weaken the outer ring too much. The best way of securing the inner rings to the arms is by means of lugs welded on the arms, and to which the rings are riveted.
485. Q.--What are the scantlings of the paddle floats?
A.--The paddle floats are usually made either of elm or pine; if of the former, the common thickness for large sea-going vessels is about 2-1/2 inches; if of the latter, 3 inches. The floats should have plates on both sides, else the paddle arms will be very liable to cut into the wood, and the iron of the arms will be very rapidly wasted. When the floats have been fresh put on they must be screwed up several times before they come to a bearing. If this be not done, the bolts will be sure to get slack at sea, and all the floats on the weather side may be washed off. The bolts for holding on the paddle floats are made extra strong, on account of the corrosion to which they are subject; and the nuts should be made large, and should be square, so that they may be effectually tightened up, even though their corners be worn away by corrosion. It is a good plan to give the thread of the paddle bolts a nick with a chisel, after the nut has been screwed up, which will prevent the nut from turning back. Paddle floats, when consisting of more than one board, should be bolted together edgeways, by means of bolts running through their whole breadth. The floats should not be notched to allow of their projection beyond the outer ring, as, if the sides of the notch be in contact with the outer ring, the ring is soon eaten away in that part, and the projecting part of the float, being unsupported, is liable to be broken off.
486. Q.--Do not the wheels jolt sideways when the vessel rolls?
A.--It is usual to put a steel plate at each end of the paddle shafts tightened with a key, to prevent end play when the vessel rolls, but the arrangement is precarious and insufficient. Messrs. Maudslay make their paddle shaft bearings with very large fillets in the corner, with the view of diminishing the evil; but it would be preferable to make the bearings of the crank shafts spheroidal; and, indeed, it would probably be an improvement if most of the bearings about the engine were to be made in the same fashion. The loose end of the crank pin should be made not spheroidal, but consisting of a portion of a sphere; and a brass bush might then be fitted into the crank eye, that would completely encase the ball of the pin, and yet permit the outer end of the paddle shaft to fall without straining the pin, the bush being at the same time susceptible of a slight end motion. The paddle shaft, where it passes through the vessel's side, is usually surrounded by a lead stuffing box, which will yield if the end of the shaft falls; this stuffing box prevents leakage into the ship from the paddle wheels: but it is expedient, as a further precaution, to have a small tank on the ship's side immediately beneath the stuffing box, with a pipe leading down to the bilge to catch and conduct away any water that may enter around the shaft.
487. Q.--How is the outer bearing of the paddle wheels supplied with tallow?
A.--The bearing at the outer end of the paddle shaft is sometimes supplied with tallow, forced into a hole in the plummer block cover, as in the case of water wheels; but for vessels intended to perform long voyages, it is preferable to have a pipe leading down to the oil cup above the journal from the top of the paddle box, through which pipe oil may at any time be supplied.
488. Q.--Will you explain the method of putting engines into a steam vessel?
A.--As an illustration of this operation it may be advisable to take the case of a side lever engine, and the method of proceeding is as follows:--First measure across from the inside of paddle bearers to the centre of the ship, to make sure that the central line, running in a fore and aft direction on the deck or beams, usually drawn by the carpenter, is really in the centre. Stretch a line across between the paddle bearers in the direction of the shaft; to this line, in the centre of the ship where the fore and aft mark has been made, apply a square with arms six or eight feet long, and bring a line stretched perpendicularly from the deck to the keelson, accurately to the edge of the square: the lower point of the line where it touches the keelson will be immediately beneath the marks made upon the deck. If this point does not come in the centre of the keelson, it will be better to shift it a little, so as to bring it to the centre, altering the mark upon the deck correspondingly, provided either paddle shaft will admit of this being done--one of the paddle brackets being packed behind with wood, to give it an additional projection from the side of the paddle bearer. Continue the line fore and aft upon the keelson as nearly as can be judged in the centre of the ship; stretch another line fore and aft through the mark upon the deck, and look it out of winding with the line upon the keelson. Fix upon any two points equally distant from the centre, in the line stretched transversely in the direction of the shaft; and from those points, as centres, and with any convenient radius, sweep across the fore and aft line to see that the two are at right angles; and, if not, shift the transverse line a little to make them so. From the transverse line next let fall a line upon each outside keelson, bringing the edge of the square to the line, the other edge resting on the keelson. A point will thus be got on each outside keelson, perpendicularly beneath the transverse line running in the direction of the shaft, and a line drawn between those two points will be directly below the shaft. To this line the line of the shaft marked on the sole plate has to be brought, care being taken, at the same time, that the right distance is preserved between the fore and aft line upon the sole plate, and the fore and aft line upon the central keelson.
489. Q.--Of course the keelsons have first to be properly prepared?
A.--In a wooden vessel, before any part of the machinery is put in, the keelsons should be dubbed fair and straight, and be looked out of winding by means of two straight edges. The art of placing engines in a ship is more a piece of plain common sense than any other feat in engineering, and every man of intelligence may easily settle a method of procedure for himself. Plumb lines and spirit levels, it is obvious, cannot be employed on board a vessel, and the problem consists in so placing the sole plates, without these aids, that the paddle shaft will not stand awry across the vessel, nor be carried forward beyond its place by the framing shouldering up more than was expected. As a plumb line cannot be used, recourse must be had to a square; and it will signify nothing at what angle with the deck the keelsons run, so long as the line of the shaft across the keelsons is square down from the shaft centre. The sole plates being fixed, there is no difficulty in setting the other parts of the engine in their proper places upon them. The paddle wheels must be hung from the top of the paddle box to enable the shaft to be rove through them, and the cross stays between the engines should be fixed in when the vessel is afloat. To try whether the shafts are in a line, turn the paddle wheels, and try if the distance between the cranks is the same at the upper and under, and the two horizontal centres; if not, move the end of the paddle shaft up or down, backward or forward, until the distance between the cranks at all the four centres is the same.
490. Q.--In what manner are the engines of a steam vessel secured to the hull?
A.--The engines of a steamer are secured to the hull by means of bolts called holding down bolts, and in wooden vessels a good deal of trouble is caused by these bolts, which are generally made of iron. Sometimes they go through the bottom of the ship, and at other times they merely go through the keelson,--a recess being made in the floor or timbers to admit of the introduction of a nut. The iron, however, wears rapidly away in both cases, even though the bolts are tinned; and it has been found the preferable method to make such of the bolts as pass through the bottom, or enter the bilge, of Muntz's metal, or of copper. In a side lever engine, four Muntz's metal bolts may be put through the bottom at the crank end of the framing of each engine, four more at the main centre, and four more at the cylinder, making twelve through bolts to each engine; and it is more convenient to make these bolts with a nut at each end, as in that case the bolts may be dropped down from the inside, and the necessity is obviated of putting the vessel on very high blocks in the dock, in order to give room to put the bolts up from the bottom. The remainder of the holding down bolts may be of iron, and may, by means of a square neck, be screwed into the timber of the keelsons as wood screws--the upper part being furnished with a nut which may be screwed down upon the sole plate, so soon as the wood screw portion is in its place. If the cylinder be a fixed one it should be bolted down to the sole plate by as many bolts as are employed to attach the cylinder cover, and they should be of copper or brass, in any situation that is not easily accessible.
491. Q.--If the engines become loose, how do you refix them?
A.--It is difficult to fix engines effectually which have once begun to work in the ship, for in time the surface of the keelsons on which the engines bear becomes worn uneven, and the engines necessarily rock upon it. As a general rule, the bolts attaching the engines to the keelsons are too few and of too large a diameter: it would be preferable to have smaller bolts, and a greater number of them. In addition to the bolts going through the keelsons or the vessel's bottom, there should be a large number of wood screws securing the sole plate to the keelson, and a large number of bolts securing the various parts of the engine to the sole plate. In iron vessels, holding down bolts passing through the bottom are not expedient; and there the engine has merely to be secured to the iron plate of the keelsons, which are made hollow to admit of a more effectual attachment.
492. Q.--What are the proper proportions of bolts?
A.--In well formed bolts, the spiral groove penetrates about one twelfth of the diameter of the cylinder round which it winds, so that the diameter of the solid cylinder which remains is five sixths of the diameter over the thread. If the strain to which iron may be safely subjected in machinery is one fifteenth of its utmost strength, or 4,000 lbs. on the square inch, then 2,180 lbs. may be sustained by a screw an inch in diameter, at the outside of the threads. The strength of the holding down bolts may easily be computed, when the elevating force of the piston or main centre is known; but it is expedient very much to exceed this strength in practice, on account of the elasticity of the keelsons, the liability to corrosion, and other causes.
493. Q.--What is the amount of tractive force requisite to draw carriages on railways?
A.--Upon well formed railways with carriages of good construction, the average tractive force required for low speeds is about 7-1/2 lbs. per ton, or 1/300th of the load, though in some experimental cases, where particular care was taken to obtain a favorable result, the tractive force has been reduced as low as 1/500th of the load. At low speeds the whole of the tractive force is expended in overcoming the friction, which is made up partly of the friction of attrition in the axles, and partly of the rolling friction, or the obstruction to the rolling of the wheels upon the rail. The rolling friction is very small when the surfaces are smooth, and in the case of railway carriages does not exceed 1/1000th. of the load; whereas the draught on common roads of good construction, which is chiefly made up of the rolling friction, is as much as 1/36th of the load.
494.Q.--In reference to friction you have already stated that the friction of iron sliding upon brass, which has been oiled and then wiped dry, so that no film of oil is interposed, is about 1/11th of the pressure, but that in machines in actual operation, where there is a film of oil between the rubbing surfaces, the friction is only about one third of this amount, or 1/33d of the weight. How then can the tractive resistance of locomotives at low speeds, which you say is entirely made up of friction, be so little as 1/500th. of the weight?
A.--I did not state that the resistance to traction was 1/500th of the weight upon an average--to which condition the answer given to a previous question must be understood to apply--but I stated that the average traction was about 1/300th of the load, which nearly agrees with my former statement. If the total friction be 1/300th of the load, and the rolling friction be 1/1000th of the load, then the friction of attrition must be 1/429th of the load; and if the diameter of the wheels be 36 in., and the diameter of the axles be 3 in., which are common proportions, the friction of attrition must be increased in the proportion of 36 to 3, or 12 times, to represent the friction of the rubbing surface when moving with the velocity of the carriage, 12/429ths are about 1/35th of the load, which does not differ much from the proportion of 1/33d as previously determined.
495. Q.--What is the amount of adhesion of the wheels upon the rails?
A.--The adhesion of the wheels upon the rails is about 1/5th of the weight when the rails are clean, or either perfectly wet or perfectly dry; but when the rails are half wet or greasy, the adhesion is not more than 1/10th or 1/12th of the weight or pressure upon the wheels. The weight of a locomotive of modern construction varies from 20 to 25 tons.
496. Q.--And what is its cost and average performance?
A.--The cost of a common narrow gauge locomotive, of average power, varies from £1,900 to £2,200; it will run on an average 130 miles per day, at a cost for repairs of 2-1/2d. per mile; and the cost of locomotive power, including repairs, wages, oil, and coke, does not much exceed 6d. per mile run, on economically managed railways. This does not include a sinking fund for the renewal of the engines when worn out, which may be taken as equivalent to 10 per cent. on their original cost.
497. Q.--Does the expense of traction increase much with an increased speed?
A.--Yes; it increases very rapidly, partly from the undulation of the earth when a heavy train passes over it at a high velocity, but chiefly from the resistance of the atmosphere and blast pipe, which constitute the greatest of the impediments to motion at high speeds. At a speed of 30 miles an hour, the atmospheric resistance has been found in some cases to amount to about 12 lbs. a ton; and in side winds the resistance even exceeds this amount, partly in consequence of the additional friction caused from the flanges of the wheels being forced against the rails, and partly because the wind catches to a certain extent the front of every carriage, whereby the efficient breadth of each carriage, in giving motion to the air in the direction of the train, is very much increased. At a speed of 30 miles an hour, an engine evaporating 200 cubic feet of water in the hour, and therefore exerting about 200 horses power, will draw a load of 110 tons. Taking the friction of the train at 7-1/2 lbs. per ton, or 825 lbs. operating at the circumference of the driving wheel--which, with 5 ft. 6 in. wheels, and 18 in. stroke, is equivalent to 4,757 lbs. upon the piston--and taking the resistance of the blast pipe at 6 lbs. per square inch of the pistons, and the friction of the engine unloaded at 1 lb. per square inch, which, with pistons 12 in. in diameter, amount together to 1,582 lbs., and reckoning the increased friction of the engine due to the load at 1/7th of the load, as in some cases it has been found experimentally to be, though a much less proportion than this would probably be a nearer average, we have 7018.4 lbs. for the total load upon the pistons. At 30 miles an hour the speed of the pistons will be 457.8 feet per minute, and 7018.4 lbs. multiplied by 457.8 ft. per minute, are equal to 3213023.5 lbs. raised one foot high in the minute, which, divided by 33,000, gives 97.3 horses power as the power which would draw 110 tons upon a railway at a speed of 30 miles an hour, if there were no atmospheric resistance. The atmospheric resistance is at the rate of 12 lbs. a ton, with a load of 110 tons, equal to 1,320 lbs., moving at a speed of 30 miles an hour, which, when reduced, becomes 105.8 horses power, and this, added to 97.3, makes 203.1, instead of 200 horses power, as ascertained by a reference to the evaporative power of the boiler. This amount of atmospheric resistance, however, exceeds the average, and in some of the experiments for ascertaining the atmospheric resistance, a part of the resistance due to the curves and irregularities of the line has been counted as part of the atmospheric resistance.
498. Q.--Is the resistance per ton of the engine the same as the resistance per ton of the train?
A.--No; it is more, since the engine has not merely the resistance of the atmosphere and of the wheels to encounter, but the resistance of the machinery besides. According to Mr. Gooch's experiments upon a train weighing 100 tons, the resistance of the engine and tender at 13.1 miles per hour was found by the indicator to be 12.38 lbs.; the resistance per ton of the train, as ascertained by the dynamometer, was at the same speed 7.58 lbs., and the average resistance of locomotive and train was 9.04 lbs. At 20.2 miles per hour these resistances respectively became 19.0, 8.19, and 12.2 lbs. At 441 miles per hour the resistances became 34.0, 21.10, and 25.5 lbs., and at 57.4 miles an hour they became 35.5, 17.81, and 23.8 lbs.
499. Q.--Is it not maintained that the resistance of the atmosphere to the progress of railway trains increases as the square of the velocity?
A.--The atmospheric resistance, no doubt, increases as the square of the velocity, and the power, therefore, necessary to overcome it will increase as the cube of the velocity, since in doubling the speed four times, the power must be expended in overcoming the atmospheric resistance in half the time. At low speeds, the resistance does not increase very rapidly; but at high speeds, as the rapid increase in the atmospheric resistance causes the main resistance to be that arising from the atmosphere, the total resistance will vary nearly as the square of the velocity. Thus the resistance of a train, including locomotive and tender, will, at 15 miles an hour, be about 9.3 lbs. per ton; at 30 miles an hour it will be 13.2 lbs. per ton; and at 60 miles an hour, 29 lbs. per ton. If we suppose the same law of progression to continue up to 120 miles an hour, the resistance at that speed will be 92.2 lbs. per ton, and at 240 miles an hour the resistance will be 344.8 lbs. per ton. Thus, in doubling the speed from 60 to 120 miles per hour, the resistance does not fall much short of being increased fourfold, and the same remark applies to the increase of the speed from 120 to 240 miles an hour. These deductions and other deductions from Mr. Gooch's experiments on the resistance of railway trains, are fully discussed by Mr. Clark, in his Treatise on railway machinery, who gives the following rule for ascertaining the resistance of a train, supposing the line to be in good order, and free from curves:--To find the total resistance of the engine, tender, and train in pounds per ton, at any given speed. Square the speed in miles per hour; divide it by 171, and add 8 to the quotient. The result is the total resistance at the rails in lbs. per ton.
500.Q.--How comes it, that the resistance of fluids increases as the square of the velocity, instead of the velocity simply?
A.--Because the height necessary to generate the velocity with which the moving object strikes the fluid, or the fluid strikes the object, increases as the square of the velocity, and the resistance or the weight of a column of any fluid varies as the height. A falling body, as has been already explained, to have acquired twice the velocity, must have fallen through four times the height; the velocity generated by a column of any fluid is equal to that acquired by a body falling through the height of the column; and it is therefore clear, that the pressure due to any given velocity must be as the square of that velocity, the pressure being in every case as twice the altitude of the column. The work done, however, by a stream of air or other fluid in a given time, will vary as the cube of the velocity; for if the velocity of a stream of air be doubled, there will not only be four times the pressure exerted per square foot, but twice the quantity of air will be employed; and in windmills, accordingly, it is found, that the work done varies nearly as the cube of the velocity of the wind. If, however, the work done by a given quantity of air moving at different speeds be considered, it will vary as the squares of the speeds.
501. Q.--But in a case where there is no work done, and the resistance varies as the square of the speed, should not the power requisite to overcome that resistance vary as the square of the speed?
A.--It should if you consider the resistance over a given distance, and not the resistance during a given time. Supposing the resistance of a railway train to increase as the square of the speed, it would take four times the power, so far as atmospheric resistance is concerned, to accomplish a mile at the rate of 60 miles an hour, that it would take to accomplish a mile at 30 miles an hour; but in the former case there would be twice the number of miles accomplished in the same time, so that when the velocity of the train was doubled, we should require an engine that was capable of overcoming four times the resistance at twice the speed, or in other words, that was capable of exerting eight times the power, so far as regards the element of atmospheric resistance. We know by experience, however, that it is easier to attain high speeds on railways than in steam vessels, where the resistance does increase nearly as the square of the speed.
502. Q.--Will you describe generally the arrangement of a locomotive engine?
A.--The boiler and engine are hung upon a framework set on wheels, and, together with this frame or carriage, constitute what is commonly called the locomotive. Behind the locomotive runs another carriage, called the tender, for holding coke and water. A common mode of connecting the engine and tender is by means of a rigid bar, with an eye at each end through which pins are passed. Between the engine and tender, however, buffers should always be interposed, as their pressure contributes greatly to prevent oscillation and other irregular motions of the engine.
503. Q.--How is the framing of a locomotive usually constructed?
A.--All locomotives are now made with the framing which supports the machinery situated within the wheels; but for some years a vehement controversy was maintained respecting the relative merits of outside and inside framing, which has terminated, however, in the universal adoption of the inside framing. It is difficult, in engines intended for the narrow gauge, to get cylinders within the framing of sufficient diameter to meet the exigencies of railway locomotion; by casting both cylinders in a piece, however, a considerable amount of room may be made available to increase their diameters. It is very desirable that the cylinders of locomotives should be as large as possible, so that expansion may be adopted to a large extent; and with any given speed of piston, the power of an engine either to draw heavy loads, or achieve high velocities, will be increased with every increase of the dimensions of the cylinder. The framing of locomotives, to which the boiler and machinery are attached, and which rests upon the springs situated above the axles, is formed generally of malleable iron, but in some engines the side frames consist of oak with iron plates riveted on each side. The guard plates are in these cases generally of equal length, the frames being curved upward to pass over the driving axle. Hard cast iron blocks are riveted between the guard plates to serve as guides for the axle bushes. The side frames are connected across the ends, and cross stays are introduced beneath the boiler to stiffen the frame sideways, and prevent the ends of the connecting or eccentric rods from falling down if they should be broken.
504. Q.--What is the nature and arrangement of the springs of locomotives?
A.--The springs are of the ordinary carriage kind, with plates connected at the centre, and allowed to slide on each other at their ends. The upper plate terminates in two eyes, through each of which passes a pin, which also passes through the jaws of the bridle, connected by a double threaded screw to another bridle, which is jointed to the framing; the centre of the spring rests upon the axle box. Sometimes the springs are placed between the guard plates, and below the framing which rests upon their extremities. One species of springs which has gained a considerable introduction, consists of a number of flat steel plates with a piece of metal or other substance interposed between them at the centre, leaving the ends standing apart. It would be preferable, perhaps, to make the plates of a common spring with different curves, so that the leaves, though in contact at the centre, would not be in contact with the ends with light loads, but would be brought into contact gradually, as the strain conies on: a spring would thus be obtained that was suitable for all loads.
505. Q.--What is the difference between inside and outside cylinder engines?
A.--Outside cylinders are so designated when placed upon the outside of the framing, with their connecting rods operating upon pins in the driving wheels; while the inside cylinders are situated within the framing, and the connecting rods attach themselves to cranks in the driving axle.
506. Q.--Whether are inside or outside cylinder engines to be preferred?
A.--A diversity of opinion obtains as to the relative merits of outside and inside cylinders. The chief objection to outside cylinders is, that they occasion a sinuous motion in the engine which is apt to send the train off the rails; but this action may be made less perceptible or be remedied altogether, by placing a weight upon one side of the wheels, the momentum of which will just balance the momentum of the piston and its connections. The sinuous or rocking motion of locomotives is traceable to the arrested momentum of the piston and its attachments at every stroke of the engine, and the effect of the pressure thus created will be more operative in inducing oscillation the farther it is exerted from the central line of the engine. If both cylinders were set at right angles in the centre of the carriage, and the pistons were both attached to a central crank, there would be no oscillation produced; or the same effect would be realized by placing one cylinder in the centre of the carriage, and two at the sides--the pistons of the side cylinders moving simultaneously: but it is impossible to couple the piston of an upright cylinder direct to the axle of a locomotive, without causing the springs to work up and down with every stroke of the engine: and the use of three cylinders, though adopted in some of Stephenson's engines, involves too much complication to be a beneficial innovation.
507. Q.--Whether are four-wheeled or six-wheeled engines preferable?
A.--Much controversial ingenuity has been expended upon the question of the relative merits of the four and six-wheeled engines; one party maintaining that four-wheeled engines are most unsafe, and the other that six-wheeled engines are unmechanical, and are more likely to occasion accidents. The four-wheeled engines, however, appear to have been charged with faults that do not really attach to them when properly constructed; for it by no means follows that if the axle of a four-wheeled engine breaks, or even altogether comes away, that the engine must fall down or run off the line; inasmuch as, if the engine be properly coupled with the tender, it has the tender to sustain it. It is obvious enough, that such a connection may be made between the tender and the engine, that either the fore or hind axle of the engine may be taken away, and yet the engine will not fall down, but will be kept up by the support which the tender affords; and the arguments hitherto paraded against the four-wheeled engines are, so far as regards the question of safety, nothing more than arguments against the existence of the suggested connection. It is no doubt the fact, that locomotive engines are now becoming too heavy to be capable of being borne on four wheels at high speeds without injury to the rails; but the objection of damage to the rails applies with at least equal force to most of the six-wheeled engines hitherto constructed, as in those engines the engineer has the power of putting nearly all the weight upon the driving wheels; and if the rail be wet or greasy, there is a great temptation to increase the bite of those wheels by screwing them down more firmly upon the rails. A greater strain is thus thrown upon the rail than can exist in the case of any equally heavy four-wheeled engine; and the engine is made very unsafe, as a pitching motion will inevitably be induced at high speeds, when an engine is thus poised upon the central driving wheels, and there will also be more of the rocking or sinuous motion. Locomotives, however, intended to achieve high speeds or to draw heavy loads, are now generally made with eight wheels, and in some cases the driving wheels are placed at the end of the engine instead of in the middle.
508. Q.--As the question of the locomotive boiler has been already disposed of in discussing the question of boilers in general, it now only remains to inquire into the subject of the engine, and we may commence with the cylinders. Will you state the arrangement and construction of the cylinders of a locomotive and their connections?
A.--The cylinders are placed in the same horizontal plane as the axle of the driving wheels, and the connecting rod which is attached to the piston rod engages either a crank in the driving axle or a pin in the driving wheel, according as the cylinders are inside or outside of the framework. The cylinders are generally made an inch longer than the stroke, or there is half an inch of clearance at each end of the cylinder, to permit the springs of the vehicle to act without causing the piston to strike the top or bottom of the cylinder. The thickness of metal of the cylinder ends is usually about a third more than the thickness of the cylinder itself, and both ends are generally made removable. The priming of the boiler, when it occurs, is very injurious to the cylinders and valves of locomotives, especially if the water be sandy, as the grit carried over by the steam wears the rubbing surfaces rapidly away. The face of the cylinder on which the valve works is raised a little above the metal around it, both to facilitate the operation of forming the face and with the view of enabling any foreign substance deposited on the face to be pushed aside by the valve into the less elevated part, where it may lie without occasioning any further disturbance. The valve casing is sometimes cast upon the cylinder, and it is generally covered with a door which may be removed to permit the inspection of the faces. In some valve casings the top as well as the back is removable, which admits of the valve and valve bridle being removed with greater facility. A cock is placed at each end of locomotive cylinders, to allow the water to be discharged which accumulates in the cylinder from priming or condensation; and the four cocks of the two cylinders are usually connected together, so that by turning a handle the whole are opened at once. In Stephenson's engines, however, with variable expansion, there is but one cock provided for this purpose, which is on the bottom of the valve chest.
509. Q.--What kind of piston is used in locomotives?
A.--The variety of pistons employed in locomotives is very great, and sometimes even the more complicated kinds are found to work very satisfactorily; but, in general, those pistons which consist of a single ring and tongue piece, or of two single rings set one above the other, so as to break joint, are preferable to those which consist of many pieces. In Stephenson's pistons the screws were at one time liable to work slack, and the springs to break.
510. Q.--Will you explain the connection of the piston rod with the connecting rod?
A.--The piston rods of all engines are now generally either case hardened very deeply, or are made of steel; and in locomotive engines the diameter of the piston rod is about one seventh of the diameter of the cylinder, and it is formed of tilted steel. The cone of the piston rod, by which it is attached to the piston, is turned the reverse way to that which is adopted in common engines, with the view of making the cutter more accessible from the bottom of the cylinder, which is made to come off like a door. The top of the piston rod is secured with a cutter into a socket with jaws, through the holes of which a cross head passes, which is embraced between the jaws by the small end of the connecting rod, while the ends of the cross head move in guides. Between the piston rod clutch and the guide blocks, the feed pump rod joins the cross head in some engines.
511. Q.--What kind of guides is employed for the end of the piston rod?
A.--The guides are formed of steel plates attached to the framing, between which work the guide blocks, fixed on the ends of the cross head, which have flanges bearing against the inner edges of the guides. Steel or brass guides are better than iron ones: Stephenson and Hawthorn attach their guides at one end to a cross stay, at the other to lugs on the cylinder cover; and they are made stronger in the middle than at the ends. Stout guide rods of steel, encircled by stuffing boxes on the ends of the cross head, would probably be found superior to any other arrangement. The stuffing boxes might contain conical bushes, cut spirally, in addition to the packing, and a ring, cut spirally, might be sprung upon the rod and fixed in advance of the stuffing box, with lateral play to wipe the rod before entering the stuffing box, to prevent it from being scratched by the adhesion of dust.
512. Q.--Is any provision made for keeping the connecting rod always of the same length?
A.--In every kind of locomotive it is very desirable that the length of the connecting rod should remain invariable, in spite of the wear of the brasses, for there is a danger of the piston striking against the cover of the cylinder if it be shortened, as the clearance is left as small as possible in order to economize steam. In some engines the strap encircling the crank pin is fixed immovably to the connecting rod by dovetailed keys, and a bolt passes through the keys, rod, and strap, to prevent the dovetailed keys from working out. The brass is tightened by a gib and cutter, which is kept from working loose by three pinching screws and a cross pin or cutter through the point. The effect of this arrangement is to lengthen the rod, but at the cross head end of the rod the elongation is neutralized by making the strap loose, so that in tightening the brass the rod is shortened by an amount equal to its elongation at the crank pin end. The tightening here is also effected by a gib and cutter, which is kept from working loose by two pinching screws pressing on the side of the cutter. Both journals of the connecting rod are furnished with oil cups, having a small tube in the centre with siphon wicks. The connecting rod is a thick flat bar, with its edges rounded.
513. Q.--How is the cranked axle of locomotives constructed?
A.--The cranked axle of locomotives is always made of wrought iron, with two cranks forged upon it toward the middle of its length, at a distance from each other answerable to the distance between the cylinders. Bosses are made on the axle for the wheels to be keyed upon, and bearings for the support of the framing. The axle is usually forged in two pieces, which are afterward welded together. Sometimes the pieces for the cranks are put on separately, but the cranks so made are liable to give way. In engines with outside cylinders the axles are made straight-the crank pins being inserted in the naves of the wheels. The bearings to which the connecting rods are attached are made with very large fillets in the corners, so as to strengthen the axle in that part, and to obviate side play in the connecting rod. In engines which, have been in use for some time, however, there is generally a good deal of end play in the bearings of the axles themselves, and this slackness contributes to make the oscillation of the engine more violent; but this evil may be remedied by making the bearings spheroidal, whereby end play becomes impossible.
514. Q.--How are the bearings of the axles arranged?
A.--The axles bear only against the top of the axle boxes, which are generally of brass; but a plate extends underneath the bearing, to prevent sand from being thrown upon it. The upper part of the box in most engines has a reservoir of oil, which is supplied to the journal by tubes with siphon wicks. Stephenson uses cast iron axle boxes with brasses, and grease instead of oil; and the grease is fed upon the journal by the heat of the bearing melting it, whereby it is made to flow down through a hole in the brass. Any engines constructed with outside bearings have inside bearings also, which are supported by longitudinal bars, which serve also in some cases to support the piston guides; these bearings are sometimes made so as not to touch the shafts unless they break.
515. Q.--How are the eccentrics of a locomotive constructed?
A.--In locomotives the body of the eccentric is of cast iron, in inside cylinder engines the eccentrics are set on the axle between the cranks, and they are put on in two pieces held together by bolts; but in straight axle engines the eccentrics are cast in a piece, and are secured on the shaft by means of a key. The eccentric, when in two pieces, is retained at its proper angle on the shaft by a pinching screw, which is provided with a jam nut to prevent it from working loose. A piece is left out of the eccentric in casting it to allow of the screw being inserted, and the void is afterward filled by inserting a dovetailed piece of metal. Stephenson and Hawthorn leave holes in their eccentrics on each side of the central arm, and they apply pinching screws in each of these holes. The method of fixing the eccentric to the shaft by a pinching screw is scarcely sufficiently substantial; and cases are perpetually occurring, when this method of attachment is adopted, of eccentrics shifting from their place. In the modern engines the eccentrics are forged on the axles.
516. Q.--How are the eccentric straps constructed?
A.--The eccentric hoops are generally of wrought iron, as brass hoops are found liable to break. When formed of malleable iron, one half of the strap is forged with the rod, the other half being secured to it by bolts, nuts, and jam nuts. Pieces of brass are, in some cases, pinned within the malleable iron hoop; but it appears to be preferable to put brasses within the hoop to encircle the eccentric, as in the case of any other bearing. When the brass straps are used, the lugs have generally nuts on both sides, so that the length of the eccentric rod may be adjusted by their means to the proper length; but it is better for the lugs of the hoops to abut against the necks of the screws, and, if any adjustment be necessary from the wear of the straps, washers can be interposed. In some engines the adjustment is effected by screwing the valve rod, and the cross head through which it passes has a nut on either side of it, by which its position upon the valve rod is determined.
517. Q.--Will you describe the eccentric rod and valve levers?
A.--In the engines in use before the introduction of the link motion, the forks of the eccentric rod were of steel, and the length of the eccentric rod was the distance between the centre of the crank axle and the centre of the valve shaft; but in modern engines the use of the link motion is universal. The valve lever in locomotives is usually longer than the eccentric lever, to increase the travel of the valve, if levers are employed; but it is better to connect the valve rod to the link of the link motion without the intervention of levers. The pins of the eccentric lever in the old engines used to wear quickly; Stephenson used to put a ferule of brass on these pins, which being loose, and acting like a roller, facilitated the throwing in and out of gear, and when worn could easily be replaced, so that there was no material derangement of the motion of the valve from play in this situation.
518. Q.--What is the arrangement of a starting lever?
A.--The starting lever travels between two iron segments, and can be fixed in any desired position. This is done by a small catch or bell crank, jointed to the bottom of the handle at the end of the lever, and coming up by the side of the handle, but pressed out from it by a spring. The smaller arm of this bell crank is jointed to a bolt, which shoots into notches, made in one of the segments between which the lever moves. By pressing the bell crank against the handle of the lever the bolt is withdrawn, and the lever may be shifted to any other point, when, the spring being released, the bolt flies into the nearest notch.
519. Q.--In what way does the starting handle act on the machinery of the engine to set it in motion?
A.--Its whole action lies in raising or depressing the link of the link motion relatively with the valve rod. If the valve rod be attached to the middle of the link, the valve will derive no motion from, it at all, and the engine will stop. If the attachment be slipped to one end of the link the engine will go ahead, and if slipped to the other end it will go astern. The starting handle merely achieves this change of position.
520. Q.--Will you explain the operation of setting the valve of a locomotive?
A.--In setting the valves of locomotives, place the crank in the position answerable to the end of the stroke of the piston, and draw a straight line, representing the centre line of the cylinder, through the centres of the crank shaft and crank pin. From the centre of the shaft describe a circle with the diameter equal to the throw of the valve; another circle to represent the crank shaft; and a third circle to represent the path of the crank pin. From the centre of the crank shaft, draw a line perpendicular to the centre line of the cylinder and crank shaft, and draw another perpendicular at a distance from the first equal to the amount of the lap and the lead of the valve: the points in which this line intersects the circle of the eccentric are the points in which the centre of the eccentric should be placed for the forward and reverse motions. When the eccentric rod is attached directly to the valve, the radius of the eccentric, which precedes the crank in its revolution, forms with the crank an obtuse angle; but when, by the intervention of levers, the valve has a motion, opposed to that of the eccentric rod, the angle contained by the crank and the radius of the eccentric must be acute, and the eccentric must follow the crank: in other words, with a direct attachment to the valve the eccentric is set more than one fourth of a revolution in advance of the crank, and with an indirect attachment the eccentric is set less than one fourth of a circle behind the crank. If the valve were without lead or lap the eccentric would be exactly one fourth of a circle in advance of the crank or behind the crank, according to the nature of the valve connection; but as the valve would thus cover the port by the amount of the lap and lead, the eccentric must be set forward so as to open the port to the extent of the lap and lead, and this is effected by the plan just described.
521. Q.--In the event of the eccentrics slipping round upon the shaft, which you stated sometimes happens, is it necessary to perform the operation of setting the valve as you have just described it?
A.--If the eccentrics shift upon the shaft, they may be easily refixed by setting the valve open the amount of the lead, setting the crank at the end of the stroke, and bringing round the eccentric upon the shaft till the eccentric rod gears with the valve. It would often be troublesome in practice to get access to the valve for the purpose of setting it, and this may be dispensed with if the amount of lap on the valve and the length of the eccentric rod be known. To this end draw upon a board two straight lines at right angles to one another, and from their point of intersection as a centre describe two circles, one representing the circle of the eccentric, the other the crank shaft; draw a straight line parallel to one of the diameters, and distant from it the amount of the lap and the lead: the points in which his parallel intersects the circle of the eccentric are the positions of the forward and backward eccentrics. Through these points draw straight lines from the centre of the circle, and mark the intersection of these lines with the circle of the crank shaft; measure with a pair of compasses the chord of the arc intercepted between either of these points, and the diameter which is at right angles with the crank, and the diameters being first marked on the shaft itself, then by transferring with the compasses the distance found in the diagram, and marking the point, the eccentric may at any time be adjusted without difficulty.

522. Q.--Will you describe the structure and arrangement of the feed pumps of locomotive engines?
A.--The feed pumps of locomotives are generally made of brass, but the plungers are sometimes made of iron, and are generally attached to the piston, cross head, though in Stephenson's engines they are worked by rods attached to eyes on the eccentric hoops. There is a ball valve, fig. 45, between the pump and the tender, and two usually in the pipe leading from the pump to the boiler, besides a cock close to the boiler, by which the pump may be shut off from the boiler in case of any accident to the valves. The ball valves are guided by four branches, which rise vertically, and join together at the top in a hemispherical form. The shocks of the ball against this cap have in some cases broken it after one week's work, from the top of the cage having been flat, and the branches not having had their junction at the top properly filleted. These valve guards are attached in different ways to the pipes; when one occurs at the junction of two pieces of pipe it has a flange, which along with the flanges of the pipes and that of the valve seat are held together by a union joint. It is sometimes formed with a thread at the under end, and screwed into the pipe. The balls are cast hollow to lessen the shock, as well as to save the metal. In some cases where the feed pump plunger has been attached to the cross head, the piston rod has been bent by the strain; and that must in all cases occur, if the communication between the pump and boiler be closed when the engine is started, and there be no escape valve for the water.
523. Q.--Are none but ball valves used in the feed pump?
A.--Spindle valves have in some cases been used instead of ball valves, but they are more subject to derangement; but piston valves, so contrived as to shut a portion of water in the cage when about to close, might be adopted with a great diminution of the shock. Slide valves might be applied, and would probably be found preferable to any of the expedients at present in use. In all spindle valves opened and shut rapidly, it is advisable to have the lower surface conical, to take off the shock of the water; and a large lift of the valve should be prevented, else much of the water during the return stroke of the pump will flow out before the valve shuts.
524. Q.--At what part of the boiler is the feed water admitted?
A.--The feed pipe of most locomotive engines enters the boiler near the bottom and about the middle of its length. In Stephenson's engine the water is let in at the smoke box end of the boiler, a little below the water level; by this means the heat is more fully extracted from the escaping smoke, but the arrangement is of questionable applicability to engines of which the steam dome and steam pipe are at the smoke box end, as in that case the entering cold water would condense the steam.
525. Q.--How are the pipes connecting the tender and locomotive constructed, so as to allow of play between the engine and tender without leakage?
A.--The pipes connecting the tender with the pumps should allow access to the valves and free motion to the engine and tender. This end is attained by the use of ball and socket joints; and, to allow some end play, one piece of the pipe slides into the other like a telescope, and is kept tight by means of a stuffing box. Any pipe joint between the engine and tender must be made in this fashion.
526. Q.--Have you any suggestion to make respecting the arrangement of the feed pump?
A.--It would be a material improvement if a feed pump was to be set in the tender and worked by means of a small engine, such as that now used in steam vessels for feeding the boilers. The present action of the feed pumps of locomotives is precarious, as, if the valves leak in the slightest degree, the steam or boiling water from the boiler will prevent the pumps from drawing. It appears expedient, therefore, that at least one pump should be far from the boiler and should be set among the feed water, so that it will only have to force. If a pump was arranged in the manner suggested, the boiler could still be fed regularly, though the locomotive was standing still; but it would be prudent to have the existing pumps still wrought in the usual way by the engine, in case of derangement of the other, or in case the pump in the tender might freeze.
527. Q.--Will you explain the construction of locomotive wheels?
A.--The wheels of a locomotive are always made of malleable iron. The driving wheels are made larger to increase the speed; the bearing wheels also are easier on the road when large. In the goods engines the driving wheels are smaller than in the passenger engines, and are generally coupled together. Wheels are made with much variety in their constructive details: sometimes they are made with cast iron naves, with the spokes and rim of wrought iron; but in the best modern wheels the nave is formed of the ends of the spokes welded together at the centre. When cast iron naves are adopted, the spokes are forged out of flat bars with T-formed heads, and are arranged radially in the founder's mould, the cast iron, when fluid, being poured among them. The ends of the T heads are then welded together to constitute the periphery of the wheel or inner tire; and little wedge-form pieces are inserted where there is any deficiency of iron. In some cases the arms are hollow, though of wrought iron; the tire of wrought iron, and the nave of cast iron; and the spokes are turned where they are fitted into the nave, and are secured in their sockets by means of cutters. Hawthorn makes his wheels with cast iron naves and wrought iron rims and arms; but instead of welding the arms together, he makes palms on their outer end, which are attached by rivets to the rim. These rivets, however, unless very carefully formed, are apt to work loose; and it would probably be found an improvement if the palms were to be slightly indented into the rim, in cases in which the palms do not meet each other at the ends. When the rim is turned it is ready for the tire, which is now made of steel.
528. Q.--How do you find the length of bar necessary for forming a tire?
A.--To find the proper length of bar requisite for the formation of a hoop of any given diameter, add the thickness of the bar to the required diameter, and the corresponding circumference in the table of circumferences of circles is the length of the bar. If the iron be bent edgewise the breadth of the bar must be added to the diameter, for it is the thickness of the bar measured radially that is to be taken into consideration. In the tires of railway wheels, which have a flange on one edge, it is necessary to add not only the thickness of the tire, but also two thirds of the depth of the flange; generally, however, the tire bars are sent from the forge so curved that the plain edge of the tire is concave, and the flange edge convex, while the side which is afterward to be bent into contact with the cylindrical surface of the wheel is a plane. In this case the addition of the diameter of two thirds of the depth of the flange is unnecessary, for the curving of the flange edge has the effect of increasing the real length of the bar. When the tire is thus curved, it is only necessary to add the thickness of the hoop to the diameter, and then to find the circumference from a table; or the same result will be obtained by multiplying the diameter thus increased by the thickness of the hoop by 3.1416.
529. Q.--How are the tires attached to the wheels?
A.--The materials for wheel tires are first swaged separately, and then welded together under the heavy hammer at the steel works; after which they are bent to the circle, welded, and turned to certain gauges. The tire is now heated to redness in a circular furnace; during the time it is getting hot, the iron wheel, turned to the right diameter, is bolted down upon a face plate or surface; the tire expands with the heat, and when at a cherry red, it is dropped over the wheel, for which it was previously too small, and it is also hastily bolted down to the surface plate; the whole mass is then quickly immersed by a swing crane in a tank of water five feet deep, and hauled up and down till nearly cold; the tires are not afterward tempered. The tire is attached to the rim with rivets having countersunk heads, and the wheel is then fixed on its axle.
530. Q.--Is it necessary to have the whole tire of steel?
A.--It is not indispensable that the whole tire should be of steel; but a dovetail groove, turned out of the tire at the place where it bears most on the rail, and fitted with a band of steel, will suffice. This band may be put in in pieces, and the expedient appears to be the best way of repairing a worn tire; but particular care must be taken to attach these pieces very securely to the tire by rivets, else in the rapid revolution of the wheel the steel may be thrown out by the centrifugal force. In aid of such attachment the steel, after being introduced, is well hammered, which expands it sideways until it fills the dovetail groove.
531. Q.--Is any arrangement adopted to facilitate the passage of the locomotive round curves?
A.--The tire is turned somewhat conical, to facilitate the passage of the engine round curves--the diameter of the outer wheel being virtually increased by the centrifugal force of the engine, and that of the inner wheel being correspondingly diminished, whereby the curve is passed without the resistance which would otherwise arise from the inequality of the spaces passed over by wheels of the same diameter fixed upon the same axle. The rails, moreover, are not set quite upright, but are slightly inclined inward, in consequence of which the wheels must be either conical or slightly dished, to bear fairly upon the rails. One benefit of inclining the rails in this way, and coning the tires, is that the flange of the wheels is less liable to bear against the sides of the rail, and with the same view the flanges of all the wheels are made with large fillets in the corners. Wheels have been placed loose upon the axle, but they have less stability, and are not now much used. Nevertheless this plan appears to be a good one if properly worked out.
532. Q.--Are any precautions taken to prevent engines from being thrown off the rails by obstructions left upon the line?
A.--In most engines a bar is strongly attached to the front of the carriage on each side, and projects perpendicularly downward to within a short distance of the rail, to clear away stones or other obstructions that might occasion accidents if the engine ran over them.
533. Q.--How do you determine the resistance encountered by a vessel moving in water?
A.--The resistance experienced by vessels moving in water varies as the square of the velocity of their motion, or nearly so; and the power necessary to impart an increased velocity varies nearly as the cube of such increased velocity. To double the velocity of a steam vessel, therefore, will require four times the amount of tractive force, and as that quadrupled force must act through twice the distance in the same time, an engine capable of exerting eight times the original power will be required. 1
534. Q.--In the case of a board moving in water in the manner of a paddle float, or in the case of moving water impinging on a stationary board, what will be the pressure produced by the impact?
A.--The pressure produced upon a flat board, by striking water at right angles to the surface of the board, will be equal to the weight of a column of water having the surface struck as a base, and for its altitude twice the height due to the velocity with which the board moves through the water. If the board strike the water obliquely, the resistance will be less, but no very reliable law has yet been discovered to determine its amount.
535. Q.--Will not the resistance of a vessel in moving through the water be much less than that of a flat board of the area of the cross section?
A.--It will be very much less, as is manifest from the comparatively small area of paddle board, and the small area of the circle described by the screw, relatively with the area of the immersed midship section of the vessel. The absolute speed of a vessel, with any given amount of power, will depend very much upon her shape.
536. Q.--In what way is it that the shape of a vessel influences her speed, since the vessels of the same sectional area must manifestly put in motion a column of water of the same magnitude, and with the same velocity?
A.--A vessel will not strike the water with the same velocity when the bow lines are sharp as when they are otherwise; for a very sharp bow has the effect of enabling the vessel to move through a great distance, while the particles of water are moved aside but a small distance, or in other words, it causes the velocity with which the water is moved to be very small relatively with the velocity of the vessel; and as the resistance increases as the square of the velocity with which the water is moved, it is conceivable enough in what way a sharp bow may diminish the resistance.
537. Q.--Is the whole power expended in the propulsion of a vessel consumed in moving aside the water to enable the vessel to pass?
A.--By no means; only a portion, and in well-formed vessels only a small portion, of the power is thus consumed. In the majority of cases, the greater part of the power is expended in overcoming the friction of the water upon the bottom of the vessel; and the problem chiefly claiming consideration is, in what way we may diminish the friction.
538. Q.--Does the resistance produced by this friction increase with the velocity?
A.--It increases nearly as the square of the velocity. At two nautical miles per hour, the thrust necessary to overcome the friction varies as the 1.823 power of the velocity; and at eight nautical miles per hour, the thrust necessary to overcome the friction varies as the 1.713 power of the velocity. It is hardly proper, perhaps, to call this resistance by the name of friction; it is partly, perhaps mainly, due to the viscidity or adhesion of the water.
539. Q.--Perhaps at high velocities this resistance may become less?
A.--That appears very probable. It may happen that at high velocities the adhesion is overcome, so that the water is dragged off the vessel, and the friction thereafter follows the law which obtains in the case of solid bodies. But any such conclusion is mere speculation, since no experiments illustrative of this question have yet been made.
540. Q.--Will a vessel experience more resistance in moving in salt water than in moving in fresh?
A.--If the immersion be the same in both cases a vessel will experience more resistance in moving in salt water than in moving in fresh, on account of the greater density of salt water; but as the notation is proportionably greater in the salt water the resistance will be the same with the same weight carried.
541. Q.--Discarding for the present the subject of friction, and looking merely to the question of bow and stern resistance, in what manner should the hull of a vessel be formed so as to make these resistances a minimum?
A.--The hull should be so formed that the water, instead of being away driven forcibly from the bow, is opened gradually, so that every particle of water may be moved aside slowly at first, and then faster, like the ball of a pendulum, until it reaches the position of the midship frame, at which point it will have come to a state of rest, and then again, like a returning pendulum, vibrate back in the same way, until it comes to rest at the stern. It is not difficult to describe mechanically the line which the water should pursue. If an endless web of paper be put into uniform motion, and a pendulum carrying a pencil or brush be hung in front of it, then such pendulum will trace on the paper the proper water line of the ship, or the line which the water should pursue in order that no power may be lost except that which is lost in friction. It is found, however, in practice, that vessels formed with water lines on this principle are not much superior to ordinary vessels in the facility with which they pass through the water: and this points to the conclusion that in ordinary vessels of good form, the amount of power consumed in overcoming the resistance due to the wave at the bow and the partial vacuity at the stern is not so great as has heretofore been supposed, and that, in fact, the main resistance is that due to the friction.
[1] This statement supposes that there is no difference of level between the water at the bow and the water at the stern. In the experiments on the steamer Pelican, the resistance was found to vary, as the 2.28th power of the velocity, but the deviation from the recognized law was imputed to a difference in the level of the water at the bow and stern.
542. Q.--Have experiments been made to determine the resistance which steam vessels experience in moving through the waters?
A.--Experiments have been made both to determine the relative resistance of different classes of vessels, and also the absolute resistance in pounds or tons. The first experiments made upon this subject were conducted by Messrs. Boulton and Watt, and they have been numerous, long continued, and carefully performed. These experiments were made upon paddle vessels.
543. Q.--Will you recount the chief results of these experiments?
A.--The purpose of the experiments was to establish a coefficient of performance, which with any given class of vessel would enable the speed, which would be obtained with any given power, to be readily predicted. This coefficient was obtained by multiplying the cube of the velocity of the vessels experimented upon, in miles per hour, by the sectional area of the immersed midship section in square feet, and dividing by the numbers of nominal horses power, and this coefficient will be large in the proportion of the goodness of the shape of the vessel.
544. Q.--How many experiments were made altogether?
A.--There were five different sets of experiments on five different classes of vessels. The first set of experiments was made in 1828, upon the vessels Caledonia, Diana, Eclipse, Kingshead, Moordyke, and Eagle-vessels of a similar form and all with square bilges and flat floors; and the result was to establish the number 925 as the coefficient of performance of such vessels. The second set of experiments was made upon the superior vessels Venus, Swiftsure, Dasher, Arrow, Spitfire, Fury, Albion, Queen, Dart, Hawk, Margaret, and Hero-all vessels having flat floors and round bilges, where the coefficient became 1160. The third set of experiments was made upon the vessels Lightning, Meteor, James Watt, Cinderella, Navy Meteor, Crocodile, Watersprite, Thetis, Dolphin, Wizard, Escape, and Dragon-all vessels with rising floors and round bilges, and the coefficient of performance was found to be 1430. The fourth set of experiments was made in 1834, upon the vessels Magnet, Dart, Eclipse, Flamer, Firefly, Ferret, and Monarch, when the coefficient of performance was found to be 1580. The fifth set of experiments was made upon the Red Rover, City of Canterbury, Herne, Queen, and Prince of Wales, and in the case of those vessels the coefficient rose to 2550. The velocity of any of these vessels, with any power or sectional area, may be ascertained by multiplying the coefficient of its class by the nominal horse power, dividing by the sectional area in square feet, and extracting the cube root of the quotient, which will be the velocity in miles per hour; or the number of nominal horse power requisite for the accomplishment of any required speed may be ascertained by multiplying the cube of the required velocity in miles per hour, by the sectional area in square feet, and dividing by the coefficient: the quotient is the number of nominal horse power requisite to realize the speed.
545. Q.--Seeing, however, that the nominal power does not represent an invariable amount of dynamical efficiency, would it not be better to make the comparison with reference to the actual power?
A.--In the whole of the experiments recited, except in the case of one or two of the last, the pressure of steam in the boiler varied between 2-3/4 lbs. and 4 lbs. per square inch, and the effective pressure on the piston varied between 11 lbs. and 13 lbs. per square inch, so that the average ratio of the nominal to the actual power may be easily computed; but it will be preferable to state the nominal power of some of the vessels, and their actual power as ascertained by experiment.
546. Q.--Then state this.
A.--Of the Eclipse, the nominal power was 76, and the actual power 144.4 horses; of the Arrow, the nominal power was 60, and the actual 119.5; Spitfire, nominal 40, actual 64; Fury, nominal 40, actual 65.6; Albion, nominal 80, actual 135.4; Dart, nominal 100, actual 152.4; Hawk, nominal 40, actual 73; Hero, nominal 100, actual 171.4; Meteor, nominal 100, actual 160; James Watt, nominal 120, actual 204; Watersprite, nominal 76, actual 157.6; Dolphin, nominal 140, actual 238; Dragon, nominal 80, actual 131; Magnet, nominal 140, actual 238; Dart, nominal 120, actual 237; Flamer, nominal 120, actual 234; Firefly, nominal 52, actual 86.6; Ferret, nominal 52, actual 88; Monarch, nominal 200, actual 378. In the case of swift vessels of modern construction, such as the Red Rover, Herne, Queen, and Prince of Wales, the coefficient appears to be about 2550; but in these vessels there is a still greater excess of the actual over the nominal power than in the case of the vessels previously enumerated, and the increase in the coefficient is consequent upon the increased pressure of the steam in the boiler, as well as the superior form of the ship. The nominal power of the Red Rover, Herne, and City of Canterbury is, in each case, 120 horses, but the actual power of the Red Rover is 294, of the Herne 354, and of the City of Canterbury 306, and in some vessels the excess is still greater; so that with such variations it becomes necessary to adopt a coefficient derived from the introduction of the actual instead of the nominal power.
547. Q.--What will be the average difference between the nominal and actual powers in the several classes of vessels you have mentioned and the respective coefficients when corrected for the actual power?
A.--In the first class of vessels experimented upon, the actual power was about 1.6 times greater than the nominal power; in the second class, 1.67 times greater; in the third class, 1.7 times greater; and in the fourth, 1.96 times greater; while in such vessels as the Red Rover and City of Canterbury, it is 2.65 times greater; so that if we adopt the actual instead of the nominal power in fixing the coefficients, we shall have 554 as the first coefficient, 694 as the second, 832 for the third, and 806 for the fourth, instead of 925, 1160, 1430, and 1580 as previously specified; while for such vessels as the Red Rover, Herne, Queen, and Prince of Wales, we shall have 962 instead of 2550. These smaller coefficients, then, express the relative merits of the different vessels without reference to any difference of efficacy in the engines, and it appears preferable, with such a variable excess of the actual over the nominal power, to employ them instead of those first referred to. From the circumstance of the third of the new coefficients being greater than the fourth, it appears that the superior result in the fourth set of experiments arose altogether from a greater excess of the actual over the nominal power.
548. Q.--These experiments, you have already stated, were all made on paddle vessels. Have similar coefficients of performance been obtained in the case of screw vessels?
A.--The coefficients of a greater number of screw vessels have been obtained and recorded, but it would occupy too much time to enumerate them here. The coefficient of performance of the Fairy is 464.8; of the Rattler 676.8; and of the Frankfort 792.3. This coefficient, however, refers to nautical and not to statute miles. If reduced to statute miles for the purpose of comparison with the previous experiments, the coefficients will respectively become 703, 1033, and 1212; which indicate that the performance of screw vessels is equal to the performance of paddle vessels, but some of the superiority of the result may be imputed to the superior size of the screw vessels.
549. Q.--Will large vessels attain a greater speed than small, supposing each to be furnished with the same proportionate power?
A.--It is well known that large vessels furnished with the same proportionate power, will attain a greater speed than small vessels, as appears from the rule usual in yacht races of allowing a certain part of the distance to be run to vessels which are of inferior size. The velocity attained by a large vessel will be greater than the velocity attained by a small vessel of the same mould and the same proportionate power, in the proportion of the square roots of the linear dimensions of the vessels. A vessel therefore with four times the sectional area and four times the power of a smaller symmetrical vessel, and consequently of twice the length, will have its speed increased in the proportion of the square root of 1 to the square root of 2, or 1.4 times.
550. Q.--Will you further illustrate this doctrine by an example?
A.--The screw steamer Fairy, if enlarged to three times the size while retaining the same form, would have twenty-seven times the capacity, nine times the sectional area, and nine times the power. The length of such a vessel would be 434 feet; her breadth 63 feet 4-1/2 inches; her draught of water 16-1/2 feet; her area of immersed section 729 square feet; and her nominal power 1080 horses. Now as the lengths of the Fairy and of the new vessel are in the proportion of 1 to 3, the speeds will be in the proportion of the square root of 1 to the square root of 3; or, in other words, the speed of the large vessel will be 1.73 times greater than the speed of the small vessel. If therefore the speed of the Fairy be 13 knots, the speed of the new vessel will be 22.49 knots, although the proportion of power to sectional area, which is supposed to be the measure of the resistance, is in both cases precisely the same. If the speed of the Fairy herself had to be increased to 22.29 knots, the power would have to be increased in the proportion of the cube of 13 to the cube of 22.49, or 5.2 times, which makes the power necessary to propel the Fairy at that speed equal to 624 nominal horses power.
551. Q.--Will you describe the configuration and mode of action of the paddle wheels in general use?
A.--There are two kinds of paddle wheels in extensive use, the one being the ordinary radial wheel, in which the floats are fixed on arms radiating from the centre; and the other the feathering wheel, in which each float is hung upon a centre, and is so governed by suitable mechanism as to be always kept in nearly the vertical position. In the radial wheel there is some loss of power from oblique action, whereas in the feathering wheel there is little or no loss from this cause; but in every kind of paddle there is a loss of power from the recession of the water from the float boards, or the slip as it is commonly called; and this loss is the necessary condition of the resistance for the propulsion of the vessel being created in a fluid. The slip is expressed by the difference between the speed of the wheel and the speed of the vessel, and the larger this difference is the greater the loss of power from slip must be--the consumption of steam in the engine being proportionate to the velocity of the wheel, and the useful effect being proportionate to the speed of the ship.
552. Q.--The resistance necessary for propulsion will not be situated at the circumference of the wheel?
A.--In the feathering wheel, where every part of any one immerged float moves forward with the same horizontal velocity, the pressure or resistance may be supposed to be concentrated in the centre of the float; whereas, in the common radial wheel this cannot be the case, for as the outer edge of the float moves more rapidly than the edge nearest the centre of the wheel, the outer part of the float is the most effectual in propulsion. The point at which the outer and inner portions of the float just balance one another in propelling effect, is called the centre of pressure; and if all the resistances were concentrated in this point, they would have the same effect as before in resisting the rotation of the wheel. The resistance upon any one moving float board totally immersed in the water will, when the vessel is at rest, obviously vary as the square of its distance from the centre of motion--the resistance of a fluid varying with the square of the velocity; but, except when the wheel is sunk to the axle or altogether immersed in the water, it is impossible, under ordinary circumstances, for one float to be totally immersed without others being immersed partially, whereby the arc described by the extremity of the paddle arm will become greater than the arc described by the inner edge of the float; and consequently the resistance upon any part of the float will increase in a higher ratio than the square of its distance from the centre of motion--the position of the centre of pressure being at the same time correspondingly affected. In the feathering wheel the position of the centre of pressure of the entering and emerging floats is continually changing from the lower edge of the float--where it is when the float is entering or leaving the water--to the centre of the float, which is its position when the float is wholly immerged; but in the radial wheel the centre of pressure can never rise so high as the centre of the float.
553. Q.--All this relates to the action of the paddle when the vessel is at rest: will you explain its action when the vessel is in motion?
A.--When the wheel of a coach rolls along the ground, any point of its periphery describes in the air a curve which is termed a cycloid; any point within the periphery traces a prolate or protracted cycloid, and any point exterior to the periphery traces a curtate or contracted cycloid--the prolate cycloid partaking more of the nature of a straight line, and the curtate cycloid more of the nature of a circle. The action of a paddle wheel in the water resembles in this respect that of the wheel of a carriage running along the ground: that point in the radius of the paddle of which the rotative speed is just equal to the velocity of the vessel will describe a cycloid; points nearer the centre, prolate cycloids, and points further from the centre, curtate cycloids. The circle described by the point whose velocity equals the velocity of the ship, is called the rolling circle, and the resistance due to the difference of velocity of the rolling circle and centre of pressure is that which operates in the propulsion of the vessel. The resistance upon any part of the float, therefore, will vary as the square of its distance from the rolling circle, supposing the float to be totally immerged; but, taking into account the greater length of time during which the extremity of the paddle acts, whereby the resistance will be made greater, we shall not err far in estimating the resistance upon any point at the third power of its distance from the rolling circle in the case of light immersions, and the 2.5 power in the case of deep immersions.
554. Q.--How is the position of the centre of pressure to be determined?
A.--With the foregoing assumption, which accords sufficiently with experiment to justify its acceptation, the position of the centre of pressure may be found by the following rule:--from the radius of the wheel substract the radius of the rolling circle; to the remainder add the depth of the paddle board, and divide the fourth power of the sum by four times the depth; from the cube root of the quotient subtract the difference between the radii of the wheel and rolling circle, and the remainder will be the distance of the centre of pressure from the upper edge of the paddle.
555. Q.--How do you find the diameter of the rolling circle?
A.--The diameter of the rolling circle is very easily found, for we have only to divide 5,280 times the number of miles per hour, by 60 times the number of strokes per minute, to get an expression for the circumference of the rolling circle, or the following rule may be adopted:--divide 88 times the speed of the vessel in statute miles per hour, by 3.1416 times the number of strokes per minute; the quotient will be the diameter in feet of the rolling circle. The diameter of the circle in which the centre of pressure moves or the effective diameter of the wheel being known, and also the diameter of the rolling circle, we at once find the excess of the velocity of the wheel over the vessel.
556. Q.--Will you illustrate these rules by an example?
A.--A steam vessel of moderately good shape, and with engines of 200 horses power, realises, with 22 strokes per minute, a speed of 10.62 miles per hour. To find the diameter of the rolling circle, we have 88 times 10.62, equal to 934.66, and 22 times 3.1416, equal to 69.1152; then 934.66 divided by 69.1152 is equal to 13.52 feet, which is the diameter of the rolling circle. The diameter of the wheel is 19 ft. 4 in., so that the diameter of the rolling circle is about 2/3ds of the diameter of the wheel, and this is a frequent proportion. The depth of the paddle board is 2 feet, and the difference between the diameters of the wheel and rolling circle will be 5.8133, which will make the difference of their radii 2.9067; and adding to this the depth of the paddle board, we have 4.9067, the fourth power of which is 579.64, which, divided by four times the depth of the paddle board, gives us 72.455, the cube root of which is 4.1689, which, diminished by the difference of the radii of the wheel and rolling circle, leaves 1.2622 feet for the distance of the centre of pressure from the upper edge of the paddle board in the case of light immersions. The radius of the wheel being 9.6667, the distance from the centre of the wheel to the upper edge of the float is 7.6667, and adding to this 1.2622, we get 8.9299 feet as the radius, or 17.8598 feet as the diameter of the circle in which the centre of pressure revolves. With 22 strokes per minute, the velocity of the centre of pressure will be 20.573 feet per second, and with 10.62 miles per hour for the speed of the vessel, the velocity of the rolling circle will be 15.576 feet per second. The effective velocity will be the difference between these quantities, or 4.997 feet per second. Now the height from which a body must fall by gravity, to acquire a velocity of 4.997 feet per second, is about .62 feet; and twice this height, or 1.24 feet, multiplied by 62-1/2, which is the number of Lbs. weight in a cubic foot of water, gives 77-1/2 Lbs. as the pressure on each square foot of the vertical paddle boards. As each board is of 20 square feet of area, and there is a vertical board on each side of the ship, the total pressure on the vertical paddle boards will be 2900 Lbs.
557. Q.--What pressure is this equivalent to on each square inch of the pistons?
A.--A vessel of 200 horses power will have two cylinders, each 50 inches diameter, and 5 feet stroke, or thereabout. The area of a piston of 50 inches diameter is 1963.5 square inches, so that the area of the two pistons is 3927 square inches, and the piston will move through 10 feet every revolution; and with 22 strokes per minute this will be 220 feet per minute, or 3.66 feet per second. Now, if the effective velocity of the centre of pressure and the velocity of the pistons had been the same, then a pressure of 2900 Lbs. upon the vertical paddles would have been balanced by an equal pressure on the pistons, which would have been in this case about .75 Lbs. per square inch; but as the effective velocity of the centre of pressure is 4.997 feet per second, while that of the pistons is only 3.66 feet per second, the pressure must be increased in the proportion of 4.997 to 3.66 to establish an equilibrium of pressure, or, in other words, it must be 1.02 Lbs. per square inch. It follows from this investigation, that, in radial wheels, the greater part of the engine power is distributed among the oblique floats.
558. Q.--How comes this to be the case?
A.--To understand how it happens that more power is expended upon the oblique than upon the vertical floats, it is necessary to remember that the only resistance upon the vertical paddle is that due to the difference of velocity of the wheel and the ship; but if the wheel be supposed to be immersed to its axle, so that the entering float strikes the water horizontally, it is clear that the resistance on such float is that due to the whole velocity of rotation; and that the resistance to the entering float will be the same whether the vessel is in motion or not. The resistance opposed to the rotation of any float increases from the position of the vertical float-where the resistance is that due to the difference of velocity of the wheel and vessel--until it reaches the plane of the axis, supposing the wheel to be immersed so far, where the resistance is that due to the whole velocity of rotation; and although in any oblique float the total resistance cannot be considered operative in a horizontal direction, yet the total resistance increases so rapidly on each side of the vertical float, that the portion of it which is operative in the horizontal direction, is in all ordinary cases of immersion very considerable. In the feathering wheel, where there is little of this oblique action, the resistance will be in the proportion of the square of the horizontal velocities of the several floats, which may be represented by the horizontal distances between them; and in the feathering wheel, the vertical float having the greatest horizontal velocity will have the greatest propelling effect.
559. Q.--Should the floats in feathering wheels enter and leave the water vertically?
A.--The floats should be so governed by the central crank or eccentric, that the entering and emerging floats have a direction intermediate between a radius and a vertical line.
560. Q.--Can you give any practical rules for proportioning paddle wheels?
A.--A common rule for the pitch of the floats is to allow one float for every foot of diameter of the wheel; but in the case of fast vessels a pitch of 2-1/2 feet, or even less, appears preferable, as a close pitch occasions less vibration. If the floats be put too close, however, the water will not escape freely from between them, and if set too far apart the stroke of the entering paddle will occasion an inconvenient amount of vibratory motion, and there will also be some loss of power. To find the proper area of a single float:--divide the number of actual horses power of both engines by the diameter of the wheel in feet; the quotient is the area of one paddle board in square feet proper for sea going vessels, and the area multiplied by 0.6 will give the length of the float in feet. In very sharp vessels, which offer less resistance in passing through the water, the area of paddle board is usually one-fourth less than the above proportion, and the proper length of the float may in such case be found by multiplying the area by 0.7. In sea going vessels about four floats are usually immersed, and in river steamers only one or two floats. There is more slip in the latter case, but there is also more engine power exerted in the propulsion of the ship, from the greater speed of engine thus rendered possible.
561. Q.--Then is it beneficial to use small floats?
A.--Quite the contrary. If to permit a greater speed of the engine the floats be diminished in area instead of being raised out of the water, no appreciable accession to the speed of the vessel will be obtained; whereas there will be an increased speed of vessel if the accelerated speed of the engine be caused by diminishing the diameter of the wheels. In vessels intended to be fast, therefore, it is expedient to make the wheels small, so as to enable the engine to work with a high velocity; and it is expedient to make such wheels of the feathering kind, to obviate loss of power from oblique action. In no wheel must the rolling circle fall below the water line, else the entering and emerging floats will carry masses of water before them. The slip is usually equal to about one-fourth of the velocity of the centre of pressure in well proportioned wheels; but it is desirable to have the slip as small as is possible consistently with the observance of other necessary conditions. The speed of the engine and also the speed of the vessel being fixed, the diameter of the rolling circle becomes at once ascertainable, and adding to this the slip, we have the diameter of the wheel.
562. Q.--Will you describe more in detail than you have yet done, the configuration and mode of action of the screw propeller?
A.--The ordinary form of screw propeller is represented in figs. 46 and 47; fig. 46 being a perspective view, and fig. 47 an end view, or view such as is seen when looking upon the end of the shaft. The screw here represented is one with two arms or blades. Some screws have three arms, some four and some six; but the screw with two arms is the most usual, and screws with more than three arms are not now much employed in this country. The screw on being put into revolution by the engine, preserves a spiral path in the water, in which it draws itself forward in the same way as a screw nail does when turned round in a piece of wood, whereas the paddle wheel more resembles the action of a cog wheel working in a rack.

563. Q.--But the screw of a steam vessel has no resemblance to a screw nail?
A.--It has in fact a very close resemblance if you suppose only a very short piece of the screw nail to be employed, and if you suppose, moreover, the thread of the screw to be cut nearly into the centre to prevent the wood from stripping. The original screw propellers were made with several convolutions of screw, but it was found advantageous to shorten them, until they are now only made one-sixth of a convolution in length.
564. Q.--And the pitch you have already explained to be the distance in the line of the shaft from one convolution to the next, supposing the screw to consist of two or more convolutions?
A.--Yes, that is what is meant by the pitch. If a thread be wound upon a cylinder with an equal distance between the convolutions, it will trace a screw of a uniform pitch; and if the thread be wound upon the cylinder with an increasing distance between each convolution, it will trace a screw of an increasing pitch. But two or more threads may be wound upon the cylinder at the same time, instead of a single thread. If two threads be wound upon it they will trace a double-threaded screw; if three threads be wound upon it they will trace a treble-threaded screw; and so of any other number. Now if the thread be supposed to be raised up into a very deep and thin spiral feather, and the cylinder be supposed to become very small, like the newel of a spiral stair, then a screw will be obtained of the kind proper for propelling vessels, except that only a very short piece of such screw must be employed. Whatever be the number of threads wound upon a cylinder, if the cylinder be cut across all the threads will be cut. A slice cut out of the cylinder will therefore contain a piece of each thread. But the threads, in the case of a screw propeller, answer to the arms, so that in every screw propeller the number of threads entering into the composition of the screw will be the same as the number of arms. An ordinary screw with two blades is a short piece of a screw of two threads.
565. Q.--In what part of the ship is the screw usually placed?

A.--In that part of the run of the ship called the dead wood, which is a thin and unused part of the vessel just in advance of the rudder. The usual arrangement is shown in fig. 48, which represents the application to a vessel of a species of screw which has the arms bent backwards, to counteract the centrifugal motion given to the water when there is a considerable amount of slip.
566. Q.--How is the slip in a screw vessel determined?
A.--By comparing the actual speed of the vessel with the speed due to the pitch and number of revolutions of the screw, or, what is the same thing, the speed which the vessel would attain if the screw worked in a solid nut. The difference between the actual speed and this hypothetical speed, is the slip.
567. Q.--In well formed screw propellers what is the amount of slip found to be?
A.--If the screw be properly proportioned to the resistance that the vessel has to overcome, the slip will not be more than 10 per cent., but in some cases it amounts to 30 per cent., or even more than this. In other cases, however, the slip is nothing at all, and even less than nothing; or, in other words the vessel passes through the water with a greater velocity than if the screw were working in a solid nut.
568. Q.--Then it must be by the aid of the wind or some other extraneous force?
A.--No; by the action of the screw alone.
569. Q.--But how is such a result possible?
A.--It appears to be mainly owing to the centrifugal action of the screw, which interposes a film or wedge of water between the screw itself and the water on which the screw reacts. This negative slip, as it is called, chiefly occurs when the pitch of the screw is less than its diameter, and when, consequently, the velocity of rotation is greater than if a coarser pitch had been employed. There is, moreover, in all vessels passing through the water with any considerable velocity, a current of water following the vessel, in which current, in the case of a screw vessel, the screw will revolve; and in certain cases the phenomenon of negative slip may be imputable in part to the existence of this current.
570. Q.--Is the screw propeller as effectual an instrument of propulsion as the radial or feathering paddle?
A.--In all cases of deep immersion it appears to be quite as effectual as the radial paddle, indeed, more so; but it is scarcely as effectual as the feathering paddle, with any amount of immersion, and scarcely as effectual as the common paddle in the case of light immersions.
571. Q.--Whether do you consider paddle or screw vessels to be on the whole the most advantageous?
A.--That is a large question, and can only receive a qualified answer. In some cases the use of paddles is indispensable, as, for example, in the case of river vessels of a limited draught of water, where it would not be possible to get sufficient depth below the water surface to enable a screw of a proper diameter to be got in.
572. Q.--But how does the matter stand in the case of ocean vessels?
A.--In the case of ocean vessels, it is found that paddle vessels fitted with the ordinary radial wheels, and screw vessels fitted with the ordinary screw, are about equally efficient in calms and in fair or beam winds with light and medium immersions. If the vessels are loaded deeply, however, as vessels starting on a long voyage and carrying much coal must almost necessarily be, then the screw has an advantage, since the screw acts in its best manner when deeply immersed, and the paddles in their worst. When a screw and paddle vessel, however, of the same model and power are set to encounter head winds, the paddle vessel it is found has in all cases an advantage, not in speed, but in economy of fuel. For whereas in a paddle vessel, when her progress is resisted, the speed of the engine diminishes nearly in the proportion of the diminished speed of ship, it happens that in a screw vessel this is not so,--at least to an equal extent,--but the engines work with nearly the same rate of speed as if no increase of resistance had been encountered by the ship. It follows from this circumstance, that whereas in paddle vessels the consumption of steam, and therefore of fuel, per hour is materially diminished when head winds occur, in screw vessels a similar diminution in the consumption of steam and fuel does not take place.
573. Q.--But perhaps under such circumstances the speed of the screw vessel will be the greater of the two?
A.--No; the speed of the two vessels will be the same, unless the strength of the head wind be so great as to bring the vessels nearly to a state of rest, and on that supposition the screw vessel will have the advantage. Such cases occur very rarely in practice; and in the case of the ordinary resistances imposed by head winds, the speed of the screw and paddle vessel will be the same, but the screw vessel will consume most coals.
574. Q.--What is the cause of this peculiarity?
A.--The cause is, that when the screw is so proportioned in its length as to be most suitable for propelling vessels in calms, it is too short to be suitable for propelling vessels which encounter a very heavy resistance. It follows, therefore, that if it is prevented from pursuing its spiral course in the water, it will displace the water to a certain extent laterally, in the manner it does if the engine be set on when the vessel is at anchor; and a part of the engine power is thus wasted in producing a useless disturbance of the water, which in paddle vessels is not expended at all.
575. Q.--If a screw and paddle vessel of the same mould and power be tied stern to stern, will not the screw vessel preponderate and tow the paddle vessel astern against the whole force of her engines?
A.--Yes, that will be so.
576. Q.--And seeing that the vessels are of the same mould and power, so that neither can derive an advantage from a variation in that condition, does not the preponderance of the screw vessel show that the screw must be the most powerful propeller?
A.---No, it does not.
577. Q.--Seeing that the vessels are the same in all respects except as regards the propellers, and that one of them exhibits a superiority, does not this circumstance show that one propeller must be more powerful than the other?
A.--That does not follow necessarily, nor is it the fact in this particular case. All steam vessels when set into motion, will force themselves forward with an amount of thrust which, setting aside the loss from friction and from other causes, will just balance the pressure on the pistons. In a paddle vessel, as has already been explained, it is easy to tell the tractive force exerted at the centre of pressure of the paddle wheels, when the pressure urging the pistons, the dimensions of the wheels and the speed of the vessel are known; and that force, whatever be its amount, must always continue the same with any constant pressure on the pistons. In a screw vessel the same law applies, so that with any given pressure on the pistons and discarding the consideration of friction, it will follow that whatever be the thrust exerted by a paddle or a screw vessel, it must remain uniform whether the vessel is in motion or at rest, and whether moving at a high or a low velocity through the water. Now to achieve an equal speed during calms in two vessels of the same model, there must be the same amount of propelling thrust in each; and this thrust, whatever be its amount, cannot afterward vary if a uniform pressure of steam be maintained. The thrusts, therefore, caused by their respective propelling instruments, when a screw and paddle vessel are tied stern to stern, must be the same as at other times; and as at other times those thrusts are equal, so must they be when the vessels are set in the antagonism supposed.
578. Q.--How comes it then that the screw vessel preponderates?
A.--Not by virtue of a larger thrust exerted by the screw in pressing forward the shaft and with it the vessel, but by the gravitation against the stern of the wave of water which the screw raises by its rapid rotation. This wave will only be raised very high when the progress of the vessel through the water is nearly arrested, at which time the centrifugal action of the screw is very great; and the vessel under such circumstances is forced forward partly by the thrust of the screw, and partly by the hydrostatic pressure of the protuberance of water which the centrifugal action of the screw raises up at the stern.
579. Q.--Can you state any facts in corroboration of this view?
A.--The screw vessel will not preponderate if a screw and paddle vessel be tied bow to bow and the engines of each be then reversed. In, some screw vessels the amount of thrust actually exerted by the screw under all its varying circumstances, has been ascertained by the application of a dynamometer to the end of the shaft. By this instrument--which is formed by a combination of levers like a weighing machine for carts--a thrust or pressure of several tons can be measured by the application of a small weight; and it has been found, by repeated experiment with the dynamometer, that the thrust of the screw in a screw vessel when towing a paddle vessel against the whole force of her engines, is just the same as it is when the two vessels are maintaining an equal speed in calms. The preponderance of the screw vessel must, therefore, be imputable to some other agency than to a superior thrust of the screw, which is found by experiment not to exist.
580. Q.--Has the dynamometer been applied to paddle vessels?
A.--It has not been applied to the vessels themselves, as in the case of screw vessels, but it has been employed on shore to ascertain the amount of tractive force that a paddle vessel can exert on a rope.
581. Q.--Have any experiments been made to determine the comparative performances of screw and paddle vessels at sea?
A.--Yes, numerous experiments; of which the best known are probably those made on the screw steamer Rattler and the paddle steamer Alecto, each vessel of the same model, size, and power,--each vessel being of about 800 tons burden and 200 horses power. Subsequently another set of experiments with the same object was made with the Niger screw steamer and the Basilisk paddle steamer, both vessels being of about 1000 tons burden and 400 horses power. The general results which were obtained in the course of these experiments are those which have been already recited.
582. Q.--Will you recapitulate some of the main incidents of these trials?
A.--I may first state some of the chief dimensions of the vessels. The Rattler is 176 feet 6 inches long, 32 feet 8-1/2 inches broad, 888 tons burden, 200 horses power, and has an area of immersed midship section of 380 square feet at a draught of water of 11 feet 5-1/2 inches. The Alecto is of the same dimensions in every respect, except that she is only of 800 tons burden, the difference in this particular being wholly owing to the Rattler having been drawn out about 15 feet at the stern, to leave abundant room for the application of the screw. The Rattler was fitted with a dynamometer, which enabled the actual propelling thrust of the screw shaft to be measured; and the amount of this thrust, multiplied by the distance through which the vessel passed in a given time, would determine the amount of power actually utilized in propelling the ship. Both vessels were fitted with indicators applied to the cylinders, so as to determine the amount of power exerted by the engines.
583. Q.--How many trials of the vessels were made on this occasion?
A.--Twelve trials in all; but I need not refer to those in which similar or identical results were only repeated. The first trial was made under steam only, the weather was calm and the water smooth. At 54 minutes past 4 in the morning both vessels left the Nore, and at 30-1/2 minutes past 2 the Rattler stopped her engines in Yarmouth Roads, where in 20-1/2 minutes afterward she was joined by the Alecto. The mean speed achieved by the Rattler during this trial was 9.2 knots per hour; the mean speed of the Alecto was 8.8 knots per hour. The slip of the screw was 10.2 per cent. The actual power exerted by the engines, as shown by the indicator, was in the case of the Rattler 334.6 horses, and in the case of the Alecto 281.2 horses; being a difference of 53.4 horses in favor of the Rattler. The forward thrust upon the screw shaft was 3 tons, 17 cwt., 3 qrs., and 14 lbs. The horse power of the shaft--or power actually utilized--ascertained by multiplying the thrust in pounds by the space passed through by the vessel in feet per minute, and dividing by 33,000, was 247.8 horses power. This makes the ratio of the shaft to the engine power as 1 to 1.3, or, in other words, it shows that the amount of engine power utilized in propulsion was 77 per cent. In a subsequent trial made with the vessels running before the wind, but with no sails set and the masts struck, the speed realized by the Rattler was 10 knots per hour. The slip of the screw was 11.2 per cent. The actual power exerted by the engines of the Rattler was 368.8 horses. The actual power exerted by the engines of the Alecto was 291.7 horses. The thrust of the shaft was equal to a weight of 4 tons, 4 cwt., 1 qr., 1 lb. The horse power of the shaft was 290.2 horses, and the ratio of the shaft to the engine power was 1 to 1.2. Here, therefore, the amount of the engine power utilized was 84 per cent.
584. Q.--If in any screw vessel the power of the engine be diminished by shutting off the steam or otherwise, you will then have a larger screw relatively with the power of the engine than before?
A.--Yes.
585. Q.--Was any experiment made to ascertain the effect of this modification?
A.--There was; but the result was not found to be better than before. The experiment was made by shutting off the steam from the engines of the Rattler until the number of strokes was reduced to 17 in the minute. The actual power was then 126.7 horses; thrust upon the shaft 2 tons, 2 cwt., 3 qrs., 14 lbs; horse power of shaft 88.4 horses; ratio of shaft to engine power 1 to 1.4; slip of the screw 18.7 per cent. In this experiment the power utilized was 71 per cent.
586. Q.--Was any experiment made to determine the relative performances in head winds?
A.--The trial in which this relation was best determined lasted for seven hours, and was made against a strong head wind and heavy head sea. The speed of the Rattler by patent log was 4.2 knots; and at the conclusion of the trial the Alecto had the advantage by about half a mile. Owing to an accidental injury to the indicator, the power exerted by the engines of the Rattler in this trial could not be ascertained; but judging from the power exerted in other experiments with the same number of revolutions, it appears probable that the power actually exerted by the Rattler was about 300 horses. The number of strokes per minute made by the engines of the Rattler was 22, whereas in the Alecto the number of strokes per minute was only 12; so that while the engines of the Alecto were reduced, by the resistance occasioned by a strong head wind, to nearly half their usual speed, the engines of the Rattler were only lessened about one twelfth of their usual speed. The mean thrust upon the screw shaft during this experiment, was 4 tons, 7 cwt., 0 qr., 16 lbs. The horse power of the shaft was 125.9 horses, and the slip of the screw was 56 per cent. Taking the power actually exerted by the Rattler at 300 horses, the power utilized in this experiment is only 42 per cent.
587. Q.--What are the dimensions of the screw in the Rattler?
A.--Diameter 10 feet, length 1 foot 3 inches, pitch 11 feet. The foregoing experiments show that with a larger screw a better average performance would be obtained. The best result arrived at, was when the vessel was somewhat assisted by the wind, which is equivalent to a reduction of the resistance of the hull, or to a smaller hull, which is only another expression for a larger proportionate screw.
588. Q.--When you speak of a larger screw, what increase of dimension do you mean to express?
A.--An increase of the diameter. The amount of reacting power of the screw upon the water is hot measured by the number of square feet of surface of the arms, but by the area of the disc or circle in which the screw revolves. The diameter of the screw of the Rattler being 10 feet, the area of its disc is 78.5 square feet; and with the amount of thrust already mentioned as existing in the first experiment, viz. 8722 lbs., the reacting pressure on each square foot of the screw's disc will be 108-1/2 lbs. The immersed midship section being 380 square feet, this is equivalent to 23 lbs. per square foot of immersed midship section at a speed of 9.2 knots per hour.
589. Q.--In smaller vessels of similar form, will the resistance per square foot of midship section be more than this?
A.--It will be considerably more. In the Pelican, a vessel of 109- 3/4 square feet of midship section, I estimate the resistance per square foot of midship section at 30 lbs., when the speed of the vessel is 9.7 knots per hour. In the Minx with an immersed midship section of 82 square feet, the resistance per square foot of immersed midship section was found by the dynamometer to be 41 lbs. at a speed of 8-1/2 knots; and in the Dwarf, a vessel with 60 square feet of midship section, I estimate the resistance per square foot of midship section at 46 lbs. at a speed of 9 knots per hour, which is just double the resistance per square foot of the Rattler. The diameter of the screw of the Minx is 4-1/2 feet, so that the area of its disc is 15.9 square feet, and the area of immersed midship section is about 5 times greater than that of the screw's disc. The diameter of the screw of the Dwarf is 5 feet 8 inches, so that the area of its disc is 25.22 square feet, and the area of immersed midship section is 2.4 times greater than that of the screw's disc. The pressure per square foot of the screw's disc is 214 lbs. in the case of the Minx, and 109-1/2 lbs. in the case of the Dwarf.
590. Q.--From the greater proportionate resistance of small vessels, will not they require larger proportionate screws than large vessels?
A.--They will.
591. Q.--Is there any ready means of predicting what the amount of thrust of a screw will be?
A.--When we know the amount of pressure on the pistons, and the velocity of their motion relatively with the velocity of advance made by the screw, supposing it to work in a solid nut, it is easy to tell what the thrust of the screw would be if it were cleared of the effects of friction and other irregular sources of disturbance. The thrust, in fact, would be at once found by the principle of virtual velocities; and if we take this theoretical thrust and diminish it by one fourth to compensate for friction and lateral slip, we shall have a near approximation to the amount of thrust that will be actually exerted. 1
[1] See Treatise on the Screw Propeller, by J. Bourne, C. E.
592. Q.--What species of screw do you consider the best?
A.--In cases in which a large diameter of screw can be employed, the ordinary screw or helix with two blades seems to be as effective as any other, and it is the most easily constructed. If, however, the screw is restricted in diameter, or if the vessel is required to tow, or will have to encounter habitually strong head winds, it will be preferable to employ a screw with an increasing pitch, and also of such other configuration that it will recover from the water some portion of the power that has been expended in slip.
593. Q.--How can this be done?
A.--There are screws which are intended to accomplish, this object already in actual use. When there is much slip a centrifugal velocity is given to the water, and the screw, indeed, if the engine be set on when the vessel is at rest, acts very much as a centrifugal fan would do if placed in the same situation. The water projected outward by the centrifugal force escapes in the line of least resistance, which is to the surface; and if there be a high column of water over the screw, or, in other words, if the screw is deeply immersed, then the centrifugal action is resisted to a greater extent, and there will be less slip produced. The easiest expedient, therefore, for obviating loss by slip is to sink the screw deeply in the water; but as there are obvious limits to the application of this remedy, the next best device is to recover and render available for propulsion some part of the power which has been expended in giving motion to the water. One device for doing this consists in placing the screw well forward in the dead wood, so that it shall be overhung by the stern of the ship. The water forced upward by the centrifugal action of the screw will, by impinging on the overhanging stern, press the vessel forward in the water, just in the same way as is done by the wind when acting on an oblique sail. I believe, the two revolving vanes without any twist or obliquity on them at all, would propel a vessel if set well forward in the dead wood or beneath the bottom, merely by the ascent of the water up the inclined plane of the vessel's run; and, at all events, a screw so placed would, in my judgment, aid materially in propelling the vessel when her progress was resisted by head winds.
594. Q.--But you said there are some kinds of screws which profess to accomplish this?

A.--There are screws which profess to counteract the centrifugal velocity given to the water by imparting to it an equal centripetal force, the consequence of which will be, that the water projected backward by the screw, instead of taking the form of the frustum of a cone, with its small end next the screw, will take the form of a cylinder. One of these forms of screw is that patented by the Earl of Dundonald in 1843, and which is represented in fig. 49. Another is the form of screw already represented in fig. 48, and which was patented by Mr. Hodgson in 1844. Mr. Hodgson bends the arms of his propellers backward, not into the form of a triangle, but into the form of a parabola, to the end that the impact of the screw on the particles of the water may cause them to converge to a focus, as the rays of light would do in a parabolic reflector. But this particular configuration is not important, seeing that the same convergence which is given to the particles of the water, with a screw of uniform pitch bent back into the form of a parabola, will be given with a screw bent back into the form of a triangle, if the pitch be suitably varied between the centre and the circumference.
595. Q.--Then the pitch may be varied in two ways?
A.--Yes: a screw may have a pitch increasing in the direction of the length, as would happen in the case of a spiral stair, if every successive step in the ascent was thicker than the one below it; or it may increase from the centre to the circumference, as would happen in the case of a spiral stair, if every step were thinner at the centre of the lower than at its outer wall. When the pitch of a screw increases in the direction of its length, the leading edge of the screw enters the water without shock or impact, as the advance of the leading edge per revolution will not be greater than the advance of the vessel. When the pitch of a screw increases in the direction of its diameter, the central part of the screw will advance with only the same velocity as the water, so that it cannot communicate any centrifugal velocity to the water; and the whole slip, as well as the whole propelling pressure, will occur at the outer part of the screw blades.
596. Q.--Is there any advantage derived from these forms of screws?
A.--There is a slight advantage, but it is so slight as hardly to balance the increased trouble of manufacture, and, consequently, they are not generally or widely adopted.
597. Q.--What other kinds of screw are there proposing to themselves the same or similar objects?
A.--There is the corrugated screw, the arms of which are corrugated, so as it were to gear with the water during its revolution, and thereby prevent it from acquiring a centrifugal velocity. Then there is Griffith's screw, which has a large ball at its centre, which, by the suction it creates at its hinder part, in passing through the water, produces a converging force, which partly counteracts the divergent action of the arms. Finally, there is Holm's screw, which has now been applied to a good number of vessels with success.
598. Q.--Will you describe the configuration and action of Holm's screw?
A.--First, then, the screw increases in the direction of its length, and this increase is very rapid at the following edge, so that, in fact, the following edge stands in the plane of the shaft, or in the vertical longitudinal plane of the vessel. Then the ends of the arms are bent over into a curved flange, the edge of which points astern, and the point where this curved flange joins the following edge of the screw is formed, not into an angle, but into a portion of a sphere, so that this corner resembles the bowl of a spoon. When the screw is put into revolution, the water is encountered by the leading edge of the screw without shock, as its advance is only equal to the advance of the vessel, and before the screw leaves the water it is projected directly astern. At the same time, the curved flange at the rim of the screw prevents the dispersion of the water in a radial direction, and it consequently assumes the form of a column or cylinder of water, projected backward from the ship.
599. Q.--What is the nature of Beattle's screw?
A.--Beattie's screw is an arrangement of the screw propeller whereby it is projected beyond the rudder, and the main object of the arrangement is to take away the vibratory motion at the stern,--an intention which it accomplishes in practice. There is an oval eye in the rudder, to permit the screw shaft to pass through it.
600. Q.--When the diameter of the cylinder of water projected backward by a screw, and the force urging it into motion are known, may not the velocity it will acquire be approximately determined?
A.--That will not be very difficult; and I will take for illustration the case of the Minx, already referred to, which will show how such a computation is to be conducted. The speed of this vessel, in one of the experiments made with her, was 8.445 knots; the number of revolutions of the screw per minute, 231.32; and the pressure on each square foot of area of the screw's disc, 214 lbs. If a knot be taken to be 6075.6 feet, then the distance advanced by the vessel, when the speed is 8.445 knots, will be 3.7 feet per revolution, and this advance will be made in about .26 of a second of time. Now the distance which a body will fall by gravity, in .26 of a second, is 1.087 feet; and a weight of 214 lbs. put into motion by gravity, or by a pressure of 214 lbs., would, therefore, acquire a velocity of 1.087 feet during the time one revolution of the screw is being performed. The weight to be moved, however, is 3.7 cubic feet of water, that being the new water seized by the screw each revolution for every square foot of surface in the screw's disc; and 3.7 cubic feet of water weigh 231.5 lbs., so that the urging force of 214 lbs. is somewhat less than the force of gravity, and the velocity of motion communicated to the water will be somewhat under 1.087 feet per revolution, or we may say it will be in round numbers 1 foot per revolution. This, added to the progress of the vessel, will make the distance advanced by the screw through the water 4.7 feet per revolution, leaving the difference between this and the pitch, namely 1.13 feet, to be accounted for on the supposition that the screw blades had broken laterally through the water to that extent. It would be proper to apply some correction to this computation, which would represent the increased resistance due to the immersion of the screw in the water; for a column of water cannot be moved in the direction of its axis beneath the surface, without giving motion to the superincumbent water, and the inertia of this superincumbent water must, therefore, be taken into the account. In the experiment upon the Minx, the depth of this superincumbent column was but small. The total amount of the slip was 36.53 per cent.; and there will not be much error in setting down about one half of this as due to the recession of the water in the direction of the vessel's track, and the other half as due to the lateral penetration of the screw blades.
601. Q.--Is it not important to make the stern of screw vessels very fine, with the view of diminishing the slip, and increasing the speed?
A.--It is most important. The Rifleman, a vessel of 486 tons, had originally engines of 200 horses power, which propelled her at a speed of 8 knots an hour. The Teazer, a vessel of 296 tons, had originally engines of 100 horses power, which propelled her at a speed of 6-1/2 knots an hour. The engines of the Teazer were subsequently transferred to the Rifleman, and new engines of 40 horse power were put into the Teazer. Both vessels were simultaneously sharpened at the stern, and the result was, that the 100 horse engines drove the Rifleman, when sharpened, as fast as she had previously been driven by the 200 horse engines; and the 40 horse engines drove the Teazer, when sharpened, a knot an hour faster than she had previously been driven by the 100 horse engines. The immersion of both vessels was kept unchanged in each case; and the 100 horse engines of the Teazer, when transferred to the Rifleman, drove that vessel, after she had been sharpened, 2 knots an hour faster than they had previously driven a vessel not much more than half the size. These are important facts for every one to be acquainted with who is interested in the success of screw vessels, and who seeks to obtain the maximum of efficiency with the minimum of expense. 1
[1] See Treatise on the Screw Propeller, by John Bourne, C. E.
602. Q.--In fixing upon the proportions of a screw proper to propel any given vessel, how would you proceed?
A.--I would first compute the probable resistance of the vessel, and I would be able to find the relative resistances of the screw and hull, and in every case it is advisable to make the screw as large in diameter as possible. The larger the screw is, the greater will be the efficiency of the engine in propelling the vessel; the larger will be the ratio of the pitch to the diameter, which produces a maximum effect; and the smaller will be the length of the screw or the fraction of a convolution to produce a maximum effect.
603. Q.--Will you illustrate this doctrine by a practical example?
A.--The French screw steamer Pelican was fitted successively with two screws of four blades, but the diameter of the first screw was 98.42 inches, and the diameter of the second 54 inches. If the efficiency of the first screw by represented by 1, that of the second screw will be represented by .823, or, in other words, if the first screw would give a speed of 10 knots, the second would give little more than 8. The most advantageous ratio of pitch to diameter was found to be 2.2 in the case of the large screw, and 1.384 in the case of the small. The fraction of a convolution which was found to be most advantageous was .281 in the case of the large screw, and .450 in the case of the small screw.
604. Q--Were screws of four blades found to be more efficient than screws with two? AThey were found to have less slip, but not to be more efficient, the increased slip in those of two blades being balanced by the increased friction in those of four. Screws of two blades, to secure a maximum efficiency, must have a finer pitch than screws of four.
605. Q.--Are the proportions found to be most suitable in the case of the Pelican applicable to the screws of other vessels?
A.-Only to those which have the same relative resistance of screw and hull. Taking the relative resistance to be the area of immersed midship section, divided by the square of the screw's diameter, it will in the case of the Rattler be 380/100 or 3.8. From the experiments made by MM. Bourgois and Moll on the screw steamer Pelican, they have deduced the proportions of screws proper for all other classes of vessels, whether the screws are of two, four, or six blades.
606. Q.--Will you specify the nature of their deductions?
A.--I will first enumerate those which bear upon screws with two blades. When the relative resistance is 5.5 the ratio of pitch to diameter should be 1.006, and the fraction of the pitch or proportion of one entire convolution should be 0.454. When the relative resistance is 5, the ratio of pitch to diameter should be 1.069, and fraction of pitch 0.428; relative resistance 4.5, pitch 1.135, fraction 0.402; relative resistance 4, pitch 1.205, fraction 0.378; relative resistance 3.5, pitch 1.279, fraction 0.355; relative resistance 3, pitch 1.357, fraction 0.334; relative resistance 2.5, pitch 1.450, fraction 0.313; relative resistance 2, pitch 1.560, fraction 0.294; relative resistance 1.5, pitch 1.682, fraction 0.275. The relative resistance of 4 is that which is usual in an auxiliary line of battle ship, 3.5 in an auxiliary frigate, 3 in a high speed line of battle ship, 2.5 in a high speed frigate, 2 in a high speed corvette, and 1.5 in a high speed despatch boat.
607. Q.--What are the corresponding proportions of screws of four blades?
A.--The ratios of the pitches to the diameter being for each of the relative resistances enumerated above, 1.342, 1.425, 1.513, 1.607, 1.705, 1.810, 1.933, 2.080, and 2.243, the respective fractions of pitch or fractions of a whole convolution will be 0.455, 0.428, 0.402, 0.378, 0.355, 0.334, 0.313, 0.294, and 0.275.
608. Q.--And what are the corresponding proportions proper for screws of six blades?
A.--Beginning with the relative resistance of 5.5 as before, the proper ratio of pitch to diameter for that and each of the successive resistances in the case of screws with six blades, will be 1.677, 1.771, 1.891, 1.2009, 2.131, 2.262, 2.416, 2.600, 2.804; and the respective fractions of pitch will be 0.794, 0.749, 0.703, 0.661, 0.621, 0.585, 0.548, 0.515, and 0.481. These are the proportions which will give a maximum performance in every case. 1
[1] In my Treatise on the Screw Propeller I have gone into these various questions more fully than would consort with the limits of this publication.
609. Q.--Do you consider that the screw propeller is best adapted for vessels of full power, or for vessels with auxiliary power?
A.--It is, in my opinion, best adapted for vessels with auxiliary power, and it is a worse propeller than paddle wheels for vessels which have habitually to encounter strong head winds. Screw vessels are but ill calculated--at least as constructed heretofore--to encounter head winds, and the legitimate sphere of the screw is in propelling vessels with auxiliary power.
610. Q.--Does the screw act well in conjunction with sails?
A.--I cannot say it acts better than paddles, except in so far as it is less in the way and is less affected by the listing or heeling over of the ship. A small steam power, however, acts very advantageously in aid of sails, for not only does the operation of the sails in reducing the resistance of the hull virtually increase the screw's diameter, but the screw, by reducing the resistance which has to be overcome by the sails and by increasing the speed of the vessel, enables the sails to act with greater efficiency, as the wind will not rebound from them with as great a velocity as it would otherwise do, and a larger proportion of the power of the wind will also be used up. In the case of beam winds, moreover, the action of the screw, by the larger advance it gives to the vessel will enable the sails to intercept a larger column of wind in a given time. It appears, therefore, that the sails add to the efficiency of the screw, and that the screw also adds to the efficiency of the sails.
611. Q.--What is the comparative cost of transporting merchandise in paddle steamers of full power, in screw steamers of auxiliary power, and in sailing ships?
A.--That will depend very much upon the locality where the comparison is made. In the case of vessels performing distant ocean voyages, in which they may reckon upon the aid of uniform and constant winds, such as the trade winds or the monsoon, sailing ships of large size will be able to carry more cheaply than any other species of vessel. But where the winds are irregular and there is not much sea room, or for such circumstances as exist in the Channel or Mediterranean trades, screw vessels with auxiliary power will constitute the cheapest instrument of conveyance.
612. Q.--Are there any facts recorded illustrative of the accuracy of this conclusion?
A.--A full paddle vessel of 1000 tons burden and 350 horses power, will carry about 400 tons of cargo, besides coal for a voyage of 500 miles, and the expense of such a voyage, including wear and tear, depreciation, &c., will be about 190l. The duration of the voyage will be about 45-1/2 hours. A screw vessel of 400 tons burden and 100 horses power, will carry the same amount of cargo, besides her coals, on the same voyage, and the expense of the voyage, including wear and tear, depreciation, &c., will be not much more than 60l. An auxiliary screw vessel, therefore, can carry merchandise at one third of the cost of a full-powered paddle vessel. By similar comparisons made between the expense of conveying merchandise in auxiliary screw steamers and sailing ships on coasting voyages, it appears that the cost in screw steamers is about one third less than in the sailing ships; the greater expedition of the screw steamers much more than compensating for the expense which the maintenance of the machinery involves.
613. Q.--Would not a screw combined with paddles act in a similarly advantageous way as a screw or paddles when aided by the wind?
A.--If in any given paddle vessel a supplementary screw be added to increase her power and speed, the screw will act in a more beneficial manner than if it had the whole vessel to propel itself, and for a like reason the paddles will act in a more beneficial manner. There will be less slip both upon the paddles and upon the screw than if either had been employed alone; but the same object would be attained by giving the vessel larger paddles or a larger screw.
614. Q.--Have any vessels been constructed with combined screw and paddles?
A.--Not any that I know of, except the great vessel built under the direction of Mr. Brunel. The Bee many years since was fitted with both screw and paddles, but this was for the purpose of ascertaining the relative efficiency of the two modes of propulsion, and not for the purpose of using both together.
615. Q.--What would be the best means of accelerating the speed of a paddle vessel by the introduction of a supplementary screw?
A.--If the vessel requires new boilers, the best course of procedure would be to work a single engine giving motion to the screw with high pressure steam, and to let the waste steam from the high pressure engine work the paddle engines. In this way the power might be doubled without any increased expenditure of fuel per hour, and there would be a diminished expenditure per voyage in the proportion of the increased speed.
616. Q.--What would the increased speed be by doubling the power?
A.--The increase would be in the proportion of the cube root of 1 to the cube root of 2, or it would be 1.25 times greater. If, therefore, the existing speed were 10 miles, it would be increased to 12-1/2 miles by doubling the power, and the vessel would ply with about a fourth less coals by increasing the power in the manner suggested.
617. Q.--Is not high pressure steam dangerous in steam vessels?
A.--Not necessarily so, and it has now been introduced into a good number of steam vessels with satisfactory results. In the case of locomotive engines, where it is used so widely, very few accidents have occurred; and in steam vessels the only additional source of danger is the salting of the boiler. This may be prevented either by the use of fresh water in the boiler, or by practising a larger amount of blowing off, to insure which it should be impossible to diminish the amount of water sent into the boiler by the feed pump, and the excess should be discharged overboard through a valve near the water level of the boiler, which valve is governed by a float that will rise or fall with the fluctuating level of the water. If the float be a copper ball, a little water should be introduced into it before it is soldered or brazed up, which will insure an equality of pressure within and without the ball, and a leakage of water into it will then be less likely to take place. A stone float, however, is cheaper, and if properly balanced will be equally effective. All steam vessels should have a large excess of boiling feed water constantly flowing into the boiler, and a large quantity of water constantly blowing off through the surface valves, which being governed by floats will open and let the superfluous water escape whenever the water level rises too high. In this way the boiler will be kept from salting, and priming will be much less likely to occur. The great problem of steam navigation is the economy of fuel, since the quantity of fuel consumed by a vessel will very much determine whether she is profitable or otherwise. Notwithstanding the momentous nature of this condition, however, the consumption of fuel in steam vessels is a point to which very little attention has been paid, and no efficient means have yet been adopted in steam vessels to insure that measure of economy which is known to be attainable, and which has been attained already in other departments of engineering in which the benefits of such economy are of less weighty import. It needs nothing more than the establishment of an efficient system of registration in steam vessels, to insure a large and rapid economy in the consumption of fuel, as this quality would then become the test of an engineer's proficiency, and would determine the measure of his fame. In the case of the Cornish engines, a saving of more than half the fuel was speedily effected by the introduction of the simple expedient of registration. In agricultural engines a like economy has speedily followed from a like arrangement; yet in both of these cases the benefits of a large saving are less eminent than they would be in the case of steam navigation; and it is to be hoped that this expedient of improvement will now be speedily adopted.
618. Q.--Will you describe the structure of an oscillating engine as made by Messrs. Penn?
A.--To do this it will be expedient to take an engine of a given power, and then the sizes may be given as well as an account of the configuration of the parts: we may take for an example a pair of engines of 21-1/2 inches diameter of cylinder, and 22 inches stroke, rated by Messrs. Penn at 12 horses power each. The cylinders of this oscillating engine are placed beneath the cranks, and, as in all Messrs. Penn's smaller engines, the piston rod is connected to the crank pin by means of a brass cap, provided with a socket, by means of which it is cuttered to the piston rod. There is but one air pump, which is situated within the condenser between the cylinders, and it is wrought by means of a crank in the intermediate shaft--this crank being cut out of a solid piece of metal as in the formation of the cranked axles of locomotive engines. The steam enters the cylinder through the outer trunnions, or the trunnions adjacent to the ship's sides, and enters the condenser through the two midship trunnions--a short three ported valve being placed on the front of the cylinder to regulate the flow of steam to and from the cylinder in the proper manner. The weight of this valve on one side of the cylinder is balanced by a weight hung upon the other side of the cylinder; but in the most recent engines this weight is discarded, and two valves are used, which balance one another. The framing consists of an upper and lower frame of cast iron, bound together by eight malleable iron columns: upon the lower frame the pillow blocks rest which carry the cylinder trunnions, and the condenser and the bottom frame are cast in the same piece. The upper frame supports the paddle shaft pillow blocks; and pieces are bolted on in continuation of the upper frame to carry the paddle wheels, which are overhung from the journal.
619. Q.--What are the dimensions and arrangement of the framing?
A.--The web, or base plate of the lower frame is 3/4 of an Inch thick, and a cooming is earned all round the cylinder, leaving an opening of sufficient size to permit the necessary oscillation. The cross section of the upper frame is that of a hollow beam 6 inches deep, and about 3-1/2 inches wide, with holes at the sides to take out the core; and the thickness of the metal is 13/16ths of an inch. Both the upper and the lower frame is cast in a single piece, with the exception of the continuations of the upper frame, which support the paddle wheels. An oval ring 3 inches wide is formed in the upper frame, of sufficient size to permit the working of the air pump crank; and from this ring feathers run to the ends of the cross portions of the frame which supports the intermediate shaft journals. The columns are 1-1/2 inches in diameter; they are provided with collars at the lower ends, which rest upon bosses in the lower frame, and with collars at the upper ends for supporting the upper frame; but the upper collars of two of the corner columns are screwed on, so as to enable the columns to be drawn up when it is required to get the cylinders out. The cross section of the bottom frame is also of the form of a hollow beam, 7 inches deep, except in the region of the condenser, where it is, of course, of a different form. The depth of the boss for the reception of the columns is a little more than 7 inches deep on the lower frame, and a little more than 6 inches deep on the upper frame; and the holes through them are so cored out, that the columns only bear at the upper and lower edges of the hole, instead of all through it--a formation by which the fitting of the columns is facilitated.
620. Q.--What are the dimensions of the condenser?
A.--The condenser, which is cast upon the lower frame, consists of an oval vessel 22-1/2 inches wide, by 2 feet 4-1/4 inches long, and 1 foot 10-1/2 inches deep; it stands 9 inches above the upper face of the bottom frame, the rest projecting beneath it; and it is enlarged at the sides by being carried beneath the trunnions.
621. Q.--What are the dimensions of the air pump?
A.--The air pump, which is set in the centre of the condenser, is 15-1/4 inches in diameter, and has a stroke of 11 inches. The foot valve is situated in the bottom of the air pump, and its seat consists of a disc of brass, in which there is a rectangular flap valve, opening upwards, but rounded on one side to the circle of the pump, and so balanced as to enable the valve to open with facility. The balance weight, which is formed of brass cast in the same piece as the valve itself, operates as a stop, by coming into contact with the disc which constitutes the bottom of the pump; the disc being recessed opposite to the stop to enable the valve to open sufficiently. This disc is bolted to the barrel of the pump by means of an internal flange, and before it can be removed the pump must be lifted out of its place. The air pump barrel is of brass to which is bolted a cast iron mouth piece, with a port for carrying the water to the hot well; within the hot well the delivery valve, which consists of a common flap valve, is situated. The mouth piece and the air pump barrel are made tight to the condenser, and to one another, by means of metallic joints carefully scraped to a true surface, so that a little white or red lead interposed makes an air tight joint. The air pump bucket is of brass, and the valve of the bucket is of the common pot lid or spindle kind. The injection water enters through a single cock in front of the condenser--the jet striking against the barrel of the air pump. The air pump rod is maintained in its vertical position by means of guides, the lower ends of which are bolted to the mouth of the pump, and the upper to the oval in the top frame, within which the air pump crank works; and the motion is communicated from this crank to the pump rod by means of a short connected rod. The lower frame is not set immediately below the top frame, but 2-1/2 inches behind it, and the air pump and condenser are 2-1/2 inches nearer one edge of the lower frame than the other.
622. Q.--What are the dimensions of the cylinder?
A.--The thickness of the metal of the cylinder is 9/16ths of an inch; the depth of the belt of the cylinder is 9-1/2 inches, and its greatest projection from the cylinder is 2-1/2 inches. The distance from the lower edge of the belt to the bottom of the cylinder is 11-1/2 inches, and from the upper edge of the belt to the top flange of the cylinder is 9 inches. The trunnions are 7-1/4 inches diameter in the bearings, and 3-1/2 inches in width; and the flanges to which the glands are attached for screwing in the trunnion packings are 1-1/2 inch thick, and have 7/8ths of an inch of projection. The width of the packing space round the trunnions is 5/8ths of an inch, and the diameter of the pipe passing through the trunnion 4-5/8ths, which leaves 11/16ths for the thickness of the metal of the bearing. Above and below each trunnion a feather runs from the edge of the belt or bracket between 3 and 4 inches along the cylinder, for the sake of additional support; and in large engines the feather is continued through the interior of the belt, and cruciform feathers are added for the sake of greater stiffness. The projection of the outer face of the trunnion flange from the side of the cylinder is 6-1/2 inches; the thickness of the flange round the mouth of the cylinder is 3/4 of an inch, and its projection 1-3/8 inch; the height of the cylinder stuffing box above the cylinder cover is 4-1/8 inches, and its external diameter 4-3/8 inches--the diameter of the piston rod being 2-1/8 inches. The thickness of the stuffing box flange is 1-1/8 inch.
623. Q.--Will you describe the nature of the communication between the cylinder and condenser?
A.--The pipe leading to the condenser from the cylinder is made somewhat bell mouthed where it joins the condenser, and the gland for compressing the packing is made of a larger internal diameter in every part except at the point at which the pipe emerges from it, where it accurately fits the pipe so as to enable the gland to squeeze the packing. By this construction the gland may be drawn back without being jammed upon the enlarged part of the pipe; and the enlargement of the pipe toward the condenser prevents the air pump barrel from offering any impediment to the free egress of the steam. The gland is made altogether in four pieces: the ring which presses the packing is made distinct from the flange to which the bolts are attached which force the gland against the packing, and both ring and flange are made in two pieces, to enable them to be got over the pipe. The ring is half checked in the direction of its depth, and is introduced without any other support to keep the halves together, than what is afforded by the interior of the stuffing box; and the flange is half checked in the direction of its thickness, so that the bolts which press down the ring by passing through this half-checked part, also keep the segments of the flange together. The bottom of the trunnion packing space is contracted to the diameter of the eduction pipe, so as to prevent the packing from being squeezed into the jacket; but the eduction pipe does not fit quite tight into this contracted part, but, while in close contact on the lower side, has about 1/32nd of an inch of space between the top of the pipe and the cylinder, so as to permit the trunnions to wear to that extent without throwing a strain upon the pipe. The eduction pipe is attached to the condenser by a flange joint, and the bolt holes are all made somewhat oblong in the perpendicular direction, so as to permit the pipe to be slightly lowered, should such an operation be rendered necessary by the wear of the trunnion bearings; but in practice the wear of the trunnion bearings is found to be so small as to be almost inappreciable.
624. Q.--Will you describe the valve and valve casing?
A.--The length of the valve casing is 16-1/2 inches, and its projection from the cylinder is 3-1/2 inches at the top, 4-1/4 inches at the centre, and 2-1/2 inches at the bottom, so that the back of the valve casing is not made flat, but is formed in a curve. The width of the valve casing is 9 inches, but there is a portion of the depth of the belt 1-1/2 inch wider, to permit the steam to enter from the belt into the casing. The valve casing is attached to the cylinder by a metallic joint; the width of the flange of this joint is 1-1/4 inch, the thickness of the flange on the casing 1/2 inch, and the thickness of the flange on the cylinder 5/8ths of an inch. The projection from the cylinder of the passage for carrying the steam upwards, and downwards, from the valve to the top and bottom of the cylinder, is 2-1/4 inches, and its width externally 8-5/8 inches. The valve is of the ordinary three ported description, and both cylinder and valve faces are of cast iron.
625. Q.--What description of piston is used?
A.--The piston is packed with hemp, but the junk ring is made of malleable iron, as cast iron junk rings have been found liable to break: there are four plugs screwed into the cylinder cover, which, when removed, permit a box key to be introduced, to screw down the piston packing. The screws in the junk ring are each provided with a small ratchet, cut in a washer fixed upon the head, to prevent the screw from turning back; and the number of clicks given by these ratchets, in tightening up the bolts, enables the engineer to know when they have all been tightened equally. In more recent engines, and especially in those of large size, Messrs. Penn employ for the piston packing a single metallic ring with tongue piece and indented plate behind the joint; and this ring is packed behind with hemp squeezed by the junk ring as in ordinary hemp-packed pistons.
626. Q.--Will you describe the construction of the cap for connecting the piston rod with the crank pin?
A.--The cap for attaching the piston rod to the crank pin, is formed altogether of brass, which brass serves to form the bearing of the crank pin. The external diameter of the socket by which this cap is attached to the piston rod is 3-5/16 inches. The diameter of the crank pin is 3 inches, and the length of the crank pin bearing 3-7/8 inches. The thickness of the brass around the crank pin bearing is 1 inch, and the upper portion of the brass is secured to the lower portion, by means of lugs, which are of such a depth that the perpendicular section through the centre of the bearing has a square outline measuring 7 inches in the horizontal direction, 3-7/8 inches from the centre of the pin to the level of the top of the lugs, and 2-1/2 inches from the centre of the pin to the level of the bottom of the lugs. The width of the lugs is 2 inches, and the bolts passing through them are 1-1/4 inch in diameter. The bolts are tapped into the lower portion of the cap, and are fitted very accurately by scraping where they pass through the upper portion, so as to act as steady pins in preventing the cover of the crank pin bearing from being worked sideways by the alternate thrust on each side. The distance between the centres of the bolts is 5 inches, and in the centre of the cover, where the lugs, continued in the form of a web, meet one another, an oil cup 1-5/8 inch in diameter, 1-1/8 inch high, and provided with an internal pipe, is cast upon the cover, to contain oil for the lubrication of the crank pin bearing. The depth of the cutter for attaching the cap to the piston rod is 1-1/4 inch and its thickness is 3/8ths of an inch.
627. Q.--Will you describe the means by which the air pump rod is connected with the crank which works the air pump?

A.--A similar cap to that of the piston rod attaches the air pump crank to the connecting rod by which the air pump rod is moved, but in this instance the diameter of the bearing is 5 inches, and the length of the bearing is about 3 inches. The air pump connecting rod and cross head are shown in perspective in fig. 50. The thickness of the brass encircling the bearing of the shaft is three fourths of an inch upon the edge, and 1-1/8 inch in the centre, the back being slightly rounded; the width of the lugs is 1-5/8 inch, and the depth of the lugs is 2 inches upon the upper brass, and 2 inches upon the lower brass, making a total depth of 4 inches. The diameter of the bolts passing through the lugs is 1 inch, and the bolts are tapped into the lower brass, and accurately fitted into the upper one, so as to act as steady pins, as in the previous instance. The lower eye of the connecting rod is forked, so as to admit the eye of the air pump rod; and the pin which connects the two together is prolonged into a cross head, as shown in fig. 50. The ends of this cross head move in guides. The forked end of the connecting rod is fixed upon the cross head by means of a feather, so that the cross head partakes of the motion of the connecting rod, and a cap, similar to that attached to the piston rod, is attached to the air pump rod, for connecting it with the cross head. The diameter of the air pump rod is 1-1/2 inch, the external diameter of the socket encircling the rod is 2-1/8 inches, and the depth of the socket 4-1/2 inches from the centre of the cross head. The depth of the cutter for attaching the socket to the rod is 1 inch, and its thickness 5/16 inch. The breadth of the lugs is 1-3/8 inch, the depth 1-1/4 inch, making a total depth of 2-1/2 inches; and the diameter of the bolts seven eighths of an inch. The diameter of the cross head at the centre is 2 inches, the thickness of each jaw around the bearing 1 inch, and the breadth of each 9/16 inch.
628. Q.--What are the dimensions of the crank shaft and cranks?
A.--The diameter of the intermediate shaft journal is 4-3/16 inches, and of the paddle shaft journal 4-3/8 inches; the length of the journal in each case is 5 inches. The diameter of the large eye of the crank is 7 inches, and the diameter of the hole through it is 4-3/8 inches; the diameter of the small eye of the crank is 5-1/4 inches, the diameter of the hole through it being 3 inches. The depth of the large eye is 4-1/4 inches, and of the small eye 3-3/4 inches; the breadth of the web is 4 inches at the shaft end, and 3 inches at the pin end, and the thickness of the web is 2-5/8 inches. The width of the notch forming the crank in the intermediate shaft for working the air pump is 3-1/2 inches, and the width of each of the arms of this crank is 3-15/16 inches. Both the outer and inner corners of the crank are chamfered away, until the square part of the crank meets the round of the shaft. The method of securing the cranks pins into the crank eyes of the intermediate shaft consists in the application of a nut to the end of each pin, where it passes through the eye, the projecting end of the pin being formed with a thread upon which the nut is screwed.
629. Q.--Will you describe the eccentric and eccentric rod?

A.--The eccentric and eccentric rod are shown in fig. 51. The eccentric is put on the crank shaft in two halves, joined in the diameter of largest eccentricity by means of a single bolt passing through lugs on the central eye, and the back balance is made in a separate piece five eighths of an inch thick, and is attached by means of two bolts, which also help to bind the halves of the eccentric together. The eccentric strap is half an inch thick, and 1-1/4 inch broad, and the flanges of the eccentric, within which the strap works, are each three eighths of an inch thick. The eccentric rod is attached to the eccentric hoop by means of two bolts passing through lugs upon the rod, and tapped into a square boss upon the hoop; and pieces of iron, of a greater or less thickness, are interposed between the surfaces in setting the valve, to make the eccentric rod of the right length. The eccentric rod is kept in gear by the push of a small horizontal rod, attached to a vertical blade spring, and it is thrown out of gear by means of the ordinary disengaging apparatus, which acts in opposition to the spring, as, in cases where the eccentric rod is not vertical, it acts in opposition to the gravity of the rod.
630. Q.--Will you explain in detail the construction of the valve gearing, or such parts of it as are peculiar to the oscillating engine?
A.--The eccentric rod is attached by a pin, 1 inch in diameter, to an open curved link or sector with a tail projecting upward and passing through an eye to guide the link in a vertical motion. The link is formed of iron case-hardened, and is 2-3/4 inches deep at the middle, and 2-3/8 inches deep at the ends, and 1 inch broad. The opening in the link, which extends nearly its entire length, is 1-5/16 inch broad; and into this opening a brass block 2 inches long is truly fitted, there being a hole through the block 3/4 inch diameter, for the reception of the pin of the valve shaft lever. The valve shaft is 1-3/4 inch diameter at the end next the link or segment, and diminishes regularly to the other end, but its cross section assumes the form of an octagon in its passage round the cylinder, measuring mid-way 1-1/4 inch deep, by about 3/4 inch thick, and the greatest depth of the finger for moving the valve is about 1 inch. The depth of the lever for moving the valve shaft is 2 inches at the broad, and 1-1/4 inch at the narrow end. The internal breadth of the mortice in which the valve finger moves is 5/16 inch, and its external depth is 1-3/4 inch, which leaves three eighths of an inch as the thickness of metal round the hole; and the breadth, measuring in the direction of the hole, is 1-1/2 inch. The valve rod is three fourths of an inch in diameter, and the mortice is connected to the valve rod by a socket 1 inch long, and 1-1/8 inch diameter, through which a small cutter passes. A continuation of the rod, eleven sixteenths of an inch diameter, passes upward from the mortice, and works through an eye, which serves the purpose of a guide. In addition to the guide afforded to the segment by the ascending tail, it is guided at the ends upon the columns of the framing by means of thin semicircular brasses, 4 inches deep, passing round the columns, and attached to the segment by two 3/8 inch bolts at each end, passing through projecting feathers upon the brasses and segment, three eighths of an inch in thickness. The curvature of the segment is such as to correspond with the arc swept from the centre of the trunnion to the centre of the valve lever pin when the valve is at half stroke as a radius; and the operation of the segment is to prevent the valve from being affected by the oscillation of the cylinder, but the same action, would be obtained by the employment of a smaller eccentric with more lead. In some engines the segment is not formed in a single piece, but of two curved blades, with blocks interposed at the ends, which may be filed down a little, to enable the sides of the slot to be brought nearer, as the metal wears away.
631. Q.--What kind of plummer blocks are used for the paddle shaft bearings?
A.--The paddle shaft plummer blocks are altogether of brass, and are formed in much the same manner as the cap of the piston rod, only that the sole is flat, as in ordinary plummer blocks, and is fitted between projecting lugs of the framing, to prevent side motion. In the bearings fitted on this plan, however, the upper brass will generally acquire a good deal of play after some amount of wear. The bolts are worked slack in the holes, though accurately fitted at first; and it appears expedient, therefore, either to make the bolts very large, and the sockets through which they pass very deep, or to let one brass fit into the other.
632. Q.--How are the trunnion plummer blocks made?
A.--The trunnion plummer blocks are formed in the same manner as the crank shaft plummer blocks; the nuts are kept from turning back by means of a pinching screw passing through a stationary washer. It is not expedient to cast the trunnion plummer blocks upon the lower frame, as is sometimes done; for the cylinders, being pressed from the steam trunnions by the steam, and drawn in the direction of the condenser by the vacuum, have a continual tendency to approach one another; and as they wear slightly toward midships, there would be no power of readjustment unless the plummer blocks were movable. The flanges of the trunnions should always fit tight against the plummer block sides, but there should be a little play sideways at the necks of the trunnions, so that the cylinder may be enabled to expand when heated, without throwing an undue strain upon the trunnion supports.
633. Q.--What kind of paddle wheel is supplied with these oscillating engines?
A.--The wheels are of the feathering kind, 9 feet 8 inches in diameter, measuring to the edges of the floats; and there are 10 floats upon each wheel, measuring 4 feet 6 inches long each, and 18-1/2 inches broad. There are two sets of arms to the wheel, which converge to a cast iron centre, formed like a short pipe with large flanges, to which the arms are affixed. The diameter of the shaft, where the centre is put on, is 4- 1/2 inches, the external diameter of the pipe is 8 inches, and the diameter of the flanges is 20 inches, and their thickness 1-1/4 inch. The flanges are 12 inches asunder at the outer edge, and they partake of the converging direction of the arms. The arms are 2-1/4 inches broad and half an inch thick; the heads are made conical, and each is secured into a recess upon the side of the flange by means of three bolts. The ring which connects together the arms, runs round at a distance of 3 feet 6 inches from the centre, and the projecting ends of the arms are bent backward the length of the lever which moves the floats, and are made very wide and strong at the point where they cross the ring, to which they are attached by four rivets. The feathering action of the floats is accomplished by means of a pin fixed to the interior of the paddle box, set 3 inches in advance of the centre of the shaft, and in the same horizontal line. This pin is encircled by a cast iron collar, to which rods are attached 1-3/8 inch diameter in the centre, proceeding to the levers, 7 inches long, fixed on the back of the floats in the line of the outer arms. One of these rods, however, is formed of nearly the same dimensions as one of the arms of the wheel, and is called the driving arm, as it causes the cast iron collar to turn round with the revolution of the wheel, and this collar, by means of its attachments to the floats, accomplishes the feathering action. The eccentricity in this wheel is not sufficient to keep the floats in the vertical position, but in the position between the vertical and the radial. The diameter of the pins upon which the floats turn is 1-3/8 inch, and between the pins and paddle ring two stud rods are set between each of the projecting ends of the arms, so as to prevent the two sets of arms from being forced nearer or further apart; and thus prevent the ends of the arms from hindering the action of the floats, by being accidentally jammed upon the sides of the joints. Stays, crossing one another, proceed from the inner flange of the centre to the outer ring of the wheel, and from the outer flange of the centre to the inner ring of the wheel, with the view of obtaining greater stiffness. The floats are formed of plate iron, and the whole of the joints and joint pins are steeled, or formed of steel. For sea-going vessels the most approved practice is to make the joint pins of brass, and also to bush the eyes of the joints with brass; and the surface should be large to diminish wear.
634. Q.--Can you give the dimensions of any other oscillating engines?
A.--In Messrs. Penn's 50 horse power oscillating engine, the diameter of the cylinder is 3 feet 4 inches, and the length of the stroke 3 feet. The thickness of the metal of the cylinder is 1 inch, and the thickness of the cylinder bottom is 1-3/4 inch, crossed with feathers, to give it additional stiffness. The diameter of the trunnion bearings is 1 foot 2 inches, and the breadth of the trunnion bearings 5-1/2 inches. Messrs. Penn, in their larger engines, generally make the area of the steam trunnion less than that of the eduction trunnion, in the proportion of 32 to 37; and the diameter of the eduction trunnion is regulated by the internal diameter of the eduction pipe, which is about 1/5th of the diameter of the cylinder. But a somewhat larger proportion than this appears to be expedient: Messrs. Rennie make the area of their eduction pipes, in oscillating engines, 1/22d of the area of the cylinder. In the oscillating engines of the Oberon, by Messrs. Rennie, the cylinder is 61 inches diameter, and 1-1/2 inch thick above and below the belt, but in the wake of the belt it is 1-1/4 inch thick, which is also the thickness of metal of the belt itself. The internal depth of the belt is 2 feet 6 inches, and its internal breadth is 4 inches. The piston rod is 6-3/4 inches in diameter, and the total depth of the cylinder stuffing box is 2 feet 4 inches, of which 18 inches consists of a brass bush--this depth of bearing being employed to prevent the stuffing box or cylinder from wearing oval.
635. Q.--Can you give any other examples?
A.--The diameter of cylinder of the oscillating engines of the steamers Pottinger, Ripon, and Indus, by Miller & Ravenhill, is 76 inches, and the length of the stroke 7 feet. The thickness of the metal of the cylinder is 1-11/16 inch; diameter of the piston rod 8-3/4 inches; total depth of cylinder stuffing box 3 feet; depth of bush in stuffing box 4 inches; the rest of the depth, with the exception of the space for packing, being occupied with a very deep gland, bushed with brass. The internal diameter of the steam pipe is 13 inches; diameter of steam trunnion journal 25 inches; diameter of eduction trunnion journal 25 inches; thickness of metal of trunnions 2-1/4 inches; length of trunnion bearings 11 inches; projection of cylinder jacket, 8 inches; depth of packing space in trunnions, 10 inches; width of packing space in trunnions, or space round the pipes, 1-1/2 inch; diameter of crank pin 10-1/4 inches; length of bearing of crank pin 15-1/2, inches. There are six boilers on the tubular plan in each of these vessels; the length of each boiler is 10 feet 6 inches, and the breadth 8 feet; and each boiler contains 62 tubes 3 inches in diameter, and 6 feet 6 inches long, and two furnaces 6 feet 4-1/2 inches long, and 3 feet 1-1/2 inch broad.
636. Q.--Is it the invariable practice to make the piston rod cap of brass in the way you have described?
A.--In all oscillating engines of any considerable size, the cover of the connecting brass, which attaches the crank pin to the connecting rod, is formed of malleable iron; and the socket also, which is cuttered to the end of the piston rod, is of malleable iron, and is formed with a T head, through which bolts pass up through the brass, to keep the cover of the brass in its place.
637. Q.--Is the piston of an oscillating engine made deeper than in common engines?
A.--It is expedient, in oscillating engines, to form the piston with a projecting rim round the edge above and below, and a corresponding recess in the cylinder cover and cylinder bottom, whereby the breadth of bearing of the solid part of the metal will be increased, and in many engines this is now done.
638. Q.--Would any difficulty be experienced in keeping the trunnions tight in a high pressure oscillating engine?
A.--It is very doubtful whether the steam trunnions of a high pressure oscillating engine will continue long tight if the packing consists of hemp; and it appears preferable to introduce a brass ring, to embrace the pipe, cut spirally, with an overlap piece to cover the cut, and packed behind with hemp.
639. Q.--How is the packing of the trunnions usually effected?
A.--The packing of the trunnions, after being plaited as hard as possible, and cut to the length to form one turn round the pipe, is dipped into boiling tallow, and is then compressed in a mould, consisting of two concentric cylinders, with a gland forced down into the annular space by three to six screws in the case of large diameters, and one central screw in the case of small diameters. Unless the trunnion packings be well compressed, they will be likely to leak air, and it is, therefore, necessary to pay particular attention to this condition. It is also very important that the trunnions be accurately fitted into their brasses by scraping, so that there may not be the smallest amount of play left upon them; for if any upward motion is permitted, it will be impossible to prevent the trunnion packings from leaking.
640. Q.--Will you describe the configuration and construction of a direct acting screw engine?
A.--I will take as an example of this species of engine, the engine constructed by Messrs. John Bourne & Co., for the screw steamer Alma, a vessel of 500 tons burden. This engine is a single steeple engine laid on its side, and in its general features it resembles the engines of the Amphion already described, only that there is one cylinder instead of two. The cylinder is of 42 inches diameter and 42 inches stroke, and the vessel has been propelled by this single engine at the rate of fourteen miles an hour.
641. Q.--Is not a single engine liable to stick upon the centre so that it cannot be started or reversed with facility?
A.--A single engine is no doubt more liable to stick upon the centre than two engines, the cranks of which are set at right angles with one another; but numerous paddle vessels are plying successfully that are propelled by a single engine, and the screw offers still greater facility than paddles for such a mode of construction. In the screw engine referred to, as the cylinder is laid upon its side, there is no unbalanced weight to be lifted up every stroke, and the crank, whereby the screw shaft is turned round, consists of two discs with a heavy side intended to balance the momentum of the piston and its connections; but these counter-weights by their gravitation also prevent the connecting rod and crank from continuing in the same line when the engine is stopped, and in fact they place the crank in the most advantageous position for starting again when it has to be set on.
642. Q.--Will you explain the general arrangement of the parts of this engine?
A.--The cylinder lies on its side near one side of the vessel, and from the end of the cylinder two piston rods extend to a cross head sliding athwartships, in guides, near the other side of the vessel. To this cross head the connecting rod is attached, and one end of it partakes of the motion of the cross head or piston, while the other end is free to follow the revolution of the crank on the screw shaft.
643. Q.--What is the advantage of two discs entering into the composition of the crank instead of one?
A.--A double crank, such as two discs form with the crank pin, is a much steadier combination than would result if only one disc were employed with an over-hung pin. Then the friction on the neck of the shaft is made one half less by being divided between the two bearings, and the short prolongation of the shaft beyond the journal is convenient for the attachment of the eccentrics to work the valves.
644. Q.--Will you enumerate some of the principal dimensions of this engine?
A.--The bottom frame, on which also the condenser is cast, forms the base of the engine: on one end of it the cylinder is set; on the other end are the guides for the cross head, and in the middle are the bearings for the crank shaft. The part where the cylinder stands is two feet high above the engine platform, and the elevation to the centre of the guides or the centre of the shaft is 10 inches higher than this. The metal both of the side frames and bottom flange is 1-1/4 inch thick. The cylinder has flanges cast on its sides, upon which it rests on the bottom frame, and it is sunk between the sides of the frame so as to bring the centre of the cylinder in the same plane as the centre of the screw shaft. The opening left at the guides for the reception of the guide blocks is 6 inches deep, and the breadth of the bearing surface is 11 inches. The cover of the guides is 8 inches deep at the middle, and about half the depth at the ends, and holes are cored through the central web for two oil cups on each guide. The brass for each of the crank shaft bearings is cut into four pieces so that it may be tightened in the up and down direction by the bolts, which secure the plummer block cap, and tightened in the athwartship direction, which is the direction of the strain, by screwing up a wedge-formed plate against the side of the brass, a parallel plate being applied to the other side of the brass, which may be withdrawn to get out the wedge piece when the shaft requires to be lifted out of its place. The air pump is bolted to one side of the bottom frame, and a passage is cast on it conducting from the condenser to the air pump. In this passage the inlet and outlet valves at each end of the air pump are situated, and appropriate doors are formed above them to make them easily accessible. The outlet passage leading from the air pump communicates with the waste water pipe, through which the water expelled by the air pump is discharged overboard.
645. Q.--Is the cylinder of the usual strength and configuration?
A.--The cylinder is formed of cast iron in the usual way, and is 1-1/8 inch thick in the barrel. The ends are of the same thickness, but are each stiffened with six strong feathers. The piston is cast open. The bottom of it is 5/8ths of an inch thick, and it is stiffened by six feathers 3/4 of an inch thick; but the feather connecting the piston rod eyes is 1-1/4 inch thick, and the metal round the eyes is 2 inches thick. The piston is closed by a disc or cover 5/8ths of an inch thick, secured by 15 bolts, and this cover answers also the purpose of a junk ring. The piston packing consists of a single cast iron ring 3-1/2 inches broad, and 1/2 inch thick, packed behind with hemp. This ring is formed with a tongue piece, with an indented plate behind the cut; and the cut is oblique to prevent a ridge forming in the cylinder. The total thickness of the piston is 5-1/2 inches. The piston rods are formed with conical ends for fitting into the piston, but are coned the reverse way as in locomotives, and are secured in the piston by nuts on the ends of the rods, these nuts being provided with ratchets to prevent them from unscrewing accidentally.
646. Q.--What species of slide valve is employed?
A.--The ordinary three ported valve, and it is set on the top of the cylinder. The cylinder ports are 4-1/2 inches broad by 24 inches long; and to relieve the valve from the great friction due to the pressure on so large a surface, a balance piston is placed over the back of the valve, to which it is connected by a strong link; and the upward pressure on this piston being nearly the same as the downward pressure on the valve, it follows that the friction is extinguished, and the valve can be moved with great case with one hand. The balance piston is 21 inches in diameter. In the original construction of this balance piston two faults were committed. The passage communicating between the condenser and the top of the balance piston was too small, and the pins at the ends of the link connecting the valve and balance piston were formed with an inadequate amount of bearing surface. It followed from this misproportion that the balance piston, being adjusted to take off nearly the whole of the pressure, lifted the valve off the face at the beginning of each stroke. For the escape of the steam into the eduction passage momentarily impaired the vacuum subsisting there, and owing to the smallness of the passage leading to the space above the balance piston, the vacuum subsisting in that space could not be impaired with equal rapidity. The balance piston, therefore, rose by the upward pressure upon it momentarily predominating over the downward pressure on the valve; but this fault was corrected by enlarging the communicating passage between the top of the balance piston and the eduction pipe. The smallness of the pins at the ends of the link connecting the valve and balance piston, caused the surfaces to cut into one another, and to wear very rapidly, and the pins and eyes in this situation should be large in diameter, and as long as they can be got, as they are not so easily lubricated as the other bearings about the engine, and are moreover kept at a high temperature by the steam. The balance piston is packed in the same way as the main piston of the engine. Its cylinder, which is only a few inches in length, is set on the top of the valve casing, and a trunk projects upwards from its centre to enable the connecting link to rise up in it to attain the necessary length.

647. Q.--What is the diameter of the piston rods and connecting rod?
A.--The piston rods, which are two in number, are 3 inches diameter, and 12 feet 10 inches long over all. They were, however, found to be rather small, and have since been made half an inch thicker. The connecting rod consists of two rods, which are prolongations of the bolts that connect the sides of the brass bushes which encircle the crank pin and cross head. The connecting rod is shown in perspective in fig. 52. The rods composing it are each 2-3/4 inches in diameter.
648. Q.--Will you describe the configuration of the cross head.
A.--The cross head, exhibited in fig. 53, is a round piece of iron like a short shaft, with two unequal arms keyed upon it, the longer of which b works the air pump, and the shorter c works the feed pump. The piston rods enter these arms at a A. The cross head is 8 inches diameter where it is embraced by the connecting rod at e, and 7 inches diameter where the air pump and feed pump arms are fixed on. The ends of the cross head d d, for a length of 12 inches, are reduced to 3 inches diameter where they fit into round holes in the centre of the guide blocks. Those blocks are of cast iron 6 inches deep, 11 inches wide, and 14 inches long, and they are formed with flanges 1 inch thick on the inner sides of the blocks. The projection of the air pump lever from the centre of the cross head is 1 foot 9 inches, and it is bent 5-3/4 inches to one side to enable it to engage the air pump rod. The eye of this arm is 6 inches broad and about 2 inches thick. At the part where one of the piston rods passes through it, the arm is 8 inches deep and 6 inches wide; but the width thereafter narrows to 3 inches, and finally to 2 inches; and the depth of the web of the arm reduces from 8 inches at the piston rod, to 4 inches at the eye, which receives the end of the air pump rod. The feed pump arm is only 3 inches thick, and has 9 inches of projection from the centre of the cross head; but the eye attached to it on the opposite side of the cross head for the reception of the other piston rod is of the same length as that part of the air pump arm which one of the piston rods passes through. The piston rods have strong nuts on each side of each of these arms to attach them to the arms, and also to enable the length of the piston rods to be suitably adjusted, to leave equal clearance between the piston and each end of the cylinder at the termination of the stroke.
649. Q.--Will you recapitulate the main particulars of the air pump?
A.--The air pump is made of brass 12-1/2 inches diameter and 42 inches stroke, and the metal of the barrel is 9/16ths of an inch thick. The air pump bucket is a solid piston of brass, 6-1/2 inches deep at the edge, and 7 inches deep at the eye; and in the edge three grooves are turned to hold water which answers the purpose of packing. The inlet and outlet valves of the air pump consist of brass plates 1/2 inch with strong feathers across them, and in each plate there are six grated perforations covered by india rubber discs 7 inches in diameter. These six perforations afford collectively an area for the passage of the water equal to the area of the pump. The air pump rod is of brass, 2-1/2 inches diameter.

650. Q.--What are the constructive peculiarities of the discs and crank pin?
A.--The discs, which are 64 inches diameter, are formed of cast iron, and are 2-1/2 inches thick in the body, and 5 inches broad at the rim. The crank shaft is 8-1/2 inches diameter, and the central boss of the disc which receives the shaft measures 10 inches through the eye, and the metal of the eye is 3 inches thick. In the part of the disc opposite to the crank pin, the web is thickened to 10 inches for nearly the whole semicircle, with the view of making that side of the disc heavier than the other side; and when the engine is stopped, the gravitation of this heavy side raises the crank pin to the highest point it can attain, whereby it is placed in mid stroke, and cannot rest with the piston rods and connecting rod in a horizontal line. The crank pin is 8-1/2 inches diameter, and the length of the bearing or rubbing part of it is 16 inches. It is secured at the ends to the discs by flanges 18 inches diameter, and 2 inches thick. These flanges are indented into thickened parts of the discs, and are each attached to its corresponding disc by six bolts 2 inches diameter, countersunk in the back of the disc, and tapped into the malleable iron flange. Besides this attachment, each end of the pin, reduced to 4-1/2 inches diameter, passes through a hole in its corresponding disc, and the ends of the pin are then riveted over. The crank pin is perforated through the centre by a small hole about 3/4 of an inch in diameter, and three perforations proceed from this central hole to the surface of the pin. Each crank shaft bearing is similarly perforated, and pipes are cast in the discs connecting these perforations together. The result of this arrangement is, that a large part of the oil or water fed into the bearings of the shaft is driven by the centrifugal action of the discs to the surface of the crank pin, and in this way the crank pin may be oiled or cooled with water in a very effectual manner. To intercept the water or oil which the discs thus drive out by their centrifugal action, a light paddle box or splash board of thin sheet brass is made to cover the upper part of each of the discs, and an oil cup with depending wick is supported by the tops of these paddle boxes, which wick is touched at each revolution of the crank by a bridge standing in the middle of an oil cup attached to the crank pin. The oil is wiped from the wick by the projecting bridge at each revolution, and subsides into the cup from whence it proceeds to lubricate the crank pin bearing. This is the expedient commonly employed to oil the crank pins of direct acting engines; but in the engine now described, there are over and above this expedient, the communicating passages from the shaft bearings to the surface of the pin, by which means any amount of cooling or lubrication can be administered to the crank pin bearing, without the necessity of stopping or slowing the engine.

651. Q.--What is the diameter of the screw shaft?
A.--The screw shaft is 7-1/2 inches diameter, but the bearings on each side of the disc are 8-1/2 inches diameter, and 16 inches long. Between the side of the disc and the side of the contiguous bearings there is a short neck extending 4-3/4 inches in the length of the shaft, and hollowed out somewhat to permit the passage of the piston rod; for one piston rod passes immediately above the shaft on the one side of the discs, and the other piston rod passes immediately below the shaft on the other side of the discs. A short piece of one piston rod is shown in fig. 54.


652. Q.--How is the thrust of the screw shaft received?
A.--The thrust of the screw shaft is received upon 7 collars, each 1 inch thick, and with 1 inch of projection above the shaft. The plummer block for receiving the thrust of the shaft is shown in fig. 55, and the coupling to enable the screw propeller to be disconnected from the engine, so that it may revolve freely when the vessel is under sail, is shown in fig. 56. When it is required to disengage the propeller from the engine, the pins passing through the opposite eyes shown fig. 56, are withdrawn by means of screws provided for that purpose, and the propeller and the engine are thenceforth independent of one another.

653. Q.--Will you describe the arrangement of the valve gearing?
A.--The end of the screw shaft, after emerging from the bearing beside the disc, is reduced to a diameter of 4 inches, and is prolonged for 4-1/2 inches to give attachment to the cam or curved plate which gives motion to the expansion valve. This plate is 3-1/2 inches thick, and a stud 3-1/2 inches diameter is fixed in the plate at a distance of 5 inches from the centre of the shaft. To this stud an arm is attached which extends to a distance of 2 inches from the centre of the shaft in the opposite direction, and the end of this arm carries a pin of 2-1/2 inches diameter. From the pin most remote from the centre of the shaft, a rod 2-1/2 inches broad and 1 inch thick extends to the upper end of the link of the link motion; and from the pin least remote from the centre of the shaft, a similar rod extends to the lower end of the link of the link motion. This link, which is represented in fig. 57, is 2-1/4 inches broad, 1 inch thick, and is capable of being raised or lowered 25 inches in all. In the open part of the link is a brass block, which, by raising or lowering the link, takes either the position in which it is represented at the centre of the link, or a position at either end of it. Through the hole in the brass block a pin passes to attach the brass to the end of a lever fixed on the valve shaft; so that whatever motion is imparted to the brass block is communicated to the valve through the medium of this lever. If the brass block be set in the middle of the link, no motion is communicated to it, and the valve being consequently kept stationary and covering both ports, the engine stops. If the link be lowered until the brass block comes to the upper end of the link, the valve receives the motion of the eccentric for going ahead, and the engine moves ahead; whereas if the link be raised until the brass block comes to the lower end of the link, the valve receives the motion of the backing eccentric, and the engine moves astern. Instead of eccentrics, however, pins at the end of the shaft are employed in this engine, the arrangement partaking of the nature of a double crank; but the backing pin has less throw than the going ahead pin, whereby the efficient length of the link for going ahead is increased; and the operation of backing, which does not require to be performed at the highest rate of speed, is sufficiently accommodated by about half the throw being given to the valve that is given in going ahead. A valve shaft extends across the end of the cylinder with two levers standing up, which engage horizontal side rods extending from a small cross head on the end of the valve rod. A lever extends downwards from the end of the valve shaft, which is connected by a pin to the brass block within the link; and the link is moved up or down by the starting handle, which, by means of a spring bolt shooting into a quadrant, holds the starting handle at any position in which it may be set.
654. Q.--What is the diameter and pitch of the screw propeller?
A.--The diameter is 7 feet and the pitch 14 feet. The propeller is Holm's conchoidal propeller. Its diameter is smaller than is advisable, being limited by the draught of water of the vessel; and the vessel was required to have a small draught of water to go over a bar. This engine makes, under favorable circumstances, 100 strokes per minute. The speed of piston with this number of strokes is 700 feet per minute, and the engine works steadily at this speed, the shock and tremor arising from the arrested momentum of the moving parts being taken away by the counterbalance applied at the discs.
655. Q.--Will you describe the principal features of a modern locomotive engine?
A.--I will take for this purpose the locomotive Snake, constructed by John V. Gooch for the London and South Western Railway, as an example of a modern locomotive of good construction, adapted for the narrow gauge. The length of the wheel base of this engine is 12 feet 8-1/2 inches. There are two cylinders, each 14¼ inches diameter and 21 inches stroke. The total weight of the engine is 19 tons; and this weight is so distributed on the wheels as to throw 8 tons on the leading wheels, 6 tons on the driving wheels, and 5 tons on the hind wheels. The engine is made with outside cylinders, and the cylinders are raised somewhat out of the horizontal line to enable them better to clear the leading wheels.
656. Q.--What are the dimensions of the boiler?
A.--The interior of the fire box is 3 feet 7-1/4 inches wide by 3 feet 5-1/2 inches long, measuring in the direction of the rails. The area of the fire grate is consequently 12.4 square feet. The bars are somewhat lower on the side next the fire door than at the side next the tubes, and the mean height of the crown of the fire box above the bars is 3 feet 10 inches. The top edge of the fire door is about 7 inches lower than the crown of the fire box. The fire box is divided transversely by a corrugated feather or bridge of plate iron, containing water, about 3-1/2 inches wide, and of about one-third of the height of the fire box in the centre of the feather, and about two-thirds the height of the fire box at the sides where it joins the sides of the fire box. The internal shell of the fire box tapers somewhat upwards to facilitate the disengagement of the steam. It is about 2 inches narrower and shorter at the top than at the bottom; the water space between the external and internal shell of the fire box being 2 inches at the bottom and 3 inches at the top.
657. Q.--Of what material is the fire box composed?
A.--The external shell of the fire box is formed of iron plates 3/8ths of an inch thick, and the internal shell is formed of copper plates 1/4 inch thick, but the tube plate is ¾ inch thick. The fire grate is rectangular, and the internal and external shells are tied together by iron stay bolts 3/4 inch diameter, and pitched about 4 inches apart. The roof of the fire box is stiffened by six strong bars extending from side to side of the fire box like beams, and the top of the fire box is secured to these bars, so that it cannot be forced down without breaking or bending them.
658. Q.--What are the dimensions of the barrel of the boiler?
A.--The barrel of the boiler is 3 feet 7-1/2 inches in diameter, and 10 feet long. It is formed of iron plates 3/8ths of an inch thick, riveted together. It is furnished with 181 brass tubes 1-7/8 inch diameter and 10 feet long, secured at the ends by ferules. The tube plate at the smoke box end is 5/8ths of an inch thick, and the tube plates above the tubes are tied together by eight iron rods 7/8ths of an inch thick, extending from end to end of the boiler. The metal of the tubes is somewhat thicker at the end next the fire, being 13 wire gauge at fire box end, and 14 wire gauge at smoke box end. The rivets of the boiler are 3/4 inch diameter and 1-1/2 inch pitch. The plating of the ash pan is 5/16ths of an inch thick, and the plating of the smoke box is 3/16ths of an inch thick.
659. Q.--Will you describe the structure of the framework on which the boiler and its attachments rest, and in which the wheels are set?
A.--The framework or framing consists of a rectangular structure of plate iron circumscribing the boiler, with projecting lugs or arms for the reception of the axles of the wheels. In this engine the sides of the rectangle are double, or, as far as regards the sides, there are virtually two framings, one for the reception of the driving axles, and the other for the reception of the axles not connected with the engine. The whole of the parts of the outer and inner framings are connected together by knees at the corners, and the double sides are elsewhere connected by intervening brackets and stays, so as to constitute the whole into one rigid structure. The whole of the plating of the inside frame is 3/4 inch thick and 9 inches deep. The plating of the outside frame is of the same thickness and depth at the fore part, until it reaches abaft the position of the cylinders and guides, where it reduces to 1/2 inch thick. The axle guard of the leading wheels is formed of 3/4 plate bolted to the frame with angle iron guides. The axle guards of the trailing wheels are formed of two 1/2 inch plates, with cast iron blocks between them to serve as guides. The ends of the rectangular frame are formed of plates 3/4 thick, and at the front end there is a buffer beam of oak 4-1/2 inches thick and 15 inches deep. The draw bolt is 2 inches diameter. There are two strong stays on each side, joining the barrel of the boiler to the inside framing, and one angle iron on each side joining the bottom of the smoke box to the inside framing.
660. Q.--Of what construction are the wheels?
A.--The wheels and axles are of wrought iron, and the tires of the wheels are of steel. The driving wheels are 6 feet 6-1/2 inches in diameter, and the diameter of crank pin is 3-1/2 inches. The diameter of the smaller wheels is 48-1/2 inches. The axle boxes are of cast iron with bushes of Fenton's metal, and the leading axle has four bearings. The springs are formed of steel plates, 3 feet long, 4 inches broad, and 1\2 inch thick. The axle of the driving wheel has two eccentrics, forged solid upon it, for working the pumps.
661. Q.--Will you specify the dimensions of the principal parts of the engine?
A.--Each of the cylinders which is 14-1/4 inches diameter, has the valve casing cast upon it. The steam ports are 13 inches long and 1-5/8 inches broad, and the exhaust port is 2-1/2 inches broad. The travel of the valve is 4-1/8 inches, the lap 1 inch, and the lead 1/4 inch. The piston is 4 inches thick: its body is formed of brass with a cover of cast iron, and between the body and the cover two flanges, forged on the piston rod, are introduced to communicate the push and pull of the piston to the rod. The piston rod is of iron, 2-1/2 inches diameter. The guide bars for guiding the top of the piston rod are of steel, 4 inches broad, fixed to rib iron bearers, with hard wood 1/4 of an inch thick, interposed. The connecting rod is 6 feet long between the centres, and is fitted with bushes of white metal. The eccentrics are formed of wrought iron, and have 4-1/8 inches of throw. The link of the link motion is formed of wrought iron. It is hung by a link from a pin attached to the framing; and instead of being susceptible of upward and downward motion, as in the case of the link represented in fig. 57 a rod connecting the valve rod with the movable block in the link, is susceptible of this motion, whereby the same result is arrived at as if the link were moved and the block was stationary. One or the other expedient is preferable, according to the general nature of the arrangements adopted. The slide valve is of brass, and the regulator consists of two brass slide valves worked over ports in a chest in the steam pipe, set in the smoke box. The steam pipe is of brass, No. 14. wire gauge, perforated within the boiler barrel with holes 1/12th of an inch in diameter along its upper side. The blast pipe, which is of copper, has an orifice of 4-1/4 inches diameter. There is a damper, formed like a Venetian blind, with the plates running athwartships at the end of the tubes.

662. Q.--Of what construction is the safety valve?
A.--There are two safety valves, consisting of pistons 1-3/16 inch in diameter, and which are kept down by spiral springs placed immediately over them. A section of this valve is given in fig. 58.
663. Q.--What are the dimensions of the feed pumps?
A.--The feed pumps are of brass, with plungers 4 inches diameter and 3-1/4 inches stroke. The feed pipe is of copper, 2 inches diameter. A good deal of trouble has been experienced in locomotives from the defective action of the feed pump, partly caused by the leakage of steam into the pumps, which prevented the water from entering them, and partly from the return of a large part of the water through the valves at the return stroke of the pump, in consequence of the valve lifting too high. The pet cock--a small cock communicating with the interior of the pump--will allow any steam to escape which gains admission, and the air which enters by the cock cools down the barrel of the pump, so that in a short time it will be in a condition to draw. The most ordinary species of valve in the feed pumps of locomotives, is the ball valve.
Notwithstanding the excellent performance of the best examples of locomotive engines, it is quite certain that there is still much room for improvement; and indeed various sources of economy are at present visible, which, if properly developed, would materially reduce the expense of the locomotive power. In all engines the great source of expense is the fuel; and although the consumption of fuel has been greatly reduced within the last ten or fifteen years, it is capable of being still further reduced by certain easy expedients of improvement, which therefore it is important should be universally applied. One of these expedients consists in heating the feed water by the waste steam; and the feed water should in every case be sent into the boiler boiling hot, instead of being quite cold, as is at present generally the case. The ports of the cylinders should be as large as possible; the expansion of the steam should be carried to a greater extent; and in the case of engines with outside cylinders, the waste steam should circulate entirely round the cylinders before escaping by the blast pipe. The escape of heat from the boiler should be more carefully prevented; and the engine should be balanced by weights on the wheels to obviate a waste of power by yawing on the rails. The most important expedient of all, however, lies in the establishment of a system of registering the performance of all new engines, in order that competition may stimulate the different constructors to the attainment of the utmost possible economy; and under the stimulus of comparison and notoriety, a large measure of improvement would speedily ensue. The benefits consequent on public competition are abundantly illustrated by the rapid diminution of the consumption of fuel in the case of agricultural engines, when this stimulus was presented.
In the English edition of this work, the first part of this chapter is devoted to examples of Portable and fixed Agricultural engines, of different makers and styles of workmanship, but not in sufficient detail, nor illustrated on large enough scale to be of practical value as models, forming rather in fact an illustrated catalogue of the manufacturer, than a study for the mechanic. On this account, they have been entirely omitted, and their place supplied by a few illustrations from American workmanship, not only of Steam Engines, of various forms and applications, but also of various machines, or appliances, connected with the working of engines, as for the determination, or regulation of pressure, of the boilers; for the supply or feed of the boilers, the regulation of the speed of the engine, and the like.
The Gauges used in this country to show the pressures of steam in boilers are of various constructions, but perhaps the most common is the Bourdon, or, as it is known here, the Ashcroft gauge, from the party introducing it, and holding the patent. Fig. 59 represents its interior construction. It consists of a thin metallic tube, a, bent into nearly a complete circle closed at one end, the steam being introduced at the other, at b. The effect of the pressure of the steam on the interior of the tube is to expand the circle, more or less according to the pressure, the elasticity of the metal returning the circle to its original position, when the pressure is removed. The free or closed end of the tube is connected by a link c with a lever d, at the opposite end of which is segmental gear, in gear with a pinion, on which is a hand, which marks the pressure on a dial. The dial and hand are not shown on the cut, but are on the exterior case removed to show the construction.

Fig. 60 is an elevation of a boiler with Clark's Patent Steam and Fire Regulator attached, for the control of the draft of the chimney by the pressure of steam in the boiler. It consists of a chamber, a, with a flexible diaphragm or cover on top, in communication with the boiler. On this diaphragm rests a plunger or piston, which is held down like a safety valve, by a lever and weight, b. The end of the lever is connected with a balanced damper, c, in the chimney. The weight, b, is placed at any required position on the lever, and when the pressure of steam in the boiler, exerted on the diaphragm, becomes sufficient to raise the weight, the lever rises, and the damper begins to close, and to check the draft in the chimney. When properly adjusted, the machine works on a variation of from, one to two pounds between the extremes of motion. When the dampers are very large, say 3 feet or over, they should be set on rollers, like common grindstone rollers; the regulator should be attached directly to the damper, the length of the pipe connecting the regulator with the boiler being of no account.

Porter's Patent Governor, fig. 61, is a modification of the ordinary centrifugal governor. Very small balls are employed, from 2-1/4 to 2-5/8 inches in diameter. These swing from a single joint at the axis of the spindle, which is the most sensitive arrangement, and make from 300 to 350 revolutions per minute, at which speed their centrifugal force lifts the counterpoise. The lower arms are jointed to the upper ones at the centres of the balls, and connect with the slide by joints about two inches apart. The counterpoise may be attached to the slide in any manner; for the sake of elegance, it is put in the form of a vase rising between the arms, its stem forming the slide. The vase is hollow and filled with lead, and weighs from 60 lbs. to 175 lbs. It moves freely on the spindle, through nearly twice the vertical distances traversed by the balls, and is capable of rising from 2-1/2 to 3 inches, before its rim will touch the arms. It is represented in the figure as lifted through about one half of its range of action.

The standard is bored out of the solid, forming a long and perfect bearing for the spindle; the arms and balls are of gun metal, the joint pins of steel; every part of the governor is finished bright, except the bracket carrying the lever, and the square base of the standard, which are painted. The pulley is from 3 to 10 inches in diameter, and makes in the larger sizes about 125 revolutions, and in the smaller 230 revolutions per minute; the higher speed of the governor being got up by gearing.
Mr. Porter warrants the following action in this governor, operating any regulating valve or cut-off which is in reasonably good order. The engine should be run with the stop-valve wide open, and, except the usual oiling, will require no attention from the engineer, under any circumstances, after it is started, until it is to be stopped. No increase in the pressure of steam will affect its motion perceptibly. The extreme possible variation in the speed, between that at which the regulating valve will be held wide open, and that at which it will be closed, is from 3 to 5 per cent., being least in the largest governors. This is less than 1/6 of the variation required by the average of ordinary governors, and is with difficulty detected by the senses. The entire load which the engine is capable of driving may be thrown on or off at once, and one watching the revolutions cannot tell when it is done. The governor will be sensibly affected by a variation in the motion of the engine of 1 revolution in 800. Notwithstanding this extreme sensitiveness, or rather by reason of it, it will not oscillate, but when the load is uniform will stand quite, or nearly, motionless.
For the supply of the water to the boiler, in many positions, it is very convenient to have a pump unconnected with the engine. On this account it is very usual in this country to have what are called donkey pumps or engines independent of the main engines, which can be used to feed the boilers, or for supplying water for many other purposes.
Fig. 62 is a longitudinal section of the Worthington Steam Pump, the first of its kind, and for many years in successful operation.
The general arrangement is that of a Steam Cylinder, the piston rod of which, carried through into the water cylinder and attached directly to the water plunger, works back and forth without rotary motion, and of course without using either crank or fly wheel.

In the figures, a is the Steam Cylinder--b, the Steam Chest-- d, a handle for regulating the steam valve--f, the starting bar g, g, tappets attached to the valve rod, which is moved by the contact of the arm e, on the piston rod with said tappets--h, the double-acting water plunger working through a packing ring--o, o, force valves--o', o', suction valves. The pump piston is represented as moving from right to left, the arrows indicating the course of the water through the passages. The suction valves ö', on the right side, and the force valves o, on the left side, are show open; x, is an air chamber made of copper; s, the suction pipe terminating in a vacuum chamber; made by prolonging the suction pipe, and closing it perfectly tight at the top, the connection being made to the pump by a branch as shown; m, m, are hand-hole plates, affording easy access to the water valves; n, n, small holes through the plunger, which relieve the pressure near the end of the stroke, to give momentum to throw the valves when working at slow speed.

Fig. 63 is a perspective view of H.R. Worthington's Duplex Steam Pump. The prominent peculiarity of this pump is its valve motion. As seen in the cut, two steam pumps are placed side by side (or end to end, if desired). Each pump, by a rock shaft connected with its piston rod, gives a constant and easy motion to the steam valve of the other. Each pump therefore gives steam to and starts its neighbor, and then finishes its own stroke, pausing an instant till its own steam valve, being opened by the other pump, allows it to make the return stroke.
This combined action produces a perfectly positive valve motion without dead points, great regularity and ease of motion, and entire absence of noise or shock of any kind. Both kinds of pumps are made by Mr. Worthington, of various size according to the requirements, the duplex being used for boiler feed and for the supply of cities with water.

Fig. 64 is a side elevation of the Woodward Steam Pump. The pump is direct acting. The steam and water piston being on the same rod, but momentum is obtained to throw the valves by means of a fly wheel, placed beyond the pump, and connected with the piston rod by a cross head and a yoke. The machine is simple in its construction and action, and is extensively used.
Giffard's Injector, both in Europe and this country, is quite extensively used to supply the place of a pump, as independent feed for all classes of boilers. It is represented in elevation and section, figs. 65 and 66.

A, steam pipe leading from the boiler. B, a perforated tube or cylinder, through which the steam passes into the space b. C screwed rod for regulating the passage of steam through the annular conical space c, and worked by the handle d/. E, suction pipe, leading from the tank or hot well to small chamber m. F, annular conical opening or discharge pipe, the size of which is regulated by the movement of the tube or cylinder B. G, hand wheel for actuating the cylinder B. H, opening, in connection with the atmosphere, intervening between discharge pipe F and the receiving pipe through which the water is forced. I, tube through which the water passes to the boiler. K, valve for preventing the return of the water from the boiler when the injector is not working. L, waste or overflow pipe. M, nut to tighten the packing rings g and upper packing i in cylinder B. N, lock nut to hold M.
The pipe A is connected with the steam space of the boiler at its highest part, to obtain as dry steam as possible. The passage of the steam into A is controlled by a cock, as is also the feed pipe to the boiler. In working, both are opened, the steam passes through A into the space b, and issuing through the nozzle c with the pressure due to its head, and a partial vacuum by its contact with the feed water, it drives this water in connection with the jet through the pipe F into the pipe I in connection with the water space of the boiler.
Method of Working.--Turn the wheel so as to permit a small quantity of water to flow to the instrument. Open the steam cock connecting the apparatus with the boiler. Turn slightly the handle, which will admit a small quantity of steam to the apparatus; a partial vacuum is thus produced, causing the water to enter through the supply pipe. As soon as this happens, which can be observed at the overflow pipe, the supply of steam or water may be increased as required, up to the capacity of the instrument, regulating either by means of the wheel and handle, so as to prevent any overflow. The quantity of water delivered into the boiler, may be varied by means of the stop cocks on the steam and water pipes, without altering the handles on the injector; a graduated cock on the water supply pipe is very convenient for this purpose.
The machines are manufactured by Wm. Sellers & Co. Philadelphia.
As an example of Portable Steam Engines, of which there are large numbers in this country of different manufacturers, we give the representation (fig. 67) of one made by J.C. Hoadley, of Lawrence, Mass.

In these machines, the rules and proportions of the locomotive engine are adapted to the requirements of stationary power, for all purposes under forty horse power. The leading ideas are: high velocity, high pressure, good valve motion, large fire-box, numerous and short flues, and steam blast. The characteristic features are: great strength of boiler, fully adequate to bear with safety 200. lbs. pressure per sq. in., great compactness and simplicity, large and adjustable wearing surfaces, and the entire absence of all finish, or polish, for mere show.
The cylinder is placed over the centre of the boiler, at the fire-box end, so that the strain due to the engine is central to the boiler (which serves as bed plate); the starting valve is under the hand of the engineer when at the fire door; and both ends of the crank shaft are available for driving pulleys.
For the sake of compactness, the cylinders are set low, by means of a depression in the boiler between the stands of the crank shaft, to admit of the play of the crank and connecting rod. All the parts are attached to the boiler, which is made of sufficient strength to bear all extra strain due to the working of the engine.
They have feed water heater, force pumps, Jackson's governor and valve, belt for governor, belt pulley, turned on the face, steam gauge; everything, in short, necessary to the convenient working of a steam engine. All engines are fired up and tried before they leave the shop, and they are warranted tight, safe, and complete.
A strong and convenient running gear, so arranged as to be easily attached and detached at pleasure, is furnished, if desired; forming, when separate, a useful wagon.

Fig. 68 is a compact vertical engine, as built by R. Hoe & Co., of this city. It is intended to drive printing presses, but is adapted to any kind of work, and is especially suited to such places as require economy of space. Although the value of expansion has been called in question by some of the engineers of the United States Navy, and under an appropriation from Congress is now to be made the subject of experiment; yet, in almost all the manufactories and workshops of the United States, no matter what the form of steam engine, or the purposes to which it is applied, whether stationary, locomotive, or marine, some form of cut-off, by which expansion of the steam can be availed of, is considered indispensable. Many varieties are in use, but those engines are most popular in which the cut-off is applied directly to the valves on the cylinder, opening them quickly and shutting off almost instantly, avoiding all wire drawing of the steam at the ports, and regulating the speed of the engine promptly. Of this class of engines, those manufactured by the Corliss Steam Engine Company, of Providence, R.I., are perhaps the widest known, not only for their extensive introduction, but also from having, by a long and successful litigation, established the claims of the patentee, Mr. George H. Corliss.

Fig. 70 is a section of the cylinder and valve chests of a horizontal Corliss engine. S is the steam connection, and E the exhaust; there are two distinct sets of valves, the steam s, s', and the exhaust e, e', operated independently of each other. In their construction the valves may be considered cylindrical plugs, of which portions near the ports are cut away to admit the steam and reduce the bearing surface; the valves are fitted on the lathe and the seats by boring. The motion given to the valves is rocking, but it will be observed that the valves are not firmly connected to the rocking shaft or cylinder; in the figure the valves are shown shade lined, and the shaft or stem plain; in this way the valves are not affected by the packing of the valve stem, but always rest upon the face of the ports. In the figure the piston is just about to commence its outstroke, the movement of the steam is supposed to be represented by the arrows; the inner steam valve s, and the outer exhaust e', are just beginning to open. It will be observed that the outer steam s' is fully closed, whilst the inner exhaust valve e is but barely so, showing that there has been a cut- off on the steam valve, but no lead to the exhaust, that it was left fully open till the completion of the stroke.

Fig. 71 is a side elevation of the cylinder, with the valve connections with the governor. S is the steam pipe; s, s' handles to the steam valves, and e, e' to the exhaust valves, shown in dotted line in fig. 70. The handles to the exhaust valves are connected directly to a rocking plate R, to which motion is given by a connection x, with an eccentric on the engine shaft. When once set, therefore the movement of the exhaust valves is constant, and they will always be opened and closed at the same point of the stroke. Connected with the rocking plate R, and on opposite sides of its centre, the same as the exhaust valve connections, there are two levers, vibrating on a centre c, of which one only is shown, as it covers the other; to the upper ends of these levers pawls are attached, one end of which rests on the stems or rods connected with the handles s, s', of the steam valves; on these stems there are notches against which the pawls strike, and as the levers vibrate inward they push back the stems and thereby open the valves, and this continues for the whole length of the inward motion of the levers, or till the outer extremities of the pawls come in contact with the end of the short lever l, which, pushing down the outer end of the pawls, relieves the stems at the other ends, and the valve stem returns to its place through the force of springs attached to the outer extremities of the valve stems a, are cylindrical guides to the valve stems, at the inner extremities of which are air cushions. The lever l is connected directly with the governor. As the balls rise, they depress the extremity, which comes in contact with the pawls sooner, and thereby shut the valves earlier; and on the contrary when the balls are depressed, the valves remain open longer; as the pawls come in contact with the stems always at one point, the steam valves open constantly, but are closed at any point by the relief of the pawls, according to the speed of the governor.
Fig. 71 represents, partly in section and partly in plan, the cylinder, steam chests, valves, &c., of one of the Woodruff & Beach high pressure Engines, Wright's patent.
Fig. 72 represents, in elevation, the cam shaft, to the upper end of which, not shown in the drawing, is attached the ordinary centrifugal governor. The cylinder, steam chests, valves, &c., being similar to those of other engines, need no special notice; but the cam for opening and closing the steam valves, fig. 72, requires particular attention, as it embodies a beautiful and simple device for cutting off the steam with certainty at any part of the stroke, the motion being produced automatically by the action of the governor on this cam, throwing it more or less out of centre with the spindle of the governor, as the rotation of the balls is less or more rapid, the eccentricity of the cam determining the amount of steam admitted to the working cylinder of the engine. To produce this effect the cam is made as follows:
C is a hollow cylinder or shell, with a part of one end formed into a cam proper. Throughout the whole length of this piece, upon the inside, there is a spiral groove cut to receive one end of a feather, by which its pitch or eccentricity is regulated. C' is also a hollow cylinder or shell, of the same length and diameter as C, with a similar spiral groove cut on the inside, the outside being perfectly smooth and plain, upon which the toe (t) for closing the valves is fastened. The inside piece consists of two hubs D, D', eccentric with each other, and made in one piece, D being turned to exactly fit the inside of the shell C, and D' to fit the shell C', the hub D' having a socket (c) into which the spindle (s) of the governor is screwed; the end (d) of the hub D forming a journal or bearing, with a bevel wheel on its extremity to convey motion from the crank-shaft gearing to the governor and cut-off. There is a hole throughout the length of the inside hubs D and D', which is continued through the spindle of the governor, and contains the rod (r) that connects the cam with the governor. This hole is eccentric to the outside surface of the hub D, as well as to the shell C, and concentric with the hub D' and shell C', and with the governor rod (r).
The shell C and hub D, and shell C' and hub D', are connected together by feathers; one piece of each feather is of a spiral form, and the other a straight or rectangular piece, the two being connected together by a stub on the rectangular piece, which fits into a hole or bearing in the other or spiral piece, so that the latter can turn on the stub and accommodate itself to the groove in which it has to work. The spiral part of each feather works in the spiral groove on the inside of its corresponding shell C and C' respectively, and the rectangular pieces work in a straight groove cut in the hubs D and D', the inner parts of the rectangular pieces being fastened to the governor rod (r), so that the feathers are permanently connected with the governor.
The shell C' revolves inside of two yokes (y) and (y'), one attached to each steam-valve toe, (a) and (a') respectively.
On the inside of each yoke, and opposite to its valve-toe, is a raised piece, against which the closing piece (t) on the shell (C') acts to close the valves.
This shell (C'), as before noticed, has a spiral groove on its inside, similar in all respects to that in the cam-shell (C); and being acted upon in the same manner and through the same rod by the governor, it is evident that the closing piece (t) on its outside will always hold the same relation to the opening toe on the lower or cam-shell (C); and whatever alteration is made in the one, a corresponding alteration takes place in the other, thereby insuring the closing of the valves at the proper time at every point of the variation of the cut-off.
When the several pieces above described are put together, the apparatus for opening and closing the valves and producing the cut-off is complete, as shown in fig. 72, and it operates as follows:


Motion is communicated by gearing from the crank-shaft to the bevel wheel on the piece (d) on the end of the hub D, and is communicated to the spindle of the governor, which is screwed into the socket on D'. As the balls rise or fall, through change of centrifugal force due to the variation in the speed of rotation, they raise or depress the governor-rod, which passes through the spindle and the hubs D' and D, and is attached to the feathers, thereby raising or depressing the feathers, which, acting on their respective spiral grooves, instantly alters the lift of the cam on the shell (C), and brings the closing toe (t) on the shell (C') into proper position for closing, and so regulates the amount of steam admitted to the cylinder.

Consequently, any speed may be selected at which the load of the engine is to move, and any variation from that will be instantly felt by the governor, and corrected by this simple and beautiful device. There is no jar in the working of the parts; the feathers move noiselessly in their grooves; the governor rod moves up and down through the spindle and the hubs D and D', and can be regulated by hand to give any required opening of the steam ports to suit the work to be done. Any change in the amount of work will then alter the speed of the engine, and so affect the governor and cam, as before said.
It is unnecessary to insist on the great economy attained by using steam with a well-regulated cut-off, for practical men know now that the essential points of excellence in the steam engine are a good boiler, which generates the greatest quantity of steam for the least consumption of fuel; and, secondly, a reliable cut-off, which uses the steam to the best advantage, by admitting the proper quantity for the work required.
STEAM FIRE ENGINES.--Portable engines for the extinguishment of fires, are an American invention, and to Messrs. A.B. & E. Latta, of Cincinnati, working on the right principles, is due the credit which they claim in their circular, as follows:
"We claim to be the original and first projectors of the first successful steam fire engine in the world's history. There have been many attempts at making a machine of such construction as would answer to extinguish fires; but none of them proved to be available in a sufficiently short space of time to warrant their use as a fire apparatus. We hold that a steam fire engine should be of such nature as to be brought into requisition in as short a space of time as is necessary to get the machine on the ground, and the hose laid and ready to work: that is, supposing the fire to be within one square of the place where the steamer is located. The object in locating a machine at any point is to protect that immediate vicinity; and it is therefore absolutely necessary to have it available in the shortest space of time, and that with unerring certainty. We think that reliability is of the greatest importance to the protection of a city from fire, as everything is dependent on the working of such apparatus in time; and for this reason no expense should be spared on this kind of machinery."
Fig. 73 is a representation of one of the Messrs. Latta's fire engines, of which there are many of different classes, according to the requirements; they say that they can furnish engines as low as $1,000, and have made some for $10,000.
The first peculiar feature of this engine is the boiler; it differs entirely from all boilers now in use.

The fire box or furnace is simply a square box or furnace of any required dimensions; it is nothing more than a water space surrounding the fire, stay-bolted as all water spaces are. It is made of boiler plate in the usual manner. The water space extends only 2/3 of the height, the balance being a single sheet. The bottom of this fire box is crossed by grate bars to support the fuel; in its rear side are fire doors, inserted for firing. The internal arrangements of the boiler are composed of a large number of tubes, lying across in a horizontal position, put together in sections with return bends resembling the coils for heating buildings. These coils are of small pipe (say one inch in diameter), and as numerous as may be necessary. They give the required amount of steam. They are secured to wrought-iron plates at each end by rivets. These plates lie close to the box, and are secured to it, top and bottom. These tubes are wrought iron, firmly screwed into the bends, so as to prevent any possible breaking.
The box has a hole through both sheets, in the same manner as a hollow stay-bolt, through which the coil pipe passes, having no connection with the box. After passing into the box it divides into two pipes, then subdivides into four, and so on, until its numbers equal the number of coils in the box, and to which each limb is attached. The upper ends of these coils are the same in number, and are carried through at the top or nearly the top of the box. They then run down outside to the steam chamber, or rather water space, as the box is both steam chamber and water space. These pipes empty their contents into the box, steam and water, as it may come, all together. It will be observed that these coils of tube are sufficiently separated to allow the fire to pass between them freely, and cover their whole surface.
The mode of operation of this boiler is this: The fire box is filled 2/3 full of water. The coils are dry at starting; the space for fuel being filled with good wood, the fire is lighted, and in a few moments the engineer moves his hand pump, which takes its water from the box to which it is attached, and forces it through the coils. By this means steam is generated in from 3 to 5 minutes, so as to start the engine.
It will be seen that the water performs a complete circuit; it is taken from the box and passed through the coils; what is steam remains in the steam chamber, and what is not (if any) drops back into the box from where it started. Hence it will be seen that a large surface is exposed to a small quantity of water, and in a way that it is entirely controllable. All the engineer has to do to surcharge his steam, is to reduce the speed of the pump (which is independent of the main engine). By raising the heat and quantity of water, any degree of elasticity can be given to the steam, and that, too, with the least amount of waste heat in giving a natural draft. Hence the great economy of this boiler.
The next feature of this engine is, it has no wood work about it to perish with the heat and roughness of the streets. All the wheels are wrought iron; and, as yet, these are the only ones that have stood a steam fire engine. The frame is wrought iron; truck, on which the front wheel is hung, wrought iron. The axles are cast steel. The engine and pump is a double- acting piston pump direct, without any rotary motion; with a perfect balance valve, it is balanced at all times, and hence the engine remains quiet without blocking, when at work. The engine is mounted on three wheels, which enables it to be turned in a very short space.
Many engines have been constructed by the Messrs. Latta for the fire companies, of different cities, and have been in successful competition with other engines; the farthest throw ever made by one of their first-class engines was 310 feet from a 1-5/8 inch nozzle; steaming time, starting from cold water, 3-1/2 minutes.

Fig. 74 is a representation of one class of steam fire engine, as built by the Amoskeag Manufacturing Company, at Manchester, N.H. The boiler is an upright tubular boiler, of a peculiar construction, the patent right to which is vested in the Amoskeag Manufacturing Company. This boiler is very simple in its combination, and for safety, strength, durability, and capacity for generating steam is unsurpassed. No fan or artificial blower is ever used or needed, the natural draft of the boiler being always sufficient. Starting with cold water in the boiler, a working head of steam can be generated in less than five minutes from the time of kindling the fire. The engine "Amoskeag," owned by the city of Manchester, has played two streams in three minutes and forty seconds after touching the match, at the same time drawing her own water. The boilers are made and proved so as to be safely run at a steam pressure of 140 to 150 lbs. to the square inch; but the engines are constructed so as to give the best streams at a pressure of about 100 lbs. to the square inch, and for service at fires a steam pressure of about 60 lbs. to the square inch is all that is required.
The various styles of engine are all vertical in their action, and in all the pumps and steam cylinders are firmly and directly fastened to the boiler, the steam cylinders being attached directly to the steam dome. This arrangement obviates the necessity of carrying steam to the cylinders through pipes of considerable length, and the machine has very little vibratory motion when in operation--so little that it is not necessary to block its wheels to keep it in its place, or to take the weight off the springs before commencing work.
The pumps are placed on the engines as near the ground as they can be with safety, and are arranged so as to attach the suction and leading hose to either or both sides of the machine, as may be most convenient or desirable, so that less difficulty will be found in placing an engine for work, and when required to draw its own water, it has only to draw it the shortest possible distance.
Each engine has two "feed pumps" for supplying the boiler, and also a connection between the main forcing pumps and the boiler, so that it can be supplied from that source if desirable. The tank which carries the water for supplying the boiler is so placed that the water in it is always above the "feed pumps," an advantage that insures the almost certain working of these pumps. These pumps are of brass, the best locomotive pattern, and one of them running with the engine, when at work, furnishes an ample supply of water to the boiler.

The engines are exceedingly portable; they can be turned about or placed for service in as contracted a space as any hand engine, and two good horses will draw a first-class engine with the greatest ease, carrying at the same time water for the boiler, a supply of fuel sufficient to run the engine two hours, the driver, the engineer, and the fireman.
Fig. 75 is a representation of the class of steam fire engine built by Silsbee, Mynderse & Co., Seneca Falls, N. Y. under Holly's patent.
The boiler is vertical, with vertical water tubes passing directly through the fire. These tubes are closed at the bottom and open at the top, where they pass through a water-tight plate, and communicate with the water in the boiler. The arrangement of the tubes causes a constant current, the water rising on the outside of the tubes as they are heated, and its place being supplied by a current flowing downward through the tube to the boiler. The smoke and flame pass among the tubes up through flues.
Both engine and pump are rotary, and of the same type. They consist essentially of two elliptical rotary pistons, cogged and working into one another in an air-tight case. The pistons fit close to the inside of the case, and gear into each on the line of their conjugate diameters. The action is somewhat similar to the old-fashioned rotary pump, consisting of two cog wheels in gear with, each other, the spaces at the side of the case being filled with water, which at the centre are occupied by the teeth in gear. In Holly's pump, instead of uniform teeth, and depending on the fit of the teeth with the side of the case and with each other for the packing, there are two large teeth in each piston opposite each other, which have slide pistons, and intermediate with these large teeth are small cogs, which continue the motion of the rotary pistons. The machine works very smoothly, and performs the work necessary, in ordinary service, under a pressure of 50 to 60 lbs.
There are many other makers of fire engines in this country; but sufficient examples are given to illustrate the class; so successful have they been, that they are fast superseding hand engines, even in the smaller cities.
Under a paid department, the following is, in the city of Boston, Mass., the comparative cost of running the two kinds of engines, viz.:
|
STEAM FIRE ENGINE. |
|
|
1 engineer |
$720 00 |
|
1 fireman |
600 00 |
|
1 driver |
600 00 |
|
1 foreman of hose |
150 00 |
|
8 hosemen, at $125 each |
375 00 |
|
- |
-------- |
|
7 men |
$2,445 00 |
|
Keeping of 2 horses |
315 00 |
|
- |
-------- |
|
Total |
$2,760 00 |
|
HAND ENGINE. |
|
|
1 foreman |
$150 00 |
|
1 assistant foreman |
125 00 |
|
1 clerk |
125 00 |
|
1 steward |
125 00 |
|
3 leading hosemen, at $125 each |
375 00 |
|
33 men, at $100 each |
3,300 00 |
|
-- |
--------- |
|
40 men |
$4,200 00 |
Here the engineer, fireman, and driver are constantly employed, the hosemen have other employment in the neighborhood, but all the company sleep in the engine house.
In the city of Manchester, N.H., a steam fire engine company is composed of fourteen men, all told, one of whom, acting as driver and steward, is constantly employed, remaining at the engine house with a pair of horses always ready to run out with the engine in case of an alarm of fire. The other members of the company have other employments, and turn out only on an alarm of fire.
|
STEAM FIRE ENGINES. |
||
|
"Amoskcag," |
Expenditures |
$864 32 |
|
"Fire King," |
" |
855 78 |
|
"E.W. Harrington, " |
" |
496 09 |
The above expense includes pay of members, team expenses, cost of gas, wood, coal, and all necessities incident to service. The "E.W. Harrington" is a second-class engine, stationed in the outskirts of the city, and was run cheaper from the fact that no horses were kept for it by the city.
A first-class hand-engine company is allowed to number, all told, fifty men, and the members of the company are paid as follows:
|
FIRST-CLASS HAND-ENGINE COMPANY. |
||
|
1 foreman |
$35 00 |
|
|
1 assistant foreman |
28 00 |
|
|
1 clerk |
28 00 |
|
|
1 steward |
68 00 |
|
|
46 men, at $18 each |
828 00 |
|
|
-- |
-------- |
|
|
50 men. |
Total |
$987 00 |
By this it will be seen, that in a city like Manchester, with from twenty to twenty-five thousand inhabitants, a first-class steam fire engine can be run at an expense not to exceed that of a first-class hand engine, while in service it will do at least four times the work. The cost of repairs is found by experience to be no greater on the steam fire engines than on hand engines.
The Excavator, fig. 76, is the invention of the late Mr. Otis, an application of the spoon dredging machine of the docks to railway purposes, with very important modifications. The machine consists of a strong truck, A, A, mounted on railway wheels, on which is placed the boiler C, the crane E, and the requisite gearing. The excavator or shovel, D, is a box of wrought iron, with strong points in front to act as picks in loosening the earth, and its bottom hung by a hinge at d, so that, by detaching a catch, it may fly open and discharge the material raised. To operate the machine, suppose the shovel D to be in the position shown in the cut; it is lowered by the chains o, o, and thrown forward or backward, if necessary, by the drum B, and handle S, till the picks in the front of the shovel are brought in proper contact with the face of the cut; motion forward is now given to the shovel by the drum B and handle S, and at the same time it is raised by the chains o, o. These two motions can be so adjusted to each other, as to give movement to the shovel to enable it to loosen and scrape up a shovelful of earth. The handle S is now left free, and the shovel D is raised vertically by the chains o, o. The crane is now turned round, till the shovel comes over a rail car on a side track; the bottom of the shovel is opened, and the dirt deposited in the car. All these motions are performed by the aid of a steam engine, and are controlled by a man who stands on a platform at f.

692. Q.--Having now described the most usual and approved forms of engines applicable to numerous miscellaneous purposes for which a moderate amount of steam power is required, will you briefly recapitulate what amount of work of different kinds an engine of a given power will perform, so that any one desiring to employ an engine to perform a given amount of work, will be able to tell what the power of such engine should be?
A.--It will of course be impossible to recapitulate all the purposes to which engines are applicable, or to specify for every case the amount of power necessary for the accomplishment of a given amount of work; but some examples may be given which will be applicable to the bulk of the cases occurring in practice.
693. Q.--Beginning, then, with the power necessary for threshing,--a 4 horse power engine, with cylinder 6 inches diameter, pressure of steam 45 lbs., per square inch, and making 140 revolutions per minute, will thresh out 40 quarters of wheat in 10 hours with a consumption of 3 cwt. of coals.
A.--Although this may be done, it is probably too much to say that it can be done on an average, and about three fourths of a quarter of wheat per horse power would probably be a nearer average. The amount of power consumed varies with the yield.
Messrs. Barrett, Exall, and Andrewes give the following table as illustrative of the work done, and the fuel consumed by their portable engines; but this must be regarded as a maximum performance:--
|
Number of horse power. |
Weight of engine. |
Quarters of corn thrashed in 10 hours. |
Quantity of coals consumed in 10 hours. |
Quantity of water required for 10 hours in gallons. |
|
|
Tons. |
Cwts. |
Cwts. |
|||
|
4 |
2 |
0 |
40 |
3 |
360 |
|
5 |
2 |
5 |
50 |
4 |
380 |
|
6 |
2 |
10 |
60 |
5 |
460 |
|
7 |
2 |
15 |
70 |
6 |
540 |
|
8 |
3 |
0 |
80 |
7 |
620 |
|
10 |
3 |
10 |
100 |
9 |
780 |
694. Q.--In speaking of horses power, I suppose you mean indicator horse power?
A.--Yes; or rather the dynamometer horse power, which is the same, barring the friction of the engine. At the shows of the Royal Agricultural Society, the power actually exerted by the different engines is ascertained by the application of a friction wheel or dynamometer.
695. Q.--Can you give any other examples of the power necessary for grinding corn?
A.--An engine exerting 23-1/3 horses power by the indicator works two pairs of flour stones of 4 feet 8 inches diameter, two pairs of stones grinding oatmeal of 4 feet 8 inches diameter, one dressing machine, one pair of fanners, one dust screen, and one sifting machine. One of the flour stones makes 85, and the other 90 revolutions in the minute. One of the oatmeal stones makes 120, and the other 140 revolutions in the minute. To take another case:--An engine exerting 26-1/2 indicator horses power works two pairs of flour stones, one dressing machine, two pairs of stones grinding oatmeal, and one pair of shelling stones. The flour stones, one pair of the oatmeal stones, and shelling stones, are 4 feet 8 inches diameter. The diameter of the other pair of oatmeal stones is 3 feet 8 inches. The length of the cylinder of the dressing machine is 7 feet 6 inches. The flour stones make 87 revolutions in the minute, and the larger oatmeal stone 111 revolutions, but the smaller oatmeal stone and the shelling stone revolve faster than this. At the time the indicator diagram was taken, each pair of flour stones was grinding at the rate of 5 bushels an hour; each pair of oatmeal stones about 24 bushels an hour; and the shelling stones were shelling at the rate of about 54 bushels an hour. The fanners and screen were also in operation.
696. Q.--Have you any other case to enumerate?
A.--I may mention one in which the power of the same engine was increased by giving it a larger supply of steam. The engine when working with 8.65 horses power, gives motion to one pair of oatmeal stones of 4 feet 6 inches diameter, and one pair of flour stones 4 feet 8 inches diameter. The oatmeal stone makes 100 revolutions in the minute, and the flour stone 89. The oatmeal stones grind about 36 bushels in the hour, and the flour stones 5 bushels in the hour. The engine when working to 12 horses power drives one pair of flour stones, 4 feet 8 inches diameter, at 89 revolutions per minute and one pair of stones of the same diameter at 105 revolutions, grinding beans for cattle. The flour mill stones with this proportion of power, being more largely fed, ground 6 bushels per hour, and the other stones also ground 6 bushels per hour. When the power was increased to 18 horses, and the engine was burdened in addition with a dressing machine having a cylinder of 19 inches diameter, the speed of the flour stone fell to 85, and of the beans stone to 100 revolutions per minute, and the yield was also reduced. The dressing machine dressed 24 bushels per hour.
697. Q.--What is the power necessary to work a sugar mill such as is used to press the juice from canes in the West Indies?
A.--Twenty horses power will work a sugar mill having rollers about 5 feet long and 28 inches diameter; the rollers making 2-1/3 turns in a minute. If the rollers be 26 inches diameter and 4-1/2 feet long, 18 horses power will suffice to work them at the same speed, and 16 horses power if the length be reduced to 3 feet 8 inches. 12 horses power will be required to work a sugar mill with rollers 24 inches diameter and 4 feet 2 inches long; and 10 horses power will suffice if the rollers be 3 feet 10 inches long and 23 inches diameter. The speed of the surface of sugar mill rollers should not be greater than 16 feet per minute, to allow time for the canes to part with their juice. In the old mills the speed was invariably too great. The quantity of juice expressed will not be increased by increasing the speed of the rollers, but more of the juice will pass away in the begass or woody refuse of the cane.
698. Q.--What is the amount of power necessary to drive cotton mills?
A.--An indicator or actual horse power will drive 305 hand mule spindles, with proportion of preparing machinery for the same; or 230 self- acting mule spindles with preparation; or 104 throstle spindles with preparation; or 10-1/2 power looms with common sizing. The throstles referred to are the common throstles spinning 34's twist for power loom weaving, and the spindles make 4000 turns per minute. The self-acting mules are Robert's, about one half spinning 36's weft, and spindles revolving 4800 turns per minute; and the other half spinning 36's twist, with the spindles revolving 5200 times per minute. Half the hand mules were spinning 36's weft, at 4700 revolutions, and the other half 36's twist at 5000 revolutions per minute. The average breadth of the looms was 37 inches, weaving 37 inch cloth, making 123 picks per minute,--all common calicoes about 60 reed, Stockport count, and 68 picks to the inch. To take another example in the case of a mill for twisting cotton yarn into thread:--In this mill there are 27 frames with 96 common throstle spindles in each, making in all 2592 spindles. The spindles turn 2200 times in a minute; the bobbins are 1-7/8 inches diameter, and the part which holds the thread is 2-3/16 inches long. In addition to the twisting frames the steam engine works 4 turning lathes, 3 polishing lathes, 2 American machines for turning small bobbins, two circular saws, one of 22 and the other of 14 inches diameter, and 24 bobbin heads or machines for filling the bobbins with finished thread. The power required to drive the whole of this machinery is 28-1/2 horses. When all the machinery except the spindles is thrown off, the power required is 21 horses, so that 2592, the total number of spindles, divided by 21, the total power, is the number of twisting spindles worked by each actual horse power. The number is 122.84.
699. Q.--What work will be done by a given engine in sawing timber, pressing cotton, blowing furnaces, driving piles, and dredging earth out of rivers?
A.--A high pressure cylinder 10 inches diameter, 4 feet stroke, making 35 revolutions with steam of 90 to 100 lbs. on the square inch, supplied by three cylindrical boilers 30 inches diameter and 20 feet long, works two vertical saws of 34 inches stroke, which are capable of cutting 30 feet of yellow pine, 18 inches deep, in the minute. A high pressure cylinder 14 inches diameter and 4 feet stroke, making 60 strokes per minute with steam of 40 lbs. on the square inch, supplied by three cylindrical boilers without flues, 30 inches diameter and 26 feet long, with 32 square feet of grate surface, works four cotton presses geared 6 to 1, with two screws in each, of 7-1/2 inches diameter and 1-5/8 pitch, which presses will screw 1000 bales of cotton in the twelve hours. Also one high pressure cylinder of 10 inches diameter and 3 feet stroke, making 45 to 60 revolutions per minute, with steam of 45 to 50 lbs. per square inch, with two hydraulic presses having 13 inch rams of 41 feet stroke, and force pumps 2 inches diameter and 6 inches stroke, presses 30 bales of cotton per hour. One condensing engine with cylinder 56 inches diameter, 10 feet stroke, and making 15 strokes per minute with steam of 60 lbs. pressure per square inch, cut off at 1/4th of the stroke, supplied by six boilers, each 5 feet diameter, and 24 feet long, with a 22-inch double-return flue in each, and 198 square feet of fire grate, works a blast cylinder of 126 inches diameter, and 10 feet stroke, at 15 strokes per minute. The pressure of the blast is 4 to 5 lbs. per square inch; the area of pipes 2300 square inches, and the engine blows four furnaces of 14 feet diameter, each making 100 tons of pig iron per week. Two high pressure cylinders, each of 6 inches diameter and 18 inches stroke, making 60 to 80 strokes per minute, with steam of 60 Lbs. per square inch, lift two rams, each weighing 1000 lbs., five times in a minute, the leaders for the lift being 24 feet long. One high pressure cylinder of 12 inches diameter and 5 feet stroke, making 20 strokes per minute, with steam of 60 to 70 lbs. pressure per square inch, lifts 6 buckets full of dredging per minute from a depth of 30 feet below the water, or lifts 10 buckets full of mud per minute from a depth of 18 feet below the water.
700. Q.--What are the qualities which should be possessed by the iron of which the cylinder of steam engines are made?
A.--The general ambition in making cylinders is to make them sound and hard; but it is expedient also to make them tough, so as to approach as nearly as possible to the state of malleable iron. This may be done by mixing in the furnace as many different kinds of iron as possible; and it may be set down as a general rule in iron founding, that the greater the number of the kinds of metal entering into the composition of any casting, the denser and tougher it will be. The constituent atoms of the different kinds of iron appear to be of different sizes, and the mixture of different kinds maintains the toughness, while it adds to the density and cohesive power. Hot blast iron was at one time generally believed to be weaker than cold blast iron, but it is now questioned whether it is not the stronger of the two. The cohesive strength of unmixed iron is not in proportion to its specific gravity, and its elasticity and power to resist shocks appear to become greater as the specific gravity becomes less. Nos. 3 and 4 are the strongest irons. In most cases, iron melted in a cupola is not so strong as when remelted in an air furnace, and when run into green sand it is not reckoned so strong as when run into dry sand, or loam. The quality of the fuel, and even the state of the weather, exerts an influence on the quality of the iron: smelting furnaces, on the cold blast principle, have long been known to yield better iron in winter than in summer, probably from the existence of less moisture in the air; and it would probably be found to accomplish an improvement in the quality of the iron if the blast were made to pass through a vessel containing muriate of lime, by which the moisture of the air would be extracted. The expense of such a preparation would not be considerable, as, by subsequent evaporation, the salt might be used over and over again for the same purpose.
701. Q.--Will you explain the process of casting cylinders?
A.--The mould into which the metal is poured is built up of bricks and loam, the loam being clay and sand ground together in a mill, with the addition of a little horse-dung to give it a fibrous structure and prevent cracks. The loam board, by which the circle of the cylinder is to be swept, is attached to an upright iron bar, at the distance of the radius of the cylinder, and a cylindrical shell of brick is built up, which is plastered on the inside with loam, and made quite smooth by traversing the perpendicular loam board round it. A core is then formed in a similar manner, but so much smaller as to leave a space between the shell and the core equal to the thickness of the cylinder, and into this space the melted metal is poured. Whatever nozzles or projections are required upon the cylinder, must be formed by means of wooden patterns, which are built into the shell, and subsequently withdrawn; but where a number of cylinders of the same kind are required, it is advisable to make these patterns of iron, which will not be liable to warp or twist while the loam is being dried. Before the iron is cast into the mould, the interior of the mould must be covered with finely powdered charcoal--or blackening, as it is technically termed; and the secret of making finely skinned castings lies in using plenty of blackening. In loam and dry sand castings the charcoal should be mixed with thick clay water, and applied until it is an eighth of an inch thick, or more; the surface should be then very carefully smoothed or sleeked, and if the metal has been judiciously mixed, and the mould thoroughly dried, the casting is sure to be a fine one. Dry sand and loam castings should be, as much as possible, made in boxes; the moulds may thereby be more rapidly and more effectually dried, and better castings will be got with a less expense.
702. Q.--Will you explain the next operation which a cylinder undergoes?
A.--The next stage is the boring; and in boring cylinders of 74 inches diameter, the boring bar must move so as to make one revolution in about 4-1/2 minutes, at which speed the cutters will move at the rate of about 5 feet per minute. In boring brass, the speed must be slower; the common rate at which the tool moves in boring brass air pumps is about 3 feet per minute. If this speed be materially exceeded the tool will be spoiled, and the pump made taper. The speed proper for boring a cylinder will answer for boring the brass air pump of the same engine. A brass air pump of 36-1/2 inches diameter requires the bar to make one turn in about three minutes, which is also the speed proper for a cylinder 60 inches in diameter. To bore a brass air pump 36-1/2 inches in diameter requires a week, an iron one requires 48 hours, and a copper one 24 hours. In turning a malleable iron shaft 12-3/4 inches in diameter, the shaft should make about five turns per minute, which is equivalent to a speed in the tool of about 16 feet per minute; but this speed may be exceeded if soap and water be plentifully run on the point of the tool. A boring mill, of which the speed may be varied from one turn in six minutes to twenty-five turns in one minute, will be suitable for all ordinary wants that can occur in practice.
703. Q.--Are there any precautions necessary to be observed in order that the boring may be truly effected?
A.--In fixing a cylinder into the boring mill, great care must be taken that it is not screwed down unequally; and indeed it will be impossible to bore a large cylinder in a horizontal mill without being oval, unless the cylinder be carefully gauged when standing on end, and be set up by screws when laid in the mill until it again assumes its original form. A large cylinder will inevitably become oval if laid upon its side; and if while under the tension due to its own weight it be bored round, it will become oval again when set upon end. If the bottom be cast in, the cylinder will be probably found to be round at one end and oval at the other, unless a vertical boring mill be employed, or the precautions here suggested be adopted.
704. Q.--Does the boring tool make the cylinder sufficiently smooth for the reception of the piston?
A.--Many engine makers give no other finish to their cylinders; but Messrs. Penn grind their cylinders after they are bored, by laying them on their side, and rubbing a piece of lead, with a cross iron handle like that of a rolling stone, and smeared with emery and oil, backward and forward-- the cylinder being gradually turned round so as to subject every part successively to the operation. The lead by which this grinding is accomplished is cast in the Cylinder, whereby it is formed of the right curve; but the part of the cylinder in which it is cast should be previously heated by a hot iron, else the metal may be cracked by the sudden heat.
705. Q.--How are the parts of a piston fitted together so as to be perfectly steam tight?
A.--The old practice was to depend chiefly upon grinding as the means of making the rings tight upon the piston or upon one another; but scraping is now chiefly relied on. Some makers, however, finish their steam surfaces by grinding them with powdered Turkey stone and oil. A slight grinding, or polishing, with powdered Turkey stone and oil, appears to be expedient in ordinary cases, and may be conveniently accomplished by setting the piston on a revolving table, and holding the ring stationary by a cross piece of wood while the table turns round. Pieces of wood may be interposed between the ring and the body of the piston, to keep the ring nearly in its right position; but these pieces of wood should be fitted so loosely as to give some side play, else the disposition would arise to wear the flange of the piston into a groove.
706. Q.--What kind of tool is used for finishing surfaces by scraping?
A.--A flat file bent, and sharpened at the end, makes an eligible scraper for the first stages; or a flat file sharpened at the end and used like a chisel for wood. A three-cornered file, sharpened at all the corners, is the best instrument for finishing the operation. The scraping tool should be of the best steel, and should be carefully sharpened at short intervals on a Turkey stone, so as to maintain a fine edge.
707. Q.--Will you explain the method of fitting together the valve and cylinder faces?
A.--Both faces must first be planed, then filed according to the indications of a metallic straight edge, and subsequently of a thick metallic face plate, and finally scraped very carefully until the face plate bears equally all over the surface. In planing any surface, the catches which retain the surface on the planing machine should be relaxed previously to the last cut, to obviate distortion from springing. To ascertain, whether the face plate bears equally, smear it over with a little red ochre and oil, and move the face plate slightly, which will fix the color upon the prominent points. This operation is to be repeated frequently; and as the work advances, the quantity of coloring matter is to be diminished, until finally it is spread over the face plate in a thin film, which only dims the brightness of the plate. The surfaces at this stage must be rubbed firmly together to make the points of contact visible, and the higher points will become slightly clouded, while the other parts are left more or less in shade. If too small a quantity of coloring matter be used at first, it will be difficult to form a just conception of the general state of the surface, as the prominent points will alone be indicated, whereas the use of a large quantity of coloring matter in the latter stages would destroy the delicacy of the test the face plate affords. The number of bearing points which it is desirable to establish on the surface of the work, depends on the use to which the surface is to be applied; but whether it is to be finished with great elaboration, or otherwise, the bearing points should be distributed equally over the surface. Face plates, or planometers, as they are sometimes termed, are supplied by most of the makers of engineering tools. Every factory should be abundantly supplied with them, and also with steel straight edges; and there should be a master face plate, and a master straight edge, for the sole purpose of testing, from time to time, the accuracy of those in use.
708. Q.--Is the operation of surfacing, which you have described, necessary in the case of all slide valves?
A.--Yes; and in fitting the faces of a D valve, great care must, in addition, be taken that the valve is not made conical; for unless the back be exactly parallel with the face, it will be impossible to keep the packing from being rapidly cut away. When the valve is laid upon the face plate, the back must be made quite fair along the whole length, by draw filing, according to the indications of a straight edge; and the distance from the face to the extreme height of the back must be made identical at each extremity.
709. Q.--When you described the operation of boring the cylinder, you stated that the cylinder, when laid upon its side, became oval; will not this change of figure distort the cylinder face?
A.--It is not only in the boring of the cylinder that it is necessary to be careful that there is no change of figure, for it will be impossible to face the valves truly in the case of large cylinders, unless the cylinder be placed on end, or internal props be introduced to prevent the collapse due to the cylinder's weight. It may be added, that the change of figure is not instantaneous, but becomes greater after some continuance of the strain than it was at first, so that in gauging a cylinder to ascertain the difference of diameter when it is placed on its side, it should have lain some days upon its side to ensure the accuracy of the operation.
710. Q.--How is any flaw in the valve or cylinder face remedied?
A.--Should a hole occur either in the valve, in the cylinder, or any other part where the surface requires to be smooth, it may be plugged up with a piece of cast iron, as nearly as possible of the same texture. Bore out the faulty part, and afterward widen the hole with an eccentric drill, so that it will be of the least diameter at the mouth. The hole may go more than half through the iron: fit then a plug of cast iron roughly by filing, and hammer it into the hole, whereby the plug will become riveted in it, and its surface may then be filed smooth. Square pieces may be let in after the same fashion, the hole being made dovetailed, and the pieces thus fitted will never come out.
711. Q.--When cylinders are faced with brass, how is the face attached to the cylinder?
A.--Brass faces are put upon valves or cylinders by means of small brass screws tapped into the iron, with conical necks for the retention of the brass: they are screwed by means of a square head, which, when the screw is in its place, is cut off and filed smooth. In some cases the face is made of extra thickness, and a rim not so thick runs round it, forming a step or recess for the reception of brass rivets, the heads of which are clear of the face.
712. Q.--What is the best material for valve faces?
A.--Much trouble is experienced with every modification of valve face; but cast iron working upon cast iron is, perhaps, the best combination yet introduced. A usual practice is to pin brass faces on the cylinder, allowing the valve to retain its cast iron face. Some makers employ brass valves, and others pin brass on the valves, leaving the cylinder with a cast iron face. If brass valves are used, it is advisable to plane out two grooves across the face, and to fill them up with hard cast iron to prevent rutting. Speculum metal and steel have been tried for the cylinder faces, but only with moderate success. In some cases the brass gets into ruts; but the most prevalent affection is a degradation of the iron, owing to the action of the steam, and the face assuming a granular appearance, something like loaf sugar. This action shows itself only at particular spots, and chiefly about the angles of the port or valve face. At first the action is slow; but when once the steam has worked a passage for itself, the cutting away becomes very rapid, and, in a short time, it will be impossible to prevent the engine from heating when stopped, owing to the leakage of steam through the valve into the condenser. Copper steam pipes seem to have some galvanic action on valve faces, and malleable iron pipes have sometimes been substituted; but they are speedily worn out by oxidation, and the scales of rust which are carried on by the steam scratch the valves and cylinders, so that the use of copper pipes is the least evil.
713. Q.--Will you explain in what manner the joints of an engine are made?
A.--Rust joints are not now much used in engines of any kind, yet it is necessary that the engineer should be acquainted with the manner of their formation. One ounce of sal-ammoniac in powder is mingled with 18 ounces or a pound of borings of cast iron, and a sufficiency of water is added to wet the mixture thoroughly, which should be done some hours before it is wanted for use. Some persons add about half an ounce of flowers of brimstone to the above proportions, and a little sludge from the grindstone trough. This cement is caulked into the joints with a caulking iron, about three quarters of an inch wide and one quarter of an inch thick, and after the caulking is finished the bolts of the joints may be tried to see if they cannot be further tightened. The skin of the iron must, in all cases, be broken where a rust joint is to be made; and, if the place be greasy, the surface must be well rubbed over with nitric acid, and then washed with water, till no grease remains. The oil about engines has a tendency to damage rust joints by recovering the oxide. Coppersmiths staunch the edges of their plates and rivets by means of a cement formed of pounded quicklime, with serum of blood, or white of egg; and in copper boilers such a substance may be useful in stopping the impalpable leaks which sometimes occur, though Roman, cement appears to be nearly as effectual.
714. Q.--Will you explain the method of case hardening the parts of engines?
A.--The most common plan for case hardening consists in the insertion of the articles to be operated upon among horn or leather cuttings, hone dust, or animal charcoal, in an iron box provided with a tight lid, which is then put into a furnace for a period answerable to the depth of steel required. In some cases the plan pursued by the gunsmiths may be employed with convenience. The article is inserted in a sheet iron case amid bone dust, often not burned; the lid of the box is tied on with wire, and the joint luted with clay; the box is heated to redness as quickly as possible and kept half an hour at a uniform heat: its contents are then suddenly immersed in cold water. The more unwieldy portions of an engine may be case hardened by prussiate of potash--a salt made from animal substances, composed of two atoms of carbon and one of nitrogen, and which operates on the same principle as the charcoal. The iron is heated in the fire to a dull red heat, and the salt is either sprinkled upon it or rubbed on in a lump, or the iron is rubbed in the salt in powder. The iron is then returned to the fire for a few minutes, and finally immersed in water. By some persons the salt is supposed to act unequally, as if there were greasy spots upon the iron which the salt refused to touch, and the effect under any circumstances is exceedingly superficial; nevertheless, upon all parts not exposed to wear, a sufficient coating of steel may be obtained by this process.
715. Q.--What kind of iron is most suitable for the working parts of an engine?
A.--In the malleable iron work of engines scrap iron has long been used, and considered preferable to other kinds; but if the parts are to be case hardened, as is now the usual practice, the use of scrap iron is to be reprehended, as it is almost sure to make the parts twist in the case hardening process. In case hardening, iron absorbs carbon, which causes it to swell; and as some kinds of iron have a greater capacity for carbon than other kinds, in case hardening they will swell more, and any such unequal enlargement in the constituent portions of a piece of iron will cause it to change its figure. In some cases, case hardening has caused such a twisting of the parts of an engine, that they could not afterward be fitted together; it is preferable, therefore, to make such parts as are to be case hardened to any considerable depth of Lowmoor, Bowling, or Indian iron, which being homogeneous will absorb carbon equally, and will not twist.
716. Q.--What is the composition of the brass used for engine bearings?
A.--The brass bearings of an engine are composed principally of copper and tin. A very good brass for steam engine bearings consists of old copper 112 lbs., tin 12-1/2 lbs., zinc 2 or 3 oz.; and if new tile copper be used, there should be 13 lbs. of tin instead of 12-1/2 lbs. A tough brass for engine work consists of 1-1/2 lb. tin, 1-1/2 lb. zinc, and 10 lbs. copper; a brass for heavy bearings, 2-1/2 oz. tin, 1/2 oz. zinc, and 1 lb. copper. There is a great difference in the length of time brasses wear, as made by different manufacturers; but the difference arises as much from a different quantity of surface, as from a varying composition of the metal. Brasses should always be made strong and thick, as when thin they collapse upon the bearing and increase the friction and the wear.
717. Q.--How is Babbitt's metal for lining the bushes of machinery compounded?
A.--Babbitt's patent lining metal for bushes has been largely employed in the bushes of locomotive axles and other machinery: it is composed of 1 lb. of copper, 1 lb. regulus of antimony, and 10 lbs. of tin, or other similar proportions, the presence of tin being the only material condition. The copper is first melted, then the antimony is added, with a small proportion of tin-charcoal being strewed over the surface of the metal in the crucible to prevent oxidation. The bush or article to be lined, having been cast with a recess for the soft metal, is to be fitted to an iron mould, formed of the shape and size of the bearing or journal, allowing a little in size for the shrinkage. Drill a hole for the reception of the soft metal, say 1/2 to 3/4 inch diameter, wash the parts not to be tinned with a clay wash to prevent the adhesion of the tin, wet the part to be tinned with alcohol, and sprinkle fine sal-ammoniac upon it; heat the article until fumes arise from the ammonia, and immerse it in a kettle of Banca tin, care being taken to prevent oxidation. When sufficiently tinned, the bush should be soaked in water, to take off any particles of ammonia that may remain upon it, as the ammonia would cause the metal to blow. Wash with pipe clay, and dry; then heat the bush to the melting point of tin, wipe it clean, and pour in the metal, giving it sufficient head as it cools; the bush should then be scoured with fine sand, to take off any dirt that may remain upon it, and it is then fit for use. This metal wears for a longer time than ordinary gun metal, and its use is attended with very little friction. If the bearing heats, however, from the stopping of the oil hole or otherwise, the metal will be melted out. A metallic grease, containing particles of tin in the state of an impalpable powder, would probably be preferable to the lining of metal just described.
718. Q.--Can you state the composition of any other alloys that are used in engine work?
A.--The ordinary range of good yellow brass that files and turns well, is about 4-1/2 to 9 ounces of zinc to the pound of copper. Flanges to stand brazing may be made of copper 1 lb., zinc 1/2 oz., lead 3/8 oz. Brazing solders when stated in the order of their hardness are:-three parts copper and one part zinc (very hard), eight parts brass and one part zinc (hard), six parts brass, one part tin, and one part zinc (soft); a very common solder for iron, copper, and brass, consists of nearly equal parts of copper and zinc. Muntz's metal consists of forty parts zinc and sixty of copper; any proportions between the extremes of fifty parts of zinc and fifty parts copper, and thirty-seven zinc and sixty-three copper, will roll and work at a red heat, but forty zinc to sixty copper are the proportions preferred. Bell metal, such as is used for large bells, consists of 4-1/2 ounces to 5 ounces of tin to the pound of copper; speculum metal consists of from 7-1/2 ounces to 8-1/2 ounces of tin to the pound of copper.
719. Q.--Will you explain the operation of erecting a pair of side lever engines in the workshop?
A.--In beginning the erection of side lever marine engines in the workshop, the first step is to level the bed plate lengthways and across, and strike a line up the centre, as near as possible in the middle, which indent with a chisel in various places, so that it may at any time be easily found again. Strike another line at right angles with this, either at the cylinder or crank centre, by drawing a perpendicular in the usual manner. Lay the other sole plate alongside at the right distance, and strike a line at the cylinder or crank centre of it also, shifting either sole plate a little endways until these two transverse lines come into the same line, which may be ascertained by applying a straight edge across the two sole plates. Strike the rest of the centres across, and drive a pin into each corner of each sole plate, which file down level, so as to serve for points of reference at any future stage; next, try the cylinder, or plumb it on the inside roughly, and see how it is for height, in order to ascertain whether much will be required to be chipped off the bottom, or whether more requires to be chipped off the one side than the other. Chip the cylinder bottom fair; set it in its place, plumb the cylinder very carefully with a straight edge and silk thread, and scribe it so as to bring the cylinder mouth to the right height, then chip the sole plate to suit that height. The cylinder must then be tried on again, and the parts filed wherever they bear hard, until the whole surface is well fitted. Next, chip the place for the framing; set up the framing, and scribe the horizontal part of the jaw with the scriber used for the bottom of the cylinder, the upright part being set to suit the shaft centres, and the angular flange of cylinder, where the stay is attached, having been previously chipped plumb and level. The stake wedges with which the framing is set up preparatorily to the operation of scribing, must be set so as to support equally the superincumbent weight, else the framing will spring from resting unequally, and it will be altogether impossible to fit it well. These directions obviously refer exclusively to the old description of side lever engine with cast iron framing; but there is more art in erecting an engine of that kind with accuracy, than in erecting one of the direct action engines, where it is chiefly turned or bored surfaces that have to be dealt with.
720. Q.--How do you lay out the positions of the centres of a side lever engine?
A.--In fixing the positions of the centres in side lever engines, it appears to be the most convenient way to begin with the main centre. The height of the centre of the cross head at half stroke above the plane of the main centre is fixed by the drawing of the engine, which gives the distance from the centre of cross head at half stroke to the flange of the cylinder; and from thence it is easy to find the perpendicular distance from the cylinder flange to the plane of the main centre, merely by putting a straight edge along level, from the position of the main centre to the cylinder, and measuring from the cylinder flauge down to it, raising or lowering the straight edge until it rests at the proper measurement. The main centre is in that plane, and the fore and aft position is to be found by plumbing up from the centre line on the sole plate. To find the paddle shaft centre, plumb up from the centre line marked on the edge of the sole plate, and on this line lay off from the plane of the main centre the length of the connecting rod, if that length be already fixed, or otherwise the height fixed in the drawing of the paddle shaft above the main centre. To fix the centre for the parallel motion shaft, when the parallel bars are connected with the cross head, lay off from the plane of main centre the length of the parallel bar from the centre of the cylinder, deduct the length of the radius crank, and plumb up the central line of motion shaft; lay off on this line, measuring from the plane of main centre, the length of the side rod; this gives the centre of parallel motion shaft when the radius bars join the cross head, as is the preferable practice where parallel motions are used. The length of the connecting rod is the distance from the centre of the beam when level, or the plane of the main centre, to the centre of the paddle shaft. The length of the side rods is the distance from the centre line of the beam when level, to the centre of the cross head when the piston is at half stroke. The length of the radius rods of the parallel motion is the distance from the point of attachment on the cross head or side rod, when the piston is at half stroke, to the extremity of the radius crank when the crank is horizontal; or in engines with the parallel motion attached to the cross head, it is the distance from the centre of the pin of the radius crank when horizontal to the centre of the cylinder. Having fixed the centre of the parallel motion shaft in the manner just described, it only remains to put the parts together when the motion is attached to the cross head; but when the motion is attached to the side rod, the end of the parallel bar must not move in a perpendicular line, but in an arc, the versed sine of which bears the same ratio to that of the side lever, that the distance from the top of the side rod to the point of attachment bears to the total length of the side rod.
721. Q.--How do you ascertain the accuracy of the parallel motion?
A.--The parallel motion when put in its place should be tested by raising and lowering the piston by means of the crane. First, set the beams level, and shift in or out the motion shaft plummer blocks or bearings, until the piston rod is upright. Then move the piston to the two extremes of its motion. If at both ends the cross head is thrown too much out, the stud in the beam to which the motion side rod is attached is too far out, and must be shifted nearer to the main centre; if at the extremities the cross head is thrown too far in, the stud in the beam is not out far enough. If the cross head be thrown in at the one end, and out equally at the other, the fault is in the motion side rod, which must be lengthened or shortened to remedy the defect.
722. Q.--Will you describe the method pursued in erecting oscillating engines?
A.--The columns here are of wrought iron, and in the case of small engines there is a template made of wood and sheet iron, in which the holes are set in the proper positions, by which the upper and lower frames are adjusted; but in the case of large engines, the holes are set off by means of trammels. The holes for the reception of the columns are cast in the frames, and are recessed out internally: the bosses encircling the holes are made quite level across, and made very true with a face plate, and the pillars which have been turned to a gauge are then inserted. The top frame is next put on, and must bear upon the collars of the columns so evenly, that one of the columns will not be bound by it harder than another. If this point be not attained, the surfaces must be further scraped, until a perfect fit is established. The whole of the bearings in the best oscillating engines are fitted by means of scraping, and on no other mode of fitting can the same reliance be placed for exactitude.
723. Q.--How do you set out the trunnions of oscillating engines, so that they shall be at right angles with the interior of the cylinder?
A.--Having bored the cylinder, faced the flange, and bored out the hole through which the boring bar passes, put a piece of wood across the mouth of the cylinder, and jam it in, and put a similar piece in the hole through the bottom of the cylinder. Mark the centre of the cylinder upon each of these pieces, and put into the bore of each trunnion an iron plate, with a small indentation in the middle to receive the centre of a lathe, and adjusting screws to bring the centre into any required position. The cylinder must then be set in a lathe, and hung by the centres of the trunnions, and a straight edge must be put across the cylinder mouth and levelled, so as to pass through the line in which the centre of the cylinder lies. Another similar straight edge, and similarly levelled, must be similarly placed across the cylinder bottom, so as to pass through the central line of the cylinder; and the cylinder is then to be turned round in the trunnion centres-the straight edges remaining stationary, which will at once show whether the trunnions are in the same horizontal plane as the centre of the cylinder, and if not, the screws of the plates in the trunnions must be adjusted until the central point of the cylinder just comes to the straight edge, whichever end of the cylinder is presented. To ascertain whether the trunnions stand in a transverse plane, parallel to the cylinder flange, it is only necessary to measure down from the flange to each trunnion centre; and if both these conditions are satisfied, the position of the centres may be supposed to be right. The trunnion bearings are then turned, and are fitted into blocks of wood, in which they run while the packing space is being turned out. Where many oscillating engines are made, a lathe with four centres is used, which makes the use of straight edges in setting out the trunnions superfluous.
724. Q.--Will you explain how the slide valve of a marine engine is set?
A.--Place the crank in the position corresponding to the end of the stroke, which can easily be done in the shop with a level, or plumb line; but in a steam vessel another method becomes necessary. Draw the transverse centre line, answering to the centre line of the crank shaft, on the sole plate of the engine, or on the cylinder mouth if the engine be of the direct action kind; describe a circle of the diameter of the crank pin upon the large eye of the crank, and mark off on either side of the transverse centre line a distance equal to the semi-diameter of the crank pin. From the point thus found, stretch a line to the edge of the circle described on the large eye of the crank, and bring round the crank shaft till the crank pin touches the stretched line; the crank may thus be set at either end of its stroke. When the crank is thus placed at the end of the stroke, the valve must be adjusted so as to have the amount of lead, or opening on the steam side, which it is intended to give at the beginning of the stroke; the eccentric must then be turned round upon the shaft until the notch in the eccentric rod comes opposite the pin on the valve lever, and falls into gear: mark upon the shaft the situation of the eccentric, and put on the catches in the usual way. The same process must be repeated for going astern, shifting round the eccentric to the opposite side of the shaft, until the rod again falls into gear. In setting valves, regard must of course be had to the kind of engine, the arrangements of the levers, and the kind of valve employed; and in any general instructions it is impossible to specify every modification in the procedure that circumstances may render advisable.
725. Q.--Is a similar method of setting the valve adopted when the link motion is employed.
A.--Each end of the link of the link motion has the kind of motion communicated to it that is due to the action of the particular eccentric with which that end is in connection. In that form of the link motion in which the link itself is moved up or down, there is a different amount of lead for each different position of the link, since to raise or lower the link is tantamount to turning the eccentric round on the shaft. In that form of the link motion in which the link itself is not raised or lowered, but is susceptible of a motion round a centre in the manner of a double ended lever, the lead continues uniform. In both forms of the link motion, as the stroke of the valve may be varied to any required extent while the lap is a constant quantity, the proportion of the lap relatively to the stroke of the valve may also be varied to any required extent, and the amount of the lap relatively with the stroke of the valve determines the amount of the expansion. In setting the valve when fitted with the link motion, the mode of procedure is much the same as when it is moved by a simple eccentric. The first thing is to determine if the eccentric rods are of the proper length, and this is done by setting the valve at half stroke and turning round the eccentric, marking each extremity of the travel of the end of the rod. The valve attachment should be midway between these extremes; and if it is not so, it must be made so by lengthening or shortening the rod. The forward and backward eccentric rods are to be adjusted in this way, and this being done, the engine is to be put to the end of the stroke, and the eccentric is to be turned round until the amount of lead has been given that is desired. The valve must be tried by turning the engine round to see that it is right at both centres, for going ahead and also for going astern. In some examples of the link motion, one of the eccentric rods is made a little longer than the other, and the position of the point of suspension or point of support powerfully influences the action of the link in certain cases, especially if the link and this point are not in the same vertical line. To reconcile all the conditions proper to the satisfactory operation of the valve in the construction of the link motion, is a problem requiring a good deal of attention and care for its satisfactory solution; and to make sure that this result is attained, the engine must be turned round a sufficient number of times to enable us to ascertain if the valve occupies the desired position, both at the top and bottom centres, whether the engine is going ahead or astern. This should also be tried with the starting handle in the different notches, or, in other words, with the sliding block in the slot or opening of the link in different positions.
726. Q.--You have already stated that the formation of salt or scale in marine boilers is to be prevented by blowing out into the sea at frequent intervals a portion of the concentrated water. Will you now explain how the proper quantity of water to be blown out is determined?
A.--By means of the salinometer, which is an instrument for determining the density of the water, constructed on the principle of the hydrometer for telling the strength of spirits. Some of the water is drawn off from the boiler from time to time, and the salinometer is immersed in it after it has been cooled. By the graduations of the salinometer the saltness of this water is at once discovered; and if the saltness exceeds 8 ounces of salt in the gallon, more water should be blown out of the boiler to be replenished with fresher water from the sea, until the prescribed limit of freshness is attained. Should the salinometer be accidentally broken, a temporary one may be constructed of a phial weighted with a few grains of shot or other convenient weight. The weighted phial is first to be floated in fresh water, and its line of floatation marked; then to be floated in salt water, and its line of floatation marked; and another mark of an equal height above the salt water mark will be the blow off point.
727. Q.--HOW often should boilers be blown off in order to keep them free from incrustation?
A.--Flue boilers generally require to be blown off about twice every watch, or about twice in the four hours; but tubular boilers may require to be blown off once every twenty minutes, and such an amount of blowing off should in every case be adopted, as will effectually prevent any injurious amount of incrustation.
728. Q.--In the event of scale accumulating on the flues of a boiler, what is the best way of removing it?
A.--If the boilers require to be scaled, the best method of performing the operation appears to be the following:--Lay a train of shavings along the flues, open the safety valve to prevent the existence of any pressure within the boiler, and light the train of shavings, which, by expanding rapidly the metal of the flues, while the scale, from its imperfect conducting power, can only expand slowly, will crack off the scale; by washing down the flues with a hose, the scale will be carried to the bottom of the boiler, or issue, with the water, from the mud-hole doors. This method of scaling must be practised only by the engineer himself, and must not be intrusted to the firemen who, in their ignorance, might damage the boiler by overheating the plates. It is only where the incrustation upon the flues is considerable that this method of removing it need be practised; in partial cases the scale may be chipped off by a hatched faced hammer, and the flues may then be washed down with the hose in the manner before described.
729. Q.--Should the steam be let out of the boiler, after it has blown out the water, when the engine is stopped?
A.--No; it is better to retain the steam in the boiler, as the heat and moisture it occasions soften any scale adhering to the boiler, and cause it to peel off. Care must, however, be taken not to form a vacuum in the boiler; and the gauge cocks, if opened, will prevent this.
730. Q.--Are tubular boilers liable to the formation of scale in certain places, though generally free from it?
A.--In tubular boilers a good deal of care is required to prevent the ends of the tubes next the furnace from becoming coated with scale. Even when the boiler is tolerably clean in other places the scale will collect here; and in many cases where the amount of blowing off previously found to suffice for flue boilers has been adopted, an incrustation five eighths of an inch in thickness has formed in twelve months round the furnace ends of the tubes, and the stony husks enveloping them have actually grown together in some parts so as totally to exclude the water.
731. Q.--When a tubular boiler gets incrusted in the manner you have described, what is the best course to be adopted for the removal of the scale?
A.--When a boiler gets into this state the whole of the tubes must be pulled out, which may be done by a Spanish windlass combined with a pair of blocks; and three men, when thus provided, will be able to draw out from 50 to 70 tubes per day,--those tubes with the thickest and firmest incrustations being, of course, the most difficult to remove. The act of drawing out the tubes removes the incrustation; but the tubes should afterward be scraped by drawing them backward and forward between the old files, fixed in a vice, in the form of the letter V. The ends of the tube should then be heated and dressed with the hammer, and plunged while at a blood heat into a bed of sawdust to make them cool soft, so that they may be riveted again with facility. A few of the tubes will be so far damaged at the ends by the act of drawing them out, as to be too short for reinsertion: this result might be to a considerable extent obviated by setting the tube plates at different angles, so that the several horizontal rows of tubes would not be originally of the same length, and the damaged tubes of the long rows would serve to replace the short ones; but the practice would be attended with other inconveniences.
732. Q.--Is there no other means of keeping boilers free from scale than by blowing off?
A.--Muriatic acid, or muriate of ammonia, commonly called sal-ammoniac, introduced into a boiler, prevents scale to a great extent; but it is liable to corrode the boiler internally, and also to damage the engine, by being carried over with the steam; and the use of such intermixtures does not appear to be necessary, if blowing off from the surface of the water is largely practised. In old boilers, however, already incrusted with scale, the use of muriate of ammonia may sometimes be advantageous.
733. Q.--Are not the tubes of tubular boilers liable to be choked up by deposits of soot?
A.--The soot which collects in the inside of the tubes of tubular boilers is removed by means of a brush, like a large bottle brush; and the carbonaceous scale, which remains adhering to the interior of the tubes, is removed by a circular scraper. Ferules in the tubes interfere with the action of this scraper, and in the case of iron tubes ferules are now generally discarded; but it will sometimes be necessary to use ferules for iron tubes, where the tubes have been drawn and reinserted, as it may be difficult to refix the tubes without such an auxiliary. Tubes one tenth of an inch in thickness are too thin: one eighth of an inch is a better thickness, and such tubes will better dispense with the use of ferules, and will not so soon wear into holes.
734. Q.--If the furnace or flue of a boiler be injured, how do you proceed to repair it?
A.--If from any imperfection in the roof of a furnace or flue a patch requires to be put upon it, it will be better to let the patch be applied upon the upper, rather than upon the lower, surface of the plate; as if applied within the furnace a recess will be formed for the lodgment of deposit, which will prevent the rapid transmission of the heat in that part; and the iron will be very liable to be again burned away. A crack in a plate may be closed by boring holes in the direction of the crack, and inserting rivets with large heads, so as to cover up the imperfection. If the top of the furnace be bent down, from the boiler having been accidentally allowed to get short of water, it may be set up again by a screw jack,--a fire of wood having been previously made beneath the injured plate; but it will in general be nearly as expeditious a course to remove the plate and introduce a new one, and the result will be more satisfactory.
735. Q.--In the case of the chimney being carried away by shot or otherwise, what course would you pursue?
A.--In some cases of collision, the funnel is carried away and lost overboard, and such cases are among the most difficult for which a remedy can be sought. If flame come out of the chimney when the funnel is knocked away, so as to incur the risk of setting the ship on fire, the uptake of the boiler must be covered over with an iron plate, or be sufficiently covered to prevent such injury. A temporary chimney must then be made of such materials as are on board the ship. If there are bricks and clay or lime on board, a square chimney may be built with them, or, if there be sheet iron plates on board, a square chimney may be constructed of them. In the absence of such materials, the awning stanchions may be set up round the chimney, and chain rove in through among them in the manner of wicker work, so as to make an iron wicker chimney, which may then be plastered outside with wet ashes mixed with clay, flour, or any other material that will give the ashes cohesion. War steamers should carry short spare funnels, which may easily be set up should the original funnel be shot away; and if a jet of steam be let into the chimney, a very short and small funnel will suffice for the purpose of draught.
736. Q.--What are the most important of the points which suggest themselves to you in connection with the management of marine engines?
A.--The attendants upon engines should prepare themselves for any casualty that may arise, by considering possible cases of derangement, and deciding In what way they would act should certain accidents occur. The course to be pursued must have reference to particular engines, and no general rules can therefore be given; but every marine engineer should be prepared with the measures to be pursued in the emergencies in which he may be called upon to act, and where everything may depend upon his energy and decision.
737. Q.--What is the first point of a marine engineer's duty?
A.--The safe custody of the boiler. He must see that the feed is maintained, being neither too high nor too low, and that blowing out the supersalted water is practised sufficiently. The saltness of the water at every half hour should be entered in the log book, together with the pressure of steam, number of revolutions of the engine, and any other particulars which have to be recorded. The economical use of the fuel is another matter which should receive particular attention. If the coal is very small, it should be wetted before being put on the fire. Next to the safety of the boiler, the bearings of the engine are the most important consideration. These points, indeed, constitute the main parts of the duty of an engineer, supposing no accident to the machinery to have taken place.
738. Q.--If the eccentric catches or hoops were disabled, how would you work the valve?
A.--If the eccentric catches or hoops break or come off, and the damage cannot readily be repaired, the valve may be worked by attaching the end of the starting handle to any convenient part of the other engine, or to some part in connection with the connecting rod of the same engine. In side lever engines, with the starting bar hanging from the top of the diagonal stay, as is a very common arrangement, the valve might be wrought by leading a rope from the side lever of the other engine through blocks so as to give a horizontal pull to the hanging starting bar, and the bar could be brought back by a weight. Another plan would be, to lash a piece of wood to the cross tail butt of the damaged engine, so as to obtain a sufficient throw for working the valve, and then to lead a piece of wood or iron, from a suitable point in the piece of wood attached to the cross tail, to the starting handle, whereby the valve would receive its proper motion. In oscillating engines it is easy to give the required motion to the valve, by deriving it from the oscillation of the cylinder.
739. Q.--What would you do if a crank pin broke?
A.--If the crank pin breaks in a paddle vessel with two engines, the other engine must be made to work one wheel. In a screw vessel the same course may be pursued, provided the broken crank is not the one through which the force of the other engine is communicated to the screw. In such a case the vessel will be as much disabled as if she broke the screw shaft or screw.
740. Q.--Will the unbroken engine, in the case of disarrangement of one of the two engines of a screw or paddle vessel, be able of itself to turn the centre?
A.--It will sometimes happen, when there is much lead upon the slide valve, that the single engine, on being started, cannot be got to turn the centre if there be a strong opposing wind and sea; the piston going up to near the end of the stroke, and then coming down again without the crank being able to turn the centre. In such cases, it will be necessary to turn the vessel's head sufficiently from the wind to enable some sail to be set; and if once there is weigh got upon the vessel the engine will begin to work properly, and will continue to do so though the vessel be put head to wind as before.
741. Q.--What should be done if a crack shows itself in any of the shafts or cranks?
A.--If the shafts or cranks crack, the engine may nevertheless be worked with moderate pressure to bring the vessel into port; but if the crack be very bad, it will be expedient to fit strong blocks of wood under the ends of the side levers, or other suitable part, to prevent the cylinder bottom or cover from being knocked out, should the damaged part give way. The same remark is applicable when flaws are discovered in any of the main parts of the engine, whether they be malleable or cast iron; but they must be carefully watched, so that the engines may be stopped if the crack is extending further. Should fracture occur, the first thing obviously to be done is to throw the engines out of gear; and should there be much weigh on the vessel, the steam should at once be thrown on the reverse side of the piston, so as to counteract the pressure of the paddle wheel.
742. Q.--Have you any information to offer relative to the lubrication of engine bearings?
A.--A very useful species of oil cup is now employed in a number of steam vessels, and which, it is said, accomplishes a considerable saving of oil, at the same time that it more effectually lubricates the bearings. A ratchet wheel is fixed upon a little shaft which passes through the side of the oil cup, and is put into slow revolution by a pendulum attached to its outside and in revolving it lifts up little buckets of oil and empties them down a funnel upon the centre of the bearing. Instead of buckets a few short pieces of wire are sometimes hung on the internal revolving wheel, the drops of oil which adhere on rising from the liquid being deposited. upon a high part set upon the funnel, and which, in their revolution, the hanging wires touch. By this plan, however, the oil is not well supplied at slow speeds, as the drops fall before the wires are in proper position for feeding the journal. Another lubricator consists of a cock or plug inserted in the neck of the oil cup, and set in revolution by a pendulum and ratchet wheel, or any other means. There is a small cavity in one side of the plug, which is filled with oil when that side is uppermost, and delivers the oil through the bottom pipe when it comes opposite to it.
743. Q.--What are the prevailing causes of the heating of bearings?
A.--Bad fitting, deficient surface, and too tight screwing down. Sometimes the oil hole will choke, or the syphon wick for conducting the oil from the oil cup into the central pipe leading to the bearing will become clogged with mucilage from the oil. In some cases bearings heat from the existence of a cruciform groove on the top brass for the distribution of the oil, the effect of which is to leave the top of the bearings dry. In the case of revolving journals the plan for cutting a cruciform channel for the distribution of the oil does not do much damage; but in other cases, as in beam journals, for instance, it is most injurious, and the brasses cannot wear well wherever the plan is pursued. The right way is to make a horizontal groove along the brass where it meets the upper surface of the bearing, so that the oil may be all deposited on the highest point of the journal, leaving the force of gravity to send it downward. This channel should, of course, stop short a small distance from each flange of the brass, otherwise the oil would run out at the ends.
744. Q.--If a bearing heats, what is to be done?
A.--The first thing is to relax the screws, slow or stop the engine, and cool the bearing with water, and if it is very hot, then hot water may be first employed to cool it, and then cold. Oil with sulphur intermingled is then to be administered, and as the parts cool down, the screws may be again cautiously tightened, so as to take any jump off the engine from the bearing being too slack. The bearings of direct acting screw engines require constant watching, as, if there be any disposition to heat manifested by them, they will probably heat with great rapidity from the high velocity at which the engines work. Every bearing of a direct acting screw engine should have a cock of water laid on to it, which may be immediately opened wide should heating occur; and it is advisable to work the engine constantly, partly with water, and partly with oil applied to the bearings. The water and oil are mixed by the friction into a species of soap which both cools and lubricates, and less oil moreover is used than if water were not employed. It is proper to turn off the water some time before the engine is stopped, so as to prevent the rusting of the bearings.
745. Q.--What are the chief duties of the engine driver of a locomotive?
A.--His first duties are those which concern the safety of the train; his next those which concern the safety and right management of the engine and boiler. The engine driver's first solicitude should be relative to the observation and right interpretation of the signals; and it is only after these demands upon his attention have been satisfied, that he can look to the state of his engine.
746. Q.--As regards the engine and boiler, what should his main duties be?
A.--The engineer of a locomotive should constantly be upon the foot board of the engine, so that the regulator, the whistle or the reversing handle may be used instantly, if necessary; he must see that the level of the water in the boiler is duly maintained, and that the steam is kept at a uniform pressure. In feeding the boilers with water, and the furnaces with fuel, a good deal of care and some tact are necessary, as irregularity in the production of steam will often occasion priming, even though the water be maintained at a uniform level; and an excess of water will of itself occasion priming, while a deficiency is a source of obvious danger. The engine is generally furnished with three gauge cocks, and water should always come out of the second gauge cock, and steam out of the top one when the engine is running: but when the engine is at rest, the water in the boiler is lower than when in motion, so that when the engine is at rest, the water will be high enough if it just reaches to the middle gauge cock. In all boilers which generate steam rapidly, the volume of the water is increased by the mingled steam, and in feeding with cold water the level at first falls; but it rises on opening the safety valve, which causes the steam in the water to swell to a larger volume. In locomotive boilers, the rise of the water level due to the rapid generation of steam is termed "false water." To economize fuel, the variable expansion gear, if the engine has one, should be adjusted to the load, and the blast pipe should be worked with the least possible contraction; and at stations the damper should be closed to prevent the dissipation of heat.
747. Q.--In starting from a station, what precautions should be observed with respect to the feed?
A.--In starting from a station, and also in ascending inclined planes, the feed water is generally shut off; and therefore before stopping or ascending inclined planes, the boiler should be well filled up with water. In descending inclined planes an extra supply of water may be introduced into the boiler, and the fire may be fed, as there, is at such times a superfluity of steam. In descending inclined planes the regulator must be partially closed, and it should be entirely closed if the plane be very steep. The same precaution should be observed in the case of curves, or rough places on the line, and in passing over points or crossings.
748. Q.--In approaching a station, how should the supply of water and fuel be regulated?
A.--The boiler should be well filled with water on approaching a station, as there is then steam to spare, and additional water cannot be conveniently supplied when the engine is stationary. The furnace should be fed with small quantities of fuel at a time, and the feed should be turned off just before a fresh supply of fuel is introduced. The regulator may, at the same time, be partially closed; and if the blast pipe be a variable one, it will be expedient to open it widely while the fuel is being introduced, to check the rush of air in through the furnace door, and then to contract it very much so soon as the furnace door is closed, in order to recover the fire quickly. The proper thickness of coke upon the grate depends upon the intensity of the draught; but in heavily loaded engines it is usually kept up to the bottom of the fire door. Care, however, must be taken that the coke does not reach up to the bottom row of tubes so as to choke them up. The fuel is usually disposed on the grate like a vault; and if the fire box be a square one, it is heaped high in the corners, the better to maintain the combustion.
749. Q.--How can you tell whether the feed pumps are operating properly?
A.--To ascertain whether the pumps are acting well, the pet cock must be turned, and if any of the valves stick they will sometimes be induced to act again by working with the pet cock open, or alternately open and shut. Should the defect arise from a leakage of steam into the pump, which prevents the pump from drawing, the pet cock remedies the evil by permitting the steam to escape.
750. Q.--What precautions should be taken against priming in locomotives?
A.--Should priming occur from the water in the boiler being dirty, a portion of it may be blown out; and should there be much boiling down through the glass gauge tube, the stop cock may be partially closed. The water should be wholly blown out of locomotive boilers three times a week, and at those times two mud-hole doors at opposite corners of the boiler should be opened, and the boiler be washed internally by means of a hose. If the boiler be habitually fed with dirty water, the priming will be a constant source of trouble.
751. Q.--What measures should the locomotive engineer take, to check the velocity of the train, on approaching a station where he has to stop?
A.--On approaching a station the regulator should be gradually closed, and it should be completely shut about half a mile from the station if the train be a very heavy one: the train may then be brought to rest by means of the breaks. Too much reliance, however, must not be put upon the breaks, as they sometimes give way, and in frosty weather are nearly inoperative. In cases of urgency the steam may be thrown upon the reverse side of the piston, but it is desirable to obviate this necessity as far as possible. At terminal stations the steam should be shut off earlier than at roadside stations, as a collision will take place at terminal stations if the train overshoots the place where it ought to stop. There should always be a good supply of water when the engine stops, but the fire may be suffered gradually to burn low toward the conclusion of the journey.
752. Q.--What is the duty of an engine man on arriving at the end of his journey?
A.--So soon as the engine stops it should be wiped down, and be then carefully examined: the brasses should be tried, to see whether they are slack or have been heating; and, by the application of a gauge, it should be ascertained occasionally whether the wheels are square on their axles, and whether the axles have end play, which should be prevented. The stuffing boxes must be tightened, and the valve gear examined, and the eccentrics be occasionally looked at to see that they have not shifted on their axles, though this defect will be generally intimated by the irregular beating of the engines. The tubes should also be examined and cleaned out, and the ashes emptied out of the smoke box through the small ash door at the end. If the engine be a six-wheeled one, with the driving wheels in the middle, it will be liable to pitch, and oscillate if too much weight be thrown upon the driving wheels; and where such faults are found to exist, the weight upon the drivings wheels should be diminished. The practice of blowing off the boiler by the steam, as is always done in marine boilers, should not be permitted as a general rule in locomotive boilers, when the tubes are of brass and the fire box of copper; but when the tubes and fire boxes are of iron, there will not be an equal risk of injury. Before starting on a journey, the engine man should take a summary glance beneath the engine--but before doing so he ought to assure himself that no other engine is coming up at the time. The regulator, when the engine is standing, should be closed and locked, and the eccentric rod be fixed out of gear, and the tender break screwed down; the cocks of the oil vessels should at the same time be shut, but should all be opened a short time before the train starts.
753. Q.--What should be done if a tube bursts in the boiler?
A.--When a tube bursts, a wooden or iron plug must be driven into each end of it, and if the water or steam be rushing out so fiercely that the exact position of the imperfection cannot be discovered, it will be advisable to diminish the pressure by increasing the supply of feed water. Should the leak be so great that the level of the water in the boiler cannot be maintained, it will be expedient to drop the bars and quench the fire, so as to preserve the tubes and fire box from injury.
754. Q.--If any of the working parts of a locomotive break or become deranged, what should be done?
A.--Should the piston rod or connecting rod break, or the cutters fall out or be clipped off--as sometimes happens to the piston cutter when the engine is suddenly reversed upon a heavy train--the parts should be disconnected, if the connection cannot be restored, so as to enable one engine to work; and of course the valve of the faulty engine must be kept closed. If one engine has not power enough to enable the train to proceed with the blast pipe full open, the engine may perhaps be able to take on a part of the carriages, or it may run on by itself to fetch assistance. The same course must be pursued if any of the valve gearing becomes deranged, and the defects cannot be rectified upon the spot.
755. Q.--What are the most usual causes of railway collisions?
A.--Probably fogs and inexactness in the time kept by the trains. Collisions have sometimes occurred from carriages having been blown from a siding on to the rails by a high wind; and the slippery state of the rails, or the fracture of a break, has sometimes occasioned collisions at terminal stations. Collision has also repeatedly taken place from one engine having overtaken another, from the failure of a tube in the first engine, or from some other slight disarrangement; and collision has also taken place from the switches having been accidentally so left as to direct the train into a siding, instead of continuing it on the main line. Every train now carries fog signals, which are detonating packets, which are fixed upon the rails in advance or in the rear of a train which, whether from getting off the rails or otherwise, is stopped upon the line, and which are exploded by the wheels of any approaching train.
756. Q.--What other duties of an engine-driver are there deserving attention?
A.--They are too various to be all enumerated here, and they also vary somewhat with the nature of the service. One rule, however, of universal application, is for the driver to look after matters himself, and not delegate to the stoker the duties which the person in charge of the engine should properly perform. Before leaving a station, the engine-driver should assure himself that he has the requisite supply of coke and water. Besides the firing tools and rakes for clearing the tubes, he should have with him in the tender a set of signal lamps and, torches, for tunnels and for night, detonating signals, screw keys, a small tank of oil, a small cask of tallow, and a small box of waste, a coal hammer, a chipping hammer, some wooden and iron plugs for the tubes, and an iron tube holder for inserting them, one or two buckets, a screw jack, wooden and iron wedges, split wire for pins, spare cutters, some chisels and files, a pinch bar, oil cans and an oil syringe, a chain, some spare bolts, and some cord, spun yarn, and rope.
Accidents in steam vessels, proper preparation
for.
Admiralty rule for horse power.
Adhesion of wheels of locomotives to rails.
Air, velocity of, entering a vacuum,
required for combustion of coal;
law of expansion of, by heat;
Air pump, description of,
action of;
proper dimensions of.
Air pump of marine engines, details of.
Air pump of oscillating engine.
Air pump of direct acting screw engines.
Air pumps made both single and double acting,
difference of, explained.
Air pumps, double acting valves of,
bad vacuum in;
causes and remedy.
Air pump rods, brass or copper, in marine engines.
Air pump bucket, valves of.
Air pump, connecting rod and cross head of oscillating engine.
Air pump rod of oscillating engine.
Air pump arm.
Air vessels applied to suction side of pumps.
"Alma," engine of, by Messrs. John Bourne & Co.
"Amphion," engines of.
Amoskeag steam fire engine.
Angle iron in boilers, precautions respecting.
Apparatus for raising screw propeller.
Atmospheric valve.
Atmospheric resistance to railway trains.
Auxiliary power, screw vessels with.
Axle bearings of locomotives.
Axle guards.
Axles and wheels of modern locomotives.
"Azof," slide valve of.
Babbitt's metal, how to compound.
Balance piston to take pressure off slide valve.
Ball valves.
Barrel of boiler of modern locomotives.
Beam, working of land engine,
main or working strength proper for.
Bearings of engines or other machinery,
rule for determining proper surface of.
Bearings, heating of, how to prevent or remedy,
journals should always bottom, as, if they grip
on the sides, the pressure is infinite.
Beattie's screw.
Belidor's valves might be used for foot and delivery valves.
Bell-metal, composition of.
Blast pipe of locomotives, description of.
Blast in locomotives, exhaustion produced by,
proper construction of the blast pipe;
the blast pipe should be set below the root of
the chimney so much that the cone of escaping
steam shall just fill the
chimney.
Blast pipe with variable orifice, at one time much used.
Blow-off cock of locomotives.
Blow-off cocks of marine boilers, proper construction of.
Blow-off cocks, description of.
Blowing off supersalted water from marine boilers.
Blowing off, estimate of heat lost by,
mode of.
Blow through valve, description of.
Blowing furnaces, power necessary for.
Bodies, falling, laws of.
Bodmer, expansion valve by.
Boilers, general description of: the wagon boiler,
the Cornish boiler;
the marine flue boiler;
the marine tubular boiler;
locomotive boiler--see Locomotives.
Boilers proportions of: heating surface of,
fire grate, surface of;
consumption of fuel on each square foot of fire bars in
wagon,
Cornish, and locomotive boilers;
calorimmeter and vent of boilers;
comparison of proportions of wagon, flue, and tubular
boilers;
evaporative power of boilers;
power generated by evaporation of a cubic foot of
water;
proper proportions of modern marine boilers both flue and
tubular;
modern locomotive boilers;
exhaustion produced by blast in locomotives;
increased evaporation from increased exhaustion;
strength of boilers;
experiments on, by Franklin Institute;
by Mr. Fairbairn;
mode of computing strength of boilers;
staying of.
Boilers, marine, prevented from salting by blowing off,
early locomotive and contemporaneous marine boilers
compared;
chimneys of land;
rules for proportions of chimneys;
chimneys of marine boilers.
Boilers, constructive details of: riveting and caulking of land
boilers,
proving of;
seams payed with mixture of whiting and linseed oil;
setting of wagon boilers;
riveting of marine boilers;
precautions respecting angle iron;
how to punch the rivet holes and shear edges of
plates;
setting of marine boilers in wooden vessels;
mastic cement for setting marine boilers;
composition of mastic cement;
best length of furnace;
configuration of furnace bars;
advantages and construction of furnace bridges;
various forms of dampers;
precautions against injury to boilers from intense
heat;
tubing of boilers;
proper mode of staying tube plates;
proper mode of constructing steamboat chimneys;
waste steam-pipe and funnel casing;
telescope chimneys;
formation of scale in marine boilers;
injury of such incrustations;
amount of salt in sea water;
saltness permissible in boilers;
amount of heat lost by blowing off;
mode of discharging the supersalted water;
Lamb's scale preventer;
internal corrosion of marine boilers;
causes of internal corrosion;
surcharged steam produced from salt water;
stop valves between boilers;
safety or escape valve on feed pipe;
locomotive boilers consist of the fire box, barrel for
holding tubes, and smoke box;
dimensions of the barrel and thickness of plates;
mode of staying fire box and furnace crown;
fire bars, ash box, and chimney;
steam dome used only in old engines;
manhole, mudholes, and blow-oft cock;
tube plate, and mode of securing tubes;
expanding mandrels;
various forms of regulator.
Boilers of modern locomotives.
Boiler, the, proper care of, the first duty of the engineer.
Bolts, proper proportions of.
Boring of cylinders.
Boulton and Watt's rules for fly wheel,
proportions of marine flue boilers;
rule for proportions of chimneys of land boilers;
of marine boilers;
experiments on the resistance of vessels in water.
Bourdon's steam and vacuum gauges.
Bourne, expansion valves by.
Bourne, Messrs. J. & Co., direct acting screw engines by.
Brass for bearings, composition of.
Brazing solders.
Bridges in furnaces, benefits of.
Burning of boilers, precautions against.
Bursting velocity of fly wheel,
and of railway wheels.
Bursting of boilers,
causes of;
precautions against;
may be caused by accumulations of salt.
Butterfly valves of air pump.
Cabrey, expansion valve by.
Calorimeter of boilers, definition of.
Cams, proper forms of.
Cast iron, strength of,
proportions of cast iron beams;
effects of different kinds of strains on beams;
strength to resist shocks not proportional to strength to
resist
strains;
to attain maximum strength should be combined with wrought
iron.
Casting of cylinders.
Case-hardening, how to accomplish.
Cataract, explanation of nature and uses of.
Caulking of land boilers.
Cement, mastic, for setting marine boilers.
Central forces.
Centre of pressure of paddle wheels.
Centres of gravity, gyration and oscillation.
Centres for fixing arms of paddle wheel.
Centres of an engine, how to lay off.
Centrifugal force, nature of,
rule for determining;
bursting velocity of fly wheel;
and of railway wheels.
Centrifugal pump will supersede common pump.
Centripetal force, nature of.
Chimney of locomotives.
Chimney of steam vessels, what to do if carried away.
Chimneys of land boilers,
Boulton and Watt's rule for proportions of;
of marine boilers.
Chimneys, exhaustion produced by,
high and wide chimneys in locomotives injurious.
Chimneys of steamboats,
telescope.
Clark's patent steam fire regulator.
Coal, constituents of,
combustion of air required for;
evaporative efficacy of;
of wood, turf, and coke.
Cocks, proper construction of.
Cog wheels for screw engines.
Coke, evaporative efficacy of.
Cold water pump, description of,
rule for size of.
Combustion, nature of.
Combustion of coal, air required for.
Combustion, slow and rapid, comparative merits of,
rapid combustion necessary in steam vessels, and enables
less heating,
surface in the boiler to suffice.
Conchoidal propeller.
Condensation of steam, water required for.
Condenser, description of,
action of;
proper dimensions of.
Condenser of oscillating engine.
Condenser of direct acting screw engine.
Condensing engine, definition of.
Condensing water, how to provide when deficient.
Conical pendulum or governor.
Connecting rod, description of,
strength proper for.
Connecting rod of direct acting screw engines,
of locomotives.
Consumption of fuel on each square foot of fire bars in wagon,
Cornish,
and locomotive boilers.
Copper, strength of.
Corliss's steam engine.
Corrosion produced by surcharged steam.
Corrosion of marine boilers,
causes of.
Cost of locomotives.
Cotton spinning, power necessary for.
Counter for counting strokes of an engine.
Crank, description of,
unequal leverage of, corrected by fly wheel;
no power lost by;
action of;
strength proper for.
Crank of direct acting screw engines.
Crank pin, strength proper for.
Crank pin of direct acting screw engines.
Cranked axle of locomotives.
Cross head, description of,
strength proper for.
Cross head of direct acting screw engines.
Cross tail, description of.
Cylinder, description of,
strength proper for.
Cylinder of oscillating engine,
of direct acting screw engine.
Cylinders should have a steam jacket, and be felted and planted,
should have escape valves.
Cylinders of locomotives should be large,
proper arrangement of.
Cylinders, how to cast,
how to bore;
how to grind.
Cylinder jacket, advantages of.
Damper.
Dampers, various forms of.
Deadwood, hole in, for screw.
Delivery valve, description of.
Delivery or discharge valves, proper dimensions of.
Delivery valves might be made on Belidor's plan.
Delivery valves in mouth of air pump,
of india rubber.
Direct acting screw engines should be balanced.
Direct acting screw engine by Messrs. John Bourne &, Co.,
cylinder;
discs;
guides;
screw shaft brasses;
air pump;
slide valve;
balance piston;
connecting rod;
piston rods;
cross head;
air pump arm;
feed pump;
crank pin;
screw shaft;
thrust plummer block;
link motion;
screw propeller.
Discharge valves.
Disc valves of india rubber for air pumps.
Discs of direct acting screw engine instead of crank.
Dodds, expansion valve by.
Double acting engines, definition of.
Double acting air pumps,
valves of;
faults of.
Draw bolt.
Dredging earth out of rivers, power necessary for.
Driving wheels of locomotives.
Driving piles, power necessary for.
Duplex pump, Worthington's.
Dundonald, Earl of, screw by.
Duty of engines and boilers,
how the duty is ascertainable.
Dynamometer, description of.
Dynamometric power of screw vessels.
Eccentric, description of,
sometimes made loose for backing.
Eccentric and eccentric rod of oscillating engine.
Eccentric notch should be fitted with a brass bush.
Eccentric straps of locomotives,
rods of locomotives.
Eccentrics of locomotives,
how to readjust.
Economy of fuel in steam vessels.
Edwards, expansion valve by.
Elasticity, limits of.
Engine, high pressure, definition of,
low pressure, definition of.
Engines, classification of,
rotative, definition of;
rotatory, definition of;
single acting, definition of;
double acting, definition of;
mode of erecting in a vessel;
how to refix if they have become loose.
Engineers of steam vessels should make proper preparation for
accidents.
Equilibrium slide valve,
grid-iron valve.
Erecting engines in a vessel.
Erection of engines in the workshop.
Escape valve on feed pipe.
Escape valves for letting water out of cylinders.
Evaporative efficacy of coal,
of wood, turf, and coke.
Evaporative power of boilers,
power generated by evaporation of a cubic foot of
water;
increase of evaporation due to increased exhaustion in
locomotives.
Excavator, Otis's.
Exhaustion produced by chimneys,
by the blast in locomotives;
increased evaporation from increased exhaustion.
Expanding mandrels for tubing boilers.
Expansion of air by heat.
Expansion of surcharged steam by heat.
Expansion of steam,
pressure of steam inversely as the space occupied;
law of expansion;
rule for computing the increase of efficiency produced by
working
expansively;
necessity of efficient provisions against refrigeration in
working
expansively;
advantages of steam jacket;
Forms of apparatus for working expansively: lap on the
slide valve
wire drawing the steam;
Cornish expansion valve,
in rotative engines worked by a cam;
mode of varying the degree of expansion;
proper forms of cams;
the link motion;
expansion valves, by Cabrey, Fenton, Dodds,
Farcot, Edwards,
Lavagrian, Bodmer, Meyer,
Hawthorn, Gonzenbach, and Bourne.
Expansion joint in valve casing.
Expansion valves, Cornish,
the link motion;
by Cabrey, Fenton, Dodds, Farcot, Edwards, Lavagrian,
Bodmer, Meyer,
Hawthorn, Gouzenbach, and Bourne.
Explosions of boilers,
causes of explosions;
precautions against;
dangers of accumulations of salt.
Face plates or planometers.
Falling bodies, laws of.
Farcot, expansion valve by.
Feathering paddle wheels, description of,
details of.
Feed pump, description of,
action of;
proper dimensions of;
rule for proportioning.
Feed pump plunger,
and valves.
Feed pumps of locomotives, details of.
Feed pumps of direct acting screw engines.
Fenton, expansion valve by.
Fire bars of locomotives.
Fire box of locomotives, mode of staying.
Fire box of modern locomotives.
Fire engines, cost of running.
Fire grate surface of boilers.
Fire grate in locomotives should be of small area,
coke proper to be burned per hour on each square foot of
bars.
Firing furnaces, proper mode of.
Flaws in valves or cylinders, how to remedy.
Float for regulating water level in boilers.
Floats of paddle.
Floats of paddle wheels, increased resistance of, if oblique,
floats should be large.
Fly wheel corrects unequal leverage of crank,
proper energy for;
Boulton and Watt's rule for;
bursting velocity of;
description of;
action of, in redressing irregularities of motion.
Foot valve, description of,
proper dimensions of.
Foot valves might be made on Belidor's plan,
of india rubber.
Frame at stern for holding screw propeller.
Framing of locomotives.
Framing of oscillating engine.
Franklin Institute, experiments on steam by.
French Academy, experiments on steam by.
Friction, nature of,
does not vary as the rubbing surfaces, but as the
retaining pressure;
does not increase with the velocity per unit of distance,
but increases
with the velocity per unit of time;
measures of friction;
effect of unguents;
kind of unguent should vary with the pressure;
Morin's experiments;
rule for determining proper surfaces of bearings;
friction of rough surfaces.
Friction of the water the main cause of the resistance of vessels of
good
shape.
Fuel burnt on each square foot of fire bars in wagon, Cornish, and
locomotive boilers,
economy of, in steam vessels.
Funnel casing.
Funnel, what to do if carried away.
Funnels of steam boats. See Chimneys.
Furnaces, proper mode of firing,
smoke burning: Williams's argand;
Prideaux's;
Boulton and Watt's dead plate;
revolving crate;
Juckes's;
Maudslay's;
Hull's, Coupland's, Godson's, Robinson's,
Stevens's, Hazeldine's,
&c..
Furnaces of marine boilers, proper length of.
Furnace bridges, benefits of.
Fusible metal plugs useless as antidotes to explosions.
Gauges, vacuum,
steam;
gauge cocks and glass tubes for showing level of water in
boiler,
description of.
Gauge cocks for showing level of water in boiler.
Gearing for screw engines.
Gibs and cutters, strengths proper for.
Giffard's injector.
Glass tubes for showing water level in boilers.
Glass tube cocks.
Gonzeubach, expansion valve by.
Gooch's indicator.
Gooch's locomotive.
Governor or conical pendulum,
description of.
Governor, Porter's patent.
Gravity, centre of.
"Great Western," boilers of, by Messrs. Maudslay.
Gridiron valve.
Griffith's screw.
Grinding corn, power necessary for.
Grinding of cylinders.
Gudgeons, strength proper for.
Guides of locomotives.
Guides of direct acting screw engine.
Gun metal, strength of.
Gyration, centre of.
Harvey and West's pump valves.
Hawthorn, expansion valve by.
Heat, latent, definition of.
Heat, specific, definition of.
Heat, Regnault's experiments on.
Heat, loss of, by blowing off marine boilers.
Heating surface of boilers.
Heating surface per square foot of fire bars in locomotives,
a cubic foot of water evaporates by five square feet of
heating surface.
Heating of bearings, causes of,
bearings should always be slack at the sides, else the
pressure is
infinite.
High pressure engine, definition of.
High pressure engines, power of.
High speed engines,
arrangements proper for high speeds.
Hoadley's portable engine.
Hodgson's screw.
Hoe & Co.'s steam engine.
Holding down bolts of marine engines,
or bolts for securing engines to hull.
Holms's screw propeller.
Horses power, definition of,
nominal horse power;
actual power ascertained by the indictator;
Admiralty rule for.
Hot water or feed pump, description of.
Hot well, description of.
Increasing pitch of screw.
Incrustation in boilers. See also Salt.
India rubber valves for air pump.
Indicator, description of the,
by McNaught, structure and mode of using;
Gooch's continuous indicator.
Injection cock.
Injection cocks of marine engines at ship's sides.
Injection orifice, proper area of.
Injector, Giffard's.
Injection valve.
Inside cylinder locomotives.
Iron, strength of,
limits of elasticity of;
proper strain to be put upon iron in engines and
machines;
aggravation of strain by being intermittent;
increase of strain due to deflection;
strength of pillars and tubes,
combination of malleable and cast iron.
Iron, cast, strength of,
cast iron beams;
may be strong to resist strains, but not strong to resist
shocks;
should be combined with wrought iron to obtain maximum
strength.
Iron, if to be case hardened, should be homogeneous.
Jacket of cylinder, advantages of.
Joints, rust, how to make.
Kingston's valves.
Lamb's scale preventer.
Lantern brass in stuffing boxes.
Lap and lead of the valve, meaning of.
Large vessels have least proportionate resistance.
Latent heat, definition of.
Latta's steam fire engine.
Lavagrian, expansion valve by.
Lead and lap of the valve, meaning of.
Lead of the valve, benefits of.
Lever,
futility of plans for deriving power from a lever.
Lifting apparatus for screw propeller.
Limits of elasticity.
Links, main description of.
Link motion of direct acting screw engine.
Link motion, how to set.
Locomotive engines,
general description of the locomotive;
Stephenson's locomotive;
Gooch's locomotive for the wide gauge;
Crampton's locomotive for the narrow gauge.
Locomotives, adhesion of wheels of,
cost and performance of;
framing of;
cylinders of;
springs of;
outside and inside cylinders;
sinuous motion of;
rocking motion of;
pitching motion of;
pistons;
piston rods;
guides;
cranked axle;
axle bearings;
eccentrics;
eccentric rod;
starting handle;
link motion;
valves, how to set;
eccentrics, how to readjust;
feed pumps;
connection of engine and tender,
driving wheels;
wheel tires.
Locomotive engine of modern construction, example of,
fire box;
barrel of boiler;
tubes;
tube plate;
framing;
axle guards;
draw bolt;
wheels and axles;
cylinders;
valve;
piston;
piston rod;
guides;
connecting rod;
eccentrics;
link motion;
regulator;
blast pipe;
safety valve;
feed pump;
tendencies of improvement in locomotives.
Locomotives, management of.
Locomotive boilers, examples of modern proportions.
Locomotive boilers, details of.
Low pressure or condensing engine, definition of.
Lubrication of rubbing surfaces,
the friction depends mainly on the nature of
lubricant;
oil forced out of bearings, if the pressure exceeds
800
lbs. per square inch longitudinal section;
water a good lubricant if the surfaces are large
enough.
Lubrication of engine bearings.
McNaught's indicator.
Main beam, strength proper for.
Main centre, description of,
strength proper for.
Main links, description of,
strength proper for.
Mandrels, expanding, for tubing boilers.
Manhole door.
Manhole of locomotives.
Marine flue boilers, proportions of.
See also Boilers.
Marine boilers of modern construction, proper proportions of.
Marine engines. See Steam Engines, marine.
Mastic cement for setting marine boilers.
Maudslay, Messrs., boilers of "Retribution" and "Great
Western," by,
Mechanical powers,
misconceptions respecting.
Mechanical power, definition of,
indestructible and eternal;
the sun the source of mechanical power.
Metallic packing for pistons.
Metallic packing for stuffing boxes.
Meyer, expansion valve by.
Miller, Ravenhill & Co.'s mode of fixing piston rod to
piston.
Modern locomotives.
Momentum, or vis viva.
Morin, experiments on friction by.
Mudholes of locomotives.
Muntz's metal, composition of.
"Niger" and "Basilisk," trials
of.
"Nile," boilers of the, by Boulton and Watt.
Notch of eccentric should be fitted with brass bush.
Oils for lubrication. See Lubrication.
Oscillation, centre of.
Oscillating paddle engine, description of.
Oscillating engine, advantages of,
futility of objections to;
details of cylinder;
framing;
condenser;
air pump;
trunnions;
valve and valve casing;
piston;
piston rod;
air pump connecting rod and cross head;
air pump rod;
eccentric and eccentric rod;
valve gear;
valve sector;
shaft plummer blocks;
trunnion plummer blocks;
feathering paddle wheels;
packing of trunnions.
Oscillating engines, how to erect.
Otis's excavator.
Outside and inside cylinder locomotives.
Packing for stuffing box of Watt's engine.
Packing of piston of pumping engines, how to accomplish.
Packing of trunnions.
Paddle bolts, proper mode of forming.
Paddle centres.
Paddle floats.
Paddle shaft, description of.
Paddle shaft, details of.
Paddle shaft plummer blocks of oscillating engines.
Paddle wheels, details of,
structure and operation of;
slip of;
centre of pressure of;
rolling circle;
action of oblique floats;
rule for proportioning paddle wheels;
benefits of large floats.
Paddle wheels, feathering, description of;
details of.
Paddles and screw combined.
Parallel motion, description of,
how to lay off centres of.
Pendulum,
cause of vibrations of;
relation of vibrations of pendulum to velocity of falling
bodies;
conical pendulum or governor.
Penn, Messrs., engines of "Great Britain," by,
direct acting screw engines by;
trunk engines by.
Performance of locomotives.
Pillars, hollow, strength of,
law of strength varies with thickness of metal.
Pipe for receiving screw shaft.
Pipes of marine engines.
Piston, description of,
how to pack with hemp.
Pistons, metallic packing for.
Pistons for oscillating engines.
Pistons, how to fit and finish.
Pistons of locomotives.
Piston rod, description of,
strength proper for.
Piston rods of locomotives.
Piston rod of oscillating engine.
Piston rods of direct acting screw engine.
Pitch of the screw.
Pitch, increasing or expanding.
Pitching motion in locomotives.
Planometers, or face plates.
Plummer blocks of shafts and trunnions of oscillating engines.
Plummer blocks for receiving thrust of screw propeller.
Plunger of feed pump.
Portable engine, Hoadley's.
Porter's patent governor.
Ports of the cylinder, area of.
Pot-lid valves of air pump.
Powers, mechanical,
misconception respecting.
Power, horses, definition of,
nominal and actual power;
power of high pressure engines.
Power necessary for thrashing and grinding corn, working sugar
mills,
spinning cotton, sawing timber, grossing
cotton, blowing furnaces,
driving piles, and dredging earth out of
rivers.
Pressing cotton, power necessary for.
Priming, nature and causes of.
Priming, if excessive, may occasion explosion.
Propeller, screw, description of.
Proportions of screws with, two, four, and six blades.
Proving of boilers.
Prussiate of potash for case hardening.
Pumping engines, mode of erecting,
mode of starting.
Pumps, loss of effect in, at high speed and with hot water,
causes of this loss;
remedy for.
Pumps used for mines.
Pump, air, description, of,
action of.
Pumps, air, proper proportions of,
single and double acting.
Pump, centrifugal, better than common pump.
Pump, cold water, description of.
Pump, feed, description of,
action of;
proper dimensions of;
rule for proportioning;
plunger of;
valves of;
independent.
Pump valves for mines, &c.
Punching and shearing boiler plates.
Railway wheels, bursting velocity of.
Railway trains, resistance of.
Rarefaction or exhaustion produced by chimneys.
"Rattler" and "Alecto," trials of.
Registration, benefits of.
Regnault, experiments on heat by.
Regulator, a valve for regulating the admission of steam in
locomotives,
description of;
various forms of.
Regulator, Clark's, patent steam and fire.
Rennie, experiments on friction by.
Resistance, experienced by railway trains.
Resistance of vessels in water,
mainly made up of friction;
experiments on.
Resistance and speed of vessels influenced by their size.
"Retribution," boilers of, by Messrs. Mandslay.
Riveting and caulking of land boilers.
Rocking motion of locomotives.
Rolling circle of paddle wheels.
Rotatory engines, definition of.
Rotative engines, definition of.
Rust joints, how to make.
Safety valve, area of, in low pressure engines,
in locomotives.
Salinometer, or salt gauge, how to use,
how to construct.
Salt, accumulation of, prevented in marine boilers by blowing off,
if allowed to accumulate in boilers may occasion explosion;
amount of, in sea water.
Salt water produces surcharged steam.
Salting of boilers, what to do if this takes place.
Sawing timber, power necessary for.
Scale in marine boilers. See also Salt.
Scale preventer, Lamb's.
Scrap iron, unsuitable for case hardening.
Scraping tools for metal surfaces.
Screw.
Screw engine, geared oscillating, description of,
direct acting, description of.
Screw engine, direct acting, by Messrs. John Bourne & Co.
Screw engines, best forms of.
Screw frame in deadwood.
Screw propeller, description of.
Screw propeller, mode of fixing on shaft,
modes of receiving thrust;
apparatus for lifting;
configuration of;
action of;
pitch of the screw;
screws of increasing or expanding pitch;
slip of the screw;
positive and negative slip;
screw and paddles compared;
test of the dynamometer;
trials of "Rattler" and "Alecto," and
"Niger" and "Basilisk";
indicator and dynamometer power;
loss of power in screw vessels in head winds;
the screw should be deeply immersed;
screws of the Earl of Dundonald, Hodgson, Griffith, Holm,
and Beattie;
lateral and retrogressive slip;
sterns of screw vessels should be sharp;
proportions of screws with two, four, and six blades;
screw vessels with auxiliary power;
screw and paddles combined;
economy of fuel in steam vessels;
benefits of registration.
Screw propeller, Holm's conchoidal.
Screw shaft, details of.
Screw shaft pipe at stern.
Screw shaft brasses of direct acting screw engines.
Sea water, amount of salt in.
Sea injection cocks.
Setting of wagon boilers,
of marine boilers.
Setting the valves of locomotives.
Shaft, paddle, details of.
Shaft of screw propeller, details of.
Shafts, strength of.
Shank's steam gauge.
Shocks may not be well resisted by iron that can well resist
strains,
effect of inertia in resisting shocks.
Side levers or beams, description of.
Side lever marine engines, description of.
Side lever engines, how to erect.
Side rods, description of,
strength proper for.
Silsbee, Mynderse & Co.'s steam fire engine.
Single acting engines, definition of.
Single acting or pumping engines,
mode of erecting;
mode of starting.
Sinuous motion of locomotives.
Slide valve,
various forms of;
long D and three ported valve, description of;
action of the slide valve;
lead and lap of the valve;
rules for determining the proportions of valves;
advantages of lead in swift moving engines.
Slide valve, equilibrium.
Slide valve with balance piston of direct acting screw engine.
Slide valve, how to finish.
Slide valves of marine engines, how to set.
Slip of paddle wheels.
Slip of the screw,
positive and negative slip;
lateral and retrogressive slip.
Smoke, modes of consuming.
Smoke burning furnaces,
Williams's argand;
Prideaux's;
Boulton and Watt's dead plate;
revolving grate;
Juckes's;
Maudslay's;
Hall's, Coupland's, Godson's, Robinson's,
Stevens's, Hazeldine's, &c.
"Snake" locomotive.
Southern,
experiments on friction by;
experiments on steam by.
Specific heat, definition of.
Speed of vessels influenced by their size.
Spheroidal condition of water in boilers.
Springs of locomotives.
Stand pipe for low pressure boilers.
Starting handle of locomotives.
Staying of boilers.
Staying tube plates, mode of.
Staying fire boxes of locomotives.
Steam, experiments on by Southern, French Academy, Franklin
Institute,
and M. Regnault.
Steam pump,
Worthington's;
Woodward's.
Steam and water, relative bulks of.
Steam,
expansion of;
pressure of;
inversely as space occupied;
See also Expansion of Steam.
Steam engine, applications and appliances of the.
Steam engine,
general description of Watt's double acting
engine;
R. Hoe & Co.'s;
Corliss's;
Woodruff & Beach's.
Steam engine,
various forms of, for propelling vessels;
paddle engines and screw engines;
principal varieties of paddle engines;
different kinds of paddle wheels;
the side lever engine;
description of the side lever engine;
oscillating paddle engine;
description of feathering paddle wheels;
direct acting screw engine.
Steam dome of locomotives.
Steam fire engine,
Latta's.
Amoskeag.
Silsbee, Mynderse & Co.'s.
Steam gauge,
Bourdon's;
Shank's.
Steam jacket, benefits of;
Steam passages, area of;
Steam room in boilers;
Steam, surcharged, law of expansion by heat;
Steel, strength of;
Stephenson, link motion by;
Stop valves between boilers;
Straight edges;
Strains subsisting in machines;
Strain proper to be put upon iron in engines;
Strains in machines,
vary inversely as the velocity of the part to which the
strain is
applied.
aggravated by being intermittent.
increase of strain due to deflection.
effects of alternate strains in opposite directions.
Strength of materials.
Strength of hollow pillars,
law of;
strength varies with thickness of metal.
Strength of cast iron to resist shocks does not vary as the
strength
to resist strains,
increase of strength by combination with cast iron.
Strength of boilers,
experiments on, by Franklin Institute;
by Mr. Fairbairn;
mode of computing;
mode of staying for strength.
Strength of engines: cylinder,
trunnions;
piston rod;
main links;
connecting rod;
studs of the beam;
gudgeons;
working beam;
cast iron shaft;
malleable iron shaft;
teeth of wheels;
side rods;
crank;
crank pin;
cross head;
main centre;
gibs and cutter.
Studs, strength proper for.
Stuffing box, description of.
Stuffing boxes with metallic packing,
with sheet brass packed behind with hemp;
sometimes fitted with a lantern, brass.
Sugar mills, power necessary to work.
Summers' experiments on the friction of rough surfaces.
Surcharged steam, law of expansion of, by heat.
Surcharged steam produced by salt water,
corrosive action of.
Surfaces, how to make true.
Sweeping the tubes of boilers clean of soot.
Teeth of wheels.
Telescope chimneys.
Tender of a locomotive, description of,
attachment of, to engine.
Thrashing corn, power necessary for.
Throttle valve, description of.
Thrust of the screw propeller, modes of receiving.
Thrust plummer block.
Tires of locomotive wheels.
Traction on railways.
Trunk engine by Messrs. Rennie, disadvantages of.
Trunk engines by Messrs. Penn.
Trunnions of oscillating engines, description of,
strength proper for;
details of.
Trunnion packing.
Trunnion plummer blocks.
Tube plates, mode of staying.
Tube plates of modern locomotives.
Tubes of modern locomotive boilers.
Tubes of boilers, how to sweep clean of soot.
Tubing of boilers.
Tubing locomotive boilers.
Valve, atmospheric.
Valve casing, description of.
Valve casing should have expansion joint.
Valve and valve casing of oscillating engine.
Valve delivery, description of,
action of
Valve, equilibrium slide.
Valve, foot, description of,
action of.
Valve gear of Watt's engine,
action of.
Valve gear of oscillating engine.
Valve, gridiron.
Valve, slide. See Slide Valve.
Valve, slide, how to finish.
Valves, ball,
Belidor's might be used for foot and delivery
valves;
butterfly, of air pump;
concentric ring, for air pump bucket.
Valves, equilibrium.
Valves, escape, for cylinders.
Valves, expansion. See Expansion Valves.
Valves of feed pumps.
Valves, india rubber, for air pump.
Valves, Kingston's.
Valves of locomotives, how to set.
Valves, pot-lid, of air pump.
Vacuum, meaning of,
nature and uses of;
how maintained in engines.
Vacuum sometimes occurs in boilers,
evils of a vacuum in boilers.
Vacuum, velocity with which air rushes into a.
Vacuum gauge,
Bourdon's.
Velocity of air entering a vacuum.
Velocity of falling bodies.
Vent of boilers, definition of.
Vessels, resistance of,
mainly made up of friction in good forms;
experiments on;
influence of size.
Vis viva, or mechanical power.
Waste steam pipe.
Waste water pipe.
Water required for condensation,
pumps for supplying.
Watt's double acting engine, description of.
Wedge.
Wheels, toothed, for screw engines.
Wheels, teeth of.
Wheels of locomotives, adhesion of.
Wheels, driving, of locomotives.
Wheel tires.
Wheels and axles of modern locomotives.
Wood, experiments on friction by.
Wood, evaporative efficacy of.
Woodman's steam pump.
Woodruff & Beach's steam engine.
Working beam of land engine, description of.
Worthington's steam pump,
duplex pump.