The Project Gutenberg eBook of The telephone, the microphone & the phonograph

This eBook is for the use of anyone anywhere in the United States and most other parts of the world at no cost and with almost no restrictions whatsoever. You may copy it, give it away or re-use it under the terms of the Project Gutenberg License included with this eBook or online at www.gutenberg.org. If you are not located in the United States, you will have to check the laws of the country where you are located before using this eBook.

Title: The telephone, the microphone & the phonograph

Author: comte Th. Du Moncel

Illustrator: B. Bonnafoux


Release date: March 22, 2025 [eBook #75683]

Language: English

Original publication: United Kingdom: Kegan Paul, Trench, Trübner, & Co. Ltd, 1892

Other information and formats: www.gutenberg.org/ebooks/75683

Credits: deaurider and the Online Distributed Proofreading Team at https://www.pgdp.net (This file was produced from images generously made available by The Internet Archive)

*** START OF THE PROJECT GUTENBERG EBOOK THE TELEPHONE, THE MICROPHONE & THE PHONOGRAPH ***

Transcriber’s Note

Larger versions of most illustrations may be seen by right-clicking them and selecting an option to view them separately, or by double-tapping and/or stretching them.

Additional notes will be found near the end of this ebook.

THE
TELEPHONE, MICROPHONE, & PHONOGRAPH


THE TELEPHONE
THE MICROPHONE & THE PHONOGRAPH

BY
COUNT DU MONCEL
MEMBRE DE L’INSTITUT

AUTHORISED TRANSLATION
WITH ADDITIONS AND CORRECTIONS BY THE AUTHOR

WITH 70 ILLUSTRATIONS ON WOOD

FOURTH EDITION

LONDON
KEGAN PAUL, TRENCH, TRÜBNER, & CO. Ltd.
PATERNOSTER HOUSE, CHARING CROSS ROAD
1892


v

(The rights of translation and of reproduction are reserved)


CONTENTS.

PAGE
History of the telephone 1
MUSICAL TELEPHONES.
Reiss’s telephone 11
Wray’s telephone 15
Electric harmonica 18
Gray’s telephone 21
Pollard and Garnier’s singing condenser 26
SPEAKING TELEPHONES.
String telephones 31
Bell’s electric telephone 35
Gray’s share in invention of telephone 62
FUNDAMENTAL PRINCIPLES OF BELL TELEPHONE.
Explanation of principles 67
ORDINARY ARRANGEMENT OF BELL TELEPHONE.
Description and illustrations 71vi
BATTERY TELEPHONES.
Edison’s telephone 83
Edison’s chemical telephone 90
Navez’ telephone 93
Pollard and Garnier’s telephone 97
Hellesen’s telephone 100
Thomson and Houston’s telephone 101
Telephones with liquid senders 103
Telephones with voltaic arcs 107
Mercury telephones 110
Friction telephones 113
MODIFICATION OF BELL TELEPHONES.
Telephones with several diaphragms 114
Gray’s system 118
Phelps’s system 118
Cox Walker’s system 121
Trouvé’s system 121
Demoget’s system 124
Mac Tighe’s system 125
Modifications of telephonic organs 125
Righi’s system 126
Ader’s system 129
Jorgenson’s system 131
EXPERIMENTS WITH THE TELEPHONE.
On the effects of voltaic and induced currents 132
On the effects of different telephonic organs 139
Edison’s experiments 140
Canestrelli’s experiments 142
Hughes’s and Roy’s experiments 143
Bréguet’s experiments 149vii
Luvini’s experiments 149
Warwick’s experiments 151
Experiments on the effects of mechanical shocks 154
Des Portes’ experiments 154
Thompson’s experiments 158
Theory of telephone 159
Nature of vibrations 160
Action of diaphragm 163
Action of magnet 167
Action of currents 169
Wiesendanger’s thermophone 171
OTHER EXPERIMENTS WITH THE TELEPHONE.
D’Arsonval’s experiments 173
Eick’s experiments 175
Demoget’s experiments 176
Sensitiveness of telephone 179
Hellesen’s experiments 180
Zetsche’s experiments 181
THE MICROPHONE.
History of microphone 182
Different systems 187
Hughes’s microphone 188
Gaiffe’s system 190
Carette’s system 191
Ducretet’s system 192
Ducretet’s speaker 193
Boudet’s speaker 195
Gaiffe’s thermoscope 197
Blyth’s system 199
Microphone as a speaking instrument 200
Hughes’s system 203
Other arrangements of microphones 205viii
Varcy’s and Trouvé’s microphones 207
Lippens’s microphone 209
Hughes’s experiments 211
Hughes’s theory 215
Microphone used as thermoscope 217
Edison’s thermoscope 219
Experiments in London 220
Experiment at Bellinzona 223
APPLICATIONS OF MICROPHONE.
Its application to scientific research 226
Application to telephonic relays 229
Application to surgery 232
Various applications 236
EXTERNAL INFLUENCE ON TELEPHONIC TRANSMISSIONS.
Disturbing influences 239
Confusion of circuits 241
Induced reactions 243
Mr. Preece’s suggestions 245
Effects of heat and moisture 249
ESTABLISHMENT OF TELEPHONE STATION.
Pollard and Garnier’s system 252
Bréguet and Roosevelt’s system 254
Edison’s system 257
CALL-BELLS AND ALARUMS.
Weinhold’s system 262
Dutertre and Gouault’s system 264ix
Puluj’s system 266
Chiddey’s system 267
APPLICATIONS OF TELEPHONE.
Its application to simultaneous transmissions 270
Bell’s system 273
Lacour’s system 276
Gray’s system 282
VARIOUS USES OF THE TELEPHONE.
Its use in offices 293
Its use in telegraphic service 294
Its application to military purposes 297
Its application to industry 302
Its application to scientific research 303
THE PHONOGRAPH.
Edison’s patent 309
Description of phonograph 313
Several systems 322
Theory of phonograph 327
USES OF PHONOGRAPH.
Account by Edison 333
Lainbrigot’s system 339
FABER’S SPEAKING MACHINE 341x
APPENDIX.
Perrodon’s system of telephonic alarum 351
Varey’s microphone speaker 352
Fitch’s microphone speaker 353
Theory of telephone 353
Pollard’s microphone 356
Ader’s electrophone 357
Gower’s new telephone 358
Transmission of speech by telephones without diaphragm 360

1

THE TELEPHONE,
&c.


HISTORY OF THE TELEPHONE.

Strictly speaking, the telephone is merely an instrument adapted for the transmission of sound to a distance, and this idea of transmitting sound is as old as the world itself. The Greeks made use of means which might effect it, and there is no doubt that these means were sometimes used for the pagan oracles. But such transmission of sound was within somewhat narrow limits, and certainly did not exceed those of a speaking-tube. Mr. Preece considers that the earliest document in which this transmission of sound to a distance is distinctly formulated, dates from 1667: he refers to a paper by one Robert Hooke, who writes to this effect: ‘It is not impossible to hear a whisper at a furlong’s distance, it having been already done; and perhaps the nature of the thing would not make2 it more impossible, though that furlong should be ten times multiply’d. And though some famous authors have affirm’d it impossible to hear through the thinnest plate of Muscovy glass; yet I know a way, by which ’tis easie enough to hear one speak through a wall a yard thick. It has not yet been thoroughly examin’d how far otacousticons may be improv’d, nor what other wayes there may be of quickning our hearing, or conveying sound through other bodies than the air; for that is not the only medium I can assure the reader, that I have, by the help of a distended wire, propagated the sound to a very considerable distance in an instant, or with as seemingly quick a motion as that of light, at least incomparably quicker than that which at the same time was propagated through the air; and this not only in a straight line or direct, but in one bended in many angles.’

This plan for the transmission of sound is the principle of the string telephones which have attracted attention for some years, and it remained in the stage of simple experiment until 1819, when Sir Charles Wheatstone applied it to his magic lyre. In this instrument, sounds were transmitted through a long strip of deal, with one end in connection with a sounding board: one step more led to the use of the membrane employed in string telephones. It would be difficult to say with whom this idea originated, since it is claimed, as if beyond dispute, by several telephone-makers. If we may3 believe some travellers, it has long been used in Spain for the correspondence of lovers. However this may be, it was not to be found among the scientific appliances of some years ago, and it was even supposed by many persons that the cord consisted of an acoustic tube of slender diameter. Although the instrument has become a child’s toy, it has great scientific importance, for it proves that vibrations capable of reproducing speech may be extremely minute, since they can be mechanically transmitted more than a hundred yards.

From the telegraphic point of view, however, the problem of transmitting sounds to a distance was far from being solved in this way, and the idea of applying electricity to this mode of transmission naturally arose as soon as the wonderful effects of electric telegraphy were observed, that is, in the years subsequent to 1839. A surprising discovery made in America by Mr. Page, in 1837, and afterwards investigated by MM. Wertheim, De la Rive, and others, must also have led up to it: for it was observed that a magnetic bar could emit sounds when rapidly magnetised and demagnetised, and these sounds corresponded with the number of currents which produced them. Again, the electric vibrators devised by MM. Macaulay, Wagner, Neef, etc., and adapted to produce musical sounds, between 1847–1852, by MM. Froment and Pétrina, showed that the problem of transmitting sounds to a distance was not insoluble. Yet, up to 1854,4 no one had ventured to admit the possibility of transmitting speech by electricity, and when M. Charles Bourseul published in that year a paper on the electric transmission of speech, the idea was regarded as a fanciful dream. I confess that I myself thought it incredible, and when I produced the paper in the first edition of my account of the applications of electricity, published in 1854, I felt bound to add that the scheme seemed more than doubtful. Yet, as the paper was thoughtfully written, I had no hesitation in publishing it, affixing the signature of CH. B. Events justified this daring idea, and although it did not include the only principle which could lead to the reproduction of articulate sounds, yet it was the germ of the fertile invention which has made the names of Graham Bell and Elisha Gray famous. For this reason I will again quote M. Charles Bourseul’s paper.

‘After the telegraphic marvels which can reproduce at a distance hand-writings, or even more or less complicated drawings, it may appear impossible to penetrate further into the region of the marvellous. Yet we will try to advance a few steps further. I have, for example, asked myself whether speech itself may not be transmitted by electricity—in a word, if what is spoken in Vienna may not be heard in Paris. The thing is practicable in this way:—

‘We know that sounds are made by vibrations,5 and are adapted to the ear by the same vibrations which are reproduced by the intervening medium. But the intensity of the vibrations diminishes very rapidly with the distance: so that it is, even with the aid of speaking-tubes and trumpets, impossible to exceed somewhat narrow limits. Suppose that a man speaks near a moveable disk, sufficiently flexible to lose none of the vibrations of the voice, that this disk alternately makes and breaks the currents from a battery: you may have at a distance another disk, which will simultaneously execute the same vibrations.

‘It is true that the intensity of the sounds produced will be variable at the point of departure, at which the disk vibrates by means of the voice, and constant at the point of arrival, where it vibrates by means of electricity; but it has been shown that this does not change the sounds. It is, moreover, evident that the sounds will be reproduced at the same pitch.

‘The present state of acoustic science does not permit us to declare à priori if this will be precisely the case with syllables uttered by the human voice. The mode in which these syllables are produced has not yet been sufficiently investigated. It is true that we know that some are uttered by the teeth, others by the lips, and so on; but this is all.

‘However this may be, observe that the syllables can only reproduce upon the sense of hearing the6 vibrations of the intervening medium: reproduce precisely these vibrations, and you will reproduce precisely these syllables.

‘It is, at all events, impossible in the present condition of science to prove the impossibility of transmitting sound by electricity. Everything tends to show, on the contrary, that there is such a possibility. When the application of electro-magnetism to the transmission of messages was first discussed, a man of great scientific attainments treated the idea as utopian, and yet there is now direct communication between London and Vienna by means of a simple wire. Men declared it to be impossible, but so it is.

‘It need not be said that numerous applications of the highest importance will immediately arise from the transmission of speech by electricity. Any one who is not deaf and dumb may use this mode of transmission, which would require no apparatus, except an electric battery, two vibrating disks, and a wire. In many cases, as for example in large establishments, orders might be transmitted in this way, although transmission by electricity will not be used while it is necessary to go from letter to letter, and to make use of telegraphs which require use and apprenticeship. However this may be, it is certain that in a more or less distant future, speech will be transmitted by electricity. I have made some experiments in this direction: they are delicate, and demand time and7 patience, but the approximations obtained promise a favourable result.’

This description is certainly not full enough to enable us to discern from it the arrangement which would lead to the solution of the problem, and if the vibrations of the disk at the receiving station were to follow from making and breaking the current at the sending-station, under the influence of vibrations caused by the voice, they would only produce musical, and not articulate sounds. Yet the idea was magnificent, as Mr. Preece said, even when he thought it impossible to realise it. Besides, it is easy to see that M. Bourseul himself was not deceived as to the difficulties of the problem, as far as articulate sounds are concerned, for he points out, as we have seen, the difference existing between the simple vibrations which produce musical sounds, and the complex vibrations which cause articulate sounds; but, as he justly said: ‘Reproduce at the one end of the line the vibrations of air caused at the other, and speech will be transmitted, however complex the mechanism may be by which it is effected.’ We shall presently see how the problem was solved, and it is probable that some attempts had already enabled M. Bourseul to anticipate the solution of the question; but there is nothing in his paper to show what were the means he proposed, so that the discovery of the electric transmission of speech cannot reasonably be ascribed to him, and we do8 not understand why we should be reproached for having at that time failed to appreciate the importance of a discovery which seemed to be then only within the range of fancy.

It was not until 1876 that the problem of the electric transmission of speech was finally solved, and the discovery has lately given rise to an interesting controversy as to priority between Mr. Elisha Gray, of Chicago, and Mr. Graham Bell, on which we must say a few words.

As early as 1874 Mr. Elisha Gray was occupied with a system of musical telephone, which he wished to apply to manifold telegraphic transmissions, and the investigations which he made, in order to establish this system under the best possible conditions, gave him a glimpse of the possibility of transmitting articulate words by electricity. While carrying on his experiments on the telegraphic system, he arranged in fact, about the 15th January, 1876, a system of speaking telephone, and he deposited the specification and drawings in the American Patent Office, in the form of a caveat or provisional specification. The deposit was made on the 14th February, 1876: on the very same day, Mr. Graham Bell also deposited, in the American Patent Office, a request for a patent in which he spoke of an instrument of the same kind, but with special application to simultaneous telegraphic transmissions by means of a telephonic apparatus; and the few words which could, in this9 specification, refer to a telephone with articulate sounds, applied to an instrument which, by Mr. Bell’s own admission, had not produced any satisfactory results. In Mr. Gray’s caveat, on the contrary, the application of the instrument to the electric transmission of speech alone is indicated, the description of the system is complete, and the drawings which accompany it are so exact, that a telephone made from them would work perfectly: this was proved by Mr. Gray himself, when, some time afterwards, he finished his instruments, which differed in no respect from the one described in Mr. Bell’s statement as worked by a battery. On these grounds Mr. Elisha Gray would certainly have obtained the patent, if the expiration of his caveat had not been the result of an omission of form in the Patent Office, which, as we know, decides the priority of inventions in America. An action on the ground of this omission has lately been brought against Mr. Bell, in the Supreme Court of the American Patent Office, to set aside the patent granted to him. If Mr. Gray did not appeal before, it was because he was then wholly occupied with experiments on the system of harmonic telephone, applied to telegraphic communication, and he had no time to attend to the matter.

However this may be, Mr. Bell did not begin to give serious attention to the speaking telephone until he had obtained his patent, and his efforts were soon crowned with success: a few months10 later, he exhibited his speaking telephone at Philadelphia, which has from that time attracted so much public attention, and which, when perfected in a practical point of view, reached Europe in the autumn of 1877 under the form we know.

To complete this summary account of the telephone, we ought to say that since its success a good many claims of priority have arisen, as if by enchantment. Mr. John Camack, of English origin, has among others claimed the invention of the telephone, not merely relying on the description he gave of the instrument in 1865, but on the drawings he executed; he even adds, that if he had not lacked means for its construction, this would have been the date of the discovery of the telephone. A similar pretension has been put forward by Mr. Dolbear, a fellow countryman of Mr. Bell, of whose claim we shall speak presently.

Signor Manzetti, of Aosta, says the same thing, asserting that his telephonic invention was described in several newspapers of 1865, among others in ‘Le Petit Journal,’ of Paris, on the 22nd November, 1865; ‘Il Diritto’ at Rome, 16th July, 1865; ‘L’Echo d’Italia,’ New York, 9th August, 1865; ‘L’Italia,’ Florence, 10th August, 1865; ‘La Comuna d’Italia,’ Genoa, 1st December, 1865; ‘La Verità,’ Novara, 4th January, 1866; ‘Il Commercio,’ Genoa, 6th January, 1866. It is true that no description of the system was given, and that the journals in question only asserted that experiments11 had been made, which proved that the practical solution of the problem of transmitting speech by electricity became possible by this system. At any rate M. Charles Bourseul must still have the credit of the priority of the idea, and, in our opinion, all claims made after the fact only merit slight consideration.

Before considering Bell’s telephone, and the different modifications which have been applied to it, it seems worth while, in order to make the reader perfectly familiar with these kinds of instruments, to study the electro-musical telephones which preceded it, and especially that of M. Reiss, which was made in 1860, and became the starting point of all the others. We shall find that these instruments have very important applications, and that telegraphy will probably be one day much advanced by their use.


MUSICAL TELEPHONES.

Telephone of M. Reiss.—This telephone is, as far as the reproduction of sound is concerned, based upon Mr. Page’s discoveries in 1837, and, as regards electric transmission, it is based on the vibrating membrane of which Mr. L. Scott made use in his phonautograph, in 1855. This instrument is composed, like telegraphic systems, of two distinct parts, a sender and a receiver, as represented in fig. 1.

12

Fig. 1.

The sender was virtually composed of a sounding box K, having on its upper surface a large circular opening, across which a membrane was stretched, and in its centre there was fitted a thin disk of platinum o, above which a metallic point c was fixed, and this, together with the disk, constituted the contact-breaker. On one face of the sounding-box K, there was a sort of speaking-tube, for the purpose of collecting the sound, and directing it to the interior of the box, in order that it13 might then react upon the membrane. Part of the box K is broken away in the plate, in order that the different parts of which it is made may be seen.

The rods a, c, which support the platinum point b, are in metallic contact with a Morse key t, placed on the side of the box K, and with an electro-magnet A, which belongs to a telegraphic system, intended to exchange the signals required to start the action of the two instruments at their respective stations.

The receiver consists of a sounding-box B, on which rest two supports d, d, bearing an iron rod of the thickness of a knitting needle. An induction coil of insulated wire g is wound round this rod, and the whole is enclosed by the lid D, which concentrates the sound already increased by the sounding-box: for this purpose the box is provided with two openings below the coil.

The circuit is completed through the primary of this coil by the two terminals 3 and 4, and a Morse key t is placed at the side of box B, in order to exchange signals.

In order to work this system, the speaking instrument should be placed before the opening T, and this instrument may be a flute, a violin, or even the human voice. The vibrations of air occasioned by these instruments cause the telephonic membrane to vibrate in unison, and the latter, rapidly moving the platinum disk o to and14 from the point b, causes a series of breaks in the current, which are repeated in the iron wire d d, and transformed into metallic vibrations, of which the number is equal to that of the sounds successively produced.

According to this mode of action, the possibility of transmitting sounds with their relative value becomes intelligible: but it is equally clear that sounds thus transmitted will not have the timbre of those which produce them, since the timbre is independent of the number of vibrations, and it must be added that the sounds produced by M. Reiss’s instrument were as shrill as those of a child’s penny trumpet, and by no means attractive. The problem of transmitting musical sounds by electricity was, however, really solved, and it can be said with truth that an air or a melody could be heard at any given distance.

The invention of this telephone dates, as we have seen, from 1860, and Professor Heisler speaks of it in his treatise of technical physics, published at Vienna in 1866; he even asserts, in the article which he devotes to the subject, that although the instrument was still in its infancy, it was capable of transmitting vocal melodies, and not merely musical sounds. The system was afterwards perfected by M. Van der Weyde, who, after reading the account published by M. Heisler, sought to make the box of the sender more sonorous, and to strengthen the sounds produced by the receiver.15 He writes as follows in the ‘American Scientific Journal:’

‘In 1868, I caused two telephones to be made, similar to those I have described, and I exhibited them at a meeting of the Polytechnic Club of the American Institute. The transmitted sounds were produced at the farthest extremity of the Cooper Institute, quite outside the hall in which the audience sat: the receiver was placed on a table in the hall itself. The vocal airs were faithfully reproduced, but the sound was rather weak and nasal. I then tried to improve the instrument, and I first obtained stronger vibrations in the box K by causing reverberation from the sides of the box, by means of hollow partitions. I next intensified the sounds produced by the receiver, by introducing several iron wires into the coil, instead of one. These improvements were submitted to the meeting of the American Association for the Advancement of Science, which was held in 1869, and it was considered that the invention contained the germ of a new method of telegraphic transmission which might lead to important results.’ This opinion was soon afterwards justified by the discoveries of Bell and Elisha Gray.

Messrs. Cecil and Leonard Wray’s Telephone.—This system, represented in figs. 2 and 3, is simply an improvement on that of M. Reiss, with the object of intensifying the effects produced. The sender is provided with two membranes, instead16 of one; and its receiver, instead of being formed of a single iron wire covered with a magnetising coil, is composed of two distinct coils H, H′ (fig. 2), placed in the same straight line, and within which are two iron rods. These rods are fastened by one of their ends to two copper disks A, B; these disks are maintained in a fixed position by screws I, I′, and the two other extremities of the rods, between the coils, are opposite each other, not touching, but divided by a very small interval. The instrument is set upon a sounding-box, in which there is a hole T in the space corresponding to the interval between the coils: these coils communicate with four terminals, which are connected with the electric current in such a way that the adjacent poles of the two rods are of opposite polarity, thus forming a single magnet, divided in the centre. It seems that by this arrangement the sound produced becomes much more distinct.

Fig. 2.
Fig. 3.

The form of the sender also is somewhat17 different from the one we have previously described: the upper part, instead of being horizontal, is rather inclined, as it appears in fig. 3, and the opening E through which the sound has to communicate with the vibrating membrane, occupies a great part of the upper surface of the box, which consequently appears to be somewhat oblique. The second membrane G, which is of caoutchouc, forms a sort of partition which divides the box in two, starting from the upper end of the opening: the inventor states that this will protect the outer membrane D from the breath and other injurious effects, while increasing the force of the vibrations produced on18 the first membrane, as in a drum. The contact-breaker itself also differs from the one in M. Reiss’s instrument. The platinum disk b is only placed in circuit by means of two slender wires of platinum or steel, which are immersed in two small cups, filled with mercury, and connected with the circuit. In this way, the movements of the membrane D are free, and its vibration is rendered more easy.

The circuit is also broken by a little platinum point resting on a lever with a spring-joint, K H, which is above the disk: one end of the lever, which is fixed below a kind of Morse key M I, makes it possible to close the circuit with the hand, so as to give the signal for setting the apparatus to work.

Electric Harmonica.—Long before M. Reiss’s invention, and consequently still longer before that of Mr. Elisha Gray, I mentioned a sort of electric harmonica, and described it as follows in the first edition of my ‘Exposé des applications de l’Electricité,’ published in 1853:—

‘The power possessed by electricity to set metallic plates in motion and cause their vibration has been used for the production of distinct sounds, which can be combined and harmonised; but in addition to this purely physical application, electro-magnetism has come to the aid of certain instruments, such as pianos, organs, &c., rendering them capable of being played at a distance. So that this extraordinary force may be turned to19 account in arts which are apparently the least susceptible of any application of electricity.

‘We have already spoken of M. de la Rive’s contact-breaker. It is, as we know, an iron disk, soldered to a steel spring, and maintained in a fixed position opposite to an electro-magnet by another spring in connection with one branch of the current. As the other branch, after passing into the wire of the electro-magnet, terminates in the iron disk itself, the electro-magnet is only active at the moment when the disk touches the terminal spring; at the moment of leaving it, the magnetism ceases, and the iron disk returns to its normal position, and then leaves it again. In this way a vibration is produced, rapid in proportion to the small size of the vibrating disk, and to the greatness of the force produced by the approach of the disk to the electro-magnet.

‘In order to increase the acuteness of the sounds, one or other of these expedients must be employed. The simplest way is to use a screw which can be tightened or relaxed at pleasure, and which in this manner removes the vibrating disk to a greater or less distance from the electro-magnet. This is the case in M. Froment’s instrument, and by this means he has obtained sounds of extraordinary acuteness, although not unpleasant to the ear.

‘M. Froment has not applied the apparatus to a musical instrument, but it is evident that it would20 be easy to do so; it would only be necessary to make the notes of a key-board act on metallic levers, of a length corresponding to the position required by the disk for the vibration of different tones. These different levers, resting on the disk, would act as a point of contact, but the point would vary in position, according to the touch.

‘If the current were constant, such an instrument would certainly have many advantages over the pipe instruments which are in use, since the vibration might be prolonged at will in the case of each note, and the sounds would be softer; unfortunately the irregular action of the battery makes it difficult in practice. These kinds of instruments are therefore only used as a means of regulating by ear the force of the battery, a much more convenient regulator than the rheometers, since it is possible to estimate by them the variations of the battery during an experiment without any distraction of the mind.’

In 1856 M. Pétrina, of Prague, invented an analogous arrangement, to which he gave the name of electric harmonica, although, strictly speaking, he had not thought of it as a musical instrument. This is what I have said on the subject in vol. iv. of the second edition of my ‘Exposé des applications de l’Electricité,’ published in 1859:—

‘The principle of this instrument is similar to that of Neef’s rheotome, in which the hammer is replaced by slender rods, whose vibrations produce21 a sound. Four of these rods are placed side by side, and when moved by keys, and arrested by levers, produce combined sounds of which the origin may be easily shown.’

It is true that nothing is said in this passage of the capability possessed by these instruments of being played at a distance; but this idea was quite legitimate, and German periodicals assert that it was accomplished by M. Pétrina even before 1856. It was the result of what I said at the outset: ‘that electro-magnetism may come to the aid of certain instruments, such as pianos, organs, &c., in order to enable them to be played at a distance,’ and I also pointed out the expedients employed for the purpose, and even for setting them at work, under the influence of a small musical box. I did not, however, ascribe importance to the matter, and it is only by way of historical illustration that I speak of these systems.

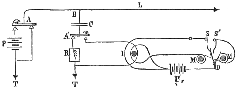
Telephone by Mr. Elisha Gray, of Chicago.—This system, invented in 1874, is in reality only an instrument of the nature of those which preceded it, but with important modifications, which made it possible to apply it usefully to telegraphy. In an early model, he made use of an induction coil, with two helices, one over the other: the contact-breaker, which was vibrating, was multiple, and so arranged as to produce vibrations numerous enough to emit sounds. These sounds may, as we have seen, be modified by this arrangement, according to the22 mode in which the instrument is adjusted, and if there are a certain number of such contact-breakers side by side, with vibrating disks so ordered as to produce the different notes of the scale on several octaves, it becomes possible, by a combination of certain notes, to execute on this new kind of instrument a piece of music such as may be produced by an harmonium, an accordion, or any other instrument with blowers. The contact-breakers are set in motion by means of the primary current of the induction coil, as it circulates through one or other of the electro-magnets of these contact-breakers, actuated by the lowering of the notes of a key-board connected with them, and the secondary currents which arise in the coil, in consequence of the interruptions in the primary currents, transmit the corresponding vibrations to a remote receiver. There is an analogy between this instrument and the telephones of which we have already spoken by Reiss and Wray, but the effect is increased by Mr. Gray’s modifications.

We represent in fig. 4 the arrangement of the first system. The vibrators are A and A′, the key-board M and M′, the induction coil B, and the receiver C. This receiver consists, as we see, of a simple electro-magnet N N′: above its poles there is a metal cylindrical case C, of which the bottom is made of iron, to serve as an armature. This box, like a violin, is pierced with two holes in the form S, to serve as a sounding-board;23 and Mr. Elisha Gray has ascertained that the molecular motion which takes place in the magnetic core and its armature, under the influence of alternate magnetisation and demagnetisation, sufficed to produce vibrations corresponding to the velocity of these alternations, and to emit sounds which became audible when they were magnified by the sounding-board.

Fig. 4.

It is quite intelligible that the effect obtained in this system might be reproduced, if, instead of contact-breakers or electric rheotomes, mechanical24 contact-breakers were used at the sending station, so arranged as to furnish the requisite number of breaks in the current which communicates the vibrations of the different notes of the scale. In this way also it would be possible to dispense with the induction coil, by causing the current which has been broken by the mechanical contact-breaker to react upon the receiver. Mr. Elisha Gray has moreover made a different arrangement of this telephonic system, which he has applied to telegraphy for simultaneous electric transmissions, of which we shall speak presently.

If we may believe Mr. Elisha Gray, the vibrations transmitted by the secondary currents would be capable, by the intervention of the human body, of causing the sounds to be reproduced at a distance by conducting disks, which vibrate readily, and are placed on a sounding-box. In this way musical sounds may be evoked from copper cylinders placed upon a table, from a metallic disk fastened to a kind of violin, from a membrane stretched on a drum, or from any other resonant substance, by touching any of these objects with one hand, while holding the end of the line with the other. These sounds, of which the quality must vary with the substance touched, would reproduce the transmitted note with the precise number of vibrations which belong to it.1

25

Mr. Varley’s Telephone.—This is, strictly speaking, merely a musical telephone of the same kind as that of Mr. Gray, but the arrangement of the receiver is original and interesting. This part of the instrument essentially consists of a drum of large size (three or four feet in diameter), within which is a condenser formed of four sheets of tinfoil, divided by sheets of some insulating material, and with a surface of about half the size of the drum. The plates of the condenser are placed parallel to the membranes of the drum, and very little removed from its surface.

If an electric charge is communicated to one of the series of conducting plates of the condenser, those which correspond to it are attracted, and if they were movable they might communicate to the intervening strata of air a movement which, on reaching the membranes of the drum, might, by a series of charges in rapid succession, cause the membranes to vibrate, and thus produce sounds: these sounds would correspond to the number of26 charges and discharges which had occurred. Since these charges and discharges are determined by the contact of the two plates of the condenser, at the extremities of the secondary circuit of an induction coil, of which the primary circuit has been duly broken, it becomes evident that, in order to cause the drum to emit any given sound, it will be enough to produce the number of vibrations in the contact-breaker of the induction coil which are required for this sound.

The means employed by Mr. Varley to produce these interruptions are the same which are in use in several electrical instruments, and especially in chronographs—an electro-magnetic tuning-fork, regulated so as to emit the sound required. This tuning-fork may, by acting as contact-breaker, react on the primary current of the induction coil; if the number of the tuning-forks equals that of the musical notes which are to be transmitted, and if the electro-magnets which set them in motion are connected with the key-board of a piano, it would be possible to transmit a melody to a distance by this system, as well as by that of Mr. Elisha Gray.

The peculiarity of this system consists in the reproduction of sounds by the action of a condenser, and we shall presently see that this idea, adopted by Messrs. Pollard and Gamier, led to interesting results.

Singing Condenser of MM. Pollard and Garnier.—This instrument, which astonishes all who27 hear it, attracted public attention in London some time ago. It is difficult to say why its fame was not greater, since much attention has been bestowed on less curious instruments. It is a fact that we have been able, thanks to MM. Pollard and Garnier, to hear songs issue from a sort of copy-book, so as to become audible throughout the room. The songs thus reproduced are certainly not always perfectly true; yet when the person who sings into the sender is a musician, and understands how to make use of it, the condenser in question will emit sounds somewhat resembling those of the violoncello or the hautbois.

The singing instrument consists of a condenser K, formed of thirty sheets of paper, laid one over the other, from nine to thirteen centimètres in thickness: between these, twenty-eight sheets of tinfoil, from six to twelve centimètres thick, are intercalated, so joined as to form the two plates of the condenser. For this purpose the pair sheets are joined together at one end of the copy-book, and the odd sheets at the other end. This system is fastened to a stiff carton, after taking care to bind it with a strip of paper, and the sheets of tinfoil are joined to the two ends of the condenser by two copper rims D, D, which are provided with terminals for the circuit wire, and in this way the singing instrument is constructed. A somewhat heavy weight, placed upon the condenser to compress the sheets, does not in any way prevent it from working;28 and this vitiates the theory first put forward to explain its effects, that the sheets were moved by attraction.

Fig. 5.

The sending instrument consists of a sort of telephone without a handle, E, of which the vibrating disk is formed of a very thin plate of tin. A cylindrical piece of carbon C is fastened to its centre, and is supported by another cylinder of the29 same material H. This rests on a transverse piece of wood A B, jointed on the side A, on the edge opposite to the box, by means of a regulating screw V. An arched spring R (the end of a watch spring) placed across this piece of wood gives it a certain elasticity beneath the pressure, and this elasticity is necessary in order that the instrument may act properly, and it thus becomes a sort of microphone with a diaphragm.

The tin plate is put into communication with one pole of a battery P, of six Leclanché cells, and the lower carbon cylinder H corresponds to the primary helix of an induction coil M, previously connected with the second pole of the battery: Finally, the two extremities of the secondary helix of the coil, a and b, are in immediate connection with the two plates D, D, of the condenser.

This secondary helix should consist of twenty strands of wire No. 32, covered with silk, and the primary helix is made of five strands of wire No. 16. The length of the coil should not exceed seven centimètres and the diameter of the core of fine iron wire ought to be about one centimètre.

In order to produce song on the condenser, the sender must be so regulated that the two carbons C and H do not touch each other in their normal condition, but they should be so close that in singing the vibrations of the disk L L may effect the needful contacts. The adjustment can be easily made by the touch, and by uttering the same note30 until it is repeated by the condenser. If three notes, given in succession, are faithfully reproduced, the instrument may be assumed to be properly regulated, and, in order to make it work, it is enough to apply the mouth to the mouthpiece as it is applied to a reed pipe.

In order to obtain a satisfactory result, the disk of the instrument must be heard to vibrate, as in a flûte à l’oignon. Instead of carbons, contacts of platinum may be used; but when arranged as we have described, the instrument may be employed for several purposes, as we shall see presently. This instrument is made by MM. Chardin and Prayer. M. Janssens has made the system more portable by fastening the sender, represented in fig. 5, to a handle in which the induction coil is placed: the instrument then resembles an ordinary telephone, and the vibration of the diaphragm is made more easy by piercing two holes in it. On the side of the sending-box, above and below the diaphragm, there are binding screws in connection with the end of the handle, since the instrument may be used as an ordinary telephonic sender, and even as a telephonic receiver.


SPEAKING TELEPHONES.

We have seen that the telephones just described can only transmit musical sounds, since they can merely repeat simple vibrations, in greater or less31 number, it is true, but not in simultaneous combinations like those which reproduce articulate sounds. Up to the time of Mr. Bell’s invention, the transmission of speech could only take place with the aid of acoustic tubes, or of the string telephones of which we have spoken. Although these instruments have no connection with the object of our study in this work, we have thought it necessary to say a few words about them, since they may sometimes be combined with electric telephones, and also represent the first stage of the invention.

String Telephones.—These instruments, which have flooded the cities of Europe for several years, since the date of the invention was 1867, are interesting in themselves, and we are surprised that they have not hitherto taken a place in the collections of physical science. They are made of two metal or cardboard tubes, in the form of a cylindrical cone: one end is closed by a tightly stretched membrane of parchment, in the centre of which the cord or string intended to connect the two cylinders is fastened by a knot. When two such tubes are connected in this way, and the cord is tightly stretched, as in fig. 6, it is only necessary to apply one tube to the ear, while another speaks into the opening of the other tube: the words spoken by the latter are instantly transmitted, and it is even possible to converse in quite an undertone. Under these conditions the vibrations of the membrane affected by the voice are mechanically transmitted to the other32 membrane by the string, which, as Robert Hooke declared in 1667, is a better transmitter of sound than the air. In this way it is possible to communicate at a distance of 170 yards, and the size and nature of the cord have some influence. The sellers of these instruments say that the best results are obtained from silken cords, and the worst from those made of hemp. Cords of plaited cotton are usually employed for the sake of cheapness.

Fig. 6.

In some patterns, the tubes are so arranged as to present, between the membrane and the mouth, a diaphragm pierced with a hole, and the instrument somewhat resembles a bell with its base bored and33 closed again a little above the parchment membrane; but I have not observed that this pattern is decidedly superior to the others.

It has also been asserted that horn-shaped tubes of nickel silver are to be preferred, of which I am equally doubtful. At any rate, these instruments have produced unexpected results; and although their practical use is very limited, they are interesting from a scientific point of view, and are instructive toys for children.

Mr. Millar, of Glasgow, declares that the effect produced by these telephones depends very much on the nature of the string, the way in which it is attached, and the way in which the membrane is fastened to the mouthpiece.

Improvements made in the String Telephone.—The amazing effects of the Bell telephones have lately brought the string telephones, which were only regarded as children’s toys, again into fashion. Since they have made it possible to transmit to several persons the words reproduced by an electric telephone, means have been sought for combining them usefully with the latter, and the best mode of making them speak on a string presenting several angles has been sought for: it has been shown that, under the usual conditions, these instruments only speak distinctly when the string is stretched in a right line. To solve this problem, it occurred to M. A. Bréguet to make use of a sort of tambourine for the supports, with the string passed34 through their centre; the sound conveyed by that part of the string which is in connection with the speaking-horn causes the membrane of the tambourine to vibrate, which again communicates the vibration to the next portion of string. In this way the angles may be multiplied at will, and the string may be supported throughout the length compatible with this kind of telephone, which does not exceed 112 yards.

M. A. Bréguet has also invented a system of relays to accomplish the same object. He makes the strings terminate in two membranes which close the two openings of a brass cylinder. The sounds reproduced on one of these membranes react upon the other, which vibrates under its influence, as if it were affected by the voice. The cylinder then acts as an ordinary acoustic tube, and its form may be varied at pleasure.

M. A. Badet, on February 1, 1878, succeeded in making string telephones in an analogous way, and he used parchment stretched upon frames which acted as resonant boards. The string was fixed in the centre of the membrane, and made with it the angle desired.

Several scientific men, among others Messrs. Wheatstone, Cornu, and Mercadier, have long been occupied about these ways of transmission by wire, and Messrs. Millar, Heaviside, and Nixon have lately made some interesting experiments, on which we must say a few words. Mr. Millar35 ascertained that by means of a telegraphic wire, stretched and connected by two copper wires with two vibrating disks, musical sounds might be conveyed to a distance exceeding 160 yards, and that by stretching these wires through a house, and connecting them with mouth-and-ear holes in different rooms, communication between them became perfectly easy.

For the vibrating disks he employed wood, metal, or gutta-percha, in the form of a drum, with wires fixed in the centre. The sound seems to become more intense in proportion to the thickness of the wire.

Messrs. Heaviside and Nixon, in their experiments at Newcastle-on-Tyne, have ascertained that the most effective wire was No. 4 of the English gauge. They employed wooden disks ⅛ inch in thickness, and these may be placed in any part of the length of the wire. When the wire was well stretched and motionless, it was possible to hear what was said at a distance of 230 yards, and it seems that Mr. Huntley, by using very thin iron diaphragms, and by insulating the line wire on glass supports, was able to transmit speech for 2,450 feet, in spite of the zigzags made by the line on its supports.

Mr. Graham Bell’s Electric Telephone.—Telephonic instruments were at this stage when Bell’s telephone was shown at the Philadelphia Exhibition of 1876. Sir William Thompson did not hesitate to call it ‘the wonder of wonders,’ and it instantly36 attracted universal attention, although there was at first much incredulity as to its genuineness. This telephone, in fact, reproduced articulate words, a result which surpassed all the conceptions of physicists. In this case it was no longer a conception, to be treated as visionary until there was proof to the contrary: the instrument spoke, and even spoke so loudly that it was not necessary to apply the ear. Sir William Thompson spoke to this effect on the subject at the meeting of the British Association at Glasgow in September 1876:—

‘In the department of telegraphs in the United States I saw and heard Mr. Elisha Gray’s electric telephone, of wonderful construction, which can repeat four despatches at the same time in the Morse code, and, with some improvements in detail, this instrument is evidently capable of a fourfold delivery. In the Canadian department I heard “To be or not to be? There’s the rub,” uttered through a telegraphic wire, and its pronunciation by electricity only made the rallying tone of the monosyllables more emphatic. The wire also repeated some extracts from New York papers. With my own ears I heard all this, distinctly articulated through the slender circular disk formed by the armature of an electro-magnet. It was my fellow-juryman, Professor Watson, who, at the other extremity of the line, uttered these words in a loud and distinct voice, while applying his mouth to a tightly stretched membrane provided with a37 small piece of soft iron, which executed movements corresponding to the sound vibrations of the air close to an electro-magnet introduced into the circuit. This discovery, the wonder of wonders in electric telegraphy, is due to a young fellow-countryman of our own, Mr. Graham Bell, a native of Edinburgh and now naturalised in New York.

‘It is impossible not to admire the daring invention by which we have been able to realise with these simple expedients the complex problem of reproducing by electricity the tones and delicate articulations of voice and speech; and it was necessary, in order to obtain this result, to find out the means of varying the intensity of the current in the same proportion as the inflections of the sound emitted by the voice.’

If we are to believe Mr. Graham Bell, the invention of the telephone was not due to a spontaneous and fortunate conception: it was the result of his long and patient studies in acoustic science, and of the labours of the physicists who preceded him.2 His father, Mr. Alexander Melville Bell, of Edinburgh, had studied this science deeply, and had even succeeded in representing with great ingenuity38 the adaptation of the vocal organs for the emission of sound. It was natural that he should instil a taste for his favourite studies into his son’s mind, and they made together numerous researches in order to discover the relations which exist between the different elements of speech in different languages, and the musical relations of vowels. It is true that several of these researches had been made by M. Helmholtz, and under more favourable conditions; but these studies were of great use to Mr. Bell when he was afterwards occupied with the telephone, and Helmholtz’s experiments, which he repeated with one of his friends, Mr. Hellis of London, concerning the artificial reproduction of vowels by means of electric tuning-forks, launched him into the study of the application of electricity to acoustic instruments. He first invented a system of an electric harmonica with a key-board, in which the different sounds of the scale were reproduced by electric diapasons of different forms, adapted to different notes, and which, when set in motion by the successive lowering of the keys, could reproduce sounds corresponding to the notes touched, just as in an ordinary piano.

He next, as he tells us, turned his attention to telegraphy, and thought of making the Morse telegraphs audible by causing the electro-magnetic organ to react on sounding contacts. It is true that this result had already been obtained in the39 sounders used in telegraphy, but he thought that by applying this system to his electric harmonica, and by employing such an intensifying instrument as Helmholtz’s resonator at the receiving station, it would be possible to obtain through a single wire simultaneous transmissions which should be due to the action of the voice. We shall see presently that this idea was realised almost at the same time by several inventors, among others by M. Paul Lacour, of Copenhagen, Mr. Elisha Gray, of Chicago, and Messrs. Edison and Varley.

Mr. Bell’s study of electric telephones really dates from this time, and he passed from complex to simple instruments, making a careful study of the different modes of vibration which arise from different modes of electric action. The following is an abstract, with the omission of more technical details, of the paper read by Mr. Bell to the Society of Telegraphic Engineers, London, October 31, 1877.

If the intensity of an electric current is represented by the ordinates of a curve, and the duration of breaks in the current by the abscissæ, the given curve may represent the waves of the positive or negative current respectively, above and below the line of X, and these waves will be more or less accentuated, just as the transmitted currents are more or less instantaneous.

If the currents which are interrupted to produce a sound are quite instantaneous in their manifestation, the curve represents a series of isolated indentations,40 as we see in fig. 7; and if the interruptions are so made as only to produce differences of intensity, the curve is presented under the form of fig. 8. Finally, if the emissions of current are so ordered that their intensity alternately increases and diminishes, the curve takes the form represented in fig. 9. In the first case, the currents are intermittent; in the second, pulsatory; in the third case, they are undulatory.

Fig. 7.
Fig. 8.
Fig. 9.

These currents are necessarily positive or negative, according to their position above or below the line x, and if they are alternately reversed, the curves present the form given in fig. 10, curves which essentially differ from the first, not merely in the different form of the indentations, but especially in the suppression of the extra current,42 which is always found in the pulsatory and undulatory currents.

Fig. 10.

The two former systems of currents have long been in use for the electric transmission of musical sounds, of which we have an interesting example in Reiss’s telephone already described. But Mr. Bell claims to have been the first to employ the undulatory currents, which made it possible to solve the problem of transmitting speech.3 In order to estimate the importance of this discovery, it will be enough to analyse the effects produced with these43 different systems of currents when several notes of varying pitch are to be combined.

Fig. 7 shows a combination in which the styles a, a′, of two sending instruments cause the interruption of the current from the same battery B, so that the given vibrations should be between them in the relation of a tierce major, that is in the relation of four to five. Under such conditions, the currents are intermittent, and four contacts of a are produced in the same space of time as the five contacts of a′, and the corresponding electric intensities will be represented by the indentations we see in A2 and in B2: the combination of these intensities A2 + B2 will produce the indentations at unequal intervals which may be observed on the third line. It is evident that although the current maintains a uniform intensity, there is less time for the breaks when the interrupting styles act together than when they act separately, so that when there are a number of contacts effected simultaneously by styles working at different degrees of velocity, the effects produced will have the effect of a continuous current. The maximum number of distinct effects which can be produced in this way will, however, greatly depend on the relation which exists between the durations of the make and break of the current. The shorter the contacts are, and the longer the breaks, the more numerous will be the effects transmitted without confusion, and vice versâ.

44

By the aid of pulsatory currents the transmission of musical sounds is effected in the way indicated in fig. 8, and it is seen that when they are produced simultaneously, the result A2 + B2 is analogous to that which would be produced by a continuous current of minimum intensity.

In the case of undulatory currents the result is different, but in order to produce them it is necessary to have recourse to inductive effects, and fig. 9 indicates the manner in which the experiment should be made. In this case, ‘the current from the battery B is thrown into waves by the inductive action of iron or steel reeds M, M, vibrated in front of electro-magnets e, e, placed in circuit with the battery: A2 and B2 represent the undulations caused in the current by the vibration of the magnetised bodies, and it will be seen that there are four undulations of B2 in the same time as five undulations of A2. The resultant effect upon the main line is expressed by the curve A2 + B2, which is the algebraical sum of the sinusoidal curves A2 and B2. A similar effect is produced when reversed undulatory currents are employed, as in fig. 10, where the current is produced by the vibration of permanent magnets united upon a circuit, without a voltaic battery.

‘It will be understood from figs. 9 and 10 that the effect of transmitting musical signals of different pitches simultaneously along a single wire is not to obliterate the vibratory character of the current, as in the case of intermittent and pulsatory45 currents, but to change the shapes of the electrical undulations. In fact, the effect produced upon the current is precisely analogous to the effect produced in the air by the vibration of the inducing bodies M, M′. Hence it should be possible to transmit as many musical tones simultaneously through a telegraph wire as through the air.’

Fig. 11.

After applying these principles to the construction of a telegraphic system for multiple transmissions, Mr. Bell lost no time in making use of his researches to improve the vocal training of deaf mutes. ‘It is well known,’ he said, ‘that deaf mutes are dumb merely because they are deaf, and that there is no defect in their vocal organs to incapacitate them from utterance. Hence it was thought that my father’s system of pictorial symbols, popularly known as visible speech, might prove a means whereby we could teach the deaf and dumb to use their vocal organs and to speak. The great success of these experiments urged upon me the advisability of devising methods of exhibiting the vibrations of sound optically, for use in teaching the deaf and dumb. For some time I carried on experiments with the manometric capsule of Koenig, and with the phonautograph of Léon Scott. The scientific apparatus in the Institute of Technology in Boston was freely placed at my disposal for these experiments, and it happened that at that time a student of the Institute of Technology, Mr. Maurey, had invented an improvement upon the46 phonautograph. He had succeeded in vibrating by the voice a stylus of wood about a foot in length which was attached to the membrane of the phonautograph, and in this way he had been enabled to obtain enlarged tracings upon a plane surface of smoked glass. With this apparatus I succeeded in producing very beautiful tracings of the vibrations of the air for vowel sounds. Some of these tracings are shown in fig. 11. I was much struck with this improved form of apparatus, and it occurred to me that there was a remarkable likeness between the manner in which this piece of wood was vibrated by the membrane of the phonautograph and the47 manner in which the ossiculæ of the human ear were moved by the tympanic membrane. I determined therefore to construct a phonautograph modelled still more closely upon the mechanism of the human ear, and for this purpose I sought the assistance of a distinguished aurist in Boston,48 Dr. Clarence J. Blake. He suggested the use of the human ear itself as a phonautograph, instead of making an artificial imitation of it. The idea was novel, and struck me accordingly, and I requested my friend to prepare a specimen for me, which he did. The apparatus, as finally constructed, is shown in fig. 12. The stapes was removed, and a stylus of hay about an inch in length was attached to the end of the incus. Upon moistening the membrana tympani and the ossiculæ with a mixture of glycerine and water, the necessary mobility of the parts was obtained; and upon singing into the external artificial ear the stylus of hay was thrown into vibration, and tracings were obtained upon a plane surface of smoked glass passed rapidly underneath. While engaged in these experiments I was struck with the remarkable disproportion in weight between the membrane and the bones that were vibrated by it. It occurred to me that if a membrane as thin as tissue paper could control the vibration of bones that were, compared to it, of immense size and weight, why should not a larger and thicker membrane be able to vibrate a piece of iron in front of an electro-magnet, in which case the complication of steel rods shown in my first form of telephone, could be done away with, and a simple piece of iron attached to a membrane be placed at either end of the telegraphic circuit?

Fig. 12.

‘For this purpose I attached the reed A (fig. 13)49 loosely by one extremity to the uncovered pole h of the magnet, and fastened the other extremity to the centre of a stretched membrane of goldbeaters’ skin n. I presumed that upon speaking in the neighbourhood of the membrane n, it would be thrown into vibration and cause the steel reed A to move in a similar manner, occasioning undulations in the electrical current that would correspond to the changes in the density of the air during the production of the sound; and I further thought that the change of the intensity of the current at the receiving end would cause the magnet there to attract the reed A′ in such a manner that it should copy the motion of the reed A, in which case its movements would occasion a sound from the membrane n′ similar in timbre to that which had occasioned the original vibration.

Fig. 13.
Fig. 14.

‘The results, however, were unsatisfactory and discouraging. My friend Mr. Thomas A. Watson, who assisted me in this first experiment, declared that he heard a faint sound proceed from the telephone at his end of the circuit, but I was unable50 to verify his assertion. After many experiments attended by the same only partially successful results, I determined to reduce the size and weight of the spring as much as possible. For this purpose I fastened a piece of clock spring, about the size and shape of my thumbnail, firmly to the centre of the diaphragm, and had a similar instrument at the other end (fig. 14); we were then enabled to obtain distinctly audible effects. I remember an experiment made with this telephone, which at the time gave me great satisfaction and delight. One of the telephones was placed in my lecture-room in the Boston University, and the other in the basement of the adjoining building. One of my students repaired to the distant telephone to observe the effects of articulate speech, while I uttered the sentence, “Do you understand what I say?”51 into the telephone placed in the lecture-hall. To my delight an answer was returned through the instrument itself, articulate sounds proceeded from the steel spring attached to the membrane, and I heard the sentence, “Yes, I understand you perfectly.” It is a mistake, however, to suppose that the articulation was by any means perfect, and expectancy no doubt had a great deal to do with my recognition of the sentence; still, the articulation was there, and I recognised the fact that the indistinctness was entirely due to the imperfection of the instrument. I will not trouble you by detailing the various stages through which the apparatus passed, but shall merely say that after a time I produced the form of instrument shown in fig. 15, which served very well as a receiving telephone. In this condition my invention was exhibited at the Centennial Exhibition in Philadelphia. The telephone shown in fig. 14 was used as a transmitting52 instrument, and that in fig. 15 as a receiver, so that vocal communication was only established in one direction.

Fig. 15.

‘The articulation produced from the instrument shown in fig. 15 was remarkably distinct, but its great defect consisted in the fact that it could not be used as a transmitting instrument, and thus two telephones were required at each station, one for transmitting and one for receiving spoken messages.

‘It was determined to vary the construction of the telephone, and I sought by changing the size and tension of the membrane, the diameter and thickness of the steel spring, the size and power of the magnet, and the coils of insulated wire around their poles, to discover empirically the exact effect of each element of the combination, and thus to deduce a more perfect form of apparatus. It was found that a marked increase in the loudness of the sounds resulted from shortening the length of the coils of wire, and by enlarging the iron diaphragm which was glued to the membrane. In the latter case, also, the distinctness of the articulation was improved. Finally, the membrane of goldbeaters’ skin was discarded entirely, and a simple iron plate was used instead, and at once intelligible articulation was obtained. The new form of instrument is that shown in fig. 16, and, as had been long anticipated, it was proved that the only use of the battery was to magnetise the iron core of the magnet, for53 the effects were equally audible when the battery was omitted and a rod of magnetised steel substituted for the iron core of the magnet.

‘It was my original intention, and it was always claimed by me, that the final form of telephone would be operated by permanent magnets in place of batteries, and numerous experiments had been carried on by Mr. Watson and myself privately for the purpose of producing this effect.

Fig. 16.

‘At the time the instruments were first exhibited in public the results obtained with permanent magnets were not nearly so striking as when a voltaic battery was employed, wherefore we thought it best to exhibit only the latter form of instrument.

‘The interest excited by the first published accounts of the operation of the telephone led many persons to investigate the subject, and I doubt not that numbers of experimenters have independently54 discovered that permanent magnets might be employed instead of voltaic batteries. Indeed one gentleman, Professor Dolbear, of Tufts College, not only claims to have discovered the magneto-electric telephone, but I understand charges me with having obtained the idea from him through the medium of a mutual friend.

Fig. 17.

‘A still more powerful form of apparatus was constructed by using a powerful compound horseshoe magnet in place of the straight rod which had been previously used (see fig. 17). Indeed the sounds produced by means of this instrument were of sufficient loudness to be faintly audible to a large audience, and in this condition the instrument was exhibited in the Essex Institute, in Salem, Massachusetts, on February 12, 1877, on which occasion a short speech shouted into a similar telephone in Boston, sixteen miles away, was heard by the audience in Salem. The tones of the speaker’s voice were distinctly audible to an audience of 600 people, but the articulation was55 only distinct at a distance of about 6 feet. On the same occasion, also, a report of the lecture was transmitted by word of mouth from Salem to Boston, and published in the papers the next morning.

Fig. 18.

‘From the form of telephone shown in fig. 16 to the present form of the instrument (fig. 18) is but a step. It is in fact the arrangement of fig. 16 in a portable form, the magnet N S being placed inside the handle, and a more convenient form of mouthpiece provided.

‘And here I wish to express my indebtedness to several scientific friends in America for their co-operation and assistance. I would specially mention Professor Peirce and Professor Blake, of Brown University, Dr. Channing, Mr. Clarke, and Mr. Jones. It was always my belief that a certain ratio would be found between the several parts of a telephone, and that the size of the instrument was56 immaterial; but Professor Peirce was the first to demonstrate the extreme smallness of the magnets which might be employed. The convenient form of mouthpiece shown in fig. 17, now adopted by me, was invented solely by my friend Professor Peirce.’

Fig. 19.

Another form of transmitting telephone exhibited in Philadelphia, intended for use with the receiving telephone (fig. 15), is represented by fig. 19.

A platinum wire attached to a stretched membrane completed a voltaic circuit by dipping into water. Upon speaking to the membrane, articulate57 sounds proceeded from the telephone in the distant room. The sounds produced by the telephone became louder when dilute sulphuric acid, or a saturated solution of salt, was substituted for the water. Audible effects were also produced by the vibration of plumbago in mercury, in a solution of bichromate of potash, in salt and water, in dilute sulphuric acid, and in pure water.

Mr. Bell goes on to say:

‘I have found also that a musical tone proceeds from a piece of plumbago or retort carbon when an intermittent current of electricity is passed through it, and I have observed the most curious audible effects produced by the passage of reversed intermittent currents through the human body. A rheotome was placed in circuit with the primary wires of an induction coil, and the fine wires were connected with two strips of brass. One of these strips was held closely against the ear, and a loud sound proceeded from it whenever the other slip was touched with the other hand. The strips of brass were next held one in each hand. The induced currents occasioned a muscular tremor in the fingers. Upon placing my forefinger to my ear a loud crackling noise was audible, seemingly proceeding from the finger itself. A friend who was present placed my finger to his ear, but heard nothing. I requested him to hold the strips himself. He was then distinctly conscious of a noise (which I was unable to perceive) proceeding from58 his finger. In this case a portion of the induced currents passed through the head of the observer when he placed his ear against his own finger; and it is possible that the sound was occasioned by a vibration of the surfaces of the ear and finger in contact.

‘When two persons receive a shock from a Ruhmkorff’s coil by clasping hands, each taking hold of one wire of the coil with the free hand, a sound proceeds from the clasped hands. The effect is not produced when the hands are moist. When either of the two touches the body of the other, a loud sound comes from the parts in contact. When the arm of one is placed against the arm of the other, the noise produced can be heard at a distance of several feet. In all these cases a slight shock is experienced so long as the contact is preserved. The introduction of a piece of paper between the parts in contact does not materially interfere with the production of the sounds, but the unpleasant effects of the shock are avoided.

‘When an intermittent current from a Ruhmkorff’s coil is passed through the arms, a musical note can be perceived when the ear is closely applied to the arm of the person experimented upon. The sound seems to proceed from the muscles of the fore-arm and from the biceps muscle. Mr. Elisha Gray4 has also produced audible effects by the passage of electricity through the human body.

59

‘An extremely loud musical note is occasioned by the spark of a Ruhmkorff’s coil when the primary circuit is made and broken with sufficient rapidity; when two rheotomes of different pitch are caused simultaneously to open and close the primary circuit, a double tone proceeds from the spark.

‘A curious discovery, which may be of interest to you, has been made by Professor Blake. He constructed a telephone in which a rod of soft iron, about six feet in length, was used instead of a permanent magnet. A friend sang a continuous musical tone into the mouthpiece of a telephone, like that shown in fig. 17, which was connected with the soft iron instrument alluded to above. It was found that the loudness of the sound produced in this telephone varied with the direction in which the iron rod was held, and that the maximum effect was produced when the rod was in the position of the dipping-needle. This curious discovery of Professor Blake has been verified by myself.

‘When a telephone is placed in circuit with a telegraph line, the telephone is found seemingly to emit sounds on its own account. The most extraordinary noises are often produced, the causes of which are at present very obscure. One class of sounds is produced by the inductive influence of neighbouring wires and by leakage from them, the signals of the Morse alphabet passing over neighbouring wires being audible in the telephone, and another class can be traced to earth currents upon60 the wire, a curious modification of this sound revealing the presence of defective joints in the wire.

‘Professor Blake informs me that he has been able to use the railroad track for conversational purposes in place of a telegraph-wire, and he further states that when only one telephone was connected with the track the sounds of Morse operating were distinctly audible in the telephone, although the nearest telegraph-wires were at least forty feet distant; and Professor Peirce has observed the most curious sounds produced from a telephone in connection with a telegraph-wire during the aurora borealis.’

Mr. Bell went on to describe instances in which airs sung or played upon a musical instrument are transmitted by a telephone, when it is not known whence they come; but the strongest proof of the extraordinary sensibility of this instrument consists in its becoming possible by its means to transmit speech through bodies which might be supposed to be non-conductors. Thus communication with the earth through the human body can be made in spite of the intervention of shoes and stockings; and it may even be effected if, instead of standing on the ground, the person stands on a brick wall. Only hewn stone and wood are a sufficient hindrance to communication, and if the foot touches the adjoining ground, or even a blade of grass, it is enough to produce electric manifestations.

61

Mr. Bell says in conclusion:

‘The question will naturally arise, Through what length of wire can the telephone be used? In reply to this, I may say that the maximum amount of resistance through which the undulatory current will pass, and yet retain sufficient force to produce an audible sound at the distant end, has yet to be determined; no difficulty has, however, been experienced in laboratory experiments in conversing through a resistance of 60,000 ohms, which has been the maximum at my disposal. On one occasion, not having a rheostat at hand, I may mention having passed the current through the bodies of sixteen persons, who stood hand in hand. The longest length of real telegraph line through which I have attempted to converse has been about 250 miles. On this occasion no difficulty was experienced so long as parallel lines were not in operation. Sunday was chosen as the day on which it was probable other circuits would be at rest. Conversation was carried on between myself in New York, and Mr. Thomas A. Watson in Boston, until the opening of business upon the other wires. When this happened the vocal sounds were very much diminished, but still audible. It seemed, indeed, like talking through a storm. Conversation, though possible, could be carried on with difficulty, owing to the distracting nature of the interfering currents.

‘I am informed by my friend Mr. Preece that62 conversation has been successfully carried on through a submarine cable, sixty miles in length, extending from Dartmouth to the Island of Guernsey, by means of hand telephones.’

Fig. 20.

Mr. Elisha Gray’s Share in the Invention of the Telephone.—We have seen that if Mr. Bell was the first to construct the speaking telephone in a practical form, Mr. Gray had at the same time conceived the idea of an instrument also capable of reproducing speech, and the description given of it in his caveat was so precise that if it had been made from his design, it would have acted perfectly. This was, in fact, afterwards proved by him. In order that our readers may judge from their own63 knowledge of the share which should be ascribed to Mr. Elisha Gray in the invention of the telephone, we reproduce in fig. 20 the drawing which accompanied the caveat in question.

The sender, as we see, is composed of a sort of tube, closed at its lower end by a membrane to which a platinum wire is fixed; this wire dips into a liquid of moderate conducting power, and an electrode made of platinum, in communication with a battery, is fixed at the bottom of the vessel containing the liquid. The receiver is composed of an electro-magnet, of which the armature is fixed to the centre of a membrane, stretched on a kind of resonator or ear-trumpet which is held to the ear, and the two instruments are united by the line wire as we see in the plate.

Under these conditions, the undulatory currents necessary for the reproduction of speech were obtained in a mode analogous to that pointed out by Mr. Bell in his specification, that is, by the variations of resistance in the liquid layer interposed between the platinum wires of the transmitter; and their action, exerted on an electro-magnet, of which the armature was fixed on the diaphragm of the resonator, was produced under more favourable conditions than in Mr. Bell’s specification (see fig. 13), since that gentleman regards this arrangement (represented in fig. 14) as an important improvement on his first conception.

The whole importance of the invention rests64 on the intervention of undulatory currents, which, as we have seen, are indispensable for the reproduction of speech, and it concerns us to know whether it was Mr. Bell or Mr. Gray who first declared their importance; for in both the specifications deposited on February 14, 1876, the use of undulatory currents was declared to be indispensable. Mr. Gray asserts that he had recognised their importance for the transmission of combined sounds as early as 1874; but Mr. Bell believes that the undulatory currents mentioned by Mr. Gray at that time were only currents analogous to those he had designated under the name of pulsatory currents, which we have represented in fig. 8. We have seen that since these currents only represent the abrupt elevations and depressions of intensity, they are unfit for the reproduction of articulate sounds, which, on the contrary, demand that the variations of intensity should result from successive efforts, in exact correspondence with all the inflections of the sonorous vibrations effected by the voice. Mr. Bell’s claim to priority on this question has been recognised by the American Patent Office, since he has been placed in possession of the patent. However this may be, Mr. Gray’s telephonic system was complete, and we see in it, as we have already said, the origin of the battery telephones, which have recently produced such important results. Let us now consider the relation which this system bears to Mr. Bell’s.

65

The Bell system, as we have seen, although making use of a battery in the first instance, only obtained the diminution and increase of electric force necessary for the articulation of words by means of induction currents produced by the movements of an armature of soft iron, currents of which the intensity was consequently due to the range and inflections of these movements. The battery only intervened in order to communicate magnetic force to the inducer. This use of induced currents in telephonic transmissions was already of great importance, since various experiments subsequently made have proved their superiority to voltaic currents for this purpose. But experience soon convinced Mr. Bell that a powerful inductive apparatus worked by a battery was not only unnecessary for the action of this apparatus, but that a permanent magnet, very small and weak, would provide sufficient currents. This discovery, in which, as we have seen, Mr. Peirce had some share, was of great importance, since it became possible to reduce the size of the instrument considerably, so as to make it portable and adapted for sending and receiving; and it was shown that the telephone was the most sensitive of all instruments in revealing the action of currents. If, therefore, Mr. Bell was not the first to employ the successful mode of transmitting articulate words, it must be said that he sought, like Mr. Gray, to solve the problem by means of undulatory currents, and66 that he obtained these currents by the effect of induction, a system which, as soon as it was perfected, led to the important results with which we are all acquainted. If he had only given to the astonished world an instrument capable of reproducing speech telegraphically, his fame would be great; for this problem had hitherto been regarded as insoluble.

Mr. Gray’s claims to the invention of the telephone are given in the following summary from a very interesting work, entitled ‘Experimental Researches on Electro-harmonic Telegraphy and Telephony:’

‘1. I was the first to discover the means of transmitting compound sounds and variable inflections through a closed circuit by means of two or more electric waves.

‘2. I assert that I was the first to discover and utilise the mode of reproducing vibrations by the use of a magnet receiver constantly supplied with electric action.

‘3. I also assert that I was the first to construct an instrument consisting of a magnet with a circular diaphragm of magnetic substance, supported by its edge at a little distance from the poles of a magnet, and capable of being applied to the transmission and reception of articulate sounds.’

It is a curious fact, worth recording here, that Mr. Yates, of Dublin, in 1865, when trying to improve Reiss’s telephone, realised to a certain extent67 Mr. Gray’s conception of the liquid transmitter; for he introduced into the platinum contacts of Mr. Reiss’s instrument a drop of water which adapted it for the reproduction of articulate sounds. However, no notice was then taken of this result.


EXAMINATION INTO THE FUNDAMENTAL PRINCIPLES ON WHICH BELL’S TELEPHONE IS BASED.

Although the preceding account would suffice to make the principle of Bell’s telephone intelligible to persons acquainted with electric science, this would not be the case with the majority of our readers, and we therefore think it necessary to enter into some details as to the source of the electric currents which are employed in telephonic transmissions. These details seem to us the more necessary, since many persons still believe that Bell’s telephones are not electric, because they do not require a battery, and they are often confounded with string telephones, so that the difference of price between Bell’s instruments and those hawked in the streets seems astonishing.

Without defining what is meant by an electric current, which would be too elementary, we may say that electric currents can be produced by different causes, and that, in addition to those which are due to batteries, strong currents are also produced by the force exerted by magnets on a conducting circuit properly arranged. Such currents68 are called induction currents, and are used in Bell’s telephone. In order to understand how they are developed under these conditions, it will be enough to examine what takes place when the pole of a magnet is brought near to, and withdrawn from, a closed circuit. To do this, let us suppose a copper wire attached to a galvanometer in the form of a circle, and that one pole of a permanent magnet is directed towards the centre of the circle. Now observe what happens:

1. At the moment when the magnet approaches an electric current arises, causing the galvanometer to deviate to one side. This deviation will be great in proportion to the extent of the movement, and the tension of the current will be great in proportion to the abruptness of the movement. The current will however be only instantaneous.

2. At the moment when the magnet is withdrawn, a fresh current of the same nature will arise, but it will appear in an opposite direction from the former. It will be what is called a direct current, because it is in the same direction as the magnetic current of the magnet which produces it, while the other current is called inverse.

3. If, instead of advancing or withdrawing the magnet by means of a single movement, it is advanced in jerks, a succession of currents in the same direction is produced, of which the existence can be ascertained by the galvanometer when there is a sufficient interval between the movements,69 but when the intervals are very slight the currents are interfused; and since inverse effects take place when the magnet is moved in a contrary direction, the needle of the galvanometer follows the movements of the magnet, and to a certain extent stereotypes them.

4. If, instead of reacting on a simple closed circuit, the magnet exerts its force on a considerable number of circumvolutions of this circuit, that is, on a bobbin of coiled wire, the effects will be considerably increased, and they will be still greater if there be a magnetic core within the bobbin, since the inducing action will then be more effectually exerted throughout the bobbin. As the magnetic core, when it is magnetised and demagnetised under the influence of its approach to or withdrawal from the inducing magnet, is subject to the reaction from all the fluctuations which occur in the movements of the magnet, the induced currents which ensue are perfectly defined.

5. If, instead of a movable magnet, we suppose it to be fixed in the centre of the coil, the induced currents of which we have spoken may then be determined by modifying its force. In order to do so, it is enough that an iron armature should react upon its poles. When this armature is brought close to one of the poles, or to both at once, it acquires force, and produces an inverse current, that is, a current in the direction which would have corresponded to an approach of the70 magnet to the closed circuit. On its withdrawal the inverse effect is produced; but in both cases the induced currents correspond with the extent and direction of the movements accomplished by the armature, and consequently they may reproduce its movements by their effects. If this armature is an iron plate, which vibrates under the influence of any sound in this disposition of the electro-magnetic system, the alternate movements of the plate will be transformed into the induced currents, and these will be stronger or weaker, more or less definite, according to the range and complexity of the vibrations: they will, however, be undulatory, since they will always result from successive and continuous movements, and will consequently be in the conditions which, as we have seen, are required for the transmission of speech.

As for the action produced upon the receiver, that is, on the instrument for reproducing speech, it is somewhat complex, and we shall have occasion to speak of it presently; but we can get a general impression of it, if we consider that the effects produced by the induced currents of variable intensity, which traverse the coil of the electro-magnetic system, must determine, by the magnetisations and demagnetisations which ensue, the vibrations of the armature disk; these vibrations, more or less amplified and defined, exactly represent those of the disk before which the speaker stands, and can only be obtained from them. The71 effects are, however, in reality more complex, although they are produced under analogous conditions, and we shall have more to say about them when we come to speak of the experiments made with the telephone. It must meanwhile be observed that, for the reproduction of speech, it is not necessary that the magnetic core should be of soft iron, since the vibratory effects may follow from differential as well as from direct magnetisation.


ORDINARY ARRANGEMENT OF THE BELL TELEPHONE.

The arrangement most generally adopted for the telephone is the one represented in fig. 21. It consists of a kind of circular wooden box, fitted to the extremity of a handle M, which is also of wood, and contains the magnetic bar N S. This bar is fixed by means of a screw t, and is so arranged as to be moved forward and backward by tightening or loosening the screw, a condition necessary in order to regulate the instrument. At the free extremity of the bar the magnetic coil B is fixed; this must, according to MM. Pollard and Garnier, be made of wire No. 42, so as to present a considerable number of spirals. The ends of this coil generally terminate at the lower end of the handle in two copper rods f, f, which traverse its length, and are fastened to two binding-screws72 I, I′, where the line wires C, C are fixed. In the instruments made by M. Bréguet there are, however, no binding-screws, but a little twist, made of two flexible wires covered with gutta-percha and silk, is fastened to the two rods. A wooden cap is screwed to the end of the handle, and the twist passes through a hole made in this cap, so that there is no inconvenience in working the instrument. By laying hold of the ends of the wire twist with pliers it is possible to join them to the circuit. This instrument is represented in fig. 22.

Fig. 21.

By another arrangement, the wires of the coil end immediately in the binding-screws which are placed below the wooden box, but this arrangement is inconvenient.

Above the pole of the magnetic bar is placed the iron vibrating plate L L, which is coated either with black or yellow varnish, with tin or blue oxide, but which must always be very thin. This plate73 is in the form of a disk, and by its rim, resting on a caoutchouc ring, it is firmly fixed to the circular edges of the wooden box, which is for this purpose made in two pieces. These pieces are adjusted to74 each other, either by screws or by spirals cut in half the thickness of the wood. This disk ought to be as near as possible to the polar end of the magnet, yet not so near as to produce contact between the two by the vibrations of the voice. Finally, the mouthpiece R R′ (fig. 21), which is in form of a wide funnel, terminates the upper part of the box, and should be so arranged as to leave a certain space between the disk and the edges of the hole V, which is open in its centre. The size of the box should be so calculated as to permit of its acting as a sounding-box, without however provoking echoes and a confusion of sounds.

Fig. 22.

When the instrument is properly made, it will produce very marked effects; and M. Pollard, one of the first Frenchmen to take up the study of telephones, has written as follows on the subject:

‘The instrument which I have prepared gives results which are truly astonishing. In the first place, when considering the resistance, the introduction into the circuit of five or six persons does not sensibly diminish the intensity of sounds. On putting an instrument to each ear, the sensation is precisely the same as if the correspondent were speaking some yards behind. The intensity, the clearness, the purity of tone are irreproachable.

‘I can speak to my colleague in quite an undertone, scarcely breathing as I may say, and persons placed within two yards of me will be unable to catch a single word of our conversation.

75

‘On the part of the receiver, if anyone raises his voice to call me, I hear the call in all parts of my office, at least when silence prevails there; at any rate, when I am seated at my table with the instrument some yards off, I can always hear the call. In order to increase the intensity of sound, I fitted the mouthpiece with a copper horn of conical shape, and under these conditions words spoken in my bureau two or three yards from the mouthpiece can be heard at the other end of the line; from my station, a little more than a yard from the tube, I can hear and speak to my colleague without effort.’

In using the ordinary Bell telephone, it is necessary to speak distinctly before the mouthpiece of the telephone which is handled, while the listener placed at the corresponding station keeps the mouthpiece of the receiver to his ear. These two instruments form a closed circuit with the two wires which connect them, but one is enough to make the transmission perfect, if care is taken to place both instruments in connection with the earth, which thus takes the place of the second wire. M. Bourbouze asserts that the intensity of sound in the telephone is much increased by employing this expedient, but we believe that this increase depends upon the conditions of the circuit, although he asserts that the fact can be proved in a circuit not exceeding eighty yards.

For practical purposes it is necessary to have76 two telephones at each station, so as to hold one to the ear while speaking through the other, as in fig. 23. It is also much more easy to hear with a telephone applied to each ear, in which case they are held as in fig. 24. In order not to fatigue the arms, an arrangement has been made by which they are held before the ears by a strap and spring which goes round the head.

Fig. 23.

The sending power of the telephone varies with different voices. Mr. Preece asserts that shouting has no effect, and that, in order to obtain a favourable result, the intonation must be clear, the articulation distinct, and the sounds emitted must resemble musical sounds as much as possible.

77

Mr. Wilmot, one of the electricians employed by the Post Office, says that he has been able to make himself heard on circuits through which no other voices were audible. The vowel sounds are most readily transmitted, and among other letters e, g, j, k, and q are always repeated more imperfectly. The ear requires practice, and the faculty of hearing varies in a surprising degree in different people. Singing is very distinctly heard, as well as wind instruments, especially the cornet-à-piston, which, when played in London, was heard by thousands of people in the Corn Exchange at Basingstoke.

Fig. 24.

According to Mr. Rollo Russell, it is not necessary to isolate the circuit of a telephone when78 the distance is relatively slight; thus, with a circuit of about 430 yards, it is possible to use a simple copper wire, laid on the grass, without destroying the telephonic transmission from a small musical box, as long as the two wires do not touch each other. Transmission took place, even when the circuit was buried in moist earth for a length of thirty-five yards, or immersed in a well for a length of forty-eight yards. The words transmitted under such conditions did not differ from those transmitted by an isolated circuit.

The telephone may be heard at the same moment by several listeners, either by connecting the wires which unite the telephones in correspondence (near the receiving telephone) with branch wires of other telephones, which may be done up to the number of five or six, in short circuits; or by means of a little sounding-box closed by two thin membranes, one of which is fixed on the vibrating disk. When a certain number of acoustic tubes are connected with the membrane, Mr. M’Kendrick asserts that several people can hear distinctly.

Telephones may also transmit speech to different stations simultaneously, by inserting them on the same circuit, and experiments made at New York showed that five instruments placed in different parts of the same telegraphic line could be made to speak in this way. In the telephonic experiments made on the canal lines in the department79 of the Yonne, it was ascertained that on a wire seven miles and a half in length, on which several telephones were placed at varying distances, three or four persons were able to converse with each other through the telephones, and each could hear what the other was saying. The questions and answers could be understood, even in crossing. It was also possible, by placing a telephone on a second wire, a little over five miles in length, and half a yard distant from the other, to hear the conversation exchanged on the first wire by following it to a distance not exceeding a mile and a quarter. Even the different voices of the two speakers could be distinguished.

Since the telephone made its appearance in Europe, several inventors have asserted that they are able to make a telephone speak so as to be audible in all parts of a large hall. It has been shown that this was accomplished by Mr. Bell, and in this respect we do not see that those who have attempted to improve the telephone have attained results of greater importance. It is certain that the ordinary telephone can emit musical sounds which become perfectly audible in a tolerably large room, while the instrument is still attached to the wall. We should also remember the results obtained by MM. Pollard and Garnier in the experiments made at Cherbourg to connect the mole with the Préfecture Maritime.

The mole at Cherbourg is, as we know, a kind80 of artificial island thrown up before the town in order to make an anchorage. The forts which have been constructed on the mole are connected by submarine cables with the military port and with the Préfecture Maritime. On one occasion, after making experiments in the Préfet’s study on one of the cables applied to a telephone, several persons were talking together in the room, and were much surprised to hear the bugle sound the retreat, the sound appearing to come from one part of the room. It was found, on examination, that the telephone hung to the wall was occupied with this performance. On enquiry, it appeared that one of the manipulators on the mole station had amused himself by sounding the bugle before the telephone on that station. The mole is more than three miles from Cherbourg, and the Préfecture Maritime is in the centre of the town. Yet these telephones had been roughly made in the dockyard workshops; and we have here another proof of the small amount of accuracy required for the successful working of these instruments.

Fig. 25.

Telephones of various construction on the Bell model are to be seen at M. C. Roosevelt’s, Mr. Bell’s agent in Paris, 1, Rue de la Bourse. They are, for the most part, constructed by M. Bréguet, and the model in the greatest request, exclusive of the one we have described, is the great square model, with a horseshoe magnet enclosed in a flat box, and a horn on its upper side,81 which serves as a mouthpiece. This system is represented in fig. 25, and it has been neatly constructed at Boston under the best conditions. In this new model, made by Mr. Gower, the magnet is composed of several plates terminated by magnetic cores of iron, to which the coils are fixed,82 and the whole is covered with a thick layer of paraffin. The sounds thus reproduced are much stronger and more distinct. Mr. Gower, who is now Mr. Roosevelt’s partner, has made considerable improvements in the different forms of Mr. Bell’s instrument. There is one model in the form of a snuff-box, in which the magnet is twisted into a spiral, so as to maintain its length in a circular form. The pole, which is in the centre of the spiral, is furnished with an iron core, to which the induction coil is fastened, and the cover of the snuff-box supports the vibrating disk as well as the mouthpiece: this model is represented in fig. 26. In another model, called the mirror telephone, the preceding arrangement is fitted on to a handle83 like the glass of a portable mirror, and there is a mouthpiece on one of the lateral faces, so that the speaker uses the instrument as if he were speaking before a chimney screen.

Fig. 26.

Mr. Bailey has different models of telephones worked by a battery or by the Edison carbon of which we shall speak presently, and these, as well as the telephones by Messrs. Gray and Phelps, are more successful in conveying sound on a long line of wire.


DIFFERENT ARRANGEMENTS OF TELEPHONES.

The prodigious results attained with the Bell telephones, which were at first discredited by many scientific men, necessarily provoked, as soon as their authenticity was proved, innumerable researches on the part of inventors, and even of those who were originally the most incredulous. A host of improvements and modifications have consequently been suggested, which are evidently not without interest, and must now be considered by us.


BATTERY TELEPHONES.

The Edison Telephone.—One of the earliest and most interesting improvements made in the Bell telephone is that introduced by Mr. Edison in the early part of the year 1876. This system is indeed more complicated than the one we have84 just considered, since it requires a battery, and the sending instrument differs from the receiving instrument; but it is less apt to be affected by external causes, and transmits sound to a greater distance.

The Edison telephone, like Mr. Gray’s, which we have already had occasion to mention, is based upon the action of undulatory currents, determined by the variations in the resistance of a conductor of moderate conducting power, which is inserted in the circuit, and the vibrations of a diaphragm before which the speaker stands react upon it. Only, instead of employing a liquid conductor, which is practically useless, Mr. Edison has attempted to use semi-conducting solid bodies. Those which were most suitable from this point of view were graphite and carbon, especially the carbon extracted from compressed lamp-black. When these substances are introduced into a circuit between two conducting plates, one of which is moveable, they are capable of modifying the resistance of the circuit almost in the same proportion as the pressure exerted upon them by the moveable plate,5 and it was seen that,85 in order to obtain the undulatory currents necessary for the production of articulate sounds, it was enough to introduce a disk of plumbago or of lamp-black between the vibrating plate of a telephone and a platinum plate placed in connection with the battery. When the telephone disk is placed in circuit, its vibrations before the disk of carbon produce a series of increasing and decreasing pressures, thus causing corresponding effects in the intensity of the transmitted current, and these effects react in an analogous manner on the undulatory86 currents determined by induction in the Bell system. In order to obtain good results, however, several accessory arrangements were necessary, and we represent in fig. 27 one of the arrangements made in this part of Mr. Edison’s telephonic system.

Fig. 27.

In this figure a section of the instrument is given, and its form greatly resembles that of Bell. L L is the vibrating disk; O′ O, the mouthpiece; M, the opening to the mouthpiece; N N N, the case for the instrument, which is, like the mouthpiece, made of ebonite, and below the disk it presents a rather large cavity, and a tubular hole which is scooped in the handle. In its upper part this tube terminates in a cylindrical rim, furnished with a worm on which is screwed a little rod with a ridge on its inner side, and the rheostatic system is placed within this tube. The system consists, first, of a piston E, fitted to the end of a long screw E F, and the turning of the button will move the piston up or down within a certain limit. Above this piston there is fitted a very thin platinum plate A, connected by a flexible chain and a wire with a binding-screw P′. Another plate B, exactly similar, is connected with the binding-screw P, and the carbon disk C is placed between these two plates. This disk is composed of compressed lamp-black and petroleum, and its resistance is one ohm, or 110 yards, of telegraphic wire. Finally, an ebonite disk is fastened to the upper platinum plate, and an elastic pad, composed87 of a piece of caoutchouc tube G, and of a cork disk H, is interposed between the vibrating plate L L and the disk B, in order that the vibrations of the plate may not be checked by the rigid obstacle formed by the whole rheostatic system. When these different parts are in position, the instrument is regulated by the screw F, and this is easily done by screwing or unscrewing it until the receiving telephone gives out its maximum of sound.

Fig. 28.

In another model, represented in fig. 28, which has produced the best results in the distinctness with which sounds are transmitted, the vibrating plate L L is supported on the disks of the secondary carbon conductor C by means of a little iron cylinder A, instead of the caoutchouc pad, and the pressure is regulated by a screw placed below e. The mouthpiece E of the instrument is more prominent, and its opening is larger. Finally, the instrument, which is cased in nickel silver, is without a handle. The rigid disk b, resting on the88 first platinum plate p, is of aluminium instead of ebonite.

Fig. 29.

The receiving telephone somewhat resembles that of Mr. Bell, yet it presents some differences which can be understood from the examination of fig. 29. The magnet N S is horseshoe in form, and the magnetising coil E only covers one of the poles, N: this pole is precisely in the centre of the vibrating plate L L, while the second pole is near the edge of this plate. The size of the plate itself is considerably reduced: its superficies is about the same as that of a five-franc piece, and it89 is enclosed in a kind of circular groove, which keeps it in a definite position. In consequence of this arrangement the handle of the instrument is of solid wood, and the vacant space for the electro-magnetic system is somewhat larger than in the Bell model; but an arrangement is made for subduing the echo, and there is a kind of sounding-box to magnify the sound. It is evident that the relation which the electro-magnetic system bears to the vibrating disk must increase the sensitiveness of the instrument; for as the pole S is in close contact with the disk L L, the latter is polarised, and becomes more susceptible to the magnetic influence of the second pole N, which is separated from it by an interval not exceeding the thickness of a sheet of coarse paper. In Mr. Edison’s two instruments, the receiver and sender, the upper part C C, corresponding to the vibrating disk, instead of being fixed by screws to the handle, is screwed on to the handle itself, which makes it much more easy to dismount the instrument.

Mr. Edison has varied the form of his instruments in many ways, and their cases have of late been made of metal with a funnel-shaped mouthpiece of ebonite.

When Mr. Edison had ascertained, as indeed Mr. Elisha Gray had done before him, that induced currents are more favourable to telephonic transmissions than voltaic currents, he transformed the currents from the battery which passed through90 his sender into induced currents by making them pass through the primary circuit of a carefully insulated induction coil; the line wire was then put into communication with the secondary wire of the coil. We shall afterwards describe some experiments which show the advantages of this combination: for the present we can only point out the fact, for it is now an integral quality of almost all the systems of battery telephones.

Edison’s Chemical Telephone.—The curious and really useful effects produced by Mr. Edison with his electro-motograph prompted, about the beginning of the year 1877, his idea of applying the principle of this instrument to the telephone for the reproduction of transmitted sounds; and he obtained such interesting results that the author of an article on telephones, published in the ‘Telegraphic Journal,’ August 15, 1877, put forward this invention as one of the finest of the nineteenth century. It certainly appears to have given birth to the phonograph, which has lately become famous, and has so much astonished men of science.

To understand the principle of this telephone, we must give some account of Mr. Edison’s electro-motograph, discovered in 1872. This instrument is based upon the principle that if a sheet of paper, prepared with a solution of hydrate of potash, is fastened on a metallic plate which is united to the positive pole of a battery, and if a point of lead or platinum connected with the negative pole is91 moved about the paper, the friction which this point encounters ceases after the passage of the current, and it is then able to slide as if upon a mirror until the current is interrupted. Now, as this reaction may be effected instantaneously under the influence of extremely weak currents, the mechanical effects produced by these alternations of arrest and motion may, by a suitable arrangement of the instrument, determine vibrations in correspondence with the interruptions of current produced by the transmitter.

In this system the telephonic receiver consists of a resonator and a drum mounted on an axis and turned by a winch. A paper band, wound upon a reel, passes over the drum, of which the surface is rough, and a point tipped with platinum, and fitted to the end of a spring which is fixed in the centre of the resonator, presses strongly on the paper. The current from the battery, first directed on the spring, passes by the platinum point through the chemical paper, and returns by the drum to the battery. On turning the winch, the paper moves forward, and the normal friction which is produced between the paper and the platinum point pushes the point forward, while producing by means of the spring a tension on one side of the resonator; but since the friction ceases at each passage of the current through the paper, the spring is no longer drawn out, and the resonator returns to its normal position. Since this double effect is produced by92 each vibration made in the sender, a series of vibrations takes place in the resonator, repeating those of the sender, and consequently the musical sounds which affected the sender are reproduced to a certain extent. According to the American journals, the results produced by this instrument are astonishing: the weakest currents, which would have no effect on an electro-magnet, become perfectly efficacious in this way. The instrument can even reproduce with great intensity the highest notes of the human voice, notes which can hardly be distinguished by the use of electro-magnets.

The sender nearly resembles the one we have previously described, except that, when it is used for musical sounds, a platinum point is employed instead of the disk of carbon, and it ought not to be in constant contact with the vibrating plate. According to the ‘Telegraphic Journal,’ it consists simply of a long tube, two inches in diameter, having one end covered with a diaphragm formed of a thin sheet of copper, and kept in its place by an elastic ring. A small platinum disk is riveted to the centre of the copper diaphragm, and a point of the same metal, fitted with a firm support, is adjusted before the disk. When the singer stands before the diaphragm, its vibration causes it to touch the platinum point, and produces the number of breaks in the current which corresponds to the vibration of the notes uttered.

The experiments lately made in America, in93 order to decide on the merits of various telephonic systems, show that Mr. Edison’s telephone gives the best results. The ‘Telegraphic Journal,’ May 1, 1878, states that on April 2 Mr. Edison’s carbon telephone was tested between New York and Philadelphia on one of the numerous lines of the West Union. The length of the line was 106 miles, and ran parallel to other wires almost throughout its length. The effects of induction caused by telegraphic transmissions through the adjacent wires were enough to make speech inaudible through the other telephones, but they had no influence on Edison’s telephone, which was worked with a battery of two cells and a small induction coil, and Messrs. Batchelor, Phelps, and Edison were able to converse with ease. Mr. Phelps’ magnetic telephone, which is considered to be the most powerful of its kind, did not afford such good results.

In the experiments made between the Paris Exhibition building and Versailles, the jury commission was able to ascertain that the results were equally favourable.

Telephones by Colonel Navez.—Colonel Navez of the Belgian Artillery, inventor of the well-known balistic chronograph, has endeavoured to improve the Edison telephone by employing several disks of carbon instead of one. He considers that the variations of electric resistance produced by carbon disks under the influence of unequal pressure depend94 chiefly on their surface of contact, and he consequently believes that the more these surfaces are multiplied, the greater the differences in question will be, just as it happens when light is polarised through ice. He adds that these disks act well by their surfaces of contact, since, if they are separated by copper disks, the speech reproduced ceases to be articulate.6

I am not surprised to learn that Colonel Navez has found a limit to the number of carbon disks, for the reproduction of speech in this system is due both to the greatness of the differences of resistance in the circuit, and to the intensity of the transmitted current. If therefore the instrument’s sensitiveness to articulate sounds is increased by increasing the number of imperfect contacts in the circuit, the intensity of the transmitted sounds is diminished, and thus sounds lose their power. There is consequently a limit to be observed in the number of carbon disks placed upon each other; and it depends on the nature of the imperfect contacts which are employed, and on the tension of the electric generator.

In order to stop the unpleasant musical vibrations which accompany telephonic transmissions, Colonel Navez employs for the vibrating plate of95 the sender a silver-plated copper disk, and for the vibrating plate of the receiver an iron disk lined with brass and soldered together. He also employs caoutchouc tubes with mouthpieces and ear-tubes for the transmission and reception of sound, and these instruments are placed level on a table. For this purpose the magnetised bar of the receiving telephone is replaced by two horizontal magnets, acting through a pole of the same nature on a little iron core which carries the coil, and which is placed vertically between the two magnets.96 He necessarily makes use of a small Ruhmkorff coil to transform the electricity of the battery into induced electricity.

Fig. 30.
Fig. 31.

Figs. 30 and 31 represent the two parts of this telephonic system. The carbon battery is in C (fig. 30), the vibrating disk in L L, and the mouthpiece E, fitted to a caoutchouc tube T E, corresponds at the lower end to the vibrating disk. The carbon battery is placed in metallic contact with the circuit by a platinum rod E C, and the vibrating disk also communicates with the circuit through a binding-screw.97 In the receiving telephone (fig. 31) the upper part is arranged much as in the ordinary telephones, except that, instead of a mouthpiece, the instrument is fitted with an ear-tube T O. The two horseshoe magnets, A, A, which communicate a uniform polarity to the iron core N, support the induction coil B. The two terminals of this receiver are connected with the supplementary wire of the induction coil, and the two terminals of the sender are connected with the two ends of the primary of this coil, and with the battery which is inserted in the circuit near this instrument.

The Pollard and Garnier Telephones.—The battery telephone made by MM. Pollard and Garnier differs from the foregoing in this particular: it simply employs two points of graphite, mounted in metallic porte-crayons, and these points are directly applied against the vibrating plate with a pressure which must be regulated. Fig. 32 represents the arrangement adopted, which, however, may be infinitely varied.

L L is the vibrating tin plate, above which is the mouthpiece E, and P, P′ are the two graphite points with their porte-crayons. There is a screw on the lower part of the porte-crayons which is fixed in a hole pierced in a metallic plate C C, and by this means the pressure of the pencils against the disk L L can be regulated. The metallic plate C C is made in two pieces, placed side by side, but insulated from each other, so that they may be placed98 in communication with a cylindrical commutator, and by its means the circuit can be arranged in different ways. Since the commutator consists of five sheets, the transition from one combination to another is instantaneous, and these combinations are as follows:

1. The current enters by the pencil P, passes into the plate, and so to line.

2. The current enters by the pencil P′, passes into the plate, and so to line.

3. The current comes simultaneously by the two pencils P and P′, goes into the plate, and thence to line.

4. The current comes by the pencil P, goes thence to the plate, then into the pencil P′, and so to line.

Fig. 32.

By this means there are two elements of combination, which may be employed separately, or by coupling them for tension or quantity.

When the pencils are properly regulated and give a regular transmission of equal intensity, the effects produced in the transition from one combination99 to another may be easily studied, and it has been ascertained: first, that in a short circuit there is no appreciable change, whatever be the combination employed; secondly, that when the circuit is long, or of great resistance, the tension arrangement is the best, and this in proportion to the length of the line.

This telephonic system, like the two preceding ones, requires an inducing machine to transform voltaic into induced currents: we shall presently speak of this important accessory of these instruments.

Besides this arrangement, MM. Pollard and Garnier have employed the one we have represented in fig. 5, which has given better results. We shall see presently that it can be used as the receiving organ of sounds. In each case the two carbons must be placed in contact, and subjected to a certain initial pressure, which should be regulated by the screw fitted to the support of the lower carbon.

As for the receiving telephone, the arrangement adopted by MM. Pollard and Garnier is the same as Bell’s, except that they employ tin plates and helices of greater resistance. This resistance ranges in fact from 100 to 125 miles. ‘We have always held,’ these gentlemen say, ‘that whatever may be the resistance of the outer circuit, there is an advantage in increasing the number of spirals,100 even when using wire No. 42, which is the one we prefer.’

Fig. 33.

M. Hellesen’s Reaction Telephone.—M. Hellesen believed that the vibrations produced by the voice on the carbon of a telephonic sender would be magnified if the moveable part of the rheotome were subjected to an electro-magnetic action resulting from the vibrations themselves, and he has contrived a sender, which is based on the principle shown in fig. 33, and which has the merit of forming in itself the inducing apparatus intended to transform the voltaic currents employed. This instrument is composed of a vertical iron tube, supported on a magnetic bar N S, and surrounded by a magnetising101 coil B B, above which is fixed an inducing helix of fine wire I I, communicating with the circuit. Within the tube there is a lead pencil C, held by a porte-crayon which can be raised or lowered by means of a screw V fixed below the magnetic bar. Finally, above this pencil, there is an iron vibrating plate L L, with a platinum point in communication with the battery in its centre; the local circuit communicates with the pencil by means of the magnetising helix B, and for this purpose one end is soldered to the iron tube.

From this arrangement it follows that the vibrations of the plate L L, at the moment when it comes nearest to the pencil, tend to become greater in consequence of the attractive force exerted on the plate, and as the pressure of the lead pencil is increased, it increases the differences of resistance which result from it, and consequently causes greater variations in the intensity of the transmitted currents.

Reaction Telephone of Messrs. Thomson and Houston.—The telephonic arrangement we have described has lately been adopted by Mr. Elihu Thomson and Mr. Edwin J. Houston, who, on June 21, 1878, two months after M. Hellesen explained his system to me,7 published an article in ‘The English Mechanic and World of Science’102 about an instrument very similar to that of M. Hellesen.

In their instrument, the current, which passes through a body of moderately conducting capacity, acts on an electro-magnet provided with an induction coil, and this electro-magnet reacts on the diaphragm, in order to increase the range of its vibrations, and to create at the same moment two electric actions in the same direction: the only difference lies in the arrangement of the contact of this indifferent conductor with the vibrating plate. Instead of a simple contact effected by pressure between this plate and a carbon pencil, a fragment of the same substance with a sharpened point is fixed on the vibrating plate, and it dips into a drop of mercury which has been poured into the receptacle made for it at the upper end of the electro-magnet. In other respects, the arrangement of the instrument is that of an ordinary telephone, and the iron rod of the electro-magnet represents the magnetised bar of the Bell telephone. The inventors assert that this instrument can be used both as a sender and receiver, and it is in the following manner that it is worked in each case.

When the instrument is transmitting, the morsel of carbon dips more or less into the mercury, and consequently differences are produced in the surfaces of contact, according to the range of vibrations made by the plate; the current varies in intensity in proportion to this range, and induced103 currents in the induction coil result from these variations; the induced currents react on the receiving telephone, as in Bell’s instrument, and are further strengthened by those which are produced electrically by the movement of the diaphragm before the induction coil, and the iron of the electro-magnet.

When the instrument is used as a receiver, the usual effects are displayed, for since the iron of the electro-magnet is magnetised by the current, its conditions are precisely those of the ordinary Bell telephone, and the induced currents reach it in the same manner, only with greater intensity. Messrs. Thomson and Houston assert that their system has produced excellent results, and that by it the sound of the voice is much less altered than in other telephones.

Telephones with batteries and liquid senders.—We have seen that in 1867 Mr. Gray conceived the idea of a telephonic system based on the differences of resistance effected in a circuit completed by a liquid, when the layer of liquid interposed between the electrodes varies in thickness under the influence of the vibrations of the telephonic plate which is in communication with one of these electrodes. This system has since been the subject of study by several inventors, among others by MM. Richemond and Salet; and I give some of the accounts which have been published respecting their researches.

104

Another telephone for the reproduction of articulate sounds, which M. Richemond terms the electro-hydro telephone, has been recently patented in the United States. It resembles that of Mr. Edison in some respects, but instead of making use of carbon disks to modify the resistance of the circuit, water is employed, and this water is placed in communication with the circuit and battery by means of two platinum points, one of which is fixed on the metallic diaphragm which vibrates under the influence of the voice. As the vibrations of the diaphragm transport the point which is attached to it to different parts of the interpolar layer of liquid, they diminish or increase the electric resistance of this layer, and cause corresponding variations in the intensity of the current traversing the circuit. The receiving telephone is of the usual kind. (See ‘Telegraphic Journal,’ September 15, 1877.)

M. Salet writes: ‘I thought it would be interesting to construct a telephone in which there should be absolute solidarity in the movements of the two membranes, and for this purpose I have availed myself of the great resistance of liquids. Mr. Bell had already obtained some results by attaching to the vibrating membrane a platinum wire communicating with a battery, and dipping more or less into a metallic vessel, itself connected by the line with the receiving telephone and containing some acidulated water. I have substituted for the platinum wire a small aluminium105 lever supporting a disk of platinum, and at a very slight distance from it there is a second disk in connection with the line. The vibrations of the membrane, tripled or quadrupled in their range, are not altered in form, thanks to the small size and light weight of the lever: they cause variations in the thickness of the liquid layer traversed by the current, and consequently in its intensity, and these variations cause corresponding differences in the attractive force of the receiving electro-magnet. Under its influence the receiving membrane executes movements which are identical with those of the sending membrane. The sound transmitted is very distinct, and its timbre is perfectly maintained, a result which might have been anticipated. The consonants, however, are not so clearly pronounced as those transmitted by Mr. Bell’s instrument. This inconvenience is most apparent when the lever is heavy, and might easily be obviated. The electrolysis also produces a continual murmur, but this does not interfere with the distinctness of the sound.

‘Since on this system the voice is not required to produce, but only to direct the electric current generated by a battery, the intensity of the sound received might in theory be increased at pleasure. I have in fact been able to make the receiver emit very powerful sounds, and I think that this advantage greatly counterbalances the necessity of employing a battery, and a somewhat delicate sending106 instrument. Unfortunately it can only be used for moderate distances. Assuming that any displacement of the transmitting membrane increases the resistance to a degree equivalent to five or six hundred yards of wire: if the line is five hundred yards long, the intensity of the current will be reduced by one half, and the receiving membrane will take up a fresh position, considerably differing from the first; but if the line is three hundred miles in length, the intensity of the current will only be modified by a thousandth part. An immense battery must therefore be employed in order that this variation may be translated by a sensible change in the position of the receiving membrane.’ (See ‘Comptes Rendus de l’Académie des Sciences,’ February 18, 1878.)

M. J. Luvini, in an article inserted in ‘Les Mondes,’ March 7, 1878, has suggested a system of rheotome by means of a current, for battery telephones, which, although complicated, possibly offers some advantages, since it produces currents alternately reversed. In this system, the vibrating disk of the sender, which should be in a vertical position, reacts on a moveable horizontal wire, turned back at a right angle, and supporting on each of its branches two platinum points which dip into two bulbs, filled with a liquid of moderate conducting capacity. The two branches of this wire, insulated from each other, are placed in communication with the two poles of the battery, and107 the four cups into which the platinum wire dips communicate inversely with the line and the earth by means of platinum wires immoveably fixed in the cups. It follows from this arrangement, that when the distances are duly regulated between the fixed and moveable wires, two equal currents will be opposed to each other across the line circuit when the diaphragm is motionless; but as soon as it vibrates, the respective distances of the wires will vary, and it follows from this that there will be a differential current, of which the intensity will correspond with the extent of the displacement of the system, or with the range of vibrations, and the direction will vary with the movements above or below the line of the nodes of vibration. In this way the advantage of the induced currents is obtained.

Telephones with a battery and voltaic arcs.—In order to obtain variations of resistance of still greater sensitiveness than is the case with liquids or pulverised substances, the idea has been suggested of employing conductors of heated gas, and several arrangements of battery telephones have been made in which the circuit was completed by a stratum of air, separating the vibrating disk from a platinum point, which serves to excite an electric discharge of high tension. Under these conditions, the stratum of air becomes the conductor, and the intensity of the current which traverses it corresponds to its thickness. This108 problem has been solved, either by means of voltaic currents of high tension, or by a Ruhmkorff coil.

The former system was arranged by M. Trouvé, and he writes as follows on the subject in the journal ‘La Nature’ of April 6, 1878: ‘A metallic vibrating membrane forms one of the poles of a high tension battery; the other pole is fastened before the disk by a micrometer screw which can be adjusted so as to vary the distance from the disk according to the tension of the battery, but without ever coming in contact with it. The distance must not in any case exceed that to which the discharge of the battery can extend. Under these conditions, the membrane which vibrates under the influence of the waves of sound has the effect of constantly modifying the distance between the two poles, and thus of continually varying the intensity of the current: consequently the receiving instrument (a Bell telephone, or telephone with an electro-magnet) is subjected to magnetic variations, corresponding to the variations of the current which affect it, and this has the effect of making the receiving instrument vibrate at the same moment. This kind of telephonic instrument relies, therefore, on the possibility of varying within wide limits the resistance of the outer circuit of a high-tension battery, in which the poles are not in contact. In order to vary the conditions of this resistance, it is also possible to interpose some vapour or other109 medium, such as air, or gas of greater or less rarity.’

M. Trouvé thinks that he was successful with his battery of small disks, moistened with sulphate of copper and sulphate of zinc, arranging these elements, to the number of five or six hundred, in glass tubes of small diameter. It is well known that it is unnecessary for the elements to be of large size in order to obtain tension currents.

M. de Lalagade has suggested an analogous mode by employing for the formation of the arc a current of which the tension is increased by inserting a strong electro-magnet into the circuit. This electro-magnet acts on a Hughes magnet in order to produce induction currents capable of making the receiving instrument act. M. de Lalagade says that a Bunsen battery, or one of six cells with bichromate of potash, will be enough to produce a continuous voltaic arc between the vibrating plate of a telephone and a platinum point which is sufficiently remote to avoid contact. It is necessary, however, to begin with a contact, in order to produce the formation of this arc. In M. de Lalagade’s system, the vibrating plate should have in its centre a small platinum plate, in order to obviate the oxidising effects of the spark. The inventor asserts that sounds transmitted in this way, and reproduced in a telephone of which the electro-magnetic system is set upon a sounding-box, will have greater intensity than the sounds110 transmitted by an ordinary telephone, and the speaker will appear to be close to the ear.

Mercury Telephones.—These systems are based on the physical principle discovered by M. Lippmann, that if a layer of acidulated water is placed above mercury, and connected with it by an electrode and wire, every mechanical action which exerts pressure on the surface of the mercury, and alters the form of its meniscus, will cause an electric reaction, capable of producing a current with a force which corresponds to the mechanical action exerted. Conversely, every electric action produced on the circuit of such a system will occasion a displacement of the meniscus, and consequently its movement, which will be more marked in proportion to the smallness of the tube in which the mercury is placed, and to the greatness of the electric action. This electric action may result from a difference of potential in the electric condition of the two extremities of the circuit, which communicate with the electric source employed, or with some electric generator.8

111

Fig. 34.

In accordance with these effects, it is intelligible that if two tubes T T, pointed at the end, and containing mercury, are plunged into two vessels V V (fig. 34) containing acidulated water and mercury, and metallic wires, P P, Q Q, are used, first to connect the columns of mercury in the tubes, and secondly the layers of mercury at the bottom of the two vessels, the tubes being a little removed from the surface of the mercury in the vessels, we shall then have a metallic circuit, completed by two electrolytes, one of which will be subjected to the mechanical or electrical effects produced in the other. If two vibratory plates B B are placed above the tubes, and one of these is caused to vibrate, the other will reproduce these vibrations, influenced by the vibratory movements communicated by the corresponding112 column of mercury. The vibrations themselves will be in connection with the electrical discharges resulting from the movements of the column of mercury in the first tube, which are mechanically produced. If an electric generator is introduced into the circuit, the effect which we have just analysed will be caused by modifications in the potential of this generator, in consequence of electro-capillary effects. But if no generator is employed, the action will result from electric currents determined by the electro-capillary attraction itself. In the latter case, however, the instrument must be more delicately made, in order to obtain more sensitive electric reaction, and M. A. Bréguet describes his instrument as follows.

‘The instrument consists of a tube of thin glass, a few centimètres in length, containing alternate drops of mercury and acidulated water, so as to constitute so many electro-capillary elements, connected in tension. The two ends of the tube are fused together, yet so as to allow a platinum wire to touch the nearest drop of mercury on each side. A small circle of thin deal is fixed at right angles to the tube by its centre, thus providing a surface of some extent, which can be applied to the ear when the instrument is a receiver, and to make the tube more mobile under the influence of the voice when the instrument is a sender. The following are the advantages offered by instruments of this construction:—

113

‘1. They do not involve the use of a battery.

‘2. The disturbing influence of the resistance of a long line is almost destroyed in these instruments, although it is still appreciable in the Bell telephone.

‘3. Two mercury telephones, coupled together as we described above, are absolutely correlative, in this sense, that even different positions in the equilibrium of the mercury in one of them produce different positions of equilibrium in the opposite instrument. It is therefore possible to reproduce at a distance, without a battery, not merely faithful indications of oscillatory movements, which is done by the Bell telephone, but also the exact image of the most general movements.’

Friction Telephones.—Mr. E. Gray has quite recently applied the principle of producing sounds by the friction of animal tissues to the construction of a speaking telephone which may be heard through a whole room, like the singing condenser. He obtains this result by means of clockwork, which causes the rotation of the metallic disk of which we have spoken (p. 23), and on which a piece of skin is so arranged as to produce friction. A carbon or liquid telephone is placed at the sending station, in such a way as to react on an induction coil, as in the systems of Edison, Navez, or Pollard, and speech is reproduced on the rotating disk, and is audible, as we have said, without114 the necessity of approaching the ear to the instrument.

The best arrangement of the metallic disk on which the animal tissue rubs is that of a cylindrical box, of which the outer lid is made of a thin sheet of zinc with a highly polished, slightly oxidised surface; for the agent of friction, glove-leather slightly moistened with acidulated water may be used, or a sinew of an ox, or skin taken from the ear or tail of a pig.


MODIFICATIONS INTRODUCED IN THE CONSTRUCTION OF THE BELL TELEPHONES.

The modifications which we have been considering relate to the principle of the instrument; those which we have now to consider are only modifications in the form and arrangement of the different organs which form the Bell telephone itself, and which have been designed with the object of increasing the intensity and distinctness of the sounds produced.

Telephones with several diaphragms.—When we remember that the induced currents caused in a magnet result from the vibratory movements of the diaphragm, and that these are produced by the vibrations of the stratum of air interposed between this diaphragm and the vocal organ, it necessarily follows that if these vibrations of the air react on several diaphragms, each attached to its electro-magnetic organ, several induced currents might be115 caused simultaneously, and if these were properly connected, their effects on the receiver would be so much the more intense, since the sounds produced would result from the combination of several sources of sound. Several inventors, starting from this argument, have planned instruments of varying ingenuity, which we will now describe, but without being able to declare who was the first to realise this idea. It is in fact so simple, that it probably suggested itself to the minds of several inventors at the same time, and we see that while M. Trouvé proposed this improvement in France in November 1877, it was tried in America and discussed in England, where indeed it was not expected to produce very favourable results. Mr. Preece wrote on the subject in a paper entitled ‘On some Physical Points connected with the Telephone,’ which was published in April 1878. He observes that all the attempts to improve the telephone have ended in disappointment and failure. One of the first attempts of the kind was made by Mr. Wilmot, who expected to obtain favourable results by augmenting the number of diaphragms, helices, and magnets, connecting the helices in a series, and causing them to act simultaneously, so as to increase the energy of the currents developed by the influence of the voice; but experience showed that when the instrument acted directly, the vibratory effect of each of the diaphragms decreased in proportion to116 their number, and the general effect remained the same as with a single diaphragm. Mr. Wilmot’s instrument was made in the beginning of October 1877, and that of M. Trouvé was only an imitation of it.

On the other hand, we see that if the telephones with several membranes were not successful in England, this was not the case in America, for the telephones which experience has shown to give the best results in that country are those of Mr. Elisha Gray and Mr. Phelps, and these have several diaphragms. It is evident that there are details of construction in these instruments which may appear insignificant in theory, and which are notwithstanding very important from a practical point of view, and we believe that it is to this circumstance that instruments of this kind owe their success or failure. Thus, for example, it seems that the vibrations of air caused in the mouthpiece ought to be immediately directed on the surface of the diaphragms by means of distinct channels; it is necessary that the empty space round each diaphragm should be sufficiently limited to prevent echoes and interruptions, unless the case is so large that there is no danger of such effects. Above all, it is necessary that the organs should be fixed in some material unsusceptible of reverberation, and for this reason a preference is given to iron or ebonite. It is certain that when the instrument is properly made, its effects are superior to those of the Bell telephones,117 and it is asserted in the ‘Telegraphic Journal’ that experiments were made with one of these instruments before the Royal Society, in London, May 1, 1878, and that the intensity of sound was in proportion to the number of diaphragms. This instrument was designed by Mr. Cox Walker, of York, and possessed eight diaphragms. He considers that this is the arrangement which gives the best results.

Fig. 35.

118

Mr. Elisha Gray’s System.—Mr. Elisha Gray’s last system, which we represent in fig. 35, is one of those which have given the best effects. It is made, as we see, of two telephones, side by side, to which correspond two tubes, issuing from a common mouthpiece E. One of these telephones is seen in section in the plate, the other in elevation, and they correspond to the two branches of a nickel-plated horseshoe magnet N U S, which may serve as a suspension ring. In that part of the plate which represents the section, the induction coil is shown in B, and the magnetic core, of soft iron, in A, which is screwed to the polar end of the magnet S; the vibrating plate is in L L, and, as we see, the tube of the mouthpiece terminates on its surface.

In another model there are four telephones side by side, instead of two, and the effects produced are still more marked.

Mr. Phelps’s System.—This system is only deduced from the last, but there are two models of it. In the larger one, which makes it possible to hear as distinctly as if the person with whom conversation is held were speaking in a loud voice in the same room, the two telephones are placed parallel to each other, and so as to present their diaphragms vertically; the space between these two diaphragms is occupied by a vertical tube, terminating at its lower end in a horizontal tube corresponding to the centres of the two diaphragms, and on this tube the mouthpiece is fitted, which projects outside119 the box in which the instrument is enclosed. The induction coils, and the magnetic cores which traverse them, follow the axis of the system, and seem to constitute the axis of a wheel which is polarised by the poles of a horseshoe magnet, of which the position with reference to the surface of the diaphragms can be regulated by moveable screws. The appearance of the instrument somewhat resembles a gyroscope, resting by a horizontal axis on two shafts which issue from a flattened horseshoe magnet.

Above this system there is the electro-magnetic apparatus of the call-bell, in which there is nothing peculiar, and which is like the German alarums of which we shall speak at the end of this account. This instrument is remarkable for strength and clearness of sound, and especially for its freedom from the Punch and Judy voice so displeasing in other telephones.

Mr. Phelps’s small model is in the form of an oblong or elliptical snuff-box, of which the two centres are occupied by two telephonic systems, influenced by the same magnet. This magnet is placed in a horizontal position below the snuff-box, and its poles correspond to the magnetic cores of the coils. These cores are made of iron tubes, split longitudinally in order to destroy irregular induction reactions, and the iron diaphragms rest on five spiral springs, which raise them above the magnetic system. On their other surface the diaphragms120 are provided with rings of some semi-elastic substance, which prevent the central vibrations of the disks from becoming complicated by those of their edges. The lid, hollowed out in very shallow cavities, is next placed upon the disks, and there are channels of communication in it to serve as a sounding-box. The mouthpiece corresponds to one of these cavities, and the other is closed by a small metallic stopper, which can be withdrawn to regulate the instrument when necessary. Since the vibrations of air are transmitted by the channels to both cavities, the two telephones act together, although at first sight only one of them seems to be required to produce the effect.

Mr. Phelps praises the simultaneous effects produced on the two instruments, which he ascribes, first, to the semi-elastic ring surrounding the rim of each disk, and acting as the hammer of the ear, that is, as a damper; then, to the longitudinal splits of the magnetic core, and lastly to the small size of the cavities left above the vibrating disks. The instrument is made of ebonite, grooved on the surface in order to give a better grasp to the hand.

Mr. Phelps has a new model, called the crown telephone, which is now in use in America, together with Mr. Edison’s carbon sender. In it each of the two systems of the large model we have described is worked by six horseshoe magnets radiating round the magnetic core, and so arranged121 that the north poles correspond to this core, and the other poles to the circular rim of the diaphragm. In this way the magnetic field is considerably enlarged, and the sound much intensified.

In experiments recently made at Dr. Wells’s church, New York, an assembly of three hundred people were able to hear speech and vocal or instrumental music distinctly in different parts of the hall.

Mr. Cox Walker’s System.—This system, on which we have already said a few words, has exactly the arrangement of that by Mr. Elisha Gray. The magnets which act upon the diaphragms are horseshoe, and separate pipes, issuing from a common mouthpiece, direct the vibrations of air on the diaphragms. These, indeed, are only defined parts of one diaphragm, bounded in a circle by mouthpieces corresponding to the air-pipes, and sufficiently restricted on their edges to limit the field of vibration.

M. Trouvé’s System.—M. Trouvé has simplified the arrangement of telephones with a double diaphragm, by designing the instrument so as to make Bell’s bar magnet react by both poles at once on several disks. For this purpose, he employs a tubular magnet, and winds a helix throughout its whole length, as we see in fig. 36. This magnet is maintained in a fixed position in the centre of a small cylindrical box, of which the base is slightly funnel-shaped, thus acting as a122 mouthpiece and acoustic tube. It is consequently pierced in the centre with a hole larger at a, the station for speaking, than on the opposite side b. Between the base and the poles of the magnet there are two vibrating iron plates, M, M′, one of which, M, is pierced with a hole a of the same diameter as the hollow part of the magnet, and consequently smaller than that of the mouthpiece. Finally, several other plates n, n, n, are ranged in parallel lines between these two plates, so that the magnet and its helix may pass through them.

Fig. 36.

When anything is said before the mouthpiece a, the waves of sound encountering the edges of the plate M place it in vibration, and, continuing their passage inside the tubular magnet, they cause the plate M′ to vibrate at the same time as M. A double inducing action therefore takes place on the123 tubular magnet, and this is translated by the induced currents developed in the helix, which have greater energy since each of the plates intensifies the magnetic effects produced at the pole opposite to the one they influence, which is always the case with bar magnets when the inactive pole is provided with an armature. This advantage may even be obtained in the case of ordinary telephones, if the screw which holds the magnet is placed in contact with a mass of soft iron.

In M. Trouvé’s arrangement, the induced currents therefore possess greater energy; but he adds that the sounds reproduced will also be strengthened by the multiplicity of vibratory effects, and by the enlargement of the magnetic effects, which results from a better arrangement of the magnets.

‘When the ear is placed at a,’ M. Trouvé writes, ‘it perceives immediately the sounds produced by the first plate M, and those of the second plate reach the ear through the interior of the magnet. This new arrangement is well adapted for an experimental comparison of the results produced by a telephone with a single membrane (a Bell telephone), and those produced by a telephone with several membranes. It is in fact enough to listen at the two faces of the telephone alternately, in order to perceive at once the difference of intensity in the sounds produced. Those collected at a, on the side of the pierced iron plate, appear manifestly124 doubled in intensity compared with those collected at b on the side of the simple membrane which forms the ordinary telephone.

‘The difference is still more striking if, in transmitting or receiving a sound of invariable intensity through a multiple telephone, the unbroken membrane M′ is repeatedly prevented from vibrating.’

Before making this arrangement M. Trouvé had planned another, which he presented to the Académie des Sciences, November 26, 1877, and which we have glanced at in the beginning of this chapter. He describes it in these terms:—

‘In order to increase the intensity of the effects produced in the Bell telephone, I have substituted for the single membrane a cubic chamber, of which each face is, with one exception, formed of a vibrating membrane. Each of these membranes, put in vibration by the same sound, influences a fixed magnet, which is also provided with an electric circuit. In this way, by connecting all the currents generated by the magnets, a single intensity is obtained, which increases in proportion to the number of magnets influenced. The cube might be replaced by a polyhedron, of which the faces might be formed of an indefinite number of vibrating membranes, so as to obtain the desired intensity.’

M. Demoget’s System.—Several other systems of telephones with multiple membranes have been proposed. One of them, planned by M. Demoget,125 consists in placing before the vibrating disk of the ordinary Bell telephone, separated by the space of a millimètre, one or two similar vibrating disks, taking care to pierce in the centre of the first a circular hole of the same diameter as that of the bar magnet, and to pierce a larger hole in the second membrane. The inventor asserts that the distinctness as well as the intensity of sounds is increased in this way.

‘By this arrangement,’ says M. Demoget, ‘since the vibrating magnetic mass is larger in proportion to the magnet, the electro-motive force of the currents generated is increased, and consequently the vibrations of the disks of the second telephone are more perceptible.’

Mr. McTighe’s Telephone.—In this telephone, which has several diaphragms, there is a horseshoe magnet, and instead of placing the coils upon the poles, there is a single coil fastened to an iron core, which is inserted between wide polar appendices fitted to the two poles of the magnet. These appendices consist of thin plates, which act as vibrating plates.

Modifications in the arrangement of Telephonic Organs.—We see that the forms given to the Bell telephone are very varied, and this is still more the case with its constituent organs, without, however, producing any remarkable improvements. Mr. Preece observes that little has been gained by varying the size and strength of the magnets, and126 the best effects have been obtained by using the horseshoe magnets directed by Mr. Bell himself. The telephone was certainly introduced into Europe with the arrangement which is theoretically the best, although Mr. Bell is still occupied in improving it. This is also the opinion of M. Hellesen, who, like Mr. Preece, has made many experiments on this point; but this has not deterred several people from declaring that they have discovered the way of making a telephone speak so as to be audible to an assembly of people.

Of the different instruments made with this object, that of M. Righi seems to be the most important. It was lately tried with success at the Académie des Sciences, the Conservatoire des Arts et Métiers, and the Press pavilion of the Exhibition.

Fig. 37.

The receiver is only a Bell telephone of large size, with a diaphragm of parchment L L (fig. 37), in the centre of which there is a sheet-iron disk F. This membrane is stretched on a large funnel E, which is fixed on a box C C, containing the electro-magnetic coil B: and the magnet N S, much larger than in the ordinary instruments, issues from the box, and serves as its support.

Fig. 38.

The sender resembles the one represented in fig. 19, except that, instead of liquid, M. Righi employs plumbago mixed with powdered silver, and the platinum needle is replaced by a metallic disk D (fig. 38). The receiver I, which contains the powder, is supported on a spring R, which can be128 pushed up and down by a regulating screw V, and the whole is fitted into a box C C, and supported on a foot P. The speaker places himself above the mouthpiece E, and the vibrations transmitted to the membrane L L cause the variations of resistance in I which are necessary for the transmission of speech, as in the Edison system. Two Bunsen cells are enough to set the instrument at work, and it will make the sound of a trumpet or flute audible throughout a room. Vocal music, which is less intense, is necessarily transmitted to a rather less distance, and words spoken in the natural voice are heard by those standing about two yards and a half from the instrument.

The maximum distance at which the instrument has been worked with the battery only is twenty-eight miles, the distance between Bologna and Ferrara, and for greater distances it is necessary to have recourse to induction coils.

In this case, an induction coil is introduced into the circuit at each station, and its primary wire is traversed by a current from the local battery, and so also is the sender, which is elsewhere connected with the receiver by a commutator. The secondary circuit of these coils is completed through the earth and line wire. From this arrangement it follows that the induced current which influences the receiver in correspondence, only produces its effect after a second induction, produced on the primary wire of the129 local coil, and it appears that this is a sufficient effect; but the advantage of this arrangement is, that it is possible to receive and transmit sounds without the aid of anything but the commutator.

Among other arrangements which have been suggested, we may mention one in which, instead of the bar magnet, a horseshoe magnet is used, with a vibrating plate placed between its poles. For this purpose the poles are tipped with iron, and one of them is pierced with a hole which corresponds to the mouthpiece of the instrument. The two branches of the magnet are also furnished with magnetising helices. When anything is spoken before the hole, the vibrating plate causes induced currents in the two helices: these currents would be of opposite direction if the poles were of like nature, but, since the magnetic poles are of contrary nature, they are in the same direction. The vibrating plate then acts like the two plates of M. Trouvé’s instrument, which we have described above.

In another arrangement, lately made by Ader, the receiver is only an ordinary two-branched magnet, of which the armature is supported, at about two millimètres from its poles, by a glass plate to which it is glued, and the plate itself is fastened to two rigid supports. In order to hear it is only necessary to apply the ear to the plate. The sender is a moveable rod of iron or carbon, which130 rests on a fixed piece of carbon, with no pressure except its own weight, and it supports a concave disk, to which the speaker applies his mouth. These two parts are so arranged as to move horizontally, so that, when the instrument is suspended, the circuit is forcibly disconnected by the fact of its position, and is therefore closed until anyone takes it up to speak. Speech is well reproduced by this system, and may be transmitted to some distance if it is made on a larger scale.

Again, an anonymous inventor, in a little note inserted in ‘Les Mondes,’ February 7, 1878, writes as follows: ‘Since the intensity of the currents produced in the telephone is in proportion to the mass of soft iron which vibrates before the pole of the magnet, and since, on the other hand, the plate is sensitive in proportion to its tenuity, I employ, instead of the ordinary plate, one reduced by nitric acid to the least possible thickness, and I fix it to a circle of soft iron, which keeps it stretched and forms part of the same substance. This circle is placed in a circular opening made inside the compartment. The intensity of a telephone is much increased when such a system replaces the ordinary plate, even at one end of the line.’

In order to obtain vibrating plates of extreme tenuity, M. E. Duchemin thought of employing very thin plates of mica, sprinkled with pulverised iron fixed to the plate by a layer of silicate of potash. The inventor asserts that it is possible to131 correspond in a low voice with the aid of this system; but it has this inconvenience, that the plate will be broken by speaking too loud.

Professor Jorgenson, of Copenhagen, has also made a Bell telephone which produces very intense sounds, and which has permitted him to observe some curious effects. In this instrument, the magnet is made in a mode analogous to Nicklès’ tubular magnets. There is first a cylindrical magnet with a core of soft iron at its upper end, to which the coil is fitted; next, a magnetised tube, formed of a steel ring, which encloses the first magnetic system, and is connected with it by an iron tube. Finally, above the polar extremities of this system, there is the vibrating disk, with the same arrangement as that of ordinary telephones, and of which the superficies is large. If this plate is only a millimètre in thickness, the words spoken can be heard throughout a room; but the sounds lose their clearness when the ear is approached to the vibrating plate, the words are confused, and there is the reverberation which is observed on speaking in a place apt to produce echoes: the listener is, in fact, stunned by the sounds produced. On using a thicker plate—one, for example, of three or four millimètres—the telephone only produces the effect of the ordinary instruments, and it is necessary to apply the ear to it.

M. Marin Maillet, of Lyons, has suggested that the sounds reproduced by the telephone might be132 increased by reflecting them through a certain number of reflectors, which, by concentrating them in a focus on a resonator, would considerably enlarge them. Since this idea was not accompanied by experiments, it can hardly be regarded as serious.


TELEPHONIC EXPERIMENTS.

Since Mr. Bell’s experiments of which an account has been given in the early part of this work, much study has been given by men of science and inventors to the effects produced in this curious instrument, so as to ascertain its theory and deduce improvements in its construction. We will take a glance at these researches in succession.

Experiments on the Effects produced by Voltaic and Induced Currents.—The comparative study of the effects produced in the telephone by voltaic and induced currents was one of the first and most important. In 1873, as we have seen, Mr. Elisha Gray converted the voltaic currents, which he employed to cause the vibrations of his transmitting plate, into induced currents by means of an induction coil, such as Ruhmkorff’s. The voltaic currents then traversed the primary helix of the coil, and the induced currents reacted on the receiving instrument, producing on its electro-magnetic system the vibrations excited at the sending station. When Mr. Edison designed his battery133 telephone, he had recourse to the same means to work his receiving telephone, since he had ascertained that induced currents were superior to voltaic currents. But this peculiarity of Mr. Edison’s arrangement was not clearly understood from the descriptions which reached Europe, so that several persons believed that they had invented this arrangement—among others, Colonel Navez and MM. Pollard and Garnier.

Colonel Navez, in an interesting paper on the new telephonic system, presented to the Belgian Royal Academy, February 2, 1878, only suggests this arrangement as a mode of reproducing speech at a great distance; but he quotes no experiment which distinctly shows the advantages of this combination. Twenty days later, MM. Pollard and Garnier, unacquainted with Colonel Navez’s researches, sent to me the results they had obtained by similar means, and these results appeared to me so interesting that I communicated them to the Académie des Sciences, February 25, 1878. In order that the importance of these results may be clearly understood, I will repeat the text of M. Pollard’s letter, addressed to me on February 20, 1878:

‘With the object of increasing the variations of electric intensity in the Edison system, we induce a current in the circuit of a small Ruhmkorff coil, and we fix the receiving telephone to the extremities of the induced wire. The current received has the134 same intensity as that of the inducing current, and consequently the variations produced in the current which works the telephone have a much wider range. The intensity of the transmitted sounds is strongly increased, and the value of this increase depends upon the relative number of spirals in the inducing and induced circuits. Our attempts to determine the best proportions have been laborious, since it is necessary to make a coil for each experiment; we have hitherto obtained excellent results with a small Ruhmkorff coil reduced to its simplest form, that is, without condenser or contact-breaker. The inducing wire is No. 16, and is wound in five layers; the induced wire is No. 32, and in twenty layers. The length of the coil is seven centimètres.

‘The following is the most remarkable and instructive experiment: When setting the sender to work with a single Daniell cell, there is no appreciable effect at the receiving station, at least in the telephone which I have made, when it is in immediate connection with the circuit; after inserting the small induction coil, sounds become distinctly audible, and their intensity equals that of good ordinary telephones. Since the battery current is only moderately intense, the points of plumbago are not worn down, and the regulating apparatus lasts for a long while. When a stronger battery is used, consisting of six cells of bichromate of potash (in tension) or twelve Leclanché135 cells, sufficient intensity is obtained by the direct action to make sounds nearly as audible as in ordinary telephones; but when the induction coil is inserted, the sounds become much more intense, and may be heard at a distance of from fifty to sixty centimètres from the mouthpiece. Songs may, under such circumstances, be heard at a distance of several yards; but the relative increase does not appear to be so great as in the case of the single Daniell cell.’

On the other hand, ‘Les Mondes,’ March 7, 1878, contains an account of a series of experiments made by Signor Luvini, Professor of Physics at the Military Academy of Turin, which proved that the introduction of electro-magnets into the circuit which connects the two telephones sensibly increases the intensity of sound. The maximum effect is produced by placing one close to the transmitting, and the other close to the receiving telephone, and the introduction of other magnets is of no use. The inducing wire of a Ruhmkorff coil, when introduced into such a circuit, excited no sensible effects of induction in the induced circuit, and consequently could not set the telephone in connection with this circuit at work. But the current of a Clarke machine produces sounds resembling the beats of a drum, which are deafening when the ear is applied to the instrument: they become very faint, however, at the distance of a mètre. The currents of a Ruhmkorff machine are136 still more energetic, and the sound fills a whole room. By modifying the position of the lever of the coil, the sound passes through different tones, which are always in unison with the breaks of the current, at least up to a certain pitch.

This property of currents induced by the Ruhmkorff coil has enabled M. Gaiffe to obtain by their means a very simple mode of regulating telephones, so as to produce in them the maximum amount of sensibility. For this purpose he places the telephone he proposes to regulate in the circuit of an induction instrument with moveable helices and graduated intensities. The sounds which result from the vibrator are then reverberated from the telephone, and are audible at a distance from the instrument; by using a screw-driver, it is possible to adjust the screw to which the free end of the bar magnet of the instrument is fixed. It can be tightened or loosened, so as to advance or withdraw the other end of the magnet from the vibrating plate of the telephone, and the process is repeated until the maximum intensity of sound is obtained.

On the other hand, as the sounds given out by the two telephones in correspondence are intense in proportion to the degree of unison in the vibrations produced by them, it is necessary to select those which emit the same sounds for the same given note; and the mode we have just described may be employed with advantage, since it will be enough137 to observe what instruments give the same note in the condition of maximum sensibility, when regulated in the same way by the induction machine.

It is very important that the telephones in correspondence should be well matched, not only to ensure clear transmissions, but also with reference to the tone of voice of those who are to use it. The sound becomes more audible when the tone of voice corresponds to the telephonic tone; and for this reason some telephones repeat the voices of women and children better than those of men, and with others the reverse takes place.

The telephonic vibrations vary in different instruments, and these variations may be noted in the way we have indicated.

The advantages of induced currents in telephonic transmissions may be easily understood, if we consider that the variations of resistance in the circuit, resulting from the greater or less range in the vibrations of the transmitting plate, are of constant value, and can only manifest their effects distinctly in short circuits; consequently the articulate sounds which result from them can only be really appreciable in circuits of great resistance. According to Mr. Warren de la Rue’s experiments (reported in the ‘Telegraphic Journal,’ March 1, 1878), the currents produced by the vibrations of the voice in an ordinary telephone represent in intensity those of a Daniell cell traversing138 100 megohms of resistance (or 10,000,000 kilomètres); and it is plain that the simple question of greater or less intensity in the currents acting on the receiving telephone is not the only thing we have to consider. With an energetic battery, it is evident, in fact, that the differential currents will always be more intense than the induced currents produced by the action of the instrument. I myself am inclined to believe that induced currents owe the advantages they possess to the succession of inverse currents and their brief duration. These currents, of which M. Blaserna considers that the duration does not exceed 1/200 of a second, are much more susceptible than voltaic currents of the multiplied vibrations which are characteristic of phonetic vibrations, and especially since the succession of inverse currents which take place discharge the line, reverse the magnetic effects, and contribute to make the action more distinct and rapid. We cannot therefore be surprised that the induced currents of the induction coil, which can be produced under excellent conditions at the sending station, since the circuit of the voltaic current is then very short, are able to furnish results, not only more effective than the voltaic currents from which they take their origin, but even than the induced currents resulting from the action of the Bell telephone, since they are infinitely more energetic.

As for the effects produced by the currents of Bell telephones, which are relatively great when we139 consider their size, they are easily explained from the fact that they are produced under the influence of the vibrations of the telephone plate, so that their variations of intensity always maintain the same proportion, whatever may be the resistance of the circuit, and consequently they are not effaced by the distance which divides the two telephones.

Experiments on the part taken by the different telephonic organs in the transmission of speech.—In order to introduce all the improvements of which a telephone is capable, it is important to be quite decided as to the effects produced in the several parts of which it is composed, and as to the part taken by the several organs which are at work. To attain this object several men of science and engineers have undertaken a series of experiments which have produced very interesting results.

One of the points on which it was most important to throw light was that of ascertaining whether the vibrating plate used in their telephone receivers by Messrs. Bell and Gray is the only cause of the complex vibrations which reproduce speech, or if the different parts of the electro-magnetic system of the instrument all conduce to this effect. The experiments made by Mr. Page in 1837 on the sounds produced by the resonant electro-magnetic rods, and the researches pursued in 1846 by Messrs. de la Rive, Wertheim, Matteucci, &c., on this curious phenomenon, allow us to state the question, which is certainly more complex than it at first appears.

140

In order to start from a fixed point, it must first be ascertained whether a telephone can transmit speech without a vibrating plate. Experiments made by Mr. Edison9 in November 1877, with telephones provided with copper diaphragms, which produced sounds, make the hypothesis credible; and it received greater weight from the experiments made by Mr. Preece and Mr. Blyth. The fact was placed beyond a doubt by Mr. Spottiswoode (see the ‘Telegraphic Journal’ of March 1, 1878), who assures us that the vibrating plate of the telephone may be entirely suppressed without preventing the transmission of speech, provided that the polar extremity of the magnet be placed quite close to the ear; and it was after this that I presented to the Académie des Sciences my paper on the theory of the telephone, which led to an interesting discussion of which I shall speak presently. At first the authenticity of these results was denied, and then an attempt was made to explain the sounds heard by Mr. Spottiswoode as a mechanical transmission141 of the vibrations, effected after the manner of string telephones; but the numerous experiments which have subsequently been made by Messrs. Warwick, Rossetti, Hughes, Millar, Lloyd, Buchin, Canestrelli, Wiesendanger, Varley, and many others, show that this is not the case, and that a telephone without a diaphragm can transmit speech electrically.

Colonel Navez himself, who had first denied the fact, now admits that a telephone without a diaphragm can emit sounds, and even, under certain exceptional conditions, can reproduce the human voice; but he still believes that it is impossible to distinguish articulate words.

This uncertainty as to the results obtained by the different physicists who have studied the matter shows that at any rate the sounds thus reproduced are not clearly defined, and that in physical phenomena, only appreciable to our senses, the appreciation of an effect so undefined must depend on the perfection of our organs. We shall presently see that this very slight effect can be largely increased by the arrangement adopted by Messrs. Bell and Gray, and we shall also see that, by a certain mode of magnifying the vibrations, it has been decisively proved that a telephone without a diaphragm can readily reproduce speech. I proceed to give the description of such a telephone, which was shown by Mr. Millar at the meeting of the British Association at Dublin in August 1878.

142

This instrument consists of a small bar magnet, three inches in length and 5/16 of an inch in width and thickness, and a copper helix (No. 30) of about six mètres in length is wound round the bar. It is fixed in a box of rather thick pasteboard, fitted above and below with two zinc plates, which render it very portable. With a telephonic battery sender and a single Leclanché cell, speech can be perfectly transmitted; the whistling of an air, a song, and even the act of respiration become audible. It seems also that the instrument can act without a magnet, merely with a piece of iron surrounded by the helix; but the sounds are then much fainter.

Signor Ignace Canestrelli obtained the same results by making one of the carbon telephonic senders react on a telephone without a diaphragm, by means of an induction coil influenced by two Bunsen cells. He writes as follows on the subject:

‘With this arrangement I was able to hear the sound of any musical instrument on a telephone without a diaphragm: singing, speaking, and whistling were perfectly audible. Whistling could be heard, even when the telephone without a diaphragm was placed at some distance from the ear. In some cases, depending on the pitch of the voice, on the distance of the sending station, and on the joint pressure exerted by the carbons, I could even distinguish words.

143

‘I finally discharged the currents of the transmitter into the coils of insulated copper wire with which the two poles of a magnet were provided. This magnet was placed on a musical box, made of very thin slips of wood, and on placing the ear at the opening of the box I obtained the same results as with the ordinary telephones without a diaphragm.’

M. Buchin, after repeating experiments of the same kind as the above, intimates that it is easy to hear the sounds produced by a telephone without a diaphragm, by introducing into the ear the end of an iron rod, of which the other end is applied to the active pole of the bar magnet of the telephone. (See ‘Le Journal d’Electricité,’ October 5, 1878.)

I repeat finally the account of some experiments made by Mr. Hughes and M. Paul Roy which are interesting from our present point of view.

1. If an armature of soft iron is applied to the poles of an electro-magnet, with its two branches firmly fixed on a board, and if pieces of paper are inserted between this armature and the magnetic poles, so as to obviate the effects of condensed magnetism; if, finally, this electro-magnet is connected with a speaking microphone, of the form given in fig. 39, it is possible to hear the words spoken in the microphone on the board which supports the electro-magnet.

144

2. If two electro-magnets are placed in communication with a microphone, with their poles of contrary signs opposite to each other, and if their poles are separated by pieces of paper, speech will be distinctly reproduced, without employing armature or diaphragm. These experiments are, however, delicate, and demand a practised ear.

3. If, instead of causing the current produced by a microphone to pass through the helix of a receiving telephone, it is sent directly into the bar magnet of this telephone in the direction of its axis—that is, from one pole to another—the words pronounced in the microphone may be distinctly heard. This experiment by M. Paul Roy indicates, if it is exact, that the electric pulsations which traverse a magnet longitudinally will modify its magnetic intensity. The experiment, however, demands verification.

Another point was obscure. It was important to know whether the diaphragm of a telephone really vibrates, or at least if its vibrations could involve its displacement, such as occurs in an electric vibrator, or in wind instruments which vibrate with a current of air. M. Antoine Bréguet has made some interesting experiments on the subject, which show that such a movement cannot take place, since speech was reproduced with great distinctness from telephones with vibrating plates of various degrees of thickness, and he carried the experiment so far as to employ plates fifteen centimètres145 in thickness.10 When pieces of wood, caoutchouc, and other substances were laid upon these thick plates, the results were the same. In this case it cannot be supposed that the plates were moved to and fro. I have moreover ascertained, by placing a layer of water or of mercury on these plates, and even on thin diaphragms, that no sensible movement took place, at least when the induced currents produced by the action of speaking were used as the electric source. No ripples could be seen on the surface of the liquid, even when luminous reflectors were employed to detect them. And indeed it can hardly be admitted that a current not more intense than that of a Daniell element, which has traversed 10,000,000 kilomètres of telegraphic wire—a current which can only show deviation on a Thomson galvanometer—should be powerful enough to make an iron plate as tightly stretched as that of a telephone vibrate by attraction, even if we grant that the current was produced by laying a finger on the diaphragm.

Very nice photographic experiments do, however, show that vibrations are produced on the diaphragm of the receiving telephone; they are indeed excessively slight, but Mr. Blake asserts that they are enough to cause a very light index, resting on the diaphragm, to make slight inflections146 on a line which it describes on a register. Yet this small vibration of the diaphragm does not show that it is due to the effect of attraction, for it may result from the act of magnetisation itself in the centre of the diaphragm.11 An interesting experiment by Mr. Hughes, repeated under different conditions by Mr. Millar, confirms this opinion.

If the magnet of a receiving telephone consists of two magnetised bars, perfectly equal, separated from each other by a magnetic insulator, and they are so placed in the coil as to bring alternately the poles of the same and of contrary signs opposite to the diaphragm, it is known that the telephone will reproduce speech better in the latter case than in the former. Now, if the effects were due to attraction, this would not be the case; for the actions are in disagreement when the poles of contrary signs are subjected to the same electric influence, while they are in agreement when these poles are of like signs.

On the other hand, it is known that if several147 iron plates are put together in order to form the diaphragm of the receiver, the transmission of sounds is much stronger than with a simple diaphragm; and yet the attraction, if it has anything to do with it, could only be exerted on one of the diaphragms.

It further appears that it is not merely the magnetic core which emits sounds, but that they are also produced with some distinctness by the helices. Signor Rossetti had already ascertained this fact, and had even remarked that they could be animated by a slight oscillatory movement along the bar magnet, when they were not fixed upon it. Several observers, among others M. Paul Roy, Herr Wiesendanger, and Signor Canestrelli, have since mentioned similar facts, which are really interesting.

‘If,’ writes M. Paul Roy, ‘a coil of fine wire, which is at the extremity of the bar magnet of a Bell telephone, receives the pulsatory currents transmitted by a carbon telephone, it is only necessary to bring the coil close to the ear in order to hear the sounds.

‘The sounds received in this way are very faint, but become much stronger if a piece of iron is introduced into the circuit coil. A magnet acts with still greater force, even when it consists of a simple magnetised needle. Finally, the sound assumes its maximum intensity when an iron disk is inserted between the ear and the coil.

‘By placing the end of the coil to the ear, and148 sending a current through it from the bar magnet, it is ascertained that the sound is at its minimum when the neutral line of the magnet is enclosed by the coil, and that it increases until attaining its maximum, when the magnet is moved until one of its poles corresponds to the coil.

‘This fact of the reproduction of sounds by a helix is universal. Every induction coil and every electro-magnet are capable of reproducing sound when the currents of the sender are of sufficient intensity.’

Signor Canestrelli writes as follows: ‘With the combination of a carbon telephone and one without diaphragm or magnet—that is, with only a simple coil—I was able to hear whistling through the coil, placed close to the ear. This coil was of very fine copper wire, and the currents were produced through an induction coil by two Bunsen elements. The contacts of the telephone were in carbon, and it was inserted in the primary circuit.

‘I fastened the coil to the middle of a tightly stretched membrane which served as the base of a short metal cylinder. When a magnet was placed near this part of the coil, the sounds were intensified, and when I fixed the magnet in this position, I could hear what was said.

‘I afterwards substituted for the magnet a second coil, fastened to a wooden bar, and on causing the induced currents to pass into both coils149 at once I was able to hear articulate speech, although not without difficulty.

‘Under these latter conditions I found it possible to construct a telephone without a magnet, but it required a strong current, and it was necessary to speak into the sender in a special manner, so as to produce strong and concentrated sounds.’

Another very interesting experiment by M. A. Bréguet shows that all the constituent parts of the telephone—the handle, the copper rims, and the case, as well as the diaphragm and the electro-magnet—can transmit sounds. M. Bréguet ascertained this fact by the use of string telephones, which he attached to different parts of the telephone on which the experiment was made. In this way he was not only able to establish a correspondence between the person who worked the electric telephone and the one who was listening through the string telephone, but he also made several string telephones act, which were attached to different parts of the electric telephone.

These two series of experiments show that sounds may be obtained from different parts of the telephone without any very appreciable vibratory movements. But Signor Luvini wished for a further assurance of the fact, by ascertaining whether the magnetisation of any magnetic substance, followed by its demagnetisation, would involve a variation in the form and dimensions of this substance. He consequently caused a large tubular electro-magnet150 to be made, which he filled with a quantity of water, so that, when its two ends were corked, the liquid should rise in a capillary tube fitted to one of the corks. In this way the slightest variations in the capacity of the hollow part of the electro-magnet were revealed by the ascent or descent of the liquid column. He next sent an electric current of varying intensity through the electro-magnet, but he was never able to detect any change in the level of the water in the tube; although by this arrangement he could measure a change of volume of 1/30 of a cubic millimètre. It appears from this experiment that the vibrations produced in a magnetic substance under the influence of successive magnetisations and demagnetisations, are wholly molecular. Yet other experiments made by M. Canestrelli seem to show that these vibrations are so far sensible as to produce sounds which can be detected by the microphone. He writes as follows on the subject:

‘When the broken currents of an induction coil are discharged into a coil placed on a sounding-box, it is possible to hear at a little distance the sounds produced by the induced currents thus generated. On approaching the magnet to the opening of the coil, these sounds are intensified, and the vibrations of the magnet become sensible to the touch; this vibration might even be made visible by suspending the magnet inserted into the coil to a metallic wire, which is fitted to a membrane151 stretched on a drum, and the latter will then reproduce sounds. When the same magnet is suspended to a microphone, it is possible, with the aid of a telephone, to ascertain the same effects, which are then increased.’

We shall presently consider how these different deductions are to be interpreted, so as to render the true theory of the telephone intelligible; but, before doing so, we will mention some other experiments which are not without interest.

We have seen that the experiments of Messrs. Edison, Blyth, and Preece, show that sounds may be reproduced by a telephone with a diaphragm made of some unmagnetic substance, and they also show, which is still more curious, that these sounds may be transmitted under the influence of induced currents produced by these diaphragms when they are placed in vibration before the magnet. Messrs. Edison and Blyth had already adduced this fact, which was received with incredulity, but it has been confirmed by Mr. Warwick in an article published in the ‘English Mechanic.’ He writes that in order to act upon the magnet, so as to produce induced currents, something possessed of greater energy than gas must first be made to vibrate. It is not, however, necessary that this substance should be magnetic, for diamagnetic substances act perfectly.12 Mr. Preece sought for152 the cause in the induced currents developed in any conducting body when a magnet is moved153 before it, currents which give rise to the phenomenon discovered by Arago and known by the name of magnetism by rotation. Yet these facts do not appear to us to be sufficiently well established to make the theory worthy of serious consideration, and it is possible that the effects observed resulted from simple mechanical transmissions.

To conclude the account of these experiments, we will add that Mr. W. F. Barrett thinks it somewhat difficult to define the mode of vibration of the diaphragm, since, while a certain amount of compression exerted on the iron destroys the sounds154 resulting from the peculiar effects of magnetisation, a still stronger compression causes them to reappear. It is certain that the question is full of obscurity, and demands great research: it is enough to have shown that the theory hitherto held is insufficient.

On the other hand, Colonel Navez considers that the intensity of sound reproduced in a telephone depends not only on the range of vibrations, but also on the vibrating surface and the effect it produces on the stratum of air which transmits the sound. (See paper by Colonel Navez in the ‘Bulletin de l’Académie de Belgique,’ July 7, 1878.)

Experiments on the Effects which result from Mechanical Shocks communicated to different parts of a Telephone.—If a piece of iron is applied to the screw which holds the magnet of the ordinary telephone, it is observed that the transmitted sounds are more distinct, owing to the force supplied to the active pole of the magnet; but at the moment when the piece of iron is applied to the screw a distinct noise is heard, which seems to be due to the mechanical vibrations caused in the magnet at the moment of the shock. M. des Portes, a lieutenant in the French navy, has lately made some interesting experiments on this class of phenomena. He has observed that if, in a telephonic circuit of 90 yards completed by the earth, the sending telephone is reduced to a simple magnet, provided155 with the coil which constitutes its electro-magnetic organ, and if this magnet is suspended vertically by a silken thread, with the coil above it, a blow struck upon the magnet, either by a copper rod or a piece of wood, will cause distinct sounds to be produced in the receiving telephone—sounds which will increase in intensity when the blow is struck close to the coil, and which will become still stronger, but less clear, if a vibrating plate of soft iron is placed in contact with the upper pole of the magnet.

When the striking instrument is made of iron, the sounds in question are more strongly marked than if it is of wood, and when the magnet has a vibrating disk applied to its active pole, a vibration of the disk takes place at the moment when the shock is heard.

If the striking body is a magnet, the sounds produced resemble those obtained when it is of iron, if the effect is produced between poles of the same nature; but if the poles are of contrary natures, a second noise is heard after each blow, which is produced by drawing away the magnet, and which appears to be a blow struck with much less force. The sound is of course increased if the magnet is provided with its vibrating disk.

If words are uttered on the vibrating disk of the sending telephone, when it is applied to the pole of the magnet, various sounds are heard on the receiving telephone, somewhat similar to those156 produced by vibrating one of the strings of a violin, and the sound made in withdrawing the disk from contact with the magnet is distinctly heard in the receiver.

The person who applies his ear to the vibrating disk of the sender when it is arranged as above, may hear the voice of anyone who speaks into the receiver, but cannot distinguish the words, owing, no doubt, to the condensed magnetism at the point of contact between the magnet and the vibrating disk, which slackens the magnetic variations and makes it more difficult for them to take place.

A coil is not necessary in order to perceive the blows struck upon the magnet with a rod of soft iron. It is enough to wind three turns of naked conducting wire, which acts as line wire, round one end of the magnet, and the sounds perceived cease, as in other experiments, when the circuit is broken, plainly showing that they are not due to mechanical transmission. It is a still more curious fact that if the magnet is placed in the circuit, so as to form an integral part of it, and if the two ends of the conducting wire are wound round the ends of the magnet, the blows struck upon the latter with the soft iron rod are perceived in the telephone as soon as one pole of the magnet is provided with a vibrating disk.

I have myself repeated M. des Portes’ experiments by simply striking on the screw which, in157 ordinary telephones, fastens the magnet to the instrument, and I have ascertained that, whenever the circuit was complete, the blows struck with an ivory knife were repeated by the telephone: they were, it is true, very faint when the vibrating disk was removed, but very marked when the disk was in its place. On the other hand, no sound was perceived when the circuit was broken. These sounds were louder when the blows were struck upon the screw than when they were struck on the pole of the magnet itself above the coil: for this reason, that in the first case the magnet could vibrate freely, while in the second the vibrations were stifled by the fixed position of the bar magnet.

These effects may be to some extent explained by saying that the vibrations caused in the magnet by the shock produce undulatory displacements of the magnetised particles in the whole length of the bar, and that induced currents would, according to Lenz’s law, result in the helix from these displacements—currents of which the force would increase when the power of the magnet was further excited by the reaction of the diaphragm, which acts as an armature, and also by that of the striking instrument when it also is magnetic. Yet it is more difficult to explain M. des Portes’ later experiments, and the effect may be produced by something more than the ordinary induced currents.

These are not the only experiments which show the effects produced under the influence of158 molecular disturbance of various kinds. Mr. Thompson, of Bristol, has observed that if a piece of iron and a tin rod placed perpendicularly on the iron are introduced into the circuit of an ordinary telephone, it is enough to strike the tin rod in order to produce a loud sound in the telephone. He has also shown that if the two ends of a bar magnet are enclosed by two induction coils which are placed in connection with the circuit of a telephone, and if the flame of a spirit lamp is moved below the magnet in the space dividing the two coils, a distinct sound is heard as soon as the flame exerts its influence on the bar magnet. This effect is undoubtedly due to the weakening of the magnetic force of the bar which is produced by the action of heat. I have myself observed that a scratching sound on one of the wires which connect the telephones is heard in both of them, at whatever point in the circuit the scratch is made. The sounds produced are indeed very faint, but they can be distinctly heard, and they become more intense when the scratch is made on the binding-screws of the telephone wires. These sounds cannot result from the mechanical transmission of vibrations, since they are imperceptible when the circuit is broken. From these experiments it appears that some sounds which have been observed in telephones tried on telegraph stations may arise from the friction of the wires on their supports—a friction which produces those very intense159 sounds which are sometimes heard on telegraphic wires.

Theory of the Telephone.—It appears from the several experiments of which we have spoken that the explanation generally given of the effects produced in the telephone is very imperfect, and that the transmission of speech, instead of resulting from the repetition by the membrane of the receiving telephone (influenced by electro-magnetism) of vibrations caused by the voice on the membrane of the transmitting membrane, is due to molecular vibrations produced in the whole electro-magnetic system, and especially on the magnetic core contained in the helix. These vibrations must be of the same nature as those which have been observed in resonant electro-magnetic rods by MM. Page, de la Rive, Wertheim, Matteucci, &c., and these have been employed in telephones by Reiss, by Cecil and Leonard Wray, and by Vanderweyde.

According to this hypothesis, the principal office of the vibrating plate consists in its reaction, in order to produce the induced currents when the voice has placed it in vibration, and by this reaction on the polar extremity of the bar magnet it strengthens the magnetic effects caused in the centre of the bar when it vibrates under the electro-magnetic influence, or at least when it is affected by the magnet. Since the range of these vibrations for a single note is great in proportion to the160 flexibility of the note, and since, on the other hand, the variations in the magnetic condition of the plate are rapid in proportion to the smallness of its mass, the advantage of employing, as Mr. Edison has done, very thin and relatively small plates is readily understood. In the case of transmission, the wider range of vibration increases the intensity of the induced currents transmitted. In the case of reception the variations in the magnetising force which produces the sounds are rendered clearer and more distinct, both in the armature membrane and in the bar magnet: something is gained, therefore, in each case. This hypothesis by no means excludes the phonetic effects of the mechanical and physical vibrations which may be produced in the armature plate under the influence of magnetisation and demagnetisation to which it is subjected, and these join their influence to that of the magnetic core.

What is the nature of the vibrations sent into the receiving telephone? This question is still obscure, and those who have studied it are far from being in agreement: as early as 1846 it was the subject of an interesting discussion between MM. Wertheim and de la Rive, and the new discoveries render it still more complex. M. Wertheim considers that these vibrations are at once longitudinal and transverse, and arise from attractions exchanged between the spirals of the magnetising helix and the magnetic particles of161 the core. M. de la Rive holds that in the case we are considering the vibrations are simply longitudinal, and result from molecular contractions and expansions produced by the different combinations assumed by the magnetic molecules under the influence of magnetisation and demagnetisation. This appears to us to be the most natural explanation, and it seems to be confirmed by the experiment made by M. Guillemin in 1846. M. Guillemin ascertained that if a flexible iron rod, surrounded by a magnetising helix, is kept in position by a vice at one end, and bent back by a weight at the other, it can be made to return instantly to its normal position by sending a current through the magnetising helix. This recovery can in such a case be due to nothing but the contraction caused by the magnetic molecules, which, under the influence of their magnetisation, tend to produce intermolecular attractions, and to modify the elastic conditions of the metal. It is known that when iron is thus magnetised it becomes as hard as steel, and a file makes no impression on its surface.

It is at any rate impossible to dispute that sounds are produced in the magnetic core, as well as in the armature, under the influence of intermittent electric action. These sounds may be musical or articulate; for as soon as the sender has produced the electric action required, there is no reason why vibrations which are effected in a transverse or longitudinal direction should transmit162 the one more than the other. These vibrations may, as we have seen, be termed microscopic.

Signor Luvini, who shares our opinion of the foregoing theory, does not, however, think it wholly satisfactory, unless account is taken of the reaction caused by the bar magnet on the helix which surrounds it. ‘There cannot,’ he says, ‘be action without reaction, and consequently the molecular action produced in the magnet ought to cause corresponding variations in the helix, and these two effects ought to contribute to the production of sounds.’ He supports this remark by a reference to Professor Rossetti’s experiment, of which we have spoken above.

We believe, however, that this double reaction of which Signor Luvini speaks is not indispensable, for we have seen that insulated helices can produce sounds; it is true that the spirals, reacting on each other, may be the cause of this.

The difficulty of explaining the production of sounds in an electro-magnetic organ destitute of armature caused the authenticity of the experiments we have described to be at first denied, and Colonel Navez started a controversy with us which is not likely to be soon terminated; yet one result of this controversy is that Colonel Navez was obliged to admit that the sound of the human voice may be reproduced by a telephonic receiver without a disk. But he still believes that this reproduction is so faint that it is not possible to recognise articulate words, and he maintains that the transverse vibrations of163 the disk, which are due to effects of attraction, are the only ones to reproduce articulate speech with such intensity as to be of any use.

It is certain that the articulation of speech requires a somewhat intense vibration which cannot easily be produced in a telephone without a diaphragm; for it must be remembered that in an instrument so arranged, the magnetic effects are reduced in a considerable ratio, which is that of the magnetic force developed in the magnet, multiplied by itself, and that so faint an action as that effected in a telephone becomes almost null when, in consequence of the suppression of the armature, it is only represented by the square root of the force which produced it. It is therefore possible that the sounds which are hardly perceptible in a telephone without a diaphragm become audible when the cause which provokes them is multiplied by itself, and when there are in addition the vibrations produced in the heart of the armature itself, influenced by the magnetisations and demagnetisations to which it is subjected.

In order to show that the action of the diaphragm is less indispensable than Colonel Navez seems to imagine, and that its vibrations are not due to electro-magnetic attractions, it will be enough to refer to Mr. Hughes’s experiments, which we have mentioned above. It is certain that if this were the effect produced, we should hear better when the two bar magnets present164 their poles of the same nature before the diaphragm, than when they present the poles of contrary natures, since the whole action would then converge in the same direction. Again, the more marked effects obtained with multiple diaphragms in juxtaposition completely exclude this hypothesis. It is, however, possible that in electro-magnetic telephones the iron diaphragm, in virtue of the rapid variations of its magnetic condition, may contribute to render the sounds clearer and more distinct; it may react in the way the tongue does; but we believe that the greater or less distinctness of the articulate sounds must be chiefly due to the range of vibrations. Thus Mr. Hughes has shown that the carbons of metallised wood employed in his microphonic speakers were to be preferred to retort carbons for the transmission of speech, for the very reason that they had less conductivity, so that the differences of resistance which result from differences of pressure are more marked, and consequently it is easier to seize the different degrees of vocal sounds which constitute articulate speech.

It must be clearly understood that what we have just said only applies to the Bell telephone, that is, to a telephone in which the electric currents have such a faint intensity that it cannot be supposed there is any external attractive effect. When these currents are so energetic as to produce such an effect, a transverse electro-magnetic vibration165 certainly takes place, which is added to the molecular vibration, and helps to increase the sounds produced. But it is no less true that this transverse vibration by attraction or by movement of the diaphragm is not necessary for the reproduction of sounds, whether musical or articulate.

We are not now concerned with the discussion of magnetic effects; there has been an advance in science since Colonel Navez started the controversy, and we must ask how his theory of the movements of the telephone diaphragm by attraction will explain the reproduction of speech by a receiving microphone destitute of any electro-magnetic organ, and I can assert that my experiments show that there can be no mechanical transmission of vibrations, since no sound is heard when the circuit is broken or deprived of its battery. Colonel Navez must therefore accept the molecular vibrations. This certainly gives us a new field for study; but it is because European men of science persist in remaining bound by incomplete theories that we have allowed the Americans who despise them to reap the glory of the great discoveries by which we have lately been astonished.

The experiments quoted above show that sounds may be reproduced not only by simple helices without an electro-magnetic organ, but also by the plates of a condenser, in spite of the pressure exerted upon them; and when we add166 to this the effects I have just pointed out, it may be supposed that vibrations of sound must result from every reaction between two bodies which has the effect of producing abruptly and at close intervals modifications in the condition of their electric or magnetic equilibrium. It is known that the presence of ponderable matter is necessary for the production of electric effects, and it is possible that the molecular vibrations of which I have spoken may be the result of molecular movements, due to the variations of the electric force which holds the molecules in a special condition of reciprocal equilibrium.

In conclusion, the theory of the telephone and microphone, considered as reproductive organs of speech, is still far from being perfectly clear, and it would be imprudent to be too positive on questions of such recent origin.

The theory of the electric transmission of sounds in electro-magnetic telephones is somewhat complex. It has been seen that they can be obtained from diaphragms of non-magnetic substance, and even from simple mechanical vibrations produced by shocks. Are we to ascribe them in the first case to the inductive reaction of the magnet on the vibrating plate, and in the second case to the movements of magnetic particles before the spirals of the helix? The matter is still very obscure; yet it is conceivable that the modifications of the inducing action of the magnet on the167 vibrating diaphragm may involve variations in the magnetic intensity, just as we can admit an effect of the same kind due to the approach and withdrawal of the magnetic particles of the spirals of the helix; M. Trève, however, believes that there is in the latter case a special action, which he has already had occasion to study under other circumstances, and he sees in the current thus caused the effect of the transformation of the mechanical labour produced amidst the magnetic molecules. The question is complicated by the fact that these effects are often produced by purely mechanical transmissions.

There is another point to consider, on which Colonel Navez has made some interesting remarks; that is, whether the effects in the receiver are stronger with permanent than with temporary magnets. In the first model of the telephone, exhibited by Mr. Bell at Philadelphia, the receiver was, as I have said, made of a tubular electro-magnet, furnished with a vibrating disk at its cylindrical pole; but this arrangement was abandoned by Mr. Bell, with the object, as he states in his paper, of rendering his instrument both a receiver and a sender.13 Yet Colonel Navez maintains that the magnet plays an important168 part, and is even indispensable under the present conditions of its form. ‘It is possible,’ he says, ‘under certain circumstances, and by making the instrument in a special way, to make a Bell receiver speak without a permanent magnet, yet with an instrument of the usual construction the sound ceases when the magnet is withdrawn and replaced by a cylinder of soft iron. In order to restore the voice of the telephone, it is enough to approach the pole of a permanent magnet to the cylinder of soft iron. It follows from these experiments that a Bell telephone cannot act properly unless the disk is subjected to an initial magnetic tension obtained by means of a permanent magnet. It is easy to deduce this assertion from a consideration of the theory.’

The assertion may be true in the case of Bell telephones, which are worked by extremely weak currents, but when these currents are relatively strong, all electro-magnets will reproduce speech perfectly, and we have seen that M. Ader made a telephone with the ordinary electro-magnet which acted perfectly.

The action of the currents sent through the helix of a telephone can be easily explained. Whatever may be the magnetic conditions of the bar, the induced currents of different intensity which act upon it produce modifications in its magnetic state, and hence the molecular vibrations follow from contraction and expansion. These169 vibrations are likewise produced in the armature under the influence of the magnetisations and demagnetisations which are produced by the magnetic action of the core, and they contribute to the vibrations of the core itself, while at the same time the modifications in the magnetic condition of the system are increased by the reaction of the two magnetic parts upon each other.

When the bar is made of soft iron, the induced currents act by creating magnetisations of greater or less energy, followed by demagnetisations which are the more prompt since inverse currents always succeed to those which have been active, and this causes the alternations of magnetisation and demagnetisation to be more distinct and rapid. When the bar is magnetised, the action is differential, and may be exerted in either direction, according as the induced currents corresponding to the vibrations which are effected pass through the receiving coil in the same or opposite direction as the magnetic current of the bar. If these currents are in the same direction, the action is strengthening, and the modifications are effected as if a magnetisation had taken place. If these currents are of opposite direction, the inverse effect is produced; but, whatever the effects may be, the molecular vibrations maintain the same reciprocal relations and the same height in the scale of musical sounds. If the question is considered from the mathematical point of170 view, we find the presence of a constant, corresponding with the intensity of the current, which does not exist in mechanical vibrations, and which may possibly be the cause of the peculiar tone of speech reproduced by the telephone, a tone which has been compared to the voice of Punch. M. Dubois Raymond has published an interesting paper on this theory, which appeared in ‘Les Mondes,’ February 21, 1878, but we do not reproduce it here, since his remarks are too scientific for the readers for whom this work is intended. We will only add that Mr. C. W. Cunningham asserts that the vibrations produced in a telephone cannot be manifested under precisely the same conditions as those which affect the tympanum of the ear, because the latter has a peculiar funnel-shaped form, which excludes every fundamental note, specially adapted to it, and this is not the case with the bars and magnetic plates which possess fundamental notes capable of greatly altering the half-tones of the voice. He considers the alteration of the voice observed in the telephone must be ascribed to these fundamental notes.

M. Wiesendanger’s Thermophone.—M. Wiesendanger, in an article inserted in the ‘English Mechanic and World of Science,’ September 13, 1878, ascribes the reproduction of speech in certain telephones to vibratory movements resulting from molecular expansions and contractions produced by variations of temperature, and these variations171 would follow from the currents of varying intensity which are transmitted through the telephonic circuits. He was conscious of one objection to this theory, namely, that the movements of expansion and contraction due to heat are slowly produced, and consequently are not capable of substantial action, rapid enough to produce vibrations; but he considers that molecular effects need not take place under the same conditions as those which are displayed in the case of material substances.

M. Wiesendanger believes that this hypothesis will explain the reproduction of speech in the receiving microphones of Mr. Hughes, and that it may even be applied to the theory of the electro-magnetic telephone, if we consider that a magnetising helix, as well as a magnetic core, round which an electric current circulates, is more or less heated, according to the intensity of the current which traverses it, especially when the wire of the helix and the core are bad conductors of electricity and of magnetism. Pursuing this idea, M. Wiesendanger has sought to construct telephones in which calorific effects are more fully developed, and with this object he used very fine wire of German silver and platinum to make the coils. He ascertained that these coils could produce sounds themselves, and, to increase their intensity, he put them between disks of iron, or on tin tubes, placed on resonant surfaces close to the172 disks. In this way he says that he was able to make a good receiving telephone without employing magnets. He afterwards arranged the instrument in different ways, of which the two following are the most noteworthy.

In the first, the electro-magnetic system was simply formed by a magnetic disk with a helix wound round it, of which the wire was in connection with the circuit of a microphone, and which was fastened to the centre of the parchment membrane of an ordinary string telephone; the disk consisted of two iron plates separated by a carbon disk of smaller diameter, and the whole was so compressed as to form a solid mass.

In the second, the helix was wound on a tin tube, six inches long and five-eighths of an inch in diameter, which was soldered by merely a point to the centre of the diaphragm of an ordinary telephone.

The inventor asserts that the tube and diaphragm only act as resonators, and that the sounds produced by this instrument are nearly the same as those obtained from the ordinary string telephone: the tunes of a musical box were heard, and the reproduction of speech was perfect, both in intensity and in distinctness of sound; it even appeared that telephonic sounds were audible with the tin tube alone, surrounded by the helix. M. Wiesendanger says that ‘these different receiving telephones show clearly that the diaphragm and173 magnet are not essential, but merely accessory, parts of a telephone.’


VARIOUS EXPERIMENTS MADE WITH THE TELEPHONE.

We must now consider a series of experiments which demonstrate the wonderful properties of the telephone, and which may also give some indication of the importance of the influences by which it is liable to be affected.

Experiments by M. d’Arsonval.—We have seen that the telephone is an extremely sensitive instrument, but its sensitiveness could scarcely be appreciated by ordinary means. In order to gauge it, M. d’Arsonval has compared it to the nerve of a frog, which has hitherto been regarded as the most perfect of all galvanoscopes, and it appears from his experiments that the sensitiveness of the telephone is two hundred times greater than that of the frog’s nerve. M. d’Arsonval has given the following account of his researches in the records of the Académie des Sciences, April 1, 1878:

‘I prepared a frog in Galvani’s manner. I took Siemens’ instrument of induction, used in physiology under the name of the chariot instrument. I excited with the ordinary pincers the sciatic nerve, and I withdrew the induced coil until the nerve no longer responded to the electric excitement. I then substituted the telephone for the nerve, and the induced current, which had174 ceased to excite the latter, made the instrument vibrate strongly. I withdrew the induced coil, and the telephone continued to vibrate.

‘In the stillness of night I could hear the vibration of the telephone when the induced coil was at a distance fifteen times greater than the minimum at which the excitement of the nerve took place; consequently, if the same law of inverse squares applies to induction and to distance, it is evident that the sensitiveness of the telephone is two hundred times greater than that of the nerve.

‘The sensitiveness of the telephone is indeed exquisite. We see how much it exceeds that of the galvanoscopic frog’s leg, and I have thought of employing it as a galvanoscope. It is very difficult to study the muscular and nervous currents with a galvanometer of 30,000 turns, because the instrument is deficient in instantaneous action, and the needle, on account of its inertia, cannot display the rapid succession of electric variations, such as are effected, for example, in a muscle thrown into electric convulsion. The telephone is free from this inconvenience, and it responds by vibration to each electric change, however rapid it may be. The instrument is therefore well adapted for the study of electric tetanus in the muscle. It is certain that the muscular current will excite the telephone, since this current excites the nerve, which is less sensitive than the telephone. But for this purpose some special arrangement of the instrument is required.

175

‘It is true that the telephone can only reveal the variations of an electric current, however faint they may be; but I have been able, by the use of a very simple expedient, to reveal by its means the presence of a continuous current, also of extreme faintness. I send the current in question into the telephone, and, to obtain its variations, I break this current mechanically with a tuning-fork. If no current is traversing the telephone, it remains silent. If, on the other hand, the faintest current exists, the telephone vibrates in unison with the tuning-fork.’

Professor Eick, of Wurzburg, has also used the telephone for physiological researches, but in a direction precisely opposite to that explored by M. d’Arsonval. He ascertained that when the nerves of a frog were placed in connection with a telephone, they were forcibly contracted when anyone was speaking into the instrument, and the force of the contractions chiefly depended on the words pronounced. For instance, the vowels a, e, i produced hardly any effect, while o and especially u caused a very strong contraction. The words Liege still, pronounced in a loud voice, only produced a faint movement, while the word Tucker, even when spoken in a low voice, strongly agitated the frog. These experiments, reminding us of those by Galvani, were necessarily based on the effects produced by the induced currents developed in the telephone, and they show that if this instrument is176 a more sensitive galvanoscope than the nerve of a frog, the latter is more susceptible than the most perfect galvanometer.

Experiments by M. Demoget.—In order that he might compare the intensity of the sounds transmitted by the telephone with the intensity of original sounds, M. Demoget placed two telephones in an open space. He held the first to his ear, while his assistant withdrew to a distance, constantly repeating the same syllable with the same intensity of tone in the second instrument. He first heard the sound transmitted by the telephone, and then the sound which reached him directly, so that comparison was easy, and he obtained the following results.

At a distance of 93 yards the original and the transmitted sounds were received with equal intensity, while the vibrating disk was about 5 centimètres from the ear. At this moment, therefore, the relative intensity was as 25 to 81,000,000. In other words, the sound transmitted by the telephone was only 1/3000000 of the emitted sound. ‘But,’ said M. Demoget, ‘since the stations at which we worked could not be regarded as two points freely vibrating in space, the ratio may be reduced by one half on account of the influence of the earth, and the sound transmitted by the telephone may be supposed to be 1,500,000 times weaker than that emitted by the voice.

‘Again, since we know that the intensity of the177 two sounds is in proportion to the square of the range of vibrations, it may be concluded that the vibrations of the two telephone disks were in direct proportion to the distance, that is, as 5 to 9,000, or that the vibrations of the sending telephone were eighteen hundred times greater than those of the receiving telephone. These latter may therefore be compared to molecular vibrations, since the range of those of the sending telephone was extremely small.

‘Without in any degree detracting from the merit of Bell’s remarkable invention,’ continues M. Demoget, ‘it follows from what I have said above that the telephone, considered as a sending instrument, leaves much to be desired, since it only transmits the 18/100 part of the original power; and if it has produced such unexpected results, this is due to the perfection of the organ of hearing, rather than to the perfection of the instrument itself.’

M. Demoget considers this loss of power which takes place in the telephone to be chiefly owing to the eight transformations in succession to which sound is subjected before reaching the ear, setting aside the loss due to the electric resistance of the line, which might in itself suffice to absorb the whole force.

In order to estimate the force of the induced currents which act upon a telephone, M. Demoget has attempted to compare them with currents of which the intensity is known, and which produce178 vibrations of like nature and force: for this purpose he has made use of two telephones, A and B, communicating through a line 22 yards in length. He placed a small file in slight contact with the vibrating disk of the telephone A, and caused friction between the file and a metallic plate: the sound thus produced was necessarily transmitted by the telephone B, with an intensity which could be estimated. He then substituted a battery for the telephone A, and the file was introduced into the circuit by connecting it with one of the poles. The current could only be closed by the friction of the file with the plate, which had a spring, and was in communication with the other end of the circuit. In this way broken currents were obtained, which caused vibration in the telephone B, and produced a sound of which the intensity varied with the strength of the battery current. In this way M. Demoget endeavoured to find the electric intensity capable of producing a sound similar to that of the telephone A, and he ascertained that it corresponded in intensity to that produced in a small thermo-electric battery formed of an iron and a copper wire, two millimètres in diameter, flattened at the end, and soldered to the tin: the faint current produced by this battery only caused a short wire galvanometer to deviate two degrees.

This estimate does not appear to us to unite so many conditions of accuracy as to enable us to deduce from it the degree of sensitiveness possessed179 by a telephone, a sensitiveness which the experiments of Messrs. Warren de la Rue, Brough, and Peirce show to be much greater. Mr. Warren de la Rue, as we have seen, used Thomson’s galvanometer, and compared the deviation produced on the scale of this galvanometer with that caused by a Daniell cell traversing a circle completed by a rheostat: he ascertained that the currents discharged by an ordinary Bell telephone are equivalent to those of a Daniell cell traversing 100 megohms of resistance, that is, 6,200,000 miles of telegraphic wire. Mr. Brough, the Director of Indian Telegraphs, considers that the strongest current which at any given moment causes a Bell telephone to work does not exceed 1/1000000 of the unit of current, that is, one Weber, and the current transmitted to the stations on the Indian telegraphic line is 400,000 times as strong. Finally, Professor Peirce, of Boston, compares the effects of the telephonic current with those which would be produced by an electric source of which the electro-motive force should be 1/200000 part of a volt, or one Daniell cell. Mr. Peirce justly remarks that it is difficult to estimate the real value of these kinds of currents at any precise sum, since it essentially varies according to the intensity of the sounds produced on the transmitting telephone; but it may be affirmed that it is less than the 1/1000000 part of the current usually employed to work the instruments on telegraphic lines.

180

Signor Galileo Ferraris, who has recently published an interesting treatise on this question in the ‘Atti della Reale Accademia delle Scienze di Torino’ (June 13, 1878), states that the intensity of the currents produced by the ordinary Bell telephone varies with the pitch of the sound emitted.

Experiments by M. Hellesen, of Copenhagen.—In order to estimate the reciprocal effects of different parts of a telephone, M. Hellesen has made telephones of the same size with three different arrangements which act inversely to each other. The first was of the ordinary form, the second like that of Bell’s first system, that is, with a membrane supporting a small iron armature on its centre, instead of a vibrating disk, and the third telephone consisted of a hollow cylindrical magnet, with the vibrating disk fixed to one of its poles, and the disk was adapted to move before a flat, snail-shaped spiral, of which the number of spirals equalled those of the two other helices. In this last arrangement, the induced currents resulting from the vibrations of the voice might be assimilated to those which follow from the approximation and withdrawal of the two parallel spirals, one of which should be traversed by a current. It is this last arrangement which Mr. Bell has adopted as producing the best effects, and it is rare in the history of discoveries that an inventor hits at once on the best arrangement of his instrument.

Experiments by M. Zetsche.—There are always a181 few perverse minds, impelled by a spirit of contradiction to deny evidence, and thus they attempt to depreciate a discovery of which the glory irritates them. The telephone and the phonograph have been the objects of such unworthy criticism. It has been said that electric action had nothing to do with the effects produced in the telephone, and that it only acted under the influence of mechanical vibrations transmitted by the conducting wire, just as in a string telephone. It was in vain to demonstrate to these obstinate minds that no sound is produced when the circuit is broken, and in order to convince them M. Zetsche has made some experiments to show, from the mode in which sound is propagated, that it is absurd to ascribe the sound produced in a telephone to mechanical vibration. He wrote to this effect in an article inserted in the ‘Journal Télégraphique,’ Berne, January 25, 1878:

‘The correspondence by telephone between Leipzig and Dresden affords another proof that the sounds which reproduce words at the receiving station are due to electric currents, and not to mechanical vibrations. The velocity with which sound is transmitted by vibrations on the wire, in the case of longitudinal undulations, may be estimated at three miles one furlong a second, so that the sound ought to traverse the distance from Leipzig to Dresden in 25 seconds. The same time ought to elapse before receiving the answer. Consequently there should be an interval of more than182 three-quarters of a minute allowed for each exchange of communication, which is by no means the case.’

Experiments which may be made by anyone.—We will conclude this chapter, devoted to the account of the different experiments made with the telephone, by the mention of a singular experiment, which, although easily performed, has only been suggested a few months ago by a Pennsylvanian newspaper. It consists in the transmission of speech by a telephone simply laid on some part of the human body adjacent to the chest. It has been asserted that any part of the body will produce this effect, but according to my experience, I could only succeed when the telephone was firmly applied to my chest. Under such conditions, and even through my clothes, I could make myself heard when speaking in a very loud voice, from which it appears that the whole of the human body takes part in the vibrations produced by the voice. In this case, the vibrations are mechanically transmitted to the diaphragm of the sending telephone, not by the air, but by the body itself acting on the outside of the telephone.


THE MICROPHONE.

The microphone is in fact only the sender of a battery telephone, but with such distinctive characteristics that it may be regarded as an original invention which is entitled to a special183 name. The invention has lately given rise to an unfortunate controversy between its inventor, Mr. Hughes, and Mr. Edison, the inventor of the carbon telephone and the phonograph—a controversy which has been embittered by the newspapers, and for which there were no grounds. For although the scientific principle of the microphone may appear to be the same as that of Mr. Edison’s carbon sender, its arrangement is totally different, its mode of action is not the same, and the effect required of it is of quite another kind. Less than this is needed to constitute a new invention. Besides, a thorough examination of the very principle of the instrument must make us wonder at Mr. Edison’s claim to priority. He cannot in fact regard as his exclusive possession the discovery of the property possessed by some substances of moderate conductivity of having this power modified by pressure. In 1856, and often subsequently, as for example in 1864, 1872, 1874, and 1875, I made numerous experiments on this point, which are described in the first volume of the second edition of my ‘Exposé des applications de l’Electricité,’ and also in several papers presented to the Académie des Sciences, and inserted in their Comptes rendus. M. Clarac again, in 1865, employed a tube made of plumbago, and provided with a moveable electrode, to produce variable resistances in a telegraphic circuit. Besides, in Mr. Edison’s telephonic sender, the carbon disk, as184 we have seen, must be subjected to a certain initial pressure, in order that the current may not be broken by the vibrations of the plate on which it rests, and consequently the modifications of resistance in the circuit which produce articulate sounds are only caused by greater or less increase and diminution of pressure, that is, by differential actions. We shall presently see that this is not the case with the microphone. In the first place, the carbon contact is effected in the latter instrument on other carbons and not with platinum disks, and these contacts are multiple. In the second place, the pressure exerted on all the points of contact is excessively slight, so that the resistances can be varied in an infinitely greater ratio than in Mr. Edison’s system; and for this very reason it is possible to magnify the sounds. In the third place, a microphone can be made of other substances besides carbon. Finally, no vibrating disk is needed to make the microphone act; the simple medium of air is enough, so that it is possible to work the instrument from some little distance.

We do not therefore see the grounds for Mr. Edison’s assertions, and especially for the way in which he has spoken of Messrs. Hughes and Preece, who are well known in science and are in all respects honourable men. I repeat my regret that Mr. Edison should have made this ill-judged attack on them, since it must injure himself, and is unworthy of an inventor of such distinction. If we185 look at the question from another point of view, we must ask Mr. Edison why, if he invented the microphone, he did not make us acquainted with its properties and results. These results are indeed startling, since the microphone has in so short a time attracted general attention; and it is evident that the clear-sighted genius of this celebrated American inventor would have made the most of the discovery if it were really his. The only justification for Mr. Edison’s claim consists in his ignorance of the purely scientific discoveries made in Europe, so that he supposed the invention of the microphone to be wholly involved in the principle which he regards as his peculiar discovery.

In Mr. Hughes’s instrument which we are now considering, the sounds, instead of reaching the receiving stations much diminished, which is the case with ordinary telephones, and even with that of Mr. Edison, are often remarkably increased, and it is for this reason that Mr. Hughes has given to this telephonic system the name of Microphone, since it can be employed to discover very faint sounds. Yet we must add that this increase really takes place only when the sounds result from mechanical vibrations transmitted by solid substances to the sending instrument. The sounds propagated through the air are undoubtedly a little more intense than in the ordinary system, but they lose some of their force, and therefore it cannot be said that in this case the microphone186 has the same effect upon sounds as the microscope has on objects on which light is thrown. It is true that with this system it is possible to speak at a distance from the instrument, and I have even been able to transmit conversation in a loud voice, when standing at a distance of nine yards from the microphone. When close to the instrument, I was also perfectly able to make myself heard at the receiving station while speaking in a low voice, and even to send the sounds to a distance of ten or fifteen centimètres from the mouthpiece of the receiving telephone by raising the voice a little; but the increase of sound is not really very evident unless it is produced by a mechanical action transmitted to the standard of the instrument.

Thus the steps of a fly walking on the stand are clearly heard, and give the sensation of a horse’s tread; and even a fly’s scream, especially at the moment of death, is said by Mr. Hughes to be audible. The rustling of a feather or of a piece of stuff on the board of the instrument, sounds completely inaudible in ordinary circumstances, are distinctly heard in the microphone. It is the same with the ticking of a watch placed upon the stand, which may be heard at ten or fifteen centimètres from the receiver. A small musical box placed upon the instrument gives out so much sound, in consequence of its vibratory movements, that it is impossible to distinguish the notes, and in order to do so it is necessary to187 place the box close to the instrument, without allowing it to come in contact with any of its constituent parts. It therefore appears that the instrument is affected by the vibrations of air, and the transmitted sounds are fainter than those heard close to the box. On the other hand, the vibrations produced by the pendulum of a clock, when placed in communication with the standard of the instrument by means of a metallic rod, are heard perfectly, and may even be distinguished when the connection is made by the intervention of a copper wire. A current of air projected on the system gives the sensation of a trickle of water heard in the distance. Finally, the rumbling of a carriage outside the house is transformed into a very intense crackling noise, which may combine with the ticking of a watch, and will often overpower it.

Different Systems of Microphones.—The microphone has been made in several ways, but the one represented in fig. 39 is the arrangement which renders it the most sensitive. In this system, two small carbon cubes, A, B, are placed one above the other on a vertical wooden prism; two holes are pierced in the cubes to serve as sockets for a spindle-shaped carbon pencil, that is, with the points fined off at the two ends, and about four centimètres long: if of a large size, the inertia will be too great. One end of this pencil is in the cavity of the lower carbon, and the other must move freely in the upper cavity which maintains it in a position188 approaching to that of instable equilibrium, that is, in a vertical position. Mr. Hughes states that the carbons become more effective if they are steeped in a bath of mercury at red heat, but they will act well without undergoing this process. The two carbon cubes are also provided with metallic contacts which admit of their being placed in connection with the circuit of an ordinary telephone in which a Leclanché battery has been placed, or one, two, or three Daniell cells, with an additional resistance introduced into the circuit.

Fig. 39.

189

In order to use this instrument, it is placed on a table, with the board which serves to support it, taking care to deaden any extraneous vibrations by interposing between this board and the table several folds of stuff so arranged as to form a cushion, or, which is better, a belt of wadding, or two caoutchouc tubes: what is said by a person standing before this system is immediately reproduced in the telephone, and if a watch is placed on the stand, or a box with a fly enclosed in it, all its movements are heard. The instrument is so sensitive that words said in a low voice are most easily heard, and it is possible, as I have already said, to hear the speaker when he is standing nine yards from the microphone. Yet some precautions are necessary in order to obtain good results with this system, and besides the cushions placed beneath the instrument to guard it from the extraneous vibrations which might ensue from any movements communicated to the table, it is also necessary to regulate the position of the carbon pencil. It must always rest on some point of the rim of the upper cavity; but as the contact may be more or less satisfactory, experience alone will show when it is in the best position, and it is a good plan to make use of a watch to ascertain this. The ear is then applied to the telephone, and the pencil is placed in different positions until the maximum effect is obtained. To avoid the necessity of regulating the instrument in this way,190 which must be done repeatedly by this arrangement, MM. Chardin and Berjot, who are ingenious in the construction of telephones on this pattern, have added to it a small spring-plate, of which the pressure can be regulated, and which rests against the carbon pencil itself. This system works well.

Fig. 40.

M. Gaiffe, by constructing it like a scientific instrument, has given the instrument a more elegant form. Fig. 40 represents one of his two models. In this case, the cubes or carbon dice are supported by metallic holders, and the upper one E is made to move up and down a copper column G, so as to be placed in the right position by tightening the screw V.191 In this way the carbon pencil can be made to incline more or less, and its pressure on the upper carbon can be altered at pleasure. When the pencil is in a vertical position, the instrument transmits articulate sounds with difficulty, on account of the instability of the points of contact, and rustling sounds are heard. When the inclination of the pencil is too great, the sounds are purer and more distinct, but the instrument is less sensitive. The exact degree of inclination should be ascertained, which is easily done by experiment. In another model M. Gaiffe substitutes for the carbon pencil a very thin square plate of the same material, bevelled on its lower and upper surfaces, and revolving in a groove cut in the lower carbon. This plate must be only slightly inclined in order to touch the upper carbon, and under these conditions it transmits speech more loudly and distinctly.

I must also mention another arrangement, devised by Captain Carette of the French Engineers, which is very successful in transmitting inarticulate sounds. In this case the vertical carbon is pear-shaped, and its larger end rests in a hole made in the lower carbon; its upper and pointed end goes into a small hole made in the upper carbon, but so as hardly to touch it, and there is a screw to regulate the distance between the two carbons. Under such conditions, the contacts are so unstable that almost anything will put an end to them, and consequently the variations in the intensity of the192 transmitted current are so strong that the sounds produced by the telephone may be heard at the distance of several yards.

Fig. 41.

Fig. 41 represents another arrangement, devised by M. Ducretet. The two carbon blocks are at D D′, the moveable carbon pencil is at C, the telephone at T, and the binding screws at B B′. An enlarged figure of the arrangement of the carbons is given on the left. The arm which holds the upper carbon D is fastened to a rod, bearing a plate P′, of which the surface is rough, and a little cage C′, made of wire netting, can be placed upon the193 plate, so as to enable us to study the movements of living insects.

When speech is to be transmitted with a force which can make the telephone audible in a large room, the microphone must have a special arrangement, and fig. 42 represents the one which Mr. Hughes considers the most successful, to which he has given the name of speaker.

Fig. 42.

In this new form, the moveable carbon which is required to produce the variable contacts is at C, at the end of a horizontal bar B A, properly balanced so as to move up and down on its central point. The support on which the bar oscillates is fastened to the end of a spring plate in order that it may vibrate more easily, and the lower carbon is placed at D below the first. It consists of two pieces laid upon each other, so as to increase the sensitiveness of the instrument, and we represent the upper piece194 at E, which is raised so as to show that when it is desired only one of these carbons need be used. For this purpose the carbon E is fastened to a morsel of paper, which is fixed to the little board and contributes to the articulation. A spring R, of which the tension can be regulated by the screw t, serves to regulate the pressure of the two carbons. Mr. Hughes recommends the use of metallised charcoal prepared from deal.14 The whole is then enclosed in a semi-cylindrical case H I G, made of very thin pieces of deal, and the system is fixed, together with another similar system, in a flat box, M J L I, which, on the side M I, presents an opening before which the speaker stands, taking care to keep his lower lip at a distance of two centimètres from the bottom of the box. If the two telephones are connected for strength, and if the battery employed consists of two cells of bichromate of potash, it is possible to act so strongly on the current, that, after traversing an induction coil only six centimètres long, a telephone of Bell’s square model can be made to speak, so as to be heard from all parts of a room; a speaking tube, about a yard long, must indeed be applied to it. Mr. Hughes asserts that the sounds produced by it are nearly as loud as those of the phonograph, and this is confirmed by Mr. Thomson.

195

M. Boudet de Paris has lately invented a microphone speaker of the same kind, with which it is possible to make a small telephone utter a loud sound. An induction coil, influenced by a single Leclanché cell, must be employed.

Suppose that a very small carbon rod with pointed ends is placed at the bottom of a box, of about the size of a watch. One end of the rod rests against a morsel of carbon, which is fastened to a very thin steel diaphragm, placed before a mouthpiece which acts as a lid to the box, and is screwed above it. Next suppose that a small piece of paper, folded in two, in the shape of the letter V, is fixed above that part of the carbon in contact with the carbon of the diaphragm. This constitutes the instrument, and in order to work it, it must be held in a vertical position before the mouth, at a distance of about three centimètres, and it is necessary to speak in the ordinary tone. If the telephone is placed in direct communication with this instrument, it will send the voice to a distance. Without employing a Leclanché cell, the voice may be heard at the distance of ten yards, if one of the carbons used for the phonograph is placed before the mouthpiece of the telephone.

In this system, the sensitiveness of the instrument is entirely due to the slightness of the contact between the two carbons, and the slight elasticity of the folded paper constitutes the contact. Perhaps the paper itself has some influence; at any rate the196 most delicate spiral spring is incapable of producing the same effect, and it is necessary to suspend the instrument vertically, in order that the weight of the moveable carbon may not affect it. It can be regulated by depressing or elevating that part of the paper which rests on the carbon rod.

Although it is possible to work all telephones with this instrument, some are more effective than others. The mouthpiece must be concave, and the diaphragm must be close to its rim, and must be made of a particular kind of tin. The ordinary diaphragm does not act well, and M. Boudet de Paris has tried several, so as to obtain the maximum effect.

It is certain that when the instruments are as well regulated as those which the inventor has deposited with me, their results are really surprising. It is even possible, by using several microphones at the sending station, to obtain the reproduction of duets, and even of trios, with remarkable effect.

With this kind of microphone speaker M. Boudet de Paris is able to transmit speech into a snuff-box telephone, merely consisting of a flat helix of wire, placed before a slightly magnetised steel plate, and without insertion of a magnetic core. A single Leclanché cell was enough. An experiment of the same nature was tried in England, but it was found necessary to use six Leclanché cells.

Fig. 43
Fig. 44.

The microphone may also be made of morsels197 of carbon pressed into a box between two metallic electrodes, or enclosed in a tube with two electrodes represented by two elongated fragments of carbon. In the latter case the carbons ought to be as cylindrical as possible, and those made by M. Carré for the Jablochkoff candles are very suitable. Fig. 43 represents an instrument of this kind which M. Gaiffe arranged for me, and which, as we shall see, serves as a thermoscope (fig. 44). It is composed of a quill filled with morsels of carbon, and those at the two ends are tipped with metal. One of these metal tips ends in a large-headed screw which, by means of its supports A B, is able to press more or less on the morsels of carbon in the tube, and consequently to establish a more or less intimate198 contact between them. When the instrument is properly regulated, speech can be reproduced by speaking above the tube. It is therefore a microphone as well as a thermoscope. Mr. Hughes has remarked one curious fact, namely, that if the different letters of the alphabet are pronounced separately before this sort of microphone, some of them are much more distinctly heard than others, and it is precisely those which correspond to the breathings of the voice.

A microphone of this kind may be made by substituting for the carbon powders of more or less conductivity, or even metal filings. I have shown in my paper on the action of substances of moderate conductivity, that such power varies considerably with the pressure and the temperature; and as the microphone is based on the differences of conducting power which result from differences of pressure, we can understand that these powders may be used as a means of telephonic transmission. In a recent arrangement of this system Mr. Hughes has made the powder adhere together with a sort of gum, and has thus made a cylindrical pencil which, when connected with two electrodes which are good conductors, can produce effects analogous to those we have just described. As I have said, it is possible to use metal filings, but Mr. Hughes prefers powdered charcoal.

Mr. Blyth states that a flat box, about 15 inches by 9, filled with coke, and with two tin electrodes199 fixed to the two ends, is one of the best arrangements for a microphone. He says that three of these instruments, hung like pictures against the wall of a room, would suffice, when influenced by a single Leclanché cell, to make all the sounds produced in a telephone audible, and especially vocal airs. Mr. Blyth even asserts that a microphone capable of transmitting speech can be made with a simple piece of coke, connected with the circuit by its two ends, but it must be coke: a retort carbon, with electrodes, will not act.

It is a remarkable property of these kinds of microphones that they can act without a battery, at least when they are so arranged as to form a voltaic element for themselves, and this can be done by throwing water on the carbons. Mr. Blyth, who was the first to speak of this system, does not distinctly indicate its arrangement, and we may assume that his instrument did not differ from the one we have already described, to which water must have been added. In this way, indeed, I have been able to transmit not only the ticking of a watch and the sounds of a musical box, but speech itself, which was often more distinctly expressed than in an ordinary microphone, since it was free from the sputtering sound which is apt to accompany the latter. Mr. Blyth also asserts that sounds may be transmitted without the addition of water, but in this case he considers that the result is due to the moisture of the breath. Certainly much200 moisture is not required to set a voltaic couple in action, especially when a telephone is the instrument of manifestation. The ordinary microphone may be used without a battery, if the circuit in which it is inserted is in communication with the earth by means of earthen cakes; the currents which then traverse the circuit will suffice to make the tickings of a watch placed upon the microphone perfectly audible. M. Cauderay, of Lausanne, in a paper sent to the Académie des Sciences, July 8, 1878, informs us that he made this experiment on a telegraphic wire which unites the Hôtel des Alpes at Montreux with a châlet on the hill—a distance of about 550 yards.

The Microphone used as a Speaking Instrument.—The microphone can not only transmit speech, but it can also under certain conditions reproduce it, and consequently supply the place of the receiving telephone. This seems difficult to understand, since a cause for the vibratory motion produced in part of the circuit itself can only be sought in the variations in intensity of the current, and the effects of attraction and magnetisation have nothing to do with it. Can the action be referred to the repulsions reciprocally exerted by the contiguous elements of the same current? Or are we to consider it to be of the same nature as that which causes the emission of sounds from a wire when a broken current passes through it, so that an electric current is itself a vibratory current, as201 Mr. Hughes believes? It is difficult to reply to these questions in the present state of science; we can only state the fact, which has been published by Messrs. Hughes, Blyth, Robert Courtenay, and even by Mr. Edison himself. I have been able to verify the fact myself under the experimental conditions indicated by Mr. Hughes, but I was not so successful in the attempt to repeat Mr. Blyth’s experiments. This gentleman stated that in order to hear speech in a microphone it would be enough to use the model made from fragments of carbon, as we have described, to join to it a second microphone of the same kind, and to introduce into the circuit a battery consisting of two Grove elements. If anyone then speaks above the carbons of one of the microphones, what is said should be distinctly heard by the person who puts his ear to the other, and the importance of the sounds thus produced will correspond with the intensity of the electric source employed. As I have said, I was unable by following this method to hear any sound, still less articulate speech; and if other experiments had not convinced me, I should have doubted the correctness of the statement. But this negative experiment does not in fact prove anything, since it is possible that my conditions were wrong, and that the cinders which I employed were not subject to the same conditions as Mr. Blyth’s fragments of coke.

Fig. 45.

With respect to Mr. Hughes’s experiments, I202 have repeated them with the microphone made by MM. Chardin and Berjot, using that by M. Gaiffe as the sender, and I ascertained that with a battery of only four Leclanché cells, a scratch made on the sender, and even the tremulous motion and the airs played in a little musical box placed on the sender, were reproduced—very faintly, it is true—in the second microphone; in order to perceive them, it was enough to apply the ear to the vertical board of the instrument. It is true that speech was not reproduced, but of this Mr. Hughes had warned me; it was evident that with203 this arrangement the instrument was not sufficiently sensitive.

A different arrangement of the microphone is required for the transmission and the reproduction of speech by this system, and a section of the one which Mr. Hughes found most successful is given in fig. 45. It somewhat resembles Mr. Hughes’s microphone speaker, placed in a vertical position, and the fixed carbon is fastened to the centre of the stretched membrane of a string telephone. The ear or mouth tube is at A, the membrane at D D, the carbon just mentioned at C: this carbon is of metallised charcoal prepared from deal, and so also is the double carbon E, which is in contact with it and is fastened to the upper end of the little bar G I. The whole is enclosed in a small box, and the pressure exerted on the contact of the two carbons is regulated by a spring R and a screw H. The tube of the telephone serves as an acoustic tube for the listener, and Mr. Hughes’s speaker, described above, acts as sender. It is hardly necessary to say that the two instruments are placed at each end of the circuit, that the carbons are connected with the two poles of a battery of one or two cells of bichromate of potash, or two Bunsen or six Leclanché cells, and the two instruments are connected by the line wire. Under such conditions, conversation may be exchanged, but the sounds are always much less distinct than they are in a telephone.

I was able to ascertain this fact with a roughly204 made instrument brought from England by Mr. Hughes. MM. Berjot, Chardin, and de Méritens, who were also present at the experiments, were able with me to hear speech perfectly, and I have since successfully repeated the experiment alone, but it does not always succeed, and under its present conditions the instrument has no importance in a scientific point of view. It is evident that the instrument can dispense with any support, and the little box then forms the handle of the instrument; in this case the two binding screws are placed at the end of this handle, as in a telephone. The microphone speaker with a disk, represented in fig. 5, which acts as sender to the singing condenser, can be used, when properly regulated, as a receiving microphone. M. Berjot has obtained good results from a little instrument of the same kind as that in fig. 45, but with a metal diaphragm, and the microphonic system consists of a cylindrical piece of carbon resting on a small disk of the same substance, which is galvanised and soldered to the diaphragm. The whole is enclosed in a small round box, with its upper part cut in the form of a mouthpiece.

It seems that all microphone senders with disks can reproduce speech more or less perfectly; it is a question of adjusting and refining the carbon points of contact. A weak battery, consisting of a single Leclanché cell, is better for these instruments than a strong battery, precisely because205 of the effects of oxidation and polarisation, which are so energetically produced at these points of contact when the battery is strong.

The effects of the microphone receiver explain the sounds, often very intense, produced by the Jablochkoff candles when they are influenced by electro-magnetic machines. These sounds always vibrate in unison with those emitted by the machine itself, and they result, as I have already shown, from the rapid magnetisations and demagnetisations which are effected by the machine. These effects, observed by M. Marcel Deprez, were particularly marked in M. de Méritens’ first machines.

Other Arrangements of Microphones.—An arrangement such as we have just described has been employed by M. Carette to form an extremely powerful microphone speaker. The only difference is that the stretched membrane is replaced by a thin metallic disk: he fastens one of the carbons to the centre of this disk, and applies to it the other carbon, which is pointed, and held by a porte-carbon with a regulating screw, so that the pressure which takes place between the two carbons may be regulated at pleasure. By this arrangement speech may be heard at a distance from the telephone. In other respects it resembles the telephone sender represented in fig. 5.

M. de Méritens has executed the system represented, fig. 45, on a large scale, forming the tube206 A B of a zinc funnel a yard in length, and in this way he has been able to magnify the sounds, so that a conversation held in a low voice, three or four yards from the instrument, has been produced in a telephone with more sonorous distinctness. The instrument was placed on the floor of the apartment, with the opening of the funnel above, and the telephone was in the cellars of the house.

The form of the microphone has been varied in a thousand ways, to suit the purposes to which it was to be applied. In the ‘English Mechanic and World of Science,’ June 28, 1878, we see the drawings of several arrangements, one of which is specially adapted for hearing the steps of a fly. It is a box, with a sheet of straw paper stretched on its upper part; two carbons, separated by a morsel of wood, and connected with the two circuit wires, are fastened to it, and a carbon pencil, placed crosswise between the two, is kept in this position by a groove made in the latter. A very weak battery will be enough to set the instrument at work, and when the fly walks over the sheet of paper it produces vibrations strong enough to react energetically on an ordinary telephone. The instrument must be covered with a glass globe. When a watch is placed on the membrane, with its handle applied to the morsel of wood which divides the two carbons, the noise of its ticking may be heard through a whole room. Two carbon cubes placed side by side, and only divided by a playing-card,207 may also be used instead of the arrangement of carbons described above. A semicircular cavity, made in the upper part of the two carbons, in which are placed some little carbon balls, smaller than a pea and larger than a mustard seed, will make it possible to obtain multiple contacts which are very mobile and peculiarly fit for telephonic transmissions. This arrangement has been made by Mr. T. Cuttriss.

Several other arrangements of microphones have been devised by different makers and inventors, such as those of Messrs. Varey, Trouvé, Vereker, de Combettes, Loiseau, Lippens, de Courtois, Pollard, Voisin, Dumont, Jackson, Paterson, Taylor, &c., and they are more or less satisfactory. The instruments of MM. Varey, Trouvé, Lippens, and de Courtois are the most interesting, and we will describe them.

M. Varey’s microphone consists of a sounding box of deal, mounted in a vertical position on a stand, and two microphones are arranged on either side of it, with vertical carbons united for tension. A small Gaiffe cell of chloride of silver, without liquid, is applied to the standard of the instrument, and is enough to make it work perfectly. This system is extremely sensitive.

M. Trouvé’s microphones, represented in figs. 46, 47, 48, are extremely simple, so that he is able to sell them at a very moderate price. They generally consist of a small vertical cylindrical208 box, as we see in the figure, with disks of carbon at its two ends, which are united by a carbon rod, or by a metallic tube tipped with carbon. This rod or tube turns freely in two cavities made in the carbons, and the box, while acting as a sounding box, becomes at the same time a prison for the insects whose movements and noises are the objects of study.

Fig. 46.

These boxes may be suspended on a cross-bar (fig. 47) by the two communicating wires, so as to be completely insulated. In this case the ticking of a watch placed upon the board, friction, and external shocks are hardly heard, but on the other hand the sound vibrations of the air alone are transmitted, and they acquire great distinctness. We have often repeated these experiments, and have always found that the tones of the voice were perfectly preserved.

209

The model represented fig. 48 is still more simple, and appears to be the latest development of this kind of instrument. It consists of a stand and a disk united by a central rod. The upper disk moves round the central rod, and permits the vertical carbon to assume any inclination which is desired. It is evident that the instrument will become less sensitive when the carbon is more oblique.

Fig. 47.

We must also mention a very successful microphone devised by M. Lippens. It is a slightly made box, like that of M. Varey, and on its opposite faces there are applied, on two frames left empty for the purpose, two thin plates of hardened caoutchouc, in the centre of which inside210 the box, two carbons are fastened, and on their outer surface a half-sphere is hollowed.

Fig. 48.

The interval between the two carbons hardly amounts to two millimètres, and a carbon ball is inserted into the two cavities which form its spherical case. This ball is supported by a spiral spring which can be extended more or less by means of a wire wound on a windlass which is fixed above the instrument, like the spring of an electric telegraph instrument. By means of this spring, the pressure of the carbon ball against the sides of the cavity which contains it can be regulated at pleasure, and the sensitiveness of the instrument and its capacity for transmitting speech can be adjusted. Under these conditions, the vibrations of the caoutchouc plates directly affect the microphone, and the currents of air have no influence on it, so that the effects are more distinct. It is so sensitive that it is best for the speaker to place211 himself at the distance of at least 50 centimètres from the instrument. M. Lippens’ instrument is a pretty one, mounted on a wooden stand, which is neatly turned.

In order to put an end to the sputtering usual in microphones, it occurred to M. de Courtois to prevent any cessation of contact between the carbons by keeping them close together, and to effect the variations of resistance necessary for articulate sounds by making them slide over each other, so as to insert a shorter or longer portion of the carbon in the circuit. For this purpose a vibrating disk is placed in a vertical position in a rigid frame, and a small conducting rod, terminated by a pointed carbon, is applied to it, with this carbon point resting on another flat piece of carbon placed below it. Influenced by the vibrations of the disk, the carbon point moves to and fro, effecting more or less extensive contacts with the lower carbon, and thus producing variations of resistance which almost correspond to the range of vibrations on the disk.

Experiments made with the Microphone.—I must now mention the interesting experiments which led Mr. Hughes to the invention of the remarkable instrument of which we have spoken, as well as those undertaken by other scientific men, either from a scientific or a practical point of view.

Believing that light and heat can modify the conductivity of bodies, Mr. Hughes went on to212 consider whether sound vibrations, transmitted to a conductor traversed by a current, would not also modify this conductivity by provoking the contraction and expansion of the conducting molecules, which would be equivalent to the shortening or lengthening of the conductor thus affected. If such a property existed, it would make it possible to transmit sounds to a distance, since variations in the conductivity would result from variations corresponding to the intensity of the current acting on the telephone. The experiment which he made on a stretched metal wire did not, however, fulfil his expectation, and it was only when the wire vibrated so strongly as to break, that he heard a sound at the moment of its fracture. When he again joined the two ends of the wire, another sound was produced, and he soon perceived that imperfect contact between the two broken ends of wire would enable him to obtain a sound. Mr. Hughes was then convinced that the effects he wished to produce could only be obtained with a divided conductor, and by means of imperfect contacts.

He then sought to discover the degree of pressure which it was most expedient to exert between the two adjacent ends of the wire, and for this purpose he effected the pressure by means of weights. He ascertained that when the pressure did not exceed the weight of an ounce on the square inch at the point of connection, the sounds213 were reproduced with distinctness, but somewhat imperfectly. He next modified the conditions of the experiment, and satisfied himself that it was unnecessary to join the wires end to end in order to obtain this result. They might be placed side by side on a board, or even separated (with a conductor placed crosswise between them), provided that the conductors were of iron, and that they were kept in metallic connection by a slight and constant pressure. The experiment was made with three Paris points, and arranged as it appears in fig. 49, and it has since been repeated under very favourable conditions by Mr. Willoughby Smith with three of the so-called rat-tail files, which made it possible to transmit even the faint sound of the act of respiration.15

Fig. 49.

214

He afterwards tried different combinations of the same nature, which offered several solutions of continuity, and a steel chain produced fairly good results, but slight inflections, like those caused by the timbre of the voice, were not reproduced, and he tried other arrangements. He first sought to apply metallic powders to the points of contact; powdered zinc and tin, known in commerce under the name of white bronze, greatly increased the effects obtained; but they were unstable, on account of the oxidation of the contacts; and it was in seeking to solve this difficulty, as well as to discover the most simple means of obtaining a slight and constant pressure on the contacts, that Mr. Hughes was led to the arrangement, previously described, of carbons impregnated with mercury, and he thus obtained the maximum effect.16

215

Mr. Hughes considers that the successful effects of the microphone depend on the number and perfection of the contacts, and this is doubtless the reason why some arrangements of the carbon pencil in the instrument described above were more favourable than others.

In order to reconcile these experiments with his preconceived ideas, Mr. Hughes thought that, since the differences of resistance proceeding from the vibrations of the conductor were only produced when it was broken, the molecular movements were arrested by the lateral resistances which were equal and opposite, but that if one of these resistances were destroyed, the molecular movement could be freely developed. He considers that an imperfect contact is equivalent to the suppression of one of these resistances, and as soon as this movement can take place, the molecular expansions and contractions which result from the vibrations must correspond to the increase or diminution of resistance in the circuit. We need not pursue Mr. Hughes’s theory further, since it would take too long to develope it, and we must continue our examination of the different properties of the microphone.17

216

Carbon, as we have said, is not the only substance which can be employed to form the sensitive organ of this system of transmission. Mr. Hughes has tried other substances, including those which are good conductors, such as metals. Iron afforded rather good results, and the effect produced by surfaces of platinum when it was greatly subdivided was equal, if not superior, to that furnished by the mercurised carbon. Yet since the difficulty of making instruments with this metal is greater, he prefers the carbon, which resembles it in being incapable of oxidation.

We have already said that the microphone may be used as a thermoscope, in which case it must have the special arrangement represented in fig. 43. Under these conditions, heat, reacting on the conductivity of these contacts, may cause such variations in the resistance of the circuit that the current of three Daniell cells will be annulled by approaching the hand to the tube. In order to estimate the relative intensity of the different sources of heat, it will be enough to217 introduce into the circuit of the two electrodes A and B, fig. 43, a battery P, of one or two Daniell cells, and a moderately sensitive galvanometer G. For this purpose one of 120 turns will suffice. When the deviation decreases, it shows that the source of heat is superior to the surrounding atmosphere; and conversely, that it is inferior when the deviation increases. Mr. Hughes says that the effects resulting from the intervention of sunshine and shadow are shown on the instrument by considerable variations in the deviations of the galvanometer. Indeed it is so sensitive to the slightest variations of temperature that it is impossible to maintain it in repose.

I have repeated Mr. Hughes’s experiments with a single Leclanché cell, and for this purpose I employed a quill, filled with five fragments of carbon, taken from the cylindrical carbons of small diameter which are made by M. Carré for the electric light. I have obtained the results which are mentioned by Mr. Hughes, but I ought to say that the experiment is a delicate one. When the pressure of the fragments of carbon against each other is too great, the current traverses them with too much force to allow the calorific effects to vary the deviation of the galvanometer, and when the pressure is too slight, the current will not pass through them. A medium degree of pressure must therefore be effected to ensure the success of the experiment, and when it is obtained,218 it is observed that on the approach of the hand to the tube, a deviation of 90° will, after a few seconds, diminish, so that it seems to correspond with the approach or withdrawal of the hand. But breathing produces the most marked effects, and I am disposed to believe that the greater or less deviations produced by the emission of articulate sounds when the different letters of the alphabet are pronounced separately, are due to more or less direct emissions of heated gas from the chest. It is certain that the letters which require the most strongly marked sounds, such as A, F, H, I, K, L, M, N, O, P, R, S, W, Y, Z, produce the greatest deviations of the galvanometric needle.

In my paper on the conductivity of such bodies as are moderately good conductors, I had already pointed out this effect of heat upon divided substances, and I also showed that after a retrograde movement, which is always produced at once, a movement takes place in an inverse direction to the index of the galvanometer when heat has been applied for some instants, and this deviation is much greater than the one which is first indicated.

In a paper published in the ‘American Scientific Journal,’ June 28, 1878, Mr. Edison gives some interesting details on the application of his system of a telephonic sender to measuring pressures, expansions, and other forces capable of varying the resistance of the carbon disk by means of greater or less compression. Since his experiments on219 this subject date from December 1877, he again claims priority in the invention of using the microphone as a thermoscope; but we must observe that according to Mr. Hughes’s arrangement of his instrument, the effect produced by heat is precisely the reverse of the effect described by Mr. Edison. In fact, in the arrangement adopted by the latter, heat acts by increasing the conductivity acquired by the carbon under the increased pressure produced by the expansion of a body sensitive to heat: in Mr. Hughes’s system, the effect produced by heat is precisely the contrary, since it then acts only on the contacts, and not by means of pressure. Therefore the resistance of the microphone-thermoscope is increased under the influence of heat, instead of being diminished. This contrary effect is due to the division of some substance which is only a moderate conductor, and I have shown that under such conditions these bodies, when only slightly heated, always diminish the intensity of the current which they transmit. I believe that Mr. Edison’s arrangement is the best for the thermoscopic instrument, and makes it possible to measure much less intense sources of heat. Indeed he asserts that by its aid the heat of the luminous rays of the stars, moon, and sun may be measured, and also the variations of moisture in the air, and barometric pressure.

This instrument, which we give fig. 50, with its several details, and with the rheostatic arrangement220 employed for measuring, consists of a metallic piece A fixed on a small board C, and on one of its sides there is the system of platinum disks and carbons shown in fig. 28. A rigid piece G, furnished with a socket, serves as the external support of the system, and into this socket is introduced the tapering end of some substance which is readily affected by heat, moisture, or barometric pressure. The other extremity is supported by another socket I, fitted to a screw-nut H, which may be more or less tightened by a regulating screw. If this system is introduced into a galvanometric circuit a, b, c, i, g, provided with all the instruments of the electric scale of measure, the variations in length of the substance inserted are translated by greater or less deviations of the galvanometric needle, which follow from the differences of pressure resulting from the lengthening or shortening of the surface capable of expansion which is inserted in the circuit.

Fig. 50.

The experiments on the microphone made in London at the meeting of the Society of Telegraphic Engineers on May 25, 1878, were wonderfully successful, and they were the subject of an interesting article in the ‘Engineer’ of May 31, which asserts that the whole assembly heard the microphone speak, and that its voice was very like that of the phonograph. When the meeting was informed that these words had been uttered at some distance from the microphone, the Duke of221 Argyll, who was present, while admiring the important discovery, could not help exclaiming that this invention might have terrible consequences, since, for instance, if one of Professor Hughes’s222 instruments were placed in the room in Downing Street, in which Her Majesty’s ministers hold their cabinet council, their secrets might be heard in the room in which the present meeting took place. He added that if one of these little instruments were in the pocket of Count Schouvaloff, or of Lord Salisbury, we should at once be in possession of the secrets for which all Europe was anxiously waiting. If these instruments were able to repeat all the conversations held in the room in which they stood, they might be really dangerous, and the Duke thought that Professor Hughes, who had invented such a splendid yet perilous instrument, ought next to seek an antidote for his discovery. Dr. Lyon Playfair, again, thought that the microphone ought to be applied to the aërophone, so that by placing these instruments in the two Houses of Parliament, the speeches of great orators might be heard by the whole population within five or six square miles.

The experiments lately made with the microphone at Halifax show that the Duke of Argyll’s predictions were fully justified. It seems that a microphone was placed on a pulpit-desk in a church in Halifax, and connected by a wire about two miles long with a telephone placed close to the bed of a sick person, who was able to hear the prayers, the chanting, and the sermon. This fact was communicated to me by Mr. Hughes, who heard it from a trustworthy source, and it is said that223 seven patients have subscribed for the expense of an arrangement by which they may hear the church services at Halifax without fatigue.

The microphone has also lately been applied to the transmission of a whole opera, as we learn from the following account in the ‘Journal Télégraphique,’ Berne, July 25, 1878:—

‘A curious micro-telephonic experiment took place on June 19 at Bellinzona, Switzerland. A travelling company of Italian singers was to perform Donizetti’s opera, “Don Pasquale,” at the theatre of that town. M. Patocchi, a telegraphic engineer, took the opportunity of making experiments on the combined effects of Hughes’s carbon microphone as the sending instrument, and Bell’s telephone as the receiver. With this object he placed a Hughes microphone in a box on the first tier, close to the stage, and connected it by two wires, from one to half a millimètre in thickness, to four Bell receivers, which were placed in a billiard-room above the vestibule of the theatre, and inaccessible to sounds within the theatre itself. A small battery of two cells, of the ordinary type used in the Swiss telegraphic service, was inserted in the circuit, close to the Hughes microphone.

‘The result was completely successful. The telephones exactly reproduced, with wonderful purity and distinctness, the instrumental music of the orchestra, as well as the voices of the singers. Several people declared that they did not lose a224 note of either, that the words were heard perfectly; the airs were reproduced in a natural key, with every variation, whether piano or forte, and several amateurs assured M. Patocchi that by listening to the telephone they were able to estimate the musical beauty, the quality of the singers’ voices, and the general effect of the piece, as completely as if they had been among the audience within the theatre.

‘The result was the same when resistances equivalent to 10 kilomètres were introduced into the circuit, without increasing the number of cells in the battery. We believe that this is the first experiment of the kind which has been made in Europe, at least in a theatre, and with a complete opera; and those who are acquainted with the delicacy and grace of the airs in “Don Pasquale” will be able to appreciate the sensitiveness of the combined instruments invented by Hughes and Bell, which do not suffer the most delicate touches of this music to be lost.’

Although experiments with the microphone are of such recent date, they have been very various, and among other curious experiments we learn from the English newspapers that the attempt has been made to construct an instrument on the same principle as the telephone, which shall be sensitive to the variations of light. It is known that some substances, and particularly selenium, are electrically affected by light, that is, that their conductivity varies considerably with the greater or less225 amount of light which is shed upon them. If, therefore, a circuit in which a substance of this nature is inserted, is abruptly subjected to a somewhat intense light, the increase of resistance which results from it ought to produce a powerful sound in a telephone inserted in the circuit. This fact has been verified by experiment, and Mr. Willoughby Smith infers from it, as we have already suggested, that the effects produced in the microphone are due to variations of resistance in the circuit, which are produced by more or less close contacts between imperfect conductors.

In order to obtain this effect under the most favourable conditions, Mr. Siemens employs two electrodes, consisting of network of very fine platinum wire, fitting into each other like two forks, of which the prongs are interlaced. These electrodes are inserted between two glass plates, and a drop of selenium, dropped in the centre of the two pieces of network, connects them on a circular surface large enough to establish sufficient conductivity in the circuit. It is on this flattened drop that the ray of light must be projected.


APPLICATIONS OF THE MICROPHONE.

The applications of the microphone increase in number every day, and in addition to those of which we have just spoken, there are others of really scientific and even of practical interest. Among the number is the use which can be made226 of it as a system of relays for telegraphy, in science for the study of vibrations imperceptible to our senses, in medicine and surgery, and even in manufactures.

Its application to Scientific Research.—We have seen that several physicists, including Messrs. Spottiswoode, Warwick, Rossetti, Canestrelli, Wiesendanger, Lloyd, Millar, Buchin, and Blyth, have been able to hear what is said in a telephone which has no iron diaphragm, but it was so difficult to establish the fact that it has been often disputed. More certain evidence was desirable, and the microphone is an opportune agent for affording it.

The ‘Telegraphic Journal’ of September 1, 1878, observes that M. du Moncel, in order to claim the victory in his controversy with Colonel Navez, had still to show that the sounds which appeared to be inarticulate in telephones without a diaphragm might become intelligible if they were intensified. This has been done for him by the use of Mr. Hughes’s microphone, and the following experiments were made for the purpose.

1. If a magnetising coil, surrounding a bar of soft iron, is inserted in the circuit of a microphone, with a battery of three cells, the ticking of a watch and other sounds of the same kind may be heard on approaching the ear to the electro-magnet which has been thus constituted. It is true that these sounds are very faint when they are not amplified, but if the electro-magnet is fastened227 to a board, and a second microphone is fixed to the same board, the sounds produced by the electro-magnet are magnified, and become distinctly audible in the telephone which is placed in connection with this second microphone.

2. These sounds may be further amplified by resting one of the extremities of the core of the electro-magnet on one of the poles of a permanent magnet, which is fixed upon the board. Articulate speech may then be heard in the telephone which is placed in connection with the microphone resting on the board, and the point at issue between MM. Navez and Du Moncel is completely decided in this way: for the auxiliary microphone can only propagate and amplify the vibration of articulate sounds, which are communicated by the bar magnet of the coil to the board on which the two instruments are placed. In this way it would be possible to render articulate sounds perceptible to M. Navez, when transmitted by the bar magnet of a telephone without a diaphragm.

3. When a second bar magnet rests on the free pole of the electro-magnet, so as to present to it a pole of the same nature as the one with which it is already in communication—in a word, if a bar is placed between the two poles of a horseshoe electro-magnet, the effects are still more marked, and hence it may be assumed that the bar reacts as an armature, by concentrating the lines of magnetic force in the vicinity of the helix.

228

4. When the two poles of a horseshoe magnet are inserted together inside a coil, their effects are equally energetic, although by this arrangement one of the poles might be expected to neutralise the effect of the other: but the most important effects have been obtained by placing an armature of soft iron across the poles of the magnet which has been already inserted in the coil. Under these conditions articulate sounds are distinctly heard.

These experiments were confirmed by Mr. F. Varley, in a letter published in the ‘Telegraphic Journal’ of September 15, 1878, and among the fresh experiments mentioned by him, we will quote those which he made with an iron tube inserted in a helix, in which the two opposite poles of two bar magnets are introduced. These poles are only separated from each other by the interval of an inch, so that the centre of the iron tube may be strongly magnetised.

Mr. Varley says that this last arrangement reproduces the articulate sounds which issue from a sending microphone, and this experiment is more decisive than that of Professor Hughes, in which case it might be supposed that the bar magnet, resting on the polar end of an electro-magnetic bar, was only a modification of the disk in the Bell telephone, set in vibration by the alternate currents passing through the helix, and that these vibrations were communicated to the board, and became sensible when enlarged by the microphone.229 But such an objection cannot be alleged in the case of the arrangement described above, for since the sound is produced between the current passing into the helix and the magnetic current of the bar, it can only be the result of a vibration produced by a disturbance of the reciprocal relations subsisting between these two elements. Mr. Varley adds that these experiments confirm M. du Moncel’s researches, which have thrown considerable light upon the causes which are at work in the action of the speaking telephone, and with which we have hitherto been imperfectly acquainted.

Its application to Telephonic Relays.—In February 1878, I first began to consider the mode of forming telephonic relays, but I was checked by the discovery that there was no vibration in the receiving telephone, and I made the following communication on the subject to the Académie des Sciences on February 25:—‘If the vibrations of the disk in the receiving telephone were the same as those of the sending telephone, it is easy to see that if a telephone with a local battery, acting both as sender and receiver, were substituted for the receiving telephone, it might, by the intervention of the induction coil, act as a relay, and might therefore not only amplify the sound, but also transmit it to any distance. It is, however, doubtful whether the vibrations of the two corresponding disks are of the same nature, and if the sound be due to molecular contractions and expansions, the solution230 of the problem becomes much more difficult. Here is therefore a field for experiments.’ These experiments have been successfully made by Mr. Hughes, who acquainted me with them early in June 1878, and they led to the discovery of a most interesting system of microphonic relays.

On a wooden board of moderate size, such as a drawing board, he placed a microphone with a carbon brought to a fine point at each end, and fixed in a vertical position. One or more telephones were placed in the circuit, with their membranes facing the board, and a continuous sound was heard, sometimes resembling a musical note, sometimes the singing of boiling water in an oven; and the sound, which could be heard at a distance, went on indefinitely, as long as the electric force was exerted. Mr. Hughes explains this phenomenon in the following way.

The slightest shock which affects the microphone has the effect of sending currents, more or less broken, through the telephones, which transform them into sound vibrations, and since these are mechanically transmitted by the board to the microphone, they maintain and even amplify its action, and produce fresh vibrations on the telephones. Thus a fresh action is exerted on the microphone, and so on indefinitely. Again, if a second microphone, in connection with another telephonic circuit, be placed upon the same board, we have an instrument which acts as a231 telephonic relay, that is, it transmits to a distance the sounds communicated to the board, and these sounds may serve either as a call, or as the elements of a message in the Morse code, if a Morse manipulator is placed in the circuit of the first microphone. Mr. Hughes adds that he has made several very successful experiments with this system of instruments, although he only employed a Daniell battery of six cells without any induction coil. By fastening a pasteboard tube, 40 centimètres in length, to the receiving telephone, he was able to hear in all parts of a large room the continuous sound of the relay, the ticking of a watch, and the scratching of a pen upon paper. He did not try to transmit speech, since it would not have been reproduced with sufficient distinctness under such conditions.

Since this first attempt, Mr. Hughes has arranged another and still more curious system of microphonic relays, for which two microphones with vertical carbons are required. He places two microphones of this description on a board, and connects one of them with a third microphone, which acts as a sender, while the second is in communication with a telephone and a second battery: in this way the words uttered before the sender are heard in the telephone, without employing any electro-magnetic organ for the telephonic relay.

In August 1878, Messrs. Houston and Thomson likewise arranged a system of telephonic relays232 which only differs from that of Mr. Hughes in the particular of having the microphone fixed on the diaphragm of the telephone, and not on the board beside it. The system consists of three vertical microphones, which can be combined for tension or quantity, according to the conditions for which they are required. The model of this instrument was represented in the ‘Telegraphic Journal’ of August 15, 1878, to which we must refer our readers, if they wish for further information on the subject.

Its application to Medicine and Surgery.—The extreme sensitiveness of the microphone suggested its use for the observation of sounds produced within the human body, so that it might serve as a stethoscope for listening to the action of the lungs and heart. Dr. Richardson and Mr. Hughes are now busy in the attempt to carry out this idea, but so far the result is not very satisfactory, although they still hope to succeed. Meanwhile, M. Ducretet has made a very sensitive stethoscopic microphone, which we represent in fig. 51. It consists of a carbon microphone C P, with a simple contact, of which the lower carbon P is fitted to one of M. Marais’ tambourines with a vibrating membrane T. This tambourine is connected with another T′, by a caoutchouc tube, which is to be applied to the different parts of the body which demand auscultation, and which is therefore termed the tambour explorateur. The sensitiveness of the instrument is regulated by means of a counterpoise P O, which is233 screwed upon the arm of a bent lever, and to this the second carbon C is fixed. The extreme sensitiveness of M. Marais’ tambourines in transmitting vibrations is well known, and since their sensitiveness is further increased by the microphone, the instrument becomes almost too impressionable, since it reveals all sorts of sounds, which it is difficult to distinguish from each other. Such234 an instrument can only be of use when entrusted to experienced hands, and a special education of the organ of hearing is needful, in order to turn it to account.

Fig. 51.

In a work lately published by M. Giboux on the application of the microphone to medicine, this stethoscopic system is rather severely criticised, and not without reason if, as M. Giboux asserts, it is only sensitive to the movements which take place on the surface of the body, and those which are internal are either lost or altogether changed in character. But without pronouncing on the improvements which may ultimately be made in the instrument, M. Giboux thinks that its most important use in medical practice consists in its allowing a certain number of students to observe with the professor the different sounds of the body, to study them with him in their different phases, and thus to profit more readily by his teaching. A microphonic circuit might bifurcate between several telephones, so that each person might hear for himself what is heard by others.

The most important application of the instrument to surgical purposes has lately been made by Sir Henry Thompson, aided by Mr. Hughes, for the examination of the bladder in cases of stone. It enables him to ascertain the presence and precise position of calculi, however small they may be. For the purpose of research, he uses a sound, made of a Maillechort rod, a little bent at the end,235 and placed in communication with a sensitive carbon microphone. When the sound is moved about in the bladder, the rod comes in contact with stony particles, even if they are no larger than a pin’s head, and friction ensues, producing in the telephone vibrations which can be easily distinguished from those caused by the simple friction of the rod on the soft tissues of the sides of the bladder. The arrangement of the instrument is shown in fig. 52. The microphone is placed in the handle which contains the sound, and is the same as that given in fig. 42, but of smaller size, and the two conducting wires e which lead to the telephone, issue from the handle by the end a opposite to that bb to which the sound dd is screwed. As this instrument is not intended to reproduce speech, retort carbons instead of wood carbons may be used.

Fig. 52.

Some deaf people, whose sense of hearing is not completely destroyed, have been able to hear by an expedient based upon the principle of the microphone. For this purpose two telephones, connected by a metallic crown, which is placed on the temples,236 are applied to the ears of the deaf person, and the telephones are placed in communication with a battery microphone, which hangs to the end of a double conducting wire. The deaf man keeps the microphone in his pocket, and presents it as an acoustic tube to the person who wishes to converse with him. Mr. Hughes’s speaker, represented fig. 42, is the one used.

Various Applications.—The microphone may be used in many other ways, some of which are suggested in the ‘English Mechanic’ of June 21, 1878. The article states that by means of this instrument, engineers will be able to estimate the effects of the vibrations caused on old and new buildings by the passage of heavy loads; a soldier will be able to discover the enemy’s approach when he is several miles off, and may even ascertain whether he has to do with artillery or cavalry; the approach of ships to the neighbourhood of torpedoes may be automatically heralded on the coast by this means, so that an explosion may be produced at the right moment.

It has also been proposed to use the microphone to give notice of an escape of gas in coal-mines. The gas, in escaping from between the seams of coal, makes a whistling noise, which might, with the aid of the microphone and telephone, be heard at the top of the shaft. Again, it has been suggested that the microphone might be used as a seismograph to reveal the subterranean noises237 which generally precede earthquakes and volcanic eruptions, and which would be much intensified by this instrument. It might even be of use to Signor Palmieri for his observations in the Vesuvius Observatory.

The microphone has also been used by Mr. Chandler Roberts to render the diffusion of gaseous molecules through a porous membrane sensible to the ear.

As might have been expected, the acclamation with which Mr. Hughes’s invention was received led to the assertion of other claims to priority, and in addition to that of Mr. Edison, on which we have already given our opinion, there are several others, showing that if some microphonic effects were discovered at different times before the date of Mr. Hughes’s discovery, they could not have been considered important, since they were not even announced. Among the number was that of Mr. Wentworth Lascelles Scott, specified in the ‘Electrician’ of May 25, 1878, and that of M. Weyher, presented to the Société de Physique, Paris, in June 1878. Another, made by M. Dutertre, is of somewhat greater importance, for his experiments were reported in the Rouen papers in February of the same year: yet there is no just ground for such claims, since the earliest date of his experiments is subsequent to the experiments first made by Mr. Hughes. These began early in December 1877, and in January 1878 they were238 exhibited to officials of the Submarine Telegraph Company, as Mr. Preece declared in a letter addressed to the several scientific men.


EXTERNAL INFLUENCE ON TELEPHONIC TRANSMISSIONS.

The obstacles which occur in telephonic transmissions proceed from three causes: 1. The intensity of sound is diminished by the loss of current in transmission—a loss which is much greater in the case of induced currents than in those received from a battery. 2. Confusion is caused by the influence of adjacent currents. 3. The induction from one wire to another. This last influence is much greater than is usually supposed. If two perfectly insulated wires are placed side by side, one in communication with the circuit of an electric bell, and the other with the circuit of a telephone, the latter will repeat the sounds of the bell with an intensity often great enough to act as a call without applying the instrument to the ear. MM. Pollard and Garnier, in their interesting experiments with the induced currents of the Ruhmkorff coil, have ascertained that in this way not merely sounds may be obtained which correspond with the induced currents resulting from the action of the primary current, but also those which result from the action of the secondary current on other helices, which are termed currents of the second order. These239 different reactions frequently cause the telephonic transmissions made on telegraphic lines to be disturbed by irregular sounds, arising from the electric transmissions on adjoining lines; but it does not appear that these influences altogether neutralise each other, so that conversation held in the ordinary way and a message sent in the Morse code may be heard simultaneously.

At the Artillery School, Clermont, a telephonic communication has been established, for the sake of experiments, between the school and the butts, which are at a distance of about eight miles. Another communication of the same kind has been established between the Clermont Observatory and the one at Puy-de-Dôme, which is nearly nine miles from the former. These two lines are carried on the same posts for a course of six miles, together with an ordinary telegraphic wire, and for a distance of 330 yards there are seven other such wires. The two telephonic wires are separated from each other by a space of 85 centimètres. The following facts have been observed under these conditions.

1. The school telephone is perfectly able to read off from their sound the Morse messages which pass through the two adjacent telegraph wires, and the ticking of the instrument does not at all interfere with the vocal communication of the telephone, nor render it inaudible.

2. The two adjacent telegraphic lines, although not in contact, confuse their messages together, and240 it has sometimes been possible to hear messages from Puy-de-Dôme at the school through the wire which runs to the butts, although the distance between the two lines is nowhere less than 85 centimètres.

These inconveniences have been in some degree remedied by inserting strong resistances in the circuit, or by putting the current to earth at some distance from the telephonic stations.

M. Izarn, Professor of Physics at the Lycée, Clermont, holds that telephonic electric currents may readily be turned aside by the earth, especially if in the course of their passage they encounter metallic conductors, such as gas or water pipes. He writes as follows on the subject, in a paper addressed to the Académie des Sciences, on May 13, 1878:—‘I set up a telephone in the Clermont Lycée with a single wire, more than 50 yards in length, which crosses the court-yard of the Lycée, and goes from the laboratory, where it is suspended to a gas-burner, to a room near the porter’s lodge, where it is suspended to another gas-burner. When I applied my ear to the telephone, I could distinctly hear the telegraphic signals, Morse or otherwise, which came either from the telegraph office at Clermont, or from the telephone office which was at work between the School of Artillery and the butts below Puy-de-Dôme, a distance of eight miles. I could overhear words, and especially the military orders issued at the butts for the241 purpose of being heard at the school. Yet my wire is perfectly independent of those used for signalling, and is even very remote from them; but as the wires of the telegraph office and of the School of Artillery go to earth at a little distance from the gas-pipes, it is probable that this phenomenon is caused by a diversion of the current produced in my wire, by means of the earth and the network of metal pipes.’

Mr. Preece made the same remark in his notice of ‘some physical points connected with the telephone.’ Again, we read in the ‘Telegraphic Journal’ of June 15, 1878, that in a telephonic concert transmitted from Buffalo to New York, the singers at Buffalo were heard in an office placed outside the telegraphic circuit in which the transmission was effected. On enquiry, it was ascertained that the wire through which the telephonic transmission took place, was at one point in its course close to the one which directly transmitted the musical sounds, but the distance between the two wires was not less than ten feet.

When the circuits are altogether metallic, there is much less risk of confusion, and M. Zetzche declares that sounds proceeding from other wires are in this case little heard, and then only momentarily, so that it is much more easy to hear with this arrangement than with the one in ordinary use. ‘It is not,’ he says, ‘the resistances of the wire, but rather the diversions of the current242 near the posts, which interfere with telephonic correspondence on long lines above ground. This was proved by the following experiments:—I connected the telegraphic line from Dresden to Chemnitz with a line from Chemnitz to Leipzig (54 miles), which made a circuit of 103 miles, going to earth at its two extremities. There was no communication between Dresden and Leipzig, but Leipzig and Dresden could communicate with ease, in spite of the greater extent of line. I broke the connection with earth, first at Leipzig, then simultaneously at Leipzig and Dresden, and I observed the following effects. When insulation took place at Leipzig only, the telephone could be heard at the stations of Dresden, Riesa, and Wurzen; when the line was insulated at both ends, the communication was good between the two latter stations, but it was observed that at the intermediate station the words spoken at Wurzen were more distinctly heard than the words spoken at Riesa were heard at Wurzen. Since the distance from Wurzen to Leipzig is little more than half that from Riesa to Dresden, there are consequently nearly twice as many posts on the latter line, which carry the currents to earth, and hence I conclude that these diversions of current explain the possibility of conversing on an insulated line, and also why sounds are more distinctly heard at the Riesa station in consequence of the greater intensity of current still remaining on the line.’

243

Some vibrations also result from the action of currents of air on telegraphic wires, which produce the humming sound so well known on some lines, and these may also react on the telephone; but they are in this case generally mechanically transmitted, and they may be distinguished from the others, if the sounds which ensue are heard after the telephone is excluded from the circuit by a break with a short circuit and after the communication to earth established behind the telephone has been broken.

The induced reactions caused by the line wires on each other are not the only ones which may be observed on a telephonic circuit: every manifestation of electricity near a telephone may produce sounds of greater or less force. Of this we have already given a proof in M. d’Arsonval’s experiments, and others by M. Demoget demonstrate the fact still more clearly. In fact, if a small bar magnet provided with a vibrator be placed before one of the telephones of a telephonic circuit, and the vibrating plate of the telephone be removed, in order to draw away the sound produced by the vibrator, its humming noise may be distinctly heard on the second telephone of the circuit; a noise which attains its maximum when the two extremities of the electro-magnet are at their nearest point to the telephone without a diaphragm, and it is at its minimum when this electro-magnet is presented to it along its neutral line. M. Demoget244 supposes that the action which is exerted in this instance is that of a magnet exerting two inducing actions which are opposite and symmetrical, with a field limited by a double paraboloid and with an axis, according to his experiments, which extended 55 centimètres beyond the magnetic core, and a vertical diameter of 60 centimètres. He believes that in this way it would be easy to telegraph on the Morse system, and that, in order to do so, it would only be necessary to apply a key to the inducing electro-magnet.

Mr. Preece points out three ways of overcoming the difficulty presented by the induced reactions caused by the wires on each other.

1. By increasing the intensity of the transmitted currents, so as to make them decidedly stronger than the induced currents, and to reduce the sensitiveness of the receiving telephone.

2. To place the telephonic wire beyond the range of induction.

3. To neutralise the effects of induction.

The first mode may be effected by Edison’s battery system, and we have seen that it is very successful.

In order to put the second mode in practice, Mr. Preece says that it would be necessary to study the two kinds of induction which are developed on telegraphic lines: electro-static induction, analogous to that produced on submarine cables, and electro-dynamic induction, resulting245 from electricity in motion. In the former case, Mr. Preece proposes to interpose between the telephone wire and the other wires a conducting body in communication with the earth, capable of becoming a screen to the induction by itself absorbing the electro-static effects. He says that this might be accomplished by surrounding the telegraphic wires adjacent to the telephonic wire with a metallic envelope, and then plunging them in water. He adds that the effects of static induction are not completely destroyed in this way, since the substance used is a bad conductor, but they are considerably reduced, as he has proved by experiments between Dublin, Holyhead, Manchester, and Liverpool. In the second case, Mr. Preece admits that an iron envelope might paralyse the electro-dynamic effects produced by absorbing them, so that if insulated wires were employed, covered with an iron case, and communicating with the earth, the two induced reactions would be annulled. We will not follow Mr. Preece in his theory as to these effects—a theory which seems to us open to question, but we content ourselves with pointing out his proposed mode of attenuation.

In order to carry out the third expedient, it might be thought that it would be enough to employ a return wire instead of going to earth, for under such conditions the currents induced on one of the wires would be neutralised by those resulting from the same induction on the second wire,246 which would then act in an opposite direction; but this mode would only be successful when there is a very small interval between the two telephone wires, and they are at a considerable distance from the other wires. When this is not the case, and they are all close together, as in submarine or subterranean cables, consisting of several wires, this mode is quite inefficient. A small cable, including two conductors, insulated with gutta-percha, may be successfully carried through the air.

The use of two conductors has the further advantage of avoiding the inconvenience of stray currents on the line and through the earth, which, when the communications to earth are imperfect, permit the line current to pass more or less easily into the telephonic line.

In addition to the disturbing causes in telephonic transmission we have just mentioned, there are others which are also very appreciable, and among them are the accidental currents which are continually produced on telegraphic lines. These currents may proceed from several causes, at one time from atmospheric electricity, at another from terrestrial magnetism, at another from thermo-electric effects produced upon the lines, at another from the hydro-electric reactions produced on the wires and disks in communication with the earth. These currents are always very unstable, and consequently they are likely, by reacting on the247 transmitted currents, to modify them so as to produce sounds upon the telephone. Mr. Preece asserts that the sound proceeding from earth currents somewhat resembles that of falling water. The discharges of atmospheric electricity, even when the storm is remote, produce a sound which varies with the nature of the discharge. When it is diffused and the clap takes place near at hand, Dr. Channing, of Providence, U.S., says that the sound resembles that produced by a drop of fused metal when it falls into water, or, still more, that of a rocket discharged at a distance: in this case it might seem that the sound would be heard before the appearance of the flash, which clearly shows that the electric discharges of the atmosphere only take place in consequence of an electric disturbance in the air. Mr. Preece adds that a wailing sound is sometimes heard, which has been compared to that of a young bird, and which must proceed from the induced currents which terrestrial magnetism produces in the metallic wires when placed in vibration by currents of air.

M. Gressier, in a communication made to the Académie des Sciences on May 6, 1878, has spoken of some of these sounds, but he is totally mistaken in the source to which he ascribes them.

‘In addition to the crackling sound caused by the working of telegraph instruments on the adjacent lines, a confused murmur takes place in the telephone, a friction so intense that it might248 sometimes be thought that the vibrating disk was splitting. This murmur is heard more by night than by day, and is sometimes intolerable, since it becomes impossible to understand the telephone, although nothing is going on in the office to disturb the sound. The same noise is heard when only one telephone is used. A good galvanometer inserted in the circuit reveals the presence of sensible currents, sometimes in one direction, sometimes in another.’

I studied these currents for a long time with the galvanometer, and made them the subject of four papers which were laid before the Académie des Sciences in 1872, and I am convinced that they have in general nothing to do with atmospheric electricity, but result either from thermo-electric or hydro-electric influence. They take place constantly and in all weathers on telegraph lines, whether these lines are insulated at one end, or in contact with the earth at both ends. In the first case, the polar electrodes of the couple are formed by the telegraph wire and the earth plate, generally of the same nature, and the intermediate conducting medium is represented by the posts which support the wire and the earth which completes the circuit. In the second case, the couple is formed in almost the same way, but the difference in the chemical composition of the ground at the two points where the earth plates are buried, and sometimes their different temperature, exert a249 strong influence. If only the first case be considered, it generally happens that on fine summer days the currents produced during the day are inverse to those which are produced by night, and vary with the surrounding temperature in one or the other direction. The presence or absence of the sun, the passage of clouds, the currents of air involve abrupt and strongly marked variations, which may be easily followed on the galvanometer, and which cause more or less distinct sounds in the telephone.

During the day, the currents are directed from the telegraph line to the earth plate, because the heat of the wire is greater than that of the plate, and these currents are then thermo-electric. During the night, on the other hand, the wire is cooled by the dew, which causes a greater oxidation on the wire than that which takes place on the plate, and the currents then become hydro-electric.

I say more about these currents because, in consequence of a mistaken belief as to their origin, it has been supposed that the telephone might serve for the study of the variations of the atmospheric electricity generally diffused through the air. Such an application of the telephone would, under these conditions, be not only useless, but also misleading, by inducing the study of very complex phenomena, which could lead to nothing more than I have already stated in my different papers on the subject.

250

Certain local influences will also produce sounds in the telephone. Thus the distension of the diaphragm by the moist heat of the breath, when the instrument is held before the mouth in speaking, causes a perceptible murmur.

From the electro-static reactions, so strongly produced on the submarine cables, in consequence of electric transmissions, it might be supposed that it would not be easy to hold telephonic correspondence through this kind of conductor, and, to ascertain the fact, an experiment was made on the cable between Guernsey and Dartmouth, a distance of sixty miles. Articulate speech, only a little indistinct, was, however, perfectly transmitted. Other experiments, made by Messrs. Preece and Wilmot, on an artificial submarine cable, placed in conditions analogous to those of the Atlantic cable, showed that a telephonic correspondence might be kept up at a distance of a hundred miles, although the effects of induction were apparent. At the distance of 150 miles, it was somewhat difficult to hear, and the sounds were very faint, as if some one were speaking through a thick partition. The sound diminished rapidly until the distance of 200 miles was reached, and after that it became perfectly indistinct, although singing could still be heard. It was even possible to hear through the whole length of the cable, that is, for 3,000 miles, but Mr. Preece believed this to be due to the induction of the condenser on itself: he holds, however, that singing251 may be heard at a much greater distance than speech, owing to the more regular succession of electric waves.

Mr. Preece also made experiments on the subterranean telegraphs between Manchester and Liverpool, a distance of 30 miles, and found no difficulty in exchanging correspondence; and it was the same with the cable from Dublin to Holyhead, a distance of 67 miles. This cable had seven conducting wires, and when the telephone was connected with one of them, the sound was repeated through all the others, but in a fainter degree. When the currents of the telegraphic instruments passed through the wires, the induction was apparent, but not so great as to prevent telephonic communication.


ESTABLISHMENT OF A TELEPHONIC STATION.

Although the telephonic system of telegraphy is very simple, yet certain accessory arrangements are indispensable for its use. Thus, for example, an alarum call is necessary, in order to know when the exchange of correspondence is to take place, and information that the call has been heard is likewise necessary. An electric bell is therefore an indispensable addition to the telephone, and since the same circuit may be employed for both systems, if a commutator is used, it was necessary to find a mode of making the commutator act automatically,252 so as to maintain the simple action of the system which constitutes its principal merit.

MM. Pollard and Garnier’s System.—With this object, MM. Pollard and Garnier devised a very successful arrangement last March, which employs the weight of the instrument to act upon the commutator.

For this purpose, they suspended the instrument to the end of a spring plate, fastened between the two contacts of the commutator. The circuit wire corresponds with this plate, and the two contacts correspond, the one with the telephone, the other with the bell. When the telephone hangs below the spring-support, that is, when it is not at work, its weight lowers the spring plate on the lower contact, and the communication of the line with the bell is established: when, on the other hand, the telephone is raised for use, the spring plate touches the higher contact, and communication is established between the line and telephone. In order to make the bell sound, it is only necessary to establish, on the wire which connects the line with the bell contact of the commutator, a breaker which can both join and break the current, and which communicates on one side with the contact of the bell, and on the other with its battery. The ordinary push of an electric bell will be sufficient, if it is supplied with a second contact, but MM. Pollard and Garnier wished to make this action also automatic, and consequently253 they devised the arrangement represented in fig. 53.

Fig. 53.

In this system, as well as in those which have since been devised, two telephones are employed, one of which is constantly applied to the ear, and the other to the mouth, so as to make it possible to speak while listening. The telephones are supported by three wires, two of which contain flexible conductors, while the third only acts as a support.

Two of the four wires of the two telephones are connected with each other, and the other two are connected with the two binding screws of the commutator t, t′: the wires without conductors are suspended to the extremities of the two flexible plates l, l′, which correspond with earth and line.

254

When at rest, the weight of the telephones presses the two plates l, l′, on the lower contacts S, S′, but when the instruments are taken up these plates press against the higher contacts.

The two bell wires terminate on the lower contacts, those of the telephones on the higher contacts, and one of the poles of the battery is connected with the lower contact on the left S′, the other with the higher contact on the right T.

When at rest, the system is applied to the electric bell, and the current sent from the opposite station will follow the circuit L l S S′ S′ l′ T, so that the call will be made. On taking up the two telephones, the circuit of the bell system is broken, and that of the telephones is established, so that the current follows the course L l T t t′ T′ l′ T. If only one telephone is held at a time, the current is sent into the bell system of the opposite station, and follows the route + P S l L T l′ T′ t P —. In this way the three actions necessary for calling, corresponding, and enabling the corresponding instrument to give a call, are almost involuntarily made.

System by MM. Bréguet and Roosevelt.—In the system established by the Paris agents of the Bell company, the arrangement resembles the one just described, except that there is only one spring commutator, and the call is made with the push of an ordinary electric bell. A mahogany board is suspended from the wall, and on it are arranged, first, the ordinary electric bell system, with a sending255 push fixed below it; second, two forks supporting two telephones, one of which is fastened to the256 bar of a commutator, arranged as a Morse key. The two telephones are connected by two conducting wires, so arranged as to be capable of extension, and two of their four binding screws are in immediate connection with each other, and the other two with the earth, line, and battery, by means of the commutator, the sending push, and the bell system. The arrangement is shown in fig. 54.

Fig. 54.

The commutator A consists of a metallic bar a c, bearing the suspension fork of one of the telephones F′ below its point of articulation: it ends in two pins a and c, below which the two contacts of the commutator are fixed, and a spring compresses the lower arm of the bar, so as to cause the other arm to rest constantly on the higher contact. For greater security a steel tongue a b is fastened to the lower end of the bar, and rubs against the small shaft b, which is provided with two insulated contacts, corresponding to those of the board. The bar is in communication with the line wire by means of the call-push, and the upper of the two contacts we have just described corresponds with one of the telephone wires which is inserted in the same circuit, while the other corresponds with the bell system S, which is in communication with earth. It follows from this arrangement, that when the right telephone presses its whole weight on the support, the bar of the commutator is inclined on the lower contact, and consequently the line is in direct257 communication with the bell, so that the call can be made. When, on the other hand, the telephone is removed from its support, the bar rests on the higher contact, and the telephones are connected with the line.

Pressure on the sending push serves to call the corresponding station: the connection of the line with the telephones is then broken, and it is established with the battery of the sending station, which sends its current through the bell of the corresponding station. In order to obtain this double effect, the contact spring of the sending push generally rests upon a contact fastened to a piece of wood shaped like a joiner’s rule, which covers it in front, and below this spring there is a second contact, which communicates with the positive pole of the station battery. The other contact corresponds with the line wire, and a connection takes place between the earth wire and the negative pole of the station battery, so that the earth wire is common to three circuits:

1st. To the telephone circuit. 2nd. To that of the bell system. 3rd. To that of the local battery.

The second fork, which supports the telephone on the right, is fixed to the board, and is independent of any electric current.

It is clear that this arrangement may be varied in a thousand ways, but the model we have just described is the most practical.

Edison’s System.—The problem becomes more259 complex in the case of battery telephones, since the battery must be common to both systems, and the induction coil must be inserted in two distinct circuits. Fig. 55 represents the model adopted in Mr. Edison’s telephone.

Fig. 55.

In this arrangement, there is a small stand C on the mahogany board on which the bases of the two telephones rest. The bell system S is worked by an electro-magnetic speaker P, which serves, when a Morse key is added to the system, for exchange of correspondence in the Morse code, if there should be any defect in the telephones, or to put them in working order. Above the speaker there is a commutator with a stopper D to adapt the line for sending or receiving, with or without the bell; and below the stand C the induction coil, destined to transform the voltaic currents into induced currents, is arranged in a small closed box E.

When the commutator is at reception, the line is in immediate correspondence either with the speaker or with the receiving telephone, according to the hole in which the stopper is inserted; when, on the other hand, it is at sending, the line corresponds to the secondary circuit of the induction coil. Under these conditions the action is no longer automatic; but since this kind of telephone can only be usefully employed for telegraphy, in which case those who work it are acquainted with electric apparatus, there is no inconvenience in this complication.


260

CALL-BELLS AND ALARUMS.

The call-bells applied to telegraphic service have been arranged in different ways. When the vibrating bells are in use, like those of which we have just spoken, it is necessary to use a battery, and the advantages offered by telephones with induced currents are thus sensibly diminished. In order to dispense with the battery, the use of the electro-magnetic bell has been suggested.

In this case there are usually two bells, with a hammer oscillating between them, and a support formed of the polarised armature of an electro-magnet. The electro-magnetic instrument is placed below this system; it is turned by a winch, and sends the currents, alternately reversed, which are necessary to communicate the vibratory movement to the hammer, and this movement is enough to make the two bells tinkle. Below the winch of this electro-magnetic instrument there is a commutator with two contacts, which adapts the instrument for sending or receiving.

M. Mandroux has simplified this system, and has reduced it to small dimensions by the following arrangement. He fixes two magnetic cores, furnished with coils, on each of the two poles of a horseshoe magnet, composed of two bars connected by an iron coupler, and between the poles expanded by these four cores he inserts an261 armature, within which there is a steel spring fastened to one of these poles. In this way the armature is polarised, and oscillates under the influence of the reversed currents transmitted by an instrument of the same kind provided with an induction system. These oscillations may have the effect of producing the sound of a call-bell, and the induction system may consist of a manipulating key, fastened to a duplex system of armature, regularly applied to the magnetic cores, taken in pairs. On communicating a series of movements to this manipulator, a series of induced currents in an inverse direction are produced, which cause the armature of the corresponding station to act as we have already seen, and which may even, when necessary, furnish a series of Morse signals for a suitable manipulation. On account of the small size of this system, it might be applied to the telephonic service of the army.

The Bell Telephone Company in Paris has arranged another little call-system which is quite satisfactory and has the advantage of acting as a telephone at the same time. The model resembles the one we have termed a snuff-box telephone, and it has a button commutator by means of which the instrument is placed in communication with the electro-magnetic system of the instrument, or with a battery which is able to make the telephone vibrate with some force. To make a call, the button must be pressed, and the battery262 current is communicated to the corresponding instrument, which begins to vibrate when the call is made; and when notice is given of the receipt of the signal, the pressure on the button is removed, and it becomes possible to speak and receive as in ordinary telephones.

Fig. 56.

M. de Weinhold’s System.—M. Zetzche speaks highly of an alarum devised by Professor A. de Weinhold, which resembles that by M. Lorenz, represented in fig. 56. Its organ of sound consists of a steel bell T, from 13 to 14 centimètres in263 diameter, and toned to give about 420 double vibrations in a second. ‘Its diameter and tone,’ he says, ‘are important, and any great departure from the rule laid down diminishes the effect. The opening of the bell is below, and it is fixed on a stand by its centre. A slightly curved bar magnet, provided at its two ends with iron appendices enclosed in a coil, traverses the stand. The bar magnet of the telephone also terminates in an iron appendix enclosed in a coil. In both cases the changes produced in the magnetic condition appear to be more intense than they are in magnets without appendices. The bar magnet is placed within the bell in the direction of one of its diameters, so that the appendices almost touch its sides.

‘When the bell is struck on a spot about 90° from this diameter with a wooden clapper M, which acts with a spring, and is withdrawn by stretching the spring and then letting it go, as in a bell for the dinner-table, the vibrations imparted to it send currents into the coils, and these currents produce identical vibrations on the iron disk of the telephone, which are intensified by a conical resonator fitted to the telephone, so as to be easily heard some paces off. For ordinary use, the bell coil is broken into a short circuit by means of a metallic spring R, and consequently, when the bell is struck, the spring must be opened so as not to break the circuit. An instrument of the same kind has also been devised by Herr W. E. Fein at Stuttgardt.’

264

Fig. 57.
Fig. 58.

MM. Dutertre and Gouault’s System.—One of the most ingenious solutions of the problem of making the telephone call has recently been proposed by MM. Dutertre and Gouault. Figs. 57 and 58 represent the opposite faces of the instrument. It consists of a kind of snuff-box telephone, like the one shown in fig. 26, and it is so arranged as to send or receive the call, according to the way in which it is placed on its stand, which is only an ordinary bracket fastened to the wall. When it is placed on the bracket so as to have the telephone mouthpiece on the outside, it is adapted for receiving, and can then give the call. When, on the other hand, its position on the bracket is reversed, it permits the other station to make the call, by producing vibrations on a vibrator under the influence of a battery, and265 these vibrations reverberate in the corresponding instrument with sufficient force to produce the call. If the instrument is taken up, and the finger is placed on a small spring button, it may then be used as an ordinary telephone.

In this instrument, the magnet N S (fig. 57) is snail-shaped, like others we have mentioned, but the core of soft iron S, to which the coil E is fastened, can produce two different effects on its two extremities. On the one side, it reacts on a small armature which is fastened to the end of a vibrating disk C, fig. 58; the armature is placed against a contact fastened to the bridge B, and constitutes an electro-magnetic vibrator. For this purpose the bridge is in metallic communication with the coil wire, of which the other end corresponds with the line wire, and the spring C is mounted on an upright A, which also supports another spring D G acting on two contacts, one placed at G, and corresponding to the earth wire, the other at H, and connected with the positive pole of the battery. A small moveable button, which passes through a hole in the lid of the box, and projects beyond it, is fixed at G, and all this part of the instrument faces the bottom of the box. The upper part consists of the vibrating disk and the mouthpiece, so that the mechanism we have described is all mounted on an inner partition forming a false bottom to the box.

When the box rests upon its base, on the side266 shown in fig. 58, the button at G presses on the spring D G, and raises it so as to break the connection with the battery; the coil of the instrument is then united to the circuit, and consequently receives the transmitted currents, which follow this route: line wire, coil E, bridge B, spring C, spring D G, earth contact. If these currents are transmitted by a vibrator, they are strong enough to produce a noise which can be heard in all parts of a room, and consequently the call may be given in this way. If the currents are due to telephonic transmission, the instrument is applied to the ear, care being taken to put the finger on the button G, and the exchange of correspondence takes place as in ordinary instruments; but it is simpler and more manageable to insert a second telephone in the circuit for this purpose. When the box is inverted on its mouthpiece, and the button G ceases to press on the spring D G, the battery current reacts on the vibrator of the instrument, and sends the call to the corresponding station, following this route: I D A C B E, line, earth and battery; and the call goes on until the correspondent breaks the current by taking up his instrument, thus warning the other that he is ready to listen.

System of M. Puluj.—There is yet another call system, devised by M. Puluj. It consists of two telephones without mouthpieces, connected together, and with coils placed opposite the branches267 of two tuning-forks, tuned as nearly as possible to the same tone. A small metal bell is fixed between the opposite faces of the tuning-forks, and a wire stretched near them is provided with a small ball in contact with their branches. When the tuning-fork at the sending station is put in vibration by striking it with an iron hammer covered with skin, the tuning fork at the other station vibrates also, and its ball strikes upon the bell. As soon as the signal is returned by the second station, mouthpieces with iron diaphragms are fastened to the telephones, and the correspondence begins. It seems that, by the use of a resonator, the sound which reaches the receiving station may be so intensified as to become audible in a large hall, and the bell signal may be heard in an adjoining room, even through a closed door.

Mr. Alfred Chiddey’s System.—This arrangement consists of a slender copper tube, eight inches long, and with an orifice of 1/30 of an inch, of which the lower end is soldered to the diaphragm of a telephone. A branch joint, to which an india-rubber tube is fitted, connects it with a gas jet, which is lighted and surrounded with a lamp shade, in such a way as to make it produce, under given conditions, sounds resembling those of the singing flames. A perfectly similar system is arranged at the other end of the line, in such a way that the sounds emitted in each case shall be precisely in unison. If the two systems are so regulated as268 not to emit sounds in their normal condition, they can be made to sing by causing a tuning-fork in the vicinity of one or the other to vibrate the same note, and then the corresponding flame will begin to sing, producing a vibration in the diaphragm of the telephone with which it is in correspondence, and hence will follow the vibration of the diaphragm of the other telephone, and consequently the vibration of the flame of the calling instrument. In this way the call signal may be made without the intervention of any battery.


APPLICATIONS OF THE TELEPHONE.

The applications of the telephone are much more numerous than might be supposed at the first glance. As far as the telegraphic service is concerned, its use must evidently be rather limited, since it cannot register the messages sent, and the speed of transmission is inferior to that of the improved system of telegraphs; yet in many cases it would be very valuable, even for a telegraphic system, since it is possible to work it without any special telegraphic training. The first comer may send and receive with the telephone, and this is certainly not the case even with the simplest forms of telegraphic instruments. This system is therefore already in use in public offices and factories, for communication in mines, for submarine works, for the navy, especially when several vessels manœuvre269 in the same waters, some towed by others; finally, for military purposes, either to transmit orders to different corps, or to communicate with schools of artillery and rifle practice. In America the municipal telegraphic service and that of telegraphs limited to the area of towns are conducted in this way, and it is probable that this system will soon be adopted in Europe. Indeed, a service of this kind was established in Germany last autumn at the telegraph offices of some towns, and the London Post Office is now thinking of establishing it in England.

But, besides its use for the purposes of correspondence, the telephone can be useful to the telegraphic service itself by affording one of the simplest means of obtaining a number of simultaneous transmissions through the same wire, and even of being combined in duplex with the Morse telegraphs. Its applications in the microphonic form are incalculable, and the proverb which declares that ‘walls have ears’ may in this way be literally true. It is alarming to think of the consequences of such an indiscreet organ. Diplomatists must certainly redouble their reserve, and tender confidences will no longer be made with the same frankness. On this point we cannot think that much will be gained, but on the other hand the physician will probably soon make use of this invention to ascertain more readily the processes going on within the human body.

270

APPLICATION OF THE TELEPHONE TO SIMULTANEOUS TELEGRAPHIC TRANSMISSIONS.

The simultaneous transmission of several messages through the same wire is one of the most curious and important applications of the telephone to telegraphic instruments which can be made, and we have seen that it was this application which led Messrs. Gray and Bell to the invention of speaking telephones. The admiration which these instruments have excited has thrown the original idea into the background, although it has perhaps a more practical importance. We will now consider these systems.

An articulating telephone is not necessary in order to obtain simultaneous transmission: the musical telephones devised by MM. Petrina, Gray, Froment, &c., are quite sufficient, and a brief explanation of their principle will make this intelligible. Suppose that there are seven electro-magnetic vibrators at the two corresponding stations, which are tuned with the same tuning-fork on the different notes of the scale, and suppose that a key-board, resembling the Morse telegraph key, is arranged so that, by lowering the keys, electric reaction takes place on each vibrator: it is easy to see that these vibrators may be made to react in the same way on the corresponding vibrators of the opposite station; but they must be tuned on the271 same note, and the sounds emitted will continue while the keys are lowered. By keeping them down for a shorter or longer time, the long or short sounds which constitute the elements of telegraphic language in the Morse system may be obtained, and consequently an audible transmission becomes possible. Let us now suppose that a telegraphist accustomed to this mode of transmission is placed before each of the vibrators, and that they transmit different messages at the same moment in this way: the telegraphic wire will be instantaneously traversed by seven currents, broken and massed upon each other, and they might be expected to produce a medley of confused sounds on the vibrators at the receiving station; but since they each harmonise with the corresponding vibrator, they have no sensible influence except on those for which they are intended. The dominant sound may be made still more distinct by applying a Helmholtz resonator to each vibrator,18 that is, an acoustic instrument which will only vibrate under the influence of the note to which it is tuned.272 In this way it is possible to select the transmitted sounds, and only to allow each employé to hear that which is intended for him. Consequently, however confused the sounds may be on the receiving vibrators, the person to whom do is assigned will only receive do sounds, the person to whom sol is assigned will only receive sol sounds, so that correspondence may be carried on as well as if they had each a special wire.

In the mode we have described, this telegraphic system only admits of audible transmissions, and consequently cannot register messages. To supply this defect, it has been suggested to make the receiving vibrators react on registers, so arranging the latter that their electric organ may present such magnetic inertia, that, when it is influenced by the vibrations of sound, its effect may be maintained throughout the time of vibration. Experiments show that a Morse receiver, worked by the current of a local battery, will be enough for this purpose; so that if the musical vibrator is made to react as a relay, that is, on a contact in connection with the local battery and the receiver, the dots and dashes may be obtained on it which are the constituent elements of the Morse code.

On these principles, and considering that the273 musical spaces separating the different notes of the scale are such as may be easily distinguished by the resonator, seven simultaneous transmissions may be obtained on the same wire; but experience shows that it is necessary to be content with a much smaller number. Yet this number may easily be doubled by applying the mode of transmission in an opposite direction to the system.

Mr. Bell states that the idea of applying the telephone to multiple electric transmissions occurred simultaneously to M. Paul Lacour of Copenhagen, to Mr. Elisha Gray of Chicago, to Mr. Varley of London, and to Mr. Edison of New York; but there is some confusion here, for we have already seen, from reference to the patents, that Mr. Varley’s system dates from 1870, that of M. Paul Lacour from September 1874, that of Mr. Elisha Gray from February 1875, and those of Messrs. Bell and Edison were still later. Yet it appears from Mr. Gray’s specification that he was the first to conceive and execute instruments of the kind. In fact, in a specification drawn up on August 6, 1874, he distinctly put forward the system we have described, and which is the basis of those of which we have still to speak. This specification was only an addition to two others made out in April and June 1874. Mr. Varley’s system has only an indirect relation to the one we have described. It appears from what Mr. Bell said on the subject in a paper addressed to the Society274 of Telegraphic Engineers in London, that he himself only attaches a secondary interest to this invention.

He said that he had been struck with the idea that the greater or less duration of a musical sound might represent the dot and dash of the telegraphic alphabet, and it occurred to him that simultaneous telegraphic transmissions, of which the number should only be limited by the delicacy of the sense of hearing, might be obtained by suitable combinations of long and short sounds, and that these should be effected by a keyboard of tuning-forks applied to one end of a telegraphic line, and so arranged as to react electrically on electro-magnetic instruments striking on the strings of a piano. For this purpose it would be necessary to assign an employé to each of the keys for the service of transmission, and to arrange that his correspondent should only distinguish his peculiar note among all those transmitted. It was this idea, Mr. Bell adds, which led to his researches in telephony.

For several years he sought for the best mode of reproducing musical sounds at a distance by means of vibrating rheotomes: the best results were given by a steel plate vibrating between two contacts, of which the vibrations were electrically produced and maintained by an electro-magnet and a local battery. In consequence of its vibration, the two contacts were touched alternately, and the two circuits were alternately broken; the local circuit275 which kept the plate in vibration, and the other which was connected with the line, and reacted on the distant receiver, so as to effect simultaneous vibrations in it. A Morse key was placed in the latter circuit near the sending instrument, and when it was lowered, vibrations were sent through the line; when it was raised, these vibrations ceased, and it is easy to see that, by lowering the key for a longer or shorter time, the short and long sounds necessary for the different combinations of telegraphic language could be obtained. Moreover, if the vibrating plate of the receiving instrument were so regulated as to vibrate in unison with the sending instrument in correspondence, it would vibrate better with this sender than with another whose plate was not so adjusted.

It is evident that different sounds might be simultaneously transmitted with several plates by this arrangement of contact breaker, and that at the receiving station the sounds might be distinguished by each employé, since the one which corresponds to the fundamental note of each vibrating plate is reproduced by that plate. Consequently, the sounds produced by the vibrating plate of do, for example, will only be audible at the receiving station on the plate tuned to do, and the same will be the case with the other plates; so that the sounds will reach their destination, if not without confusion, yet with sufficient clearness to be distinguished by the employés.

276

Mr. Bell sums up the defects still existing in his system as follows:—1st. The receiver of the messages must have a good musical ear, in order to distinguish the value of sounds. 2nd. Since the signals can only take place when the transmitted currents are in the same direction, two wires must be employed in order to exchange messages on each side.

He surmounted the first difficulty by providing the receiver with an instrument which he called the vibrating contact breaker, and which registered automatically the sounds produced. This contact breaker was placed in the circuit of a local battery, which could work a Morse instrument under certain conditions. When the sounds emitted by the instrument did not correspond with those for which it had been tuned, the contact breaker had no effect on the telegraphic instrument: it only acted when the sounds were those which were to be interpreted, and its action necessarily corresponded to the length of the sounds.

Mr. Bell adds that he applied the system to electro-chemical telegraphs; but we need not dwell on this part of the invention, since, as we have said, it is no longer his special study.

System of M. Lacour of Copenhagen.—M. Lacour’s system was patented on the 2nd September, 1874, but his experiments were commenced on the 5th June of the same year. Since M. Lacour believed that the vibrations would be imperceptible277 on long lines, his first attempts were made on a somewhat short line; but in November 1874 fresh experiments were made between Fredericia and Copenhagen on a line 225 miles in length, and it was ascertained that vibratory effects could be easily transmitted, even under the influence of a rather weak battery.

Fig. 59.

In M. Lacour’s system, the sending instrument is a simple tuning-fork, placed in a horizontal position, and one of its arms reacts on a contact breaker, which can produce precisely the same number of discharges of currents as there are vibrations of the tuning-fork. If a Morse manipulator is inserted in the circuit, it is evident that if it is worked so as to produce the dots and dashes of the Morse alphabet, the same signals will be reproduced at the opposite station, and the signals will be manifested by long and short sounds, if an electro-magnetic receiver is connected with the circuit. This sender is shown fig. 59.

Fig. 60 represents M. Lacour’s receiver. It consists of a tuning-fork F made of soft iron, not of278 steel like the sending tuning-fork, and each of its branches is inserted in the bobbin of an electro-magnetic coil C C; two distinct electro-magnets M M react close to the extremities of the fork, in such a way that the polarities developed on the two branches of the fork under the influence of the coils C C should be of contrary signs to those of the electro-magnets M M.

Fig. 60.

If this double electro-magnetic system is inserted in a line circuit, it follows that, for each discharge of the transmitted current, a corresponding attraction of the branches of the tuning-fork will take place, and consequently there will be a vibration, producing a sound, if the discharges are numerous. This sound will naturally be short or long in proportion to the duration of the sender’s action, and279 it will be the same as that of the tuning-fork in that instrument. Again, if one branch of the tuning-fork reacts on a contact P inserted in the circuit of the local battery communicating with a Morse receiver, traces will be produced on this receiver of length varying with the duration of the sounds, for the Morse electro-magnet will be so quickly affected by the successive breaks in the current that its armature will remain stationary throughout each vibration. ‘I have not yet been able,’ said M. Lacour in an address delivered before the Danish Academy of Science in 1875, ‘to calculate the time necessary for the production of definite vibrations in the tuning-fork. Different factors have to be considered, but experiment has shown that the time which elapses before the local circuit is broken is such a small fraction of a second as to be almost inappreciable, even when the current is very weak.

‘Since intermittent currents only affect a tuning-fork on condition that it vibrates in unison with the one which produces them, it follows that if a series of sending tuning-forks, tuned to the different notes of the scale, is placed at one end of a circuit, and if a similar series of electro-magnetic tuning-forks, in exact accordance with the first, is placed at the other end of the circuit, the intermittent currents transmitted by the sending tuning-forks will be added to each other without becoming confused, and each of the receiving tuning-forks will only be affected by the currents emitted by the280 tuning-fork in unison with it. In this way the combinations of elementary signals representing a word may be telegraphed simultaneously.’

M. Lacour enumerates the ways in which this system may be applied as follows: ‘If the keys in connection with the sending tuning-forks are placed side by side, and are lowered in succession, or two or three together, it will be enough to play on the keys as on a musical instrument, in order that the air may be heard at the receiving station, or the signals transmitted simultaneously may each belong to a different message. This system will therefore allow the furthest station on a line to communicate with one or several intermediate stations, and vice versa, without disturbing the communication at other stations. In this way two stations can exchange signals, unperceived by the rest. The power of sending many signals at once affords a good means of improving the autographic telegraph. In the instruments now in use, such as those of Caselli and D’Arlincourt, there is only one tracing stylus, and this stylus must pass over the whole surface of the telegram in order to obtain a copy of it, but with the telephone a certain number of styli may be placed side by side in the form of a comb, and this comb need only be drawn in a certain direction to pass over the surface of the telegram. In this way a more faithful copy will be obtained in a shorter time.’

M. Lacour also observes that his system281 possesses a merit already pointed out by Mr. Varley, namely, that the instruments permit the passage of ordinary currents without revealing their presence, whence it follows that the accidental currents which often disturb telegraphic transmissions will have no effect on these systems.

M. Lacour began without applying an electro-magnetic system to his instrument in order to maintain the movement of the tuning-fork, but he soon saw that this accessory was indispensable, and he made the tuning-forks themselves electro-magnetic. It also occurred to him to convert the transmitted currents into pulsatory currents by inserting an induction coil in the circuit, which was also done by Mr. Elisha Gray. Finally, in order to obtain the immediate action of the tuning-forks and the immediate cessation of their action, he constructed them so as to reduce their inertia as much as possible. This was effected by inserting the two branches of the tuning-fork in the same coil and by lengthening its handle, and turning it back so that it might pass through a second coil, dividing into two branches and embracing the two vibrating branches, but without touching them. When a current traverses both coils, it produces, in the kind of horseshoe magnet formed by the two systems, opposite polarities which provoke a double reaction in the vibrating branches—a reaction by repulsion exerted by the two branches in virtue of the same polarity, and a282 reaction by attraction by the other two branches in virtue of their opposite polarities; and this double action is repeated by the movements of a contact breaker applied to one of the vibrating branches of the tuning-fork.

Fig. 61.

Mr. Elisha Gray’s System.—According to the system originally patented, each sender, represented fig. 61, consists of an electro-magnet M M resting below a small copper tablet B S, in such a way that its poles pass through this tablet and are on a level with its upper surface. A steel plate A S is fixed above these poles; its tension can be regulated by means of a screw S; and another screw c is placed on the plate, and is in electric communication with a local battery R′ by means of a Morse key. Below the plate A S there is a contact d connected with the line wire L; this contact is met by the plate at the moment of its attraction by the electro-magnet, and breaks the current of a line battery P, which acts on the receiver of the opposite station. Finally, the electric communication283 established between the local battery R′ and the electro-magnet, as may be seen in the figure, produces vibrations in the steel plate A S at each lowering of the key, as in the case of ordinary vibrations—vibrations which, with a suitable tension of the plate and a given intensity of the battery R′, can produce a definite musical note. Moreover, since at each vibration the plate A S meets the contact, discharges of the line current take place through the line L, and react on the receiving instrument, causing it to reproduce exactly the same vibrations as those of the sending instrument.

Fig. 62.

The receiving instrument represented fig. 62 exactly resembles the one we have just described, except that there is no contact d below the vibrating plate A S, and the contact c, instead of communicating with the line wire, is in electric connection with a register E and a local battery P. It follows from this arrangement that when the plate A S vibrates under the influence of the broken284 currents passing through the electro-magnet M M, similar vibrations are sent through the register; but if the electro-magnetic organ of this register is properly regulated, these vibrations can only produce the effect of a continuous current, and hence the length of the traces left on the instrument will vary with the duration of the sounds produced. In this way the registration of the dashes and dots which constitute the signs of the Morse vocabulary will be effected.

If it is remembered that the plate A S vibrates under the influence of electro-magnetic attractions more readily in proportion to their approximation in number to the vibrations corresponding to the fundamental sound it can emit, it becomes clear that if this plate is tuned to the same note as that of the corresponding instrument, it will be rendered peculiarly sensitive to the vibrations transmitted by the sender, and the other vibrations which may affect it will only act faintly. Moreover, a resonator placed above the plate will greatly increase this predisposition; so that if several systems of this kind, tuned to different notes, produce simultaneous transmissions, the sounds corresponding to the different vibrations will be in a certain sense selected and distributed, in spite of their combination, into the receivers for which they are specially adapted, and each of them may retain the traces of the sounds emitted by adding the register, which may be so arranged as to act as an ordinary Morse285 receiver. Mr. Gray states that the number of sending instruments and independent local circuits may be equal to that of the tones and semitones of two or more octaves, provided that each vibrating plate be tuned to a different note of the scale. The instruments may be placed side by side, and their respective local keys, arranged like the keys of a piano, will make it easy to play an air combining notes and chords; there may also be an interval between the instruments, which may be sufficiently far from each other to allow the employés to work without being distracted by sounds not intended for them.

In a new arrangement, exhibited at the Paris Exhibition, 1878, Mr. Gray considerably modified the way of working the various electro-magnetic organs which we have just described. In this case, the plates consist of tuning-forks with one branch kept in continual vibration at both stations, and the signals only become perceptible by intensifying the sounds produced. This arrangement follows from the necessity of keeping the line circuit always closed for multiple transmissions of this nature, so as to react with pulsatory currents, which are alone able, as we have already seen, to retain the individual character of several sounds simultaneously transmitted.

Fig. 63.

Under these conditions, the sender consists, as we see (fig. 63), of a bar tuning-fork, a, which is grooved for the passage of a runner, heavy286 enough to tune the fork to the desired note, and it oscillates between two electro-magnets e and f and two contacts I and G. The difference of resistance in the electro-magnets is very great: in the one f the resistance is equal to 2¾ miles of telegraphic wire, in the other it does not exceed 440 yards. When electric communication is established as we see in the figure, the following effect takes place. Since the current of the local battery through the two electro-magnets is broken by the rest-contact of the Morse key H, the plate a is subject to two contrary287 actions; but since the electro-magnet f has more turns than the electro-magnet e, its action is preponderant, and the plate is attracted towards f, and produces a contact with the spring G, which opens a way of less resistance for the current. Since the current then passes almost wholly through G, b, 1, 2, B, the electro-magnet is now able to act; the plate a is then attracted towards e, and, by producing a contact on the spring I, it sends the current of the line B P through the telegraphic line, if the key H is at the same time lowered on the sending contact: if not, there will be no effect in this direction, but since the plate a has left the spring G, the first effect of attraction by the electro-magnet f will be repeated, and this tends to draw the plate again towards f. This state of things is repeated indefinitely so as to maintain the vibration of the plate, and to send out signals corresponding with these vibrations whenever the key H is lowered. The elastic nature of the plate makes these vibrations more easy, and it ought also to be put in mechanical vibration at the outset.

The receiver, represented fig. 64, consists of an electro-magnet M, mounted on a sounding-box C, and having an armature formed by a tuning-fork L L firmly buttressed on the box by a cross bar T. There is a runner P on the armature, sliding in a groove, which makes it possible to tune the vibrations of the tuning-fork to the fundamental note of the sounding-box C, which is so arranged as to288 vibrate in unison with it. Under these conditions, the box as well as the tuning-fork will act as an analyser of the vibrations transmitted by the currents, and may set the register at work by itself reacting on a breaker of the local current. To obtain this result, a membrane of gold-beater’s skin or parchment must be stretched before the opening of the box, and a platinum contact must be applied to it, so arranged as to meet a metallic spring connected with any kind of register or a Morse instrument, when the membrane vibrates. As, however, in America the messages are generally received by sound, this addition to the system is not in use.

Fig. 64.

289

The instrument is not only regulated by the runner P, but also by a regulating screw V which allows the electro-magnet M to be properly adjusted. The regulating system is made more exact by the small screw V, and the instrument is connected with the line by the binding screw B. Of course this double arrangement is necessary for each of the sending systems.

As I have already said, seven different messages might theoretically be sent at once in this way, but Mr. Gray has only adapted his instrument for four; he has, however, made use of the duplex system, which allows him to double the number of transmissions, so that eight messages may be sent at the same time, four in one direction, and four in another.

Mr. Hoskins asserts that this system has been worked with complete success on the lines of the Western Union Telegraph Company, from Boston to New York, and from Chicago to Milwaukee. Since these experiments were made, fresh improvements have rendered it possible to send a much larger number of messages.

Mr. Gray has also, aided by Mr. Hoskins, devised a system by which telephonic messages may be sent on a wire previously used for Morse instruments. Mr. Varley had already solved this problem, but Mr. Gray’s system seems to have produced important results, and has therefore a claim to our attention. We do not, however, describe290 it here, since it is not within the lines marked out for us, and those who are interested in the subject will find all the necessary details in a paper inserted in the ‘Journal of the Society of Telegraphic Engineers, London,’ vol. vi.

Mr. Varley’s System.—This system is evidently the earliest in date, since it was patented in 1870, and the patent describes the principle of most of the arrangements which have since been adopted by Messrs. Lacour, Gray, and Bell. It is based upon the use of his own musical telephone, which we have already described, but with some variations in its arrangement, which make it somewhat like the Reiss system.

It was Mr. Varley’s aim to make his telephone work in conjunction with instruments with ordinary currents, by the addition of rapid electric waves, incapable of making any practical change in the mechanical or chemical capacity of the currents which serve for the ordinary signals, yet able to make distinct signals, perceptible to the ear and even to the eye. He says: ‘An electro-magnet offers at first a great resistance to the passage of an electric current, and may consequently be regarded as a partially opaque body with respect to the transmission of very rapid inverse currents or of electric waves. Therefore, if a tuning-fork, or an instrument with a vibrating plate, tuned to a given note, be placed at the sending station, and so arranged as to be kept in constant vibration by291 magnetic influence, the current which acts upon it must be passed into two helices placed one above the other so as to constitute the primary helix of an induction coil: in this way it will be possible to obtain in two distinct circuits two series of rapidly broken currents, which will correspond to the two directions of the vibrations of the tuning-fork, and we shall also have the induced currents produced in the secondary helix by these currents, which may act on a third circuit. This third circuit may be placed in connection with a telegraphic line previously used by an ordinary telegraphic system, if a condenser is applied to it, and in this way two different transmissions may be obtained simultaneously.’

Fig. 65.

Fig. 65 represents the arrangement of this system. D is the vibrating plate of the tuning-fork designed to produce the electric contacts necessary to maintain it in motion. These contacts are at S and S′, and the electro-magnets which affect it are at M and M′. The induction coil is at I′, and the three helices of which it is composed are indicated292 by the circular lines which surround it. There is a Morse manipulator at A, another at A′, and the two batteries which work the system are at P and P′. The condenser is at C, and the telephone is at the end of the line L.

When the vibration of the plate D tends to the right, and the electric contact takes place at S′, the current of the battery P′, after traversing the primary helix, reaches the electro-magnets M M′, which give it an impulse in the contrary direction. When, on the other hand, it tends to the left, the current is sent through the second primary circuit, which will be balanced by the first. Consequently there will be a series of reversed currents in the induced circuit corresponding to the key A′, which will alternately charge and discharge the condenser C, thus sending into the line a corresponding series of electric undulations which will react on the telephone placed at the end of the line; and as the duration of the transmitted currents will vary with the time that the key A′ is lowered, a correspondence in the Morse code may be obtained in the telephone, while another correspondence is exchanged with the key A and the ordinary Morse receivers.

In order to render the vibratory signals visible, Mr. Varley proposes to use a fine steel wire, stretched through a helix and facing a narrow slit, to reproduce the vibrations. A light, which is intercepted by the wire, is placed behind the slit.293 As soon as a current passes, the wire vibrates and the light appears. A lens is placed so as to magnify the image of the luminous slit, and project it on a white screen while the wire is in vibration.


VARIOUS USES OF THE TELEPHONE.

Its domestic application.—We have seen that telephones may be used with advantage in public and private offices: they can be set up at a much less expense than acoustic tubes, and in cases where the latter would never be employed. With the aid of the calls we have described, they offer the same advantages, and the connection between the instruments is more easily concealed. The difference of price in establishing them is in the ratio of one to seven.

For this purpose electro-magnetic telephones are evidently the best, since they require no battery and are always ready to work. They are already in use in many Government offices, and it is probable that they will soon be combined with electric bells for the service of hotels and of large public and private establishments: they may even be used in private houses for giving orders to servants and porters, who may thus save visitors from the fatigue of a useless ascent of several storeys.

In factories, telephones will certainly soon replace the telegraphic communication which has already become general. They may not only be used for ordinary messages, but to call for help in case of294 fire, and they will become an integral part of several systems already established for this purpose.

In countries which have free telegraphic communication, the telephone has already replaced in great measure the private telegraph instruments which have hitherto been in use; and if the same privilege is extended to France, no other mode of correspondence will be used.

Its application to telegraphic service.—The advantage to be derived by the telegraphic service from the telephone is rather limited, since, as far as the speed of transmission is concerned, it is of less value than many of the telegraphic instruments now in use, and the messages which it produces cannot be registered. Yet in municipal offices not overburdened with messages they offer the advantage of not requiring a trained service. On longer lines their use would be of little value. The ‘Berne Telegraphic Journal’ has published some interesting remarks on this subject, of which the following is a summary.

1st. In order to send a message with the special advantages of the system, the sender ought to be able to address his correspondent without the intervention of an official. Those who are acquainted with the network of wires know this to be impossible. Intermediate offices for receiving messages are essential, and the public cannot be admitted to those set apart for sending and receiving; consequently the sender must deliver a written message.

295

2nd. If the message is written, the chief advantage of the instrument is lost, since it must be read and uttered aloud, which could not be done if expressed in a language with which the employés were unacquainted.

3rd. The instruments now in use at the telegraph offices can transmit messages more quickly than if they were spoken.

In Germany, however, a telephone service has been established in several telegraph offices, and its possible advantages are enumerated as follows in the official circular which created it:

‘The offices which will be opened to the public for the service of telephonic messages in Germany will be regarded as independent establishments; yet they will be in connection with the ordinary telegraph offices, which will undertake to send telephonic messages through their wires.

‘The transmission will take place as follows: The sending office will request the receiving office to prepare the instrument; as soon as the tubes are adjusted, the sending office will give the signal for despatching the verbal message.

‘The sender must speak slowly and clearly, without raising his voice; each syllable must be distinctly pronounced; the final syllables especially must be well articulated, and there must be a pause after each word, in order to give the receiver time to write it down.

‘When the telegram has been received, the296 employé at the receiving office must verify the number of words; then he must repeat through the telephone the whole message without pausing, so as to make sure that there is no mistake.

‘In order to ensure secrecy, the telephones are placed apart, where persons unconnected with the service cannot hear the verbal message, and the employés are forbidden to reveal to anyone the names of the correspondents.

‘The charge for telephonic messages, as for the ordinary telegraphic services, is at the rate of so much a word.’

The use of the telephone has also been suggested for verifying the perfect junction of telegraphic wires. It is certain that, if the junction is complete, no abnormal sounds will be heard, or only those which result from accidental currents; but if the junction is bad, the imperfect contacts which take place produce variations in electric intensity which are translated into the more or less marked sounds observed in the telephone.

M. Mauborgne, the electrician attached to the Northern Railway of France, has lately used the telephone instead of the galvanometer to ascertain the condition of the circuits in correspondence with the instruments in use for electric signals. The reactions produced on the galvanometer needle by the pieces of iron which are placed at the sides of the railway often make its indications uncertain, and a strong wind produces irregular movements297 in the instrument which interfere with observations. It was also necessary to place the galvanometer with due regard to the points of the compass, and to wait for the needle to settle, which involved loss of time. The operation is easily accomplished with the telephone, since the strokes of the call-bell are distinctly reproduced; it is made to ring by working the contacts which need verification, and in the same way the condition of the battery can be ascertained.

Application to military purposes.—Since the telephone was invented, numerous experiments have been made in different countries to ascertain whether it would be of use in military operations. These experiments have hitherto been only moderately satisfactory, on account of the noise inseparable from an army, which generally makes it impossible to hear the telephone, and every means of intensifying its sounds has been eagerly sought. It was at first supposed that the discovery of the microphone had solved the problem, and I received many enquiries from military schools on the subject, but I have not been able to see that anything has been gained from this point of view. The telephone is, however, of great use in schools of artillery and rifle practice. Now that firearms carry so far, it has become necessary to be informed by telegraph of the points hit on the target, in order to judge of the accuracy of aim, and for this purpose telegraphic targets were suggested; but telephones298 are much to be preferred, and they are now used with good effect.

If the telephone is unsuited for the service of the flying telegraph in the field, it may be of great use in the defence of towns, to transmit the orders of the commandant to different batteries, and even for the exchange of correspondence with captive balloons sent to hover over fields of battle.

In spite of the difficulties attending its use, the experiment was made by the Russians in the late war: the cable wire of communication was 500 or 600 yards long, and so light that it could be laid by one man. The ‘Telegraphic Journal’ of March 15, 1878, states that the bad weather did not interfere with the working of the instruments; but the noise made it difficult to hear, and it was necessary to cover the head with a hood to intercept external sounds. This cannot be considered a satisfactory result, yet the telephone may be of great service to an army by intercepting the enemy’s messages: a bold man, provided with a pocket telephone, who placed himself in a retired spot, might divert the current of the enemy’s telegraphic wire into his telephone, and get possession of all his despatches, as we saw was the case at Clermont. He might even do this by diverting the current to earth or to a rail of the railway line. These are suggestions for future research, and it is probable that they may some day be turned to practical account.

299

Its application to the navy.—The telephone may be of the greatest use in naval matters, for the service of electro-semaphores, for island forts and ships at anchor. M. Pollard says that ‘experiments made between the Préfecture Maritime at Cherbourg, the semaphores and the forts on the mole, demonstrate the advantage there would be in establishing telephones at these stations, since they would ensure an easy communication between the vessels of a squadron and the land they are approaching. By sinking small cables which come to the surface of the water along mooring chains, and terminate in buoys or cases which remain permanently in the harbour, the ships of war may in this way place themselves in communication with the Préfecture Maritime as they cast anchor, and, by temporarily connecting the vessels together with light cables, the admiral may communicate freely with the whole squadron.’

The telephone has been tried on board ship for transmitting orders, but without success, on account of the noise always going on in a vessel.

The telephone may be usefully applied to the service of submarine torpedoes. We have already seen how it may be applied in connection with the microphone, but it may also be used in firing the torpedoes after the exact position of the enemy’s ship has been ascertained from two reconnaissances taken from different parts of the coast.

The telephone, again, makes it possible to300 verify the condition of torpedoes, and to ascertain if there is any fault in the circuit within the explosives. For this purpose a very weak current has been used, and a galvanometer is not always able to indicate the fault, while the extreme sensitiveness of the telephone will do so in the simplest way.

Captain M’Evoy, of the American Army, suggested a way of ascertaining, while on shore, the condition of torpedoes under water, by connecting the buoys which support them with the land by means of a telephonic line. By inserting, in the buoy which supports the torpedo, metallic disks, so arranged as to vibrate with every movement caused by the waves upon the buoy, a continuous noise will be heard in the telephone, after the circuit has been completed by the metallic disks; and the noise will go on as long as the disks continue to oscillate, and will cease as soon as the buoy is completely covered by the water. When it ceases, therefore, if not affected by some accidental cause, it may be supposed that the enemy’s ship is passing over the buoy.

M. Trève, again, has shown that the telephone might be used with advantage for the telegraphic communication between vessels in tow, and M. des Portes has applied it with good effect to diving operations. In this instance, one of the glass panes in the helmet is replaced by a copper plate in which the telephone is framed, so that the301 diver need only make a slight movement of his head in order to receive or address communications to those in charge of the apparatus. With this system the keels of vessels may be examined, and an account given of their condition, without bringing up the divers, which has hitherto been necessary.

M. de Parville, the able and learned editor of the Journal Scientifique and the science department of the Journal des Débats, has suggested a new and interesting application of the telephone. It concerns the possibility of making use of it to determine the precise position of the magnetic meridian, that is, the true direction of the magnetised needle.

For this purpose a Bell telephone is necessary, of which the magnetic core is formed of an iron rod a mètre in length, kept, by a suitable suspension, at nearly the same angle of inclination as a dipping-needle. This rod will be magnetised under the influence of terrestrial magnetism, and the telephone will be able to transmit the sounds produced by some sort of vibrator placed near its mouthpiece. These sounds will be strong in proportion to the degree of magnetisation of the bar; and if the telephone is turned round the horizon, keeping the bar at the same angle of inclination, the sounds transmitted to the receiving telephone will be greatest when the axis of the bar is in the plane of the magnetic meridian, and least when it is at 90°. It will therefore be possible to ascertain from302 the direction of the axis at the moment when the sounds are no longer heard, the exact inclination of the magnetic needle from north to south, for it will be given by the perpendicular to the line which is followed by the axis of the iron bar at that moment.

It is possible that, with this system, the disturbing influence on the magnetic needle of the mass of iron in iron-plated vessels might be almost destroyed, and a more exact orientation than that of the compass might be obtained. The same process may make it possible to estimate and measure the variations of terrestrial magnetism. M. de Parville has not himself tried to apply this system; but Mr. Blake’s experiments, of which we spoke in an early part of this work, make it probable that it might be done with advantage.

Application to industry.—One of the earliest and most important applications of the telephone is that which was first made to the service of mines in England and America in the autumn of 1877. The great length of the galleries is well known, and had already involved the use of the electric telegraph for transmitting orders; but the miners did not understand how to work these instruments, and the service was ill performed. Thanks to the telephone, through which the first corner can send and receive a message, there is no longer any difficulty in the communication between the galleries and the surface of the mine.

303

The ventilation of mines can also be regulated by the aid of telephones. If one of these instruments is placed near a wheel kept in motion by the air which passes through the ventilating shaft, and another is placed in the inspector’s office he can ascertain by the sound if the ventilation is duly carried on, and if the machine works regularly.

Application to scientific research.—M. d’Arsonval’s experiments, which we have already mentioned, show that the telephone can be used as an extremely sensitive galvanoscope; but since it can only produce sounds under the influence of broken currents, the circuit on which the experiment is made must be divided at rather close intervals. It has been seen that it is not even necessary to insert the telephone in the circuit: it may be influenced, when at a distance, either immediately or by the induction of the broken current on a circuit placed parallel to the first, and the force of these effects may be increased by the reaction of a core of iron, round which the inducing circuit is wound. The drawback to this system is that the direction of the current is not ascertained, so that it cannot be used as a measuring instrument; but, on the other hand, it is so sensitive, so easy to arrange, and so inexpensive, that it might be of the greatest use as a galvanoscope.

Mr. Warren de La Rue has also made use of the telephone in his researches into the electric discharges of high-tension batteries, in order to304 follow the different phases of the discharge during the luminous phenomena which it produces. In this way he ascertained that when a condenser is placed in connection with a battery formed of a considerable number of insulated elements, and is gradually discharged through a Geissler tube, a dull and faint sound is heard in the telephone, as long as the stratifications of light appear to be perfectly stable; but the sound becomes considerably stronger, and sometimes even piercing, in proportion to the diffusion of these stratifications, and to their approach to the point of extinction: whence it is shown that the discharge of a battery into tubes in which a vacuum has been made is intermittent.

Mr. Spottiswoode has repeated the same experiments with the discharges of Holtz machines, and with large condensers, and he found that the most piercing sounds produced by the telephone coincided with the greatest development of the stratifications. These sounds, however, sometimes ceased for a moment. It was even possible to ascertain, from the intensity of the sounds produced, the differences of tension which might be manifested in the charge of the condenser and the slackening of the machine’s motion, and the differences of intensity in these sounds might in some cases exceed an octave. The fall in the scale generally appeared in half-tones instead of gradually, and the introduction of resistances into305 the circuit modified the sounds very much: they might even be intensified by approaching the finger to the discharging tube.

From experiments made with the telephone between Calais and Boulogne, it appears that this instrument might be applied with advantage to the science of projectiles. In fact, in some artillery practice which took place on the shore at Boulogne, a telephone was placed close to the gun, and the explosion was heard at a distance of nearly two miles, where the projectile fell. It was possible to estimate its velocity by measuring the lapse of time between the moment when the projectile left the gun, and its fall. This calculation is usually made by observing the flash from the cannon’s mouth; but in some cases, as in a fog or in practice at long ranges, the telephone may be usefully substituted for ocular observation. On the field of battle, an observer, provided with a telephone and placed on a hill, might rectify from a distance the aim of his battery, which is generally established in a sheltered and less elevated place.


307

THE PHONOGRAPH.

Mr. Edison’s Phonograph, which has for the last year attracted so much attention, is an instrument which not only registers the different vibrations produced by speech on a vibrating plate, but reproduces the same words in correspondence with the traces registered. The first function of this instrument is not the result of a new discovery. Physicists have long sought to solve the problem of registering speech, and in 1856 Mr. Leo Scott invented an instrument well known to physicists under the name of Phonautograph, which completely solved the difficulty: this instrument is described in all the more detailed treatises on physics. But the second function of the Edison instrument was not realised nor even mentioned by Mr. Scott, and we are surprised that this able inventor should have regarded Mr. Edison’s invention as an injurious act of spoliation. We regret on his own account, since no one has wished to deprive him of the credit he deserves, that he should have published a pamphlet on the subject, couched in terms of such asperity,308 which proves nothing, and only states facts which were well known to all physicists. If any other person could claim the invention of the phonograph, at least in its most curious property of reproducing speech, it would certainly be M. Charles Cros; for in a sealed paper deposited at the Académie des Sciences, April 30, 1877, he pointed out the principle of an instrument by means of which speech might be reproduced in accordance with the marks traced on a register like that of the phonautograph.19 Mr. Edison’s patent, in which the309 principle of the phonograph is first indicated, is dated July 31, 1877, and he was still only occupied with the repetition of the Morse signals. In this patent Mr. Edison described a mode of registering these signals by means of indentations traced with a stylus on a sheet of paper wound round a cylinder, and this cylinder had a spiral groove cut on its surface. The tracings thus produced were to be used for the automatic transmission of the same message, by passing it again under a stylus which should react on a current breaker. In this patent, therefore, nothing is said310 of the registration of speech or of its reproduction; but, as the ‘Telegraphic Journal’ of May 1, 1878, observes, the foregoing invention gave him the means of solving this double problem as soon as it was suggested to him. If we may believe the American journals, this suggestion soon came, and it was the result of an accident.

In the course of some experiments Mr. Edison was making with the telephone, a stylus attached to the diaphragm pierced his finger at the moment when the diaphragm began to vibrate under the influence of the voice, and the prick was enough to draw blood. It then occurred to him that if the vibrations of the diaphragm enabled the stylus to pierce the skin, they might produce on a flexible surface such distinct outlines as to represent all the undulations produced by the voice, and even that the same outlines might mechanically reproduce the vibrations which had caused them, by reacting on a plate capable of vibrating in the same way as that which he had already used for the reproduction of the Morse signals. From that moment the phonograph was discovered, since there was only a step between the idea and its realisation, and in less than two days the instrument was made and tried.

This is an ingenious story, yet we would rather believe that the discovery was made in a more serious spirit. In fact, such an inventor as Mr. Edison, who had discovered the electro-motograph,311 and had applied it to the telephone, was already on the way to discover the phonograph, and we think too well of his powers to attach much credit to this American romance. Besides, Mr. Edison was well acquainted with Mr. Scott’s phonautograph.

Mr. Edison’s phonograph was only patented in January 1877. Consequently, when we look at the principle of the invention, M. Cros undoubtedly may claim priority; but it is a question whether the system described in his sealed paper, and published in the Semaine du Clergé, October 8, 1877, would have been capable of reproducing speech. Our doubt seems justified by the unsuccessful attempts of the Abbé Leblanc to carry out M. Cros’ idea. When we have to do with such undulating and complex vibrations as those involved in the reproduction of articulate words, it is necessary that the stereotyping should in some sense be effected by the words themselves, and their artificial reproduction will necessarily fail to mark the slight differences which distinguish the delicate combinations of speech. Besides, the movements performed by a point confined to a groove that follows a sinusoidal curve cannot be effected with all the freedom necessary for the development of sounds, and the friction exerted on the two edges of the groove will often be of a nature to stifle them. A distinguished member of the Société de Physique, when I exhibited the phonograph to that society, justly312 said that Mr. Edison’s whole invention consisted in the thin metallic sheet on which the vibrations are inscribed; this sheet permits the movements of the vibrating plate to be directly stereotyped, and thereby the problem is solved. It was necessary to find such an expedient, and it was done by Mr. Edison, who is therefore the inventor of the phonograph.

After M. Cros, and before Mr. Edison, MM. Napoli and Marcel Deprez attempted to make a phonograph, but with so little success that they believed at one time the problem to be insoluble, and threw doubts on Mr. Edison’s invention when it was announced to the Société de Physique. They subsequently resumed their labours, and lead us to hope that they may eventually produce a phonograph of more perfect construction than that of Mr. Edison. We shall have more to say on this subject.

In conclusion, the mechanical reproduction of speech was first effected by Mr. Edison, and in so doing he has accomplished one of the most curious and important discoveries of our time, since it has shown that this reproduction was much less complicated than had been supposed. Yet the theoretical consequences of the discovery must not be exaggerated, since I do not consider it by any means proved that our theories on the voice are incorrect. There is in fact a great difference between the reproduction of a sound which has313 been uttered, and the mode in which the same sound was produced. The reproduction may be easily effected, as M. Bourseul has remarked, as soon as a mode has been discovered of transmitting the vibrations of air, however complex they may be; but in order to produce the complex vibrations of speech by the voice, several special organs must be exercised—first, the muscles of the throat; secondly, the tongue, the lips, and even the teeth—and for this reason an articulating machine is necessarily very complex.

Surprise was expressed that the speaking machine, which was brought from America two years ago, and exhibited at the Grand Hôtel, Paris, was so extremely complicated, since the phonograph solved the problem in such a simple way. This is because the latter instrument only reproduces speech, while the former utters it, and the inventor of the speaking machine had to employ in his mechanism all the organs which are necessary in our organism for the reproduction of speech. The problem was infinitely more complex, and this invention has not attracted all the attention it deserved. We shall speak of it presently. We must now describe the phonograph and the different applications which have been, or which may be, made of it.

Description of Phonograph, and mode of using it.—The first and best known model of this instrument, which we represent in fig. 66, simply consists314 of a registering cylinder R, set in motion with the hand by a winch M, before which a vibrating plate is placed, furnished on its face with a telephone mouthpiece E, and on the reverse side with a tracing point. This tracing point, which is seen at s in the section of the instrument given in fig. 68, is not fixed directly on the plate; it rests on a spring r, and a caoutchouc pad c is placed between it and the vibrating disk. This pad is formed of the end of a tube which is designed to send the vibrations of the plate to the point s without stifling them. Another pad a, placed between the plate L L and the rigid support of the point, moderates in some degree these vibrations, which, without this precaution, would generally be too powerful.

Fig. 66.

315

The cylinder, of which the axis A A (fig. 66) is cut at one end like a screw, to enable it to make a lateral progressive movement simultaneously with the rotatory movement effected on itself, has on its surface a narrow screw-thread coinciding with that of the axis, and when the tracing point is inserted, it is able to pass along it for a distance corresponding to the time occupied in turning the cylinder. A sheet of tinfoil or of very thin copper is carefully applied to the surface of the cylinder, and it should be slightly pressed down upon it, so as to show a faint tracing of the groove, and to allow the point of the vibrating disk to be placed in a proper position. The point rests on the foil under a pressure which must be regulated, and for this purpose, as well as to detach the cylinder when it is desired to place or take away the tinfoil, there is the articulated system S N which sustains the support S of the vibrating disk. This system consists of a jointed lever in which there is a nut screw for the screw R. The handle N at the end of the lever allows the tracing system to be turned aside when the screw R is loosened. In order to regulate the pressure of the tracing point on the sheet of tinfoil, it is enough to turn the screw R loosely in its socket, and to tighten it as soon as the right degree of pressure is obtained.

This is the simple system by which speech can engrave itself on a plate in durable characters, and it works in the following manner.

316

Fig. 67.

The speaker stands before the mouthpiece E, as before a telephone or an acoustic tube, and speaks in a strong, emphatic voice, with his lips pressed against the walls of the mouthpiece, as we see in fig. 67; at the same moment he turns the handle of the cylinder, which is provided with a heavy fly-wheel in order that the movement may be regular. Influenced by the voice, the plate L L begins to vibrate, and sets the tracing point at work, which presses on the tinfoil at each vibration, and produces a furrow whose depth varies along its course in correspondence with the unequal vibrations of the disk. The cylinder which moves at the same time presents the different parts of the groove of which we have spoken to the tracing point in succession;317 so that when the spoken sentence comes to an end, the design which has been pricked out, consisting of a succession of reliefs and depressions, represents the registration of the sentence itself. The first part of the operation is therefore accomplished, and by detaching the sheet from the instrument the words may be put away in a portfolio. We have now to see how the instrument is able to reproduce what has been so easily inscribed.

For this purpose it is only necessary to repeat the process, and the identical effect will be reproduced in an inverse sense. The tracing stylus is replaced at the end of the groove it has already traversed, and the cylinder is again set in motion. When the engraved track passes again under the point, it has a tendency to raise it and to impart to it movements which must necessarily be the repetition of those which first produced the tracing. The vibrating plate is obedient to these movements, and begins to vibrate, thus producing the same sounds, and consequently the same words; yet since there is necessarily a loss of power in this double transformation of mechanical effects, the speaking tube C is attached to the mouthpiece E in order to intensify the effects. Under these conditions the words reproduced by the instrument may be heard in all parts of a hall, and it is startling to hear this voice—somewhat shrill, it must be admitted—which seems to utter its sentences from beyond the grave. If this invention had318 taken place in the middle ages, it would certainly have been applied to ghostly apparitions, and it would have been invaluable to miracle-mongers.

Fig. 68.

As the height of the notes of the musical scale depends on the number of vibrations effected by a vibrating substance in a given time, speaking will be reproduced in a tone of which the pitch will depend on the velocity of rotation given to the cylinder on which the tinfoil is wound. If the velocity is the same as that which was used in registration,319 the tone of the words reproduced is the same as that in which they were uttered. If the velocity is greater, the tone is higher; if less, the tone is lower; but the accent of the speaker may always be recognised. Owing to this peculiarity the reproduction of songs is nearly always defective in instruments turned by the hand; they sing out of tune. This is not the case when the instrument is moved by a well-regulated system of clockwork, and in this way a satisfactory reproduction of a duet has been obtained.

The words registered on tinfoil can be often reproduced; but the sounds become fainter and more indistinct at each repetition, since the tracings in relief are gradually effaced. The reproduction on copper is more successful, but if intended to be permanent the sheets must be stereotyped, and in this case the instrument must be differently arranged.

An attempt has been made to obtain speech from the phonograph by taking the words registered inversely to their true direction. In this way the sounds obtained were necessarily quite unlike the words uttered; yet Messrs. Fleeming Jenkin and Ewing have observed that not only are the vowels unchanged by this inverse action, but consonants, syllables, and even whole words may be reproduced with the accent they would have if spoken backwards.

The sounds produced by the phonograph,320 although fainter than those of the voice which produced the registered tracing, are strong enough to react on the ordinary string telephone, and even on a Bell telephone; and as in this case the sounds do not go beyond the instrument, and can only be heard by the person who is using it, it is easy to ascertain that the sound has not been produced by trickery.

Mr. Edison presented his phonograph to the Académie des Sciences through me, March 11, 1878, and when his agent, M. Puskas, caused the wonderful instrument to speak, a murmur of admiration was heard from all parts of the hall—a murmur succeeded by repeated applause. A letter appeared in the newspapers from one of the persons present, in which he said that ‘the learned Academy, generally so cold, had never before abandoned itself to such enthusiasm. Yet some members of a sceptical turn of mind, instead of examining the physical fact, ascribed it to moral causes, and a report soon ran through the room which seemed to accuse the Academy of having been mystified by a clever ventriloquist. Certainly the spirit of ancient Gaul is still to be found among the French, and even in the Academy. One said that the sounds emitted by the instrument were precisely those of a ventriloquist. Another asked if the movements of M. Puskas’ face and lips as he turned the instrument did not resemble the grimaces of a ventriloquist. A third admitted that the phonograph might emit321 sounds, but believed that it was much helped by the manipulator. Finally, the Academy requested M. du Moncel to try the experiment, and as he was not accustomed to speak into the instrument, it was unsuccessful, to the great joy of the incredulous. Some members of the Academy, however, desiring to ascertain the real nature of the effects, begged M. Puskas to repeat the experiments before them in the secretary’s office under such conditions as they should lay down. M. Puskas complied with this request, and they were absolutely satisfied with the result. Yet others remained incredulous, and it was necessary that they should make the experiment for themselves before they accepted the fact that speech could be reproduced in so simple a way.’

The anecdote I have just related cannot be interpreted to the discredit of the Académie des Sciences, since it is especially bound to preserve the true principles of science intact, and only to accept startling facts after a careful examination. Owing to this attitude, all which emanates from the Academy can be received with complete confidence; and we cannot approve too highly of reserve which does not give way to the first impulse of enthusiasm and admiration.

The failure of my experiment at the Academy was simply due to the fact that I spoke at too great a distance from the vibrating disk, and that my lips did not touch the sides of the mouthpiece. Some days later, at the request of several of my322 colleagues, I made repeated trials of the instrument, and I soon succeeded in making it speak as well as the supposed ventriloquist; but I learned at the same time that practice is necessary to ensure success. Some words are reproduced more readily than others; those which include many vowels and many r’s come out better than those which abound in consonants, and especially in s’s. It is therefore not surprising that, even in the case of an experienced manipulator like Mr. Edison’s agent, some of the sentences uttered by him are more audible than others.

The simultaneous repetition of several sentences in different languages by registering one over the other is one of the most surprising effects of the phonograph. As many as three different sentences have been obtained; but in order to distinguish them through the confused sounds which result from placing one over the other, it is necessary that different persons, giving special attention to a particular sentence, should thus separate them and understand their sense. Vocal airs may, in the same way, be registered over the word tracings, and in this case it is more easy to distinguish them.

There are several models of phonographs. The one represented in fig. 66 has been chiefly used for public experiments, but there is a small model, generally sold to the public, in which the cylinder is much longer, and serves at once for register and fly-wheel. This instrument gives good results, but can only be used for short sentences.323 In this model, as indeed in the other, the words are more easily registered by fastening a small tube in the form of a prolonged speaking-trumpet to the mouthpiece; the vibrations of the air are thus concentrated on the vibrating disk, and act with greater energy. The tenuity of the vibrating disk adds to the efficiency of the instrument, and the tracing point may be fitted directly to this disk.

Fig. 69.

I need not describe particularly the phonograph which acts by clockwork. The instrument resembles the one represented fig. 66, except that it is mounted on a rather high table, to give room for the descent of the weight which moves the clockwork; the mechanism is applied directly to the axis of the cylinder, supplying the place of the winch, and is regulated by a small fly-wheel. The wheel used in an English system has been adopted, but we prefer that of M. Villarceau, which has small wings.

324

Since it is always difficult to fit the tinfoil to the cylinder, Mr. Edison has tried, with good success, to obtain the tracing on a plane surface of tinfoil, by means of the arrangement represented fig. 69. In this new model, the plate on which the tin or copper sheet is to be applied has a spiral grooving, of which one end corresponds to the centre of the plate, and the other to its outer edges. The plate is set in motion by a powerful system of clockwork, of which the velocity is regulated with reference to the length of the turns of the spiral. The vibrating disk is arranged as in the former instrument, and is placed above this plate; the tracing point may, by means of a movement of progression imparted to the system, follow the spiral groove from the centre of the plate to its circumference.

It must not be supposed that all the tinfoil used for phonographic registration is equally good. The foil must be of a definite thickness, and combined with a definite amount of lead. That which is used for wrapping chocolate, and indeed all foil of French manufacture, is too thin and too exclusively made of tin to produce good results, and M. Puskas was obliged to import some from America to continue his experiments. The relative proportion of lead and tin has not yet been defined, and the selection of foil has been made empirically; but as the use of the phonograph becomes more general, this proportion must be ascertained, and325 it may easily be done by analysing the composition of the foil which gives the best results.

Fig. 70.

The arrangement of the tracing point is also of much importance for the successful action of the phonograph. It must be very slender and very short (not exceeding a millimètre in length), so as to register distinctly the smallest vibrations of the vibrating disk without deviating from the normal direction of the cylinder, which might be the case, if it were long, on account of the unequal friction exerted on the tinfoil. It must also be made of a metal which has no tendency to tear the metallic326 sheet. Iron appears to combine most of the conditions demanded.

The phonograph is still in its infancy, and it is probable that it may soon be enabled to register speech without the necessity of speaking into a mouthpiece. According to the newspapers, Mr. Edison has already discovered a way of collecting, without the aid of an acoustic tube, the sounds uttered at a distance of three or four feet from the instrument, and of printing them on a metallic sheet. From this there is only a step to the power of inscribing a speech uttered in a large hall at any distance from the phonograph; and if this step is taken, phonography may be substituted with advantage for shorthand. We add in a note the instructions given by M. Roosevelt to the purchasers of phonographs, so as to enable them to work the instrument.20

327

Considerations on the theory.—Although the explanation we have given will make the effects of the328 phonograph intelligible, it leads to a curious question which has greatly interested physicists—namely, how it is that the tracing made on so yielding a surface as tin can, when retraced by the stylus, of which the rigidity is relatively great, produce a vibratory movement without being completely destroyed. To this we reply that the retracing is effected with such extreme rapidity that the effects of active force which are developed only manifest themselves locally, and that under these conditions the mechanical effects exerted are as energetic in soft as in hard substances. The curious experiment, related in so many books on physics, must be remembered, of a plank pierced when a candle serves as the projectile of a gun. The various accidents caused by the discharge of paper waddings must also be remembered. Under such conditions the motion imparted to the molecules which receive the shock has not time to be transmitted to the whole mass of the substance to which they belong, and these molecules are compelled to separate from it, or at any rate to produce, when the substance is capable of vibration, a centre of vibration which diffuses waves throughout its surface, and produces sounds.

329

Several scientific men, among others Messrs. Preece and Mayer, have carefully studied the form of the tracing left by the voice on the tinfoil of the phonograph, and they observe that it greatly resembles the outline of the singing flames so well shown by Herr Koenig’s instruments. Mr. Mayer wrote on this subject in the ‘Popular Science Monthly Review’ of April 1878.

He said that he had been successful in reproducing a splendid tracing on smoked glass, which gave in profile the outline of the vibrations of sound registered on the tinfoil with their varying curves. For this purpose he fastened to the spring support of the tracing point of the phonograph a slender rod, terminating in a point, which pressed obliquely against the plate of smoked glass, and, since the latter was in a vertical position, a movement imparted to the rod enabled it to produce a sinusoidal tracing. By this arrangement, when the phonograph was at work, two systems of tracings were produced at the same moment, of which one was the profile of the other.

Mr. Mayer had not, at the time he wrote, been long enough in possession of the instrument to make many experiments with it, but from a study of some of its curves it appeared to him that the registered outlines bore a strong resemblance to those of Koenig’s singing flames.

Fig. 71.

Fig. 71 represents the tracing which corresponds to the letter a when pronounced as in bat, in the330 three systems of registration. That corresponding to line A is an enlarged reproduction of the tracing left on the tinfoil; that corresponding to line B represents its profile on the sheet of smoked glass. Finally, line C shows the outline of Koenig’s singing flames, when the same sound is produced quite close to the membrane of the register. It must be quite close, since the form of the tracing produced by a pointer attached to a vibrating membrane, when influenced by composite sounds, depends on the distance intervening between the membrane and the source of sound, and an infinite variety in the form of the tracing may be obtained by modifying the distance. In fact, when this distance is increased, the waves of sound which result from composite sounds react on the membrane at different moments of their emission. For example, if the composite sound is formed of six harmonics, the displacement of the source of vibration from the first harmonic by ¼ the length of a wave will respectively remove the second, third, fourth, fifth,331 and sixth harmonics ½, ¾, 1, 1¼, 1½ the length of a wave, and consequently the outline resulting from the combination of waves will no longer be the same as it was before the displacement of the source of sound, although the perception of the sounds remains the same in both cases. This principle is clearly demonstrated by Koenig’s instrument, by lengthening and shortening an extensible tube, inserted between the resonator and the vibrating membrane, which is placed close to the flame; and this explains the disagreement of physicists as to the composition of vocal sounds which they have analysed by means of the singing flames.

Mr. Mayer adds that these facts further show that we cannot hope to read the impressions and tracings of the phonograph, which not only vary with the nature of the voice, but also with the different moments at which the harmonics of the voice are emitted, and with the relative differences in the intensities of these harmonics.

Notwithstanding this assertion, we reproduce (fig. 72) an extremely curious tracing sent to us by Mr. Blake, which represents the vibrations produced by the words ‘Brown, University: how do you do?’ They were photographed by means of an index fastened to a vibrating disk on which a ray of light was thrown. The word ‘how’ is particularly remarkable for the combined forms of the inflections of the vibrations.

Recent experiments seem to show that the more332 the vibrating membrane of the phonograph resembles the human ear in its construction, the better it repeats and registers the sound vibrations: it should be stretched, as far as possible, in the same way as the tympanum is stretched by the hammer of the ear, and moreover it should have the same form, since the vibrations of air are in this case much more effective.

Fig. 72.

Mr. Edison considers that the size of the opening of the mouthpiece has considerable influence on the distinct articulation of speech. When the sounds are pronounced before the whole surface of333 the diaphragm, some hissing sounds are lost. They are, on the contrary, intensified when these sounds reach the diaphragm through a narrow orifice with sharp rims. If the opening is toothed on its flattened rims, the hissing consonants are delivered more clearly. Speech is reproduced more perfectly when the mouthpiece has a covering of some thickness, so arranged as to deaden the sounds arising from the friction of the tracing point on the tin.

Mr. Hardy has rendered the registration of phonographic tracings more easy by adding a small ebonite tube, resembling the mouthpiece of a wind instrument, to the mouthpiece of the phonograph.


USES OF THE PHONOGRAPH AND ITS FUTURE.

Mr. Edison has lately published in the ‘North American Review’ of May-June 1878 an article on the future of the phonograph, in which he himself discusses the different applications which may be made of this instrument. Without sharing all his anticipations, which appear to us to be very premature, we think that some extracts from his paper may be interesting.

‘In order to furnish a basis on which the reader may take his stand ... a few categorical questions and answers are given upon the essential features of the principle involved.

‘1. Is a vibrating plate or disk capable of receiving a complex motion which shall correctly represent334 the peculiar property of each and all the multifarious vocal and other sound waves?

‘The telephone answers affirmatively.

‘2. Can such complex movement be transmitted from such plate by means of a single embossing point attached thereto, to effect a record upon a plastic material, by indentation, with such fidelity as to give to such indentations the same varied and complex form? And if so, will this embossing point, upon being passed over the record thus made, follow it with such fidelity as to transmit to the disk the same variety of movement, and thus effect a restoration or reproduction of the vocal or other sound waves, without loss of any property essential to producing on the ear the same sensation as if coming direct from the original source?

‘The answer to this may be summed up in a statement of the fact that ... the writer has at various times during the past weeks reproduced these waves with such degree of accuracy in each and every detail as to enable his assistants to read, without the loss of a word, one or more columns of a newspaper article unfamiliar to them, and which were spoken into the apparatus when they were not present. The only perceptible loss was found to be in the quality of the utterance, a non-essential in the practical application of the instrument. Indeed, the articulation of some individuals has been perceptibly improved by passage through the335 phonograph, the original utterance being mutilated by some imperfection of lip and mouth formation, and these mutilations corrected or eliminated by the mechanism of the phonograph.21

‘3. Can a record be removed from the apparatus on which it was made, and replaced upon a second without mutilation or loss of effective power to vibrate the second plate?

‘This is a mere mechanical detail, presenting no greater obstacle than having proper regard for the perfect interchangeableness of the various working parts of the apparatus—not so nice a problem as the manufacture of the American watch.

‘4. What as to the facility of placing and removing the second sheet, and as to its transportation by mail?

‘But ten or fifteen seconds suffice for such placing or removing. A special envelope will probably be required, the weight and form of which, however, will but slightly increase the cost of postage.

‘5. What as to durability?

‘Repeated experiments have proved that the indentations possess wonderful enduring power, even when the reproduction has been effected by the comparatively rigid plate used for their production. It is proposed, however, to use a336 more flexible plate for reproducing, which, with a perfectly smooth stone point—diamond or sapphire—will render the record capable of from fifty to one hundred repetitions, enough for all practical purposes.

‘6. What as to duplication of a record and its permanence?

‘Many experiments have been made, with more or less success, in the effort to obtain electrotypes of a record, and the writer is informed that it has very recently been successfully accomplished. He can certainly see no great practical obstacle in the way. This, of course, permits of an indefinite multiplication of a record, and its preservation for all time.

‘7. What is the requisite force of wave impinging upon the diaphragm, and the proximity of the mouth to the diaphragm, to effect a record?

‘These depend in great measure upon the volume of sound desired in the reproduction. If the reproduction is to be made audible to an assembly, considerable force is requisite in the original utterance; if for the individual ear, only the ordinary conversational tone (even a whisper has been reproduced). In both cases the original utterances are delivered directly in the mouthpiece of the instrument. An audible reproduction may, however, be had by speaking at the instrument from a distance of from two to three feet in loud tone. The application of a flaring tube or funnel to collect the sound waves, and the construction of337 an especially delicate diaphragm and embossing point, &c., are the simple means which suggest themselves to effect this....

‘The foregoing presentment of the stage of development reached by the several essential features of the phonograph demonstrates the following faits accomplis:

‘1. The captivity of all manner of sound waves, hitherto designated as “fugitive,” and their retention.

‘2. Their reproduction with all their original characteristics, without the presence or consent of the original source, and after the lapse of any period of time.

‘3. The transmission of such captive sounds through the ordinary channels of commercial intercourse and trade in a material form, for purposes of communication.

‘4. Indefinite multiplication and preservation of such sounds, without regard to the existence or non-existence of the original source.

‘5. The captivation of sounds, with or without the knowledge or consent of the source of their origin...

‘The apparatus now being perfected in mechanical details will be the standard phonograph, and may be used for all purposes, except such as require special form of matrix, such as toys, clocks, &c., for an indefinite repetition of the same thing. The main utility of the phonograph being, however, for the purposes of letter-writing338 and other forms of dictation, the design is made with a view to its utility for that purpose.

‘The general principles of construction are, a flat plate or disk, with spiral groove on the face, worked by clockwork underneath the plate; the grooves are cut very closely together, so as to give a great total length to each length of surface—a close calculation gives as the capacity of each sheet of foil nearly 40,000 words. The sheets being but ten inches square, the cost is so trifling that but a hundred words might be put on a single sheet economically....

‘The practical application of this form of phonograph is very simple. A sheet of foil is placed in the phonograph, the clockwork set in motion, and the matter dictated into the mouthpiece without other effort than when dictating to a stenographer. It is then removed, placed in suitable form of envelope, and sent through the ordinary channels to the correspondent for whom it is designed. He, placing it upon his phonograph, starts his clockwork, and listens to what his correspondent has to say.’

Since this paper by Mr. Edison appeared in June 1878, he has applied the phonograph to several other purposes, among which we may mention that of registering the force of sounds on railways, and especially on the metropolitan atmospheric railway in New York. The instrument which he has made for this purpose resembles that by Mr. Leo Scott, and bears the same name.339 It is described and represented in the ‘Daily Graphic’ of July 19, 1878, as well as the aerophone, the megaphone, and the microtasimeter, which is adapted for astronomical observations. We should exceed the limits laid down for this volume, if we were to give a more detailed account of these inventions.

M. Lambrigot, one of the officials on the telegraphic lines in France, and the author of various improvements in the Caselli telegraph, has shown me a phonographic system of his own invention in which it is reduced to its simplest form. He sent me the following description of his system.

‘The instrument consists of a wooden slab placed vertically on a stand and firmly fixed upon it. There is a round opening in the middle of the slab, covered by a tightly stretched sheet of parchment bearing a steel knife, which, like the tracing point of the phonograph, is intended to trace the vibrations. A solid block rises from the stand to the middle of the slab, and supports a slide on which a runner can move in front of the slab. There is a strip of glass on this runner, of which one side is covered with stearine. When the runner is moved to and fro, the stearine comes in contact with the knife and takes the mould of its form, which is curved throughout.

‘A sound places the sheet of parchment in vibration, and imparts its movement to the knife,340 which traces various lines on the surface of the stearine.

‘The reproduction thus obtained on the strip of glass is subjected to the ordinary processes of metallisation. By galvanism a deposit of copper is obtained which reproduces the lines in an inverse way. In order to make the metallic plate speak, it is necessary to pass a point of ivory, wood, or horn lightly over the signs, and, by moving it more or less quickly, the different tones can be heard, just as they were spoken.

‘Since copper is relatively harder than lead, the copper plate on which the vibrations are traced will afford an unlimited number of reproductions. To obtain this result, a lead wire must be applied to the plate, and due pressure must be exerted on it. The wire is flattened and takes the impression of all the traces which then appear in relief. If the edge of a card is passed through this impressed tracing, the same sounds are produced as those which are obtained from the copper plate.’

M. Lambrigot suggests that the speaking plates might be useful in many ways: for example, they might make it easy to learn the correct pronunciation of foreign languages, since a sufficient number might be collected to make a sort of vocabulary which would give the accent of the words most in use in a given language.

By this simple process M. Lambrigot has been able to obtain a strong impression, within a copper341 groove, of the vibrations caused by the voice, and they are so distinctly engraved that whole sentences may be heard, if they are retraced by the sharpened point of a match. It is true that the reproduction is imperfect, and that those words are only to be distinguished which were previously known; but it is possible that better results will be obtained from improvements in the system, and at any rate the distinct impression of the vibrations of the voice on a hard metal is a really interesting discovery.

I have made one somewhat important observation in the working of the phonograph—namely, that if speech is registered on the instrument in a very hot room, and it is then carried to a colder room, the reproduction of speech is imperfect in proportion to the difference of temperature. This is probably owing to considerable modifications in the elasticity of the caoutchouc pad which is inserted between the tracing point and the vibrating disk: perhaps differences of expansion in the tinfoil have also some effect.


FABER’S AMERICAN SPEAKING MACHINE.

About two years ago the newspapers announced with some pomp that a speaking machine had reached Paris, which far surpassed Vaucanson’s duck, and which would attract general attention. Unfortunately the invention was not in the first342 instance brought forward with any scientific authority, and was soon relegated to take a place among the curiosities exhibited by conjurors. In a country so essentially critical and sceptical as France, there are always those who profess incredulity, and who will even resist evidence, and it was asserted that the machine only spoke because its exhibitor was an able ventriloquist. This is an old assertion which has lately been made with reference to the phonograph. Some scientific papers echoed the absurdity, and the speaking machine was so discredited that it is now unnoticed, although it is a most ingenious and interesting conception. When will our country be cured of the error of denying everything without due examination?

Since we ourselves only judge of things after having seriously considered them, we think it just to vindicate the truth as to Mr. Faber’s machine, and this can only be done by an exact description of it.

As I said in the last chapter, there is a great difference between the production and the reproduction of a sound, and a machine like the phonograph, adapted for the reproduction of sound, may differ essentially from a machine which really speaks. In fact, the reproduction even of articulate sounds may be very simple, as soon as we possess the means of stereotyping the vibrations of air necessary to transmit these sounds; but in order to produce them, and especially to emit the complex343 vibrations which constitute speech, it is necessary to set in motion a number of special organs, fulfilling more or less exactly the functions of the larynx, the mouth, the tongue, the lips, and even the nose. For this reason, a speaking machine is necessarily very complicated, and this is precisely the case with the machine we are now considering. Such a machine is not now made for the first time, and the Academy has lately been reminded of a speaking head which was in the possession of the philosopher Albertus Magnus in the thirteenth century, and which was destroyed by St. Thomas Aquinas as a diabolical invention.

Mr. Faber’s speaking machine was exhibited two years ago at the Grand Hôtel, and may now be seen in the room adjoining M. Robert Houdin’s theatre, the same room in which Mr. Giffard exhibited the telephone. It consists of three distinct parts: 1st, of a large bellows worked by a pedal, which produces the currents of air necessary for the production of sounds, and to some extent acts as the lungs; 2nd, a vocal instrument, consisting of a larynx accompanied by diaphragms of various forms to modify the sounds, of a mouth with caoutchouc lips and tongue, and of a tube with an outlet somewhat resembling the nasal cavities; 3rd, of a system of jointed levers and of pedals, terminating in keys like those of a piano.

The most interesting part of the machinery, of which we represent the principle fig. 73, is the344 vocal apparatus, which involved the severest study of physics in order to succeed in the production of articulate sounds. It consists, first, of a rather thick caoutchouc tube, within which there is a kind of whistle L, as in a clarionet. The whistle consists of a small caoutchouc cylinder with a longitudinal slit, and before this is placed a very thin ivory plate lined with caoutchouc. This plate is fixed at one end to the cylinder, and deviates slightly from it at its free end, so as to permit the current of air projected from the bellows S to penetrate between the two parts, and to cause the vibrations in the ivory plate necessary for the production of a sound. The extremity of the caoutchouc cylinder is closed on this side, and is fitted to an iron rod t which comes out of the pipe, and is connected with a system of bars, corresponding to the keyboard of a piano, by which the force of sounds can be regulated. This force depends on the width of the opening between the tongue and the cylinder.

Fig. 73.

The whistle, which plays the part of the larynx, is necessarily placed opposite the opening of the bellows, and a sort of tourniquet M is fastened to the opening itself, which is able to move on certain conditions, so that it may produce the rolling sound of r. This is done by fastening before the opening a diaphragm in which there is a somewhat wide and long slit, and this slit can be almost closed by a little bar of the same size M, revolving on a transverse axis which supports it by its345 centre. In its normal condition, this little bar is kept in a slanting position by cords attached to the keyboard, and the air ejected by the bellows readily traverses the slit in order to reach the larynx; but two dampers are fastened to the rods which transmit movement, with which the cords just mentioned are also connected. On lowering the notes of the key-board, the passage of air is contracted, and the little plate begins to oscillate and to press against a band of leather, producing by its vibration an action similar to that produced by the cricket. This little tourniquet only begins to act when the dampers are lowered by a pedal worked346 by the hand; and this is also the case with the iron rod t, which modifies the acuteness of the sounds passing through the larynx.22

Below the larynx tube, which is only five centimètres in length, there is another pipe G, also of caoutchouc, which terminates in a spherical cavity connected with the outer air by a caoutchouc tube I, slightly raised, and closed by a valve, of which the movements are regulated by a pedal worked by the keyboard. When the valve is open, the sounds emitted through the larynx are somewhat nasal.23 The larynx communicates with the mouth through a square funnel-shaped pipe, to which six metallic diaphragms D are fastened; the diaphragms are placed in a vertical position behind each other, and have indentations on their lower end, which are intended to diminish more or less the orifice for the current of air, and to impede its passage with greater or less force. The diaphragms, which we represent separately fig. 74, are connected with the keyboard by jointed iron rods t, and, for the emission of most articulate sounds,347 several of the diaphragms are moved at the same moment and at different heights. We shall return to this subject.

Fig. 74.

The mouth consists of a caoutchouc cavity O, somewhat resembling the human mouth, and forming a continuation to the channel we have just described. The tongue C, likewise modelled on the human tongue, is placed within the mouth, and connected with two jointed rods t, t, fastened to its two opposite ends, so as to enable the tongue to raise its tip, or touch the palate, in obedience to the notes of the keyboard. The lower caoutchouc lip A can also be more or less closed, according to the348 action of the keyboard on its special rod. Finally, a circular metallic piece E, following the shape of the mouth, is placed above the upper lip, with a small opening in it to admit of the pronunciation of the letter f.

The keyboard has fourteen notes, of different lengths, producing the following letters when lowered, a, o, u, i, e, l, r, v, f, s, ch, b, d, g. The longest corresponds to g, and the shortest to a. There are two pedals below the g note and those of b and d, corresponding with the opening of the tube which produces nasal sounds, and to the rod which regulates the opening of the larynx, and this makes it possible to obtain p, t, and k from the notes b, d, g. The mechanical effects produced by lowering the different notes in succession are as follows:—

1. The a note moves the first five diaphragms.

2. o also moves these five diaphragms, but varies the pitch, and closes the mouth a little.

3. u does the same, only further closing the mouth.

4. t moves a single diaphragm, raises the tip of the tongue, and opens the mouth more widely.

5. e moves six diaphragms, throws the tongue further back, and opens the mouth still more.

6. l moves five diaphragms, sends the tongue against the palate, and further opens the mouth.

7. r moves six diaphragms and the tourniquet, lowers the tongue, and somewhat closes the mouth.

349

8. v moves five diaphragms, almost closes the mouth, and keeps the tongue down.

9. f lowers the circular appendix of the upper lip, and almost entirely closes the mouth.

10. s moves three diaphragms, half closes the mouth, and half raises the tongue.

11. ch moves three diaphragms, keeps the mouth half closed, and further lowers the tongue.

12. b moves five diaphragms, closes the mouth, and keeps the tongue completely down.

13. d moves six diaphragms, keeps the mouth three parts closed, and raises the tongue a little.

14. g moves five diaphragms, keeps the mouth three parts closed, and the tongue completely down.

m is produced by lowering note b and opening the valve of the pipe which gives nasal sounds.

n is obtained by lowering note d and opening the same valve.

h is obtained from note s by lowering the pedal which acts upon the larynx, and half closing it.

Since the other letters of the alphabet are compound sounds, they can be produced by combinations of the preceding letters.

Although the words pronounced by this machine are distinct, they are spoken in a uniform, drawling tone, which might, I should have thought, have excluded the idea of imposition. Some of them are indeed far from distinct, yet the results are not less remarkable; and when we consider the amount of study and experience which must have350 been applied to the combination of all these arrangements, it seems surprising that physicists have not given more attention to such an interesting machine.

As for the mechanical execution, it is impossible to admire too highly the simple and ingenious manner in which all the complicated movements of the different vocal organs have been connected with the keyboard, of which the mechanism has been so calculated as only to produce the precise action of the organ which is required for any given effect. For this purpose, the notes of the keyboard regularly increase in length, so as to produce at a single touch different mechanical effects on the rods which act upon the mechanism; and since most of the notes are required to react simultaneously on the whole mechanism, the rods which transmit the movement are fastened to a series of jointed levers which cross the notes of the keyboard at right angles. Pegs of different length are fastened to the notes at this junction, so as to produce the simultaneous action of the different organs of the machine.

The public will believe that the assertions of ventriloquism are unfounded when I add that I myself have made the machine speak.


351

APPENDIX.

The Perrodon System of Telephonic Alarum.—Captain Perrodon, of the French Artillery, has lately improved the system invented by MM. Dutertre and Gouault, by a self-acting call. For this purpose he has fastened a spring contact before the diaphragm, combined with the diaphragm and the electro-magnetic system so as to form a vibrator. The vibrations thus produced are strong enough to resound in an ordinary telephone, so as to make the call audible in spite of external noises.

The system has been arranged in different ways. In one arrangement, a small plate of tinfoil is glued to the outer surface of the diaphragm, and the end of the telephone coil wire is connected, below the inner surface of the mouthpiece, with a silver wire soldered to a spring plate, which constitutes the contact of the vibrator. This spring plate, slightly curved, is fixed below one of the binding-screws of the telephone, and terminates at its free end in a regulating screw by which the interval between the contacts can be regulated, and the instrument can be arranged as a telephonic organ. To do this, the screw can be withdrawn, and inserted in a nut which establishes direct connection between the line and the352 telephone coil. It is easy to adapt an ordinary telephone to this system.

In another arrangement M. Courtot’s mirror telephone has been employed, and a sort of spring pedal is inserted in the wood of the mouthpiece, which terminates in a bent silver wire, supporting an index adapted to make a contact with a square plate soldered to the diaphragm. The battery is placed in connection with the spring of the pedal, and one end of the telephone coil-wire communicates as before with the diaphragm. When a call is to be made, the pedal must be pressed, and the battery immediately communicates with the silver wire which, with the diaphragm, constitutes the vibrator, and an electric vibration is sent through the circuit, and produces the call. For receiving, the pedal is allowed to revert to its normal position, and the index of the pedal, touching the contact in connection with the diaphragm, establishes direct communication between the two telephones, while breaking the contact of the silver wire with the diaphragm, so that the battery cannot act.

It appears that experiments made at the musketry school at Orleans for a distance of 370 miles have been very successful.

M. Varey’s Microphone Speaker.—M. Varey has recently arranged a successful microphonic speaker, in which the principle of the microphone represented in fig. 39 is maintained. The system of three vertical carbons is arranged inside a sort of snuff-box, of which the lid is made of a thin plate of mica, horn, or ebonite. The snuff-box is provided with two hinged arms, so that it may be placed in the most convenient position for speaking, and at the same time the sensitiveness of the instrument can be regulated. A small battery, consisting of two Gaiffe cells of chloride of silver, is placed in the353 pedestal on which the instrument stands, and sets the microphone at work without further trouble. In this way the speaker can be used like an ordinary telephone, and is not affected by vibrations of air. Only vibrations of sound react upon it.

Microphonic Speaker by Fitch.—Mr. Pope states that this speaker has produced excellent results in America. It is merely Edison’s carbon telephone reduced to its simplest form. It consists of a small cylindrical box, which has a mouthpiece like the one represented fig. 28. The box contains two carbon disks of the same diameter as itself, and is lined with a kind of felt. Metal wires, inlaid in a groove scooped on the circumference of the carbons, place them in communication with the circuit and battery, and transmission takes place by means of the vibrations of the upper carbon, which is directly influenced by the voice without the intervention of any diaphragm. These vibrations, which can be freely developed in consequence of the elasticity of the felt pad which supports the lower carbon, produce on the surface of contact of the two carbons the modifications of intensity of current necessary for the reproduction of speech, in the same way as other microphones.

An induction coil is necessarily employed for a long circuit, and the effects of induction in the adjacent wires are modified by two rheostats introduced into the circuit at its two extremities.

Further remarks on the theory of the Telephone.—Following the example of a certain sceptic in the Académie des Sciences, Colonel Navez continues to maintain the theory first formed as to the mode in which the telephone acts, in spite of the clearest proofs of its insufficiency; but most scientific men who consider the question have come round to our opinion, and admit the concurrence354 of several causes in the reproduction of speech by this remarkable instrument. Mr. Fleeming Jenkin writes to this effect in the new edition of a treatise on Electricity and Magnetism.

He observes that a singular fact has been discovered by several persons, who have ascertained that not merely non-magnetic and non-conducting bodies can be substituted for the diaphragms of receiving telephones, but that they will act without a diaphragm at all. In this case it is evident that we have to do with the sounds discovered by Page, and that they are produced by the magnet itself, in which each molecular movement constitutes the source of the sound produced. This sound becomes articulate as soon as its increase and decrease can follow the increasing or decreasing action of the voice which produces it at the sending station. It is certain that when the transmitted currents are due to the action of the Bell diaphragm, the sounds due to the Page effects ought to correspond with those which would be given by iron diaphragms adapted to the receiving instruments; so that, when a telephone has an iron diaphragm, there are in fact two voices, that of the diaphragm, which is strong, and that of the magnet, which is weak. When a disk of wood is substituted for one of iron, it acts as a sounding board for the Page effect, and when the disk is of metal, induction is developed by the magnetic modifications, and tends to produce vibration, thus developing a third source of sound, which may be called the Ampère effect. Finally, a fourth source of sound may result from the induced effects produced in the wire itself in consequence of changes in the intensity of current. These sounds, first observed by M. de la Rive, have since been studied by Mr. Fergusson of Edinburgh (vide ‘Telegraphic Journal’ of November 1, 1878).

355

Mr. Fleeming Jenkin’s opinion only differs from mine in his ascribing the energy of sound acquired by a telephone with an iron diaphragm to the preponderance of sounds in the latter, whereas I consider it to be chiefly due to the increase of energy in the whole magnetic system produced by the reaction of the two magnetic parts on each other. If the two effects could be taken singly, it is probable that the sounds produced by each of them separately would be similar, since in magnetic effects the reaction and action are equal. But as they are combined, it becomes difficult to assign to each the share which belongs to it in the general effect observed. Besides, it is quite possible that the sounds of the diaphragm may appear to be stronger and more distinct because it is nearer to the ear than the magnet, and because the effects of magnetisation and demagnetisation are then more easily produced in consequence of the mass of the magnetic body being smaller.

Mr. Fleeming Jenkin goes on to say that the question of the displacement of surface in the diaphragm and magnet is very complex, but that he thinks it impossible to deny the existence of such displacement, since the air which acts as the vehicle of sound between the ear and the source of sound is placed in vibration; yet this displacement maybe effected quite otherwise than by flexion. Suppose that the magnetic molecules of these bodies are drawn together by magnetisation, which tends to diminish the intermolecular space which separates them, the points of surface of the substance corresponding to these intervals will be elevated in a manner equivalent to a displacement of surface, and the effect of this will be the same as a flexion movement. At the moment of demagnetisation a depression instead of an elevation will take place, and the vibratory movements will thus be produced356 without any electro-magnetic attraction, and it is precisely these vibrations which Mr. Fleeming Jenkin terms molecular vibrations. He evidently does not mean that such attractions cannot take place: they may react, together with the molecular vibrations, when the electric force is capable of producing them. He adds that the reproduction of sounds by a condenser, by simple coils, and by a carbon microphone, has convinced him that the action just analysed requires generalisation.

We have recently seen an article by Mr. Hughes in the ‘Telegraphic Journal,’ Nov. 15, 1878, in which, to our surprise, he not only opposes all the theories he has hitherto held, but cites experiments which are quite inconclusive, since they were performed under conditions in which electro-magnetic effects must necessarily be displayed. He made use of voltaic currents produced by a battery of three Daniell cells. In order to estimate the transverse effects resulting in such a case from attraction, the experiments he mentions are wholly unnecessary: they may be felt with the hand. On the other hand, he has evidently forgotten that the currents employed in a Bell telephone have no influence on a very sensitive galvanometer.

M. Pollard’s Microphone.—This microphone, which has been arranged in several ways, essentially consists of a carbon rod kept in a horizontal position by a wire, and resting on two other vertical carbons. The upright of the arm which holds the wire can revolve together with this arm, and is thus able to regulate the pressure of the horizontal carbon on the two vertical carbons. It appears that this instrument is extremely sensitive, and that the regulation effected on the two contacts is better than when it is effected on one only. It is fair to add that M.357 Voisin previously sent me the sketch of a somewhat similar arrangement.

M. Dutertre has also made use of such an arrangement in what he calls the Dolmen microphone. Three pieces of coke in the form of a dolmen, that is, two uprights, supporting a third and horizontal carbon, are placed in circuit. M. Gouault has informed me that speech was well transmitted by this instrument, and it is, like that of Mr. Blyth, which succeeded it, of wonderful simplicity.

This microphone, as well as one composed of two pieces of lead-pencil placed in a watch-case, and connected by a piece of money, were exhibited to the Industrial Society at Rouen, February 1, 1878, of which an account was published in the Bulletin of that society.

M. Ader’s Electrophone.—M. Ader has recently constructed a remarkable telephonic instrument, which reproduces speech and song in a quite exceptional and simple way. It consists of a drum 15 centimètres in diameter, covered with parchment at one end only. Six small tin armatures, one centimètre in length and two millimètres in width, are fixed in the centre of the parchment in a circle six centimètres in diameter. Six microscopic electro-magnets, whose distance from the armatures can be regulated by a screw, are placed opposite the armatures within a wooden circle. The magnets are horseshoe, with branches 12 millimètres long and 4 millimètres in diameter, including the coils, and the magnetic core is 1½ millimètre thick. They are all in connection, and act simultaneously under the sole influence of the battery current. The sender is the same as that of M. Ader described before. With this instrument speech may be heard at a distance of six or seven358 yards, and songs are much more distinctly heard than in the singing condenser. Owing to the simplicity of the arrangement, the instrument is not costly.

The extraordinary effects of this telephone are due to the small size of the electro-magnets, which, as we believe, produce much more rapid magnetic effects than those of larger size. M. Ader has also made a small ordinary telephone based on this principle, of which the sounds are much stronger than in others.

Modification of Bell Telephone.—Mr. Gower has recently made a new system of telephone without a battery, which not only reproduces speech loudly enough to be heard at the distance of eight or nine yards from the instrument, but will also transmit it when the speaker is at a moderate distance from the sending instrument. In this latter case, indeed, the receiving telephone must be brought close to the ear. Although this double problem had already been solved by the use of telephones with microphonic senders, the results furnished by the instruments in question are still more curious, since they are obtained without batteries, and are even more distinct.

In this new system, which is only an improvement on Bell’s square model, the horseshoe magnet is of a peculiar form, which renders it more powerful. It is formed of a kind of half-circle of magnetised steel, with its two ends turned back, so as to form a diameter of the circle, only this diameter is divided in the centre: so that the two poles of the magnet are placed one before the other, as in Faraday’s electro-magnet. The poles are tipped with iron, terminating in front in two thin iron plates, on which are placed the electro-magnetic coils, which are oblong, and constitute the magnetic core. The diaphragm, thicker than the ordinary diaphragms, is of tin, and is fixed firmly to the edges of the circular box359 which encloses the whole, and which forms a kind of sounding-box. The box is made of copper, and the diaphragm is so firmly fastened to it as to become homogeneous with it, and to give out a sound when the box is touched, which is not the case in ordinary telephones. This is one of the conditions which make the instrument a better conductor of sound. The magnet is also much more powerful. It is magnetised by a current from a powerful Gramme machine, which acts upon it for almost twenty minutes. The instrument has, strictly speaking, no mouthpiece: the lid of the box which supports the diaphragm, and is separated from it by a space of two millimètres, has merely a hole bored in it above the centre of the diaphragm, and into this hole either a tin trumpet, 50 centimètres in length, is screwed, when the instrument is required to reproduce or transmit speech to a distance, or an acoustic tube when it is to be used like an ordinary telephone. The remarkable part of the system is that the instrument can itself give a very loud call by only breathing into it instead of speaking.

For this purpose a small oblong opening is made in the diaphragm at a half diameter from its centre, and behind this the reed of an harmonium is applied to a square copper plate fixed on the diaphragm itself. On using the bellows the expelled air passes through this little hole, and, on reaching the reed, sets it in vibration, and produces a sound of which the acuteness depends on the conditions of the vibrating plate. This addition to the diaphragm in no way alters its properties in the reproduction of speech, so that, after using the bellows, conversation may begin, and the receiving telephone repeats what is said after emitting a sound somewhat resembling the note of a bugle. The instrument360 is then provided with the speaking tube of which we have spoken.

Nothing can be more remarkable than this power of listening to conversation while seated in an armchair six or seven yards from the instrument, nor is it necessary to move in order to reply. The correspondent, indeed, must be close to the acoustic tube in order to speak and listen, and he must speak rather loud in order to be heard at any distance from the other station. But the listener receives the sounds so amplified that it might be supposed that a giant was speaking, and conversation held in a low tone may even be distinguished. These results are really extraordinary, and even to those familiar with such effects this incessant progress is surprising.

These results may be ascribed to the following causes:—

1. First, that the conditions of the magnet are better than those of ordinary instruments.

2. That the diaphragm is also thicker, larger, and better stretched.

3. That the box is of metal, and calculated to act as a sounding-box.

4. The speaking trumpet magnifies the sounds.

5. The acoustic tubes concentrate the sound waves on the centre of the diaphragm.

Note on some fresh Experiments with Telephones without any Diaphragm.

In a paper published March 4, 1878, I made some suggestions on the theory of the sounds produced in the telephone, and on the contradictory assertions of physicists as to the transmission of speech by ordinary361 telephones when devoid of diaphragm. These remarks induced M. Ader to undertake some experiments which not only demonstrate the truth of my opinion, but bring to light some fresh facts which may be of great importance to acoustic science.

M. Ader has in fact not only succeeded in making a telephone without a diaphragm speak, but he has made it speak more loudly and with less alteration of the voice than we find to be the case with a small model of the ordinary telephone. No one, therefore, can now maintain that the sounds produced by the magnetic cores are so faint that they cannot be taken into account among the effects produced, and that it is at any rate impossible for them to reproduce articulate sounds.

To obtain this result, M. Ader reduced the size of the magnetic core to that of a simple iron wire, one millimètre in diameter, and he fastened it by one of its ends to a small wooden board. Under these conditions, it was enough to fasten a small helix of fine wire on this iron wire, and to apply the board to the ear in order to hear speech distinctly, with the aid of a microphonic speaker actuated by a voltaic current. But the range of sound was considerably increased if a mass of metal was applied to the free end of the iron wire: in this case it was possible to hear when the wooden board was removed to a distance of ten or fifteen centimètres from the ear.

If the wire is in contact with masses of metal at each end, the effect is further increased; but the two masses must not be in metallic communication with each other, and must be to some extent insulated by a more or less elastic medium. If the metallic masses are soldered to the wire, the effects are still greater.

M. Ader was also able to reproduce speech by using362 a simple coil without a magnetic core, but in this case the spirals must be open, and not pressed together. If they are steeped in gum, no sound is heard, but speech will become instantly audible if a wire or a magnetised needle is inserted in the coil, or even if a second metallic helix is placed in the circuit: always provided that one of the ends of these magnetic organs rests upon, or is fastened to, the board on which the coil is fixed.

M. Ader has likewise obtained a very distinct reproduction of speech at a distance of two or three yards from the instrument by inserting between the two stretched membranes of two tambourines a bent wire which acts as a spring and passes through an electro-magnetic coil. Under these conditions, magnetisation of the wire in a greater or less degree affects its elasticity and causes vibrations which are magnified by the membranes, and transmitted sounds are reproduced with intensity. Unfortunately articulate speech is less distinct with this system than with the one I described before.

M. Ader has often had occasion to make one curious remark, namely, that the timbre of the voice and its high or low key varies with the degree of tension given to the wire; but if the fundamental note of the wire is deadened by pressing it between the fingers, the sounds reproduced then become dull and monotonous. They are also somewhat fainter.

Signor Carlo Resio has also observed that in a telephone sender the variations of intensity in the current correspond with the vibrations caused by speech, and these are reproduced by corresponding variations in a liquid column, which may thus act as a telephone receiver, and consequently may reproduce speech without any electro-magnetic organ, as in a microphone speaker. Under these conditions, however, a layer of363 water is inserted between the platinum electrodes and the surrounding air, and consequently this liquid layer must be put in vibration under the influence of varying intensities of current.

Mr. Edison has also now made a practical application of the chemical telephone we have mentioned before. The trials made with it have been very satisfactory, showing that sounds transmitted in this way can be heard in a large room.

PRINTED BY
SPOTTISWOODE AND CO., NEW-STREET SQUARE
LONDON

FOOTNOTES

1 Mr. Gray, in an article inserted in the Telegrapher of October 7, 1876, enters into full details of this mode of transmitting sounds by the tissues of the human body, and he gives the following as the conditions in which it must be placed to obtain a favourable result: 1. The electricity must be of a high tension, in order to have an effect perceptible to the ear.

2. The substance employed to touch the metallic plate must be soft, flexible, and a good conductor, up to the point of contact: it must then interpose a slight resistance, neither too great nor too small.

3. The disk and the hand, or any other tissue, must not only be in contact, but the contact must result from rubbing or gliding over the surface.

4. The parts in contact must be dry, so as to maintain the required degree of resistance.

2 He cites the following names in his account of electric telephony:—Page, Marrian, Beatson, Gassiot, De la Rive, Matteucci, Guillemin, Wertheim, Wartmann, Janniar, Joule, Laborde, Legat, Reiss, Poggendorf, Du Moncel, Delezenne, Gore, &c. Vide Mr. Bell’s paper, in the Journal of the Society of Telegraphic Engineers in London, vol. vi. pp. 390, 391.

3 This statement is disputed by Mr. Elisha Gray, owing, as we shall see, to a misunderstanding as to the word undulatory current.

4 Elisha Gray. Eng. Pat. Spec. No. 2646, Aug. 1874.

5 This property has long been known, but not applied. In 1856, in the second edition of my Exposé des applications d’Electricité, I pointed them out in speaking of the contact-breakers. I also spoke of them in a paper on electro-magnets (published in the Annales télégraphiques, 1865), and in several articles laid before the Académie des Sciences in 1872 and 1875 on the conductivity of filings and conducting powders. M. Clérac, in 1865, also used them to obtain variable resistances.

6 In 1865 I was able to verify this observation when tightening the spirals of an electro-magnet on a naked wire. The greater the number of spirals under pressure, the more definite were the differences of resistance in the magnetising helix.

7 M. Hellesen communicated the plan of his instrument to me on May 3, 1878, and his experiments were made in Copenhagen three weeks earlier.

8 M. M. J. Page had already noticed that if a telephone is placed in the circuit of the primary helix of an induction coil, while the secondary helix of this instrument is placed in the circuit of one of M. Lippmann’s capillary electrometers, a movement of the mercurial column of the electrometer takes place at each word, and this movement is effected towards the capillary end of the tube, in whatever direction the current is sent by the telephone. This is because the mercury always tends to move more rapidly at its capillary end than at the other extremity.

9 Mr. Edison, in a letter written November 25, 1877, writes that he has made two telephones which act with copper diaphragms, based on Arago’s effects of magnetism by rotation. He ascertained that a copper diaphragm might replace the iron plate, if its thickness did not exceed 1/32 of an inch. The effect produced is slight when the copper diaphragm is placed between two corresponding instruments; but when the sender only is furnished with the copper diaphragm, and the receiver is arranged as usual, communication becomes easy.

Mr. Preece repeated these experiments, but he only obtained very slight and indistinct effects: he consequently believes that they are of no practical use, although very interesting in theory.

10 Mr. Bell had previously made a like experiment, which suggested to him that molecular vibrations had as much to do with the action of the telephone as mechanical vibrations.

11 M. Bosscha, who has published in the Archives néerlandaises an interesting paper on the intensity of electric currents in the telephone, says that the minimum intensity of currents necessary to produce a sound in a telephone by the vibration of its diaphragm may be less than 100/1000 of a Daniell element, and the displacement of the centre of the diaphragm would then be invisible. He was unable to measure exactly the range of movements produced in the diaphragm by the influence of the voice, but he believes it to be less than the thousandth part of a millimètre; and from this it follows that, for a sound of 880 vibrations, the intensity of the induced currents developed would be 0·0000792 of the unit of electro-magnetic intensity.

12 Mr. Warwick describes his experiments as follows: ‘The magnets employed were nearly of the usual size, 1½ inch in diameter, and nearly eight times as long. At first I employed iron disks, but I found them to be unnecessary. When I had discarded them, I tried several substances: first a thin disk of iron, which answered perfectly both for sender and receiver. A disk of sheet iron, about ⅒ of an inch in thickness, did not act so well, but all that was said was quite understood. In making experiments with the disks, I simply placed them above the instrument, without fixing them in any way: the wooden cover and the conical cavity were also laid aside, because the transmission and reception could be effected as well without them. This part of the instrument seems to be superfluous, since, when the disk is simply placed level to the ear, the sound seems to be increased by being brought nearer. Although iron acts better than anything, it appears that iron disks are not absolutely necessary, and that diamagnetic substances also act perfectly. I wished that my assistant, who was at some distance, and could not hear any direct sound, should continue his calculations. I took away the iron disk and placed across the instrument a wide iron bar, an inch thick. On applying my ear to it, I could hear every sound distinctly, but somewhat more faintly. A piece of copper, three inches square, was substituted for it: although the sound was still distinct, it was fainter than before. Thick pieces of lead, zinc, and steel were alternately tried. The steel acted in almost the same way as the iron, and, as in the other cases, each word was heard faintly but distinctly. Some of these metals are diamagnetic, and yet the action took place. Some non-metallic substances were next tried; first a piece of window-glass, which acted very well. The action was faint with a piece of a wooden match-box; but on using pieces of gradually increasing thickness the sound was sensibly increased, and with a piece of solid wood, 1½ inch in thickness, the sound was perfectly distinct. I next replaced it by an empty wooden box, which acted very well. A piece of cork, ½ inch thick, acted, but somewhat faintly. A block of razor-stone, 2 inches thick, was placed upon the instrument; and, on applying the ear to it, it was quite easy to follow the speaker. I then tried to hear without the insertion of any substance, and, on applying my ear quite close to the coil and magnet, I heard a faint sound, and on listening attentively I understood all that was said. In all these experiments the sounds were perceived, but the sounds transmitted or attempted did not act precisely alike. The sound of a tuning-fork, placed on the iron disk itself or on the case of the instrument, was clearly heard: thin iron disks were more effective for articulate speech. With other substances, stone, solid wood, glass, zinc, &c., the sound of the tuning-fork was heard, whether it rested upon them, or the vibrating fork was held above them. These substances were not adapted for transmitting the sound of the voice. These were all laid aside, and the sounding instrument was held directly above the pole of the magnet: the sound was clearly heard, although there was nothing but air between the end of the magnet and the tuning-fork. The sound was perhaps less intense when the tuning-fork was held directly above the pole, than when it was at the end of the magnet. I next tried if my voice could be heard with this arrangement. The result was rather doubtful, but I think that some action must have taken place, for the tuning-fork was heard when it was simply vibrated near the pole. The effect of the voice can only have differed in the degree of intensity: it was too faint to be heard at the other extremity. I repeated these effects; I assured myself of them, and I succeeded in transmitting sounds distinctly on the pole without a disk, and, on the other hand, by applying my ear to the instrument, I was able to hear distinctly all that was said, although there was no disk.’

13 These are his own words: ‘The articulation produced from the instrument was remarkably clear, but its great defect consisted in the fact that it could not be used as a sending instrument, and thus two telephones were required at each station, one for transmitting and one for receiving spoken messages.’

14 These carbons are made by heating, in a temperature gradually raised to white heat, fragments of deal of a close fibre, which is enclosed in an iron tube or box hermetically sealed.

15 Mr. Willoughby Smith varied this experiment by placing a packet of silk threads coated with copper on the disconnected ends of the circuit, which were arranged at right angles with each other. Under these conditions the instrument became so sensitive, that the current of air produced by a lamp placed above the system, caused a decided crackling noise in the telephone.

16 Mr. Hughes observes on this subject that carbon is a valuable material for such purposes, since it does not oxidise, and its effects are greater when combined with mercury. He takes the prepared charcoal used by artists, brings it to a white heat, and suddenly plunges it in a bath of mercury, of which the globules instantly penetrate the pores of charcoal, and may be said to metallise it. He also tried charcoal coated with a deposit of platinum, or impregnated with chloride of platinum, but this was not more successful than the former method. If the charcoal of fir-wood is brought to a white heat in an iron tube, containing tin and zinc, or any other metal which readily evaporates, it is metallised, and is adapted for use if the metal is subdivided in the pores of charcoal and not combined with it. When iron is introduced into carbon in this way it is one of the most effective metals. The charcoal of fir-wood, in itself a bad conductor, may thus acquire great conducting power.

17 Mr. Hughes remarks that the vibrations which affect the microphone, even in speaking at a distance from the instrument, do not proceed from the direct action of the sound waves on the contacts of the microphone, but from the molecular vibrations produced by it on the board which serves to support the instrument; he shows, in fact, that the intensity of sounds produced by the microphone is in proportion to the size of the surface of this board, and when the sending microphone is enclosed in a cylindrical case, its sensitiveness is not much diminished if the surface of the box enclosing the whole is sufficiently large. From this point of view he has sought to increase the sensitiveness of his instruments by fixing the frame on which the moveable parts of the sender and receiver revolve on a spring plate.

18 Helmholtz’s resonator is based upon the principle that a volume of air contained in an open vase emits a certain note when placed in vibration, and that the height of the note depends on the size of the vase and of its opening. Helmholtz makes use of a globe with a large opening on one side and a small one on the other, and the small one is applied to the ear. If a series of musical notes take place in the air, the one which is in harmony with the fundamental note of the globe is intensified, and can be distinguished from the rest. The same effect takes place when, on singing to a piano accompaniment, some strings are heard to vibrate more strongly than others, namely, those which vibrate in unison with the sounds emitted. The resonators are made in various ways; those most generally used are cases of different lengths which also serve as sounding-boxes.

19 I give the text of M. Cros’ sealed paper, opened by his request, at the Académie des Sciences, December 3, 1877:—‘Speaking generally, my process consists in obtaining traces of the movement to and fro of a vibrating membrane, and in using this tracing to reproduce the same movements, with their intrinsic relations of duration and intensity, either on the same membrane or on one adapted to give out the sounds which result from this series of movements.

‘It is therefore necessary that an extremely delicate tracing, such as may be obtained by passing a needle over a surface blackened by fire, should be transformed into a tracing, capable of sufficient resistance to guide an index which will transmit its movements to the membrane of sound.

‘A light index is fastened to the centre of a vibrating membrane; it terminates in a point (a metallic wire or tip of a feather) which rests on a surface which has been blackened by fire. This surface forms part of a disk, to which the double action of rotation and rectilinear progression has been given. If the membrane is at rest, the point will trace a simple spiral; if the membrane vibrates, there will be undulations in the spiral, and these undulations will represent the precise movements of the membrane in their duration and intensity.

‘By a well-known photographic process a transparent tracing of the undulations of the spiral can be represented by a line of similar dimensions on some resisting substance, tempered steel for example.

‘When this is done, this resisting surface is placed in a turning machine which causes it to revolve and advance with a velocity and motion similar to those by which the registering surface was actuated. A metallic point if the tracing is concave, or a grooved index if it is in relief, is kept upon the tracing by a spring, and the index which supports this point is connected with the centre of the membrane which produces the sounds. Under these conditions, the membrane will be actuated not by the vibrating air, but by the tracing which guides the index, and the impulses will be precisely similar in duration and intensity to those to which the registering membrane was subjected.

‘The spiral tracing represents equal successions of time by increasing or decreasing lengths. There is no inconvenience in this, since the turns of the spiral are very close together, if only the circumference of the turning circle is used; but then the central surface is lost.

‘In all cases the tracing of the helix on a cylinder is much more satisfactory, and I am now trying to make this idea practicable.’

20 Never make a contact between the stylus and the cylinder until the latter is covered with the tinfoil. Do not begin to turn the cylinder until assured that everything is in its place. Take care, when the stylus returns to the point of departure, to bring the mouthpiece forward. Always leave a margin of from five to ten millimètres on the left and at the beginning of the sheet of tinfoil; for if the stylus describes the curve on the extreme edge of the cylinder, it may tear the sheet or come out of the groove. Be careful not to detach the spring of the caoutchouc pad.

To fix the tinfoil, apply varnish to the end with a paint-brush; take this end between the finger and thumb of the left hand, with the sticky part towards the cylinder; raise it with the right hand and apply it quite smoothly to the cylinder; bring round the sticky end, and join them firmly.

To adjust the stylus and place it in the centre of the groove, bring the cylinder to the right, so as to place the stylus opposite the left extremity of the tinfoil; bring forward the cylinder gently and by degrees, until the stylus touches the tinfoil with force enough to imprint a mark. Observe if this mark is quite in the centre of the groove (in order to do this, make a mark with the nail across the cylinder), and if it is not, adjust the stylus to the right or left by means of the little screw placed above the mouthpiece. The depth of the impression made by the stylus should be ⅓ millimètre, just enough for it to leave a slight tracing, whatever the range of vibrations may be.

To reproduce the words, the winch must be turned with the same velocity as when they were inscribed. The average velocity should be about eighty turns a minute.

In speaking, the lips must touch the mouthpiece, and deep guttural sounds are better heard than those which are shrill. In reproducing, the tightening screw must be loosened and brought in front of the mouthpiece, the cylinder must be brought back to its point of departure, the contact between the stylus and the foil must be renewed, and the cylinder must again be turned in the same direction as when the sentence was spoken.

To increase the volume of reproduced sound, a tube of cardboard, wood, or horn may be applied to the mouthpiece; it must be of a conical form, and its lower end should be rather larger than the opening of the mouthpiece.

The stylus consists of a No. 9 needle, somewhat flattened on its two sides by friction on an oiled stone. The caoutchouc pad which connects the plate with the disk serves to weaken the vibrations of the plate. If this pad should come off, heat the head of a small nail, apply it to the wax which fastens the pad to the plate or to the spring, so as to soften it; then press the caoutchouc lightly, until it adheres to the place from which it was detached. The pads must be renewed from time to time, as they lose their elasticity. Care must be taken in replacing them not to injure the vibrating plate, either by too strong a pressure or by grazing it with the instrument employed to fix the pad.

The first experiments should be with single words or very short sentences, which can be extended as the ear becomes accustomed to the instrument’s peculiar tone.

The tone is varied by accelerating or slackening the rotatory movement of the cylinder. The cries of animals may be imitated. Instrumental music may be reproduced by placing a cardboard tube before the mouthpiece. The airs should be played in rapid time, since, when there is no system of clockwork, they will be more perfectly reproduced than those which are played slowly.

21 We confess that we find it difficult to believe in this property of the phonograph, from which we have only heard the harsh and unpleasant voice of Punch.

22 The action of this pedal is effected by two little rockers, so connected that the upper damper is lowered a little before the lower damper is raised—a condition necessary to produce the quivering motion of the plate which furnishes the rolling r.

23 The arrangement of this part of the instrument is remarkable in this particular, that in the case of certain letters the air is ejected with more or less force through the pipe I, while in the case of other letters the air is drawn into the same tube. Since I was unable to see the internal arrangement of these cavities, I can only give an imperfect account of the mechanism at work.

Transcriber’s Notes

Punctuation, hyphenation, and spelling were made consistent when a predominant preference was found in the original book; otherwise they were not changed.

Simple typographical errors were corrected; unbalanced quotation marks were remedied when the change was obvious, and otherwise left unbalanced.

Illustrations in this eBook have been positioned between paragraphs and outside quotations.

Footnotes, originally at the bottoms of the pages that referenced them, have been collected, sequentially renumbered, and placed near the end of the book.

The Table of Contents is not well-coordinated with the actual text. The Transcriber has not added missing entries, but has attempted to correct page number discrepancies.

Several diagrams use labels with prime marks, but the accompanying explanations do not always include the prime marks.