The Project Gutenberg eBook of How to build a house

This eBook is for the use of anyone anywhere in the United States and most other parts of the world at no cost and with almost no restrictions whatsoever. You may copy it, give it away or re-use it under the terms of the Project Gutenberg License included with this eBook or online at www.gutenberg.org. If you are not located in the United States, you will have to check the laws of the country where you are located before using this eBook.

Title: How to build a house

an architectural novelette

Author: Eugène-Emmanuel Viollet-le-Duc

Translator: Benjamin Bucknall


Release date: September 17, 2023 [eBook #71669]

Language: English

Original publication: London: Sampson Low, Marston, Low, and Searle, 1874

Other information and formats: www.gutenberg.org/ebooks/71669

Credits: Bob Taylor, deaurider and the Online Distributed Proofreading Team at https://www.pgdp.net (This file was produced from images generously made available by The Internet Archive)

*** START OF THE PROJECT GUTENBERG EBOOK HOW TO BUILD A HOUSE ***

HOW TO BUILD A HOUSE.


THE OLD CHÂTEAU.


HOW TO BUILD A HOUSE:

AN ARCHITECTURAL NOVELETTE.

BY
E. VIOLLET-LE-DUC.

TRANSLATED BY BENJAMIN BUCKNALL,
ARCHITECT


Two men talking



LONDON:
SAMPSON LOW, MARSTON, LOW, AND SEARLE,
CROWN BUILDINGS, 188, FLEET STREET.
1874.

[All Rights Reserved.]


LONDON
R. CLAY, SONS, AND TAYLOR, PRINTERS,
BREAD STREET HILL.


[Pg vii]

TRANSLATOR’S NOTE.

Among the voluminous and invaluable published works of M. Viollet-le-Duc, none perhaps will have greater interest for the amateur or for the practical architect than the “Histoire d’une Maison.” Of all the architectural problems of the day there is not one of greater importance or difficulty than that of building a house which shall fulfil the various needs and conditions of a modern dwelling; and the author has brought the results of a long course of study, observation, and experience, to bear upon this problem in a most practically instructive and fascinating shape. A lively narrative introduces the reader to the minute and thorough discussion of every stage of the processes involved, so that his attention is agreeably relieved; and each step is illustrated by plates and diagrams, which render the details intelligible even to the least informed student.

As the scene of this architectural novelette is laid in France, there is much both in the general remarks and in the arrangements of the building described which only applies to the social conditions and requirements of the French. But the value of the principles laid down and[Pg viii] the practical instruction conveyed is not thereby materially lessened, since every page of the book exhibits important truths or excellent methods, which are of general application. By following out those principles it would be easy to obtain the same admirable adaptation of arrangement, soundness of construction, and charm of design for an English house, which the author has so ably laid down and fully illustrated in reference to its French counterpart.

It may be interesting to the reader to know that the “Histoire d’une Maison” was written and illustrated by M. Viollet-le-Duc during the evenings of two months—July and August—of last year (1873), which were spent by him in the Alps for the purpose of surveying and mapping for the French Government the whole of the French Alps—a task accomplished by him, alone and unassisted, with minute accuracy and beauty of delineation, and in a marvellously brief time.

Benjamin Bucknall,
Architect.

Oystermouth, Swansea,
April 1st, 1874.


[Pg ix]

CONTENTS.

CHAPTER I.
PAGE
PAUL GETS AN IDEA 1

CHAPTER II.
WITH A LITTLE HELP, PAUL’S IDEA IS DEVELOPED 13

CHAPTER III.
THE TREE OF KNOWLEDGE 26

CHAPTER IV.
PAUL’S IDEAS RESPECTING ART, AND HOW THEY WERE MODIFIED 31

CHAPTER V.
PAUL PURSUES A COURSE OF STUDY IN PRACTICAL ARCHITECTURE 40

CHAPTER VI.
HOW PAUL IS LED TO RECOGNIZE CERTAIN DISTINCTIONS BETWEEN ETHICS AND ARCHITECTURE 60

CHAPTER VII.
SETTING OUT THE FOUNDATIONS OF THE HOUSE, AND OPERATIONS ON THE GROUND 71[Pg x]

CHAPTER VIII.
PAUL REFLECTS 81

CHAPTER IX.
PAUL, CLERK OF THE WORKS 88

CHAPTER X.
PAUL BEGINS TO UNDERSTAND 96

CHAPTER XI.
THE BUILDING IN ELEVATION 106

CHAPTER XII.
OBSERVATIONS ADDRESSED TO EUGÈNE BY PAUL, AND THE REPLIES MADE TO THEM 115

CHAPTER XIII.
THE VISIT TO THE BUILDING 121

CHAPTER XIV.
PAUL FEELS THE NECESSITY OF IMPROVING HIMSELF IN THE ART OF DRAWING 126

CHAPTER XV.
CONSIDERATION OF THE STAIRCASES 133

CHAPTER XVI.
THE CRITIC 137[Pg xi]

CHAPTER XVII.
PAUL INQUIRES WHAT ARCHITECTURE IS 146

CHAPTER XVIII.
THEORETICAL STUDIES 156

CHAPTER XIX.
THEORETICAL STUDIES (continued) 172

CHAPTER XX.
STUDIES INTERRUPTED 183

CHAPTER XXI.
BUILDING RECOMMENCED—THE TIMBER WORK 189

CHAPTER XXII.
THE CHIMNEYS 204

CHAPTER XXIII.
THE CANTINE 211

CHAPTER XXIV.
THE JOINER’S WORK 214

CHAPTER XXV.
WHAT PAUL LEARNT AT CHATEAUROUX 222[Pg xii]

CHAPTER XXVI.
THE SLATING AND PLUMBING 230

CHAPTER XXVII.
ORDER IN FINISHING THE WORK 241

CHAPTER XXVIII.
THE HOUSE-WARMING 247

[Pg xiii]

LIST OF ILLUSTRATIONS.

FIG PAGE
THE OLD CHÂTEAU Frontispiece.
THE OLD CELLAR Vignette.
1. PLAN OF THE GROUND FLOOR 22
2. PLAN OF THE FIRST FLOOR 24
3. ROOF PLAN 33
4. PLAN OF THE SECOND FLOOR 36
5. THE ENTRANCE FRONT 37
6. EXAMPLE OF A BUILDING SITE 46
7. DITTO 47
8. DITTO 49
9. SECTION OF CELLAR VAULT 53
10. THE OLD CELLAR 54
11. THE OLD CELLAR STAIRS 56
12. THE BULGED WALLS 58
13. CONSTRUCTION OF A ROOF PRINCIPAL 62
14. CAMBERED TIMBER 67
15. THE OLD ROOF 68
16. COUPLED TIMBERS 69
17. DITTO 69
18. TIMBER CLIPS 70
19. SETTING OUT THE BUILDING 73[Pg xiv]
20. USE OF THE THEODOLITE 79
21. THE CELLAR PLAN 89
22. DEPOSIT OF EXCAVATED SOIL 92
23. FOUNDATION STONES 94
24. SECTION OF SEWER 95
25. CENTERING OF CELLAR VAULT 97
26. SECTION OF CELLAR AIR-HOLES 99
27. RESPECTIVE VIEW OF DITTO 100
28. SPRING OF THE CELLAR VAULTING 101
29. THE GARDEN FRONT 103
30. THE QUOIN STONES 107
31. THE WINDOW CASING 108
32. THE CEILINGS 110
33. METHOD OF TRIMMING THE FLOORS 112
34. PERSPECTIVE OF DITTO 112
35. VIEW OF THE BUILDING OPERATIONS 120
36. HOLLOW BEDDED STONES 123
37. DRAWING MODELS 128
38. DITTO 129
39. PLANS AND SECTION OF THE PRINCIPAL STAIRS 132
40. THE STAIRCASE STRING 135
41. STEP OF WINDING STAIRS 136
42. SECTION OF THE SIDE WALLS, WITH DETAILS 163
43. AN ORIEL WINDOW 166
44. BAY WINDOW OF BILLIARD-ROOM 170
45. DETAIL OF CORNICE, STRING COURSE, ETC. 176
46. TRANSVERSE SECTION OF THE HOUSE 191
47. PLAN OF THE ROOF SUPPORTS 192[Pg xv]
48. SECTION OF THE ROOF 194
49. THE STAIRCASE ROOF 196
50. FLAWS IN TIMBER 198
51. COUPLED BEAMS 199
52. SECTION OF THE FLOOR JOISTS 201
53. DITTO 201
54. SECTION OF THE FLOOR BEAMS 201
55. THE DORMER WINDOWS 203
56. THE DOORS 216
57. DETAILS OF DITTO 217
58. THE CASEMENTS 218
59. DETAILS OF DITTO 219
60. THE METHOD OF SLATING 233
61. DETAILS OF THE PLUMBER’S WORK 235
62. THE NEW HOUSE 258

[Pg 1]

HOW TO BUILD A HOUSE.

CHAPTER I.
PAUL GETS AN IDEA.

Who is happier than the young student from the Lyceum when he comes home for the summer vacation, bringing with him proofs of a well-spent year? Everything smiles upon him. The sky is serene, the country wears its loveliest dress, and the fruit is ripe.

Everyone congratulates him on his success, and predicts for him, after his six weeks’ repose, an energetic recommencement of congenial labour, crowned by a brilliant career in the future.

Yes, our student is a happy fellow; the air seems preternaturally light, the sun shines more brightly, and the meadows wear a richer green. Even the unwelcome rain is laden with perfume.

As soon as the morning breaks he hastens to revisit his favourite haunts in the park—the stream, the lake, and the farm—to see the horses, the boat, and the plantations.

He chats with the farmer’s wife, who smilingly presents him with a nice galette, hot from the oven. He walks with the gamekeeper, who tells him all the news of the neighbourhood[Pg 2] while going his rounds. The sound of the sheep bells is musical—nay, even the monotonous song of the shepherd-boy, now grown a tall fellow, and aspiring to the full dignity of shepherd.

It is indeed a happy time. But in a few days the shade of the noble trees, the lovely scenery, the long walks, the gamekeeper’s stories, and even the boating, become wearisome, unless some congenial occupation presents itself to occupy the mind. It is the privilege of old age alone to delight in memories, and always to find fresh pleasure in the contemplation of woods and fields.

The stores of memory are soon exhausted by youth; and quiet meditation is not to its taste.

Monsieur Paul—a lively youth of sixteen—did not, perhaps, indulge in these reflections in the abstract; but as a matter of fact, after a week passed at the residence of his father, who cultivated his considerable estate in the province of Berry, he had almost exhausted the stock of impressions which the return to the paternal domain had excited. During the long scholastic year how many projects had he not formed for the next vacation! Six weeks seemed too short a time for their accomplishment. How many things had he to see again; how much to say and do. Yet in eight days all had been seen, said, and done.

Besides, his eldest sister, who had been lately married, had set out on a long journey with her husband; and as to Lucy, the youngest, she seemed too much occupied with her doll and its wardrobe to take an interest in the thinkings and doings of her respected brother.

It had rained all day; and the farm, visited by M. Paul for the fifth time, had presented a sombre and mournful aspect. The fowls crouching under the walls had a pensive look; and even the ducks were dabbling in the mud in melancholy silence. The gamekeeper had indeed taken[Pg 3] M. Paul with him on a hare-hunting expedition, but they had returned without success, and pretty well soaked. To his disappointment, M. Paul had found the keeper’s stories rather long and diffuse—not the less so as they were being repeated for the third time with few variations. Moreover, the veterinary surgeon had announced that morning, to M. Paul’s vexation, that his pony had caught a cold and must not quit the stable for a week. The paper had been read after dinner, but M. Paul was little attracted by its politics, and the miscellaneous intelligence was deplorably uninteresting.

Monsieur de Gandelau (Paul’s father) was too much taken up with agricultural matters, and perhaps also with the treatment of his gout, to seek to relieve the ennui of which his son was the victim; and Madame de Gandelau, still suffering from the depression caused by her eldest daughter’s departure, was working with a kind of desperation at a piece of tapestry, whose destination was a mystery to all about her, and perhaps even to the person who was so laboriously adding stitch to stitch.

“You have had a letter from Marie?” said M. de Gandelau, putting down the newspaper.

“Yes, my dear, this evening. They are enjoying themselves excessively; the weather has been charming, and they have had the most delightful excursions in the Oberland. They are on the point of passing the Simplon for Italy. Marie will write to me from Baveno, Hôtel de——”

“Capital! and how are they?”

“Quite well.”

“And they still mean to go to Constantinople on that important business?”

“Yes, N—— has had a letter urging him to go; they will take Italy only en route. They hope to embark at Naples in a month, at latest. But Marie tells me they[Pg 4] cannot return within a year. She does not appear to think much of so long an absence, but it gives me a pang which no arguments for its necessity can alleviate.”

“Ah! well, but do you expect our children to marry for our advantage? And was it not settled that it should be so? They say affection seldom stands the test of living constantly together on a journey. N—— is a good, noble fellow, hard-working, and a little ambitious, which is no bad thing. Marie loves him; she has intelligence and good health. They will pass the trial successfully, I have not a doubt, and will return to us well-tried companions for life, thoroughly acquainted with each other, and having learned how to further and to suffice for one another’s happiness; and with that spice of independence which is so necessary for preserving a good understanding with one’s neighbours.”

“I daresay you are right, my dear; but this long absence is not the less painful to me, and this year will seem a long one. I shall certainly be glad when I begin to prepare their rooms for them here, and have only a few days to reckon till I may hope to see them again.”

“Certainly, certainly; and I too shall be delighted to see them at home. Paul, too! But as it is certain they will be a year away, it would be a fine opportunity for resuming my plan.”

“What, my dear? Do you mean building the house you were thinking of, on that bit of land which is part of Marie’s dowry? I beg of you to do nothing of the kind. We have quite enough room for them here, and for their children, if they have any. And, after this long absence, it will be a new trial to me to have Marie settled at a distance from us—not to have her near me. Besides, her husband cannot stay three-quarters of a year in the country. His engagements do not allow of it. Marie would then be[Pg 5] alone. What can she do in a house all to herself, with her husband absent?”

“She will do, my love, as you did yourself, when my business called me—as it did too often—away from home; yet we were young then. She will have her house to see after; she will get into the way of managing her property; she will have occupation and responsibilities; and so she will be satisfied with herself and with the result of her thought and work. Believe me, I have seen the warmest family affections weakened and destroyed by the habit of married children living with their parents. The wife likes to be mistress in her own house; and this is a sound and just feeling; we should not run counter to it. A woman who has been wisely educated, having a house to look after and the responsibility and independence which responsibility in every form brings with it, is more capable of maintaining her own dignity of character than one who has been kept all her life in a state of tutelage. Marie would be very comfortable here, very happy to be with us, and her husband would be not less satisfied in knowing that she was with us; but she would not have a home of her own. An unmarried daughter is only in her place when with her mother; but a wife is only in her place in her own house. A married woman in her mother’s house takes her place only as a guest. And even if we suppose no mutual irritation to arise from this life in common—and this can hardly fail to arise—it is certain that indifference to practical interests, nonchalance, and even ennui, and all the dangers thence ensuing, are sure to be caused by it.

“You have brought up your daughter too well for her not to be ardently desirous of fulfilling all her duties; you have always shown her an example of activity too conspicuous for her not to wish to follow it. Let us, then, afford her the means of doing so. Will you not be better pleased to see her managing her own house, and delighted[Pg 6] to entertain us there, than to have her here incessantly at your elbow, with nothing to do; a judge, silent and respectful, if you like, but still a judge, of all your ways and doings? Do you think that her husband, when he can snatch a few moments from business, will enjoy as much pleasure in finding her constantly here, as he will experience at seeing her in her own house, delighted to show him all she has done during his absence; engaged in rendering their common abode more and more agreeable and convenient from day to day? If you reflect, you will observe that those who in our day have given, though in high social position, the most occasion for scandal, have been, for the most part, women whose early married life was passed thus, without a home of their own, leading that nondescript life which is neither that of the daughter nor the mistress of the house—the responsible housekeeper, to call things by their right names.”

Some tears had moistened Madame de Gandelau’s embroidery.

“You are right again, my dear,” said she, pressing her husband’s hand; “your plan is just and reasonable.”

Paul, though turning over the leaves of an illustrated periodical, had not lost a word of this conversation. The idea of seeing a house built for his eldest sister was very agreeable to him. Already, to his youthful imagination, this house in the future seemed, as compared with the old family mansion, a fairy palace, elegant and splendid, full of light and gaiety.

It must be confessed that M. de Gandelau’s habitation had nothing to charm the eyes. Enlarged by successive additions, two long wings of gloomy aspect were clumsily patched on to the main body,—formerly a castle, two towers of which, dismantled and crowned by low roofs, flanked the angles. Between the two wings and this[Pg 7] main building, there extended a courtyard, always damp, enclosed by old iron railings, and the remains of a moat now converted into a kitchen garden. A third wing, the prolongation of the old castellated building, erected by M. de Gandelau soon after his marriage, contained the private apartments of the family—the most attractive part of the château. The drawing and dining rooms, the billiard-room, and M. de Gandelau’s study formed part of the old main building. As to the two parallel wings, they contained rooms opening into irregular passages, which, not being all on a level, were somewhat perilous to unwary feet.

Next morning, Paul, going to inquire how his pony was, met old Master Branchu coming into the yard with a little cart full of pieces of wood, bags of plaster, and tools.

“What are you going to do with that, Master Branchu?”

“I am going to mend the pigeon-house, Monsieur Paul.”

“How I should like to help you!”

“No, Monsieur Paul, you would dirty your clothes; you might hurt yourself; it is not your business. But you may see us work, if you like.”

“It must be a capital amusement to build!”

“As to amusement, it’s no amusement; yet it isn’t so disagreeable neither, when you have to work for a good gentleman like your father; when you have your pay regular, and a bottle of wine when it’s hot; and when the people you work for do not grudge you what’s reasonable—that’s comfortable. You do your work, and pick up your tools at the end of the day with a merry heart. But when you have to do with close-fisted people, it’s a miserable business, for you must pay for what you have to work with. This plaster in the cart, and the bricks,[Pg 8] and so on, cost money of course. And if you can’t get paid yourself, you must find money somewhere, and get into no end of trouble. But I must be off; there’s my lad waiting for me.”

“Could you build a large house, Master Branchu?”

“I should think so, Master Paul. Why, I built the mayor’s, which is big enough in all conscience!”

Meantime, Paul no longer finds the hours hang heavily, as they did the day before; he has got an idea.

This house in prospect for his sister has seized on his imagination; he figures it to himself sometimes as a palace, sometimes as a turreted manor-house of the old style, sometimes as a Swiss cottage, covered with ivy and clematis, with innumerable carved balconies. He has a grown-up cousin who is an architect; he has often seen him at work at a drawing-board; under his hand buildings rose as by enchantment. It did not appear very difficult work. His cousin Eugène has the necessary instruments in the room he occupies when he comes to the château. Paul will try to put on paper one of those plans of which his imagination has given him a glimpse. But there is a difficulty at the outset. He must know what would suit his sister best; a baronial castle, with towers and battlements, a Swiss cottage, or an Italian villa. If it is to take her by surprise, the surprise must be at any rate an agreeable one. After a good hour’s meditation, M. Paul thinks, and with some reason, that he ought to go and consult his father.

“Oh, oh! you are in a great hurry,” said his father, after Paul’s first words. “But we are not quite so far advanced as that. You want to draw a plan for Marie’s house. Well, try then. But in the first place, we must know what your sister wants—how she would like her house arranged. After all, I am not sorry to hasten forward things a little. We will send her a telegram.”

[Pg 9]

Telegram.

Baveno. Italy. From X—— Mad. N——, Hôtel de ——. Paul wants to build a house here for Marie. Send programme.

Twenty hours afterwards the following telegram reached the château:—

X——. From Baveno. To M. de Gandelau. Arrived this morning—all well. Paul has an excellent idea. Ground-floor—entrance-hall, drawing-room, dining-room, pantry, kitchen not underground, billiard-room, study. First-floor—two large bedrooms, two dressing-rooms; baths; small bedroom, dressing-room; linen-room, closets, attic-bedrooms; cupboards plenty; staircase not break-neck. Marie N——.”

Without doubting for a moment that his sister had taken in earnest the despatch addressed to her, and had replied accordingly, Paul set himself resolutely to work, and, installed in Eugène’s room, and making the best of his skill in drawing, endeavoured to realize on paper the programme given above. The difficulties of this undertaking were however serious enough to make it necessary to tell M. Paul twice that breakfast was on the table. The afternoon passed rapidly away, and on assembling for dinner, Paul presented a fine sheet of paper fairly covered with plans and elevations.

“A creditable piece of work,” said M. de Gandelau unrolling it; “but your cousin is coming to-morrow, and he will be able to criticize your plan better than I can.”

All the night Paul was in a state of excitement. He dreamed of a palace rising under his direction. But there was always some defect in his building. There were no windows; the staircase was only a shaky ladder, and his sister Marie would not venture to mount it. In one place[Pg 10] the ceilings were so low that you could not stand upright; elsewhere they were of terrific height. Old Branchu was laughing and shaking the walls with his hand to show they were not firm. The chimney smoked horribly, and his little sister was impetuously demanding a room for her doll.

Paul had looked at his plan again as soon as he got up, and it appeared to him much less satisfactory than it had done the night before; in fact, he blushed at the thought of showing it to his cousin, who was coming to breakfast; he was hesitating, and thinking of destroying the painful labour of a whole day.

“Father, I think my cousin will laugh at me if I show him my drawing.”

“My dear boy,” replied M. de Gandelau, “when we have done what we can, i.e., the best we can, we must not shrink from criticism, which is the only means of ascertaining the insufficiency of our knowledge and supplying its defects. You would be very silly if you thought you could become an architect in a single morning; but if, after having made an effort to express an idea which you think good, either in drawing or otherwise, you should hesitate to submit your essay to some one more skilful than yourself, for fear of eliciting more criticism than applause—it would not be modesty, but a very reprehensible vanity, for it would deprive you of advice which cannot fail to be useful to you, at your age especially.”

When his cousin had come it was nevertheless necessary for M. de Gandelau to tell his son to bring his attempt, to induce our architectural tyro to unroll again the paper he had covered the day before with such painfully elaborate designs.

“Well, my young cousin,” said the visitor, “so you want to become an architect. Take care! all is not couleur de rose in that profession, as it would appear on your paper.”

In a few words Eugène was informed of what was intended.

[Pg 11]

“Very good! Here is the drawing-room and the entrance-hall. I don’t quite understand the staircase, but that is a matter of detail. And the elevations? But it’s a palace!—columns, balustrades! Well, we can set to work at once.”

“Could we, cousin? Suppose we tell Master Branchu; he is at work close by.”

“A little patience—this is only a sketch. How about the definitive plans; and the estimates; and the details of execution? We must go methodically to work. You must know, cousin, that the more rapidly we want a building erected, the more desirable it is that everything should be perfectly arranged beforehand. Remember the trouble your neighbour, Count —— has had, who has been beginning his château again and again every spring for six years, without being able to get it finished, because he could not indicate all that he wanted at first, and his architect had not the courage to insist upon adopting a well-planned design once for all; and because he has listened to all the whims, or rather to all the officious advice which friends of the family did not fail to offer, one respecting the size of the rooms, another about the placing of the staircases, a third on the style and decoration. We have only a year before us, we must therefore not begin till we are certain of not taking false steps; besides, your sister must approve the plan. Let us consider a little; and first let us come to an understanding about the means of construction you decide to adopt. As we are in a hurry we have hardly a choice; we cannot think of building the house with worked stone from top to bottom; that would take too long, and cost too much. We must adopt a method of construction that is simple, and can be rapidly executed. Does that meet your ideas? You introduce columns in your front; for what purpose? If they form a portico, they will make the rooms dark and gloomy; if they are attached to the walls, they are of no[Pg 12] use here. And this balustrade on the upper cornices—what does that mean? Do you suppose your lady sister will walk among the gutters? That is for the service of the cats, I suppose. And please to explain this: on the plan I observe that from the entrance-hall you have to go through the dining-room to reach the drawing-room. But if visitors come while you are at table, you will have to ask them to wait at the door, or invite them to see you and your friends eat.

“And so the kitchen opens on the billiard-room. Come, we must go a little more deeply into the matter; shall we set to work to do so? Between us we shall perhaps get through the business a little faster, and you will give me ideas; for you know your elder sister’s tastes and habits better than I do. You will thus be able to supplement the scantiness of the programme given us. Think about it, and early to-morrow morning we will proceed to work out our plan.”


[Pg 13]

CHAPTER II.
WITH A LITTLE HELP, PAUL’S IDEA IS DEVELOPED.

In fact, early in the morning Paul might be seen going into his cousin’s room. Everything was ready: drawing-board, T-squares, compasses, and pencils.

“Take your seat here, cousin; you are going to render on paper the result of our meditations, since you know so well how to make use of our instruments. Let us proceed methodically. In the first place, you doubtless know the ground on which your father intends to have your sister’s country house built.”

“Yes, it is down there below the wood, about two miles off—that little valley at the bottom of which runs the brook which turns Michaud’s mill.”

“Just show me that on the plan of the estate. Oh, I see it.”

“You see, cousin, it is here. On the south side of the plateau are the arable lands, then the ground slopes a little to the north towards the brook. Here there is a fine spring of fresh water issuing from the wood, which is on the west. On the declivity of the plateau, and at the bottom of the valley, are meadows with a few trees.”

“On which side then is the pleasantest view?”

“Towards the bottom of the valley, on the south-east.”

“How do you get to the meadow from your father’s house?”

“By crossing the wood; then you go down to the bottom[Pg 14] of the valley by this road; you cross a bridge here, then you ascend along the plateau obliquely by this path.”

“Very good; we must therefore build the house almost on the summit of the incline facing the north—sheltering it from the north-west winds under the neighbouring wood. The entrance will have to front the ascending road; but we must arrange for the principal apartments to command the most favourable aspect, which is south-east; moreover, we must take advantage of the open view on the same side, and not disregard the spring of fresh water that flows on the right towards the bottom of the valley; we shall therefore approach it and locate the house in that resting-place which nature has arranged so favourably to our views, some yards below the plateau. We shall thus be tolerably sheltered from the south-west winds, and shall not have the dull-looking plain, which extends as far as the eye can reach, in front of the house. This settled, let us look at the programme. No dimensions of rooms are mentioned; we shall therefore have to determine this. According to what your father has told me, he intends this house to be for constant residence, habitable in summer as well as in winter, and consequently to contain all that is suitable for a large landed proprietor. He means to spend about £8000 upon it; it is therefore a matter which demands serious study, especially as your sister and her husband make a great point of ‘comfort.’ I was at their house in Paris, and found it admirably fitted up, but nothing sacrificed to vanity or mere appearances. We may therefore start from these data. Let us begin by the plan of the ground-floor. The principal apartment is the drawing-room, where the family assemble. We cannot give it less than 16 or 17 feet in width, by 24 to 28 feet in length. First draw a parallelogram to these dimensions. Ah, stay! not mere guess-work. Take your scale.”

Paul looked at his teacher in some perplexity.

[Pg 15]

“I forgot; perhaps you don’t know what a scale means. Indeed your plan seems to have taken no account of anything of the kind. Listen to me, then: When you wish to build a house, or any edifice, you give the architect a programme, i.e., a complete list of all the rooms and accessories that are wanted. But this is not enough; you say such or such a room must have such or such a width by such or such a length, or have such or such an area so as to accommodate so many persons. If it is a dining-room, for instance, you will mention that it must accommodate 10, 15, 20, or 25 persons at table. If it is a bedroom, you will specify that besides the bed (which is a matter of course) it must accommodate such or such pieces of furniture or occupy an area of 300 feet, 400 feet, &c. Now you know that an area of 400 feet is equivalent to a square whose side is 20 feet, or a parallelogram of about 24 feet by 16 feet 8 inches, or of 30 feet by 13 feet 4 inches. But these last dimensions would not suit a room; they are rather the proportions of a gallery. Independently, therefore, of the area of a room, its breadth and length must bear certain relations according to its purpose. A drawing-room or a bedchamber may be square; but a dining-room, if it is to accommodate more than ten persons at table, must be longer than it is broad, because a table increases in length but not in width, according to the number of the guests. You must therefore add ‘leaves’ to the dining-room as you do to the table. Do you understand? Good. At this point then the architect, in preparing the plan, even if it is only a sketch, adopts a scale, i.e., he divides a line drawn upon his paper into equal parts, each representing a foot. And to save time, or to simplify the work, he takes for each of these divisions the 192th, or the 96th, or the 48th part of a foot. In the first case we call it a scale of 1/16th of an inch to a foot, or a scale of 16 feet to an inch; in the second, a scale of ⅛th of an inch to a foot, or a scale of 8 feet to an inch; in the third, a scale of ¼th of an[Pg 16] inch to a foot, or a scale of 4 feet to an inch. Thus you prepare a plan one hundred and ninety-two, ninety-six, or forty-eight times smaller than its realization will be. I need not say that we may make scales in any proportion ad infinitum—one, two, or three hundredths of an inch to a foot, or to 10, 100, or 1,000 feet, as we do for drawing maps. In the same way we may give details on a scale of 6 inches to a foot, or half the actual size; 2 inches to a foot, or a sixth of the actual size, &c. Having chosen his scale, the architect is enabled to give to each part of the plan exact relative dimensions. If he has adopted the scale of one-eighth of an inch to a foot, and wishes to indicate a door 4 feet in width, he takes 4/8ths. Do you understand? I am not quite sure that you do; but a few hours’ practice will render you au fait at it. To show you distinctly the utility of a scale, I will take your plan. Your drawing-room is an oblong. I will suppose it 20 feet by 27 feet; that is pretty nearly the relative proportion of the sides. A ninth of the longer side measured by the compass is 3 feet. I measure your façade by this and find that your lower story is 30 feet high. Now fancy to yourself how (I will not say your drawing-room, but) your entrance-hall, whose sides are only 13 feet, would look with a height of 30 feet between the floor and the ceiling. It would be a well. Your elevation therefore is not on the same scale as your plan. Take for your sister’s drawing-room 18/16ths on this graduated rule, which will give 18 feet on a scale of 1/16th of an inch to a foot. Just so; that gives us the shorter side of the drawing-room. Now take 27/16ths on the same rule, which will give 27 feet; that will be the longer side. Now your oblong is drawn with dimensions perfectly exact. You will have to surround this room with walls, for we can scarcely give ordinary floors a greater width; you must therefore have walls to receive the joists. A rubble wall through which flues have to pass, can hardly be less than 1[Pg 17] foot 8 inches in thickness. Your drawing-room will therefore support itself. Next in importance to the drawing-room is the dining-room. Where are we to place it? We ought, especially in the country, to be able to enter it directly from the drawing-room. Is it to be on the right, or on the left? You have not the least idea; nor I either. But chance cannot settle the question. Let us think about it a little. It would seem natural to put the kitchen near to the dining-room. But the position of the kitchen is a matter presenting some difficulties. When you are not at table you don’t like to have the smell of the viands, or hear the noise of those engaged in kitchen work. On the one hand, the kitchen ought not to be far from the dining-room; on the other hand, it ought to be far enough from the chief rooms for its existence not to be suspected. Besides, the back-yard, the outbuildings, the poultry-yard, a small vegetable garden, wash-houses, &c., ought to be near the kitchen. It is a matter of importance too that the kitchen should not have a south aspect. And we must not forget that your sister, who knows how a house ought to be managed, has taken the precaution to say in her laconic programme: ‘Kitchen not underground.’ She is right: underground kitchens are unhealthy for those who live in them, present difficulties in the way of surveillance, and diffuse their odour through the ground floor. We shall put it therefore on a level with the dining-room, but without direct communication with the latter, to avoid odours and noises. Let us examine our ground, its position and aspects. The most undesirable aspect, and that which in the present case offers the least agreeable prospect, is the north-west. We shall therefore place the drawing-room with its exterior angle towards the south-east; on the right we shall put the dining-room; and next the kitchen, which will thus face the north. Do not be in a hurry to draw the plan of these subordinate apartments, for we must[Pg 18] know first what position they are to occupy in relation to the drawing-room and the entrance-hall. We are required to provide a billiard-room. It will be well to place it on the south-east, as a pendant to the dining-room. The hall and your brother-in-law’s study must be near the entrance. If we place the dining-room and the billiard-room, whose dimensions are to be nearly equal to those of the drawing-room, in juxtaposition and continuation with the latter, the drawing-room will be lighted only on one of its shorter sides, for we must put the entrance-hall in front. The drawing-room would in that case be gloomy, and would command a view of the country only in one direction. Let us then put the dining-room and the billiard-room at right angles to the drawing-room, allowing the latter to jut out on the sides of the favourable aspect. Let us give each of these two apartments a length of 24 feet by a width of 18 feet. These are convenient dimensions. Then mark in front of the drawing-room an entrance-hall, whose area we shall determine presently.

“We will try next to give to the walls of those apartments the position required by the general construction. The entrance to the dining-room and the billiard-room—which is also a place of assembly—is to be from the drawing-room. The opening from the drawing-room into the billiard-room must therefore be wide enough for those who may be in either of those apartments to assemble without inconvenience. But we ought to be able to reach the entrance-hall from the billiard-room without going through the drawing-room; and so with the dining-room. We observe that lateral prospects were required for the drawing-room, whose length is 27 feet. If we take 8 feet for the side-lights, and 1 foot 6 inches for the thickness of the wall of the billiard-room or the dining-room, there will remain 17 feet 6 inches to the entrance partition of the drawing-room; our billiard-room and dining-room being[Pg 19] 18 feet wide, these apartments will reach 8 inches beyond the entrance-partition of the drawing-room. That does not matter. Let us mark out the second wall, also 1 foot 6 inches thick. Thus we have the three chief apartments determined. In the central line of the billiard-room we will make an opening into the drawing-room of 8 feet 6 inches. On the side of the wall separating it from the dining-room we will open a door of 4 feet 6 inches into the dining-room, within 8 inches of the partition separating the drawing-room from the entrance-hall. Thus we shall enter this dining-room, not in the centre, but on one side, which is more convenient; for you know that in going to or leaving it the gentlemen offer their arms to the ladies. It is therefore desirable that in going out or coming in there should be no obstacle in their way. The door leading from the drawing-room to the dining-room will be also out of the central line of the opening from the drawing-room into the billiard-room; but that I do not mind. This door will balance with the window on this side looking outwards, and we will put the fireplace between them. We will open a central door from the entrance-hall into the drawing-room.

“In front, against the wall of the billiard-room, let us put your brother-in-law’s study, with a small anteroom, where people who have business with him can wait, so as not to be wandering about in the hall. On the dining-room side (of the hall) we will put the pantry. The study must be at least 12 feet 6 inches wide. We will make the entrance-hall jut out a little to form a projection.

“The staircase is a very important point in every house. It should be proportioned to the house,—neither too spacious nor too scanty. It must not occupy space uselessly; it must give easy access to the upper stories, and be sufficiently conspicuous. If we take a part of the staircase out of the entrance-hall, which is very large—18 feet by[Pg 20] 16 feet—it will be very conspicuous, and we shall gain room. The width of a staircase in a house of this style and size should be at least 4 feet. But the hall ought to communicate directly with the dining-room, the pantry, and all the offices to the right of the plan. Let us reserve a passage of 4 feet and mark the first step. The height of the lower story between floor and floor should be, reckoning the size of the rooms, 15 feet; which will give them a clear height of 14 feet, reserving 1 foot for the thickness of the floor of the chamber story. The steps of an easy staircase should be about 6 inches high. To ascend 15 feet we require thirty steps. Each step should be 10 to 12 inches wide. The staircase should have an extension of 25 feet for steps of 10 inches in width, or 30 feet for steps of 12 inches, reckoning thirty steps. Let us take a mean—say 27 feet. We must find room for this extension of 27 feet at the least. We will therefore place a staircase projection at the angle of the entrance-hall prominent enough to bring us, in winding round a newel (which will be in the prolongation of the wall on the right of the drawing-room), to the first floor, passing out into the antechamber of this floor.... I mark out this staircase for you: we shall have to return to it. The first fifteen steps come into the length of the newel and the wall, and allow us to place below the last half flight of the stairs the water-closet for the family on the ground floor. Opening from the passage we will next put the pantry. Then the servants’ staircase in a tower; then the serving-room; then the kitchen in the wing; a bakehouse and scullery, a wash-house, and a way out from the kitchen to the kitchen garden. Forming a return, we will put a stable for three horses, a coach-house for two carriages, a harness-room, and a small flight of stairs to reach the rooms for the coachman and groom, and the hay-loft in the roof. Near the stable we will leave a way into the yard and the larder and servants’ conveniences.

[Pg 21]

“We will separate all these offices from the main building by a plinth wall and trellis-work at the right of the round tower servants’ staircase, which will give us a courtyard for the kitchen, stable, and coach-house. In front we will reserve a space for the poultry-yard, the fowl-house, and the manure pit....

“Now that we have traced out the general plan of our ground floor, let us try to improve it in detail.

“It would be very nice to have a bay window at the end of the drawing-room looking out on the garden. Nothing prevents us from planning another at the end of the billiard-room, with a divan where the gentlemen might smoke, and a third at the end of the dining-room, which would allow the dishes to be passed in through a turn from the serving-room, and afford room for the sideboard and carving tables.

“We shall find these projections useful on the first floor.

“But we ought to have a way out from the drawing-room or the billiard-room into the garden. I must confess that I am not very fond of those flights of steps, which are scorching under a hot sun and very disagreeable in wind and rain; if, then, in the angle formed by the billiard-room with the drawing-room, and along it, we were to place a conservatory inclosing a flight of steps, I think it would be a convenient arrangement. Thus we could pass from the drawing-room or the billiard-room into this conservatory, and could take coffee there in wet weather, and have a covered approach to the garden. Some flowers and shrubs placed along the glazed side would enliven the billiard-room without darkening it. But in front of the entrance-hall we will have a flight of steps in the usual style, which we shall take care to put under shelter, the position of the staircase allowing us to do so without difficulty.

“Let us draw out all this as nearly as we can; we shall have to revise it when we have studied the first floor, whose[Pg 22] arrangements may oblige us to modify some of those on the ground floor (Fig. 1).

“As the walls must rise from the bottom, you will put a piece of tracing paper over this ground-plan to avoid loss of time. You will thus have beneath your eyes and pencil the walls to which you must accommodate the superstructure, and we shall presently see whether there is reason to modify some parts of this ground-plan.

Fig. 1.—Plan of the Ground Floor.

A, entrance-hall; B, drawing-room; C, dining-room; D, billiard-room; E, study; F, conservatory inclosing flight of steps; G, butler’s pantry; H, kitchen; I, serving-room; K, L, bakehouse and wash-house; M, office-yard; N, S, poultry-yard; O, stable; P, coach-house; R, harness-room; a, servants’ staircase; b, cellar steps; c, groom’s staircase; V, W, water-closets.

“Just so. Let us first trace the termination of the staircase;[Pg 23] the last of the thirty steps we shall require is in a line with the wall on the right of the entrance-hall; it is the landing which will open on the antechamber above the hall. Over the drawing-room we shall place Madame N.’s room; but as this area would be too large, we shall take advantage of the space to put a second partition, which will give double doors and a capital space for closets, which ladies never find superfluous. To give light in this space we shall glaze an upper portion of the partition next to the antechamber. These double doors will insure greater privacy in the bedroom, and prevent the passage of sounds. Besides, this second antechamber will enable us to provide a direct communication with Monsieur N.’s apartment, which we shall place in the favourable aspect, that is over the billiard-room.

“As this area also is too large, we shall take out of the space thus available a lady’s dressing-room, and a bathroom; and provide an entrance to Monsieur N.’s room direct from the antechamber through a private passage, which will also open into the lady’s dressing-room, that for your brother-in-law over the study, his bedchamber and the closets for these apartments. Thus when the two doors leading to the antechamber are shut, these rooms will be completely cut off. With a corridor answering to that of the ground floor on the right we shall establish a communication between the antechamber, the servants’ staircase, the linen-room (an important matter), which we shall place over the kitchen, with a large wardrobe for your sister on the right of her bedroom, and a nursery (for we must provide for every contingency), which, as well as the wardrobe, will be over the dining-room. The recess or bay window of the ground floor will afford us the means of giving a nice dressing-room for the children’s or guests’ room on the first floor; and that of the billiard-room will furnish a very agreeable addition to Monsieur N.’s room.[Pg 24] As to the bay window in the drawing-room, we will cover with a flat, with a balustrade, which will give your sister’s room a handsome balcony, where an awning and flowers can be placed in the summer. (Fig. 2.)

“You see, Paul, our plan begins to assume a definite shape. Breakfast will soon be ready: go and take a walk, and in the afternoon we will resume our work, that is to say, we will proceed to the elevations.”

Fig. 2.—Plan of the First Floor.

A, antechamber; B, Madame N.’s bedroom; C, dressing-room and bathroom; D, wardrobe; E, Monsieur N.’s bedroom; F, dressing-room and bathroom; G, nursery; H, dressing-room; I, linen-room; P, lumber-room; W, water-closets.

On going down to the garden, Paul began to examine the family mansion with an attention he had never yet bestowed upon it. He had never thought before of observing how its apartments were arranged. He began to calculate the space lost in those interminable passages; he perceived here and there dark and useless corners. The staircase started badly. On the ground floor it could not be found without knowing the arrangement of the house. The kitchen was at a vast distance from the dining-room, and to get from the one to the other you must cross a carriage road, go down two steps and mount six. For the first[Pg 25] time in his life this struck him as barbarous. Walking about waiting for the breakfast bell, Paul began to ask himself whether his father would not do well to pull down his old mansion and build one on a new plan devised by himself with his cousin’s advice. He began to reckon up the several faults in the arrangement of the house, not forgetting its too numerous break-neck passages. He considered the sombre drawing-room, flanked on two sides by the two old towers that masked the side views, his father’s little study lighted by a narrow window and entered by a pretty large room, generally unused, and which served as a fruit-room in the autumn; many other defects besides....

“Well,” said his father, as soon as they were seated at table, “you have been already at work this morning?”

Paul, full of the subject that had engaged him, gave an exact description of the plan which had been prepared; but could not finish without indulging in some critical remarks on the family mansion.


[Pg 26]

CHAPTER III.
THE TREE OF KNOWLEDGE.

His mother looked at him with astonishment; his father became serious, and said: “Paul, this house satisfies your mother just as it is, and me too; you three—your two sisters and yourself—were all born here; my father left it to me, and I have added to it only what has been necessary. There is not a corner in this house but is associated with some happy or mournful reminiscence; it has been consecrated by the labours of three generations of honourable occupants. All the people of the neighbourhood, who please to give it the name of the Château, know that they may look for bread here when they want it, clothes for their little ones, advice in their differences, and relief if they are ill. They do not need to be shown the staircase that leads to your mother’s room or my study, for they know it as well as we do; they know as well as we do those ‘break-neck places’ on which you are so severe, and do not get lost in the long passages. If the kitchen is a little too far from the dining-room, it is large enough to hold the harvest-men when they come to supper, and the shepherds when they come to settle their accounts. I do not think I should be justified in altering all this, for this house belongs, I may say, to the neighbourhood; and you should not forget any more than I do that, in 1793, my grandfather remained here alone with his wife and my[Pg 27] father without molestation, while all the neighbouring châteaux were abandoned and pillaged.

“When we are gone—your mother and I—you will do what you think fit with this house; but if there is one piece of advice I would impress upon you, it is—Keep it as it is, for it may outlast you and your children. Keep it, for you must have committed many faults before it can cease to be a shelter for our family.

“I know as well as you—perhaps better—all that it needs to adapt it to the taste of the day; and if I were to sell it to some wealthy proprietor, he would probably soon demolish it and build a house or a château more comfortable, and better suited to modern habits. What such a purchaser might do I cannot, I ought not to do.

“The good people with wooden shoes on their feet and woollen cloaks on their backs who come here to talk with me, and who would protect my old house, if need were (I have had proof of it), would cease to come into a new dwelling with which they were not familiar,—where everything would have a tendency to repel them, if not to arouse envious reflections in them. I should become unaccustomed to see them; and while it seems to me quite natural to see them at any time in this house—which only recalls the past, and where all is simple and somewhat rough, like themselves—it would probably appear to me strange to introduce them into apartments arranged and decorated in modern taste.

“It is undesirable to disturb visual associations; our simple-minded neighbours connect in thought the inhabitant with the house: change the latter, and they will no longer recognize the former.

“Your cousin knows still better than you or I what are the defects of our old mansion, and how it might be rendered much more attractive; yet he has never suggested modifications to me, because he perceives, as I do, that by[Pg 28] making any change in such buildings acquired habits among those around us would be disturbed in a way that could only be injurious.

“And here are you—an architect of two or three hours’ standing, and before you know whether you could improve on the house as it is—thinking of pulling it down. Be a little more modest; when you have studied some time and seen more, you will know that a dwelling ought to be, to a man and his family, a well-suited dress, and that when a residence is perfectly adapted to the manners and habits of those it shelters, it is excellent. How many proprietors have I seen who, while destroying their ancestral mansion, to replace it by a habitation conformable as they thought to the requirements of the moment, have by the same act ruptured the tie which attached their family to the humble inhabitants of the neighbourhood!”

The only reply Paul offered to these arguments was to go and embrace his mother and father; and no better could have been thought of.

“I don’t exactly see,” said Paul to his cousin, when they were both in the park after breakfast, “why my father should wish to have a house built for my sister, since he thinks it so desirable to keep for himself and for us the old mansion in which we were born.”

“It is not a matter of very easy explanation; but you are old enough, Paul, to understand it. In the first place, your sister Marie now bears another name than yours; and a well-known respected name has a similar standing in the neighbourhood with the old house to which, so to speak, it is attached. If you had not been born, and your parents were no longer living, Madame N——, your sister, on coming to live on this estate, might safely pull down the old house and build a new one, for it would not be more difficult to introduce the new house than the name of a new proprietor. She would have to create new ties with[Pg 29] all this little world that surrounds you, and consequently to establish between this world and her new family relations differing probably from those which now exist between your father and the people of your neighbourhood. Your father’s connection with the peasants of Berri, among whom he has always lived, is intertwined with traditions handed down through several generations without interruption. He can therefore obtain services from them, and inspire them with a confidence which would not be accorded to new-comers, or to any name but his; while these peasants on their part unsuspectingly accept favours which they know from long experience to be disinterested. The old manor-house, occupied by a stranger bearing a new name, would lose the prestige which your father so justly appreciated; there would in that case be no advantage in preserving its time-honoured aspect. M. de Gandelau, therefore, who does nothing without consideration, perceives that some day or other, by the pressure of circumstances, his house might be no longer suitable for his children, so that before its possible disappearance, he builds a new one for your sister; a house to which the neighbourhood will become gradually accustomed, and which will form a new family centre; for Madame Marie is beloved and esteemed throughout the neighbourhood. People will become accustomed to the more modern habits of the new manor-house, and no one will then think it strange that the old one should be demolished. Your father is preparing a gradual transition from a social condition, which, though on the decline even in the country districts, still exists, to that which is destined to replace it. You see, then, that though he values the past, and endeavours to preserve its advantages, he does not believe in its perpetuity, and foresees the time when it must vanish before the habits and requirements of the present. Natural as is your father’s mode of living, because it is the result of habits that have not been[Pg 30] interrupted for many generations, it would be difficult for a new-comer to conform to these habits. Besides, this estate which M. de Gandelau has rendered so productive, and which he has increased in extent, will have to be divided at his decease amongst his three children. Already he has detached a portion of it to form your sister’s dowry. He intends, then, by the residence we are going to build, to have this part now brought into harmony with the habits of the new proprietors, who are young, and whose mode of life must be different from that which still suits your father. When you are older you will appreciate all these things better. Let us go and resume our work.”

Paul was endeavouring to gain a clear view of the grave subjects his cousin had been discussing. He recalled the conversation of the preceding days between his father and mother, and his mind was evidently full of ideas, new to him, which had been thus suggested. At any rate, the old house began to assume in his eyes a venerable appearance, and he was no longer inclined to censure its inconvenient arrangements and somewhat inelegant exterior.


[Pg 31]

CHAPTER IV.
PAUL’S IDEAS RESPECTING ART, AND HOW THEY WERE MODIFIED.

“Before resuming our pencil,” said Eugène, as soon as they were seated once more in his study, “you must know how you are going to proceed. We have sketched the ground plans. We know that they can be realized, that the construction will present no special difficulties; that the partition walls of the upper stories stand vertically on those of the lower ones; that the bearings of the floors are reasonable, and that the openings are conveniently placed. That is satisfactory so far.... But now, do you realize these plans in elevation? That is, can you fancy the house as standing, with its stories, its roofing, its windows, &c.?”

“Well, I can’t say I do.”

“You must then first picture the building to yourself as if it actually existed.... I know that this is hardly possible for you, since there are many architects who are as far off as you from being able to do so when they have drawn horizontal plans on paper, and who in drawing these plans do not see the building for which they are designed. Reflect a little; examine their outlines well, and endeavour to give them in elevation some definite form in your mind’s eye before making use of the pencil.... Take your time. I have a letter to write, and some accounts to attend to; so while I am engaged, try to give me the elevation of one of the fronts of the house,—the entrance-front, for example,[Pg 32] on the north side,—and we will discuss your design. I only give you one piece of advice,—that is, to put nothing upon paper without having previously considered whether your design is appropriate and useful.

“Come, try your best; and don’t forget the scale of proportions.”

Paul was much embarrassed, and found the work by no means easy. The ideas which had suggested themselves in abundance at his first attempt were not forthcoming now. However, at the end of a good hour and a half he presented a sketch to his cousin.

“It might be worse,” said Eugène. “You have given the ground floor 15 feet from floor to floor,—that was about what we said; but why the same height for the first floor? The rooms are smaller, and more airy; there is therefore no need to give an equal height to this story, and 13 feet 6 inches would be quite enough. And why put round arched windows on the ground floor? Arched windows are difficult to fit with casements, and there is a difficulty with shutters, jalousies, or outside blinds. Again, the windows of your principal staircase do not ramp with the stairs, and would be cut in the middle by it; which would prevent their being opened, and expose them to danger from the feet in ascending or descending. In the next place, your stair turret does not rise above the cornice, and would not enable you to enter the attics. And so with the servants’ staircase. Your roofs are double pitched; that is, with two angles of inclination. That is not quite the thing for this district. The roofs should be simply triangular, and without hips, which are difficult to keep in repair. Gables are preferable. You have marked quoins of stone at the angles. I see no harm in that; but how would you form your window reveals thus enframed by a kind of pilaster? None of your chimney-stacks rise above your roof; yet you are aware that they usually show. Your[Pg 33] attic windows are too low, and you would run your head against the top in looking out of them. The lintels of these dormer windows must be at least 6 feet 6 inches above the floor. And why make your dormer windows oval? It is a very inconvenient shape, and they are difficult to open and shut. You have drawn the entrance flight of steps in perspective, as the Chinese do ... but that is a trifle. What will you build your walls with? Masonry, rubble-work, masonry and rubble mingled, or stone and bricks?

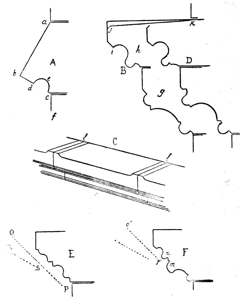
Fig. 3.—Roof Plan.

“Let us study this together. When you draw a horizontal or ground plan, independently of the arrangements, you have to consider how your buildings shall be covered in. For the most important question in a building is that of the manner of roofing it, as every building intended for internal use is a shelter. That is unquestionable, is it not? Well, then, in your building, the plans of which you have now before you, what is observable in the general form of the main block? Two parallelograms intersecting—so (Fig. 3). One parallelogram, a b c d, intersected by another, e f g h. We do not now take into account the bay windows and staircases. If then we raise gables upon the walls, a c, b d, with a length of slope equal to the line a c, we shall[Pg 34] have two equilateral triangles whose bases will be a c and b d, and the angles of inclination 60°, which is the most suitable pitch for slating, inasmuch as it gives no hold to the snow or opportunity for mischief to the wind. If in like manner we erect upon the walls e f g h two gables having a similar inclination, these walls being less in length than those marked a b c d, the triangles will be smaller and their summits less elevated than the first. Consequently the roof raised upon the smaller parallelogram will penetrate that raised upon the larger, and will form by its penetration internal angles which we call valleys; I draw these valleys i k, k l, m n, m o. The inclination of the two roofs being equal, these valleys will, in plan, divide the right angle into two equal angles: you know enough of geometry to understand that.

“Here, then, we see the simplest way of roofing our building; and when roofing is in question, the simplest methods are always the best. Now, in order that our two stairs may give access to the third story, it is necessary that their walls should rise above the cornice of the building and form for them alone an additional story. We will then raise these stair-walls and will give them roofs of their own. One—that of the principal stairs—shall be pyramidal; and the other—that of the small stairs—conical.

“There is no reason why we should not erect upon the two walls g z, s t, of the bay windows, small gables, always with the same inclination of 60°, and cover these projections with two small roofs abutting against the great gables a c, b d. As to the building appropriated on the ground floor to the kitchen and on the first floor to the linen-room, we will follow the same method, and, erecting a gable on the wall u v, we shall have upon this wing a triangular roof, which will also abut against the great gable b d. We shall then have a meeting of two slopes at the[Pg 35] bottom of the roof of the bay window s t, and of that of the linen-room wing. We shall form a lean-to (so as to do without inner gutters,) which will penetrate these two roofs and discharge the water at t. The horizontal projection, therefore, of this assemblage of roofs, will be as the drawing shows in Fig. 3. The chimney-stacks will pass through these roofs, as I indicate to you; and in order to prevent the chimneys from smoking, these stacks should rise at least to the level of the ridge, that is, a little above the topmost crest of the highest roof. With regard to the roofs of the outbuildings, as they are lower—being only one story in height—we need not trouble ourselves about them just now.

“Observe that, as these gables rise perpendicularly, we are enabled to get in the roof a third story, affording some very convenient bedrooms for guests, besides the servants’ rooms (in the attics), which we must provide, and light by means of dormer windows; while we shall be able to provide for the bedrooms in the gables handsome windows with balconies, if we wish.

“That settled, in principle, it will be as well to arrange the divisions of this story in the roof. Lay a piece of tracing-paper upon the plan of the first floor. Good: now trace all the thick walls which must of necessity be carried up under the roof, since they contain fireplaces. Draw 3 feet 3 inches within the eave walls—i.e. those which do not carry gables—a line that indicates the space rendered useless by the slope of the roof; thus you will get the space of which you are able to make use. The principal stairs reach to this floor, as well as the servants’ stairs. To the left of the thick division wall, which, from the principal staircase, goes to join the angle of the main building towards the south-east—the desirable aspect—we are going to dispose the bedrooms for guests, which will thus form a separate quarter communicating with the chief apartments[Pg 36] by the principal stairs. We can in this part get two good bedrooms, A and B, with their dressing-rooms a and b; and two smaller bedrooms C and D, all having fireplaces. We must not forget the water-closet for these rooms, at W. On the other side, in immediate communication with the servants’ stairs, we can easily get four servants’ bedrooms, E, F, G, H, a lumber-room I, and a water-closet L, for the servants. (Fig. 4.)

Fig. 4.—Plan of the Second Floor.

“In the upper part of the coach-house and stable building and over the wash-house, we shall also be able in the roofs to arrange three or four bedrooms for the coachman, groom, &c.

“And now for the elevations.

“We will raise the ground floor 4 feet above the exterior ground level, in order to give air to our cellars, and to preserve the ground floor from the moisture of the earth. We will give the lower rooms a height of 14 feet to the ceiling. Draw at this level a horizontal string course 12 inches deep, which will be the thickness of the floor. To the rooms of the first floor, which are smaller than those of the ground floor, we will give a height of 12 feet in the clear. Now, mark the thickness of the cornice, with its tabling, 1 foot[Pg 37] 9 inches. Then will begin the roofs, whose height will be fixed by that of the gables. Taking the entrance front we project the angles of the building, the doors and the windows from the plan. Here, then, we have the outline of the façade arranged.”

Eugène then took the board and sketched the façade. (Fig. 5).

Fig. 5.—The Entrance Front

A fair copy on a small scale of all this was soon made, to be sent to Madame Marie N——, that they might know what she thought of it, and might proceed to execute the plan as soon as her reply was received.

Paul was beginning to perceive some of the difficulties accompanying even the most modest architectural undertaking, and to ask himself how Master Branchu, who could but just manage to write and cipher, had been able to build the Mayor’s house, which was not such a bad one to look at.

[Pg 38]

His cousin, to whom he referred the question, replied as follows:—

“Branchu has a practical knowledge of his business; he is a good country mason, who began by carrying the hod: he is the son of a mason, and does what he has seen his father do before him. Besides this, he is intelligent, laborious, and honest. By practice alone he has succeeded in building as well as is usual in the country—perhaps a little better, because he sets himself to work to reason about what he is doing. He observes; he is no simpleton, nor is he vain; he avoids faults, and copies excellences wherever he sees them. You shall see him at work, and you will sometimes be surprised at the justness of his observations, the persistency with which he defends his opinions, and the practical methods of which he is master. If you give him instructions, and he does not quite understand them, he says nothing, but comes again next day to explain to you what he supposes was intended; thus obliging you to repeat one by one all the doubtful points, and to complete what seemed to him incomplete or vague in your statements. I like Branchu because of his persistent determination to understand the orders given him; and what makes him seem troublesome to some appears to me a virtue; for if you have to do with him, you must have foreseen everything, have an answer to every objection, and know exactly what you wish in every particular. He gave up working for Count ——, your neighbour, because he had to undo next day what he had been ordered to do the day before. Ask him about it—the story is worth hearing. This good man, who has had only the most elementary experience in his business, but is thoroughly master of it so far, who knows the materials of the district well, and how to make use of them, will tell you that the architect of that interminable château is an ignoramus, and will prove it to you, after his fashion.[Pg 39] Yet it is evident that the architect in question is a much more learned man than Master Branchu.

“As a general rule, in giving an order, you should have thought seven times of the objections to which it is liable, otherwise some Master Branchu may start up who, with a single word will demonstrate your thoughtlessness. An architect may, indeed, if he chooses, stop the mouth of objectors when placed under his authority; but to impose silence on people is not to prove that they are wrong, especially if a few days afterwards the director of the works gives contrary orders. Every one has his share of amour-propre, which must not be disregarded. As a subordinate takes kindly and is flattered by the attention you give to his observations when they are well founded, so, on the other hand, he is disposed to doubt your capability if you reject them without examination; especially if, a short time afterwards, facts seem to prove that he might have been right. There is only one means of establishing discipline among a body of workmen; and that is proving to all that you know more about matters than they do, and that you have duly taken account of difficulties.”


[Pg 40]

CHAPTER V.
PAUL PURSUES A COURSE OF STUDY IN PRACTICAL ARCHITECTURE.

Meantime, letters and newspapers were daily bringing the most distressing intelligence. The enemy had crossed the French boundary a week ago. Building was a matter scarcely to be thought of. M. de Gandelau was visited almost incessantly by country people coming to impart to him their fears and to ask his advice. The able-bodied youths of the district were summoned to be incorporated in the mobile. The manufactories of the neighbourhood were being closed for want of hands. Groups of peasants—men and women—might be met on the roads, who, contrary to the quiet habits of this province, were speaking in excited tones; some of the women were crying. The labours of the fields were suspended; a painful shudder seemed to pass through the country; lights were seen in the cottages at a late hour of the night; voices were heard calling to each other. The cattle were brought in earlier than usual, and were driven afield later in the morning. When people met each other on the roads they would stay long talking. Sometimes, instead of returning to their own abodes, they would walk rapidly on together in the direction of the neighbouring town.

It was the 20th of August, 1870, when, going into his father’s room early in the morning, Paul found him still more depressed than on the previous days and it was not[Pg 41] merely his aggravated gout that caused the depression. Eugène was there.—“Some are too old, others too young. If this boy was four or five years older,” said M. de Gandelau, embracing his son, “I would send him with all these young fellows who are summoned to the service; but he is too young, happily for his mother. It will be a long struggle, they say; God only knows what will become of our poor country engaged in an insensate war; but our duty is clear—to remain here among all these families, distressed as they are, and bereaved of their children; to wait, and try to calm down this distracted multitude. Do not let us surrender our self-possession, or give way to useless disquietude; let us work—that is the remedy for all evils; and misfortune will not find us more destitute of courage after days of labour than after a period of feverish inactivity. I see that Paul will not be able to return so soon to college. As to yourself, Eugène, nothing obliges you just now to stay in one place rather than another. Your business will be suspended in every quarter; remain here, where you can make yourself useful as long as the country does not require your services.

“Who knows what may happen! But even if this state of things continues, we will try to build Marie’s house; it will give employment to those who have been thrown out of work. You will be able to give Paul practical lessons in the elements of construction. We shall, perhaps, run short of the one thing needful for building—money. Ah, well! that will oblige us to discover the means of doing without it. We have the raw material; we have hands, and enough to keep them for some time to come. Let us, then, not give way to despondency and useless recriminations; let us work; we shall be only the better prepared if in one last effort we have to call upon all—old men and children with the rest—to defend our native soil.”

Madame de Gandelau uniting her entreaties with those[Pg 42] of her husband, it was not difficult to persuade Eugène to take up his quarters at the château. In fact, three days subsequently, after having gone away to settle some affairs, he was on his way back with an ample store of paper and instruments required for the details of a building plan.

They could not set to work till the sketch sent to Paul’s sister should be returned, approved or amended. It was decided that during the interval Eugène should give Paul the first notions of the building of a house, that the morning should be the time for instruction, and that in the afternoon our architectural tyro should reproduce the lesson in writing, and have his work corrected at the family gatherings in the evening. Thus the days would be well occupied.

Lesson the First.

“If you please, Paul, we will take our lessons walking, and for a good reason.”

This arrangement was quite satisfactory to Paul, who was certainly not accustomed to this mode of teaching at the Lyceum. The prospect of a course of lessons delivered, re-produced in writing by the pupil, and corrected indoors, had not seemed to him at the first blush quite to harmonize with the idea which a youth of sixteen forms of hours consecrated to recreation; and although after his first attempts architecture seemed to him a very noble study, and he was proud enough to think that his plan was perhaps at this moment being inspected by his sister Marie and her husband, yet, at the moment he was directing his steps towards his cousin’s apartment, he had looked with a somewhat longing eye at the fine old trees in the park, and the brilliant green of the meadows between their dark trunks. A sigh of satisfaction escaped him as he tripped down the steps.

[Pg 43]

“Let us proceed leisurely towards that part of the estate where we are to build the house,” said his cousin, as soon as they were outside; “a knowledge of the ground is indispensable to the architect’s further progress. There are, as you know, several kinds of soils; some resisting, others soft and compressible in various degrees. Rocks form the firmest foundation—one on which we may build with confidence—provided they have not been excavated or disturbed. The name of virgin soil is given to that which presents itself in the condition in which geological phenomena have placed it; that of ‘made ground’ to soil which has been disturbed or deposited by man, or produced by vegetation, or brought to the spot by the sudden violence of torrents. As a general rule, we should give an exclusive preference to virgin soils; yet even some of these must be mistrusted, as I shall explain to you directly.

“We must then endeavour to distinguish a virgin soil from ‘made’ or disturbed ground; and to do so, some acquaintance with elementary geology is indispensable. Thus, the crystalliform rocks, granites, gneiss, and crystalline schists remain in the condition in which the cooling of the globe and the upheavals of its crust have placed them. The sandstones, the calcareous rocks, the marls, the gravels, even the clays deposited by water under an enormous pressure, are stratified—that is to say, deposited in layers, like the courses of a building, and present an excellent foundation. The hill there on the right, in whose direction your sister’s wood extends, presents, as you see from this point, escarpments laid bare by the waters of the brook we are going to cross; observe that the stone, which seems denuded, presents itself in almost horizontal layers. It is an oolitic limestone, excellent for building, and on which you may confidently rely as a foundation also. In these strata, therefore, we may excavate cellars, and make use of what we have taken from the excavations to raise the[Pg 44] walls. Here we are walking on sandy clays, intermingled with millstone grit. This also forms a good and incompressible foundation. It is otherwise with pure clays; not that they are compressible, but, if they are not secured—if, for instance, they lie on a declivity—they are liable to slip in consequence of the infiltration of water between their layers, and the house built on them goes down with them. And thus you may sometimes see whole villages built on clayey declivities, descending into the valley. Great attention, therefore, must be paid to the method in which you build in clays, if you would avoid these dangers. Sometimes also, when they are greatly compressed by a heavy building, the clays sink down under the weight, and rise proportionally at a little distance, in see-saw fashion. Marine sands, pure, fine or gravelly, are well adapted to receive foundations, because the sand settles naturally, however slightly moistened it may be. To such a degree is this the case, that we can form an artificial foundation if needful by depositing good beds of sea-sand on a questionable soil, and moistening these beds thoroughly. The finer the sand is and the freer from clay the better, for its small, hard, equal grains leave only very slight intervals between them and touch on several points. If the weight compresses the layer of sand, and forces it to settle down, the settling down is regular, and consequently harmless. The building settles thus to the extent of some fractions of an inch, according to its weight; but it does not dislocate, because it settles uniformly. The alluvial deposits formed by slowly-flowing waters, such as rivers or lakes, also compose good foundations, because the layers of gravel or mud have been gradually deposited, and are closely heaped together by the liquid that transported them. It is quite otherwise with marshy soils, for the water, having no current, has allowed vegetables to grow in its bed. These vegetables on dying are annually replaced by others. Successive[Pg 45] layers of detritus are then formed under very trifling pressure, leaving between them innumerable cavities, just like a heap of rotten hay. These deposits are called peat-bogs. Nothing can be safely placed on these deposits, for they sink down under the lightest burden. Stop! here we are near the stream, at a point which exhibits this phenomenon. Stamp on this closely-turfed soil. You perceive that the ground sounds hollow, and shakes beneath the shock. Sometimes these peat-beds reach to such a depth, through the accumulation of vegetable detritus, that the bottom can scarcely be reached. If you build upon these, your construction will gradually sink, often unequally, on account of the inclination of the sub-soil, so that the building will lean to one side. It is thus that at Pisa and at Bologna, in Italy, there are towers which inclined thus while they were being built, until the turf was completely compressed under their weight. When these soils occur, the turf must be removed, the rock or gravel must be reached, or piles must be driven in very close to each other, until they can be forced no deeper. Then, on the heads of these piles is placed what is called a raft, a kind of wooden framing, between the spaces of which concrete is poured, and on which the first courses of masonry are placed. Whole cities are built thus. Venice and Amsterdam rest only upon forests of piles driven in mud, which is spongy, because it was formed under a shallow sheet of water which had not power to compress it.

Fig. 6.

“But it is not enough to know the nature of the soil on which a building is to be erected; we must also examine the subjacent water-courses, and how the rain-water flows off on the surface of the ground, or beneath it. The presence of a bed of clay, however thin, between strata of limestone, grit or sand, is a most important fact to the builder; for such beds being impervious—that is, not[Pg 46] allowing the rain-water to penetrate them—give rise to currents or sheets of water, which may occasion most disastrous consequences to the foundations. Examine this greenish layer just here, along the escarpment;—it is of clay; it is very thin, and cannot retain water; but suppose it were 20 inches thick. The rains, which will easily penetrate the gravel placed above, will be arrested by this layer of clay, and pursue their course along its plane of inclination, and they will gradually form cavities like small grottoes, and a concealed current. If you build a cellar wall or a foundation descending below that accumulation of water, it will reach your wall and penetrate it, in spite of your efforts, and will fill your cellars. It will consequently be necessary at the outset to divert this accumulation of water by collecting it in a drain to keep it away from your buildings. Give me your note-book, that I may show clearly what I mean by a sketch—(Fig. 6). Let A B be the stratum of clay, C D the pervious stratum of gravel or sand. A sheet of water running from E to F will be formed after every shower. This sheet will be arrested by the foundation or cellar wall G H, and will[Pg 47] soon permeate it, since it cannot reascend nor penetrate the clay. We must, therefore, provide, at I, a transverse drain, with openings on the upper side, through which water will find its way into the channel shown in sketch K. This drain will take the water thus collected wherever you like, and leave the wall G H perfectly dry. You understand, don’t you?

“But if you have to lay your foundations entirely in clay, you must adopt much more serious precautions: for, as I told you just now, the whole bed of clay may chance to slip.

Fig. 7.

“Banks of clay are apt to slip, especially when they present such a section as I have drawn—(Fig 7). Let A be a bed of rock, B a bed of clay. Rain-water falling on the upper side from D to C, will pass at C below the bed of clay; and if the rain is persistent, it will form from C to E a soft, slippery, soapy stratum, so that the clay bed C B E will slide over it by its own weight, but especially if at G you have burdened it with a building.

“How, then, can we guard against the danger? First, by collecting the water at C into a sewer, or a dry stone drain, so that it may not pass under the clay bed,—in[Pg 48] case the latter is very thick. Secondly, if it is only a few yards thick, by getting down to the rock or gravel for the foundation wall, and placing a collecting sewer at I, as above. Then the triangular bed of clay, C I K, will not be able to slide, being kept up by the firmly-planted and loaded wall. The part of the clay lying below, not being moistened from above, will not slip. But this wall, H, and its drain, I, must be thick enough to resist the pressure of the triangle C I K.

“You perceive, then, how important it is to understand the soils on which you have to build; and how essential it is for an architect to have some acquaintance with geology. Remember this well, for the architects of the preceding generation have shown a contempt for these studies, and have relied on their contractors in many instances where that knowledge was required.

“We shall also take into consideration muddy low-lying soils, permeated by water, which cannot be dug into, because their consistency is little better than that of compact mud, and in which the deeper you dig the less resistance you meet. When these soils are not of a turfy description, contain little vegetable detritus, and always retain the same quantity of water, you can build upon them, for water is not compressible. Your building is then a kind of boat; the only question is, how to prevent the water from escaping, from receding under the weight of the structure as it does under that of a boat. When you plunge into a bath half full of water, the liquid rises along the brim proportionately to the volume of your body. But suppose that a board cut out so as exactly to fit the outline of your body, prevents the water from rising around you, you will not be able to sink into the water, and it will bear you on its surface. Well, then, the problem of building in a muddy soil consists in preventing the mud from rising around the house in proportion to[Pg 49] the pressure. I must once more give you a sketch, showing the method of securing a successful result in this particular case. (Fig. 8.)

Fig. 8.

“Let us suppose we have been digging in ‘made ground’ A, i.e., ground in which we cannot build with security. At B we reach the virgin soil, but it is very moist—mud of old formation, permeated by water, and in which one sinks in walking. The deeper we go into it the softer we find it. A bar thrust down to the depth of two or three yards discovers no bottom, and the holes made in it are immediately filled with water. Piles driven in sink up to the head. Now, there can be no doubt that for an ordinary building it will not do to spend in foundations double what the building itself would cost. We must consider, therefore. In this case we shall dig a trench of about 1 foot 6 inches to 2 feet deep, to receive the walls forming the perimeter of the house, as drawn at E; then, in these trenches, and over the whole area of the building, we shall pour concrete, having a thickness of 2 feet to 2 feet 6 inches, between the trenches, as at F. We shall thus have formed a cover of homogeneous material, which will prevent the mud, G H, comprised within its edges, from rising. The weight of the made ground A will suffice to keep down the rest. On a plateau of this kind you will be able to build securely.

“You will, perhaps, ask me what ‘concrete’ is, and how it is made. You will learn this later on.”

Talking and making sketches, Paul and his cousin had[Pg 50] reached the slope of the hill on which the house was to be built.

“The situation is good,” said Eugène. “We have an excellent calcareous soil, from which we shall even be able to get stone or rubble fit for building. Here, on the lower slopes, we have fairly clean sandy clay, with which we shall make brick. And there is the spring of fresh water coming from the wood, and passing out below the lowest of the limestone beds; we shall easily secure it, and lead it along the house, where it will be doubly useful, for it will give us water for the requirements of the household, and carry off in a drain all the house sewage and impurities, which we will discharge into that old excavation which I see on our left.

“However, we must examine before we proceed, for it seems to me that these beds have already been worked at some points. We should be very likely to meet with some of those carelessly-conducted quarryings which are too common in this neighbourhood.”

“How,” asked Paul, “can good building-stone be distinguished from that of inferior quality?”

“It is not always easy to distinguish it, and in this, as in many other branches of knowledge, experience must confirm theory. Among calcareous stones, which comprise, with certain sandstones, the materials that can be easily quarried and worked, some are hard, others soft; but the hardest are not always those which best resist the effects of time. Many limestones contain clay, and as this retains water, when frosts supervene, these clayey parts swell, and burst blocks whose substance is composed of carbonate of lime, and also of silica, in larger or smaller quantity. Limestones free from clay are those which best resist moisture, and are least liable to be damaged by frost. When, as here, we have beds laid bare by erosion, it is easy to distinguish the good from the defective ones. Thus, observe[Pg 51] that large dark-looking mass, whose smooth bare edge has been covered with lichens for centuries; it is of an excellent quality, for lichens spread over a rock very slowly; and to enable them to attach themselves to this stone and give it that grey speckled appearance, the limestone must have resisted the decomposing action of the atmosphere. Now, look at that bed of nearly pure white, and which seems so sound. Well; it has this fair appearance only because at every frost it has lost its skin; its surface has been decomposed. Touch this rock, and you will observe a white dust remaining on your hands. It is so, is it not? The quality of this block is consequently bad; in fact, you see that below it the grass is covered with small calcareous exfoliations, whereas the turf under the grey block is quite free from dust. It is then very desirable for an architect, when he intends to build, to go and see the quarries, and observe how the beds that compose them stand when exposed to the air, a thing—I may tell you—our brethren rarely do.”

Lesson the Second.

Paul was greatly pleased with the method adopted by his cousin for giving him the first notions of building. In the evening he presented as his day’s work a fair transcription of all that his teacher had explained to him on the ground. He even illustrated his text by some pretty good diagrams. The corrections were quickly made after dinner. But next day the incessant rain prevented them from going out, and Eugène decided that the second lecture should be given in the house. “We shall have illustrations enough before us; the château itself will supply them. We will go through it from cellar to attic, and study its materials and methods of construction—to criticize them if they are bad, or to take note of them if they are good.” When teacher and pupil had gone down into[Pg 52] the cellars, Eugène began by saying, “Look how damp this cellar wall on the side of the courtyard is; and see how the mortar in the joints of the stones has fallen, owing to two causes:—first, in building these walls, the precaution was not taken of cementing them on the outside, so as to make the water in the ground run down to the bottom; second, the mortar employed in the building was not made with hydraulic lime. There are two principal kinds of lime: fat or rich lime and hydraulic lime. The first is obtained by burning the compact limestones usually found at the top of the beds; it is called fat because when slaked it is glutinous and sticks to the tool with which it is mixed; this lime, on being immersed in water, swells and sends forth a dense vapour, as you may have observed, and mixed with sand is slow in setting. Employed above ground, mortars made with this lime become at length very hard, but retain more or less for a time a certain plasticity. These mortars, however, as they are slow in setting, are readily softened by water, and cannot then ever harden. Hydraulic limes, on the other hand (obtained by burning the lias limestones), when mixed with sand, soon become very hard, and set all the better for being in a damp place. Hence this lime is called hydraulic, because it is employed for all masonry-work under water. In default of lias limestones, artificial hydraulic limes are made, by grinding a certain proportion of clay with a limestone suitable for making ordinary lime. Hydraulic lime is tested by slacking—that is to say, mixing it with water; when it slakes with the production of very little vapour.

“It is with hydraulic lime that concretes, of which I spoke to you yesterday, are made. The mortar being prepared, a certain proportion of hard gravel, about the size of eggs, is mingled with it; the whole is well mixed and thrown into the excavations, where it is rammed with wooden rammers. If the lime is good and the concrete[Pg 53] well made, it forms a veritable rock, similar to the conglomerates or pudding-stone of natural formation. As, when set, water penetrates with difficulty through these concretes, they prevent that percolation of subjacent water to which cellars made in wet grounds are liable.

“If the wall you see there had been built with mortar made with hydraulic lime, it would have been sound, and the mortar joints would have been as hard as the stone itself. You will easily understand that when the water has gradually softened and liquefied the mortar in the beds and joints at the base of a wall, the stones which compose it settle, and all the rest of the building suffers. That is why the front of the house, towards the court, presents a considerable number of cracks, that are filled in from time to time, but of course with no result in doing away with the cause of the mischief.

Fig. 9

Fig. 10.

“You observe that the cellar wall which receives the arch of the vault is very thick, much thicker than is the wall of the ground floor. The latter is scarcely 2 feet thick, whereas this is full 3 feet. This additional thickness is given to the inside principally to receive the springing of the vault. A sketch will enable you to understand the reason of this arrangement. Let A (Fig. 9) be the thickness of the wall of a house on the ground floor—a thickness of 1 foot 8 inches if cellars are wanted beneath[Pg 54] the ground floor; the floor line being at B and the outside ground line at C, it will be well first to indicate the floor line by a projection,—a greater thickness given to this wall on the outside, say of 2 inches. At A, then, the wall will have a thickness of 1 foot 10 inches. Your cellar arch being drawn at D, we must reserve a resting-place of at least 8 inches, to receive the first arch-stones of the spring of the vault; then it is well to give on the side next the ground a greater projection, to make a good footing for the plinth; this projection being 2 inches, we shall have at F a thickness of 2 feet and at G 2 feet 8 inches at least, as it will not do for the wall which rises to bear on the oblique beds of the vault, otherwise it would not have a solid footing, and would be weakened or reduced in thickness by this arch, which would penetrate it, as we see in the drawing I. But come here into this other cellar, which belongs to the oldest part of the château, and is built with good stones. The builder did not wish to lose space within, and as he built with worked stone he sought to economise material. What, then, did he do? (Fig. 10.) He gave his[Pg 55] cellar wall only the thickness of that of the ground floor; at regular distances he put massive corbels 2 feet above the floor; upon these corbels he carried arches projecting 10 inches, and on these arches, which replace the extra thickness or counter-wall of which I spoke to you just now, he carried his vaulting arch. This perspective sketch will enable us readily to understand this method of construction. The upper wall thus leaves the vault perfectly free and rises plumb over its lower face.

“Is it all clear to you? Well, let us go and look at that little flight of steps which perhaps you have never attentively examined. It is 4 feet 3 inches wide, which was large enough to afford a passage to the queues of wine. Observe (Fig. 11): the ramping vault is composed of as many arches, one above another, as there are steps; that is extremely well managed, solid and easily built. In fact, when the stone steps are laid, over above them is successively fixed the same wood centre which, of course, is raised at each step; and upon this centre an arch is built, which is quickly done, as the stones are worked ready. In this way the arches follow the section of the steps, and the centre being shifted—after each arch is keyed—to the next step commencing from the bottom, two men can turn five or six of these arches in one day, so that if there are twelve steps, this ramping vault may be built in two days. Look, I will show you how this construction should be denoted in perspective and geometrical section in your résumé to-day—A and B.

Fig. 11.

“Let us go up to the ground floor. Look at the efflorescence resembling cotton wool on the interior of the walls: it is the saltpetre which forms inside the stone, and, through the humidity of the ground, crystallizes on the surface. This saltpetre affects the stone injuriously, ultimately eats it away, and throws off any painting that we might endeavour to use as a counteractive on the interior[Pg 56] surface. Mastic cements are made to stop the effects of the saltpetre, but these means only delay its appearance for a short time without curing the evil, and this cement soon falls off in a crust. It is therefore necessary in building, especially in the country, to prevent the damp of the ground from rising up in the walls, and to stop it at the ground level. The interposition of a layer of pitch beneath the plinth has sometimes been tried, in order to prevent the absorption of damp by the stones—or what is called capillary attraction—but this method is very inefficient. The pitch oozes out under the pressure, as it does not harden sufficiently to bear that pressure, or it decomposes[Pg 57] and combines with the lime. The best plan is to lay a course of slates in the mortar-bed between the first lower courses of the plinth. The slate effectually hinders that effect of capillary attraction, and the damp is unable to rise in the walls.

Fig. 12.

“Now observe this front wall in the court: it forms a protuberance at the floor level of the first story. We call that a bulging of the wall. Instead of preserving its vertical plane, as it should have done, it has bulged out; and why? Because it has been thrust out by a force acting from within outwards. What is that force? It might be an arch; but there is no arching on the ground floor. It can therefore be only the floor. It is not clear at first sight how a floor, which is a horizontal plane, can thrust; for to thrust, we must suppose the floor to expand in one direction, which cannot be. But see what happens. Give me your best attention.... Formerly, to compose a floor, large beams were laid from wall to wall, and upon these beams lighter pieces of timber, called joists; then on these was laid a bed of earth, gravel, or sand, and upon that a surface of mortar to receive the tiling. This made a very heavy mass. Now, as a piece of timber, even of considerable section, bends in time under its own weight—that is to say, from being straight becomes curved—its tendency to bend will be proportionally greater when it is weighted. The more it bends, the more powerful its thrust upon the inner surface of the walls in which it has its bearing. It is this pressure upon the interior surface that tends to thrust the wall outwards. But if, as in this case, in order to relieve the bearing of the beams, struts of wood have been put underneath (Fig. 12), this effect of thrust is all the more sensible because the arm of the lever is longer. You do not quite understand, I see. A sketch will make it clear to you. Let A be the section of the wall, or, if you will, its thickness. If the beam bends[Pg 58] according to the line C D, there occurs a pressure at D, which produces a thrust at F and the rounding of the wall, as indicated by the dotted curves. Supposing even that in lieu of the strut E we have a stone corbel, the effect produced will be the same, though less forcible, unless the tail of the corbel reaches through the wall, as you see marked at I, and this tail K is weighted in such a manner that the weight neutralizes the pressure which the beam exerts at the end L. This has not been done here, where instead of the wood strut, a corbel was put. This corbel has but a middling hold in the wall, and the latter, formed of small stones not very well built, has not sufficient cohesion to resist the thrust exerted by the deflection of the beams. But why, you will ask me, has this effect been produced at the floor level of the first story and not above? Because, by the effect of the bulging we find here, the wall has inclined above towards the inside, and has thereby squeezed the second floor—its surfaces being placed, by their very inclination, perpendicularly to the curve line of the upper beams, as I indicate to you at[Pg 59] M, exaggerating the effect for the purpose of making it clearer.

“You see that each detail merits attention, and that the builder ought to have a good reason for everything he does.

“In work of every kind we learn to avoid faults only by analysing and searching into their causes and ascertaining their effects. To become a good builder, therefore, it is not enough to familiarize one’s self with rules of construction, which cannot provide for all contingencies; we must see and observe much, and ascertain defective points in buildings that have been tested by time; just as physicians become able to determine what a good constitution is only by studying diseases and their causes. For the most part we appreciate what is good only through observing what is bad; if, in the absence of the bad, we are able to admit that there is such a thing as the good. An old proficient in architecture, who, when I was about your age, was so kind as to aid me with his advice, used often to say to me: ‘I can tell you, my dear fellow, what you must avoid in the art of building;—as to explaining to you in what the good and the beautiful consist, you must find out that yourself. If you are a born architect, you will know well enough how to discover it; if not, all that I could show you, all the examples I could place before you, would not give you talent.’ And he was right. The sight of the finest works in architecture may pervert the minds of students, if it’s not been explained to them how the authors of these works succeeded in making them beautiful by having avoided such or such faults.

“But you have enough to write out for to-day. Make a fair copy of these sketches opposite your text, and we will examine it this evening.”


[Pg 60]

CHAPTER VI.
HOW PAUL IS LED TO RECOGNIZE CERTAIN DISTINCTIONS BETWEEN ETHICS AND ARCHITECTURE.

When, in the evening, Paul’s report of the lesson was read in the family circle, M. de Gandelau interrupted the reading at this phrase incorrectly given, “Good is only the absence of evil.”

“Oh, oh!” said his father; “Charity is something more than the absence of evil. If you give nothing to the poor man who asks bread of you; if, being able to swim, you do not try to save a drowning man, you do not do evil, but certainly you do not do good.”

“That is not exactly what I said to Paul,” replied Eugène, smiling. “Respecting defects discovered in building, I said, ‘I believe that the good is the absence of the bad;’ that is to say, in building operations, and perhaps in many other matters belonging to the purely material order of things, to avoid what is bad is to do well, but not to do good. I must, however, admit that I did not sufficiently develop my thought.

“Two things are needed to make a good builder: clear-sighted intelligence—which depends on our individual psychical nature—and the experience we acquire.

“Observation and experience thence resulting enable us to recognize what is defective and to avoid it; but if, notwithstanding the advantage thence derived, we are not endowed by nature with clear-sighted intelligence,[Pg 61] experience, though enabling us to avoid the bad, does not of itself suffice for the discovery of the good.

“Moreover, though in morals the good is absolute and independent of circumstances, it is not the same with building. What is good here is bad elsewhere, on account of climate, habits, nature of materials, and the way in which they are affected by local circumstances. While, for instance, it is desirable to cover a roof with slates in a temperate and humid climate, this kind of roofing is objectionable in a warm, dry, and windy climate. Wooden buildings will be excellent in one situation and unsuitable in others. While it is desirable to admit the light by wide openings and to glaze large surfaces in northern climates, because the sun’s glare is subdued, this would be objectionable in southern countries, where the light is intense, and where it is necessary to procure shelter from the heat. A code of morals is possible, but we cannot establish absolute rules in building; experience, reasoning, and reflection must therefore always be summoned to our aid when we attempt to build. Very often young architects have asked me what treatise on building I should recommend as the best. There is none, I tell them; because a treatise cannot anticipate all contingencies,—all the special circumstances that present themselves in the experience of an architect. A treatise lays down rules; but ninety-nine times out of a hundred you have to encounter the exception and cannot rely upon the rule. A treatise on building is useful in habituating the mind to devise plans and have them put into execution according to certain methods; it gives you the means of solving the problems proposed; but it does not actually solve them, or at least only solves one in a thousand. It is then for intelligence to supply in the thousand cases presented what the rule cannot provide for.”

[Pg 62]

Lesson the Third.

“Yesterday,” said Eugène to Paul, when the latter came into his room, “we visited the cellars and the ground floor; now we shall take a walk among the garrets of the château. But first I must show you what is meant by a roof truss. The simplest truss (Fig. 13) is composed of four pieces of wood: two principal rafters, a tie-beam, and a king-post. The two inclined pieces A are the blades; the horizontal piece B is the tie-beam, and the vertical piece C the king-post. The upper ends of the blades meet in the king-post, as I show you in the detail D,—namely, by the means of two tenons E, which fit into two mortises F, and a shoulder G, which make the whole pressure of the timber bear into the notch I. The lower ends of the blades are similarly connected at the two extremities of the tie-beam, as this other detail H shows us. The king-post is also connected by a tenon, in the centre of the tie-beam, but loosely, and without bearing upon this tie-beam.[Pg 63] When the tenons are let into the mortises, pegs of wood are driven into the holes marked to fasten the whole well. The more pressure there is on the top, M, the more the two blades tend to spread at the foot; but these, being fixed at the two ends of the tie-beam, tighten the latter like the string of a bow. The more this tie-beam is strained, therefore, the less it is inclined to bend, and the object of the king-post is only to suspend it by its centre, and to connect the heads of the blades. But between M and N these rafters may bend under the weight of the roof covering; two struts, O P, therefore are added, which arrest this bending by bringing the pressure to bear on the king-post, so that the latter is in its turn strained between M and P. As wood will not stretch, the point P is fixed, and the two points O likewise.

Fig. 13.

“Now that you know what is the simplest roof-truss, let us go up into the roofs.”

These roofs were old, and had been repaired and strengthened many times, and formed a complication of timbers difficult enough to understand.

“Formerly,” said Eugène, “that is, more than a century ago, they used to make roofs such as you see here: every rafter was framed, that is, each of the rafters composed a truss, except the tie-beam, which was introduced only at intervals. Then wood was in plenty, and they scarcely thought of economising it. At present it is less abundant, and there is a difficulty in procuring a considerable number of pieces of large dimensions. The noble forests that covered the soil of France have been foolishly wasted, and long timbers of heart of oak are rare. It has therefore been necessary to economise them. The expedient has been adopted of placing strong trusses at a distance of about 12 feet from each other. On these trusses have been placed purlins, which are the horizontal pieces you see on this side; and on these purlins longer or[Pg 64] shorter rafters have been placed to receive the lathing for the tiles, or the battens for the slates. But all timber roofing should be fixed upon sleepers, which are those horizontal pieces resting on the top of the walls, which bind and isolate the tie-beams from the masonry; for it is to be observed that timber is preserved for an indefinite time in the free dry air, but soon decays in contact with a moist body, such as stone is. Look here at this piece of wood, almost buried in the masonry; it is nearly reduced to touchwood, while the blade above, which is in the free dry air, is as free from rot as if it were new.

“Formerly upper floors were made by putting joists resting on beams and the walls. These joists and beams remained visible, as you may see still in the kitchen and the large hall on the ground floor, which serves as a store-room. The air therefore could circulate round these timbers, and they might last for centuries. But it was considered that thus exposed they were not pleasant to look at—that they were not clean, and allowed spiders to spin their webs in the interspaces. Laths were therefore nailed under these joists, and this lathwork plastered so as to form what we call a ceiling. Timbers thus inclosed and deprived of air, ‘heated’ (as carpenters call it), that is, they fermented and soon began to decay. In fact, floorings with exposed joists which had resisted the action of time for centuries decayed and broke down in a short time after being inclosed. I may add that formerly, before using timber in building, they took the precaution of leaving it exposed for some years to the action of the sun and rain. They even kept it for some time in water, to free it from the sap (for sap is the ferment which makes wood rot). When the timber, after having been barked and roughly squared, had remained in the open air for five or six years, it was used. But now-a-days we are in a hurry, and make use of timber that has not been cut more[Pg 65] than a year. It is not dry, it retains its sap, and if it is then enclosed it ferments rapidly, so that in a few years the largest beams are completely rotten. Prudent architects therefore hesitate to use wood for floors. Yet its use—even if only partially dried—would not entail serious inconvenience if it was not covered with plaster. The worst that could happen would be the occurrence of cracks and shrinkings. It would dry when in use, as it would have dried in the open air.

“There is no great disadvantage, then, in employing wood newly cut for roof-timbers, which are generally left exposed. They dry where they are. They warp, but do not perish of dry-rot.

“As we shall not be able to find wood absolutely dry for your sister’s house, we shall leave the floor-joists visible, and endeavour by simple and economical means to render them not unsightly.

“But you ought to be well acquainted with the qualities of timber. I will not tell you that nature has caused these large vegetable growths which we employ to grow for our pleasure or use. Nature is, I think, very little concerned as to whether the oak or the fir would serve any of our purposes; and if human intelligence has been able to take advantage of these materials that spring up before us, it is after having recognized and verified their properties by experience. Unfortunately, it would seem as if the results of this experience did not tend to increase; and judging from the way in which building-timber is most frequently employed, we might be led to suppose that we are less informed than were our predecessors, or that we have lost that habit of observation with which they were familiar.

“Wood, being composed of fibres more or less lax or compact, possesses a considerable power of resistance to a pressure exerted along these fibres, but is easily bent or[Pg 66] crushed under a pressure exerted across these same fibres. Thus a log of wood 4 inches in diameter and a yard or so long, placed on end, will support, without being crushed or contorted, a pressure of 40,000 lbs.; whereas this weight will break or crush it if placed horizontally, as you would crush a reed under your foot. Take a thoroughly sound bit of straw, 4 inches long, and place your finger on one end of it, holding the straw vertically on a table; you will have to press pretty strongly on it to bend it, while the least pressure on the same straw placed horizontally will flatten it. The straw is a tube. A tree consists of a series of tubes, some enveloping others. The more numerous, close and fine these tubes are, the more does the trunk resist pressure, either in the direction of its length or its thickness. But this shows us that to enable the wood to retain its power of resistance we must employ it as nature gives it to us; and in fact this was done formerly. Each piece of timber was cut from a tree of larger or smaller size, as the case required, but they did not split the tree lengthwise to get several pieces of timber; for the heart being harder and more compact than the sap-wood (which is the spongy envelope beneath the bark), and the concentric layers of wood being the closer and tougher in proportion to their nearness to the bark, if you split a tree in two lengthwise one of its faces is much more resisting than the other, the equilibrium is disturbed, and flexure is easily produced under a weight. The outer layers, being the more recent, are more spongy and lax in texture than the older layers that are near the heart; consequently the process of drying makes these outer layers shrink more than the inner: hence curvature. Let A (Fig. 14) be a split piece of wood; the layers B are harder and more compact than those marked C, which contain more moisture and whose fibres are softer. In drying, therefore, this piece of wood will present a hollow bend[Pg 67] on the outer side, as I show at D. If the wood is left entire, as at E, the effects of drying will neutralize each other, and the piece will remain straight.

Fig. 14.

“Look at this old roof, whose rafters are framed (Fig. 15): the wall plates, A, are cut from small trunks, the heart being in the centre. It is the same with the rafters B, the tie-beams C, the collars D, the king-posts E, the foot-pieces F, and the foot-posts G; all these pieces, therefore, have preserved their rigidity, and none of them has been bent, because they were used dry and were unsplit trunks. Observe, on the contrary, this purlin, H, placed on this truss, I, of recent date; it is bent not so much on account of the weight of the rafters it supports as because it is split and the carpenter has unadvisedly turned the heart on the inside. If he had done the contrary,—if the heart had been placed next to the rafters,—this purlin would probably not have bent, perhaps have even become more rigid—that is to say, it would be convex on the outer side. Carpenters, however, are but men, and they do not care to[Pg 68] give themselves trouble when they think they can avoid it. The man that put this purlin here found it more convenient to place it on its sawn side than to turn it the other way with the flat under the rafters.

Fig. 15.

“Considering this quality of wood, and of oak especially (whose internal fibres are harder and closer than the outer layers), when we have to place a piece of wood horizontally on two points of support or posts, and wish to give it all the strength possible to bear a weight acting on its centre, we saw it in two lengthwise, and turning the flat faces[Pg 69] outside, bolt these two pieces together, as shown here (Fig. 16). Then as the heart-wood is outside, and the two pieces tend to become bent, forming two convex surfaces, as you see at A (Fig. 17), if they are firmly held by bolts furnished with good heads and nuts, they must remain straight; the tendency to curvature in the one neutralizing that in the other, these two opposing forces tend to make the piece more rigid, so that, if you take a piece of timber that is slightly bent naturally and then place these two pieces with their hollow downwards,—that is, after having placed one upon the other, putting the tail of one against the head of the other,—you will have given this piece of wood all the resisting power of which it is capable.

Fig. 16.


Fig. 17.

“It is in this way that clips and all coupled pieces should be placed. Here, for example (Fig. 18), you see a pair of clips where the sawn faces have been turned outside to replace a decayed tie-beam. We call clips those pieces of wood which, in pairs, usually clench two or more parts of a framing. These clips, A, hold fast by means of notchings, the blades B, the king-post C, and the two struts D. Iron bolts with screw-nuts tightly hold the notchings of the clips, like a pair of jaws, against the timbers which[Pg 70] have to be kept in their place. But this is enough for to-day, and you will have plenty to do to make a fair transcript of this lesson in carpentry between now and this evening.”

Fig. 18.


[Pg 71]

CHAPTER VII.
SETTING OUT THE FOUNDATIONS OF THE HOUSE, AND OPERATIONS ON THE GROUND.

Next day a letter dated Naples was received from Madame Marie N——, expressing the liveliest and most patriotic apprehensions with regard to recent events. Paul’s sister wished to induce the family to join her at Naples; her husband could not return to France just at present; the business which called him to Constantinople allowed of no delay, and would oblige him to embark very shortly. The letter terminated thus: “We have received Paul’s designs; we suppose his cousin must have given him a little help. I should be delighted, and my husband too, if there was any chance of such a plan being realized; but who can think of building in the state in which our poor country is now! Rather make up your mind to come and join us.”

“Well,” said M. de Gandelau after reading the letter, “you see your plans are approved: let us set to work at once. If the Prussians should come as far as this and set our old house on fire, as their custom is, they will not burn the walls of a building only just begun, and what we have spent in its erection will not get into their pockets.”

Eugène, helped by Paul, who calculated the items—he had never undertaken such a task before—drew up the estimate, which amounted in all to 7,000l. The earthworks and masonry were expected to cost 3,400l.

[Pg 72]

Master Branchu was summoned: “A very good gentleman your father is,” said he to Paul, when it was settled that they should begin the following day; “he sets people to work when the best hands are being turned off everywhere, and old fellows like me, who cannot go soldiering, would have a hard time of it all the winter. I shall go and drink his health with Jean Godard the carpenter, who will be desperate glad like myself.”

The rest of the day was employed in marking the principal dimensions on the plan, so as to be able to set out the excavations.

Master Branchu was already on the ground next day, equipped with lines, stakes, nails, and broches, a large carpenter’s square, and a water-level, when Paul and his cousin arrived at an early hour in the morning.

“You see,” said Eugène to Paul, “that the figures indicate on this plan the distances between the centre-lines of the walls. Consulting these dimensions, we shall set out these centre-lines on the ground with the help of lines attached to what we call broches (Fig. 19), which consist of two stakes firmly fixed in the earth, and a crosspiece. The direction of one of the centre-lines being determined according to the orientation it suits us to choose, the places of the other axes will follow according to the distance figured on the plan and the square returns.”

Eugène had soon settled the line of centre, A, for the dining and billiard-rooms, according to the desired orientation. Then on this first centre-line was set out by means of a small theodolite another at right angles, which was the centre-line of the entrance-hall. These two lines once laid down, the others were determined by means of the dimensions previously marked on the plan. The centres of the principal walls were thus traced on the ground by lines attached to the broches.

Fig. 19.

As cellars were to be made under the whole extent of[Pg 73] the main building, Eugène contented himself with ordering Branchu to excavate the entire ground to a distance of about a yard beyond the lines of the perimeter. Two labourers with their picks set to work therefore at once to[Pg 74] mark out the excavation. “If,” said he to the workmen, “you find stone, as may certainly be expected, at no great depth, and if it should prove to be of good quality, you will take care not to break it up; get it out for walling stone; we will make use of it and pay you for your extra trouble. If you find boulders, let them be blasted, and lay aside the best pieces for use. To-morrow or the next day we shall give you the plan and section of the cellars. Meantime lay in a good store of bricks, lime, and sand; you know that in this district it is desirable to arrange matters beforehand if we would have the materials when wanted. It is September already, and our cellars must be built at least before the first frosts.”

“This being settled then,” added Eugène, addressing Paul when they were returning to the house, “I appoint you clerk of the works, and these will be your duties: You will come to the ground every morning, and take care in the first place that the orders given in your presence are strictly executed. For instance, you will have to take account of the quantity of stone extracted from the excavation, and to have it properly stacked in a heap about one yard thick, two yards broad, and of a length depending on the yield of the quarry. Having thus verified the daily increase of the heap, we shall be secure against any abstraction from it. You will keep a note-book in your pocket, in which you will mark its daily augmentation, and you will take care to have every leaf countersigned by Branchu. Your business just now will be only overlooking; but it will become more complicated as the works advance. If materials are brought you will take account of the quantity,—in numbers if it is bricks, or by solid content if it is sand or lime. For this purpose I shall have brought to the ground one of those road-labourer’s boxes, which are a yard square and half a yard deep. Each measure when filled contains therefore half a cubic yard.

[Pg 75]

“You will tell Branchu to get a wooden shed built to keep his tools in, and to keep the lime under cover till it is slacked. If we had a contractor, or some one with whom a bargain had been made, we should not have to trouble ourselves about the quantity or content of the materials brought to the ground; but as it is, we must employ elementary means, for Branchu has not capital with which to provide materials. We shall therefore give him the materials we buy, or which the estate supplies, on account. You perceive the necessity of preventing these materials from being abstracted or wasted. We pay him only for the labour. This plan obliges us to be more attentive and vigilant, but we are at least secured from being deceived as to the quality of the materials by a contractor, who might think it his interest, if he bought them, to supply us with some of a quality inferior to that contemplated in the estimate.

“We shall make the same terms with the carpenter. Your father tells me he has some oak timbers that have been cut more than two years, and put in the wood-yard near the Noiret farm. Let us go and have a look at them, and mark those that can be employed. Our figured plan gives us the lengths of the flooring joists.”

Passing by the side of the rivulet that flows along the little valley, Eugène was looking attentively at its steep banks, and was striking the rock faces with the iron-shod end of his stick. “What do you observe there?” said Paul.

“I think we shall find here good materials for our cellar vaulting.... Look at this yellowish stone, porous like a sponge. It is a present to us from this little water-course. It brings down in its waters carbonate of lime, which is incessantly being deposited on the grasses and vegetable detritus on its banks and in its bed. This rivulet thus forms a light and very porous tufa, which is soft and friable as[Pg 76] long as it is thoroughly moist, but which acquires a certain degree of hardness in drying. Formerly this rivulet was larger than it is now, and it appears to me to have deposited a considerable thickness of this tufa as presented on its banks in their actual condition. Take this bit, and look at it attentively. You see that it is filled with cavities,—little cylindrical passages; they represent the twigs around which carbonate of lime was deposited. The twigs themselves decayed and disappeared long ago; the coating has remained and been hardened in the air. Observe how light this kind of stone is, being composed of cells scarcely thicker than egg-shells. Yet, try to crush it under your heel. It resists, and the pressure scarcely blunts its asperities. Well, dry it, and in a week it will be even harder. A smart blow with a hammer will be required to break it.

“This material is perhaps the best for vaults, on account of its lightness, its toughness, its cavities, and that roughness of surface which makes the mortar adhere so closely to the joints that it cannot be separated, and the whole, when sufficiently dry, seems to form only a single piece.

“We shall send two excavators to get out a few cubic yards of it. It is no difficult operation; and when this tufa is in a damp state in its natural bed, it can be very readily cut up into brick-shaped pieces.”

They soon reached the Noiret farm; and there in fact, under a shed along the wall of the barn, were piled up pieces of timber roughly squared and blackened by damp. Eugène marked a certain number of them with his knife, leaving those that were crooked, knotty, or cross-grained.

“What is a cross-grained piece of timber?” asked Paul.

“Cross-grained timbers are those whose fibres form a spiral round the heart. You can understand how[Pg 77] the fibres of the wood not being vertical, and forming spirals more or less complete, lose their resisting property; these fibres, on account of the circuit they make,—and which is not a regular one,—become disjoined, and leave deep cracks between them. These timbers, therefore, are rejected as defective, as are also those whose heart is unsound, or which have what they call soft rings; that is, diseased parts between their layers—a sort of interior ulcers which not only deprive the wood of its homogeneity of resistance but develop decay around them. It often happens that these soft rings are not observed, and that timbers which appear very sound fall rapidly to dust. And as these diseases are frequent or rare according to the soils in which the wood grew, it is essential to know whence the timbers employed in buildings came. One forest will produce oak admirable in appearance, but which rapidly decays; another furnishes timber that is always sound. Generally, timber grown on light and dry soils is good; the produce of damp, clayey ground is bad.

“You will have these cross-grained and crooked timbers put on one side; they will do to make the centres for the cellars; they are fit for nothing else, unless it be for firewood. As to these fir poles, they will serve for scaffolding.”

It was late, so the cousins asked for breakfast at the farm. While they were laying the table, Paul said, “I want to know how you use the theodolite.”

Fig. 20.

“In the case of an operation such as we have just been performing, it is the simplest thing in the world. I asked Branchu to send my instrument to the château, that I might not be troubled with it all the morning; but there is no need to have it here to show how to use it. You know that the theodolite consists of a graduated circle, divided into 360 degrees. This circle, movable on its[Pg 78] centre, is furnished with an air-bubble level, and a telescope above, both of which turn horizontally on a pivot in the centre of the circle. The level and the centre of the telescope are perfectly parallel to the plane of the circle. This is placed upon a stand with three legs, and the circle is first fixed horizontally by means of three regulating screws, and by turning the level. The air-bubble must be always at the centre, to whatever degree of the circle the tube is directed. This being done, and the feet being placed at the point marked on the ground—verifying the position by means of a plumb-line passing through the centre of the plate—the glass is directed towards a fixed point where a ‘sight’ is placed. The glass of the telescope is crossed by two hairs at right angles, which mark its centre. The intersection of the two hairs must fall on the point on which the telescope is directed. But previously the indicator or vernier below the telescope is set to the zero of the circle. It is therefore the entire instrument that has been turned. If, then, for example, we wish to construct a right angle on the line joining the point where you are standing with the first sight, you turn the glass till its indicator stands at 90 degrees (the quarter of the circle). You send a man with another sight in the direction of the glass, and have this sight carried to right or left until its centre is exactly on the line of the vertical hair of the glass. You have this sight fixed. It is then certain that the line drawn from the point where you stand in the direction of the second sight forms a right angle with the first base line, since two diameters cutting a circle divided into 360 degrees at right angles give 90 degrees for each quarter of the circle. By the help of this instrument, having previously indicated on the plan of a building whose foundations you are laying out, the angles which certain lines, starting from any point, form with each other, you can transfer these angles to the ground. Suppose you[Pg 79] have to lay the foundations of a semi-circular portico. Having fixed the centre, and traced the semi-circle on the ground, placing the theodolite on this centre, you will be able to direct lines that will cut this circumference at regular intervals, and which would mark, for instance, the centres of the columns or pillars. Since from point A to point B you have 180 degrees (Fig. 20), you will divide these 180 degrees into as many parts as you choose on the circle of the theodolite, and the centre of the glass will give you, at a great distance, the same divisions on the semi-circular portico. In the same way as the theodolite serves the purpose of laying the foundations of a building, it enables us to take the bearings of a tract of country. For suppose the base, E F, to be a known length which you have measured: placing your instrument at E, you direct the glass on a point C,—a tree, a steeple, or a pole; you have then the number of degrees on the circle comprised by the angle C E F. You transfer this angle to your paper, then moving the instrument to the point F, you direct it thence on this same point C; you obtain similarly the angle C F E, which, transferred to the paper, gives you exactly the position of the point C, and the unknown distance from E to C and from F to C; then either of these lengths will serve you for a base in its turn, and operating from the point C and the point F,[Pg 80] and sighting a fourth point D, you know the lengths C D and F D. Thus you can operate over a whole country; this is what is called triangulation, the first operation required for getting a map of the country. But we are getting into another region of knowledge. Let us go to breakfast!”


[Pg 81]

CHAPTER VIII.
PAUL REFLECTS.

The omelette au jambon despatched, Paul remained silent.

“Well, my young colleague, you seem to be looking at something outside the real world. Is it hunger that gives you that pensive look? Shall we have another omelette?”

“No, thank you. My hunger is quite satisfied. What bothers me is, that I don’t half understand all you have been so kindly explaining to me. There are points which I cannot catch; and I am asking myself whether I can be really of any use to you in overlooking the building. It seems to me that I should have much to learn; the little you have taught me is all in confusion in my head, and we haven’t even begun the work yet.”

“Discouraged already! Come, come! each day’s task can be finished in the day; and a house is not built so fast but that you can add something every day to your store of practical knowledge, without confusion.

“All you learn will find its place in your brain, for the head is a marvellous box; the more you fill it the more it enlarges; and everything classified in the compartment destined to receive it can always be found again. The great thing is to keep one’s bureau in good order, and only to place in it objects well studied and sorted.

“But each day you ought to make a complete transcript of the work done, and leave nothing for the morrow. The[Pg 82] commission I give you—that is the daily record of all that is brought to the works, and of the employment of the materials—what we call ‘keeping account’ is only a question of exactness and care. The important point is not to let your work get beforehand with you. Two hours daily will suffice to take account on the spot. You see that you will still have three or four hours left to attend to the details of the execution, and to take your pleasure.”

“Did you begin to learn architecture in this way?”

“Oh! by no means. When I left college I was articled to an architect for two years, who set me to copy drawings of buildings, of which I was not told either the age, or the country, or the use; then to lay on tints. During this time, I took lessons in mathematics, geometry, and drawings from models. I was then prepared to enter the École des Beaux Arts, where not much is taught, but where they compete to obtain medals and the Grand Prix, if you can. I remained there three years, making five in all. Meantime, I was obliged to get my living, for I had no more than enough to pay for my lodging and to buy clothes. I was obliged, therefore, to get into an office—that is to say, to work for so much an hour at an architect’s, who was in large practice. There I used to trace plans and nothing else, except now and then to make some detail drawings.—Heaven knows how!—for I had never seen the smallest part of a building executed. But my employer was not exacting, and the master builders supplied by their experience what was wanting in these details. Seeing that all this would not put me in a speedy way to master my profession, and being so fortunate as to have had a few hundred pounds left me, I resolved to travel—to study architecture in actual buildings, and no longer in those shown me on paper. I set myself to observe, to compare, to see practical men at work, to examine buildings that were crumbling to pieces,[Pg 83] that I might discover in animâ vili the causes of their ruin.

“At the end of five more years I was sufficiently acquainted with my profession to be able to practise it. Total—ten years; and I had not built even a dog-kennel. One of my patrons introduced me to an agency for government works, where I saw methods employed which scarcely agreed with the observations I had been able to make during my previous architectural studies. If at any time I allowed myself to make remarks on this discrepancy, I found they were not well received. This circumstance, and the fact that a fine opportunity offered itself for making use of what I had learned, occasioned my stay there to be of no long duration.

“A large commercial company was on the point of erecting manufacturing works on an extensive scale. They had engaged an architect who was proposing to erect buildings in the Roman style, which was not exactly what they wanted. They did not think it quite to the purpose to build in the plains of the Loire edifices recalling the splendours of Ancient Rome. I was introduced to the directors; they explained what they wanted to me. I listened; I worked indefatigably to acquire what I was ignorant of, in order to satisfy my clients. I visited factories, made the acquaintance of large contractors, studied building materials, and at length furnished the draft of a plan which pleased them, but which would scarcely satisfy me now. The work was begun; assiduous study, and constant attendance on the ground, enabled me to supply my deficiencies in point of knowledge, so that they were satisfied with my commencement. Most of these gentlemen had town and country-houses. I became their architect, and this soon obtained me large practice and more work than I could execute; especially as I have come to the conclusion that it is necessary to be always studying,[Pg 84] reasoning, and improving; so that (looking at the matter in this light) the further you advance the more difficulties you have to encounter.”

“How, then, should architecture be studied?”

“Why,—as I have shown you,—by practising it. In France, at any rate, no other method has been employed hitherto, and perhaps this is the best.”

“But how do those learn to build who do not travel, as you did, but simply study in the usual way?”

“They do not learn to build. They only learn to imagine and design impossible structures, under the pretext of preserving the traditions of ‘high art;’ and when they are tired of putting these fancies on paper, they have a place as clerk of works given them, where they do what you are going to do; the only difference being that they feel a disgust for the work because they were expecting something very different.”

“But, beginning as I am going to begin, shall I be able afterwards to study the—what shall I call it?”

“The theory,—the art, in short. Certainly, you will be able to study it much more easily; for the modicum of practical knowledge you will have acquired in building a house, or in seeing it built from foundation to roof, will enable you to understand many things which, without practice, are inexplicable in the study of the art. This will give you the habit of reasoning and of satisfying yourself as to the why and wherefore of certain forms and certain arrangements dictated by the necessities of practical building,—forms and arrangements which appear simply fanciful in the eyes of those who have no idea of those necessities.

“How are children taught to speak? Is it by explaining to them the rules of grammar when they are only three years old? No; but by speaking to them, and inducing them to speak to express their wishes or necessities.[Pg 85] When they have learned to speak nearly as well as you and I do, the mechanism and rules of language are explained to them, and then they can write correctly. But before learning according to what laws words ought to be placed, and how they ought to be written to compose a phrase, they had become acquainted with the signification of each of them.

“If we had not in France the most singular ideas respecting teaching, we should begin with the beginning, not with the end, in the study of architecture. We should impart to students the practical elementary methods of the art of building, before setting them to work to copy the Parthenon or the Thermæ of Antoninus Caracalla, which, for want of those first practical notions are to them mere phantoms; we should thus train their young minds to reason and to become aware of all their deficiencies, instead of exciting their youthful vanity by exercises purely theoretical or artistic at an age when they cannot clearly understand the forms that are given to them as models.”

“A house such as we are going to build seems to me a very small affair. Surely such a construction can hardly supply the information necessary for erecting a great edifice.”

“Do not imagine that, Paul; construction, apart from certain branches of scientific and practical knowledge, which you will be able to study at leisure, is nothing but a method,—a habit of reasoning,—a compliance with the rules of common sense. Of course you must possess common sense and consult it. Unfortunately, there is a school of architects which disdains this natural faculty, asserting that it fetters imagination; for we have among us idealists, as there are in literature and among painters or sculptors; though if idealism is permissible among littérateurs and artists,—for there it is harmless,—in architecture[Pg 86] it is quite another thing; it is expensive, and you and I have to pay for it. We have consequently the right to consider it at least out of place. The reasoning faculties and good sense have to be called into exercise quite as much in building a house as in constructing the Louvre, in the same way as you may show tact and intellect in a letter as well as in a large volume.

“The ability of an architect is not determined by the quantity of cubic feet of stone he uses. The size of the building makes no difference.”

“You maintain, then, that as much ability is required to build a moderate-sized house as to erect a vast palace?”

“I do not say that; I say that the faculties of the mind, reasoning, accuracy, the exact appreciation of the materials at our disposal, and their proper use, are manifested as well in the construction of the simplest habitation as in the erection of the most magnificent architectural monument.”

“I shall then be able to learn much in observing the building of my sister’s house?”

“Certainly. First, because one learns much when one has the wish to learn; secondly, because in a house, as in the largest of palaces, the entire architectural staff will have to present themselves before you, from the excavator to the decorative painter. Whether the carpenter makes twenty doors or two hundred, if you can get a clear notion of how a door is made, hinged, and hung, one alone is quite enough; you have no need to see a thousand.”

“But here we shall not be making doors (for example) such as those of royal apartments?”

“No; but the principles on which they are, or ought to be made, are the same for both; and it is by departing from these principles that we fall into mere whims and follies. When you know how a wooden door is made you will see that the structure is adapted to the nature of the[Pg 87] material employed, viz., wood, and to the purpose it has to serve. This knowledge acquired, you will be able to study how clever men have made use of these elements, and how (without departing from fundamental principles) they have produced simple or splendid works; you will be able to do as they have done, if you have talent, and to seek new applications of principles. But you must, in the first place, know how a door is made, and not imitate at hazard, while destitute of this preliminary practical knowledge, the various forms that have been adopted, be they good or bad.”

Paul continued thoughtful all the rest of the day. It was evident that he was becoming aware of grave difficulties, and the building of his sister’s house was assuming in his mind disquieting proportions. Returning to the château, he began to look at the doors, the windows, and the wainscoting, as if he had never seen anything like them in his life; and the longer he looked, the more confused, complicated, and difficult to understand did it all appear to him. He had never asked himself by what contrivances these pieces of wood were combined and held together, and found hardly any satisfactory solutions of the questions he was putting to himself.


[Pg 88]

CHAPTER IX.
PAUL, CLERK OF THE WORKS.

“Go, my dear Paul, and see how far the excavations are advanced this morning,” said Eugène, two days after the visit to the ground, “and bring me your report. Take a rule and a note-book with you, and take notes and measurements of what has been done. You will examine the ground, and tell me if they find blocks of stone near the surface of the soil, or if the loose earth is deep. In the meantime I am going to draw the plan of the cellars. But take the tracing of the plan of the ground-floor of the house, and on this plan, mark out what they have begun to excavate, and what they find. The work cannot be far advanced; but some excavations will have been already made, since I have told Branchu to set as many labourers to work as he could find, so as to comply with your father’s intentions.”

A little embarrassed by his new duties, Paul soon reached the ground. Aided by Branchu, he took the measure of the diggings, indicated the depths as well as he could, and marked the spots where they found rock or loose earth. This took him two good hours.

“Well,” said Eugène, when they were settled in the study, after breakfast, “there is the plan of the cellars (Fig. 21). Let us see how it will suit your report of the ground, and whether we shall have to make some modifications in this plan. Ah! I see the rock is nearly on the[Pg 89] surface towards the south, and the loose soil reaches pretty uniformly a depth of three yards towards the north of our buildings. We shall, therefore, make the cellars under the drawing-room, the dining-room, and the billiard-room, in the limestone rock,—cutting the latter; and we shall make a foundation for the front part, especially for the stabling and coach-house, with good masonry.

Fig. 21.

“Here (Fig. 21) is the plan of the cellars. You see these axial lines: they indicate the centres of the walls of the ground-floor, and must not be departed from. The figures denoting the thickness of the walls are always marked from these centres. Thus you see these dimensions are greater where the cellar-wall will have to carry the spring of the vaulting of the cellars—as I explained to you, the other day.

“We have a rivulet that will supply the services of the house, by means of a reservoir, which we will place as high as possible. We have not yet taken the levels; but judging by a glance, I should say (reckoning by the falls of the[Pg 90] rivulet and the rapidity of its course) that at 100 yards from the house the reservoir will store the water so as to enable it to reach the level of the first floor by pipes. That we shall have to ascertain. Otherwise we shall have recourse to a pump worked by horse-power or by a windmill. We will afterwards conduct this stream of water into a drain along the walls at the north of the house, as you see at A, so that this drain may collect the waste water from the house by a conduit, B, and receive the closet discharges at C, D, and E. The running water will thus take off this sewage into a tank, which we will make down below in the kitchen-garden. This water when it has settled is excellent—let me tell you—for watering the vegetables.

“I have indicated on the plan at G the sections of the cellar barrel-vaults. The cellars will measure 5 feet from the floor to the spring of the vaults, and the vaults will have a rise of 5 feet. These cellars, therefore, will have a height of 10 feet under the crown, which will be very satisfactory, especially as the ground is dry. We shall then be able to make use of the cellars, not only for storing wines but vegetables, for a larder, &c. The level of our ground-floor being 5 feet above the general surface of the ground, we shall easily ventilate these cellars by air-holes, as I have marked at H. The descent to them will be by the steps on the right, situated near the wash-houses and by the servants’ stairs in the turret. The right-hand steps will serve for taking down stores, and the winding-stairs for carrying up the wines and other things to the pantry.

“Have you seen whether Branchu has taken care to have the materials extracted from the excavations regularly deposited?”

“Yes: but hitherto he has found only thin layers of what he calls rag; but he has them stacked, and tells me they will be very good for foundation walls.”

“He is right: this rag is liable to injury from frost in[Pg 91] the open air, but it is hard, and does very well in cellars; and it makes good strong walling, because it is bedded,—that is, occurs in the natural state in thin parallel layers, 4 to 6 inches thick.”

“That is just about what he told me; but he added that it swallows up a great deal of mortar, and I did not quite understand what he meant by that.”

“The fact is this;—the thinner the layers of stone are, the more beds of mortar they require between them; but if you have observed the thin stones in question you will have remarked that they are extremely rough and riddled, with cavities on their beds. There must be plenty of mortar between each course, to fill these rugosities and cavities well: and for that very reason masonry of this kind is excellent, if you are not sparing of mortar; and these rough surfaces adhere to the mortar much better than smooth surfaces could do: they become incorporated with it, and the whole soon forms one solid mass. But then you must not spare lime and sand, and that is why Branchu says this kind of walling swallows up a great deal of mortar.”

“Branchu also says that he has been finding stone good for making lime, above blocks of building limestone, and asks whether he is to put that aside.”

“Certainly if the lime-burner at the Mill cannot furnish us with lime, we will make it ourselves; this will not be difficult since we have plenty of firewood from the recent fellings.”

“Branchu also asked me where he was to put the excavated earth.”

“You will tell him to-morrow morning, to have it deposited en cavalier to the right and left of the excavations; we shall want it to level the approaches to the house.”

“What is a cavalier?”

Fig. 22.

“It is an artificial mound of regular breadth and height, so that its solid content can easily be calculated. Thus,[Pg 92] when earth is removed from diggings with wheelbarrows,—and this is, as you see, the means we are employing,—we mark out the area this mound is to occupy on the ground, as at A B (Fig. 22), representing the length, and C D the breadth. That done, the point B being farthest from where the excavation is going on, the wheelbarrow men deposit their first loads at B, leaving an inclined embankment not too steep for the barrows to be wheeled up it without too much labour. Thus by degrees an embankment, A E B, is formed. Then, from the middle F half way up the incline A E, they leave a road, a b, 5 feet wide for the barrows to go up and down, and then fill up the triangle, A G F, by inclined layers. Lastly, they fill the triangle, G F E. The road, g D h i, remains to be filled up, and the shovellers do this by depositing the soil on the road itself. The mound being thus perfectly regular, its slopes are produced by the running down of the soil—that is, they form angles of about 40° with the horizon, according to the nature of the embankment. The mound being finished, and measuring, say, 10 yards long at half its length from l to m, and 4 yards wide at half its height from n to b,—multiplying 10 yards by 4 yards we get 40 superficial yards at this mean level. Multiplying this number by 2 yards, the height of the[Pg 93] mound, we get 80 cubic yards. You know therefore that this quantity of earth has been moved, and consequently, what you have to pay, if your cuttings and embankings are at so much per cubic yard, or what a cubic yard of soil removed costs you if you pay by the day.”

“This will give us the solid content of the excavation then?”

“Not exactly. Earth compressed,—settled down in the natural soil,—occupies a smaller volume than that which, having been moved, leaves many interspaces between the materials of the embankment. Soil when removed is said to increase, more or less. Sea-sand does not increase, while pebbly earth, mixed with vegetable detritus, increases greatly. In your memoranda, therefore, you must take account of the looseness caused by excavating, to get the solid content of the soil removed; and take the solid content of the mounds when we make use of them, to know the mass of earth we shall have to transport elsewhere.”

“You will now draw this plan of the cellars to a scale of a quarter of an inch to a foot, so that you may figure the dimensions very legibly where required; then I shall indicate to you on this plan the points where bedded stone must be placed.”

“What are bedded stones?”

“Dressed stone laid as a foundation is thus designated, and which is only dressed on its beds,—that is to say, which presents no visible faces. Dressed stone has always two beds, which are its horizontal surfaces, one or more faces, which are its exposed surfaces, and its joints, which are its separating surfaces. Thus, let us suppose a corner stone, bearing a pilaster, and having the form indicated here (Fig. 23), the surface a b c d e f, g h i j k l are the upper and lower beds. The surfaces a l b g, b g c h, c d h i, d e i j are the exposed faces, and the surfaces c f j k, a f k l are the joints, as the adjacent stones touch these surfaces. You[Pg 94] will easily see that when stones are placed below the surface, as a foundation, it is not necessary to dress the faces which would be visible only to the moles. This cutting therefore is saved; the stone is left in the rough on its vertical faces, and only those on which it rests are cut. For these bedded stones solid blocks are chosen, which sustain pressure, but which may be very coarse in grain, and even sensible to frost (i.e., liable to be cracked by frost), and which could not be employed in the open air without danger; under ground these stones are preserved from the action of frost. But care must be taken with regard to these stones even more than for those above ground, to place them according to their quarry-bed, and their natural stratified position; otherwise they might be broken or crushed beneath the weight of the masonry above.

Fig. 23.

“When our plan is drawn, we shall indicate by a particular colour the parts where we wish bedded stones to be placed. These will be the angles and the junctions of the walls which sustain the heaviest pressure relatively to the rest. Between these bedded stones the masonry will be carried up simply in rubble-work.

“The ground being good, we shall content ourselves with[Pg 95] foundations only half a yard below the area of the cellars. But as soon as we have reached this level, the dressed stones will necessarily have faces visible in the cellars; these stones will therefore not merely be bedded, but faced and jointed. We will not take the best and finest grained, but those that resist pressure best, and which in this district are the coarsest in appearance. We shall put dressed stones in our cellars at the angles, the jambs of the doors and air-holes, and in the newels of the stairs.

“But you have enough work for to-day and to-morrow morning.... Ah! I was forgetting! If Branchu meets springs, or drippings, that trouble him, inform me, because we must immediately make drains to collect the water. That will determine us as to the level to be given to the bed of our sewer.”

“What do you mean by the bed?”

Fig. 24.

“It is the part of a channel sluice or a sewer on which the water flows; it is the bottom, which ought to be formed so solidly that the force of the current cannot disturb it. The beds of sewers, therefore, should be made of good flat stones, or, which is still better, of hydraulic cement, when it can be procured, because the water finds its way between the joints of the stones; while, if the cement is properly used, it forms along the whole channel one homogeneous mass perfectly water-tight. Besides we take care to give to the bed of a drain a section slightly concave, joining its walls without angles; for water takes advantage of angles to effect its work of destruction. Angles, moreover, are not easily cleared out when subterranean channels have to be cleansed. The best form to give to a sewer is the one given here in section (Fig. 24).


[Pg 96]

CHAPTER X.
PAUL BEGINS TO UNDERSTAND.

In spite of the news of the war, which was daily assuming a more threatening character, M. de Gandelau insisted on the works not being interrupted; and the inhabitants of the château found in the execution of the plans prepared by Eugène and Paul a beneficial distraction from the sad forebodings which oppressed them.

In the evening, after reading the paper, which recorded, alas! only a succession of disasters, everyone remained silent, with eyes fixed on the hearth; but soon, with a determined effort, M. de Gandelau started the inquiry how the house was getting on. It was for Paul, as Clerk of the Works, to give an account of the operations of the day, and he began to perform his task with a fair amount of exactness and clearness. He showed his memorandum books, which, thanks to Eugène’s corrections, were not very badly drawn up, and which, by the help of a daily summary of accounts, indicated the expenses that had been incurred.

Fig. 25.

The excavations had hitherto furnished enough materials to obviate the necessity of sending for any from the neighbouring quarries. About the 15th of September the cellar walls were already beginning to make their plan visible, and it was time to think of the exterior plinths in elevation, and of the cellar vaultings, for whose construction wooden centres were required. The carpenter was therefore commissioned to send for timber-sawyers, to convert some[Pg 97] trunks of poplars, which having been cut some time before, were put by for the purpose. The best part of the wood was sawn into thin boards for battens, to be employed when required; and the slabs—that is, the part near the bark—were cut up for centring for the cellars. As the plans gave only two barrel-vaults whose arches were different, the curves were soon struck out, and the carpenter prepared the centres, which were fixed up as soon as the cellar walls reached the level of the spring of the vaults These centres were formed in the manner shown in Fig. 25—that is, consisted each of a tie-piece, A, a king-post, B, two blades, C, and clips, D, which held fast the curves formed of slabs of poplar nailed together, as shown at E, and fixed at G and H on to the king-post by means of a notch, F, and to the tie-piece by an iron staple. On these centres, supported by props K, and set five feet apart,[Pg 98] they laid a covering composed of planks, L, 3 inches thick, to receive the vaults, which were made of blocks of tufa extracted from the banks of the rivulet, 8 inches in thickness, with a good layer of mortar over all. The openings for the air-holes had to be contrived in the haunches of the vault, a piece of work which gave Paul considerable trouble—or rather, he had some difficulty in understanding it and sketching it in his note-book; for, as to Branchu, he did not seem to find any particular difficulty in it.

Eugène had given the sketch for the air-holes at the same time as the section of the plinth, 5 feet in height above the ground level.

Fig. 26.

This drawing presented, in section at A, and in plan at B, the figure 26. Eugène had to explain this sketch to his clerk-of-works, who did not understand it at the first glance. “As the light comes from the sky, at the mean angle of 45°, the cellars must be lighted accordingly,” said Eugène. “The plinth consists of a course, D, half sunk in the ground, two clear courses, E F, and a course bearing the set-off. We give the cellar wall bearing the spring of the vaults, 3 feet. The wall above the floor-level being 2 feet, this wall gives one foot on each side of the fixed centre-line, but as the plinth has 4 inches of projection outside, there will be 16 inches from the centre to the exterior face of this plinth. Within, the wall descends plumb as far as the skew-back which carries the vaults. A width of 8 inches is needed to receive the latter. Thus, from the centre-line below the spring of the vaults there will be 20 inches in the interior, and 16 inches on the exterior: total, 3 feet. The lower course rising above the surface 6 inches, and the height of the plinth being 5 feet, there remains above these 6 inches, 4 feet 6 inches, which divided by three gives for each course 18 inches. I take the opening of the air-hole in the second course; out[Pg 99] of the third, I take a chamfer of 4 inches, to admit the light, as the exterior, M, and the section indicate. I cut the first course to a slope of 45°, as shown at I, leaving a flat, a, of 12 inches, as you see in the plan. Then, behind this sill, I place a lintel, with a chamfer in the same way, as drawn at O, and take care to leave at b, two rebates of 2 inches, for casements or gratings, at discretion. At the back of these rebates, I splay the air-hole, which has only 2 feet 8 inches of exterior opening, to 3 feet 4 inches. I draw in section an inclined line, m n, 8 inches above the[Pg 100] lintel O, which 8 inches will be the rise of the arched opening that will penetrate into the barrel-vault, and whose curve in horizontal projection will give the outline X. Thus this arch, X, will receive the thrust of the courses of the barrel-vault, and will throw it on the two cheeks, P. Branchu will only have to mark the curve X on the covering of the centres to form his arched opening.”

Fig. 27.

It was not quite certain that Paul perfectly caught this explanation, though repeated several times; and he did not understand it completely till he saw Branchu construct the air-holes and the centres were removed (Fig. 27).

Fig. 28.

“I spare you the difficulties,” said Eugène, seeing that[Pg 101] Paul was puzzled to comprehend the construction of the cellars, “for the structure of the vaults and their penetrations is a matter that requires long study. We have made only simple barrel-vaults, and you will observe that the cellar doors are all in the end walls, or tympanums, and not in the side walls bearing the springing of the vaults. With the difficulties, I also avoid useless expense. The courses which form the plinth will be of hard stone, but you will observe that, except at the angles and for the air-holes, they are only a facing,—they are not parpings, that is, do not form the whole thickness of the wall. We have excellent rubble-stone, which, with the good mortar we employ, offers greater resistance to pressure than is required to carry two stories and a roof. Letting these rough stones tooth out on the inside we tie them better into the haunches of the barrel-vaults (Fig. 28), and thus economise dressed stone. You will also see in elevation, above the plinth, how we can spare dressed stone if we wish, while preserving a perfectly[Pg 102] sound construction. We find moreover, on the surrounding uplands, layers of thin limestone, which split in regular beds from 6 to 8 inches in thickness, and which make capital range-work. We call that range, or coursed work, in which the stone is laid with visible faces, beds, and joints somewhat roughly dressed. This range-work facing, which presents in its way an attractive appearance, and whose rusticity contrasts with the smooth finish of the dressed stone, is backed with ordinary rubble walling. Thus, in districts where stone occurs naturally of this shape in the quarries, we get an economical building material. But it is puerile to amuse one’s self with making thin coursed-work where soft freestone abounds, and where it must be cut into little bits to obtain this appearance. You will see that it is contrary to common sense to cut great blocks of stone into little bits, and that when the quarries supply those only, it is reasonable to employ them according to their natural dimensions, and to adapt the construction to the nature and height of the stones. Here we have large blocks, when we require them, but they are not common. In short, we ought to proceed, as far as possible, according to the nature of the materials which the soil furnishes us in abundance.”

The drain was made, the vaults were turned; the steps down to the cellars were laid; the plinth had risen more than a yard above the ground. It was time to think about studying the details of the elevations. That overlooking the garden was only roughly sketched out. Paul was hoping that it would present a more regular appearance than that of the entrance side. He made a remark to that effect, for Paul had seen in the environs of Paris, many country-houses that seemed to him charming, with their four pepper-boxes at the angles, their porch in the very centre of the façade, and their zinc cresting on the roof. He had too high an opinion of his cousin’s ability[Pg 103] to allow himself to criticise the façade of his sister’s house, as designed for the entrance side; but in his heart he would have preferred something more conformable to the laws of symmetry. Those windows of all forms and dimensions shocked his taste a little. When the façade on the garden side (Fig. 29) was sketched—a frontage which, this time, presented a symmetrical aspect—Paul declared himself satisfied with it; and in the evening, the family being assembled, he asked why the entrance front did not present the symmetrical arrangements which delighted him on the garden side.

Fig. 29.

“Because,” said Eugène, “on the garden side our plan gives us rooms which are the counterparts of each other, of equal dimensions and corresponding purposes; while on the entrance side we have very diverse services in juxtaposition. The question you raise, Paul, is a very[Pg 104] large one. Two methods may be followed. On the one hand, you may plan a symmetrical architectural casing, in which you try, as best you can, to accommodate the services required by a habitation. Or, on the other hand, you may arrange these services, in plan, according to their importance, their respective place, and the relations that are to be established between them, and erect the casing so as to suit these services, without troubling yourself to obtain a symmetrical appearance. When it is proposed to erect an edifice whose exterior aspect is destined to exhibit a grand unity of design, it is desirable to endeavour to satisfy the rules of symmetry, and to take care that the building shall not present the appearance of having been built piecemeal. In a private habitation it is imperative first to satisfy the requirements of its inhabitants, and not to incur needless expense. The habitations of the Ancients were not symmetrical, any more than those of the Middle Ages. Symmetry strictly applied to domestic architecture is a modern conceit—an affectation—a false interpretation of the rules observed during the best periods of art. The houses of Pompeii are not symmetrical: the country-house—the villa—of which Pliny has left us a complete description, did not present a symmetrical ensemble. The castles, manors, and houses built during the Middle Ages are anything but symmetrical. Lastly, in England, in Holland, in Sweden, in Hanover, and in a large part of Germany, you may see numbers of dwellings wonderfully appropriate to the needs of their inhabitants, which are constructed without regard to symmetry, but which are nevertheless very convenient and elegant in appearance, from the simple fact that they clearly indicate their purpose.

“I know that there are many persons quite disposed to put themselves to inconvenience every day, in order to have the vain pleasure of exhibiting regular and[Pg 105] monumental façades outside; but I think your sister is not one of those persons, and therefore I have not hesitated to proceed according to what I conceive to be the law of common sense in making the designs for her habitation. I can fancy her asking me, with her quiet, and slightly ironical smile—

“‘Why, my dear cousin, did you make me so large a window in this small room? We shall have to stop up half of it.’... Or, ‘Why did you not give me a window on this side, where the view is so pretty?’

“If I replied that it was to satisfy the laws of symmetry, she would perhaps have laughed outright, and, in petto, might probably have thought that her respected cousin was after all a fool, with his ‘laws of symmetry.’”

“Alas!” said M. de Gandelau, “there are too many people in our country with whom considerations of vanity take precedence of everything else, and that is one of the causes of our misfortunes. Appearance is the great object. Every retired bourgeois who has a country-house built, wishes to have his turrets regularly disposed at the corners of a building, symmetrical, indeed, but in which he is very indifferently lodged—satisfied if this inconvenient erection is called the château, internal comfort being sacrificed to the gratification of exhibiting outside bad stucco carvings, zinc ornaments on the roof, and a quantity of nonsensical decorations which have to be renewed every spring. Build us then, cousin, a good house, well sheltered from the sun and rain, thoroughly dry within, and in which nothing is sacrificed to that debased luxury which is a thousand times more offensive in our country districts than it is in the city.”


[Pg 106]

CHAPTER XI.
THE BUILDING IN ELEVATION.

“It is decided that we are to build our exterior walls with dressed stone and range-work,” said Eugène, while they were levelling-up to the ground-floor.

Fig. 30.

“We have a good part of the materials on the ground. As regards stones of large size, we shall get them from the quarries of Le Blanc, which are only a mile or two distant. Our quoins, our door and window-openings, our string-courses, cornices, dormer-windows, and gable-copings, will be made of dressed stone. Let us begin with the quoins. This is how you will give the details to Branchu; it is a very simple matter. In this part of the country they sell stone by the scantling; that is to say, the quarries supply it according to a measure stipulated beforehand, and the price per cubic foot is less in proportion to the uniformity of the order, and the ease with which it is executed. Now our walls on the ground-floor are 2 feet thick: let A be one of the corners (Fig. 30); for these you will require stones all of the same scantling—2 ft 10 in. long by 2 feet wide, and a mean height of 18 inches, which is the average thickness of the beds in the quarries of this district. And these quoin stones will be placed as I have marked here, one a b c d, the other a e f g, the result of which will be that each stone will form alternately on one side and the other a bond of 10 inches. The range-work having its courses about 6 inches thick, we shall have three courses of the range-work[Pg 107] in the height of each course of dressed stone, and the building as it rises will present the appearance indicated by the perspective sketch B. Between the plinth mould and the string-course of the first floor we have 14 feet; nine courses of stone, plus the mortar beds, therefore, will constitute its height. Let us see how we are to arrange our window-casings. We must consider how to place the jalousies, which cannot be dispensed with in the country, but which when folded back on the face of the walls produce a disagreeable effect, very soon begin to get out of repair, and are troublesome to shut or open, imposing on the inmates of the dwelling a gymnastic exercise from which they would gladly be excused. Interior reveals will be required sufficiently deep for the casements, not to be flush with the walls, and to leave a space between them and the curtains. Our widest windows are 4 feet wide in the clear; our walls, on the ground-floor, are 2 feet thick; we can therefore find a place for the jalousies in the[Pg 108] casing, only on condition of dividing each of these leaves into two or three folds. Only those made of sheet iron will allow us to manage this, because three sheets folded back on themselves are only 2 inches thick, including the room left for the play of the hinges. This, then, is the method given (in Fig. 31) of arranging the jambs of the windows: the outside being at A, we will leave a thickness, B, to mask the leaves of the jalousies folded up in the jamb of 4 inches. We will allow a space of 10¾ inches for these leaves at C. Then will come the window-frame, 2¼ inches thick; total, 17 inches. We shall then have left 7 inches of reveal inside at D.

[Pg 109]

Fig. 31.

“You see at E how we shall build these window-openings: a sill, F, of a single block of stone; then a course, G, 16 to 18 inches high, bonding into the range-work; a stone on end, H, only the thickness of the casing; a third course, I, like that marked G; and lastly, the lintel. We will make this only the thickness of the casing, that is, 14¾ inches; we shall have left 9¼ inches, exactly space enough to turn an arch of bricks, K (these being 9 inches long, and with the joint 9¼ inches). This arch will bear our joists, if there are any that have to rest in the outer walls, and it will hinder a fracture of the lintels. Besides this we will pass a tie-bar, L, under the latter. I find the tie-bar more effective at this level than at the level of the flooring. A tie-bar is an iron sinew placed in the thickness of the walls to bind and keep in place the whole construction. It is not always placed in houses built in country districts, but it is unwise to omit it—indeed, a very poor economy to do so; for a building not tied is liable to be easily cracked. But we shall speak of this again at the proper time. Make a fair copy of these sketches and show them to me; and we will give these details to Branchu.

Fig. 32.

“We must also decide how we shall construct the floors. In Paris, at the present day, they construct all the floors with joists of double T iron, and for bearings of 16 to 20 feet they take iron 4½ to 6 inches in vertical section. They pug these iron joists—placed about 28 inches apart, and connected at intervals of about a yard, by iron tie-bars ⅝ in. square—with plaster concrete. This is no bad method, certainly; but here we have neither the iron joists, which are so easily procured at the great centres, nor the plaster-of-Paris, which is perhaps too lavishly used in the capital, but which is nevertheless an excellent material when it is properly employed, especially for the interior. We must construct the floors with wood. But I have already told you that timbers which have not been soaked for some time, and which[Pg 110] have been cut scarcely two years, decay very rapidly when enclosed, chiefly in their bearings, that is their extremities built in the walls. To prevent our floors giving us anxiety respecting their durability, we must leave the timbers visible, and not build them in the walls. We will, therefore, adopt the system of bearers attached to the walls to receive the bearings of the joists; and as we have small oak trunks, we will content ourselves with squaring them on two faces, and place them diagonally, as I show you here (Fig. 32). For bearings of 16 to 20 feet, which are the largest we have, timbers 7 inches square will be sufficient. If we think them insufficient we will put an [Pg 113]intermediate beam; that remains to be seen. These joists, diagonally placed, present moreover their maximum of resistance to deflection. We will place them at 20 inches from centre to centre. Their bearings will be in the notches made in the bearers, as marked at A, and the soffits—which are the spaces between the joists—will be made with bricks placed flat-ways, overlaid with mortar and plastered beneath. We may decorate these ceilings with line painting, which renders them light and agreeable to the sight, as at H. Joists thus placed do not present internal angles difficult to keep clean, and among which spiders spin their webs. A dust with a soft brush readily cleans these soffits.

Fig. 33.

Fig. 34.

“As to the bearers B, (placed against the wall, as section C shows), they will be supported by corbels, D, a yard apart at most, and by cramps, I, to prevent these timbers from giving out. This arrangement will take the place of those cornices run in plaster, which are of no use, and which we could not get executed properly in this neighbourhood, where we have no good workmen in plaster. When partitions above have to be supported, we will put a special joist, the section of which I have sketched for you at E, composed of two pieces, a and b, with an iron plate between them—the whole fastened together by iron pins at intervals. Joists like this are perfectly rigid.

“As the joists rest on bearers, we have no need to trouble ourselves about the windows, but we shall require trimmers at the chimney-breasts and under the hearths, and—to receive these trimmers—trimmer-joists. You will easily see that it would be dangerous to lay pieces of wood under fireplaces. Accordingly, we place on the two sides of the jambs of these fireplaces, at a distance of 12 inches from the hearth-stones, stronger joists, which receive at 32 or 36 inches from the wall—to clear the width of the fireplace—a piece called a trimmer, into which the joists are tenoned.

[Pg 114]

“For the trimmer-joists we will take the type previously indicated at E; we shall strengthen (Fig. 33) this beam in its bearing with a block, D, resting on a strong stone corbel. We will bind the two pieces, E and D, by an iron strap, F, and frame the trimmer by a tenon, H, in the mortise G. This trimmer will receive, like the bearers, the ends of the joists at I. The space, G K, will be the under side of the hearth of the fireplace above; it will be 32 inches wide, and will be bedded with brick, laid on tie-pieces of iron, L. These trimmer-joists, E, will have to be let into the wall about 4 inches, to render them firm and bind the structure; but in the neighbourhood of the flues we have no reason to fear the effect of damp on the wood. To sum up, this is the appearance of these joists and trimmers underneath the fireplaces (Fig. 34).”

All this, it must be confessed, appeared rather strange to Paul, accustomed as he was to the invariable smooth white ceiling, and who had never suspected that such level surfaces could hide such a framework.


[Pg 115]

CHAPTER XII.
OBSERVATIONS ADDRESSED TO EUGÈNE BY PAUL, AND THE REPLIES MADE TO THEM.

Paul, with his head bent over the paper covered with sketches, and his hands between his knees, could not help thinking, for his part, that his cousin was covering a good deal of paper in making ceilings, whereas they had always seemed to him the simplest thing in the world, and the least susceptible of complication. In his own mind, in fact, Paul made scarcely any distinction between a sheet of paper stretched on a board, and a ceiling. So when Eugène had repeated the phrase, “Is it quite clear to you?” Paul hesitated a little, and said, “I think so,” adding, after a pause—

“But, cousin, why not make floors and ceilings as they do everywhere else?”

“It seems to you a complicated affair, my dear fellow,” replied Eugène, “and you would like to simplify the matter.”

“It is not exactly that,” rejoined Paul; “but how do they manage it generally; do they employ all these contrivances? I have not seen what you call bearers, and trimmer-joists, and trimmers and corbels, in any of the ceilings I am acquainted with. It is possible, then, to dispense with them, is it not?”

“None of these appliances are dispensed with in ceilings of carpentry work, but they are concealed by a coat of plaster; and, as I was telling you just now, this covering[Pg 116] of plaster is one of the causes of the decay of wooden floorings. In all these floorings there are trimmer-joists and trimmers next the flues and hearths; sometimes there are also bearers. All this is bound together by iron work, to form a rigid framing between two plane surfaces with as little space as possible between them. In Paris, where the houses are very dry, this method is still allowable; but in the country it is difficult to obviate the damp, and inclosed ceilings of this kind run the risk of soon falling into decay. The timbers must be exposed to the air, (I say once more) if we would preserve them. This framework of wooden floorings exists in all that are constructed with these materials, only you do not see it. Now it is desirable in architecture to make use of the necessities of the construction as a means of decoration, and frankly to acknowledge those necessities. There is nothing discreditable in allowing them to be seen; and it is a mark of good taste, good sense and knowledge, to exhibit them by making them contribute to the decoration of the work. In fact, to people of good taste and good sense, this is the only kind of decoration that is satisfactory, because it alone is suggested by the requirements.

“We have accustomed ourselves in France to decide everything, but especially questions of Art, by what is called sentiment. This is a convenient state of things for many persons, who presume to talk about Art without having ever had a pair of compasses, a pencil, a modelling tool, or a paint-brush in their hands; and professional men have gradually lost the habit of reasoning, finding it easier to take refuge in the conclusions of those amateurs who fill pages while really saying nothing to the purpose, and in so doing flatter the taste of the public while perverting it. Little by little, architects themselves, who of all artists should make good use of reasoning in their conceptions,[Pg 117] have acquired the habit of concerning themselves only with appearances, and no longer trying to make these harmonize with the necessities of the structure. At last these necessities have come to be looked at by them as annoyances; they have concealed them so completely, that the skeleton of an edifice—if I may so call it—is no longer in harmony with the dress it puts on. We see on the one hand a structure,—often left to the mercy of contractors, who manage it as best they can, but naturally in subservience to their own interests,—on the other hand a form which indifferently suits that structure. With your permission, then, we will not follow this example, but will produce a building, unassuming it may be, yet one in which not a detail shall be found that is not the result either of a necessity of the structure or of the requirements of its occupants. It will not cost us more on that account; and when the work is completed, we shall rest satisfied that there has been nothing disguised nor factitious, nor useless, in what we have produced, and that the architectural organism we have built will always allow us to see its organs, and how these organs perform their functions.”

“How is it, then,” rejoined Paul, “that so many architects do not show (as you propose to do here) those necessities of the construction, but disguise them? Why do they act in that way? Who obliges them to do so?”

“It would take a long time to explain that to you.”

M. de Gandelau entered at these last words of the conversation.

“We have worse and worse news,” said he. “The German armies are spreading everywhere; we must expect to see the enemy here. Poor France!... But what were you saying?”

“Nothing,” replied Eugène, “that can have any interest in presence of our disasters.... I was trying to make[Pg 118] Paul understand that in architecture we should not disguise any of the means of construction, and that it is even in the interest of this art to avail itself of them as a basis for decoration; that, in a word, we should be sincere, that we should reason and trust only to ourselves——”

“Certainly!” rejoined M. de Gandelau, “you lay your finger on our plague-spot as a nation—— To reason, to trust only to ourselves, to get a clear idea of everything and of every fact by study and labour, to leave nothing to chance, to disguise nothing from one’s self or from others; not to take phrases for facts——not to fancy ourselves protected by tradition or routine—— Yes, this is what we should have done—— It is too late, and who can tell whether, after the misfortunes which I anticipate, our country will recover enough elasticity, patience, and wisdom to leave sentiment and keep to reason and serious work! Try to teach Paul to reason, to habituate himself to method, to acquire a love for mental labour; and whether he becomes an architect, an engineer, a soldier, a manufacturer, or an agriculturist like myself, you will have rendered him the most valuable service. Above all, may he never become a mere half-savant, half-artist, or a half-practitioner in any department—writing or talking about everything, but incapable of doing anything himself. Work! The more sinister the character of the news we receive,—the more heavily they weigh upon our hearts,—the more energetically should we give ourselves to useful and practical labour. Lamentations are to no purpose. Work!”

“Let us go and look at the building,” said Eugène, who saw that Paul continued in a meditative mood, and was scarcely inclined to set to work again.

[Pg 120]

Fig. 35.VIEW OF THE BUILDING OPERATIONS


[Pg 121]

CHAPTER XIII.
THE VISIT TO THE BUILDING.

The building was beginning to assume a definite shape; the plan was becoming visible above the ground. About twenty masons and stonecutters, four carpenters and their helpers, enlivened this quarter of the neighbourhood. Carts filled with bricks, sand and lime, were coming in. Two timber-sawyers were cutting up trunks of trees into planks; a small movable forge had been lighted under the shelter of a clump of trees, and was used for repairing tools, with the prospect of being called into requisition for forging iron straps, cramps, bands, and lintel bars. A beautiful autumnal sun was shedding a warm but subdued light on the busy scene. This spectacle succeeded in effacing from Paul’s mind the gloomy impression left by his father’s words. Under this aspect work did not seem to him invested with that harsh and rugged form which had at first somewhat scared our holiday pupil. Paul proceeded therefore to follow his cousin over the ground as an attentive clerk of works (Fig. 35), listening with great care to his observations.

“Here is a stone, Master Branchu,” said Eugène, “which must not be put in; it has a flaw, and as it would be a lintel, it must be rejected.”

“But, sir, the flaw doesn’t go far.”

“Far or not, I disallow it,—do you understand? Paul, you will take care that it be not laid.... Observe this little chink that is barely visible; strike the stone with this[Pg 122] hammer on both sides. Just so; the ring of the stone is dull on this side; well, that proves to you that it is not sound, and with the help of the frost this piece on the right side will separate from its neighbour.... Here are some bricks that you will not let them use: see how cracked they are; these white spots too ... they are particles of limestone which the fire has converted into lime. When the damp acts upon them these particles of lime swell and burst the brick. You must take care before allowing bricks to be used to have them well moistened. Those which contain portions of lime will fall to pieces and so will not be used.”

“But, my good sir,” said Branchu, “it isn’t my fault; the bricks are not my business.”

“No; but it is your business to send back those that are defective to the brickmaker, and not to pay him for them, since you have undertaken to get them supplied; that will teach him to clear his ground thoroughly of bits of limestone. There is some sand with clay in it, see how it sticks to one’s fingers! Master Branchu, I must have none but good coarse sand; you know well where that is to be got. This has been taken from the edge of the pit; it is good for nothing but to be put in the haunches of the cellar vaults for filling up; do not allow it to be used in the mortar—you understand, Paul! Mortar requires well granulated clean sand, the grains of which do not adhere to each other; and observe,—before using it have a few bucketfuls of water thrown on the heap. Take care, too, that the mortar is not mixed on the ground, but on a wood platform. You have done so hitherto, that is quite right; but take care that it is never made in any other way; if you are in a hurry for it, and one platform is not enough, have two. Be very careful too, Paul, to see that the stones are all well bedded in mortar.”

“Oh! you needn’t trouble yourself, sir, I never do otherwise.”

[Pg 123]

“Yes, I know very well, that for basements and hard stone this is pretty sure to be attended to; but higher up your workmen are very apt to lay the stones on wedges and run the beds with liquid mortar, which is easier. Be very careful about this, Paul. All the stones ought to be laid over their place, on thick wedges, leaving a void of two and a half to three inches; the mortar ought to be spread below over the whole surface, and be about three-quarters of an inch thick; then take away the four wedges, and the stone settling down on the mortar, it must be struck with a great wooden beetle till the joint is only three-eighths of an inch everywhere, and the surplus mortar is pressed out all round——”

“Here are some hollow beds, Master Branchu; you must have them re-dressed.”

“What is a hollow bed?” said Paul to his cousin, in a whisper.

Fig. 36.

“It is a concave bed surface of a stone,” replied Eugène, and added, taking his note-book:

“Here (Fig. 36), you can understand that if the bed of a stone presents the section A B, the middle C being more hollow than the edges, the stone in question rests on the latter only; consequently if the pressure is considerable the corners D E split off; we then say that the stone is flushed. It is better that the surfaces should be made as sketched at G, and should not rest upon their edges.

“Till now, Master Branchu, you have been raising your building by means of runs or inclined planes, but we are getting high; we shall soon want scaffolding.

“As we are building with range-work, using dressed stone above the plinth only at the angles, and for the door and[Pg 124] window casings, you will leave scaffolding holes between these wall stones. Then you will only want scaffolding-poles and put-logs. For raising the material the carpenter is going to make you a hoist, and you will employ the crab which I shall have sent from Chateauroux, where I have no use for it just now.”

“If it’s the same to you, sir, I prefer our machine.”

“What!... your wheel concern, in which you put a couple of men like squirrels?”

“Yes.”

“Well, as you like; nevertheless I mean to send for the crab; you shall try it.”

“In fact,” said Eugène aside to Paul, “his machine, which dates, I believe, from the Tower of Babel, raises the loads, when they are not too heavy, much more easily than our winches; and as we have no very heavy stones to raise, we will not oppose his wishes on this point.” And turning to the master mason:

“It is a settled matter, Master Branchu, that we do not allow any after-dressing, except for some very delicate mouldings or chamfers if occasion requires; you will set your stones completely dressed with only here and there a little thickness to be worked off.”

“Certainly, Mr. Architect, certainly; I would rather build like that.”

“So much the better, I am glad of it.” And addressing Paul: “I know nothing more injurious than the custom that prevails in some great cities of after-dressing buildings. Rough blocks are laid; then when all is built, up they go and cut, pare, sink, scrape, mould, and carve these shapeless masses, most frequently regardless of the jointing; without considering that they thus take away, especially from soft stone, that hard crust which it forms on its surface when newly cut on leaving the quarry, and which resists the inclemency of the weather; a crust which is never formed[Pg 125] again when the materials have once produced it and have thrown off what is called their quarry-damp. Happily, in many of our provinces the excellent custom has been retained of cutting each stone on the ground, once for all, in that form which it is permanently to keep; and when once laid, the stone-cutter’s tool does not touch it again. Independently of the advantage I have just pointed out to you, this method requires more care and attention on the part of the dressers, and it is not possible then to put the beds and joints anywhere at random. Each stone, on this plan, has its proper destination, and consequently the form suitable to its place. Lastly, when a building is once raised, it is finished: there is no occasion to do anything more to it. I must add, that this method requires on the part of the architect, a complete and finished study of each part of the work at every stage in his arrangement of the parts of the structure.”


[Pg 126]

CHAPTER XIV.
PAUL FEELS THE NECESSITY OF IMPROVING HIMSELF IN THE ART OF DRAWING.

One thing astonished Paul,—the facility with which his cousin could express with a few strokes of his pencil what he wished to explain. His perspective sketches, above all, seemed to him marvellous; and our young architect began, on his part, to try to indicate on paper the forms he wished to master; but, to his great disappointment, he succeeded only in producing a mere medley of lines which was incomprehensible, even to himself, a quarter of an hour afterwards. Yet in drawing out his memoranda, to which his cousin attached importance, he could not but feel that the means employed by his chief would be very useful to him if he could acquire them.

One day, therefore, after having spent several hours at the works in endeavouring to get a clear idea, by sketching them, of the form of some worked stones, but without succeeding in obtaining a result even tolerably satisfactory, Paul went to his cousin’s study, and said to him—

“What I have learned of linear drawing is evidently not enough to enable me to render on paper the forms which you are able to explain so readily by a sketch; I beg you therefore, cousin, to teach me how to set about representing clearly what I have before me, or what I wish to explain.”

“I like to see you so anxious to learn, Paul; indeed, this[Pg 127] is half the battle, though only the half, and in fact the easier one. I shall not be able to teach you in eight days, nor even in six months, the art of drawing with facility either the objects you see, or those which you conceive in your brain; but I will give you the method you must follow; and with labour,—much labour and time,—you will arrive, if not at perfection, at least at clearness and precision. Drawing implies not mere seeing, but considering an object. All who are not blind, see; but how many are there who know how to see, or who in seeing reflect? Very few, certainly; because we are not habituated to this exercise from childhood. All the higher orders of animals see as we do, since their eyes are very similar to ours; they have even the memory associated with vision, as they recognize the objects or the beings which they like or dread or of which they make their prey. But I do not think that animals acquire a notion of bodies or surfaces otherwise than by an instinctive faculty without the intervention of what we call reasoning. Many of our fellow-men do not see in any other way; but it is their fault, since they could reason. But that is not the question now. The following is the method I propose to you:

Fig. 37.

“You know what triangles and squares are; you have studied elementary geometry, and you seem to me to be tolerably familiar with it, since you could evidently understand the plans, the sections, and even the projections of bodies on a vertical or horizontal plane; or else my sketches would not have been intelligible to you. I should wish you therefore to take some cards, and drawing to a scale on each of them the various faces of a stone you see worked, you will cut out these surfaces with scissors, and with the help of strips of paper and paste you will join them, so as to represent one or two of these pieces of stone. The little model will thus become familiar to you; you will know how the surfaces are joined, and what are[Pg 128] the angles they form. In the evening, by lamp-light, you will place these little models before you in every possible position, and copy them as they present themselves to your eyes, taking care to indicate by a dotted line the junction lines of the surfaces which you do not see. Stay,—here on my table is a rhombohedron of wood, which, as you know and see, presents six similar and equal faces whose sides are equal, each of these faces consisting of two equilateral triangles united at their base. See (Fig. 37), I take this body between my fingers by its two vertices; if I show it to you in such a position that one of its faces is parallel to the plane of vision, the two others will present themselves obliquely (as at A); you see three faces therefore, but there are three others behind that are hidden from you. How would these present themselves if this body were transparent? Just as indicated by the dotted lines. If I make the rhombohedron revolve between my fingers, so that two faces are perpendicular to the plane of vision, (as at B), two faces only will continue visible, two others will be hidden from me, and two follow the two lines a b, c d. Now, I present the rhombohedron so that none of its faces are[Pg 129] parallel or perpendicular to the plane of vision,—thus (vide C.) Well, I shall still see three faces, but foreshortened—thrown out of shape by perspective; and the three others will be indicated by the dotted lines. In the evenings, therefore, make as many little models as you can, representing the stones you have seen at the works, and copy these little models in every position. Throw them at random on the table, several together, and copy what you see; mark what is hidden from you by a dotted or finer line. When you have practised this for a week, many difficulties will have been already conquered. And then for further advance.”

Fig. 38.

This method pleased Paul very much, and, without losing time, with the help of some of his memoranda, he began to construct a little model of one of the stones whose faces he had measured. It was the springer of an arch with a return face. He succeeded in making a tolerably good model in card-board, which he proudly displayed on the family table after dinner, and which he copied first on its under-bed, then as placed in various positions. He would have continued his work all night, so much was he fascinated with it, and so many interesting discoveries did it enable him to make, if at eleven o’clock Madame de Gandelau had[Pg 130] not warned him that it was time to go to bed. Paul had some trouble in getting to sleep, and his dreams presented to him nothing but card-board models of a very complicated description, which he endeavoured unsuccessfully to put together. So he got up rather late, and on entering his cousin’s room, did not fail to attribute his tardy appearance to the bad night he had passed.

“Well,” said Eugène, “you have got the descriptive geometry fever; so much the better; it cannot be learned well unless you have a passion for it. We will work at it together when the frost suspends our building operations and the bad weather shuts us up here. An architect must be able to use descriptive geometry, as we spell correctly,—without having to think about it. Perspective must be absolutely familiar to him. Neither can be learned too soon; and it is only in early youth that these things can be acquired so thoroughly as to give us no trouble at any time to recall them, even if we should live a hundred years. You are a good swimmer; and if you fall into the water you have no need to remind yourself what movements you must make to keep at the surface or direct your course: well, it is in this way you ought to know geometry and perspective; only you must give a little more time to practising this essential branch of our art [Pg 132]than is required for learning to swim like a frog.”

[Pg 131]

Fig. 39.Plans and Section of the Principal Stairs.


[Pg 133]

CHAPTER XV.
CONSIDERATION OF THE STAIRCASES.

It was time to give the details required for the execution of the staircases. Eugène had told Paul to prepare these details; but Paul, as may be imagined, had not been very successful in accomplishing his task, and had only furnished an imbroglio perfectly unintelligible to others as well as to himself, notwithstanding the summary hints given by the architect in chief.

“Come,” said Eugène, “we must apply ourselves to this work together. Branchu and the carpenter are asking for details.

“Let us take first the principal stairs, and mark their walls (Fig. 39). For the height of the ground floor we have 15 feet, including the thickness of the flooring; and the steps ought not to be more than 6 inches high, each of them: we must therefore reckon thirty steps from the level of the ground floor to the level of the first floor. In breadth or in tread—the term used by builders—a step ought to be from 10 inches to a foot, to give an easy ascent. Thirty steps therefore require an extension of from 25 to 30 feet. I think I told you this before, when we drew the plan of the ground floor. If we take the middle of the space reserved for the steps, on our plan, we find exactly 30 feet; marking therefore the steps on this middle line, and giving them 11 inches tread, we can get two landing-places in the angles at A, A′. We will make these steps wind so as to avoid sharp angles near the newel. The first step will be at B, the last[Pg 134] at C. At D, under the stairs, we will make the partition, which will allow us to form the water-closet at . Since at the landing-place, A, we have ascended eighteen steps (each 6 inches in height), we shall have 8 feet 6 inches under the ceiling, which is more than sufficient. We will light it by a window, E. The two windows, F, will light the staircase and follow the level of the steps, as the elevation shows. For nothing is more ridiculous than to cut across windows by the steps of a staircase; and although this is done constantly, it is one of the absurdities which a builder ought to avoid. From the servants’ passage, G, the water-closet will be entered by the door H.

“Let us now draw the elevation, or rather the vertical projection of these stairs. This is how we proceed: we draw the walls in elevation, then divide the height to be ascended into as many parts as there are to be steps, as I do at I. Projecting these divisions horizontally on the elevation, and the ends of the stairs vertically with the walls and the newel, indicated on the plan, we get, by the meeting of these two projections, the section of the stairs along the walls and against the newel.

“There we have it; the last step is then at K, on the level of the floor of the first story. To reach the second story, we have 13 feet 3 inches to ascend from one floor to the next. Giving 6⅛ inches to each step, we get twenty-six steps, minus a fraction which is not worth counting. We shall therefore preserve in plan the drawing of the first revolution, starting from the step, L, which gives thirteen steps to the point M. From this point we will draw the thirteen remaining steps to complete the number twenty-six, as I have marked on the supplementary plan at N. Then for the elevation we will proceed as above. We shall thus get the general section from V to X for the two stories. The drawing being completed, the next question is of what material the steps are[Pg 135] to be made. Contained between walls and a newel, which is a wall itself, we can, if we think well, make them each of a single block of stone. However, that is scarcely practicable in this neighbourhood, because we should have difficulty in procuring hard, compact, fine stone, suitable for this object. We will therefore content ourselves with making the first step only of stone, and the others of wood, covering them with good oak board; and to avoid inserting them in the walls, we will provide a projecting-string in stone, forming a bracketing along the walls and the newel, to receive their ends, as shown here (Fig. 40). We will lath these steps on the underside where they are to be left in the rough, and plane them only on the face, or riser, A. That they may be firm in their place, we will fasten them with stays, B, which will be covered by the boards forming the tread, and will be fixed into the holes, C.

Fig. 40.

[Pg 136]

“As regards the servants’ winding staircase, we will make it of hard stone, each step carrying a portion of the newel, as sketched here (Fig. 41).

Fig. 41.

“Now try to put these instructions in a regular form, that you may be able to give the details readily to the mason and carpenter.”

With considerable labour Paul succeeded in making a tolerably complete drawing from the indications furnished by his cousin: but the latter was obliged often to help him; for his clerk was not an expert in elementary descriptive geometry, and these projections presented difficulties at every turn. Paul got into confusion with his lines, took one point for another, and would many a time have abandoned compasses, square, and drawing-pen in despair, if Eugène had not been at hand to set him right again.


[Pg 137]

CHAPTER XVI.
THE CRITIC.

It was the end of November, and the weather had hitherto allowed our builders to make use of every day. The autumn sun was favourable to the enterprise, and at several points the house was reaching the height of the window-heads of the ground floor. Nevertheless it required all M. de Gandelau’s determination to prevent the works from being suspended. By degrees the ground was deserted by the able-bodied workmen, who were being called away to the army. Those who remained had their attention distracted, and were not making the best use of their time. It was becoming difficult to get the hauling done, all the horses and carts being pressed into the service of the country. The province was furrowed in every direction by the tracks of regiments making for the Loire. Many hours were spent in talk; and every one was anxiously expecting news of the war, which assumed an increasingly gloomy aspect. However, Orleans had been re-occupied by the French troops, and all hope did not seem lost. Paris was resisting. In the meantime an addition was made to the circle at M. de Gandelau’s château in the person of a friend of the family, who, having had his property occupied and injured by the Germans, had been obliged to abandon it for fear of worse, and came to pay a visit to M. de Gandelau on his way to the west of France, where he had relations. He was a man of about fifty or[Pg 138] sixty years of age, tall, and of frigid aspect, though a perpetual smile seemed stereotyped on his face. He might have been taken for a diplomatist of the old stamp.

The new-comer had read and travelled much, knew a little of everything, was a member of several learned societies, and his opinion carried a certain weight with it in his département. He had been a candidate for the legislature; had embarked in manufacturing speculations, in which he had lost a good deal of money; then in agricultural enterprises, but as they threatened to ingulf the remainder of his fortune, he ultimately rested content with the theoretical side of things, and with publishing pamphlets on questions of all kinds, printed at his own expense, and lavishly circulated. Every one of these brochures professed to give a simple solution of all the difficulties in question, whether in the domain of politics, science, manufactures, commerce, and even art. Building had been one of his hobbies; but as architects appeared to him unpractical, extravagant, and imbued with prejudices, he had taken the sole direction of his building operations, making his own bargains, treating directly with the contractors, giving the plans, and superintending the work. This whim had been a very costly one, and one fine morning his building fell to pieces. As he had no more faith in engineers than in architects, he had determined to lay out roads on his estate, and have them made according to a system of his own. His attempts in this line had not been more successful than those in building. The roads persisted in being impracticable. But M. Durosay (that was the gentleman’s name) was one of those persons whom experience—even though acquired at their own expense—teaches but little. In other respects he was a worthy man; he was extremely polite and obliging—generous even—especially towards those who had the art of flattering his whims, and who, through interest or conviction, gave[Pg 139] him credit for being an infallible judge in matters of all kinds.

If any one had come to consult him on any subject at the moment he was about to step into a railway carriage, he would have let the train go rather than not give a formal judgment, with reasons in full. It must be observed, however, that he judged everything by an à priori system, and would listen with only partial attention to the particular reasons that tended to modify its application to the case in question. On the other hand, he would allow his positions to be discussed, and did not manifest the least impatience if his opinion was not shared by others. He was fond of repeating this aphorism: “Light emanates from the shock of conflicting ideas;”—but with the understanding that he always played the part of the producer, never that of the recipient.

A short time after his arrival, and when the gloomy subjects of conversation which were the order of the day had been exhausted, they began to talk about Paul’s house (as it was the custom at the château to call it). M. Durosay asked to see the designs. “Building and I are old acquaintances; I know something about it,” said he.

Eugène could not repress a smile; but the speaker took no notice of it, his mishaps as a builder having left no painful recollections in his mind.

“Capital!” said M. Durosay, when they had explained the plans to him, and he had examined them. “I have seen houses in Belgium something like this. There are very good ideas here; it will be a very pleasant habitation if our friends the Prussians let you finish it.... Will you allow me to make one or two remarks about it?”

“Certainly.”

“Not that I presume for a moment to suggest any change in these plans, which appear to me admirable.... But I have had the opportunity of a wide field of observation[Pg 140] and comparison.... Well, then, to tell you frankly my first impression, this seems to me to have rather the character of a town-house, what we call a hôtel, than a country-house.... You will excuse my saying so, will you not?... I do not understand a country-house thus shut in: I should like to see a portico round it, or at least a wide veranda;—windows opening out—a more decided reflex of exterior life.”

“But, my dear friend,” said M. de Gandelau, “I expect that my children will come and spend a good part of the year here; it is no object with them to have one of those habitations in which people reside only for the two or three summer months, and where they entertain the idlers of the city; they want a good house, which will perfectly exclude wind and wet, where they can live comfortably at every season of the year.”

“Certainly—a very proper consideration; but what do you think of those North Italian villas, where the climate is pretty severe in winter and spring, but which are not the less charming with their porticos, terraces, wide open entrance-halls, and their balconies looking out over the country? All these habitations have a dignified aspect; they ennoble life, we may say, and enlarge those narrow ideas to which our age is only too prone.... And then, does it not seem to you that there is a too manifest want of symmetry, at least in one of the façades? Doesn’t this make the house look a little like those edifices which have been built piecemeal, with a view to satisfy successive requirements—in short, is there not a want of that unity which ought to be found in every work of art?”

“But it is not a work of art that I wish to leave my daughter; it is a good house—convenient and substantial.”

“Very good. But you will allow that if we can secure both kinds of excellence, so much the better. For a person of such extreme refinement and so charming in every[Pg 141] respect as your daughter, it is but proper that a habitation should be provided reflecting in its exterior the charms and graces of its occupant. It would be a pleasure to you, in visiting Madame Marie, to see in the distance her little family grouped around her under a portico of delicate architecture, or under a loggia.... But this seems to me more like the house of some grave Flemish alderman. In these gables there is a kind of severity which——”

“Come, come, my dear friend, gables are not severe; they are gables—that’s all.”

“But indeed these gables with their high roofs have a severe aspect, which by no means agrees with the idea one forms of a house built for pleasure.”

“But it is not a house built for pleasure; it is a house built for people who are going to live in it, not for summer loungers—especially as we never have such people in our neighbourhood.”

“Still, however, I should have liked to give a warmth to these fronts (which have a somewhat frigid aspect) by light and airy projections, and a covered gallery, with a terrace over it.”

“Warmth? warmth? Why instead of that, you would give us the rheumatism with your galleries. They may do very well at Nice or Mentone, but they are not to be thought of in our part of the country. We want the sun upon the walls of our habitations, while your porticos are like mushroom-houses.”

“I see, my dear friend,” resumed M. Durosay, after a pause, “that you keep to your taste for what you call the practical side of things. Yet see what a good opportunity you have of giving your daughter one of those dwellings which, while satisfying the material requirements of life, would possess that perfume of art which is too rarely found in our country districts. A little exterior elegance is a powerful charm which leaves an indelible trace in the[Pg 142] mind. It is thus that the Italians preserve the poetry of the brilliant eras of their civilization. They are willing, at need, to sacrifice something of what we call ‘comfort’—the material conveniences of life—to keep up among them the noble traditions of high art.”

“I do not know what the traditions of high art are, or whether those traditions preserve us from rain, wind, and sun; but I must confess that your Italian villas in the environs of Verona and Venice appear very dull and gloomy with their colonnades and closed shutters. I have never had the wish to visit them, for I imagine one would be very uncomfortable in them. If they build them so with a view to offer tourists models of architecture, all well and good; but I make no pretensions to amuse or interest tourists, and my daughter shares my ideas in the matter.”

“Perhaps ... but just now your daughter is travelling in Italy; she is going to sojourn on the shores of the Bosporus; who knows whether on her return here she would not be charmed to meet a kind of souvenir of the impressions she will not fail to have experienced there, and whether the surprise you have in store for her would not be still more delightful if you tried in some measure to revive those impressions? What do you think of it, Mr. Architect?”

“As for myself,” said Eugène, “I am listening, and cannot but be delighted to hear you discourse so ably on our art.”

“I may take it for granted, then, that you share my opinion, and that you would be inclined to give this habitation, which you have so skilfully arranged, some of those external charms in which perhaps it is now deficient.”

“I cannot say that I should. M. de Gandelau, with his usual courtesy, has left us quite at liberty, and has simply stated the limit of expense to which he is prepared to go. As regards other considerations, our programme having been agreed upon, we have not been restricted to an excessive[Pg 143] severity of style, nor forbidden the adoption of what you consider the exterior charms of a dwelling-house.”

“Well; although my friend with his practical mind does not appear sensible to these charms, do not you, as an artist, think it desirable to add something to these fronts, which are perhaps a little severe in aspect, and which certainly with the help of your talent you could render less cold? You know Italy; you have visited Pompeii: do you not find in the architecture of those countries abundant suggestions from which inspiration may be drawn—charming models, in fact?”

“Yes; I have visited Italy and France, but I must confess that I have never been struck by the architectural works of those countries, except so far as they preserved the imprint of the manners and customs of those whose genius produced them. You mention Pompeii. That which has vividly affected me in the remains of this little provincial town of Italy is precisely this characteristic. Its small dwellings exactly suited the habits of antiquity, the time when they were erected, and the climate of the district. But from the study of these habitations I infer that since we do not live on the shores of the Gulf of Naples, and have customs very different from those which suited the Pompeians, our dwellings ought not in any way to suggest the peculiarities of theirs; that while, for example, it may have been very agreeable to them to sup in an open triclinium, sheltered from the wind by a velum, we cannot arrange dining-rooms after this model in the Département de l’Indre; and that though it might have been a luxury to them to sleep in a room whose area was only five or six square yards and the door of which, left open, introduced you to a court surrounded by a portico, this would be very inconvenient here, as we should run great risk of catching cold if we left the door open, or of being suffocated if we shut it.”

[Pg 144]

“But as you have mentioned ancient dwellings, allow me to remark that those of Pompeii, even the most luxurious, do not exhibit externally any of those magnificent features which you seem to admire. The ancients reserved for the interior such luxury as they affected, and it does not appear that they troubled themselves to display anything of it to the passers-by. I have not a very clear idea of what their villas,—their country-houses,—may have been; but everything leads me to believe, as far as we can judge from the remains preserved to us, that in them nothing was sacrificed to that distinctively modern vanity which aims to make an external display of architectural forms to strike the vulgar.

“I believe that those country palaces of Northern Italy with which you have been so deeply smitten, are rather products of vanity than abodes adapted to the habits of those who have erected them; in fact, they have scarcely been inhabited, and the dilapidated condition in which you see them does not date from yesterday. Erected to satisfy vanity and the desire to make a show, they lasted as habitations only as long as works due to vanity are accustomed to last—that is, for a few years of the life of an individual; after which they were abandoned.”

“You call vanity,” replied M. Durosay, “what I think to be love of art—the desire to exhibit a work of art.”

“Probably we shall never agree upon that point,” answered Eugène. “I think that art—in architecture at least—consists in being truthful and simple. You see in it only a form that charms or repels you: I look for something else; or rather I consider first whether this form is really the expression of a requirement—whether a reason can be given for its existence; and it charms me only so far as this condition is fulfilled, according to my judgment.”

“You consider a barn, therefore, a work of art?”

“Certainly; if it is constructed so as to afford a suitable[Pg 145] shelter for what it is intended to hold, it is, in my view, more admirable than an inconvenient palace, though decorated with colonnades and pediments.”

“You ought to go to America.”

“Perhaps it would be wise to do so, if I knew that its people tried to build simply in accordance with the tastes and requirements of the inmates. But in America, as everywhere else now-a-days, they make pretensions to style, and copy what they believe to be the beautiful par excellence; that is, they follow, without discrimination, traditions whose origin and principle they do not care to investigate.”

“Come,” said M. de Gandelau, who found the discussion rather tedious, “we have travelled a good way from Paul’s house; but to satisfy you, when you come and see my daughter in her new dwelling, we will have a pasteboard portico put up in front of one of the façades, and under the shade some Berri maidens dressed up as Venetians, and some gentlemen in scarlet robes playing on the guitar and the bassoon. It is getting late, and time to go to bed.”


[Pg 146]

CHAPTER XVII.
PAUL INQUIRES WHAT ARCHITECTURE IS.

Eugène expected Paul to return to the discussion of the previous evening, and in fact, when they were going early in the morning to visit the works, Paul did not fail to throw out hints about it. But he did not know how to give his curiosity a definite shape. His cousin would not help him, but wished to give him full leisure to bring his ideas to a focus.

“Is M. Durosay a judge of architecture?” said Paul, at last.

“Well, he talks about it like a person who has some acquaintance with the art.”

“But yet you did not seem disposed to accede to what he asked.”

“What did he ask?”

“Why——you know very well what I mean——. He would have liked Marie’s house to be——more——.”

“More what?”

“More——less severe; that it should have a portico and a loggia. What is a loggia?”

“It is a wide covered balcony, most frequently closed on the two sides, but opening in front—whether on the ground floor or the upper stories—to the high road or the country.”

“And why should not a loggia be added to Marie’s house?”

“We might make one, or several.”

[Pg 147]

“Well, then?”

“Why then it must be placed in front of one of the apartments—the drawing-room, for example, on the ground floor, in the middle of the garden front, or if on the first floor, in front of the best bedroom.”

“And would not that have a good effect?”

“Perhaps it might: but the apartment next to it, opening upon this loggia, would be dark and gloomy, as the windows would be shaded by its ceiling.”

“Ah! yes, that is true; but in fact we have loggias at the end of the drawing-room, the billiard-room, and the dining-room.”

“Yes; only they are closed, instead of being open towards the outside, and these apartments gain in area through them. These loggias are therefore recesses—what they formerly called ‘bays.’ We have thus all the advantages of a loggia without the inconveniences which in our climate it would entail.”

“Why did you not say so to M. Durosay?”

“He could see it well enough; there was no need to mention it to him.”

“He would have liked a portico, too.”

“For what purpose?”

“I do not know——. He said it would be pretty—that my sister and her children would form a group under it, and that this would have a pretty effect at a distance.”

“And would it be very agreeable to your sister to produce ‘a very pretty effect’ at a distance?”

“Oh, I don’t think she would care about it.”

“But who are we building the house for?”

“Why, for my sister.”

“Not for strolling idlers, therefore. But the portico in question would have the same inconveniences as the loggias; it would make the apartments opening under the arcades or colonnades dark and gloomy. Since then, in[Pg 148] our country we spend more of our time in rooms than under porticos, we should have to pay rather dearly for the pleasure of forming groups for the gratification of passing strangers.”

“Doubtless we should. Besides, in front of the billiard-room we have a conservatory, with steps down to the garden, which may serve for a portico without darkening the room, as it will be glazed.”

“Certainly.”

“Perhaps M. Durosay did not observe this.”

“Oh! I daresay he did; but it has nothing imposing about it. He would have liked a real covered portico, in the style of the Italian porticos.”

“He seems to be very fond of Italian architecture.”

“Which?”

“Why, that he was talking about.”

“But there are many kinds of architecture in Italy, belonging to different ages and latitudes, and varying with the habits of the peoples who inhabit the peninsula.”

“You did not call his attention to that.”

“He must have known it.”

“I see that you don’t think M. Durosay earnest in his opinions.”

“M. Durosay is an excellent man; his opinions are sincere, and therefore I regard them as serious; but he and I look at things from a different point of view. He judges questions of art as a man of the world, on a ground of sentiment, while I think we artists ought to decide them by reasoning. Sentiment does not reason; it is like faith; so it is impossible for us to understand one another, since we speak a different language.”

Paul’s views on the subject were as yet far from clear. Hitherto he had thought that architecture could be learned as we learn grammar and spelling; and here was his cousin telling him that it found expression in several[Pg 149] languages, one of which might be known, while the other remained quite unintelligible. He could not understand what reasoning could have to do with a matter entirely relating to form and appearance; yet he did not even know how to put questions to his cousin on the subject with a view to gaining light upon it. He was going along, therefore, with his head bent, striking down with his stick the withered thistles that encumbered the side of the path—Eugène, on his side, not seeming desirous of breaking the silence. They arrived thus at the works; they were almost deserted.

“It froze last night,” said Branchu; “and it’s going to be a hard frost.”

“Well, you must cover the stone-work with litter or straw, and we shall have to stop. Put some scaffold planks on the walls, the straw over them, and slabs with stones at intervals. Take care that the planks project beyond the faces of the walls. If you have not straw enough, put soil on the slabs, or turf clods. As to the cellar vaults, spread a good layer of mould over them, and contrive some openings in the haunches, so that the rain or melted snow may run off. Come, set to work! Let all this be arranged for and finished to-morrow evening; then we will stop till the end of the cold weather.”

“So much the better,” said Master Branchu, “for all the young fellows are gone, and none but poor creatures are left at the works.”

“This suspension of the building,” said Eugène, when they were returning to the château, “will permit us to work out the details of construction without having to hurry over them.”

“Yes,” replied Paul; “but I should much like to know how you set about it when you have to draw one of the details.”

[Pg 150]

“You must have learnt that in the two months we have been doing this sort of work.”

“Not quite; I perceive that you say what you intend, and that what you intend shows itself drawn on paper; now, I have tried to do the same, but though I knew well what I intended, I could bring nothing to paper; or if I did draw anything, it made me forget what I had in my mind. Yet, surely, for everything one wants to do in architecture, there must be a method, a process, a—what should I call it?—a recipe.”

“Ah! now I see what you mean. But you must perceive, my young cousin, that people often fancy they understand and intend, while they really do not always know what they intend, and do not clearly understand the question in hand. All this morning, for instance, you have been revolving in your mind this question which you have only just put to me; and I have wished to give you leisure to present it in a definite form—to do which your brain has been obliged to work. Now, thanks to the effort you have made, you will comprehend the answer I am able to give you better. You remember those two lines of Boileau’s—

“Ce que l’on conçoit bien s’énonce clairement,
Et les mots pour le dire arrivent aisément,”

and which are applicable to all the arts. The great thing is to habituate one’s self to clear conceptions. Unfortunately we learn to form phrases before we learn to reason, and try to express an idea before it is completely elaborated in the brain. Then we fancy we can supply what is incomplete in this idea by a happy combination of words. In architecture we think of forms that have seemed attractive, before knowing whether they will be exactly appropriate to what reason and the rigorous observance of the necessities of construction, or the requirements of the case,[Pg 151] demand. In a speech, the vulgar are readily seduced by a brilliant phrase, and perceive only too late the intellectual void which this seductive form conceals. Similarly, in architecture, the vulgar are seduced by a picturesque aspect and an attractive form, and have to pay the penalty of their error in the defects of the building. M. Durosay, in his admiration for certain forms that had charmed him as a tourist, has not thought of asking himself whether these externals were in harmony with the requirements to be satisfied, and what the structure itself demanded; the turn of the phrase has arrested his attention, and he has not inquired whether there was a clearly developed idea behind it. We might, therefore, have argued together in this way for days, without hope of convincing one another—he being entirely occupied with the form or fashion of the phrase, and not troubling himself as to whether this form has a signification—whether this phrase expresses a clear idea. All depends on this, my dear Paul, and, in my judgment, our country, which is so near the verge of absolute ruin, will not recover itself until it learns to reflect before it speaks. We build immense edifices, costing fabulous sums, yet we have no clear idea as to what they shall contain. Or rather, we think only of making the casing, and leave it an open question whether we shall use it for such or such a purpose. And I would have you observe that this unfortunate habit prevails not with regard to public buildings only. How many respectable men there are who, like M. Durosay, in proposing to build a house for themselves, first determine to erect a chalet, or an Italian villa, or an English cottage, according to the fancy of the moment, and make it quite a secondary question whether life will be comfortable in the case they are going to put up! Consequently you will see Italian villas in the north of France and Swiss chalets at Nice. Learn to reason, to observe before you proceed to act, and you will be a good barrister,[Pg 152] a good physician, a good soldier, a good architect. If nature has endowed you with genius, so much the better; it will supply a noble complement to your faculties; but if you have not gained the habit of reasoning, genius will be of no use to you, or rather, it cannot develop itself. Now, to learn to reason, you must labour much and labour long, and not allow yourself to be led astray by appearances, however attractive. Unfortunately, our education and instruction in France lead us to content ourselves with mere appearances, and to rely on traditions which are regarded as articles of faith, and which consequently may not be discussed. You will find M. Durosay’s portico confronting you everywhere. The army, the government, literature, politics, and the arts have their portico, which you must adopt, whatever has to be done or wherever an entrance has to be provided; unless you have sufficient energy, power for work, independence of character, practical knowledge, persistent determination, and the authority which that alone can secure, to say:—I will adopt your portico only as far as I think it advantageous to make use of it. But to return to your question as to whether any definite prescriptions or rules of procedure can be given in architecture, I reply that there are practical rules of procedure suitable to construction; but as the materials and the means of execution vary continually, any such rules ought to be modified by these variations. In architecture there is a method to be followed in all cases that present themselves, but there are no definite prescriptions or rules of procedure. This method is none other than the application of your reasoning faculty to all particular cases; for what is desirable in one set of circumstances is not so in another. It is therefore on the observation of these circumstances—of facts, customs, climate, and hygienic conditions—that your reason must rely before forming the conception of your work. And when this operation is[Pg 153] complete, and all is properly arranged in your mind, then you will be able to put on paper without hesitation the result of this intellectual labour.”

“I think I apprehend your meaning; but how must I begin?”

“By acquiring the habit of observing everything, and reflecting on everything you see, hear, or read. When you have a ditch before you that you want to cross, do you not ask yourself whether your legs will carry you to the other side? do you not know, as the result of previous observation, whether you can jump the ditch or not, and do you not decide accordingly? You do not ask yourself before jumping whether Achilles or Roland was alleged by the poets to have leaped much wider spaces. It is yourself, your own strength, that you consult—not that of heroes—on pain of tumbling into the water. Exactly in the same way, if you have to build a house for a person you know, you first remind yourself that a house is made for people to live in; then you represent to yourself the habits of the owner, you calculate the number of apartments he requires, and what relations they will have to each other. You know whether he lives alone, or entertains much company; whether he will live in the house at such or such a season; whether he affects luxury or lives quietly; whether he has many servants, or employs only one, &c.: and when you have thoroughly considered all these essential conditions, you will try to put on paper the result of these observations. But if the first thing you think of is putting this person and his family in a house like those of Pompeii, or in a feudal château, it is a thousand to one that you will build him an uncomfortable habitation—that you will be obliged to sacrifice the convenience of its arrangements in order to assign them a place in a building that belongs to a period and a civilization differing from our own civilization and times.”

[Pg 154]

“I can quite understand that, but still we can learn how to make a door, a window, or a staircase.”

“That is to say, it is possible to explain how people in former times set to work to make a door, a staircase, or a floor; but it is not proposed, nor ought it to be proposed, in teaching you the methods employed by our predecessors, to oblige you to do exactly what they did, since you perhaps possess materials which they did not, and your customs differ from theirs. The instructions given you run thus,—at least they ought to run thus: ‘These are the results of the experience acquired during past ages; make these your starting-point; do as your predecessors have done; use your reasoning faculty in applying the knowledge that has been acquired, but in obedience to the requirements of the present. You ought not to be ignorant of what has been done before you,—it is an accumulation for the common good, a possession secured to mankind. You ought to be acquainted with its existence and value; but, as a partner in its advantages, add your store of intelligence; make a step in advance, do not retrograde.’ But observe: there is only one means of preventing retrogression in architecture, and that is making art the faithful expression of the requirements of the time in which we live,—making the building a casing suited to that which it is destined to contain.”

“And is not this always done?”

“Not exactly. We are something like persons who have inherited from their ancestors a costly stock of furniture,—a venerable and venerated heirloom—who keep and make use of this furniture, though it is inconvenient to them, and no longer suits the habits of the times; who have even gone so far as to appoint a guardian for this old lumber, who is enjoined not to allow it to be modified. If therefore you, the master of the house, want to change the covering of this furniture, or send some of the articles[Pg 155] themselves, which are more inconvenient than useful, to the lumber-room, the guardian you pay and lodge assumes a dignified air, and declares that the function with which you have invested him, and which he makes a point of strictly discharging, forbids him to allow these modifications or suppressions; that his honour is concerned in not allowing these relics to suffer injury or change, since he is commissioned to preserve them. For the sake of peace, you continue to make use of this intolerable furniture, and you retain its guardian.”

“I do not quite understand you.”

“By and by you will. But observe, I have given you fair warning. If you go into some old mansion crammed with antiquated furniture, take care not to criticise it; for though the host and hostess may content themselves with smiling, the guardian of those curiosities will take good care that you never set foot in that house again.”


[Pg 156]

CHAPTER XVIII.
THEORETICAL STUDIES.

The cold and the state of the times prevented the works from being continued. The winter might be a long one. Eugène and Paul prepared themselves, therefore, to employ this compulsory leisure to advantage. It was decided between them that they should not merely draw out the details necessary for finishing the works, but that Eugène should take advantage of these winter days to enlighten Paul on many points respecting which, as clerk-of-works, he was deficient.

Paul took an increasing interest in this employment. Hitherto the execution had immediately followed the labours of the study, and example and practice came to ratify theory; but he was quite aware that all his attention and desire to follow the lead of his chief were not sufficient, and that at each step he found himself confronted by a difficulty. The further the work advanced, the more utterly incapable did he feel himself. He set to work, therefore, with a hearty desire to learn; indeed, so much the more eagerly as all that surrounded him assumed a more and more gloomy and desolate aspect. Paul had never spent a winter in the country, although he used to come home to the Christmas festivities; the few days spent at his father’s château had passed away so quickly, that he had not time to consider how things looked out of doors. Besides, the house was full of guests at that time;[Pg 157] the presence of his elder sister gave it animation; everything had a holiday aspect. But the scene was quite changed at the beginning of December, 1870; the neighbouring villages were deserted, or occupied only for a few hours by troops ill-clad, dying of hunger, generally going to fight without enthusiasm, and leaving the exhausted and the sick in the cottages. Then would come long lines of carriages that looked like so many funeral processions.

The snow was beginning to cover the fields and to muffle distant sounds. Seldom did any of the peasants come to the château. The postman still paid his regular visits, but the letters and newspapers he brought tended only to depress the spirits of the inmates. Sometimes they gave shelter to members of the Garde Mobile, or to soldiers of the line; but all were dumb: the officers themselves would ask to be allowed to rest in their rooms under pretext of fatigue, rather than go down to the drawing-room. M. de Gandelau, up early in the morning, in spite of his gout, seemed to be omnipresent; he was to be found everywhere, among the farms and at the neighbouring town, facilitating the transport of munitions of war, organizing hospitals, supplying provisions and lightening the difficulties imposed by routine. “Set Paul to work, my friend,” he said to Eugène every evening; “that is all the demand I make on your friendship. I feel it is a considerable one, but grant it, I entreat you.”

In fact, the greater part of the day was passed in studying some question relating to building; then the architect and his clerk-of-works would go and take a walk before the evening, during which Eugène did not fail to start some interesting topic. The country and natural phenomena were the habitual subjects of these conversations; and thus Paul was learning to observe and reflect, and it became every day clearer to him how much knowledge must be acquired to accomplish a task of even limited[Pg 158] scope. His cousin did not fail to reiterate the sentiment: “The more you know the more you will feel your want of knowledge; and the highest acquisition in science is the conviction that we know nothing.”

“What good is it to learn, then?” rejoined Paul, one day.

“That we may become modest; that we may occupy life with something better than those things to which vanity prompts us; that we may make ourselves of some little use to our fellows, without exacting gratitude from them.”

Eugène made Paul draw a good deal, and always from nature, or from drawings executed while he was present, for he had not brought with him any specimens of architectural design. Besides this, Paul made a fair copy of memoranda relating to the parts of the house already erected. Thus he gained a complete acquaintance with the structure of every part of the stone-work.

Paul was therefore acquiring the power of drawing architectural details neatly, and his cousin never failed to answer his questions. Paul had soon laid aside all timidity—or, if we choose to deem it so, amour propre—and no longer fearing to reveal his ignorance, asked a good many questions. Eugène generally waited for such inquiries before he gave a lesson on any subject. He wished the mind of his pupil to be already prepared by the craving for knowledge, before teaching him. It may be observed that these lessons treated of a great variety of subjects; but Eugène took care to connect them together by an exposition of those several principles which were continually suggested by them.

One day Paul wished to know what an “order” is, and what is understood by this word in architecture.

“That is a comprehensive question, Paul; and I scarcely know whether I shall be able to answer it so as to enlighten[Pg 159] you on the subject. The word has two significations in architecture: ‘order’ may be understood to mean subordination, or correlation between the parts. But I think that is not what you are thinking of; you probably intend to ask me the meaning of what are commonly called ‘orders of architecture.’ The idea of an ‘order’ in your mind implies a row of columns or vertical supports bearing an entablature. That is it, is it not?”

“Yes, that is what I mean.”

“Well, then, in remote ages, architects conceived the idea—which was a very natural one—of erecting vertical supports, and placing cross-pieces of wood or stone connecting their summits; and on this open colonnade they raised a roof. This formed a shelter open below, but covered in—what we call a halle. But, as in many cases it was also necessary to close in these covered spaces, they built walls behind these vertical props, leaving between them and the isolated supports a space called a ‘portico.’ It was thus, for instance, that certain Greek temples were designed. By degrees the genius of architects, study, and the observation of the exterior effect, led them to give to these vertical props, and to that which they support—that is, the entablature—relative proportions, of delicate and harmonious type, whence laws were deduced; for I would have you remark that the example always precedes the rule, and that rules are only the results of experience. In this way the Greeks invented three orders: the Ionic, the Doric, and the Corinthian—each of which possesses its system of harmonious proportions and its special type of ornamentation. Among the Greeks these systems were not so rigorously distinct as to prevent their frequently trenching on each other’s precincts.

“But the Romans, who were devotees of order, and who undertook to impose it in everything and everywhere, in adopting these arrangements from the Greeks, insisted on[Pg 160] reducing these three systems to an almost absolute formula. That simplified matters, and the Romans were fond of inclosing whatever appertained to art in an administrative frame. A step further in the wrong direction was taken as the result of the study of classical antiquity in the sixteenth century; authorities on the subject presumed finally to settle the relations between the different members of each of these orders; and with a view to leave some degree of latitude to architects, they even added two orders to the three original ones, viz., the Tuscan and the Composite. These stereotyped orders have been applied on every occasion, and in every fashion, just as hangings are attached to a wall to decorate it. Architects have frequently bestowed more thought on placing an order on a façade, than on the disposition of the building erected behind this front. Certainly nothing of the kind more contrary to reason has been produced than the Colonnade of the Louvre, for its ordonnance has no relation to what it contains; and this immense portico, situated on the first story, absolutely serves no other purpose than to obscure the openings for light placed along it, while you never see any one walking in it. But in those days it was obligatory to be magnificent, at whatever cost. We have not entirely renounced this solemn fooling; and even now you may see ‘orders’ placed, without its being possible to say why, in front of buildings that could very well dispense with this adventitious decoration, which is merely designed to prove to the public that there are such things as ‘orders,’ and architects capable of presenting them in those proportions which their formula requires.

“But you will study these branches of architecture a little later on. I think it a bad method of teaching art to allow flowers to be introduced into discourse before the power of expressing thought clearly has been acquired; and it is thus that writers and speakers are formed who[Pg 161] take balderdash for eloquence; and architects, who before they think of doing justice to the exigencies of construction, and studying the requirements of the case, amuse themselves with reproducing forms into whose origin, justification, and real meaning they have never inquired. But just now, let us keep to our proper business. It is a house, not a temple or a basilica, that we are building. We have to consider all its parts; and this is work enough for us.

“We have leisure to consider the details of our building thoroughly, since the frost obliges us to suspend the works. Construction, my dear fellow, is an art requiring foresight. The good builder is he who leaves nothing to chance, who does not put off the solution of any problem, and who knows how to give each function its place and value with respect to the whole, and that at the right moment. We have drawn plans for the several stories; we have given the details necessary for constructing the lower parts of the house; now we must draw the working elevations. The first thing is to make an exact section of the front walls giving the height of the floors, the levels of the tie-bars, and the base of the roof.”

Eugène, who, as we may suppose, had previously realized to himself, if not drawn, all the parts of the building, had soon sketched out this section for Paul, who did not cease to wonder at the promptitude with which his master succeeded in drawing on paper any detail required. He could not help remarking it again.

“How do you manage to indicate the arrangement of all these parts of the building without hesitating a moment?” said he.

“Because I have thought about them, and have represented to myself all these parts while drawing or setting you to draw their combinations. If they are not on the paper they are in my head; and when I have to render them intelligible to those who are commissioned to execute[Pg 162] them, I have only to write, so to speak, what I know by heart already. And thus it is always desirable to proceed. Look at this section, and these few details (Fig. 42); let us examine the drawing together; you will soon observe that you have already seen all that the sheet of paper contains, and that with a little attention you would be able to arrange these different parts in their due order. You see the thickness of the wall on the ground floor figured, and with its central line dotted; the height of the window sill, A, and its support; the arrangement of the window casing and its lintel; the height of the floor and its thickness. The string-course, B, had to be determined; it should have the thickness of this floor; it indicates it externally. Then, reducing the outside walls to 1 foot 8 inches on the first floor, we put a set-off course at C; window sills like those of the ground floor. The height of the first story from floor to floor has already been settled. The under member, D, of the cornice indicates the thickness of the second floor; lastly comes the cornice table of hard stone which receives the eaves-gutter. As regards the first floor windows, they are formed like those of the ground floor, excepting that the inside reveal is less deep by 4 inches, since the wall is 4 inches less in thickness. Their lintels are similar, as well as the casing which has to take the sheet-iron jalousies, and the tie-bars come underneath these lintels. As we have gables, the cornices cannot return, and must stop against a projection, E, which, rising above the roof, receives the coping, F, which will have a projecting fillet to cover the junction of the slating with the gable. At G, then, I draw the angle of the building with this projection, E, and the coping we have spoken of. As I foresee that the joists will have too long a bearing in some places, I suppose the intermediate beams, H, to carry them and the corbels, I, for the support of these joists.

[Pg 163]

Fig. 42.Section of the Side Walls, with Details.

[Pg 166]

Fig. 43.An Oriel Window.

[Pg 167]

“At K I have drawn the string-course of the first floor, with the projections figured from the centre of the wall, and the set-off course above; also at L, the cornice and its table-course. You will observe that this table-course slopes towards the outer edge, beneath the gutter, so that, in the event of an overflow, the water may run off outside, and not find its way into the wall. This table-course has a throat, a, as well as the string-course, to prevent the water from running down the wall. These mouldings will have to be drawn to their full size for the stone-mason. On the course, M, behind the gutter, will stand the dormer gables, which will admit light to the second floor in the roof. As to the roofing, of which I merely indicate here the base, I will show you what it is to be. Take these sketches, then, and make from them figured drawings to a scale of half an inch to a foot, so that they may be worked from.

“In the meantime, I am going to make a perspective sketch of the projecting bays or loges of the billiard-room and dining-room, with the aid of which you may draw out these details. We shall see how you acquit yourself.

“The English in their country-houses are fond of employing this kind of projecting window. They call them bay or oriel windows, and often construct them on corbelling. Stay—here I have a sketch in my note-book of such a window in a house at Lincoln, dating from the sixteenth century (Fig. 43). This projecting oriel, supported by a bracket, is terminated by a small terrace forming a balcony on the first story. Observe, by the by, how well-devised this construction is. This part of England possesses stone, but that material is less common than brick. The builder has used the dearer material only for the oriel window, which he could scarcely erect in brick, and for the jambs and lintels of the windows. The rest of the structure is built of brick.

[Pg 168]

“But,” continued Eugène, “your bay windows project too far to allow of their resting on corbelling.”

“What do you mean by corbelling?”

“It is a projecting piece of construction, not rising from the bottom, but supported by corbels; whence the name corbelling. The weight of the masonry resting on the tail, i.e. the part of the corbels fixed in the walls, allows us to place on their projecting part a construction, which, being less heavy than that resting on their tail, is thus sustained without fear of overbalancing. We must also calculate the length of the arm of the lever—that is to say, the relation of the projection of the corbels to the weight that secures their tail and that which rests on their head. Of course, the further the corbels project the more does the weight placed on their outward extremity tell on that which keeps the balance. So that a very trifling weight placed at the extremity of a greatly projecting corbel might overbalance a heavy mass placed at the tail. Corbels have, therefore, been frequently replaced by squinches—that is to say, a system of masonry which brings the weight at the extremity to bear on the walls. The architect who designed the oriel window I have just shown you did not trouble himself to make such an arrangement. He constructed what is called a bracket—that is, an inverted pyramid, by means of three courses of corbelling; or, if you choose, projecting one beyond the other, so as to obtain a portion of a polygon. On this supporting surface he has erected his window framing, which is scarcely 9½ inches thick. The bracket being built into the wall, supports the window framing, without being over-balanced, on account of the weight of the wall. Closed balconies of this kind were frequently employed during the Middle Ages, because they gave space in the upper stories without encroaching on the street, and afforded side views. And though civic regulations no longer allow us to build these projections in our [Pg 171]cities, nothing would hinder us from erecting them when we build in the country. Still, there ought to be a good reason for adopting them. And in our case these corbel constructions serve no purpose, and it will cost us less to raise our bay window direct from the ground.”

Fig. 44.Bay Window of Billiard-room.

In about an hour Eugène handed to Paul the accompanying sketch (Fig. 44), giving the arrangement of the bay window of the billiard-room, that he might study its construction. It required a good deal of attention from our clerk-of-works, and he could not master it thoroughly without frequently applying to his cousin for information and explanation.


[Pg 172]

CHAPTER XIX.
THEORETICAL STUDIES—Continued.

The weather becoming more and more severe prevented the works from being resumed. The parts that had been begun were hidden by a thick layer of mould and stubble, which in its turn was covered by a mantle of snow. The days were spent in working out details which were to be given to Branchu and the carpenter when the weather allowed them to resume their labours. During the long evenings, theoretical questions relating to building were discussed, when the family were assembled and the news of the day had been read. To Paul this was a means of gaining instruction, and to the family generally a distraction from the gloomy thoughts that weighed down the spirits of all amid the depressing circumstances of the times. Paul had seen his cousin drawing several mouldings during the day, to their full size; but as he had drawings of his own to attend to, he had not interrupted his work to put questions to his master. But in the evening Paul asked what were the methods to be employed in drawing these mouldings.

“You still persist in asking for recipes, Paul,” replied Eugène. “But there are no more any recipes for drawing mouldings than for any other parts of the building. There are conditions imposed by the purpose, the nature of the materials, the method of employing them, local custom, and the effect to be obtained. To the consideration of[Pg 173] these conditions join common sense, observation, and study, and you will be able to draw mouldings.

“We will, if you please, examine these conditions separately.

“The purpose:—A moulding is executed, you must suppose, for some object; if you draw a cornice, it is to crown a wall, to carry a gutter or the eaves of a roof, to divert the rain-water from the wall; that cornice therefore must project sufficiently to fulfil that object.—The nature of the materials:—It is evident that if you have, on the one hand, hard and tenacious stones, supplied in large masses, or, on the other hand, small and friable ones, you will not be able to give the same profile to these different kinds of materials.—The method of employing these stones must likewise influence the form to be given to this profile. If we have to hoist stones by the aid of very simple and primitive means, which do not allow us to raise considerable weights to great elevations, we must avoid profiles requiring large blocks; but if we have the means of doing so, we can adopt them.—Local custom:—It will be necessary for you to take account of the customs of the district in which you are building, because these customs are most frequently the result of a judicious observation of the conditions imposed by the climate, the requirements of the neighbourhood, the method of working, and the nature of the material itself. I mean by custom, not certain imported methods which are a mere affair of fashion, but those which have been suggested, as I have just said, by long and judicious observation.—A skilful architect can give a robust or a delicate aspect to a building by the drawing of a moulding. He should always subordinate the drawing to the scale of the construction and to that of the materials. It is ridiculous to aim at large mouldings if we have only thinly bedded stones, or those of yielding quality, in the same way as it is absurd to[Pg 174] give delicate profiles to coarse stones and those difficult to cut.

“You see, then, that in this, as in all that concerns the art of building, reasoning constitutes the first part of the recipe.

“The Athenians, who erected their public buildings of white marble, could allow themselves refinements in the drawing of their profiles which cannot be applied to the coarse limestone of our country. And when the Greeks built edifices with stone of a porous or coarse-grained texture, they took care to cover its dressed surfaces with a very fine stucco, which enabled them to conceal the coarseness of the material. But though they were able to adopt this plan in a mild climate where it never freezes, it would be impracticable in a region like ours, where for two months in the winter the thermometer shows a mean of 7° (Fahr.) below freezing point, and occasionally, as just now, falls as low as 27 below freezing. This stucco would have to be renewed every spring.

“Our mediæval architects, who did not follow what is called the classical tradition professed now at our École des Beaux Arts, and who did not go to Rome or Athens to study the art of building suitable to France, had tried to discover that style of profile which suits our materials and climate—which seems reasonable enough; and they not only discovered, but skilfully applied that style. I am going to give you proof of this.

“First, then, as they did not lay stones in the rough, as I have told you, but ready worked—so that they did not need retouching when once in place—they were obliged to draw each profile within the height of a single course. If these courses were deep, their profiles might be large; if they were shallow, they must be small.

Fig. 45.

“Let us take a string-course for example. A string-course is a course of stone which indicates a floor—an intermediate resting-place in the height of a wall. And[Pg 175] it is not without reason that a projecting course is placed at the level of a floor: first, because it is well to give more strength to the wall at this level where timbers are lodged; secondly, because it is necessary to level up the building at the same height, to make it even in order to raise a fresh story. But this course should not arrest the rain-water, and thus occasion the wet to penetrate into the walls; on the contrary, the profile should be so drawn as to throw off the wet, so that the timbers may not decay. Observe, then (A, Fig. 45), how architects who thought more of satisfying the requirements of construction than of borrowing forms from edifices that were not affected by the conditions imposed by our climate and style of building, usually designed the profile of a string-course. They drew the line a b at an angle of 60°. From the point c they let fall a perpendicular, c b, on this line a b. The angle a b c was therefore a right angle. Taking from b to d a greater or less length according to the hardness of the stone, they hollowed out the moulding e, which we call a water-drip, or throat; so that the rain-water falling on the inclined surface a b did not stay there, but following the direction b d necessarily fell to the ground at d, since it would not ascend into the hollow. The surface of the wall, c f, was therefore protected. If a cornice was to be made (as at B), they laid a first course g to support the projection of the table h; then they laid, as a second course, this table h, taking care to provide a drip at i. If this table had to receive a metal or stone gutter, they took care to cut a slope from j to k, leaving the bed horizontal where the joints occur, as shown in perspective at C. The gutter rested then on the blocks left at l, and if it allowed the rain-water to escape by the joints, these drippings finding the slope k j, followed it, reached the throat i, and fell to the ground without penetrating into the interior of the wall. According as the stone employed was hard or soft,[Pg 176] the mouldings were more or less deep or shallow. I suppose here the profile to be cut in a stone of moderate hardness, whereas, if the stone is very hard, you can give the profile a sharper outline as at D. You will then obtain a more striking effect, darker shades and more brilliant lights.[Pg 177] But in drawing exterior profiles, you must always consider the direction of the solar rays.

“If, for example, you trace a profile such as this at E, it is evident that as the sun’s rays follow the direction O P, all your mouldings will remain in the shade, and will produce no effect. But as soon as the sun gets lower and its rays have a more inclined direction, R S, all the mouldings will receive lines of light of nearly equal strength, and the profile will give a series of uniform lights and shadows which will not indicate the projection. But if you draw this profile according to figure F, the solar rays following the same direction o’ p’, will meet the projections n m, which will be luminous, and when the direction is lowered you will always get differences of relation between the lights and shadows. I give you only general views here; it is for you to observe and profit by your own observations when you have the opportunity of studying actual buildings.

“It is also very important to make the drawing of your profiles conform to the nature of the materials employed. You cannot give to a material that is moulded, cast or run,—like plaster or cements and mortars—the profiles that are suitable to stone. Materials thus laid on are adapted only to a fine and slightly projecting moulding. In the same way, if you design profiles for works in wood, you must consider the ligneous and tenacious quality of this material, and avoid surfaces of too great extent: you must not leave out of sight the fact that wood allows of delicate workmanship; that it is employed only in pieces that are relatively thin; and that to be properly worked, it requires the use of edged tools, such as chisels and planes, which follow the grain and are with difficulty worked across the grain. In all this, economy is in unison with common sense and the good effect produced; for if you choose to introduce a profile that does not suit the material used, you will[Pg 178] give occasion to the employment of unusually difficult and consequently expensive processes, and your work appears painful, affected, and laborious. Some architects think to create astonishment by thus adopting processes which do not harmonize with the materials they use; who, if they are constructing with brick, strive to give to their building the appearance of a construction in stone; who affect to imitate marble in wood, or wood in plaster; who seem in fact to make it their object to give to each of the materials employed forms that are not appropriate to their nature. Observe these undesirable methods, with a view of always avoiding them, if you would be an architect. The perverted taste of most of those persons who employ builders is often an obstacle to the use of sensible methods; but unfortunately, among us, classical studies have led artists into this false course, and in the end the public have become enamoured of the undesirable results to which it conducts; so that it is often difficult to induce employers to listen to reason, and to proceed according to the dictates of a just appreciation of the proper use of materials. But be this as it may, this is one of the questions in regard to which an architect who respects his art ought never to yield.”

“It is, in fact,” said M. de Gandelau, “a strange mania possessing some people who have building done for them, to presume to impose the most ridiculous fancies on their architects; but it is not of modern date, since Philibert de l’Orme used to complain of it even in his time.”

“Philibert de l’Orme,” remarked Paul, “was, I believe, the architect of the Tuileries.”

“Yes, in part at least,” replied Eugène; “but you have his book, if I mistake not, in your library.”

“Certainly; and I will go and find it for you.” M. de Gandelau soon returned to the drawing-room carrying the venerable folio.

[Pg 179]

“Here,” said he to his son, “I give it to you, and you will do well to study these pages. Look at the title of the Preface. ‘Noteworthy considerations for those who lightly undertake to build without the advice and counsel of learned architects; and concerning the faults they commit and the inconveniences that arise from them!’ This will make a commencement of your library as an architect if you are going to choose that vocation; and you could not have before you a book better adapted to inspire correct sentiments and respect for that profession. I cannot give any opinion of its technical merits, which I cannot appreciate; but through reading a few of these pages I have at least spared myself the expensive ambition, by which some owners of property are possessed, of being my own architect.”

“The sincerity of Philibert de l’Orme was not profitable to him,” rejoined Eugène.

“Perhaps not; but he has left us a book which makes us esteem him as a man, independently of his merits as an architect, three hundred years after its publication, since it dates from 1576; this distinction was acquired at the cost of some annoyance during his life, for we do not feel gratitude to people for telling us the truth when they are no longer here to reap the reward of their sincerity from public opinion.”

“Hem! ... then we must not be surprised if few people dare to proclaim these truths, and if architects—since they are on the tapis—prefer to this posthumous glory that quiet and comfort which complaisance towards their clients during their life procures for them, though this may occasion regret to the latter when the evil cannot be remedied, or may involve them in useless expense.”

“Come, come,” said M. de Gandelau, “you are not one of the complying architects to whom you refer, and yet you have still a very fair practice. I do not know whether you[Pg 180] will be talked of three centuries hence, but I know that you are esteemed now.”

“The sentiment you have just uttered is therefore not absolutely true.”

“No, certainly; discretion tells for much in this matter, and there is a way of uttering truths. You must, however, allow that you have lost more than one engagement through having been too outspoken at the commencement.”

“Doubtless; I have even good reason to suppose that if I had not been aided by certain favourable circumstances which brought me into connection with clients accustomed to deal with affairs of a high and liberal order—with men of minds too elevated and serious to occupy themselves with the details of our profession—I should not have found much to do. From a general point of view you are right; most persons about to build fear to apply to architects who are skilful in their profession, but who are of an independent character. What they look for (and in this, women often exercise an injurious influence) are complaisant mediocrities, who will lend themselves to all their fancies, of which they will have the satisfaction of repenting soon afterwards.”

“You attack us unjustly,” replied Madame de Gandelau; “women do not presume to be connoisseurs in architecture, and they ask for nothing but a good arrangement of the interior of a house; which is natural enough, since they have the direction of domestic affairs, and they, more than any others, suffer from the inconvenient or faulty arrangements of their dwellings.”

“I grant it; but while, on the one hand, the mistress asks for arrangements often of a complicated kind, and requiring a peculiar disposition of apartments to suit her convenience, and the master on the other hand wishes for an exterior presenting a peculiar style or aspect with which[Pg 181] he is smitten, it is difficult, if not impossible, to reconcile these two requirements, which are often contradictory; so that the unfortunate architect, desiring to please everybody, and to grant mutually exclusive wishes, can achieve no good result, and when the work is finished each party blames him. How many times have I been called in to remedy blunders,—bad work resulting from the architect’s having been thus worried, and from his fatal complaisance. And these people would tell me that they were desolés not to have selected me to direct the undertaking. It was a little too late, yet the example did not benefit others.”

“What can be done?” rejoined Madame de Gandelau. “If things are as you say, you are offering Paul a profession whose duties involve impossibilities; and unless he obtains employment from the government....”

“Oh! that is too uncertain a chance, and a career that depends on the government scarcely deserves the name. A man ought to be able to get on without reckoning on this very precarious support. Besides, the elect are very few.”

“Well then?”

“Why then we must teach; we must endeavour to make knowledge, reason, and the habit of reflection, penetrate everywhere, and especially into the minds of the rising generation. When the influential classes,—those who employ builders, and who, it may be inferred, are favoured by fortune,—know a little more than they do now, they will perceive that they have everything to learn in all branches of practical knowledge, and that the best they can do is to have recourse to professional men in the treatment of strictly professional matters, and to leave them free scope. In the case of an operation, nobody has the presumption to advise the surgeon how it should be performed. Why then should everybody make bold to give his opinion to[Pg 182] an architect respecting the method in which his work is to be accomplished?”

“The cases are not exactly alike.”

“Nearly; but as the former is a matter of life and death, not a word is breathed in the presence of the surgeon; while, since the latter involves only the pocket,—sometimes the health indeed, but only eventually,—each has a suggestion to make to the architect.”

“We have wandered rather far from mouldings,” said M. de Gandelau, rising.


[Pg 183]

CHAPTER XX.
STUDIES INTERRUPTED.

A few days after this conversation a considerable number of troops traversed the country. The Germans were manœuvring on both sides of the Loire, and were threatening Tours. A general officer was quartered at M. de Gandelau’s who was acquainted with Eugène. The latter was impatient at the inactivity to which he had been condemned since the war had begun to take so fatal a turn.

In the evening he had a long conversation with this officer, and next morning announced to M. de Gandelau that he was intending to set out with the corps which was traversing the country; observing that officers of the Engineers were wanting, and that he could at need fulfil their functions; that his friend, the general, very much approved his determination; and that in circumstances of such gravity he thought it his duty not to hesitate to go, as he might possibly be of some service. M. de Gandelau did not attempt to keep him; he understood too well the sentiments by which his guest was influenced.

“What shall we do with Paul?” said he to Eugène.

“I believe you have Vitruvius in the original in your library?”

“Yes.”

“Well, if you will let me have it for an hour before I go, I shall be able to explain to Paul how he should[Pg 184] set to work with this treatise: that will prevent him from forgetting his Latin, and further him in the studies we have commenced.”

“An excellent idea.”

“You will require Paul to give you, twice a week, the translation of a chapter, with explanatory drawings: that will keep his hand in and occupy his mind. I do not suppose his translation will supersede even Perrault’s; but that does not matter, he will not be losing his time absolutely. As soon as I can return you shall see me again.”

Paul was disconsolate at his cousin’s departure, and at not being able to accompany him; he would have greatly liked to follow up his studies in the art of building by a course of military engineering in the field, but this would have embarrassed his cousin, and Madame de Gandelau would scarcely have survived her anxiety. Paul was furnished with the edition of Vitruvius, and the work to which he was to devote himself was explained to him.

Two hours after, Eugène, provided with a small portmanteau, was on his way with his friend, the general; whose corps was en route for Chateauroux. Promises to write as often as possible had been given on both sides.

We can easily imagine the gloomy aspect which M. de Gandelau’s house assumed after this hasty departure. At the very beginning of the war he had equipped and despatched all his able-bodied dependants. There remained only two or three old men-servants, and some female domestics whose husbands or children were for the most part in the army. Monsieur and Madame de Gandelau ceased to use the drawing-room, in which beds had been placed for the wounded in case any should come. The family used to assemble in Madame de Gandelau’s room, and took their meals in a small apartment that usually served for a pantry.

[Pg 185]

Paul, when his cousin was gone, went to pay a visit to the works. They were deserted; snow covered the heap of walling stones, the cut stones, and the scattered timbers. The walls, which had reached a certain height, protected by straw and surmounted by a crest of snow—their surfaces showing brown in contrast with the white veil that mantled them—and some pieces of wood black with damp, gave to these incipient constructions the aspect of the débris of a conflagration.

Although at Paul’s age young people are not very accessible to sombre thoughts, the poor boy could not restrain his tears in presence of this scene of desolation. He recalled in thought this spot so animated a month before with its bands of active workmen. All were gone, and the soul of this habitation, which he had begun to associate with all the joys of family life, had just quitted him.

In spite of the cold he seated himself on a stone, his head in his hands, overwhelmed with gloomy thoughts. This was the first deep grief, the first severe disappointment, he had experienced: it seemed to him that all was over, and that there was no more hope nor happiness possible for him in this world.

A hand laid upon his shoulder made him start; he raised his head—his father was behind him. Paul threw himself into his arms at once, sobbing.

“Come, Paul, my boy, calm yourself,” said M. de Gandelau to him. “We are living in a time of trials; who knows what are reserved for us? For us, indeed, they have scarcely begun. Think how much suffering there is in France now! What are our anxieties and griefs compared with the anguish suffered by others! Reserve your tears; perhaps you will have only too frequent occasion for them. We need not be in a hurry to despond. I observed you going in this direction, and followed you,[Pg 186] anticipating your melancholy feelings. But, after all, what is there to grieve over? Nothing, or only a trifle. Set to work again courageously, alone, since our friend has been obliged to quit us to fulfil a sacred duty. He will return; you have learned to love and esteem him more: prove to him that you are worthy of the affection he has exhibited to you by showing him some thoroughly good work when he comes back.

“Certainly he would be touched by your grief, of which his absence is to a great extent the cause; be assured that he would be still more touched to see that you had scrupulously followed his last instructions, and that his presence is not the only inducement to make you like work.”

Father and son regained the house. The counsels of M. de Gandelau, and the pains he took to give Paul a glimpse of brighter days, had by degrees restored to him, if not gaiety, at least tranquillity of mind and the desire to do his best. M. de Gandelau most dreaded for his son a feeling of despondency—that vague and sterile sadness on which youth sometimes loves to feed, and which enervates the most gifted minds.

He therefore entered Paul’s room, and taking up Vitruvius, which had been left on the table, began to look through it. M. de Gandelau was a good scholar, though he never made a parade of his acquirements. They were a possession he reserved for himself. Familiar with the classics, he could read the text of Vitruvius, if not explain it architecturally in all its parts. “Stay,” said he to Paul, “here is a chapter which must be interesting, and which may teach you many things; it is Chapter VIII.: De generibus structuræ et earum qualitatibus, modis ac locis. How would you translate this title?”

Of the kinds of constructions, and their qualities, according to customs and localities,” replied Paul.

[Pg 187]

“Yes, that is the translation. But on looking through this chapter, I see that masonry only is considered; the author, in making use of the word structura, seems to me to have wished only to treat of constructions of brick or stone. It would be better, doubtless, to render the passage thus: Of the different kinds of masonry, and the properties of this structure according to local usages and circumstances.

“Well, set to work to translate this eighth chapter. I see that the author has described the kinds of masonry whose use he recommends on such or such occasions. You will therefore have to illustrate your translation by sketches. Come! take courage, and imagine your cousin at hand ready to rectify your mistakes.”

Paul therefore set himself to work, endeavouring to embody in sketches each of Vitruvius’s descriptions. This gave him no little trouble, of course; many words were new to him, and the dictionary helped him only very imperfectly when it was necessary to know their exact sense. Nevertheless, by degrees the work acquired a charm for him. To further his comprehension of the author he tried to recall to mind buildings he had seen; he remembered some instructions given by Eugène; and put on paper, to the best of his ability, opposite the translation, sketches tolerably drawn, if they were not the true expression of the descriptions in the original.

Thus, during the end of the month of December and the commencement of January, he succeeded in translating a dozen chapters which his father selected for him, giving illustrations of the text. This gave him a great desire to become acquainted with the buildings existing in his author’s times, and he examined attentively a set of engravings by Piranesi descriptive of ancient Rome, and which his father possessed. M. de Gandelau had advised Paul to write down the questions which his reading suggested to him, so as to submit them to Eugène on his return.[Pg 188] Thus the days passed rapidly away: and although sadness and anxiety darkened every hour, yet, as M. de Gandelau was incessantly occupied in relieving the misery around him and organizing the struggle against the invaders, while Paul was working with energy and seeing his results accumulating, and Madame de Gandelau had organized a workroom in which the women of the village were engaged in providing linen for our unfortunate and destitute soldiers, when the evening arrived, the members of the family could still assemble with that feeling of secret joy which duty accomplished procures. Towards the close of January the inmates of the château learned from the newspapers that an armistice had been signed. Though this news announced the end of the struggle, it presaged the commencement of the severest humiliations. It produced, therefore, a sad, rather than consolatory impression.

A few days afterwards Eugène returned to the château. It need not be said that he was welcomed with open arms, and that Paul especially manifested his joy. They talked of resuming the works. The last letters of Madame Marie announced that she would be home again towards the end of the following winter. These letters, filled as they were with expressions of the anxiety—the anguish—felt by the writer in her absence from France, said nothing of the future house. If then it could be finished, the surprise would be complete. While Eugène was enjoying the rest he so much needed, he looked through and revised Paul’s translation, and corrected his sketches. A fair copy was made of the whole; and the first days of March drew on, when it was decided to recommence the works.


[Pg 189]

CHAPTER XXI.
BUILDING RECOMMENCED—THE TIMBER WORK.

Towards the middle of March, the weather being fine, the works were resumed, and instructions for executing the floors and roofs had to be given to the carpenter, that no time might be lost. Paul was beginning to understand his cousin’s sketches more readily, and to be able to make himself useful. Besides, he had acquired the excellent habit of asking for explanations when he had reason to suppose on a first view that he could not faithfully interpret a rough sketch; and Eugène was not sparing of explanation and commentaries. His patience was inexhaustible. Nevertheless, every time Paul was embarrassed and was unable to solve a difficult question, before putting him in the way to do so, Eugène used to let him try for a reasonable time.

“Reflect,” he would say to him, “and you will be sure to find some solution. If it is not the right one, I will help you; but you must get some result for yourself. It is impossible to have a clear understanding of a solution given by a person who understands the matter, until we have thoroughly considered it, and made some efforts to solve the given problem ourselves. This is a necessary preliminary exercise, and one which puts the mind in a right state for comprehending. Draw a general section of the main building through the billiard-room and your brother-in-law’s study: I mean a transverse section which[Pg 190] will indicate the walls, the floors, the fireplaces, and roofs. You have nearly all the necessary elements. Endeavour to arrange the whole in proper order, that you may make all the parts of the building clear to yourself. I do not wish to see this section till you have finished it. Not till then shall I correct it; and that correction will be of advantage to you.”

Making use, therefore, of the details already drawn, Paul drew the transverse section, not without difficulty; but the roof-timbers were singularly conceived,—their composition appeared to him difficult and complicated. He did not know how to close the wide opening between the billiard-room and the drawing-room. The dormer-windows of the roof embarrassed him considerably. Besides, he had much difficulty in realizing the junction of all these parts. In spite of all his efforts he could not succeed in representing clearly their relative positions. He was not satisfied, and frankly told his cousin so.

“I am very glad,” replied the latter, “that you are not satisfied. It would be a bad sign if you were, for it would prove that you had not made any great effort. Your walls are fairly in their right place according to the section we have taken. But the timbers, the dormer-windows!—this could not hold together, and is wanting in simplicity. Why so many pieces of wood?... Have you assured yourself of their utility? We have walls; let us make use of them. Why not make use of the wall which separates the billiard-room from the study to bear the roofing timbers in part?—especially as this wall receives chimney flues, which must surely be carried up through the roof. You did not remember the chimneys; that is thoughtlessness, for you see them marked in the plans of the ground floor and of the first and second floors.”

“I certainly thought of them,” replied Paul; “but I did not know how to carry them up through the roof.”

[Pg 191]

“And so you did not draw them; that is certainly a way of avoiding the difficulty; but yet you know they must go up through the roof. That I cannot approve of; putting aside a question is not solving it. Come, let us revise all this together.”

Fig. 46.Transverse Section of the House.

The section was soon corrected (Fig. 46), and Eugène did not fail to furnish it in detail, according to the uses of[Pg 192] the apartments through which the section was drawn; which pleased Paul greatly, as he could thus realize the billiard-room completed, with its opening into the drawing-room, his brother-in-law’s study, with its doors; then above, his bedroom, dressing-room, and the two attic rooms. This drawing appeared to him charming; he could fancy himself already entering the apartments and enjoying his sister’s surprise on examining these interiors. He was wanting to show all these pretty things to Madame de Gandelau directly, but Eugène persuaded him to have a little patience.

“All this,” he said, “is a mere trifle indeed—nothing but fancy; we shall have to furnish the details of the woodwork and internal arrangements, and when we come to study them we shall find much to revise. Leave off looking at these interiors for a few minutes, and let us examine the timber-work of the roof. Let us draw it in plan.” (Fig. 47).

Fig. 47.

“The walls A B are the gables which are to support the purlins. We have at C D two cross-walls, which also form[Pg 193] gables, and will also receive the purlins. But the spaces E C are too wide for purlins from E to C. They measure 22 feet between; now the purlins must not have a bearing of more than 13 feet if we would avoid their bending. Intermediate principals are therefore necessary at G H, against the sides of the middle dormers I. The purlins from A to G will not then exceed 13 feet in length, and we shall be able to strengthen them by means of struts from the end gables. From K to L there will be valley-rafters at the penetration of the roofs. Let us first consider the principals G H (Fig. 48).

Fig. 48.

“The height between the floors of the story in the roof should be 10 feet. We will put two main supports A, fixed into foot-pieces connected by a tie-rod, which will pass under the floor; upon these supports a tie-beam B; then to secure the tie-beam to these supports, clip-braces C. On the ends of this tie-beam will rest the purlins D. The blades E will fasten into this tie-beam and into the king-post F. Beneath the second purlins H, it will be necessary to put clips G, forming a collar-beam. The ridge-pole I will be carried by the king-post, with diagonal struts. The other ends of the purlins will rest in the gables. Thus we shall be enabled to fix the rafters which will receive the battens and the slates. These timbers (tie-beams, collar-beams, and blades) may pass through the longitudinal wall K, containing the chimney flues, and in turn the roof-timbers will stay the wall, while the wall supports and stiffens the roof. As to the middle of the building, having the two walls C D, it will suffice to rest the ridge-pole L across, and relieve its bearing with two struts M, tenoned into the ends of a beam N, which will prevent their spreading. At the level of the latter we will place the beams a b (see Fig. 47), which will receive the ridge-poles O of the cross-roofs. These beams will also be relieved by struts R. On the ridge-poles O will come the[Pg 194] meeting of the valley-rafters S (shown in elevation at S). Thus the raftering will be everywhere well supported; and, relatively to the surface of the building, we shall use but a small quantity of timber, since we take every possible advantage of the support afforded us by the interior walls. The gables will enable us to avoid the necessity of hip-roofs, which are difficult to contrive and require a good deal of timber. There remains the roof of the staircase. In order that you may understand how to construct it, I [Pg 197]am going to draw it for you in perspective. This roof is supported by walls which rise above the cornice of the building, but it penetrates the main roof at X (see Fig. 47). If you examine the drawing (Fig. 39), you will observe that the walls of the staircase leave an angle without any vertical support over the entrance-hall. It will be necessary then to provide a bearing for the hip of the roof which comes over that space. To effect this, we will place on the two wall ends a small principal which shall receive the foot of the hip-rafter V, denoted in Fig. 47. This arrangement is apparent in the perspective drawing (Fig. 49), which gives the square tower of the principal stairs with its roof-framing. We will raise the oblong newel A of this stairs up to the level of the cornice. Upon the walls we will lay the wall-plates B; then from the three angles to the newel, the foot-pieces C. On the ends, halved together, of these foot-pieces we will erect the two king-posts P, and the three hip-rafters E. The feet of the two king-posts will be connected by the clips F. As to the back hip-rafter G, it will fix into the front of the king-post of the little principal, as I show you at ; and in order to hinder the principal from being thrust out by this hip-rafter, clips H will connect the head of the king-post of the little principal with the king-post D of the roof. On the angles of the hip-rafters at I, it will be necessary to fix some blocks to carry the ends K of the purlins, which will support the bearing of the rafters.

Fig. 49.

“At L you see the gable which has to join the roof of the staircase; and do not forget that stone filletings M must be built into the walls against which roofs abut, forming a weather-moulding above these roofs, to hinder the rain-water from getting in between the slating and the wall. Filletings are most commonly made with mortar or cement, on the roofing itself; but as that is subject to movement, these filletings break away and have to be[Pg 198] constantly renewed. Built into the masonry above the slope of the roofing, they cover the junction of the slate or tile with the walls, and, being independent of the roof, they cannot suffer from any giving in the timbers.

“You will draw the roofs to a scale of a quarter of an inch to a foot; I will correct your drawings, and we will give them to the carpenter, in order that he may prepare his timbers as soon as possible. We will figure the scantlings of these timbers. Thus, the blades on the principal rafters should be 8 inches × 7 inches, the collar-clips 3½ inches × 7 inches, the king-posts 7 inches × 7 inches, the tie-beam the same, the main supports 8 inches × 8 inches, the rafters 3 inches × 4 inches, the purlins 8 inches × 8 inches, without sap or flaws.”

“What do you mean by flaws?”

“Depressions; deficiencies of material apparent at the corners when timbers are squared which are rather crooked, and which thereby leave sap visible on these corners and even a hollow place, such as I mark here at A (Fig. 50). You will be careful not to allow flaws in timbers which the carpenter may employ for the roofs and joists.

Fig. 50.

Fig. 51.

“In considering our floors, I see that for the billiard-room, the dining-room, and the drawing-room, we shall do well to have in each of these apartments two beams to take the joists, on account of the width of bearing, and the partitions which come over these floors. You remember that we deferred this question, and that in the detail (Fig. 42), and in the section (Fig. 46), we have supposed the existence[Pg 199] of these beams. The joists in these three rooms, instead of bearing from one side wall to the other, will bear from the gable walls on to the beams. But these beams, though cut from the best oak, invariably deflect sooner or later; which, to say the least, looks very bad. We will therefore make them each in two pieces, sawn through in the manner I showed you for lintels, and between the two pieces we will interpose a thin plate of iron. That will enable us to treat the beams like the wall bearers, and fit the joists into their sides, instead of laying them on the top, and consequently avoid a too great projection below the ceiling. Thus (Fig. 51), having two pieces of timber A, 12 inches × 6 inches, we will put between them a plate of iron ⅛th of an inch thick. We will bolt the whole together at regular intervals as marked at D, and, in the notches C, we will fix the ends of the joists E. A few iron straps will be nailed across to connect these ends one to another, and we shall obtain in this manner perfectly rigid floors. The beams will be supported in their bearings by corbels, and will not go more than six inches into the wall. This then is another detail to be got ready for the carpenter. Mind and see that the ends of the beams within the wall have a coat of red lead, and are enclosed in a box of sheet zinc, No. 14, to prevent the[Pg 200] moisture of the wall from penetrating the grain of the wood. Well! that is something done: draw it all out neatly. To-morrow, when I have looked over your drawings, we will send for Jean Godard, and we will go and select the wood in your father’s timber-yard.”

Next day Paul presented his drawings. Many corrections were, indeed, necessary, still on the whole his cousin congratulated him on the result. Paul was taking pains, and was endeavouring to understand everything thoroughly; and though he could not always find the simplest and most natural solutions, he showed at least that he had reflected before putting anything on paper.

Jean Godard having been summoned, the drawings were presented to him. Some explanations were given him, after which Eugène asked him if he had any observations to make. Jean Godard was scratching his head, but said nothing.

“Is there anything in all this that you do not clearly understand, or that seems faulty?” said Eugène to him.

“No, sir; but yet these are floors that are out of the common way; it will be difficult—we are not accustomed—and you see—it isn’t what we generally do in carpentry.”

“Which means that you must be paid more than for floors made in your way.”

“Yes, to be sure—you understand—there is labour to be considered—all these timbers here must be sawn—planed, perhaps.”

“Consider well, Jean. The joists must be sawn on two faces only—the two faces that are seen; but all joists are sawn out. If we asked you to supply the wood, you might say that you would not find joists of this kind; but in this case you have to select from our wood. If you use small timber it will be enough to saw two faces thus (Fig. 52): you may, if you like, leave the faces A roughly squared and only cleared of sap. If you cut your joists out of large[Pg 201] timber (Fig. 53) you will only have to run the saw-cuts as I have sketched here at B. But I prefer to use small timber, because it does not crook in drying, as timber which is quartered is sure to do; and I think we shall have enough of the former to prevent us from being obliged to employ this last method. We shall have, then, to pay you only for the sawing of the two faces, as for the joists you usually employ. As for the beams, they will be also sawn on two faces only, for if we cut them from a single trunk we shall put the two sawn faces outside (Fig. 54), and the plate of iron being interposed at D we shall put below a moulded board C, to cover the joining, and the flaws, should there be any. With regard to the triangular notchings to be made at E, they are less difficult to fashion than mortises, and as the joists bear in full they have no tenons. It is the same with the bearers which, along the walls, receive the ends of the joists, and take the place of cornices.—Well, what do you say about it?”

Fig. 52. Fig. 53. Fig. 54.

“Why—still it isn’t flooring such as we see everywhere.”

“What does that matter, if it gives you no more trouble to make? We shall take account of the time you spend, as we furnish the wood; consequently you are secured against loss. Make a careful estimate, and if you like we will make a bargain. We will pay you by the cubic foot as for ordinary flooring, or take account of the time[Pg 202] employed in working and pay you for that time. Make your choice!”

Jean Godard twirled his cap about some time, looked at the drawings in every possible way, scratched his right ear again, then his left, and after a good half-hour declared that he consented to be paid for floors of this kind at the same rate as for ordinary floors according to measurement.

“And you are right,” said Eugène; “for if you manage your work well, if there is no bungling, you will gain more by this bargain than if we paid you according to time, because there is less work in flooring of this kind for the same quantity of material than in those you are accustomed to make, especially in this neighbourhood.”

Jean Godard, however, asked for an additional consideration for the bearers that were to be substituted for the rough fixing in the walls.

“Granted,” said Eugène; “we save plaster cornices, and it is right that we should make you an allowance on that account.”

It was therefore resolved that they should make a separate payment for the labour on the bearers, that is, for their notches and chamfers.

Next day four pit-saws were at work, cutting up the timber that had been stored. The scene of labour had resumed all its activity. In the masonry department a design for a dormer-window remained to be furnished, but which was soon supplied (Fig. 55), and besides this the direction of the chimney flues.

Eugène on giving Paul the particulars of the dormer-windows, section A and exterior elevation B, drew his attention to their construction. Raised on a gutter-wall 20 inches thick, they were to consist of two jambs of three courses each. On the first two courses would be left a string-course C, designed to cover the slate of the roofing and to form a filleting. These two jambs would carry[Pg 203] the lintel and two stones forming corbels. Two pieces on this lintel would receive the gable knees, and would form the jambs of the higher opening designed to ventilate the attics. The gable would consist of two courses surmounted by a finial. The section indicated how the slopes of the coping would form a filleting on the small roofs of these dormer-windows behind, and a drip in front, to hinder the rain-water from running down the faces of the stone-work.

Fig. 55.


[Pg 204]

CHAPTER XXII.
THE CHIMNEYS.

“Why do chimneys smoke?” asked Paul of his cousin.

“You mean rather to ask me,” replied the latter, “why some chimneys smoke. Many causes contribute to make chimneys smoke, while there is only one condition which must be observed if they are not to smoke. We must therefore do our utmost to fulfil that condition, viz. a flue proportioned to the fireplace, and the supply of a quantity of air to the latter proportioned to the combustion. If the flue is too narrow for the amount of smoke given off by the combustion, this smoke does not rise easily enough, its advance in ascending is checked by friction, and the discharge being insufficient for the production, the smoke comes out into the room. We can stimulate the combustion, and consequently the ascent of the smoke by a current of external air directed towards the wood or coal. When the fire is well lighted it warms the column of air that fills the chimney, and the warmer this column is the lighter the air is, and the more it tends to rise.

“That is why in some ill-built chimneys a certain time is required before the smoke will take its proper course—that is to say, the column of air must be warmed. And until it is so, the smoke passes not into the flue, but into the room; then we open a window to supply the fire with air, which brightens it up so as to warm the flue and allow the smoke to take its proper course. For the same reason[Pg 205] all new chimneys smoke. Flues carried up in masonry are damp and cold, and the air they contain is heavy; it takes some time to warm and lighten it.

“Instead of opening a window to stimulate the fire (which is a rather primitive method), we supply each grate with an air draught—that is, we give it a channel which conducts the external air to the combustible as soon as the least heat is developed, that, e.g. of a piece of paper lighted. Immediately this exterior air is called in to fill the vacuum produced by the commencement of combustion, and it stimulates the fire by bringing it oxygen. The livelier the fire the more rapid is the draught; and the more rapidly the air comes in, the more brightly does the wood or coal burn. The air-channel is to a grate what a pair of bellows are to a forge fire. But the air-channel, as well as the flue, must bear a due proportion to the fireplace. If the flue is too narrow, the smoke is obstructed, and comes out into the room; if it is too wide, it is not uniformly heated, and the external currents of air—the winds—exert a pressure at its upper extremity which neutralizes the effect of the draught, and the smoke is beaten down. If the air-channel is too small for the extent of the grate, it does not bring the quantity of air necessary for combustion; the fire languishes, it heats the flue imperfectly, and the lukewarm smoke does not ascend rapidly enough. If the air-channel is too large, or brings in too considerable a volume of air, the oxygen of which is not completely taken up, then a part of the cold air enters the flue and does not stimulate the draught; or, if there are changes in the temperature, the air-channel attracts the air from the chimney instead of bringing in air from the outside. The process is reversed, and the chimney smokes dreadfully.”

It was in the evening, after dinner, and when the family were seated around the hearth, that Eugène was propounding this theory. “That appears to me simple[Pg 206] enough,” said Madame de Gandelau; “but then why does the chimney in my room, which I have had altered several times, smoke on certain days?”

“Because your room, Madame, is situated in the new wing of the house, the roof of which is lower than that of the older part. They could not carry the flue high enough to rise above the ridges of the roof of the old building, for that isolated chimney would not have resisted the squalls. When the wind comes on your side it finds the obstacle presented by the loftier building, and rebounds: an eddy is formed, and whirling about on itself it becomes engulfed in your chimney-flue, or at least obstructs for a time the passage of the smoke. In such a case the flues should bifurcate; as the pressure of the wind is never exerted equally in both orifices, the air rushing into one makes the smoke issue violently through the other. I know of no other plan: I have already proposed it to you; but you have thought, not without reason, that these flues, which seem to raise two despairing arms towards heaven, would be very ugly; so you have resigned yourself to be smoked out of your room when a strong gust from the west is blowing.”

“Yet the chimney-doctor put a sheet-iron pipe with a revolving cowl—what he calls, I think, a gueule de loup: he told me it would work admirably, but it was worse than before.”

“Certainly; when there are eddies and whirlwinds in consequence of some obstacle, as here. This cowl turns in all directions, and among its rapid gyrations sometimes presents its mouth to the gust, if only for an instant. This mouth then performs the office of a funnel, and the air, rushing into the pipe, sends the smoke in puffs into the very middle of the room.”

“Exactly so; you think, therefore, that those two ugly flues must be adopted?”

“Certainly. There are cities near to mountains, all of[Pg 207] whose houses, however lofty, are in the same condition. Geneva, for example, built between the Salève and the Jura, is commanded, though at a great distance, by these mountains. The violent winds which sometimes prevail on the lake are imprisoned between these two chains, form eddies, rush backwards and forwards, and send violent gusts in every direction; so that the Genevese are obliged to put these double flues on their chimneys, which at a distance present the aspect of a forest of old-fashioned telegraphs.”

“I hope, then, that you will build the chimneys in the new house in such a way that they will not smoke. You know that Marie would be much vexed if they should.”

We will do our best; and the local conditions are favourable to begin with; we are not commanded by other elevations, we have not any eddies of wind to fear; along the plateau on which we are building the breezes are regular. Moreover, we have only straight high roofs, and all the flues rise above the ridges. We shall build these flues with brick, and make them of ample size. Nothing obliges us to give them very oblique directions; they rise vertically, or nearly so. Lastly, we shall have a system of air-flues, arranged from the very foundations, in a cool aspect; for that must be attended to, since if the air-flues are open to the south—for example—the air they receive from without, even during the winter, is warmer than that of the room where the fire is lighted; and then the air-flue draws the smoke which comes down into the room. At least the fire cannot be lighted; the wood is only charred, and does not burn.

“At Paris they often have a single flue for several fireplaces (arranged one over the other), and parallel with it a ventilation-flue sending a branch to each of these fireplaces. That is a good plan, especially in houses where there are as many as five fireplaces, one over the other;[Pg 208] because the weakening of the walls by the juxtaposition of a number of flues is thus avoided. The fires exercise a reciprocal attraction, and this system prevents smoke in the rooms. These flues must have a section sufficient for all the fireplaces—that is, for five ordinary chimneys, one above another, a section of 1 foot 9 inches superficial, or 16 inches square. But here, where we have only three stories and sufficient room, I prefer having separate flues for each chimney; especially as with the system of single flues all the fires must be lighted: which is always the case in a large town. If they are not, it will happen in rapid changes of temperature that the smoke will pass into one of the higher or lower fireplaces instead of following the vertical column. This inconvenience, which by the by is only accidental, is remedied by well-arranged dampers.”

“But,” said Paul, “does not this cold air of the air-channel chill the apartments?”

“This cold air comes into the fireplace itself, not into the apartment; it is evident that if a fire is not made, the air-flue introduces cold air, which contributes to lowering the temperature of the apartment. It may be shut off by a damper. But keep this in mind: to make a fire burn wood, or coal, or anything else, oxygen is needed. You have learned that in your studies in chemistry and physics. Air, therefore, is required; without air no fire. Formerly they did not take the trouble to provide air-flues for fireplaces, because the air came into the rooms under the doors and through the ill-closed windows, and also because the apartments being very large contained air enough to keep up a fire for some time. And our grandfathers’ chimneys, be it observed, smoked pretty considerably. We of the present day are less hardy, and like to have smaller rooms, well shut in, and we are afraid of draughts; that is all very well, but the chimney must have a draught, since without it the fuel will not burn and therefore not[Pg 209] warm you. It is evident that this column of cold air, which you call in to stimulate the combustion, takes with it, in ascending the flue, a considerable amount of heat. Many plans have therefore been devised for preventing the heated air from passing rapidly away. It is caused to turn in the flues, and obliged to remain as long as possible, or at least to leave in the walls of the numerous passages which it traverses a part of the heat it has absorbed. These passages in their turn warm a surrounding cavity or room, which is also supplied with air. This air, dilated by heat, tends to escape. Issues are made for it, which are called hot-air escapes. This is the principle of the hot-air apparatus.”

A propos of heating apparatuses,” said Madame de Gandelau, “are you intending to construct one in the new house?”

“Certainly; its place is marked on the plan of the cellars below the entrance hall, and its flue goes up in the interior angle of the great staircase. A heating apparatus is indispensable in a country house, especially if it is not lived in throughout the winter. It is the means of preventing a good deal of injury to the house. Heating once or twice a week during the cold and damp season is sufficient to keep the apartments fairly dry.”

“Do you not think the heat of the hot-air apparatus injurious to health?”

“The warm air issuing from the heating apparatus is unwholesome, because in becoming warm it has lost a part of its oxygen, and because oxygen is as necessary to us in supporting life as it is to fuel in supporting combustion. We can avoid some of the injurious results to the animal economy arising from the deoxidized air by making it pass over basins filled with water on leaving the heat receiver; but this means is only palliative, and we thus lose part of the warmth.

[Pg 210]

“I consider hot-air apparatuses desirable only for warming apartments that are not lived in, such as entrance-halls, staircases, and passages; but if hot-air escapes are provided in drawing-rooms, dining-rooms, and bedrooms, care must be taken not to allow them to be open while the apartments are occupied. Open them only to dry the rooms when you are absent; and when this is done, open the windows, and close the hot-air escapes when you shut the windows.”

“And the baths—how will you heat them?”

“By means of a boiler arranged near the heating apparatus, with circulating pipes reaching to the bath-rooms on the first floor, which are over the heating chamber, or nearly so.”

“Have you arranged for baths for the servants also?”

“Yes, under the bakehouse and wash-house, below the ground floor.”

“You have provided for everything, I see. This conversation about the chimneys has been one of which you will do well to give a summary in your notes, Paul!”

“I will do so, mother.”


[Pg 211]

CHAPTER XXIII.
THE CANTINE.

In spite of the recent disasters, life seemed to return as by enchantment, both in the towns and the rural districts. In all directions every one was setting himself to work again to make up for lost time. Although the misfortunes which had nearly cut off all the sources of wealth in France were indelibly imprinted on their memories, a patriotic instinct made its inhabitants redouble their efforts to repair the mighty ruin, without indulging in vain recriminations. Those who travelled through France during the months of February and March, 1870, might have compared the country to an ant’s nest disturbed by the foot of some incautious stroller. These wonderful insects do not in such a case waste their time in lamentations, and making processions to supplicate the Providence of the ants: they set to work immediately; and if you pass by next day, the traces of the convulsion that had almost destroyed the colony have disappeared.

But at the end of March the journals brought to the château the disastrous news from Paris. M. de Gandelau had been thinking of sending back his son to the Lyceum. Although satisfied that Paul would not be losing his time, he thought it a pity that his classical studies should be any longer interrupted. But the last news changed his intention. He decided that his son should continue to work[Pg 212] with his cousin, who had resolved to stay at the château and wait the course of events.

M. de Gandelau, loved and respected by the whole neighbourhood, had no anxiety so far as he himself was concerned. Some sinister faces had presented themselves in the neighbouring villages, but there was no opening for such emissaries there, so they soon disappeared. Master Branchu and Jean Godard had come to the château to tell M. de Gandelau that the workmen entreated him not to suspend the works, and that if money was wanting, they would consent to wait for better days. For the present they would ask only for soup and bread. In fact, M. de Gandelau having made great sacrifices during the war, had not just now at his disposal means sufficient for giving regular wages such as the energetic carrying out of the works would demand. The most he could do was to supply provisions. It was, therefore, decided that they should set up a provision store near the works; that M. de Gandelau should furnish meal, fuel, fresh meat twice a week, vegetables and bacon; and that each workman should receive as many rations as his family and he required for their subsistence. Each ration was estimated at prime cost; and the balance was to be paid in money at a future day, according to a well-recognized and carefully-adjusted scale of wages. Half a dozen workmen who did not belong to the district would not accept this arrangement, and quitted the works. The others, having full confidence in M. de Gandelau’s good faith, agreed to these terms, with so much the more readiness as they had thus the pleasing prospect of the result of this fixed economy in the shape of a saving. Paul was commissioned with this new branch of administration, and combined the functions of a purveyor with those of an inspector. His cousin initiated him in the system of accounts he must keep, so that all interests might be protected.

[Pg 213]

Proud of this new employment, he acquitted himself well. Rising at five o’clock in the morning, he might be seen riding on his pony from the château to the mill, from the mill to the neighbouring village, and from the village to the building; he gave an account to his father every evening of what had been given out during the day, and to his cousin memoranda of the work done at the house.

This mode of life was giving vigour to his body; the responsibility with which he saw himself invested was maturing his mind. Towards the end of May it would have been difficult to recognise in this robust, sensible, and methodical young man, the careless schoolboy of the month of August preceding.

One morning Eugène said to him, “You will have to go to Chateauroux, for we have not joiners here capable of executing our work. I will put you in communication with a good master-joiner residing there, and you will make arrangements with him; but first we must be prepared with the necessary details.”


[Pg 214]

CHAPTER XXIV.
THE JOINER’S WORK.

“All the particulars of the woodwork,” continued Eugène, “ought to be furnished before a house is begun to be built, for the first consideration in work of this kind is selecting the materials, and only employing wood that is thoroughly dry, and has been sawn out some years. We have had but a short notice, and have not been able to pay attention to this important part of our undertaking. Fortunately I am acquainted with a joiner at Chateauroux, who has a stock of well-seasoned wood of good quality, which he is not very willing to part with, as he keeps it for special work; but he will let us have some, as your father has rendered him some services.

“But while only sound and dry wood must be employed in our joiner’s work, it is not less necessary to combine the parts according to the nature of the materials, and not infringe the conditions imposed by them. Wood is sawn according to certain dimensions dictated by custom and the size of the trees. Thus, for example, a plank is only 8 or 10 inches broad, because trees fit for joiner’s work are scarcely of larger diameter, when the sap-wood is removed; in making panels, therefore, it is advisable not to have them more than 8 or 10 inches wide, that they may not exceed the width of a plank. If two or more boards are joined to make a panel, they will[Pg 215] separate in drying, and leave a space between them; whereas, if we give each panel only the width of a plank, even if it should shrink, the shrinking occurs in the tongue, and there is no disjointing. These tongues must, however, be wide enough to bear the shrinking without leaving the rebate. You will understand that better by and by.

“In the last century many doors were made wide-framed, that is, doors the panels of which, framed in moulding, are from 16 to 20 inches wide; this was the fashion. But at that time they employed none but very dry wood, that had been felled and cut up for several years; and these panels, made of two boards, notched or simply jointed, did not shrink. You see doors thus made in your father’s drawing-room, and there is only one in which the panel has opened. In the present day such wood cannot be got for love or money; we must therefore be content to give up those wide panels. Or, if we insist upon having them, they must be made of white wood—of sycamore, because this wood dries quickly, does not split nor warp, that is, it does not curve across the grain. But sycamore is a soft wood, liable to be attacked by worms, especially in the country. Let us therefore keep to oak, and construct our doors so that the panels may be only about 8 inches wide. We have folding and single doors. The folding doors are 4 feet wide; the doors of a single leaf 32 to 40 inches. Their height varies from 7 ft. to 7 ft. 4 in.; for it is quite useless to make them higher, as we do not walk into our rooms with crosses and banners, and the human stature rarely exceeds six feet. There are many inconveniences in having doors too high; they are liable to twist, are not easily shut, and, if it is cold, every time they are opened they let a considerable volume of damp, freezing air penetrate into the rooms, chilling them proportionately.

[Pg 216]

Fig. 56.

“Let us begin, then, by drawing a folding-door. We shall make the framing of this door of wood 1¾ inch thick. We call the outer upright pieces (Fig. 56) the hanging-stiles; the pieces, A, the meeting-stiles; the horizontal pieces between them, the rails. The stiles and the top and bottom rails shall be each 4¼ inches wide, the intermediate uprights, or munton, 2 inches. Now each leaf—deducting ½ an inch for the rebate, or overlap, in the middle—will be 2 feet wide, since the doorway must have an opening of 4 feet: deducting 4¼ in. + 2 in. + 3¾ in. for the two stiles and the munton—total, 10 inches—there remain 14 inches for the two panels, i.e., 7 inches for each panel. The middle rail must be placed so that its centre shall be 3 ft. 4 in. from the ground; for it is on this rail the lock is fixed, and this rail should not be less than 6 inches wide, so that deducting for the mouldings, say 2 in., there still remains 4 in. for the room of the lock, whose box is usually from 3 to 4 in. wide. This kind of door is called square-framed: all the joints being square, without mitres,[Pg 217] and the panels being narrow, these doors do not give, and are perfectly ridged.

Fig. 57.

“Here is a detail of this framing (Fig. 57): Let A be the wall-jamb of the doorway; a door-frame, B, is fixed by means of iron stays to this jamb. To it are fastened with screws the hinges, C, on which the door-leaves swing. D is the hanging-stile; E E, the meeting-stiles; F, the intermediate munton; G, the panels, with their tongues in the grooves. The architraves, H, form a rebate around the hanging-stiles and the top rail. Moulded strips, I, are affixed along the rebate of the meeting-stiles, in order to strengthen the rebate, and to present to the hand a rounded[Pg 218] edge that does not hurt the hand or fray the dress. At K is denoted the top rail, with its tenon, L, fitting into a mortice, M, which should be cut right through the stile. At the juncture of the intermediate munton, N, the moulding, O, is cut square off to make way for the head of the munton, whose tenon, P, goes into a mortice, R. At S you see the groove into which fits the tongues, T, of the panels; which are increased in thickness at a certain distance from the tongue, as you see at V, to about ⅞ths of an inch. You will observe that the chamfers, X, of the stiles stop beneath the joints, in order to leave these all the strength of the wood. Doors of these dimensions will require three hinges to each leaf.

Fig. 58.

“This explanation gives you the key to all good ordinary house joinery. The rule is a simple one: never to weaken the wood at the joints, always to make these square, and not to exceed the sizes of ordinary scantling.

“Our single-leaved doors will be made according to this system. We have lastly to consider the window-casements. In these we shall follow the same principle, that is, we shall avoid the defective mitre joints, and have none but square joints. Here (Fig. 58) is one of these casements, which consists of a fixed frame, A, fastened into the rebate of the stone-work, B, and of two folding casements. The wood of the casements shall be[Pg 219] 1½ in. thick, and the meeting-stiles shall lock one into the other. To lessen the difficulty of glazing, or to avoid the necessity of using plate-glass, we will divide the length by a small bar, C. You will require the details of these window-casements. I give them to you drawn in Fig. 59.

Fig. 59.

“At A I have marked the rebate of the window-jamb; at B the fixed frame; at C one of the stiles which works into the frame, with the tongue to stop the passage of the air; at D and E, the right and left hand meeting-stiles, with their method of locking. On the projection, F, is affixed the crémone, or fastener. The detail, G, gives you[Pg 220] the section of the sill-rail of the frame, with its water-stop, intended to hinder the rain or snow from penetrating to the inside. But as it happens that in spite of this precaution the driving rain sometimes finds its way into the rebate, a small channel, a, must be sunk in this rebate, with two escapes, that the water may not flow through, and down the inner surface of the sill, I. In order to cover the junction of the wood sill-rail and the stone sill, we shall affix the moulding, K. At L I denote for you the framing of the bottom rail of the casement and the stile; and at M that of the glazing-bar and the same stile. At O you will observe the outside rebates to receive the glass, and the chamfers, P, with stops on the inside to leave at the joints all the strength of the wood. Besides the three hinges necessary for each leaf, we must take into account the angle-plates at top and bottom to secure the casement from straining the joints and giving down in the middle, for the glass cannot serve like door panels, which stiffen the framing. On the contrary, the glass, by its weight, tends to put these casements out of shape.

“You are going to set to work at these details, Paul, and I will correct your drawings. Furnished with these designs, you will then go to Chateauroux and show them to the person who undertakes the work, and he will fix his prices. You will supplement the drawings by explanations, keeping clearly in mind what I have told you, and bring back his estimate. I will also give you an introduction to an engineering friend of mine at Chateauroux who will receive you as a relation, and who will be able to give you any further information you require.”

Madame de Gandelau at first objected to Paul’s journey; but being assured that Eugène’s friend would be at the station to receive the young architect, and that he would[Pg 221] be entertained by a family who would be glad to receive him, his mother was satisfied. Besides, his absence would be for three or four days only, and Chateauroux is but fifty miles from M. de Gandelau’s residence.


[Pg 222]

CHAPTER XXV.
WHAT PAUL LEARNT AT CHATEAUROUX.

Paul now knew enough to feel that the commission with which he was charged was one of considerable importance. The sole responsibility of it made him a little anxious. It would have been easy enough to write to the joiner to come to the château; but Eugène had asked M. de Gandelau to send Paul to see him, in order to put his clerk of the works to the test, and to know how he would manage the business. Eugène had given him ample instructions, and taken care to have them repeated several times; and Paul had noted down the important points. He was furnished with plans to show the number of openings, the hanging of the doors, the areas of the floors, the extent of the wainscoting, the dado-moulding, the skirting, &c.

On arriving at Chateauroux about ten o’clock in the morning, Paul found the engineer, M. Victorien, his cousin’s friend, waiting for him at the station as had been arranged. M. Victorien was still young, though his close-cut hair was growing grey. A sun-burnt complexion, a piercing eye, and aquiline nose, gave to his physiognomy a certain martial air which attracted our young architect at a glance. A letter from Eugène had informed him of the circumstances that had occasioned Paul’s giving his attention to building during the last six months. M. Victorien had some acquaintance with M. de Gandelau, and felt a particular[Pg 223] esteem for his character. Such an introduction was more than enough to induce him to receive the traveller as a young brother. Madame Victorien, a short, buxom brunette, the very antithesis of her husband, who was tall and thin,—could find nothing good enough for her guest. At breakfast, Paul had to reply to all the questions that were addressed to him:—How had the recent troubles been borne by the family at the château? What was the new house like? How far had it advanced? How many workmen did they employ? How was the work done? Paul gave the best answers he could think of, and even ventured to draw some sketches to explain to his hosts the situation of the new house and its present stage of advancement.

“Well,” said M. Victorien, “I see that you have profited by the lessons you have had from your cousin, who is more ready at making an explanatory sketch than any man I know.”

This compliment encouraged Paul, who related the steps of his architectural education up to this time.

“We shall have the whole of to-morrow to visit your joiner, so if you like you shall accompany me to see some locks which I am making about six miles off. That will perhaps interest you.”

Paul eagerly accepted the invitation, although Madame Victorien protested against it, asserting that her young guest must be fatigued, and ought to be allowed to rest; that he had risen very early that morning, and so on.

“What,” said M. Victorien, “at his age and in excellent health, fatigued by sitting two hours in a railway carriage! Get us a good dinner by the time we return—about seven o’clock—and you shall see if our friend doesn’t do justice to it. Besides, has he not told us that he is up at five o’clock every morning and is running about all day? Come, let us set out.”

[Pg 224]

They drove off in a small char-à-banc, and soon left the town behind them.

When they were mounting the first hill M. Victorien said: “Your cousin has not then been much fatigued by his short campaign. I saw him only for a moment when he passed through with his corps. He is an energetic man, but he does not always take enough care of himself. How clearly he explains a thing, does he not? It is a pleasure to take lessons of him. We were fellow-students formerly, and he hesitated whether he should become an architect or a civil engineer. He had qualifications for both.”

“What is the difference, then, between an architect and an engineer?” Paul ventured to ask.

“Upon my word, that is a question not easy to answer—I will give you an apologue:—

“There were once two little twins who resembled each other so much that even their mother could not distinguish them. Not only were their features, height, and gait the same, but they had also the same tastes and abilities. They had to work with their hands, for their parents were poor. Both became masons. They acquired skill in their calling, and they worked equally well. Their father, a narrow-minded man, thought that these four hands which wrought at the same work with equal perfection, would produce more and do still better by allotting separate labours to each pair. To one of the pairs, therefore, he said: ‘You shall only do underground work;’ and to the other, ‘You shall only work aboveground.’ The brothers thought this scarcely reasonable, as they had been accustomed to help each other in both sorts of work; however, as they were obedient children they complied. But whereas hitherto these workmen had agreed and had co-operated to the advantage of the work, from that time forward they did not cease to dispute with each other. The one who worked above the cellars maintained that his[Pg 225] foundations were not suitably prepared, and the one who laid the latter asserted that the conditions of their structure were not respected. The result was that they separated, and as each had now become habituated to his particular work, he remained unfit for anything else.”

“I think I see the gist of your apologue, but——”

“But it does not explain to you why a difference has been made between engineers and architects. In fact, a skilful engineer may be a good architect, as an accomplished architect ought to be a good engineer. Engineers make bridges, canals, docks, and embankments; but this does not prevent them from raising lighthouses, erecting factories, warehouses, and many other buildings. Architects ought to know how to do all these things; they actually did them formerly, because then the twin brothers were not separated, or rather, they were one and the same person. But since this individuality has been separated into two, each half follows its own direction. If the engineers build a bridge, the architects say it is ugly—and are not always wrong in saying so. If the architects build a palace, the engineers think, not without reason, that in its construction the materials have been employed unskilfully, and without due economy or an exact acquaintance with their properties in point of durability and strength.”

“But why do engineers build bridges which architects do not consider beautiful?”

“Because the question of art has been separated from that of science and calculation by that narrow-minded father who thought one brain could not entertain both. The architects have been told: ‘You are to be artists; you are to look at nothing but form—trouble yourselves about nothing but form;’ while to the engineers it has been said: ‘You are to occupy yourselves only with science and its applications; form does not concern[Pg 226] you; leave that to artists who dream with their eyes open, and are incapable of reasoning!’

“Ah! that seems strange to your young mind, I can see. It is simply absurd, because the art of architecture is only a result of the art of constructing—that is, of employing materials according to their qualities or properties; and because architectural forms are notoriously derived from this judicious employment of them. But, my young friend, as you grow older, you will see in our poor country not a few even more important interests sticking in the rut of routine.—St! Bob, trot on! it’s all level now!”

They soon arrived at the locks. Two coffer-dams, one below, one above, barred the course of the water; a large cast-iron siphon caused the current to pass over the workmen engaged in laying the foundations of the walls (the lateral walls) forming the chamber of the lock. Paul inquired about the working of the siphon, which he soon understood, as he had made one with quills and wax, and had emptied glasses of water with it. He had never imagined that this little hydraulic apparatus could be applied on so grand a scale. He saw how they made the concrete which was run under the lateral walls of the chamber, that is, the space comprised between the two gates of the lock. A horse was attached to a great wooden lever, which caused an iron shaft to revolve in a vertical cylinder, and which, furnished with beaters, mixed the slaked lime with the sand that was introduced at the top of this cylinder. An opening at the bottom let the mortar, well mixed, run into wheelbarrows which the workmen were taking to a wooden floor, where they mixed it with double its quantity of pebbles, by means of rakes. Then other workmen transported the concrete, well mingled, to a shoot which conducted it to the bottom of the excavation, where others again spread it in layers, and rammed it down with wooden damsels. Paul inquired,[Pg 227] also, respecting the arrangement of the gates, the kerb, the stay, or sill, over which the folded gates of the lock were to abut, that is, presenting an obtuse angle towards the upper part of the stream, to resist the action of the current. He saw the carpenters’ workshop, where they put the lock-gates on templets. While superintending his works and giving his orders, M. Victorien explained to Paul how each department of labour contributed to the whole; and the latter took notes and made sketches in his memorandum-book with a view to keep in mind what he heard and saw. This attention on Paul’s part appeared to please M. Victorien. So when they were again seated in the char-à-banc to return to the town, the engineer did not fail to complete his explanations. He described to him the lock-gates of seaports, and how some were made in the present day thirty yards wide and more, part iron, part wood, or entirely iron; and promised to show him when they reached home the drawings of some of these locks. The conversation then turned on bridges, and by what means their piers could be built in the middle of a stream.

M. Victorien explained to him how, by the use of means supplied by modern engineering, piers were built in the middle of wide, deep, and rapid streams, where formerly the operation was not regarded as practicable; how they sunk double-plated iron cylinders vertically, so that their lower extremity touched the bottom; how, with the help of powerful machinery, they compressed the air in these enormous hollow columns, and how they then filled these cylinders with masonry, so that they thus obtained piers perfectly solid, stable, and capable of sustaining heavy pressures; and while the metal-work must decay with time the columns of masonry remained intact, having had time to gain a solid consistence.

M. Victorien’s explanations thus opened to Paul a new horizon of study, and he began to ask himself[Pg 228] whether he should ever have time to learn all these things; for M. Victorien did not fail to repeat to him continually that an architect ought not to be ignorant of these methods of construction, because it was possible that he would have to make use of them. His attention, therefore, seemed distracted. M. Victorien perceived it, and said to him, “Let us talk of something else, for you seem to me rather tired.”

“No,” replied Paul; “but I had a good deal of difficulty in getting into my head all that my cousin told me about building a house only; and I thought that when I had thoroughly understood the different things he explained to me, I should have got the substance of all I had to learn: and now I see that there are many other things relating to construction which I ought to know, and—you know——”

“And that disquiets and frightens you. Take time; do not try to understand all at once; listen attentively, that is all. By degrees it will be disentangled in your mind, and be properly classified. Do not be anxious about it—young brains consist of a number of empty drawers. Youth need only be asked to open them; each new acquisition comes of itself to take its place in that which suits it. Afterwards, all we have to do is to open the drawer containing such or such a thing, stored up almost without our being conscious of it: we find it untouched, fit to be used for its proper purpose. Only we must always keep all our drawers open in the gathering season, a season which is but short. If we leave the drawers shut during our early youth—that is, from twelve to twenty-five—it is hard work to fill them afterwards, for the locks are rusted, or they have been filled, we do not know how, with useless rubbish.”

Chatting thus, the travellers returned home, where Madame Victorien had prepared them a good supper,[Pg 229] enlivened by the presence of two little fellows returned from school, and who were soon very good friends with Paul.

The following day was devoted to seeing the contractor for the woodwork, and explaining to him the particulars Paul had brought with him, and preparing the estimates in which M. Victorien gave some assistance. Paul, however, well trained by his cousin, executed his commission creditably, and felt much flattered when, at the close of the interview, the contractor addressed him as ‘Monsieur l’Inspecteur,’ giving him all sorts of technical explanations, which Paul did not always comprehend, though he took good care not to show his ignorance, waiting for the opportunity of asking his cousin to enlighten him where necessary.

On the morning of the third day they went to see some interesting buildings in the neighbourhood, and in the evening, at nine o’clock, Paul returned to the château, his travelling-bag full of information which M. Victorien had given him respecting bridges, locks, and the building materials of the district, and the way in which they were employed.


[Pg 230]

CHAPTER XXVI.
THE SLATING AND PLUMBING.

Although Paul could have returned to the Lyceum at Paris in June, Madame de Gandelau insisted upon her son remaining at home during the summer. She was afraid of typhus. Anxiety, moreover, was felt respecting the tranquillity of the great city which had been so cruelly tried and injured. A tutor in the neighbourhood—a man of more learning than is usually possessed by those modest substitutes for the highest class of educators—came therefore every day to read with Paul for an hour or two, that he might not forget his Latin; and the rest of his time was devoted to superintending the works, which were visibly advancing. The walls were built, the floor-joists fixed, and they were beginning to raise the timber-work of the roofs; and though there were no longer so many details to be given to the workmen, the surveillance had to be more minute, especially as Eugène would not allow anything to escape observation, and insisted upon having an account of everything. Sometimes, when Paul returned from the works, Eugène would ask him if he had seen such or such a part. If Paul hesitated, he would say to him, “Well, my dear fellow, you must go back and see that, and bring me an account of it—not to-morrow, mind, but directly.” And Paul would have to mount his pony again. So in order to avoid these goings and comings, which seemed to him at least monotonous, he had acquired the habit of not[Pg 231] returning till he had examined in detail all the points respecting which his cousin could possibly question him. It was especially to the chain-rods that he had directed Paul’s attention. He would ask him repeatedly how the claw ends were bedded; and if the explanations did not agree, Paul had to return to the works, and not leave them till he had seen with his own eyes that things had been done according to order. Besides this, Eugène visited the works three times a week with Paul, and instructions were given to the builders in his presence. The former always took care to make his clerk of works repeat these instructions to him, to be certain that they were understood.

The gutters, the discharge of the rain-water, and the roofing now required attention.

“Country builders generally manage roofing but indifferently,” said Eugène, “and especially the plumber’s work. We shall therefore have to be specially careful about this important part of our undertaking; for a house badly roofed is in the same condition as a man incompletely or badly clothed. Both contract incurable maladies. We have no good roof-plumbers here, and must make up our minds to send for some from Paris. That will cost us a little more; but it will be a saving in the end, for we shall avoid incessant repairs and irreparable bungling. As for the slating, we will fasten it with hooks.

“Slates are commonly fastened on deal battens, by means of nails; but to drive these nails into the laths the slate must have two holes made in it, since each is secured by two nails. With the force of the wind the slates shake about, make the holes larger, and ultimately slip off the head of the nails; then they fall. To replace a single slate several must be removed, and the last must necessarily be pierced below the overlap, that is, in the uncovered part of the slate. With hooks we avoid these disadvantages, and anyone can repair the roof. These[Pg 232] hooks are made of copper, which allows them to be opened and closed many times without breaking them. Moreover, the slate, being held down at its bottom end, cannot rattle with the wind, and nothing can displace it. In the ordinary mode of (French) slating there are—one over the other—three thicknesses of slate. The exposed part being 4½ inches—the slate is then 13½ inches long. The laths are nailed on the rafters 4½ inches apart from centre to centre (Fig. 60). Thus at A you see the position of the laths and that of each slate. The hooks lie upon the under slate, in the interval between the intermediate slates, and clip the lower end of the outer slate. At B I show you, in section half full size, the lath, C, nailed upon the rafters, and the hook, whose point is driven into the lath, with its return, E, clipping the exposed end of the slate. So much for the plain parts of the roof; and now for the returns—the hips and valleys. Where these occur, as the slates are not flexible, we must make use of lead or zinc; the first of these metals is much the best, and is less liable to crack and to oxidize. We shall cover the hips with short lengths of lead bent to the form, nailed, and worked in with the courses of slate. In the valleys we shall lay a sheet of lead, on which at either side the slates will lie.

“But you will study the manifold details of roofing when the men are at work, for labour of this kind requires minute care. We have to struggle with a subtle foe—water. It discovers every interstice, and takes advantage of the least negligence to make its inroads; and so much the more since, driven by the wind, it acquires a power and an activity which it would not possess if it fell vertically, like properly-behaved rain. So in climates where showers are gentle and fall only in calm weather, the roofs are simple, and do not require the innumerable precautions demanded among ourselves; and that is why I adopt the plan of[Pg 233] securing the slates with hooks. Here the westerly and north-westerly winds are violent, and drive the rain and snow under an angle of 30°. Slates held only at the top do not lie close, and tilt up at their outer extremities, and the rain and snow soon get in. That is also the reason why we have given our roofs an angle of 60°; for the rain, when violently driven, generally descends perpendicularly to this inclination, and there is then no danger of its getting under the outer extremity of the slates.

Fig. 60.

[Pg 234]

“The arrangement of the gutters also requires great attention. Their channel should have a sufficient inclination—say an inch in a yard—to ensure thorough clearance; but each length of lead or zinc forming the channel should have a drip—a slight step of 1½ to 2 inches—that the water may not find its way under the joints. These requirements necessitate our giving to the gutters a sufficient depth to get these falls from the culminating points to the discharges, or down-pipes, and that these pipes may not be too far from each other, so that the water may not have too long a course to make. Besides this, we should contrive on the front of the gutters, issues, or small spouts for overflows, so that if the snow or ice should encumber the orifices of the down-pipes the water may run off. It is, moreover, desirable to give the back of the gutter a greater height than the front, that the water may in no case get inside. This, then (Fig. 61), is the section we shall give to our gutters. The stone course, A, behind the gutter being 16 inches high, the board which forms the front of the gutter shall be 13 inches. You remember that upon the cornice-table we left a slope forming a hollow between each joint, to ventilate the bottom of the gutter and to ensure the escape of the water in the event of an overflow. Our gutter, then, will consist of an oak board, B, forming the bottom, of a side, C, forming the front, and of a roll or bead fastened on the top edge of the front. This front board is to be slightly inclined, that the lead lining may have less tendency to give down.

“The eaves of the roof being at D, our lead lining shall be fastened at E by nailing, follow the section of the gutter, and be doubled over at its edge, G. We shall cover the front with another sheet of lead, also doubled over at its top and bottom edges, H I, with clips of zinc screwed to the board. This lead covering of the front will be held by screws, whose heads must be covered with little caps, a, [Pg 237]soldered over; then a roll, K, will cover the bead and fold under the doubled edges, G and H.

Fig. 61.Details of the Plumber’s Work.

“But previously, the bottom and fronts of the gutters will be attached by means of angle-irons, L, sunk-in flush, and which are let into the wall at the bottom of the course, A. These angle-irons will come on the outside, and not on the inside of the gutter. At regular distances, in the gutter-front, we shall bore the holes for the little spouts, M, which serve as overflows.

“The down-spouts, placed in the angles of the building, will pass, at their upper orifice, through an opening contrived in the cornice, as shown by the detail, N. A funnel of lead will connect the bottom of the gutter with the orifice of the cast-iron down-pipe, and will be soldered, of course, only to the bottom of the gutter, resting loose in the part which enters the down-pipe.

“In order to obtain the necessary falls in the bottom of the gutter, we shall run in a thickness of plaster, with stops of wood for the drips at the end of each length of the lead lining, as you see at O. These sheets of lead should not exceed 10 feet each in length.

“The ridges of the roofs and dormers shall also be of lead doubled and folded, as shown by the sketch, P. Two strips of lead, b, are first nailed on to cover the slate, d; then the upper half of these strips are rolled and folded into the sheet, i, which covers the ridge roll. This last piece of lead is, besides, held by screws, whose heads are covered by a bit of lead; thus there is no danger of its being displaced by the wind.

“I describe to you here only the principal points in the roof-plumber’s work, which requires very great judgment and extreme care. You will be able to study it practically in detail when we have good plumbers at work. Some of the Parisian plumbers possess remarkable skill. They will also attend to the arrangements for the supply[Pg 238] of water in the house—the water-closets, baths, &c. But I have an important piece of advice to give you: Lead laid on oak that has not been steeped in water oxidizes very rapidly. The acetic acid which this kind of wood contains changes the sheets of lead placed on it into ceruse in a few months, especially if the wood is not sufficiently ventilated on the opposite side. I will therefore point out to you the only kinds of wood that should be employed for the gutters and ridge rolls. We will take old wood from the remains of the old mill, which when cut up will be in the condition required, for this wood has long ago discharged its sap.

“Your business, as clerk-of-works, when the plumbers begin their operations, will especially consist in having the metal that is brought in carefully weighed, and having the clippings safely put by in your presence. These men, accustomed to occupy themselves with their craft, work somewhat after the fashion of artists, and are inclined to disregard material interests; they leave their lead and tin about in every corner. You must be aware that we ought not to expose our country fellows to such strong temptations.

“You must therefore weigh all the materials as they come in, and then the clippings. These will have to be put by in your presence in a place securely locked. The difference between the weight of metal that comes in and that of this residue is the amount with which we are chargeable, as lead work is paid by weight.

“The joiner’s contract you have brought me promises, I believe, that the flooring, doors, and window-frames shall be sent at the end of August?”

“Yes; and as regards the floorings, the contractor tells me that, having a good store of wood, he could begin laying them on the 1st of August.”

“That would be too soon; we must let the whole building[Pg 239] dry a little first. He is an energetic man; if he begins on the 1st of September he will have finished by the 1st of October. We will have the painters in then, and by the 1st of December our house may be considered finished.

“We must remember the marble-mason also, and send him an order for the mantelpieces. It is not too soon to think about it. Have you given the joiner the dimensions of the fireplaces?”

“Yes; they were marked on the plans.”

“Well, make a copy of these plans, and we will send it to the marble-mason. For this article also we shall have to deal with a Paris house; it will be cheaper to do so, and we shall have a greater choice. It is a very troublesome thing to be obliged, as we are now-a-days, to have recourse to Paris for a hundred matters of detail with which building is concerned.

“But except in certain great cities, such as Lyons, Tours, Bordeaux, Rouen, Nantes, and Marseilles, where you may find warehouses tolerably well furnished, the provinces supply nothing. It was not so formerly; this is one of the results of our excessive centralization.

“I do my best to oppose this fatal tendency; but when time presses we must have recourse to those great centres of manufactures connected with building. If we ordered our chimney-pieces at Chateauroux, or even at Tours, we should have to wait half-a-year and pay more for them. The dealer of whom we ordered them would be sure to send to Paris for them, and we may quite as well go to the fountain-head ourselves. As regard the conservatory vestibule opening on the garden, and the shelter over the entrance, our blacksmith aided by a full detail of particulars will be able to execute them; he is an intelligent workman. Country carpenters and blacksmiths are generally competent men.”

“Why are they so?”

[Pg 240]

“Because the carpenters have kept up their organization or corporations, or at least something equivalent, and workmen have to give proof of their efficiency before they can enter the guild.

“The blacksmiths, on the other hand, have kept up their habit of working at the forge; and the forge is the soul of blacksmiths’ work. In the large towns, on the contrary, casting is all the fashion; and artisans connected with the building trades have lost their skill in the finer labour of the forge. They have become mere fitters. However there has been a reaction during the past few years, and at the Exhibition of 1867 you might have seen excellent specimens of wrought-iron. Architects also have become unaccustomed to work of this kind, and very few know how iron is wrought by the hammer, or how welding is done; so they give instructions to contractors which are incapable of being executed, or which occasion them much useless labour. Architects ought therefore to be acquainted with the methods of workmanship in every department of labour they call into requisition, and it is not at the École des Beaux-Arts they will learn that. It is now more convenient to persuade them that matter was made to obey all the fancies of the artist; that serves as an excuse for explanations, and makes teaching less complicated. The tax-payer and the owner of property who has occasion to employ an architect pay for this admirable doctrine rather dearly; while, without superior guidance, the manufactures connected with building suffer perversion in endeavouring to realize the fancies of these gentlemen.”


[Pg 241]

CHAPTER XXVII.
ORDER IN FINISHING THE WORK.

The nearer the building was to completion, the more complicated did the office work become. When Paul saw that nearly all the particulars had been furnished to the contractors, he thought that he would only have to see that every part was duly constructed and put in place, according to his cousin’s instructions; but the office work, which during the first few months had taken only two or three hours a day, was becoming onerous. He had to arrange the memoranda, in order to ascertain the quantities; and that time might not be lost, he was obliged to write or give orders to the workmen, that they might come at the very moment they were wanted, and, in certain cases, work together. The joiner had sent part of the doors and window-frames, and nearly all the flooring, at the end of August. They had then to order from the blacksmith the angle-plates, door-bands and cramps; and send to Tours for ironmongery, door-handles, crémones, locks, bolts, hinges, &c.; and to secure the due execution of these orders, they had to specify the size of each article as required by the strength of the wood and the nature of the articles themselves. Eugène had gone to Tours to look out samples of the ironmongery in question. The joiner and the blacksmith had to work simultaneously, and as they were not accustomed to be hurried, it was often necessary[Pg 242] to regulate the labour of each, so that time should not be lost. The slaters had come, and were perpetually calling for the mason’s or the carpenter’s assistance. And as their daily pay was considerable, it was important not to allow them any pretext for idling.

Eugène had therefore taught Paul how he should contrive every evening to get a clear idea of the labour of various kinds that was to be executed next day, and how he should allot everyone his part before quitting the works. This necessity of foreseeing everything had appeared to Paul a difficult task; but his mind had become gradually accustomed to the business, and he was acquiring the power of calculating with some ease what had to be accomplished.

Eugène warned him that he must not expect help from the workmen in thus arranging things methodically; and he had in fact observed that most of them, when any piece of work was to be begun, could not set about it, because those whose duty it was to put things in readiness for them had not received notice to do so, and had not made the necessary arrangements. Then the time would be wasted in running after one another.

“The workman,” Eugène would say to Paul, “is naturally improvident, as are all those who have acquired the habit of being commanded by others, and have no responsibility of their own. He is not unaware of what will be necessary for accomplishing such or such a piece of work; yet he waits till the moment it will have to be done without troubling himself whether the conditions required for its accomplishment will be present or not. When, therefore, labourers in several departments are working together, method, order, and foresight are demanded on the part of the architect; otherwise much time is lost; the workmen hinder instead of helping one another; each does his own work without concerning himself as to whether it is at the[Pg 243] fitting time or not. The same piece of work may have to be recommenced twice or thrice.”

The workmen who were to set the grates and fix the warming apparatus had come; and though every provision had been made during the building for the passage of the flues, for the ventilation and the hot pipes of the warming apparatus, these workmen were continually calling for the mason. But as Eugène had pre-arranged everything for the purpose, he had enjoined his clerk of the works not to allow these workmen to make holes in every direction for the passage of their pipes or other arrangements, as they had been accustomed to do, without respect for the building and the bearings of the floors. But the passages were not obvious, especially as they took very little trouble to look for them, so that Branchu was obliged to go and show them how they lay, and open the orifices, enlarging some and contracting others. Then the plumbers set about laying the water-pipes, and the walls had to be pierced for them, and cramp-holes made. The joiners, too, would be requiring the mason to cramp in the window and door-frames. It was necessary to mediate between these conflicting interests, for Branchu was getting confused, and was going from one set of workmen to another without getting anything finished. This period of his work therefore made Paul acquainted with many details in building to which he had scarcely paid attention a few months before.

At the end of September the joiners’ work was considerably advanced, and the roofing quite finished, so that soon the painting alone would remain to occupy attention. The memoranda were in due order, so that the accounts could be readily made out.

Meantime, M. de Gandelau was thinking of sending his son back to the Lyceum at the end of the vacation; it was necessary for him to complete his studies; and though[Pg 244] this year had not been lost to Paul, he was still too young to begin to study architecture, supposing he intended to adopt that profession. The question was therefore brought forward one evening towards the end of September, en famille. Eugène remarked, and with reason, that Paul had learned all he could in works on this small scale; that if he were to remain longer in the country he would see the painters prepare the grounds and put on the successive coats of paint, but this could not be of much use to him. Besides, as Madame Marie was not to return till the spring, it was desirable to allow the building to dry before proceeding with the interior decorations and upholstery.

The idea of returning to college was not very agreeable to Paul after a year of this active life, passed as it was almost entirely in the open air; but reflection taught him that it would not be right to do otherwise. Moreover, Monsieur and Madame de Gandelau had business to attend to in Paris, and would pass a part of the winter there.

It was therefore decided that Eugène should remain during the time required for getting the work finished, so that no risks should be incurred in the winter, and that Paul should set out with his parents at the beginning of October.

The painting would not be begun till after the severe frosts. Eugène undertook to have this operation superintended, and to visit the works himself during his stay at Chateauroux, where business of some importance required his presence towards the end of the winter.

All being thus arranged, Paul, with a somewhat heavy heart, quitted his beloved house on the 2nd of October, and returned to the Lyceum. Most of his comrades, like himself, had passed nearly the whole year away from Paris, and their studies had been suspended; but very few had employed their time usefully. So when Paul related what he had done during these twelve months, many[Pg 245] laughed at him, and some did not believe him; but from that time forward he was called by no other name than Monsieur l’Architecte.

During this year he had made some advance in learning to reason, in reflecting before he spoke, and in listening patiently to those who knew more than himself, so he found his old companions rather shallow and trifling. On the occasion of a holiday he made a remark to this effect to his father, with a certain mixture of vanity and regret. M. de Gandelau guessed his mood of mind, and did not let slip this occasion of correcting the reprehensible side of his thoughts.

“It is possible,” said he, “that your companions have not had the good fortune you have enjoyed of finding some one to take the trouble to set them to active work, and teach them something of the practical side of life. But it would be foolish in you, and decidedly hurtful to your mind and character, to despise those who are less informed than yourself in regard to a single branch of knowledge. Who knows whether in other matters they have not acquired a superiority you do not appreciate? It should not be our object in the world (and the Lyceum is a little world not unlike the great one), to shut ourselves up in our own knowledge and thus flatter our vanity, but to discover that of others and endeavour to profit by it. It should not be our object to shine by our knowledge, or fancied knowledge, and so occasion envy on the part of the foolish, and a smile on that of people of sense, but to elicit the knowledge possessed by others. This course of conduct secures us a double advantage: we avoid making enemies, and we increase our store of knowledge.

“It is not at all surprising that your companions know less than you about the building of a house; but you must allow that your knowledge of the matter is but small; and perhaps on other subjects they have more correct and complete[Pg 246] ideas than you have. It would have been ridiculous to conceal from your companions the nature of your occupations during your stay in the country; but why should you make much of it? If any of them who has a particular desire for information should put questions to you about it, and if you see that he is really interested in your answers, satisfy his desire; but in the presence of people who care nothing about the matter, be reserved, or else you will get laughed at. There is a vulgar phrase which exactly expresses this fact. We say: people are fond of “trotting out” those who are vain of their knowledge, that is, they get them to talk, not to satisfy a legitimate curiosity, but to make fun of them. Bear this in mind, for it is true in the Lyceum as well as everywhere else.

“If your mind is really more developed than that of your comrades, there is an easy way of making the fact apparent to all, that is, by acquiring more rapidly than they do the instruction equally offered to all. Get to the top of all your classes, and nobody will laugh at you; but all will observe that this year, which has been a sterile one to so many others, has been really a fruitful one to you.”

Paul took the hint, and when he returned to the Lyceum he left off talking about architecture, and gave his mind to the work before him. Consequently, he proved that his mind had been developed, and on New Year’s Day brought home most satisfactory testimonials of progress.

The nickname his schoolfellows had bestowed on him, however, still stuck to him.

“Ah, well!” he would say to himself, when they called him M. l’Architecte; “I shall make good their words, for I am resolved to become an architect in earnest.”


[Pg 247]

CHAPTER XXVIII.
THE HOUSE-WARMING.

Matters had been proceeding according to arrangement; the painters’ work, begun at the commencement of February, in fine weather, was finished in April, and likewise all the accessories. M. de Gandelau, who had returned to his estate at the end of January, had caused the small park round the house to be planted, and had ordered the most indispensable furniture, wishing to leave his daughter to make choice herself of those articles which would express her own particular taste.

Madame Marie had announced April as the time of her return, and subsequently May. In the correspondence between her mother and herself nothing had been said about the house since the war. Madame Marie had probably not regarded as serious what had been written to her respecting it; and the disastrous events of the years 1870 and 1871 seemed to have made all parties forget the project.

Paul had set his heart on a surprise, and had entreated Madame de Gandelau to say nothing about the house to her daughter. And we may be sure that Madame de Gandelau had readily acquiesced in his wish.

They therefore wrote to Madame Marie that the family would not assemble at the château till Whitsuntide, and that as her father had some journeys in prospect in the[Pg 248] interior, she need not hurry herself about returning to France before that date. Madame de Gandelau received, on the 8th of May, a letter informing her that her daughter and her husband would reach the station nearest to the château on the morning of the 19th, Whit Sunday.

Great was Paul’s joy when he received the news. He would be able to be at home and enjoy his sister’s surprise, for he had been sadly afraid she might come while he was at the Lyceum. That would have been a dreadful disappointment to him. So he worked harder than ever during the days between that and Whitsuntide! He had set his heart on giving pleasure to all at home by carrying off one of the highest prizes.

The holidays impatiently waited for, at length arrived. M. de Gandelau, on account of the distance, and Paul’s satisfactory progress, had obtained permission for his son to return on Saturday morning. Paul therefore reached the château at noon, after more than seven months’ absence. We need not state that Eugène had been invited to this family fête. Paul would hardly take time to eat his breakfast, he was so impatient to see the house.

“Don’t be in such a hurry,” his mother said more than once. “The house won’t run away.”

During breakfast, his father put one or two questions to him respecting his studies; but Paul gave only short answers, and then returned to the subject of the house, overwhelming his cousin with inquiries.

“And the woodwork, is that a success? And the painting? What colour is the drawing-room? And the plumber—has he put the cresting on the roof that he promised?”

“You are going to see all that directly, and before night you will have plenty of time to examine everything in detail. A little patience! Patience is the very first virtue of an architect.”

The aspect of the new house was much changed since[Pg 249] Paul’s departure. The ground had been cleared and neatly gravelled. The borders exhibited their spring attire; and as some old trees had been left standing in the neighbourhood of the house, it had quite the look of a place already occupied. Paul could not help jumping for joy on seeing how charming and picturesque the building was. On turning down into the valley, he began to run, eager for a nearer view, and Eugène reached the steps only a few minutes after him. Paul had seen neither the shelter at the entrance, nor the conservatory opening into the billiard-room. The lead-work was not quite finished when he left, and the vanes and cresting were not put up. The dormer windows were not surmounted by their finials. The casements were just put in, but not glazed. These last additions are like the bordering round a drawing, or the frame inclosing a picture; to unpractised eyes the last accessory seems to put every part in its proper place, clears the whole, and gives it the unity that seemed to be wanting.

Paul was satisfied with the exterior aspect.

The interior, though simple, according to M. de Gandelau’s express instructions, was in good taste; there was nothing to be seen in the way of plaster ornament or gilding. The entrance-hall was surrounded by a low oak wainscot, forming part with the door-cases. The wood of the latter and of the wainscot had preserved its natural colour, and was simply dressed with linseed-oil and wax. Above the wainscot, the walls, painted stone-colour, set off by a few red lines, gave a neat and inviting aspect to the entrance. The drawing-room was surrounded by a wainscot five feet high, painted white; the fireplace, wide and lofty, could warm a numerous circle. The jambs of the fireplace were cased with wood, and on the lofty mantelpiece, in an oaken frame, was prettily painted a bird’s-eye view of M. de Gandelau’s estate. The ceiling, with its two beams[Pg 250] and joists, painted in light tones, set off by black and white lines, seemed to enlarge the apartment, and gave it a warm and habitable appearance, presenting on hot days lights and shades of an amber tint. The wall between the ceiling and the wainscot was hung with painted canvas. The chimney-piece stood out in bold relief on this back-ground. The entrance end of the drawing-room would have been rather sombre if the wide opening into the billiard-room had not flooded it with light, softened by the verdure of the plants within the little conservatory. But what gave the drawing-room a character which fascinated Paul at once, was the bay-window, all brilliant with light, and furnished with a chintz-covered divan. The billiard-room, also, was surrounded by a wainscoting of unpainted oak, and the same painted hangings. A portière closing over the bay-window made it serve the purpose of a little boudoir, whence there was a charming view on three sides. The plants placed in the conservatory, transmitted on the south side only a softened and tranquil light into the billiard-room. The dining-room had been decorated almost in the same style as the billiard-room, and two large oaken sideboards formed part with the wainscoting in the two recesses reserved for them.

Paul was eager to run up stairs to see his sister’s rooms. Hung entirely with Indian chintz, with a plain brown dado, this apartment exhibited great simplicity. The ceiling, however, treated like those of the ground-floor, gave it an original and pleasing aspect.

Paul wanted to see everything, and at the end of an hour, his cousin having made an appointment with some workmen to give them orders about details, left him to wander at will in the house.

The sun was already low when they thought of returning to the château.

“Well, my young cousin, are you satisfied with your[Pg 251] work? Have things been done during your absence as you intended they should be?”

“I wish it was really my work,” replied Paul; “and I regret that I could not follow it to the end, for now I see all finished, it seems to me as if there was scarcely anything done when I went away.”

“It is with buildings, my dear fellow, as with all other human productions. You know the saying: ‘Finis coronat opus.’ Finishing is everything. Finishing may not require the greatest labour and knowledge, but it does, perhaps, require the highest degree of persistency, method, and care, as I think I have already told you. You have been really useful to me during the building—I may say so without flattery, because you have thrown your energy and your whole mind into the endeavour to understand the instructions I have given, and to see that they were duly executed. But you would have had nothing to occupy you seriously while the work was being finished, since most of the recent additions came from the work-shops ready made; you have nothing to regret, therefore; you would have lost your time here, whereas you have, it seems, employed it well at the Lyceum.”

“I never saw any hangings like this painted canvas before; they look very well; one might fancy they were tapestry.”

“Yes, I cannot imagine why these kind of hangings, which were formerly much used, should have been abandoned; for it is clear that everybody could not have Flemish or Gobelin tapestry, any more than Cordova leather. Those things were very costly; whereas, painted canvas hangings do not cost much more than wall papers and less than upholstery hangings, chintz excepted. But it would scarcely do to hang a drawing-room or a dining-room with chintz; it does not look substantial enough, though it may be well enough for a bedroom. In the[Pg 252] principal apartments hangings should have a velvety, warm, substantial effect.”

“And are these of painted canvas substantial?”

“In appearance, certainly, and in reality also; in proof of which you may see at Rheims some dating from the fifteenth century, and which are perfectly well preserved.”

“And how are these hangings made?”

“Canvas cloths are taken, either cross-woven or twilled, of coarse texture, manufactured for the purpose, rather like the cloths of which sacks are made. These cloths are stretched on a floor with tacks; then they size them, that is to say, give them a coating of leather size, to which is added a little Spanish white. Then when this coat is dry they proceed to paint them in distemper, as for theatre decorations. On this ground anything we choose can be painted—diapers, such as we have adopted here, and which do not cost much, as we stencil them; or ornaments, landscapes, flowers, and even figures. The cost of the material is trifling, and the value of the hangings depends on the artist’s work. When dry, the cloths are rolled up, and can be sent anywhere at small expense; then on the spot they are stretched again on very thin frames, called tapestry stretchers. There is, therefore, a space between the wall and the hanging, which is necessary in the country where sized papers always spoil; and this is so much the more convenient, as if the rooms are not warmed in winter, and if damp is feared, the cloths can be taken down, rolled up, and put in a dry place, to be replaced in the spring, as we do with tapestry.”

“I thought when I opened the drawing-room door that it was tapestry.”

“The coarse texture of the cloth does in fact resemble the tapestry stitch, and the painting in distemper has the flat tone of wool. On the whole, the hangings of our house scarcely cost more than the high-priced papers that[Pg 253] are made now-a-days, and they last longer, to say nothing of our being sure not to see our own patterns on everybody’s walls.”

“Very true; often on going into a drawing-room I have recognized a paper which I had seen elsewhere. But tell me, cousin, you have had lightning-conductors put up, have you not?”

“Certainly; it was prudent to do so. I have had two constructed: one at the top of the staircase, and the other on the centre-point of the main-ridge.”

“Would not one have been enough?”

“I think not; because lightning-conductors only protect the points inclosed in a cone of which they are the summit: at least, this is the recognized theory. For between ourselves, physicists are not quite agreed respecting the effects of the electric fluid, the relative efficiency of conductors, and the precautions to be used in putting them up. I rely on my own experience, which has proved to me that no building, however exposed, has been struck by lightning when the lightning-rods were numerous, made of good conductors, put in communication with each other, and with their lower extremity dipping in water, or very damp earth. You know that water is a conductor of electricity; if the lightning-rod terminates in dry earth the electricity accumulates, and produces return shocks, which are very dangerous. The same effect results if the conducting-wire is interrupted; the lightning-rod then produces the effect of a Leyden jar—it becomes charged, and is more dangerous than useful. Sockets with glass insulators have also been recommended; but I have never observed that lightning-conductors otherwise well arranged caused accidents for want of insulators. I consider this precaution superfluous, because the fluid seeks the most direct path. The rod properly arranged is that path; so it should not make rapid angular turns, but as far as possible[Pg 254] be conducted by the shortest way, and that which is nearest the vertical, into the damp soil.”

At dinner nothing was talked about but the new house and Madame Marie’s arrival. There was a lively discussion about the way of making the surprise complete. The ceremonial, to which M. de Gandelau had given some thought, was soon arranged. The contractors and craftsmen of the neighbourhood who had worked at the house were invited, and a dinner was to be provided for them in the garden. The gentleman who had given Paul lessons, the mayor, the curé of the parish, and some neighbours and friends, among others M. Durosay, who had again made his appearance in the neighbourhood, were asked to be present at the house-warming. The workmen had not been forgotten—they were all to receive some gratuity. There was to be a ball in the new park for all the country people, with the customary refreshments; and in the morning the poor of the parish were to receive gratuities in kind.

Paul was very much afraid that his sister had some inkling of the intended surprise. He said that if no mention was made of the house, which had been talked so much of before the war, in the letters written to Madame Marie, the very silence might appear to her suspicious.

“He is right,” said Madame de Gandelau. “If Marie asks us what has become of the project and of the programme she sent, if she asks us how we have been occupied during the past year, we shall be obliged to prevaricate considerably. We shall contradict each other, and I really am rather averse to anything of the sort. We shall not be able to keep up a mystification for two or three hours together. Besides, Lucie is sure to let out the secret.”

“Oh, no!” said Lucie; “I shall say nothing, you may be quite sure.”

“Your eyes will speak for you, my dear child. But I will manage the matter. Leave me alone for a few[Pg 255] moments with Marie. I will tell her that Paul, for the sake of some occupation during his over long holiday, has been building a small house, with his cousin’s assistance. I shall allow her to suppose it to be a mere schoolboy’s fancy. She will think it is only done for amusement—a little building model, cleverly constructed. We can then talk to her about it without embarrassment, in a jocular way. Then after dinner we will propose to her to go and see Paul’s house.”

And so matters were arranged.

Paul slept but little during this night, though he had started very early from Paris, and had been using—in fact, over-using—his legs all day.

The 19th of May, 1872, at 9.40, Monsieur and Madame N—— were getting out of the train at X—— Station, where Monsieur de Gandelau was awaiting them with a new chaise. Twenty minutes after they were entering the court of the château. We need not dwell upon the embraces, the transport mingled with tears, that occupied the first minutes of their return.

Madame de Gandelau had arranged their rooms with all possible care, as if they were going to make a long stay at the château.

Of course the mother thought her daughter improved; Madame Marie considered Paul grown—almost a man, in fact, and Mademoiselle Lucie almost a young woman.

Thanks to Madame de Gandelau, Paul’s house was referred to during breakfast only as a matter of no importance. The adventures of travel and the war were talked of. After nearly two years’ absence subjects of conversation could not be wanting. But Paul was agitated and absent. His sister remarked it. Paul blushed up to his very eyes.

“I think Paul has some scheme in his head,” said M. N——.

[Pg 256]

Monsieur and Madame de Gandelau looked at each other, smiling.

“What is in the wind, then,” said Madame Marie; “a conspiracy?”

“Perhaps,” replied Madame de Gandelau; “but let us allow him the pleasure of carrying it out.”

“Conspire, dearest mother! I will help you with all my heart,” said Madame de N——, with a smile that expressed archness as well as affection.

They could say nothing for the moment of the projected excursion, for they were on the point of betraying themselves. Madame de Gandelau wished her daughter to take some rest after her journey. M. N—— asked leave to despatch some letters that required immediate attention, and silence reigned again in the château. The day was hot, and nothing was heard but the buzzing of insects on the lawns. Paul, however, could not keep quiet.

“You are not a diplomatist yet,” his cousin said to him. “Do, my dear fellow, remain still. There’s nobody but you stirring in the house. You will let out the secret if you go on in this way. Go to your room, take a book—a dull one; you will get to sleep, and the time will pass away.”

“But what about all the people who have been invited and are waiting down at the house?”

“Ah!—yes—true. Well, mount your pony, go to the house and tell all the guests to admire the wonders of the new domain and to have patience. Say that Madame Marie is a little fatigued, and that she will not be able to have the pleasure of meeting them till the afternoon. Then return.”

Paul did not allow this to be repeated, so impossible did rest seem to him. He would have given at this moment ten years of his life to make his sister resolve to get into the carriage.

Fig. 62.

It is impossible to say what the pony thought of the pace [Pg 259]Paul made him go, at a temperature of 77° Fahr. in the shade. He arrived in a foam at the new house, so that most of the persons already assembled suspected that some accident had happened. When Paul, quite out of breath, told them that Madame Marie had put off her visit for an hour or two because she wanted rest, they exclaimed,

“If it is only that, there’s no need of any great hurry; it is quite natural she should need rest after so long a journey.”

Then everyone wanted to hear news of the travellers, and then they asked Paul to see this and that. Paul was in a fever.

“You are not going to ride back again in this state,” said the mayor; “you are in a bath of perspiration, and your pony is white with foam. Rest a little, and drink a glass of wine.”

It would have been discourteous not to comply, for the mayor had brought a basket of petit vin de Saumur. They drank the health of the future occupants, and the prosperity of the house, so that Paul lost a good hour. At last he was able to retrace his road to the château, at the same rate as before. But on reaching the edge of the plateau he saw the chaise at a distance, going towards the house. He made a detour, so as to join the party from the rear, and reached them just as the new domain was coming in sight.

“Look!” said his sister; “there’s a horseman in a great heat. Where does he come from? Is it he who is directing the whole plot?”

“Certainly,” replied her mother. “Look!”

They were in fact just beginning to see the outlines of Paul’s house, with its slated roof glistening in the rays of the sun. There was silence, and, it must be confessed, a little emotion.

“I had my suspicions about it,” said Madame Marie,[Pg 260] kissing her mother and father. “And so during your painful experiences of last year you were thinking of us so much as to have realized that project of a house which I thought was only a fancy? And Paul!”

“Paul,” replied M. de Gandelau, “has had his share in the work, and has contributed substantially to the success of the project. If he ever becomes an architect you will have been the first cause of it.”

“And you, dear friend,” said Madame de Gandelau to her son-in-law, who was kissing her hand tenderly, “you say nothing!”

“M. de Gandelau had written to me about it, and I was in the secret. Marie can tell you whether I have kept it or not.”

“So we were betrayed, my poor Paul,” exclaimed his mother.

“M. de Gandelau wished to know whether settling in this neighbourhood would not disconcert our plans for the future. I replied to him that, on the contrary, it would further them; and that the only cause which had hindered my building a house here after our marriage was the fear of distressing you, and making you suppose that we did not attach to your maternal hospitality the value it most justly claims. Marie wishes to reside here a great part of the year; she is known and beloved in this her native place; nothing could be more agreeable to her than to follow your example—near to you, almost under your eyes—without giving you the trouble which a permanent residence in your house would have occasioned. I had no need to consult her, for I knew that you were realizing a dream which she was secretly cherishing, without hoping for its speedy realization.”

“All is then for the best,” resumed Madame de Gandelau, looking at her husband, for she was thinking of what she had said to him one evening, two years before.

[Pg 261]

The family were received with vivats in front of the entrance steps. Previous to entering the building, they went round it; and when they came to the group of master-workmen and foremen, Paul introduced them to his sister, saying that it was owing to their zeal, and their desire to see her soon settled in the neighbourhood, that the completion of the work in less than two years, was owing. Paul’s compliment (which was neatly turned), but more particularly the courteous bearing of his sister, who asked each what he had done, inquired about their families, and expressed to them her wish to employ them often, gained her the heart of these good people, who for the most part had known her as a child.

Madame Marie wanted to see everything. At each step exclamations of joy were uttered, and Paul was embraced twenty times by his “client.” Monsieur N—— had taken possession of Eugène, who, we need scarcely say, was warmly congratulated.

M. Durosay did not fail to express his admiration every moment, and was incessantly repeating, “It is a charming feudal manor-house!”

“But, why, my dear sir,” said Madame Marie, at last quite weary of the phrase, “Why do you call it a ‘manor-house,’ and ‘feudal’? I have neither manor nor vassals, and I have no wish to possess any. Call it a house, built for me by those who love me, and which will always be open to our friends, and always accessible to those who may need our help.”

We may be sure that Paul’s resolution to become an architect was strengthened by what he felt on this occasion.

Let us hope that his career may be as successful as that of the house whose history is here recorded.


[Pg 263]

EXPLANATION
OF SOME OF THE TECHNICAL TERMS USED IN THIS BOOK.

Barrel-vault (berceau de voûte), means a vault forming simply a portion of a cylinder.

Basement (soubassement), part of a building which receives the ground floor; that is to say, what is comprised between the floor within and the ground without the building.

Bay-window (bretêche), a closed and covered balcony or loge, having front and lateral views, forming a projection without and a recess within. When supported on corbels it is termed an oriel.

Bearer (lambourde), piece of wood fixed horizontally against a wall, and intended to receive the ends of the joists of a floor. The term is also given to the strips of oak fastened on the plaster bed of a floor, and on which are screwed the slabs of parquetry.

Bed (banc), the word bed, as a geological term, signifies a homogeneous layer comprised between two natural horizontal beds or fissures, supposing that the mass has not been deformed by an upheaving. Limestones and some sandstones are extracted in beds. Their thickness is very variable.

Bed-stones (libage), stone suitable for foundations.

Bed of the stone (lit de la pierre), is the upper, or under surface of the layer. Bottom-bed is the term used to designate the under-surface of a stone. Calcareous stones should be laid on their bed just as they were in the quarry.

Blade, or Principal-rafter (arbalétrier), piece of timber inclined, according to the slope of a roof, which is joined at the[Pg 264] upper end into the king-post, at its lower end into the tie-beam, and which supports the purlins (see next page).

Bond (harpe), projection formed by a dressed-stone for the purpose of a tie into brick or stone-walling.

Broken-backed roof (bresis), a roof so called is one composed of two planes of inclination, one of which is little and the other considerably inclined. The dormer windows are generally opened in the lower and more inclined plane.

Chimney-stack (souche de cheminée), is the part of the smoke-shaft which surmounts the roofs, and is sometimes terminated with pots of earthenware or of sheet metal.

Clip (moise), comparatively thin piece of timber, serving to connect the parts of a framing by means of notches which hold them, and of bolts. Clips are usually placed in couples.

Concrete (béton), a compound of lime, sand, and gravel rammed in horizontal layers, and thus forming a compact and homogeneous mass, which hardens more or less rapidly, according to the nature of the lime; and on which the heaviest superstructure may be raised without fear of cracks or settlements. In the making of concrete great care and attention is always necessary, and a thorough acquaintance with the nature of the lime made use of.

Corbel (corbeau), support of stone or wood projecting from the face of a wall, having its front moulded or carved, its sides vertical and carrying a beam, cornice, shaft, vault-springer, &c.

Elevation (élévation). By this word is designated in architecture the geometrical view of a façade; properly speaking the vertical projection.

Embankment (cavalier), heap of excavated earth, regularly placed and raised above the surface of the ground.

Filleting (solin), weathering formed above a roof-covering and following its slope against the walls which surmount it, to hinder the rain from penetrating between the covering and the wall.

Foot-piece (blochet), piece of wood notched at right-angles on to the wall-plates of a roof to receive the foot of the rafters, and the foot-post, which hinders the rafter from sliding.

Frame (dormant), fixed frame of wood, which receives the leaves of a door or the opening casements of a window.

[Pg 265]

Gable (pignon), terminal part of a wall, which masks the timbering of a roof and follows its slopes.

Hip (arêtier), exterior angle formed by the meeting of two roof-surfaces on different planes.

Jamb (jambage), vertical side of a window or doorway. The term is only applied to sides of masonry.

Joint (joint), vertical space left between two stones. It is called dry-joint, when the stones are laid close-fitting, without mortar or cement between them; and mortar-joint, when this interval is filled with mortar.

Jointing (appareil), combination of worked stones.

Joist (solive), piece of wood laid horizontally to form flooring and receive the plaster bed on which are laid the floor quarries or the slabs of parquetry. Wood joists cannot, without bending, have a bearing greater than 16 or 17 feet. Their strength and distance apart are determined by their bearing and the weight they should sustain.

Joist-spaces (entrevous), intervals left between the joists of a floor.

Keeping account (attachement). By this is meant memoranda of the work done or materials used on a building by means of written notes or figures.

King-post (poinçon), vertical piece of wood, which in a principal receives the two blades, and suspends the middle of the tie-beam.

Lintel (linteau), piece of timber or block of stone which, laid across horizontally on the jambs of a door or window-opening, completes the enclosure.

Made-ground (remblai). This term signifies earth and débris that have been shifted by man to raise a piece of ground or fill up its hollows.

Meeting-stile (battement), vertical stile of a door or of a casement on the fastening side.

Mortise (mortaise), oblong hole made in a piece of framing to receive a tenon. The lengthways of a mortise should always follow the grain of the wood.

Newel (noyau), pillar or column around which wind the steps of the stairs.

[Pg 266]

Notching (embrèvement), sinking made in a piece of wood to receive a mortise and tenon framing.

Pole (échasse), trunk of a tree, long and small, which, fixed up perpendicularly, is employed for scaffolding buildings as they rise.

Post (poteau) vertical piece of wood, which on its head receives one or more cross pieces. The term frame-post is applied to the uprights of a framed partition, and especially those which serve as door-frames.

Principal (ferme), framing of carpentry intended to carry the covering of a roof.

Profile (profil), section of the member of a moulding of an architectural detail.

Pugging (plâtras), filling-in of plaster work between the joists of a floor or the uprights of a lath-and-plaster partition.

Purlin (panne), roofing-timber placed horizontally on the blade of a principal and which carries the rafters.

Put-log (boulin), piece of wood which, resting in the wall at one end, and upon the scaffold runners at the other, serves to carry the platform upon which the men work in raising a building.

Rafter (chevron), piece of timber of small scantling, on which is nailed the boarding or laths which receives the slates or tiles. In good roofing rafters are placed 20 inches apart, centre and centre, at most. They rest at bottom upon wall-plates, or upon foot-pieces, in their length on the side-pieces or purlins, at their upper extremity against the ridge-piece.

Rebate (feuillure), longitudinal sinking made in frames, posts, and lintels, to receive doors and window-casements, &c.

Ridge-pole (faîtage), horizontal piece of wood which, resting on the top of the king-posts of the principals, forms the apex of the roof and receives the rafters. The ridge-poles are supported in their bearing, from one king-post to another, by struts.

Riser (contre-marche), the upright face of a step.

Scale of proportion (échelle de proportion). The text sufficiently explains the use of the scale in architectural drawing, rendering it needless to enlarge on the usefulness of this practical method. By scale is also understood the relative proportions of an edifice. Certain architectural members give the scale of the[Pg 267] whole. Thus, a balustrade ought not to exceed elbow height, nor fall short of it; it then gives the scale of the building, that is to say, it indicates the actual size of the whole, by taking for point of comparison the human height.

Screw-bolts (boulon), round iron pin, with a square head at one end, and a screw thread at the other, on which turns an iron nut, serving to hold pieces of timber together.

Section (coupe), view of a building, or an architectural detail cut through.

Sill (tableau), part of the casing of a door or window which comes outside the enclosure.

Staircase (cage d’escalier), is the casing of masonry or timber-work in which are enclosed the steps of the stairs.

Stile (montant), term in joinery applied to all upright pieces.

Strap (étrier), band of iron forming a stirrup, and passing beneath the tie-beam of a principal, suspends it to the king-posts by means of bolts.

Straight-tread (giron-droit), signifies a step of equal width all its length; winding-tread, a step narrow towards the outer string, and enlarging towards the wall of the staircase. It is said, the steps of the stairs have a narrow tread when the width is small, and have a wide tread when their width is large.

String-board (crémaillère), piece of wood on which rests the ends of the steps of the stairs, and which is grooved to ramp with and receive the ends of the steps.

Strut (lien), slanting piece of wood connecting the blade to the king-post of a principal, or a horizontal bearer to a post.

Tenon (tenon), tongue left at the end of a piece of framing, and which fits into the end of the mortise.

Tie-beam (entrait), horizontal piece of timber, which receives at its extremities the foot of the blades of a principal or truss, and which is suspended in the middle by the king-post.

Tread (giron), is the width of a stair-step.

Tread (pas), is the level surface of a step on which the foot is placed.

Trimmer (chevêtre), piece of wood which, framed into two trimmer-joists, receives the ends of the joists, the space of the[Pg 268] hearth-stone from the fireplace, or across the openings of doors or windows.

Trimmer-joist (solive d’enchevêtrure), stronger joist to receive the trimmers in front of a hearth-stone or across a chimney-breast.

Valley (noue), interior angle, formed by the meeting of two planes of roof.

Wall (mur). A gutter-wall is that which carries a gutter and receives the eaves of a roof; a gable-wall that which closes in the timber-work of a roof; a partition-wall that which within a building divides the rooms—takes the bearing of the floors and the chimney-flues.

Wall-face (parement), outer or inner surfaces of a wall.

Wall-plate (sablière), horizontal piece of wood laid on the top of a wall lengthwise, and on which rest the tie-beams of the principals and the feet of the rafters.

Water-bar (jet d’eau), projecting moulding affixed to the bottom rail of window-casements and to the wood-sills, and contrived to throw off the rain from the rebate, and from the junction of the wood-sill with the stone-sill.



THE END.



LONDON: R. CLAY, SONS, AND TAYLOR, PRINTERS, BREAD STREET HILL.


Transcriber’s Notes