Title: Handbook for Light Artillery
Author: A. B. Dyer
Release date: March 24, 2020 [eBook #61672]
Most recently updated: October 17, 2024
Language: English
Other information and formats: www.gutenberg.org/ebooks/61672
Credits: Produced by Brian Coe, Karin Spence and the Online
Distributed Proofreading Team at https://www.pgdp.net (This
file was produced from images generously made available
by The Internet Archive)
BY
A. B. DYER,
First Lieutenant, Fourth Artillery, U. S. A.
FIRST EDITION.
FIRST THOUSAND.
NEW YORK:
JOHN WILEY & SONS.
London: CHAPMAN & HALL, Limited.
1896.
Copyright, 1896,
BY
A. B. DYER.
ROBERT DRUMMOND, ELECTROTYPER AND PRINTER, NEW YORK.
In preparing this work it has been my endeavor to place in compact form all the data I could obtain that might prove of service to those persons interested in the subject of light artillery, both in the Regular Army and in the National Guard.
I have held strictly to the lines laid down in Army Regulations, Drill Regulations, Official Reports, etc., as regards the matter extracted from such sources; and such as has not been so obtained has been carefully selected from the best authorities I have been able to consult.
I make no claim to originality in this work. It is drawn on the lines of similar handbooks in foreign services; and a great deal of the matter has been copied verbatim from the works consulted. To the writers and compilers of those works I hereby express my thanks.
While I do not consider that machine-guns are proper weapons for the light artillerist, I feel that occasions may arise when knowledge regarding them may prove of service; hence the chapter pertaining to them.
I express, with pleasure, my thanks to Lieut.-Colonel E. B. Williston, 3d U. S. Artillery, for his assistance.
I am particularly obliged to Captain L. L. Bruff,[iv] Ordnance Department, for having permitted me to copy from the manuscript of his work on Ordnance and Gunnery (now being published), and also for the use of many of his cuts. His friendly consideration in so doing is fully appreciated.
I also express my appreciation of the assistance given me by Colonel A. R. Buffington, Ordnance Department; Captain V. McNally, Ordnance Department; Captain J. L. Lusk, Corps of Engineers; Captain James Parker, 4th Cavalry; Captain L. A. Craig, 6th Cavalry; Captain S. W. Taylor, 4th Artillery; Lieut. E. B. Babbitt, Ordnance Department; Lieut. M. M. Patrick, Corps of Engineers; Lieut. E. Russel, 5th Artillery; Mr. J. E. Trautwine, Jr.; Mr. Charles W. Parker; and Mr. L. V. Benet of the Hotchkiss Ordnance Company.
The following is a partial list of the works consulted:
U. S. Army Regulations; U. S. Drill Regulations for Light Artillery; U. S. Drill Regulations for Cavalry; U. S. Drill Regulations for Hospital Corps; Soldier's Handbook, U. S. A.; Reports of the Chief of Ordnance, U. S. A.; Ordnance Notes; Manual of Heavy Artillery Service, United States Army, Tidball; Manual of Guard Duty; Ordnance and Gunnery, Metcalfe; Gunnery for Non-commissioned Officers, Cronkhite; Description and Service of Machine-guns, Mills; Lectures on Explosives, Walke; Modern Explosives, Eissler; Interior and Exterior Ballistics, Ingalls; Preliminary Tactics, Baker; Handbook for Field-artillery, R. A. Service Institution; The Soldier's Pocket-book, Wolseley; Manual of Military Engineering; Aide-mémoire de Campagne; Aide-mémoire, R. E.; Artillerist's Manual and Soldier's Compendium; the handbooks of Trautwine, Haswell, and Kidder; The Future[v] Training and Employment of Mounted Infantry, Parr; The Soldiers' First Aid Handbook, Dietz; Nystrom's Mechanics; Horses and Stables, Fitzwygram; The Veterinarian's Vade Mecum, Gamgee; The Book of the Horse, Sydney; The Mule, Reilly; Special Report on the Diseases of the Horse, U. S. Department of Agriculture; the pamphlets of Hotchkiss, Gatling, Maxim, Driggs-Schroeder, etc. etc.
A. B. Dyer,
1st Lieut., 4th Artillery.
West Point, N. Y., March 1, 1896.
PART I.
MOUNTAIN-ARTILLERY.
PART II.
FIELD-ARTILLERY.
A HANDBOOK FOR LIGHT ARTILLERY.
PART I.
MOUNTAIN-ARTILLERY.
Guns. Carriages. Ammunition. Packing Outfit. Range Tables. Organization of Mountain-batteries.
Fig. 1.
| Material | steel |
| Total length | 3.83 feet |
| Length of bore | 3.43 feet |
| Travel of projectile | 3.10 feet |
| Calibre | 1.65 inches |
| Weight | 121 pounds |
| Grooves | 10 |
| Twist of rifling, uniform | 1 in 29.83 cals. |
| Muzzle-velocity | 1298 ft.-sec. |
| Maximum range | 3500 yards |
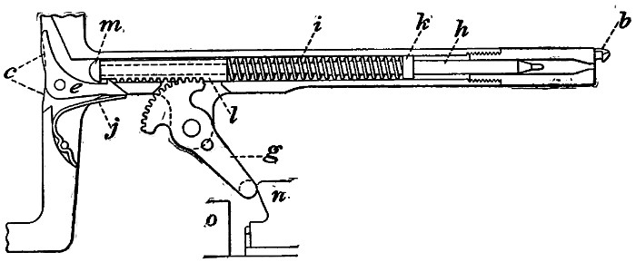
The gun (Fig. 2) consists of the body and the breech mechanism.
Fig. 2.
The body of the gun is made from a single forging of oil-tempered and annealed steel. The trunnion-ring is screwed on the gun-body just forward of the reinforce, and provides a support for the front sight. The bore is rifled with a uniform right-hand twist. The lands are very narrow in proportion to the grooves, and are ten in number.
The Breech-block is a solid prismatic block of steel with rounded corners, having a horizontal movement in a mortise cut completely through the breech of the gun. The front face of the block is perpendicular to the axis of the bore, whilst the rear face is slightly inclined. The left end of the block is bored to form a prolongation of the chamber when the breech is open, and its front upper corner is cut away to allow free movement of the extractor.
The horizontal movement of the breech-block is limited by the stop-bolt, which, passing through the breech of the gun, engages in a guide in the upper part of the block.
In the right end of the breech-block is mounted a shaft on which is secured the locking-screw, and which terminates in a handle for manœuvring. The thread of the locking-screw is cut away for about 100°, in such a manner that the breech-block may be locked or unlocked by a half-turn of the handle.
The Extractor is a single piece of steel working in a longitudinal groove in the top of the breech-mortise. Its forward end is formed into a claw to grasp the head of the[3] cartridge. On the same side as the claw is a stud which, following a groove in the top of the breech-block, imparts motion to the extractor.
The Vent is a cylindrical channel passing diagonally through the breech and breech-block, and changing direction in the block so as to follow the axis of the bore.
The friction-primer cannot be inserted until the two parts of the vent are in prolongation from the complete closing and locking of the breech-block. The ordinary friction-primer is used.
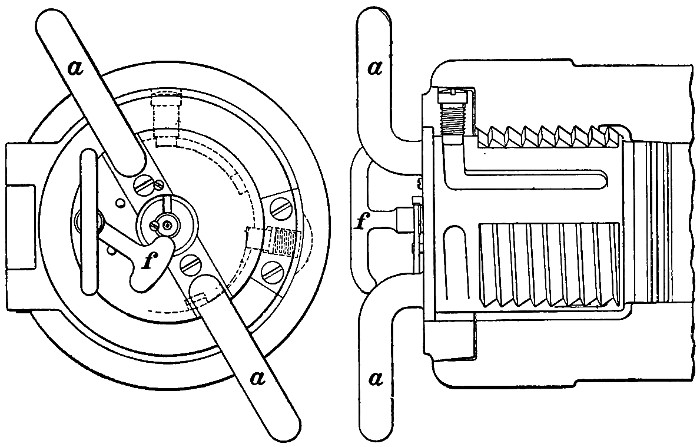
The Mechanism.—(b) breech-block; loading-hole; (s) stop-bolt; spring washer; (r) stop-bolt guide; (e) extractor; (h) extractor-hook; (a k) extractor-guide; (c) locking-screw; locking-screw shaft; locking-screw pin; (l) handle; stop; stop keep-screw.
Fig. 3.
The gun having been fired, the handle is turned to the rear, unlocking the block and starting it in the mortise.[4] Drawing the handle smartly to the right, the breech is opened, the extractor, actuated by the movement of the block, commences to move very slowly back with a powerful leverage, starting the cartridge-case from its seat. When the breech-block has moved sufficiently to unmask the bore, the change of direction in the extractor-guide causes the extractor to make a quick movement to the rear, throwing the cartridge clear of the gun.
A new charge being inserted, it is pushed home until the head of the cartridge brings up against the extractor. The breech is now closed by pushing it smartly to the left, and is locked by turning the handle to the front. A primer may now be inserted in the vent, and the gun is ready for firing.
Unscrew the stop-bolt about four turns, or remove completely.
Withdraw breech-block.
Remove extractor, which is now free.
In general nothing further need be dismounted for cleaning and inspection.
To dismount completely continue as follows:
Remove locking-screw pin with screw-driver.
Remove stop keep-screw.
Drive out stop with the drift, interposing a bit of wood or leather to avoid bruising the stop.
Withdraw handle and locking-screw shaft.
Remove locking-screw.
To mount, proceed in reverse order.
The gun requires no special care beyond that of being kept clean, free from rust and undefaced.
Brick-dust or gritty substances must never be used on any part of the gun.
The parts of the mechanism must never be scraped with knives or metal, or be defaced or roughened in any way.
All parts of the gun must be kept lightly oiled as a protection from rust.
After firing, the gun should invariably be thoroughly cleaned. To do this, dismount the mechanism completely and wash every part thoroughly with warm fresh-water soapsuds; mechanism, breech-block, mortise, and barrel should all be treated alike.
After thoroughly scrubbing all parts, dry them carefully and let all stand for a short time to air and dry off the moisture.
After drying, rub all parts over with a well-oiled rag.
Mount the mechanism.
On the march the breech and muzzle should always be protected by the covers supplied for the purpose.
When parked, guns and carriages should be covered with paulins.
The Front Sight is a plain roughened steel point-sight, and is permanently fixed to the right rim-base.
Fig. 4.
The Bar Tangent Sight (Fig. 4) is a plain vertical bar-sight carrying a sliding leaf conveniently graduated. Both the bar and the leaf have clamp-screws to fix them in position. The tangent sight is only mounted on the gun[6] when in action, being at other times removed to avoid injuring it.
The bar is graduated to 15°, each being subdivided into six parts. It may be graduated in yards or metres. It is compensated for natural drift. A vernier-mark on the head of the sight and graduations on the sliding leaf correct ordinary deviations.
The Gunner's Quadrant, for mountain-guns, is a small pocket-quadrant with a spirit-level limb pivoted. On the arc are inscribed both the degrees of elevation and ranges corresponding to the gun for which it is used. It is thoroughly reliable both for direct and curved fire, and to a very great extent supplants the sight-bar.
The recoil is checked by rope-brakes, hooked to the trail-handles and passed around the felloes of the wheels. No limber is used, but a pole which is readily attached to the trail is provided for hauling the carriage.
The ammunition is fixed, and consists of common shell and canister.
| Weight of round (common shell) | 2.62 pounds |
| Weight of shell, filled | 1.95 pounds |
| Weight of round (canister) complete | 3.47 pounds |
| Weight of canister | 2.8 pounds |
| Number of balls in canister | 30 |
| Powder-charge | 5½ oz. mortar |
| Bursting-charge of shell | 1.8 oz. |
| Weight of cartridge case empty | 5.3 oz. |
| Weight of fuze | 1.9 oz. |
The drawn metallic cartridge-case (Fig. 5) is of brass, and is drawn from the solid metal to shape. It is reinforced at the base by inside (c) and outside (b) cups of the same metal. The head (d) is fastened to the base by brass rivets which clamp the body, cups, and head solidly together. A vent (v) is pierced through the head of the[7] cartridge, and five eccentric flash-holes (a) through the reinforcing-cups. The jet of flame from the primer, entering the vent, lifts the reinforcing-cups and forces its way through the flash-holes to the charge. The charge being ignited, the pressure of the gas immediately forces back the reinforcing-cups and seals the vent. The charge, consisting of 5½ oz. of black powder, is well shaken down and separated from the base of the projectile by a felt wad. When smokeless powder is employed, an igniter containing about 40 grains (3 grammes) of musket-powder is placed in the bottom of the cartridge-case. The vent is sealed with a thin coating of wax.
Fig. 5.
Fig. 6.
Fig. 7.
The Common Shell (Fig. 6) is of the cylindro-ogival pattern with a brass band, and is fitted with a base percussion-fuze. It contains a bursting-charge of about 1¾ oz. (950 grammes) of musket-powder.
The Canister (Fig. 7) consists of a thin envelope of drawn brass, containing thirty hardened 1-oz. lead balls packed in sulphur. On the body is an annular stop to prevent inserting too far into the cartridge-case. The cartridge-case can be recharged on an average about eight times.
| Weight complete | 241 pounds |
| Height of axis of trunnions above ground | 27.55 inches |
| Diameter of the wheel | 37.4 inches |
| Track of wheel | 2.46 feet |
Fig. 8.
Nomenclature (see Fig. 8).—(a) trail; (b) axle; (c) wheel; (d) cap-squares; (e) breast-transom; (f) elevating-screw; (g) lunette; (h) hook.
The carriage-body consists of two steel brackets forming cheeks and trail. They are reinforced by angle-steel and connected by transoms. The axle is secured in beds riveted to the brackets, and is arranged to be readily dismounted when required. The elevating-gear consists of a simple screw working in a stout steel transom, and supports the breech of the gun; the preponderance is sufficient to insure stability. The sponge and rod are secured to the right side of the trail by suitable attachments. A pole is provided for draught when easy country is encountered, and provision is made for attaching it to the lunette.
The following articles are carried in the gunner's haversack: 1 tangent-sight; 1 lanyard; 1 spare-extractor; 1 spare stop-bolt; 1 dismounting-pin; 1 oil-can; 2 cleaning-brushes; 1 screw-driver; 1 pair cutting-pliers; 1 vent-cleaner; friction-primers.
Leather covers are provided for the breech and muzzle of the gun.
Two bricoles are provided for use in moving by hand. The band of the bricole is of stout canvas, having a short length of rope at its lower end, provided with a stout hook for hooking into the swivels on the ends of the axles.
The Hotchkiss Point Fuze (Fig. 9) consists of four main parts: the body A, the plunger B, the head C, and the safety-plug D.
The Body is cylindrical and of brass, with a screw-thread and stout shoulder at the upper end for securing in the shell. The outside of the shoulder is shaped to the ogive. A chamber is fashioned in the body, whose base has a conical hole bored for the safety-plug.
The Plunger is a hollow brass cylinder with a lead lining to give it weight, and containing a chamber in which is a small charge of powder with a fulminate cap over it, the whole being covered with foil as a preservative against moisture. A small brass wire is inserted in the lower part of the plunger, bent up so that the ends project through the safety-plug hole.
The Safety-plug is a lead stopper forced tightly into the hole in the bottom, and by pinching the ends of the brass wire holds the plunger steady.
The Head is of gun-metal, the outside following the ogival contour and being provided with a screw-thread for securing it in the body. In the centre of the lower[10] surface is fixed a small point forming a striker for the fulminate.
| Range. | Elevation. | Angle of Fall. |
Sight- marks. |
Drift. | Drift- marks. |
Time of Flight. |
Remaining Velocity. |
Dangerous Space for Infantry. |
| Yards. | ° ′ | ° ′ | Inches. | Yards. | Inches. | Sec. | Feet. | Yards. |
| 100 | -0 12 | 0 12 | 0.000 | 0.1 | 0.008 | 0.1 | 1,243 | 100 |
| 200 | 0 00 | 0 23 | 0.000 | 0.1 | 0.009 | 0.4 | 1,191 | 200 |
| 300 | +0 11 | 0 35 | 0.057 | 0.2 | 0.012 | 0.7 | 1,125 | 180 |
| 400 | 0 23 | 0 48 | 0.120 | 0.3 | 0.014 | 1.0 | 1,099 | 131 |
| 500 | 0 35 | 1 02 | 0.183 | 0.4 | 0.014 | 1.3 | 1,066 | 102 |
| 600 | 0 49 | 1 16 | 0.255 | 0.5 | 0.015 | 1.6 | 1,037 | 83 |
| 700 | 1 03 | 1 31 | 0.328 | 0.7 | 0.018 | 1.9 | 1,007 | 69 |
| 800 | 1 17 | 1 53 | 0.401 | 0.9 | 0.020 | 2.2 | 984 | 56 |
| 900 | 1 32 | 2 16 | 0.479 | 1.2 | 0.024 | 2.5 | 961 | 46 |
| 1,000 | 1 48 | 2 39 | 0.562 | 1.5 | 0.026 | 2.8 | 942 | 40 |
| 1,100 | 2 04 | 3 02 | 0.646 | 2.0 | 0.033 | 3.1 | 922 | 34 |
| 1,200 | 2 21 | 3 27 | 0.735 | 2.5 | 0.037 | 3.4 | 902 | 30 |
| 1,300 | 2 39 | 3 53 | 0.829 | 3.2 | 0.044 | 3.8 | 886 | 27 |
| 1,400 | 2 57 | 4 22 | 0.923 | 3.9 | 0.050 | 4.1 | 869 | 24 |
| 1,500 | 3 16 | 4 48 | 1.022 | 4.6 | 0.055 | 4.5 | 853 | 22 |
| 1,600 | 3 36 | 5 19 | 1.127 | 5.5 | 0.062 | 4.9 | 837 | 20 |
| 1,700 | 3 57 | 5 50 | 1.237 | 6.1 | 0.065 | 5.3 | 823 | 18 |
| 1,800 | 4 18 | 6 22 | 1.347 | 7.0 | 0.070 | 5.7 | 810 | 16 |
| 1,900 | 4 39 | 6 55 | 1.457 | 8.0 | 0.076 | 6.1 | 797 | 15 |
| 2,000 | 5 01 | 7 28 | 1.572 | 9.0 | 0.081 | 6.5 | 784 | 14 |
| 2,100 | 5 23 | 8 02 | 1.688 | 10.0 | 0.086 | 6.9 | 771 | 13 |
| 2,200 | 5 47 | 8 36 | 1.814 | 11.0 | 0.090 | 7.3 | 758 | 12 |
| 2,300 | 6 11 | 9 14 | 1.941 | 13.0 | 0.102 | 7.7 | 748 | 11 |
| 2,400 | 6 36 | 9 57 | 2.073 | 15.0 | 0.113 | 8.1 | 735 | 10 |
| 2,500 | 7 01 | 10 36 | 2.205 | 17.0 | 0.123 | 8.5 | 722 | 10 |
| 2,600 | 7 27 | 11 18 | 2.342 | 20.0 | 0.139 | 8.9 | 712 | 9 |
| 2,700 | 7 53 | 12 00 | 2.480 | 22.0 | 0.151 | 9.3 | 702 | 9 |
| 2,800 | 8 20 | 12 42 | 2.624 | 24.0 | 0.155 | 9.8 | 689 | 8 |
| 2,900 | 8 48 | 13 26 | 2.773 | 26.0 | 0.163 | 10.2 | 679 | 8 |
| 3,000 | 9 17 | 14 10 | 2.928 | 28.0 | 0.170 | 10.6 | 669 | 7 |
| 3,200 | 10 15 | 15 39 | 3.239 | 35.0 | 0.199 | 11.6 | 650 | 6 |
| 3,400 | 11 16 | 17 11 | 3.569 | 41.0 | 0.221 | 12.6 | 630 | 6 |
| 3,600 | 12 20 | 18 45 | 3.917 | 48.0 | 0.245 | 13.5 | 610 | 5 |
| 3,800 | 13 27 | 20 20 | 4.284 | 57.0 | 0.277 | 14.5 | 591 | 5 |
| 4,000 | 14 35 | 22 00 | 4.996 | 70.0 | 0.325 | 15.5 | 571 | 4 |
If the axle of the carriage be not horizontal, multiply the difference of level of the wheels in inches (or the inclination of the trunnions in degrees) by the elevation in degrees for the given range; the result will be the deflection in minutes to be applied on the side of the higher wheel.
Fig. 9.
When the shell is fired, the plunger is forced to the rear, driving the safety-plug into the shell. The small wires being free to let the plunger drive forward, hold it steadily with the rotation of the shell, and keep it from dropping forward on the descending arc of a high trajectory. On impact the plunger drives forward, and the little magazine is exploded by contact with the point.
A Frankford Arsenal point percussion-fuze, small (model 1894), weight 2¼ oz., is now made for 1.65-inch ammunition. It is similar to the fuze for the 3.2-inch field-gun.
To dismount the mechanism: See page 4.
To dismount the gun: Throw back the cap-squares and lift straight up at breech and muzzle.
To dismount the wheels: Take out the linch-pins, lift the carriage at the axles and slip the wheels off.
To dismount the axle: Slack back the clamp-screws about one turn; back the small keep-screws about four turns. Dismount the wheels; pull out the axle.
To mount the parts, proceed in inverse order.
Nomenclature.—Loading-press; loading-sleeve; common shell-plunger; canister-plunger; ejector; charge-measure; burster-measure; cartridge-funnel; shell-funnel; cleaning-brush; fuze-wrench.
The loading-tools are supplied in sets, enclosed in an[12] oak chest. They are not to be carried into the field, but should be set up in an appropriate laboratory room.
For methods to be followed see instructions given for preparing ammunition for 3-inch gun, page 31, et seq.
This consists of:
One pack-saddle, for carrying the gun and wheels of the carriage.
One pack-saddle, for carrying the gun-carriage, the pole, the splinter-bar, the harness-sack (containing the harness and the pole-yoke), and the ammunition-pack.
One pack-saddle, for carrying the four ammunition-boxes.
One set of double harness.
One pole and neck-yoke (the pole is hinged so that it can be folded for packing).
One splinter-bar.
Four ammunition-boxes holding 18 rounds each.
One ammunition-pack holding 6 rounds, for use in an emergency.
Blinds, for use when packing.
The Pack-saddles are identical, with the exception of the yokes for carrying the different parts and a few minor changes in the pads.
The Harness is for two mules and consists of bridles, breast-collars, martingales, breeching, traces and pole-straps, and harness-sack (duck). The pole, neck-yoke, and splinter-bar are made of hickory.
Ammunition-boxes are made of pine and are 24" × 8" × 8". They have sliding covers, which are connected to the box by a lifting hinge. Each box holds 18 rounds of ammunition, and friction-primers. Weight of box empty 11 lbs. 8 oz.; weight of box filled 59 lbs., about.
| 1 pack-saddle for gun. | 1 pack-saddle for carriage. | 1 pack-saddle for ammunition. |
| 1 crupper. | 1 crupper. | 1 crupper. |
| 1 belly-cincha. | 1 belly-cincha. | 1 belly-cincha. |
| 1 saddle-cincha. | 1 saddle-cincha. | 1 saddle-cincha. |
| 2 wheel-straps. | 1 cargo-cincha. | 1 cargo-cincha. |
| 2 hub-straps. | 1 trail-strap. | 1 lashing-rope. |
| 1 gun-pad. | 1 lashing-rope. | |
| 1 lashing-rope | ||
| 2 bridles. | 1 harness-sack. | 1 pole. |
| 2 breast-collars. | 1 neck-yoke. | 1 splinter-bar. |
| 2 martingales. | 1 neck-yoke brace. | Trail-hooks for attachment of splinter-bar. |
| 2 breechings. | 1 neck-yoke brace-billet, and chapes. |
4 ammunition-boxes. |
| 2 pairs traces. | 1 cartridge-pack. | |
| 2 pole-straps. | ||
| 1 blind. | 1 blind. | 1 blind. |
1. On long marches with a wagon train the whole packing outfit will be carried in the wagon train when practicable.
2. On packing the outfit to make expeditions, if it is known that there will be no occasion for hauling the gun and carriage, the hauling appliances, viz., harness, pole, yoke, and splinter-bar, can be left behind in the wagon train, at a camp or post, as the case may be; but as the hauling appliances add little to the pack, and unexpected occasions for their use are probable, they should be carried as a rule.
3. The gun and carriage are to be hauled whenever practicable country for hauling occurs, on a long march, to ease the animals, and especially if their backs get sore, and also in action if the ground will admit of it.
4. If the draught animals are led, the pack-saddles can be left on the animals loosely cinched.
5. If a driver rides one draught animal, its pack-saddle can be placed on the other animal, or both saddles can be placed on gun and carriage.
6. Pressure should fall on back, not on spine and not on sides.
Mules differ in shape; the same mule is not always symmetrical, and the condition varies; therefore, when saddles fit do not change them without good reason.
Fold saddle-blanket in four folds and place it carefully on the animal; then place the saddle on the blanket and in the middle of the animal's back, so as to interfere as little as possible with his free action, and cinch tightly with saddle-cincha. They should be drawn tighter than with riding-saddles, but only tight enough to keep the saddle securely in its place. With a young mule tighten gradually and gently.
Ammunition-mules scarcely need such tight girthing as saddle-mules.
The dock of the crupper must be kept soft, smooth, and pliable.
7. See that everything fits properly before loading. Place the hand under the blanket to make sure that pressure does not fall on the withers. On the least sign of a rub on the ribs take measures to relieve the pressure from that point, changing the load if possible. In cases of this sort, an ounce of prevention is worth a pound of cure.
A slightly galled mule can generally carry its saddle, and sometimes be worked, if proper measures are taken. After cleansing and drying the wound dust it with sulphur 3 parts, iodoform 1 part, and then put a piece of old-fashioned court-plaster over it if the animal is to be worked.
Saddles.—Fold saddle-blanket in four folds and place it on the animal; place saddle on blanket and cinch tightly with saddle-cincha.
No. 3 saddles the carriage-mule and acts as driver.
No. 4 saddles the gun-mule and acts as driver.
No. 5 saddles the first ammunition-mule and acts as driver.
No. 6 saddles the second ammunition-mule and acts as driver.
(See Fig. 10.)
Gun and Wheels.—The gunner removes the tangent-sight, placing it in the haversack, and puts on the breech-cover.
No. 1 throws back the right cap-square and puts on the muzzle-cover and grasps gun by manœuvring-handle.
No. 2 throws back the left cap-square and grasps end of breech-block.
Fig. 10.
No. 4 leads the gun-mule to the gun and places him three yards to the rear of the trail, facing to the rear.
The gunner, grasping the muzzle, commands "Lift," and all lift the gun from the carriage and place it in its bearings, breech in front, sight down.
The gunner, assisted by Nos. 1 and 2, puts cargo-cincha over gun, trunnions passing through slots, edge of cincha nearest to slots in front; cinches to belly-cincha; and then puts gun-pad on breech of gun.
Nos. 1 and 2 on their respective sides then lift the axle while the gunner removes the wheels and replaces linch-pins and washers; Nos. 1 and 2 fasten them together with wheel-strap, dish of wheels inside, and place them astride of gun, hubs between wheel-pads on cargo-cincha, lower them to their proper position, and suspend them with the hub-strap which passes around the hubs and over top of gun. On most animals the best position for wheels is to have the distance from bottom of hub, measured over top of saddle, 36 inches.
Nos. 1 and 2 then buckle around the rim of wheel, on their respective sides, the two wheel-straps, which are attached to the belly-cincha chape, two spokes apart on each side, and tighten these straps until the wheels are in the best position and bear firmly on the cargo-cincha wheel-pads, and on the gun-pad. The wheel-pack is then secure and can be easily adjusted from time to time to aid the animal on the march. If further security is required, lash the wheels with the lashing-rope; fasten one end of rope to one hub, pass it around wheels, under corners of saddle-pads and over and under the animal, and draw tight. (The most expert packer of the detachment should be required to perform the duties pertaining to that work when necessary, as it is very important that the work should be done properly.)
(See Fig. 11.)
Carriage and Harness.—No. 3 leads the carriage-mule up and places him three yards in front of muzzle, facing to the front.
No. 1 places harness (in its sack) on left side with pole-yoke under flap of harness-sack, and secures them in position with the two straps which are attached to the saddle.
No. 2 places pole (butt end in front) and splinter-bar on right side and secures them in position with the two straps which are attached to the saddle, passing the straps twice around the pole and bar. The front strap passes once in front and once in rear of the pintle-pin.
The gunner at the trail and Nos. 1 and 2 at the axle lift the carriage and place it in position on top of saddle, bottom down, trail to the rear, so that special shapes of saddle arch-irons will engage in the carriage. The front arch-iron enters the slot just in rear of carriage-axle.
Fig. 11.
The gunner passes the cargo-cincha over the carriage, the wooden block down, and in between side flanges of trail, elevating-screw passing through hole in cincha and wooden block; then receives from No. 1 the ammunition-pack and places it in position; cinches securely, fastens the primer-pouch and haversack containing accessories around gun-carriage cheek, and this pack is complete.
Note.—The harness, pole-yoke, and splinter-bar are not necessary to this pack, and the carriage packs equally well without them. If on the saddle, they are to be left on it in coming into action; that is, the carriage can be unpacked and repacked without disturbing them.
(See Fig. 12.)
Ammunition.—Each animal carries four ammunition boxes, each containing 18 rounds of ammunition: total rounds 72. Nine cartridges and ten primers are packed in each end of each box. The gunner and Nos. 1, 2, and 3 put the ammunition-boxes in position, the two top ones first, simultaneously, and then the two bottom ones in the same way. No. 3 then returns to his mule, which he had turned over to No. 4; and Nos. 1 and 2 secure the boxes in position by the straps fastened to the clips, and the gunner cinches them securely with the cargo-cincha. He then passes a lashing-rope around the iron handles on the ends of the boxes and over the pack, and the whole is securely fastened in place.
Fig. 12.
Nos. 3 and 4 place harness on their mules, and lead them into position for hitching, and when the pole has been adjusted complete hitching in front of mules.
Nos. 1 and 2 lift trail and the gunner attaches the pole.
Nos. 1 and 2 hitch traces.
| First Animal. | Second Animal. | Third Animal. | |||
| lbs. | lbs. | lbs. | |||
| Gun | 121 | Carriage | 131 | 72 rounds amm. | 189 |
| Wheels | 104½ | Sponge and rod | 1½ | 4 boxes | 46 |
| Outfit | 65½ | 2 primer-pouches and contents | 7½ | Outfit | 57½ |
| Harness in sack | 17½ | ||||
| Pole-yoke | 3 | ||||
| Splinter-bar | 5¾ | ||||
| Amm.-pack and 6 rounds | 18¼ | ||||
| Outfit | 62 | ||||
| Total | 291 | Total | 259½ | Total | 292½ |
In the composition of a complete mountain-battery must be included the necessary tools and supplies for making any repairs that may be required, for shoeing the pack-animals, etc. These constitute the loads for four pack-mules, as follows:
The detailed exercise and tactics for mountain-batteries differ slightly in different military services, but the following general directions conform to the normal condition and will serve for the organization of temporary mountain-batteries.
For packing, each piece complete requires four mules.
For the service of each gun seven men are required, of which three fight the gun in action and four serve as mule-drivers and reserves.
A full battery consists of six pieces in time of war and four in time of peace, and should comprise, in addition to the equipments of a single piece, one field-forge, with transport-mule and driver; two transport-boxes, containing farrier's, carpenter's, and saddler's tools, with transport-mule and driver (one spare wheel packed on this mule); one spare carriage complete, with transport-mule and[21] driver; ammunition-boxes, containing small-arm ammunition, with transport-mule and driver; twelve ammunition-boxes containing reserve-gun ammunition, with three transport-mules and drivers.
The battery should be organized into platoons under lieutenants, each platoon consisting of a section under a sergeant.
Each section (the personnel and material of one gun) should consist of the chief of section, gun detachment (one corporal and six privates), and extra drivers and spare men. If there be but one ammunition-mule to a section, the number of men would be reduced to six.
The first sergeant should command the ordnance-mules not with the first line, viz.: ammunition, spare carriage, blacksmith's and wheelwright's tools, relief. He is assisted by the stable-sergeant.
The second lieutenant commands the pack-train, and is assisted by the quartermaster-sergeant.
The commissioned officers, first sergeant, quartermaster-sergeant, stable-sergeant, and trumpeters should be mounted on horses; the blacksmith, wheelwright, and cooks, on mules. Officers, sergeants, and trumpeters should be armed with pistols; all enlisted men other than sergeants and trumpeters, with carbines.
In line there should be an interval of twelve yards between sections. The positions of the captain and lieutenant, and first sergeant and chiefs of section, are the same as in a field-battery, both in line and column. The mules of a section are in the following order: carriage-mule, gun-mule, and ammunition-mules with the distance of a yard between them, and in column with a distance of two yards between sections. The gunner is near the right flank of leading mule; Nos. 1 and 2 are similarly placed with respect to the second and third mules. The drivers are on the left and opposite the heads of their mules.
| Horses. | Mules. | Extra Mules. | |
| Captain | 1 | -- | If a long march is anticipated |
| Lieutenants | 3 | -- | the pack-train must |
| Sergeants | 3 | -- | be increased accordingly, |
| Trumpeters | 2 | -- | and an increase in the |
| Cooks | -- | 2 | number of ordnance-mules |
| Blacksmith | -- | 1 | as herein indicated. |
| Wheelwright | -- | 1 | |
| Gun | -- | 4 | 4 |
| Carriage | -- | 4 | 4 |
| First ammunition | -- | 4 | 4 |
| Second ammunition | -- | 4 | 4 |
| Spare carriage | -- | 1 | 1 |
| Blacksmith's tools, etc. | -- | 1 | -- |
| Wheelwrights, etc. | -- | 1 | -- |
| Spare | -- | 5 | 3 |
| Pack-train | -- | 10 | ? |
| 9 | 38 | 20 + increase of pack-train. |
Men Required.—A gunner and five privates. Nos. 1, 2, and 3 serve as cannoneers; Nos. 4 and 5 attend animals.
Equipments.—Gunner and No. 1, primer-pouches; Nos. 2 and 3, cartridge-pouches.
Duties.—The gunner commands, attaches and detaches the pole, sets the sight, points, and superintends the service of the ammunition.
No. 1 mans right wheel, controls brake-rope, opens and closes breech, and fires piece.
No. 2 mans the left wheel, controls brake-rope, introduces the ammunition into the bore, and assists in pointing.
No. 3 keeps No. 2 supplied with ammunition and assists the gunner in attaching and detaching the pole.
Nos. 4 and 5 attend animals.
Fig. 13.
| Material | steel |
| Total length | 3.76 feet |
| Length of bore | 3.25 " |
| Travel of projectile | 3.02 " |
| Calibre | 3 inches |
| Weight | 216 pounds |
| Grooves | 24 |
| Twist of rifling, uniform | 1 in 25.59 cals. |
| Muzzle-velocity | 870 f. s. |
| Maximum range | 4000 yards |
The breech-mechanism of this gun differs from the 1.65-inch in that its stop-bolt engages in a guide in the lower part of the block.
The front sight is of the open type, allowing of a large field of view. The tangent-sight is provided with a sliding head by means of which it may be set before placing it on the gun, and a deflection-slide for correcting for drift, wind, etc. On the deflection-slide is an open notch for rough, and a peep-sight for fine, sighting. The sight-bar is graduated on one side in ranges, on the other in millimetres. The sights are on the left side.
Fig. 14.
Nomenclature.—(1) trail; (2) axle; (3) wheel; (4) cap-squares; (5) hooks; (6) elevating-screw; (7) elevating-lever; (8) elevating-transom; (9) lunette; (10) lunette-plate; (11) trail-handles; (12) brakes; (13) sponge and rod.
| Length of carriage-body | 52.75 inches |
| Weight of carriage-body | 205 pounds |
| Weight of sponge and rod | 4.5 " |
| Weight of two wheels | 123 " |
| Total weight of carriage | 332 " |
| Height of trunnion-centres above ground | 23.7 inches |
| Diameter of wheels | 37.4 " |
| Track of carriage | 28.35 " |
| Vertical field of fire | +20°, -10° |
| Total weight of gun and carriage | 570 pounds |
The carriage-body consists of two steel brackets forming stock and trail. They are reinforced by angle-steel and connected by transoms. The axle is stiffened by a reinforcing-plate to which is riveted the carriage-body. The[25] elevating-gear consists of a forked lever, pivoted at its nearmost end, and traversed near the middle by the elevating-screw. The latter is supported by an inclined plane on the elevating-transom. The breech of the gun rests freely on the end of the elevating-lever, the preponderance being sufficient to insure stability. Recoil is checked by two rope-brakes, which are hooked to the trail-handles and passed around the felloes of the wheels. For the march one end of each brake is hooked to a trail-handle, the rope passed diagonally over the trail end and the free end secured to one of the hooks under the axle. The sponge and rod are secured by suitable attachments on the right side of the trail.
Fig. 15.
Nomenclature.—(1) axle; (2) axle-beds; (3) frame; (4) body; (5) pintle; (6) pintle-key; (7) shafts; (8) prop; (9) prolonge-hooks; (10) ammunition-chests.
| Weight of limber-body | 262 pounds |
| Weight of two wheels | 123 " |
| Weight of four chests | 123 " |
| Weight of limber complete | 554 " |
| Number of rounds carried | 32 |
| Weight of limber fully equipped | 1005 pounds |
| Weight of a pair of ammunition-chests fully loaded | 225 " |
| Total weight of gun limbered | 1575 " |
This limber is designed to relieve the pack-animals where possible. It carries four of the mountain ammunition-chests, which may at once be removed and carried on the pack when necessary, the limber-body being temporarily abandoned. Two of the pack-animals will be found sufficient for draught, leaving three as a relief or for the transport of forage.
The Limber consists of a frame of angle-steel, which is provided with beds to receive the axle. The body is formed of steel plate, with compartments for the reception of four ammunition-chests. The outer chests are raised slightly above those in the middle, and may be opened without removing them from the limber. On the limber are carried a paulin, a combined prolonge and picket-rope, a felling-axe, a shovel and a pickaxe.
The Ammunition-chests are made of wood, covered with waterproof canvas, and are strongly ironed. They provide for carrying eight rounds of ammunition, and have a compartment wherein may be placed a package of friction-primers and the fuze-case. The latter is a metallic box having compartments for five combination fuzes in their sealed packages.
| Weight of cartridge-case | 1.25 pounds |
| Weight of charge | 14 ounces |
| Weight of projectile | 12 pounds |
| Total weight of complete cartridge | 14 " |
| Total length of complete cartridge | 14.1 inches |
| Bursting-charge, common shell | 6.3 ounces |
| Bursting-charge, shrapnel | 1¾ " |
| Number of balls in shrapnel | 160 |
| Effective fragments, shrapnel | 180 |
| Number of balls in canister | 125 |
Fig. 16.
The Ammunition consists of a cartridge-case containing the powder-charge, and the projectile. The drawn metal cartridge-case (Fig. 16) is of brass, and is drawn from the solid metal to shape. It is reinforced at the base by inside and outside cups of the same metal. The head is fastened to the base by brass rivets, which clamp the case, cups, and head solidly together. A vent is pierced through the head of the cartridge, and five eccentric-fire holes through the reinforcing-cups. Between the reinforcing-cups is held an iron obturator. The jet of flame from the primer, entering the vent, lifts the obturator and forces its way through the fire-holes to the charge. The charge being ignited, the pressure of the gas immediately forces back the obturator and seals the vent.
The Charge consists of 14 oz. I. K. granular powder. In order to vary the charge the ammunition is made in two parts, viz., projectile and cartridge-case. The car[28]tridge is put into the metallic case in two half-charges, in bags, so that one may be removed if desired.
The vent of the cartridge is sealed with a thin coating of wax.
The Common Shell (Fig. 17) is of the cylindro-ogival pattern, with a copper band, and is fitted with a point percussion-fuze. It contains a bursting-charge of about 6.3 ounces (180 grammes) of fine-grain powder.
Fig. 17.
Fig. 18.
Fig. 19.
The Shrapnel (Fig. 18) is made of cast iron. It consists of a body to which the head is attached by three copper rivets. The bursting-charge of about 1¾ ounces of fine-grain powder is contained in a chamber in the base, which is brought into communication with the fuze by a central[29] igniting-tube. The shrapnel is loaded with 160 hardened balls packed in sulphur. These projectiles are transported plugged, the combined time and percussion fuze being inserted at the moment of action.
The Canister (Fig. 19) consists of a thin brass envelope, which is lined with six wrought-iron segments. The head is of wood, and is fitted with a false point to bring it to the same length as the common shell. On the body is an annular stop to prevent inserting too far into the cartridge-case. The canister contains 125 hardened lead balls.
The common shell are painted black, the shrapnel red, and the canister are unpainted.
The following accessories and spare parts are supplied with each gun, carriage, and limber:
In the composition of a complete mountain-battery must be included the necessary tools and supplies for making any repairs that may be required, for shoeing the pack-animals, etc. These constitute the loads for four mules, as follows:
Tools for loading the ammunition are supplied in sets, enclosed in an oak chest. They are not to be carried into the field. The set consists of:
Insert the funnel in fuze-hole and pour in bursting-charge, at the same time tapping side of shell with a wooden mallet. Clean the fuze-hole carefully with brush, and make sure that no powder remains in the thread. Screw the fuze tightly home. If the fuze requires more force than can be given with the key to screw it home, lay it aside. Never strike a fuze or attempt to force it.
Weigh the charge (never measure it) and pour it in the case through a funnel. Shake the charge well down by tapping side of case with flat of the hand. Insert the wad.
The common shell are inserted filled and fuzed, the shrapnel empty. Oil the base of the projectile lightly, and centre in the mouth of the cartridge case, the latter standing on the bench. Slip the sleeve vertically over projectile and cartridge-case. Turn the sleeve to a horizontal position, holding the head of the cartridge with the left hand, and lay the sleeve in the press. Insert the proper plunger, so that it bears on the head of the projectile. Screw the press home until the band of the projectile touches the mouth of the cartridge, or until the shoulder of the plunger bears against the front of the sleeve. Unscrew the press, remove the plunger, push out cartridge with the ejector. Never strike the ejector under any pretence. Pass the cartridge into the gauge and close slide.
The shrapnel is assembled with the cartridge-case before filling. Pour in the bursting-charge very slowly, at the same time tapping the projectile lightly with a mallet. Clean the fuze-hole carefully, and screw the plug firmly home. Shrapnel should not be fuzed except in the field, at the moment of their employment.
The above rules find general application, the methods being modified to suit the case, viz., whether fixed ammunition, or charge and projectile separate.
| Range. | Angle of Departure. |
Elevation. | Sight- marks. |
Drift. | Deflection. | Time of Flight. |
Fuze- scale. |
Angle of Fall. |
Rem. Veloc. |
| Yards. | ° ′ | ° ′ | Inches. | Feet. | m/m | Sec'nds. | Inches. | ° ′ | Feet. |
| 0 | 0 0 | 0 0 | 0.000 | Right | Left | 0.0 | 0.00 | 0 0 | 853 |
| 100 | 0 23 | ....... | ....... | 0.1 | 0.1 | 0.3 | 0.14 | ....... | 842 |
| 200 | 0 46 | 0 7 | 0.036 | 0.2 | 0.2 | 0.7 | 0.34 | ....... | 831 |
| 300 | 1 10 | 0 31 | 0.158 | 0.4 | 0.2 | 1.1 | 0.55 | ....... | 821 |
| 400 | 1 34 | 0 55 | 0.281 | 0.7 | 0.3 | 1.4 | 0.76 | ....... | 811 |
| 500 | 1 59 | 1 20 | 0.409 | 1.1 | 0.3 | 1.8 | 0.99 | 2 10 | 801 |
| 600 | 2 24 | 1 45 | 0.536 | 1.6 | 0.4 | 2.2 | 1.22 | ....... | 791 |
| 700 | 2 50 | 2 11 | 0.670 | 2.2 | 0.5 | 2 6 | 1.46 | ....... | 782 |
| 800 | 3 16 | 2 37 | 0.803 | 3.0 | 0.6 | 3.0 | 1.69 | ....... | 773 |
| 900 | 3 42 | 3 3 | 0.936 | 3.9 | 0.7 | 3.4 | 1.91 | ....... | 764 |
| 1000 | 4 9 | 3 30 | 1.074 | 4.9 | 0.7 | 3.8 | 2.12 | 4 32 | 755 |
| 1100 | 4 37 | 3 58 | 1.218 | 6.0 | 0.8 | 4.2 | 2.33 | ....... | 746 |
| 1200 | 5 5 | 4 26 | 1.361 | 7.2 | 0.9 | 4.6 | 2.54 | ....... | 737 |
| 1300 | 5 33 | 4 54 | 1.504 | 8.5 | 1.0 | 5.0 | 2.75 | ....... | 728 |
| 1400 | 6 2 | 5 23 | 1.655 | 9.9 | 1.1 | 5.4 | 2.95 | ....... | 719 |
| 1500 | 6 32 | 5 53 | 1.810 | 11.5 | 1.2 | 5.8 | 3.16 | 7 19 | 710 |
| 1600 | 7 2 | 6 23 | 1.965 | 13.3 | 1.3 | 6.3 | 3.36 | ....... | 702 |
| 1700 | 7 33 | 6 54 | 2.125 | 15.3 | 1.4 | 6.7 | 3.57 | ....... | 694 |
| 1800 | 8 5 | 7 26 | 2.291 | 17.5 | 1.5 | 7.2 | 3.78 | ....... | 686 |
| 1900 | 8 37 | 7 58 | 2.458 | 19.8 | 1.6 | 7.6 | 3.99 | ....... | 678 |
| 2000 | 9 10 | 8 31 | 2.630 | 22.3 | 1.7 | 8.1 | 4.20 | 10 44 | 670 |
| 2100 | 9 44 | 9 5 | 2.807 | 25.1 | 1.8 | 8.5 | ....... | ....... | 662 |
| 2200 | 10 19 | 9 40 | 2.991 | 28.1 | 1.9 | 9.0 | ....... | ....... | 654 |
| 2300 | 10 54 | 10 15 | 3.175 | 31.3 | 2.1 | 9.5 | ....... | ....... | 646 |
| 2400 | 11 30 | 10 51 | 3.366 | 34.8 | 2.2 | 10.0 | ....... | ....... | 638 |
| 2500 | 12 7 | 11 28 | 3.562 | 38.5 | 2.3 | 10.5 | ....... | 14 39 | 630 |
| 2600 | 12 45 | 12 6 | 3.765 | 42.5 | 2.5 | 11.0 | ....... | ....... | 623 |
| 2700 | 13 25 | 12 46 | 3.979 | 46.8 | 2.7 | 11.6 | ....... | ....... | 616 |
| 2800 | 14 6 | 13 27 | 4.200 | 51.5 | 2.8 | 12.1 | ....... | ....... | 609 |
| 2900 | 14 48 | 14 9 | 4.427 | 56.6 | 3.0 | 12.7 | ....... | ....... | 601 |
| 3000 | 15 31 | 14 52 | 4.661 | 62.1 | 3.2 | 13.2 | ....... | 19 27 | 594 |
| 3100 | 16 16 | 15 37 | 4.908 | 68.1 | 3.4 | 13.8 | ....... | ....... | 587 |
| 3200 | 17 2 | 16 23 | 5.163 | 74.5 | 3.6 | 14.4 | ....... | ....... | 580 |
| 3300 | 17 49 | 17 10 | 5.425 | 81.4 | 3.9 | 15.0 | ....... | ....... | 573 |
| 3400 | 18 38 | 17 59 | 5.700 | 88.9 | 4.1 | 15.6 | ....... | ....... | 567 |
| 3500 | 19 29 | 18 50 | 5.989 | 97.0 | 4.4 | 16.3 | ....... | 25 3 | 560 |
(From Hotchkiss Pamphlet.)
The organization is made on the same principles as those of the 1.65-inch mountain-battery.
The section, consisting of one piece, requires for its service and transport ten men and nine pack-animals. Of the men, gunner and Nos. 1, 2, 3, 4, 5, and 6 as cannoneers; 7, 8, 9, attend animals. The pack-animals are distributed as follows:
1 gun-mule.
1 carriage-mule.
1 wheel, shafts, and accessory mule.
6 ammunition-mules.
The proportion of each kind of ammunition carried will depend upon the nature of the campaign, but in general each ammunition-chest should contain five shrapnel, two common shell, and one canister, making a total allowance per gun:
60 shrapnel with combination fuzes.
24 common shell with percussion-fuzes.
12 canister.
A full battery should consist of six pieces, and should comprise, in addition to the equipment of six sections:
1 pioneer outfit, with mule and driver.
1 mountain-forge, with mule and driver.
2 artificer's chests, containing farrier's, wheelwright's, and saddler's tools, with mule and driver.
2 chests with farrier's, wheelwright's, and saddler's supplies, one spare wheel, with mule and driver.
1 spare carriage complete, with two mules and one driver.
3 ammunition-chests, with small-arms ammunition and small stores, with mule.
Equipments.—Gunner's pouch; No. 1, primer-pouch; Nos. 2, 3 and 4 cartridge-pouches.[35] Duties.—Gunner commands; limbers and unlimbers; sets the sight; points, and superintends service of ammunition.
Duties.—Gunner commands; limbers and unlimbers; sets the sight; points, and superintends service of ammunition.
No. 1 mans the right wheel; controls brake-rope; opens and closes breech; fires piece.
No. 2 mans the left wheel; controls brake-rope; introduces the ammunition into the bore; assists in pointing.
No. 3 keeps No. 2 supplied with ammunition (first setting time-fuze and removing safety-pin) and assists the gunner in limbering and unlimbering.
No. 4 keeps No. 2 supplied with ammunition (first setting time-fuze and removing safety-pin).
No. 5 receives ammunition from No. 6; removes plugs from shrapnel; fuzes same; loosens cap of time-fuze, and issues prepared ammunition to Nos. 3 and 4.
No. 6 passes ammunition to No. 5; opens time-fuze cylinders, and brings up ammunition-mules as required.
At the command "Cease firing," Nos. 5 and 6 equalize ammunition in boxes.
Nos. 7, 8, and 9 attend animals.
The mules are brought up at a trot, and stationed:
Gun-mule three yards in rear of trail and facing to rear.
Carriage-mule three yards in front of muzzle, facing to front.
Wheel-mule three yards to left of gun, facing to front.
To Pack the Gun (Fig. 20).—No. 4 takes the lifting-bars from wheel-pack and passes them to the gunner and No. 2; No. 3 procures breech and muzzle covers from gun-pack, hands muzzle-cover to No. 1 and straps on breech-cover; No. 1 throws open cap-squares and adjusts muzzle-cover; the gunner and No. 2 pass ends of lifting-bars to Nos. 3 and 1. All numbers facing to the rear, the gunner com[36]mands, "Lift." The gun is placed on the pack and secured by Nos. 1 and 2.
Fig. 20.
Fig. 21.
To Pack the Carriage (Fig. 21).—The gunner and No. 3 remove the linchpins; Nos. 1 and 2 lift the axle; the gunner and No. 3 remove the wheels and replace the linchpins; Nos. 1 and 2 grasping the axle-arms, the gun[37]ner and No. 3 pass a lifting-bar through the trail-handles. All numbers facing to the front, the gunner commands, "Lift," and the carriage is placed on the pack and secured by Nos. 1 and 2.
Fig. 22.
Fig. 23.
To Pack the Wheels (Fig. 22).—The gunner and No. 3 lift the wheels and place them separately on the pack,[38] where they are secured by No. 4; No. 4 places and secures the lifting-bars; Nos. 3 and 5 take off their haversacks and secure them on the wheel-pack.
Unpacking is performed in the reverse order to packing.
| Gun-mule. | Carriage-mule. | ||
| Saddle | 69 lbs. | Saddle | 69 lbs. |
| Gun | 218 " | Carriage | 205 " |
| 287 " | 274 " | ||
| Wheel-mule. | Ammunition-mule. | ||
| Saddle | 60 lbs. | Saddle | 58 lbs. |
| Wheels | 123 " | Two chests with 8 rounds each | 280 " |
| Shafts, etc. | 22 " | ||
| 205 " | 338 " | ||
The Pack-train. How Packed.
Gen. Holabird says: A pack-mule carries on an average 200 pounds. Allow one pack-mule to six or seven men for detachments out scouting from five to eight days; twelve mules to two officers and sixty or seventy men for six days; eight mules to one officer and fifty men of cavalry for six days.
The above allowance does not contemplate the carrying of forage.
Cavalry drill-regulations state: With fifty packs there should be twelve packers. Each troop should have four mess-boxes, seven-eighths inch lumber, dovetailed, 11 inches by 18 inches by 26 inches, and, when packed in pack-cover, without lids.
In camp or garrison, logs of wood, 26 inches long, and sacks of corn, double-sacked and lashed to avoid breaking sacks, having the weight it is intended the mule should carry, are kept on hand for drill purposes.
Each pack should be provided with two coils of three-eighths inch rope, 18 to 28 feet long, for lashing packs.
The pack-saddle consists of the saddle proper; two pads; crupper; corona; manta or pack-cover; two pieces of canvas, each 84 inches by 22 inches, stitched together on the long edges; halter and strap; canvas cincha, 10 inches wide; sling-rope, half-inch best hand-laid manilla whale-line, 20 to 32 feet long; and leather cincha, with[40] lash-rope, five-eighths inch whale-line 42 feet long. There should be one blind for every five packs.
The size of rope is given by the measurement of its diameter.
A "full-rigged" saddle has sling-straps and cargo-cincha; the sling and lash ropes are then dispensed with.
While saddling, loading, or readjusting the packs, the animals should be blinded. The mules should be trained to stand perfectly quiet while the blind is on; they should never be led or forced to move without first removing the blind.
The pack-saddle is fitted to the animal in a manner similar to that of the riding-saddle; it is so constructed that it can be placed one and one-half inches farther forward than the riding-saddle.
If the pads are not square, draw the screws, unlace the pads from the skirts, then square and fit them to the animal by placing the canvas cincha immediately around the animal's girth, the front edge touching the breast-bone (cartilages of true ribs), the middle of the cincha being exactly in the middle of the lower edges of the pads; then screw the pads to the saddle-bars, keeping the cincha in place till the adjustment is made; then remove the cincha and replace the pads.
Adjust the canvas cincha so as to be long enough to go nearly around the girth of the mule, over the saddle.
Adjust the crupper by lengthening or shortening the lace-strings that attach it to the saddle, taking care not to make it too tight.
Place the corona on the mule's back, about two to two and one half inches in front of where the pommel end of[41] the saddle is to rest; place the folded saddle-blanket over the corona; take the saddle by both yokes and place it squarely in position, a little in rear of its proper place; place the crupper under the dock and gently move the saddle forward to position; pass the ring end of the canvas cincha over the saddle from left to right and under the belly; pass the latigo through the ring and tighten the cincha; when cinched, the ring end of the cincha should be above the lower edge of the near pad.
The rations should be carefully put up in one-hundred-pound packs lashed solidly, and carried on the best pack-mules; each pack is plainly marked with its contents and weight.
Salt, sugar, coffee, and beans are double-sacked, and lashed in one-hundred-pound packages. Bacon, in one-hundred-pound packages, is packed in from five to eight pounds of clean straw or hay, double-sacked and lashed firmly.
The yeast-powder cases should be opened and hay or straw stuffed closely around the boxes to prevent shaking, and, with other articles, lashed into one-hundred-pound packages.
Each cargo is in two side-packs of about one hundred to one hundred and twenty-five pounds each, and should match in size, shape, and weight as nearly as practicable, each side-pack having, as nearly as may be, the following proportions: width one half more than thickness, length nearly one half more than the width; e. g., 12 inches by 18 inches by 25 inches.
All the salt, sugar, coffee, and beans should not be placed in one cargo. Ammunition should be in cargoes.
Pads or cushions of hay 26 inches by 44 inches may be[42] placed under the cincha to keep long and rough packs from the animal's hips and shoulders.
The packers should work by threes, designated Nos. 1, 2, and 3. No. 1 is on the near side, No. 2 on the off side of the mule; when No. 3 works with No. 1 he is nearest the croup; when with No. 2 he is opposite the mule's shoulders.
The mule is placed near to and with its left side next to the cargo by No. 2, who then puts on the blind.
No. 1, on the near side, passes the centre of the sling-rope over the saddle to the off side far enough to allow the rope to pass over the off-side pack and come back within his reach, the parts of the rope separated by six to twelve inches. Nos. 2 and 3 take the off-side pack, place it well up on the saddle; No. 2 grasps the loop of the sling-rope with his right hand, brings the rope up against the pack and lets the loop drop over his right shoulder in readiness to pass it over the pack; No. 2 holds the pack in place.
No. 3 passes to the near side and with No. 1 takes the near-side pack and places it, flat side next the mule, well up on the saddle, lapping the upper edge well over the upper edge of the off-side pack. No. 1, with his back to the mule's shoulder, takes the end of the front part of the sling-rope, passes it from the outside through the loop, and pulls it down with the right hand; he now grasps the rear end of the sling-rope with the left hand, and ties the ends together in a square bow-knot, the packs high up.
No. 1 calls out, "Settle"; No. 1 and No. 2 each grasps his side of the cargo by the lower corners, lifts upward and outward, settling the upper edges well together and balancing the load. If the packs are tied too high they are easily lowered, but if tied too low they must be lifted and placed as in the first trial.
Fig. 24.
Fig. 25.
Fig. 26.
Fig. 27.
Fig. 28.
Fig. 29.
While Nos. 1 and 2 are tying and placing the cargo, No. 3 takes the lash-rope, throws the free end to the rear of the mule, convenient to No. 2, and places the cincha end in front of No. 1. No. 1 grasps the rope with the right hand, three feet from the cincha, and passes the hook end of the cincha under the mule to No. 2, who takes the hook (H, Fig. 24) in the left hand; No. 1 with the left hand grasps the rope three feet above the right, raises the rope and lays it between the side-packs from rear to front (P P′), pulling it to the front until a long enough loop (A) is formed to pass over the cargo and fasten in the cincha-hook (H). The right hand, back down, holds the cincha[44] end of the rope, the loop (A) falling outward over the right forearm; the left hand, back up, holding the other part of the rope between the loop and the middle of the packs; No. 1 now throws the loop (A) over the pack, then lets the part in the left hand drop on the mule's neck, thus forming another loop (A′, Fig. 25); No. 2 passes the rope through the hook, pulls the cincha end of the rope till the hook is drawn up so that, when tightened, the hook shall be near the lower edge of the off pad. No. 1 now grasps the rope at G, Fig. 26, and tucks a loop from rear to front, under the part AA, Fig. 26, over the centre of the near-side pack (G, Fig. 27); No. 2 passes the free end of the rope under the part EE, Fig. 27, and throws it over on the near side of the mule's neck; No. 1 draws the[45] tucked loop forward and forces the rope under the corners and lower edge of the near pad and hauls it taut from above the rear corner; No. 2 grasps the rope at I, Fig. 27, with the left hand, and at K with the right hand, and passes the rope under the corners and lower edge of off pad (KL, Fig. 28) and hauls taut at the front corner, No. 1 taking in the slack at the free end of the rope.
The lash is now ready for the final tightening. No. 2 removes the blind, leads the mule forward a few steps, No. 1 in rear at the same time looking to see if the packs are properly adjusted. The mule is again blinded. The object of the final tightening is to lash the load firmly to the saddle; pulling all the parts of the lash-rope taut, and taking up the slack, commencing at the cincha; and continuing the process from part to part, until the slack is taken up at the free end of the lash-rope. While No. 2 is pulling the parts taut, No. 1 takes up the slack or steadies the cargo, or vice versa; the pulling is done in such manner as not to shake the cargo out of position.
No. 2 grasps the lash-rope above where it leaves the hook and below the edge of the pad, right hand below left, places left knee against rear corner of pad; No. 1 grasps with the right hand the same part of the rope where it comes over the pack on the near side, and with the left hand at G, Fig. 28, places his right shoulder against the pack to steady it; he then says, "Pull." No. 2 tightens by steady pulls and, without letting the rope slip back through the hook, gives the slack to No. 1, who takes it up by steady pulls. When No. 2 thinks the cincha is sufficiently drawn, he says, "Enough." No. 1 holds solid with the right[46] hand, slips the left down to where the rope passes over the front edge of the pad, and holds solid; the right hand then grasps the continuation of the rope at rear corner of pad and pulls taut; then with both hands, placing his right knee against rear corner of pad, pulls the rope well home, No. 2 taking up the slack by grasping the rope (I, Fig. 28) where it comes over the rear end of off-side pack, with both hands. No. 1 steps to the front and steadies the pack; No. 2 then pulls taut the parts on his side, taking up the slack; this draws the part of the lash-rope AA, Fig. 28, well back at the middle of the pack; he then with the left hand at the rear corner of pad (K) pulls taut, and holds solid, while with right hand at front corner of pad (L) he takes up slack; he then, with both hands at, and placing his knee against, the front corner of the pad, pulls well taut, No. 1 taking up the slack on his side, and then pulls solid, drawing the part EE, Fig. 28, of the rope coming out from the hook well forward at the middle of the pack, then carries the free end under the corners and end of pad, draws taut and ties the end fast by a half-hitch near cincha end of lash-rope. If the rope should be long enough to reach over the load, after passing under the corners, it is passed over and made fast on the off side by tying around both parts of the lash-rope above the hook and drawing them well together.
To tighten the lash rope on the load it is necessary to take up and pass the slack as in the final tightening.
To slacken the rope on the load it is necessary to begin to slacken from the free end, and carry the slack by reversing the process of tightening.
When the pack-cover is used, it is placed over the cargo before putting on the lash-rope.
When the side-packs are of unequal bulk or weight, the larger or heavier should be placed on the near side; it should then lap over the off-side pack until the packs balance.
Top Packs, i. e., small packages placed in the middle between the side packs, should be avoided.
When the sling-rope is half-hitched into the saddle-yokes the load is made more secure, but there is great danger of injury to the mule's back.
On the full-rigged saddle the canvas cincha is attached to the saddle by the "spider"; the side packs are laid on the saddle as before, held by the sling-straps and secured by the cargo-cincha. The lash-and sling-ropes are then dispensed with, but the use of the lash-and sling-ropes gives greater security to the cargo and greater comfort to the mule.
Only two men, Nos. 1 and 2, are necessary; they work as when loading.
The mule is placed with head toward the centre of where the cargoes are piled. No. 1 puts on the blind; No. 2 unfastens the free end of the lash-rope; then Nos. 1 and 2 slacken the rope; No. 2 with the left hand removes the part under the end and corners of the pad on the off side and unhooks the cincha with the right hand; No. 1 removes the part under the ends and corners of the pad on the near side, gathers the parts of the rope together on his side with both hands, coiling it, and lays the rope on the ground where he intends to place the cargo, the cincha and free end exposed on the side opposite where the rigging is to be placed; No. 1 unties the sling-rope, casts it loose, takes his side pack and places it on the lash-rope across[48] the line of cargo; No. 2 at the same time takes his pack and lays it on top of near side pack, and then, holding the sling-rope at centre loop, doubles it and places it on top of load, loop exposed, for convenience when required.
The second load is placed end to end with the first and on the side next to where the rigging is to be placed; the end of the lash-rope is coiled and placed on top of the last sling-rope, and is used for tying the mule when reloading.
The saddle-cinchas should be slackened and the mules allowed to cool before removing the saddles.
Unfasten the latigo and throw the end across the top of saddle; fold the cincha with latigo inside and place across top of saddle; push the saddle back, remove crupper from under dock, double it forward, with crupper above cincha on top of saddle, and remove saddle; the saddles are placed in line, resting on the ends of pads.
The Mule. Description. Diseases. Treatment.
The mule has the advantage of the horse in better withstanding neglect, bad treatment, poor feed, and hard usage.
The pack-mule should be active, short-coupled, short-legged, small-boned, square-built, with manifest powers of endurance, and should weigh from 800 to 1000 pounds. Army Regulations state that "mules purchased for the army by the Quartermaster's Department should conform to the following conditions: They should be strong, stout, compact, sound, and kind; free from defects in every particular; from four to nine years old; from 850 to 1200 pounds in weight; from 14 to 16 hands high, and suitable in all respects for the transportation service of the army. If for draught purposes, they are to be well broken to harness; if for pack purposes, they need not be broken, and the standard of height may be reduced to 13½ hands, if the animal be in other respects suitable.
"Every animal will be branded with the letters U. S. on the left fore shoulder on the day he is received. A complete descriptive list will be made of each animal at the time of purchase, which will accompany him wherever he may be transferred."
Under ordinary circumstances none but gentle, well-broken mules from four to eight years old should be purchased.
New mules should be handled with the greatest patience, care, and kindness until they become thoroughly[50] accustomed to the new service required of them. All violence must be avoided, for mules are naturally timid and easily startled, and for this reason men of good temper should be employed in breaking them; any rough treatment is sure to lead to delay in the training and may cause irretrievable harm.
Age.—Ordinary limit 15 to 16 years; many live to 20, some to 30, years. From 8 to 12 he is in his prime.
Age is told by teeth, as with horses.
Sex.—Females are generally to be preferred to males for mountain-batteries, being, as a rule, more docile and better shaped.
Pace.—A battery-mule can walk four miles an hour. The average transport-mule walks a little over three miles an hour. A mule's pace is slow down but quick up hill. Mules show fatigue in their gait by drooping the head; the neck becomes horizontal and the ears droop back; the ordinary carriage of the latter is erect and forward; when the mule begins to fan them, he is probably tired.
Condition.—They should be kept in hard condition—not fat.
Watering.—They will ordinarily refuse hard or bad water; and sometimes decline to drink merely from fancy, and will water from a bucket when not from the stream. By throwing a handful of grass into the bucket of water, they may generally be induced to drink. They may be watered on the march, even when hot, if kept in motion afterward. Where there are leeches in a stream, be careful not to water too close to the bank.
Feeding.—The government allowance for a mule is 14 pounds of hay and 9 pounds of oats, corn, or barley per day. In special cases of hard service or exposure the Quartermaster-General may authorize the grain ration to be increased not to exceed 3 pounds when recommended by the Chief Quartermaster of the Department or of an[51] army in the field. One hundred pounds of straw per month is allowed for bedding.
It is a mistake to suppose that all mules require the same amount of food. The officer should notice each animal, and determine the increase or decrease in the regular ration to keep him in proper condition. A mule will eat as much as a horse of the same size; he will eat almost anything to keep from starving.
Salt, in a lump, or ground with feed, should be given whenever it can be had. It is obtained on requisition (Form 41) from the Subsistence Department, each animal being allowed 2 ounces per week; or 12 ounces per month if deemed necessary by the commanding officer.
Vinegar is similarly obtained for sanitary purposes, at the rate of 2 gallons per week per 100 animals.
Soft Food, bran-mashes, should be given at least once a week if possible.
Animals should be grazed whenever the opportunity occurs.
Care.—Grooming should be carried out as with horses, but need not be so elaborate. Manes are usually hogged; tails are cut, but not in hot weather during the fly season. The hair on the mule's heels should never be cut; nor should the mud, in the winter season, be washed off, but allowed to dry on the animal's legs, and then rubbed off with hay or straw.
Feet.—Keep in the natural state as nearly as possible. Mules suffer from standing on wet ground; but in dry climates, or in stables with modern floors, care should be taken that their feet get sufficient moisture, by wetting them or standing the animal a short time where this result will be obtained.
Shoeing.—The hot shoe must never be applied to the foot under any circumstances. Give the ground-surface a level bearing. Let the frog come to the ground; if it projects be[52]yond the shoe, so much the better; never under any circumstances cut it away. Never put a knife to the sole of the foot. Let the shoes be as light as possible, without calks if avoidable, exactly the shape of the animal's foot; secure with two nails on each side, an inch apart, and one in the toe.
The Putnam hot-forged nail is excellent.
Harnessing.—Meddle as little as possible with a mule's ears, as they are exceedingly sensitive. With care the mule can be easily bridled; but once struck on the head or pulled by the ear, there will be trouble ever after.
Pit the bridle carefully; see that the crown-piece is not too tight; that the bit fits easily in the mouth; that the corners of the mouth are not drawn up: otherwise the animal's mouth will become sore. The throat-latch must be loose.
See that the other parts of the harness fit properly and do not rub or gall the animal.
To harness a vicious mule, put the noose of a lariat over his head, taking care that it does not choke him; place him on the near side of a wagon; carry the end of the lariat between the spokes and around the felloe of the front wheel; walk back with it to the hind wheel, keeping it taut; pass the end between the spokes and around the felloe of that wheel, and pull the mule close to the wagon.
Take care to have the lariat as high as the mule's breast in front and the flank in rear.
Breaking.—Gentleness and patience are essential.
First let the animal smell the saddle, etc. (an old one if possible). Then saddle carefully, girthing up gradually; when the mule will walk quietly about saddled, the rest of the harness may be added by degrees, particular care being taken in first putting on the crupper. When quite used to harness, accustom the mule to the sight of the load—at first bags of sand, about 80 pounds each. Load with these, the weight being increased if necessary.
Battery-mules should follow the battery, barebacked, from their first arrival, and get used to the sights and sounds; and when broken to saddle and load, should go laden. They should be trained first on easy and then on difficult ground; also to cross shallow ditches and obstacles without hesitation, at first saddled, afterwards loaded. In leading a mule the rein should always be loose. A trained mule should lead. Avoid using the whip.
This treatment is about the same as for horses; common ailments are strangles, cold, sore mouth, poll-evil, fistulous withers, galls and sitfasts, thrush, colic, cramp, mange, grease. Where backs show the least sign of softness it is well to rub in salt and water. The same precaution should be taken with young mules about the part where the crupper is liable to chafe the dock, daily for a week before working.
Strangles.—This is a specific fever of young animals, usually attended with swellings and inflammations; an abscess generally forms between the bones of the lower jaw or elsewhere in groups of lymphatic glands; there are cough, difficulty of swallowing, discharge at the nostrils, and general prostration.
Treatment.—Give light bran-mashes, plenty of common salt, and keep the animal in a warm dry stable, with plenty of pure air. Encourage the ulcer; apply Gombault's balsam, if at hand, three times a day to induce suppuration, or, when it has come sufficiently to a head and appears soft enough to lance, do so, being careful to avoid the glands and veins. Tonics, three times a day, such as 20 grains of quinine, or 1 ounce ground gentian, or a teaspoonful powdered sulphate of iron.
Cold.—This disease seldom attacks mature mules in camp. Young stock on first being stabled, or stock out of[54] hot, badly ventilated stables, on exposure may contract colds. The animal appears out of condition, with slight fever, eyes dull, cough and nasal discharge.
Treatment.—Remove to airy box-stall; clothe and bandage; apply ammonia liniment to the throat if there be a cough; steam the nostrils. Open the bowels by injection of tepid soap-suds, or give one third of a dose of oil; feed soft food; give quinine 10-grain doses.
Sore Mouth.—There are few diseases to which the mule's teeth are subject after the permanent teeth are developed. If the gums are swollen from the cutting of teeth, a light stroke of the lancet over the gums at a point where the teeth are forcing their way through, and a little regard to the animal's diet, will be all that is necessary. Mules suffer from injury to the tongue and sore mouth, caused by bad treatment. With a sponge apply to the sore parts a light decoction of white-oak bark; give nourishing gruels or bran-mashes; keep the bit out of the mouth until healed.
The Eye.—Occasionally mules' eyes become inflamed and sore. Apply warm or, if not obtainable, cold water and remove the cause. (See Ophthalmia, Vet. Notes.)
Poll-evil.—Mules are quite subject to this disease. It begins with an ulcer or sore at the junction of the head and neck, and from its position, more than from any other cause, it is difficult to heal.
Treatment.—When the swelling first appears, use hot fomentations. If these are not at hand, use cold water frequently, and keep the bridle and halter from the parts. If ulceration nevertheless takes place, the seton must be skilfully applied.
Fistula.—Fistula of withers is due to bruises, bad-fitting saddle or harness, or rolling on hard substances. It generally first appears as a swelling, then inflammation sets in and a tumor begins to form.
Treatment.—The fistula in its first stages may be driven[55] away by frequent applications of cold water. Should the swelling continue, use warm fomentations, poultices, and stimulating embrocations. When in proper condition it should be opened, and kept so until all of the matter has escaped and the wound shows signs of healing.
The bowels should be opened by means of a cathartic of aloes.
Galls and Sitfasts.—One of the best remedies for saddle-gall is to remove the saddle pressure as much as possible, and bathe the back frequently with salt and cold water.
If this does not succeed the trouble will continue, and a root will form at the centre of the gall, the edges of which will be clear, the sitfast holding only by the root. In this case take a pair of pincers and pull it out. This done, bathe frequently with cold water. A little soothing oil, or grease free from salt, may be rubbed lightly on the parts as they begin to heal. One of the best remedies for galls is to cleanse the wound and blow into it a mixture of one part of iodoform to three parts of sulphur: if it be necessary to use the animal, cover the part with old-fashioned sticking-plaster.
Thrush.—Treatment.—Cut away the parts of the frog that seem to be destroyed; cleanse daily with castile soap, and apply muriatic acid, or a little tar mixed with salt on oakum or tow.
Colic.—The mule is quite subject to this complaint. Too much cold water or changes of grain will produce it.
The animal swells up, pants, looks around at his sides, paws, sweats above the eyes and on the flanks, becomes very restless, lying down and suddenly springing to his feet, lies down again, etc.
Treatment.—Drench with one ounce of chloral-hydrate in a half pint of water or two ounces of sulphuric ether and two ounces of tincture of opium in half pint of lin[56]seed oil, repeating the dose an hour afterwards if not relieved; or 2 oz. oil of turpentine, 1 oz. tinct. opium given in 12 oz. linseed oil or a pint of thick gruel. The belly should be well hand-rubbed and the animal walked about. Inject warm soap-suds.
Cramp.—Treatment.—A good hand-rubbing.
Mange.—Treatment.—Rub the animal with a mixture of hog's lard and sulphur, two pints of the latter to one pint of the former; cover with blanket; two days later wash clean with soft soap and water; blanket for a few days to avoid cold. Feed bran-mashes, plenty of salt and water.
Grease.—This is a diseased state of the skin of the legs, and more especially the hind ones. In the early stages it consists of an inflammation of the sweat-glands, followed by an offensive oily discharge. The principal cause is uncleanliness, or by washing the legs with cold water and not properly drying them afterwards.
Treatment.—Without cleanliness medical remedies are worthless. Apply poultices; leave them on half a day. Boiled turnips, carrots, bread and milk, or bran and hot water are all good. Apply Gombault's balsam, one part to four parts of glycerine, once every two days in chronic cases. Or clean the parts well with castile soap and warm water, and use an ointment made of powdered charcoal two ounces, lard or tallow four ounces, sulphur two ounces, mix thoroughly and rub in well by hand. Or gunpowder and lard or tallow, equal parts, is good; or dress with carbolized oil or oxide of zinc ointment.
Glanders.—A highly infectious and contagious disease of the lungs; incurable, and communicable to man.
The three characteristic signs are: 1. A peculiar transparent, glutinous, and continuous discharge, usually from one nostril, which discharge, moreover, accumulates and entangles all kinds of filth, so that it is unlikely to escape[57] observation. 2. Ulceration of the mucous membranes of the nostril: the process of ulceration much resembles the erosion of metals, there being first an oxidation and afterwards a breach of the surface, the patch having irregular margins and showing no disposition to heal, but, on the contrary, to spread. 3. An enlargement of the submaxillary gland in the channel formed between the lower jaw-bones, such enlargement being firmly attached to the bone and immovable. It further manifests no disposition to suppurate and form an abscess, but, on the contrary, remains unaltered so long as the animal is allowed to live.
Treatment.—On any one of the above-enumerated symptoms being reported, at once isolate the animal; have bedding destroyed, and carefully remove all clothing, stable utensils, etc., from the vicinity of other animals pending decision of a veterinary surgeon. Place a steady man in charge, and warn him of personal risk.
When assured an animal has glanders, have it shot at once, and burn all bedding, clothing, etc.
Mountain-artillery. General Instructions. Supply of Ammunition. Care and Preservation of Harness. Instructions for Drivers, etc. Marches. Camps. Weights and Dimensions of Foreign Mountain-artillery.
A mountain-battery should be self-reliant, and, as far as possible, independent of assistance beyond that of the usual escort furnished for its protection, and in the highest state of efficiency to take the field at a moment's notice.
It should be taken at least once a week for a march of ten or fifteen miles over the most difficult ground in its vicinity. Platoons completely equipped should be sent out separately once a week.
Every opportunity must be taken for instruction of officers and men in the many devices and methods of obtaining cover, protection from the weather, construction of huts, kitchens, ovens, latrines, etc., and the tactical use and care of the battery.
Mountain-batteries are organized by platoons; each being complete in itself and capable of being detached from the battery at a moment's notice. Therefore the whole of the equipment, stores, camp-equipage, and baggage belonging to each platoon should remain at all times under immediate charge of the chief of platoon.
In like manner chiefs of section should have charge of their respective sections, receiving their orders from their chiefs of platoon.
The baggage-mules form part of the section, and should[59] be picketed with the ordnance-mules of the section and be under the same supervision.
A set of heliographs and signal apparatus should be carried and used.
A mountain-battery must be able to climb and keep with infantry.
As the number of guns engaged is always small, concentration of fire is especially desirable, even when the ground does not admit of concentration of guns.
Mountain warfare involves frequent exposure to sudden attacks. Guns should therefore always have a strong infantry escort; but the fact of having an escort should not prevent the commander from having a lookout posted on his exposed flank.
Choice of positions and taking advantage of ground are exceptionally difficult, and need special training, quickness, and constant practice.
It is not always easy to secure a ready supply of ammunition. Firing should therefore be confined, as a rule, to the most effective ranges. It is a waste of ammunition to fire at long ranges.
Only as many ammunition-mules as are immediately required should be brought up to the battery; the remainder, with relief-mules, etc., should be kept under cover in rear.
Care must be taken to equalize the loads of ammunition-mules.
The position of the battery in the column, when there is a probability of being attacked, should never be too far to the front, but sufficiently so to come into action as soon as the advanced guard is engaged.
It should march after the second company of the main body if the advanced guard consists of only one company, or after the first company if only two companies are in the advanced guard.
The battery ought never to be broken up unless under[60] exceptional circumstances, such as there being insufficient space for the guns in line. In such cases the chiefs of platoon should keep up communication with the battery commander, who directs the fire generally.
This breaking up of the battery does not refer to small isolated columns to which platoons only may be attached.
Placed in position sufficiently far to the front to support the troops with which it is co-operating, without endangering the guns, any further change of position, excepting at the critical moment of pursuit or retreat, should not be made without some very strong reason. If a second position becomes necessary, the battery commander should first assure himself that he can reach it in time to carry out his idea, and without the liability of experiencing heavy loss.
Before coming into action the battery is divided into two lines, viz., the first line, consisting of the six guns and the twelve ammunition-mules, and the second line, consisting of the remaining ammunition-mules and spare material-mules of the battery.
The Supply of Ammunition is kept up as follows: In action the boxes of the first ammunition-mules are unloaded and placed in rear of the guns, or, if the ground permits, in rear of the flanks of the battery.
The unloaded mules are placed under cover near the remaining ammunition-mules of the first line, fifty or sixty yards in rear of the line.
The second line, under the first sergeant, is three or four hundred yards in rear of the first line and under cover.
The first ammunition-boxes unloaded have their contents distributed, by the non-commissioned officer in charge, to the proper cannoneers of each gun detachment; and as soon as the contents of half the boxes have been fired three of the second ammunition-mules are sent to the[61] front and their boxes removed; then, reloaded with empty boxes, they are sent to their position under cover.
To Supply the First Line from the Second Line.—The first sergeant tells off six ammunition-mules to be in readiness to move to the front, under a non-commissioned officer, when required.
As soon as the battery opens fire these mules are sent forward to the first line and remain there under cover. As soon as the first six ammunition-mules laden with empty boxes are assembled under cover they are sent back, under a non-commissioned officer, to the second line.
All harness should be periodically taken to pieces and thoroughly examined. It should be oiled with neat's-foot oil two or three times a year, and kept soft and pliable. Good castile soap and water should be used for washing harness, and the dressing furnished by the Ordnance Department. This dressing is applied with a woollen cloth, left on until the next day, and then thoroughly wiped off with a woollen cloth.
It is made as follows (ingredients for two gallons): 1 gal. neat's-foot oil, 2 lbs. bayberry tallow, 2 lbs. beeswax, 2 lbs. beef tallow. Place in a pan over a moderate fire and let the above ingredients remain one hour, until thoroughly dissolved; then add 2 quarts of castor oil and stir well until the mass comes to a boil, so that the ingredients may become thoroughly mixed; after which add 1 oz. lamp-black and stir well for ten minutes; then strain the liquid while hot through a cotton cloth to remove sediment of beeswax, tallow, and lamp-black, and put aside to cool.
Colgate's black harness-soap and Frank Miller's harness-soap, No. 2½, are excellent for cleaning harness and keeping it soft.
Blacking for Harness and Bridle Leather.—A decoction of iron-rust and vinegar, applied to the grain side of the leather after it has been stained. In staining, apply with a hair brush, a solution of logwood, sal-soda, and soft water.
Iron parts when rusted should be cleaned with kerosene, wiped dry, and then have applied a light coating of asphaltum paint; allow it to dry and then apply a second coat.
In the field there will not usually be much time or many materials for cleaning harness. Rust should be cleaned off ironwork with sand and then it should be oiled. Leather work should be kept soft and pliable. First remove the mud and dried sweat with as little water as possible and then work in a little oil or soft soap.
The carriage-mule is always the leader when packing, or on the near side in draught. This mule should therefore be the most tractable and intelligent.
The mule-driver is at the left of and near the head of his mule.
If the leader is well trained and intelligent it is better to let him have his head, the driver taking place abreast the saddle.
In saddling, the driver should make sure that the hair lies fair on the mule's back under the blanket; that the blanket is properly folded; that the saddle is securely girthed, and the load evenly balanced and firmly lashed.
When on a march, as soon as it is time to feed in the morning, rub off the animal's back until the hair lies smooth; place the blanket well forward on the withers and draw it back until in proper position. Saddle, drawing the cincha half tight, and feed. After feeding, and when ready to pack, draw up the cincha.
During packing and unpacking the driver should never leave the mule's head.
The pads should cover the mule from donkey-mark on wither nearly to hip-joint. Large pads cause less rocking of the load than small and give larger bearing surfaces; by distributing the load over a large surface of the back, the animal is enabled to carry it easier and with less chance of galls.
Pads properly stuffed show no creases in the lining, feel smooth, firm, elastic, and not too hard, and have no hard knots.
Stuffing should be of wool, well cleaned, and unravelled before use.
Avoid giving hard work on new stuffed pads, if possible; otherwise do not stuff pads too tight, but add daily as stuffing settles down. Pads must be quilted for about one and a half inches along the upper edge to keep the spine clear of pressure; also where girths cause friction. They should be beaten and brushed, but the stuffing should be seldom interfered with when once settled down. When hard it must be pricked up with an awl.
Injuries to mules from bad saddlery arise from uneven pressure in stuffing; stuffing working to front or rear, or getting hard or knotted; pads not properly quilted; badly made repairs; or extraneous substances getting between the pad and the mule's skin.
Surcingles should lie flat over and should not be tighter than the cincha. Breast-pieces and breeching should hang from their bearing-straps at such a height as not to impede the free action of the limbs or the breathing. The breast-piece should not hang on the point of the shoulder, but its top edge should reach to where the neck joins the body.
In going up or down hill the saddle and load should be kept in place by adjusting the breast-and breech-straps without halting.
The breast-strap should be tightened in ascents, slackened on the level and in descents.
Breeching should always be tightened in going down hill, when it and not the crupper should take the strain. Hip-straps should bring it about in line with its point of attachment to the saddle. If too high it may slip up under the tail when the strain comes on it.
The crupper should not be tighter than is necessary to keep the saddle from shifting forward. The dock of the crupper must at all times be kept soft, smooth, and pliable.
Breast-straps and crupper should be removed when the animal is fed and watered.
The leading-bit is to touch the corners of the mouth, but should be low enough not to wrinkle them; leading rein buckled to near side of the bit.
In warm climates march early to avoid the heat. Mules travel well at night. Men and animals should have food before marching.
Officers and non-commissioned officers superintend loading; at which all should be expert.
When the battery is loaded and formed, always inspect carefully to see that the work has been properly done. A habit of prompt loading is most important. One hour should be ample time between reveille and starting on the road.
In moving off, drivers must move promptly, and use the leading-rein with a very light hand. Mules move best with loose reins.
If avoidable, do not carry sick men on bareback or blanketed mules, as the animals get galled.
The distance between mules on good roads is one yard. In passing obstacles or difficult ground, distances must be increased as needed. Every mule should have his head.[65] Cannoneers should help to steady the loads. Occasionally it may be advisable to unload in passing obstacles.
Cannoneers should keep near their respective mules and not straggle; and must assist the drivers in watching and adjusting loads.
The driver must constantly watch his mule and load, and at once call attention to signs of uneasiness or anything requiring adjustment, if he cannot adjust it himself.
When a load becomes disarranged the mule must be fallen out and the load put to rights; the driver regains his place at the first opportunity.
Distances must be regained gradually, not by rushing: at an amble if absolutely necessary.
The pace should be regular and constant, smart, not hurried, about four miles an hour unless with other troops; in no case so fast as to cause trotting in rear. Forcing the pace or dragging it, many halts and checks without unloading or giving time for feeding and watering, are ruinous.
When a laden mule falls, keep his head down; cast off the straps and remove the load; unsaddle if necessary.
Always form battery advanced and rear guards of properly armed men.
It is sometimes convenient to have pioneer-tools with the advanced guard.
The sick transport marches with the rear-guard, whose special duty it is to keep every fraction of the battery ahead of it.
March on as broad a front as possible; but frequent changes are harassing.
When feasible, considerable distance between platoons makes marching easier.
Officers should constantly move along their commands, checking irregularities, regulating the pace, and supervising every detail as regards men, mules, and loads, while[66] avoiding harassing interference. This is especially important with pack-animals.
An officer should be in charge of the baggage if possible. In crossing fords some men should see to the loads, as the high action of the mules in passing through water is liable to unsteady them. Occasions may occur when the mule may be obliged to swim, and in such cases the saddle must be removed, and any attempt to guide the mule should be made by the slightest touch possible; pulling at the head is to be avoided. A mule swimming can be most easily turned by splashing the water against the side of the face opposite the direction required.
Keep to the spurs of hills in going up and generally in going down hill. Sometimes a short cut may be found down a ravine.
At the beginning of a march check the pace a little; make an early halt, so that men can fall out and adjust anything requiring it.
Occasional halts should be made afterwards. Short halts are best for pack-animals. At every halt non-commissioned officers and drivers inspect their animals and attend to any signs of galling or uneasiness. The rear closes up to its proper distance before halting.
On hill roads mules should be stood level across the road, heads outward from the hillside. If the path be too narrow for this, drivers must stand at their mules' heads to prevent the risk of a tumble down the hillside in attempts to graze. Mules are apt to roll when halted.
In marches with other troops, on halting always find out how long the halt is to be, and if time permits remove loads if practicable.
Advantage may be taken of long halts to water, and feed if advisable and means are at hand. A feed of grain should always be carried in the nose-bags if possible.
On long marches opportunities to feed and water should be sought for.
When halted allow the men to stray from their mules as little as possible. Disarrangement of loads and possible accidents are thereby avoided.
As pack-mules require very tight girthing, they should remain girthed as short a time as possible. Gun-and carriage-mules are the tightest girthed.
Their loads may be shifted to the relief-mules at the half-way halt, these mules not being tightly girthed until on the point of loading. Girths of the relieved mules should be slackened gradually, as sudden loosing of the girths causes swellings.
On reaching camp halt the battery, in line, in rear of the ground to be occupied, facing to the front. Indicate the positions for material, etc. The battery is then marched to the site of the gun-park and the guns formed action front, the stores and boxes being piled in rear of each gun. If possible make a foundation of stones, etc., for the piles of boxes to rest on, dig a trench around it, and cover the pile with a paulin firmly secured.
The men's tents are on either flank, the mules being picketed between the lines of tents. The officers' tents are on a line perpendicular to the men's tents, and about twenty-five yards from the end ones, and face inward. The guard-tents are near the flank guns.
After unloading, girths are loosened a little, and are allowed to remain so for fifteen minutes.
If the animals are warm they should be walked around until cool, and may then be watered. As a rule all watering should be superintended by an officer, and no man should be allowed to take more than two mules to water at the same time.
When the mules are put on the picket-line, remove bridles and wipe bits, loosen cincha a little, and place[68] breeching over saddle, and take off breast-strap if one be used. Sponge nostrils and eyes, rub heads with dry wisp, and feed hay or grass. Saddles are only removed by order; and when removed the men must examine shoulders, withers, sides, and docks, and report the result. Backs should be rubbed off until the hair lies smooth.
The saddles are placed on end behind the line, pads facing sun or wind to dry. When dry they should be carefully brushed, beaten if necessary, and all hair removed.
At afternoon stables mules are groomed, watered if necessary, and fed, and the grain for the next morning served out and the outfit arranged for use. In grooming never use a currycomb on the animal's back.
Saddles, back up, are on one paulin spread out between every two mules, with bridles, etc. The other paulin is then placed over the saddles and over the ends of the first paulin, which are turned up, and a strap is passed around it and buckled about two feet above the ground. In wet weather the ground on which the saddles are placed should be raised.
Grooming is the same as with horses; but mules hardly need the elaborate grooming usually bestowed on horses.
The mule's blanket is used for his covering at night, and in hot weather is folded up square on his back and secured there as a protection against the sun.
Gunners will require their detachments of cannoneers to clean up guns, etc., after a march.
All men for mountain-batteries should be picked men.
Troop "B," Fourth Cavalry, while in Arizona kept on hand ready to start on a scouting expedition with its pack-train: flour 500 lbs., hard bread 50 lbs., bacon 350 lbs., sugar 75 lbs., coffee 60 lbs., beans 50 lbs., salt 25 lbs., baking-powder 20 lbs.; 6 camp-kettles, 40 lbs.; 2 mess-boxes, 150 lbs.; 20 mess-pans, 10 lbs.; 1 axe, 1 spade, small[69] coffee-mill, 2 butcher-knives, 2 long forks, 2 long spoons, 3 or 4 tin plates, 3 frying-pans, soap, pepper, matches, and a few farrier's remedies. The baking-pans were circular, 12 inches in diameter at top and 9 at bottom.
The Rule for Making Bread was as follows: Dig a trench a little over a foot wide, a foot deep, and 12 feet long. Build a fire near it. Then mix 40 quart-cups of flour with salt, baking-powder and water in a mess-box; divide dough in ten equal parts and place each in a small mess-pan. Cover bottom of trench with a layer of coals 3 inches; then place on layer the pans of dough and cover same with larger pans so as to protect from dirt, etc. Fill trench and cover tops and sides of pans with coals. Leave for 1¼ hours. Each loaf will make four rations.
| Austria. | England. | France. | Italy. | Russia. | Spain. | Switzerland. | ||
| 7 cm. Model 1875. |
7 pdr. Jointed Model 1879. |
7 pdr. of 200 lbs. |
80 mm. Model 1878. |
7 cm. | 2.5 in. Model 1892. |
8 cm. Model 1874. |
75 mm. Model 1877. |
|
| Gun. | ||||||||
| Material | steel bronze |
steel | steel | steel | compress'd bronze |
steel | steel | steel |
| Weight, lbs. | 197 | 400 | 200 | 231.5 | 215 | 194 | 225 | 231.5 |
| Calibre, ins. | 2.6 | 2.5 | 3.0 | 3.15 | 2.95 | 2.5 | 3.09 | 2.95 |
| Total length, ft. | 3.28 | 5.87 | 3.41 | 3.94 | 3.28 | 3.31 | 3.31 | 3.20 |
| System of obturation | Wedge. Broadwell ring. |
Muzzle- loading |
Muzzle- loading |
Interrupted- screw de Bange. |
Wedge. | Interrupted- screw de Bange. |
Interrupted- screw steel cup. |
Wedge. Broadwell ring. |
| Carriage. | ||||||||
| Weight, without wheels, lbs. | 150 | 324 | 206 | 322 | 198 | 325 | 240 | 205 |
| Weight, complete with gun | 440 | 936 | 550 | 661 | 551 | 683 | 684 | 673 |
| Width of track, ins. | 27.5 | 36 | 27 | 26.8 | 27.9 | 32.8 | 34.4 | 29.9 |
| Diam. of wheels, ins. | 37.4 | 36 | 36 | 37 | 37.6 | 40.8 | 35.4 | ---- |
| Service charge, lbs. | 0.77 | 1.5 | 0.75 | 0.88 | 0.66 | 0.81 | 0.88 | 0.88 |
| Shell, Common. | ||||||||
| Weight (full), lbs. | 6.4 | 7 | 7.31 | 12.3 | 9.43 | 8.8 | 8.54 | 9.26 |
| Bursting-charge, oz. | 3.37 | 4 | 6.5 | 5.27 | 4.96 | 4.22 | 7.04 | 3.52 |
| Shrapnel.[71] | ||||||||
| Weight (full), lbs. | 6.9 | 7 | 7 | 13.90 | 9.26 | 8.9 | 10.3 | 9.48 |
| Bursting-charge, oz. | 1.3 | 0.5 | 0.5 | 2.82 | 1.76 | 1.05 | 0.35 | 1.94 |
| Number of bullets | 65 | 100 | 42 | 120 | 109 | 100 | 90 | 112 |
| Initial velocity, f. s. | 979 | 1440 | 950 | 843 | 840 | 932 | 95 | 899 |
| No. of Rounds. | ||||||||
| Per gun[1] | 32 | 96 | 90 | 70 | 74 | 96 | 100 | 20 |
| Per battery[2] | 448 | 864 | 810 | 840 | 1704 | 1536 | 600 | 600 |
| No. of Animals. | ||||||||
| Per battery | 67 | 220 | 184 | 94 Algeria 150 |
148 | 206 | 81 | 83 |
| No. of Personnel. | ||||||||
| Per battery | 111 | 287 | 245 | 160 Algeria 242 |
286 | 306 | 197 | 170 |
| No. of Guns. | ||||||||
| Per battery | 4 | 6 | 6 | 6 | 6 | 8 | 6 | 6 |
PART II.
FIELD-ARTILLERY.
Construction of Field-guns.
The guns described in this and the next chapter are built-up guns made of low steel, and all the parts are tempered in oil.
The tube enters the jacket from the front[3] and has shoulders upon it, which come in contact with corresponding shoulders in the jacket. These shoulders prevent any forward movement of the tube or rear movement of the jacket.
The tube tapers from in front of the jacket to the muzzle, which ends in a swell.
The exterior of the jacket is made up of a series of tapering surfaces.
On the interior surface, starting from the rear end, there are first, the seat for the carrier-ring in the jacket, which also contains the slotted and threaded sectors for holding the breech-block; in front of this is the tapering gas-check seat in the tube; and forward of this is the cylindrical powder-chamber, which is connected to the shot-chamber by a slope. The shot-chamber also is cylindrical and connected with the bore by a slope.
The vent being axial in the model of '90, enters the powder-chamber through and along the axis of the spindle of the obturator. In front of the gas-check seat in the model of '85 there is a cylindrical surface leading to the ellipsoidal powder-chamber, which is connected with the shot-chamber by a slope, and the radial vent enters 12½ inches from the rear face of the jacket and at the maximum diameter of the powder-chamber. The vent-piece, made of copper, is screwed into position, the part projecting above the surface of the piece being rectangular.
The principal parts are the breech-block, the carrier-ring, the obturator, the lever-handle, the bronze handle, and the vent-cover.
THE BREECH-BLOCK.
Fig. 30.
The Block, Fig. 30, is threaded for a distance of four inches from its forward end, and the circumference of the thread is divided into six equal parts. The threads of the block are[74] removed along three alternate sectors, as is usual in the interrupted-screw fermature, to allow the block to slide in the corresponding slotted sectors in the jacket (or base-ring in earlier model).
The threaded sectors engage in the corresponding slotted sectors in the breech-block, but one sixth of a turn of the block will engage the screw-threads of both.
The interior of the block is bored out to form the obturator-spindle recess.
At the end of the block are two lugs for the lever-handle. On the right one is a shoulder which limits the motion of the lever-handle.
The Nose is the front end of the block, slightly reduced in diameter in order to partly enter the gas-check seat.
The Stop-groove, into which the stop on the carrier-ring enters, is in the planed sector on the left-hand side.
Fig. 31.
The Latch-groove (Fig. 31) is in two parts, one longitudinal (d), at the front end of the block, and the other transverse (a), at the rear end. The stem of the latch drops into the front groove (e) when the block is withdrawn, and into the rear groove (b) when the block is revolved into its firing position, in each case unlocking the carrier-ring from the jacket—in the first case, so that it maybe swung back;[75] in the second, to prevent the breaking of the latch when the gun is discharged.
The Locking-recess (e) is at the front end of the longitudinal latch-groove. The stem of the latch drops into it when the block is withdrawn, and thus locks the block positively to the carrier-ring.
The Guide-groove is the cylindrical recess at the rear of the block in which the guide-sectors move when the block is rotated.
THE CARRIER-RING.
Fig. 32.
The Guide-sectors (b, Fig. 32) are three projections from the interior of the carrier-ring (h), which fit in the slotted sectors of the breech-block and guide it during its motion through the carrier-ring.
The Latch-cover (i) is a separate piece which covers the latch and its spring, and is secured to the carrier-ring by two screws (j). On removing this plate the latch and spring can be taken out.
The Latch (f in Fig. 32) fits in a recess in the carrier-ring on the right side. It is acted on by a spring (b, Fig. 33), which pushes it constantly toward the axis of the carrier-ring. Its inner end or stem (a) rests on the surface of one of the slotted sectors, except at the end of its travel, when it drops into the corresponding recess in the block. As long as its stem rests on the surface of the sector its outer end or nose projects beyond the exterior surface of the carrier-ring, and, entering a recess in the jacket, locks the carrier-ring to the jacket. When the stem drops into its recesses, the nose of the latch is withdrawn by the action of the spring and the carrier-ring is unlocked. The front face of the latch has a recess (h), into which fits a hardened stud (s) that is screwed into the rear face of the jacket. This stud acting against the recess lifts the latch out of its locking-recess in the breech-block, and holds it in a position such that the stem can pass up the inclined groove. In order that the stud may act on the latch, a hole (g) is drilled through the front face of the carrier-ring for the stud to pass through.
Fig. 33.
The functions of the latch-spring have already been explained.
The Stop (c, Fig. 32) enters the carrier-ring on the left side between the lugs (e), and projects beyond the bore of the carrier-ring, entering a groove in the breech-block which is cut for it. This stop limits the travel of the block to the rear in withdrawing it, and also limits its rotation.
The Hinge-pin enters the lugs (e) of the carrier-ring and[77] a corresponding lug on the jacket from below, and the carrier-ring swings around it in opening. The bore is the diameter of the ring across guide-sectors.
The exterior taper forms the surface of contact of carrier-ring with jacket.
The lugs (e) are the bearings for the hinge-pin. The carrier-ring, as its name indicates, carries the breech-block when the latter is withdrawn, and by means of it the block may be swung round out of the way for loading.
THE DE BANGE OBTURATOR.
Fig. 34.
The principal parts are: the spindle (a); the front cup (f); the rear cup (f′); the pad (g); the spring (j); the nut (h); the spline-screw (k).
The spindle has a mushroom-shaped head (b), and a stem, which extends through the breech-block and terminates in a screw-thread. The breech-block is recessed correspondingly. In guns with axial vents, the vent (c), 0.2 inch in diameter, passes through the axis of the spindle,[78] and the copper bushing (d) is inserted by pressure at the front end.
The front and rear gas-check cups are of steel, and hold between them a plastic pad made of certain proportions of asbestos and tallow and covered with canvas (with disks of copper (m) on either side in the revised model,) and a diagonally-split ring (n) of steel is used to cut off the escape of gas.
A spiral spring (j) surrounds the stem of the obturator at the rear of the block, and bears against a shoulder on the block and a nut (h) on the screw-thread of the spindle. This spring, which acts to press the spindle back, keeps the cups and pad in place, takes up any set of the pad due to firing, and prevents the fracture of the screwed end of the stem.
The spline-screw (k) holds the nut on the spindle in position and prevents its unscrewing when the pad sticks in its seat after firing.
THE FREYRE OBTURATOR.
Fig. 35.
The principal parts are (Fig. 35): the spindle (a); the gas-check ring (f); the spring (e); the obturator-nut (d); the locking-nut (d′), or the spline-screw.
The Spindle has a head (g) at the forward end, its surface being plane and its sides conical, with the larger diameter of the cone in front. The vent (c), 0.2 inch in diameter, passes through the axis of the spindle, and the copper bushing (c) is inserted by pressure at the front end.
The Gas-check Ring (f) is nearly triangular in section, coming to a point at the front. It fits accurately on the conical surface of the head of the spindle, and is slightly longer in the direction of the axis of the bore than this head. Its rear surface rests against the front surface of the block, while the rear surface of the head is not in contact with this front surface, and can only be brought in contact with it by a heavy pressure, which will expand the gas-check ring.
The Spring (e) acts against a shoulder in the block and a corresponding shoulder on the obturator-spindle, and tends to press the spindle forward.
The Obturator-nut (d) prevents the action of the spring from forcing the spindle too far forward, and also regulates the tension of the spring.
The spline-screw acts as in the de Bange system. This screw is used in place of the locking-nut (d′) shown in figure.
(See Fig. 37.)
This handle (h) acts as a lever to rotate the block, its head acting as a cam to withdraw the block and obturator when the latter sticks after firing, and to lock the block in the carrier-ring and prevent rotation during firing. It is supported in the lugs (l) of the breech-block by a pin (e) and rotates with the pin; to which it is secured by a screw[80] entering vertically. The head of this pin has a projection (a) which strikes against the corresponding stop on the right lug and limits the motion of the lever-handle.
(See Fig. 37.)
This handle (g) is attached to the breech-block by two screws. Its purpose is to assist in withdrawing and pushing in the breech-block.
THE VENT-COVER.
Fig. 36.
For Axial Vent.—A radial slot (a, Fig. 36) is made in the rear part of the breech-block, in which slides a piece of metal (b) having a pin (c) projecting from its forward face next the gun. This pin fits into a groove (d) cut in the rear face of the carrier-ring, which is eccentric at its lower end, so that when the block is placed in firing position the slide is raised and the vent uncovered.
For Radial Vent.—This consists of a long arm, secured in position on top of the gun so that it can slide. The under side at its rear end has a slight projection, which engages over a shoulder on the lever-handle. When the lever-handle is raised a shoulder on it bears against the end[81] of the arm, pushes it forward and covers the vent; when the block is in firing position and the lever-handle is lowered the shoulder bears against the projection and draws back the arm, thereby uncovering the vent.
ACTION OF THE BREECH MECHANISM.
Fig. 37.
Suppose the breech closed and the gun ready for firing. In this position the threads of the breech-block are engaged in the threads of the jacket (revised model) or base-ring (model '85); the gas-check is in its seat; the lower end of the latch is at the end of the transverse groove in the block; the nose of the latch is withdrawn from its recess in the jacket, and the carrier-ring is unlocked; the lever-handle is vertical, its cam in the recess in the carrier-ring, and its lower end in the recess in the jacket.
To Open the Breech.—Grasp the lever-handle (h, Fig. 37) with the left hand, thumb down, and raise it until it strikes the stop, then rotate the block as far as possible to the left;[82] lower the lever-handle: its cam (d), acting against the surface (r) of the carrier-ring, will withdraw the gas-check if it sticks in its seat. This rotation of the block pushes the latch into its recess and locks the carrier-ring to the jacket. Grasp the bronze-handle (g) with the right hand, thumb to the right, and withdraw the block until it comes up against the stop. In this position the stem of the latch drops into the locking-recess, locking the block to the carrier-ring, and at the same time unlocking the carrier-ring from the jacket; swing the block and carrier-ring around to the left and insert the projectile and charge.
To Close the Breech.—Seize the bronze-handle with the right hand, thumb to the right, and swing the carrier-ring and block around until the carrier-ring is in its seat, grasping the lever-handle with the left hand, thumb down, at the same time, and raising the handle until it strikes the stop. The carrier-ring should be brought up to its seat sharply, but without slamming, and should be held firmly for an instant, otherwise the ring may start back slightly from the jar and the retracting-stud fail to hold the latch-pin high enough to allow the block to move forward.
When the carrier-ring strikes its seat the retracting-stud enters the hole in the front face of the ring, and, acting on the recess in the latch, lifts the latch to its travelling position, that is, lifts it out of the locking-recess and holds it in such a position that when the block is pushed forward, the lower end of the latch will strike the inclined surface at the front of the longitudinal groove.
Raise the lever-handle until it rests against the stop, and push the block forward until it stops. During this travel the lower end of the latch has moved up the inclined surface of the longitudinal groove and has locked the carrier-ring to the jacket.
Revolve the block one sixth of a turn until it strikes the stop; lower the lever-handle to its proper position, when[83] everything will be in the condition first described, the vent will be uncovered, and the gun will be ready for firing.
When the block is revolved one sixth of a turn the lower end of the latch gradually drops into its groove, unlocking the carrier-ring, which remains so during firing.
1. Raise the lever-handle and turn the breech-block to the left.
2. Take out hinge-pin screws and remove the hinge-pin.
3. Withdraw the breech-block with carrier-ring.
4. Take out the latch-cover screws and remove the latch-cover, latch-spring, and latch.
5. Take out the stop-screw and remove the stop.
6. Take off the carrier-ring.
De Bange Obturator.
7. Remove the spline-screw and take off the nut.
8. Take out the spindle.
9. Take out the spring.
10. Take off the obturator cups and pad.
Freyre Obturator.
7. Remove the spline-screw and take off the nut.
8. Take out the spindle.
9. Take out the spring.
10. Take off the gas-check ring and face-plate.
De Bange Obturator.
1. Put the obturator cups and pad in place on spindle.
2. Put in the spring.
3. Put in the spindle.
4. Screw on the nut, and put in the spline-screw.
Freyre Obturator.
1. Put the gas-check ring and face-plate in place.
2. Put in the spring.
3. Put in the spindle.
4. Screw on the nut, and put in the spline-screw.
5. Put the carrier-ring on the breech-block.
6. Put in the stop and screw.
7. Put in the latch, the latch-spring; put on the latch-cover and screws.
8. Insert the breech-block with carrier-ring into the gun.
9. Put in the hinge-pin and screws.
10. Lock the block.
Experiments are now being made with the view of introducing metallic ammunition, and it is possible that a breech mechanism similar to the Driggs-Schroeder or the Gerdom will be adopted. A general description of each is therefore given, and also the proposed method of supplying ammunition.
The Driggs-Schroeder Breech Mechanism.
Fig. 37a.
The cuts show the positions of the block when locked, when unlocked, and when revolved to the rear.
The breech-block (b), weighing 31 lbs., has bands (c) on top and sides that fit in corresponding grooves in the[85] jacket; these bands have an inclination of 2½ degrees to the front and upward to secure complete obturation and facilitate locking and unlocking.
There is a transverse hole (i) through the block for the main bolt (d); it is lengthened in a nearly vertical direction so that the first motion of the operating-handle causes, by the action of the main cam (e), the block to descend and disengage the bands from the grooves in the breech, after which the block rotates to the rear and rests on the tray. Guide-bolts (k), screwed through each side of the curtain, project into guide-grooves (l) cut in each side of the block and confine its movement.
The main cam, firing-pin and spring, and sear and sear-spring are contained in the block, the front face of which bears a heavy removable plate (a).
The firing-pin has under its rear part full-cock and half-cock studs; and the sear, actuated by its spring, presses up against it and engages the studs in succession as the firing-pin is forced to the rear by the action of the main cam against the lug on the under side of the firing-pin. The point of this lug always rests in the circular groove in the upper rear face of the main cam.
The extractors (j), one on either side, lie flat against the rear face of the tube of the gun and in recesses in the front face of the block. They revolve on pivots which work in recesses in the curtain. The rear sides of the tails of the extractors and the lower front corners of the breech-block form cam surfaces so arranged that when the block rotates to the rear the extractors extract and eject the cartridge-case.
The spring lock on the handle prevents the main bolt and block from moving, when the breech is closed, under stress other than that applied directly to the handle.
1. Back out the guide-bolts far enough to clear the guide-grooves. 2. Half-cock. 3. Take off handle. 4. Tap the main bolt gently to start it and withdraw it completely, supporting the block with the hand. 5. Lower the block out of place, tilting it slightly to the rear so as to clear the extractors.
1. Full-cock the firing-pin before removing the face-plate. 2. Remove face-plate. 3. Ease firing-pin forward and remove finger-catch. 4. Take out main cam, firing-pin, and spring. 5. Push sear-plug in a little, turn it until the stud is fair for coming out, and remove it and the sear and spring.
Proceed in the reverse order. Put in successively the firing-pin spring, the firing-pin, and the main cam. The front side of this cam is marked "out." The firing-pin must be full-cocked before putting on the face-plate and then let down to half-cock. An arrow on the head of the main bolt being brought in line with the arrow on the curtain indicates the proper "square" for the hexagonal bearing in the cam.
The breech-block has two threaded and two plain sectors (each 90 degrees) with corresponding sectors in the breech of the gun, so that the block is locked or unlocked by a quarter of a turn. The block contains a firing-pin which, with its spring, is inserted from the front end of the block,[87] which is then closed by a threaded cap. The centre hole in this cap permits the striking end of the pin to come through to the front in certain positions of the block and to hit the primer. The rear end of the block is countersunk to receive the operating-lever, the locking-latch and its spring, the cocking-lever and its hinge-pin, the trunnioned collar, the notched cap, and the sear and its spring.
The extracting-device engages in front of the cartridge-head and grips it for more than one eighth of its circumference. Its motion is guided parallel to the axis of the piece by two cylindrical arms working in slots cut in the breech. Swinging the carrier-ring around its pivot causes the extracting-device first to act as a wedge to loosen the cartridge-case, and then by a rapid motion the case is thrown out of the gun, or far enough to the rear in the breech to be easily removed by hand.
The operation of the mechanism of the gun is as follows:
The operating-lever is seized with the left hand, and a handle on the right rear face of the carrier-ring with the right hand. The lever is pulled slightly more than 90° to the left.
The first motion of the lever unlocks the cocking-latch; the remainder of the motion rotates the block in the carrier-ring, disengaging the screw-threads. During this motion of rotation the cocking-lever has pulled back the firing-pin, which is held in position by an edge of the sear engaging under a notch on the screw-cap.
The carrier-ring is then swung to the left by the handle in the right hand.
The block moves to the left with the ring and passes partly through the slot out of the breech and uncovers the bore.
The first motion of the ring loosens the cartridge-case, as before described, and then ejects it. The new charge is[88] then thrown in, no care being taken to seat it; the ring swung to, and the block rotated and locked.
As soon as the block is locked, pulling the sear fires the gun.
Smokeless powder will be used, about 1¾ lbs. forming the charge.
The shell, cast iron, weighs 16 lbs. and also contains a bursting-charge of 8 oz. of powder.
The shrapnel will be similar to the Frankford Arsenal shrapnel now manufactured, but longer and heavier (16 lbs. 10 oz.), and will break into about 240 pieces (balls and fragments).
The metallic case, brass or aluminum, has the projectile inserted in it to the distance of 1.75 inches, the base of the projectile being separated from the powder-charge by a felt wad. The total length of a round is 18.33 inches.
Experiments with charges of Troisdorf powder from 1 lb. 8 oz. to 2 lbs. 1 oz. have given with the 3.2-inch gun velocities from 1765 to 2032 ft.-sec.
Supplying Ammunition.—It is proposed to have boxes that can be readily opened and closed containing a certain number of rounds, about ten for 3.2-inch gun, carried by the supply-train. When a battery requires ammunition, the boxes will be taken from the ammunition-wagon, opened and the chests filled. The empty metallic cases with the battery are then placed in the boxes, which are securely closed, loaded on the ammunition-wagon and returned to the depot by the officer in charge; and are from there returned by the ordnance officer to the Frankford Arsenal to be again filled and prepared for service. The cost of supplying ammunition by this method will be less than it is now.
3.2-inch Guns. Sights. Ammunition. Fuzes. Range Table.
| Material | steel |
| Total length | 7.56 feet |
| Calibre | 3.2 inches |
| Weight | 829 pounds |
| Grooves | 24 |
| Twist of rifling, uniform | 1 turn in 30 calibres |
| Axis of trunnions above ground | 3.56 feet |
| Powder-chamber | ellipsoidal |
| Vent | radial |
| Preponderance | 50 pounds |
| Muzzle velocity | 1685 ft.-sec. |
| Maximum range for shrapnel[4] | 6613 yards |
This gun consists of a tube (a), jacket (b), trunnion-ring (c), sleeve (d), key-ring (e), locking-ring (f), base-ring (g), and breech mechanism, De Bange obturator, vent-bushing of copper.
| Material | steel |
| Total length | 7.31 feet |
| Calibre | 3.2 inches |
| Weight | 794 pounds |
| Grooves | 24 |
| Twist of rifling, increasing | 1 turn in 50 to 1 turn in 25 calibres |
| Axis of trunnions above ground | 3.56 feet[90] |
| Powder-chamber | cylindrical |
| Vent | axial |
| Preponderance | 31 lbs. |
| Muzzle velocity | 1685 ft.-sec. |
| Maximum range for shrapnel | 6613 yards |
| Distance between sights | 30.7 inches |
This gun consists of tube (g), jacket (h), and breech mechanism, De Bange obturator, vent-bushing of copper.
The jacket, trunnion-ring, base-ring, and sleeve, of the model of 1885, form one piece, and the key-ring is omitted, as the tube and jacket are locked firmly together by shoulders (a, b, c) in rear and shoulders in front, with a projection on the tube that fits into a corresponding recess in the jacket.
d is the powder-chamber, f the slope from no lands to maximum lands, and e the connecting slope for seat of rotary band.
The vent-cover is a pin working in a slot in the face of the carrier-ring. (See Fig. 36.)
Fig. 38.
Fig. 39.
Fig. 40.
The Front Sight (Fig. 40) is attached to the right rim-base, and consists of the base a, the standard b, and the cylinder c, all formed in one piece. The cylinder c is a bushing open[91][92] at both ends, the interior being formed of two conical frustums c′ joined at their smaller bases and having at this junction cross-wires (+), d, of platinum, which give the exact centre of the sight. In the new sights the cross-wires of watch-spring are placed diagonally (X). The cross-wires are used with the peep of the breech-sight, and the point e on top is used with the open sight.
Fig. 41.
The Breech-sight (Fig. 41) consists of a tangent scale affixed to a circular base revolving in a plane normal to the axis of the piece to compensate for inclination of trunnions when on uneven ground. The scale moves laterally on its base to correct for wind and drift, and bears a spirit-level, f. Along the vertical limb, C, of the sight, which is slotted, moves an eye-piece, D, actuated by a screw, d. This eye-piece (bearing the peep-sight d′) extends on either side of the slot, the lower edge being horizontal and bevelled. The one on the right is graduated into ten equal parts. (The vertical limb being graduated into degrees (0 to 15°), and then sub-divided by diagonals into sixths, a diagonal scale of equal parts reading to minutes is obtained. The rear sights now being issued have range[93] scales in yards for shell and shrapnel engraved upon the sight in addition to the degree scale. The scale of yards for shrapnel on the rear face of the sight, left side, is arranged with diagonal lines, to be read in the same manner as the degree scale. Each diagonal embraces 250 yards of range, and there are five divisions on the upper edge of the slide, by which this space is sub-divided, so that the intervals of 50 yards in range are read directly from the scale.
The scale of yards for shell, on the front face of the sight, is marked for each 100 yards of range, and is read from an index line on the slide.
The horizontal limb, or cross-bar, e, which is actuated by the screws e′e′, is graduated into spaces, each of which corresponds to a deviation equal to 1/345 of the range. (In future constructions this division will correspond to 1/1000 of the range.) This variation is tabulated in the range table under the heading "Deflection for one division of the horizontal scale."
By means of a pivot, B, the sight proper is attached to the stem A, the axis of rotation being at the zero of the scale. The stem tapers so as to fit into the sight-socket fixed at the breech. A pin projecting from the stem, and fitting in a recess in the socket, insures the sight being properly placed on the gun.
The sight is first levelled and clamped by means of the clamp-screw a before sighting. Vertical and horizontal changes for elevation, drift, etc., are given by the thumb-screws d and e′e′.
(Fig. 41a.)
This instrument, now under consideration for use with field-artillery, to replace wholly or in part the rear sight, is made principally of bronze, and comprises the arc a, the slide b, and the level-piece c.
The arc has two small seating plates, d d, secured to its base by countersunk screws.
The slide is connected to the arc by a dovetail-joint, and moves over it, the friction of a spring keeping the slide in any desired position. The tension of this spring is adjusted by the two screws on the side of the slide.
Fig. 41a.
The steel pin on the under surface of the slide moves in the groove on the upper surface of the arc, and, by abutting against the steel stop-pins e at each end of the groove, prevents the slide from being moved off the arc. The arc is graduated from 0 to 20 degrees, but readings to 2 minutes are obtained by means of the vernier, f, at the rear of the slide.
Plates, graduated in yards for shell or shrapnel, are on either side of the arc. They are removable, being graduated for the piece with which the arc is used.
The zero index-marks on the sides of the slide are supplemented by two others equidistant, plus 2 degrees and minus 2 degrees. Any one of the three may be used in setting the slide to a desired range in yards.
The top of the slide has a scale, graduated 3 degrees on either side of the zero, with sub-divisions of 6 minutes; the markings plus and minus are the reverse of those on the side of the slide. The vernier, g, on the level-piece permits of a least reading of 2 minutes being obtained. Motion is given the level-piece by the deflection-screw h.
To set the pointing arc, make the zero of the level-piece coincide with the zero of the slide-scale, and then take the required elevation in yards on the side desired. Should the piece and object fired at be on different levels, and the angle known, the index of the level is moved to indicate this angle—to the plus side if an elevation, and to the minus side if a depression; then take the elevation in yards as before.
The correction is made in this way for 3 degrees or less, but for angles above 3, up to 5 degrees, the 2-degree marks on the side of the slide must be used, the index mark of the level being moved to coincide with the mark corresponding to the number of degrees—elevation or depression—less 2 degrees. The plus 2-degree mark is used as an index when the object has an elevation, and the minus 2-degree mark when a depression.
To obtain the angle corresponding to difference of level, sight the piece on the object by the ordinary sight, using any elevation; set the pointing arc at this elevation, and move the level-piece by the deflecting-screw until the air-bubble is centred. The index of the level-piece then points to the desired angle—plus if an elevation, and minus if a depression.
If the wheels of the carriage be not on the same level the gun will shoot towards the lower wheel. A correction for this is made by a deflection-scale.
The correction for deflection due to inclination of trunnions, expressed in units of the deflection-scale, is, at any range, equal to the product of the angle of elevation and[96] the angle of inclination of the trunnions, both expressed in degrees, into a constant multiplier. When the divisions of the deflection scale are 1/500 of the distance between the sights this multiplier is 0.1523; when the divisions are 1/1000 it is 0.3046. The rear sight must be moved towards the higher wheel.
The ordinary friction-primer is used for radial vents; for axial vents an attachment is made to the friction-primer of a thin brass wire about 18 inches long, looped or coiled for convenience, and having one end fastened in the loop of the friction-wire, and the other around the head of the body of the friction-primer.
The cartridge-bag is used, but experiments are now being made with metallic cases. (This proposed metallic ammunition for 3.2-inch guns comprises a projectile weighing 16½ pounds, with a suitable charge of smokeless powder to give an initial velocity of 1450 ft.-sec.)
| Charge of powder | 3¾ pounds I. K. |
| 3½ " sphero-hex. | |
| Weight of projectile filled | 13½ " |
| Bursting-charge of shell | 7 ounces |
| Bursting-charge of shrapnel | 3 " |
Shell, shrapnel, and canister are used.
Shell.—The base-percussion-fuze shell (Fig. 42) is made of cast iron in one piece, having a band of soft brass or copper forced into a recess on the outside, ⅝ of an inch from the base. The body and half of the head are painted black; the half of the head nearest the point is painted vermilion.
Canister.—The canister (Fig. 43) consists of a hollow cylin[97]der of malleable iron, with one end closed by a cast head. The case is filled with from 222 to 226 balls, and a metal cover is inserted. Around the case are several slits, their ends overlapping to secure the thorough breaking up of the case on discharge.
Fig. 42.
Fig. 43.
There are several small holes in the head, through which a portion of the gas of the exploded powder-charge enters, drives forward the balls, and assists in disrupting the case.
Total weight of a round, 11 lbs. 10 oz.
This projectile is painted black.
Fig. 44.
Shrapnel.—The Frankford Arsenal shrapnel (Fig. 44) weighs 1310/16 lbs. Exclusive of filling it consists of three parts, viz., head (d), body (a), and base (b). The head is made of cast iron, bored and threaded to receive the fuze, and contains a powder-chamber which is lacquered to prevent danger of premature ignition by friction. The body is made of lap-welded wrought-iron or low-steel tubing, and is weakened for fracture by circular and longitudinal grooves on the inside. It contains 162 hardened lead balls, ½ inch in diameter, which are assembled in circular layers and held in position by cast-iron separators, which increase the effect of ex[98]plosion by furnishing additional fragments. The base is made of cast iron threaded to screw into the cylindrical case, and is so formed as to provide a support for the copper band to prevent deformation of the case at this point from shock of discharge, c is the rotating band. This projectile is painted, body black, head vermilion.
| Total weight, ready for firing | 13 lbs. 10 oz. |
| Total number of balls and individual pieces | 201 |
| Bursting-charge | 3 ounces |
(Fig. 45.)
Fig. 45.
The entire case is of wrought steel electrically welded together so as to form a complete hardened wrought-steel case without joint. The powder-chamber is formed in the base by a hard wrought-steel diaphragm (d) supported by a cast-iron spider, and connected through the centre of the shell (axially) to the fuze-opening by a cast-iron tube. It is smooth-finished, and either tinned or lacquered. The shell contains 170 bullets (34 to the pound) packed in circular layers, and they are held firmly in position by a resin matrix. The bullets are introduced through a hole at c.
The exterior is painted as follows: body from the band forward, to include three fifths of head, black; remaining part of head, and part of body in rear of band, vermilion. The band is of copper.
| Total weight of projectile complete | 13½ pounds |
| Total number of balls and individual pieces | 228 |
| Weight of bursting-charge | 3 ounces |
The Frankford Arsenal combination fuze is used. This fuze weighs 17½ ounces; but if made of aluminum it will weigh only 7¾ oz. For field-artillery guns it is graduated from 1 to 15 seconds, the graduations being based upon the time of burning in flight. Each entire second is marked by a through-hole in the cone-cover, and each of these spaces is sub-divided into six equal spaces by holes nearly through the cover, which for the 3.2-inch gun will correspond to the following distances, viz.: 70 yards at 1000 yards range; 55 yards at 2000 yards range; 48 yards at 3000 yards range; 42 yards at 4000 yards range.
The following table gives the mean of five shots in each group:
| Seconds. | Range. |
| 2 | 883 yards |
| 3 | 1401 " |
| 5 | 1966 " |
| 6 | 2433 " |
| 8 | 3037 " |
| 9 | 3461 " |
| 12 | 4225 " |
This is a time and percussion fuze (Fig. 46). It weighs 17½ oz. The time element is contained in the front part of the bronze body (a) of the fuze, and the percussion element in the rear part. The time-plunger (b) has five lugs (k) which hold the plunger in position above the firmly fixed steel firing-pin (c) after the safety-pin has been withdrawn; these lugs are broken by the shock of discharge. The safety-pin[100] (j) passes through a hole in the upper part of the plunger, and it and the lugs are protected by the brass cap which is pierced to allow the insertion of the safety-pin.
Fig. 46.
By this arrangement the plunger and its lugs are entirely protected from any blow that may be received on the nose of the fuze. The priming composition is contained in the base of the plunger (at i), and is protected by a disk of tinfoil.
The compressed powder-ring (q) is held in a groove in the body of the fuze by a brass ring, and four holes (p) permit the flame from the composition (i) to ignite it.
The cone (d), made of an alloy, is held in place by a brass clamping-nut (h) and two brass pins (l). A lip (m)[101] on the base of the cone fits into a corresponding groove in the fuze-body and prevents the premature ignition of the powder (o) in the fuze-chamber.
A groove in the cone contains the time-train (e), which communicates through a brass tube (n) with the powder in the fuze-chamber (o).
The brass cone-cover (f) is pierced with holes numbered from 1 to 15. The holes lie immediately over the time-train and correspond to seconds of graduation. The spaces between consecutive holes are sub-divided into six parts, and countersunk at the points of division so that the fuze may be cut to sixths of a second of burning.
A brass pin projects from the body of the fuze and fits into a slot in the cone-cover; it fixes the latter in position and, together with the brass cup on top, also serves to hold the cover in place.
The flame from the powder in the fuze-chamber communicates with the bursting-charge of the shell through the grooved surfaces of the primer, plunger-sleeve, and bottom closing-screw.
The opening into the fuze-chamber through which the charge is put is closed by the screw. A conical hole in the fuze-body immediately opposite this screw permits the insertion of a steel pin for the purpose of screwing the fuze into the shell.
The percussion element consists of a brass primer (t) having three vents through which the flame may pass from the composition to the powder in the fuze-chamber.
On the side towards the firing-pin the composition is covered first with a tinfoil cup and then with a copper restraining-disk, which is separated from it .04 of an inch both for safety and to prevent the firing-pin pressing against the composition during flight. On its opposite side the primer is covered with a tinfoil ring and a paper disk.
The bottom of the fuze is covered first by a paper and then by a tinfoil disk.
The primer, plunger-sleeve, and bottom closing-screw have their sides grooved longitudinally (r, r, r) to allow the flame from the powder in the fuze-chamber to pass to the bursting-charge of the projectile. With the exception of this difference in the plunger-sleeve the plunger is the same as the one in the Frankford Arsenal base percussion-fuze "C," model 1894.
Pierce the time-train cone at right angles to the axis and through the division in the cover corresponding to the desired number of seconds. Then remove the safety-pin before inserting the projectile in the bore of the piece.
A fuze-cutter is issued by the Ordnance Department for use with the fuze.
Fig. 47.
Fig. 48.
This fuze weighs 4.88 ounces and consists of a brass body (a) which contains the complete plunger. The head of[103] the body is closed by a brass cap-screw (b) which contains a brass primer (d) that is filled with the composition (m); and the cap-screw is closed by a brass closing-screw (c). c and d have holes through them, as indicated, for the passage of the flame from the primer to the bursting-charge of the projectile. The head is covered by disks of paper and tinfoil.
The face of the composition (m) nearest the plunger is covered by a disk of tinfoil (e) and a copper restraining-disk (f).
The Plunger consists of a steel firing-pin (i), firmly fixed in a brass igniter plunger-spindle (h), and this spindle fits in a brass igniter plunger-sleeve (g) which has a groove (t′) on its lower interior surface. A split brass safety-ring (i), which holds the igniter plunger-sleeve in the safety position, is slipped over the lower end of the spindle, and then the spindle-sleeve, containing two grooves (s and t), is slipped on and firmly secured by spreading the lower end of the spindle.
The inclination of the groove (s) determines the resistance of the safety-ring, which, in this fuze, has the minimum and maximum limits of 142 and 160 lbs. respectively. (It was formerly 15 lbs.)
When the piece is discharged the plunger-sleeve overcomes the resistance of the safety-ring and carries it to the rear; the diameter of the ring is slightly increased during its passage along the spindle, and when in the proper position for so doing it fits partly in both grooves (t and t′), binding sleeve and spindle firmly together. The point of the firing-pin now projects beyond the plunger-sleeve and the fuze is armed. When the projectile strikes, the complete plunger is thrown forward, the point of the firing-pin pierces the restraining-disk and ignites the composition.
Fig. 47 shows the position of the parts before the piece is discharged, and Fig. 48 during the flight of the projectile.
| Range. | Sight Elevation. | Variations. | Time of Flight. |
Fuze Scale. | Change in Height of Burst, 1 minute elevation |
Fall. | Terminal Velocity. |
|||||||
| Angle. | Differs from Shell. |
Range, 1 minute elevation. |
Deflection, 1 division hor. scale. |
Divisions at which to cut time-fuze.[5] |
Variation in range. 1 subdiv. |
Angle. | Inclination, 1 yard in-- |
|||||||
| yards. | deg. | min. | min. | yards. | feet. | seconds. | units. | sixths. | yards. | feet. | deg. | min. | yards. | f. s. |
| 500 | 0 | 13 | 1 | 14 | 4.4 | .97 | 0 | 4 | 80 | .4 | 0 | 37 | 93 | 1426 |
| 600 | 0 | 20 | 1 | 13 | 5.2 | 1.18 | 1 | 0 | 78 | 0 | 46 | 75 | 1380 | |
| 700 | 0 | 27 | 1 | 12 | 6.1 | 1.40 | 1 | 1 | 75 | 0 | 56 | 61 | 1335 | |
| 800 | 0 | 35 | 1 | 12 | 7.0 | 1.63 | 1 | 3 | 73 | 1 | 6 | 52 | 1292 | |
| 900 | 0 | 43 | 1 | 12 | 7.8 | 1.87 | 1 | 4 | 71 | 1 | 19 | 44 | 1251 | |
| 1000 | 0 | 52 | 1 | 11 | 8.7 | 2.11 | 2 | 0 | 67 | .9 | 1 | 32 | 37 | 1212 |
| 1100 | 1 | 2 | 2 | 11 | 9.6 | 2.36 | 2 | 1 | 67 | 1 | 45 | 33 | 1176 | |
| 1200 | 1 | 12 | 3 | 11 | 10.4 | 2.62 | 2 | 3 | 67 | 2 | 1 | 28.5 | 1142 | |
| 1300 | 1 | 22 | 3 | 10 | 11.3 | 2.89 | 2 | 5 | 62 | 2 | 17 | 25 | 1110 | |
| 1400 | 1 | 33 | 5 | 10 | 12.2 | 3.16 | 3 | 0 | 62 | 2 | 34 | 22.5 | 1082 | |
| 1500 | 1 | 44 | 6 | 9 | 13.0 | 3.44 | 3 | 2 | 58 | 1.3 | 2 | 52 | 20 | 1056 |
| 1600 | 1 | 55 | 6 | 9 | 13.9 | 3.73 | 3 | 4 | 58 | 3 | 11 | 18 | 1034 | |
| 1700 | 2 | 7 | 7 | 9 | 14.8 | 4.02 | 3 | 5 | 58 | 3 | 30 | 16.5 | 1014 | |
| 1800 | 2 | 19 | 8 | 8 | 15.7 | 4.32 | 4 | 1 | 55 | 3 | 50 | 15 | 995 | |
| 1900 | 2 | 32 | 9 | 8 | 16.5 | 4.62 | 4 | 3 | 55 | 4 | 12 | 13.5 | 978 | |
| 2000 | 2 | 45 | 10 | 7 | 17.4 | 4.93 | 4 | 5 | 52 | 1.7 | 4 | 34 | 12.5 | 962 |
| 2100 | 2 | 59 | 11 | 7 | 18.3 | 5.25 | 5 | 1 | 52 | 4 | 57 | 11.5 | 946 | |
| 2200 | 3 | 13 | 11 | 7 | 19.1 | 5.57 | 5 | 2 | 52 | 5 | 21 | 10.5 | 920 | |
| 2300 | 3 | 28 | 12 | 7 | 20.0 | 5.90 | 5 | 4 | 50 | 5 | 45 | 10 | 915 | |
| 2400 | 3 | 43 | 13 | 7 | 20.9 | 6.23 | 6 | 0 | 50 | 6 | 11 | 9 | 901 | |
| 2500 | 3 | 58 | 14 | 6 | 21.7 | 6.56 | 6 | 2 | 49 | 2.2 | 6 | 38 | 8.5 | 887 |
| 2600 | 4 | 14 | 16 | 6 | 22.6 | 6.90 | 6 | 4 | 49 | 7 | 5 | 8 | 874 | |
| 2700 | 4 | 29 | 17 | 6 | 23.5 | 7.24 | 7 | 0 | 49 | 7 | 34 | 7.5 | 862 | |
| 2800 | 4 | 44 | 17 | 6 | 24.4 | 7.58 | 7 | 2 | 49 | 8 | 4 | 7 | 850 | |
| 2900 | 5 | 1 | 19 | 6 | 25.2 | 7.92 | 7 | 4 | 49 | 8 | 35 | 6.5 | 839 | |
| 3000 | 5 | 18 | 20 | 6 | 26.1 | 8.26 | 8 | 1 | 48 | 2.6 | 9 | 7 | 6 | 829 |
| 3100 | 5 | 35 | 21 | 6 | 27.0 | 8.61 | 8 | 3 | 48 | 9 | 39 | 6 | 819 | |
| 3200 | 5 | 52 | 22 | 6 | 27.8 | 8.96 | 8 | 5 | 48 | 10 | 12 | 5.5 | 810 | |
| 3300 | 6 | 9 | 23 | 5 | 28.7 | 9.32 | 9 | 1 | 47 | 10 | 46 | 5.5 | 801 | |
| 3400 | 6 | 28 | 25 | 5 | 29.6 | 9.68 | 9 | 3 | 47 | 11 | 21 | 5 | 792 | |
| 3500 | 6 | 47 | 26 | 5 | 30.5 | 10.04 | 9 | 5 | 45 | 3.0 | 11 | 56 | 4.5 | 783 |
| 3600 | 7 | 6 | 27 | 5 | 31.3 | 10.41 | 10 | 1 | 45 | 12 | 32 | 4.5 | 775 | |
| 3700 | 7 | 25 | 28 | 5 | 32.2 | 10.78 | 10 | 4 | 45 | 13 | 9 | 4.5 | 767 | |
| 3800 | 7 | 45 | 30 | 5 | 33.1 | 11.16 | 11 | 0 | 44 | 13 | 48 | 4 | 759 | |
| 3900 | 8 | 5 | 32 | 5 | 33.9 | 11.54 | 11 | 2 | 44 | 14 | 28 | 4 | 751 | |
| 4000 | 8 | 25 | 33 | 5 | 34.8 | 11.92 | 11 | 5 | 44 | 3.5 | 15 | 8 | 3.5 | 744 |
| 4100 | 8 | 44 | 33 | 5 | 35.7 | 12.30 | 12 | 1 | 44 | 15 | 49 | 3.5 | 737 | |
| 4200 | 9 | 3 | 33 | 5 | 36.5 | 12.68 | 12 | 3 | 44 | 16 | 31 | 3.5 | 730 | |
| 4300 | 9 | 24 | 34 | 5 | 37.4 | 13.06 | 12 | 5 | 43 | 17 | 14 | 3 | 723 | |
| 4400 | 9 | 44 | 34 | 5 | 38.3 | 13.45 | 13 | 2 | 43 | 17 | 58 | 3 | 717 | |
| 4500 | 10 | 5 | 34 | 5 | 39.2 | 13.84 | 18 | 4 | 43 | 3.9 | 18 | 43 | 3 | 711 |
| Range. | Site Elevation | Variations. | Time of Flight. |
Fall. | Terminal Velocity. |
||||
| Range, 1 minute elevation. |
Deflection, 1 division hor. scale. |
Angle. | Inclination 1 yard in-- |
||||||
| yards. | degrees. | minutes. | yards. | feet. | seconds. | deg. | min. | yards. | f. s. |
| 500 | 0 | 12 | 14 | 4.4 | 0.96 | 0 | 36 | 95 | 1450 |
| 600 | 0 | 19 | 13 | 5.2 | 1.17 | 0 | 45 | 76 | 1408 |
| 700 | 0 | 26 | 12 | 6.1 | 1.39 | 0 | 54 | 64 | 1366 |
| 800 | 0 | 34 | 12 | 7.0 | 1.61 | 1 | 5 | 53 | 1326 |
| 900 | 0 | 42 | 12 | 7.8 | 1.84 | 1 | 16 | 45 | 1287 |
| 1000 | 0 | 51 | 11 | 8.7 | 2.07 | 1 | 28 | 39 | 1250 |
| 1100 | 1 | -- | 11 | 9.6 | 2.32 | 1 | 41 | 34 | 1215 |
| 1200 | 1 | 9 | 11 | 10.4 | 2.57 | 1 | 55 | 30 | 1182 |
| 1300 | 1 | 18 | 10 | 11.3 | 2.82 | 2 | 9 | 27 | 1151 |
| 1400 | 1 | 28 | 10 | 12.2 | 3.09 | 2 | 25 | 24 | 1121 |
| 1500 | 1 | 38 | 10 | 13.0 | 3.36 | 2 | 41 | 21 | 1094 |
| 1600 | 1 | 49 | 10 | 13.9 | 3.64 | 2 | 59 | 19 | 1070 |
| 1700 | 2 | -- | 9 | 14.8 | 3.92 | 3 | 17 | 17 | 1048 |
| 1800 | 2 | 11 | 9 | 15.7 | 4.21 | 3 | 36 | 16 | 1029 |
| 1900 | 2 | 23 | 9 | 16.5 | 4.50 | 3 | 56 | 15 | 1011 |
| 2000 | 2 | 35 | 8 | 17.4 | 4.80 | 4 | 17 | 13 | 994 |
| 2100 | 2 | 48 | 8 | 18.3 | 5.10 | 4 | 38 | 12 | 979 |
| 2200 | 3 | 2 | 8 | 19.1 | 5.41 | 5 | -- | 11 | 964 |
| 2300 | 3 | 16 | 7 | 20.0 | 5.72 | 5 | 23 | 11 | 949 |
| 2400 | 3 | 30 | 7 | 20.9 | 6.04 | 5 | 47 | 10 | 935 |
| 2500 | 3 | 44 | 7 | 21.7 | 6.36 | 6 | 11 | 9 | 923 |
| 2600 | 3 | 58 | 7 | 22.6 | 6.69 | 6 | 37 | 9 | 912 |
| 2700 | 4 | 12 | 7 | 23.5 | 7.02 | 7 | 3 | 8 | 901 |
| 2800 | 4 | 27 | 7 | 24.4 | 7.35 | 7 | 30 | 8 | 891 |
| 2900 | 4 | 42 | 7 | 25.2 | 7.68 | 7 | 58 | 7 | 881 |
| 3000 | 4 | 58 | 6 | 26.1 | 8.01 | 8 | 27 | 7 | 871 |
| 3100 | 5 | 14 | 6 | 27.0 | 8.35 | 8 | 56 | 6 | 861 |
| 3200 | 5 | 30 | 6 | 27.8 | 8.69 | 9 | 26 | 6 | 851 |
| 3300 | 5 | 46 | 6 | 28.7 | 9.03 | 9 | 57 | 6 | 841 |
| 3400 | 6 | 3 | 6 | 29.6 | 9.37 | 10 | 29 | 5 | 832 |
| 3500 | 6 | 21 | 6 | 30.5 | 9.71 | 11 | 1 | 5 | 823 |
| 3600 | 6 | 39 | 6 | 31.3 | 10.06 | 11 | 34 | 5 | 814 |
| 3700 | 6 | 57 | 6 | 32.2 | 10.41 | 12 | 8 | 5 | 806 |
| 3800 | 7 | 15 | 5 | 33.1 | 10.77 | 12 | 43 | 4 | 798 |
| 3900 | 7 | 33 | 5 | 33.9 | 11.13 | 13 | 18 | 4 | 790 |
| 4000 | 7 | 52 | 5 | 34.8 | 11.50 | 13 | 54 | 4 | 782 |
| 4100 | 8 | 11 | 5 | 35.7 | 11.87 | 14 | 31 | 4 | 774 |
| 4200 | 8 | 30 | 5 | 36.5 | 12.25 | 15 | 9 | 4 | 766 |
| 4300 | 8 | 50 | 5 | 37.4 | 12.63 | 15 | 47 | 4 | 758 |
| 4400 | 9 | 10 | 5 | 38.3 | 13.02 | 16 | 26 | 3 | 750 |
| 4500 | 9 | 31 | 5 | 39.2 | 13.42 | 17 | 5 | 3 | 743 |
3.6-inch Rifle, etc. 3.6-inch Mortar, etc. Weights and Dimensions of Foreign Artillery.
| Material | steel |
| Total length | 7.79 feet |
| Calibre | 3.6 inches |
| Weight | 1181 pounds |
| Grooves | 26 |
| Twist of rifling | 1 turn in 50 to |
| 1 turn in 25 calibers | |
| Axis of trunnions above ground | 3.56 feet |
| Powder-chamber | cylindrical |
| Vent | axial |
| Preponderance | 31 pounds |
| Muzzle velocity | 1550 ft.-sec. |
| Maximum range for shrapnel | 7420 yards |
Fig. 49.
This gun is similar in construction to the 3.2-inch (revised November 11, 1892).
Nomenclature.—ab, locking-shoulder and recess; c, conical gas-check seat; d, cylindrical powder-chamber; e, connecting slope for seat of rotary band; f, slope from no lands to maximum lands.
Similar to those of 3.2-inch gun.
The ammunition differs only in weight and dimensions from that described for the 3.2-inch gun. Fuzes are the same.
| Powder-charge | 4.1875 pounds U. F. sphero-hex. |
| Weight of shell, filled | 20 pounds |
| Bursting-charge, shell | 14½ ounces |
| Weight of shrapnel, complete | 20 pounds |
| Bursting-charge, shrapnel | 4 ounces |
| Total number of balls | 218 |
| Total number of individual pieces | 280 |
The carriage for this gun weighs 1300 pounds. The first 25 carriages were made with the double-screw elevating device, and the second 25 with the first form of lazy-tongs, and were intended for the 3.2-inch gun. They have been changed for 3.6-inch guns by cutting out the upper-front transom under the trunnion beds leaving only enough metal on each side to hold the eyebolts of the forked radial bar for the elevating device, and cap squares with eyebolts have been substituted for the old cap squares with chin and eyebolts. The double-screw elevating device on the 25 carriages now having them are retained; but all others will have a form of lazy-tongs, operated by bevel gears and a crank handle at the side, like that of the double screw; otherwise the carriage is similar to that of the 3.2-inch gun already described. The limber-chests will probably be fitted for 36 rounds of ammunition; which is the only difference between limbers, caissons, etc., used with 3.2-inch and 3.6-inch guns.
See page 150 et seq.
| Range. | Elevation. | Range, 1 minute elevation. |
Deflection, 1 Division Horizontal Scale. |
Time of Flight. |
Fuze-scale. | Change in Height of Burst, 1 Minute Elevation. |
Fall. | Terminal Velocity. |
||||||
| Angle. | Differs from Shell. |
Divisions. | Variations in Range, 1 Sub-div. |
Angle. | Inclination, 1 Yard in- |
|||||||||
| Yards. | Degrees. | Minutes. | Minutes. | Yards. | Feet. | Seconds. | Units. | Sixths. | Yards. | Feet. | Degrees. | Minutes. | Yards. | Ft.-sec. |
| 500 | 18 | 0 | 12 | 4.4 | 1.04 | 1 | 5 | 75 | .4 | 42 | 82 | 1345 | ||
| 600 | 26 | 0 | 12 | 5.2 | 1.27 | 1 | 1 | 73 | 52 | 66 | 1307 | |||
| 700 | 34 | 1 | 11 | 6.1 | 1.50 | 1 | 2 | 71 | 1 | 03 | 55 | 1270 | ||
| 800 | 44 | 1 | 10 | 7.0 | 1.74 | 1 | 4 | 68 | 1 | 15 | 46 | 1236 | ||
| 900 | 54 | 2 | 10 | 7.8 | 1.98 | 1 | 5 | 67 | 1 | 28 | 39 | 1204 | ||
| 1000 | 1 | 04 | 3 | 10 | 8.7 | 2.24 | 2 | 0 | 65 | .9 | 1 | 41 | 34 | 1173 |
| 1100 | 1 | 14 | 3 | 9 | 9.6 | 2.50 | 2 | 2 | 64 | 1 | 56 | 30 | 1144 | |
| 1200 | 1 | 24 | 2 | 9 | 10.4 | 2.76 | 2 | 4 | 62 | 2 | 11 | 26 | 1117 | |
| 1300 | 1 | 34 | 2 | 8 | 11.3 | 3.03 | 2 | 5 | 60 | 2 | 27 | 23 | 1092 | |
| 1400 | 1 | 46 | 3 | 8 | 12.2 | 3.31 | 3 | 1 | 59 | 2 | 44 | 21 | 1069 | |
| 1500 | 1 | 58 | 4 | 8 | 13.0 | 3.60 | 3 | 3 | 58 | 1.3 | 3 | 02 | 19 | 1048 |
| 1600 | 2 | 10 | 4 | 8 | 13.9 | 3.88 | 3 | 4 | 57 | 3 | 20 | 17 | 1030 | |
| 1700 | 2 | 22 | 4 | 8 | 14.8 | 4.17 | 4 | 0 | 56 | 3 | 40 | 16 | 1013 | |
| 1800 | 2 | 36 | 7 | 7 | 15.7 | 4.45 | 4 | 2 | 55 | 4 | 00 | 14 | 998 | |
| 1900 | 2 | 49 | 7 | 7 | 16.5 | 4.76 | 4 | 3 | 55 | 4 | 20 | 13 | 983 | |
| 2000 | 3 | 03 | 8 | 7 | 17.4 | 5.06 | 4 | 5 | 54 | 1.7 | 4 | 41 | 12 | 969 |
| 2100 | 3 | 16 | 9 | 7 | 18.3 | 5.38 | 5 | 1 | 53 | 5 | 03 | 11 | 955 | |
| 2200 | 3 | 31 | 10 | 7 | 19.1 | 5.69 | 5 | 3 | 52 | 5 | 25 | 10.5 | 942 | |
| 2300 | 3 | 46 | 10 | 7 | 20.0 | 6.00 | 5 | 5 | 52 | 5 | 48 | 10 | 929 | |
| 2400 | 4 | 01 | 10 | 7 | 20.9 | 6.31 | 6 | 0 | 51 | 6 | 12 | 9 | 917 | |
| 2500 | 4 | 16 | 11 | 6 | 21.7 | 6.63 | 6 | 2 | 50 | 2.3 | 6 | 37 | 8.5 | 905 |
| 2600 | 4 | 32 | 12 | 6 | 22.6 | 6.96 | 6 | 4 | 50 | 7 | 03 | 8 | 893 | |
| 2700 | 4 | 49 | 13 | 6 | 23.5 | 7.28 | 7 | 0 | 49 | 7 | 29 | 7.5 | 882 | |
| 2800 | 5 | 06 | 14 | 6 | 24.4 | 7.61 | 7 | 2 | 48 | 7 | 56 | 7 | 871 | |
| 2900 | 5 | 24 | 16 | 6 | 25.2 | 7.95 | 7 | 4 | 48 | 8 | 24 | 7 | 860 | |
| 3000 | 5 | 41 | 16 | 6 | 26.1 | 8.28 | 8 | 0 | 48 | 2.6 | 8 | 52 | 6.5 | 850 |
| 3100 | 5 | 59 | 17 | 6 | 27.0 | 8.62 | 8 | 2 | 47 | 9 | 22 | 6 | 840 | |
| 3200 | 6 | 18 | 19 | 5 | 27.8 | 8.97 | 8 | 4 | 47 | 9 | 51 | 6 | 830 | |
| 3300 | 6 | 37 | 20 | 5 | 28.7 | 9.31 | 9 | 1 | 46 | 10 | 23 | 5.5 | 821 | |
| 3400 | 6 | 56 | 21 | 5 | 29.6 | 9.64 | 9 | 3 | 45 | 10 | 55 | 5 | 812 | |
| 3500 | 7 | 16 | 22 | 5 | 30.5 | 9.98 | 9 | 5 | 44 | 3.0 | 11 | 28 | 5 | 803 |
| 3600 | 7 | 37 | 24 | 5 | 31.3 | 10.31 | 10 | 1 | 44 | 12 | 02 | 4.5 | 794 | |
| 3700 | 7 | 58 | 26 | 5 | 32.2 | 10.69 | 10 | 3 | 44 | 12 | 37 | 4.5 | 786 | |
| 3800 | 8 | 19 | 27 | 5 | 33.1 | 11.04 | 10 | 5 | 43 | 13 | 13 | 4 | 778 | |
| 3900 | 8 | 41 | 28 | 4 | 33.9 | 11.35 | 11 | 1 | 43 | 13 | 49 | 4 | 770 | |
| 4000 | 9 | 02 | 29 | 4 | 34.8 | 11.70 | 11 | 3 | 42 | 3.6 | 14 | 27 | 4 | 762 |
| 4100 | 9 | 24 | 30 | 4 | 35.7 | 12.08 | 11 | 5 | 42 | 15 | 05 | 3.5 | 755 | |
| 4200 | 9 | 46 | 32 | 4 | 36.5 | 12 42 | 12 | 1 | 41 | 15 | 45 | 3.5 | 748 | |
| 4300 | 10 | 10 | 34 | 4 | 37.4 | 12.81 | 12 | 3 | 41 | 16 | 24 | 3.5 | 741 | |
| 4400 | 10 | 33 | 37 | 4 | 38.3 | 13.16 | 13 | 0 | 41 | 17 | 07 | 3 | 734 | |
| 4500 | 10 | 58 | 41 | 4 | 39.2 | 13.57 | 13 | 2 | 40 | 4.0 | 17 | 52 | 3 | 727 |
| Range. | Elevation. | Variations. | Time of Flight. |
Fall. | Terminal Velocity. |
||||
| Range, 1 Minute Elevation. |
Deflection, 1 Division on Horizontal Scale |
Angle. | Inclination 1 Yard in-- |
||||||
| Yards. | ° | ′#8242; | Yards. | Feet. | Sec. | ° | ′ | Yards. | Ft.-sec. |
| 500 | 18 | 12 | 4.4 | 1.08 | 41 | 84 | 1364 | ||
| 600 | 26 | 11 | 5.2 | 1.25 | 51 | 67 | 1329 | ||
| 700 | 35 | 11 | 6.1 | 1.48 | 1 | 02 | 55 | 1296 | |
| 800 | 43 | 11 | 7.0 | 1.72 | 1 | 13 | 47 | 1263 | |
| 900 | 52 | 10 | 7.8 | 1.96 | 1 | 25 | 40 | 1233 | |
| 1000 | 1 | 01 | 9 | 8.7 | 2.20 | 1 | 38 | 35 | 1203 |
| 1100 | 1 | 11 | 9 | 9.6 | 2.45 | 1 | 52 | 31 | 1175 |
| 1200 | 1 | 22 | 9 | 10.4 | 2.70 | 2 | 06 | 27 | 1149 |
| 1300 | 1 | 32 | 9 | 11.3 | 2.96 | 2 | 21 | 24 | 1123 |
| 1400 | 1 | 43 | 8 | 12.2 | 3.24 | 2 | 37 | 22 | 1098 |
| 1500 | 1 | 54 | 8 | 13.0 | 3.52 | 2 | 53 | 20 | 1079 |
| 1600 | 2 | 06 | 8 | 13.9 | 3.80 | 3 | 11 | 18 | 1060 |
| 1700 | 2 | 18 | 8 | 14.8 | 4.08 | 3 | 29 | 16 | 1042 |
| 1800 | 2 | 29 | 8 | 15.7 | 4.37 | 3 | 48 | 15 | 1026 |
| 1900 | 2 | 42 | 8 | 16.5 | 4.66 | 4 | 07 | 14 | 1011 |
| 2000 | 2 | 55 | 7 | 17.4 | 4.96 | 4 | 27 | 13 | 997 |
| 2100 | 3 | 07 | 7 | 18.3 | 5.26 | 4 | 48 | 12 | 984 |
| 2200 | 3 | 21 | 7 | 19.1 | 5.56 | 5 | 09 | 11 | 971 |
| 2300 | 3 | 36 | 7 | 20.0 | 5.87 | 5 | 30 | 10 | 959 |
| 2400 | 3 | 51 | 7 | 20.9 | 6.18 | 5 | 52 | 9.5 | 947 |
| 2500 | 4 | 05 | 6 | 21.7 | 6.49 | 6 | 15 | 9 | 935 |
| 2600 | 4 | 20 | 6 | 22.6 | 6.80 | 6 | 38 | 8.5 | 924 |
| 2700 | 4 | 36 | 6 | 23.5 | 7.11 | 7 | 02 | 8 | 913 |
| 2800 | 4 | 52 | 6 | 24.4 | 7.43 | 7 | 27 | 7.5 | 903 |
| 2900 | 5 | 08 | 6 | 25.2 | 7.75 | 7 | 53 | 7 | 892 |
| 3000 | 5 | 25 | 6 | 26.1 | 8.08 | 8 | 20 | 7 | 882 |
| 3100 | 5 | 42 | 6 | 27.0 | 8.40 | 8 | 47 | 6.5 | 872 |
| 3200 | 5 | 59 | 6 | 27.8 | 8.72 | 9 | 15 | 6 | 863 |
| 3300 | 6 | 17 | 6 | 28.7 | 9.05 | 9 | 44 | 6 | 854 |
| 3400 | 6 | 35 | 5 | 29.6 | 9.38 | 10 | 13 | 5.5 | 845 |
| 3500 | 6 | 54 | 5 | 30.5 | 9.72 | 10 | 43 | 5 | 836 |
| 3600 | 7 | 13 | 5 | 31.3 | 10.06 | 11 | 14 | 5 | 827 |
| 3700 | 7 | 32 | 5 | 32.2 | 10.40 | 11 | 45 | 5 | 819 |
| 3800 | 7 | 52 | 5 | 33.1 | 10.74 | 12 | 16 | 4.5 | 811 |
| 3900 | 8 | 13 | 5 | 33.9 | 11.08 | 12 | 47 | 4.5 | 803 |
| 4000 | 8 | 33 | 5 | 34.8 | 11.42 | 13 | 25 | 4 | 796 |
| 4100 | 8 | 54 | 5 | 35.7 | 11.77 | 14 | 01 | 4 | 788 |
| 4200 | 9 | 14 | 5 | 36.5 | 12.11 | 14 | 37 | 4 | 781 |
| 4300 | 9 | 36 | 5 | 37.4 | 12.44 | 15 | 13 | 3.5 | 774 |
| 4400 | 9 | 56 | 5 | 38.3 | 12.76 | 15 | 50 | 3.5 | 768 |
| 4500 | 10 | 17 | 5 | 39.2 | 13.08 | 16 | 27 | 3 | 762 |
Fig. 50.
| Metal | steel |
| Total length | 2.05 feet |
| Calibre | 3.6 inches |
| Weight | 245 pounds |
| Grooves | 20 |
| Twist of rifling | 1 in 40 to |
| 1 in 25 cal. | |
| Powder-chamber | cylindrical |
| Vent | axial |
| Muzzle velocity | 650 ft.-sec. |
| Maximum range | 3450 yards |
It consists of a single piece of steel, the trunnions being forged solid with the piece.
Fig. 51.
The breech mechanism, Fig. 51, is generally similar to that of the field-guns, except that the Freyre obturator is used, and in the locking arrangement the lever-handle is[114] replaced by a bolt (a) which is turned by hand. This bolt operates the locking-stud on the left side of the block, and its handle bears also a vent-shield (f,) which keeps the vent closed until the breech is locked.
Fig. 52.
This carriage, Fig. 52, is of cast steel and in one piece, and consists of a frame complete with transoms and soles.
It is 39½ inches long and weighs 275 pounds. The axis of the trunnions is 14 inches above ground, and the piece can be fired at any angle between 0 and 60 degrees. At the centre of the front transom is bolted the elevating-clamp, which embraces an arc bolted to the under side of the mortar. The lever on the left side of the carriage turns a shaft, which causes the clamp to take hold of the arc when the elevation has been given.
A pintle-fork is attached at the front end of the carriage, and a ring on the side of either cheek to which the ends of the restraining rope are fastened.
Nomenclature of 3.6-inch Mortar-carriage.—Carriage-frame; elevating-arc; elevating-arc bolt; elevating-arc guide-pin; double hook; double-hook pin; double-hook bracket; double-hook bracket-pin; cap-square; cap-square keys; cap-square chain eye-pin; pintle-fork; pintle-fork bolt; elevating-arc jaws; shaft for jaws; lever for shaft; bushing for shaft; nut for shaft; screw for bushing; separator; separator-bolt and nut; screws for pointing.
Yellow pine or oak. Weight complete, 200 lbs.
Fig. 53.
This equipment consists of one wooden platform, one cast-iron pintle-block, eight stakes, one anchor-stake, two handspikes, and one pointing-scale. The platform consists of two side-rails, 3-inch, into which are framed and bolted eleven deck-planks, the latter secured to each other by dowels. A 4 × 3-inch piece is bolted to the rear deck-plank by three bolts. Wrought-iron straps, bolted into cross-pieces, embrace the side-rails. The pintle-block is fastened to the front of the platform by four wrought-iron bolts. The pintle-fork on the carriage embraces the pintle, forming the centre of motion of the traversing carriage. The platform is held in position by stakes, two on either side; those in front passing through square wrought-iron rings attached to eye-pieces bolted to the front end of the platform. A brass socket, in which works the brass pivot at the end of the pointing-scale, is placed at a suitable point in the axis of the platform. The anchor-stake, 4 ft. long, is driven in front of the platform. Around the anchor-stake, and held in position by the two pins passing through the stake, is wound the middle portion of the[116] restraining rope, the ends of which fasten to the rings in the cheeks of the carriage.
The rope is given five feet slack for recoil.
Fig. 54.
The Pointing-scale.—This is made of hard wood, graduated on one side, the unit of the scale being one thousandth of the range, and each division one five hundredth of the range. A brass index-slide moves with friction along the scale and is clamped by a screw when regulated. For reference-marks a brass screw is placed at the end of each cheek of the carriage, and the scale is so arranged that it can be applied to either cheek. The carriage admits of a motion around its pintle of about 15° on either side of the axis of the platform.
Fig. 55.
Used in giving elevation. The arc is 45°, but by applying different sides an elevation of 90° can be given. The least reading is one minute, which is given by the setting of a sliding level on a slightly curved arm.
The setting to any given degree is made by moving the arm by hand, which is done by pressing back the head of the arm to release it from engagement with the notches on the interior of the arc, then moving the arm to the required position and allowing the spring to react.
The full charge of powder is 16 ounces, sphero-hex. (U. F.). The projectiles are those used with the 3.6 gun and have already been described.
The charges, required to cover all ranges from 400 to 3350 yards with angles of elevation between 15 and 45 degrees, are four in number. These charges are made up of three cartridges containing 4, 6, 10, and 16 ounces respectively.
The Fuze for Shrapnel is the Frankford Arsenal point-combination fuze, model 1894, burning 28 seconds and weighing 19.75 ounces. The time-train of this fuze is arranged to be cut at intervals of 1/5 second.
The Fuze for Shell is fuze M, model 1894. It is identical in construction with fuze C (see page 102), except that a portion of the plunger-spindle is reduced in diameter to lessen the friction of the spring-ring in arming on account of reduced charges. It is distinguished from the C fuze by two grooves across the flat of the base. This fuze is designated for separate transportation, to be assembled with the projectile at or near the firing-ground, and is not to be transported fixed in the projectile.
| Charge and Initial Velocity. |
Range. | Elevation. | Time of Flight. |
Fall. | Terminal Velocity. |
|||
| Angle. | Inclination, 1 Ft. in-- |
|||||||
| 4 ounces; 277.5 ft.-sec. |
Yards. | Deg. | Min. | Sec. | Deg. | Min. | Feet. | Ft.-sec. |
| 400 | 15 | 27 | 4.76 | 16 | 00 | 3.5 | 266.5 | |
| 500 | 20 | 04 | 5.92 | 21 | 06 | 2.6 | 264.3 | |
| 600 | 25 | 44 | 7.45 | 27 | 06 | 2.0 | 262.3 | |
| 700 | 33 | 25 | 9.43 | 34 | 59 | 1.4 | 259.5 | |
| 750 | 45 | 00 | 12.00 | 46 | 40 | 0.9 | 266.5 | |
| Angles > 45°. | 700 | 55 | 08 | 13.91 | 56 | 52 | 0.6 | 271.2 |
| 6 ounces; 357.5 ft.-sec. |
600 | 14 | 04 | 5.36 | 14 | 47 | 3.7 | 336.0 |
| 700 | 16 | 48 | 6.38 | 17 | 48 | 3.1 | 332.9 | |
| 800 | 19 | 48 | 7.45 | 20 | 56 | 2.6 | 329.7 | |
| 900 | 23 | 10 | 8.63 | 24 | 37 | 2.2 | 327.0 | |
| 1000 | 27 | 16 | 10.00 | 29 | 05 | 1.8 | 325.0 | |
| 1100 | 32 | 27 | 11.67 | 34 | 42 | 1.4 | 322.9 | |
| 1200 | 45 | 00 | 15.32 | 47 | 48 | 0.9 | 324.9 | |
| Angles > 45° | 1100 | 56 | 13 | 17.97 | 58 | 55 | 0.6 | 329.8 |
| 1000 | 61 | 20 | 18.96 | 63 | 50 | 0.5 | 331.5 | |
| 10 ounces; 492.0 ft.-sec. |
1100 | 14 | 10 | 7.32 | 15 | 17 | 3.7 | 439.4 |
| 1200 | 15 | 45 | 8.10 | 17 | 06 | 3.3 | 435.0 | |
| 1300 | 17 | 24 | 8.91 | 19 | 02 | 2.9 | 430.7 | |
| 1400 | 19 | 07 | 9.74 | 21 | 02 | 2.6 | 427.2 | |
| 1500 | 20 | 59 | 10.63 | 23 | 14 | 2.3 | 424.1 | |
| 1600 | 23 | 00 | 11.57 | 25 | 32 | 2.2 | 420.8 | |
| 1700 | 25 | 13 | 12.59 | 28 | 07 | 1.9 | 418.0 | |
| 1800 | 27 | 44 | 13.72 | 31 | 01 | 1.7 | 415.5 | |
| 1900 | 30 | 46 | 15.03 | 34 | 31 | 1.5 | 413.3 | |
| 2000 | 34 | 41 | 16.67 | 38 | 58 | 1.2 | 412.5 | |
| 2100 | 45 | 00 | 20.63 | 49 | 52 | 0.8 | 417.6 | |
| Angles > 45° | 2000 | 52 | 52 | 23.16 | 57 | 41 | 0.6 | 423.8 |
| 1900 | 56 | 45 | 24.29 | 61 | 22 | 0.5 | 427.7 | |
| 1800 | 59 | 50 | 25.11 | 64 | 10 | 0.5 | 431.0 | |
| 16 ounces; 660.0 ft.-sec. |
2000 | 15 | 29 | 10.53 | 17 | 44 | 3.1 | 537.9 |
| 2100 | 16 | 30 | 11.18 | 19 | 02 | 2.9 | 532.9 | |
| 2200 | 17 | 33 | 11.85 | 20 | 21 | 2.7 | 528.4 | |
| 2300 | 18 | 39 | 12.54 | 21 | 44 | 2.5 | 524.3 | |
| 2400 | 19 | 49 | 13.26 | 23 | 14 | 2.3 | 519.8 | |
| 2500 | 21 | 02 | 14.00 | 24 | 46 | 2.2 | 516.1 | |
| 2600 | 22 | 19 | 14.78 | 26 | 22 | 2.0 | 512.9 | |
| 2700 | 23 | 43 | 15.61 | 28 | 11 | 1.9 | 509.4 | |
| 2800 | 25 | 12 | 16.49 | 30 | 02 | 1.7 | 506.2 | |
| 2900 | 26 | 49 | 17.42 | 32 | 08 | 1.6 | 503.8 | |
| 3000 | 28 | 38 | 18.45 | 34 | 18 | 1.5 | 501.7 | |
| 3100 | 30 | 38 | 19.60 | 36 | 49 | 1.3 | 500.2 | |
| 3200 | 33 | 21 | 21.02 | 40 | 00 | 1.2 | 499.2 | |
| 3300 | 36 | 43 | 22.78 | 43 | 51 | 1.0 | 501.0 | |
| 3363 | 45 | 00 | 26.75 | 52 | 42 | 0.8 | 510.4 | |
| Angles > 45° | 3300 | 48 | 59 | 28.47 | 56 | 43 | 0.7 | 516.2 |
| 3200 | 52 | 40 | 29.99 | 60 | 10 | 0.6 | 523.3 | |
| 3100 | 55 | 22 | 31.01 | 62 | 35 | 0.5 | 529.1 | |
| 3000 | 57 | 25 | 31.73 | 64 | 24 | 0.5 | 532.6 | |
| 2900 | 59 | 19 | 32.37 | 66 | 34 | 0.4 | 547.7 | |
| Charge and Initial Velocity. |
Range. | Elevation. | Time of Flight. |
Fuze-scale. | Fall. | Terminal Velocity. |
|||||
| Divisions. | Variations in Burst, 1 Sub-div. |
Angle. | Inclination, 1 Foot in-- |
||||||||
| 4 ounces; 277.5 ft.-sec. |
Yards. | ° | ′ | Sec. | Units | 5ths | Yards. | ° | ′#8242; | Feet. | Ft.-sec. |
| 400 | 15 | 29 | 4.76 | 4 | 2 | 18 | 16 | 06 | 3.5 | 265.2 | |
| 500 | 20 | 21 | 5.95 | 5 | 4 | 17 | 21 | 10 | 2.6 | 262.4 | |
| 600 | 26 | 03 | 7.50 | 7 | 1 | 17 | 27 | 15 | 2.0 | 260.3 | |
| 700 | 34 | 27 | 9.61 | 9 | 1 | 17 | 36 | 01 | 1.4 | 258.3 | |
| 6 ounces; 357.5 ft.-sec. |
600 | 14 | 08 | 5.38 | 5 | 1 | 22 | 14 | 55 | 3.8 | 333.8 |
| 700 | 17 | 01 | 6.41 | 6 | 1 | 22 | 17 | 57 | 3.1 | 330.0 | |
| 800 | 20 | 08 | 7.52 | 7 | 2 | 22 | 21 | 20 | 2.6 | 326.9 | |
| 900 | 23 | 34 | 8.73 | 8 | 3 | 22 | 25 | 09 | 2.1 | 324.4 | |
| 1000 | 27 | 34 | 10.07 | 9 | 4 | 21 | 29 | 35 | 1.8 | 322.2 | |
| 1100 | 33 | 01 | 11.82 | 11 | 3 | 21 | 35 | 30 | 1.4 | 320.1 | |
| 10 ounces; 492.0 ft.-sec. |
1000 | 12 | 43 | 6.62 | 6 | 2 | 29 | 13 | 49 | 4.1 | 439.0 |
| 1100 | 14 | 19 | 7.38 | 7 | 1 | 29 | 15 | 36 | 3.6 | 434.0 | |
| 1200 | 15 | 56 | 8.17 | 8 | 0 | 29 | 17 | 26 | 3.2 | 429.0 | |
| 1300 | 17 | 36 | 8.99 | 8 | 4 | 28 | 19 | 23 | 2.8 | 425.1 | |
| 1400 | 19 | 23 | 9.85 | 9 | 3 | 28 | 21 | 23 | 2.5 | 421.2 | |
| 1500 | 21 | 19 | 10.75 | 10 | 3 | 28 | 23 | 46 | 2.3 | 417.5 | |
| 1600 | 23 | 26 | 11.72 | 11 | 3 | 28 | 26 | 16 | 2.0 | 414.0 | |
| 1700 | 25 | 47 | 12.77 | 12 | 3 | 27 | 29 | 02 | 1.8 | 410.8 | |
| 1800 | 28 | 26 | 13.92 | 13 | 4 | 27 | 32 | 08 | 1.6 | 407.8 | |
| 1900 | 31 | 41 | 15.36 | 15 | 1 | 27 | 35 | 53 | 1.4 | 405.0 | |
| 2000 | 36 | 12 | 17.22 | 17 | 0 | 27 | 41 | 00 | 1.2 | 401.3 | |
| 16 ounces; 660.0 ft.-sec. |
1900 | 14 | 45 | 10.02 | 9 | 4 | 35 | 17 | 01 | 3.6 | 532.2 |
| 2000 | 15 | 46 | 10.68 | 10 | 2 | 35 | 18 | 20 | 3.2 | 526.3 | |
| 2100 | 16 | 49 | 11.35 | 11 | 1 | 35 | 19 | 42 | 2.8 | 521.2 | |
| 2200 | 17 | 55 | 12.04 | 11 | 4 | 34 | 21 | 07 | 2.6 | 516.5 | |
| 2300 | 19 | 05 | 12.75 | 12 | 3 | 34 | 22 | 37 | 2.4 | 512.3 | |
| 2400 | 20 | 19 | 13.50 | 13 | 2 | 34 | 24 | 12 | 2.2 | 507.4 | |
| 2500 | 21 | 37 | 14.28 | 14 | 0 | 34 | 25 | 52 | 2.1 | 503.7 | |
| 2600 | 23 | 00 | 15.11 | 15 | 0 | 33 | 27 | 38 | 1.9 | 500.1 | |
| 2700 | 24 | 29 | 16.00 | 15 | 4 | 33 | 29 | 33 | 1.8 | 496.7 | |
| 2800 | 26 | 07 | 16.94 | 16 | 4 | 33 | 31 | 38 | 1.6 | 493.6 | |
| 2900 | 27 | 58 | 17.96 | 17 | 4 | 33 | 33 | 58 | 1.5 | 491.0 | |
| 3000 | 30 | 05 | 19.12 | 19 | 0 | 33 | 36 | 36 | 1.3 | 488.9 | |
| 3100 | 32 | 33 | 20.46 | 20 | 1 | 33 | 39 | 36 | 1.2 | 488.1 | |
| 3200 | 35 | 41 | 22.10 | 22 | 0 | 33 | 43 | 18 | 1.1 | 487.6 | |
| 3376 | 45 | 00 | 26.54 | 26 | 2 | 33 | 53 | 22 | 0.7 | 500.3 | |
There is practically only one gun, viz., the 3.46-inch. The horse-artillery gun, carriage, and limber, are all lighter than in the field-artillery. Model 1891 weighs 970 lbs. The weights behind the teams are: H. A. gun, 3996 lbs.; F. A. gun, 4276 lbs.; caisson, 5036 lbs. No cannoneers are carried on the carriages in horse-artillery. Muzzle velocity, 1400 ft.-sec.
The Common Shell weighs 15½ lbs. (bursting-charge, 6 oz.), and splinters into about 170 pieces. A proportion of the shells are filled with wet guncotton, having a dry guncotton primer, to be used, as a rule, against men under cover.
The Shrapnel contains 262 bullets with bursting-charge down the centre, weighs 17.7 lbs., and can be burst up to 3500 yards range. The number of rounds carried per gun in a battery is 135. The percussion-shell has been abandoned, and shrapnel, high explosive shell, and canister only are used. The fuze is a combination time, and percussion-fuze.
There are 20 carriages in a battery—6 guns, 9 caissons, 4 store-wagons, 1 forge-wagon. A battery carries 9 shovels and 2 pickaxes.
The Horse-artillery Gun.—Calibre, 3.14 in.; weight, 8.4 cwt.; muzzle velocity, 1600 ft.-sec.; shrapnel with 2-oz. bursting-charge in head, 13.8 lbs. Weights behind the teams, including men carried: gun, 4251 lbs.; caisson, 4424 lbs.
The ammunition per gun with battery is 142 rounds.
The Field-artillery Gun.—Calibre, 3.54 in.; weight, 8.4 cwt.; muzzle velocity, 1500 ft.-sec.; shrapnel with bursting-charge in head, 19 lbs. Weights behind teams, including the men carried: gun, 5248 lbs.; caisson, 5404 lbs.
There are 142 rounds of ammunition per gun with battery.
A steel shell filled with 3 lbs. of cresylite is contemplated, of which about 75 will be carried with the battery.
There are 6 guns, 9 caissons, 1 store, 1 forge, and 1 forge-wagon in a battery.
The field-artillery gun now being introduced has a calibre of 2.95 inches, and fires a projectile weighing in the vicinity of 12 pounds.
The Horse-artillery Gun.—Calibre, 3.14 in.; weight, 5.9 cwt.; muzzle velocity, 1365 ft.-sec.; ring-shell, 9½ lbs.; shrapnel, 10.27 lbs. Weights behind the teams: gun, 3440 lbs.; caisson, 4287 lbs.
No detachments are carried on the carriages.
Ammunition carried per gun with battery: ring-shell, 84; shrapnel, 54; canister, 8; incendiary shell, 6; a total of 152 rounds.
There are 18 carriages in a battery, 6 guns.
The Field-artillery Gun.—Calibre, 3.54 in.; weight, 9.5 cwt., muzzle velocity, 1440 ft.-sec.; ring-shell, 14.1 lbs.; shrapnel, 15.6 lbs. Weights behind the teams: gun, 5040 lbs.; caisson, 4124 lbs.
Ammunition per gun with battery: ring-shell, 70; shrapnel, 45; canister, 8; incendiary shell, 5; total, 128.
There are 22 carriages in a battery, 8 guns.
The Horse-artillery Gun.—Calibre, 3.4 in.; weight, 7 cwt.; muzzle velocity, 1350 ft.-sec.; common shell, 14 lbs.; shrapnel with bursting-charge in base, 15 lbs. Weights behind the teams: gun, 3635 lbs.; caisson, 3543 lbs. No cannoneers on carriages.
Ammunition per gun with battery: common shell, 61; shrapnel, 60; canister, 9; total, 130 rounds.
The Light Field-artillery Gun.—Calibre, 3.4 in.; weight, 8.6 cwt.; muzzle velocity, 1450 ft.-sec.; common shell, 14 lbs.; shrapnel with bursting-charge in base, 15 lbs. Weights behind the teams same as in horse-artillery.
Ammunition per gun with battery, 150 rounds.
The Heavy Field-artillery Gun.—Calibre, 4.2 in.; weight, 12 cwt.; muzzle velocity, 1223 ft.-sec.; common shell, 25.9 lbs.; shrapnel, 27.5 lbs. Weights behind the teams, including detachments: gun, 4268 lbs.; caisson, 4686.
Ammunition per gun with battery, 108 rounds.
Horse-batteries consist of 6 guns, field-batteries generally of 8 guns, 24 carriages to each battery of 6 guns. Russia has 5 regiments, 4 batteries each, of field-mortar batteries. Calibre of piece, 6 in.; weight of shell, 60 lbs. Each battery consists of 6 mortars, 18 carriages, and 6 carts.
Horse-and Light Field-artillery Gun.—Calibre, 2.75 in.; weight, 5.8 cwt.; muzzle velocity, 1400 ft.-sec.; common shell, 9.4 lbs.; shrapnel with bursting-charge in base, 9.8 lbs. Weights behind the teams: gun, 3498 lbs.; caisson, 3650 lbs. No detachments are carried.
Ammunition per gun with battery: common shell, 24; shrapnel, 112; canister, 6; total, 142 rounds.
Heavy Field-artillery Gun.—Calibre, 3.5 in.; weight, 9.2 cwt.; muzzle velocity, 1480 ft.-sec.; common shell, 14.7 lbs.; shrapnel, 15.3 lbs. Weights behind the teams, including detachments carried: gun, 4268 lbs.; caisson, 4686 lbs.
Ammunition per gun with battery: common shell, 28; shrapnel, 96; canister, 6; total, 130 rounds.
All batteries have 6 guns and 15 carriages, viz., 6 gun[123]-carriages, 6 caissons, 1 forge, 1 baggage-wagon, 1 forage-wagon.
The 9-pdr. and 13-pdr. M. L. Guns.—Horse and light artillery are being replaced by the 12-pdr. B. L., the weight behind teams of horse-artillery being a little less than that of field-artillery.
Calibre of 12-pdr. B. L., 3.0 in.; weight of piece, 784 lbs.; muzzle velocity, 1710 ft.-sec.; common shell and shrapnel, 12½ lbs. Weight behind teams: guns, 3684 lbs.; caissons, 3796 lbs.
Ammunition per gun with battery: common shell, 20; shrapnel, 80; canister, 8; total, 108. Besides these there are 2 star-shell per gun. All batteries have 6 guns and 19 carriages all told.
Wheel. Carriage. Limber. Caisson. Battery-wagon and Forge. Artillery-wagon. Harness. Water-cart. Revolvers. Hunting-knife.
| Diameter | 57¾ inches. |
| Width of tire | 2¾ " |
| Weight of wheel | 200 lbs. |
The nave-box (a) is made of aluminum-bronze. It fits over the axle-arm (c) and has groove for lubricant, as indicated.
The nave (b) of malleable iron.
The spokes, 16 in number (s), are made of oak or hickory.
Fig. 56.
The felloes, 8 in number, are made of oak or hickory.
The tire is made of steel, ½ inch thick.
The bolts, clips, linch-pins, and washers are made of metal.
The large nut on outside of nave-box is splined to the box. The linch-washers have a stud which prevents their turning with the wheel. The inner extremities of the spokes are put together by a powerful radial pressure, which subjects them to a stress many times greater than they are likely to receive.
To Replace a Box and that Portion of the Hub Attached.—Unscrew and remove front hub-band; take off hub-nuts, and drive out old box. Replace box, and screw on the front hub-band, replacing hub-nuts.
To Replace a Spoke.—Remove tire and felloe on the injured spoke; take out only the bolt that passes through the injured spoke; saw off this spoke as close as possible to the hub and bore or dig out the spoke; drive in the duplicate spoke as far as possible, and arrange the tenon at the felloe so that the tire may press the spoke about one eighth of an inch farther into the hub, and after the tire is on put in the hub-bolt.
Wheel (1) consisting of tire; felloes; spokes; nave-box; nave-box flanges; nave-bolts and nuts.
Linch-pins (5); linch-washers (5); axle (6); shoulder-washers (7); brake-eyes and straps (8); axle-plates (9); flasks (10); upper front transom (11); lower front transom (12); middle transom (13); trail-box transoms (14); rear transom (15); lunette (16); lunette-plate (16); trail-plate (16); trail-handles (17); cap-squares (18); chin-bolt (19); eye-bolt (20); eye-bolt key (20); eye-bolt key-chain (20); trail-box (21); trail-box lid (21); trail-box lid-hasp (21); trail-box turnbuckle (21); sponge-bucket compartment (22); wheel-guard (23); handspike attachments, front and rear (24); handspike-socket (24); handspike[126] socket-pin and key (24); handspike (24); handspike-clasps (24); long sponge-toggle and plate (25); short rammer and sponge attachment (26); short rammer and sponge-clasps (26); short rammer and sponge-clasp locking-catches (26); sponge-bucket toggle-hole (27).
Fig. 57.
Fig. 58.
Axle-seats (3), consisting of seat-plate, guard-rail, guard-rail standard, guard-rail catch, guard-rail hinge-pin, guard-rail locking-latch.
Bow-brake (2), Fig. 59, consisting of shoe-piece (a), bow-springs (4) (b), bow-spring nuts and bolts (4) (c), attachment-socket (d), and the attachment consisting of clevis (e), clevis-bolt and nut (f), locking-lever (g), locking-bolt and nut (h).
Fig. 59.
The attachment-socket has a rectangular longitudinal mortice in which the tang of the clevis is placed. This tang has a slot, the lower part of which ends in a hole having the same diameter as the locking-bolt. The locking-bolt has bearings on each side of the mortice, and the part in the slot has two opposite rectangular grooves. When the bolt is in the hole with these grooves perpendicular to the slot, the clevis is locked; but when turned until the bottoms of the cuts are in prolongation of the slot sides, the tang of the clevis can be drawn out until stopped by the other end of the slot.
The Elevating Device (4), Fig. 60, consists of frame and double lazy-tongs.
The Frame consists of (2) side-levers (c), pivot-bolt and separator (d), transom-bolt and nuts in rear, (2) eye-bolts, elevating-screw (f), cross-head elevating-screw nut, crank-handle (g).
The Lazy-tongs consists of (4) long arms (a), (4) lever-arms (a), (4) short arms (a), upper assembling-bolt, (2) assembling-bolts, short, (2) assembling-bolts, long, central journal-bolt (e), lower journal-rod (b) and (2) bearing-boxes, (2) eye-washers (for strap k), and the necessary nuts and washers.
The front end of the frame is attached to the carriage axle-plates, just in rear of the middle transom, by two eye-bolts which form the pivot.
Fig. 60.
The rear end is attached to the elevating-screw by the cross-head elevating-screw nut, which moves back and forth in the grooves in the side-levers in rear of the transom-bolt. The crank-handle on the elevating-screw is located just in front of the trail-box.
The double lazy-tongs (of two cells, the upper twice the size of the lower) are enclosed in the frame which furnishes bearings, at about the middle of the side-levers, for the central journal-bolt.
The lower journal-rod has fixed bearings in the two bearing-boxes which are bolted to the flasks of the carriage.
The gun rests on the upper assembling-bolt, which has eye-washers for the breech-strap.
Any motion of the elevating-screw handle raises or lowers the frame, and this, carrying with it the central journal-bolt, opens out or closes the lazy-tongs cells.
The Double-screw Elevating Device, Fig. 60a, is used on 25 of the carriages for 3.6-inch guns. It consists of a hollow exterior screw (a) (having an exterior right-hand thread and an interior left-hand one) in which works an interior screw (c) to whose trunnioned head is attached the guide-strap (s), the arms of the strap being secured by nuts to the prolongations of the upper bolts that secure the middle transom. This insures rotation of the elevating device in a plane passing through the axis of the carriage. The bronze nut (b) in which a works is arranged on trunnions between the cheeks of the carriage, and has the hand-wheel (d) (or in some cases a large gear-wheel) so fixed to it that the latter can be rotated but has no motion of translation. A groove (e) is cut on the screw a, and a key on the hand-wheel fits this.
Fig. 60a.
Where the large gear-wheel is used motion is obtained by a small gear-wheel, axle, pinion, and hand-crank on the right of the trail.
The carriage is made of steel. Its track, like that of the other vehicles, is 60 inches. The principal parts are the two flasks, connected by transoms, and the lunette; the two axle-plates, upper and lower; the axle-tree; the wheel-brakes; the wheels; the elevating apparatus; and the two seats.
Each flask is formed by riveting together two plates with curved margins; and the trunnion-beds are reinforced by bars of steel, which are enclosed between the margins of the flask-plates and riveted to them. There are three front[130] transoms, upper, lower, and rear, in the vicinity of the trunnion-beds and axle-plates, and three trail-transoms at intervals between these plates and the lunette, the latter being riveted on. Trail-handles are on either side of the trail near the lunette. The lunette, lunette-plate and trail-plate are formed of one piece of metal. The axle-plates, two in number, which accurately envelop the solid steel axle, are riveted together.
The shoulder-washers are octagonal in form; to each is fitted a collar containing a stout eye, to which the brakes are attached. These collars have projections that embrace the axle-plates above and below to prevent turning of the axle within the plates. Linch-washers have a stud to keep them from revolving with the wheel.
Double-bow Spring-brakes, with a device for detaching them when necessary, are used. They are carried in a vertical position by means of the button on the lever and the groove on under side of axle-seat guard-rail. The spring-lever operates the locking-bolt in the end of the brake near the hook, so that the brake may be available in going up or down hill.
Axle-seats are placed on either side of the carriage. Underneath the left seat a section of picket-rope is carried.
The Elevating Device is of the lazy-tongs pattern, and is actuated by a handle on top of the flask. A leather strap is secured to the top part of the elevating device, and is used for strapping down the breech of the gun to avoid pounding.
Wheel, Archibald, height 57¾ inches, weight 200 pounds.
The Handspike, made of hickory, is sawn lengthwise into halves, and the wood thus removed replaced by 1/10-inch sheet iron, the whole riveted together and bound by iron bands. It is permanently attached to the flask, and when not in use is folded over on it and locked by the handspike-clasps.
The Short Sponges and Rammers are carried between the cheeks, between the upper and lower front transoms;[131] grooved bronze ferrules in rear of the sponge-heads serve for the seats of the support and the clasps which hold them in place.
By means of the bronze hooks on the staff, one of which is movable, it is hooked to the right guard-rail when firing.
The Axle-seats are attached at the shoulder-washers to the axle-plates and bolted to the flasks.
The Long Sponge-staff is hinged near the middle, so that when folded the rammer-head is placed behind the sponge. It is carried on the left side of the carriage (the sponge-and rammer-heads under the axle-seat resting on the axle-plate), held by a toggle about midway of folded length.
The Tool-box is placed between the flasks, and has ample space for all tools required, and for tube-pouches, priming-wire, and gunner's gimlet. By means of a hasp and turnbuckle the lid is fastened to the side of the transom. In rear of the tool-box is an open compartment in which the sponge-bucket may be carried when empty. A hole between the seats of sponge and rammer provides for carrying the bucket, when filled, by its toggle.
Chin-and eye-bolts secure the cap-squares.
Wheel-guards are bolted on either side of the trail.
Weight of carriage and brakes, 1166 pounds.
Weight of carriage complete, with equipment, 1197 pounds.
Fig. 61.
Wheels; axle; linch-pins; linch-washers; shoulder-washers; understraps (axle).
The fork (a); the fork-brace; the hounds (k); splinter-bar (j).
Foot-boards (m), front and rear; foot-board latch; pole (b); pole-ferrule; pole-pad (f); pole-pad bolt and nut; pole-prop; pole-bolt; pole-prop eye; pole-prop strap; pole-stop; bushing for pole-bolt hole; neck-yoke stop (g).
Double-tree (h); double-tree chains and staples; double-tree hooks end; double-tree stay-hooks; double-tree bolt (i); double-tree bolt-strap; double-tree bolt-brace.
Fig. 62.
Single-trees; single-tree-eye-band; single-tree hooks.
Oil and grease compartment: pintle (c); pintle-key (d); pintle-key chain; pintle-key chain eye-plate; pintle brace-rods; hound brace-rods; primer-and obturator-boxes (n); primer-and obturator-box lids; primer-and obturator-box lid-chains; ammunition-chest staple; ammunition-chest keys and chains.
The ammunition-chest (l), consisting of lid, handles, hasp, turnbuckle, paulin-straps, packing—metallic, packing—wood.
Neck-yoke: body of wood; metal parts are: 1 centre eye-sleeve; 2 centre eye-sleeve rivets; 2 eye-bands; 2 eye-band rivets; 2 band-rings; 2 pole-strap eye-loops; 2 pole-strap eye-loop rollers; 2 martingale-staples; neck-yoke pads (leather).
| Weight with neck-yoke | 957 pounds |
| Weight complete, without ammunition | 1057 " |
| Weight complete, with ammunition | 1780 " |
| Length from end of pole to muzzle of gun, limbered | 26.5 feet |
| Distance between centres of axles | 8.75 " |
The limbers for the carriage, caisson, and battery-wagon are in every respect the same, except that the two boxes for primers and obturators are omitted on the battery-wagon limber, and its chest is differently arranged inside.
Fig. 63.
The limber essentially consists of two wheels, Archibald patent (same as for carriage), one wrought-steel tubular axle, linch-pins and washers, shoulder-washers shrunk and pinned on, three understraps.
The limber-body and connecting parts consist of:
The Fork (1) (a).—Central part of body formed of two[134] angle-irons receiving the pole (b) and pintle-body in rear. It passes into and is riveted to the double-tree bolt-strap which surrounds and supports the pole. It carries, riveted to it between the flanges, the foot-brace and pole-stop, to which is pivoted the pole-prop hook. In rear of foot-boards is the staple for securing the ammunition-chest. The fork is attached to the axle by axle-straps.
The Two Hounds (k) form the side-rails, and are angle-irons attached to the body by axle-straps. To these on each side in rear of the axle are bolted the primer-and obturator-boxes (k).
The Splinter-bar (j).—Angle-iron. Unites the fork and hounds in front of foot-boards.
Foot-boards (2), Wood (m).—Rear one riveted to hounds and fork. The front one, to which are riveted three brackets, is hinged by two strap-hinges to the rear one, to give access to pole-prop strap, pole-bolt, and compartment for oil-and grease-cans and tool-box. It is provided with a latch for securing it, when down, to the double-tree bolt-brace.
The Pole, Wood (b).—Leather pad (e) on front end. Neck-yoke stop, iron, on under side. The hole in rear and for bolting to the fork is lined with thin brass tubing. It abuts against a plate and is secured by a key. It is partly copper-sheathed.
Double-tree (1) (h).—Made of steel. Hooks at either end for attachment of single-trees. Hole in centre for attachment to limber by double-tree bolt.
Double-tree Bolt-strap (i).—Riveted to fork and supports the pole. Double-tree bolt, bolt-strap, and pole-prop eye one piece.
Single-trees (2).—Made of steel with eye for attachment to double-tree hooks; hooks at ends for trace attachment.
Oil-and Grease-can Compartment.—A flanged plate of sheet iron under the foot-boards riveted to the fork and right hound.
Pole-prop[6] (1).—Permanently secured to the eye on bottom of the double-tree bolt-strap.
Pole-prop Strap (1).—For holding up pole-prop, near pole-stop.
Pole-bolt (1) (e).—Passes through the fork, the flanges of the double-tree bolt-brace and the pole securing it to the fork.
Pole-stop and Support (1).—A flanged piece of plate metal (riveted to fork-flanges) on and against which the pole is supported.
Double-tree Bolt-brace (1).—A flanged plate with holes in front for double-tree bolt and through the flanges for pole-bolt. It also forms the catch for the foot-board latch.
Pintle (1) (c).—For connecting the carriage-body bolted between the fork-flanges.
Pintle-key (1) (d).—For securing the lunette.
Pintle-key Chain (1).—For securing the pintle-key to the limber.
Pintle Brace-rods (2).—From the rear hound understrap-bolts to the rear pintle-body bolt.
Hound Brace-rods (2).—From the front pintle-body bolt to the ring-bolt of primer-and obturator-boxes.
Primer-and Obturator-boxes (2) (n).—Two water-tight cylindrical boxes with screw-lids, bolted through the bottoms to the axle, and by a ring-bolt to the hounds, for carrying unbroken boxes of primers and spare obturators.
Ammunition-chest, Wood (l).—Ironed, with corrugated-iron plate on back. It is covered with duck, and the lid is secured, when down, by hasp and turnkey. Three compartments: end ones for projectiles, 21 in each; middle for 44 cartridges and two haversacks. The packing divisions for projectiles are of cast bronze.
| Two paulins | On and strapped to chest-lid; ordinarily not carried on caisson-limbers. | |
| Two spare obturators, or two or more (depending on size) boxes of primers, or one obturator and one or more boxes of primers. | ![]() |
In water-tight cylindrical boxes under the chest; ordinarily not carried on caisson-limbers. |
| One oiler, one tool-box, one wheel-grease can with spatula. | ![]() |
In compartment under the foot-boards; wheel-grease can only ordinarily carried on caisson-limbers. |
| One pole-prop for end of pole (now replaced by sheet-metal prop.) | ![]() |
Under foot-boards, left-hand side, between chest and axle. |
| One section of picket-rope (can be used for a prolonge) with metal terminals for connection with other terminals (34 feet long; 3-inch rope). | ![]() |
On the foot-boards. One of these sections is carried for and with each carriage, and ordinarily, for gun-carriage and limber, coiled under the left seat of gun-carriage; for the battery-wagon and forge, in the wagon or on top of it fastened to railing, in the folding forage-rack, or coiled around the middle rail near the vise, as may be most convenient; and for caisson, on its limber foot-boards, or on caisson as above detailed. |
| Three or four knapsacks......................... | On the foot-boards. Knapsacks are carried in the artillery-wagon. | |
| One breech-sight................................ | Carried in its leather case in one of the foot-board compartments. A spare one may be carried in one of the caisson-limbers. | |
| Two haversacks.................................. | In middle-chest compartment on top of cartridges; ordinarily carried in the gun-limber chest. |
The tool-box (one for each gun, carried in the compartment under the foot-boards of gun-limber) has capacity for the following tools and implements:
| One vent-punch. One gunner's gimlet. One priming-wire. |
![]() |
These may be carried, if more convenient, in the gun-carriage trail-box. |
Weight of tool-box, 1 pound 13 ounces; contents, as above, 7 pounds 8 ounces.
| No. | Article. | Weight. | Total. | ||
| Lbs. | Oz. | Lbs. | Oz. | ||
| 1 | 3.2 B. L. rifle, revised model | 794 | |||
| 1 | Carriage, with brakes | 1166 | |||
| 1 | Jointed sponge and rammer, with cover | 7 | |||
| 2 | Short rammers and sponges combined, with covers | 7 | 14 | ||
| 1 | Prolonge (section of picket-rope) | 15 | 8 | ||
| 2 | Primer-pouches | 1 | |||
| 2 | Lanyards | 8 | |||
| 31 | 14 | ||||
| 1 | Limber complete, with neck-yoke | 957 | 4 | ||
| 1 | Wheel-grease can and spatula | 5 | 8 | ||
| 1 | Breech-sight | 2 | 2 | ||
| 1 | Breech-sight pouch | 9 | |||
| 1 | Sperm-oiler | 7 | |||
| 1 | Tool-box, with tools | 9 | 2 | ||
| 1 | Fuze-punch | 12 | |||
| 2 | Paulins (12′ × 12′) | 54 | 12 | ||
| 2 | Gunner's haversacks | 4 | 6 | ||
| 2 | Watering-buckets, canvas | 3 | 4 | ||
| 1 | Cushion | 18 | 12 | ||
| 99 | 10 | ||||
| 42 | Projectiles (13.5 lbs. each) | 567 | |||
| 44 | Cartridges (3.5 lbs. each) | 154 | |||
| 44 | Cartridge-bags | 2 | 12 | ||
| 723 | 12 | ||||
| Total | 3772 | 8 | |||
| Weight per horse | 628 | 12 | |||
| 1 | 3.6-inch B. L. rifle (1181 lbs. weight) | 387 | |||
| 1 | Carriage, with brakes (1300 lbs. weight) | 134 | |||
| 36 | Projectiles (20 lbs. each) | 153 | |||
| 38 | Cartridges (4.1875 lbs. each) | 4 | |||
| Total extra weight | 678 | ||||
| Total weight | 4430 | 4 | |||
| Weight per horse | 738 | 6 |
Fig. 64.
| Weight of caisson complete, without limber | 1396 lbs. | ||
| Weight of caisson and limber complete, without ammunition | 2436 " | ||
| Weight of caisson and limber complete, with ammunition | ![]() |
Light field-battery | 4607½ " |
| Heavy field-battery | 5080 " | ||
| Length from end of pole to end of spare-wheel axle | 24½ ft | ||
| Distance between centres of axles | 8 " |
Fig. 64a.
The limber of the caisson has already been described. The caisson, Fig. 64a, consists of one wrought-steel tubular axle and two Archibald wheels (57¾ in.), same as for limbers, the caisson-body, and connecting parts, viz.:
The Middle rail (central part of body formed of two angle-irons) receives the lunette in front and spare wheel in rear, and is attached to the axle by an understrap, and to the side-rails by front and rear cross-bars, with connections stiffened by brackets, and the strength at axle increased by middle-rail braces.
The Side-rails, which are attached to the axle by understraps and joined to the middle rail by the front and rear cross-bars.
The Foot-board is fastened to the middle and side rails with brackets to incline the surface of the board.
Floor-rods, passing through middle and side rails, between rear chest and rear cross-bar.
Two Road-brakes complete, and attachments for implements and spare parts.
The lever road-brake now supplied is similar to the ordinary wagon-brake, and so arranged that each side may be operated separately. The shoe is applied in rear of the wheel, and the brake-lever stands upright inside the wheels, opposite the front side of the rear ammunition-chest.
The caisson body carries two ammunition-chests same as for limber.
| A Spare Wheel, which fits upon an iron axle-arm attached to the rear end of the middle rail, or a spare pole. | ||||
| Two long-handled shovels. | ||||
Two pickaxes One spare pole, |
![]() |
by suitable attachments underneath. | ||
Two spades, Two axes, |
![]() |
between chests. | ||
| Four watering-buckets, canvas.[141] | ||||
| One or two lanterns. | ||||
| Two paulins, on chests. | ||||
| One manœuvring-handspike, right side, along the side-rail. | ||||
| One section of picket-rope, coiled around spare-wheel axle-bolster, or around floor-rods and rear cross-bar. | ||||
| Two extra boxes of ammunition can also be carried, one on each side of spare-wheel axle, resting on the floor-rods and lashed on. | ||||
Long-handled Shovels.—The concave faces of the blades are toward and resting against the axle, under side, the shovel-points being passed into staple-straps in rear of the axle and the shovel handles afterward into catches on the front cross-bar, against which the ends of handles rest.
The Pickaxes, which must be put on before the shovels, are carried beneath by fixtures attached to both middle and side-rails. The ends of the handles are brought together, the pointed halves of the blades overlapped, one in advance of the other (if the spare pole be on, this must be done above the pole); handle-ends are then passed into a broad strap of sheet metal depending from the middle rail, and at the same time the outer blade-ends into brackets or shelves on the side-rails. In this position the overlapping blades should be under a catch and immediately in front of a bracket or shelf on the middle rail, which is to support the picks, and to get them into which they should be pressed up against the spring and toward the axle until the spring falls behind them.
This spring has, toward the axle, a long branch on which to place the hand when pressing up the spring to remove the picks.
The Axes and Spades are carried between the chests. A[142] board is there, permanently riveted to the side-rails at each end. Within the rails, on opposite sides, are slots, into which the blades are placed vertically, the halves resting on top of the board. The spade-blades, spade-handles crossed, are placed on the board, one at each side, between the helve of one and the blade of the other axe, concave face toward the axe-blade, the ends of spare blades against the outer branch of the upright metal stops fastened to the board-ends; the handles of the spades are then forced down until the ends rest on top of the axes.
The Canvas Buckets are carried in left compartment under limber foot-boards.
The Lanterns.—Lanterns are carried in canvas bags hung across the spare-wheel axle-bolster. They hang below the floor-rods and do not swing.
The picket-rope section, manœuvring-handspike, and spare pole or spare wheel are carried as already indicated. Spare wheels, spare poles, and manœuvring-handspikes are not considered part of the regular caisson equipment. In war-time it is proposed to carry on each spare caisson a spare wheel, on the left caisson of each platoon a spare pole, and on the right caisson of each platoon a spare handspike.
In horse-artillery the front chest of each caisson-body should be removed to bring the gun-team and caisson-team loads to an equality and give space for forage.
| No. | Article. | Weight. | Total. | ||
| Lbs. | Oz. | Lbs. | Oz. | ||
| 1 | Caisson complete, with brakes and neck-yoke | 2216 | 8 | ||
| 2 | Axes, handled | 10 | |||
| 2 | Pickaxes, handled | 15 | |||
| 2 | Shovels, long-handled | 8 | |||
| 2 | Spades, short-handled | 10 | |||
| 4 | Paulins | 109 | 8 | ||
| 2 | Water-buckets | 3 | 4 | ||
| 2 | Lanterns with Cranston attachment | 5 | 8 | ||
| 1 | Prolonge (section of picket-rope) | 15 | 8 | ||
| 2 | Cushions | 37 | 8 | ||
| 1 | Grease-can and spatula | 5 | 8 | ||
| 219 | 12 | ||||
| 126 | Projectiles (13½ lbs. each) | 1701 | |||
| 132 | Cartridges (3.5 lbs. each) | 462 | |||
| 132 | Cartridge-bags | 8 | 4 | ||
| 2171 | 4 | ||||
| Total weight | 4607 | 8 | |||
| Weight per horse with above equipment | 768 | ||||
| For horse-artillery deduct 1 chest, filled | 909 | 8 | |||
| For horse-artillery total weight | 3698 | ||||
| For horse-artillery weight per horse | 616 | 5 | |||
| For 3.6 ammunition: | |||||
| 108 | Projectiles (under the supposition that each chest will contain 36 rounds | 2160 | |||
| 114 | Cartridges | 477 | 6 | ||
| 114 | Cartridge-bags | 7 | 2 | ||
| 2644 | 8 | ||||
| Total weight | 5080 | 12 | |||
| Weight per horse | 846 | 12 | |||
| The weight per horse is increased: | |||||
| By adding 1 spare handspike 0.92 lbs. | |||||
| By adding 1 spare pole 4.75 " | |||||
| By adding 1 spare wheel 33.66 " | |||||
Fig. 65.
| Weight empty, including limber | 2081 lbs. |
| Weight complete | 2731 " |
This consists of one limber complete, same as gun-carriage limber except that the primer-and obturator-boxes are omitted, and the packing of the chest is adapted to securing the smith's tools and the forge instead of ammunition, and one metal body with Archibald wheels and tubular steel axle, same as for caisson except that the attachments for implements are omitted, while attachments are provided for anvil and sledge in front of the wooden body on the middle rail. The vise is mounted on the front end of the middle rail, and the attachment for the lunette-prop is under and continuous with the attachment for the sledge. The body (the entire top of which is covered with canvas) has three compartments. Two lids (one opening upward on either side and forming part of the top) open into one containing grindstone and stand-closets packed with stores and spare parts for the repair of the battery; and lids at the front end, opening into the other two, which contain chests of saddler's, carpenter's, and wheelwright's tools, all of which are so arranged that any one can be taken out without disturbing the others. A folding forage-rack in rear and a rail around the top provide space for carrying forage. The brake is the lever road-brake.
Fig. 65a.
| Weight of chest empty | 55 | lbs. |
| Weight of contents, as above | 47½ | " |
| Total | 102½ | " |
| Weight of chest empty | 50 | lbs. |
| Weight of contents, as above | 29 | " 8 oz. |
| Total | 79 | " 8 oz. |
| Weight of chest empty | 150½ | lbs. |
| Weight of contents, as above | ||
| Forge complete | 61½ | " |
| Tools, etc. | 39½ | " |
| Total | 251 | " |
In Limber-chest.—Middle compartment contains portable forge, forge-implements, and part of the tools and shoe-box.
Right-hand compartment contains horseshoes.
Left-hand compartment contains remaining tools and small stores, such as horseshoe-nails, small bolts, nuts, etc., to carry which two small canvas bags are provided. Limber-chest is locked, and key carried by blacksmith.
The Coal is carried in the large canvas bag, capacity 3 bushels, on the foot-boards, lashed to the chest-handles by stout cords permanently attached to the bag, one of them being the cord by which the mouth of the bag is drawn together and secured. When empty, the bag is carried inside the chest.
Further description regarding the stowing of the body part is unnecessary.
| No. | Article. | Weight. | Total. | ||
| Lbs. | Oz. | Lbs. | Oz. | ||
| 1 | Forge and battery-wagon complete, with brakes and neck-yoke, but without stores | 2081 | 0 | ||
| 1 | Set blacksmith's and farrier's tools complete | 39 | 8 | ||
| 1 | Coal-bag | 4 | 8 | ||
| 1 | Forge complete | 61 | 8 | ||
| 1 | Tool-chest, wheelwright's, complete | 55 | |||
| 1 | Set tools, wheelwright's, complete | 47 | 8 | ||
| 1 | Tool-chest, saddler's, complete | 50 | |||
| 1 | Set tools, saddler's, complete | 29 | 8 | ||
| 2 | Jackscrews | 50 | |||
| 1 | Vise | 32 | |||
| 1 | Hammer-sledge | 10 | 8 | ||
| 1 | Anvil | 100 | |||
| 1 | Battery-wagon lunette-prop | 5 | |||
| 1 | Grindstone, flanges, shaft, and crank, complete | 50 | 8 | ||
| 1 | Grindstone-frame complete | 18 | |||
| 1 | Can for coal-oil | 7 | 8 | ||
| 1 | Can for sperm-oil | 1 | |||
| 1 | Grease-can and spatula | 5 | 8 | ||
| 2 | Lanterns with Cranston attachment | 5 | 8 | ||
| 4 | Water-buckets (2 canvas, 2 gal. iron) | 6 | 8 | ||
| 2 | Paulins | 54 | 12 | ||
| 1 | Prolonge (section of picket-rope) | 15 | 8 | ||
| 649 | 12 | ||||
| Total weight | 2730 | 12 | |||
| Weight per horse without stores | 455 | 2 | |||
Fig. 66.
Weight complete, 1868 pounds.
This wagon, on the canvas cover of which is painted its name and the designation of the battery, is made of white oak, and is for carrying the knapsacks, ammunition for small-arms, spare small-arms, and spare intrenching tools of the battery. It has the same track as the other artillery-carriages, and the axles are self-oiling, one filling lasting a month.
The capacity of the interior is for 120 knapsacks, weighing about 3000 pounds.
The rear wheels are 57¾ inches in diameter; the fore wheels are smaller, in order to turn under the body of the reach.
The driver's seat is a lock-box of three compartments, the two end ones being for spare revolvers and revolver-cartridges. The middle compartment is for the following articles, viz.: 1 wheel-grease can and spatula; 1 self-oiling axle-grease syringe; 1 hand-hammer; 1 wrench.
On the rear of the wagon is carried a 25-gallon water-keg, fitted with bronze screw-bung and a spigot. Under the body of the wagon and above the reach and rockers are carried the spare double (1) and single (2) trees, and the following intrenching-tools, viz.: 2 long-handled shovels, 2 spades, 2 pickaxes, 2 axes.
To the foot-board is attached a dash-board lamp, which when not in use may be carried in the compartment under the driver's seat.
A boot to protect the driver is also provided.
The wagon has a double cover; the first, of water-proof canvas, covering the top only; the second, of cotton duck, extends down the sides and far enough in rear to lace at the ends. A stout canvas cover in rear of the driver's seat prevents the load from being thrown to the front.
No special place is provided for the two canvas water-buckets, which should be carried where they can readily be gotten at.
To fill the axle with oil remove the screw-washers and fill the spindles by means of the axle-grease syringe.
Nothing of this kind is supplied; but battery commanders can readily improvise one for field marches and encampments and find it exceedingly useful. Obtain two good substantial wheels and an axle; attach shafts; build a suitable framework thereon to sustain a large barrel, which should have a faucet in the rear end and an opening for filling it on top.
The harness is made of black leather, black buckles, and without ornaments other than black leather rosettes. In connecting the principal parts of the harness and in attach[151]ing the horse to the limber hooks, hooking into rings or links only at the point where a depression is made in the ring or link, are used.
The Bridle (a) is similar to the regulation cavalry bridle except that it has black buckles and black rosettes. The coupling-rein of the off horse can be lengthened or shortened as desired, and has a snap-hook for attaching the end to a ring on the saddle of the near horse. The lash end of the reins of the off horse passes through a roller on the pommel of his saddle and falls to the left, convenient to the driver's hand, so that by pulling it the horse is set back in his harness directly to the rear.
The Halter is of leather, with leather halter-strap.
The Saddle.
Nomenclature.—(A) pommel; (B) cantle; (C) side-bar; (D) quarter-straps, front, spider; (E) quarter-straps, rear, spider; (F) quarter-strap ring or spider-ring; (G) cincha; (H) cincha-strap; (I) cincha-ring; (K) stirrup-loop; (L) stirrup-strap; (M) stirrup-tread; (N) stirrup hood; (P) rings; (R) cantle-staple; (S) saddle-bag stud; (aa) (bb) coat-straps or thongs; (ii) cincha-ring safes.
Fig. 67.
The regulation McClellan saddle, with saddle bags (b), Fig. 68, is used. Some batteries are supplied with fair-leather seats which are to be preferred to black leather ones. Leather-covered wooden stirrups for officers; enlisted men use brass stirrups. Saddles of horses in harness have a pommel-ring to which[152] the collar-strap (v) is hooked; and saddles of wheel-horses have, securely fastened to them, cantle-hooks (k), which serve to hold the single-trees (i) when detached from the double-tree. These hooks can be removed and attached to another saddle, if necessary, in the field. A loop is placed on the hair cincha to support the martingale (n). There are three sizes of cinchas, viz., 16-inch, 18-inch, and 20-inch.
Fig. 68.
The Draught-harness.—This consists of the locking-collar (c), with hames permanently attached. The trace-tugs (d), permanently attached on either side of the collar, terminate in a ring (e), through which the toggle (f) of the trace passes.
The trace (g) is made of two thicknesses of leather and has a D ring at either end to which chains are attached. The front chain (f) is short with a toggle at the end.[153] The rear chain (h) is 24 inches long with a hook at the end; each link has a depression in it over which the hook can pass. Mogul springs (l) are used on the trace-chains of wheel-horses.
The trace-chains (y) of lead-horses terminate in a ring which passes over the toggle of the trace in rear; the hook-end is then passed through the ring at the end of the trace and hooked in any link of the chain.
The Breeching.—In this connection it should be stated that the neck-yoke (o) is attached to the wheel-horse by means of a breast-strap (r) which passes through the ring on the neck-yoke and hooks on either side of the collar to a ring.
The breeching consists of a broad breech-strap (m), supported by hip-straps (s, s′), with rings at either end; a back-strap (t), with crupper (t′) attached, hooks to the saddle, and also has a loin-strap (u) for supporting the traces.
The martingale (n), of heavy leather with folded edges, is attached to the neck-yoke (m) by means of a cinch-strap sewed to a ring in its front end. It passes between the fore legs of the horse and through the loop on the cincha, and the D ring at its rear end should be near the middle of the horse's belly. Attached to the ring on either end of the breech-strap is a side-strap (s") bearing a hook which hooks into the D ring at the rear end of the martingale.
Fig. 69.
The martingale and side-straps, being under the body of the horse and connected with the breeching and neck-yoke, the horse is not only held up, but uses his weight and strength to the best advantage when holding back.
The breech-strap, hip-strap, side-straps, martingale, and breast-strap are omitted on lead-horses.
The blanket is of wool, dyed scarlet.
The dress saddle-cloth is of heavy cotton canvas, bright scarlet, bound with black leather. It is easily cleaned by scrubbing with soap and water. The leg-guard, whip, watering-bridle, surcingle, nose-bag, and when required lariat and picket-pin. Surcingles are of three sizes, viz.: No. 1, 76½ inches; No. 2, 84 inches; and No. 3, 96 inches.
The collar now used is a hinged steel locking-collar.
This steel collar, weighing about 15 pounds, consists essentially of two plates, pressed in U shape, hinged together at the top, and closed at the bottom by a spring latch. One side of the plate is fitted to the animal's shoulder; the other side carries the trace-hooks, under which are placed U-shaped plate-springs, which are held in place by the same bolts as are the trace-hooks.
All parts of the collar and its fittings are put together with bolts, and can be quickly taken apart when necessary, the only tool needed being the wrench that accompanies each collar. The parts of the collar that rest on the neck and shoulders are galvanized, which prevents galling in warm or wet weather, and conduces to the healing of sores. The collar is opened by pressing a spring latch at the bottom, and is thus easily put on and taken off without forcing it over the horse's head.
The collar being such an important part of the harness, directions for fitting it are given as indicated in the circular of the Steel Horse Collar Company, of Fitchburg, Mass.
Collar-sides, pads, and connections are made in different sizes to suit the number of collar. All the other parts will fit any collar.
DESCRIPTION OF PARTS OF COLLAR.
Fig. 70.
and the bolts for top connection, bottom of collar, extension, and trace-plate.
The table of dimensions at the top of next page gives the largest size to which each number of collar can be adjusted. Each collar can be made 1½ inches shorter and 1¼ inches narrower than the dimensions given. Sizes 5 and 6 are used in the U. S. service.
To shorten the collar, take out the bolt that fastens the extension to collar-side, and press the extension down into the collar-side one or two holes as desired, and replace the bolt.
| Length of Collar. |
Width 1/3 Down from Top. |
Width at Widest Part. |
|
| No. | Inches. | Inches. | Inches. |
| 1 | 16½ | 5⅝ | 7½ |
| 2 | 18 | 5¾ | 8 |
| 4 | 19½ | 6 | 8⅜ |
| 5 | 21 | 7½ | 9¼ |
| 6 | 22½ | 7½ | 9¼ |
| 7 | 24 | 8 | 10 |
The width is changed at the top by using the different pads and connections. Each pad has its own connection, which forms the hinge at the top of the collar.
The collar is taken in at the bottom by shifting the bolt that holds the buckle in the side having the three holes. Each pad, connection, and collar-side has the number denoting its size stamped upon it. Any reference to the collar-side hereafter will mean collar-side and extension put together, which form the collar-side complete.
When it is necessary to put a No. 3 pad, the largest size, in the top of the collar, and adjust the bottom to the middle or smallest size, the collar-sides will have to be bent at the top under the eye enough to allow the collar to close easily at the bottom, and when the reverse is wanted the collar-sides can be straightened. In making these irregular changes be particular to get both sides of the collar the same length, so that it will close at the bottom. The sides can be easily twisted to make them come together evenly.
When it is necessary to bend the ends of the pads to make them fit closely to the collar-sides, use a wooden mallet. If a hammer is used, it will break the zinc on the galvanized parts.
The same as regular artillery harness, omitting the saddles and substituting a back-strap, and replacing the curb-reins and coupling-reins by a set of regular driving-reins.
A four-in-hand whip is also used with the harness.
| No. | Article. | Wheel. | Lead. | ||||||
| Near. | Off. | Near. | Off. | ||||||
| Lbs. | Oz. | Lbs. | Oz. | Lbs. | Oz. | Lbs. | Oz. | ||
| 1 | Halter | 2 | 6 | 2 | 6 | 2 | 6 | 2 | 6 |
| 1 | Bridle | 3 | 3 | 3 | 3 | ||||
| 1 | Coupling-strap | 10 | 10 | ||||||
| 1 | Collar | 15 | 15 | 15 | 15 | ||||
| 1 | Breast-strap | 1 | 14 | 1 | 14 | ||||
| 1 | Martingale | 1 | 4 | 1 | 4 | ||||
| 2 | Traces, with chains and mogul springs | 10 | 8 | 10 | 8 | 11 | 4 | 11 | 4 |
| 1 | Saddle complete | 17 | 10 | 17 | 10 | 16 | 14 | 16 | 14 |
| 1 | Saddle-bags, pair of | 4 | 10 | 4 | 10 | 4 | 10 | 4 | 10 |
| 1 | Breeching complete | 5 | 4 | 5 | 4 | ||||
| 1 | Crupper | 2 | 8 | 2 | 8 | ||||
| 1 | Blanket | 4 | 2 | 4 | 2 | 4 | 2 | 4 | 2 |
| 1 | Leg-guard | 2 | 11 | ||||||
| 1 | Whip | 12 | |||||||
| Total | 69 | 1 | 66 | 4 | 58 | 12 | 59 | 6 | |
| 1 | Watering-bridle | 1 | 1 | 1 | 1 | ||||
| 1 | Surcingle | 12 | 12 | 12 | 12 | ||||
| 1 | Nose-bag | 1 | 2 | 1 | 2 | 1 | 2 | 1 | 2 |
| Grand total | 71 | 15 | 69 | 2 | 61 | 10 | 62 | 4 | |
| Horse-brush and currycomb weigh 1.32 lbs. | |||||||||
| Lariat and picket-pin weigh 3.09 " | |||||||||
This revolver is retained, for the present, for light batteries, and experiments are now being made to ascertain if a shorter barrel can not be advantageously used.
Fig. 71.
Nomenclature.—(A) barrel; (B) frame; (B′) recoil-plate; (C) cylinder; (DD) centre-pin; (D′) centre-pin bushing; (E) guard; (F) back-strap; (G) hammer; (H) mainspring; (I) hammer-roll and rivet; (J) hammer-screw; (K) hammer-cam; (L) hand and hand-spring; (M) bolt and screw; (N) trigger and screw; (O) hammer-notches; (P) firing-pin and rivet; (Q) ejector-rod and spring; (Q′) ejector-tube; (R) ejector-head; (S) ejector-tube screw; (T) short guard-screw; (U) sear and bolt-spring (combined) and screw; (V) back-strap screw; (W) mainspring-screw; (X) front sight; (Y) centre-pin screw. The two back-strap screws just behind the hammer, the stock, the long guard-screw, gate, gate-catch screw, gate-spring, and gate-catch are not shown in Fig. 71.
To Load.—Hold the revolver in the left hand, muzzle downward; half-cock it with the right hand and open the gate. Insert the cartridges with the right hand, close the gate, and bring the hammer to the safety-notch. Keep it there until the revolver is fired.
To Eject the Cartridge-shells.—Hold the revolver in the left hand, at the half-cock, and with the gate open. Eject the shells with the ejector, pushed by the right hand, turning the cylinder with the thumb and fore finger of the left hand.
To Dismount the Revolver.—Half-cock the revolver, loosen the centre-pin catch-screw, draw out the centre-pin, open the gate, and the cylinder can then be withdrawn.[159] To remove the ejector, turn out the ejector-tube screw, then push the front end away from the barrel, and pull it towards the muzzle. The stock can be removed by turning out the two back-strap screws just behind the hammer, and that at the bottom of the strap. Remove the mainspring and guard: the parts of the lock can then be readily separated. The centre-pin bushing should be pushed out for cleaning. To remove the gate, turn out the gate-screw in the lower side of the frame (hidden by the guard); then the gate-spring and catch can be withdrawn and the gate pushed out.
To Assemble the Revolver.—See the directions for dismounting, which should be followed in inverse order. The mainspring is most conveniently mounted by turning in the screw part way, and then swinging around the front end of the mainspring until it bears against the under side of the friction-roll. The cylinder-bushing should be frequently removed for cleaning.
Dimensions and Weights.—The following table gives the principal dimensions, weights, etc., of the revolver:
| Total length | 12.5 | inches. |
| Length of barrel | 7.5 | " |
| Diameter of bore | 0.445 | " |
| Grooves—number | 6 | |
| Grooves twist, uniform, one turn in (left-handed) | 16 | " |
| Grooves depth, uniform | .005 | in. |
| Total weight | 2.5 | lbs. |
| Weight of powder-charge | 28 | grs. |
| Weight of bullet | 230 | " |
| Initial velocity | 730 | ft.-sec. |
The cartridge-case is metallic centre-fire, and resembles in its construction the rifle cartridge.
Rapidity of Fire.—Eighteen rounds in one minute and fifty-four seconds, beginning and ending with chambers empty.
| Range, yds | 50 | 100 | 150 | 200 | 250 | 300 |
| Inches | 3¾ | 3½ | 3⅛ | 2¾ | 2½ | 2¼ |
| Ball cartridges | $10.00 | per | 1000 |
| Blank cartridges | 8.30 | " | " |
| Components. | Price. |
| Frame | $4 10 |
| Recoil-plate | 05 |
| Gate | 55 |
| Gate-spring | 01 |
| Gate-catch | 01 |
| Barrel | 1 60 |
| Front sight | 05 |
| Cylinder | 1 60 |
| Centre-pin | 18 |
| Centre-pin bushing | 20 |
| Ejector-tube | 1 05 |
| Ejector-rod | 17 |
| Ejector-head | 25 |
| Ejector-spring | 07 |
| Hammer | 55 |
| Hammer-cam | 01 |
| Hammer-roll | 02 |
| Hammer-roll rivet | 01 |
| Firing-pin | 05 |
| Firing-pin rivet | 01 |
| Guard | 50 |
| Back-strap | 30 |
| Mainspring | 10 |
| Trigger | 10 |
| Bolt | 10 |
| Hand | 10 |
| Hand-spring | 02 |
| Stock | 35 |
| Long guard screw (2), 1c. ea. | 02 |
| Short guard-screw (2) " | 02 |
| Back-strap screw (3) " | 03 |
| Hammer-screw | 05 |
| Trigger-screw | 04 |
| Bolt-screw | 02 |
| Centre-pin screw | 02 |
| Ejector-tube screw | 02 |
| Gate-catch screw | 01 |
| Mainspring screw | 02 |
| Sear-spring screw | 02 |
| Sear-spring | 02 |
| Screw-driver | 10 |
| Revolver complete | $12 50 |
Each enlisted man and officer of a battery is allowed for revolver practice ammunition to the value of $1.00.
Each battery is allowed 5000 rounds of blank ammunition.
Battery commanders will keep a permanent record for each calendar year of the amount of ammunition expended at each target practice.
Ammunition not expended at the end of the year (December 31) is no longer available.
A model, having a blade 12 inches long, and similar in shape to the regular bowie-knife, is now under consideration by the War Department.
Care and Fitting, etc., of Harness. Care of Carriages. Care of Guns. Care of Ammunition. Guard Orders.
Paints, Turpentines, Oils, Lacquers, etc., are kept in a room separate from other stores, preferably a cellar. The floor should be covered with several inches of fine sand, which should be renewed occasionally. Sawdust should never be used for the floor.
Volatile Oils, such as kerosene or benzine, must never be kept stored in a room with other oils and paints, but in such place that the least possible danger will arise in case of fire.
Paint-brushes, when new, and before using, should be wrapped with strong twine and soaked in water. After using they should be cleaned with spirits of turpentine and put away in a vessel containing water, in order to keep them pliable.
Waterproof Paint.—A solution of pure india-rubber in linseed-oil, ground with pure graphite into a thick, elastic, smoothly flowing paint.
Flexible Paint for Canvas.—Dissolve 2½ pounds of yellow soap in 1½ gallons of boiling water. Grind while hot with any good oil-paint.
Varnish for Harness.—India-rubber, ½ pound; spirits of turpentine, 1 gallon. Dissolve enough to make it a jelly; then take equal quantities of good hot linseed-oil and the[162] above mixture, incorporate well over a slow fire, and it is ready for use.
Linseed-oil Varnish.—Boil any quantity of linseed-oil for an hour, stir in until dissolved 4 ounces of powdered rosin to each pound of oil; then add 1 ounce spirits of turpentine to each pound of oil; cool and strain. It is cheap, a good preservative of wood, and stands hot water well.
Lacquer for Iron Ordnance.—Coal-tar (of good quality), 2 gallons; spirits of turpentine, 1 pint; the turpentine to be added in small quantities during the application of the lacquer. The surface of the metal must be first cleaned with a scraper and a wire brush, if necessary, and the lacquer applied hot, in two thin coats, with a paint-brush.
Lacquer for Bright Ironwork.—Boiled linseed-oil, 80.5 parts; litharge, 5.5 parts; white lead ground in oil, 11.25 parts; pulverized rosin, 2.75 parts. Add the litharge to the oil; let it simmer over a slow fire for three hours; strain it and add the rosin and white lead; keep it gently warmed, and stir until the rosin is dissolved. Apply it with a paint-brush.
Lacquer for Brasswork.—Alcohol (95%), 2 ounces; seed-lac, 1 ounce. Put in glass for six days, exposed to the light; shake well once each day. Apply with brush while work is hot.
To Attach Leather to Metal.—Coat the metal with a hot solution of glue and the leather with a hot solution of nut-galls.
First. Wash thoroughly in soap-suds with a brush, so as to remove all dirt and mould.
Second. Sponge with clean water, and before the leather dries apply with a sponge tied to a handle a solution of ammonia and water in equal parts, using 4 Fs. ammonia.
Third. Apply, when dry, a coat of leather blacking. (A[163] good blacking can be made by placing in 5 gallons of best cider vinegar ¼ pound of pulverized nut-galls, 2 pounds of copperas, 1 pound of iron filings or chips, and letting it stand for five days before use, stirring carefully from time to time.)
Fourth. After the leather is dry apply a good coating of oil—1 part of kerosene and 4 parts of neat's-foot. Apply freely so as to soften the leather, and let it dry sufficiently.
Fifth. Brush the pieces well, and put on with a sponge a thin coat of gum tragacanth, dissolving ¼ pound of gum in 1 gallon of warm water. After drying the leather should be repacked, if desired to store it. Harness in use which becomes hard from perspiration or from being wet should be washed, oiled, and rubbed as above, without applying the solution of ammonia, or of blacking unless the leather has become reddish.
The estimated life of a set of artillery harness is seven years.
Harness, after being used, must be carefully wiped and cleaned; if possible, this is done before taking it off the horse; otherwise it is put in good order at the earliest practicable moment, and covered with the sack. Straps and leather parts generally are kept soft and supple; trace-chains and iron parts free from rust.
Collars and saddles will be aired and kept perfectly clean.
The greatest care must be exercised in keeping the collar where it bears against the horse in perfect order.
Harness should be oiled two or three times a year if necessary.
The best oil for this use is neat's-foot oil, the unctuous property of which is particularly suitable for preserving the suppleness of the leather; this oil contains no siccative part, and may be used unpurified. Four pints and a half[164] will oil the harness of a team of three pairs. To keep it from becoming rancid, use 1 part kerosene to 4 parts neat's-foot.
Before using the oil every part of the leather must be perfectly cleaned and washed, without letting the water soak deeply into the leather; while still damp blacken with dye those places which have become red; when the leather begins to dry, oil it, spreading the oil on with a sponge or thick, soft brush. When neat's-foot oil cannot be had, pure fish-oil may be used, but it must be carefully ascertained that it does not contain any siccative matter, which would make it injurious.
Other oils may be usefully employed, as whale-oil, when they can be gotten pure; this is not easily done, it being hard to detect the frauds.
Vegetable oils are very hurtful.
As good oil cannot always be had, a mixture of three quarters of melted lard and one quarter of whale-oil may be used in emergencies; it should be spread over the leather with a piece of woollen cloth, and well rubbed in.
Blacking for harness and dressings are given under "Mountain Artillery," p. 61. The prepared harness-oil manufactured at Rock Island Arsenal is packed in tins 4½ × 4½ × 8½ inches, each containing 6 pounds of oil. Twenty-five tins are packed in a box.
Kerosene is good for cleaning rust from iron parts, and then use sperm-oil.
To paint metal parts, use asphaltum paint. Before applying care should be taken that every particle of rust is removed; then give two light coats, allowing plenty of time for the first coat to dry. Colgate's black harness soap and Frank Miller's harness soap No. 2½ are excellent for keeping harness clean and soft with little trouble.
Frank Miller's harness soap and asphaltum paint can be obtained from the Ordnance Department.
Recent orders from the War Department forbid the use of any dressings other than those furnished by the Ordnance Department.
In the field there will not usually be much time or many materials available for cleaning harness. Rust should be cleaned off ironwork with sand, kerosene, etc., the ironwork being then oiled. Leather should be kept soft and pliable by having a small quantity of soft soap, if proper oil be not on hand, worked into it, mud and sweat being first removed with as little water as possible.
The blanket must be kept clean, and folded to lie perfectly smooth on the horse's back. Inspect the collar and see that its bearing surface is free from dirt, dried hair, etc., before putting it on the horse, and at every opportunity. The necessity for repairs will be reported immediately, and the repairs will be made by the saddler at the earliest practicable moment.
In garrison harness is wiped off after each drill, and is carefully cleaned once a weak. A good driver should clean his harness thoroughly in from 1 to 1½ hours, especially if provided with a trestle on which to spread it out. First remove all dust and dirt with a damp cloth, disconnecting all of the parts for that purpose. Then apply either soap or dressing with a sponge, wetting the sponge with water when using the soap.
Harness-pegs.—Harness-pegs for each pair are arranged in the walls of the harness-room or in the heel-posts of the stalls. There should be three pegs for each double set of harness, the upper one for the pole-yoke, with the martingales attached, the bridles, and collars; the next for the off harness, and the lower one for the near harness.
On the Upper Peg.—First, the pole-yoke, with the martingales attached, next to the post or wall; then the bridle[166] and collar of the near horse; then the bridle and collar of the off horse, in the order named.
On the Middle Peg.—The off harness; the traces, which are detached, are hung over the peg close to the heel-post; the saddle, with its attachments over the seat, is placed on the peg.
On the Lower Peg.—The leg-guard is slipped over this peg, and the near harness is placed on it, as described above for the off harness.
Each hair-pad is placed on top of its saddle.
The saddle-cloths, being designed only for occasions of ceremony, are kept wherever directed by the battery commander, and issued when it is intended to use them.
Collar.—Each wheel-driver puts on and locks the collar of his off horse.
Pad.—He puts on the hair-pad, and also the saddle-cloth if it is to be used. If the saddle-blanket is used instead of the hair-pad, it will be folded and put on as described.
Saddle.—He puts on the saddle, with its attachments, taking care not to displace the pad or blanket, adjusts and secures the girth, buckles the collar-strap to the saddle, and then adjusts the breeching and buckles the crupper.
Traces.—He takes the traces from the peg, passes them through the loin-loops, attaches the rear ends to the single-tree, which is hanging on the cantle-hook, and then the front ends to the collar, beginning with the off trace; the near trace will be laid on the saddle while attaching the other.
Bridle.—He puts on the bridle and secures the coupling-rein to the manger. He then passes the reins through the roller.
Collar.—Each wheel-driver begins to harness his near[167] horse, as prescribed for harnessing the off horse, at the command "Collar."
Pad, etc.—Same for the near horse as for the off horse, omitting the directions for the coupling-rein and roller.
Yoke.—The wheel-driver puts on his leg-guard, and then, going to the front of his horses, backs them out of the stall, places them side by side, facing the exit, and beginning with the off horse attaches the near yoke by means of the breast-straps, then passes the martingales between the fore legs and through the standing loop on the cincha, and attaches the hooks at the end of the side-straps to the martingale D ring, and then stands to horse.
To back out his pair, the wheel-driver unfastens the coupling-rein, then stands with his back to the manger, takes the reins of the near horse in his right hand and those of the off horse in his left hand near the bit, and backs the pair into the gangway.
In single stalls, separated by partitions, each horse must be backed out by himself.
Harness, Lead and Swing.—The lead-and swing-drivers harness in the same manner as wheel-drivers, with such omissions as are required by the difference in the harness. The traces are passed through the loin-strap loops, the front ends attached to the collars, and they are then trussed by bringing the rear ends forward and passing the toggle through the ring. The lead and swing pairs are not turned around nor backed into the gangway after harnessing unless it is intended to lead out.
Unyoke.—Beginning with his near horse, each wheel-driver detaches the hooks at the end of the side-straps from the martingale-ring and draws the martingale from the standing loop on the cincha; he then unhooks the[168] inside end of each breast-strap, detaches the neck-yoke, and hangs it up on its peg.
Unbridle.—He uncouples his horses, leads them into the stall, secures the coupling-rein of the off horse to the manger, unbridles his near horse, puts on the halter and ties the halter-strap to the manger, hangs up the bridle, and takes off his leg-guard and places it on the peg.
Collar off.—He unbuckles the collar-strap, detaches the front ends of traces from the collar, removes the collar and hangs it on its peg.
Traces off.—He unhooks the traces from the single-tree, takes them off and hangs them on their peg.
Unsaddle.—He unbuckles and frees the crupper, disengages the girth, places the breeching and then the girth on the saddle, takes off the saddle and places it on its peg with the saddle-pad on top.
Unbridle.—Each wheel-driver unfastens the coupling-rein, unbridles his off horse, puts on the halter, ties its strap to the manger, and hangs up the bridle.
Collar off, etc.—The off harness is taken off in the same order as the near harness.
Without Harness-racks.—The pole-prop is placed under the end of the pole; the single-trees are left attached to the double-trees; the wheel-traces are unhitched from the collars only, and laid over the chest from front to rear, or on the foot-board; the collars of the wheel-team on top of the limber-chest (paulins having been removed) next to the rail on the near side, the swing-collars in the middle, and the lead-collars next to the other rail; the collar of the off horse is placed on top of that of the near horse of the same team; the remainder of the harness is placed on the pole, that of the near wheel-horse next to the double-tree and as close to it as possible, next that of the off wheel-horse, both[169] in the order laid down for the wheel-harness; the traces of the lead-and swing-harness (folded once) are laid over the pole; then on top of them the saddles, with the attachments over them, so as not to rest on the ground. The neck-yoke is placed on the foot-board.
To Hook the Single-tree.—Hold the single-tree with the eye down and against the side of the cantle-hook; then push it sidewise far enough so that the eye will pass over the cantle-hook; then let the single-tree fall to the rear. This can be done from either side.
To Fold the Saddle-blanket.—The blanket, after being well shaken, will be folded into six thicknesses, as follows: Hold it well up by the two corners, the long way up and down; double it lengthwise (so that the fold will come between the "U" and "S"), the folded corner (middle of the blanket) in the left hand; take the folded corner between the thumb and fore finger of the right hand, thumb pointing to the left; slip the left hand down the folded edge two thirds its length and seize it with the thumb and second finger; raise the hands to the height of the shoulders, the blanket between them extended; bring the hands together, the double fold falling outward; pass the folded corner from the right hand into the left hand between the thumb and fore finger; slip the second finger of the right hand between the folds and seize the double folded corner; turn the left (disengaged) corner in and seize it with the thumb and fore finger of the right hand, the second finger of the right hand stretching and evening the folds; after evening the folds grasp the corners in the hands and shake the blanket well in order to smooth the folds; raise the blanket and place it between the chin and the breast; slip the hands down half-way, the first two fingers outside, the other fingers and thumb of each hand inside; seize the blanket with the thumbs and first two fingers; let the part under the chin fall forward; hold the[170] blanket up, arms extended, even the lower edges, seize the middle points between the thumbs and fore fingers, and flirt the outside part over the right arm; the blanket is thus held before placing it on the horse.
To Put on the Blanket.—Approach the horse on the near (left) side, with the blanket folded and held as just prescribed; place it well forward on his back, tossing the part of the blanket over the right arm to the right side of the horse, still keeping hold of the middle points; slide the blanket once or twice from front to rear to smooth the hair, being careful to raise the blanket in bringing it forward; place the fore finger of the left hand on the withers, and fore finger of the right hand on the backbone, the blanket smooth; it will then be well forward, with the edges on the left side; remove the locks of the mane that may be under it.
To Saddle.—Place the pad or blanket on the horse as previously explained; seize the pommel of the saddle with the left hand and the cantle with the right; approach the horse on the near side from the direction of the croup and place the centre of the saddle on the middle of the horse's back so it will fit close to it; let down the cincha-strap and cincha; pass by the horse's head to the off side, adjust the cincha and straps, and see that the pad or blanket is smooth; return to the near side by the head, raise the pad or blanket slightly under the pommel-arch so that the withers may not be compressed; take the cincha-strap in the right hand, reach under the horse and seize the cincha-ring with the left hand, pass the end of the strap through the ring from underneath (from inside to outside), then up and through the upper ring from the outside; if necessary, make another fold in the same manner.
The strap is fastened as follows: Pass the end through the upper ring to the front; seize it with the left hand; place the fingers of the right between the outside folds of[171] the strap; pull from the horse with the right hand and take up the slack with the left; cross the strap over the folds, pass the end of it, with the right hand, underneath and through the upper ring back of the folds, then down and under the loop that crosses the folds, and draw it tightly; weave the end into the strands of the cincha-strap, between the rings.
Another method of fastening the cincha-strap is as follows: Pass the end through the upper ring to the rear; seize it with the right hand; place the fingers of the left between the outer folds of the strap; pull from the horse with the left hand and take up the slack with the right; pass the end of the strap underneath and draw it through the upper ring until a loop is formed; double the loose end of the strap and push it through the loop and draw the loop taut. The free end should then be long enough to conveniently seize with the hand.
Having fastened the cincha-strap, let down the right stirrup, then the left.
The surcingle is then buckled over the saddle and should be a little looser than the cincha.
The cincha when first tied should admit a finger between it and the belly. After exercising for a while the cincha will be found too loose and should be tightened.
To Put on the Curb-bridle.—Take the reins in the right, the crownpiece in the left, hand; approach the horse on the near side, passing the right hand along the neck; slip the reins over his head and let them rest on his neck; take the crownpiece in the right hand and the lower left branch of the bit in the left hand, the fore finger against the mouthpiece; bring the crownpiece in front of and slightly below its proper position; insert the thumb of the left hand into the side of the mouth above the tush; press open the lower jaw; insert the bit by raising the crownpiece; with the left hand draw the ears gently under the crownpiece,[172] beginning with the left ear; arrange the forelock; secure the throat-latch and then the curb-strap, taking care not to set them too closely.
The mouthpiece, which should fit the width of the horse's mouth, rests on that part of the bars directly opposite the chin-groove; the curb-strap will then lie in the chin-groove, without any tendency to mount up out of it on the sharp bones of the lower jaw. This position of the mouthpiece will be attained for the majority of horses by adjusting the cheek-straps so that the mouthpiece will be one inch above the tushes of geldings and two inches above the corner teeth of mares.
The throat-latch should admit four fingers between it and the throat; this prevents any constriction of the windpipe or pressure on the large blood-vessels.
The curb-strap or chain, which should be of width to fit the chin-groove,—not over three fourths of an inch,—should fit smoothly the chin-groove, and be loose enough to admit one or two fingers when the branches of the bit are in line with the cheek-strap.
If the bridle be put on over the head-stall, the hitching-strap, if not left at the manger or picket-line, will be tied around the neck. The hitching-strap may also be arranged as follows: Loop it two or three times through the ring so that the loop may be about 8 inches long; wind the strap several times around the loops and draw the end tightly through them.
The bridle and saddle are fitted as prescribed.
The Collar, when adjusted, should admit the flat of the hand between the lower part and the throat, and the fingers between the sides and the neck. A short collar chokes a horse by pressing on the windpipe; a narrow one pinches[173] and rubs the neck. A broad collar works about and galls the shoulders.
The Back-strap, when adjusted, should admit the breadth of the hand between it and the horse's back.
The Collar-strap should not be tight; otherwise it would pull the saddle forward on the withers. The surcingle, when used, should be buckled on the near side of the near horse and on the off side of the off horse, less tight than, and over, the girth.
The Breech-strap should be adjusted so that when the horse is pulling there will be a space of about four inches between the breech-strap and the horse's quarters.
The Hip-strap should be of such length that the breech-strap will be a little below the point of the buttocks, or about 12 or 15 inches below the top of the dock.
The Loin-straps should be adjusted so that the wheel-traces, when in draught, will be straight and without downward pull on the loops that support them.
The loin-straps of swing-and lead-horses should raise the traces about six inches above the stifle-joint when in draught. In this position the line of the traces from front to rear will be straight, and the loops of the loin-straps will support the traces without drawing them up.
The Side-straps should be so adjusted that when the horse is sitting back (stopping the carriage) no strain comes on the collar; the action should be performed by the horse sitting back into the breeching and thereby checking the momentum of the carriage by means of the side-straps, martingale, and neck-yoke. This is the most important adjustment of all.
The Traces.—The length of the traces must depend in a great measure on the size of the horse and his stride. For the wheel-team the rule is to allow about 14 inches from single-tree to hindquarters, and for swing-and lead-teams one yard from nose to croup when in draught. The traces[174] should be adjusted so that the line of traction will be unbroken from the single-tree to the collars of the leaders, and this rule will regulate, in some measure, the length of the loin-straps, the matching of the horses, and arrangement of the pairs as wheel, swing, and lead pair; this should be such as to make the waste of force as small as possible.
All front trace-chains are permanently fastened to the traces, and have a toggle at the end.
All rear trace-chains have a ring at one end and a hook at the other; the hook is passed through the D ring at the end of the trace, and hooked back into any desired link. By this means the length of the trace is adjusted, and the rear trace-chain need not be removed except for cleaning.
In garrison carriages must be kept in the gun-sheds.
In the field they should be parked, if possible, on dry ground, furrows being cut, if necessary, to prevent the accumulation of water around them. They should be covered with the paulins.
Every carriage should be carefully examined each day after marching into camp, and every defect and damage then noted and corrected as soon as possible. Everything in the way of cleaning, adjustment, etc., should be looked to, so that the carriages may be ready as soon as possible to turn out again in perfect order.
To keep wheels in good working order, they should be slightly greased after each day's march, and any old grease which has worked out at the shoulder of the axle scraped off. In garrison this is done each drill-day by the cannoneers while the drivers are hitching up, first wiping them off with cotton waste and then applying a little grease or sperm-oil. When it is necessary to remove a wheel, it should never be thrown upon the ground, nor the point of the axle allowed to rest upon the latter. The elevating[175]-gear should be kept cleaned and oiled, and also the trunnion bearings, as far as may be without dismounting the gun. Should the elevating-screw fail to work freely, it must be examined, and if the threads are indented on the edges they must be carefully filed down. In long marches a little grease should be placed on each pintle-hook, so that the lunette may work freely on it.
Grease for Carriage-wheels.—Hog's lard softened, if fresh, by working it. If this cannot be procured, tallow or other grease may be used; if hard, it should be melted with fish-oil. About one pound of grease is required for four wheels.
Those fittings of carriages upon which, on account of friction, etc., paint cannot be kept should be well oiled to prevent rusting; this is also necessary with linch-pins, keys, etc., to keep them free from the liability of jamming. Bright parts are kept in good order by applying with a brush or cloth a mixture of 1 pound of white lead and ¼ pound tallow or lard heated and mixed together. It is easily removed with a cloth and a little turpentine.
Leather strapping must be kept soft and pliable. Cotton waste and Putz pomade are supplied for keeping bright parts in good order.
Articles carried in the boxes require examination to see that they are perfect.
Sponges which have been in use ought to be washed and dried as far as possible, the covers not being put on until quite dry.
Painting Carriages.—Wooden parts, and the corresponding parts of the steel carriage, are painted olive-color; the other parts black. Whenever there is an appearance of rust under the paint of the steel gun-carriage, it should not stand until the annual painting, but be cleaned off at once and repainted.
Before painting a carriage it must be dry, thoroughly[176] clean, and free from grease. It will not be necessary to scrape off the old paint where it is sound and firm, but all blisters, perished paint, and rust on ironwork must be scraped off. Where the wood is bare of paint, it should have three coats. This patching should be done before the final coat is put on. One coat is sufficient for the annual painting.
To remove old paint, use a paste of soda and quicklime, equal parts, made by dissolving soda in water and then adding lime. Apply with a brush, and after a few minutes wash off with hot water. Wash with vinegar or an acid solution before repainting to remove all traces of the alkali.
Sponges, rammers, and handspikes are not painted.
In taking a battery in hand for repair it should first be stripped of all the stores, the whole of the strapping and fixed leather taken off, and the carriage thoroughly washed. All metalwork requiring repairs should be attended to at once; also canvas and leatherwork. The paint is supplied by the Ordnance Department.
Paint for Field-guns.—This quantity will paint 25 guns. It comes in tins marked No. 1 and No. 2, and is furnished by the Ordnance Department.
| Venetian red | 1½ | pounds |
| Oxford yellow or French yellow | ½ | pound |
| Graphite | 6 | ounces |
| Liquid dryer | 1 | pint |
| Japan gold-size | 1 | " |
| Turpentine spirits | 1 | quart |
To be well ground and strained before using.
| Venetian red | 1½ | pounds |
| Oxford yellow or French yellow | ½ | pound |
| Graphite | 6 | ounces |
| Sugar of lead | 2 | " |
| Liquid dryer | ½ | pint |
| Japan gold-size | 1 | " |
| Varnish (copal outside) | 1 | quart |
| Turpentine spirits | ½ | pint |
To be well ground and strained before using. All grease must be carefully removed from the gun before application.
The paint should be allowed at least 48 hours to harden after the first coat before applying the second, and twice that long (96 hours) after the second coat before handling.
Guns should ordinarily be painted once a year. It is injurious to the mechanism to frequently dismount it, as the parts are dented by being dropped, screw-threads injured, etc. They should at all times be kept in good order and free from rust and dust, particular attention being paid to the breech mechanism. Animal oil should not be used; fish-oil and cosmoline are best. The use of lard-oil is injurious, and in cold weather forms a stiff wax over all parts. Cotton waste and cosmoline are supplied for this purpose by the Ordnance Department, and the cosmoline should be freely used in the bore, breech, and on breech mechanism. Bright parts are preserved by applying with a brush or cloth a mixture of 1 pound white lead and ¼ pound tallow or lard-oil heated and mixed together. It can easily be removed with a cloth and a little turpentine.
Machine-guns.—Keep in dry storehouse, covered and well oiled with a mixture of equal parts of sperm-oil and kerosene-oil. Every two or three days they should be wiped off, a rag passed through the barrels, and fresh oil applied. The use of emery cloth or scouring material must be avoided.
Ammunition for field-pieces is put up in wooden boxes so painted as to indicate their contents, viz.: for shell, black; for shrapnel, red; for canister, light drab. The kind of ammunition is also marked on the end of the box, and the place and date of manufacture on the inside of the cover. Each box contains ten projectiles. Projectiles, except bands and fuzes, are painted as follows:
Shrapnel, with Point-charge.—Body black; head vermilion.
Shrapnel, with Base-charge.—Body, from band to include ⅗ of head, black; remainder of head and part of body in rear of band, vermilion.
Canister.—Wholly black.
Shell (Cast-iron).—Body, including ½ length of head, black; remainder of head, next to point, vermilion.
The fuze-holes should be stopped with tow or cotton waste, and the projectiles should be kept under cover in a dry place. Care should be taken in handling projectiles to avoid injuring the bands. Projectiles for field-guns are now issued, charged and fuzed for service, from the arsenals.
Shells of field-mortars should not be kept charged. This is done as occasion requires when firing, and the greatest care must be taken before inserting the fuze that the threads of both fuze and fuze-hole are perfectly free from dust, grit, and powder; and when assembled the fuze must be screwed tight home.
Powder.—When made cartridges are not supplied, the powder is in wooden barrels, or in barrels of corrugated metal with bronze screw-caps, each containing 100 pounds. On the heads are stencilled the number of the barrel, the name of the manufacturer, year of fabrication, kind of powder, the mean initial velocity and pressure per square inch on the pressure-piston. Each time the powder is[179] proved the initial velocity is marked below the former proof-marks, and the date of trial opposite it.
Barrels of different kinds of powder are piled separately, and, besides being recorded in the magazine-book, each parcel is marked with a card showing the kind and the entries and issues.
In the magazine the barrels are placed on their sides, generally three tiers high, or four tiers if absolutely necessary. Small skids are placed on the floor and between the several tiers, and the barrels chocked at intervals to prevent rolling. The tiers must be so arranged that the marks can readily be seen and any particular kind reached. There should be an unobstructed space of several yards square at the door, and this space, as likewise the alleys, should be covered with carpet or matting. The magazine is provided with a well near the door; into this the sweepings are put; they should never be swept out at the door.
For the preservation of the magazine it is of the greatest importance to keep unobstructed the circulation of air under as well as above the flooring. The magazine should be opened and aired only in dry, clear weather, when the temperature of the air outside is lower than that inside of the magazine.
It should not be opened in damp weather if it can be avoided. The ventilators must be kept free, and no shrubbery or trees allowed to grow near so as to screen the building from the sun. The yard should be of sand or clay and well drained. The moisture of a magazine may be absorbed by chloride of lime kept in an open vessel and renewed from time to time. Quicklime is dangerous, and should not be used. Candles in lanterns are used for lighting the magazine. No one should enter without first removing his shoes or putting india-rubbers over them. No cane, sword, or anything which might occasion sparks must be carried in.
Barrels of powder must not be rolled in transportation; they should be carried in handbarrows, or in slings made of rope, canvas, or leather. All implements used in the magazine or on the barrels should be of copper or wood. The barrels must never be repaired in the magazine. When it is necessary to roll them for the better preservation of the powder and to prevent its caking, it is done with a small number at a time on boards in the yard.
Neither loaded shells, fireworks, nor composition for fireworks, fuzes, nor friction-primers, etc., will be stored in a magazine with powder. Shells should be filled in the filling-room of the service-magazine.
Transportation of Powder.—In wagons. The barrels of powder must be packed in straw, secured in such a manner as not to rub against each other, and the load closely covered with canvas. Sufficient guard should accompany the train to prevent all fire or smoking near the wagons. No camp-fires should be allowed near the park. On railroads each barrel should be tightly boxed and packed so as to avoid friction; the cars, if practicable, should have springs similar to those of passenger-cars.
Fuzes and Friction-primers are kept as far as possible in their original packages, and are stored in the driest and safest place in the storehouse.
Filling Cartridge-bags.—The powder is carried in barrels from the magazine to the filling-room. Under no circumstances will the filling be done at the magazine. Handle powder carefully. Implements required: 1 copper hammer, 1 wooden drift, 1 counter-brush, 1 scoop, 1 counter-scale and weights (brass or copper), 1 filling-funnel, 1 set of powder-measures, cartridge-bags and twine. When the cartridges are to be used with projectiles, each charge is carefully weighed; if for blank cartridges, it is measured.
One man holds the bag open and another pours the powder into it through a funnel. The bag is then securely[181] tied with twine close to the powder. When filled, each should be marked in pencil, showing kind and weight of powder, and for what piece to be used.
Filling Projectiles.—The bursting-charge should be weighed and carefully placed in shell through copper funnel, the nose of which should pass below the end of the screw-thread. Then carefully wipe the thread of both fuze and fuze-hole before inserting the fuze.
Battery-guards.—A light battery serving with other troops will furnish its own park and stable guards, police, etc. Both officers and men will be exempt from other details, and the men will not be detailed for extra duty in the staff departments, nor for duty interfering with battery duties, if it can be avoided.
A light battery serving with other troops will furnish its own stable and park guard, which will be under the exclusive control of the battery commander.
Battery Stable and Park Guard.—The pieces, caissons, etc., with their ammunition and stores, as well as the horses, harness, and forage are under the charge of a stable and park guard, consisting of two non-commissioned officers and as many privates as may be necessary.
This guard will be mounted separately for each battery, and will be under the exclusive control of the battery commander.
A lieutenant of the battery is detailed daily, or for such period as the battery commander may direct, as battery officer of the day; the stable and park guard is under his immediate orders and those of the battery commander.
It is the duty of this guard to enforce the special regulations in regard to the stables, horses, and park.
The tour continues for 24 hours, or until properly relieved by a new guard.
The sentinels of the stable and park guard will be posted and relieved as prescribed in "Light-artillery Drill Regulations." They wear the sabre-belt without sabre when on post at the stable or picket-line. They are forbidden to strike or otherwise punish horses.
(Between retreat and reveille the sentinels should be armed with loaded revolvers.)
The sentinels over the horses or in charge of prisoners receive orders from the stable sergeant, so far as the exercise of his duties are concerned.
The guard, non-commissioned officers and sentinels, will perform their duties in accordance with the rules prescribed for the troop stable-guard.
The employment of stable-guards for police and fatigue duties at the stables is forbidden; but this will not prohibit the stable-guard from being required to assist in feeding grain before reveille. (It may be used as a herd-guard during the day.)
The stable-guard will attend stables with the rest of the battery and groom their own horses, the sentinels being relieved for the purpose. They will wear stable frocks while grooming, belt outside the frock; after grooming they take off their stable frocks, and the sentinel is again posted.
Neither the non-commissioned officer nor the members of the stable-guard will absent themselves from the immediate vicinity of the stables, except in case of urgent necessity and then for no longer time than is absolutely necessary. No member of the guard will leave for any purpose without the authority of the non-commissioned officer of the guard.
The non-commissioned officer and one member of the guard will go for meals at the proper hour; upon their return the other members will be directed to go by the non-commissioned officer. (With park and stable guard the[183] guard will be so sent to meals as to leave at the guard-house one non-commissioned officer and one private, exclusive of sentinels on post.)
Smoking in stables or their immediate vicinity is prohibited. No fire or light other than the stable lanterns will be permitted in the stables.
Stable-guard duty in the field will be performed upon the same principles, with the modifications rendered necessary by the changed conditions.
Duties of the Battery Officer of the Day.—He has supervision of the guard, attends all stable duties and such drills and battery roll-calls as may be designated as requiring his presence.
He should inspect the guard and sentinels during the day and night as often as he may deem necessary.
After the new battery officer has visited the guard at guard-mounting and seen that the orders have been correctly turned over, he will report to the battery commander for instructions.
Commander of the Guard.—The senior non-commissioned officer of the guard is commander of the guard.
The commander of the guard is responsible for the instruction and discipline of the guard. He will see that all its members are correctly instructed in their orders and duties, and that they understand and properly perform them.
He receives and obeys the orders of the battery commander and the battery officer of the day, and reports to the last named without delay all orders relating to the guard not given or transmitted by him. He transmits to his successor all material instructions and information relating to his duties.
He is responsible for the general safety of the camp as soon as the old guard marches from the guard-house. In case of any emergency occurring while both guards are at[184] the guard-house, the senior commander of the two guards will be responsible that proper action is taken.
A commander of a guard leaving his post for any purpose will mention his destination and the probable duration of his absence to the next in command.
Should it become necessary during the absence of the commander of the guard for the next in command to leave the guard, he will designate a member of the guard to take charge and assume the responsibility during his absence. The member so designated will be obeyed and respected accordingly, and will be held responsible for the proper performance of his duties.
All prisoners will be thoroughly searched before being allowed to enter the guard-house.
The prisoners will be marched under proper guard to the mess-hall for their meals; they must be sent to their meals at times when the other men of the battery are not present, and will be allowed the same time as other members of the guard.
The commander of the guard will record upon the guard report the names of all horses taken out during his tour (except under paragraphs a and c, p. 185), stating the authority under which they are taken and their condition when returned.
Should officers' horses be returned by an enlisted man, he will inspect them as prescribed.
Except in emergencies, the commander of the guard may divide the night with the next in command, but retains his responsibility; the one whose watch it is must be constantly on the alert.
The non-commissioned officer receives his orders from his battery commander and battery officer of the day, and when relieved will turn over all his orders to his successor.
He instructs his sentinels in their general and special duties; exercises general supervision over his entire guard;[185] exacts order and cleanliness about the guard-room; prevents the introduction of intoxicants into the guard-house or stables; receives by count, from his predecessor, the animals, horse equipments, and all property (both private and public) pertaining thereto; examines, before relieving his predecessor, all locks, windows, and doors, and should any be found insecure he will report the fact to the battery officer of the day. He, or the junior non-commissioned officer of the guard, will personally post and relieve each sentinel, taking care to verify the property responsibility of the sentinel who comes off post, and see that the sentinel who goes on post is aware of the property responsibility he assumes. During the day and night the non-commissioned officers will alternate in tours, one of them remaining constantly on the alert.
That the non-commissioned officer may be more thoroughly informed of his responsibility, all horses returning, except those from a regular formation, will be reported to and inspected by him. He will then notify the sentinel on post, and see that the horses are promptly cared for. In case of abuse he will promptly report to the battery officer of the day. Should the horse be the private property of an officer, he will report such abuse to the owner.
The non-commissioned officer will report any unusual occurrence during his tour to the battery officer of the day.
Horses and other property for which the non-commissioned officer is responsible will not be taken from the stables without the order of the battery commander, with the following exceptions:
a. Officers' horses and private property are subject to their own written order.
b. Horses authorized for mounted duty or pass may be taken out on a written order of the battery commander.
c. No formal order will be required for horses and equipments to leave the stable at established hours for cere[186]monies, mounted drill, herding and watering horses. The commander of the guard must be present and satisfy himself that they are being taken out solely for these purposes.
d. The horses and equipments of the first sergeant and stable sergeant (unless otherwise ordered by the battery commander) may be taken out by themselves, or on their written order, between reveille and retreat. This privilege may be extended to the other sergeants.
e. The battery team will be allowed to leave the stables in the daytime (between reveille and retreat) when the wagoner reports it to be necessary.
In case of fire at the stable the commander of the guard will take the necessary precautions in opening or closing the doors, so as to prevent as far as possible the spreading of the fire and make it possible to remove the horses. He will then, assisted by all the available men, commence to lead out the horses, and, if practicable, secure them at the picket-line or other designated place.
The non-commissioned officer will have exclusive control of the lanterns, and will see that they are prepared during the day for lighting at night.
The lanterns will not be lighted, filled, or trimmed in the stables, but must be taken to the guard-room, or to such other place as may be designated by the battery commander for the purpose.
The non-commissioned officer must answer the sentinels' calls promptly.
Sentinel of Stable-guard.—The sentinel in the discharge of his duties will be governed by the regulations for sentinels of other guards whenever they are applicable, such as courtesies to officers, walking post in a soldierly manner, challenging, etc.; he will not turn out the guard except when ordered by the proper authority.
The sentinel will receive orders from the battery com[187]mander, the battery officer of the day, and the non-commissioned officers of the stable-guard only.
The sentinel will not permit any horse or equipments to be taken from the stables except in the presence of the non-commissioned officer.
Should a horse get loose, the sentinel will catch him and tie him up. If he be unable to catch the horse, the non-commissioned officer will be at once notified. In case a horse be cast, or in any way entangled, he will relieve him if possible; if unable to relieve him, he will call the non-commissioned officer. Sentinels are forbidden to punish or maltreat a horse.
When a horse is taken sick, the sentinel will notify the non-commissioned officer, who will in turn call the stable sergeant, and see that the horse is properly attended to.
In case of fire the sentinel will give the alarm by stepping outside the stable and firing his pistol (if he be armed) repeatedly, calling out at the same time, "Fire, stables, battery—!"
As soon as the guard is alarmed he will take the necessary precautions in opening or closing the doors, so as to prevent the spreading of the fire and make it possible to remove the horses; he will drop the chains and bars, and, with the other members of the guard, proceed to lead out the horses, and secure them at the picket-line or such other place as may have been previously designated.
The Horse. How Obtained. Description of. Inspection of. Power of Teams. Weight behind Artillery-teams. Gaits of Artillery. Dentition. Plate of Diseases. Sick Horses. Health and Disease. Veterinary Medicines. Drugs and Doses, and How to Administer Them. Mashes, Poultices, etc. Veterinary Notes, with Symptoms and Treatment of Various Diseases. Stables and Stable Management. Grooming. Feeding and Kinds of Food. Watering. Training Horses. Rules for Treatment and Care of Horses. Destruction of Horses.
Horses are obtained from the Quartermaster Department. Submit requisitions, generally in triplicate, stating the color desired, and whether the horse is for lead-, swing-, or wheel-team.
The artillery-horse must be sound, free from vicious habits, a square trotter, well broken to harness, and must conform as nearly as possible to the following description: A gelding of uniform and hardy color; in good condition; from fifteen to sixteen hands high; weight of the lead-horse not less than 1050 pounds, and that of the wheel-horse not more than 1300 pounds; from four to eight years old; full-chested; shoulders sufficiently broad to support the collar, but not too heavy; full-barrelled, with broad, deep loins; short-coupled, with solid hindquarters; feet sound and in good order. Long-legged, loose-jointed, long-barrelled, and narrow-chested horses, as well as those which are restive, vicious, or too free in harness, are to be rejected.
Care must be taken not only that they possess the form and qualities necessary for the work they are likely to be employed in, but also that they are docile and easy-tempered and sound. Form differs according to breed, and upon it depends the fitness of the animal for draught or saddle purposes. For either purpose a horse should walk and trot well. Horses with deeply scarred backs (or, if for harness, shoulders), or which show signs of having been much cut with the girth (girth-galled), should not be selected, if avoidable. If for riding purposes, the withers should be neither too high nor too low, and the shoulders oblique; forearms long and muscular; chest moderately wide and deep; ribs well arched behind saddle and continued close to haunch; loins broad; hindquarters long, wide, and muscular; tail set on as near the level of the croup as possible; limbs from knees and hocks downwards short, wide laterally, with the tendons and ligaments standing well apart from the bone, and distinctly defined. Neither beneath knee nor hock should they be narrow or abruptly tied in; knees wide in front, hocks sideways. Pasterns not too long or oblique, inclined out or in, nor yet too upright; hoofs black, if possible, and circular in shape; wall smooth and even from coronet to ground, and not marked by horizontal rings; heels well spread; soles concave and strong; frogs well developed, sound, and firm. The foot in progression should be placed evenly on the ground, neither toe nor heel coming too markedly in contact with it. Coarse-bred horses, with hairy legs and large, flat feet, should never be chosen. Fore limbs should be examined for broken knees, splints, sprains of tendons and ligaments (indicated by thickening, and, if recent, by tenderness on manipulation), ring-bone (an uneven deposit of bony matter around the lower end of the pastern), side-bone (ossi[190]fication of the elastic cartilages on each side of the foot toward the heels), sand-crack in hoof (usually in the inside quarter of fore foot), chronic laminitis (manifested by horse putting heels first to the ground, convex soles, walls hollow in the middle in front, bulging at toe, and made uneven by rings on surface), navicular disease (usually shown by contracted heels, very concave soles, lameness, and digging toes in the ground during walk or trot, wearing the shoe more at point of toe than elsewhere, extending limb forward and elevating heels while at rest), corns (a bruise of sole at the heels, only to be discovered by removal of shoe and paring sole at this part).
Hind limbs should he examined for spavin in hock (a bony tumor in front of inside hock, best seen by standing at animal's shoulder and viewing this part of the joint in profile; compare both hocks in this way, and if there is any inequality, and the prominence be hard, it is almost certain to be spavin; lameness or stiffness of the limb is generally present), sprain of tendon inside hock (marked by a swelling inside point of hock), curb (a sprain of ligament at back and below point of hock, seen as a more or less prominent convex swelling on looking at the hock sideways), sprain of back tendons or ligaments (as in fore limb), ring-bone (as in fore limb).
The eyes should be healthy; examine them by moving the finger smartly near the eye, but without touching it, when the animal will wink if it be not blind; for careful examination, inspect the eye in sunlight, then cover with hand for a few seconds to ascertain if the pupil contracts and enlarges; to examine interior of eye, employ a lighted candle in a darkened stable.
Examine head behind ears, withers, back, and shoulders for bruises; nostrils for glanders (if there be any discharge); turn round suddenly and back the horse to discover if there is sprain of back, and if hindquarters are[191] moved firmly and promptly. Inspect skin for mange and ringworm, heels for grease and cracks, and coronets for fistulous wounds.
Have him ridden very rapidly for a couple of hundred yards, stopped suddenly, and then place ear in rear of left shoulder to listen if the heart beats properly, and also near the nostril to hear if his breathing is all right.
If a hollow cough is present, observe motion of abdomen at flank; should this have a double ascending movement or "lift" in expiration, the animal is broken-winded. In galloping, or when suddenly menaced by a blow of a whip, should a grunt or shrill whistling sound be heard in inspiration, the animal should be rejected. If, during rapid motion, a wheezing noise be heard in expiration or inspiration, the horse is unsound.
Before selection is completed the horse should be ridden if for saddle purposes, or driven in harness if for draught.
Every animal will be branded with the letters "U. S." on the left fore shoulder on the day he is received. They are also branded on the left hip with the letter of the battery and the number of the regiment. A complete descriptive list will be made of each animal at the time of purchase, which will accompany him wherever he may be transferred.
Fig. 72.
Fig. 73.
Head.
Neck.
Forequarter.
Body or Middle Piece.
Hindquarter.
If a horse has to work at speed (as in the case of horse-artillery) he can, as a rule, under service conditions, draw about 600 pounds, or carry on his back about 260 pounds, although in some services he is required to do more.
In light field-artillery, where great speed is not expected, this may he increased to about 700 pounds; for heavy field-artillery a further increase may be made.
Metcalfe gives: horse-artillery, 650 pounds; light field-artillery, 700 pounds; heavy field-artillery, 850 pounds; and siege-artillery, 1000 pounds; and the English Handbook contains the following table giving a rough estimate of what teams may be called upon to transport:
| Teams of 4 horses. |
Teams of 6 horses. |
Teams of 8 horses. |
Teams of 12 horses. |
|
| Cwt. | Cwt. | Cwt. | Cwt. | |
| Horse-artillery batteries | 20 to 24 | 33 to 36 | ........ | ........ |
| Field-batteries | 26 to 30 | 39 to 45 | 48 to 56 | ........ |
| Batteries of position | ........ | ........ | 70 | 5 tons |
Fig. 74.
b, breast-strap; c, collar; d, double-tree; s, single-tree; t, trace.
Owing to their interference with each other's motions, the maximum load drawn by teams of horses increases less rapidly than does the number of horses in draught. In horse-artillery teams 6 horses is the greatest number that can be usefully employed; in the heavier field-batteries 8 horses are sometimes used, but not when it can be avoided,[195] as it makes a cumbersome team and a large percentage of the working power of the extra pair is lost.
Bad roads, insufficient food, rapid movement for short times, and forced marches require that the weights behind horses should be kept at a minimum consistent with the service required. The average weights exclusive of cannoneers of all the principal military powers are: horse-artillery—gun-carriage, 634 lbs.; caisson, 727 lbs.;[7] and field-artillery—gun-carriage, 718 lbs.; caisson, 796 lbs.
The Manœuvring Gallop is at the rate of twelve miles an hour (352 yards in a minute). This gait is used on occasions by horse-artillery, and in great emergencies for very short distances by field-artillery.
The Manœuvring Trot or Trot-out is at the rate of eight miles an hour (235 yards in a minute.)
The Canter is at the same rate, viz., eight miles an hour.
The Slow Trot is at the rate of from six to six and one half miles an hour, and should be used by light artillery for distances of several miles when necessary to move at a faster gait than a walk.
At drills and on road marches it should be considerably employed so that teams may move easily and with unnecessary fatigue when called on to cover long distances rapidly.
The Walk is at the rate of four miles an hour (117 yards in a minute). It is the pace usually employed on the line of march for field-batteries, although they move, as does horse-artillery, at an alternate trot and walk, covering about five miles an hour.
Age of Horse from One to Nine Years, as Indicated by Teeth (Incisors) in Lower Jaw.—The age of a horse is determined by:
1. The character of the teeth, i.e., whether they be temporary or permanent.
2. The period at which they are cut.
3. The condition of the teeth themselves.
Temporary or milk teeth are distinguished from the permanent teeth by being smaller, whiter, and having more distinct necks. The fangs are small and have little attachment to the gums. The jaws are plump, fleshy, and round, and the teeth are arranged in something like a semicircle. Permanent teeth are larger, broader, wider in the necks and more discolored than milk-teeth. The plumpness and circularity of the jaw is less than in the young colt, and gradually decreases. In old age the teeth are arranged in a nearly straight line.
During the first ten months the six incisors appear. At twelve months the teeth show little signs of wear, the corner teeth are mere shells, having no inner walls, and the teeth are close together.
At two years the corner teeth have grown up to level of others; the centre teeth are worn. The teeth stand wide apart at necks because of growth of jaw.
Shortly before three years old the two centre milk-teeth are shed and replaced by permanent teeth.
Shortly before four years old the next two milk-teeth on either side are shed, and permanent ones appear.
Shortly before five years old the corner milk-teeth are shed, and permanent ones appear, but as shells only, having no internal walls.
At about six years old the inner wall of the corner teeth has grown up level with outer wall.
The tusks appear at about three and one half years, are[197] matured at six, and then begin to wear away. Usually absent in mares.
Between three and five years the marks or cups in the permanent teeth are very plain.
At six the marks are well worn in centre teeth.
At seven the marks disappear from centre teeth, are well worn in the two next, but plain in corner teeth.
At eight the marks have all disappeared, except in corner teeth, in which they are worn.
At nine the marks are usually gone from all the incisor teeth in lower jaw.
The temporary incisors in upper jaw fall out usually a little earlier than those in lower jaw. The permanent incisors in upper jaw are longer and larger than the lower, and the mark is deeper and remains longer than in the lower teeth.
Beyond nine years the teeth become angular and foul, the tusks worn, and the age only to be determined accurately by much experience and observation.
Old horses frequently suffer from uneven and sharp-edged grinders. Their mouths should be occasionally examined, particularly if the animal be off his feed, and, if necessary, the teeth should be rasped off.
The horses on sick report are in charge of the stable sergeant, who reports daily to the captain for instructions as to their treatment.
In garrison the battery officer of the day inspects the sick horses daily, and records in his guard-report book the names of the horses on sick report, and the treatment they receive.
In treating sick horses it is to be observed that very little medicine is ordinarily required, and that unnecessary doses do a great deal of harm.
If a horse sustain an injury, neglect his feed, refuse his water, or give any evidence of sickness, it will be at once reported.
No horse on sick report will be taken from the stable or picket-line for exercise or work without permission from proper authority.
If there be at any time a suspicious discharge from one or both nostrils of an animal, it must be immediately reported.
To prevent contagion to man or beast, an animal that shows any decided symptoms of glanders is to be isolated at once, and confined or tied up in some locality where no other animal can approach him.
A glandered horse should be killed as soon as possible. The stall in which he stood is torn down and all the woodwork burned and the ironwork disinfected, or otherwise it is closed and must remain empty until the rack, manger, and every part of the iron and woodwork, as also the vessels used in watering and feeding, and his saddle and bit, have been three or four times thoroughly washed with a 5 per cent solution of carbolic acid or a 1 to 1000 solution of corrosive sublimate; all parts to which the latter has been applied should be thoroughly scrubbed with hot water to remove all traces of the poisonous salt. The application of a lime wash to all the stalls, after complete disinfection, will be desirable. Small articles, such as bits, etc., can be disinfected by keeping them immersed for a half-hour in boiling water. All articles of little value that have been used with a glandered horse, such as halters, bridles, horse-cloths, saddle-cloths, blankets, nose-bags, currycombs and brushes, etc., should be destroyed.
Stables occupied by infected or suspected horses should be disinfected daily by washing exposed surfaces with a 5 per cent solution of carbolic acid, and nose-bags, halters, buckets used for drinking-water, etc., should be carefully washed with the same solution or with boiling water.
| Points. | Corresponding to the Condition of | |
| Health. | Disease. | |
| 1. Temperament | Vivacious. | Dull. |
| 2. Coat | Healthy. | Staring. |
| 3. Membranes | Pale and moist. | Florid and dry. |
| 4. Appetite | Good. | Bad. |
| 5. Pulse | 36 to 40 per minute. | 50 to 90. |
| 6. Respirations | 8 to 12 per minute. | 20 to 50. |
| 7. Temperature, external | Warm. | Cold. |
| 8. Temperature, internal | 98°.4 to 100°. | 101° to 105°. |
On entering a stall to determine the state of an animal the temperament and coat are first observed. To examine the membranes, elevate the nostrils so as to obtain a good view of the interior, ascertain the condition of the appetite by observation or a trustworthy source. Take the pulse for a full minute. The best and most usual place to take it is beneath the lower jaw, at a spot corresponding to the swell of the jaw; this failing, as it sometimes does in cases of extreme weakness, the artery inside the arm, near where the leg joins the body, should be sought for. The number of beats, whether soft or hard, and whether regular or intermittent, should be noted.
The respirations are best observed at the flank, an inspiration and expiration going to make up one respiration.
The external temperature is ascertained by feeling the ears and extremities.
The internal temperature is obtained by means of a clinical thermometer. Set the instrument at 98°.4 F., insert it in the dock, and allow it to remain in the body three or four minutes.
Fig. 75.
Medicines that Act on the Stomach and Intestines or their Contents.
Cathartics.—Agents that cause purgation: aloes, calomel, Epsom salts, common salt and sulphur, croton, linseed, and castor oils, injections and mashes.
Anthelmintics.—Agents that destroy or expel worms: nearly all cathartics, tartarated antimony, and sulphide of iron.
Nauseants.—Agents that induce nausea: aloes and white hellebore.
Antacids.—Agents that counteract acidity: soap and the carbonates of lime, magnesia, soda, and potash.
Alteratives.—Agents that bring about a healthy state of the system: aloes, calomel, cod-liver oil, sulphur, nitrate of potash.
Cardiacs.—Agents that invigorate the system by stimulating the stomach: Cayenne pepper, ginger, gentian, caraway seeds.
Demulcents.—Agents that lubricate or sheathe surfaces: glycerine, gum-arabic, linseed, and starch.
Antidotes.—Agents that counteract the effects of poisons: depending upon the kind of poison.
Medicines that Act upon the Brain, Nerves, and Nerve-centres.
Excitants.—Agents that stimulate the brain, nerves, and nerve-centres, and thus increase their energy: alcohol, ammonia, arnica, strychnia.
Narcotics.—Agents that are excitants, but whose action is followed by depression of energy: camphor, henbane, belladonna, opium.
Sedatives.—Agents that depress nervous power or lower circulation: digitalis, hydrocyanic acid, tartarated antimony, and chloroform.
Antispasmodics.—Agents that prevent or allay cramps: alcohol, ethers, oil of turpentine, opium.
Medicines that Act upon Glands or Glandular Structures.
Stimulants.—Agents that act upon the glands generally: calomel, oxide of mercury, iodine and its compounds.
Diuretics.—Agents that increase the secretion of urine: copaiba, nitrate of potash, turpentine, resin.
Parturients.—Agents that cause contraction of the womb: ergot of rye.
Lithontriptics.—Agents that dissolve calculi: hydrochloric acid, the fixed alkalies.
Diaphoretics.—Agents that cause perspiration: colchicum, tartar emetic, acetate of ammonia, spirits of nitrous ether.
Medicines that Act upon the Muscular Fibre.
Tonics.—Agents that act gradually, and permanently improve digestion and nutrition: gentian, the sulphates of iron, copper, and zinc, cascarilla bark, camomile flowers.
Astringents.—Agents that cause contraction of muscular fibre: alum, catechu, oak-bark, tannic acid.
Medicines that Act upon the Skin and External Parts by Direct Application.
Refrigerants.—Agents that diminish morbid heat of a part: salt and cold water, solutions of acetate and subacetate of lead.
Discutients.—Agents that dispel enlargements: compounds of iodine, soap liniment, camphor.
Rubefacients.—Agents that cause heat or redness of skin without blistering: liniments of ammonia, tar and turpentine, vinegar.
Vesicants.—Agents that produce blisters: cantharides, tartar emetic, croton-oil, hot water.
Caustics.—Agents that decompose the part to which applied: carbolic, nitric, sulphuric, and hydrochloric acids; chlorides of antimony and zinc, corrosive sublimate, nitrate of silver, sulphate of copper, hot iron.
Pyogenics.—Agents that induce suppuration of wounds: liniment and ointment of turpentine, black hellebore.
Detergents.—Agents that cleanse wounds and skin and excite them to healthy action: acetate of copper, creosote, liniment of sulphate of copper, ointment of chloride of ammonia and nitrate of mercury, sulphur and some of its compounds.
Astringents.—Agents that diminish discharge from wounds: alum, sulphate of zinc, acetate of lead.
Antiseptics.—Agents that destroy putrid condition of wounds: carbolic acid, salicylic acid, iodoform, charcoal, chloride of zinc, nitrate of potash, permanganate of potash, yeast.
Traumatics.—Agents that excite healing in wounds: aloes, myrrh, collodion, oil of tar, resin, solutions of sulphate of copper and zinc.
Emollients.—Agents that soften and relax parts: fomentations, lard, olive-oil, palm-oil, poultices.
The most convenient method to administer medicine is either in the form of a bolus, gelatine capsule, or drench. Before proceeding to give medicine turn the animal around in stall in a position so that he cannot run backwards. If giving a drench, either hold head up by hand or pull it up by placing halter-shank over some high object, pulling head up; then place horn or bottle inside of mouth. Take plenty of time; induce the horse to move his tongue, instead of pinching his throat and pulling out tongue, as is customary and wrong in all cases. The tongue must pass back in mouth, or else horse cannot swallow. To give a bolus,[204] pull out tongue gently with left hand, keeping the mouth open, pass bolus back over root of tongue with right; by proceeding slowly very little trouble will be experienced.
If the animal will eat, medicine in the form of powder (provided it be not very repulsive to the taste) may be given in grain or mash, or dissolved in the water given to drink.
Aconite (Tincture).—Useful in cases of fevers and inflammation. Dose, 15 to 30 drops, repeated every three hours; should be given in one ounce cold water.
Alcohol.—Useful as a stimulant; one to three ounces, repeated every five hours, given in eight ounces cold water.
Aloes (Barbadoes).—Useful as a cathartic. Dose, six to eight drachms, with two drachms powdered ginger, made into a bolus or pill; only one dose required.
Ammonia (Aqua).—Useful as a stimulant. Dose, one half ounce, given three times a day in six ounces cold water.
Ammonia (Aromatic).—Useful in acute indigestion and flatulant colic. Dose, one ounce every two hours until better.
Arnica (Tincture).—Useful in all cases of bruises and sprains; should be applied frequently.
Arsenic.—Useful as a tonic or alterative. Dose, five grains given three times a day in the food.
Belladonna (Tincture).—Useful in allaying pains and spasms. Dose, one to two drachms, repeated every four hours.
Bromide of Potassium.—Useful as a nerve sedative. Dose, two to four drachms three times a day, given in water.
Castor Oil.—Useful as a cathartic. Dose, one pint.
Chloral Hydrate—Useful in allaying pain. Dose, one-half ounce every four hours until relief comes.
Chloroform.—Useful as an anæsthetic and anodyne in allaying pain. Dose, one to three drachms given in four ounces cold water.
Digitalis (Tincture).—Useful as a heart stimulant. Also for coughs and colds. Dose, one drachm three times a day.
Dovers Powders.—Useful for colds and coughs. Dose, three drachms three times a day in feed.
Gentian.—Useful as a tonic. Dose of tincture, one ounce; of ground, one half ounce—in feed three times a day.
Ginger.—Useful as a tonic and stimulant. Dose, tincture, one ounce; ground, one ounce—in feed three times a day.
Iodine (Tincture).—Useful when applied externally for sprains, bruises, etc.
Iodoform.—Useful when applied to galls. Take one part iodoform and three parts sulphur and cover the gall with the powder. Iodoform one part, cosmoline nine parts, makes a good antiseptic ointment.
Iron (Sulphate).—Useful for worms and as a tonic. Dose, one half ounce three times a day.
Iron (Tincture).—Checks bleeding, when applied externally; is a tonic internally. Dose, one half ounce in water three times a day.
Laudanum.—Useful in allaying pain. Dose, one to two ounces, to be repeated every two hours if pain lasts.
Lead (Acetate, Sugar of Lead).—Useful for wounds, bruises, sprains, and to allay inflammation. One ounce to one quart of water, and apply often.
Linseed-oil.—Purgative. Dose, ten to thirty ounces.
Nitre (Saltpetre, Nitrate Potash).—Is useful in fevers, blood disorders, and sluggish kidneys. Dose, one half to one ounce a day.
Podophyllin.—Useful in liver disorders. Dose, one to two drachms once a day.
Quinine.—Useful in all debilitating fevers and where there is loss of appetite. Dose, twenty to thirty grains five times a day in pills.
Resin.—Useful in kidney disorders. Dose, one half ounce three times a day in feed.
Soda (Bicarbonate).—Useful in cases where an antacid is required. Dose, six drachms three times a day in feed.
Soda Sulphate (Glauber Salts).—Useful where a saline laxative is required. Dose, one pound.
Santonine.—Useful for worms. Dose, two to four drachms.
Sweet Spirits Nitre.—Useful for colic and kidney trouble. Dose, one to two ounces in cold water, to be repeated if necessary.
Zinc (Sulphate).—Useful for wounds. Add one quart water to one ounce zinc and apply three times a day.
Bran Mash.—Place bran in clean pail and pour on as much boiling water as it will absorb; add ½ ounce salt; stir and then cover over to retain steam until sufficiently cool; add, if on hand, to the bran a pound of well-boiled linseed.
Gruel.—Put 1 pound of meal in cold water, place over fire, and stir until it boils; then simmer until thick; permit to cool until temperature of new milk; add wineglass of spirits if animal be exhausted.
Poultice.—Bran, with a little linseed-oil, steeped in hot water; boiled turnips or carrots; linseed-meal and a little olive-oil.
Charcoal Poultice is made by adding linseed-meal to boiling water and stirring until a soft mass is produced; then stir in powdered charcoal and sprinkle some over the poultice when made up. If desired as an astringent, add sulphate of zinc.
Mustard.—Add water to 1 pound of mustard until a thick paste; rub on skin and then wash off carefully after 15 or 20 minutes. Apply again in six hours if necessary.
Enemas.—Usually water at the temperature of the body, 3 to 6 quarts. Sometimes a little soap is added.
Cantharides.—If effect of blister be too severe, diminish by dressing part with liniment of lead, acetate of lead, and olive-oil; or wash off blister and dress with oil.
Gombault's Caustic Balsam is a most excellent vesicant.
Tonics should be given under observation of surgeon and effect carefully watched, especially mineral tonics.
Mineral Tonics.—Sulphate of iron, 1 to 2 drachms, with 2 to 4 drachms of ginger; or sulphate of copper, ½ to 1 drachm, with powdered gentian 2 to 4 drachms; or arsenious acid, 5 grains.
Vegetable Tonics.—Quinine, ½ to 1 drachm, dissolved in a few drops of sulphuric acid, in a pint of water; or oak-bark, 2 to 3 drachms made into a ball with treacle and bran; or powdered gentian-root, 1 to 2 drachms; or tincture of gentian, 1 to 2 ounces in a pint of water.
Symptoms.—The result of a bruise or blood impurities; is attended by pain, heat, and swelling, with in time a soft or fluctuating part on its surface from which the hair falls off.
Treatment.—Open with a knife at the soft point and free of matter; then hot fomentations or poultices are sometimes required; apply twice a day carbolic acid, 1 part; water, 20 parts.
Symptoms.—Restlessness; frequent straining; protruding penis; passing small quantities of urine at short intervals.
Treatment.—Rest; plenty of water and mucilaginous fluids, with ½ ounce bicarbonate of soda or potash; warm rugs over loins; a pint of linseed-oil if laxative is required.
Symptoms.—Similar to bladder irritation, but more aggravated; considerable fever, indicated by quick pulse; high temperature; arching of back; whisking tail; fre[208]quent straining; passing a few drops of urine at short intervals, generally thickly colored, with ropy mucus and pus, and sometimes blood.
Treatment.—If bladder be distended, use gentle manipulation and pressure per rectum. This failing, use catheter. Apply hot blanket to the loins, and when removed rub that part with embrocation of oil, 6 ounces; strong solution of ammonia, 1 ounce; and tincture of opium, 2 ounces. Give mucilaginous drinks, such as linseed-tea, hay-tea, etc., and cooling, laxative food. After relieving congestion give ½ ounce bicarbonate of soda two or three times a day in the drink.
Symptoms.—Similar to those of colic, only there is more distress, and the pain is continuous, and not in paroxysms, as is the case in colic; the body is covered with perspiration; pulse quick and small; extremities cold instead of warm, as in colic.
Treatment.—Powdered opium, 2 drachms in watery solution; belladonna, 2 drachms; linseed-oil, 1 pint. Following this give 10 drops tincture of aconite and ½ drachm powdered opium in watery solution every two hours. Frequent enemas of tepid water; mustard or very hot water to abdomen; hand-rub and bandage legs; clothe warmly. Bran mashes and bran gruel for a short time after recovery. Exercise great care and give simple diet for some days.
Symptoms.—The first day quick breathing, with whistling sound on listening at side of chest, or a deeper and more noisy sound at front of chest; pulse harder and quicker than normal; breathing quickened; nostril red and inflamed. About second day increased secretion of mucus[209] and suppressed cough; pulse decreased in volume and more rapid; breathing hurried; dilated nostril; heaving flank.
Treatment.—Place animal in airy box and clothe warmly; bandage legs; bran mash. If legs be unequal in warmth and coat inclined to stare, give, night and morning, 1 ounce spirits nitric ether, 4 ounces acetate of ammonia, 8 ounces water.
If disease unmistakably sets in, give 1 drachm carbonate of ammonia, or ½ ounce sweet spirits of nitre, or sulphuric ether, every 4 to 6 hours. If inclined to drink, ½ ounce nitre dissolved in each half pail of water until the kidneys act freely. Have animal inhale steam from bucketful of boiling water and tablespoonful of oil of turpentine poured over hay. If constipated, 2 ounces Epsom salts, 1 ounce nitrate of potassa, until slight effect is produced. Foment chest with blanket wrung out of hot water, and also sides. After each application slightly stimulate by rubbing with weak ammonia liniment (1 part liquid ammonia sesquicarbonate to 3 parts olive-oil.)
Treatment.—Cover with cosmoline, 10 parts, carbolic acid, 1 part, or with rags soaked in olive-oil to which a little sugar of lead has been added; or dust thickly with starch or flour and cover with cotton-wool; or liniment of equal parts of limewater and linseed-oil (carron-oil).
Symptoms.—The attack usually comes on suddenly; the horse paws, kicks his belly, looks at his flanks, moves about uneasily, throws himself down violently and groans, rolls, lies on his back, jumps up and oftentimes commences eating. The extremities continue warm, and between the paroxysms the pulse is normal.
Treatment.—1 ounce chloral hydrate in ½ pint of water—repeat in an hour if necessary; or 1 ounce tincture of opium and 1 ounce sweet spirits of nitre in ½ pint of cold water, repeated every half-hour until well; or 1½ ounces opium and 2 ounces alcohol in ½ pint water—repeat in one hour if necessary.
Administer enema of warm water in which a little soap is dissolved. Should constipation be the cause, give aloes in solution, 5 to 8 drachms, or 1 pint of linseed-oil. Apply hot blanket to abdomen. Have animal walked about or belly well hand-rubbed, and give ½ pint of whiskey, or brandy, or any stimulant in pint of water if drugs be not at hand.
In Flatulent Colic, when the bowels are distended by gas, detected by bloated appearance and resonance on percussion, give promptly baking-soda, 2 to 4 ounces; if this fails, give carbonate of ammonia in ½-ounce doses every half-hour, or chloral hydrate, 1 ounce in ½ pint of water.
Physic with 5 to 8 drachms Barbadoes aloes or 1 pint linseed-oil. Frequent enemas of turpentine, 1 to 2 ounces, and linseed-oil, 8 ounces. Apply hot blankets.
Symptoms.—Uneasiness; distended abdomen; pulse and respiration nearly normal.
Treatment.—Copious enemas of tepid water and a little soap. Dose of linseed-oil, 1½ pints. Sloppy food; slow exercise.
Symptoms.—These bruises of the foot or heel are commonly caused by improper shoeing, or leaving shoes on too long until they become imbedded. They are usually on fore feet, in that part of the sole included in the angle between the bar and the outside wall of the hoof.
Treatment.—If lame and when the spot is pared there be matter, foment and poultice until lameness has disappeared. Then shoe with bar-shoe resting on frog, the spot being relieved by cutting away horn.
Symptoms.—This is an inflammation of the oil-and sweat-glands of the skin, due to exposure, irritants, mud, filth, cold, washing heels with inferior soaps, cold draughts on heels, standing in slush or snow.
Treatment.—Remove hair; poultice with warm bran and charcoal, and keep clean; apply ointment—acetate of lead 1 part, lard 3 parts. If sores be deep and painful, put on shoes with high heels. Feed cooling, laxative food.
Symptoms.—Sprain of the superior straight ligament at the back of the hock-joint. It looks like a swollen knot a few inches below the hock.
Treatment.—Reduce inflammation by hot fomentations, and after it has subsided apply biniodide ointment (biniodide of mercury 1 part, lard 12 parts), or a liniment composed of 2 parts of soap liniment and 1 of tincture of iodine. If there be much thickening, blister.
Symptoms.—See Strangles.
Farcy of a specific nature is identical with glanders, and is incurable.
Symptoms.—Fistula of withers is ordinarily due to badly fitting collars or saddles, or to bruises.
Treatment.—If very slight, remove all pressure at that point (rest if possible), and bathe with salt water or muriate of ammonia frequently. If more advanced, use hot fomentations. If matter forms, make free opening for its escape at lowest point. Treat with solution of sulphate of zinc. When the sore becomes healthy, and the core removed, use carbolic dressing and keep clean. Should it break out again, inject the abscess with a solution of sulphate of zinc 20 grains to the ounce of water every second or third day until entirely healed.
Symptoms.—Brought on by founder, hard driving, lack of moisture to hoofs, indigestion and fevers, punctures, bruises, etc. Manifested by increased temperature of foot, pain on moderate percussion with hammer around the wall of hoof towards clenches and heel (the opposite foot being held up), and firm pressure by pincers around margin of hoof after removal of shoe.
Treatment.—After locating the injury remove surrounding horn freely to prevent formation of, or to give vent to, any matter. Place foot in hot water for one hour, and then poultice. Dress with tar and tow.
Symptoms.—Laminitis, or acute founder, consists of inflammation of the laminæ by which the hoof is attached to the sensitive foot, caused by hard driving, leaving heated horse to stand in snow, standing in cold draughts, too much grain and cold water afterwards.
The animal evinces much distress and can scarcely be made to move, and when compelled to stir does so with great difficulty and pain, putting heels of fore feet to the ground and bringing hind feet forward under body. The feet are very hot and intensely painful, and the slightest[213] percussion causes great agony. In standing the fore feet are advanced if they are affected (most frequently the case). If they are drawn under the body, the trouble is in the hind feet.
Treatment.—Give 1 pint of linseed-oil; remove shoes, then stand in cold water or wet clay most of the time for two or three days, and make cold applications to legs. Poultice if necessary. Then compel animal to take exercise on soft, damp ground, at first slowly and for short distances. If tenderness remains after inflammation has passed, blister around coronet, and continue exercise on damp ground. Blister may be repeated every nine days if necessary.
Be careful to apply blister (cantharides 1 part, olive-oil 6 or 8 parts) only on protuberant band which extends for a finger's breadth above the hoof, and not on pasterns.
Feed bran mashes and grass. Place bucket of water containing ½ ounce nitre near by if animal be feverish, so that he may drink.
Treatment.—Remove the cause and bathe the spot with Castile soap and cold water as often as possible. If this does not succeed, a root will appear at the centre of the gall, the edges of which will be clear, the sitfast holding only by the root. Pull it out with pincers; bathe frequently with cold water. A little oil or grease, free from salt, or carbolic acid 1 part, glycerine 15 parts, may be rubbed lightly on the parts as they begin to heal.
When the sore becomes healthy, cleanse thoroughly and apply 1 part iodoform, 3 parts sulphur. If necessary to use the animal, cover with old-fashioned sticking-plaster, after putting on the powder just indicated. If possible, the collar or saddle should not bear on the spot.
Before a horse is destroyed for either glanders or farcy he should, as soon as suspected, be separated from all the other animals, and every precaution taken to prevent the spread of the disease. When the disease is definitely determined, destroy the animal at once, burn all articles of clothing, brushes, brooms, etc., and have other articles, equipments, stalls, etc., thoroughly disinfected.
Bear in mind that this terrible disease is highly contagious, and easily communicated to man.
Symptoms.—The three characteristic signs are:
1st. A peculiar transparent, glutinous, and continuous discharge, usually from one nostril, which accumulates and entangles all kinds of filth. This discharge is at first thin and aqueous, but soon assumes the characteristic glary condition, and is generally of a straw-color, but in very late stages becomes more purulent.
2d. Ulceration of the mucous membranes of the nostrils. Before ulceration takes place in the nostrils the membrane of the part usually assumes a dingy leaden or slate color, often in patches, and the other parts highly injected.
The ultimate symptom, leaving no doubt of the character of the disease, is the formation of true ulcers in the nostrils.
The ulceration usually commences with a small vesicle on the membrane, which after a few days bursts, leaving a small unhealthy ulcer, which has no disposition to heal, but, on the contrary, gradually spreads and deepens. The nostril first affected by discharge is generally first affected by ulceration.
After the formation of ulcers the discharge is often tinged with blood, and becomes offensive.
3d. The submaxillary gland, in the channel formed between the lower jaw-bones, becomes swollen and painful, but,[215] as a rule, shows no inclination to suppurate. It soon becomes hard and firmly attached to the jawbone, and ceases to be painful on the application of pressure.
On any one of the above-enumerated symptoms appearing, at once isolate the animal; have bedding destroyed, and carefully remove all clothing, stable utensils, etc., from the vicinity of other horses. Place a steady man in charge, and warn him of his personal danger.
Symptoms.—A diseased state of the skin of the legs, more especially the hind ones, caused by uncleanliness or washing with cold water and not properly drying them afterwards. In the early stages it consists of intolerable itching, followed by an inflammation of the sweat-glands, and an offensive oily discharge. The heels feel hot and greasy.
Treatment.—Trim hair; poultice with warm bran and charcoal for several days, changing twice a day, and cleaning with sponge and tepid water each time; or apply a flaxseed poultice over which has been poured some lotion consisting of sugar of lead ½ oz., carbolic acid 1 drachm, water 1 quart. Then, if animal is not weak, give a dose of purgative medicine, and when it has acted apply to the heels a dressing of vaseline 1 oz., oxide of zinc 2 drachms, iodized phenol 20 drops; or equal parts of sulphate of zinc and sugar of lead in water; or carbolic acid 1 part, glycerine 20 parts, applied with a brush and covered with lint and bandage, is good after poulticing. When the frog is affected, pare to the quick and dress with dry caustic powders (quicklime, copperas, bluestone) or carbolic acid, and put on tight bandage, the dressing being renewed every day at least. When there is any tendency to inflammation or ulceration of skin of heels in bad weather, dress with lard or tallow, or lard 8 parts and alum 1 part.
Symptoms.—The hide becomes tightly drawn over the flesh, and the coat hard and staring.
Treatment.—Aloes 1½ oz., sulphur 3½ oz., ginger ½ oz., linseed-meal ½ oz. Make into six balls, and give one night and morning.
Symptoms.—This is the result of some preceding disease of the foot, giving rise to an atrophy of the flesh structures of the foot, allowing the wall to fall in and become contracted.
Treatment.—Stand in moist place; apply blistering liquid (powdered cantharides 1 part, olive-oil 6 to 8 parts) to coronet.
This applies to a variety of diseases, such as bog-and blood-spavin, bone-spavin, curb, sprained ligaments, etc., all of which give rise to lameness.
Treatment.—Rest; hot fomentations to allay inflammation; hand-rubbing and blistering are used according to circumstances.
Symptoms.—This specific epizoötic fever of a low type, associated with inflammation of the respiratory mucous membrane, begins very suddenly with marked fever; great dulness and extreme weakness; headache; limbs stiff and weak; pulse quickened; eyelids swollen and tearful, and, if inverted, appear pink or dark red; disinclination to move; legs swollen; short, painful cough, betraying soreness of throat; difficulty in swallowing; hurried breathing (if breathing hurried and nostrils dilated, inflammation of[217] lungs is to be apprehended); sometimes discharge from nostrils, as in catarrh, or there may be only a thin, yellowish, transparent fluid from the nostrils. If bowels are involved, the horse exhibits symptoms of abdominal pain. If liver is also involved, the lining membrane of the eyelid will be a yellowish-red hue. Constipation or diarrhœa almost invariably present.
Treatment.—Isolate; rest; nurse carefully. Box stall where the temperature should be about 60°; clothe, hand-rub and bandage legs so as to maintain normal temperature. Rub throat and well towards ears with liniment made of soap liniment 2 oz., compound camphor liniment 2 oz., and tincture of opium ½ oz.
(Soap liniment is composed of soft-soap 4 oz., camphor 1 oz., proof spirits 2 pints, solution of ammonia ½ pint. Compound-camphor liniment is composed of camphor 1 oz., olive-oil 2 oz.)
If cough is severe, steam nostrils with bucket of boiling water and tablespoonful of turpentine poured over hay. Should there be constipation without symptoms of bowel complications, give injection of soap-suds and mild dose of Epsom salts, but not otherwise. If diarrhœa be present, do not check unless it increases the debility, and then give starch or flour gruel with an ounce or two of prepared chalk.
If abdominal pain be great, apply hot blankets; same to chest if involved. Quinine in 20-grain doses four or five times a day.
Give saline agents, such as 1½ oz. sulphate of magnesia; or 1 oz. hyposulphate of soda; or 4 oz. acetate of ammonia with 1 oz. nitric ether, once or twice a day.
Gruel of bran or oatmeal with a little nitre therein, or cold water with nitre for drink. Bran mash and scalded oats for food.
Lameness, when in the foot, is indicated by the animal pointing; in the shoulder by the animal dragging or swinging the limb in a rotary manner.
In the majority of cases it is below the knee when in the fore leg, and in the hock-joint when in the hind leg.
Examine carefully, and have the animal trotted slowly both towards and from you. If the lameness be in front the animal drops on the well quarter, and throws his head up when the unsound leg is placed on the ground. If lame behind he hitches up the lame quarter, and nods the head when the sound leg is placed on the ground. Then determine location. If in foot, the lameness is more apparent on hard than on soft ground. If lame elsewhere, it will be as apparent, and probably more apparent, on soft as on hard ground (except in splint and other exostoses), and is usually some sprain of a ligament between knee and fetlock in fore leg, and in hock of hind leg. (See Corns; Cracked Heels; Curb; Foot Inflammation; Founder; Grease; Hock Lameness; Hoof-bound.)
Symptoms.—Swollen condition of roof of mouth caused by cold, indigestion, or growing teeth.
Treatment.—Laxative food, and even a mild dose of laxative medicine if required. Rub mouth with salt or a little alum and water.
Symptoms.—Sore throat consists of inflammation of head of windpipe, indicated by cough and difficulty in swallowing; hot and tender in region of gullet; the least pressure may produce paroxysms of coughing; pulse quick, respiration somewhat hurried.
Treatment.—Place in box stall where atmosphere is warm and moist; avoid cold air; hot-water fomentations, and rub throat with ammonia liniment (1 part liquid ammonia, 1 part cantharides, 2 parts olive oil;) soft laxative food or grass, no hay; sponge throat with solution of nitrate of silver 10 grains to 1 oz. of water; steam nostrils every 15 minutes with bucket of boiling water and tablespoonful of turpentine poured over hay. No laxative medicine if avoidable. Use enemas, and if necessary give 2 oz. Epsom salts in a pint of water with two drams of ginger night and morning for several days.
Keep temperature of body normal by clothing, and give febrifuges in the form of small doses of ½ dram belladonna and 1 oz. nitre made into a soft ball or dissolved in water.
Symptoms.—An eruptive disease, very contagious; usually most severe in winter; ordinarily induced by inattention to cleanliness or contagion. Indicated by itching, hair falling off, skin becoming dry, wrinkled, and scaly, with raw spots and cracks over the body.
Treatment.—If coat be long it may be necessary to clip it. Wash well with warm water and soap; apply paraffine oil daily and allow to dry; or sulphur and linseed oil well rubbed in; or oil of tar and sulphur 2 oz. each, and linseed oil 1 pint. After treating a few days, use sal soda ¼ lb. to one gallon of hot water to wash off body and clean skin.
Symptoms.—Consists of sprain of the flexor tendon, or its sheath, as it passes over navicular bone, giving rise to inflammation of the joint.
If foot-lameness exists without apparent cause, animal points fore foot without resting hind quarters, wears away[220] toe, goes up hill sounder than he goes down, feet, as a rule, contracted and hotter than usual, we may suspect navicular disease.
Treatment.—Rest; allow frog to bear on ground; cold poultices, or stand in cold water or on clay tempered with salt and water; laxative food. In a week blister around coronet and in hollow of heel.
This disease can only be alleviated, not cured.
Symptoms.—May arise from undue exposure to sun, cold, wind, dust, etc. Foreign substances usually lodge under the upper eyelid. The eyelids are swollen, tears running down face, with intolerance of light.
Treatment.—Bathe with warm water; dress daily with tincture of opium 2 drams, sulphate of zinc 4 grs., or alum 6 grs. and water 1 oz., and shade eyes with wide bandage suspended from brow-band. Keep in dark stable and avoid using in bright sunlight.
If feverish, give bran mashes. Bathe with cold water if unable to obtain warm.
Symptoms.—Partial or complete loss of voluntary motion of the parts, usually brought on by high feeding and no exercise.
Treatment.—1 dram powdered nux vomica twice a day; good nursing; easily digested food; dose of Glauber salts.
Treatment.—Rub the throat with turpentine liniment (equal parts of turpentine and olive oil).
Symptoms.—One side of chest generally affected, especially at first. When independent of pneumonia it generally begins suddenly with shivering; breathing quick and shallow; nostrils dilated; respiration short and quick; regular elevated line or ridge along the lower border of the ribs from the point of the hip to the lower part of the sternum; fever; short, dry, painful cough; sighing grunt occasionally or when turned around; in early stages if ear be applied to chest a sound like rubbing dry hands together will be heard; pulse hard and wiry, at first about 60, runs to 80, and in bad cases to 100 and over, but not so full and oppressed as in pneumonia; restless and looks at side with anxious eye of pain; paws the ground; does not lie down, but attempts to do so; temperature of extremities irregular. Portions may be cold, others hot. In the second stage the friction sound in chest disappears; cough loose and moist; extremities for a time warm; pulse less frequent, smaller, and weaker; breathing less labored; membrane of nostril loses redness.
Treatment.—Roomy stable free from draughts; foment with blankets steeped in hot water and wrung out, as in pneumonia; continue this for some time, and when discontinued rub dry, and after four or five days, when acute stage has somewhat subsided, apply to sides liniment composed of olive oil 2 oz., tinct. cantharides 1 oz., solution of ammonia 1 oz., on alternate days. This liniment is not applied until the pain manifested by restlessness has subsided; clothe body. If legs be cold, hand-rub and flannel bandage. From the beginning give the following drench every six hours: solution of acetate of ammonia 3 oz., spirits of nitrous ether 1 oz., bicarbonate of potassium 3 drams, water 1 pint. In the beginning of the attack, if pain so severe as to cause animal to lie down or paw, give[222] tincture of opium 2 oz.; raw linseed oil 12 oz.; laxative food; 2 oz. sulphate of soda or 1 oz. nitrate of potassa in a bucket of water to drink, and renew as often as necessary; if constipated, 2 oz. Epsom salts dissolved in water with ½ oz. nitrate of potassa twice a day; or enemas of warm water may be all that is necessary.
The treatment during fever and if debilitated is as for pneumonia; in fact the general treatment is the same, except the time of applying liniment.
Symptoms.—Usually begins with sudden shivering, followed by coldness of ears and extremities; other signs of inflammation; staring coat. The coldness of extremities is a marked sign throughout the disease. Animal uneasy; turns head frequently to chest; pulse oppressed and quick, generally about 60 at commencement, becomes quicker, and may run to 100, gradually becoming smaller in volume; temperature rises rapidly, frequently to 104° or 105° F.; cough may or may not be present. In early stages nasal linings paler than usual, but become purplish and then of leaden hue; respiration disturbed at once; animal persistently stands with fore legs wide apart and elbows out; never lies down except for a moment at a time, or in extremis; head inclined downwards, nose protruded, nostrils dilated.
In early stages a confused humming noise accompanied by a harsh, dry murmur is heard when ear is applied to chest; as the inflammation progresses the dry murmur gives way to a moist rattle.
Treatment.—Box stall free from draughts; plenty of fresh air; blanket body; rub and bandage legs twice a day; plenty of drinking-water near at all times; rub affected side with liniment (2 oz. olive oil, 1 oz. tincture of cantharides, 1 oz. solution of ammonia), and repeat in four or[223] five days. If weather not too cold and great care can be taken, first apply closely to chest, every half hour for four or five hours, a blanket wrung out of hot water, and wrap a dry one over it; afterwards rub on the above liniment, and cover closely with a blanket. Do not use mustard. No purgatives, but give laxative diet, scalded oats, bran, and linseed mashes. If necessary, give enemas of warm water three or four times a day.
Every six hours give solution of acetate of ammonia 3 oz., spirits of nitrous ether 1 oz., bicarbonate of potassium 3 drams, water 1 pint. If this cannot be done, put 3 drams bi-carbonate of potassium into every bucketful of water he will drink.
Give every three hours during fever 1 dram quinine in capsule, or mixed with a little linseed meal and molasses.
If much debilitated, 6 oz. whiskey in 1 pint of water every four or five hours.
In cases of excessive purging, either from disease or an overdose of medicine, use extract of catechu 1 dram, cinnamon 1 dram, powdered opium ½ dram. This may be repeated two or three times a day, thick wheaten gruel being given at the same time.
Symptoms.—If inflammation be present, the foot will be very hot, and when standing still the animal continually rests it or moves it about uneasily and is afraid to put his weight on it. If tapped with a hammer on the spot, or if the sole and wall at the part be pressed by pincers, suffering is manifested.
Treatment.—Remove shoe; pare sole over injury until quite thin; make opening between sole and wall with a small drawing-knife across the track of the nail to relieve[224] pressure and form an exit for matter; then put foot in bucket of hot water for an hour or so, and afterwards hot poultice. When lameness has disappeared, reshoe, leaving out nail at injured point and filling up the cavity with tar and tow.
Symptoms.—In all cases in which matter forms in the foot, whether from pricks, corns, or bruises, unless it has free opening to escape by it acts as an irritant, extending in every direction in sinuses, and finally works its way to the coronet, where it bursts and forms a fistulous sore.
Treatment.—Foment; apply poultice; when abscess opens, keep washed with carbolic acid. Keep open until internal disease is thoroughly eradicated; then keep clean with cold water and dress with sulphate of copper, iron, or zinc, 5 grains of either to 1 oz. of water; or carbolic acid 20 drops in glycerine 20 drops, and added to 1 oz. of water. For treads or wounds on coronet between hair and hoof, and when the sore has become healthy in case of quittor, a good treatment is common turpentine and hog's lard, equal parts melted together. Spread on tow and bind on wound with bandage.
Symptoms.—This contagious disease is due to the presence of a parasite in the skin, and is manifested by the hair falling out in circular patches.
Treatment.—Dress patches with blistering ointment (powdered cantharides 1 part, lard 6 parts), or with tar dressing as for mange.
A peculiar form of inflammation attacking the fibrous structures of the body.
Treatment.—Laxative food; 6 drachms of aloes, 1 drachm of calomel, as a cathartic; 1 oz. bicarbonate of soda, followed daily by a dose half that amount with ½ oz. nitrate of potash; if these fail, give 2 drachms of iodide of potassium in addition. Foment with hot water to which poppy-heads have been added, dry thoroughly, and apply flannel bandages. Clothe warmly. Keep quiet.
Symptoms.—A split in the wall of the hoof commencing on top near the coronet and extending downward.
Treatment.—Apply bar-shoe and use hoof ointment (tar and lard, equal parts, melted together). If the animal be lame, remove shoe and immerse the foot in a bucket of hot water for an hour or two, and then poultice.
Symptoms.—Eruptions and itching, often in the bend of the knee, the hock, or mane and tail.
Treatment.—Apply ointment (iodide of sulphur 1 drachm, glycerine 6 oz.); give carbonate of soda 1 oz. twice a day; ½ oz. Fowler's solution of arsenic twice a day. Mild laxative food.
Symptoms.—Sores on back, withers, or shoulders are ordinarily due to recent swellings from blows or injuries of some kind.
Treatment.—Sulphate of zinc 4 drachms, cold water 1 quart; apply by washing or with wetted bandages. Or first cleanse a healthy sore with soap and water, then apply sulphur 3 parts, iodoform 1 part.
Sprains consist in an overstretching of a muscle, tendon, or ligament to such a degree as to rupture some of the fibres of which it is composed. They are divided into muscular sprains, tendonous sprains, and ligamentous sprains.
Muscular sprains usually occur in the powerful muscles of the loins and quarters; they are serious and often permanent injuries.
Tendonous sprains are the most common, and the flexor tendons of the fore legs are most frequently affected.
Ligamentous sprains are serious injuries, and may occur in any of the numerous ligaments belonging to the joints of the body. The principles of treatment are the same as for tendons.
Symptoms.—Sprains of tendons and ligaments are manifested by heat, swelling, pain on manipulation, and lameness.
Treatment.—First reduce the inflammation by rest and constant use of hot fomentations. If the sprain be severe and at the rear part of the fore or hind leg, raise the heel of the shoe on the affected leg an inch or more.
All traces of the inflammation having disappeared, apply cold water and linen bandages, and give a little slow exercise. Should the swelling show no signs of subsiding, or the lameness continue after long and careful treatment, firing may be considered, but should only be undertaken by a skilful surgeon. The diet should be laxative.
Treatment.—Rest; keep bowels open with warm bran mashes and a dose of Glauber salts (½ to 1 lb. sulphate of soda); also 1 drachm acetate of potassa twice a day for ten days. Treat externally with hot fomentations, or blister if necessary.
Symptoms.—Sick and off feed, with possibly slight catarrh and feverish symptoms; abscess forms between bones of lower jaw or elsewhere in the group of lymphatic glands; sore throat; difficulty in swallowing; slobbers; unthriftiness; staring coat; loss of condition; dulness and languor.
Treatment.—Place in cool box with plenty of fresh air; support strength by nutritious food; all kinds of soft and macerated food are good; if constipated, give laxative food and enemas, but no strong purgative must be used; if necessary, ½ pint of linseed-oil, repeated in 24 hours if required. Tonics, such as 20 grains of quinine, or 1 oz. ground gentian, or 1 teaspoonful sulphate of iron, three times a day.
Bring swelling to a head by a poultice of flaxseed, carrots, or turnips. If suffocation be threatened, a tube must be placed in the windpipe. This should be done by a skilful surgeon.
Symptoms.—Manifested suddenly. Animal stops, drops his head, begins to stagger, and soon falls to the ground unconscious. The breathing is with great stertor, pulse very slow and irregular, cold sweats in patches.
In heat exhaustion the animal usually requires urging for some time previous to the appearance of any other symptoms; generally perspiration is checked, and then he becomes weak in his gait; breathing hurried or panting; eyes watery and bloodshot; nostrils dilated and highly reddened, assuming a dark purple color; the pulse is rapid and weak, the heart bounding, followed by unconsciousness and death.
Treatment.—Blood-letting is forbidden. Apply ice or very cold water to the head and along the spine for sunstroke, but in case of heat exhaustion apply cloths wrung out of hot water.
The following applies to both cases: Give ½ oz. carbonate of ammonia or 6 oz. of whiskey in a pint of water; injections per rectum, of moderately strong ginger-tea or weak ammonia-water; brisk friction of the limbs and the application of spirits of camphor. Repeat stimulants in an hour if pulse has not become stronger and slower. When reaction has occurred and during convalescence, tonics may be given: sulphate of iron 1 drachm, gentian 3 drachms, red cinchona-bark 2 drachms; mix and give in the feed night and morning.
Symptoms.—Consists of a sprain of the muscles covering the outer surface of the shoulder-blade, in consequence of which they become wasted, leaving their place hollow.
Treatment.—Feed muscle-making food and give moderate exercise. Apply from time to time a mild blister (powdered cantharides 1 part, olive-oil 12 parts.)
Swelled legs are more often due to general debility than to any other cause, though it may arise from lack of exercise, wet or filth, or neglected cases of grease or scratches.
Treatment.—Hand-rub; bandage the legs; warm clothing; gentle exercise; generous diet if the animal be poor; mild dose of physic in some cases (½ pint of linseed-oil). Vegetable and mineral tonics are useful in some cases.
Symptoms.—Arises from neglect and want of use. Manifests itself under the form of an acrid, strong-smelling, unhealthy secretion issuing from the sensitive frog through the cleft of the insensitive frog; most common in hind foot.
Treatment.—Cleanse and keep clean both feet and where[229] the animal stands. After cleansing foot gently thrust to the bottom of the cleft a piece of fine tow saturated with 1 part carbolic acid, 20 parts water, and then cover with dry tow. Repeat night and morning for a few days and then dress with calomel and dry tow. Keep frog free from dirt and moisture.
Symptoms.—Uneasiness, distress, anxiety of countenance; if relief is not soon obtained, pulse becomes quick and hard, and ultimately imperceptible; stretching out in endeavor to void urine; lies down and rises up frequently; clammy sweats.
Treatment.—Place fresh straw under animal; pouring water may produce sympathetic action; steady pressure of the hand, passed through the anus, on the fundus of the bladder may accomplish result; rub belly, or wash out sheath thoroughly if caused by dirt; 2 ounces sweet spirits of nitre in pint of water, or 1 pint linseed-oil and afterwards opium 1½ drachms, camphor 2½ drachms; repeat in 1 or 2 hours if necessary. If necessary to pass a catheter, the hand well oiled is passed up the sheath, the penis grasped and gently brought forward and held by an assistant; the catheter, well oiled, is then introduced and carefully pushed forward, and when it reaches the perinæum it should be guided forward and upwards by gentle pressure of the fingers.
Symptoms.—Besides excessive staling there is extreme thirst, dry skin, rough, staring coat, digestion usually out of order.
Treatment.—Change diet; give 1 drachm iodide of potassium in 10 oz. water daily between meals.
Symptoms.—Recent soft swellings or tumors arising from inflammation of the skin due to friction or undue pressure.
Treatment.—Remove cause by not permitting the saddle or collar to touch it, and treat with salt water. Try to disperse, but if necessary to open it do so fully and touch with caustic. Then use cold-water dressings.
Treatment.—When small, remove by scraping surface and dressing with chloride of zinc; if large, remove with knife, and if necessary touch with hot iron. If without appreciable base, apply a paste of sulphur and sulphuric acid until it sloughs and then dress as an ordinary wound.
Treatment.—2 oz. turpentine in a pint of linseed-oil. The most effectual treatment is to administer daily for ten days or two weeks 2 drachms sulphate of iron and then give a dose of physic; change diet; tonic.
Simple wounds demand little attention other than cleanliness.
First.—Suppress hemorrhage by cold applications with pressure. If the bleeding be profuse, continuous, and of a bright red color, apply pressure to trunk of artery higher up leg (if leg is injured) than the wound, i.e., apply between wound and heart. Tie a flat web, cord, or handkerchief loosely around the leg, lay a pad formed of another handkerchief immediately above the artery, pass a stick through the loop on opposite side of leg to pad and turn it around so as to twist loop tightly. A plug of cotton, tow, sponge, or rag made into conical shape with point of cone toward[231] bleeding orifice is also useful; remove clots of blood, apply plug and retain it by rags, tow, etc. In large, gaping wounds the finger or even the closed fist may be effectually employed until assistance arrives.
Cold water, ice, tar, perchloride of iron, felt, wool, spider's web, etc., may all be employed with more or less effect in stopping bleeding.
Second.—Remove all foreign matter, dirt, splinters of wood or bone, bullets, etc., as far as possible, by allowing lukewarm water to stream over wound from the mouth of a vessel; or a piece of sponge or tow may be pressed on some part above the wound so that the water may trickle over it; but the abraded part is not to be touched except in the removal of foreign substances by forceps or otherwise. Then use cold-water dressings; apply soothing applications, watery solution of opium, carbolic acid lotion, tincture of arnica, or simple ointment.
Hot fomentations may be used after cleansing to reduce inflammation.
Compress and bandage are preferable to stitches in bringing the parts together; the former to be used after the inflammation begins to subside, and the latter not until all inflammation has disappeared.
The lowest end of the wound must be kept open to permit the escape of matter during healing; this is usually accomplished by inserting a piece of dry lint between the edges of the wound. General treatment is rest and low diet.
Third.—During healing-stage dress with carbolic acid 1 part, water 20 parts; or carbolized oil; or bluestone (sulphate of copper) dissolved in water, 2 drachms to the pint; or tar ointment (tar 1 oz., sulphur ½ oz., lard 1½ oz.); or light blister of cantharides (powdered cantharides 1 part, olive-oil 12 parts) to neighboring parts in case of indolent wound. If proud flesh crops out above the surface of the[232] wound, remove it by applying sulphate of copper or zinc (as above), or nitrate of silver, or alum, in order to keep it below the surface of skin, so that the parts may unite.
In preparing the horse's foot for the shoe do not touch with the knife the frog, sole, or bars. In removing surplus growth of that part of the foot which is the seat of the shoe use the cutting-pincers and rasp, and not the knife. The shoeing-knife may be used, if necessary, in fitting the toe-clip. Opening the heels or making a cut into the angle of the wall at the heel must not be allowed. The rasp may be used upon this part of the foot when necessary, and the same applies to the frog. No cutting with a knife is permitted, the rasp alone being used when necessary. Flat-footed horses should be treated as the necessity of each case may require. In forging the shoe to fit the foot be careful that the shoe is fitted to and follows the circumference of the foot clear around to the heels; the heels of the shoe should not be extended back straight and outside of the walls at the heels of the horse's foot, as is frequently done. The shoe must not be fitted too small and the outer surface of the walls then rasped down to make the foot short to suit the shoe, as often happens. Heat may be used in preparing and shaping the shoe, but the hot shoe must never be applied to the horse's foot. Make the upper or foot surface of the shoe perfectly flat so as to give a level bearing. A shoe with a concave ground surface should be used.
In garrison, at the discretion of the commanding officer, the horses may be left unshod. Shoes will be fitted and kept ready to be put on the horses.
The new Burden shoe called the "easy" has just been adopted as the U. S. service shoe.
Never use a nail that gives the slightest indication of splitting, a result that may be expected if they be cold-forged.
Always use a hot-forged nail. The Putnam nail, hot-forged, is excellent.
Foul air and dampness are the cause of many diseases of the horse; hence the importance and economy of spacious, clean, dry, and well-ventilated stables. Ceilings should be twelve or fifteen feet high, with large ventilators through the roof, and a window or side aperture in each stall, which should be placed well above the horse's eyes. If possible, the building should have no upper story or loft. In stables with a loft, ventilation from the top is always insufficient, and there must be side openings well above the horses, so that the draught will pass over their heads. These openings must never be closed except on the windward side, to keep out rain or snow.
There should be a passageway for feeding in front of the stalls, and so that the horses can look to the right and left. Their heads should never be placed against a partition if it can be avoided.
Double stalls should not be less than 4½ feet by 9 feet to each horse; and single stalls should be 5 feet wide. Stalls 6 feet wide and 10½ feet long are greatly to be preferred. Not less than 1200 cubic feet should be allowed to each horse in the stable.
A picket-line is established in the immediate vicinity of the battery stable, the horses being tied to a hemp or wire rope or chain passed through the picket-posts. There should be shallow trenches behind the horses to carry off rain, the ground on which they stand having just enough slope to let the water run into the trenches, or there may be a single drain in the centre along the line of the picket[234]-posts. Constant attention must be paid to maintaining the ground about the picket-line in good order.
Hut Stables.—Rough sheds with clapboarded roofs are the best; with the litter and some wet earth good walls can soon be constructed around the shed; these walls should be vertical on the inside, but with a good slope toward the outside. Sheds made 30 feet wide can accommodate two rows of horses, their heads being turned toward one another. Plenty of openings must be left for doors by which to remove the horses quickly in case of fire, and drainage must be well attended to. The stalls, or standing-space, should be 5 feet wide and 9 feet long.
An excellent shed can be made under the lee of a bank by erecting forked poles, placing connecting pieces, and laying thereon boards or poles and thatching.
The stable sergeant takes immediate charge of the police and sanitary condition of the stable, picket-line, etc., and is the custodian of the forage and stable property generally.
The stable is to be kept thoroughly policed, free from smells, and well whitewashed. There must be no accumulation of manure or foul litter inside, or near the doors or windows without. The feed-boxes are washed out frequently and kept perfectly clean. The ground about the picket-line is swept daily and all dung, etc., carried to the manure-heap.
Except at night, when the horses are bedded down, no manure or urine is to remain in the stalls; the stable police remove it as fast as it accumulates.
If practicable, all woodwork within reach of the horses and not protected with sheet iron or other metal is painted with thin gas-tar, to prevent its being gnawed; it should be thoroughly dried before putting horses near it. The[235] same precaution must be followed with regard to troughs, picket-posts, and hemp picket-line.
Smoking in stables or in their immediate vicinity is prohibited.
One or more lamps will be hung in each stable, to burn during the night.
The horses are stalled according to their positions in the battery, the teams nearest the door being led out first; their places at the picket-line will be in accordance with the same rule.
The name of each horse, and that of his rider or driver, are placed over his stall.
Clay is the best for earthen floors, as it packs well. Gravel or sandy earth is not suitable. Each man is held responsible for the removal of the earth and the levelling of the floor of his stall.
The sloping of the floor of stalls from the manger to the heel-post is injurious and uncomfortable for the animal, who stands in an unnatural position, with the fore legs higher than the hind ones. When earthen floors are not level, they give more trouble, as the horse will paw a hollow for his fore feet unless he can elevate his hind legs by backing out of the stall.
Whenever the horses go out of the stable, the windows of their stalls are to be kept open, unless necessary to exclude rain or snow, or when cold draughts affect the animals in contiguous or opposite stalls.
Stable doors are never closed in the daytime except to keep out the wet or to exclude cold winds. If the doors be in a single piece, bars are put across the doorway; if divided in half, it will be usually sufficient to open the upper part. At night, except in very hot weather, they should be closed and locked, communication with the stable being kept up by a manhole.
Except in very cold, windy weather, or in very hot[236] weather, where there is no shade, horses should stand most of the day at the picket-line, as they have better air and are less confined, while the stables become drier and more healthful.
In ordinary climates military stables must be kept as cool as possible. If the horses do not stand directly in the draught, the colder the stable the less will they suffer if suddenly called to take the field. For the same reason horses should never be blanketed in the stable except in very cold weather in high latitudes.
The captain is responsible for the proper performance of stable duty in his battery.
At morning stable-call the cannoneers, assisted by the prisoners, clean out the stalls and police the stable under the direction of the stable sergeant. The bedding is taken up, that which is much soiled being separated for the manure-heap, and the remainder put on the racks or spread upon the ground to dry. If necessary, the drivers assist after they have done grooming.
At evening stable-call the stable is policed as in the morning; the bedding is laid down and fresh straw spread on top of it; the bed must be soft and even, with the thickest part toward the manger.
Horses are groomed twice daily, at morning and at evening stable-calls, under the supervision of the first sergeant and battery officer of the day. In special circumstances it may be advisable to groom only once, about noon.
The grooming is always at the picket-line, except in stormy weather.
Each driver, whether on guard or not, grooms his own horses, under the superintendence of his chief of section. Supernumerary horses are groomed by a detail of cannoneers under the direction of a corporal, who is assigned[237] to this duty. In each platoon the horses of the chiefs of section are groomed by a cannoneer, who is permanently detailed, both horses being attached for grooming purposes to the section to which the cannoneer belongs. The trumpeters groom their own horses under the direction of the first sergeant.
At evening stable-call each man examines and cleans out his horse's feet, and sees that the shoes are in good order. Horses requiring shoeing are reported to the proper non-commissioned officer, who notifies the stable sergeant.
Each horse should be groomed not less than twenty minutes, beginning with the near horse. If any horses are not properly groomed they will be left at the picket-line, and groomed by their drivers under the direction of a non-commissioned officer of the guard.
In garrison, when there are no available prisoners, two or more men, called the stable police, are usually kept at work between morning and evening stable-calls in removing manure, policing generally, feeding, etc.
In horse-batteries stable duty is conducted on the same principles, with such modifications as the nature of the service demands.
Take the currycomb in the right hand, fingers over back of comb; begin on the near side at the upper part of the neck, thence proceed to the chest, arms, shoulders, back, belly, flank, loins, and rump. Then go to the off side, taking comb in left hand, and proceed as before.
The currycomb is applied gently, and is used only to loosen the scurf and matted hair; it is not used on the legs from the knees or hocks downward except to carefully loosen dried mud.
Next take the brush in left hand, and change currycomb to right; begin at the neck on the near side, and proceed[238] in the same order as in currying, brushing also the parts not touched by the comb; on the off side take brush in right hand, currycomb in left. In places difficult to clean apply the brush backward and forward, finishing by leaving the coat smooth. After every few strokes clean the brush from dust with the currycomb.
Having done with the brush, rub or dust off the horse with the grooming-cloth, wipe about the eyes and nostrils, and clean the dock. The skin under the flank and between the hindquarters must be soft, clean, and free from dust.
Currycombs, cards, or common combs must never be applied to the mane or tail; but the brush, fingers, and cloth are freely used on both.
The wisp is used when the horse comes in warm from exercise, and he is rubbed against the hair until dry, from his hindquarters up to his head.
In garrison it is recommended that grain be fed at first call for reveille by the stable sergeant, assisted by one or two members of the stable-guard, or men detailed for the purpose. The grain, in a box on wheels, is rolled in front of each stall, when it is transferred to the feed-boxes by allowance-measures. Grain is fed again at evening stable duty as in the morning, but not until after the hay has been distributed and the stable swept up.
In camp or on the march grain is fed at morning and evening stables. The men are matched to the forage-wagons or other grain depository, where the non-commissioned officer in charge, with an allowance-measure, issues to each in turn.
Gruel is very good for horses when tired. To make it, put a double handful of fresh coarse oatmeal in a bucket, add a little cold water, mix well, and add 1½ gallons of hot[239] (not boiling) water. Stir well till smooth, and give it at the temperature of new milk; add a wineglass or two of spirits if horse is much exhausted.
In garrison hay is fed thrice daily—immediately after morning stables, in the middle of the day, and at evening stables; at the evening feed each animal should have at least one half of his daily allowance. The dust must be well shaken out of the hay before it is put in the mangers. During the short days of winter the feeding at noon may be omitted without injury to the animals.
In camp hay is fed at the picket-line morning, noon, and evening; on the march, in the evening only.
The occasional use of bran is important for stabled horses. In spring or early summer they should have grass for at least a week or ten days, during which time they ought not to be much worked. Salt should be given at least once a week.
When forage cannot be obtained, grazing should be allowed at every spare moment, especially early in the morning when the dew is on the grass.
The daily allowance of oats, barley, or corn is 12 pounds to each horse; that of hay, 14 pounds; the allowance of straw for bedding is 100 pounds a month to each animal.
Barley and corn should both be crushed, if possible, when used to feed horses or mules.
Good oats weigh about 32 pounds to the bushel, barley about 48 pounds, corn about 56 pounds. Pressed hay weighs about 11 pounds per cubic foot.
Good Oats are clean, hard, dry, sweet, plump, full of flour, and rattle like shot. They have a clean and almost metallic lustre. Those in a sample vary but little in size, and are entirely free from smell. The pressure of the nail ought to leave little or no mark on them. The value of an oat depends mainly on its weight per bushel. Dirty oats weigh heavier than clean ones.
New oats can be distinguished from old by their smell, which is fresh and earthy, and by their taste, which is fresh and milky, while that of the old oats is slightly bitter. New oats are indigestible. Oats one year old are best.
Various Defects in Oats.—Kiln-dried.—Oats that have been dried to render them hard after they have been damp. They have a loose and shrivelled appearance about the ends of the husks, and are easily recognized by their peculiar smell and reddish color.
Foxy Oats.—Oats that have undergone a certain process of fermentation from having been stowed in bulk when not perfectly dry. They are unfit for horses, are of a reddish color, and have both bitter smell and taste. Their reddish color is sometimes gotten rid of by subjecting them to fumes of sulphur, which makes them unnaturally white.
Damp Oats are objectionable and should be rejected. Continued dampness soon produces softness, mustiness, mouldiness, and sprouting.
Dirty Oats.—This can be remedied by winnowing.
Hay.—There is a great variety of grasses. The best hay contains a large proportion of the best of these, along with clover and other good herbage, and only a small proportion of the inferior kinds, whilst in the inferior kinds of hay good herbage is nearly entirely wanting, and the inferior grasses predominate.
The characteristics of good hay are green color combined with a delicate smell and taste, a presence of flowers in their natural colors, and of a variety of grasses and good herbage (not weeds), and clover of moderate fineness, crispness, and hardness.
Straw must be wheat, oats, or rye straw; barley induces disease of the skin. It ought to be long and strong. Horses are inclined to eat wheat straw when new.
Horses must be watered quietly, and without confusion; the manner in which this duty is performed is a good test of the discipline of a mounted command.
Horses are to be led or ridden at a walk to and from water, depending upon its distance from the stable. At the drinking-place no horse should be hurried or have his head jerked up from the water.
If a stream is used for watering horses from the bank, the level of the water must not be more than 3 or 4 inches below the latter; and if the water is very shallow dams should be constructed to deepen it, as animals drink more rapidly when water is at least 6 inches deep. Mules should be watered higher up stream than horses. When animals will not drink from a stream, they will frequently do so from a bucket with a handful of grass on the water.
In the field or on the march the watering is from the most convenient running water; in garrison it is usually from troughs. In warm weather water drawn from a cold well or spring before being used should stand long enough for the chill to pass off.
The horses are watered under the immediate direction of the first sergeant, but if they are liable to meet those of other commands at the watering-place a commissioned officer should replace him.
During the hot months horses are watered thrice daily—in the morning, at noon, and just before grooming in the afternoon. At other times two waterings are enough, after morning and at evening stables. In very cold weather once a day, at noon, is sufficient. It is to be always remembered that a horse will rarely drink enough very early in the morning.
The daily allowance of water for a horse is six gallons.
On the march horses are watered with buckets carried[242] on the carriages. The oftener this is done the better, as it is not usually known when another watering-place will be reached.
When horses have to make a day's march without water, they will be watered after they are fed, just before leaving camp in the morning.
If a mounted command has to march a long distance without water, so that it will be necessary to encamp en route, the animals are well fed, but denied water until just before starting, when they are permitted to drink freely. The command marches in the afternoon, and does not encamp until it has accomplished at least half of the distance, and moves early the next morning to reach water.
Horses are trained by the best horsemen, under the supervision of an officer or non-commissioned officer.
It should be carefully impressed upon the men that the horse may be made gentle and obedient by patience, kindness, and fearlessness; that punishment is only to be resorted to when necessary, and then only administered immediately after the commission of the offense; and that nothing should ever be done to the horse in anger.
The restlessness or impatience which frequently arises from exuberance of spirits and playfulness must be carefully distinguished from that which arises from viciousness or timidity.
When restless, the horse should be held until he becomes calm; when submissive after punishment, he should be treated kindly. The men should endeavor to inspire him with confidence, and he should gradually be accustomed to warlike sounds—firing, beating of drums, etc. As one horse is apt to be governed by the actions of another, trained horses that are indifferent to such sounds should be interspersed among the new ones.
The first object to be obtained in training a horse is to render him gentle and tractable by progressive lessons. For this purpose all proper means must be employed, such as feeding, handling, patting him, taking up his feet, etc., and the practice of the longe.
The practice of the longe is also intended to supple him and teach him the free and proper use of his limbs. It likewise aids in forming his paces and fits him for service in the battery.
The men employed in this most important part of the horse's education must be selected for their natural fondness for animals, as well as for their patience, coolness, and intelligence, and should not be changed until the horses are sufficiently instructed to take their places in the battery.
A plain snaffle-bridle should at first be used and put on with great care and gentleness. If the horse resists, no violence should be used. He should be turned round in his stall and the instructor should take the end of the halter while the man quiets and encourages the horse. By careful treatment he will soon be accustomed to the sight of the bit and will allow it to be placed in his mouth. The reins will be tied so as to hang loosely on the neck.
Cavesson.—The cavesson is a bridle head-stall, to which a nose-band, encircling the horse's head, is added; the latter is adjustable by means of a buckle; the chin-strap has a running ring to which the longeing-strap is attached. When the snaffle-bridle has been properly fitted, the cavesson is carefully put on. The nose-band should be about three inches above the nostrils; if higher, it would partly lose its power; if lower it would affect the horse's breathing. It must not be so tight as to make the horse uneasy.
This instruction should be begun on a circle from fifteen to twenty yards in diameter. As horses are usually fed, watered, saddled, and led from the near side, they are inclined to lead better from that than the off side. It will therefore generally be found necessary to give two lessons on the right to one on the left.
The first lesson to be taught the young horse is to go forward. Until he does this freely nothing else should be required of him. When he obeys freely, he should occasionally be stopped and caressed.
If the horse hesitates or stands still when he is ordered to move on, he should be encouraged, as such hesitation oftener comes from fear and ignorance as to what is required than from obstinacy or vice.
The horse should at first be led around the circle at a walk. A man with a whip (with which at first the horse should not be struck) should follow at a short distance and show the whip occasionally if the horse is inclined to hang back; if this does not produce the desired effect, he should strike the ground in rear of the horse, and at length touch him lightly with the whip until he obeys.
After the horse begins to move freely at a walk the man holding the longeing-rein should gently urge him to the trot, gradually lengthening the rein so that it may be scarcely felt, and should go round the circle at an active pace nearly opposite the horse's shoulder so as to keep him out and press him forward. If the horse takes kindly to this lesson, the man holding the rein may lengthen it by degrees until he has only to turn in the same spot, the man with the whip being careful to keep the horse out to the line of the circle. Should the horse break his pace, or plunge, the rein should be shaken without jerking it until he returns to the trot.
The man holding the longeing-rein should have a light and easy hand. For the first two or three days the horse must not be urged too much; if he goes gently, without jumping or resisting, enough is accomplished. He should be longed to the right, left, and right again, changing from a walk to a trot and back again in each case. He should be frequently halted by gently feeling the rein and speaking to him.
After a few days of the above practice the horse may be urged a little more in the trot, but the greatest care and attention are requisite to teach him the use of his limbs without straining him. Much harm may be done in this instruction by a sudden jerk or too forcible pull of the longe.
Care must be taken that the lessons are not made so long as to fatigue or fret the horse. At first they should be short and be gradually increased in length as the instruction progresses. At the conclusion of each lesson the horse should be led to the centre of the ring and made much of. The man holding the longeing-rein should take it short in one hand, at the same time patting and rubbing the horse about the head and neck with the other; he should then try to bend the horse's neck a little to the right and then to the left by means of the longeing-rein. The bend should be in the very poll of the neck, and this exercise should be repeated at the end of every lesson, cautiously and by slow degrees, until the horse responds easily. This exercise will greatly facilitate the future instruction of the animal.
The running-rein is of great value in teaching a horse to keep his head in a proper position, and affords valuable aid in his first handling. If judiciously used, it saves the rider a great deal of trouble and the horse much ill usage. It is especially useful in controlling horses that are inclined to bolt. It should act directly on the snaffle-bit itself, and is wholly independent of the reins.
The Running-rein consists of three parts—the chin-strap, martingale, and rein.
The Chin-strap, about six to eight inches long, on which is suspended a loose ring, is fastened to both snaffle-bit rings.
The Martingale has only one ring; the loop through which the girth passes is made adjustable by a buckle. The martingale is so adjusted that when taut the ring will be on a level with the points of the horse's shoulders.
The Rein is about eight and one half feet long; one end is buckled into the near pommel-ring; the free end is then passed through the martingale-ring from rear to front, thence through the chin-strap ring from left to right, thence through the martingale-ring from front to rear, and is held in the rider's right hand. A pull on this rein will act directly on the mouth-piece, drawing it back and somewhat downward toward the horse's breast-bone.
Before commencing the bending lessons it is well to give the horse a preparatory one in obedience. This first act of submission makes the horse quiet and gives him confidence, and gives the man such ascendancy as to prevent the horse at the outset from resisting the means employed to bring him under control.
Go up to the horse, pat him on the neck, and speak to him; then take the reins from the horse's neck and hold them at a few inches from the rings of the bit with the left hand; take such position as to offer as much resistance as possible to the horse should he attempt to break away; hold the whip in the right hand, with the point down; raise the whip quietly and tap the horse on the breast; the horse naturally tries to move back to avoid the whip; follow the horse, pulling at the same time against him, and continuing the use of the whip; be careful to show no sign[247] of anger nor any symptom of yielding. The horse, tired of trying ineffectually to avoid the whip, soon ceases to pull and moves forward; then drop the point of the whip and make much of him. This repeated once or twice usually proves sufficient; the horse, having found how to avoid the punishment, no longer waits for the application of the whip, but anticipates it by moving up at the slightest gesture.
These lessons should be given to the horse each day so long as the snaffle-bit is used alone; but the exercise should be varied, so that the horse may not become fatigued or disgusted.
The balance of the horse's body and his lightness in hand depend on the proper carriage of his head and neck.
A young horse usually tries to resist the bit, either by bending his neck to one side, by setting his jaw against the bit, or by carrying his nose too high or too low.
The bending lessons serve to make a horse manageable by teaching him to conform to the movements of the reins and to yield to the pressure of the bit. During the lessons the horse must never be hurried.
To Bend the Horse's Neck to the Right.—Take a position on the near side of the horse, in front of his shoulder and facing toward his neck; take the off rein close up to the bit with the right hand, the near rein the same way with the left hand, the thumbs toward each other, the little fingers outward; bring the right hand toward the body, at the same time extend the left arm so as to turn the head to the horse's right.
The force employed must be gradual and proportioned to the resistance met with, and care must be taken not to bring the horse's nose too close to his chest. If the horse moves backward, continue the pressure until, finding it im[248]possible to avoid the restraint imposed by the bit, he stands still and yields to it.
When the bend is complete, the horse holds his head there without any restraint and champs the bit; then make much of him and let him resume his natural position by degrees, without throwing his head around hurriedly. A horse, as a rule, champs the bit when he ceases to resist.
The horse's neck is bent to the left in a similar manner, the man standing on the off side.
To Rein in.—Cross the reins behind the horse's jaw, taking the near rein in the right hand and the off rein in the left, at about six inches from the rings; draw them across each other till the horse gives way to the pressure and brings his nose in. Prevent the horse from raising his head by lowering the hands. When the horse gives way to the cross-pressure of the reins, ease the hand and make much of him.
This should be done at first on the longeing-ground. One man, facing the horse and taking the snaffle-reins in both hands near the bit, should hold him while another places the saddle on his back. If the horse shows no uneasiness or resistance, let down the cincha-strap and cincha; fasten the cincha-strap loosely at first, and tighten it afterwards by degrees. Care must be taken not to make the cincha so tight as to cause uneasiness to the horse. If the horse resists or is restless, remove the saddle and let him see and smell it; he will then generally allow it to be placed; if necessary, strap up a leg until the horse is saddled. The longeing is then continued with the horse saddled.
When the horse becomes accustomed to the saddle, he should be mounted. Two men should assist the man who[249] is to mount. The man with the longe, facing the horse and taking the snaffle-reins in both hands near the bit, holds his head rather high and engages his attention; the second man bears down on the off stirrup at the proper moment to keep the saddle even when the third man mounts. The man who mounts proceeds with caution, stopping and caressing the horse if he shows any uneasiness; after being seated the man pats the horse a few moments, and without attempting to make him move, dismounts with the care and gentleness exercised in mounting. This is repeated several times, until the horse submits without fear. The rider then mounts, takes a snaffle-rein in each hand, and feels lightly the horse's mouth; the man with the longe leads the horse forward and afterwards longes him to the left, and then to the right, at a walk; if the horse shows any disposition to kick or plunge, the longe is shaken to engage his attention and to keep up his head. After a few turns the rider dismounts, the horse is fed from the hand, patted, and dismissed.
These lessons are continued until the horse can be mounted and dismounted without any difficulty; and when he can be made to go forward, to the right and left, to halt and rein back by gentle application of the aids, the longe is dispensed with.
The horse is now exercised in the riding-hall or open manège, the lessons for young horses not exceeding three quarters of an hour. The horse is ridden on the track first at a walk, then at a slow trot, and afterwards the trot and walk are alternated, care being taken to turn the corners squarely; the horse is next marched to the right and left, halted and reined back to accustom him to obey the bit and the pressure of the legs. When he is obedient to the snaffle, the horse is equipped with the curb-bit. The bit must have rings at the ends of the mouthpiece for snaffle-reins, or a bit-bridoon must be used in order that the horse[250] may be accustomed by degrees to the action of the curb-bit. The first instruction given to the horse with the curb-bit is bending the neck and reining in, dismounted; he is then mounted and exercised in the riding-hall or open manège as before described, and receives the bending and reining lessons mounted.
The horse is now equipped with a curb-bridle.
To Bend the Horse's Neck to the Right.—Adjust the reins in the left hand; seize the right rein with the right hand well down; draw it gently to the right and rear until the horse's head is brought completely around to the right, in the same position as in the bend dismounted. When the horse champs the bit, make much of him, and allow him to resume his natural position. The horse's neck is bent to the left in a similar manner.
To Rein in.—Lower the bridle-hand as much as possible, turning the back uppermost; with the right hand, nails down, take hold of the curb-reins above and close to the left hand and shorten them by degrees, drawing them through the left hand, which closes on the reins each time they are shortened.
When the horse resists much and holds his nose up, keep the reins steady; do not shorten or lengthen them; close the legs to prevent the horse from backing; after remaining perhaps a minute or more with his nose up and his jaw set against the bit he will yield, bring his nose in, and champ the bit; make much of him, loosen the reins, and after a few seconds rein in again.
This exercise gives the horse confidence, and teaches him to arch his neck and bring his head in proper position whenever he feels the bit.
Most young horses are afraid of the bit, and they must[251] never be frightened by sudden jerks on the reins, lest they should afterwards refuse to stand the requisite pressure of the bit. A certain amount of bearing is necessary to induce the horse to work boldly and well, as well as to apprise the rider of what the horse is going to do.
In reining in, some horses rest the lower jaw against the breast; to counteract this, press both legs equally and force the horse forward to the bit.
Some horses will not work up to the hand; that is, will not bear the bit at all. Such horses are unfit for the service.
Whenever, without an apparent cause, a horse resists or is restive, the bit, saddle, and equipment should be carefully examined to see if any part hurts or irritates him.
Should the horse rear, the rider must yield the hand when the horse is up, and urge him vigorously forward when he is coming down; if the horse is punished while up, he may spring and fall backward.
Use the running-rein with a rearing horse.
This can be prevented by holding the horse's head well up and closing the legs; if necessary, they are closed so much as to force the horse forward.
This sometimes results from defect of sight and sometimes from fear. If from fear, the horse must be taken up to the object with great patience and gentleness, and be allowed to touch the object with his nose. In no case should a horse be punished for timidity. The dread of chastisement will increase his restiveness.
Station a few men at a little distance from and on both sides of the stable-door, and cause them to fire pistols as the horses are led into the stable to be fed; for the same object a gun may be fired during the hour of feeding. If a horse is nervous, he may be put on the longe and fed from the hand and petted each time the pistol is discharged; or he may be thrown, care being taken not to discharge the pistol so as to burn him or injure him in any way. The horses should be trained to be steady under the fire of the pieces, and also under pistol-firing by the cannoneers on the chests and by the drivers from their teams.
The horses are at first equipped with the watering-bridle, and are without saddles. The reins are on the horse's neck just in front of the withers, and knotted so that they will not hang low enough to entangle the horse's feet, care being taken to have them loose enough to permit the horse to push his nose well out, so as to have entire freedom of the head. The horse should be watered before putting him into the stream.
When the rider gets into deep water, he drops the reins, seizes a lock of the mane with the up-stream hand, allows his body to drift off quietly to the down-stream side of the horse, and floats or swims flat on the water, guiding the horse as much as possible by splashing water against his head, only using the reins when splashing fails. The horse is easily controlled when swimming; he is also easily confused, and it is therefore necessary that the rider should be gentle and deliberate. The rider must be cautioned that the horse is easily pulled over backward by the reins when swimming, and also that he may plunge when he touches bottom. When the horse touches the bottom at the land[253]ing, the rider pulls himself on the horse's back and takes the reins.
The rider may also be required to swim, holding the horse's tail, allowing the horse to tow him.
After the man and horse have gained confidence, the rider may be required to be seated on the horse while swimming. As the extra weight presses the horse down and impedes his movements, the rider should hold his knees well up to lessen the resistance, and steady his seat by holding on to the mane or pommel of the saddle.
The men are instructed, in crossing running water, to keep their eyes fixed on the opposite bank.
The practice of swimming gives horses confidence in deep water when in harness. Streams deep and wide enough to swim one and even two pairs of a team have been crossed by light artillery in our service.
The harness should be put on the horse in the stable with caution, and at first without the traces, so that in the event of the horse jumping about they will not hang about his legs and frighten him. The horse should then be fed in his harness, and after standing for some hours be walked about in it.
When the horse has thus been fed and walked about, and has become reconciled to the harness, the traces should be attached, and a rope tied to the rear end of each; a man then takes the ends of the ropes, and the horse is walked about, the man holding the ropes, taking care that the traces do not rub against the sides of the horse in the beginning, but accustom him to them gradually.
When the horse has become accustomed to the pressure of the collar and traces, he may then be hitched in with a steady horse. At first the utmost caution should be ob[254]served and a foreleg held up, if necessary, while the traces are being fastened, and no noise or shouting should be permitted. After being hitched in, the horse should be permitted to stand still for some minutes before the carriage is started, and it should be put in motion by the other horses. The horse should be left to himself and not be required to draw at first; all that should be demanded of him is to move forward quietly.
A vicious or refractory horse may be thrown. He is thus made to submit to control without exciting his resentment, or suffering any other physical pain than that resulting from his own resistance. During the operation the man acts with deliberation, speaks with a kind voice, and never uses harsh treatment.
The method explained is a modification of the one generally known as "Rarey's Method." The horse is equipped with a watering-bridle and surcingle. The surcingle is buckled securely but not tightly around the horse's body just back of the withers. The man is provided with two strong straps. No. 1 is about ten feet long and one inch wide, and has a loop or iron ring at one end. No. 2 is about three feet six inches long and from one and one half to two inches wide; one end has a strong buckle and two keepers (one on each side of the strap). In the absence of straps as specified, the halter-strap may be substituted for No. 1, and the stirrup-strap for No. 2.
The horse is taken to an open space, preferably covered with turf, free from stones, etc., to prevent injuring the horse's knees. Pass the free end of No. 1 through the ring and make a slip-loop; raise the horse's off forefoot,[255] and place the loop around the pastern; see that the loop has no twist in it; let the foot down, draw the strap taut, and pass the free end over the horse's back from the off side and under the surcingle from front to rear, the free end hanging down on the near side. Pass the free end of No. 2 through the inside keeper and make a slip-loop; raise the near forefoot and place the loop around the pastern, with the buckle outside, and make it snug; raise the heel against the forearm, pass the free end of the strap, from the inside, over the forearm, and buckle the strap sufficiently tight to hold the leg in this position. Let the bridle-reins either hang down or place them on the neck; they may be caught hold of at any time after the first plunging is over. It is important that the off forefoot be kept from the ground after the horse first raises it, and this will be better accomplished if both hands are used at strap No. 1 during the first plunge.
The man takes his place behind the surcingle on the near side of and close to the horse, the left foot in advance, and grasps securely with the left hand the free end of No. 1, and, if the strap is long enough, makes a turn with it around the left hand, the right hand grasping it loosely, forefingers close to the surcingle, back of the hand against the horse's back. Quietly and gently urge the horse forward; the instant he raises his foot, pull the strap with the left hand, bring the off heel against the forearm, the strap slipping through the right hand, which should be kept in place, but which grasps the strap as soon as the foot is sufficiently raised, and holds it firmly; make a turn with the strap around the right hand, and take both reins in the left hand on the near side of the horse. The horse is now brought to his knees; bring the horse's nose well to the left and raised, placing the right shoulder and arm against the horse's side, thus indicating to him that he is to lie on his right side. A horse of a stubborn disposi[256]tion may remain in this kneeling position for some time, and this he should be allowed to do until he is willing to lie down of his own volition. No force will be used to push the horse down. From this kneeling position the horse may rear and plunge, but as he moves so should the man, maintaining his relative position to the horse, and a firm hold of the long strap, in order to deprive the horse of the use of his right foreleg. In most cases, after remaining in this kneeling position for a short time, the horse will lie down. The man maintains his hold of the strap and reins until the horse is quiet and shows no immediate disposition to attempt to rise; or he has the strap and reins so placed that he can grasp them directly the horse attempts to get up.
To dispel his fears and reconcile him to his unexpectedly assumed position, he should now be petted, spoken to in a kindly tone of voice, and generally made much of. When he becomes quiet and ceases to struggle, the man should pass around him, handle his feet, and straighten out and rub his legs. If the horse shows no inclination to rise before being told to do so, the straps may be unfastened and removed, but so long as the eye shows a wild, startled expression the straps should not be removed. The eye is the true index of the horse's feelings and disposition, and if closely observed will always betray his intentions.
When he has remained in the lying position for a short time after the straps have been removed, and he no longer struggles or attempts to rise, or if he attempts to rise and cannot be prevented from doing so, the man should raise his horse's head a little with the reins and command: "Up!" When the horse gets up, he should be made much of and given to understand that he has done what was required of him. It will be advantageous to throw the horse three or four times at each lesson, but the throwings should not follow each other in rapid succession, in order to avoid the[257] overfatigue and constraint which might incite the horse to insubordination and resistance.
It will be found that horses of a peculiarly wilful and stubborn disposition will not lie quiet after the straps have been removed. To overcome horses of this class, the long strap should be made fast to the left fore foot so that both knees will be secured in a bent position. The horse need be no longer held, but will be allowed to struggle. He may rear, or plunge, or assume a kneeling position, but whatever he may do no restraint should be put upon him. After finding that all his struggles are of no avail, and that the only result attained by them is suffering to himself, he will succumb and quietly lie down. When, from his ceasing to struggle when handled, and from the appearance of his eye, there is reason to believe that the horse has yielded, the straps may be gradually loosened and removed. Two or three lessons properly administered in this way will conquer the most stubborn horse.
After a stubborn horse has been thrown several times, it may happen that he will not permit his fore leg to be strapped up, and will resist by rearing, plunging, striking, or kicking. In such cases another strap, "No. 3," may be necessary. This is a strong leather surcingle about three inches wide in which two iron rings, about two feet six inches apart, are securely fastened. The leather girth is secured so that the rings will be about the middle of the horse's sides. Two long straps, "No. 1," are used. One is placed on each front pastern without raising the foot. The free ends of the straps are run through the rings on the surcingle so that they can be used as a pair of driving-reins. These straps are held by one man in rear of the horse, while another, approaching the horse on the near side, attempts to raise his left foot. The instant the horse rears, strikes, or plunges he is brought to his knees by the man holding the long reins; after this is repeated several[258] times the horse will allow his foot to be strapped up. Should the horse stand, or refuse to move, the whip may be used.
These means may be used to break horses of rearing, plunging, or bucking under the saddle. In this case the surcingle is dispensed with; the rider holds the straps and exerts sufficient force when the horse is refractory to bring him to his knees. The same means may be used to discipline horses which refuse to carry double, the man in the rear holding the straps.
The horse is thrown and one end of each of the long straps is made fast to the bit-rings; the other ends are passed through the rings on the leather surcingle and secured to the hind pasterns. When thus secured, all means should be resorted to in order to make the horse kick, and this should be repeated until he no longer struggles or attempts to move his hind legs under any provocation whatever.
Horses require gentle treatment. Docile, but bold, horses are apt to retaliate upon those who abuse them, while persistent kindness often reclaims vicious animals.
A horse must never be kicked in the belly, or struck about the head with the hands, reins, or any instrument whatever.
Never threaten, strike, or otherwise abuse a horse.
Before entering a stall speak to the horse gently, and then go in quietly.
Never take a rapid gait until the horse has been warmed up by gentle exercise.
Never put up a horse brought to the stable or line heated, but throw a blanket over him and rub his legs, or walk[259] him until cool. If he is wet, put him under shelter and wisp him against the hair until dry.
Never feed grain to a horse, or allow him to stand uncovered, when heated. Hay will not hurt a horse no matter how warm he may be.
Never water a horse when heated, unless the exercise or march is to be immediately resumed. A few mouthfuls of water, however, will do no harm, and should ordinarily be given him.
Never throw water over a horse coming in hot, not even over his legs or feet.
Never allow a horse's back to be cooled suddenly by washing or even removing the blanket unnecessarily.
To cool the back gradually, the blanket may be removed and replaced with the dry side next the horse.
At least two hours' exercise daily is necessary to the health and good condition of horses; they should be marched a few miles when cold weather, muddy ground, etc., prevent drill.
Horses' legs will be often hand-rubbed, particularly after severe exercise, as this removes enlargement and relieves or prevents stiffness.
In mild weather the sheath will be washed out once a month with warm water and castile soap and then greased; during the cold season the intervals between washings should be longer.
Sore backs and galled shoulders are generally occasioned by neglect. The greatest pains will be taken in the fitting of the saddles and collars; the men must never be allowed to lounge or sit unevenly in their saddles. Every driver should keep a pair of soft leather pads, stuffed with hair, about six inches by four; the moment any tenderness is noticed in a horse's shoulder, the pressure is removed by placing these pads under the collar above and below the tender part.
Occasions arise rendering the destruction of horses necessary. The following instructions will enable one to arrive at a point directly over the summit of the brain, and which when fired upon will cause instantaneous death. Draw a line, A A, horizontally across the forehead from the upper margin of one zygomatic ridge to the other, and from its central point, B, measure vertically upward on the forehead 3½ to 4½ inches. The point, D, thus obtained is directly over the brain-cavity.
Fig. 76.
Before firing, the horse should be induced to lower his head, which is easily accomplished by placing a little food upon the ground, the muzzle of the weapon being brought directly over the spot indicated.
It is a mistake to suppose that the star, or curl, is over the brain-cavity, for it is generally below the cavity.
Organization of Artillery. Composition of Light Batteries. Equipment. Equipment and Clothing for Marches. Marches. Selection of Camps. Making Camp. Breaking Camp. Allowance of Wagons.
Artillery troops are divided into light artillery and heavy artillery. To the light artillery belongs the service of the batteries which manœuvre with troops in the field.
The light-artillery batteries include horse-batteries, in which the cannoneers are mounted on horseback; field-batteries, in which the cannoneers march by the side of their pieces, or are mounted on the ammunition-chests, axle-seats, and off horses; and mountain-batteries, in which the pieces may be transported on pack-animals.
Machine-batteries are designated, according to their equipment and model of gun, as horse, field, or mountain, Gatling, Gardner, etc., batteries.
The 3.2-inch gun is used in both field-and horse-batteries; the 3.6-inch gun is used in field-batteries only.
A field-battery equipped with the 3.2-inch gun is called a light field-battery; one equipped with the 3.6-inch gun is called a heavy field-battery. A battalion of artillery consists of two, three, or four batteries, and is commanded by a field-officer of artillery.
The heavy artillery of an army in the field consists of those batteries which serve the siege-and position-guns, and the artillery-ammunition and supply trains.
The light artillery of an army corps consists of divisional artillery and corps artillery.
The Divisional Artillery consists of a battalion of from two to four batteries, is an integral part of the division, and is commanded by a field-officer who has a staff consisting of an adjutant (lieutenant), sergeant-major, quartermaster-sergeant, and chief trumpeter.
The Corps Artillery consists of two or more battalions; it is composed of field-and horse-batteries in suitable proportions, and is commanded by a colonel who has a staff consisting of an adjutant (lieutenant), a quartermaster and commissary (lieutenant) sergeant-major, quartermaster-sergeant, and chief trumpeter. All the artillery attached to an army corps constitutes an artillery brigade. A battalion of horse-artillery is attached to and is part of each division of cavalry. In smaller commands a battery may be attached to an infantry or cavalry brigade.
The proportion of artillery is from three to four guns to one thousand men. The chief of artillery of an army or corps is a brigadier-general, and is on the staff of the commander of the corps. The corps artillery is under the orders of the brigadier-general, chief of artillery, and he also assumes control of the divisional artillery in action when ordered to do so by the corps commander.
The field-officer commanding the divisional artillery is the chief of artillery of the division, and is on the staff of the division commander, but he will encamp with the divisional artillery.
A battery consists of a fixed number of pieces and caissons of a combined battery-wagon and forge, and an artillery-wagon, together with a sufficient number of officers, men, and horses for the efficient service of the battery.
Organization of Light Batteries.—A battery is maintained on one of the following footings: 1, for instruction; 2, for war.
| Field-battery. | Instruction. | War. | |||||
| 6 Guns, 4 Caissons. |
6 Guns, 9 Caissons. |
||||||
| Officers. | Men. | Horses. | Officers. | Men. | Horses. | ||
| Captain | 1 | 1 | Commanding the platoons and caissons. | ||||
| Lieutenants | 3 | 4 | |||||
| Staff-sergeants | 2a | 2 | 3b | 3 | a. First sergeant, stable and veterinary sergeant. | ||
| Sergeants | 6 | 6 | 6 | 6 | |||
| Corporals | 9c | 3 | 15d | 9 | b. First sergeant, quartermaster and stable and veterinary sergeants. | ||
| Artificers | 4e | 5f | 5 | ||||
| Trumpeters | 2 | 2 | 2 | 2 | c. Six gunners and three caisson corporals. | ||
| Guidon | 1 | 1 | 1 | 1 | |||
| Wagoner | 1 | 4 | d. Six gunners and nine caisson corporals. | ||||
| Drivers | 24 | 48 | 48 | 96 | |||
| Cannoneers | 36 | 84 | e. Two blacksmiths, one saddler, one machinist. | ||||
| Supernumerary drivers | 8 | ||||||
| Spare horses | 4 | 16 | f. Three blacksmiths, one saddler, one machinist | ||||
| Range-finders. | 2 | 2 | |||||
| Total | 4 | 84 | 66 | 5 | 175 | 144 | |
The machinist should be conversant with the construction and mechanism of the gun, and competent to make the ordinary repairs it may require.
The men should be intelligent, active, and muscular, and not less than five feet five inches, nor more than six feet, in height; very large men are specially undesirable.[264] The great majority should be men accustomed to horses; a suitable proportion must be mechanics.
If a public horse be allowed to each subaltern, the number of horses in the above table will be proportionately increased.
The battery-wagon and forge and the artillery-wagon, when not horsed, must be kept with the battery and equipped with the proper tools and stores.
When a battery on the instruction footing is ordered to march, it must be supplied with additional horses necessary to horse all the carriages.
In horse-batteries, in addition to the number of horses above described, ten saddle-horses (including one spare horse) are required for each gun detachment.
In garrison the first sergeant, quartermaster-sergeant, stable and veterinary sergeants, and chiefs of section are armed with the sabre, and the caisson corporals, trumpeters, guidon, and drivers also, when specially directed.
In the field the first sergeant, quartermaster-sergeant, stable sergeant, and chiefs of section are armed with the sabre and revolver; all other men are armed with the revolver and knife.
In preparing for a march or field service the kinds and quantities of supplies required will depend on the duration and character of the work. Having determined what is required, divide the work of preparing for service among the officers and non-commissioned officers immediately in charge, and then carefully superintend the work yourself.
Attention is called to the following points:
Rations, forage, medicines, veterinary medicines, instruments, and bandages, leather and spare parts for repairs to harness, carriages, etc., horseshoes, horseshoe-nails, blacksmith's, saddler's, and carpenter's tools (if there be[265] no battery-wagon and forge), field-desk, with a supply of blanks, paper, envelopes, pens, ink, and pencils, the necessary company-books, and a book of telegraph blanks, ammunition (shell, shrapnel, canister, cartridges, fuzes, fuze-cutters, friction-primers, lanyards), oil for harness, cosmoline for guns, equipment and clothing for each man, number and kind of tents, Sibley stoves, axes, hatchets, mauls, scythes, sickles, buckets, spades, shovels, pickaxes, wagon-tongues, coupling-poles, hame-strings, open links, odometer, rope, axle-grease, picket-rope, light jacks, lanterns, matches, cooking utensils, personal outfit.
| PACK IN BOX A. | ||
| Article. | 75 Men. |
150 Men. |
| Dishpans | 2 | 3 |
| Coffee-mill | 1 | 1 |
| Bread-knives | 2 | 2 |
| Meat-knives | 2 | 2 |
| Steel | 1 | 1 |
| Cleaver | 1 | 1 |
| Saw | 1 | 1 |
| Forks, carving | 2 | 3 |
| Forks, spit | 2 | 2 |
| Spoons, long | 2 | 2 |
| Can-openers | 2 | 2 |
| Ladles | 2 | 2 |
| Frying-pans | 2 | 2 |
| Small rations | ||
| PACK IN BOX B. | ||
| Article. | 75 Men. |
150 Men. |
| Coffee-boiler | 1 | 2 |
| Camp-kettles | 4 | 6 |
| Water-buckets | 2 | 3 |
| Dipper | 1 | 1 |
| Hash machine | 1 | 1 |
| 1 axe, 1 spade, 1 shovel, tied together and fastened to outside of box. | ||
| Put the camp-kettles inside the coffee-boilers. | ||
Vinegar-keg, 1, Dutch ovens, 2, or Buzzacott oven, 1, for 75 men; double the number for 150 men.
One of the boxes may be large enough to contain the Buzzacott oven. In order to pack it put in the top inverted, and then invert the body of the oven and set it inside the top.
An officer's equipment usually consists of sabre, revolver, and ammunition, and a good binocular-glass. He should[266] also be provided with a compass, watch, knife, and notebook and pencil. A small watch so fitted in a leather strap that it may be worn on the wrist is recommended as very convenient.
The clothing and bedding carried will depend on the climate and the character of the march. The following list contains about everything one requires:
In Cold Climate.
Sticking-plaster, lint, safety-pins, tin of mustard-leaves, and a few simple remedies in case of dysentery, diarrhœa, constipation, etc.
If messing alone, 1 tin kettle, 1 frying-pan, 2 baking-pans (small), 1 wire gridiron, 1 corkscrew, salt-and pepper-boxes, 1 can-opener, 1 small meat-knife, 1 iron fork (long), 1 iron spoon (long), 1 small soup-ladle, 2 plates, 2 tin cups, 2 spoons, 2 teaspoons, 2 knives, 2 forks, tablecloths and napkins, and such stores as one may wish.
Equipment for Each Enlisted Man.—One hunting-knife, one pistol, one holster, one pistol-cartridge belt (woven), one screwdriver, one canteen, one cup, one meat-ration can (knife, fork, and spoon), and for each cannoneer one haversack.
Clothing for Each Enlisted Man.—Two blankets, one rubber blanket or poncho, one overcoat, one campaign hat, one pair of leggings, two blouses, two pairs of trousers, two dark blue flannel shirts, two knit undershirts, two pairs of drawers, two pairs of shoes, three pairs of socks, two towels, toilet articles, and stable-clothing for those requiring it. The extra articles will be carried as follows:
By Mounted Non-commissioned Officers, Trumpeters, and Guidon.—Dark-blue flannel shirt, undershirt, drawers, socks, and screwdriver, in saddle-bag, off pocket. Mess-kit, in saddle-bag, near pocket. Blouse, trousers, and shoes, in knapsack. Overcoat, rolled and strapped on the cantle of saddle. Nose-bag, on off side of cantle, the strap passing around and under the overcoat. Canteen and cup (cup on canteen-strap) strapped to near pommel-ring.
By Drivers.—Dark-blue flannel shirt, stable-clothes, and shoes, in saddle-bag, off pocket, near horse. Mess-kit, in saddle-bag, near pocket, near horse. Blouse, trousers, and screwdriver, in the saddle-bag, off pocket, off horse. Undershirt, drawers, and socks, in saddle-bag, near pocket, off horse. Overcoat, rolled and strapped on cantle, near horse. Nose-bags, one on each side of off horse, the strap passing around the cantle and under the overcoat. Canteen and cup (cup on canteen-strap) strapped to near pommel[268]-ring, near horse. Watering-bridles, currycombs, brushes, and halters, in the nose-bags.
By Cannoneers.—Blouse, trousers, and stable-clothes, in knapsack, flap side. Underwear, shoes, and screwdriver, in knapsack, bottom side. Mess-kit, in haversack, worn on left side of person, or carried in wagon. Overcoat, strapped on knapsack. Canteen and cup (cup on canteen-strap) worn on right side of person.
The blankets, folded in section bundles, are carried in the wagons. The knapsacks are carried in the wagons.
If there be an artillery-wagon with the battery, all the men have knapsacks and haversacks, which are utilized as prescribed for cannoneers.
When the Army of the Potomac crossed the river in October, 1862, each officer was responsible for his own outfit; each man carried five days' short rations in his knapsack and three in his haversack, one half shelter-tent, his blanket or overcoat, one change of underclothing, and his arms and ammunition.
To Roll the Overcoat.—Turn one sleeve wrong side out, fold the overcoat right side out along middle back seam, sleeve laid straight, sleeve wrong side out underneath.
Fold cape twice from side to side, lay it on coat, collar to collar. Turn edges of coat in so as to make sides parallel, and to measure 12 inches wide at shoulder and 16 inches at bottom. Roll from collar down to within 20 inches of bottom, turn up bottom and pull one thickness of skirt over the roll, making all snug.
The "general," sounded one hour before the time designated for marching, is the signal to strike tents, load wagons, pack animals, and send them to the place of assembly.
The execution of marching orders must not be delayed. If the commander is not with the troops when they are to march, the next in rank puts the column in motion.
When a march is in prospect, it is well to go out daily, for a week or ten days previously, for a couple of hours' march. This will harden the horses' shoulders and discover what corrections are to be made. The average march for field-artillery on good roads is from 15 to 20 miles a day; horse-artillery, 25 miles.
A single battery, when the march is a long one, will do well to trot occasionally; so doing shortens the road and greatly relieves man and horse. If the country is undulating, the platoons should march with considerable distance between them, and the trot should be taken up by each in succession on arrival at the level ground where the preceding platoon began to increase its pace. The walk should be resumed in the same manner.
When marching with other troops, these liberties cannot be taken, and the walk is, with rare exceptions, the gait used. In rapid marches the slow trot alternates with the walk.
When the services of artillery are urgently needed, it may be required to trot four or five miles without breaking the gait.
Long marches or expeditions should be begun moderately, particularly with new horses. Ten or twelve miles a day is enough for the first marches, which, on good roads, may be increased to 20 or 25 miles when necessary, after the horses are inured to their work. Should the march be continued for a long period, at least one day in seven should be devoted to rest. It is also important that the horses and equipments be thoroughly inspected at least once a week. On ordinary roads horse-artillery with cavalry marches usually at the rate of 4 or 5 miles an hour. Field-batteries, by themselves, can march 3½ to 4 miles an hour on a good road, but on heavy or hilly roads, or when[270] the battery forms part of a column, the rate of progress will depend entirely upon circumstances. Should a long march be made, the horses should be fed on the road; ordinarily watering will be sufficient. In very hot weather frequent watering will be advisable. To keep horses in condition, it is essential that they should be in no wise stinted of water. No matter how warm a horse is six to ten swallows of water will not hurt him.
Always march with a feed of grain; if not used on the road, it enables the horses to be fed as soon after arriving in camp as desirable. Horses should be arranged in teams, as far as possible, so as to be of uniform pace in walking, and of similar disposition.
On long marches it may be advisable to change the near and off horses days about. Drivers should be required to ride off horses during part of each day's march; and, unless the entire battery be dismounted by order of the captain, all mounted men and cannoneers will ordinarily be permitted to mount and dismount at will when the battery is moving at a walk on level ground.
Cannoneers of field-batteries should always walk up and down hill.
The care of horses on the march is one of the most important duties of an artillery officer; by constant attention on the part of the captain, chiefs of platoon, and chiefs of section many horses that would otherwise be disabled for months may be kept in serviceable condition.
The men must not be allowed to lounge in their saddles, which leads to galls, and the drivers should be made to pay continual attention to their driving, and see that every horse does his fair share of work.
The lead-drivers of each team must keep their distance from the team in their front; swing-drivers must keep the traces to their front stretched, and the wheel-drivers those to their front.
Have the wheels greased daily, and oil the bearing of the lunette on the pintle-hook.
Grease on the soles of horses' hoofs prevents snow from balling.
On starting from camp the first two miles should be made at an easy walk; a halt of from 10 to 15 minutes should then be made to allow the men to relieve themselves and to rearrange harness, after which a halt of from 5 to 10 minutes is made at the end of every hour for the purpose of adjusting harness, tightening girths, etc. When troops march for the greater part of the day, a halt of about an hour is usually made about noon. At each halt pole-props will be let down; collars unlocked and thrown back on the saddle or withers, and cleaned if necessary; saddles replaced if they have moved; cinchas tightened if necessary, and horses' feet examined.
The march is usually in column of sections; when practicable, it will be in column of platoons at close intervals; but the front of the column must not be frequently diminished or increased, as this unavoidably adds to the fatigue of the horses, particularly of those in rear. The column of platoons should not be used when it fills the road from side to side so as to prevent the passage of carriages, staff-orderlies, etc.
A non-commissioned officer may be sent forward to reconnoitre the road or ground that the battery is to pass over.
The distance of two yards between carriages is maintained, except in bad or difficult ground, when it may be increased to four or more yards. The strictest attention should be paid by the chiefs of platoon and of section to the preservation of distances, which should not be increased more than is absolutely necessary. The leading guide should maintain a slow and steady walk, and under no circumstances is a carriage to move at a trot without the[272] orders of the battery commander; when necessary to close up, it should be done at a quick walk; no practice is more fatiguing to horses and injurious to their shoulders than the alternate trotting and walking so often seen at the rear of a column.
If the leading carriage is temporarily stopped for any cause, the rear carriages should, if practicable, draw up alongside each other, in order to avoid or diminish as much as possible any check to the column.
Chiefs of platoons must never be permitted to leave their platoons to march at the head of the column; when not marching at the rear of their platoons, they will halt frequently to see that their carriages are well up and marching properly.
Chiefs of platoon and of section, without waiting for express instructions, give such orders as may be necessary for helping horses out of difficulty, for the passage of obstacles, etc.; the cannoneers assist at the piece or caisson as may be required.
A small bunch of bale-wire, in lengths of from one to two feet, if carried by each chief of section in his saddle-pouch, is very useful for temporary repairs of harness.
If the ruts be very deep, the carriages quarter the road, unless it be very narrow and sunken; in this case the horses will be left to themselves and not hurried; a skilful driver can help his horses greatly, particularly the wheelers.
When water-call is sounded, the chiefs of section, under the supervision of the chiefs of platoon or of the first sergeant, have the watering-buckets taken off the carriages, and their horses watered without confusion. When water is very scarce, the nostrils may be sponged, which gives great relief, particularly in hot weather, when it is not possible to let the horses drink.
Toward the close of the march an officer or non-com[273]missioned officer may be sent forward to select a camp-ground. The last two miles or more should be made at a walk, and the horses brought into camp without excitement.
Upon the arrival of the battery in camp damages must be repaired without delay, horses shod, wheels and pintles greased, etc. On the march artificers and cooks should always ride, or be mounted on the chests; if fatigued from marching, they cannot be expected to work efficiently after getting into camp.
The march of larger bodies of artillery is conducted on the same principles. A long column cannot move as rapidly as a small one, and at the same time preserve equal order; an allowance is therefore made for every column proportionate to its length.
When the roads are good, or even tolerable, the artillery is always obliged to wait for the infantry, which is attended with much additional fatigue to the horses, from having the harness so much longer on them. Likewise, when the roads are at all bad, artillery can only keep up with cavalry, when the latter are marching at the ordinary rate, by forcing their horses too much and wearing them out very rapidly. When, therefore, there is no danger, the artillery should be allowed to march by itself so as to regulate its own rate of march.
Chiefs of section should carry nippers in their saddle-pouches to cut wire fences if necessary.
When an accident happens to a carriage, it is pulled out of the column, if possible, so as not to interrupt the march; otherwise the carriages in rear pass it by the most convenient flank, and close to proper distance. The disabled carriage resumes its place as soon as the damage is re[274]paired. If the road be narrow, it must fall into the first interval it finds, and regain its proper place as soon as the ground permits. If a field-piece is disabled, the cannoneers left to repair it, who cannot be carried on the limber-chest, mount on the axle-seats and off horses whenever the piece takes the trot to regain its place. If a caisson is disabled, the caisson corporal and the men necessary to repair it are left with it.
When a piece and its carriage are overturned, it is better to disengage the piece by letting the breech rest on the ground, or on a block of wood, and then raise the muzzle with a handspike while the cap-squares are taken off; the carriage is then righted and the piece mounted.
To right the carriage without disengaging the piece, detach the limber, secure the cap-squares, and lash the breech to the stock; place the middle of a rope over the nave of one wheel, pass the ends of it downward between the lower spokes of that wheel, then under the carriage, through the corresponding spokes of the other wheel, and then upward over the wheel and across the top of the carriage to the side where it was first attached. The ends of the rope and the wheel to be raised are then manned and the carriage pulled over, two men being required to steady the trail. If necessary, the ends of the rope may be fastened to the limber, and horses used to assist in righting the carriage.
Light carriages may be righted by hand without using a rope.
To Remove a Gun and Carriage; Carriage Disabled.—Dismount the gun; remove the horses and run the limber over the gun, so that the breech may be towards the pole and the trunnions under the pintle-hook; place a handspike in the bore and raise it; sling gun with prolonge; carry prolonge in rear of one trunnion, and in front of the other, round the pintle-hook, and pass the end forward; take a half-hitch round the breech and secure firmly around[275] the fork, bearing down on the muzzle until the breech is secured. Replace cap-squares; remove wheels; turn over carriage and place it on the limber-chest. This is done by having trail, pointing towards the limber, lifted up from the front. Place wheels, dish down, on top of carriage, and lash all firmly together, the trail being lashed to a handspike in the bore of the gun.
If the caisson be present, place the carriage on it, removing the spare wheel and raising the carriage, trail first, from the rear.
To Disable a Field-gun.—Open the breech-block and then break it with a heavy hammer; or load the piece, close the breech without locking it, and fire the piece; or place two or three blank cartridges in the gun, close and lock the breech-block, ram in from the muzzle a ball of clay or sod; then unlock the breech-block and fire; or fire a shotted gun with its muzzle against the chase of another.
Guns of the Krupp system may be temporarily disabled by carrying off the breech-block, or breaking off its handle.
After pulling up a short, steep hill the horses should be halted to recover their wind. When this cannot be done, they will move very slowly.
In going up a difficult hill the carriages may be halted to rest the horses by bringing them across the declivity and locking the limbers or chocking the wheels, or by putting on the brake to the rear; for this purpose it may be expedient to start the sections or platoons from the bottom in succession, leaving a distance of 20 or 30 yards between the different portions of the column.
If the draught be so difficult that the teams are liable to stall, the carriages in rear are halted, and the lead-and swing-horses of the rear half of the carriages can be taken out and hitched to the leading half; when these have been[276] taken through, all the horses, except the wheel, will be taken back, and the rear carriages brought up. As it is very hard to make the horses pull together, not more than five pairs can be hitched with effect to a single carriage.
The drivers never dismount going down hill; the wheel-driver holds his near horse well in hand, and his off horse very short. Two cannoneers may be mounted on each gun-carriage and caisson to apply the brakes. In the absence of instructions from higher authority the chief of carriage directs whether the brakes are to be applied to a particular wheel or to both. The brakes are easily applied and removed, and a judicious use of them will save the horse much fatigue and prevent sore necks and shoulders. If the descent be very steep, the sectional picket-line may be used by the cannoneers to hold back; in this case the wheel-horses only remain hitched to the carriage, the others being led in rear.
If a carriage have to move along a declivity so steep that a slight jolt may overturn it, the wheels are locked, the sectional picket-line fastened to the top of the upper wheel and held by two or three cannoneers, who march on the upper side of the slope.
If the ditch be wide and deep, the prolonge is fixed and the handspike turned over on the flask and secured, the team is halted on the edge, and the piece run by hand close to the limber, which then moves slowly until the piece reaches the bottom of the ditch, when it moves quickly until the piece is out. If the ditch be deep[277] and narrow, it may be necessary to cut down the edges and hold back with the sectional picket-line; should the trail sink into the ground in passing over, it is disengaged with a handspike or by fastening a prolonge to it.
In passing shallow ditches, drains, or deep furrows the carriages must cross them obliquely.
Each carriage moves at a distance of 10 to 12 yards from the one preceding it to avoid having to halt; officers or non-commissioned officers are posted at the worst places to instruct the drivers how to conduct their teams. The horses must pull freely and quicken the gait; if the ground be very miry, it may be necessary to assist with sectional picket-lines, or even to use them alone, the teams crossing separately.
If the ford be not well known, it must be examined and the dangerous places marked before the carriages attempt to cross.
If the water be deep and the current strong, great care is necessary. The men are instructed to keep their eyes fixed on some object on the opposite bank which marks the place of exit; they must not look at the stream, and they move rather against the current, so as to better resist its power.
If the ford have a bad bottom and the banks be difficult, the teams are strengthened by adding pairs; an officer or non-commissioned officer is posted at the entrance to regulate the distance between carriages and to instruct the drivers how to proceed; a second officer or non-commissioned officer is posted at the exit to direct the drivers how to leave the ford.
The management of the team is the same as in crossing[278] marshy ground; the horses must not be allowed to halt or trot either in passing the ford or leaving it, unless the stream be neither deep nor very rapid; in this case the carriages may be halted to let the horses drink, or at least to give them a mouthful of water.
Upon reaching the opposite bank the leading carriages are halted after they have moved far enough forward to leave room for the carriages in rear.
If the chests be not water-tight and are at the usual height of two feet and ten inches above the ground, a ford deeper than two feet four inches cannot be crossed without danger of wetting the ammunition.
If the chests be water-tight or means have been taken to raise them high enough, a depth of 3⅓ feet may be safely attempted.
When the ford is deeper than this, the cannoneers must carry over the cartridges, fuzes, and primers in the pouches, which they hold above the water. The chests are sometimes removed and taken over in boats. In crossing streams that cannot be forded, when there are no bridges, the horses are swum, and the carriages and harness crossed on rafts, etc.
At the entrance of the bridge the lead-and swing-drivers dismount and lead their pairs. A distance of 12 yards is taken between the carriages, and the gait is free and decided; the drivers keep the carriages as near the middle of the floor as possible. If the flooring be wet, battens should be nailed across it to keep the horses from falling. If the bridge begins to rock, the passage of the column is suspended.
In passing over a flying bridge all the drivers dismount and hold their horses; the lead-and swing-horses should be taken out and led onto the bridge or boat; the brakes[279] should be applied to the rear, so that the carriage cannot be run back.
Ice 3 or 4 inches thick will bear infantry.
Ice 4½ inches thick will bear light guns or cavalry.
Ice 6 inches thick will bear heavy field-guns.
All the carriages are moved close to one side of the road, and the pieces and caissons unlimbered and brought about; the limbers then take their places in front of their carriages by an about, and the carriages are limbered up; if there be not room for the limbers to execute an about, the horses are taken out.
If the road be so narrow that the limbers cannot pass the carriages, the trails of the pieces and the stocks of the caissons are carried around until perpendicular to the road, and are then placed against the bank, the wheels being run close to it; on an embankment, or a road with ditches on each side, the carriages are run as close to the edge as possible, the wheels chocked or locked, and the trails and stocks held up while the limbers pass.
The odometer registers the number of revolutions of the wheel to which it is attached. The distance measured by the odometer is not exact, owing to the slip of the wheel.
To Read the Odometer.—Lift the reading-circle from its box and note the number on the inner wheel to the left of the zero; this will be the first two figures of the reading, and the number on the outer wheel to the left of the pointer will be the next two.
To Measure a Distance with the Odometer.—Tie the case by its straps to a spoke close to the hub of a hind wheel of any vehicle attached to the command. Upon starting read[280] the odometer and record the reading. At the end of the course again record the odometer-reading. The difference between the two readings multiplied by the circumference of the wheel will give the distance passed over. And in general, the difference between any two readings, multiplied by the circumference of the wheel which bears it will give the development of the path traversed by the wheel between the points at which the readings were taken.
Avoid camping or bivouacking in graveyards. Get as far to windward of them as possible.
Avoid ground that has been encamped on before, and if obliged to camp near it go to windward of old site. Avoid all rivers with marshy banks, and marshes of every description. If obliged to camp with a small force for a day or two near a marsh, if possible place yourself so as to have a hill or even some rising ground or woods between you and it. In camping near a stream cross it before making camp if possible and select a rise of ground near by. Low ground is unhealthy. All brushwood should be avoided, as also forests lately cut down.
A grass country with a sandy or gravelly subsoil is best; land with a clayey subsoil is damp.
There should be good natural drainage, and the location should be near fuel, water, and the road.
Having fixed on the general plan of a camp, lay out the lines the tents are to occupy, and drive pegs to mark the position of the tent-poles or the centre of each tent. For wall-tents the distance between tent-poles of adjacent tents should be at least 20 feet.
On arriving in camp park the battery with sufficient intervals to allow each horse at least a yard and a half on the picket-line, and have the wagons take positions most favorable for unloading.
The sections of picket-rope are usually stretched along the spare wheels of the caissons by cannoneers under supervision of the gunners.
Then the cannoneers, while drivers are unharnessing, etc., are told off into detachments, each under a non-com. officer when necessary, for unloading wagons, pitching tents, obtaining wood and water, and preparing latrines.
The drivers as soon as dismounted are directed to unhitch, and if the animals are sufficiently cool they should be watered and fed.
Examine feet, sponge eyes and nostrils, remove harness, and tie to picket-line. As soon as the harness has been removed pass the hand carefully over the horse's shoulders and back, and if there be any indication of a hard lump it should be at once hand-rubbed. Horses should be permitted to roll if backs be dry, as it is very restful to them. Leave blanket, secured by surcingle, on horse's back until dry if necessary. After two hours sound stables, at which the battery and platoon commanders should be present, and let the men get to work on their horses; a good rubbing-down is all that is necessary, without the elaborate grooming required in garrison.
Collar-galls and girth-galls should be kept wet with salt and water, and saddle-galls have a cloth wetted in the same manner kept on them. Or wash the galled spot and then cover it with a powder formed of 1 part iodoform and 3 parts sulphur. When the animal has to be used, cover it after dressing with a piece of old-fashioned sticking-plaster.
Should a riding-or draught-horse get a sore back, he [282]may be used as an off leader or swing-horse. The saddle should be removed and the crupper connected to the collar by a back-strap. Breast-harness may be used on a horse with a collar-gall.
As a rule, horses should not be unharnessed at night in the presence of an active enemy; they should be tied closely together, tails to the wind, and should be shifted day or night to prevent their being head to the wind.
To Unharness in the Field.—If harness-racks be not used, the pole-prop is placed under the end of the pole; the single-trees are left attached to the double-trees; the wheel-traces are unhitched from the collars only, and laid over the chest from front to rear, or on the foot-board; the collars of the wheel-team on top of the limber-chest (paulins having been removed) next to the rail on the near side, the swing-collars in the middle, and the lead-collars next to the off-side rail; the collar of the off horse is placed on top of that of the near horse of the same team; the remainder of the harness is placed on the pole, that of the near wheel-horse next to the double-tree and as close to it as possible, next that of the off wheel-horse, and then the swing-and after that the lead-harness, both in the order laid down for the wheel-harness; the traces of the lead-and swing-harness (folded once) are laid over the pole; then on top of them the saddles with the attachments over them, so as not to rest on the ground. The neck-yoke is placed on the foot-board.
Figs. 77 and 78 represent the ordinary methods of encampment. These methods are modified to suit the circumstances and nature of the ground.
First Method.—The battery is parked with 15 yards interval between carriages. The extra caissons, the battery-wagon and forge, and the artillery-wagon are in a third line behind the caissons.
The harness of each team is arranged on the carriage.
The picket-line is 15 yards in rear of the caissons; it is either stretched between posts about 6 feet high or between caissons, or laid on the ground and secured by pins. When the ground picket-line is used, the end pins should be at least 1 inch in diameter and 3 feet long, and to lessen the danger of their being pulled up no horse should be tied nearer than 12 feet from them; a sufficient number of smaller pins, about ¾ of an inch in diameter and 2 feet long, are used between the end pins to keep the line straight and prevent it from swaying. The pins should be of iron with steel heads and points. The horses are secured to the ground-line by hobbles, or by hitching-straps if long enough to prevent constraint to the horses. The ground picket-line should not be used unless the earth is sufficiently firm to hold the pins securely.
Fig. 77.
The men's tents are pitched in line, about 30 yards in rear of the picket-line; the first sergeant's tent covers the carriages of the right section; the left guard-tent covers the carriages of the left section; the tents of each section are in the order of their pieces in park, and are closed to the centre, or to the right, so as to have a vacant space between the guard-tents and the tents of the left section. The men's kitchens are in line, 10 yards in rear of the guard-tents, which may be faced to the right, so that No. 1 can overlook the kitchen.
The officers' tents are in line, 30 yards in rear of the battery tents; the captain's tent on the right, covering that of the first sergeant. The officers' kitchens are 10 yards in rear of their tents. The baggage-wagons are in line 30 yards in rear of the officers' tents. The sinks are 50 yards in rear of the wagons; the officers' sink on the right, the men's sink on the left.
When time permits, the rows of tents are ditched, and a shallow ditch 8 inches in depth made around each tent; and these should lead into other and deeper drains or gutters by which the water will be conducted away from the tents. No refuse, slops, or excrement should be allowed to be deposited in the trenches for drainage around tents.
On arriving in camp sinks should be dug at once, unless the march is to be resumed on the following morning; the sinks are concealed by tents or brush when practicable, and must be covered daily with fresh earth. A small sink should be dug near the kitchen as a receptacle for all cooking refuse; the old kitchen sink should be filled up and the earth well rammed down over it, and a new sink opened every two or three days.
Paulins are used to protect the guns, carriages, and harness, and also to serve as cover for the men when necessary. The paulin is 12 feet square, is provided with double cords at each corner and at the middle of each side. Each carriage has two paulins, which are carried on the limber-chests. For protection of material the paulins are placed over the carriage as follows: Tie a corner of one of the paulins over the muzzle, pull the canvas over the gun-wheels and tie diagonal corner to the flask, tie a corner of the second paulin to the flask, pull the canvas over the wheels of the limber and tie the diagonal corner to the pole in front of the harness. The caisson is covered in a similar manner by its two paulins.
Second Method.—The baggage-wagons may be in line with the pieces, the interval between the left baggage-wagon and nearest piece being about 50 yards; the guard-tents half-way between the pieces and the baggage-wagons, facing to the rear; the forage-pile between the guard-tents and baggage-wagons; the men's kitchens in line with the third line of caissons, and covering the left baggage-wagon; the officers' tents on a line perpendicular to the men's tents, facing them, and on the prolongation of one of the baggage-wagons; the officers' kitchen in rear of the officers' tents, and on the prolongation of the right baggage-wagon.
Fig. 78.
If the forge-fire is to be lighted, a special place is assigned the battery-wagon and forge, sufficiently removed from the ammunition-chests for safety.
In a horse-battery two picket-lines may be used instead of one, the second line being 15 yards in rear of the first.
On approaching the site previously selected for the encampment of the battalion the adjutant assembles the guidons, and conducts them to the camping-ground, and establishes each one at the point where the lead-team on the interior flank of his battery is to rest. After all are established he returns to the column, and indicates to each battery commander how and where his battery shall be parked.
The guidons are established with a distance between them of 94 yards (when there are two lines of carriages with 6 horses each, and the picket-line is in rear of the park), the guidon of the second battery in the column of march that day being placed at the head of the line, and so on, the guidon of the leading battery being last. The tent of the battalion commander is at a point 60 yards from the line of guidons, and on a perpendicular line passing 17 yards in rear of the second guidon, for an encampment of 2 or 3 batteries; and in a corresponding position in rear of the third guidon for an encampment of 4 batteries.
When the captain commands "Front!" after parking his battery, the guidon moves 75 yards to the rear and 30 yards to the flank, and plants his flag. This point establishes the position of the captain's tent.
The battery-officers' tents are on a line, at intervals of 5 yards, facing the interior flank, the captain's tent being nearest the guidon.
The officers' mess-tent, of the batteries to the right of the battalion commander, is 10 yards in rear of the tent of the lieutenant on the flank. For batteries to the left of the battalion commander it is 10 yards in rear of the tent of the captain.
Officers' kitchens are five yards in rear of mess-tents.
In each battery:
The picket-line is 15 yards in rear of the line of carriages.
The tents for the enlisted men are 30 yards in rear of the picket-line, that of the first sergeant being on the interior and the guard-tent on the exterior flank.
The cooks' tent is next to the guard-tent, the other tents being equally distributed along the line.
The forage is 15 yards from the exterior flank, on the prolongation of the picket-line.
The sinks are 90 yards from the forage, on the prolongation of the picket-line.
The kitchens are on the line of the tents and 30 yards from the guard-tent.
The tents of the battalion commander and staff are arranged, at intervals of 5 yards, on a line facing the interior flank.
The mess-tent is on the flank nearest the front of the park, and the tents of the adjutant, quartermaster, and surgeon are on the other flank of the tent of the battalion commander.
Non-commissioned staff-officers' and orderlies' tents are on a line 15 yards in rear of the staff-tents.
The cook-tent is 5 yards to the rear of the outer flank of the mess-tent.
The staff-wagons are on a line 15 yards in rear of the non-commissioned staff tents, the forage-and guard-tents being near either flank.
Officers' sinks are on a line 60 yards in rear of the staff tents.
The position of the kitchens may be varied, depending on the direction of the wind and lay of the ground.
If the camp be established for more than a few days, the batteries will be parked in positions corresponding to the ones they occupy at battalion formation.
The men bivouac at a convenient distance in rear of the park, each detachment opposite its section; the guard is on one flank and to the leeward; the cook-fires are near the guard. If necessary, the picket-line may be stretched through the hind wheels of the carriages of the third line, but whenever practicable the picket-line should be stretched along the ground or between trees or posts.
A simple shelter may be formed by driving two forked sticks into the ground, with a pole resting in the forks, and branches laid resting on the pole, thick ends uppermost, at an angle of 45 degrees, and the screen completed with smaller branches; or a shelter of canvas or a blanket may be similarly made.
Each man should strew his sleeping-place with dried leaves, etc., and place over it any articles such as bags, saddle-cloths, etc. A small hollow should be scraped in the ground just where the hip would rest.
The Hospital Tent, complete, weighs 215 lbs., and consists of one tent, 100 lbs.; one fly, 32 lbs.; one set tent-poles, 60 lbs.; 18 large and 28 small tent-pins, 23 lbs.
Its dimensions are: length of ridge, 14 feet; height, 11 feet; width, 14½ feet; height of wall, 4½ feet.
Authorized allowance, 1 for battery sick.
The Conical Wall-tent, complete, weighs 128 lbs., and consists of one tent, 76 lbs.; one tent-pole and tripod, 32 lbs.; 48 tent-pins, 20 lbs.
Its dimensions are: height, 10 feet; diameter, 16½ feet; height of wall, 3 feet.
Authorized allowance, 1 to 20 foot or 17 mounted men.
The Wall-tent, complete, weighs 97 lbs., and consists of one tent, 43 lbs.; one fly, 15 lbs.; one set of poles, 25 lbs.; 10 large and 18 small tent-pins, 14 lbs.
Its dimensions are: length of ridge, 9 feet; height, 8½ feet; width, 8 feet 11 inches; height of wall, 3 feet 9 inches.
Authorized allowance, 1 to captain, 1 to 2 subalterns.
The Common Tent, complete, weighs 51 lbs., and consists of one tent, 26 lbs.; one set of poles, 15 lbs.; 24 pins, 10 lbs.
Its dimensions are: length of ridge, 6 feet 11 inches; height, 6 feet 10 inches; width, 8 feet 4 inches; height of wall, 2 feet.
Authorized allowance, 1 to 6 foot or 4 mounted men.
The Shelter-tent (2 halves) weighs a little over 5 lbs., and the 8 pins 1½ lbs.; total, 6.5 lbs.
Each half is 67 inches by 65 inches.
Authorized allowance, 1 to each officer, 1 to 2 enlisted men.
The Hospital Tent will accommodate comfortably six patients. It is pitched by eight men, after the manner described for pitching the wall-tent.
The Conical Wall-tent is provided with a hood, and will comfortably accommodate ten men, and may be made to hold twice that number. To pitch the tent, four men are required. No. 1 procures tent; No. 4 tripod and pole, which he opens; Nos. 2 and 3 each 24 pins and a maul, which they place near front and rear of tent respectively. Nos. 2, 3, and 4 unroll the tent and spread it out upon the ground near where it is to be pitched, top of tent at its centre. No. 1 drives a pin to mark the door of the tent, and then measures with the tent-pole directly backward, and drives a pin at that end of the pole; No. 4 places the tripod opened out flat, with ring over the last pin driven (the centre pin), and lays the pole on the ground, pin-end at centre pin. All bring the canvas over the tripod until its centre comes to the centre pin and door at the front pin, when No. 2 slips the wall-loop at one end of the door[290] over front pin, and fastens the rope of the flap to the same pin. Nos. 1 and 4, commencing at rear and front of tent respectively, and working to the right and left, scatter the pins and pull out the guy-ropes. Nos. 2 and 3 take each a maul, and, commencing front and rear respectively, work right and left of the tent, driving the guy-pins, placing them about one yard from the edge of the tent, each on a line with a seam. As the pins are driven Nos. 1 and 4 place the ends of the guy-ropes over them, working on their respective sides. When the pins are set, No. 2 crawls under the canvas, slightly raises the tent, and places the pin of the pole through the plate attached to the chains at the top of the tent, and, raising the pole, sets it in the ring of the tripod; No. 3, having from the outside placed the hood over the pole-pin, enters the tent by crawling under, and assists No. 2 in raising the tripod, which being done Nos. 1 and 4 tighten the guys; they then scatter the wall-pins. The tent having been secured, Nos. 2 and 3 now take their posts outside and drive the wall-pins, working as before, No. 2 toward the right rear and No. 3 toward the left front; Nos. 1 and 4 straighten the tent and fasten the hood-guys.
A Wall-tent will accommodate four men; preferably three if there be sufficient canvas. The rectangle marked by the pins for guy-ropes has a front of 18 feet and a depth of 14 feet. It is pitched by four men. Nos. 1 and 2 bring ridge and upright poles, unfasten them, and place ridge-poles as directed by the non-commissioned officer. They then place the upright poles in position on the ground, usually on the side opposite that from which the wind is blowing. Nos. 3 and 4 bring tent, unroll it, and all now open canvas and place it in position for pitching; No. 1 working in rear, No. 2 in front, fix the ridge-pole and tent, tapping with a maul, if necessary, to drive the uprights home. The fly, if used, is now placed in position[291] over tent, and the centre loops are secured over front and rear pole-pins, which have been previously driven by Nos. 3 and 4. All draw bottom of tent taut and square, the front and rear at right angles to the ridge, and fasten it with pins through the corner loops; then, stepping outward two paces from the corner pins and one pace to the front (or rear), each securely sets a long pin, over which is passed the extended corner guy-rope. The tent is now raised and the poles set in position. The other pins are then driven and the guy-ropes properly secured.
A Common Tent should not be made to hold more than three men. It is similarly pitched.
In pitching common or wall tents care must be taken that the door is tied up, and that it is properly squared and pinned to the ground at the door and four corners before being raised.
A Shelter-tent merely affords cover for two men.
In assigning men to tents bear in mind that the crowding of men in tents for sleeping purposes is highly injurious to health.
In pitching the tents disturb the ground inside and around as little as possible. Do not allow absurd notions of order and regularity to cause tents to be pitched in hollows, which are frequently met with in the best sites, when, by moving the tent perhaps a few feet one way or another, a good position for it might be found.
In camps of position, when tents are used, it is advisable to supply planking for the men to lie on, these planks to be removed and aired every fine day. If boards cannot be had, use any sort of tarpaulin or waterproof sheet that can be obtained.
If straw be plentiful, issue enough to make good thick mats for the men to lie on. They are easily made and most comfortable. They should be hung up to dry every[292] day. They should be 3 inches to 4 inches thick, 6 feet long, and about 2¼ feet wide.
Fig. 79.
Every morning, except when it rains, have the sides of tents rolled up all around, and in fine weather strike tents frequently; it is good practice for the men; they should regularly pack them up as if for a march. This is also advisable as a sanitary measure, so that the ground where the tent usually stands can be well dried by the sun. Blankets and bedding should be frequently aired and exposed to the sun. Do not permit grass or green leaves to be used for beds in tents, but use straw when it can be obtained. Each tent should be thoroughly swept out daily, and at night properly ventilated, the walls being raised if the weather permits.
The men take their posts and first remove the wall-pins and then all the guy-pins on their respective sides, except[293] the four corner pins of the square tents, or the quadrant-pins of the conical tents.
Standing at their respective posts, they remove the corner, or quadrant, guys from the pins and hold the tent until the signal for striking is given, when the tent is lowered to the side indicated.
The canvas is then rolled up and tied by Nos. 1 and 4, while Nos. 2 and 3 fasten the poles, or tripod and pole, together, and collect the pins.
The Sibley stove, for conical and wall tents, weighing about 19 pounds, is issued by the Q. M. Dept., and is very necessary in cold weather. It is easily put up and requires very little fuel.
For ordinary weather an officer can make himself very comfortable by means of a small oil-stove, one or two wicks. Have a box in which it fits exactly made for transporting it, and take along a tin of oil.
A field-kitchen is easily made by digging a long trench for the fire, its width not being sufficient for the kettles, which are placed on it, to drop into it, and covering up between them with stones and clay, that the fire, fed from the windward end, may draw right through. A chimney, formed with the sods cut off the top of the trench, can be built at the other end to increase the draught.
Three such trenches meeting under one chimney form a broad-arrow kitchen. The centre trench is traced in the direction from which the wind is blowing, the other two making angles of 40 to 45 degrees with it. The width of the trenches is 9 inches, reduced to 6 inches when they pass under the base of the chimney, and widened at their mouths to produce a draught. The depth is one foot at[294] the base of chimney and 14 inches at the other end, or one foot throughout if the ground falls at the mouth of the trench. A field-kitchen is easily made of two logs rolled nearly together in the direction of the wind, and the fire kindled between them.
The Buzzacott field-oven is excellent, as is also the ordinary Dutch oven. They are furnished on requisition by the Quartermaster's Department.
To Make Field-ovens.—Take any barrel (the more iron hoops on it the better), the head being out; lay it on its side, having scraped away the ground a little in the centre to make a bed for it; or if there is a bank near excavate a place for it, taking care that the front end of the barrel is at least 6 inches back from the foot of the bank. Cover it with a coating of about 6 or 8 inches of wet earth or thick mud, except at the open end, which is to be the mouth of the oven. Pile up some sand or earth to the thickness of about 6 inches over the mud, arranging for an opening 3 inches in diameter being left as a flue (to increase the draught) to lead from the upper side of the barrel, at the far end, through the mud and earth. This flue is only left open when the fire for heating is burning; when bread is put in, it should be covered over. Form an even surface of well-kneaded mud at the bottom within the barrel to form a flooring to place the bread on. Light a fire within the barrel and keep it up until the staves are burnt, and the oven is then completed. When required for use, heat it as if it were an ordinary oven; draw out ashes; put in bread, and close the mouth with pieces of board, tin, or iron.
The Subsistence Department issues an excellent pamphlet on army cooking.
The water should be well tested, and persons living near by questioned about it.
Fig. 80.
Filters.—Two barrels (Fig. 80), one inside the other, having a space of from 4 to 6 inches clear all round between them filled with layers of gravel, sand, and charcoal, form an excellent filter. The inside one, without a bottom, rests on three stones placed in layers of sand, charcoal, and coarse gravel. The water flows into the space between the barrels and forces its way through the gravel, charcoal, and sand into the inner barrel. Or they may be placed as in Fig. 81 and connected by a pipe.
Fig. 81.
If the water is from a small spring gushing up out of the earth, perforate the bottom of the outer barrel with a number of holes, and leave the bottom to the inner barrel, which should be pierced with holes round its sides near the top.
In both these filters draw off the water by a pipe running through the outer into the inner barrel.
Allow eight pints per man in hot and six in temperate climates for cooking and drinking, and a similar amount[296] for washing. In stationary camps allow 5 gallons per man for all purposes.
Good huts to last for years are quickly made of logs placed one over the other, being notched half their respective thicknesses at the angles so as to fit one into the other. Moss is driven into the interstices. A roof is put on of split logs, gouged out in the centre, so that each is like a long curved gutter. A layer of these is placed side by side, with the hollow side uppermost, one end resting on the ridge-pole, the other on the walls. A second layer is put over them with the hollow side down. A large split log, well hollowed out, is used as a ridge-piece. Cowdung mixed with water and well plastered over mud walls or floors renders them hard, tough, and less subject to injury from weather. A thin coating of this applied every day to the earthen floors of huts adds much to the appearance of cleanliness.
In planning huts give sufficient width for two rows of beds and a passage down the centre. A width of at least 6 feet should be allowed for each row of beds, and the passage may be from 2 to 4 feet wide.
Ordinarily camp should not be broken before daybreak, as horses rest better from midnight until dawn than at any other hour.
Ample time should be left after a seasonable reveille for the men to breakfast, horses fed and the wagons to be packed.
Do not permit packing, pulling tent-pegs, or any noise before reveille. Men should be permitted to rest until the last moment.
Immediately after reveille have drivers and such other[297] men as may be required feed and groom under supervision of the battery officer.
The grooming should consist in merely rubbing off the horses, and seeing that shoulders, backs, and parts under harness are in good condition and perfectly free from dirt. It is a mistake to groom too much in the field. It is distasteful to men, and does not improve the horses.
The other men should pack up, remove tent-pegs, and fold tents. Then breakfast. After breakfast let the men complete their packing and attend to personal requirements. Or tents may be left standing until after breakfast, depending on weather or other conditions. Drivers water and harness; cannoneers pack wagons and fill in sinks. Part of the cannoneers should be detailed to assist the drivers if required.
In packing the wagons it is well to have one or two men in the wagon who understand the work. Articles least required should be packed first. Those required by the cooks should be packed so that they can be easily gotten at immediately on reaching camp. When the camp has been cleared, an officer should ride over it carefully, and see that all tent-pins have been removed and no articles forgotten.
Signals for the performance of the various duties should be sounded by the trumpeter at prescribed hours.
On field marches two six-mule teams will readily carry the baggage and ten days' rations of a battery (enlisted strength as now authorized, viz., 75).
If grain is to be transported, two more six-mule teams will be required.
Battalion commander and staff, one four-mule team.
Medical department, one ambulance and possibly one four-mule team.
A good six-mule team in the best part of the season will[298] haul a load of 4000 pounds, marching with troops. It will haul 1400 short rations of provisions—bread, coffee, sugar, salt, and soap—and eight days' rations of forage for the six mules.
The reserve rations should be placed in first, as they are not required to be taken out unless specially ordered. Then should come the tools and any heavy packages, and on top the men's and officers' baggage. The blankets should be rolled up together by tent-loads or section-bundles. All grease, oil, and dubbing should be slung under the wagons.
The packing of the supply-wagons depends upon the nature of the supplies. Care must be taken that bags containing grain or biscuits are properly secured, and that, if fresh meat is carried, it is not exposed to the sun on the march. Tents are kept in separate wagons if possible, in order that they may be left behind when ordered without disarranging the other stores. In packing tools care must be taken to prevent their rattling on the march.
The following information obtained from orders of Army Commanders during the Civil War may prove useful:
General McClellan, August 10, 1862, allowed three wagons to each battery, and they carried nothing but forage for teams, cooking utensils for the men, hospital stores, small rations, and officers' baggage. At least one half of the wagons carried grain. Captains and lieutenants were allowed a shelter-tent each, and to every two enlisted men a shelter-tent. Men carried no baggage except blankets and shelter-tents, and officers' baggage was limited to blankets, a small valise or carpet-bag, and a reasonable mess-kit.
General Rosecrans, November 20, 1862, allowed each battery as many wagons as there were guns in a battery.
General Sherman while marching from Atlanta to Savannah allowed each battery one wagon.
General Grant, February 23, 1865, for each battery: for personal baggage, mess-chests, cooking utensils, desks, papers, etc., one wagon; two wall-tents for officers; shelter-tents, one for every two enlisted men. The allowance of forage was: horses, 6 lbs. hay, 14 lbs. grain; mules, 6 lbs. hay, 12 lbs. grain. On a march the grain ration was 10 lbs.
The following extract gives the minimum allowance with which the commands in the Department of the Missouri were equipped and supplied in 1885 for 20 days' field service:
Transportation for field-and staff-officers' baggage and supplies, medical supplies, engineer and signal equipments and appliances to be according to strength of command or nature and importance of service.
To a battalion of two companies, 1 four-mule ambulance.
The allowance of transportation per company is as follows:
To one troop of cavalry, with an average field strength of 2 officers, 50 men, 3 teamsters, and 2 packers, 3 six-mule teams, 10 pack-and 2 riding-mules.
To one company of infantry with an average field strength of 2 officers, 40 men, 1 teamster, and 2 packers, 1 six-mule team, 8 pack-and 2 riding-animals.
Included in above allowance is: 1 pack-mule per company for officers' supplies, and 1 pack-mule per company or per one hundred men for medical supplies.
Supplies to be carried in wagons per company are 20 days' field rations per man (55 and 43 with companies).
100 rounds of ammunition per soldier (50 cavalry and 40 infantry).
250 lbs. officers' baggage and supplies.
1 wall and 1 common tent.
10 days' grain (6 lbs. per day per animal).
Utensils for each company mess not to exceed 130 lbs. for cavalry and 100 lbs. for infantry.
Horseshoes, nails, tools, and medicine for cavalry-horses not to exceed 150 lbs.
To each soldier or civilian employé, 2 blankets and 1 extra suit of undergarments, compactly rolled in one piece of shelter-tent.
Whenever the amount of rations or grain varies from the above, the weight to be carried per wagon may be increased or diminished, but should never exceed 4000 lbs., and if possible should be less than 3500 lbs., per wagon.
When obtainable on line of march, full forage will be allowed all animals, the cost to be regulated by the contract rates at the nearest military post.
To be carried on the person or horse: 1 overcoat, 1 piece of shelter-tent, 50 rounds rifle or carbine and 24 rounds of revolver ammunition.
Supplies to be carried on pack-mules for one company will be:
10 days' field rations (three-tenths bacon) per man (55 and 43 with companies); 100 rounds of ammunition per soldier.
The utensils for each company must not exceed 75 lbs. for the cavalry and 50 lbs. for the infantry.
The weight per load per aparejo must never exceed 250 lbs., and should, if possible, be less than 200 lbs.
When marching with pack-train, to be carried on person or horse: 1 blanket, 1 piece shelter-tent, 50 rounds of rifle or carbine ammunition, and 24 rounds of revolver ammunition.
On leaving a military post when service is anticipated where it is impossible to use wagons, the loads for pack-trains, as a rule, will consist of only grain sufficient to keep the mules in full strength until required to make forced marches.
Transportation. By Rail. By Sea. Embarkation. Care of Animals. Food for Animals. Diseases of Animals on Shipboard. Disembarkation.
When artillery and its stores are to be shipped for an expedition, prepare first a list of all the articles, stating their number, weight of each, and the total weight of each kind.
Furnish the quartermaster with an exact return of the command, showing number of officers, enlisted men, and animals and weight of baggage; also a copy of the order directing the movement.
In estimating the weights allow double for that of bulky articles which occupy much space without weighing much.
Divide the total quantity to be transported among the vessels, and make statements in duplicate of the articles on board each vessel, one of which lists should go with the vessel and the other with the officer shipping the stores.
The articles must be divided among the vessels according to the circumstances of the case; but as a general rule everything necessary for the service required at the moment of disembarkation should be placed in each vessel, so that there will be no inconvenience should other vessels be delayed.
If a particular kind of a gun is necessary for any opera[302]tion, do not place all of one kind in one vessel, to avoid being deprived of them by any accident to it.
The pieces and caissons are brought to the wharf or shore and unlimbered, and the chests and wheels taken off; each set of implements is strapped together, the washers and linch-pins being put in a box; the harness is tied and labelled in sets; if the voyage is to be short, the harness for each horse may be tied up in its blanket. The battery-wagon and forge is unlimbered, and the limber-chest taken off, as well as the spare parts outside of the wagon. All the chests are distinctly marked, so that it can immediately be seen where they belong.
The pieces are first lowered to their places between-decks, the place for dismounting them depending upon the manner of embarking; then the carriages, limbers, implements, and wheels; the harness is placed (regard being had to its preservation) where it may be of easy access. The box of washers and linch-pins is under the special charge of a non-commissioned officer.
The battery-wagon and forge, with its limber and limber-chest, is stowed separate from the battery, but where it will be accessible.
Sponges, rammers, and intrenching-tools should be united in bundles or boxes.
The contents of each box, barrel, or bundle should be distinctly marked upon it. The boxes should be made small so that they can be easily handled.
The position of the different articles in each vessel is noted in a column in the list on board.
Place the heaviest articles below, beginning with the guns, then the carriages, limbers, ammunition-boxes, etc. Boxes of ammunition should be in the driest and least exposed part of the vessel.
Articles required to be disembarked first should be put in last, or so placed that they can be easily got at.
If the disembarkation is to be performed in front of the enemy, some of the pieces should be so placed that they can be disembarked immediately with their carriages, implements, and ammunition; also the tools and materials for throwing up temporary intrenchments on landing.
When there are several vessels laden with artillery and stores for the expedition, each vessel should have on each quarter and on a single masthead a number that can be easily distinguished at a distance. The same number should be entered on the list of supplies shipped in each vessel. The commander can then know exactly what resources he has with him. Some vessels, distinguished by particular signal, should be laden solely with such powder and ammunition as may not be required for immediate service of the pieces.
If it is necessary to reship or leave any articles on board the vessels, care should be taken to note them on the list.
Boats of proper capacity must be provided for the disembarkation, according to the circumstances in each case.
It may be necessary to establish temporary wharves on trestles, or to erect shears, cranes, or derricks.
The most suitable car for carrying horses, especially in warm weather, is the "slat stock-car," built of slats and open all around, but tight in roof. Another kind, known as the "combination car," is made with five doors on each side and one at each end, which may be closed tight for stores, or with iron grates when carrying horses. These are suitable for either warm or cold weather.
Both kinds are usually from 28 to 30 feet long, 7 feet 9 inches wide, and 6 feet 8 inches high, inside measurement. Each car will carry 16 artillery or 18 common horses or mules. Be careful to have floors sanded to keep horses from slipping down.
Loading cars with horses at night should be avoided. The battery should be drawn up in the most convenient position for loading; and during the operation of loading quiet and order must be maintained. Dismount; let the men fall out of ranks if necessary and then reform, and have personal equipment, etc., placed on the ground; unhitch; unharness and tell off the horses to the cars, cannoneers assisting drivers. Station a non-commissioned officer and one private at the door; the former to superintend the work and the latter to count in a loud tone the horses as they enter. Two more privates should be present to assist in putting horses in position, etc.
After horses are loaded all assist in loading the material. The battery is then reformed, retake equipments, etc., and the men are told off to cars.
The horses should be driven or led in, following one another as closely as possible, but should not be tied. They should be alternately led to either end so as to fill up the middle of the car last, and should stand alternately head and tail. If the journey is to be continued beyond 18 or 20 hours, the horses will require to be watered and fed. Nose-bags are generally used for the grain. If the drivers are attentive, they, by taking advantage of the short halts made by the train, can feed grain and hay quite easily by hand. Half-rations will be sufficient under any circumstances. Before placing the horses on the cars they should be thoroughly groomed and cooled; they should have nothing more on them than their halter head-stalls. They should be fed before being loaded, as it tends to keep them quiet.
If the journey is to continue for more than 36 hours, the horses should be unloaded every 24 hours, and should be watered, fed, groomed, and exercised before being loaded on the cars again. If there are stockyards near by, the horses should be turned loose in them for exercise. On[305] long journeys, run all night and until about 10 A.M., then unload at a convenient place, and water, feed, and groom; give the horses gentle exercise, and water and feed again so that the horses can be reloaded about 4 or 5 P.M. to resume the journey.
Horses are best loaded and unloaded from a stock-chute, but where this convenience is not available and there is no platform a ramp or chute may be improvised, using for it planks about 12 feet long and from 2 to 3 inches thick, depending on the strength of the wood.
A ramp should be about 4 feet wide, with the planks firmly fastened together with transverse battens. These battens furthermore prevent the horses from slipping. A strong trestle or crib of logs supports the end of the ramp next the car, while the other rests on the ground and is secured from slipping by strong stakes. An intermediate trestle or a support of logs should be placed to prevent the planks from springing with the weight of the horses. Three or four posts of suitable height are set in the ground on each side, to which side-rails are lashed or spiked for the purpose of keeping the horses from stepping off. A board should be placed on each side to prevent the horses' feet from slipping over the edges of the plank. When planks are not procurable, a ramp of earth, supported by means of logs or stones on the end next the track, may be constructed. The cars are brought up in succession to the ramp to be loaded or unloaded.
In the field, where no chute or ramp is to be found at the place of unloading, material ready prepared for constructing one should be carried with the train. After loading the horses enclose the harness in sacks, each marked with the designation of the horse, team, and carriage to which it belongs.
Artillery-carriages are carried on platform or flat cars. These cars are generally from 28 to 32 feet long by 8 feet[306] wide. When properly loaded, cars of 30 feet will carry two field-guns and two caissons complete. To load them, the carriages are unlimbered and the spare wheels removed from the caisson; the body of a caisson, its stock to the rear, is run to the front end of the car and its stock rested on the floor; another rear train is run forward in like manner until its wheels strike or overlap those of the first, when its stock is rested on the floor. A limber is then placed on the car with its pole to the front, resting on the rear train; the second limber is backed on and its pole held up until a gun, trail foremost, is run under it; the trail of the gun is rested on the floor and the pole of the limber on the gun-carriage. The other gun is run on in the same manner, and its trail rested on the floor under the first gun; a limber is next run on and its pole rested on the last gun; the remaining limber is run on with its pole under the preceding limber. All of the carriages are pushed together as closely as possible and firmly lashed to each other and to the sides of the car; the wheels are chocked by pieces of wood nailed to the floor. When the carriages are liable to chafe each other, they are bound with gunny-sacking or other stuff.
A side-platform, such as is found in depots, is the best for loading. The carriages are first run on to a spare car; from this they are crossed over on planks to the one upon which they are to be carried, and arranged on it as already described. When there is no side-platform, the carriages are run up at the end of the car by means of way-planks. Twenty-four thousand pounds is considered a safe load for one car on a good track. Baggage, harness, forage, etc., are usually carried in box-cars. These cars have the same dimensions as heretofore given for those carrying horses.
The passenger-car of average size will seat 60 men, but a small car will seat only 50. Allowance must be made for men's equipments, and if the journey is of any distance[307] each man should have a full seat. Then by arranging the seats the men can extend themselves for resting or sleeping. The men must be provided with cooked rations for the whole trip. Each car must be liberally supplied with drinking-water, lights at night, and all other conveniences, to make it unnecessary for the men to leave them during stoppages of the train. The "tourist sleeper" carries 48 men. It is provided with bunks (and some cars with cooking-stoves) and should be used for long journeys when obtainable.
Guards should be detailed and so stationed on the train to preserve order both when in motion and during stoppages. The arrangement of the ordinary artillery-train will be:
1. Cars with material necessary for disembarking.
2. Horse-cars.
3. Baggage-cars, loaded with forage, harness, etc.
4. Cars for material.
5. Cars for officers and men.
The size of the train will vary, depending on grade, curvature, and speed.
Transports for horses should be especially prepared for the purpose; as a rule, the larger the vessel the better is she adapted for the conveyance of horses. Ventilation is of primary importance, the safety and condition of the horses mainly depending upon their having plenty of fresh air; large air-ports or scuttles are indispensable, and wind-sails down every hatch to each deck should be insisted upon. If time permits, fixed air-shafts should be provided for each deck. The ventilation of steamers may be assisted by using the donkey-engines for this purpose.
The stalls are preferably between-decks, never, if it can be avoided, in the hold; should horses be put on the spar[308]-deck, nothing will be stowed on the stall-sheds. Stalls should be about 6½ feet long, 28 inches wide; tail-boards fastened to the rear posts, and padded as low as the hock; breast-boards and side-boards fitted in grooves about 4 feet from the floor, the first padded on the inner side and upper edge, the latter on both sides; the floors of the stalls set on blocks that the water may pass under them; four slats across each floor to give the horses foothold. Troughs should be made to hang with hooks, so as to be easily removed.
Before embarkation the side-boards are removed, and replaced as each horse is placed in his stall.
Horses, in all cases, should stand athwart-ship; in this position they better accommodate themselves to the motion of the vessel. When on the upper deck, they should face inward; this for the reason that the spray will not strike them in their faces, and, besides, when facing each other in this manner they will suffer less from fright and nervous excitement.
All stalls, hitching-bars, or whatever other arrangement for securing horses, must be strong beyond any possibility of giving way. The living force exerted by a row of horses, as they swing with the motion of a ship in a heavy sea, is very great, and it is better to have no securing arrangements whatever than to have those that, by giving way, will wound and injure the animals in the wreck.
If the transport is to be used in very inclement weather, the spar-deck, over the horses, should be covered. Canvas stretched over a secure frame is better than boards, as the latter in a severe storm might be carried away, and its wreck would cause disaster among the horses.
During heavy weather horses sometimes become exhausted and fall. The best thing that can be done in such cases is to back out the horse on each side, so as to give the fallen horse plenty of room. The fallen horse should be[309] protected from rain and spray by a paulin, and great care and tenderness exercised toward him; otherwise he is very liable to perish. The horses may be fed from nose-bags, but it is better to have for each one a small trough, suspended to the hitching-bar by means of two iron hooks passing over the bar. The troughs are moved out of the way when not in use. Hay can be fed by tying it up tightly in bundles with rope-yarn and fastening the bundles to the hitching-bar. It may also be fed in small quantities by hand, and the more attention the horses receive in this way from the men the less fretful and uneasy they become.
When the embarkation takes place from a wharf, and the vessel is not too high, it is best to use gang-planks and lead the horses on board. The gang-plank leading up from the wharf to the gunwale should be about 20 feet long by 10 wide, and be made very strong. This width admits of its being used for gun-carriages. It should be provided with ropes at the corners, rollers, side-rails, and boards upon the sides to prevent the horses from getting their feet over the edges. Another similar gang-plank, but not so long, leads from the gunwale to the deck, the two being securely fastened together by their ropes. These gang-planks should be carried by the vessel, ready for disembarking. Every provision for this latter operation should be thoroughly looked after before starting on the voyage.
When it is not practicable to use gang-planks, the horses are hoisted on board by means of a sling and lifting-tackle.
Horses should be kept without food and without water for several hours before being put on board, as they are liable to be injured if slung with full bellies; they will also become sooner reconciled to their new quarters, and take quicker to their feed on board, when these measures have been adopted.
Sling.—This is made of stout web, or double No. 1 canvas. It is 5 feet long and 2 feet wide, secured at each end by a stick of strong wood 2 inches in diameter. The sides are bound with strips of canvas doubled, thus making the edges four thicknesses. Loops of 4-inch rope are attached to each stick.
The loop attached to one stick is 9 inches long; that attached to the other is 2 feet 11 inches, and has an iron eye, 3 inches inside measurement, fixed in the end. Breast-and breech-ropes (2-inch), 9 feet long, are fixed to each side, and are tied together when the sling has been put under the horse. The slings should be tested by an excess of weight. A donkey-engine is used for hoisting.
Five men are required to sling a horse quickly and well. One man holds the head-guy, which is attached to a neck-collar; two men, one on each side of the horse, pass the sling under his belly; both then hold up the ends over his back, passing the long loop through the shorter one and hooking on the eye of the former to the lifting-tackle, continuing to hold up the sling until the horse's legs leave the ground; another man stands at the breast and fastens the breast-rope, while the fifth stands at his rump and fastens the breech-rope. The officer superintending commands: "Hoist away!" The first man slacks away at the guy-rope, holding it just sufficiently taut to keep the horse's head steady. When hoisting, no delay should be permitted; it should be done in the shortest time compatible with safety. At the commencement, after a certainty that all is right, it should be done rapidly, to raise the horse and free him from surrounding objects before he has time to do any injury by kicking. After attaining the necessary height, he is carefully and steadily lowered to the deck. Care should be taken to have two or three careful, active men stationed to seize the horse and prevent his plunging until the slings are removed. While one holds him by the[311] head-stall another rapidly unhooks the tackle-purchase, and two others let loose the breech-and breast-bands or ropes. When the horses are to be lowered through a hatch to a deck below, the combings of the hatch as well as stanchions about it should be well padded. As an additional precaution, a head-collar should be provided, with a large pad on top, to prevent injury should the horse strike his head against the deck-beams when lighting on his feet.
To ascertain the number of horse-stalls that can be constructed on any deck, first mark off a space of three feet all around the ship's side for a passage to be kept clear behind the stalls, and a similar width alongside all hatchways or other obstructions; then divide the running length of the space left by 28 inches; this will give the number of stalls in each row. When the clear width of beam between the inner sides of any deck is 36 feet or more, three rows of stalls may be constructed, the passage between the rows where the horses are to stand head to head being not less than 6 feet, and between those that stand tail to tail not less than 54 inches. Horses should not be placed near boilers, etc., as the heat is liable to make them sick.
There must be ten per cent of spare stalls, and there must also be at least one loose box, constructed near a hatchway, to admit of a sick horse lying down. Each stall is numbered, the side-boards, breast-boards, mangers, etc., being marked with the number of the stall to which they belong.
For some hours before sailing hay should not be given at all; otherwise, if the horses are seasick, it will remain undigested in the stomach, and possibly cause colic or blind staggers.
For the first few days on shipboard food is to be given rather sparingly, and bran is to form a large portion of it;[312] but after the horse becomes accustomed to his new situation, and his appetite increases, he should be more liberally fed. A bran mash, or oats and bran mixed, is to be given to him every other day.
The spare stalls admit of the horses being shifted, rubbed down, their feet washed, and the stalls cleaned out every day that the weather permits. Hand-rubbing the legs is of the greatest consequence to the comfort and well-being of the horse, and is to be practised, if possible, every day or whenever the horses change stalls.
Horses are to be slung in smooth weather, and allowed to stand on their legs in rough and stormy weather. In smooth weather they will rest their legs and feet by throwing their whole weight into the slings. To sling a horse in rough weather, whereby he is taken off his feet, would only have the effect of knocking him about with the roll of the ship. Horses standing accommodate themselves to the motion of the vessel. They are not to be placed in the horse-hammock until they have been at sea for a week, as some would only be made uneasy by the attempt to do so.
The hammock is to be placed around the centre of the horse's belly, and then the breast-band and breeching fastened to the required length and degree of tightness. When everything is in readiness, and not before, the horse is quickly raised until all, or nearly all, of his weight is off his legs. He will very soon learn the relief the hammock affords him, and will not be slow in availing himself of it by throwing his weight into it. With some horses it is necessary to use great quickness in making the ropes fast before they throw their whole weight into the hammock.
When the horses are between-decks, too much attention cannot be paid to the constant trimming of the wind-sails so as to insure plenty of fresh air. The wind-sails should be well forward, and extended down within two or three feet of[313] the deck. When a horse between-decks becomes ill, and the weather is at all fine, he should be removed to the upper deck, where the fresh air and change will probably soon bring him right again.
Besides the ordinary grooming utensils for stable service, there should be a plentiful supply of stable-brooms, hoes, and shovels for cleaning out the stalls, and baskets or other light vessels for removing the manure. The ship must be well lighted, and the guards attentive; seasick men must not be intrusted with this important duty.
Disinfectants, such as chloride of lime and zinc, carbolic acid, copperas, powdered gypsum, etc., should be freely used, and, upon embarking, the artillery commander will see that they are supplied.
Should any contagious disease appear, the horse or horses attacked will be promptly thrown overboard, and the precautions taken as prescribed under the head of Sick Horses.
The feed-troughs and the nostrils of the horses are washed every morning and evening with diluted vinegar.
Water is allowed at the rate of six gallons a day per horse, and one gallon per man.
During the voyage the artillery commander will make it his especial duty to act in harmony with the master of the vessel. There must, of necessity, be divided authority and responsibility. Order and neatness among the men and cleanliness with the horses are to be looked after by the commander of the troops. In attending to these duties care will be observed not to interfere needlessly with the duties of the crew nor with the belongings of the ship.
Officers are always to be furnished with cabin accommodations, and the men with proper messing arrangements. This should be specified in the charter, and should be clearly understood by all parties previous to setting out on the voyage.
The fitting up of the vessel is generally done by the[314] Quartermaster's Department, but the commander of the artillery to be embarked will, as the one most concerned, give his special attention to see that the work is thorough and complete.
When this can be done at a wharf, the operation is simply the reverse of embarking.
When wharf accommodations are not available, arrangements will have to be made for transferring the men, horses, and material from the vessel to the shore. Bridges may be made of pontoons, or of trestles and pontoons combined, and the horses and material carried ashore on these; canal-barges may be used and towed close to shore by light-draught steamers, from which horses and material can be landed by a gang-plank; by lashing two of the canal-barges together, placing the boats some 12 feet apart, and throwing a false or additional deck over the whole, a platform is formed, about 40 feet long, capable of holding all the pieces and caissons of a six-gun battery, or from 40 to 50 horses. A raft of this kind should have a strong railing around it.
In disembarking horses the same precautions are necessary as when embarking them. For some days after a long voyage they should be led about at a walk, and no weight put on their backs unless it is absolutely necessary.
The disembarkation of horses by swimming is more easily effected than their embarkation by the same method, as their instinct assists in bringing them ashore. The horse should be lowered in the sling over the side of the vessel, without fastening the breast-strap or breeching. When the tackle is unhooked, the sling opens and is at once slipped from under. In smooth water a horse can easily swim half a mile.
When the deck of a vessel is low, say not over 10 feet,[315] and there is a gangway, the horses may be backed off into the water without slinging. This method should never be resorted to if it can possibly be avoided; it is liable to strain and injure the animal, and it is said to injure his pluck and make him shy about entering water.
Machine-guns. The Hotchkiss Revolving Cannon. The Gatling Gun. The Gardner Gun. The Maxim Gun. The Metallic Carriage for Machine-guns.
Fig. 82.
There are two sizes for field-artillery, viz.: light and heavy, both having the same caliber.
| Light. | Heavy. | ||
| Calibre | inches | 1.45 | 1.45 |
| Length of gun | " | 46.4 | 70.4 |
| Height of trunnions above tread | " | 35 | 42.4 |
| Length of gun-barrel | " | 29.1 | 50.1 |
| Number of barrels | 5 | 5 | |
| Weight of each barrel | pounds | 30.8 | 79 |
| Length of rifled bore | inches | 24.7 | 43.4 |
| Number of lands | 12 | 12 | |
| Pitch of rifling | degrees | 6 | 6 |
| Weight of gun complete | pounds | 495 | 1045 |
The gun consists of five main parts: the group of barrels, the breech-piece, the mechanism, the frame, and the attachments.
The five barrels are assembled around a main shaft by being secured in two bronze assembling-disks. Both disks are bolted to the main shaft, so that barrels, disks, and shaft revolve together. The main shaft goes into the breech-piece, and has screwed and bolted to its end a heavy steel pin-wheel, which connects the barrel-system with the mechanism.
Fig. 83.
This is a cast-iron block, the front half solid and pierced with the channels necessary for feeding, loading, firing, and extracting ammunition, and the rear half hollow to form a chamber for the mechanism, with guideways and journals for its movement and support. In the upper front face a channelway is cut from the loading-hole around[318] almost to the firing-point, the bottom being inclined so that as the cartridge moves along it during the revolution of the barrels it is pushed forward and close home.
The forward face is reinforced at the firing-point by a steel face-plate countersunk in it, through which the firing-pin hole is pierced. The seat for the pin-wheel is in the rear face of the solid part. This pin-wheel can only be mounted on the main shaft after the end of the latter has been inserted in its journal; and in order to put the locking-pin of the pin-wheel in place it is necessary to have a hole pierced radially from the outside of the breech-piece. This hole is kept constantly closed by a tap-screw. The rear end of the breech-piece is closed by a bronze door, hinged at the bottom, and secured by a screw-bolt at the top. On the outer sides of the breech-piece shoulders are cast to form seats for the shafts of the frame.
As the worm-shaft does not extend completely across the chamber of the breech-piece, a small journal-seat is cast just to the left of the centre of the chamber. In the right lower corner of the chamber is a guideway for the firing-bolt; on the left side is a slotway for the extractor; a small journal is pierced through the side for a cog-wheel, which is held in place by a keep-pin. In the left upper corner is a guideway for the loading-piston.
The work of the mechanism consists in revolving the barrels, loading, firing, and extracting.
The revolution of the barrels is a simple gear movement. The loading and extracting are reciprocal movements; that is, while a cartridge is being pushed into one barrel an empty cartridge-case is being drawn from another. The firing is accomplished by the firing-bolt, which is drawn backward by its cocking-arm pressing on the cam of the worm-wheel, and then thrown violently forward by the[319] mainspring, when the arm drops from the end of the cam. The piece has the ordinary trigger arrangement.
In order to keep the cartridges from crowding down upon the loading-piston a small feed-gate is hung loosely in the feeding-hole. In the forward movement of the piston a small nib at its forward end catches behind the gate and lifts it up, thus cutting off the feed.
The group of barrels and the breech-piece are bound together by the frame, and the whole system is supported by the trunnions in a forked pivot. The frame is a light bronze casting, consisting of two hollow side-bars connected by two hollow cross-bars. The forward one is journalled for the forward end of the main shaft, and the rear one is in line with the trunnions. A half-ring spans the shaft over the forward assembling-disk to form a seat for the front sight. The rear ends of the shafts are bolted in seats in the side of the breech-piece. The trunnions form part of the casting of the frame. The right forward cap-square bolt has a lever for clamping the piece at any desired elevation.
The pivot rests in a socket, in the side of which is a clamp for fixing the gun in any desired direction.
The feed-trough holds about eight cartridges.
The Rear Sight consists of a bar having its right edge arranged with alternate notches and points for each 100 yards or other unit. These notches and points are so arranged as to allow for the natural drift of the projectile. The bar is hinged at the bottom to lie flat on the breech-piece when not in use.
The Front Sight is of the ordinary steel-point pattern.
Suppose the crank to be in continual motion.
A cartridge is placed in the introduction-trough, the pis[320]ton pushes it into the barrel, the barrels begin to revolve, and the cartridge is carried on until it arrives before the firing-pin, held in the solid part of the breech, and which has, in the meantime, been retracted by the action of the cam. As soon as the cartridge has arrived in position the barrels cease to revolve and the primer of the cartridge is struck by the firing-pin and discharged; the revolution of the barrels begins again, and the fired cartridge-shell is carried on until it comes to the extractor, which in the meantime has arrived up to the barrels, and the cartridge-head rolls into it. As soon as the head is laid hold of by the extractor the barrels again cease to revolve, and during this period the cartridge-shell is withdrawn and dropped to the ground. During every stoppage of the barrels the gun is supplied with a new cartridge, the firing and extraction are also performed, and a continuous but slow fire is kept up. Supplying the gun in this manner with single cartridges, about thirty rounds per minute may be fired.
To Dismount.—1. Open the breech-door by unscrewing the door-bolt. As the mainspring presses against the door, one hand should be pressed against the door to keep it from flying open.
2. Withdraw the firing-bolt by pulling straight out.
3. Detach the mainspring by first turning it completely over and then withdrawing its keep-pin.
4. Take out the thumb-screw which secures the extractor-crank to the worm-axle.
5. Withdraw the worm-axle by pulling straight out on the crank; and as the extractor-crank and worm-wheel slip off, remove them.
6. Pull out the extractor.
7. Pull out the loading-piston.
8. Unscrew the keep-pin of the cog-wheel and take the latter out.
This completes the dismounting of the mechanism.
To Mount.—Proceed in the inverse order, bearing in mind that in inserting the loading-piston it must be pushed in to its extreme forward limit, as marked by arrows on its forward end and on the rim of the feeding-hole, before the extractor is inserted. Also, in inserting the worm-axle the most convenient position is with the feather up, so that the extractor-crank will mount when it is turned arm down and to the rear. This is not necessary, but is convenient in assembling.
To Dismount Completely.—1. Turn the barrels until the arrow on the rear assembling-disk marked "Dismount" is opposite the arrow on the right upper quarter of breech-piece.
2. Enter a punch in the hole in the breech-piece and back out the keep-bolt of the pin-wheel.
3. Unscrew and take out the pin-wheel.
4. Unscrew the four bolts which secure the frame to the breech-piece.
5. Slip the breech-piece off to the rear.
6. Remove the group of barrels from the frame.
Mounting is done in the inverse order. Start the pin-wheel on before pushing the breech-piece entirely into place. In driving in the keep-pin of the pin-wheel be careful that it is close home so as not to grind in the journal. Also, before dropping the keep-pin in turn the barrels until the arrow marked "Mount" is opposite the one on the breech-piece.
Apply the rules given for mountain-artillery, page 4.
In scrubbing out the barrels it is always best to turn the[322] one to be scrubbed to the extractor-hole, as this position gives the most room for thorough work and the water does not slop into the breech-piece. Elevate the gun slightly and put the water-bucket under the extractor-hole.
When cleaned and mounted, pour a little oil in the oil-holes and revolve the mechanism a few times to spread it on the bearings.
The ammunition is similar to that used in breech-loading small arms, and consists of the projectile, to the base of which is crimped a metallic cartridge-case containing the powder-charge, and being provided with a percussion-cap for centre-fire. The charge of powder is loaded into the brass case and shaken down, and on the top of it is placed a felt lubricating-wad, which leaves sufficient end to the case to allow it to be crimped to the base of the projectile. The projectiles consist of cast-iron shell, steel shell, and canister. The nose of the first is truncated to give a seat for the nose fuze; that of the second comes to a sharp point, and its fuze is in the base. The canister consists of a thin drawn brass case, almost hemispherical at the head, filled with hardened lead balls packed in sawdust.
| Light. | Heavy. | ||
| Weight of shell, empty | Oz. | 14.4 | 16 |
| Weight of shell, loaded | " | 16 | 19 |
| Bursting-charge | " | 0.7 | 0.8 |
| Number of fragments | 15 | 15 | |
| Weight of canister | Lbs. | 1.25 | 1.25 |
| Number of bullets | 28 | 28 | |
| Weight of cartridge-case, empty | Oz. | 3 | 3.4 |
| Weight of powder-charge | " | 2.8 | 3.8 |
| Total weight of cartridge complete, shell | Lbs. | 1.4 | 1.7 |
| Total weight of cartridge complete, case | " | 1.6 | 1.75 |
Fig. 84.
| Light. | Heavy. | ||
| Diameter of wheel | Inches. | 45.2 | 55.1 |
| Weight of wheel | Lbs. | 99 | 187 |
| Width of tread | Inches. | 47.2 | 60.2 |
| Weight of carriage without shield | Lbs. | 550 | 990 |
| Weight of shield | " | 220 | 282 |
| Weight of gun, carriage and limber fully equipped | " | 2112 | 3487 |
The trail is formed of two brackets connected by bolts and two transoms, and having a gun-metal rest for carrying the trunnion-saddle, the rear ends being connected by the trail eye-piece, made of cast steel. The brackets diverge at the trunnions, the axle is of steel, and the wheels have metallic naves and tires.
The gun-traversing arrangement, giving 4° deflection to the right or left, consists of a cast-steel saddle with trunnion-bearings, and works in the gun-metal rest riveted to the brackets.
The elevating and traversing arrangement consists of a steel ball-and-socket elevating-screw working in an oscillating bearing; this bearing, and with it the elevating-screw, can be traversed right and left by means of a small hand-wheel on the left side of the trail, and this causes the[324] trunnion-saddle with the gun to pivot around the centre of the saddle.
On the right side of the trail there is a compressing-handle to lock the elevating-screw, so as to make it immovable during firing and whilst travelling. The handspike, of iron tubing, is hinged to the trail.
The brake is of the following description: Each axle-arm has a screw cut on its extremity; this carries a nut forming a conical cap, partly enveloping the inner side of the wheel-nave, which is also conical, to fit the inside of the cap; and has a crank-arm by which it can be revolved on the axle. When screwed up, this cap grips the cone of the nave of the wheel until the latter is immovably locked by the friction of the cones.
A shield, of three parts, made to fold together, thus forming seats for two men, is sometimes provided. It is of steel plate three sixteenths of an inch thick.
The carriage carries the following implements: A sponge on the right bracket, and two handspikes beneath the trail; in the tool-box (which is between the brackets) are carried the feed-trough, hand-crank, rear sight, screw-driver, oil-can, reserve mainspring, reserve firing-pin, hammer, punch, and a universal wrench.
| Light. | Heavy. | ||
| Weight of limber empty | Lbs. | 605 | 913 |
| Weight of limber loaded | " | 1067 | 1452 |
| Number of rounds in limber | 300 | 300 |
The limber is formed of four futchells,—the outside ones of flat steel, the inside ones and the splinter-bar being of angle-iron,—a platform-board, and a foot-board of oak. The axle is of hollow wrought iron; wheels same as for carriage. The futchells and splinter-bar are all riveted together, and the cast-steel limber-hook is riveted in between the inside[325] futchells: the axle is secured to the bed by three bearings.
The pole lets into an iron frame and is held by two bolts with threads and nuts. The single-trees, of metal, are hung to eye-plates under the ends of the brackets.
The ammunition-chest is made of steel plate and carries 300 rounds in two compartments, one of which holds 100 rounds packed in ten steel feed-cases ready for rapid firing.
The limber carries the following implements: A set of intrenching-tools, axe, water-bucket, traction-rope, cushions for seats, etc.
| Light. | Heavy. | ||
| Weight with limber empty | Lbs. | 1430 | 2409 |
| Weight with limber loaded | " | 3091 | 4356 |
| Number of rounds | 1100 | 1100 |
Fig. 85.
The caisson (Fig. 85) consists of the limber, which is identical with the gun-limber, and the caisson-body, carrying two ammunition-chests similar to those of the limber. It is of steel and iron, with brakes like those on the carriage. There are two foot-boards, and it has arrangements for carrying the spare wheel, intrenching-tools, spare pole, single-trees, and other accessories.
Angle of jump, 4′. Charge, 2.8 oz. Mean weight of projectile, 1 lb. Initial velocity, 1319 ft.-sec.
| Range. | Elevation. | Drift. | Time of Flight. |
Angle of Fall. |
Final Velocity. |
Marks on Sight-bar. |
Drift- marks. |
Mean Deviation. | Dangerous Space of Target 5½ Feet High. |
Highest Point of Trajectory. |
||||
| Range. | Drift. | Height. | ||||||||||||
| Yds. | ° | ′ | Yds. | Sec. | ° | ′ | Ft. | In. | In. | Yds. | Yds. | Yds. | Yds. | Ft. |
| 100 | 0 | 06 | 0.01 | 0.2 | 0 | 11 | 1234 | 0.058 | 0.003 | 22.3 | 0.06 | 0.07 | Total | |
| 200 | 0 | 17 | 0.04 | 0.4 | 0 | 24 | 1161 | 0.164 | 0.007 | 21.3 | 0.12 | 0.14 | Range. | |
| 300 | 0 | 29 | 0.09 | 0.6 | 0 | 38 | 1091 | 0.281 | 0.010 | 20.5 | 0.19 | 0.22 | 217 | |
| 400 | 0 | 42 | 0.16 | 1.0 | 0 | 52 | 1037 | 0.406 | 0.014 | 19.8 | 0.25 | 0.30 | 150 | |
| 500 | 0 | 56 | 0.27 | 1.3 | 1 | 09 | 987 | 0.543 | 0.018 | 19.1 | 0.32 | 0.39 | 113 | 14 |
| 600 | 1 | 10 | 0.43 | 1.7 | 1 | 28 | 944 | 0.679 | 0.023 | 18.5 | 0.42 | 0.49 | 90 | |
| 700 | 1 | 25 | 0.64 | 2.0 | 1 | 49 | 906 | 0.824 | 0.027 | 18.0 | 0.50 | 0.57 | 74 | |
| 800 | 1 | 42 | 0.87 | 2.4 | 2 | 12 | 874 | 0.989 | 0.032 | 17.5 | 0.55 | 0.65 | 68 | |
| 900 | 1 | 59 | 1.2 | 2.7 | 2 | 37 | 843 | 1.154 | 0.037 | 17.1 | 0.63 | 0.79 | 53 | |
| 1000 | 2 | 16 | 1.6 | 3.1 | 3 | 05 | 819 | 1.319 | 0.042 | 16.7 | 0.70 | 0.90 | 46 | 67 |
| 1100 | 2 | 35 | 2.0 | 3.4 | 3 | 35 | 796 | 1.504 | 0.054 | 16.5 | 0.79 | 1.02 | 40 | |
| 1200 | 2 | 55 | 2.5 | 3.8 | 4 | 07 | 775 | 1.698 | 0.067 | 16.3 | 0.8 | 1.1 | 36 | |
| 1300 | 3 | 16 | 3.2 | 4.2 | 4 | 42 | 756 | 1.902 | 0.079 | 16.0 | 0.99 | 1.3 | 32 | |
| 1400 | 3 | 38 | 3.9 | 4.5 | 5 | 20 | 741 | 2.116 | 0.092 | 16.0 | 1.05 | 1.4 | 29 | |
| 1500 | 4 | 00 | 4.7 | 4.9 | 5 | 59 | 726 | 2.331 | 0.104 | 15.9 | 1.1 | 1.5 | 26 | 184 |
| 1600 | 4 | 24 | 5.7 | 5.4 | 6 | 30 | 711 | 2.565 | 0.120 | 15.9 | 1.3 | 1.7 | ||
| 1700 | 4 | 49 | 6.7 | 5.8 | 7 | 13 | 695 | 2.808 | 0.136 | 15.9 | 1.4 | 1.9 | ||
| 1800 | 5 | 15 | 7.9 | 6.2 | 7 | 56 | 682 | 3.063 | 0.152 | 15.9 | 1.6 | 2.1 | ||
| 1900 | 5 | 42 | 9.4 | 6.7 | 8 | 31 | 670 | 3.334 | 0.168 | 16.1 | 1.6 | 2.4 | ||
| 2000 | 6 | 10 | 11.0 | 7.1 | 9 | 14 | 659 | 3.601 | 0.184 | 16.5 | 1.7 | 2.7 | 387 | |
| 2100 | 6 | 39 | 12.7 | 7.6 | 10 | 00 | 650 | 3.877 | 0.207 | 16.9 | 1.8 | 3.0 | ||
| 2200 | 7 | 09 | 14.7 | 8.0 | 10 | 48 | 641 | 4.181 | 0.229 | 17.2 | 2.0 | 3.3 | ||
| 2300 | 7 | 40 | 16.8 | 8.5 | 11 | 39 | 632 | 4.487 | 0.252 | 17.6 | 2.2 | 3.6 | ||
| 2400 | 8 | 12 | 19.3 | 9.0 | 12 | 31 | 623 | 4.804 | 0.274 | 18.1 | 2.4 | 4.0 | ||
| 2500 | 8 | 46 | 22.0 | 9.5 | 13 | 24 | 613 | 5.140 | 0.297 | 18.7 | 2.5 | 4.6 | 701 | |
Fig. 86.
The following description applies more particularly to the model of 1883, which differs in some of its details from previous models. The 1-inch and .45-inch calibres are now in service; and contracts have been made for supplying .30-inch calibre.
The Gatling gun consists of a number of breech-loading rifled barrels, B, grouped around a shaft, S, to which they are parallel. The 1-inch has six barrels; smaller calibres eight and ten.
Each barrel is fired only once in the revolution of the group.
Fig. 87.
The breech-ends of the barrels are screwed into a disk or rear barrel-plate, P′, which is fastened to the shaft, and[328] the muzzles pass through another similar disk, P, called the front barrel-plate, on the shaft; the shaft projects beyond the muzzles, and extends backwards for some distance behind the breeches of the barrels.
Directly behind the barrels a carrier-block, C, is fastened to the shaft, and in its exterior surface semi-cylindrical channels are cut, which form trough-like extensions to the rear of the cartridge-chambers of the barrels, and are designed to receive and guide the cartridges while they are thrust into the barrels, and guide the empty cases while they are withdrawn. Behind the carrier-block the shaft carries, rigidly attached, the lock-cylinder, L, in which guide-grooves are formed, which are parallel to the barrels, and in which slide long breech-plugs or locks having a forward and backward motion of their own, and by which the cartridges are thrust into the barrels. They also close the barrels until after discharge, and then extract the cases.
Fig. 88.
Each plug, or lock (Fig. 88), contains a spiral mainspring, b, acting on a firing-pin, a, by which the charge is fired, so that the plug performs all of the functions of a gun-lock, as well as of a breech-plug, b′ is the head of firing-pin (which engages in R, Fig. 89); c is the lug for groove; d is the hooked extractor which engages over the cartridge-head; and e is the guide-rib for the lock. The lock is a rebounding one, the intention being that the firing-pin shall not project beyond the face of the block until, on[329] being released from the cocking-piece, it flies forward and discharges the cartridge.
The shaft, S, to which the group of barrels and both the carrier-block and the lock-cylinder are rigidly attached, is free to turn on its axis, the front end being journalled in the front part of the frame, and the rear end in a diaphragm in the breech-casing.
The gearing by which the shaft is revolved consists of a toothed wheel, G (Fig. 87), fastened to the shaft, and worked by an endless screw, W, on a small axle, S′, which passes transversely through the case at right angles to the shaft, and is furnished outside the case with a hand-crank, K.
The crank may be worked from the side, or it may be attached to the rear end of the main shaft, giving in the first position a rapidity equal to about 800 shots per minute, and in the latter 1200 per minute.
The rear end of the main shaft terminates in a screw, which is covered by a knob or cascable, which is turned when the crank is to be attached for rapid fire.
The cartridge-carrier block is covered above the frame by a semi-cylindrical shell, which is provided at the top with an opening of suitable size and shape to permit a single cartridge to fall through it into one of the channels of the carrier-block, which it overlies. There is a trough extending upward from this opening and forming a hopper, in which feed-cases can be placed.
Beneath the carrier-block everything is open, to allow the cartridges or shells which are withdrawn by the extractors from the barrels to fall to the ground. Within the cylindrical breech-case attached to the frame a heavy ring, not quite the length of the lock-cylinder, is fastened to the case and diaphragm, which nearly fills the space between the inside of the case and the cylinder. Portions of the inside of this ring are so cut away as to leave a cam[330] projecting from the inner surface of the ring, having two helicoidal edges inclined to each other, and united by a short, flat plane. Against these edges the rear ends of the locks continually bear, there being room enough for the locks to lie loosely within the parts of the ring which are cut away. Each lock is held back against the cam by a lug projecting laterally from the end of the lock, and entering a groove formed at the base of the cam, in the thin part of the ring. A device for throwing the cocking-piece in and out of gear, worked by a knob on the right of the breech-casing, permits the gun being used for drill purposes without snapping the locks. When the arrow-head points to the front, it is in position for firing. With the head pointing to the rear it is out of action.
On the left of the breech-casing, just under the hopper, is a movable section with three wedge-shaped prongs, which keep the cartridge-cases in the grooves of the carrier until they are ejected. It is called the shell-guide.
The gun can be unloaded of any cartridges not fired by removing the feed-case, opening the hopper, and reversing the motion of the crank.
The locks can be removed and inserted without taking off the cascable-plate; and the absence of one or more plugs does not affect the working of the gun, except to diminish the intensity of the fire. For each lock removed one unexploded cartridge falls to the ground at each revolution of the gun.
The gun is encased in a frame which has trunnions, and is mounted in the ordinary way, like a field-piece.
The screw for elevating and depressing the breech works in a nut attached to the trail of the carriage in the usual way. In the model of 1883 the trunnions of the gun are placed two inches below its centre, and the elevation and depression are given by means of an arc connected at both[331] extremities with the gun, which may be elevated 74° or depressed 78°.
A lateral movement is given the gun by means of a hand-lever which fits into a square mortise cast on the under side of the breech-casing.
On top of the breech-casing is a spirit-level placed parallel to the axis of the piece, and on the right side of the cascable-plate is another at right angles to the first.
Fig. 89.
In Fig. 89 cd, c′d′ are the developments of the right-and left-hand sides of the elliptical groove; cc′ and dd′ are developments of the circular arcs.
When the crank is rotated, it causes the shaft with the barrels, carrier-block, and lock-cylinder to rotate in the casing. The bolts, held by the guides in the surface of the lock-cylinder, also rotate with the barrels and other parts, but by the bearing of the bolt-lugs in the elliptical grooves in the barrel-casing the bolts on the right-hand side are forced to move forward, dc, towards the barrels, and those on the left to move backward c′d′.
When each bolt in this rotation reaches the "loading-flat," a cartridge drops from the feed into the groove in the carrier-block, in front of the bolt. As the rotation continues the bolt pushes forward until, on reaching the "firing-flat," the cartridge has been completely inserted and the barrel closed. During this motion a groove on the right-hand side of the casing, R, catches the head of the firing-pin and retains it, thus compressing the spiral mainspring and cocking the firing-pin. A continuation of the rotation causes the firing-pin to pass out of this groove; and the action of the mainspring drives the pin forward and fires the cartridge.
The motion continuing, the bolt is withdrawn by the left-hand groove, c′d′, and as it moves backward the empty case is drawn out by the extractor on the bolt.
The Bruce Feed (Fig. 90).—This is a gravity feed consisting of an upright bronze standard, a, having two grooves in it. Below the grooves is a fixed mouth, c, and below this a wheel, d, having its axis to one side of the mouth and turning freely on this axis.
When in use, the feed is inserted in an opening in the barrel-casing directly over the carrier-block, e. The paper box containing the cartridges (the top being removed) is placed in the fixed standard with the heads of the cartridges[333] to the rear. The heads engage in the grooves of the swinging-piece, b, and the paper box may then be pulled off. As each cartridge strikes the wheel it causes the latter to revolve and present a new groove for the reception of a cartridge. The cartridges delivered to the wheel are in turn carried around by it and deposited in the grooves of the carrier-block.
Fig. 90.
The cartridges in one column of the feed becoming exhausted, the weight of those in the other column causes the swinging-piece to rotate sufficiently for them to be fed to the piece.
The Accles Feed (Fig. 91) consists of a brass drum the distance between whose heads slightly exceeds the length of the cartridge to be used. The inside of the head is grooved in a spiral form ending at the mouth of the drum. The central part of the spiral is removed and replaced by the axis of a set of radial arms which rotate about this axis. The cartridges are inserted through the mouth of the drum into the spirals with the heads to the rear. When in use, the drum, a, is placed in position, with its mouth, c, down and over the grooves in the carrier-block, d.[334] Projections, e, on the outer edges of the grooves in the block engage in the outer extremities, f, of the radial arms, b, of the drum so as to cause the latter to rotate when the crank is turned; and the arms, bearing against the cartridges, force them along the spirals towards the opening in the drum, whence they are delivered to the grooves in the carrier-block.
Fig. 91.
The Latest Improved Feed (Fig. 93) has but a small surface exposed to fire, is cheap, light, and independent of gravity, so that it may be used at any angle.
Long strips (Fig. 92) of tin or any cheap flexible metal[335] have tongues, a, punched in them, one end of the tongue being left attached to the strip and the other separated. These tongues surround the cartridge and hold it in place on the strip. The small rectangular slots, b, are punched completely through, and in these slots fit the rims of the cartridge-cases.
Fig. 92.
Fig. 93.
A hopper (a, Fig. 93) is hinged to the frame which sup[336]ports the gun just over the carrier-block, and has in it an opening, b, through which the strips, with the cartridges down, are fed. This opening is narrow in front and wide in rear to prevent the cartridge being introduced wrong end to the front. Below the opening, b, is a shelf, c, so shaped as to guide the cartridges and strips into the opening. Above the shelf is a flat spring, d, which presses the cartridges down as they pass through the opening.
A wedge, e, projects from the opposite side of the hopper, and, acting on each cartridge in turn, forces it out of the strip, the tongues, a, bending downward into the recess provided for them. The carrier-block, f, is provided with projections which act like the teeth of a wheel upon the cartridges, forcing the strip to the right.
When in use, a strip containing cartridges is pushed into the opening, b, of the hopper. The crank is rotated and the strip is forced to the right through the hopper. This action brings each cartridge in succession against the point of the wedge, e, which forces the cartridge out of its hold on the strip by bending downward the tongues, a, and the cartridge is deposited in the groove of the carrier-block, the empty strip passing to the right.
Before Firing the Gun.—The following points should be attended to:
The adjuster-nut should be at its proper position, viz., with the marks in line with each other.
The safety-cam (cocking-switch) should be set to fire arrow-head on knob pointing forward.
The shell-guide should be in its place and the hopper locked down.
Never turn the crank quickly while the lock-plug is out.
See that the safety-cam is turned out of firing position when the gun is being worked without cartridges.
Precautions to be Observed.—(a) Never lay the cover[337] upon the ground, as it is liable to pick up sand and dirt, which may derange the working of the parts.
(b) A partially filled feed-case should not be put back into the ammunition-chest without being filled up, as the cartridges may become inverted and jam the gun.
(c) If the gun jams, remove the feed-case at once, open the hopper, and reverse the crank until all the cartridges are taken out. This will be found to save time, unless the cause of the jamming is evident and in the immediate vicinity of the hopper.
(d) See that all the parts are kept well oiled to prevent friction and scouring.
The carriage is made of metal; the axle of steel without any axle-body; the wheels are of the Archibald pattern; and the trail of two plates of mild steel, reinforced on top and connected by five transoms. A gunner's seat is hinged to the top of the trail. The oscillating-lever, when not in use, is carried between the trail-plates. The elevating-arc is held in place by a binding-screw, and is worked by a bronze handle.
The field of oscillation is limited by two stop-pins in front of the swivel. They permit of about 50° of lateral movement, and the gun can be held at any point of this arc by a binding-screw, the handle of which is on the left cheek.
On each side of the gun, and fastened to the axle, is an ammunition-chest of steel for carrying feed-drums and certain tools. These chests are lined with wood, and running through the middle, separating the compartments for feed-drums, are blocks of wood with recesses in their tops for the following tools:
| Left Chest. | Right Chest. |
| 1 cam-extractor. | 1 crank-handle for gun. |
| 1 riveting-hammer. | 1 drift. |
| 1 oil-can. | 1 lock screw-driver. |
| 1 screw-wrench. | 1 T screw-driver. |
| 1 sight, left. | 1 pin-wrench. |
| 1 sight, right. |
The lids of these chests are fastened with hasps and turnbuckles. They can be locked with the ordinary padlock. A wiping-rod of brass is fastened to the under side of the stock.
The limber is principally of metal. The axle and wheels are the same as in the carriage.
The limber-chest and lid are of Bessemer steel reinforced by angle-irons. The interior of the chest is divided by steel plates into three compartments for carrying ammunition. The centre one is subdivided by wooden partitions for carrying feed-drums.
The lid is fastened in the same manner as those on the axle-chests.
The following is the capacity of the limber-chest:
| Right and left compartments, 132 packages, each of 20 cartridges | 5280 | cartridges | |
| 4 feed-drums of 104 cartridges each | 416 | " | |
| Front centre compartment, 38 packages of 20 cartridges each | 760 | " | |
| These with the four feed-drums in the axle-chest | 416 | " | |
| Would give | 6872 | " | |
| Weight of piece | 237 | lbs. | |
| Weight of gun-carriage with chest and tools, without feed-cylinders | 594 | " | |
| Weight of limber and chest | 754 | " | |
| Weight of ammunition and chest | 230 | " | |
| Weight of one wheel | 106 | " | |
| Weight of feed-cylinder (filled) | 24½ | " | |
| Designation. | No. | Lbs. | Inches. |
| Extreme length of piece | 35.5 | ||
| Length of barrel | 18 | ||
| Length of breech-casing | 8.5 | ||
| Length of feed-case | 20.25 | ||
| Cartridges in each case | 40 | ||
| Cartridges in each chest | 960 | ||
| Gun (weight) | 144 | ||
| Total weight of gun, carriage, and implements | 925 | ||
| Number of barrels | 10 | ||
| Number of horses to draw (good roads) | 1 | ||
| Number of horses to draw (bad roads) | 2 |
| Designation. | No. | Lbs. | Inches. |
| Extreme length of piece | 68.15 | ||
| Length of barrel | 33 | ||
| Length of breech-casing | 21.5 | ||
| Length of feed-case | 14.5 | ||
| Cartridges in each case | 12 | ||
| Cartridges in each ammunition-chest | 472 | 315 | |
| Total number of rounds for each gun | 2592 | ||
| Gun (weight) | 1008 | ||
| Total weight of gun, implements, carriage, and limber | 3263 | ||
| Number of barrels | 6 | ||
| Number of grooves | 6 | ||
| Depth of grooves | 0.01 | ||
| Twist: one turn in six feet. | |||
| Preponderance | 110 | ||
| Number of horses for each piece | 6 | ||
| Number of horses for each caisson | 6 |
For field service each piece is accompanied by one caisson.
Components.—Adjustable-screw nut; barrels (10); breech-casing; breech-casing screws (6); bushings (10); cartridge-carrier; cartridge-shell ejector; cartridge-shell ejector-screws (3); cartridge-shell extractor-block; cartridge-shell extractor-block screws (2); cascable-plate; cocking device; crank; crank-latch; crank-shaft; diaphragm; dowel-pins; extractor-hooks (10); firing-pins (10); front cap; main shaft; oscillating-thread nut and washer; rear-guide nut; rear plate for barrels; rear sight; worm; worm-gear; rear-sight screws; front plate for barrels; front sight; front-sight screws; gas-collar; gun-frame; hopper; hopper-hinge; hopper-hinge pin; hopper-hinge screws (2); hopper-latch; hopper-latch screws; lock-cylinder; lock-cylinder screws (2); lock-extractor; lock-extractor screws; lock-extractor sleeve; lock-extractor sleeve-screws (2); lock-mainsprings (10); lock-nuts (10); lock-tubes (10); spiral cam; spiral-cam screws (2); trunnions (2); washer for front end of main shaft.
Appendages.—Adjusting screw-wrench; brass wiping-rod; clamp for worm-gear; feed-cases, straight (48); lock screw-driver; pin-wrench; rear-guide nut-wrench; shell-driver; small screw-driver; T screw-driver.
The Carriage.—Shafts; eye-bolts and straps (6); splinter-bar; step; hounds; assembling-bolts; prop; foot-board; floor; bed; bed-plate; clamp-screws (2); ammunition-chests (2); chest-handles (2); lid; lid-latch (2); corner-plates; angle-irons; tool-box; tool-box latch; tool-box straps and hinges; guard-plate; linch-pins (2); washers (2).
1. Turn the crank, and as each mark on the rear barrel-plate comes opposite the mark on the front of hopper remove the locks by means of the lock-plug.
2. Remove screws and take off the cascable-plate.
3. Remove screw from left end of crank-shaft and take off oscillating-screw.
4. Remove worm steady-pin by tapping the small pin until it is loose, then turn the crank backwards and remove with fingers, and take out the crank-shaft, worm, and sleeve.
5. Remove screw from rear end of main shaft and take off worm-gear.
6. Remove the adjusting-screw cover and take out the adjusting-screw and set-nut.
7. Remove clamp-stop from elevating screw clamp and screw out the clamp.
8. Screw in the elevating-screw as far as it will go, then lift the elevating-screw and its sleeve by the handle clear of its seat and out of the traversing apparatus, allowing the front end of barrels to drop down slowly as far as they will go, and remove traversing apparatus by sliding to the left.
9. Remove screws and take off breech-casing.
10. Take out hinge-pin and remove hopper.
11. Remove screws which secure lock-cam cylinder to breech-casing, remove lock-cam cylinder, and take out cocking-cam piston and spring.
12. Take group of barrels out of frame (one man holding sleeve on front end of main shaft to prevent dropping) and remove sleeve.
13. Take out screw from lock-cylinder, back out steady-pin which holds rear-guide nut, and remove the nut. (The nut works on a left-hand thread.)
14. Take off lock-cylinder and carrier-block.
1. Replace carrier-block and lock-cylinder.
2. Replace rear-guide nut, and put in steady-pin and lock-cylinder screw.
3. Replace sleeve (small end to the front) and place group of barrels in frame.
4. Replace cocking-cam piston and spring, place lock-cam cylinder in interior of breech-casing, and put in screws.
5. Replace hopper and put in hinge-pin.
6. Replace breech-casing and put in screws.
7. Replace traversing apparatus; place head of elevating-screw in its seat in traversing apparatus, and put elevating-screw with sleeve in place.
8. Screw in elevating-screw clamp as far as it will go and put in clamp-screw.
9. Replace adjusting-screw with set-nut and put on cover.
10. Replace worm-gear and spline-screw.
11. Replace sleeve, worm, and crank-shaft, and put steady-pin in worm.
12. Replace oscillating-screw and put screw in left end of crank-shaft.
13. Replace cascable-plate and put in screws.
14. Replace locks according to numbers on front of locks and rear barrel-plate.
15. Replace lock-plugs.
1. Remove hinge-pin and take off hopper.
2. Remove lock-plug by turning to the right and take out locks.
3. Turn off the adjuster-knob by pressing down the catch and turning the knob to the left, or pressing down the catch and turning the crank in the same direction as when firing.
4. Remove the worm-cover, pull out the crank-shaft split-pin, and remove washer from left end of crank-shaft;[343] hold one hand under worm-cover hole and draw out the crank-shaft to the right. In this operation the worm will fall through the worm-cover hole, and should be caught in the hand.
5. Take off the cascable-plate. To do this, first see that the cocking-switch is in the firing position, which is indicated by the arrow pointing forward. Then turn out the cascable-plate screw, and turn the plate to the left until the arrows on the plate and casing meet; hold one hand under worm-cover hole to receive worm-gear, and pull the plate off to the rear.
6. Take out the lock-cam. First pull the cocking-switch outward, turning it to the right until it snaps in the notch, the arrow pointing downward; the cam can now be pulled out, using the cam-extractor, or the fingers of both hands.
7. Take out the shell-guide.
1. Put in the shell-guide.
2. Put in the lock-cam, then turn the cocking-switch so that the arrow points forward.
3. Put on the cascable-plate. Be sure that the gear is inside the worm-cover hole, and turn the plate and gear until the grooves on the latter meet the splines on the main shaft; then push the plate into place, and turn to the right until the arrows on plate and casing meet.
4. Put in the crank-shaft and worm (countersunk-end of the latter to the right) and secure with washer and split-pin.
5. Screw on the adjuster-knob; turn it up as far as possible, and then back until lines on catch and ratchet meet.
6. Put in locks as numbered on front of locks and rear barrel-plate, and put in lock-plug.
7. Put on hopper and replace hinge-pin.
In View.—Main shaft, around which the barrels are clustered; front plate, which supports the front of the barrels; rear plate, which supports the rear end of the barrels; barrels; gun-frame; trunnions; gun-face; front sight; rear sight; breech-casing; breech-casing screws; cascable-plate; hopper; ejector; cartridge-carrier; crank; elevating-screw; elevating-screw box; elevating-screw bed; elevating-screw handle; wiping-rod (brass); ejecting-rod (iron); lock; lock-tube; lock-hammer; lock-spring; firing-pin; extractor.
Within the Breech-casing.—Lock-cylinder; rear-guide nut; cocking-ring; cocking-ring clamp; spiral cam; diaphragm; diaphragm-plug; gear-wheel; pinion; rear-cam screw.
The piece is first dismounted and placed with its casing resting on blocks. Mounting and dismounting are best accomplished by means of a gin. In case of necessity, it may be mounted and dismounted as a field-piece, care being taken to place blocks of wood to receive the gun-frame and to prevent injury to the front sight, or to the barrels.
The operations of taking apart are executed in the following order:
1. Block up the frame and barrels.
2. Remove the hopper.
3. Remove the cascable-plate.
4. Take out the steady-pin; then turn the crank downwards and remove the crank shaft in that position.
5. Remove the rear sight, and take out the large gear-wheel.
6. Take out the rear plug in the diaphragm, and then gently revolve the gun until a lock presents itself on a line[345] with the hole in the diaphragm, through which one lock after another is taken out.
7. Take out the breech-casing screws, and remove the casing by drawing it off to the rear. Care is taken in this operation to have the lock-cylinder and gun supported, so as to keep the axis of the main shaft parallel to the top of the frame. This is necessary to prevent the rear end of the gun from dropping when the casing is removed.
8. Remove the pin from the large nut on the main shaft in rear of the locks, and take this nut off by turning it to the right; then remove the lock-cylinder and carrier from the main shaft.
The spiral cam need not be taken out of the casing in order to take the gun apart.
1. Put the main shaft in its place through the plates which hold the barrels, and then put in their proper places the carrier, lock-cylinder, and large rear nut. The latter should be screwed up tight and have the taper-pin put through the nut and shaft.
2. Place the gun within the frame, and let the front end of the main shaft rest in the hole designed for it in the front of the frame. When the gun is in this position, the cocking-ring should be shoved over the lock-cylinder and left for the time loosely around the carrier.
3. Let the breech of the gun be slightly raised, when the breech-casing can be shoved over the lock-cylinder to its place; then screw the casing to the frame, putting, in the meantime, the cocking-ring in its proper place. Revolve the gun to the right or left so that the places for the locks will come on a line with the hole in the diaphragm, through which one lock at a time can be inserted in its proper position; afterwards the screw-plug should be inserted to close the hole.
4. Put on the cog-wheels, replace the crank-shaft, pinion, and steady-pin. Put on the rear sight, and screw on the cascable-plate and hopper, and the gun is ready to be mounted. The piece is mounted on a 3-inch gun-carriage widened between the cheeks to receive it. The ammunition-chests are arranged for twelve trays. For field service each piece is accompanied by one caisson.
Fig. 94.
| Weight of gun | 142 | lbs. |
| Weight of gun and carriage | 502 | " |
| Shots per minute | 357 |
This gun consists of two breech-loading rifled barrels, a (Fig. 95), (chambered at the rear to admit a flanged centre-fire metallic cartridge), having their axes in the same horizontal plane enclosed and supported in a bronze casing. The two openings in the front part of this casing are for the circulation of air to keep the barrels cool.
The barrels are without motion, and are loaded and fired by the action of the breech mechanism, which is contained in the rectangular rear part of the casing. This is closed at the top by a hinged cover, c, which is firmly locked in position by screwing up the cascable.
Fig. 95.
Fig. 96.
Motion is given to all the parts by the cams (a, Fig. 96), which are attached to the three steel disks, b, at opposite[348] extremities of a diameter, and the whole is rotated around an axis, c, by means of a crank, d. The parts abc form the main crank, which is supported in journal-boxes that are locked into the body of the rear case as shown in Fig. 95.
Fig. 97.
The Lock (Fig. 97) in form resembles the letter U, having an extension from its side which contains the firing-pin, h; the mainspring, i, whose ends abut against the collar, k, on the firing-pin, and the sector-sleeve, l, which slides over the firing-pin; the sector or spring-compressor, n; the extractor, b; the sear, e; and the sear-spring, j. The U part of the lock, that works under and around the cam, is curved at the inner front to correspond with the outer circle of the cam, the office of the curved front being to hold the lock in position for firing. The circular firing-pin is flattened a portion of its length near the front end, to allow it to pass under the extractor, by which it is held in position. It extends from the head of the lock through the mainspring and sector-sleeve, terminating in a head, m, for locking into the sear. The sear, e, pivoted in the centre of the lock, holds the firing-pin securely, and prevents it from touching the cartridge until it is released from its hold by the action of the cam, when the lock is in its extreme forward position.
The sector or spring-compressor, n, hinged in a recess of the lock, and engaging, by means of gear-teeth, with the sector-sleeve, l, has its arm, g, forced against the safety-stop, o, as the cam advances, thus compressing, through the medium of the sector-sleeve, the mainspring, and holding it tense until released by action of the sear.
The lock-heads serve as breech-plugs, and receive the recoil when the cartridges are fired. Each lock carries a hooked extractor which rides over and catches the flange of the cartridge, when the lock is forced forward, and when the lock retreats withdraws the empty shell until it comes within reach of the ejector, by which it is positively thrown out. The ejectors, ff, hinged to the case, are driven by projections on the sides of the locks which give them positive movements to eject the empty shells.
The Feed, resembling the Bruce feed but without the wheel, is fixed to the casing in rear of the barrels. Below the feed-guide the casing has two holes for the passage of cartridges, and below the holes is the feed-valve, which slides at right angles to the barrels when driven by the forked-shaped lever which receives its motion from the bolts as they move forward.
1. If the crank be turned before the feeding of the cartridges is commenced, the first few will fall irregularly and check the working of the gun.
2. Be careful to reclamp firmly the swivel and pointing-lever after pointing.
3. To oscillate the gun without changing the elevation, unclamp the swivel and turn the gun back and forth from right to left by means of the pointing-lever, regulating the amplitude of the vibration by the oscillation-stop head.
4. When the firing is discontinued, turn the safety-crank[350] downwards and to the front, until the crank-stop drops into its front recess in the casing.
5. This gun may be fired by turning the crank backward.
In and about the Casing.—Lock (lock-frame; lock-frame heads; lock-frame truck; locking-lever; locking-lever pins; locking-lever stop-pins; firing-pin; firing-pin rack; mainspring; sear; sear-pin; sear-spring; sear-spring pin; extractor); casing (body); casing (cover); cascable; cascable-screw; rear sight and pinion; rear-sight guide; lock-cam; lock-cam recoil-plates; lock-cam journal-boxes; perforated plate; perforated plate cartridge-support; shell-starter; cocking-cam; cocking-cam screws; hand-crank; hand-crank pin; hand-crank handle; ejector; ejector-pins; lock-guide; cartridge-guide; feed-valve; feed-valve slide; feed-valve seat; feed-valve lever; feed-valve lever-screw; feed-valve lever-slide; feed-guide; feed-guide catch; feed-guide cartridge-stop; front sight; mainspring-compressor; lever and compressor locks; compressor-guide; safety-crank; safety-crank stop; safety-crank stop-spring; safety-crank shaft, safety-crank shaft-lever and pins; front-sight spring; barrels; front barrel-plate; front barrel-plate pin; rear barrel-plate; rear barrel-plate pin.
About the Carriage.—Swivel (the brass casting connecting casing and carriage); swivel and casing pivot-pins, ring, chain, and lock-pin; swivel-clamp; swivel-clamp screw, gunner's seat; swivel-clamp screw-collar; swivel and carriage pivot-bolt locks; swivel and carriage pivot-bolt lock-lever; swivel and carriage pivot-bolt lock-lever ring and chain; elevating and pointing-lever; pointing-lever pivot-pin ring chain and lock-pins; pointing-lever clamp, lock-chain; pointing-lever clamp-screw; oscillation-stop, trail handspikes, oscillation-stop traversing-screw; oscillation-stop limit-screw.
Implements, etc.—Wiping-rod; T screw-driver; lock-wrench; headless shell-extractor; packing-case; shell-driver; hammer; drifts; breech-casing cover (leather).
The distinctive feature of the carriage is the arrangement for oscillation, the lateral movement being regulated by a clamp, which compresses, or allows to expand, a metallic ring concentric with the pivot around which the gun moves. The lever for elevating or depressing, as well as giving the oscillation, is peculiar to this gun.
The limber-chest is opened in rear by a lid, which falls down, and is held in place by jointed braces, thereby serving as a shelf. When down, it exposes a series of drawers six in number, and two recesses for implements. In these drawers the ammunition is carried in the original pasteboard packages. Each drawer has a capacity for 45 packages or 900 rounds, thus giving to each limber 5400 rounds.
1. Unscrew the cascable and raise the breech-cover.
2. Remove the locks. To do this, turn the crank until one of the lock-cam recoil-plates is uppermost; rotate the corresponding lock about the recoil-plate until it is vertical, and draw it out at front. The other lock may be removed in the same manner.
3. Remove the ejectors directly by their pins.
4. Remove the lock-cam, raising it vertically by means of its journal-boxes.
5. Turn out the feed-valve and valve-lever screws, and remove valve, valve-slide, lever, and lever-slide.
6. Drive out the safety-crank pin, and remove crank.
7. Drive out the safety-crank shaft and remove the spline.
1. Drive out the extractor-pin, and remove the extractor.
2. Unscrew the lock-head by means of the lock-wrench.
3. Uncock by pressing on the sear, and turn the cocking-lever to the rear; drive out the cocking-lever pin, and remove the lever.
4. Draw out the firing pin, remove the rack, and unscrew the mainspring.
5. Drive out the sear-spring pin, and remove the spring.
6. Drive out the sear-spring, and remove the sear.
7. Drive out the truck-pin, and remove the truck.
1. Put in safety-crank shaft and spline.
2. Put in safety-crank and crank-pin.
3. Replace the feed-valve, valve-slide, lever, and lever-slide, and the feed-valve and valve-lever screws.
4. Replace the lock-cam, lowering it vertically into place by its journal-boxes, with the oil-holes in journal-boxes on top.
5. Replace the ejectors.
6. Replace the locks. For this purpose each of the lock-cam recoil-plates must be uppermost, in succession.
7. Lower the breech-cover and screw up the cascable.
1. Replace the truck and drive in the truck-pin.
2. Replace the sear and pin.
3. Replace the sear-spring and pin.
4. Screw on the mainspring, replace the rack with notch towards head of firing-pin.
5. Replace cocking-lever with its front tooth in front[353] space on rack, put in lever-pin, and cock by turning cocking-lever to the front.
6. Turn the firing-pin so that its flat is parallel with the extractor-slot, and screw on the lock-head by means of the lock-wrench.
7. Replace the extractor and extractor-pin.
Fig. 98.
| Weight | 50 lbs. |
| Calibre | Small arms ammunition |
| Rapidity of fire | 600 to 650 shots per minute |
The gun consists of two parts, viz., the recoiling and non-recoiling.
Fig. 99.
Fig. 100.
The Recoiling Part is the barrel and its extension. The barrel is an ordinary rifle barrel with a breech-sleeve to which is secured the extension. The extension of the barrel consists of two vertical steel plates, between which the lock and the gear connected therewith operate on guides and bearings.
Fig. 101.
The Lock bears a vertically sliding piece, D (called the carrier), on its fore end, and does not differ materially from that of an ordinary pistol. It is secured by a divided screw to the connecting-rod, B, of a crank, E, the shaft of which passes through the plates. There is also a handle[355] to the shaft on the right side of the gun outside, and a curved arm to the crank.
The Trigger, F, immediately in rear of the mainspring, M, is actuated by the rod, S, which is operated by the lever, L, having at its upper end a double button. Pressing this button draws back the rod and releases the hammer, G, and firing-pin, H. In rear of the gun is a catch, which when down prevents the lever being pressed forward.
The Non-recoiling Portion consists of the gun-case and the water-jacket. This portion is mounted on trunnions, and has attached traversing, elevating, and depressing gear, and is provided with handles and sights for aiming and the double button for firing.
On the right side of the gun-case is a solidly attached resistance-piece, C. The curved crank-arm, A, is at a small distance from it when the gun is in a firing position, to avoid escape of gas to the rear and fouling of the chamber.
On the left side of the gun-case is a strong spiral spring the rear end of which is connected, by a chain and fusee, with the crank shaft, and the fore end is connected to the gun-case by means of the spring-case; this spiral spring is to bring back the barrel after the recoil and to work the crank; the working strength of the spring can be adjusted by means of the screw at the fore end. The water-jacket surrounds the barrel and is fitted with three openings, one for receiving the water, one for drawing it off, and the third for letting off the steam; the first two are closed by screw-plugs, the third is always open. Both ends of the water-jacket are fitted with stuffing-boxes and glands; these guide the barrel and prevent the escape of water.
In the feed-box, on top of the gun, are two movable pawls and two stationary ones. The movable pawls are connected by a lever to the barrel and are so adjusted that the[356] barrel on recoiling moves them from left to right; by means of a spring they engage behind the next cartridge in the belt, and thus the cartridges move on automatically towards the chamber; when the barrel returns after the recoil, the pawls place the cartridge, still in the belt, immediately above the chamber.
Cocking the Lock.—As the lock is brought away from the breech, by the action of the crank, the connecting-rod throws down the hammer, thereby pulling back the firing-pin and compressing the mainspring, which causes the short arm of the trigger to engage under the lug of the hammer, and thus the lock is cocked and cannot act until the trigger is pulled clear of the lug on the hammer. The safety-sear, V, pressed down by a small spring, engages in the upper part of the firing-pin as it is drawn back by the action of the hammer; the firing-pin cannot move forward until this sear is raised; this is done by the connecting-rod, after it rises above the horizontal, thereby securely closing the breech with the lock.
Operation in Firing.—In starting the gun the breech mechanism is operated by hand to insert the first cartridge in the barrel. The gun is then fired by pressing the firing-button. On the explosion of the cartridge the barrel and the gear connected therewith recoil about the distance of one inch. During the recoil the crank-arm comes in contact with the resistance-piece, K, and throws over the crank, bringing the end of the crank-handle onto the spring-buffer. The curve on the crank-arm is so arranged that the crank gets an accelerated movement by which the lock is thrown back clear of the breech and far enough for the carrier to extract the empty case from the chamber and a cartridge from the belt.
The turning of the crank winds the chain attached to[357] the spiral spring round the fusee, thus extending the spring. As the lock goes backwards the carrier is pressed down by its spring, and when in its lowest position the new cartridge is opposite the barrel and the empty case opposite the ejecting-tube.
The action of the spiral spring now brings back the barrel and its extension to their normal position; it also unwinds the chain from the fusee, thus turning the crank to its normal position, which throws the lock forward; as the lock moves forward it pushes the new cartridge into the barrel and the empty case into the ejecting-tube, Q.
During the last one sixteenth of an inch of the forward travel of the lock the carrier is raised by the carrier-levers, which are actuated by the lugs on the fore end of the connecting-rod, and when it arrives at its highest position it is held by a spring.
Belts, each holding 350 rounds, are carried in boxes for which there are receptacles on the different carriages. From four to six belts may be carried with each gun. In preparing the belts the cartridges are pushed in until about ⅛ inch of the brass case of the cartridge comes through the belt, or until the ends of the bullets come in line with the ends of the projecting brass strips.
Pass the end of the belt through the feed-box from right to left, seize it as it comes through with the left hand, and turn the crank-handle forward with the right hand as far as the spring-buffer; hold it in that position until the belt has been pulled through as far as it will go, and then let the crank-handle return to the firing position of its own accord. Repeat the operation just described. Now press the double button and firing commences.
To unload, it is only necessary to move the crank-handle forward twice and then press the spring underneath the feed-box, which will cause the pawls to disengage from the belt, and draw out the belt from left to right.
Before using the gun fill the water-jacket through the hole near its end. It holds about 2½ quarts. A water-bag, holding two gallons, is usually carried on the lower ammunition-box under the axle of the gun-carriage.
Oil thoroughly the packing in the stuffing-boxes and see that the barrel goes close home forward.
When the firing is completed, clean the working parts and oil slightly, and draw off water from the water-jacket.
Two locks are provided with each gun.
A tripod weighing 47 lbs. for mountain service. This is sometimes fitted with an axle and two light wheels, and is provided with a light limber, the long leg of the tripod forming the trail. A cavalry-carriage weighing complete 1115 lbs. An infantry-carriage weighing complete 641 lbs.
1. Press the spring-catch and open the cover.
2. Remove the feed-box by lifting it up out of the gun-frame.
3. Remove the lock; to do this, turn the crank-handle, which brings back the lock from the barrel, and disengage it from the guides; now let the crank-handle go slowly backwards and at the same time lift the lock upwards; the lock will rise, and when in this position one eighth of a turn will detach its divided screw from the threads on the connecting-rod, when it can be lifted out.
4. Press the spring-box forward and lift the three lugs[359] out of their respective pins, then disengage the spring from the chain and remove the box with the spring.
5. Drive out the pin, and remove the double-button lever with the spring and cup.
6. Drive out the handle-block pin; start the handle-block by slight blows with a mallet or piece of wood from beneath, lift it out of the gun-frame, and remove the rod.
7. Remove the two small slides by sliding them back out of the gun-frame.
8. Draw the recoiling-frame with barrel out from the gun-frame and water-jacket.
1. Replace the barrel and recoiling-frame.
2. Replace the two small slides.
3. Replace the rod and put the handle-block in the gun-frame; see that the rod enters its seat in the handle-block before driving the block home, and put in the pin.
4. Engage the double-button lever with the rod, and replace the lever, spring, and cup, and put in the pin.
5. Engage the spring with the chain not wound around the fusee and replace the spring-box.
6. Replace the lock by screwing it into the connecting-rod until the two shoulders meet, then turn the crank-handle forward, guide lock into its guides, and let the crank-handle go slowly back to its place.
7. Replace the feed-box, with the stud in its seat, in the recoil-frame.
8. Close the cover by pressing the spring-catch.
(See Fig. 101.)
All pins enter from right to left. In driving out a pin see that the side of the lock round the pin is well supported.
See that the carrier is in its highest position; then release the mainspring by lifting the safety-sear and pulling the trigger.
1. Take out the pin (1) which secures the mainspring and the clip which keeps the carrier-levers in their places. Remove the mainspring, clip, and carrier-levers.
2. Take out the pin (2) that secures the sear. Remove the sear.
3. Drift out the pin (3) that secures the hammer. Remove the hammer.
4. Drift out the tapered pin (4) that secures the safety-sear. Remove the safety-sear and the firing-pin.
5. Take out the pin (5) that secures the piece which regulates the downward position of the carrier and keeps the carrier in its place. Remove piece and carrier.
6. Remove the cover (6) at the back of the carrier and take out the upper piece and spring; the lower piece is riveted onto the carrier.
1. Put the upper piece and spring into their place in the face of the carrier and slide on the cover (6).
2. Place the carrier in its grooves, put in the piece which holds the carrier in its place, and drive in the pin (5) which secures the piece.
3. Put in the safety-sear and the firing-pin; drive in the tapered pin (4) that secures the safety-sear.
4. Put in the hammer, taking care that its point enters the slot in the firing-pin. Drive in the pin (3) that secures the hammer. When the pin (3) is in place, upset the point slightly by a few blows of a small hammer.
5. Put in the sear and the pin (2) which secures it.
6. Place the carrier-levers in their places; put in the mainspring, taking care its point enters the slot in the[361] firing-pin; put on the clip and drive in the pin (1) which secures the mainspring and clip.
Note.—There may be a little difficulty in entering the pin (1), but a special tool is supplied, which, being entered from left to right, will hold the clip and mainspring in their places, and then the pin (1) can be driven home from right to left, which, in its passage through the hole, will remove the tool.
This carriage, manufactured by the Ordnance Department, is designed for any machine-gun; each kind of gun to be provided with its own mount adapted to the carriage, which is made of steel.
The design includes a spherical shield above and a plane apron below the axle for the protection of the cannoneers. The apron is hinged to the axle and is folded up and keyed to the under side of the trail when not in action. The spherical shield can be removed if desired.
The body is the axle, and it and part of the trail make a chest for ammunition in which 1200 .45-calibre cartridges, packed in paper boxes, can be carried.
Two doors, right and left of trail, on inner side, give access to the cartridge-space in the body, and a door on top of the upper end of trail to the cartridge-space in the trail, the two parts being continuous. Lower down in the trail is a tool-box to which the trail-seat, when raised, gives access. The top of the carriage makes a convenient table for tools, feed-guides, and ammunition when in action.
The shield with aperture and disks are so combined that the gun can be readily pointed without exposure.
Theoretical Gunnery. Definitions. General Principles. Probability of Fire. Burst of Shell. Burst of Shrapnel.
Interior Ballistics.—The effects produced on a projectile in the bore of a gun, and on the gun, when subjected to the action of the products of combustion of gunpowder or other explosives.
Gunpowder Explosion is the rapid conversion of gunpowder into gases and solids with evolution of heat.
Ignition is the raising of the temperature of some point of a grain of powder to 300° C.
Inflammation is the spread of the ignition from point to point on the surface of the grain or mass.
Combustion is the burning of the grain from the ignited surface, inward or outward, as the case may be.
Density is the ratio of the weight of a grain of gunpowder to that of an equal volume of water under standard conditions. It varies from 1.68 to 1.90, rarely exceeding 1.85.
Gravimetric Density is the ratio of a given volume of powder to that of an equal volume of water under standard conditions.
Density of Loading is the ratio of the weight of a charge of gunpowder to the weight, under standard conditions, of the volume of water that would fill the powder-chamber. Its value is 27.68 W/C, in which W is the weight of the[363] charge in pounds, and C the volume of the chamber in cubic inches.
Initial Air-space is the portion of the chamber in a loaded gun or shell unoccupied by solid matter before firing.
The Reduced Length of any volume in the bore of a gun is the height of a right cylinder of the same volume, but with a diameter equal to the calibre of the gun.
An Adiabatic Transformation is a change that takes place in the state of a gas within an envelope impermeable to heat, or which occurs in such a short space of time that no heat is received or lost by it.
Detonation is exceedingly quick explosion.
Slow Powders are those which are not entirely burned when the projectile leaves the muzzle.
Velocity of Emission is the ratio of the amount of a unit weight of powder, burned in air in a small increment of time, to the time itself.
The Sectional Density is equal to the weight of the projectile divided by the square of its diameter.
Spherical Density is the ratio of the weight of the projectile to that of a sphere whose radius is equal to that of the right section of the projectile.
Similar Guns.—Two guns are similar when all their homologous lineal dimensions are proportional to their calibre.
Similarly Loaded.—When the weight of charge and projectile are proportional to the cube of the calibre, and the grains of powder are alike in form and composition, with dimensions proportional to the calibre.
Exterior Ballistics treats of the motion of a projectile in air after it has left the piece.
Trajectory.—The curve described by the centre of gravity of the projectile during its passage through the air. (Figs. 102 and 103.)
Line of Fire.—The prolongation of the axis of the piece.
Plane of Fire.—The vertical plane containing the line of fire.
Line of Sight.—The straight line passing through the sights and the point aimed at. (Figs. 102 and 103.)
Plane of Sight.—The vertical plane containing the line of sight.
Angle of Sight.—The angle made by the line of sight with the horizontal. (s in Fig. 102.)
Line of Departure.—The line in which the projectile is moving when it leaves the gun.
Fig. 102.
Fig. 103.
Angle of Departure.—The angle made by the line of departure with the horizontal. (d in Fig. 102.)
Angle of Elevation.—The angle made by the axis of the piece with the horizontal. (q in Fig. 102.)
The Jump.—The difference between the angle of elevation and the angle of departure, owing to the movement of the gun at discharge. (j in Fig. 102.) (The jump of 3.2 in. and 3.6 in. guns varies from 20 minutes at 1 degree to 30 minutes at 10 degrees elevation.)
Initial Velocity.—The velocity of the projectile at the muzzle.
Remaining Velocity.—The velocity at any point of the trajectory.
Final Velocity.—The velocity at the end of the range.
Range.—The horizontal distance from the muzzle to the point where the projectile strikes.
Drift.—The departure of the projectile from the plane of fire. With guns having a right-handed twist it is to the right, and its extent varies nearly as the square of the range.
Direct Fire is from guns with service charges at all angles of elevation not exceeding 15°.
Indirect or Curved Fire is from guns with less than service charges, and from howitzers and mortars, at all angles of elevation not exceeding 15°.
High-angle Fire is from guns, howitzers, and mortars, at all angles exceeding 15°.
Front or Frontal Fire is that which is directed perpendicularly, or nearly so, to the general line of troops fired at.
Fig. 104.
Oblique Fire is that which is directed obliquely to the line fired at; it is more searching than front fire.
Enfilade Fire is that which rakes the enemy's line of troops, the gun being on the prolongation of the line. It is the most effective fire.
Flanking Fire is one directed along the front of, or nearly parallel to, the line to be flanked or defended.
Reverse Fire is when the object is fired at from the rear.
Cross-fire is where the projectiles from guns in different positions cross one another at a particular point of ground. (See Fig. 105 for these cases.)
Fig. 105.
Absolute certainty of hitting the same spot at each round is impossible of attainment; and accuracy of fire is therefore a comparative term.
The Probability of Fire measures the chance of hitting a given target. It is determined for any gun by firing a certain number of shot at a given range, measuring carefully the ranges and dividing the sum by the number of shots, which gives the mean range.
Subtract each range from this mean range thus obtained, and the results obtained will be the errors in range for each shot. Add these errors together and divide their sum by the number of shots, and this will give the mean error in range. Multiply this mean error by 1.69, and the product will be the depth in the direction of the range of a belt or zone which will probably contain one half the whole number of shots fired.
In the same way the width of the probable zone, laterally, may be obtained, and also the height of the probable zone vertically. The origin of reference for the points of impact of the shots in the last two cases is generally taken at the lower left-hand corner of the target.
The intersection of the first two zones will give a rectangle which will contain 25 per cent of all the shots.
Similarly we may consider only the vertical and lateral errors, thus obtaining a vertical in lieu of a horizontal rectangle containing 25 per cent of all the shots.
The 50 per cent "breadth column" should, in practice, generally be neglected, as most of the errors in shooting are always over and under, and not lateral, ones.
The Point of Mean Impact is the intersection of the lines of mean range and mean lateral deviation.
The Probable Rectangle is one which contains 50 per cent of all the shots.
To find the probable rectangle for any gun, multiply the mean error in range by 2.637 for the side of the rectangle parallel to the range, and the mean error in lateral deviation by 2.637 for the side perpendicular to the range.
In all range tables for guns the 50-per-cent zones for length, breadth, and height should be given; and by means of them and the following table of probability factors the dimensions of zones of other percentage, and also the percentage due to certain dimensions at different ranges, can be obtained.
| Percentage. | Factor. | Percentage. | Factor. | Percentage. | Factor. |
| 1 | .02 | 25 | .47 | 60 | 1.25 |
| 3 | .06 | 30 | .57 | 70 | 1.54 |
| 5 | .09 | 35 | .67 | 80 | 1.9 |
| 10 | .18 | 40 | .78 | 90 | 2.44 |
| 15 | .28 | 45 | .89 | 95 | 2.91 |
| 20 | .38 | 50 | 1.00 | 100 | ∞ (say 4) |
First.—Opposite any given percentage, say 20, we find in the contiguous column a factor, .38. If we multiply the dimensions of the 50-per-cent zone, given in the range table, by this factor .38, we will obtain the corresponding dimension of the 20-per-cent zone.
Second.—Suppose for a particular range the dimension, say height of the 50-per-cent zone, is given in the range table as 4 feet, and we wish to know what percentage of shots will probably strike a zone 7.6 feet high. If we divide 7.6 by 4, we obtain 1.9, and from the table we see that the factor 1.9 corresponds to 80 percentage. Therefore we may assume that 80 per cent of the shots at that particular range will probably strike a zone 7.6 feet high.
For all practical purposes we may consider that the factor of the 80-per-cent zone is 2, of the 95-per-cent zone is 3, and of the 100-per-cent zone is 4.
A shell is a hollow projectile containing a bursting-charge of gunpowder, or some high explosive, and a fuze to ignite the charge at some point of its flight, or on impact. Its penetration into earth at 850 yards may be taken at 12 to 15 feet for field-guns. It is invariably fired with a percussion-fuze, and is used against material.
A shrapnel consists of a collection of lead balls in an envelope, and bearing a small bursting-charge, which, by action of the fuze, ruptures the envelope at some point of the projectile's flight, and leaves each bullet free to describe its own path, and the paths thus described, taken together, form the cone of dispersion.
Fig. 106.
This shrapnel is used entirely against animate objects, its main purpose being to cover a given area with a powerful and effective bullet-fire, and must have, at the instant it bursts, a terminal velocity of 500 ft.-sec. to be effective. The trajectory of shrapnel until it bursts is identical with that of shell. On its bursting the bullets spread in every direction, and form a cone of more or less denseness. This cone will increase in size as the range increases, because the velocity of translation decreases more rapidly than the velocity of rotation. On the other hand, the area of the oval formed by the intersection of this cone with the ground will decrease as the angle of fall increases. This oval has its greatest depth in the direction of fire, and its broadest end furthest away from the gun. Its depth diminishes as the range increases, and for short ranges it is much greater than for long ones. The breadth increases as the distance short of the object at which the burst takes place increases. The nearest bullet (that is, the one which has[370] travelled the shortest distance) will have the highest striking velocity, and the bullet that travels furthest will have the lowest striking velocity, the bullets between striking with proportionate velocities. As the distance short of the object at which the shell bursts increases so will the distances between the bullets on striking increase.
Fig. 107.
When firing at a horizontal target, the bullets are not uniformly spread over the whole of the oval of dispersion, those on the nearer side of the minor axis being more crowded together than those on the farther side. Of course the ricochets more or less endanger the omitted spaces, but as these are dependent on the hardness of the ground and on the angles that the strikes make with the actual surface of the ground with which they come in contact, they cannot be relied on. On favorable ground all the bullets will ricochet at all ranges, but the ricochets of those that fall short of the axial bullet will be about the only ones that will be effective.
The following rules should be observed:
1. When the object has depth, the fire cannot be too direct.
2. When the object has frontage and little depth, the[371] more oblique the angle of fire is to the front the greater is the area affected.
3. Time-shrapnel is peculiarly adapted to objects moving toward or from the battery. In the first case the fuzes are set rather short, in the second rather long.
4. The best position generally for the point of burst is about six yards above and fifty yards in front of the target. A good rule for the height of burst is the height of burst in feet = the number of hundred yards in range. Thus for 1800 yards' range it would be 18 feet (6 yards).
5. The spread may in general be reckoned as ¼ to ⅓ the distance of burst.
It must be borne in mind that a variation in the length of burst at any particular range may alter the frontage covered considerably, but it hardly affects at all the depth covered by effective bullets. This depth may be taken as 500 yards for ranges of about 1500 yards, 400 yards for ranges of about 2500 yards, and 300 yards for ranges of about 3300 yards, irrespective of the length of short burst.
With shrapnel of this kind the cone of dispersion has an ascending angle which will be much greater than the angle of descent, and would vary with the conditions of the ground struck. The velocity is very much impaired by the retardation on graze, and the smallest irregularity may cause the projectile to bury itself, or rise at a very considerable angle.
The effect being so greatly inferior to time-shrapnel, they would only be used on particular occasions.
Canister is a collection of bullets contained in a can,[372] which is ruptured in a gun by the shock of discharge, the bullets thereby forming a cone of dispersion with its apex at the muzzle of the gun. The can, or envelope, in the U. S. service is known as the Sawyer, and is made of malleable cast iron, weakened by spiral cuts.
Canister is essentially a close-quarter projectile for employment against personnel and horses, and under the most favorable circumstances is effective up to nearly 500 yards; up to 300 it is annihilating.
Effective ricochets are necessary for maximum results, and can only be obtained at short ranges, and then only over smooth water, or on a hard level surface not intersected with obstacles.
The Causes of Bad Shooting. Estimating Distances. Range-finding. Rule for Sighting. General Duties of Artillery Commanders. Target Practice. How Conducted. Projectiles Used. Kinds of Target. Night-firing.
1. Variation in the density of loading.
2. Bad aiming.
3. Faults in handling ammunition, fuzes, etc.
4. Variable weights of charges and projectiles.
5. Inability to judge correctly the position of the bursts of the shell.
6. Failure to take into account the age and condition of the powder.
7. Variable wind.
Variation in the Density of Loading.—This is beyond the province of the cannoneer, and need not, therefore, be considered.
Bad Aiming.—To obviate this, the men found to have the necessary quickness of hand and eye should be utilized for this work, though all should receive instruction in aiming. The sight should be carefully examined before each shot, the same amount of the target should be brought into the angle of the cross-wires, and a constant distance between the eye and the rear sight should be maintained.
Faults in Handling Ammunition, Fuzes, etc.; Variable Weights of Cartridges and Projectiles; Failure to Take into Account the Age and Condition of the Powder.—Cartridges[374] should be weighed, gauged, and felt when received; otherwise there will be variations in range due to more or less powder, to the make of the cartridge, or to caking. If the cartridges of a battery vary much as to age, brand, etc. or if they have travelled much, it would be well, when opportunity offers, to break the lot up, mix the powder thoroughly, remake and reweigh them. Be careful to use the copper measures and funnels, which can be obtained from the Ordnance Department.
Time-fuzes are sometimes carelessly cut, or the safety-pin not removed.
Inability to Judge Correctly the Position of Bursts of Projectiles.—The needful correction in elevation and fuzes cannot be given unless it can be seen by the eye or glass, or by the aid of observers, how the shells are bursting. While no provision has been yet made therefor, a good telescope, with a tripod, and capable of being moved by a micrometer screw, should be supplied to each battery in service.
In making allowance for the wind move the sight into the wind; e.g., if the projectile is carried too far to the right, on account of the wind blowing from the left, move the sight to the left, and vice versa.
The light, the state of the atmosphere, and the nature of the ground are the chief disturbing causes in estimating distances and admit of no rules.
The sun on one's back, a light background, water or snow to look over, ground that is uniform and offers no prominent points of reference, or when the air is particularly clear, as after a rain, tend to make objects appear near.
A dark background, the sun in one's eyes, undulating ground to look over, or when it is cut by ravines or covered[375] by trees or dwellings, or seen dimly at evening and in misty weather, tend to make objects appear distant.
In estimating distance under the usual conditions:
Men's features can be distinguished at 300 yards, head-dress at 600 yards, movement of legs and arms at 1000 yards.
Infantry can readily be distinguished from cavalry at 1200 yards.
Individual men become vertical lines at 1500 yards.
Distinguishing between infantry and cavalry only by mode of motion at 1500 yards.
A mounted man looks like a speck or dot at 2000 yards.
One can perceive men and horses at 2200 yards.
One can count the windows of a house at 4300 yards.
By day the glittering of the sun upon the arms of troops in motion indicates the direction of their march. If the rays are perpendicular, they are moving directly toward you; if slanting from left to right downwards, they are moving towards your right, and vice versa; if the rays are intermittent and varied, they are moving away from you.
Dust raised by cavalry forms a high light cloud, by infantry a lower and denser one, by wheeled vehicles denser still.
The range is found by sound, by observation, by taking measurements from the map, by means of range-finders, and by trial shots.
By Sound.—Multiply the number of seconds between burst of projectile and report of same by 370 to obtain the approximate range in yards.
By Observation.—As indicated in the rules given above regarding the appearance of objects.
By Taking Measurements from the Maps.—This can be done on a good topographical map on a large scale, taking[376] care to fix thereon accurately the position of the target and also the position of the gun.
By Means of Range-finders.—No range-finder has been adopted for our service; but several instruments are now under consideration.
Whatever range-finder may be used, and with whatever care the range may be taken, errors will exist; but they may be reduced to a minimum by a good instrument and skilled observers.
Trial Shots.—If the range be doubtful or unknown, trial shots will be used, but it must be remembered that trial shots disclose your position.
Estimate the range, give the elevation indicated for it by the range table, and the necessary drift (or deflection), each unit of the deflection scale on the sight corresponding to 1/345[8] of the range, and proceed as indicated under Target Practice, page 379.
Sighting.—The nearer the eye is to the rear sight the better will the front sight be seen, and the finer can the sight be taken. The same distance should be taken for each shot, if possible. In setting the sight it is well to bear in mind that the deviation of the projectile follows the motion of the rear-sight point: thus, if it be moved up further than is required, the projectile will strike high; if it be moved too far to the right, the projectile will go too far to the right of the object aimed at. Also in allowing for the wind move the sight into the wind, i.e, in the direction the wind comes from.
The chief of artillery to the general commanding issues the orders for the distribution and concentration of fire,[377] according to the phases of the battle and the plans of the general. As a rule, the method of carrying out these orders, the projectile used, the rapidity and order of fire, will be left to the commanders of groups of batteries.
The officer commanding the corps artillery designates the target for each of his battalions, and controls the fire of the corps artillery in accordance with the instructions he receives.
Fire Control.—The commander of an artillery battalion prescribes the method to be used for finding the range, designates the target for each battery, and prescribes the projectile to be used, the rate and order of fire, and the concentration or distribution of fire on the targets in range. His orders and directions that cannot be given by voice or trumpet are conveyed by his staff or non-commissioned staff.
Regulation of Fire.—This includes control over all the details of the service of the guns, the corrections in observation, deflection, the length of fuze, and the concentration and distribution of fire within the limits of a designated target that are necessary in order to obtain the most effective fire upon it.
The captain regulates the fire of his battery, and, if acting independently, he also controls it. He remains mounted or dismounted at pleasure, and places himself, as a rule, near one of the flanks and sufficiently close to the battery that his orders may be readily understood. The corrections for lateral deviations are generally intrusted to the chiefs of platoons.
Finding the range by the method designated, and the regulation of the fire according to the target, range, pro[378]jectile, and observed effect, are intrusted to the captains of batteries, and it is only in exceptional cases that the battalion commander takes personal command in order to find the range or to regulate the fire.
Artillery fire is effective in proportion to its concentration. The long range of the guns permits a concentration of their fire on many different points without change of position. When practicable, the groups that are intended to fire on the same target should be placed under the control of one officer. In the advance-guard action the artillery of the assailant covers, and the artillery of the defence opposes, the deployment and advance of the advance-guard infantry. In the preliminary stages of a battle and the commencement of the artillery duel the fire is usually directed on the targets immediately opposite the batteries engaged; as soon as portions of the enemy's artillery-line are subdued the fire is concentrated on the different targets in succession, taking them in the order of their relative importance; during the preparation and delivery of the assault the fire of the assailants is concentrated against the point of attack; the fire of the defence is concentrated against the attacking infantry as soon as it shows itself.
Fire should be directed against batteries that are changing positions, and in order that this brief opportunity of inflicting serious damage may not be lost a part of the batteries of the defence should be especially instructed to open fire on hostile batteries while limbering or in movement without waiting for orders.
The defence generally offers more favorable opportunities for long-range fire than the offence, but whether advantage is to be taken of these opportunities must be determined by the general commanding, who will have to decide whether the effect of the fire will compensate for the partial or complete disclosure of the position that it involves. Ordinarily artillery should avoid opening fire at a greater[379] range than 3000 yards. Beyond this distance it is difficult to observe the effect of fire even with good glasses. Longer range fire is used in exceptional cases against objects that are clearly seen and are of considerable extent, such as villages, camps, or large bodies of troops. Ineffective cannonades at long distances, and shelling woods or other localities not positively known to be occupied by the enemy, should not be permitted. The position from which fire is first opened may necessarily be much less than 3000 yards, in order to obtain view of the enemy.
Firing over friendly troops should be avoided as much as possible. Batteries that support an assault from a distance continue their fire upon the point of attack until it becomes dangerous to the assailants; they then either increase the range considerably in order to cover the ground beyond, or they direct their fire on other points of the enemy's line. Artillery does not fire at long ranges from positions in rear during a pursuit, on account of the danger to the pursuing troops; in such cases it should advance rapidly and endeavor to establish itself on the flanks of the enemy's line of retreat, where it will find the most advantageous positions.
As a general rule, the fire of artillery is directed against that arm of the enemy which at the time is predominant, or which is capable of inflicting the greatest loss on the infantry or cavalry that the artillery is supporting. During the artillery duel the artillery generally avoids firing at the other arms; but if large bodies of infantry or cavalry appear in open ground within effective range a portion of the guns should be directed upon them.
The artillery that first finds the range will have a great advantage in the artillery duel, and in all cases its correct establishment is the first condition of accurate shooting.
Observation of Fire.—Correct observation of the effects of fire is necessary in order to make the required corrections, and is indispensable to good shooting. It can only be acquired by much practice under the varying conditions of the wind, light, state of the atmosphere, background, foreground, and nature of the target, and is rendered more difficult in action by smoke and the liability of mistakes when more than one battery is firing at the same target. For medium as well as long ranges a good field-glass is required.
As a rule, the observation is limited to ascertaining whether the shots are short or over. The observation of direct hits is unreliable except at very short ranges, or when palpable effects are produced in the enemy's ranks, limbers are blown up, or there are other manifest indications of the effect produced. When a target is on a height or behind a parapet, it is possible to distinguish hits on the slope of the hill or on the parapet, and to estimate correctly the error in range of the projectiles that fall short. There are no means of estimating the error in range of the projectiles that fall beyond the target, except when a battery is on an elevation and firing at a target on a plane below it; here shots striking beyond the target may be observed and the error estimated.
When several batteries are firing at the same target, and it is difficult to distinguish the individual rounds, a fire by battery will give a group of shots that may be recognized.
The observation of the fire will be facilitated by the reports of an officer or non-commissioned officer stationed some distance in advance and outside one of the flanks of the guns.
Smoke.—When the wind is across the range and blows the smoke in front of the guns, it will be difficult to correctly aim and properly observe the effects of the fire. In the case of a single battalion this inconvenience may be[381] diminished by increasing the interval between the batteries, or may be avoided by advancing the batteries in echelon from the leeward flank so that the smoke of each windward battery will drift behind those to the leeward of it. This last measure has the disadvantage of making the leeward batteries conspicuous against the white background of smoke, and besides is not always practicable, especially when the position is on the brow of a hill. If neither of the above expedients can be adopted, and it is not possible to sufficiently increase the interval of time between the guns in each battery to permit the smoke to blow away, the fire by battery or platoon may be used, or the battalion commander may order the battalion to fire by piece, commencing on the leeward flank. When several battalions are together, as large intervals as possible should be left between them, or, if the ground permits, the battalions should be advanced in echelon from the leeward flank, in order to diminish or avoid the inconvenience of smoke drifting across the range.
When the target cannot be seen on account of smoke which hangs in front of the guns, or on account of fog, rain, or darkness, the pieces may be aimed by means of auxiliary targets.
Finding the Range.—This is the work of the battery commander. He and the range party precede the battery to the position, and as soon as the exact position of his battery is indicated by the battalion commander he observes carefully the position of the target, its nature and extent, and estimates the range by means of a map, any source available, or range-finder (all if possible), very carefully, and especially so when the fire is to be over the heads of other troops.
He estimates the ranges to other points within the field of fire which might subsequently become targets, and observes:
Nature and position of any covering mass.
Zones of ground which ought to be cannonaded.
Nature of soil in vicinity of target, if possible.
Exact part of target on which to aim his guns in determining the range.
If the range be determined only by observation, it will be necessary to use trial shots.
In finding the range by trial shots it is of great importance that the object and the particular part of it to be fired at should be clearly understood. In order to avoid mistakes the captain may direct one of the officers or non-commissioned officers to rectify the aim of all the guns after they have been pointed. Care should be taken that all the guns are aimed at exactly the same point; that the exact elevation ordered by the battery commander is used, and not changed until ordered by him; and that the result of every shot is carefully observed.
The range can be more accurately and quickly found when each battery has a different target and one directly in front of it to fire at. If the target is a long line, it should be divided into as many sections as there are batteries to fire at it, and each captain should select a gun or object in the part assigned him. In such case the battalion commander can compare the elevations obtained by the several batteries, and if they agree, and the observation of the fire indicates good results, it is fair to assume that the range is correct. When several batteries are to open a long-range fire on a small target, the battalion commander generally designates the battery, and preferably that on the leeward flank, to find the range. Batteries that come into action at short distances from the enemy's line generally find the range by firing salvos at a prominent point of the target.
As a rule, percussion-shell are used to find the range, and all the guns of a battery are aimed at one point of the target; if shrapnel with percussion-fuze be used, the same principles apply.
In firing at intrenchments, however, the fire may be distributed from the first, even for obtaining the range, as the hits, as a rule, can be easily observed.
The enemy's flanks are designated, and the guns in his batteries are numbered, as he himself would designate or number them.
The firing to obtain the range should be slow and deliberate, and ample time afforded to observe each shot and make the necessary corrections.
When a battery unlimbers near another battery already in action and opens fire upon the same target, it should obtain the range from the latter.
The duty of finding the range generally devolves upon the captain of each battery, even when several batteries open fire upon the same target. Whenever several batteries open simultaneously to find the range of a target of limited dimensions, the fire of each battery must be concentrated upon an entirely distinct point, and all of the points must be far enough apart to enable each battery commander to distinguish the fall of his own projectiles from those of the neighboring battery.
It is only in very exceptional circumstances that the battalion commander would take personal charge of the firing of his battalion in order to establish the range himself.
Trial Shots.—A percussion-shell is fired with the elevation corresponding to the estimated range at a clearly visible and sharply defined fixed point of the target.
If the first shot strikes short, or beyond the target, the range for the second is either increased or decreased, according to the case, so as to throw the shot beyond or short of the target.
These corrections are generally made as follows:
| When firing at short ranges, | 100 | yards. |
| When firing at medium ranges, | 200 | " |
| When firing at long ranges, | 400 | " |
Such firing is pursued until two consecutive shots fall, one short of and the other beyond the target, which establishes "the long bracket, or fork."
No round should be taken as a basis for correction if there is any doubt as to the reliability of the observations.
A mean range is taken from those two which determined the long fork for the next shot, and then another shot is fired at a range obtained by taking the mean of the last range and the one of the long fork whose shot fell on the opposite side of the target. So proceed until the target is enclosed between two consecutive shots only 50 yards apart. This is called "the short fork, or bracket." Then a verifying group, generally a shot from each gun is fired with the elevation corresponding to the mean range of the short fork. If four out of six of the shots fall short, the range is established; and if shrapnel-fire is then resorted to the range is still further reduced by 50 yards. When the range has been measured, and not estimated, the short fork may be obtained from the first two shots.
If the elevation has not been obtained as above indicated, at known ranges shrapnel-fire may commence, as if the range had already been determined by shell-fire; at unknown ranges the trial-shot firing with shrapnel is conducted as with shell; that is to say, the elevation is increased or reduced from shot to shot (by 100 yards at short range, 200 yards at medium range) until the target is enclosed between at least two accurately observed shots, one over and the other short. The difference is reduced as already described until the mean of the short fork is obtained. The large fork should be established by percussion-shrapnel, and then fire time-shrapnel.
During the ranging platoon commanders indicate exactly the point to aim at, see that the sights are properly set, especially during the first rounds, observe similarly the time-fuze, and make any necessary correction for deflec[385]tion; which deflection pertains to a particular gun, and is not carried to another. Bear in mind that each unit of the scale for deflection corresponds to 1/345 of the range for sights now used.[9]
After the ranging has been completed, if a gun makes a constant error, the platoon commander may be permitted to change the elevation ± 25 yards.
The general rule for vertical and lateral corrections is: when the deviation exceeds the amount of mean dispersion, a correction should be made after one round; but if it is equal to or less than this several rounds are fired with the same elevation or deflection, and a correction made according to their mean deviation.
The battery commander indicates the length of fuze for time-shrapnel.
If firing at artillery and all the guns are equally conspicuous, the fire should be directed upon one of the central guns, otherwise at the most conspicuous gun; if the wind is blowing across the range, the fire should be directed upon the most conspicuous gun on the windward flank. If firing upon masses of troops, the fire should be directed upon the centre of the first line; if firing upon skirmishers, it should be directed first upon one point, then another, close in front of the line.
Percussion-shell.—For ranging, against material, and in default of shrapnel against living targets.
Against troops behind loopholed walls,—if it explodes after passing through, use percussion-shrapnel,—stockades, abattis, barricades, entanglements, etc.
Direct hits are necessary when it is used against guns, limbers, earthworks, obstacles, etc., and its effects are then[386] due to percussion, penetration, and the explosive force of the bursting-charge. When used against men or horses, it is burst on first graze close in front of the target, and its effects are then produced by its splinters. The smoke made by the large bursting-charge of the percussion-shell aids the observation of fire.
The effect of projectiles with percussion-fuzes is dependent on the nature of the ground in front of the target; soft marshy ground, hollows, and cuts diminish its effect, while hard smooth ground increases it.
Percussion-shell gives the best results when the fire is concentrated. It can sometimes be advantageously distributed, provided that several guns keep a part of the target under superior fire.
Shrapnel with Time-fuze is used against all living targets, provided they be not close behind cover, troops behind slight cover, such as shelter-trenches, banks, etc., gun-pits and epaulments, balloons, batteries limbered up or in action, ammunition and other trains, unless firing particularly against the material. With the fuze set at zero it can be used for close defence in default of canister.
The effect of shrapnel is due to the penetration of its bullets and splinters; this penetration is small, and it is therefore employed against men and horses only. It has a combination fuze and can be made to burst either in the air or on the first graze, and can therefore be made independent of the nature of the ground in front of the target. Made to burst high by means of its time-fuze, it can be used against living targets behind cover, against which percussion-shell could have but little effect.
Burst the projectiles 50 yards short and about 6 yards (at medium ranges) above, the object aimed at. A rough rule for height of burst is height of burst in feet=the number of hundred yards in range. In firing at troops behind cover, such as banks, rising ground, or earthworks,[387] burst the projectiles about 25 yards, or less, in front of, and from 7 to 10 feet above, the cover.
Shrapnel with Percussion-fuze is generally used against moving targets, for rapid firing, and for firing over friendly troops; against enemy's troops in a village or woods; metal shields; and in cavalry combats as soon as the ground which was masked by one's own troops becomes cleared.
Shrapnel gives the best results when the fire is distributed, a part of the target being apportioned to each gun. When the time-fuze is used, it will often be advisable to vary the elevation and length of fuze in each battery so as to cover about 200 yards in depth, and thus bring the enemy's supports and reserves, as well as his front line, under fire.
Canister is used against living targets at close ranges. Its effect is largely diminished when the ground in front of the guns is rough or soft, and particularly when covered with brush or standing crops. It would be used against cavalry at 500 yards, and against infantry at 300 yards.
Order of Fire.—The order of fire is habitually by piece in each battery, and usually commences on the leeward flank. It is the most effective, as the errors in the service of any one gun can generally be observed, and therefore corrected.
Salvos, or the fire by battery, may be used to find the range under circumstances that render it difficult to observe a single shot, to avoid the inconvenience of smoke, and occasionally, instead of rapid fire by piece, to take advantage of quickly passing opportunities.
The fire at will is only used in the defence of the guns at very short ranges.
The fire by piece from one flank of a battalion to the other may be used to avoid smoke, or to enable the field-officer commanding the battalion to take personal charge of the firing in order to find the range under difficult circumstances, or to regulate the fire in exceptional cases.
The fire by platoon is only used to facilitate the observation of fire under exceptional circumstances that permit two shots to be observed more easily than one, and also to increase the interval of time between successive discharges, to allow the smoke to drift away, without diminishing the amount of fire. In most cases the fire by piece or by battery is preferable to it.
Rapidity of Fire.—The rapidity of fire is dependent on the range, the circumstances of the action, the facilities for the observation of the fire, and the amount of unexpended ammunition.
Slow Fire is used at long ranges and for obtaining the range, and generally in the commencement of the action and during the artillery duel; it is also used in prolonged actions, and when the ammunition is running short. The interval between successive shots should not be less than 30 seconds, and may be slower.
Ordinary Fire is used when the fire is effective, but when the circumstances of the action do not demand a rapid fire. It is at the rate of 1 shot every 20 seconds, or, in a six-gun battery, 6 rounds in 2 minutes.
Rapid Fire.—The rate is about one round in 7 seconds; it should be sufficient to enable the effect of a shot to be observed before firing the next one.
The range being accurately known, it is used: when the enemy's batteries are coming into action; when there is a very favorable target; when a rush is made to pass a defile; when covering the advance of one's own artillery; when the decisive infantry attack is about to take place; when the advance is checked during a critical situation; when the opportunity to fire is very fleeting; at short ranges.
The instant the necessity for rapid fire ceases to exist the fire should revert to the ordinary rate.
The range is found by trial shots, the elevation being increased or reduced by stages of 100 or 200 yards, depending on circumstances.
As soon as a shell is observed to fall not too short (within 100 yards of the advancing target) all the guns fire a round rapidly.
If infantry is being fired at, each subsequent round should have its range diminished by 100 yards; if cavalry or artillery, at a trot or gallop, it should be diminished 200 and 300 yards respectively.
Two elevations differing by 100 yards are obtained as before; with the lower of the two a salvo of shrapnel is fired from all the guns in the battery, the proceeding is then repeated, and so on.
If the target is of great length, aim at the head of it; if not of great length or moving rapidly, aim in front of it.
Under certain circumstances it is advisable to ascertain the range of points in the line of march of the target. When the moving target reaches one of these points, fire rapidly. Infantry cover 1½ yards a second at a quick walk, and artillery and cavalry 2 yards a second at a quick walk, 4 yards at a trot, and 6 yards at a gallop. By multiplying the rate per second of the target by the time of flight of a shell, we obtain the distance the target has moved over during the flight of the shell.
In firing at an object which cannot be seen from the gun several methods are employed, depending on the circumstances of the case.
1st. Plant a picket for each gun on the crest of the ridge whence the object to be fired at can be seen; behind the ridge line a second picket with the first picket and the object, run the guns up to any convenient distance in rear of the pickets, and get them in line with each pair of pickets; the deflection-scale can be used to remedy any small lateral errors. The elevation is given by means of a gunner's quadrant or pointing-arc if available. If not, set a stake in front of the line of wheels and in rear of the muzzle, and immediately in the plane of sight, its height equal to the vertical distance from the top of the trunnion-sight to the ground; (for 3.2-inch gun 3′ 10".68; for 3.6-inch gun 3′ 11".16). Then give the rear sight the elevation corresponding to the range and aim at this point, using peep-and cross-hairs. An observer is necessary, and by means of his reports the necessary corrections are given until the elevation and length of fuze have been determined. After each shot care must be taken to run the gun up to the position it occupied before firing.
2d. In Firing at Troops in Ravines and Hollows when they cannot be seen from the battery select a stone or bush, or any distinguishable object, on the side of the ravine or hollow as an auxiliary target, and obtain the elevation and fuze for it; then by means of the lateral deviation of the sight change the direction of fire, and elevation and fuze if necessary. In such a case an observer on the flank or some commanding position is absolutely necessary.
3d. By Means of a Compass.—Select a distant auxiliary mark that can be seen from the gun; from a position as near the gun as possible obtain the angle between the aux[391]iliary mark and the object; construct this angle at the gun and mark the position of the wheels; give elevation as previously explained, and make corrections by reports from an observer. The Germans have a device for measuring this angle: it consists practically of a horizontal graduated arc bearing an arm containing two vertical sights. It is placed on the gun, set at the angle indicated by the compass, and the gunner sights at the auxiliary object.
For night firing, or when there is much fog, a luminous aiming-point is required. This may be readily obtained by the use of a bull's-eye lantern. Soften the light by placing paper or other material over the glass, and draw thereon two right lines intersecting at right angles at the centre of the glass. At a convenient distance in front of the gun and in the plane of fire place the lantern on a post so that the point of intersection of the lines shall be at such a height that when the rear sight is at zero, and the axis of the gun horizontal, it can be directly aimed at. Establish a plumb-line between the lantern and the gun so that the plumb-line, the point of intersection of the lines on the lantern, and the object aimed at are in the same vertical plane. (The above requirements must of course be completed during the day, when the object can be seen.) Give the rear sight the elevation corresponding to the range, and aim at the point where the plumb-line covers the point of intersection of the two lines on the glass of the lantern.
If a gunner's quadrant or pointing-arc be available, simply determine and mark accurately the direction for each piece, and give elevation by either instrument.
Cordage. How Preserved. Strength. Blocks and Tackle. Knots, Hitches, etc. Lashings.
Bridges, Trestles, Piers, etc. Single-sling and Treble-sling Bridges. Stringer Bridges. Fords. Flying and Floating Bridges. Rafts and Casks.
Ropes are distinguished as to size by their circumference in inches. Their length is given in fathoms.
Hemp rope when new stretches freely, and deteriorates very much after a few months' wear. It is about one third stronger than manilla rope.
To ascertain the strain in pounds a rope will bear without breaking, square the circumference and multiply the result by the tabular unit in the following table:
| Kind. | Circumference. | White. | Tarred. | ||
| 3-strand. | 4-strand. | 3-strand. | 4-strand. | ||
| Hemp | 2.5 to 6 in. | 1140 | 1330 | 850 | 1000 |
| 6 " 8 " | 1090 | 1360 | 825 | 940 | |
| Manilla | 2.5 to 6 in. | 810 | 950 | .... | .... |
| 6 " 12 " | 760 | 835 | .... | .... | |
For ropes in daily use reduce the tabular unit one third to meet reduction in strength by wear and exposure.
A safe general rule for all ropes is, one fourth the square of the circumference gives the breaking weight in short tons.
| Circumference, in. | 1 | 1¼ | 1½ | 1¾ | 2 | 2¼ | 2½ | 2¾ | 3 | 3¼ | 3½ | 3¾ | 4 |
| Weight, lbs. | 540 | 844 | 1215 | 1654 | 2160 | 2734 | 3375 | 4084 | 4860 | 5704 | 6415 | 7594 | 8640 |
| Circumference, in. | 4¼ | 4½ | 4¾ | 5 | 5¼ | 5½ | 5¾ | 6 | 6¼ | 6½ | 6¾ | 7 | 8 |
| Weight, lbs. | 9753 | 10935 | 12184 | 13500 | 14884 | 16635 | 17954 | 18252 | 19805 | 21421 | 23100 | 24843 | 32448 |
To Preserve White Rope.—Dip when dry into a bath containing 20 grms. (about seven tenths of an ounce) of sulphate of copper per litre (a little over one quart) of water; soak for four days and dry. Then soak in a solution of 100 grms. (3.5 oz.) of soap per litre of water.
Iron-wire Rope.—Its breaking weight in tons is about equal to the square of the circumference in inches.
Steel-wire Rope.—It is from 2 to 2½ times stronger than iron-wire rope. Wire rope can be safely worked in field service to one half its breaking weight.
To Preserve Wire Rope.—Apply linseed-oil with a piece of sheepskin, wool inside; or mix the oil with equal parts of Spanish brown and lampblack. If used underground or in water, take mineral or vegetable tar, add one bushel of fresh-slaked lime to barrel of tar, boil it well, and then saturate the rope with the boiling tar.
Chains.—Chains, when used in place of ropes, should be examined to see that every link is free from flaws and not too much worn. The chain should have no kinks in it, and each return, when more than one is used, should bear its proper strain. Do not work a chain over a windlass of[394] small diameter; the iron of the links breaks by bending, not by tensile strength. Lubricate freely.
| Circumference. | Wire Ropes Hawser-laid. |
Round-link Crane-chain, Length of Link not Exceeding Five Diameters of the Iron. |
||||
| Iron. Safe Working Strain. |
Steel. Safe Working Strain. |
Weight per Fathom. |
Diameter of Iron of Link. |
Safe Working Strain. |
Weight per Fathom. |
|
| Inches. | Cwts. | Cwts. | Lbs. | Inches. | Cwts. | Lbs. |
| ¾ | -- | -- | -- | 3/16 | 8 | 2.1 |
| 1 | 10 | -- | 0.94 | ¼ | 15 | 4.88 |
| 1¼ | 13½ | -- | 1.5 | 5/16 | 22 | 7.26 |
| 1½ | 21½ | 62½ | 2.5 | ⅜ | 32 | 10.57 |
| 2 | 40 | 112 | 3.5 | 7/16 | 45 | 13.0 |
| 2¼ | 50 | -- | 4.5 | ½ | 65 | 16.0 |
| 2½ | 60 | 195 | 5.75 | 9/16 | 75 | 21.0 |
| 2¾ | 77 | -- | 6.5 | ⅝ | 92 | 25.0 |
| 3 | 92 | 245 | 7.5 | 11/16 | 112 | 29.0 |
| 3¼ | 109 | -- | 8.5 | ¾ | 135 | 36.0 |
| 3½ | 125 | 275 | 10.75 | 13/16 | 157 | 43.0 |
| 4 | 157½ | 450 | 13.25 | ⅞ | 182 | 46.5 |
| 4½ | 210 | 545 | 17.75 | 15/16 | 210 | 58.0 |
| 5 | 248 | 669 | 21.5 | 1 | 240 | 63.5 |
Blocks are of two kinds, made and mortised. A made block consists of four parts: shell, sheave, strap, and bush. A mortised block is made of a single block of wood, mortised out to receive a sheave.
Blocks are single, double, or treble, according to the number of sheaves.
A Tackle is a purchase formed by reeving a rope through two or more blocks for the purpose of hoisting.
A Whip is a purchase made by a rope rove through one single block.
A Gun-tackle Purchase is a rope rove through two single blocks, and made fast to the strap of the upper block. The parts of all tackles between the fasts and sheave are called the standing parts. The parts between the sheaves are the running parts, and the part which is taken hold of in hoisting is called the fall.
A Whip upon Whip is where the block of one whip is made fast to the fall of another.
A Luff-tackle Purchase is a single and a double block, the end of the rope being fast to the upper part of the single block, and the fall coming from the double block. A luff-tackle upon the fall of another luff-tackle is called luff upon luff.
A Watch-tackle or Tail-tackle is a luff-tackle purchase, with a hook in the end of the single block, and a tail to the upper end of the double block.
A Single Burton is composed of two single blocks, with a hook in the bight of the running part. Reeve the end of rope through the upper block, and make it fast to the strap of the fly-block. Then make fast your hook to the bight of the rope, and reeve the other end through the fly-block for a fall. The hook is made fast by passing the bight of the rope through the eye of the hook and over the whole. This is a very quick-working tackle and a strong purchase. Used for hoisting entirely.
When a very heavy weight is to be raised, the standing part should be attached to the slings by a fisherman's bend instead of to the block.
The size of blocks is expressed by the length of the shell in inches.
Tackles are also designated by the number of sheaves employed, as twofold (two single blocks), threefold (double and single block), etc.
The bight of a hook is the middle of the bend of the hook part.
Rope should always be stopped up, either with the end or with rope-yarn stops, to prevent its getting into a snarl. When using ropes for hauling, they should never be dragged upon the ground.
Before reeving a rope in a block the turn should be carefully taken out, to prevent twisting when the weight is lifted. This is done by stretching the rope out to its full length, and turning it in the opposite direction to that in which it is laid up until all the stiffness disappears.
Blocks should be overhauled very often to see that the sheaves are working properly on the pins, and that they work smoothly. If they do not, turn the pins end for end and rub a little black lead (graphite) on them to lubricate them; also on the sides of the sheaves where they rub against the shell.
When hoisting with tackles, they should never be allowed to twist. If they show a tendency to do so, insert a bar in the block or sling, and use it as a lever to hold it straight.
It frequently happens that the men cannot apply their full strength in the direction in which it would be most effective. In such cases hook a single block to some object about two feet above the ground and reeve the end of the fall through it, so that the men can add their strength to their weight, and more men can apply themselves.
Never trust the suspension of a weight to holding it by the unaided strength of men. If it is possible to get a turn around any fixed object, even in raising or hauling a weight, it is best to take a turn, as all that is gained is then saved.
Always select such blocks that the fall will run freely through them, and not ride upon the edges of the sheaves. If it does, it will be certain to cut. The rope should not quite fill the groove on the sheave. In this way excessive friction is avoided.
The power gained by using tackle is as follows:
Two single blocks, or gun-tackle: nearly doubled.
Luff-tackle, double and single block: doubled. If the double block is movable, trebled.
Two double blocks: power × 3⅓.
Double and treble blocks: power × 4.
Two treble blocks: power × 4½.
Whip upon whip (single Burton): trebled.
When one tackle is applied to another, the power obtained is found by multiplying their respective values together.
No advantage is gained by using a greater number of sheaves than two treble blocks in one fall.
The power is equal to the weight divided by the number of ropes (standing parts) attached to the lower block, or by twice the number of rising pulleys (sheaves).
Thumb-knot (Fig. 108).—Used to prevent the end from unfraying, or to prevent its slipping through a fall.
Figure-eight Knot (Fig. 109).—Used to prevent the end from unfraying, or to prevent its slipping through a fall.
Fig. 108.
Fig. 109.
Fig. 110.
Fig. 111.
Fig. 112.
Reef-knot (Fig. 110).—For joining two ends of rope or chain together.
Singlesheet Bend (Fig. 111).—For joining dry ropes of unequal size.
Doublesheet Bend (Fig. 112).—Same for wet ropes.
Draw-knot (Fig. 113).—Same when it may be required to cast them loose.
Running-knot (Fig. 114).—To form a loop that will draw taut.
Fig. 113.
Fig. 114.
Bowline (Fig. 115).—To form a loop at the end of a rope which will not slip.
Half-Hitch.—For securing the loose ends of lashings.
Two Half-hitches (Fig. 116).—For making fast a rope-end to an object.
Clove-hitch (Fig. 117).—Two half-hitches, used for commencement and finish of lashings; making fast the end or the bight of a rope to any object.
Fig. 115.
Fig. 116.
Fig. 117.
Fig. 118.
Timber-hitch (Fig. 118).—Used on pieces of timber, or in making fast to spars, where the weight will keep the rope taut.
Round Turn and Two Half-hitches (Fig. 119).—For making fast a rope so that the strain shall not jam the hitches.
Fisherman's Bend (Fig. 120).—For making fast where there is give and take motion, as when a boat is at anchor.
Fig. 119.
Fig. 120.
Fig. 121.
Lever-hitch (Fig. 121).—For drawing pickets, fixing rounds of rope-ladder, bars to, or loops on, drag-ropes.
Man's Harness-Hitch (also Fig. 121).—Loop to pass over shoulder. To fix a rope with a weight on it rapidly to a block.
Fig. 122.
Fig. 123.
Cat's-paw (Fig. 122).—At the end or in the middle of a rope for hooking on a block.
Blackwall Hitch (Fig. 123).—Simple hitch with pliable rope and fixed weight. Used to transfer the strain from one rope to another, or to secure a tackle to a rope for a horizontal pull.
Stopper Hitch (Fig. 124).—To shift the strain off a rope temporarily.
Magnus Hitch (Fig. 125).—For making fast to round spars.
Sheepshank (Fig. 126).—To shorten a rope without cutting it.
Fig. 124.
Fig. 125.
Fig. 126.
Fig: 127.
Square Lashing (Fig. 127).—Make fast one end (the fixed if there be one) of the lashing-rope to one of the objects to be lashed by a timber-or clove-hitch, or by passing the eye-end of the rope under it, bringing it up and passing the other end through the eye; then, after hauling taut, pass it round the second object, round the first, up again round the second, and down round the first, continuing this until a sufficient number of returns are made, when the whole of the returns are tightened by bringing the end round the returns between the objects two or three times, and making fast with two half-hitches on either of the first returns or one of the objects.
If the returns on one of the spars lie in succession outside the returns first applied, they must lie in succession inside those first applied on the other spar.
Diagonal Lashing (Fig. 128).—Begin with a timber-hitch or running-bowline round both spars and draw them together; then take three or four turns across each fork and finish with frapping-turns. Wedges with well-rounded points are often useful for tightening lashings.
Fig. 128.
Fig. 129.
Sheer Lashing.—The lashing is made fast to the lower spar, above where they cross, with a timber-hitch; as many turns are taken around both spars towards the feet as may be necessary to cover the cross, and the end is then[402] led around this lashing and both spars where they cross and four or five frapping-turns taken so as to bring them together, and the ends made fast around the upper spar above the cross.
Gin Lashing (Fig. 129).—The three legs of the gin are placed so that the centre one is pointing in the opposite direction to that of the others, all being parallel, the upper ends resting on a skid and two inches apart. The lashing is commenced with a clove-hitch on an outside spar and carried over and under loosely and without riding six times. Two frapping-turns are taken in each interval and the whole finished off with two half-hitches round one of the spars. Iron chain is much better than rope for these fastenings.
Fishing Spars.—This consists in strengthening spars by lashing others parallel to them. The fishing spars should be placed against the spar to be fished so that they may take off as much strain and be in as close contact as possible. Lashing-ropes should then be applied round all of the spars until they are all firmly bound together.
Frapping.—The drawing together the several returns of a lashing so as to tauten it. The rope used for frapping is generally the running-end of the lashing itself; after having frapped, the end of the rope is made fast by two half-hitches, one around all the returns, the other on half only.
Weight.—Infantry in column of fours when crowded is allowed per lineal foot 560 pounds.
Cavalry under same conditions is allowed 700 pounds.
Field-artillery in column of sections weighs 400 pounds per lineal foot, so that a bridge built for infantry will carry it.
In calculating the strength of parts of bridges the[403] live load must be doubled to bring it to dead load if weight is to be applied suddenly.
Formula for weight that may be borne safely by a beam supported at both ends and loaded in the centre:
| W = | bd2S | , |
| l |
W being the weight in pounds, l the distance between the points of support, d the depth, and b the breadth, all expressed in inches. S is a coefficient whose value for different kinds of wood is given in the following table:
| Ash | 2000 |
| Yellow Pine | 1100 |
| Beech | 1700 |
| Larch | 1300 |
| Birch | 1900 |
| Oak | 1600 |
Strength of Round Timber.—The strength of a circular pole is six tenths that of a square beam whose side is equal to the mean diameter of the pole; so that the equation becomes
| W = | 6dS | , |
| 10l |
in which d is the mean diameter.
The bridge must be capable of sustaining the weight when crowded; and while the load for infantry is usually distributed, the greatest strain is brought on the balks, or road-bearers, when the gun-wheels are at the centre of the bay; and a balk will only bear half the load concentrated at its centre that it will bear when distributed.
Roadway and Approaches.-The roadway may be of planks 1½ to 2 inches for ordinary traffic, or of poles, fascines, hurdles, etc. Litter or earth should be scattered over it to deaden the rattle of planks, which is apt to frighten the horses, and preserve the roadway. If heavy loads are to be hauled, planks should be laid longitudinally to form wheel-tracks. Eight feet in the clear will suffice for width of roadway, but nine feet is to be preferred. A hand-rail should be provided, especially if horses are to pass, and ribbands on either side. At least five balks (road-bearers)[404] should be used on a bridge nine feet wide. The bays generally run from ten to fifteen feet.
A rise in the centre of the bridge, called the camber, is allowed for the subsequent settling. This allowance is usually one thirtieth of the bay. The approaches are very important; the exit must be fully as good as the entrance, to avoid crowding. If not, care must be taken not to admit troops at the entrance faster than they can pass off. Ramps at either end steeper than one on ten are inconvenient.
Transoms.—They must be sufficiently strong to bear the weight that can be concentrated on one bay, reckoned as distributed load on the transom.
On a 9-foot roadway for light artillery, with bays of 15 feet, the transoms should not be less than 9 inches in diameter.
Trestles are used for bridges across shallow rivers having sound hard beds and not liable to sudden floods; and for gaps, etc. They are not suitable for deep muddy rivers. They may be used in streams 9 feet deep with velocity of 4 miles an hour; or in deeper streams if the current be less.
Two-legged Trestle (Fig. 130).—The standards, transom, and ledger are marked at the proper intervals, the heights of the first having been obtained by a careful inspection, and the lengths of the two latter depending on the width of the proposed roadway. The transoms should be about 3 feet longer than the width of the roadway in the clear, and the standards of the trestle should have a splay outward of six on one. Square lashings must be used. The braces are put on the frame with both butts and one tip on the same side, the second tip on the reverse side; the butts can be lashed simultaneously with the ledger and transom. The frame must then be squared by testing the diagonals,[405] measuring from the butt of each standard, and the frame must be adjusted until these measurements are equal. The braces can then be lashed at the tips and crossing-point. If the timber is weak, both legs and transom can be doubled. Ledgers and diagonal braces can be of light material, as little strain is brought upon them; but they should be well lashed.
Fig. 130.
Placing Trestles.—They are most easily placed by hand; but with those with two legs only care must be taken that they do not fall over. Each frame should be fastened to either bank; cables or struts may be used.
Three-legged Trestles (Fig. 131), two of which are required for a single transom, have the advantage of standing without bracing, admit of ready adjustment, and utilize light material. They are, however, unsuitable for an uneven bottom, are extremely difficult to place, excepting by hand, and the legs require weighting in water. To make them, lash two legs together by a sheer lashing, open them out and then add the third leg; the trestle must then be up-ended, the feet placed on the angles of an equilateral tri[406]angle with sides about half the height, and three light ledgers attached.
Fig. 131.
Cribs, Gabions, and Fascines.—These are also used for supporting roadways, the two latter are particularly useful for short gaps.
Limbers.—Bridges supported on transoms lashed across the tops of limber-wheels may be used.
If a trestle bridge is impracticable, owing to depth of gap or stream, unevenness of bottom, or swiftness of current, a frame bridge may be used.
Fig. 132.
Single Lock.—This is suitable for spans not exceeding 30 feet, measured between the footing of the frames.[407] The slope of the frames when in position must not exceed four on seven.
1st. Prepare footings 18 inches wider apart on one side than the other. They must be correctly squared or the frames will not lock.
2d. Measure the gap and lay out section of it on the ground with a line and pickets, allowing for camber.
3d. Lay out the standards in the section, and chalk-mark them at the proper positions for lashing ledgers and transoms.
4th. Lash the frames in position on either side of the gap; butts of standards towards the bank, ledger lashed on the top of standards, about two feet from the butts, but position varied according to nature of footings, transom lashed underneath. The splay of legs in a frame is not so great as in a two-legged trestle, one foot difference between transom and ledger generally sufficing; the transom of narrow frame 18 inches wider than the width of roadway in the clear between ribbands. Square the frames carefully before lashing the braces; see that the distance apart of the butts corresponds to the footings, broad frame to be 18 inches wider than the narrow. Drive pickets or large piece of timber (bollard) for guys and foot-ropes.
5th. Attach fore and back guys and foot-ropes to each frame, the latter fastened with a timber-hitch round the standards below the ledgers.
6th. Pass across the fore guys, passing those of the narrow frame between the horns of the broad frame.
7th. Launch and lock the frames.
8th. Send out temporarily two road-bearers and by their means and with the aid of two men working on the crutch of the bridge get the fork-transom in position.
9th. Send out remainder of road-bearers, resting the whole on the fork-transom.
10th. Place planks (chesses); rack down; put up hand-rail.
| Kind of Bridge. |
No. of Spars. |
Length in Ft. |
Diam. in Ins. | Purpose. | |
| At Tip. | Mean. | ||||
| Single-lock (30-ft. Span). |
4 | 24 | 7 | Standards. | |
| 1 | 15 | 10 | Fork-transoms. | ||
| 2 | 15 | 6 | Transoms. | ||
| 4 | 15 | 4 to 6 | Ledgers and shore-transoms. | ||
| 4 | 20 | 3 | Diagonal braces. | ||
| 10 | 20 | 6 | Balks. | ||
| 4 | 20 | 3 | Ribbands. | ||
If the stores are at hand and ready for use, 1 non-commissioned officer and 16 men on each side should complete the bridge in a little more than an hour.
Double-lock Bridge.—This is used for spans of 30 to 45 feet. In laying out the section and making the spars for the double-lock bridge it must be remembered that the road-bearing transoms, TT, in this case are not the transoms lashed to the frames, but those which are subsequently lashed on the top of the distance-pieces.
Fig. 133.
The frames are of equal widths. In making the bridge the frames after being launched are held by the back guys a little higher than their ultimate position. The distance[409]-pieces are then hauled across, the proper positions for the road-bearing transoms having been previously marked upon them; these transoms are then sent out and lashed in position, after which the back guys can be eased off and the bridge allowed to lock; the roadway is then laid.
| Kind of Bridge. |
No. of Spars. |
Length in Ft. |
Diam. in Ins. | Purpose. | |
| At Tip. | Mean. | ||||
| Double-lock (40 to 45 Ft. Span.) |
4 | 20 | 7 | Standards. | |
| 2 | 25 | 10 | Distance-pieces. | ||
| 2 | 15 | 10 | Road-transoms. | ||
| 2 | 15 | 6 | Main transoms. | ||
| 4 | 15 | 4 to 6 | Ledgers and shore-transoms. | ||
| 4 | 20 | 3 | Braces. | ||
| 15 | 20 | 6 | Balks. | ||
| 6 | 20 | 3 | Ribbands. | ||
Fig. 134.
Single-sling Bridges, used to 50 feet.—The frames for a single-sling bridge have an upper (locking) and lower (road-bearing) transom. In laying out the section the frames must be made to lock at such a height as to have at[410] least 9 feet of headway between the roadway and the upper transoms. As soon as the spars of the narrow frame are in position for lashing the distance from out to out of its standards at the upper transom must be measured, and the broad frame made of sufficient width to receive them. A snatch-block with a fall rove through it is lashed to the tip of each standard of the narrow frame. The frames having been locked, the fork-transom is hauled into position by means of the falls and men working in the crutch. The falls are then used to sling the centre transom temporarily into position. The slings are then arranged by men working in the crutch and astride the slung transom, one of the guys being generally used for the purpose; three or four turns are sufficient, care being taken that they do not ride. The slings, if too long, can be subsequently twisted up with handspikes to give the requisite camber to the roadway.
Fig. 135.
A Treble-sling Bridge has three slung transoms, one being slung from the standards on either side between the fork and road-bearing transoms. The process of construction is similar to that of a single-sling. If the frames are very long and heavy, it is well to brace them above as well as below the road-bearing transoms to prevent their getting racked out of shape in launching. The upper braces, if they interfere with the headway, can be removed[411] after the frames are locked. The great length of the standards in single-and treble-sling bridges, and the heavy transverse strains brought upon them by the weight of the roadway, will generally necessitate their being stiffened by ties which should be carried over vertical frames anchored to earth anchorages, or stout bollards on the bank, and twisted up taut with a handspike. Can be used for spans up to 70 feet.
| Kind of Bridge. |
No. of Spars. |
Length in Ft. |
Diam. in Ins. | Purpose. | |
| At Tip. | Mean. | ||||
| Single-sling (50 to 60 Ft. Span). |
4 | 37½ | 6 | Standards. | |
| 3 | 15 | 10 | Road-transoms. | ||
| 3 | 15 | 6 | Top and fork transoms. | ||
| 4 | 15 | 4 to 6 | Ledgers and shore-transoms. | ||
| 4[10] | 18 | 3 | Braces. | ||
| 10 | 30 | 6 | Balks. | ||
| 4 | 30 | 3 | Ribbands. | ||
For a treble-sling bridge standards from 50 to 60 feet long will be required; also additional spars for transoms, road-bearers, and vertical frames.
If the span does not exceed 25 feet, abutments good, and proper timber near at hand, this bridge can be easily built.
| Descriptions. | Single- lock. |
Double- lock. |
Single- sling. |
| Tools. | |||
| Axes, pick | 4 | 4 | 4 |
| Blocks, snatch | 2 | 2 | |
| Chisel, brick | 4 | 4 | 4 |
| Hammers, striking | 4 | 4 | 4 |
| Handspikes | 2 | 2 | 6 |
| Levers, field-service | 1 | 1 | 1 |
| Mauls | 2 | 2 | 2 |
| Measuring-rods | 1 | 1 | 1 |
| Shovels | 4 | 4 | 6 |
| Measuring-tapes | 1 | 1 | 1 |
| Materials. | |||
| Chalk, pieces | 2 | 2 | 4 |
| Lines, Hambro', 150 ft. | 1 | 1 | 1 |
| Planks for chesses, 10 ft. × 12 in. × 1½ in. | According to span | ||
| Pickets, 5 ft. long, for bollards | 10 | 10 | 10 |
| Pickets, bundles of tracing | 1 | 1 | 1 |
| Racksticks and lashing | According to span | ||
| Foot-ropes, 3 in., 9 fathoms | 4 | 4 | 4 |
| Guys, 3 in., 20 to 30 fathoms | 8 | 8 | 8 |
| Ropes, 2 in., 18 fathoms each | 2 | ||
| Ropes, 2 in., 8 fathoms, for transom-lashings | 4 | 8 | 8 |
| Ropes, 1½ in., 5 fathoms, for ledger- and brace-lashings | 12 | 14 | 14 |
| Ropes, 1 in., 3 fathoms, for road-bearers | 10 | 20 | 20 |
| Tapes, tracing, 150 ft. | 1 | 1 | 2 |
| Yarn, spun, lbs. | 7 | 7 | 7 |
Six stringers and fifty flooring-poles, 6 inches in diameter and 12 feet long, will be required. Two axemen to each stringer will fell and prepare them in a few minutes, and while they are being carried and placed in position the axemen can prepare the poles. Stringers should have 4 feet extra length. Their diameter will depend on the weight to be borne, how distributed, and kind of wood. It is determined by the formulas already given. A good rough rule for calculating the live load which can be borne by rectangular timber of given length and scantling is:
For larch safe distributed live load in cwts. (112 lbs.)
| = | bd2 | , |
| L |
in which b = breadth in inches, d = depth in inches, L = length of span in feet.
For fir the load may be 4/3, for cedar 5/3, for beech, oak, and pitch-pine 2, and for teak 7/3 of load of larch.
This formula gives a theoretical factor of safety of about 3.
The stringers are placed in position by means of jumping-poles, each of which should be strong enough to bear the weight of the stringer and a little longer than the hypothenuse of the right-angled triangle, the base and perpendicular of which are respectively three fourths the width and depth of the chasm.
Place first stringer on abutment as a temporary wall-plate and chock it; slide the second and third over the chasm a little more than one fourth their length for a footway; push out one jumping-pole, butt first, until nearly balanced on wall-plate stringer, and pass the bight of a rope around it a little in advance of its centre of gravity, by means of which a man on the footway supports the butt while the pole is being slipped forward until it reaches its proper resting-place (while this is being done the ends of the stringers forming the footway are held down); then place second jumping-pole in position; draw back the two stringers forming footway; cross jumping-poles, lashing them about 2 feet above the level of the abutment, and attach guy-rope long enough to reach across the stream; place stringer in crutch and push forward until nearly balanced; then raise end and push so as to throw it forward and cause the other end to rest on the opposite abutment. Four men now cross over on the stringer, steadying themselves by means of the guy-rope held taut for the purpose, lift the stringer off the jumping-poles, and, with assistance from opposite side, roll the stringer in position. Pull back jumping-poles and place the other stringers.
The flooring is laid as for corduroy roads, and the bridge is finished by pinning on a ribband of poles to hold down the ends of the flooring and erecting hand-rails if required.[414] It is well to cover the roadway with straw to lessen the jolting of carriages.
When reconnoitring a river with a view of effecting a passage, observe: the nature of the banks, the nature of the bed, position and depth of fords, strength of current, whether tidal or otherwise, probability and extent of floods.
Fords.—The following depths are fordable: For infantry, 3 ft.; for cavalry, 4 ft.; wagons containing ammunition, 2⅓ ft. Gravelly bottoms are best; sandy bottoms are bad, as the sand stirs up and increases depth of water. Fords should be clearly marked by long pickets driven into the bed of the river above and below the ford, their heads being connected by a strong rope. It is well to mark the pickets, in order that any rise of the water may be at once evident.
The depth of a river is generally most uniform in straight parts; at bends the depth will generally be greater at the concave bank, and less at the convex. For this reason a river which is not anywhere fordable straight across may be found passable in a slanting direction between two bends.
To measure the velocity of a stream, use a light rod weighted at the end so as to stand vertically in the water; note the distance it floats in a given number of seconds; then seven tenths the mean number of feet a second gives the number of miles an hour.
Ferries and Flying Bridges.—The simplest form of permanent ferry consists of ropes stretched across the river by means of which rafts can be hauled from bank to bank.
The flying bridge can be used if the velocity of the current is two miles an hour or more. The current moves the boat or raft across the stream by acting obliquely against its side, which should be kept at an angle of about[415] 55 degrees with the current. The cable, whose length should be 1½ to 2 times the width of the river, and float if possible, can either be anchored in midstream (in which case the boat can swing between two landing-places), or two cables may be used, one anchored on either bank. Or a cable may be stretched from bank to bank as taut as possible and six feet above the water at the lowest point. The boat (a double-ender) is attached to travellers, which are small wheels grooved on the circumference to fit the cable on which they ride, maintained in their position by a counterpoise below, to which the stem-and stern-lines of the boat are attached. Long, narrow, deep boats with vertical sides, to which leeboards can be attached, are the best for the purpose, and straight reaches of a river the most suitable places for flying bridges.
Floating Bridges.—These can be made of boats, barrels, timber, etc.
Each pier must have enough available buoyancy to support the heaviest load that can be brought on one bay of the bridge. The length of the piers should be at least twice the breadth of the roadway, for steadiness, and they should be connected together at their extremities by tie-balks or lashings.
The waterway between the piers should never be less, and should if possible be more, than the width of those piers.
In barrel-pier bridges, or with boats having strong gunnels and frames, each balk bears on both gunnels of adjacent piers; in weak boats they bear on a central beam supported on the keel.
The roadway of floating bridges is similar to that already described.
Boats.—Open boats should not be immersed deeper than within one foot of the gunnel, and a still larger limit of safety will be required in rough water or a violent current.[416] They should be placed "stem on" in the bridge so as to point against the current, and slightly down by the stern; if the river be tidal, they alternate stem and stern. Few boats, except heavy barges, are strong enough for balks to rest on their gunnels. Use a central transom resting on the thwarts and blocked up from underneath to bring the weight directly on the keel.
Buoyancy.—This may be determined by loading the boat with unarmed men to such a depth as is considered safe. For bridging purposes the number of men multiplied by 160 gives the available buoyancy in pounds.
If the number of men be divided by four, the result will be the central interval in feet at which the boats may be placed in the bridge to carry infantry in fours crowded.
Buoyancy of Casks.—The actual buoyancy is given by the formula 5c2l-W, in which c is the circumference of the cask in feet half-way between the bung and the extreme end; l is the length in feet, exclusive of projections, measured along a stave; and W is the weight of the cask in pounds.
The available buoyancy for bridging purposes may be taken at 9/10 of the actual buoyancy.
A safe buoyancy may be obtained by multiplying the content in gallons by 8⅓.
Knowing the buoyancy of one cask, the number to be united in a raft to sustain any desired load can be readily calculated.
Constructing the Float.—Having determined on the number of casks to be united in one float, take one third the number and place them transversely on two poles laid on the ground parallel to each other and one half the height of a cask apart; the casks to be distributed evenly over a distance equal to the width of the proposed bridge,[417] bungs up. Lay another pair of poles on the top of the casks, and lash them to the first pair at the ends and between each two casks, and cut off any surplus pole that may project at the ends. Having made and launched three such floats, unite them by lashing a pole across the ends and middle of them, so as to make a large square raft. When enough such rafts are completed, they can be placed, and a roadway built on them. In placing the rafts the sides of the barrels should be towards the current.
Floats of casks, when in bridge, should always be rigidly connected with each other at their ends by stringers, which must be lashed to both gunnels of each float; the roadway stringers can then be laid and should rest squarely on both gunnels of each float and should be lashed, especially if there be any sway or for animal traffic.
| Name. | Weight. | Length of Stave. |
Bung Diam. |
Head Diam. |
No. Gals. |
Available Buoyancy. |
| Lbs. | Inches. | Inches. | Inches. | Lbs. (About). |
||
| Tar | 50 | 30 | 20½ | 17½ | 30 | 250 |
| Pork | 60 | 30 | 22 | 18½ | 32 | 267 |
| Vinegar | 80 | 34 | 23½ | 20½ | 45 | 375 |
| Whiskey | 80 | 34 | 23½ | 20½ | 45 | 375 |
| Kerosene | 70 | 34 | 25 | 21 | 45 | 375 |
| Molasses | 70 | 34 | 25 | 21 | 52 | 433 |
American wine-barrels are about the same size and weight as whiskey-barrels.
Rafts.—Raft bridges may be used in a current not exceeding four miles an hour.
Cubic content of a log in feet is equal to the square of one fifth of the mean girth multiplied by twice its length.
Weight of timber (dry) per cubic foot: Ash 47 lbs., beech 43, elm 36, fir 32, oak 54, pine 40, poplar 24, syca[418]more 37, willow 25. Green timber is about one fourth heavier.
Flotation.—To obtain the flotation of a log, multiply its cubic content by the difference between its weight per cubic foot and the weight of a cubic foot of water (62½ lbs.). Take five sixths of the result for the available buoyancy.
To Form a Raft.—Place the logs side by side, the small ends alternating; strongly secure with rope and, if possible, by cross and diagonal pieces of scantling fastened by spikes or treenails. If it is to be used as a pier, the logs may be placed in two layers to avoid obstructing the waterway. A central transom must be used. The up-stream end of the raft may, with advantage, be convex.
Make-shift Anchors.—Two or more pickaxes lashed together; heavy weights, such as large stones or railway irons; the latter are best when bent.
Nets filled with stones are particularly good on rocky bottoms.
Protection.—Arrangements must be made up-stream to protect a floating bridge from damage from floating substances, either by a boat patrol, or by stretching a net, or some intercepting obstacle, across stream.
Hasty Demolition. Gunpowder. Dynamite. How Used in Blasting. Guncotton. Rack-a-rock. Handling, Transportation, and Storage of High Explosives. Charges for Hasty Demolition. Where and How to Place Charges.
Gunpowder is a very intimate mixture of potassium nitrate (nitre), charcoal, and sulphur, and generally consists of the following proportions:
Nitre, 75 parts; charcoal, 15 parts; sulphur, 10 parts.
The following processes are used in its manufacture:
(1) Mixing the ingredients; (2) incorporating or "milling"; (3) breaking down the mill-cake; (4) pressing; (5) granulating; (6) dusting; (7) glazing; (8) second dusting; (9) stoving or drying; (10) finishing.
Good gunpowder should be composed of hard angular grains which do not soil the fingers, and should have a perfectly uniform dark-gray color. When new, it should be free from dust, and a gramme of it flashed on a copper or porcelain plate should leave no residue or foulness.
It should give the required initial velocity to the projectile, and produce not more than the maximum strain upon the gun.
When exposed to air of average dryness, it should not absorb more than 0.5 to 1.5 per cent of water. In damp air it absorbs more and deteriorates. Its exploding-point is 560° F.
Dynamite is composed of a particularly porous siliceous earth (Keiselguhr) impregnated with about 70 or 75 per cent of nitro-glycerine. True dynamite resembles in appearance moist brown sugar. It takes fire at 350° F., and freezes.
Cartridges.—The regular sizes are from four to eight inches long and from three fourths of an inch to two inches in diameter. They are furnished to order of any required size, packed in boxes containing 25 or 50 pounds, the layers of cartridges being separated by sawdust. To use a small cartridge in a large hole, slit it on the side and press it down into the drill-hole with a wooden tamping-rod. Cartridges may be readily cut into desired lengths. In tamping powder or explosives always use a wooden rammer, never an iron or steel bar.
Caps.—The regular cap or exploder is employed. It consists of a hollow copper cylinder about ¼ inch in diameter and from one to two inches long, and contains 15 to 20 per cent or more of fulminate of mercury mixed with other ingredients into a cement, which fills the closed end of the cap.
Fuzes.—The double-tape fuze is the best. Single-tape fuze may be used when the ground is only a little wet.
Nippers and Pincers.—For cutting the fuze, and after it is inserted in the cap for squeezing the cap tightly around the fuze.
Funnel.—Used in charging with loose powder.
As a general rule drill-holes and charges for dynamite should be comparatively small. In heavy work the holes[421] should be large in size and less in number, and the amount of dynamite should be in proportion to the work done.
Charging with Cartridges.—The charge must fit and fill the bottom of the bore, and be packed solid. Take a cartridge as nearly as possible of the same size as the bore, and cut it into sections of about twice or three times the diameter. With a hard-wood rammer, as large as will run freely in the hole, press these sections into the bore-hole one by one with sufficient force until each section is driven to the bottom and expanded laterally so as to fill the hole solidly in every direction. If the cartridge is smaller than the hole, slit it lengthwise. Metallic rammers must not be used.
Priming.—Cut off squarely the end of the fuze and thrust it into the cap up to the fulminate. If the fuze is too large, scrape it down, and if too small wind it with paper. Then clamp the cap to the fuze with the nippers, being careful not to disturb the fulminate in the cap. If for a wet hole, smear the junction of the fuze and the cap with bar-soap or the like, to make it water-tight. Now open the end of the cartridge, and with a pointed stick make a hole in the explosive and insert the cap (with the fuze attached) the full length of the cap, and press the explosive firmly about the cap. Next gather the cartridge-paper about the fuze and tie it there strongly with a string, so that the cap cannot be withdrawn from the explosive. Cut off so much of the cartridge as is not needed, and the primer is complete. Thus prepared, place it in the drill-hole and press it with a wooden rod into contact with the charge.
Tamping.—This is of great importance. Always tamp if you can, and with the best materials and in the strongest manner. In deep and down holes water is good. A shallow tamp of water amounts to very little. A shallow tamp of sand or clay is better. In driving and packing the[422] tamp next to the primer be careful not to explode the cap; the first handful of tamp should always be pressed down gently. In fissures or artificial cracks surround the charge with mud, clay, sand, or water, if possible.
Explosion of Blast.—In most cases it is better not to cut off the required length of fuze until the hole is tamped. Then cut off at a safe length and fire by igniting with a match or fuzee. If it misses fire, be careful in taking out the tamping not to approach nearer the cap than within two or three inches; then put in another cartridge and fire it. Never pick out the charge. After inserting the primer it is well to put a ball of newspaper or some substance readily recognized on top of it and then the tamping. If then the tamping has to be removed, warning will be given on approaching the primer.
To Insure Explosion.—The dynamite must not be frozen; the fuze must be good and kept in the cap; the cap must be dry and not withdrawn from the explosive.
Frozen Dynamite.—Dynamite freezes more easily than water, becomes hard and cannot be properly loaded into bore-holes, and is more difficult of explosion. Keep it where it will not freeze if possible.
It must not be thawed by a fire, but by hot water in an apparatus like a common glue-pot, the dynamite being in the inner vessel and hot (not boiling) water in the outer. Eissler states that there is but one safe way of thawing it, which is to keep it in a kitchen or other room at summer heat, and away from the fire, until it is soft. It is then ready for use.
Precautions.—Never attempt to thaw frozen dynamite by roasting, toasting, or baking it. Never put it in heated vessels, or in boilers, or before fires or heated metals. It must not be thawed or heated rapidly.
Never put a cap into a charge or primer until you are ready to use it. After it is made never let a primer leave[423] your hands until it is in the hole. Keep the caps away from the dynamite. Never let them come near each other except when used.
Never allow smoking or other fire near the powder or explosive, as it burns rapidly, and especially when loose, and may fire caps incautiously left near by, and thus bring on an explosion.
Never use a metallic rammer.
Do not get nitro-glycerine on your fingers. It will be absorbed by the skin and give you a headache. Invariably prepare your primer at a distance from your explosive.
This powerful explosive, composed of a solid and a liquid ingredient, entirely inexplosive when separate, but easily and quickly combined, seems to present undoubted advantages for use in the military service.
The solid is potassium chlorate, and the liquid is either "dead oil," or dead oil and bisulphide of carbon in equal volumes, or bisulphide of carbon with 3 per cent of carbon added, or mono-nitro-benzine.
General Abbot considered the following the best:
Potassium chlorate, 79 parts; mono-nitro-benzine, 21 parts.
The potassium chlorate is put up in the form of a cartridge enclosed in a bag made of cotton or other suitable material.
In preparing the charge for use the cartridges are placed in a wire frame, which is suspended from a spring-balance, and dipped in the liquid until a proportion of 3 to 4½ parts of solid to 1 part of liquid is shown by the balance; this requires from 3 to 6 seconds.
Or, place the cartridges in a pan containing cells (each cartridge having a corresponding cell and cup) and then[424] pour in each cell its cupful of liquid. As soon as it has all been absorbed remove the cartridges and in ten minutes they are ready for use.
If the cartridges be kept, they appear to tend to increased sensibility to friction or percussion.
Compressed Guncotton.—Clippings and other waste from cotton-mills are thoroughly purified from oil and fatty matters by treatment with alkali and extraneous substances removed. The material is then opened up by a carding-machine and cut into suitable lengths. After thorough drying and when quite cold small quantities at a time are immersed in a cool mixture of 1 nitric acid (s. g. 1.52) and 3 sulphuric acid (s. g. 1.85). The excess of acid is then removed and the cotton carefully washed, reduced to pulp, purified, and compressed into given weights and shapes by a powerful hydraulic press, and weighs 60 lbs. per cubic foot.
The disks or slabs can be cut into smaller sizes with a sharp saw or knife without danger, care being taken to press them between boards while so doing to prevent their falling to pieces.
It has from 2 to 2½ times the strength of gunpowder for equal weights when the charges are well tamped, and 4 times the strength of gunpowder when the charges are untamped; it ignites at a lower temperature than gunpowder, as it may explode at 277° F. and must explode at 400° F.; it is comparatively insensible to shocks—caissons containing dry guncotton have been frequently inflamed by the penetration of a bullet from a military rifle, but never exploded,[11][425] while wet guncotton in a condition for service cannot possibly be ignited by the same means even at the shortest ranges.
Wet guncotton is not easily ignited, burns up quietly in the open air, is not sensitive to friction; but if fired by a strongly charged percussion-cap it will explode with great violence. It does not deteriorate when wet and is then perfectly safe to handle. It is therefore stored in a wet state (as it cannot be exploded except by the detonation of other disks of dry guncotton); but it should not be exposed to a temperature that will freeze the water in the cakes, if possible. While frost has no effect on dry guncotton, it causes a mechanical disintegration of the wet compressed variety.
In the field the slabs are carried wet; the disks dry and packed in hermetically sealed tins. These disks are used as primers, and have attached to them, when used, a fulminate fuze.
To Fire Guncotton, the fuze is cut to the required length and inserted in the hollow end of the detonator, especial care being taken to push it down so as to rest on the quick-match; the tube is then slightly bent to prevent the fuze from being withdrawn. The small end of the detonator is then gently inserted into the primer (the dry disk) so as to fill the entire length of the hole in the latter. If it is loose, a piece of paper or grass must be wrapped round to make it fit tight. The primer must be placed in close contact with the charge to be fired. Care must be taken that no sparks from the fuze can fall on the charge, which might then burn instead of exploding. Bear in mind that a moist primer is certain to cause failure.
The charge should be in close contact with the object to be demolished.
Transportation.—The handling of high explosives should be done under the immediate supervision of persons thor[426]oughly familiar with the proper methods to be pursued and who will exercise great care and judgment. High explosives should be packed in light wooden boxes properly marked. The French have a wagon containing about 350 lbs. attached to a horse-battery accompanying the cavalry division, acting independently, and two such wagons with the artillery-park. Care is taken that they are not placed too near the other ammunition and are in the safest place under careful observation.
On a steamer place the explosives in a well-ventilated place remote from the engine.
On railways, if the weather be hot, there should be good ventilation and ice in the car, so placed that water cannot reach the explosives.
In winter protect from freezing if possible. Packing in straw or sawdust may be useful. Under no circumstances should cases of fuzes be in the same car, or in the vicinity of the explosive. The packages of guncotton should not be exposed to the sun—cover with paulins, put under shade-trees.
Storage.—At military posts, in ordinary service magazines over which are erected light wooden roofs, so as to insure a draught during hot weather.
The usual precautions against fire and for storage of ordinary powder must be taken; and neither fuzes, caps, nor detonators of any kind should ever be allowed in the magazine containing the explosives. Dry guncotton should not be stored in the same magazine with wet guncotton. Before being placed in the magazine the boxes should be given a coat of paint or shellac, to protect them from moisture. They should also be placed on skids and the space between the skids partially filled with sawdust, to absorb any exuding nitro-glycerine. If any powder should be spilled on the floor, or nitro-glycerine exude and be absorbed by the sawdust, it should be removed at once and[427] burned. The boxes should be turned over every month or two, and if kept long on hand they should be opened and the explosive tested from time to time.
When guncotton is received, pour into each package enough water to cover it, or otherwise immerse it. Let the water remain for 15 minutes; then pour it off and hermetically close the box. This should be done every three months.
Packages of guncotton stained brown or yellow, giving off nitric fumes, or showing other signs of decomposition, should be removed and immersed in water. If decomposition be far advanced, they should be removed to a safe place and burned.
Masonry or Brick Arch.—Attack the haunches of the arch or the piers. In bridges of a single arch the haunches are the best points, two trenches being dug across the width of the roadway down to the back of the arch. When there is no time for this, the charge should be placed along the crown of the arch. With guncotton untamped use ¾T2 × B; if tamped with a depth of earth equal to the thickness of the arch, use ⅜T2 × B.
With gunpowder, if over crown of arch, use 3/2T2 × B; if behind haunch, ⅔T2 × B. In the former case use tamping if possible equal to the thickness of the arch, and in the latter case equal to twice the thickness. The quantity of powder obtained by these rules should be divided into two or more charges placed across the arch.
When the bridge consists of a series of arches, and the piers are short and thick, the haunches should be attacked by the rules given in table on next page.
If the piers be high and thin, it is better to place the charges against them, as the fall of one pier will involve[428] the destruction of two arches. The charge should be slightly greater than for a wall of the same thickness.
Charges are in lbs.; B and T are in feet; t is in inches. B is length of breach to be made; T or t is thickness of object to be demolished.
Gunpowder is assumed to be roughly tamped with sand-bags, guncotton untamped. If the guncotton is tamped, the charges may be reduced one half. Charges of guncotton must be equal in length to the breach which is to be made.
| Object Attacked. | Gunpowder. | Guncotton. | Remarks. | |||
| Brick arch. | ![]() |
3/2BT2 | ![]() |
¾BT2 | ![]() |
The length of breach, B, should not be less than the height of the wall to be brought down. |
| Brick wall 2 ft. or less. | 2 lbs. per foot run | |||||
| Brick wall over 2 ft. | ½BT2 | |||||
| Brick piers. | ⅔BT2 | |||||
| Hard wood in any form, stockade, palisade, single timbers, trees, etc. | 40 to 100 lbs. for stockade | 3BT2 | In a concentrated charge, or for trees not over 12 in. in diameter in a necklace. | |||
| Do., do | ⅜T2 | In auger-hole; when the timber is not perfectly round, T smaller axis. | ||||
| Soft wood | Half the charges for hard wood | |||||
| Breastwork of horizontal balks, or earth between sleepers up to 3½ ft. thick. | 60 to 80 lbs. per 5 feet | 4 lbs. per foot | ||||
| Heavy rail stockade. | 7lbs. per ft. | |||||
| Fortress gate | 200 lbs. | 50 lbs. | ||||
| Iron plate | 3/2Bt2 | |||||
| Field- or siege-guns. | 1½ lbs. | On chase near muzzle. | ||||
| Heavier guns | 4 lbs. | In bottom of bore, tamped with water or sand. | ||||
| First-class iron rail | ⅔ lb. | Touching web of rail and near a chair. | ||||
| First-class steel rail | 4 oz. | Four rails placed around the charge will be cut simultaneously by it. | ||||
In the presence of an enemy increase above charges 50% to allow for contingencies.
House with Moderately Thick Walls.—Attack portions of walls between the windows, the charges being tamped, and inside the house if possible. Otherwise place outside, or one or two large charges inside untamped.
To demolish a building, a sufficient height of wall must be brought down to insure the arches over the doors and windows falling. The length of breach must be equal to this height. With very thick walls cut grooves.
To Cut Down Trees.—Place charge in an auger-hole bored horizontally into the tree at desired height. If tree be 1½ to 2 feet in diameter, use two holes. With a little care they can be bored so as to meet in the centre, in which case one detonator will suffice to fire the charge; with plenty of detonators it may be better to fire one hole first and then a second hole in the uninjured part of the tree, and so on.
The tree may be made to fall in any required direction by attaching a rope to the upper branches, and taking the strain on it before firing.
The guncotton may be hung around the tree, but this often fails with trees over 12 inches in diameter.
A hole may be dug under the roots. Dig down by the side of the tree and then horizontally under the bottom close to the wood, the hole being just large enough for the cartridge.
The rules for felling trees apply to timbers of wooden bridges, the uprights of the piers being the best point to attack.
To Blow Down a Stockade 12" × 12".—Use 3 lbs. of guncotton per running foot. The slabs should be threaded together, so as to be in contact, and hung or laid against the timbers at the required level.
If gunpowder be used, a charge of 80 lbs. should be[430] allowed for the same stockade when the charge is not tamped; when tamped by having a few sand-bags piled on top, the charge may be reduced to 60 lbs. This would probably make a breach about 6 feet wide.
To Demolish a Gate.—Fifty pounds of guncotton hung against the gate by a nail or pickaxe or laid on the ground will suffice.
The charge of gunpowder should be 200 lbs., covered with sand-bags if possible.
Destruction of Iron Bridges.—Place charge on lower girders near an abutment, and at a point where the thickness of the plates is least. If sections are uniform throughout the length of the bridge, place charge at centre of a span between two piers. When the bridge plate is entirely of iron, place charge on top of beams.
Destruction of Railroad Tracks.—To destroy heavy iron rails, a charge of six 2-ounce disks (including primer) should be used.
To Destroy a Tunnel.—The crown of the arch or the side-walls should be attacked. The points selected should be some distance inside the tunnel.
To Destroy Field-and Siege-guns.—Detonate 1½ lbs. of guncotton on the outside near the muzzle. In heavier wrought-iron guns detonate 4 lbs. in the bottom of the bore, tamping with sand.
Heavy cast-iron guns can be burst by firing 1 lb. of guncotton in the same position and tamping with sand.
Battery Books and Records. Rolls, Reports, and Returns. The Ration. Salt and Vinegar for Public Animals. The Travel-ration. Present Organization of U. S. Light Field-battery. Cost of a Battery of Four 3.2-inch Guns, in Detail. Price-list of Artillery-harness. Price-list of Harness for 1.65-inch Mountain-gun. Price-list of Artillery Accoutrements, etc. Price-list of Horse Equipments. Price-list of Stencil and Marking Outfits. Supply Table of Ordnance Stores for a Battery of Light Artillery for Six Months. Allowance of Ammunition for Target Practice. Standard Supply Table of Veterinary Medicines. Tableware and Kitchen Utensils. Allowance of Clothing, Equipage, Fuel, Lights, etc. Weights of Certain Articles of Clothing and Equipage. Pay Table of Enlisted Men. Summary Court, and List of Punishments. U. S. Signal and Telegraph Code. Penetration of Projectiles. Cover for Field-artillery. Treatment of Sick Men. Tables of Weights, Measures, etc. Tables for Converting Customary and Metric Weights and Measures. Salutes. Camp Furniture and Mess Outfits for Officers.
Sick report book; company clothing book; morning report book; guard report book; descriptive and deposit book—all obtained from adjutant-general. Order book; letters received book; index to letters received; letters sent book; index to letters sent; descriptive book of public animals—all obtained from quartermaster-general. Artillery practice report book—from chief of ordnance. Battery council book; roster book.
| Designation. | To Whom Sent. |
When Made. | When Sent. | By Whom. |
| Muster roll[12] of battery. | Adjt. Gen. | Every month | Within 3 days | Mustering officer |
| Inventory of effects of deceased soldiers. | " " | Immediately | Immediately | Battery com'dr |
| Final statements of deceased soldiers. | " " | " | " | " |
| Certificates of disability (in duplicate). | " " | " | " | Post com'dr |
| Return of Ord. and Ord. stores. | Chief of Ordnance | End of month | Within 20 days | Battery com'dr |
| Return of battery | Regtl. adjutant | " | Within 3 days | " |
| Transcript of orders making temporary appointments of or reducing N. C. officers at posts not regtl. headqrs. | " | Immediately | Immediately | " |
| Abstract of battery fund. | " | End of quarter | Next day | " |
| Morning report | Post adjt. | Every morning | Before 8 A.M. | " |
| Monthly return of battery (to be returned for file). | " " | End of every month | First of subsequent month | |
| Return of battery fund (with council book). | " " | End of every quarter | " " " | " |
| Req. for fuel, forage, and straw. | " " | End of every month | End of every month | " |
| Req. for salt and vinegar. | " " | " " " | " " " | " |
| Ration return | " " | On days designated by C.O. | " | |
| Estimate of C. and E., 6 months' supply. | " " | Jan. 1, Apl. 1, July 1, Oct. 1. |
||
| Req. for stationery. | " " | End of every quarter | First of subsequent month | " |
| Article. | 1 Ration. |
50 Rations. |
100 Rations. |
1000 Rations. |
Bulk of 1000 Rations. |
||
| Net. | Gross. | ||||||
| oz. | Lbs. | Lbs. | Lbs. | Lbs. | Barrels. | ||
![]() |
Fresh beef, or other fresh meat | 20 | 62½ | 125 | 1250 | ||
| Or salt beef | 22 | 68¾ | 137½ | 1375 | 6.875 | ||
| Or salt pork | 12 | 37½ | 75 | 750 | 1219 | 3.75 | |
| Or bacon | 12 | 37½ | 75 | 750 | 903 | 4.9 | |
| Or dried fish[13] | 14 | 43¾ | 87½ | 875 | |||
| Pickled or fresh fish[13] | 18 | 56¼ | 112½ | 1125 | |||
| Potatoes | 16 | 50 | 100 | 1000 | 4.66 | ||
![]() |
Or potatoes | 12.8 | 40 | 80 | 800 | ||
| And onions | 3.2 | 10 | 20 | 200 | |||
![]() |
Or potatoes | 11.2 | 35 | 70 | 700 | ||
| And tomatoes | 4.8 | 15 | 30 | 300 | |||
| Or other fresh vegetable | |||||||
![]() |
Sugar | 2.4 | 7½ | 15 | 150 | .62 | |
| Or molasses | |||||||
| Or syrup | .64 gill | 1 gal. | 2 gals. | 20 gals. | |||
| Salt | .64 | 2 | 4 | 40 | .16 | ||
| Pepper | .04 | ⅛ | ¼ | 2½ | |||
![]() |
Flour | 18 | 56¼ | 112½ | 1125 | 1234 | 5.74 |
| Or soft bread | 18 | 56¼ | 112½ | 1125 | |||
| Or hard bread | 16 | 50 | 100 | 1000 | 1229 | 12 | |
| Or corn-meal | 20 | 62½ | 125 | 1250 | |||
![]() |
Beans or peas | 2.4 | 7½ | 15 | 150 | 177 | .7 |
| Or rice or hominy | 1.6 | 5 | 10 | 100 | 115 | .46 | |
![]() |
Coffee, green | 1.6 | 5 | 10 | 100 | 122 | .58 |
| Or coffee roasted | 1.28 | 4 | 8 | 80 | 108 | .83 | |
| Or tea | .32 | 1 | 2 | 20 | 25 | .16 | |
| Soap | .648 | 2 | 4 | 40 | 47 | .19 | |
| Candles (if no oil) | .24 | ¾ | 1½ | 15 | 16.5 | .89 | |
| Yeast-powder (in the field) | .64 | 2 | 4 | 40 | |||
| Vinegar | .04 qt. | ½ gal. | 1 gal. | 10 gals. | 107½ | .09 | |
| No. of Animals. |
Salt. | Vinegar. | ||||||
| Quantity per Week. |
Quantity per Month, When Necessary. |
Quantity per Week. | ||||||
| Lbs. | Oz. | Lbs. | Oz. | Gals. | Qts. | Pts. | Gills. | |
| 1 | 2 | 12 | .64 | |||||
| 5 | 10 | 3 | 12 | 3.2 | ||||
| 10 | 1 | 4 | 7 | 8 | 1 | 2.4 | ||
| 50 | 6 | 4 | 37 | 8 | 1 | -- | -- | -- |
| 100 | 12 | 8 | 75 | -- | 2 | -- | -- | -- |
| Articles. | Per 100 Rations. |
| Soft bread | pounds 112½ |
| or hard bread | pounds 100 |
| Beef, canned | pounds 75 |
| Baked beans, 1-pound cans | number 33 |
| or baked beans, 3-pound cans | number 15 |
| Coffee, roasted | pounds 8 |
| Sugar | pounds 8 |
| Canned tomatoes (after 4 consecutive | |
| days of above) | pounds 100 |
Present Organization of Light Field-battery.—1 captain, 2 first lieutenants, 2 second lieutenants, 1 first sergeant, 6 sergeants, 4 corporals, 2 musicians, 2 artificers, 1 wagoner, 59 privates. Total commissioned 5. Total enlisted 75.
Special-duty Men Allowed in a Light Battery.—1 N. C. O. to take immediate charge of police, etc., of stable and picket-line, 1 clerk, 1 tailor, 1 cook, 1 assistant cook, when necessary (the head cook is allowed 25 cents per day from company fund); 1 N. C. O. (detailed from roster) to supervise rooms and gun-racks.
(Total Cost as herein indicated $17595.71.)
| Articles. | Price. | Amount. | ||
| Dolls. | Cts. | Dolls. | Cts. | |
| 4 3.2-inch B. L. steel guns | 1022 | 00 | 4088 | 00 |
| 4 3.2-inch carriages and limbers (cost of brake included) | 1316 | 74 | 5266 | 96 |
| 4 3.2-inch caissons and limbers | 721 | 50 | 2886 | 00 |
| 1 combined forge and battery wagon | 816 | 00 | 816 | 00 |
| 9 sets artillery-harness for 2 wheel-horses | 170 | 59 | 1535 | 31 |
| 9 sets artillery-harness for 2 lead-horses | 138 | 81 | 1249 | 29 |
| ON EACH CARRIAGE. | ||||
| 1 pair bow-spring recoil-brakes | 62 | 50 | ||
| 1 sponge and rammer, jointed, for bore | 6 | 00 | 6 | 00 |
| 2 short rammers and sponges, combined, for chamber | 9 | 00 | 18 | 00 |
| 1 sponge-cover, bore-sponge | 40 | 40 | ||
| 2 sponge-covers, chamber-sponge | 45 | 90 | ||
| 1 prolonge (section of picket-rope) | 8 | 60 | 8 | 60 |
| 1 combination screw-driver in trail-box | 1 | 28 | 1 | 28 |
| 1 gunners' gimlet in trail-box | 24 | 24 | ||
| 1 gunners' reamer in trail-box | 50 | 50 | ||
| 1 priming-wire in trail-box | 10 | 10 | ||
| 1 vent-punch in trail-box | 50 | 50 | ||
| 1 front sight in trail-box | 8 | 00 | 8 | 00 |
| WITH EACH CARRIAGE-LIMBER. | ||||
| 1 breech-sight, bronze | 36 | 00 | 36 | 00 |
| 1 breech-sight pouch | 1 | 81 | 1 | 81 |
| 2 gunners' haversacks | 2 | 20 | 4 | 40 |
| 2 primer-pouches | 1 | 33 | 2 | 66 |
| 2 lanyards, new pattern | 68 | 1 | 36 | |
| 1 fuze-punch | 50 | 50 | ||
| 1 front-sight cover | 67 | 67 | ||
| 1 combined tompion and muzzle-cover | 93 | 93 | ||
| 1 breech-cover | 3 | 77 | 3 | 77 |
| 1 breech-strap | 96 | 96 | ||
| 1 sperm-oiler, rectangular, brass | 50 | 50 | ||
| 1 wheel-grease can | 2 | 09 | 2 | 09 |
| 1 wheel-grease can knife | 75 | 75 | ||
| 2 watering-buckets, canvas, folding | 1 | 45 | 2 | 90 |
| 1 tool-box | 1 | 36 | 1 | 36 |
| 1 screw-wrench, 12-inch | 49 | 49 | ||
| 1 iron nut-wrench, 12 inches long | 1 | 50 | 1 | 50 |
| 1 ¾-inch cold chisel, 8 inches long | 25 | 25 | ||
| 1 8-inch hand bastard file | 08 | 08 | ||
| 1 hand-hammer, 12¼-inch handle | 70 | 70 | ||
| 1 small steel punch | 18 | 18 | ||
| 1 neck-yoke | 8 | 00 | 8 | 00 |
| 1 doubletree | 7 | 55 | 7 | 55 |
| 2 singletrees | 2 | 32 | 4 | 64 |
| 2 paulins, 12 × 12 feet, dyed duck | 9 | 77 | 19 | 54 |
| 1 cushion, canvas and hair | 7 | 48 | 7 | 48 |
| 1 padlock for ammunition-chest | 60 | 60 | ||
| ON EACH CAISSON-BODY.[436] | ||||
| 1 manœuvring-handspike | 1 | 10 | 1 | 10 |
| 2 shovels, long-handled | 50 | 1 | 00 | |
| 2 spades, short-handled | 80 | 1 | 60 | |
| 2 pickaxes, handled | 75 | 1 | 50 | |
| 2 axes, handled | 75 | 1 | 50 | |
| 2 lanterns, with Cranston attachment | 59 | 1 | 18 | |
| 1 prolonge (section of picket-rope) | 8 | 60 | 8 | 60 |
| 1 spare pole | 26 | 16 | 6 | 16 |
| 1 spare wheel[14] | 2 | 00 | 22 | 00 |
| 2 paulins, 12 × 12 feet, dyed duck | 9 | 77 | 19 | 54 |
| 2 padlocks for ammunition-chest | 60 | 1 | 20 | |
| 2 cushions, canvas and hair | 7 | 48 | 14 | 96 |
| WITH EACH CAISSON-LIMBER. | ||||
| 1 wheel-grease can | 2 | 09 | 2 | 09 |
| 1 wheel-grease can knife | 75 | 75 | ||
| 2 paulins, 12 × 12 feet, dyed duck | 9 | 77 | 19 | 54 |
| 1 neck-yoke | 8 | 00 | 8 | 00 |
| 1 doubletree | 7 | 55 | 7 | 55 |
| 2 singletrees | 2 | 32 | 4 | 64 |
| 2 watering-buckets, canvas, folding | 1 | 45 | 2 | 90 |
| 1 cushion, canvas and hair. | 7 | 48 | 7 | 48 |
| 1 padlock for ammunition-chest | 60 | 60 | ||
| ON LIMBER OF FORGE AND BATTERY-WAGON. | ||||
| 1 neck-yoke | 8 | 00 | 8 | 00 |
| 1 doubletree | 7 | 55 | 7 | 55 |
| 2 singletrees | 2 | 32 | 4 | 64 |
| 2 paulins, 12 × 12 feet | 9 | 77 | 9 | 77 |
| 2 watering-buckets, canvas, folding | 1 | 45 | 1 | 45 |
| 1 wheel-grease can | 2 | 09 | 2 | 09 |
| 1 wheel-grease can knife | 75 | 75 | ||
| 1 canvas coal-bag (3 bushels) | 40 | 2 | 40 | |
| 200 pounds horseshoes | 039/10 | 78 | 00 | |
| 50 pounds horseshoe-nails | 16 | 8 | 00 | |
| Blacksmith's tools (forge-chest): | ||||
| 1 forge, portable, Empire (modified for army use) | 19 | 75 | 19 | 75 |
| 2 aprons, leather, smith's | 1 | 29 | 2 | 58 |
| 1 hammer, hand, handled | 70 | 70 | ||
| 1 hammer, riveting | 30 | 30 | ||
| 1 hammer, shoeing | 25 | 25 | ||
| 1 pair tongs for holding ¼-inch iron | 75 | 75 | ||
| 1 pair tongs for holding ½-inch iron | 75 | 75 | ||
| 1 pair tongs, smith's, 11-inch | 84 | 84 | ||
| 1 chisel, handled, for cutting hot iron | 50 | 50 | ||
| 1 chisel, handled, for cutting cold iron | 50 | 50 | ||
| 1 fore-punch and creaser (on one handle) | 22 | 22 | ||
| 1 chisel, hand, cold | 25 | 25 | ||
| 1 pritchel | 08½ | 08½ | ||
| ON LIMBER OF FORGE AND BATTERY-WAGON.[437] | ||||
| 1 shoeing-rasp, 16-inch | 42 | 42 | ||
| 1 flat bastard file, 12-inch | 16 | 16 | ||
| 1 round punch, hand | 07 | 07 | ||
| 1 hardie | 09 | 09 | ||
| 1 screw-wrench, 12-inch | 49 | 49 | ||
| 2 shoeing-knives | 25 | 25 | ||
| 1 toe-knife | 07 | 07 | ||
| 1 shoeing-pincers | 42 | 42 | ||
| 1 clinching-iron | 30 | 30 | ||
| 1 nail-punch | 06 | 06 | ||
| 1 rule (2-foot), wood, 4-fold, No. 72, Stanley | 15 | 15 | ||
| 1 square, steel | 40 | 40 | ||
| 1 oiler, brass | 07 | 07 | ||
| 1 shoeing-box, sole-leather | 1 | 50 | 1 | 50 |
| 1 file-handle, iron, 6-inch | 30 | 30 | ||
| 1 wrench, small, for forge | 50 | 50 | ||
| 1 fire-rake | 14 | 14 | ||
| 1 fire-shovel | 28 | 28 | ||
| 2 small canvas bags for nails and small stores | 62 | 62 | ||
| 1 padlock (and key) | 60 | 60 | ||
| ON BODY OF FORGE AND BATTERY-WAGON. | ||||
| 2 water-buckets, galvanized sheet-iron | 1 | 10 | 2 | 20 |
| 1 prolonge (section of picket-rope) | 8 | 60 | 8 | 60 |
| 2 lanterns, with Cranston attachment | 59 | 1 | 18 | |
| 1 oil-can, sperm (2¼ pints) | 50 | 50 | ||
| 1 oil-can, coal (3 gallons) | 3 | 20 | 3 | 20 |
| 1 grindstone, arbor, crank, and frame (iron), complete | 16 | 25 | 16 | 25 |
| 1 lunette-prop | 70 | 70 | ||
| 2 jackscrews | 9 | 50 | 19 | 00 |
| 1 hammer, sledge, medium | 90 | 90 | ||
| 1 anvil (100 pounds) | 5 | 25 | 5 | 25 |
| 1 vise, forge | 84 | 84 | ||
| 2 padlocks (and keys) | 60 | 1 | 20 | |
| Saddler's tools (chest): | ||||
| 1 saddler's tool-chest (handled) | 15 | 15 | 15 | 15 |
| 1 knife, round | 90 | 90 | ||
| 1 knife, shoe | 17 | 17 | ||
| 1 draw-gauge | 1 | 10 | 1 | 10 |
| 6 awls, stitching, handled (assorted) | 05½ | 33 | ||
| 1 rivet-set (two holes) | 25 | 25 | ||
| 1 revolving punch, four tubes, Nos. 4, 5, 6, and 7 | 55 | 55 | ||
| 1 claw-tool | 12 | 12 | ||
| 1 compasses, 6-inch | 12 | 12 | ||
| 1 creaser, wood | 17 | 17 | ||
| 1 cutting-nippers, 10-inch | 1 | 50 | 1 | 50 |
| 1 hammer, riveting | 30 | 30 | ||
| 1 edge-tool, No. 2 | 12½ | 12½ | ||
| 1 rule (2-foot), No. 18, 2-fold | 15 | 15 | ||
| 1 oil-stone | 2 | 70 | 2 | 70 |
| 1 pliers (large), 6-inch | 25 | 25 | ||
| 1 driving-punch, No. 5[438] | 09 | 09 | ||
| 1 stitching-horse, complete | 3 | 67 | 3 | 67 |
| 2 small canvas bags for small stores | 62 | 1 | 24 | |
| Carpenter's and wheelwright's tools (chest): | ||||
| 1 carpenter's and wheelwright's tool-chest, handled | 15 | 15 | 15 | 15 |
| 1 brace with 12 bits, assorted | 1 | 55 | 1 | 55 |
| 1 drawing-knife, 12-inch | 50 | 50 | ||
| 1 hand-saw, 20-inch | 30 | 30 | ||
| 1 rip-saw, 26-inch | 85 | 85 | ||
| 1 hand-axe, No. 7 | 84 | 84 | ||
| 1 hammer, claw | 50 | 50 | ||
| 4 chisels, framing—¾-inch, 1-inch, 1½-inch, 2-inch | 1 | 34 | ||
| 3 gouges, framing—½-inch, 1-inch, 1½-inch | 1 | 35 | ||
| 1 screw-wrench, 12-inch | 49 | 49 | ||
| 1 plane, jack | 42 | 42 | ||
| 1 plane, smoothing | 40 | 40 | ||
| 1 spoke-shave | 18 | 18 | ||
| 1 rule (2-foot), No. 72, 4-fold, Stanley | 15 | 15 | ||
| 10 brad-awls, assorted, with (and contained in) handle | 42 | |||
| 1 square, trying, 9-inch | 22 | 22 | ||
| 1 awl, scribing | 08 | 08 | ||
| 12 files, saw, assorted—4-inch and 6-inch | 66 | |||
| 1 rasp, wood, 10-inch | 32 | 32 | ||
| 1 file, wood, 10-inch | 12½ | 12½ | ||
| 1 oiler, brass | 12 | 12 | ||
| 1 oil-stone, 8-inch | 2 | 70 | 2 | 70 |
| 1 gauge | 06 | 06 | ||
| 1 compasses, 10-inch wing | 25 | 25 | ||
| 1 table-vise | 1 | 40 | 1 | 40 |
| 1 pincers, small | 12½ | 12½ | ||
| 1 mallet, wood | 40 | 40 | ||
| 6 auger-bits—¼-inch, ½-inch, ¾-inch, 1-inch, 1¼-inch, 1½-inch | 1 | 43 | ||
| 2 screw-driver bits—½-inch and ¾-inch | 15 | |||
| 1 patent auger-handle | 18 | 18 | ||
| 3 file-handles, iron—4-inch flat, 4-inch round, 5-inch | 65 | |||
| 1 linen tape-line ("Chesterman" Sheffield), 100 feet | 2 | 35 | 2 | 35 |
| 2 small canvas bags for small stores | 62 | 1 | 24 | |
New Pattern.
| Components. | Wheel. | Lead. | ||||||
| Near Horse. |
Off Horse. |
Near Horse. |
Off Horse. |
|||||
| BREAST-STRAP. | $ | c. | $ | c. | $ | c. | $ | c. |
| Strap | 85 | 85 | ||||||
| Double hooks, 2 @ $3.50 each | 7 | 00 | 7 | 00 | ||||
| Breast-strap complete | 7 | 85 | 7 | 85 | ||||
| BREECHING. | ||||||||
| Body | 3 | 98 | 3 | 98 | ||||
| Side-straps, 2 @ 56c. each | 1 | 12 | 1 | 12 | ||||
| Breeching complete | 5 | 10 | 5 | 10 | ||||
| BRIDLE. | ||||||||
| Curb-bit, Shoemaker | 2 | 25 | 2 | 25 | 2 | 25 | 2 | 25 |
| Curb-strap | 34 | 34 | 34 | 34 | ||||
| Cheek-pieces, 2 @ 28c. each | 56 | 56 | 56 | 56 | ||||
| Crownpiece | 25 | 25 | 25 | 25 | ||||
| Reins | 1 | 04 | 1 | 04 | 1 | 04 | 1 | 04 |
| Throat-lash | 15 | 15 | 15 | 15 | ||||
| Brow-band | 28 | 28 | 28 | 28 | ||||
| Brow-band ornaments, 2 @ 8c. each | 16 | 16 | 16 | 16 | ||||
| Coupling-strap | 70 | 70 | ||||||
| Bridle complete | 5 | 03 | 5 | 73 | 5 | 08 | 5 | 78 |
| HALTER. | ||||||||
| Head-stall | 1 | 90 | 1 | 90 | 1 | 90 | 1 | 90 |
| Strap | 50 | 50 | 50 | 50 | ||||
| Halter complete | 2 | 40 | 2 | 40 | 2 | 40 | 2 | 40 |
| Leg-guard | 3 | 22 | ||||||
| Loin-strap | 55 | 55 | 55 | 55 | ||||
| Trace-loops, 2 @ 32c. each | 64 | 64 | 64 | 64 | ||||
| Martingale | 2 | 14 | 2 | 14 | ||||
| SADDLE. | ||||||||
| Saddle-trees, leather-covered, spring bar attached | 9 | 27 | 9 | 27 | 9 | 27 | 9 | 27 |
| Back-straps, 2 @ 83c. each | 1 | 66 | 1 | 66 | 1 | 66 | 1 | 66 |
| Cincha-straps, 2 @ 50c. each | 1 | 00 | 1 | 00 | 1 | 00 | 1 | 00 |
| Stirrups, brass, 2 @ $1.20 each | 2 | 40 | 2 | 40 | 2 | 40 | 2 | 40 |
| Stirrup straps and sweat-leather attached, 2 @ $1.48 each | 2 | 96 | 2 | 96 | 2 | 96 | 2 | 96 |
| Rawhide thongs, 3 @ 5c. each | 15 | 15 | 15 | 15 | ||||
| Lead rein roller and strap | 35 | 35 | ||||||
| Cantle-hook | 2 | 70 | 2 | 70 | ||||
| Saddle complete | 20 | 14 | 20 | 49 | 17 | 44 | 17 | 79 |
| Saddle-cloth, hair | 4 | 50 | 4 | 50 | 4 | 50 | 4 | 50 |
| Saddle-cloth, duck | 2 | 12 | 2 | 12 | 2 | 12 | 2 | 12 |
| Saddle-bags | 5 | 17 | 5 | 17 | 5 | 17 | 5 | 17 |
| Hair girth | 1 | 20 | 1 | 20 | 1 | 20 | 1 | 20 |
| Traces, wheel, 2 @ $7.00 each | 14 | 00 | 14 | 00 | ||||
| Traces, lead, 2 @ $8.95 each | 17 | 90 | 17 | 90 | ||||
| Whip | 1 | 14 | 1 | 14 | ||||
| Collar, steel locking | 9 | 00 | 9 | 00 | 9 | 00 | 9 | 00 |
| Crupper and hip-straps | 2 | 23 | 2 | 23 | 1 | 72 | 1 | 72 |
| Trace-loops, 2 @ 32c. each | 64 | 64 | ||||||
| Crupper and hip-straps complete | 2 | 23 | 2 | 23 | 2 | 36 | 2 | 36 |
| Total | 87 | 00 | 83 | 59 | 69 | 45 | 69 | 36 |
| Cost of one set of harness for 2 wheel-horses | $170.59 |
| Cost of one set of harness for 2 lead-horses | 138.81 |
| Pack-saddle for gun | $44.16 | |
| Crupper | 4.10 | |
| Belly-cincha | 4.85 | |
| Saddle-cincha | 3.89 | |
| Cargo-cincha | 9.24 | |
| Wheel-straps | .17 | |
| Hub-straps | .40 | |
| Gun-pad | 1.30 | |
| Lashing-rope | .25 | |
| $68.36 | ||
| Pack-saddle for carriage | 41.44 | |
| Crupper | 4.10 | |
| Belly-cincha | 3.63 | |
| Saddle-cincha | 3.89 | |
| Cargo-cincha | 6.45 | |
| Trail-strap | .14 | |
| Lashing-rope | .25 | |
| 59.90 | ||
| Pack-saddle for ammunition | 48.94 | |
| Crupper | 4.10 | |
| Belly-cincha | 3.63 | |
| Saddle-cincha | 3.89 | |
| Cargo-cincha | 3.92 | |
| Lashing-rope | .25 | |
| 64.73 | ||
| HARNESS, ETC. | ||
| Bridles, 2 at $1.92 each | 3.84 | |
| Breast-collars, 2 at $2.72 each | 5.44 | |
| Martingales, 2 at 77 cents each | 1.54 | |
| Breechings, 2 at $3.61 each | 7.22 | |
| Traces, 2 pairs at $1.30 per pair | 2.60 | |
| Pole-straps, 2 at 26 cents each | .52 | |
| 21.16 | ||
| Harness-sack | 1.26 | |
| Neck-yoke | .75 | |
| Neck-yoke brace | .40 | |
| Neck-yoke brace-billet and chapes | .12 | |
| 1.27 | ||
| Pole[442] | $41.21 | |
| Splinter-bar | $7.51 | |
| Trail-hooks for attachment of splinter-bar | 1.60 | |
| 9.11 | ||
| Ammunition-boxes, 4 at $3.18 each | 12.72 | |
| Cartridge-pack | 2.54 | |
| Total | 282.26 | |
| Sabre complete with scabbard | $16.00 |
| Scabbard | 5.00 |
| Chamois case | .75 |
| Sabre complete | $5.00 |
| Hunting-knife | 1.10 |
| Components. | Price. | |||
| Dolls. | Cts. | |||
| Light-artillery sabre-belt, with slings, etc. | $0.99 | ![]() |
||
| Light-artillery sabre-belt plate | .18 | |||
| Light-artillery sabre-belt complete | 1 | 17 | ||
| —————— | ||||
| Light-artillery knapsack | 4 | 00 | ||
| Pistol-cartridge pouch | 60 | |||
| Pistol-holster | 79 | |||
| Sabre-knot | 55 | |||
| Canteen | 53 | |||
| Canteen-strap with snap, short, for saddle | 20 | |||
| Canteen-strap for dismounted service | 29 | |||
| Haversack | 88 | |||
| Haversack-strap | 56 | |||
| Meat-can | 28 | |||
| Tin cup | 15 | |||
| Knife | 07 | |||
| Fork | 05 | |||
| Spoon | 02½ | |||
| —————— | ||||
| Snap-hook for canteen-strap | 02 | |||
| Snap-hook for sabre-sling | 32 | |||
| Components. | Price. | |
| Dolls. | Cts. | |
| Waist-belt | 45 | |
| Sliding loops, leather, 2 at 2½ cents each | 05 | |
| Belt-plate | 35 | |
| Belt-plate hasp | 08 | |
| Belt-slides, leather, with ovals, 2 at 9½ cents each | 19 | |
| Long sling | 15 | |
| Short sling | 07 | |
| Belt-buckle | 07 | |
| Sling-buttons, 2 at 9½ cents each | 19 | |
| Short-sling button with hook | 12 | |
| Snap-hooks for sword-slings, 2 at 55 cents each | 1 | 10 |
| Sword-belt complete | 2 | 82 |
Note.—All the metallic parts of the officer's sword-belt are of brass, gold-plated.
(See also Artillery-harness.)
| Sabre-straps, 2 at 10½ cents each | $0 | 21 |
| Stirrups, wood (without hoods), 2 at 21 cents each | 42 | |
| Stirrup-hoods, 2 at 57½ cents each | 1 | 15 |
| Stirrup-straps, 2 at 50 cents each | 1 | 00 |
| Watering-bit complete | $0 | 73 |
| Reins | 50 | |
| Watering-bridle complete | $1 | 23 |
| Curry-comb[444] | $0 | 23 |
| Double spring snap for lariats | 14 | |
| Harness-sack for artillery-harness | 3 | 15 |
| Horse-brush | 90 | |
| Horse-cover, cotton duck, with surcingle of the same material attached | 3 | 29 |
| Lariat | 86 | |
| Link, with snap | 29 | |
| Mane-comb | 08 | |
| Nose-bag | 95 | |
| Picket-pin | 34 | |
| Saddle-blanket, artillery | 3 | 25 |
| Saddle-cloth for officers of artillery | 5 | 05 |
| Brow-band, scarlet, officer's | 49 | |
| Breast-straps, scarlet, officer's | 2 | 55 |
| Side-lines (or hopples) | 1 | 20 |
| Stirrup, with hood and socket for guidon attached | 1 | 34 |
| Sweat-leathers, each | 55 | |
| Surcingle | 91 | |
| Spurs, per pair | 70 | |
| Spur-straps, per pair | 20 |
| 2 spurs, 60 cents each | $1 | 20 |
| 2 spur-chains, 40 cents each | 80 | |
| 2 spur-straps, 6½ cents each | 13 | |
| 2 spur-strap buckles, 15¾ cents each | 31½ | |
| 1 packing-box, pasteboard | 05½ | |
| 1 pair spurs | $2 | 50 |
| 1 stencil-plate of sheet brass, with coat of arms of the service, number of regiment, and letter of company | $0 | 75 |
| 10 metal stencil-plates, numbers O to 9 | 16½ | |
| 1 stencil-brush | 15 | |
| 1 box of black marking-paste | 08 | |
| 1 packing-box | 16½ | |
| Price of stencil outfit complete | $1 | 31 |
| 1 stamp | $1 | 06 |
| 1 stamp-holder | 55 | |
| 2 thumb-screws, at 4 cents each | 08 | |
| 1 company letter | 05¼ | |
| 19 figures and 1 blank, at 3 cents each | 60 | |
| 1 brass mallet | 49 | |
| 1 ink-pad | 05¼ | |
| 1 glass bottle, ground-glass stopper | 10½ | |
| 4 ounces indelible ink | 09 | |
| 1 inking-stick | 02 | |
| 1 packing box | 43 | |
| Price of marking outfit complete | $3 | 53 |
| Lanterns, common | $1 | 00 |
| Lanterns, dark | 1 | 25 |
| Lanterns, globe | 1 | 25 |
Expendible stores are marked with a star (thus *), and must not be dropped until actually used.
For each battery of artillery equipped as a battery of horse-artillery or a light battery, and serving as such:
| Gun. | Maximum Charge. | No. of projectiles for each gun of the command. |
| 3.2-inch rifle | 3½ lbs. L. X. Q. powder | 25 standard projectiles |
| Hotchkiss revolving cannon | 100 standard projectiles. | |
| 3.6-inch mortar | For each battery: (a) Fifteen shells without fuzes (shell ballasted); (b) five full charges, 16 ounces. Ten 8 ounce charges, comprising each one 5-ounce and one 3-ounce charge bound together; these can be used as 3-ounce, 5-ounce, 8-ounce, or 11-ounce charges. | |
Each battery equipped as a battery of horse-artillery or a light battery will be allowed for instruction, other than target practice, as many blank cartridges and friction-primers as may be deemed necessary by the battery commander and approved by the post commander.
For batteries armed with the Hotchkiss breech-loading mountain-gun there will be allowed for the annual target practice twenty-five standard projectiles for each gun of the command, or their equivalent in money value if reloaded.
For each machine-gun of small-arm calibre there will be allowed for the annual target practice two thousand ball cartridges, or their equivalent in money value if reloaded.
Blank cartridges for salutes and for firing the morning and evening gun:
3.2-inch rifle, 2½ lbs. I. K. powder.
3-inch rifle, 1 lb. of either mortar, cannon, or I. K. powder.
6-pdr. bronze gun, 1 lb. of either mortar, cannon, or I. K. powder.
Light 12-pdr. bronze gun, 1¾ lbs. of either mortar, cannon, or I. K. powder.
Veterinary medicines, instruments, and supplies for the treatment of all public animals, and the authorized private horses of mounted officers, are furnished by the Quartermaster's Department.
Requisitions and estimates for veterinary supplies will be made in conformity with the standard supply table. Only the articles and the quantities thereof that are actually needed will be placed on the requisition. The quantity prescribed in the table is not to be considered an allowance, but as a limit not to be exceeded without special authority.
The standard supplies of veterinary medicines and dressings are under charge of the quartermaster, to be issued by him to the different commands at the post upon approved requisitions in such quantities and of such articles as may be deemed requisite, in conformity with the standard supply table. Battery commanders must deduct from the allowance, in making requisition, the quantity of each article on hand and available for issue.
Veterinary instruments and books remain in the custody of the post quartermaster, and are loaned as needed.
The pannier, pocket-case, and saddle-bags are easily improvised, and are omitted from the table.
For a greater or less number of animals than are provided for in the table the proportions indicated will be observed in requisitions and issues.
This table is ample and sufficiently varied for ordinary practice; but in order to provide for the necessities of epidemics, and to indulge, as far as practicable, individual preference and training, a special requisition for articles not in the supply table, with an explanation of the nature of the emergency or case rendering it necessary, may be forwarded through the regular channels for the action of the quartermaster-general.
| Articles. | Quantities. | |||
| Medicines for Three Months' Supply— | For 100 Animals. |
For 200 Animals. |
For 300 Animals. |
|
| Acid, carbolic, crystallized | oz. | 16 | 18 | 24 |
| Aconite, tincture of the root | oz. | 4 | 4 | 8 |
| Alcohol | gals. | 1 | 2 | 3 |
| Aloes, Barbadoes | oz. | 20 | 20 | 30 |
| Ammonia, aromatic spirits of | lbs. | 2 | 3 | 4 |
| Ammonia, carbonate of | lbs. | 1 | 1½ | 2 |
| Ammonia, solution of | gals. | 1 | 2 | 3 |
| Belladonna, fluid extract of | oz. | 4 | 6 | 8 |
| Camphor | lbs. | 1 | 1½ | 2 |
| Cantharides (Spanish flies), powdered | oz. | 2 | 3 | 4 |
| Charcoal, powdered | lbs. | 1 | 1½ | 2 |
| Cosmoline, veterinary | lbs. | 4 | 8 | 12 |
| Ether, spirits of nitrous (sweet spirits of nitre) | lbs. | 3 | 6 | 8 |
| Ether, sulphuric | lbs. | 2 | 3 | 4 |
| Flaxseed-meal | lbs. | 25 | 30 | 40 |
| Ginger, powdered | lbs. | 2 | 3 | 4 |
| Gentian, powdered | lbs. | 2 | 3 | 4 |
| Glycerine | oz. | 8 | 12 | 16 |
| Iron, sulphate of desiccated | oz. | 8 | 10 | 12 |
| Lime, chloride of | lbs. | 25 | 50 | 75 |
| Lunar, caustic | oz. | 1 | 1 | 2 |
| Oil, linseed | gals. | 2 | 3 | 4 |
| Opium, tincture of | lbs. | 3 | 4 | 6 |
| Oil, olive | gals. | 1 | 2 | 3 |
| Pepper, Cayenne, ground | lbs. | 1 | 1½ | 2 |
| Potassa, nitrate of (saltpetre) | lbs. | 3 | 4 | 6 |
| Soap, Castile | lbs. | 10 | 15 | 20 |
| Soda, bicarbonate of | lbs. | 4 | 8 | 12 |
| Sulphur, washed | lbs. | 2 | 3 | 4 |
| Turpentine, oil of | gals. | 2 | 3 | 4 |
| Zinc, sulphate of | oz. | 8 | 10 | 12 |
| Dressings for Six Months' Supply. | ||||
| Bandages 2½ inches wide and 4 yards long, of heavy bed-ticking | doz. | 2 | 3 | 4 |
| Bandages 4 inches wide and 4 yards long of heavy red flannel | doz. | 2 | 3 | 4 |
| Oakum | lbs. | 10 | 15 | 20 |
| Silk for ligatures | oz. | ¾ | ¾ | 1 |
| Sponges, coarse | lbs. | 1 | 1½ | 2[450] |
| Instruments for Each Post— | Of 100 Animals. |
Of 200 Animals. |
Of 300 Animals. |
|
| Ball forceps | no. | 1 | 2 | 3 |
| Bistouries | no. | 1 | 2 | 3 |
| Catheters, gum, with stylet | no. | 1 | 2 | 2 |
| Corkscrews | no. | 1 | 2 | 2 |
| Drenching-horns, tin | no. | 2 | 2 | 4 |
| Fleams (3 blades) | no. | 2 | 4 | 6 |
| Funnels, tin | no. | 1 | 2 | 3 |
| Graduate glasses, 6-oz. | no. | 1 | 2 | 3 |
| Hobbles, casting | no. | 1 | 2 | 3 |
| Hones | no. | 1 | 2 | 3 |
| Lancets | no. | 3 | 6 | 8 |
| Measures, tin, sets | no. | 1 | 2 | 3 |
| Mortars and pestles, wedgewood, large | no. | 1 | 2 | 3 |
| Needles, surgeons' | no. | 8 | 10 | 12 |
| Needles, Seaton | no. | 8 | 10 | 12 |
| Probangs, celluloid, in two pieces | no. | 1 | 2 | 3 |
| Scales and weights, shop | no. | 1 | 2 | 2 |
| Scissors, curved | no. | 2 | 4 | 6 |
| Slings, suspending | no. | 1 | 2 | 2 |
| Spatulas | no. | 1 | 2 | 3 |
| Speculums, mouth | no. | 1 | 2 | 3 |
| Syringes, rubber, 2-oz. | no. | 1 | 2 | 2 |
| Syringes, rubber, 24-oz. | no. | 1 | 2 | 2 |
| Thermometers, clinical | no. | 1 | 2 | 2 |
| Tooth-rasps | no. | 1 | 2 | 3 |
| Books for Each Officer in Charge of— | 100 Animals. |
200 Animals. |
300 Animals. |
|
| Blank books, 2-quire, for record of cases | no. | 1 | 2 | 2 |
| Practical Horse-shoeing, Fleming | no. | 1 | 2 | 2 |
| The Farmer's Veterinary Adviser, Laws | no. | 1 | 2 | 2 |
| Or, Army Veterinary Manual, Holcombe | no. | 1 | 2 | 2 |
| Dinner-plates | 75 | ![]() |
Articles of china and glassware upon which an allowance of 20 per cent per annum of total value is made. | |
| Soup-plates | 75 | |||
| Meat-plates | 7 | |||
| Cups and saucers | 75 | |||
| Water-pitchers | 7 | |||
| Vegetable-dishes | 38 | |||
| Salt-cellars | 14 | |||
| Pepper-boxes | 14 | |||
| Syrup-pitchers | 14 | |||
| Bowls | 75 | |||
| Pickle-dishes | 9 | |||
| Sugar-bowls | 14 | |||
| Gravy-boats | 14 | |||
| Mustard-pots | 14 | |||
| Tumblers | 75 | |||
| Dippers | 7 | Meat-saws | 2 | |
| Soup-ladles | 7 | Scales and weights | 1 | |
| Skimmers | 2 | Frying-pans | 4 | |
| Dishpans | 4 | Meat-forks | 7 | |
| Basting-spoons | 7 | Meat-choppers or meat-cutters | 2 | |
| Tea-spoons | 75 | Carving-sets | 2 | |
| Table-spoons | 75 | Cleavers | 1 | |
| Table-forks | 75 | Mustard-spoons | 14 | |
| Table-knives | 75 | Flour-sieves | 1 | |
| Bread-knives | 4 | Can-openers | 7 | |
| Butcher-knives | 4 | Graters | 2 | |
| Chopping-bowls | 4 | |||
| Coffee-mills | 1 | |||
| Articles. | Year. | Total for five years. | ||||||
| First. | Second. | Third. | Fourth. | Fifth. | ||||
| 1st 6 mos. |
2nd 6 mos. |
|||||||
| Helmets and trimmings complete | No. | 1 | ... | ... | 1 | ... | ... | 2 |
| Forage-caps and trimmings | No. | 1 | 1 | 1 | 1 | 1 | 1 | 6 |
| Campaign hats | No. | 1 | ... | 1 | 1 | 1 | 1 | 5 |
| Uniform coats | No. | 1 | ... | ... | 1 | ... | ... | 2 |
| Trousers | pairs | 2 | 1 | 2 | 2 | 2 | 1 | 10 |
| Canvas fatigue coats | No. | 1 | ... | 1 | 1 | 1 | 1 | 5 |
| Canvas fatigue trousers | pairs | 1 | ... | 1 | 1 | 1 | 1 | 5 |
| Linen collars | No. | 4 | 2 | 6 | 6 | 6 | 6 | 30 |
| Dark blue flannel shirts | No. | 2 | 1 | 2 | 2 | 2 | 2 | 11 |
| Knit undershirts | No. | 2 | 1 | 3 | 3 | 3 | 3 | 15 |
| Drawers | pairs | 2 | 1 | 3 | 3 | 3 | 3 | 15 |
| Boots for mounted troops | pairs | 1 | ... | 1 | ... | 1 | ... | 3 |
| Shoes for mounted troops | pairs | 1 | 1 | 1 | 2 | 1 | 1 | 7 |
| Barrack shoes | pairs | 1 | ... | 1 | 1 | 1 | 1 | 5 |
| Stockings, woollen | pairs | 3 | 1 | 4 | 4 | 4 | 4 | 20 |
| Stockings, cotton | pairs | 3 | 3 | 6 | 6 | 6 | 6 | 30 |
| Blouses | No. | 1 | ... | 1 | 1 | 1 | 1 | 5 |
| Overcoats | No. | 1 | ... | ... | ... | ... | ... | 1 |
| Chevrons, cloth | pairs | 2 | ... | 1 | 1 | 1 | 1 | 6 |
| Chevrons, gold lace | pairs | 1 | ... | ... | 1 | ... | ... | 2 |
| Stripes for trousers | pairs | 2 | 1 | 2 | 2 | 2 | 1 | 10 |
| Stable frock for mounted troops | No. | 1 | ... | ... | 1 | ... | ... | 2 |
| Overalls for mounted troops | pairs | 1 | ... | 1 | 1 | 1 | 1 | 5 |
| Blankets woollen | No. | 1 | ... | ... | 1 | ... | ... | 2 |
| Berlin gloves for mounted troops | pairs | 2 | 2 | 4 | 4 | 4 | 4 | 20 |
| Leather gauntlets | pairs | 1 | ... | 1 | ... | 1 | ... | 3 |
| Suspenders | pairs | 1 | ... | 1 | 1 | 1 | 1 | 5 |
| Cork helmets in lieu of campaign hats[15] | No. | 1 | ... | ... | 1 | ... | ... | 2 |
| Arctic overshoes[15] | pairs | 1 | ... | 1 | ... | ... | ... | 2 |
| Woollen mittens[15] | pairs | 2 | ... | 2 | 2 | 2 | 2 | 10 |
| Overcoats, fur or other suitable material[15] | No. | 1[16] | ... | ... | ... | ... | ... | ... |
| Fur caps[15] | No. | 1 | ... | 1 | 1 | 1 | 1 | 5 |
| Fur gauntlets[15] | pairs. | 1 | ... | 1 | 1 | 1 | 1 | 5 |
| Tents. | Axes. | Hatchets. | Spades. | Pick- axes. |
Camp- kettles. |
Mess- pans. |
|||
| Conical wall. |
Wall. | Common. | |||||||
| A general officer | ... | 3 | ... | 1 | 1 | ... | ... | ... | ... |
| Field and staff officer above rank of captain | ... | 2 | ... | 1 | 1 | ... | ... | ... | ... |
| Other staff officers or captains | ... | 1 | ... | 1 | 1 | ... | ... | ... | ... |
| Subalterns of companies, to every two | ... | 1 | ... | 1 | 1 | ... | ... | ... | ... |
| To every 6 foot or 4 mounted men | ... | ... | 1 | ... | ... | ... | ... | ... | ... |
| To every 15 foot or 13 mounted men | ... | ... | ... | 2 | 2 | 2 | 2 | 2 | 5 |
| To every 20 foot or 17 mounted men | 1 | ... | ... | ... | ... | ... | ... | ... | ... |
| Tents. | ||||
| Hospital. | Common. | |||
| For | 1 | company | 1 | 1 |
| " | 2 | companies | 1 | 1 |
| " | 3 | " | 2 | 1 |
| " | 4 | " | 2 | 1 |
| " | 5 | " | 3 | 1 |
| " | 6 | " | 3 | 1 |
| " | 7 | " | 3 | 1 |
| " | 8 | " | 3 | 1 |
| " | 9 | " | 4 | 1 |
| " | 10 | " | 4 | 1 |
To each battery, without regard to its numerical strength, 3 corn brooms and 2 scrubbing-brushes per month.
One for each non-commissioned officer.
One for every two enlisted men of all other grades.
Stoves.—3 large stoves in each dormitory, 1 large stove in each mess-room and day-room, 1 small stove for each of the two rooms for non-commissioned officers, 1 small stove for the reading-room, blacksmith-shop, carpenter-shop, saddle-shop, and guard-room each, and one cooking-stove or range for the kitchen.
Fuel (monthly).—For each enlisted man 1/12 cord of wood from May 1 to August 31, and 1 cord from Sept. 1 to April 30. Stations between 36 and 43 degs. N. lat. ¼[17] increase; stations further north ⅓ increase. For guards, not to exceed 3 cords from Sept. 1 to April 30, with ¾ cord increase for[454] stations between 36 and 43 degs. N. lat.; and 1 cord for those further north.
Lamps.—One burner for every ten (10) men and every fraction thereof, when fraction is five or more, of maximum strength of organization, and lamps or lanterns, not exceeding 3 for each barracks, for lighting interior passage-ways. Office, guard-house and first sergeant each a lamp with single burner. Stables, number of lamps or lanterns required, approved by department commander.
Oil (monthly).—Four ounces per burner for 1½-in. wicks and 2 ounces for smaller wicks during each hour of authorized illumination. (1 gal. for 26 hours for large burner, or 52 hours for small burner.)
Office Furniture.—To each desk, 1 ink-stand, 1 paper-folder, 1 ruler, 1 steel eraser, 1 piece of india-rubber, and 4 lead-pencils.
Stationery (quarterly).—Battery commander: 6 qrs. writing-paper, ¼ qr. envelope-paper, 10 sheets blotting-paper, 20 pens, 2 pen-holders, 1 pint black ink, 1 oz. red ink, ½ pint mucilage, 3 oz. sealing-wax, 1 piece office tape, 80 envelopes.
| Article. | Lbs. | Oz. | Article. | Lbs. | Oz. |
| Overcoat | 6 | 8 | Stockings, pair | 4 | |
| Blouse | 2 | Gauntlets, pair | 7 | ||
| Stable frock | 1 | 4 | Boots, pair | 4 | 8 |
| Overalls | 1 | 2 | Shoes, pair | 2 | 6 |
| Drawers | 14½ | Leggins, pair | 8 | ||
| Trousers | 2 | 6 | Blankets | 5 | |
| D. B. F. shirt | 1 | 4 | Poncho | 2 | 8 |
| Knit undershirt | 1 | Rubber blankets | 2 | 8 | |
| Mess-pan | 1 | 10 | Spade | 5 | |
| Camp-kettle | 5 | 8 | Shovel, long | 4 | 10 |
| Axe and helve | 6 | 4 | Shovel, short | 5 | |
| Hatchet and helve | 1 | 8 | Pickaxe and helve | 7 | 12 |
| Year of enlistment | First Year. |
Second Year |
Third Year. |
Fourth Year. |
Fifth Year. |
||
| Rank and Service. | |||||||
| Company. | |||||||
| Private—artillery, cavalry, and infantry |
|
$13 | $13 | $14 | $15 | $16 | |
| Private (2d class)—engineers and ordnance | |||||||
| Musician—engineers, artillery, and infantry | |||||||
| Trumpeter—cavalry | |||||||
| Wagoner—artillery, cavalry, and infantry | 14 | ![]() |
Not entitled to additional pay.[18] | ||||
| Artificer—artillery and infantry | 15 | ||||||
| Private—hospital corps | 18 | 18 | 19 | 20 | 21 | ||
| Corporal--artillery, cavalry, and infantry | ![]() |
15 | 15 | 16 | 17 | 18 | |
| Blacksmith, farrier, and saddler—cavalry | |||||||
| Sergeant—artillery, cavalry, and infantry | 18 | 18 | 19 | 20 | 21[19] | ||
| Private (1st class)—engineers and ordnance | 17 | 17 | 18 | 19 | 20 | ||
| Corporal—engineers and ordnance | 20 | 20 | 21 | 22 | 23 | ||
| First sergeant—artillery, cavalry, and infantry | 25 | 25 | 26 | 27 | 28[19] | ||
| Sergeant—engineers, ordnance, and signal corps | 34 | 34 | 35 | 36 | 37 | ||
| 1st class sergeant—signal corps | 45 | 45 | 46 | 47 | 48 | ||
| Regiment. | |||||||
| Chief trumpeter | ![]() |
22 | 22 | 23 | 24 | 25 | |
| Saddler sergeant—cavalry | |||||||
| Principal musician—artillery and infantry | |||||||
| Chief musician—artillery, cavalry, and infantry | 60 | Not entitled to additional pay.[18] | |||||
| Sergeant-major—artillery, cavalry, and infantry | ![]() |
23 | 23 | 24 | 25 | 26 | |
| Q. M. sergeant—artillery, cavalry, and infantry | |||||||
| Sergeant-major and Q. M. sergeant—engineers | 36 | 36 | 37 | 38 | 39 | ||
| Veterinary surgeon (senior) | 100 | ![]() |
Not entitled to any additional pay. | ||||
| Veterinary surgeon (junior) | 75 | ||||||
| Post. | |||||||
| Ordnance sergeant | ![]() |
34 | 34 | 35 | 36 | 37 | |
| Commissary sergeant | |||||||
| Post quartermaster-sergeant | |||||||
| Hospital steward | 45 | 45 | 46 | 47 | 48 | ||
| Acting hospital steward | 25 | 25 | 26 | 27 | 28 | ||
On re-enlisting after 5 years' service, $2.00 per month in addition to pay received at time of discharge ($1.00 is retained), and for each 5 years' continuous service thereafter a further sum of $1.00 per month.
The pay of a man who has ever re-enlisted under the act of August 4, 1854, and comes into the service again, commences with pay for fifth year.
A certificate of merit entitles a soldier to $2.00 per month additional pay, commencing on the date of rendering "distinguished service," and continuing through all subsequent service as an enlisted man.
Enlisted men (retired) are entitled to three fourths of the monthly pay allowed by law to them in the grade they held when retired, with commutation of clothing and rations.
When charges are preferred against an enlisted man for offences cognizable by inferior courts-martial, they will be laid before the post commander, who, if he thinks that the accused should be tried, will cause him to be brought before the summary court. Here he will be arraigned and allowed to plead, according to the practice of courts-martial. If an accused neither demands a removal of his case to a regimental or garrison court-martial; nor, being a non-commissioned officer above the rank of corporal, objects to trial by inferior court-martial; nor objects to be tried by the officer second in rank on the ground of his being the accuser; nor pleads guilty, witnesses will be sworn and evidence received, the accused being permitted to testify in his own behalf and make a statement; but the evidence and statement will not be recorded. When the summary court shall have arrived at a finding and judgment, the summary court record book, with the entries therein made in accordance with the headings of its[457] columns, will be laid before the post commander for his action, which also will be entered in the record book, dated and signed. When a case is heard by the post commander, the proceedings will be recorded in the same book. No other record of the proceedings will be kept, and trials by summary court will not be published in orders.
When a post commander sits as a summary court, no approval of the sentence is required by law, but he should sign the sentence as post commander and date his signature.
Record of Summary Court at.......................
| No. | Name, rank, company, and regiment. |
Article of War Violated. |
Synopsis of specification. |
Finding. | No. of previous convictions. |
Sentence, with signature of trial officer. |
Action of commanding officer, with date and signature. |
In all cases of desertion the sentence may include dishonorable discharge and forfeiture of pay and allowances.
Subject to the modifications authorized in Section 3 of this article the limit of the term of confinement (at hard labor) for desertion shall be as follows:
Section 1. In case of surrender—
(a) When the deserter surrenders himself after an absence of not more than thirty days, one year.
(b) When the surrender is made after an absence of more than thirty days, eighteen months.
Sec. 2. In case of apprehension—
(a) When at the time of desertion the deserter shall not[458] have been more than six months in the service, eighteen months.
(b) When he shall have been more than six months in the service, two and one half years.
Sec. 3. The foregoing limitations are subject to modification under the following conditions:
(a) The punishment of a deserter may be increased by one year of confinement at hard labor in consideration of each previous conviction of desertion.
(b) The punishment for desertion when joined in by two or more soldiers in the execution of a conspiracy, or for desertion in the presence of an outbreak of Indians or of any unlawful assemblage which the troops may be opposing, shall not exceed dishonorable discharge, forfeiture of all pay and allowances, and confinement at hard labor for five years.
Except as herein otherwise indicated punishment shall not exceed the limits prescribed in the following table:
| Offences. | Limits of punishment. | |
| Under 17th Article of War. | ||
| Selling horse or arms, or both | Dishonorable discharge, forfeiture of all pay and allowances, and confinement at hard labor for three years. | |
| Selling accoutrements | Four months' confinement at hard labor and forfeiture of $10 per month for the same period; for non-commissioned officer, reduction in addition thereto. | |
| Selling clothing | Two months' confinement at hard labor and forfeiture of $10 per month for the same period; for non-commissioned officer, reduction in addition thereto. | |
| Losing or spoiling horse or arms through neglect. | Four months' confinement at hard labor and forfeiture of $10 per month for the same period; for non-commissioned officer, reduction in addition thereto. | |
| Losing or spoiling accoutrements or clothing through neglect. | One month's confinement at hard labor and forfeiture of $10; for non-commissioned officer, reduction in addition thereto. | |
| Under 20th Article of War. | ||
| Behaving himself with disrespect to his commanding officer. | Six months' confinement at hard labor and forfeiture of $10 per month for the same period; for non-commissioned officer, reduction in addition thereto. | |
| Under 24th Article of War. | ||
| Refusal to obey or using violence to officer or non-commissioned officer while quelling quarrels or disorders. | Dishonorable discharge, with forfeiture of all pay and allowances and confinement at hard labor for two years. | |
| Under 31st Article of War. | ||
| Lying out of quarters | Forfeiture of $2; corporal, $3; sergeant, $4. | |
| Under 32d Article of War. | ||
| Absence without leave--—[20] | ||
| Less than one hour | Forfeiture of $1; corporal, $2; sergeant, $3; 1st sergeant or non-commissioned officer of higher grade, $4. | |
| From one to six hours[21] | Forfeiture of $2; corporal, $3; sergeant, $4; 1st sergeant or non-commissioned officer of higher grade, $5. | |
| From six to twelve hours | Forfeiture of $3; corporal, $4; sergeant, $6; 1st sergeant or non-commissioned officer of higher grade, $7. | |
| From twelve to twenty-four hours. | Forfeiture of $5; corporal, $6; sergeant, $7; 1st sergeant or non-commissioned officer of higher grade, $10. | |
| From twenty-four to forty-eight Hours. | Forfeiture of $6 and five days' confinement at hard labor. For corporal, forfeiture of $8; sergeant, $10; 1st sergeant or non-commissioned officer of higher grade, $12; or, for all non-commissioned officers, reduction. | |
| From two to ten days | Forfeiture of $10 and ten days' confinement at hard labor; for non-commissioned officer, reduction in addition thereto. | |
| From ten to thirty days | Forfeiture of $20 and one month's confinement at hard labor; for non-commissioned officer, reduction in addition thereto. | |
| From thirty to ninety days | Three months' confinement at hard labor and forfeiture of $10 per month for same period; for non-commissioned officer, reduction in addition thereto. | |
| For ninety or more than ninety days | Dishonorable discharge and forfeiture of all pay and allowances, and six months' confinement at hard labor. | |
| Under 33d Article of War. | ||
| Failure to repair at the time fixed, etc., to the place of parade— | ||
| For reveille or retreat roll-call and 11 P.M. inspection | Forfeiture of $1; corporal, $2; sergeant, $3; 1st sergeant, $4 | |
| For guard detail | Forfeiture of $5; corporal, $8; sergeant, $10. | |
| For fatigue detail | ![]() |
|
| For dress parade | ||
| For the weekly inspection | ||
| For target practice | Forfeiture of $2; corporal, $3; sergeant, $5. | |
| For drill | ||
| For guard-mounting (by musician) | ||
| For stable duty | ||
| Under 38th Article of War. | ||
| Drunkenness on— | ||
| Guard | Six months' confinement at hard labor and forfeiture of $10 per month for the same period; for non-commissioned officer, reduction in addition thereto. | |
| Duty as company cook | Forfeiture of $20. | |
![]() |
||
| Extra or special duty | ||
| At drill | ||
| At target practice | Forfeiture of $12; for non-commissioned officer, reduction and forfeiture of $20. | |
| At parade | ||
| At inspection | ||
| At inspection of company guard detail | ||
| At stable duty | ||
| Under 40th Article of War. | ||
| Quitting guard | Six months' confinement at hard labor and forfeiture of $10 per month for the same period; for non-commissioned officer, reduction in addition thereto. | |
| Under 51st Article of War. | ||
| Persuading soldiers to desert | Dishonorable discharge, forfeiture of all pay and allowances, and one year's confinement at hard labor. | |
| Under 60th Article of War. | Dishonorable discharge, forfeiture of all pay and allowances, and four years' confinement at hard labor. | |
| Under 62d Article of War. | ||
| Manslaughter | Dishonorable discharge, forfeiture of all pay and allowances, and ten years' confinement at hard labor. | |
| Assault, with intent to kill | Dishonorable discharge, forfeiture of all pay and allowances, and ten years' confinement at hard labor. | |
| Burglary | Dishonorable discharge, forfeiture of all pay and allowances, and five years' confinement at hard labor. | |
| Forgery | Dishonorable discharge, forfeiture of all pay and allowances, and four years' confinement at hard labor. | |
| Perjury | Dishonorable discharge, forfeiture of all pay and allowances, and four years' confinement at hard labor. | |
| False swearing | Dishonorable discharge, forfeiture of all pay and allowances, and two years' confinement at hard labor. | |
| Robbery | Dishonorable discharge, forfeiture of all pay and allowances, and six years' confinement at hard labor. | |
| Larceny or embezzlement of property—[22] | ||
| Of the value of more than $100 | Dishonorable discharge, forfeiture of all pay and allowances, and four years' confinement at hard labor. | |
| Of the value of $100 or less and more than $50 | Dishonorable discharge, forfeiture of all pay and allowances, and three years' confinement at hard labor. | |
| Of the value of $50 or less and more than $20 | Dishonorable discharge, forfeiture of all pay and allowances, and two years' confinement at hard labor. | |
| Of the value of $20 or less. | Dishonorable discharge, forfeiture of all pay and allowances, and one year's confinement at hard labor. | |
| Fraudulent enlistment, procured by false representation or concealment of a fact in regard to a prior enlistment or discharge, or in regard to conviction of a civil or military crime | Dishonorable discharge, forfeiture of all pay and allowances, and confinement at hard labor for one year. | |
| Fraudulent enlistment, other cases of | Dishonorable discharge, forfeiture of all pay and allowances, and confinement at hard labor for six months. | |
| Disobedience of orders, involving wilful defiance of the authority of a non-commissioned officer in the execution of his office | Six months' confinement at hard Six months' confinement at hard labor and forfeiture of $10 per month for the same period; for non-commissioned officer, reduction in addition thereto. | |
| Using threatening or insulting language or behaving in an manner to a non-commissioned officer while in the execution of his office | One month's confinement at hard labor and forfeiture of $10; for non-commissioned officer, reduction in addition thereto. | |
| Absence from fatigue duty | Forfeiture of $4; corporal, $5; sergeant, $6. | |
| Absence from extra or special duty | Forfeiture of $4; corporal, $5; sergeant, $6. | |
| Absence from duty as company or hospital cook. | Forfeiture of $10. | |
| Introducing liquor into post or camp in violation of standing orders. | Forfeiture of $3; for non-commissioned officer, reduction and forfeiture of $5. | |
| Drunkenness at post or in quarters | Forfeiture of $3; for non-commissioned officer, reduction and forfeiture of $5. | |
| Drunkenness and disorderly conduct, causing the offender's arrest and conviction by civil authorities at a place within ten miles of his station | Forfeiture of $10 and seven days' confinement at hard labor; for non-commissioned officer, reduction and forfeiture of $12. | |
| Noisy or disorderly conduct in quarters. | Forfeiture of $4; corporal, $7; sergeant, $10. | |
| Abuse by non-commissioned officer of his authority over an inferior. | Reduction, three months' confinement at hard labor, and forfeiture of $10 per month for the same period. | |
| Non-commissioned officer encouraging gambling. | Reduction and forfeiture of $5. | |
| Non-commissioned officer making false report. | Reduction, forfeiture of $8, and ten days' confinement at hard labor. | |
| Sentinel allowing a prisoner under his charge to escape through neglect. | Six months' confinement at hard labor and forfeiture of $10 per month for the same period. | |
| Sentinel wilfully suffering prisoner under his charge to escape. | Dishonorable discharge, forfeiture of all pay and allowances, and one year's confinement at hard labor. | |
| Sentinel allowing a prisoner under his charge to obtain liquor. | Two months' confinement at hard labor and forfeiture of $10 per month for the same period. | |
| Sentinel or member of guard drinking liquor with prisoners. | Two months' confinement at hard labor and forfeiture of $10 per month for the same period. | |
| Disrespect or affront to a sentinel. | Two months' confinement at hard labor and forfeiture of $10 per month for the same period; for non-commissioned officer, reduction in addition thereto. | |
| Resisting or disobeying sentinel in lawful execution of his duty. | Six months' confinement at hard labor and forfeiture of $10 per month for the same period; for non-commissioned officer, reduction in addition thereto. | |
| Lewd or indecent exposure of person. | Three months' confinement at hard labor and forfeiture of $10 per month for the same period; for non-commissioned officer, reduction in addition thereto. |
Section 1. When a soldier shall be convicted of an offence the punishment for which, as authorized by Article II. of this order or the custom of the service, does not exceed that which an inferior court-martial may award, the punishment so authorized may be increased by one half for every previous conviction of one or more offences within eighteen months preceding the trial and during the current enlistment; provided that the increase of punishment for five or more previous convictions shall not exceed that thus authorized when there are four previous convictions, and[463] that when one or more of such five or more previous convictions shall have been by general court-martial, or when such convictions shall have occurred within one year preceding the trial, the limit of punishment shall be dishonorable discharge, forfeiture of all pay and allowances, and confinement at hard labor for three months.
When the conviction is of an offence punishable under Article II. of this order or the custom of the service with a greater punishment than an inferior court-martial can award, but not punishable with dishonorable discharge, the sentence may, on proof of five or more previous convictions within eighteen months and during the current enlistment, impose dishonorable discharge and forfeiture of all pay and allowances in addition to the authorized confinement, and when this confinement is less than three months it may be increased to three months.
When a non-commissioned officer is convicted of an offence not punishable with reduction, he may, if he shall have been convicted of a military offence within a year and during the current enlistment, be sentenced to reduction, in addition to the punishment already authorized.
Sec. 2. In every case when an offence on trial before a court-martial is of a character admitting of the introduction of evidence of previous convictions, and the accused is convicted, the court, after determining its findings, will be opened for the purpose of ascertaining whether there is such evidence, and, if so, of hearing it. These convictions must be proved by the records of previous trials, or by duly authenticated orders promulgating the same, except in the cases of conviction by summary court, when a duly authenticated copy of the record of said court shall be deemed sufficient proof. Charges forwarded to the authority ordering a general court-martial, or submitted to a summary, garrison, or regimental court, must be accompanied by the proper evidence of such previous convictions[464] as may have to be considered in determining upon a sentence.
When a soldier shall, on one arraignment, be convicted of two or more offences, none of which is punishable under Article II. of this order or the custom of the service with dishonorable discharge, but the aggregate term of confinement for which may exceed six months, dishonorable discharge with forfeiture of pay and allowances may be awarded in addition to the authorized confinement.
This order prescribes the maximum limit of punishment for the offences named, and this limit is intended for those cases in which the severest punishment should be awarded. In other cases the punishment should be graded down according to the extenuating circumstances. Offences not herein provided for remain punishable as authorized by the Articles of War and the custom of the service.
Summary courts are subject to the restrictions named in the 83d Article of War. Soldiers against whom charges may be preferred for trial by summary court shall not be confined in the guard-house, but shall be placed in arrest in quarters, before and during trial and while awaiting sentence, except when in particular cases restraint may be necessary.
The following substitutions for punishments named in Article II. of this order are authorized at the discretion of the court:
Two days' confinement at hard labor for one dollar for[465]feiture; one day's solitary confinement on bread and water diet for two days' confinement at hard labor or for one dollar forfeiture; provided that a non-commissioned officer not sentenced to reduction shall not be subject to confinement; and provided that solitary confinement shall not exceed fourteen days at one time, nor be repeated until fourteen days have elapsed, and shall not exceed eighty-four days in one year. Whenever the limit herein prescribed for an offence or offences may be brought within the punishing power of inferior courts-martial, as defined by the 83d Article of War, by substitution of punishment under the provisions of this article, the said courts have jurisdiction of such offence or offences.
Non-commissioned officers above the rank of corporal shall not, if they object thereto, be brought to trial before regimental, garrison, or summary courts-martial without the authority of the officer competent to order their trial by general court-martial; nor shall sergeants of the post non-commissioned staff or hospital stewards be reduced, but they may be dishonorably discharged whenever reduction is included in the limit of punishment.
(Authorized by G. O. No. 59, A. G. O., June 28, 1889.)
| A ·- | F ·-· | K -·- | P ····· | U ··- |
| B -··· | G --· | L ---- | Q ··-· | V ···- |
| C ·· · | H ···· | M -- | R · ·· | W ·- - |
| D -·· | I ·· | N -· | S ··· | X ·-·· |
| E · | J -·-· | O · | T - | Y ·· ·· |
| Z ··· · | · ··· |
| 1 ·- -· | 3 ···- -· | 5 - - - | 7 - -·· | 9 -··- |
| 2 ··-·· | 4 ····- | 6 ····· | 8 -···· | 0 ---- |
| Comma ·-·- | Interrogation -··-· | Parenthesis Pn |
| Semicolon Si | Quotation Qn | Brackets Br |
| Colon Ko | Paragraph - - - - | Dollar mark Sx |
| Period ··- -·· | Exclamation - - - · | Dash Dx |
| Hyphen Hx | Underline Ux |
Note.—A fraction is made by inserting a dot between the numerator and denominator:
Example, ⅞ - -·· · -····
The flagman faces exactly toward the communicating station; staff is vertical in front of centre of body, butt at[467] height of waist. The dot (·) is represented by a motion to the right, and the dash (-) by a motion to the left of the sender. The space, whether separating elements of spaced characters (C, O, R, Y, Z, and "&"), or separating words, will be represented by a "front" motion.
Thus the motions:
Right, right, front, right, represent C.
Right, front, right, represent O.
Right, front, right, right, represent R.
Each motion will embrace an arc of 90°, starting from and returning to the vertical.
The long dash (letter "L" and numeral "naught") is distinguished from the "T" dash by a slight pause at the lowest point of dip, and with this exception there will be no pause whatever between the motions required for any single letter.
A slight pause will be made between letters.
At the end of each word, abbreviation, or conventional signal the space signal, or "front" motion, is made, preceded and followed by a pause equivalent to that made between letters.
To Call a Station.—Turn a steady flash on the station and keep it there until answered by a steady flash. Both stations will then adjust, each on the other's flash. When adjustments are satisfactory, the station called will acknowledge and cut off its flash, and the calling station will proceed with the message.
Adjustment.—If the receiver sees that the sender's mirror needs adjusting, he will turn on a steady flash until answered by a steady flash. When adjustment is satisfactory, the receiver will acknowledge, and the sender will resume his message.
To Call a Station.—Signal the "call letter" of the station required, or, if the call letter be not known, signal "A" without pause until acknowledged. The calling station will then proceed with the message.
To Acknowledge a Call.—Signal "I" three times followed by "front" and the call letter of the acknowledging station.
To Break or Stop the Signals from the Sending Station.—Signal "A" without pause until acknowledged.
To Start the Sending Station after Breaking.—Signal "G A" followed by "front" and the last word correctly received; the sender will immediately resume his message, beginning with the word indicated by the receiver. If nothing has been received, signal "R R"; the sender will then repeat all.
Error in Sending.—Signal seven dots (·······) rapidly followed by "front," and resume the message, beginning with the last word correctly sent.
End of Address.—Signal the period (··--··) followed by "front."
Signature Follows.—Signal "Sig" followed by "front."
To Acknowledge Receipt of a Message.—Signal "O K" followed by "front" and personal signal or initial of receiver.
Experiments at Lydd, in 1886, showed that earthen parapets of sandy loam 12 feet thick were but little affected by the fire from B. L. 12-pdr. and 20-pdr. with steel[469] shells, and the following rough rules will probably suffice against field-guns:
| For friable soil, such as sand, etc. | 2 | yards |
| For medium soil, such as ordinary earth | 2½ | yards |
| For tenacious soil, such as clay | 3 | yards |
The following data, obtained from experiments by the Germans, may prove of service:
| Field-artillery. | Garrison and Siege Artillery. | ||
| Shrapnel; (bullets or fragments) in earth, | 16 to 39 in. | In earth | 39 in. |
| Shrapnel, wood, overhead cover | 2 in. | Wood, overhead cover | 4 in. |
| Individual shot: | |||
| Striking fair, earth | 39 to 79 in. | Earth | 10 to 13 ft. |
| Striking fair, brickwork | 39 in. | ||
| Striking fair, snow | about 27 ft. | ||
| Sand | 29½ | in. |
| Rammed snow | 6 ft. 9 | in. |
| Sheaves of grain | 16 ft. 9 | in. |
| Pine | 39 | in. |
| Steel plate | 0.8 | in. |
| Ordinary earth | 39 | in. |
| Swampy or wet ground | 79 | in. |
| Laid sods and turf | 79 | in. |
| Oak | 24 | in. |
| Brickwork | 19½ | in. |
| A double thickness of planks filled in with broken stone | 7.8 | in. |
Penetration at all ranges has been increased with the new rifle (U.S.). At 200 to 300 yards protection is afforded by about 0.2 inch of steel plate and about 0.3 inch wrought iron; at same distances penetration in earth is 25 inches, in pine, 30 inches.
Description.—The French gun-pit consists of an epaulement, whose general direction is perpendicular to the line[470] of fire, with wings or returns at the sides, along which trenches are dug on the inside for the protection of the cannoneers. The earth for the epaulement is taken from a rectangular pit one and a half feet deep, and from the ramps and trenches leading to it. If there is not sufficient earth, more is obtained by digging a ditch in front. The lateral trenches may be prolonged and deepened to any extent.
Fig. 136.
Construction.—To trace the pit:
1. Lay off a line about ten feet in length perpendicular to the line of fire, to mark the foot of the interior slope of the epaulement.
This line should be long enough to give the piece a field of fire of 90 degrees; mark the extremities and centre of the line with stakes or otherwise.
2. In the wings lay off two lines five to seven feet in length, making with the first line angles such that the trenches shall not restrict the field of fire or interfere with the recoil of the piece.
3. Complete the rectangle of the pit, and mark the points of intersection of the trenches and the ramps leading to it.
4. In soft ground it will be found to be more expeditious to use shovels; if the ground is hard, three picks and five shovels will be necessary for each detachment of eight men. The men should commence by breaking ground along the interior slope; having picked a breadth of about two feet, they face about and advance toward the rear of the pit.
As soon as there is room the shovels follow the picks.
In picking the men should be instructed to strike together to avoid accident.
Under pressure this pit can be constructed in one and a half hours.
The German gun-pit consists of a rectangular excavation one and a half feet deep, with a ramp leading to it from the rear. The epaulement is formed like an ordinary glacis, and surrounds all but the entrance.
This pit is easily and rapidly constructed, and, as seen from a distance, presents a very small target.
The parapet being the same height all round, the gun can fire in any direction by widening the pit, which would then take the form of a semicircle.
Construction.—1. Lay off a line four yards in length perpendicular to the direction of the line of fire. At each extremity erect a perpendicular of four yards.
2. From the vertices of the right angles thus formed lay off one yard on both the front and side lines, and mark the four points so determined, together with the rear extremities of the sides, with sabres or stakes.
Fig. 137.
3. Commence and continue the digging as prescribed in the construction of the French gun-pit.
The pockets aa are for the reception of ammunition.
4. The ramp is laid out and completed after the pit is finished, or simultaneously with it, as may be most desirable.
An ordinary gun detachment can construct this pit in one hour.
A simple rectangular pit one and a half feet deep, with front epaulement and ramp.
Construction.—Constructed similarly to the German, the earth from the pit being thrown to the front.
It can be made in less than half an hour, and while affording no special cover to the cannoneers, as do the German and English, it can be made in half that time, and does not present a conspicuous target.
Fig. 138.
It has the further advantage of very rapid cover, and of being capable of transformation into any desirable pit if there be time.
This type is a true "gun-pit," the bottom being below the natural surface of the ground, sloping up at back of pit toward the rear. It affords excellent cover for the piece and its detachment, can be readily marked out, and constructed in a comparatively short time.
The lateral trenches, if extended, would afford a covered way along the front of the battery.
The defects in this pit are a contracted field of fire, the conspicuous mark which the embrasure gives the enemy, the lack of ammunition-pockets, and want of drainage.
Fig. 139.
Construction.—1. Lay off 8 feet 6 inches on a line perpendicular to the probable direction of fire for the interior crest, and at the middle point of this line determine a perpendicular to it; on this perpendicular lay off from the interior crest distances of 6 feet, 10 feet, and 18 feet, and through their extremities determine lines parallel to the interior crest; on these lines find points that are 6 feet from the perpendicular on both sides of it, putting in a stake or sabre at each point so determined. Extend the parallels at 6 feet and 10 feet, 4 feet on each side, and mark the points thus established for the lateral trenches.
2. Commence excavating at the interior crest, throwing the earth to the front and sides (being careful to allow a berme of about one foot), thus forming an epaulement 1 foot 6 inches high and 10 feet 5 inches thick at bottom, extending round to the front corner of the lateral trenches. Then throw the earth out to the side front to form mounds about 4 feet high in front of the lateral trenches to still better protect the detachment, sufficient space being left in front for an embrasure. Dig down two feet throughout the pit back to the line 10 feet from the interior crest and level off the bottom. Slope up from the bottom of the pit at ten-foot line back to the eighteen-foot line. If desirable to connect adjoining pits of this class, extend the lateral trenches until they meet.
Time of construction of pit complete in all its details, with detachment of eight cannoneers, gunner, and chief of section, in stiff clay, without previous practice, one hour and twenty minutes.
This type differs from the gun-pit proper, in that the wheels rest on the natural surface of the ground, the side-pits being for the cannoneers. The only apparent advantages are good cover for the detachment under heavy fire, drainage as far as the piece is concerned, and facility for ingress and egress. The obvious disadvantages are contracted space for working party in digging, contracted field of fire, and the mark presented by the embrasure to hostile fire.
Construction.—Lay off on a line perpendicular to the probable direction of fire 10 feet, prolong the line 5 feet 3 inches in both directions, and mark the four points thus determined with stakes or sabres. At the middle point of the ten-foot line erect a perpendicular to it and lay off on this perpendicular to the rear 9 feet 2 inches; through this[476] point determine a parallel to the ten-foot line and lay off on it, on both sides of the perpendicular, 9 feet and 14 feet 3 inches, marking the four points so determined with stakes or sabres.
The parallelograms whose vertices are thus established fix the surface-lines of the lateral trenches. Dig down to 4 feet 6 inches for the bottom of the trenches and throw the dirt to the front and side, giving the epaulement a height of 3 feet, and leaving space for the embrasure in front. When time permits, cut outside and rear steps for the trenches, as indicated, to admit of quick egress for the gun detachment.
Fig. 140.
Time of construction complete, soil and detachment same as English pit, two hours.
In forming the epaulement, leave a berme of at least a foot; and, when there is time, level and ram the earth, which, in front of the muzzle, should not be more than three and one half feet above the bottom of the pit. If there are side trenches, the earth in front of them should be high enough to afford complete protection to the men occupying them.
Pockets for the reception of the ammunition are very important in saving the ammunition from water which may accumulate, and from the fire of the enemy.
The field of fire should not be less than 90 degrees.
Avoid narrow embrasures as presenting an easy mark, and as likely to draw the fire of the enemy.
Cover should first be provided for the men and horses; then for the material.
If the position is occupied for some time, strengthen the parapet by earth from a ditch in front. Prolong the lateral trenches of the adjacent pits until they meet, forming a continuous parapet; if possible, plank or macadamize the bottom of the pit. Traverses between the guns will be found effective.
In order to conceal the parapets, cover the fresh earth with boughs, sod, or top-soil of the prevailing or surrounding color. If in winter, use snow for this purpose. A very effective plan is to dig a small trench or parapet from fifty to seventy-five yards in front of the real pits, thus deceiving an enemy as to where the real fire comes from.
If the ground does not afford natural cover for the limbers, limber-pits, similar to the Austrian gun-pits, can be easily constructed. They should be one foot deeper.
Bleeding.—Blood from the veins is dark and flows slowly; that from arteries is bright red and is thrown out in spurts.
To suppress bleeding from a vein, use cold water when slight; or place a moderately tight bandage below the wound.
If an artery, completely obstruct the artery by pressure at the bleeding point, or between it and the heart. Do this by means of the fingers, a pad and bandage, a plug, or a tourniquet. Make a knot in a handkerchief and place it at the proper spot over the course of the artery, then tie the handkerchief around the limb and by means of a stick twist it tight. In bleeding from hand, fore arm, or arm apply around arm near the shoulder; in bleeding of the foot, leg, or thigh apply around leg between knee and hip according to circumstances.
Chafing.—Chafing between the thighs may be alleviated by keeping the parts scrupulously clean, and powdered with fuller's earth, or a mixture of oxide of zinc and very finely powdered starch.
Colic.—Dose of castor-oil, hot applications to belly, and a teaspoonful of Squibb's mixture or ginger essence in water.
Cholera Morbus.—1 teaspoonful of paregoric, ¼ grain of morphine, or 1 teaspoonful of Squibb's mixture diluted may be given at once. Hot applications to belly. Stimulants in case of collapse.
Constipation.—A seidlitz powder, or a tablespoonful of Rochelle or Epsom Salts before breakfast; a teaspoonful of compound liquorice powder, or 2 or 3 compound cathartic pills, late at night.
Burns and Scalds.—Cover with vaseline or carron oil (equal parts of lime water and oil). If oil is not at hand, use flour or scraped potato. A tablespoonful of baking-soda to a teacupful of water soon relieves pain. Dress with lint or cotton-wool. Blisters should be carefully opened with a needle or scissors.
Diarrhœa.—Dose of castor-oil; if after oil has acted the diarrhœa persists, a teaspoonful of Squibb's mixture[479] diluted; or a camphor and opium pill, to be repeated in an hour if necessary.
Drowning.—If the patient has stopped breathing, tight clothing is first loosened; the individual is then turned over on his face, a roll of clothing, a rolled blanket, etc., being placed under his stomach, his mouth and nose are cleared of sand, mud, or other substances collected therein, and pressure is made upon the spine and kept up until water ceases to flow from the mouth. The patient is then turned over on his back, and the roll placed under his shoulder-blades so as to raise the shoulders and extend the throat. The tongue, being drawn well forward, is either secured by a string or rubber band, passing around the base of the organ and the chin, fixed by thrusting a small stick or pencil across the top of it behind the molar teeth, or held by an assistant. Then, kneeling behind the patient's head, seize the arms above the elbows and draw them outwards and upwards until they are fully extended above the head. After a pause of about two seconds the arms are carried back to their original positions, the operator making firm pressure on the chest at the same time. This procedure is carried out at the rate of about fifteen times a minute. Whenever the arms are raised, the chest is expanded and air enters the lungs; when they are brought down and pressure is made upon the chest, the latter is compressed and the air is expelled. The natural movements of respiration are hence imitated. This should be kept up for hours if necessary, and until natural breathing returns, or the case has been given up as hopeless by competent authority. During this time warm and dry clothing should have been placed on the patient, a fire built, and warm articles of any kind used to restore the heat of the body. The body and limbs should be constantly rubbed towards the trunk. As soon as the patient is able to swallow a teaspoonful of hot liquor in a tablespoonful[480] of water may be given every few minutes until the danger is over.
As soon as the patient begins to breathe of his own accord the artificial process should be timed to aid the natural respiration. Breathing may be stimulated by holding hartshorn to the nose, slapping the skin, or by dashing hot water on the chest.
After being restored the patient should be carefully carried in a recumbent position, put in a warm bed, and carefully watched for stoppage of breathing. If the patient has not stopped breathing when drawn out of the water, proceed as above, omitting artificial respiration except when the natural function begins to fail.
Emetics.—Gunpowder dissolved in water. One tablespoonful of mustard in a pint of water and then copious draughts of tepid water. Twenty grains of sulphate of zinc dissolved in water, to be followed by a cupful of tepid water, and repeated every three minutes until 3 or 4 doses have been given or vomiting has occurred.
Fainting.—Place patient on his back, head low, arms and feet may be elevated; loosen tight clothing; dash cold water in face; hold hartshorn to nostrils; a little whiskey and water when able to swallow.
Frost-bites.—Rub with snow or cold water.
Intoxication.—Pour water over head; give teaspoonful of ground mustard stirred up in a teacupful of lukewarm water; then, after vomiting has occurred, give a teaspoonful of aromatic spirits of ammonia in a teacupful of water, or a large draught of vinegar. If in danger of dying, general application of heat to body is imperative.
Heat Exhaustion resembles an ordinary fainting spell, and is similarly treated. Unlike sunstroke this condition presents a cool moist skin.
Sunstroke.—Its symptoms of warning are headache and oppression, followed after a time by loss of consciousness;[481] breathing labored; skin intensely hot; perspiration absent; the bladder and bowels sometimes discharge involuntarily.
Convey immediately to a cool place; remove clothing; place in cold bath, or wrap with sheets soaked in cold water, and keep wet with ice-water if possible. If this cannot be done, sponge thoroughly and continually the head and body, lumps of ice being rubbed over the chest and placed over the large blood-vessels in the arm-pits and groins.
Discontinue application of cold when consciousness returns, to be renewed only in case temperature rises above normal (98.9° F.) or insensibility returns.
Sore Feet.—If the feet begin to chafe, rub the socks with common soap where they come in contact with sore places. By rubbing the feet with hard soap before the march you may escape having sore feet. The feet should be washed every night and thoroughly dried. Blisters should not be opened, but have a thread run through.
| Oats | 32 |
| Beans | 60 |
| Onions | 57 |
| Castor beans | 46 |
| Barley | 48 |
| Peas | 60 |
| Timothy-seed | 45 |
| Flaxseed | 56 |
| Corn or rye | 56 |
| Clover-seed | 60 |
| Dried apples or peaches | 28 |
| Hemp-seed | 44 |
| Wheat | 60 |
| Potatoes | 60 |
| Salt | 50 |
| Bluegrass-seed | 14 |
| Flour | 196 |
| Beef, pork, or fish | 200 |
| Salt | 280 |
| Diam. | Height. | ||||
| 1 | gill | 1¾ | in. | 3 | in. |
| ½ | pint | 2¼ | " | 3⅝ | " |
| 1 | pint | 3½ | " | 3 | " |
| 1 | quart | 3½ | " | 6 | " |
| 1 | gallon | 7 | " | 6 | " |
| 2 | gallons | 7 | " | 12 | " |
| 8 | " | 14 | " | 12 | " |
| 10 | " | 14 | " | 15 | " |
A cubic yard contains 21.69 bushels.
| 1 | barrel | = | 24 x 16 x 28 | inches |
| ½ | " | = | 24 x 24 x 14 | " |
| 1 | bushel | = | 16 x 16.8 x 8 | " |
| 1 | " | = | a cylinder 14 in. diam. x 14 in. deep | |
| ½ | " | = | 12 x 11.2 x 8 | inches |
| 1 | peck | = | 8 x 8.4 x 8 | " |
| 1 | gallon | = | 8 x 8 x 4.2 | " (dry) |
| 1 | " | = | 6 x 6 x 6.42 | " (liquid) |
| ½ | " | = | 7 x 4 x 4.5 | " |
| 1 | quart | = | 4 x 4 x 4.1 | " (dry) |
| 1 | " | = | 4 x 4 x 3.61 | " (liquid) |
In freighting ships 42 cubic feet are allowed to a ton.
| Length | ![]() |
9½ ft. at bottom | ![]() |
; width, 3 ft. 4 in.; depth, 1 ft. 9 in. |
| 10 ft. at top |
Corn.—Two cubic feet of sound dry corn in the ear will make one bushel of shelled corn.
To determine the number of bushels of shelled corn in a crib of corn in the ear, multiply together the interior length, breadth, and height of the crib in feet, and divide by 2.
Oats.—A nose-bag will contain about 10 pounds of good oats.
A cubic foot of good oats weighs about 25¾ pounds.
To determine, approximately, the number of bushels of oats in a bin, multiply the length, breadth, and height in feet together, and multiply the result by O.8047.
To determine the number of bushels a wagon will contain, apply the same rule.
Hay.
| Hay loose | allow | 5 | pounds to a cubic foot |
| Hay in stack | " | 8 | pounds to a cubic foot |
| Hay baled | " | 11 | pounds to a cubic foot |
| Wagon-load of stack hay | " | 450 to 500 cubic feet to a ton | |
| Wagon-load of new-mown hay | 700 cubic feet to a ton | ||
Straw.—Allow 10 to 12 pounds to a cubic foot.
| 12 | inches | make | 1 foot | ft. |
| 3 | feet | " | 1 yard | yd. |
| 5½ | yards | " | 1 rod | rd. |
| 40 | rods | " | 1 furlong | fur. |
| 8 | furlongs, or 320 rods, | " | 1 mile | mi. |
| 3 | miles | " | 1 league | lea. |
| 7.92 | inches | make | 1 link | li. |
| 100 | links | " | 1 chain | ch. |
| 80 | chains | " | 1 mile | mi. |
| 144 | square inches | make | 1 square foot | sq. ft. |
| 9 | square feet | " | 1 square yard | sq. yd. |
| 30¼ | square yards | " | 1 square rod | sq. rd. |
| 160 | square rods | " | 1 acre | A. |
| 10,000 | square links | make | 1 square chain |
| 10 | square chains | " | 1 acre |
| 640 | acres | " | 1 square mile |
| 1728 | cubic inches | make | 1 cubic foot | cu. ft. |
| 27 | cubic feet | " | 1 cubic yard | cu. yd. |
| 128 | cubic feet | " | 1 cord | C. |
The standard U. S. gallon equals 231 cubic inches, and contains 8.3311 pounds of pure water at 62° F.
A cubic foot of pure water at 62° F. weighs 62.32 pounds.
The liquid quart is about six sevenths of a quart of dry measure.
| Name. | Equivalent. | Litres. | Decalitres. | Hectolitres. | |
| 1 gill | .1183 | ||||
| 1 pint | 4 | gills | .4732 | ||
| 1 quart | 2 | pints | .9463 | ||
| 1 gallon | 4 | quarts | 3.7853 | ||
| 1 barrel | 31½ | gallons | 11.9237 | 1.1924 | |
| 1 hogshead | 2 | barrels | 23.8474 | 2.3847 | |
| 1 pipe | 2 | hogsheads | 4.7694 | ||
| 1 tun | 2 | pipes | 9.5389 | ||
1 litre = 8.4536 gills = 2.1134 pints = 1.0567 quarts.
The bushel (Winchester) contains nearly 2150.42 cubic inches, and is a cylinder measure 18½ inches across and 8 inches deep.
A bushel measure will contain 9.31 gallons of pure water at 62° F.
| Name. | Equivalent. | Litres. | Decalitre. |
| 1 pint | .5506 | ||
| 1 quart | 2 pints | 1.1012 | |
| 1 peck | 8 quarts | 8.8096 | |
| 1 bushel | 4 pecks | 35.2384 | 3.5238 |
1 litre = 1.816 pints = .908 quart.
| 60 | minims (♏) | 1 fluid drachm (f. ʒ) |
| 8 | drachms (water 1.732 cu. in., 437½ grains) | 1 fluid oz. (f. ℥) |
| 20 | ounces | 1 pint (O.) |
| 8 | pints (water 70,000 grains) | 1 gallon (gall.) |
| 1 | drop | 1 grain |
| 60 | drops | 1 drachm |
| 1 | drachm | 1 teaspoonful |
| 4 | drachms | 1 tablespoonful |
| 8 | drachms (2 tablespoonfuls) | 1 ounce |
| 2 | ounces (water 875 grains) | 1 wineglassful |
| 3 | ounces | 1 teacupful |
| 12 things | make | 1 dozen | doz. |
| 12 dozen | " | 1 gross | gr. |
| 12 gross | " | 1 great gross | g. gr. |
| 24 | sheets | make | 1 quire | qr. |
| 20 | quires | " | 1 ream | ream |
| 2 | reams | " | 1 bundle | bund. |
| 2 | bundles | " | 1 bale |
A book in which
| Each | sheet | is folded | into | 2 | leaves | is a | folio |
| " | " | " | " | 4 | " | " | quarto, or 4to |
| " | " | " | " | 8 | " | " | octavo, or 8vo |
| " | " | " | " | 12 | " | " | duodecimo, or 12mo |
| " | " | " | " | 16 | " | " | 16mo |
| " | " | " | " | 24 | " | " | 24mo |
| " | " | " | " | 32 | " | " | 32mo |
| 4 | inches | make | 1 hand, | used in | measuring horses |
| 9 | " | " | 1 span, | " | sacred history |
| 18 | feet | " | 1 cubit, | " | sacred history |
| 6 | " | " | 1 fathom, | " | measuring depths |
| Avoirdupois. | Grammes. | Decagrammes. | Kilogrammes. | Millier (Ton). |
| 1 drachm | 1.77184 | |||
| 1 ounce (16 drachms) | 28.34954 | 2.83495 | ||
| 1 pound (16 ounces) | 453.59256 | 45.35926 | 0.45359 | |
| 1 hundredweight | 45.3552 | |||
| 1 ton (20 cwt.) | 907.1040 | 0.9071 |
| Ton. | Hundredweight. | Pounds. | Ounces. | Drachms. | ||||
| 1 | = | 20 | = | 2000 | = | 32,000 | = | 522,000 |
| 1 | = | 100 | = | 1,600 | = | 25,600 | ||
| 1 | = | 16 | = | 256 | ||||
| 1 | = | 16 |
| Troy Weights. | Equivalents in Metric Denominations. | ||||
| Milli- gramme. |
Gramme. | Deca- gramme. |
Hecto- gramme. |
Kilo- gramme. |
|
| 1 Troy grain | 64.79895 | 0.06480 | |||
| 1 pennyweight | 1.55517 | ||||
| 1 ounce | 31.10349 | 3.11035 | |||
| 1 pound | 373.24195 | 37.32491 | 3.73249 | 0.37324 | |
| 1 lb. | = | 12 | oz. | = | 240 | dwts. | = | 5760 | grs. |
| 1 | " | = | 20 | " | = | 480 | " | ||
| 1 | " | = | 24 | " |
| Inches to Millimetres. |
Feet to Metres. |
Yards to Metres. |
Miles to Kilometres. |
|
| 1 = | 25.4001 | 0.304801 | 0.914402 | 1.60935 |
| 2 = | 50.8001 | 0.609601 | 1.828804 | 3.21869 |
| 3 = | 76.2002 | 0.914402 | 2.743205 | 4.82804 |
| 4 = | 101.6002 | 1.219202 | 3.657607 | 6.43739 |
| 5 = | 127.0003 | 1.524003 | 4.572009 | 8.04674 |
| 6 = | 152.4003 | 1.828804 | 5.486411 | 9.65608 |
| 7 = | 177.8004 | 2.133604 | 6.400813 | 11.26543 |
| 8 = | 203.2004 | 2.438405 | 7.315215 | 12.87478 |
| 9 = | 228.6005 | 2.743205 | 8.229616 | 14.48412 |
| Square Inches to Square Centimetres. |
Square Feet to Square Decimetres. |
Square Yards to Square Metres. |
Acres to Hectares. |
|
| 1 = | 6.452 | 9.290 | 0.836 | 0.4047 |
| 2 = | 12.903 | 18.581 | 1.672 | 0.8094 |
| 3 = | 19.355 | 27.871 | 2.508 | 1.2141 |
| 4 = | 25.807 | 37.161 | 3.344 | 1.6187 |
| 5 = | 32.258 | 46.452 | 4.181 | 2.0234 |
| 6 = | 38.710 | 55.742 | 5.017 | 2.4281 |
| 7 = | 45.161 | 65.032 | 5.853 | 2.8328 |
| 8 = | 51.613 | 74.323 | 6.689 | 3.2375 |
| 9 = | 58.065 | 83.613 | 7.525 | 3.6422 |
| Cubic Inches to Cubic Centimetres. |
Cubic Feet to Cubic Metres. |
Cubic Yards to Cubic Metres. |
Bushels to Hectolitres. |
|
| 1 = | 16.387 | 0.02832 | 0.765 | 0.35239 |
| 2 = | 32.774 | 0.05663 | 1.529 | 0.70479 |
| 3 = | 49.161 | 0.08495 | 2.294 | 1.05718 |
| 4 = | 65.549 | 0.11327 | 3.058 | 1.40957 |
| 5 = | 81.936 | 0.14158 | 3.823 | 1.76196 |
| 6 = | 98.323 | 0.16990 | 4.587 | 2.11436 |
| 7 = | 114.710 | 0.19822 | 5.352 | 2.46675 |
| 8 = | 131.097 | 0.22654 | 6.116 | 2.81914 |
| 9 = | 147.484 | 0.25485 | 6.881 | 3.17154 |
| Fluid Drachms to Millilitres or Cubic Centimetres. |
Fluid Ounces to to Millilitres. |
Quarts to Litres. |
Gallons to Litres. |
|
| 1 = | 3.70 | 29.57 | 0.94636 | 3.78543 |
| 2 = | 7.39 | 59.15 | 1.89272 | 7.57087 |
| 3 = | 11.09 | 88.72 | 2.83908 | 11.35630 |
| 4 = | 14.79 | 118.29 | 3.78543 | 15.14174 |
| 5 = | 18.48 | 147.87 | 4.73179 | 18.92717 |
| 6 = | 22.18 | 177.44 | 5.67815 | 22.71261 |
| 7 = | 25.88 | 207.02 | 6.62451 | 26.49804 |
| 8 = | 29.57 | 236.59 | 7.57087 | 30.28348 |
| 9 = | 33.27 | 266.16 | 8.51723 | 34.06891 |
| Grains to Milligrammes. |
Avoirdupois Ounces to Grammes. |
Avoirdupois Pounds to Kilogrammes. |
Troy Ounces to Grammes. |
|
| 1 = | 64.7989 | 28.3495 | 0.45359 | 31.10348 |
| 2 = | 129.5978 | 56.6991 | 0.90719 | 62.20696 |
| 3 = | 194.3968 | 85.0486 | 1.36078 | 93.31044 |
| 4 = | 259.1957 | 113.3981 | 1.81437 | 124.41392 |
| 5 = | 323.9946 | 141.7476 | 2.26796 | 155.51740 |
| 6 = | 388.7935 | 170.0972 | 2.72156 | 186.62088 |
| 7 = | 453.5924 | 198.4467 | 3.17515 | 217.72437 |
| 8 = | 518.3914 | 226.7962 | 3.62874 | 248.82785 |
| 9 = | 583.1903 | 255.1457 | 4.08233 | 279.93133 |
| 1 Gunter's chain | = | 20.1168 | metres |
| 1 square statute mile | = | 259.000 | hectares |
| 1 fathom | = | 1.829 | metres |
| 1 nautical mile | = | 1853.25 | metres |
| 1 foot = 0.304801 metre, | 9.4840158 | log. | |
| 1 avoirdupois pound | = | 453.5924277 | gramme |
| 15432.35639 grains | = | 1 | kilogramme |
| Metres to Inches. |
Metres to Feet. |
Metres to Yards. |
Kilometres to Miles. |
|
| 1 = | 39.3700 | 3.28083 | 1.093611 | 0.62137 |
| 2 = | 78.7400 | 6.56167 | 2.187222 | 1.24274 |
| 3 = | 118.1100 | 9.84250 | 3.280833 | 1.86411 |
| 4 = | 157.4800 | 13.12333 | 4.374444 | 2.48548 |
| 5 = | 196.8500 | 16.40417 | 5.468056 | 3.10685 |
| 6 = | 236.2200 | 19.68500 | 6.561667 | 3.72822 |
| 7 = | 275.5900 | 22.96583 | 7.655278 | 4.34959 |
| 8 = | 314.9600 | 26.24667 | 8.748889 | 4.97096 |
| 9 = | 354.3300 | 29.52750 | 9.842500 | 5.59233 |
| Square Centimetres to Square Inches. |
Square Metres to Square Feet. |
Square Metres to Square Yards. |
Hectares to Acres. |
|
| 1 = | 0.1550 | 10.764 | 1.196 | 2.471 |
| 2 = | 0.3100 | 21.528 | 2.392 | 4.942 |
| 3 = | 0.4650 | 32.292 | 3.588 | 7.413 |
| 4 = | 0.6200 | 43.055 | 4.784 | 9.884 |
| 5 = | 0.7750 | 53.819 | 5.980 | 12.355 |
| 6 = | 0.9300 | 64.583 | 7.176 | 14.826 |
| 7 = | 1.0850 | 75.347 | 8.372 | 17.297 |
| 8 = | 1.2400 | 86.111 | 9.568 | 19.768 |
| 9 = | 1.3950 | 96.875 | 10.764 | 22.239 |
| Cubic Centimetres to Cubic Inches. |
Cubic Decimetres to Cubic Inches. |
Cubic Metres to Cubic Feet. |
Cubic Metres to Cubic Yards. |
|
| 1 = | 0.0610 | 61.023 | 35.314 | 1.308 |
| 2 = | 0.1220 | 122.047 | 70.629 | 2.616 |
| 3 = | 0.1831 | 183.070 | 105.943 | 3.924 |
| 4 = | 0.2441 | 244.094 | 141.258 | 5.232 |
| 5 = | 0.3051 | 305.117 | 176.572 | 6.540 |
| 6 = | 0.3661 | 366.140 | 211.887 | 7.848 |
| 7 = | 0.4272 | 427.164 | 247.201 | 9.156 |
| 8 = | 0.4882 | 488.187 | 282.516 | 10.464 |
| 9 = | 0.5492 | 549.210 | 317.830 | 11.771 |
| Millimetres or Cubic Centimetres to Fluid Drachms. |
Centilitres to Fluid Ounces. |
Litres to Quarts. |
Decalitres to Gallons. |
Hectolitres to Bushels. |
|
| 1 = | 0.27 | 0.338 | 1.0567 | 2.6417 | 2.8377 |
| 2 = | 0.54 | 0.676 | 2.1134 | 5.2834 | 5.6755 |
| 3 = | 0.81 | 1.014 | 3.1700 | 7.9251 | 8.5132 |
| 4 = | 1.08 | 1.353 | 4.2267 | 10.5668 | 11.3510 |
| 5 = | 1.35 | 1.691 | 5.2834 | 13.2085 | 14.1887 |
| 6 = | 1.62 | 2.029 | 6.3401 | 15.8502 | 17.0265 |
| 7 = | 1.89 | 2.367 | 7.3968 | 18.4919 | 19.8642 |
| 8 = | 2.16 | 2.705 | 8.4535 | 21.1336 | 22.7019 |
| 9 = | 2.43 | 3.043 | 9.5101 | 23.7753 | 25.5397 |
| Milligrammes to Grains. |
Kilogrammes to Grains. |
Hectogrammes to Ounces Avoirdupois. |
Kilogrammes to Pounds Avoirdupois. |
|
| 1 = | 0.01543 | 15432.36 | 3.5274 | 2.20462 |
| 2 = | 0.03086 | 30864.71 | 7.0548 | 4.40924 |
| 3 = | 0.04630 | 46297.07 | 10.5822 | 6.61387 |
| 4 = | 0.06173 | 61729.43 | 14.1096 | 8.81849 |
| 5 = | 0.07716 | 77161.78 | 17.6370 | 11.02311 |
| 6 = | 0.09259 | 92594.14 | 21.1644 | 13.22773 |
| 7 = | 0.10803 | 108026.49 | 24.6918 | 15.43236 |
| 8 = | 0.12346 | 123458.85 | 28.2192 | 17.63698 |
| 9 = | 0.13889 | 138891.21 | 31.7466 | 19.84160 |
| Quintals to Pounds Avoirdupois. |
Milliers or tonnes to Pounds Avoirdupois. |
Kilogrammes to Ounces Troy. |
|
| 1 = | 220.46 | 2204.6 | 32.1507 |
| 2 = | 440.92 | 4409.2 | 64.3015 |
| 3 = | 661.39 | 6613.9 | 96.4522 |
| 4 = | 881.85 | 8818.5 | 128.6030 |
| 5 = | 1102.31 | 11023.1 | 160.7537 |
| 6 = | 1322.77 | 13227.7 | 192.9044 |
| 7 = | 1543.24 | 15432.4 | 225.0552 |
| 8 = | 1763.70 | 17637.0 | 257.2059 |
| 9 = | 1984.16 | 19841.6 | 289.3567 |
Salutes are fired between sunrise and sunset, and, as a rule, never on Sunday. Salute to the Union, one gun for each state, fired at meridian, July 4th; the international salute, 21 guns.
The President, 21 guns, both on arriving at and departing from a military post.
On arriving at a military post:
| The Vice-President and President of the Senate | 19 | guns |
| Members of the Cabinet, Chief Justice, Speaker of the House of Representatives, Governors in their respective states and territories, Committees of Congress visiting officially | 17 | " |
| Assistant Secretary of War | 15 | " |
| Sovereign or Chief Magistrate of a foreign state | 21 | " |
| Members of Royal Family | 21 | " |
| Viceroy, Governor-general, or Governors of provinces belonging to foreign states | 17 | " |
| Ambassadors Extraordinary and Plenipotentiary | 17 | " |
| Envoys Extraordinary and Ministers Plenipotentiary | 15 | " |
| Ministers Resident accredited to the United States | 13 | " |
| Chargés d'Affaires or subordinate diplomatic agent in charge of mission in the United States | 11 | " |
| Consuls-general accredited to the United States | 9 | " |
| To General-in-Chief, Field-marshal, or Admiral | 17 | " |
| To Lieutenant-General or Vice-Admiral | 15 | " |
| To Major-General or Rear-Admiral | 13 | " |
| To Brigadier-General or Commodore | 11 | " |
An officer on duty, according to brevet rank, receives the salute of that rank.
Officers of volunteers or militia are saluted only when in service of United States.
Officers on retired list are not saluted.
Officers of foreign services are saluted according to their rank.
Take the numbers from the columns A and B corresponding to the date immediately preceding the date of the man's enlistment.
| January. | February. | March. | April. | May. | June. | July. | August. | September | October. | November. | December. | ||||||||||||||||||||||||
| Date. | A | B | Date. | A | B | Date. | A | B | Date. | A | B | Date. | A | B | Date. | A | B | Date. | A | B | Date. | A | B | Date. | A | B | Date. | A | B | Date. | A | B | Date. | A | B |
| 1 | 1 | 180 | 1 | 32 | 149 | 1 | 60 | 121 | 1 | 91 | 90 | 1 | 121 | 60 | 1 | 152 | 29 | 1 | 1 | 183 | 1 | 32 | 152 | 1 | 63 | 121 | 1 | 93 | 91 | 1 | 124 | 60 | 1 | 154 | 30 |
| 2 | 2 | 179 | 2 | 33 | 148 | 2 | 61 | 120 | 2 | 92 | 89 | 2 | 122 | 59 | 2 | 153 | 28 | 2 | 2 | 182 | 2 | 33 | 151 | 2 | 64 | 120 | 2 | 94 | 90 | 2 | 125 | 59 | 2 | 155 | 29 |
| 3 | 3 | 178 | 3 | 34 | 147 | 3 | 62 | 119 | 3 | 93 | 88 | 3 | 123 | 58 | 3 | 154 | 27 | 3 | 3 | 181 | 3 | 34 | 150 | 3 | 65 | 119 | 3 | 95 | 89 | 3 | 126 | 58 | 3 | 156 | 28 |
| 4 | 4 | 177 | 4 | 35 | 146 | 4 | 63 | 118 | 4 | 94 | 87 | 4 | 124 | 57 | 4 | 155 | 26 | 4 | 4 | 180 | 4 | 35 | 149 | 4 | 66 | 118 | 4 | 96 | 88 | 4 | 127 | 57 | 4 | 157 | 27 |
| 5 | 5 | 176 | 5 | 36 | 145 | 5 | 64 | 117 | 5 | 95 | 86 | 5 | 125 | 56 | 5 | 156 | 25 | 5 | 5 | 179 | 5 | 36 | 148 | 5 | 67 | 117 | 5 | 97 | 87 | 5 | 128 | 56 | 5 | 158 | 26 |
| 6 | 6 | 175 | 6 | 37 | 144 | 6 | 65 | 116 | 6 | 96 | 85 | 6 | 126 | 55 | 6 | 157 | 24 | 6 | 6 | 178 | 6 | 37 | 147 | 6 | 68 | 116 | 6 | 98 | 86 | 6 | 129 | 55 | 6 | 159 | 25 |
| 7 | 7 | 174 | 7 | 38 | 143 | 7 | 66 | 115 | 7 | 97 | 84 | 7 | 127 | 54 | 7 | 158 | 23 | 7 | 7 | 177 | 7 | 38 | 146 | 7 | 69 | 115 | 7 | 99 | 85 | 7 | 130 | 54 | 7 | 160 | 24 |
| 8 | 8 | 173 | 8 | 39 | 142 | 8 | 67 | 114 | 8 | 98 | 83 | 8 | 128 | 53 | 8 | 159 | 22 | 8 | 8 | 176 | 8 | 39 | 145 | 8 | 70 | 114 | 8 | 100 | 84 | 8 | 131 | 53 | 8 | 161 | 23 |
| 9 | 9 | 172 | 9 | 40 | 141 | 9 | 68 | 113 | 9 | 99 | 82 | 9 | 129 | 52 | 9 | 160 | 21 | 9 | 9 | 175 | 9 | 40 | 144 | 9 | 71 | 113 | 9 | 101 | 83 | 9 | 132 | 52 | 9 | 162 | 22 |
| 10 | 10 | 171 | 10 | 41 | 140 | 10 | 69 | 112 | 10 | 100 | 81 | 10 | 130 | 51 | 10 | 161 | 20 | 10 | 10 | 174 | 10 | 41 | 143 | 10 | 72 | 112 | 10 | 102 | 82 | 10 | 133 | 51 | 10 | 163 | 21 |
| 11 | 11 | 170 | 11 | 42 | 139 | 11 | 70 | 111 | 11 | 101 | 80 | 11 | 131 | 50 | 11 | 162 | 19 | 11 | 11 | 173 | 11 | 42 | 142 | 11 | 73 | 111 | 11 | 103 | 81 | 11 | 134 | 50 | 11 | 164 | 20 |
| 12 | 12 | 169 | 12 | 43 | 138 | 12 | 71 | 110 | 12 | 102 | 79 | 12 | 132 | 49 | 12 | 163 | 18 | 12 | 12 | 172 | 12 | 43 | 141 | 12 | 74 | 110 | 12 | 104 | 80 | 12 | 135 | 49 | 12 | 165 | 19 |
| 13 | 13 | 168 | 13 | 44 | 137 | 13 | 72 | 109 | 13 | 103 | 78 | 13 | 133 | 48 | 13 | 164 | 17 | 13 | 13 | 171 | 13 | 44 | 140 | 13 | 75 | 109 | 13 | 105 | 79 | 13 | 136 | 48 | 13 | 166 | 18 |
| 14 | 14 | 167 | 14 | 45 | 136 | 14 | 73 | 108 | 14 | 104 | 77 | 14 | 134 | 47 | 14 | 165 | 16 | 14 | 14 | 170 | 14 | 45 | 139 | 14 | 76 | 108 | 14 | 106 | 78 | 14 | 137 | 47 | 14 | 167 | 17 |
| 15 | 15 | 166 | 15 | 46 | 135 | 15 | 74 | 107 | 15 | 105 | 76 | 15 | 135 | 46 | 15 | 166 | 15 | 15 | 15 | 169 | 15 | 46 | 138 | 15 | 77 | 107 | 15 | 107 | 77 | 15 | 138 | 46 | 15 | 168 | 16 |
| 16 | 16 | 165 | 16 | 47 | 134 | 16 | 75 | 106 | 16 | 106 | 75 | 16 | 136 | 45 | 16 | 167 | 14 | 16 | 16 | 168 | 16 | 47 | 137 | 16 | 78 | 106 | 16 | 108 | 76 | 16 | 139 | 45 | 16 | 169 | 15 |
| 17 | 17 | 164 | 17 | 48 | 133 | 17 | 76 | 105 | 17 | 107 | 74 | 17 | 137 | 44 | 17 | 168 | 13 | 17 | 17 | 167 | 17 | 48 | 136 | 17 | 79 | 105 | 17 | 109 | 75 | 17 | 140 | 44 | 17 | 170 | 14 |
| 18 | 18 | 163 | 18 | 49 | 132 | 18 | 77 | 104 | 18 | 108 | 73 | 18 | 138 | 43 | 18 | 169 | 12 | 18 | 18 | 166 | 18 | 49 | 135 | 18 | 80 | 104 | 18 | 110 | 74 | 18 | 141 | 43 | 18 | 171 | 13 |
| 19 | 19 | 162 | 19 | 50 | 131 | 19 | 78 | 103 | 19 | 109 | 72 | 19 | 139 | 42 | 19 | 170 | 11 | 19 | 19 | 165 | 19 | 50 | 134 | 19 | 81 | 103 | 19 | 111 | 73 | 19 | 142 | 42 | 19 | 172 | 12 |
| 20 | 20 | 161 | 20 | 51 | 130 | 20 | 79 | 102 | 20 | 110 | 71 | 20 | 140 | 41 | 20 | 171 | 10 | 20 | 20 | 164 | 20 | 51 | 133 | 20 | 82 | 102 | 20 | 112 | 72 | 20 | 143 | 41 | 20 | 173 | 11 |
| 21 | 21 | 160 | 21 | 52 | 129 | 21 | 80 | 101 | 21 | 111 | 70 | 21 | 141 | 40 | 21 | 172 | 9 | 21 | 21 | 163 | 21 | 52 | 132 | 21 | 83 | 101 | 21 | 113 | 71 | 21 | 144 | 40 | 21 | 174 | 10 |
| 22 | 22 | 159 | 22 | 53 | 128 | 22 | 81 | 100 | 22 | 112 | 69 | 22 | 142 | 39 | 22 | 173 | 8 | 22 | 22 | 162 | 22 | 53 | 131 | 22 | 84 | 100 | 22 | 114 | 70 | 22 | 145 | 39 | 22 | 175 | 9 |
| 23 | 23 | 158 | 23 | 54 | 127 | 23 | 82 | 99 | 23 | 113 | 68 | 23 | 143 | 38 | 23 | 174 | 7 | 23 | 23 | 161 | 23 | 54 | 130 | 23 | 85 | 99 | 23 | 115 | 69 | 23 | 146 | 38 | 23 | 176 | 8 |
| 24 | 24 | 157 | 24 | 55 | 126 | 24 | 83 | 98 | 24 | 114 | 67 | 24 | 144 | 37 | 24 | 175 | 6 | 24 | 24 | 160 | 24 | 55 | 129 | 24 | 86 | 98 | 24 | 116 | 68 | 24 | 147 | 37 | 24 | 177 | 7 |
| 25 | 25 | 156 | 25 | 56 | 125 | 25 | 84 | 97 | 25 | 115 | 66 | 25 | 145 | 36 | 25 | 176 | 5 | 25 | 25 | 159 | 25 | 56 | 128 | 25 | 87 | 97 | 25 | 117 | 67 | 25 | 148 | 36 | 25 | 178 | 6 |
| 26 | 26 | 155 | 26 | 57 | 124 | 26 | 85 | 96 | 26 | 116 | 65 | 26 | 146 | 35 | 26 | 177 | 4 | 26 | 26 | 158 | 26 | 57 | 127 | 26 | 88 | 96 | 26 | 118 | 66 | 26 | 149 | 35 | 26 | 179 | 5 |
| 27 | 27 | 154 | 27 | 58 | 123 | 27 | 86 | 95 | 27 | 117 | 64 | 27 | 147 | 34 | 27 | 178 | 3 | 27 | 27 | 157 | 27 | 58 | 126 | 27 | 89 | 95 | 27 | 119 | 65 | 27 | 150 | 34 | 27 | 180 | 4 |
| 28 | 28 | 153 | 28 | 59 | 122 | 28 | 87 | 94 | 28 | 118 | 63 | 28 | 148 | 33 | 28 | 179 | 2 | 28 | 28 | 156 | 28 | 59 | 125 | 28 | 90 | 94 | 28 | 120 | 64 | 28 | 151 | 33 | 28 | 181 | 3 |
| 29 | 29 | 152 | 29 | 88 | 93 | 29 | 119 | 62 | 29 | 149 | 32 | 29 | 180 | 1 | 29 | 29 | 155 | 29 | 60 | 124 | 29 | 91 | 93 | 29 | 121 | 63 | 29 | 152 | 32 | 29 | 182 | 2 | |||
| 30 | 30 | 151 | 30 | 89 | 92 | 30 | 120 | 61 | 30 | 150 | 31 | 30 | 181 | 0 | 30 | 30 | 154 | 30 | 61 | 123 | 30 | 92 | 92 | 30 | 122 | 62 | 30 | 153 | 31 | 30 | 183 | 1 | |||
| 31 | 31 | 150 | 31 | 90 | 91 | 31 | 151 | 30 | 31 | 31 | 153 | 31 | 62 | 122 | 31 | 123 | 61 | 31 | 184 | 0 | |||||||||||||||
The following-named articles, manufactured by the Gold Medal Camp Furniture Manufacturing Company, of Racine, Wis., can be obtained of furniture dealers:
Folding Camp-bed.—6 feet 2 inches long by 2 feet 4 inches wide. When folded, it is 3 feet 4 inches long by 5 inches wide. Weight, 14 pounds. Cost, $3.50. Mosquito-bar frame, 75 cents.
Folding Camp-table.—Top 2 feet 3 inches by 3 feet 2 inches. Will comfortably seat four persons. Folded it is 3 feet 2 inches long by 5 × 7 inches. Weight, 16 pounds. Cost, $3.75. Extra shelf, 75 cents.
Folding Camp-chair.—Folded, 3 feet long by 3 × 3 inches. Weight, 4½ pounds. Cost, $2.
Folding Camp-stool.—75 cents.
The attention of officers desiring such articles is called to the mess-chest and stove manufactured by H. K. Coale, 1223 Chamber of Commerce, Chicago Ill.
THE OFFICER'S FIELD MESS-CHEST FOR SIX PERSONS.
Size, 22 × 15 × 12 inches. Weight, 60 lbs. Price, $50.
| 1 | quadruple-plated | butter-dish. | ||
| 1 | " | covered sugar-bowl. | ||
| 1 | " | creamer. | ||
| 6 | Rogers & Bros. | best | triple-plate | steel knives. |
| 6 | " | " | " | " forks. |
| 6 | " | " | " | tablespoons. |
| 6 | " | " | " | teaspoons. |
| 1 | " | " | " | butter-knife. |
| 1 | " | " | " | sugar-shell. |
| 1[495] | large | salt-shaker, | strong | glass. |
| 1 | " | pepper-shaker, | " | " |
| 1 | screw-top | oil-jug, | " | " |
| 1 | " | vinegar-jug, | " | |
| 1 | [japanned] tray, 13 × 16 inches. | |||
| 1 | large corkscrew. | |||
| 6 | individual butter-shells. | |||
| 1 | brass bottle-tray. | |||
| 6 cups. | ||||
| 6 saucers. | ||||
| 6 plates. | ||||
| 6 soup-bowls. | ||||
| 3 10-inch vegetable-dishes, | B. & W. | ware. | ||
| 1 14-inch meat-platter, | " | " | ||
| 1 16-inch meat-platter, | " | " | ||
| 1 4-quart pitcher, | " | " | ||
| 1 mustard-pot. | ||||
| 1 Sears' set carvers, 3 pieces, buck-horn handles. | ||||
| 1 best steel bread-knife. | ||||
| 1 new patent lemon-squeezer. | ||||
| 1 nickel-plated liquor-mixer. | ||||
| 1 agate-ware teapot. | ||||
| 1 syrup-jug. | ||||
| 6 snow-white enamel tumblers. | ||||
| 1 wire teapot-stand. | ||||
Sold with or without chest.
This chest is made very strong, with metal corners, size 13 × 19 × 28 inches. Contains: 1 stove with oven (stove is 26 × 17½ × 11 inches; has 4 cast-iron 7-inch lids; oven is 8 × 16½ × 10½ inches), 4 lengths pipe, 1 elbow, 1 baking-pan, 1 frying-pan, 1 basting-spoon, 3 camp-kettles, 1 wash-[496]bowl, 6 iron knives, forks, and spoons, 6 white enamel cups, 6 white enamel saucers, 1 carving-knife and fork, 1 tea-kettle, 1 saucepan, 1 poker, 1 wire broiler, 1 cake-turner, 1 basting-fork. This outfit is for rough and ready service, and can be thrown into a wagon on short notice.
| Price of outfit as above, with oven, packed in pine box | $15.00 |
| Same with chest | 25.00 |
A
B
C
D
E
F
G
H
I
J
K
L
M
N
O
P
Q
R
S
T
U
V
W
[1] Not including reserve.
[2] Includes reserve ammunition carried with battery, but not that in field-parks, arsenals, or ammunition-columns.
[3] In the model of 1885 it enters from the rear.
[4] The point at which the projectile has a remaining velocity of 500 ft.-sec., the minimum at which shrapnel is effective.
[5] These numbers correspond to a time of flight which is generally less than the tabulated time of flight by an amount required to cause the shrapnel to burst at a point within a distance of 75 yards short of the target.
[6] A corrugated sheet-metal prop will hereafter be attached to the neck-yoke stop. It will fold up under the pole, partly enveloping it, and be secured by a hook on the prop.
[7] Reduced when necessary by removing an ammunition-chest.
[8] On sights hereafter made this will be 1/1000 of the range.
[9] On the sights hereafter made the deflection divisions will correspond to 1/1000 of the range.
[10] Or 8 if upper braces are used.
[11] Berthelet says: "Thin disks of compressed guncotton may be pierced by a ball without explosion; but if thickness of disk be increased or resisting envelope used an explosion occurs."
[12] Also 2 copies to the designated paymaster.
[13] When Meat cannot be furnished.
[14] Each caisson is provided with spare-wheel axle, but only two spare wheels are supplied to a four-gun battery.
[15] When the necessity for their issue is certified to by the department commander.
[16] Accounted for on return.
[17] ½ increase if mean temperature for 20 days < 20° F.; and if temperature is not above 10° F. an increase of ½ is allowed for any latitude.
[18] Under act May 15, 1872.
[19] Act approved February 27, 1893, to take effect on and after 1st day of July 1893.
[20] Upon trial for desertion and conviction of absence without leave only the court may, in addition to the limit prescribed for such absence, award a stoppage of the amount paid for apprehension.
[21] Including first and excluding last.
[22] In specifications to charges of larceny or embezzlement the value of the property shall be stated.
[23] Each station should have its characteristic signal or call letter, as Washington, "W," and each operator his personal signal, as Jones, "Jo."
BOOKS FOR
ARMY AND NAVY OFFICERS
PUBLISHED BY
JOHN WILEY & SONS.
ORDNANCE AND GUNNERY.
For the use of the Cadets of the U. S. Military Academy. By Captain Henry Metcalf, Ordnance Department, U. S. Army Instructor of Ordnance and Gunnery, U.S.M.A. 12mo, 500 pp., cloth, with separate atlas containing 350 cuts, $5.00
MODERN FRENCH ARTILLERY.
The St. Chamond, De Bange, Canet and Hotchkiss systems, with illustrations of French War Ships. By James Dredge. 4to, half morocco, $20.00 net
HANDBOOK OF PROBLEMS IN DIRECT FIRE.
By James M. Ingalls, Captain First Artillery, U. S. A. 8vo, cloth, $4.00
BALLISTIC TABLES.
Reprinted from the Handbook for West Point Cadets. By Capt. Jas. M. Ingalls. 8vo, cloth, $1.50
SUBMARINE MINES AND TORPEDOES.
As applied to Harbour Defense. By John Townsend Bucknill, Honorary Lieutenant-Colonel (late Major Royal Engineers) Reserve of Officers. With illustrations. 8vo, cloth, $4.00
PRACTICAL SEAMANSHIP.
By John Todd, Master Mariner, and W. B. Whall, Extra Master Younger Brother Trinity House. Royal 8vo, full cloth, with 243 Illustrations and Diagrams, $7.50
NOTES ON MILITARY HYGIENE.
For Officers of the Line. A Syllabus of Lectures at the U. S. Infantry and Cavalry School. By Alfred A. Woodhull, Major of Medical Dep't., Bvt. Lt. Col. U. S. Army. 12mo, morocco, $2.50
SIMPLE ELEMENTS OF NAVIGATION.
By Lucien Young, U. S. Navy. Pocket-book form. New edition, revised and enlarged, $2.50
THE SOLDIERS' FIRST AID HANDBOOK.
Comprising a Series of Lectures to Members of the Hospital Corps and Company Bearers. By William D. Dietz, Late Captain and Assistant Surgeon U. S. Army. 18mo, morocco, $1.25
PERMANENT FORTIFICATIONS.
By Prof. D. H. Mahan, Revised and brought up to date by Col. James Mercur, U. S. Military Academy, West Point. Numerous plates, 1887. 8vo, half morocco, $7.50
ELEMENTS OF THE ART OF WAR.
By James Mercur, Professor of Civil and Military Engineering, United States Military Academy. Illustrated with full-page and folding plates. Third edition. 8vo, cloth, $4.00
PRACTICAL MARINE SURVEYING.
By Harry Phelps, U. S. Navy. 8vo, cloth, $2.50
AN ABRIDGEMENT OF MILITARY LAW.
By Col. W. Winthrop, Deputy Judge Advocate-General, U. S. Army, late Professor of Law, U. S. Military Academy. Second and revised edition. 12mo, red cloth, $2.50
A MANUAL FOR COURTS-MARTIAL.
Prepared by Lt. Arthur Murray, 1st Artillery, late Acting Judge Advocate-General, U. S. A. Third edition. 18mo, morocco, flap, $1.50
CAVALRY OUT-POST DUTIES.
By F. De Brack, translated from the French (third edition, 1863) by Major Camillo C. C. Carr, 8th Cavalry, U. S. A. 18mo, morocco, flap, $2.00
GUNNERY FOR NON-COMMISSIONED OFFICERS.
Compiled by Lt. Adelbert Cronkhite, 4th Artillery, with Ballistic Tables, by Capt. James Chester, 3d Artillery, 18mo, morocco, flap, $2.00
ART OF SUBSISTING ARMIES IN WAR.
By Capt. H. G. Sharpe, U. S. A. Morocco, $1.50
THE ARMY OFFICER'S EXAMINER.
By Lt. Col. W. H. Powell, U. S. A. 12mo, cloth, $4.00
ELEMENTARY NAVAL TACTICS.
By Commander Wm. Bainbridge-Hoff, U. S. N. 8vo, cloth, $1.50
ATTACK OF FORTIFIED PLACES.
Including Siege-Works, Mining and Demolitions. By James Mercur, U. S. M. A., Professor of Civil and Military Engineering. 12mo, cloth, $2.00
TEXT-BOOK OF ORDNANCE AND GUNNERY.
For the use of the Cadets of U. S. M. A. By Capt. Lawrence L. Bruff, U. S. A. 8vo, cloth, $6.00
HANDBOOK FOR LIGHT ARTILLERY.
By A. B. Dyer, First Lieut. Fourth U. S. Artillery. 12mo, cloth, $3.00
Transcriber's Note:
1. The minutes of the angle for the RANGE TABLE FOR 3.6-INCH B. L.
MORTAR. 16 ounces; Range 2900 is unclear.
2. Punctuation has been standardized.
3. Spelling has been corrected where necessary.
4. Under CHAPTER X, DEFINITIONS: INTERIOR BALLISTICS, Density of
Loading, the word "cubic" has been added before the word "inches".
5. Morse code for & (in the original book) has been silently corrected. (Page 465).