Title: Gem-Stones and Their Distinctive Characters
Author: George Frederick Herbert Smith
Release date: December 22, 2019 [eBook #60990]
Most recently updated: October 17, 2024
Language: English
Other information and formats: www.gutenberg.org/ebooks/60990
Credits: Produced by deaurider, Robert Tonsing, and the Online
Distributed Proofreading Team at http://www.pgdp.net (This
file was produced from images generously made available
by The Internet Archive)
![]() 1. DIAMOND |
![]() 2. DIAMOND (Crystal) |
![]() 3. DIAMOND |
4. AQUAMARINE |
5. EMERALD |
6. AQUAMARINE |
![]() 7. TOPAZ |
![]() 8. EMERALD (Crystal in matrix) |
![]() 9. TOPAZ |
10. RUBY (Crystal) |
11. SAPPHIRE |
12. YELLOW SAPPHIRE (Oriental Topaz) |
13. RUBY |
![]() 14. SAPPHIRE (Crystal) |
![]() 15. STAR-RUBY |
BY
G. F. HERBERT SMITH
M.A., D.Sc.
OF THE BRITISH MUSEUM (NATURAL HISTORY)
WITH MANY DIAGRAMS AND THIRTY-TWO PLATES
OF WHICH THREE ARE IN COLOUR
THIRD EDITION
METHUEN & CO. LTD.
36 ESSEX STREET W.C.
LONDON
IN this edition the opportunity has been taken to correct a few misprints and mistakes that have been discovered in the first, and to alter slightly one or two paragraphs, but otherwise no change has been made.
G. F. H. S.
Wandsworth Common, S.W.
IT has been my endeavour to provide in this book a concise, yet sufficiently complete, account of the physical characters of the mineral species which find service in jewellery, and of the methods available for determining their principal physical constants to enable a reader, even if previously unacquainted with the subject, to have at hand all the information requisite for the sure identification of any cut stone which may be met with. For several reasons I have dealt somewhat more fully with the branches of science closely connected with the properties of crystallized matter than has been customary hitherto in even the most comprehensive books on preciousvi stones. Recent years have witnessed many changes in the jewellery world. Gem-stones are no longer entirely drawn from a few well-marked mineral species, which are, on the whole, easily distinguishable from one another, and it becomes increasingly difficult for even the most experienced eye to recognize a cut stone with unerring certainty. So long as the only confusion lay between precious stones and paste imitations an ordinary file was the solitary piece of apparatus required by the jeweller, but now recourse must be had to more discriminative tests, such as the refractive index or the specific gravity, the determination of which calls for a little knowledge and skill. Concurrently, a keener interest is being taken in the scientific aspect of gem-stones by the public at large, who are attracted to them mainly by æsthetic considerations.
While the treatment has been kept as simple as possible, technical expressions, where necessary, have not been avoided, but their meanings have been explained, and it is hoped that their use will not prove stumbling-blocks to the novice. Unfamiliar words of this kind often give a forbidding air to a new subject, but they are used merely to avoid circumlocution, and not, like the incantations of a wizard, to veil the difficulties in still deeper gloom. For actual practical work the pages on the refractometer and its use and the method of heavy liquids for the determination of specific gravities, and the tables of physical constants at the end of the book, with occasional reference, in case of doubt, to the descriptions of the several species alone are required; other methods—such as the prismatic mode of measuring refractive indices, or the hydrostatic wayvii of finding specific gravities—which find a place in the ordinary curriculum of a physics course are described in their special application to gem-stones, but they are not so suitable for workshop practice. Since the scope of the book is confined mainly to the stones as they appear on the market, little has been said about their geological occurrence; the case of diamond, however, is of exceptional interest and has been more fully treated. The weights stated for the historical diamonds are those usually published, and are probably in many instances far from correct, but they serve to give an idea of the sizes of the stones; the English carat is the unit used, and the numbers must be increased by about 2½ per cent. if the weights be expressed in metric carats. The prices quoted for the various species must only be regarded as approximate, since they may change from year to year, or even day to day, according to the state of trade and the whim of fashion.
The diagram on Plate II and most of the crystal drawings were made by me. The remaining drawings are the work of Mr. H. H. Penton. He likewise prepared the coloured drawings of cut stones which appear on the three coloured plates, his models, with two exceptions, being selected from the cut specimens in the Mineral Collection of the British Museum by permission of the Trustees. Unfortunately, the difficulties that still beset the reproduction of pictures in colour have prevented full justice being done to the faithfulness of his brush. I highly appreciate the interest he took in the work, and the care and skill with which it was executed. My thanks are due to the De Beers Consolidated Mines Co. Ltd., and to Sir Henry A. Miers, F.R.S., Principal of theviii University of London, for the illustrations of the Kimberley and Wesselton diamond mines, and of the methods and apparatus employed in breaking up and concentrating the blue ground; to Messrs. I. J. Asscher & Co. for the use of the photograph of the Cullinan diamond; to Mr. J. H. Steward for the loan of the block of the refractometer; and to Mr. H. W. Atkinson for the illustration of the diamond-sorting machine. My colleague, Mr. W. Campbell Smith, B.A., has most kindly read the proof-sheets, and has been of great assistance in many ways. I hope that, thanks to his invaluable help, the errors in the book which may have escaped notice will prove few in number and unimportant in character. To Mr. Edward Hopkins I owe an especial debt of gratitude for his cheerful readiness to assist me in any way in his power. He read both the manuscript and the proof-sheets, and the information with regard to the commercial and practical side of the subject was very largely supplied by him. He also placed at my service a large number of photographs, some of which—for instance, those illustrating the cutting of stones—he had specially taken for me, and he procured for me the jewellery designs shown on Plates IV and V.
If this book be found by those engaged in the jewellery trade helpful in their everyday work, and if it wakens in readers generally an appreciation of the variety of beautiful minerals suitable for gems, and an interest in the wondrous qualities of crystallized substances, I shall be more than satisfied.
G. F. H. S.
Wandsworth Common, S.W.
BEAUTY, durability, and rarity: such are the three cardinal virtues of a perfect gem-stone. Stones lacking any of them cannot aspire to a high place in the ranks of precious stones, although it does not necessarily follow that they are of no use for ornamental purposes. The case of pearl, which, though not properly included among gem-stones, being directly produced by living agency, yet holds an honoured place in jewellery, constitutes to some extent an exception, since its incontestable beauty atones for its comparative want of durability.
That a gem-stone should be a delight to the eye is a truism that need not be laboured; for such is its whole raison d’être. The members of the Mineral Kingdom that find service in jewellery may be divided into three groups, according as they are transparent, translucent, or opaque. Of these the first, which is by far the largest and the most important, may itself be further sub-divided into two sections: stones which are devoid of colour, and stones which are tinted. Among the former, diamond reigns supreme, since it alone possesses2 that marvellous ‘fire,’ oscillating with every movement from heavenly blue to glowing red, which is so highly esteemed and so much besought. Other stones, such as ‘fired’ zircon, white sapphire, white topaz, and rock-crystal, may dazzle with brilliancy of light reflected from the surface or emitted from the interior, but none of them, like diamond, glow with mysterious gleams. No hint of colour, save perhaps a trace of the blue of steel, can be tolerated in stones of this category; above all is a touch of the jaundice hue of yellow abhorred. It taxes all the skill of the lapidary to assure that the disposition of the facets be such as to reveal the full splendour of the stone. A coloured stone, on the other hand, depends for its attractiveness more upon its intrinsic hue than upon the manner of its cutting. The tint must not be too light or too dark in shade: a stone that has barely any colour has little interest, and one which is too dark appears almost opaque and black. The lapidary can to some extent remedy these defects by cutting the former deep and the latter shallow. In certain curious stones—for instance tourmaline—the transparency, and in others—such as ruby, sapphire, and one of the recent additions to the gem world, kunzite—the colour, varies considerably in different directions. The colours that are most admired—the fiery red of ruby, the royal blue of sapphire, the verdant green of emerald, and the golden yellow of topaz—are pure tints, and the absorption spectra corresponding to them are on the whole continuous and often restricted. They therefore retain the purity of their colour even in artificial light, though certain sapphires transmit a relatively larger amount of red,3 and consequently turn purple at night. Of the small group of translucent stones which pass light, but are not clear enough to be seen through, the most important is opal. It and certain others of the group owe their merit to the same optical effect as that characterizing soap-bubbles, tarnished steel, and so forth, and not to any intrinsic coloration. Another set of stones—moonstone and the star-stones—reflect light from the interior more or less regularly, but not in such a way as to produce a play of colour. The last group, which comprises opaque stones, has a single representative among ordinary gem-stones, namely, turquoise. In this case light is scattered and reflected from layers immediately contiguous to the surface, and the colour is due to the resulting absorption. The apparent darkness of a deep-coloured stone follows from a different cause: the light passing into the stone is wholly absorbed within it, and, since none is emitted, the stone appears black. The claims of turquoise are maintained by the blue variety; there is little demand for stones of a greenish tinge.
It is evidently desirable that any stones used in jewellery should be able to resist the mechanical and chemical actions of everyday life. No one is anxious to replace jewels every few years, and the most valuable stones are expected to endure for all time. The mechanical abrasion is caused by the minute grains of sand that are contained in ordinary dust, and gem-stones should be at least as hard as they—a condition fulfilled by all the principal species with the exception of opal, turquoise, peridot, and demantoid. Since the beauty of the first named does not depend on the brilliancy of its4 polish, scratches on the surface are not of much importance; further, all four are only slightly softer than sand. It may be noted that the softness of paste stones, apart from any objections that may be felt to the use of imitations, renders them unsuitable for jewellery purposes. The only stones that are likely to be chemically affected in the course of wear are those which are in the slightest degree porous. It is hazardous to immerse turquoises in liquids, even in water, lest the bluish green colour be oxidized to the despised yellowish hue. The risk of damage to opals, moonstones, and star-stones by the penetration of dirt or grease into the interior of the stones is less, but is not wholly negligible. Similar remarks apply with even greater force to pearls. Their charm, which is due to a peculiar surface-play of light, might be destroyed by contamination with grease, ink, or similar matter; they are, moreover, soft. For both reasons their use in rings is much to be deprecated. Nothing can be more unsightly than the dingy appearance of a pearl ring after a few years’ wear.
It cannot be gainsaid that mankind prefers the rare to the beautiful, and what is within reach of all is lightly esteemed. It is for this reason that garnet and moonstone lie under a cloud. Purchasers can readily be found for a ‘Cape-ruby’ or an ‘olivine,’ but not for a garnet; garnets are so common, is the usual remark. Nevertheless, the stones mentioned are really garnets. If science succeeded in manufacturing diamonds at the cost of shillings instead of the pounds that are now asked for Nature’s products—not that such a prospect is at all probable or even feasible—we might expect them to vanish entirely from fashionable jewellery.
5
A careful study of the showcases of the most extensive jewellery establishment brings to light the fact that, despite the apparent profusion, the number of different species represented is restricted. Diamond, ruby, emerald, sapphire, pearl, opal, turquoise, topaz, amethyst are all that are ordinarily asked for. Yet, as later pages will show, there are many others worthy of consideration; two among them—peridot and tourmaline—are, indeed, slowly becoming known. For the first five of the stones mentioned above, the demand is relatively steady, and varies absolutely only with the purchasing power of the world; but a lesser known stone may suddenly spring into prominence owing to the caprice of fashion or the preference of some great lady or leader of fashion. Not many years ago, for instance, violet was the favourite colour for ladies’ dresses, and consequently amethysts were much worn to match, but with the change of fashion they speedily sank to their former obscurity. Another stone may perhaps figure at some royal wedding; for a brief while it becomes the vogue, and afterwards is seldom seen.
Except that diamond, ruby, emerald, and sapphire, and, we should add, pearl, may indisputably be considered to occupy the first rank, it is impossible to form the gem-stones in any strict order. Every generation sees some change. The value of a stone is after all merely what it will fetch in the open market, and its artistic merits may be a matter of opinion. The familiar aphorism, de gustibus non est disputandum, is a warning not to enlarge upon this point.
WITH the single exception of opal, the whole of the principal mineral species used in jewellery are distinguished from glass and similar substances by one fundamental difference: they are crystallized matter, and the atoms composing them are regularly arranged throughout the structure.
The words crystal and glass are employed in science in senses differing considerably from those in popular use. The former of them is derived from the Greek word κρύος, meaning ice, and was at one time used in that sense. For instance, the old fourteenth-century reading of Psalm cxlvii. 17, which appears in the authorized version as “He giveth his ice like morsels,” ran “He sendis his kristall as morcels.” It was also applied to the beautiful, lustrous quartz found among the eternal snows of the Alps, since, on account of their limpidity, these stones were supposed, as Pliny tells us, to consist of water congealed by the extreme7 cold of those regions; such at the present day is the ordinary meaning of the word. But, when early investigators discovered that a salt solution on evaporation left behind groups of slender glistening prisms, each very similar to the rest, they naturally—though, as we now know, wrongly—regarded them as representing yet another form of congealed water, and applied the same word to such substances. Subsequent research has shown that these salts, as well as mineral substances occurring with natural faces in nature, have in common the fundamental property of regularity of arrangement of the constituent atoms, and science therefore defines by the word crystal a substance in which the structure is uniform throughout, and all the similar atoms composing it are arranged with regard to the structure in a similar way.
The other word is yet more familiar; it denotes the transparent, lustrous, hard, and brittle substance produced by the fusion of sand with soda or potash or both which fills our windows and serves a variety of useful purposes. Research has shown that glass, though apparently so uniform in character, has in reality no regularity of molecular arrangement. It is, in fact, a kind of mosaic of atoms, huddled together anyhow, but so irregular is its irregularity that it simulates perfect regularity. Science uses the word glass in this widened meaning. Two substances may, as a matter of fact, have the same chemical composition, and one be a crystal and the other a glass. For example, quartz, if heated to a high temperature, may be fused and converted into a glass. The difference in the two types of structure may be illustrated8 by a comparison between a regiment of soldiers drawn up on parade and an ordinary crowd of people.
The crystalline form is a visible sign of the molecular arrangement, and is intimately associated with the directional physical properties, such as the optical characters, cleavage, etc. A study of it is not only of interest in itself, but also of great importance to the lapidary who wishes to cut a stone to the best advantage, and it is, moreover, of service in distinguishing stones when in the rough state.
The development of natural faces on a crystal is far from being haphazard, but is governed by the condition that the angles between similar faces, whether on the same crystal or on different crystals, are equal, however varying may be the shapes and the relative sizes of the faces (Fig. 1), and by the tendency of the faces bounding the crystal to fall into series with parallel edges, such series being termed zones. Each species has a characteristic type of crystallization, which may be referred to one of the following six systems:—
1. Cubic.—Crystals in this system can be referred to three edges, which are mutually at right angles, and in which the directional characters are identical in value. These principal edges are known9 as axes. Some typical forms are the cube (Fig. 2), characteristic of fluor; the octahedron (Fig. 3), characteristic of diamond and spinel; the dodecahedron (Fig. 4), characteristic of garnet; and the triakisoctahedron, or three-faced octahedron (Fig. 5).



All crystals belonging to this system are singly refractive.
2. Tetragonal.—Such crystals can be referred to three axes, which are mutually at right angles, but in only two of them are the directional characters identical. A typical form is a four-sided prism, mm, of square section, terminated by four triangular faces, p (Fig. 6), the usual shape of crystals of zircon and idocrase.
10


Crystals belonging to this system are doubly refractive and uniaxial, i.e. they have one direction of single refraction (cf. p. 45), which is parallel to the unequal edge of the three mentioned above.

3. Hexagonal.—Such crystals can be referred alternatively either to a set of three axes, X, Y, Z (Fig. 7), which lie in a plane perpendicular to a fourth, H, and are mutually inclined at angles of 60°, or to a set of three, a, b, c, which are not at right angles as in the cubic system, but in which the directional characters are identical. The fourth axis in the first arrangement is equally inclined to each in the second set of axes. Many important species crystallize in this system—corundum (sapphire, ruby), beryl (emerald, aquamarine), tourmaline, quartz, and phenakite. The crystals usually display a six-sided prism, terminated by a single face, c, perpendicular to the edge of the prism m (Fig. 8), e.g. emerald, or by six or twelve inclined faces, p (Fig. 9), e.g. quartz, crystals of which are11 so constant in form as to be the most familiar in the Mineral Kingdom. Tourmaline crystals (Fig. 10) are peculiar because of the fact that often one end is obviously to the eye flatter than the other.
Crystals belonging to this system are also doubly refractive and uniaxial, the direction of single refraction being parallel to the fourth axis mentioned above, and therefore also parallel to the prism edge. Hence deeply coloured tourmaline, which strongly absorbs the ordinary ray, must be cut with the table-facet parallel to the edge of the prism.

4. Orthorhombic.—Such crystals can be referred to three axes, which are mutually at right angles, but in which each of the directional characters are different. The crystals are usually prismatic in shape, one of the axes being parallel to the prism edge. Topaz, peridot, and chrysoberyl are the most important species crystallizing in this system.
Crystals belonging to this system are doubly refractive and biaxial, i.e. they have two directions of single refraction (cf. p. 45). The three axes a, b, c (Fig. 11) are parallel respectively to the two bisectrices of the directions of single refraction, and the direction perpendicular to the plane containing those directions.
5. Monoclinic.—Such crystals can be referred to three axes, one of which is at right angles to the other two, which are, however, themselves not at12 right angles. Spodumene (kunzite) and some moonstone crystallize in this system.
Crystals belonging to this system are doubly refractive and biaxial, but in this case the first axis alone is parallel to one of the principal optical directions.
6. Triclinic.—Such crystals have no edges at right angles, and the optical characters are not immediately related to the crystalline form. Some moonstone crystallizes in this system.

Crystals are often not single separate individuals. For instance, diamond and spinel are found in flat triangular crystals with their girdles cleft at the corners (Fig. 12). Each of such crystals is really composed of portions of two similar octahedra, which are placed together in such a way that each is a reflection of the other. Such composite crystals are called twins or macles. Sometimes the twinning is repeated, and the individuals may be so minute as to call for a microscope for their perception.
A composite structure may also result from the conjunction of numberless minute individuals without any definite orientation, as in the case of chalcedony and agate. So by supposing the individuals to become infinitesimally small, we pass to a glass-like substance.
It is often a peculiarity of crystals of a species to display a typical combination of natural faces. Such a combination is known as the habit of the species, and is often of service for the purpose of identifying stones before they are cut. Thus, a13 habit of diamond and spinel is an octahedron, often twinned, of garnet a dodecahedron, of emerald a flat-ended hexagonal prism, and so on.
It is one of the most interesting and remarkable features connected with crystallization that the composition and the physical characters—for instance, the refractive indices and specific gravity—may, without any serious disturbance of the molecular arrangement, vary considerably owing to the more or less complete replacement of one element by another closely allied to it. That is the cause of the range of the physical characters which has been observed in such species as tourmaline, peridot, spinel, etc. The principal replacements in the case of the gem-stones are ferric oxide, Fe2O3, by alumina, Al2O3, and ferrous oxide, FeO, by magnesia, MgO.
A list of the principal gem-stones, arranged by their chemical composition, is given in Table I at the end of the book.
IT is obvious that, since a stone suitable for ornamental use must appeal to the eye, its most important characters are those which depend upon light; indeed, the whole art of the lapidary consists in shaping it in such a way as to show these qualities to the best advantage. To understand why certain forms are given to a cut stone, it is essential for us to ascertain what becomes of the light which falls upon the surface of the stone; further, we shall find that the action of a stone upon light is of very great help in distinguishing the different species of gem-stones. The phenomena displayed by light which impinges upon the surface separating two media[1] are very similar in character, whatever be the nature of the media.
Ordinary experience with a plane mirror tells us that, when light is returned, or reflected, as it is usually termed, from a plane or flat surface, there is no alteration in the size of objects viewed in this way, but that the right and the left hands are interchanged: our right hand becomes the left hand in 15our reflection in the mirror. We notice, further, that our reflection is apparently just as far distant from the mirror on the farther side as we are on this side. In Fig. 13 MM´ is a section of the mirror, and O´ is the image of the hand O as seen in the mirror. Light from O reaches the eye E by way of m, but it appears to come from O´. Since OO´ is perpendicular to the mirror, and O and O´ lie at equal distances from it, it follows from elementary geometry that the angle i´, which the reflected ray makes with mn, the normal to the mirror, is equal to i, the angle which the incident ray makes with the same direction.
Again, everyday experience tells us that the case is less simple when light actually crosses the bounding surface and passes into the other medium. Thus, if we look down into a bath filled with water, the bottom of the bath appears to have been raised up, and a stick plunged into the water seems to be16 bent just at the surface, except in the particular case when it is perfectly upright. Since the stick itself has not been bent, light evidently suffers some change in direction as it passes into the water or emerges therefrom. The passage of light from one medium to another was studied by Snell in the seventeenth century, and he enunciated the following laws:—
1. The refracted ray lies in the plane containing the incident ray and the normal to the plane surface separating the two media.
It will be noticed that the reflected ray obeys this law also.
2. The angle r, which the refracted ray makes with the normal, is related to the angle i, which the incident ray makes with the same direction, by the equation
n sin i = n´ sin r, (a)
where n and n´ are constants for the two media which are known as the indices of refraction, or the refractive indices.
This simple trigonometrical relation may be expressed in geometrical language. Suppose we cut a plane section through the two media at right angles to the bounding plane, which then appears as a straight line, SOS´ (Fig. 14), and suppose that IO represents the direction of the incident ray; then Snell’s first law tells us that the refracted ray OR will also lie in this plane. Draw the normal NON´, and with centre O and any radius describe a circle intersecting the incident and refracted rays in the points a and b respectively; let drop perpendiculars ac and bd on to the normal NON´. Then we have17 n.ac = n´.bd, whence we see that if n be greater than n´, ac is less than bd, and therefore when light passes from one medium into another which is less optically dense, in its passage across the boundary it is bent, or refracted, away from the normal.
We see, then, that when light falls on the boundary of two different media, some is reflected in the first and some is refracted into the second medium. The relative amounts of light reflected and refracted depend on the angle of incidence and the refractive indices of the media. We shall return to this point when we come to consider the lustre of stones.
We will proceed to consider the course of rays at different angles of incidence when light passes out from a medium into one less dense—for instance, from water into air. Corresponding to light with a small angle of incidence such as I1O (Fig. 15), some of it is reflected in the direction OI´1 and the18 remainder is refracted out in the direction OR1. Similarly, for the ray I2O some is reflected along OI´2 and some refracted along OR2. Since, in the case we have taken, the angle of refraction is greater than the angle of incidence, the refracted ray corresponding to some incident, ray IcO will graze the bounding surface, and corresponding to a ray beyond it, such as I3O, which has a still greater angle of incidence, there is no refracted ray, and all the light is wholly or totally reflected within the dense medium. The critical angle IcON, which is called the angle of total-reflection, is very simply related to the refractive indices of the two media; for, since r is now a right angle, sin r = 1, and equation (a) becomes
n sin i = n´ (b)
19
Hence, if the angle of total-reflection is measured and one of the indices is known, the other can easily be calculated.
The phenomenon of total-reflection may be appreciated if we hold a glass of water above our head, and view the light of a lamp on a table reflected from the under surface of the water. This reflection is incomparably more brilliant than that given by the upper surface.
The refractive index of air is taken as unity; strictly, it is that of a vacuum, but the difference is too small to be appreciated even in very delicate work. Every substance has different indices for light of different colour, and it is customary to take as the standard the yellow light of a sodium flame. This happens to be the colour to which our eyes are most sensitive, and a flame of this kind is easily prepared by volatilizing a little bicarbonate of soda in the flame of a bunsen burner. A survey of Table III at the end of the book shows clearly how valuable a measurement of the refractive index is for determining the species to which a cut stone belongs. The values found for different specimens of the species do in cases vary considerably owing to the great latitude possible in the chemical constitution due to the isomorphous replacement of one element by another. Some variation in the index may even occur in different directions within the same stone; it results from the remarkable property of splitting up a beam of light into two beams, which is possessed by many crystallized substances. This forms the subject of a later chapter.
Upon the fact that the refractive index of a20 substance varies for light of different colours depends such familiar phenomena as the splendour of the rainbow and the ‘fire’ of the diamond. When white light is refracted into a stone it no longer remains white, but is split up into a spectrum. Except in certain anomalous substances the refractive index increases progressively as the wave-length of the light decreases, and consequently a normal spectrum is violet at one end and passes through green and yellow to red at the other end. The width of the spectrum, which may be measured by the difference between the refractive indices for the extreme red and violet rays, also varies, though on the whole it increases with the refractive index. It is the dispersion, as this difference is termed, that determines the ‘fire’—a character of the utmost importance in colourless transparent stones, which, but for it, would be lacking in interest. Diamond excels all colourless stones in this respect, although it is closely followed by zircon, the colour of which has been driven off by heating; it is, however, surpassed by two coloured species: sphene, which is seldom seen in jewellery, and demantoid, the green garnet from the Urals, which often passes under the misnomer ‘olivine.’ The dispersion of the more prominent species for the B and G lines of the solar spectrum is given in Table IV at the end of the book.
We will now proceed to discuss methods that may be used for the measurement of the refractive indices of cut stones.
THE methods available for the measurement of refractive indices are of two kinds, and make use of two different principles. The first, which is based upon the very simple relation found in the last chapter to subsist at total-reflection, can be used with ease and celerity, and is best suited for discriminative purposes; but it is restricted in its application. The second, which depends on the measurement of the angle between two facets and the minimum deviation experienced by a ray of light when traversing a prism formed by them, is more involved, entails the use of more elaborate apparatus, and takes considerable time, but it is less restricted in its application.
We see from equation b (p. 18), connecting the angle of total-reflection with the refractive indices of the adjacent media, that, if the denser medium be constant, the indices of all less dense media may be easily determined from a measurement of the corresponding critical angle. In all refractometers the constant medium is a glass with a high refractive index. Some instruments have rotatory22 parts, by means of which this angle is actually measured. Such instruments give very good results, but suffer from the disadvantages of being neither portable nor convenient to handle, and of not giving a result without some computation.
For use in the identification of cut stones, a refractometer with a fixed scale, such as that (Fig. 16) devised by the author, is far more convenient. In order to facilitate the observations, a totally reflecting prism has been inserted between the two lenses of the eyepiece. The eyepiece may be adjusted to suit the individual eyesight; but for observers with exceptionally long sight an adapter is provided, which permits the eyepiece being drawn out to the requisite extent. The refractometer must be held in the manner illustrated in Fig. 17, so that the light from a window or other source of illumination enters the instrument by the lenticular opening underneath. Good, even illumination of the field may also very simply be secured by reflecting light into the instrument from a sheet23 of white paper laid on a table. On looking down the eyepiece we see a scale (Fig. 18), the eyepiece being, if necessary, focused until the divisions of the scale are clearly and distinctly seen. Suppose, for experiment, we smear a little vaseline or similar fatty substance on the plane surface of the dense glass, which just projects beyond the level of the brass plate embracing it. The field of view is now no longer uniformly illuminated, but is divided into two parts (Fig. 19): a dark portion above, which terminates in a curved edge, apparently green in colour, and a bright portion underneath, which is composed of totally reflected light. If we tilt the instrument downwards so that light enters the instrument from above through the vaseline we find that the portions of the field are24 reversed, the dark portion being underneath and terminated by a red edge. It is possible so to arrange the illumination that the two portions are evenly lighted, and the common edge becomes almost invisible. It is therefore essential for obtaining satisfactory results that the plate and the dense glass be shielded from the light by the disengaged hand. The shadow-edge is curved, and is, indeed, an arc of a circle, because spherical surfaces are used in the optical arrangements of the refractometer; by the substitution of cylindrical surfaces it becomes straight, but sufficient advantage is not secured thereby to compensate for the greatly increased complexity of the construction. The shadow-edge is coloured, because the relative dispersion, nv − nr /n (nv and nr being the refractive25 indices for the extreme violet and red rays respectively), of the vaseline differs from that of the dense glass. The dispersion of the glass is very high, and exceeds that of any stone for which it can be used. Certain oils have, however, nearly the same relative dispersion, and the edges corresponding to them are consequently almost colourless. A careful eye will perceive that the coloured shadow-edge is in reality a spectrum, of which the violet end lies in the dark portion of the field and the red edge merges into the bright portion. The yellow colour of a sodium flame, which, as has already been stated, is selected as the standard for the measurement of refractive indices, lies between the green and the red, and the part of the spectrum to be noted is at the bottom of the green, and practically, therefore, at the bottom of the shadow, because the yellow and red are almost lost in the brightness of the lower portion of the field. If a sodium flame be used as the source of illumination, the shadow-edge becomes a sharply defined line. The scale is so graduated and arranged that the reading where this line crosses the scale gives the corresponding refractive index, the reading, since the line is curved, being taken in the middle of the field on the right-hand side of the scale. The refractometer therefore gives at once, without any intermediate calculation, a value of the refractive index to the second place of decimals, and a skilled observer may, by estimating the tenths of the intervals between successive divisions, arrive at the third place; to facilitate this estimation the semi-divisions beyond 1·650 have been inserted.26 The range extends nearly to 1·800; for any substance with a higher refractive index the field is dark as far as the limit at the bottom.
A fat, or a liquid, wets the glass, i.e. comes into intimate contact with it, but if a solid substance be tested in the same way, a film of air would intervene and entirely prevent an observation. To displace it, a drop of some liquid which is more highly refractive than the substance under test must first be applied to the plane surface of the dense glass. The most convenient liquid for the purpose is methylene iodide, CH2I2, which, when pure, has at ordinary room temperatures a refractive index of 1·742. It is almost colourless when fresh, but turns reddish brown on exposure to light. If desired, it may be cleared in the manner described below (p. 66), but the film of liquid actually used is so thin that this precaution is scarcely necessary. If we test a piece of ordinary glass—one of the slips used by microscopists for covering thin sections is very convenient for the purpose—first applying a drop of methylene iodide to the plane surface of the dense glass of the refractometer (Fig. 20), we notice a coloured shadow-edge corresponding to the glass-slip at about 1·530 and another, almost colourless, at 1·742, which corresponds to the liquid. If the solid substance which is tested is more highly refractive than methylene iodide, only the latter of the shadow-edges is visible, and we must utilize some more refractive liquid. We can, however, raise the refractive index of methylene iodide by dissolving sulphur[2] in it; the refractive index of 27the saturated liquid lies well beyond 1·800 and the shadow-edge corresponding to it, therefore, does not come within the range of the refractometer. The pure and the saturated liquids can be procured with the instrument, the bottles containing them being japanned on the outside to exclude light and fitted with dipping-stoppers, by means of which a drop of the liquid required is easily transferred to the surface of the glass of the instrument. So long as the liquid is more highly refractive than the stone, or whatever may be the substance under examination, its precise refractive index is of no consequence. The facet used in the test must be flat, and must be pressed firmly on the instrument, so that it is truly parallel to the plane surface of the dense glass; for good results, moreover, it must be bright.
28

We have so far assumed that the substance which we are testing is simple and gives a single shadow-edge; but, as may be seen from Table V, many of the gem-stones are doubly refractive, and such will, in general, show in the field of the refractometer two distinct shadow-edges more or less widely separated. Suppose, for example, we study the effect produced by a peridot, which displays the phenomenon to a marked degree. If we revolve the stone so that the facet under observation remains parallel to the plane surface of the dense glass of the refractometer and in contact with it, we notice that both the shadow-edges in general move up or down the scale. In particular cases, depending upon the relation of the position of the facet selected to the crystalline symmetry, one or both of them may remain fixed, or one may even move across the other. But whatever facet of the stone be used for the test, and however variable be the movements of the shadow-edges, the highest and lowest readings obtainable remain the same; they are the principal indices of refraction, such as are stated in Table III at the end of the book, and their difference measures the maximum amount of double refraction possessed by the stone. The procedure is therefore simplicity itself; we have merely to revolve the stone on the instrument, usually through not more than a right angle, and note the greatest and least readings. It will be noticed that the shadow-edges cross the scale symmetrically in the critical and skewwise in intermediate positions. Fig. 21 represents the effect when the facet is such as to give simultaneously29 the two readings required. The shadow-edges a and b, which are coloured in white light, correspond to the least and greatest respectively of the principal refractive indices, while the third shadow-edge, which is very faint, corresponds to the liquid used—methylene iodide. It is possible, as we shall see in a later chapter, to learn from the motion, if any, of the shadow-edges something as to the character of the double refraction. Since, however, each shadow-edge is spectral in white light, they will not be distinctly separate unless the double refraction exceeds the relative dispersion. Topaz, for instance, appears in white light to yield only a single shadow-edge, and may thus easily be distinguished from tourmaline, in which the double refraction is large enough for the separation of the two shadow-edges to be clearly discerned. In sodium light, however, no difficulty is experienced in distinguishing both the shadow-edges given by substances with small amount of double refraction, such as chrysoberyl, quartz, and topaz, and a skilled observer may detect the separation in the extreme instances of apatite, idocrase, and beryl. The shadow-edge corresponding to the greater refractive index is always less distinct, because it lies in the bright portion of the field. If the stone or its facet be small, it must be moved on the plane surface of the dense glass until the greatest possible distinctness is imparted to the30 edge or edges. If it be moved towards the observer from the further end, a misty shadow appears to move down the scale until the correct position is reached, when the edges spring into view.
Any facet of a stone may be utilized so long as it is flat, but the table-facet is the most convenient, because it is usually the largest, and it is available even when the stone is mounted. That the stone need not be removed from its setting is one of the great advantages of this method. The smaller the stone the more difficult it is to manipulate; caution especially must be exercised that it be not tilted, not only because the shadow-edge would be shifted from its true position and an erroneous value of the refractive index obtained, but also because a corner or edge of the stone would inevitably scratch the glass of the instrument, which is far softer than the hard gem-stones. Methylene iodide will in time attack and stain the glass, and must therefore be wiped off the instrument immediately after use.
If the stone be too highly refractive for a measurement of its refractive index to be possible with the refractometer just described, and it is desired to determine this constant, recourse must be had to the prismatic method, for which purpose an instrument known as a goniometer[3] is required. 31Two angles must be measured; one the interior angle included between a suitable pair of facets, and the other the minimum amount of the deviation produced by the pair upon a beam of light traversing them.

Fig. 22 represents a section of a step-cut stone perpendicular to a series of facets with parallel edges; t is the table, and a, b, c, are facets on the culet side. The path of light traversing the prism formed by the pair of facets, t and b, is indicated. Suppose that A is the interior angle of the prism, i the angle of incidence of light at the first facet and i´ the angle of emergence at the second facet, and r and r´ the angles inside the stone at the two facets respectively. Then at the first facet light has been bent through an angle i - r, and again at the second facet through an angle i´ - r´; the angle of deviation, D, is therefore given by
D = i + i´ - (r + r´).
We have further that
r + r´ = A,
whence it follows that
A + D = i + i´.
If the stone be mounted on the goniometer32 and adjusted so that the edge of the prism is parallel to the axis of rotation of the instrument and if light from the collimator fall upon the table-facet and the telescope be turned to the proper position to receive the emergent beam, a spectral image of the object-slit, or in the case of a doubly refractive stone in general, two spectral images, will be seen in white light; in the light of a sodium flame the images will be sharp and distinct. Suppose that we rotate the stone in the direction of diminishing deviation and simultaneously the telescope so as to retain an image in the field of view, we find that the image moves up to and then away from a certain position, at which, therefore, the deviation is a minimum. The image moves in the same direction from this position whichever way the stone be rotated. The question then arises what are the angles of incidence and refraction under these special conditions. It is clear that a path of light is reversible; that is to say, if a beam of light traverses the prism from the facet t to the facet b it can take precisely the same path from the facet b to the facet t. Hence we should be led to expect that, since experiment teaches us that there is only one position of minimum deviation corresponding to the same pair of facets, the angles at the two facets must be equal, i.e. i = i´, and r = r´. It is, indeed, not difficult to prove by either geometrical or analytical methods that such is the case.
Therefore at minimum deviation r = A/2 and i = A + D/2 and, since sin i = n sin r, where n is 33 the refractive index of the stone, we have the simple relation—
This relation is strictly true only when the direction of minimum deviation is one of crystalline symmetry in the stone, and holds therefore in general for all singly refractive stones, and for the ordinary ray of a uniaxial stone; but the values thus obtained even in the case of biaxial stones are approximate enough for discriminative purposes. If then the stone be singly refractive, the result is the index required; if it be uniaxial, one value is the ordinary index and the other image gives a value lying between the ordinary and the extraordinary indices; if it be biaxial, the values given by the two images may lie anywhere between the greatest and the least refractive indices. The angle A must not be too large; otherwise the light will not emerge at the second facet, but will be totally reflected inside the stone: on the other hand, it must not be too small, because any error in its determination would then seriously affect the accuracy of the value derived for the refractive index. Although the monochromatic light of a sodium flame is essential for precise work, a sufficiently approximate value for discriminative purposes is obtained by noting the position of the yellow portion of the spectral image given in white light.
In the case of a stone such as that depicted in Fig. 22 images are given by other pairs of facets, for34 instance ta and tc, unless the angle included by the former is too large. There might therefore be some doubt, to which pair some particular image corresponded; but no confusion can arise if the following procedure be adopted.

The table, or some easily recognizable facet, is selected as the facet at which light enters the stone. The telescope is first placed in the position in which it is directly opposite the collimator (T0 in Fig. 23), and clamped. The scale is turned until it reads exactly zero, 0° or 360°, and clamped. The telescope is released and revolved in the direction of increasing readings of the scale to the position of minimum deviation, T. The reading of the scale gives at once the angle of minimum deviation, D. The holder carrying the stone is now clamped to the scale, and the telescope is turned to the position, T1,in which the image given by reflection from the table facet is in the centre of the field of view; the reading of the scale is taken. The telescope is clamped, and the scale is released and rotated until it reads the angle already found for D. If no mistake has been made, the reflected image from the second facet is now in the field of view. It will probably not be quite central, as theoretically it should be, because the35 stone may not have been originally quite in the position of minimum deviation, a comparatively large rotation of the stone producing no apparent change in the position of the refracted image at minimum deviation, and further, because, as has already been stated, the method is not strictly true for biaxial stones. The difference in readings, however, should not exceed 2°. The reading, S, of the scale is now taken, and it together with 180° subtracted from the reading for the first facet, and the value of A, the interior angle between the two facets, obtained.
Let us take an example.
Reading T (= D) |
40° |
41´ |
Reading T1 |
261° |
35´ |
less 180° |
180 |
0 |
|||
——————— |
|||||
81 |
35 |
||||
Reading S |
41 |
30 |
|||
——————— |
|||||
½D |
20 |
20½ |
A |
40 |
5 |
½A |
20 |
2½ |
½A |
20 |
2½ |
——————— |
|||||
½(A + D) |
40 |
23 |
|||
Log sin |
40° |
23´ |
9.81151 |
||
Log sin |
20 |
2½ |
9.53492 |
||
———— |
|||||
Log n |
0.27659 |
||||
n = 1.8906. |
|||||
The readings S and T are very nearly the same, and therefore we may be sure that no mistake has been made in the selection of the facets.
In place of logarithm-tables we may make use of the diagram on Plate II. The radial lines36 correspond to the angles of minimum deviation and the skew lines to the prism angles, and the distance along the radial lines gives the refractive index. We run our eye along the line for the observed angle of minimum deviation and note where it meets the curve for the observed prism angle; the refractive index corresponding to the point of intersection is at once read off.
This method has several obvious disadvantages: it requires the use of an expensive and elaborate instrument, an observation takes considerable time, and the values of the principal refractive indices cannot in general be immediately determined.
Table III at the end of the book gives the refractive indices of the gem-stones.
IT has been already stated that whenever light in one medium falls upon the surface separating it from another medium some of the light is reflected within the first, while the remainder passes out into the second medium, except when the first is of lower refractivity than the second and light falls at an angle greater than that of total-reflection. Similarly, when light impinges upon a cut stone some of it is reflected and the remainder passes into the stone. What is the relative amount of reflected light depends upon the nature of the stone—its refractivity and hardness—and determines its lustre; the greater the amount the more lustrous will the stone appear. There are different kinds of lustre, and the intensity of each depends on the polish of the surface. From a dull, i.e. an uneven, surface the reflected light is scattered, and there are no brilliant reflections. All gem-stones take a good polish, and have therefore, so long as the surface retains its polish, considerable brilliancy; turquoise, on account of its softness, is always comparatively dull.
The different kinds of lustre are—
38
Zircon and demantoid, the green garnet called by jewellers “olivine,” alone among gem-stones have a lustre approaching that of diamond. The remainder all have a vitreous lustre, though varying in degree, the harder and the more refractive species being on the whole the more lustrous.
Some stones—for instance, a cinnamon garnet—appear to have a certain greasiness in the lustre, which is caused by stray reflections from inclusions or other breaks in the homogeneity of the interior. A pearly lustre, which arises from cleavage cracks and is typically displayed by the cleavage face of topaz, would be seen in a cut stone only when flawed.
Certain corundums when viewed in the direction of the crystallographical axis display six narrow lines of light radiating at angles of 60° from a centre in a manner suggestive of the conventional representations of stars. Such stones are consequently known as asterias, or more usually star-stones—star-rubies or star-sapphires, as the case may be, and the phenomenon is called asterism. These stones have not a homogeneous structure, but contain tube-like cavities regularly arranged at angles of 60° in planes at right angles to the crystallographical axis. The effect is best produced when the stones are cut en cabochon perpendicular to that axis.
Chatoyancy is a somewhat similar phenomenon, but in this case the fibres or cavities are parallel to a single direction, and a single broadish band is displayed at right angles to it. Cat’s-eyes, as these stones are termed, are cut en cabochon parallel to the fibres. The true cat’s-eye (Plate XXIX, Fig. 1)39 is a variety of chrysoberyl, but the term is also often applied to quartz showing a similar appearance. The latter is really a fibrous mineral, such as asbestos, which has become converted into silica. The beautiful tiger’s-eye from South Africa is a silicified crocidolite, the original blue colour of which has been altered by oxidation to golden brown. Recently tourmalines have been discovered which are sufficiently fibrous in structure to display an effective chatoyancy.
The milky sheen of moonstone (Plate XXIX, Fig. 4) owes its effect to reflections from twin lamellæ. The wonderful iridescence which is the glory of opal, and is therefore termed opalescence, arises from a structure which is peculiar to that species. Opal is a solidified jelly; on cooling it has become riddled with extremely thin cracks, which were subsequently filled with similar material of slightly different refractivity, and thus it consists of a series of films. At the surface of each film interference of light takes place just as at the surface of a soap-bubble, and the more evenly the films are spaced apart the more uniform is the colour displayed, the actual tint depending upon the thickness of the films traversed by the light giving rise to the phenomenon.
THE optical phenomenon presented by many gem-stones is complicated by their property of splitting up a beam of light into two with, in general, differing characters. In this chapter we shall discuss the nature of double refraction, as it is termed, and methods for its detection. The phenomenon is not one that comes within the purview of everyday experience.
So long ago as 1669 a Danish physician, by name Bartholinus, noticed that a plate of the transparent mineral which at that time had recently been brought over from Iceland, and was therefore called “Iceland-spar,” possessed the remarkable property of giving a double image of objects close to it when viewed through it. Subsequent investigation has shown that much crystallized matter is doubly refractive, but in calcite—to use the scientific name for the species which includes Iceland-spar—alone among common minerals is the phenomenon so conspicuous as to be obvious to the unaided eye. The apparent separation of the pair of images given by a plate cut or cleaved in any direction depends upon its thickness. The large mass, upwards of two feet (60 cm.) in thickness, which is exhibited at the far end of the Mineral Gallery of the British41 Museum (Natural History), displays the separation to a degree that is probably unique.
Although none of the gem-stones can emulate calcite in this character, yet the double refraction of certain of them is large enough to be detected without much difficulty. In the case of faceted stones the opposite edges should be viewed through the table-facet, and any signs of doubling noted. The double refraction of sphene is so large, viz. 0·08, that the doubling of the edges is evident to the unaided eye. In peridot (Fig. 24), zircon (b), and epidote the apparent separation of the edges is easily discerned with the assistance of an ordinary lens. A keen eye can detect the phenomenon even in the case of such substances as quartz with small double refraction. It must, however, be remembered that in all such stones the refraction is single in certain directions, and the amount of double refraction42 varies therefore with the direction from nil to the maximum possessed by the stone. Experiment with a plate of Iceland-spar shows that the rays transmitted by it have properties differing from those of ordinary light. On superposing a second plate we notice that there are now two pairs of images, which are in general no longer of equal brightness, as was the case before. If the second plate be rotated with respect to the first, two images, one of each pair, disappear, and then the other two, the plate having turned through a right angle between the two positions of extinction; midway between these positions the images are all equally bright. This variation of intensity implies that each of the rays emerging from the first plate has acquired a one-sided character, or, as it is usually expressed, has become plane-polarized, or, shortly, polarized.
Before the discovery of the phenomenon of double refraction the foundation of the modern theory of light had been laid by the genius of Huygens. According to this theory light is the result of a wave-motion (Fig. 25) in the ether, a medium that pervades the whole of space whether occupied by matter or not, and transmits the wave-motion at a rate varying with the matter with which it happens to coincide. Such a medium has been assumed43 because it explains satisfactorily all the phenomena of light, but it by no means follows that it has a concrete existence. Indeed, if it has, it is so tenuous as to be imperceptible to the most delicate experiments. The wave-motion is similar to that observed on the surface of still water when disturbed by a stone flung into it. The waves spread out from the source of disturbance; but, although the waves seem to advance, the actual particles of water merely move up and down, and have no motion at all in the direction in which the waves are moving. If we imagine similar motion to take place in any plane and not only the horizontal, we form some idea of the nature of ordinary light. But after passing through a plate of Iceland-spar, light no longer vibrates in all directions, but in each beam the vibrations are parallel to a particular plane, the two planes being at right angles. The exact relation of the direction of the vibrations to the plane of polarization is uncertain, although it undoubtedly lies in the plane containing the direction of the ray of light and the perpendicular to the plane of polarization. The waves for different colours differ in their length, i.e. in the distance, 2 bb (Fig. 25), from crest to crest, while the velocity, which remains the same for the same medium, is proportional to the wave-length. The intensity of the light varies as the square of the amplitude of the wave, i.e. the height, ab, of the crest from the mean level.
Various methods have been proposed for obtaining polarized light. Thus Seebeck found in 1813 that a plate of brown tourmaline cut parallel to the crystallographic axis and of sufficient thickness (cf. p. 11) transmits only one ray, the other being44 entirely absorbed within the plate. Another method was to employ a glass plate to reflect light at a certain critical angle. The most efficient method, and that in general use at the present day, is due to the invention of Nicol. A rhomb of Iceland-spar (Fig. 26), of suitable length, is sliced along the longer diagonal, dd, and the halves are cemented together by means of canada balsam. One ray, ioo, is totally reflected at the surface separating the mineral and the cement, and does not penetrate into the other half; while the other ray, iee, is transmitted with almost undiminished intensity. Such a rhomb is called a Nicol’s prism after its inventor, or briefly, a nicol.
If one nicol be placed above another and their corresponding principal planes be at right angles no light is transmitted through the pair. In the polarizing microscope one such nicol, called the polarizer, is placed below the stage, and the other, called the analyser, is either inserted in the body of the microscope or placed above the eyepiece, and the pair are usually set in the crossed position so that the field of the microscope is dark. If a piece of glass or a fragment of some singly refractive substance be placed on the stage the field still remains45 dark; but in case of a doubly refractive stone the field is no longer dark except in certain positions of the stone. On rotation of the plate, or, if possible, of the nicols together, the field passes from darkness to maximum brightness four times in a complete revolution, the relative angular intervals between these positions being right angles. These positions of darkness are known as the positions of extinction, and the plate is said to extinguish in them. This test is exceedingly delicate and reveals the double refraction even when the greatest difference in the refractive indices is too small to be measured directly.
Doubly refractive substances are of two kinds: uniaxial, in which there is one direction of single refraction, and biaxial, in which there are two such directions. In the case of the former the direction of one, the ordinary ray, is precisely the same as if the refraction were single, but the refractive index of the other ray varies from that of the ordinary ray to a second limiting value, the extraordinary refractive index, which may be either greater or less. If the extraordinary is greater than the ordinary refractive index the double refraction is said to be positive; if less, to be negative. A biaxial substance is more complex. It possesses three principal directions, viz., the bisectrices of the directions of single refraction and the perpendicular to the plane containing them. The first two correspond to the greatest and least, and the last to the mean of the principal indices of refraction. If the acute bisectrix corresponds to the least refractive index, the double refraction is said to be positive, and if to the greatest, negative. The relation of the directions 46of single refraction, s, to the three principal directions, a, b, c, is illustrated in Fig. 27 for the case of topaz, a positive mineral. The refractive indices of the rays traversing one of the principal directions have the values corresponding to the other two. In the direction a we should measure the greatest and the mean of the principal refractive indices, in the direction b the greatest and the least, and in the direction c the mean and the least. The maximum amount of double refraction is therefore in the direction b.

In the examination of a faceted stone, of the most usual shape, the simplest method is to lay the large facet, called the table, on a glass slip and view the stone through the small parallel facet, the culet. Should the latter not exist, it may frequently happen that owing to internal reflection no light emerges through the steeply inclined facets. This difficulty is easily overcome by immersing the stone in some highly refracting oil. A glass plate held by hand over the stone with a drop of the oil between it and the plate serves the purpose, and is perhaps a more convenient method. A stone which does not possess a pair of parallel facets should be viewed through any pair which are nearly parallel.
We have stated that a plate of glass has no effect on the field. Suppose, however, it were viewed when placed between the jaws of a tightened vice47 and thus thrown into a state of strain, it would then show double refraction, the amount of which would depend on the strain. Natural singly refractive substances frequently show phenomena of a similar kind. Thus diamond sometimes contains a drop of liquid carbonic acid, and the strain is revealed by the coloured rings surrounding the cavity which are seen when the stone is viewed between crossed nicols. Double refraction is also common in diamond even when there is no included matter to explain it, and is caused by the state of strain into which the mineral is thrown on release from the enormous pressure under which it was formed. Other minerals which display these so-called optical anomalies, such as fluor and garnet, are not really quite singly refractive at ordinary temperatures; each crystal is composed of several double refractive individuals. But all such phenomena cannot be confused with the characters of minerals which extinguish in the ordinary way, since the stone will extinguish in small patches and these will not be dark all at the same time; further, the double refraction is small, and on revolving the stone between crossed nicols the extinction is not sharp. Paste stones are sometimes in a state of strain, and display slight, but general, double refraction. Hence the existence of double refraction does not necessarily prove that the stone is real and not an imitation. Stones may be composed of two or more individuals which are related to each other by twinning, in which case each individual would in general extinguish separately. Such individuals would be larger and would extinguish more sharply than the patches of an anomalous stone.
48

An examination in convergent light is sometimes of service. An auxiliary lens is placed over the condenser so as to converge the light on to the stone. Light now traverses the stone in different directions; the more oblique the direction the greater the distance traversed in the stone. If it be doubly refractive, in any given direction there will be in general two rays with differing refractive indices and the resulting effect is akin to the well-known phenomenon of Newton’s rings, and is an instance of what is termed interference. It may be mentioned that the interference of light (Fig. 28) explains such common phenomena as the colours of a soap-bubble, the hues of tarnished steel, the tints of a layer of oil floating on water, and so on. Light, after diverging from the stone, comes to focus a little beneath the plane in which the image of the stone is formed. An auxiliary lens must, therefore, be inserted to bring the focal planes together, so that the interference picture may be viewed by means of the same eyepiece.
If a uniaxial crystal be examined along the crystallographic axis in convergent light an interference picture will be seen of the kind illustrated on Plate III. The arms of a black cross meet in the centre of the field, which is surrounded by a series of circular rings, coloured in white light. Rotation49 of the stone about the axis produces no change in the picture.
A biaxial substance possesses two directions (the optic axes) along which a single beam is transmitted. If such a stone be examined along the line bisecting the acute angle between the optic axes (the acute bisectrix) an interference picture[4] will be seen which in particular positions of the stone with respect to the crossed nicols takes the forms illustrated on Plate III. As before, there is a series of rings which are coloured in white light; they, however, are no longer circles but consist of curves known as lemniscates, of which the figure of 8 is a special form. Instead of an unchangeable cross there are a pair of black “brushes” which in one position of the stone are hyperbolæ, and in that at right angles become a cross. On rotating the stone we find that the rings move with it and are unaltered in form, whereas the brushes revolve about two points, called the “eyes,” where the optic axes emerge. If the observation were made along the obtuse bisectrix the angle between the optic axes would probably be too large for the brushes to come into the field, and the rings might not be visible in white light, though they would appear in monochromatic light. In the case of a substance like sphene the figure is not so simple, because the positions of the optic axes vary greatly for the different colours and the result is exceedingly complex; in monochromatic light, however, the usual figure is visible.
It would probably not be possible in the case of 50a faceted stone to find a pair of faces perpendicular to the required direction. Nevertheless, so long as a portion of the figures described is in the field of view, the character of the double refraction, whether uniaxial or biaxial, may readily be determined.
There is yet another remarkable phenomenon which must not be passed over. Certain substances, of which quartz is a conspicuous example and in this respect unique among the gem-stones, possess the remarkable property of rotating the plane of polarization of a ray of light which is transmitted parallel to the optic axis. If a plate of quartz be cut at right angles to the axis and placed between crossed nicols in white light, the field will be coloured, the hue changing on rotation of one nicol with respect to the other. Examination in monochromatic light shows that the field will become dark after a certain rotation of the one nicol with respect to the other, the amount of which depends on the thickness of the plate. If the plate be viewed in convergent light, an interference picture is seen as illustrated on Plate III, which is similar to, and yet differs in some important particulars from the ordinary interference picture of a uniaxial stone. The cross does not penetrate beyond the innermost ring and the centre of the field is coloured in white light. If a stone shows such a picture, it may be safely assumed to be quartz. It is interesting to note that minerals which possess this property have a spiral arrangement of the constituent atoms.
It has already been remarked (p. 28) that if a faceted doubly refractive stone be rotated with one facet always in contact with the dense glass of the refractometer the pair of shadow-edges that are51 visible in the field move up or down the scale in general from or to maximum and minimum positions. The manner in which this movement takes place depends upon the character of the double refraction and the position of the facet under observation with regard to the optical symmetry of the stone. In the case of a uniaxial stone, if the facet be perpendicular to the crystallographic axis, i.e. the direction of single refraction, neither of the shadow-edges will move. If the facet be parallel to that direction, one shadow-edge will move up and coincide with the other, which remains invariable in position, and away from it to a second critical position; the latter gives the value of the extraordinary refractive index, and the invariable shadow-edge corresponds to the ordinary refractive index. This phenomenon is displayed by the table-facet of most tourmalines, because for reasons given above (p. 11) they are as a rule cut parallel to the crystallographic axis. In the case of facets in intermediate positions, the shadow-edge corresponding to the extraordinary refractive index moves, but not to coincidence with the invariable shadow-edge. The case of a biaxial stone is more complex. If the facet be perpendicular to one of the principal directions one shadow-edge remains invariable in position, corresponding to one of the principal refractive indices, whilst the other moves between the critical values corresponding to the remaining two of the principal refractive indices. In the interesting case in which the facet is parallel to the two directions of single refraction, the second shadow-edge moves across the one which is invariable in position. In intermediate positions of the facet both52 shadow-edges move, and give therefore critical values. Of the intermediate pair, i.e. the lower maximum and the higher minimum, one corresponds to the mean principal refractive index, and the other depends upon the relation of the facet to the optical symmetry. If it is desired to distinguish between them, observations must be made on a second facet; but for discriminative purposes such exactitude is unnecessary, since the least and the greatest refractive indices are all that are required.
The character of the refraction of gem-stones is given in Table V at the end of the book.
WHEN white light passes through a cut stone, colour effects result which arise from a variety of causes. The most obvious is the fundamental colour of the stone, which is due to its selective absorption of the light passing through it, and would characterize it before it was cut. Intermingled with the colour in a transparent stone is the dispersive effect known as ‘fire,’ which has already been discussed (p. 20). In many instances the want of homogeneity is responsible for some peculiar effects such as opalescence, chatoyancy, and asterism. These phenomena will now be considered in fuller detail.
All substances absorb light to some extent. If the action is slight and affects equally the whole of the visible spectrum, the stone appears white or colourless. Usually some portion is more strongly absorbed than the rest, and the stone seems to be coloured. What is the precise tint depends not only upon the portions transmitted through the stone, but also upon their relative intensities. The eye, unlike the ear, has not the power of analysis54 and it cannot of itself determine how a composite colour has been made up. Indeed, so far as it is concerned, any colour may be exactly matched by compounding in certain proportions three simple primary colours—red, yellow, and violet. Alexandrite, a variety of chrysoberyl, is a curious and instructive case. The balance in the spectrum of light transmitted through it is such that, whereas in daylight such stones appear green, in artificial light, especially in gas-light, they are a pronounced raspberry-red (Plate XXVII, Figs. 11, 13). The phenomenon is intensified by the strong dichroism characteristic of this species.
The colour is the least reliable character that may be employed for the identification of a stone, since it varies considerably in the same species, and often results from the admixture of some metallic oxide, which has no essential part in the chemical composition and is present in such minute quantities as to be almost imperceptible by analysis. Who would, for instance, imagine from their appearance that stones so markedly diverse in hue as ruby and sapphire were really varieties of the same species, corundum? Again, quartz, in spite of the simplicity of its composition, displays extreme differences of tint. Nevertheless, certain varieties do possess a distinctive colour, emerald being the most striking example, and in other cases the trained eye can appreciate certain characteristic subtleties of shade. At any rate, the colour is the most obvious of the physical characters, and serves to provide a rough division of the species, and accordingly in Table II at the end of the book the gem-stones are arranged by their usual tints.
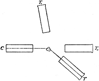
The two rays into which a doubly refractive stone splits up a ray of light are often differently absorbed by it, and in consequence appear on emergence differently coloured; such stones are said to be dichroic. The most striking instance is a deep-brown tourmaline, which, except in very thin sections, is quite opaque to the ordinary ray. The light transmitted by a plate cut parallel to the crystallographic axis is therefore plane-polarized; before the invention by Nicol of the prism of Iceland-spar known by his name this was the ordinary method of obtaining light of this character (cf. p. 43). Again, in the case of kunzite and cordierite the difference in colour is so marked as to be obvious to the unaided eye; but where the contrast is less pronounced we require the use of an instrument called a dichroscope, which enables the twin colours to be seen side by side.

Fig. 29 illustrates in section the construction of a dichroscope. The instrument consists essentially of56 a rhomb of Iceland-spar, S, of such a length as to give two contiguous images (Fig. 30) of a square hole, H, in one end of the tube containing it. In some instruments the terminal faces of the rhomb are ground at right angles to its length, but usually, as in that depicted, prisms of glass, G, are cemented on to the two ends. A cap C, with a slightly larger hole, which is circular in shape, fits on the end of the tube, and can be moved up and down it and revolved round it, as desired. The stone, R, to be tested may be directly attached to it by means of some kind of wax or cement in such a way that light which has traversed it passes into the window, H, of the instrument; the cap at the same time permits of the rotation of the stone about the axis of the main tube of the instrument. The dichroscope shown in the figure has a still more convenient arrangement: it is provided with an additional attachment, A, by means of which the stone can be turned about an axis at right angles to the length of the tube, and thus examined in different directions. At the other end of the main tube is placed a lens, L, of low power for viewing the twin images: the short tube containing it can be pushed in and out for focusing purposes. Many makers now place the rhomb close to the lens, L, and thereby require a much smaller piece of spar; material suitable for optical purposes is fast growing scarce.
Suppose that a plate of tourmaline cut parallel to its crystallographic axis is fastened to the cap and the latter rotated. We should notice, on looking57 through the instrument, that in the course of a complete revolution there are two positions, orientated at right angles to one another, in which the tints of the two images are identical, the positions of greatest contrast of tint being midway between. If we examine a uniaxial stone in a direction at right angles to its optic axis we obtain the colours corresponding to the ordinary and the extraordinary rays. In any direction less inclined to the axis we still have the colour for the ordinary ray, but the other colour is intermediate in tint between it and that for the extraordinary ray. The phenomenon presented by a biaxial stone is more complex. There are three principal colours which are visible in differing pairs in the three principal optical directions; in other directions the tints seen are intermediate between the principal colours. Since biaxial stones have three principal colours, they are sometimes said to be trichroic or pleochroic, but in any single direction they have two twin colours and show dichroism. No difference at all will be shown in directions in which a stone is singly refractive, and it is therefore always advisable to examine a stone in more than one direction lest the first happens to be one of single refraction. For determinative purposes it is not necessary to note the exact shades of tint of the twin colours, because they vary with the inherent colour of the stone, and are therefore not constant for the same species; we need only observe, when the stone is tested with the dichroscope, whether there is any variation of colour, and, if so, its strength. Dichroism is a result of double refraction, and cannot exist in a singly refractive stone. The converse, however, is not true58 and it by no means follows that, because no dichroism can be detected in a stone, it is singly refractive. A colourless stone, for instance, cannot possibly be dichroic, and many coloured, doubly refractive stones—for example, zircon—exhibit no dichroism, or so little that it is imperceptible. The character is always the better displayed, the deeper the inherent colour of the stone. The deep-green alexandrite, for instance, is far more dichroic than the lighter coloured varieties of chrysoberyl.
If the stone is attached to the cap of the instrument, the table should be turned towards it so as to assure that the light passing into the instrument has actually traversed the stone. If little light enters through the opposite coign, a drop of oil placed thereon will overcome the difficulty (cf. p. 46). It is also necessary, for reasons mentioned above, to examine the stone in directions as far as possible across the girdle also. A convenient, though not strictly accurate, method is to lay the stone with the table facet on a table and examine the light which has entered the stone and been reflected at that facet. The stone may easily be rotated on the table, and observations thus made in different directions in the stone. Care must be exercised in the case of a faceted stone not to mistake the alteration in colour due to dispersion for a dichroic effect, and the stone must be placed close to the instrument during an observation, because otherwise the twin rays traversing the instrument may have taken sensibly different directions in the stone.
Dichroism is an effective test in the case of ruby; its twin colours—purplish and yellowish red—are in marked contrast, and readily distinguish it from59 other red stones. Again, one of the twin colours of sapphire is distinctly more yellowish than the other; the blue spinel, of which a good many have been manufactured during recent years, is singly refractive, and, of course, shows no difference of tint in the dichroscope.
Table VI at the end of the book gives the strength of the dichroism of the gem-stones.
A study of the chromatic character of the light transmitted by a coloured stone is of no little interest. As was stated above, the eye has not the power of analysing light, and to resolve the transmitted rays into their component parts an instrument known as a spectroscope is needed. The small ‘direct-vision’ type has ample dispersion for this purpose. It is advantageous to employ by preference the diffraction rather than the prism form, because in the former the intervals in the resulting spectrum corresponding to equal differences of wave-length are the same, whereas in the latter they diminish as the wave-length increases and accordingly the red end of the spectrum is relatively cramped.
The absorptive properties of all doubly refractive coloured substances vary more or less with the direction in which light traverses them according to the amount of dichroism that they possess, but the variation is not very noticeable unless the stone is highly dichroic. If the light transmitted by a deep-coloured ruby be examined with a spectroscope it will be found that the whole of the green portion60 of the spectrum is obliterated (Fig. 31), while in the case of a sapphire only a small portion of the red end of the spectrum is absorbed. Alexandrite affords especial interest. In the spectrum of the light transmitted by it, the violet and the yellow are more or less strongly absorbed, depending upon the direction in which the rays have passed through the stone (Fig. 31), and the transmitted light is mainly composed of two portions—red and green. The apparent colour of the stone depends, therefore, upon61 which of the two predominates. In daylight the resultant colour is green flecked with red and orange, the three principal absorptive tints (cf. p. 235), but in artificial light, which is relatively stronger in the red portion of the spectrum, the resultant colour is a raspberry-red, and there is less apparent difference in the absorptive tints (cf. Plate XXVII, Figs. 11, 13).
In all the spectra just considered, and in all like them, the portions that are absorbed are wide, the passage from blackness to colour is gradual, and the edges deliminating them are blurred. In the spectra of certain zircons and in almandine garnet the absorbed portions, or bands as they are called, are narrow, and, moreover, the transition from blackness to colour is sharp and abrupt; such stones are therefore said to display absorption-bands. Church in 1866 was the first to notice the bands shown by zircon (Fig. 31). Sorby thought they portended the existence of a new element, to which he gave the name jargonium, but subsequently discovered that they were caused by the presence of a minute trace of uranium. A yellowish-green zircon shows the phenomenon best, and it has all the bands shown in the figure. The spectrum varies slightly but almost imperceptibly with the direction in the stone. Others show the bands in the yellow and green, while others show only those in the red, and some only one of them. The bands are not confined to stones of any particular colour, or amount of double refraction. Again, many zircons show no bands at all, so that their absence by no means precludes the stone from being a zircon.
Almandine is characterized by a different spectrum (Fig. 31). The band in the yellow is the most conspicuous, 62and is no doubt responsible for the purple hue of a typical almandine. The spectrum varies in strength in different stones. Rhodolite (p. 214), a garnet lying between almandine and pyrope, displays the same bands, and indications of them may be detected in the spectra of pyropes of high refraction.
IT is one of our earliest experiences that different substances of the same size have often markedly different weights; thus, there is a great difference between wood and iron, and still greater between wood and lead. It is usual to say that iron is heavier than wood, but the statement is misleading, because it would be possible by selecting a large enough piece of wood to find one at least as heavy as a particular piece of iron. We have, in fact, to compare equal volumes of the two substances, and all ambiguity is removed if we speak of relative density or specific gravity—the former term being usually applied to liquids and the latter to solids—instead of weight or heaviness. The density of water at 4° C. is taken as unity, that being the temperature at which it is highest; at other temperatures it is somewhat lower, as will be seen from Table IX given at the end of the book. The direct determination of the volume of an irregular solid presents almost insuperable difficulty; but, fortunately, for finding the specific gravity it is quite unnecessary to know the volume, as will be shown when we proceed to consider the methods in use.
The specific gravity of a stone is a character which is within narrow limits constant for each64 species, and is therefore very useful for discriminative purposes. It can be determined whatever be the shape of the stone, and it is immaterial whether it be transparent or not; but, on the other hand, the stone must be unmounted and free from the setting.
The methods for the determination of the specific gravity are of two kinds: in the first a liquid is found of the same, or nearly the same, density as the stone, and in the second weighings are made and the use of an accurate balance is required.
Experiment tells us that a solid substance floats in a liquid denser than itself, sinks in one less dense, and remains suspended at any level in one of precisely the same density. If the stone be only slightly less dense than the liquid, it will rise to the surface; if it be just as slightly denser, it will as surely sink to the bottom, a physical fact which has added so much to the difficulty and danger of submarine manœuvring. If then we can find a liquid denser than the stone to be tested, and place the latter in it, the stone will float on the surface. If we take a liquid which is less dense than the stone and capable of mixing with the heavier liquid, and add it to the latter, drop by drop, gently stirring so as to assure that the density of the combination is uniformly the same throughout, a stage is finally reached when the stone begins to move downwards. It has now very nearly the density of the liquid, and, if we find by some means this density, we know simultaneously the specific gravity of the stone.
65
Various devices and methods are available for ascertaining the density of liquids—for instance, Westphal’s balance; but, apart from the inconvenience attending such a determination, the density of all liquids is somewhat seriously affected by changes in the temperature, and it is therefore better to make direct comparison with fragments of substances of known specific gravity, which are termed indicators. If of two fragments differing slightly in specific gravity one floats on the surface of a uniform column of liquid and the other lies at the bottom of the tube containing the liquid, we may be certain that the density of the liquid is intermediate between the two specific gravities. Such a precaution is necessary because, if the liquid be a mixture of two distinct liquids, the density would tend to increase owing to the greater volatility of the lighter of them, and in any case the density is affected by change of temperature. The specific gravity of stones is not much altered by variation in the temperature.
A more convenient variation of this method is to form a diffusion column, so that the density increases progressively with the depth. If the stone under test floats at a certain level in such a column intermediate between two fragments of known specific gravity, its specific gravity may be found by elementary interpolation. To form a column of this kind the lighter liquid should be poured on to the top of the heavier. Natural diffusion gives the most perfect column, but, being a lengthy process, it may conveniently be quickened by gently shaking the tube, and the column thus formed gives results sufficiently accurate for discriminative purposes.
66
By far the most convenient liquid for ordinary use is methylene iodide, which has already been recommended for its high refraction. It has, when pure, a density at ordinary room-temperatures of 3·324, and it is miscible in all proportions with benzol, whose density is O·88, or toluol, another hydrocarbon which is somewhat less volatile than benzol, and whose density is about the same, namely, 0·86. When fresh, methylene iodide has only a slight tinge of yellow, but it rapidly darkens on exposure to light owing to the liberation of iodine which is in a colloidal form and cannot be removed by filtration. The liquid may, however, be easily cleared by shaking it up with any substance with which the iodine combines to form an iodide removable by filtration. Copper filings answer the purpose well, though rather slow in action; mercury may also be used, but is not very satisfactory, because a small amount may be dissolved and afterwards be precipitated on to the stone under test, carrying it down to the bottom of the tube. Caustic potash (potassium hydroxide) is also recommended; in this case the operation should preferably be carried out in a special apparatus which permits the clear liquid to be drawn off underneath, because water separates out and floats on the surface. In Fig. 32 three cut stones, a quartz (a), a beryl (b), and a tourmaline (c) are shown floating in a diffusion column of methylene iodide and benzol. Although the beryl is only slightly denser than the quartz, it floats at a perceptibly lower level. These three species are occasionally found as yellow stones of very similar tint.

Various other liquids have been used or proposed67 for the same purpose, of which two may be mentioned. The first of them is a saturated solution of potassium iodide and mercuric iodide in water, which is known after the discoverer as Sonstadt’s solution. It is a clear mobile liquid with an amber colour, having at 12° C. a density of 3·085; it may be mixed with water to any extent, and is easily concentrated by heating; moreover, it is durable and not subject to alteration of any kind; on the other hand, it is highly poisonous and cauterizes the skin, not being checked by albumen; it also destroys brass-ware by amalgamating the metal. The second is Klein’s solution, a clear yellow liquid which has at 15° C. a density of 3·28. It consists of the boro-tungstate of cadmium, of which the formula is 9WO3.B2O3.2CdO.2H2O + 16Aq, dissolved in water, with which it may be diluted. If the salt be heated, it fuses at 75° C. in its own water of crystallization to a yellow liquid, very mobile, with a density of 3·55. Klein’s solution is harmless, but it cannot compare for convenience of manipulation with methylene iodide.
The most convenient procedure is to have at hand three glass tubes, fitted with stoppers or corks, to contain liquids of different densities—
(a) Methylene iodide reduced to 2·7; using as indicators orthoclase 2·55, quartz 2·66, and beryl 2·74.
68
(b) Methylene iodide reduced to 3·1; indicators, beryl 2·74 and tourmaline 3·10.
(c) Methylene iodide, undiluted, 3·32.
The pure liquid in the last tube should on no account be diluted; but the density of the other two liquids may be varied slightly, either by adding benzol in order to lower it, or by allowing benzol, which has far greater volatility than methylene iodide, to evaporate, or by adding methylene iodide, in order to increase it. The density of the liquids may be ascertained approximately from the indicators.
A glance at the table of specific gravities shows that as regards the gem-stones methylene iodide is restricted in its application, since it can be used to test only moonstone, quartz, beryl, tourmaline, and spodumene; opal and turquoise, being amorphous and more or less porous, should not be immersed in liquids, lest the appearance of the stone be irretrievably injured. Methylene iodide readily serves to distinguish the yellow quartz from the true topaz, with which jewellers often confuse it, the latter stone sinking in the liquid; again aquamarine floats, but the blue topaz, which is often very similar to it, sinks in methylene iodide.
By saturating methylene iodide with iodine and iodoform, we have a liquid (d) of density 3·6; a fragment of topaz, 3·55, may be used to indicate whether the liquid has the requisite density. Unfortunately this saturated solution is so dark as to be almost opaque, and is, moreover, very viscous. Its principal use is to distinguish diamond, 3·535, from the brilliant colourless zircon, with which, apart from a test for hardness, it may easily be69 confused. It is easy to see whether the stone floats, as it would do if a diamond. To recover a stone which has sunk, the only course is to pour off the liquid into another tube, because it is far too dark for the position of the stone to be seen.
It is possible to employ a similar method for still denser stones by having recourse to Retgers’s salt, silver-thallium nitrate. This double salt is solid at ordinary room-temperatures, but has the remarkable property of melting at a temperature, 75° C., which is well below the point of fusion of either of its constituents, to a clear, mobile yellow liquid, which is miscible in any proportion with water, and has, when pure, a density of 4·6. The salt may be purchased, or it may be prepared by mixing 100 grams of thallium nitrate and 64 grams of silver nitrate, or similar proportions, in a little water, and heating the whole over a water-bath, keeping it constantly stirred with a glass rod until it is liquefied. The two salts must be mixed in the correct proportions, because otherwise the mixture might form other double salts, which do not melt at so low a temperature. A glance at the table of specific gravities shows that Retgers’s salt may be used for all the gem-stones with the single exception of zircon (b). There are, however, some objections to its use. It is expensive, and, unless kept constantly melted, it is not immediately available. It darkens on exposure to strong sunlight like all silver salts, stains the skin a peculiar shade of purple which is with difficulty removed, and in fact only by abrasion of the skin, and, like all thallium compounds, is highly poisonous.
It is convenient to have three tubes, fitted as70 before with stoppers or corks, to contain the following liquids, when heated:—
(e) Silver-thallium nitrate, reduced to 3·5; using as indicators, peridot or idocrase 3·40 and topaz 3·53.
(f) Silver-thallium nitrate, reduced to 4·0; indicators, topaz 3·53 and sapphire 4·03.
(g) Silver-thallium nitrate, undiluted, 4·6.
The tubes must be heated in some form of water-bath; an ordinary glass beaker serves the purpose satisfactorily. The pure salt should never be diluted; but the density of the contents of tubes (e) and (f) may be varied at will, water being added in order to lower the density, and concentration by means of evaporation or addition of the nitrate being employed in order to increase it. To avoid the discoloration of the skin, rubber finger-stalls may be used, and the stones should not be handled until after they have been washed in warm water. The staining may be minimized if the hands be well washed in hot water before being exposed to sunlight. It is advisable to warm the stone to be tested in a tube containing water beforehand lest the sudden heating develop cracks. A piece of platinum, or, failing that, copper wire is of service for removing stones from the tubes; a glass rod, spoon-shaped at one end, does equally well. It must be noted that although Retgers’s salt is absolutely harmless to the ordinary gem-stones—with the exception of opal and turquoise, which, as has already been stated, being to some extent porous, should not be immersed in liquids—it attacks certain substances, for instance, sulphides and cannot be applied indiscriminately to minerals.
71
The procedure described above is intended only as a suggestion; the method may be varied to any extent at will, depending upon the particular requirements. If such tests are made only occasionally, a smaller number of tubes may be used. Thus one tube may be substituted for the two marked a and b, the liquid contained in it being diluted as required, and a series of indicators may be kept apart in small glass tubes. On the other hand, any one having constantly to test stones might increase the number of tubes with advantage, and might find it useful to have at hand fragments of all the principal species in order to make direct comparison.
The balance which is necessary in both the methods described under this head should be capable of giving results accurate to milligrams, i.e. the thousandth part of a gram, and consistent with that restriction the beam may be as short as possible so as to give rapid swings and thus shorten the time taken in the observations. A good assay balance answers the purpose admirably. Of course, it is never necessary to wait till the balance has come to rest. The mean of the extreme readings of the pointer attached to the beam will give the position in which it would ultimately come to rest. Thus, if the pointer just touches the eighth division on the right-hand side and the second on the other, the mean position is the third division on the right-hand side (½(8 − 2) = 3). Instead of the ordinary form of chemical balance, Westphal’s form or Joly’s spring-balance72 may be employed. Weighings are made more quickly, but are not so accurate.
In refined physical work the practice known as double-weighing is employed to obviate any slight error there may be in the suspension of the balance. A counterpoise which is heavier than anything to be weighed is placed in one pan, and weighed. The counterpoise is retained in its pan throughout the whole course of the weighings. Any substance whose weight is to be found is placed in the other pan, and weights added till the balance swings truly again. The difference between the two sets of weights evidently gives the weight of the substance. Balances, however, are so accurately constructed that for testing purposes such refined precautions are not really necessary.
It is immaterial in what notation the weighings are made, so long as the same is used throughout, but the metric system of weights, which is in universal use in scientific work, should preferably be employed. Jewellers, however, use carat weights, and a subdivision to the base 2 instead of decimals, the fractions being ½, ¼, ⅛, 1/16, 1/32, 1/64. If these weights be employed, it will be necessary to convert these fractions into decimals, and write ½ = ·500, ¼ ·250, ⅛ = ·125, 1/16 = ·062, 1/32 = ·031, 1/64 = ·016.
The principle of this method is very simple. The stone, the specific gravity of which is required, is first weighed in air and then when immersed in water. If W and W´ be these weights respectively, then W − W´ is evidently the weight of the water73 displaced by the stone and having therefore the same volume as it, and the specific gravity is therefore equal to W/W − Wr.
If the method of double-weighing had been adopted, the formula would be slightly altered. Thus, suppose that c corresponds to the counterpoise, w and w´ to the stone weighed in air and water respectively; then we have W = c − w and W´ = c − w´, and therefore the specific gravity is equal to c − w/w´ − w.
Some precautions are necessary in practice to assure an accurate result. A balance intended for specific gravity work is provided with an auxiliary pan (Fig. 33), which hangs high enough up to permit of the stone being suspended underneath. The weight of anything used for the suspension must, of course, be determined and subtracted from the weight found for the stone, both when in air and when in water. A piece of fine silk is generally74 used for suspending the stone in water, but it should be avoided, because the water tends to creep up it and the error thus introduced affects the first place of decimals in the case of a one-carat stone, the value being too high. A piece of brass wire shaped into a cage is much to be preferred. If the same cage be habitually used, its weight in air and when immersed in water to the customary extent in such determinations should be found once for all.
Care must also be taken to remove all air-bubbles which cling to the stone or the cage; their presence would tend to make the value too low. The surface tension of water which makes it cling to the wire prevents the balance swinging freely, and renders it difficult to obtain a weighing correct to a milligram when the wire dips into water. This difficulty may be overcome by substituting a liquid such as toluol, which has a much smaller surface tension.
As has been stated above, the density of water at 4° C. is taken as unity, and it is therefore necessary to multiply the values obtained by the density of the liquid, whatever it be, at the temperature of the observation. In Table IX, at the end of the book, are given the densities of water and toluol at ordinary room-temperatures. It will be noticed that a correct reading of the temperature is far more important in the case of toluol.
75
Allowing for the density of water at the temperature of the room, which was 16° C., the specific gravity is 3·637. Had no such allowance been made, the result would have been four units too high in the third place of decimals. For discriminative purposes, however, such refinement is unnecessary.
The specific gravity bottle is merely one with a fairly long neck on which a horizontal mark has been scratched, and which is closed by a ground glass stopper. The pycnometer is a refined variety of the specific gravity bottle. It has two openings: the larger is intended for the insertion of the stone and the water, and is closed by a stopper through which a thermometer passes, while the other, which is exceedingly narrow, is closed by a stopper fitting on the outside, and is graduated to facilitate the determination of the height of the water in it.
The stone is weighed as in the previous method. The bottle is then weighed, and filled with water up to the mark and weighed again. The stone is now introduced into the bottle, and the surplus water removed with blotting-paper or otherwise until it is at the same level as before, and the bottle with its contents is weighed. Let W be the weight of the stone, w the weight of the bottle, W´ the weight of the bottle and the water contained in it, and W″ the weight of the bottle when containing the stone and the water. Then W´ − w is the weight of the water filling the bottle up to the mark, and W″ − w − W is the reduced weight of water after the stone has been inserted; the difference,76 W + W´ − W″, is the weight of the water displaced. The specific gravity is therefore W/W + W´ − W″. As in the previous method, this value must be multiplied by the density of the liquid at the temperature of the experiment. If the method of double-weighing be adopted, the formula will be slightly modified.
Of the above methods, that of heavy liquids, as it is usually termed, is by far the quickest and the most convenient for stones of ordinary size, the specific gravity of which is less than the density of pure methylene iodide, namely, 3·324, and by its aid a value may be obtained which is accurate to the second place of decimals, a result quite sufficient for a discriminative test. The method is applicable no matter how small the stone may be, and, indeed, for very small stones it is the only trustworthy method; for large stones it is inconvenient, not only because of the large quantity of liquid required, but also on account of the difficulty in estimating with sufficient certainty the position of the centre of gravity of the stone. A negative determination may be of value, especially if attention be paid to the rate at which the stone falls through the liquid; the denser the stone the faster it will sink, but the rate depends also upon the shape of the stone. Retgers’s salt is less convenient because of the delay involved in warming it and of the almost inevitable staining of the hands, but its use presents no difficulty whatever.
Hydrostatic weighing is always available, unless the stone be very small, but the necessary weighings77 occupy considerable time, and care must be taken that no error creeps into the computation, simple though it be. Even if everything is at hand, a determination is scarcely possible under a quarter of an hour.
The third method, which takes even longer, is intended primarily for powdered substances, and is not recommended for cut stones, unless there happen to be a number of tiny ones which are known to be exactly of the same kind.
The specific gravities of the gem-stones are given in Table VII at the end of the book.
EVERY possessor of a diamond ring is aware that diamond easily scratches window-glass. If other stones were tried, it would be found that they also scratched glass, but not so readily, and, if the experiment were extended, it would be found that topaz scratches quartz, but is scratched by corundum, which in its turn yields to the all-powerful diamond. There is therefore considerable variation in the capacity of precious stones to resist abrasion, or, as it is usually termed, in their hardness. To simplify the mode of expressing this character the mineralogist Mohs about a century ago devised the following arbitrary scale, which is still in general use.
A finger-nail scratches gypsum and softer substances. Ordinary window-glass is slightly softer than orthoclase, and a steel knife is slightly harder;79 a hardened file approaches quartz in hardness, and easily scratches glass.
By saying that a stone has hardness 7 we merely mean that it will not scratch quartz, and quartz will not scratch it. The numbers indicate an order, and have no quantitative significance whatever. This is an important point about which mistakes are often made. We must not, for instance, suppose that diamond has twice the hardness of apatite. As a matter of fact, the interval between diamond and corundum is immensely greater than that between the latter and talc, the softest of mineral substances. Intermediate degrees of hardness are expressed by fractions. The number 8½ for chrysoberyl means that it scratches topaz as easily as it itself is scratched by corundum. Pyrope garnet is slightly harder than quartz, and its hardness is said therefore to be 7¼.
Delicate tests show that the structure of all crystallized substances is more or less grained, like that of wood, and the hardness for the same stone varies in different directions. Kyanite is unique in this respect, since its hardness ranges from 5 to 7; it can therefore be scratched by a knife in some directions, but not in others. In most substances, however, the range is so small as to be quite imperceptible. Slight variation is also apparent in the hardness of different specimens of the same species. The diamonds from Borneo and New South Wales are so distinctly harder than those from South Africa and other localities that, when first discovered, some difficulty was experienced in cutting them. Again, lapidaries find that while Ceylon sapphires are harder than rubies, Kashmir sapphires are softer.
80
Hardness is a character of fundamental importance in a stone intended for ornamental wear, since upon it depends the durability of the polish and brilliancy. Ordinary dust is largely composed of grains of sand, which is quartz in a minute form, and a gem-stone should therefore be at least as hard as that. Paste imitations are little harder than 5, and consequently, as experience shows, their polish does not survive a few weeks’ wear. Hardness is, however, of little use as a discriminative test except for distinguishing between topaz or harder stone and paste. Diamond is so much harder than other stones that it will leave a cut in glass quite different from the scratch of even corundum. Paste, being so soft, readily yields to the file, and is thus easily distinguished from genuine stones. In applying the test to a cut stone, it is best to remove it from its mount and try the effect on the girdle, because any scratch would be concealed afterwards by the setting. Any mark should be rubbed with the finger to assure that it is not due to powder from the scratching agent; confusion may often be caused in this way when the two substances are of nearly the same hardness.
The degrees of hardness of the gem-stones are given in Table VIII at the end of the book.
It must not be overlooked that extreme hardness is compatible with cleavability in certain directions intimately connected with the crystalline structure; the property, in fact, characterizes many mineral species of different degrees of hardness. Diamond can be split in four directions parallel to the faces of the regular octahedron, a property utilized by the81 lapidary for shaping a stone previous to cutting it. Topaz cleaves with considerable ease at right angles to the principal crystallographic axis. Felspar has two directions of cleavage nearly at right angles to one another. The new gem-stone, kunzite, needs cautious handling owing to the facility with which it splits in two directions mutually inclined at about 70°.
All stones are more or less brittle, and will be fractured by a sufficiently violent blow, but the irregular surface of a fracture cannot be mistaken for the brilliant flat surface given by a cleavage. The cleavage is by no means induced with equal facility in the species mentioned above. A considerable effort is required to split diamond, but in the case of topaz or kunzite incipient cleavage in the shape of flaws may be started if the stone be merely dropped on to a hard floor.
THE definite orientation of the molecular arrangement of crystallized substances leads in many cases to attributes which vary with the direction and are revealed by the electrical properties. If a tourmaline crystal be heated in a gas or alcohol flame it becomes charged with electricity, and, since it is at the same time a bad conductor, static charges of opposite sign appear at the two ends. Topaz shows similar characters, but in a lesser degree. Quartz, if treated in the same way, shows charges of opposite sign on different sides, but the phenomenon may be masked by intimate twinning and consequent overlapping of the contrary areas. The phenomenon may also be seen when the stones are cut. The most convenient method for detecting the existence of the electrical charges is that devised by Kundt. A powder consisting of a mixture of red lead and sulphur is placed in a bellows arrangement and blown through a sieve at one end on to the stone. Owing to the friction the particles become electrified—red lead positively and sulphur negatively—and are attracted by the charges of opposing sign, which will therefore be betrayed by the colour of the dust at the corresponding spot. The powder must be kept dry;83 otherwise a chemical reaction may occur leading to the formation of lead sulphide, recognizable by its black colour. Bücker has suggested as an alternative the use of sulphur, coloured red with carmine, the negative element, and yellow lycopodium, the positive element.
Diamond, topaz, and tourmaline are powerful enough, when electrified by friction with a cloth, to attract fragments of paper, the electrification being positive. Amber develops considerable negative electricity when treated in a similar manner.
Diamond is translucent to the Röntgen (X) rays; glass, on the other hand, is opaque to them, and this test distinguishes brilliants from paste imitations. Diamond also, unlike glass, phosphoresces under the influence of radium, a property characterizing also kunzite.
It will be seen that the electrical characters, although of considerable interest to the student, are, on account of their limited application and difficulty of test, of little service for the discrimination of gem-stones.
THE system in use for recording the weights of precious stones is peculiar to jewellery. The unit, which is known as the carat, bears no simple relation to any unit that has existed among European nations, and indubitably has been introduced from the East. When man in early days sought to record the weights of small objects, he made use of the most convenient seeds or grains which were easily obtainable and were at the same time nearly uniform in size. In Europe the smallest unit of weight was the barley grain. Similarly in the East the seeds of some leguminous tree were selected. Those of the locust-tree, Ceratonia siliqua, which is common in the countries bordering the Mediterranean, on the average weigh so nearly a carat that they almost certainly formed the original unit. It is, indeed, from the Greek κεράτιον, little horn, which refers to the shape of the pods, that the word carat is derived.
85
It is one of the eccentricities of the jewellery trade that precision should not have been given to the unit of weight. Not only does it vary at most of the trade centres in the world, but it is not even always constant at each centre. The difference is negligible in the case of single stones of ordinary size, but becomes a matter of serious importance when large stones, or parcels of small stones, are bought and sold, particularly when the stones are very costly. Attempts have been made at various times to secure a uniform standard, but as yet with only partial success. In 1871 the carat defined as the equivalent of 0·20500 gram was suggested at a meeting of the principal jewellers of Paris and London, and was eventually accepted in Paris, New York, Leipzig, and Borneo. It has, however, recently been recognized that in view of the gradual spread of the metric system of weights and measures the most satisfactory unit is the metric carat of one-fifth (0·2) gram. This has now been constituted the legal carat of France and Belgium, and no doubt other countries will follow their example. The carat weight obtaining in London weighs about 0·20530 gram, and the approximate equivalents in the gram at other centres are as follows:—Florence 0·19720, Madrid 0·20539, Berlin 0·20544, Amsterdam 0·20570, Lisbon 0·20575, Frankfort-on-Main 0·20577, Vienna 0·20613, Venice 0·20700, and Madras 0·20735. The gram itself is inconveniently large to serve as a unit for the generality of stones met with in ordinary jewellery.
The notation for expressing the sub-multiples of the carat forms another curious eccentricity.86 Fractions are used which are powers of the half: thus the half, the half of that, i.e. the quarter, and so on down to the sixty-fourth, and the weight of a stone is expressed by a series of fractions, e.g. 3½⅛1/64 carats. In the case of diamond a single unreduced fraction to the base 64 is substituted in place of the series of single fractions, and the weight of a stone is stated thus, 440/64 carats. With the introduction of the metric carat the more convenient and rational decimal notation would, of course, be simultaneously adopted.
Figs. 34–39 illustrate the exact sizes of diamonds of certain weights, when cut as brilliants. The sizes of other stones depends upon their specific gravity, the weight varying as the volume multiplied by the specific gravity. Quartz, for instance, has a low specific gravity and would be perceptibly larger, weight for weight; zircon, on the other hand, would be smaller.
It has been found more convenient to select a smaller unit in the case of pearls, namely, the pearl-grain, four of which go to the carat.
Stencil gauges are in use for measuring approximately the weight in carats of diamond brilliants and of pearls, which in both instances must be unmounted. A more accurate method for determining the weight87 of diamonds has been devised by Charles Moe, which is applicable to either unmounted or mounted stones. By means of callipers, which read to three-tenths of a millimetre, the diameter and the depth of the stone are measured, and by reference to a table the corresponding weight is found; allowance is made for the varying fineness of the girdle, and, in the case of large stones, for the variation from a strictly circular section.
Since this chapter was written the movement in favour of the metric carat has made rapid progress, and this unit will soon have been adopted as the legal standard all over the world, even in countries, such as the British Isles and the United States, where the metric system is not in use. The advantage of an international unit is too obvious to need arguing.
ALTHOUGH many of the gem-stones have been endowed by nature with brilliant lustrous faces and display scintillating reflections from their surfaces, yet their form is never such as to reveal to full perfection the optical qualities upon which their charm depends. Moreover, the natural faces are seldom perfect; as a rule the stones are broken either through some convulsion of the earth’s crust or in course of extraction from the matrix in which they have lain, or they are roughened by attrition against matter of greater hardness, or worn by the prolonged action of water, or etched by solvents. Beautiful octahedra of diamond or spinel have been mounted without further embellishment, but even their appearance might have been much improved at the lapidary’s hands.
By far the oldest of the existing styles of cutting is the rounded shape known as cabochon, a French word derived from the Latin cabo, a head. In the days of the Roman Empire the softer stones were often treated in this manner; such stones were supposed to be beneficial to those suffering from short-sightedness, the reason no doubt being that transparent stones when cut as a double cabochon formed a convex lens. According to Pliny, Nero89 had an emerald thus cut, through which he was accustomed to view the gladiatorial shows. This style of cutting was long a favourite for coloured stones, such as emerald, ruby, sapphire, and garnet, but has been abandoned in modern practice except for opaque, semi-opaque, and imperfect stones. The crimson garnet, which was at one time known by the name carbuncle, was so systematically thus cut that the word has come to signify a red garnet of this form. It was a popular brooch-stone with our grandmothers, but is no longer in vogue. The East still retains a taste for stones cut in the form of beads and drilled through the centre; the beads are threaded together, and worn as necklaces. The native lapidaries often improve the colour of pale emeralds by lining the hole with green paint.

The cabochon form may be of three different kinds. In the first, the double cabochon (Fig. 40), both the upper and the under sides of the stones are curved. The curvature, however, need not be the same in each case; indeed, it is usually markedly different. Moonstones and starstones are generally cut very steep above and shallow underneath. Occasionally a ruby or a sapphire is, when cut in this way, set with the shallow side above, because the light that has penetrated into the stone from above is more wholly reflected from a steep surface with consequent increase in the glow of colour from the stone. Opals are always cut higher on the exposed side, but the slope of the surface varies considerably; they are generally cut steeply when required for90 mounting in rings. Chrysoberyl cat’s-eyes are invariably cut with curved bases in order to preserve the weight as great as possible. The double cabochon form with a shallow surface underneath merges into the second kind (Fig. 41) in which the under side is plane, the form commonly employed for quartz cat’s-eyes, and occasionally also for carbuncles. In this type the plane side is invariably mounted downwards. In the third form (Fig. 42) the curvature of the under surface is reversed, and the stone is hollowed out into a concave shape. This style is reserved for dark stones, such as carbuncles, which, if cut at all thick, would show very little colour. A piece of foil is often placed in the hollow in order to increase the reflection of light, and thus to heighten the colour effect.
In early days it was supposed that the extreme hardness of diamond precluded the possibility of fashioning it, and up to the fifteenth century all that was done was to remove the gum-like skin which disfigured the Indian stones and to polish the natural facets. The first notable advance was made in 1475, when Louis de Berquem discovered, as it is said quite by accident, that two diamonds if rubbed together ground each other. With confident courage he essayed the new art upon three large stones entrusted to him by Charles the Bold, to the entire satisfaction of his patron. The use of wheels or discs charged with diamond dust soon followed, but at first the lapidaries evinced their victory over such stubborn material by grinding diamond into91 divers fantastic shapes, and failed to realize how much might be done to enhance the intrinsic beauty of the stones by the means now at their disposal. The Indian lapidaries arrived at the same discovery independently, and Tavernier found, when visiting the country in 1665, a large number of diamond cutters actively employed. If the stone were perfectly clear, they contented themselves with polishing the natural facets; but if it contained flaws or specks, they covered it with numerous small facets haphazardly placed. The stone was invariably left in almost its original shape, and no effort was made to improve the symmetry.


For a long time little further progress was made, and even nearly a century after Berquem the only regular patterns known to Kentmann, who wrote in 1562, were the diamond-point and the diamond-table (Figs. 43–44). The former consisted of the natural octahedron facets ground to regular shape, and was long employed for the minute stones which were set in conjunction with large coloured stones in rings. The table represented considerably greater labour. One corner of the regular octahedron was ground down until the artificial facet thus produced was half the width of the stone, while the opposite corner was slightly ground.
Still another century elapsed before the introduction of the rose pattern, which comprised twenty-four triangular facets and a flat base (Figs. 45–46), the stone being nearly hemispherical in shape. This92 style is said to have been the invention of Cardinal Mazarin, but probably he was the first to have diamonds of any considerable size cut in this form. At the present day only tiny stones are cut as roses.

A few more years passed away, and at length at the close of the seventeenth century diamond came by its own when Vincenzio Peruzzi, a Venetian, introduced the brilliant form of cutting, and revealed for the first time its amazing ‘fire.’ Except for minor changes this form remains to this day the standard style for the shape of diamond, and the word brilliant is commonly employed to denote diamond cut in this way. So obviously and markedly superior is the style to all others that upon its discovery the owners of large roses had them re-cut as brilliants despite the loss in weight necessitated by the change.

The brilliant form is derived from the old table by increasing the number of facets and slightly altering the angles pertaining to the natural octahedron. In a perfect brilliant (Figs. 47–49) there are altogether 58 facets, 33 above and 25 below the girdle, as the edge separating the upper and lower portions of the stone is termed, which are arranged in the following manner. Eight star-facets, triangular in shape, immediately surround the large table-facet. Next come four large templets or bezels, quadrilateral in form, arranged in pairs on opposite sides of the table-facet, the93 four quoins or lozenges, similar in shape, coming intermediately between them; in modern practice, however, these two sets are identical in shape and size, and there are consequently eight facets of the same kind instead of two sets of four. The eight cross or skew facets and the eight skill facets, in both sets the shape being triangular, form the boundary of the girdle; modern brilliants usually have instead sixteen facets of the same shape and size. The above 33 facets lie above the girdle and form the crown of the stone. Immediately opposite and parallel to the table is the tiny culet. Next to the latter come the four large pavilion facets with the four quoins intermediately between them, both sets being five-sided but nearly quadrilateral in shape; these again are usually combined into eight facets of the same size. Eight cross facets and eight skill facets, both sets, like those in the crown, being triangular in shape, form the lower side of the girdle; these also are generally united into a set of sixteen similar facets. These 25 facets which lie below the girdle comprise the ‘pavilion,’94 or base of the stone. In a regular stone properly cut a templet is nearly parallel to a pavilion, and an upper to a lower cross facet. The contour of the girdle is usually circular, but occasionally assumes less symmetrical shapes, as for instance in drop-stones or pendeloques, and the facets are at the same time distorted. The number of facets may with advantage be increased in the case of large stones. An additional set of eight star facets is often placed round the culet, the total number then being 66. It may be mentioned that the largest stone cut from the Cullinan has the exceptional number of 74 facets.

In order to secure the finest optical effect certain proportions have been found necessary. The depth of the crown must be one-half that of the base, and therefore one-third the total depth of the stone, and the width of the table must be slightly less than half that of the stone. The culet should be quite small, not more in width than one-sixth of the table; it is, in fact, not required at all except to avoid the danger of the point splintering. The girdle should be as thin as is compatible with strength sufficient to prevent chipping in the process of mounting the stone; if it were left thick, the rough edge would be visible by reflection at the lower facets, and would, especially if at all dirty, seriously affect the quality of the stone. The shape of the stone is largely determined by the sizes of the templets in the crown and the pavilions in the base as compared with that of the table, or, what comes to the same thing, by the inclinations at which they are cut to that facet. If the table had actually half the width of the stone, the95 angle[5] between it and a templet would be exactly half a right angle or 45°; it is, however, made somewhat smaller, namely, about 40°. A pavilion, being parallel to a templet, makes a similar angle with the culet. The cross facets are more steeply inclined, and make an angle of about 45° with the table or the culet, as the case may be. The star facets, on the other hand, slant perceptibly less, and make an angle of only about 26° with the table. A latitude of some 4° or 5° is possible without seriously affecting the ‘fire’ of the stone.
The object of the disposition of the facets on a brilliant is to assure that all the light that enters the stone, principally by way of the table, is wholly reflected from the base and emerges through the crown, preferably by way of the inclined facets. A brilliant-cut diamond, if viewed with the table between the observer and the light, appears quite dark except for the small amount of light escaping through the culet. Light should therefore fall on the lower facets at angles greater than the critical angle of total-reflection, which for diamond is 24° 26´. The pavilions should be inclined properly at double this angle, or 48° 52´, to the culet; but a ray that emerges at a pavilion in the actual arrangement entered the table at nearly grazing incidence, and the amount of light entering this facet at such acute perspective is negligible. On the other hand, after reflection at the base light must, in order to emerge, fall on the crown at less than the critical angle 96of total-reflection. In Fig. 50 are shown diagrammatically the paths of rays that entered the table in divers ways. The ray emerging again at the table suffers little or no dispersion and is almost white, but those coming out through the inclined facets are split up into the rainbow effect, known as ‘fire,’ for which diamond is so famous. It is in order that so much of the light entering by the table may emerge through the inclined facets of the crown that the pavilions are inclined at not much more than 40° to the culet. It might be suggested that instead of being faceted the stone should be conically shaped, truncated above and nearly complete below. The result would no doubt be steadier, but, on the other hand, far less pleasing. It is the ever-changing nuance that chiefly attracts the eye; now a brilliant flash of purest white, anon97 a gleam of cerulean blue, waxing to richest orange and dying in a crimson glow, all intermingled with the manifold glitter from the surface of the stone. Absolute cleanliness is essential if the full beauty of any stone is to be realized, but this is particularly true of diamond. If the back of the stone be clogged with grease and dirt, as so often happens in claw-set rings, light is no longer wholly reflected from the base; much of it escapes, and the amount of ‘fire’ is seriously diminished.
Needless to state, lapidaries make no careful angular measurements when cutting stones, but judge of the position of the facets entirely by eye. It sometimes therefore happens that the permissible limits are overstepped, in which event the stone is dead and may resist all efforts to vivify it short of the heroic course of re-cutting it, too expensive a treatment in the case of small stones.
The factors that govern the properties of a brilliant-cut stone are large colour-dispersion, high refraction, and freedom from any trace of intrinsic colour. The only gem-stone that can vie with diamond in these respects is zircon. Although it is rare to find a zircon naturally without colour, yet many kinds are easily deprived of their tint by the application of heat. A brilliant-cut zircon is, indeed, far from readily distinguished by eye from diamond, and has probably often passed as one, but it may easily be identified by its large double refraction (cf. p. 41) and inferior hardness. The remaining colourless stones, such as white sapphire, topaz, and quartz (rock-crystal), have insufficient refractivity to give total-reflection at the base, and, moreover, they are comparatively deficient in ‘fire.’
98

A popular style of cutting which is much in vogue for coloured stones is the step- or trap-cut, consisting of a table and a series of facets with parallel horizontal edges (Figs. 51–52) above and below the girdle; in recent jewellery, however, the top of the stone is often brilliant-cut. The contour may be oblong, square, lozenge, or heart-shaped, or have less regular forms. The table is sometimes slightly rounded. Since the object of this style is primarily to display the intrinsic colour of the stone and not so much a brilliant play of light from the interior, no attempt is made to secure total-reflection at the lower facets. The stone therefore varies in depth according to its tint; if dark, it is cut shallow, lest light be wholly absorbed within, and the stone appear practically opaque, but if light, it is cut deep, in order to secure fullness of tint. Much precision in shape and disposition of the facets is not demanded, and the stones are usually cut in such a way that, provided the desired effect is obtained, the weight is kept as great as possible; we may recall that stones are sold by weight. In considering what will be the optical effect of any particular shape, regard must be had to the effective colour of the transmitted light. For instance, although sapphire and ruby belong to the same species and have the same refractive indices, yet, since the former transmits mainly blue and the latter red light, they have for practical purposes appreciably different99 indices, and lapidaries find it therefore possible to cut the base of ruby thicker than that of sapphire, and thus keep the weight greater. It is instructive too what can be done with the most unpromising material by the exercise of a little ingenuity. Thus Ceylon sapphires are often so irregularly coloured that considerable skill is called for in cutting them. A stone may, for instance, be almost colourless except for a single spot of blue; yet, if the stone be cut steeply and the spot be brought to the base, the effect will be precisely the same as if the stone were uniformly coloured, because all the light emerging from the stone has passed through the spot at the base and therefore been tinted blue.
The mechanism employed in the fashioning of gem-stones is simple in character, and comprises merely metal plates or wheels for slitting, and discs or laps for grinding and polishing the stones, the former being set vertically and rotated about horizontal spindles, and the latter set horizontally and rotated about vertical spindles. Mechanical power is occasionally used for driving both kinds of apparatus, but generally, especially in slitting and in delicate work, hand-power is preferred. In the East native lapidaries make use of vertical wheels (Plate XIII) also for grinding and polishing stones, which explains why native-cut stones never have truly plane facets; it will be noticed from the picture that a long bow is used to drive the spindle.
Owing to the unique hardness of diamond it can be fashioned only by the aid of its own powder. The process differs therefore materially from the100 cutting of the remaining gem-stones, and will be described separately. Indeed, so different are the two classes of work that firms seldom habitually undertake both.
The discovery of the excellent cleavage of diamond enormously reduced the labour of cutting large stones. A stone containing a bad flaw may be split to convenient shape in as many minutes as the days or even weeks required to grind it down. The improvement in the appliances and the provision of ample mechanical power has further accelerated the process and reduced the cost. Two years were occupied in cutting the diamond known as the Pitt or Regent, whereas in only six months the colossal Cullinan was shaped into two large and over a hundred smaller stones with far less loss of material.
Although the brilliant form was derived from the regular octahedron, it by no means follows that, because diamond can be cleaved to the latter form, such is the initial step in fashioning the rough mass. The aim of the lapidary is to cut the largest possible stone from the given piece of rough, and the finished brilliant usually bears no relation whatever to the natural octahedron. The cleavage is utilized only to free the rough of an awkward and useless excrescence, or of flaws. Although the octahedron is one of the common forms in which diamond is found, it is rarely regular, and oftener than not one of the larger faces is made the table.
The old method, which is still in use, for roughly fashioning diamonds is that known as bruting, from the French word, brutage, for the process, or as shaping. Two stones of about the same size are selected, and are firmly attached by means of a hard101 cement to the ends of two holders, which are held one in each hand, and rubbed hard, one against the other, until surfaces of the requisite size are developed on each stone. During the process the stones are held over a small box, which catches the precious powder. A fine sieve at the bottom of the box allows the powder to fall through into a tray underneath, but holds back anything larger. By means of two vertical pins placed one on each side of the box the holders are retained more easily in the desired position, and the work is thrown mainly on the thumbs. This work continued day after day has a very disfiguring effect upon the hands despite the thick gloves that are worn to protect them; the skin of the thumbs grows hard and horny, and the first and second fingers become swollen and distorted. When the surfaces have thus been formed, the stone is handed to the polisher, who works them into the correct shape and afterwards polishes them, the stone passing backwards and forwards several times between the cutter and the polisher. The table, four templets, culet and four pavilions are first formed and polished, so that the table has a square shape. Next the quoins are developed and polished, and finally the small facets are polished on, not being shaped first. In modern practice the process of bruting has been modified in some cases by the introduction of machinery, and the facets are ground on, with considerable improvement in the regularity of their size and disposition, and reduction in the amount of polishing required. Moreover, to obviate the loss of material resulting from continued grinding, large stones are first sliced by means of rapidly-revolving copper wheels charged with diamond powder.
102
The laps used for polishing diamonds are made of a particular kind of soft iron, which is found to surpass any other metal in retaining the diamond powder. They are rotated at a high rate of speed, which is about 2000 to 2500 revolutions a minute, and the heat developed by the friction at this speed is too great for a cement to be used; a solder or fusible alloy, composed of one part tin to three parts lead, therefore takes its place. The solder is held in a hollow cup of brass which is from its shape called a ‘dop,’ an old Dutch word meaning shell. Its external diameter is ordinarily about 1½ in. (4 cm.), but larger dops are, of course, used for large stones. A stout copper stalk is attached to the bottom of the dop; it is visible in the view of the dop shown at e on Plate VI, and two slabs of solder are seen lying in front of the dop. The dop containing the solder is placed in the midst of a non-luminous flame and heated until the solder softens, when it is removed by means of the small tongs, c, and placed upright on a stand such as that shown at a. The long tongs, d, are used for shaping the solder into a cone at the apex of which the diamond is placed. The solder is worked well over the stone so that only the part to undergo polishing is exposed. A diamond in position is shown at f. The top of the stand is saucer-shaped to catch the stone should it accidentally fall off the dop, and to prevent pieces of solder falling on the hand. While still hot, the dop with the diamond in position on the solder is plunged into cold water in order to cool it. The fact that the stone withstands this drastic treatment is eloquent testimony to its good thermal conductivity; other gem-stones would103 promptly split into fragments. It may be remarked that so high is the temperature at which diamond burns that it may be placed in the gas flame without any fear of untoward results. The dop is now ready for attachment to an arm such as that shown at b; the stalk of the dop is placed in a groove running across the split end of the arm, and is gripped tight by means of a screw worked by the nut which is visible in the picture.
Four such arms, each with a dop, are used with the polishing lap (Plate VII), and each stands on two square legs on the bench. Pins, p, in pairs are fixed to the bench to prevent the arms being carried round by the friction; one near the lap holds the arm not far from the dop, and the other engages in a strong metal tongue, which is best seen at the end of the arm b on Plate VI. Though the arm, which is made of iron, is heavy, yet for polishing purposes it is insufficient, and additional lead weights are laid on the top of it, as in the case of the arm at the back on Plate VII. The copper stalk is strong, yet flexible, and can be bent to suit the position of the facet to be polished; on Plate VII the dops a and b are upright, but the other two are inclined. In addition to the powder resulting from bruting, boart, i.e. diamonds useless for cutting, are crushed up to supply polishing material, and a little olive oil is used as a lubricant. Owing to the friction so much heat is developed that even the solder would soften after a time, and therefore, as a precaution, the dop is from time to time cooled by immersion in water. The stone has constantly to be re-set, about six being the maximum even of the tiny facets near the girdle that can be dealt with by104 varying the inclination of the dop. As the work approaches completion the stone is frequently inspected, lest the polishing be carried too far for the development of the proper amount of ‘fire.’ When finished, the stones are boiled in sulphuric acid to remove all traces of oil and dirt.
The whole operation is evidently rough and ready in the extreme; but such amazing skill do the lapidaries acquire, that even the most careful inspection by eye alone would scarce detect any want of proper symmetry in a well-cut stone.
The fashioning of coloured stones, as all the gem-stones apart from diamond are termed in the jewellery trade, is on account of their inferior hardness a far less tedious operation. They are easily slit, for which purpose a vertical wheel (Plate VIII) made of soft iron is used; it is charged with diamond dust and lubricated with oil, generally paraffin. When slit to the desired size, the stone is attached to a conveniently shaped holder by means of a cement, the consistency of which varies with the hardness of the stone. It is set in the cement in such a way that the plane desired for the table facet is at right angles to the length of the holder, and the whole of the upper part or crown is finished before the stone is removed from the cement. The lower half or base is treated in a similar manner. Thus in the process of grinding and polishing the stone is only once re-set; as was stated above, diamond demands very different treatment. Again, all coloured stones are ground down without any intermediate operation corresponding to bruting. The holder is merely held in the hand, but to maintain its position more exactly its other end,105 which is pointed, is inserted in one of the holes that are pierced at intervals in a vertical spindle placed at a convenient distance from the lap (Plate VIII), which one depending upon the inclination of the facet to be formed. For hard stones, such as ruby and sapphire, diamond powder is generally used as the abrasive agent, while for the softer stones emery, the impure corundum, is selected; in recent years the artificially prepared carborundum, silicide of carbon corresponding to the formula CSi, which is harder than corundum, has come into vogue for grinding purposes, but it is unfortunately useless for slitting, because it refuses to cling to the wheel. To efface the scratches left by the abrasive agent and to impart a brilliant polish to the facets, material of less hardness, such as putty-powder, pumice, or rouge, is employed; in all cases the lubricant is water. The grinding laps are made of copper, gun-metal, or lead; and pewter or wooden laps, the latter sometimes faced with cloth or leather, are used for polishing. As a general rule, the harder the stone the greater the speed of the lap.
As in the case of diamond, the lapidary judges of the position of the facet entirely by eye and touch, but a skilled workman can develop a facet very close to the theoretical position. During recent years various devices have been invented to enable him to do his work with greater facility. A machine of this kind is illustrated on Plate IX. The stone is attached by means of cement to the blunt end, d, of the holder, b, which is of the customary kind, while the other end is inserted in a hole in a wooden piece, a, which is adjustable in height by means of106 the screw above it. The azimuthal positions of the facets are arranged by means of the octagonal collar, c, the sides of which are held successively in turn against the guide, e. The stand itself is clamped to the bench. The machine is, however, little used except for cheap stones, because it is too accurate and leads to waste of material. Stones are sold by weight, and so long as the eye is satisfied, no attempt is made to attain to absolute symmetry of shape.
The pictures on Plates X–XIII illustrate lapidaries’ workshops in various parts of the world. The first two show an office and a workshop situated in Hatton Garden, London; in the former certain of the staff are selecting from the parcels stones suitable for cutting. The third depicts a more primitive establishment at Ekaterinburg in the Urals. The fourth shows a typical French family—père, mère, et fils—in the Jura district, all busily engaged; on the table will be noticed a faceting machine of the kind described above. In the fifth picture a native lapidary in Calcutta is seen at work with the driving bow in his right, and the stone in his left, hand.
A curious difference exists in the systems of charging for cutting diamonds and coloured stones. The cost of cutting the latter is reckoned by the weight of the finished stone, the rate varying from 1s. to 8s. a carat according to the character of the stone and the difficulty of the work; while in the case of diamonds, on the other hand, the weight of the rough material determines the cost, the rate being about 10s. to 40s. a carat according to the size, which on the average is equivalent to about 30s. to 120s. a carat calculated on the weight107 of the finished stone. The reason of the distinction is obviously because the proper proportions in a brilliant-cut diamond must be maintained, whatever be the loss in weight involved; in coloured stones the shape is not of such primary importance.
When finished, the stone finds its way with others akin to it to the manufacturing jeweller’s establishment, where it is handed to the setter, who mounts it in a ring, necklace, brooch, or whatever article of jewellery it is intended for. The metal used in the groundwork of the setting is generally gold, but platinum is also employed where an unobtrusive and untarnishable metal is demanded, and silver finds a place in cheaper jewellery, although it is seriously handicapped by its susceptibility to the blackening influence of the sulphurous fumes present in the smoke-laden atmosphere of towns. The stone may be either embedded in the metal or held by claws. The former is by far the safer, but the latter the more elegant, and it has the advantage of exposing the stone à jour, to use the French jewellers’ expression, so that its genuineness is more evidently testified. It is very important that the claw setting be periodically examined, lest the owner one day experience the mortification of finding that a valuable stone has dropped out; gold, owing to its softness, wears away in course of time.
Up to quite recent years modern jewellery was justly open to the criticism that it was lacking in variety, that little attempt was made to secure harmonious association in either the colour or the lustre of the gem-stones, and that the glitter of the gold mount was frequently far too obtrusive. Gold108 consorts admirably with the rich glow of ruby, but is quite unsuited to the gleaming fire of a brilliant. Where the metal is present merely for the mechanical purpose of holding the stones in position, it should be made as little noticeable as possible. The artistic treatment of jewellery is, however, receiving now adequate attention in the best Paris and London houses. Some recent designs are illustrated on Plates IV and V.
THE names in popular use for the principal gem-stones may be traced back to very early times, and, since they were applied long before the determinative study of minerals had become a science, their significance has varied at different dates, and is even now far from precise. No ambiguity or confusion could arise if jewellers made use of the scientific names for the species, but most of them are unknown or at least unfamiliar to those unversed in mineralogy, and to banish old-established names is undesirable, even if the task were not hopeless. The name selected for a gem-stone may have a very important bearing on its fortunes. When the love-sick Juliet queried ‘What’s in a name?’ her mind was wandering far from jewels; for them a name is everything. The beautiful red stones that accompany the diamond in South Africa were almost a drug in the market under their proper title—garnet, but command a ready sale under the misnomer ‘Cape-ruby.’ To many minds there is a subtle satisfaction in the possession of a stone which is assumed to be a sort of ruby that would be destroyed by the knowledge that the stone really belonged to the cinderella species of gem-stones—the despised garnet. For110 similar reasons it was deemed advisable to offer the lustrous green garnet found some thirty and odd years ago in the Ural Mountains as ‘olivine,’ not a happy choice since their colour is grass- rather than olive-green, apart from the fact that the term is in general use in science for the species known in jewellery as peridot.
The names employed in jewellery are largely based upon the colour, the least reliable from a determinative point of view of all the physical characters of gem-stones. Qualifying terms are employed to distinguish stones of obviously different hardness. ‘Oriental’ distinguishes varieties of corundum, but does not imply that they necessarily came from the East; the finest gem-stones originally reached Europe by that road, and the hardest coloured stones consequently received that term of distinction.
Nearly all red stones are grouped under the name ruby, which is derived from a Latin word, ruber, meaning red, or under other names adapted from it, such as rubellite, rubicelle. It is properly applied to red corundum; ‘balas’ ruby is spinel, which is associated with the true ruby at the Burma mines and is similar in appearance to it when cut, and ‘Cape’ ruby, is, as has been stated above, a garnet from South Africa. Rubellite is the lovely rose-pink tourmaline, fine examples of which have recently been discovered in California, and rubicelle is a less pronouncedly red spinel. Sapphire is by far the oldest and one of the most interesting of the words used in the language of jewels. It occurs in Hebrew and Persian, ancient tongues, and means blue. It was apparently employed for lapis lazuli111 or similar substance, but was transferred to the blue corundum upon the discovery of this splendid stone. Oblivious of the real meaning of the word, jewellers apply it in a quasi-generic sense to all the varieties of corundum with the exception of the red ruby, and give vent to such incongruous expressions as ‘white sapphire,’ ‘yellow sapphire’; it is true such stones often contain traces of blue colour, but that is not the reason of the terms. ‘Brazilian’ sapphire is blue tourmaline, a somewhat rare tint for this species. The curious history of the word topaz will be found below in the chapter dealing with the species of that name. It has always denoted a yellow stone, and at the present day is applied by jewellers indiscriminately to the true topaz and citrine, the yellow quartz, the former, however, being sometimes distinguished by the prefix ‘Brazilian.’ ‘Oriental’ topaz is corundum, and ‘occidental’ topaz is a term occasionally employed for the yellow quartz. Emerald, which means green, was first used for chrysocolla, an opaque greenish stone (p. 288), but was afterwards applied to the priceless green variety of beryl, for which it is still retained. ‘Oriental’ emerald is corundum, ‘Brazilian’ emerald in the eighteenth century was a common term for the green tourmaline recently introduced to Europe, and ‘Uralian’ emerald has been tentatively suggested for the green garnet more usually known as ‘olivine.’ Amethyst is properly the violet quartz, but with the prefix ‘oriental’ it is also applied to violet corundum, though some jewellers use it for the brilliant quartz, with purple and white sectors, from Siberia. Almandine, which is derived from the name of an Eastern mart for precious stones, has112 come to signify a stone of columbine-red hue, principally garnet, but with suitable qualification corundum and spinel also.
The nomenclature of jewellery tends to suggest relations between the gem-stones for which there is no real foundation, and to obscure the essential identity, except from the point of view of colour, of sapphire and ruby, emerald and aquamarine, cairngorm and amethyst.
THE initial step in the examination of a crystallized substance is to determine its physical characters and to resolve it by chemical analysis into its component elements; the final, and by far the hardest, step is to build it up or synthetically prepare it from its constituents. Unknown to the world at large, work of the latter kind has long been going on within the walls of laboratories, and as the advance in knowledge placed in the hands of experimenters weapons more and more comparable with those wielded by nature, their efforts have been increasingly successful. So stupendous, however, are the powers of nature that the possibility of reproducing, by human agency, the treasured stones which are extracted from the earth in various parts of the globe at the cost of infinite toil and labour has always been derided by those ignorant of what had already been accomplished. Great, therefore, was the consternation and the turmoil when concrete evidence that could not be gainsaid showed that man’s restless efforts to bridle nature to his will were not in vain, and congresses of all the high-priests of jewellery were hastily convened to ban such unrighteous products, with what ultimate success remains to be seen.
114
Crystallization may be caused in four different ways, of which the second alone has as yet yielded stones large enough to be cut—
1. By the separation of the substance from a saturated solution. In nature the solvent may not be merely hot water, or water charged with an acid, but molten rock, and the temperature and the pressure may be excessively high.
2. By the solidification of the liquefied substance upon cooling. Ice is a familiar example of this type.
3. By the sublimation of the vapour of the substance, which means the direct passage from the vapour to the solid state without traversing the usually intervening liquid state. It is usually the most difficult of attainment of the four methods; the most familiar instance is snow.
4. By the precipitation of the substance from a solution when set free by chemical action.
Other things being equal, the simpler the composition the greater is the ease with which a substance may be expected to be formed; for, instead of one complex substance, two or more different substances may evolve, unless the conditions are nicely arranged. Attempts, for instance, to produce beryl might result instead in a mixture of chrysoberyl, phenakite, and quartz.
By far the simplest in composition of all the precious stones is diamond, which is pure crystallized carbon; but its manufacture is attended by well-nigh insuperable difficulties. If carbon be heated in air, it burns at a temperature well below its melting point; moreover, unless an enormously high pressure is simultaneously applied, the product115 is the other form of crystallized carbon, namely, the comparatively worthless graphite. Moissan’s interesting course of experiments were in some degree successful, but the tiny diamonds were worthless as jewels, and the expense involved in their manufacture was out of all proportion to any possible commercial value they might have.
Next to diamond the simplest substances among precious stones are quartz (crystallized silica) and corundum (crystallized alumina). The crystallization of silica has been effected in several ways, but the value in jewellery of quartz, even of the violet variety, amethyst, is not such as to warrant its manufacture on a commercial scale. Corundum, on the other hand, is held in high esteem; rubies and sapphires, of good colour and free from flaws, have always commanded good prices. The question of their production by artificial means has therefore more than academic interest.
Ever since the year 1837, when Gaudin produced a few tiny flakes, French experimenters have steadily prosecuted their researches in the crystallization of corundum. Frémy and Feil, in 1877, were the first to meet with much success. A portion of one of their crucibles lined with glistening ruby flakes is exhibited in the British Museum (Natural History).
In 1885 the jewellery market was completely taken by surprise by the appearance of red stones, emanating, so it is alleged, from Geneva; having the physical characters of genuine rubies, they were accepted as, and commanded the prices of, the natural stones. It was eventually discovered that they had resulted from the fusion of a number of116 fragments of natural rubies in the oxy-hydrogen flame. The original colour was driven off at that high temperature, but was revived by the previous addition of a little bichromate of potassium. Owing to the inequalities of growth, the cracks due to rapid cooling, the inclusion of air-bubbles, often so numerous as to cause a cloudy appearance, and, above all, the unnatural colour, these reconstructed stones, as they are termed, were far from satisfactory, but yet they marked such an advance on anything that had been accomplished before that for some time no suspicion was aroused as to their being other than natural stones.
A notable advance in the synthesis of corundum, particularly of ruby, was made in 1904, when Verneuil, who had served his apprenticeship to science under the guidance of Frémy, invented his ingenious inverted form of blowpipe (Fig. 53), which enabled him to overcome the difficulties that had baffled earlier investigators, and to manufacture rubies vying in appearance after cutting with the best of nature’s productions. The blowpipe consisted of two tubes, of which the upper, E, wide above, was constricted below, and passing down the centre of the lower, F, terminated just above the orifice117 of the latter in a fine nozzle. Oxygen was admitted at C through the plate covering the upper end of the tube, E. A rod, which passed through a rubber collar in the same plate, supported inside the tube, E, a vessel, D, and at the upper end terminated in a small plate, on which was fixed a disc, B. The hammer, A, when lifted by the action of an electromagnet and released, fell by gravity and struck the disc. The latter could be turned about a horizontal axis placed eccentrically, so that the height through which the hammer fell and the consequent force of the blow could be regulated. The rubber collar, which was perfectly gas-tight, held the rod securely, but allowed the shocks to be transmitted to the vessel, D, an arrangement of guides maintaining the slight motion of the vessel strictly vertical. This vessel, which carried the alumina powder used in the manufacture of the stone, had as its base a cylindrical sieve of fine mesh. The succession of rapid taps of the hammer caused a regular feed of powder down the tube, the amount being regulated by varying the height through which the hammer fell. Hydrogen or coal-gas was admitted at G into the outer tube, F, and in the usual way met the oxygen just above the orifice, L. To exclude irregular draughts, the flame was surrounded by a screen, M, which was provided with a mica window, and a water-jacket, K, protected the upper part of the apparatus from excessive heating.

The alumina was precipitated from a solution of pure ammonia—alum, (NH4)2SO4.Al2(SO4)3.24H2O, in distilled water by the addition of pure ammonia, sufficient chrome-alum also being dissolved with the ammonia-alum to furnish about 2½ per cent.118 of chromic oxide in the resulting stone. The powder, carefully prepared and purified, was placed, as has been stated above, in the vessel, D, and on reaching the flame at the orifice it melted, and fell as a liquid drop, N, upon the pedestal, P, which was formed of previously fused alumina. This pedestal was attached by a platinum sleeve to an iron rod, Q, which was provided with the necessary screw adjustments, R and S, for centring and lowering it as the drop grew in size. Great care was exercised to free the powder from any trace of potassium, which, if present, imparted a brownish tinge to the stone. The pressure of the oxygen, low initially both to prevent the pedestal from melting, and to keep the area of the drop in contact with the pedestal as small as possible, because otherwise flaws tended to start on cooling, was gradually increased until the flame reached the critical temperature which kept the top of the drop melted, but not boiling. The supply of powder was at the same time carefully proportioned to the pressure. The pedestal, P, was from time to time lowered, and the drop grew in the shape of a pear (Fig. 54), the apex of which was downwards and adhered to the pedestal by a narrow stalk. As soon as the drop reached the maximum size possible with the size of the flame, the gases were sharply and simultaneously cut off. After ten minutes or so the drop was lowered from the chamber, M, by the screw, S, and when quite cold was removed from the pedestal.
Very few changes have been made in the method when adapted to commercial use. Coal-gas has,119 however, entirely replaced the costly hydrogen, and the hammer is operated by a cam instead of an electromagnet, while, as may be seen from the view of a gem-stone factory (Plate XIV), a number of blowpipes are placed in line so that their cams are worked by the same shaft, a. The fire-clay screen, b, surrounding the flame is for convenience of removal divided into halves longitudinally, and a small hole is left in front for viewing the stone during growth, a red glass screen, c, being provided in front to protect the eyes from the intense glare. Half the fire-clay screen of the blowpipe in the centre of the Plate has been removed to show the arrangement of the interior. The centring and the raising and lowering apparatus, d, have been modified. The process is so simple that one man can attend to a dozen or so of these machines, and it takes only one hour to grow a drop large enough to be cut into a ten-carat stone.
The drops, unless the finished stone is required to have a similar pear shape, are divided longitudinally through the central core into halves, which in both shape and orientation are admirably suited to the purposes of cutting; as a general rule, the drop splits during cooling into the desired direction of its own accord.

Each drop is a single crystalline individual, and not, as might have been anticipated, an alumina glass or an irregular aggregation of crystalline fragments, and, if the drop has cooled properly, the crystallographic axis is parallel to the core of the pear. The cut stone will therefore have not only the density and hardness, but also all the optical characters—refractivity, double refraction,120 dichroism, etc.—pertaining to the natural species, and will obey precisely the same tests with the refractometer and the dichroscope. Were it not for certain imperfections it would be impossible to distinguish between the stones formed in Nature’s vast workshop and those produced within the confines of a laboratory. The artificial stones, however, are rarely, if ever, free from minute air-bubbles (Fig. 55), which can easily be seen with an ordinary lens. Their spherical shape differentiates them from the plane-sided cavities not infrequently visible in a natural stone (Fig. 56). Moreover, the colouring matter varies slightly, but imperceptibly, in successive shells, and consequently in the finished stone a careful eye can discern the curved striations (Fig. 55) corresponding in shape to the original shell. In a natural stone, on the other hand, although zones of different colours or varying shades are not uncommon, the resulting striations are straight (Fig. 56), corresponding to the plane faces of the original crystal form. By sacrificing material it might be possible to cut a small stone free from bubbles, but the curved striations would always be present to betray its origin.

The success that attended the manufacture of ruby encouraged efforts to impart other tints to crystallized alumina. By reducing the percentage amount of chromic oxide, pink stones were turned121 out, in colour not unlike those Brazilian topazes, the original hue of which has been altered by the application of heat. These artificial stones have therefore been called ‘scientific topaz’; of course, quite wrongly, since topaz, which is properly a fluo-silicate of aluminium, is quite a different substance.
Early attempts made to obtain the exquisite blue tint of the true sapphire were frustrated by an unexpected difficulty. The colouring matter, cobalt oxide, was not diffused evenly through the drop, but was huddled together in splotches, and it was found necessary to add a considerable amount of magnesia as a flux before a uniform distribution of colour could be secured. It was then discovered that, despite the colour, the stones had the physical characters, not of sapphire, but of the species closely allied to it, namely, spinel, aluminate of magnesium. By an unsurpassable effort of nomenclature these blue stones were given the extraordinary name of ‘Hope sapphire,’ from fanciful analogy with the famous blue diamond which was once the pride of the Hope collection. A blue spinel is occasionally found in nature, but the actual tint is somewhat different. These manufactured stones have the disadvantage of turning purple in artificial light. By substituting lime for magnesia as a flux, Paris, a pupil of Verneuil’s, produced blue stones which were not affected to the same extent. The difficulty was at length overcome at the close of 1909, when Verneuil, by employing as tinctorial agents 0·5 per cent. of titanium oxide and 1·5 per cent. of magnetic iron oxide, succeeded in producing blue corundum; it, however, had not quite the tint of sapphire. Stones subsequently manufactured, which were122 better in colour, contained about 0·12 per cent. of titanium oxide, but no iron at all.
By the addition to the alumina of a little nickel oxide and vanadium oxide respectively, yellow and yellowish green corundums have been obtained. The latter have in artificial light a distinctly reddish hue, and have therefore been termed ‘scientific alexandrite’; of course, quite incorrectly, since the true alexandrite is a variety of chrysoberyl, aluminate of beryllium, a very different substance.
If no colouring matter at all be added and the alum be free from potash, colourless stones or white sapphires are formed, which pass under the name ‘scientific brilliant.’ It is scarcely necessary to remark that they are quite distinct from the true brilliant, diamond.
The high prices commanded by emeralds, and the comparative success that attended the reconstruction of ruby from fragments of natural stones, suggested that equal success might follow from a similar process with powdered beryl, chromic oxide being used as the colouring agent. The resulting stones are, indeed, a fair imitation, being even provided with flaws, but they are a beryl glass with lower specific gravity and refractivity than the true beryl, and are wrongly termed ‘scientific emerald.’ Moreover, recently most of the stones so named on the market are merely green paste.
It is unfortunate that the real success which has been achieved in the manufacture of ruby and sapphire should be obscured by the ill-founded claims tacitly asserted in other cases.
At the time the manufactured ruby was a novelty it fetched as much as £6 a carat, but as soon as123 it was discovered that it could easily be differentiated from the natural stone, a collapse took place, and the price fell abruptly to 30s., and eventually to 5s. and even 1s. a carat. The sapphires run slightly higher, from 2s. to 7s. a carat. The prices of the natural stones, which at first had fallen, have now risen to almost their former level. The extreme disparity at present obtaining between the prices of the artificial and the natural ruby renders the fraudulent substitution of the one for the other a great temptation, and it behoves purchasers to beware where and from whom they buy, and to be suspicious of apparently remarkable bargains, especially at places like Colombo and Singapore where tourists abound. It is no secret that some thousands of carats of manufactured rubies are shipped annually to the East. Caveat emptor.
THE beryl glass mentioned in the previous chapter marks the transition stage between manufactured stones which in all essential characters are identical with those found in nature, and artificial stones which resemble the corresponding natural stone in outward appearance only. In a sense both sorts may be styled artificial, but it would be misleading to confound them under the same appellation.
Common paste,[6] which is met with in drapery goods and cheap ornaments in general—hat-pins, buckles, and so forth—is composed of ordinary crown-glass or flint-glass, the refractive indices being about 1·53 and 1·63 respectively. The finest quality, which is used for imitations of brilliants, is called ‘strass.’ It is a dense lead flint-glass of high refraction and strong colour-dispersion, consisting of 38·2 per cent. of silica, 53·3 red lead (oxide of lead), and 7·8 potassium carbonate, with small quantities of soda, alumina, and other substances. How admirable these imitations may be, a study of the windows of a shop devoted 125to such things will show. Unfortunately the addition of lead, which is necessary for imparting the requisite refraction and ‘fire’ to the strass, renders the stones exceedingly soft. All glass yields to the file, but strass stones are scratched even by ordinary window-glass. If worn in such a way that they are rubbed, they speedily lose the brilliance of their polish, and, moreover, they are susceptible to attack by the sulphurous fumes present in the smoky air of towns, and turn after a time a dirty brown in hue. When coloured stones are to be imitated, small quantities of a suitable metallic oxide are fused with the glass; cobalt gives rise to a royal-blue tint, chromium a ruby red, and manganese a violet. Common paste is not highly refractive enough to give satisfactory results when cut as a brilliant, and the bases are therefore often coated with quicksilver, or, in the case of old jewellery, covered with foil in the setting, in order to secure more complete reflection from the interior. The fashioning of these imitation stones is easy and cheap. Being moulded, they do not require cutting, and the polishing of the facets thus formed is soon done on account of the softness of the stones.
A test with a file readily differentiates paste stones from the natural stones they pretend to be. Being necessarily singly refractive, they are, of course, lacking in dichroism, and their refractivity seldom accords even approximately with that of the corresponding natural stone.
In order to meet the test for hardness the doublet was devised. Such a stone is composed of two parts—the crown consisting of colourless126 quartz or other inexpensive real and hard stone, and the base being made up of coloured glass. When the imitation, say of a sapphire, is intended to be more exact, the crown is made of a real sapphire, but one deficient in colour, the requisite tint being obtained from the paste forming the under part of the doublet. In case the base should also be tested for hardness the triplet has been devised. In this the base is made of a real stone also, and the coloured paste is confined to the girdle section, where it is hidden by the setting. Sapphires and emeralds of indifferent colour are sometimes slit across the girdle; the interior surfaces are polished, and colouring matter is introduced with the cement, generally Canada balsam, which is used to re-unite the two portions of the stone together. All such imitations may be detected by placing the stone in oil, when the surfaces separating the portions of the composite stone will be visible, or the binding cement may be dissolved by immersing the stone, if unmounted, in boiling water, or in alcohol or chloroform, when the stone will fall to pieces.
The glass imitations of pearls, which have become very common in recent years, may, apart from their inferior iridescence, be detected by their greater hardness, or by the apparent doubling of, say, a spot of ink placed on the surface, owing to reflection from the inner surface of the glass shell. They are made of small hollow spheres formed by blowing. Next to the glass comes a lining of parchment size, and next the under lining, which is the most important part of the imitation, consisting of a preparation of fish scales called Essence d’Orient, When the lining127 is dry, the globe is filled with hot wax to impart the necessary solidity. In cheap imitations the glass balls are not lined at all, but merely heated with hydrochloric acid to give an iridescence to the surface; sometimes they are coated with wax, which can be scraped off with a knife.
DIAMOND has held pride of place as chief of precious stones ever since the discovery of the form of cutting known as the ‘brilliant’ revealed to full perfection its amazing qualities; and justly so, since it combines in itself extreme hardness, high refraction, large colour-dispersion, and brilliant lustre. A rough diamond, especially from river gravels, has often a peculiar greasy appearance, and is no more attractive to the eye than a piece of washing-soda. It is therefore easy to understand why the Persians in the thirteenth century placed the pearl, ruby, emerald, and even peridot before it, and writers in the Middle Ages frequently esteemed it below emerald and ruby. The Indian lapidaries, who were the first to realize that diamond could be ground with its own powder, discovered what a wonderful difference the removal of the skin makes in the appearance of a stone. They, however, made no attempt to shape a stone, but merely polished the natural facets, and only added numerous129 small facets when they wished to conceal flaws or other imperfections; indeed, the famous traveller, Tavernier, from whom most of our knowledge of early mining in India is obtained, invariably found that a stone covered with many facets was badly flawed. The full radiant beauty of a diamond comes to light only when it is cut in brilliant form.
Of all precious stones diamond has the simplest composition; it is merely crystallized carbon, another form of which is the humble and useful graphite, commonly known as ‘black-lead.’ Surely nature has surpassed all her marvellous efforts in producing from the same element substances with such divergent characters as the hard, brilliant, and transparent diamond and the soft, dull, and opaque graphite. It is, however, impossible to draw any sharp dividing line between the two; soft diamond passes insensibly into hard graphite, and vice versa. Boart, or bort, as it is sometimes written, is composed of minute crystals of diamond arranged haphazardly; it possesses no cleavage, its hardness is greater than that of the crystals, and its colour is greyish to blackish. Carbon, carbonado, or black diamond, which is composed of still more minute crystals, is black and opaque, and is perceptibly harder than the crystals. It passes into graphite, which varies in hardness, and may have any density between 2·O and 3·O. Jewellers apply the term boart to crystals or fragments which are of no service as gems; such pieces are crushed to powder and used for cutting and polishing purposes.
Diamonds, when absolutely limpid and free from flaws, are said to be of the ‘first water,’ and are most prized when devoid of any tinge of colour130 except perhaps bluish (Plate I, Fig. 1). Stones with a slight tinge of yellow are termed ‘off-coloured,’ and are far less valuable. Those of a canary-yellow colour (Plate I, Fig. 3), however, belong to a different category, and have a decided attractiveness. Greenish stones also are common, though it is rare to come across one with a really good shade of that colour. Brown stones, especially in South Africa, are not uncommon. Pink stones are less common, and ruby-red and blue stones are rare. Those of the last-named colour have usually what is known as a ‘steely’ shade, i.e. they are tinged with green; stones of a sapphire blue are very seldom met with, and such command high prices.
Diamond crystallizes (Figs. 57—59 and Plate I, Fig. 2) in octahedra with brilliant, smooth faces, and occasionally in cubes with rough pitted faces; sometimes three or six faces take the place of each octahedron face, and the stone is almost spherical in shape. The surfaces of the crystals are often marked with equilateral triangles, which are supposed to represent the effects of incipient combustion. Twinned crystals, in which the two individuals may be connected by a single plane or may be131 interpenetrating, a star shape often resulting in the latter case, are common; sometimes, if of the octahedron type, they are beautifully symmetrical. The rounded crystals are frequently covered with a peculiar gum-like skin which is somewhat less hard than the crystal itself. A large South African stone, weighing 27 grams (130 carats) and octahedral in shape, which was the gift of John Ruskin, and named by him the ‘Colenso’ after the first bishop of Natal, is exhibited in the British Museum (Natural History); its appearance is, however, marred by its distinctly ‘off-coloured’ tint.
The refraction of diamond is single, but local double refraction is common, indicating a state of strain which can often be traced to an included drop of liquid carbonic acid; so great is the strain that many a fine stone has burst to fragments on being removed from the ground in which it has lain. The refractive index for the yellow light of a sodium flame is 2·4175, and the slight variation from this mean value that has been observed, amounting only to 0·0001, testifies to the purity of the composition. The colour-dispersion is large, being as much as 0·044, in which respect it surpasses all colourless stones, but is exceeded by sphene and the green garnet from the Urals (cf. p. 217). The lustre of diamond, when polished, is so characteristic as to be termed adamantine, and is due to the combination of high refraction and extreme hardness. Diamond is translucent to the X (Röntgen) rays; it phosphoresces under the action of radium, and of a high-tension electric current when placed in a vacuum tube, and sometimes even when exposed to strong sunlight. Some diamonds fluoresce in132 sunlight, turning milky, and a few even emit light when rubbed. Crookes found that a diamond buried in radium bromide for a year had acquired a lovely blue tint, which was not affected even by heating to redness. The specific gravity is likewise constant, being 3·521, with a possible variation from that mean value of 0·005; but a greater range, as might be expected, is found in the impure boart.
Diamond is by far the hardest substance in nature, being marked 10 in Mohs’s scale of hardness, but it varies in itself; stones from Borneo and New South Wales are so perceptibly harder than those usually in the lapidaries’ hands, that they can be cut only with their own and not ordinary diamond powder, and some difficulty was experienced in cutting them when they first came into the market. It is interesting to note that the metal tantalum, the isolation of which in commercial amount constituted one of the triumphs of chemistry of recent years, has about the same hardness as diamond. Despite its extreme hardness diamond readily cleaves under a heavy blow in planes parallel to the faces of the regular octahedron, a property utilized for shaping the stone previous to cutting it. The fallacious, but not unnatural, idea was prevalent up to quite modern times that a diamond would, even if placed on an anvil, resist a blow from a hammer: who knows how many fine stones have succumbed to this illusory test? The fact that diamond could be split was known to Indian lapidaries at the time of Tavernier’s visit, and it would appear from De Boodt that in the sixteenth century the cleavability of diamond was not unknown in Europe, but it was not credited133 at the time and was soon forgotten. Early last century Wollaston, a famous chemist and mineralogist, rediscovered the property, and, so it is said, used his knowledge to some profit by purchasing large stones, which because of their awkward shape or the presence of flaws in the interior were rejected by the lapidaries, and selling them back again after cleaving them to suitable forms.
It has already been remarked (p. 79) that the interval in hardness between diamond and corundum, which comes next to it in Mohs’s scale, is enormously greater than that between corundum and the softest of minerals. Diamond can therefore be cut only with the aid of its own powder, and the cutting of diamond is therefore differentiated from that of other stones, the precious-stone trade being to a large extent divided into two distinct groups, namely, dealers in diamonds, and dealers in all other gem-stones.
The name of the species is derived from the popular form, adiamentem, of the Latin adamantem, itself the alliterative form of the Greek ἀδάμας, meaning the unconquerable, in allusion not merely to the great hardness but also to the mistaken idea already mentioned. Boart probably comes from the Old-French bord or bort, bastard.
At the present day diamonds are usually cut as brilliants, though the contour of the girdle may be circular, oval, or drop-shaped to suit the particular purpose for which the stone is required, or to keep the weight as great as possible. Small stones for bordering a large coloured stone may also be cut as roses or points. A perfect brilliant has 58 facets, but small stones may have not more than 44, and exceptionally large stones may with advantage have134 many more; for instance, on the largest stone cut from the Cullinan diamond there are no fewer than 74 facets.
The description of the properties of diamond would not be complete without a reference to the other valuable, if utilitarian, purposes to which it is put. Without its aid much of modern engineering work and mining operations would be impossible except at the cost of almost prohibitive expenditure of time and money.
Boring through solid rock has been greatly facilitated by the use of the diamond drill. For this purpose carbonado or black diamond is more serviceable than single crystals, and the price of the former has consequently advanced from a nominal figure up to £3 to £12 a carat. The actual working part of the drill consists of a cast-steel ring. The crown of it has a number of small depressions at regular intervals into which the carbonados are embedded. On revolution of the drill an annular ring is cut, leaving a solid core which can be drawn to the surface. For cooling the drill and for washing away the detritus water is pumped through to the working face. The duration of the carbonados depends on the nature of the rock and the skill of the operator. The most troublesome rock is a sandstone or one with sharp differences in hardness, because the carbonados are liable to be torn out of their setting. An experienced operator can tell by the feel of the drill the nature of the rock at the working face, and by varying the pressure can mitigate the risk of damage to the drill.
The tenacity of diamond renders it most suitable for wire-drawing. The tungsten filaments used in135 many of the latest forms of incandescent electric lamps are prepared in this manner.
Diamond powder is used for cutting and turning the hardened steel employed in modern armaments and for other more peaceful purposes.
Although nearly all the gem-stones scratch glass, diamond alone can be satisfactorily employed to cut it along a definite edge. Any flake at random will not be suitable, because it will tear the glass and form a jagged edge. The best results are given by the junction of two edges which do not meet in too obtuse an angle; two edges of the rhombic dodecahedron meet the requirements admirably. The stones used by the glaziers are minute in size, being not much larger than a pin’s head, and thirty of them on an average go to the carat. They are set in copper or brass. Some little skill is needed to obtain the best results.
The value of a diamond has always been determined largely by the size of the stone, the old rule being that the rate per carat should be multiplied by the square of the weight in carats; thus, if the rate be £10, the cost of a two-carat stone is four times this sum, or £40, of a three-carat stone £90, and so on. For a century, from 1750 to 1850, the rate remained almost constant at £4 for rough, £6 for rose-cut, and £8 for brilliant-cut diamonds. Since the latter date, owing to the increase in the supply of gold, the growth of the spending power of the world, and the gradual falling off in the productiveness of the Brazilian fields, the rate steadily increased about 10 per cent. each year, until in 1865 the rate for brilliants was £18. The rise was checked by the discovery of the South African mines; moreover.136 since comparatively large stones are plentiful in these mines, the rule of the increase in the price of a stone by the square of its weight no longer holds. The rate for the most perfect stones still remains high, because such are not so common in the South African mines. The classification[7] adopted by the syndicate of London diamond merchants who place upon the market the output of the De Beers group of mines is as follows:—(a) Blue-white, (b) white, (c) silvery Cape, (d) fine Cape, (e) Cape, (f) fine bywater, (g) bywater, (h) fine light brown, (i) light brown, (j) brown, (k) dark brown. Bywaters or byes are stones tinged with yellow.
The rate per carat for cut stones in the blue-white and the bywater groups is:—
| Blue-White. | Bywater. | |
|---|---|---|
| 5-carat stone | £40–60 | £20–25 |
| 1 „ | 30–40 | 10–15 |
| ½ „ | 20–25 | 8–12 |
| ¼ „ | 15–18 | 6–10 |
| Mêlée | 12–15 | 5–8 |
Mêlée are stones smaller than a quarter of a carat. It will be noticed that the prices depart largely from the old rule; thus taking the rate for a carat blue-white stone, the price of a five-carat stone should be from £150–200 a carat, and for a quarter-carat stone only £7, 10s. to £10 a carat. There happens to be at the time of writing very little demand for five-carat stones. Of course, the prices given are subject to constant fluctuation depending upon the supply and demand, and the whims of fashion.
THE whole of the diamonds known in ancient times were obtained from the so-called Golconda mines in India. Golconda itself, now a deserted fortress near Hyderabad, was merely the mart where the diamonds were bought and sold. The diamond-bearing district actually spread over a wide area on the eastern side of the Deccan, extending from the Pinner River in the Madras Presidency northwards to the Rivers Son and Khan, tributaries of the Ganges, in Bundelkhand. The richest mines, where the large historical stones were found, are in the south, mostly near the Kistna River. The diamonds were discovered in sandstone, or conglomerate, or the sands and gravels of river-beds. The mines were visited in the middle of the seventeenth century by the French traveller and jeweller, Tavernier, when travelling on a commission for Louis XIV, and he afterwards published a careful description of them and of the method of working them. The mines seem to have been exhausted in the seventeenth century; at any rate, the prospecting, which has been spasmodically carried on during the last two centuries, has proved almost abortive. With the exception of the Koh-i-nor, all the large Indian diamonds were probably discovered not long138 before Tavernier’s visit. The diamonds known to Pliny, and in his time, were quite small, and it is doubtful if any stones of considerable size came to light before a.d. 1000.
India enjoyed the monopoly of supplying the world’s demand for diamonds up to the discovery, in 1725, of the precious stone in Brazil. Small stones were detected by the miners in the gold washings at Tejuco, about eighty miles (129 km.) from Rio de Janeiro, in the Serro do Frio district of the State of Minas Geraes. The discovery naturally caused great excitement. So many diamonds were found that in 1727 something like a slump took place in their value. In order to keep up prices, the Dutch merchants, who mainly controlled the Indian output, asserted that the diamonds had not been found in Brazil at all, but were inferior Indian stones shipped to Brazil from Goa. The tables were neatly turned when diamonds were actually shipped from Brazil to Goa, and exported thence to Europe as Indian stones. This course and the continuous development of the diamond district in Brazil rendered it impossible to hoodwink the world indefinitely. The drop in prices was, however, stayed by the action of the Portuguese government, who exacted such heavy duties and imposed such onerous conditions that finally no one would undertake to work the mines. Accordingly, in 1772 diamond-mining was declared a royal monopoly in Brazil, and such it remained until the severance of Brazil from Portugal in 1834, when private mining was permitted by the new government subject to the payment of reasonable royalties. The industry was enormously stimulated by the discovery, in 1844, of139 the remarkably rich fields in the State of Bahia, especially at Serra da Cincorá, where carbonado, or black diamond, first came to light, but after a few years, owing to the difficulties of supplying labour, the unhealthiness of the climate, and the high cost of living, the yield fell off and gradually declined, until the importance of the fields was finally eclipsed by the rise of the South African mines. The Brazilian mines have proved very productive, but chiefly in small diamonds, stones above a carat in weight being few in comparison. The largest stone, to which the name, the Star of the South, was applied, weighed in the rough 254½ carats; it was discovered at the Bagagem mines in 1853. The quality of the diamonds is good, many of them having the highly-prized bluish-white colour. The principal diamond-bearing districts of Brazil centre at Diamantina, as Tejuco was re-named after the discovery of diamonds, Grão Magor, and Bagagem in the State of Minas Geraes, at Diamantina in the State of Bahia, and at Goyãz and Matto Grosso in the States of the same names. The diamonds occur chiefly in cascalho, a gravel, containing large masses of quartz and small particles of gold, which is supposed to be derived from a quartzose variety of micaceous slate known as itacolumite. The mines are now to some extent being worked by systematic dredging of the river-beds.
Early in 1867 the children of a Boer farmer, Daniel Jacobs, who dwelt near Hopetown on the banks of the Orange River, picked up in the course of play near the river a white pebble, which was destined not only to mark the commencement of a new epoch in the record of diamond mines, but to140 change the whole course of the history of South Africa. This pebble attracted the attention of a neighbour, Schalk van Niekerk, who suspected that it might be of some value, and offered to buy it. Mrs. Jacobs, however, gave it him, laughingly scouting the idea of accepting money for a mere pebble. Van Niekerk showed it to a travelling trader, by name John O’Reilly, who undertook to obtain what he could for it on condition that they shared the proceeds. Every one he met laughed to scorn the idea that the stone had any value, and it was once thrown away and only recovered after some search in a yard, but at length he showed it to Lorenzo Boyes, the Acting Civil Commissioner at Colesberg, who, from its extreme hardness, thought it might be diamond and sent it to the mineralogist, W. Guybon Atherston, of Grahamstown, for determination. So uncertain was Boyes of its value that he did not even seal up the envelope containing it, much less register the package. Atherston found immediately that the long-scorned pebble was really a fine diamond, weighing 213/16 carats, and with O’Reilly’s consent he submitted it to Sir Philip Wodehouse, Governor at the Cape. The latter purchased it at once for £500, and dispatched it to be shown at the Paris Exhibition of that year. It did not, however, attract much attention; chimerical tales of diamond finds in remote parts of the world are not unknown. Indeed, for some time only a few small stones were picked up beside the Orange River, and no one believed in the existence of any extensive diamond deposit. However, all doubt as to the advisibility of prospecting the district was settled by the discovery of the superb diamond,141 afterwards known as the ‘Star of South Africa,’ which was picked up in March 1869 by a shepherd boy on the Zendfontein farm near the Orange River. Van Niekerk, on the alert for news of further discoveries, at once hurried to the spot and purchased the stone from the boy for five hundred sheep, ten oxen, and a horse, which seemed to the boy untold wealth, but was not a tithe of the £11,200 which Lilienfeld Bros., of Hopetown, gave Van Niekerk.
This remarkable discovery attracted immediate attention to the potentialities of a country which produced diamonds of such a size, and prospectors began to swarm into the district, gradually spreading up the Vaal River. For some little time not much success was experienced, but at length, early in 1870, a rich find was made at Klipdrift, now known as Barkly West, which was on the banks of the Vaal River immediately opposite the Mission camp at Pniel. The number of miners steadily increased until the population on the two sides of the river included altogether some four or five thousand people, and there was every appearance of stability in the existing order of things. But a vast change came over the scene upon the discovery of still richer mines lying to the south-east and some distance from the river. The ground was actually situated on the route traversed by parties hurrying to the Vaal River, but no one dreamed of the wealth that lay under their feet. The first discovery was made in August 1870 at the farm Jagersfontein, near Fauresmith in Orange River Colony, by De Klerk, the intelligent overseer, who noticed in the dry bed of a stream a number of garnets, and, knowing that they often accompanied diamond, had the curiosity 142to investigate the point. He was immediately rewarded by finding a fine diamond weighing 50 carats. In the following month diamonds were discovered about twenty miles from Klipdrift at Dutoitspan on the Dorstfontein farm, and a little later also on the contiguous farm of Bultfontein; a diamond was actually found in the mortar used in the homestead of the latter farm. Early in May 1871 diamonds were found about two miles away on De Beers’ farm, Vooruitzigt, and two months later, in July, a far richer find was made on the same farm at a spot which was first named Colesberg Kopje, the initial band of prospectors having come from the town of that name near the Orange River, but was subsequently known as Kimberley after the Secretary of State for the Colonies at that time. Soon a large and prosperous town sprang up close to the mines; it rapidly grew in size and importance, and to this day remains the centre of the diamond-mining industry. Subsequent prospecting proved almost blank until the discovery of the Premier or Wesselton mine on Wesselton farm, about four miles from Kimberley, in September 1890; it received the former name after Rhodes, who was Premier of Cape Colony at that date. No further discovery of any importance was made until, in 1902, diamonds were found about twenty miles north-west-north of Pretoria in the Transvaal, at the new Premier mine, now famed as the producer of the gigantic Cullinan diamond.
The Kimberley mines were at first known as the ‘dry diggings’ on account of their arid surroundings in contradistinction to the ‘river diggings’ by the Vaal. The dearth of water was at first one of143 the great difficulties in the way of working the former mines, although subsequently the accumulation of underground water at lower levels proved a great obstacle to the working of the mines. The ‘river diggings’ were of a type similar to that met with in India and Brazil, the diamonds occurring in a gravelly deposit of limited thickness beneath which was barren rock, but the Kimberley mines presented a phenomenon hitherto without precedent in the whole history of diamond mining. The diamonds were found in a loose surface deposit, which was easily worked, and for some time the prospectors thought that the underlying limestone corresponded to the bedrock of the river gravel, until at length one more curious than his fellows investigated the yellowish ground underneath, and found to his surprise that it was even richer than the surface layer. Immediately a rush was made back to the deserted claims, and the mines were busier than ever. This ‘yellow ground,’ as it is popularly called, was much decomposed and easy, therefore, to work and sift. About fifty to sixty feet (15–18 m.) below the surface, however, it passed into a far harder rock, which from its colour is known as the ‘blue ground’; this also, to the unexpected pleasure of the miners, turned out to contain diamonds. Difficulties arose as each claim, 30 by 30 Dutch feet (about 31 English feet or 9·45 metres square) in area, was worked downwards. In the Kimberley mine (Plate XVI) access to the various claims was secured by retaining parallel strips, 15 feet wide, each claim being, therefore, reduced in width to 22½ feet, to form roadways running from side to side of the mine in one direction. These,144 however, soon gave way, not only because of the falling of the earth composing them, but because they were undermined and undercut by the owners of the adjacent claims. By the end of 1872 the last roadway had disappeared, and the mine presented the appearance of a vast pit. In order to obtain access to the claims without intruding on those lying between, and to provide for the hauling of the loads of earth to the surface, an ingenious system of wire cables in three tiers (Plate XVII) was erected, the lowest tier being connected to the outermost claims, the second to claims farther from the edge, and the highest to claims in the centre of the pit. The mine at that date presented a most remarkable spectacle, resembling an enormous radiating cobweb, which had a weird charm by night as the moonlight softly illuminated it, and by day, owing to the perpetual ring of the flanged wheels of the trucks on the running wires, twanged like some gigantic æolian harp. This system fulfilled its purpose admirably until, with increasing depth of the workings, other serious difficulties arose. Deprived of the support of the hard blue ground, the walls of the mine tended to collapse, and additional trouble was caused by the underground water that percolated into the mine. By the end of 1883 the floor of the Kimberley mine was almost entirely covered by falls of ‘reef’ (Plate XVIII), as the surrounding rocks are termed, the depth then being about 400 feet (122 m.). In the De Beers mine, in spite of the precaution taken to prevent falls of reef by cutting the walls of the mine back in terraces, falls occurred continuously in 1884, and by 1887, at a depth of 350 feet (107 m.), all attempts at open working 145 had to be abandoned. In the Dutoitspan mine buttresses of blue ground were left, which held back the reef for some years, but ultimately the mine became unsafe, and in March 1886 a disastrous fall took place, in which eighteen miners—eight white men and ten Kafirs—lost their lives. The Bultfontein mine was worked to the great depth of 500 feet (152 m.), but falls occurred in 1889 and put an end to open working. In all cases, therefore, the ultimate end was the same: the floor of the mine became covered with a mass of worthless reef, which rendered mining from above ground dangerous, and, indeed, impossible except at prohibitive cost. It was then clearly necessary to effect access to the diamond-bearing ground by means of shafts sunk at a sufficient distance from the mine to remove any fear of falls of reef. For such schemes co-operative working was absolutely essential. Plate XIX illustrates the desolate character of the Kimberley mine above ground and the vastness of the yawning pit, which is over 1000 feet (300 m.) in depth.
A certain amount of linking up of claims had already taken place, but, although many men must have seen that the complete amalgamation of the interests in each mine was imperative, two men alone had the capacity to bring their ideas to fruition. C. J. Rhodes was the principal agent in the formation in April 1880 of the De Beers Mining Company, which rapidly absorbed the remaining claims in the mine, and was re-formed in 1887 as the De Beers Consolidated Mining Company. Meantime, Barnett Isaacs, better known by the cognomen Barnato, which had been adopted by his
146
brother Henry when engaged in earning his livelihood in the diamond fields as an entertainer, had secured the major interests in the Kimberley mine. Rhodes saw that, for effective working of the two mines by any system of underground working, they must be under one management, but to all suggestions of amalgamation Barnato remained deaf, and at last Rhodes determined to secure control of the Kimberley mine at all costs. The story of the titanic struggle between these two men forms one of the epics of finance. Eventually, when shares in the Kimberley mine had been boomed to an extraordinary height, and the price of diamonds had fallen as low as 18s. a carat, Barnato gave way, and in July 1889 the Kimberley mine was absorbed by the De Beers Company on payment of the enormous sum of £5,338,650. Shortly afterwards they undertook the working of the Dutoitspan and the Bultfontein mines, and in January 1896 they acquired the Premier or Wesselton mine. The interests in the Jagersfontein mine were in 1888 united in the New Jagersfontein Mining and Exploration Company, and the mine is now worked also by the De Beers Company. Thus, until the development of the new Premier mine in the Transvaal, the De Beers Company practically controlled the diamond market. The development of this last mine was begun so recently, and its size is so vast—the longest diameter being half a mile—that open-cut working is likely to continue for some years.
Though varying slightly in details, the methods of working the mines are identical in principle. From the steeply inclined shaft horizontal galleries are run diagonally right across the mine, the vertical 147 interval between successive galleries being 40 feet. From each gallery side galleries are run at right angles to it and parallel to the working face. The blue ground is worked systematically backwards from the working face. The mass is stoped, i.e. drilled and broken from the bottom upwards, until only a thin roof is left. As soon as the section is worked out and the material removed, the roof is allowed to fall in, and work is begun on the next section of the same level; at the same time the first section on the level next below is opened out. Thus work is simultaneously carried on in several levels, and a vertical plane would intersect the working faces in a straight line obliquely inclined to the vertical direction (Fig. 60). When freshly mined, the blue ground is hard and compact, but it soon disintegrates under atmospheric influence. Indeed, the yellow ground itself was merely decomposed blue ground. No immediate attempt is made, therefore, to retrieve the precious stones. The blue ground is spread on to the ‘floors’ (Plate XXI), i.e. spaces of open veldt which have been cleared of bushes and inequalities, to the depth of a couple of feet, and remains there for periods ranging from six months to two years, depending on the quality of the blue ground and the amount of rainfall. To hasten the disintegration the blue ground is frequently ploughed over and occasionally watered, a remarkable introduction of agricultural methods into mining operations. No elaborate patrolling or guarding is required, because the diamonds are so sparsely, though regularly, scattered through the mass that even of the actual workers in the mines but few have ever seen a stone in the blue ground. When148 sufficiently broken up, it is carted to the washing and concentrating machines, by means of which the diamonds and the heavier constituents are separated from the lighter material.
Formerly the diamonds were picked out from the concentrates by means of the keen eyes of skilled natives; but the process has been vastly simplified and the risk of theft entirely eliminated by the remarkable discovery made in 1897 by F. Kirsten,149 of the De Beers Company, that of all the heavy constituents of the blue ground diamond alone, with the exception of an occasional corundum and zircon, which are easily sorted out afterwards, adheres to grease more readily than to water. In this ingenious machine, the ‘jigger’ or ‘greaser’ (Plate XXIII) as it is commonly termed, the concentrates are washed over a series of galvanized-iron trays, which are covered with a thick coat of grease. The trays are slightly inclined downwards, and are kept by machinery in constant sideways motion backwards and forwards. So accurate is the working of this device that few diamonds succeed in getting beyond the first tray, and none progress as far as the third, which is added as an additional precaution. The whole apparatus is securely covered in so that there is no risk of theft during the operation. The trays are periodically removed, and the grease is scraped off and boiled to release the diamonds, the grease itself being used over again on the trays. This is the first time in the whole course of extraction from the mines that the diamonds are actually handled. The stones are now passed on to the sorters, who separate them into parcels according to their size, shape, and quality.
The classification at the mines is first into groups by the shape: (1) close goods, (2) spotted stones, (3) rejection cleavage, (4) fine cleavage, (5) light brown cleavage, (6) ordinary and rejection cleavage, (7) flats, (8) macles, (9) rubbish, (10) boart. Close goods are whole crystals which contain no flaws and can be cut into single stones. Spotted stones, as their name suggests, contain spots which necessitate removal, and cleavage includes stones which are so150 full of flaws that they have to be cleaved or split into two or more stones. Flats are distorted octahedra, and macles are twinned octahedra. Rubbish is material which can be utilized only for grinding purposes, and boart consists of round dark stones which are invaluable for rock-drills. These groups are afterwards graded into the following subdivisions, depending on increasing depth of yellowish tint: (a) blue-white, (b) first Cape, (c) second Cape, (d) first bye, (e) second bye, (f) off-colour, (g) light yellow, (h) yellow. It is, however, only the first group that is so minutely subdivided. After being purchased, the parcels are split up again somewhat differently for the London market (cf. p. 136), and the dealers re-arrange the stones according to the purpose for which they are required. Formerly a syndicate of London merchants took the whole of the produce of the Kimberley mines at a previously arranged price per carat, but at the present time the diamonds are sold by certain London firms on commission.
The products of each mine show differences in either form or colour which enable an expert readily to recognize their origin. The old diggings by the Vaal River yielded finer and more colourless stones than those found in the dry diggings and the mines underlying them. The South African diamonds, taken as a whole, are always slightly yellowish or ‘off-coloured’; the mines are, indeed, remarkable for the number of fine and large, canary-yellow and brown, stones produced. The Kimberley mine yields a fair percentage of white, and a large number of twinned and yellow stones. The yield of the De Beers mine comprises mostly tinted stones—yellow151 and brown, occasionally silver capes, and very seldom stones free from colour. The Dutoitspan mine is noted for its harvest of large yellow diamonds; it also produces fine white cleavage and small white octahedra. The stones found in the Bultfontein mine are small and spotted, but, on the other hand, the yield has been unusually regular. The Premier or Wesselton mine yields a large proportion of flawless octahedra, but, above all, a large number of beautiful deep-orange diamonds. Of all the South African mines the Jagersfontein in the Orange River Colony alone supplies stones of the highly-prized blue-white colour and steely lustre characteristic of the old Indian stones. The new Premier mine in the Transvaal is prolific, but mostly in off-coloured and low-grade stones, the Cullinan diamond being a remarkable exception.
To illustrate the amazing productiveness of the South African mines, it may be mentioned that, according to Gardner F. Williams, the Kimberley group of mines in sixteen years yielded 36 million carats of diamonds, and the annual output of the Jagersfontein mine averages about a quarter of a million carats, whereas the total output of the Brazil mines, for the whole of the long period during which they have been worked, barely exceeds 13 million carats. The average yield of the South African mines, however, perceptibly diminishes as the depth of the mines increases.
The most interesting point connected with the South African diamond mines, viewed from the scientific standpoint, is the light that they have thrown on the question of the origin of the diamond, which previously was an incomprehensible and152 apparently insoluble problem. In the older mines, just as at the river diggings by the Vaal, the stones are found in a gravelly deposit that has resulted from the disintegration of the rocks through which the adjacent river has passed, and it is clear that the diamond cannot have been formed in situ here; it had been suspected, and now there is no doubt, that the itacolumite rock of Brazil has consolidated round the diamonds which are scattered through it, and that it cannot be the parent rock. The occurrence at Kimberley is very different. These mines are funnels which go downwards to unknown depths; they are more or less oval in section, becoming narrower with increasing depth, and are evidently the result of some eruptive agency. The Kimberley mine has been worked to a depth of nearly 4000 feet (1200 m.), and no signs of a termination have as yet appeared. The blue ground which fills these ‘pipes,’ as they are termed, must have been forced up from below, since it is sharply differentiated from the surrounding country rocks. This blue ground is a brecciated peridotite of peculiar constitution, to which the well-known petrologist, Carvil Lewis, who made a careful study of it, gave the name kimberlite. The blue colour testifies to its richness in iron, and it is to the oxidation of the iron constituent, that the change of colour to yellow in the upper levels is due. Owing to the shafts that have been sunk for working the mines, the nature of the surrounding rocks is known to some depth. Immediately below the surface is a decomposed ferriferous basalt, about 20 to 90 feet (6–27 m.) thick, next a black slaty shale, 200 to 250 feet (60–75 m.) thick, then 10 feet (3 m.) of153 conglomerate, next 400 feet (120 m.) of olivine diabase, then quartzite, about 400 feet (120 m.) thick, and lastly a quartz porphyry, which has not yet been penetrated. The strata run nearly horizontal, and there are no signs of upward bending at the pipes. The whole of the country, including the mines, was covered with a red sandy soil, and there was nothing to indicate the wealth that lay underneath. The action of water had in process of time removed all signs of eruptive activity. The principal minerals which are associated with diamond in the blue ground are magnetite, ilmenite, chromic pyrope, which is put on the market as a gem under the misnomer ‘Cape-ruby,’ ferriferous enstatite, which also is sometimes cut, olivine more or less decomposed, zircon, kyanite, and mica.
The evidence produced by an examination of the blue ground and the walls of the pipes proves that the pipes cannot have been volcanoes such as Vesuvius. There is no indication whatever of the action of any excessive temperature, while, on the other hand, there is every sign of the operation of enormous pressure; the diamonds often contain liquid drops of carbonic acid. Crookes puts forward the plausible theory that steam has been the primary agency in propelling the diamond and its associates up into the channel through which it has carved its way to freedom, and holds that molten iron has been the solvent for carbon which has crystallized out as diamond under the enormous pressures obtaining in remote depths of the earth’s crust. It is pertinent to note that, by dissolving carbon in molten iron, the eminent chemist, Moissan, was enabled to manufacture tiny diamond crystals.154 Water trickling down from above would be immediately converted into steam at very high pressure on coming into contact with the molten iron, and, in its efforts to escape, the steam would drive the iron and its precious contents, together with the adjacent rocks, upwards to the surface. The ferriferous nature of the blue ground and the yellow tinge so common to the diamonds lend confirmation to this theory. The process by which the carbon was extracted from shales or other carboniferous rocks and dissolved in iron still awaits elucidation.
Diamonds were found in New South Wales as long ago as 1851 on Turon River and at Reedy Creek, near Bathurst, about ninety miles (145 km.) from Sydney, but the find was of little commercial importance. A more extensive deposit came to light in 1867 farther north at Mudgee. In 1872 diamonds were discovered in the extreme north of the State, at Bingara near the Queensland border. Another discovery was made in 1884 at Tingha, and still more recently in the tin gravels of Inverell in the same region. In their freedom from colour and absence of twinning the New South Wales diamonds resemble the Brazilian stones. The average size is small, running about five to the carat when cut; the largest found weighed nearly 6 carats when cut. They are remarkable for their excessive hardness; they can be cut only with their own dust, ordinary diamond dust making no impression.
The Borneo diamonds are likewise distinguished by their exceptional hardness. They mostly occur by the river Landak, near Pontianak on the west coast155 of the island. They are found in a layer of rather coarse gravel, variable, but rarely exceeding a yard (1 m.), in depth, and are associated with corundum and rutile, together with the precious metals gold and platinum. Indeed, it is no uncommon sight to see natives wearing waistcoats ornamented with gold buttons, in each of which a diamond is set. The diamonds are well crystallized and generally of pure water; yellowish and canary-yellow stones are also common, but rose-red, bluish, smoky, and black stones are rare. They seldom exceed a carat in weight; but stones of 10 carats in weight are found, and occasionally they attain to 20 carats. In 1850 a diamond weighing 77 carats was discovered. The Rajah of Mattan is said to possess one of the purest water weighing as much as 367 carats, but no one qualified to pronounce an opinion regarding its genuineness has ever seen it.
In Rhodesia small diamonds have been found in gravel beds resting on decomposed granite near the Somabula forest, about 12 miles (19 km.) west of Gwelo, in association with chrysoberyl in abundance, blue topaz, kyanite, ruby, sapphire, tourmaline, and garnet.
The occurrence of diamond in German South-West Africa is very peculiar. Large numbers of small stones are found close to the shore near Luderitz Bay in a gravelly surface layer, which is nowhere more than a foot in depth. They are picked by hand by natives and washed in sieves. In shape they are generally six-faced octahedra or twinned octahedra, simple octahedra being rare, and in size they run about four or five to the156 carat, the largest stone as yet found being only 2 carats in weight. Their colour is usually yellowish.
Several isolated finds of diamonds have been reported in California and other parts of the United States, but none have proved of any importance. The largest stone found weighed 23¾ carats uncut; it was discovered at Manchester in Virginia.
THE number of diamonds which exceed a hundred carats in weight when cut is very limited. Their extreme costliness renders them something more than mere ornaments; in a condensed and portable form they represent great wealth and all the potentiality for good or ill thereby entailed, and have played no small, if sinister, rôle in the moulding of history. In bygone days when despotic government was universal, the possession of a splendid jewel in weak hands but too often precipitated the aggression of a greedy and powerful neighbour, and plunged whole countries into the horrors of a ruthless and bloody war. In more civilized days a great diamond has often been pledged as security for money to replenish an empty treasury in times of stress. The ambitions of Napoleon might have received a set-back but for the funds raised on the security of the famous Pitt diamond. The history of such stones—often one long romance—is full of interest, but space will not permit of more than a brief sketch here.
If we except the colossal Cullinan stone, the mines of Brazil and South Africa cannot compare with the old mines of India as the birthplace of large and perfect diamonds of world-wide fame.
158


The history of the famous stone called the Koh-i-nor, meaning Mound of Light, is known as far back as the year 1304, when it fell into the hands of the Mogul emperors, and legend even traces it back some four thousand years previously. It remained at Delhi until the invasion of North-West India by Nadir Shah in 1739, when it passed together with an immense amount of spoil into the hands of the conqueror. At his death the empire which he had so strenuously founded fell to pieces, and the great diamond after many vicissitudes came into the possession of Runjit Singh at Lahore. His successors kept it until upon the fall of the Sikh power in 1850 it passed to the East India Company, in whose name it was presented by Lord Dalhousie to Queen Victoria. At this date the stone still retained its original Indian form, but in 1862 it was re-cut into the form of a shallow brilliant (Fig. 62), the weight thereby being reduced from 1861/16 to 1061/16 carats. The wisdom of this course has been severely criticized; the stone has not the correct shape of a brilliant and is deficient in ‘fire,’ and it has with the change159 in shape lost much of its old historical interest. The Koh-i-nor is the private property of the English Royal Family, the stone shown in the Tower being a model. It is valued at £100,000.


This splendid stone was discovered in 1701 at the famous diamond mines at Partial, on the Kistna, about 150 miles (240 km.) from Golconda, and weighed as much as 410 carats in the rough. By devious ways it came into the hands of Jamchund, a Parsee merchant, from whom it was purchased by William Pitt, governor of Fort St. George, Madras, for £20,400. On his return to England Pitt had it cut into a perfect brilliant (Fig. 63), weighing 163⅞ carats, the operation occupying the space of two years and costing £5000; more than £7000 is said to have been realized from the sale of the fragments left over. Pitt had an uneasy time and lived in constant dread of theft of the stone until, in 1717, after lengthy negotiations, he parted with it to the Duc d’Orléans, Regent of France, for the immense sum of three and three-quarter million francs, about £135,000. With the remainder of the French regalia it was stolen from the Garde-meuble on August 17,160 1792, in the early days of the French Revolution, but was eventually restored by the thieves, doubtless because of the impossibility of disposing of such a stone, at least intact, and it is now exhibited in the Apollo Gallery of the Louvre at Paris. It measures about 30 millimetres in length, 25 in width, and 19 in depth, and is valued at £480,000.
One of the finest diamonds existing, this large stone forms the top of the imperial sceptre of Russia. It is rose-cut (Fig. 65), the base being a cleavage face, and weighs 194¾ carats. It is said to have formed at one time one of the eyes of a statue of Brahma which stood in a temple on the island of Sheringham in the Cavery River, near Trichinopoli, in Mysore, and to have been stolen by a French soldier who had somehow persuaded the priests to appoint him guardian of the temple. He sold it for £2000 to the captain of an English ship, who disposed of it to a Jewish dealer in London for £12,000. It changed hands to a Persian merchant, Raphael Khojeh, who eventually sold it to Prince Orloff for, so it is said, the immense161 sum of £90,000 and an annuity of £4000. It was presented by Prince Orloff to Catherine II of Russia.
This, the largest Indian diamond known, was found in the Kollur mines, about the year 1650. Its original weight is said to have been 787½ carats, but it was so full of flaws that the Venetian, Hortensio Borgis, then in India, in cutting it to a rose form reduced its weight to 240 carats. It was seen by Tavernier at the time of his visit to India, but it has since been quite lost sight of. It has been identified with both the Koh-i-nor and the Orloff, and it is even suggested that both these stones were cut from it.
The history of this diamond is very involved, and probably two or more stones have been confused. It may have been the one cut by Berquem for Charles the Bold, from whose body on the fatal day of Nancy, in 1477, it was snatched by a marauding soldier. It was acquired by Nicholas Harlai, Seigneur de Sancy, who sold it to Queen Elizabeth at the close of the sixteenth century. A hundred years later, in 1695, it was sold by James II to Louis XIV. The stone in the French regalia, according to the inventory taken in 1791, weighed 53¾ carats. It was never recovered after the theft of the regalia in the following year, but may be identical with the diamond which was in the possession of the Demidoff family and was sold by Prince Demidoff in 1865 to a London firm who were said162 to have been acting for Sir Jamsetjee Jeejeebhoy, a wealthy Parsee of Bombay. It was shown at the Paris Exhibition of 1867. It was almond-shaped, and covered all over with tiny facets by Indian lapidaries.
This mysterious stone was seen by Tavernier at Golconda in 1642, but has quite disappeared. It weighed 2423/16 carats.
This diamond is often confused with the Orloff. It was captured by Nadir Shah at Delhi, and after his murder was stolen by an Afghan soldier who disposed of it to an Armenian, by name Shaffrass. It was finally acquired by the Russian crown for an enormous sum.
A large diamond, weighing 340 carats, belonged to the Nizam of Hyderabad; it was fractured at the beginning of the Indian Mutiny. Whether the weight is that previous to fracture or not, there seems to be no information.
This fine diamond, rose-cut and 186 carats in weight, is of the purest water and merits its title of ‘River of Light.’ It seems to have been captured by Nadir Shah at Delhi, and is now the largest diamond in the Persian collection.
163
This fine stone, of the purest water, was presented to the Czar Nicholas by the Persian prince Chosroes, younger son of Abbas Mirza, in 1843. At that time it still retained three cleavage faces which were engraved with the names of three Persian sovereigns, and weighed 95 carats. It was, however, subsequently re-cut with the loss of 9 carats, and the engraving has disappeared in the process.
Once the property of the great Mogul, Akbar, this diamond was engraved on two faces with Arabic inscriptions by the instructions of his successor, Jehan. It disappeared, but turned up again in Turkey under the name of ‘Shepherd’s Stone’; it still retained its original inscriptions and was thereby recognized. In 1866 it was re-cut, the weight being reduced from 116 to 71 carats, and the inscriptions destroyed. The stone was sold to the Gaekwar of Baroda for 3½ lakhs of rupees (about £23,333).
A beautiful, brilliant-cut stone, weighing 40 carats, which is known by this name, is in the Russian regalia.
The Nassak diamond, which weighed 89¾ carats, formed part of the Deccan booty, and was put up164 to auction in London in July 1837. It was purchased by Emanuel, a London jeweller, who for £7200 shortly afterwards sold it to the Duke of Westminster, in whose family it still remains. It was originally pear-shaped, but was re-cut to a triangular form with a reduction in weight to 78⅝ carats.
This diamond was purchased by Napoleon Buonaparte for £8000, and worn by him at his wedding with Josephine Beauharnais in 1796.
This stone, which weighs 32 carats, was purchased by the city of London for £10,000 and presented to the Duke of Cumberland after the battle of Culloden; it is now in the possession of the Duke of Brunswick.
A fine Indian stone, weighing 47½ carats, this diamond was brought to England by Lord Pigott in 1775 and sold for £30,000. It came into the possession of Ali Pacha, Viceroy of Egypt, and was by his orders destroyed at his death.
This fine stone, weighing 51 carats, was given by the Czarina Catherine II of Russia to her favourite, Potemkin. It was purchased by Napoleon III as a bridal gift for his bride, and on his downfall was bought by the Gaekwar of Baroda.
165
Square in contour, measuring 11/12 in. (28 mm.), and weighing 48¾ carats, this stone was purchased by Augustus the Strong for a million thalers (about £150,000).
This 40-carat brilliant was purchased by Ibrahim, Viceroy of Egypt, for £28,000.
Though a comparatively small stone, in weight 25½ carats, it is noted for its perfection of form and quality. It belongs to the Archduke Franz Ferdinand of Austrian-Este, eldest son of the Archduke Karl Ludwig.
The beauty of this large stone, 133¾ carats in weight, is marred by the tinge of yellow, which is sufficiently pronounced to impair its brilliancy; it is a double rose in form. At one time the property of the Grand Dukes of Tuscany, it is now in the possession of the Emperor of Austria. King mentions a tale that it was bought at a curiosity stall in Florence for an insignificant sum, the stone being supposed to be only yellow quartz.
This, the largest of the Brazilian diamonds, was discovered at the mines of Bagagem in July 1853.166 Perfectly transparent and without tint, it was dodecahedral in shape and weighed 254½ carats, and was sold in the rough for £40,000. It was cut as a perfect brilliant, being reduced in weight to 125½ carats.
This beautiful stone, which weighed 119½ carats in the rough, was found at the Bagagem mines, in Brazil, in 1857, and came into the possession of Mr. E. Dresden. It was cut as a long, egg-shaped brilliant, weighing 76½ carats.
The first considerable stone to be found in South Africa, it was discovered at the Vaal River diggings in 1869, and weighed 83½ carats in the rough. It was cut to a triangular brilliant of 46½ carats. It was finally purchased by the Countess of Dudley for £25,000.
This large diamond, weighing in the rough 288⅜ carats, was found at the Vaal River diggings in 1872, and was first sold for £6000 and shortly afterwards for £9000; it was reduced on cutting to 120 carats. Like many South African stones, it has a faint yellowish tinge.
This blue-white stone, which weighed 150 carats, was found in a claim belonging to Mr. Porter-Rhodes in the Kimberley mine in February 1880.
167
This large diamond weighed as much as 457 carats in the rough, and 180 when cut; it is quite colourless. It was brought to Europe in 1884, and was eventually sold to the Nizam of Hyderabad for £20,000.
A pale yellowish stone, weighing 428½ carats, was found in the De Beers mine in 1888. It was cut to a brilliant weighing 228½ carats, and was sold to an Indian prince. A still larger stone of similar tinge, weighing 503¼ carats, was discovered in 1896, and among other large stones supplied by the same mine may be mentioned one of 302 carats found in 1884, and another of 409 carats found in early years.
This, which prior to the discovery of the ‘Cullinan,’ was by far the largest South African stone, was found in the Jagersfontein mine on June 30, 1893; bluish-white in tint, it weighed 969½ carats. From it were cut twenty-one brilliants, the larger stones weighing 67⅞, 4513/16, 4511/16, 393/16, 34, 27⅞, 25⅝, 2311/16, 1611/32, 13½ carats respectively, and the total weight of the cut stones amounting to 3643/32 carats.
Another large stone was discovered in the Jagersfontein mine in 1895. It weighed 634 carats in the rough, and from it was obtained a splendid, faultless brilliant weighing 239 carats. It was shown at the Paris Exhibition of 1900.
168
All diamonds pale into insignificance when compared with the colossal stone that came to light at the Premier mine near Pretoria in the Transvaal on January 25, 1905. It was first called the ‘Cullinan’ after Sir T. M. Cullinan, chairman of the Premier Diamond Mine (Transvaal) Company, but has recently, by desire of King George V, received the name ‘Star of Africa.’ The rough stone weighed 621·2 grams or 3025¾ carats (about 1⅓ lb.); it displayed three natural faces (Plate XXV) and one large cleavage face, and its shape suggested that it was a portion of an enormous stone more than double its size; it was transparent, colourless, and had only one small flaw near the surface. This magnificent diamond was purchased by the Transvaal Government for £150,000, and presented to King Edward VII on his birthday, November 9, 1907.
The Cullinan was entrusted to the famous firm, Messrs. I. J. Asscher & Co., of Amsterdam, for cutting on January 23, 1908, just three years after its discovery. On February 10 it was cleaved into two parts, weighing respectively 1977½ and 1040½ carats, from which the two largest stones have been169 cut, one being a pendeloque or drop brilliant in shape (Fig. 67) and weighing 516½ carats, and the other a square brilliant (Fig. 68) weighing 3093/16 carats. The first has been placed in the sceptre, and the second in the crown of the regalia. Besides these there are a pendeloque weighing 92 carats, a square-shaped brilliant 62, a heart-shaped stone 18⅜, two marquises 89/16 and 11¼, an oblong stone 6⅝, a pendeloque 49/32, and 96 small brilliants weighing together 7⅜; the total weight of the cut stones amounts to 10365/32 carats. The largest stone has 74 and the second 66 facets. The work was completed and the stones handed to King Edward in November 1908.
Although the Premier mine has yielded no worthy compeer of the Cullinan, it can, nevertheless, boast of a considerable number of large stones which but for comparison with that giant would be thought remarkable for their size, no fewer than seven of them having weights of over 300 carats, viz. 511, 487¼, 458¾, 391½, 373, 348, and 334 carats.
This large diamond, which was found in 1911 at the Bagagem mines, Minas Geraes, Brazil, had the170 shape of a dome with a flat base, and weighed in the rough 35·875 grams (174¾ carats).
The large stone called the ‘Braganza,’ in the Portuguese regalia, which is supposed to be a diamond, is probably a white topaz; it weighs 1680 carats. The Mattan stone, pear-shaped and weighing 367 carats, which was found in the Landak mines near the west coast of Borneo in 1787, is suspected to be quartz.
The largest of coloured diamonds, the Hope, weighs 44⅛ carats, and has a steely- or greenish-blue, and not the royal-blue colour of the glass models supposed to represent it. It is believed to be a portion of a drop-form stone (d’un beau violet) which was said to have been found at the Kollur mines, and was secured by Tavernier in India in 1642 and sold by him to Louis XIV in 1668; it then weighed 67 carats. This stone was stolen with the remainder of the French regalia in 1792 and never recovered. In 1830 the present stone (Fig. 69) was offered for sale by Eliason, a London dealer, and was purchased for £18,000 by Thomas Philip Hope, a wealthy banker and a keen collector of gems. Probably the apex of the original stone had been cut off, reducing it to a nearly square171 stone. The slight want of symmetry of the present stone lends confirmation to this view, and two other blue stones are known, which, together with the Hope, make up the weight of the original stone. At the sale of the Hope collection at Christie’s in 1867 the blue diamond went to America. In 1908 the owner disposed of it to Habib Bey for the enormous sum of £80,000. It was put up to auction in Paris in 1909, and bought by Rosenau, the Paris diamond merchant, for the comparatively small sum of 400,000 francs (about £16,000), and was sold in January 1911 to Mr. Edward M’Lean for £60,000. The stone is supposed to bring ill-luck in its train, and its history has been liberally embellished with fable to establish the saying.
A beautiful apple-green diamond, faultless, and of the purest water, is contained in the famous Green Vaults of Dresden. It weighs 40 carats, and was purchased by Augustus the Strong in 1743 for 60,000 thalers (about £9000).
A fine ruby-red diamond, weighing 10 carats, is included among the Russian crown jewels.
The lovely orange brilliant, weighing 125⅜ carats, which is in the possession of Messrs. Tiffany & Co., the well-known jewellers of New York, was discovered in the Kimberley mine in 1878.
RANKING in hardness second to diamond alone, the species known to science as corundum and widely familiar by the names of its varieties, sapphire and ruby, holds a pre-eminent position among coloured gem-stones. The barbaric splendour of ruby (Plate I, Fig. 13) and the glorious hue of sapphire (Plate I, Fig. 11) are unsurpassed, and it is remarkable that the same species should boast such different, but equally magnificent, tints. They, however, by no means exhaust the resources of this variegated species. Fine yellow stones (Plate I, Fig. 12), which compare with topaz in colour and are its superior in hardness, and brilliant colourless stones, which are unfortunately deficient in ‘fire’ and cannot therefore approach diamond, are to be met with, besides others of less attractive hues, purple, and yellowish, bluish, and other shades of green. Want of homogeneity in the coloration of corundum is a frequent phenomenon; thus, the purple stones on close examination are found to be composed of alternate blue and red layers, and stones showing patches of yellow and blue colour are common. Owing to the173 peculiarity of their interior arrangement certain stones display when cut en cabochon a vivid six-rayed star of light (Plate I, Fig. 15). Sapphire and ruby share with diamond, pearl, and emerald the first rank in jewellery. They are popular stones, especially in rings; their comparative rarity in large sizes, apart from the question of expense, prevents their use in the bigger articles of jewellery. The front of the stones is usually brilliant-cut and the back step-cut, but Indian lapidaries often prefer to cover the stone with a large number of triangular facets, especially if the stone be flawed; star-stones are cut more or less steeply en cabochon.
In composition corundum is alumina, oxide of aluminium, corresponding to the formula Al2O3, but it usually contains in addition small quantities, rarely more than 1 per cent., of ferric oxide, chromic oxide, and perhaps other metallic oxides. When pure, it is colourless; the splendid tints which are its glory have their origin in the minute traces of the other oxides present. No doubt chromic oxide is the cause of the ruddy hue of ruby, since it is possible, as explained above (p. 117), closely to imitate the ruby tint by this means, but nothing approaching so large a percentage as 2½ has been detected in a natural stone. The blue colour of sapphire may be due to titanic oxide, and ferric oxide may be responsible for the yellow hue of the ‘oriental topaz,’ as the yellow corundum is termed. Sapphires, when of considerable size, are rarely uniform in tint throughout the stone. Alternations of blue and red zones, giving rise to an apparent purple or violet tint, and the conjunction of patches of blue and yellow are common. Perfectly colourless 174stones are less common, a slight bluish tinge being usually noticeable, but they are not in much demand because, on account of their lack of ‘fire,’ they are of little interest when cut. The tint of the red stones varies considerably in depth; jewellers term them, when pale, pink sapphires, but, of course, no sharp distinction can be drawn between them and rubies. The most highly prized tint is the so-called pigeon’s blood, a shade of red slightly inclined to purple. The prices for ruby of good colour run from about 25s. a carat for small stones to between £60 and £80 a carat for large stones, and still higher for exceptional rubies. The taste in sapphires has changed of recent times. Formerly the deep blue was most in demand, but now the lighter shade, that resembling the colour of corn-flower, is preferred, because it retains a good colour in artificial light. Large sapphires are more plentiful than large rubies, and prices run lower; even for large perfect stones the rate does not exceed £30 a carat. Large and uniform ‘oriental topazes’ are comparatively common, and realize moderate prices, about 2s. to 30s. a carat according to quality and size. Green sapphires are abundant from Australia, but their tint, a kind of deep sage-green, is not very pleasing. Brown stones with a silkiness of structure are also known.
The name of the species comes through the French corindon from an old Hindu word, korund, of unknown significance, and arose from the circumstance that the stones which first found their way to Europe came from India. At the present day the word corundum is applied in commerce to the opaque stones used for abrasive purposes, to distinguish 175the purer material from emery, which is corundum mixed with magnetite and other heavy stones of lower hardness. The origin of the word sapphire, which means blue, has been discussed in an earlier chapter (p. 110). Jewellers use it in a general sense for all corundum except ruby. Ruby comes from the Latin ruber, red. The prefix ‘oriental’ (p. 111) is often used to distinguish varieties of corundum, since it is the hardest of ordinary coloured stones and the finest gem-stones in early days reached Europe by way of the East.
Corundum crystallizes either in six-sided prisms terminated by flat faces (Plate I, Fig. 10), which are often triangularly marked, or with twelve inclined faces, six above and six below, meeting in a girdle (Plate I, Fig. 14). Ruby favours the former and the other varieties the latter type. A fine crystal of ruby—the ‘Edwardes,’ so named by the donor, John Ruskin, after Sir Herbert Edwardes—which weighs 33·5 grams (163 carats), is exhibited in the Mineral Gallery of the British Museum (Natural History), and is tilted in such a way that the light from a neighbouring window falls on the large basal face, and reveals the interesting markings that nature has engraved on it. From its type of symmetry corundum is doubly refractive with a direction of single refraction running parallel to the edge of the prism. Owing to the relative purity of the chemical composition the refractive indices are very constant; the ordinary index ranges from 1·766 to 1·774 and the extraordinary index from 1·757 to 1·765, the double refraction remaining always the same, 0·009. The amount of colour-dispersion is small, and therefore176 colourless corundum displays very little ‘fire.’ The difference between the indices for red and blue light is, however, sufficiently great that the base of a ruby may be left relatively thicker than that of a sapphire to secure an equally satisfactory effect (cf. p. 98)—a point of some importance to the lapidary, since stones are sold by weight and it is his object to keep the weight as great as possible. When a corundum is tested on the refractometer in white light a wide spectrum deliminates the two portions of the field because of the smallness of the colour-dispersion (cf p. 25). The dichroism of both ruby and sapphire is marked, the twin colours given by the former being red and purplish-red, and by the latter blue and yellowish-blue, the second colour in each instance corresponding to the extraordinary ray. Tests with the dichroscope easily separate ruby and sapphire from any other red or blue stone. This character has an important bearing on the proper mode of cutting the stones. The ugly yellowish tint given by the extraordinary ray of sapphire should be avoided by cutting the stone with its table-facet at right angles to the prism edge, which is the direction of single refraction. Whether a ruby should be treated in the same way is a moot point. No doubt if the colour is deep, it is the best plan, because the amount of absorption of light is thereby sensibly reduced, but otherwise the delightful nuances distinguishing ruby are best secured by cutting the table-facet parallel to the direction of single refraction. Yellow corundum also shows distinct dichroism, but by a variation more of the depth than of the tint of the colour; the phenomenon is faint compared with the dichroic effect of a yellow177 chrysoberyl. The specific gravity also is very constant, varying only from 3·95 to 4·10; sapphire is on the whole lighter than ruby. Corundum has the symbol 9 on Mohs’s scale, but though coming next to diamond it is a very poor second (cf. p. 79). As is usually the case, the application of heat tends to lighten the colour of the stones: those of a pale violet or a yellow colour lose the tint entirely, and the deep violet stones turn a lovely rose colour. On the other hand the action of radium has, as was shown by Bordas, an intensifying action on the colour, and even develops it in a colourless stone. From the latter reaction it may be inferred that often in an apparently colourless stone two or more selective influences are at work which ordinarily neutralize one another, but, being unequally stimulated by the action of radium, they thereupon give rise to colour. The stellate appearance of asterias or star-stones—star-ruby and star-sapphire—results from the regular arrangement either of numerous small channels or of twin-lamellæ in the stone parallel to the six sides of the prisms; light is reflected from the interior in the form of a six-rayed star (p. 38). Some stones from Siam possess a markedly fibrous or silky structure.
The synthetical manufacture of ruby, sapphire, and other varieties of corundum has already been described (p. 116).
Besides its use in jewellery corundum is on account of its hardness of great service for many other purposes. Small fragments are extensively employed for the bearing parts of the movements of watches, and both the opaque corundum and the impure kind known as emery are in general use for178 grinding and polishing softer stones, and steel and other metal-work.
The world’s supply of fine rubies is drawn almost entirely from the famous ruby mines near Mogok, situated about 90 miles (145 km.) in a north-easterly direction from Mandalay in Upper Burma and at an elevation of about 4000 ft. (1200 m.) above sea-level. It is from this district that the stones of the coveted carmine-red, the so-called ‘pigeon’s blood,’ colour are obtained. The ruby occurs in a granular limestone or calcite in association with the spinel of nearly the same appearance—the ‘balas-ruby,’ oriental topaz (yellow corundum), tourmaline, and occasionally sapphire. Some stones are found in the limestone on the sides of the hills, but by far the largest quantity occur in the alluvial deposits, both gravel and clay, in the river-beds; the ruby ground is locally known as ‘byon.’ The stones are as a rule quite small, averaging only about four to the carat. Before the British annexation of the country in 1885 the mines were a monopoly of the Burmese sovereigns and were worked solely under royal licence. They are known to be of great antiquity, but otherwise their early history is a mystery. It is said that an astute king secured the priceless territory in 1597 from the neighbouring Chinese Shans in exchange for a small and unimportant town on the Irrawaddy; if that be so, he struck an excellent bargain. The mines were allotted to licensed miners, twin-tsas (eaters of the mine) as they were called in the language of the country, who not only paid for the privilege, but were compelled to hand over to the king all stones179 above a certain weight. As might be anticipated this injunction caused considerable trouble, and the royal monopolists constantly suspected the miners of evading the regulation by breaking up stones of exceptional size; from subsequent experience, it is probable that large stones were in reality seldom found. Since 1887 the mines have been worked by arrangement with the Government of India by the Ruby Mines, Ltd., an English company. Its career has been far from prosperous, but during recent years, in consequence of the improved methods of working the mines and of the more generous terms afterwards accorded by the Government, greater success has been experienced; the future is, however, to some extent clouded by the advent of the synthetical stone, which has even made its way out to the East.
Large rubies are far from common, and such as were discovered in the old days were jealously hoarded by the Burmese sovereigns. According to Streeter the finest that ever came to Europe were a pair brought over in 1875, at a time when the Burmese king was pressed for money. One, rich in colour, was originally cushion-shaped and weighed 37 carats; the other was a blunt drop in form and weighed 47 carats. Both were cut in London, the former being reduced to 325/16 carats and the latter to 389/16 carats, and were sold for £10,000 and £20,000 respectively. A colossal stone, weighing 400 carats, is reported to have been found in Burma; it was broken into three pieces, of which two were cut and resulted in stones weighing 70 and 45 carats respectively, and the third was sold uncut in Calcutta for 7 lakhs of rupees 180 (£46,667). The finder of another large stone broke it into two parts, which after cutting weighed 98 and 74 carats respectively; he attempted in vain to evade the royal acquisitiveness, by giving up the larger stone to the king and concealing the other. A fine stone, known by the formidable appellation of ‘Gnaga Boh’ (Dragon Lord), weighed 44 carats in the rough and 20 carats after cutting. Since the mines were taken over by the Ruby Mines, Ltd., a few large stones have been discovered. A beautiful ruby was found in the Tagoungnandaing Valley, and weighed 18½ carats in the rough and 11 carats after cutting; perfectly clear and of splendid colour, it was sold for £7000, but is now valued at £10,000. Another, weighing 77 carats in the rough, was found in 1899, and was sold in India in 1904 for 4 lakhs of rupees (£26,667). A stone, weighing 49 carats, was discovered in 1887, and an enormous one, weighing as much as 304 carats, in 1890.
The ruby, as large as a pigeon’s egg, which is amongst the Russian regalia was presented in 1777 to the Czarina Catherine by Gustav III of Sweden when on a visit to St. Petersburg. The large red stone in the English regalia which was supposed to be a ruby is a spinel (cf p. 206).
Comparatively uncommon as sapphires are in the Burma mines a faultless stone, weighing as much as 79½ carats, has been discovered there.
Good rubies, mostly darker in colour than the Burmese stones, are found in considerable quantity near Bangkok in Siam, Chantabun being the centre of the trade, where, just as in Burma, they are intimately associated with the red spinel. Because181 of the difference in tint and the consequent difference in price, jewellers draw a distinction between Burma and Siam rubies; but that, of course, does not signify any specific difference between them. Siam is, however, most distinguished as the original home of splendid sapphires. The district of Bo Pie Rin in Battambang produces, indeed, more than half the world’s supply of sapphires. In the Hills of Precious Stones, such being the meaning of the native name for the locality, a number of green corundums are found. Siam also produces brown stones characterized by a peculiar silkiness of structure. Rubies are found in Afghanistan at the Amir’s mines near Kabul and also to the north of the lapis lazuli mines in Badakshan.
The conditions in Ceylon are precisely the converse of those obtaining in Burma; sapphire is plentiful and ruby rare in the island. They are found in different rocks, sapphire occurring with garnet in gneiss, and ruby accompanying spinel in limestone, but they come together in the resulting gravels, the principal locality being the gem-district near Ratnapura in the south of the island. The largest uncut ruby discovered in Ceylon weighed 42½ carats; it had, however, a decided tinge of blue in it. Ceylon is also noted for the magnificent yellow corundum, ‘oriental topaz,’ or, as it is locally called, ‘king topaz,’ which it produces.
Beautiful sapphires occur in various parts of India, but particularly in the Zanskar range of the north-western Himalayas in the state of Kashmir, where they are associated with brown tourmaline. Probably most of the large sapphires known have182 emanated from India. By far the most gigantic ever reported is one, weighing 951 carats, said to have been seen in 1827 in the treasury of the King of Ava. The collection at the Jardin des Plantes contains two splendid rough specimens; one, known as the ‘Rospoli,’ is quite flawless and weighs 13215/16 carats, and the other is 2 inches in length and 1½ inches in thickness. The Duke of Devonshire possesses a fine cut stone, weighing 100 carats, which is brilliant-cut above and step-cut below the girdle. An image of Buddha, which is cut out of a single sapphire, is exhibited, mounted on a gold pin, in the Mineral Gallery of the British Museum (Natural History).
For some years past a large quantity of sapphires have come into the market from Montana, U.S.A., especially from the gem-district about twelve miles west of Helena. The commonest colour is a bluish green, generally pale, but blue, green, yellow and occasionally red stones are also found; they are characterized by their almost metallic lustre. With them are associated gold, colourless topaz, kyanite, and a beautiful red garnet which is found in grains and usually mistaken for ruby. Rubies are also found in limestone at Cowee Creek, North Carolina.
Blue and red corundum, of rather poor quality, has come from the Sanarka River, near Troitsk, and from Miask, in the Government of Orenburg, Russia, and similar stones have been known at Campolongo, St. Gothard, Switzerland.
The prolific gem-district near Anakie, Queensland, supplies examples of every known variety of corundum except ruby; blue, green, yellow,183 and parti-coloured stones, and also star-stones, are plentiful. Leaf-green corundum is known father south, in Victoria. The Australian sapphire is too dark to be of much value.
Small rubies and sapphires are found in the gem-gravels near the Somabula Forest, Rhodesia.
THE species to be considered in this chapter includes the varieties emerald and aquamarine, as well as what jewellers understand by beryl. It has many incontestable claims on the attention of all lovers of the beautiful in precious stones. The peerless emerald (Plate I, Fig. 5), which in its verdant beauty recalls the exquisite lawns that grace the courts and quadrangles of our older seats of learning, ranks to-day as the most costly of jewels. Its sister stone, the lovely aquamarine (Plate I, Fig. 4), which seems to have come direct from some mermaid’s treasure-house in the depths of a summer sea, has charms not to be denied. Pliny, speaking of this species, truly says, “There is not a colour more pleasing to the eye”; yet he knew only the comparatively inferior stones from Egypt, and possibly from the Ural Mountains. Emeralds are favourite ring-stones, and would, no doubt, be equally coveted for larger articles of jewellery did not the excessive cost forbid, and nothing could be more attractive for a central stone than a choice aquamarine of deep blue-green hue. Emeralds are usually step-cut, though Indian lapidaries often185 favour the en cabochon form; aquamarines, on the other hand, are brilliant-cut in front and step-cut at the back.
Beryl, to use the name by which the species is known to science, is essentially a silicate of aluminium and beryllium corresponding to the formula, Be3Al2(SiO3)6. The beryllia is often partially replaced by small amounts of the alkaline earths, caesia, potash, soda, and lithia, varying from about 1½ per cent. in beryl from Mesa Grande to nearly 5 in that from Pala and Madagascar, and over 6, of which 3·6 is caesia, in beryl from Hebron, Maine; also, as usual, chromic and ferric oxides take the place of a little alumina; from 1 to 2 per cent. of water has been found in emerald. The element beryllium was, as its name suggests, first discovered in a specimen of this species, the discovery being made in 1798 by the chemist Vauquelin; it is also known as glucinum in allusion to the sweet taste of its salts.
When pure, beryl is colourless, but it is rarely, if ever, free from a tinge of blue or green. The colour is usually some shade of green—grass-green, of that characteristic tint which is in consequence known as emerald-green, or blue-green, yellowish green (Plate I, Fig. 6), and sometimes yellow, pink, and rose-red. The peculiar colour of emerald is supposed to be caused by chromic oxide, small quantities of which have been detected in it by chemical analysis; moreover, experiment shows that glass containing the same percentage amount of chromic oxide assumes the same splendid hue. Emerald, on being heated, loses water, but retains its colour unimpaired, which cannot therefore be due, as has been suggested, to organic matter. The term aquamarine is applied2186 to the deep sea-green and blue-green stones, and jewellers restrict the term beryl to paler shades and generally other colours, such as yellow, golden, and pink, but Kunz has recently proposed the name morganite to distinguish the beautiful rose beryl such as is found in Madagascar. The varying shades of aquamarine are due to the influence of the alkaline earths modified by the presence of ferric oxide or chromic oxide; the beautiful blushing hue of morganite is no doubt caused by lithia.

The name of the species is derived from the Greek βήρυλλος, an ancient word, the meaning of which has been lost in the mists of time. The Greek word denoted the same species in part as that now understood by the name. Emerald is derived from a Persian word which appeared in Greek as σμάραγδος, and in Latin as smaragdus; it originally denoted chrysocolla, or similar green stone, but was transferred upon the introduction of the deep-green beryl from Upper Egypt. The name aquamarine was suggested by Pliny’s exceedingly happy description of the stones “which imitate the greenness of the clear sea,” although it was not actually used by him. That emerald and beryl were one species was suspected by Pliny, but the identity was not definitely established till about a century ago. Morganite is named after John Pierpont Morgan.
The natural crystals have the form of a six-sided prism, and in the case of emerald (Fig. 70, and Plate I, Fig. 8) invariably, if whole, end in a single face at right angles to the length of the prism; aquamarines have in addition a number of187 small inclined faces, and stones from both Russia and Brazil often taper owing to the effects of corrosion. The sixfold character of the crystalline symmetry necessarily entails that the double refraction, which is small in amount, 0·006, is uniaxial in character, and, since the ordinary is greater than the extraordinary refractive index, it is negative in sign. The values of the indices range between 1·567 and 1·590, and 1·572 and 1·598 respectively, in the two cases, the pink beryl possessing the highest values. The dichroism is distinct in the South American emerald, the twin colours being yellowish and bluish green, but otherwise is rather faint. The specific gravity varies between 2·69 and 2·79, and is therefore a little higher than that of quartz. If, therefore, a beryl and a quartz be floating together in a tube containing a suitable heavy liquid, the former will always be at a sensibly lower level (cf. Fig. 32). The hardness varies from 7½ to 8, emerald being a little softer than the other varieties. There is no cleavage, but like most gem-stones beryl is very brittle, and can easily be fractured. Stones rendered cloudy by fissures are termed ‘mossy.’ When heated before the blowpipe beryl is fusible with difficulty; it resists the attack of hydrofluoric acid as well as of ordinary acids.
In all probability the whole of the emeralds known in ancient times came from the so-called Cleopatra emerald mines in Upper Egypt. For some reason they were abandoned, and their position was so completely lost that in the Middle Ages it was maintained that emeralds had never been found in Egypt at all, but had come from America by way188 of the East. All doubts were set at rest by the re-discovery of the mines early last century by Cailliaud, who had been sent by the Viceroy of Egypt to search for them. They were, however, not much worked, and after a few years were closed again, and were re-opened only about ten years ago. The principal mines are at Jebel Zabara and at Jebel Sikait in northern Etbai, about 10 miles (16 km.) apart and distant about 15 miles (24 km.) from the Red Sea, lying in the range of mountains that run for a long distance parallel to the west coast of the Red Sea and rise to over 1800 feet (550 m.) above sea-level. There are numerous signs of considerable, but primitive, workings at distinct periods. Both emeralds and beryls are found in micaceous and talcose schists. The emeralds are not of very good quality, being cloudy and rather light in colour. Finer emeralds have been found in a dark mica-schist, together with other beryllium minerals, chrysoberyl and phenakite, and also topaz and tourmaline on the Asiatic side of the Ural Mountains, near the Takowaja River, which flows into the Bolshoi Reft River, one of the larger tributaries of the Pyschma River, about fifty miles (80 km.) east of Ekaterinburg, a town which is chiefly concerned with the mining and cutting of gem-stones. The mine was accidentally discovered by a peasant, who noticed a few green stones at the foot of an uprooted tree in 1830. Two years later the mine was regularly worked, and remained open for twenty years, when it was closed. It has recently been re-opened owing to the high rates obtaining for emeralds. Very large crystals have been produced here, but in colour they are much inferior to the South American189 stones; small Siberian emeralds, on the other hand, are of better colour than small South American emeralds, the latter being not so deep in tint. Emeralds have been found in a similar kind of schist at Habachtal, in the Salzburg Alps. About thirty years ago well-formed green stones were discovered with hiddenite at Stony Point, Alexander County, in North Carolina, but not much gem material has come to light.
The products of none of the mines that have just been mentioned can on the whole compare with the beautiful stones which have come from South America. At the time when the Spaniards grimly conquered Peru and ruthlessly despoiled the country of the treasures which could be carried away, immense numbers of emeralds—some of almost incredible size—were literally poured into Spain, and eventually found their way to other parts of Europe. These stones were known as Spanish or Peruvian emeralds, but in all probability none of them were actually mined in Peru. Perhaps the most extraordinary were the five choice stones which Cortez presented to his bride, the niece of the Duke de Bejar, thereby mortally offending the Queen, who had desired them for herself, and which were lost in 1529 when Cortez was shipwrecked on his disastrous voyage to assist Charles V at the siege of Algiers. All five stones had been worked to divers fantastic shapes. One was cut like a bell with a fine pearl for a tongue, and bore on the rim, in Spanish, “Blessed is he who created thee.” A second was shaped like a rose, and a third like a horn. A fourth was fashioned like a fish, with eyes of gold. The fifth, which was the most valuable and the most190 remarkable of all, was hollowed out into the form of a cup, and had a foot of gold; its rim, which was formed of the same precious metal, was engraved with the words, “Inter natos mulierum non surrexit major.” As soon as the Spaniards had seized nearly all the emeralds that the natives had amassed in their temples or for personal adornment, they devoted their attention to searching for the source of these marvels of nature, and eventually in 1558 they lighted by accident upon the mines in what is now the United States of Colombia, which have been worked almost continuously since that time. Since the natives, who naturally resented the gross injustice with which they had been treated, and penetrated the greed that prompted the actions of the Spaniards, hid all traces of the mines, and refused to give any information as to their position, it is possible that other emerald mines may yet be found. The present mines are situated near the village of Muzo, about 75 miles (120 km.) north-north-west of Bogota, the capital of Colombia. The emeralds occur in calcite veins in a bituminous limestone of Cretaceous age. The Spaniards formerly worked the mines by driving adits through the barren rock on the hillsides to the gem-bearing veins, but at the present day the open cut method of working is employed. A plentiful supply of water is available, which is accumulated in reservoirs and allowed at the proper time to sweep the debris of barren rock away into the Rio Minero, leaving the rock containing the emeralds exposed. Stones, of good quality, which are suited for cutting, are locally known as canutillos, inferior stones, coarse or ill-shaped, being called morallons.
191
Emerald, unlike some green stones, retains its purity of colour in artificial light; in fact, to quote the words of Pliny, “For neither sun nor shade, nor yet the light of candle, causeth to change and lose their lustre.” Many are the superstitions that have been attached to it. Thus it was supposed to be good for the eyes, and as Pliny says, “Besides, there is not a gem or precious stone that so fully possesseth the eye, and yet never contenteth it with satiety. Nay, if the sight hath been wearied and dimmed by intentive poring upon anything else, the beholding of this stone doth refresh and restore it again.” The idea that it was fatal to the eyesight of serpents appears in Moore’s lines—
The crystals occur attached to the limestone, and are therefore never found doubly terminated. The crystal form is very simple, merely a hexagonal prism with a flat face at the one end at right angles to it. They are invariably flawed, so much so that a flawless emerald has passed into proverb as unattainable perfection. The largest single crystal which is known to exist at the present day is in the possession of the Duke of Devonshire (Fig. 71). In section it is nearly a regular hexagon, about 2 inches (51 mm.) in diameter from side to side, and the length is about the same; its weight is 276·79 grams (9¾ oz. Av., or 1347 carats). It is of good colour, but badly flawed. It was given to the Duke of Devonshire by Dom Pedro of Brazil, and was exhibited at the Great Exhibition of 1851. A fine, though much smaller crystal, but of even better192 colour, which weighs 32·2 grams (156½ carats), and measures 1⅛ inch (28 mm.) in its widest cross-diameter, and about the same in length, was acquired with the Allan-Greg collection by the British Museum, and is exhibited in the Mineral Gallery of the British Museum (Natural History). The finest cut emerald is said to be one weighing 30 carats, which belongs to the Czar of Russia. A small, but perfect and flawless, faceted emerald, which is set in a gold hoop, is also in the British Museum (Natural History). It is shown, without the setting, about actual size, on Plate I, Fig. 5.
193
The ever great demand and the essentially restricted supply have forced the cost of emeralds of good quality to a height that puts large stones beyond the reach of all but a privileged few who have purses deep enough. The rate per carat may be anything from £15 upwards, depending upon the purity of the colour and the freedom from flaws, but it increases very rapidly with the size, since flawless stones of more than 4 carats or so in weight are among the rarest of jewels; a perfect emerald of 4 carats may easily fetch £1600 to £2000. It seems anomalous to say that it has never been easier to procure fine stones than during recent years, but the reason is that the high prices prevailing have tempted owners of old jewellery to realize their emeralds. On the other hand, pale emeralds are worth only a nominal sum.
The other varieties of beryl are much less rare, and, since they usually attain to more considerable, and sometimes even colossal, size, far larger stones are obtainable. An aquamarine, particularly of good deep blue-green colour, is a stone of great beauty, and it possesses the merit of preserving its purity of tint in artificial light. It is a favourite stone for pendants, brooches, and bracelets, and all purposes for which a large blue or green stone is desired. The varying tints are said to be due to the presence of iron in different percentages, and possibly in different states of oxidation. Unlike emerald, the other varieties are by no means so easily recognized by their colour. Blue aquamarines may easily be mistaken for topaz, or vice versa, and the yellow beryl closely resembles other yellow stones, such as quartz, topaz, or tourmaline. Stones which are194 colourless or only slightly tinted command little more than the price of cutting, but the price of blue-green stones rapidly advances with increasing depth of tint up to £2 a carat. The enormous cut aquamarine which is exhibited in the Mineral Gallery of the British Museum (Natural History), affords some idea of the great size such stones reach; a beautiful sea-green in colour, it weighs 179·5 grams (875 carats), and is table-cut with an oval contour.
The splendid six-sided columns which have been discovered in various parts of Siberia are among the most striking specimens in any large mineral collection. The neighbourhood of Ekaterinburg in the Urals is prolific in varieties of aquamarine; especially at Mursinka have fine stones been found, in association with topaz, amethyst, and schorl, the black tourmaline. Good stones also occur in conjunction with topaz at Miask in the Government of Orenburg. It is found in the gold-washings of the Sanarka River, in the Southern Urals, but the stones are not fitted for service as gems. Magnificent blue-green and yellow aquamarines are associated with topaz and smoky quartz in the granite of the Adun-Tschilon Mountains, near Nertschinsk, Transbaikal. Stones have also been found at the Urulga River in Siberia. Most of the bluish-green aquamarines which come into the market at the present time have originated in Brazil, particularly in Minas Novas, Minas Geraes, where clear, transparent stones, of pleasing colour, in various shades, are found in the utmost profusion; beautiful yellow stones also occur at the Bahia mines. Aquamarine was obtained in very early times in Coimbatore District,195 Madras, India, and yellow beryl comes from Ceylon. Fine blue crystals occur in the granite of the Mourne Mountains, Ireland, but they are not clear enough for cutting purposes; similar stones are found also at Limoges, Haute Vienne, France. Aquamarines of various hues abound in several places in the United States, among the principal localities being Stoneham in Maine, Haddam in Connecticut, and Pala and Mesa Grande in San Diego County, California. The last-named state is remarkable for the numerous stones of varying depth of salmon-pink that have been found there. It is, however, surpassed by Madagascar, which has recently produced splendid stones of perfect rose-red tint and of the finest gem quality, some of them being nearly 100 carats in weight. These stones, which have been assigned a special name, morganite (cf. supra), are associated with tourmaline and kunzite. Pink and yellow beryls and deep blue-green aquamarines occur in the island in quantity. The pink beryls from California are generally pale or have a pronounced salmon tint, and seldom approach the real rose-red colour of morganite; one magnificent rose-red crystal, weighing nearly 9 lb. (4·05 kg.), has, however, been recently discovered in San Diego County, California, and is now in the British Museum (Natural History). Blue-green beryl, varying in tint from almost colourless to an emerald-green, occurs with tin-stone and topaz about 9 miles (14½ km.) north-east of Emmaville in New South Wales, Australia.
Probably the largest and finest aquamarine crystal ever seen was one found by a miner on March 28, 1910, at a depth of 15 ft. (5 m.) in a pegmatite vein196 at Marambaya, near Arassuahy, on the Jequitinhonha River, Minas Geraes, Brazil. It was greenish blue in colour, and a slightly irregular hexagonal prism, with a flat face at each end, in form; it measured 19 in. (48·5 cm.) in length and 16 in. (41 cm.) in diameter, and weighed 243 lb. (110·5 kg.); and its transparency was so perfect that it could be seen through from end to end (Plate XXVI). The crystal was transported to Bahia, and sold for $25,000 (£5133).
TOPAZ is the most popular yellow stone in jewellery, and often forms the principal stone in brooches or pendants, especially in old-fashioned articles. It is a general idea that all yellow stones are topazes, and all topazes are yellow; but neither statement is correct. A very large number of yellow stones that masquerade as topaz are really the yellow quartz known as citrine. The latter is, indeed, almost universally called by jewellers topaz, the qualification ‘Brazilian’ being used by them to distinguish the true topaz. Many species besides those mentioned yield yellow stones. Thus corundum includes the beautiful ‘oriental topaz’ or yellow sapphire, and yellow tourmalines are occasionally met with; the yellow chrysoberyl always has a greenish tinge. Topaz is generally brilliant-cut in front and step-cut at the back, and the table facet is sometimes rounded, but the colourless stones are often cut as small brilliants; it takes an excellent and dazzling polish.
198
Topaz is a silicate of aluminium corresponding to the formula [Al(F,OH)]2SiO4, which was established in 1894 by Penfield and Minor as the result of careful research. Contrary to the general idea, topaz is usually colourless or very pale in tint. Yellow hues of different degrees, from pale to a rich sherry tint (Plate I, Fig. 9), are common, and pure pale blue (Plate I, Fig. 7) and pale green stones, which often pass as aquamarine, are far from rare. Natural, red and pink, stones are very seldom to be met with. It is, however, a peculiarity of the brownish-yellow stones from Brazil that the colour is altered by heating to a lovely rose-pink. Curiously, the tint is not apparent when the stone is hot, but develops as it cools to a normal temperature; the colour seems to be permanent. Such stones are common in modern jewellery. Although the change in colour is accompanied by some slight rearrangement of the constituent molecules, since such stones are invariably characterized by high refraction and pronounced dichroism, the crystalline symmetry, however, remaining unaltered, the cause must be attributed to some change in the tinctorial agent, probably oxidation. The yellow stones from Ceylon, if treated in a similar manner, lose their colour entirely. The pale yellow-brown stones from Russia fade on prolonged exposure to strong sunlight, for which reason the superb suite of crystals from the Urulga River, which came with the Koksharov collection to the British Museum, are kept under cover.
The name of the species is derived from topazion (τοπάζειν, to seek), the name given to an island in the Red Sea, which in olden times was with difficulty199 located, but it was applied by Pliny and his contemporaries to the yellowish peridot found there. The term was applied in the Middle Ages loosely to any yellow stone, and was gradually applied more particularly to the stone that was then more prevalent, the topaz of modern science. As has already been pointed out (p. 111), the term is still employed in jewellery to signify any yellow stone. The true topaz was probably included by Pliny under the name chrysolithus.
The symmetry is orthorhombic, and the crystals are prismatic in shape and terminated by numerous inclined faces, and usually by a large face perpendicular to the prism edge (Fig. 72). Topaz cleaves with great readiness at right angles to the prism edge; owing to its facile cleavage, flaws are easily started, and caution must be exercised not to damage a stone by knocking it against hard and unyielding substances. The dichroism of a yellow topaz is always perceptible, one of the twin colours being distinctly more reddish than the other, and the phenomenon is very marked in the case of stones the colour of which has been artificially altered to pink. The values of the least and the greatest of the principal indices of refraction vary from 1·615 to 1·629, and from 1·625 to 1·637, respectively, the double refraction being about 0·010 in amount, and positive in sign. The high values correspond to the altered stones. The specific gravity, the mean value of which is 3·55 with a variation of200 0·05 on either side, is higher than would be expected from the refractivity. A cleavage flake exhibits in convergent polarized light a wide-angled biaxial picture, the ‘eyes’ lying outside the field of view. The relation of the principal optical directions and the directions of single refraction to the crystal are shown in Fig. 27. The hardness is 8 on Mohs’s scale, and in this character it is surpassed only by chrysoberyl, corundum, and diamond. Topaz is pyro-electric, in which respect tourmaline alone exceeds it, and it may be strongly electrified by friction.
Although the range of refraction overlaps that of tourmaline, there is no risk of confusion, because the latter has nearly thrice the amount of double refraction (cf. p. 29). Apart from the difference in refraction, a yellow topaz ought never to be confused with a yellow quartz, because the former sinks, and the latter floats in methylene iodide. The same test distinguishes topaz from beryl, and, indeed, from tourmaline also.
Judged by the criterion of price, topaz is not in the first rank of precious stones. Stones of good colour and free from flaws are now, however, scarce. Pale stones are worth very little, possibly less than 4s. a carat, but the price rapidly advances with increase in colour, reaching 20s. for yellow, 80s. for pink and blue stones. Since topazes are procurable in all sizes customary in jewellery, the rates vary but slightly, if at all, with the size.
Topaz occurs principally in pegmatite dykes and in cavities in granite, and is interesting to petrologists as a conspicuous instance of the result of the action of hot acid vapours upon rocks rich in201 aluminium silicates. Magnificent crystals have come from the extensive mining district which stretches along the eastern flank of the Ural Mountains, and from the important mining region surrounding Nertschinsk, in the Government of Transbaikal, Siberia. Fine green and blue stones have been found at Alabashka, near Ekaterinburg, in the Government of Perm, and at Miask in the Ilmen Mountains, in the Government of Orenburg. Topazes of the rare reddish hue have been picked out from the gold washings of the Sanarka River, Troitsk, also in the Government of Orenburg. Splendid pale-brown stones have issued from the Urulga River, near Nertschinsk, and good crystals have come from the Adun-Tschilon Mountains. Kamchatka has produced yellow, blue, and green stones. In the British Isles, beautiful sky-blue, waterworn crystals have been found at Cairngorm, Banffshire, in Scotland, and colourless stones in the Mourne Mountains, Ireland, and at St. Michael’s Mount, Cornwall. Most of the topazes used in jewellery of the present day come from either Brazil or Ceylon. Ouro Preto, Villa Rica, and Minas Novas, in the State of Minas Geraes, are the principal localities in Brazil. Numerous stones, often waterworn, brilliant and colourless or tinted lovely shades of blue and wine-yellow, occur there; reddish stones also have been found at Ouro Preto. Ceylon furnishes a profusion of yellow, light-green, and colourless, waterworn pebbles. The colourless stones found there are incorrectly termed by the natives ‘water-sapphire,’ and the light-green stones are sold with beryl as aquamarines; the stones locally known as ‘king topaz’ are really yellow202 corundum (cf. p. 181). Colourless crystals, sometimes with a faint tinge of colour, have been discovered in many parts of the world, such as Ramona, San Diego County, California, and Pike’s Peak, Colorado, in the United States, San Luis Potosi in Mexico, and Omi and Otami-yama in Japan.
SPINEL labours under the serious disadvantage of being overshadowed at almost all points by its opulent and more famous cousins, sapphire and ruby, and is not so well known as it deserves to be. The only variety which is valued as a gem is the rose-tinted stone called balas-ruby (Plate XXVII, Fig. 3), which is very similar to the true ruby in appearance; they are probably often confused, especially since they are found in intimate association in nature. Spinels of other colours are not very attractive to the eye, and are not likely to be in much demand. Blue spinel (Plate XXVII, Fig. 4) is far from common, but the shade is inclined to steely-blue, and is much inferior to the superb tint of the true sapphire. Spinel is very hard and eminently suitable for a ring-stone, but is seldom large and transparent enough for larger articles of jewellery.
Spinel is an aluminate of magnesium corresponding to the formula MgAl2O4, and therefore is closely akin to corundum, alumina, and chrysoberyl, aluminate of beryllium. The composition may, however, vary considerably owing to the isomorphous 204replacement of one element by another; in particular, ferrous oxide or manganese oxide often takes the place of some magnesia, and ferric oxide or chromic oxide is found instead of part of the alumina. When pure, spinel is devoid of colour, but such stones are exceedingly rare. No doubt chromic oxide is responsible for the rose-red hue of balas-ruby, and also, when tempered by ferric oxide, for the orange tint of rubicelle, and manganese is probably the cause of the peculiar violet colour of almandine-spinel. It is scarcely possible to define all the shades between blue and red that may be assumed by spinel. Stones which are rich in iron are known as pleonaste or ceylonite; they are quite opaque, but are sometimes used for ornamental wear.
The name of the species comes from a diminutive form of σπῖνος, a spark, and refers to the fiery red colour of the most valued kind of spinel. It may be noted that the Latin equivalent of the word, carbunculus, has been applied to the crimson garnet when cut en cabochon. Balas is derived from Balascia, the old name for Badakshan, the district from which the finest stones were brought in mediæval times.
Spinel, like diamond, belongs to the cubic system of crystalline symmetry, and occurs in beautiful octahedra, or in flat triangular-shaped plates (Figs. 73, 74) the girdles of which are cleft at each corner, these plates being really twinned octahedra. The refraction is, of course, single, and there is therefore no double refraction or dichroism; this test furnishes the simplest way of discriminating between the balas and the true ruby. Owing to isomorphous205 replacement the value of the refractive index may lie anywhere between 1·716 and 1·736. The lower values, about 1·720, correspond to the most transparent red and blue stones; the deep violet stones have values above 1·730. Spinel possesses little colour-dispersion, or ‘fire.’ In the same way the values of the specific gravity, even of the transparent stones, vary between 3·5 and 3·7, but the opaque ceylonite has values as high as 4·1. Spinel is slightly softer than sapphire and ruby, and has the symbol 8 on Mohs’s scale, and it is scarcely inferior in lustre to these stones. Spinel is easily separated from garnet of similar colour by its lower refractivity. Spinels run from 10s. to £5 a carat, depending on their colour and quality, and exceptional stones command a higher rate.
Spinel always occurs in close association with corundum. The balas and the true ruby are mixed together in the limestones of Burma and Siam. Curiously enough, the spinel despite its lower hardness is found in the river gravels in perfect crystals, whereas the rubies are generally waterworn. Fine violet and blue spinels occur in the prolific gem-gravels of Ceylon. A large waterworn octahedron and a rough mass, both of a fine red colour, are exhibited in the Mineral Gallery of the British Museum (Natural History), and a beautiful faceted blue stone is shown close by.
206
The enormous red stone, oval in shape, which is set in front of the English crown, is not a ruby, as it was formerly believed to be, but a spinel. It was given to the gallant Black Prince by Pedro the Cruel after the battle of Najera in 1367, and was subsequently worn by Henry V upon his helmet at the battle of Agincourt. As usual with Indian-fashioned stones it is pierced through the middle, but the hole is now hidden by a small stone of similar colour.
The British Regalia also contains the famous stone called the Timur Ruby or Khiraj-i-Alam (Tribute of the World), which weighs just over 352 carats, and is the largest spinel-ruby known. It is uncut, but polished. Its history goes back to 1398, when it was captured by the Amir Timur at Delhi. On the wane of the Tartar empire the stone became the property of the Shahs of Persia, until it was given by Abbas I to his friend and ally, the Mogul Emperor, Jehangir. It remained at Delhi until, on the sack of that city by Nadir Shah in 1739, it, together with immense booty, including the Koh-i-nor, fell into the hands of the conqueror. Like the great diamond, it eventually came into the possession of Runjit Singh at Lahore, and on the annexation of the Punjab in 1850 passed to the East India Company. It was shown at the Great Exhibition of 1851, and afterwards presented to Queen Victoria.
Mention has been made above (p. 121) of the blue spinel which is manufactured in imitation of the true sapphire. The artificial stone is quite different in tint from the blue spinel found in nature.
THE important group of minerals which are known under the general name of garnet provides an apt illustration of the fact that rarity is an essential condition if a stone is to be accounted precious. Owing to the large quantity of Bohemian garnets, of a not very attractive shade of yellowish red, that have been literally poured upon the market during the past half-century the species has become associated with cheap and often ineffective jewellery, and has acquired a stigma which completely prevents its attaining any popularity with those professing a nice taste in gem-stones. It must not, however, be supposed that garnet has entirely disappeared from high-class jewellery although the name may not readily be found in a jeweller’s catalogue. Those whose business it is to sell gem-stones are fully alive to the importance of a name, and, as has already been remarked (p. 109), they have been fain to meet the prejudices of their customers by offering garnets under such misleading guises as ‘Cape-ruby,’ ‘Uralian emerald,’ or ‘olivine.’
Garnets may, moreover, figure under another name quite unintentionally. Probably many a fine stone masquerades as a true ruby; the impossibility of distinguishing these two species in208 certain cases by eye alone is perhaps not widely recognized. An instructive instance came under the writer’s notice a few years ago. A lady one day had the misfortune to fracture one of the stones in a ruby ring that had been in the possession of her family for upwards of a century, and was originally purchased of a leading firm of jewellers in London. She took the ring to her jeweller, and asked him to have the stone replaced by another ruby. A day or two later he sent word that it was scarcely worth while to put a ruby in because the stones in the ring were paste. Naturally distressed at such an opinion of a ring which had always been held in great esteem by her family, the lady consulted a friend, who suggested showing it to the writer. A glance was sufficient to prove that if the ring had been in use so long the stones could not possibly be paste on account of the excellent state of their polish, but a test with the refractometer showed that the stones were really almandine-garnets, which so often closely resemble the true ruby in appearance. Beautiful as the stones were, the ring was probably not worth one-tenth what the value would have been had the stones been rubies.
To the student of mineralogy garnet is for many reasons of peculiar interest. It affords an excellent illustration of the facility which certain elements possess for replacing one another without any great disturbance of the crystalline form. Despite their apparent complexity in composition all garnets conform to the same type of formula: lime, magnesia, and ferrous and manganese oxides, and again alumina and ferric and chromic oxides may replace each other209 in any proportion, iron being present in two states of oxidation, and it would be rare to find a stone which agrees in composition exactly with any of the different varieties of garnet given below.
Garnet belongs to the cubic system of crystalline symmetry. Its crystals are commonly of two kinds, both of which are very characteristic, the regular dodecahedron, i.e. twelve-faced figure (Fig. 75), and the tetrakis-octahedron or three-faced octahedron (Fig. 76); the latter crystals are, especially when weather- or water-worn, almost spherical in shape. Closer and more refined observations have shown that garnet is seldom homogeneous, being usually composed of several distinct individuals of a lower order of symmetry. Although singly refractive as far as can be determined with the refractometer or by deviation through a prism, yet when examined under the polarizing microscope, garnets display invariably a small amount of local double refraction. The transition from light to darkness is, however, not sharp as in normal cases, but is prolonged into a kind of twilight. In hardness, garnet is on the whole about the same as quartz, but varies slightly; hessonite and andradite are a little softer, pyrope, spessartite, and almandine are a little harder, while uvarovite is almost the same. All the varieties except uvarovite are fusible when heated before the blowpipe, and small fragments melt sufficiently on the surface in the ordinary bunsen flame to210 adhere to the platinum wire holding them. This test is very useful for separating rough red garnets, pyrope or almandine, from red spinels or zircons of very similar appearance. Far greater variation occurs in the other physical characters. The specific gravity may have any value between 3·55 and 4·20, and the refractive index ranges between 1·740 and 1·890. Both the specific gravity and the refractive index increase on the whole with the percentage amount of iron.
Garnet is a prominent constituent of many kinds of rocks, but the material most suitable for gem purposes occurs chiefly in crystalline schists or metamorphic limestones. Pyrope and demantoid are furnished by peridotites and the serpentines resulting from them; almandine and spessartite come mostly from granites.
The name of the species is derived from the Latin granatus, seed-like, and is suggested by the appearance of the spherical crystals when embedded in their pudding-like matrix.
The varieties most adapted to jewellery are the fiery-red pyrope and the crimson and columbine-red almandine; the closer they approach the ruddy hue of ruby the better they are appreciated. Hessonite was at one time in some demand, but it inclines too much to the yellowish shade of red and possesses too little perfection of transparency to accord with the taste of the present day. Demantoid provides beautiful, pale and dark emerald-green stones, of brilliant lustre and high dispersion, which are admirably adapted for use in pendants or necklaces; on account of their comparative softness it would be unwise to risk them in rings. In many stones the211 colour takes a yellowish shade, which is less in demand. Uvarovite also occurs in attractive emerald-green stones, but unfortunately none as yet have been found large enough for cutting. A few truly magnificent spessartites are known—one, a splendid example, weighing 6¾ carats, being in the possession of Sir Arthur Church; but the species is far too seldom transparent to come into general use. The price varies per carat from 2s. for common garnet to 10s. for stones most akin to ruby in colour, and exceptional demantoids may realize even as much as £10 a carat. The old style of cutting was almost invariably rounded or en cabochon, but at the present day the brilliant-cut front and the step-cut back is most commonly adopted.
The several varieties will now be considered in detail.
This variety, strictly a calcium-aluminium garnet corresponding to the formula Ca3Al2(SiO4)3, but generally containing some ferric oxide and therefore tending towards andradite, is called by several different names. In science it is usually termed grossular, a word derived from grossularia, the botanical name for gooseberry, in allusion to the colour and appearance of many crystals, or hessonite, and less correctly essonite, words derived from the Greek ἥσσων in reference to the inferior hardness of these stones as compared with zircon of similar colour; in jewellery it is better known as cinnamon-stone, if a golden-yellow in colour, or hyacinth or jacinth. The last word, which is indiscriminately 212used for hessonite and yellow zircon, but should more properly be applied to the latter, is derived from an old Indian word (cf. p. 229); jewellers, however, retain it for the garnet.
Only the yellow and orange shades of hessonite (Plate XXIX, Fig. 5) are used for jewellery. Neither the brownish-green kind, to which the term grossular may properly be applied, nor the rose-red is transparent enough to serve as a gem-stone. Hessonite may mostly be recognized, even when cut, by the curiously granular nature of its structure, just as if it were composed of tiny grains imperfectly fused together; this appearance, which is very characteristic, may readily be perceived if the interior of the stone be viewed through a lens of moderate power.
The specific gravity varies from 3·55 to 3·66, and the refractive index from 1·742 to 1·748. The hardness is on the whole slightly below that of quartz. When heated before a blowpipe it easily fuses to a greenish glass.
The most suitable material is found in some profusion in the gem-gravels of Ceylon, in which it is mixed up with zircon of an almost identical appearance; both are called hyacinth. Hessonites from other localities, although attractive as museum specimens, are not large and clear enough for cutting purposes. Switzerland at one time supplied good stones, but the supply has long been exhausted.
Often quite ruby-red in colour (Plate XXIX, Fig. 6), this variety is probably the most popular of213 the garnets. It is strictly a magnesium-aluminium garnet corresponding to the formula Mg3Al2(SiO4)3, but usually contains some ferrous oxide and thus approaches almandine. Both are included among the precious garnets. Its name is derived from πυρωπός, fire-like, in obvious allusion to its characteristic colour.
Although at its best pyrope closely resembles ruby, its appearance is often marred by a tinge of yellow which decidedly detracts from its value. Pyrope generally passes as a variety of ruby, and under such names as ‘Cape-ruby,’ ‘Arizona-ruby,’ depending on the origin of the stones, commands a brisk sale. The specific gravity varies upwards from 3·70, depending upon the percentage amount of iron present, and similarly the refractive index varies upwards from 1·740; in the higher values pyrope merges into almandine. Its hardness is slightly greater than that of quartz, and may be expressed on Mohs’s scale by the symbol 7¼.
An enormous quantity of small red stones, mostly with a slight tinge of yellow, have been brought to light at Teplitz, Aussig, and other spots in the Bohemian Mittelgebirge, and a considerable industry in cutting and marting them has grown up at Bilin. Fine ruby-red stones accompany diamond in the ‘blue ground’ of the mines at Kimberley and also at the Premier mine in the Transvaal. Similar stones are also found in Arizona and Colorado in the United States, and in Australia, Rhodesia, and elsewhere.
Although commonly quite small in size, pyrope has occasionally attained to considerable size. According to De Boodt the Kaiser Rudolph II had one214 in his possession valued at 45,000 thalers (about £6750). The Imperial Treasury at Vienna contains a stone as large as a hen’s egg. Another about the size of a pigeon’s egg is in the famous Green Vaults at Dresden, and the King of Saxony has one, weighing 468½ carats, set in an Order of the Golden Fleece.
This charming pale-violet variety was found at Cowee Creek and at Mason’s Branch, Macon County, North Carolina, U.S.A., but in too limited amount to assume the position in jewellery it might otherwise have expected. In composition it lies between pyrope and almandine, and may be supposed to contain a proportion of two molecules of the former to one of the latter. Its specific gravity is 3·84, refractive index 1·760, and hardness 7¼. It exhibits in the spectroscope the absorption-bands characteristic of almandine.
This variety is iron-aluminium garnet corresponding to the formula Fe3Al2(SiO4)3, but the composition is very variable. In colour it is deep crimson and violet or columbine-red (Plate XXIX, Fig. 8), but with increasing percentage amount of ferric oxide it becomes brown and black, and opaque, and quite unsuitable for jewellery. The name of the variety is a corruption of Alabanda in Asia Minor, where in Pliny’s time the best red stones215 were cut. Almandine is sometimes known as Syriam, or incorrectly Syrian garnet, because at Syriam, once the capital of the ancient kingdom of Pegu, which now forms part of Lower Burma, such stones were cut and sold. Crimson stones, cut in the familiar en cabochon form and known as carbuncles, were extensively employed for enriching metalwork, and a half-century or so ago were very popular for ornamental wear, but their day has long since gone. Such glowing stones are aptly described by their name, which is derived from the Latin carbunculus, a little spark. In Pliny’s time, however, the term was used indiscriminately for all red stones. It has already been remarked that the word spinel has a similar significance.
The specific gravity varies from 3·90 for transparent stones to 4·20 for the densest black stones, and the refractive index may be as high as 1·810. Almandine is one of the hardest of the garnets, and is represented by the symbol 7½ on Mohs’s scale. The most interesting and curious feature of almandine lies in the remarkable and characteristic absorption-spectrum revealed when the transmitted light is examined with a spectroscope (p. 61). The phenomenon is displayed most vividly by the violet stones, and is, indeed, the cause of their peculiar colour.
Although a common mineral, almandine of a quality fitted for jewellery occurs in comparatively few localities. It is found in Ceylon, but not so plentifully as hessonite. Good stones are mined in various parts of India, and are nearly all cut at Delhi or Jaipur. Brazil supplies good material, especially in the Minas Novas district of Minas216 Geraes, where it accompanies topaz, and Uruguay also furnishes serviceable stones. Almandine is found in Australia, and in many parts of the United States. Recently small stones of good colour have been discovered at Luisenfelde in German East Africa.
Properly a manganese-aluminium garnet corresponding to the formula Mn3Al2(SiO4)3, this variety generally contains iron in both states of oxidation. If only transparent and large enough its aurora-red colour would render it most acceptable in jewellery. Two splendid stones have, indeed, been found in Ceylon (p. 211), and good stones rather resembling hessonites have been quarried at Amelia Court House in Virginia, and others have come from Nevada; otherwise, spessartite is unknown as a gem-stone.
The specific gravity ranges from 4·0 to 4·3, and the refractive index is about 1·81, both characters being high; the hardness is slightly greater than that of quartz.
Andradite is strictly a calcium-iron garnet corresponding to the formula Ca3Fe2(SiO4)3, but as usual the composition varies considerably. It is named after d’Andrada, a Portuguese mineralogist, who made a study of garnet more than a century ago.
217
Once contemptuously styled common garnet, andradite suddenly sprang into the rank of precious stones upon the discovery some thirty years ago of the brilliant, green stones (Plate XXIX, Fig. 7) in the serpentinous rock beside the Bobrovka stream, a tributary of the Tschussowaja River, in the Sissersk district on the western side of the Ural Mountains. The shade of green varies from olive through pistachio to a pale emerald, and is probably due to chromic oxide. Its brilliant lustre, almost challenging that of diamond, and its enormous colour-dispersion, in which respect it actually transcends diamond, raise it to a unique position among coloured stones. Unfortunately its comparative softness limits it to such articles of jewellery as pendants and necklaces, where it is not likely to be rubbed. When first found it was supposed to be true emerald, which does actually occur near Ekaterinburg, and was termed ‘Uralian emerald.’ When analysis revealed its true nature, it received from science the slightly inharmonious name of demantoid in compliment to its adamantine lustre. Jewellers, however, prefer to designate it ‘olivine,’ not very happily, because the stones usually cut are not olive-green and the name is already in extensive use in science for a totally distinct species (p. 225); they recognized the hopelessness of endeavouring to find a market for them as garnets. The yellow kind of andradite known as topazolite would be an excellent gem-stone if only it were found large and transparent enough. Ordinary andradite is brown or black, and opaque; it has occasionally been used for mourning jewellery.
The specific gravity varies from 3·8 to 3·9, being218 about 3·85 for demantoid, which has a high refractive index, varying from 1·880 to 1·890, and may with advantage be cut in the brilliant form. It is the softest of the garnets, being only 6½ on Mohs’s scale.
This variety, which is altogether unknown in jewellery, is a calcium-iron garnet corresponding mainly to the formula Ca3Cr2(SiO4)3, but with some alumina always present, and was named after a Russian minister. It has an attractive green colour, and is, moreover, hard, being about on Mohs’s scale, but it has never yet come to light of a size suitable for cutting. The specific gravity is low, varying from 3·41 to 3·52. Unlike the kindred varieties it cannot be fused by heating before an ordinary blowpipe.
TOURMALINE is unsurpassed even by corundum in variety of hue, and it has during recent years rapidly advanced in public favour, mainly owing to the prodigal profusion in which nature has formed it in that favoured State, California, the garden of the west. Its comparative softness militates against its use in rings, but its gorgeous coloration renders it admirably fitted for service in any article of jewellery, such as a brooch or a pendant, in which a large central stone is required. Like all coloured stones it is generally brilliant-cut in front and step-cut at the back, but occasionally it is sufficiently fibrous in structure to display, when cut en cabochon, pronounced chatoyancy.
The composition of this complex species has long been a vexed question among mineralogists, but considerable light was recently thrown on the subject by Schaller, who showed that all varieties of tourmaline may be referred to a formula of the type 12SiO2.3B2O3.(9-x)[(Al,Fe)2O3].3x[(Fe,Mn,Ca,Mg,K2,Na2,Li2,H2)O].3H2O. The ratios of boric oxide, silica, and water are nearly constant in all220 analyses, but great variation is possible in the proportions of the other constituents. Having regard to this complexity, it is not surprising to find that the range in colour is so great. Colourless stones, to which the name achroite is sometimes given, were at one time exceedingly rare, but they are now found in greater number in California. Stones which are most suited to jewellery purposes are comparatively free from iron, and apparently owe their wonderful tints to the alkaline earths; lithia, for instance, is responsible for the beautiful tint of the highly prized rubellite, and magnesia, no doubt, for the colour of the brown stones of various tints. Tourmaline rich in iron is black and almost opaque. It is a striking peculiarity of the species that the crystals are rarely uniform in colour throughout, the boundaries between the differently coloured portions being sharp and abrupt, and the tints remarkably in contrast. Sometimes the sections are separated by planes at right angles to the length of the crystal, and sometimes they are zonal, bounded by cylindrical surfaces running parallel to the same length. In the latter case a section perpendicular to the length shows zones of at least three contrasting tints. In the Brazilian stones the core is generally red, bounded by white, with green on the exterior, while the reverse is the case in the Californian stones, the core being green or yellow, bounded by white, with red on the exterior. Tourmaline may, indeed, be found of almost every imaginable tint, except, perhaps, the emerald green and the royal sapphire-blue. The principal varieties are rose-red and pink (rubellite) (Plate XXVII, Fig. 1), green (Brazilian emerald),221 indigo-blue (indicolite), blue (Brazilian sapphire), yellowish green (Brazilian peridot) (Plate XXVII, Fig. 2), honey-yellow (Ceylonese peridot), violet-red (siberite), and brown (Plate XXVII, Fig. 8). The black, opaque stones are termed schorl.
The name of the species is derived from the Ceylonese word, turamali, and was first employed when a parcel of gem-stones was brought to Amsterdam from Ceylon in 1703; in Ceylon, however, the term is applied by native jewellers to the yellow zircon commonly found in the island. Schorl, the derivation of which is unknown, is the ancient name for the species, and is still used in that sense by miners, but it has been restricted by science to the black variety. The ‘Brazilian emerald’ was introduced into Europe in the seventeenth century and was not favourably received, possibly because the stones were too dark in colour and were not properly cut; that they should have been confused with the true emerald is eloquent testimony to the extreme ignorance of the characters of gem-stones prevalent in those dark ages. Achroite comes from the Greek, ἄχροος, without colour.

To the crystallographer tourmaline is one of the most interesting of minerals. If the crystals, which are usually prismatic in form, are doubly terminated, the development is so obviously different at the two ends (Fig. 77) as to indicate that directional character in the molecular arrangement, termed the polarity, which is borne out by other physical properties. Tourmaline is remarkably dichroic, A brown stone, except in very thin sections, is practically opaque to the ordinary ray, and consequently a222 section cut parallel to the crystallographic axis, i.e. to the length of a crystal prismatically developed, transmits only the extraordinary ray. Such sections were in use for yielding plane-polarized light before Nicol devised the calcite prism known by his name (cf. p. 44). It is evident that tourmaline, unless very light in tint, must be cut with the table facet parallel to that axis, because otherwise the stone will appear dark and lifeless. The values of the extraordinary and ordinary refractive indices range between 1·614 and 1·638, and 1·633 and 1·669 respectively; the double refraction, therefore, is fairly large, amounting to 0·025, and, since the ordinary exceeds the extraordinary ray, its character is negative. The specific gravity varies from 3·0 to 3·2. The lower values in both characters correspond to the lighter coloured stones used in jewellery; the black stones, as might be expected from their relative richness in iron, are the densest. The hardness is only about the same as that of quartz, or perhaps a little greater, varying from 7 to 7½. It will be noticed that the range of refractivity overlaps that of topaz (q.v.) but the latter has a much smaller double refraction, and may thus be distinguished (p. 29). Unmounted stones are still more easily distinguished, because tourmaline floats in methylene iodide, while topaz sinks. The pyro-electric phenomenon (cf. p. 82) for which tourmaline is remarkable, although of little value as a test in the case of a cut stone, is of great scientific interest,223 because it is strong evidence of the peculiar crystalline symmetry pertaining to its molecular arrangement. Tourmalines range in price from 5s. to 20s. a carat according to their colour and quality, but exceptional stones may command a higher rate.
Tourmaline is usually found in the pegmatite dykes of granites, but it also occurs in schists and in crystalline limestones. Rubellite is generally associated with the lithia mica, lepidolite; the groups of delicate pink rubellite bespangling a background of greyish white lepidolite are among the most beautiful of museum specimens. Magnificent crystals of pink, blue, and green tourmaline have been found in the neighbourhood of Ekaterinburg, principally at Mursinka, in the Urals, Russia, and fine rubellite has come from the Urulga River, and other spots near Nertschinsk, Transbaikal, Asiatic Russia. Elba produces pink, yellowish, and green stones, frequently particoloured; sometimes the crystals are blackened at the top, and are then known locally as ‘nigger-heads.’ Ceylon supplies small yellow stones—the original tourmaline—which are confused with the zircon of a similar colour, and rubellite accompanies the ruby at Ava, Burma. Beautiful crystals, green and red, often diversely coloured, come from various parts, such as Minas Novas and Arassuahy, of the State of Minas Geraes, Brazil. Suitable gem material has been found in numerous parts of the United States. Paris and Hebron in Maine have produced gorgeous pink and green crystals, and Auburn in the same state has supplied deep-blue, green, and lilac stones. Fine crystals, mostly green, but also pink and particoloured, occur in an albite quarry near the224 Conn River at Haddam Neck, Connecticut. All former localities have, however, been surpassed by the extraordinary abundance of superb green, and especially pink, crystals at Pala and Mesa Grande in San Diego County, California. As elsewhere, many-hued stones are common. The latter locality supplies the more perfectly transparent crystals. Kunz states that two remarkable rubellite crystals were found there, one being 45 mm. in length and 42 mm. in diameter, and the other 56 mm. in length and 24 mm. in diameter. Madagascar, which has proved of recent years to be rich in gem-stones, supplies green, yellow, and red stones, both uniformly tinted and particoloured, which in beauty, though perhaps not in size, bear comparison with any found elsewhere.
THE beautiful bottle-green stone, which from its delicate tint has earned from appreciative admirers the poetical sobriquet of the evening emerald, and which has during recent years crept into popular favour and now graces much of the more artistic jewellery, is named as a gem-stone peridot—a word long in use among French jewellers, the origin and meaning of which has been forgotten—but is known to science either as olivine, on account of the olive-green colour sometimes characterizing it, or as chrysolite. It is of interest to note that the last word, derived from χρυσός, golden, and λίθος, stone, was in use at the time of Pliny, but was employed for topaz and other yellow stones, while his topaz, curiously enough, designated the modern peridot (cf. p. 199), an inversion that has occurred in other words. The true olivine must not be confused with the jewellers’ ‘olivine,’ which is a green garnet from the Ural Mountains (p. 217). Peridot is comparatively soft, the hardness varying from 6½ to 7 on Mohs’s scale, and is suitable only for articles which are not likely to be scratched; the polish of a peridot worn in a ring would soon deteriorate. The choicest stones are in colour a lovely bottle-green (Plate XXIX, Fig. 2) of various226 depths; the olive-green stones (Plate XXIX, Fig. 3) cannot compare with their sisters in attractiveness. The step form of cutting is considered the best for peridot, but it is sometimes cut round or oval in shape, with brilliant-cut fronts.
Peridot is a silicate of magnesium and iron, corresponding to the formula (Mg,Fe)2SiO4, ferrous iron, therefore, replacing magnesia. To the ferrous iron it is indebted for its colour, the pure magnesium silicate being almost colourless, and the olive tint arises from the oxidation of the iron. The latitude in the composition resulting from this replacement is evinced in the considerable range that has been observed in the physical characters, but the crystalline symmetry persists unaltered; the lower values correspond to the stones that are usually met with as gems. Peridot belongs to the orthorhombic system of crystalline symmetry, and the crystals, which display a large number of faces, are prismatic in form and generally somewhat flattened. The stones, however, that come into the market for cutting as gems are rarely unbroken. The dichroism is rather faint, one of the twin colours being slightly more yellowish than the other, but it is more pronounced in the olive-tinted stones. The values of the least and greatest of the principal indices of refraction vary greatly, from 1·650 and 1·683 to 1·668 and 1·701, but the double refraction, amounting to 0·033, remains unaffected. Peridot, though surpassed by sphene in extent of double refraction, easily excels all the ordinary gem-stones in this respect, and this character is readily recognizable in a cut stone by the apparent doubling of the opposite edges when viewed through the table facet (cf.227 p. 41). An equally large variation occurs in the specific gravity, namely, from 3·3 to 3·5.
1. RUBELLITE |
2. TOURMALINE |
3. BALAS-RUBY |
4. BLUE SPINEL |
![]() 5. QUARTZ |
![]() 6. WHITE OPAL |
![]() 7. AMETHYST |
|
8. TOURMALINE |
![]() 9. BLACK OPAL |
10. FIRE OPAL |
|
![]() 11. ALEXANDRITE (By daylight) |
![]() 12. CHRYSOBERYL |
![]() 13. ALEXANDRITE (By artificial light) |
|
Peridots of deep bottle-green hue command moderate prices at the present day, about 30s. a carat being asked for large stones; the paler tinted stones run down to a few shillings a carat. The rate per carat may be very much larger for stones of exceptional size and quality.
Olivine, to use the ordinary mineralogical term, is a common and important constituent of certain kinds of igneous rocks, and it is also found in those strange bodies, meteorites, which come to us from outer cosmical space. Except in basaltic lavas, it occurs in grains and rarely in well-shaped crystals. Stones that are large and transparent enough for cutting purposes come almost entirely from the island Zebirget or St. John situated on the west coast of the Red Sea, opposite to the port of Berenice. This island belongs to the Khedive of Egypt, and is at present leased to a French syndicate. It is believed to be the same as the mysterious island which produced the ‘topaz’ of Pliny’s time. Magnificent stones have been discovered here, rich green in colour, and 20 to 30, and occasionally as much as 80, carats in weight when cut; a rough mass attained to the large weight of 190 carats. Pretty, light-green stones are supplied by Queensland, and peridots of a less pleasing dark-yellowish shade of green, and without any sign of crystal form, have during recent years come from North America. Stones rather similar to those from Queensland have latterly been found in the Bernardino Valley in Upper Burma, not far from the ruby mines.
ZIRCON, which, if known at all in jewellery, is called by its variety names, jargoon and hyacinth or jacinth, is a species that deserves greater recognition than it receives. The colourless stones rival even diamond in splendour of brilliance and display of ‘fire’; the leaf-green stones (Plate XXIX, Fig. 13) possess a restful beauty that commends itself; the deep-red stones (Plate XXIX, Fig. 14), if somewhat sombre, have a certain grandeur; and no other species produces such magnificent stones of golden-yellow hue (Plate XXIX, Fig. 12). Zircon is well known in Ceylon, which supplies the world with the finest specimens, and is highly appreciated by the inhabitants of that sunny isle, but it scarcely finds a place in jewellery elsewhere. The colourless stones are cut as brilliants, but brilliant-cut fronts with step-cut backs is the usual style adopted for the coloured stones.
Zircon is a silicate of zirconium corresponding to the formula ZrSiO4, but uranium and the rare earths are generally present in small quantities. The aurora-red variety is known as hyacinth or jacinth, and the term jargoon is applied to the other transparent229 varieties, and especially to the yellow stones. The most attractive colours shown by zircon are leaf-green, golden-yellow, and deep red. Other common colours are brown, greenish, and sky-blue. Colourless stones are not found in nature, but result from the application of heat to the yellow and brown stones.
The name of the species is ancient, and comes from the Arabic zarqūn, vermilion, or the Persian zarqūn, gold-coloured. From the same source in all probability is derived the word jargoon through the French jargon and the Italian giacone. Hyacinth (cf. p. 211) is transliterated from the Greek ὑάκινθος, itself adapted from an old Indian word; it is in no way connected with the flower of the same name. The last word has seen some changes of meaning. In Pliny’s time yellow zircons were indiscriminately classified with other yellow stones as chrysolite. His hyacinth was used for the sapphire of the present day, but was subsequently applied to any transparent corundum. Upon the introduction of the terms, sapphire and ruby, for the blue and the red corundum hyacinth became restricted to the other varieties, of which the yellow was the commonest. In the darkness of the Middle Ages it was loosely employed for all yellow stones emanating from India, and was finally, with increasing discernment in the characters of gem-stones, assigned to the yellow zircon, since it was the commonest yellow stone from India.

Considered from the scientific point of view, zircon is by far the most interesting and the most remarkable of the gem-stones. The problem presented by its characters and constitution is one that still awaits230 a satisfactory solution. Certain zircons, which are found as rolled pebbles in Ceylon and never show any trace of crystalline faces, have very nearly single refraction, and the values of the refractive index vary from 1·790 to 1·840, and the specific gravity is about 4·00 to 4·14, and the hardness is slightly greater than that of quartz, being about 7¼. On the other hand, such stones as the red zircons from Expailly have remarkably different properties. They show crystalline faces with tetragonal symmetry, the faces present being four prismatic faces mutually intersecting at right angles and four inclined faces at each end (Fig. 78). They have large double refraction, varying from 0·044 to 0·062, which is readily discerned in a cut stone (cf. p. 41), and the refractive indices are high, the ordinary index varying from 1·923 to 1·931 and the extraordinary from 1·967 to 1·993. Since the ordinary is less than the extraordinary index the sign of the double refraction is positive. The specific gravity likewise is much higher, varying from 4·67 to 4·71. The second type, therefore, sinks in molten silver-thallium nitrate, whereas the first type floats. The second type is also slightly harder, being about 7½ on Mohs’s scale. By heating either of these types the physical characters are not much altered, except that the colour is weakened or entirely driven off and some change takes place in the double refraction. But between these two types may be found zircons upon which the effect of heating is striking. They seem to contract in size so that the specific gravity231 increases as much as three units in the first place of decimals, and a corresponding increase takes place in the refractive indices, and in the amount of double refraction. The cause of these changes remains a matter of speculation. Evidently a third type of zircon exists which is capable of most intimate association with either of the other types, and which is very susceptible to the effect of heat. It may be noted that stones of the intermediate type are usually characterized by a banded or zonal structure suggesting a want of homogeneity. The theory has been advanced that zircon contains an unknown element which has not yet been separated from zirconium. Zircon of the first type favours green, sky-blue, and golden-yellow colours; honey-yellow, light green, blue, and red colours characterize the second type; and the intermediate stones are mostly yellowish green, cloudy blue, and green.
It is another peculiarity of zircon that it sometimes shows in the spectroscope absorption bands (p. 61), which were observed in 1866 by Church. Many zircons do not exhibit the bands at all, and others only display the two prominent bands in the red end of the spectrum.
Of all the gem-stones zircon alone approaches diamond in brilliance of lustre, and it also possesses considerable ‘fire’; it can, of course, be readily distinguished by its inferior hardness, but a judgment based merely on inspection by eye might easily be erroneous.
According to Church, who has made a lifelong study of zircon, the green and yellowish stones of the first variety emit a brilliant orange light when being ground on a copper wheel charged with232 diamond dust, and the golden stones of the intermediate type glow with a fine orange incandescence in the flame of a bunsen burner; the latter phenomenon is supposed to be due to the presence of thoria.
The leaf-green stones almost invariably show a series of parallel bands in the interior.
Zircons vary from 5s. to 15s. a carat, but exceptional stones may be worth more.
By far the finest stones come from Ceylon. The colourless stones are there known as ‘Matura diamonds,’ and the hyacinth includes garnet (hessonite) of similar colour, which is found with it in the same gravels. The stones are always water-worn. Small hyacinths and deep-red stones come from Expailly, Auvergne, France, and yellowish-red crystals are found in the Ilmen Mountains, Orenburg, Russia. Remarkably fine red stones have been discovered at Mudgee, New South Wales, and yellowish-brown stones accompany diamond at the Kimberley mines, South Africa.
CHRYSOBERYL has at times enjoyed fleeting popularity on account of the excellent cat’s-eyes cut from the fibrous stones, and in the form of alexandrite it meets with a steadier, if still limited, demand. It is a gem-stone that is seldom met with in ordinary jewellery, although its considerable hardness befits it for all such purposes.
Chrysoberyl is in composition an aluminate of beryllium corresponding to the formula BeAl2O4, and is therefore closely akin to spinel. It usually contains some ferric and chromic oxides in place of alumina, and ferrous oxide in place of beryllia, and it is to these accessory constituents that its tints are due. Other gem-stones containing the uncommon element beryllium are phenakite and beryl. Pale yellowish green, the commonest colour, is supposed to be caused by ferrous oxide; such stones are known to jewellers as chrysolite (Plate XXVII, Fig. 12). Cat’s-eyes (Plate XXIX, Fig. 1) have often also a brownish shade of green. The bluish green and dark olive-green stones known as alexandrite (Plate XXVII, Figs. 11, 13) differ in appearance so markedly from their fairer sisters that their common parentage seems234 almost incredible. The dull fires that glow within them, and the curious change that comes over them at night, add a touch of mystery to these dark stones. Chromic oxide is held responsible for their colour. The cat’s-eyes are, of course, always cut en cabochon, but otherwise chrysoberyl is faceted.
The name of the species is composed of two Greek words, χρυσός, golden, and βήρυλλος, beryl, and etymologically more correctly defines the lighter-coloured stones, which were, indeed, at one time the only kind known. Chrysolite from χρυσὁς, golden, and λίθος, stone, has much the same significance. This name is preferred by jewellers, but in science it is applied to an entirely different species, which is known in jewellery as peridot. Cymophane, from κῦμα, wave, and φαίνειν, appear, refers to the peculiar opalescence characteristic of cat’s-eyes; it is sometimes used to designate these stones, but does not find a place within the vocabulary of jewellery. Alexandrite is named after Alexander II, Czar of Russia, because it first came to light on his birthday. That circumstance, coupled with its display of the national colours, green and red, and its at one time restriction to the mining district near Ekaterinburg, renders it dear to the heart of all loyal Russians.
Chrysoberyl crystallizes in the orthorhombic system, and occurs in rather dull, complex crystals, which are sometimes so remarkably twinned, especially in the variety called alexandrite, as to simulate hexagonal crystals. In keeping with the crystalline symmetry it is doubly refractive and biaxial, having two directions of single refraction. The least and the greatest of the principal indices of refraction235 may have any values between 1·742 and 1·749, and 1·750 and 1·757, respectively, the maximum amount of double refraction remaining always the same, namely, 0·009. The mean principal refractive index is close to the least; the sign of the double refraction is therefore positive, and the shadow-edge corresponding to the lower index, as seen in the refractometer, has little, if any, perceptible motion when the stone is rotated. The converse is the case with corundum; the sign is negative, and it is the shadow-edge corresponding to the greater refractive index that remains unaltered in position on rotation of the stone. This test would suffice to separate chrysoberyl from yellow corundum, even if the refractive indices of the former were not sensibly lower than those of the latter. Also, the dichroism of chrysolite is stronger than that of yellow sapphires. In alexandrite this phenomenon is most prominent; the absorptive tints, columbine-red, orange, and emerald-green, corresponding to the three principal optical directions, are in striking contrast, and the first differs so much from the intrinsic colour of the stone as to be obvious to the unaided eye, and is the cause of the red tints visible in a cut stone. The curious change in colour of alexandrite, from leaf-green to raspberry-red, that takes place when the stone is seen by artificial light, is due to a different cause, as has been pointed out above (p. 54). The effect is illustrated by Figs. 11, 13 on Plate XXVII, which represent a fine Ceylon stone as seen by daylight and artificial light; the influence of dichroism may be noticed in the former picture. The specific gravity of chrysoberyl varies from 3·68 to 3·78. In hardness this species ranks above spinel236 and comes next to corundum, being given the symbol 8½ on Mohs’s scale. Certain stones contain a multitude of microscopic channels arranged in parallel position. When the stones are cut with their rounded surface parallel to the channels, a broadish band of light is visible running across the stone at right angles to them, and suggests the pupil of a cat’s eye, whence the common name for the stones. The fact that the channels are hollow causes an opalescence, which is absent from the quartz cat’s-eye.
The most important locality for the yellowish chrysoberyl is the rich district of Minas Novas, Minas Geraes, Brazil, where it occurs in the form of pebbles, and excellent material is also supplied by Ceylon, in both crystals and rounded pebbles. Other places for chrysolite are Haddam, Connecticut, and Greenfield, Saratoga County, New York, in the United States, and recently in the gem-gravels near the Somabula Forest, Rhodesia. Ceylon supplies some of the best cat’s-eyes. Alexandrite was first discovered, as already stated, at the emerald mines near Ekaterinburg, in the Urals; but the supply is now nearly exhausted. A poorer quality comes from Takowaja, also in the Urals. Good alexandrite has come to light in Ceylon, and most of the stones that are placed on the market at the present day have emanated from that island. The Ceylon stones reach a considerable size, often as much as from 10 to 20 carats in weight; the Russian stones have a better colour and are more beautiful, but they are less transparent, and rarely exceed a carat in weight. Good chrysolite may be worth from 10s. to £2 a carat, and cat’s-eye runs237 from £1 to £4 a carat, depending upon the quality. Alexandrites meet with a steady demand in Russia, and fine stones are scarce; flawless stones about a carat in weight are worth as much as £30 a carat, and even quite ordinary stones fetch £4 a carat.
From Ceylon, that interesting home of gems, have originated some magnificent chrysoberyls, including a superb chrysolite, 80¾ carats in weight, and another, a splendid brownish yellow in colour and very even in tint, and two large alexandrites, green in daylight and a rich red by night, weighing 63⅜ and 2823/32 carats. The finest cut chrysolite existing is probably the one exhibited in the Mineral Gallery of the British Museum (Natural History). Absolutely flawless and weighing 43¾ carats, it was formerly contained in the famous Hope collection, and is described on page 56 and figured on Plate XXI of the catalogue prepared by B. Hertz, which was published in 1839; the weight there given includes the brilliants and the ring in which it was mounted. It is shown, about actual size, in Plate XXVII, Fig. 12. A magnificent cat’s-eye, 35·5 by 35 mm. in size, which also formed part of the Hope collection, was included in the crown jewels taken from the King of Kandy in 1815. The crystalline markings in the cut stone are so arranged that the lower half shows an altar overhung by a torch. The stone has been famous in Ceylon for many ages. It was set in gold with rubies cut en cabochon. Two fine Ceylon alexandrites of exceptional merit, weighing 42 and 26¾ carats, are also exhibited in the Mineral Gallery of the British Museum (Natural History). The former is illustrated in Plate XXVII, Figs. 11, 13, as seen in daylight and in artificial light.
ALTHOUGH the commonest and, in its natural form, the most easily recognizable of mineral substances, quartz nevertheless holds a not inconspicuous position among gem-stones, because, as amethyst (Plate XXVII, Fig. 7), it provides stones of the finest violet colour; moreover, the yellow quartz (Plate XXVII, Fig. 5) so ably vies with the true topaz that it is universally known to jewellers by the name of the latter species, and is too often confounded with it, and the lustrous, limpid rock-crystal even aspires to the local title of ‘diamond.’ For all purposes where a violet or yellow stone is required, quartz is admirably suited; it is hard and durable, and it has the merit, or possibly to some minds the drawback, of being moderate in price. Despite its comparative lack of ‘fire,’ rock-crystal might replace paste in rings and buckles with considerable advantage from the point of view of durability. The chatoyant quartz, especially in the form known as tiger’s-eye, will for beauty bear comparison with the true cat’s-eye, which is a variety of chrysoberyl. Except that cat’s-eye is cut en cabochon, quartz is step- or sometimes brilliant-cut.
239
Ranking with corundum next to diamond as the simplest in composition of the gem-stones, quartz is the crystallized form of silica, oxide of silicon, corresponding to the formula SiO2. When pure, it is entirely devoid of the faintest trace of colour and absolutely water-clear. Such stones are called rock-crystal, and it is easy to understand why in early days it was supposed to represent a form of petrified water. It is these brilliant, transparent stones that are, when small, known in many localities as ‘diamonds.’ Before the manufacture of glass was discovered and brought to perfection, rock-crystal was in considerable use for fashioning into cups, vases, and so forth. The beautiful tints characterizing quartz are due to the usual metallic oxides. To manganese is given the credit of the superb purple or violet colour of amethyst, which varies considerably in depth. Jewellers are inclined to distinguish the deep-coloured stones with the prefix ‘oriental,’ but the practice is to be deprecated, since it might lead to confusion with the true oriental amethyst, which is a purple sapphire, one of the rarest varieties of corundum. Quartz of a yellow hue is properly called citrine, but, as already stated, jewellers habitually prefer the name ‘topaz’ for it, and distinguish the true topaz by the prefix Brazilian—not a very happy term, since both the yellow topaz and the yellow quartz occur plentifully in Brazil. Sometimes the yellow quartz is termed occidental, Spanish, or false topaz. Stones with a brownish or smoky tinge of yellow are called cairngorm, or Scotch topaz. The colour of the yellow stones is doubtless due to a trace of ferric oxide. Stones of a smoky brown colour are known240 as smoky-quartz. Rose-quartz, which is rose-red or pink in colour and hazy in texture, is comparatively rare; strange to say, it has never been found in distinct crystals. The tint, which may be due to titanium, is fugitive, and fades on exposure to strong sunlight. In milky quartz, as the name suggests, the interior is so hazy as to impart to the stone a milky appearance. It has frequently happened that quartz has crystallized after the formation of other minerals, with the result that the latter are found inside it. Prase, or mother-of-emerald, which at one time was supposed to be the mother-rock of emerald, is a quartz coloured leek-green by actinolite fibres in the interior. Specimens containing hair-like fibres of rutile—the so-called flêches d’amour—are common in mineral collections, and are sometimes to be seen worked. When enclosing a massive, light-coloured, fibrous mineral, the stones have a chatoyant effect, and display, when suitably cut, a fine cat’s-eye effect; in tiger’s-eye the enclosed mineral is crocidolite, an asbestos, the original blue hue of which has been changed to a fine golden-brown by oxidation. Quartz which contains scales of mica, hematite, or other flaky mineral has a vivid spangled appearance, and is known as aventurine; it has occasionally been employed for brooches or similar articles of jewellery. Rainbow-quartz, or iris, is a quartz which contains cracks, the chromatic effect being the result of the interference of light reflected from them; it has been artificially produced by heating the stone and suddenly cooling it.
The name of the species is an old German mining term of unknown meaning which has been in general use in all languages since the sixteenth century.241 Amethyst is derived from ἀμέθυστος, not drunken, possibly from a foolish notion that the wearer was exempt from the usual consequences of unrestrained libations. Pliny suggests as an alternative explanation that its colour approximates to, but does not quite reach, that of wine. Aventurine, from aventura, an accident, was first applied to glass spangled with copper, the effect being said to have been accidentally discovered owing to a number of copper filings falling into a pot of molten glass in a Venetian factory.

Quartz belongs to the hexagonal system of crystalline symmetry, and crystallizes in the familiar six-sided prisms terminated by six inclined, often triangular, faces (Fig. 79); twins are common, though they are not always obvious from the outward development. In accordance with the symmetry the refraction is double, and there is one direction of single refraction, namely, that parallel to the edge of the prism. The ordinary refractive index has the value 1·544, and the extraordinary 1·553, and since the latter is the greater, the sign of the double refraction is positive. The double refraction is small in amount, but is large enough to enable the apparent doubling of certain of the opposite edges of a faceted stone to be perceptible when viewed with a lens through the table-facet. The dichroism of the deep-coloured stones is quite distinct. Quartz has only about the same amount of colour dispersion as ordinary glass, and lacks, therefore, ‘fire.’ The application of strong heat242 tends, as usual, to weaken or drive off the colour. Thus the dense smoky-quartz found in Spain, Brazil, and elsewhere is converted into stones of a colour varying from light yellow to reddish brown according to the amount and duration of the application. In the case of amethyst the colour is changed to a deep orange, or entirely driven off if the temperature be high enough. Its density is very constant, varying only from 2·654 to 2·660; the purest stones are the lightest. To it has been assigned the symbol 7 on Mohs’s scale of hardness.
To physicists quartz is one of the most interesting of minerals because of its power of rotating, to an extent depending upon the thickness of the section, the plane of polarization of a beam of light traversing it in a direction parallel to the prism edge. It appears, moreover, from a study of the pyro-electric and general physical characters, that its molecular structure has a helical arrangement, which, like all screws, may have a right- or left-handed character. Amethyst is, in fact, invariably composed of separate twin individuals, alternately right- and left-handed; in some remarkable crystals the section at right angles to the prism edge is composed of triangular sectors, alternately of different hands and of different tints—purple and white. To the twinning is due the rippled fracture and the feathery inclusions so characteristic of amethyst.
Besides its use for ornamental purposes, quartz finds a place as the material for lenses intended for delicate photographic work, because its transparency to the ultra-violet light is so much greater than that of glass. Spectacle lenses made of it are in demand, because they are not liable to scratches, and retain,243 therefore, their polish indefinitely. When fused in the oxyhydrogen flame, quartz becomes a silica glass, of specific gravity 2·2 and hardness 5 on Mohs’s scale, which has proved of great service for laboratory ware, because it withstands sudden and unequal heating without any danger of fracture; it has also in fine threads been invaluable for delicate torsion work, because it acquires not the smallest amount of permanent twist, in this respect being superior to the finest silk threads.
Clear rock-crystal fetches little more than the cost of the cutting; citrine and amethyst are worth from 1s. to 5s. a carat, depending upon the quality and size of the stone; smoky-quartz is practically valueless; rose-quartz realizes less than 1s. a carat; and the value of cat’s-eye is also small—only 1s. to 2s. 6d. a carat. Tiger’s-eye at one time commanded as much as 25s. a carat, but the supply exceeded the demand, with the consequent collapse in the price.
Beautiful, brilliant, and limpid rock-crystal is found in various parts of the world: in the Swiss Alps, at Bourg d’Oisans in the Dauphiné Alps, France, in the famous Carrara marble, in the Marmaros Comitat of Hungary, and in the United States, Brazil, Madagascar, and Japan. Small lustrous stones, known in their localities as ‘Isle of Wight,’ ‘Cornish,’ or ‘Bristol diamonds,’ are found in our own country. Brazil supplies stones out of which have been cut the clear balls used in crystal-gazing. The finest amethysts come from Brazil—especially the State of Rio Grande do Sul—and from Uruguay, India, and the gem-gravels of Ceylon; good stones also occur at244 Ekaterinburg, in the Ural Mountains. A splendid Brazilian amethyst, weighing 334 carats, and two Russian stones—one hexagonal in contour, weighing 88 carats, and the other, a deep purple in colour with a circular table, weighing 73 carats—are exhibited in the British Museum (Natural History). Cairngorm is known from the place of that name in Banffshire, Scotland, whence fine specimens have emanated; it is a gem much valued in that country. Fine cairngorm has also originated from Pike’s Peak, Colorado. Splendid yellow stones have had their birth in the States of Minas Geraes, São Paulo, and Goyãz, of Brazil—especially in the last. The fine Spanish smoky-quartz, which, as already stated, turns yellow on heating, comes from Hinojosa, in the Province of Cordova. The delicate rose-quartz is known at Bodenmais in Bavaria, Paris in Maine, United States, and Ekaterinburg in the Ural Mountains. The finest cat’s-eyes are found in India and Ceylon, and are high in favour with the natives. Greenish stones of an inferior quality are brought from the Fichtelgebirge in Bavaria, and are sold as ‘Hungarian cat’s-eyes,’ despite the fact that no such stone occurs in Hungary—another instance of jewellers’ disdain for accuracy. Tiger’s-eye occurs in considerable quantity in the neighbourhood of Griquatown, Griqualand West, South Africa. A silicified crocidolite, in which the blue colour is retained, comes also from Salzburg, and is known as sapphire- or azure-quartz, or siderite.
Certain of the pebbles found on the seashore of our coasts, especially off the Isle of Wight and North Wales, cut into attractive, clear stones, more or less yellow in colour; but examples suitable for245 the purpose are not so numerous as might be supposed, and do not reward any casual search. Les affaires sont les affaires. The local lapidary, instead of explaining that the pebbles brought to him are not worth cutting, finds it more convenient and profitable to substitute for them other, inferior and badly cut, stones, bought by the gross, or even paste stones; the customer, on the other hand, is contented with a pretty bauble, and is not grateful for the information that it might have been obtained for a fraction of the sum paid.
CHALCEDONY and agate, and their endless varieties, are composed mainly of silica, but the separate individual crystals are so small as to be invisible to the unaided eyesight, and occasionally are so extremely minute that the structure is almost amorphous. The colour and appearance vary greatly, depending upon the impurities contained in the stone, and, since both have been made a criterion for differentiation of types, a host of names have come into use, none of which are susceptible of strict definition. On the whole, these stones may be divided into two groups: chalcedony, in which the structure is concretionary and the colour comparatively uniform, and agate, in which the arrangement takes the form of bands, varying greatly in tint and colour.
The refraction, though double in the individual, is irregular over the stone as a whole, and the indices approximate to 1·550. The specific gravity ranges from 2·62 to 2·64, depending upon the impurities present. The degree of hardness is about the same as that of quartz, namely, 7 on Mohs’s scale. All kinds are more or less porous, and stones of a dull colour are therefore artificially tinted after being worked.
The term chalcedony, derived from χαλκηδών247 the name of a town in Asia Minor, is usually confined to stones of a greyish tinge. Stones artificially coloured an emerald green have been cut and put upon the market as ‘emeraldine.’ Carnelian is a clear red chalcedony, and sard is somewhat similar, but brownish in tint. Chrysoprase is apple-green in colour, nickel oxide being supposed to be the agent. Prase (cf. p. 240), which is a dull leek-green in hue, may also in part be referred here; the name comes from πράσμον, a leek. Plasma, which may have the same derivation, is a brighter leek-green. Jasper is a chalcedony coloured blood-red by iron oxide, while bloodstone is a green chalcedony spotted with jasper; they are popular stones for signet rings. Flint, an opaque chalcedony, breaks with a sharp cutting edge, and was much in request with early man as a tool or a weapon; its property of giving sparks when struck with steel rendered it invaluable before the invention of matches. Hornstone is somewhat similar, but more brittle, while chert is a flinty rock.
Agate, named after the river Achates in Sicily, where it was found at the time of Theophrastus, has a peculiar banded structure, the bands being usually irregular in shape, following the configuration of the cavity in which it was formed. Moss-agate, or mocha-stone, contains moss-like inclusions of some fibrous mineral. Onyx is an agate with regular bands, the layers having sharply different colours; when black and white, it has, in days gone by, been employed for cameos. Sardonyx is similar in structure, but red and white in colour. Agate is used in delicate balances for supporting the steel knife-edges of the balance itself and of the panholders, 248and is largely employed—especially when artificially coloured—for umbrella handles and similar articles.
Chalcedony and agate are found the whole world over, but India, and particularly Brazil, are noted for their fine carnelians and agates.
THAT opal in early times excited keen admiration is evident from Pliny’s enthusiastic description of these stones: “For in them you shall see the burning fire of the carbuncle, the glorious purple of the amethyst, the green sea of the emerald, all glittering together in an incredible mixture of light.” During much of last century, owing to the foolish superstition that ill-luck dogs the footsteps of the wearer, the species lay under a cloud, which has even now not quite dispersed, but exercises a prejudicial effect upon the fortunes of the stone. It has, however, recently attracted considerable attention owing to the discovery of the splendid black opals in Australia; at one moment black with the darkness of night, at the next by a chance movement glowing with vivid crimson flame, such stones may justly be considered the most remarkable in modern jewellery. At the present day opal is divided by jewellers roughly into two main groups: ‘white’ (Plate XXVII, Fig. 6) and ‘black’ (Plate XXVII, Fig. 9), according as the tint is light or dark, fire-opal (Plate XXVII, Fig. 10) standing in a separate category.
250
Opal differs from the rest of the principal gem-stones in being not a crystalline body, but a solidified jelly, and it depends for its attractiveness upon the characteristic play of colour, known, in consequence, as opalescence (cf. p. 39), which arises from a peculiarity in the structure. Opal is mainly silica, SiO2, in composition, but contains in addition an amount of water varying in precious opal from 6 to 10 per cent. As the original jelly cooled, it became riddled throughout with cracks, which were afterwards generally filled with opal matter, containing a different amount of water, and therefore differing slightly in refractivity from the original substance. The structure not being quite homogeneous, each crack has the same action upon light as a soap-film, and gives rise to precisely similar phenomena; the thinner and more uniform the cracks, the greater the splendour of the chromatic display, the particular tint depending upon the direction in which the stone is viewed. The cracks in certain opals were not filled up, and therefore contain air. Such stones appear opaque and devoid of opalescence until plunged into water; they are consequently known as hydrophane, from ὕδωρ, water, and φαίνεσθαι, to make appear. Owing to the effect of total-reflection, light was stopped on the hither side of the cracks before they were filled with water, which is not far inferior to opal in refractivity; it is surprising how much water these stones will absorb.
Opal is colourless when pure, but is nearly always more or less milky and opaque, or tinted various dull shades by ferric oxide, magnesia or, alumina. The so-called black opal is generally a251 dark grey or blue, and very rarely quite black. That the coloration is not due to ordinary absorption, but to the action of cracks in the stone, is shown by the fact that the transmitted light is complementary to the reflected light; the blue opal is, for instance, a yellow when held up so that light has passed through it. In many black opals the opalescent material occurs in far too tiny pieces to be cut separately, and the whole iron-stained matrix is cut and polished and sold under the name ‘opal-matrix.’ The reddish and orange-coloured stones known as fire-opal have pronounced colour and only slight milkiness; they display the customary opalescence in certain directions. These stones are often faceted, but otherwise opals are cut en cabochon, either flat or steep—generally the former in brooches and pendants, and the latter in rings. Opal is somewhat soft, varying from 5 to 6½ on Mohs’s scale, and is therefore easily scratched. The specific gravity ranges from 2·10 to 2·20, and the refractive index from 1·444 to 1·464, the refraction, of course, being always single. It is unwise to immerse opals in liquids on account of their porosity.
The name opal comes to us through the Latin opallus, which was used for the same species as understood by the term at the present day, but the word has a far older origin, which has not been traced. The Romans also called the mineral pæderos, the Greek form of Cupid, a name applied to all rosy stones. The name cacholong, for the bluish-white porcelain variety, which is very porous and adheres to the tongue, is of Tartar origin; the stone is highly valued in the East.
252
The oldest mines, which up to quite a recent date were the only extensive deposit of opal known, were at Cserwenitsa, near Kashau, in Hungary. From them in all probability emanated the opals known to the Romans. The opals from this locality were generally quite small, and large pieces were rare and commanded high prices. The Hungary mines, however, proved quite unable to compete with the rich fields at White Cliffs, New South Wales, in spite of the efforts that were made to depreciate and exclude from the market the new stones, and at the present time few of the opals on the market come from them. As so often happens, the White Cliffs deposit was discovered by accident. In 1889 a hunter, when tracking a wounded kangaroo, chanced to pick up an attractively coloured opal. The district is so waterless and forbidding that, but for such a chance, the opals might have long lain hidden. They occur in seams in deposits of Cretaceous Age in a variety of ways, filling cavities in rocks or sandstones, or cracks in wood, or replacing wood, saurian bones, and some spiky mineral, which may have been glauberite. In recent years, another rich deposit was discovered farther north, on both sides of the boundary between Queensland and New South Wales. The field is remarkable for the darkness of its opals, which are called ‘black opal’ in contradistinction to the lighter-coloured stones previously known. From Lightning Ridge in New South Wales come stones stained deep black which quite merit the designation black opal. The sandstone in which they are found is rich in iron, and this is no doubt responsible for the deepness of their tint. Mexico is253 noted for the fire-opal, which is found at Esperanza, Queretaro, and Zimapan; but other kinds of opal also are found at these places.
The price of opal varies greatly, according to the intrinsic colour and the uniformity and brilliance of the opalescence. Common opal can be bought at as low a rate as 1s. a carat, while black opal ranges from 10s. to £8 a carat; but a good dark stone displaying a flaming opalescence commands a fancy figure, fine stones of this class being exceedingly rare. Fire-opal enjoys only a limited popularity now, though a few years ago it was in some demand; the price runs from 2s. to 10s. a carat.
THOUGH second to none among minerals in scientific interest, whether regarded from the point of view of their crystalline characters or the important part they play in the formation of rocks, the group included under the general name felspar occupies but a humble place in jewellery. It consists of three distinct species, orthoclase, albite, and anorthite, which are silicates of aluminium, and potassium, sodium, or calcium, corresponding to the formulae KAlSi3O8, NaAlSi3O8, and CaAl2Si2O8 respectively, and also of species intermediate in composition between albite and orthoclase, or albite and anorthite. While differing in crystalline symmetry, all are characterized by two directions of cleavage which are nearly at right angles to one another. The double refraction, which is slight in amount, is biaxial in character and variable in sign. The values of the least and greatest of the indices of refraction range between 1·52 and 1·53, and 1·53 and 1·55 respectively, the double refraction at the same time varying from 0·007 to 0·012. The specific gravity lies between 2·48 and 2·66, and255 the hardness ranges between the degrees 6 and 7 on Mohs’s scale.
Moonstone (Plate XXIX, Fig. 4), which is mainly pure orthoclase, alone is at all common in jewellery. It forms such an admirable contrasting frame for large coloured stones that it deserves greater popularity; no doubt the cheapness of the stones militates against their proper appreciation. The milky, bluish opalescence from which they take their name is caused by the reflection of light at the thin twin-lamellæ of which the structure is composed. They are always cut more or less steeply en cabochon. The finest stones were at one time cut from the felspar that came from the St. Gothard district in Switzerland and was in consequence known as adularia from the neighbouring Adular Mountains, somewhat incorrectly, since none occurs at the latter locality. At the present day practically all the moonstones on the market come from Ceylon. They run in price from £3 to £20 per oz. (28 grams).
Sunstone is a felspar containing flakes of hematite or goethite which impart a spangled bronze appearance to the stones. Good material occurs in parts of Norway. The remarkable sheen of labradorite or blue felspar has its origin in the interference of light at lamellar surfaces in the interior; the uniformity of the colour over comparatively large areas testifies to the regularity of the lamellar arrangement. The finest specimens were brought from the Isle of St. Paul off the coast of Labrador, where they were first discovered in 1770; large masses also occur on the coast itself. Amazon-stone is an opaque green felspar which occurs in the Ilmen256 Mountains, Orenburg, Russia, and at Pike’s Peak, Colorado, United States. It obtains its name from the Amazon River, where, however, none has ever been found; there may have been some confusion with a jade or similar stone.
Occasionally clear colourless felspar has been faceted, and then closely resembles rock-crystal. A careful determination of the refractive indices and the specific gravity serves to discriminate between them.
![]() 1. CAT’S EYE |
![]() 2. PERIDOT |
![]() 3. PERIDOT |
![]() 4. MOONSTONE |
5. HESSONITE |
6. PYROPE |
![]() 7. DEMANTOID |
![]() 8. ALMANDINE |
![]() 9. SPODUMENE |
![]() 10. KUNZITE |
![]() 11. HIDDENITE |
|
12. ZIRCON |
![]() 13. ZIRCON |
14. ZIRCON |
15. ANDALUSITE |
![]() 16. NEPHRITE |
17. TURQUOISE |
![]() 18. JADEITE |
|
OF all the opaque stones turquoise (Plate XXIX, Fig. 17) alone finds a prominent place in jewellery and can aspire to rank with the precious stones. The colour varies from a sky-blue or a greenish blue to a yellowish green or apple-green. Only the former tints, which are at the same time the rarer, are in general demand, and they possess the great advantage of harmonizing with the tint of the gold setting. The blue colours are, especially in the case of the Siberian stones, by no means permanent, and fade in course of time. Turquoise is amorphous and seldom crystalline, and is therefore somewhat porous; it should consequently never be immersed in liquids or be contaminated with greasy and dirty matter lest the dreaded change of colour be brought about. The stones are translucent in thin sections, and a good observation is possible with the refractometer if the back of the stone is flat and polished, since only the section immediately adjacent to the instrument is concerned; the refractive index is about 1·61. The specific gravity varies from 2·75 to 2·89. Turquoise has a hardness of slightly under 6 on Mohs’s scale, and takes a good polish, which is fairly durable, since on account of the comparative opacity of the258 stones scratches on the surface are not very noticeable. In composition it is a complex phosphate of aluminium and copper, corresponding to the formula CuOH.[6Al(OH)2].H5.(PO4)4, with ferric oxide replacing some alumina. The blue colour is due to the copper constituent, and the predominance of iron may cause the greenish shades; but the water contained in the stones plays no mean part, since they turn a dirty green when it is driven off. The faded colour can sometimes be restored by immersion of the stone in ammonia and subsequent application of grease, but the effect is not lasting. Attempts are sometimes made to improve inferior stones by impregnating them with Berlin blue, but with only qualified success. Turquoises are said to be affected by the perspiration from the skin.
The name of the species comes from a French word meaning Turkish, and arises from the fact that the gem-stone first reached Europe by way of Turkey. Another, but less obvious, suggestion is that it is derived from the Persian name for the species, piruzeh. Our turquoise and other phosphates of similar appearance were probably known to Pliny under the three names callais, callaina, and callaica.
The finest turquoise still comes from the famous mines near Nishapur in the Persian province of Khorassan, where it was known in very ancient times; it is found with limonite filling the cracks and cavities in a brecciated porphyritic trachyte. Pieces of the turquoise and limonite from here are sometimes cut without removal of the latter, and sold as ‘turquoise-matrix,’ when the precious stones are too tiny to be worth separate working. It also259 occurs at Serbâl in the Sinai Peninsula. Among the more recent localities may be mentioned Los Cerillos Mountains, New Mexico; Sierra Nevada, Nevada, where pale blue and green stones are found; San Bernardino County, California, where again the stones are rather pale; and Arizona, where it occurs in pale greenish-blue stones.
Some of the stones that have been seen are not the true turquoise but odontolite, or bone turquoise, which consists of the teeth and bones of mastodon or other extinct animals, phosphate of iron being the colouring material. These stones may easily be recognized by their organic structure, which is clearly visible if viewed with a strong lens or under the microscope. Moreover, odontolite invariably contains some calcium carbonate, and effervescence takes place if it be touched with hydrochloric acid. Turquoise dissolves in hydrochloric acid, but without effervescence, and since it contains copper, a fine blue colour is imparted to the solution by the addition of ammonia. Odontolite has a higher specific gravity, 3·0 to 3·5, but lower hardness, 5 on Mohs’s scale.
Variscite, the hydrated phosphate of aluminium, corresponding to the formula AlPO4 + 2H2O, is found in masses resembling a greenish turquoise, but it is much softer, being only 4 on Mohs’s scale. The specific gravity is 2·55. Round nodular masses of variscite are found in Utah.
THOUGH not usually accounted precious among European nations or in Western civilization in general, jade was held in extraordinary esteem by primitive man, and was fashioned by him into ornaments and utensils, often of considerable beauty, and even at the present day it ranks among the Chinese and Japanese peoples above all precious stones; indeed, the Chinese word Yu and the Japanese words Giyuku or Tama signify both jade and precious stones in general. According to the Chinese, jade is the prototype of all gems, and unites in itself the five cardinal virtues—Jin, charity; Gi, modesty; Yu, courage; Ketsu, justice; and Chi, wisdom. When powdered and mixed with water, it is supposed to be a powerful remedy for all kinds of internal disorders, to strengthen the frame and prevent fatigue, to prolong life, and, if taken in sufficient quantity just before death, to prevent decomposition.
Jade is a general term that includes properly two distinct mineral species, nephrite or greenstone, and jadeite, which are very similar in appearance, both being fibrous and tough in texture, and more or less greenish in colour; but it is also applied to other species such as saussurite, californite,261 bowenite, and plasma, which have somewhat similar characters. The word jade is a corruption of the Spanish pietra di hijada, kidney-stone, in allusion to its supposed efficacy in diseases of that organ.
Nephrite or greenstone (Plate XXIX, Fig. 16) is the commoner of the two jades. It is closely allied to the mineral hornblende, a silicate of magnesium, iron, and calcium corresponding to the formula Ca(Mg,Fe)3(SiO3)4, the magnesia being replaceable by ferrous oxide. Microscopic examination shows that the structure consists of innumerable independent fibres foliated or matted together, the former character giving rise to a slaty and the latter to a horny appearance in the stone as seen by the unaided eye. The colour varies from grey to leaf- and dark-green, the tint deepening as the relative amount of iron in the composition increases, and brown tints result from the oxidation of the iron along cracks in the stone. The hardness is 6½ on Mohs’s scale; nephrite is therefore about as hard as ordinary glass and softer than quartz. When polished, it always acquires a greasy lustre. The specific gravity ranges from 2·9 to 3·1. The least and greatest of the principal refractive indices are 1·606 and 1·632 respectively, the double refraction being biaxial and negative; the coloured fibres also display dichroism. All these differential effects are, however, masked in the stone because of the irregularity of the aggregation. Nephrite is fusible before the blowpipe, but only with difficulty. Its name is derived from the Greek word νεφρός, kidney, the allusion being the same as for jade.
Many of the prehistoric implements found in Mexico and in the Swiss Lake Habitations are262 composed of nephrite, but it is uncertain where the mineral was obtained. Much of the material used by the Chinese at the present time comes from spots near the southern boundary of Eastern Turkestan, especially in the valleys of the rivers Karakash and Yarkand in the Kwen Lun range of mountains; it is also found farther north at the river Kashgar. It occurs in various provinces of China, namely, Shensi, Kwei Chau, Kwang Tung, Yunnan, and Manchuria. Gigantic waterworn boulders have been found in the Government of Irkutsk, near Lake Baikal, in eastern Siberia, the first discovery being made in the bed of the Onot stream by the explorer and prospector J. P. Alibert, in 1850. A large boulder of this kind, weighing over half a ton (1156 lb., or 524·5 kg.), is exhibited in the Mineral Gallery of the British Museum (Natural History). An enormous mass, weighing over 2 tons (4718 lb., or 2140 kg.), was discovered at Jordansmühl, Silesia, by Dr. G. F. Kunz, and is now in the magnificent collection of jade formed by Mr. Heber R. Bishop. Beautiful greenstone occurs in New Zealand, particularly in the Middle Island. The Maoris have long used it for various useful and ornamental purposes, the most common being indicated by their general name for the species, punamu, axe-stone; kawakawa is the ordinary green variety, a fine section of which is shown on the wall of the Mineral Gallery of the British Museum (Natural History), while inanga, a grey variety, and kahurangi, a pale-green and translucent variety, are rare and highly prized.
Jadeite (Plate XXIX, Fig. 18) is by far the rarer of the two jades, and is the choicest gem with the263 Chinese. In composition it is a silicate of sodium and aluminium with the formula NaAl(SiO3)2, corresponding to the lithium mineral spodumene (p. 265). It has the same toughness and greasy lustre as nephrite, but is harder, being represented by the symbol 7 on Mohs’s scale, and thus only slightly, if at all, softer than quartz. The other characters are also higher; the specific gravity is about 3·34, and the least and greatest of the principal refractive indices are 1·66 and 1·68, the double refraction being biaxial and negative. The colour varies from white to almost an emerald green, the latter being especially prized, and often the green colour runs in streaks through the white. Jadeite fuses readily before the blowpipe to blebby glass, more easily than is the case with nephrite.
The finest jadeite comes from the Mogaung district in Upper Burma, where it is found in boulders and also with albite in dykes in a dark-green serpentine. The export trade to China, which absorbs practically the whole of the output, is exceedingly valuable, and realizes nearly as much as the produce of the ruby mines. Jadeite is also found in the Shensi and Yunnan provinces of China, and in Tibet.
A few words may be said about the other jade-like minerals. Saussurite, which is named after H. B. de Saussure, has resulted from the decomposition of a felspar, and is nearly akin to the mineral zoisite. It has the customary toughness of structure, and is greenish grey to white in colour. Its specific gravity is about 3·2, and hardness 6½ to 7 on Mohs’s scale. It occurs near Lake Geneva. Bowenite is264 a green serpentine (p. 289) which is found at Smithfield, Rhode Island, U.S.A., and in New Zealand and Afghanistan. Californite and plasma are compact varieties of idocrase (p. 275) and chalcedony (p. 247) respectively. Verdite is a stone of rich green colour which is found in the form of large boulders in the North Kaap River, South Africa; it is composed of green mica (fuchsite) and some clayey matter.
Jade has of recent years been imitated in glass, but the latter is recognizable by its vitreous lustre and inferior hardness, and sooner or later by its frangibility.
TILL a few years ago scarcely known outside the ranks of mineralogists, spodumene suddenly leaped into notice in 1903 upon the discovery of the lovely lilac-coloured stones (Plate XXIX, Fig. 10) at Pala, San Diego County, California; they shortly afterwards received the name kunzite after the well-known expert in gems, Dr. G. F. Kunz. The stones were found here in a pegmatite dyke, and were of all shades, ranging from pale pink to deep lilac, and at times as much as 150 carats in weight. Paler kunzite occurs with beryl and tourmaline at Coahuila Mountain in Riverside County, California, and colourless stones have recently come to light in Madagascar. Kunzite is remarkable for its wonderful dichroism; the beautiful violet tint that springs out in one direction comes with greater surprise because of the uninteresting yellowish tints in other directions. Unlike spodumene in general, kunzite is phosphorescent under the influence of radium.
The emerald-green variety (Plate XXIX, Fig. 11),266 named hiddenite after Mr. W. E. Hidden, who discovered in 1881 the only known occurrence, in Alexander County, North Carolina, would no doubt have become popular had the supply of material not been so very limited; few stones were found, and the variety has never come to light elsewhere. The colour is supposed to be due to chromic acid. Hiddenite being also dichroic, the tint varies with the direction.
Spodumene is ordinarily rather a pale yellowish in hue, and, as its name (which is derived from σποδίος, ash-coloured) suggests, is not very attractive. Clear, lemon-yellow stones (Plate XXIX, Fig. 9) are found in Brazil and Madagascar.
The species is interesting scientifically because it contains the rare element lithium; it is a silicate of aluminium and lithium, corresponding to the formula LiAl(SiO3)2. The double refraction is biaxial in character and positive in sign, the least and greatest of the refractive indices being 1·660 and 1·675; the specific gravity is 3·185, and hardness 6½ to 7 on Mohs’s scale. Spodumene has an easy cleavage, and the cut stones call therefore for careful handling, lest they be flawed or fractured. Two faceted stones, a beautiful kunzite and a fine hiddenite, weighing 60 and 2½ carats respectively, are exhibited in the British Museum (Natural History).
Known also by various other names—cordierite, dichroite, and water-sapphire (saphire d’eau)—this species owes its interest to the remarkable dichroism characterizing it, the principal colours—smoky-blue267 and yellowish white—being in such contrast as to be obvious to the unaided eye. The stones that are usually worked have intrinsically a smoky-blue colour, and are found in waterworn masses in the river-gravels of Ceylon, whence is the origin of the name water-sapphire. Iolite, from ἴον, violet, and λίθος, stone, refers to the colour; cordierite is named after Cordier, a French geologist, who first studied the crystallography of the species; and dichroite, of course, alludes to the most prominent character of the species.
Iolite is a silicate of aluminium and of magnesium and iron corresponding to the formula H2(Mg,Fe)4Al8Si10O37. The double refraction is small in amount, biaxial in character, and negative in sign, the least and greatest of the refractive indices being 1·543 and 1·551; the specific gravity is 2·63, and hardness 7 on Mohs’s scale. Iolite, if used, is worked and polished; it is seldom faceted. A large worked piece, weighing 177 grams, which was formerly in the Hawkins Collection, is exhibited in the British Museum (Natural History).
The babe among gem-stones, benitoite first saw the light of day a few years ago, early in 1907. It occurs with the rare mineral neptunite, which was previously known only from Greenland, in narrow veins of natrolite in Diablo Range near the head-waters of the San Benito River, San Benito County, California. Despite careful search the species has not been found except within the original restricted area. To science it is interesting both because of268 its composition, a silico-titanate of barium, corresponding to the formula BaTiSi3O9, and because its crystals belong to a class of crystalline symmetry which has hitherto not been represented among minerals. The double refraction is uniaxial, and since the ordinary index of refraction is 1·757 and the extraordinary 1·804, it is positive in sign and large in amount, namely, 0·047. The stones are characterized by strong dichroism, the colour corresponding to the ordinary ray being white, and to the extraordinary greenish blue to indigo depending upon the tint of the stone. To obtain the best effect the stone must therefore be cut with the table-facet parallel to the crystallographic axis. The specific gravity is 3·65, and hardness 6½ on Mohs’s scale. When first discovered the species was supposed to be sapphire, and many stones were cut and sold as such. It is, however, much softer than sapphire, and is readily distinguished by its optical characters, since it possesses greater double refraction and of differing sign, so that, when tested with the refractometer, the shadow-edge corresponding to the lower index of refraction remains fixed in the case of benitoite, whereas the contrary happens with sapphire. Benitoite also, unlike sapphire, fuses easily to a transparent glass. Its blue colour, which is supposed to be due to a small amount of free titanic acid present, appears to be stable. Several stones as large as 1½ to 2 carats in weight have been found. The largest of all, perfectly flawless, weighs just over 7 carats, and is remarkable because it is about three times the next largest in point of weight; it is the property of Mr. G. Eacret, of San Francisco.
THIS species comes near beryl in chemical composition, being a silicate of aluminium and beryllium corresponding to the formula Be(AlOH)SiO4, and closely resembles aquamarine in colour and appearance when cut. Owing to the rarity of the mineral good specimens command high prices for museum collections, and it is seldom worth while cutting it for jewellery. It derives its name from its easy cleavage, εὖ easily, and κλάσις fracture. The double refraction is biaxial in character and positive in sign, the least and greatest of the refractive indices being 1·651 and 1·670 respectively; the specific gravity is 3·07, and the hardness 7½ on Mohs’s scale. The colour is usually a sea-green, but sometimes blue. Euclase occurs with topaz at the rich mineral district of Minas Novas, Minas Geraes, Brazil, and has also been found in the Ural district, Russia.
Another beryllium mineral, phenakite owes its name to the frequency with which it has been mistaken for quartz, being derived from φέναξ, 270 deceiver. The clear, colourless crystals, somewhat complex in form, have at times been cut, but they lack ‘fire,’ and despite their brilliant lustre meet with little demand. The composition is a silicate of beryllium corresponding to the formula Be2SiO4. The double refraction is uniaxial, and since the ordinary, 1·652, is less than the extraordinary index, 1·667, it is positive in sign; the specific gravity is 2·99, and the hardness is almost equal to that of topaz, being about 7½ to 8 on Mohs’s scale.
Fine stones have long been known near Ekaterinburg in the Ural Mountains, and have recently been discovered in Brazil.
As its name suggests, this mineral also contains beryllium, being a soda phosphate corresponding to the formula NaBePO4. Clear, colourless stones, which occur at Stoneham, Maine, U.S.A., have been cut, but the lack of ‘fire,’ the easy cleavage, and comparative softness, the symbol being 5½ on Mohs’s scale, unfit it for use in jewellery. The double refraction is biaxial in character and negative in sign, the least and the greatest of the refractive indices being 1·553 and 1·565 respectively.
THE small green stones which accompany the diamond in South Africa have been cut and put on the market as ‘green garnet.’ They are, however, in no way connected with garnet, but belong to a mineral species called enstatite, which is a silicate of magnesium corresponding to the formula MgSiO3; the green colour is due to a small amount of ferrous oxide which replaces magnesia. The double refraction is biaxial in character and positive in sign, the least and greatest of the refractive indices being 1·665 and 1·674 respectively; the specific gravity ranges from 3·10 to 3·13, and the hardness is only about 5½ on Mohs’s scale. The dichroism is perceptible, the twin-colours being yellowish and green, and, as usual, is more pronounced the deeper the colour of the stone. There is also a good cleavage in two different directions.
With increasing percentage amount of iron enstatite passes into hypersthene. The colour272 becomes a dark brownish green, and an increase takes place in the physical constants, the least and greatest of the refractive indices attaining to 1·692 and 1·705 respectively, and the specific gravity ranging from 3·4 to 3·5. Hypersthene is never sufficiently transparent for faceting, but when spangled with small scales of brookite it is sometimes cut en cabochon.
The name enstatite is derived from ἐνστάτης, an opponent, referring to the infusibility of the mineral before the blowpipe, and hypersthene comes from ὑπερσθένος, very tough.
An altered enstatite, leek-green in colour and with nearly the composition of serpentine (p. 289), has been cut en cabochon. It has much lower specific gravity, only 2·6, and lower hardness, 3½ to 4 on Mohs’s scale. It is named bastite from Baste in the Harz Mountains, where it was first discovered.
This species, which is also known as malacolite and alalite, provides stones of a leaf-green colour which have occasionally been cut. It is a silicate of calcium and magnesium corresponding to the formula MgCa(SiO3)2, but usually contains in place of magnesia some ferrous oxide, to which it owes its colour; with increase in the percentage amount of iron the colour deepens and the physical constants change. The double refraction is large in amount, 0·028, biaxial in character, and positive in sign. The least and greatest of the refractive indices corresponding to the stones suitable for jewellery range about 1·671 and 1·699 respectively, but they273 may be as high as 1·732 and 1·750 in the two cases. The specific gravity varies from 3·20 to 3·38, and the hardness from 5 to 6 on Mohs’s scale. Dichroism is noticeable in deep-coloured stones, but is not very marked.
The name diopside comes from δίς, double, and ὄψις, appearance, in allusion to the effect resulting from the double refraction; malacolite is derived from μαλακός, soft, because the mineral is softer than the felspar associated with it; and alalite is named after the principal locality, Ala Valley, Piedmont, Italy.
Kyanite, also known as disthene, is interesting for two reasons. Its structure is so grained in character that the hardness varies in the same stone from 5 to 7 on Mohs’s scale; it can therefore be scratched by a knife in some directions, but not in others (p. 79). It has the same chemical composition as andalusite, both being silicates of aluminium corresponding to the formula Al2SiO5, but possesses very different physical characters, a fact which shows how large a share the molecular grouping has in determining the aspect of crystallized substances. It is biaxial with small negative double refraction, the least and greatest of the refractive indices being 1·72 and 1·73 respectively; the specific gravity is 3·61. It occurs in sky-blue prismatic crystals, whitish at the edges, in schist near St. Gothard, Switzerland. It is seldom cut.
Kyanite is derived from its colour, κύανος blue, and disthene, from its variable hardness, δίς, twice, and σθένος, strong.
274
Andalusite bears no resemblance whatever to kyanite, although, as has been stated above, the composition of the two species is essentially the same. It is usually light bottle-green in colour, and more rarely brown and reddish. Its extreme dichroism is its most remarkable character, the twin colours being olive-green and red. The reddish gleams that are reflected from the interior are in sharp contrast with the general colour of the stone, and impart to it a weird effect (Plate XXIX, Fig. 15). Cut stones are often confused with tourmalines, and can, indeed, only be distinguished from the latter with certainty by noting on the refractometer the smaller amount of double refraction and the difference in its character. The least and greatest of the refractive indices are 1·62 and 1·643 respectively, and the double refraction, 0·011, about half that of tourmaline, is biaxial and negative; the specific gravity is 3·18, and hardness 7½ on Mohs’s scale.
Good stones are found at Minas Novas, Minas Geraes, Brazil, and in the gem-gravels of Ceylon. It was first known from the province of Andalusia, Spain, whence is the origin of its name.
Idocrase, also known as vesuvianite, is occasionally found in the form of transparent, leaf-green, and yellowish-brown stones which, when cut, may be mistaken for diopside and epidote respectively, but are distinguishable from both by the extreme smallness 275of their double refraction. Californite is a compact variety which has all the appearances of a jade; its colour is green, or nearly colourless with green streaks.
In composition idocrase is a silicate of aluminium and calcium, the precise formula of which is uncertain, but may be—
The double refraction, which is uniaxial in character and negative in sign, may be less than 0·001, and never exceeds 0·006, so that it is not easily detected with the refractometer, even in sodium light. The refractive indices vary enormously in value, from 1·702 to 1·726 for the ordinary, and from 1·706 to 1·732 for the extraordinary ray. The specific gravity varies from 3·35 to 3·45, and the hardness is about 6½ on Mohs’s scale.
The name idocrase, from εἴδος, form, and κρᾶσις, mixture, was assigned to the species by Haüy, but his reasons have little meaning at the present day. The other names are taken from the localities where the species and the variety were first discovered.
Bright, green crystals come from Russia, and also from Ala Valley, Piedmont, and Mount Vesuvius, Italy. Californite is found in large masses in Siskiyon and Fresno Counties, California.
Epidote often possesses a peculiar shade of yellowish green, similar to that of the pistachio-nut—hence the origin of its alternative name—which is276 unique among minerals, though scarcely pleasing enough to recommend it to general taste. Its ready cleavage renders it liable to flaws; nevertheless, it is occasionally faceted. The name epidote, from ἐπίδοσις, increase, was given to it by Haüy, but not on very precise crystallographical grounds.
In composition this species is a silicate of calcium and aluminium, with some ferric oxide in place of alumina, corresponding to the complex formula, Ca2(Al,Fe)2[(Al,Fe)OH](SiO4)3. It occurs in monoclinic, prismatic crystals richly endowed with natural faces. The colour deepens with increase in the percentage amount of iron, and the stones become almost opaque. The double refraction is large in amount, 0·031, biaxial in character, and negative in sign. The dichroism is conspicuous in transparent stones, the twin-tints corresponding to the principal optical directions being green, brown, and yellow. The values of the least and greatest of the refractive indices given by transparent stones are 1·735 and 1·766 respectively; the specific gravity varies from 3·25 to 3·50, and the hardness from 6 to 7 on Mohs’s scale.
Transparent crystals have come from Knappenwand, Untersulzbachtal, Salzburg, Austria; Traversella, Piedmont, Italy; and Arendal, Nedenäs, Norway. Magnificent, but very dark, crystals were discovered about ten years ago on Prince of Wales Island, Alaska.
The clear, green, yellow, or brownish stones provided by this species would be welcomed in277 jewellery because of their brilliant and almost adamantine lustre, but, unfortunately, they are too soft to withstand much wear, the hardness being only 5½ on Mohs’s scale. In composition sphene is a silico-titanate of calcium corresponding to the formula CaTiSiO5, and in this respect comes near the recently discovered gem-stone, benitoite. The refractive indices lie outside the range of the refractometer, the values of the least and the greatest of the refractive indices varying from 1·888 and 1·917 to 1·914 and 2·053 respectively. It is to this high refraction that it owes its brilliant lustre. The double refraction, which is biaxial in character and positive in sign, is so large that the apparent doubling of the opposite edges of a cut stone when viewed through one of the faces is obvious to the unaided eye (cf. p. 41). Cut stones have additional interest on account of the vivid dichroism displayed, the twin-tints, colourless, yellow, and reddish yellow, corresponding to the three principal optical directions, being in strong contrast. The specific gravity ranges from 3·35 to 3·45. The negative test with the refractometer (cf p. 26), the softness, and the large amount of double refraction suffice to distinguish this species from gem-stones of similar appearance.
The name sphene, from σφήν, wedge, alludes to the shape of the natural crystals. The alternative name is obviously due to the fact that the species contains titanium.
Good stones have come from the St. Gothard district, Switzerland.
278
Called axinite from the shape of its crystals—ἀξίνη, axe—this species supplies small, clear, clove-brown, honey-yellow, and violet stones which can be cut for those who care for a stone out of the ordinary. The composition is a boro-silicate of aluminium and calcium, with varying amounts of iron and manganese, corresponding to the formula (Ca,Fe)3Al2(B.OH)Si4O15. Axinite is interesting on account of its strong dichroism, the twin-tints corresponding to the principal optical directions being violet, brown, and green. The double refraction is biaxial in character and negative in sign, the least and greatest of the refractive indices being 1·674 and 1·684; the specific gravity is 3·28, and hardness about 6½ to 7, or rather under that of quartz.
The best examples have been found at St. Cristophe, Bourg d’Oisans, in the Dauphiné, France. Violet axinite is a novelty that has come within recent years from Rosebery, Montagu County, Tasmania.
This species, which is named after its discoverer, Colonel Prehn, is found in nodular, yellow and oil-green stones, of which the latter have very occasionally been cut. It is a little soft, the hardness being only 6 on Mohs’s scale. The double refraction is large in amount, 0·033, biaxial in character, and positive in sign, the least and the greatest of the refractive indices being 1·616 and 1·649 respectively; the specific gravity varies from 2·81 to 2·95. In composition prehnite is a279 silicate of aluminium and calcium corresponding to the formula H2Ca2Al2(SiO4)3.
The best material has been found at St. Cristophe, Bourg d’Oisans, Dauphiné, France.
This interesting mineral is found occasionally in attractive green, blue, or violet stones, but is unfortunately too soft for extensive use in jewellery, the hardness being only 5 on Mohs’s scale. In composition it is a fluo-chloro-phosphate of calcium, corresponding to the formula Ca4[Ca(F,Cl)](PO4)3. When pure, it is devoid of colour, the tints being due to the presence of small amounts of tinctorial agents. The double refraction is uniaxial in character and negative in sign, the ordinary index being 1·642 and the extraordinary 1·646; the specific gravity varies from 3·17 to 3·23. The dichroism is usually feeble, but sometimes is strong; for instance, in the stones from the Burma ruby mines (yellow, blue-green). A cut stone might be mistaken for tourmaline, but is distinguished by its softness, or, when tested on the refractometer, by its inferior double refraction. It received its name from ἀπατάειν, deceive, because it was wrongly assigned to at least half a dozen different species in early days. Moroxite is a name sometimes given to blue-green apatite.
Beautiful violet stones are found at Ehrenfriedersdorf, Saxony; Schlaggenwald, Bohemia; and Mount Apatite, Auburn, Androscoggin County, Maine, U.S.A.; and blue stones come from Ceylon.
280
Though of a pretty, emerald-green colour, dioptase has never been found in large enough crystals for gem purposes, and it is, moreover, rather soft, the hardness being only 5 on Mohs’s scale, and has an easy cleavage. In composition it is a hydrous silicate of copper corresponding to the formula CuH2SiO4. The double refraction, which is large in amount, is uniaxial in character, and positive in sign, the ordinary refractive index being 1·667 and the extraordinary 1·723. Its colour and softness distinguish it from peridot or diopside, which have about the same refractivity. The name was assigned to the species by Haüy, from διὰ, through, and ὄπτομαι, see, because the cleavage directions were distinguishable by looking through the stone.
Dioptase has been found near Altyn-Tübe in the Kirghese Steppes, at Rezbánya in Hungary, and Copiapo in Chili, and at the mine Mindouli, near Comba, in the French Congo.
THOUGH usually opaque, this oxide of tin, corresponding to the formula SnO2, has occasionally, but very rarely, been found in small, transparent, yellow and reddish stones suitable for cutting. The lustre is adamantine. The refraction is uniaxial in character and positive in sign, the ordinary index being 1·997 and extraordinary 2·093. The specific gravity is high, ranging from 6·8 to 7·1. The hardness is on the whole less than that of quartz, being about 6 to 7 on Mohs’s scale.
This mineral, which is one of the three crystallized forms of titanium oxide, TiO2, occurs often in small, brown, transparent stones which occasionally find their way into the market. The lustre is adamantine. The refraction is uniaxial in character and negative in sign, the extraordinary index being 2·493 and ordinary 2·554. The specific gravity varies from 3·82 to 3·95, and the hardness is about 5½ to 6 on Mohs’s scale.
282
These two metallic minerals were employed in ancient jewellery. The former, sulphide of iron, FeS2, is brass-yellow in colour, and has a specific gravity 5·2, and hardness 6½ on Mohs’s scale. It is found, when fresh, in brilliant cubes. The latter, oxide of iron, Fe2O3, has a black metallic lustre, but, when powdered, is red in colour—a mode of distinguishing it from other minerals of similar appearance. Its specific gravity is 5·3, and hardness 6½ on Mohs’s scale. In modern times it has been cut in spherical form to imitate black pearls, but can easily be recognized by its greater density and hardness. Hematite is used for signet stones, often with an intaglio engraving.
TWO forms of natural glass have been employed for ornamental purposes. Obsidian results from the solidification without crystallization of lava, and corresponds in composition to a granite. The structure is seldom clear and transparent, and usually contains inclusions or streaks. The colour is in the mass jet-black, but smoky in thin fragments, and occasionally greenish. Its property of breaking with a keen cutting edge, in the same way as ordinary glass, rendered it of extreme utility to primitive man, who was ignorant of the artificial substance. The refraction is, of course, single, and the refractive index approximates to 1·50. The specific gravity varies from 2·3 to 2·5. The hardness is 5 on Mohs’s scale, the same as ordinary glass.
Obsidian is obtained wherever there has been volcanic activity. Vast mines of great antiquity exist in the State of Hidalgo, Mexico.
Moldavite, which differs in no respect from ordinary green bottle-glass, is of interest on account of its problematical origin. Its occurrence in various parts of Bohemia and Moravia cannot be explained as the result of volcanic agency. It may possibly be the product of old and forgotten284 glass factories which at one time existed on the site. Even meteorites have been suggested as the source. The physical characters are the same as those of ordinary glass: refraction single, index 1·51; specific gravity 2·50 and hardness 5½ on Mohs’s scale. Moldavite also passes under the names of bottle-stone, or water-chrysolite. A natural glass of the same character has been found in water-worn fragments in Ceylon, and has been sold as peridot, which it resembles in colour, but is readily distinguished from it by its very different physical properties.
SPACE will not permit of more than a few words concerning the more prominent of the numerous mineral species which are employed for ornamental purposes in articles of virtu or in architecture, but which for various reasons cannot take rank as gem-stones.
Fluor, a beautiful mineral which is found in its greatest perfection in England, has enjoyed well-deserved popularity when worked into vases or other articles. The finest material, deep purple in colour, known as ‘Blue John,’ came from Derbyshire, but the supply is now exhausted. The crystallized examples, from Durham, Devonshire, and Cornwall, form some of the most attractive of museum specimens. The crystals take the shape of cubes, often twinned, and have an easy octahedral cleavage.286 The refraction is single, the index being 1·433. Fluor is noted for its property of appearing of differing colour by reflected and transmitted light, and the phenomenon is in consequence known as fluorescence. The specific gravity is 3·18, and the hardness 4 on Mohs’s scale. Owing to its low refraction and softness, fluor is not suitable for jewellery. Clear colourless material is in demand for particular lenses of microscope objectives.
The lovely blue stone known as lapis lazuli has since the earliest times been applied to all kinds of decorative purposes, for mosaic and inlaid work and as the material for vases, boxes, and so on, and was the original sapphire of the ancients. When ground to powder it furnishes a fine blue paint, but it has now been entirely superseded for this purpose by an artificial product. Although to the eye so homogeneous and uniform in structure, lapis lazuli has been shown by microscopic examination to be composed of calcite coloured by three blue minerals in varying proportions. All three belong to the cubic class of symmetry, and are mainly soda aluminium silicates in composition; their hardness varies from 5 to 6 on Mohs’s scale. Lazurite, Na4(NaS3.Al)Al2Si3O12, has specific gravity varying from 2·38 to 2·45, and hardness about 5 to 5½; haüynite, (Na2,Ca)2(NaSO4,Al)Al2Si3O12, is about the same in specific gravity, 2·4 to 2·5, but slightly harder, 5½ to 6; while sodalite, Na4(AlCl)Al2Si3O12, is the lightest in density, 2·14 to 2·30, with hardness 5½ to 6, and has a refractive index 1·483.
By far the oldest mines are in the Badakshan district of Afghanistan, a few miles above Firgamu in the valley of the Kokcha, a branch of the Oxus,287 where ruby and spinel are found. It is also found at the southern end of Lake Baikal, Siberia, and in the Chilian Andes.
Sodalite occurs in beautiful blue masses at Dungannon, Hastings County, Ontario, Canada, and at Litchfield, Maine, U.S.A. They make excellent polished stones.
Violane, a massive, dark violet-blue diopside from San Marcel, Piedmont, Italy, also makes a handsome polished stone.
Rhodonite, silicate of manganese, MnSiO3, possesses a fine red colour, and makes an attractive stone when cut and polished. It has very slight biaxial double refraction, the refractivity being about 1·73; the specific gravity is 3·6, and hardness 6. It is found in large masses near Ekaterinburg in the Ural Mountains, and is quarried as an ornamental stone.
Both the copper carbonates, azurite or chessylite, and malachite, make effective polished stones. The latter is also worked into various ornamental objects; it occurs in fibrous masses, the grained character of which look well in the polished section. Its colour is a bright green, to which it owes its name, from μαλακή, mallows. Its composition is represented by the formula CuCO3.Cu(OH)2, and it is the more stable form, since azurite is frequently found altered to it. It has biaxial double refraction, and the indices are about 1·88; the specific gravity is 4·01, and hardness about 3½ to 4 on Mohs’s scale. It is found in large masses at the copper mines of Nizhni Tagilsk in the Ural Mountains, where it is mined as an ornamental stone; it also accompanies the copper ores in many parts of the world, for instance Cuba,288 Chili, and Australia. Azurite, so called on account of its beautiful blue colour, is rarer, but, unlike malachite, is generally in the form of crystals. Beautiful specimens have come from Chessy, near Lyons, France, and Bisbee, Arizona, U.S.A. The composition corresponds to the formula 2CuCO3, Cu(OH)2. The specific gravity is 3·80, and hardness about 3½ to 4.
Chrysocolla occurs in blue and bluish-green earthy masses, with an enamel-like texture, which in some instances can be worked and polished. Being the result of the decomposition of copper ores, it varies considerably in hardness, ranging from 2 to 4 on Mohs’s scale. Its composition approaches to the formula CuSiO3.2H2O, but it invariably contains impurities. It is very light, the density being only about 2·2.
Steatite, or soapstone, is a massive foliated silicate of magnesium corresponding to the formula H2Mg3Si4O12, which is one of the softest of mineral substances, representing the degree 1 on Mohs’s scale, but in massive pieces is harder owing to the intermixture of other substances with it. It has a peculiar greasy feeling to the touch, due to its softness. The specific gravity is about 2·75. The Chinese carve images out of the yellowish and brownish pieces.
Meerschaum, a silicate of magnesium corresponding to the formula H4Mg2Si3O10, is familiar to every smoker as a material for pipe-bowls. It is very light, the specific gravity being only 2·0, and soft, the hardness being about 2 to 2½ on Mohs’s scale. When found, it is pure white in colour, and answers to its name, a German word signifying sea-foam. It comes from Asia Minor.
289
Serpentine has been largely used for decorative purposes, as well as for cameos and intaglios, and formed most of the famous ‘verde antique.’ Being the result of the decomposition of other silicates it varies enormously in appearance and characters, but the most attractive stones are a rich oil-green in colour and resemble jade. The composition approximates to the formula H4Mg3Si2O9, but it invariably contains other elements. The hardness varies from 2½ to 4 on Mohs’s scale, according to the minerals contained in the stone; the specific gravity is about 2·60 and the refractivity 1·570.
The beautiful rose-red stone, thulite, makes a handsome decorative stone. It has nearly the same composition as epidote (p. 275), and like it has strong dichroism, the principal colours being yellow, light rose, and deep rose. The colour is due to manganese. Its refractive index is about 1·70, specific gravity 3·12, and hardness 6 to 6½ on Mohs’s scale; it possesses an easy cleavage. Fine specimens come from Telemark, Norway, and it is therefore called after the old name for Norway, Thule.
Marble is a massive calcite, carbonate of lime, with the formula CaCO3. When pure it is white, but it is usually streaked with other substances which impart a pleasing variety to its appearance. It is always readily recognized by the immediate effervescence set up when touched with a drop of acid. Calcite is highly doubly refractive (cf. p. 40), the extraordinary index being 1·486, and ordinary 1·658, a difference of 0·172; the specific gravity is 2·71, and hardness 3 on Mohs’s scale. Lumachelle, or fire-marble, is a limestone containing shells from290 which a brilliant, fire-like chatoyancy is emitted when light is reflected at the proper angle. It sometimes resembles opal-matrix, but is easily distinguished by its lower hardness and by its effervescent action with acid. Choice specimens come from Bleiberg in Carinthia, and from Astrakhan.
Apophyllite has not many characters to commend it, being at the best faintly pinkish in colour, and always imperfectly transparent. It is a hydrous silicate of potassium and calcium with the complex formula (H,K)2Ca(SiO3)2.H2O. Its refractivity is about 1·535, specific gravity 2·5, and hardness 4½ on Mohs’s scale; it possesses an easy cleavage. It occurs in the form of tetragonal crystals at Andreasberg in the Harz Mountains, and in the Syhadree Mountains, Bombay, India.
ALTHOUGH none of the substances considered in this chapter come within the strict definition of a stone, since they are directly the result of living agency, yet pearl at least cannot be denied the title of a gem. Both pearl and coral contain calcium carbonate in one or other of its crystallized forms, and both are gathered from the sea; but otherwise they have nothing in common. Amber is of vegetable origin, and is a very different substance.
From that unrecorded day when some scantily clothed savage seeking for succulent food opened an oyster and found to his astonishment within its shell a delicate silvery pellet that shimmered in the light of a tropical sun, down to the present day, without intermission, pearl has held a place all its own in the rank of jewels. Though it be lacking in durability, its beauty cannot be disputed, and large examples,292 perfect in form and lustre, are sufficiently rare to tax the deepest purse.
The substance composing the pearl is identical with the iridescent lining—mother-o’-pearl or nacre, as it is termed—of the shell. Tortured by the intrusion of some living thing, a boring parasite, a worm, or a small fish, or of a grain of sand or other inorganic substance, and without means to free itself, the mollusc perforce neutralizes the irritant matter by converting it into an object of beauty that eventually finds its way into some jewellery cabinet. Built up in a haphazard manner and not confined by the inexorable laws of intermolecular action, a pearl may assume any and every variety of shape from the regular to the fantastic. It may be truly spherical, egg- or pear-shaped—pear-drops or pear-eyes, as they are termed—or it may be quite irregular—the so-called baroque or barrok pearls. The first is the most prized, but a well-shaped drop-pearl is in great demand for pendants or ear-rings. The colour is ordinarily white, or faintly tinged yellowish or bluish, and somewhat rarely, salmon-pink, reddish, or blackish grey. Perfect black pearls are valuable, but not as costly as the finest of the white. Though not transparent, pearl is to a varying extent translucent, and its characteristic lustre—‘orient’ in the language of jewellery—is due to the same kind of interaction of light reflected from different layers that has been remarked upon in the case of opal and certain other stones. The translucency varies in degree, and some jewellers speak of the ‘water’ of pearls just as in the case of diamonds. If a pearl be sliced across the middle and the section be examined under the293 microscope, it will be seen that the structure consists of concentric shells and resembles that of an onion. These shells are alternately composed of calcium carbonate in its crystallized form, aragonite, and of a horny organic matter known as conchiolin, and they evidently represent the result of intermittent growth. Because of their composite character, pearls have a specific gravity ranging from 2·65 to 2·69–2·84–2·89 in the case of pink pearls—which is appreciably less than that of aragonite, 2·94: the hardness is about the same, namely, 3½ to 4 on Mohs’s scale. That the arrangement of the mineral layers is approximately parallel is evinced by the distinctness of the shadow-edges shown on examination with the refractometer. Pearls require very careful handling, both because they are comparatively soft and therefore apt to be scratched, and because they are chemically affected by acids, and even by the perspiration from the skin. Acids attack only the calcium carbonate, not the organic matter; the well-known story therefore of Cleopatra dissolving a valuable pearl in vinegar, which is moreover, too weak an acid to effect the solution quickly, must not be accepted too literally. Pearls are not cut like stones, and therefore as soon as the precious bloom has once gone, nothing can be done to revive it. Attempts are sometimes made in the case of valuable pearls to remove the dull skin and lay bare another iridescent layer underneath, but the operation is exceedingly delicate. Even with the best of care pearls must in process of time perish owing to the decay of the organic constituent. Pearls that have been discovered in ancient tombs crumbled to dust at a touch, and those formerly in294 ancient rings have vanished or only remain as a brown powder, while the garnets or other stones set with them are little the worse for the centuries that have passed by.
The largest known pearl was at one time in the famous collection belonging to the banker, Henry Philip Hope. Cylindrical in form, with a slight swelling at one end, it measures 50 mm. (2 inches) in length, and 115 mm. (4½ inches) in circumference about the thicker, and 83 mm. (3¼ inches) about the thinner end, and weighs 454 carats. About three-quarters of it is white in colour with a fine ‘orient,’ and the remainder is bronze in tint. It is valued at upwards of £12,000. A large pearl, 300 carats in weight, is in the imperial crown of the Emperor of Austria, and another, pear-shaped, is in the possession of the Shah of Persia. A beautiful white India pearl, a perfect sphere in shape, and 28 carats in weight, is in the Museum of Zosima in Moscow; it is known as ‘La Pellegrina.’ The ‘Great Southern Cross,’ which consists of nine large pearls naturally joined together in the shape of a cross, was discovered in an oyster fished up in 1886 off the beds of Western Australia. The collection of jewels in the famous Green Vaults at Dresden contains a number of pearls of curious shapes.
Large pearls are sold separately, while the small pearls known as ‘seed’ pearls come into the market bored and strung on silk in ‘bunches.’ The unit of weight is the pearl grain, which is a quarter of a carat, and the rate of price depends on the square of the weight in grains. The rate per unit or base varies from 6d. to 50s. according to the shape and quality of the pearl. Spherical pearls command295 the best prices, next the pearl-drops, and lastly the buttons; but whatever the shape, it is imperative that the pearl have ‘orient,’ without which it is valueless. The cheaper grades of pearls are sold by the carat.
For use in necklaces and pendants pearls are bored with a steel drill, and threaded with silk, an easy operation on account of their softness. They harmonize well with diamonds. Small pearls are often set as a frame to large coloured stones, to which they form an admirable foil. Pearls set in rings or anywhere where the upper half alone would show are generally sawn in halves; ‘button’ pearls find an extensive use in modern rings.
Any mollusc, whether of the bi-valve or the uni-valve type, which possesses a nacreous shell, has the power of producing pearls, but only two, the pearl-oyster, Meleagrina margaritifera, and the pearl-mussel, Unio margarifer, repay the cost of systematic fishing. The outside of the shell is formed of the horny matter called conchiolin; while the inside is composed of two coats, of which the outer consists of alternate layers of conchiolin and calcium carbonate in its crystallized form, calcite, and the inner of the same organic matter, but with calcium carbonate in its other crystallized form, aragonite. The latter coat forms the nacreous lining known as mother-o’-pearl, which is identical in consistency with pearl, but somewhat more transparent. The iridescence of mother-o’-pearl is due not only to the fact that it is composed of a succession of thin translucent layers, but also to the fact that these layers overlap like slates on a house, and form a series of fine parallel lines on the surface; diffraction 296therefore as well as interference of light takes place, and a similar diffraction phenomenon is displayed even by a cast of the inside of the shell. The animal has the property of secreting calcium carbonate, which it absorbs from the sea-water, in both its crystallized conditions as well as conchiolin. At the outer rim it secretes conchiolin, further in calcite, and at the very inside aragonite. The shape and appearance of a pearl therefore depend on the position in which the intruding substance is situated within the shell. The most perfect pearl has been in intermittent motion in the interior of the mollusc, and has received successive coats according to the position in which it happened to be. A parasite that bores into the shell is walled up at the point of entrance, and a wart- or blister-pearl results. The thinner the successive coats the finer the lustre. Pearls have even been discovered embedded in the animal itself. The number of pearls found in a shell depends on the number of times the living host was compelled to seal up some irritant object, and may vary from one up to the eighty-seven which are said to have been found in an Indian oyster. That an oyster thus distinguished has not led a happy existence is testified by the distorted shape of its shell, a clue that guides the pearl-fishers in their search. Moreover, pearl-oysters never have thick nacreous shells, and on the other hand molluscs with fine mother-o’-pearl seldom contain pearls.
Beautiful white and silvery pearls are found in a small oyster that lives at a depth of 6 to 13 fathoms (11–24 m.) in the Gulf of Manaar, off the coast of Ceylon. About seven-eighths, however, of the pearls that come into the market are obtained297 from a larger oyster which has its home on the Arabian coast of the Persian Gulf. These famous fisheries have been known since very early times. The pearls found here are more yellowish than those from Ceylon, but are nevertheless of excellent quality. The pearl fisheries off the north-west coast of Western Australia and off Venezuela are also not unimportant, and fine black pearls have been supplied by molluscs from the Gulf of Mexico.
The Chinese have long made a practice of introducing into the shell of a pearl-oyster little tin images of Buddha in order that they may be coated with the nacreous secretion. The Japanese have during recent years made quite an industry of stimulating the efforts of the mollusc by cementing small pieces of mother-o’-pearl to the interior surface of the shell (Plate XXXII, Fig. 1); these ‘culture’ pearls, as they are termed, are recognizable by examination of the back. About a year has to elapse before a coating of a tenth of a millimetre is formed, and another two years must pass before the thickness is doubled. After removal the piece of mother-o’-pearl, which is now coated with several nacreous layers, is cemented to a piece of ordinary mother-o’-pearl, and the lower portion is ground to the usual symmetrical shape (Plate XXXII, Fig. 2). Blister pearls are often similarly treated. In both cases, however, the ‘orient’ is deficient in quality.
The finest mother-o’-pearl is supplied by a mollusc found in the sea near the islands lying between Borneo and the Philippines, and fine material is found at Shark Bay and off Thursday Island.
298
Coral ranks far below pearl and meets with but limited appreciation. It is common enough in warm seas, but the only kind which finds its way into jewellery is the rose or red-coloured coral—the noble coral, Corallium nobile or rubrum. It consists of the axial skeleton of the coral polyp, and is built up of hollow tubes fitting one within the other. The composition is mainly calcium carbonate with a little magnesium carbonate and a small amount of organic matter. The former of the mineral substances is in the form of calcite, and the crystals are arranged in fibrous form radiating at right angles to the axis of the coral. The specific gravity varies from 2·6 to 2·7, being slightly under that of calcite, and the hardness is somewhat greater, being about 3¾ on Mohs’s scale.
The best red coral is found in the Mediterranean Sea off Algiers and Tunis in Africa, and Sicily and the Calabrian Coast of Italy. The industry of shaping and fashioning the coral is carried on almost entirely in Italy. Coral is usually cut into beads, either round or egg-shaped, and used for necklaces, rosaries, and bracelets. The best quality fetches from 20s. to 30s. per carat.
This fossil resin, yellow and brownish-yellow in tint, finds an extensive use as the material for mouthpieces of pipes, cigar and cigarette-holders, umbrella-handles, and so on, and is even locally cut for jewellery, although its extreme softness, its hardness 299being only 2½ on Mohs’s scale, quite unfits it for such a purpose. It is only slightly denser than water, the specific gravity being about 1·10. Since the structure is amorphous the refraction is single, the index being about 1·540. Amber, being a very bad conductor of heat, is perceptibly warm to the touch. Its property of becoming electrified by friction attracted early attention, and from the Greek name for it, ἤλεκτρον, is derived our word electricity.
Amber is washed up by the sea off the coasts of Sicily and Prussia, and of Norfolk and Suffolk in England. The finest examples, which are picked up off the shore of Catania in Sicily, are distinguished by a fine bluish fluorescence, resembling that seen in lubricating oil; such pieces command good prices.
A recent resin, pale yellow in colour, known as kauri-gum, is found in New Zealand, where it is highly valued.
| (a) Elements— | ||
| Diamond | C |
|
| (b) Oxides— | ||
| Corundum | Al2O3 |
|
| Quartz | SiO2 |
|
| Chalcedony | SiO2 |
|
| Opal | SiO2.nH2O |
|
| (c) Aluminates— | ||
| Spinel | MgAl2O4 |
|
| Chrysoberyl | BeAl2O4 |
|
| (d) Silicates— | ||
| Phenakite | Be2SiO4 |
|
| Dioptase | H2CuSiO4 |
|
| Peridot | Mg2SiO4 |
|
| Zircon | ZrSiO4 |
|
| Enstatite | MgSiO3 |
|
| Diopside | CaMg(SiO3)2 |
|
| Nephrite | CaMg3(SiO3)4 |
|
| Sphene | CaTiSiO5 |
|
| Benitoite | BaTiSi3O9 |
|
| Andalusite | Al(AlO)SiO4 |
|
| Kyanite | (AlO)2SiO3 |
|
| Topaz | [Al(F,OH)]2SiO4 |
|
| Epidote | Ca2(Al,Fe)2(AlOH)(SiO4)3 |
|
| Euclase | Be(AlOH)SiO4 |
|
| Prehnite | H2Ca2Al2(SiO4)3 |
|
| Iolite | H2(Mg,Fe)4Al8Si10O37 |
|
Garnet { |
301Hessonite | Ca3Al2(SiO4)3 |
| Pyrope | Mg3Al2(SiO4)3 |
|
| Almandine | Fe3Al2(SiO4)3 |
|
| Andradite | Ca3Fe2(SiO4)3 |
|
| Beryl | Be3Al2(SiO3)6 |
|
| Spodumene | LiAl(SiO3)2 |
|
| Jadeite | NaAl(SiO3)2 |
|
| Moonstone | KAlSi3O8 |
|
| Tourmaline | 12SiO2.3B2O3.(9-x)[(Al,Fe)2O3].3x[(Fe, Mn,Ca,Mg,K2,Na2,Li2,H2)O].3H2O |
|
| Axinite | HCa3Al2B(SiO4)4 |
|
| Idocrase | (Ca,Mn,Mg,Fe)2(Al,Fe)(OH,F)]Si2O7 |
|
| (e) Phosphates— | ||
| Beryllonite | NaBePO4 |
|
| Apatite | Ca5(F,Cl)(PO4)3 |
|
| Turquoise | CuOH.6[Al(OH)2].H5.(PO4)4 |
|
Colourless and White.—Diamond, corundum (white sapphire), topaz, quartz (rock-crystal), zircon (when ‘fired’), moonstone; rarely beryl, tourmaline; among the less common species, phenakite, spodumene (colourless kunzite), beryllonite.
Yellow.—Diamond, topaz, corundum (yellow sapphire), quartz (citrine, Scotch or occidental topaz), tourmaline, zircon, sphene, spodumene, beryl.
Pink and Lilac.—Corundum (pink sapphire), spinel (balas-ruby), tourmaline (rubellite), topaz (usually when ‘fired’), spodumene (kunzite), beryl (morganite), quartz (rose-quartz).
Red.—Corundum (ruby), garnet (pyrope, almandine), spinel (balas-ruby), tourmaline (rubellite), zircon, opal (fire-opal).
302
Green.—Beryl (emerald, aquamarine), peridot, corundum, tourmaline, chrysoberyl (including alexandrite), zircon, garnet (demantoid); among less common species, spodumene (hiddenite), euclase, diopside, idocrase, epidote, apatite, obsidian; rarely diamond; also semi-opaque, turquoise, jade.
Blue.—Corundum (sapphire), spinel, topaz, tourmaline, zircon; among the less common species, kyanite, iolite, benitoite, apatite; rarely diamond; also semi-opaque, turquoise, lapis lazuli, sodalite.
Violet and Purple.—Quartz (amethyst), corundum (oriental amethyst), spinel (almandine-spinel), garnet (almandine), spodumene (kunzite), apatite.
Brown.—Diamond, tourmaline, quartz (smoky-quartz); among the less common species, andalusite, axinite, sphene.
| Opal | 1·454 | |
| Moonstone | 1·53 | 1·54 |
| Iolite | 1·543 | 1·551 |
| Quartz | 1·544 | 1·553 |
| Beryllonite | 1·553 | 1·565 |
| Beryl | 1·578 | 1·585 |
| Turquoise | 1·61 | 1·65 |
| Topaz | 1·618 | 1·627 |
| Andalusite | 1·632 | 1·643 |
| Tourmaline | 1·626 | 1·651 |
| Apatite | 1·642 | 1·646 |
| Phenakite | 1·652 | 1·667 |
| Euclase | 1·651 | 1·670 |
| Spodumene | 1·660 | 1·675 |
| Enstatite | 1·665 | 1·674 |
| 303Peridot | 1·659 | 1·697 |
| Axinite | 1·674 | 1·684 |
| Diopside | 1·685 | 1·705 |
| Idocrase | 1·714 | 1·719 |
| Spinel | 1·726 | |
| Kyanite | 1·72 | 1·73 |
| Epidote | 1·735 | 1·766 |
| Garnet (Hessonite) | 1·745 | |
| Chrysoberyl | 1·746 | 1·753 |
| Garnet (Pyrope) | 1·755 | |
| Benitoite | 1·757 | 1·804 |
| Corundum | 1·761 | 1·770 |
| Garnet (Almandine) | 1·790 | |
| Zircon (a) | 1·815 | |
| Garnet (Demantoid) | 1·885 | |
| Sphene | 1·901 | 1·985 |
| Zircon (b) | 1·927 | 1·980 |
| Diamond | 2·417 | |
| Moonstone | ·012 |
| Quartz | ·013 |
| Beryl | ·014 |
| Topaz | ·014 |
| Chrysoberyl | ·015 |
| Tourmaline | ·017 |
| Spodumene | ·017 |
| Corundum | ·018 |
| Peridot | ·020 |
| Spinel | ·020 |
| Garnet (Almandine) | ·024 |
| Garnet (Pyrope) | ·027 |
| Garnet (Hessonite) | ·028 |
| Zircon | ·038 |
| Diamond | ·044 |
| Sphene | ·051 |
| Garnet (Demantoid) | ·057 |
| (a) Single— | |
| Diamond, spinel, garnet, opal. | |
| Diamond and garnet frequently display local double refraction. | |
| 304 (b) Uniaxial, Positive— | |
| Quartz | ·009 |
| Phenakite | ·015 |
| Benitoite | ·047 |
| Zircon (b) | ·053 |
| Quartz exhibits circular polarization. | |
| (c) Uniaxial, Negative— | |
| Apatite | ·004 |
| Idocrase | ·005 |
| Beryl | ·007 |
| Corundum | ·009 |
| Tourmaline | ·025 |
| (d) Biaxial, Positive— | |
| Chrysoberyl | ·007 |
| Topaz | ·009 |
| Enstatite | ·009 |
| Spodumene | ·015 |
| Euclase | ·019 |
| Diopside | ·020 |
| Peridot | ·038 |
| Sphene | ·084 |
| (e) Biaxial, Negative— | |
| Moonstone | ·006 |
| Iolite | ·008 |
| Axinite | ·010 |
| Andalusite | ·011 |
| Beryllonite | ·012 |
| Kyanite | ·016 |
| Epidote | ·031 |
Corundum, tourmaline, alexandrite, spodumene, andalusite, iolite, epidote, axinite.
Emerald, topaz, quartz, peridot, chrysoberyl, enstatite, euclase, idocrase, kyanite, sphene, apatite.
Beryl, diopside.
305
| Opal | 2·15 |
| Moonstone | 2·57 |
| Iolite | 2·63 |
| Quartz | 2·66 |
| Beryl | 2·74 |
| Turquoise | 2·82 |
| Beryllonite | 2·84 |
| Phenakite | 2·99 |
| Euclase | 3·07 |
| Tourmaline | 3·10 |
| Enstatite | 3·10 |
| Andalusite | 3·18 |
| Spodumene | 3·18 |
| Apatite | 3·20 |
| Axinite | 3·28 |
| Diopside | 3·29 |
| Epidote | 3·37 |
| Peridot | 3·40 |
| Idocrase | 3·40 |
| Sphene | 3·40 |
| Diamond | 3·52 |
| Topaz | 3·53 |
| Spinel | 3·60 |
| Kyanite | 3·61 |
| Garnet (Hessonite) | 3·61 |
| Benitoite | 3·64 |
| Chrysoberyl | 3·73 |
| Garnet (Pyrope) | 3·78 |
| Garnet (Demantoid) | 3·84 |
| Corundum | 4·03 |
| Garnet (Almandine) | 4·05 |
| Zircon (a) | 4·20 |
| Zircon (b) | 4·69 |
5. |
Kyanite (5–7), apatite, lapis lazuli |
5½. |
Enstatite, beryllonite, sphene |
6. |
Opal, moonstone, turquoise, diopside |
6½. |
Spodumene, peridot, garnet (demantoid), benitoite, idocrase, epidote, axinite, jade (nephrite) |
7. |
Iolite, quartz, tourmaline, jade (jadeite) |
7¼. |
Garnet (hessonite, pyrope) |
7½. |
Beryl, garnet (almandine), zircon, phenakite, euclase, andalusite |
8. |
Topaz, spinel |
8½. |
Chrysoberyl |
9. |
Corundum |
10. |
Diamond |
306
| Temperature | Water | Toluol | |
|---|---|---|---|
| Centigrade | Fahrenheit | ||
| 14° | 57·2° | 0·9994 | 0·8697 |
| 15° | 59·0° | 0·9992 | 0·8687 |
| 16° | 60·8° | 0·9990 | 0·8677 |
| 17° | 62·6° | 0·9988 | 0·8667 |
| 18° | 64·4° | 0·9986 | 0·8657 |
| 19° | 66·2° | 0·9985 | 0·8647 |
| 20° | 68·0° | 0·9983 | 0·8637 |
| 21° | 69·0° | 0·9981 | 0·8627 |
| 22° | 71·6° | 0·9979 | 0·8617 |
| 23° | 73·4° | 0·9977 | 0·8607 |
| 1 English carat | = 0·2053 gram |
| 1 Metric carat | = 0·2000 (one-fifth) gram |
| 1 oz. Av. | = 28·35 grams |
| 1 lb. Av. | = 0·4536 kilogram |
| 1 inch | = 25·4 millimetres |
| 1 foot | = 0·3048 metre |
| 1 yard | = 0·9144 metre |
| 1 mile | = 1·6093 kilometre |
JEWELLERY. By Cyril Davenport, F.S.A. With a Frontispiece in Colour and 41 other Illustrations. Second Edition. Demy 16mo.[Little Books on Art.
JEWELLERY. By H. Clifford Smith, M.A. With 50 Plates in Collotype, 4 in Colour, and 33 Illustrations in the text. Second Edition. Wide royal 8vo, gilt top.[Connoisseur’s Library.
GOLDSMITHS’ AND SILVERSMITHS’ WORK. By Nelson Dawson. With 51 Plates in Collotype, a Frontispiece in Photogravure, and numerous Illustrations in the text. Second Edition. Wide royal 8vo, gilt top.[Connoisseur’s Library.
EUROPEAN ENAMELS. By H. H. Cunynghame, C.B. With 58 Illustrations in Collotype and Half-tone and 4 Plates in Colour. Wide royal 8vo, gilt top.[Connoisseur’s Library.
ENAMELS. By Mrs. Nelson Dawson. With 33 Illustrations. Second Edition. Demy 16mo.[Little Books on Art.