The Project Gutenberg eBook of Tunneling: A Practical Treatise.

This eBook is for the use of anyone anywhere in the United States and most other parts of the world at no cost and with almost no restrictions whatsoever. You may copy it, give it away or re-use it under the terms of the Project Gutenberg License included with this eBook or online at www.gutenberg.org. If you are not located in the United States, you will have to check the laws of the country where you are located before using this eBook.

Title: Tunneling: A Practical Treatise.

Author: Charles Prelini


Release date: August 3, 2019 [eBook #60043]
Most recently updated: October 17, 2024

Language: English

Other information and formats: www.gutenberg.org/ebooks/60043

Credits: Produced by deaurider, Harry Lamé and the Online Distributed
Proofreading Team at http://www.pgdp.net (This file was
produced from images generously made available by The
Internet Archive)

*** START OF THE PROJECT GUTENBERG EBOOK TUNNELING: A PRACTICAL TREATISE. ***

Please see the Transcriber’s Notes at the end of this text.

The cover image has been created for this e-text and is in the public domain.


TUNNELING:
A PRACTICAL TREATISE

BY
CHARLES PRELINI, C. E.

AUTHOR OF “EARTH AND ROCK EXCAVATION,” “DREDGES AND DREDGING,”
“EARTH SLOPES, RETAINING WALLS AND DAMS,” ETC. PROFESSOR
OF CIVIL ENGINEERING IN MANHATTAN COLLEGE,
NEW YORK

167 ILLUSTRATIONS

SIXTH EDITION, REVISED AND ENLARGED

Logo

NEW YORK
D. VAN NOSTRAND COMPANY
Twenty-five Park Place
1912


Copyright, 1912,
BY

D. VAN NOSTRAND COMPANY
NEW YORK

Stanhope Press
F. H. GILSON COMPANY
BOSTON, U.S.A.


[iii]

PREFACE TO THE SIXTH EDITION


During the few years that have elapsed since the publication of the first edition of this work, the art of tunneling through different soils and especially under large bodies of water, has made considerable progress. During the last ten years, no less than eight subaqueous tunnels involving the construction of sixteen tubes have been constructed for the service of the city of New York alone. The reader will, no doubt, also recall the tunnels under the Boston Harbor, the St. Clair, the Charles and Detroit Rivers in our own country as well as the tunnels under the Thames and the Seine in Europe. Engineers, contractors and workmen have acquired such experience in these difficult underground and under-river construction that the work is now undertaken without any of the fear and hesitation that were associated with the earlier enterprises.

As entirely new methods have been introduced by professional men, it was found necessary to arrange the presentation of the subject in this sixth edition so as to give due prominence to these recent methods.

Besides this, other changes have been made in order to give greater attention to American method of excavating tunnels through rock and loose soil. This will explain the treatment of the crown-bar and also the extensive illustration of the heading and bench method as well as the drift method of driving tunnels which is followed in the United States.

Space has also been given to important tunnels recently built mainly for the purpose of illustrating the various[iv] methods discussed in the text and also to bring out more clearly the characteristics of the different methods of tunnel excavation.

The author hopes that these added features will meet the present requirements of engineers and students.

Charles Prelini.

Manhattan College,
New York City.


[v]

CONTENTS


  PAGE
INTRODUCTORY—The Historical Development of Tunnel Building xiii
CHAPTER
I. Preliminary Considerations; Choice between a Tunnel and an Open Cut; Geological Surveys 1
II. Methods of Determining the Center Line and Forms and Dimensions of Cross-Section 9
III. Excavating Machines and Rock Drills; Explosives and Blasting 22
IV. General Methods of Excavation; Shafts; Classification of Tunnels 36
V. Methods of Timbering or Strutting Tunnels 47
VI. Methods of Hauling in Tunnels 59
VII. Types of Centers and Molds Employed in Constructing Tunnel Linings of Masonry 66
VIII. Methods of Lining Tunnels 72
IX. Tunnels through Hard Rock; General Discussion; Representative Mechanical Installations for Tunnel Work 84
X. Tunnels through Hard Rock (continued); Excavation by Drifts; The Simplon and Murray Hill Tunnels 102
XI. Tunnels through Hard Rock (continued); Excavation by Headings 130
XII. Excavating Tunnels through Soft Ground; General Discussion; The Belgian Method 143
XIII. The German Method—Excavating Tunnels through Soft Ground (continued); Baltimore Belt Line Tunnel 155
XIV. The Full Section Method of Tunneling; English Method; American Method; Austrian Method 166
XV. Special Treacherous Ground Method; Italian Method; Quicksand Tunneling; Pilot Method 182
XVI. Open-Cut Tunneling Methods; Tunnels under City Streets; Boston Subway and New York Rapid Transit[vi] 195
XVII. Submarine Tunneling; General Discussion; The Severn Tunnel 218
XVIII. Submarine Tunneling (continued); The Compressed Air Method; The Milwaukee Water-Works Tunnel 225
XIX. Submarine Tunneling (continued); The Shield System 238
XX. Submarine Tunneling (continued); The Shield and Compressed Air Method; The Hudson River Tunnel of the Pennsylvania Railroad 263
XXI. Submarine Tunneling (continued); Tunnels at very Shallow Depth; The Cofferdam Method; The Pneumatic Caisson Method; The Joining Together Sections of Tunnels Built on Land 281
XXII. Accidents and Repairs in Tunnels during and after Construction 301
XXIII. Relining Timber-Lined Tunnels with Masonry 315
XXIV. The Ventilation and Lighting of Tunnels during Construction 325
XXV. The Cost of Tunnel Excavation and the Time Required for Work 336

[vii]

LIST OF ILLUSTRATIONS

FIGURE PAGE
  1. Diagram Showing Manner of Lining in Rectilinear Tunnels 10
  2. B. R. Value’s Device for Locating the Center Line Inside of a Tunnel 11
  3. Triangulation System for Establishing the Center Line of the St. Gothard Tunnel 12
  4. Method of Transferring the Center Line down Center Shafts 13
  5. Method of Transferring the Center Line down the Side Shafts 14
  6. Method of Laying out the Center Line of Curvilinear Tunnels 15
  7. Diagram of Polycentric Sectional Profile 19
  8, 9 and 10. Typical Sectional Profiles for Tunnel 20
11. Soft Ground Bucket Excavating Machine; Central London Underground Railway 22
12. Column Mounting for Percussion Drill; Ingersoll Sargent Drill Co. 26
13. Sketch of Diamond Drill Bit 27
14. Diagram Showing Sequence of Excavation for St. Gothard Tunnel 36
15. Diagram Showing Manner of Determining Correspondence of Excavation to Sectional Profile 38
16. Polar Protractor for Determining Profile of Excavated Cross-Section 39
17. Joining Tunnel Struts by Halving 48
18. Round Timber Post and Cap Bearing 48
19. Ceiling Strutting for Tunnel Roofs 49
20. Ceiling Strutting with Side Post Supports 49
21. Sill, Side Post and Cap Cross Frame Strutting 49
22. Reinforced Cross Frame Strutting for Treacherous Materials 49
23. Longitudinal Poling-Board System of Roof Strutting 50
24. Transverse Poling-Board System of Roof Strutting 50
25. Shaft with Single Transverse Strutting 52
26. Rectangular Frame Strutting for Shafts 53
27. Reinforced Rectangular Frame Strutting for Shafts in Treacherous Materials 53
28. Strutting of Timber Posts and Railway Rail Caps[viii] 56
29. Strutting Made Entirely of Railway Rails 56
30. Rziha’s Combined Strutting and Centering of Cast Iron 57
31. Cast-Iron Segment of Rziha’s Strutting and Centering 57
32. Cast-Iron Segmental Strutting for Shafts 58
33. Platform Car for Tunnel Work 59
34. Iron Dump-Car for Tunnel Work 60
35. Wooden Dump-Car for Tunnel Work 60
36. Box-Car for Tunnel Work 61
37. Elevator Car for Tunnel Shafts 65
38. Ground Mold for Constructing Tunnel Invert Masonry 67
39. Combined Ground Mold and Leading Frame for Invert and Side Wall Masonry 67
40. Leading Frame for Constructing Side Wall Masonry 68
41. Plank Center for Constructing the Roof Arch 69
42. Trussed Center for Constructing the Roof Arch 70
43 and 44. A Typical Form of Timber Lining for Tunnels 73
45. Diagram Showing Forms adopted for Side-Wall Foundations 76
46 and 47. Transverse Sections of Tunnels Showing Methods for Increasing the Thickness of the Lining at Different Points 79
48. Refuge Niche in St. Gothard Tunnel 81
49. East Portal of Hoosac Tunnel 82
50, 51 and 52. Arrangement of Drill Holes in the Heading of Turchino Tunnel 91
53 and 54. Arrangement of Drill Holes in the Heading of the Fort George Tunnel 91
55. Diagram Showing Sequence of Excavations in Drift Method of Tunneling Rock 102
56. Sketches Showing Sequence of Work in Excavating and Lining the Simplon Tunnel 111
57. General Details of the Brandt Rotary Drills Employed at the Simplon Tunnel 112
58. Sequence of Excavation in the Murray Hill Tunnel 124
59. Traveling Platform for the Excavation of the Upper Side of the Murray Hill Tunnel 125
60. Timbering Used in the Murray Hill Tunnel 126
61. Diagram Showing Sequence of Excavation in Heading Method of Tunneling Rock 132
62. Method of Strutting Roof, St. Gothard Tunnel[ix] 135
63. Sketch Showing Arrangement of Tracks, St. Gothard Tunnel 135
64. Arrangement of Drill Holes in the Fort George Tunnel 137
65. Longitudinal Section of the Heading and Bench Excavation at the Fort George Tunnel 137
66. Diagram Showing the Arrangement of Drill Holes in the Heading and Bench of the Gallitsin Tunnel 140
67. Diagram Showing Modification of the Heading and Bench Method 140
68 and 68A. Diagrams Showing Sequence of Excavation in the Belgian Method 145
69. Sketch Showing Radial Roof Strutting, Belgian Method 147
70. Sketch Showing Roof Arch Center, Belgian Method 147
71. Sketch Showing Method of Underpinning Roof Arch with the Side Wall Masonry 149
72. Longitudinal Section Showing Construction by the Belgian Method 149
73. Diagram Showing Sequence of Excavation in Modified Belgian Method 152
74. Sketch Showing Failure of Roof Arch by Opening at Crown 153
75. Sketch Showing Methods of Repairing Roof Arch Failures 154
76. Diagrams Showing Sequence of Excavation in German Method of Tunneling 155
77. Diagram Showing Sequence of Excavation in Water Bearing Material, German Method 156
78. Sketch Showing Work of Excavating and Timbering Drifts and Headings 157
79. Sketch Showing Method of Roof Strutting 157
80. Sketch Showing Roof Arch Centers and Arch Construction 158
81. Sketch Showing Method of Excavating and Strutting Baltimore Belt Line Tunnel 162
82. Roof Arch Construction with Timber Centers, Baltimore Belt Line Tunnel 163
83. Roof Arch Construction with Iron Centers, Baltimore Belt Line Tunnel 164
84. Diagram Showing Sequence of Excavation in English Method of Tunneling 167
85. Sketches Showing Construction of Strutting, English Method 168
86 and 87. Sketches of Typical Timber Roof-Arch Centers, English Method 169
88. Sequence of Excavation in the American Method[x] 172
89. Strutting the Heading in the American Method 172
90. Temporary Timbering of the Roof in the American Method 173
91. Showing Crown Bars Supported by Segmental Arches 173
92. Transversal and Longitudinal Section of a Tunnel Excavated and Strutted According to the American Method 174
93 and 94. Diagrams Showing Sequence of Excavation in Austrian Method of Tunneling 177
95, 96 and 97. Sketches Showing Construction of Strutting, Austrian Method 178
98. Sketch Showing Manner of Constructing the Lining Masonry, Austrian Method 179
99. Diagram Showing Sequence of Excavation in Italian Method of Tunneling 183
100. Sketch Showing Strutting for Lower Part of Section 183
101 and 101A. Sketches Showing Construction of Centers, Italian Method 184
102. Sketch Showing Invert and Foundation Masonry, Italian Method. 185
103. Sketch Showing Longitudinal Section of a Tunnel under Construction, Italian Method 186
104. Sketch Showing Sequence of Excavation, Stazza Tunnel 186
105. Sketch Showing Method of Strutting First Drift, Stazza Tunnel 187
106 and 107. Sketches Showing Temporary Strutting Arch Construction, Stazza Tunnel 187
108. Sketch Showing Preliminary Drainage Galleries, Quicksand Method 190
109. Sketch Showing Construction of Roof Strutting, Quicksand Method 190
110. Sketch Showing Construction of Masonry Lining, Quicksand Method 191
111. Sketch Showing Pilot Method of Tunneling 193
112. Diagram Showing Sequence of Construction in Open-Cut Tunnels 197
113. Sketch Showing Method of Timbering Open-Cut Tunnels, Double Parallel Trench Method 198
114. Side-Wall Foundation Construction Open-Cut Tunnels 198
115. Wide-Arch Section, Boston Subway 204
116. Double-Barrel Section, Boston Subway 205
117. Four-Track Rectangular Section, Boston Subway 206
118. Section Showing Slice Method of Construction, Boston Subway 206
119. Double-Track Section, New York Rapid Transit Railway[xi] 212
120. Park Avenue Deep Tunnel Construction, New York Rapid Transit Railway 214
121. Harlem River Tunnel, New York Rapid Transit Railway 215
122. Sketch Showing Underground Stream, Milwaukee Water-Works Tunnel 229
123. Sketch Showing Methods of Lining, Milwaukee Water-Works Tunnel 232
124. Longitudinal Section of Brunel’s Shield, First Thames Tunnel 241
125. First Shield Invented by Barlow 242
126. Second Shield Invented by Barlow 243
127. Shield Suggested by Greathead for the Proposed North and South Woolwich Subway 245
128. Beach’s Shield Used on Broadway Pneumatic Railway Tunnel 245
129. Shield for City and South London Railway 246
130. Shield for St. Clair River Tunnel 247
131. Shield for Blackwall Tunnel 248
132. Elliptical Shield for Clichy Sewer Tunnel, Paris 249
133. Semi-Elliptical Shield for Clichy Sewer Tunnel 250
134. Roof Shield for Boston Subway 251
135. Transversal and Longitudinal Section of Prelini’s Shield 252
136. Elevation and Section of Hydraulic Jack, East River Gas Tunnel 260
137. Cast-Iron Lining, St. Clair River Tunnel 262
138. General Elevations and Sections of Shields 270
139. Plan and Elevation of First Bulkhead Wall in South Tube, Manhattan 273
140. Typical Cross-Sections of One Tube of Pennsylvania Railroad Tunnel under the Hudson River 278
141. Sections of Cofferdam, Van Buren St. Tunnel, Chicago 283
142. Showing Working Platforms and Piles Sunk in Dredged Channel 286
143. Showing Sheeting-Piles for the Sides of the Caisson and Trussed Beam for the Roof 287
144. Showing the Caisson with the Working-Chamber 287
145. Showing the Tunnel Constructed within the Caisson 289
146. Showing Sides of the Caisson and Supports for the Roof 290
147. Showing the Roof of the Caisson Formed by the Upper Half of the Tunnel 291
148. Showing the Tunnel Completed by Building the Lower Half within the Caisson 292
149. Transversal Section of the Caissons for the Tunnel under the Seine River[xii] 294
150. Showing the Joining of the Caissons at the Pont Mirabeau Tunnel under the Seine River 295
151. Cross-Sections and Plans of the Detroit River Tunnel 298
152. Tunneling through Caved Material by Heading 306
153. Tunneling through Caved Material by Drifts 307
154 and 155. Filling in Roof Cavity Formed by Falling Material 307
156. Timbering to Prevent Landslides at Portal 308
157. Shortening Tunnel Crushed by Landslide at Portal 308
158. Extending Tunnel through Landslide at Portal 309
159 and 160. Relining Timber-Lined Tunnel 316
161. Relining Timber-Lined Tunnel, Great Northern Ry 317
162. Relining Timber-Lined Tunnel, Great Northern Ry 318
163. Relining Timber-Lined Tunnel, Great Northern Ry 319
164. Construction of Centering Mullan Tunnel 320
165. Centering Mullan Tunnel 321
166. Relining Timber-Lined Tunnel, Norfolk & Western Ry 322
167. Relining Timber-Lined Tunnel, Norfolk & Western Ry 323

[xiii]

INTRODUCTION


THE HISTORICAL DEVELOPMENT OF TUNNEL BUILDING.

A tunnel, defined as an engineering structure, is an artificial gallery, passage, or roadway beneath the ground, under the bed of a stream, or through a hill or mountain. The art of tunneling has been known to man since very ancient times. A Theban king on ascending the throne began at once to drive the long, narrow passage or tunnel leading to the inner chamber or sepulcher of the rock-cut tomb which was to form his final resting-place. Some of these rock-cut galleries of the ancient Egyptian kings were over 750 ft. long. Similar rock-cut tunneling work was performed by the Nubians and Indians in building their temples, by the Aztecs in America, and in fact by most of the ancient civilized peoples.

The first built-up tunnels of which there are any existing records were those constructed by the Assyrians. The vaulted drain or passage under the southeast palace of Nimrud, built by Shalmaneser II. (860-824 B.C.), is in all essentials a true soft-ground tunnel, with a masonry lining. A much better example, however, is the tunnel under the Euphrates River, which may quite accurately be claimed as the first submarine tunnel of which there exists any record. It was, however, built under the dry bed of the river, the waters of which were temporarily diverted, and then turned back into their normal channel after the tunnel work was completed, thus making it a true submarine tunnel only when finished. The Euphrates River tunnel was built through soft ground, and was lined with brick[xiv] masonry, having interior dimensions of 12 ft. in width and 15 ft. in height.

Only hand labor was employed by these ancient peoples in their tunnel work. In soft ground the tools used were the pick and shovels, or scoops. For rock work they possessed a greater range of appliances. Research has shown that among the Egyptians, by whom the art of quarrying was highly developed, use was made of tube drills and saws provided with cutting edges of corundum or other hard, gritty material. The usual tools for rock work were, however, the hammer, the chisel, and wedges; and the excellence and magnitude of the works accomplished by these limited appliances attest the unlimited time and labor which must have been available for their accomplishment.

The Romans should doubtless rank as the greatest tunnel builders of antiquity, in the number, magnitude, and useful character of their works, and in the improvements which they devised in the methods of tunnel building. They introduced fire as an agent for hastening the breaking down of the rock, and also developed the familiar principle of prosecuting the work at several points at once by means of shafts. In their use of fire the Romans simply took practical advantage of the familiar fact that when a heated rock is suddenly cooled it cracks and breaks so that its excavation becomes comparatively easy. Their method of operation was simply to build large fires in front of the rock to be broken down, and when it had reached a high temperature to cool it suddenly by throwing water upon the hot surface. The Romans were also aware that vinegar affected calcareous rock, and in excavating tunnels through this material it was a common practice with them to substitute vinegar for water as the cooling agent, and thus to attack the rock both chemically and mechanically. It is hardly necessary to say that this method of excavation was very severe on the workmen because of the heat and foul gases generated. This was, however, a matter of small concern to the builders,[xv] since the work was usually performed by slaves and prisoners of war, who perished by thousands. To be sentenced to labor on Roman tunnel works was thus one of the severest penalties to which a slave or prisoner could be condemned. They were places of suffering and death as are to-day the Spanish mercury mines.

Besides their use of fire as an excavating agent, the Romans possessed a very perfect knowledge of the use of vertical shafts in order to prosecute the excavation at several different points simultaneously. Pliny is authority[1] for the statement that in the excavation of the tunnel for the drainage of Lake Fucino forty shafts and a number of inclined galleries were sunk along its length of 312 miles, some of the shafts being 400 ft. in depth. The spoil was hoisted out of these shafts in copper pails of about ten gallons’ capacity by windlasses.

[1] “Tunneling,” Encly. Brit., 1889, vol. xxiii., p. 623.

The Roman tunnels were designed for public utility. Among those which are most notable in this respect, as well as for being fine examples of tunnel work, may be mentioned the numerous conduits driven through the calcareous rock between Subiaco and Tivoli to carry to Rome the pure water from the mountains above Subiaco. This work was done under the Consul Marcius. The longest of the Roman tunnels is the one built to drain Lake Fucino, as mentioned above. This tunnel was designed to have a section of 6 ft. × 10 ft.; but its actual dimensions are not uniform. It was driven through calcareous rock, and it is stated that 30,000 men were employed for eleven years in its construction. The tunnels which have been mentioned, being designed for conduits, were of small section; but the Romans also built tunnels of larger sections at numerous points along their magnificent roads. One of the most notable of these is that which gives the road between Naples and Pozzuoli passage through the Posilipo hills. It is excavated through volcanic tufa, and is about 3000 ft. long and 25 ft. wide, with a section of the form of a pointed arch. In order[xvi] to facilitate the illumination of this tunnel, its floor and roof were made gradually converging from the ends toward the middle; at the entrances the section was 75 ft. high, while at the center it was only 22 ft. high. This double funnel-like construction caused the rays of light entering the tunnel to concentrate as they approached the center, and thus to improve the natural illumination. The tunnel is on a grade. It was probably excavated during the time of Augustus, although some authorities place its construction at an earlier date.

During the Middle Ages the art of tunnel building was practiced for military purposes, but seldom for the public need and comfort. Mention is made of the fact that in 1450 Anne of Lusignan commenced the construction of a road tunnel under the Col di Tenda in the Piedmontese Alps to afford better communication between Nice and Genoa; but on account of its many difficulties the work was never completed, although it was several times abandoned and resumed. For the most part, therefore, the tunnel work of the Middle Ages was intended for the purposes and necessities of war. Every castle had its private underground passage from the central tower or keep to some distant concealed place to permit the escape of the family and its retainers in case of the victory of the enemy, and, during the defense, to allow of sorties and the entrance of supplies.

The tunnel builders of the Middle Ages added little to the knowledge of their art. Indeed, until the 17th century and the invention of gunpowder no practical improvement was made in the tunneling methods of the Romans. Engravings of mining operations in that century show that underground excavation was accomplished by the pick or the hammer and chisel, and that wood fires were lighted at the ends of the headings to split and soften the rocks in advance. Although gunpowder had been previously employed in mining, the first important use of it in tunnel work was at Malpas, France, in 1679-81, in the tunnel for the Languedoc Canal. This[xvii] tunnel was 510 ft. long, 22 ft. wide, and 29 ft. high, and was excavated through tufa. It was left unlined for seven years, and then was lined with masonry.

With the advent of gunpowder and canal building the first strong impetus was given to tunnel building, in its modern sense, as a commercial and public utilitarian construction, since the days of the Roman Empire. Canal tunnels of notable size were excavated in France and England during the last half of the 17th century. These were all rock or hard-ground tunnels. Indeed, previous to 1800 the soft-ground tunnel was beyond the courage of engineer except in sections of such small size that the work better deserves to be called a drift or heading than a tunnel. In 1803, however, a tunnel 24 ft. wide was excavated through soft soil for the St. Quentin Canal in France. Timbering or strutting was employed to support the walls and roof of the excavation as fast as the earth was removed, and the masonry lining was built closely following it. From the experience gained in this tunnel were developed the various systems of soft-ground subterranean tunneling since employed.

It was by the development of the steam railway, however, that the art of tunneling was to be brought into its present prominence. In 1820-26 two tunnels were built on the Liverpool & Manchester Ry. in England. This was the beginning of the rapid development which has made the tunnel one of the most familiar of engineering structures. The first railway tunnel in the United States was built on the Alleghany & Portage R. R. in Pennsylvania in 1831-33; and the first canal tunnel had been completed about 13 years previously (1818-21) by the Schuylkill Navigation Co., near Auburn, Pa. It would be interesting and instructive in many respects to follow the rise and progress of tunnel construction in detail since the construction of these earlier examples, but all that may be said here is that it was identical with that of the railway.

The art of tunneling entered its last and greatest phase[xviii] with the construction of the Mont Cenis tunnel in Europe and the Hoosac tunnel in America, which works established the utility of machine rock-drills and high explosives. The Mont Cenis tunnel was built to facilitate railway communication between Italy and France, or more properly between Piedmont and Savoy, the two parts of the kingdom of Victor Emmanuel II., separated by the Alps. It is 7.6 miles long, and passes under the Col di Fréjus near Mont Cenis. Sommeiller, Grattoni, and Grandis were the engineers of this great undertaking, which was begun in 1857, and finished in 1872. It was from the close study of the various difficulties, the great length of the tunnel, and the desire of the engineers to finish it quickly, that all the different improvements were developed which marked this work as a notable step in the advance of the art of tunneling. Thus the first power-drill ever used in tunnel work was devised by Sommeiller. In addition, compressed air as a motive power for drills, aspirators to suck the foul air from the excavation, air compressors, turbines, etc., found at Mont Cenis their first application to tunnel construction. This important rôle played by the Mont Cenis tunnel in Europe in introducing modern methods had its counterpart in America in the Hoosac tunnel completed in 1875. In this work there were used for the first time in America power rock-drills, air compressors, nitro-glycerine, electricity for firing blasts, etc.

There remains now to be noted only the final development in the art of soft-ground submarine tunneling, namely, the use of the shield and metal lining. The shield was invented and first used by Sir Isambard Brunel in excavating the tunnel under the River Thames at London, which was begun in 1825, and finished in 1841. In 1869 Peter William Barlow used an iron lining in connection with a shield in driving the second tunnel under the Thames at London. From these inventions has grown up one of the most notable systems of tunneling now practiced, which is commonly known as the shield system.

[xix]

In closing this brief review of the development of modern methods of tunneling, to the presentation of which the remainder of this book is devoted, mention should be made of a form of motive power which promises many opportunities for development in tunnel construction. Electricity has long been employed for blasting and illuminating purposes in tunnel work. It remains to be extended to other uses. For hauling and for operating certain classes of hoisting and excavating machinery it is one of the most convenient forms of power available to the engineer. Its successful application to rock-drills is another promising field. For operating ventilating fans it promises unusual usefulness.


[1]

TUNNELING


CHAPTER I.
PRELIMINARY CONSIDERATIONS. CHOICE BETWEEN A TUNNEL AND OPEN CUT. GEOLOGICAL SURVEYS.


CHOICE BETWEEN A TUNNEL AND AN OPEN CUT.

When a railway line is to be carried across a range of mountains or hills, the first question which arises is whether it is better to construct a tunnel or to make such a détour as will enable the obstruction to be passed with ordinary surface construction. The answer to this question depends upon the comparative cost of construction and maintenance, and upon the relative commercial and structural advantages and disadvantages of the two methods. In favor of the open road there are its smaller cost and the decreased time required in its construction. These mean that less capital will be required, and that the road will sooner be able to earn something for its builders. Against the open road there are: its greater length and consequently its heavier running expenses; the greater amount of rolling-stock required to operate it; the heavy expense of maintaining a mountain road; and the necessity of employing larger locomotives, with the increased expenses which they entail. In favor of the tunnel there are: the shortening of the road, with the consequent decrease in the operating expenses and amount of rolling-stock required; the smaller cost[2] of maintenance, owing to the protection of the track from snow and rain and other natural influences causing deterioration; and the decreased cost of hauling due to the lighter grades. Against the tunnel, there are its enormous cost as compared with an open road and the great length of time required to construct it.

To determine in any particular case whether a tunnel or an open road is best, requires a careful integration of all the factors mentioned. It may be asserted in a general way, however, that the enormous advance made in the art of tunnel building has done much to lessen the strength of the principal objections to tunnels, namely, their great cost and the length of time required for their construction. Where the choice lies between a tunnel or a long détour with heavy grades it is sooner or later almost always decided in favor of a tunnel. When, however, the conditions are such that the choice lies between a tunnel or a heavy open cut with the same grades the problem of deciding between the two solutions is a more difficult one.

It is generally assumed that when the cut required will have a vertical depth exceeding 60 ft. it is less expensive to build a tunnel unless the excavated material is needed for a nearby embankment or fill. This rule is not absolute, but varies according to local conditions. For instance, in materials of rigid and unyielding character, such as rock, the practical limit to the depth of a cut goes far beyond that point at which a tunnel would be more economical according to the above rule. In soils of a yielding character, on the other hand, the very flat slope required for stability adds greatly to the cost of making a cut.

It may be noted in closing that the same rule may be employed in determining the location of the ends of the tunnel, for assuming that it is more convenient to excavate a tunnel than an open cut when the depth exceeds 60 ft., then the open cut approaches should extend into the mountain- or hill-sides only to the points where the surface is 60 ft. above[3] grade, and there the tunnel should begin. If, therefore, we draw on the longitudinal profile of the tunnel a line parallel to the plane of the tracks, and 60 ft. above it, this line will cut the surface at the points where the open-cut approaches should cease and the tunnel begin. This is a rule-of-thumb determination at the best, and requires judgment in its use. Should the ground surface, for example, rise only a few feet above the 60 ft. line for any distance, it is obviously better to continue the open cut than to tunnel.

THE METHOD AND PURPOSE OF GEOLOGICAL SURVEYS.

When it has been decided to build a tunnel, the first duty of the engineer is to make an accurate geological survey of the locality. From this survey the material penetrated, the form of section and kind of strutting to be used, the best form of lining to be adopted, the cost of excavation, and various other facts, are to be deduced. In small tunnels the geological knowledge of the engineer should enable him to construct a geological map of the locality, or this knowledge may be had in many cases by consulting the geological maps issued by the State or general government surveys. When, however, the tunnel is to be of great length, it may be necessary to call in the assistance of a professional geologist in order to reconstruct accurately the interior of the mountain and thereby to ascertain beforehand the different strata and materials to be excavated, thus obtaining the data for calculating both the time and cost of excavating the tunnel.

The geological survey should enable the engineer to determine, (1) the character of the material and its force of cohesion, (2) the inclination of the different strata, and (3) the presence of water.

Character of Material.

—The character of the material through which the proposed tunnel will penetrate is best ascertained by means of diamond rock-drills. These machines bore an[4] annular hole, and take away a core for the whole depth of the boring, thus giving a perfect geological section showing the character, succession, and exact thickness of the strata. By making such borings at different points along the center line of the projected tunnel, and comparing the relative sequence and thickness of the different strata shown by the cores, the geological formation of the mountain may be determined quite exactly. Where it is difficult or impracticable to make diamond drill borings on account of the depth of the mountain above the tunnel, or because of its inaccessibility, the engineer must resort to other methods of observation.

The present forms of mountains or hills are due to weathering, or the action of the destructive atmospheric influences upon the original material. From the manner in which the mountain or hill has resisted weathering, therefore, may be deduced in a general way both the nature and consistency of the materials of which it is composed. Thus we shall generally find mountains or hills of rounded outlines to consist of soft rocks or loose soils, while under very steep and crested mountains hard rock usually exists. To the general knowledge of the nature of its interior thus afforded by the exterior form of the mountain, the engineer must add such information as the surface outcroppings and other local evidences permit.

For the purposes of the tunnel builder we may first classify all materials as either, (1) hard rock, (2) soft rock, or (3) soft soil.

Hard rocks are those having sufficient cohesion to stand vertically when cut to any depth. Many of the primary rocks, like granite, gneiss, feldspar, and basalt, belong to this class, but others of the same group are affected by the atmosphere, moisture, and frost, which gradually disintegrate them. They are also often found interspersed with pyrites, whose well-known tendency to disintegrate upon exposure to air introduces another destructive agency. For these reasons we may[5] divide hard rocks into two sub-classes; viz., hard rocks unaffected by the atmosphere, and those affected by it. This distinction is chiefly important in tunneling as determining whether or not a lining will be required.

Soft rocks, as the term implies, are those in which the force of cohesion is less than in hard rocks, and which in consequence offer less resistance to attacks tending to break down their original structure. They are always affected by the atmosphere. Sandstones, laminated clay shales, mica-schists, and all schistose stones, chalk and some volcanic rocks, can be classified in this group. Soft rocks require to be supported by timbering during excavation, and need to be protected by a strong lining to exclude the air, and to support the vertical pressures, and prevent the fall of fragments.

Soft soils are composed of detrital materials, having so little cohesion that they may be excavated without the use of explosives. Tunnels excavated through these soils must be strongly timbered during excavation to support the vertical pressure and prevent caving; and they also always require a strong lining. Gravel, sand, shale, clay, quicksand, and peat are the soft soils generally encountered in the excavation of tunnels. Gravels and dry sand are the strongest and firmest; shales are very firm, but they possess the great defect of being liable to swell in the presence of water or merely by exposure to the air, to such an extent that they have been known to crush the timbering built to support them. Quicksand and peat are proverbially treacherous materials. Clays are sometimes firm and tenacious, but when laminated and in the presence of water are among the most treacherous soils. Laminated clays may be described as ordinary clays altered by chemical and mechanical agencies, and several modifications of the same structure are often found in the same locality. They are composed of laminæ of lenticular form separated by smooth surfaces and easily detached from each other. Laminated clays generally have a dark color, red, ocher or greenish[6] blue, and are very often found alternating with strata of stiatites or calcareous material. For purposes of construction they have been divided into three varieties.

Laminated clays of the first variety are those which alternate with calcareous strata and are not so greatly altered as to lose their original stratification. Laminated clays of the second variety are those in which the calcareous strata are broken and reduced to small pieces, but in which the former structure is not completely destroyed; the clay is not reduced to a humid state. Laminated clays of the third variety are those in which the clay by the force of continued disturbance, and in the presence of water, has become plastic. Laminated clays are very treacherous soils; quicksand and peat may be classed, as regards their treacherous nature, among the laminated clays of the third variety.

Inclination of Strata.

—Knowing the inclination of the strata, or the angle which they make with the horizon, it is easy to determine where they intersect the vertical plane of the tunnel passing through the center line, thus giving to a certain extent a knowledge of the different strata which will be met in the excavation. On the inclination of the strata depend: (1) The cost of the excavation; the blasting, for instance, will be more efficient if the rocks are attacked perpendicular to the stratification; (2) The character of the timbering or strutting; the tendency of the rock to fall is greater if the strata are horizontal than if they are vertical; (3) The character and thickness of the lining; horizontal strata are in the weakest position to resist the vertical pressure from the load above when deprived of the supporting rock below, while vertical strata, when penetrated, act as a sort of arch to support the pressure of the load above. The foregoing remarks apply only to hard or soft rock materials.

In detrital formations the inclination of the strata is an important consideration, because of the unsymmetrical pressures developed. In excavating a tunnel through soft soil[7] whose strata are inclined at 30° to the horizon, for instance, the tunnel will cut these strata at an angle of 30°. By the excavation the natural equilibrium of the soil is disturbed, and while the earth tends to fall and settle on both sides at an angle depending upon the friction and cohesion of the material, this angle will be much greater on one side than on the other because of the inclination of the strata; and hence the prism of falling earth on one side is greater than on the other, and consequently the pressures are different, or in other words, they are unsymmetrical. These unsymmetrical pressures are usually easily taken care of as far as the lining is concerned, but they may cause serious cave-ins and badly distort the strutting. Caving-in during excavation may be prevented by cutting the materials according to their natural slope; but the distortion of the strutting is a more serious problem to handle, and one which oftentimes requires the utmost vigilance and care to prevent serious trouble.

Presence of Water.

—An idea of the likelihood of finding water in the tunnel may be obtained by studying the hydrographic basin of the locality. From it the source and direction of the springs, creeks, ravines, etc., can be traced, and from the geological map it can be seen where the strata bearing these waters meet the center line. Not only ought the surface water to be attentively studied, but underground springs, which are frequently encountered in the excavation of tunnels, require careful attention. Both the surface and underground waters follow the pervious strata, and are diverted by impervious strata. Rocks generally may be classed as impervious; but they contain crevices and faults, which often allow water to pass through them; and it is, therefore, not uncommon to encounter large quantities of water in excavating tunnels through rock. As a rule, water will be found under high mountains, which comes from the melted ice and snow percolating through the rock crevices.

Some detrital soils, like gravel and sand, are pervious, and[8] others, like clay and shale, are impervious. Detrital soils lying above clay are almost certain to carry water just above the clay stratum. In tunnel work, therefore, when the excavation keeps well within the clay stratum, little trouble is likely to be had from water; should, however, the excavation cut the clay surface and enter the pervious material above, water is quite certain to be encountered. The quantity of water encountered in any case depends upon the presence of high mountains near by, and upon other circumstances which will attract the attention of the engineer.

A knowledge of the pressure of the water is desirable. This may be obtained by observing closely its source and the character of the strata through which it passes. Water coming to the excavation through rock crevices will lose little of its pressure by friction, while that which has passed some distance through sand will have lost a great deal of its pressure by friction. Water bearing sand, and, in fact, any water bearing detrital material, has its fluidity increased by water pressure; and when this reaches the point where flow results, trouble ensues. The streams of water met in the construction of the St. Gothard tunnel had sufficient pressure to carry away timber and materials.


[9]

CHAPTER II.
METHODS OF DETERMINING THE CENTER LINE AND FORMS AND DIMENSIONS OF CROSS-SECTION.


DETERMINING THE CENTER LINE.

Tunnels may be either curvilinear or rectilinear, but the latter form is the more common. In either case the first task of the engineer, after the ends of the tunnel have been definitely fixed, is to locate the center line exactly. This is done on the surface of the ground; and its purpose is to find the exact length of the tunnel, and to furnish a reference line by which the excavation is directed.

Rectilinear Tunnels.

—In short tunnels the center line may be accurately enough located for all practical purposes by means of a common theodolite. The work is performed on a calm, clear day, so as to have the instrument and observations subjected to as little atmospheric disturbance as possible. Wooden stakes are employed to mark the various located points of the center line temporarily. The observations are usually repeated once at least to check the errors, and the stakes are altered as the corrections dictate; and after the line is finally decided to be correctly fixed, they are replaced by permanent monuments of stone accurately marked. The method of checking the observations is described by Mr. W. D. Haskoll[2] as follows:

“Let the theodolite be carefully set up over one of the stakes, with the nail driven into it, selecting one that will command the best position so as to range backwards and forwards over the whole length of line, and also obtain a view of the two distant points that range with the center line; this being done,[10] let the centers of every stake ... be carefully verified. If this be carefully done, and the centers be found correct, and thoroughly in one visual line as seen through the telescope, there will be no fear but that a perfectly straight line has been obtained.”

[2] “Practical Tunneling,” by F. W. Simms.

Fig. 1.—Diagram Showing Manner of Lining in Rectilinear Tunnels.

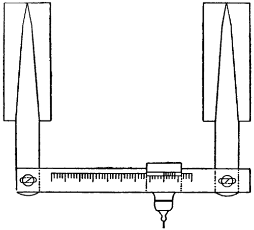
The center line which has thus been located on the ground surface has to be transposed to the inside of the tunnel to direct the excavation. To do this let A and B be the entrances and a and b be the two distinct fixed points which have been ranged in with the center line located on the ground surface over the hill A f B, Fig. 1. The instrument is set up at V, any point on the line A a produced, and a bearing secured by observation on the center line marked on the surface. This bearing is then carried into the tunnel by plunging the telescope, and setting pegs in the roof of the heading. Lamps hung from these pegs furnish the necessary sighting points. This same operation is repeated on the opposite side of the hill to direct the excavation from that end of the tunnel. These operations serve to locate only the first few points inside the tunnel. As the excavation penetrates farther into the hill, it becomes impossible to continue to locate the line from the outside point, and the line has to be run from the points marked on the roof of the heading. Great accuracy is required in all these observations, since a very small error at the beginning becomes greater and greater as the excavation advances. To facilitate the accurate location of points on the roof of the tunnel, a simple device was designed by Mr. Beverley R. Value, shown in Fig. 2. Two iron spikes, each having a small hole in the flat end, are driven into the rock about 9 ins. apart. A brass bar, 1 in. high, 14 in. thick and 10 ins. long, having a hole near one end and a 1 in. slot at the other, is screwed tightly into[11] the head of the spikes. The middle part of the bar is divided into inches and tenths of an inch. A separate brass hanger is fitted to the bar, having a vernier with its zero at the middle of the hanger and corresponding to a plumb line attached below. The hanger is moved back and forth until it coincides with the line of sight of the transit, and then the readings of the vernier are recorded. Any time that the hanger is placed on the bar and the vernier marks the same reading, the plumb line will indicate the center line of the tunnel. When, instead of one bar, two are inserted at a distance of 20 or 30 ft. apart, the plumb lines suspended from the hangers will represent the vertical plane passing through the axis of the tunnel in coincidence with the one staked out on the surface ground.

Fig. 2.—B. R. Value’s Device for Locating the Center Line Inside of a Tunnel.

The location of the center line of a long tunnel, which is to be excavated under high mountains, is a very difficult operation, and the engineers usually leave this part of the work to astronomers, who fix the stations from which the engineers direct the work of construction. The center lines of all the great Alpine tunnels were located by astronomers who used instruments of large size. Thus, in ranging the center line of the St. Gothard tunnel, the theodolite used had an object glass eight inches in diameter.[3] Instead of the ordinary mounting a masonry pedestal with a perfectly level top is employed to support the instrument during the observations. The location is made by means of triangulation. The various operations must be performed with the greatest accuracy, and repeated several times in such a way as to reduce the errors to a minimum, since[12] the final meeting of the headings depends upon their elimination.

[3] See also the Simplon Tunnel, Chapter X.

Fig. 3.—Triangulation System for Establishing the Center Line of the St. Gothard Tunnel.

The St. Gothard tunnel furnishes perhaps the best illustration of careful work in locating the center line of long rectilinear tunnels of any tunnel ever built. The length of this tunnel is 9.25 miles, and the height of the mountain above it is very great. The center line was located by triangulation by two different astronomers using different sets of triangles, and working at different times. The set or system of triangles used by Dr. Koppe, one of the observers, is shown by Fig. 3; it consists of very large and quite small triangles combined, the latter being required because the entrances both at Airolo and Goeschenen were so low as to permit only of a short sight being taken. The apices of the triangles were located by means of the contour maps of the Swiss Alpine Club. Each angle was read ten times, the instrument was collimated four times for each reading, and was afterwards turned off 5° or 10° to avoid errors of graduation. The average of the errors in reading was about one second of arc. The triangulation was compensated according to the method of least squares. The probable error in the fixed direction was calculated to be 0.8″ of arc at Goeschenen and 0.7″ of arc at Airolo. From this it was assumed that the probable deviation from the true center would be about two inches at the middle of the tunnel, but when the[13] headings finally met this deviation was found to reach eleven inches.

Comparatively few tunnels are driven by working from the entrances alone, the excavation being usually prosecuted at several points at once by means of shafts. In these cases, in order to direct the excavation correctly, it is necessary to fix the center line on the bottom of the shaft. This is accomplished in two ways,—one being employed when the shaft is located directly over the center line, and the other when the shaft is located to one side of the center line.

When the shaft is located on the center line two small pillars are placed on opposite edges of the shaft and collimating with the center line as shown by Fig. 4. On these two pillars the points corresponding to the center line are correctly marked, and connected by a wire stretched between them. To this wire two plumb bobs are fastened as far apart as possible. These plumb bobs mark two points on the center line at the bottom of the shaft, and from them the line is extended into the headings as the work advances. In these operations, heavy plumb bobs are used. In the New York subway plumb bobs of steel, weighing 25 lbs. each, were used, and to prevent rotation they were made with cross-sections, in the shape of a Greek cross, and were sunk in buckets filled with water. Owing to the difference between the temperature at the top and that at the bottom of the shaft, strong currents of air are produced, which keep in constant oscillation the wires to which the bobs are suspended.

Fig. 4.—Method of Transferring the Center Line down Center Shafts.

To determine the center line at the bottom of the shaft, the headings are first driven from both sides of the shaft, after which[14] a transit is set up on the same alignment with the two wires, and this will indicate the vertical plane passing through the axis of construction. Two points are then fixed on the roof of the tunnel in continuation of this vertical plane. When the plumb bobs are removed from the shaft and two small plumb bobs are suspended to the two points mentioned, they will always give the same vertical plane passing through the axis of construction transferred from the surface.

Because of the continuous moving of the wires, the fixing of the points on the roof of the tunnel is very troublesome, and the operation should be repeated by different men at different times before the points are permanently fixed.

Fig. 5.—Method of Transferring the Center Line down Side Shafts.

When the shaft is placed at one side of the tunnel the pillars or bench marks are placed normal to the center line on the edges of the shaft as shown by Fig. 5. Between the points A and B a wire is stretched, and from it two plumb bobs are suspended, as described in the preceding case; these plumb bobs establish a vertical plane normal to the axis of the tunnel. The excavation of the side tunnel is carried along the line BW until it intersects the line of the main tunnel, whose center line is determined by measuring off underground a distance equal to the distance BO on the surface. By setting the instrument over the underground point O, and turning off a right angle from the line BO, the center line of the tunnel is extended into the headings.

Curvilinear Tunnels.

—There are various methods of locating the center lines of curvilinear tunnels, but the method of tangent offsets is the one most commonly employed.

At the beginning the excavation is conducted as closely as[15] may be to the line of the curve, and as soon as it has progressed far enough the tangent AT, Fig. 6, is ranged out. At B a point is located over which to set the instrument, and the distance AB is measured for the purpose of finding the ordinate of the right angle triangle OAB. Now OA = r, AB = d, and φ = angle ABO. Then: Tang. φ = rd.

Fig. 6.—Method of Laying Out the Center Line of Curvilinear Tunnels.

Doubling the value of φ and making the angle ABC = 2 φ, the line BC will be fixed and the point C located by taking AB = BC. On BC the ordinates are laid off to locate the curve. Prolong CB so that CD = CB. Then the portion of the curve CF is symmetrical with CE, and the ordinates used to locate EC may be employed to locate CF, by laying them off in the reverse order.

In curvilinear tunnels several cases may be considered.

(1) When the tunnel for almost its entire length is driven on a tangent with a curve at each end.

(2) When the tunnel begins with a curve and ends with a straight line.

(3) When the whole tunnel is in curve from portal to portal.

(4) The helicoidal or corkscrew tunnel.

(1) The axis of every one of the great Alpine tunnels is a straight line, with a curve at each end. To range out the center line of one of these long tunnels from a curve, no matter how accurately laid out, will certainly cause an error, which, magnified with the distance, may produce serious results. To avoid these[16] inconveniences, the determination of the axis of the tunnel should be made from a straight line. This means that the tunnel is at first excavated on a straight line for its entire length and after the headings driven from both portals have met, the two portions of the tunnel or curve are excavated and constructed. The portions of the tunnel excavated on straight lines for conveniences of construction may then be abandoned or used in cases of accidents or repairs.

When the axis of a short tunnel has a curve at each end and a straight line in the middle, it is driven directly from the entrances; first, however, excavating the curvilinear portions of the tunnel. In such a case it would be advisable to proceed in the following manner. Drive the headings on the curvilinear portions of the tunnel, staking out the center line by means of the offsets from the tangents. At the ends of the curves lay out from both fronts the rectilineal portion of the tunnel. Only very narrow headings should be excavated at first while the whole section could be enlarged near the entrances. The excavation of the headings at the front should advance very rapidly, in order that the headings may meet in the shortest possible time. When communication is established, it is comparatively easy to correct an error resulting from driving the tunnel from the curves.

(2) When a tunnel begins with a curve and ends with a straight line, the work of excavation should proceed from both ends. From the straight end of the tunnel only the heading should be driven, while from the curvilinear end the whole section could be opened at once. By this arrangement the excavation progresses slowly from the curvilinear end and rapidly from the straight end of the tunnel. Once communication has been established and any error corrected, the work of enlarging the profile of the tunnel may be pushed with the same activity from both ends.

(3) When the center line of the entire tunnel is a curve, there is more probability of slight deviations from the true axis of the proposed work. In such a case it would be advisable to[17] first excavate a narrow heading and to concentrate all the efforts in driving the headings as rapidly as possible in order that they may meet in the shortest time. The center line of these headings is staked out by the usual method of the offsets from the tangent. The enlarging of the section of the tunnel could be commenced at both portals and be driven slowly until the headings have met and any errors corrected, when the work could be pushed with the greatest activity all along the line.

(4) In corkscrew or helicoidal tunnels the entire center line is on a curve. In these tunnels, as a rule, there is a great difference of level between the two portals, one being much higher than the other, so careful attention should be paid to the tunnel grade. Working in the limited spaces afforded by narrow headings it is very probable that errors may be made in fixing both the alignment and the grade of the tunnel. To prevent these almost unavoidable errors, it would be well to excavate at first only the headings, to stake the center line in the roof of these headings and then to lay the grade of the tunnel as accurately as possible. The work on the headings should be pushed as rapidly as possible in order that they may meet quickly, so that the center line, as temporarily laid out, may be corrected and permanently fixed for the direction of successive operations. In these tunnels the headings should be excavated near the center of the tunnel cross-section so that the sides and roof of the heading would be at some distance from the sides and roof of the proposed tunnel. This arrangement will easily permit corrections to be made in case any slight difference from the true line was erroneously made during the excavation of the headings.

FORM AND DIMENSIONS OF CROSS-SECTION.

In deciding upon the sectional profile of a tunnel two factors have to be taken into consideration: (1) The form of section best suited to the conditions, and (2) the interior dimensions of this section.

[18]

Form of Section.

—The form of the sectional profile of a tunnel should be such that the lining is of the best form to resist the pressures exerted by the unsupported walls of the tunnel excavation, and these vary with the character of the material penetrated. These pressures are both vertical and lateral in direction; the roof, deprived of support by the excavation, tends to fall, and the opposite sides for the same reason tend to slide inward along a plane more or less inclined, depending upon the friction and cohesion of the material. In some rocks the cohesion is so great that they will stand vertically, while it may be very small in loose earth which slides along a plane whose inclination is directly proportional to the cohesion.

From the theory of resistance of profiles we know that the resistance of a line to exterior normal forces is directly proportional to its degree of curvature, and consequently inversely proportional to the radius of the curve. Hence the sectional profile of a tunnel excavated through hard rock, where there are no lateral pressures owing to the great cohesion of the material, and having to resist only the vertical pressure, should be designed to offer the greatest resistance at its highest point, and the curve must, therefore, be sharper there, and may decrease toward the base. In quicksand, mud, or other material practically without cohesion, the pressures will all be normal to the line of the profile, and a circular section is the one best suited to resist them. These theoretical considerations have been proved correct by actual experience, and they may be employed to determine in a general way the form of section to be adopted. Applying them to very hard rock, they give us a section with an arched roof and vertical side walls. In softer materials they give us an elliptical section with its major axis vertical, and in very soft quicksands and mud they give us the circular section. These three forms of cross-section and their modifications are the ones commonly employed for tunnels. An important exception to this general practice, however, is met with in some of the city underground rapid-transit railways[19] built of late years, where a rectangular or box section is employed. These tunnels are usually of small depth, so that the vertical pressures are comparatively light, and the bending strains, which they exert upon the flat roof, are provided for by employing steel girders to form the roof lining.

Fig. 7.—Diagram of Polycentric Sectional Profile.

From what has been said it will be seen that it is impossible to establish a standard sectional profile to suit all conditions. The best one for the majority of conditions, and the one most commonly employed, is a polycentric figure in which the number of centers and the length of the radii are fixed by the engineer to meet the particular conditions which exist. In a general way this form of center may be considered as composed of two parts symmetrical in respect to the vertical axis. Fig. 7 shows such a profile, in which DH is the vertical axis. The section is unsymmetrical in respect to the horizontal axis GE. The upper part forming the roof arch is usually a semi-circle or semi-oval, while the lower part, comprising the side walls and invert of floor, varies greatly in outline. Sometimes the side walls are vertical and the invert is omitted, as shown by Fig. 8; and sometimes the side walls are inclined, with their bottoms braced apart by the invert, as shown by Fig. 9. In more treacherous soils the side walls are curved, and are connected by small curved sections to the invert, as shown by Fig. 10. In the last example the side walls are commonly called skewbacks, and the lower part of the section is a polycentric figure like the upper part, but dissimilar in form.

In a tunnel section whose profile is composed entirely of arcs the following conditions are essential: The centers of the[20] springer arcs Ga and Ea′, Fig. 7, must be located on the line GE; the center of the roof arc bDb′ must be located on the axis HD; the total number of centers must be an odd number; the radii of the succeeding arcs from G toward D and E toward D must decrease in length, and finally the sum of the angles subtended by the several arcs must equal 180°.

Fig. 8

Fig. 9

Fig. 10

 

Figs. 8 to 10.—Typical Sectional Profiles for Tunnel.

Dimensions of Section.

—The dimensions to be given to the cross-section of a tunnel depend upon the purpose for which it is to be used. Whatever the purpose of the tunnel, the following three points have to be considered in determining the size of its cross-section: (1) The size of clear opening required; (2) the thickness of lining masonry necessary; and (3) the decrease in the clear opening from the deformation of the lining.

Railway tunnels may be built either to accommodate one or two, three and four tracks. In single-track tunnels a clear space of at least 212 ft. on each side should be allowed for between the tunnel wall and the side of the largest standard locomotive or car, and a clear space of at least 3 ft. should be allowed for between the roof and the top of the same locomotive or car. Since the roof of the tunnel is arch-shaped, to secure a clearance of 3 ft. at every point will necessitate making the clearance at the center greater than this amount. In double-track tunnels the same amounts of side and roof clearances have to be provided for, and, in addition, there has to be a clearance of at least 2 ft. between trains. On the three- and four-track tunnels only the width varies while the height remains almost equal to the two track. Referring to Fig. 7, and assuming the line AB[21] to represent the level of the tracks, then the ordinary dimensions in feet required for both single- and double-track tunnels are as follows:—

  Height, D. F. Width, G. E. Height, C. F. Height, C. H.
  Feet. Feet. Feet. Feet.
Single track 17.6 to 18 16.5 to 18 6   to 7.4 14 to 18 AB
Double track 26.6 to 28 26.6 to 28 6.3 to 6.9 14 to 18 AB

The dimensions of tunnels built for aqueduct purposes are determined so as to have an area of cross-section equal to the required waterway. In the Croton Aqueduct two different types of cross-sections were used, the circular one for tunnels through rock and the horseshoe section for tunnels through loose materials. In the Catskill aqueduct three different cross-sections have been selected, the circular one for tunnels under pressure and the horseshoe for tunnels at the hydraulic gradient. These, however, through rock have a cross-section formed of a semi-circular arch and vertical side walls, while through earth the semi-circular arch is supported by skewback walls.

In tunnels built for railroad aqueduct sewer and any other purpose the thickness of the masonry lining to be allowed for varies with the material penetrated, as will be explained in a succeeding chapter where the dimensions for various ordinary conditions are given in tabular form. The lining masonry is subject to deformation in three ways: by the sinking of the whole masonry structure, by the squeezing together of the side walls by the lateral pressures, and by the settling of the roof-arch. The whole masonry structure never sinks more than three or four inches, and merits little attention. The movement of the side walls towards each other, which may amount to three or four inches for each wall without endangering their stability, has, however, to be allowed for; and similar allowance must be made for the settling of the roof-arch, which may amount to from nine inches to two feet, when the arch is built first as in the Belgian system and rests for some time upon the loose soil.


[22]

CHAPTER III.
EXCAVATING MACHINES AND ROCK DRILLS: EXPLOSIVES AND BLASTING.


Earth-Excavating Machines.

—Comparatively few of the labor-saving machines employed for breaking up and removing loose soil in ordinary surface excavation are used in tunnel excavation through the same material. Several forms of tunnel excavating machines have been tried at various times, but only a few of them have attained any measure of success, and these have seldom been employed in more than a single work. In the Central London underground railway work through clay a continuous bucket excavator (Fig. 11) was employed with considerable saving in time and labor over hand work. In some recent tunnel work in America the contractors made quite successful use of a modified form of steam shovel. These are the most recent attempts to use excavating machines in soft ground, and they, like all previous attempts, must be classed as experiments rather than as examples of common practice. The Thomson machine,[4] however, can be employed[23] in any tunnel driven through loose soil. It occupies a comparatively small space and may easily work when the timbering is used to support the roof of the tunnel. Steam shovel instead may give efficient result only in the case that the whole section of the tunnel is open at once and there are no timbers to prevent the free swinging of the dipper handle and boom. But in tunnels through loose soils it is almost impossible to open the whole section at once without the necessity of supporting the roof. Consequently the use of steam shovel in loose tunnels is very limited. The shovel, the spade, and the pick, wielded by hand, are the standard tools now, as in the past, for excavating soft-ground tunnels.

[4] The machine was designed by Mr. Thomas Thomson, Engineer for Messrs. Walter Scott & Co.

Fig. 11.—Soft Ground Bucket Excavating Machine: Central London Underground Railway.

Rock-Excavating Machines.

—At one period during the work of constructing the Hoosac tunnel considerable attention was devoted to the development of a rock excavating, boring, or tunneling machine. This device was designed to cut a groove around the circumference of the tunnel thirteen inches wide and twenty-four feet in diameter by means of revolving cutters. It proved a failure, as did one of smaller size, eight feet in diameter, tried subsequently. During and before the Hoosac tunnel work a number of boring-machines of similar character were experimented with at the Mont Cenis tunnel and elsewhere in Europe; but, like the American devices, they were finally abandoned as impracticable.

Hand Drills.

—Briefly described, a drill is a bar of steel having a chisel-shaped end or cutting-edge. The simplest form of hand drill is worked by one man, who holds the drill in one hand, and drives it with a hammer wielded by his other hand. A more efficient method of hand-drill work is, however, where one man holds the drill, and another swings the hammer or sledge. Another form of hand drill, called a churn drill, consists of a long, heavy bar of steel, which is alternately raised and dropped by the workman, thus cutting a hole by repeated impacts.

In drilling by hand the workman holding the drill gives it a[24] partial turn on its axis at every stroke in order to prevent wedging and to offer a fresh surface to the cutting-edge. For the same reason the chips and dust which accumulate in the drill-hole are frequently removed. The instruments used for this purpose are called scrapers or dippers, and are usually very simple in construction. A common form is a strong wire having its end bent at right angles, and flattened so as to make a sort of scoop by which the drillings may be scraped or hoisted out of the hole. It is generally advantageous to pour water into the drill-hole while drilling to keep the drill from heating.

Power Drills.

—When the conditions are such that use can be made of them, it is nearly always preferable to use power drills, on account of their greater speed of penetration and greater economy of work. Power drills are worked by direct steam pressure, or by compressed air generated by steam or water power, and stored in receivers from which it is led to the drills through iron pipes. A great variety of forms of power drills are available for tunnel work in rock, but they can nearly all be grouped in one of two classes: (1) Percussion drills, and (2) Rotary drills.

Percussion Drills.

—The first American percussion drill was patented by Mr. J. J. Couch of Philadelphia, Penn., in March, 1849. In May of the same year, Mr. Joseph W. Fowle, who had assisted Mr. Couch in developing his drill, patented a percussion drill of his own invention. The Fowle drill was taken up and improved by Mr. Charles Burleigh, and was first used on the Hoosac tunnel. In Europe Mr. Cavé patented a percussion drill in France in October, 1851. This invention was soon followed by several others; but it was not until Sommeiller’s drill, patented in 1857 and perfected in 1861, was used on the Mont Cenis tunnel, that the problem of the percussion drill was practically solved abroad. Since this time numerous percussion drill patents have been taken out in both America and Europe.

[25]

A percussion drill consists of a cylinder, in which works a piston carrying a long piston rod, and which is supported in such a manner that the drill clamped to the end of the piston rod alternately strikes and is withdrawn from the rock as the piston reciprocates back and forth in the cylinder. Means are devised by which the piston rod and drill turn slightly on their axis after each stroke, and also by which the drill is fed forward or advanced as the depth of the drill-hole increases. The drills of this type which are in most common use in America are the Ingersoll-Sergeant and the Rand. There are various other makes in common use, however, which differ from the two named and from each other chiefly in the methods by which the valve is operated. All of these drills work either with direct steam pressure or with compressed air. Workable percussion drills operated by electricity are built, but so far they do not seem to have been able to compete commercially with the older forms. No attempt will be made here to make a selection between the various forms of percussion drills for tunnel work, and for the differences in construction and the merits claimed for each the reader is referred to the makers of these machines. All of the leading makes will give efficient service. It goes almost without saying that a good percussion drill should operate with little waste of pressure, and should be composed of but few parts, which can be easily removed and changed.

Drill Mountings.

—For tunnel work the general European practice is to mount power drills upon a carriage moving on tracks in order that they be easily withdrawn during the firing of blasts. Connection is made with the steam or compressed air pipes by means of flexible hose which can easily be attached or detached as the drill advances or when it is moved for repairs or during blasts. Two, four, and sometimes more drills are mounted and work simultaneously on a single carriage. In America it has been found that column mountings have been more successful for tunnel work than any other form. The[26] column mounting made by the Ingersoll-Sergeant Drill Co. is shown in Fig. 12. In using this form of mounting no tracks or other special apparatus is required; it is not necessary, as is the case with the carriage mounting, to remove the débris before resuming operations, but as soon as the blasting has been finished and the smoke has sufficiently disappeared the column can be set up and drilling resumed.

Fig. 12.—Column Mounting for Percussion Drill: Ingersoll-Sergeant Drill Co.

[27]

Rotary Drills.

—Rotary drilling machines, or more simply rotary drills, were first used in 1857 in the Mont Cenis tunnel. The advantages claimed for rotary drills in comparison with percussion drills are: (1) That less power is required to drive the drill, and the power is better utilized; (2) once the machines work easily they do not require continual repairs, and (3) in driving holes of large size the interior nucleus is taken away intact, thus reducing work and increasing the speed of drilling. Rotary drills are extensively used for geological, mining, well-driving, and prospecting purposes; but they are very seldom employed in tunnels in America, although successfully used for this purpose in Europe. The reason they have not gained more favor among American tunnel builders is due to some extent perhaps to prejudice, but chiefly to the great cost of the machine as compared with percussion drills, and to the expense of diamonds for repairs. Those who advocate these machines for tunnel work point out, however, that under ordinary usage the diamonds have a very long life,—borings of 700 lin. ft. being recorded without repairs to the diamonds.

Fig. 13.—Sketch of Diamond Drill Bit.

The form of rotary drill used chiefly for prospecting purposes is the diamond drill. This machine consists of a hollow cylindrical bit having a cutting-edge of diamonds, which is revolved at the rate of from two hundred to four hundred revolutions per minute by suitable machinery operated by steam or compressed air. The diamonds are set in the cutting-edge of the bit so as to project outward from its annular face and also slightly inside and outside of its cylindrical sides (Fig. 13). When the drill rod with the bit attached is rotated and fed forward the bit cuts an annular hole into the rock; the drillings being removed from the hole by a constant stream of water which is forced down through the hollow drill rod and emerges, carrying the débris with it, up through the narrow space between[28] the outside of the bit and the walls of the hole. There are various makes of diamond drills, but they all operate in essentially the same manner.

The rotary drill principally employed in Europe in tunneling is the Brandt. The cutting-edge of the Brandt drill consists of hardened steel teeth. The bit is pressed against the rock by hydraulic pressure, and usually makes from seven to eight revolutions per minute. Some of the water when freed goes through the hollow bit, keeping it cool, and cleaning the hole of débris. A water pressure of from 300 to 450 lbs. per square inch is required to operate these drills. Rotary rock-drills may be mounted either on carriages or on columns for tunnel work. Several machines have recently been constructed for the purpose of breaking the rock in tunnels without blasting, but they did not meet the approval of tunnel engineers. One of these machines is provided with numerous electric torches, which are applied to the rock at the front. By suddenly chilling the rock with a stream of cold water the stone will crumble away. Another machine was tested, with little success, in the excavation for the New Grand Central Depot in New York. On the face of this machine there is a multitude of chipping drills revolving on four arms and driven by air pressure. They attack the rock and chip it into fragments, which are carried away by an endless band.

EXPLOSIVES AND BLASTING.

When the holes are once drilled, either by hand or power drills, they are charged with explosives. The principal explosives employed in tunneling are gunpowder, nitroglycerine, and dynamite.

Gunpowder.

—Gunpowder is composed of charcoal, sulphur, and saltpeter in proportions varying according to the quality of the powder. For mining purposes the composition employed is 65% saltpeter, 15% sulphur, and 20% charcoal. It is a black granulated powder having a specific gravity of 1.5; the black[29] color is given by the charcoal; and the grains have an angular form, and vary in size from 18 in. to 38 in. Good blasting powder should contain no fine grains, which may be detected by pouring some of the powder upon a sheet of white paper. The force developed by the explosion of gunpowder is not accurately known; it depends upon the space in which it is confined. Different authorities estimate the pressure at from 15,000 lbs. per sq. in. in loose blasts to 200,000 lbs. per sq. in. in gunnery. Authorities also differ in opinion as to the character of the gases developed by the explosion of gunpowder, a matter of vital concern to the tunnel engineer, since they are likely to affect the health and comfort of his workmen. It may be assumed in a general way, however, that the oxygen of the saltpeter converts nearly all of the carbon of the charcoal into carbon dioxide, a portion of which combines with the potash of the saltpeter to form carbonate of potash, the remainder continuing in the form of gas. The sulphur is converted into sulphuric acid, and forms a sulphate of potash, which by reaction is decomposed into hyposulphite and sulphide. The nitrogen of the saltpeter is almost entirely evolved in a free state; and the carbon not having been wholly burnt into carbonic acid, there is a proportion of carbonic oxide.

Nitroglycerine.

—Nitroglycerine is one of the modern explosives used as a substitute for gunpowder. It is a fluid produced by mixing glycerine with nitric and sulphuric acids; it freezes at +41° F., and burns very quietly, developing carbonic acid, nitrogen, oxygen, and water. By percussion or by the explosion of some substances, such as capsules of gunpowder or fulminate of mercury, nitroglycerine produces a sudden explosion in which about 1250 volumes of gases are produced. The pressure of these gases has been calculated at 26,000 atmospheres, or 324,000 lbs. per sq. in. Nitroglycerine explodes very easily by percussion in its normal state, but with great difficulty when frozen; hence, in America, at the beginning of its use, it was transported only in a frozen state. When[30] dirty, nitroglycerine undergoes a spontaneous decomposition accompanied by the development of gases and the evolution of heat, which, reaching 388° F., causes it to explode. Notwithstanding the enormous pressures which nitroglycerine develops, it is very seldom used in its liquid state, but is mixed with a granular absorbent earth composed of the shells of diatoms. The fluid undergoes no chemical change by being absorbed, and explodes, freezes, and burns under the same conditions as in the fluid state.

Dynamite.

—The credit of rendering nitroglycerine available for the purposes of the engineer by mixing it with a granular absorbent is due to Albert Nobel of Stockholm, Sweden, who named the new material dynamite. The nitroglycerine in dynamite loses very little of its original explosive power, but is very much less easily exploded by percussion, and can be employed in horizontal as well as vertical holes, which was, of course, not possible in its liquid state. Dynamite must contain at least 50% of nitroglycerine. Some manufacturers, instead of using diatomaceous earth, use other absorbents which develop gases upon explosion and increase the force of the explosion. These mixtures are classed under the general name of false dynamites. A great many varieties of dynamite are manufactured, and each manufacturer usually makes a number of grades to which he gives special names. Dynamite for railway work, tunneling, and mining contains about 50% of nitroglycerine; for quarrying about 35%, and for blasting soft rocks about 30%. It is sold in cylindrical cartridges covered with paper.

Storage of Explosives.

—In driving tunnels through rock large quantities of explosives must be used, and it is necessary to have some safe place for storing them. In many States there are special laws governing the transportation and storage of explosives; where there is no regulation by law the engineer should take suitable precautions of his own devising. It is best to build a special house or hut in one of the most concealed portions of the work and away from the tunnel, and[31] protect it with a lightning-rod and from fire. Strict orders should be given to the watchman in charge not to allow persons inside with lamps or fire in any form, and smoking should be prohibited. The use of hammers for opening the boxes should be prohibited; and dynamite, gunpowder, and fulminate of mercury should not be stored together in the same room. A quantity of dynamite for two or three days’ consumption may be stored near the entrance of the tunnel in a locked box, the keys of which are kept by the foreman of the work. When dynamite has been frozen the engineer should provide some arrangement by which it may be heated to a temperature not exceeding 120° F., and absolutely forbid it being thawed out on a stove or by an open fire.

Fuses.

—When gunpowder is used in tunneling it is ignited by the Blickford match. This match, or fuse as it is more commonly called, consists of a small rope of yarn or cotton having as a core a small continuous thread of fine gunpowder. To protect the outside of the fuse from moisture it is coated with tar or some other impervious substance. These fuses are so well made that they burn very uniformly at the rate of about 1 ft. in 20 seconds, hence the moment of explosion can be pretty accurately fixed beforehand. Blickford matches have the objection for tunnel work of burning with a bad odor, especially when they are coated with tar, and to remedy this many others have been invented. Those of Rzika and Franzl are the best known of these. The former has many advantages, but it burns too quickly, about 3 ft. per second, and is expensive; the latter consists of a small hollow rope filled with dynamite.

Blickford matches cannot be used to explode dynamite, the use of a cartridge being required. These cartridges are small copper cylinders containing fulminate of mercury. They may be attached to the end of the Blickford match, which being ignited the spark travels along its length until it reaches the copper cylinder, where it explodes the fulminate of mercury, which in turn explodes the dynamite. Blasts may also be fired[32] by electricity, which, in fact, is the most common and the preferable method, because several blasts can be fired simultaneously, and because the current is turned on at a great distance, thus affording greater safety to the workmen.

The method of electric firing generally employed in America is known as the connecting series method, and consists in firing several mines simultaneously. The ends of the wires are scraped bare, and the wire of the first hole of the series is twisted together with the wire of the second hole, and so on; finally the two odd wires of the first and last holes are connected to two wires of a single cable or to two separate cables extending to some safe place to which the men can retreat. Here the two cable wires are connected by binding screws to the poles of a battery, or sometimes to a frictional electric machine. The current passes through the wires, making a spark at each break, and so fires the fulminate of mercury, which explodes the dynamite.

Simultaneous firing by electricity by utilizing the united strength of the blasts at the same instant secures about 10% greater efficiency from the explosives. Another advantage of electric firing is that in case of a missfire of any one of the holes there is slight possibility of explosion afterwards, and the place can be approached at once to discover the cause.

Tamping.

—Tamping is the material placed in the hole above the explosive to prevent the gases of explosion from escaping into the air. Tamping generally consists of clay. When gunpowder is used the clay must be well rammed with a wooden tool, and paper, cotton, or some other dry material must be placed between the moist clay and the powder. When dynamite is used it is not necessary to ram the tamping, since the suddenness of the explosion shatters the rock before the clay can be driven from the hole.

A few experienced men should be appointed to fire the blasts. These men should give ample warning previous to the blast in order that all machinery and tools which might be injured by flying fragments may be removed out of danger, and so that the[33] workmen may seek safety. When all is ready they should fire the blasts, keeping accurate count of the explosions to ensure that no holes have missed fire, and should call the workmen back when all danger is over. In case any hole has missed fire it should be marked by a red lamp or flag.

Nature of Explosions.

—When the explosives are ignited a sudden development of gases results, producing a sudden and violent increase of pressure, usually accompanied by a loud report. The energy of the explosion is exerted in all directions in the form of a sphere having its center at the point of explosion, and the waves of energy lose their force as the distance from this central point increases. The energy of the explosion at any point in the sphere of energy is, therefore, inversely proportional to the distance of this point from the center of explosion. In the vicinity of the center of explosion the gases have sufficient power to destroy the force of cohesion and shatter the rock; further on, as they lose strength, they only destroy the elasticity of the material and produce cracks; and still further away they only produce a shock, and do not affect the material. Within the sphere of energy there are, therefore, three other concentric spheres: the first one being where cohesion is destroyed, the second where elasticity is overcome, and the third where the shock is transmitted by elasticity. When the latter sphere comes below the surface, the gases remain inside the rock; but when the surface intersects either of the other two spheres, the gases blow up the rock, forming a cone or crater, whose apex is at the point of explosion, and which is called the blasting-cone. The larger the blasting-cone is, the greater is the amount of rock broken up; and the object of the engineer should, therefore, always be so to regulate the depth of the hole and the quantity of explosive as to secure the largest possible blasting cone in each case. Experiments are required to determine the most efficient depth of hole, and quantity of explosive to be employed, since these differ in different kinds of rock, with the position of the rock strata,[34] etc.; but in ordinary practice, the depths of the holes are made from 2 to 3 ft. in the heading and upper portion of the tunnel, when drilled by hand; and from 6 to 8 ft. when drilled by power drills. In the lower portion of the profile, the holes are made deeper, from 3 ft. to 4 ft. when drilled by hand, and exceeding 6 ft. when drilled by power. The distance of the holes apart should be about equal to the diameter of the blasting-cone; as a general rule it is assumed that the base of the blasting-cone has a diameter equal to twice the depth of the hole. The following table gives the average number of holes required in each part of the excavation for the St. Gothard tunnel in which the heading was excavated by machine drills while the other parts were excavated by hand drills:

NO.
OF
PART.
[5]
NAME OF PART. NO. OF
HOLES.
1. Heading 6 to 9
2. Right wing of heading 3 to 5
3. Left wing of heading 3 to 5
4. Shallow trench with core 2  
5. Deepening of trench to floor 6 to 9
6. Narrow mass of core to left 3  
7. Greater mass of core to left 6 to 9
8. Culvert 1  
  Total section 30 to 43

[5] The location of the parts numbered is shown by Fig. 14, p. 36.

The quantity of explosives required for blasting depends upon the quality of the rock, since the force of the explosives must overcome the cohesion of the rock, which varies with its nature, and often differs greatly in rocks of the same kind and composition. The quantity of explosives required to secure the greatest efficiency in blasting any particular rock may be determined experimentally, but in practice it is usually deduced by the following rules: (1) The blasting force is directly proportional to the weight of the explosives used, and (2) the bulk of the blasted rock is proportional to the cube of the depth of the holes. It is usually assumed, also, that the explosive should fill at least one-fourth the depth of the hole.

[35]

The following table gives the depth of holes and amount of dynamite used at each advance in the Fort George Tunnel illustrated on page 135.

Order of
Firing.
Kinds of
Holes.
Depth. Charge. Kind of
Dynamite.
         
Bench
Holes
-   1st round
2nd round
4 grading 3′ to 5′ 50 lbs. 40% climax
5 bench 9′ 6″ 45 40%
6 trimming 3′ to 9′ 42 40%
         
Heading
Holes
-   3d round 8 center cut 9′ 56 60%
4th round 8 side 8′ 48 40%
5th round 6 dry 8′ 36 40%
         

[36]

CHAPTER IV.
GENERAL METHODS OF EXCAVATION: SHAFTS: CLASSIFICATION OF TUNNELS.


A number of different modes of procedure are followed in excavating tunnels, and each of the more important of these will be considered in a separate chapter. There are, however, certain characteristics common to all of these methods, and these will be noted briefly here.

Fig. 14.—Diagram Showing Sequence of Excavation for St. Gothard Tunnel.

Fig. 15.—Diagram Showing Manner of Determining Correspondence of Excavation to Sectional Profile.

 

Division of Section.

—It may be asserted at the outset that the whole area of the tunnel section is not ordinarily excavated at one time, but that it is removed in sections, and as each section is excavated it is thoroughly timbered or strutted. The order in which these different sections are excavated varies with the method of excavation, and it is clearly shown for each method in succeeding chapters. As a single example to illustrate the proposition just made, the division of the section and the sequence of excavation adopted at the St. Gothard tunnel is selected (Fig. 14). The different parts of the section were excavated in the order numbered; the names given to each part, and the number of holes employed in breaking it down, are given by the table on page 35. Whatever method is employed, the work always begins by driving a heading, which is the most difficult and expensive part of the excavation. All the other operations required in breaking down the remainder[37] of the tunnel section are usually designated by the general term of enlargement of the profile. The various operations of excavation may, therefore, be classified either as excavation of the heading or enlargement of the profile.

Excavation of the Heading.

—There is considerable confusion among the different authorities regarding the exact definition of the term “heading” as it is used in tunnel work. Some authorities call a small passage driven at the top of the profile a heading, and a similar passage driven at the bottom of the profile a drift; others call any passage driven parallel to the tunnel axis, whether at the top or at the bottom of the profile, a drift; and still others give the name “heading” to all such passages. For the sake of distinctness of terminology it seems preferable to call the passage a heading when it is located at the top of the profile, and a drift when it is located near the bottom.

Headings and drifts are driven in advance of the general excavation for the following purposes: (1) To fix correctly the axis of the tunnel; (2) to allow the work to go on at different points without the gangs of laborers interfering with each other; (3) to detect the nature of material to be dealt with and to be ready in any contingency to overcome any trouble caused by a change in the soil; and (4) to collect the water. The dimensions of headings in actual practice vary according to the nature of the soil through which they are driven. As a general rule they should not be less than 7 ft. in height, so as to allow the men to work standing, and have room left for the roof strutting. The width should not be less than 6 ft., to allow two men to work at the front, and to give room for the material cars without interfering with the wall strutting. Usually headings are made 8 ft. wide. The length of headings in practice varies according to circumstances. In very long tunnels through hard rock the headings are sometimes excavated from 1000 ft. to 2000 ft. in advance, in order that they may meet as soon as possible and the ranging of the center line[38] be verified, and so that as great an area of rock as possible may be attacked at the same time in the work of enlarging the profile. In short tunnels, where the ranging of the center line is less liable to error, shorter headings are employed, and in soft soils they are made shorter and shorter as the cohesion of the soil decreases. When the material has too little cohesion to stand alone, the tops and sides of the heading require to be supported by strutting. To prevent caving at the front of the heading, the face of the excavation is made inclined, the inclination following as near as may be the natural slope of the material.

Enlargement of the Profile.

—The enlargement of the profile is accomplished by excavating in succession several small prisms parallel to the heading, and its full length, which are so located that as each one is taken out the cross-section of the original heading is enlarged. The number, location, and sequence of these prisms vary in different methods of excavation, and are explained in succeeding chapters where these methods are described. To direct the excavation so as to keep it always within the boundaries of the adopted profile, the engineer first marks the center line on the roof of the heading by wooden or metal pegs, or by some other suitable means by which a plumb line may be suspended. He next draws to a large scale a profile of the proposed section; and beginning at the top of the vertical axis he draws horizontal lines at regular intervals, as shown by Fig. 15, until they intersect the boundary lines of the profile, and designates on each of these lines the distance between the vertical axis and the point where it intersects the profile. It is evident that if the foreman of excavation divides his plumb line in a manner corresponding to the engineer’s drawing, and then measures horizontally[39] and at right angles to the vertical center plane of the tunnel the distance designated on the horizontal lines of the drawing, he will have located points on the profile of the section, or in other words have established the limits of excavation.

Fig. 16.—Polar Protractor for Determining Profile of Excavated Cross-Section.

In the excavation of the Croton Aqueduct for the water supply of New York city, an instrument called a polar protractor was used for determining the location of the sectional profile. It was invented by Mr. Alfred Craven, division engineer of the work. This instrument consists of a circular disk graduated to degrees, and mounted on a tripod in such a manner that it may be leveled up, and also have a vertical motion and a motion about the vertical axis. The construction is shown clearly by Fig. 16. In use the device is mounted with its center at the axis of the tunnel. A light wooden measuring-rod tapering to a point, shod with brass and graduated to feet and hundredths of a foot, lies upon the wooden arm or rest, which revolves upon the face of the disk, and slides out to[40] a contact with the surface of the excavation at such points as are to be determined. If the only information desired is whether or not the excavation is sufficient or beyond the established lines, the rod is set to the proper radius, and if it swings clear the fact is determined. If a true copy of the actual cross-section is desired, the rod is brought into contact with the significant points in the cross-section, and the angles and distances are recorded.

The general method of directing the excavation in enlarging the profile by referring all points of the profile to the vertical axis is the one usually employed in tunneling, and gives good results. It is considered better in actual practice to have the excavation exceed the profile somewhat than to have it fall short of it, since the voids can be more easily filled in with riprap than the encroaching rock can be excavated during the building of the masonry. In tunnels where strutting is necessary the excavation must be made enough larger than the finished section to provide the space for it. In soft-ground tunnels it is also usual to enlarge the excavation to allow for the probable slight sinking of the masonry. The proper allowance for strutting is usually left to the judgment of the foreman of excavation, but the allowance for settlement must be fixed by the engineer.

SHAFTS.

Shafts are vertical walls or passages sunk along the line of the tunnel at one or more points between the entrances, to permit the tunnel excavation to be attacked at several different points at once, thus greatly reducing the time required for excavation. Shafts may be located directly over the center of the tunnel or to one side of it, and, while usually vertical, are sometimes inclined. During the construction of the tunnel the shafts serve the same purpose as the entrances; hence they must afford a passageway for the excavated materials, which[41] have to be hoisted out, and also for the construction tools and materials which have to be lowered down them. They must also afford a passageway for workmen, draft animals, and for pipes for ventilation, water, compressed air, etc. The character of this traffic indicates the dimensions required, but these depend also upon the method of hoisting employed. Thus, when a windlass or horse gin is used, and the materials are hoisted in buckets of small dimensions, the dimensions of the shaft may also be small; but when steam elevators are employed, and the material is carried on cars run on to the platform of the elevator, large dimensions must be given to the shaft. Generally the parts of the shaft used for different purposes are separated by partitions. The elevator for workmen and the various pipes are placed in one compartment, while the elevator for hoisting the excavated material and lowering construction material is placed in another.

Shafts may be either temporary or permanent. They are temporary when they are filled in after the tunnel is completed, and permanent when they are left open to supply ventilation to the tunnel. Permanent shafts are usually made circular, and lined with brick, unless excavated in very hard and durable rock. When sunk for temporary use only, shafts are usually made rectangular with the greater dimension transverse to the tunnel. They are strutted with timber. A pump is generally located at the bottom of the shaft to collect the water which seeps in from the sides of the shaft and from the tunnel excavation. The dimensions of this pump will of course vary with the amount of water encountered, as will also the capacity of the pump for forcing it up and out of the shaft, which has always to be kept dry.

The majority of engineers prefer to sink shafts directly over the center line of the tunnel. Side shafts are employed chiefly by French engineers. The chief advantage of the former method is the great facility which it affords for hoisting out the materials, while in favor of the latter method is the[42] non-interference of the shaft with the operations inside the tunnel. Were it not that the side shaft requires the introduction of a transverse gallery connecting it with the tunnel, it would be on the whole superior to the center shaft; but the side gallery necessitates turning the cars at right angles, and consequently the use of a very sharp curve or a turntable to reach the shaft bottom, which is a disadvantage that may outweigh its advantages in some other respects. It is impossible to state absolutely which of these methods of locating shafts is the best; both present advantages and disadvantages, and the use of one or the other is usually determined more by the local conditions than by any general superiority of either.

When side shafts are employed they are sometimes made inclined instead of vertical. This form is used when the depth of the shaft is small. By it the hauling is greatly simplified, since the cars loaded at the front with excavated material can be hauled directly out of the shaft and to the dumping-place, surmounting the inclined shaft by means of continuous cables. The short galleries connecting the side shafts with the tunnel proper usually have a smaller section than the tunnel, but are excavated in exactly the same manner. Another form of side shaft sometimes used is one reaching to the surface when the tunnel runs close to the side of cliff, as is the case with some of the Alpine railway tunnels.

CLASSIFICATION OF TUNNELS.

Tunnels are classified in various ways, but the most logical method would appear to be a grouping according to the quality of the material through which they are driven; and this method will be adopted here. By this method we have first the following general classification: (1) Tunnels in hard rock; (2) tunnels in ordinary loose soil; (3) tunnels in quicksand; (4) open-cut tunnels; and (5) submarine tunnels. It is hardly necessary to say that this classification, like all others, is simply[43] an arbitrary arrangement adopted for the sake of order and convenience in treating the subject.

Tunnels in Hard Rock.

—With the numerous labor-saving methods and machines now available, hard rock is perhaps the safest and easiest of all materials through which to drive a tunnel. Tunnels through hard rock may be excavated, either by a drift or by a heading. The difference depends upon whether the advance gallery is located close to the floor or near the soffit of the section.

Tunnels in Loose Soils.

—In driving tunnels through loose soils many different methods have been devised, which may be grouped as follows: (1) Tunnels excavated at the soffit—Belgian method; (2) tunnels excavated along the perimeter—German method; (3) tunnels excavated in the whole section—English, Austrian and American methods; (4) tunnels excavated in two halves independent of each other—Italian method.

(1) Excavating the tunnel by beginning at the soffit of the section, or by the Belgian method, is the method of tunneling in loose soils most commonly employed in Europe at the present time. It consists in excavating the soffit of the section first; then building the arch, which is supported upon the unexcavated ground; and finally in excavating the lower portion of the section, and building the side walls and invert.

(2) In excavating tunnels along the perimeter an annular excavation is made, following closely the outline of the sectional profile in which the lining masonry is built, after which the center core is excavated. In the German method two drifts are opened at each side of the tunnel near the bottom. Other drifts are excavated, one above the other, on each side to extend or heighten the first two until all the perimeter is open except across the bottom. The masonry lining is then built from the bottom upwards on each side to the crown of the arch, and then the center core is removed and the invert is built.

[44]

(3) This method, as its name implies, consists in taking out short lengths of the whole sectional profile before beginning the building of the masonry. In the English method the invert is built first, then the side walls, and finally the arch. The excavators and masons work alternately. The Austrian method differs in two particulars from the English: the length of section opened is made great enough to allow the excavators to continue work ahead of the masons, and the side walls and roof are built before the invert. In the American method the whole section of the tunnel is open at once: excavators and masons work simultaneously, but a very large quantity of timbering is required.

(4) The Italian method is very seldom employed on account of its expensiveness, but it can often be used where the other methods fail. It consists in excavating the lower half of the section, and building the invert and side walls, and then filling the space between the walls in again except for a narrow passageway for the cars; next the upper part of the section is excavated, as in the Belgian method, and the arch is built; and finally the soil in the lower part is permanently removed.

Tunnels in Quicksand.

—Tunnels through quicksand are driven by one of the ordinary soft-ground methods after draining away the water, or else as submarine tunnels.

Open-Cut Tunnels.

—Open-cut tunnels are those driven at such a small depth under the surface that it is more convenient to excavate an open cut, build the tunnel masonry inside it, and then refill the open spaces, than it is to carry on the work entirely underground. In firm soils the usual mode of operation is to excavate first two parallel trenches for the side walls, then remove the core, and build the arch and the invert. In unstable soils, since the invert must be built first, it is usual to open up a single wide trench. In infrequent cases where a tunnel is desired in a place which is to be filled in, the masonry is built as a surface structure, which in due time is covered.

[45]

Submarine Tunnels.

—The mode of procedure followed in excavating submarine tunnels depends upon whether the material penetrated is pervious or impervious to water. In impervious material any of the ordinary methods of tunneling found suitable may be employed. In pervious material the excavation may be accomplished either by means of compressed air to keep the water out of the excavation, or by means of a shield closing the front of the excavation, or by a combination of these two methods. Tunnels on the river bed are built by means of coffer dams which inclose alternate portions of the work, by sinking a continuous series of pneumatic caissons and opening communication between them, and by sinking the tunnel in sections constructed on land.

Methods of Excavating Tunnels. -   In hard rock. -   By drifts.  
By a heading.
 
In loose soil. -   By upper half:
the arch is built before the side walls.
  - Belgian method.
 
By the perimeter:
excavated and lined before the central nucleus is removed.
  - German method.
 
By whole section:
the lining begins after the whole section is excavated.
-   English method.
Austrian method.
American method.
 
By halves:
the lower half is excavated and lined, followed by the work of the upper half.
  - Italian method.
In quicksand.  
Open-cut tunnels. -   In resistant soils. -   By two lateral narrow trenches.
 
In loose soils. -   By one very large trench.
 
Built up. -   By slices.
 
Submarine tunnels. -   At great depths under the river bed.   - By any method.
 
At small depths under the river bed. -   By shield.
By compressed air.
By shield and compressed air.
 
On the river bed. -   By coffer dams.
By pneumatic caissons.
By built-up sections.

[46]

The above diagram gives in compact form the classification of tunnels according to materials penetrated and methods of excavation adopted, which have been described more fully in the succeeding paragraphs. It may be noted here again that this is a purely arbitrary classification, and serves mostly as a convenience in discussing the different classes of tunnels without confusion.


[47]

CHAPTER V.
METHODS OF TIMBERING OR STRUTTING TUNNELS.


The purpose of timbering or strutting in tunnel work is to prevent the caving-in of the roof and side walls of the excavation previous to the construction of the lining. As the strutting has to resist all the pressures developed in the roof and side walls, which may be exceedingly troublesome and of great intensity in loose soils, its design and erection call for particular care. The method of strutting adopted depends upon the method of excavation employed; but in every case the problem is not only to build it strong enough to withstand the pressures developed, but to do this as economically as possible, and with as little hindrance as may be to the work which is going on simultaneously and which will come later. Only the latter general problems of strutting peculiar to all methods of tunnel work will be considered here. For this consideration strutting may be classified according to the material of which it is built, under the heads of timber structures and iron structures.

Fig. 17.—Joining Tunnel Struts by Halving.

Fig. 18.—Round Timber Post and Cap Bearing.

TIMBER STRUTTING.

Timber is nearly always employed for strutting in tunnel work. So long as it has the requisite strength, any kind of timber is suitable for strutting, since, it being only temporarily employed, its durability is a matter of slight importance. Timber with good elastic properties, like pine or spruce, is preferably chosen, since it yields gradually under stress, thus[48] warning the engineer of the approach of danger; while oak and other strong timbers resist until the last moment, and then yield suddenly under the breaking load. Soft woods, moreover, are usually lighter in weight than hard woods, which is a considerable advantage where so much handling is required in a restricted space. Round timbers are generally employed, since they are less expensive, and quite as satisfactory in other respects as sawed timbers. In the English and Austrian methods of strutting, which are described further on, a few of the principal struts are of sawed timbers.

The various timbers of the strutting are seldom attached by framed joints, but wedges are used to give them the necessary bearing against each other. Where framed joints are employed they are made of the simplest form usually by halving the joining timbers, as shown by Fig. 17. Fig. 18 shows a form of joint used where round posts carry beams of similar shape. The reason why it is possible to do away with jointed connections to such a great extent, is that the strains which the timbers have to resist are either compressive or bending strains, and because the timbers are so short that they do not require to be spliced.

Strutting of Headings.

—The method of strutting the heading that is employed depends upon the material through which the heading is driven. In solid rock strutting may not be required at all, or only for the purpose of preventing the fall of loose blocks from the roof, then vertical props are erected where required, or horizontal beams are inserted into the side walls, as shown by Fig. 19. These horizontal beams may be used singly at dangerous places, or they may be placed from 2 ft. to 3 ft. apart all along the heading. In the latter case they usually carry a lagging of planks, which may be placed at intervals or close together, and filled above with[49] stone in case the roof of the excavation is very unstable. Planks used in this manner are usually called poling-boards. Where the side walls as well as the roof require support, vertical side posts are employed to carry the roof beams, as shown by Fig. 20; and, when necessary, poling-boards are inserted between these posts and the walls of the excavation.

Fig. 19.—Ceiling Strutting for Tunnel Roofs.

Fig. 20.—Ceiling Strutting with Side Post Supports.

Fig. 21.—Sill, Side Post and Cap Cross Frame Strutting.

Fig. 22.—Reinforced Cross Frame Strutting for Treacherous Materials.

 

Frame Strutting.

—In very loose soils not only the roof and side walls, but also the floor of the heading require strutting. In these cases frame strutting is employed, as shown by Fig. 21. It consists simply of a rectangular frame; at the top there is a crown bar supported by two vertical side posts[50] setting on a sill laid across the bottom of the heading. These frames are spaced at close intervals, and carry longitudinal planks or poling-boards. The sill of the frame is sometimes omitted when the soil is stable enough to permit it, and in its place wooden footing blocks are substituted to carry the side posts. In soils where the pressures are great enough to bend the crown bar, a secondary frame is employed, as shown by Fig. 22, the two inclined roof members, or rafters, of which support the crown bar at the center.

Fig. 23.—Longitudinal Poling-Board System of Roof Strutting.

Fig. 24.—Transverse Poling-Board System of Roof Strutting.

 

It is the more common practice in driving headings through soft soils to use inclined poling-boards to support the roof. Fig. 23 shows one method of doing this. The method of operation is as follows: Assuming the poling-boards a and b to be in place, and supported by the frames A, B, C, as shown, the first step in continuation of the work is to insert the poling-board c over the crown bar of frame C, and under the block m. Excavation is then begun at the top, and as fast as the soil is removed ahead of it the poling-board c is driven ahead until its rear end only slightly overhangs the crown bar of frame C. The remainder of the face of the heading is then excavated nearly to the front end of the poling-board c, and another frame is set up. By a succession of these operations[51] the heading is advanced. The poling-boards at the sides of the heading are placed in a similar manner to the roof poling-boards. A second method of using inclined poling-boards is shown by Fig. 24. Here the poling-boards run transversely, and are supported by the arrangement of timbering shown. The chief advantage of using these inclined poling-boards, particularly in the manner shown by Fig. 23, is that the excavators work under cover at all times, and are thus safe from falling fragments or sudden cavings.

Box Strutting.

—In very treacherous soils, such as quicksand, peat, and laminated clay, box strutting is commonly employed. The method of building this strutting is to set up at the face of the work a rectangular frame, and use it as a guide in driving a lagging or boxing of horizontal planks into the soft soil ahead. These planks have sharp edges, and are driven to a distance of 2 ft. or 3 ft. into the face of the heading, so as to inclose a rectangular body of earth. This earth is excavated nearly to the ends of the planks, and then another frame is inserted close up against the new face of the excavation, which supports the planks so that the remainder of the earth included by them may be removed. These two frames, with their plank lagging, constitute a “box;” and a series of these boxes, one succeeding another, form the strutting of the heading.

Strutting the Face.

—In some cases it is found necessary to strut the face of the heading in order to prevent it from caving in. This is generally done by setting plank vertically, and bracing them up by means of inclined props whose feet abut against the sill of the nearest cross frame. This strutting is erected while the workmen are placing the side and roof strutting, and is removed to permit excavation.

Full Section Timber Strutting.

—For strutting the full section two forms of timbering are employed, known as the polygonal system and the longitudinal system.

Longitudinal strutting consists of a timber structure so arranged as to have all the principal members supporting the[52] poling-boards parallel to the axis of the tunnel. This system of strutting is peculiar to the English method of tunneling. The longitudinal timbers rest on this finished masonry at one end, and are carried on a cross frame or by props at the other end. At intermediate points the longitudinals are braced apart by struts in planes transverse to the tunnel axis. This construction makes a very strong strutting framework, since the transverse struts act as arch ribs to stiffen the longitudinals; but the use of transverse poling-boards requires the excavation of a larger cross-section than is necessary when longitudinal poling-boards are employed, and this increases the cost both for the amount of earth excavated and the greater quantity of filling required.

In polygonal strutting the main members are in a plane normal to the axis of the tunnel. They form a polygon whose sides follow closely the sectional profile of the excavation. These polygonal frames are placed at more or less short intervals apart, and are braced together by short longitudinal struts lying close to the sides of the excavation, and running from one frame to the next, and also by longer longitudinal members which extend over several frames. The polygonal system of strutting is peculiar to the Austrian method of tunneling, and is fully described in a succeeding chapter. One of its distinctive characteristics is that the poling-boards are inserted parallel to the tunnel axis. Polygonal strutting is generally held to be stronger than longitudinal strutting under uniform loads, but it is more liable to distortion when the loads are unsymmetrical.

Fig. 25.—Shaft with Single Transverse Strutting.

Fig. 26.—Rectangular Frame Strutting for Shafts.

Fig. 27.—Reinforced Rectangular Frame Strutting for Shafts in Treacherous Materials.

Strutting of Shafts.

—Tunnel shafts are strutted both to prevent the caving-in of the sides and to divide them into[53] compartments. When the material penetrated is very compact, and caving is not likely, a single series of transverse struts, one above the other, running from the top to the bottom of the shaft, as shown by Fig. 25, is used to divide it into two compartments. In softer material, where the sides of the shaft require support, Fig. 26 shows a form of strutting commonly employed. It consists of vertical corner posts braced apart at intervals by four horizontal struts placed close to the walls of the shaft. The longer side struts are also braced apart at the center by a middle strut which divides the shaft into two compartments. A lagging of vertical plank is placed between the walls of the shaft and the horizontal side struts. In very loose soils the form of strutting shown by Fig. 27 is employed. This is practically the same construction as is shown by Fig. 26, with the addition of an interior polygonal horizontal bracing in each half of the shaft. Referring to Fig. 27, the timbers a, a, etc., are vertical and continuous from the top to the bottom of the shaft; and the horizontal timbers, b, b, etc., are spaced at more or less close intervals vertically. The lagging planks may be laid with spaces between them, or close together, or, in case of very loose material, with their edges overlapping. The manner of constructing the strutting is also governed by the stability of the soil. In firm soils it is possible to sink the shaft quite a depth without timbering, and the timbering can[54] be erected in sections of considerable length, which is always an advantage, but in loose soils the timbering has to follow closely the excavation.

The solid wall shaft struttings which have been described are discontinued at the point where the shaft intersects the tunnel excavation; and from this point to the floor of the tunnel an open timbering is employed, whose only duty is to support the weight of the solid strutting above. This timbering is made in various forms, but the most common is a timber truss or arch construction which spans the tunnel section.

Quantity of Timber.

—The quantity of timber employed in strutting a tunnel varies with the character of the material through which the tunnel is excavated: it is small for solid-rock tunnels, and large for soft-ground tunnels. In the Belgian method of excavation a smaller quantity of timber is used than in any of the other ordinary methods. For single-track tunnels excavated by this method there will be needed on an average about 3 to 313 cu. yds. of timber per lineal foot of tunnel. Practical experience shows that about four-fifths of the timber once used can be employed for the second time. In any of the methods in which the whole tunnel section is excavated at once, the average amount of timber required per lineal foot is about 8.7 cu. yds. Of this amount about two-thirds can be used a second time. In the Italian method, in which the upper half and the lower half are excavated separately, about 5 cu. yds. of timber are required per lineal foot of tunnel, about one-half of which can be employed a second time. For quicksand tunnels the amount of timbering required per lineal foot varies from 3 to 5 cubic yds. Shaft strutting requires from 1 to 112 cu. yds. of timber per lineal foot.

Dimensions of Timber.

—The dimensions of the principal members composing the strutting of headings, full section, and shafts, are given in Table I. The planks used for lagging or the poling-boards are usually from 4 ins. to 6 ins. wide, with a length depending upon the method of strutting employed.

[55]

TABLE I.

Showing Sizes of Various Timbers Used in Strutting Tunnels Driven Through Different Materials.

  Rock. Soft Soils.
Hard. Soft. Com-
pact.
Loose. Very
loose.
ins. ins. ins. ins. ins.
Headings:          
Cap-pieces and vertical struts  6    8   10   12   14  
Sills      8   10   12  
Struts  5    5    6    7    8  
Distance apart of the frames in feet  6    4.5  3    2.6  2.6
Strutting of the tunnel, longitudinal strutting:          
Crown bars 12   14   14      
Props vertical or inclined supporting the crown bars 10   12   14      
Sills  8    8   10      
Cap-pieces or saddles 10   12   14      
Struts to stiffen the structure  6    8   10      
Distance apart of the frames (in feet)  4.5  4    3      
Polygonal strutting:          
Cap-pieces and contour pieces  8   10   12   14   16  
Vertical struts on top 10   12   14   16   18  
Vertical struts below 12   14   16   20   24  
Intermediate sills 12   14   16   20   24  
Lower sills     12   16   18  
Raking props 10   10   10   12   12  
Distance apart of the frames (in feet)  6    4.5  4    3    3  
Shafts:          
Horizontal beams forming the frame  8    8   10   12   14  
Transverse beams  8    8    8   10   12  
Vertical struts between the frames  8    8   10   12   12  
Struts to reënforce the frame    6    8    8    8  
Distance apart of the strutting (in feet)  6    4.5  4    3    2.6

IRON STRUTTING.

In 1862 Mr. Rziha employed old iron railway rails for strutting the Naensen tunnel, and his example was successfully followed in several tunnels built later where timber was scarce[56] and expensive. The advantages which iron strutting is claimed to possess over the more common wooden structure are: its greater strength; the smaller amount of space which it takes up; and the fact that it does not wear out, and may, therefore, be used over and over again.

Fig. 28.—Strutting of Timber Posts and Railway Rail Caps.

Fig. 29.—Strutting made entirely of Railway Rails.

 

Iron Strutting in Headings.

—In strutting the headings the cross frames have a crown bar consisting of a section of old railway rail carried either by wood or iron side posts. When wooden side posts are used their upper ends have a dovetail mortise, and are bound with an iron band, as shown by Fig. 28. The base of the rail crown bar is set into the dovetail mortise and fastened by wedges. When iron side posts are employed they usually consist of sections of railway rails, and the crown bar is attached to them by fish-plate connections, as shown by Fig. 29. The iron cross frames are set up as the heading advances, and carry the plank lagging or poling-boards, exactly in the same manner as the timber cross frames previously described.

Fig. 30.—Rziha’s Combined Strutting and Centering of Cast Iron.

Fig. 31.—Cast-Iron Segment of Rziha’s Strutting and Centering.

Full Section Iron Strutting.

—The iron strutting devised by Mr. Rziha for full section work is shown by Fig. 30. Briefly described, it consists of voussoir-shaped cast-iron segments, which are built up in arch form. Fig. 31 shows the construction of one of the segments, all of which are alike, with the exception of the crown segment, which has a mortise and tenon joint which is kept open by filling the mortise with sand. The segments are bolted together by means of suitable bolt-holes in the vertical flanges, and when fully connected form an arch rib of cast iron. This arch rib, A, Fig. 30, carries a series of angle or T-iron frames bent into approximately voussoir shape, as shown at B, Fig. 30. Above these frames are inserted[57] the poling-boards, running longitudinally, and spanning the distance between consecutive arch ribs. By removing the bent iron frames the cast-iron rib forms a center upon which to construct the masonry. Finally, to remove the cast-iron rib itself, the sand is drawn out of the mortise and tenon joint in the crown segment, which allows the joint to close, and loosen the segments so that they are easily unbutted.

The illustration, Fig. 30, shows longitudinal poling-boards; more often longitudinal crown bars of railway rails span the space between connective arch ribs, and support transverse poling-boards. In building the masonry, work is begun at the bottom on each side, the bent iron frames being removed one after another to give room for the masonry. As each frame is removed, it is replaced with a sort of screw-jack to support the poling-boards until the masonry is sufficiently completed to allow their removal. The interior bracing of the arch rib shown at a a and b b consists of railway rails carried by brackets cast on to the segments. A similar bracing of rails connects the successive arch ribs. These lines of bracing serve to carry the scaffolding upon which the masons work in building the lining.

Fig. 32.—Cast-Iron Segmental Strutting for Shafts.

Iron Shaft Strutting.

—In soft-ground shaft work, the use of an iron strutting, consisting of consecutive cast-iron rings, has[58] sometimes been employed to advantage. Fig. 32 shows the construction of one of these rings, which, it will be seen, is composed of four segments connected to each other by means of bolted flanges. The holes shown in the circumferential web of the ring are to allow for the seepage from the earth side walls. The method of placing this cylindrical strutting is to start with a ring having a cutting-edge. By means of excavation inside the ring, and by ramming, the ring is sunk into the ground a distance equal to its height. Another ring is then fastened by special hooks on top of the first one, and the sinking continued until the second ring is down flush with the surface. A third ring is then added, and so on until the entire shaft is excavated and strutted. As in timber shaft strutting, the solid iron ring strutting is carried down only to the top of the tunnel section, and below this point there is an open timber or iron supporting framework.


[59]

CHAPTER VI.
METHODS OF HAULING IN TUNNELS.


The transportation from one point to another within the tunnel and its shafts of any material, whether it is excavated spoil or construction material, is defined as hauling. In all engineering construction, the transportation of excavated materials, and materials for construction, constitutes a very important part of the expense of the work; but hauling in tunnels where the room is very limited, and where work is constantly in progress over and at the sides of the track, is a particularly expensive process. Hauling in tunnels may be done either by way of the entrances, or by way of the shafts, or by way of both the entrances and shafts.

Fig. 33.—Platform Car for Tunnel Work.

Hauling by Way of Entrances.

—When the hauling is done by the way of the entrances, the materials to be hauled are taken directly from the point of construction to the entrances, or in the opposite direction, by means of special cars of different patterns. For general purposes, these different patterns of cars may be grouped into three classes,—platform-cars, dump-cars, and box-cars. Representative examples of these several classes of cars are shown in Figs. 33 to 36[6] inclusive, but it will be readily understood that there are many other forms.

[6] Reproduced from catalogue of Arthur Koppel, New York.

Briefly described, platform-cars (Fig. 33) consist of a[60] wooden platform mounted on tracks, and they are usually employed for the transportation of timber, ties, etc. Dump-cars are used in greater numbers in tunnel work than any other form. Fig. 34 shows a dump-car of metal construction, and Fig. 35 one constructed with a metal under-frame and wooden box. These cars are made to run on narrow-gauge tracks, and usually have a capacity of about one to one and one-half cubic yards. Box-cars are more extensively employed in Europe for tunnel work than in America. Fig. 36 shows a typical European box-car for tunnel work. It is made either to run on narrow-gauge or standard-gauge tracks.

Fig. 34.—Iron Dump-Car for Tunnel Work.

Fig. 35.—Wooden Dump-Car for Tunnel Work.

 

Fig. 36.—Box-Car for Tunnel Work.

It is usually desirable in tunnel work to employ cars of different forms for different parts of the work. In rock tunnels it is a common practice to use narrow-gauge cars of small size in the headings, and larger, broad-gauge cars for the enlargement of the profile. Where narrow-gauge cars are employed for all purposes, it will also be found more convenient to use platform-cars for handling the construction material, and dump-cars for removing the spoil. The extent to which it is desirable to use cars of different forms will depend upon the character and conditions of the work, and particularly upon how far it is possible to install the permanent track.

As a general ride, it is considered preferable to lay the permanent tracks at once, and do all the hauling upon them, so that as soon as the tunnel is completed, trains may pass[61] through without delay. To what extent this may be done, or whether it can be done at all or not, depends upon the method of excavation and other local conditions. In soft-ground tunnels excavated by the English or Austrian methods, it is quite possible to lay the permanent tracks at first, since the whole section is excavated at once, and the excavation is kept but a little ahead of the completed tunnel. In rock tunnels, where the heading is driven far ahead of the completed section, it is, of course, impossible to keep the permanent track close to the advance work, and narrow-gauge tracks must be laid in the heading. The same thing is true in soft-ground tunnels driven by successive headings and drifts. In these cases, therefore, where narrow-gauge tracks have to be used for some portions of the work anyway, the question comes up whether it is preferable to use temporary narrow-gauge tracks throughout, or to lay the permanent track as far ahead as possible, and then extend narrow-gauge tracks to the advance excavation. In the latter case it will, of course, be necessary to trans-ship each load from the narrow-gauge to the standard-gauge cars, or vice versa, which means extra cost and trouble. To avoid this, the method is sometimes adopted of laying a third rail between the standard-gauge rails, so that either standard- or narrow-gauge cars may be transported over the line. Whatever form the local conditions may require the system of construction tracks to assume, it may be set down as a general rule that the permanent tracks should be kept as far advanced as possible, and temporary tracks employed only where the permanent tracks are impracticable.

The motive power employed for hauling in tunnels may be furnished by animals or by mechanical motors. Animal power[62] is generally employed in short tunnels and in the advance headings and galleries. In long tunnels, or where the excavated material has to be transported some distance away from the tunnel, mechanical power is preferable, for obvious reasons. The motors most used are small steam locomotives, special compressed-air locomotives, and electric motors. Compressed air and electric locomotives are built in various forms, and are particularly well adapted for tunnel work because of their small dimensions, and freedom from smoke and heat.

Hauling by Way of Shafts.

—When the excavated material and materials of construction are handled through shafts, the operation of hauling may be divided into three processes: the transportation of the materials along the floor of the tunnel, the hoisting of them through the shaft, and the surface transportation from and to the mouth of the shaft. These three operations should be arranged to work in harmony with each other, so as to avoid waste of time and unnecessary handling of the materials. An endeavor should be made to avoid, if possible, breaking or trans-shipping the load from the time it starts at the heading until it is dumped at the spoil bank. This can be accomplished in two ways. One way is to hoist the boxes of the cars from their trucks at the bottom of the shaft, and place them on similar trucks running on the surface tracks. The other way is to run the loaded cars on to the elevator platform at the bottom, hoist them, and then run them on to the surface tracks. If the first method is employed, the car box is usually made of metal, and is provided at its top edges with hooks or ears to which to attach the hoisting cables. When the second method is used, the elevator platform has tracks laid on it which connect with the tracks on the tunnel floor, and also with those on the surface.

Hoisting Machinery.

—The machines most commonly employed for hoisting purposes in tunnel shafts are steam hoisting engines, horse gins, and windlasses operated by hand. Windlasses and horse gins are rather crude machines for hoisting[63] loads, and are used only in special circumstances, where the shaft is of small depth, when the amount of material to be hoisted is small, or where for any reason the use of hoisting engines is precluded. The steam hoisting engine is the standard machine for the rapid lifting of heavy vertical loads. Recently oil engines and electric hoists have also come to be used to some extent, and under certain conditions these machines possess notable advantages.

The construction of hand windlasses is familiar to every one. In tunnel work this device is located directly over the shaft, with its axis a little more than half a man’s height, so that the crank handle does not rise above the shoulder line. To develop its greatest efficiency the hoisting rope is passed around the windlass drum so that the two ends hang down the shaft, and as one end descends the other ascends. A skip, or bucket, is attached to each of the rope ends; and by loading the descending skip with construction materials and the ascending skip with spoil, the two skip loads tend to balance each other, thus increasing the capacity of the windlass, and decreasing the manual labor required to operate it. Skips varying from 0.3 cu. yd. to 0.5 cu. yd. are used. The horse gin consists of a vertical cylinder or drum provided with radial arms to which the horses are hitched, which revolve the cylinder by walking around it in a circle. The hoisting rope is rove around the drum so that the two ends extend down the shaft with skips attached, as described in speaking of the hand windlass. The power of the horse gin is, of course, much greater than that of a windlass operated by hand, skips of 1 cu. yd. capacity being commonly used. Horse gins are no longer economical hoisting machines, according to one prominent authority, when V(H + 20) > 5000, where V equals the volume of material to be hoisted, and H equals the height of the hoist, the weight of the excavated material being 2100 lbs. per cu. yd. As a general rule, however, it is assumed that it is not economical to employ horse gins with a depth of shaft exceeding 150 ft.

[64]

As already stated, the most efficient and most commonly used device for hoisting at tunnel shafts is the steam hoisting engine. There are numerous builders of hoisting engines, each of which manufactures several patterns and sizes of engines. In each case, however, the apparatus consists of a boiler supplying steam to a horizontal engine which operates one or more rope drums. The engines are always reversible. They may be employed to hoist the skips directly, or to operate elevators upon which the skips or cars are loaded. In either case the hoisting ropes pass from the engine drum to and around vertical sheaves situated directly over the shaft so as to secure the necessary vertical travel of the ropes down the shaft. Where the shaft is divided into two compartments, each having an elevator or hoist, double-drum engines are employed, one drum being used for the operations in one compartment, and the other for the operations in the other compartment. Where the work is to be of considerable duration, or when it is done in cold weather, more or less elaborate shelters or engine houses are built to cover and protect the machinery.

Choice between the method of hoisting the skips directly, and the method of using elevators, depends upon the extent and character of the work. Where large quantities of material are to be hoisted rapidly, it is generally considered preferable to employ elevators instead of hoisting the skips directly. In direct hoisting at high speed, oscillations are likely to be produced which may dash the skips against the sides of the shaft and cause accidents. The loads which can be carried in single skips are also smaller than those possible where elevators are used; and this, combined with the slower hoisting speed required, reduces the capacity of this method, as compared with the use of elevators. Where elevators are employed, however, the plant required is much more extensive and costly; it comprising not only the elevator cars with their safety devices, etc., but the construction of a guiding framework for these cars in the tunnel shaft. For these various reasons the elevator becomes the[65] preferable hoisting device where the quantity of material to be handled is large, where the shafts are deep, and where the work will extend over a long period of time; but when the contrary conditions are the case, direct hoisting of the skips is generally the cheaper. The engineer has to integrate the various factors in each individual case, and determine which method will best fulfill his purpose, which is to handle the material at the least cost within the given time and conditions.

Fig. 37.—Elevator Car for Tunnel Shafts.

The construction of elevators for tunnel work is simple. The elevator car consists usually of an open framework box of timber and iron, having a plank floor on which car tracks are laid, and its roof arranged for connecting the hoisting cable (Fig. 37[7]). Rigid construction is necessary to resist the hoisting strains. The sides of the car are usually designed to slide against timber guides on the shaft walls. Some form of safety device, of which there are several kinds, should be employed to prevent the fall of the elevator, in case the hoisting rope breaks, or some mishap occurs to the hoisting machinery, which endangers the fall of the car. Speaking tubes and electric-bell signals should also be provided to secure communication between the top and bottom of the shaft.

[7] Reproduced from the catalogue of the Ledgerwood Manufacturing Company, New York.


[66]

CHAPTER VII.
TYPES OF CENTERS AND MOLDS EMPLOYED IN CONSTRUCTING TUNNEL LININGS OF MASONRY.

The masonry lining of a tunnel may be described as consisting of two or more segments of circular arches combined so as to form a continuous solid ring of masonry. To direct the operations of the masons in constructing this masonry ring, templates or patterns are provided which show the exact dimensions and form of the sectional profile which it is desired to secure. These patterns or templates will vary in number and construction with the form of lining and the method of excavation adopted. Where the excavation is fully lined on all four sides, the masonry work is usually divided into three parts,—the invert or floor masonry, the side-wall masonry, and the roof-arch masonry. At least one separate pattern has to be employed in constructing each of these parts of the lining; and they are known respectively as ground molds, leading frames, and arch centers, or simply centers. In the following paragraphs the form and construction usually employed for each of these three kinds of patterns is described.

Ground Molds.

—Ground molds are employed in building the tunnel invert. They are generally constructed of 3-inch plank cut exactly to the form and dimensions of the invert masonry as shown in Fig. 38. To permit of convenience of handling in a restricted space, they are generally made in two parts, which are joined at the middle by means of iron fish-plates and bolts. Either one or two ground molds may be employed. Where two[67] molds are used they are set up a short distance apart, and cords are stretched from one to the other parallel to the axis of the tunnel, by which the masons are guided in their work. Extreme care has to be taken in setting the molds to ensure that they are fixed at the proper grade, and are in a plane normal to the axis of the tunnel. Where only one ground mold is employed, the finished masonry is depended upon to supply the place of the second mold, cords being stretched from it to the single mold placed the requisite distance ahead. The leveling and centering of the molds is accomplished by means of transit and level.

Fig. 38.—Ground Mold for Constructing Tunnel Invert Masonry.

Fig. 39.—Combined Ground Mold and Leading Frame for Invert and Side Wall Masonry.

Two modifications of the form of ground mold shown by Fig. 39 are employed. The first modification is peculiar to the English method of excavation, and consists in combining the ground mold with the leading frame for the lower part of the side walls, as shown by Fig. 39. The second modification is employed where the two halves or sides of the invert are built separately, and it consists simply in using one-half of the mold shown by Fig. 38. When the last method of constructing the invert masonry is resorted to, extreme care has to be observed in setting the half-mold in order to avoid error.

Fig. 40.—Leading Frame for Constructing Side Wall Masonry.

Leading Frames.

—As already stated, leading frames are the patterns, or molds, used in building the side walls of the lining. Like the ground mold they are usually built of plank; one side being cut to the curve of the profile, and the other being made parallel to the vertical axis of the tunnel section. The vertical side usually has some arrangement by which a plumb[68] bob can be attached, as shown by Fig. 40, to guide the workmen in erecting the frame. The combined leading frame and ground mold shown in Fig. 39 has already been described. The use of this frame is possible only where the masonry is begun at the invert and carried up on each side at the same time. This mode of construction is peculiar to the English method of tunneling; in all other methods the form of separate ground frame shown by Fig. 40 is employed. The ground frames are lined in and leveled up by transit and level; and, as in setting the ground frames, care must be taken to secure accuracy in both direction and elevation.

Arch Centers.

—The template or form upon which the roof arch is built is called a center. Unlike the ground molds and leading frames, the arch centers have to support the weight of the masonry and the roof pressures during the construction of the lining, and they, therefore, require to be made strong. Owing to the fact that the pressures are indeterminate, it is impossible to design a rational center, and resort is had to those constructions which past experience has shown to work satisfactorily under similar conditions. In a general way it can always be assumed that the construction should be as simple as possible, that the center should be so designed that it can be set up and removed with the least possible labor, and that the different pieces of the framework and lagging should be as short as possible, for convenience in handling.

Tunnel centers are usually composed of two parts,—a mold or curved surface upon which the masonry rests, and a framework which supports the mold. The curved surface or mold consists of a lagging of narrow boards running parallel to the tunnel axis, which rests upon the arched top members of two or more consecutive supporting frames. The supporting frame is built in the form of a truss, and must be made strong enough to withstand the heavy superimposed loads, consisting of the[69] arch masonry during construction, and of the roof pressures which are transferred to the center when the strutting is removed to allow the masonry to be placed. The framework of the center is supported either by posts resting upon the floor of the excavation, or upon the invert masonry when this is built first, as in the English and Austrian methods, or it may be supported directly upon the ground where the arch masonry is built first, as in the Belgian method of tunneling.

In describing the various methods of tunneling in succeeding chapters, the center construction and method of supporting the center peculiar to each will be fully explained, and only a few general remarks are necessary here. Centers may be classified according to their construction and composition into plank centers, truss centers, and iron centers.

Fig. 41.—Plank Center for Constructing the Roof Arch.

One of the most common forms of plank centers is shown by Fig. 41. It consists of two half-polygons whose sides consist of 15 in. × 4 ft. planks having radial end-joints. These two half-polygons are laid one upon the other so that they break joints, as shown by the figure, and the extrados of the frame is cut to the true curve of the roof arch. The planks commonly used for making these centers are 4 ins. thick, making the total thickness of the center 8 ins. Plank centers of the construction described are suitable only for work where the pressures to be resisted are small, as in tunnels through a fairly firm rock, although there have been instances of their successful use in soft-ground tunnels.

Where heavy loads have to be carried, trussed centers are generally employed, the trusses being composed of heavy square beams with scarfed and tenoned joints, reinforced by iron plates. Different forms of trusses are employed in each of the different methods of tunneling, and each of these is described in succeeding[70] chapters; but they are generally either of the king-post or queen-post type, or some modification of them. The king-post truss may be used alone, with or without the tie-beam, as shown by Fig. 42; but generally a queen-post truss is made to form the base of support for a smaller king-post truss mounted on its top. This arrangement gives a trapezoidal form to the center, which approaches closely to the arch profile. Owing to the character of the pressures transmitted to the center, the usual tension members can be made very light.

Fig. 42.—Trussed Center for Constructing the Roof Arch.

The combined center and strutting system devised by Mr. Rziha has already been described in a previous chapter. In recent European tunnel work quite extensive use has also been made of iron centers consisting of several segments of curved I-beams, connected by fish-plate joints so as to form a semi-circular arch rib. The ends or feet of these I-beam ribs have bearing-plates or shoes made by riveting angles to the I-beams. Centers constructed in a similar manner, but made of sections of old railway rail, were used in carrying out the tunnel work on the Rhine River Railroad in Germany. The advantages claimed for iron centers are that they take up less room, and that they can be used over and over again.

Setting Up Centers.

—According to the method of excavation followed in building the tunnel, the centers for building the roof arch may have to be supported by posts resting on the tunnel floor; or where the arch is built first, as in the Belgian and Italian methods, they may be carried on blocking resting on the unexcavated earth below. Whichever method is employed, an unyielding support is essential, and care must be taken that the centers are erected and maintained in a plane normal to the tunnel axis. To prevent deflection and twisting, the consecutive centers are usually braced together by longitudinal struts or by braces running to the adjacent strutting.[71] Only skilled and experienced workmen should be employed in erecting the centers; and they should work under the immediate direction of the engineer, who must establish the axis and level of each center by transit and level.

Lagging.

—By the lagging is meant the covering of narrow longitudinal boards resting upon the upper curved chords of the centers, and spanning the opening between consecutive centers. This lagging forms the curved surface or mold upon which the arch masonry is laid. When the roof arch is of ashlar masonry the strips of lagging are seldom placed nearer together than the joints of the consecutive ring stones, but in brick arches they are laid close together. Besides the weight of the arch masonry, the lagging timbers support the short props which keep the poling-boards in place after the strutting is removed and until the arch masonry is completed.

Striking the Centers.

—The centers are usually brought to the proper elevation by means of wooden wedges inserted between the sill of the center and its support, or between the bottom of the posts carrying the center and the tunnel floor. These wedges are usually made of hard wood, and are about 6 ins. wide by 4 ins. thick by 18 ins. long. To strike the center after the arch masonry is completed, these wedges are withdrawn, thus allowing the center to fall clear of the masonry. Usually the center is not removed immediately after striking, so that if the arch masonry fails the ruins will remain upon the center. The method of striking the iron center devised by Mr. Rziha has been described in the previous chapter on strutting.


[72]

CHAPTER VIII.
METHODS OF LINING TUNNELS.


Tunnels in soft soils and in loose rock, and rock liable to disintegration, are always provided with a lining to hold the walls and roof in place. This lining may cover the entire sectional profile of the tunnel, or only a part of it, and it may be constructed of timber, iron, iron and masonry, or, more commonly, of masonry alone.

Timber Lining.

—Timber is seldom employed in lining tunnels except as a temporary expedient, and is replaced by masonry as soon as circumstances will permit. In the first construction of many American railways, the necessity for extreme economy in construction, and of getting the line open for traffic as soon as possible, caused the engineers to line many tunnels with timber, which was plentiful and cheap. Except for their small cost and the ease and rapidity with which they can be constructed, however, these timber linings possess few advantages. It is only the matter of a few years when the decay of the timber makes it necessary to rebuild them, and there is always the serious danger of fire. In several instances timber-lined tunnels in America have been burned out, causing serious delays in traffic, and necessitating complete reconstruction. Usually this reconstruction has consisted in substituting masonry in place of the original timber lining. In a succeeding chapter a description will be given of some of the methods employed in replacing timber tunnel linings with masonry. Various forms of timber lining are employed, of which Fig. 44 and the illustrations in the chapter[73] discussing the methods of relining timber-lined tunnels with masonry are typical examples.

Cross Section.

Longitudinal Section.

Figs. 43 and 44.—A Typical Form of Timber Lining for Tunnels.

Iron Lining.

—The use of iron lining for tunnels was introduced first on a large scale by Mr. Peter William Barlow in 1869, for the second tunnel under the River Thames at London, England, and it has greatly extended since that time. The lining of the second Thames tunnel consisted of cylindrical cast-iron rings 8 ft. in diameter, the abutting edges of the successive rings being flanged and provided with holes for bolt fastenings. Each ring was made up of four segments, three of which were longer than quadrants, and one much smaller forming the “key-stone” or closing piece. These segments were connected to each other by flanges and bolts. To make the joints tight, strips of pine or cement and hemp yarn were inserted between the flanges. Since the construction of the second Thames tunnel, iron lining has been employed for a great many submarine tunnels in England, Continental Europe, and America, some of them having a section over 28 ft. in diameter. Where circular iron lining is employed, the bottom part of the section is leveled up with concrete or brick masonry to carry the tracks, and the whole[74] interior of the ring is covered with a cement plaster lining deep enough thoroughly to embed the interior joint flanges. In the succeeding chapter describing the methods of driving tunnels by shields several forms of iron tunnel lining are fully described.

Iron and Masonry Lining.

—During recent years a form of combined masonry and iron lining has been extensively employed in constructing city underground railways in both Europe and America. Generally this form of lining is built with a rectangular section. Two types of construction are employed. In the first, masonry side walls carry a flat roof of girders and beams, which carry a trough flooring filled with concrete, or between which are sprung concrete or brick arches. Sometimes the roof framing consists of a series of parallel I-beams laid transversely across the tunnel, and in other cases transverse plate girders carry longitudinal I-beams. In the second type of construction the roof girders are supported by columns embedded in the side walls. Where the tunnel provides for two or four tracks, intermediate column supports are in some cases introduced between the side columns. In this construction the roofing consists of concrete filled troughs or of concrete or brick arches, as in the construction first described. Examples of combined masonry and iron tunnel lining are illustrated in the succeeding chapter on tunneling under city streets.

Masonry Lining.

—The form of tunnel lining most commonly employed is brick or stone masonry. Concrete and reinforced concrete masonry lining has been employed in several tunnels built in recent years. The masonry lining may inclose the whole section or only a part of it. The floor or invert is the part most commonly omitted; but sometimes also the side walls and invert are both omitted, and the lining is confined simply to an arch supporting the roof. The roof arch, the side walls, and the invert compose the tunnel lining; and all three may consist of stone or brick alone, or stone side walls may be employed with brick invert[75] and roof arch. Rubble-stone masonry is usually employed, except at the entrances, where the masonry is exposed to view. Here ashlar masonry is usually used. The stone selected for tunnel lining should be of a durable quality which weathers well. Where bricks are used they should be of good quality. Owing to the comparative ease with which brick arches can be built, they are generally used to form the roof arch, even where the side walls are of stone masonry. Masonry lining may be built in the form of a series of separate rings, or in the form of a continuous structure extending from one end of the tunnel to the other. The latter method of construction produces a stronger structure; but in case of failure by crushing, the damage done is likely to be more widespread than where separate rings are employed, one or two of which may fail without injury to the others adjacent to them. The construction is also somewhat simpler where separate rings are employed, since no provision has to be made for bonding the whole lining into a continuous structure. Where a series of separate rings is employed, the length of each ring runs from 5 ft. up to 20 ft., it depending upon the character of the material penetrated, and the method of construction employed. For the purpose of detailed discussion the construction of masonry lining may be divided into four parts,—the side-wall foundations, the side walls themselves, the roof arch, and the invert.

Concrete and reinforced concrete linings are now extensively used on account of cheapness and facility of handling, but they have the great disadvantage of resisting pressure after they become hard, which is some time after being placed. The strutting should, therefore, be left to support the roof so as to prevent direct pressure on the fresh material. The roof, as a rule, is supported by longitudinal planks held in position by five or seven segments of arched frames placed across the tunnel. A large quantity of timber and carpenter work is thus entirely wasted and these costly items, in many cases, make the concrete[76] lining of a tunnel more expensive than the one built of brick and stone. To avoid these inconveniences tunnels have been successfully lined with concrete on the side walls and concrete blocks in the arches. These blocks have been built by hand and molded in the shape of the arch voussoirs.

Foundations.

—In tunnels through rock of a hard and durable character the foundations for the side walls are usually laid directly on the rock. In loose rock, or rock liable to disintegration, this method of construction is not generally a safe one, and the foundation excavation should be sunk to a depth at which the atmospheric influences cannot affect the foundation bed. In either case the foundation masonry is made thicker than that of the side walls proper, so as to distribute the pressure over a greater area, and to afford more room for adjusting the side-wall masonry to the proper profile. In yielding soils a special foundation bed has to be prepared for the foundation masonry. In some instances it is found sufficient to lay a course of planks upon which the masonry is constructed, but a more solid construction is usually preferred.

This is obtained by placing a concrete footing from 1 ft. to 2 ft. deep all along the bottom of the foundation trench, or in some cases by sinking wells at intervals along the trench and filling them with concrete, so as to form a series of supporting pillars.

Fig. 45.—Diagram Showing Forms Adopted for Side-Wall Foundations.

The form given to the foundation courses and lower portions of the side walls varies. Where a large bearing area is required, the back of the wall is carried up vertically as shown by the line AB, Fig. 45, otherwise the rear face of the wall follows the line of excavation AC. For similar reasons the front face of the wall may be made vertical, as at FG, or inclined, as at FH. The line FE indicates the shelf construction designed to support the feet of the posts used to carry the arch centers during the construction of the roof arch.

[77]

Side Walls.

—The construction of the side walls above the foundation courses is carried out as any similar piece of masonry elsewhere would be built. To direct the work and insure that the inner faces of the walls follow accurately the curve of the chosen profile, leading frames previously described are employed.

Roof Arch.

—For the construction of the roof arch, the centers previously described are employed. Beginning at the edges of the center on each side, the masonry is carried up a course at a time, care being taken to have it progress at the same rate on both sides, so that the load brought onto the centering is symmetrical. As soon as the centers are erected, the roof strutting is removed, and replaced by short props which rest on the lagging of the centers and support the poling-boards. These props are removed in succession as the arch masonry rises along the curve of the center, and the space between the top of the arch masonry and the ceiling of the excavation is filled with small stones packed closely. The keystone section of the arch is built last, by inserting the stones or bricks from the front edge of the arch ring, there being no room to set them in from the top, as is the practice in ordinary open-arch construction. The keying of the arch is an especially difficult operation, and only experienced men skilled in the work should be employed to perform it. The task becomes one of unusual difficulty when it becomes necessary to join the arches coming from opposite directions.

Invert.

—In all but one or two methods of tunneling, the invert is the last portion of the lining to be built. In the English method of tunneling, the invert is the first portion of the lining to be built, and the same practice is sometimes necessary in soft soils where there is danger of the bottoms of the side walls being squeezed together by the lateral pressures unless the invert masonry is in place to hold them apart. The ground molds previously described are employed to direct the construction of the invert masonry.

[78]

General Observations.

—In describing the construction of the roof arch, mention was made of the stone filling employed between the back of the masonry ring and the ceiling of the excavation. The spaces behind the side walls are filled in a similar manner. The object of this stone filling, which should be closely packed, is to distribute the vertical and lateral pressures in the walls of the excavation uniformly over the lining masonry. As the masonry work progresses, the strutting employed previously to support the walls of the excavation has to be removed. This work requires care to prevent accident, and should be placed in charge of experienced mechanics who are familiar with its construction, and can remove it with the least damage to the timbers, so that they may be used again, and without causing the fall of the roof or the caving of the sides by removing too great a portion of the timbers at one time.

Thickness of Lining Masonry.

—It is obvious, of course, that the masonry lining must be thick enough to support the pressure of the earth which it sustains; but, as it is impossible to estimate these pressures at all accurately, it is difficult to say definitely just what thickness is required in any individual case. Rankine gives the following formulas for determining the depths of keystone required in different soils:

For firm soils

d = (0.12 r2s),

and for soft soils,

d = (0.48 r2s),

where d = the depth of the crown in feet, r = the rise of the arch in feet, and s = the span of the arch in feet. Other writers, among them Professor Curioni, attempt to give rational methods for calculating the thickness of tunnel lining; but they are all open to objection because of the amount of hypothesis required[79] concerning pressures which are of necessity indeterminate. Therefore, to avoid tedious and uncertain calculations, the engineer adopts dimensions which experience has proven to be ample under similar conditions in the past. Thus we have all gradations in thickness, from hard-rock tunnels requiring no lining, and tunnels through rocks which simply require a thin shell to protect them from the atmosphere, to soft-ground tunnels where a masonry lining 3 ft. or more in thickness is employed. Table II. shows the thickness of masonry lining used in tunnels through soft soils of various kinds.

The thickness of the masonry lining is seldom uniform at all points, as is indicated by Table II. Figs. 46 and 47 show common methods of varying the thickness of lining at different points, and are self-explanatory.

Figs. 46 and 47.—Transverse Sections of Tunnels Showing Methods of Increasing the Thickness of the Lining at Different Points.

Side Tunnels.

—When tunnels are excavated by shafts located at one side of the center line, short side tunnels or galleries are built to connect the bottoms of the shafts with the tunnel proper. These side tunnels are usually from 30 ft. to 40 ft. long, and are generally made from 12 ft. to 14 ft. high, and about 10 ft. wide. The excavation, strutting, and lining of these side tunnels are carried on exactly as they are in the main tunnel, with[80] such exceptions as these short lengths make possible. Table III. gives the thickness of lining used for side tunnels, the figures being taken from European practice.

Culverts.

—The purpose of culverts in tunnels is to collect the water which seeps into the tunnel from the walls and shafts. The culvert is usually located along the center line of the tunnel at the bottom. In soft-ground tunnels it is built of masonry, and forms a part of the invert, but in rock tunnels it is the common practice to cut a channel in the rock floor of the excavation. Both box and arch sections are employed for culverts. The dimensions of the section vary, of course, with the amount of water which has to be carried away. The following are the dimensions commonly employed:

Kind of
Culvert.
Height
in Feet.
Width
in Feet.
Thickness
of Walls
in Feet.
Thickness
of Covering
in Feet.
Box culvert 1 to 1.5 1 to 1.5 0.8 to 1.2 0.3
Arch culvert 1 to 1.5 1 to 1.5 0.8 to 1.2 0.4

It should be understood that the dimensions given in the table are those for ordinary conditions of leakage; where larger quantities of water are met with, the size of the culverts has, of course, to be enlarged. To permit the water to enter the culvert, openings are provided at intervals along its side; and these openings are usually provided with screens of loose stones which check the current, and cause the suspended material to be deposited before it enters the culvert. In cases where springs are encountered in excavating the tunnel, it is necessary to make special provisions for confining their outflow and conducting it to the culvert. In all cases the culverts should be provided with catch basins at intervals of from 150 ft. to 300 ft., in which such suspended matter as enters the culverts is deposited, and removed through covered openings over each basin. At the ends of the tunnel the culvert is usually divided[81] into two branches, one running to the drain on each side of the track.

Fig. 48.—Refuge Niche in St. Gothard Tunnel.

Niches.

—In short tunnels niches are employed simply as places of refuge for trackmen and others during the passing of trains, and are of small size. In long tunnels they are made larger, and are also employed as places for storing small tools and supplies employed in the maintenance of the tunnel. Niches are simply arched recesses built into the sides of the tunnel, and lined with masonry; Fig. 48 shows this construction quite clearly. Small refuge niches are usually built from 6 ft. to 9 ft. high, from 3 ft. to 6 ft. wide, and from 2 ft. to 3 ft. deep. Large niches designed for storing tools and supplies are made from 10 ft. to 12 ft. high, from 8 ft. to 10 ft. wide, and from 18 ft. to 24 ft. deep, and are provided with doors. Refuge niches are usually spaced from 60 ft. to 100 ft. apart, while the larger storage niches may be located as far as 3000 ft. apart. The niche construction shown by Fig. 48 is that employed on the St. Gothard tunnel.

Entrances.

—The entrances, or portals, of tunnels usually consist of more or less elaborate masonry structures, depending upon the nature of the material penetrated. In soft-ground tunnels extensive wing walls are often required to support the earth above and at the sides of the entrance; while in tunnels through rock, only a masonry portal is required, to give a finish to the work. Often the engineer indulges himself in an elaborate architectural design for the portal masonry. There is[82] danger of carrying such designs too far for good taste unless care is employed; and on this matter the writer can do no better than to quote the remarks of the late Mr. Frederick W. Simms in his well-known “Practical Tunneling”:

“The designs for such constructions should be massive to be suitable as approaches to works presenting the appearance of gloom, solidity, and strength. A light and highly decorated structure, however elegant and well adapted for other purposes, would be very unsuitable in such a situation; it is plainness combined with boldness, and massiveness without heaviness, that in a tunnel entrance constitutes elegance, and, at the same time, is the most economical.”

Fig. 49.—East Portal of Hoosac Tunnel.

Fig. 49 is an engraving from a photograph of the east portal of the Hoosac tunnel, which is an especially good design. The portals of the Mount Cenis tunnel were built of samples of stone encountered all along the line of excavation. The stones were cut and dressed and utilized for walls and voussoirs. The only ornament that is usually allowed on the portals is the date of the opening of the tunnel prominently cut in the stone above the arch.

[83]

Table II.

Showing Thickness of Masonry Lining for Tunnels through Soft Ground.

Character of Material. Keystone. Springers. Invert.
  Ft. Ft. Ft.
Laminated clay, first variety 2.15 to 3    2.75 to 3.5  1.6  to 2.5 
Laminated clay, second variety 3    to 4.5  3.5  to 5.5  2.5  to 4   
Laminated clay, third variety 4.5  to 6.5  5.5  to 8.1  4    to 4.5 
Quicksand 2    to 3.28 2    to 4.1  1.33 to 2.5 

TABLE III.

Showing Thickness of Masonry Lining for Side Tunnels through Soft Ground.

Character of Material. Keystone. Springers. Invert.
  Ft. Ft. Ft.
Laminated clay, first variety 1.6  to 2.3  1.8  to 3    1.5  to 2   
Laminated clay, second variety 2.3  to 3    3    to 4.1  2    to 2.6 
Laminated clay, third variety 3    to 4    4.1  to 5    2.6  to 3.29
Quicksand 1.6  to 2.5  1.3  to 2    1.3  to 2   

[84]

CHAPTER IX.
TUNNELS THROUGH HARD ROCK; GENERAL DISCUSSION; REPRESENTATIVE MECHANICAL INSTALLATIONS FOR TUNNEL WORK.

The present high development of labor-saving machinery for excavating rock makes this material one of the safest and easiest to tunnel of any with which the engineer ordinarily has to deal. To operate this machinery requires, however, the development of a large amount of power, its transmission to considerable distances, and, finally, its economical application to the excavating tools. The standard rock excavating machine is the power drill, which requires either air or hydraulic pressure for its operation according to the special type employed. Under present conditions, therefore, the engineer is limited either to air or water under compression for the transmission of his power. Steam-power may be employed directly to operate percussion rock drills; but owing to the heat and humidity which it generates in the confined space where the drills work, and because of other reasons, it is seldom employed directly. Electric transmission, which offers so many advantages to the tunnel builder, in most respects is largely excluded from use by the failure which has so far followed all attempts to apply it to the operation of rock drills. As matters stand, therefore, the tunnel engineer is practically limited to steam and falling water for the generation of power, and to compressed air and hydraulic pressure for its transmission.

Whether the engineer should adopt water-power or steam to generate the power required for his excavating machinery depends upon their relative availability, cost, and suitability to the[85] conditions of work in each particular case. Where fuel is plentiful and cheap, and where water-power is not available at a comparatively reasonable cost, steam-power will nearly always prove the more economical; where, however, the reverse conditions exist, which is usually the case in a mountainous country far from the coal regions, and inadequately supplied with transportation facilities, but rich in mountain torrents, water-power will generally be the more economical. In a succeeding chapter the power generating and transmission plants for a number of rock tunnels are described, and here only a general consideration of the subject will be presented.

Steam-Power Plant.

—A steam-power plant for tunnel work should be much the same as a similar plant elsewhere, except that in designing it the temporary character of its work must be taken into consideration. This circumstance of its temporary employment prompts the omission of all construction except that necessary to the economical working of the plant during the period when its operation is required. The power-house, the foundations for the machinery, and the general construction and arrangement, should be the least expensive which will satisfy the requirements of economical and safe operation for the time required. It will often be found more economical as a whole to operate the machinery with some loss of economy during the short time that it is in use than to go to much greater expense to secure better economy from the machinery by design and construction, which will be of no further use after the tunnel is completed. The longer the plant is to be required, the nearer the construction may economically approach that of a permanent plant. As regards the machinery itself, whose further usefulness is not limited by the duration of any single piece of work, true economy always dictates the purchase of the best quality. Speaking in a general way, a steam-power plant for tunnel work comprises a boiler plant, a plant of air compressors with their receivers, and an electric light dynamo. When hydraulic transmission of power is employed, the air[86] compressors are replaced by high-pressure pumps; and when electric hauling is employed, one or more dynamos may be required to generate electricity for power purposes, as well as for lighting. In addition to the power generating machines proper, there must be the necessary piping and wiring for transmitting this power, and, of course, the equipment of drills and other machines for doing the actual excavating, hauling, etc.

Reservoirs.

—When water-power is employed, a reservoir has to be formed by damming some near-by mountain stream at a point as high as practicable above the tunnel. The provision of a reservoir, instead of drawing the water directly from the stream, serves two important purposes. It insures a continuous supply and constant head of water in case of drought, and also permits the water to deposit its sediment before it is delivered to the turbines. The construction of these reservoirs may be of a temporary character, or they may be made permanent structures, and utilized after construction is completed to supply power for ventilation and other necessary purposes. In the first case they are usually destroyed after construction is finished. In either case, it is almost unnecessary to say, they should be built amply safe and strong according to good engineering practice in such works, for the duration of time which they are expected to exist.

Canals and Pipe Lines.

—For conveying the water from the reservoirs to the turbines, canals or pipe lines are employed. The latter form of conduit is generally preferable, it being both less expensive and more easily constructed than the former. It is advisable also to have duplicate lines of pipe to reduce the possibility of delay by accident or while necessary repairs are being made to one of the pipes. The pipe lines terminate in a penstock leading into the turbine chamber, and provided with the necessary valves for controlling the admission of water to the turbines.

Turbines.

—There are numerous forms of turbines on the market, but they may all be classed either as impulse turbines[87] or as reaction turbines. Impulse turbines are those in which the whole available energy of the water is converted into kinetic energy before the water acts on the moving part of the turbine. Reaction turbines are those in which only a part of the available energy of the water is converted into kinetic energy before the water acts on the moving vanes. Impulse turbines give efficient results with any head and quantity of water, but they give better results when the quantity of water varies and the head remains constant. Reaction turbines, on the contrary, give better results when the quantity of water remains constant and the head varies. These observations indicate in a general way the form of turbine which will best meet the particular conditions in each case. The number of turbines required, and their dimensions, will be determined in each case by the number of horse-power required and the quantity of water available. The power of the turbines is transmitted to the air compressors or pumps by shafting and gearing.

Air Compressors.

—An air compressor is a machine—usually driven by steam, although any other power may be used—by which air is compressed into a receiver from which it may be piped for use. For a detailed description of the various forms of air compressors the reader should consult the catalogues of the several makers and the various text-books relating to air compression and compressed air. Air compressors, like other machines, suffer a loss of power by friction. The greatest loss of power, however, results from the heat of compression. When air is compressed, it is heated, and its relative volume is increased. Therefore, a cubic foot of hot air in the compressor cylinder, at say, 60 lbs. pressure, does not make a cubic foot of air at 60 lbs. pressure after cooling in the receiver. In other words, assuming pressure to be constant, a loss of volume results due to the extraction of the heat of compression after the air leaves the compressor cylinder. To reduce the amount of this loss, air compressors are designed with means[88] to extract the heat from the air before it leaves the compressor cylinder. Air compressors may first be divided into two classes, according to the means employed for cooling the air, as follows: (1) Wet compressors, and (2) dry compressors. A wet compressor is one which introduces water directly into the cylinder during compression, and a dry compressor is one which admits no water to the air during compression. Wet compressors may be subdivided into two classes: (1) Those which inject water in the form of spray into the cylinder during compression, and (2) those which use a water piston for forcing the air into confinement.

The following brief discussion of these various types of compressors is based on the concise practical discussion of Mr. W. L. Saunders, M. Am. Soc. C. E., in “Compressed Air Production.” The highest isothermal results are obtained by the injection of water into the cylinders, since it is plain that the injection of cold water, in the shape of a finely divided spray, directly into the air during compression will lower the temperature to a greater degree than simply to surround the cylinder and parts by water jackets which is the means of cooling adopted with dry compressors. A serious obstacle to water injection, and that which condemns this type of compressor, is the influence of the injected water upon the air cylinder and parts. Even when pure water is used, the cylinders wear to such an extent as to produce leakage and to require reboring. The limitation to the speed of a compressor is also an important objection. The chief claim for the water piston compressor is that its piston is also its cooling device, and that the heat of compression is absorbed by the water. Water is so poor a conductor of heat, however, that without the addition of sprays it is safe to say that this compressor has scarcely any cooling advantages at all so far as the cooling of the air during compression is concerned. The water piston compressor operates at slow speed and is expensive. Its only advantage is that it has no dead spaces. In the dry compressor a sacrifice is made[89] in the efficiency of the cooling device to obtain low first cost, economy in space, light weight, higher speed, greater durability, and greater general availability.

Air compressors are also distinguished as double acting and simple acting. They are simple acting when the cylinder is arranged to take in air at one stroke and force it out at the next, and they are double acting when they take in and force out air at each stroke. In form compressors may be simple or duplex. They are simple when they have but one cylinder, and duplex when they have two cylinders. A straight line or direct acting compressor is one in which the steam and air cylinders are set tandem. An indirect acting compressor is one in which the power is applied indirectly to the piston rod of the air cylinder through the medium of a crank. Mr. W. L. Saunders writes in regard to direct and indirect compression as follows:—

“The experience of American manufacturers, which has been more extensive than that of others, has proved the value of direct compression as distinguished from indirect. By direct compression is meant the application of power to resistance through a single straight rod. The steam and air cylinders are placed tandem. Such machines naturally show a low friction loss because of the direct application of power to resistance. This friction loss has been recorded as low as 5%, while the best practice is about 10% with the type which conveys the power through the angle of a crank shaft to a cylinder connected to the shaft through an additional rod.”

Receivers.

—Compressed air is stored in receivers which are simply iron tanks capable of withstanding a high internal pressure. The purpose of these tanks is to provide a reservoir of compressed air, and also to allow the air to deposit its moisture. From the receivers the air is conveyed to the workings through iron pipes, which decrease gradually in diameter from the receivers to the front.

Rock Drills.

—The various forms of rock drills used in tunneling have been described in Chapter III., and need not be considered in detail here except to say that American engineers[90] usually employ percussion drills, while European engineers also use rotary drills extensively. A comparison between these two types of drills was made in excavating the Aarlberg tunnel in Austria, where the Brandt hydraulic rotary drill was used at one end, and the Ferroux percussion drill was used at the other end. The rock was a mica-schist. The average monthly progress was 412 ft., with a maximum of 646 ft., with the rotary drills, and an average of 454 ft. with the percussion drill.

Excavation.

—Since considerable time is required to get the power plant established, the excavation of rock tunnels is often begun by hand, but hand work is usually continued for no longer a period than is necessary to get the power plant in operation. Generally speaking, the greatest difficulty is encountered in excavating the advanced drift or heading. Based on the mode of blasting employed, there are two methods of driving the advanced gallery, known as the circular cut and the center cut methods. In the first method a set of holes is first drilled near the center of the front in such a manner that they inclose a cone of rock; the holes, starting at the perimeter of the base of the cone, converge toward a junction at its apex. Seldom more than four to six holes are comprised in this first set. Around these first holes are driven a ring of holes which inclose a cylinder of rock, and if necessary succeeding rings of holes are driven outside of the first ring. These holes are blasted in the order in which they are driven, the first set taking out a cone of rock, the second set enlarging this cone to a cylinder, and the other sets enlarging this cylinder to the required dimensions of the heading. The number of holes, however, varies with the quality of rock and they are seldom driven deeper than 4 or 5 ft. This method of excavating the heading, which is commonly followed by European engineers, is illustrated in Figs. 50 to 52. In these figures are indicated the number of holes in each round and the sequence of rounds for the soft, medium and hard rock, as used in the Turchino[91] tunnel of the Genova Ovada Asti line of the Mediterranean Railway of Italy. The heading was about 9 ft. square, and five sets of holes were used in blasting, the depths being 3.91, 4.26 and 4.6 ft. for soft, medium and hard rock, respectively, and the amount of dynamite consumed was 2.38, 3.91 and 5.1 pounds per cubic yard for the three classes of rock.

in Soft Rock

in Medium Rock

in Hard Rock

 

Figs. 50 to 52.—Arrangement of Drill Holes in the Heading of Turchino Tunnel.

Figs. 53 and 54.—Arrangement of Drill Holes in the Heading of the Fort George Tunnel.

In the center-cut method, which is the one commonly employed in America, the holes are arranged in vertical rows, and are driven from 8 to 10 ft. deep. Fig. 53 shows the arrangement of the holes, and the method of blasting them, as used in the excavation of the heading for the Fort George tunnel of the New York rapid transit. The two center rows of holes converge toward each other so as to take out a wedge of rock; others are bored straight, or parallel, with the vertical plane of the tunnel. Those bored around the perimeter are driven either outward or upward, according as they are located, close to the sides or roof of the tunnel. In this[92] case, the holes of the center cut were driven 9 ft. deep, while all the other holes were bored to a depth of 8 ft.

The width of the advanced gallery or heading depends upon the quality of the rock. In hard rock American engineers give it the full width of the tunnel section; but this cannot be done in loose or fissured rock, which has to be supported, the headings here being usually made about 8 × 8 ft. The wider heading is always preferable, where it is possible, since more room is available for removing the rock, and deeper holes can be bored and blasted.

The important rôle played by the power plant and other mechanical installations in constructing tunnels through rock has already been mentioned. In some methods of soft-ground tunneling, and particularly in soft-ground subaqueous tunneling, it is also often necessary to employ a mechanical installation but slightly inferior in size and cost to those used in tunneling rock. It is proposed to describe very briefly here a few typical individual plants of this character, which will in some respects give a better idea of this phase of tunnel work than the more general descriptions.

Rock Tunnels.

—The tunnels selected to illustrate the mechanical installations employed in tunneling through rock are: The Mont Cenis, Hoosac Tunnel, the Cascade Tunnel, the Niagara Falls Power Tunnel, the Palisades Tunnel, the Croton Aqueduct Tunnel, the Strickler Tunnel in America, and the Graveholz Tunnel and the Sonnstein Tunnel in Europe. In addition there will be found in another chapter of this book a description of the mechanical installations at the St. Gothard, Pennsylvania and other tunnels.

Mont Cenis Power Plant.

—The mechanical installation consisted of the Sommeilier air compressors built near the portals. The Sommeilier compressors, Mr. W. L. Saunders says, were operated as a ram, utilizing a natural head of water to force air at 80 lbs. pressure into a receiver. The column of water contained in the long pipe on the side of the hill was started and[93] stopped automatically by valves controlled by engines. The weight and momentum of the water forced a volume of air with such a shock against the discharge valve that it was opened, and the air was discharged into the tank; the valve was then closed, the water checked; a portion of it was allowed to discharge, and the space was filled with air, which was in turn forced into the tank. Only 73% of the power of the water was available, 27% being lost by the friction of the water in the pipes, valves, bends, etc. Of the 73% of net work, 49.4 was consumed in the perforators, and 23.6 in a dummy engine for working the valves of the compressors and for special ventilation.

The compressed air was conveyed from each end through a cast-iron pipe 758 in. in diameter, up to the front of the excavation. The joints of the pipes were made with turned faces, grooved to receive a ring of oakum which was tightly screwed and compressed into the joint. To ascertain the amount of leakage of the pipes, they and the tanks were filled with air compressed to 6 atmospheres, and the machines stopped; after 12 hours the pressure was reduced to 5.7 atmospheres, or to 95% of the original pressure.

Sommeilier’s percussion drilling machines were used in the excavation of this tunnel. They were provided with 8 or 10 drills acting at the same time, and mounted on carriages running on tracks. These were withdrawn to a safe place during the blasting, and advanced again after the broken rock was removed from the front and the new tracks laid.

Machine shops were built at both ends of the tunnel for building and repairing the drilling machines, bits, tools, etc. A gas factory was built at each end for lighting purpose.

Hoosac Tunnel.

—The Hoosac tunnel on the Fitchburg R.R. in Massachusetts is 25,000 ft. long, and the longest tunnel in America. The material through which the tunnel was driven was chiefly hard granitic gneiss, conglomerate, and mica-schist rock. The excavation was conducted from the entrances and[94] one shaft, the wide heading and single-bench method being employed, with the center-cut system of blasting which was here used for the first time. The tunnel was begun in 1854, and continued by hand until 1866, when the mechanical plant was installed. Most of the particular machines employed have now become obsolete, but as they were the first machines used for rock tunneling in America they deserve mention. The drills used were Burleigh percussion drills, operated by compressed air. Six of these drills were mounted on a single carriage, and two carriages were used at each front. The air to operate these drills was supplied by air compressors operated by water-power at the portals and steam-power at the shaft. The air compressors consisted of four horizontal single-acting air cylinders with poppet valves and water injection. The compressors were designed by Mr. Thomas Deane, the chief engineer of the tunnel.

Palisades Tunnel.

—The Palisades tunnel was constructed to carry a double track railway line through the ridge of rocks bordering the west bank of the Hudson River and known as the Palisades. It was located about opposite 116th St. in New York City. The material penetrated was a hard trap rock very full of seams in places, which caused large fragments to fall from the roof. The excavation was made by a single wide heading and bench, employing the center-cut method of blasting with eight center holes and 16 side holes for the 7 × 18 ft. heading. Ingersoll-Sergeant 212 in. drills were used, four in each heading and six on each bench, and 30 ft. per 10 hours was considered good work for one drill.

The power-plant was situated at the west portal of the tunnel, and the power was transmitted by electricity and compressed air to the middle shaft and east portal workings. The plant consisted of eight 100 H. P. boilers, furnishing steam to four Rand duplex 18 × 22 in. air compressors, and an engine running a 30 arc light dynamo. The compressed air was carried over the ridge by pipes, varying from 10 ins. to 5 ins. in diameter,[95] to the shaft and to the east portal, and was used for operating the hoisting engines as well as the drills at these workings. Inside the tunnel, specially designed derrick cars were employed to handle large stones, they being also operated by compressed air. This car ran on a center track, while the mucking cars ran on side tracks, and it was employed to lift the bodies of the cars from the trucks, place them close to the front, being worked where large stone could be rolled into them, and return them to the trucks for removal. In addition to handling the car bodies the derrick was used to lift heavy stones. The hauling was done first by horse-power, and later by dummy locomotives.

Croton Aqueduct Tunnel.

—In the construction of the Croton Aqueduct for the water supply of New York City, a tunnel 31 miles long was built, running from the Croton Dam to the Gate House at 135th St. in New York City. The section of the tunnel varies in form, but is generally either a circular or a horseshoe section. In all cases the section was designed to have a capacity for the flow of water equal to a cylinder 14 ft. in diameter. To drive the tunnel, 40 shafts were employed. The material penetrated was of almost every character, from quicksand to granitic rock, but the bulk of the work was in rock of some character. The excavation in rock was conducted by the wide heading and bench method, employing the center-cut method of blasting. Four air drills, mounted on two double-arm columns were employed in the heading. The drills for the bench work were mounted on tripods. Steam-power was used exclusively for operating the compressors, hoisting engines, ventilating fans and pumps; but the size and kind of boilers used, as well as the kind and capacity of the machines which they operated, varied greatly, since a separate power-plant was employed for each shaft with a few exceptions. A description of the plant at one of the shafts will give an indication of the size and character of those at the other shafts, and for this purpose the plant at shaft 10 has been selected.

[96]

At shaft 10 steam was provided by two Ingersoll boilers of 80 H. P. each, and by a small upright boiler of 8 H. P. There were two 18 × 30 in. Ingersoll air compressors pumping into two 42 in. × 10 ft. and two 42 in. × 12 ft. Ingersoll receivers. In the excavation there were twelve 312 in. and six 318 in. Ingersoll drills, four drills mounted on two double arm columns being used on each heading, and the remainder mounted on tripods being used on the bench. Two Dickson cages operated by one 12 × 12 in. Dickson reversible double hoisting engine provided transportation for material and supplies up and down the shaft. A Thomson-Houston ten-light dynamo operated by a Lidgerwood engine provided light. Drainage was effected by means of two No. 9 and one No. 6 Cameron pumps. At this particular shaft the air exhausted from the drills gave ample ventilation, especially when after each blast the smoke was cleared away by a jet of compressed air. In other workings, however, where this means of ventilation was not sufficient, Baker blowers were generally employed.

Strickler Tunnel.

—The Strickler tunnel for the water supply of Colorado Springs, Col., is 6441 ft. long with a section of 4 ft. × 7 ft. It penetrates the ridge connecting Pike’s Peak and the Big Horn Mountains, at an elevation of 11,540 ft. above sea level. The material penetrated is a coarse porphyritic granite and morainal débris, the portion through the latter material being lined. The mechanical installation consisted of a water-power electric plant operating air compressors. The water from Buxton Creek having a fall of 2400 ft. was utilized to operate a 36 in. 220 H. P. Pelton water-wheel, which operated a 150 K. W. three-phase generator. From this generator a 3500 volt current was transmitted to the east portal of the tunnel, where a step-down transformer reduced it to a 220 volt current to the motor. The transmission line consisted of three No. 5 wires carried on cross-arm poles and provided with lightning arresters at intervals. The plant at the east portal of the tunnel consisted of a 75 H. P. electric motor, driving[97] a 75 H. P. air compressor, and of small motors to drive a Sturtevant blower for ventilation, to run the blacksmith shop, and to light the tunnel, shop, and yards. From the compressor air was piped into the tunnel at the east end, and also over the mountain to the west portal workings. Two drills were used at each end, and the air was also used for operating derricks and other machinery. For removing the spoil a trolley carrier system was employed. A longitudinal timber was fastened to the tunnel roof, directly in the apex of the roof arch. This timber carried by means of hangers a steel bar trolley rail on which the carriages ran. Outside of the portal this rail formed a loop, so that the carriage could pass around the loop and be taken back to the working face. Each carriage carried a steel span of 112 cu. ft. capacity, so suspended that by means of a tripping device it was automatically dumped when the proper point on the loop was reached.

Niagara Falls Power Tunnel.

—The tail-race tunnel built to carry away the water discharged from the turbines of the Niagara Falls Power Co., has a horse-shoe section 19 × 21 ft. and a length of 6700 ft. It was driven through rock from three shafts by the center-cut method of blasting. In sinking shaft No. 0 very little water was encountered, but at shafts Nos. 1 and 2 an inflow of 800 gallons and 600 gallons per minute, respectively, was encountered. The principal plant was located at shaft No. 2, and consisted of eight 100 H.P. boilers, three 18 × 30 in. Rand duplex air compressors, a Thomson-Houston electric-light plant, and a sawmill with a capacity of 20,000 ft. B. M. per day. The shafts were fitted with Otis automatic hoisting engines, with double cages at shafts Nos. 1 and 2, and a single cage at shaft No. 0. The drills used were 25 Rand drills and three Ingersoll-Sergeant drills. The pumping plant at shaft No. 2 consisted of four No. 7 and one No. 9 Cameron pumps, and that at shaft No. 2 consisted of two No. 7 and two No. 9 Cameron pumps and three Snow pumps. An auxiliary boiler plant consisting of two 60 H. P. boilers was located at[98] shaft No. 1, and another, consisting of one 75 H. P. boiler, was located at shaft No. 0.

Cascade Tunnel.

—The Cascade tunnel was built in 1886-88 to carry the double tracks of the Northern Pacific Ry. through the Cascade Mountains in Washington. It is 9850 ft. long with a cross-section 1612 ft. wide and 22 ft. high, and is lined with masonry. The material penetrated was a basaltic rock, with a dip of the strata of about 5°. The rock was excavated by a wide heading and one bench, using the center-cut system of blasting. A strutting consisting of five-segment timber arches carried on side posts, spaced from 2 ft. to 4 ft. apart, and having a roof lagging of 4 × 6 in. timbers packed above with cord-wood. The mechanical plant of the tunnel is of particular interest, because of the fact that all the machinery and supplies had to be hauled from 82 to 87 miles by teams, over a road cut through the forests covering the mountain slopes. This work required from Feb. 22 to July 15, 1886, to perform. In many places the grades were so steep that the wagons had to be hauled by block and tackle. The plant consisted of five engines, two water-wheels, five air compressors, eight 70 H. P. steam-boilers, four large exhaust fans, two complete electric arc-lighting plants, two fully equipped machine-shop outfits, 36 air drills, two locomotives, 60 dump cars, and two sawmill outfits, with the necessary accessories for these various machines. This plant was divided about equally between the two ends of the tunnel. The cost of the plant and of the work of getting it into position was $125,000.

Graveholz Tunnel.

—The Graveholz tunnel on the Bergen Railway in Norway is notable as being the longest tunnel in northern Europe, and also as being built for a single-track narrow-gauge railway. This tunnel is 17,400 feet long, and is located at an elevation of 2900 feet above sea-level. Only about 3% of the length of the tunnel is lined. The mechanical installation consists of a turbine plant operating the various machines. There are two turbines of 100 H. P. and 120 H. P.[99] taking water from a reservoir on the mountain slope, and furnishing 220 H. P., which is distributed about as follows: Boring-machines, 60 H. P.; ventilation, 30 to 40 H. P.; electric locomotives, 15 H. P.; machine shop, 15 H. P.; electric-lighting dynamo, 25 H. P.; electric drills, the surplus, or some 40 H. P. The boring-machines and electric drills will be operated by the smaller 100 H. P. turbine.

Sonnstein Tunnel.

—The Sonnstein tunnel in Germany is particularly interesting because of the exclusive use of Brandt rotary drills. The tunnel was driven through dolomite and hard limestone by means of a drift and two side galleries. The dimensions of the drift were 712 × 712 ft. The power plant consisted of two steam pressure pumps, one accumulator, and four drills. The steam-boiler plant, in addition to operating the pumps, also supplied power for operating a rotary pump for drainage and a blower for ventilation. The hydraulic pressure required was 75 atmospheres in the dolomite, and from 85 to 100 atmospheres in the limestone. The drift was excavated with five 312 in. holes, one being placed at the center and driven parallel to the axis of the tunnel, and four being placed at the corners of a rectangle corresponding to the sides of the drift, and driven at an angle diverging from the center hole. The average depths of the holes were 4.3 ft., and the efficiency of the drills was 1 in. per minute. One drill was employed at each front, and was operated by a machinist and two helpers, who worked eight-hour shifts, with a blast between shifts at first, and later twelve-hour shifts, with a blast between shifts. The 24 hours of the two shifts were divided as follows: boring the holes, 10.7 hours; charging the holes, 1.1 hours; removing the spoil, 11.7 hours; changing shifts, 0.5 hour. The average progress per day for each machine was 6.7 ft. The total cost of the plant was $17,450.

St. Clair River Tunnel.

—The submarine double-track railway tunnel under the St. Clair River for the Grand Trunk Ry. is 8500 ft. long, and was driven through clay by means of a[100] shield, as described in the succeeding chapter on the shield system of tunneling. The mechanical plant installed for prosecuting the work was very complete. To furnish steam to the air compressors, pumps, electric-light engines, hoisting-engines, etc., a steam-plant was provided on each side of the river, consisting of three 70 H. P. and four 80 H. P. Scotch portable boilers. The air-compressor plant at each end consisted of two 20 × 24 in. Ingersoll air compressors. To furnish light to the workings, two 100 candle-power Edison dynamos were installed on the American side, and two Ball dynamos of the same size were installed on the Canadian side. The dynamos on both sides were driven by Armington & Sims engines. These dynamos furnished light to the tunnel workings and to the machine-shops and power-plant at each end. Root blowers of 10,000 cu. ft. per minute capacity provided ventilation. The pumping plant consisted of one set of pumps installed for permanent drainage, and another set installed for drainage during construction, and also to remain in place as a part of the permanent plant. The latter set consisted of two 500 gallon Worthington duplex pumps set first outside of each air lock, closing the ends of the river portion of the tunnel. For permanent drainage, a drainage shaft was sunk on the Canadian side of the river, and connected with a pump at the bottom of the open-cut approach. In this shaft were placed a vertical, direct-acting, compound-condensing pumping engine with two 1912 in. high-pressure and two 3338 in. low-pressure cylinders of 24 in. stroke, connected to double-acting pumps with a capacity of 3000 gallons per minute, and also two duplex pumps of 500 gallons capacity per minute. For permanent drainage on the American side, four Worthington pumps of 3000 gallons’ capacity were installed in a pump-house set back into the slope of the open-cut approach. For the permanent drainage of the tunnel proper two 400 gallon pumps were placed at the lowest point of the tunnel grade. Spoil coming from the tunnel proper was hoisted to the top of the open cut by derricks operated by two[101] 50 H. P. Lidgerwood hoisting-engines. The pressure pumping plant for supplying water to the hydraulic shield-jacks at each end of the tunnel consisted of duplex direct-acting engines with 12 in. steam cylinders and 1 in. water cylinders, supplying water at a pressure of 2000 lbs. per sq. in.


[102]

CHAPTER X.
TUNNELS THROUGH HARD ROCK (Continued).


EXCAVATION BY DRIFTS: THE SIMPLON AND MURRAY HILL TUNNELS.

Fig. 55.—Diagram Showing Sequence of Excavations in Drift Method of Tunneling Rock.

General Description.

—The method of tunneling through hard rock by drifts is preferred by European engineers. All the great Alpine tunnels, from the Mont Cenis tunnel to the Simplon, are examples of tunneling by drifts. In this method the sequence of excavation is shown diagrammatically by Fig. 55. The work begins by excavating a drift close to the floor of the proposed tunnel (as shown in the center of the figure) and far in advance of the excavation of any other part. The section marked 2 is next removed and still later the portions marked 3. Then with the removal of the parts marked 4 the whole section of the tunnel will be open.

The drift is usually strutted by means of side posts carrying a cap-piece placed at intervals, and having a ceiling of longitudinal planks resting on the successive caps. In hard rock the roof of the section does not, as a rule, require regular strutting, occasional supports being placed at intervals to prevent the fall of isolated fragments: When the rock is disintegrated or full of seams, a regular strutting may be necessary, and this may be either longitudinal or polygonal in type. When longitudinal strutting is employed, a sill is laid across the roof of[103] the drift, and upon this are set up two struts converging toward the top and supporting a cap-piece close to the roof. On this cap-piece are placed the first longitudinal crown bars carrying transverse poling-boards. Additional props standing on the sill and radiating outward are inserted as parts No. 3 are excavated. These radial props carry longitudinal bars which in turn support transverse poling-boards. When polygonal strutting is used, it may take the form of three or five segment arches of heavy timbers.

In hard rock tunnels, as a rule, there is no danger of caving in because of heavy pressures, and the whole section is left open for some time before it is lined. The lining may be of concrete masonry, but in many long tunnels, excavated through hard rock, the side walls are lined with rubble masonry and the arch with brick, and, in some instances, even the arch has been lined with rubble masonry. With skilful laborers at hand the rubble masonry lining has proved most efficient and economical, because the rock is utilized as it is excavated without any further operation. Concrete, however, is more extensively employed for lining tunnels than any other material.

Tunnels excavated by drifts enable simple means of hauling to be employed, and this is one of the reasons why the method finds so much favor with European engineers. The tracks are laid along the floor of the drift, and carry all the spoil from parts Nos. 2, 3, and 4, as well as from the front of the drift itself. As fast as the full section is completed, this single track in the drift is replaced by two tracks running close to the sides of the tunnel, or by a broad-gauge track with a third rail.

THE SIMPLON TUNNEL.[8]

Before entering upon a description of the constructive details of this, the longest railway tunnel in the world, it may be well to give a general idea of the undertaking. Many schemes[104] for the connection of Italy and Switzerland by a railway near the Simplon Road Pass have been devised, including one involving no great length of underground work, the line mounting by steep gradients and sharp curves. The present scheme, put forward in 1881 by the Jura-Simplon Ry. Co., consists broadly of piercing the Alps between Brigue, the present railway terminus in the Rhone Valley, and Iselle, in the gorge of the Diveria, on the Italian side, from which village the railway will descend to the existing southern terminus at Domo d’Ossola, a distance of about 11 miles.

[8] Abstract from a paper read before the Institution of Civil Engineers by Charles B. Fox, Jan. 26, 1900.

In conjunction with this scheme a second tunnel is proposed, to pierce the Bernese Alps under the Lötschen Pass from Mittholz to a point near Turtman in the Rhone Valley; and thus, instead of the long détour by Lausanne and the Lake of Geneva, there will be an almost direct line from Berne to Milan via Thun, Brigue, and Domo d’Ossola.

Starting from Brigue, the new line, running gently up the valley for 114 miles, will, on account of the proximity of the Rhone, which has already been slightly diverted, enter the tunnels on a curve to the right of 1050 ft. radius. At a distance of 153 yards from the entrance, the straight portion of the tunnel commences, and extends for 12 miles. The line then curves to the left with a radius of 1311 ft. before emerging on the left bank of the Diveria. Commencing at the northern entrance, a gradient of 1 in 500 (the minimum for efficient drainage) rises for a length of 512 miles to a level length of 550 yards in the center, and then a gradient of 1 in 143 descends to the Italian side. On the way to Domo d’Ossola one helical tunnel will be necessary, as has been carried out on the St. Gothard. There will be eventually two parallel tunnels having their centers 56 ft. apart, each carrying one line of way; but at the present time only one heading, that known as No. 1, is being excavated to full size, No. 2 being left, masonry lined where necessary, for future developments. By means of cross headings every 220 yds. the problems of transport and ventilation[105] are greatly facilitated, as will be seen later. As both entrances are on curves, a small “gallery of direction” is necessary, to allow corrections of alinement to be made direct from the two observatories on the axis of the tunnel.

The outside installations are as nearly in duplicate as circumstances will allow, and consist of the necessary offices, workshops, engine-sheds, power-houses, smithies, and the numerous buildings entailed by an important engineering scheme. Great care is taken that the miners and men working in the tunnel shall not suffer from the sudden change from the warm headings to the cold Alpine air outside; and for this purpose a large building is in course of erection, where they will be able to take off their damp working clothes, have a hot and cold douche, put on a warm dry suit, and obtain refreshments at a moderate cost before returning to their homes. Instead of each man having a locker in which to stow his clothes, a perfect forest of cords hangs down from the wooden ceiling, 25 ft. above floor-level, each cord passing over its own pulleys and down the wall to a numbered belaying-pin. Each cord supports three hooks and a soap-dish, which, when loaded with their owner’s property, are hauled up to the ceiling out of the way. There are 2000 of these cords, spaced 1 ft. 6 ins. apart, one to each man. The engineers and foremen are more privileged, being provided with dressing-rooms and baths, partitioned off from the two main halls. An extensive clothes washing and drying plant has been laid down, and also a large restaurant and canteen. At Iselle, a magazine holding 2200 lbs. of dynamite is surrounded and divided into two separate parts by earth-banks, 16 ft. high. The two wooden houses, in which the explosive is stored, are warmed by hot-water pipes to a temperature between 61° F. and 77° F., and are watched by a military patrol; but at Brigue a dynamite manufactory, started by an enterprising company at the time of the commencement of the works, supplies this commodity at frequent intervals, thereby avoiding the necessity of storing in such[106] large quantities. This dynamite factory has been largely increased, and supplies dynamite to nearly all the mining and tunneling enterprises in Switzerland.

Geological Conditions.

—Before the Simplon tunnel was authorized, expert evidence was taken as to the feasibility of the project. The forecasts of the three engineers chosen, in reference to the rock to be encountered and its probable temperature, have, as far as the galleries have gone (an aggregate distance of nearly 212 miles), generally been found correct. At the north end, a dark argillaceous schist veined with quartz was met with, and from time to time beds of gypsum and dolomite have been traversed, the dip of the strata being on the whole favorable to progress, though timbering is resorted to at dangerous places. Water was plentiful at the commencement; in fact, one inrush has not been stopped, and is still flowing down the heading. The total quantity of water flowing from the tunnel mouth is 16 gallons per second, of which 2 gallons per second are accounted for by the drilling machines. At Iselle, however, a very hard antigorio gneiss obtains, and is likely to extend for 4 miles. Very dry and very compact, it requires no timbering, and represents no great difficulty to the powerful Brandt rock-drills, which work under a head of 3280 ft. of water.

The temperature of the rock depends not only on the depth from the surface, but largely upon the general form of that surface combined with the conductivity of the rock. Taking these points into consideration with the experience gained from the construction of the St. Gothard tunnel, 95° F. was estimated as the probable maximum temperature, owing to the height of Monte Leone (11,660 ft.), which lies almost directly over the tunnel axis.

Survey.

—After having determined upon the general position of the tunnels, taking into consideration the necessary gradients, the temperature of the rock, and a large bed of troublesome gypsum on the north side, two fixed points on the proposed[107] center line were taken, one at each entrance of tunnel No. 1, and the bearings of these two points, with reference to a triangulation survey made in 1876, were calculated sufficiently accurately to determine, for the time being, the direction of the tunnel. In 1898, a new triangulation survey was made, taking in eleven summits, Monte Leone holding the central position. This survey was tied into that of the Wasenhorn and Faulhorn, made by the Swiss Government, and the accuracy was such that the probable error in the meeting of the two headings is only 6 cms. or 212 ins.

On the top of each summit is placed a signal, consisting of a small pillar of masonry founded on rock, and capped with a sharp pointed cone of zinc, 1 ft. 6 ins. high. An observatory was built at each end of the tunnel in such a position that three of the summits could be seen, a condition very difficult to fulfill on the south side owing to the depth of the gorge, the mountains on either side being over 7000 ft. high. Having taken the angles to and from each visible signal, and therefrom having calculated the direction of the tunnel, it was necessary to fix, with extreme accuracy, sighting-points on the axis of the tunnel, in order to avoid sighting on to the surrounding peaks for each subsequent correction of the alinement of the galleries. To do this, a theodolite 24 ins. long and 238 ins. in diameter, with a magnifying power of 40 times, was set up in the observatory, and about 100 readings were taken of the angles between the surrounding signals and the required sighting-points. In this manner the error likely to occur was diminished to less than 1′. Thus at the north end two points were found about 550 yds. before and behind the observatory, while on the south side, owing to the narrowness of the gorge, the points could only be placed at 82 yds. and 126 yds. in front. One of these sighting-points consists of a fine scratch ruled on a piece of glass fixed in an iron frame, behind which is placed an acetylene lamp,—corrections of alinement are always done by night,—the whole being rigidly fixed into a niche cut in the rock and protected[108] from climatic and other disturbing agencies by an iron plate.

Method of Checking Alinement.

—The direction of heading No. 1 is checked by experts from the Government Survey Department at Lausanne about three times a year, and for this purpose a transit instrument is set up in the observatory. A number of three-legged iron tables are placed at intervals of 1 mile or 2 miles along the axis of tunnel No. 1, and upon each of these is placed a horizontal plane, movable by means of an adjusting screw, in a direction at right angles to the axis, along a graduated scale. On this plane are small sockets, into which the legs of an acetylene lamp and screen, or of the transit instrument, can be quickly and accurately placed. The screen has a vertical slit, 3 ins. in height, and variable between 1316 in. and 316 in. in breadth, according to the state of the atmosphere, and at a distance shows a fine thread of light. The instrument, having first been sighted on to the illuminated scratch of the sighting-point, is directed up the tunnel, where a thread of light is shown from the first table. With the aid of a telephone this light is adjusted so that its image is exactly coincident with the cross hairs, and the reading on the graduated scale is noted. This is done four or five times, the average of these readings being taken as correct, and the plane is clamped to that average. The instrument is then taken to the first table and is placed quickly and accurately over the point just found (by means of the sockets), and the lamp is carried to the observatory. After first sighting back, a second point is given on the second table, and so on. These points are marked either temporarily in the roof of the heading by a short piece of cord hanging down, or permanently by a brass point held by a small steel cylinder, 8 ins. long and 3 ins. in diameter, embedded in concrete in the rock floor, and protected by a circular casting, also sunk in cement concrete, holding an iron cover resembling that of a small manhole. From time to time the alinement is checked from these points by the engineers, and after each blast the[109] general direction is given by the hand from the temporary points. To check the results of the triangulation survey, astronomical observations have been taken simultaneously at each end. With regard to the levels, those given on the excellent Government surveys have been taken as correct, but they have also been checked over the pass.

Details of Tunnels.

—In cross-section, tunnel No. 1 is 13 ft. 7 ins. wide at formation level, increasing to 16 ft. 5 ins., with a total height of 18 ft. above rail-level, and a cross-sectional area of about 250 sq. ft. This large section will allow of small repairs being executed in the roof without interruption of the traffic, and will also allow of strengthening the walls by additional masonry on the inside. The thickness of the lining, never wholly absent, and the material of which it is composed, depend upon the pressure to be resisted, and only in the worst case is an invert resorted to. The side drain, to which the rock floor is made to slope, will be composed of half-pipes of 7 to 1 cement concrete. The roof is constructed of radial stones.

Tunnel No. 2, being left as a heading, is driven on that side nearest to No. 1, to minimize the length of the cross-headings, and measures 10 ft. 2 ins. wide by 6 ft. 7 ins. high. Masonry is used only where necessary, and in that case is so built as to form part of the lining of the tunnel when eventually completed. Concrete is put in to form a foundation for the side wall, and a water channel. The cross-headings, connecting the two parallel headings, occur every 220 yds., and are placed at an angle of 56° to the axis of the tunnel, to avoid sharp curves in the contractors’ railway lines. They will eventually be used as much as possible for refuges, chambers for storing the tools and equipment of the platelayers, and signal-cabins. The refuges, 6 ft. 7 ins. wide by 6 ft. 7 ins. high and 3 ft. 3 ins. deep, occur every 110 yards, every tenth being enlarged to 9 ft. 10 ins. wide by 9 ft. 10 ins. deep and 10 ft. 2 ins. high, still larger chambers being constructed at greater intervals.

[110]

Method of Excavation.

—The work at each end of the tunnel is carried on quite independently, consequently, though similar in principle, the methods vary in detail, apart from the fact that different geological strata require different treatment. Broadly speaking, the two parallel headings, each 59 sq. ft. in section, are first driven by means of drilling-machines and the use of dynamite, this work being carried on day and night, seven days in the week; No. 1 heading is then enlarged to full size by hand-drilling and dynamite. On the Italian side, where the rock is hard and compact, breakups are made at intervals of 50 yds., and a top gallery is driven in both directions, but, for ventilation reasons, is never allowed to get more than 4 yds. ahead of the break-up, which is gradually lengthened and widened to the required section. No timbering is required, except to facilitate the excavation and the construction of the side walls. Steel centers are employed for the arch; they entail fewer supports, give more room, and are capable of being used over again more frequently without damage. They consist of two I-beams bent to a template and riveted together at the crown, resting at either side on scaffolding at intervals of 6 ft.; longitudinals 12 ft. by 4 ins. by 4 ins. support the roof. Hand rock-drilling is carried out in the ordinary way, one man holding the tool and a second striking; measurements of excavation are taken every 2 or 3 yds., a plumb-line is suspended from the center of the roof, and at every half-meter (20 ins.) of height horizontal measurements are taken to each side.

At the Brigue end a softer rock is encountered, necessitating at times heavy timbering in the heading, and especially in the final excavation to full size, Fig. 56. The bottom heading, 6 ft. 6 in. high, is driven in the center, and the heading is then widened to the full extent and timbered; the concrete forming the water channel and the foundation for one side wall is put in; the side walls are built to a height of 6 ft. 6 ins., and the tunnel is fully excavated to a further height of 6 ft. 6 ins. from the first staging. The side walls are then continued up for the[111] second 6 ft. 6 ins., and from the second floor a third height of 6 ft. 6 ins. is excavated and timbered. Finally the crown is cleared out, heavy wooden centers are put in, the arch is turned and all timbers are withdrawn except the top poling-boards, supporting the loose rock.

1

2

3

4

5

6

7

8

 

Fig. 56.—Sketches Showing Sequence of Work in Excavating and Lining the Simplon Tunnel.

The masonry for the side walls is obtained either from the tunnel itself or from a neighboring quarry, and varies in character according to the pressure; but the face of the arch is always of cut or artificial stones, the latter being 7 to 1 cement concrete. Where the alinement heading, or the “gallery of direction,” joins the curving portion of tunnel No. 1, the section is very much greater, and necessitates special timbering.

Transport (Italian Side).

—A small line of railway, 2 ft. 712 ins. gauge, with 40-lb. rails, enters all three portals; but since the construction of a wooden bridge over the Diveria, the route[112] through the “gallery of direction,” across heading No. 2, to tunnel No. 1, is used exclusively; this railway leads to the face in both headings, and, where convenient, from one heading to the other by the cross-galleries. Different types of wagons are in use; but in general they are four-wheeled, non-tipping box wagons, supplied with brakes and holding 2 cu. yds. of débris. A special type of locomotive is used, designed to pass round curves of 50 ft. radius, and supplied with a specially large boiler to avoid firing in the tunnel.

Fig. 57.—General Details of the Brandt Rotary Drills Employed at the Simplon Tunnel.

Larger illustration

Method of Working.

—The drilling-machines employed are of the Brandt type, Fig. 57, and are mounted in the following manner: A small four-wheeled carriage supports at its center a beam, the shorter arm of which carries the boring mechanism and the longer a counterpoise; near its center is the distributor. In the short arm is a clamp holding the rack-bar or butting column, which is a wrought-iron cylinder with a plunger constituting a ram, and is jammed by hydraulic pressure between the walls of the heading, thus forming a rigid support for the boring-machine, and an efficient abutment against the reaction of the drill. This rack-bar can be rotated on its clamp in a[113] plane parallel to the axis of the beam. Three or four separate boring-machines can be mounted on the rack-bar, and can be adjusted in any reasonable position.

The boring-machine performs the double function of continually pressing the drill into the rock by means of a hollow ram (I) and of imparting to the drill and ram a uniform rotary motion. This rotary motion is given by a twin cylinder single-acting hydraulic motor (E), the two pistons, of 278 ins. stroke, acting reciprocally as valves. The cranks are fixed at an angle of 90° to each other on the shaft, which carries a worm, gearing with a worm-wheel (Q) mounted upon the shell (R) of the hollow ram (I), and this shell in turn engages the ram by a long feather, leaving it free to slide axially to or from the face of the rock. The average speed of the motor is 150 revolutions to 200 revolutions per minute, the maximum speed being 300 revolutions per minute. The loss of power between the worm and worm-wheel is only 15% at the most; the worm being of hardened steel and the wheel of gun-metal, the two surfaces in contact acquire a high degree of polish, resulting in little wearing or heating. Taking into consideration all other sources of loss, 70% of the total power is utilized. The pressure on the drill is exerted by a cylinder and hollow ram (I), which revolves about the differential piston (S), which is fixed to the envelope holding the shell (R). This envelope is rigidly connected to the bed-plate of the motor, and, by means of the vertical hinge and pin (T), is held by the clamp (V) embracing the rack-bar. When water is admitted to the space in front of the differential piston the ram carrying the drilling-tool is thrust forward, and when admitted to the annular space behind the piston, the ram recedes, withdrawing the tool from the blast-hole. The drill proper is a hollow tube of tough steel 234 ins. in external diameter, armed with three or four sharp and hardened teeth, and makes from five to ten revolutions per minute, according to the nature of the rock. When the ram has reached the end of its stroke of 2 ft. 212 ins., the tool is quickly withdrawn from the[114] hole and unscrewed from the ram; an extension rod is then screwed into the tool and into the ram, and the boring is continued, additional lengths being added as the tool grinds forward; each change of tool or rod takes about 15 secs. to 25 secs. to perform. The extension rods are forged steel tubes, fitted with four-threaded screws, and having the same external diameter as the drill. They are made in standard lengths of 2 ft. 8 ins., 1 ft. 10 ins., and 1134 ins. The total weight of the drilling-machine is 264 lbs., and that of the rack-bar when full of water is 308 lbs. The exhaust water from the two motor cylinders escapes through a tube in the center of the ram and along the bore of the extension rods and drill, thereby scouring away the débris and keeping the drill cool; any superfluous water finds an exit through a hose below the motors and thence away down the heading. The distributor, already mentioned, supplies each boring-machine and the rack-bar with hydraulic pressure from the mains, with which connection is effected by means of flexible or articulated pipe connections, allowing freedom in all directions. The area of the piston for advancing the tool is 1512 sq. ins., which, under a pressure of 1470 lbs. per sq. in., gives a pressure of over 10 tons on the tool, while for withdrawing the tool 212 tons is available. In the rock found at Iselle, namely, antigorio gneiss, a hole 234 ins. in diameter and 3 ft. 3 ins. in length is drilled, normally, in 12 mins. to 25 mins.; a daily rate of advance of 18 ft. to 19 ft. 6 ins. is made in a heading having a minimum cross-section of 59 sq. ft.; the time taken to drill ten to twelve holes, 4 ft. 7 ins. deep, is 212 hrs.

When the débris resulting from one operation has been sufficiently cleared away, a steel flooring, which is provided near the face to enable shoveling to be more easily done, and to give an even floor for the wheels of the drilling-carriage, is laid bare at the head of the line of rails, and the drilling-machines are brought up on their carriage by eight or ten men. When advanced sufficiently close to the face, the rack-bar is slewed round across the gallery and is wedged up against the rock[115] sides; connection is made between the distributor and the hydraulic main, by means of the flexible pipe, and pressure is supplied by a small copper tube to the rack-bar ram, thereby rigidly holding the machine. Next, connections are made between the three drilling-machines and the distributor, and in 20 mins. from the time the machine was brought up all three drills are hard at work, water pouring from the holes.

The noise of the motors and grinding-tools is sufficient to drown all but shouts; and where the extension rods do not fit tightly, small jets of water play in all directions, necessitating the wearing of tarpaulins by the men directing the tools. Lighting is done wholly by small oil-lamps, provided with a hook to facilitate fixing in any crack in the rock; electricity will probably be used to light that portion of the tunnel which is completed.

Two men are allotted to each drill, one to drive the motor, the other to direct and replenish the tool, one foreman and two men in reserve completing the gang. A small hammer is freely used to loosen the screw joints of the extension rods and drill. A hole is usually commenced by a two-edged flat-pointed tool, until a sufficient depth is reached to prevent the circular tool from wandering over the face of the rock, but in many instances the hole is commenced with a circular tool. The exhaust water during this period flows away by the hose underneath the motor. In the antigorio gneiss, ten to twelve holes are drilled for each attack, three to four in the center to a depth of 3 ft. 3 ins., the remainder, disposed round the outside of the face, having a depth of 4 ft. 7 ins. The average time taken to complete the holes is 134 hr. to 212 hrs. Instead of pulverizing the rock, as do the diamond drills, it is found that the rock is crushed, and that headway is gained somewhat in the manner of a circular saw through wood. The core of rock inside the tool breaks up into small pieces, and can be taken out if necessary when the drill requires lengthening.

The lowest holes, inclined downwards, are full of water;[116] consequently two detonators and two fuses are inserted, but apart from this, water has little effect on the charge. The fuses of the central holes are brought together and cut off shorter than those of the outer holes, in order that they may explode first to increase the effect of the outer charges. All portable objects, such as drills, pipe connections, tools, etc., have meanwhile been carried back; the steel flooring is covered over with a layer of débris to prevent injury from falling rock, and to the end of the hydraulic main is screwed a brass plug pierced by five holes; and immediately the explosions occur a valve is opened in the tunnel, and five jets of water play upon the rock, laying the dust and clearing the air. The necessity for this was shown on one occasion when this nozzle was broken by the explosion and the water had to be turned off immediately to avoid useless waste; on reaching the face, the atmosphere was found to be so highly charged with dust and smoke that it was impossible to distinguish the stones at the feet, although a lamp had been placed on the ground; and despite the fact that the air tube was in full blast, the men experienced great difficulty in breathing. A truck is now brought up, and four men clear a passage in front, through the heap of débris, two with picks and two with shovels, while on either side and behind are as many men as space will permit. The stone is thrown either to the sides of the heading or into the wagon, shoveling being greatly aided by the steel flooring, which, before the explosion, had been laid over the rails for nearly 10 yds. down the tunnel to receive the falling rock. These steel plates are taken up when cleared, and the wagon is pushed forward until the drilling-machine can be brought up again, leaving the remaining débris at the sides to be handled at leisure during the next attack. The roof and side walls are, of course, carefully examined with the pick, to discover and detach any loose or hanging rock. The times taken for each portion of the attack in this particular antigorio gneiss are as follows: Bringing up and adjustment of drills, 20 mins.; drilling, between 134 hr. and 212 hrs.; charging and firing, 15 mins.;[117] clearing away débris, 2 hrs.; or for one whole attack, between 412 hrs. and 512 hrs., resulting in an advance of 3 ft. 9 in., or a daily advance of nearly 18 ft.

From this it appears that the time spent in clearing away the débris equals that taken up in drilling, and it is in this clearing that a saving of time is likely to be effected rather than in the process of drilling. Many schemes have been tried, such as a mechanical plow for making a passage; at Brigue, “marinage,” or clearing by means of powerful high-pressure water-jets, directed down the tunnel, was tried, but the idea is not yet sufficiently developed.

Another series of experiments has been tried at Brigue with regard to the utilization of liquid air as an explosive agent instead of dynamite; and for this purpose a plant has been laid down, consisting of one ammonia-compressor, two air-compressors, and two refrigerators, furnishing 110 gallon of liquid air per hour at an expenditure of 17 H. P. The system used is that of Professor Linde, who himself directs the experiments. The great difficulty experienced is that of shortening the interval of time that must elapse between the manufacture of the cartridge and its explosion. The liquid oxygen, with which the cartridge, containing kieselguhr (silicious earth) and paraffin, is saturated, evaporates very readily, losing power every moment; hence the effect of each cartridge cannot be guaranteed, and though it is an exceedingly powerful explosive when used immediately after manufacture, no practical result has yet been obtained.

Power Station.

—Water is abundant at either end, and therefore hydraulic power is the motive force employed. On the Italian side, a dam 5 ft. high has been thrown across the Diveria at a point near the Swiss frontier, about 3 miles above the site of the installations. A portion of the water thus held back enters, through regulating doors and gratings, a masonry channel leading to two parallel settling tanks, each 111 ft. by 16 ft., whence, after dropping all its sand and solid matter, the now[118] pure water passes into the water-house, and, after flowing over a dam, through a grating and past the admission doors, enters a metallic conduit of 3-ft. pipes. Each of the settling tanks and the approach canal are provided with doors at the lower end leading direct to the river, through which all the sand and solid matter deposited can be scoured naturally by allowing the river-water to rush freely through. For this purpose the floor of the basins is on an average gradient of 1 in 30. For a similar reason the river-bed just outside the entrance to the approach canal is lined with wooden planks, from which the stones collecting behind the dam can be scoured by allowing an iron flap, hinged at the bottom, to change its position from the vertical to the horizontal in a gap left purposely in the dam, so causing a rushing torrent to sweep it clean.

The chief levels are:

Level of water at dam 794.00 meters above sea level.
in water-house 793.70
at turbines 618.50

giving a total fall of 175.20 ms. or 570 ft., and a pressure of 17.52 atmospheres.

The quantity of water capable of being taken from the Diveria in winter, when the rivers which are dependent upon the mountain snows for their supply are at their lowest, is calculated to be 352 gallons per second. Thus, taking the fall to be diminished by friction, etc., to 440 ft., and the useful effect at 70%, there is obtained 2000 H. P. on the turbine shaft.

The metallic conduit varies in material according to the pressure; thus cast-iron pipes 3 ft. in diameter and 1316 in. thick are used up to a pressure of 2 atmospheres, from which point they are of wrought-iron. The cast-iron portion has of late caused a good deal of trouble, owing to settlement of the piers causing occasional bursts, consequently a masonry pier has been placed under each joint of this portion. The following table gives the thicknesses and diameters, varying with the pressure:

[119]

Water
Pressure.
Thickness. Diameter. Weight
per Yard.
Head
in Feet.
Milli-
meters.
Inch. Feet. Inches. Lbs.
246  6 14 3 0   326
311  7 ... 3 0   383
360  8 ... 3 0   431
393  9 ... 3 0   483
426 10 ... 3 0   556
476 12 ... 3 0   651
590 16 58 3 3 13 977

This pipe is supported every 30 ft. on small masonry piers, on the top of which is placed a block of wood hollowed out to receive the pipe, thus allowing any movement due to the contraction and expansion of the conduit. However, to prevent this movement becoming excessive, the pipe is passed at intervals of 300 yds. to 500 yds. through a cubical block of masonry of 13 ft. side, strengthened by longitudinal tie-bars. Five bands of angle-bar riveted round the pipe, with their flanges embedded in the masonry, constitute a rigid fixed point. Straw mats are thrown over the pipe where it is exposed to the sun. The temperature of the conduit is not, however, found to vary greatly, since the pipe is kept full of water. To supply the rock-drills with water at a maximum pressure of 100 atmospheres, or 1470 lbs. per sq. in., a plant of four pairs of high-pressure pumps has been laid down, and a still larger addition is in course of erection. At present, two Pelton turbines of 250 H.P. each, running at 170 revolutions per minute, drive the pumps, by means of toothed gearing, at 63 revolutions per minute. These pumps are of very simple but strong construction, single suction and double delivery, entailing one suction and one delivery-valve, both heavy and both of small lift. The larger portion of the plunger has exactly double the cross-sectional area of the smaller portion, so that in the forward stroke half of the water taken in at the last admission is pumped into the high-pressure mains, and at the same time a fresh supply of water is sucked in. During the[120] backward stroke half of this new supply is pumped into the mains, and the remainder enters the second chamber, to be pumped during the next forward stroke. Thus the work done in the two strokes is practically the same. The pumps are in pairs, and are set at an angle of 90°, to insure uniform pressure and uniform delivery in the mains. Their size varies; but at Iselle there are three pairs, with a stroke of 2 ft. 212 ins., and the plungers of 21116 in. and 178 ins. (approximately) in diameter, supplying 1.32 gallons per second.

To avoid injury to the valves, the water to be pumped is taken from a stream up the mountain side, and is passed through filter screens. The high-pressure water, after passing an accumulator, enters the tunnel in solid drawn wrought-iron tubes, 318 ins. in internal diameter, 316 in. thick, and in lengths of 26 ft. The diameter of these mains varies with their length, so as to avoid loss of pressure. With the 1250 yds. of tunnel now driven 10 atmospheres are lost.

At Brigue the installations are, as far as possible, identical. The Rhone water, however, before reaching the water-house, is carried from the filter basins, a distance of 2 miles, in an armored canal built upon the Hennebique system,[9] the walls and supporting beams, of cement concrete, being strengthened by internal tie-bars of steel. The concrete struts, resembling balks of timber at a distance, are occasionally 35 ft. high and 1 ft. 712 ins. square. The metallic conduit is 5 ft. in diameter, with a minimum flow of 176 cu. ft. per second and a total fall of 185 ft. In case water-power should be unavailable, three semi-portable steam engines, two of 80 H.P. and one of 60 H.P., are always kept in readiness at each end of the tunnel, and are geared by belts to the turbine shaft.

[9] Network of steel rods embedded in concrete.

Ventilation.

—In tunneling, one of the most important problems to be solved is that of ventilation, and it is for this reason that the Simplon tunnel consists of two parallel headings with cross cuts at intervals of 220 yds. At Brigue, a shaft 164 ft.[121] deep was sunk through the overlying rock until the “gallery of direction” was encountered. Up this chimney the foul air is drawn by wood fires, the fresh air—a volume of 19,000,000 cu. ft. per day, or 13,200 cu. ft. per minute—entering by heading No. 2, penetrating up to the last cross gallery, and returning by tunnel No. 1. The entrances of No. 1 and the “gallery of direction,” besides those of all the intermediate cross galleries, are closed by doors. By this arrangement, however, fresh air does not reach the working faces; therefore a pipe, 8 ins. in diameter, is led from the fresh air in No. 2 to within 15 yds. of the face of each heading, and up this pipe a draft of air is induced by means of a jet of water, the volume to each face being 800 cu. ft. per minute. One single jet of water from the high-pressure mains, with a diameter of 116 in., is capable of supplying over 1000 cu. ft. of air per minute at the end of 160 yds. of pipe, and during the attack the men at the drills are in a constant breeze with the thermometer standing at 70° F. At Iselle, air is blown into the entrance of heading No. 2 at the rate of 14,100 cu. ft. per minute by two fans driven from the turbine shaft. This air travels from the fans along a pipe 18 ins. in diameter, till a point 15 yds. up the tunnel is reached, where beyond a door the pipe narrows to form a nozzle 10 ins. in diameter. This door is kept open to allow the outside air to be induced up the tunnel, as the headings are at present only 2500 yds. long, giving a resistance of not quite sufficient power to cause the air to return. The fresh air then travels up No. 2, crossing over the top of the “gallery of direction,” from which it is shut off by doors, to the last cross gallery, returning by No. 1, and finally leaving either by the “gallery of direction” or by No. 1. A system of cooling the air and driving it on by means of a large number of water-jets will be installed in No. 2 where that heading crosses over the “gallery of direction,” but at present there is no need for it.

The average temperature at the face is 73° F. during the drilling operation, 76° F. after firing the charges, and a maximum[122] of 80° F., lately attaining to 86° F. on the south side, with 80° F. and 85° F. before and after firing. The temperature of the rock is taken at every 110 yds. in holes 5 ft. deep, and shows a gradual increase according to the depth of over-laying rock, to the conductivity of the rock, and to the form of the mountain surface. The maximum hitherto reached on the north side is 68° F., while on the south side, although a smaller distance has been traversed, it attains to 79° F., due to the more rapid increase in depth. Moreover, the temperature of the rock is observed at the permanent stations, 550 yds. from the entrances, in its relation to that of the tunnel and outside air, and though on the north side that of the rock varies almost as quickly as that of the tunnel air, on the south it is influenced very much less.

A few statistics may be of interest with regard to the progress of the last three months (taken from the trimestrial report of January, 1900). At Brigue, where there are three drilling-machines in No. 1 and two in the parallel heading, the total length excavated was 995 yds. or 6409 cu. yds. in 89 working days, the average cross-sectional area being 57 sq. ft. This required 507 attacks and 3066 holes, which had a total depth of 26,600 ft. and 14,700 re-sharpenings of the drilling-tool, with 44,000 lbs. of dynamite.

The average time occupied in drilling was 2 hrs. 45 mins., while charging, firing, and clearing away the débris took 6 hrs., 35 mins. At Brigue 648 men and 29 horses were employed at one time in the tunnel. At Iselle the numbers were 496 men and 16 horses, working in shifts of 8 hrs. Outside the tunnel, in the shops, forges, etc., the men work 8 hrs. to 11 hrs. per day, the total being 541 men at Brigue and 346 men at Iselle. On the Italian side, where the rock is very much harder, there were three drilling-machines in each heading; the total length excavated, with a cross-sectional area of 62 sq. ft., was 960 yds. or 6700 cu. yds. in 91 working days. This required 61,293 re-sharpened tools, 758 attacks, 7940 holes with a total depth[123] of 33,000 ft., and 56,000 lbs. of dynamite. The average time spent in drilling was 2 hrs. 55 mins., and in charging and clearing 2 hrs. 36 mins. Thus, in the hard gneiss, to excavate 1 cu. yd. of rock required 812 lbs. of dynamite, and each tool pierced 612 ins. of rock before it required re-sharpening.

THE MURRAY HILL TUNNEL.

The drift method of excavating tunnels was followed in Section IV of the New York Subway, under Park Avenue between 33rd and 41st Streets. At this point the four tracks of the subway pass under a rocky elevation, known as Murray Hill, in two double track parallel tunnels, 43 ft. apart, center to center. Here already existed a double track tunnel which was built many years ago by the New York Central and Hudson River R.R., and is now used by the Madison Avenue surface cars. The two subway tunnels were driven close below the existing tunnel and also very near the foundations of expensive residences along Park Avenue, particularly on Murray Hill, one of the best residential sections of the city.

Material Penetrated.

—The material penetrated by the excavation consisted chiefly of a surface outcrop of the mica-schist rock which underlies Manhattan Island. The rock was for the most part in compact strata, dipping at about 45° from East to West, but at intervals an unstable stratum was encountered which when free slid on the underlying stratum. Troubles from such slides were experienced during the construction of the tunnel.

Cross-Section.

—The cross-section selected for the tunnels had vertical side walls and a three-centered roof arch with the flattest curve at the crown. The interior dimensions were 25 ft. wide and 16 ft. high. The selected cross-section was not the best suited for a tunnel to be driven through rock, where the sharpest curve should be at the top, but in this case the flattened curve was chosen because of local conditions; chiefly, the presence of the existing tunnel and the consequent necessity[124] of leaving a certain thickness of rock between it and the new tunnel, without depressing very much the grade of the subway.

Fig. 58.—Sequence of Excavation in the Murray Hill Tunnel.

Excavation.

—The two parallel tunnels were driven exclusively from the ends reached by shafts; thus the tunnels were attacked at four parts. It was in these tunnels that a comparative test was made of the different methods of driving tunnels through rock. The contractor applied the heading and drift method at the southern ends of the tunnels, the eastern tunnel being driven by means of a drift while in the western tunnel the usual heading method was followed. This latter method is illustrated in the chapter following and the eastern tunnel at 33rd Street, excavated by means of a drift, is here considered.

Fig. 58 shows the sequence of cuts adopted for this tunnel. It was begun by a bottom drift, about 10 ft. high, 8 ft. wide and 7 ft. deep, which was located at one side of the axis of the tunnel, as indicated in the figure. This drift was immediately widened by removing the portions marked 2. About 50 ft. in the rear the part marked 3 was taken away, thus clearing the entire lower portion of the tunnel. Section 4, about 50 ft. to the rear of section 3, was then broken down and removed.

The methods of drilling and blasting were as follows: In taking out the original drift, a wedge-shaped center cut was made and then enlarged to the full size of the drift by drilling parallel holes. The succeeding sections, 2 and 3, were removed by driving parallel holes, while the top section, 4, was taken away by a center cut and parallel holes. The drills were mounted on columns, two drills to a column, and the holes were usually drilled about 7 ft. deep, starting with a diameter of 234 in. and ending with a diameter of 134 in. They were blasted with 40%[125] dynamite in light charges, only a few holes being fired at a time, usually not more than three or four.

Fig. 59.—Traveling Platform for the Excavation of the Upper Side of the Murray Hill Tunnel.

To remove section 4, a traveling platform 1012 ft. long and 25 ft. wide was used. This platform, as shown in Fig. 59, consisted of two longitudinal beams mounted on four double flanged wheels which were running on tracks laid 23 ft. apart. Resting on top of these beams were four 12 in. × 12 in. uprights braced in every direction against the framework of the platform. This frame was built of 12 in. × 12 in. beams laid longitudinally, the transverse beams being 12 in. × 14 ins. The platform proper was made of 3 in. planks, and was set 9 ft. above the tunnel floor. The columns supporting the drills for the excavation of the upper section 4, were set up above the platform which was then reinforced by other vertical props, as indicated by the dotted lines in the figure. These props, however, were placed so as to leave a clearance beneath the platform for the cars to carry away the débris from the front. During the blasting the platform was moved back so that the blasted rock fell to the floor of the tunnel, whence it was loaded into boxes on the cars.

Strutting.

—When the rock was seamy and full of fissures, running in every direction, it was necessary to support the roof of the excavation. This was done in the following manner: After part 4 was removed the timbers supporting the roof of the excavation were set up. In this case, the polygonal strutting was used. This consisted of heavy timber frames placed transversely to the axis of the tunnel and supporting the planks or poling-boards which ran longitudinally against the roof of the[126] excavation. The seven-segment arch frame was used in the Murray Hill tunnel. At the bottom of part 4 were placed longitudinally 12 × 16 in. beams and upon them rested the inclined segments which, with a horizontal one, formed the arch frame as shown in Fig. 60. When the pressures were too heavy the crown segment was reinforced by a 6 × 12 in. beam, kept in place by two 12 × 12 in. inclined props which rested on the templates. As the tunnel was lined with concrete, the timbering was left in place and it was built outside the line of the extrados of the concrete lining. Timbering was only used for a short distance but it necessitated a larger amount of rock excavation when it was required.

Fig. 60.—Timbering Used in the Murray Hill Tunnel.

Hauling.

—Great efficiency was shown in the method of hauling away the excavated materials. Three narrow-gauge parallel tracks were laid on the floor of the tunnel and extended to the faces of the advance drifts. Small flat cars were run on these tracks. They carried steel boxes, 5 ft. square and 15 ins. deep, fitted with three lifting rings and chains. When filled, the cars were run to the bottom of the shaft, the boxes were hoisted by a stiff-legged derrick placed at the shaft head, and the débris was dumped into storage bins of 300 cu. yds. capacity. These bins were elevated 8 ft. above the street so that the wagons could be driven under it to take loads of spoil by means of chutes. The broken rock was loaded into the boxes by hand.

Concrete Lining.

—The tunnel was lined with concrete which was manufactured by a quite elaborate plant. A stone crushing plant, consisting of bins for raw and crushed stone, was erected at the shaft head and a mixing plant was suspended from the shaft. On the platform of the shaft head were two bins side[127] by side, one for crushed stone, the other for sand; both of which communicated, by means of trap doors, with a hopper chute. The materials from the hopper were delivered into a measuring box where cement was laid on top of the other ingredients by hand. They were then conveyed through a canvas chute into a cubical mixer operated by an engine. The mixer discharged its contents into skips set on cars at the bottom of the shaft and the concrete was hauled inside the tunnel ready for use.

The construction of the lining was accomplished by means of traveling platforms. The footing courses were laid first. Because these projected inward about 18 ins. from the faces of the finished sidewalks it was possible to lay a track rail on their top inner edges on each side of the tunnel. These track rails carried the traveling platforms. There were three of these platforms; the forward one was used for building the side walls; the center one, for carrying a derrick; the last one, for building the roof arch. The side wall platform was mounted on six wheels. On each side there was mounted an adjustable lagging which was curved to conform to the inside profile of the side wall. In operation this platform was run to the point where the side walls were to be constructed and the lagging was adjusted to position and fastened. Skips of concrete were then hoisted on its top, their contents were shoveled into the space between the lagging and the wall of the excavation and were there rammed into place until the finished concrete had reached the top of the lagging. When the concrete had set, the wedges holding the lagging in place were loosened and the platform was moved ahead and adjusted for building a new section of wall. The derrick platform was 2312 ft. wide and 18 ft. long. Transversely, it had three bays, two of which were floored over and one was left without flooring to allow passage for the concrete skips to and from the cars, on the tunnel floor beneath. At the center of the floored area was mounted a derrick to handle the skips. In operation, the derrick platform came between the side wall[128] platform ahead and the roof platform behind. The construction of the roof platform was practically the same as the side wall platform with the addition of roof arch centers at each bent on which lagging could be placed. The mode of procedure was to erect the form for a small space between the side walls already built and the haunches of the center, to shovel concrete from the skips and to run it into place. Then the roof lagging, a part at a time, was placed upward from the haunches and the concrete was filled and rammed behind it. The lining was built from the haunches upward until the two sides approached within a distance of about 5 ft. from each other at the crown. This 5 ft. crown strip or key was built by working from the rear toward the front end of the platform.

Plant.

—The plant used by the contractors for Section IV. of the subway comprised a central power plant located about 4000 ft. from the work. This was on 42nd Street near the East River and furnished power for the work on both Sections IV. and V. The buildings consisted of an engine room 63 × 30 ft. and a boiler room, 42 × 28 ft. In the former room was located one Rand-Corliss air compressor, 22 × 40 × 48 ins., having a capacity of 5000 cu. ft. of free air per minute; in the latter room there were two 200 H.P. water tube boilers. There were also the necessary equipment of feed water pump, air condenser pump, etc. The compressors discharged into a 20 × 512 ft. receiver of riveted steel through a 7 in. pipe. The air from the receiver was carried by a 10 in. pipe 3.277 ft. to the corner of Park Avenue and 41st Street, and was thence run south along Park Avenue in an 8 in. pipe, from which 3 in. branches led to the four headings of the work.

Ventilation.

—The ventilation of the tunnel caused very little trouble. In cool weather the natural draft of the shafts and the air discharged from the drills served to keep the atmosphere wholesome. In warm weather, artificial means were necessary to clear the workings of foul air, particularly after blasting. They comprised at each end a 4 ft. American exhaust[129] fan drawing air from a 12 in. riveted galvanized iron pipe, which extended to the working faces.

Illumination.

—The tunnel was lighted by electric lamps which extended even to the working face. During the blasting, however, all the lamps and wires within 100 ft. from the front were removed and gasoline torches were used; they were also employed before the electric lamps and wires could be replaced, to light the tunnel during the operation of clearing the débris.


[130]

CHAPTER XI.
TUNNELS THROUGH HARD ROCK (Continued).—EXCAVATION BY HEADINGS.


EUROPEAN AND AMERICAN METHODS.

The more common method of tunneling through hard rock is to begin the work by a heading, instead of by a drift. This heading may be of small dimensions, and the remainder of the section may also be removed in successive small parts, or it may be the full width of the section, and the enlargement of the section be made in one other cut.

Fig. 61.—Diagram Showing Sequence of Excavation in Heading Method of Tunneling Rock.

General Discussion.

—When the tunnel is excavated by means of several cuts, which is the method usually employed in Europe, the sequence of work is as indicated by Fig. 61. Work is begun by driving the center top heading No. 1, whose floor is at the level of the bottom of the roof arch, and which is usually excavated by the circular cut method. This heading is widened by removing parts Nos. 2 and 3 until the top part of the section is removed, then the roof arch is built with its feet resting on the unexcavated rock below. The lower portion of the section or bench is removed by first sinking the trench No. 4, after which part No. 5 is taken out, and then parts Nos. 6 and 7, and the side walls built. Part No. 8 for the culvert is finally opened. The heading is, as a rule, driven far in advance, but the excavation of each of the other parts follows the preceding one at a distance behind of about 300 ft.

The strutting, when any is required, is usually the typical radial strutting of the Belgian method of tunneling. The masonry lining is constructed practically the same as in tunnels excavated by a drift. The hauling is done on a single track laid in the heading No. 1, which separates into double tracks[131] where the full top section has been excavated by the removal of parts No. 2. These two tracks are again combined and form a single track along the top of part No. 5, which has been left wider than part No. 4 for this particular purpose. When part No. 3 is excavated a standard-gauge track is laid on its floor; and as the full section of the tunnel is completed by taking out parts Nos. 4 and 5, this single track is replaced by two standard-gauge tracks, into which it switches. Spoil is transferred from the narrow-gauge tracks on the upper level, to the standard-gauge tracks on the tunnel floor, by means of chutes, and building material is transferred in the opposite direction by means of hoisting apparatus.

When the excavation is made by a single wide heading, and a single other cut for removing the bench, which is the method preferred by American engineers, it is called the Heading and Bench method. The work begins by removing a top heading the full width of the section; this heading is usually made 7 ft. or 8 ft. high, and is excavated by the center cut method. The method of strutting usually employed is to erect successive three- or five-segment timber arches, whose feet rest on the top of the bench; when the bench is removed, posts are inserted under the feet of each arch. These arches are covered with a lagging of plank. In America it has often been the practice to let this strutting serve as a temporary lining, and to replace it only after some time, often after years, with a permanent lining of masonry. In a succeeding chapter, some of the methods adopted in relining timber-lined arches with masonry are described. The hauling is done by either narrow or broad gauge tracks laid on the floor of the completed section below. A device called a bench carriage is often employed to enable the cars running on the heading tracks to dump their loads into the cars below, without interfering with the work on the bench front. This device consists of a wide platform carried on trucks, running on rails at the sides of the tunnel floor, so that it is level with the floor of the heading. The front of this platform carries a[132] hinged leaf which may be raised and lowered, and which forms a sort of gang-plank reaching to the floor of the heading. By running the heading cars out on to this traveling platform, they can be dumped into the cars below entirely clear of the work in progress on the bench front.

For the purpose of illustrating the two methods of driving tunnels by a heading, which have been briefly described, the St. Gothard and the Fort George tunnels have been selected. The St. Gothard tunnel is selected, as being one of the longest tunnels in the world, and because it was excavated by a number of small parts; and the Fort George tunnel, as being a double-track tunnel, driven by a heading, and bench, and having a concrete lining.

ST. GOTHARD TUNNEL.

The St. Gothard tunnel penetrates the Alps between Italy and France, and is 914 miles long. It was constructed in 1872-82.

Material Penetrated.

—The St. Gothard tunnel was excavated through rock, consisting chiefly of gneiss, mica-schist, serpentine, and hornblende, the strata having an inclination of from 45° to 90°. At many points the rock was fissured, and disintegrated easily, and water was encountered in large quantities, causing much trouble.

Excavation.

—The sequence of excavation is shown by Fig. 14, p. 36. First the top center heading, No. 1, whose dimensions varied from 8.25 × 8.6 ft. to 8.5 × 9 ft., according to the quality of the rock, was driven never less than 1000 ft. and sometimes over 3000 ft. in advance of parts No. 2. The excavation of parts No. 2 opened up the full top section, and parts Nos. 3, 4, 5, 6, and 7, were removed in the order numbered.

Strutting.

—Where regular strutting was required, the construction shown in Fig. 62 was adopted.

[133]

Masonry.

—The St. Gothard tunnel is lined throughout with masonry. After the upper portion of the section was fully excavated, the roof arch was built with its feet resting upon short planks on the top of the bench. Plank centers were used in constructing the arch. For the arch brick masonry was employed, but the side walls were built of rubble masonry. Shelter niches, about 3 ft. deep, were built into the side walls at intervals, and about every 3,000 ft. storage niches about 10 ft. deep, and closed with a door, were constructed. The culvert was of brick masonry.

Mechanical Installation.

—Water-power was used exclusively in driving the St. Gothard tunnel. At the north end, the Reuss, and at the south end, the Tessin and the Tremola, rivers or torrents were dammed, and their waters conducted to turbine plants at the opposite ends of the tunnel. The power thus furnished by the Reuss was about 1,500 H.P., and the power furnished by the combined supply of the Tessin and Tremola was 1,220 H.P. The turbine plant at both ends at first consisted of four horizontal impulse turbines, but later, two more turbines were added at the south end. Each of the two sets of four turbines first installed drove five groups of three compressors each, and the two supplementary turbines drove two groups of four compressors each. The compressors were of the Colladon type with water injection, and four groups of three compressors each were capable of furnishing 1,000 cu. yds. of air compressed to between seven and eight atmospheres every hour, or about 100 H.P. per hour, delivered to the drills at the front. This air when exhausted provided about 8,000 cu. yds. of fresh air per hour for ventilation.

The compressors at each entrance discharged into a group of four cylindrical receivers of wrought-iron each 5.3 ft. in diameter by 29.5 ft. long, and having a capacity of 593 cu. ft. The cylinders were placed horizontally, the first one receiving the air at one end and discharging it at the other end into the next cylinder, and so on. By this arrangement the air was[134] drained of its moisture, and the discharge from the end receiver into the tunnel delivery pipes was not affected by the pulsations of the compressors. The delivery pipe decreased from 8 in. in diameter at the receiver to 4 ins. in diameter, and finally to 212 ins. in diameter, at the front.

The drills employed were of various patterns. The first one employed was the Dubois & François “perforator,” in which the drill-bit was fed forward by hand. This was replaced by Ferroux drills having an automatic feed. Jules McKean’s “perforator” was employed at the north end of the tunnel. All of these drills were of the percussion type, and were mounted on carriages running on tracks. Their comparative efficiency was officially tested in drilling granitic gneiss with an operating air pressure of 5.5 atmospheres with the following results:

Name of
Drill.
Penetration
Ins. per Min.
Ferroux 1.6 
McKean 1.4 
Dubois & François 1.04
Soummelier 0.85

The heading was excavated by the circular cut method, the holes being driven as follows: Near the center of the heading three holes were first drilled, converging so as to inclose a pyramid with a triangular base. Around these center holes from 9 to 13 others were driven parallel to the tunnel axis. The center holes were blasted first, and then the surrounding holes. From 3 to 5 hours were required to drill the two sets of holes, and from three to four hours were required to remove the blasted rock. The number of holes drilled in removing each of the various parts was as follows:

Part No. 1  6 to  9
Part No. 2  6 to 10
Part No. 3 2
Part No. 4  6 to  9
Part No. 5 3
Part No. 6  6 to  9
Part No. 7 1
Total for full section 36 to 40

[135]

Hauling.

—Two different systems were employed for hauling the spoil and construction material in the St. Gothard tunnel. To remove the spoil from parts Nos. 1 and 2 a narrow-gauge track was laid on the floor of the heading, and the cars were hauled by horses, the grade being descending from the fronts. These narrow-gauge cars were dumped into larger broad-gauge cars running on the track laid on the floor of the completed section and hauled by compressed air locomotives (Fig. 63). To raise the incoming structural material from the broad-gauge cars to the narrow-gauge cars running on the level above, hoisting devices were employed.

Fig. 62.—Method of Strutting Roof, St. Gothard Tunnel.

Fig. 63.—Sketch Showing Arrangement of Car Tracks, St. Gothard Tunnel.

 

FORT GEORGE TUNNEL.[10]

From a point north of 157th Street and Broadway almost to Dyckman Street, that is, a distance of nearly two miles, the New York Subway passes under an elevation known as Fort Washington Heights, which almost bounds Manhattan Island at its upper end near the Harlem Ship Canal. Under this elevation the rapid transit railroad was constructed in tunnel. The tunnel was driven from two intermediate shafts over 110 ft. deep, located one at 169th Street and the other at 181st Street and[136] Broadway. Both shafts were sunk at one side of the center line of the tunnel. After these shafts had been utilized for working purposes during the construction of the tunnel, they were equipped with electric elevators to carry passengers from the streets to the deep station.

[10] Condensed from a paper by Stephen W. Hopkins in Harvard Engineering Journal, April, ’08.

Material.

—The material encountered in the excavation of the Fort George tunnel was the usual mica schist met everywhere on Manhattan Island. It was full of seams with strata running in every direction to such an extent that at many points the roof of the tunnel had to be supported by timbers; at other parts along the line the rock was so disintegrated that it was considered a very loose and treacherous soil. Two serious accidents, each accompanied by loss of life, occurred during the construction of this tunnel. Both of them were caused by the sudden fall of a large ledge of rock which, after the tunnel had been excavated to the full section, remained hanging on the roof, deprived of any support and held in place by the little cohesion of the material packing the seams.

Excavation.

—The tunnel was excavated by the heading method in only two cuts, viz., the heading and bench as indicated in the Fig. 65. The heading, almost as wide as the upper portion of the tunnel section, was excavated in the manner explained on page 91. After the heading was removed, the enlargement of the entire upper section of the tunnel was accomplished by driving three inclined holes at each side of the heading. They were driven at different depths and inclinations, as shown in the figure and were called trimming holes. At the same time the bench was removed by means of five holes—three vertical and two inclined. The line of subgrade was reached by means of five grading holes driven almost horizontal with a slight inclination downward. The air drills for the heading were mounted on columns, all the others on tripods. The blasting was done in the following order: the grading holes were blasted in the first round, the bench and trimming in the second, the center cut of the heading in the third, the sides in the fourth[137] and the dry holes in the last. Thus each advance of 7 ft. of the whole tunnel section was made by means of forty holes fired in five rounds which consumed 277 lbs. of dynamite with an average additional quantity of 76 lbs., making a total of 353 lbs. With the exception of the center cut, where 60% dynamite was used, all the other holes were discharged with 40% dynamite.

Cross Section.

Fig. 64.—Arrangement of Drill Holes in the Fort George Tunnel.

Longitudinal Section.

Fig. 65.—Longitudinal Section of the Heading and Bench Excavation at the Fort George Tunnel.

 

Larger illustration

Strutting.

—When the rock was of such a character as to be dangerous and required permanent timber support, until the masonry lining was in place, the method employed was as follows: a top heading was first excavated about 10 ft. deep and from 10 ft. to 12 ft. wide for some distance, 100 ft. to 500 ft., the dangerous rock being supported by 10 × 10 in. yellow pine plumb or raking posts and sometimes by timber bents (“caps and legs”). The next process was to widen the heading to the full width of 30 ft. for a length of about 20 ft., placing timber supports under the dangerous rock as the widening-out progressed. The excavation was deepened a little at the sides to 9.5 ft. below the roof grade (ordered line of excavation) or about 11 ft. below the roof grade, which was necessary when segmental timbering was to be used, to allow for placing a 12 × 12 in. “wall plate” (timber sill) along each side. These wall plates, generally 20 ft. long, were set to the correct elevation and were leveled by blocking and wedging. As soon as the wall plates were set,[138] the work of erecting the segmental timber sets, one set at a time, was begun by starting from the wall plates and supporting the timber on scaffolding until keyed in, then it was blocked up to the rock at each joint and at other necessary points. When two or more sets were erected, lagging, made of boards 2 ins. thick by 6 to 10 ins. wide, was placed over the segmental timber “sets” and the space above the timber dry packed with small stone placed by hand. Sometimes there was enough room between the timber and the rock to do all the dry packing after the full number of sets, generally six, had been placed on the two wall plates. The temporary timber posts and braces were taken out as the segmental timber sets were erected.

The seven timbers that made up a timber set were of yellow pine each 10 × 10 ins., 5 ft. 2 ins. long at the intrados and 5 ft. 6 ins. at the extrados. The sets were spaced from 3 ft. to 5 ft. apart, but generally 3.5 ft. and braced to each other at each joint of the segmental timbers by 6 × 8 in. spreaders which were wedged against the joint splices.

When the timbers were all erected on a set of wall plates (20 ft.) and the lagging and dry packing were completed the work of taking out the bench, which had been partly drilled as the timber sets were erected, was resumed. The face of the bench, which had been left about 4 ft. from the end of the previous set of wall plates, was brought forward slowly by placing 10 × 10 in. plumb posts which extended below subgrade under the wall plates. These posts were generally spaced the same as the timber sets above and directly under them.

When the face of the bench had been brought to within 3 or 4 ft. of the forward end of the wall plate, the process of widening out and timbering another 20 ft. length of heading was begun. In some places the rock, though needing permanent support, was such that the work of taking out the bench and widening the heading was carried on simultaneously without increasing the danger; but the greater portion of the work, when strutting was required, was done as has been described.

[139]

Fig. 66.—Diagram Showing the Arrangement of Drill Holes in the Heading and Bench of the Gallitsin Tunnel.

Hauling.

—The excavated material was loaded at the foot of the bench in dump cars which were run by mule power to the portal or the shaft according to location, on 36 in. gauge-service tracks. Inclines at 159th Street were graded from the portal at 158th Street to the street surface. The cars were formed at this portal into a train and were taken up the incline to the dump at 162nd Street and the North River by construction locomotives. At the 168th Street and 181st Street shafts, the cars were hoisted to the surface in cages (elevators). In the former case, they were taken to the dump at 165th Street and the North River by mules and gravity; in the latter case, to various dumps by teams. At both shafts, stone crushers were located, therefore a great part of the material did not have to be hauled to the dumps or even taken to the surface as a great deal of stone was used in dry packing over the concrete arch. The material from the portal at Fort George was hauled by mules directly to the dump near by.

Lining.

—The entire tunnel was lined with concrete, consisting of a floor 4 ins. thick and vertical side walls 18 ins. thick and 25 ft. apart, which carried a semicircular arch 18 ins. thick except in the timbered portions where the thickness was increased to 21 ins. and to 24 and 27 ins. in some places. The springing line of the arch is 6 ft. 2 ins. above the concrete floor (5 ft. 6 ins. above the base of rail), hence the maximum clearance above the base of rail is 18 ft. The side walls and arch were built solid of rock to a height of 8 ft. above springing line and the space above that point between the concrete and the rock was packed by hand with small stones. The concrete of the arch was laid on timber centers erected for that purpose.

The heading and bench method of excavating rock tunnels is not always followed in the manner just described but is employed with slight modifications. There is a large variety of modifications but only the two most commonly used in practical works are given here. The heading and bench method illustrated in Fig. 66 was used, among others, on the Gallitsin[140] tunnel along the Pennsylvania R.R. at the summit of the Alleghenies near Altoona, Pa., and more recently in the tunnels constructed by the same company under Bergen Hill, N. J., for the entrance to New York City. The shape of the cross-section of these tunnels was semicircular arch on vertical side walls. The excavation was made in three consecutive cuts, viz., the heading marked 1 in the figure, the top bench 2, and the lower bench 3. A heading 7 ft. high and 10 ft. wide was attached near the crown of the arch and the rock was removed by means of a center cut and parallel side holes, the number of holes depending upon the consistency of the rock. The part No. 2 was excavated by drilling holes at each side to different depths and at different inclinations in order to reach the line of the profile as well as the springing line of the proposed tunnel. The central part of the top bench was excavated by means of holes driven vertically from the floor of the heading. The bottom bench No. 3, included between the springing line of the arch and subgrade, was removed by means of five vertical holes driven from the floor of the top bench. The three different working parts were kept nearly 10 ft. apart. Blasting was effected in reversed order to the figures marked in the diagram, viz., the bottom bench first and the heading last.

Fig. 67.—Diagram Showing a Modification of the Heading and Bench Method.

Still another modification of the heading and bench method, commonly followed by American engineers, is the one shown in Fig. 67. This consists in dividing the tunnel section in three[141] parts by horizontal lines. The resultant parts are first the heading excavated close to the roof, and as wide as the whole section of the tunnel; second, the top bench in the middle, and lastly the bottom bench excavated to the depth of the proposed tunnel floor. The excavation proceeds in the numerical order, beginning at the heading which was excavated, as usual, by means of a center cut and side holes to the full width of the proposed tunnel. First the top bench, then the bottom bench, are removed by means of vertical holes driven from the floor of the heading and the floor of the top bench, respectively.

COMPARISON OF METHODS.

The differences between the drift and heading methods of excavating tunnels through rock, consist chiefly in the excavations, strutting, and hauling. When the drift method is employed an advanced gallery is opened along the floor of the tunnel before the upper part of the section is removed, and when the heading method is employed the upper part of the section is completely excavated before any part of the section below is excavated. When the drift method of driving is employed polygonal strutting is usually used, and longitudinal strutting is employed with the heading method of driving. In the drift method the hauling is done by one system of tracks at the same level, while in the heading method two systems of tracks are employed at different levels.

It is, perhaps, impossible to state without qualification which method is the better. European engineers who have been connected with both the Mont Cenis and St. Gothard tunnels, driven by the drift and heading methods respectively, had the opportunity to practically observe the advantages and disadvantages of these two methods. Their conclusion was that the drift method was more convenient for tunnels driven through hard and compact rock, and that the heading method was better for tunnels of fissured and disintegrated rocks. To prove this opinion, experiments were made in one of the tunnels approaching[142] the great St. Gothard tunnel. On a short tunnel the excavation was made by the drift method from one portal, while at the other, the heading method was followed. Although the general rule was fully confirmed still the conditions at the portals were not identical. More conclusive experiments were made by Mr. Ira A. Shaler, the contractor for Section IV., of New York Rapid Transit Railway. He had the opportunity of driving two parallel tunnels under Murray Hill only 17 ft. apart. The eastern tunnel was driven by the drift method, the western one by the heading method. After the work had proceeded for a few months, Mr. Shaler stated that in his case the drift method was more convenient. He could spare drilling several holes at each advance, thus obtaining economy in time, labor and material without considering the advantage of a simpler transportation of the débris. He promised to publish his results for the benefit of the profession, but, unfortunately, lost his life in an accident in the tunnel before the completion of the work.

An advantage that the drift method affords in long tunnels is, that the water, which is usually found in large quantities under high mountains, is easily collected in the drift and conveyed to the culvert, while in the heading method the water from the advance gallery, before being collected into the culvert built on the floor of the tunnel, must pass through all the workings. This may be a serious inconvenience when water is found in large quantities, as, for instance, was the case in the St. Gothard tunnel, where the stream amounted to 57 gallons per second.


[143]

CHAPTER XII.
EXCAVATING TUNNELS THROUGH SOFT GROUND; GENERAL DISCUSSION; THE BELGIAN METHOD.


GENERAL DISCUSSION.

It may be set down as a general truth that the excavation of tunnels through soft ground is the most difficult task which confronts the tunnel engineer. Under the general term of soft ground, however, a great variety of materials is included, beginning with stratified soft rock and the most stable sands and clays, and ending with laminated clay of the worst character. From this it is evident that certain kinds of soft-ground tunneling may be less difficult than the tunneling of rock, and that other kinds may present almost insurmountable difficulties. Classing both the easy and the difficult materials together, however, the accuracy of the statement first made holds good in a general way. Whatever the opinion may be in regard to this point, however, there is no chance for dispute in the statement that the difficulty of tunneling the softer and more treacherous clays, peats, and sands is greater than that of tunneling firm soils and rock; and if we describe the methods which are used successfully in tunneling very unstable materials, no difficulty need be experienced in modifying them to handle stable materials.

Characteristics of Soft-Ground Tunneling.

—The principal characteristics which distinguish soft-ground tunneling are, first, that the material is excavated without the use of explosives, and second, that the excavation has to be strutted practically[144] as fast as it is completed. In treacherous soils the excavation also presents other characteristic phenomena: The material forming the walls of the excavation tends to cave and slide. This tendency may develop immediately upon excavation, or it may be of slower growth, due to weathering and other natural causes. In either case the roof of the excavations tends to fall, the sides tend to cave inward and squeeze together, and the bottom tends to bulge or swell upward. In materials of very unstable character these movements exert enormous pressures upon the timbering or strutting, and in especially bad cases may destroy and crush the strutting completely. Outside the tunnel the surface of the ground above sinks for a considerable distance on each side of the line of the tunnel.

Methods of Soft-Ground Tunneling.

—There are a variety of methods of tunneling through soft ground. Some of these, like the quicksand method and the shield method, differ in character entirely, while in others, like the Belgian, German, English, Austrian, and Italian methods, the difference consists simply in the different order in which the drifts and headings are driven, in the difference in the number and size of these advance galleries, and in the different forms of strutting framework employed. In this book the shield method is considered individually; but the description of the Belgian, German, English, Austrian, Italian, and quicksand methods are grouped together in this and the three succeeding chapters to permit of easy comparison.

THE BELGIAN METHOD OF TUNNELING THROUGH SOFT GROUND.

Figs. 68 and 68A.—Diagrams Showing Sequence of Excavations in the Belgian Method.

The Belgian method of tunneling through soft ground was first employed in 1828 in excavating the Charleroy tunnel of the Brussels-Charleroy Canal in Belgium, and it takes its name from the country in which it originated. The distinctive characteristic of the method is the construction of the roof arch[145] before the side walls and invert are built. The excavation, therefore, begins with the driving of a top center heading which is enlarged until the whole of the section above the springing lines of the arch is opened. Various modifications of the method have been developed, and some of the more important of these will be described farther on, but we shall begin its consideration here by describing first the original and usual mode of procedure.

Excavation.

Fig. 68 is the excavation diagram of the Belgian method of tunneling. The excavation is begun by opening the center top heading No. 1, which is carried ahead a greater or less distance, depending upon the nature of the soil, and is immediately strutted. This heading is then deepened by excavating part No. 2, to a depth corresponding to the springing lines of the roof arch. The next step is to remove the two side sections No. 3, by attacking them at the two fronts and at the sides with four gangs of excavators. The regularity and efficiency of the mode of procedure described consist in adopting such dimensions for these several parts of the section that each will be excavated at the same rate of speed. When the upper part of the section has been excavated as described, the roof arch is built, with its feet supported by the unexcavated earth below. This portion of the section is excavated by taking out first the central trench No. 4 to the depth of the bottom of the tunnel, and then by removing the two side parts No. 5. As these side parts No. 5 have to support the arch,[146] they have to be excavated in such a way as not to endanger it. At intervals along the central trench No. 4, transverse or side trenches about 2 ft. wide are excavated on both sides, and struts are inserted to support the masonry previously supported by the earth which has been removed. The next step is to widen these side trenches, and insert struts until all of the material in parts No. 5 is taken out.

When the material penetrated is firm enough to permit, the plan of excavation illustrated by the diagram, Fig. 68A, is substituted for the more typical one just described. The only difference in the two methods consists in the plan of excavating the upper part of the profile, which in the second method consists in driving first the center top heading No. 1, and then in taking out the remainder of the section above the springing lines of the arch in one operation, while in the first method it is done in two operations. The distance ahead of the masonry to which the various parts can be driven varies from 10 ft. to, in some cases, 100 ft., being very short in treacherous ground, and longer the more stable the material is.

Strutting.

—The longitudinal method of strutting, with the poling-boards running transversely of the tunnel, is always employed in the Belgian method of tunneling. In driving the first center top heading, pairs of vertical posts carrying a transverse cap-piece are erected at intervals. On these cap-pieces are carried two longitudinal bars, which in turn support the saddle planks. As fast as part No. 2, Fig. 68, is excavated, the vertical posts are replaced by the batter posts A and B, Fig. 69. The excavation of parts No. 3 is begun at the top, the poling-boards a and b being inserted as the work progresses. To support the outer ends of these poling-boards, the longitudinals X and Y are inserted and supported by the batter posts C and D. In exactly the same way the poling-boards c and d, the longitudinals V and W, and the struts E and F, are placed in position; and this procedure is repeated until the whole top part of the section is strutted, as shown by Fig. 69,[147] the cross struts x, y, z, etc., being inserted to hold the radial struts firmly in position. The feet of the various radial props rest on the sill M N. These fan-like timber structures are set up at intervals of from 3 ft. to 6 ft., depending upon the quality of the soil penetrated.

Fig. 69.—Sketch Showing Radial Roof Strutting, Belgian Method.

Fig. 70.—Sketch Showing Roof Arch Center, Belgian Method.

Centers.

—Either plank or trussed centers may be employed in laying the roof arch in the Belgian method, but the form of center commonly employed is a trussed center constructed as shown by Fig. 70. It may be said to consist of a king-post truss carried on top of a modified form of queen-post truss. The collar-beam and the tie-beam of the queen-post truss are spaced about 7 ft. apart, and the posts themselves are left far enough apart to allow the passage of workmen and cars between them. The tie beam of the king-post truss is clamped to the collar-beam of the queen-post truss by iron bands. On the rafters of the two trusses are fastened timbers, with their outer edges cut to the curve of the roof arch. These centers are set up midway between the fan-like strutting frames previously described. They are usually built of square timbers. The tie beams are usually 6 × 6 in., and the struts and posts 4 × 4 in. timbers. The reason for giving the larger sectional[148] dimensions to the tie beams, contrary to the usual practice in constructing centers, is that it has to serve as a sill for distributing the pressure to the foundation of unexcavated soil which supports the center. Sometimes a sub-sill is used to support the center upon the soil; and in any case wedges are employed to carry it, which can be removed for the purpose of striking the center. After the arch is completed, the centers may be removed immediately, or may be left in position until the masonry has thoroughly set. In either case the leading center over which the arch masonry terminates temporarily is left in position until the next section of the arch is built.

Masonry.

—The masonry of the roof arch, which is the first part built, is of necessity begun at the springing lines, and the first course rests on short lengths of heavy planks. These planks, besides giving an even surface upon which to begin the masonry, are essential in furnishing a bearing to the struts inserted to support the arch while the earth below them, part No. 5, Fig. 68, is being excavated. As the arch masonry progresses from the springing lines upward, the radial posts of the strutting are removed, and replaced by short struts resting on the lagging of the centers, which support the crown bars or longitudinals until the masonry is in place, when they and the poling-boards are removed, and the space between the arch masonry and walls of the excavation is filled with stone or well-rammed earth.

Considering now the side wall masonry, it will be remembered that in excavating the part No. 5, Fig. 68, of the section, frequent side trenches were excavated, and struts inserted to take the weight of the masonry. These struts are inserted on a batter, with their feet near the center of the tunnel floor, so that the side wall masonry may be carried up behind them to a height as near as possible to the springing lines of the arch. When this is done the struts are removed, and the space remaining between the top of the partly finished side wall and the arch is filled in. This leaves the arch[149] supported by alternate lengths or pillars of unexcavated earth and completed side wall. The next step is to remove the remaining sections of earth between the sections of side wall, and fill in the space with masonry. Fig. 71 is a cross-section, showing the masonry completed for one-half and the inclined props in position for the other half; and Fig. 72 is a longitudinal section showing the pillars of unexcavated earth between the consecutive sets of inclined struts and several other details of the lining, strutting, and excavating work.

Fig. 71.—Sketch Showing Method of Underpinning Roof Arch with the Side Wall Masonry.

Fig. 72.—Longitudinal Section Showing Construction by the Belgian Method.

The invert masonry is built after the side walls are completed. This is regarded as a defect of this method of tunneling, since the lateral pressures may squeeze the side walls together and distort the arch before the invert is in place to brace them apart. To prevent as much as possible the distortion of the arch after the centers are removed, it is considered good practice to shore the masonry with horizontal beams having their ends abutting against plank, as shown by Fig. 71. These horizontal beams should be placed at close intervals, and be supported at intermediate points by vertical posts, as shown[150] by the illustration. Since the roof arch rests are for some time supported directly by the unexcavated earth below, settlement is liable, particularly in working through soft ground. This fact may not be very important so long as the settlement is uniform, and is not enough to encroach on the space necessary for the safe passage of travel. To prevent the latter possibility the centers are placed from 9 ins. to 15 ins. higher than their true positions, depending upon the nature of the soil, so that considerable settlement is possible without any danger of the necessary cross-section being infringed upon. In conclusion it may be noted that the lining may be constructed in a series of consecutive rings, or as a single cylindrical mass.

Hauling.

—Since in this method of tunneling the upper part of the section is excavated and lined before the excavation of the lower part is begun, the upper portion is always more advanced than the lower. To carry away the earth excavated at the front, therefore, an elevation has to be surmounted; and this is usually done by constructing an inclined plane rising from the floor of the tunnel to the floor of the heading, as shown by Fig. 72. This inclined plane has, of course, to be moved ahead as the work advances, and to permit of this movement with as little interruption of the other work as possible, two planes are employed. One is erected at the right-hand side of the section, and serves to carry the traffic while the left-hand side of the lower section is being removed some distance ahead and the other plane is being erected. The inclination given to these planes depends upon the size of the loads to be hauled, but they should always have as slight a grade as practicable. Narrow-gauge tracks are laid on these planes and along the floor of the upper part of the section passing through the center opening mentioned before as being left in the centers and strutting.

In excavating the top center heading there is, of course, another rise to its floor from the floor of the upper part of the section. Where, as is usually the case in soft soils, this top[151] heading is not driven very far in advance, the earth from the front is usually conveyed to the rear in wheelbarrows, and dumped into the cars standing on the tracks below. In firm soils, where the heading is driven too far in advance to make this method of conveyance adequate, tracks are also laid on the floor of the heading, and an inclined plane is built connecting it with the tracks on the next level below. In place of these inclined planes, and also in place of those between the floor of the tunnel and the level above, some form of hoisting device is sometimes employed to lift the cars from one level to the other. There are some advantages to this method in point of economy, but the hoisting-machines are not easily worked in the darkness, and accidents are likely to occur.

Fig. 73.—Diagram Showing Sequence of Excavation in Modified Belgian Method.

In the advanced top heading and in the upper part of the section narrow-gauge tracks are necessarily employed, and these may be continued along the floor of the finished section, or the permanent broad-gauge railway tracks may be laid as fast as the full section is completed. In the former case the permanent tracks are not laid until the entire tunnel is practically completed; and in the latter case, unless a third rail is laid, the loads have to be transshipped from the broad- to the narrow-gauge tracks or vice versa. It is the more general practice to use a third rail rather than to transship every load.

Modifications.

—Considering the extent to which the Belgian method of tunneling has been employed, it is not surprising that many modifications of the standard mode of procedure have been developed. The modification which differs most from the standard form is, perhaps, that adopted in excavating the Roosebeck tunnel in Germany. This method preserves the principal characteristic of the Belgian method, which is the construction of the upper part of the section first; but instead of building the side walls from the bottom upward, they are built in small sections from the top downward. The excavation begins by driving the center top heading No. 1, Fig. 73, whose floor is at the level of the springing lines of the roof arch, and[152] then the two side parts No. 2 are excavated, opening up the entire upper portion of the section in which the roof arch is built, as in the regular Belgian method. The next step is to excavate part No. 3, shoring up the arch at frequent intervals. Between these sets of shoring the side walls are built, resting on planks on the floor of part No. 3, and then the sets of shores are removed and replaced by masonry. Next part No. 4 is excavated, shored, and filled with masonry as was part No. 3. In exactly the same way parts 5, 6, 7, and 8 are constructed in the order numbered. To prevent the distortion of the arch during the side-wall construction it is braced by horizontal struts, as indicated above in Fig. 71.

Advantages.

—The advantages of the Belgian method of tunneling may be summarized as follows: (1) The excavation progresses simultaneously at several points without the different gangs of excavators interfering with each other, thus securing rapidity and efficiency of work; (2) the excavation is done by driving a number of drifts or parts of small section, which are immediately strutted, thus causing the minimum disturbance of the surrounding material; (3) the roof of the tunnel, which is the part of the lining exposed to the greatest pressures, is built first.

Fig. 74.—Sketch Showing Failure of Roof Arch by Opening at Crown.

Disadvantages.

—The disadvantages of the Belgian method of tunneling may be summarized as follows: (1) The roof arch which rests at first on compressible soil is liable to sink; (2) before the invert is built there is danger of the arch and side walls being distorted or sliding under the lateral pressures; (3) the masonry of the side walls has to be underpinned to the arch masonry.

Accidents and Repairs.

—One of the most frequent accidents in the Belgian method of tunneling is the sinking of the roof[153] arch owing to its unstable foundation on the unexcavated soil of the lower portion of the section. The amount of settlement may vary from a few inches in firm soil to over 2 ft. in loose soils. To counteract the effect of this settlement it is the general practice to build the arch some inches higher than its normal position. When the settlement is great enough to infringe seriously upon the tunnel section, repairs have to be made; and the only way of accomplishing them is to demolish the arch and rebuild it from the side walls. It is usually considered best not to demolish the arch until the invert has been placed, so that no further disturbance is likely to occur once the lining is completed anew.

The rotation of the arch about its keystone, or the opening of the arch at the crown, by the squeezing inward of the haunches by the lateral pressures, is another characteristic accident. Fig. 74 shows the nature of the distortion produced; the segments of the arch move toward each other by revolving on the intradosal edges of the keystone, which are broken away and crushed together with the operation, while the extradosal edges are opened. It is to prevent this occurrence that the horizontal struts shown in Fig. 71 are employed. The manner of repairing this accident differs, depending upon the extent of the injury. When the intradosal edges of the keystone are but slightly crushed, the repairing is done as directed by Fig. 75. When the keystone is completely crushed, however, the indications are that the material of the keystone, usually brick, is not strong enough to resist the pressures coming upon it, and it is advisable to substitute a stronger material in the repairs, and a stone keystone is constructed as shown by Fig. 75. The middle stone of this keystone extends through the depth of the arch ring, and the two side stones only half-way through, their purpose being merely[154] to resist the crushing forces which are greatest at the intrados. Sometimes, when the pressures are unsymmetrical, the arch ring breaks at the haunches as well as the crown, as shown by Fig. 75, which also indicates the mode of repairing. This consists in demolishing the original arch, and rebuilding it with stone voussoirs inserted in place of the brick in which the rupture occurred.

Fig. 75.—Sketches Showing Methods of Repairing Roof Arch Failures.

Larger illustration


[155]

CHAPTER XIII.
THE GERMAN METHOD—EXCAVATING TUNNELS THROUGH SOFT GROUND (Continued); BALTIMORE BELT LINE TUNNEL.


The German method of tunneling was first used in 1803 in constructing the St. Quentin Canal. In 1837 the Königsdorf tunnel of the Cologne and Aix la Chapelle R.R. was excavated by the same method. The success of the method in these two difficult pieces of soft-ground tunneling led to its extensive adoption throughout Germany, and for this reason it gradually came to be designated as the German method. Briefly explained the method consists in excavating first an annular gallery in which the side walls and roof arch are built complete before taking out the center core and building the invert.

Fig. 76.—Diagrams Showing Sequence of Excavation in German Method of Tunneling.

Excavation.

—The excavation of tunnels by the German method is begun either by driving two bottom side drifts or by driving a center top heading. Fig. 76 shows the mode of procedure when bottom side drifts are used to start the work. The two side drifts No. 1 are made from 7 ft. to 8 ft. wide, and about one-third the total height of the full section; the[156] width of each heading has to be sufficient for the construction of the masonry and strutting, and for the passage of narrow spoil cars alongside them. These drifts are increased in height to the springing line of the arch by taking out the two drifts No. 2. Next the top center heading No. 3 is driven, and finally the two haunch headings No. 4 are excavated. The center core No. 5 is utilized to support the strutting until the side walls and roof arch are completed, when it is broken down and removed. In case of very loose material, where the first side drifts cannot be carried as high as one-third the height of the section, it is the common practice to make them about one-fourth the height, and to take out the side portions of the annular gallery in three parts, as shown by Fig. 76.

Fig. 77.—Diagram Showing Sequence of Excavations in Water Bearing Material, German Method.

The top center heading plan of commencing the excavation is usually employed in firm materials or when a vein of water is encountered in the upper part of the section. In the latter contingency a small bottom drift A, Fig. 77, is first driven to serve as a drain; but in any case the excavation proper of the tunnel consists in first driving the center top heading No. 1, and then by working both ways along the profile parts, Nos. 2, 3, 4, and 5 are removed. Part No. 6 is left to support the strutting until the side walls and roof arch are built, when it is also excavated.

Strutting.

—When the excavation is begun by bottom side drifts these drifts are strutted by erecting vertical posts close against the sides of the drift and placing a cap-piece transversely across the roof of the drift. The side posts are usually supported by sills placed across the bottom of the drift. These frameworks of posts, cap, and sill are erected at short intervals, and the roof, and, if necessary, the sides of the drift between them, are sustained by means of longitudinal poling-boards[157] extending from one frame to the next. The cap-pieces of the strutting for the bottom drifts serve as sills for the exactly similar strutting of the heading next above. To support the additional weight, and to allow the construction of the side walls, the strutting of the bottom drifts is strengthened by inserting an intermediate post between the original side posts of each frame. These intermediate posts are not inserted at the center of the frames or bents, but close to the wall masonry line as shown by Fig. 78. This eccentric position of the post avoids any interference with the hauling, and also allows the removal of the adjacent side post when the masonry is constructed.

Fig. 78.—Sketch Showing Work of Excavating and Timbering Drifts and Headings.

Fig. 79.—Sketch Showing Method of Roof Strutting.

 

Two methods of strutting the soffit of the excavation are employed, one being a modification of the longitudinal system employed in the English method of tunneling described in a succeeding chapter, and the other a modification of the Belgian system previously described. Fig. 79 shows the method of employing the radial strutting of the Belgian system. At the beginning the center top heading is strutted with rectangular bents such as are employed for strutting the drifts. As this heading is enlarged by taking out the haunch sections, radial posts are inserted, as shown by Fig. 79, which also indicates[158] the method of strutting the side trenches when the excavation is carried downward from the center top heading instead of upward from bottom side drifts.

Masonry.

—Whatever plan of excavation or strutting is employed, the construction of the masonry lining in the German method of tunneling begins at the foundations of the side walls and is carried upward to the roof arch. The invert, if one is required, is built after the center core of earth is removed.

Centering.

—Tunnel centers are generally employed in the German method of tunneling, a common construction being shown by Fig. 80. It is essentially a queen-post truss, the tie beam of which rests on a transverse sill as shown by the illustration. The transverse sill is supported along its central portion by the unexcavated center core of earth, and at its ends either directly on the vertical posts or on longitudinal beams resting on these posts. The diagonal members of the queen-post truss form the bottom chords of small king-post trusses which are employed to build out the exterior member of the center to a closer approximation to the curve of the arch.

Fig. 80.—Sketch Showing Roof Arch Centers and Arch Construction.

Hauling.

—When the bottom side drift plan of excavation is employed, the spoil from the front of the drift is removed in narrow-gauge cars running on a track laid as close as practicable to the center core. These same cars are also employed to take the spoil from the drifts above, through holes left in the ceiling strutting of the bottom drifts. The spoil from the soffit sections may be removed by the same car lines used in excavating the drifts, or a narrow-gauge track may be laid on the top of the center core for this special purpose. In the latter case the soffit tracks are usually connected by means of inclined planes with[159] the tracks on the bottoms of the side drifts. Generally, however, the separate soffit car line is not used unless the material is of such a firm character that the headings and drifts can be carried a great distance ahead of the masonry work. With the center top heading plan of beginning the excavation, the car track has, of course, to be laid on the top of the center core. The center core itself is removed by means of car tracks along the floor of the completed tunnel.

Advantages and Disadvantages.

—Like the Belgian method of tunneling, the German method has its advantages and disadvantages. Since the excavation consists at first of a narrow annular gallery only, the equilibrium of the earth is not greatly disturbed, and the strutting does not need to be so heavy as in methods where the opening is much larger. The undisturbed center core also furnishes an excellent support for the strutting, and for the centers upon which the roof arches are built. Another important advantage of the method is that the construction of the masonry lining is begun logically at the bottom, and progresses upward, and a more homogeneous and stable construction is possible. The great disadvantage of the method is the small space in which the hauling has to be done. The spoil cars practically fill the narrow drifts in passing to and from the front, and interfere greatly with the work of the carpenters and masons. Another objection to the method is that the invert is the very last portion of the lining to be built. This may not be a serious objection in reasonably compact and stable materials, but in very loose soils there is always the danger of the side walls being squeezed together before the invert masonry is in position to hold them apart. Altogether the difficulties are of a character which tend to increase the expense of the method, and this is the reason why to-day it is seldom used even in the country where it was first developed, and for some time extensively employed. For repairing accidents, such as the caving in of completed tunnels, the German method of tunneling is frequently used, because of the ease with which the[160] timbering is accomplished. In such cases the cost of the method used cuts a small figure, so long as it is safe and expeditious.

BALTIMORE BELT LINE TUNNEL.

In the last few years a modification of the German method was used in this country for the construction of several railroad tunnels. The modification consists in excavating the two-side drifts up to the springing line of the arch of the proposed tunnel. Then a central heading, which is afterward enlarged to the whole section of the tunnel, is excavated close to the crown. At the same time the masonry is constructed from the foundation up in the side drifts. From the floor of the upper section already excavated and strutted, the top of the masonry of the drifts is reached by means of small side cuts; thus the lining is made continuous up to the keystone. The central nucleus or bench is removed after the tunnel has been lined.

The most important tunnel excavated by this method was the Baltimore Belt Line tunnel described as follows:

The Baltimore Belt Ry. Co. was organized in 1890 by officials of the Baltimore & Ohio, and Western Maryland railways, and Baltimore Capitalists, to build 7 miles of double track railway, mostly within the city limits of Baltimore. This railway was partly open cut and embankment, and partly tunnel, and its object was to afford the companies named facilities for reaching the center of the city with their passengers and freight. To carry out the work the Maryland Construction Co. was organized by the parties interested, and in September, 1890, this company let the contract for construction to Ryan & McDonald of Baltimore, Md. The chief difficulties of the work centered in the construction of the Howard-street tunnel, 8350 ft. long, running underneath the principal business section of the city.

Material Penetrated.

—The soil penetrated by the tunnel was of almost all kinds and consistencies, but was chiefly sand of varying degrees of fineness penetrated by seams of loam, clay,[161] and gravel. Some of the clay was so hard and tough that it could not be removed except by blasting. Rock was also found in a few places. For the most part, however, the work was through soft ground, furnishing more or less water, which necessitated unusual precautions to avoid the settling of the street, and consequent damage to the buildings along the line. A large quantity of water was encountered. Generally this water could be removed by drainage and pumps, and the earth be prevented from washing in by packing the space between the timbering with hay or other materials. At points where the inflow was greatest, and the earth was washed in despite the hay packing, the method was adopted of driving 6-in. perforated pipes into the sides of the excavation, and forcing cement grout through them into the soil to solidify it. These pipes penetrated the ground about 10 ft., and the method proved very efficient in preventing the inflow of water.

Excavation.

—The excavation was carried out according to the German method of tunneling. Bottom side drifts were first driven, and then heightened to the springing line of the roof arch. Next a center top heading was driven, and the haunch sections taken out. The object of beginning the excavations by bottom side drifts, was to drain the soil of the upper part of the section. The center core was removed after the side walls and roof arch were completed, its removal being kept from 50 ft. to 75 ft. to the rear of the advanced heading. The dimensions of the side drifts proper were about 8 × 8 ft., but they were often carried down much below the floor level to secure a solid foundation bed for the side walls.

Strutting.

—The side drifts were strutted by means of frames composed of two batter posts resting on boards, and having a cap-piece extending transversely across the roof of the drift. These frames were spaced about 4 ft. apart. The excavation was advanced in the usual way by driving poling-boards at the top and sides, with a slight outward and upward inclination, so that the next frame could be easily inserted leaving space[162] enough between it and the sheeting to permit the next set of poling-boards to be inserted. These poling-boards were driven as close together as practicable so as to prevent as much as possible the inflow of water and earth.

Fig. 81.—Sketch Showing Method of Excavating and Strutting Baltimore Belt Line Tunnel.

Larger illustration

The center top heading was strutted in the same manner as were the side drifts. The arrangement of the strutting employed in enlarging the center top heading is shown clearly by Fig. 81, which also shows the manner of strutting the side drifts and face of the excavation, and of building the masonry.

Centers.

—Both wood and iron centers were employed in building the roof arch. The timber centering was constructed of square timbers, as shown by Fig. 82. This construction of the iron centers is shown by Fig. 83. Each of the iron centers consisted of two 6 × 6 in. angles butted together, and bent into the form of an arch rib. Six of these ribs were set up 4 ft.[163] apart. They were made of two half ribs butted together at the crown, and were held erect and the proper distance apart by spacing rods. The rearmost rib was held fast to the completed arch masonry, and in turn supported the forward ribs while the lagging was being placed.

Fig. 82.—Roof Arch Construction with Timber Centers, Baltimore Belt Line Tunnel.

Masonry.

—The side walls of the lining were built first in the bottom side drifts, as shown by Fig. 81. They were generally placed on a foundation of concrete, from 1 ft. to 2 ft. thick. As a rule the side walls were not built more than 20 ft. in advance of the arch, but occasionally this distance was increased to as much as 90 ft. The roof arch consisted ordinarily of five rings of brick, but at some places in especially unstable soil eight rings of brick were employed. The arch was built in concentric sections about 18 ft. in length. All the[164] timber of the strutting above the arch and outside of the side walls was left in place, and the voids were filled with rubble masonry laid in cement mortar. It required about 125 mason hours to build an 18-ft. arch section. Figs. 82 and 83 show various details of the masonry arch work.

Fig. 83.—Roof Arch Construction with Iron Centers, Baltimore Belt Line Tunnel.

Owing to the very unstable character of the soil, considerable difficulty was experienced in building the masonry invert. The process adopted was as follows: Two parallel 12 × 12 in. timbers were first placed transversely across the tunnel, abutting against longitudinal timbers or wedges resting against the side walls. Short sheet piles were then driven into the tunnel bottom outside of these timbers, forming an inclosure similar to a cofferdam, from which the earth could be excavated without disturbing the surrounding ground. The earth being excavated, a layer of concrete 8 ins. thick was placed, and the brick masonry invert constructed on it. In less stable ground each of the above described cofferdams was subdivided by transverse timbers and sheet piling into three smaller cofferdams. Here the masonry of the middle section was first constructed,[165] and then the side sections built. Where the ground was worst, still more care was necessary, and the bottom had to be covered with a sheeting of 114-in. plank held down by struts abutting against the large transverse timbers. The invert masonry was constructed on this sheeting. Refuge niches 9 ft. high, 3 ft. wide, and 15 ins. deep were built in the side walls.

Accidents.

—In this tunnel, owing to the quick striking of the centers, it was found that the masonry lining flattened at the crown and bulged at the sides. This was attributed to the insufficient time allowed for the mortar to set in the rubble filling. Earth packing was tried, but gave still worse results. Finally dry rubble filling was adopted, with satisfactory results. There was necessarily some sinking of the surface. This resulted partly from the necessity of changing and removing of the timbers, and from the compression and springing of the timbers under the great pressures. The crown of the arch also settled from 2 ins. to 6 ins., due to the compression of the mortar in the joints. The maximum sinking of the surface of the street over the tunnel was about 18 ins.; it usually ran from 1 to 12 ins. Some damage was done to the water and gas mains. This damage was not usually serious, but it of course necessitated immediate repairs, and in some instances it was found best to reconstruct the mains for some distance. At one point along the tunnel where very treacherous material was found, the surface settlement caused the collapse of an adjacent building, and necessitated its reconstruction.


[166]

CHAPTER XIV.
THE FULL SECTION METHOD OF TUNNELING: ENGLISH METHOD; AMERICAN METHOD; AUSTRIAN METHOD.


ENGLISH METHOD.

The English method of tunneling through soft ground, as its name implies, originated in England, where, owing to the general prevalence of comparatively firm chalks, clays, shales, and sandstones, it has gained unusual popularity. The distinctive characteristics of the method are the excavation of the full section of the tunnel at once, the use of longitudinal strutting, and the alternate execution of the masonry work and excavation. In America the method is generally designated as the longitudinal bar method, owing to the mode of strutting, which has gained particular favor in America, and is commonly employed here even when the mode of excavation is distinctively German or Belgian in other respects.

Fig. 84.—Diagram Showing Sequence of Excavation in English Method of Tunneling.

Excavation.

—Although, as stated above, the distinctive characteristic of the English method is the excavation of the full section at once, the digging is usually started by driving a small heading or drift to locate and establish the axis of the tunnel, and to facilitate drainage in wet ground. These advance galleries may be driven either in the upper or in the lower part of the section, as the local conditions and choice of the engineer dictate. Whether the advance gallery is located at the top or at the bottom of the section makes no difference in the mode of enlarging the profile. This work always begins at the upper part of the section. A center top heading is driven and strutted by erecting posts carrying longitudinal bars supporting transverse poling-boards. This heading is immediately[167] widened by digging away the earth at each side, and by strutting the opening by temporary posts resting on blocking, and carrying longitudinal bars supporting poling-boards. This process of widening is continued in this manner until the full roof section, No. 1, Fig. 84, is opened, when a heavy transverse sill is laid, and permanent struts are erected from it to the longitudinal bars, the temporary posts and blocking being removed. The excavation of part No. 2 then begins by opening a center trench and widening it on each side, temporary posts being erected to support the sill above. As soon as part No. 2 is fully excavated, a second transverse sill is placed below the first, and struts are placed between them. The excavation of part No. 3 is carried out in exactly the same manner as was part No. 2. The lengths of the various sections, Nos. 1, 2, and 3, generally run from 12 ft. to 20 ft., depending upon the character of the soil.

Strutting.

—The strutting in the English method of tunneling consists of a transverse framework set close to the face of the excavation, which supports one end of the longitudinal crown bars, the other ends of which rest on the completed lining. The transverse framework is composed of three horizontal sills arranged and supported as shown by Fig. 85. The bottom sill A is carried by vertical posts resting on blocking on the floor of the excavation. From the bottom sill vertical struts rise to support the middle sill B. The top sill, or miners’ sill C, is carried by vertical posts or struts rising from the middle sill B. The vertical struts are usually round timbers from 6 ins. to 8 ins. in diameter; and the sills are square timbers of sufficient section to carry the vertical loads, and generally made up of two posts scarf-jointed and butted to permit them to be more easily handled. In firm soils the struts between[168] the sills are all set vertically, but those at the extreme sides of the roof section are inclined. In loose soils, however, where the sides of the excavation must be shored, the V-bracing shown by Fig. 85 is employed between one or more pairs of sills as the conditions necessitate. The manner of holding the transverse framework upright is explained quite clearly by Fig. 85; inclined props extending from the completed masonry to the sills of the framework being employed. Two props are used to each sill. Sometimes, in addition to the props shown, another nearly horizontal prop extends from the crown of the arch masonry to the middle piece of the strutting.

Fig. 85.—Sketches Showing Construction of Strutting, English Method.

Referring to Fig. 85, it will be observed that the longitudinal crown bars are above the extrados of the roof arch. When, therefore, the lining masonry has been completed close up to the transverse framework, the latter is removed, leaving the crown bars resting on the arch masonry; and excavation, which has been stopped while the masonry was being laid, is continued for another 12 ft. to 20 ft., and the transverse framework is erected at the face, and braced or propped against the completed lining as shown by Fig. 85. The next step is to place the[169] crown bars, and this is done by pulling them ahead from their original position over the masonry of the completed section of the roof arch. It will be understood that the crown bars are not pulled ahead their full length at one operation, but are advanced by successive short movements as the excavation progresses, their outer ends being supported by temporary posts until the transverse framework is built at the face of the excavation.

Centers.

—Two standard forms of centers are employed in the English method of tunneling, as shown by Figs. 86 and 87. Both consist of an outer portion, constructed much like a typical plank center, which is strengthened against distortion by an interior truss framework. The elemental members of this truss framework take the form of a queen-post truss, as is shown more particularly by Fig. 86. In Fig. 87 the queen-post truss construction is less easily distinguished, owing to the cutting of the bottom tie-beam and other modifications, but it can still be observed. The possibility of cutting the tie-beam as shown in Fig. 87, without danger, is due to the fact that the lateral pressures on the haunches of the center counteract the tendency of the center to flatten under load, which is usually counteracted by the tie-beam alone. The object of cutting the tie-beam is to afford room for the props running from the completed masonry to the transverse framework of the strutting as shown by Fig. 85.

Figs. 86 and 87.—Sketches of Typical Timber Roof-Arch Centers, English Method.

Generally four or five centers are used for each length of arch built. They are set up so that the tie-beams rest on[170] double opposite wedges carried by a transverse beam below. This transverse beam in turn rests on another transverse beam which is supported by posts carried on blocking on the invert masonry. It is usually made with a butted joint at the middle to permit its removal, since it is so long that the masonry has to be built around its extreme ends. The lagging is of the usual form, and rests on the exterior edges of the curved upper member of the centers.

Masonry.

—In the English method of tunneling, the masonry begins with the construction of the invert, and proceeds to the crown of the arch. The lining is built in lengths, or successive rings, corresponding to the length of excavation, which, as previously stated, is from 12 ft. to 20 ft. Each ring or length of lining terminates close to the transverse strutting frame erected at the face of the excavation. Work is first begun on the invert at the point where the preceding ring of masonry ends, and is continued to the transverse strutting frame at the front of the excavation. As fast as the invert is completed, work is begun on the side walls. In very loose soils the longitudinal bars supporting the sides of the excavation are removed after the side walls are built; but in firmer soils they may be taken out one by one just ahead of the masonry, or in very firm soils it may be possible to remove them entirely before beginning the side walls. In all cases it is necessary to fill the space between the masonry and the walls of the excavation with riprap or earth. To build the roof arch the centers are first erected as described above, and the crown bars are removed as previously described by pulling them ahead after the arch ring is completed. As with the side walls, the vacant space between the arch ring and the roof of the excavation must be filled in. Usually earth or small stones are used for filling; but in very loose soils it is sometimes the practice not to remove the poling-boards, but to support them by short brick pillars resting on the arch ring and then to fill around these pillars.

[171]

Hauling.

—To haul away the material and take in supplies, tracks are laid on the invert masonry. Generally the permanent tracks are laid as fast as the lining is completed. A short section of temporary track is used to extend this permanent track close to the work of the advanced drift.

Advantages and Disadvantages.

—The great advantage of the English method of tunneling is that the masonry lining is built in one piece from the foundations to the crown, making possible a strong, homogeneous construction. It also possesses a decided advantage because of the simple methods of hauling which are possible: there being no differences of level to surmount, no hoisting of cars nor trans-shipments of loads are necessary. The chief disadvantage of the method is that the excavators and masons work alternately, thus making the progress of the work slower perhaps than in any other method of tunneling commonly employed under similar conditions. This disadvantage is overcome to a considerable extent when the tunnel is excavated by shafts, and the work at the different headings is so arranged that the masons or excavators when freed from duty at one heading may be transferred to another where excavation or lining is to be done as the case may be. Another disadvantage of the English method arises from the excavation of the full section at once, which in unstable soils necessitates strong and careful strutting, and increases the danger of caving. The fact also that the arch ring has to carry the weight of the crown bars, and their loading at one end while the masonry is green, increases the chances of the arch being distorted.

Conclusion.

—The English method of tunneling in its entirety is confined in actual practice pretty closely to the country from which it receives its name. A possible extension of its use more generally is considered by many as likely to follow the development of a successful excavating machine for soft material. The space afforded by the opening of the full section at once, especially adapts the method to the use of excavators[172] like, for example, the endless chain bucket excavator used on the Central London Ry., and illustrated in Fig. 11. The method also furnishes an excellent opportunity for electric hauling and lighting during construction.

The English method of tunneling has been used in building the Hoosac, Musconetcong, Allegheny, Baltimore and Potomac, and other tunnels in America. The names of the European tunnels built by this method are too numerous to mention here.

AMERICAN METHOD.

In this country tunnels through loose soils are excavated according to the “Crown Bar” or American Method. This consists in opening the whole section of the tunnel before the construction of the lining as in the English Method. It differs from the English method, however, in that many timber structures are erected for the support of the roof, and that the excavation and construction of the lining are far apart, so allowing the miners and the masons to work continuously and without interfering with each other.

Section A-B.

Fig. 88.—Sequence of Excavation in the American Method.

Fig. 89.—Strutting the Heading in the American Method.

 

 

Section C-D.

Fig. 90.—Temporary Timbering of the Roof in the American Method.

Section E-F.

Fig. 91.—Showing Crown Bars Supported by Segmental Arches.

Excavation.

—The diagram in Fig. 88 shows the sequence of excavation. The work begins by driving a central heading usually 7 × 8 ft., strutted by means of vertical or batter posts and cap-piece. Fig. 89,[11] the props resting on foot blocks. Between the cap-pieces of the consecutive frames are placed planks driven upward at a slightly inclined angle. After the heading has been excavated and strutted, the floor is lowered by removing the part marked 2 in the figure. The two batter posts supporting the cap-piece are now substituted by two longer ones resting on the floor of part 2 and abutting against[173] longitudinal beams which are inserted underneath the cap-pieces. These longitudinal beams are called crown bars. The new batter posts are resting either on foot blocks or sills according to the quality of soil and they are strongly wedged to the crown bars. On each side of these crown bars are inserted poling-boards or planks close to each other, which are driven downward. The part marked 3 in the figure is removed by enlarging the cut 1 × 2 on both sides. The plank, inserted above the crown bar, is driven in either preceding or following the excavation and another crown bar is inserted at the end of this plank. This second crown bar is supported by a prop whose other end abuts against the foot of the rafter strutting the heading. Between this crown bar and the roof of the excavation, other planks are placed transversally to the axis of the tunnel and are driven in until they are supported by a new crown bar, etc. The various props supporting the crown bars are placed radially or in a fan-like manner, similar to the characteristic arrangement of the timbering in the Belgian method. Bracers to strengthen the timbering and the roof of the excavation are inserted longitudinally between the various posts and transversally between the crown bars, Fig. 90. As a rule, only three or four of these radial structures are temporarily erected. A trench is excavated at the side of the part marked 3 in the figure to receive the wall plate which is a heavy timber laid on the floor parallel to the longitudinal axis of the tunnel. On the wall plates are erected the arched timber sets composed of five or seven segments of hewn timbers so as to form a polygonal frame which is wedged[174] to the crown bars and which will support the arch of the roof. After one of these segmental timber sets is erected the temporary radial structure is removed and the upper section of the tunnel is cleared of any obstruction as the pressures are transferred to the wall plates, Fig. 91. The bench marked 4 in the figure is taken away and the vertical props inserted under the wall plates, Fig. 92.

[11] Figs. 89 to 91 are taken from a paper by S. W. Hopkins in Harvard Engineering Journal, April, ’03, on the Fort George tunnel.

Section G-H.

Longitudinal Section.

Fig. 92.—Transversal and Longitudinal Section of a Tunnel Excavated and Strutted According to the American Method.

Strutting.

—The longitudinal strutting is used in connection with the American method of tunneling. In fact, the strutting consists of a series of longitudinal bars supporting planks laid transversally to the axis of the tunnel and abutting against the roof of the excavation. These crown bars during the excavations and immediately after are temporarily supported by radial timbers forming almost a fan-like structure, but this is soon substituted by a permanent one composed of a polygonal timber frame of five or seven segments which are cut to dimensions. The batter posts of the heading, the radial posts of the temporary timber structure and the crown bars are all round timbers from 10 to 12 ins. in diameter. All the other timbers are square edged, the usual dimensions being 10 × 10 ins. or 12 × 12 ins. with the exception of the wall plates which are 14 × 14 ins. The dimensions of the various members of the strutting and the distance apart of the different frames vary with the quality of[175] the soil. For instance, in ordinary loose soils the frames are placed between 4 to 6 ft., but in very soft soils they are erected only 3 or 312 ft. apart.

Chiefly in the southwest, in tunnels excavated according to the American method, the timbering has been left as regular lining and it was only after many years when this temporary structure had decayed or was burned down, that the tunnels were lined with masonry. But in many instances the whole timber structure was left in place even when the tunnel was lined with masonry immediately after the excavation had been made. This was usually done when the tunnel was lined with concrete masonry. In such a case the timbering was left to support the pressures of the roof while the concrete was plastic and before it hardened.

Centers.

—In the American method the whole section of the tunnel is open before the construction of the lining, thus the masonry can be built from the foundations up. The centers are designed so as to support only the weight of the masonry during its construction and not the pressures of the tunnel as in the other methods and consequently they are of light construction. The centers described in the Murray Hill tunnel, page 123, may be advantageously used in building the concrete lining in tunnels through loose soils excavated by the American method.

Hauling.

—The excavation of the heading and the upper section of the tunnel is usually far ahead of the bench, consequently the hauling of both the débris and the building materials is made at two different levels, viz., on the bench and on the floor of the tunnel. When the face of the heading and the excavation of the bench are not more than 50 ft. apart, the hauling can be conveniently done on the tunnel floor, while the materials and débris on the upper section of the tunnel are hauled by wheelbarrows or light cars propelled by handpower. For a greater distance, however, it is more convenient to use light cars running on narrow-gauge tracks all through the tunnel. In this case the tracks on the tunnel floor and on top of the[176] bench are connected by means of an inclined platform where the cars may ascend and descend without interfering with the excavation of the bench. Here, as a rule, tunnels have been excavated in soils considered good, generally through rock, while loose soils have been encountered only in small sections. The same method of excavation for whatever material is encountered is certainly very convenient, as it affords a great regularity in the work; hence its extensive use. A great disadvantage of this method is the double strutting, viz., the polygonal and the longitudinal strutting succeeding each other, whereas one of them could be easily spared. Another defect is that it requires a larger amount of excavation, in case the strutting is left in place.

AUSTRIAN METHOD.

The Austrian full-section method of tunneling through soft ground was first used in constructing the Oberau tunnel on the Leipsic and Dresden R.R., in Austria in 1837. It consists in excavating the full section and building up the lining masonry from the foundations as in the English, but with the important exception that the invert is built last instead of first in all cases except where the presence of very loose soil requires its construction first. A still more important difference in the two methods is that the excavation is carried out in smaller sections and is continuous in the Austrian method instead of alternating with the mason work as it does in the English method.

Excavation.

—The excavation in the Austrian method begins by driving the bottom center drift No. 1, Fig. 93, rising from the floor of the tunnel section nearly to the height of the springing lines of the roof arch. When this drift has been driven ahead a distance varying from 12 ft. to 20 ft. or sometimes more, the excavation of the center top heading No. 2 is driven for the same distance. The next operation is to remove part No. 3, thus forming a central passage the full depth of the tunnel section[177] at the center. This trench is enlarged by removing parts Nos. 4, 5, 6, 7, and 8 in the order named until the full section is opened. A modification of this plan of excavation is shown by Fig. 94 which is used in firm soils.

Figs. 93 and 94.—Diagrams Showing Sequence of Excavation in Austrian Method of Tunneling.

Strutting.

—Each part of the section is strutted as fast as it is excavated. The center bottom drift first excavated is strutted by laying a transverse sill across the floor, raising two side posts from it, and capping them with a transverse timber having its ends projecting beyond the side posts and halved as shown by Fig. 95. The top center heading No. 2, which is next excavated, is strutted by means of two side posts resting on blocking and carrying a transverse cap as also shown by Fig. 95. Sometimes the side posts in the heading strutting-frames are also carried on a transverse sill as are those of the bottom drift. This construction is usually adopted in loose soils. When the sill is employed, the middle part, No. 3, is strutted by inserting side posts between the bottom of the top sill and the cap of the frame in the drift below. When, however, the posts of the top heading frame are carried on blocking, it is the practice to replace them with long posts rising from the cap of the bottom drift frame to the cap of the top heading frame. Further, when the intermediate sill is employed at the bottom level of the top heading it projects beyond the side posts and has its ends halved.

 

Figs. 95 to 97.—Sketches Showing Construction of Strutting, Austrian Method.

After the completion of the center trench strutting the next[178] task is to strut parts Nos. 4 and 5. This is done by continuing the upper sill by means of a timber having one end halved to join with the projecting end of the sill in position. This extension timber is shown at a, Fig. 96. The next operation is to place the timber b, having one end resting on the cap-piece of the top heading frame and the other beveled and resting on the top of the sill a near the end. The timber b is laid tangent to the curve of the roof arch, and to support it against flexure the strut c is inserted as shown. To support the thrust of this strut the additional post d is inserted and the original bottom heading frame is reinforced as shown. The next step is to insert the strut e, and when this and the previous construction are duplicated on the opposite side of the tunnel section we have the strutting of the parts Nos. 1 to 5; inclusive, complete. Part No. 6 is then removed and[179] strutted by extending the bottom drift cap-piece by a timber similar to timber a above, and then by inserting a side strut between the outer ends of these two timbers, as indicated by Fig. 97. As the final parts. Nos. 7 and 8, are removed, the inclined prop a, Fig. 97, is inserted as shown. When the soil is loose some of the members of the framework are doubled and additional bracing is introduced as shown by Fig. 97.

The frames just described are placed at intervals of about 4 ft. along the excavation, and are braced apart by horizontal struts. Some of the longitudinal bearing beams, as at b, Fig. 97, also extend through two or three frames, and help to tie them together. Finally, the longitudinal poling-boards extending from one frame to the next along the walls of the excavation serve to connect them together. The short transverse beam c, Fig. 90, located just above the floor of the invert, serves to carry the planking upon which the train car tracks are laid. Besides the timber strutting peculiar to the Austrian method, the Rziha iron strutting described in a previous chapter is frequently used in tunneling by the Austrian process.

Fig. 98.—Sketch Showing Manner of Constructing the Lining Masonry, Austrian Method.

Centers.

—The two forms of centers used in the English method of tunneling are also used in the Austrian method. One of the methods of supporting these centers is shown by Fig. 98. The tie-beam of the center rests on longitudinal timbers carried by the strutting frames and intermediate props. In single-track tunnels it is the frequent practice also to carry the ends of the tie-beams in recesses left in the side wall[180] masonry, with intermediate props inserted to prevent flexure at the center. When the Rziha iron strutting is employed, it also serves for the centering upon which the arch masonry is built.

Masonry.

—In the Austrian system of tunneling, the lining is built from the foundations of the side walls upward to the crown of the roof arch in lengths in consecutive rings equal to the lengths of the consecutive openings of the full section, or from 12 ft. to 20 ft. long. Except in infrequent cases in very loose materials the invert is the last part of the masonry to be built, since to build it first requires the removal of the strutting which cannot easily or safely be accomplished until the side walls and roof arch are completed. As the side wall foundations are built, however, their interior faces are left inclined, as shown by Figs. 97 and 98, ready for the insertion of the invert, and are meanwhile kept from sliding inward by the insertion of blocking between them and the bottom of the strutting. Fig. 98 shows the nature of this blocking, and also the manner in which the side wall and roof arch masonry is carried upward. Finally when the roof arch is keyed and the centers are struck, the strutting is taken down and the invert is built.

Advantages and Disadvantages.

—The principal advantages claimed for the Austrian method of tunneling are: (1) The excavation being conducted by driving a large number of consecutive small galleries, which are immediately strutted, there is little disturbance of the surrounding material; (2) the polygonal type of strutting adopted is easily erected and of great strength against symmetrical pressures; (3) the masonry, being built from the foundations up, is a single homogeneous structure, and is thus better able to withstand dangerous pressures; (4) the excavation is so conducted that the masons and excavators do not interfere, and both can work at the same time. The disadvantages which the method possesses are: (1) The strutting while very strong under symmetrical pressures, either vertical or lateral, is distorted easily by unsymmetrical vertical or lateral[181] pressures, and by pressure in the direction of the axis of the tunnel; (2) the construction of the invert last exposes the side walls to the danger of being squeezed together, causing a rotation of the arch of the nature discussed in describing the Belgian method of tunneling.


[182]

CHAPTER XV.
SPECIAL TREACHEROUS GROUND METHOD; ITALIAN METHOD; QUICKSAND TUNNELING; PILOT METHOD.


ITALIAN METHOD.

The Italian method of tunneling was first employed in constructing the Cristina tunnel on the Foggia & Benevento R.R. in Italy. This tunnel penetrated a laminated clay of the most treacherous character, and after various other soft-ground methods of tunneling had been tried and had failed, Mr. Procke, the engineer, devised and used successfully the method which is now known as the Italian or Cristina method. The Italian method is essentially a treacherous soil method. It consists in excavating the bottom half of the section by means of several successive drifts, and building the invert and side walls; the space is then refilled and the upper half of the section is excavated, and the remainder of the side walls and the roof arch are built; finally, the earth filling in the lower half of the section is re-excavated and the tunnel completed. The method is an expensive one, but it has proved remarkably successful in treacherous soils such as those of the Apennine Mountains, in which some of the most notable Italian tunnels are located. It is, moreover, a single-track tunnel method, since any soil which is so treacherous as to warrant its use is too treacherous to permit an opening to be excavated of sufficient size for a double-track railway, except by the use of shields.

Excavation.

—The plan of excavation in the Italian method is shown by the diagram Fig. 99. Work is begun by driving[183] the center bottom heading No. 1, and this is widened by taking out parts No. 2. Finally part No. 3 is removed, and the lower half of the section is open. As soon as the invert and side wall masonry has been built in this excavation, parts No. 2 are filled in again with earth. The excavation of the center top heading No. 4 is then begun, and is enlarged by removing the earth of part No. 5. The faces of this last part are inclined so as to reduce their tendency to slide, and to permit of a greater number of radial struts to be placed. Next, parts No. 6 are excavated, and when this is done the entire section, except for the thin strip No. 7, has been opened. At the ends of part No. 7 narrow trenches are sunk to reach the tops of the side walls already constructed in the lower half of the section. The masonry is then completed for the upper half of the section, and part No. 7 and the filling in parts No. 2 are removed. The various drifts and headings and the parts excavated to enlarge them are seldom excavated more than from 6 ft. to 10 ft. ahead of the lining.

Fig. 99.—Diagram Showing Sequence of Excavation in Italian Method of Tunneling.

Fig. 100.—Sketch Showing Strutting for Lower Part of Section.

 

Strutting.

—The bottom center drift, which is first driven, is strutted by means of frames consisting of side posts resting on floor blocks and carrying a cap-piece. Poling-boards are placed around the walls, stretching from one frame to the next. As soon as the invert is sufficiently completed to permit it, the side posts of the strutting frames are replaced by short struts resting on the invert masonry as shown by Fig. 100. To permit the old side posts to be removed and the new shorter ones to be inserted, the cap-piece of the frame is temporarily supported[184] by inclined props arranged as shown by Fig. 103. When parts No. 2 are excavated the roof is strutted by inserting the transverse caps a, Fig. 100, the outer ends of which are carried by the system of struts b, c, d, and e. The longitudinal poling-boards supporting the ceiling and walls are held in place by the cap a and the side timber e. To stiffen the frames longitudinally of the tunnel, horizontal longitudinal struts are inserted between them.

The excavation of the upper half of the tunnel section is strutted as in the Belgian method, with radial struts carrying longitudinal roof bars and transverse poling-boards. On account of the enormous pressures developed by the treacherous soils in which only is the Italian method employed, the radial strutting frames and crown bars must be of great strength, while the successive frames must be placed at frequent intervals, usually not more than 3 ft. After the masonry side walls have been built in the lower part of the excavation, longitudinal planks are laid against the side posts of the center bottom drift frames, to form an enclosure for the filling-in of parts No. 2. The object of this filling is principally to prevent the squeezing-in of the side walls.

Figs. 101 and 101A.—Sketches Showing Construction of Centers, Italian Method.

Centers.

—Owing to the great pressures to be resisted in the treacherous soils in which the Italian method is used, the construction of the centers has to be very strong and rigid. Figs. 101 and 101A show two common types of center construction used with this method. The construction shown in Fig. 101 is a strong one where only pressures normal to the axis of the tunnel have to be withstood, but it is likely to twist under[185] pressures parallel to the axis of the tunnel. In the construction shown by Fig. 101A, special provision is made to resist pressures normal to the plane of the center or twisting pressures, by the strength of the transverse bracing extending horizontally across the center.

Fig. 102.—Sketch Showing Invert and Foundation Masonry, Italian Method.

Masonry.

—The construction of the masonry lining begins with the invert, as indicated by Fig. 100, and is carried up to the roof of parts No. 2, as already indicated, and is then discontinued until the upper parts Nos. 4, 5, and 6 are excavated. The next step is to sink side trenches at the ends of part No. 7, which reach to the top of the completed side walls. This operation leaves the way clear to finish the side walls and to construct the roof arch in the ordinary manner of such work in tunneling. Since this method of tunneling is used only in very soft ground which yields under load, the usual practice is to construct the invert and side walls on a continuous foundation course of concrete as indicated by Fig. 102. The lining is usually built in successive rings, and the usual precautions are taken with respect to filling in the voids behind the lining. The thickness of the lining is based upon the figures for laminated clay of the third variety given in Table II.

Hauling.

—The system of hauling adopted with this method of tunneling is very simple, since the excavation of the various parts is driven only from 6 ft. to 10 ft. ahead, and the work progresses slowly to allow for the construction of the heavy strutting required. To take away the material from the center bottom drift, narrow-gauge tracks carried by cross-beams between the side posts above the floor line are employed. This same narrow-gauge line is employed to take away a portion of parts No. 2, the remaining portion being left and used for the refilling after the bottom portion of the lining has been built, as[186] previously described. The upper half of the section being excavated, as in the Belgian method, the system of hauling with inclined planes to the tunnel floor below, which is a characteristic of that method, may be employed. It is the more usual practice, however, since the excavation is carried so little a distance ahead and progresses so slowly, to handle the spoil from the upper part of the section by wheelbarrows which dump it into the cars running on the tunnel floor below. Hand labor is also used to raise the construction materials used in building the upper section. The tracks on the tunnel floor, besides extending to the front of the advanced bottom center drift, have right and left switches to be employed in removing the refilling in parts No. 2, the spoil from the upper part of the section, and the material of part No. 7. Fig. 103 is a longitudinal section showing the plan of excavation and strutting adopted with the Italian method.

Fig. 103.—Sketch Showing Longitudinal Section of a Tunnel under Construction, Italian Method.

Modifications.

—It often happens that the filling placed between the side walls and the planking, which is practically the space comprised by parts No. 2, is not sufficient to resist the inward pressure of the walls, and they tip inward. In these cases a common expedient is to substitute for the earth filling[187] a temporary masonry arch sprung between the side walls with its feet near the bottom of the walls, and its crown just below the level of their tops, as shown by Fig. 107. This construction was employed in the Stazza tunnel in Italy. In this tunnel the excavation was begun by driving the center drift, No. 1, Fig. 104, and immediately strutting it as shown by Fig. 105. The other parts, Nos. 2 and 3, completing the lower portion of the section, were then taken out and strutted. While part No. 2 was being excavated at the bottom, and the center part of the invert built, the longitudinal crown bars carrying the roof of the excavation were carried temporarily by the inclined props shown by Fig. 106. After completing the invert and the side walls to a height of 2 or 3 ft., a thick masonry arch was sprung between the side walls, as shown in transverse section by Fig. 107, and in longitudinal section by Fig. 106. This arch braced the side walls against tipping inward, and carried short struts to support the crown bars. The haunches of the arch were also filled in with rammed earth. The upper half of the section was excavated, strutted, and lined as in the standard Italian method previously described. When the lining was completed, the arch inserted between the side walls was broken down and removed.

Fig. 104.—Sketch Showing Sequence of Excavation, Stazza Tunnel.

Fig. 105.—Sketch Showing Method of Strutting First Drift, Stazza Tunnel.

 

Figs. 106 and 107.—Sketches Showing Temporary Strutting Arch Construction, Stazza Tunnel.

[188]

Advantages and Disadvantages.

—The great advantage claimed for the Italian method of tunneling is that it is built in two separate parts, each of which is separately excavated, strutted, and lined, and thus can be employed successfully in very treacherous soils. Its chief disadvantage is its excessive cost, which limits its use to tunnels through treacherous soils where other methods of timbering cannot be used.

QUICKSAND TUNNELING.

When an underground stream of water passes with force through a bed of sand it produces the phenomenon known as quicksand. This phenomenon is due to the fineness of the particles of sand and to the force of the water, and its activity is directly proportional to them. When sand is confined it furnishes a good foundation bed, since it is practically incompressible. To work successfully in quicksand, therefore, it is necessary to drain it and to confine the particles of sand so that they cannot flow away with the water. This observation suggests the mode of procedure adopted in excavating tunnels through quicksand, which is to drain the tunnel section by opening a gallery at its bottom to collect and carry away the water, and to prevent the movement or flowing of the sand by strutting the sides of the excavation with a tight planking.

The sand having to be drained and confined as described, the ordinary methods of soft-ground tunneling must be employed, with the following modifications:

(1) The first work to be performed is to open a bottom gallery to drain the tunnel. This gallery should be lined with boards laid close and braced sufficiently by interior frames to prevent distortion of the lining. The interstices or seams between the lining boards should be packed with straw so as to permit the percolation of water and yet prevent the movement of the sand.

(2) As fast as the excavation progresses its walls should[189] be strutted by planks laid close, and held in position by interior framework; the seams between the plank should be packed with straw.

(3) The masonry lining should be built in successive rings, and the work so arranged that the water seeping in at the sides and roof is collected and removed from the tunnel immediately.

Excavation.

—The best and most commonly employed method of driving tunnels through quicksand is a modification of the Belgian method. At first sight it may appear a hazardous work to support the roof arch, as is the characteristic of this method, on the unexcavated soil below, when this soil is quicksand, but if the sand is well confined and drained the risk is really not very great. Next to the Belgian method the German method is perhaps the best for tunneling quicksand. In these comparisons the shield system of tunneling is for the time being left out of consideration. This method will be described in succeeding chapters. Whenever any of the systems of tunneling previously described are employed, the first task is always to open a drainage gallery at the bottom of the section.

Assuming the Belgian method is to be the one adopted, the first work is to drive a center bottom drift, the floor of which is at the level of the extrados of the invert. This drift is immediately strutted by successive transverse frames made up of a sill, side posts, and a cap which support a close plank strutting or lining, with its joints packed with straw. Between the side posts of each cross-frame, at about the height of the intrados of the invert, a cross-beam is placed; and on these cross-beams a plank flooring is laid, which divides the drift horizontally into two sections, as shown by Fig. 108; the lower section forming a covered drain for the seepage water, and the upper providing a passageway for workmen and cars. The bottom drift is driven as far ahead as practicable, in order to drain the sand for as great a distance in advance of the work as possible. After the construction of the bottom drainage drift the excavation proper is begun, as it ordinarily is in the Belgian method[190] by driving a top center heading, as shown by Fig. 108. This heading is deepened and widened after the manner usual to the Belgian method, until the top of the section is open down to the springing lines of the roof arch. To collect the seepage water from the center top heading it is provided with a center bottom drain constructed like the drain in the bottom drift, as shown by Fig. 108. When the top heading is deepened to the level of the springing lines of the roof arch, its bottom drain is reconstructed at the new level, and serves to drain the full top section opened for the construction of the roof arch. This top drain is usually constructed to empty into the drain in the bottom drift.

Fig. 108.—Sketch Showing Preliminary Drainage Galleries, Quicksand Method.

Fig. 109.—Sketch Showing Construction of Roof Strutting, Quicksand Method.

 

Strutting.

—The method of strutting the bottom drift has already been described. For the remainder of the excavation the regular Belgian method of radial roof strutting-frames is employed, as shown by Fig. 109. Contrary to what might be expected, the number of radial struts required is not usually greater than would be used in many other soils besides quicksand. Single-track railway tunnels have been constructed through quicksand in several instances where the number of radial props required on each side of the center did not exceed four or five. It is necessary, however, to place the poling-boards very close together, and to pack the joints between them to prevent the inflow of the fine sand. In strutting the lower part of the section it is also necessary to support the sides with tight planking. This is usually held in place by longitudinal[191] bars braced by short struts against the inclined props employed to carry the roof arch when the material on which they originally rested is removed. This side strutting is shown at the right hand of Fig. 110.

Fig. 110.—Sketch Showing Construction of Masonry Lining, Quicksand Method.

Masonry.

—As soon as the upper part of the section has been opened the roof arch is built with its feet resting on planks laid on the unexcavated material below. This arch is built exactly as in the regular Belgian method previously described, using the same forms of centers and the same methods throughout, except that the poling-boards of the strutting are usually left remaining above the arch masonry. To prevent the possibility of water percolating through the arch masonry, many engineers also advise the plastering of the extrados of the arch with a layer of cement mortar. This plastering is designed to lead the water along the haunches of the arch and down behind the side walls. In constructing the masonry below the roof arch the invert is built first, contrary to the regular Belgian method, and the side walls are carried up on each side from the invert masonry. Seepage holes are left in the invert masonry, and also in the side walls just above the intrados of the invert. At the center of the invert a culvert or drain is constructed, as shown by Fig. 110, inside the invert masonry. This culvert is commonly made with an elliptical section with its major axis horizontal, and having openings at frequent intervals at its top. The thickness of the lining masonry required in quicksand is shown by Table II.

Removing the Seepage Water.

—After the tunnel is completed the water which seeps in through the weep-holes left in the masonry passes out of the tunnel, following the direction of the[192] descending grades. During construction, however, special means will have to be provided for removing the water from the excavation, their character depending upon the method of excavation and upon the grades of the tunnel bottom. When the excavation is carried on from the entrances only, unless the tunnel has a descending grade from the center toward each end, the tunnel floor in one heading will be below the level of the entrance, or, in other words, the descending grade will be toward the point where work is going on, while at the opposite entrance the grade will be descending from the work. In the latter case the removal of the seepage water is easily accomplished by means of a drainage channel along the bottom of the excavation. In the former case the water which drains toward the front is collected in a sump, and if there is not too great a difference in level between this sump and the entrance, a siphon may be used to remove it. Where the siphon cannot be used, pumps are installed to remove the water. When the tunnel is excavated by shafts the condition of one high and one low front, as compared with the level at the shaft, is had at each shaft. Generally, therefore, a sump is constructed at the bottom of the shaft; the culvert from the high front drains directly to the shaft sump, while the water from the low-front sump is either siphoned or pumped to the shaft sump. From the shaft sump the water is forced up the shaft to the surface by pumps.

THE PILOT METHOD.

The pilot system of tunneling has been successfully employed in constructing soft-ground sewer tunnels in America by the firm of Anderson & Barr, which controls the patents. The most important work on which the system has been employed is the main relief sewer tunnel built in Brooklyn, N.Y., in 1892. This work comprised 800 ft. of circular tunnel 15 ft. in diameter, 4400 ft. 14 ft. in diameter, 3200 ft. 12 ft. in diameter, and 1000 ft. 10 ft. in diameter, or 9400 ft. of tunnel[193] altogether. The method of construction by the pilot system is as follows:

Shafts large enough for the proper conveyance of materials from and into the tunnel are sunk at such places on the line of work as are most convenient for the purpose. From these shafts a small tunnel, technically a pilot, about 6 ft. in diameter, composed of rolled boiler iron plates riveted to light angle irons on four sides, perforated for bolts, and bent to the required radius of the pilot, is built into the central part of the excavation on the axis of the tunnel. This pilot is generally kept about 30 ft. in advance of the completed excavation, as shown by Fig. 111. The material around the exterior of the pilot is then excavated, using the pilot as a support for braces which radiate from it and secure in position the plates of the outside shell which holds the sand, gravel, or other material in place until the concentric rings of brick masonry are built. Ribs of T-iron bent to the radius of the interior of the brick work, and supported by the braces radiating from the pilot, are used as centering supports for the masonry. On these ribs narrow lagging-boards are laid as the construction of the arch proceeds, the braces holding the shell plates and the superincumbent mass being removed as the masonry progresses. The key bricks of the arches are placed in position on ingeniously contrived key-boards, about 12 ins. in width, which are fitted into rabbeted lagging-boards one after another as the key bricks are laid in place. After the masonry has been in place at least twenty-four hours, allowing the cement[194] mortar time to set, the braces, ribs, and lagging which support it are removed. In the meantime the excavation, bracing, pilot, and exterior shell have been carried forward, preparing the way for more masonry. The top plates of the shell are first placed in position, the material being excavated in advance and supported by light poling-boards; then the side-plates are butted to the top and the adjoining side-plates. In the pilot the plates are united continuously around the perimeter of the circle, while in the exterior shell the plates are used for about one-third of the perimeter on top, unless treacherous material is encountered, when the plates are continued down to the springing lines of the arch. This iron lining is left in place. The bottom is excavated so as to conform to the exterior lines of the masonry. The excavation follows so closely to the outer lines of the normal section of the tunnel that very little loss occurs, even in bad material; and there is no loss where sufficient bond exists in the material to hold it in place until the poling-boards are in position.

Bracing.

Arch
Construction.

 

Longitudinal Section.

Fig. 111.—Sketch Showing Pilot Method of Tunneling.

In the Brooklyn sewer tunnel work, previously mentioned, the pilot was built of steel plates 38 in. thick, 12 ins. wide, and 3712 ins. long, rolled to a radius of 3 ft. Steel angles 4 × 412 ins. were riveted along all four sides of each plate, and the plates were bolted together by 34-in. machine-bolts. The plates weighed 136 lbs. each, and six of them were required to make one complete ring 6 ft. in diameter. In bolting them together, iron shims were placed between the horizontal joints to form a footing for the wooden braces for the shell, which radiate from the pilot. The shell plates of the 15-ft. section of the tunnel were of No. 10 steel 12 ins. wide and 37 ins. long, with steel angles 212 × 212 × 38 ins., riveted around the edges the same as for the pilot, and put together with 58-in. bolts. These plates weighed 61 lbs. each, and eighteen of them were required to make one complete ring 15 ft. in diameter. The plates for the 12-ft. section were No. 12 steel 12 ins. wide with 2 × 2 × 14-in. angles. Seventeen plates were required to make a complete ring.


[195]

CHAPTER XVI.
OPEN-CUT TUNNELING METHODS; TUNNELS UNDER CITY STREETS; BOSTON SUBWAY AND NEW YORK RAPID TRANSIT.


OPEN-CUT TUNNELING.

When a tunnel or rapid-transit subway has to be constructed at a small depth below the surface, the excavation is generally performed more economically by making an open cut than by subterranean tunneling proper. The necessary condition of small depth which makes open-cut tunneling desirable is most generally found in constructing rapid-transit subways or tunnels under city streets. This fact introduces the chief difficulties encountered in such work, since the surface traffic makes it necessary to obstruct the streets as little as possible, and has led to the development of the several special methods commonly employed in performing it.

Subways are usually constructed under and along important streets where electric cars are running. The engineers have taken advantage of the presence of these lines to facilitate the construction of subways. In New York, for instance, the tracks of the electric lines were supported by cast-iron yokes 4 or 5 ft. apart and were surrounded by concrete, leaving only a large hollow space in the middle for the wires and trolleys. The rails from 40 to 60 ft. long formed almost a solid concrete structure for their entire length. The tracks and the street surface were supported by horizontal beams inserted underneath the tracks. These were the caps of bents constructed underground whose rafters were finally resting on the subgrade of the proposed subway.

[196]

The various methods for constructing the subways may be classified as follows: (1) The single wide trench method; (2) the single narrow longitudinal trench method; (3) the parallel longitudinal trench method; (4) the slice method.

Single Longitudinal Trench.

—The simplest manner by which to construct open-cut tunnels is to open a single cut or trench the full width of the tunnel masonry. This trench is strutted by means of side sheetings of vertical planks, held in place by transverse braces extending across the trench and abutting against longitudinal timbers laid against the sheeting plank. The lining is built in this trench, and is then filled around and above with well-rammed earth, after which the surface of the ground is restored. An especial merit of the single longitudinal trench method of open-cut tunneling is that it permits the construction of the lining in a single piece from the bottom up, thus enabling better workmanship and stronger construction than when the separate parts are built at different times. The great objection to the method when it is used for building subways under city streets is, that it occupies so much room that the street usually has to be closed to regular traffic. For this reason the single longitudinal trench method is seldom employed, except in those portions of city subways which pass under public squares or parks where room is plenty.

This method was followed in the construction of the New York subway, Section 2, along Elm St., a new street to be opened to traffic after the subway had been completed, and at other points where local conditions allowed it.

Fig. 112.—Diagram Showing Sequence of Construction in Open-Cut Tunnels.

A modification of this method was used in Contract Section 6, on upper Broadway. The street at this point is very wide, so by opening a trench as wide as the proposed four-track line of the subway there still remained room enough for ordinary traffic. The electric car tracks were supported by means of trusses 60 or 70 ft. long, which were laid in couples parallel to the tracks and which rested on firm soil. The soil under the car tracks was removed, beginning with transversal cuts to[197] receive the needles which were tied to the lower chord of the trusses by means of iron stirrups. After the excavation had reached the subgrade, posts were erected to support the needles thus forming bents upon which the tracks rested. The trusses were removed and advanced to another section of the tunnel, and, in the clear space left, the subway was built from foundation up.

The Single Narrow Longitudinal Trench.

—This method was used on Contract Section 5, of the New York subway in order to comply with the peculiar conditions of the traffic along 42nd St. On this street, on account of the New York Central Station, there is a constant heavy traffic, while pedestrians use the northern sidewalks almost exclusively. A single longitudinal trench was then opened along the south side, and from this trench all the work of excavation and construction was carried on. At first the steel structure of the subway was erected in the trench and then a small heading was driven and strutted under and across the surface-car tracks. Afterward heavy I-beams were inserted, which rested with one end on top of the steel bents and the other end blocked to the floor of the excavation. These I-beams were located 5 ft. apart and they supported the surface of the street by means of longitudinal planks. The soil was removed from the wide space underneath the I-beams and the subway was constructed from the foundation up. When the structure had been completed, the packing was placed between the roof of the structure and the surface of the street, the I-beams withdrawn and the voids filled in.

Parallel Longitudinal Trenches.

—The parallel longitudinal trench method of open-cut tunneling consists in excavating two[198] narrow parallel trenches for the side walls, leaving the center core to be removed after the side walls have been built. The diagram, Fig. 112, shows the sequence of operations in this method. The two trenches No. 1 are first excavated a little wider than the side wall masonry, and strutted as shown by Fig. 113. At the bottoms of these trenches a foundation course of concrete is laid, as shown by Fig. 114, if the ground is soft; or the masonry is started directly on the natural material, if it is rock. From the foundations the walls are carried up to the level of the springing lines of the roof arch, if an arch is used; or to the level of its ceiling, if a flat roof is used. After the completion of the side walls, the portion of the excavation shown at No. 2, Fig. 112, is removed a sufficient depth to enable the roof arch to be built. When the arch is completed, it is filled above with well-rammed earth, and the surface is restored. The excavation of part No. 3 inclosed by the side walls and roof arch is carried on from the entrances and from shafts left at intervals along the line.

Fig. 113.—Sketch Showing Method of Timbering Open-Cut Tunnels, Double Parallel Trench Method.

Fig. 114.—Side-Wall Foundation Construction Open-Cut Tunnels.

A modification of the method just described was employed in constructing the Paris underground railways. It consists in excavating a single longitudinal trench along one side of the street, and building the side wall in it as previously described. When this side wall is completed to[199] the roof, the right half of part No. 2, Fig. 112, is excavated to the line AB, and the right-hand half of the roof arch is built. The space above the arch is then refilled and the surface of the street restored, after which the left-hand trench is dug and the side wall and roof-arch masonry is built just as in the opposite half. Generally the work is prosecuted by opening up lengths of trench at considerable intervals along the street and alternately on the left-and right-hand sides. By this method one-half of the street width is everywhere open to traffic, the travel simply passing from one side of the street to the other to avoid the excavation. When the lining has been completed, the center core of earth inclosed by it is removed from the entrances and shafts, leaving the tunnel finished except for the invert and track construction, etc.

Another modification of the parallel longitudinal trenches method was used in the construction of the New York subway. A narrow longitudinal trench was excavated on one side of the street near the sidewalk. Meanwhile the pavement of half of the street was removed and a wooden platform of heavy planks, supported by longitudinal beams which were buried in the ground, was substituted. Then small cuts underneath the car tracks were directed from the side trench and heavy beams or needles were placed in these cuts, which also reached the longitudinal beams of the wooden platform. The needles were wedged and blocked to the car track structure and the beams. They were temporarily supported by cribs built from underneath as the excavation progressed. When the subgrade was reached, vertical and batter posts were inserted to support the needles, thus forming regular timber bents underground. In the space thus left open the subway was constructed to the middle of the street. While the work was going on as described, another longitudinal narrow trench was excavated at some distance on the other side of the street. From this trench, the work of constructing the other half of the subway was carried on in the manner just described. After the work had been[200] completed, the timbers removed, the voids filled in and the pavement of the street restored, another equal section was attacked on both sides of the street.

Transverse Trenches.

—The transverse trench or “slice” method of open-cut tunneling has been employed in one work, the Boston Subway. This method is described in the specifications for the work prepared by the chief engineer, Mr. H. A. Carson, M. Am. Soc. C. E., as follows:—

“Trenches about 12 ft. wide shall be excavated across the street to as great a distance and depth as is necessary for the construction of the subway. The top of this excavation shall be bridged during the night by strong beams and timbering, whose upper surface is flush with the surface of the street. These beams shall be used to support the railway tracks as well as the ordinary traffic. In each trench a small portion or slice of the subway shall be constructed. Each slice of the subway thus built is to be properly joined in due time to the contiguous slices. The contractor shall at all times have as many slice-trenches in process of excavation, in process of being filled with masonry, and in process of being back-filled with earth above the completed masonry, as is necessary for the even and steady progress of the work towards completion at the time named in the contract.”

In regard to the success of this method Mr. Carson, in his fourth annual report on the Boston Subway work, says:

“The method was such that the street railway tracks were not disturbed at all, and the whole surface of the street, if desired, was left in daytime wholly free for the normal traffic.”

Tunnels on the Surface.

—It occasionally happens when filling-in is to take place in the future, or where landslides are liable to bury the tracks, that a railway tunnel has to be built on the surface of the ground. In such cases the construction of the tunnel consists simply in building the lining of the section on the ground surface with just enough excavation to secure the proper grade and foundation. Generally the lining[201] is finished on the outside with a waterproof coating, and is sometimes banked and partly covered with earth to protect the masonry from falling stones and similar shocks from other causes. A recent example of tunnel construction of this character was described in “Engineering News” of Sept. 8, 1898. In constructing the Golden Circle Railroad, in the Cripple Creek mining district of Colorado, the line had to be carried across a valley used as a dumping-ground for the refuse of the surrounding mines. To protect the line from this refuse, the engineer constructed a tunnel lining consisting of successive steel ribs, filled between with masonry.

Concluding Remarks.

—From the fact that the open-cut method of tunneling consists first in excavating a cut, and second in covering this cut to form an underground passageway, it has been named the “cut-and-cover” method of tunneling. The cut-and-cover method of tunneling is almost never employed elsewhere than in cities, or where the surface of the ground has to be restored for the accommodation of traffic and business. When it is not necessary to restore the original surface, as is usually the case with tunnels built in the ordinary course of railway work, it would obviously be absurd to do so except in extraordinary cases. In a general way, therefore, it may be said that the cut-and-cover method of construction is confined to the building of tunnels under city streets; and the discussion of this kind of tunnels follows logically the general description of the open-cut method of tunneling which has been given.

TUNNELS UNDER CITY STREETS.

The three most common purposes of tunnels under city streets are: to provide for the removal of railway tracks from the street surface, and separate the street railway traffic from the vehicular and pedestrian traffic; to provide for rapid transit railways from the business section to the outlying residence districts of the city; and to provide conduits for sewage or subways for water and gas mains, sewers, wires, etc. Within recent years[202] the greatest works of tunneling under city streets have been designed and carried out to furnish improved transit facilities.

Conditions of Work.

—The construction of tunnels under city streets may be divided into two classes, which may be briefly defined as shallow tunnels and deep tunnels. Shallow tunnels, or those constructed at a small depth beneath the surface, are usually built by one of the cut-and-cover methods; deep tunnels, or those built at a great depth, beneath the surface are constructed by any of the various methods of tunneling described in this book, the choice of the method depending upon the character of the material penetrated, and the local conditions.

In building tunnels under city streets the first duty of the engineer is to disturb as little as possible the various existing structures and the activities for which these structures and the street are designed. The character of the difficulties encountered in performing this duty will depend upon the depth at which the tunnel is driven. In constructing shallow tunnels by the cut-and-cover method care has to be taken first of all not to disturb the street traffic any more than is absolutely necessary. This condition precludes the single trench method of open cut tunneling in all places where the street traffic is at all dense, and compels the engineer to use the methods employed in Paris and New York, as previously described, or else the transverse trench or slice method employed in the Boston Subway.

These methods have to be modified when the work is done on streets having underground trolley and cable roads, and in which are located gas and water pipes, conduits for wires, etc. Where underground trolley or cable railways are encountered, a common mode of procedure is to excavate parallel side trenches for the side walls, and turn the roof arch until it reaches the conduit carrying the cables or wires. The earth is then removed from beneath the conduit structure in small sections, and the arch completed as each section is opened. As fast as the arch is completed the conduit structure is supported on it. Where[203] pipes are encountered they may be supported by means of chains, suspending them from heavy cross-beams, or by means of strutting, or they may be removed and rebuilt at a new level. Generally the conditions require a different solution of this problem at different points.

Another serious difficulty of tunneling under city streets arises from the danger of disturbing the foundations of the adjacent buildings. This danger exists only where the depth of the tunnel excavation extends below the depth of the building foundations, and where the material penetrated is soft ground. Where the tunnel penetrates rock there is no danger of disturbing the building foundations. To prevent trouble of this character requires simply that the excavation of the tunnel be so conducted that there is no inflow of the surrounding material, which may, by causing a settlement of the neighboring material, allow the foundations resting on it to sink.

The Baltimore Belt tunnel, described in a preceding chapter, is an example of the method of work adopted in constructing a tunnel under city streets through very soft ground. This may be classed as a deep tunnel. Another method of deep tunneling under city streets is the shield method, examples of which are given in a succeeding chapter. Two notable examples of cut-and-cover methods of tunneling are the Boston Subway and the New York Rapid Transit Ry., a description of which follows.

Boston Subway.

—The Boston Subway may be defined as the underground terminal system of the surface street railway system of the city, and as such it comprises various branches, loops, and stations. The subway begins at the Public Garden on Boylston St., near Charles St., and passes with double tracks under Boylston St. to its intersection with Tremont St., where it meets the other double-track branch, passing under Tremont St. and beginning at its intersection with Shawmut Ave. From their intersection at Tremont and Boylston streets the two double-track branches proceed under Tremont St. with four[204] tracks to Scollay Square. At Scollay Square the subway divides again into two double-track branches, one passing under Hanover St., and the other under Washington St. At the intersection of Hanover and Washington streets the two double-track branches combine again into a four-track line, which runs under Washington St. to its terminus at Haymarket Square, where it comes to the surface by means of an incline. The subway, therefore, has three portals or entrances, located respectively at Boylston St., Shawmut Ave., and Haymarket Square. It also has five stations and two loops, the former being located at Boylston St., Park St., Scollay Square, Adams Square, and Haymarket Square, and the latter at Park St. and Adams Square. The total length of the subway is 10,810 ft.

Material Penetrated.

—The material met with in constructing the subway was alluvial in character, the lower strata being generally composed of blue clay and sand, and the upper strata of more loose soil, such as loam, oyster shells, gravel, and peat. At many points the material was so stable that the walls of the excavation would stand vertical for some time after excavation. Surface water was encountered, but generally in small quantities, except near the Boylston St. portal, where it was so plentiful as to cause some trouble.

Fig. 115.—Wide Arch Section, Boston Subway.

Cross-Section.

—The subway being built for two tracks in some places and for four tracks in other places, it was necessary to vary the form and dimensions of the cross-section. The cross-sections actually adopted are of three types. Fig. 115 shows the section known as the wide-arch type, in which the lining is solid masonry. The second type was known as the double-barrel section, and is shown by Fig. 116. The third type of section is shown by Fig. 117. The lining consists of steel columns[205] carrying transverse roof girders, the roof girders being filled between with arches, and the wall columns having concrete walls between them. The wide-arch type and the double-barrel type of sections were employed in some portions of the Tremont St. line, where the traffic was very dense, since it was possible to construct them without opening the street. Much of the wide-arch line was constructed by the use of the roof shield, which is described in the succeeding chapter on the shield system of tunneling.

Fig. 116.—Double-Barrel Section, Boston Subway.

Methods of Construction.

—Several different methods were employed in constructing the subway. Where ample space was available, the single wide trench method of cut-and-cover construction was employed, the earth being removed as fast as excavated. In the streets, except where regular tunneling was resorted to, the parallel trench or transverse trench cut-and-cover methods were employed.

In the transverse trench method, trenches about 12 ft. wide[206] were excavated across the street, their length being equal to the extreme transverse width of the tunnel lining, and their depth being equal to the depth of the tunnel floor. These trenches were begun during the night, and immediately roofed over with a timber platform flush with the street surface. Under these platforms the excavation was completed and the lining built. As each trench or “slice” was completed, the street above it was restored and the platform reconstructed over the succeeding trench or slice. During the construction of each slice the street traffic, including the street cars, was carried by the timber platform.

Fig. 117.—Four-Track Rectangular Section, Boston Subway.

Larger illustration

Fig. 118.—Section Showing Slice Method of Construction, Boston Subway.

Larger illustration

In the parallel trench method, short parallel trenches were dug for the opposite side walls, and also for the intermediate columns, and completely roofed over during the night. Under[207] this roofing the masonry of the side walls and column foundations and the columns themselves were erected. When the side walls and columns had been erected, the surface of the street between them was removed, the roof beams laid, and a platform covering erected, as shown by Fig. 118. This roofing work was also done at night. The subsequent work of building the roof arches, removing the remainder of the earth, and constructing the invert, was carried on underneath the platform covering which carried the street traffic in the meantime. The successive repetition of the processes described constructed the subway.

Where the traffic was very dense on the street above, tunneling was resorted to. For small portions of this work the excavation was done in the ordinary way, using timber strutting, but much the greater portion of the tunnel work was performed by means of a roof shield. In the latter case, the side walls were first built in small bottom side drifts and were fitted with tracks on top to carry the roof shield. The construction and operation of this shield are described fully in the succeeding chapter on the shield system of tunneling.

Masonry.

—The masonry of the inclined approaches to the subway consists simply of two parallel stone masonry retaining walls. In the wide-arch and double-barrel tunnel sections, the side walls are of concrete and the roof arches are of brick masonry. In the other parts of the subway the masonry consists of brick jack arches sprung between the roof beams and covered with concrete, of concrete walls embedding the side columns, and of the concrete invert and foundations for the columns. Figs. 115 to 118 inclusive show the general details of the masonry work for each of the three sections. The inside of the lining masonry is painted throughout with white paint.

Stations.

—The design and construction of the stations for the Boston Subway were made the subjects of considerable thought. All the stations consist of two island platforms of artificial stone having stairways leading to the street above.[208] The platforms are made 1 ft. higher than the rails. The station structure itself is built of steel columns and roof beams with brick roof arches and concrete side walls. Its interior is lined with white enameled tiles. The intermediate columns are cased with wood, and have circular wooden seats at their bottoms. Each stairway is covered by a light housing, consisting of a steel framework with a copper covering and an interior wood and tile finish.

Ventilation.

—The subway is ventilated by means of exhaust fans located in seven fan chambers, some of which contain two fans, and others only one fan. Each of the fans has a capacity of from 30,000 to 37,000 cu. ft. of air per minute, and is driven by electric motor, taking current from the trolley wires. This system of ventilation has worked satisfactorily.

Disposal of Rain Water.

—The rain water which enters the subway from the inclined entrances, together with that from leakage, is lifted from 12 ft. to 18 ft. by automatic electric pumps to the city sewers. The subway has pump-wells at the Public Garden, at Eliot St., Adams Square, and Haymarket Square. In each of these wells are two vertical submerged centrifugal pumps made entirely of composition metal. In each chamber above, are two electric motors operating the pumps. Each motor is started and stopped according to the height of water by means of a float and an automatic release starting box. The floats are so placed that only one pump is usually brought into use. The other, however, comes into service in case the first pump is out of order or the water enters more rapidly than one pump can dispose of it. In the latter case, both motors continue to run until the same low level has been reached.

Very little dampness except from atmospheric condensation is to be found on the interior walls or roof of the subway, although numerous discolored patches, caused by dampness and dust, may be seen on some parts of the walls. Substantially all of the leakage comes through the small drains in the invert leading from hollows left in the side walls. Careful measurement[209] was taken at the end of an unusually wet season to determine the actual amount of leakage, and the total amount for the entire subway was found to be about 81 gallons per minute.

Estimated Quantities.

—The estimated quantities of material used in constructing the subway were as follows:

Excavation 369,450 cu. yds.
Concrete 75,660
Brick 11,105
Steel 8,105 tons
Granite 2,285 cu. yds.
Piles 117,925 lin. ft.
Ribbed tiles 12,440 sq. yds.
Plaster 88,190
Waterproofing (asphalt coating) 117,980
Artificial stone 6,790
Enameled brick 2,210
Enameled tiles 2,855
Cost of the Subway.

—The estimated cost of the subway made before the work was begun was approximately $4,000,000, and the cost of construction did not exceed $3,700,000. This includes ventilating and pump chambers, changes of water and gas pipes, sewers and other structures, administration, engineering, interest on bonds, and all cost whatsoever. Dividing this number by the total length we obtain a cost per linear foot of $342.30.

New York Rapid Transit Railway.

—The project of an underground rapid transit railway to run the entire length of Manhattan Island was originated some years previous to 1890. In 1894, however, a Rapid Transit Commission was appointed to prepare plans for such a road, and after a large amount of trouble and delay this commission awarded the contract for construction to Mr. John B. McDonald of New York City, on Jan. 15, 1900.

Route.

—The road starts from a loop which encircles the City Hall Park. Within this loop the tunnel construction is two-track; but where the main line leaves the loop, all four tracks come to the same level, and continue side by side thereafter[210] except at the points which will be noted as the description proceeds. Proceeding from the loop, the four-track line passes under Center and Elm Streets. It continues under Lafayette Place, across Astor Place and private property between Astor Place and Ninth St. to Fourth Ave. The road then passes under Fourth and Park Avenues until 42d St. is reached. At this point the line turns west along 42d St., which it follows to Broadway. It turns northward again under Broadway to the boulevard, crossing the Circle at 59th St. The road then follows the boulevard until 97th St. is reached, where the four-track line is separated into two double-track lines.

At a suitable point north of 96th St. the outside tracks rise so as to permit the inside tracks, on reaching a point near 103d St., to curve to the right, passing under the north-bound track, and to continue thence across and under private property to 104th St. From there the two-track tunnel goes under 104th St. and Central Park to 110th St., near Lenox Ave.; thence under Lenox Ave to a point near 142d St.; thence across and under private property and the intervening streets to the Harlem River. The road passes under the Harlem River and across and under private property to 149th St., which street it follows to Third Ave., and then passes under Westchester Ave., where, at a convenient point, the tracks emerge from the tunnel and are carried on a viaduct along and over Westchester Ave., Southern Boulevard, and Boston Road to Bronx Park. This portion of the line, from 96th St. to Bronx Park, is known as the East Side Line.

From the northern side of 96th St. the outside tracks rise and after crossing over the inside tracks they are brought together on a location under the center line of the street and proceed along under the boulevard to a point between 122d and 123d Streets. At this point the tracks commence to emerge from the tunnel, and are carried on a viaduct along and over the boulevard at a point between 134th and 135th Streets, where they again pass into the tunnel under and along the boulevard and Eleventh Ave. to a point about 1350 ft. north of the center[211] line of 190th St. There the tracks again emerge from the tunnel, and are carried on a viaduct across and over private property to Elwood St., and over and along Elwood St. to Kingsbridge St. to Kingsbridge Ave., private property, the Harlem Ship Canal and Spuyten Duyvil Creek, private property, Riverdale Ave., and Broadway to a terminus near Van Cortland Park. That portion of the line from 96th St. to the above-mentioned terminus at Van Cortland Park is known as the West Side Line.

The total length of the rapid transit road, including the parts above and below the surface ground of the streets, as well as both the East and West Side Lines, is about 2212 miles.

Material Penetrated.

—The soil through which the road was excavated was a varied one. The lower portion of the road, or the part including the loop up to nearly Fourth St., was excavated through loose soil, but from Fourth St. to the ends it was excavated in rock. The loose soil forming the southern part of Manhattan Island is chiefly composed of clay, sand, and old rubbish—a soil very easy to excavate. Water was met at some points, but not in such quantities as to be a serious inconvenience. From Fourth St. to the ends of both the east and west side lines, the soil was chiefly composed of rock of gneissoid and mica-schistose character, these rocks prevailing nearly throughout the whole of Manhattan Island. The rock, as a rule, was not compact, but full of seams and fissures, and at many points it was found disintegrated and alternated with strata of loose soils, and even pockets of quicksand were met with along the line of the road.

Cross-Sections.

—The section of the underground road is of three different types,—the rectangular, the barrel-vault, and the circular. The rectangular section. Fig. 119, is used for the greater part of the road, of which a portion is for four tracks and a portion for two tracks. The dimensions adopted for the four tracks are 50 × 13 ft., and for the double tracks 25 × 13 ft. The barrel-vault section, composed of a polycentric arch, having the flattest curve at the crown, has been adopted for the tunnels[212] under Park Avenue—while the semicircular arch is used for all the other portions of the road to be tunneled. The circular section of 15-ft. diameter is used under the Harlem River, and being for single track, two parallel tunnels were built side by side.

Fig. 119.—Double-Track Section, New York Rapid Transit Railway.

Larger illustration

The main line from the City Hall loop to about 102d St. consists of four tracks built side by side in one conduit, except for that portion under the present Fourth Ave. tunnel where two parallel double-track tunnels are employed. The West Side Line will consist of double tracks laid in one conduit, except across Manhattan St. and beyond 190th St., where it is carried on an elevated structure. The East Side Line consists of a double-track tunnel driven from 102d St., and the boulevard under Central Park to 110th St. and Lenox Ave., and two parallel circular tunnels excavated under the Harlem River,—the other portions of the road being double-track, subway and elevated structure.

Methods of Excavation.

—Both the double-and four-track subway were built by using the different varieties of the cut-and-cover method. The single wide-trench method was used for the construction of the double-track line and also for the construction of the four-track line where the local conditions allowed[213] it. The single narrow-trench method was used for the construction of the four-track subway at 42d St., to meet with the peculiar conditions of the traffic. Almost the total length of the four-track line of the subway was built by means of the two parallel side trenches. The slice method, so successfully employed in the Boston Subway, was used only on 42d St. west of 6th Avenue.

Lining.

—The lining of the subway is of concrete, carried by a framework of steel. The floor consists of a foundation layer of concrete at least eight inches thick on good foundation, but thicker, according to conditions, where the foundation is bad. On top of this is placed another layer of concrete, with a layer of waterproofing between the two. In this top layer are set the stone pedestals for the steel columns, and the members making up the tracks.

In the four-track subway, the steel framework consists of transverse bents of columns, and I-beams spaced about five feet apart along the tunnel. The three interior columns of each bent are built-up bulb-angle and plate columns of H-section. The wall columns are I-beams, as are also the roof beams; between the I-beams, wall columns, and roof beams there is a concrete filling, so that the roof of the subway will be made up of concrete arches resting on the flanges of the I-beams of the roof. The concrete used is of one part Portland cement, two parts sand, and four parts broken stones. The double-track subway is built in the same way, except that only one column is placed between the tracks for the support of the roof.

All the concrete masonry of the roof, foundations, and side walls contains a layer of waterproofing, so as to keep perfectly dry the underground road, and prevent the percolation of water. This waterproofing is made up as follows: On the lowest stratum of concrete, whose surface is made as smooth as possible, a layer of hot asphalt is spread. On this asphalt are immediately laid sheets or rolls of felt; another layer of hot asphalt is then spread[214] over the felt, and then another layer of felt laid, and so on, until no less than two, and no more than six, layers of felt are laid, with the felt between layers of asphalt. On top of the upper surface of asphalt the remainder of the concrete is put in place so as to reach the required thickness of the concrete wall.

Fig. 120.—Park Avenue Deep Tunnel Construction, New York Rapid Transit Railway.

Tunnels.

—When the distance between the roof of the proposed structure and the street was 20 ft. or over, the Standard Subway construction was replaced by tunnels. Three important tunnels have been constructed along the line of the New York Rapid Transit and these are located between 33d and 42d Streets on Park Ave., under Central Park northeast of 104th St. and under Broadway north of 152d St. The Park Ave. construction (Fig. 120) consists of two parallel double-track tunnels, located on each side of the street, and about 10 ft. below the present tunnel. The soil being composed of good rock, the tunnels were driven by a wide heading, and one bench, since no strutting was required, and the masonry lining, even of the roof, was left far behind the front of the excavation. The masonry lining consists of concrete walls and brick arches. The tunnels under Central Park and under Broadway being driven through a similar rock, the same method of excavation and the same manner of lining was used.

The tunnel under the Harlem River was driven through soft ground; and it was constructed as a submarine tunnel, according to the caisson process. The tunnels were lined with iron made[215] up of segments, with radial and circumferential flanges. Concrete was placed inside and flush with the flanges.

Fig. 121.—Harlem River Tunnel, New York Rapid Transit Railway.

Larger illustration

The tracks, both in the subway and tunnels, are an intimate part of the concrete flooring. The rail rests on a continuous bearing of wooden blocks, laid with the grain running transversely with respect to the line of the rail, and held in place by two channel iron guard rails. The guard rails are bolted to metal cross-ties embedded in the concrete.

Viaduct.

—A considerable portion of the double-track branch lines north of 103d St. is viaduct, or elevated structure. The viaduct construction on the West Side Line extends, including approaches, from 122d St. to very near 135th St. Of this distance, 2018 ft. 8 ins. are viaduct proper, consisting of plate girder spans carried by trestle bents at the ends, and by trestle towers for the central portion. The columns of the bents and towers are built-up bulb-angle and plate columns of H-section of the same form as those used in the bents inside the subway. The approaches proper are built of masonry. The elevated line proper consists of plate girder spans, supported on plate cross girders carried by columns.

[216]

Stations.

—Many stations are built along the line. These are located on each side of the street. The entrances at the stations consist of iron framework, with glass roofs covering the descending stairways. The passageways leading down are walled with white enameled bricks and wainscoted with slabs of marble. The stations for the local trains are located on each side of the road close to the walls, since the outside tracks are reserved for the local trains, while the middle ones are reserved for the expresses. The few stations for the express trains are located between the middle and outside tracks. Stations are provided with all the conveniences required, having toilet rooms, news stands, benches, etc., and are lighted day and night by numerous arc lamps.

General.

—The contractor completed the work in four years. No difficulty was encountered in doing this, since the great extension of the road and the great width of the avenues under which it runs allowed work all along the line at the same time. The work, briefly summarized, comprises the following items:—

Length of all sections, ft. 109,570
Total excavation of earth, cu. yds. 1,700,228
Earth to be filled back, cu. yds. 773,093
Rock excavated, cu. yds. 921,128
Rock tunneled, cu. yds. 368,606
Steel used in structure, tons 65,044
Cast iron used, tons 7,901
Concrete, cu. yds. 489,122
Brick, cu. yds. 18,519
Waterproofing, sq. yds. 775,795
Vault lights, sq. yds. 6,640
Local stations, number 43
Express stations, number 5
Station elevators, number 10
Track total, lin. ft. 305,380
underground, lin. ft. 245,514
elevated, lin. ft. 59,766

In addition to the construction of the railway itself, it was necessary to construct or reconstruct certain sewers, and to[217] adjust, readjust, and maintain street railway lines, water pipes, subways, and other surface and subsurface structures, and to relay street pavements.

The total cost of the work, according to the contract signed by Mr. McDonald, was $35,000,000. Dividing this amount by the total length of the road, which is 109,570 lineal feet, we have the unit cost a lineal foot $315, or a little less than unit of cost of the Boston Subway, which was $342 per lineal foot.

The road belongs to the city. The contractor acts as an agent for the city in carrying out the work, and he is the leaser of the road for fifty years. The work was paid for as soon as the various parts of the road were completed, and the money was obtained from an issue of city bonds. During the fifty years’ lease the contractor will pay the interest plus 1% of the face value of the bonds. This 1% goes to the sinking-fund, which within the fifty years at compound interest forms the total sum required for the redemption of bonds.

This first New York Subway has been extended to Brooklyn, and more lines will be built so as to form a complete underground railway system to accommodate the ever-increasing traveling crowd of the American metropolis. No new method of construction has been devised yet. The only variation from the illustrated methods has been where the subway is built underneath the Elevated Road which had to be strongly supported during the construction of the subway. This has been done in two different ways, either by supporting the columns of the Elevated Road by means of two wooden A-frames abutting at the top and leaving a large space close to the foot of the column where a pit was excavated to the required depth of the subway, or by attaching the columns to long iron girders placed longitudinally and resting with both ends in firm soil.


[218]

CHAPTER XVII.
SUBMARINE TUNNELING: GENERAL DISCUSSION.—THE SEVERN TUNNEL.


GENERAL DISCUSSION.

Submarine tunnels, or tunnels excavated under the beds of rivers, lakes, etc., have been constructed in large numbers during the last quarter of a century, and the projects for such tunnels, which have not yet been carried to completion, are still more numerous. Among the more notable completed works of this character may be noted the tunnel under the River Severn and those under the River Thames in England, the one under the River Seine in France, those under the St. Clair, Detroit, Hudson, Harlem and East Rivers, and the one under the Boston Harbor for railways, that under the East River for gas mains, that under Dorchester Bay, Boston, for sewage, and those under Lakes Michigan and Erie for the water supply of Milwaukee, Chicago, Buffalo, and Cleveland in America. For the details of the various projected submarine tunnels of note, which include tunnels under the English and Irish Channels, under the Straits of Gibraltar, under the sound between Copenhagen in Denmark and Malmö in Sweden, under the Messina Straits between Italy and Sicily, and under the Straits of Northumberland between New Brunswick and Prince Edward Island, and those connecting the various islands of the Straits of Behring, the reader is referred to the periodical literature of the last few years.

Previous to attempting the driving of a submarine tunnel it is necessary to ascertain the character of the material it will[219] penetrate. This fact is generally determined by making diamond-drill borings along the line, and the object of ascertaining it is to determine the method of excavation to be adopted. If the material is permeable and the tunnel must pass at a small depth below the river bed, a method will have to be adopted which provides for handling the difficulty of inflowing water. If, on the other hand, the tunnel passes through impermeable material at a great depth, there will be no unusual trouble from water, and almost any of the ordinary methods of tunneling such materials may be employed. Shallow submarine tunnels through permeable material are usually driven by the shield method or by the compressed air method, or by a method which is a combination of the first and second.

It is not an uncommon experience for a submarine tunnel to start out in firm soil and unexpectedly to find that this material becomes soft and treacherous as the work proceeds, or that it is intersected by strata of soft material. The method of dealing with this condition will vary with the circumstances, but generally if any considerable amount of soft material has to be penetrated, or if the inflow of water is very large, the firm-ground system of work is changed to one of the methods employed for excavating soft-ground submarine tunnels. The Milwaukee water supply tunnel, described elsewhere, is a notable example of submarine tunnels, began in firm material which unexpectedly developed a treacherous character after the work had proceeded some distance. Occasionally the task of building a submarine tunnel in the river bed arises. In such cases the tunnel is usually built by means of cofferdams in shallow water, and by means of caissons in deep water.

Submarine tunnels under rivers are usually built with a descending grade from each end which terminates in a level middle position, the longitudinal profile of the tunnel corresponding to the transverse profile of the river bottom. Where, however, such tunnels pass under the water with one end submerged, and[220] the other end rising to land like the water supply tunnels of Chicago, Milwaukee, and Cleveland, the longitudinal profile is commonly level, or else descends from the shore to a level position reaching out under the water.

The drainage of submarine tunnels during construction is one of the most serious problems with which the engineer has to deal in such works. This arises from the fact that, since the entrances of the tunnel are higher than the other parts, all of the seepage water remains in the tunnel unless pumped out, and from the possibility of encountering faults or permeable strata, which reach to the stream bed and give access to water in greater or less quantities. Generally, therefore, the excavation is conducted in such a manner that the inflowing water is led directly to sumps. To drain these sumps pumping stations are necessary at the shore shafts, and they should have ample capacity to handle the ordinary amount of seepage, and enough surplus capacity to meet probable increases in the inflow. For extraordinary emergencies this plant may have to be greatly enlarged, but it is not usual to provide for these at the outset unless their likelihood is obvious from the start. The character and size of the pumping plants used in constructing a number of well-known tunnels are described in Chapter XII.

In this book submarine tunnels will be classified as follows: (1) Tunnels in rock or very compact soils, which are driven by any of the ordinary methods of tunneling similar materials on land; (2) tunnels in loose soils, which may be driven, (a) by compressed air, (b) by shields, or (c) by shields and compressed air combined; (3) tunnels on the river bed, which are constructed, (a) by cofferdams, or (b) by caissons. To illustrate tunnels of the first class, the River Severn tunnel in England has been selected; to illustrate those of the second class, the several tunnels discussed in the chapter on the shield system of tunneling and the Milwaukee tunnel is sufficient; to illustrate those of the third class, the Van Buren Street tunnel in Chicago, the Harlem, the Seine and the Detroit River tunnels are selected.

[221]

THE SEVERN TUNNEL.

The Severn tunnel, which carries the Great Western Railway of England, beneath the estuary of a large river, is 4 miles 642 yards long. It penetrates strata of conglomerate, limestone, carboniferous beds, marl, gravel, and sand at a minimum depth of 4434 ft. below the deepest portion of the estuary bed. The following description of the work is abstracted from a paper by Mr. L. F. Vernon-Harcourt.[12]

[12] Proceedings Inst. C. E., vol. cxxi.

The first work was the sinking of a shaft, 15 ft. in diameter, lined with brickwork, on the Monmouthshire bank of the Severn, 200 ft. deep. After the Monmouthshire shaft had been sunk, a heading 7 ft. square was driven under the river, rising with a gradient of 1 in 500 from the shaft on the Monmouthshire shore, so as to drain the lowest part of the tunnel. Near to the first, a second shaft was sunk and tubbed with iron, in which the pumps were placed for removing the water from the tunnel works, connection being made by a cross-heading with the heading from the first shaft. There was also a shaft on the Gloucestershire shore; and two shafts inland from the first on the Monmouthshire side, to expedite the construction of the tunnel. Headings were then driven in both directions along the line of the tunnel, from the four shafts; and the drainage heading from the old shaft was continued, in the line of the tunnel, under the deep channel of the estuary, and up the ascending gradient towards the Gloucestershire shore, till, in October, 1879, it had reached to within about 130 yards of the end of the descending heading from the Gloucestershire shaft. During this period, though the work had progressed slowly, no large quantity of water had been met with in any of the headings, in spite of their already extending under almost the whole width of the estuary. On October 18, 1889, however, a great spring was tapped by the heading which was being driven landwards from the old shaft, about 40 ft. above the level of the drainage[222] heading; and the water poured out from this land spring in such quantity that, flowing along the heading, falling down the old shaft, and thus finding its way into the drainage heading and the long heading of the tunnel under the estuary in connection with it, it flooded the whole of the workings in communication with the old shaft, which it also filled within twenty-four hours from the piercing of the spring.

To obtain increased security against any influx of water from the deep channel of the estuary into the tunnel, the proposed level portion of the tunnel, rather more than a furlong long under this part, was lowered 15 ft. by increasing the descending gradient on the Monmouthshire side from 1 in 100 to 1 in 90, and lowering the proposed rail level on the Gloucestershire side 15 ft. throughout the ascent, so as not to increase the gradient of 1 in 100 against the load. A new shaft, 18 ft. in diameter, was sunk slightly nearer the estuary on the Monmouthshire shore than the old one; two shafts also were sunk on the land side of the great spring for pumping purposes; and additional pumping machinery was erected. The flow from the spring into the old shaft was arrested by a shield of oak fixed across the heading; and at last, after numerous failures and breakdowns of the pumps, the headings were cleared of water, after a diver, supplied with a knapsack of compressed oxygen, had closed a door in the long heading under the estuary; and the works were resumed nearly fourteen months after the flooding occurred. The great spring was then shut off from the workings by a wall across the heading leading to the old shaft; and, owing to the lowering of the level of the tunnel, a new drainage heading had to be driven from the bottom of the new shaft at a lower level, which was made 5 ft. in diameter, and lined with brickwork, whilst the old drainage heading was enlarged to 9 ft. in diameter, and lined with brickwork, so as to aid in the permanent ventilation of the tunnel. The lowering of the level, moreover, converted the bottom tunnel headings into top headings, so that along more than a mile of the tunnel the semicircular arch,[223] 26 ft. in diameter, was built first, and then, after lowering the headings, the invert was laid and the side walls were built up. Bottom headings were driven along the remainder of the tunnel, and the work was expedited by means of break-ups. Ventilation was effected in the works by a fan 18 inches in diameter and 7 ft. wide, fixed at the top of the new deep shaft; the rock was bored by drills worked by compressed air; the blasting was eventually effected exclusively by tonite, owing to its being freer from deleterious fumes than any other explosive; and the workings were lighted by Swan and Brush electric lamps. The tunnel is lined throughout with vitrified brickwork, between 214 ft. to 3 ft. thick, set in cement, and has an invert 112 ft. to 3 ft. in thickness; the lining was commenced towards the end of 1880, the headings under the river were joined in September, 1881, and the last length of the tunnel, across the line of the great spring, was completed in April, 1885.

Water came in from the river through a hole in a pool of the estuary, close to the Gloucestershire shore, in April, 1881, during the lining of a portion of the tunnel, but fortunately before the headings were joined. This influx was stopped by allowing the water to rise in the tunnel to tide-level, to prevent the enlargement of the hole, which was then filled up at low water with clay, weighted on the top with clay in bags. The great spring broke out again in October, 1883, and flooded the works a second time; but within four weeks the water had been pumped out and the spring again imprisoned. During this period an exceptionally high tide, raised still higher by a southwesterly gale, inundated the low-lying land on the Monmouthshire side of the estuary, and, flowing down one of the inland shafts, flooded a section of the tunnel, but the pumps removed this water within a week.

In order to construct the portion of tunnel traversing the line of the great spring, the water was diverted into a side heading below the level of the tunnel, leading to the old shaft, whence it was pumped, and the fissure below the tunnel was filled with[224] concrete, over which the invert was built. An attempt to imprison the spring, on the completion of this length of tunnel, having resulted in imposing an excessive pressure on the brickwork, leading to fractures and leakage, a shaft, 29 ft. in diameter, was sunk at the side of the tunnel at this point in 1886, and pumps were erected powerful enough to deal with the entire flow of the spring.

The tunnel was opened for traffic in December, 1886, and gives access to a double line of railway, connecting the lines converging to Bristol with the South Wales railway and the western lines. The pumping power provided at the shaft connected with the great spring, and at four other shafts, is capable of raising 66,000,000 gallons of water per day, the maximum amount pumped from the tunnel being 30,000,000 gallons a day. The ventilation of the tunnel is effected by fans placed in the two main shafts on each bank of the estuary, and the fan in the Monmouthshire shaft is 40 ft. in diameter, and 12 ft. wide. The tunnel gives passage to a large traffic, numerous through-trains between the north and southwest of England making use of it.


[225]

CHAPTER XVIII.
SUBMARINE TUNNELING (Continued); THE COMPRESSED AIR METHOD.—THE MILWAUKEE WATER-WORKS TUNNEL.


Tunnels excavated at shallow depth from the bed of the river are liable to cave in under the great weight of the water and material above the roof. Besides, the progress of the work will be greatly interfered with by the water which may reach the tunnel passing through the loose soil in large quantities. To contend with these two sources of trouble, different methods of constructing subaqueous tunnels have been devised; they are: by compressed air, by shield, and finally by a combination of these two methods, viz., by shield and compressed air.

The compressed air method was suggested by Mr. Haskin, the promoter and the first builder of the Hudson River tunnel. In 1874, when he began to sink the shaft for the construction of his tunnel, several subaqueous tunnels had already been driven by means of shields. Mr. Haskin had ideas of his own, and thought he could dispense with the shield and could trust to compressed air, since he was firmly convinced that compressed air alone could expel the water and temporarily support the roof of the excavation prior to the building of the lining masonry. In other words, he expected to substitute a core of compressed air for the core of earth removed. In the patent granted him for this method of tunneling, he expresses himself as follows: “The distinguishing feature of my system is that, instead of using temporary facings of timber or other rigid material, I rely upon the air pressure to resist the caving in of the wall and infiltration of water until the masonry wall is completed. The pressure[226] is, of course, to be regulated by the exigencies of the occasion. The effect of such a pressure has been found to drive water in from the surface of the excavation, so that the sand becomes dry.”

The compressed air method was soon found to be inefficient, even in the construction of the Hudson tunnel where the roof of the excavation was supported by timbering in the manner indicated in the pilot system. Thus large subaqueous railway tunnels cannot be driven exclusively by the compressed air method; still it has been successfully employed in the construction of small tunnels driven for aqueduct purposes. But the use of compressed air marked a great progress in the art of submarine tunneling.

THE MILWAUKEE WATER-WORKS TUNNEL.

The following description of the Milwaukee Water-Works Tunnel is an example of subaqueous tunnels driven through good soil in the usual manner employed in land tunnels; but afterward when treacherous material was encountered, the work was continued by means of compressed air.

The new water supply intake tunnel for the city of Milwaukee, Wis., is one of the most difficult examples of tunnel construction which American engineering practice has afforded. The difficulties were in a large measure unexpected when the work was decided upon and put under way. The tunnel began and ended in a hard, impervious clay, practically a rock, and all the preliminary investigations led to the conclusion that the same favorable material would be encountered for its entire length. With such material a brick-lined tunnel 712 ft. in diameter presented no unusual problems; but after about 1640 ft. had been excavated from the shore end the tunnel ran out of the hard clay, and for the next 600 ft. or more a variety of water-bearing material was encountered, which tried the skill and patience of the engineer to their utmost. Other difficulties were indeed met with, but these were of minor importance in comparison with that of safely and successfully penetrating the water-bearing drift.

[227]

The work of sinking the shore shafts and excavating the first 1600 ft. of tunnel did not prove especially difficult. A hard, compact, and rock-like clay, bearing very little moisture, was encountered all along, and was blasted and removed in the ordinary manner. The only mishap which occurred with this portion of the work was the destruction of the contractor’s boiler plant by fire on Jan. 12, 1891, which allowed the tunnel to fill with water, and delayed work about a month. By Oct. 21, 1891, 1640 ft. had been driven, averaging about 623 ft. per day, all in the hard clay. No timbering had been necessary, and except for the first 100 ft. of the tunnel there was very little seepage. On the afternoon of Oct. 21 water was observed coming out from one of the drill holes in the heading, but no attention was paid to it. Shortly after a blast was fired, and was immediately followed by a rush of water from the heading. An unsuccessful attempt was made to check the flow, and the pumps were started; but they were unable to keep the water down, and after seven hours’ hard work the tunnel was abandoned. By the next morning the tunnel and shaft were full of water.

Several attempts were made to empty the tunnel; but the limited pumping capacity was not equal to the task, and it was finally decided to install larger pumps. The pumping had, however, shown that about 1000 gallons of water a minute was coming through the leak. With the increased pumping plant the tunnel was finally laid dry Feb. 13, 1892. Upon examination the head of the drift was found to be in the same undisturbed condition in which it was left when the water broke in three months before.

A brick bulkhead was built into the end of the brickwork of the tunnel, and provided with a timber door for passage, and two 10-in. pipes for the outlet of the water. With these openings closed, the flow was checked sufficiently to allow the placing of pumps at the bottom of the shore shaft. Meanwhile the pressure of the water against the bulkhead caused dangerous[228] leakage, and so after the pumps were in position the 10-in. pipes were opened, relieving the pressure and allowing the water its normal rate of flow. Trouble with the pumps now arose, and after various stoppages and breaks the discharge pipe finally fell, disabling the whole plant. It became necessary to close the 10-in. pipes in the bulkhead and draw up the pumps. This allowed the tunnel to again fill with water.

After thoroughly overhauling the pumping machinery, the contractor again laid the tunnel dry on March 19; and after the pumps had been permanently placed so as to take care of the water, an examination of the work was made. It was found that the water was coming from the north, and with the hope of avoiding the difficulties of the old heading, it was decided to make a détour of the south. On April 16 work was begun at a point about 90 ft. back from the face, and deflecting the line about 38° toward the south. About 38 ft. from the angle of junction a brick bulkhead with two 8-in. openings was built into the new bore. The work progressed successfully for about 75 ft., when water was again encountered; and upon pushing forward the heading, gravel and sand came in such quantities that it was found impracticable to continue the work further. On June 1 the bulkhead was permanently closed, and the work in this direction was abandoned.

A further and closer examination was now made of the heading first abandoned. Upon breaking through the rock-like clay it was found that the water came from an underground stream flowing from the north through a well defined channel in red clay. This channel was about 13 ft. above the grade of the tunnel; and above it in every direction visible was a bed of hard, dry, red clay, while immediately in front of the face of the work was a bank of coarse gravel. Fig. 122 is a sketch of the channel and stream where they entered the work. In this last drawing the photograph has been followed exactly, no particular being exaggerated in the slightest. The water from this stream was clear and pure; and a chemical analysis showed[229] that it was not lake water, but must come from some separate source.

Fig. 122.—Sketch Showing Underground Stream, Milwaukee Water-Works Tunnel.

While the engineer did not consider the difficulty of proceeding along the old line insurmountable, it was decided to be less difficult on the whole to go back from 150 ft. to 175 ft. and deflect the line to the north and upward, so as to pass over the underground entrance. Instead of allowing the water to flow at its normal rate and take care of it by pumping, the contractors desired to reduce the pumping, and to this end they constructed a bulkhead just west of the deflection toward the south with a view of shutting off the water. The water, however, accumulated with a pressure of some 50 lbs. per sq. in. and penetrated the filling around the brick lining of the tunnel, preventing the cutting through of the lining for the new line. A second bulkhead was then built about 20 ft. west of the first, but with not much better results, for upon closing it the water was found to leak through the brickwork for a long distance[230] west. Finally on Aug. 2, 1892, the contractors lifted their pumps and allowed the tunnel to fill again with water.

No further work was done on the tunnel by the contractors, although they continued work on the lake shaft for some months. Difficulties had, however, arisen here, which will be described further on; and finally a disagreement arose between the contractors and the city over the delay in prosecuting the tunnel work and over one or two other questions, which resulted in the City Council suspending their contract and ordering the Board of Public Works to go ahead with the work.

The first step to be taken by the engineer was to purchase adequate pumping machinery and empty the tunnel. This was effected Jan. 17, 1894; and as soon as practicable thereafter the two bulkheads were removed and the tunnel cleaned, tram-car tracks laid, and everything prepared for work. It was now determined to go ahead on the original line of the tunnel if possible, and the bulkhead here was removed and work begun. Meanwhile, a safety bulkhead had been built to replace the first one torn away. This was provided with a door and drainage pipes. Work was begun on the original heading, but had proceeded only a little way when the water broke in, driving out the workmen. This was removed three or four times, when the flow suddenly increased to 3000 gallons per minute. An examination of the lake bottom above the break showed that it had settled down, indicating that the new break connected with the lake bottom, and making further work along the original line out of the question.

The question now arose what it was best to do. It was impracticable to use a shield, as the material ahead of the break required blasting, and the pressure from above was enormous. On account of its expense and difficulty of application the freezing process did not seem advisable, and the plenum process was likewise out of the question on account of the great pressure which would be required at this depth. The détour to the south which had been made by the contractor had been unsuccessful,[231] and had left the ground in a treacherous condition. To depress the tunnel was not advisable, for it was not by any means certain that the bed of gravel could be avoided in that way; and, moreover, it would be necessary to ascend again further on, and thus leave a trap which would effectually cut off escape to those at work on the face if water again broke into the tunnel.

It was finally decided that the old plan of deflecting the line toward the north and upward so as to pass over the underground stream should be tried. A hole was therefore cut through the tunnel lining 1433 ft. from the shore, and work was begun on a détour of 20° toward the north and an upward grade of 10%. Fair progress was made on this new line, gradually ascending into solid rock, until May 10, when the test borings, which were constantly made in every direction from the face, showed that sand was being approached. A brick bulkhead was therefore built into the masonry as a safeguard, should it happen that water was encountered in large quantities. As the borings seemed to indicate that the top surface of the rock underlying the sand was nearly level, the lower half of the tunnel was first excavated, leaving about 18 ins. of the rock to serve as a roof (Sketch a, Fig. 123), and the brick invert was built for a distance of 52 ft. The rock roof was then carefully broken through for short distances at a time, and short sheeting driven ahead into the sand, which proved to be a very fine quicksand flowing through the smallest openings. Extreme care had to be taken in this work, but little by little the brickwork was pushed ahead until at a distance of 90 ft. from the point where the sand was first met, and 208 ft. from the old tunnel, the sand stopped and the heading entered a hard clay.

All this work had been done on an ascending grade, and the ascent was continued about 40 ft. farther in the clay. By this time a sufficient elevation was gained to pass over the underground stream, and the tunnel line was changed to head toward the lake shaft, and the grade reduced to a level. The underground[232] stream was passed without trouble and the tunnel continued for a distance of 54 ft. without difficulty. On July 10 the clay in the heading suddenly softened, and before the miners could secure it by bracing, the water rushed in, followed by gravel, filling up solidly some 34 ft. of the tunnel before it was stopped by a timber bulkhead hastily built.

Longitudinal Section Showing Method of Construction in Rock Covered with Quicksand.

Sketch “a”.

Section A-B-C-D.

Sketch “c”.

 

Longitudinal Section of Tunnel.

Sketch “b”.

Cross Section Showing Manner of Constructing Lining around Boulder.

Sketch “d”.

 

Fig. 123.—Sketch Showing Methods of Lining, Milwaukee Water-Works Tunnel.

Larger illustration

Upon examining the lake bottom a cavity over 60 ft. deep and 10 ft. in diameter was found directly over the end of the tunnel, which had been caused by the gravel breaking into the tunnel. Having now reached an elevation where it was possible to use compressed air, it was determined to put in double air-locks and use the plenum process. The locks were built, and some[233] 670 cu. yds. of clay were dumped into the hole in the lake bottom. On Aug. 4 the air-locks were tried with 26 lbs. air pressure; but, upon a temporary release of the pressure, the water passed around the locks and back of the tunnel lining for some distance, and even forced through the lining, carrying considerable clay and fine sand with it. Upon sounding the lake bottom it was found that the cavity had again increased to a depth of 65 ft., whereupon an additional 600 cu. yds. of clay were dumped into it.

On account of the water leaking through the brickwork, the only dry place to cut through the brickwork and build in an air-lock was just ahead of the brick bulkhead. This lock was completed Aug. 27, and to avoid encountering the danger of the direct connection with the lake at the end of the drift, it was decided to make another détour to the north. On Aug. 28, therefore, the brick on the north side of the tunnel 12 ft. back from the end of the brickwork was cut through under 25 lbs. air pressure, and work proceeded in good, hard clay. The original air-lock was cut out and a new lock built into this clay about 34 ft. from the last détour, to be used in case of further difficulties. After building the tunnel for about 80 ft. from the détour, the soundings again indicated the approach to gravel and water, and on Oct. 14 the water broke through from the bottom in such volume and with such force that the men ran out, closing every air-lock and the valves of every drain in their haste to escape, until the brick bulkhead was reached. It was with great difficulty that the portion of the tunnel up to the last air-lock was recovered and cleaned out.

It was now recognized that a pressure of from 38 to 40 lbs. of air would be needed to hold this water, and accordingly another compressor was added to the plant. With a pressure of 36 lbs. the water was driven out and the work again started. At this time also an additional 350 cu. yds. of clay were dumped into the hole in the lake bottom. Altogether, 1620 cu. yds. of clay had been put into this hole.

Loose gravel and boulders, some of immense size, were now[234] encountered, and the work became exceedingly difficult on account of the great escape of air. The interstices between the gravel and boulders were not filled with silt or sand, but contained water. Moreover, this material extended upward to the lake bottom, as was shown by the escape of air at the surface of the lake. For an area of several hundred square feet the surface of the water resembled a pot of boiling water. At times the air would escape very rapidly; and again only a few bubbles would show.

It need hardly be said that the work in this gravel was very slow. It was impossible to blast or to tear out the large boulders whole, as so much surface would be exposed that an inrush of water would take place despite the air pressure. The method of procedure was to excavate a heading and build the brick roof arch first, and then to take out the bench and build the invert. Fig. 123 gives a number of sketches showing how the work was done. A short piece of heading was taken out, the top and face of the bench being meanwhile plastered with clay (Sketches b and c, Fig. 123) to reduce the escape of air, and then the roof arch was built and supported on side sills resting on the bench. Bit by bit the roof arch was pushed forward until some little distance had been completed, then the heading was plastered with clay and the bench taken out little by little and the invert built. All the gravel except the small area upon which work was actually in progress was kept thoroughly plastered with clay; and as the air escaped through the completed brickwork very rapidly, water was allowed to cover a portion of the invert (see Sketch c, Fig. 123), so as to reduce the area of escape.

When a large boulder was reached, which lay partly within and partly without the tunnel section, the lining was built out and around it, as shown in Sketch d, Fig. 123. The boulder was then broken and taken out. All through this gravel bed the cross-section of the lining is made irregular by the construction of these pockets in the lining to get around boulders.[235] Sometimes they were on one side and sometimes on the other, or on both, or at the top or bottom. In fact, there was no regularity. Despite the hazard and danger of this work, continual progress was made, though sometimes it was only 4 ft. of completed tunnel per week, working night and day; and, if some cases of caisson disease be excepted, the only mishap occurring was a fire which got into the timber packing behind the lining and caused some trouble. From the gravel the tunnel ran into clay and quicksand, and then into hard, dry clay similar to that encountered near the shore. Some difficulty was had with the quicksand, but it was successfully overcome; and when the hard clay was struck, the trouble, as far as the work from the shore shaft was concerned, was virtually over.

Meanwhile, a different set of afflictions had come upon the engineer and contractors in sinking the lake shaft and driving the heading toward shore. This shaft was intended to be built by sinking a cast-iron cylinder 10 ft. in diameter, made up of sections bolted together. Work was begun July 5, 1892, and the sinking was accomplished first by weighting the cylinder, and afterwards by pumping out the sand and water within it until the pressure from the outside broke through under the cutting edge and forced the sand into the cylinder, allowing it to sink a little. From 10 to 30 cu. yds. of sand were carried into the cylinder each time, and finally it was feared that if the process continued, the crib, which had been previously erected, would be undermined. On Sept. 6, therefore, the contractors were ordered to discontinue this method of work. No change was made, however, until Oct. 1, when the cylinder had reached a depth of 68 ft., and by this time there was quite a large cavity underneath the crib. This was refilled, and the cylinder pumped out, and excavation begun inside of it. On Oct. 11 a 212-ft. deep ring of brickwork was laid underneath the cutting edge; but in trying to put in another ring beneath the first, two days later, the sand and water broke through the bottom, driving the men out, and filling the cylinder to a depth[236] of 16 ft. with sand. The pumps were started, but the water could not be lowered to a greater depth than 60 ft.

At the request of the contractors, the city engineer had a boring made at the center of the shaft to determine the character of the material to be further penetrated. This boring showed that sand mixed with loam and gravel would be found for a depth of 26 ft., then would come 15 ft. of red clay, and finally a layer of hard clay like that penetrated by the shore end of the tunnel. About the middle of December the contractors made another attempt to pump the shaft, but finding that the water came in at the rate of 25 gallons a minute, abandoned the attempt. In the latter part of February preparations were made to put an air-lock in the shaft and use compressed air. Hardly had the work been begun by this system when, on April 20, 1893, a terrific easterly storm swept the top of the crib bare of the buildings and machinery, and drowned all but one of the 15 men at work there.

This disaster delayed the work for some time, but in June the contractors erected a new building and new machinery, and resumed work. Very little progress was made; and the air escaped so rapidly that it loosened the sand surrounding the shaft and reduced the friction to such an extent that on July 28 the entire cylinder lifted bodily about 6 ft., and sand rushed in, filling the lower part of the cylinder to within 45 ft. of the lake surface. No further work was done by the contractors although they submitted a proposition to sink a steel cylinder inside the cast-iron cylinder and extending from 5 ft. above datum to 100 ft. below datum for $300 per ft. This proposition was refused by the city; and since work on the tunnel proper had been abandoned by the contractors some time before, as had already been described, the city suspended their contract on Oct. 19.

On Oct. 30 a contract was made with Mr. Thos. Murphy of Milwaukee, Wis., to sink a steel cylinder inside the old iron cylinder. The water was first pumped out of the old cylinder,[237] and a timber bulkhead built at the bottom. On this the steel cylinder was built, and then the bulkhead was removed. Air pressure was put on, and the excavation proceeded successfully until the bottom layer of clay was met with, when all chances for trouble ceased.

The cylinder, as it was completed, penetrated 9 ft. into the hard clay, and was underpinned with brickwork for a depth of 29 ft. or more, to a point 4 ft. below the grade line of the tunnel. At the lower end, the section of the shaft was changed from a circle to a square. Later the steel cylinder was lined with brick.

On March 28, 1894, an agreement was made with Mr. Thos. Murphy to construct the tunnel from the lake shaft toward the shore. Except that considerable water was encountered, which, owing to inadequate pumping machinery, filled the tunnel and shaft at two different times, and had to be removed, no very great difficulty was had with this part of the work.

On July 28, 1895, the headings from the lake and shore shafts met. Meanwhile the cast-iron pipe intake, the intake crib, etc., had been completed, and practically all that remained to be done was to clean the tunnel and lift the pumping machinery at the shore shaft. During the cleaning, the air pressure had been kept up on account of the leakage through the brick lining, and, indeed, the pressure was kept up until the last possible moment, and everything made ready for removing the air-locks, bulkheads, pumps, etc., in the least possible time. The pumps were the last to come out.


[238]

CHAPTER XIX.
SUBMARINE TUNNELING (Continued).


THE SHIELD SYSTEM.

Historical Introduction.

—The invention of the shield system of tunneling through soft ground is generally accredited to Sir Isambard Brunel, a Frenchman born in 1769, who emigrated to the United States in 1793, where he remained six years, and then went to England, in which country his epoch-making invention in tunneling was developed and successfully employed in building the first Thames tunnel, and where he died in 1849, a few years after the completion of this great work. Sir Isambard is said to have obtained the idea of employing a shield to tunnel soft ground from observing the work of ship-worms. He noticed that this little animal had a head provided with a boring apparatus with which it dug its way into the wood, and that its body threw off a secretion which lined the hole behind it and rendered it impervious to water. To duplicate this operation by mechanical means on a large enough scale to make it applicable to the construction of tunnels was the plan which occurred to the engineer; and how closely he followed his animate model may be seen by examining the drawings of his first shield, for which he secured a patent in 1818. Briefly described, this device consisted of an iron cylinder having at its front end an auger-like cutter, whose revolution was intended to shove away the material ahead and thus advance the cylinder. As the cylinder advanced the perimeter of the hole behind was to be lined with a spiral sheet-iron plating, which was to be strengthened with an interior lining of masonry. It[239] will be seen that the mechanical resemblance of this device to the ship-worm, on which it is alleged to have been modeled, was remarkably close.

In the same patent in which Sir Isambard secured protection for his mechanical ship-worm he claimed equal rights of invention for another shield, which is of far greater importance in being the prototype of the shield actually employed by him in constructing the first Thames tunnel. This alternative invention, if it may be so termed, consisted of a group of separate cells which could be advanced one or more at a time or all together. The sides of these cells were to be provided with friction rollers to enable them to slide easily upon each other; and it was also specified that the preferable motive power for advancing the cells was hydraulic jacks. To summarize briefly, therefore, the two inventions of Brunel comprehended the protecting cylinder or shield, the closure of the face of the excavation, the cellular division, the hydraulic-jack propelling power, and cylindrical iron lining, which are the essential characteristics of the modern shield system of tunneling. The next step required was the actual proof of the practicability of Brunel’s inventions, and this soon came.

Those who have read the history of the first Thames tunnel will recall the early unsuccessful attempts at construction which had discouraged English engineers. Five years after Brunel’s patent was secured a company was formed to undertake the task again, the plan being to use the shield system, under the personal direction of its inventor as chief engineer. For this work Brunel selected the cellular shield mentioned as an alternative construction in his original patent. He also chose to make this shield rectangular in form. This choice is commonly accounted for by the fact that the strata to be penetrated by the tunnel were practically horizontal, and that it was assumed by the engineer that a rectangular shield would for some reason best resist the pressures which would be developed. Whatever the reason may have been for the choice, the fact remains that[240] a rectangular shield was adopted. The tunnel as designed consisted of two parallel horseshoe tunnels, 13 ft. 9 ins. wide and 16 ft. 4 ins. high and 1200 ft. long, separated from each other by a wall 4 ft. thick, pierced by 64 arched openings of 4 ft. span, the whole being surrounded with massive brickwork built to a rectangular section measuring over all 38 ft. wide and 22 ft. high.

The first shield designed by Brunel for the work proved inadequate to resist the pressures, and it was replaced by another somewhat larger shield of substantially the same design, but of improved construction. This last shield was 22 ft. 3 ins. high and 37 ft. 6 ins. wide. It was divided vertically into twelve separate cast-iron frames placed close side by side, and each frame was divided horizontally into three cells capable of separate movement, but connected by a peculiar articulated construction, which is indicated in a general way by Fig. 124. To close or cover the face of the excavation, poling-boards held in place by numerous small screw-jacks were employed. Each cell or each frame could be advanced independently of the others, the power for this operation being obtained by means of screw-jacks abutting against the completed masonry lining. Briefly described, the mode of procedure was to remove the poling-boards in front of the top cell of one frame, and excavate the material ahead for about 6 ins. This being done, the top cell was advanced 6 ins. by means of the screw-jacks, and the poling-boards were replaced. The middle cell of the frame was then advanced 6 ins. by repeating the same process, and finally the operation was duplicated for the bottom cell. With the advance of the bottom cell one frame had been pushed ahead 6 ins., and by a succession of such operations the other eleven frames were advanced a distance of 6 ins., one after the other, until the whole shield occupied a position 6 ins. in advance of that at which work was begun. The next step was to fill the 6-in. space behind the shield with a ring of brickwork.

Fig. 124.—Longitudinal Section of Brunel’s Shield, First Thames Tunnel.

The illustration, Fig. 124, is the section parallel to the vertical[241] plane of the tunnel through the center of one of the frames, and it shows quite clearly the complicated details of the shield construction. Two features which are to be particularly noted are the suspended staging and centering for constructing the roof arch, and the top plate of the shield extending back and overlapping the roof masonry so as to close completely the roof of the excavation and prevent its falling. Notwithstanding[242] its complicated construction and unwieldy weight of 120 tons, this shield worked successfully, and during several months the construction proceeded at the rate of 2 ft. every 24 hours. There were two irruptions of water and mud from the river during the work, but the apertures were effectually stopped by heaving bags of clay into the holes in the river bed, and covering them over with tarpaulin, with a layer of gravel over all. The tunnel was completed in 1843, at a cost of about $5600 per lineal yard, and 20 years from the time work was first commenced, including all delays.

Fig. 125.—First Shield Invented by Barlow.

The next tunnel to be built by the shield system was the tunnel under London Tower constructed by Barlow and Greathead and begun in 1869. In 1863 Mr. Peter W. Barlow secured a patent in England for a system of tunnel construction comprising the use of a circular shield and a cylindrical cast-iron lining. The shield, as shown by Fig. 125, was simply an iron or steel plate cylinder. The cylinder plates were thinned down in front to form a cutting edge, and they extended far enough back at the rear to enable the advance ring of the cast-iron lining to be set up within the cylinder. In simplicity of form this shield was much superior to Brunel’s; but it seems very doubtful, since it had no diametrical bracing of any sort, whether it would ever have withstood the combined pressure of the screw-jacks and of the surrounding earth in actual operation without serious distortion, and, probably, total collapse. It should also be noted that Barlow’s shield made no provision for protecting the face of the excavation, although the inventor did state that if the soil made it necessary such a protection could be used. The patent provided for the injection of liquid cement behind the cast-iron lining to fill the annular space left[243] by the advancing tail-plates of the shield. Although Barlow made vigorous efforts to get his shield used, it was not until 1868 that an opportunity presented itself. In the meantime the inventor had been studying how to improve his original device, and in 1868 he secured additional patents covering these improvements. Briefly described, they consisted in partly closing the shield with a diaphragm as shown by Fig. 126. The uninclosed portion of the shield is here shown at the center, but the patent specified that it might also be located below the center in the bottom part of the shield. The idea of the construction was that in case of an irruption of water the upper portion of the shield could be kept open by air pressure, and work prosecuted in this open space until the shield had been driven ahead sufficiently to close the aperture, when the normal condition of affairs would be resumed. This was obviously an improvement of real merit. The partial diaphragm also served to stiffen the shield somewhat against collapse, but the thin plate cutting-edges and most of the other structural weaknesses were left unaltered. To summarize briefly the improvements due to Barlow’s work, we have: the construction of the shield in a single piece; the use of compressed air and a partial diaphragm for keeping the upper part of the shield open in case of irruptions of water; and the injection of liquid cement to fill the voids behind the lining.

Longitudinal Section.

Cross Section.

 

Fig. 126.—Second Shield Invented by Barlow.

Turning now to the London Tower tunnel work, it may first be noted that Barlow found some difficulty in finding a contractor who was willing to undertake the job, so little confidence had engineers generally in his shield system. One man, however,[244] Mr. J. H. Greathead, perceived that Barlow’s device presented merit, although its design and construction were defective, and he finally undertook the work and carried it to a brilliant success. The tunnel was 1350 ft. long and 7 ft. in diameter, and penetrated compact clay. Work was begun on the first shore shaft on Feb. 12, 1869, and the tunnel was completed the following Christmas, or in something short of eleven months, at a cost of £14,500.

The shield used was Barlow’s idea put into practical shape by Greathead. It consisted of an iron cylinder, or, more properly, a frustum of a cone whose circumferential sides were very slightly inclined to the axis, the idea being that the friction would be less if the front end of the shield were slightly larger than the rear end. The shell of the cone was made of 12-in. plates. The thinned plate cutting-edge of Barlow’s shield was replaced by Greathead with a circular ring of cast iron. Greathead also altered the construction of the diaphragm by arranging the angle stiffeners so that they ran horizontally and vertically, and by fastening the diaphragm plates to an interior cast-iron ring connected to the shell plates. This was a decided structural improvement, but it was accompanied with another modification which was quite as decided a retrogression from Barlow’s design. Greathead made the diaphragm opening rectangular and to extend very nearly from the top to the bottom of the shield, thus abandoning the element of safety provided by Barlow in case of an irruption of water. Fortunately the material penetrated by the shield for the Tower tunnel was so compact that no trouble was had from water; but the dangerous character of the construction was some years afterwards disastrously proven in driving the Yarra River tunnel at Melbourne, Australia. To drive his shield Greathead employed six 212-in. screw-jacks capable of developing a total force of 60 tons. The tails of the jack bore against the completed lining, which consisted of cast-iron rings 18 ins. wide and 78 in. thick, each ring being made up of a crown piece and three segments. The different segments and rings were provided with double (exterior and interior) flanges, by[245] means of which they were bolted together. The soil behind the lining was filled with liquid cement injected through small holes by means of a hand pump.

Fig. 127.—Shield Suggested by Greathead for the Proposed North and South Woolwich Subway.

Fig. 128.—Beach’s Shield Used on Broadway Pneumatic Railway Tunnel.

The remarkable success of the London Tower tunnel encouraged Barlow to form in 1871 a company to tunnel the Thames between Southwark and the City, and Greathead, in 1876, to project a tunnel under the same waterway known as the North and South Woolwich Subway. Barlow’s concession was abrogated by Parliament in 1873, without any work having been done. Greathead progressed far enough with his enterprise to construct a shield and a large amount of the iron lining when the contractors abandoned the work. From the brief description of his shield given by Greathead to the London Society of Civil Engineers, it contained several important differences from the shield built by him for the London Tower tunnel, as is shown by Fig. 127. The changes which deserve particular notice are the great extension of the shield behind the diaphragm, the curved form of the diaphragm, and the use of hydraulic jacks. Greathead had also designed[246] for this work a special crane to be used in erecting the cast-iron segments of the lining.

Fig. 129.—Shield for City and South London Railway.

While these works had been progressing in England, Mr. Beach, an American, received a patent in the United States for a tunnel shield of the construction shown by Fig. 128, which was first tried practically in constructing a short length of tunnel under Broadway for the nearly forgotten Broadway Pneumatic Underground Railway. This shield, as is indicated by the illustration, consisted of a cylinder of wood with an iron-cutting-edge and an iron tail-ring. Extending transversely across the shield at the front end were a number of horizontal iron plates or shelves with cutting-edges, as shown clearly by the drawing. The shield was moved ahead by means of a number of hydraulic jacks supplied with power by a hand pump attached to the shield. By means of suitable valves all or any lesser number of these jacks could be operated, and by thus regulating the action of the motive power the direction of[247]
[248]
the shield could be altered at will. Work was abandoned on the Broadway tunnel in 1870. In 1871-2 Beach’s shield was used in building a short circular tunnel 8 ft. in diameter in Cincinnati, and a little later it was introduced into the Cleveland water-works tunnel 8 ft. in diameter. In this latter work, which was through a very treacherous soil, the shield gave a great deal of trouble, and was finally so flattened by the pressures that it was abandoned. The obviously defective features of this shield were its want of vertical bracing and the lack of any means of closing the front in soft soil.

Fig. 130.—Shield for St. Clair River Tunnel.

Larger illustration

Longitudinal Section.

Cross Section.

 

Fig. 131.—Shield for Blackwall Tunnel.

Larger illustration

With the foregoing brief review of the early development of the shield system of tunneling, we have arrived at a point where the methods of modern practice can be studied intelligently. In the pages which follow we shall first illustrate fully the construction of a number of shields of typical and special construction, and follow these illustrations with a general discussion of present practice in the various details of shield construction.

Transverse Section.

Larger illustration

Longitudinal Section.

Larger illustration

Fig. 132.—Elliptical Shield for Clichy Sewer Tunnel, Paris.

Longitudinal Section.

Larger illustration

Cross Section.

Larger illustration

Fig. 133.—Semi-elliptical Shield for Clichy Sewer Tunnel.

Mr. Raynald Légouez, in his excellent book upon the shield system of tunneling, considers that tunnel shields may be divided[249] into three classes structurally, according to the character of the material which they are designed to penetrate. In the first class he places shields designed to work in a stiff and comparatively[250] stable soil, like the well-known London clay; in the second class are placed those constructed to work in soft clays and silts; and in the third class those intended for soils of an unstable granular nature. This classification will, in a general way, be kept by the writer. As a representative shield of the first class, the one designed for the City and South London Railway is illustrated in Fig. 129. The shields for the London Tower tunnel, the Waterloo and City Railway, the Glasgow District Subway, the Siphons of Clichy and Concorde in Paris, and the Glasgow Port tunnel, are of the same general design and construction. To represent shields of the second class, the St.[251] Clair River and Blackwall shields are shown in Figs. 130 and 131. The shields for the Mersey River, the Hudson River, and the East River tunnels also belong to this class. To represent shields of the third class, the elliptical and semi-elliptical shields of the Clichy tunnel work in Paris are shown by Figs. 132 and 133. The semi-circular shield of the Boston Subway is illustrated by Fig. 134.

Half Transverse Section A-B.

Half Rear-End Elevation.

 

Larger illustration

Details of Casting Supporting Ends of Jacks.

Details of Castings under Ends of Girders.

Longitudinal Section C-D.

 

Larger illustration

Fig. 134.—Roof Shield for Boston Subway.

Prelini’s Shield.

—In closing this short review mention will be made of a new shield designed and patented by the Author and shown in Fig. 135. It is an articulated shield composed of two separated shields whose outer shells overlap each other. The shields are connected together by means of hydraulic jacks attached all around the two diaphragms. Between these diaphragms is a large inclosed space called a safety chamber, where the men can withdraw in case of accidents and where the air can be immediately raised to the required pressure. This is[252] an advantage in case of blow-outs, because the flooding of the tunnel is prevented, while the accident is limited to only a few feet from the front. On account of the shield being advanced half at a time it is always under control and is thus better directed through grade and alignment. Besides, this shield will not rotate around its axis and consequently it can be built of any shape, thus permitting the construction of subaqueous tunnels of any cross-section and even with a wider foundation, which is impossible to-day with the ordinary rotating shields of circular cross-section.

Fig. 135.—Transversal and Longitudinal Section of Prelini’s Shield.

Larger illustration

SHIELD CONSTRUCTION.

General Form.

—Tunnel shields are usually cylindrical or semi-cylindrical in cross-section. The cylinder may be circular, elliptical, or oval in section. Far the greater number of shields used in the past have been circular cylinders; but in one part of the sewer tunnel of Clichy, in Paris, an elliptical shield with its major axis horizontal, was used, and the German engineer, Herr Mackensen, has designed an oval shield, with its major axis vertical. A semi-elliptical shield was employed on the Clichy tunnel, and semi-circular shields were used on the Baltimore Belt Line tunnel and the Boston Subway in America. Generally, also, tunnel shields are right cylinders; that is, the[253] front and rear edges are in vertical planes perpendicular to the axis of the cylinder. Occasionally, however, they are oblique cylinders; that is, the front or rear edges, or both, are in planes oblique to the axis of the cylinder. One of these visor-shaped shields was employed on the Clichy tunnel.

The Shell.

—It is absolutely necessary that the exterior surface of the shell should be smooth, and for this reason the exterior rivet heads must be countersunk. It is generally admitted, also, that the shell should be perfectly cylindrical, and not conical. The conical form has some advantage in reducing the frictional resistance to the advance of the shield; but this is generally considered to be more than counterbalanced by the danger of subsidence of the earth, caused by the excessive void which it leaves behind the iron tunnel lining. For the same reason the shell plate, which overlaps the forward ring of the lining, should be as thin as practicable, but its thickness should not be reduced so that it will deflect under the earth pressure from above. Generally the shell is made of at least two thicknesses of plating, the plates being arranged so as to break joints, and, thus, to avoid the use of cover joints, to interrupt the smooth surface which is so essential, particularly on the exterior. The thickness of the shell required will vary with the diameter of the shield, and the character and strength of the diametrical bracing. Mr. Raynald Légouez suggests as a rule for determining the thickness of the shell, that, to a minimum thickness of 2 mm., should be added 1 mm. for every meter of diameter over 4 meters. Referring to the illustrations, Figs. 128 to 132 inclusive, it will be noted that the St. Clair tunnel shield, 2112 ft. in diameter, had a shell of 1-in. steel plates with cover-plate joints and interior angle stiffeners; the shell of the East River tunnel shield, 11 ft. in diameter, was made up of one 12-in. and one 38-in. plate; the Blackwall tunnel shield, 27 ft. 9 ins. in diameter, had a shell consisting of four thicknesses of 58-in. plates; and the Clichy tunnel shield, with a diameter of 2.06 meters, had a shell 2 millimeters thick.

[254]

Front-End Construction.

—By the front end is meant that portion of the shield between the cutting-edge and the vertical diaphragm. The length of this portion of the shield was formerly made quite small, and where the material penetrated is very soft, a short front-end construction yet has many advocates; but the general tendency now is to extend the cutting-edge far enough ahead of the diaphragm to form a fair-sized working chamber. Excavation is far more easy and rapid when the face can be attacked directly from in front of the diaphragm than where the work has to be done from behind through the apertures in the diaphragm. So long as the roof of the excavation is supported from falling, experience has shown that it is easily possible to extend the excavation safely some distance ahead of the diaphragm. In reasonably stable material, like compact-clay, the front face will usually stand alone for the short time necessary to excavate the section and advance the shield one stage. In softer material the face can usually be sustained for the same short period by means of compressed air; or the face of the excavation, instead of being made vertical, can be allowed to assume its natural slope. In the latter case a visor-shaped front-end construction, such as was used on some portions of the Clichy tunnel, is particularly advantageous. The following figures show the lengths of the front ends of a number of representative tunnel shields.

City and South London 1   ft.
St. Clair River 11 .25
Hudson River 5 23
Mersey River 3  
East River 3 23
Blackwall 6 .5

Two general types of construction are employed for the cutting-edge. The first type consists of a cast-iron or cast-steel ring, beveled to form a chisel-like cutting-edge and bolted to the ends of the forward shell plates. This construction was first employed in the shield for the London Tower tunnel, and has since been used on the City and South London, Waterloo and City, and the Clichy tunnels. The second construction consists in bracing the forward shell plates by means of right[255] triangular brackets, whose perpendicular sides are riveted respectively to the shell plates and the diaphragm, and whose inclined sides slant backward and downward from the front edge, and carry a conical ring of plating. The shields for the St. Clair River, East River, and Blackwall tunnels show forms of this type of cutting-edge construction. A modification of the second type of construction, which consists in omitting the conical plating, was employed on some of the shields for the Clichy tunnel. This modification is generally considered to be allowable only in materials which have little stability, and which crumble down before the advance of the cutting-edge. Where the material is of a sticky or compact nature, into which the shield in advancing must actually cut, the beveled plating is necessary to insure a clean cutting action without wedging or jamming of the material.

Cellular Division.

—It is necessary in shields of large diameter to brace the shell horizontally and vertically against distortion. This bracing also serves to form stagings for the workmen, and to divide the shield into cells. The following table shows the arrangement of the vertical and transverse bracing in several representative tunnel shields.

Name of
Tunnel.
Diameter. Hori-
zontal.
Plates,
Dist.
Apart.
Vert.
Braces.
  Ft. In. No. Ft. No.
Hudson River 19   11   2 6.54 2
Clichy 19.4 0   2 6.54 None
St. Clair River 21   6   2 6.98 3
Waterloo (Station) 24   10 12 2 7.12 None
Blackwall 27   8   2 6.0  3
East River 11     34 None ... 1

Referring first to the horizontal divisions, it may be noted that they serve different purposes in different instances. In the Clichy tunnel shield the horizontal divisions formed simply working platforms; in the Waterloo tunnel shield they were designed to abut closely against the working face by means of special jacks, and so to divide it into three separate divisions; in[256] the St. Clair tunnel they served as working platforms, and also had cutting-edges for penetrating the material ahead; and in the Blackwall tunnel shield they served as working platforms, and had cutting-edges as in the St. Clair tunnel shield, and in addition the middle division was so devised that the two lower chambers of the shield could be kept under a higher pressure of air than the two upper chambers. Passing now to the vertical divisions, they serve to brace the shell of the shield against vertical pressures, and also to divide the horizontal chambers into cells; but unlike the horizontal plates they are not provided with cutting-edges. The St. Clair, Hudson River, and Blackwall tunnel shields illustrate the use of the vertical bracing for the double purpose of vertical bracing and of dividing the horizontal chambers into cells. The Waterloo tunnel shield is an example, of vertical bracing employed solely as bracing. The vertical division of the East River tunnel shield was employed in order to allow the shield to be dissembled in quadrants.

The Diaphragm.

—The purpose of the shield diaphragm is to close the rear end of the shield and the tunnel behind from an inrush of water and earth from the face of the excavation. It also serves the secondary purpose of stiffening the shell diametrically. Structurally the diaphragm separates the front-end construction previously described from the rear-end construction, which will be described farther on; and it is usually composed of iron or steel plating reinforced by beams or girders, and pierced with one or several openings by which access is had to the working face. In stable material, where caving or an inrush of water and earth is not likely, the diaphragm is omitted. The shield of the Waterloo tunnel is an example of this construction. In more treacherous materials, however, not only is a diaphragm necessary, but it is also necessary to diminish the size of the openings through it, and to provide means for closing them entirely. Sometimes only one or two openings are left near the bottom of the diaphragm, as in the St. Clair and Mersey tunnel shields; and sometimes a number of smaller[257] openings are provided, as in the East River and Hudson River tunnel shields.

In highly treacherous materials subject to sudden and violent irruptions of earth from the excavation face, it sometimes is the case that openings, however small, closed in the ordinary manner, are impracticable, and special construction has to be adopted to deal with the difficulty. The shields for the Mersey and for the Blackwall tunnels are examples of such special devices. In the Mersey tunnel a second diaphragm was built behind the first, extending from the bottom of the shield upward to about half its total height. The aperture in the first diaphragm being near the bottom, the space between the second and first diaphragms formed a trap to hold the inflowing material. The Blackwall tunnel shield, as previously indicated, had its front end divided into cells. Ordinarily the face of the excavation in front of each cell was left open, but where material was encountered which irrupted into these cells a special means of closing the face was necessary. This consisted of three poling-boards or shutters of iron held one above the other against the face of the excavation. These shutters were supported by means of strong threaded rods passing through nuts fastened to the vertical frames, which permitted each shutter to be advanced against or withdrawn from the face of the excavation independently of the others. Various other constructions have been devised to retain the face of the excavation in highly treacherous soils, but few of them have been subjected to conclusive tests, and they do not therefore justify consideration.

Rear-end Construction.

—By the rear end of the shield is meant that portion at the rear of the diaphragm. It may be divided into two parts, called respectively the body and the tail of the shield. The chief purpose of the body of the shield is to furnish a place for the location of the jacks, pumps, motors, etc., employed in manipulating the shield. It also serves a purpose in distributing the weight of the shield over a large[258] area. To facilitate the passage of the shield around curves, or in changing from one grade to another, it is desirable to make the body of the shield as short as possible. In the Mersey, Clichy, and Waterloo tunnel shields, and, in fact, in most others which have been employed, the shell plates of the body have been reinforced by a heavy cast-iron ring, within and to which are attached the jacks and other apparatus. The latest opinion, however, seems to point to the use of brackets and beams for strengthening the shell for the purpose named, rather than to this heavy cast-iron construction. In the Hudson River, St. Clair River, and East River tunnel shields, with their long and strongly braced front-end construction to carry the jacks, the body of the shield, so to speak, is omitted and the rear-end construction consists simply of the tail plating. In the Blackwall shield, the body of the shield shell provides the space necessary for the double diaphragms and the cells which they inclose. In a general way, it may be said that the present tendency of engineers is to favor as short and as light a body construction as can be secured.

The tail of the shield serves to support the earth while the lining is being erected; and for this reason it overlaps the forward ring of the lining, as shown clearly by most of the shields illustrated. To fulfill this purpose, the tail-plates should be perfectly smooth inside and outside, so as to slide easily between the outside of the lining plates and the earth, and should also be as thin as practicable, in order not to leave a large void behind the lining to be filled in. In soils which are fairly stable, the tail construction is often visor-shaped; that is, the tail-plates overlap the lining only for, say, the roof from the springing lines up, as in one of the shields for the Clichy tunnel. In unstable materials the tail-plating extends entirely around the shield and excavation. The length of the tail-plating is usually sufficient to overlap two rings of the lining, but in one of the Clichy tunnel shields it will be noticed that it extended over three rings of lining. This seemingly considerable space for thin steel plates is made[259] possible by the fact that the extreme rear end of the tail always rests upon the last completed ring of lining.

In closing these remarks concerning the rear-end construction, the accompanying table, prepared by Mr. Raynald Légouez, will be of interest, as a general summary of principal dimensions of most of the important tunnel shields which have been built. The figures in this table have been converted from metric to English measure, and some slight variation from the exact dimensions necessarily exists. The different columns of the table show the diameter, total length, and the length of each of the three principal parts into which tunnel shields are ordinarily divided in construction as previously described:

Name of Shield. Length in Feet.
Diameter. Tail. Body. Front. Total.
Concorde Siphon  6.75  2.51  2.55  1.16  6.67
Clichy Siphon  8.39  2.51  2.55  1.16  6.16
Mersey  9.97  5.61  2.98  2.98 11.58
East River 10.99  3.51  0.32  3.67  7.51
City and South London 10.99  2.65  2.82  1.01  6.49
Glasgow District 12.07  2.65  2.82  1.01  6.49
Waterloo and City 12.99  2.75  2.98  1.24  6.98
Glasgow Harbor 17.25  2.75  2.98  1.08  8.49
Hudson River 19.91  4.82  2.98  5.67 10.49
St. Clair River 21.52  4.00  2.98 11.25 15.25
Clichy Tunnel 23.7-19.8  4.00  2.98  6.88 17.22
Clichy Tunnel 23.8-19.4  7.44 11.90  4.46 23.65
Blackwall 27.00  6.98  5.90  6.59 19.48
Waterloo Station 24.86  3.34  5.51  1.14 10.00

A shield of 60 or 100 tons weight can hardly be directed along the line of the proposed tunnel and also through curves and grades, especially when driven through loose or muddy soils. The tunnels of the New York and Hudson River Railroad under the Hudson, and the tunnel of the New York Rapid Transit Railway under the East River, show marked evidence of how troublesome this work is. To avoid these and other inconveniences encountered in every shield, the Author has designed a new shield which was briefly described at page 251.

[260]

Fig. 136.—Elevation and Section of Hydraulic Jack, East River Gas Tunnel.

Jacks.

—The motive power usually employed in driving modern tunnel shields is hydraulic jacks. In some of the earlier shields screw-jacks were used, but these soon gave way to the more powerful hydraulic device. The manner of attaching the hydraulic jacks to the shield is always to fasten the cylinder castings at regular intervals around the inside of the shell, with the piston rods extending backward to a bearing against the forward edge of the lining. In the older forms of shield, having an interior cast-iron reinforcing ring construction, the jack cylinder castings were always attached to this cast-iron ring; but in many of the later shields constructed without this cast-iron reinforcing ring, the cylinder castings are attached to the shell by means of bracket and gusset connections. The number and size of the jacks employed, and the distance apart at which they are spaced, depend upon the size of the shield and the character of the material in which it is designed to work. In stiff and comparatively stable clays, the skin friction of the shield is comparatively small, and an aggregate jack-power of from 4 to 5 tons per square yard of the exterior friction surface of the shield has usually been found ample. The cylinders are spaced about 534 ft. apart, and have a working diameter of from 5 to 6 ins., with a water pressure of about 1000 lbs. per sq. in. In soft, sticky material, giving a high skin friction, the aggregate jack-power required per square yard of exterior shell surface rises to from 18 to 24 tons; the jacks are spaced about 3 ft. apart; and the working cylinder diameter and water pressure are, respectively, about 6 or 7 ins., and from 4000 lbs. to 6000 lbs. per sq. in. With these high pressures, power pumps are necessary to give the required water pressure;[261] but where the pressure required does not exceed 1000 lbs. per sq. in., hand pumps may be, and usually are, employed. Fig. 136 shows the hydraulic jacks used in the East River Gas Tunnel at New York. The number of jacks required depends upon the diameter of the shield, and, of course, upon the distance apart which they are placed. In the City and South London tunnel shield six jacks were used, and in the Blackwall shield 24 were used. The mechanical construction of the jacks for tunnel shields presents no features out of the usual lines of such devices used elsewhere. The jacks used on the East River tunnel shield are shown by Fig. 136.

Two general methods are employed for transmitting the thrust of the piston rods against the tunnel lining. The object sought in each is to distribute the thrust in such a manner that there is no danger of bending the thin front flange of the forward lining ring. In English practice the plan usually adopted is to attach a shoe or bearing casting to the end of the piston rod, which will distribute the pressure over a considerable area. An example of this construction is the shield for the City and South London tunnel. In the East River and St. Clair River tunnels built in America, the tail of the piston rod is so constructed that the thrust is carried directly to the shell of the lining.

LINING.

Either iron or masonry may be used for lining shield-driven tunnels but present practice is almost universally in favor of iron lining. As usually built, iron lining consists of a series of successive cast-iron rings, the abutting edges of which are provided with flanges. These flanges are connected by means of butts, the joints being packed with thin strips of wood, oakum, cement, or some other material to make them water-tight. Each lining ring is made up of four or more segments, which are provided with flanges for bolted connections similar to those fastening the successive rings. Generally the crown segment is made considerably shorter than those forming the sides[262] and bottom of the ring. The erection of the iron segments forming the successive rings of the lining may be done by hand in tunnels of small diameter where the weights to be handled are comparatively light, but in tunnels of large size special cranes attached to the shield or carried by the finished lining are employed. The construction of the iron lining for the Hudson River tunnel is illustrated in Chapter XX., and that for the St. Clair River tunnel is shown by Fig. 137.

Part Transverse Section.

Longitudinal Section.

 

Fig. 137.—Cast-Iron Lining, St. Clair River Tunnel.

Larger illustration


[263]

CHAPTER XX.
SUBMARINE TUNNELING (Continued).

THE SHIELD AND COMPRESSED AIR METHOD. THE HUDSON RIVER TUNNEL OF THE PENNSYLVANIA RAILROAD.


The shield and compressed air method of excavating subaqueous tunnels is used when the distance is small between the roof of the tunnel and the bed of the river. These tunnels are usually driven from the shafts sunk from each shore. It is very seldom they can be driven also by an intermediate shaft. This, however, was done in the case of the Belmont tunnel under the East River. Here the tunnels passed under the man-of-war reef where a working shaft was sunk.

The plant is located at some convenient point near the head shaft. It consists of a set of boilers to provide the power for the different machines. They are low and high pressure compressors, the former supply the air through the tunnel; the latter, the air for working the drills, in case rock is encountered, and power for hauling and hoisting purposes. The various pumps force the water for the hydraulic rams that drive the shield and work the erector. They also remove the water from the tunnel which always collects in variable quantities at the bottom of the excavation. Besides the machines for light and ventilation purposes, the head shaft is provided with an overhead construction where are housed the hoisting machines, the telephone and other means of communication with the work at the front. Usually a long trestle is built in connection with the head shaft, leading to the dumping place and yard. On this inclined elevated structure are located, also, the tracks upon which will run the small cars used inside the tunnel for hauling purposes.

[264]

The shafts are excavated on a square, rectangular or circular plan and are usually lined with masonry. It is only recently that shafts excavated through loose soils have been lined with the same cast-iron lining used in the tunnels, the only difference being that the rings were laid flat on the ground and attached to those already sunk.

After the shaft has been sunk to the required level, the tunnel is driven toward the river by any one of the methods used for land work. At some convenient distance from the shaft, the dimensions of the tunnel are enlarged for a length of 20 or 30 ft. In this larger space, called the shield chamber, the shield is assembled, mounted, and, when completed, it is slowly pushed toward the river. The tunnel is excavated from the shield chamber on, with dimensions equal to the exterior shell of the shield.

The construction of the shield and the hydraulic jacks used for its advance are explained in a preceding chapter.

In very loose soils, a solid bulkhead of masonry is built across the tunnel, after the shield has advanced to a certain distance and some rings of the cast-iron lining have been erected. The bulkhead is provided with three air locks—two near the floor of the tunnel, for working purposes, and one near the roof, called the emergency lock, which, as the name suggests, is used only in case of danger. The air locks are steel cylinders from 10 to 15 ft. long and 6 ft. in diameter, made up of boiler plates. They are provided with doors at each end, besides the pipes for the admission and exit of compressed air. The working locks also have narrow-gauge tracks for hauling purposes. In rock or more consistent soil the bulkhead is constructed after the shield is far ahead, since there is no immediate necessity, under these conditions, to use the compressed air. In both the loose and good soils, when the shield has been advanced over 500 ft. from the bulkhead, a second bulkhead, with air locks, is erected in the tunnel. The first is left in place but used only in case of emergency.

[265]

To direct the shield along the center line and through curves and grades, accurate measurements are taken, and the distance between the shield and the last ring inserted in the iron lining is regulated accordingly. The alignment inside the tunnel is maintained in a very simple way. For this purpose, points corresponding to the center line are marked on the roof at distances of 100 ft. Nearly 100 ft. from the shield, a transit is set up on a strong scaffold spanning the tunnel, and it is supported by the flanges of the iron lining. A plumb-line is hung from one of the points of the roof already determined, as indicating the center line; and the transit man aligns his instrument with this plumb-line; after this he “plunges” his telescope. A rodman next places a horizontal rod of special construction between the flanges of the last ring of the lining. This rod has in the center an open slot which carries a glass with a black vertical line. The slot is graduated, the zero of graduation remains in the center while the vertical line is moved right and left. The rodman places a lamp behind the slot and the transit-man tells him how to move the dark line until it coincides with the axis of the tunnel. If the ring, just erected, be a little out of alignment, it is readjusted by pushing the shield a little more on the side that has swerved from the axis of the tunnel. As the shield is pushed forward, it is kept in place by four men with graduated rods, one man on each side of the shield, one on top and the other on the floor. As the shield progresses, they repeat aloud in succession, the distance indicated on the rods, which is the distance from the shield to the outer circumferential flange of the last ring of the lining. When an advance of one foot has been made, readings are taken at every inch; and when very near the required distance, they are taken at every quarter of an inch. In this way it is not difficult to bring the shield back into line, in case it may have shifted a little to the right or left. When curves are met, the rings are no longer cylindrical segments but tores, so that the segments at one side are longer than those on the other. In this case, the shield is advanced more[266] on one side by a quantity equal to the difference of the two sides of the ring to be erected. At each advance the shield is moved 2 ft. or 212 ft. ahead, the distance corresponding to the length of the cast-iron rings of the lining. Within the space now open between the shield and the lining another ring is inserted. The ring is composed of different segments provided with flanges and holes bored so they can be bolted together. The segments of the lining are very heavy and difficult to handle but they are easily set by means of the erector.

When the erector is not mounted on the shield, it is located in the middle of a girder placed across the iron rings of the lining and just at the rear end of the shield. The girder, at both extremities, has flanged wheels resting on rails which are placed on brackets. These brackets are attached temporarily to the flanges of the iron lining. The erector is provided with an arm capable to swing in a full circle. Its movements are regulated by two hydraulic jacks, located horizontally on the spanning girder. On the extreme end of the revolving arm are projections with holes for the bolts. Each segmental plate of the lining has a kind of plug in the center which is cast together with the plate and is provided with holes for the bolt. In placing the segmental plates of the lining, the arm of the erector is swung over the plate to be lifted, then two bolts are passed through the holes in the projection of the erector, and through those in the plug. The arm of the erector is then moved upwards until the plate, free from all obstacles, is swung very near its intended position. There it is adjusted and held until bolts are inserted to fix it to the plates of the preceding ring.

In connection with the method of excavating submarine tunnels by means of shield and compressed air, the excavation varies with the quality of soil encountered. In compact rock the usual heading and bench method, so common in land tunnels, is also employed in this case. The shield is left behind in presence of good rock.

The men at the front attack the rock with air drilling machines[267] and charges of dynamite. The holes are driven at a smaller depth than in land work; very light charges of dynamite are used and only a few holes fired at each round. Every precaution is taken in order not to disturb the shield and the bed of the river any more than is possible, because at a shallow depth the blast would tend to widen the existing crevices in the rock and thus permit an inflow of water. When the rock is fissured or disintegrated and the roof of the excavation at the front requires timbering, the shield should be kept closer to the front. In this way the quantity of timber for strutting is greatly reduced, so lessening the probabilities of fires. It is very difficult, in compressed air, to extinguish fires and in almost every instance the only way is to flood the tunnel. This was done at the Manhattan end of the tunnel under the East River for the extension to Brooklyn of the New York Subway.

The excavation is made by hand in loose but compact soils such as clay. The men work on platforms located at the front of the shield and they are protected from the caving-in of the roof by a hood added for working through loose soils. The men excavate the material which is shoveled inside the tunnel and is carried away in small cars. The shield is very close to the front of the excavation in loose soil. The East Boston tunnel, under Boston Harbor, connecting with the Boston Subway, was excavated through blue clay. The minimum distance between the bottom of the water and the roof of the excavation was 18 ft. The tunnel was excavated by means of compressed air and the shield which was only used for the roof. It slid on top of concrete side walls built in two drifts which were excavated nearly 100 ft. ahead of the shield. The tunnel was lined with concrete, the arch being reinforced by longitudinal steel rods which received the thrust of jacks used for advancing the shield. The material in the drifts under the shield and the bench was removed by hand and carried away in small cars.

Subaqueous tunnels driven through very loose soils can be excavated by simply leaving the doors open while the shield is[268] pushed ahead. The material, dislodged by the cutting edge of the shield, is forced through the doors and falls on the floor whence it is removed in small cars. In very loose soils the excavation has been made in a still more economic way; the shield with closed doors is simply squeezed through the soil. This method is financially convenient, because all the excavating and hauling operations are eliminated and the tunnel progresses from 40 to 50 ft. per day, but clearly indicates a lack of stability. In this manner, the Hudson River tunnel of the New York and New Jersey Railroad was constructed.

The pressure of the air in the tunnel depends upon the depth and as a rule it varies between 20 and 40 or even more pounds per square inch above atmospheric pressure. Working in compressed air causes a peculiar disease commonly known as “bends” or “caisson disease” often proving fatal. To prevent and remedy the disease, the engineers should order a set of rules to be strictly observed. The preventative measures should be, first, to employ only sober, strong and healthy men, never one who has not successfully passed the examination of the attending physician; second, to order the lock tenders never to allow any man in or out of the tunnel unless he has spent at least ten minutes within the locks. Both compression and decompression should be thorough and it cannot be in less than this time. A stop of only a few minutes in the locks is not sufficient and this incomplete compression or decompression is the real cause of the bends. The men become careless after they have been in the compressed air for some time, and they try to reduce this tiresome operation to a minimum, hence the duty of the engineer to strictly enforce this rule. The remedial measures should consist of constant medical attendance near the shafts and the erection of a compressed air hospital where the men affected by bends for lack of decompression may be attended and cured.

[269]

THE HUDSON RIVER TUNNELS OF THE PENNSYLVANIA RAILROAD.[13]

The tunnels constructed under the Hudson River for the Pennsylvania Railroad, consist of two parallel tubes driven side by side 14 ft. apart. The tubes are of circular cross-section, 23 ft. exterior diameter, and are lined with cast-iron rings. The tunnels were driven from two shafts, one on the eastern shore of the Hudson River near 32nd St. and 11th Ave., New York; the other at Weehawken, New Jersey, near the piers of the Erie Railroad. The horizontal distance between the shafts was 6550 ft. The permanent one at Weehawken was built on a square plan, 130 ft. to a side. It was lined with concrete masonry and the walls were battered in such a way as to become the shape of an inverted frustum of a pyramid. It was provided with five openings at the bottom, four of these are used by trains that run in the open, the fifth one leads to a power house near by. During the construction of the tunnels one-third of this shaft was used for the land portion of the tunnel under Bergen Hill, while the remaining two-thirds were devoted to the construction of the tunnel under the river. The working shaft on Manhattan Island was a side shaft of rectangular plan 30 ft. by 22 ft., the tunnel proper being connected by two drifts 10 ft. by 10 ft. each. The shield rooms 23 ft. long, were situated on both sides of the river just in front of the shafts. On the New York side, the shields, one for each tube, were built inside the iron lining of the shield chamber, and the hoisting tackle was slung from the iron lining. The erection on the Weehawken side was done in the bare rock excavation where timber falsework was used. After the shields were finished and in position, the first two rings of the lining were erected in the tail of the shield. These rings were firmly braced to the rock and the chamber lining; then the shields were shoved ahead by their own jacks, another ring was built and so on.

[13] Condensed from paper by James Forgie, “Eng. News,” Vol. LVI, and by H. B. Hewett and W. L. Brown, “Proc. Am. Soc. C. E.”, Vol. XXXVI.

[270]

Rear Elevation of Shield.

Vertical Section.

Larger illustration

Half Section A-B.

Half Section C-D.

Horizontal Section.

Larger illustration

Fig. 138.—General Elevations and Sections of Shield.

Shield.

—The shields used in these tunnels were designed by Mr. James Forgie, M. Inst. C. E. and M. Am. Soc. C. E., and were provided with three innovations: the segmental doors, the sliding platforms and the removable hood. The shields, Fig. 138, were circular, 23 ft. 614 ins. in external diameter, and were 16 ft. long, exclusive of the hood. The tail of the shield overlapped the lining, the maximum being 6 ft. 412 ins. during ordinary working; the minimum, 2 ft. during the operation of taking any[271] ram out for repairing. The shields had only one transverse bulkhead made up of two continuous horizontal platforms and three vertical partitions stiffening angular web plates fore and aft the ram chambers. They were connected by angles and skin plates which formed a ring-shaped frame 25 ins. thick radially and nearly 5 ft. long. Between the vertical and horizontal partitions were left openings which either were partially or entirely closed by segmental doors pivoted on an axis parallel to the face of the shield bulkhead. There were nine of such openings on each shield, the clear width being 2 ft. 7 ins., the height varying from 2 ft. 2 ins. to 3 ft. 4 ins., according to the location. The hood at the front of the shield was designed so as to be detached underground and was made of complete segments to permit easy erection or detachment. The hood was extended as far as the upper platform, thus protecting only the roof of the excavation. It was attached to the shield by means of bolts, and, when removed, it was replaced by the cast-steel cutting-edge, built in 24 sections and placed all around the shield. The eight sliding platforms, another characteristic of this shield, could be extended 2 ft. 9 ins. in front of the shield by means of hydraulic rams, and, when so extended, were able to stand a pressure of 7900 lbs. per sq. ft. These sliding platforms were used as hoods for the protection of the men working through loose soils, while in rock they enabled the drilling and blasting to be carried on at three levels. A water trap or bird fountain was constructed, at the rear of the bulkhead of the shield, by means of angle irons to which steel plates were bolted. The opening to the face was so spacious that in an emergency the men could readily escape by getting over this trap into safety. Besides, with the assistance of compressed air, it was sufficient to perfectly trap the water-bearing ground, in case the face collapsed. Including rams and erector, the total weight of the shield was 193 tons.

Hydraulic Rams.

—The shield was operated by hydraulic pressure. The machines were designed for a maximum pressure[272] of 5000 lbs., to a minimum of 2000 lbs., while the average working pressure was 3500 lbs. per sq. in. The forward movement of the shield was obtained by means of 24 single-acting rams 812 in. in diameter and with 38 in. stroke. Each ram exerted a pressure of nearly 100 tons, so that the combined action of the 24 rams was equal to 2400 tons. Each sliding platform was operated by two single-acting rams 312 ins. in diameter and with 2 ft. 9 in. stroke. The rams were attached to the rear face of the shield and the front ends of the cylinders to the front ends of the sliding platforms, and since the cylinders were movable and free-sliding so also were the platforms.

Erector.

—The erector, a box-shaped frame mounted on a central shaft, revolved in bearings attached to the shield. Inside this frame there was a differential hydraulic plunger of 4 in. and 3 in. diameters and 48 in. stroke. To the plunger head were attached two channels which slide inside the box frame and to the projecting ends of which the grip was attached. At the opposite end of the box frame was attached a counter-weight which balances about 700 lbs. of the tunnel segment at 11 ft. radius. The erector was revolved by two single-acting rams fixed horizontally to the back of the shield, above the erector pivot, through double chains and chain wheels which were keyed to the erector shaft.

Air Locks.

—Two bulkhead walls, forming the rear closure of the pneumatic sections, were built in each end of each tunnel, one just ahead of the shield chamber, the other about 1200 ft. ahead of the first. The walls were built of Portland concrete 10 ft. thick, and they were grouted with Portland cement, under a pressure of nearly 100 lbs. per sq. in., to make them thoroughly air-tight. Each wall had in it three locks; for man, material and emergency. Each was equipped with hand valves arranged to be operated from either outer end or from within. The floors of the man and material locks were on a level with the working platform of the tunnel, about 3 ft. 6 ins. above the invert; the floor of the emergency lock was about 5 ft. above the horizontal[273] axis of the tunnel. The locks were made of steel plates and shapes, with iron fittings riveted and bolted together. The man lock was 11 ft. long of elliptical cross-section, 6 ft. vertical diameter and 5 ft. horizontal; the material lock was 25 ft. long, with circular cross-section, 7 ft. diameter, and the emergency lock was 20 ft. long, of elliptical cross-section, 4 ft. vertical and 3 ft. horizontal diameters. Fig. 139 shows the elevation of the air lock used in the Pennsylvania tunnel.

Sectional Elevation

Horizontal Section

Fig. 139.—Plan and Elevation of First Bulkhead Wall in South Tube Manhattan.

Larger illustration

Excavation.

—In driving these tunnels almost any kind of material was encountered, viz., rock, partly rock, and partly loose soil, sand and gravel, and finally silt.

Rock.

—Much of the rock excavation was made before the shields were erected in order to avoid the handling of rock through the narrow openings of the shield doors. Throughout the cross-section the shield traveled on a cradle of concrete in which 2 or 3 steel rails were imbedded. At the points where the excavation had been made for the full[274] section of the tunnel, it was only necessary to trim off the projecting corners of rock. Where only the bottom heading had been driven the excavation was completed just in front of the shield; the drilling below the axis level being done from the heading itself, and above that from the front sliding platforms of the shield. The holes were placed near together and were drilled short; very light charges of powder were used in order to lessen the chance of knocking the shield about too much.

Mixed Face.

—When the rock dipped to such an extent that the front of the tunnel was excavated partly in rock and partly in loose soil, the compressed air was turned on, starting with a pressure varying from 12 to 18 lbs. When the surface of the rock was penetrated, the soft face was held up at first by horizontal boards braced from the shield until the shield was shoved. The braces were then taken out and, after the shield had been shoved, were replaced by others. As the amount of soft ground in the surface increased, the system of timbering was gradually changed to one of 2-in. poling-boards. These rested on top of the shield and were supported by vertical breast-boards which in turn were held by 6-in. by 6-in. walings, braced through the upper doors to the iron lining and from the sliding platforms of the shield.

Sand and Gravel.

—Sand and gravel were only met at Weehawken, where two different methods were used. The first method was employed when the roof of the excavation was through sand. It consisted of excavating the ground 2 ft. 6 ins. ahead of the cutting-edge, the roof being held in place by longitudinal poling-boards. These boards rested on the outside of the skin at their back end, and at the forward end on vertical breast-boards, braced from the sliding platforms and through the shield doors to cross timbers in the tunnel.

The second method of timbering was used in the presence of gravel at the upper part of the excavation. In such a case, the excavation was only carried 1 ft. 3 ins. (half a shove) ahead of[275] the cutting-edge, the roof being supported by transverse boards held by pipes which rested in holes left in the shield. After a small section of the ground had been excavated a board supported by a pipe that was inserted underneath and wedged to it was placed against the ground. These polings were kept below the level of the hood, so that when the shield was shoved, they would come inside of it; in addition they were braced with vertical posts from the sliding platform. The upper part of the face was held by longitudinal breast-boards braced from the sliding platform by vertical pieces. The lower part of the face was supported by vertical sheeted poling, braced to the tunnel through the lower doors. Straw and clay were used in front of the boards to prevent the escape of air which was very large, when the tunnel was excavated through sand and gravel. The average rate of progress in these materials was 5.1 ft. per day.

Silt.

—When silt was encountered, the shield was shoved into the ground without any excavation being done by hand ahead of the diaphragm. As the shield advanced the silt was forced through the doors into the tunnel. Forcing the shield through the silt resulted in raising the bed of the river, the amount that the bed was raised depending on the quantity of material brought into the shield. When the whole volume of the excavation was brought in, the surface of the bed was not affected; when about 50% was taken in, the surface was raised about 3 ft.; if the shield was driven blind, the bed was raised about 7 ft. When the shield was driven blind, the tunnel began to rise for about 2 ins., and the iron lining was distorted, the vertical diameter increasing and the horizontal one decreasing by about 114 ins. It was found, however, that the tunnel was not affected when part of the excavation was taken, but if all of it was taken in or the shield was shoved with open doors, the tunnel was lowered. A powerful aid was thus found for the guidance of the shield; for, if high, the shield could be brought down by increasing the quantity of muck taken in, if low, by decreasing it.

The junction of the shields under the river was made as[276] follows: When the two shields of one tunnel, which had been driven from opposite sides of the river, approached within 10 ft. of each other, they were stopped; a 10-in. pipe was driven between them, and a final check of lines and levels was made through the pipe. One shield was then started up with all doors closed, while the doors of the stationary shield were opened for the muck driven ahead by the moving shield. This was continued until the cutting-edges came together. All doors in both shields were then opened and the shield mucked out. The cutting-edges were taken off and the shields moved together again, edge of skin to edge of skin. As the sections of the cutting-edges were taken off, the space between the skin edges was poled with 3-in. stuff. When everything except the skin had been removed, iron lining was built up inside the skins; the gap at the junction was filled with concrete and long bolts were used from ring to ring on the circumferential joint.

Lining.

—The tunnels were lined with cast-iron circular rings of the segmental bolted type. In some special cases, cast steel was used instead of cast iron. The rings were made 30 ins. long, with an internal diameter of 21 ft. 2 ins. and an external one of 23 ft. The rings were composed of nine equal segments of 7712 ins. external circumferential length each, except the two segments adjoining the key which were equal to the other segments with the difference, that one end joint was not radial but formed so as to make an opening 12.25 ins. wide at the outside and 12.60 ins. at the inside, which was closed by the key segment. Each segment had six bolts in the circumferential joint, the key had one, so that there were 67 bolts in one circumferential joint. Each of the twelve longitudinal or radial joints had five bolts, in all 127 bolts per ring. The circumferential flanges of each plate were strengthened by two transverse webs or feathers on each flange. Each segment was provided with a 112 in. grout hole closed with a screw plug. In order to pass around curves, whether horizontal or vertical, or to correct deviation from the line or grade, tapering was used; by this is meant the placing of[277] rings in the tunnels which were wider than the standard rings, either at one side (horizontal tapers or liners), or at the top (depressors), or at the bottom (elevators). Tapers 12, 34 or even 1 in. were used. The taper rings were made by casting a ring with one circumferential flange much thicker than usual and then machining it off to the taper.

Grouting.

—From the exterior of the tunnel already lined with cast-iron rings, grout was forced through the holes closed by screw-plugs, at a pressure of 90 lbs. per sq. in. The grout was composed of 1 Portland cement and 1 sand by volume and was forced in by a specially constructed machine, so it formed a shell of cement nearly 3 ins. thick around the exterior of the iron lining. The grouting began at the lower segment; the cement was forced in until it reached the hole above, then the hole was plugged, and the grouting was carried on from the consecutive hole and so on until all the tunnel was finally encased in grout, as it filled every crevice between the outside of the lining and the ground as excavated. The cast-iron rings of the tunnel were covered with a concrete lining which was placed in the following order: First, on the invert; second, on the duct benches; third, on the arch; fourth, on the ducts; fifth, on the face of the bench. Before any concrete was placed, the surface of the iron was cleaned by scrapers and wire brushes and by washing it with water. The invert was built in sections 30 ft. long and the duct benches were constructed soon after. These duct benches were built with several steps for the ducts to be laid later. They were built by means of a traveling stage on wheels which ran on tracks on the working platform of the tunnel. The arch was constructed soon after. First the portion from the duct benches to the haunches, then the arch proper, was built on traveling centers on tracks laid on the steps of the duct benches. The concrete was received in 34-cu.-yd. dumping buckets, from the flat cars on which they were run; the buckets were hoisted to the level of the lower platform of the arch by a small Lidgerwood compressed air hoister. At this level the concrete was dumped[278] on a traveling car or stage and moved in that to the point on the form where it was to be placed. For the lower part of the arch the concrete was thrown directly into the form from this traveling part of the stage. Fig. 140 shows the cross-section of the tunnel with the iron lining and concrete.

Section in Sand and Gravel or Rock

Section in Hudson River Silt, with foundations

 

Fig. 140.—Typical Cross-Sections of One Tube of Pennsylvania Railroad Tunnel Under the Hudson River.

Larger illustration

Hauling.

—A working platform, made up of 5-ft. sections, was built inside the tunnel and kept close to the shield. On this platform two lines of industrial railway tracks with switches and sidings at the locks, and a heading, were laid for hauling materials and spoils. These lines converged into a single track in passing through the air locks. At the shaft elevators, they terminated in a steel plate floor to avoid switches. Between the locks of the bulkheads was installed an electrically driven cable system, to haul the loaded muck up grade and to empty the flat cars. From the first bulkhead to the shaft, the cars were hauled up grade by a steam hauling engine. At the Manhattan end there was one 10-H.P. engine for each tunnel, while at Weehawken one 25-H.P. engine served for both tunnels. Each shaft contained two elevators driven by a double-cable, reversible single-drum steam-hoisting engine. A grouty frame was built[279] over the shafts, and on the platforms over this frame were narrow-gauge tracks, extending from the elevators to the muck-chutes and to points where the lining segments were loaded on the cars. The elevators were arranged to stop at both the ground and the grouty platform levels. The rolling-stock at each of the tunnels consisted of 75 flat cars for moving the tunnel segments, and of about 50 muck cars, each of 114 cu. yd. capacity.

Plant.

—The plants located at each end of the tunnel near the shafts were almost identical. Each consisted of three 500-H.P. Stirtling boilers, which supplied steam at 150 lbs. pressure. Feed water was supplied by three 1312 metropolitan injectors, and two Blake duplex pumps. Two Worthington surface condensers, each of 2250 sq. ft. condensing surface, took care of the exhaust from the engines and compressors. Condensing water was pumped from the river through a 16-in. pipe. The high-pressure air was supplied by a duplex Ingersoll-Sergeant compressor, with cross-compound steam end 14 × 26 × 30 ins. and simple water-jacket air cylinders 1314 × 36 ins. Its capacity at 100 r.p.m. was 1085 cu. ft. free air per minute. The maximum pressure was 130 lbs. per sq. in. The air for the pneumatic working was supplied by three 14 × 26 × 30 in. duplex Ingersoll-Sergeant compressors. The maximum capacity of the three was 12,000 cu. ft. free air per minute at 125 r.p.m. and a discharge pressure of 50 lbs. per sq. in. The suction air was taken from the outside about 10 ft. above the roof of the engine house. Three aftercoolers, 3212 ins. × 11 ft. 4 ins., each having 809 sq. ft. cooling surface of tinned brass tubes, cooled the low-pressure discharge to within 10° F. of the temperature of the cooling-water. From the aftercoolers, the air passed into three steel receivers each 54 × 12 ft., placed outside the engine room and fitted with weighing safety valves. The receivers were connected to two 10-in. mains; one serving the north, the other the south tunnel. A fourth receiver of the same size was built to receive the discharge of the high-pressure compressor, through a 4-in. pipe. The high-pressure water required for the shield was furnished by[280] three Blake direct-acting, duplex pumps with outside packed plungers. The steam end was 16 × 18 ins., the water end 2116 × 18 ins. At 55 r.p.m. pumping against 5000 lbs. per sq. in., the capacity of each pump was 57 gals. per minute. Two of them, one on each tunnel, were sufficient to run the shields and the third was held in reserve. The high-pressure water was conveyed to the front by means of a 2-in. double, extra strong pipe which was buried between the engine room and the shaft, in a trench, to prevent freezing in cold weather. The electric current for light and power was supplied by two 100-K.W. 250-volt G.E. direct-current generators directly connected to Ball & Wood high-speed engines running at 250 r.p.m. The switchboard had two machine panels, two distributing panels and one panel carrying a circuit breaker for the traction circuit.

Illumination.

—The tunnel was lighted by electricity, there being two rows of lamps, one in the crown and one in the south axial fine. The lamps were 16-c.p., 240-volt, two-wire system, and were spaced 35 ft. apart in the crown and 1212 ft. apart on the axial line. In addition, five nests of 5 lamps each were used at the front. Candles were supplied for miscellaneous and emergency uses. The sockets for electric globes were fitted to a wooden reflector, coated with white enamel paint on the inside.


[281]

CHAPTER XXI.
SUBMARINE TUNNELING (Continued); TUNNELS AT VERY SHALLOW DEPTH. THE COFFERDAM METHOD. THE PNEUMATIC CAISSON METHOD. THE JOINING TOGETHER SECTIONS OF TUNNELS BUILT ON LAND.


The tunnels on the river bed or at such a shallow depth that only a few feet of material will remain between the bottom of the river and the roof of the tunnel can be built in three different ways, viz., (1) by a cofferdam; (2) by pneumatic caissons; (3) by sinking and joining together whole sections of tunnels that were built on land.

The Cofferdam Method.The Van Buren Street Tunnel, Chicago River.

According to the cofferdam method, the work is attacked at one of the shores, and the tunnel built in sections of such length as not to interfere with the flow of water or the navigation of the river. Round the entire exterior line of the first section a double-walled cofferdam is built, and strongly braced transversely, so as to withstand the pressure of the water. When the water is pumped out, a single-walled cofferdam is built within the first, leaving sufficient distance between the two to allow of the construction of the masonry. The soil is then removed within the inner cofferdam, and the tunnel constructed from the foundation. When the end of the tunnel reaches the channel end of the cofferdam, a crib-wall is erected over the end of the completed tunnel. This crib, in turn, forms the end wall of another cofferdam, built in continuation of the first, so as to allow the second section to be proceeded with, and at the same time to facilitate the removal of the cofferdams of the first[282] section. The work goes on continuously in this way until the distant shore is reached.

VAN BUREN STREET TUNNEL, CHICAGO.

The Van Buren Street tunnel, built to carry a double-track street railway under the Chicago River, was completed in 1894 by the cofferdam method. The special features of the tunnel[14] are: (1) the unusually large dimensions of the cross-section of 30 ft. × 15 ft. 9 ins.; (2) its construction inside of cofferdams of great length and width; (3) the construction under some very high buildings calling for great care and very strong temporary and permanent supports.

[14] “Eng. News,” April 12, 1892.

The special feature of the work for our present purpose was the construction of the tunnel across the river. To accomplish this a cofferdam was built out from the west shore of the river to its middle, and the tunnel constructed within it like the building of any other structure within a cofferdam. Transverse and longitudinal sections of this cofferdam are shown by Fig. 141. As will be seen, it was a simple double-wall cofferdam, with a clear width between the walls of 58 ft., and braced transversely as shown. Inside of this a single-wall cofferdam of piles was constructed, with a clear width just sufficient to allow the construction of the masonry within it. When the tunnel end reached the channel end of the cofferdam, a crib-wall was built over the end of the completed tunnel, as shown by the drawings. This crib-wall was intended to form the end wall of another cofferdam, which was built out from the east shore, and within which the remaining half of the tunnel was built as the first half had been. The drawings show the character of the tunnel masonry and of the centering upon which it was built.

TRANSVERSE SECTION OF COFFERDAM AND TUNNEL

SECTION SHOWING METHOD OF CONSTRUCTING CRIB DAM.

 

Fig. 141.—Sections of Cofferdam, Van Buren St. Tunnel, Chicago.

Larger illustration

The Van Buren Street tunnel was the last of the three tunnels under the Chicago River, constructed according to the cofferdam method. At the time the tunnels were constructed the bed of[283]
[284]
the river was 17 ft. deep. In connection with the harbor and river improvements, the Federal Government ordered the Chicago River to be lowered so as to give a depth of 26 ft. of water. This necessitated the lowering of the tunnel roof and the excavation for a deeper floor which was a very difficult operation. This work was described in “Eng. News,” Sept., 1906.

THE PNEUMATIC CAISSON METHOD.—THE TUNNEL UNDER THE HARLEM RIVER.

In the early seventies Prof. Winkler proposed to construct a tunnel under the River Danube to connect the various portions of the Vienna, Austria, underground railway, and to use caissons in the construction. Prof. Winkler proposed to build caissons from 30 ft. to 45 ft. long, with a width depending upon the lateral dimensions adopted for the tunnel masonry. The caisson was to be made of metal plates and angle iron with riveted connections on all sides except those running vertically transverse to the tunnel axis, whose connections were to be bolted. In the middle of the roof an opening was to be left; this was for the shaft having the air-locks to allow the passage of men, materials, and compressed air.

Across the river two parallel rows of piles were to be driven into the river bed, to fix the place where the caisson was to be sunk. Then the first caisson near the shore was to be lowered in the ordinary way, and a second caisson was to be immediately sunk very close to the first one. When both caissons had reached the plane of the tunnel floor, the sides which were in contact were to be unbolted and removed, and the small space between made water-tight. The chambers of the two caissons were to be opened into a single large one communicating above by means of two shafts. At the same time that the masonry was being built in the first two caissons, from the inverted arch up, a third caisson was to be sunk; and when by excavation it had reached the plane of the projected tunnel floor, the partitions were to be removed so that the three caissons were in communication,[285] forming a large single caisson. Then the outer partition of the first caisson was to be removed, and the masonry of the submarine tunnel connected with the portion of the tunnel built on land. In a similar manner all the caissons were to be sunk; and when the last one was placed, and the masonry lining constructed, and connected with the portion of the tunnel built on the other shore of the river, the partition walls were to be battered down, and the submarine tunnel completely constructed and open to traffic.

The Harlem River Tunnel.

—The pneumatic caissons method was employed in the construction of the tunnel under the Harlem River for the New York Rapid Transit Railway. The tunnel proper consisted of two parallel tubes riveted to each other and surrounded by a cradle of concrete as shown in Fig. 121, page 216. The tunnel was built in three sections:—The first, from the Manhattan shore well towards the middle of the river; the second, from the shore of the Bronx towards the middle of the river; and the last, the section uniting the other two and completing the tunnel.

Each section was built within a specially constructed working-chamber, consisting of timber side walls forming a wooden caisson, so constructed that compressed air could be used. This working-chamber of Mr. McBean presented some novel features, inasmuch as the caisson was not built on land, but under water.

In building the tunnel, the Harlem River was dredged to a certain depth, so as to leave only 6 ft. or 8 ft. of excavation to be done before reaching the line of sub-grade of the proposed structure. Two service platforms were built on piles 10 ft. apart longitudinally, and cut off at a point above mean high-water mark, braced in the usual manner, and covered with heavy planks, to serve as the floor of the platform. On this platform were placed rails for the trains used in the transportation of materials. These platforms were also used in maintaining the perfect alignment of the caissons.

Within the platforms and along the dredged channel four[286] longitudinal rows of piles were sunk. These piles were accurately brought to line by beams bolted together, and placed across and above the water-level. A few beams were also added for the purpose of bracing the piles transversely, after which they were cut off under water and capped.

Fig. 142.—Showing Working Platforms and Piles Sunk in the Dredged Channel.

Fig. 142 shows the manner in which the working platforms were constructed, and also the rows of piles sunk in the dredged channel. Between the piles a very strong frame was placed, made up of waling pieces and two transverse beams 14 ins. by 14 ins. each, placed one below the other at a distance of 5 ft. 8 ins., and strongly braced together. Guiding-beams were fixed on each side of the frame for the sheeting piles. The frames were built in sections of different lengths, and placed directly above the cap-pieces of the pile-bents sunk in the dredged channel.

The longitudinal sides of the caisson were constructed by sinking two rows of sheeting piles, each row being close to a service platform. The sheeting piles were made up of yellow-pine timbers 12 ins. by 12 ins.; three piles bolted together formed a section 3 ft. wide. Each section was grooved and tongued, so as to be firmly connected with the adjacent sections to be sunk. The lower ends of the piles were cut wedge-shaped, with a sharp edge to offer a small resistance while penetrating the soil. The sheeting-piles were then cut off under water, which operation was successfully carried out by means of a circular saw operated by a pile-driving machine. The sheeting was also extended between two platforms to make a bulkhead, and in this way the four sides of the caisson were built up. Particular attention was always given to the alignment of the sheeting piles, which was obtained by guiding the piles with the timbers placed longitudinally,[287] one below the water-line in connection with the frames located between the pile-bents, and the second along the inner edge of the service platform, as shown in Fig. 143.

Fig. 143.—Showing Sheeting-Piles for the Sides of the Caisson and Trussed Beam for the Roof.

The caisson was completed by placing a roof covering the sides. This roof was 40 ins. thick, made up of three layers of 12-in. beams placed transversely to the axis of the caisson, while between the beams planks 2 ins. thick were placed lengthwise and bolted together, so as to make a firm, solid structure. The roof was built ashore, in sections each varying from 39 ft. to 130 ft. long. The edges of the roof fitted the sides of the caisson perfectly; and when each section was towed to the proper spot, it was sunk and made secure. Under the roof were placed six longitudinal beams, 12 ins. by 14 ins., called “rangers,” resting on the cap-pieces of the pile-bents that were laid across the space of the proposed tunnel; while the extreme rangers were used for the purpose of fitting above the sheeting-piles of the caisson, in order to make the latter water-tight. The two extreme rangers were provided with T-irons, the flat side being laid on the sheeting-piles, while the web penetrated the ranger by reason of the weight of the load resting on the roof, for the purpose of sinking it to the required point. Earth was next heaped on the roof, and in this way a large working-chamber was prepared, as shown in Fig. 144.

Fig. 144.—Showing the Caisson with the Working-Chamber.

The working-chamber built on the Manhattan side of the[288] Harlem River was 216 ft. long, provided with two rectangular shafts 7 ft. by 17 ft., rendered water-tight, and rising above the high-water mark of the river. Within these shafts the air-locks of the tunnel tubes were placed, so that the work could be carried on by means of compressed air. The pressure of the air was used to expel the water, being sufficiently intense to equilibrate a column of water equal to the depth of the lowest point of the roof of the caisson.

When the working-chamber was constructed, the tunnel proper was begun by excavating the soil down to the required level; the concrete was then laid on. It was just at this point, when a large part of the roof was constructed and supported only by the sheeting-piles of the sides of the caisson, that the writer of this article feared that this novel method of tunneling would prove a failure. The tendency of the timber to float, aided as it was by the air pressure within the caisson, was counteracted only by the weight of the earth heaped on the roof, and by the friction of the soil against the feet of the sheeting-piles. This friction was only a small quantity, as the soil was loose, so that it was considered rather risky and dangerous to place reliance on such a feeble quantity. This fear was, unfortunately, justified on two occasions, when on cutting off a portion of the pile-bents some of the sheeting-piles got loose and water flooded the whole chamber, but, happily, without loss of life. As the chamber was one of large dimensions, the workmen had time enough to effect their escape. It may be remarked that during these troubles only a few of the sheeting-piles were displaced, while the caisson itself offered a stout and successful resistance, due to its being strongly braced transversely. The accidents were, therefore, limited to a few piles, instead of affecting the entire caisson. On the occasion of the first, the repairs were effected by sinking the piles to a greater depth, continuing down until rock was encountered. After that, the water was pumped out and the work resumed. In repairing the second accident, the sheeting-piles were driven down to bed-rock, and the surrounding soil strengthened[289] by cement forced through the loose soil around the piles. This remedy proved effective, and no further trouble occurred to delay the work on the Manhattan side of the Harlem River.

Fig. 145.—Showing the Tunnel Constructed within the Caisson.

On the concrete bed of the tunnel the segments of the metal lining were placed and surrounded by concrete, as required by the plans and specifications (Fig. 145). The contractors had planned to unbolt the roof from its holdings, to remove by means of dredgers the earth which had been heaped on it, and thus set the roof afloat, after which it was to be towed within the two working platforms already erected on the Bronx shore. But Mr. McBean devised a simpler and more economic, but at the same time more dangerous, way of constructing this second section of the tunnel. He thought that the upper half of the tunnel proper could be used instead of the timber roof, thereby reducing the capacity of the working chamber, and limiting the use of compressed air. In this way he dispensed with the removal of timber, and also of the earth heaped on the roof.

In building this Bronx section, a channel was dredged along the line of the tunnel to a depth of 5 ft. from the foundation-bed of the proposed tunnel. The working platforms were constructed on both sides of this channel, quite similar to those erected on the other half of the tunnel; and between them pile-bents were sunk, capped with 12-in. by 12-in. beams. Over the cap-pieces rangers were placed longitudinally, which also rested on the sides of the wooden working caisson, Fig. 146. The sheeting-piles were cut off at level, but much lower down than in the first half of the tunnel.

The roof was built on floats made of 12-in. by 12-in. timber laid transversely 4 ft. apart and supporting a floor of 3-in. by 12-in.[290] planks rendered water-tight. The sides of the floats were made by verticals, 4 ins. by 6 ins., and planks, 3 ins. by 12 ins., carefully caulked. A temporary floor was built on the base of the float, consisting of transverse beams, 16 ins. by 16 ins., placed 8 ft. apart. A center piece, 10 ins. by 16 ins., was laid so as to correspond with the axis of the tunnel; and on each side of it, other parallel beams, 16 ins. by 16 ins., corresponding to each center of the circular metal lining of the tunnel; the beams, longitudinal and transversal, were strongly bolted together. The temporary floor was completed by boarding the spaces left between the various beams.

Fig. 146.—Showing Sides of the Caisson and Supports for the Roof.

On this float, the upper half of the tunnel was constructed by erecting the segments of the metal lining, which were strongly supported, so as to prevent any settling or distortion; the concrete was then built up in a large flange with vertical suspension rods, four to each bar. The rings of the tunnel were 6 ft. each, the weight of each lining being 41,000 lbs., the concrete covering 618 cubic feet. The second part of the tunnel was 300 ft. long, with roof constructed in three sections—two of 90 ft. in length each and the third of 84 ft. Each of these sections alternated with a smaller section, 12 ft. long, provided with air-locks. The shortest of the three sections was the first one set up, and was constructed close to the Bronx side of the Harlem River. For this purpose the two extreme ends of the section were closed by means of steel plates forming diaphragms, built 6 ft. inward, thus leaving one ring projecting out at each end. Openings were left on the top of these projecting rings for access by divers. The exterior of the upper half section of the permanent tunnel was filled with water until it was lowered into position. It was[291] directed by means of tackles attached to vertical eye-bars, which were strongly fixed to the flanges of the springing line of the arch, and bolted to the beams of the temporary floor. In this way the roof was towed into place, and lowered by means of stone ballast, until it rested on the cap-pieces and frames of the pile abutments, the sides of the roof remaining just on top of the sheeting-piles that formed the sides of the caisson, as shown in Fig. 147. Perfect alignment was obtained by wires strung at each end and along the side of the roof, corresponding to points fixed on the working platforms and sighted with transits. Such accuracy was obtained that the circumferential flanges of the outer 6-ft. ring were brought into contact with those of the 12-ft. section already constructed. A diver then entered by the opening left in the projecting ring, and bolted this section of the roof to the preceding one. By removing the iron diaphragm, the consecutive sections were united into one. When the diver completed his work, the opening was closed up, and compressed air used to keep the water out of the box included between the roof and the temporary flooring.

Fig. 147.—Showing the Roof of the Caisson Formed by the Upper Half of the Tunnel.

The remaining sections of the tunnel roof were built in the same way, until the last abutted against the part of the work constructed within the caisson under the high wooden roof on the Manhattan side of the river. The following method was adopted for the purpose of connecting the few parts of the tunnel which had been differently constructed. The diaphragm at the end of the last section of the tunnel roof was constructed so as to abut against the last circumferential flanges of the iron lining without leaving a projecting ring. It was continued above the metal and concrete lining of the roof in a rectangular form, and[292] of the same height and width as the wooden bulkhead of the working-chamber on the Manhattan side of the river. The diaphragm was made of riveted plates and angles, with an opening 20 ins. by 30 ins., bolted so as to be removable at will. The diaphragm was of the same height as the roof and was connected with a roof-plate to the rangers supporting the thick wooden roof. Other steel plates, placed vertically, were riveted to the diaphragm and bolted to the caisson. All this work was carried on by divers. The wooden bulkhead was cut to the springing-line of the arch; and between the two parts of the tunnel, built by different methods, a bulkhead was placed, made of steel plates 14 ins. long, which prevented the entrance of water into the working-chamber.

Fig. 148.—Showing the Tunnel Completed by Building the Lower Half within the Caisson.

When the different sections were joined together, and all the openings closed and made water-tight, cement-grout was poured on the roof, and earth was heaped up to a height of 5 ft. The 300 ft. of the roof, resting on sheeting-piles and provided with diaphragms at the extreme ends, formed a water-tight working-chamber, or caisson, communicating with the exterior by means of the shafts and air-locks. The lower portion of the tunnel was built under air-pressure. The pile-bents were first cut off at the plane of the tunnel sub-grade, after which the foundation-bed of concrete was laid. The lower segments of the iron lining were then placed in position, and the structure made continuous by building up the lateral walls, consisting of concrete (Fig. 148). No accidents occurred while building the second part of the tunnel.

The Harlem River tunnel was completed in contract time, although the opening of the subway was delayed by difficulties[293] encountered in tunneling through rock in the borough of the Bronx. The writer endeavored to obtain information regarding the expense per linear foot, but all his efforts were rewarded with a general assurance that it proved to be the cheapest method.

SINKING AND JOINING TOGETHER SECTIONS OF TUNNELS BUILT ON LAND. THE SEINE. THE DETROIT RIVER TUNNELS.

In the year 1896, Mr. Erastus Wyman secured a patent for building subaqueous tunnels close to the river, by sinking and joining together small sections of tunnels previously built on land. Each section would have been provided with a long vertical tube for the air-lock when compressed air was to be admitted to expel the water and permit the construction of the lining within the sunken shell. Thus each section of the tunnel would have acted as a pneumatic caisson; being, however, an improvement on Professor Winkler’s suggestion inasmuch as the caisson was a portion of the tunnel itself, instead of a simple inclosure for facilitating the construction of the shield. Mr. Wyman proposed to use this method in the construction of a tunnel between South Brooklyn and Stapleton, Staten Island; a charter was granted him but the tunnel was never built.

The Tunnel under the Seine River.

—The caisson method of building tunnels under water was used at Paris, France, in the construction of the Metropolitan Railroad under the Seine River.

The caissons designed by Mr. L. Chagnaud were for a double track line. They were sunk, ends to ends, and formed a portion of the tunnel lining which was enveloped by a framework of metal embedded in concrete. Built-up frames carried a shell of steel plating on the sides, from toes to springing lines, and on the sides and roof of the working-chamber. A temporary plate diaphragm closed the open ends. This construction formed a vessel capable of floating with a very light draft.

The method of sinking the caissons was as follows: The caisson was erected on the river bank and when completed it was[294] launched and towed into position between pile stagings which served the double purpose of guiding the descent at the beginning of the sinking and of forming a working platform. The caisson when launched and, consequently, before the cast-iron lining had been put in place within it, weighed 280 metric tons; but, beyond some difficulty in taking it under the bridges in the way, the towing was accomplished without serious trouble.

Fig. 149.—Transversal Section of the Caissons for the Tunnel under the Seine River.

Previous to placing the caisson in position between the stagings, the portion of the river bed it was to rest upon had been leveled by dredging. Once in position, the first work was the erecting of the cast-iron lining segments within the framework. Work was then begun by filling the annular space between the lining and the shell with concrete; this additional weight gradually sunk the caisson to the river bottom. The working shafts, made up of steel cylinders, were placed as the sinking progressed to this point.

Section A-B.

Section C-D.

 

Plan at Joint.

Fig. 150.—Showing the Joining of the Caissons at the Pont Mirabeau Tunnel under the Seine River.

After the caissons had been sunk to the required place and in continuation of one another, a space of nearly 5 ft. was left between them. The construction of the tunnel within the bank[295] of earth separating the two caissons was as follows: A cofferdam was built around this space. It was formed by two diaphragms closing the ends of the tunnel, and by two longitudinal walls sunk as temporary caissons, one on each side of the tunnel and inclosing their ends. This cofferdam was covered with a metal working-chamber whose lower edges rested on top of the four walls of the cofferdam. The joints were made tight by means of rubber or packed clay. The water in the cofferdam was then pumped out, the earth excavated, and the masonry built in continuation of the two ends of the tunnel sections. The submerged sections of the tunnel which were allowed to[296] remain full of water to render them more stable and to save effort in pumping them, were now made dry; the diaphragms were removed from the ends of the caisson tunnels and the work made continuous. Fig. 149 shows the cross-section of the caissons.

At the Pont Mirabeau crossing of the Seine, a slightly different method was used, described in “Eng. News,” May 18, 1911. The caissons were sunk to the required line and grade with an intervening longitudinal space of 1534 ins. between two adjoining caissons. At each end of this space, which was filled with the river marl, was sunk against the edges of the caissons a hollow cylinder 20 ins. outside diameter. The interior of these cylinders was excavated and filled with concrete, thus forming a continuous wall on both sides of the two adjoining caissons. The earth from the intervening space was then removed and concrete deposited from bottom opening tremies up to the level of the top of the caisson. After nearly one month the tunnel was entered from the shaft and an opening the shape and size of the tunnel section cut through the diaphragms of the 1534-in. wall and the concrete tunnel lining made continuous between the two sections. Fig. 150 shows the method of joining the caissons.

The Detroit River Tunnel.

[15]—With some modifications which permitted dispensing with compressed air, the tunnel under the Detroit River was built for the Michigan Central Railroad, connecting Detroit with Windsor, Canada. The tunnel is 6625 ft. long; of this, however, only 2625 ft. are under the river, while the approach on the American side is 2000 ft. long and that on the Canadian side, 4000 ft. The tunnel consists of two parallel circular tubes 23 ft. in diameter, built up of 38-in. steel plate. They are placed 26 ft. apart, center to center, and are connected by diaphragms at 12-foot intervals.

[15] Condensed from a paper by B. H. Ryder.

Each section of the subaqueous tunnel is approximately 262 ft. long. There are ten of these sections and an eleventh a little over 60 ft. long. These tubes were built at the shipyards[297] of the Great Lakes Engineering Works at St. Clair, about 30 miles from Detroit. After the assembling was completed, the ends of each tube were closed by temporary wooden bulkheads to make them float, and the outside sheathed horizontally with heavy timbers bolted to the diaphragms. This sheathing running lengthwise of the tube made a form or pocket, into which the inclosing jacket of concrete was placed. The sections were then launched and towed down to the tunnel site and sunk separately in a trench on the river bottom that had been previously dredged to receive them. This trench was dug to a width of 50 ft. and depth varying from 25 to 50 ft. by clamshell buckets, swung from a scow, working to a depth below the water level of 60 to 90 ft.

As a foundation for the sections, a grillage was constructed on the surface and sunk in place in the trench by derricks swung from a scow. The grillage was placed underneath each joint between the sections and built up of I-beams imbedded in concrete. This grillage is the width of the trench and about 30 ft. long, with posts projecting downward from the four corners, and these were seated into the river bottom, by means of pile drivers, to the desired grade.

Then the eleven sections of the tunnel were lowered and connected, one at a time. By the aid of air tanks placed on each section the movement was controlled until the final sinking upon the grillage in the trench. This operation called into play the greatest engineering skill and ingenuity. When it is considered that the current velocity at the river bed is about 2 ft. per second and much higher along the surface, some idea can be gained of the problems to be overcome. The movement of the enormous sections must be absolutely under control. Thirty-five-ton blocks of concrete were sunk in the river bottom up and down stream to act as anchors, and through them cables were rigged and connected back to the hoisting engines on the derrick scows. These were prevented from moving by spuds at each corner, securely driven into the river bottom at depths sometimes as[298] great as 90 ft. Controlling cables were also run from the sections to the tremie scow to pull one structure close to the adjoining section previously sunk, and the divers made the necessary connection. Fig. 151 shows cross-sections and plans of the tunnel as given in “Eng. Record,” March 2, 1907.

HALF CROSS SECTION Y-Y

HALF CROSS SECTION Z-Z

 

Larger illustration

HALF HORIZONTAL SECTION X-X

HALF TOP VIEW

 

Fig. 151.—Cross-Sections and Plans of the Detroit River Tunnel.

Larger illustration

Steel masts had been previously attached to each end of the sections to enable the engineers on shore to determine the alignment and locate the exact position during the sinking.

Concrete was then deposited in the pockets, completely surrounding[299] the tubes, forming a solid monolithic structure from end to end.

This was done by means of the tremie process.

A 32-ft. by 160-ft. scow was equipped with a concrete mixing plant and the tremie pipes, three in number, through which the concrete was deposited. Each pipe is 12 ins. in diameter, of spiral riveted steel, 80 ft. long. These pipes could be raised or lowered, reaching from the receiving hoppers on the scow to the bottom of the trench. When the pipes were filled with concrete and lowered into position, a continuous flow was maintained. As fast as the concrete escaped at the bottom end of the pipe it was replenished at the top; this process continuing until the entire space surrounding the section was filled to the desired level, and under the pressure produced not only by the depth of water under which it was submerged, but also by the weight of the long column of concrete contained in the tubes. It is interesting to note that this is the first time a large amount of concrete has been deposited at a depth of 70 ft. by this method, and upon the accomplishment of this task in a measure depended the successful building of the tunnel.

Inside the tubes was placed a lining of reinforced concrete 20 ins. thick. Side walls were built up from this ring to provide ducts, which carry the electrical cables for the distribution of power, lighting, signal and telegraph wires. They also serve to provide a footwalk along the side of the tunnel.

There are cross passages in the tunnel every 200 ft., and also various niches for the different equipment needed in connection with the signaling, telephone and fire alarm system. The tunnel is lighted with 800 16-candle-power incandescent lights.

The track construction is new. There is no ballast used, the ties being laid in concrete. A ditch in the center of each track carries the rainfall that will flow down from the summits to sumps which are drained by centrifugal pumps.

One remarkable feature of its construction is that compressed air was not used in the building of the subaqueous[300] tunnel, but it was necessary in building the approach tunnels. This is contrary to the usual program where compressed air is required in subaqueous work, and not ordinarily used in approach or land tunnel construction.

The trains are operated by very heavy electric locomotives, operated by the third-rail system.

The tunnel was constructed under the supervision of W. S. Kinnear, Chief Engineer of the Detroit River Tunnel Co.; Butler Bros. of New York were the general contractors.


[301]

CHAPTER XXII.
ACCIDENTS AND REPAIRS IN TUNNELS DURING AND AFTER CONSTRUCTION.


In the excavation of tunnels it often happens that the disturbance of the equilibrium of the surrounding material by the excavation develops forces of such intensity that the timbering or lining is crushed and the tunnel destroyed. To provide against accidents of this kind in a theoretically perfect manner would require the engineer to have an accurate knowledge of the character, direction and intensity of the forces developed, and this is practically impossible, since all of these factors differ with the nature and structure of the material penetrated. The best that can be done, therefore, is to determine the general character and structure of the material penetrated, as fully as practicable, by means of borings and geological surveys, and then to employ timbering and masonry of such dimensions and character as have withstood successfully the pressures developed in previous tunnels excavated through similar material. If, despite these precautions, accidents occur, the engineer is compelled to devise methods of checking and repairing them, and it is the purpose of this chapter to point out briefly the most common kinds of accidents, their causes, and the usual methods of repairing them.

Accidents During Construction.

—Accidents may happen both during or after construction, but it is during construction, when the equilibrium of the surrounding material is first disturbed, and when the only support of the pressures developed is the timber strutting that they most commonly occur.

[302]

Causes of Collapse.

—Collapse in tunnels may be caused: (1) by the weight of the earth overhead, which is left unsupported by the excavation; (2) by defective or insufficient strutting; and (3) by defective or weak masonry.

(1) The danger of collapse of the roof of the excavation is influenced by several conditions. One of these is the method of excavation adopted. It is obvious that the larger the volume of the supporting earth is, which is removed, the greater will be the tendency of the roof to fall, and the more intense will be the pressures which the strutting will be called upon to support. Thus the English and Austrian methods of tunneling, where the full section is excavated before any of the lining is placed, and where, as the consequence, the strutting has to sustain all of the pressures, present more likelihood of the roof caving in than any of the other common methods.

The character and structure of the material penetrated also influence the danger of a collapse. A loose soil with little cohesion is of course more likely to cave than one which is more stable. Rock where strata are horizontal, or which is seamy and fissured, is more likely to break down under the roof pressures than one with vertical strata and of homogeneous structure. Soft sod containing boulders whose weight develops local stresses in the roof timbering is likely to be more dangerous than one which is more homogeneous. A factor which greatly increases the danger of collapse, especially in soft soils, is the presence of water. This element often changes a soil which is comparatively stable, when dry, into one which is highly unstable and treacherous. The liability of the material to disintegration by atmospheric influences and various other conditions, which will occur to the reader, may influence its stability to a dangerous extent, and result in collapse.

(2) Collapse is often the result of using defective or insufficient strutting. Of course, in one sense, any strutting which fails under the pressures developed, however enormous they may be, can be said to be insufficient, but as used here the term[303] means a strutting with an insufficient factor of safety to meet probable increases or variations in pressure. Insufficient strutting may be due to the use of too light timbers, to the spacing of the roof timbers too far apart, to the yielding of the foundations, to insufficient bearing surface at the joints, etc. Collapse is often caused by the premature removal of the strutting during the construction of the masonry. The masons, to secure more free space in which to work, are very likely, unless watched, to remove too many of the timbers and seriously weaken the strutting.

(3) The third cause of collapse is badly built masonry. Poor masonry may be due to the use of defective stone or brick, to the thinness of the lining, to poor mortar, to weak centers which allow the arch to become distorted during construction, to poor bonding of the stone or bricks, to the premature removal of the centers, to driving some of the roof timbers inside it, etc.

Prevention of Collapse.

—Tunnels very seldom collapse without giving some previous warning of the possible failure, and also of the manner in which the failure is likely to occur. From these indications the engineer is often able to foresee the nature of the danger and take steps to check it. The danger may occur either during excavation or after the lining is built. During excavation the danger of collapse is indicated beforehand by the partial crushing or deflection of the strutting timbers. If the timbers are too light or the bearing surfaces are too small, crushing takes place where the pressures are the greatest, and the timbers bend, burst, or crack in places, and the joints open in other places. The remedy in such cases is to insert additional timbers to strengthen the weak points, or it may be necessary to construct a double strutting throughout. When the distance spanned by the roof timbers is too great, failure is generally indicated by the excessive deflection of these timbers, and this may often be remedied by inserting intermediate struts or props. In some respects the best remedy[304] under any of these conditions is to construct the masonry as soon as possible.

When collapse is likely to occur after the masonry is completed, its probability is generally indicated by the cracking and distortion of the lining. A study of the cause is quite likely to show that it is the percolation of water through the material surrounding the lining which causes cavities behind the lining in some places, and an increase of the pressures in other places. When it is certain that this water comes from the surface streams above, these streams may often be diverted or have their beds lined with concrete to prevent further percolation. When percolating water is not the cause of the trouble, a usually efficient remedy is to sink a shaft over the weak point, and refill it with material of more stable character. These, and the remedies previously suggested, are designed to prevent failure without resorting to reconstruction. When they or similar means prove insufficient, reconstruction or repairs have to be resorted to.

Repairing Failures.

—Tunnels may collapse in several ways: (1) The front and sides of the excavation may cave in; (2) the floor or bottom may bulge or sink; (3) the roof may fall in; (4) the material above the entrances may slide and fill them up.

(1) One of the most common accidents is the caving of the front and sides of the excavation. This may often be prevented by taking care that the face of the excavation follows the natural slope of the material instead of being more or less nearly vertical. When, however, caving does occur it may usually be repaired by removing the fallen material, strongly shoring the cavity, and filling in behind with stone, timber, or fascines.

(2) The bulging or rising of the bottom of the tunnel may usually be considered as a consequence of the squeezing together of the side walls. It usually occurs in very loose soils, and is chiefly important from the fact that the reconstruction of the side walls is made necessary. The sinking of the tunnel bottom[305] is a more serious occurrence. It seldom happens unless there is a cavity beneath the floor, due either to natural causes or to the fact that mining operations have gone on in the hill or mountain penetrated by the tunnel. When the bottom of the tunnel sinks, three cases may be considered: (a) when the sinking is limited to the middle of the tunnel floor; (b) when only a portion of the foundation masonry is affected; and, (c) when the entire lining is disturbed. In the first case repairs are easily made by filling in the cavity with new material. In the second case the unimpaired portion of the masonry is temporarily supported by shoring while the injured portion is removed and rebuilt on a firm foundation. The remaining cavity is then filled. In the case of the complete failure of the lining, the method of repairing employed when the roof falls, and described below, is usually adopted.

(3) The most dangerous of all failures is the falling of the tunnel roof. In such casualties two cases may be considered: (a) When the falling mass completely fills the tunnel section, and (b) when it fills only a portion of the section.

Fig. 152.—Tunneling through Caved Material by Heading.

When the whole section is filled by the fallen material, the problem may be considered as the excavation of a new tunnel of short length inside the old tunnel, and under rather more difficult conditions. The first task, particularly if men have been imprisoned behind the fallen material, is to open communication through it between the two uninjured portions of the tunnel. It is advisable to do this even when there is no danger to life because of imprisoned workmen, since it enables the work of repairing to be conducted from both directions. The excavation of a passageway through the fallen material is rendered difficult, both because the fallen material is of an unstable character, and also because it is usually filled with the lining masonry, timbering, etc. When, therefore, the accident has happened before the full section of the original material has been removed, the first heading or drift is driven through this original material rather than through the fallen débris.[306] Any of the regular soft-ground methods of tunneling may be employed, but it is usually better to select one which allows the masonry to be built with as little excavation as possible at first. For this reason the German method of tunneling is particularly suited to repair work of this nature. The Belgian method may also be used to advantage, particularly when the caving extends to the surface of the ground above, and the upper portion of the débris is, therefore, practically the same material as that through which the original tunnel was driven. The greatest defect of the Belgian method for making repairs is that the roof arch is supported by a rather unstable mass of mingled earth, stone, and timber, which constitutes the bottom layer of the fallen material. The method of strutting the work when the German or Belgian method is used is shown by Fig. 152. It sometimes happens that the fallen débris is so unstable that it will not carry safely the arch masonry in the Belgian method or the strutting in the German method, and in these cases one of the full-section methods of excavation is usually adopted. The nature of the strutting employed is shown by Fig. 153. When the section has been opened and the new masonry built, great care should be taken to fill the cavity behind the masonry with timber or stone; and should[307] the disturbance reach to the ground surface it is often a good plan to sink a shaft through the disturbed material, and fill it with more stable material.

Fig. 153.—Tunneling through Caved Material by Drifts.

When the fallen débris fills only a part of the section, the first thing to provide against is the occurrence of any further caving; and this is usually done by building a protecting roof above the line of the future roof masonry. Figs. 154 and 155 show two methods of constructing this temporary roof, which it will be noticed is filled above with cordwood packing. As soon as the temporary roof is completed, the lining masonry is constructed.

Figs. 154 and 155.—Filling in Roof Cavity Formed by Falling Material.

[308]

Fig. 156.—Timbering to Prevent Landslides at Portal.

(4) Landslides which close the tunnel entrance are repaired in a variety of ways. Fig. 156 shows a common method of preventing the extension of a landslide which has been started by the excavation for the entrance masonry. Fig. 157 shows a method often adopted when the slope is quite flat and the amount of sliding material is small. It consists essentially of removing the fallen material and building a new portal farther back; that is, the open cut is extended and the tunnel is shortened. When the amount of the sliding material is very large, the contrary practice of lengthening the tunnel and shortening the open cut, as shown by Fig. 158, may be adopted.

Fig. 157.—Shortening Tunnel Crushed by Landslide at Portal.

Accidents After Construction.

—Accidents after the completion of the tunnel may be divided into two classes: first, those which entirely obstruct the passage of trains, of which the collapse of the roof is the most common; and second, those which allow traffic to be continued while the repairs are being made,[309] such as the bulging inward of a portion of the lining without total collapse. In the first case the first duty of the engineer is to open communication through the fallen débris, so that passengers at least may be transferred from one part of the tunnel to the other and proceed on their way. This is done by driving a heading, and strongly timbering it to serve as a passageway. If the tunnel is single tracked this heading is afterwards enlarged until the whole section is opened. In double-track tunnels the method generally adopted is to open first one side of the section and timber it strongly, so as to clear one track for traffic. While the trains are running through this temporary passageway the other half of the section is opened and repaired; the traffic is then shifted to the new permanent track, and the temporary structure first employed is replaced with a permanent lining. When the accident is such that the repairs can be made without obstructing traffic entirely, various modes of procedure are followed. In all cases great care has to be exercised to prevent accident to the trains and to the tunnel workmen. The work should be done in small sections so as to disturb as little as possible the already troubled equilibrium of the soil; the strutting should be placed so as to give ample clearing space to passing trains, and the trains themselves should be run at slow speeds past the site of the repairs. To illustrate the two kinds of accidents and the methods of repairing them, which have been mentioned, the accidents at the Giovi tunnel in Italy and at the Chattanooga tunnel in America have been selected.

Fig. 158.—Extending Tunnel through Landslide at Portal.

Giovi Tunnel Accident.

—In September, 1869, at a point about[310] 220 ft. from the south portal of the Giovi tunnel, a disturbance of the masonry lining for a length of about 52 ft. was observed. Accurate measurements showed that the lining was not symmetrical with respect to the vertical axis of the sectional profile. It was concluded that owing to some disturbance of the surrounding soil unsymmetrical vertical and lateral pressures were acting on the masonry. Close watch was kept of the distorted masonry, which for some time remained unchanged in position. In 1872, however, new crevices were observed to have developed, and shortly afterwards, in January, 1873, the injured portion of the masonry caved in, obstructing the whole tunnel section. The fallen material consisted chiefly of clay in a nearly plastic state. The surface of the ground above was observed to have settled. Investigation showed also that the cause of the caving was the percolation of water from a nearby creek. The water had soaked the ground, and decreased its stability to such an extent that the masonry lining was unable to withstand the increased vertical and lateral pressures.

The mode of procedure decided upon for repairing the damage was: (1) To open at least one track for the temporary accommodation of traffic; (2) To remove permanently the causes which had produced the collapse; (3) To build a new and much stronger lining. Close to the western side wall, which was still standing, the débris was removed, and the opening strongly strutted in order to allow the laying of a single track to reëstablish communication. At the same time a shaft was sunk from the surface above the caved portion of the tunnel, for the double purpose of facilitating the removal of the fallen material and of affording ventilation. The depth of the surface above the tunnel was 41.6 ft., which made the construction of the shaft a comparatively easy matter. The shaft itself was 612 ft. wide and 18 ft. long, with its longer dimensions parallel to the tunnel, and it was lined with a rectangular horizontal frame and vertical-poling board construction. After temporary[311] communication had been opened on the western track of the tunnel, the remainder of the fallen earth was removed and the excavation strutted. The new masonry lining was then built.

To remove permanently the cause of the cave-in, which was the percolation of water from a close-by stream, this stream was diverted to a new channel constructed with a concrete bed and side walls.

The failure of the original lining occurred by cracks developing at the crown, haunches, and springing lines. The new lining was made considerably thicker than the original lining, and at the points where failure had first occurred in the original arch cut-stone voussoirs were inserted in the brickwork of the new arch as described in Chapter XIII.

Chattanooga Tunnel.

—The Western & Atlantic Ry. passes through the Chattanooga mountains by means of a single-track tunnel 1,477 ft. long, constructed in 1848-49. The lining consisted of a brickwork roof arch and stone masonry side walls. After the tunnel had been opened to traffic, this lining bulged inward at places, contracting the tunnel section to such an extent that it was decided to reconstruct the distorted portions. After careful surveys and calculations had been made, it was decided to take down and reconstruct about 170 ft. of the lining.

Owing to contracted space in the tunnel, it was necessary to remove all men, tools, and material, whenever trains were to pass through; and in order to do this a work-train of three cars was fitted up with necessary scaffolds, and supplied with gasoline torches for lighting purposes. Mortar was mixed on the cars, and all material remained on them until used. Débris torn out of the old wall was loaded on the cars, and hauled to the waste dump. A siding was built near the West end of the tunnel for the use of this train, and a telephone system was installed between the entrances and the working-train. On account of the contracted working-space and the greater[312] ease with which brick could be handled, it was decided to rebuild the walls out of brick instead of stone.

In tearing out the old wall a hole was first cut through the three bottom courses of the arch and gradually widened. When the opening became four or five feet long, a small jack was placed near the center of it and brought to a bearing against the arch to sustain it. After cutting the opening to a length of from 7 to 10 ft. depending on the stability of the earth backing, the jack was removed and a piece of 8×16 in. timber placed under the arch and brought up to a bearing with jacks. One end of the timber rested on the old wall, the other on a seat built into the adjoining section of new wall. Wedges were then driven under the ends of timber and the jacks removed. With this timber in place, the old wall could be taken down with ease, the only trouble being that small stones and earth fell in from above and behind the arch. This was obviated by placing a 2 in. plank across the opening and just back of the 8×16 in. timber. At several points, however, the earth backing was saturated with water, and it became necessary to put in lagging as the old wall was removed. This timbering would be taken out as the new work was built up.

A suitable foundation for the new wall was secured at a depth from 2 to 4 ft., and a concrete footing was used. The section of the new wall was then built up as near as possible to the 8×16 in. timber; the timber was then removed and the new wall built up and keyed under the arch.

The new wall had a minimum width of 212 ft. at the top, and 4 ft. at the base of rail, and was provided with weep holes at intervals. To facilitate matters, work was carried on simultaneously at two or three different places, the intention being to get one place torn out and ready for the bricklayers by the time they completed a section of the new wall at another place.

In rebuilding the arch, sections extending from the springing line up as far as was necessary to obtain the desired clearance,[313] and from 212 to 4 ft. in length, were removed. Near the sides, the earth above the arch was a stiff clay, which was self-sustaining; but near the center there occurred a stratum of gravel and clay saturated with water. This gave considerable trouble, falling through almost continuously until timbering could be placed. One end of this timber rested on the old arch, the other on the adjoining section of the new work. As the new work was to be set 6 to 13 ins. back from the old, it was necessary to block up this distance on top of the old arch, to carry the end of the lagging timber, in order that the timber should be clear of the new arch.

Owing to the small clearance between the car roof and the arch, a special form of centering was required, one that would occupy as small space as possible. Bar iron 1 in. thick, 4 ins. wide, and 20 ft. long was curved to a radius of 612 ft., and on the underside of this was riveted a 6-in. plate 14 in. thick. This plate projected 1 in. on the sides of the centering, and carried the ends of the 1 in. boards used for lagging. The rivets were counter-sunk on the outside of the centering to present a smooth surface next the arch.

In keying up a section of the new work, a space about 18 ins. square had to be left open for the use of the workmen. As soon as the next section had been torn out, this space was built up. In building up the last section, this space had to be filled from below, which proved to be a tedious undertaking. The opening was gradually reduced to a size of 10 × 18 in., and the top ring then completed and keyed up, the adhesion of mortar holding the bricks in place until the key could be driven home. The next ring was treated in a similar manner, and so on to the face ring. Altogether 412 lin. ft. of the walls and 178 lin. ft. of the arch were taken down and rebuilt, amounting in all to 607 cu. yds. of masonry at the total cost of $7,440, or about $12.25 per cu. yds.

The regular trains arrived so frequently at the tunnel that slightly over two hours was the longest working-time between[314] any two trains, and usually less than one hour at a time was all that it could be worked. In addition to the regular trains, a large number of extra trains, moving troops, had to be accommodated. Work was in progress eight months, and during that time there was no delay to a passenger train. The repairs were completed in August, 1899. The work was under the direction of Mr. W. H. Whorley, engineer of the Western & Atlantic R. R., and foreman of construction, A. H. Richards. A recent examination failed to reveal any sign of settlement cracks at the junction points of the new and old work.


[315]

CHAPTER XXIII.
RELINING TIMBER-LINED TUNNELS WITH MASONRY.


The original construction of many American railway tunnels with a timber lining to reduce the cost and hasten the work has made it necessary to reline them, as time has passed, with some more permanent material. In most cases the work of removing the old lining and replacing it with the new masonry has had to be done without interfering with the running of trains, and a number of ingenious methods have been developed by engineers for accomplishing this task. Three of these methods which have been employed, respectively, in relining the Boulder tunnel on the Montana Central Ry., in Montana, the Mullan tunnel on the Northern Pacific Ry., in Montana, and the Little Tom tunnel on the Norfolk & Western R. R., in Virginia, have been selected as fairly representative of this class of tunnel work.

Boulder Tunnel.

—This tunnel penetrates a spur of the main range of the Rocky Mountains, at an elevation at the summit of grade of 5,454 ft., and is 6,112 ft. in length. Its alignment is a tangent, with the exception of 150 ft. of 30′ curve at the north end. The material penetrated is blue trap-rock with seams for 4,950 ft. from the north end, and syenitic boulders with the intervening spaces filled with disintegrated material for the remaining 1,160 ft. The dimensions and character of the old timber lining and of the new masonry lining replacing it are shown in Figs. 159 and 160.

The form of masonry adopted consisted of coarse rubble side walls of granite, 13 ft. 8 ins. high, and generally 20 ins. thick,[316] with a full center circular arch of four rings of brick laid in rowlock form. When greater strength was needed the thickness of the side walls was increased to 30 ins. and that of the arch to six rings of brick.

Cross Section.

Longitudinal Section.

 

Cross Section.

Cross Section.

 

Figs. 159 and 160.—Relining Timber-Lined Tunnel.

The first plan adopted in putting in the masonry was to remove all the timbering; but owing to the large number of falls and slides this was abandoned, and the plan followed was to leave in the three roof segments of the timbering with the overlying cord-wood packing and débris. In carrying on the work the first step was to remove the side timbers. This was done by supporting the roof timbers, as shown in Fig. 159; that is, the first and fourth arch rib of an 8-ft. section containing four arch ribs were supported by temporary posts. The intermediate arch ribs were supported against the downward pressure by 6 × 6 in. timbers, extending from the side ribs near the tops of the temporary posts to the opposite sides of the intermediate roof segments, as shown in the longitudinal section, Fig. 160. To resist the pressure from the sides, 4 × 6 in. braces were placed across the tunnel from near the center of the intermediate segments to the upper ends of the hip segments, as shown in the cross-section, Fig. 159. The hip segments were then sawed off below the notch, and the side timbering removed and the masonry built.

The stone was conveyed into the tunnel on flat cars, and laid by means of small derricks located on the cars. Two derricks[317] were used, one for each side wall, and the work on both walls was carried on simultaneously.

The arch was built upon a centering, the ribs of which were 512 ins. less in diameter than the distance between the side walls, so as to permit the use of 234 ins. lagging. Each center had three ribs, made in 1-in. or 2-in. board segments, 10 ins. thick and 14 ins. deep. These ribs were mounted on frames, which followed the opposite walls, and were 4 ft. apart, making the total length of the center out to out about 9 ft. The frames, upon which the ribs were supported, are shown in Fig. 161. As will be seen, they were mounted on dollys to enable the center to be moved from one section to another. Jacks were used to raise and lower the center into its proper position.

Cross Section.

Longitudinal Section.

 

Fig. 161.—Relining Timber-Lined Tunnel, Great Northern Ry.

The arch was built up from the springing lines on both sides at the same time, four masons being employed. The rings were built beginning with the intrados, which was brought up, say, a distance of about 2 ft. from the springing line. Then the back of the ring was well plastered with from 38 in. to 12 in. of mortar, and the second ring brought up to the same height and plastered on the back, and so on until the last ring was laid. After bringing the full width of the arch up some distance, new laggings were placed on the ribs for an additional height of 2 ft. and the same process was repeated. All the space between the extrados of the masonry arch and the old lining was compactly filled with dry rubble. When high enough so that the hip segments had a foot or more bearing on the masonry the segments were securely wedged and blocked up against the brickwork, and the longitudinal 4 × 6 in. timbers[318] removed. The remaining space was now clear for completion of the arch, and both sides were brought up until there was not sufficient space for four masons to work, when the keying was completed by two masons beginning at the completed and working back toward the toothed end. The brickwork was built from the top of a staging-car.

Cross Section.

Longitudinal Section.

 

Fig. 162.—Relining Timber-Lined Tunnel, Great Northern Ry.

In a few instances where slides occurred after the removal of the slide timbering, the method of re timbering the tunnel shown in Fig. 162 was adopted. Two side drifts were first run 212 ft. wide by 4 ft. high, and the plate timbers placed in position and blocked. Cross drifts were then run, and the roof segments placed, and the core down to the level of the bottoms of the side drifts taken out. The lower wall plates were then placed and the hip segments inserted. The bench was then taken down by degrees, the side plates being held by jacks, and the posts placed one at a time. As the masonry at the points where slides occur consists of 30-in. walls and six-ring arch, the timbering was 22 ft. wide in the clear, with other dimensions as shown in Fig. 162.

Only a single crew of brick and stone masons was employed. In order to prepare the sections for these masons it was necessary to have timber and trimming crews at work throughout the whole day of 24 hours, so that an engine and two train crews were in constant attendance. The single mason crews were able to complete 8 ft. of side wall and arch in 24 hours. The number of men actually employed at the tunnel was 35. This included electric-light maintenance, and all other labor pertaining to the work. The tunnel was lighted by an Edison[319] dynamo of 20 arc light capacity, one arc light being placed on each side of the tunnel at all working-places. Each lamp carried a coil of wire 20 or 30 ft. long to allow it to be shifted from place to place without delay.

Mullan Tunnel.

—This tunnel is 3,850 ft. long, and crosses the main range of the Rocky Mountains, about 20 miles west of Helena, Mont. The tunnel is on a tangent throughout, and has a grade of 20% falling toward the east. The summit of the grade, west of the tunnel, is 5,548 ft. above sea level, and the mountain above the line of the tunnel rises to an elevation of 5,855 ft. Owing to the treacherous nature of the material through which the tunnel passed, it had been a constant menace to traffic ever since its construction in 1883, and numerous delays to trains had been caused by the falls of rock and fires in the timber lining. For these reasons it was finally decided to build a permanent masonry lining, and work on this was begun in July, 1892.

With Wall Plates.

Without Wall Plates.

 

Old Timber Sections.

Minimum Section.

Average Section.

 

Permanent Work.

Fig. 163.—Relining Timber Lined Tunnel, Great Northern Ry.

The original timbering consisted of sets spaced 4 ft. apart c. to c., with 12 × 12 in. posts supporting wall plates, and a five-segment arch of 12 × 12 in. timbers joined by 112-in. dowels. The arch was covered with 4-in. lagging, and the space between this and the roof was filled with cordwood. Except where the width had been reduced by timbering placed inside the original timbering to increase the strength, the clear width was 16 ft., and the clear height 20 ft. above the top of the rail. Fig. 163 shows the timbering and also the form[320] of masonry lining adopted. The side walls are of concrete and the arch of brick. This new masonry, of course, required the removal of all the original timbering. The manner of doing this work is as follows: A 7-ft. section, A B, Fig. 164, was first prepared by removing one post and supporting the arch by struts, S S. After clearing away any backing, and excavating for the foundation of the side wall, two temporary posts, F F, were set up, and fastened by hook bolts. Fig. 146, L, and a lagging was built to form a mold for the concrete. Several of these 7-ft. sections were prepared at a time, each two being separated by a 5-ft. section of timbering.

Section, with Concrete Car.

With Wall Plate.

Without Wall Plate.

 

Longitudinal Section.

Fig. 164.—Construction of Centering Mullan Tunnel.

The mortar car was then run along, and enough mortar (1 cement to 3 sand) was run by the chute into each section to make an 8-in. layer of concrete. As the car passed along to each section, broken stone was shoveled into the last preceding section until all the mortar was taken up. The walls were thus built up in 8-in. layers, and became hard enough to support the arches in about 10 to 14 days. The arches were then allowed to rest on the wall, and the posts of the remaining 5-ft. sections were removed, and the concrete wall built up in the same way as before.

[321]

The average progress per working-day was 30 ft. of side wall, or about 45 cu. yds.; and the average cost, including all work required in removing the timber work, train service, lights and tools, engineering and superintendence, and interest on plant, was $8 per cubic yard.

Fig. 165.—Centering Mullan Tunnel.

The centering used for putting in the brick arches is shown in Fig. 165. From 3 ft. to 9 ft. of arch was put in at a time, the length depending upon the nature of the ground. To remove the old timber arch, one of the segments was partly sawed through; and then a small charge of giant powder was exploded in it, the resulting débris, cordwood, rock, etc., being caught by a platform car extending underneath. From this car the débris was removed to another car, which conveyed it out of the tunnel. The center was then placed and the brickwork begun, the cement car shown in Fig. 164 being used for mixing the mortar. The size of the bricks used was 212 + 212 + 9 ins., four rings making a 20-in. arch and giving 1.62 cu. yds. of masonry in the arch per lin. ft. of tunnel. The bricks were laid in rowlock bond, two gangs, of three bricklayers and six helpers each, laying about 12 lin. ft. per day. The brickwork cost about $17 per cu. yd. The total cost of the new lining averaged about $50 per lin. ft.

Cross Section.

Longitudinal Section.

 

Fig. 166.—Relining Timber-Lined Tunnel, Norfolk and Western Ry.

Larger illustration

Little Tom Tunnel.

—The tunnel has a total length of 1,902 ft., but only 1,410 ft. of it were originally lined with timber. This old timber lining consists of bents spaced 3 ft. apart, and located as shown by the dotted lines in the cross-section, Fig. 166. Instead of renewing this timber, it was decided to replace it with a brick lining. Although the tunnel was constructed[322]
[323]
through rock, this rock is of a seamy character, and in some portions of the tunnel it disintegrates on exposure to the air. In removing the timber to make place for the new lining some of the roof was found close to the lagging, but often also considerable sections showed breakages in the roof extending to a height varying from 1 ft. to 12 ft. above the upper side of the timbering. This dangerous condition of the roof made it necessary that only a small section of the timber lining should be removed at one time. It made it necessary, also, that the brick arch should be built quickly to close this opening, and finally that all details of centers, etc., should be arranged so as to furnish ample clearance to trains. The accompanying illustrations show the solution of the problem which was arrived at.

Fig. 167.—Relining Timber-Lined Tunnel, Norfolk and Western Ry.

Referring to the transverse and longitudinal sections shown[324] by Fig. 166, it will be seen that two side trestles were built to carry an adjustable centering for the roof arch. Two sections of these trestles and centerings were used alternately, one being carried ahead and set up to remove the timbering while the masons were at work on the other. The manner of setting up and adjusting the trestles and centerings is shown by Fig. 166 and also by Fig. 167, which is an enlarged detail drawing of the set screw and rollers for the centering ribs. The following is the bill of material required for one set of trestles and one center:

Trestles:
Caps and sills  8 pieces 8 ×  8 ins. × 20 ft.
Posts 18 8 ×  8 × 11
Braces 16 6 ×  4 ×  7
Centerings:
Ribs 27 2 × 18 ×  7
Bracing 12 2 ×  8 ×  7
Support to crown lagging  2 6 ×  6 × 10
Crown lagging 20 3 ×  6 ×  2
Side lagging 30 3 ×  6 × 10
Side strips  2 2 × 12 ×  9
Blocking for rollers  1 5 ×  8 × 12
6 screw and roller castings complete with bolts and lever; 114 bolts 34-ins. in diameter; 712 U. H. hexagonal nut and 2 cast washers each.

With this arrangement the progress made per day varied from 2 lin. ft. to 3 lin. ft. of lining complete. By work complete is meant the entire lining, including stone packing between the brickwork and the rock. On Feb. 23, 1900, 363 ft. of lining had been completed, at a cost of $33.50 per lin. ft. This cost includes the cost of removing the old timber, the loose rock above it, and all other work whatsoever.


[325]

CHAPTER XXIV.
THE VENTILATION AND LIGHTING OF TUNNELS DURING CONSTRUCTION.


VENTILATION.

In long tunnels, especially when excavated in hard rock, proper ventilation is of great importance, because the air cannot be easily renewed, and the amount of oxygen consumed by miners horses and lamps during construction is very large. The gases produced by blasting also tend to fill the head of excavation with foul air. Pure atmospheric air contains about 21% of oxygen and only 0.04% of carbonic acid; when the latter gas reaches 0.1% the fact is indicated by the bad odor; at 0.3% the air is considered foul, and when it reaches 0.5% it is dangerous. It is generally admitted that the standard of purity of the air is when it contains 0.08% of carbonic acid.

A large quantity of carbonic acid in the air is easily detected by observing the lamps, which then give out a dim red light and smoke perceptibly; the workmen also suffer from headache and pains in the eyes, and breathe with difficulty. Naturally, miners cannot easily work in foul air and, therefore, make very slow progress. It is, therefore, to the interest of the engineer to afford good ventilation, not only because of his duty to care for the safety and health of his men, but also for reasons of economy, so that the men may work with the greatest possible ease, thus assuring the rapid progress of the work.

It would be impossible to change completely the atmosphere inside a tunnel, as the gases developed from blasting will penetrate into all the cavities and gather there, but the fresh air[326] carried inside by ventilation has a very small percentage of carbonic acid, mixes with that which contains a greater quantity, and dilutes it until the air reaches the standard of purity. We have not here considered the gases developed from the decomposition of carboniferous and sulphuric rocks, which may be met with in some tunnels, and which render ventilation still more necessary. Tunnels may be ventilated either by natural or artificial means.

Natural Ventilation.

—It is well known that if two rooms of different temperatures are put in communication with each other, e.g., by opening a door, a draft from the colder room will enter the other from the bottom, and a similar draft at the top, but with a contrary direction, will carry the hot air into the colder room, thus producing perfect ventilation, until the two rooms have the same temperature. Now, during the construction of tunnels the temperature inside may be considered as constant, or independent of the outside atmospheric variations; hence during summer and winter, there will always be a draft affording ventilation, owing to the difference of temperature inside and outside the tunnel. In winter time the cold air outside will enter at the bottom of the entrances and headings, or along the sides of the shafts, and the hot air will pass out near the top of the headings or entrances or the center of the shafts; in summer the air currents will take the contrary direction.

Natural ventilation in tunnels is improved when the excavation of the heading reaches a shaft, because the interior air can then communicate with the exterior at two points, at different levels. In such cases a force equal to the difference in weight between a column of air in the shaft and a similar one of different density at the entrance of the tunnel, will act upon the mass of air in the tunnel and keep it in movement, thus producing ventilation. Consequently, during winter, when the outside air has greater weight than that inside, the air will come in by the headings and go out by the shaft, and in the summer it will enter at the shaft and pass out at the entrance.[327] Sometimes to afford better ventilation shafts 8 or 12 in. in diameter are sunk exclusively for the purpose of changing the air. When the inside temperature is equal to that outside, as often happens during the spring and autumn, there are no drafts, and consequently the air in the excavation is not renewed and becomes foul; then fires are lighted under the shaft and a draft is artificially produced. The hot air going out through the shaft, as through a chimney, allows the fresh air to come in as in ordinary ventilation.

When the head of the excavation is very far from the entrances, or when the mountain is too high to allow excavation by shafts, it is quite impossible to secure good natural ventilation, especially during the spring and autumn months, and the engineer has to resort to some artificial means by which to supply fresh air to the workmen.

Artificial Ventilation.

—Artificial ventilation in tunnels may be obtained in two different ways, known as the vacuum and plenum methods. Their characteristic difference consists in this, that in the vacuum method the air is drawn from the inside and the vacuum thus produced causes the fresh air from the outside to rush in, while the plenum method consists in forcing in the fresh air which dilutes the carbonic air produced inside the tunnel by workingmen and explosives. In the vacuum method the pressure of the atmosphere inside the tunnel is always less than the pressure outside, while in the plenum method the pressure within is always greater than that outside. Ventilation is the result of this difference of pressure, as the tendency of the air toward equilibrium produces continuous drafts. Both these methods have their advantages and disadvantages; but in the presence of hard rock, when explosives are continually required, the vacuum method is considered the best, because the gases attracted to the exhaust pipes are expelled without passing through the whole length of the tunnel, thus avoiding the trouble that a draft of foul air will give to the workmen who are within the tunnel. In both these methods it[328] is necessary to separate the fresh air from the foul one; and this is done by means of pipes which will exhaust and expel the foul air in the vacuum method, or force to the front a current of fresh air when the plenum method is used. Artificial ventilation may also be obtained by compressed air which is set free after it has driven the machines, especially in tunnels excavated through rock, when rock drilling machines moved by compressed air are employed.

Vacuum Method Contrivances.

—The most common of the vacuum appliances consists in the simple arrangement of a pipe leading from the head of the tunnel out through the fire of a furnace. The air in the pipe is rarefied by the heat of the furnace and then set free from the other end of the pipe, thus creating a partial vacuum in the pipe, into which the foul air of the head rushes, the fresh air from the entrance taking its place, and thus ventilating the tunnel. A similar arrangement may be used with shafts, and the foul air may be driven out by a furnace which is placed either at the top or bottom of the shaft. Such furnaces act the same as those commonly used for heating purposes in the houses, with this difference, that, instead of fresh air being forced in, foul air is expelled. Another simple arrangement for producing a vacuum is by means of a steam jet which is thrown into the pipe, and which helps the expulsion of the air by heating it, thus producing a different density which originates a draft besides that mechanically originated by the force of the steam jet, which tends to carry out the foul air of the pipes.

Foul air may also be expelled by means of exhaust fans which are connected with pipes near the entrance of the tunnel. The fan consists of a box containing a kind of a paddle wheel turned by steam or water power and arranged so as to revolve at a high speed. The air inside the pipe is forced out by blades attached to the wheel, and thus the foul air of the front is driven away and fresh air from the entrance rushes in to take its place, and perfect ventilation is obtained.

[329]

The best manner of expelling foul air from tunnels, according to the vacuum method, is by means of bell exhausters. This consists of two sets of bells connected by an oscillating beam and balancing each other. Each set consists of a movable bell, which covers and surrounds a fixed bell with a water joint. In the central part of the fixed bell there are valves which open upwards, and on the bottom of each movable bell there are valves which open from the outside. When one bell ascends, the valves at the bottom are closed, the air beneath is then rarefied, and a vacuum is produced; the valves in the central part of the fixed bell filled with water are opened, and there is an aspiratory action from the pipe leading to the headings, and the foul air is thus carried away. The apparatus makes about ten oscillations per minute, and the dimensions of the bells depend upon the quantity of air to be exhausted in a minute. In the St. Gothard tunnel, where these bell exhausters were used, they exhausted 16,500 cu. ft. of air per minute.

Plenum Method Contrivances.

—Fresh air may be driven into tunnels to dilute the carbonic acid by two different ways, viz., by water blast and by fans. Water when running at a great velocity produces a movement in the air which may be sometimes usefully and economically employed for ventilating tunnels. Water falling vertically is let run into a large horizontal zinc pipe having a funnel at the outer end; into this the air attracted by the velocity of the water is forced. By an opening at the bottom the water is afterward withdrawn from the pipe, and there remains only the air which is pushed forward by the air which is being continually sucked in by the velocity of the water.

The best and most common means of ventilation by the plenum method is by fans. There are numerous varieties of these fans in the market, but they all consist of a kind of fan wheel which by rapid revolution forces the fresh air into the pipe leading to the headings of the tunnel or to the working places. Instead of a large single fan, such as is used for mining[330] purposes, it is better to have a number of small fans acting independently of each other, conveying the fresh air where it is needed through independent pipes.

Saccardo’s System.

—A new method of ventilating tunnels was devised by Mr. Saccardo for the ventilation of the Pracchia tunnel along the Bologna and Lucca Railway in Italy. At the highest end of the tunnel the mouth was contracted inward in a funnel shaped form so as to just admit a train. Immediately at this contraction, a lateral tunnel, 50 feet long, branched off from one side of the main tunnel. At the mouth of this lateral tunnel was installed a fan which forced air into the tunnel and with 70 revolutions per minute delivered 3.532 cu. ft. of air per second at a water pressure of 1 in. This air current was directed inward through a second contraction or funnel, parallel to the one at the entrance and 23 ft. beyond it. In operation the action of the artificial air current was to suck in a considerable volume of outside air, while the air pressure was sufficient to counterbalance the movement of air produced by a train moving at a velocity of 16.1 ft. per second. Mr. Saccardo’s method was employed in ventilating a tunnel on the Norfolk and Western Railway with satisfactory results.

Compressed Air.

—In the excavation of tunnels in hard rock a number of rock drilling machines are employed which are moved by compressed air at a pressure of not less than five atmospheres. At each stroke about 100 cu. ins. of compressed air are set free, and at an average of 10 strokes per minute there would be 5000 cu. ins. of air at five atmospheres or 25,000 cu. ins., or a little more than 175 cu. ft. of fresh air at normal pressure set free every minute by each of the machines employed. But the air exhausted from the drilling machine is foul.

Regarding ventilation by compressed air, Mr. Adolph Sutro, in a lecture delivered to the mining students of the University of California, said:

“I will note a curious fact which I have never seen explained, and which is worthy of close investigation by means of experiments. In the Sutro tunnel[331] we found that the compressed air used for driving the machine drills, after having been compressed and expanded and discharged from the drills, was not wholesome to breathe, and the men and mules would all crowd around the end of the blower pipe to get fresh air. Whether the air in being compressed has parted with some of its oxygen or because vitiated from some other cause, I do not know, and I hope that this subject will at some future day be carefully examined into.”

In the December, 1901, number of “Compressed Air,” a magazine especially devoted to the useful application of compressed air, is read:

Compressed air wasted from power drills is so contaminated with oil from the cylinders that it cannot be taken into consideration as ventilation. It is as important to displace it with pure air as it is to drive out or draw off other vitiated air. The ventilation should be an independent supply provided by fan or blower, delivering by pipe at the point where miners are working.

Quantity of Air.

—The quantity of air to be introduced into tunnels must be in proportion to the oxygen consumed by the men, the animals, and the explosions. It is allowed that the quantity of air required for breathing purpose and explosions is as follows:

1 workman with lamp needs 240 cu. yds. of fresh air in 24 hours.
1 horse 850
1 lb. gunpowder   100  
1 lb. dynamite   150  

In a long tunnel excavated through hard rock the number of workmen all together may be assumed at 400 at each end, and each workman is supposed to be furnished with a lamp. No less than ten horses are employed, and the average quantity of dynamite consumed is 600 lbs. per day. From the data given the consumption of air by workmen and lamps would be: 240 × 400 = 96,000 cu. yds.; the consumption of air by horses would be 850 × 10 = 8500 cu. yds.; the consumption of air by dynamite would be 150 × 600 = 90,000 cu. yds.; making a total consumption of air per day of 194,500 cu. yds., or about 8000 cu. yds. per hour.

To obtain good ventilation, then, it will be necessary to furnish every hour a quantity of fresh air amounting to not less[332] than 8000 cu. yds. Since, however, a large quantity of pure air is expelled with the foul air, it is necessary greatly to increase this quantity.

It may be observed, in closing, that the water having its particles divided, as in a fog or mist, rapidly precipitates the gases produced by explosions. Now, when hydraulic machines are used, there is a hollow ball pierced by holes that are almost imperceptible, from which the compressed water spreads in very subtile particles, and this causes the fall of the gases from explosions. Such a method of precipitating gases is very good, but does not have the advantage of supplying new oxygen to replace that consumed by the men, animals, lamps, and explosions; besides, it has the defect of increasing the quantity of water to be removed. In tunnels the pipes used either for conveying the fresh air or for carrying away the foul air, are of iron, having a diameter of about 8 in.; they are fixed along the side walls about 3 ft. above the inverted arch.

LIGHTING.

The object and necessity of a perfect lighting of the tunnel-workings during construction are so obvious that they need not be enlarged upon. Comparatively few tunnels require lighting after completion; and these are generally tunnels for passenger traffic under city streets, of which the Boston Subway is a representative American example. Considering the methods of lighting tunnels during construction, we may, for sake of convenience, chiefly, divide the means of supplying light into (1) lamps and lanterns usually burning oil; (2) coal-gas lighting; (3) acetylene gas lighting; and (4) electric lighting.

Lamps and Lanterns.

—Lamps and lanterns are commonly employed by engineers for making surveys inside the tunnel, and to light the instrument. For ranging in the center line, a convenient form of lamp consists of an oil light inclosed in glass chimney covered with sheet metal, except for a slit at the front and back through which the light shines, and on which the[333] observer sights his instrument. To direct the operations of his rodmen the engineer usually employs a lantern, either with white or colored glass, much like the ordinary railway trainman’s lantern, which he swings according to some prearranged code of signals.

Lamps and lanterns are used by the workmen both for signaling and for lighting the workings. For signaling purposes red lanterns are usually placed to denote the presence of unexploded blasts or other points of possible danger; and colored or white lights are usually placed on the front and rear of spoil and material trains. For lighting purposes, two forms of lamps are employed, which may be somewhat crudely designated as lamps for individual use and lamps for general lighting. Individual lamps are usually of small size, and burn oil; they may be carried in front of the miner’s helmet, or be fixed to standards, which can be set up close to the work being done by each man. Miners’ safety lamps should be employed where there is danger from gas. A great variety of lamps for mining and tunneling purposes are on the market, for descriptions of which the reader is referred to the catalogues of their manufacturers.

Lamps for general lighting are always of larger size than lamps for individual use. A common form consists of a cylinder ten or twelve inches in diameter, provided with a hook or bail for suspension, and filled with benzine, gasolene, or other similar oil. Connected with this cylinder is a pipe of considerable length and small diameter through which the benzine or gasolene vapor runs, and burns when lighted with a brilliant flame. Lamps of this type burning gasolene were extensively employed in building the Croton Aqueduct tunnel. Various patented forms of lamps for burning coal-oil products are on the market, for descriptions of which the manufacturers’ catalogues may be consulted.

Coal-gas Lighting.

—A common method of lighting tunnel workings is by piping coal-gas into the headings and drifts from[334] some nearby permanent gas plant, or from a special gas works constructed especially for the work. Gas lighting has the great advantage over lamps and lanterns of giving a light which is more brilliant and steady. Its great objection is the danger of explosion caused by leaks in the pipes, by breaks caused by flying fragments of rock, and by the carelessness of workmen who neglect to turn off completely the burners when they extinguish the lights. In nearly every tunnel where gas has been used for lighting, the records of the work show the occurrence of accidents which have sometimes been very serious, particularly when fire has been communicated to the tunnel timbering.

Acetylene Gas Lighting.

—The comparatively recent development of acetylene gas manufactured from carbide of calcium has given little opportunity for its use in tunnel lighting, and the only instance of its use in the United States, so far as the author knows, is the water-works tunnel conduit for the city of Washington, D. C. Col. A. M. Miller, U. S. Engineer Corps, who is in charge of this work, describes the method adopted in his annual report for 1899 as follows:—

“It had been the practice to do all work underground by the light of miners’ lamps and torches. This means of illumination is very poor for mechanical work. The fumes and smoke from blasting, added to the smoke from torches and lamps, render the atmosphere underground, especially when the barometer conditions were unfavorable to ventilation, very offensive and discomforting to the workmen. An investigation of the subject of lighting the tunnel by other means, more especially at the locality where the mechanics were at work,—brick and stone masons, and the workmen on the iron lining,—resulted in the selection of acetylene gas as the most available and economical in this special emergency. Accordingly, an acetylene gas plant for 300 burners was erected at Champlain-Avenue shaft, and one for 60 lights at Foundry Branch. The engine-houses at the shafts, the head-houses, and localities in the tunnel, when required, are lighted by these plants.

“Gas pipes were carried down the Champlain-Avenue shaft and along the tunnel both in an easterly and westerly direction, with cocks for burners at proper intervals every 30 feet; and this system sufficed for illumination from Hock Creek to Harvard University, a distance of over two miles. The plant erected at Foundry Branch was in like manner utilized for the illumination from that point in both directions.

“By connecting with the stopcocks by means of a rubber hose, a movable[335] light, chandelier, or ‘Christmas-tree’ of any required number of burners is used, thus concentrating the light in the immediate vicinity of the work, and also enabling the illumination to be carried into the cavities or ‘crow-nests,’ so called, behind the defective old lining.

“This method of illuminating has proved very satisfactory and quite economical. It is especially valuable as enabling good work to be done, and facilitating a thorough inspection of the same.”

Electric Lighting.

—By far the most perfect, and at present the most commonly employed means for lighting tunnel workings, is electricity. The light furnished by electric lamps is steady and brilliant, and does not consume oxygen or give off offensive gases. The wires are easily removed and extended, and the lamps are easily put in place and removed. About the only objection to the method is the fragility of the lamps, which are easily broken by the flying stones and the concussion produced by blasting.


[336]

CHAPTER XXV.
THE COST OF TUNNEL EXCAVATION AND THE TIME REQUIRED FOR THE WORK.


Cost.

—The cost of a tunnel will depend upon the cost of the two principal operations required in its construction, viz., the excavation of the cross section and the lining of the excavation with masonry, metal, or timber. These two operations may in turn be subdivided, in respect to expense, into cost of labor and cost of materials. It is a comparatively simple matter to calculate the cost of the building materials required to construct a tunnel; but it is very difficult to estimate with accuracy what the cost of labor will be. The reason for this is that it is impossible to foresee exactly what the conditions will be; the character of the material may change greatly as the work proceeds, increasing or decreasing the cost of excavation; water may be encountered in quantities which will materially increase the difficulties of the work, etc. Nevertheless, while accurate preliminary estimates of cost are not practicable, it is always desirable to attempt to obtain some idea of the probable expense of the work before beginning it, and the more usual means of getting at this point will be discussed here.

Two methods of estimating the cost of tunnel work are employed. The first is to calculate the probable expense of the various items of work, based upon the available data, per unit of length, and then add to this a margin of at least 10% to allow for contingencies; the second is to apply to the new work the unit cost of some previous tunnel built under substantially the same conditions. In the first method it is usual to consider the strutting and hauling as constituting a part of the work of[337] excavation. To estimate the cost of excavation involves the consideration of three general items, viz., the excavation proper, the strutting of the walls of the excavation, and the hauling of the excavated materials and the materials of construction.

The cost of excavating the preliminary headings or drifts is greater per unit of material removed than that of excavating the enlargement of the section. The cost of bottom drifts is also always greater than that of top headings, the material penetrated remaining the same. Mr. Rziha gives the comparative unit costs of excavating drifts, headings, and enlargement of the profile as follows:—

Bottom drifts $9.20 per cu. yd.
Top headings 4.80
Enlargement of profile 2.84

The cost of hauling increases with the length of the tunnel. This fact and amount of this increase are indicated by the following actual prices for the Arlberg tunnel:—

Top heading $6.76 per cu. yd., increasing 37 cts. per mile
Bottom drift 7.40 26
Enlargement of profile 2.70 10

In all the prices given above, the cost of strutting and hauling is included in the cost of excavation.

The cost of excavation is not always the same for the same character of materials in different tunnels. The following figures show the prices paid for the excavation of calcareous rock in four different German tunnels:—

Berliner Nordhausen Wetzler R.R. $1.24 per cu. yd.
Ofen 1.30
Stafflach 2.76
Gries 1.92

The method of tunneling has little influence upon the cost of the work, as shown by the following figures from tunnels excavated through calcareous rock by different methods:—

[338]

Ofen tunnel Austrian method $93.19 per lin. ft.
Dorremberg tunnel Belgian method 86.08
Stafflach tunnel English method 91.69

The Martha and Merten tunnels, excavated through soft ground by the Austrian and German methods respectively, cost $87.95 and $87.55 per lin. ft. respectively. In the excavation of the various sections of the tunnel for the new Croton Aqueduct in America, the following prices were paid:—

Excavation of heading $8 to $10.00 per cu. yd.
Tunnel in soft ground 8 to 9.00
Tunnel in rock 7 to 8.50
Brick masonry 10.00
Timber in place $40 per M. ft. B. M.

It is the practice in America to include the work of hauling under excavation, but not to include the strutting, which is paid for separately. In some cases only the market price of the timber is paid for separately, the cost of setting up being included in the price of excavation. The writer prefers the European practice of including the total cost of timbering under excavation, since the two operations are so closely connected, and since the contractor employs the same timber over and over again. Knowing the dimensions of the several members of the strutting, it is a simple, although somewhat tedious, process to calculate the total quantity required. An idea of the quantity of timber required for strutting in soft ground may be had from the data given on page 55. The quantity will decrease as the cohesion of the material penetrated increases, until it becomes so small in hard rock-tunnels as to cut very little figure in the total cost.

The cost of hoisting excavated materials through shafts depends upon the depth from which it is hoisted, and upon the character of hoisting apparatus employed. The following table, showing the cost of hoisting for different lifts and by different methods, is given by Rziha, the cost being in francs per cubic meter:—

[339]

Height
in Metres.
Windlass. Horse Gins. Steam
Hoists.
Francs
per Cu. M.
One
Horse.

Francs
per Cu. M.
Two
Horses.

Francs
per Cu. M.
Francs
per Cu. M.
 15 0.172 0.077 0.062 0.035
 30 0.212 0.087 0.070 0.045
 45 0.257 0.100 0.080 0.050
 60 0.305 0.112 0.092 0.082
 90 0.410 0.152 0.110 0.087
120 0.535 0.195 0.135 0.092
150 0.722 0.240 0.157 0.112

Mr. Séjourné, a French engineer, who has been connected with the construction of numerous tunnels by the Belgian method where he was in position to secure comparative figures, has given the following rules for calculating the cost of tunnels. Assuming A to represent the cost of excavating a cu. yd. in the open air, the cost of excavating the same quantity underground in driving headings will be from 9 A to 11 A, and in enlarging the profile it will be about 5 A. The cost of constructing single-track tunnels varies with the thickness of the lining, and may be calculated by the following formulas:

Without lining, C = 5.5 A.
With roof arch only, C = 6.4 + 6.4 A.
With lining 18 in. thick, C = 9.4 + 7 A.
With lining 2 ft. thick, C = 11 + 8 A.

In these formulas C is the cost per cu. yd. of excavation, including the masonry. For double-track tunnels the amounts given by the above formulas may be used by reducing them about 712% or 8%.

The second method of estimating the cost of tunnel work consists in assuming as a unit the unit cost of tunnels previously excavated under similar conditions. Mr. La Dame gives the following unit prices for a number of tunnels driven through different materials:

[340]

Nature of Soil. Tunnels,
No. of
Excav.
per Cu. Yd.
Cost per
Lin. Ft.
Max. and Min.
per Lin. Ft.
Granite-gneiss 56 $3.07 @ $3.85 $100.   $61.46 @ $190.40
Schist 39 1.38 @ 1.53   75.42 43.11 @ 70.68
Triassic  3 ...   90.85 84.75 @ 93.33
Jurassic 69 1.23 @ 1.38   77.86 35.24 @ 157.2
Cretaceous 34 0.61 @ 0.77   59.60 27.37 @ 92.25
Tertiary and modern 39 0.33 @ 0.61  105.80 51.52 @ 188.36

In the following table is given a list of tunnels excavated through different soils, from the most compact to very loose materials, and driven according to the various methods which have been illustrated.

DOUBLE-TRACK TUNNELS.

Name of Tunnels. Quality of Soil. Cost per
Lin. Ft.
Method of
Tunneling.
Mt. Cenis Granitic, $273.73   Drift.
St. Gothard ... 193.63   Heading.
Stammerich Granitic, 157.90   English.
Stalle Broken schist, 290.58   Austrian.
Bothenfels Dolomite, 115.64   English.
Dorremberg Calcareous, 86.08   Belgian.
Stafflach Calcareous, 91.69   English.
Ofen Calcareous, 93.19   Austrian.
Wartha Grewack, 87.95   Austrian.
Mertin Grewack, 87.55   German.
Schloss Matrei Clay schist, 94.25   English.
Trietbitte Clay and sand, 229.0    German.
Canaan Clay-slate, 69.50   Wide heading.
Church-Hill Clay with shells, 178.0    ...
Bergen No. 1 Trap rock, 182.31   ...

SINGLE-TRACK TUNNELS.

Name of Tunnels. Quality of Soil. Cost per
Lin. Ft.
Method of
Tunneling.
Mt. Cenis Gneiss,  $82.27   Heading.
Stalletti Granite and quartz, 62.75   Austrian.
Marein Clay schist, 64.36   English.
Welsberg Gravel, 165.07   Austrian.
Sancina Clay of 1st variety, 129.40   Belgian.
Starre Clay of 2d variety, 191.61   Belgian.
Cristina Clay of 3d variety, 307.42   Italian.
Burk ... 83.90   Wide heading.
Brafford Ridge ... 85.33   Wide heading.
Dunbeithe Limestone, 70.47   Wide heading.
Fergusson Sandstone, 37.46 [16] Wide heading.
Port Henry Limestone, 80.00 [17] Wide heading.
Points Granite, 72.00 [16] Wide heading.

[16] Are unlined.

[17] Lined with timber.

[341]

The Habas tunnel through quicksand, between Dax and Ramoux, France, cost $118.50 per lin. ft. The cost of the Boston subway was $342.40 per lin. ft. The Severn and Mersey tunnels, constructed through rock under water, cost respectively $208.38 and $263 per lin. ft. The First Thames Tunnel, driven by Brunel’s shield, cost $1661.66 per lin. ft. The Hudson River and St. Clair River tunnels, excavated through soft ground by means of shields and compressed air, cost respectively $305 and $315 per lin. ft. The Blackwall double-track tunnel under the River Thames, which is the largest tunnel ever built by the shield system, cost $600 per lin. ft.

In making estimates of the cost of projected tunnel work based on the cost of tunnels previously constructed through similar materials, it is important to keep in mind the date and location of the work used as the basis for calculations. For example, a tunnel excavated in Italy, where labor is very cheap, will cost less than one excavated in America, where labor is dear, all other conditions being the same. Other reasons for variation in cost due to difference of date and location of construction will suggest themselves, and should be taken into full consideration in estimating the cost of the new work.

Time.

—The time required to excavate a tunnel depends upon the character of the material penetrated and upon the method of work adopted. Tunnels driven through soft ground by hand require about the same time to construct as tunnels driven through hard rock by the aid of machinery. Tunnels can be driven through hard rock at about as great a speed as through soft or fissured rock, chiefly because the work of blasting is more efficient in hard rock, and because no time is required in timbering. The following table shows the average rate of progress in different parts of the tunnel excavation through both hard and soft materials in feet per month:—

[342]

Quality
of Soil.
Heading. Excavation
of Shafts.
Enlargement
of Profile.
By
hand.
By
machine.
By
hand.
By
machine.
By
hand.
Very loose soil  16.7 -  26.8 ...   6.6 -  16.7 ...   6.6 -  16.7
Loose soil  33.4 - 100   ...  16.7 -  33.4 ...  16.7 -  33.4
Soft rock  66.8   233.8 - 334    33.4 -  66.8  66.8 - 132.6  33.4 -  50  
Hard rock  50   -  66.8 233.8 - 334    33.4 -  50    66.8 - 132.6  66.8 - 100  
Very hard rock  33.4   233.8 - 334    16.7 -  33.4  66.8 - 132.6  66.8 - 100  

The following tables showing the average rate of progress have been compiled from the actual records made in the tunnels named:

Name of
Tunnel.
Dimensions
in Feet.
Monthly
Progress
in Feet.
Character
of Material.
Observations.
Excavation of headings by hand:        
Mount Cenis 10    × 10     65.8  Schist, Bottom drift.
Sutro  6.7  ×  5.7   70.14 Quartzose, ...
St. Gothard  8.4  ×  8.7   70.14 Granite, Top heading.
Excavation of headings by machine:        
Mount Cenis 10    × 10    188.7  Calcareous schist, Bottom drift.
Sutro  8.15 × 10    227.45 Quartzose, ...
St. Gothard  8.4  ×  8.7  339.45 Granite, Top heading.
Trari  8    ×  9.35 167    Gneiss, Top heading.
Arlberg  8.35 ×  9.35 474.2  Mica schist, Bottom drift.
Palisades 16    ×  7    160    Trap rock, Top heading.
Busk 15    ×  7    126    Granite, Top heading.
Cascade 16    ×  8    180    Basaltic rock, Top heading.
Franklin 15    ×  7    240    ... Top heading.

The following table shows the monthly progress of completed tunnel in feet excavated through rock:

Name of
Tunnel.
Progress
in Feet.
Material. Method.
Cascade 207   Basalt, Top heading.
Palisades 186   Trap rock, Top heading.
Busk 190   Granite, Top heading.
Tennessee Pass 169.5 Granite, Top heading.

[343]

The average monthly progress in feet of excavating tunnels through treacherous ground may be quite generally assumed to be for: (1) clay of the first variety from 43.4 ft. to 60 ft.; for clay of the second variety from 33.4 ft. to 43.4 ft.; for clay of the third variety from 23.3 ft. to 33.4 ft., and for quicksand from 30 ft. to 50 ft. The monthly progress in feet made in sinking the shafts of the Hoosac and Musconetcong tunnels in America was as follows:—

Name of
Tunnel.
Dimensions
in Feet.
Depth
in Feet.
Progress
in Feet.
Character
of Material.
Hoosac:        
East shaft 15.4  × 27.7  1035    21.7 Mica schist.
West shaft  8    × 16     267    16.7 Gneiss.
Musconetcong:        
Vertical shaft  8.35 × 16.7   113.5 100   Loose rock.
Inclined shaft  8.35 × 26     304.   32   Loose rock.

The average monthly progress of sinking shafts in treacherous soils may be assumed to be as follows: clay of first variety, 50 ft. to 75 ft; clay of second variety, 36.75 to 50 ft; clay of third variety, 23.4 ft. to 36.75 ft; quicksand, 16.7 ft. to 33.4 ft.

For the reason that the details change with the various conditions encountered in every work, all the tunnel operations have been treated in a general way, purposely avoiding to give any detail. Also the rate of progress and items of cost of tunnels have been given in a broad manner because they greatly vary in the different works. This information, however, can be easily obtained by consulting the Engineering Magazines, where are reported all the tunnel works of America and Europe, and where are given so many details which are very valuable to expert engineers in charge of similar works, but not to students and people who are looking only for general knowledge.


[344]
[345]

INDEX



Transcriber’s Notes

Inconsistencies in spelling and hyphenation have been retained except as mentioned below; non-English words and phrases have not been corrected except as listed below. The (minor) differences between the Table of Contents and the chapter headings have not been rectified.

Where necessary to view all illustration details, illustrations are available in a larger form; hyperlinks are provided in the text (not available in all formats).

Page 36/132: Figs. 14 and 61 are identical.

Page 92/93, Sommeilier: possibly an error for Sommeiller.

Page 134, Soummelier: possibly an error for Sommeiller.

Page 174, Footnote 11: presumably Fig. 92, indicating the planes of the sections, is from the same publication.

Page 176, Austrian method: Dresden and Leipsic, and the Oberau Tunnel, are (and were in 1837) in Saxony, Germany (or Prussia).

Page 179, The short transverse beam c, Fig. 90: there is no short transverse beam visible in Fig. 90, nor is it clear which other figure might be intended; there is therefore no hyperlink to the illustration.

Page 279, Stirtling boiler: possibly an error for Stirling boiler.

Pages 337 and 342, Arlberg: possibly an error for Aarlberg.

Page 340, Wartha: possibly an error for Martha; Mertin: possibly an error for Merten.

Changes made

Footnotes, tables and illustrations have been moved out of text paragraphs; some table data have been re-arranged for better legibility. In some of the formulas brackets have been added for clarity.

Several obvious minor typographical and punctuation errors have been corrected silently.

Page 12, footnote 3: Chapter IX. changed to Chapter X.

Page 35: on page 155 changed to on page 135

Page 36: on page 34 changed to on page 35

Page 53: The lagging plank may be ... changed to The lagging planks may be ...

Page 113: (1) changed to (I) (2×)

Page 117: ... and it in this clearing ... changed to ... and it is in this clearing ...

Page 130: as indicated by Fig. 58 changed to as indicated by Fig. 61

Page 136: as indicated in the Fig. 63 changed to as indicated in the Fig. 65

Page 146: as shown by Fig. 63 changed to as shown by Fig. 69

Page 149: underpining changed to underpinning

Page 150: Since the roof arch rests for some time ... changed to Since the roof arch rests are for some time ...; as shown by Fig. 66 changed to as shown by Fig. 72

Page 172: illustrated in Fig. 12 changed to illustrated in Fig. 11

Page 175: page 127 changed to page 123

Page 179: as at b, Fig. 90 changed to as at b, Fig. 97

Page 204: The third type of section is shown by Fig. 116 changed to The third type of section is shown by Fig. 117

Page 218: Malinö changed to Malmö

Page 261: Fig. 118 shows the hydraulic jacks changed to Fig. 136 shows the hydraulic jacks

Page 282: shown by Fig. 119 changed to shown by Fig. 141

Page 297: towed down to the tunnel side changed to towed down to the tunnel site

Page 315: shown in Figs. 141 and 142 changed to shown in Figs. 159 and 160

Page 324: shown by Fig. 148 changed to shown by Fig. 166

Page 338: given on page 50 changed to given on page 55

Page 340: Scloss Matrei changed to Schloss Matrei

Page 341: Time. changed to Time.

Page 348, entry Ryder: page number 296 added; Sounstein changed to Sonnstein (2×).