The Project Gutenberg eBook of Die Naturwissenschaften in ihrer Entwicklung und in ihrem Zusammenhange, III. Band

This eBook is for the use of anyone anywhere in the United States and most other parts of the world at no cost and with almost no restrictions whatsoever. You may copy it, give it away or re-use it under the terms of the Project Gutenberg License included with this eBook or online at www.gutenberg.org. If you are not located in the United States, you will have to check the laws of the country where you are located before using this eBook.

Title: Die Naturwissenschaften in ihrer Entwicklung und in ihrem Zusammenhange, III. Band

Author: Friedrich Dannemann


Release date: September 22, 2018 [eBook #57952]

Language: German

Other information and formats: www.gutenberg.org/ebooks/57952

Credits: Produced by Peter Becker, Heike Leichsenring and the Online
Distributed Proofreading Team at http://www.pgdp.net (This
file was produced from images generously made available
by The Internet Archive)

*** START OF THE PROJECT GUTENBERG EBOOK DIE NATURWISSENSCHAFTEN IN IHRER ENTWICKLUNG UND IN IHREM ZUSAMMENHANGE, III. BAND ***

DIE NATURWISSENSCHAFTEN
IN IHRER ENTWICKLUNG UND IN IHREM ZUSAMMENHANGE

DARGESTELLT VON

FRIEDRICH DANNEMANN

DRITTER BAND:

DAS EMPORBLÜHEN DER MODERNEN NATURWISSENSCHAFTEN
BIS ZUR ENTDECKUNG DES ENERGIEPRINZIPES

MIT 60 ABBILDUNGEN IM TEXT UND EINEM BILDNIS VON GAUSS

Verlag von Wilhelm Engelmann in Leipzig · 1911

C. F. Gauß

C. F. Gauß

(Nach einer Büste von G. Eberlein.)

[Pg i]

Copyright 1911 by Wilhelm Engelmann, Leipzig.

Druck der Königl. Universitätsdruckerei H. Stürtz A. G., Würzburg.

[Pg iii]

Vorwort.

Der zweite Band schilderte das Entstehen der neueren Naturwissenschaft. Er umfaßt den Zeitraum vom Anfang des 17. bis zur Mitte des 18. Jahrhunderts. Mit dem Ende dieses Abschnitts beginnt die neueste Phase in der Entwicklung der Naturwissenschaften. Diese Phase bis zu den Aufgaben der Gegenwart in den Grundzügen darzustellen, ist das Ziel des 3. und des 4. Bandes des vorliegenden Werkes. Da es sich nicht um eine bloße Aufzählung der Geschehnisse, sondern um den Nachweis ihrer inneren Verknüpfung handelt, so ist bei dem Ineinandergreifen der verschiedenen Gebiete eine scharfe Gliederung nach chronologischen Gesichtspunkten nicht möglich. Will man eine Schranke ziehen, so würde sie etwa mit dem Zeitpunkt der Entdeckung des Energieprinzips zusammenfallen. In der Hauptsache schildert der vorliegende dritte Band den großen Umschwung, den die Naturwissenschaften durch die Begründung der neueren Chemie, der Elektrizitätslehre, den Ausbau der übrigen Teile der Physik, sowie die Ausdehnung der experimentellen Forschungsweise auf die Wissenschaft vom Leben erfuhren. Dem vierten und letzten Bande bleibt es vorbehalten, den großartigen Aufschwung zu schildern, den die Naturwissenschaften im weiteren Verlauf des 19. und im Beginn des gegenwärtigen Jahrhunderts genommen haben.

Auch in dem vorliegenden Bande war es das Bestreben des Verfassers, die Schilderung im Rahmen der Gesamtentwicklung zu halten, die Beziehungen der Naturwissenschaften zu den Nachbargebieten aufzuweisen und vor allem nur dasjenige zu bringen, was zum tieferen Verständnis des heutigen Wissenschaftsgebäudes beiträgt.

Friedrich Dannemann.

Inhalt.

    Seite
1. Wissenschaft und Weltgeschichte 1
2. Das 18. Jahrhundert errichtet die Fundamente der Elektrizitätslehre 6
3. Praktische und theoretische Fortschritte auf dem Gebiete der Wärmelehre 33
4. Die Naturbeschreibung unter der Herrschaft des künstlichen Systems 60
5. Die Ausdehnung der physikalischen Methoden auf das Gebiet der Pflanzenphysiologie 69
6. Der Ausbau der im 17. Jahrhundert begründeten Sexualtheorie 80
7. Fortschritte der Zoologie im 18. Jahrhundert 99
8. Die neuere Mathematik und ihre Beziehungen zu den Naturwissenschaften 116
9. Die wissenschaftliche Chemie von ihrer Begründung durch Boyle bis zu ihrer Erneuerung durch Lavoisier 138
10. Der Eintritt der Chemie in das Zeitalter der quantitativen Untersuchungsweise 155
11. Die Aufstellung der atomistischen Hypothese und ihre experimentelle Begründung 175
12. Die Entdeckung der galvanischen Elektrizität 189
13. Die Begründung der Elektrochemie 211
14. Die Erforschung der elektromagnetischen und der elektrodynamischen Grunderscheinungen 223
15. Die Entdeckung der Thermoelektrizität 237
16. Der insbesondere durch Laplace und Herschel bewirkte Aufschwung der Astronomie 241
17. Die Grundlagen der mechanischen Wärmetheorie 264
18. Fortschritte der Optik und Sieg der Wellentheorie 272
19. Die Chemie und die Physik treten in engere Wechselbeziehungen 282
20. Fortschritte in der Anwendung der Mathematik auf die Naturwissenschaften 296
21. Die Begründung der physikalischen Erdkunde 319
22. Die Mineralogie unter dem Einfluß der chemisch-physikalischen Forschung 340
23. Die Aufstellung eines natürlichen Pflanzensystems 350
24. Die Physiologie der Pflanzen unter dem Einfluß der neueren chemisch-physikalischen Forschung 360
25. Die Verschmelzung der Zoologie mit der vergleichenden Anatomie und das natürliche System der Tiere 376
26. Geologie und Paläontologie unter der Herrschaft der Katastrophenlehre 385
27. Fortschritte in der Begründung der Ontogenie (Entwicklungslehre) 390

[Pg 1]

1. Wissenschaft und Weltgeschichte.

Die bisherige Darstellung reicht bis etwa zur Mitte des 18. Jahrhunderts. Ein kurzer Rückblick im Rahmen der Weltgeschichte möge die Entwicklung vergegenwärtigen, welche die Naturwissenschaften bis zu jenem Zeitpunkt genommen. Die Grundlagen, auf denen sich die Wissenschaft wie die gesamte Kultur des Altertums erhoben, entstammten dem Orient. Dort wurde lange vor dem Beginn der griechischen Geschichte eine gewaltige, auf die Mathematik, die Astronomie, die Heilkunde und die drei Naturreiche sich beziehende Summe von Tatsachen bekannt. Den Griechen blieb es vorbehalten, die Einzelkenntnisse zu wissenschaftlichen Systemen zusammenzufassen und die Philosophie ins Leben zu rufen. Philosophie und Wissenschaft sahen wir seit der Blütezeit des griechischen Lebens die gleiche Aufgabe verfolgen. Sie lautet Welterklärung. Bei gleichem Ziele waren die Ausgangspunkte und folglich auch die Wege verschieden. Die Philosophie stellte das denkende Subjekt, die Wissenschaft die Summe der von außen herantretenden Erfahrungen in den Mittelpunkt der Betrachtung. Die philosophierende und die forschende Tätigkeit gingen während des Altertums Hand in Hand. Wir sahen sie sogar oft in derselben Person vereinigt. Das galt von Plato nicht minder als von Aristoteles, dem Schöpfer des größten philosophischen und naturwissenschaftlichen Systems, welches das Altertum hervorgebracht hat.

Es war ein Mangel des Altertums, daß genaues Beobachten und überlegtes Experimentieren noch nicht genügend als die Grundlagen des Erkennens gewürdigt wurden. Dies führte zu Vorstellungen, die ihre Wurzel mehr in der Phantasie, als in der Erfahrung hatten. Beispiele hierfür bot uns insbesondere das Lehrgebäude des Aristoteles. Doch fehlte es auch nicht an Männern, die wie Archimedes im Sinne des modernen Forschers ihre Lehren auf Versuche und auf die Verknüpfung der Mathematik mit der Naturwissenschaft aufbauten. Auch die alexandrinischen [Pg 2] Gelehrten haben durch ihre mehr auf die Gegenstände als auf das Allgemeine gerichtete Forschung Großes in der Astronomie, der Erdbeschreibung und der Physik geleistet. Eine wichtige Förderung der Naturkenntnis erwuchs dem Altertum aus der Technik. Auf diesem Gebiete sahen wir auch die mehr praktischen als wissenschaftlichen Zielen zugewandten Römer tätig.

Das Ende der römischen Herrschaft bedeutet einen tiefen Einschnitt nicht nur in der Weltgeschichte, sondern auch in der Entwicklung der Naturwissenschaften. Sie fanden innerhalb der christlich-germanischen Kultur zunächst nicht den ihnen gebührenden Platz. Daß die Schöpfungen der Alten bis in die neuere Zeit erhalten blieben, ist das Hauptverdienst des arabischen Zeitalters. Erst im 13. Jahrhundert, nach der Berührung des Abendlandes mit dem Orient, lebten die Wissenschaften in Italien und in West- und Mitteleuropa wieder auf. Aus dem Studium des von den Arabern bearbeiteten astronomischen Hauptwerks des Altertums erwächst die neuere Astronomie. Durch ihre Verbindung mit der Nautik werden die Entdeckungsreisen ermöglicht. Die Ausdehnung des geographischen Gesichtskreises über den ganzen Erdball und die Befreiung von den Formen des mittelalterlichen Denkens und Fühlens bedingen einen Einschnitt von gleicher Wichtigkeit wie ein Jahrtausend vorher der Untergang der alten Welt. Als ein anderer, ein neuer, tritt der Mensch an die Natur heran. Er lernt die Fesseln der Autorität abstreifen und die Augen öffnen. Infolgedessen entstehen die ersten Ansätze zur Neubegründung der beschreibenden und der experimentellen Naturwissenschaften. Wie auf dem astronomischen Gebiete, so bilden auch hier die nach dem Fall Konstantinopels in größerer Zahl nach Westeuropa gelangenden Schriften der Alten den Stütz- und Ausgangspunkt für die Bestrebungen der Neuzeit. Eine weitere Stütze erwächst der neueren Wissenschaft in der Erfindung des Buchdrucks, dem Emporblühen des Städtewesens und der Umwandlung der mittelalterlichen Feudalherrschaft in den geordneten Staat.

Ihren Höhepunkt erreicht diese Bewegung im 17. Jahrhundert. Die wohlhabenden italienischen Städte und die größeren europäischen Staaten, vor allem Frankreich und England, beginnen, die Pflege der Wissenschaft als eine ihrer Aufgaben zu erkennen. Die Hochschulen werden zu Stätten freierer Forschung. Wissenschaftliche Akademien treten ins Leben. Daß der Sieg des Neuen trotzdem kein leichter war, lehrte uns die Lebensgeschichte Galileis.[Pg 3] Gestützt auf die Gunst der Mediceer und des venetianischen Senats vermochte es Galilei, die aristotelische Physik zu stürzen und auf ihren Trümmern die neuere Mechanik zu begründen. Was er begonnen, setzten in Italien zahlreiche Schüler fort. Sie riefen unter dem Namen der Akademie des Versuches eine Vereinigung ins Leben, die indessen bald infolge der in Italien herrschenden hierarchischen Strömung wieder aufgelöst wurde. Der Gegensatz zwischen Wissen und Glauben trat im 17. Jahrhundert, im Zeitalter der großen Religionskriege, in allen Ländern mit besonderer Schärfe hervor. Die protestantischen Teile Europas machten in dieser Hinsicht nicht etwa eine Ausnahme. Dieser Gegensatz war nicht nur das Verhängnis eines Giordano Bruno und eines Galilei, er griff gleich unheilvoll in das Leben Keplers ein.

Jede Betätigung und jedes Bedürfnis zahlreicher einzelner findet seine Stütze in dem Staat, der ja nichts weiter ist als der Zusammenschluß der einzelnen. Zu den allgemeinsten Betätigungen gehören das Wissen und der Glauben. Für das, was sie hervorbringen, für die Wissenschaft und für die Religion, hatte der Staat seit alters in den Schulen und in der Kirche seine besonderen Veranstaltungen geschaffen. Das Mittel, durch welches Schule und Kirche bis zum 17. Jahrhundert sich vorzugsweise betätigt hatten, war die Lehre durch Schrift und Wort. Daher das Übergewicht der Autorität während dieses Zeitraums und der Mangel an innerem Wachstum. Ein solches konnte nur die von den Fesseln der Autorität befreite Forschung verleihen. Sie regte sich zuerst auf dem Gebiete der dem Wirklichen zugewandten Wissenschaft. Hier zeigt es sich, daß eine neue, auf den Versuch und eigene Beobachtung sich gründende Methode allein die Sicherheit bietet, das Richtige vom Unrichtigen, Wahrheit von Irrtum zu unterscheiden. Daher die überwältigende Macht, mit der die neuere Wissenschaft alle Hindernisse hinwegräumt und rasch die größten Erfolge erringt, während die dem Jenseits zugewandte Religion und ihre Institution, die Kirche, da es ihr an einem ähnlichen Mittel gebricht, an der Autorität festhält, ja, diese Autorität um so mehr hervorkehrt, je mehr die Wissenschaft sich ihrer zu entledigen sucht.

Für die Naturwissenschaften kam noch der fördernde Umstand hinzu, daß man aus ihrer Pflege einen unmittelbaren Nutzen zu erzielen wußte. An der Pflege der Botanik und der Zoologie hatte die Heilkunde das größte Interesse. Die Ergebnisse der Physik, der Chemie und der Mineralogie kamen vielen Gewerben zugute. Die Astronomen hatten der Kartographie, der Zeitbestimmung [Pg 4] und in neuerer Zeit vor allem der Nautik jedermann in die Augen springende Dienste erwiesen. Die Leistungen all dieser Zweige wurden seit der Erneuerung der Naturwissenschaften in hohem Maße gefördert durch die Erfindung zahlreicher Instrumente und durch die ausgedehnte Anwendung der Mathematik. Die Bewaffnung des Auges mit dem Fernrohr und mit dem Mikroskop, die Erfindung des Thermometers, der Luftpumpe, des Barometers und mancher anderen für die Forschung und für das Leben gleich wichtigen Instrumente ermöglichten die Schöpfung eines Weltbildes, das sich von dem mittelalterlichen in fast allen Teilen unterschied. In der Neugestaltung und der Verknüpfung der Mathematik mit den Naturwissenschaften leistete die Newton-Huygens-Periode das Hervorragendste. Ihr wertvollstes Ergebnis bestand in der Verknüpfung der Mechanik mit der Astronomie durch Newtons Weltgesetz. Die wichtigsten Pflegestätten der Wissenschaften waren in jenem Zeitalter England und die Niederlande. Hier genoß das Individuum zuerst diejenige Befreiung von staatlicher und kirchlicher Bevormundung, die als das Lebenselement der Wissenschaft betrachtet werden muß. In Frankreich dagegen war die Autorität des Staates und der Kirche damals so mächtig, daß ihr selbst der große Huygens das Feld räumte, nachdem er lange eine Zierde der Pariser Akademie gewesen. Deutschland litt unter den Folgen des dreißigjährigen Krieges. Und wenn auch einzelne Großes leisteten, vermochte dennoch hier die Wissenschaft als Ganzes nicht mit der geistigen Entwicklung der politisch erstarkten Länder gleichen Schritt zu halten.

Seit der Mitte des 18. Jahrhunderts machte sich auf allen Gebieten des geistigen, sowie des sozialen Lebens ein Umschwung bemerkbar, der für die gesamte Kulturentwicklung den Beginn einer neuen Phase bedeutete. In der Staatengeschichte erreichte dieser Vorgang seinen Höhepunkt in der französischen Revolution, mit welcher der Historiker die neueste Zeit beginnen läßt. Die Geschichte der Wissenschaften verzeichnet zwar gleichfalls einen mit der sozialen und politischen Entwicklung Schritt haltenden Wechsel; ihren Geschehnissen ist aber das scheinbar Unvermittelte bei weitem nicht in solchem Maße eigen wie den politischen Begebenheiten.

Die Naturwissenschaften waren auf dem Punkte angelangt, daß zahlreiche Kräfte sich zu ihrem weiteren Ausbau die Hand reichen mußten, während in den vorhergehenden Perioden der einzelne noch einen überwiegenden Einfluß ausgeübt hatte. Das[Pg 5] neueste Zeitalter in der Entwicklung der Wissenschaften, dem unsere weitere Darstellung gilt, wird dementsprechend auch nicht durch eine hervorragend wichtige Entdeckung oder durch das Auftreten eines bedeutenden Forschers eingeleitet. Während für die Chemie eine neue Epoche beginnt, wandeln die Astronomie und die Mechanik in den eingeschlagenen Bahnen weiter. Die Prinzipien der letzteren werden in immer höherem Maße auf die übrigen Teile der Physik angewandt, welcher sich mit der Entdeckung der galvanischen Elektrizität ein neues, wichtiges Gebiet erschließt. Auch die Zoologie und die Botanik werden von einem Wechsel betroffen. Auf das Vorherrschen der Systematik folgt eine Richtung, in der morphologische und bald darauf auch physiologische Fragen an die erste Stelle rücken. Etwa in die Mitte des 19. Jahrhunderts fällt dann die großartige Verallgemeinerung und Verknüpfung der gesamten bisherigen Forschungsergebnisse infolge der Durchführung des Prinzips von der Erhaltung der Kraft. Die Betrachtung der dann folgenden letzten Entwicklungsstufen wird uns bis zu den Aufgaben des Tages führen und schließlich einen Ausblick in eine verheißungsvolle Zukunft eröffnen.

[Pg 6]

2. Das 18. Jahrhundert errichtet die Grundlagen der Elektrizitätslehre.

Während die Physik im 17. Jahrhundert ihre Fortschritte vorzugsweise auf den Gebieten der Mechanik und der Optik, den ältesten Zweigen der Naturlehre, zu verzeichnen hatte, war das 18. Jahrhundert insbesondere dem Ausbau des von Gilbert und Guericke erschlossenen Gebietes der Reibungselektrizität gewidmet. Gilbert hatte zum erstenmal den Unterschied zwischen magnetischer und elektrischer Anziehung scharf hervorgehoben1, während Guericke die elektrische Abstoßung entdeckt und die erste maschinelle Vorrichtung zur Erzeugung von Elektrizität ins Leben gerufen hatte. Leider wurde Guerickes Apparat zunächst nicht benutzt. Man begnügte sich damit, Elektrizität zu erzeugen, indem man Glas, Bernstein und andere geeignete Stoffe aus freier Hand rieb. Trotzdem gelang es, elektrische Entladungen von solcher Wirkung hervorzurufen, daß nicht nur ein Knistern, sondern auch das Auftreten von Funken bemerkt wurde. Ein Beobachter erwähnt sogar, »dieses Licht und Knistern scheine einigermaßen Blitz und Donner vorzustellen«2.

Auf das Studium der elektrischen Phänomene wurde man besonders durch eine merkwürdige Beobachtung am Quecksilberbarometer gelenkt. Picard bemerkte im Jahre 1675, daß sich bei völliger Dunkelheit beim Erschüttern der Quecksilbersäule in der Torricellischen Leere ein eigentümliches phosphoreszierendes Leuchten zeigt. Die sonderbare Erscheinung erregte großes Aufsehen und rief eine umfangreiche Literatur hervor. Die richtige Erklärung fand Francis Hawksbee, ein Mitglied der Royal[Pg 7] Society. Hawksbee, welcher seine Versuche über diesen Gegenstand seit dem Jahre 1705 in den Philosophical Transactions veröffentlichte3, nahm an, daß man es hier mit einer durch die Reibung des Quecksilbers an dem Glase vor sich gehenden Elektrizitätserregung zu tun habe. Um seine Ansicht zu beweisen, stellte er eine hohle Glaskugel auf eine Achse und versetzte sie in rasche Drehung. Brachte er gleichzeitig die trockene, warme Hand an diese Kugel, so wurde sie so stark elektrisch, daß man zolllange Funken erhielt. Wurde die Kugel zuvor luftleer gemacht, so erschien in ihr dasselbe Leuchten, das man im Quecksilberbarometer beim Schütteln beobachtet hatte. Hawksbee ist somit als der Erfinder der Glaselektrisiermaschine zu betrachten. Allerdings kam diese Maschine erst viel später in allgemeinen Gebrauch. Obgleich Hawksbee auch Schwefelkugeln und Siegellackstangen elektrisierte, gelangte er noch nicht dazu, zwischen positiver und negativer Elektrizität zu unterscheiden.

Der Fortschritt auf dem Gebiete der Reibungselektrizität mußte ein sehr langsamer bleiben, so lange es sich nur um zufällige, durch keine Theorie verknüpfte Beobachtungen handelte. Dieser allerersten Stufe jeder exakten Wissenschaft sollte keiner der Hauptzweige der Physik so spät entwachsen wie gerade die Elektrizitätslehre. Erst im Verlaufe des 18. Jahrhunderts tritt letztere in das zweite Stadium ein. Dieses ist dadurch gekennzeichnet, daß man zu einem planmäßigen, von hypothetischen Vorstellungen geleiteten Experimentieren übergeht. Als Vertreter jener ersten Stufe muß selbst noch ein Du Fay gelten. Seine Tätigkeit fällt in den Beginn des 18. Jahrhunderts, während Aepinus und Franklin auf den Schultern der Genannten stehen und dem zweiten Zeitraum angehören. Erst der gegen das Ende des 18. Jahrhunderts anhebenden Epoche blieb es vorbehalten, durch messende Beobachtung zu den Gesetzen der Reibungselektrizität vorzudringen4. Hieran reihte sich das deduktive, die Hilfsmittel der Mathematik und der Mechanik benutzende Verfahren, womit auch auf diesem Gebiete endlich diejenige Stufe erreicht war, welche der Wissenschaft nach einem Ausspruch Galileis in allen ihren Teilen erst eine würdevolle Behandlung verleiht5.

[Pg 8]

Dem erwähnten Du Fay verdankt die Elektrizitätslehre eine Anzahl grundlegender Versuche. Charles François Du Fay wurde 1698 in Paris geboren und starb daselbst im Jahre 1739. Du Fay beschäftigte sich mit magnetischen und elektrischen Versuchen, die in den Abhandlungen der Pariser Akademie beschrieben wurden6. Das wichtigste Ergebnis seiner Untersuchungen läßt sich in folgende Sätze zusammenfassen: 1. Ein elektrischer Körper zieht alle nichtelektrischen an und teilt ihnen Elektrizität mit, worauf er sie wieder abstößt. 2. Es gibt zwei entgegengesetzte Arten der Elektrizität, die Glas- und die Harzelektrizität. Zu der Entdeckung, daß es zwei Arten Elektrizität gibt, wurde Du Fay durch sein Blattgoldelektroskop geführt. Du Fay ging von der Annahme aus, daß ein mit dem Glasstab elektrisiertes Blättchen von jedem Körper, der durch Reiben in den elektrischen Zustand versetzt sei, abgestoßen werde. Diese Annahme bestätigte sich indessen nicht. Als Du Fay nämlich dem Blättchen geriebene Kopalstücke und andere geriebene harzartige Körper näherte, wurde es von diesen angezogen. Du Fay unterschied aus diesem Grunde zwei Arten von Elektrizität, die er als Harz- und Glaselektrizität bezeichnete. Später erkannte man indessen, daß diese Benennungen irreführend sind, da harzartige Körper mit Glaselektrizität, glasartige dagegen mit Harzelektrizität geladen werden können7. Deshalb wurden die Glas- und die Harzelektrizität als positive und negative Elektrizität unterschieden. Du Fay war es auch, der zuerst auf den Zusammenhang zwischen dem Leitungsvermögen und der Elektrisierbarkeit der Körper aufmerksam machte. Man fing nun an, die Nichtleiter in ausgedehnter Weise als Isolatoren zu benutzen. So gelang es dem genannten Forscher, einen an Haarschnüren oder an seidenen Stricken hängenden Menschen zu elektrisieren und ihm Funken zu entlocken.

Die ersten Beobachtungen über die Fortleitung der Elektrizität rühren von Guericke her. Ausgedehntere Versuche über das Leitungsvermögen stellte ein Zeitgenosse Du Fays, der Engländer Stephan Grey, an. Er verschloß eine Glasröhre vermittelst eines Korkstopfens, um zu untersuchen, ob sie sich jetzt in gleicher Weise wie vorher durch Reiben elektrisieren lasse. Grey (er starb 1736 in London) bemerkte keinen Unterschied, fand aber, daß der[Pg 9] Stopfen auch elektrisch geworden war, da er auf eine Feder wie die Glasröhre wirkte. Darauf steckte er in den Stopfen einen Holzstab, der am andern Ende eine Elfenbeinkugel trug. Wurde nun die Glasröhre gerieben, so zeigte sich diese Kugel gleichfalls elektrisch. Die Zustandsänderung hatte sich also von dem Glase aus durch den Stopfen und das Holz bis auf die Kugel fortgepflanzt. Um die Frage zu entscheiden, bis auf welche Entfernung eine solche Fortpflanzung möglich sei, ersetzte Grey den Holzstab durch einen ausgespannten Faden, der in seidenen Schleifen hing. Es gelang, eine Wirkung auf Entfernungen bis zu 700 Fuß nachzuweisen. Ließ man den Bindfaden nicht auf Seide, sondern auf Draht ruhen, so mißlang der Versuch. Auch hierdurch wurde man auf den Unterschied zwischen Leitern und Nichtleitern aufmerksam gemacht. Als letztere lernte man Haare, Seide, Harz und Glas kennen und zu ferneren Versuchen benutzen. Grey elektrisierte auch Personen, die auf einem Harzkuchen standen. Er ist also im Prinzip der Erfinder des Isolierschemels. Grey stellte eine Schale mit Wasser auf seine Isolierplatte. Wurde der Flüssigkeit ein elektrisierter Glasstab genähert, so erhob sie sich über ihr gewöhnliches Niveau. Dieser Versuch führte auf eine eigentümliche Entdeckung. Zwei Leydener Physiker8 suchten Wasser, das sich in einem isolierenden Glasgefäß befand, zu elektrisieren, indem sie es vermittelst eines Drahtes mit einer geriebenen Glasröhre in Verbindung setzten. Als der eine von ihnen zufällig das Gefäß in der Hand hielt und zu gleicher Zeit die Röhre berührte, erhielt er einen kräftigen Schlag, der besonders im Arm und in der Brust zu spüren war. In der betreffenden Mitteilung vom Jahre 1746 hieß es, man sei in Leyden auf einen erschrecklichen Versuch geraten, dem sich die Erfinder nicht um die Krone Frankreichs zum zweitenmal aussetzen möchten. Die Priorität der Entdeckung gebührt jedoch nicht den Leydener Physikern, sondern dem in Pommern lebenden von Kleist9. Im Jahre 1745 machte dieser folgenden Versuch. Er stellte in eine Arzneiflasche einen eisernen Nagel und elektrisierte diesen. Als er darauf den Nagel mit der anderen Hand berührte, erhielt er einen[Pg 10] heftigen Schlag, der noch verstärkt wurde, wenn sich etwas Quecksilber am Boden der Flasche befand. Die Entdeckung erregte großes Aufsehen und führte der Beschäftigung mit elektrischen Versuchen zahlreiche Dilettanten zu. Jene Vorrichtung, die man in der Folge als die Leydener Flasche bezeichnete, wurde in Frankreich im Beisein des Königs durch eine Kette von mehr als hundert Personen entladen. Das Wasser und die Hand, welche bei dem ursprünglichen Versuch die Rolle des inneren und des äußeren Belags gespielt hatten, wurden bald darauf durch Zinn ersetzt. Ferner machte man die Beobachtung, daß die Leydener Flasche die Elektrizität längere Zeit behält und daß sie sich nicht laden läßt, wenn sie isoliert ist. Zu einem Verständnis dieses Verhaltens gelangte erst Franklin. Als er eine, an einem Seidenfaden hängende, leichte Kugel dem inneren Belage näherte, wurde sie in der bekannten Weise zunächst angezogen, dann aber, nachdem sie gleichfalls elektrisch geworden war, wieder abgestoßen. Näherte er die Kugel jetzt dem äußeren Belag, so wurde sie angezogen. Es zeigte sich also, daß die Beläge entgegengesetzt geladen waren, und daß die Entladung der Flasche in dem Ausgleich dieser entgegengesetzten Elektrizitäten besteht. Franklin bediente sich bei seinen Versuchen einer auf beiden Seiten mit Zinn überzogenen Tafel, die nach ihm noch heute als Franklinsche Tafel bezeichnet wird.

Die Vereinigung mehrerer Leydener Flaschen zu einer elektrischen Batterie bewerkstelligte zuerst der Danziger Bürgermeister Gralath10. Er nahm mehrere Glaskolben, füllte sie zur Hälfte mit Wasser und ließ einen eisernen, mit einer Kugel versehenen Draht aus der Flasche hervorragen. Sämtliche Kugeln wurden dann gleichzeitig mit dem Konduktor der Elektrisiermaschine verbunden. Gralath erhielt durch diese Vorrichtung einen sehr heftigen Schlag. Noch in demselben Jahre (1746) wurde die Wirkung der Batterie in solchem Maße verstärkt, daß man den Funken am hellen Tage 200 Schritte weit sah und die Entladung auf noch größere Entfernung zu hören vermochte.

Die weitere Erforschung der Reibungselektrizität wurde dadurch außerordentlich gefördert, daß man nach dem Vorgange Guerickes und Hawksbees zur Anwendung maschineller Vorrichtungen schritt.

[Pg 11]

Einem Leipziger Professor der Physik namens Hausen wurde im Jahre 1743 von einem seiner Zuhörer der Vorschlag gemacht, sich das mühevolle Reiben der Glasröhre dadurch zu ersparen, daß er eine größere Glaskugel in Drehung versetze. Dieser Vorschlag erwies sich als über Erwarten praktisch, zumal ein Leipziger Handwerker den neuen Apparat mit dem ersten Reibzeug versah. Letzteres bestand aus einem wollenen Kissen. Bald darauf (1744) brachte der deutsche Physiker Bose neben der Glaskugel einen isolierten Metallkörper als Konduktor an. Diesen Konduktor finden wir schon wenige Jahre, nachdem Hausen seine Maschine gebaut, mit einem Saugkamm versehen11, so daß noch vor Ablauf der ersten Hälfte des 18. Jahrhunderts die Elektrisiermaschine in ihrer noch jetzt gebräuchlichen Einrichtung den Physikern zu Gebote stand. Im weiteren Verlaufe des 18. Jahrhunderts ersetzte man die Glaskugel durch die handlichere Glasscheibe12 und versah das Reibzeug mit dem bekannten, von Kienmayer empfohlenen Amalgam13.

Abb. 1
Abb. 1. Elektrisiermaschine aus dem Jahre 1744. (Aus Gerland und Traumüller, Geschichte der physikalischen Experimentierkunst.)

Als Reibzeug dient noch die Hand. Ihr gegenüber befindet sich als Konduktor eine auf seidenen Schnüren liegende Metallröhre AB, deren Ende A mit einem Bündel Fäden an Stelle des Saugkammes versehen ist. E steht auf einem mit isolierender Substanz (Pech) gefüllten Kasten. Aus der Spitze des Degens springt ein Funken über, welcher den im Löffel F befindlichen Weingeist entzündet.]

Die Elektrisiermaschine kam nun sozusagen in Mode. Das Interesse, welches ihr bemittelte Dilettanten entgegenbrachten, bewirkte[Pg 12], daß sie schließlich gewaltige Dimensionen annahm14. In rascher Folge wurden jetzt die wichtigsten Erscheinungen der Reibungselektrizität entdeckt. Die zündende Wirkung des Funkens wurde an Schießpulver, Äther und anderen brennbaren Stoffen dargetan. Der Danziger Bürgermeister Gralath15 entzündete ein eben ausgeblasenes Licht durch den elektrischen Funken. Ja, es gelang sogar, vermittelst eines elektrisierten Wasserstrahles Weingeist in Brand zu setzen.

Ferner versuchte man die Fortpflanzungsgeschwindigkeit der Elektrizität zu bestimmen, indem man den Schlag einer Leydener Flasche durch einen mehrere tausend Meter langen Draht leitete (siehe Abb. 2). Derartige Versuche unternahm zuerst der Franzose Le Monnier und später der Engländer Watson (1715-1787). Da sich hierbei kein meßbarer Zeitunterschied ergab, so konnte man zunächst nur auf eine sehr große Geschwindigkeit schließen. Diese zu bestimmen, war eine neue, sinnreiche Methoden erfordernde Aufgabe der Experimentalphysik. Doch knüpfte man später an den der obigen Versuchsanordnung (Abb. 2) zugrunde liegenden Gedanken wieder an, nur daß an Stelle der unmittelbaren Beobachtung der rasch rotierende Spiegel trat.

Abb. 2
Abb. 2. Watsons Versuch, die Geschwindigkeit der Elektrizität in einem Drahte zu bestimmen. Der innere Belag der Leydener Flasche C steht mit dem isoliert aufgehängten leitenden Stabe AD in Verbindung. Von dem äußeren Belag geht ein Draht nach der Kugel H. In F wird eine Person eingeschaltet. Obgleich das Drahtstück zwischen F und H etwa 12000 Fuß lang war, konnte der in F befindliche Beobachter doch keinen Zeitunterschied zwischen der empfangenen Erschütterung und dem Überspringen des Funkens bei H feststellen.

Auch der naheliegende Gedanke, das Verhalten des Funkens im Vakuum zu untersuchen, kam zur Ausführung16. Der erste, der darüber Versuche[Pg 13] anstellte, war der Mechaniker Grummert (1719-1776) in Dresden. Es zeigte sich, daß die Elektrizität den luftleeren Raum auf eine beträchtliche Strecke durchdringt. Nach der Beschreibung Watsons, eines späteren Beobachters, erfüllte das elektrische Feuer die ganze Röhre, so daß man, so lange die Maschine in Bewegung blieb, eine ununterbrochene Lichterscheinung wahrnahm. Der weitere Verfolg dieses Versuches hat zur Erfindung der Geißlerschen Röhre und endlich in der neuesten Zeit zur Entdeckung eigentümlicher Strahlengattungen geführt. Auch zur Erklärung des Nordlichts wurde das elektrische Leuchten in evakuierten Röhren herangezogen17.

Den neuen, wunderbaren Entdeckungen gegenüber, denen man nichts Ähnliches an die Seite stellen konnte, erhob sich schon bei den Physikern des 18. Jahrhunderts die Frage nach der Ursache der elektrischen Erscheinungen. War die Elektrizität ein Stoff, so ließ sich erwarten, daß die Körper durch das Elektrisieren eine Gewichtszunahme erfahren würden. Alle Versuche, die nach dieser Richtung hin angestellt wurden, blieben jedoch ohne Erfolg18. Zu dem gleichen Ergebnis war man hinsichtlich der Wärme gelangt, als man Gegenstände in erhitztem Zustande und bei gewöhnlicher Temperatur wog.

Aus diesen Versuchen wurde nun keineswegs gefolgert, daß die Elektrizität und die Wärme bloße Zustände seien, sondern es wurde der Begriff des unwägbaren Stoffes oder der Imponderabilie, aus dem man ja auch die Lichterscheinungen zu erklären suchte, auf die elektrischen, die verwandten magnetischen und die kalorischen Vorgänge ausgedehnt. Die Lehre von den Imponderabilien hat die Physik bis in das 19. Jahrhunderte hinein beherrscht. Sie wurde hinsichtlich der Wärme zuerst von Rumford und Davy erschüttert. Ihre endgültige Beseitigung auf allen Gebieten ist eine Aufgabe, welche die Wissenschaft bis in die neueste Zeit beschäftigt hat.

Obgleich die Lehre von den Imponderabilien nicht imstande war, einem vorgeschrittenen Kausalitätsbedürfnis zu genügen, bot sie bei der Stufe des Wissens, welche das 18. Jahrhundert erreicht hatte, doch die einzige Möglichkeit einer Erklärung. Wenn man die Lichterscheinungen auf die Fortbewegung eines besonderen Stoffes zurückführte, war man auch gezwungen, weitere Stoffe als Träger[Pg 14] der Wärme, der elektrischen und der magnetischen Vorgänge anzunehmen. Einfacher gestaltete sich die Theorie der Elektrizität bei solchen Physikern, welche die Lichterscheinungen auf Wellenbewegung zurückführten. So besteht für Euler kein Zweifel, daß die Quelle aller elektrischen Vorgänge in dem Äther zu suchen sei, in dem sich nach ihm und Huygens das Licht fortpflanzt. Die Elektrizität, meint Euler, sei nichts als eine Störung im Gleichgewichte dieses Äthers, der in die Körper hineingepreßt oder aus ihnen herausgetrieben werde, je nachdem sie die eine oder die andere Art des Elektrizitätszustandes aufwiesen19.

Von einer ähnlichen Vorstellung ließ sich Franklin bei seinen Untersuchungen leiten. Die Körper waren für ihn positiv oder negativ elektrisch, je nachdem sie ein Zuviel oder ein Minder des hypothetischen elektrischen Fluidums enthielten, während sie unelektrisch seien, wenn sich dieses Fluidum außerhalb und innerhalb der Körper im Gleichgewicht befände.

Nach Franklin durchdringt das elektrische Fluidum die ganze Körperwelt. Es ist die Ursache aller elektrischen Erscheinungen. Die Teilchen dieses Fluidums stoßen sich gegenseitig ab, werden aber von den Körperteilchen kräftig angezogen. Enthält der Körper soviel davon, als er aufnehmen kann, ohne daß etwas von dem Fluidum auf der Oberfläche des Körpers zurückbleibt, so ist dies nach Franklin der gewöhnliche Zustand, und der Körper erscheint uns unelektrisch.

Andere wieder, wie Symmer, zogen es vor, die verschiedenen elektrischen Zustände aus der Annahme zweier Fluida zu erklären. Der hieraus entstehende Streit der Unitarier und Dualisten, so zwecklos er an sich auch war, bewirkte, daß die experimentelle Erforschung der in Frage kommenden Erscheinungen lebhaft gefördert wurde. Das Interesse dafür wurde ein solch allgemeines, daß den Physikern von Beruf mancher Bundesgenosse aus dem Laienkreise erstand. Der hervorragendste unter ihnen war der soeben genannte Franklin.

Benjamin Franklin wurde am 17. Januar 1706 in Governors Island bei Boston geboren. Sein Vater hatte die englische Heimat verlassen, weil er dort nicht ungehindert seiner religiösen Überzeugung leben konnte. Da er sich und eine zahlreiche Familie durch Seifensieden nur mühsam ernährte, so wurde der junge[Pg 15] Benjamin frühzeitig von der Schule genommen und seinem älteren Bruder, einem Buchdrucker, in die Lehre gegeben. Nachdem Franklin einige Zeit in England als Setzer tätig gewesen war, rief er in Philadelphia eine Zeitung und eine Druckerei ins Leben.

Zur Beschäftigung mit der Elekrizitätslehre wurde Franklin dadurch angeregt, daß ein Londoner Kaufmann namens Collinson der Bibliotheksgesellschaft zu Philadelphia einige Gegenstände für elektrische Versuche übersandte. Ein Jahr später konnte Franklin an Collinson schreiben20: »Mein Eifer und meine Zeit wurden nie zuvor durch etwas in solchem Maße in Anspruch genommen. Ich stelle Versuche an, sobald ich allein sein kann, und wiederhole sie in Gegenwart meiner Freunde, die in Scharen kommen, um sie zu sehen. Ich habe kaum Zeit für irgend etwas anderes.«

Die Ergebnisse, zu denen Franklin von 1747-1755 gelangte, legte er in zahlreichen Briefen nieder, die zum größten Teil an Collinson gerichtet sind, und von ihm der Royal Society mitgeteilt wurden. Im Jahre 1756 wurde Franklin Mitglied der Royal Society.

Franklins erste Briefe handeln von der Ladung der Leydener Flasche und der unitarischen Lehre; spätere betreffen das Gebiet der atmosphärischen Elektrizität, welches durch Franklins Arbeiten erst erschlossen wurde. Franklin setzte seine wissenschaftliche Tätigkeit bis zum Jahre 1774 fort. Von diesem Zeitpunkt an widmete er sich ganz den Bestrebungen, die auf eine Loslösung der nordamerikanischen Kolonien von England abzielten. Franklin war bald einer der Führer in dieser gewaltigen politischen Bewegung.

Als die griechische Philosophie an Stelle der mythischen Betrachtung eine ursächliche Erklärung des Naturgeschehens zu setzen suchte, führte man das Gewitter auf schweflige, brennbare Dünste zurück, die sich in den Wolken ansammeln und als Blitz die letzteren durchbrechen sollten. Selbst im 17. Jahrhundert ahnte noch niemand die wahre Natur der Erscheinung. Nach Descartes besteht das Gewitter in einem Herabfallen der oberen Wolken auf die darunter befindlichen. Euler erzählt, daß man die ersten, welche eine Ähnlichkeit zwischen den elektrischen Erscheinungen und dem Blitz zu finden glaubten, als Träumer angesehen habe21. Was noch im Beginn des 18. Jahrhunderts als bloße Vermutung[Pg 16] geäußert wurde, erhob Franklin durch seine Untersuchungen auf den Boden der Gewißheit.

Wenn wir von Wall absehen, der schon 1705 die gelegentliche Bemerkung gemacht hat, man könne die elektrische Entladung mit dem Blitz und dem Donner vergleichen, so besitzt Franklin mit seiner Gewittertheorie einen Vorläufer nur in dem Deutschen Winkler. Letzterer erörterte im Jahre 174622 die Frage: »ob Schlag und Funken der verstärkten Elektrizität (in Kleistschen Flaschen) für eine Art Blitz und Donner zu halten sind?« Winkler kam zu dem Ergebnis, daß das Gewitter und die künstlich herbeigeführte elektrische Entladung nur in der Stärke, indessen nicht in ihrem Wesen voneinander verschieden seien. Als die Quelle der Gewitterelektrizität betrachtete er die Verdunstung des Wassers und eine damit verbundene Reibung.

Franklin sprach sich zuerst in seinem Briefe vom 7. November 1749 für die elektrische Natur des Gewitters aus. Für die Übereinstimmung des Blitzes mit dem elektrischen Funken führte er folgende Gründe und Beweise an: 1. Die Ähnlichkeit des Lichtes, sowie des Geräusches und das fast Augenblickliche beider Erscheinungen. 2. Der Funke wie der Blitz sind imstande, Körper zu entzünden. 3. Beide vermögen lebende Wesen zu töten. (Franklin tötete ein Huhn durch die Entladung mehrerer Leydener Flaschen). 4. Beide rufen mechanische Zerstörungen hervor und erzeugen einen Geruch nach verbranntem Schwefel23. 5. Der Blitz und die Elektrizität folgen denselben Leitern und springen vorzugsweise auf die Spitzen über. 6. Beide sind imstande, den Magnetismus zu zerstören oder auch die Pole eines Magneten umzukehren. 7. Durch den Funken können ebenso wie durch den Blitz Metalle zum Schmelzen gebracht werden.

An die Versuche, durch welche Franklin den letzten Punkt dieser Aufzählung zu erweisen suchte, knüpfte sich eine Meinungsverschiedenheit mit seinem Freunde Kinnersley. Dieser befaßte sich gleichfalls mit elektrischen Versuchen und führte sie als wandernder Experimentator seinen Landsleuten vor. Franklins[Pg 17] Verfahren, Metalle durch den Funken zu schmelzen, bestand darin, daß er dünne Blättchen von Zinn oder Gold zwischen zwei Glasscheiben legte und eine große Leydener Flasche durch diese Blättchen entlud24. Das Metall wurde dadurch in feinste Teilchen zerstiebt, ein Vorgang, den Franklin als kalte Schmelzung bezeichnete, da ihn sein Verfahren die bei der Entladung auftretende Wärme nicht erkennen ließ. Die kalte Schmelzung sollte nicht durch Hitze, sondern dadurch zustande kommen, daß das elektrische Fluidum in die Zwischenräume der Teilchen eindringe und auf diese Weise den Zusammenhang der Körper zerstöre. Demgegenüber zeigte Kinnersley, indem er die Entladung einer Batterie von 35 Flaschen durch einen Draht vor sich gehen ließ, daß Metalle zum Erglühen und sogar zum Schmelzen gebracht werden können. »Ihr herrlicher Versuch,« schrieb darauf Franklin, »setzt außer Zweifel, daß unsere künstliche Elektrizität Hitze hervorbringt und daß, wenn sie Metalle schmilzt, dies nicht durch das geschieht, was ich als kalte Schmelzung bezeichnet habe25

Die Ursache der elektrischen Erscheinungen ist nach Franklin eine äußerst feine Flüssigkeit, welche die Körper durchdringt und sich in ihnen gleichmäßig verteilt aufhält. Wenn es sich infolge eines künstlich herbeigeführten oder eines natürlichen Vorganges ereignet, daß diese Flüssigkeit in dem einen Körper in größerer Menge vorhanden ist als in einem anderen, so teilt der Körper, welcher mehr davon enthält, sie demjenigen mit, der weniger besitzt, bis die Verteilung eine gleichmäßige geworden ist, Voraussetzung ist, daß der Abstand zwischen den Körpern nicht zu groß ist, oder daß Leiter vorhanden sind, welche diese Materie von dem einen zum anderen Körper zu führen vermögen. Erfolgt die Mitteilung durch die Luft, ohne Vermittlung eines Leiters, so sieht man eine glänzende Lichterscheinung zwischen den Körpern und vernimmt dabei ein Geräusch. Bei den großartigen, in der Natur stattfindenden Entladungen ist dieses Licht dasjenige, was wir Blitz nennen, und das Geräusch und sein Widerhall ist der Donner26.

Den unmittelbaren Nachweis der atmosphärischen Elektrizität lieferte Franklin durch seinen berühmt gewordenen Versuch mit dem Drachen. Letzterer besaß eine eiserne Spitze und wurde im Juni des Jahres 1752 während eines Gewitters an einer Hanfschnur[Pg 18] emporgelassen. Die Schnur war an einen Schlüssel geknüpft, der mit einem seidenen Tuche festgehalten wurde. Zuerst blieb der Erfolg aus. Als die Schnur jedoch feucht geworden war und eine Wolke an dem Drachen vorüberzog, sträubten sich die losen Fäden. Als Franklin jetzt die Knöchel seiner Hand dem Schlüssel näherte, vermochte er deutliche Funken aus ihm hervorzuziehen. Das zweite von Franklin in Vorschlag gebrachte Verfahren, welches indes in Europa früher zur Ausführung gelangte als in Amerika, bestand darin, daß man hohe Eisenstangen errichtete und diesen während eines Gewitters Elektrizität entzog, ein Versuch, den fast zur selben Zeit, als Franklin seinen Drachen steigen ließ, einige Franzosen in der Nähe von Paris dem Könige vorführten. Später entdeckte Franklin, daß die Wolken bald positiv, bald negativ geladen sind. Diese Untersuchungen führten ihn schließlich auf den Gedanken, jene Eisenstangen als Blitzableiter zum Schutze von Gebäuden zu empfehlen, ein Vorschlag, der in Amerika und bald darauf auch in Europa allseitige Beachtung fand.

Die Überlegungen, die ihn zu seinem Vorschlag führten, legte Franklin in einem vom 12. IX. 1753 datierten Briefe dar. »Wird außerhalb des Gebäudes«, heißt es dort, »ein eiserner Stab angebracht, der ununterbrochen von dem höchsten Teile bis in das feuchte Erdreich geht, so nimmt dieser Stab den Blitz an seinem oberen Ende auf und bietet ihm eine gute Leitung bis in die Erde. Auf solche Weise wird die Beschädigung irgend eines Teiles des Gebäudes verhindert. Dabei ist eine geringe Menge Metall imstande, eine große Menge Elektrizität fortzuleiten. Ein eiserner Draht, der nicht stärker als eine Gänsefeder war, vermochte eine Elektrizitätsmenge fortzuführen, die an seinen beiden Enden eine schreckliche Zerstörung anrichtete27.

Der Stab muß an der Mauer, dem Schornstein usw. mit eisernen Klammern befestigt werden. Der Blitz wird den Stab, der ein guter Leiter ist, nicht verlassen, um durch diese Klammern in die Mauer zu fahren.

[Pg 19]

Wenn das Gebäude sehr groß ist, so kann man der größeren Sicherheit wegen zwei oder mehr Stäbe an verschiedenen Stellen errichten.

Das untere Ende des Stabes muß so tief in den Boden geführt werden, daß es eine feuchte Stelle erreicht. Wenn man den Stab dann biegt, um ihn horizontal sechs bis acht Fuß von der Mauer fortlaufen zu lassen, und ihn dann drei bis vier Fuß abwärts gehen läßt, so schützt er alle Steine des Fundamentes vor Beschädigung.«

Auf die Einrichtung von Blitzableitern ist Franklin besonders durch seine Versuche über die Spitzenwirkung gekommen, die er zuerst zu erklären suchte. Dies geschah in seinem Briefe vom 29. Juli 1749. Franklin führt darin folgendes aus. Befinde sich die Elektrizität auf der Oberfläche einer Kugel, so habe kein Teilchen des elektrischen Fluidums mehr Neigung wie ein anderes, die Oberfläche zu verlassen, weil die Anziehung der Materie auf das elektrische Fluidum in diesem Falle überall gleich groß sei. Setze man an Stelle der Kugel einen Würfel, so werde die Elektrizität auf den Flächen mehr angezogen als an den Ecken. Die Teilchen der Elektrizität würden daher infolge der zwischen ihnen wirkenden Abstoßung nach den Ecken strömen. Je feiner die Spitze, desto mehr müsse diese Abstoßung, weil sich die Anziehung der Materie auf der Spitze vermindere, zur Geltung kommen und die Elektrizität dorthin strömen.

Ebenso bekannt wie durch seine wissenschaftlichen Erfolge ist Franklin durch die Rolle geworden, die er in der politischen Geschichte seines Vaterlandes gespielt hat. Während des amerikanischen Unabhängigkeitskampfes hielt sich Franklin in Paris auf, wo er im Jahre 1783 die Friedensverhandlungen unterzeichnete. Die Bewunderung, welche dem schlichten und doch so bedeutenden Manne von ganz Frankreich gezollt wurde, fand einen beredten Ausdruck in dem von d'Alembert an ihn gerichteten Worte: Eripuit coelo fulmen sceptrumque tyrannis28.

Bevor Franklin nach Amerika zurückkehrte, schloß er noch Freundschafts- und Handelsverträge mit Schweden und Preußen. Im Jahre 1788 zog er sich vom öffentlichen Leben zurück. Franklin starb am 17. April 1790. Sein Tod versetzte, wie die von Washington gehaltene Rede bekundet, sein Vaterland in tiefe Trauer. Auch Europa, wo Mirabeau ihm einen Nachruf widmete,[Pg 20] nahm lebhaften Anteil. Es war ein Augenblick, in welchem das Gefühl der geistigen Zusammengehörigkeit zwischen der alten Welt und der jungen, neuen Stätte der Kultur voll zum Ausdruck kam. Zwar sollte die Mitarbeit des amerikanischen Volkes an den Aufgaben der Wissenschaft nicht sobald Platz greifen, wie man nach den Erfolgen eines Franklin hätte erwarten mögen. Es harrten eben noch zu viele andere Aufgaben ihrer Erledigung, so daß ein volles Jahrhundert verstreichen konnte, bis die Wissenschaft jenseits des Ozeans die gleiche Pflege fand, die sie in den alten Staaten Europas genießt.

Erwähnenswerte Versuche über die atmosphärische Elektrizität wurden auch von de Romas, Richmann und Le Monnier angestellt.

De Romas (starb 1776), ein Franzose, wiederholte Franklins Drachenversuch in größerem Maßstabe im Sommer des Jahres 1753. Er ließ einen Drachen von 7½ Fuß Höhe an einer 780 Fuß langen, um einen Eisendraht gesponnenen Schnur 550 Fuß hoch emporsteigen. Die Schnur war an einer Blechröhre befestigt, aus der acht Fuß lange Funken gezogen wurden.

Der Physiker Richmann in Petersburg (1711-1753) hatte eine Stange errichtet, an deren unterem Ende sich ein Elektroskop befand. Als er sich dem letzteren gelegentlich eines Gewitters näherte, wurde er von einem aus der Stange herausfahrenden Kugelblitz erschlagen.

Von besonderer Wichtigkeit waren die Versuche des Franzosen Le Monnier. Diesem gelang im Jahre 1752 der Nachweis, daß die Atmosphäre auch elektrisch ist, wenn kein Gewitter, ja nicht einmal Wolken am Himmel stehen.

Auch die chemische Wirkung der Elektrizität wurde schon in diesem Zeitraum, also noch vor der Erfindung der galvanischen Elemente, bekannt. Die Versuche Beccarias lieferten den Nachweis, daß sich mit Hilfe des Entladungsschlages aus Metalloxyden Metalle herstellen lassen. Beccaria erhielt auf diesem Wege Zink aus Zinkoxyd und Quecksilber aus Zinnober29.

Als man die Entladungen durch Flüssigkeiten hindurch vor sich gehen ließ, bemerkte man gleichfalls chemische Wirkungen. So fand Priestley im Jahre 1774, daß sich mit Hilfe der Elektrizität aus einigen Flüssigkeiten, z. B. aus Alkohol, Wasserstoff[Pg 21] abspalten läßt. Unter allen Flüssigkeiten hatte stets das Wasser in seinem Verhalten gegenüber der Elektrizität am lebhaftesten interessiert. Priestleys Versuche wurden daher durch den holländischen Chemiker van Troostwyk im Jahre 1789 mit Wasser angestellt. Der Wunsch, vielleicht auf diesem Wege Aufschluß über die chemische Natur des Wassers zu erhalten, war besonders durch Lavoisiers Untersuchungen über die Bildung von Wasser aus Wasserstoff und Metalloxyden30 hervorgerufen worden. Das Ergebnis van Troostwyks entsprach demjenigen Lavoisiers vollkommen. Als van Troostwyk die Entladung einer Leydener Flasche wiederholt durch destilliertes Wasser vor sich gehen ließ, fand eine Zerlegung der Flüssigkeit in ihre gasförmigen Bestandteile statt31. Ließ er den elektrischen Funken durch das entstandene Gasgemisch schlagen, so verwandelte es sich wieder in Wasser.

Waren somit auch die chemischen Wirkungen der Elektrizität schon lange vor der Erfindung der galvanischen Elemente bekannt, so handelte es sich doch zunächst mehr um gelegentliche Beobachtungen, die nur geringe Beachtung fanden, da sich mit Hilfe der Leydener Flasche nur unerhebliche chemische Umsetzungen hervorrufen ließen. Erst als man in der Berührungselektrizität eine weit geeignetere Quelle für chemische Zerlegungen entdeckt hatte, eröffnete sich in der Elektrochemie ein neues, weites, für die Wissenschaft wie für die Technik gleich wichtiges Forschungsgebiet.

Durch eine Reihe von Versuchen war man auch mit der physiologischen Wirkung der Elektrizität bekannt geworden. Vor allem hatte die heftige Erschütterung, welche die Leydener Flasche bewirkt, wenn die Entladung durch den Körper vor sich geht, das Interesse der Forscher wie der Laien hervorgerufen. Die Ärzte versprachen sich von diesen Erschütterungen die günstigsten Erfolge. Man verordnete gelähmten Kranken ein »elektrisches Bad«, indem man sie auf einer isolierenden Unterlage Platz nehmen und den Konduktor der Elektrisiermaschine berühren ließ. Nach der Erfindung der Leydener Flasche glaubte man, nicht nur Lähmungen, sondern auch alle möglichen anderen Krankheiten durch elektrische Kuren heilen zu können. Aus der Mitte des 18. Jahrhunderts liegen darüber eine Anzahl günstiger Krankenberichte [Pg 22] vor32. Selbst an Versuchen, Tote mit Hilfe der Elektrizität wieder zu erwecken, hat es nicht gefehlt.

So rasch wie die Elektrizität als Allheilmittel in Aufnahme gekommen war, ebenso schnell kam sie aus der Mode, bis unsere Zeit sie wieder in richtiger Beschränkung als therapeutisch wertvolles Mittel benutzen gelernt hat. Ganz unbekannt waren übrigens selbst den Alten die elektrischen Kuren nicht. Es wird nämlich berichtet, daß sie die tierische Elektrizität gegen nervöse Leiden anwandten, indem sie den Kranken mit dem Zitterrochen in Berührung brachten, natürlich ohne im entferntesten die Quelle des eigentümlichen Verhaltens dieses Tieres zu ahnen.

Unter den deutschen Zeitgenossen Franklins ragen Wilke und Aepinus als Elektriker hervor.

Johann Karl Wilke (Wilcke) wurde am 6. September 1732 in Wismar, das damals noch zu Schweden gehörte, geboren. Wilke studierte in Upsala, Göttingen und Rostock, wo er 1757 eine Dissertation über die entgegengesetzten Elektrizitäten, eine bedeutende Arbeit, herausgab33. Später wurde Wilke Sekretär der schwedischen Akademie der Wissenschaften. In dieser Stellung hielt er in Stockholm physikalische Vorlesungen. Er starb am 18. April 1796.

In seiner Arbeit vom Jahre 1757 lieferte Wilke den wichtigen Nachweis, daß beim Aneinanderreiben zweier Körper stets beide Elektrizitätsarten entstehen. Wilke brachte darauf die untersuchten Stoffe in eine Reihe, in welcher jedes Glied, mit einem darauf folgenden gerieben, positiv-elektrisch, mit einem vorangehenden gerieben, dagegen negativ elektrisch wird. Einige Glieder dieser Reihe sind: Glas, Wolle, Holz, Lack, Metalle, Schwefel. Dieser ersten Reibungs- oder Spannungsreihe sind später zahlreiche Anordnungen gefolgt, die unter sich jedoch hin und wieder auffallende Abweichungen zeigen. Dies rührt daher, daß nicht nur die Art des Stoffes, sondern auch seine Oberflächenbeschaffenheit für die Stelle, die er innerhalb der Spannungsreihe einnimmt, mitbestimmend ist. Am bekanntesten sind die Reihen von Young34 und die von Faraday geworden. Erstere mag hier noch Platz finden. Sie lautet: Glas, Wolle, Federn, Holz, Siegellack, Metalle, Harz, Seide, Schwefel.

[Pg 23]

Wilke entdeckte ferner im Jahre 1757 eine neue Art der Elektrizitätserregung. Er fand nämlich, daß Schwefel und Harz, wenn man sie in einer Porzellanschale erstarren läßt, stark negativ elektrisch werden. Von Wilke rührt auch die erste Karte über die magnetische Inklination her. Von seinen Verdiensten um die Entwicklung der Wärmelehre werden wir im nächsten Abschnitt hören.

Neben der durch Reibung und durch atmosphärische Vorgänge erzeugten Elektrizität lernte man auch die Erregung dieser Kraft durch physiologische Vorgänge und durch Wärmezufuhr kennen. Um die Mitte des 18. Jahrhunderts tauchte die Vermutung auf, daß man es in der schon von den Schriftstellern des Altertums erwähnten eigentümlichen Wirkung des Zitterrochens (Raja torpedo) auf den Menschen und andere lebende Wesen mit einer elektrischen Erscheinung zu tun habe35. Seit Richers Anwesenheit in Cayenne war man auch mit dem Zitteraal (Gymnotus electricus) der südamerikanischen Gewässer bekannt geworden. Indes erst ein Jahrhundert, nachdem Richer36 über dieses eigentümliche Geschöpf berichtet, hatte sich die Elektrizitätslehre soweit entwickelt, daß man die Identität jener physiologischen und der durch Reibung erzeugten Erscheinungen nachzuweisen vermochte. Dies geschah einmal dadurch, daß man den Impuls durch eine Kette von Personen leitete, wobei die erste und die letzte den Fisch an der Ober-, beziehungsweise an der Unterseite berührten. Alle empfingen dann einen Erschütterungsschlag, wie ihn die Leydener Flasche erteilt. Der zweite Nachweis bestand darin, daß man die Entladung durch einen auf Glas geklebten Stanniolstreifen vor sich gehen ließ, der eine Unterbrechung besaß. An der Stelle, wo sich diese befand, sah man bei jedem Schlage, den der Fisch bewirkte, einen elektrischen Funken überspringen37.

Die erste wissenschaftliche Untersuchung über die tierische Elektrizität wurde im Jahre 1773 von Walsh veröffentlicht. Walsh erbrachte nicht nur die soeben erwähnten Nachweise, sondern er zeigte auch, daß der Zitterrochen Elektrizität in einem ganz bestimmten Organ erzeugt, während der übrige Körper wie die Gewebe jedes Tieres nur leitend ist. Das elektrische Organ liegt, wie Walsh erkannte, zwischen dem Kopf und den Brustflossen [Pg 24] (s. Abb. 3). Es besteht aus vielen Säulen, deren jede etwa 1/3 Zoll Durchmesser hat. Walsh zählte bei einigen Zitterrochen über 1000 solcher Säulen. Den kräftigsten elektrischen Schlag erhielt Walsh bei seinen Versuchen, wenn er eine leitende Verbindung zwischen dem Rücken und dem Bauch des Fisches herstellte38.

Abb. 3

Abb. 3. Querschnitt durch den Torpedo nach der Zeichnung Hunters, der zuerst das elektrische Organ des Torpedos genauer untersuchte. (Philos. Transact. Vol. LXIII. Tab. XX. Fig. 3.)

AA die obere Fläche des Fisches; BB die durchschnittenen Muskeln des Rückens; C das Rückenmark; D der Schlund; E die linke Kieme, gespalten, um den Vorlauf des sie durchziehenden Nerven zu zeigen; F die atmende Oberfläche der rechten Kieme; GG die Flossen; HH die senkrechten Säulen, welche das elektrische Organ zusammensetzen mit ihren horizontal verlaufenden Abteilungen; I einer der Nerven, welche das elektrische Organ versorgen, mit seinen Verzweigungen.

Noch eine zweite, schon lange bekannte Erscheinung wurde um die Mitte des 18. Jahrhunderts als eine elektrische erkannt. Bei der von den Juwelieren an Edelsteinen üblichen Feuerprobe konnte es nicht lange verborgen bleiben, daß der Turmalin, wenn er auf glühende Kohlen gelegt wird, Aschenteilchen anzieht und wieder von sich stößt39. Dieses eigentümliche, an das elektrische Pendel erinnernde Verhalten leichter Körper dem erwärmten Turmalin [Pg 25] gegenüber wurde von Aepinus40 genauer untersucht. Letzterer fand, daß die Erscheinung nur bei ungleicher Erwärmung der beiden Enden des Kristalls eintritt, sowie daß diese dabei entgegengesetzt elektrisch werden. Ein solcher Kristall, meint Aepinus, sei einem Magneten zu vergleichen, der ja auch an den beiden Polen ein entgegengesetztes Verhalten zeige41. Er habe am Turmalin eine doppelte Elektrizität entdeckt und deutlich unterschieden, »davon die erstere auf die gewöhnliche Art durch Reiben, die andere aber durch einen gewissen Grad der Wärme, die man dem Steine beibringe, erweckt werde«. Diejenige Elektrizität, welche der Stein durch Reiben bekommt, war von der Elektrizität der glasartigen Körper nicht zu unterscheiden. Wurde der Turmalin aber erwärmt, so wurde die eine Seite positiv, die andere negativ elektrisch. Der erwärmte Turmalin zeigte also, »wie der Magnet eine doppelte Magnetkraft besitzt, beide Arten der Elektrizität zugleich«42.

Eine weitere Analogie zwischen einem Magneten und einem elektrisierten Körper entdeckte Aepinus in der Influenz. Wie ein Eisenstab in der Nähe eines Magneten magnetisch werde, so bringe ein elektrisierter Körper an einem benachbarten ähnliche Wirkungen hervor. Aepinus nahm einen Metallstab, der auf gläsernen Unterlagen ruhte und brachte an das eine Ende einen elektrisierten Körper heran, doch so, daß der Stab in einiger Entfernung davon blieb. Dasjenige Ende des Metallstabes, welches dem elektrisierten Körper zugewendet war, bekam dann die entgegengesetzte, das entferntere Ende dagegen dieselbe Elektrizität, welche der elektrisierte Körper besaß, mit dem man den Versuch anstellte. Bei einer geringen[Pg 26] Abänderung des Versuches wurde jedoch eine große Verschiedenheit der Erscheinungen wahrgenommen. Aepinus brachte nämlich einen metallenen, auf gläserner Unterlage befindlichen Stab einem elektrisierten Körper so nahe, daß eine unmittelbare Berührung stattfand. Dann erhielt der zu elektrisierende Stab seiner ganzen Länge nach nur diejenige Art von Elektrizität, welche derjenige Körper besaß, mit dem man ihn berührt hatte.

Die Beobachtung, daß sowohl der durch Erwärmung wie der durch Influenz elektrisierte Körper an beiden Enden entgegengesetzte Elektrizitäten aufweist, veranlaßte Aepinus, eine Analogie zwischen den elektrischen und den magnetischen Erscheinungen, bei denen bekanntlich stets eine solche Polarität wahrgenommen wird, zu behaupten. Die Zeit, den innigen Zusammenhang dieser Naturkräfte zu erkennen, war jedoch noch nicht gekommen. Es war dies vielmehr eine der wichtigsten Aufgaben, welche der naturwissenschaftlichen Forschung des 19. Jahrhunderts vorbehalten blieb43.

Sehr zutreffend waren auch die Ansichten, welche Aepinus über das Verhältnis zwischen Leitern und Nichtleitern entwickelte. Zwischen beiden Gruppen von Stoffen besteht nach ihm kein grundsätzlicher Unterschied. Dieser beruht nur auf den Unterschieden, den der Widerstand und in Verbindung damit die Leitungsgeschwindigkeit für die verschiedenen Körper aufweisen. Leiter sind danach solche Stoffe, deren Widerstand sehr klein, Nichtleiter solche, deren Widerstand sehr groß ist. Deshalb erfordert die Entladung durch letztere weit mehr Zeit. Auf diese Anschauung hat später Faraday seine Theorie vom elektrischen Rückstand gegründet.

Mit der Pyroelektrizität des Turmalins hat sich von den Zeitgenossen des Aepinus besonders der Chemiker und Mineraloge Tobern Bergman beschäftigt. Bergman (1735-1784) war Professor der Chemie zu Upsala. Er zeigte, daß der Turmalin nicht durch die Erwärmung als solche, sondern durch das Hervorrufen einer Temperaturdifferenz elektrisch wird. War die Temperatur des Kristalls konstant, so war er unelektrisch, mochte die Temperatur hoch oder niedrig sein. Während der Temperaturzunahme [Pg 27] war das eine Ende positiv, das andere negativ. Während der Abkühlung kehrten sich die Pole um. In einem späteren, der Mineralogie gewidmeten Abschnitt wird uns das an dem Turmalin entdeckte pyroelektrische Verhalten weiter beschäftigen.

Einen gewissen Abschluß fanden die Entdeckungen auf dem Gebiete der statischen Elektrizität durch Coulombs erfolgreiche Bemühungen, messend an die bis dahin vorzugsweise nur in der Art ihrer Wirkungen erforschte Naturkraft heranzutreten.

Charles Augustin Coulomb wurde am 14. Juni 1736 in Angoulème geboren. Sein Entwicklungsgang hat eine gewisse Ähnlichkeit mit demjenigen Otto von Guerickes. Wie letzterer war nämlich Coulomb ausgehend von der Ingenieurkunst zur Behandlung wissenschaftlicher Fragen gekommen. Die physikalischen Untersuchungen Coulombs knüpfen, wie wir gleich sehen werden, sämtlich an technische Probleme an. Coulomb studierte in Paris, wurde Offizier des Geniekorps und kam als solcher nach Martinique, wo er die Anlage von Befestigungen leitete. Im Jahre 1776 kehrte er nach Frankreich zurück und begann dort, sich mit technisch-mechanischen Untersuchungen zu befassen. Insbesondere beschäftigte er sich mit der Reibung, der Torsion und der Festigkeit der Körper. Seine erste Abhandlung betraf die Festigkeit eines horizontalen, mit dem einen Ende eingemauerten und am anderen Ende belasteten Balkens von rechteckigem Querschnitt. Für das Gewicht Q, bei welchem der Balken zerbricht, fand Coulomb den Wert 1/6k(bh2)/l, wenn k den Koeffizienten der Zugfestigkeit, b die Breite, h die Höhe des Querschnittes und l die Länge des Balkens bedeutet. Ähnliche Untersuchungen stellte Coulomb über die Festigkeit von Säulen, die in der Richtung ihrer Achse belastet werden, sowie über den Erddruck bei Futtermauern an. Auch die Theorie der einfachen Maschinen machte Coulomb unter Berücksichtigung der Steifigkeit der Seile und der Reibung zum Gegenstande einer Abhandlung. Letztere trug ihm im Jahre 1781 einen Preis und die Mitgliedschaft der Akademie der Wissenschaften ein. Um den Reibungskoeffizienten zu bestimmen, ließ Coulomb die zu untersuchende Substanz auf einer Unterlage von gleichem Material gleiten und ermittelte die zur Fortbewegung erforderliche Zugkraft44.

[Pg 28]

Abb. 4
Abb. 4. Coulombs elektrische Wage.

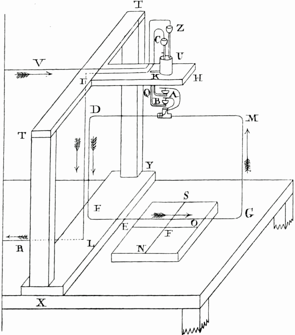
Auf das Gebiet des Magnetismus und der Elektrizitätslehre wurde Coulomb dadurch geführt, daß die Akademie einen Preis für die beste Konstruktion des Schiffskompasses aussetzte. Im Anschluß an eine dadurch angeregte Untersuchung und unter Verwertung seiner Forschungen über die Festigkeit in allen ihren Formen, insbesondere die Torsionsfestigkeit, erfand Coulomb im Jahre 1785 seine Torsions- oder Drehwage. Von der Einrichtung und dem Gebrauch dieses Instruments gibt uns die nebenstehende Abb. 4 Kenntnis45. Ein Glaszylinder ABCD von etwa 30 cm[Pg 29] Höhe wurde mit einer doppelt durchbohrten Glasplatte bedeckt. Durch ihre Mitte ist ein frei hängender, an der Scheibe op befestigter Silberdraht qp geführt, der an seinem unteren Ende die zu elektrisierende, möglichst isolierte Kugel a trägt. Ein Scheibchen g hat nur die Aufgabe, der Kugel a das Gegengewicht zu halten. Die Verbindung zwischen a und g besteht aus einem mit Siegellack überzogenen Seidenfaden. Die Scheibe op, welche den Silberfaden trägt, und der Umfang des großen Glaszylinders besitzen Gradeinteilungen. Die in der Abbildung rechts dargestellten Teile (H dient zur Fassung der Gradscheibe G) werden beim Gebrauch der Drehwage vereinigt und in der über dem Zylinder befindlichen, etwa einen halben Meter langen Glasröhre untergebracht. Durch die seitliche Öffnung des Glasdeckels werden elektrisierte Kugeln (d) eingeführt, deren Wirkung auf den in der Schwebe befindlichen elektrisierten Körper a man messen will. Ein Maß für die abstoßenden Kräfte ist in der Torsion des Silberdrahtes gegeben. Die Größe dieser Torsion, welche die Kugel a in ihre ursprüngliche Lage zurückzudrehen strebt, kann an der Gradeinteilung abgelesen werden.

Abb. 5
Abb. 5. Coulombs Untersuchung der Torsion.

Seine Arbeiten über die Torsion von Fäden und Metalldrähten hatte Coulomb ein Jahr vor der Erfindung der Drehwage veröffentlicht46. Die Methode, welche er anwandte, ist diejenige der Schwingungen oder Oszillationen. Er wies nämlich nach, daß die Schwingungen eines schweren, an einem Faden aufgehängten Körpers (Abb. 5) isochron sind. Ist dies der Fall, dann muß auch die Torsionskraft dem Torsionswinkel proportional sein. Das Ergebnis seiner Beobachtungen an Drähten verschiedener Länge (l) und Dicke (D) konnte Coulomb durch folgende Formel darstellen: Das Drehungsmoment der Torsionskraft ist μ·B·D4/l. In dieser Formel bedeutet μ eine charakteristische Konstante des Materials und B den Torsionswinkel.[Pg 30] Coulombs Torsionswage beruht auf der von ihm entdeckten Eigenschaft der Drähte, eine dem Torsionswinkel proportionale Gegenkraft zu besitzen. Um die feinsten elektrischen und magnetischen Wirkungen messen zu können, wählte Coulomb den Torsionsdraht so fein, daß ein Torsionswinkel von einem Grad einer Torsionskraft von 1/100,000 Gran entsprach. Wurde der Aufhängefaden einem Kokon entnommen, so genügte schon eine Kraft von 1/60,000 Gran, um den Faden um 360 Grade zu tordieren.

Das wichtigste Ergebnis der Coulombschen Versuche besteht in dem Nachweise, daß »die abstoßende Kraft zweier kleiner, gleichartig elektrisierter Kugeln im umgekehrten Verhältnis zum Quadrat des Abstandes der Mittelpunkte beider Kugeln steht«47.

Den Nachweis dieses wichtigen Grundgesetzes lieferte Coulomb in folgender Weise. Er stellte die Scheibe op (siehe Abb. 5) so ein, daß die Kugel a unter der seitlichen Öffnung des Glasdeckels stand. Elektrisiert man nun die Kugel d und führt sie durch die Öffnung bis zur Berührung mit der beweglichen Kugel a ein, so nehmen beide Kugeln die gleiche elektrische Ladung von gleicher Dichtigkeit an. Es erfolgt Abstoßung um 36 Grade. Jetzt wird der Torsionskreis entgegengesetzt zur Ablenkung gedreht, bis letztere nur noch 18 Grad beträgt. Die Entfernung beträgt somit die Hälfte, während die Torsion jetzt 126° + 18° = 144°, also das Vierfache beträgt. Um die Kugeln auf ¼ der ursprünglichen Entfernung einander zu nähern, mußte man die Torsion des Aufhängefadens auf 576 Grad, mithin auf das Sechszehnfache bringen. Aus diesen Versuchen folgt das oben erwähnte Grundgesetz.

In seiner zweiten Abhandlung vom Jahre 1785 dehnte Coulomb seine Untersuchung auf die anziehende Kraft elektrisierter Körper und auf die abstoßende und anziehende Kraft magnetisierter Körper aus. Er gelangte zu folgenden Ergebnissen:

1. Die abstoßende wie die anziehende Wirkung zweier elektrisierten Kugeln und folglich zweier elektrischen Moleküle steht im geraden Verhältnis der Dichtigkeit der Elektrizität und ist umgekehrt proportional dem Quadrate der Entfernung.

2. Die anziehende und abstoßende Kraft des Magnetismus steht gleichfalls im geraden Verhältnis zu den Dichtigkeiten und[Pg 31] im umgekehrten Verhältnis zum Quadrat des Abstandes der magnetischen Moleküle.

Eine Fehlerquelle der ersten Versuche bestand in dem im Verlaufe des Versuches vor sich gehenden Elektrizitätsverlust. Um den durch Abgabe an die Luft und die Aufhängevorrichtung entstehenden Verlust an Elektrizität in Rechnung ziehen zu können, war eine weitere Untersuchung erforderlich, die in der dritten Abhandlung vom Jahre 1785 mitgeteilt wurde. Aus dieser Untersuchung ergab sich, daß die Zerstreuung mit dem Wassergehalt der Luft wächst. Und zwar ergab sich der Zerstreuungskoeffizient direkt proportional den Graden des von Saussure erfundenen, an anderer Stelle beschriebenen Haarhygrometers48.

Schließlich wandte sich Coulomb noch der Verteilung der Elektrizität zu. Er bedeckte eine isolierte Metallkugel mit zwei halbkugelförmigen Schalen, die mit isolierenden Handhaben versehen waren. Nachdem er das Ganze elektrisiert hatte, nahm er die Schalen fort. Es zeigte sich, daß die Kugel völlig unelektrisch, die Schalen dagegen elektrisch waren49. Wurde die Kugel allein elektrisiert und wurden die Schalen dann darauf gesetzt, so erhielt man nach der Trennung dasselbe Ergebnis, wie beim ersten Versuch50.

Abb. 6
Abb. 6. Coulombs Versuch über die Verteilung der Elektrizität.

Die beiden Grundgesetze über die Verteilung der Elektrizität sprach Coulomb in folgender Fassung aus: 1. Die Elektrizität verbreitet sich in allen leitenden Körpern gemäß ihrer Gestalt, ohne daß sie eine auswählende Anziehung für einen Körper gegenüber einem anderen zu haben scheint. 2. In einem elektrisierten[Pg 32] leitenden Körper verbreitet sich die Elektrizität auf der Oberfläche des Körpers, dringt aber nicht in das Innere ein.

Sowohl Coulomb wie auch Cavendish erkannten, daß die Eigenschaft der Elektrizität, sich auf der Oberfläche der leitenden Körper auszubreiten und nicht in das Innere dieser Körper einzudringen, eine Folge des Gesetzes von der Abstoßung nach dem umgekehrten Quadrat der Entfernung sei.

Mit Coulomb findet die erste Periode in der Entwicklung der Elektrizitätslehre ihren Abschluß. Seine Arbeiten galten der Elektrostatik und brachten dieses Gebiet zu hoher Vollendung. Auf das die Wirkung der elektrischen Kräfte vermittelnde Dielektrikum nahm Coulomb noch keine Rücksicht. Das geschah erst in der neuesten, durch Faraday eröffneten Periode der Elektrizitätslehre. Für Coulomb waren die elektrische Anziehung und Abstoßung wie die Newtonsche Gravitation Fernkräfte, die momentan durch den leeren Raum hindurch wirken. Dieser Umstand tut indessen dem Wert der Coulombschen Arbeiten keinen Abbruch, da sie nur den Anspruch erheben, mustergültige Messungen unter Ausschluß jeder Spekulation zu sein. Als solche bildeten sie die Grundlage, auf welche die nachfolgende Generation die mathematische Theorie der elektrischen und magnetischen Erscheinungen aufzubauen vermochte, eine Aufgabe, die mit Hilfe der höheren Analysis, insbesondere der Potentialtheorie, in den ersten Jahrzehnten des 19. Jahrhunderts gelöst wurde51.

[Pg 33]

3. Praktische und theoretische Fortschritte auf dem Gebiete der Wärmelehre.

Während der Hauptanreiz zum Studium der elektrischen Phänomene in dem Wunderbaren und Außergewöhnlichen lag, das sich in ihnen offenbart, wandte man sich den Erscheinungen der Wärme mit wachsendem Interesse zu, seitdem man die bewegende Kraft des Dampfes kennen und verwerten gelernt hatte. Durch die Versuche Herons von Alexandrien war schon das Altertum mit den Äußerungen dieser Kraft bekannt geworden. Dazu waren seit Beginn der neueren Zeit die Bemühungen Portas und anderer gekommen. Der grundlegende Versuch, der zur Erfindung der Dampfmaschine führte, von welcher doch erst die Rede sein konnte, sobald die unter dem Namen der einfachen Maschinen bekannten Mechanismen durch den Dampf in Bewegung gesetzt wurden, rührt von Papin her. Es ist dies ein Versuch, der noch heute im elementaren Physikunterricht angestellt wird. Papin verdampfte Wasser in einem zylindrischen Gefäß, in dem sich ein luftdicht schließender, beweglicher Kolben befand (siehe Abbildung 7). Dieser Kolben wurde beim Erhitzen durch den Dampf emporgehoben, bei einer darauf folgenden Abkühlung aber infolge des Luftdruckes wieder abwärts bewegt. Die Lösung, welche Papin gab, war indes mehr eine theoretische als eine praktisch verwertbare. Die von Papin ersonnene Vorrichtung wird uns durch seine in Abb. 7 wiedergegebene Zeichnung erläutert.

Papin veröffentlichte52 seine Erfindung unter dem Titel: »Neues Verfahren, bedeutende bewegende Kräfte zu billigen Preisen zu erhalten«. Der erhoffte Erfolg trat erst ein, als der englische Mechaniker Newcomen auf Veranlassung der Royal Society sich[Pg 34] mit dem Papinschen Entwurf beschäftigte. Die wesentlichste Verbesserung, die Newcomen an der atmosphärischen Maschine anbrachte, bestand in der Verbindung der Kolbenstange mit einem Balancier. Papins Bemühen war darauf gerichtet gewesen, die geradlinige Bewegung des Kolbens in eine kreisförmige umzusetzen, um auf diese Weise ein von ihm erbautes Räderboot zu treiben53.

Abb. 7

Abb. 7. Papins erste Dampfmaschine.

AA ist der eiserne Zylinder, BB der Kolben, DD die Kolbenstange, II der Deckel des Zylinders. Der um F drehbare Hebel EE wurde durch die Kolbenstange in Bewegung gesetzt. Eine Feder G drückt den Hebel fortwährend in eine Nut der Kolbenstange. Der Kolben besaß eine Durchbohrung, um beim erstmaligen Herabdrücken die im Zylinder befindliche Luft entweichen zu lassen. MM ist eine Stange, welche die erwähnte Durchbohrung nach dem Herabdrücken des Kolbens verschloß. Beim Erhitzen drückte der Dampf den Kolben nach oben, beim Abkühlen wirkte nur der Luftdruck. Die Maschine war also eine atmosphärische.

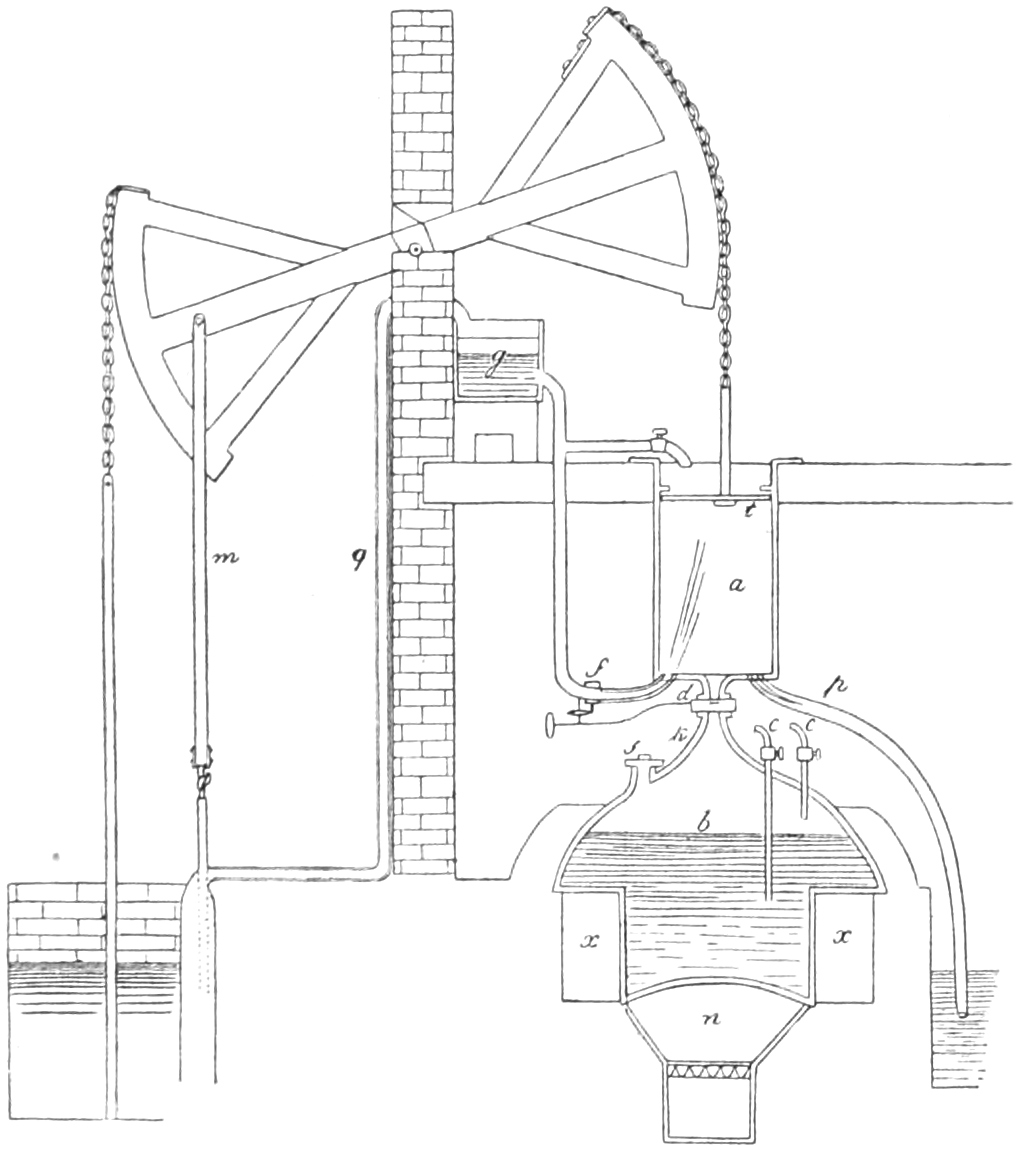
Technische Erfindungen von epochemachender Bedeutung lassen sich meist auf ein zwingendes Bedürfnis zurückführen. Ein solches war es auch, das eine brauchbare Dampfmaschine gerade zur rechten Zeit und an rechter Stelle ins Leben treten ließ. In England war man schon im Mittelalter auf die Schätze aufmerksam geworden, den der Boden in den mineralischen Brennstoffen enthält. In dem Maße, in welchem das Land den Schmuck seiner Wälder einbüßte, nahm der Abbau der Steinkohle an Umfang zu. Man mußte die vorhandenen Flöze[Pg 35] bis in immer größere Tiefen verfolgen und befand sich schließlich der Unmöglichkeit gegenüber, durch Tier- und Menschenkraft die Wasserhaltung in den Gruben zu bewerkstelligen. Diesem Zwecke wurde nun im 18. Jahrhundert der Dampf dienstbar gemacht. Nach vielen mühsamen Versuchen gelang es Newcomen, im Jahre 1712 eine nach Papins Idee gebaute Maschine in Gang zu setzen. Sie machte zwar nur zehn Hube in der Minute, förderte aber schon eine Wassermenge, zu deren Bewältigung vorher 50 Pferde und die sechsfachen Kosten erforderlich waren. Bei der Maschine Newcomens (siehe Abbildung 8) fiel wie bei derjenigen Papins dem Dampf nur die Aufgabe zu, den Kolben t emporzuheben und durch Vermittlung des Balanciers das Pumpengestänge hinabzulassen. Die weit größere bewegende Kraft, die zum Heben des Wassers erforderlich ist, rührte nicht vom Druck des Dampfes, sondern von dem nach seiner Verdichtung auf den Kolben wirkenden Luftdruck her. War nämlich der Kolben gehoben und das Ventil bei d geschlossen, so wurde der Dampf dadurch verdichtet, daß man Kühlwasser auf den Kolben goß.

Abb. 8
Abb. 8. Newcomens Dampfmaschine.

Alsbald zeigte es sich, daß Maschinen mit geringen Undichtigkeiten, bei denen das Kühlwasser unter den Kolben trat und dadurch mit dem Dampf in unmittelbare Berührung kam, weit schneller arbeiteten. Diese Beobachtung führte dazu, daß man das Wasser absichtlich in den mit Dampf gefüllten Raum einspritzte, ein Geschäft, das zunächst einen besonderen Wärter erforderte. Später kam man auf den Gedanken, die Hähne mit dem Balancier zu verbinden, [Pg 36] durch dessen Spiel sie fortan geöffnet und geschlossen wurden54.

In der ihr von Newcomen gegebenen Gestalt leistete die Dampfmaschine den Kohlengruben Englands bis über die Mitte des 18. Jahrhunderts wichtige Dienste, ohne die Aufmerksamkeit der Physiker sonderlich zu erregen. Da erhielt ein junger Mechaniker namens James Watt55, den die Universität Glasgow mit der Instandhaltung ihrer Apparate betraut hatte, den Auftrag, das Modell der Newcomenschen Maschine auszubessern. Der kleine Apparat fesselte Watt in solchem Grade, daß er sein Leben der Vervollkommnung der Dampfmaschine widmete. Als den größten Mangel erkannte er den Umstand, daß die Wände des Cylinders durch das eingeführte Wasser immer wieder abgekühlt wurden und nach jedem Hube durch den einströmenden Dampf von neuem erwärmt werden mußten. Diesen Übelstand beseitigte Watt dadurch, daß er den Dampf außerhalb des Zylinders in einem besonderen Kondensator verdichtete, so daß der Zylinder, der außerdem mit schlechten Wärmeleitern umgeben wurde, die Temperatur des Dampfes beibehielt. Durch diese Verbesserungen, die Watt im Jahre 1765 anbrachte, wurde eine beträchtliche Ersparnis an Brennmaterial erzielt. Einige Jahre später erfolgte die grundsätzliche Änderung der Maschine56, indem Watt hochgespannten Dampf abwechselnd von beiden Seiten auf den Kolben wirken und so aus der atmosphärischen die eigentliche Dampfmaschine entstehen ließ. Weitere Verbesserungen betrafen die Anwendung von Öl und Wachs als Mittel zum Abdichten der Maschinenteile, sowie die Regelung des Ganges vermittelst des Zentrifugalpendels. Ein weites Feld für neue Anwendungen eröffnete sich, nachdem es Watt gelungen war, die geradlinige Bewegung der Kolbenstange in eine drehende umzusetzen. Nun erst konnte an eine Übertragung der Kraft auf größere Entfernungen, [Pg 37] sowie an eine Fortbewegung von Schiffen und Wagen vermittelst der Dampfmaschine gedacht werden. Letztere wurde bald eins der wichtigsten Mittel zur Belebung des Gewerbfleißes und damit zur Förderung der gesamten Kultur.

Noch bevor James Watt am 19. August des Jahres 1819 starb, hatte Fultons Dampfschiff die Fluten des Hudson durchfurcht57 und Stephenson seine erste Lokomotive laufen lassen. Letzteres geschah am 25. Juli 1814. Diese Lokomotive lief auf einer Kohlenbahn und zog 8 Wagen von 30000 kg Gewicht bei einer Steigung von 1 : 450. Die Geschwindigkeit betrug 6,4 km in der Stunde58. Schon 6 Jahre früher hatte ein anderer Engländer seinen Landsleuten eine kleine Lokomotive vorgeführt, die bei einem Dampfdruck von nahezu 3 Atmosphären 24 km in der Stunde zurücklegte und den Namen »Catch me, who can!« erhielt59. Trotzdem wurde erst im Jahre 1830 die erste, dem Verkehr dienende Eisenbahnlinie Liverpool-Manchester von Stephenson fertiggestellt.

Der Aufschwung, den Gewerbe, Handel und Verkehr durch Männer erfuhren, die gleich Watt und Stephenson eine auf den Grundlagen der Physik beruhende Technik schufen, kam mittelbar in stetig wachsendem Maße der Wissenschaft wieder zugute. So ließ es sich beispielsweise schon Watt angelegen sein, das vor ihm nicht bekannte Volumverhältnis des Wassers im flüssigen und im dampfförmigen Zustande zu ermitteln. Mußte es ihm doch darauf ankommen zu wissen, wie oft sein Zylinder durch das Verdampfen einer bestimmten Wassermenge mit gespanntem Dampf gefüllt werden konnte. Watt ermittelte, daß sich das Wasser bei der Umwandlung in Dampf etwa auf das 1700fache seines Volumens ausdehnt. Eine Untersuchung über die Verdichtung des Dampfes ließ Watt schon erkennen, daß die Kondensationswärme des Wasserdampfes sich auf 534 Wärmeeinheiten beläuft. Watt bediente sich nur niedriger Spannungen. Er gelangte indessen schon dazu, die Expansion des Dampfes zu verwerten. Um die Expansion verfolgen und dadurch ein Urteil über die Arbeitsleistung des Dampfes gewinnen zu können, konstruierte Watt den heute noch bei der Aufnahme von Diagrammen üblichen Federindikator.

[Pg 38]

Dem Andenken Watts wurde in der Westminsterabtei ein Denkmal mit folgender Inschrift errichtet:

Nicht um einen Namen zu verewigen,

Der dauern wird, so lange die Künste des Friedens blühen,

Sondern, um zu zeigen,

Daß die Menschheit denjenigen Ehre zollt,

Denen sie Dank schuldet,

Haben der König, seine Diener, sowie zahlreiche Edle

Und Bürger des Königreichs

James Watt dieses Denkmal errichtet.

Seinem Genie gelang es,

Auf dem Wege des Versuches

Die Dampfmaschine zu verbessern.

Er hob dadurch den Reichtum seines Vaterlandes,

Vergrößerte die Macht der Menschen

Und stieg zu hohem Range

Unter den großen Förderern der Wissenschaft,

Den wahren Wohltätern der Menschheit.

Gleich der Dampfmaschine empfing im Laufe des 18. Jahrhunderts ein zweites, aus dem Studium der Wärmeerscheinungen hervorgegangenes Werkzeug seine endgültige Gestalt. Es war das Thermometer. Wir haben die Verdienste Galileis und der Accademia del Cimento um die Erfindung dieses Instrumentes kennen gelernt60. Von seiner Vervollkommnung hingen die Fortschritte auf dem Gebiete der Wärmelehre in erster Linie ab. Ja, das Streben nach einer solchen Vervollkommnung allein hat eine ganze Anzahl von wichtigen Entdeckungen zur Folge gehabt. Die Mitglieder der Accademia del Cimento hatten sich bei ihren Untersuchungen zwar schon wirklicher, auf der Ausdehnung von Weingeist beruhender Thermometer, indes noch einer willkürlichen Skala bedient. Durch ein Mitglied der Accademia del Cimento61 erfolgte 1694 der Vorschlag, den Gefrier- und den Siedepunkt des Wassers als Fixpunkte zu benutzen. Daß diese Temperaturpunkte konstant sind, erkannten gegen das Ende des 17. Jahrhunderts mehrere Forscher. So machte Halley 1693 auf die Beständigkeit des Siedepunktes aufmerksam. Noch früher war die Konstanz des Schmelzpunktes den Mitgliedern der Accademia aufgefallen. Trotzdem kamen die Florentiner Physiker nicht auf den Gedanken,[Pg 39] diese Punkte zur Einrichtung einer Thermometerskala zu verwenden. Und ebensowenig dachten Halley und Hooke, die sich in England eingehend mit Thermometrie beschäftigten, an eine Verwendung der erwähnten Fixpunkte.

Es handelte sich zunächst darum, den Gang der Ausdehnung von Weingeist, Wasser, Quecksilber und anderen Flüssigkeiten näher zu untersuchen, eine Aufgabe, mit der sich vor allem Halley62 befaßt hat. Als Ausdehnungskoeffizienten des Quecksilbers für eine Temperaturerhöhung vom Schmelzpunkt bis zum Siedepunkt des Wassers fand Halley 1/74. Diese Ausdehnung hielt er für so gering, daß er Bedenken trug, das Quecksilber als Thermometerflüssigkeit in Vorschlag zu bringen. Andererseits machte er darauf aufmerksam, daß die Ausdehnung des Quecksilbers die Angaben des Barometers beeinflussen müsse, ohne daß er indessen die Notwendigkeit einer Wärmekorrektur dieses Instrumentes schon hervorgehoben hätte.

Als oberen Fixpunkt brachte Halley die Siedetemperatur des Alkohols in Vorschlag, als unteren empfahl er die Temperatur tiefer Keller, weil er diese Temperatur für leichter bestimmbar hielt als diejenige schmelzender Flüssigkeiten.

Die Aufgabe, wirklich gut vergleichbare, für den wissenschaftlichen Gebrauch geeignete Thermometer zu schaffen, hat kein gelehrter Physiker, sondern ein Mann von praktischem Blick und Geschick, der Deutsche Fahrenheit, gelöst.

Fahrenheit wurde 1686 in Danzig geboren. Er kam als Kaufmann nach Holland, wo die Kunst, Glasapparate für den praktischen und wissenschaftlichen Gebrauch zu verfertigen, seit Alters in Blüte stand. Fahrenheit widmete sich dieser Kunst. Er starb in Amsterdam im Jahre 1736.

Fahrenheits Aufgabe, die er mit allen ihm zu Gebote stehenden wissenschaftlichen Mitteln, aber im geschäftlichen Interesse verfolgte, betraf die Verfertigung brauchbarer Thermometer. Seine ersten Thermometer waren mit Weingeist gefüllt und schon vor 1710 in vielen nördlichen Städten Europas in Gebrauch. Es wird berichtet63, daß der Philosoph Christian Wolf in Halle sich über den übereinstimmenden Gang zweier[Pg 40] Thermometer, die er von Fahrenheit erhalten hatte, nicht genug wundern konnte.

Fahrenheit hatte gelesen, daß die Höhe der Quecksilbersäule im Barometer von der Temperatur abhängig sei. Dies brachte ihn um 1720 auf den Gedanken, das Quecksilber als Thermometerflüssigkeit anzuwenden. Seiner Skala legte er drei Punkte zugrunde:

1. Den Punkt »strengster Kälte, wie man ihn durch Mischung von Wasser, Eis und Salmiak erhält«. Er bezeichnete diesen Punkt mit Null und hielt ihn für den absoluten Wärmenullpunkt.

2. Den Schmelzpunkt des Eises, den er mit 32 bezeichnete.

3. Die Temperatur im Innern des Mundes oder die Blutwärme, auf deren Beständigkeit schon die Florentiner aufmerksam geworden waren64. Fahrenheit bezeichnete diesen Wärmegrad mit 96.

Wahrscheinlich hat er außerdem bei der Regelung der Skala den Siedepunkt des Wassers verwertet65, diesen Umstand indessen, und zwar wohl aus geschäftlichen Rücksichten, verschwiegen. Fahrenheit bestimmte auch die Siedepunkte verschiedener Flüssigkeiten. Er veröffentlichte über diesen Gegenstand im Jahre 1724 eine Tafel, aus der folgende Werte mitgeteilt seien:

Alkohol 176
Reines Wasser 212
Schwefelsäure 546.

Für die untersuchten Flüssigkeiten wurden die spezifischen Gewichte genau ermittelt, damit die erhaltenen Angaben mit späteren Untersuchungen vergleichbar seien66. Daß für reines Wasser der Siedepunkt nach dieser Skala 212 und daß der Fundamentalabstand 180 Grade beträgt, war nicht, wie man oft meint, eine ursprüngliche Festsetzung, sondern diese Zahlen folgen erst aus den angenommenen Fixpunkten 0, 32, 96.

Die Angabe, daß der Siedepunkt des Wassers 212 Grad betrage, wird von Fahrenheit in einer Abhandlung, die gleichfalls aus dem Jahre 1724 stammt, durch eine wichtige Entdeckung eingeschränkt. Fahrenheit teilt darin67 nämlich mit, er habe[Pg 41] erkannt, daß jener Punkt »bei derselben Schwere der Atmosphäre fest sei, daß er sich aber bei veränderter Schwere der Atmosphäre in verschiedenem Sinne ändere«. Auch die unter dem Namen der Überkaltung bekannte Erscheinung, daß in völliger Ruhe befindliches Wasser erheblich unter den Gefrierpunkt abgekühlt werden kann, ohne zu erstarren, entdeckte Fahrenheit gelegentlich seiner thermometrischen Untersuchungen68. Er war, wie er erzählt, begierig zu erforschen, welches die Wirkung der Kälte sein werde, wenn man das Wasser in ein evakuiertes Gefäß bringe. Zu diesem Zwecke wurde eine Glaskugel zur Hälfte mit reinem Wasser gefüllt, luftleer gemacht und eine Nacht einer Temperatur von etwa -10° C ausgesetzt. Am folgenden Morgen bemerkte Fahrenheit, daß das Wasser noch immer flüssig war. Er schrieb dieses unvorhergesehene Verhalten zunächst der Abwesenheit der Luft zu. In dieser irrigen Annahme wurde er noch bestärkt, als er zu seinem Erstaunen beim Öffnen des Gefäßes sah, daß sich die ganze Wassermasse, unter Erhöhung der Temperatur bis zum Gefrierpunkt, mit Eisnadeln durchsetzte.

Voll Eifer setzte Fahrenheit die Untersuchung dieser wunderbaren Erscheinung fort. Zunächst stellte er sich die Frage, ob das Gefrieren auch im Vakuum zustande kommen könne. Der Versuch wurde wiederholt und das überkaltete Wasser geschüttelt, ohne daß der Luft vorher Zutritt gegeben war. Bei heftiger Erschütterung wurde auch jetzt die ganze Wassermasse fast in demselben Augenblick von Eislamellen durchsetzt69.

Die Herstellung von Thermometern mit vergleichbaren Skalen hat auch den Franzosen Réaumur beschäftigt. Die Ergebnisse seiner umfangreichen Abhandlung sind indessen nur gering gewesen70. Réaumur wollte die Grade des Thermometers durch die relative Volumveränderung bestimmen, welche der Weingeist bei Temperaturschwankungen erfährt. Selbstverständlich mußte man, um vergleichbare Resultate zu erhalten, Weingeist von ganz bestimmter[Pg 42] Konzentration nehmen. Réaumur schlug vor, für sämtliche nach seinem Verfahren hergestellte Thermometer einen Weingeist zu wählen, dessen Volumen »beim Gefrieren des Wassers 1000 und, durch siedendes Wasser ausgedehnt, 1080 Raumteile beträgt«71. Von diesem Vorschlage rührt die bekannte Zahl 80 der Réaumurschen Skala her.

Gelegentlich seiner thermometrischen Untersuchungen machte Réaumur die wichtige Entdeckung, daß das Volumen eines Flüssigkeitsgemisches kleiner sein kann als die Summe der Teilvolumina72. Réaumur machte diese Entdeckung, als er Weingeist von bestimmter Konzentration herstellen wollte, der zur Füllung seiner Thermometer bestimmt war. Als er 50 Maß Wasser mit 50 Maß reinem Weingeist mischte, erhielt er statt 100 nur 98 Maß verdünnten Weingeist. Die Raumverminderung betrug somit 1/50.

Réaumur dehnte diese Untersuchung auf die verschiedenartigsten Flüssigkeiten aus. Beim Mischen von Leinöl und Terpentinöl trat keine Raumverminderung ein; auch Milch und Wasser mischten sich ohne eine solche. Dagegen war die Raumverminderung beim Zusammenbringen von Wasser und Schwefelsäure »vielleicht die größte, welche sich erzielen läßt«. Es verbanden sich nämlich 40 Maß Wasser mit 10 Maß Schwefelsäure zu 48 Maß der Mischung. Die Volumabnahme betrug somit 1/25.

Auch auf die mit der Volumabnahme Hand in Hand gehende Wärmeentwicklung richtete Réaumur seine Aufmerksamkeit. Die Erscheinung selbst versuchte er aus der molekularen Zusammensetzung zu erklären. Er nahm nämlich an, daß zwischen den Molekülen noch Lücken vorhanden seien, welche die Moleküle einer zweiten Substanz auszufüllen vermöchten. Folgender Vergleich soll diesen Vorgang begreiflich machen: »Mischt man«, sagt Réaumur, »ein Maß Bleikugeln und ein gleich großes Maß sehr kleiner Bleikörner, so werden diese nicht zwei Maß geben. Die kleinen Körner werden nämlich die Räume einnehmen, die zwischen den großen Kugeln leer blieben, und je kleiner die kleinen Kugeln im Verhältnis zu den großen sind, um so weniger wird die Mischung an Volumen zunehmen.«

[Pg 43]

Dasjenige Thermometer, das heute in der Wissenschaft allein Geltung besitzt und auch im Leben die übrigen immer mehr verdrängt, rührt von Celsius her. Es beruht auf der scharfen Erfassung der Fixpunkte und der Einteilung des gewonnenen Fundamentalabstandes in 100 Grade. Celsius setzte den Zylinder seines Thermometers in klebrigen Schnee und vermerkte genau den Stand des Quecksilbers. Dann beobachtete er, welchen Stand das Quecksilber in siedendem Wasser bei einer Barometerhöhe von 25 Zoll und 3 Linien annimmt. Den Abstand teilte er in hundert gleiche Teile, und diese Teilung wurde über die Fixpunkte hinaus fortgesetzt73. Die Bezeichnung des Gefrierpunktes mit 0° und des Siedepunktes mit 100° rührt wahrscheinlich von Linné her, der in den Warmhäusern des botanischen Gartens in Upsala das Celsiussche Thermometer benutzte74.

Während Réaumur dem Weingeist als Thermometerflüssigkeit den Vorzug gab und die Temperaturgrade der Volumzunahme seiner Thermometerflüssigkeit proportional setzte, bediente sich Celsius, wie auch Fahrenheit bei seinen späteren Versuchen, des Quecksilbers, das höhere Temperaturen zu messen gestattet. Celsius hatte auch beobachtet, daß der Siedepunkt des Wassers nur dann derselbe bleibt, wenn sich der Barometerstand nicht ändert. Bei der Anfertigung seiner Thermometer verfuhr er folgendermaßen: Er setzte die Kugel des Thermometers in schmelzenden Schnee und merkte den Stand des Quecksilbers an. Um den zweiten Fundamentalpunkt zu bestimmen, tauchte er die Kugel in siedendes Wasser, während die Barometerhöhe ihren mittleren Wert besaß. Die erhaltene Strecke wurde in hundert gleiche Teile oder Grade geteilt. Diese Gradeinteilung wurde dann von beiden Fundamentalpunkten aus nach oben und nach unten fortgesetzt75. Auch das Luftthermometer und das Pyrometer sind Erfindungen[Pg 44] jenes Zeitraumes, so daß die Methoden der Messung des Wärmezustandes zu einem gewissen Abschluß gebracht wurden.

Auf den Änderungen des Volumens, welche die Luft infolge von Temperaturschwankungen erfährt, beruhte bekanntlich schon der Apparat, dessen sich Galilei zum Messen der Wärme bediente. Brauchbar war dieses Verfahren indessen erst, als es gelang, die Einwirkung der Luftdruckschwankungen entweder auszuschließen oder zu berücksichtigen. Um die Verwirklichung dieses Problems haben sich besonders der Franzose Amontons (1663-1705), der Deutsche Lambert (1728-1777) und später Regnault und Magnus Verdienste erworben.

Amontons' Luftthermometer besteht aus einer Kugel von etwa 8 cm Durchmesser. Diese Kugel ist zum Teil mit Luft, zum Teil mit Quecksilber gefüllt und mit einer etwa einen Meter langen, engen Röhre verbunden. Die Durchmesser der Kugel und der Röhre sind so gewählt (etwa 1 : 60), daß eine geringe Volumvergrößerung der Luft ein bedeutendes Ansteigen der Quecksilbersäule in der engeren Röhre bewirkt. Die Temperatur wird also bei einem solchen Instrument nicht durch die Vergrößerung des Volumens, das ja im wesentlichen dasselbe bleibt, sondern durch die Änderung der Spannkraft der eingeschlossenen Luft gemessen. Amontons berücksichtigte bei seinen Messungen noch den Barometerstand. Ferner mußte er, da er die Spannkraft der Luft als Maß der Temperatur benutzte, schon auf den Gedanken kommen, den niedrigsten Wärmegrad in dem Zustande der Luft zu erblicken, in welchem ihre Spannkraft Null ist76. Zählt man von diesem absoluten Nullpunkt an, so verhält sich, wie Amontons mit hinlänglicher Genauigkeit berechnet, die größte Kälte zur größten Hitze in Paris wie 5 : 6.

Abb. 9
Abb. 9. Amontons' Luftthermometer.

Auch Lambert verwertete die Spannung der Luft zur Ermittlung der Temperaturen. Er wählte für sein Luftthermometer[Pg 45] den Schmelzpunkt und den Siedepunkt des Wassers als Fundamentalpunkte. Setzte er dann für den Schmelzpunkt die Spannung der Luft gleich 1000, so ergab sich für den Siedepunkt in guter Übereinstimmung mit den späteren Bestimmungen von Gay-Lussac die Spannung gleich 1375, woraus als Ausdehnungskoeffizient 0,375 folgen würde77.

Aus dem Bemühen, höhere Temperaturen zu messen, als es die gewöhnlichen Thermometer gestatten, erwuchs das Pyrometer und die Pyrometrie. Musschenbroek suchte für diesen Zweck schon 1725 die Ausdehnung der Metalle zu verwerten. Ein Metallstab wurde auf ein Gestell gelegt. Das eine Ende des Stabes war mit dem Gestell verbunden, während sich das andere Ende gegen eine Zahnstange legte. Beim Erwärmen wurde die Zahnstange infolge der Ausdehnung des Metallstabes verschoben. Die Zahnstange wirkte auf ein Zahnrad. An diesem war ein Zeiger befestigt, welcher das Maß der Ausdehnung, beziehungsweise den Wärmegrad, abzulesen gestattete78. Das von Wedgwood im Jahre 1782 empfohlene Pyrometer gründete sich auf dem Vermögen des Tons, in der Hitze zu schwinden, ohne sich beim späteren Erkalten wieder auszudehnen79. Besondere Verdienste auf diesem Gebiete erwarb sich der schon genannte Lambert durch eine 1779 erschienene Schrift, welche er »Pyrometrie oder vom Maß des Feuers und der Wärme« betitelte. Lambert bediente sich für seine Messungen, wie erwähnt, des Luftthermometers. Dehnte sich die Luft um 1/1000 desjenigen Volumens aus, das sie bei der Temperatur des schmelzenden Schnees einnimmt, so entsprach dies einem Grade seines Instruments. Der Siedetemperatur des Wassers entsprachen somit 375 Grade, da sich die Luft beim Erwärmen von der Gefriertemperatur bis zur Siedetemperatur nach Lamberts Ermittlung von 1000 auf 1375, also um 375/1000 ihres Volumens ausdehnt.[Pg 46]

Abb. 10
Abb. 10. Saussures Haarhygrometer.

Daß mit dem Wärmezustand der Luft ihr Vermögen, Feuchtigkeit aufzunehmen, Änderungen unterworfen ist, wurde gleichfalls in diesem Zeitraum und zwar insbesondere durch Lambert und durch Saussure festgestellt. Dem Gedanken, die Luftfeuchtigkeit zu bestimmen, sind wir schon bei Nikolaus von Cusa und Lionardo da Vinci80 begegnet. Beide bemerkten, daß trockene Wolle die Feuchtigkeit aus der Luft anzieht. Später benutzte man als hygroskopische Substanz Schwefelsäure, die in einem Gefäß auf einer Wage tariert war (Gould 1683)81. Lambert wandte (1772) eine Darmsaite an; sie wurde an ihrem oberen Ende befestigt und am unteren mit einem über einer Teilung spielenden Zeiger verbunden. Zu einem erfolgreichen Abschluß kamen die Bemühungen, die Luftfeuchtigkeit mit Hilfe hygroskopischer Substanzen zu messen, erst durch die Erfindung des Saussureschen Haarhygrometers.

[Pg 47]

Horace Bénédicte de Saussure, berühmt durch seine geologische Durchforschung der Alpen und seine Besteigungen des Mont-Blanc und des Monte Rosa, bemerkte, daß ein Haar sich verlängert, wenn es feucht wird, und sich verkürzt, wenn es austrocknet. Entfettete man das Haar, so betrug die Längenänderung das Vier- bis Fünffache der an dem rohen Haar beobachteten. Diese Entdeckung führte Saussure auf die Konstruktion eines Apparates, der nebenstehend abgebildet ist (Abb. 10). Die Einrichtung ist die folgende. Das untere Ende des Haares ab wird von dem Schraubenkloben b gehalten. Das andere Ende des Haares wird von dem Kloben a gehalten. Der obere Kloben steht mit einer horizontalen Welle d in Verbindung. Sie trägt den Zeiger und ein Gegengewicht g. Dies Gegengewicht ist etwas schwerer als der Kloben a, damit das Haar eine geringe Spannung erhält. Ferner ist das Gegengewicht an einem seidenen Faden befestigt, der sich um die Welle schlingt und sie in Drehung versetzt.

Die Graduierung des Instruments erfolgte, indem Saussure zunächst den Punkt der größten Feuchtigkeit bestimmte. Zu diesem Zwecke wurde der Apparat unter eine Glocke gebracht, die auf einem mit Wasser bedeckten Teller stand, so daß die Luft unter der Glocke sich mit Feuchtigkeit sättigen mußte. Um den Punkt der äußersten Trockenheit zu bestimmen, brachte er unter den Rezipienten geschmolzenes, stark Wasser anziehendes Alkali. Nach einiger Zeit kam der Zeiger auf einen festen, der völlig trockenen Luft entsprechenden Stand. Der Raum zwischen den beiden so erhaltenen Fixpunkten wurde in 100 gleiche Teile eingeteilt.

Saussures Hygrometer hat sich bis auf den heutigen Tag als eins der wichtigsten meteorologischen Instrumente erhalten. Es wurde samt einer Theorie der Hygrometrie von dem Erfinder im Jahre 1783 bekannt gegeben. Saussures Werk über die Hygrometrie, das Cuvier zu den besten zählte, um das die Wissenschaft im 18. Jahrhundert bereichert worden sei, erschien vor kurzem in deutscher Übersetzung82.

Der Wärme selbst schrieben die meisten Forscher im 18. Jahrhundert gleich dem Lichte stoffliche Natur zu, eine Auffassung, welche[Pg 48] durch die Untersuchungen von Black83 und Wilke84 eine Stütze zu erhalten schien. Diese Forscher hatten nämlich entdeckt, daß beim Schmelzen des Eises eine bestimmte Menge Wärme für das Gefühl verloren geht, die sich scheinbar mit dem Eise bei seinem Übergang in Wasser verbindet. So gelangte man dazu, von gebundener (latenter) und freier Wärme zu reden, Namen, die zur Erhaltung der irrtümlichen Vorstellung von der Natur der Wärme jedenfalls mitgewirkt haben und dem Emporkommen neuer richtiger Anschauungen hinderlich gewesen sind. Doch trat neben den Mathematikern Daniel Bernoulli I und Euler besonders der Chemiker Lomonossow85 schon um die Mitte des 18. Jahrhunderts dafür ein, daß die Wärme eine innere Bewegung des Stoffes sei. Wegen der geringen Größe der die Körper zusammensetzenden Korpuskeln könne man jene innere Bewegung zwar nicht sehen, sie verrate sich aber durch zahlreiche Erscheinungen. Lomonossow nahm an, daß die Wärme in einer kreisenden Bewegung der Korpuskeln oder Teilchen bestehe. Der tiefste mögliche Wärmegrad ist ihm ein absolutes Aufhören jener Bewegung. Einen höchsten Wärmegrad könne man sich nicht vorstellen, da es für die Geschwindigkeit der Bewegung keine Grenze gebe. So in richtiger Vorahnung der späteren Entwicklung Lomonossow86. Die ersten Beobachtungen über die Schmelzwärme wurden gleichfalls um die Mitte des 18. Jahrhunderts gemacht. Ein französischer Forscher87 ließ Wasser in einem Gefäß gefrieren, in das er zuvor ein Thermometer gestellt hatte. Wurde das Gefäß erwärmt, so stieg die Temperatur, bis das Eis zu schmelzen begann. Von diesem Augenblicke an blieb das Thermometer auf dem Schmelzpunkt stehen, so lange[Pg 49] schmelzendes Eis in dem Gefäße vorhanden war. Die während dieses Zeitraums zugeführte Wärme wurde sozusagen verschluckt, gebunden oder latent.

Ähnliche Ergebnisse erhielt man beim Mischen von Eis mit Wasser. Man war zunächst von der Voraussetzung ausgegangen, daß beim Mischen von Stoffen die Temperaturen sich unter Berücksichtigung der Flüssigkeitsmengen einfach ausgleichen müßten. Danach würde es sich in solchen Fällen also nur um eine leicht zu lösende rechnerische Aufgabe gehandelt haben88; und es müßten, um den einfachsten Fall zu wählen, gleiche Mengen beim Mischen eine mittlere Temperatur annehmen.

Hier setzte Black ein, dessen Untersuchungen über die Eisschmelzung zu denjenigen gehören, die für das Gebiet der Wärmelehre am meisten aufklärend gewirkt haben89. Durch seine Untersuchungen über die Gewichtszunahme, welche die Metalle bei ihrer Verkalkung erfahren, wurde er gleich Mayow zum Vorläufer Lavoisiers. Er entdeckte, unabhängig von Wilke, die spezifische Wärme und die latente Wärme des Wassers und des Dampfes.

Blacks entscheidender Versuch war folgender. Er brachte zu einer Eismasse von 32° F eine dem Gewichte nach genau gleiche Wassermasse von 172° F. Nach der oben erwähnten Mischungsregel hätte man eine Temperatur von 102° F erwarten sollen. Trotzdem behielt die Mischung die Temperatur des Eises von 32°. Letzteres war aber völlig in Wasser umgewandelt worden.

»Das schmelzende Eis,« bemerkte Black zu diesem Versuch, »nimmt sehr viel Wärme in sich auf. Aber diese Wärme hat nur die Wirkung, das Eis in Wasser zu verwandeln. Und dieses Wasser ist um nichts wärmer, als vorher das Eis gewesen.« Black wies ferner darauf hin, daß auch beim Sieden des Wassers eine bestimmte Wärmemenge verbraucht wird, ohne daß die Temperatur sich erhöht. Er war es auch, der auf diese Vorgänge den Ausdruck »latente Wärme« anwandte.

Wenn man diesen Fortschritt in der Erfassung der Wärmevorgänge würdigen will, muß man erwägen, daß vor Black die Verflüssigung einer bis zum Schmelzpunkt erwärmten Substanz als[Pg 50] die Folge einer sehr geringfügigen Wärmezufuhr angesehen wurde. Black erkannte auch, daß beim Erstarren einer Flüssigkeit die Abgabe einer bestimmten Wärmemenge stattfindet. Als Beweis hierfür betrachtete er vor allem das Verhalten unterkühlter Flüssigkeiten90. Black wies darauf hin, daß z. B. auf -4° abgekühltes Wasser beim Schütteln plötzlich teilweise fest wird, während gleichzeitig die Temperatur der ganzen Masse auf 0° steigt. Erst Black vermochte dies Verhalten genügend aufzuklären. Gleichzeitig gewannen dadurch seine Ansichten aber eine Stütze. Ist das Gefrieren des unterkühlten Wassers eingeleitet, so gefriert, wie Black sehr richtig bemerkt, so viel, daß durch die frei werdende Wärme die Temperatur der ganzen Masse bis auf 0° steigt. Ist dieser Gleichgewichtszustand erreicht, so hört die Temperatursteigerung auf, weil die Bedingung des weiteren Gefrierens nicht mehr vorhanden ist.

Die Vorstellung von der latenten Schmelzwärme dehnte Black von seinen zunächst am Wasser angestellten Beobachtungen und Versuchen auf die bei Lösungen und Kältemischungen auftretenden Wärmeerscheinungen aus. Danach nehmen die Bestandteile einer Kältemischung die zu ihrer Verflüssigung erforderliche Wärmemenge aus ihrem eigenen Wärmevorrat, wodurch ein bedeutendes Sinken der Temperatur innerhalb der Mischung veranlaßt wird.

Die Schmelzwärme des Wassers bestimmte Black mit ziemlicher Genauigkeit und auf verschiedenen Wegen zu 77-78 Wärmeeinheiten (statt 80). So wurden gleiche Mengen Wasser und Eis von 0° in zwei ganz gleichen Gefäßen in einen Raum von 20° gebracht. In der Zeit, in der sich das Wasser auf 4° erwärmte, war in dem zweiten Gefäß 1/20 des Eises geschmolzen, ohne daß die Temperatur gestiegen wäre. Trotzdem waren offenbar beiden Gefäßen die gleichen Wärmemengen zugeführt. In dem zweiten Gefäß würde danach völlige Schmelzung eingetreten sein, wenn es die zwanzigfache Wärmezufuhr erfahren hätte. Eine solche Wärmezufuhr würde, wie der Versuch mit dem ersten Gefäße zeigte, eine gleiche Wassermenge von 0° auf 80° erwärmt haben.

Black hat als erster die Methode der Eisschmelzung zur Bestimmung von spezifischen Wärmen benutzt. Er brachte die auf eine bestimmte Temperatur erwärmte Substanz in die Höhlung eines Eisblocks, verschloß sie und wog das entstandene Schmelzwasser.

[Pg 51]

Zu dem gleichen Ergebnis wie durch seine Versuche über die Schmelzung wurde Black durch seine wertvollen Arbeiten über die Verdampfung geführt. Wie die Versuche des mit ihm befreundeten Watt, so ergaben auch diejenigen Blacks, daß es nicht nur eine ganz bestimmte Schmelzwärme, sondern eine gleichfalls ihrer Größe nach bestimmte Verdampfungswärme gibt. Black stellte zunächst fest, daß unter Verhältnissen, die eine konstante Wärmezufuhr bedingen, die verdampfte Wassermenge der Zeit des Kochens proportional ist. Angenommen, 1 kg Wasser von 0° würde in einer bestimmten Zeit über einem konstanten Feuer zum Sieden und die Wassermenge würde darauf bei stets gleich bleibender Wärmezufuhr innerhalb der vierundeinhalbfachen Zeit zur Verdampfung gebracht, so würde dazu ein Aufwand von 450 Wärmeeinheiten erforderlich gewesen sein. Diese Zahlen entsprechen der zwar nur rohen, in ihrem Ergebnis jedoch von der Wahrheit nicht allzusehr abweichenden Bestimmung der Verdampfungswärme, wie sie Black anstellte. Die späteren, genaueren Ermittlungen haben 536 Wärmeeinheiten ergeben. Daß der Wert bei Black zu klein ausfiel, ist daraus leicht erklärlich, daß beim Fortschreiten des Verdampfens die Umstände sich etwas ändern, indem das Wasser eine im Verhältnis zu seiner Masse immer größere Oberfläche einnimmt und infolgedessen rascher verdampft.

Blacks Versuche über die Verdampfungswärme wurden um dieselbe Zeit durch die Beobachtung91 ergänzt, daß verdunstende Flüssigkeiten die zur Verflüchtigung erforderliche Wärme, wenn sie nicht rasch genug von außen zugeführt wird, ihrem eigenen Wärmevorrat entnehmen. In der überraschendsten Weise zeigte sich dies bei einem Luftpumpenversuch. Man hatte Äther in einem Gefäß unter den Rezipienten der Luftpumpe gebracht und beobachtete, daß zufällig an der Außenwand des Gefäßes hängende Wassertröpfchen sich in Eis verwandelten.

Es erhob sich nun die Frage, ob die beim Verdampfen latent gewordene Wärme, ähnlich wie beim Erstarren von Flüssigkeiten, ihrem vollen Betrage nach zurückerhalten werden kann, wenn der Dampf in den flüssigen Zustand zurückkehrt. Um hierüber zu[Pg 52] entscheiden, leitete Black eine bestimmte Menge Wasserdampf durch einen Schlangenkühler, in dem sich die hundertfache Menge Wasser befand. Die Temperatur des letzteren wurde bei der Kondensation des Dampfes um 5,25° C erhöht. Daraus ergab sich für die bei der Kondensation in die Erscheinung tretende, vorher latente Wärme des Dampfes der beträchtliche Wert von 525 Wärmeeinheiten. Watt hat dieses Ergebnis bestätigt, während Lavoisier die Bestimmung nach der Eisschmelzungsmethode wiederholte und einen etwas höheren Wert (550) fand. Die späteren Versuche Regnaults haben, bei einer Spannung des Dampfes von 760 mm, für die Kondensationswärme den Wert von 536 Wärmeeinheiten ergeben.

Black verstand es vortrefflich, seine Versuche mit den Beobachtungen des alltäglichen Lebens zu verknüpfen und dadurch ihre Beweiskraft eindringlicher zu gestalten. So bemerkt er bezüglich der Dampfwärme, sie müsse sehr groß sein, weil ein Dampfstrahl, der kaum die Hand feucht mache, die ganze Haut mit Brandblasen überziehe, wozu eine viel größere Menge kochenden Wassers nicht imstande sei. Auch hätten diejenigen, die Weingeist destillierten, erhebliche Mühe und Kosten aufzuwenden, daß das Kühlfaß genügend mit kaltem Wasser versorgt werde.

Black erörterte sowohl die Bewegungs- wie die Stofftheorie der Wärme. Letztere schien ihm besser die von ihm beobachteten Vorgänge zu erklären. Indessen erwiesen sich alle Bemühungen, das Gewicht des zugeführten hypothetischen Wärmestoffes festzustellen, ebenso erfolglos92, wie es bezüglich des elektrischen Fluidums der Fall gewesen war. Trotzdem gab es Physiker, denen die Annahme eines einzigen Stoffes zur Erklärung der Wärmeerscheinungen noch nicht genügte. Wie man zwei entgegengesetzte elektrische Fluida annahm, so sollte es neben der Wärme einen besonderen Kältestoff geben, der z. B. in den zur Herstellung von Kältemischungen dienenden Salzen vorhanden sei. Dieser Auffassung war schon Mariotte93 entgegengetreten. Er ließ die Kälte nur als Mindermaß an Wärme gelten und unterschied durch klare Darlegung und Versuche die strahlende von der Körperwärme. Daß die erstere die Luft und manche anderen Substanzen durchdringt, ohne die Temperatur wesentlich zu erhöhen, wies er nach, indem er Schießpulver mittelst einer aus Eis bestehenden Linse entzündete. Auch gelangte man schon damals[Pg 53] zu der Erkenntnis, daß die Wärmestrahlen wie das Licht sich mit großer Geschwindigkeit ausbreiten. Der Franzose Pictet94 brachte in den Brennpunkt eines aus Metall verfertigten Hohlspiegels eine erhitzte, indessen nicht leuchtende Metallkugel, während sich in dem Brennpunkt eines gegenüber befindlichen zweiten Hohlspiegels ein empfindliches Luftthermometer befand. Zwischen beiden Spiegeln, deren Abstand etwa 25 m betrug, war ein Schirm aufgestellt. Entfernte man diesen, so begann die Absperrflüssigkeit des Thermometers in demselben Augenblicke zu steigen. Es begegnet uns schon hier ein Experiment, das mit geringen Abänderungen (Schießbaumwolle an Stelle des Luftthermometers) noch heute zu den beliebtesten Vorlesungsversuchen zählt.

Pictet unterschied auf Grund seines Hohlspiegelversuchs die strahlende Wärme von der fortgeleiteten. Letztere schreite nur langsam von Teilchen zu Teilchen fort, während sich die Wärmestrahlung geradlinig und mit großer Geschwindigkeit, vielleicht ebenso schnell wie das Licht, ausbreite95. Aus der Tatsache, daß die Luft für Wärmestrahlen sehr durchlässig ist, ließ sich auch leicht die auf hohen Bergen wahrzunehmende geringe Temperatur erklären96.

Die geschilderten Fortschritte auf dem Gebiet der Wärmelehre hatten zur Folge, daß man sich dem chemischen Prozeß als einer der Hauptquellen der Wärme mit verdoppeltem Interesse zuwandte, sowie den Einfluß der Wärme auf den Verlauf der chemischen Vorgänge in Betracht zog. Damit wuchs zugleich die Einsicht in das Wesen und den Ursprung der animalischen Wärme. Letztere hatte man bisher wohl aus der Reibung des in den Gefäßen zirkulierenden Blutes zu erklären gesucht, während man die Atmung, in völliger Verkennung der Tatsachen, als ein Mittel zur Abkühlung des Blutes betrachtete. Stahl, der Begründer der Phlogistontheorie, und Hales, dessen große Verdienste um die Physiologie wir kennen lernen werden, erklärten jetzt die tierische Wärme als eine Folge der Atmung. Der Zirkulation des Blutes schrieben sie die Aufgabe zu, die nach ihrer Meinung schon in den Lungen erzeugte Wärme dem übrigen Körper mitzuteilen. Es wurde also zum erstenmal der Atmungsprozeß mit der Verbrennung in Parallele gestellt,[Pg 54] wenn es auch dem Zeitalter Lavoisiers vorbehalten blieb, das Wesen beider Vorgänge schärfer zu erfassen. Auch im übrigen stehen die Leistungen der Chemie seit der Mitte des 18. Jahrhunderts mit der großen Tat Lavoisiers in solch inniger Verknüpfung, daß wir es vorziehen, Verbrennung und Atmung im Zusammenhange mit Lavoisiers chemischen Ansichten zu betrachten.

Lavoisier hat sich auch um die Messung der Verbrennungswärme und der spezifischen Wärme Verdienste erworben, indem er in Gemeinschaft mit Laplace ein sehr zweckmäßiges Eiskalorimeter konstruierte97 und mit diesem wertvolle Untersuchungen anstellte. Zunächst definieren beide Forscher den Begriff der spezifischen Wärme recht klar in folgenden Worten: »Wenn man zwei Substanzen von gleicher Masse und gleicher Temperatur voraussetzt, so ist die Wärmemenge, die erforderlich ist, um ihre Temperatur um 1° zu erhöhen, dennoch nicht für beide Körper dieselbe. Wenn man als Einheit diejenige Wärmemenge nimmt, welche die Temperatur der Gewichtseinheit Wasser um 1° erhöht, so können alle anderen Wärmemengen, die sich auf verschiedene Stoffe beziehen, in Teilen dieser Einheit ausgedrückt werden. Unter dem Ausdruck spezifische Wärme ist dieses Verhältnis der Wärmemengen zu verstehen.«

Für ihre Untersuchung bedienten sich Laplace und Lavoisier des von Black herrührenden Verfahrens der Eisschmelzung. Der Grundgedanke dieses Verfahrens ist folgender: Im Innern einer Hohlkugel aus Eis von 0 Grad Temperatur befinde sich ein Körper, der auf irgend einen Grad erhitzt ist. Die äußere Wärme kann in den Hohlraum einer solchen Kugel nicht eindringen. Die Wärme des Körpers dagegen kann sich nicht nach außen zerstreuen, sondern sie wird auf die innere Fläche der Höhlung beschränkt bleiben, von der sie so lange das Eis abschmelzen wird, bis die Temperatur des Körpers auf diejenige des Eises heruntergegangen ist.

Will man die spezifische Wärme eines festen Körpers kennen lernen, so wird man also seine Temperatur um eine gewisse Anzahl von Graden erhöhen, ihn dann in das Innere der Eiskugel bringen und ihn darin lassen, bis seine Temperatur auf 0° gesunken [Pg 55] ist. Dann wird man das Wasser sammeln, das sich infolge der Wärmeabgabe des Körpers gebildet hat. Diese Wassermenge, dividiert durch das Produkt aus der Masse des Körpers und der Anzahl von Graden, die seine ursprüngliche Temperatur angibt, wird seiner spezifischen Wärme proportional sein98.

Abb. 11
Abb. 11. Lavoisiers Eiskalorimeter.

Auch die bei chemischen Vorgängen auftretenden Wärmemengen haben Lavoisier und Laplace mit ihrem Apparat gemessen. Um die Wärmemenge kennen zu lernen, die bei der Verbindung mehrerer Substanzen erzeugt wird, wurden sie sämtlich ebenso wie die Gefäße, in denen sie eingeschlossen waren, auf 0°[Pg 56] abgekühlt. Ihre Mischung wurde dann sofort in das Innere der Eiskugel gebracht und darin gelassen, bis die Temperatur der Mischung wieder 0° war. Die Wassermenge, die bei diesem Versuche gesammelt wurde, ist das Maß für die bei der Verbindung entwickelte Wärme. Die Bestimmung der Wärmemengen, die bei der Verbrennung und der Atmung erzeugt werden, verursachte nicht mehr Schwierigkeiten. Man verbrannte die Körper im Innern der Eiskugel und ließ die Tiere innerhalb derselben atmen. Da aber die Erneuerung der Luft bei diesen Operationen unumgänglich nötig ist, so wurde eine Verbindung zwischen dem Innern der Kugel und der umgebenden Atmosphäre hergestellt. Damit ferner die Einführung der neuen Luft keinen merklichen Fehler veranlaßte, mußte man diese Versuche bei einer Temperatur von 0° machen oder mindestens die Luft, die man einführte, auf diese Temperatur abkühlen.

Bei der Ausführung der Versuche wurde die Eiskugel durch einen zweckmäßigeren Apparat ersetzt, dessen senkrechter Schnitt in Abb. 11 dargestellt ist. Der Hohlraum des Apparates ist in drei Teile geteilt. Die innere Höhlung besteht aus einem Eisendrahtgeflecht. In diese Höhlung bringt man die Körper, welche dem Versuche unterworfen werden sollen. Die obere Öffnung kann vermittelst eines Deckels geschlossen werden. Er ist in Abb. 11, HJ besonders dargestellt. Dieser Deckel ist oben offen; sein Boden wird durch ein Netz von Eisendraht gebildet. Der mittlere Raum bbbb des Kalorimeters ist dazu bestimmt, das Eis aufzunehmen, das den inneren Raum umgeben und durch die Wärme der dem Versuche unterworfenen Körper geschmolzen werden soll. Dieses Eis wird getragen und zurückgehalten durch einen Rost mm, unter dem sich ein Sieb befindet. In dem Maße, wie das Eis geschmolzen wird, läuft das Wasser durch den Rost und das Sieb, gelangt sodann in den Kegel ccd und die Röhre xy; endlich sammelt es sich in dem Gefäße P, das unter den Apparat gestellt wird. Die äußere Höhlung aaaa ist dazu bestimmt, dasjenige Eis aufzunehmen, welches den Einfluß der von außen kommenden Wärme abhalten soll. Das durch das Schmelzen dieses Eises entstandene Wasser fließt durch die Röhre ST zur Seite ab. Der ganze Apparat wird mit dem Deckel FG (Abb. 11) bedeckt.

Um den Apparat in Gebrauch zu nehmen, füllt man die mittlere Höhlung und den Deckel HJ der mittleren Höhlung mit gestoßenem Eis, ebenso die äußere Höhlung und den Deckel FG des ganzen Apparates. Man läßt darauf das Eis der mittleren[Pg 57] Höhlung abtropfen. Dann öffnet man den Apparat, um den Körper, mit dem man experimentieren will, hineinzubringen und schließt ihn sofort wieder. Man wartet, bis der Körper vollkommen abgekühlt ist und der Apparat gut abgetropft hat. Dann wägt man das aufgesammelte Wasser; sein Gewicht ist ein genaues Maß der von dem Körper abgegebenen Wärme.

Weit größere Schwierigkeiten bereitete den beiden Forschern die Ermittlung der spezifischen Wärme von Gasen. Doch scheuten sie auch vor dieser Aufgabe nicht zurück. Sie ließen bestimmte Mengen der zu untersuchenden Gase durch ihr Eiskalorimeter strömen und bestimmten die Temperatur vor dem Eintritt und nach dem Ausströmen, sowie die Menge des geschmolzenen Eises. Damit waren zwar die Daten für eine Berechnung gegeben, doch erhielt man sehr ungenaue Ergebnisse99.

Zum Schlusse seien einige der von Lavoisier und Laplace gefundenen spezifischen Wärmen mitgeteilt unter Angabe der heute als richtig geltenden Werte in Klammern:

Gewöhnliches Wasser 1 (1)
Eisen 0,109 (0,113)
Quecksilber 0,029 (0,033)
Blei 0,028 (0,031)
Schwefel 0,208 (0,202)

Desgleichen seien die Ergebnisse einiger Versuche zur Bestimmung der Verbrennungswärme angegeben:

Mengen des geschmolzenen Eises durch die Verbrennung von

1 Pfund Phosphor 100 Pfund
1 " Faulbaumkohle 96 "
1 " Olivenöl 148 "

Die Abweichung von späteren Bestimmungen ist hier eine bedeutende, so entwickelt 1 kg Phosphor 5747 Kalorien und liefert demnach nur 5747/80 = 71,8 kg Wasser, während nach Lavoisier und Laplace 1 Teil Phosphor bei seiner Verbrennung 100 Teile Schmelzwasser liefern soll.

Von Lavoisier und Laplace rühren auch die ersten genauen Messungen der Ausdehnungskoeffizienten fester Körper her.[Pg 58] Sie benutzten bei ihren Versuchen ein Fernrohr, das von den sich beim Erwärmen ausdehnenden Körpern gedreht wurde. Als Stützpunkte für die letzteren gebrauchten sie Pfeiler aus Stein, deren Form durch die Wärme nicht merklich verändert wird.

Grundlegend auf dem Gebiete der Wärmelehre waren auch die Untersuchungen Blagdens über die Gesetze der Überkaltung und der Gefrierpunktserniedrigung. Blagden100 veröffentlichte seine Arbeiten über diesen Gegenstand im Jahre 1788. Die erste dieser Arbeiten bringt eine Anzahl wichtiger Versuche über die Abkühlung des Wassers bis unter seinen Gefrierpunkt. Blagden zeigte, daß das Wasser, dessen Gefrierpunkt bei 32° Fahrenheit liegt, unter Umständen erst bei 24°, ja selbst bei 21° F in den festen Zustand übergeht. Die Überkaltung war auch möglich, wenn man dem Wasser Salze beimengte, die an sich schon den Gefrierpunkt herabsetzen. Eine Kochsalzlösung, deren Gefrierpunkt 28° F betrug, wurde auf 18½° abgekühlt. Erst bei weiterer Entziehung von Wärme wurde sie fest. Eine Salpeterlösung mit dem Gefrierpunkt 27° F wurde bis auf 16°, also 11° unter den neuen Gefrierpunkt »überkaltet«. Das merkwürdige Phänomen der Überkaltung hatte die Aufmerksamkeit einzelner Physiker schon vor Blagden erregt, keiner hat es aber so sorgfältig untersucht wie dieser. Eingehend befaßt er sich mit den Bedingungen der Überkaltung und der Ursache des plötzlichen Erstarrens überkalteter Flüssigkeiten. Rieb Blagden mit einem Glasstab an der Innenwand des Gefäßes, in welchem sich überkaltetes Wasser befand, so wurde das Wasser, das andere Bewegungen wohl vertrug, zum Erstarren gebracht. Überraschend war der Versuch, bei dem überkaltetes Wasser mit einem noch so winzigen Eisstück berührt wurde. Es trat sofortiges Gefrieren ein, indem die Eiskristalle von der Stelle aus, wo sich das Eisstückchen befand, durch die ganze Masse anschossen. Gleichzeitig erwärmte sich die ganze Masse bis zum normalen Gefrierpunkt des Wassers101.

Durch den beschriebenen Versuch erklärte sich auch die Erscheinung, daß die Überkaltung sicherer gelingt, wenn man das[Pg 59] Gefäß leicht mit Papier bedeckt. Blagden nahm an, daß winzige erstarrte Wasserteilchen bei Frostwetter in der Luft schweben und auf das sich abkühlende Wasser fallen, dessen Erstarrung sie dann bewirken, während diese Teilchen im anderen Falle von dem Papier zurückgehalten werden.

Als zweite Ursache, welche den Gefrierpunkt von Flüssigkeiten herabsetzt, hatte man den Zusatz von Salzen und Säuren erkannt. Die erste quantitative Untersuchung dieses Verhaltens rührt gleichfalls von Blagden her102. Für die erste Versuchsreihe diente das Kochsalz. Es ergab sich, daß das Salz den Gefrierpunkt nach dem einfachen Verhältnis, in welchem es zu dem Wasser der Lösung steht, erniedrigt. Man hat vorgeschlagen, dieses Gesetz das Blagdensche zu nennen103.

Weitere Versuchsreihen lieferten Salpeter, Salmiak, Glaubersalz und weinsaures Natrium-Kalium. Für alle entsprach die Gefrierpunktserniedrigung dem einfachen Verhältnisse von Salz zu Wasser104. Setzte Blagden Säuren, Alkalien oder Alkohol zum Wasser, so ließ sich keine solch einfache Beziehung nachweisen, doch schienen ihm gleiche Zutaten dieser Flüssigkeiten den Gefrierpunkt des Wassers in einem zunehmenden Verhältnis zu erniedrigen.

Blagdens Untersuchung über diesen Gegenstand geriet zunächst ganz in Vergessenheit; man wurde auf sie erst wieder aufmerksam, als man in der neuesten Zeit in der Gefrierpunktserniedrigung, welche Salze und auch indifferente organische Stoffe bewirken, ein Mittel zur Bestimmung des Molekulargewichtes kennen lernte. Vorahnend bemerkt schon Blagden, man möge doch Untersuchungen wie die seine nicht für unwichtig halten, da man auf diesem Wege zu einer Kenntnis des inneren Gefüges gelangen werde, auf dem die Eigenschaften des Körpers beruhen.

[Pg 60]

4. Die Naturbeschreibung unter der Herrschaft des künstlichen Systems.

Wir haben an die Spitze dieses in seinem ersten Teile vornehmlich die Entwicklung während der zweiten Hälfte des 18. Jahrhunderts schildernden Bandes die großen Fortschritte der Physik gestellt. Die nächsten Abschnitte sollen zeigen, wie sich die übrigen Wissenszweige entwickelt und sich wechselseitig befruchtet haben. Dabei tritt besonders in die Erscheinung, daß der Einfluß der physikalischen Lehren und vor allem der physikalischen Forschungsweise sich in immer höherem Maße auf die übrigen Disziplinen ausdehnt. Die Physik wurde das gemeinsame Band, das sie alle umschlang. Durch die Ausdehnung ihres quantitativen Verfahrens auf das Gebiet der stofflichen Veränderungen nahm die Chemie eine ganz neue Gestalt an. Gleichzeitig mit ihr wurde die Mineralogie auf neue Grundlagen gestellt. Auch die Lebenserscheinungen suchte man nach physikalischer Methode zu erforschen. Wenn auch die Zoologen und die Botaniker des 18. Jahrhunderts ihre Hauptaufgabe noch in einer auf das Äußere gerichteten Beschreibung und in der Systematik der Tiere und der Pflanzen erblickten, so fehlte es doch nicht an Untersuchungen, in den inneren Bau und die Verrichtungen der Organe einzudringen.

Durch das genauere Studium der Pflanzen- und der Tierwelt Europas, sowie der übrigen Weltteile war das Material, welches der Systematik zu Gebote stand, schon im Beginn des 18. Jahrhunderts kaum mehr zu bewältigen. Die Bearbeitung dieses Materials wurde immer schwieriger, weil eine klare, auf scharfer Gliederung beruhende Nomenklatur noch nicht geschaffen war und die bisherigen Versuche zur Aufstellung eines umfassenden Systems sich stets als unzureichend erwiesen hatten. Der Mann, der zur rechten Zeit erschien und nach den beiden angegebenen Richtungen Abhilfe schuf, war der schwedische Naturforscher Linné.[Pg 61] Karl von Linné wurde am 23. Mai des Jahres 1707 in dem Dorfe Råshult in Småland geboren. Sein Vater, ein Pfarrer, besaß für Gartenbau und Pflanzenkunde eine große Liebhaberei, die sich auf den Sohn übertrug. Als der junge Linné in einem benachbarten Städtchen die Schule besuchte, botanisierte er, anstatt seinen nächstliegenden Pflichten nachzukommen. Darüber erzürnte der Vater und gab ihn einem Schuhmacher in die Lehre. Ein Arzt, der Linnés botanische Neigungen unterstützte, vermochte jedoch den Vater zu versöhnen. Linné erhielt die Erlaubnis, sich dem Studium der Medizin zu widmen. Er bezog die Universität Lund, die er später mit Upsala vertauschte. Da Linné in ärmlichen Verhältnissen lebte, war er gezwungen, seinen Unterhalt durch Abschreiben und Unterricht zu verdienen. In Upsala nahm sich schließlich der Professor der Botanik Rudbeck seiner an. Er übertrug ihm die Aufsicht über den botanischen Garten, sowie die Stellvertretung bei seinen Vorlesungen. Im Jahre 1732 erhielt Linné den Auftrag, die nördlichsten Teile Schwedens zu durchforschen. Nachdem er von seiner während des Sommers 1732 unternommenen Lapplandreise zurückgekehrt war, beabsichtigte er, in Upsala Vorlesungen über Botanik zu halten. Eifersüchtige Nebenbuhler wußten indes sein Vorhaben durch den Einspruch, daß er noch nicht promoviert sei, zu verhindern. Da es damals Brauch war, den Doktorhut im Auslande zu erwerben, ging Linné zu diesem Zwecke im Jahre 1735 nach Holland. Dort wurde er mit Clifford bekannt, der in Harlem einen Garten besaß und Linnés Rat und Hilfe in botanischen Dingen zu schätzen wußte. In Holland gab Linné im Jahre 1735 neben einem größeren Werk über den Cliffordschen Garten eine kleine, in Tabellenform verfaßte Schrift heraus, die er »Systema naturae« nannte. Dieses Büchlein, das die Früchte seiner bisherigen, sich über alle drei Naturreiche erstreckenden Bemühungen um die Systematik enthielt, wurde später wiederholt von neuem aufgelegt und wuchs dabei zu einem mehrbändigen Werke an105.

Linnés »System der Natur« erregte durch seine Übersichtlichkeit und Klarheit sofort große Bewunderung. Es war in seinem[Pg 62] ganzen Umfange auf die Sexualität der Pflanzen begründet. Mit der Sexualtheorie war Linné, wie er selbst hervorhebt, durch die Engländer bekannt geworden. Letztere hatten ihrerseits die Anregung aus Deutschland empfangen.

Bald nach 1735 erschienen Linnés Schriften, in denen er seine Grundsätze für die Bestimmung und Benennung der Pflanzen entwickelte106. Unter Berücksichtigung aller wesentlichen Merkmale bestimmte er mit großer Schärfe die Charaktere von nahezu 1000 Gattungen. Nachdem Linné Reisen nach England und nach Frankreich unternommen hatte – in Paris ernannte man ihn zum korrespondierenden Mitgliede der Akademie der Wissenschaften – kehrte er nach Stockholm zurück. Hier nahm man ihn mit großen Ehrenbezeugungen auf. Linné, der sich zunächst dem ärztlichen Beruf zuwandte, wurde Leibarzt des Königs und Präsident der Akademie der Wissenschaften. Im Jahre 1741 siedelte er nach dem nahen Upsala über. Während der beiden Jahrzehnte, die Linné dort als anregender Lehrer und unermüdlicher Forscher zubrachte, erlebte die Naturbeschreibung ihre Glanzperiode. Der botanische Garten wurde in seinem Geiste erneuert und mit einem naturhistorischen Museum verbunden. Im Jahre 1746 gab Linné ein Werk über die Tierwelt Schwedens heraus, einige Jahre später erschien seine allgemeine Botanik107, das botanische Hauptwerk Linnés. 1762 wurde Linné in den Adelsstand erhoben. Seit dieser Zeit nannte er sich von Linné, während sein Name ursprünglich Linnaeus lautete. Er starb am 10. Januar 1778108.

Linnés Verdienst bestand nicht in epochemachenden Entdeckungen, die späteren Geschlechtern unmittelbare Anregung[Pg 63] zu weiterem Forschen gegeben hätten, sondern er erblickte seine Aufgabe vornehmlich in der systematischen Bearbeitung des gesamten, von seinen Vorgängern übermittelten naturgeschichtlichen Wissens. Hierin hat er Bedeutendes geleistet und sich einer Mühe unterzogen, deren Bewältigung im Interesse des weiteren Fortschritts lag. Daß seine Nachfolger das System überschätzten und die Einordnung der neu beschriebenen Formen für die hauptsächlichste Aufgabe der Wissenschaft hielten, darf man dem Begründer dieses Systems nicht zur Last legen. In der Botanik brachte Linné die seit Caesalpin auf die Aufstellung eines künstlichen Systems gerichteten Bestrebungen zum Abschluß. Die Kenntnis von der Sexualität der Pflanzen, auf welcher seine Einteilung fußte, verdankte er vor allem den Untersuchungen des Deutschen Camerarius109, wie auch seine binäre Nomenklatur auf den Vorgang anderer Botaniker (Jungius und Ray) zurückzuführen ist.

Der sogenannte Schlüssel, nach dem Linné in seinem System das ganze Pflanzenreich in Klassen einteilte, ist folgender:

A. Pflanzen mit Blüten.
Aa. Mit lauter Zwitterblüten.
aa. Mit freien Staubfäden.
aaa. Mit Staubfäden von unbestimmter Länge.
1. Klasse mit einem Staubfaden Monandria 110.
2. " " zwei Staubfäden Diandria.
3. " " drei " Triandria.
4. " " vier " Tetrandria.
5. " " fünf " Pentandria.
6. " " sechs " Hexandria.
7. " " sieben " Heptandria.
8. " " acht " Octandria.
9. " " neun " Enneandria.
10. " " zehn " Decandria.
11. " " 12-19 " Dodecandria.
12. Klasse mit 20 oder mehr Staubfäden, die nicht auf dem Fruchtboden, sondern auf der inneren Seite des Kelches sitzen Icosandria.
13. Klasse mit 20 oder mehr Staubfäden, die auf dem Fruchtboden sitzen Polyandria.
abb. Mit Staubfäden von bestimmter Verschiedenheit in der Länge.
14. Klasse, Pflanzen mit vier Staubfäden, von denen zwei nebeneinander stehende länger und zwei kürzer sind Didynamia.
15. Klasse, Pflanzen mit sechs Staubfäden, von denen vier länger, zwei einander gegenüberstehende aber kürzer sind Tetradynamia111.
ab. Mit verwachsenen Staubfäden oder verwachsenen Staubbeuteln.
16. Klasse, Pflanzen mit Staubfäden, die unten zusammengewachsen sind Monadelphia.
17. Klasse, Pflanzen, deren Staubfäden zu zwei Bündeln verwachsen sind Diadelphia.
18. Klasse, Pflanzen, deren Staubfäden zu drei oder mehr Bündeln verwachsen sind Polyadelphia112.
19. Klasse, Pflanzen, deren Staubbeutel zu einem Zylinder zusammengewachsen sind Syngenesia113.
20. Klasse, Pflanzen, deren Staubfäden mit den Griffeln verwachsen sind Gynandria114.
Ab. Mit getrennten Geschlechtern.
21. Klasse, männliche und weibliche Blüten befinden sich an einer Pflanze Monoecia.
22. Klasse, männliche und weibliche Blüten befinden sich auf verschiedenen Pflanzen Dioecia115.
23. Klasse, außer den Zwitterblumen befinden sich noch männliche oder weibliche Blüten oder beide zugleich an einer oder an verschiedenen Pflanzen Polygamia116.
B. Pflanzen, bei denen weder Staubfäden noch Stempel, welche bei den übrigen Pflanzen wesentliche Teile der Blüte sind, in die Augen fallen.
24. Klasse Cryptogamia117.

[Pg 65]

Linnés System fand anfangs viel Widerspruch. Entweder wurde die Sexualität der Pflanzen trotz aller unzweifelhaften Beweise geleugnet, oder man erhob den Einwand, daß »die neue Lehre zu unzüchtigen Gedanken reize«. Deutschlands großer Systematiker Gleditsch, der im Auftrage der Akademie zu Berlin den dortigen botanischen Garten gründete, mußte sich alle Mühe geben, um den Einwurf, daß die Lehre von der Befruchtung der Pflanzen unsittlich sei, zu widerlegen118.

[Pg 66]

Zu der Folgerichtigkeit, mit der Linné sein System durchführte, gesellte sich die umfassendste Kenntnis einheimischer und fremder Pflanzen. Seine Übersicht119 der Arten enthielt 7300 Nummern und wurde neun Jahre später um weitere 1500 Nummern vermehrt. Am wenigsten gründlich durchforschte Linné die Pflanzen, welche der Kleinheit ihrer Organe wegen den Gebrauch von Vergrößerungsgläsern notwendig machten, wie die Doldengewächse und die Kryptogamen.

Linné selbst war dem physiologischen Experiment, sowie der Anwendung des Mikroskopes wenig zugetan. Sehr selten begegnen wir bei ihm dem Bestreben, Erscheinungen auf ihre Ursachen zurückzuführen. Er begnügte sich damit, alles gehörig zu klassifizieren. Der mikroskopischen Forschung war das gesamte 18. Jahrhundert wenig hold. Grews und Malpighis epochemachende Untersuchungen über den inneren Bau der Pflanzen wurden nicht fortgesetzt. Ja, es fehlte sogar nicht an gewichtigen Stimmen, welche die bisherigen Ergebnisse der Pflanzenanatomie als unrichtig und trügerisch zu verdächtigen suchten120.

Linnés Art, etwas durch logisches Zergliedern klarzustellen, ohne die Natur selbst hinreichend zu befragen, erinnert häufig an Aristoteles. Daß sein Pflanzensystem in erster Linie auf die Erfüllung eines praktischen Bedürfnisses hinauslief und keine naturgemäße Gruppierung ergab, wußte Linné sehr wohl, während es seine Nachbeter später gänzlich vergessen zu haben schienen und in dem von Linné geschaffenen System die Krönung des naturgeschichtlichen Lehrgebäudes erblickten.

In späteren Jahren hat sich Linné auch dem natürlichen System zugewandt. Schon in seiner Philosophie der Botanik121 verlangte er, »die Fragmente der natürlichen Methode fleißig aufzusuchen«. Dies sei das erste und letzte, was man in der Botanik erstreben müsse, denn die Natur mache keine Sprünge. Ja, noch früher, nämlich im Jahre 1738122, stellte Linné als Grundsatz eines natürlichen Systems die Forderung auf, sämtliche Teile der Pflanzen, insbesondere aber die Frucht, den Samen, die Lage des[Pg 67] Embryos usw. systematisch zu verwerten. Auch muß anerkannt werden, daß Linné mit dem Wort natürliche Verwandtschaft einen besseren Begriff verband als die meisten seiner Vorgänger. Besaß dieser Begriff bei Linné zwar ebensowenig eine reale Bedeutung wie bei den übrigen Systematikern des 18. Jahrhunderts, so paßt sich seine Vorstellung der späteren Theorie der Abstammung der Arten doch weit besser an. Während nämlich der Satz, daß die Natur keine Sprünge mache, die meisten dazu verleitete, sich die organische Schöpfung als eine einzige aufsteigende Reihe vorzustellen, dachte sich Linné die Verwandtschaft der Formen unter dem Bilde eines vielmaschigen Netzes. »Alle Pflanzen,« sagt er, »zeigen eine Verwandtschaft nach allen Seiten.«

Linné selbst hat ein Verzeichnis derjenigen Gruppen aufgestellt, die er als natürliche betrachtete. Der erste Versuch, von der Erfassung solcher Gruppen zur systematischen Gliederung des gesamten Pflanzenreiches zu gelangen, ging von den Franzosen aus. Die schwedischen, deutschen und englischen Botaniker dagegen verfolgten die von Linné eingeschlagene Richtung bis zur Einseitigkeit und suchten ihren Ruhm in der Kenntnis einer möglichst großen Zahl von Arten. Erst mit der Aufstellung des natürlichen Systems durch die beiden Jussieu und Decandolle wurde die Grundlage für den weiteren Fortschritt geschaffen.

Wie auf dem botanischen, so war auch auf zoologischem Gebiete Linnés Wirken fast ausschließlich nach der beschreibenden und systematischen Seite gerichtet. Sein Tiersystem entsprach indes weit mehr der natürlichen Verwandtschaft, als dies hinsichtlich seiner Gruppierung der Pflanzen der Fall war. Die Einteilung der niederen Tiere, deren innerer Bau erst in der nächsten Periode eingehender studiert wurde, fußte jedoch noch auf ganz oberflächlichen Ähnlichkeiten. Das gesamte Tierreich zerfiel nach Linné in sechs Klassen, von denen nur diejenigen der Säugetiere und der Vögel ihren Wert und Umfang auch heute noch besitzen. Die Amphibien wurden noch mit den Reptilien zu einer Gruppe vereinigt. Die vierte Klasse umfaßte die Fische. Die Insekten bildeten die fünfte Klasse. Sie zerfielen in die noch heute geltenden Ordnungen, während die letzte Klasse der Würmer alles das umfaßte, was Linné anderweitig nicht unterzubringen vermochte. Hier finden wir z. B. die Weichtiere mit den Aufgußtierchen und die Eingeweidewürmer mit den Pflanzentieren vereinigt. Über die animalische Natur der letzteren ist Linné noch nicht völlig im klaren. Er bezeichnet sie als Pflanzen mit tierisch belebten Blüten.[Pg 68] Mancher Widerspruch erhob sich gegen seinen Schritt, den Menschen als besondere Gattung an die Spitze des Systems zu stellen und ihn mit den höheren Affen zur Ordnung der Primaten zu vereinen. Man muß jedoch anerkennen, daß dieser Schritt die Naturgeschichte des Menschen als besonderen Wissenszweig angebahnt hat, so daß Blumenbach, als er die neuere Anthropologie begründete, nur der Auffassung Linnés zu folgen brauchte.

Von besonderer Wichtigkeit für die Systematik war die von Linné herrührende strenge Durchführung der binären Nomenklatur. Anstatt weitschweifiger Definitionen, die man neu entdeckten Formen beilegte, erhielt jede Art zwei der lateinischen Sprache entnommene Namen, von denen der erste die Zugehörigkeit zu einer bestimmten Gattung, der zweite dagegen, meist in Form eines Eigenschaftsworts hinzutretend, die Art bezeichnete. Letztere erschien Linné als der durchaus unveränderliche Ausgangspunkt seines Systems. »Tot numeramus species, quot creavit ab initio infinitum ens« lautet sein bekannter Ausspruch, »wir zählen soviel Arten, wie Gott im Anbeginn erschaffen hat«. Diese Ansicht, welche die Beziehungen im anatomischen Bau der Lebewesen völlig unerklärt läßt und die Worte Verwandtschaft und Zusammengehörigkeit nur im bildlichen Sinne anzuwenden gestattet, erstarkte in der Folge zu einem Dogma, das nicht nur die Lehre von den heute lebenden Formen, sondern auch die Paläontologie bis zum Beginn des 19. Jahrhunderts vollständig beherrschte und erst in der zweiten Hälfte des letzteren zu Fall gebracht wurde.

Linnés Bemühen, alles zu systematisieren, erstreckte sich auch auf das Mineralreich. Da er jedoch auch hier in erster Linie die äußere Beschaffenheit ins Auge faßte, so war der Erfolg nur gering. Eigentümliche Ansichten, die sich später als zum Teil begründet erwiesen, entwickelte Linné in seiner Abhandlung über das Anwachsen der Erde123. Danach bildeten sich die Schichten nicht aus zerriebenem Urgestein, sondern sie sind Erzeugnisse der Lebewelt. Das Kalkgebirge ist nach Linné aus Muscheln und Korallen entstanden, während die Pflanzen tonige Ablagerungen, die später zu Schiefer erstarrten, gebildet haben sollten.

[Pg 69]

5. Die Ausdehnung der physikalischen Methoden auf das Gebiet der Pflanzenphysiologie.

Wenn auch auf dem Gebiete der Botanik während des 18. Jahrhunderts die systematische Richtung überwog, so fällt doch in diesen Zeitraum die Begründung einiger wichtigen Zweige der Pflanzenphysiologie, um deren weiteren Ausbau man sich dann allerdings zunächst so wenig kümmerte wie um die Fortsetzung der pflanzenanatomischen Arbeiten eines Grew und Malpighi. Es sind dies die Arbeiten von Hales über die Bewegung des Pflanzensaftes und die Aufdeckung der Beziehungen zwischen Blumen und Insekten durch Konrad Sprengel, dessen Forschungen erst in neuerer Zeit, seit Darwin demselben Gegenstande seine Aufmerksamkeit zuwandte, zur vollen Würdigung gelangt sind.

Auch an Versuchen einen gewissen Einblick in den Vorgang der Ernährung der Pflanze zu erhalten, hat es im 17. und 18. Jahrhundert nicht gefehlt. Solche Versuche wurden schon dadurch veranlaßt, daß sich Aristoteles über die Ernährung der Pflanzen geäußert hatte. Seine Meinung ging dahin, daß die Pflanzen ihre Nahrung fertig aus der Erde aufnähmen und daher auch keine Exkremente von sich gäben124. Da die neuere Naturwissenschaft die Haltlosigkeit derartiger, aus allgemeinen philosophischen Gründen entwickelter Urteile in zahlreichen Fällen nachgewiesen hatte, so wandte sie das Hilfsmittel, das ihr in allen diesen Fällen zum Siege verholfen, das experimentelle Verfahren nämlich, auch auf diese Frage an.

Einer der ersten, der, wenn auch auf Grund nur mangelhafter chemischer und anatomischer Kenntnisse, die Frage der Ernährung der Pflanze vom naturwissenschaftlichen Standpunkte in Angriff nahm, war Mariotte. Wir haben ihn an anderer Stelle als einen der Begründer der Physik der Gase kennen gelernt125. Mariotte[Pg 70] war, wie alle Gegner der aristotelischen Art der Naturerklärung, Anhänger der Korpuskulartheorie. Diese nahm bei ihren Erklärungsversuchen die Bewegung kleinster Teilchen oder Korpuskeln zu Hilfe. Die Ursache der Bewegung erblickte sie in anziehenden und abstoßenden Kräften.

Mariotte hat seine Ansichten im Jahre 1679 zusammengefaßt126. Nach ihm nimmt die Pflanze aus dem Boden gewisse Stoffe – »Prinzipien« sagt Mariotte – auf. Solche Stoffe sind Salz, Salpeter, Schwefel, Wasser und Erden. Auch die Luftteilchen spielen nach Mariotte bei der Ernährung der Pflanze eine Rolle. Sie werden durch den Blitz verbrannt und mit dem Wasser dem Boden zugeführt. Erst viel spätere Forschungen haben bewiesen, daß diese Ansichten im allgemeinen das Richtige trafen. Eigentliche pflanzenchemische Versuche vermochte Mariotte nämlich noch nicht anzustellen. Um die Irrigkeit der aristotelischen Meinungen darzutun, waren solche auch nicht einmal nötig. Daß die Pflanzen die Bestandteile, aus denen sie sich zusammensetzen, nicht fertig aus dem Boden aufnehmen, beweist nach Mariotte schon die Tatsache, daß sich in derselben Handvoll Erde tausende von Pflanzen aufziehen lassen, die alle in ihrer chemischen Zusammensetzung Besonderheiten darbieten. Auch daß sich auf einen Stamm die verschiedensten Pfropfreiser aufpflanzen lassen, und daß diese gleichfalls aus offenbar doch ein und demselben, aus dem Boden eintretenden Saft Erzeugnisse der verschiedensten chemischen Art hervorbringen, beweist, wie Mariotte ganz richtig hervorhebt, daß sich aus den verschiedenen Prinzipien die pflanzlichen Substanzen durch passende Vereinigung aufbauen.

Zu ähnlichen Anschauungen gelangte Chr. Wolf, der die Leibnizsche Philosophie fortsetzte und durch seine Bemühungen, die Korpuskulartheorie zur Erklärung der Naturerscheinungen zu verwerten, auch auf die Entwicklung der Chemie anregend gewirkt hat127. Wolf gab im Jahre 1723 eine allgemeine Naturlehre128 heraus. In diesem Buche gibt er eine zusammenhängende Darstellung der Lehre von der Ernährung der Pflanzen. Auch Wolf vertritt die Ansicht, daß die Pflanze die in sie eintretenden Stoffe chemisch verändere. Dies wird daraus geschlossen, daß jede Pflanze eigenartige chemische Bestandteile (»ihr besonderes [Pg 71] Öl«) enthält. Die Pflanze entnimmt nach Wolf ihre Nährstoffe nicht nur dem Boden, sondern auch der Luft.

Im ganzen genommen bemerken wir also im 17. und in der ersten Hälfte des 18. Jahrhunderts zwar einen erheblichen Fortschritt gegen Aristoteles und van Helmont. Es fehlte aber noch an einer genügenden chemischen Grundlage, um einen wirklichen Einblick in diesen Teil des pflanzlichen Lebens zu gewinnen.

Mit weit besserem Erfolge ließen sich die physikalischen Forschungsmittel auf die Probleme der Pflanzenphysiologie anwenden. Die Physik hatte während des 17. Jahrhunderts die glänzendste Periode ihrer Entwicklung gehabt. Sie bediente sich auf allen ihren Gebieten der quantitativen Untersuchungsweise. Letztere zuerst auf die Erscheinungen des pflanzlichen Lebens angewandt zu haben, ist das große Verdienst von Hales.

Stephan Hales wurde am 17. September 1677 in der Nähe von Kent geboren. Er studierte in Cambridge Theologie. Gleichzeitig betrieb er mit großer Vorliebe Mathematik und Naturwissenschaften. Die Zeit, die ihm sein Pfarramt übrig ließ, verwandte er auf die Verwirklichung eines hohen Zieles, nämlich der Ausdehnung der physikalischen Forschungs- und Betrachtungsweise auf das Gebiet der Lebensvorgänge. Im Jahre 1718 wurde Hales Mitglied der Royal Society; er starb am 4. Januar 1761.

In seinem Hauptwerke, der Statik der Gewächse129, versuchte Hales, auf Grund der bis dahin gewonnenen mechanischen und chemischen Kenntnisse, durch Versuche eine Einsicht in den Lebensprozeß der Pflanze zu gewinnen. Harveys Entdeckung des Blutkreislaufes hatte die Frage angeregt, ob im Pflanzenkörper ein entsprechender Vorgang stattfinde. Diese Frage ist es, welche Hales durch seine Versuche zu entscheiden suchte. Wie in der Physiologie des Tieres die Flüssigkeiten, deren Geschwindigkeiten, die Kräfte, welche auf sie wirken, sowie die Menge trockener und flüssiger Nahrung die größte Rolle spielen, so erhält, wie Hales des näheren ausführt, die Mechanik auch das Leben der Pflanzen und bringt deren Wachstum zuwege. Die Ähnlichkeit zwischen Pflanzen und Tieren sei so groß, daß, wenn man beide nach gleicher Methode untersuche, wichtige Entdeckungen zu erhoffen seien. Das Verfahren, das Hales zum erstenmale auf das Studium der Pflanzen anwendet, besteht in Zählen, Messen und Wägen.[Pg 72] Der Einfluß der Physik war es, der sich auf immer weitere Gebiete erstreckte. »Durch Zählen und Messen«, sagt Hales in seinem Hauptwerk, »hat der große Newton die Regeln, nach denen die Gestirne ihren Lauf beschreiben, zu bestimmen vermocht. Der allweise Schöpfer hat sich nämlich die Richtschnur gesetzt, alles nach Zahl, Maß und Gewicht zu erschaffen. Damit nun auch wir seine Werke ergründen können, kommt es auf Zählen, Messen und Wägen an. Man geht dadurch den vernünftigsten und sichersten Weg. Und der so ungemein große Erfolg, den dieses Verfahren gezeitigt hat, muß uns anreizen, es anzuwenden.«

Hales' Untersuchungen befassen sich zunächst mit der Feststellung der Flüssigkeitsmenge, die von den Pflanzen aus dem Boden aufgenommen und durch die Blätter wieder abgedunstet wird. Eine 3½ Fuß hohe Sonnenblume wurde in einen Topf gepflanzt, der durch eine Bleiplatte nach Möglichkeit gegen Verdunstung geschützt war. Durch diese Platte führte ein Rohr, das zum Nachfüllen von Wasser diente. Der infolge der Transpiration eintretende Gewichtsverlust betrug für die zwölf Stunden von morgens bis abends an heißen Tagen 1 Pfund 14 Unzen, während der Verlust desselben Topfes, nachdem die Pflanze abgeschnitten und der Stumpf verklebt war, unter im übrigen gleichen Umständen nur zwei Unzen130 betrug. In einer warmen, trockenen Nacht betrug die Ausdünstung der Sonnenblume drei Unzen; wenn Tau auftrat, unterblieb sie ganz.

Darauf stellte sich Hales die Aufgabe, die gesamte, oberhalb und unterhalb des Bodens befindliche Fläche der Sonnenblume zu messen. Zunächst wurden sämtliche Blätter abgeschnitten und der Größe nach in Gruppen geordnet. Sodann wurde ein Drahtnetz mit Maschen von bekannter Größe auf die einem jeden Haufen entnommenen Blätter gelegt und durch Abzählen der deckenden Maschen die Oberfläche bestimmt. Auf diese Weise fand Hales die Gesamtgröße der abdunstenden Fläche gleich 5616 Quadratzoll, während er die Oberfläche der Wurzeln zu 2286 Quadratzoll und deren Gesamtlänge zu 1448 Fuß ermittelte. Innerhalb zwölf Stunden ging durch den Stamm eine Flüssigkeitsmenge von 34 Kubikzoll. Der Stamm besaß einen Quadratzoll Querschnitt. Dies ergab unter der Annahme, daß der Stamm sich wie ein hohles Rohr verhält, für den aufsteigenden Saft eine Geschwindigkeit von 34 Zoll. Die wahre Geschwindigkeit mußte, wie Hales bemerkte, viel größer sein, da der Raum des Stammes zum größten Teil mit fester[Pg 73] Materie ausgefüllt ist. Hales fand, daß der immergrüne Zitronenbaum viel weniger transpiriert als die Sonnenblume, der Weinstock und andere Pflanzen, die ihre Blätter im Winter verlieren. Spätere Versuche, die sich auf zwölf immergrüne Bäume erstreckten, bestätigten die am Zitronenbaum gemachte Erfahrung131.

Von besonderem Interesse ist es, daß Hales das Ergebnis seiner mit den Pflanzen angestellten Versuche fortgesetzt mit den an Tieren und Menschen gemachten Beobachtungen verglich. So ergaben die Berechnungen, die er an seine Arbeit über die Transpiration der Sonnenblume anknüpfte, daß diese Pflanze in derselben Zeit unter Berücksichtigung des Körpergewichts 17mal so viel Flüssigkeit aufnimmt und abgibt wie der Mensch. Diesen Unterschied sieht Hales mit Recht darin begründet, daß die Flüssigkeit, welche die Pflanzen aus dem Boden einsaugen, nicht soviel Nährsubstanz enthält wie der Saft, der aus dem Verdauungskanal in den Körper des Tieres übergeht132.

Abb. 12
Abb. 12. Der Wurzel Ziehen oder Saugen (Hales, Statik der Gewächse, Tab. III, Fig. X).

Da die Bewegung des Pflanzensaftes nicht wie bei den Tieren durch ein besonderes Triebwerk hervorgerufen wird und, wie Hales vermutete, nur nach einer Richtung vor sich geht, jedenfalls aber nicht in einem Kreislauf innerhalb der Gefäße besteht, so suchte er zunächst die Kraft ausfindig zu machen, durch welche die Pflanzen Flüssigkeiten in sich ziehen. Neben einem vollbeblätterten Baum wurde eine Grube hergestellt. Ein kräftiger Wurzelast wurde abgeschnitten, mit einer Röhre versehen und in ein mit Quecksilber gefülltes Becken getaucht (siehe Abb. 12). Die Wurzel zog alsdann mit solcher Kraft, daß das Quecksilber in der Röhre bis zu einer beträchtlichen Höhe emporstieg133. Die gleiche Wirkung äußerte ein transpirierender Ast, wenn man das mit seinem abgeschnittenen Ende verbundene Rohr in Quecksilber tauchte.[Pg 74] So wurde, um eins der vielen Beispiele zu erwähnen, ein frischer Zweig eines jungen Apfelbaums mit einer Röhre verbunden; diese wurde sodann mit Wasser gefüllt und in Quecksilber getaucht. Letzteres stieg in 7 Minuten um 12 Zoll (Abb. 13). In anderen Fällen wurde das Quecksilber jedoch nur wenig gehoben, sodaß Hales selbst das infolge der Transpiration ausgeübte Saugen der Zweige allein zur Erklärung der Wasserbewegung größerer Pflanzen für nicht ausreichend erachtete. Er nahm daher als weitere bewegende Kräfte die Kapillarität und den Wurzeldruck, den er durch viele Experimente messend verfolgt hat, in Anspruch.

Die Erscheinung birgt indes selbst für die heutige Pflanzenphysiologie noch manches Rätsel. Hales schließt seine Untersuchung mit den Worten: »Die Pflanzen ziehen durch ihre kleinen Haarröhrchen die Feuchtigkeit so stark an, wie wir es gesehen haben. Die Feuchtigkeit verfliegt durch die Transpiration. Diese bewirkt, daß die Saftgefäße leer werden und infolgedessen neue Nahrung an sich ziehen.« Seine Ansicht, daß es sich bei diesem Vorgang nur um physikalische Kräfte handele, suchte er durch Versuche mit anorganischen, porösen Substanzen zu stützen. So wurde z. B. eine lange Glasröhre mit Mennige gefüllt und in derselben Weise wie die Wurzel mit Wasser und Quecksilber in Verbindung gesetzt. Auch in diesem Falle stieg nicht nur das Wasser in die poröse Masse empor, sondern das Quecksilber folgte bis zu einer Höhe von 8 Zoll. Nachdem man später die saugende Wirkung und die Kapillarität als unzureichend erkannt hatte, um das Wasser zu nennenswerter Höhe emporzuschaffen, hat man den Sitz der anziehenden Kräfte wohl in die Zellwand oder in den Zellinhalt verlegt, ohne daß bisher eine nach jeder Richtung befriedigende Erklärung des in Frage stehenden Vorgangs gelungen wäre.

Abb. 13
Abb. 13. Hales' Versuch über das Saugen eines transpirierenden Zweiges.

[Pg 75]

Die meisterhaften Untersuchungen eines Hales haben auch für die Aufhellung einer zweiten Reihe von Erscheinungen Grundlagen geschaffen, auf denen die Pflanzenphysiologie noch heute fußt. Es sind dies die unter dem Namen des Blutens134 oder Tränens bekannten Vorgänge, welche durch den Wurzeldruck veranlaßt werden. Hales schnitt einen Weinstock 7 Zoll über der Erde ab. Der übriggebliebene Stumpf, Abb. 14 c, besaß keine Äste, er war 4 bis 5 Jahre alt und ¾ Zoll dick. An der Spitze dieses Stumpfes befestigte Hales vermittelst der Hülse b eine gläserne Röhre bf von 7 Fuß Länge und ¼ Zoll Durchmesser. Die Fuge b dichtete er mit einer Masse aus Wachs und Terpentin, die er mit einer nassen Blase gut zuband. Er fügte dann eine zweite Röhre fg an die erste und fügte an die zweite noch eine dritte ga, so daß alle drei ein Rohr von 25 Fuß Länge bildeten.

Zunächst sog der Stumpf Wasser ein. Bald darauf drang aber Saft aus dem Weinstock und die Flüssigkeit hatte nach wenigen Tagen eine Höhe von mehr als 20 Fuß erreicht, so daß Hales auf den Gedanken kam, den erzeugten Druck durch das soviel schwerere Quecksilber zu messen.

Zu diesem Zwecke schnitt er einen Weinstock, bei a in Abb. 14, einige Fuß über der Erde ab. Der Stumpf ab besaß keine Zweige und war etwa einen Zoll dick. Daran befestigte er die Röhre ayz und goß in diese Quecksilber. Noch an demselben Tage stieg das Quecksilber bis z und stand 15 Zoll höher als im Schenkel x.

Abb. 14
Abb. 14. Das Steigen des Pflanzensaftes in einer 25 Fuß langen Röhre (Hales' Statik der Gewächse, Tab. IV, Fig. 17).

Einige Tage später betrug die Höhe des Quecksilbers 32½ Zoll. Sie würde noch mehr betragen haben, wenn mehr Quecksilber in der Röhre gewesen wäre. Die Versuche wurden im April angestellt. Im Verlauf des Monats Mai nahm die[Pg 76] Kraft des Saftes nach und nach ab. Als die Quecksilberhöhe 32½ Zoll betrug, war diese Kraft dem Drucke einer 36 Fuß 5 Zoll hohen Wassersäule gleich. Bei einem anderen derartigen Versuch hob diese Kraft des Saftes das Quecksilber auf 38 Zoll, was dem Drucke einer 43 Fuß 3 Zoll hohen Wassersäule entsprach.

Hales wies darauf nach, daß diese Kraft etwa fünfmal so groß ist wie der Druck des Blutes in einer Pulsader des Pferdes und siebenmal größer als der Blutdruck beim Hunde. Den Druck des Blutes ermittelte er dadurch, daß er die Tiere lebend auf dem Rücken festband und eine große Pulsader öffnete. Darauf verband er diese Ader mit einem Glasrohr von 10 Fuß Länge und 1/8 Zoll Durchmesser. In diesem Rohr stieg das Blut eines Pferdes 8 Fuß 3 Zoll, dasjenige eines kleinen Hundes dagegen 6½ Fuß hoch empor.

Die Ansicht, daß in der Pflanze ein Kreislauf der Flüssigkeit wie in dem Gefäßsystem der Tiere stattfinde, suchte Hales gleichfalls durch Versuche zu widerlegen. So brachte er an transpirierenden Pflanzen oder Ästen geeignete Einschnitte übereinander an, die sämtlich bis zum Marke gingen und nach den vier Himmelsgegenden gerichtet waren. »Obgleich auf solche Weise dem Safte wiederholt der gerade Weg benommen war, sagt Hales, ging dennoch eine erhebliche Menge Feuchtigkeit durch den transpirierenden Ast hindurch. Auch wurde die obere Fläche der Einschnitte nicht etwa feucht, was doch bei einem Kreislauf des Saftes hätte eintreten müssen.«

Abb. 15
Abb. 15. Die Bestimmung des Wurzeldruckes mittelst des Quecksilbermanometers (Hales, Statik der Gewächse, Tab. IV, Fig. 18).

Hales dehnte seine Messungen von der Pflanze ausgehend auf den Boden aus. Er entnahm dem Boden Proben aus verschiedener Tiefe und bestimmte seinen Feuchtigkeitsgehalt. Ferner bestimmte er die Ausdünstung des Bodens ihrer Größe nach und verglich die gewonnenen Zahlen mit der Verdunstung des Wassers. Wenn auch die erhaltenen Werte noch mit manchen Fehlern behaftet, die Versuche zum Teil roh und die Versuchsbedingungen nicht sämtlich bekannt waren, so verdient es doch die größte[Pg 77] Anerkennung, daß uns hier zum ersten Male das Streben begegnet, mit wissenschaftlicher Gründlichkeit ein bisher gänzlich unbekanntes Gebiet der Forschung zu erschließen. Hales wird daher mit Recht als der eigentliche Vater der Pflanzenphysiologie betrachtet. Er hat nicht nur den Flüssigkeitsverbrauch, sondern auch den Gaswechsel der Pflanze nach wissenschaftlichem Verfahren zu erforschen gesucht und zwar mit solchem Erfolge, daß wir ihm auch einen wesentlichen Anteil an der Begründung der neueren Chemie zusprechen müssen. Ist es doch Hales, dem diese Wissenschaft eins ihrer wichtigsten Hilfsmittel, die pneumatische Wanne nämlich, sowie wertvolle Untersuchungen über die Atmung und die Verbrennung verdankt. Allerdings wurden die Ergebnisse seines Forschens dadurch sehr getrübt, daß er noch nicht imstande war, die Gasarten zu unterscheiden. Für Hales war noch jeder elastisch flüssige Stoff, sei es, daß er durch Destillation, durch Gärung oder bei der Lösung entstand, durch verschiedenartige Beimengungen verunreinigte Luft. Schon früher hatte man bemerkt, daß Pflanzenteile, die sich längere Zeit unter einer mit Wasser gefüllten Glocke befinden, Gas entwickeln. Hieraus schloß Hales, daß die Luft an der Zusammensetzung der Pflanzen teilnimmt. Daß sie das Holz durchdringt, wies er vermittelst der Luftpumpe nach, auch erwähnt er die von Grew beschriebenen Dunstlöcher (Spaltöffnungen) und ihre Ähnlichkeit mit den Schweißporen. Durch diese Dunstlöcher dringe die zur Ernährung der Pflanze nötige Luft in den Stamm und die Blätter ein.

Abb. 16
Abb. 16. Hales' Versuche über die trockene Destillation mit Benutzung der pneumatischen Wanne (Hales, Statik, Tafel IX, Fig. 38).

Um das Gas zu untersuchen, das die Pflanzen bei ihrer Zersetzung liefern, bediente Hales sich gläserner Gefäße, die mit Wasser gefüllt und in größeren Behältern umgestülpt wurden (s. Abb. 16). Diese unter dem Namen der pneumatischen Wanne bekannte Vorrichtung hat in der Folge das Studium der Gase außerordentlich gefördert. [Pg 78] Bei der trockenen Destillation von 398 Gran Erbsen erhielt Hales 396 Kubikzoll Gas, das sich an einem Licht entzündete. In einem zweiten Versuch gab ein halber Kubikzoll oder 135 Gran von dem Holz einer Eiche 128 Kubikzoll Gas. Das entstandene Gas nahm einen bedeutend größeren Raum ein. Es hatte sich aus einem Viertel des angewandten Holzes gebildet135.

Sehr wichtig ist, daß Hales seinen Apparat auch auf die Untersuchung der Steinkohle anwandte. Durch die trockene Destillation von 158 Gran Steinkohle erhielt er 180 Kubikzoll brennbare Luft. Hales war wohl der Erste, der auf solche Weise die experimentelle Grundlage für die Fabrikation des Leuchtgases schuf. An eine praktische Verwertung seines Ergebnisses hat man erst hundert Jahre später gedacht.

Daß Hales nicht nur Pflanzenphysiologe war, geht aus seinen oben erwähnten Versuchen über die Größe des Blutdruckes hervor. Hales ermittelte, daß der Druck des Blutes in den größeren Arterien den Blutdruck in den großen Venen um viele Male (nach seinen Bestimmungen 10 bis 12mal) übertrifft. Er maß ferner die Kraft, mit der die Lunge bei der Atmung sich ausdehnt, an einem der Vivisektion unterworfenen Hunde136. Er bestimmte den Durchmesser der Lungenbläschen und berechnete daraus für die Lunge die innere Gesamtfläche, die er viele Male größer als die Oberfläche des betreffenden Tieres fand. An seine Versuche über die Atmung knüpfte er ferner hygienische Winke über die Heizung und die Ventilation der Wohnräume an. Er konstruierte sogar einen Ventilator, um Abhilfe für die ungesunden Zustände herbeizuführen, welche damals auf den englischen Kriegsschiffen herrschten137. Hales wurde von dem Gedanken geleitet, daß seine Untersuchungen insbesondere dem Ackerbau Nutzen gewähren möchten. Es ist ohne Zweifel ein Ausfluß baconischer Philosophie, wenn er sein Werk, durchdrungen von der Bedeutung seiner Entdeckungen, mit den Worten schließt: »Wenn doch diejenigen, die ihre Zeit und ihr Vermögen damit verschwenden daß sie, einer leeren Einbildung folgend, alles in Gold verwandeln wollen, an der Erforschung dieser Vorgänge arbeiteten, so würden sie, anstatt Wind zu ernten, die Lorbeeren erlangen, mit denen nützliche Entdeckungen belohnt werden.«[Pg 79] Wichtig ist, wie Hales seine wenn auch noch unvollkommene Erkenntnis, daß die Luft in die Bildung des Pflanzenkörpers eingeht und dabei ihre Elastizität verliert, durch das Studium chemischer Vorgänge zu erläutern und zu unterstützen sucht. So begegnet uns bei ihm schon jener für die spätere Analyse der Atmosphäre wichtige Versuch, daß Phosphor in einer abgeschlossenen Luftmenge verbrannt und eine dabei eintretende Raumverminderung nachgewiesen wird. Von diesem Versuche und den ähnlichen Versuchen Guerickes138 bis zur Entdeckung der Tatsache, daß die von dem Phosphor gebundene Luft zu der übrig bleibenden Luftmenge stets in einem bestimmten Verhältnis steht, die Luft also aus zwei Gemengteilen zusammengesetzt ist, war nur noch ein Schritt. Auch daß Blei bei seiner Umwandlung in Mennige Luft verschlucke, die sich mit dem Blei vereinige und zur Schwere der Mennige beitrage, führt Hales als Beispiel an. Ja, er erzeugt diese Luft auch durch Erhitzen in seiner Retorte wieder, stellt also schon denselben Versuch an, der Priestley später zur Entdeckung des Sauerstoffs und Lavoisier zur richtigen Deutung des Verbrennungsprozesses geführt hat. Hales besaß somit, wie Black und andere Zeitgenossen, schon die experimentelle Grundlage für diese Deutung. Dennoch konnte man sich von den älteren Vorstellungen nicht frei machen. Das Verschwinden der Luft war für Hales nicht so wesentlich wie die vermeintliche Aufnahme aus dem Feuer herrührender Teilchen.

Nach ihrer chemischen Seite ließ sich die Pflanzenphysiologie erst fördern, nachdem die Chemie selbst erhebliche Fortschritte gemacht hatte. Dies geschah durch die Arbeiten Priestleys, Scheeles und Lavoisiers im Verlauf der zweiten Hälfte des 18. Jahrhunderts. Auf diese Arbeiten fußten Ingen-Housz und de Saussure, die wir in einem späteren Abschnitt als die eigentlichen Begründer der Ernährungsphysiologie kennen lernen werden.

[Pg 80]

6. Der Ausbau der im 17. Jahrhundert begründeten Sexualtheorie.

Außer den im vorigen Abschnitte geschilderten Schritten zur Begründung der Ernährungsphysiologie zeitigte das 18. Jahrhundert auf botanischem Gebiete auch hervorragende Arbeiten, welche den weiteren Ausbau der von Camerarius geschaffenen Sexualtheorie bezweckten. Es sind dies die Bastardierungsversuche Kölreuters, welche das Wesen der pflanzlichen Sexualität in das hellste Licht stellten, und Sprengels Nachweis der wichtigen Rolle, welche die Insekten bei der Befruchtung spielen.

Zwischen dem Erscheinen der Schrift des Camerarius über das Geschlecht der Pflanzen (1694) und dem Werk Kölreuters über den gleichen Gegenstand liegt ein Zeitraum von etwa siebzig Jahren. Innerhalb dieses ausgedehnten Zeitraums wurde zwar für und gegen die neue Lehre viel gestritten, jedoch nur selten der allein den Fortschritt bedingende Weg des Versuches weiter verfolgt. So schreibt Leibniz 1701, die Blüten hätten offenbar die genaueste Beziehung zur Fortpflanzung, und es sei von großem Nutzen in der Fortpflanzungsweise Unterschiede aufzufinden. Leibniz mit seiner Vielgeschäftigkeit war indessen nicht der Mann, um mühevolle, zeitraubende Versuche nach der erwähnten Richtung anzustellen.

Erwähnenswert für diesen Zeitraum sind die Versuche Bradleys139, der zuerst mit Zwitterblüten experimentierte. Bradley pflanzte zwölf Tulpen und sorgte dafür, daß sich in der Nachbarschaft keine Tulpen befanden. Er beseitigte darauf die Staubgefäße dieser Pflanzen, bevor sie sich öffneten. Der Erfolg bestand darin, daß keine von den zwölf Pflanzen Samen entwickelte.

Ein weiterer Fortschritt in der Erkenntnis der Sexualität der Pflanzen war es, daß man wenn auch zunächst vereinzelte[Pg 81] Wahrnehmungen über die Bestäubung durch Insekten machte. Man140 bemerkte z. B. bei einer Wiederholung des soeben erwähnten Versuches, daß Bienen von einem benachbarten Tulpenbeet Blütenstaub auf die der Staubgefäße beraubten Blüten übertrugen, und daß letztere dann reife Samen bildeten. Daneben beschäftigte man sich mit der Frage, wie der Pollen die Entstehung des von der Narbe oft so weit entfernten Samens bewirke. Man kam jedoch hierüber zu keinem Ergebnis.

Das Beste, was in dem Zeitraum zwischen Camerarius und Kölreuter über die Sexualität der Pflanzen veröffentlicht wurde, ist wohl die Abhandlung von Gleditsch vom Jahre 1749141. Die Berliner Akademie der Wissenschaften ließ seit dem Beginn der ihr so günstigen Regierung Friedrichs des Großen der Botanik ihre besondere Förderung angedeihen. Ihr Mitglied Gleditsch schuf in Jahrzehnte währender, unermüdlicher Arbeit einen botanischen Garten, der als ein Muster für derartige Unternehmungen gelten konnte. Es wurden Vorlesungen über Forstwissenschaft eingerichtet und in einem von Gleditsch verfaßten Werk entstand das erste wissenschaftliche Lehrbuch für diese Disziplin. In gleicher Weise war man in Preußen unter der Führung von Gleditsch auch für die Landwirtschaft tätig. Man bemühte sich nicht nur, die Methoden zu verbessern, sondern war auch auf den Anbau neuer Nutzpflanzen bedacht. Es ist erklärlich, daß unter solchen Verhältnissen in Preußen auch die wissenschaftliche Botanik manchen Fortschritt aufwies. Besonders war es wieder Gleditsch, der zu Versuchen mit Pflanzen riet und zahlreiche Pflanzenversuche selbst anstellte. An dieser Stelle sind vor allem die sich über Jahre und zahlreiche Arten erstreckenden Versuche hervorzuheben, über die Gleditsch in der erwähnten Abhandlung berichtet. Er wählte als Versuchsobjekte die diözischen Bäume. Am bekanntesten ist seine Befruchtung einer Palme des Berliner botanischen Gartens durch den Pollen eines in Leipzig wachsenden männlichen Exemplars derselben Art geworden. Gleditsch bringt hierüber folgenden Bericht. Die Berliner Palme sei achtzig Jahre alt und weiblich; sie habe niemals Früchte getragen, auch habe es in Berlin keinen männlichen Baum derselben Art gegeben, wohl aber in Leipzig. Gleditsch ließ sich darauf die Staubgefäßblüten aus Leipzig kommen und streute deren Pollen[Pg 82] auf die in Berlin blühende weibliche Pflanze. Das Ergebnis war der deutlichste Beweis für die Richtigkeit der Lehre von der Sexualität der Pflanzen. Der bis dahin völlig sterile Baum setzte nämlich Früchte an, die im Winter reiften und im darauf folgenden Frühjahr keimten.

In den Jahrzehnten, die zwischen Camerarius und dem großen Vollender seines Werkes, Kölreuter, liegen, schuf Linné sein Pflanzensystem. Letzteres gründete sich zwar auf die Zahl und die Beschaffenheit der Staubgefäße und der Stempel, hat aber im Grunde genommen mit der Feststellung der Sexualität selbst nichts zu tun. Auf mikroskopische und experimentelle Forschungen, die hier allein entscheidend sind, hat Linné zufolge seiner ganzen Richtung wenig Gewicht gelegt.

Mit der Entwicklung der Vorstellungen über die Sexualität der Pflanzen haben wir uns an anderen Stellen142 wiederholt beschäftigt. Die Frage war nur auf experimentellem Wege zu lösen, und die Versuche, sie zu entscheiden, mehrten sich, nachdem die Entdeckung der Samenfäden143 das Interesse für das Wesen des geschlechtlichen Vorganges auf das höchste gesteigert hatte. Im Anschluß an diese Entdeckung hatte Leeuwenhoek die Lehre aufgestellt, das bewegliche männliche Element sei der eigentliche Kernpunkt, aus dem sich der neue Organismus entwickle. Für die Botaniker erhob sich infolgedessen die Frage, wie dieses Element durch den Griffel in die Höhlung des Fruchtknotens gelange. In dem Bestreben, den Befruchtungsvorgang zu erforschen, wandte man sich auch mit Eifer den blütenlosen Pflanzen zu. In Deutschland wurde insbesondere die Naturgeschichte der Algen, Flechten und Moose gefördert144.

Ein neuer großer Fortschritt in der Enträtselung dieser Fragen erfolgte durch Kölreuter. Ist zur Erzeugung von keimfähigen Samen eine Wirkung des Pollens auf den Stempel erforderlich, die sich auf eine zunächst nicht näher zu erklärende Weise der Samenknospe mitteilt, so mußte sich die Frage erheben, welchen Anteil das männliche und das weibliche Element an dem Zustandekommen eines neuen Pflanzenindividuums besitzen. Da letzteres bei normaler Befruchtung[Pg 83] den elterlichen Pflanzen gleicht, so war diese Frage nur durch die Übertragung des Pollens einer Pflanzenart auf die Narbe einer zweiten Art zu entscheiden, wie es schon Camerarius in Vorschlag gebracht hatte. Gelang dieser Versuch, so erwuchs daraus zugleich auch für die Richtigkeit der Sexualtheorie eine neue Bestätigung. Der erste, der auf diesem Wege Erfolg hatte und die Grundlage für alle in der gleichen Richtung sich bewegenden Arbeiten schuf, war der erwähnte Kölreuter145. Kölreuters Werk erhebt sich über alle früheren und gleichzeitigen botanischen Schriften. Es stellt eine mit großem Scharfsinn und außerordentlicher Mühe geschaffene, im Geiste modern wissenschaftlicher Forschung geschriebene Abhandlung dar, auf der alle späteren Untersuchungen über Sexualität und Bastardbildung fußen.

Kölreuter geht von dem Bau des Pollens und den Veränderungen aus, die mit dem Pollen nach der Bestäubung vor sich gehen. Trotz der damals noch unentwickelten, den feineren Strukturverhältnissen nicht gewachsenen mikroskopischen Technik sah er, daß das Pollenkorn eine äußere dicke Haut und ein dünneres, darunter liegendes, ungleich schwächeres Häutchen besitzt. Das Innere erkannte er als eine körnige, im reifen Zustande gleichmäßige, flüssige und durchsichtige Masse (Protoplasma). Er bemerkte ferner die Stacheln und das Aufspringen der äußeren Haut, sah die Deckel, die sich von den in ihr entstehenden Löchern abheben, ja er sah endlich die innere Haut als Ausstülpung aus diesen Löchern hervortreten, beobachtete somit wenigstens den Beginn der Pollenschlauchbildung. Weiter vermochte Kölreuter den Vorgang nicht zu verfolgen. Der gewonnene Einblick war also nur unvollständig. Da Kölreuter trotzdem, losgelöst von der Erfahrung, weiterschritt, so konnte die von ihm geschaffene Theorie des Befruchtungsvorganges das Wesen des letzteren nicht aufhellen. Nach Kölreuter findet die Befruchtung schon auf der Narbe statt, indem sich die dort befindliche Flüssigkeit, die er für den weiblichen Zeugungstoff hielt,[Pg 84] mit der öligen, männlichen Flüssigkeit des Pollenkorns vermische. Diese Mischung werde von der Narbe und dem Griffel aufgesogen und gelange dadurch in den Fruchtknoten, um dort in den Samenanlagen die Keimlinge zu erzeugen.

Den Schleier von diesem für das Verständnis der organischen Welt grundlegenden Vorgang zu lüften, gelang erst den vereinten, mühevollen Anstrengungen zahlreicher Forscher des 19. Jahrhunderts.

Die weiteren Untersuchungen Kölreuters befaßten sich mit der Frage, wie viel Pollenkörner zur Befruchtung nötig seien. Er wies nach, daß ein einziges Pollenkorn genügt, um einen einsamigen Fruchtknoten zu befruchten. Daraus schloß Kölreuter, daß die Zahl der für die Befruchtung nötigen Staubkörner im Verhältnis zu den in der Blüte vorhandenen Staubkörnern sehr gering sei. Er bewies dies durch folgenden Versuch. In einer Blüte von Hibiscus venetianus zählte Kölreuter 4863 Pollenkörner. Die Samenkapsel dieser Pflanze enthält aber bei der vollkommenen natürlichen Befruchtung nur etwa 30 Samen. Um letztere zu erzeugen, waren 50-60 Staubkörner erforderlich. Übertrug Kölreuter die zehnfache Menge auf die Narbe der Pflanze, so erhielt er deswegen nicht mehr und auch nicht etwa vollkommenere Samen. Man sieht, es waren ins kleinste gehende und dennoch für das Verständnis des Befruchtungsvorganges höchst wichtige Versuche, die wir Kölreuter verdanken.

Kölreuter erörtert darauf die Möglichkeit, daß der Pollen der einen Art auf die Narbe der anderen gelange, erklärt aber als echter Naturforscher sofort, daß über den Erfolg einer solch widernatürlichen Vermischung nur der Versuch entscheiden könne. Von vornherein nimmt Kölreuter an, daß diese Vermischung etwas Außergewöhnliches sei. Die Natur, meint er, die jederzeit auch bei scheinbarer Unordnung die schönste Ordnung beobachte, habe dieser Verwirrung bei den Tieren außer durch andere Mittel besonders durch die natürlichen Triebe vorgebeugt. Man müsse daher annehmen, daß die Natur bei den Pflanzen, bei denen der Wind und die Insekten zu einer widernatürlichen Vermischung häufig Gelegenheit gäben, den Wirkungen dieser Vermischung durch ebenso sichere Mittel ihre Kraft zu benehmen gewußt habe. Am ehesten werde diese Vermischung in den botanischen Gärten vorkommen können, besonders wenn die Pflanzen dort so geordnet wären, daß die ähnlichsten am meisten benachbart[Pg 85] seien – bei einer Gruppierung nach dem natürlichen System würden wir heute sagen.

Die erste Bastardierung gelang nach vielen vergeblichen Versuchen im Jahre 1760 an zwei Tabaksarten. »Weil ich schon lange von dem Geschlecht der Pflanzen überzeugt war,« sagt Kölreuter146 darüber, »und an der Möglichkeit einer Bastarderzeugung niemals gezweifelt hatte, so ließ ich mich durch nichts abhalten, Versuche darüber anzustellen, in der Hoffnung, daß ich vielleicht einmal so glücklich sein würde, eine Bastardpflanze zu Wege zu bringen. Ich habe es endlich auch bei der Nicotiana paniculata und der Nicotiana rustica soweit gebracht, daß ich mit dem Pollen der ersteren den Stempel der anderen befruchtet, vollkommene Samen erhalten und aus diesen noch in demselben Jahre junge Pflanzen gezogen habe.«

Da Kölreuter diesen Versuch bei vielen Blumen zu verschiedenen Zeiten und mit aller nur möglichen Vorsicht angestellt und jedesmal vollkommenen Samen erhalten hatte, waren jeder Irrtum und die Möglichkeit eines Versehens ausgeschlossen. Einen weiteren Beweis, daß die künstliche Bastardierung gelungen sei, brachte die Aussaat der durch jene Versuche erhaltenen Samen.

Kölreuter bemerkte nämlich zu seiner größten Genugtuung, daß die aus dem Samen des Bastards gezogenen Pflanzen nicht nur in der Ausbreitung ihrer Äste und der Farbe der Blumen, sondern auch bezüglich fast aller zur Blume gehörenden Teile die Mitte zwischen beiden Stammarten innehielten. Dieses Ergebnis war mit der im 18. Jahrhundert von vielen gehegten, unter dem Namen der Evolutionstheorie bekannten Lehre, daß die Embryonen fertig in den weiblichen Organen vorhanden seien und es zu ihrer Belebung nur eines Anstoßes durch den Pollen oder Samen bedürfe, wie auch Kölreuter hervorhebt, ganz unvereinbar. Durch seine Versuche, meint er mit Recht, sei die alte aristotelische Lehre von der Erzeugung durch zweierlei Zeugungsstoff vollkommen bestätigt.

In einem Punkte zeigte der Bastard jedoch ein bemerkenswertes Verhalten. Seine Staubgefäße waren auffallend klein und enthielten weniger Blütenstaub. Dieser war auch nicht mit Flüssigkeit gefüllt, sondern bestand aus leeren Bälgen, die eine Befruchtung nicht hervorzurufen vermochten. »Es ist also«, ruft Kölreuter aus147, »diese Pflanze im eigentlichen Sinne ein wahrer[Pg 86] und, soviel mir bekannt, der erste botanische Maulesel, der auf künstlichem Wege hervorgebracht worden ist.« Obgleich der Bastardtabak durch seinen eigenen Staub nicht befruchtet werden konnte, gelang es doch, ihn mit dem Pollen seiner Stammarten, sei es die Vater- oder die Mutterpflanze, zu befruchten. In beiden Fällen erhielt Kölreuter vollkommene Samen, wenn auch in einer ungleich geringeren Zahl als bei den nicht bastardierten Pflanzen durch »eine der Ordnung der Natur gemäße Befruchtung« erzeugt werden.

Das Nächstliegende war nun, den Versuch sozusagen umzukehren und die Narbe von Nicotiana paniculata mit dem Pollen der Nicotiana rustica zu bestäuben. Zwar fand auch dieses Mal eine Befruchtung statt; doch waren die erhaltenen Samen kleiner als die natürlichen, und von sechzig dieser künstlich erhaltenen Samen ging nicht einer auf. Indessen übertrafen sie die unbefruchteten Samen, welche man von einer Blume erhält, die überhaupt keinen Pollen empfangen hat, bei weitem. Kölreuter schloß daraus, daß in ihnen trotz ihrer Unfruchtbarkeit doch etwas von einer Befruchtung und etwas von einem darauf erfolgten Wachstum vor sich gegangen sein müsse.

Daß Pflanzenbastarde möglich seien, hatte Linné aus »philosophischen Gründen« angenommen, ohne je ein Experiment nach dieser Richtung zu machen. So leitete er eine Veronikaart von zwei anderen Arten derselben Pflanze ab, nur weil alle drei Formen in demselben Gebiet vorkamen. Die Gattung Saponaria sollte durch Bestäubung mit dem Pollen einer Gentiana, eine Actaeaart, mit Rhus toxicodendron Bastardformen liefern. Diesen vagen Vermutungen Linnés gegenüber wies Kölreuter durch zahlreiche Versuche nach, daß Bastardpflanzen sich nicht so leicht erzeugen lassen und daß die Bastardierung eine weit größere Ähnlichkeit der betreffenden Arten voraussetzt, als man bisher wohl angenommen hatte. Bei vielen Pflanzen ergab sich trotz ihrer nahen Verwandtschaft bei Kölreuters Bastardierungsversuchen nicht der geringste Erfolg.

Auf die epochemachende Veröffentlichung Kölreuters von 1761 folgte die zweite Abhandlung im Jahre 1763. Sie brachte eine Fülle von neuem, die erste Mitteilung ergänzenden Material. Von 60 Samen des Bastards von Nicotiana paniculata (♀) und Nicotiana rustica (♂), die Kölreuter ausgesät hatte, war, wie 1761 erwähnt, kein einziger aufgegangen148. Eine Wiederholung[Pg 87] brachte ein teilweises Gelingen. Kölreuter erhielt nämlich von vier Kapseln, deren Samen er zu verschiedener Zeit gesät hatte, acht Pflanzen, eine Zahl, die allerdings im Verhältnis zur Zahl der in den vier Kapseln befindlichen Samenkörner nur gering war.

Grundlegend waren auch die Versuche, die Bastarde durch wiederholte Bestäubung mit dem Blütenstaub der väterlichen Urform in diese zurückzuführen. Wurde die Narbe eines Bastards von Nicot. rustica ♀ und Nicot. panic. ♂ dem Pollen von Nicotiana rustica ♂ bestäubt, so näherte sich die aus dieser Vermischung hervorgehende Generation wieder der Nicotiana rustica; und diese Annäherung trat bei einer weiteren durch abermalige Bestäubung mit dem Pollen von Nicotiana rustica erzeugten Generation noch mehr in die Erscheinung.

Weitere Bastarde rief Kölreuter innerhalb der Gattungen Dianthus, Hyoscyamus, Verbascum, Mattiola und anderen ins Leben. Ferner gelang ihm die Erzeugung von zusammengesetzten, d. h. aus drei oder mehr Arten hervorgegangenen Bastarden. So erfolgte die Vermischung von drei Nicotianaarten nach folgendem Schema:

Nicot. rustica }  
Nicot. panic. }
Nicot. panic.
Nicot. glut.

Zu den merkwürdigsten Versuchen gehört Kölreuters Erzeugung von Bastarden höheren Grades oder die »gänzlich vollbrachte Verwandlung einer natürlichen Pflanzenart in eine andere«. So gelingt die Verwandlung der Nicotiana rustica in Nicotiana paniculata nach folgendem Schema:

Nicot. rustica }  
Nicot. panic. }  
Nicot. panic. }  
Nicot. panic. }
Nicot. panic.

Es wurde also durch vier Generationen, ausgehend von Nicotiana rustica, zur Bestäubung stets wieder der Pollen von Nicotiana paniculata benutzt. Das Ergebnis war, daß die vierte so erzeugte Generation in allen Eigenschaften Pflanzen der Nicotiana paniculata waren. Um gänzlich verwandelt zu werden, mußten einige Pflanzen wohl einige Grade mehr durchlaufen. Bei anderen wiederum ließ sich die völlige Umwandlung schon in der zweiten oder dritten Generation erreichen. Ähnlich verhielt es sich mit der Zurückführung einer bereits verwandelten Art in die ursprüngliche[Pg 88] Mutterpflanze. Die Ergebnisse waren so wunderbar, daß Kölreuter selbst sagt, die Möglichkeit solcher Vorgänge würde ihm zu Beginn seiner Versuche nicht einmal im Traume eingefallen sein.

Daß die Bastardbildung in der Natur keinen solchen Umfang besitzt, als man nach diesen Versuchen vermuten sollte, hat, wie Kölreuter gleichfalls experimentell nachwies, seinen guten Grund. Kommt nämlich fremder und von derselben Art herrührender Blütenstaub auf die Narbe, so wirkt auch bei naher Verwandtschaft nur der letztere. Trotzdem ist, wie neuere Forschungen149 dargetan haben, die Bastardbildung vielleicht eins der Mittel, die zur Entstehung neuer Arten führen. Wenn auch durch den Wind und durch die Insekten zu jeder Zeit und aller Orten Verwechslungen des Pollens bewirkt werden, so hat, wie Kölreuter sich ausdrückt, der Schöpfer »durch ein in die Natur gelegtes Gesetz, das wir nicht genug bewundern können, doch jeder zu besorgenden Unordnung und Verwirrung vorgebeugt. Dies Gesetz besteht darin, daß wenn eigener und fremder Samenstaub etwa zu gleicher Zeit auf die Narbe kommen, der eigene männliche Staub nur allein angenommen, der fremde hingegen gänzlich von der Befruchtung ausgeschlossen wird«.

Durchdrungen von der Bedeutung dieser Ergebnisse meint Kölreuter, man habe die Verwandlung der Metalle ineinander seit uralten Zeiten für möglich gehalten, es sei aber keinem Menschen eingefallen, eine Pflanze in eine andere oder ein Tier in ein anderes zu verwandeln, vermutlich weil man dies für schwieriger angesehen. Dennoch habe er das letztere Problem in wenig Jahren gelöst, während man seit vielen Jahrhunderten die Metallverwandlung vergeblich zu bewerkstelligen suche. Kölreuter kam auch auf den Gedanken, das gleiche Problem auf die Tierwelt zu übertragen. Auch hier, meinte er, werde sich aller Wahrscheinlichkeit nach die Verwandlung auf die gleichen Gesetze gründen und sich ebenso gewiß wie bei den Pflanzen bewerkstelligen lassen. »Warum sollte man,« ruft er aus, »einen Kanarienvogel nicht in einen Hänfling verwandeln können.« Wenn man erwäge, daß durch seine Bastardierungen die Umwandlung einer Pflanzenart in eine zweite von wesentlich anderem Aussehen gelungen sei, so dürfe man etwas Ähnliches in der Tierwelt nicht für unmöglich halten. Unter Anspielung auf Ovids »Metamorphosen« bemerkt Kölreuter, daß die ihm gelungenen Umwandlungen den Vorzug[Pg 89] besäßen, nicht nur in der Einbildung eines Dichters, sondern in der Wirklichkeit zu bestehen.

Mit der künstlichen Züchtung von Bastarden aus verschiedenen Tierarten hat sich zuerst eingehender der italienische Physiologe Spallanzani150 beschäftigt. Seine Versuche erstreckten sich besonders auf Amphibien und Insekten. Dabei bediente sich Spallanzani des Hilfsmittels der künstlichen Befruchtung.

Wir haben bei Kölreuters Arbeiten etwas länger verweilt, weil sie zu den besten und lehrreichsten physiologischen Versuchen zählen. Seine Schrift wird nie veralten151. Sie mutet uns an, als ob sie unserer Zeit gehört und bildet die Grundlage alles dessen, was wir über die Sexualität der Pflanzen wissen. Mehr beiläufig machte Kölreuter einige sehr wichtige Beobachtungen, die er jedoch nicht weiter verfolgte. Sie bildeten vielmehr den Ausgangspunkt für die Erschließung weiter neuer Gebiete durch Sprengel und spätere Forscher. So erkannte Kölreuter die Dichogamie von Epilobium, die Reizbewegungen gewisser Staubgefäße und Narben, sowie an Verbascum die Tatsache, daß der Blütenstaub nicht befruchtend auf dieselbe Blüte wirkt. Das Seltsamste, sagt er bei der Schilderung der Sexualvorgänge von Verbascum, sei ihm gewesen, daß sich die Blüte durch ihren eigenen Staub nicht befruchten ließ. Zuerst wollte er nicht an die Richtigkeit seiner Beobachtung glauben. Fortgesetzte Versuche bestätigten sie jedoch. »Ich halte mich aber,« sagt er, »da ich keinen sicheren Grund davon zu geben weiß, nicht länger dabei auf.«

Die Entdeckung, daß der Pollen nicht nur durch den Wind, sondern auch durch Insekten auf die Narben übertragen wird, während diese Tiere dem in den Blüten enthaltenen Nektar nachgehen, rührt gleichfalls von Kölreuter her. »Bei allen Kürbisgewächsen, Schwertlilien und nicht wenigen Malvenarten,« sagt er152, »geschieht die Bestäubung allein durch Insekten. Ich erstaunte, als ich diese Entdeckung an einer der genannten Pflanzen machte und sah, daß die Natur eine so wichtige Sache wie die Fortpflanzung einem bloßen Ungefähr, einem glücklichen Zufall überlassen habe. Mein Erstaunen verwandelte sich aber bei fortgesetzter Beobachtung in die Bewunderung eines dem ersten Anschein nach zufälligen, in der Tat aber sichersten Mittels, dessen sich hier der weise Schöpfer bei der Fortpflanzung bedient.«

[Pg 90]

»Zwar verrieten,« fährt er fort, »die Bewegungen der Insekten nicht die Absicht, die Bestäubung zu verrichten, obgleich sie nicht nur für die Blumen, sondern auch für die Erhaltung jener Tiere die allerwichtigste Handlung ist.« Kölreuter erkannte, daß zahlreiche Blumen einen zuckerhaltigen Saft, den Nektar, absondern und daß diesem der Besuch der Insekten gilt.

Von besonderem Interesse ist Kölreuters Aufhellung des Zusammenwirkens von Tier und Pflanze bei der Mistel153. Die Bestäubung der weiblichen Misteln, sie mögen nun mit den männlichen auf einem Baume stehen oder in großer Entfernung auf anderen Bäumen wachsen, geschieht nach Kölreuter allein durch Insekten und zwar durch gewisse Fliegen, die eine in den männlichen wie auch in den weiblichen Blüten befindliche süße Flüssigkeit aufsuchen. Ziehe man die Beschaffenheit und die Menge des Blütenstaubes in Betracht, so müsse man einsehen, daß man hier die Bestäubung durch den Wind vergebens erwarten müßte. Wie die Befruchtung von Insekten, so hänge die Verbreitung der Samen der Mistel von Vögeln ab. Es liege hier also der bis dahin ganz unbekannte Fall vor, daß das Bestehen einer Pflanze an die Existenz von zwei ganz verschiedenen Tierklassen geknüpft sei. Andererseits sei die Erhaltung der in Betracht kommenden Insekten und Vögel wieder auf das Dasein der Mistel gegründet, ein Beispiel, »woraus die genaue und notwendige Verbindung aller Dinge untereinander sattsam erhelle«.

Die Entdeckung Kölreuters über die Beziehungen zwischen Blumen und Insekten weiter verfolgt und im einzelnen den Nachweis des Zusammenwirkens der Tier- und Pflanzenwelt erbracht zu haben, ist das große Verdienst Sprengels, von dem mit Recht behauptet wurde154, daß er an Kühnheit des Gedankens und an Genialität des Forschens weit über Camerarius, ja selbst über Kölreuter hinausragte. Leider hatte dies zur Folge, daß er von seinen Zeitgenossen und Epigonen noch weniger verstanden wurde als jene Männer.

Christian Konrad Sprengel wurde im Jahre 1750 als der Sohn eines Geistlichen in Brandenburg a. d. H. geboren. Nachdem er Theologie und Philologie studiert hatte, wurde er zunächst Lehrer in Berlin und darauf in Spandau (1780) Rektor einer Schule. Sprengel widmete sich der Botanik mit solchem Eifer, daß ihm schließlich von seiten des ihm vorgesetzten kirchlichen[Pg 91] Superintendenten und der Spandauer Bürgerschaft Widerwärtigkeiten erwuchsen. Der Superintendent als Inspektor der Schule konnte es Sprengel nicht verzeihen, daß er am Sonntag botanische Exkursionen machte und darüber die Predigt versäumte. Im Jahre 1794, ein Jahr nach der Herausgabe seines Werkes, schied er daher aus dem Amte.

Die zeitgenössischen Botaniker vermochten die Ergebnisse der Arbeiten Sprengels nicht zu würdigen. Sein Buch fand nur geringen Beifall. Dies bewog ihn leider, seine Forschungen ganz aufzugeben und sich wieder der Philologie zu widmen. Einsam, verkannt und verarmt starb er am 7. April des Jahres 1816. Sprengels Werk, sowie sein Name gerieten in Vergessenheit, bis kein geringerer als Darwin, dessen Forschungen auf die Beziehungen zwischen Blumen und Insekten ein neues Licht geworfen haben, wieder auf Sprengel und dessen »eigentümliches Buch mit dem sonderbaren Titel« aufmerksam machte155.

Daß Blütenstaub auf die Narbe gelangen muß, wenn sich aus dem Fruchtknoten eine mit keimfähigen Samenkörnern gefüllte Samenkapsel bilden soll, war durch frühere Forschungen nachgewiesen. Sprengel blieb der Nachweis vorbehalten, »daß die Befruchtung des Fruchtknotens der Endzweck ist, auf den sich der ganze Aufbau der Saftblume bezieht und aus dem er sich völlig erklären läßt«156. Über den Vorgang der Befruchtung selbst konnten erst die mikroskopischen Untersuchungen des 19. Jahrhunderts Aufschluß bringen157. Auch die Mikroskopiker jener Zeit, wie Ledermüller158, bemühten sich vergeblich, die Vorgänge, die nach der Bestäubung der Blüten eintreten und zur Befruchtung führen, zu verfolgen. »Ich habe mir,« sagt Ledermüller159, »alle Mühe gegeben, Öffnungen auf der Narbe zu sehen, in welche die Körner des Blütenstaubes kommen möchten, allein ich habe solche nicht entdecken können. Ich glaube daher, daß nicht der Staub selbst, sondern vielmehr die in seinen Körnern[Pg 92] eingeschlossene Substanz die Befruchtung veranlaßt.« Jedoch ist Ledermüller wohl bekannt, daß sich in manchen Fällen in dem Griffel ein Kanal nachweisen läßt160. Er erwähnt auch, daß von anderer Seite ein Eindringen des Staubes in diesen Kanal behauptet und der Befruchtungsvorgang in dieser Erscheinung erblickt werde.

Sprengel glaubte, daß ein aus den Pollenkörnern hervorschwitzendes Öl die befruchtende Substanz sei. Wenn der Staub auf die Narbe gekommen ist, meint Sprengel, so dringt zwar nicht er selbst, da er viel zu grob sei, wohl aber das feine, befruchtende Wesen, welches er enthält, durch die Narbe hindurch in das Innere des Fruchtknotens und wirkt dort auf die Samenanlagen. Wegen der Ähnlichkeit dieser Befruchtungsart mit derjenigen im Tierreich nenne man mit Recht die Staubgefäße den männlichen, den Stempel dagegen den weiblichen Befruchtungsteil. Und es sei leicht einzusehen, daß dieses die wesentlichsten Teile der Blume seien. Die Klarstellung dieser Verhältnisse blieb jedoch, wie schon erwähnt, dem 19. Jahrhundert vorbehalten.

Abb. 17
Abb. 17. Die Blüte des Sumpfstorchschnabels. (Aus Sprengel, das entdeckte Geheimnis der Natur.)

Auf die Anpassung der Blüten an die Bestäubung durch Insekten wurde Sprengel besonders durch das Studium der Nektar absondernden Organe geführt. Als er im Sommer des Jahres 1787 die Blume des Waldstorchschnabels (Geranium silvaticum) aufmerksam betrachtete, fand er, daß der unterste Teil ihrer Kronenblätter auf der inneren Seite und an den beiden Rändern mit feinen Haaren versehen ist. Unter diesen Haaren erblickte er fünf Drüsen und fünf von diesen Drüsen abgesonderte Safttröpfchen, die, wie er erkannte, gewissen Insekten zur Nahrung dienen. Sprengel schloß, daß durch die Haare dafür gesorgt sei, daß der Saft nicht vom Regen verdorben werde. Da die Blume des Storchschnabels aufrecht steht und ziemlich groß ist, so könne es vorkommen[Pg 93], daß Regentropfen in sie hineinfallen. Es könne aber kein Tropfen zu einem Safttröpfchen gelangen und sich mit ihm vermischen, weil jeder Tropfen von den Haaren, die sich darüber befinden, aufgehalten werde. Ein Insekt dagegen werde durch diese Haare nicht daran gehindert, zu den Safttröpfchen zu gelangen. Dies war das Ergebnis von Sprengels Untersuchung des Sumpfstorchschnabels. Ähnliche Beobachtungen stellte er an anderen Saftblumen an. Er fand sie alle so eingerichtet, daß zwar die Insekten leicht zum Saft gelangen können, der Regen ihn aber nicht verderben kann. Sprengel schloß daraus, daß der Saft um der Insekten willen abgesondert werde, und daß der Saft, damit die Insekten ihn rein und unverdorben genießen könnten, gegen den Regen gesichert sei. Daß die Haare nicht immer als Schutz gegen Regen dienen, sondern in manchen Fällen auch die Aufgabe haben, unberufene Gäste von den Blumen fern zu halten, ist Sprengel noch entgangen.

Später untersuchte Sprengel das Vergißmeinnicht (Myosotis palustris). Er fand, daß auch bei dieser Blume der Saft gegen den Regen völlig gesichert ist. Zugleich fiel ihm der gelbe Ring auf, welcher die Öffnung der Kronenröhre umgibt und gegen die blaue Farbe des Kronensaums so schön absticht. Sollte wohl, dachte er, dieser Umstand sich auch auf die Insekten beziehen und die Natur diesen Ring deshalb so auffallend gefärbt haben, damit er den Insekten den Weg zum Safthalter zeige? Sprengel untersuchte mit Rücksicht auf diese Annahme andere Blumen. Er erkannte, daß sich solche Flecken, Figuren, Linien oder Tüpfel von besonderer Farbe dort zeigen, wo sich der Eingang zum Safthalter befindet. Nun schloß er: »Wenn die Krone wegen der Insekten an einer besonderen Stelle besonders gefärbt ist, so ist sie überhaupt der Insekten wegen gefärbt; und wenn jene besondere Farbe eines Teiles der Krone dazu dient, daß ein Insekt, das sich auf die Blume gesetzt hat, den rechten Weg zum Saft leicht finden kann, so dient die Farbe der Krone dazu, daß die Blumen den Insekten als Saftbehältnisse schon von weitem in die Augen fallen.«

Als Sprengel einige Arten der Iris untersuchte, fand er, daß ihre Blumen gar nicht anders befruchtet werden können als durch Insekten. Er untersuchte, ob auch andere Blumen so gebaut seien und überzeugte sich, daß viele, ja vielleicht alle Saftblumen, von den Insekten, die sich von dem Safte nähren, befruchtet werden. »Dann wäre«, sagt er, »diese Ernährung der[Pg 94] Insekten zwar in Ansehung ihrer selbst Endzweck, in Ansehung der Blumen aber nur das Mittel zu deren Befruchtung.«

Ferner entdeckte Sprengel, daß die Staubgefäße sich mitunter früher entwickeln als die Stempel, eine Beobachtung, die er zum ersten Male am schmalblättrigen Weidenröschen (Epilobium angustifolium) machte. Das Gegenteil lernte er an der gemeinen Wolfsmilch (Euphorbia Cyparissias) kennen. Er fand, daß bei dieser Pflanze zunächst der Griffel aus der Blume hervorragt, während von den Staubgefäßen noch nichts zu sehen ist. Die Staubgefäße befinden sich während dieses Zustandes noch am Grunde der Krone und enthalten noch nicht einmal fertig gebildeten Staub. Nach einigen Tagen strecken sie sich und versenden ihren Staub. Wenn die Insekten in eine ältere Blume hineinkriechen, so streifen sie diesen Staub ab. Besuchen sie dann eine jüngere Blume, so gelangt der Staub dort auf die Narbe und übt seine befruchtende Wirkung aus161.

Die als Dichogamie bezeichnete ungleichzeitige Entwicklung der Staubgefäße und der Stempel ist, wie auch alle späteren Forschungen dargetan haben, das gewöhnlichste und einfachste Mittel, um die Selbstbefruchtung einer Zwitterblume zu verhindern. Öffnen sich die Staubbeutel, wenn die Narben noch unentwickelt sind, so heißt die Pflanze protandrisch. Wird die Narbe vor der Verstäubung empfängnisfähig, so kann sie nur den Blütenstaub älterer Blumen empfangen. Die Pflanze wird dann protogynisch genannt. Auf die im vorstehenden kurz geschilderten Hauptentdeckungen Sprengels gründete er die Theorie, daß der ganze Bau der Saftblumen in allen ihren Einzelheiten der Bestäubung durch Insekten angepaßt sei.

Von Interesse sind auch Sprengels Ausführungen über seine von dem Herkommen völlig abweichende Art des botanischen Studiums. Wer sich Blumen vom Felde hole und sie auf dem Zimmer untersuche, der werde nicht den Plan der Natur im Bau der Blumen entdecken. Man müsse die Pflanzen vielmehr an ihrem Standort untersuchen und darauf achten, ob sie von Insekten und von welchen Insekten sie besucht werden, wie sich die Insekten verhalten, ob sie die Staubbeutel oder die Narbe berühren. Kurz, man müsse die Natur auf der Tat zu ertappen suchen.

[Pg 95]

Wie Sprengel eine der bekanntesten Anpassungen solcher Art im einzelnen aufdeckt, zeigt seine Untersuchung der Osterluzzei (Aristolochia Clematitis), einer in Gebirgswäldern häufig vorkommenden protogynischen Pflanze. Sprengel hatte fast jedesmal kleine Fliegen in dem Kessel (Abb. 18, k) der aufrecht stehenden Krone A gefunden, während in dem Kessel einer herabhängenden Krone (B) keine einzige Fliege war. Sprengel glaubte zuerst, das Innere der Krone sei glatt, so daß die Insekten, wenn die Blume sich nach unten kehrt, herausfielen. Als diese Vermutung indessen nicht bestätigt wurde, schnitt er die Krone auf. Da sah er, »daß die Röhre der aufrechtstehenden Blume mit steifen, fadenförmigen Haaren besetzt ist. Diese Haare sind mit ihrer Spitze nicht der Öffnung der Krone, sondern dem Kessel zugekehrt und bilden eine kleine Reuse, durch welche die Fliegen zwar leicht in den Kessel hinein, aber nicht wieder herauskriechen können. In der herabhängenden Blume sind dagegen die Haare verwelkt. Hierdurch war also das Gefängnis geöffnet worden, und die Fliegen hatten nicht gesäumt, sich wieder ins Freie zu begeben.«

Abb. 18
Abb. 18. Blüte der Osterluzzei. A vor und B nach der Bestäubung162.

Sprengel zeigte, daß die Blume der Aristolochia drei verschiedene Zustände durchläuft. Nachdem sie eine bestimmte Größe erlangt und sich geöffnet hat, scheint sie zwar zu blühen, sie ist aber trotzdem nicht fähig, befruchtet zu werden, weil zunächst weder ein Staubgefäß seine gehörige Reife noch die Narbe ihre völlige Ausbildung erhalten haben. Während dieses Zustandes fängt die Blume eine Anzahl Fliegen ein, von denen sie im zweiten Stadium ihrer Entwicklung befruchtet wird. Sobald die Natur[Pg 96] diesen Endzweck erreicht hat, versetzt sie die Blume in den dritten Zustand. Die Blume kehrt sich nämlich um, die kleine Reuse verschwindet, und die Fliegen erhalten ihre Freiheit wieder. Daß bei der Osterluzzei Fremdbestäubung stattfindet, indem die befreiten, mit dem Pollen bedeckten Insekten die früher als die Staubbeutel sich entfaltende Narbe einer jüngeren Blume bestäuben, hat Sprengel übersehen. Im übrigen war er der erste, der bei anderen Pflanzen auf die Fremdbestäubung aufmerksam gemacht und die Dichogamie als das sicherste Mittel zur Erreichung der Fremdbestäubung nachgewiesen hat. »Da viele Blumen«, sagt er, »getrennten Geschlechtes und viele Zwitterblumen dichogam sind, so scheint die Natur es nicht haben zu wollen, daß irgend eine Blume durch ihren eigenen Staub befruchtet wird«163.

Von den wunderbaren Einrichtungen, die Sprengel auf jenen Zweck zurückführte, seien noch diejenigen erwähnt, welche die Blüten der Berberitze, des Wiesensalbeis (siehe Abb. 19) und der Orchideen aufweisen.

Bei Berberis beschreibt Sprengel das Verhalten der Staubgefäße, die sich bei der Berührung durch ein Insekt gegen den Stempel bewegen. Allerdings glaubte er, daß dieses Verhalten auf eine Selbstbestäubung hindeute, während tatsächlich das die Blüte besuchende Insekt durch die reizbaren Staubfäden mit Blütenstaub bedeckt wird und ihn auf eine andere Blüte überträgt.

Abb. 19
Abb. 19. Sprengels Abbildung der Befruchtung einer Salbeiblüte (Salvia pratensis). 18. Die Blume in natürlicher Stellung. 24. Die Blume wird von einer Hummel besucht, bestäubt und dadurch befruchtet. Dabei wird das Insekt, indem es die Staubgefäße herabdrückt und mit dem Rücken streift, von neuem mit Blütenstaub beladen, den es auf eine andere Narbe bringt164

Den Blütenbau und die Bestäubungseinrichtungen der Orchideen untersuchte Sprengel zuerst eingehend am breitblättrigen Knabenkraut (Orchis latifolia). Er wies nach, daß die Staubkölbchen, gegen Regen geschützt, in zwei Fächern verborgen sind. Daran, daß sie von selbst aus diesen Fächern herausfallen oder[Pg 97] daß der Wind sie herauswehen könne, sei nicht zu denken. Führte Sprengel einen Grashalm in die Orchideenblüte ein, so sah er voll Verwunderung, daß sich auf diese Weise ein Kölbchen herausholen ließ. »Eine Anthere,« sagt er, »ist es zwar, einen Staubbeutel kann man es aber nicht nennen, da das Kölbchen nicht eine Haut um sich hat, sondern aus lauter Staub besteht.« Den Bestäubungsvorgang selbst hat Sprengel nicht beobachtet. Er nahm an, daß Fliegen ihn vollzögen, während es sich in der Tat um Fremdbestäubung durch Bienen handelt.

Daß die Bienen und andere Insekten, indem sie ihrer Nahrung nachgehen, zugleich, ohne es zu wollen und zu wissen, die Blumen befruchten und dadurch den Grund zu ihrer und ihrer Nachkommen zukünftiger Erhaltung legen, erklärt Sprengel mit Recht als eine der bewundernswürdigsten Veranstaltungen der Natur.

Was andere Insekten anbetrifft, so gebührt Sprengel auch das Verdienst, zuerst auf die Beziehungen zwischen Ameisen und Pflanzen aufmerksam gemacht zu haben. Wir können ihn als den Entdecker der heute als Myrmekophylie bezeichneten Erscheinung betrachten. Sprengel beschrieb sie an der Zaunwicke (Vicia sepium). Er beobachtete, daß diese Pflanze nicht nur in ihren Blumen, sondern auch in ihren Blattwinkeln Saft bereitet und daß die großen Waldameisen diesem Saft nachgehen. Deshalb finde man den Saft nur selten, wenn man die Pflanzen an ihrem Standorte untersuche. Nehme man aber einige Stengel mit nach Hause und stelle man sie in Wasser, so seien nach einigen Tagen die Blattwinkel voll Saft.

Eine auf das Dogma von der Konstanz der Arten gegründete Botanik wußte zu all diesen merkwürdigen Ergebnissen keine Stellung zu nehmen. Man zog es daher vor, sie mit Stillschweigen zu übergehen. Erst als man jenes Dogma aufgegeben, wurde das Interesse an blütenbiologischen Untersuchungen, welche der Lehre von der allmählichen Entwicklung der Arten eine wesentliche Stütze verliehen haben, von neuem lebendig.

Auch an den Pflanzen, welche durch den Wind befruchtet werden, stellte Sprengel Untersuchungen an. So wies er darauf hin, daß bei den Windblütern bei weitem mehr Staub bereitet werden müsse, als zur Befruchtung nötig sei. Denn der Wind wehe nicht jederzeit den Staub gerade auf die weiblichen Blütenteile zu und bringe auch nicht jedes Stäubchen gerade auf eine[Pg 98] Blume, die noch nicht befruchtet sei. Auch wasche der Regen nicht nur viel Staub von den Staubbeuteln ab, da letztere dem Regen bei dergleichen Blumen sehr ausgesetzt seien, sondern er schlage auch den schon abgeflogenen und in der Luft befindlichen Staub nieder. Als Beispiel führt Sprengel die Kiefer an, die so viel Staub verstreue, daß es während ihrer Blütezeit, wie das Volk sage, zuweilen Schwefel regne.

[Pg 99]

7. Fortschritte der Zoologie im 18. Jahrhundert.

Auch hinsichtlich der Zoologie muß die Zeit, die wir zu schildern suchen, als eine Periode des Überwiegens der Systematik bezeichnet werden. Doch mehren sich die Bestrebungen, in den Bau, die Lebensweise und die Entwicklung insbesondere der niederen Tiere einzudringen. Während z. B. noch die Systematiker des 17. Jahrhunderts, darunter Männer wie Ray165, die Korallen für Pflanzen hielten, taucht in den zwanziger Jahren des 18. Jahrhunderts zum erstenmal die Ansicht auf, daß die vermeintlichen Blüten der Polypenstöcke Tiere und die Hartteile, welche Veranlassung zu der Bezeichnung »steinerne Pflanzen« gegeben hatten, deren Absonderungsprodukte seien, eine Ansicht, der freilich die Zoologen jener Zeit mit Spott begegneten. Selbst Linné war noch im Zweifel, ob er sich für die animalische Natur der Zoophyten (Pflanzentiere) entscheiden sollte.

Der erste, der mit den triftigsten Gründen für die richtige Auffassung dieser Lebewesen eintrat, war der Franzose Peyssonnel. Er stellte in den zwanziger Jahren des 18. Jahrhunderts an den Küsten Südfrankreichs und Nordafrikas genaue Untersuchungen an lebenden Polypenstöcken an und zeigte, daß alle Lebensäußerungen an den vermeintlichen Blüten mit der Annahme, daß es sich hier um Pflanzen handle, unvereinbar seien.

Ein helles Licht verbreiteten über diesen Gegenstand etwa 20 Jahre später die Arbeiten Trembleys (1710-1784), mit deren Erscheinen K. E. von Baer eine neue Epoche der Physiologie beginnen ließ. Trembley stellte seine Untersuchungen an einem den Korallentieren und Schwämmen nahe verwandten Geschöpf unserer Binnengewässer, dem Süßwasserpolypen, an. Einige der von ihm erhaltenen Ergebnisse, und zwar diejenigen, die sich[Pg 100] auf das außerordentliche Reproduktionsvermögen dieses Tieres beziehen, mögen hier Erwähnung finden.

Wurde ein Süßwasserpolyp querdurch in zwei, drei oder mehr Teile zerschnitten, so entstand aus jedem Teile nach kurzer Zeit ein vollständiger, neuer Polyp. Die einer, auf beiden Seiten offenen Röhre gleichenden mittleren Stücke schlossen sich an dem einen Ende, während die gegenüber befindliche Öffnung zur Mundöffnung wurde und alsbald wieder mit einem Kranz von neuentstandenen Fangarmen umgeben war. Wurde ein Polyp der Länge nach halbiert, so erhielt man zwei Hautlappen. Diese verwandelten sich sofort in Röhren, indem die Ränder sich zusammenlegten und verwuchsen, so daß aus den Polypenhälften wieder vollständige Tiere wurden.

Abb. 20
Abb. 20. Der Süßwasserpolyp mit Knospen (c) auf einer Wasserpflanze.

Darauf schlitzte Trembley einen Polypen auf, breitete ihn aus und zerhackte ihn in viele kleine Stücke. Alle diese Stücke, sie mochten Arme haben oder nicht, wurden wieder vollkommene Polypen. Das wunderbarste Experiment bestand darin, daß Trembley den Polypen wie einen Handschuhfinger umstülpte. Dieser Versuch möge mit den Worten Trembleys geschildert werden: »Ich beginne damit, daß ich dem Polypen, den ich umkehren will, einen Wurm zu fressen gebe. Hat er diesen verschluckt, so drücke ich den Polypen am hinteren Ende und treibe dadurch den Wurm aus dem Magen nach dem Maule zu, bis ein Stück des Wurmes herauskommt. Dann nehme ich eine ziemlich dicke, stumpfe Schweinsborste, bringe sie an das hintere Ende des Polypen und drücke sie gegen den Magen, der hier leer und sehr erweitert ist. Hierauf drücke ich die Schweinsborste immer weiter voran; je weiter sie eindringt, um so mehr kehrt sich der Polyp um. Kommt die Borste bis an den Wurm, der das Maul des Polypen offen hält, so drückt sie diesen entweder heraus oder sie geht daneben aus dem Maule heraus und ist jetzt von dem hinteren Teile des Polypen bedeckt, der auf diese Weise umgekehrt ist. Es erübrigt nichts weiter, als ihn von der Schweinsborste abzustreifen.

[Pg 101]

Sobald dies geschehen ist, verschließt sich der Mund. Später kehren sich die Lippen nach außen, als wenn sich der Polyp wieder umkrempeln und in seinen vorigen Zustand zurückkehren wollte. Dies versucht er auch in der Tat, und oft glückt es ihm. Meine Hauptaufgabe war daher, den Polypen umgekehrt zu erhalten, um zu sehen, ob er auch in diesem Zustande leben kann. Ein sicheres Mittel besteht darin, daß man das umgekrempelte Tier dicht hinter dem Kopfe mit einer Schweinsborste durchstößt. Ich habe dies mit umgewendeten Polypen getan, ohne daß es sie am Fressen und an ihrer Vermehrung gehindert hätte.«

In der geschilderten Weise wurde durch Trembley die experimentelle Forschungsweise auf ein Gebiet übertragen, das sich kaum der deskriptiven Behandlung erschlossen hatte. Ein Forscher der neueren Zeit, dem der Süßwasserpolyp den Stoff zu einer ausgezeichneten Monographie geboten hat166, rühmt von Trembley, daß alle Nachfolger seine Untersuchungen kaum in ihrer Vollständigkeit zu wiederholen vermocht hätten. Nur der später erfolgte Nachweis einer geschlechtlichen Fortpflanzung dieser Tiere ist als ein wesentlicher Fortschritt zu betrachten. Trembley hat wohl die Eier und Samen bereitenden Organe wahrgenommen, ohne jedoch ihre Bedeutung zu erkennen. Den Vorgang der Knospung (siehe Abb. 20) hatte schon Leeuwenhoek167 am Süßwasserpolypen beobachtet.

Das durch Trembleys Versuche erschlossene Studium der Regeneration wurde von Spallanzani auf höhere Tiere ausgedehnt. (Spallanzani, Über die Wiedererzeugung verloren gegangener Teile und über die Zeugung.) Der italienische Forscher zeigte am Wassersalamander, daß auch dieses Geschöpf ein ganz außerordentliches Regenerationsvermögen besitzt. Wurden die Augen, der Unterkiefer oder die Gliedmaßen abgetrennt, so entstanden sie binnen kurzem in ursprünglicher Form von neuem. Diese Regeneration trat wiederholt ein, wenn die neu entstandenen Organe nochmals wieder entfernt wurden.

Das durch Leeuwenhoek erschlossene Gebiet der mikroskopischen Durchforschung von Aufgüssen oder »Infusionen« wurde während des 18. Jahrhunderts mehr von Liebhabern der Mikroskopie, die daran ihr »Gemüt ergötzen« wollten, als von eigentlichen Zoologen angebaut. Trotzdem wurde hierdurch die[Pg 102] Formenkenntnis, sowie das Wissen von dem Leben der niederen Tiere außerordentlich bereichert. So entstanden die »Mikroskopischen Gemüts- und Augenergötzungen« Ledermüllers168, ein reichillustriertes Werk, das sich gleich den »Arcana naturae« Leeuwenhoeks, ohne ein bestimmtes Ziel allem zuwendet, was die Wißbegierde des dilettantischen Mikroskopikers reizt. Dennoch birgt Ledermüllers Buch die Kunde von mancher wichtigen Entdeckung. In buntem Wechsel führen uns seine Tafeln Schimmelbildungen, Kristallisationen, Kleisterälchen, Haare, Schweißporen, Würmer, Stacheln, Zangen usw. vor. Auch die Nerven werden untersucht. Ledermüller (1719-1769) nennt sie »erschreckliche Folterwerkzeuge für den Menschen« und widerlegt die Ansicht, daß sie hohl seien. Wie Ledermüller berichtet, beschäftigte sich im Jahre 1727 auch die Petersburger Akademie mit dem Bau der Nerven. Sie dehnte ihre Untersuchung sogar auf den Elefanten aus und fand, daß die Nerven dieses Tieres weder hohl noch erheblich dicker seien als diejenigen der übrigen Säugetiere.

Ein besonderes Interesse wandte Ledermüller den Aufgußtierchen zu, denen er den Namen Infusorien beilegte. Abbildung 21 ist die Wiedergabe einer Tafel seines Werkes169, auf der er einige von ihm als Schalmeientierchen (i, k), Deckeltierchen (y, w, x), Glockentierlein (l) bezeichnete, den Gattungen Stentor und Vorticella angehörende Infusorienarten zur Darstellung brachte.

Ledermüllers »Gemüts- und Augenergötzungen« sind die »Insektenbelustigungen« Rosenhofs an die Seite zu stellen. Rösel von Rosenhof (1705-1759) war seines Zeichens Kupferstecher. Er lebte in Nürnberg und widmete sich wie Swammerdam mit großer Ausdauer der Erforschung des Baues und der Lebensweise der kleinsten Organismen, insbesondere der Insekten. Rosenhof wurde dabei, wie manche Naturforscher des 18. Jahrhunderts, von dem Bestreben geleitet, in den Wundern, die uns gerade die niedere Lebewelt in so reichem Maße enthüllt, einen Beweis für die Weisheit und Güte des Schöpfers zu finden.

Während die Mehrzahl der Zoologen sich bei dem Studium der Insekten auf die Beschreibung des Äußeren beschränkte und nur den Zweck verfolgte, jeder Art den ihr zukommenden Platz im System und in der Sammlung anzuweisen, hat Rösel, wie vor[Pg 103] ihm Réaumur, seine Beobachtungen besonders auf die Entwicklung und die Lebensverhältnisse der Insekten gerichtet. Sein Werk ist daher für alle nachfolgenden Generationen eine der wichtigsten Fundgruben über das behandelte Gebiet geworden. Es führt den Titel »Monatlich herausgegebene Insektenbelustigung« und erschien seit 1746. Was den Wert des vier starke Bände umfassenden Werkes besonders erhöht, sind die zahlreichen, ihm beigefügten, in Farbendruck hergestellten Kupfertafeln. Sie geben die Insekten[Pg 104] in einer selbst heute an Naturtreue kaum übertroffenen Ausführung wieder.

Abb. 21.
Abb. 21. Ledermüllers Abbildung von Aufgußtierchen.

Rösel lieferte ferner eine Naturgeschichte der Frösche. Auch dieses Werk zeichnet sich weniger durch das Neue, das es über den Bau dieser Gruppe bringt, als durch die Fülle feiner Beobachtungen über die Entwicklung und die Lebensweise aus.

Trembleys Arbeit über den Süßwasserpolypen regte Rosenhof zu einer Nachprüfung an. Er bestätigte nicht nur Trembleys Beobachtungen, sondern er förderte auch viel Neues über die verschiedenen Polypenarten zutage und stellte es in prächtigen Tafeln dar. Rösel betitelt den betreffenden Abschnitt seines Werkes »Historie der Polypen und anderer kleiner Wasserinsekten«170. Er macht darin auch Mitteilungen über die Naiden. Das sind im süßen Wasser lebende Würmer, an denen Rösel beobachtete, daß sie nicht nur durch Zerschneiden vermehrt werden können, sondern daß sie sich sogar durch eigene Teilung vervielfältigen.

Abb. 22
Abb. 22. Rösel von Rosenhofs Darstellung der Bewegung und der Teilung einer Amöbe. (Gezeichnet nach Tafel 101 des III. Teiles seiner Insektenbelustigungen.)

Ferner finden wir bei ihm wohl eine der ersten Schilderungen der amöboiden Bewegung, die wir hier mit den zugehörigen Abbildungen (Abb. 22) wiedergeben wollen. Rösel beschreibt eine Amöbe unter dem Namen Proteus mit etwa folgenden Worten: »Mein[Pg 105] Proteus ist ein sehr kleines Tier. Es begibt sich sehr langsam von einer Stelle zur anderen, wobei es fortwährend seine Gestalt verändert. Ich beobachtete die Tierchen in größerer Anzahl unter dem zusammengesetzten Mikroskop und bemühte mich, an ihnen eine gewisse Gestalt wahrzunehmen oder etwas an ihnen zu sehen, was einem Kopf, einem Schwanz oder Gliedmaßen gliche, ohne daß mir dies indessen gelungen wäre. Endlich betrachtete ich eins dieser Tiere allein und habe daran folgendes bemerkt: Das Tier besteht aus lauter ungleich großen Körnern. Nachdem es eine Zeitlang einer Kugel geglichen hatte, stellte es sich mir in der Form der mit C bezeichneten Figur dar, sah also einem Kleeblatt ähnlich. Kaum war aber eine halbe Minute verflossen, so sah es wie in D aus. Bald darauf wurde es länger, wie E zeigt. Diese Verlängerung dauerte so lange, daß es aussah, als wollte sich das Tier in zwei Teile teilen. Dies geschah auch wirklich nicht lange danach, indem sich die beiden Teile F und F bei G trennten. Nun hatte ich statt des einen Tieres deren zwei, von denen jedes bald wieder eine andere Gestalt annahm, wie H und I zeigen171

Auch die Frage nach der Entstehung der kleinsten Lebewesen wurde damals lebhaft erörtert. Während von der einen Seite die von Swammerdam und Redi hinsichtlich der Insekten widerlegte Urzeugung zur Erklärung des so rätselhaften Auftretens der Infusorien wieder in Anspruch genommen wurde, nahm Spallanzani (1729-1799) eine Fortpflanzung durch Eier und Keime an. Diese sollten sich in den zur Herstellung des Aufgusses benutzten Stoffen befinden172. Da ein Nachweis dieser Keime aber äußerst schwierig war, so konnte die Lehre von der Urzeugung, zumal sie in Buffon einen angesehenen und eifrigen Vertreter fand, sich bis ins 19. Jahrhundert hinein erhalten. Ihre endgültige Beseitigung erfolgte erst durch die Experimente Pasteurs. Die an anderer Stelle wiedergegebene Abhandlung dieses Forschers ist auch geeignet, den Leser mit dem im 18. Jahrhundert zwischen Spallanzani und seinen Gegnern geführten Streit bekannt zu machen173.

Für die niedersten Pflanzen, wie die Pilze und Flechten, hatte Caesalpin174 gleichfalls Urzeugung angenommen. »Manche Pflanzen«, sagt Caesalpin, »haben überhaupt keinen Samen, sie entstehen[Pg 106] nur durch Fäulnis und sind gewissermaßen ein Mittelding zwischen den Pflanzen und der unbelebten Natur.« Jungius, der aufgeklärteste Botaniker des 17. Jahrhunderts175, auf den sich Linné ganz besonders stützte, bezweifelt dies jedoch, während Linné meinte, daß »auch bei den untersten Stufen der Gewächse Blumen und Früchte vorhanden seien, obgleich sie ihrer Kleinheit wegen nicht deutlich wahrgenommen werden«. Aus dieser Ansicht erklärt sich die von Linné für die niederen Pflanzen angewandte Bezeichnung »Kryptogamen« (Verborgenblütige). Die Einsicht in diejenigen Vorgänge, welche die Fortpflanzung der Kryptogamen ausmachen, blieb gleichfalls der neuesten Periode vorbehalten.

Neben der Lehre von der Urzeugung wurde das Gebiet der Biologie während des 18. Jahrhunderts noch durch eine zweite Irrlehre verdunkelt, die uns heute fast noch sonderbarer anmutet. Es ist die von Harvey ausgehende und von dem großen Anatomen und Physiologen Albrecht von Haller gestützte Evolutions- oder Einschachtelungstheorie. Das Studium der Befruchtung und der Entwicklung hatte die Frage nach der Erklärung dieser Vorgänge angeregt. So nahm Harvey an, das Ei enthalte die vollständige Anlage desjenigen Wesens, welches daraus hervorgeht. Dadurch kamen wieder Philosophen und Naturkundige des 18. Jahrhunderts auf den Gedanken, daß folgerichtig nach der Lehre Harveys das Ei auch das nächstfolgende, sowie alle späteren Geschlechter enthalten müsse. Diese Einschachtelungstheorie, gegen welche vor allem auch die von Kölreuter bei seinen Bastardierungsversuchen erhaltenen Ergebnisse sprachen, wurde durch Wolff in seiner Theoria generationis vom Jahre 1759 vollständig widerlegt176. Mit Wolff beginnt die neuere Entwicklungsgeschichte, die den Vorgang der Entstehung als ein Werden oder einen Wachstumsprozeß betrachtet und ihn teils aus der Stammesgeschichte, teils aus mechanischen Ursachen zu erklären sucht.

Kaspar Friedrich Wolff wurde im Jahre 1733 in Berlin geboren. Als junger Mediziner wandte er sich mit großer Vorliebe der Anatomie und der Botanik zu. In Halle geriet er unter den Einfluß der Philosophie des Leibnizianers Christian Wolf. So kam es, daß er bei seinen naturwissenschaftlichen Untersuchungen sich mitunter allzusehr von vorgefaßten Meinungen leiten ließ[Pg 107] und häufig aus unzulänglichen, ungenauen Beobachtungen zuweitgehende philosophische Verallgemeinerungen zog. Da Wolff in Preußen nicht die gehoffte Anerkennung fand – er wurde bei der Besetzung von Lehrstühlen mehrfach übergangen –, so folgte er im Jahre 1766, wie es auch Euler getan, einem Rufe an die Petersburger Akademie der Wissenschaften. Wolff blieb auch dort mit anatomischen und entwicklungsgeschichtlichen Arbeiten beschäftigt. Hervorzuheben ist seine Untersuchung über die Entwicklung des Darmes. Nach einem zurückgezogenen, der Wissenschaft gewidmeten Leben starb Wolff in Petersburg im Jahre 1794.

Wolffs Theoria generationis geht von der Untersuchung der Pflanze aus, um auf diese Weise »die Richtschnur klarzulegen, an die man sich bei der Behandlung der viel schwierigeren zoologischen Verhältnisse zu halten hat«. Wolffs Untersuchungen über den Bau und die Entwicklung der Pflanze sind für die Geschichte der Pflanzenanatomie von nicht geringer Bedeutung. Es war das erste Mal, daß nach der Begründung dieses Wissenszweiges durch Malpighi und Grew sich wieder jemand eingehender mit diesem Gegenstand beschäftigte. Waren die Ergebnisse Wolffs auch noch sehr ungenau und fehlerhaft, so sicherten dennoch manche von den Verallgemeinerungen, die er an sie knüpfte, seiner Arbeit eine nachhaltige Wirkung. Vor allem wurde durch Wolff die Frage nach der Entstehung des zelligen Baues der Pflanze angeregt, wenn auch die Lösung, die er selbst zu bieten suchte, unrichtig war. Wolff nahm nämlich an, die Pflanzensubstanz in der Vegetationsspitze sei zunächst gallertartig. In dieser Gallerte sollten sich kleine Bläschen ausscheiden. Diese sollten sich in der Weise vergrößern, daß die zwischen den Bläschen befindliche Zwischensubstanz später als ein Maschwerk von Zellwänden erscheine. Das Wachstum geschehe durch die Ausdehnung der Bläschen und dadurch, daß neue Bläschen zwischen den alten entständen und sich gleichfalls vergrößerten. Wolff bemerkte ganz richtig, daß Fasern und Gefäße nicht etwa schon in der Anlage vorhanden sind. Die jungen Pflanzenteile seien aus gleichartigen Bläschen zusammengesetzt. Mitunter beständen sie aber aus einer gleichförmigen Substanz ohne alle Bläschen. Auf dieser letzteren irrtümlichen Beobachtung beruht seine unrichtige Theorie von der Zellenbildung, nach welcher die Zellen etwa so entstehen würden, wie die Hohlräume des Brotes in dem ursprünglich zusammenhängenden Teig, allerdings mit dem Unterschiede, daß die Hohlräume in der Pflanze nicht leer, sondern mit dem in ihnen[Pg 108] sich ansammelnden Nahrungssaft erfüllt sein würden. Von letzterem sagt er, daß er »durch die Substanz der Bläschen hindurchkrieche«, ja daß er »die feste Pflanzensubstanz ebenso leicht durchdringen könne, wie dies mit Hilfe der Gefäße geschehe«. Er nimmt also für die Erklärung der Saftbewegung in der Pflanze das Verhalten zur Hilfe, das wir heute als Diffusion bezeichnen. Ähnlich wie die Zellen aus der Vergrößerung eines ruhenden Tropfens Nahrungssaft hervorgehen sollen, läßt Wolff die Gefäße durch die Fortbewegung eines solchen Tropfens durch die ursprünglich gleichartige Grundsubstanz entstehen. »Ein Flüssigkeitstropfen«, sagt Wolff177, »der durch die feste Substanz hindurch fortschreitet und sich seinen Weg selbst bahnt, kann nicht eine kugelförmige Spur zurücklassen; er bildet vielmehr einen Kanal, der – nach Wolffs Annahme – infolge einer Erstarrungsfähigkeit des Nährsaftes erhalten bleibt.« Diese Erstarrungsfähigkeit des Nährsaftes wird nicht nur der pflanzlichen, sondern auch der tierischen Substanz zugeschrieben. Diese Fähigkeit, zusammen mit einer »wesentlichen Kraft«, wie Wolff sein formgebendes Prinzip nennt, sollte nun den Vorgang der Entwicklung organischer Wesen erklären. Die »wesentliche Kraft« ist nach ihm jene Kraft, durch welche die Flüssigkeiten im Organismus verteilt und ausgeschieden werden. »Die wesentliche Kraft«, sagt er, »und die Erstarrungsfähigkeit des Nährsaftes sind ein hinreichendes Prinzip jeder Entwicklung, sowohl bei den Pflanzen als auch bei den Tieren.«

Aus dieser Übereinstimmung zwischen den beiden Naturreichen folgerte Wolff fast ein Jahrhundert, bevor Schwann den zelligen Bau der Lebewesen als allgemeines Prinzip erkannte, daß sich in den Tieren wie in den Pflanzen nicht nur Zellgewebe finde, sondern daß es sich auch auf dem gleichen Wege entwickle. Wenn Wolff auch über den Vorgang der Bildung von Zellgewebe, wie wir sahen, noch nicht zu richtigen Vorstellungen gelangt war, so hebt er doch zutreffend hervor, daß das Zellgewebe der Tiere »ebenso gebildet wird, wie das Zellgewebe und die Bläschenstruktur bei Pflanzen178«.

Als typisches Beispiel hebt Wolff, wie es auch später von Schwann geschehen, die Knochen hervor. »Ihr innerer Bau, sagt er, ist zellig und entsteht ebenso wie das übrige Zellgewebe«.

Bei der Untersuchung des tierischen Organismus kommt es Wolff vor allem darauf an, die Ansicht der Evolutionisten zu[Pg 109] widerlegen, daß die Organe ursprünglich vorhanden und nur wegen ihrer unendlichen Kleinheit verborgen seien. Eine Widerlegung dieser Ansicht erblickt Wolff mit Recht schon darin, daß die Teilchen, welche alle tierischen Organe bei ihrer ersten Anlage zusammensetzen, Kügelchen sind, die man schon mit einem Mikroskop von mittlerer Vergrößerungskraft unterscheiden könne. »Wie kann man nun behaupten«, ruft er aus, »einen Körper wegen seiner Kleinheit nicht sehen zu können, wenn doch die Teile, aus denen er sich zusammensetzt, sehr wohl zu unterscheiden sind?«

Abb. 23
Abb. 23. Wolffs Abbildung eines Embryos.

Die nebenstehende Abbildung aus Wolffs Theoria generationis zeigt einen Embryo nach 36stündiger Bebrütung. Man erkennt die Teile des Gehirns, die Augen mit den Sehnerven, das Rückenmark (h), das Herz (k), die vorderen schon recht deutlichen (f) und die hinteren noch in der Absonderung begriffenen Wirbel (e und d). Die ernährenden Teile gehen aus dem Ei, dessen Dotter durch die Wärme aufgelöst und zerstört werde, in den Embryo über. Dazu, sagt Wolff, gehört wie bei den Pflanzen eine die Nährsäfte bewegende »wesentliche Kraft«. Daß diese Kraft und diese Flüssigkeitsbewegung auch im erwachsenen Körper tätig sei, dafür spreche z. B. das Wachstum der Nägel und der Haare. Zu dieser Kraft tritt dann nach Wolff als zweites, die Formgebung bedingendes Prinzip die Erstarrungsfähigkeit der jungen gallertigen Gewebe, eine Fähigkeit, die allerdings bei den Tieren geringer sei als bei den Pflanzen.

Die Gefäßbildung im Embryo läßt Wolff in ähnlicher Weise wie die Entstehung der Gefäße in den Pflanzen vor sich gehen. Die bewegten Flüssigkeiten bahnen sich dort Wege, wo sie einen geringeren Widerstand finden. Die erste Anlage des Hauptstammes[Pg 110] aller Gefäße, des Herzens, zeigt uns Wolffs nebenstehende, der Theoria generationis entnommene Abbildung (Abb. 24 c). Sie läßt uns auch die erste Anlage der Gliedmaßen erkennen. Als plumpe Höcker (r) heben sie sich aus der übrigen Masse hervor. Und zwar bestehen auch sie aus einer Substanz, die Wolff als zellig bezeichnet. Anfangs sind die Gliedmaßen ohne Gefäße. Letztere wachsen aus der zuerst entstehenden Hauptader oder Aorta in die Gliedmaßen hinein.

Daß die Nieren erst entstehen, nachdem sich die Wirbelsäule gebildet hat, wird von Wolff besonders hervorgehoben. Er zeigt, daß die Nieren aus einem zelligen Gewebe hervorgehen, das erst am dritten Tage der Entwicklung unter der Wirbelsäule erscheint. Daß dieses Gewebe zunächst keine Spur von einem Organ enthält, ließ sich leicht feststellen, da es vollkommen durchsichtig ist.

Durch all diese Beobachtungen war die insbesondere von Haller vertretene, indessen auch von Leibniz gebilligte Einschachtelungstheorie vollkommen widerlegt. Der einzige Weg, auf dem dies geschehen konnte, war der von Wolff betretene. Er wandte sich behufs Entscheidung der Streitfragen an die Natur selbst und untersuchte zum ersten Male genauer die Anlagen der einzelnen Organe im Embryo hinsichtlich ihrer Form und der Zeit ihres Entstehens. Das Ergebnis war, daß die Teile des Organismus weder präformiert sind, noch sich gleichzeitig entwickeln, sondern daß sie aus einer gleichartigen, zelligen Substanz nacheinander hervorgehen. Trotz zahlreicher Beobachtungsfehler, die Wolff im einzelnen gemacht hat, war damit für alle späteren entwicklungsgeschichtlichen Forschungen die Grundlage gewonnen. Wolff ist somit der Begründer der modernen Entwicklungsgeschichte. Das ist und bleibt sein unsterblicher Ruhmestitel.

Auch der Gedanke der Metamorphose der Pflanze rührt von Wolff her. Das Nähere hierüber, sowie die Fortbildung, welche dieser Gedanke bei Goethe und anderen fand, bleibt späterer Erörterung vorbehalten.

Abb. 24
Abb. 24. Wolffs Darstellung der Entstehung des Herzens und der Gliedmaßen.

Die Frage nach den Vorgängen der Zeugung und der Entwicklung war zwar eine hervorragend wichtige, es war aber nur[Pg 111] eine unter den vielen die Physiologie im 18. Jahrhundert beschäftigenden Fragen. Hat dieser Zeitraum doch den größten Physiologen in Haller hervorgebracht, um dessen Forschergestalt sich alles gruppieren läßt, was die weitere Entwicklung der Physiologie in dem erwähnten Zeitraum anbetrifft.

Albrecht von Haller wurde am 16. Oktober 1708 in Bern geboren. Er verwaiste frühzeitig und wuchs bei einem Arzte auf, dem er seine Neigung für die Naturwissenschaften und ihre Anwendung auf das Gebiet der Heilkunde verdankte. Haller studierte in Tübingen Anatomie und Botanik, worin ihn Camerarius unterwies. Später hielt er sich in Leyden, wo Boerhave auf ihn einwirkte, sowie in London und in Paris auf. Nachdem Haller in Basel und in Bern Vorlesungen über Anatomie gehalten, siedelte er 1736 nach Göttingen über. Dort entfaltete er eine einzigartige Wirksamkeit. 1753 kehrte er in seine Heimatstadt zurück, wo er am 12. Dezember 1777 starb. In Göttingen hielt Haller an der neu gegründeten Universität Vorlesungen über Botanik, Anatomie und Chirurgie, begründete eine anatomische Sammlung und einen botanischen Garten, dessen Leitung er übernahm. Er rief die Göttinger Königliche Gesellschaft der Wissenschaften ins Leben und zog viele Schüler an sich heran, welche die Wissenschaft in der von ihm eingeschlagenen Richtung weiterführten.

Haller wurde stets von dem Gedanken geleitet, daß die Anatomie als die wichtigste Grundlage der Physiologie zu betrachten sei, und zwar nicht nur die Anatomie des Menschen, sondern nicht minder diejenige der Tiere.

Ferner gab er dem Experiment am lebenden Tiere eine Ausdehnung, wie sie vor ihm nicht bestand. »So grausam das Verfahren der Vivisektion auch erscheint«, sagt Haller, »so darf man doch nicht außer acht lassen, daß es der Physiologie mehr Nutzen schafft als alle übrigen Methoden und daß ein einziges derartiges Experiment oft die aus der Arbeit von Jahren entstandenen Irrtümer beseitigt hat.«

Haller lieferte, durchdrungen von dem Gedanken, daß man mit dem Bau eines Organismus bekannt sein muß, wenn man seine Verrichtungen erforschen will, viele wertvolle Beiträge zur vergleichenden Anatomie. Über den Wert dieser Wissenschaft für die physiologische Forschung sagt er: »Täglich mache ich die Erfahrung, daß man über die Tätigkeit der meisten Organe des lebenden Körpers kein Urteil fällen kann, wenn man sich nicht[Pg 112] über den Bau des betreffenden Organs vollkommene Klarheit verschafft hat und zwar nicht nur durch eine Untersuchung am Menschen, sondern auch durch eine solche an verschiedenen Vierfüßlern, Vögeln, Fischen, ja oft auch an niederen Tieren«.

Das wichtigste allgemeine Ergebnis dieser Forschungen war Hallers Lehre von der Reizbarkeit und der Empfindung (der Irritabilität und der Sensibilität). Er betrachtete sie als besondere, mit physikalischen Kräften nicht zu verwechselnde Fähigkeiten der belebten Substanz. Wir erinnern uns, daß Borelli die Tätigkeit der Muskeln einer Elastizität dieser Organe zugeschrieben hatte. Haller dagegen erklärte die Fähigkeit sich zusammenzuziehen als eine den Muskeln innewohnende Eigenschaft und nannte diese Organe reizbar oder irritabel. Der gewöhnliche Reiz, welcher die Verkürzung der Muskeln bewirkt, gehe zwar von den Nerven aus, doch könnten an dessen Stelle auch andere Reize treten. Letztere können, wie Haller zeigte, noch eine Kontraktion des Muskels hervorrufen, wenn die Verbindung des letzteren mit dem Nerven unterbrochen ist, ein offenbar für seine Lehre günstiges Experiment.

Wie die Irritabilität ausschließlich an die Muskeln gebunden ist, so ist die Sensibilität nur in den Nerven anzutreffen. Sie vermittelt die Veränderungen, welche äußere Reize hervorrufen, dem Bewußtsein. Wie das geschieht, blieb zunächst unerklärt. Haller war indessen geneigt, ein feines, in den Nerven sich bewegendes Fluidum nach dem Vorgange Malpighis179 anzunehmen. Selbst Kant huldigte dieser ziemlich grob materialistischen Anschauung von dem Zustandekommen der Empfindungen180. Die weit zutreffendere Vorstellung, daß die Tätigkeit der Nerven in einer vibrierenden Bewegung bestehe, vermochte Haller nicht anzuerkennen. Trotzdem ist in seiner Darstellung von der Sensibilität dieser Organe die später von Johannes Müller ausführlich entwickelte Lehre von den spezifischen Energien der Sinnesorgane schon im Keime enthalten. Besonders zeigt sich dies in der Darstellung, die Haller von der Physiologie des Auges gab. Danach rufen die vom Gegenstande kommenden Lichtstrahlen ein Bild auf der Netzhaut hervor, das eine Reizung des Sehnerven veranlaßt. Was wir empfinden, ist nicht der Gegenstand selbst, sondern der Eindruck, den dieser auf den Sehnerven ausübt. Es folgt daraus, daß die Empfindungen und die darauf sich aufbauenden[Pg 113] Vorstellungen subjektiver Art sind. Trotzdem denkt Haller nicht daran, das Vorhandensein der Außenwelt zu leugnen. Die Erfahrung ist es, der nach ihm die Aufgabe zufällt, aus dem subjektiven Eindruck ein Urteil über die Natur der wahrgenommenen Gegenstände zu bilden. Mit dieser Lehre stimmten die Beobachtungen überein, daß auch mechanische Reize aller Art eine Lichtempfindung hervorzurufen vermögen. Daß die Netzhaut der Sitz der Lichtempfindung sei, war, wie wir erfuhren, von Mariotte auf Grund seines Versuches über den blinden Fleck181 angezweifelt worden. Haller hielt jedoch an der früheren, schon von Kepler begründeten Ansicht fest. Er hob mit Recht hervor, daß die Aderhaut, die nach Mariotte das Sehen vermitteln sollte, keine Nerven enthält. Dagegen sei die Netzhaut ein Geflecht von Nervenfasern, welchen im ganzen Organismus die Vermittlung der Empfindungen zukomme.

Die besonderen Leistungen Hallers betreffen die Physiologie des Gefäßsystems und des Stimmorgans. Sie sind in seinem Meisterwerke, den Elementa physiologiae corporis humani, das 1757 und in den folgenden Jahren erschien, niedergelegt worden182.

Haller erforschte besonders den Klappenapparat des Herzens und die Bewegungen dieses Organes und seines flüssigen Inhalts. Seine Untersuchung betraf ferner die Bewegung und die Geschwindigkeit des Blutes in den Arterien, sowie den Einfluß, den die Wandungen der letzteren auf den Blutstrom ausüben, und vieles andere mehr.

Hervorzuheben sind die Versuche, die beweisen sollten, daß der Pulsschlag im ganzen arteriellen System gleichzeitig erfolgt. An diese Versuche hat später E. H. Weber seine Anwendung der Wellenlehre auf die Lehre vom Kreislauf des Blutes angeknüpft und gefunden, daß die von Haller behauptete völlige Gleichzeitigkeit nicht besteht. Doch ergab sich, daß der Zeitunterschied nur den Bruchteil einer Sekunde ausmacht. Haller begründete seine Ansicht folgendermaßen: »Wenn man bei einem Menschen die rechte Hand auf die Gegend legt, wo das Herz liegt, und die linke an die Schläfenarterie oder an die Kniekehlenarterie[Pg 114] bringt, so wird man finden, daß das Herz in dem nämlichen Augenblick gegen die Rippen stößt, in welchem es in allen genannten Arterien den Puls hervorbringt«183.

Zu erwähnen sind auch die Versuche Hallers, welche darin bestanden, Stoffe in den Blutstrom einzuführen, um deren physiologische und therapeutische Wirkung zu untersuchen. Dieses unter dem Namen Gefäßinfusion bekannte Verfahren kam zwar schon im 17. Jahrhundert infolge der Entdeckung des Blutkreislaufes auf. Es wurde aber zuerst durch Haller und einen seiner Schüler auf zahlreiche Chemikalien (Pflanzengifte, Säuren, Arsenverbindungen, Kupfersalze usw.) ausgedehnt und schließlich von den Ärzten jener Zeit mit sehr ungünstigem Erfolge, wie sich begreifen läßt, zu therapeutischen Zwecken angewandt. Immerhin ist das Verfahren erwähnenswert, weil die in neuerer Zeit mit besserem Erfolge geübte subkutane Injektion darauf zurückzuführen ist.

Sehr eingehend und stets auf vergleichend anatomischer und physikalischer Grundlage fußend, untersuchte Haller den Kehlkopf und die Erzeugung der Stimme. Er wies nicht nur, wie es schon vor ihm geschehen, auf die Rolle der Stimmbänder hin, sondern er stellte vor allem auch fest, welche Aufgaben die einzelnen Kehlkopfknorpel, sowie die Mund- und die Nasenhöhle bei der Stimmbildung zu erfüllen haben.

Nicht so glücklich wie auf dem Gebiete der Physiologie war Hallers Wirken auf demjenigen der Entwicklungsgeschichte. Hier ist er unter den Verteidigern der sonderbaren, auf Harvey zurückgehenden Lehre von der Evolution184 zu nennen, nach welcher jedes neu entstehende Wesen als im Keime vorgebildet (präformiert) gedacht wurde. Obgleich schon 1759 Caspar Friedrich Wolff die Lehre von der Epigenesis, d. h. der folgeweisen Entwicklung der Organe aus einfacheren Teilen (Zellen und Zellschichten) an Stelle der Evolutionstheorie setzte, fand letztere durch die Autorität Hallers eine solche Stütze, daß Wolffs Anschauungen dagegen nicht aufkommen konnten. Sie gerieten fast in Vergessenheit und gelangten erst ein halbes Jahrhundert später zur Anerkennung, nachdem für die Entwicklungsgeschichte durch Meckel, v. Baer und andere Forscher eine neue Aera angebrochen war.

[Pg 115]

Trotz dieses ablehnenden Verhaltens Wolff gegenüber hat Haller sich um die Entwicklungsgeschichte des Gefäßsystems und der Knochen bemüht und hierüber einige verdienstvolle Abhandlungen geschrieben (Sur la formation du coeur dans le poulet. 1758).

Die Anatomie hatte während des 17. Jahrhunderts in Holland, wo Swammerdam und Boerhave wirkten, einen bedeutenden Aufschwung genommen. Sie erlebte im 18. Jahrhundert auch in Deutschland eine kräftige Förderung. Vor allem ist hier Lieberkühn als derjenige zu nennen, der die anatomische Kunst von Holland nach Deutschland verpflanzte. Lieberkühn, ein Schüler Boerhaves, kam 1740 nach Berlin und wurde dort Mitglied der Preußischen Akademie der Wissenschaften. Vergeblich waren die Bemühungen dieser Gesellschaft, auch den großen Physiologen Albrecht von Haller zu gewinnen und so Berlin zum Mittelpunkt der medizinischen Wissenschaften zu machen. Lieberkühn war nicht nur ein eifriger Präparator, sondern er lehrte die Deutschen auch mit Hilfe des Mikroskops den feineren Bau der tierischen Gewebe untersuchen. Er verstand es meisterhaft, die Methode der Gefäßinjektion zu handhaben. Die bedeutendste Entdeckung Lieberkühns war diejenige der Darmzotten, jener winzigen Ausstülpungen der Darmwandung, die man später wohl als die inneren Wurzeln des Tieres bezeichnet hat185.

Lieberkühns Schüler und sein Nachfolger in der Preußischen Akademie war Johann Friedrich Meckel, der Ältere, dem die Nervenanatomie manche Entdeckung verdankt. Die Familie Meckel nahm auf dem Gebiete der Anatomie durch mehrere Generationen eine führende Stellung ein. Vor allem war es Johann Friedrich Meckel der Jüngere, der auf den Vorarbeiten seines Vaters und seines Großvaters fußend zu Beginn des 19. Jahrhunderts der vergleichenden Anatomie in Deutschland eine Heimstätte bereitete. Dabei vermochte er sich auf eine von seinem Großvater begründete und von seinem Vater unter Aufwendung bedeutender Mittel erweiterte Sammlung zu stützen, die zu den ersten des 18. Jahrhunderts zählte.

[Pg 116]

8. Die neuere Mathematik und ihre Beziehungen zu den Naturwissenschaften.

Das 18. Jahrhundert war auf den Gebieten der Astronomie und der Physik vorzugsweise mit der Lösung der aus der Newton-Huygensperiode übernommenen Probleme beschäftigt. Fast ausschließlich in das 18. Jahrhundert fiel auch der Aufschwung, den die Lehre von der Reibungselektrizität nahm. Hier waren die beiden vorangehenden Perioden kaum über die seit alters bekannten einfachsten Wahrnehmungen hinausgekommen. Auf dem Gebiete der Chemie wurde durch zahlreiche Beobachtungen die große Tat vorbereitet, welche dieser Wissenschaft im Beginn der neuesten Zeit ein gänzlich verändertes Aussehen geben sollte, während in der Zoologie und in der Botanik die systematische Richtung überwog und nur hin und wieder das experimentelle Verfahren zum Durchbruch kam. Daß dieses Verfahren auf allen Gebieten Platz greift und daß man es überall mit der mathematischen Behandlungsweise zu verknüpfen sucht, kennzeichnet die gegen das Ende des 18. Jahrhunderts beginnende Periode in der Entwicklung der Wissenschaften, deren Betrachtung wir uns jetzt zuwenden.

Daß sich die Natur aus der Mechanik der Atome erklären lasse, galt den meisten Forschern als ausgemacht. Die atomistisch-mechanische Behandlungsweise fand ihren weitgehendsten Ausdruck durch Laplace. »Ein Geist«, sagt er, »der für einen gegebenen Augenblick alle Kräfte kennt, welche die Natur beleben und die gegenseitige Lage der Wesen, aus denen sie besteht und diese Angaben der mathematischen Analyse unterwirft, könnte in dieselbe Formel die Bewegungen der größten Weltkörper und des leichtesten Atoms einbegreifen. Zukunft und Vergangenheit wären seinem Blicke gegenwärtig.« Der menschliche Verstand, fügt Laplace hinzu, biete in der Vollendung, die er der Astronomie gegeben, ein schwaches Abbild eines solchen Geistes dar.

[Pg 117]

Für Deutschland ging die Anregung, die Mathematik auf die gesamte Naturlehre anzuwenden, besonders auf Leibniz und seinen Schüler Wolf186 zurück. Während der ersten Hälfte des 18. Jahrhunderts war die Leibniz-Wolfsche Philosophie die herrschende. In ihr wurzelt auch die darauf folgende Zeit der Aufklärung, mit der in Deutschland wie in Frankreich die Hauptzweige der bisherigen Entwicklung der Philosophie, der idealistische und der realistische nämlich, zu einem gewissen Abschluß kamen, indem sie beide in eine verflachende Popularphilosophie ausmündeten.

In dem Bestreben, die Naturerscheinungen auf Bewegungen zurückzuführen und sie auf diese Weise der mathematischen und der mechanischen Erklärung zugänglich zu machen, hatte das 17. Jahrhundert die alte Lehre von der atomistischen Zusammensetzung als Korpuskulartheorie zu neuem Leben erweckt. Die Korpuskeln oder Partikeln spielten für die Erklärung der physikalischen Vorgänge eine große Rolle. Angeregt durch Christian Wolf versuchte Lomonossow die Korpuskulartheorie auf die Chemie auszudehnen, um dadurch auch diese Wissenschaft der mathematischen Behandlungsweise zugänglich zu machen. Lomonossows187 Gedankengang war etwa der folgende: Alle Änderungen kommen nach der Lehre Wolfs durch Bewegungen zustande. Das gilt auch von den Änderungen der zusammengesetzten Körper, der chemischen Verbindungen, wie wir heute sagen würden. Mit den Bewegungen befaßt sich die Mechanik. Folglich müssen die Änderungen der zusammengesetzten Körper, d. h. die chemischen Vorgänge, mechanisch erklärt werden können. Nur so lasse sich die Chemie zu einer exakten Wissenschaft machen. Des weiteren fordert Lomonossow, die chemischen Veränderungen auf Grund der Versuche und Gesetze der Physik zu erklären und damit einen neuen Wissenszweig zu schaffen, den er schon als »physikalische Chemie« bezeichnet. Es blieb aber bei der Aufstellung von Forderungen und Zielen, von deren Verwirklichung die Wissenschaft[Pg 118] noch weit entfernt war. Immerhin hat Lomonossow das Verdienst, jene Forderungen erhoben und jene Ziele erkannt und ausgesprochen zu haben. Auch auf dem Gebiete der Wärmelehre und der Oxydationsvorgänge war Lomonossow ein Vorläufer derjenigen Männer, die hier die neueren Grundlagen schufen188. Die Bestrebungen, die Mathematik auf die Chemie auszudehnen, ruhten jetzt nicht mehr. Und gerade im Herzen Deutschlands, wo Wolf gelehrt und Lomonossow studiert hatte, zeitigten diese Bestrebungen die ersten Früchte, indem Wenzel und Richter die Anfänge der Stöchiometrie schufen. Daß diesen Männern das ein halbes Jahrhundert früher gesteckte Ziel vorschwebte, leuchtet schon ans den Titeln ihrer stöchiometrischen Schriften hervor189.

Die Vorstellung von der atomistischen und molekularen Konstitution der Materie gewann noch größere Bedeutung, nachdem sie Dalton um 1800 zu einer wohlbegründeten Theorie ausgestaltet hatte. Auf Grund dieser Theorie suchte man jetzt unter der Annahme von molekularen Fernkräften, für welche das Newtonsche Gravitationsgesetz ein Analogon darbot, die Naturerscheinungen der mathematischen Analyse zu unterwerfen. Das Ziel indessen, das Laplace und seinen Zeitgenossen vorschwebte, und das in der Forderung gipfelte, aus möglichst wenigen Voraussetzungen den Gesamtverlauf der Naturerscheinungen mechanisch zu erklären, hat sich nicht verwirklichen lassen. An seine Stelle setzte die neuere Mechanik, um mit den Worten Kirchhoffs zu reden, die bescheidenere Aufgabe, den Ablauf der Vorgänge auf die einfachste Weise möglichst vollständig zu beschreiben.

Die Mathematik hatte sich bis zum Beginn des 19. Jahrhunderts Hand in Hand mit den Naturwissenschaften entwickelt. Descartes, Galilei, Kepler, Newton, Leibniz, sie alle hatten auf beiden Gebieten Hervorragendes geleistet, weil sie von dem Gedanken des innigen Zusammenhanges beider Wissenschaften durchdrungen waren. Zwar tauchten auch mathematische Probleme auf, die zunächst außer Beziehung zur realen Welt zu stehen schienen. Und sie wurden von den Mathematikern darum nicht etwa hintangesetzt. Doch kannte man jene im 19. Jahrhundert lange herrschende Richtung, die sich so stolz als »reine Mathematik« bezeichnete und schließlich jede Fühlung mit der Wirklichkeit verlor, weder im 17. noch im 18. Jahrhundert. Wir haben in[Pg 119] einem früheren Abschnitt erfahren, wie Bernoulli, Lagrange und Euler die Infinitesimalrechnung zu einem der allerwichtigsten Hilfsmittel, sozusagen zum Handwerkszeug des Naturforschers, ausgestalteten. Um die Wende des 18. zum 19. Jahrhundert erlangen zwei neue mathematische Zweige für die Naturwissenschaften und ganz besonders für ihre Anwendungen eine ähnliche Bedeutung. Es sind das die darstellende und die projektivische Geometrie. In ihren Anfängen reichen beide zwar in weit frühere Perioden zurück.

Die darstellende Geometrie, deren Aufgabe es ist, Raumgebilde in der Ebene darzustellen und aus diesen Darstellungen mit vollkommener Genauigkeit wieder zu rekonstruieren, wird gewöhnlich als eine Schöpfung von Monge betrachtet. Man darf aber nicht vergessen, daß die Benutzung von Grund- und Aufrißzeichnungen so alt ist, wie die Baukunst. Papyrusfunde haben bewiesen, daß die Ägypter für ihre Bauten derartige Zeichnungen anfertigten. Und Vitruvius gibt in seinem zur Zeit des Augustus entstandenen Werke über die Architektur eine ausführliche Darstellung des von den römischen Baumeistern geübten Grundriß- und Aufrißverfahrens. Seine Weiterentwicklung erfuhr dieses aus unmittelbaren Bedürfnissen entstandene Wissen nicht am Schreibtisch des Gelehrten, sondern an den Stätten der Praxis, vor allem in den Bauhütten des Mittelalters. Die wunderbaren architektonischen Werke jener Zeit konnten nur entstehen, wenn ihre Schöpfer Aufgaben der darstellenden Geometrie, wie sie besonders für den Schnitt der Gewölbe in Betracht kamen, zu lösen vermochten. Ohne Zweifel wurde manche der erforderlichen Konstruktionen empirisch gefunden und verwendet, ohne daß man den mathematischen Beweis für ihre Richtigkeit erbracht hätte. Dies geht z. B. auch daraus hervor, daß manche Schriften des 16. und 17. Jahrhunderts für die Baukunst wichtige Konstruktionen mitteilen, ohne auch nur den Versuch eines Beweises zu machen.

Ein nicht minder großes Interesse an der Entwicklung des Verfahrens, körperliche Gebilde in der Ebene richtig darzustellen, besaßen die Maler. Es kann daher nicht Wunder nehmen, daß das erste deutsche Buch über diesen Gegenstand von einem Maler und zwar von unserem großen Albrecht Dürer herstammt. Er verdient deshalb nicht minder als Lionardo da Vinci einen Platz in der Geschichte der Wissenschaften.

Dürers Schrift erschien 1525; sie führt den Titel: »Underweysung der messung mit dem zirckel und richtscheyt in Linien,[Pg 120] ebenen und gantzen corporen.« Die Bedeutung dieser Schrift besteht weniger in den Konstruktionen, die sie lehrt, als in der Forderung, die perspektivische Grundlage eines Bildes nicht wie bisher aus freier Hand zu fertigen, wobei grobe Fehler ganz unvermeidlich seien, sondern die perspektivische Zeichnung nach mathematischen Vorschriften zu machen. Dürer ist dadurch zum Begründer der Lehre von der Perspektive geworden.

Monge dagegen gebührt das große Verdienst, die im Verlaufe einer langen Entwicklung entstandenen Ansätze, von denen hier nur einige Erwähnung finden konnten, nicht nur vermehrt, sondern zu einem, auf strenge Beweisführung gegründeten, wissenschaftlichen Lehrgebäude, der heutigen deskriptiven oder darstellenden Geometrie, ausgestaltet zu haben.

In dem äußeren wie dem inneren Leben von Monge spiegeln sich die geistigen, politischen und kulturellen Zustände seiner Ära, des Zeitalters der französischen Revolution, die bald zu einer europäischen werden sollte, mit besonderer Deutlichkeit wieder.

Gaspard Monge ging aus dem durch die Revolution erst zur Geltung gelangenden dritten Stand, der in geistiger Beziehung bald der erste werden sollte, hervor. Monge wurde 1746 in einem burgundischen Städtchen als der Sohn eines armen Handwerkers geboren, der sich die größten Entbehrungen auferlegte, um seinen Söhnen eine wissenschaftliche Ausbildung zu geben. Mit 16 Jahren wirkte Monge schon als Lehrer der Physik in Lyon. Später lehrte er an einer Schule für Militäringenieure Baukonstruktionslehre. Aus der Beschäftigung mit diesem Gegenstande schuf Monge in dem Bestreben, die teils umständlichen, teils noch empirischen älteren Methoden zu vereinfachen und wissenschaftlich zu begründen, seit 1770 etwa seine darstellende Geometrie. Veröffentlicht hat Monge sein Lebenswerk erst 1798190, weil ihm, solange er an der Militärschule wirkte, die Geheimhaltung seines genialen Lehrganges zur Pflicht gemacht worden war.

Monge gehörte, wenn er politisch auch weniger hervortrat, zu den großen Männern der französischen Revolution. Der Konvent ernannte ihn zum Leiter der Geschützgießereien. In dieser Stellung verfaßte er ein Werk über die Anfertigung von Kanonen. Während der Schreckensherrschaft wurde er in den Anklagezustand[Pg 121] gesetzt. Er floh daher ins Ausland, kehrte aber bald nach Frankreich zurück und fand Gelegenheit, bei der Gründung der École polytechnique, dem großartigen Vorbilde für die technischen Schulen des 19. Jahrhunderts, einen maßgebenden Einfluß auf die Gestaltung des gewerblichen Unterrichtswesens191 auszuüben. Die damals von Monge erhobenen Forderungen, nämlich naturwissenschaftlicher Unterricht, Übung der Schüler im Gebrauch wissenschaftlicher Instrumente, Pflege des wissenschaftlich begründeten Zeichnens, Anwendung der darstellenden Geometrie auf die Bau- und Maschinenkonstruktionslehre, sind für die Folge die wichtigsten Grundlagen geblieben, auf denen allein die moderne Technik zu der sie heute auszeichnenden Vollendung emporwachsen konnte.

Aus dem späteren Leben von Monge verdient noch Erwähnung, daß er neben Berthollet der hervorragendste Gelehrte war, der sich an Napoleons Expedition nach Ägypten beteiligte. Napoleon, welcher die Bedeutung der exakten Wissenschaften wie kein anderer Herrscher zu würdigen verstand, überhäufte Monge mit Ehren. Auch während des Kaiserreichs war Monge an der École polytechnique als Lehrer tätig. Nach der Rückkehr der Bourbonen wurde er seiner Ämter entsetzt. Er verfiel infolgedessen in geistige Umnachtung, von der ihn jedoch ein baldiger Tod im Jahre 1818 erlöste.

Unter den mathematischen und mechanischen Schriften, die wir Monge verdanken, nimmt seine »Darstellende Geometrie«, durch welche er diese Disziplin wissenschaftlich begründete, die erste Stelle ein. Ihre Aufgabe ist nach Monge eine doppelte. Einmal gilt es, alle Gebilde von drei Dimensionen auf Gebilde von zwei Dimensionen, die sich auf dem Zeichenblatte darstellen lassen, zurückzuführen. Zweitens lehrt die darstellende Geometrie aus der Zeichnung alle Beziehungen ableiten, die aus der Gestalt und der gegenseitigen Lage der in der Ebene dargestellten Raumgebilde entspringen.

Die von Monge zur Lösung dieser Aufgaben angewandte Projektionsmethode geht von der Voraussetzung aus, daß die Lage eines Punktes im Raume mathematisch bestimmt ist, wenn man[Pg 122] seine Projektionen auf zwei zu einander senkrechten Ebenen kennt. Unter der Projektion eines Punktes auf eine Ebene versteht Monge den Fußpunkt des von dem Punkte auf die Ebene gefällten Lotes. Sehr übersichtlich wurde das Projektionsverfahren vor allem dadurch gemacht, daß Monge sich die vertikale Ebene um ihre Schnittlinie mit der horizontalen Ebene gedreht denkt, bis sie mit der letzteren zusammenfällt. Die vertikale Ebene wird also mit den Projektionen, welche sie enthält, auf demselben Blatt gezeichnet, das für die horizontale Projektion dient. Beide Ebenen sind nur durch eine Schnittlinie (Projektionsachse) getrennt. Und man muß sich stets daran erinnern, daß die vertikale Ebene um diese Schnittlinie wie um ein Scharnier um 90 Grad gedreht werden muß, um in ihre eigentliche Stellung zu kommen. Dieser treffliche Grundgedanke bot eine Menge von Vereinfachungen und Vorteilen. So erkennt man ohne weiteres, daß die beiden Projektionen jedes Punktes in ein- und derselben, senkrecht zur Schnittlinie gezogenen Geraden liegen, daß eine Ebene durch ihre beiden Schnitte mit den Projektionsebenen (ihren Spuren) vollständig bestimmt ist, und daß diese Spuren die Schnittlinie der beiden Projektionsebenen (die Projektionsachse) in ein- und demselben Punkte treffen.

Auf das Werk von Monge noch weiter einzugehen, verbietet sich von selbst. Es trägt die einzelnen Aufgaben über die Darstellung ebener und krummer Flächen, ihrer Schnitte, der wichtigsten Körper und ihrer Durchdringungen nach Umfang und Form in der noch heute üblichen Weise vor. Eine Weiterentwicklung hat die darstellende Geometrie erst in der neuesten Zeit durch ihre innigere Verknüpfung mit der von Poncelet und Steiner begründeten neueren synthetischen Geometrie erfahren.

Die ersten Untersuchungen, durch welche die neuere synthetische Geometrie vorbereitet wurde, reichen bis ins 17. Jahrhundert zurück. Sie rühren von zwei Zeitgenossen und Landsleuten des Descartes, von Desargues und von Pascal, her. Desargues192 zeigte in seiner Schrift »Über die Tatsachen, zu welchen der Schnitt eines Kegels durch eine Ebene Veranlassung gibt,« daß für die Kegelschnitte eine zu den allgemeinsten Sätzen führende Betrachtungsweise möglich ist. Denkt man sich das Auge in der Spitze des Kegels, so erscheint ein elliptischer Schnitt in dieser Perspektive in der Form eines Kreises.[Pg 123] Desargues stellte sich die Aufgabe, aus den Eigenschaften dieses Kreises die Eigenschaften der Kegelschnitte durch eine Art perspektivischer Beweisführung abzuleiten und gelangte so zuerst zu Sätzen, die für alle Arten der Kegelschnitte gelten. Einer dieser für alle Kegelschnitte gültigen Sätze wird noch heute als der Satz von Desargues bezeichnet193.

Unter seinen Zeitgenossen wurde Desargues wohl nur von Pascal verstanden. Desargues Satz vom Sehnenviereck fügte Pascal den Satz vom Pascalschen Sechseck hinzu. Dieser besagt von jedem einem Kegelschnitte einbeschriebenen Sechseck, daß die drei Punkte, in welchen sich je zwei gegenüberliegende Seiten schneiden, auf einer geraden Linie liegen. Auch dieser Satz wurde zunächst für den Kreis bewiesen. Aus dem perspektivischen Zusammenhange zwischen dem Kreis und den Kegelschnitten wurde dann erst seine Verallgemeinerung abgeleitet.

Der weitere Ausbau der perspektivischen, oder, wie sie auch wohl genannt wird, der projektiven Geometrie erfolgte im 19. Jahrhundert. Die erste systematische Zusammenfassung rührt wieder von einem Franzosen und zwar von Poncelet her, einem der genialsten Vertreter der angewandten Mathematik.

Jean Victor Poncelet wurde 1788 als Sohn armer Eltern in Metz geboren. Er starb 1867. Als Zögling der École polytechnique genoß er den Unterricht eines Ampère, Fourier, Légendre und anderer Zierden der Wissenschaft, mit denen Frankreich um die Wende zum 19. Jahrhundert so reich gesegnet war. Als Genieoffizier nahm Poncelet an dem Feldzuge gegen Rußland teil. Er fiel in die Hände der Russen, und es folgten zwei Jahre Kriegsgefangenschaft. Diese unfreiwillige Muße füllte Poncelet damit aus, daß er die Grundzüge seines Verfahrens zu einem der bedeutendsten mathematischen Werke, dem »Traité des propriétés projectives des figures« entwickelte194. Durch dieses Buch ist Poncelet der Schöpfer der neueren synthetischen oder projektivischen Geometrie geworden. Dem Grundgedanken der neuen Betrachtungsweise sind wir schon im[Pg 124] 17. Jahrhundert begegnet195. Sie unterscheidet sich von dem Verfahren der darstellenden Geometrie196, das Monge ausbildete, in folgendem. Während Monge die Gebilde vermittelst paralleler Linien auf zwei zu einander senkrechte Ebenen projiziert, betrachtet Poncelet ihr perspektivisches Bild. Ein solches entsteht, wenn man von dem betrachtenden, als Punkt gedachten Auge aus Strahlen nach den Punkten des zu untersuchenden Gebildes zieht und in den Weg dieser Strahlen eine Fläche, in der Regel eine Ebene, bringt. Die Punkte, in welchen die Strahlen jene Ebene schneiden, bilden das perspektivische Bild. Aus diesem ergeben sich die Eigenschaften der zu untersuchenden und verwandter Gebilde oft mit überraschender Einfachheit. Zudem ist das Verfahren Poncelets in solchem Grade rein geometrisch, d. h. es verzichtet so gänzlich auf alle besonderen Hilfsmittel, daß es in dieser Hinsicht alle anderen Methoden übertrifft. Während wir uns in der analytischen Geometrie der Koordinaten und des Kalküls und in der darstellenden Geometrie des Auf- und Grundrisses bedienen, operiert Poncelet lediglich mit den Objekten selbst.

Nach der Veröffentlichung seiner projektivischen Geometrie war Poncelet als Lehrer der technischen Wissenschaften in seiner Vaterstadt und später in Paris tätig. Dieser Umstand und die Angriffe, die seine mathematischen Arbeiten aus kleinlichen Beweggründen erfuhren, bewogen ihn, sich vorwiegend mit angewandter Mathematik zu beschäftigen. Auch auf diesem Gebiete reihen sich seine Leistungen den höchsten an. Was Poncelet in der Hydromechanik und in der Maschinentheorie geschaffen, wird noch heute zu den »Grundsäulen« dieser Wissenszweige gerechnet197. Erwähnt sei nur, daß Poncelet die Wasserräder verbesserte (Ponceletrad) und das Kilogrammmeter als Einheit für die mechanische Arbeit, deren Äquivalenz mit der lebendigen Kraft er besonders hervorhob, einführte.

Zehn Jahre nach dem Erscheinen der projektivischen Geometrie Poncelets fand diese Wissenschaft in Deutschland die hervorragendste[Pg 125] Förderung durch Steiners »Systematische Entwicklung der Abhängigkeit geometrischer Gestalten voneinander«198.

Jakob Steiner wurde 1796 als Sohn eines armen Bauern in der Nähe von Solothurn geboren199. Er empfing den ersten Unterricht in einer Dorfschule und besuchte darauf Pestalozzis Erziehungsanstalt. Hier, sowie in Heidelberg, wo Steiner drei Jahre seinen Lebensunterhalt durch Privatstunden erwarb, fand er für seine wissenschaftliche Richtung kaum irgend welche Anregung. Er war vielmehr auf seinem Gebiete, da es in Deutschland dafür zu jener Zeit kaum einen Vertreter gab, vorwiegend Autodidakt. Nachdem Steiner Heidelberg verlassen, wirkte er als Lehrer an einer Erziehungsanstalt in Berlin. Dort wurde er durch einen Zufall mit Alexander von Humboldt bekannt. Einer der schönsten Züge Humboldts bestand darin, daß er junge Talente sozusagen entdeckte und sie vermöge der hervorragenden Stellung, in die ihn Geburt und Verdienst gewiesen, neidlos förderte. Steiner wurde durch Vermittlung Humboldts an der Berliner Gewerbeschule angestellt, an der auch der Chemiker Wöhler wirkte. Später erhielt Steiner auf die Empfehlung Humboldts und Jacobis hin eine Professur an der Berliner Universität. Durch das Zusammenwirken von Steiner mit Crelle und dem in den zwanziger Jahren gleichfalls in Berlin lebenden nordischen Mathematiker Abel entstand 1826 Deutschlands bedeutendste mathematische Zeitschrift, das Crellesche Journal für reine und angewandte Mathematik.

Zu den ersten Beiträgen Steiners für diese Zeitschrift gehört seine unter dem Titel »Einige geometrische Betrachtungen« veröffentlichte Abhandlung vom Jahre 1826200. In dieser Abhandlung beschäftigt sich Steiner, angeregt durch das Malfattische Problem, besonders mit Kreisberührungsaufgaben. Auf den Inhalt kann hier nicht näher eingegangen werden. Erwähnung verdient jedoch Steiners von ihm selbst geschilderte Art, wissenschaftlich[Pg 126] zu arbeiten. Steiner sagt nämlich, er pflege über eine Aufgabe oder einen Gegenstand sich nicht eher aus den Schriften anderer zu unterrichten, bis er eine Auflösung oder einen Weg durch eigenes Nachdenken gefunden habe. Erst dann vergleiche er seine Resultate mit den schon vorhandenen201. Es ist das zwar nicht ein Verfahren für jedermann. Es ist aber dasjenige, das am sichersten den Fortschritt der Wissenschaft verbürgt.

In einer zweiten Abhandlung löst Steiner die Aufgabe, einzig mit Hilfe eines Lineals ohne Anwendung des Zirkels alle geometrischen Konstruktionen auszuführen, wenn nur irgend ein fester Hilfskreis gegeben ist. Die ältere Geometrie benötigte nämlich für die Mehrzahl ihrer Aufgaben des Lineals und des Zirkels. Die betreffende Abhandlung202 Steiners bringt die Lehre von den harmonischen Strahlen und Punkten, von den harmonischen Eigenschaften des Kreises, den Ähnlichkeitspunkten, Potenzen von Kreisen und schließlich die Lösung aller geometrischen Aufgaben mittelst des Lineals, wenn ein fester Kreis gegeben ist.

Wir gelangen endlich zu dem für die neuere Geometrie grundlegend gewordenen Hauptwerk Steiners, seiner »Systematischen Entwicklung der Abhängigkeit geometrischer Gestalten voneinander«203. Das Werk läßt sich als der erste Versuch bezeichnen, die Geometrie von einem Keime aus nach allen Richtungen organisch zu entwickeln204, sodaß an Stelle des Heeres von auseinander gerissenen Eigentümlichkeiten eine umfassende und klare Übersicht gewonnen wurde.

Auf dem bisher üblichen Wege gelangte man wohl zu einer Sammlung scharfsinniger Kunststücke, aber nicht zu einem innerlich zusammenhängenden Ganzen. Durch die Aneignung der Grundbeziehungen, so lauten Steiners Ausführungen über das Ziel seines Unternehmens, mache man sich zum Herrn des ganzen Gegenstandes. »Es tritt Ordnung in dem Chaos ein, und man sieht, wie alle Teile naturgemäß ineinander greifen und zu wohlbegrenzten Gruppen sich vereinigen. Der Kern der Sache besteht[Pg 127] darin, daß die Abhängigkeit der Gestalten voneinander und die Art und Weise aufgedeckt wird, wie ihre Eigenschaften von den einfacheren Figuren zu den zusammengesetzteren sich fortpflanzen. Eigenschaften der Figuren, wie die konjugierten Durchmesser der Kegelschnitte und das mystische Sechseck und Sechsseit205, von deren Vorhandensein man sich sonst durch künstliche Beweise überzeugen mußte, und die, wenn sie gefunden waren, als etwas Wunderbares dastanden, zeigen sich nun als notwendige Folgen der unscheinbarsten Eigenschaften der aufgefundenen Grundelemente.«

Wenn wir es uns auch versagen müssen, Steiners »Systematische Entwicklung« im einzelnen zu erörtern, so wollen wir doch bei seiner Behandlung der Kegelschnitte, jenes Gebietes, das die Mathematiker seit der Zeit des Menächmos und des Apollonios bis auf den heutigen Tag beschäftigt, noch etwas verweilen. Erst bei der Erzeugung der Kegelschnitte durch projektivische Gebilde ergaben sich fundamentale Sätze, d. h. Sätze, die so umfassend sind, daß die übrigen Eigenschaften der Kegelschnitte klar aus ihnen folgen. Steiner folgerte z. B. aus seinen Fundamentalsätzen206, daß durch fünf beliebige Tangenten oder durch irgend fünf Punkte in einer Ebene ein Kegelschnitt bestimmt ist. Fünf beliebige Gerade in einer Ebene können also stets von einem, aber auch nur von einem einzigen Kegelschnitt berührt werden. Oder auch: Fünf beliebige Punkte in einer Ebene liegen jedesmal in einem, aber auch nur in einem einzigen Kegelschnitte.

In ganz neuer Beleuchtung und der Eigenschaft des Wunderbaren entkleidet erschienen nun auch die Sätze vom Pascalschen und Brianchonschen Sechseck. Zahlreiche Mathematiker hatten Beweise für diese Sätze beigebracht und die Lehre von den Kegelschnitten in mehr oder minder umfassender Weise darauf zu begründen versucht. Pascals Satz lautet, daß bei jedem einem Kegelschnitt umschriebenen Sechseck die Linien, welche die gegenüber liegenden Ecken verbinden, in einem Punkte zusammentreffen. Der Satz von Brianchon besagt, daß bei jedem einem Kegelschnitte eingeschriebenen Sechseck die drei Schnittpunkte der gegenüber liegenden Seiten in einer geraden Linie liegen. Steiner[Pg 128] zeigte, daß beide Sätze nicht die eigentliche Grundlage für die Untersuchung der Kegelschnitte bilden, sondern daß sie zugleich mit vielen anderen Eigenschaften aus einer umfassenderen Quelle, nämlich aus der Beziehung projektivischer Gebilde fließen.

Von der Behandlung der Kegelschnitte nach projektivischer Methode wendet sich Steiner zur Erzeugung projektivischer Raumgebilde207. Die Untersuchung dreht sich besonders um die Eigenschaften der Paraboloide und der Hyperboloide.

Konnten Steiners Verdienste um die neueste Entwicklung der Geometrie hier auch nur angedeutet werden, so geht aus dem Gesagten doch hervor, daß durch ihn die Lehre von den Kegelschnitten, die wir ihrer Beziehungen zur Naturwissenschaft und zur Technik wegen an manchen Stellen dieses Werkes in Betracht gezogen haben, im wesentlichen und auf allgemeinster Grundlage zum Abschluß kam. »Was seitdem noch in dieser Beziehung geleistet worden ist, beschränkt sich auf die weitere Durcharbeitung und die formale Vollendung«208.

Trotz dieser großen Erfolge der projektivischen Geometrie wurde die analytische Behandlung geometrischer Probleme keineswegs gänzlich beiseite geschoben. Wie die synthetische, so gewann auch die analytische Geometrie in der Neuzeit einen erhöhten Standpunkt. Dies geschah besonders durch Plückers »System der analytischen Geometrie«209. Plückers Verfahren bedeutet eine Loslösung von den zwei oder drei Achsen, auf die bisher die Flächen- oder die Raumgebilde bezogen wurden. Anstatt der Koordinaten führte er lineare Funktionen ein, welche den Strahlenbüscheln Steiners entsprechen. Die neueren Methoden der synthetischen und der analytischen Geometrie laufen daher, weil man sich auf beiden Gebieten beweglicher Elemente an Stelle der bisher üblichen festliegenden Grundgebilde bedient, auf eine Annäherung hinaus, die zu einer immer größeren, wechselseitigen Durchdringung und Befruchtung geführt hat210.

Die Erkenntnis, daß gewisse Axiome der gewöhnlichen (Euklidischen) Geometrie sich nicht beweisen lassen, führte im Verlaufe des 19. Jahrhunderts zu einer neuen, nichteuklidischen Geometrie. Eine der ersten, früher nie angezweifelten Grundlagen[Pg 129] der elementaren Geometrie ist das Parallelenaxiom. Es besagt, daß man durch einen Punkt außerhalb einer Geraden in der durch den Punkt und die Gerade festgelegten Ebene nur eine einzige Gerade ziehen kann, welche die erste Gerade nicht schneidet.

Bezweifelt man das Parallelenaxiom, so wankt auch der Satz, daß die Summe der Winkel eines Dreiecks gleich zwei Rechten ist. Kurz, die wichtigsten Grundlagen der Geometrie scheinen mit einer gewissen Unsicherheit behaftet zu sein, die eben daraus entspringt, daß man das Parallelenaxiom nicht beweisen kann. Gauß sprach daher, weil er die Unzulänglichkeit der zur Sicherstellung des Parallelenaxioms unternommenen Beweise erkannte, den Gedanken aus, daß es für die reine Mathematik von großem Wert sein müsse, eine Geometrie zu schaffen, die sich nicht auf jenes Axiom stützt. Was Gauß nur angedeutet, führte Lobatschefskij211 aus. Er schuf in seiner Pangeometrie eine neue umfassendere Lehre, welche die gewöhnliche Geometrie als einen besonderen Fall, der unserer Auffassung vom Raume am vollkommensten entspricht, in sich einschließt212. Näher auf dieses Gebiet einzugehen, liegt nicht im Rahmen dieses Werkes, das die Mathematik nur insofern berücksichtigen kann, als sie die Entwicklung der Naturwissenschaften beeinflußt hat.

Das Ergebnis seiner Untersuchungen veröffentlichte Lobatschefskij 1856. Sein Urteil über die Bedeutung der nichteuklidischen Geometrie geht dahin, daß sie, auch wenn sie in der Natur keine Geltung hat, doch in unserer Vorstellung bestehen und ein neues weites Feld für mathematische Untersuchungen erschließen kann.

Nachdem wir einen Blick auf die Entwicklung geworfen, welche die Geometrie in ihrer jüngsten Phase genommen hat, wollen wir in aller Kürze auch einige wichtige Fortschritte des Kalküls erörtern. Seit dem frühen Altertum beschäftigten sich die Mathematiker mit der Lehre von den Gleichungen. Das Eindringen in ihre Probleme war besonders mühselig und setzte alle Kräfte in Bewegung[Pg 130]. Wie lange dauerte es, bis man das Wesen der negativen Wurzeln und vor allem den Zusammenhang der Wurzeln mit den Koeffizienten erkannt hatte. Erst die Mathematiker des 18. Jahrhunderts (Euler, Lagrange 1772, Gauß 1799) bewiesen, daß jede Gleichung sich in soviel reelle oder imaginäre Faktoren auflösen läßt, als ihr Grad anzeigt. Trotzdem vermochten selbst Euler und Lagrange es nicht, Gleichungen aufzulösen, welche den vierten Grad überschreiten. Schon Gauß äußerte daher die Ansicht, daß die allgemeine Gleichung fünften Grades wahrscheinlich nicht lösbar sei. Den Beweis für diese Tatsache brachte der große norwegische Mathematiker Abel, mit dessen Bedeutung für die neueste Entwicklung des Kalküls wir uns zunächst zu beschäftigen haben.

Niels Henrik Abel wurde 1802 als der Sohn eines norwegischen Dorfpfarrers geboren. Er studierte in Christiania Mathematik und wurde seiner ungewöhnlichen Begabung wegen von der norwegischen Regierung mit einem Stipendium bedacht, um seine Studien in Deutschland und in Frankreich fortzusetzen. In Berlin gehörte Abel nebst Steiner zu den ersten Mitarbeitern des neu gegründeten Crelleschen Journals für die reine und angewandte Mathematik213. Abel starb mit 26 Jahren an einem Lungenleiden. Seine Berufung an die Berliner Universität traf ihn nicht mehr lebend an.

Von Abels Arbeiten verdient zunächst eine Untersuchung über die binomische Reihe Erwähnung214. Abel untersuchte diese Reihe zuerst für komplexe Werte und summierte sie für diese. Seine Arbeit ist für das Gebiet der unendlichen Reihen ein Muster exakter Beweisführung geworden.

Wichtiger als die erwähnte Arbeit ist Abels Nachweis, daß eine algebraische Gleichung von höherem als dem vierten Grade sich nicht allgemein auflösen läßt215. Einige Jahre später zeigte Abel, daß es trotzdem für jeden Grad eine besondere Klasse von[Pg 131] Gleichungen gibt, deren algebraische Auflösung möglich ist. Die Auflösung dieser Gleichungen, die man später als »Abelsche Gleichungen« bezeichnet hat, ist dadurch möglich, daß zwischen ihren Wurzeln gewisse Beziehungen bestehen216.

Von dem großen Verdienst endlich, das sich Abel um die Mitbegründung der Theorie der elliptischen Funktionen erworben hat, wird an anderer Stelle die Rede sein. Hier gilt es zunächst, die weitere Entwicklung der Lehre von den Gleichungen zu verfolgen. Diese Entwicklung ist insbesondere den französischen Mathematikern Fourier und Sturm zu danken.

Mit Fouriers Verdiensten um die mathematische Physik werden wir uns an anderer Stelle beschäftigen. Hier haben wir es nur mit seiner wichtigsten rein mathematischen Schrift zu tun, die 1831 unter dem Titel »Die Auflösung der bestimmten Gleichungen« erschien217. Fourier lehrte darin die reellen Wurzeln finden, die zwischen zwei beliebigen Werten von x liegen, und verbesserte Newtons Berechnungsmethode wesentlich. An sein Theorem über die Bestimmung von Intervallen für die reellen Wurzeln einer Gleichung knüpfte Charles Sturm an (geboren 1803 in Genf, Professor an der École polytechnique. Er starb 1855). Seine Abhandlung über die Auflösung der numerischen Gleichungen (1835) zeigte, wie sich vermittelst des nach ihm benannten Theorems auf die einfachste Weise die Anzahl der reellen Wurzeln erkennen und ihre Begrenzung finden läßt. Sie bedeutet deshalb den hervorragendsten Fortschritt in dem Verfahren der numerischen Auflösung algebraischer Gleichungen mit reellen Koeffizienten218.

Als das hervorragendste mathematische Hilfsmittel der Naturwissenschaft erwies sich auch im 19. Jahrhundert in stetig wachsendem Maße die Differential- und Integralrechnung. Unter den zahlreichen Arbeiten, welche diese mathematische Disziplin während des ersten Zeitraums des 19. Jahrhunderts förderten, verdienen[Pg 132] die Abhandlungen von Pfaff und von Cauchy besondere Erwähnung.

Pfaff219 löste zuerst das Integrationsproblem der partiellen Differentialgleichungen, um welches Euler und Lagrange sich vergeblich bemüht hatten, in voller Allgemeinheit220. Euler vermochte nicht einmal für den einfachsten Fall, der mit der partiellen Differentialgleichung erster Ordnung mit zwei Veränderlichen gegeben ist, zu einer allgemeinen Theorie zu gelangen. Lagrange war zwar bis zur Integration solcher Gleichungen vorgedrungen; er hatte sich indessen auf den Fall beschränken müssen, daß die partiellen Differentialquotienten, falls mehr als drei Veränderliche in Betracht kommen, darin nur linearisch auftreten.

Auch um die Reihenlehre, die Kombinationslehre und die Anwendung der letzteren auf die Probleme der höheren Analysis hat sich Pfaff verdient gemacht. Seine neue Summationsmethode für unendliche Reihen (1788) besteht darin, daß er die Glieder der unendlichen Reihe, deren Summe gesucht wird, wieder in unendliche Reihen verwandelt und deren Glieder so verbindet, daß neue summierbare Reihen entstehen.

Unabhängig von Pfaff fand auch der französische Mathematiker Cauchy eine allgemeine Methode, um die partiellen Differentialgleichungen erster Ordnung zu integrieren, »welches auch die Zahl der unabhängigen Veränderlichen sein möge«221. Augustin Louis Cauchy wurde 1789 in Paris geboren. Er wurde Zögling der »École polytechnique« und zeichnete sich schon als Knabe, ähnlich Pascal und Clairaut, durch eine solch hervorragende mathematische Beanlagung aus, daß sogar der große Lagrange auf ihn aufmerksam wurde. Später wirkte Cauchy als Lehrer an der »École polytechnique«. Er starb nach manchen, durch politische Ereignisse hervorgerufenen Wechselfällen im Jahre 1857.[Pg 133] Unter den mathematischen Abhandlungen Cauchys verdient diejenige vom Jahre 1825 besondere Erwähnung, da er darin »den Grad der Allgemeinheit« feststellte, den ein bestimmtes Integral zwischen imaginären Grenzen zuläßt und die Zahl der Werte, die es annehmen kann, ermittelte222. In welchem Maße die mathematischen Untersuchungen Cauchys durch ihn und andere der theoretischen Physik, vor allem der Optik, zugute gekommen sind, wird an anderer Stelle gezeigt werden.

Für die Entwicklung der höheren Analysis war ferner die Neugestaltung der Theorie der elliptischen Funktionen von der größten Wichtigkeit. Sie erfolgte durch Abel, dessen Verdienste um die Theorie der Reihen und der Gleichungen wir schon kennen lernten, und durch den großen deutschen Mathematiker Jacobi.

Karl Gustav Jacobi wurde 1804 in Potsdam geboren. Er widmete sich zunächst unter Böckh der klassischen Philologie, entschied sich aber, angeregt durch die Werke von Euler, Lagrange, Laplace und Gauß bald darauf für das Studium der Mathematik. Mit 21 Jahren wurde er Dozent für dieses Fach an der Berliner Universität. Dann wirkte er in Königsberg, um schließlich nach Berlin zurückzukehren, wo er schon 1851 starb.

Jacobis erste Untersuchungen betrafen die elliptischen Funktionen. Im Jahre 1829 erschien sein großes Hauptwerk über diesen Gegenstand223. Das Werk hat ihm die Hälfte des großen Preises eingetragen, den die Pariser Akademie für den bedeutendsten Fortschritt auf diesem Gebiete ausgesetzt hatte224.

Die ersten Anfänge der Theorie der elliptischen Funktionen begegnen uns bei Euler. Dieser suchte einen rechnerischen Ausdruck für den Bogen einer Ellipse zu gewinnen und wurde dabei durch folgende Überlegung geleitet. Da der Kreis ein besonderer Fall der Ellipse ist, so läßt sich der Bogen der letzteren vielleicht durch allgemeinere Funktionen ausdrücken, welche die Kreisfunktionen[Pg 134] als besonderen Fall in sich einschließen. Das Problem wurde von Legendre wieder aufgenommen und weiter geführt. Er war es, der zuerst den Ausdruck »elliptische Funktionen« gebrauchte. Allerdings bezeichnete er, abweichend vom heutigen Gebrauch, mit diesem Ausdruck die Integrale, welche die Bogen der Ellipse und der Hyperbel ausdrücken. Legendre widmete diesem Gegenstande die Arbeit von Jahrzehnten und veröffentlichte das Ergebnis, als ihm eine weitere Fortbildung nicht möglich schien, in seiner zusammenfassenden Arbeit vom Jahre 1827225. Kaum war dies geschehen, da mußte Legendre gestehen, daß seine eigenen Forschungen durch Abel und Jacobi weit überholt worden seien. »Nachdem ich mich«, so schrieb Legendre, »eine lange Reihe von Jahren mit der Theorie der elliptischen Funktionen befaßt, für welche der unsterbliche Euler das Fundament geschaffen, glaubte ich die Ergebnisse in einem umfangreichen Werke herausgeben zu müssen. Kaum ist aber der Titel dieses Werkes bekannt geworden, und schon zeigt es sich, daß zwei junge Mathematiker, Jacobi und Abel, die Theorie der elliptischen Funktionen durch neue Untersuchungen beträchtlich vervollkommnet haben.«

Unabhängig voneinander waren Abel und Jacobi auf den Gedanken gekommen, in diese Theorie das Imaginäre einzuführen. Dadurch wurden alle Rätsel der älteren Theorie gelöst und die elliptischen Funktionen gleichzeitig zu den Kreisfunktionen und den Exponentialgrößen in nahe Beziehung gesetzt.

Jacobi drang aber noch tiefer in das Wesen der elliptischen Funktionen ein und erkannte, daß sie als Folgerungen gewisser Funktionen aufgefaßt werden können, die man seitdem als Theta-Funktionen bezeichnet hat. Während ferner die elliptischen Funktionen als die Umkehrungen der elliptischen Integrale nur zwei Perioden zulassen, schuf Jacobi später die Theorie der mehrfach periodischen Funktionen, welche als die Umkehrungsfunktionen der algebraischen Integrale auftreten. Die Abhandlung, in welcher die Natur dieser neuen Funktionen im hellsten Lichte erscheint, wurde neuerdings in deutscher Sprache zugänglich gemacht226.[Pg 135] Um die Darstellung der vierfach periodischen Funktionen haben sich unter den deutschen Mathematikern später noch Göpel und Rosenhain besondere Verdienste erworben. Auch ihre Abhandlungen erschienen als Teile der Ostwaldschen Sammlung in deutscher Übersetzung227.

Von den neu entdeckten Funktionen haben besonders die elliptischen und die durch Legendre eingeführten Kugelfunktionen der mathematischen Physik und der theoretischen Astronomie wertvolle Dienste geleistet. Um den weiteren Ausbau der höheren Analysis und ihre Anwendung auf das abstrakte Gebiet der Zahlentheorie, nicht minder aber auf die wichtigsten Probleme der mathematischen Physik hat sich der deutsche Mathematiker Lejeune-Dirichlet die größten Verdienste erworben.

Gustav Peter Lejeune-Dirichlet wurde 1805 in Düren geboren228. Anknüpfend an die Disquisitiones arithmeticae von Gauß verstand er es, die Zahlentheorie mit der Infinitesimalrechnung in Beziehung zu setzen und beide bis dahin getrennten Zweige der Mathematik vermöge der Durchführung dieses Gedankens zu bereichern. Einige Anwendungen dieser Methode veröffentlichte er in den Jahren 1839 und 1840. Die betreffende Abhandlung229 bringt eine Frage, mit welcher sich schon Lagrange, Legendre und Gauß befaßten, zur Lösung, die Frage nämlich nach dem Zusammenhang zwischen der Anzahl der quadratischen Formen und einer gegebenen Determinante.

In einer anderen, der Ostwaldschen Sammlung einverleibten Abhandlung unternimmt Dirichlet die Darstellung ganz willkürlicher[Pg 136] Funktionen durch Sinus- und Cosinusreihen230. Zu dieser für die Entwicklung der mathematischen Physik sehr wertvollen Untersuchung war Dirichlet dadurch gelangt, daß Fourier, mit dem der deutsche Forscher während eines längeren Studiums in Paris in enge Fühlung trat, durch seine analytischen Beiträge zur Wärmelehre auf trigonometrische Reihen geführt worden war.

Nach dem Erfolge, den Dirichlet durch seine Untersuchung der Fourierschen Reihen errungen, stellte er mit Vorliebe sein mathematisches Können in den Dienst der theoretischen Physik. Er erfand eine besondere Integrationsmethode zur leichteren Bewältigung der bestimmten Integrale und wandte diese neue Methode auf Attraktionsprobleme an.

Die betreffende Abhandlung erschien 1839 und wurde neuerdings durch Ostwalds Klassiker zugänglicher gemacht231. Nachdem Riemann gezeigt hatte, wie durch die von ihm vorgeschlagene Transformation die schwierigsten Integrationen vereinfacht werden, wählte Dirichlet das so oft von früheren Mathematikern (Laplace, Gauß u. a.) behandelte Beispiel der Attraktion der Ellipsoide. Während bis dahin das Problem des äußeren und des inneren Punktes unabhängig voneinander und mit verschiedenen Mitteln behandelt worden waren, zeigte Dirichlet, daß das Problem eine gleichförmige Behandlung zuläßt. Außerdem ist sein Verfahren nicht auf die Voraussetzung beschränkt, daß die Attraktion dem Quadrat der Entfernung umgekehrt proportional ist, sondern es bleibt auch für jede andere ganze oder gebrochene Potenz der Entfernung anwendbar. Endlich braucht auch die Dichtigkeit der anziehenden Masse nicht als konstant vorausgesetzt zu werden, sondern sie kann auch durch irgend eine rationale ganze Funktion der drei Koordinaten ausgedrückt sein. Indem Dirichlet ferner die Wirkung der nach dem Gesetze Newtons wirkenden Kräfte von neuem der höheren Analysis unterwarf, förderte er gleichzeitig die Potentialtheorie232.

[Pg 137]

Im Anschluß an Dirichlet hat sich besonders Riemann mit der Darstellung von Funktionen durch trigonometrische Reihen und dem Ausbau der Potentialtheorie beschäftigt233. Die Gestaltung, welche die Funktionenlehre durch Riemann erlangte, indem er die komplexe, d. h. aus einem reellen und einem imaginären Teile bestehende Veränderliche, einführte, hat der höheren Analysis in ihrer Anwendung auf die Naturwissenschaften während der zweiten Hälfte des 19. Jahrhunderts Ziel und Richtung gegeben.

[Pg 138]

9. Die wissenschaftliche Chemie von ihrer Begründung durch Boyle bis zu ihrer Erneuerung durch Lavoisier.

Eine Reihe von Jahrzehnten war seit der Begründung der neueren Physik verflossen, ehe die Chemie ihr mittelalterliches Gewand abstreifte und unter der Führung von Boyle einem rein wissenschaftlichen Ziele, nämlich der Erforschung der Zusammensetzung der Körper, nachzustreben begann. Boyle hatte den Begriff des chemischen Elementes aufgestellt und der analytischen Chemie eine sichere Grundlage gegeben. Auch hatte er sowohl das experimentelle Studium als auch die Erklärung der Verbrennungserscheinungen in Angriff genommen. Während der erste Teil dieser Aufgabe durch Boyle und seine Nachfolger sehr gefördert und ein großes, auf den Vorgang der Verbrennung bezügliches Tatsachenmaterial herbeigeschafft wurde, blieb das gesamte von Boyle bis Lavoisier reichende Zeitalter bezüglich aller Erklärungsversuche in dem Banne der von Stahl begründeten Phlogistontheorie befangen. Selbst als Lavoisier seine antiphlogistische Lehre bis in ihre Einzelheiten ausgeführt hatte, vermochten jene Männer, auf die er sich besonders stützte, wie Priestley und Scheele, der älteren Theorie, die sie bei ihren großen Entdeckungen geleitet, nicht zu entsagen. Mit Dalton, Berzelius und Gay-Lussac trat indes ein neues Geschlecht von Forschern auf den Schauplatz. Indem diese an Lavoisier anknüpften, begann für die Chemie das Zeitalter der quantitativen Untersuchungen. Dadurch wurden die Beziehungen zur Physik immer engere, was sich auch darin aussprach, daß die Mehrzahl der damaligen Forscher auf beiden Gebieten hervorragende Leistungen aufzuweisen hatten. Die Chemie erhielt somit in dieser, den letzten Teil des 18. und den Beginn des 19. Jahrhunderts umfassenden Periode im wesentlichen ihre heutige Richtung und Gestalt.

[Pg 139]

Die Einsicht in den Vorgang der Verbrennung wurde erst dadurch ermöglicht, daß Priestley die Erforschung der Gase in die Hand nahm und Scheele die Zusammensetzung der atmosphärischen Luft aus zwei Bestandteilen nachwies. Bis zur Zeit van Helmonts hatte man die Gasarten, von denen insbesondere der Wasserstoff, sowie das Kohlendioxyd bekannt geworden waren, noch nicht unter sich und von der atmosphärischen Luft unterschieden, sondern jeden gasförmigen Körper mit der Luft identifiziert und die beobachteten Verschiedenheiten auf Beimengungen zurückgeführt. Ein erfolgreiches Studium der Gase begann erst mit der von Hales herrührenden Erfindung der pneumatischen Wanne und der Verwendung des Quecksilbers als Absperrflüssigkeit. Das letztgenannte Verfahren ermöglichte Priestley die Entdeckung der im Wasser löslichen Gasarten, wie des Ammoniaks und des Chlorwasserstoffs. Klare Ansichten über die chemische Natur der Gase kamen jedoch erst mit Lavoisier auf, welcher Sauerstoff und Wasserstoff als Elemente ansprach.

Joseph Priestley, auf dessen Untersuchungen Lavoisier ganz besonders die neuere Chemie begründete, wurde im Jahre 1733 in der Nähe von Leeds geboren. Er studierte Theologie. Infolge seiner Stellung zur englischen Kirche und seines exzentrischen Wesens führte er ein unstätes Leben. Er wirkte bald als Prediger, bald als Schul- oder Hauslehrer und siedelte endlich nach Nordamerika über, wo er 1804 starb. Trotzdem Priestley eine gründliche naturwissenschaftliche Vorbildung fehlte, hat er mit großem Erfolge das schwierige Gebiet der pneumatischen Chemie eigentlich erst erschlossen. Priestley glich nämlich den erwähnten Mangel dadurch aus, daß er ein ganz außergewöhnliches Geschick zum Experimentieren besaß. Die Ergebnisse seiner mühevollen, auf die Gase bezüglichen Untersuchungen legte er in einer Anzahl seit dem Jahre 1772 veröffentlichter Abhandlungen nieder, die zum Teil zu einem größeren Werke234 vereinigt wurden. Zunächst befaßt sich Priestley in diesen Schriften mit dem von ihm als fixe Luft bezeichneten Kohlendioxyd235. Er entnimmt dieses Gas, das sich bei der Gärung bildet, den Brauereien, oder er stellt es durch Übergießen von Kreide mit Säuren her. Die Untersuchungen Priestleys betreffen auch die Löslichkeit des Kohlendioxyds im Wasser. Gleichzeitig gibt er Anweisung über die durch Sättigen[Pg 140] des Wassers mit Kohlendioxyd zu bewerkstelligende Gewinnung künstlicher Säuerlinge. Von der praktischen Verwertbarkeit der Ergebnisse wissenschaftlichen Forschens war Priestley tief durchdrungen. »Da wir selbst Teile des Systems sind,« heißt es in seiner Naturlehre, »so ergibt sich, daß, je vollkommener unsere Kenntnisse von den Naturgesetzen sind, wir um so mehr Gewalt über die Natur haben, und daß wir um so geschickter sind, solche Einrichtungen in der Welt zu treffen, die uns am meisten zusagen. Wenn die Wissenschaft wie bisher immer größere Fortschritte macht, so wird das menschliche Geschlecht nach einigen Jahrhunderten uns ebenso sehr übertreffen, wie wir jetzt die Wilden übertreffen, denn die Natur ist unerschöpflich, sie gleicht einer Erzgrube, in der sich immer neue Anbrüche zeigen236

Auf das Vorhandensein von »fixer Luft« in der Atmosphäre hatten schon Black237, sowie der schwedische Naturforscher Bergman hingewiesen. Beide machten darauf aufmerksam, daß sich Kalkwasser an der Luft mit einer weißen, festen Masse bedeckt, aus der sich durch Übergießen mit Säure die »fixe Luft« wieder freimachen läßt238.

Priestleys weitere Bemühungen liefen insbesondere darauf hinaus, die Säuren in Luftarten zu verwandeln. So erzeugte er aus Schwefelsäure die »vitriolsaure Luft« (SO2) und aus Salpetersäure »die salpetersaure Luft« (NO). Er bemerkte, daß letztere sich mit Sauerstoff unter Verminderung des Gesamtvolumens verbindet, und gründete hierauf ein Verfahren, die atmosphärische Luft zu analysieren. Priestley wies ferner nach, daß die beim Zusammenbringen von Kochsalz und Schwefelsäure auftretenden Dämpfe aus einer in Wasser außerordentlich löslichen Luftart bestehen. Es gelang ihm, dieses salzsaure Gas (HCl), wie auch die beim Zusammenbringen von Salmiak und Kalk auftretende »laugenartige Luft« (NH3) über Quecksilber aufzufangen. Auch das Stickoxydul oder Lachgas (N2O) und das Kohlenmonoxyd (CO) wurden von Priestley dargestellt. Am folgenreichsten war die ihm im Jahre 1771 gelungene Entdeckung des Sauerstoffs, den Priestley durch Erhitzen von rotem Quecksilberoxyd bereitete. Den Ruhm[Pg 141] dieser Entdeckung hat er allerdings, wie wir gleich sehen werden, mit Scheele zu teilen239.

Bevor sich Priestley seinen Arbeiten über die Gase zuwandte, befaßte er sich insbesondere mit elektrischen Versuchen. Sein Buch über die Geschichte und die Lehre von der Elektrizität240 hatte großen Anklang gefunden und ihm die Mitgliedschaft der Royal Society eingetragen. Es ist nun von Interesse zu sehen, wie Priestley seine auf diesem Gebiete erworbenen Kenntnisse bei der experimentellen Erforschung der Gase verwertet. So schloß er atmosphärische Luft in eine Glasröhre über Wasser ein und ließ den Funken wiederholt hindurchschlagen. Dabei zeigte es sich, daß sich das Luftvolumen verminderte. War das in der Röhre befindliche Wasser mit Lackmus blau gefärbt, so nahm es eine rote Farbe an241. Das umgekehrte Verhalten zeigte Ammoniak oder »laugenhaftes Gas« (NH3). Unter der fortgesetzten Einwirkung des elektrischen Funkens vergrößerte es nämlich sein Volumen. Priestley nahm auch wahr, daß hierbei eine tiefgreifende chemische Veränderung mit dem Ammoniakgas vor sich geht. »Vorher wurde es,« so berichtet er, »vom Wasser leicht verschluckt. Mit »elektrischer Materie« überladen, scheint es keine Verwandtschaft mehr zum Wasser zu haben. Es ist in eine eigene Art »zündbare Luft« verwandelt«242. Auch die Analyse von Gasen durch Detonation (Verpuffung) rührt von Priestley her. Brennbare Gase oder Gasgemenge mischte er über Quecksilber[Pg 142] mit Sauerstoff. Durch den elektrischen Funken wurde dann eine Verpuffung herbeigeführt und darauf der Rückstand untersucht. So fand Priestley, daß diejenige zündbare Luft, die man erhält, wenn man Alkoholdampf durch eine glühende Röhre leitet oder Holz der trockenen Destillation unterwirft, nach dem Verpuffen mit Sauerstoff einen Rückstand von fixer Luft (CO2) hinterläßt243, während dies beim Detonieren der aus Eisen und Schwefelsäure hergestellten »zündbaren Luft« (H) nicht der Fall ist. All diese Errungenschaften eines ganz hervorragenden experimentellen Geschicks sind für die Entwicklung der Chemie von größter Bedeutung gewesen. Doch kleidet Priestley seine Ergebnisse noch in das Gewand der phlogistischen Theorie. Die Verbrennung besteht bei ihm in einem Entweichen von Phlogiston. Letzteres wird nach Priestleys Meinung von den die Verbrennung unterhaltenden Luftarten aufgenommen und zwar um so energischer, je weniger diese Luftarten selbst an Phlogiston besitzen. Sauerstoff unterhält die Verbrennung am besten, weil er gar kein Phlogiston enthält. Priestley nennt dieses Gas deshalb »dephlogistisierte Luft.« Wasserstoff ist dagegen reines Phlogiston, da es besonders geeignet ist, die erhitzten Metalloxyde in Metalle zurückzuverwandeln. Die atmosphärische Luft stellt sich nach dieser Theorie als ein Gemenge von »dephlogistisierter« (O) und »phlogistischer« Luft (N) dar. Durch die bei der Verbrennung vor sich gehende Zufuhr von Phlogiston verwandelt sich die atmosphärische Luft ganz in phlogistische. Auf den Widerspruch, der darin liegt, daß bei der Verbrennung die atmosphärische Luft ihrem Volumen, sowie ihrem Gewichte nach vermindert wird, ist Priestley nicht eingegangen. Auch die Entdeckung, daß bei der Vereinigung von reinem Phlogiston (H) mit reiner dephlogistisierter Luft (O) keine Spur von phlogistischer Luft (N), sondern Wasser auftritt, ließ ihn an der eingewurzelten Theorie nicht irre werden. Auf den nahe liegenden Gedanken, das Gewicht des vermeintlich zugeführten Phlogistons in den aus Metallkalk entstandenen Metallen zu ermitteln, einen Gedanken, dessen Ausführung auf einen weiteren Widerspruch geführt haben würde, ist Priestley zwar gekommen. Wie er sagt, ist er jedoch außer stande gewesen, die Frage, ob das Metalloxyd bei seiner Umwandlung in Metall schwerer oder[Pg 143] leichter wird, zu entscheiden, da immer eine teilweise Sublimation stattgefunden habe. Er verfolgt die Sache daher trotz ihrer ausschlaggebenden Bedeutung nicht weiter, sondern entscheidet sie im Sinne der von ihm vertretenen Lehre. An ihm, sowie an Scheele, der gleichfalls das gesamte zur Aufstellung der wahren chemischen Theorie erforderliche Material in den Händen hielt, erwies sich recht eigentlich die Wahrheit des Wortes von Laplace, daß die Entdeckungen in der richtigen Verknüpfung derjenigen Ideen bestehen, die zueinander passen.

Während sich Priestley wesentlich auf die Erforschung der Gase beschränkte, erfuhren zur selben Zeit sämtliche Teile der Chemie eine Bereicherung durch Scheele, wie sie kaum jemals wieder in solchem Maße von einem einzigen Manne ausging. Scheele war seiner Abstammung und Sprache nach ein Deutscher, wenn ihn auch die Schweden mit gleichem Rechte als den Ihrigen betrachten und seine Verdienste vor einer Reihe von Jahren durch die feierliche Begehung seines hundertundfünfzigsten Geburtstages und die Errichtung eines Standbildes gewürdigt haben. Wie aus den von Nordenskjöld herausgegebenen244, an Gahn, Bergman und andere gerichteten Briefen Scheeles hervorgeht, hat sich dieser in seinen Briefen und in seinen Laboratoriumsnotizen der deutschen Sprache bedient. Eine Ausnahme bilden nur die Briefe, welche an Personen gerichtet sind, bei denen Scheele die Kenntnis des Deutschen nicht voraussetzen konnte.

Karl Wilhelm Scheele wurde am 9. Dezember 1742 in dem damals schwedischen Stralsund geboren. Im 14. Lebensjahre widmete er sich der Apothekerlaufbahn. Nachdem er in mehreren schwedischen Städten seine Lehr- und Gehilfenjahre zugebracht und während dieser Zeit durch unermüdliches Experimentieren zu den hauptsächlichsten Ergebnissen seiner Forschertätigkeit gelangt war, übernahm er 1775 eine eigene Apotheke245. Er starb am 21. Mai des Jahres 1786.

Über seine auf den Sauerstoff und die atmosphärische Luft bezüglichen Entdeckungen hat Scheele in einer wichtigen Schrift berichtet, die Ostwald als 58. Bändchen seiner Klassiker herausgegeben hat. Sie führt den Titel »Chemische Abhandlung von der Luft und dem Feuer« und erschien im Jahre 1777. Die Versuche, welche Scheele darin mitteilt, wurden jedoch schon in der Zeit[Pg 144] von 1768-1773 angestellt. Aus Scheeles vor kurzem veröffentlichten Briefwechsel246 geht, hervor, daß er schon im Jahre 1770 mit der Darstellung von Chlorwasserstoff, Ammoniak und Stickoxyd bekannt war.

Scheele beginnt seine Abhandlung mit den Worten: »Die Körper geschickt in ihre Bestandteile zu zerlegen, ihre Eigenschaften zu entdecken und die Körper auf verschiedene Art zusammenzusetzen, ist der Hauptzweck der Chemie.« Die meisten Schwierigkeiten und Widersprüche habe indessen die Erklärung der Verbrennung hervorgerufen. Er habe daher von allen bisherigen Erklärungen abgesehen und eine Menge von Versuchen angestellt, um die Verbrennungserscheinungen so viel wie möglich zu ergründen. Dabei habe sich herausgestellt, daß man ohne eine genaue Untersuchung der Luft über die Erscheinungen, welche das Feuer darbietet, kein wahres Urteil fällen könne.

Nachdem Scheele die Eigenschaften, welche die Luft von den anderen Gasen unterscheidet, genau gekennzeichnet hatte, stellte er eine Reihe von Versuchen an, die alle beweisen sollten, daß die Luft aus zwei verschiedenen Gasen zusammengesetzt ist.

Sein Verfahren bestand darin, daß er ein bestimmtes Quantum Luft mit einem Stoff behandelte, welcher den einen Teil der Luft absorbierte. Dabei zeigte es sich, daß der andere Teil stets in der gleichen Menge und mit denselben Eigenschaften zurückblieb. So schloß er eine Lösung von Schwefelleber247 in eine leere Flasche ein, drehte diese um und setzte den Hals in ein kleines Gefäß mit Wasser. In dieser Stellung beließ er die Flasche 14 Tage. Darauf öffnete er sie umgekehrt unter Wasser. Sogleich drang das Wasser in die Flasche ein; und es zeigte sich, daß vier Teile von 20 Teilen Luft absorbiert waren. Annähernd dieselbe Volumverminderung trat ein, als Scheele den Versuch unter Anwendung von Phosphor, Eisenfeile oder einer geeigneten Eisenverbindung an Stelle der Schwefelleber wiederholte.

[Pg 145]

Auch bei der Verbrennung von Wasserstoff in einer abgeschlossenen Luftmenge (s. Abb. 25) fand eine Raumverminderung um 1/5 statt. Die zurückbleibende Luftart unterhielt die Verbrennung nicht.

Abb. 25
Abb. 25. Scheele analysiert die Luft.
Abb. 26
Abb. 26. Scheeles Darstellung von Sauerstoff.

Zur Herstellung von Sauerstoff wandte Scheele folgendes Verfahren an. Er mischte konzentrierte Schwefelsäure mit fein zerriebenem Braunstein. Diese Mischung wurde in einer kleinen Retorte erhitzt. Zum Auffangen des Gases diente eine luftleere Blase. Sobald der Boden der Retorte glühte, ging eine Luftart über, welche die Blase nach und nach ausdehnte. Scheele füllte ein Glas mit dieser Luftart und brachte ein kleines angezündetes Licht hinein. »Kaum war dies geschehen, so fing das Licht an, mit einer großen Flamme zu brennen, wobei es einen so hellen Schein von sich gab, daß es die Augen blendete.« Mischte Scheele das aus dem Braunstein hergestellte Gas248 mit derjenigen Luft, in welcher das Feuer bei den obigen Versuchen nicht mehr brennen wollte, so erhielt er eine Luft, die der gewöhnlichen in allen Stücken gleich war. Den Sauerstoff nannte er Feuerluft. Die andere Luftart, die zur Unterhaltung der Verbrennung ungeeignet ist, bezeichnete er mit den Namen »verdorbene Luft.« Später wurde sie Stickstoff genannt.

[Pg 146]

Auch beim Erhitzen von Salpeter in einer gläsernen Retorte wurde die Blase von einem Gase ausgedehnt, das sich als reine »Feuerluft« erwies. Scheele wiederholte darauf die Versuche, die er zuerst mit Schwefelleber, Phosphor usw. und gewöhnlicher Luft angestellt hatte, unter Anwendung von »Feuerluft.« Es zeigte sich, daß jetzt kein Rückstand blieb, sondern das gesamte Gas absorbiert wurde. Mischte er aber die verdorbene Luft mit Feuerluft, und brachte er ein Stück Phosphor in diese Luftmischung, so wurde auch nur der auf die Feuerluft entfallende Teil absorbiert.

All diese Versuche bewiesen somit, daß die Feuerluft das Gas ist, vermittelst dessen das Feuer in der atmosphärischen Luft unterhalten wird. »Sie ist darin«, sagt Scheele, »nur mit einer Luftart vermischt, die zum Brennbaren gar keine Anziehung zu haben scheint; und diese ist es, welche der sonst zu schnellen und heftigen Entzündung etwas Hinderung in den Weg legt.«

Den Sauerstoff stellte er nicht nur durch Erhitzen eines Gemenges von Braunstein und Schwefelsäure, sowie aus Salpeter her, sondern er bereitete ihn auch durch Glühen leicht zersetzbarer Oxyde, wie des Goldoxyds und des roten Quecksilberoxyds, dessen sich auch Priestley bediente249.

Scheeles Arbeit über den Braunstein lehrte außer dem Sauerstoff noch Mangan, Chlor und Baryterde (BaO) kennen. Letztere war in den von ihm untersuchten Braunsteinsorten als Beimengung enthalten. Eine Lösung von Baryterde benutzte er, wie es noch heute geschieht, zum Nachweise der Schwefelsäure, während man sich vorher zu diesem Zwecke der viel weniger geeigneten Kalklösung bedient hatte.

Scheele und Bergman gelang ferner die Aufschließung der Silikate, indem sie diese im Mineralreich eine so große Bedeutung beanspruchenden Verbindungen durch Zusammenschmelzen mit kohlensaurem Alkali in den löslichen Zustand überführten. Die Untersuchungen über die Silikate lehrten auch den Unterschied zwischen löslicher und unlöslicher Kieselsäure kennen. Große Verdienste erwarb sich Scheele auch um den Nachweis der Magnesium-, der Kupfer- und der Quecksilberverbindungen. Diese Fülle von Einzelbeobachtungen wußte Scheeles Freund Bergman jedoch besser systematisch zu verwerten als jener, sodaß Bergman besonders das Verdienst davontrug, die Grundlagen[Pg 147] der qualitativen Analyse geschaffen zu haben. Nicht minder eifrig widmete sich Scheele dem Studium der Gase, von denen manche, deren Auffindung man wohl Priestley und anderen zugeschrieben hat, schon ihm bekannt waren. Es sind vor allem außer dem Sauerstoff, dem Stickstoff und dem Kohlendioxyd noch Chlorwasserstoff, Schwefelwasserstoff, Ammoniak und Stickoxyd, auf die sich Scheeles Untersuchungen erstrecken. Zum Auffangen der Gase bediente er sich nicht wie Hales und Priestley einer Wanne, sondern er brachte die Entwicklungsflasche mit tierischen Blasen in Verbindung, die er zuvor durch Zusammendrücken luftleer gemacht hatte. An solchen Blasen entdeckte Scheele die Erscheinung der Gasdiffusion. »Sind die Blasen oder auch nur die sie umgebende Luft feucht,« sagt Scheele bei der Beschreibung seines Apparats250, »so dringen die darin befindlichen Gase in wenigen Tagen gänzlich durch die Blasen. Sind letztere und die Luft dagegen trocken, so geschieht dies nicht.«

Ferner machte Scheele die Entdeckung, daß die beiden Bestandteile der Luft, die er als Feuerluft und als verdorbene Luft bezeichnete, in sehr verschiedenem Grade in Wasser löslich sind. Das Wasser habe die besondere Eigenschaft, die Bestandteile der Luft zu trennen, indem es die Feuerluft leichter aufnehme. Letztere sei den im Wasser lebenden Tieren unentbehrlich. Der Lebensprozeß dieser Tiere beruhe darauf, daß sie die Feuerluft verbrauchten und Luftsäure (CO2) abschieden. Das ausgeschiedene Gas würde jedoch in die Atmosphäre abgedünstet und das Wasser dadurch befähigt, von neuem Feuerluft aufzulösen und sie den Tieren zuzuführen251. Zu dieser in den Grundzügen zutreffenden Darstellung war Scheele durch eine Reihe von Versuchen gelangt. Leider beziehen sich diese Versuche, wie es Scheeles Art war, vorwiegend auf den qualitativen Verlauf des Vorganges. Scheele würde sonst wahrscheinlich bezüglich der Bedeutung der »Feuerluft« zu den gleichen Ergebnissen wie Lavoisier gelangt sein.

Nicht minder bedeutend als das bisher Erwähnte waren Scheeles Verdienste um die vor ihm kaum als Wissenszweig bestehende organische Chemie. Aus den sauren Pflanzensäften erhielt er durch Zusatz von Kalk- oder Bleilösung Niederschläge, die er als die Salze gewisser Säuren erkannte. Durch Zersetzen dieser[Pg 148] Niederschläge mittelst Schwefelsäure gelang ihm die Herstellung der wichtigsten organischen Verbindungen, wie der Wein-, der Zitronen-, der Äpfel- und der Oxalsäure. Letztere stellte er nicht nur aus dem Sauerklee, sondern auch durch die Einwirkung von Salpetersäure auf Zucker her. Die Untersuchung von Harnsteinen führte ihn zur Auffindung der Harnsäure. Die Milchsäure war zwar schon vor ihm bekannt; auf Scheele ist indessen die genauere Kenntnis dieser Verbindung zurückzuführen.

Die Zersetzung von Blutlaugensalz durch Schwefelsäure führte ihn im Jahre 1782 zur Entdeckung der Blausäure. Er widmete ihr eine mustergültige Untersuchung, die ihm einen ziemlich klaren Einblick in die Zusammensetzung dieser Verbindung erschloß. Auch auf das seit alters bekannte Verhalten der Fette gegen die Alkalien warfen seine Arbeiten das erste Licht. Es gelang ihm, aus Olivenöl durch die Einwirkung von Bleioxyd das von ihm »Ölsüß« genannte Glyzerin abzuscheiden.

Alles dies sind Ergebnisse, die, wie wir sehen werden, für die Arbeiten späterer Forscher grundlegend gewesen sind. Der Umstand, daß die Untersuchungen unter dem Einfluß der Phlogistontheorie geführt wurden, ist durchaus nicht imstande, den Wert dieser Untersuchungen zu beeinträchtigen, zumal Scheele wie kein anderer der antiphlogistischen Lehre den Boden bereiten half. Gipfelt doch dasjenige, was er von der Luft und dem Feuer geschrieben, in der klaren Erkenntnis, daß die Luft aus zwei verschiedenen Gasen zusammengesetzt ist, von denen nur der Sauerstoff, den er als »Feuerluft« bezeichnet, die Verbrennung und alle der Verbrennung analogen Vorgänge unterhält. Scheele lehrte ferner, wie wir sahen, die Mittel kennen, um der Luft diesen wirksamen Bestandteil zu entziehen; er fand, daß das zurückbleibende Gas etwa vier Fünftel der gesamten Luft ausmacht. Letztere stellte er durch Mischen der beiden Bestandteile mit allen ihren Eigenschaften wieder her.

Daß dem Meister der chemischen Experimentierkunst auch manche Ausbeute auf dem Gebiete der Physik zuteil wurde, läßt sich denken. Scheeles mehr gelegentliche Beobachtungen über die Löslichkeit und die Diffusion der Gase fanden schon Erwähnung. Zu systematischen Untersuchungen über die Wärme und das Licht führten ihn seine Bemühungen, den chemischen Vorgang der Verbrennung aufzuhellen. So gehört Scheele zu den ersten Naturforschern, die zu einer klaren Unterscheidung der Körperwärme[Pg 149] und der strahlenden Wärme gelangten252. Nach Scheele ist die im Ofen aufsteigende und dem Ofen mitgeteilte Wärme von der in den Raum gestrahlten wohl zu unterscheiden. Letztere entferne sich in geraden Linien von ihrem Erzeugungspunkte und werde von poliertem Metall so zurückgeworfen, daß der Eintrittswinkel dem Austrittswinkel gleich sei. Diese strahlende Wärme werde von der Luft nicht absorbiert und durch Luftströmungen nicht abgelenkt, sie stimme also in mancher Hinsicht mit dem Lichte überein. Daß die strahlende Wärme sich leicht in Körperwärme verwandeln lasse, indem sie sich mit gewissen Körpern vereinige, erkenne man an einem mit Ruß überzogenen, metallenen Hohlspiegel.

Scheele war auch einer der ersten, welcher der chemischen Wirkung des Lichtes seine Aufmerksamkeit zuwandte. Die älteste Beobachtung über die Lichtempfindlichkeit der Silber enthaltenden Niederschläge machte 1727 der Professor der Medizin J. H. Schulze253 in Halle. Scheele experimentierte mit reinem Chlorsilber und wies nach, daß dieses im Sonnenlichte zu Silber reduziert wird. Die Beobachtung, daß die das weiße Licht zusammensetzenden Strahlen auf Silbersalze verschieden wirken, rührt gleichfalls von Scheele her. Seinen hierauf bezüglichen wichtigen Versuch, in dem man die Anfänge der Spektralphotographie erblicken kann, beschreibt er mit folgenden Worten: »Man setze ein gläsernes Prisma vor das Fenster und lasse das gebrochene Licht auf die Erde fallen. In dieses farbige Licht bringe man ein Stück Papier, das mit Chlorsilber überzogen ist. Diese Verbindung wird in der violetten Farbe weit eher als in den anderen schwarz werden.«

Die Reduktion bestand nach der Auffassung der Phlogistiker bekanntlich254 in einer Zuführung von Phlogiston. Um die reduzierende Wirkung des Lichtes zu erklären, schrieb Scheele auch diesem einen Gehalt an Phlogiston zu. Das Phlogiston ist für ihn ein Element, das unter Herbeiführung wichtiger Veränderungen von einem Körper in den anderen übergeht. Auch mit der »Feuerluft« geht das Phlogiston nach Scheeles Auffassung eine Verbindung ein. Aus dieser Vereinigung läßt Scheele das Licht und die Wärme hervorgehen. Beide Kräfte faßt er noch als etwas durchaus Stoffliches auf. Das Phlogiston wurde dadurch noch unbegreiflicher[Pg 150], daß man seine Darstellung für unmöglich erklärte. Es sollte sich nämlich von keinem Körper scheiden, wenn nicht ein anderer Körper zugegen sei, der es sofort aufnehme.

Gegen den Ausgang des phlogistischen Zeitalters wurde der Versuch wieder aufgenommen, das Wesen der chemischen Vorgänge aus einer Kraft zu erklären, die man seit alters als Affinität oder chemische Verwandtschaft bezeichnet hat. Dies geschah vor allem seit etwa 1775 durch den schwedischen Chemiker und Mineralogen Bergman, dessen Ansichten bis zum Beginn des 19. Jahrhunderts die herrschenden blieben. Bergman nahm an, daß je zwei beliebige Stoffe eine Anziehung zueinander äußern müßten, die ihrer Größe nach bestimmbar sei. Zu ein und demselben Stoffe besitzen danach verschiedene Stoffe eine größere oder geringere Anziehung. »Wenn man«, sagt Bergman, »auf eine Verbindung AB einen dritten Stoff C wirken läßt, welcher B aus der Verbindung ausscheidet und an Stelle von B mit A in Verbindung tritt, so erhält man statt AB eine neue Verbindung AC.« Um daher die Verwandtschaft zweier Stoffe B und C gegen einen dritten A zu bestimmen, sei es nur nötig, zu untersuchen, ob einer dieser Stoffe den anderen aus seiner Verbindung mit dem dritten ausscheide. Bergmans ganze Vorstellungsart beruht auf der Annahme, daß die Affinität eine unveränderliche Kraft sei, derart, daß ein Stoff, der aus einer Verbindung durch einen anderen ausgeschieden wird, nicht wieder umgekehrt durch den verdrängten Stoff ausgeschieden werden könne. Durch eine große Zahl genauer, auch abgesehen von theoretischen Erwägungen wertvoller Versuche gelangte Bergman zur Aufstellung von nicht weniger als 59 Verwandtschaftstafeln. Eine dieser Tafeln möge als Beispiel hier Platz finden.

Kali
in der Lösung: beim Zusammenschmelzen:
Schwefelsäure Phosphorsäure
Salpetersäure Borsäure
Salzsäure Arsensäure
Phosphorsäure Schwefelsäure
Arsensäure Salpetersäure
Essigsäure Salzsäure
Borsäure Essigsäure.
Schweflige Säure
Kohlensäure

Das Kali besitzt danach bei gewöhnlicher Temperatur die größte Anziehung zur Schwefelsäure. Letztere ist infolgedessen[Pg 151] imstande, alle übrigen Säuren aus ihrer Verbindung mit Kali abzuscheiden. Mit der Gegenüberstellung der beiden Reihen wollte Bergman keine Abhängigkeit der Affinität von der Temperatur zum Ausdruck bringen. Die Verwandtschaftsgrade sind zwar, wie die zweite Reihe erkennen läßt, andere, wenn man die Körper nicht durch Lösungsmittel, sondern durch Wärmezufuhr flüssig macht, sie ändern sich aber nach Bergman nicht allmählich, sondern sind innerhalb jeder Gruppe, d. h. unter gleichen Bedingungen konstant, vor allem, so nahm Bergman an, sind sie von der Menge der chemisch aufeinander wirkenden Stoffe unabhängig.

Bergman führte auch den Begriff der doppelten Wahlverwandtschaft255 ein. Doch waren Erscheinungen, die unter diesen Begriff fallen, schon weit früher bekannt und richtig gedeutet worden256. Seine Bemühungen, die Größe der Verwandtschaft ihrem absoluten Werte nach zu bestimmen, d. h. sie ziffernmäßig auszudrücken, wurden von ihm selbst als fruchtlos aufgegeben. Die doppelte Verwandtschaft, die Erscheinung nämlich, daß zwei Verbindungen sich gegenseitig nach dem Schema AB + CD = AC + BD zersetzen, untersuchte Bergman für zahlreiche Einzelfälle. Nach seiner Lehre wird sie dadurch bedingt, daß die Summe der zwischen A und C oder B und D wirkenden Anziehungen größer ist als die Summe der zwischen A und B, beziehungsweise C und D wirkenden chemischen Kräfte. Letztere betrachtete er ihrem Wesen nach als identisch mit der allgemeinen Anziehung oder der Schwerkraft. Sie sollte nur durch die Gestalt und die Größe der Moleküle beeinflußt sein und infolgedessen als chemische Anziehung von wechselnder, indessen für die einzelnen Elemente gleichbleibender Stärke in die Erscheinung treten.

Nach dem Sturz der Phlogistontheorie wurde auch Bergmans Verwandtschaftslehre einer Revision unterzogen. Dies geschah durch Berthollet, mit dessen Ansichten über die Affinität und deren Ursachen wir uns in einem späteren Abschnitt beschäftigen werden.

Bergman verdient nicht nur als Theoretiker, sondern auch als Entdecker neuer wichtiger Tatsachen und Methoden Beachtung. Zunächst einiges über seinen Lebensgang. Tobern Bergman wurde 1735 in einem kleinen Orte Westgothlands[Pg 152] geboren. Er studierte in Upsala unter Linnés Einfluß sämtliche Zweige der Naturwissenschaften. Im Jahre 1767 erhielt er dort die Professur für Chemie, ohne bis dahin Arbeiten über dies Gebiet veröffentlicht zu haben. Von diesem Zeitpunkte an bis zu seinem durch Überanstrengung allzu früh herbeigeführten Tode (1784) hat Bergman die Chemie durch eine große Reihe wichtiger Untersuchungen gefördert. Sein Ruf drang auch ins Ausland. Friedrich der Große bemühte sich, Bergman für die Berliner Akademie zu gewinnen. Letzterer lehnte jedoch ab.

Den Anfängen der Analyse auf nassem Wege, bei der man den zu untersuchenden Stoff zunächst in Lösung bringt, sind wir im 17. Jahrhundert bei Boyle begegnet. Dem 18. Jahrhundert, und zwar vornehmlich Bergman, blieb es vorbehalten, dies Verfahren zu einem wissenschaftlichen Hilfsmittel ersten Ranges auszubilden. Er gestaltete die Analyse auf nassem Wege im wesentlichen in der Weise, wie man sie noch heute handhabt. Insbesondere wandte er sie auf die Untersuchung von Mineralien an257. Vermochte er eine Substanz nicht in Wasser zu lösen, so setzte er sie in fein gepulvertem Zustande der Wirkung von Salz-, Salpeter- oder Schwefelsäure aus. Für die wenigen Fälle, in welchen diese Mittel versagten, erfand Bergman die Methode des Aufschließens. Sie besteht darin, daß man die Substanz vor dem Hinzusetzen von Säuren mit kohlensaurem Alkali (Pottasche) zusammenschmilzt. Erst durch diesen wichtigen Fortschritt in der Kunst der Analyse wurde es möglich, in die Zusammensetzung der Silikate einzudringen.

Eine andere wichtige Neuerung ist der Grundsatz, daß die Analyse nicht die Bestandteile der zu untersuchenden Substanz völlig zu isolieren hat, sondern daß es genügt, die Bestandteile in leicht kenntliche, ihrer Zusammensetzung nach bekannte Verbindungen überzuführen. So bestimmte Bergman Kohlensäure durch Kalkwasser, Schwefelsäure durch Chlorbarium, manche Metalle nach der Fällung mit Alkali oder kohlensaurem Alkali in der Form von Hydroxyden oder Karbonaten, die Metallkalke als kohlensaure Salze usw. Endlich hat Bergman das Verdienst, unter Anwendung des Lösungsverfahrens die quantitative Analyse begründet zu haben. Unabhängig von Lavoisier, dem oft allein die Begründung der quantitativen chemischen Untersuchung zugeschrieben wird, hat Bergman von der Wage schon eine ausgedehnte Anwendung gemacht[Pg 153]. Daß jene ersten, von Bergman ausgeführten quantitativen Analysen zum Teil recht ungenau waren, darf nicht Wunder nehmen. So fand er erhebliche Mengen von Wasser in Mineralien, die chemisch gebundenes Wasser garnicht enthalten, z. B. im Kalkspat (11%) und im Witherit (28%). Offenbar rührte dies daher, daß Bergman die zu untersuchende Substanz noch nicht genügend von der ihr in wechselndem Verhältnis beigemengten Feuchtigkeit befreite.

Einige seiner Analysen weisen indes schon einen ziemlichen Grad von Genauigkeit auf. So fand er für Kristallsoda und Gips folgende Werte:

Soda
Basis 20 ( statt 21,8)
Säure 16 ( " 15,4)
Wasser 64 ( " 62,8)
  100 (100)
Gips
Basis 32 ( statt 32,9)
Säure 46 ( " 46,3)
Wasser 22 ( " 20,8)
  100 (100)

Die Ergebnisse der meisten von Bergman angestellten Mineralanalysen weichen jedoch von den richtigen Werten so sehr ab, daß sie wertlos sind und man in ihnen nur Bergmans Bemühen achten muß, als erster sich mit so schwierigen Aufgaben, wie sie die quantitative Analyse der Mineralien darbietet, befaßt zu haben.

Wir haben Bergmans Verdienste um die Chemie im allgemeinen kennen gelernt. Einige seiner Einzeluntersuchungen dürfen aber auch nicht unerwähnt bleiben, weil man ihnen die ersten wichtigen Aufschlüsse verdankt. Sie betreffen den Salzgehalt der Mineralwässer und des Meeres, sowie die chemische Zusammensetzung der drei Eisensorten, Schmiedeeisen, Gußeisen und Stahl.

Zur Untersuchung der Mineralwässer258 benutzte Bergman eine große Zahl von Reagentien. Er zeigte, daß Blutlaugensalz daraus Eisen als blauen, Kupfer als braunen und Mangan als weißen Niederschlag fällt, daß Kalk durch Oxalsäure, Chlor durch Silberlösung, Schwefelsäure durch Chlorbarium ausgefällt werden. Er suchte die Bestandteile der Mineralwässer in unlösliche Verbindungen überzuführen, trennte verschiedene Salze durch Zusatz von Weingeist usw.

Bergman untersuchte ferner zuerst den Salzgehalt des Seewassers unter dem Gesichtspunkte, daß er es verschiedenen[Pg 154] Tiefen entnahm und den Gehalt verglich. Neben Kochsalz fand er auch Chlormagnesium und Calciumsulfat als Bestandteile des Meerwassers.

Grundlegend für das Verständnis der Eisenarten war seine vergleichende Untersuchung von Schmiedeeisen, Stahl und Gußeisen. Er behandelte je eine Probe dieser drei Eisensorten mit Säure und fand, daß Schmiedeeisen am meisten, Stahl weniger und Gußeisen am wenigsten Wasserstoff freimacht. Daraus schloß er, daß Schmiedeeisen das reinste und Gußeisen das am wenigsten reine Eisen ist, während Stahl eine mittlere Stelle einnimmt. In Übereinstimmung hiermit hinterblieb denn auch beim Lösen von Schmiedeeisen der geringste, beim Lösen von Gußeisen der größte Rückstand. Letzteren erkannte er als Graphit. Er faßte dementsprechend die Eisenarten ganz richtig als Vereinigungen von Eisen mit mehr oder weniger Kohlenstoff auf. Bergman wies ferner nach, daß die sogenannte »Kaltbrüchigkeit« des Eisens von einem Phosphorgehalt herrührt259. Es ist bemerkenswert, daß die Entphosphorung des Eisens durch Zusatz von Kalk, ein Verfahren, auf dem der heute in so großartigem Maßstabe eingeführte Thomasprozeß beruht, schon um jene Zeit in Schweden in Vorschlag gebracht wurde260.

[Pg 155]

10. Der Eintritt der Chemie in das Zeitalter der quantitativen Untersuchungsweise.

Eins der größten Ereignisse in der Entwicklung der Chemie war die den Beginn einer neuen Epoche bedeutende Aufklärung des Verbrennungsprozesses durch Lavoisier. Zwar hatte John Mayow schon im 17. Jahrhundert die Verbrennung der Metalle ganz richtig als einen unter Gewichtszunahme erfolgenden Hinzutritt eines Bestandteiles der Luft zu dem Metall betrachtet. Mayows Versuchen und Ausführungen fehlte jedoch noch die durchschlagende Beweiskraft, wie sie nur auf quantitativer Grundlage erwachsen konnte. Auch fanden seine Arbeiten nicht die verdiente Beachtung, ja sie waren in dem Zeitraum, der uns jetzt beschäftigt, fast in Vergessenheit geraten, obgleich die Erklärung des Verbrennungsprozesses gerade der Angelpunkt blieb, um den sich seitdem die chemische Forschung gedreht hatte.

Daß Scheele nicht zum Verständnis der von ihm so musterhaft durchforschten Erscheinungen hindurchdrang, lag daran, daß auch er nicht in genügendem Maße die quantitativen Beziehungen, die zwischen ihnen obwalten, berücksichtigte. Sobald dies geschah, mußte bei der Stufe, auf welche die Chemie durch ihn und Priestley gelangt war, der Schleier, der die Wahrheit verhüllte, mit einem Male fallen. Es bedurfte hierzu keiner neuen Entdeckung, sondern nur der folgerichtigen Anwendung des Messens und des Wägens auf den bekannt gewordenen Verlauf der Erscheinungen. Diesen wichtigen Schritt getan zu haben, ist das unbestreitbare, große Verdienst des Franzosen Lavoisier.

Die Verschiedenheit in dem Verfahren Lavoisiers und Scheeles tritt am deutlichsten hervor, wo wir beide Forscher mit der Untersuchung desselben Gegenstandes beschäftigt finden. Während des 17. Jahrhunderts hatte sich besonders auf Grund eines durch van Helmont bekannt gegebenen Versuches261 die Meinung[Pg 156] gebildet, daß sich Wasser in feste, erdige Stoffe verwandeln lasse. Im 18. Jahrhundert waren Zweifel hiergegen laut geworden. Sowohl Scheele, wie auch Lavoisier ließen es sich angelegen sein, die Entscheidung auf dem Wege des Experiments herbeizuführen. »Ich goß«, sagt ersterer262, »ein halbes Lot destilliertes Schneewasser in einen gläsernen Kolben, der mit einem dünnen, eine Elle langen Halse versehen war, und verschloß ihn mit einem genau passenden Kork. Darauf hing ich diesen Kolben über einer brennenden Lampe auf und unterhielt das Wasser zwölf Tage und Nächte in beständigem Kochen. Als es zwei Tage gekocht, hatte es ein etwas weißliches Aussehen erhalten. Nach sechs Tagen war es wie Milch, und am zwölften Tage schien es schon dick zu sein.« Der Kolben zeigte sich auf seiner inneren Fläche, soweit das kochende Wasser gestanden hatte, korrodiert. Und die das Wasser trübende, zum Teil darin gelöste Substanz enthielt, wie die qualitative Untersuchung ergab, die Bestandteile, welche das Glas zusammensetzen, nämlich Alkali, Kalk und Kieselsäure. »Konnte ich«, fährt Scheele fort, »wohl länger zweifeln, daß das Wasser durch das beständige Kochen das Glas zersetzen kann? Die Erde, die ich erhielt, war von nichts weniger als aus dem Wasser entstanden.«

Ganz anders verfährt Lavoisier263 und gelangt dennoch zu dem gleichen Ergebnis. Ihm würde die qualitative Analyse der im Wasser befindlichen Stoffe große Schwierigkeiten bereitet haben. Lavoisier bedarf einer solchen aber auch garnicht, sondern er entscheidet die Frage auf rein quantitativem Wege. Er bringt Wasser in ein Glasgefäß, wägt und verschließt es und erhält den Inhalt etwa 100 Tage auf Siedewärme. Darauf zeigt es sich, daß das entleerte Gefäß gerade so viel an Gewicht verloren hat, wie die von dem Wasser gelösten und nach dem Verdampfen zurückbleibenden Stoffe wiegen.

Wie in diesem Falle, so verfuhr Lavoisier bei allen Untersuchungen. Die qualitative Seite der von ihm studierten Vorgänge war meist durch die Arbeiten der Phlogistiker genügend bekannt geworden. Durch die Genauigkeit seiner Messungen und Wägungen, sowie durch die logische Schärfe der daran sich anschließenden Folgerungen verstand es Lavoisier, das verknüpfende Band zu finden und ein chemisches System, sowie eine Nomenklatur zu[Pg 157] schaffen, welche die Einreihung und die Beschreibung aller bekannten und der später entdeckten Erscheinungen leicht ermöglichten.

Antoine Laurent Lavoisier wurde am 26. August des Jahres 1743 zu Paris geboren. Sein Vater, welcher durch den Handel zu bedeutendem Vermögen gelangt war, besaß ein großes Interesse für die Naturwissenschaften und ließ seinen Sohn durch ausgezeichnete Gelehrte darin unterrichten. Insbesondere fesselte den jungen Lavoisier, der auch eine vorzügliche mathematische Ausbildung erhielt, die Chemie in ihrer Anwendung auf das praktische Leben. Kaum 20 Jahre alt, löste er eine von der französischen Regierung gestellte technische Aufgabe. Großmütig überließ er den ihm zugefallenen Preis seinen Mitbewerbern, um diesen die ihnen erwachsenen Unkosten zu ersetzen, und begnügte sich mit der gleichfalls an den Preis geknüpften Denkmünze. Mit 25 Jahren (1768) wurde Lavoisier Mitglied der Akademie der Wissenschaften. Bald darauf erhielt er die Stelle eines Generalpächters. Die hohen Einkünfte, die damit verbunden waren, verwandte er auf seine, bedeutende Mittel erfordernden Experimentalarbeiten. Später übertrug man ihm die Verwaltung der Salpeter- und der Pulverfabriken, eine Stellung für die Lavoisier seiner chemischen Kenntnisse und seines Scharfblickes in allen praktischen Dingen wegen hervorragend geeignet war.

Der wichtigste Vorläufer Lavoisiers war Mayow. Wir haben uns mit seinen Versuchen und Anschauungen schon an früherer Stelle eingehend beschäftigt (Bd. II, S. 190). Eine Untersuchung der Gewichtszunahme, welche die Metalle beim Verkalken erfahren, rührt von dem französischen Arzt Jean Rey († 1645) her. Die Abhandlung Reys erschien im Jahre 1630264. Rey wurde zu seiner Untersuchung durch eine Mitteilung eines Apothekers angeregt. Letzterer hatte das Zinn, das er in einem eisernen Kessel schmelzen und verkalken wollte, vorher gewogen. Nachdem sich alles Zinn in den weißen Kalk verwandelt hatte, wog er die Masse wieder und fand zu seinem Erstaunen, daß sie erheblich mehr wog als das in den Kessel geschüttete Zinn. Er wandte sich deshalb an Rey mit der Bitte um eine Erklärung dieser merkwürdigen Tatsache. Rey erkannte wohl, daß die Luft bei der Verkalkung eine[Pg 158] Rolle spielt. Er schrieb der Luft Schwere zu, bevor Torricelli und Guericke ihre grundlegenden Versuche über den Druck und das Gewicht der Luft angestellt hatten. Trotzdem kam Rey noch nicht auf den Gedanken, daß die Verkalkung in der Vereinigung der Luft mit dem Metall besteht. Er ist vielmehr der Ansicht, »die Luft vermische sich mit dem Kalk und hänge nun fest an dessen kleinsten Teilchen«265.

Lavoisier hatte bei Boyle gelesen, daß Blei und Zinn, wenn man sie in mit Luft gefüllten, verschlossenen Gefäßen erhitzt, unter Zunahme ihres Gewichtes in die entsprechenden Metallkalke übergehen. Da sich diese Erscheinung mit der herrschenden Theorie garnicht vereinigen ließ, faßte Lavoisier den Entschluß, die Verkalkung durch Versuche und deren vorurteilsfreie Deutung auf ihre wahre Ursache zurückzuführen. Er brachte eine abgewogene Menge Zinn in eine Retorte, verschloß sie vollkommen und erhitzte, bis das Zinn verkalkt war. Wurde die Retorte nach dem Erkalten von neuem gewogen, so zeigte es sich, daß ihr Gewicht dasselbe geblieben. Die Annahme Boyles, die Verkalkung bestehe darin, daß ein hypothetischer Stoff die Wände der Retorte durchdringe und mit dem Metall eine Verbindung eingehe, erwies sich somit als unhaltbar. Nach dieser Feststellung wurde die Retorte geöffnet; es drang Luft in sie hinein, und die Retorte besaß infolgedessen jetzt ein größeres Gewicht. Die entstandene Zinnasche wurde nun gewogen und es zeigte sich, daß der Zuwachs an Gewicht, den die Retorte durch das Eindringen der Luft erfuhr, genau so groß war, wie diejenige Zunahme, die vorher das Zinn innerhalb der Retorte erfahren hatte. Diese Versuche ließen für die Verkalkung der Metalle keine andere Deutung zu, als daß sich diese Stoffe unter entsprechender Vermehrung ihres Gewichtes mit der Luft verbinden. Im Jahre 1772 berichtete Lavoisier der Akademie über diese Ergebnisse. Die gewonnene Erkenntnis mußte jedoch unzulänglich bleiben, solange Lavoisier die Zusammensetzung der Atmosphäre nicht bekannt war. Erst als Priestley 1774 bei einem Besuche in Paris Lavoisier mit dem Sauerstoff und dessen Darstellung aus rotem Quecksilberoxyd vertraut gemacht hatte, war dem französischen Forscher der Schlüssel zum vollen Verständnis seiner Versuche gegeben.

Bald darauf erschien denn auch die Arbeit Lavoisiers, die das Wesen der Verbrennung und der Reduktion in das klarste[Pg 159] Licht stellte. Die Verbrennung, welcher die Verkalkung der Metalle analog ist, besteht danach in der Vereinigung des brennbaren Körpers mit dem einen, die Verbrennung unterhaltenden Bestandteil der Luft, der »dephlogistisierten« oder »Feuerluft« der früheren Chemiker, die Lavoisier zunächst als »reine Luft« und später, nachdem er ihre Bedeutung für die Bildung der Säuren erkannt hatte, als Sauerstoff bezeichnete.

»Die Chemie gibt«, sagt Lavoisier bei der Schilderung seiner Versuche, »im allgemeinen zwei Mittel an die Hand, die Zusammensetzung einer Substanz zu bestimmen, die Synthese und die Analyse. Man darf sich nicht eher zufrieden geben, bis man diese beiden Arten der Prüfung hat vereinigen können. Diesen Vorteil bietet die Untersuchung der atmosphärischen Luft; sie läßt sich zerlegen und wieder zusammensetzen.«

Abb. 27

Abb. 27. Kolben zur Analyse der atmosphärischen Luft.

(Lavoisier, Oeuvres. Tome I, Pl. II, Fig. 14.)

Abb. 28

Abb. 28. Die Analyse der atmosphärischen Luft durch Erhitzen von Quecksilber in einer abgeschlossenen Luftmenge.

(Lavoisier, Oeuvres, Tome I, Pl. IV, Fig. 2.)

Lavoisier nahm einen langhalsigen Kolben (Abb. 27) von etwa 36 Kubikzoll Inhalt. Er bog ihn in der Weise, daß er in einen Ofen MMNN gelegt werden konnte, während das Ende E unter der Glocke FG in eine Quecksilberwanne RR mündete (Abb. 28). In diesen Kolben brachte er 4 Unzen sehr reines Quecksilber. Darauf führte er einen Heber unter die Glocke FG und sog, bis sich das Quecksilber bis LL gehoben hatte. Er bezeichnete dieses Niveau sorgfältig und beobachtete genau den Barometerstand und die Temperatur.

[Pg 160]

Nachdem diese Vorbereitungen getroffen waren, zündete Lavoisier in dem Ofen ein Feuer an und erhitzte das Quecksilber ununterbrochen zwölf Tage lang bis zu seinem Siedepunkte.

Während des ersten Tages ereignete sich nichts Bemerkenswertes. Am zweiten Tage sah er, wie auf der Oberfläche des Quecksilbers kleine rote Flecken auftraten. Sie nahmen bis zum fünften Tage an Zahl und Größe zu. Darauf hörten sie auf zu wachsen und verblieben in demselben Zustande. Sobald die Verkalkung des Quecksilbers keinen Fortschritt mehr machte, ließ Lavoisier das Feuer ausgehen und die Gefäße erkalten. Das Volumen der gesamten Luft, die sich in dem Kolben und unter der Glocke befand, betrug, auf einen Druck von 28 Zoll und 10° Temperatur reduziert, vor dem Versuche fünfzig Kubikzoll. Nach der Beendigung des Versuches waren unter den gleichen Temperatur- und Druckverhältnissen nur noch 42-43 Kubikzoll vorhanden. Es hatte demnach eine Verminderung des Volumens um etwa 1/6 stattgefunden. Lavoisier sammelte darauf die rote Masse, die sich gebildet hatte, sorgfältig und befreite sie, so viel wie möglich, vom Quecksilber. Ihr Gewicht betrug 45 Gran266.

Die Luft, welche nach diesem Versuch zurückblieb und durch die Verkalkung des Quecksilbers auf 5/6 ihres ursprünglichen Volumens vermindert war, erwies sich weder zur Atmung, noch zur Verbrennung mehr geeignet. Tiere, die man hineinbrachte, starben nach wenigen Augenblicken, und ein Licht erlosch darin sofort.

Darauf brachte Lavoisier die 45 Gran der entstandenen roten Substanz in ein kleines Glasgefäß. Letzteres setzte er mit einem zum Auffangen etwaiger flüssiger und gasförmiger Produkte geeigneten Apparat in Verbindung. Als er das Gefäß erhitzte, begann der rote Körper an Umfang zu verlieren und in wenigen Minuten war er ganz verschwunden. Gleichzeitig hatten sich in dem kleinen Rezipienten 41½ Gran flüssiges Quecksilber verdichtet, und unter der Glocke waren 7-8 Kubikzoll eines Gases aufgetreten, das viel besser als die atmosphärische Luft die Verbrennung und Atmung zu unterhalten imstande war.

»Diesem Gas«, sagt Lavoisier, »das Priestley, Scheele und ich fast gleichzeitig entdeckten, will ich den Namen Sauerstoff geben, weil es eine seiner wichtigsten Eigenschaften ist, Säuren zu bilden, indem es sich mit den meisten Substanzen vereinigt.[Pg 161] Beim Nachdenken über die Umstände dieses Versuches erkennt man, daß das Quecksilber, indem es sich verkalkt, den respirablen Teil der Luft aufnimmt, und daß der Teil der Luft, der übrig bleibt, unfähig ist, die Verbrennung und die Atmung zu unterhalten. Die atmosphärische Luft ist also aus zwei Gasen von verschiedener, man möchte fast sagen entgegengesetzter, Natur zusammengesetzt.«

Die Probe auf diese wichtige Entdeckung machte Lavoisier in folgender Weise: Er vereinigte die beiden Gase wieder in dem aufgefundenen Verhältnis (42 : 8) und erhielt auf diese Weise ein Gas, das in jeder Hinsicht mit der atmosphärischen Luft übereinstimmt und in demselben Maße wie diese geeignet ist, die Verbrennung, die Atmung und die Verkalkung der Metalle zu unterhalten.

Erhitzte Lavoisier die rote Quecksilberasche nicht für sich, sondern unter Zusatz von Kohle, so bildete sich an Stelle von Sauerstoff »fixe Luft«. Letztere, so folgerte Lavoisier, kann also nur in der Vereinigung von Kohlenstoff und Sauerstoff bestehen. Dieser Schluß findet eine weitere Bestätigung, indem Lavoisier beim Verbrennen von Holzkohle in Sauerstoff gleichfalls »fixe Luft« (CO2) erhält. Dasselbe Gas trat auf, als er anstatt Holzkohle Diamant nahm, der vermittelst großer Brennspiegel in einem mit Sauerstoff gefüllten Glasgefäß entzündet wurde. Erst durch diese Abänderung des etwa 100 Jahre früher in Florenz gemachten Versuches war das Wesen jenes merkwürdigen Minerals erkannt; der Diamant war danach nichts als kristallisierter Kohlenstoff. Eine andere merkwürdige Erscheinung, die man mit dem Florentiner Versuch gar nicht in Einklang bringen konnte, die Erscheinung nämlich, daß der Diamant, in Kohlenpulver verpackt, der größten Hitze ausgesetzt werden kann, ohne sich zu verändern, fand jetzt gleichfalls ihre Erklärung. Der Diamant ist eben eine unschmelzbare Substanz, welche durch die Hitze nicht etwa als solche verflüchtigt wird, sondern sich nur bei Gegenwart von Sauerstoff in eine gasförmige Verbindung, in »fixe Luft« oder Kohlendioxyd verwandelt.

In einer die Verkalkung betreffenden, an Boyle anknüpfenden quantitativen Arbeit vom Jahre 1772 hatte Lavoisier seine Untersuchung auch auf Phosphor und Schwefel ausgedehnt und für diese Körper eine analoge, mit ihrer Verbrennung Hand in Hand gehende Vermehrung des Gewichtes festgestellt. Was lag näher, als diese Vermehrung gleichfalls auf eine Vereinigung mit dem Sauerstoff zurückzuführen? Lavoisier brachte deshalb[Pg 162] in eine durch Quecksilber abgesperrte Luftmenge Phosphor, den er zum Teil verbrannte. Nach Beendigung dieser Verbrennung ließ sich der übrige Phosphor schmelzen und ins Sieden bringen, ohne daß wieder eine Entzündung eingetreten wäre. Letztere erfolgte erst, wenn von neuem Luft unter die Glocke gelangt war.

Abb. 29

Abb. 29. Die Verbrennung von Phosphor unter einer Glasglocke.

(Lavoisier, Oeuvres. Tome I. Pl. IV, Fig. 3).

Die Verbrennung des Phosphors in reinem Sauerstoff bewerkstelligte Lavoisier folgendermaßen: Er füllte eine Glasglocke von etwa 6 Litern Inhalt mit Sauerstoff und brachte 61¼ Gran Phosphor hinein. Das Quecksilber stand in der Glocke auf der Höhe EF. Darauf entzündete Lavoisier den Phosphor mit einem gebogenen, erhitzten Eisen. Die Verbrennung vollzog sich sehr rasch unter bedeutender Entwicklung von Wärme und Licht. Im ersten Augenblicke fand infolge der Erwärmung eine beträchtliche Ausdehnung des Sauerstoffes statt; bald aber stieg das Quecksilber über sein früheres Niveau hinaus, und es trat eine beträchtliche Abnahme ein. Gleichzeitig bedeckte sich das ganze Innere der Glocke mit weißen Flocken.

Die Menge des Sauerstoffs betrug unter Berücksichtigung aller Korrekturen zu Beginn des Versuches 162 Kubikzoll; am Ende desselben waren nur noch 23¼ Kubikzoll vorhanden; die absorbierte Menge betrug also 138¾ Kubikzoll oder 69,375 Gran. Der Phosphor war nicht gänzlich verbrannt, es verblieben in dem Schälchen einige Stücke, die gewaschen wurden, um sie von den entstandenen weißen Flocken zu trennen. Sie ergaben getrocknet ein Gewicht von etwa 16¼ Gran.

Die Menge des verbrannten Phosphors ergab sich demnach gleich 45 Gran. Bei diesem Versuch hatten sich also 45 Gran Phosphor mit 69,375 Gran Sauerstoff verbunden. Da nichts Wägbares durch das Glas entweichen konnte, so mußte das Gewicht der Substanz, welche bei dieser Verbrennung entstanden war und sich in weißen Flocken abgesetzt hatte, gleich der Summe der[Pg 163] Gewichte des Sauerstoffs und des Phosphors sein, also gleich 114,375 Gran.

Diese Beispiele zeigen uns, wie Lavoisier bestrebt war, jeden Vorgang qualitativ und quantitativ zu verfolgen. Die erhaltenen Ergebnisse weichen allerdings oft von den heutigen Werten nicht unbeträchtlich ab. Über die qualitative Seite des zuletzt geschilderten Vorgangs berichtet Lavoisier folgendes: »Der Phosphor verwandelt sich infolge seiner Verbrennung, mag sie in gewöhnlicher Luft oder in Sauerstoff stattfinden, wie erwähnt, in eine weiße, flockige Substanz und erhält ganz neue Eigenschaften. Er wird nicht nur löslich in Wasser, während er vorher darin unlöslich war, sondern er zieht auch die in der Luft enthaltene Feuchtigkeit erstaunlich schnell an und wird zu einer Flüssigkeit von viel größerem spezifischem Gewicht als Wasser. Vor seiner Verbrennung ist der Phosphor fast geschmacklos; durch seine Vereinigung mit Sauerstoff nimmt er einen stark sauren Geschmack an. Er geht endlich aus der Klasse der brennbaren Substanzen in diejenige der unverbrennlichen über und wird das, was man eine Säure nennt.«

Da sich bei der Vereinigung von Phosphor und Schwefel mit Sauerstoff die Anhydride von Phosphorsäure und schwefliger Säure bilden, von denen das letztere durch weitere Oxydation und Zutritt von Wasser in Schwefelsäure übergeht, so wurde das bisher als reine Luft bezeichnete Gas von Lavoisier als säurebildendes Prinzip angesprochen. Diese Ansicht, welche später, als man in der Salz- und in der Blausäure sauerstofffreie Verbindungen kennen lernte, eine wesentliche Einschränkung erfuhr, fand durch Lavoisiers Untersuchung der Salpetersäure267 eine wesentliche Stütze. Lavoisier löste eine abgewogene Menge Quecksilber in Salpetersäure (HNO3) auf; dabei entwickelte sich das von Priestley als Salpeterluft (NO2) bezeichnete Gas. Wurde die nach dem Eindampfen erhaltene Verbindung (Hg[NO3]2) erhitzt, so fand eine weitere Entwicklung von Salpeterluft statt, und es blieb rotes Quecksilberoxyd zurück268, das beim Glühen in Sauerstoff und ein der angewandten Menge gleiches Quantum Quecksilber zerfiel. Da das Quecksilber völlig wieder erhalten wurde, konnten der Sauerstoff und die Salpeterluft nur der Salpetersäure entstammen. Durch die Vereinigung dieser beiden Gase mit Wasser gelang es Lavoisier,[Pg 164] auch die Salpetersäure wiederherzustellen und so durch die Synthese seinen Schlüssen doppeltes Gewicht zu verleihen.

Völlig aufgeklärt wurde die chemische Natur der Salpetersäure durch das Hinzutreten einer wichtigen, von dem Phlogistiker Cavendish herrührenden Entdeckung. Ausgehend von Priestleys Beobachtung, daß die Luft durch fortgesetzte Einwirkung des elektrischen Funkens eine chemische Veränderung erleidet, zeigte Cavendish, daß sich hierbei die Gemengteile der Luft zu Salpetersäure verbinden269. Durch diesen synthetischen Versuch und die von Lavoisier herrührende Analyse war die hinsichtlich der Salpetersäure gestellte Aufgabe gelöst. Daß der durch Sättigen von Salpetersäure mit Alkali erhaltene Salpeter gleichfalls Sauerstoff enthält, wies Lavoisier dadurch nach, daß sich beim Erhitzen von Salpeter mit Kohle fixe Luft (CO2) entwickelt.

Wie die Verbrennung, so wurde durch die neue Theorie auch die Atmung in das rechte Licht gestellt. Sie besteht nach Lavoisier in der Verbindung von Sauerstoff mit den Bestandteilen der organischen Substanz. Wie bei der Verbrennung, so wird auch hierbei Wärme frei. In dem wesentlichsten Erzeugnis der Atmung, dem Kohlendioxyd, stammt der Kohlenstoff aus dem Organismus, der Sauerstoff dagegen aus der Atmosphäre. Die Analogie zwischen beiden Vorgängen wird von Lavoisier ferner daraus erschlossen, daß er Kohlendioxyd und Wasser auch bei der Verbrennung organischer Substanzen, wie Alkohol, Öl und Wachs, erhielt. Indem Lavoisier aus der Menge des entstandenen Kohlendioxyds und Wassers den Kohlenstoff- und Wasserstoffgehalt der verbrannten Substanzen ermittelte, wurde er zum Begründer der Elementaranalyse.

Den Vorgang der Gärung faßte Lavoisier ganz richtig auf als den Zerfall einer ternären, d. h. einer aus drei Elementen (C, H und O) bestehenden organischen Verbindung, des Zuckers nämlich, in den eine relativ geringere Menge Sauerstoff enthaltenden Alkohol und das binäre, an Sauerstoff reiche Kohlendioxyd. Ließe sich eine Vereinigung des Alkohols mit dem Kohlendioxyd bewirken, so müßte sich, wie Lavoisier ganz richtig ausführt, wieder Zucker ergeben.

[Pg 165]

Sein weiteres Bemühen war darauf gerichtet, für die von ihm untersuchten Substanzen das Gewichtsverhältnis ihrer Bestandteile festzustellen. So bestimmte er die quantitative Zusammensetzung des Kohlendioxyds, indem er eine abgewogene Menge Kohle vermittelst Mennige oxydierte. Aus dem Gewichtsverlust, den die Mennige dabei erlitt, berechnete er für Kohlendioxyd 72,1% Sauerstoff, ein Ergebnis, das dem wahren Wert (72,7%) ziemlich nahe kommt.

Zu Beginn der 80er Jahre des 18. Jahrhunderts gelangte Lavoisier durch seine eigenen und die von Cavendish geführten Untersuchungen auch über die Natur des Wassers vollkommen ins reine. Cavendish hatte 1781 den Nachweis geliefert, daß sich bei der Vereinigung von Wasserstoff und Sauerstoff ausschließlich Wasser bildet, wobei sich 100 Raumteile Sauerstoff mit 201,5 Raumteilen Wasserstoff verbinden sollten. Erst viel später erkannte man, daß in Wahrheit das einfache Verhältnis 100 : 200 obwaltet. Auf die Synthese ließ Lavoisier die Analyse des Wassers folgen, indem er Dampf durch eine Röhre leitete, in der sich glühendes Eisen befand. Bei diesem Versuche wurde das Eisen unter Freiwerden von Wasserstoff oxydiert. Die Zersetzung von 100 Gewichtsteilen Wasser ergab eine durch den Sauerstoff des letzteren bewirkte Zunahme des Eisens um 85 Teile, während 15 Teile Wasserstoff aufgefangen wurden, ein Resultat, das von der Wahrheit erheblich abwich, da spätere Versuche für die Elemente des Wassers das Verhältnis 89 : 11 ergeben haben.

In der Mitte der 80er Jahre stand die antiphlogistische Theorie, deren Entwicklung wir in vorstehendem kennen gelernt haben, in ihren Grundzügen vollendet da. Einige Jahre später erfuhr sie durch Lavoisier eine lichtvolle Darstellung in seinem Lehrbuch der Chemie, dem die im vorstehenden mitgeteilten Proben seiner Experimentierkunst entnommen sind.

Alles Bemühen, die Phlogistontheorie zu retten, war vergeblich; sie wurde mit Scheele und Priestley zu Grabe getragen. Indes sollte Lavoisier die allgemeine Anerkennung der neuen Lehre nicht mehr erleben270. Das Jahr, in welchem sein soeben erwähntes[Pg 166] Lehrbuch erschien, war auch das Geburtsjahr der französischen Revolution. Die konstituierende Nationalversammlung hatte noch Lavoisiers Dienste in Anspruch genommen. Während der Schreckenszeit erinnerte man sich aber der einflußreichen Stellung, die er unter dem Königtum bekleidet hatte, und verurteilte ihn auf die nichtige Anklage hin, daß die von ihm verwaltete Regie den Tabak verschlechtert habe, zum Tode. Als ein Freund den Mut besaß, den Richtern gegenüber Lavoisiers Verdienste um die Wissenschaft hervorzuheben, erhielt er die den tollen Geist des Aufruhrs kennzeichnende Antwort: »Nous n'avons plus besoin des savants.« So starb denn Lavoisier gefaßt und ruhig am 8. Mai des Jahres 1794.

Der Einfluß, welchen die von ihm geschaffenen Lehren und Methoden ausgeübt haben, ist ein gewaltiger gewesen. Die Chemie trat jetzt der Astronomie und der Physik, die gleichfalls ihr Emporblühen der Befolgung des quantitativen Verfahrens verdankten, als ebenbürtig an die Seite. Mit dem Auftreten Lavoisiers gelangte ferner ein Grundsatz zu allgemeiner Anerkennung, der für das quantitative Verfahren eine unerläßliche Vorbedingung bildet. Es ist dies der Satz, daß bei chemischen Vorgängen nichts entsteht und nichts vergeht, sondern daß die Summe der in den Prozeß eintretenden Stoffe eine unveränderliche Größe ist. Gegen diesen Satz, der fast selbstverständlich zu sein scheint und dennoch das Ergebnis der Erfahrung ist, wurde sogar noch von hervorragenden Chemikern des 18. Jahrhunderts gefehlt271.

Mit gleicher Schärfe erfaßte Lavoisier den von Boyle herrührenden Begriff des chemischen Elementes. Er versteht darunter jede Substanz, die nicht in einfachere zerlegt werden kann. Als Elemente in diesem Sinne gelten ihm die damals allein bekannten schweren Metalle und die als Metalloide bezeichneten Grundstoffe, nämlich Sauerstoff, Wasserstoff, Stickstoff, Kohlenstoff, Schwefel und Phosphor. Die Alkalien und die Erden hätten der gegebenen Erklärung gemäß zwar auch als Elemente betrachtet werden müssen, doch spricht Lavoisier schon die Vermutung aus, daß diese in mancher Hinsicht den Metallkalken ähnlichen Stoffe Verbindungen bisher unbekannter Metalle mit Sauerstoff seien, eine Vermutung, welche durch die späteren elektrochemischen Forschungen eine glänzende Bestätigung erhalten sollte.

[Pg 167]

Lavoisier stand mit seinen Ansichten lange allein. Zuerst neigten sich seiner Lehre bedeutende Physiker und Mathematiker zu, unter denen vor allem Laplace zu nennen ist. Es fehlte diesen Männern jedoch auf dem Gebiete der Chemie die erforderliche Autorität, um den neuen, umwälzenden Anschauungen zum Siege zu verhelfen. Der erste hervorragende Vertreter dieser Wissenschaft, der sich zur antiphlogistischen Theorie bekannte, war Berthollet. Seine Untersuchungen über die chemische Verwandtschaft sind für die spätere Entwicklung der physikalischen Chemie von großer Wichtigkeit gewesen.

Berthollets Leben ist mehr als dasjenige irgend eines anderen Forschers mit den großen politischen und wirtschaftlichen Umwälzungen verknüpft gewesen, die Frankreich im Revolutionszeitalter erfuhr. Eine Schilderung dieser Gelehrtenlaufbahn läßt erkennen, in welchem Grade der gewaltige Aufschwung und die Entfaltung aller Volkskräfte des damaligen Frankreichs mit dem Emporblühen der Experimentalwissenschaft und der Technik Hand in Hand gingen.

Claude Louis Berthollet wurde 1748 in Savoyen geboren. Er widmete sich zunächst dem Studium der Medizin und wurde 1772 in Paris Leibarzt des Herzogs von Orleans. In dieser Stellung fand er Muße, sich eingehend mit chemischen Untersuchungen zu beschäftigen. Letztere betrafen wie diejenigen Lavoisiers die Rolle der atmosphärischen Luft und trugen Berthollet im Jahre 1780 die Mitgliedschaft der Akademie der Wissenschaften ein. Bald darauf übertrug ihm die Regierung die technische Aufsicht über ihre Färbereien. Die Folge davon war, daß diese Betriebe mit vielen Verbesserungen versehen wurden, die Berthollet in einem Werke zusammenfassend dargestellt hat. Zu diesen Verbesserungen gehörte, um eine der bekanntesten zu erwähnen, die Anwendung des Chlors als Bleichmittel.

Eine ganz hervorragende Tätigkeit auf dem Gebiete der technischen Chemie entfaltete Berthollet, als sein Vaterland infolge des Ausbruchs der Revolutionskriege vom Auslande abgeschnitten und ganz auf seine eigenen Hilfsquellen angewiesen war. Insbesondere waren es die Stahlbereitung und die Salpeterfabrikation, die unter Berthollets Führung einen großen Aufschwung nahmen. Die Revolutionsstürme würden Berthollet wie Lavoisier vernichtet haben, wenn ihn die damaligen Machthaber nicht für unentbehrlich gehalten hätten. Berthollet wurde im Jahre 1792 zum Leiter des Münzwesens und bald darauf zum Mitglied einer[Pg 168] Kommission ernannt, der es oblag, die Wohlfahrt des Landes durch die Pflege der Gewerbe und der Landwirtschaft zu heben. Gleichzeitig wurde Berthollet zum Lehrer der Chemie an die École normale berufen.

Nach der Eroberung Italiens sandte das Direktorium Berthollet dorthin, um unter den wissenschaftlichen Werken jenes Landes diejenigen auszusuchen, die nach Paris gesandt werden sollten. Bei dieser Gelegenheit wurde Berthollet mit Napoleon bekannt, der gleich Friedrich dem Großen den exakten Wissenschaften im wohlverstandenen eigenen Interesse stets eine rege Anteilnahme und Förderung angedeihen ließ. Berthollet hat Napoleon Vorträge über Chemie gehalten und ihn auf seinem Zuge nach Ägypten begleitet. Trotz aller Gunstbezeugungen, mit denen Napoleon nach seiner Krönung den großen Forscher überhäufte, erniedrigte sich dieser niemals zum schmeichlerischen Höfling, sondern bewahrte sich die biedere und furchtlose Ehrenhaftigkeit, die ihn auch während der wildesten Erregung der Revolutionszeit nicht verlassen hatte. Nach dem Sturze des Kaisers zog sich Berthollet auf einen Landsitz in dem nahe bei Paris gelegenen Arcueil zurück. Dieser kleine Ort hat dadurch in der Geschichte der Wissenschaften einen Namen erhalten, daß sich dort um Berthollet die hervorragendsten Gelehrten des Landes zu einer wissenschaftlichen Gesellschaft, der Société d'Arcueil, vereinigten. In den Abhandlungen dieser Gesellschaft272 ist manche hervorragende Experimentaluntersuchung jener Zeit veröffentlicht worden. Berthollet starb im Jahre 1822.

Daß Berthollet der erste Chemiker war, welcher der antiphlogistischen Lehre beipflichtete, wurde schon hervorgehoben. Seine eigenen Arbeiten hatten ihn im Beginn der achtziger Jahre des 18. Jahrhunderts zu der Erkenntnis geführt, daß Phosphor, Arsen und Schwefel sich unter Gewichtszunahme mit Sauerstoff zu Säuren verbinden. Berthollet war es auch, welcher die chemische Natur des Ammoniaks, des Schwefelwasserstoffs und der Blausäure durch grundlegende Versuche erschloß. Nachdem Priestley nachgewiesen, daß das Ammoniakgas unter der Einwirkung elektrischer Entladungen sein Volum vergrößert, bestimmte Berthollet jene Volumvergrößerung (es findet bekanntlich eine Verdopplung des Volumens statt). Er wies nach, daß sich dabei das Ammoniak in Wasserstoff und Stickstoff spaltet. Dieses Ergebnis hat später[Pg 169] Gay-Lussac verwertet, als er die Volumverhältnisse untersuchte, nach denen die Gase sich zu chemischen Verbindungen vereinigen273. Auch für Gay-Lussacs Untersuchung über die Cyanverbindungen hat Berthollet die Grundlage geschaffen, indem er feststellte, daß die Blausäure (HCN) nur aus Kohlenstoff, Stickstoff und Wasserstoff zusammengesetzt ist. Daß Schwefelwasserstoff (H2S) nur aus Schwefel und Wasserstoff besteht und nicht, wie man vorher angenommen, auch Sauerstoff enthält, wurde gleichfalls von Berthollet entdeckt. Seine Arbeiten über das Chlor, die wir an anderer Stelle als die Vorarbeiten zu Davys Theorie der Wasserstoffsäuren zu betrachten haben, führten ihn zur Entdeckung des Kaliumchlorats (KClO3) und der diesem Salz zugrunde liegenden Säure.

Nicht minder wie die Experimentalchemie und die chemische Technik wurde die theoretische Chemie durch Berthollet gefördert. Hier waren es vor allem seine umfangreichen Untersuchungen über das Wesen der chemischen Verwandtschaft, die seinen Ruhm begründeten.

Die früheren Bemühungen, zu einiger Klarheit über die Affinität oder chemische Verwandtschaft zu gelangen, führten zu keinem Ergebnis, weil man die bei den chemischen Vorgängen obwaltenden physikalischen Bedingungen nicht berücksichtigte. Gegen diese Einseitigkeit bedeuten Berthollets »Untersuchungen über die Gesetze der Verwandtschaft«274 trotz der Mängel und Unrichtigkeiten, welche dieser Arbeit anhaften, einen erfolgreichen Protest. »Sollen wir«, beginnt Berthollet, »zu einer wohlbegründeten Theorie der Verwandtschaft und dadurch zu einer Erklärung der chemischen Erscheinungen gelangen, so werden wir alle Umstände, welche auf diese Erscheinungen Einfluß haben, in Erwägung ziehen müssen.«

Bis sich Berthollet mit diesem Gegenstande beschäftigte, galten die seit 1775 auf zahlreiche Versuche gegründeten Ansichten Bergmans275, nach denen die Affinität als eine konstante, von äußeren Bedingungen wenig beeinflußte Größe betrachtet wurde. Demgegenüber bestand das Ziel der Bertholletschen Untersuchung[Pg 170] darin zu beweisen, »daß die Wahlverwandtschaften nicht als absolute Kräfte wirken«. Man müsse, fügt Berthollet hinzu, wenn man die Wirksamkeit zweier Stoffe vergleichen wolle, sowohl auf die Verwandtschaftskraft als auch auf die Menge sehen. Daß Berthollet gerade auf die Bedeutung des letzteren Faktors ein solch großes Gewicht legte, daß er schließlich auch zu unrichtigen Folgerungen sich verleiten ließ, wird aus seiner Erklärung der Affinität begreiflich. Er betrachtete sie nämlich als identisch mit der Schwerkraft. Und wie diese durch die Massen bestimmt sei, so müsse auch die chemische Anziehung als ein besonderer Fall jener allgemeinen Kraft von den Massen der aufeinander wirkenden Stoffe abhängig sein. Die allgemeine Anziehung wirke bei den chemischen Umsetzungen anders wie zwischen entfernten Massen, weil sie im ersteren Falle durch die Gestalt und vor allem durch den Zusammenhang der Teilchen, ihr Verhalten zu Lösungsmitteln, ihre Flüchtigkeit usw. bedingt werde.

Den zuletzt erwähnten Einfluß, die Flüchtigkeit nämlich, erörtert Berthollet in durchaus zutreffender Weise. Wenn ein Stoff, so führt er aus, im Augenblicke seiner Abscheidung aus einer Verbindung in den flüchtigen Zustand übergehe, so trage der in Gasform entwichene Teil nicht mehr zum Widerstande bei; er wirke daher nicht mehr durch seine Masse. Der wirkende Stoff könne dann eine vollständige Zersetzung hervorrufen. Man brauche daher nicht mehr davon anzuwenden, als gerade zu der Verbindung, in die er übergeführt werden solle, nötig sei. Ein Beispiel biete die leicht flüchtige Kohlensäure, wenn sie mit irgend einer Basis verbunden sei, und ihr eine andere, weniger flüchtige Säure entgegengesetzt werde. Diese andere Säure sei imstande, selbst wenn sie eine schwächere Verwandtschaft gegen die Basis besitze, die Kohlensäure aus ihrer Verbindung abzuscheiden.

Die frühere Klassifikation der Verwandtschaften, die auf der Voraussetzung beruhte, daß eine Säure die andere nur durch die als eine absolute Kraft wirkende Verwandtschaft ausscheide, wurde durch die Betonung dieses neuen Gesichtspunktes erheblich ins Wanken gebracht, zumal als zweites bestimmendes Moment für chemische Umsetzungen durch Berthollet die Löslichkeit oder die Unlöslichkeit der entstehenden Verbindungen erkannt wurde. Wie sich Berthollet die Rolle der Schwerlöslichkeit – Kohäsion lautet sein Ausdruck – dachte, möge folgende Betrachtung lehren.

Wirkt auf eine Verbindung ab, z. B. schwefelsaures Natrium, ein Stoff c, der imstande ist, mit einem Bestandteil jener[Pg 171] Verbindung einen unlöslichen Körper zu bilden, z. B. Barium in irgend einer löslichen Verbindung, so wird ab durch c vollkommen zersetzt, und es bildet sich in unserem Falle Bariumsulfat, weil diese Verbindung unlöslich ist, niederfällt und damit in ähnlicher Weise aus dem Bereich der Affinitätswirkungen ausscheidet, wie es andere Verbindungen infolge ihrer Flüchtigkeit tun. Daß c sich mit dem Bestandteil a der Verbindung ab in Form eines Niederschlags ac abscheidet, beweist somit durchaus noch nicht, daß c eine größere Affinität zu a besitzt als b. Wirkten die Affinitäten allein, so würde sich c auf a und b verteilen. Der Teil von c, der sich mit a verbindet, scheidet aber infolge seiner Unlöslichkeit jedesmal aus, so daß endlich a völlig an c gebunden wird, wenn letzteres im Überschusse wirkt. Wenn also in einem Stoffe dadurch, daß er sich mit einem anderen in einem bestimmten Verhältnis verbindet, ein Bestreben in den Zustand der Festigkeit überzugehen entsteht, so wird durch eben dieses Bestreben notwendig eine Abscheidung jener Verbindung unabhängig von dem Spiel der Affinitäten bewirkt.

Den Einfluß derartiger physikalischer Verhältnisse, wie sie in der Flüchtigkeit und im Verhalten zu Lösungsmitteln gegeben sind, bei der Betrachtung der Verwandtschaftserscheinungen zuerst gewürdigt zu haben, ist das bleibende Verdienst Berthollets.

Auch der Wirkung der Wärme wird in durchaus zutreffender Weise Rechnung getragen, ohne daß die theoretischen Ansichten Berthollets über die Natur der Wärme hierbei von Belang wären. Ein Beispiel möge dies dartun. Vergegenwärtigen wir uns die oben276 mitgeteilte Verwandtschaftstafel Bergmans, so besitzt danach die Phosphorsäure zum Kali, wenn die Umsetzung auf nassem Wege vor sich geht, eine geringere Affinität als Schwefelsäure, während die Schwefelsäure in ihrer Verwandtschaft zum Kali der Phosphorsäure nachsteht, wenn die Reaktion auf trockenem Wege, d. h. beim Schmelzfluß, erfolgt. Diese Verschiedenheit des Verhaltens führt Berthollet vollkommen richtig auf die Flüchtigkeit der einen und die Feuerbeständigkeit der anderen Säure zurück. »Es ist,« sagt er, »eine Wirkung der Wärme, daß alle feuerbeständigen Säuren diejenigen, die flüchtig sind, bei hinlänglich erhöhter Temperatur aus ihren Verbindungen austreiben. Und da sie untereinander in Ansehung dieser Eigenschaft sehr[Pg 172] verschieden sind, so sind gewisse Säuren in Ansehung auf einige Säuren als beständig, in bezug auf andere dagegen als flüchtig zu betrachten.« Eine solche Mittelstellung nimmt z. B. die Schwefelsäure ein. Sie scheidet bei mittlerer Temperatur Salzsäure und Salpetersäure aus ihren Salzen aus, während sie selbst bei höherer Wärme aus ihren Verbindungen durch Phosphorsäure befreit wird. Und zwar geschieht dies, wie Berthollet hinzufügt, unabhängig von dem Grade der Verwandtschaft. Letztere wird am vollkommensten dann wirken, wenn sich kein Stoff durch Fällung oder durch die Annahme des gasförmigen Zustandes der chemischen Reaktion entzieht, nämlich dann, wenn die entstehenden Verbindungen in Lösung bleiben. Mischt man z. B. schwefelsaures Kalium mit einer Basis, so wird sich der Säurerest, wenn alles gelöst bleibt, im Verhältnis der wirkenden Affinitäten, aber auch im Verhältnis der wirkenden Mengen auf die Metalle verteilen. Oder, ein ähnlicher Fall, setzen wir zu gelöstem schwefelsaurem Kalium Salpetersäure, so wird ebenfalls, wenn alles gelöst bleibt, nach dem Gesetz der chemischen Massen, d. h. des Faktors, der sich aus der Affinität und der Menge des wirkenden Stoffes ergibt, eine Verteilung des einen Stoffes auf die beiden anderen stattfinden. »Wenn zwei Basen«, so lautet Berthollets Ausdruck für den ersten Fall, »auf eine Säure wirken, so verteilt sich die Säure im Verhältnis der chemischen Kräfte der Basen«277.

Durch übertriebene Betonung dieser Prinzipien, die Berthollet in seinem großen Werke über die chemische Statik weiter ausführte, kam er zu der irrigen Ansicht, daß zwei Stoffe sich auch nach stetig sich ändernden Verhältnissen verbinden. Der sich hieraus ergebende Widerspruch mit der von Dalton und Proust bald darauf begründeten Lehre von den festen und multiplen Proportionen wird an anderer Stelle erörtert werden.

Berthollets großes Verdienst bleibt der Nachweis der Massenwirkung, d. h. der Tatsache, daß der Verlauf einer Reaktion nicht allein durch die Natur der Stoffe bestimmt wird, sondern auch durch die bei einer Reaktion obwaltenden Mengenverhältnisse, durch die mitunter geradezu Umkehrungen von Reaktionen herbeigeführt werden. »Der Umstand«, bemerkt Berthollet bei der Erläuterung derartiger Fälle, »der beweist, daß die chemischen Wirkungen ebensowohl von der Menge als von der Verwandtschaft der Stoffe abhängen, ist dieser, daß man, um entgegengesetzte[Pg 173] Resultate zu erhalten, oft nur die Quantität der Stoffe zu ändern braucht.«

Eine wichtige Rolle spielte zu Beginn des antiphlogistischen Zeitalters der Kampf der Meinungen über die chemische Natur des Chlors. Scheele hatte diesen merkwürdigen Stoff entdeckt, als er Salzsäure auf Braunstein wirken ließ. Er bezeichnete das Chlor vom Standpunkte der Phlogistontheorie als »dephlogistisierte Salzsäure«. Scheele nahm nämlich an, die Salzsäure enthalte »Phlogiston«. Und dieser hypothetische Stoff278 sollte der Salzsäure durch den Braunstein entzogen werden. Durch Lavoisier wurden die Vorgänge der Oxydation und der Reduktion ihrem eigentlichen Wesen nach erkannt. Lavoisier hielt den Sauerstoff für das säurebildende Prinzip. Wie die Säuren des Phosphors, des Schwefels und anderer Radikale oder Elemente, so sollte auch die Salzsäure eine Verbindung des Sauerstoffs mit einem dem Phosphor oder Schwefel entsprechenden Radikal (radical muriatique) sein.

Einige Versuche schienen darauf hinzudeuten, daß auch das Chlor eine Sauerstoffverbindung sei. So hatte Berthollet die Abscheidung von Sauerstoff unter gleichzeitiger Bildung von Salzsäure beobachtet, als er in Wasser gelöstes Chlor dem Sonnenlichte aussetzte. Dieser Versuch wurde als eine Zerlegung des Chlors in Sauerstoff und Salzsäure gedeutet. Chlor erschien somit als ein höheres Oxyd des Radikals der Salzsäure. Aus diesem Grunde wurde das Chlor als oxydierte Salzsäure bezeichnet.

Den Nachweis, daß Chlor keinen Sauerstoff enthält, sondern ein Grundstoff ist, führten erst Gay-Lussac279 im Jahre 1808 und Davy 1809. Als Gay-Lussac aus dem Chlor durch Reduktion mittelst Phosphor Salzsäure abzuspalten suchte, traten weder das Oxyd des Phosphors noch Salzsäure in die Erscheinung. Das Chlor verband sich vielmehr mit dem Phosphor zu einer neuen, als Chlorphosphor bezeichneten Substanz. Ähnlich verhielt sich, wie Davy nachwies, das reine Chlor gegen Metalle. Wurden z. B. Zinn und Chlor zusammengebracht, so verschwanden beide, und es entstand eine helle Flüssigkeit (Chlorzinn, SnCl4). Für die elementare Natur des Chlors sprach auch der Umstand, daß sich das Chlor nicht veränderte, wenn man es in Gefäßen, auf die es chemisch nicht zu wirken vermochte, einer sehr hohen Temperatur aussetzte. Die Schwierigkeit, über die chemische Natur des Chlors[Pg 174] ins reine zu kommen, war dadurch hervorgerufen worden, daß man mit Chlor bei Gegenwart von Wasser experimentiert hatte. Sobald man wasserfreie Reagenzien benutzte, trat bei Versuchen mit Chlor auch keine Salzsäure auf. Die irrtümliche Bezeichnung »oxydierte Salzsäure« mußte also in Fortfall kommen. Sie wurde von Davy durch den Namen Chlor (von χλωρός, grün) ersetzt280.

[Pg 175]

11. Die Aufstellung der atomistischen Hypothese und ihre experimentelle Begründung.

Als Lavoisier und Cavendish die Mengenverhältnisse, nach denen die Elemente zu chemischen Verbindungen zusammentreten, in den Bereich ihrer Untersuchung zogen, machten sie schon stillschweigend die Voraussetzung, daß diese Verhältnisse für scharf charakterisierte Verbindungen unveränderliche Größen seien. Das Quantitative konnte ja nur dann die Grundlage für die weitere Entwicklung der Chemie abgeben, wenn es die Bedeutung eines Naturgesetzes besaß. Demnach mußte die erste Aufgabe eines neuen Zeitalters in dem Nachweis bestehen, daß dies der Fall sei. Daran knüpfte sich dann weiter der Versuch einer ursächlichen Erklärung der chemischen Vorgänge und der bei diesen auftretenden Gesetzmäßigkeiten.

Um den Nachweis des Gesetzes von der Konstanz der Gewichtsverhältnisse hat sich der Franzose Proust281 sehr verdient gemacht. Ihm gelang es, die entgegengesetzte, von seinem Landsmann Berthollet282 vertretene Ansicht, daß die Elemente in veränderlichen, von äußeren Umständen abhängenden Verhältnissen sich verbinden, nach langem Streite und auf Grund zahlreicher Analysen zu widerlegen. Die Ansicht Berthollets, daß zwischen zwei Verbindungen, wie sie z. B. Schwefel und Eisen (FeS, FeS2) oder Zinn und Sauerstoff (SnO, SNO2) bilden, alle Übergänge möglich seien, ließ Proust nicht gelten. Er führte diesen Irrtum darauf zurück, daß Berthollet anstatt der vermeintlichen Übergangsstadien Gemenge jener Verbindungen in der Hand gehabt habe, und lieferte den Nachweis, daß, wenn zwischen zwei Elementen mehrere Verbindungen bestehen, die Änderung in der Zusammensetzung[Pg 176] nicht allmählich, sondern sprungweise erfolgt. Geht z. B. Zinnoxydul, das 11,9% Sauerstoff enthält, durch weitere Aufnahme dieses Elementes in Zinnoxyd über, so erfolgt dieser Übergang durch einen Sprung auf eine andere bestimmte Menge Sauerstoff, nämlich auf 21,3%. Dasselbe Verhalten zeigten auch Metalle, die sich in mehreren Verhältnissen mit Schwefel verbinden. Proust dehnte seine Untersuchung auch auf die Verbindungen von Kupfer, Eisen, Nickel, Antimon, Gold, Silber, Quecksilber, sowie auf die organischen Substanzen aus. Für alle in Betracht gezogenen Fälle ergab sich das Vorhandensein jener von ihm behaupteten Gesetzmäßigkeit. Für die Vereinigung von Säuren und Basen unter Bildung von Salzen war die Konstanz der Gewichtsverhältnisse schon vor Proust durch den deutschen Chemiker Richter nachgewiesen worden; doch war die Arbeit dieses Mannes insbesondere ihrer dunklen Ausdrucksweise wegen zunächst fast unbeachtet geblieben. Die ersten Versuche, durch die Analyse eines Stoffes das Verhältnis seiner Bestandteile zu ermitteln, gingen wahrscheinlich von der alten philosophischen Ansicht aus, daß alles nach Maß und Gewicht geordnet sei. Die früheste wissenschaftliche Arbeit, die sich mit dem Nachweise bestimmter Verhältnisse beschäftigt, rührt von Wenzel283 her. Sie erschien 1777 unter dem Titel »Lehre von der Verwandtschaft der Körper« und befaßte sich mit den Gewichtsverhältnissen, nach denen sich Säuren und Basen zu Salzen vereinigen. An Wenzels Untersuchungen knüpfte Richter an. Bei Wenzel findet sich auch schon das Massenwirkungsgesetz angedeutet. In diesem Punkte erscheint er als der Vorläufer Berthollets284. Erst später, als Berzelius die Gewichtsverhältnisse der Atome bestimmte, zeigte sich die grundlegende Bedeutung der Untersuchungen Wenzels und Richters.

Jeremias Benjamin Richter wurde 1762 in Schlesien geboren285. Er wirkte zuerst als Bergwerksbeamter in Breslau und darauf als Angestellter der Königlichen Porzellanmanufaktur in Berlin. Die Eigenart Richters besteht darin, daß fast alle seine Arbeiten auf eine Anwendung der Mathematik auf die Chemie abzielen. Dies spricht sich schon in dem Titel seiner Erstlingsarbeit[Pg 177] aus286. Richter ging so weit, daß er die Chemie für einen Teil der angewandten Mathematik erklärte. Sein Hauptwerk führt den Titel »Stöchiometrie oder Meßkunst chymischer Elemente«287. Es erschien 1792-1802.

Richters Verdienst besteht darin, daß er für die Säuren und die Basen den Äquivalentbegriff schuf. Der Gang seiner Untersuchung war der folgende. Er bestimmte die Gewichtsmengen der ihm bekannten Basen, welche ein und dieselbe Menge, z. B. 1000 Gewichtsteile, Schwefelsäure gerade neutralisieren. Die erhaltenen Werte nannte er die Neutralitätsreihe der Basen. Diese Werte mögen für einige Basen, nach Richters Angaben auf 1000 Teile Schwefelsäure berechnet, hier folgen. Sie sind in hohem Grade ungenau und nur dadurch von Wert, daß sie die erste Tafel der Äquivalentgewichte darstellen:

Ammoniak672
Kalk793
Natron859
Kali1605
usw.

Das Zweite war, daß Richter eine ähnliche »Neutralitätsreihe« der ihm bekannten Säuren mit Bezug auf eine bestimmte Menge einer Basis ermittelte. Sei die Basis Kalk, von dem nach ihm 793 Gewichtsteile durch 1000 Gewichtsteile Schwefelsäure neutralisiert werden, so ergeben sich für einige der übrigen bekannten Säuren folgende Äquivalente für die zugrunde liegende Basis:

Kohlensäure577
Salpetersäure1405
Oxalsäure755
Schwefelsäure1000
usw.

Den Wert solcher Tafeln erblickte Richter darin, daß sie die Zusammensetzung aller aus der Verbindung je einer Basis mit je einer Säure entstehenden neutralen Salze zu berechnen gestatten, wenn nur die Äquivalente der Basen und der Säuren in den beiden Tafeln enthalten sind. So würde z. B. salpetersaurer Kalk die Basis und die Säure im Verhältnis 793 : 1405 enthalten,[Pg 178] da 1000 Gewichtsteile Schwefelsäure, die 793 Teile Kalk sättigen, 1405 Teilen Salpetersäure äquivalent sind.

Eine Fortsetzung und Erweiterung fanden die stöchiometrischen Untersuchungen durch Dalton, mit dessen Hauptwerk, dem »Neuen System der chemischen Wissenschaft« wir uns jetzt näher befassen müssen.

John Dalton wurde im Jahre 1766288 als Sohn eines armen englischen Webers geboren. Nachdem er die Schule verlassen hatte, erteilte er in seinem Heimatsorte Elementarunterricht. Es gelang ihm, sich so weit fortzubilden, daß er mit 27 Jahren eine Stelle als Lehrer der Mathematik und der Physik am »New College« in Manchester einnehmen konnte. Später gab er diese Stelle auf und erwarb sich seinen Unterhalt, indem er in den größeren Städten Englands Vorlesungen über die Fortschritte der Naturwissenschaften hielt. Äußere Ehren hat Dalton nicht gesucht. Selbst als sein Ruhm weit über die Grenzen des Vaterlandes hinaus gedrungen war, blieb er der bescheidene Privatgelehrte, der in dem Forschen nach der Wahrheit seine größte Befriedigung fand. Dalton war Mitglied der Royal Society. Als das Alter herannahte, wurde ihm vom Könige eine kleine Pension ausgesetzt. Dalton starb im Jahre 1844 in Manchester.

Proust hatte bei seinen Analysen der verschiedenen Oxydations- und Schwefelungsstufen eines und desselben Elementes die Ergebnisse in Prozenten angegeben. Vergleicht man die so erhaltenen Zahlen, z. B. für die oben erwähnten Oxyde des Zinns289 (11,9% und 21,3%), so lassen sie keine einfache Beziehung erkennen. Dalton, welcher den Nachweis der konstanten Gewichtsverhältnisse insbesondere auf gasförmige Verbindungen auszudehnen suchte, kam auf den glücklichen Gedanken, die Zusammensetzung für gleiche Gewichtsmengen des mit Sauerstoff verbundenen Elementes zu berechnen. Dann ergeben sich z. B. für die Oxyde des Zinns, auf 100 Gewichtsteile dieses Elementes berechnet, 13,5, bezw. 27 Gewichtsteile Sauerstoff, oder für die Oxyde des Stickstoffs, mit welchen Dalton sich vorzugsweise beschäftigte, auf 14 Gewichtsteile Stickstoff 8, 16, 24, 32, 40 Gewichtsteile Sauerstoff. Indem Dalton diese Mengen verglich, entdeckte er eins der wichtigsten Gesetze der Chemie. Es zeigte sich nämlich, daß die Gewichtsmengen Sauerstoff, die mit einer bestimmten Menge Zinn oder[Pg 179] Stickstoff zu Oxyden zusammentreten, unter sich in einem einfachen Verhältnis stehen. Diese Gewichte verhalten sich nämlich wie die Zahlen 1, 2, 3, 4, 5. Oder die in die höheren Oxydationsstufen eingehenden Mengen sind einfache Multipla derjenigen Menge, die in der niedersten Oxydationsstufe enthalten ist. Dalton hat diese Untersuchungen, die um 1802 stattfanden, mit demselben Erfolge auf die Oxyde des Kohlenstoffs, sowie auf die Verbindungen des Kohlenstoffs mit Wasserstoff ausgedehnt. Von den Kohlenstoffverbindungen analysierte er das kurz vorher290 entdeckte Äthylen (C2H4) und das Grubengas (CH4). Er fand, daß sich darin die mit der gleichen Menge Kohlenstoff verbundenen Wasserstoffmengen wie 1 : 2 verhalten.

Damit war trotz der großen Mängel, welche der analytischen Chemie und ihren Ergebnissen um 1800 noch anhafteten, durch Dalton das zweite Fundamentalgesetz der Chemie entdeckt, das alle späteren Untersuchungen nur bestätigen konnten. Dies »Gesetz von den multiplen Proportionen« besagt, daß verschiedene Mengen eines Elementes (in dem letzten Beispiel Wasserstoff), die sich mit der gleich bleibenden Menge eines anderen (in dem letzten Beispiel Kohlenstoff) zu chemischen Verbindungen vereinigen, unter sich einfache Multipla sind.

An die Entdeckung wichtiger Gesetze hat sich jederzeit das Bemühen geknüpft, eine Vorstellung über die Natur der Dinge zu gewinnen, die mit den entdeckten Regeln so weit in Einklang steht, daß letztere als eine notwendige Folge jener Vorstellung erscheinen. Diesen wichtigen Schritt auf der Bahn der Erkenntnis an die Auffindung des Gesetzes von den Multiplen angeschlossen zu haben, ist gleichfalls das Verdienst Daltons, welcher dadurch eine der Grundlagen aller seitherigen naturwissenschaftlichen Betrachtung schuf.

»Schon die Beobachtungen über die verschiedenen Aggregatszustände,« sagt Dalton, »müssen zu dem Schlusse führen, daß alle Körper aus einer ungeheuren Anzahl von äußerst kleinen Teilchen oder Atomen bestehen, die miteinander durch eine je nach den Umständen stärkere oder schwächere Anziehungskraft verbunden sind.«

Ob die letzten Teilchen eines Stoffes, z. B. des Wassers, alle gleich sind, d. h. von derselben Gestalt, demselben Gewicht usw.,[Pg 180] ist dann die zweite Frage. Man habe indessen, meint Dalton, keinen Grund, eine Verschiedenheit dieser Teile anzunehmen. Bestände eine solche z. B. beim Wasser, so müßte sie gleicherweise in den Elementen, die das Wasser bilden, hervortreten. Wären einige Wasserteilchen leichter als andere, und würde ein Teil der Flüssigkeit bei irgend einer Gelegenheit aus solchen leichteren Teilchen gebildet, so müßte dies das spezifische Gewicht des Wassers beeinflussen, ein Umstand, der indessen nicht bekannt sei. Ähnlich verhalte es sich mit jeder anderen Verbindung. Daraus müsse man schließen, daß die letzten Teilchen aller homogenen Stoffe in Gewicht, Gestalt usw. völlig gleich sind. Die Zahl dieser Teilchen könne aber keine unendliche, sondern sie müsse in einem gegebenen Volumen eine begrenzte sein, wie auch in einem gegebenen Teile des Weltalls die Zahl der Gestirne nicht unbegrenzt sein könne. Die chemische Synthese und Analyse besteht nach Dalton in einer Trennung und Wiedervereinigung der Atome. Neuerschaffung oder Zerstörung eines Stoffes sind unmöglich. »Wir können,« sagt Dalton, »ebensowohl versuchen, einen neuen Planeten dem Sonnensystem einzuverleiben oder einen vorhandenen zu vernichten, als ein Atom Wasserstoff zu erschaffen oder zu zerstören. Alle Änderungen, die wir hervorbringen können, bestehen in der Trennung von Atomen, die vorher verbunden und in der Vereinigung solcher, die vorher getrennt waren.«

Aus diesen Betrachtungen ergibt sich die Aufgabe, das Gewicht der Atome zu bestimmen. Atomgewichte nach ihrer absoluten Größe zu ermitteln, war Dalton zwar nicht in der Lage; wohl aber versuchte er auf Grund gewisser Annahmen die verhältnismäßige Schwere der kleinsten Teilchen festzustellen. Gibt es z. B. zwischen zwei Stoffen nur eine chemische Verbindung, so besteht die einfachste Annahme darin, daß sie sich durch Aneinanderlagerung von je einem Atom des einen und je einem Atom des anderen Elementes gebildet habe. In diesem Falle würde das Mengenverhältnis mit dem relativen Gewicht der Atome übereinstimmen. Nach Dalton trifft jene Voraussetzung z. B. für Wasser und Ammoniak zu; es war nämlich damals nur eine Wasserstoffverbindung des Sauerstoffs, sowie des Stickstoffs bekannt. Unter der Annahme, daß diese Verbindungen sich durch Aneinanderlagerung von je zwei Teilchen der betreffenden Elemente bilden, ergab sich das Atomgewicht des Sauerstoffs = 7 und dasjenige des Stickstoffs = 5. Genauere Analysen würden die Werte 8 und 4,6 geliefert haben. Wir bezeichnen diese Mengen, die einem Gewichtsteil[Pg 181] Wasserstoff entsprechen, als Äquivalentgewichte. Sie ergeben erst mit der Valenz der betreffenden Elemente multipliziert die Atomgewichte. So ist das Atomgewicht des zweiwertigen Sauerstoffs 16 (2 × 8) und dasjenige des dreiwertigen Stickstoffs 14 (3 × 4,6).

Wie das Gesetz von der Konstanz der Gewichtsverhältnisse, so erscheint auch das Gesetz von den multiplen Proportionen als eine Folge der atomistischen Hypothese. Gibt es nämlich zwischen zwei Elementen mehrere Verbindungen, so wird man annehmen dürfen, daß sich je ein Atom des ersten Elementes mit je einem, zwei, drei Atomen des zweiten vereinigt. Die zweite Verbindung muß dann, weil ja die Atome unter sich gleich schwer sind, in bezug auf die unverändert gebliebene Menge des ersten Elementes die zweifache, die dritte Verbindung dagegen die dreifache Gewichtsmenge des zweiten Elementes besitzen. So ist das Kohlenoxyd eine binäre Verbindung, die aus einem Atom Sauerstoff und einem Atom Kohlenstoff besteht. Die ternäre291 Kohlensäure dagegen besteht aus einem Atom Kohlenstoff und zwei Atomen Sauerstoff, da mit der gleichen Gewichtsmenge des ersten die doppelte Menge des zweiten Elementes verbunden ist.

Ein weiterer Fortschritt bestand darin, daß Dalton Symbole in die Chemie einführte. So bezeichnete er z. B. Wasserstoff mit ⊙, Sauerstoff mit ○, Schwefel mit ⊕; Schwefelsäureanhydrid bekam das Zeichen ○/⊕/○○, da jedes seiner Teilchen aus einem Atom Schwefel und drei Atomen Sauerstoff zusammengesetzt ist. Die heutige Bezeichnungsweise, Wasserstoff = H, Sauerstoff = O, Schwefel = S, Schwefelsäureanhydrid = SO3 rührt von Berzelius her.

Die von Dalton ermittelten Atomgewichte waren noch sehr ungenau. Einige der wichtigsten sind:

Atomgewicht von nach Dalton richtiger Wert
Sauerstoff 7 8 (16)
Natrium 21 23
Kalium 35 39
Silber 100 108

[Pg 182]

Für Natron und Kali, die Dalton in seiner Atomgewichtstafel noch als Elemente aufzählte, ergaben sich aus ihren Verbindungen mit Säuren die Zahlen 28 und 42. Nach Davys Entdeckung sind Natron und Kali Metalloxyde292. Natron mußte daher als eine Verbindung von einem Atom Metall (21) mit einem Atom Sauerstoff (7) angesehen werden, während Kali aus einem Atom Metall (35) und einem Atom Sauerstoff (7) bestand.

Das Gesetz von den multiplen Proportionen wurde fast zur selben Zeit, als Dalton seine Theorie begründete, auch von dem Engländer Wollaston an den Salzen der Oxalsäure nachgewiesen. Daß sich die Oxal- oder die Kleesäure, die wir als zweibasische Säure kennen

( COOH )
|
COOH

mit einigen Basen in verschiedenen Verhältnissen verbindet, war schon bekannt. Wollaston293 stellte sich die Aufgabe, die mit der gleichen Menge Basis sich verbindenden Säuremengen zu ermitteln und durch die Ausdehnung seiner Untersuchung auf zahlreiche Fälle festzustellen, ob sich in den ermittelten Zahlenverhältnissen eine Regelmäßigkeit, ein Gesetz, kundgibt. Wollastons Befunde bejahten diese Frage. Er wies z. B. nach, daß sich die Mengen Kleesäure, die sich mit der in allen drei Fällen gleichen Menge Kali verbinden, genau wie 1 : 2 : 4 verhalten294.

[Pg 183]

Die Abhandlung, in der Wollaston über seine Versuche berichtet, ist auch deshalb von großem Interesse, weil uns darin schon an der Wiege der Atomtheorie die Frage nach der räumlichen Anordnung der Atome begegnet, eine Frage, die später in den Mittelpunkt der chemischen Spekulation gerückt wurde. Wollaston macht nämlich bei der Besprechung des übersauren oxalsauren Kaliums, bei dem auf ein Äquivalent Kali vier Äquivalente Säure kommen, folgende Bemerkung. Wenn auf ein Atom der einen Art (das Wort Atom wurde damals auch für die kleinsten Teile der Verbindungen gebraucht) vier Atome der anderen Art kämen, so könne stabiles Gleichgewicht eintreten, wenn das erste Atom die Mitte und die vier anderen die Ecken eines regulären Tetraeders bildeten. Wollaston schuf also genau dieselbe Vorstellung, nach der sich der Begründer der Stereochemie, van't Hoff, im Grubengase die vier Wasserstoffatome um das vierwertige Kohlenstoffatom gruppiert dachte.

Wollaston ist jedoch vorsichtig genug, die von ihm ersonnene geometrische Anordnung der Grundbestandteile einer Verbindung als ganz hypothetisch hinzustellen. Ihre Bestätigung oder Ablehnung sei erst von späteren Beobachtungen zu erwarten. Ja, es sei vielleicht zu kühn, zu hoffen, daß die geometrische Anordnung der Atome jemals bekannt sein werde.

Nachdem die atomistische Hypothese Geltung gefunden, bestand die nächste Aufgabe der Experimentalchemie in einer möglichst genauen Bestimmung der Äquivalente. Eine solche mußte nicht nur für die Analyse von der größten Wichtigkeit sein, sondern auch die Grundlage für alle weiteren Spekulationen bilden. Galt es doch, die Frage zu entscheiden, ob die erhaltenen Zahlen die wahren relativen Gewichte der Atome seien und ob ferner, dies vorausgesetzt, sich einfache Beziehungen zwischen den Atomgewichten ergeben würden.

Spekulationen, die sich nicht auf eine hinreichend sichere Grundlage stützen, haben sich fast immer als übereilt erwiesen. Dies lehrt auch die weitere Entwicklung der Atomtheorie. Vergleicht man die von Dalton 1803 veröffentlichte Tabelle mit der später in seinem »neuen Systeme« mitgeteilten, so muß auffallen, daß die hier gegebenen Atomgewichte durchweg ganze Zahlen sind, während die Tabelle vom Jahre 1803, abgesehen von dem als Einheit geltenden Atomgewicht des Wasserstoffs, solche überhaupt nicht enthält.

[Pg 184]

So lauten seine Verhältniszahlen:

1803 1808
für Wasserstoff 1 1
" Stickstoff 4,2 5
" Kohlenstoff 4,3 5
" Sauerstoff 5,5 7
" Phosphor 7,2 9

Diesen Abrundungen wurde durch den Engländer Prout, der sich um die Experimentalchemie kaum verdient gemacht hat, eine reale Bedeutung beigelegt. Prout nahm an, daß die wahren Atomgewichte ganze Zahlen und daß die Abweichungen, welche die Analyse ergibt, auf Fehler zurückzuführen seien. Auf Grund dieser irrigen Voraussetzung, die lediglich aus der weitgehenden Unsicherheit der analytischen Ergebnisse entsprang, führte Prout sämtliche Elemente auf den Wasserstoff als Urmaterie zurück. Die Atome der Grundstoffe sollten sich durch Aneinanderlagern einer verschieden großen Zahl von Wasserstoffatomen gebildet haben, woraus dann notwendig folgen würde, daß die Atomgewichte einfache Multipla desjenigen von Wasserstoff sind. Diese Hypothese Prouts, in der man zuerst das wahre Grundgesetz der Chemie erblicken wollte, ließ sich mit den späteren Ergebnissen der Analyse jedoch nicht vereinigen. Sie hat aber das Gute im Gefolge gehabt, daß sie zu immer schärferen Bestimmungen der Atomgewichte anregte. Der Mann, der sich dieser Aufgabe besonders unterzog, weil er erkannt hatte, daß über den Wert oder Unwert einer Hypothese nur die Tatsachen entscheiden können, war Berzelius.

Johann Jakob Berzelius295 wurde am 29. August des Jahres 1779 als Sohn eines Lehrers in Schweden geboren. Er studierte unter manchen Entbehrungen in Upsala Medizin und Chemie. Seine ersten Arbeiten betrafen die Analyse einer Heilquelle und die Wirkung der damals soeben entdeckten galvanischen[Pg 185] Elektrizität auf chemische Verbindungen. Seit dem Jahre 1807 bekleidete Berzelius eine Lehrstelle für Chemie und Pharmazie an der medizinischen Schule in Stockholm. Einige Jahre später wurde er zum Präsidenten der dortigen Akademie der Wissenschaften ernannt. Berzelius296 hat wie kein anderer ausländischer Forscher die Entwicklung der Chemie in Deutschland beeinflußt. Mitscherlich, Heinrich und Gustav Rose, Magnus, Wöhler und viele andere haben in seinem Laboratorium gearbeitet und zwar zu einer Zeit, als wissenschaftliche Werkstätten in Deutschland noch kaum anzutreffen waren. Selbst in dem Laboratorium, das Berzelius eingerichtet hatte, waren die zum Forschen nötigen Hilfsmittel noch so unvollkommen und spärlich, daß man kaum begreift, wie Berzelius zu der ihm nachzurühmenden Genauigkeit seiner Ergebnisse gelangen konnte. Mit den deutschen Forschern blieb Berzelius in engster persönlicher und wissenschaftlicher Fühlung. Davon zeugen seine wiederholten Besuche in Deutschland und vor allem der ausgedehnte Briefwechsel, den er mit Wöhler unterhielt297.

Berzelius starb am 7. August des Jahres 1848. Seine Verdienste um die gesamte Chemie und um die Mineralogie sind ganz hervorragend. Sie müssen aber zum größten Teil an anderer Stelle betrachtet werden. Hier fesselt nur seine Mitarbeit an dem Ausbau der Atomtheorie, in deren experimenteller Begründung Berzelius seine wichtigste Aufgabe erblickte. »Ich überzeugte mich bald durch neue Versuche,« sagt er298, »daß Daltons Zahlen die Genauigkeit fehlte, die für die praktische Anwendung seiner Theorie erforderlich war. Ich erkannte, daß zuerst die Atomgewichte einer möglichst großen Zahl von Grundstoffen, vor allem[Pg 186] der gewöhnlichen, mit möglichster Genauigkeit ermittelt werden müßten. Ohne eine solche Arbeit konnte auf die Morgenröte kein Tag folgen. Es war dies damals der wichtigste Gegenstand der chemischen Forschung, und ich widmete mich ihm in rastloser Arbeit. Nach zehnjährigen Mühen konnte ich im Jahre 1818 eine Tabelle herausgeben, die nach meinen Versuchen berechnete Atomgewichte und Angaben über die Zusammensetzung von etwa 2000 Verbindungen enthält.«

Einige Werte aus dieser Tabelle mögen dem Leser einen Begriff von der Genauigkeit der Berzeliusschen Untersuchungen geben299.

Kohlenstoff 12,12 (11,97),
Sauerstoff 16,00 (15,96),
Schwefel 32,3 (31,98),
Stickstoff 14,18 (14,00),
Chlor 35,47 (35,4),
Blei 207,4 (207),
Kupfer 63,4 (63,3).

Es möge hier in aller Kürze gezeigt werden, wie Berzelius die Gewichtsverhältnisse und das Gesetz von den multiplen Proportionen an den drei Oxyden des Bleis nachwies. 10 g Blei wurden in reiner Salpetersäure aufgelöst300. Die Lösung wurde in einen abgewogenen Kolben gegossen und eingedampft. Der Rückstand wurde geglüht. Es entstanden 10,78 g Bleioxyd301. Es würden somit 100 Teile Blei, um sich in Bleiglätte (Bleioxyd) zu verwandeln, 7,8 Teile Sauerstoff aufnehmen. Für die Mennige ergab ein umständliches Verfahren, daß sie aus 100 Teilen Blei und 11,07 Teilen Sauerstoff zusammengesetzt ist. Durch Behandeln von Mennige mit Salpetersäure stellte Berzelius eine dritte Bleiverbindung, das braune Bleioxyd, her302. Fünf Gramm braunes Bleioxyd, das durch Auswaschen von allem anhängenden salpetersauren Blei befreit und getrocknet war, wurde in einem gewogenen Platintiegel[Pg 187] geglüht. Es verlor dadurch 0,325 g Sauerstoff. Die rückständigen 4,675 g gelbes Oxyd hinterließen beim Auflösen in Essig schwefelsaures Blei und Kieselerde, die geglüht 0,13 g wogen. Die übrigen 4,545 g gelbes Oxyd enthielten 0,33 g Sauerstoff oder bis auf 0,005 g das nämliche, was das braune Oxyd durch Glühen verloren hatte. Es nehmen also 100 Teile Blei, um sich in braunes Oxyd zu verwandeln, doppelt so viel Sauerstoff auf, als sich im gelben Bleioxyd befindet303.

Auf die Erforschung der Gewichtsverhältnisse und der darin sich aussprechenden Gesetzmäßigkeiten wurde Berzelius, bevor er mit Daltons Theorie bekannt geworden war, schon durch das Studium der halb vergessenen Schriften des deutschen Chemikers Richter geführt. Richter hatte um 1790 die Lehre von den chemischen Proportionen durch seine an früherer Stelle304 erwähnten Untersuchungen über die Gewichtsverhältnisse, nach denen Säuren und Basen in Verbindung treten, begründet. Berzelius erkannte die Wichtigkeit dieser Arbeit und bemühte sich, durch die möglichst genaue Analyse einiger Salze die Zusammensetzung anderer Salze, die aus den ersteren hergestellt werden können, abzuleiten. Er hatte nämlich im Anschluß an Richter gezeigt, daß für alle Salze derselben Säure das Verhältnis der in der Basis und in der Säure enthaltenen Sauerstoffmengen konstant ist305.

Für die atomistische Auffassung wichtig war auch der von Berzelius geführte Nachweis, daß das schwefelsaure Eisen (FeSO4) die Elemente Schwefel und Eisen genau in dem gleichen Verhältnis enthält, in welchem sie das Schwefeleisen (FeS) zusammensetzen.

Das wichtigste Ergebnis der Untersuchungen von Berzelius, die mit zahlreichen Verbesserungen der bestehenden Methoden, sowie mit der Erfindung mancher neuen analytischen Methode Hand in Hand gingen, war die durchgängige Bestätigung des Gesetzes von den multiplen Proportionen und der Nachweis, daß[Pg 188] die Proutsche Hypothese sich nicht mit den Tatsachen vereinigen läßt.

Durch das in vorstehendem betrachtete Lebenswerk eines Lavoisier, Dalton und Berzelius, sowie die Bemühungen zahlreicher anderen Forscher hatte die Chemie im Verlauf von wenigen Jahrzehnten eine neue Gestalt und eine sichere Grundlage für ihre Fortentwicklung gewonnen; sie war der Physik als ebenbürtig an die Seite getreten. Auch hatten die Beziehungen zwischen diesen beiden Wissenschaften eine stete Vermehrung gefunden, insbesondere seitdem man die Elektrizität als chemisch wirksame Kraft kennen gelernt hatte. Bevor wir den weiteren Verlauf der chemisch-physikalischen Forschung betrachten, ist es deshalb erforderlich, die mit der Begründung des antiphlogistischen Systems und der Aufstellung der Atomtheorie zusammenfallende großartige Erweiterung, welche die Elektrizitätslehre durch Galvani und Volta erfuhr, ins Auge zu fassen.

[Pg 189]

12. Die Entdeckung der galvanischen Elektrizität.

Neben der seit alters bekannten Elektrizitätserregung durch Reiben hatte das 18. Jahrhundert das Auftreten von Elektrizität durch Wärmezufuhr, sowie infolge atmosphärischer Vorgänge kennen gelernt306; auch hatte man die elektrische Natur der von dem Zitterrochen ausgehenden Wirkung entdeckt. Zu diesen vier Arten gesellte sich jetzt eine fünfte, die Berührungs- oder die galvanische Elektrizität, mit der man gegen den Schluß des 18. Jahrhunderts bekannt wurde, während der Ausbau der Lehre vom Galvanismus wohl als die wichtigste Tat des 19. Jahrhunderts anzusehen ist.

Daß die bloße Berührung zweier Metalle eine eigentümliche, später als elektrisch erkannte Wirkung hervorruft, wurde zum erstenmal um das Jahr 1750 von einem Deutschen namens Sulzer307 beobachtet. Dieser brachte die Spitze seiner Zunge zwischen ein Stück Blei und ein Stück Silber, die sich mit ihren Rändern berührten. Dabei nahm er eine prickelnde, an den Geschmack des Eisenvitriols erinnernde Empfindung wahr, die Blei oder Silber für sich nicht hervorzubringen vermögen308. Es sei doch nicht wahrscheinlich, meint Sulzer, daß bei der Berührung jener beiden Metalle eine Auflösung vor sich gehe. Man müsse vielmehr schließen, daß diese Vereinigung eine zitternde Bewegung der Teilchen verursache, welche die Nerven der Zunge anrege und dadurch den erwähnten Geschmack hervorbringe.

Später wurde der Versuch in folgender Weise abgeändert. Man nahm einen Becher aus Zinn oder Zink, stellte ihn auf einen silbernen Fuß und füllte ihn mit Wasser. Wenn nun jemand die Spitze der Zunge ans Wasser brachte, fand er es völlig geschmacklos[Pg 190], solange er den silbernen Fuß nicht berührte. Sobald er diesen aber zwischen die benetzten Hände preßte, empfand die Zunge einen deutlichen Geschmack.

Abb. 30
Abb. 30. Galvanis Versuche an Froschschenkeln.

Da die Beobachtung Sulzers ganz vereinzelt blieb, ging es ihr, wie es in solchen Fällen meist zu gehen pflegt, sie wurde nicht beachtet und schließlich vergessen, bis die weitere Entwicklung der Wissenschaft ein Zurückgreifen auf jene Entdeckung erforderlich machte. Die eigentliche Erforschung der Berührungselektrizität beginnt mit der zufällig gemachten Beobachtung, daß ein frisch präparierter Froschschenkel jedesmal in Zuckungen gerät, wenn in seiner Nähe eine elektrische Entladung stattfindet. Galvani hatte jenes Verhalten des Froschschenkels um das Jahr 1780 kennen gelernt. Daß an toten Tieren Zuckungen der Muskeln unter dem unmittelbaren Einfluß von elektrischen Entladungen eintreten, war zwar längst bekannt; auch hatte man bemerkt, daß ein Zitterrochen leblose Fische zu Bewegungen veranlaßt. Was Galvanis Erstaunen hervorrief, war indes der Umstand, daß jene[Pg 191] Zuckungen eintraten, ohne daß eine Verbindung zwischen der Elektrisiermaschine und dem Froschpräparat vorhanden war.

Galvani präparierte einen Frosch, wie es in Abb. 30 Fig. 2 dargestellt ist, und legte ihn auf einen Tisch, auf dem eine Elektrisiermaschine stand. Als darauf die eine von den Personen, die ihm zur Hand gingen, mit der Spitze eines Messers die Schenkelnerven DD des Frosches zufällig ganz leicht berührte, zogen sich alle Muskeln an den Gelenken derartig zusammen, als wären sie von heftigen Krämpfen befallen. Dies geschah, während dem Konduktor der Maschine ein Funke entlockt wurde.

Wir haben es in dieser Erscheinung noch nicht mit einer Wirkung der Berührungselektrizität zu tun, sondern mit einem sogenannten Rückschlag. Ein solcher besteht darin, daß die infolge des Ladens der Maschine in dem Schenkel stattfindende elektrische Verteilung in dem Augenblicke des Entladens eine Änderung erfährt. Die elektrische Verteilung, sowie ihr Ausgleich tritt bei größerer Entfernung von dem Konduktor der Elektrisiermaschine nur dann in hinreichendem Maße ein, wenn der Schenkel mit der Erde in leitender Verbindung steht, was bei dem Versuch Galvanis durch eine anfangs zufällige, nachher jedoch absichtlich herbeigeführte Berührung des Schenkels mit einem leitenden Gegenstand bewirkt wurde (s. Abbildung 30). Das Erstaunen, in das Galvani über seine Beobachtung geriet, ist der erste Schritt zu einer fast endlosen Reihe der wichtigsten Entdeckungen gewesen. »Ich wurde«, sagt er, »von einem unglaublichen Eifer entflammt, dasjenige ans Licht zu ziehen, was hinter dieser Erscheinung verborgen war309.« Bevor wir jedoch Galvani auf seinem Wege folgen, wollen wir uns einige Augenblicke mit dem Leben dieses Mannes beschäftigen, dessen Glück und Verdienst der Wissenschaft ein neues, großes Gebiet erschließen sollte.

Aloisio Galvani wurde am 9. September 1737 in Bologna geboren. Er studierte an der Universität seiner Vaterstadt Medizin und heiratete die Tochter eines der dortigen Professoren, der legendenhafte Berichte einen hervorragenden, wenn nicht gar den Hauptanteil an der Entdeckung des Galvanismus zugeschrieben haben310. Die ersten wissenschaftlichen Arbeiten Galvanis betrafen[Pg 192] das Gebiet der Anatomie. Seit dem Jahre 1775 sehen wir ihn in Bologna eine Professur für dieses Fach bekleiden. Seine Versuche über die Wirkung der Elektrizität auf Froschschenkel begannen im Jahre 1780. Galvani führte darüber zunächst nur ein Tagebuch. Erst ein Jahrzehnt später vereinigte er die Ergebnisse seiner Untersuchungen zu einer Abhandlung über die Wirkung der Elektrizität auf die Muskelbewegung311.

Nachdem Galvani die Wirkung des Entladens auf einen in der Nähe der Elektrisiermaschine befindlichen Froschschenkel nachgewiesen, suchte er festzustellen, ob sich das gleiche, ihm zunächst ganz unerklärliche Phänomen auch durch den Einfluß der atmosphärischen Elektrizität hervorrufen lasse. Die hierauf bezüglichen Versuche sind im zweiten Teile jener Abhandlung vom Jahre 1791 beschrieben. Die präparierten Frösche, sowie Schenkel von Warmblütern wurden bei einem Gewitter an den Nerven aufgehängt, während ein Eisendraht die Füße mit der Erde verband. Die erwartete Wirkung blieb nicht aus. In demselben Augenblick, in welchem der Schein eines Blitzes das Auge traf, gerieten die Muskeln in lebhafte Zuckungen.

»Nachdem wir die Kräfte der Gewitterelektrizität kennen gelernt hatten, brannte unser Herz vor Begierde, auch die Macht der täglichen ruhigen Elektrizität der Atmosphäre zu erforschen.« Mit diesen Worten beginnt Galvani den dritten Teil seiner Schrift, in dem wir mit den Erscheinungen der nach ihm benannten, ganz neuen Art der Elektrizitätserregung vertraut gemacht werden.

Da Galvani bemerkt hatte, daß präparierte Frösche, die an einem Eisengitter an Messinghaken aufgehängt waren, nicht nur beim Gewitter, sondern auch bei heiterem Himmel gelegentlich in Zuckungen verfielen, so meinte er, die Ursache dieser Zuckungen sei in Veränderungen der atmosphärischen Elektrizität zu suchen. Deshalb beobachtete er zu verschiedenen Stunden des Tages passend[Pg 193] hergerichtete Tiere. Aber nur selten trat eine Bewegung in den Muskeln ein. Schließlich drückte er, des Wartens müde, die Haken, die in dem Rückenmark befestigt waren, gegen das eiserne Gitter. Dabei beobachtete er häufig Zuckungen, die er zunächst der atmosphärischen Elektrizität zuzuschreiben geneigt war.

Als er das Tier in das geschlossene Zimmer gebracht, auf eine Eisenplatte gelegt und den im Rückenmark befindlichen Messinghaken gegen die Eisenplatte zu gedrückt hatte, bemerkte er die gleichen Zuckungen.

Jetzt erkannte er, daß es sich hier um ein ganz neues, unerwartetes Phänomen handelt, das mit den Änderungen der atmosphärischen Elektrizität in gar keinem Zusammenhange steht. Galvani änderte darauf den Versuch in der Weise ab, daß er den Frosch auf eine die Elektrizität nicht leitende Glasplatte legte und den Messinghaken mit den Füßen des Tieres verband. Bestand die Verbindung aus einem Metall, so traten Zuckungen ein, während sie bei Anwendung einer nicht leitenden Substanz ausblieben. Mit den von Galvani ersonnenen Abänderungen dieses Fundamentalversuches macht uns die dritte Figur seiner Abhandlung (Abb. 31) bekannt.

Von besonderem Interesse ist das elektrische Froschpendel, das Galvani in der Figur 11 (s. S. 194) abbildet und folgendermaßen beschreibt: »Der Frosch wird an einem Beine in die Höhe gehalten, so daß der in dem Rückenmark befestigte Haken eine Silberplatte berührt, das andere Bein aber frei auf der Platte gleiten kann. Sowie dies Bein die Platte berührt, werden die Muskeln zusammengezogen, wodurch sich das Bein hebt. Bald aber erschlaffen die Muskeln von selbst, das Bein sinkt und kommt wieder mit der Platte in Berührung. Infolgedessen wird es wieder hochgehoben und fährt so fort, sich zu heben und zu senken, so daß es einem elektrischen Pendel gleicht.« Die Platte dient dabei gewissermaßen als Bogen, der den Kreislauf der Elektrizität ermöglicht, wenn das Bein auf die Platte niederfällt, für den Kreislauf aber nicht mehr vorhanden ist, wenn das Bein sich von der Platte entfernt hat.

Für die merkwürdige Erscheinung selbst gab es nur zwei Erklärungen. Entweder war sie in dem Wesen des tierischen Organismus begründet, oder es handelte sich um einen auf die Berührung der Metalle zurückzuführenden elektrischen Vorgang, bei dem der Froschschenkel nur die Rolle eines empfindlichen Elektroskopes spielt. Galvani entschied sich für die erstere Ansicht, indem[Pg 194]
[Pg 195]
er die beschriebenen Erscheinungen als Betätigungen einer tierischen Elektrizität auffaßte. Diese sollte vom Gehirn aus durch die Nerven dem Muskel zufließen. Letzteren verglich er mit der Leydener Flasche, indem er sich vorstellte, daß die Oberfläche und das Innere eines Muskels entgegengesetzt geladen seien. Brachte man demgemäß den Nerven, als den Konduktor dieser Flasche, mit der Oberfläche eines Muskels, die dem äußeren Belag entsprechen sollte, in leitende Verbindung, so fand eine Entladung statt, als deren Folge die Zusammenziehung der Muskelsubstanz aufgefaßt wurde.

Abb. 31

Abb. 31. Zuckungen der Froschschenkel bei der Berührung mit verschiedenartigen Metallen. (Aus Galvanis Abhandlung über die Kräfte der Elektrizität.)

Fig. 9. A Stanniolblatt über der Wirbelsäule des präparierten Frosches.
BB Die Tierschenkel.
C Ein anderes Metallblatt aus Messing.
D Ein eherner mit Silber überzogener Bogen.
F Glasplatte, auf welcher das Tier liegt.
Fig. 10. AA Zwei Bogen, die in den Zylinder B aus Glas oder Harz gesteckt sind.
C Ein mit dem Rückenmark verbundener Haken.
Fig. 11. Ein präparierter Frosch, der an einem Bein aufgehängt wird, während das andere samt dem mit dem Rückgrat verbundenen Haken die Fläche der silbernen Kapsel E berührt.
Fig. 12. FF Zwei Metallbögen, der eine aus Kupfer, der andere aus Silber.
Fig. 13. GG Metallkonduktoren, von denen der eine mit der oberen, der andere mit der unteren Belegung des Quadrates in Verbindung steht.
H Nerven, die so über den Rand des Quadrates hingestreckt sind, daß sie zugleich mit dem Rückenmark die untere Belegung berühren.
Fig. 14. K Eine mit verschiedenen Flüssigkeiten anzufüllende Glasröhre.
Fig. 15. Schenkel, voneinander getrennt.
Fig. 16. Schenkel, voneinander getrennt, samt dem in zwei Teile gespaltenen Rückgrat.

Natürlich erregten Galvanis Versuche und seine Lehre, die zunächst allgemeine Anerkennung fand, das größte Aufsehen. »Der Sturm, den das Erscheinen von Galvanis Abhandlung in der Welt der Physiker, der Physiologen und Ärzte erregte«, sagt ein hervorragender Geschichtsschreiber des Galvanismus312, »kann nur mit demjenigen verglichen werden, der zur selben Zeit am politischen Horizont Europas heraufzog. Wo es Frösche gab und wo sich zwei Stücke ungleichartigen Metalls erschwingen ließen, wollte jedermann sich von der wunderbaren Wiederbelebung der verstümmelten Gliedmaßen durch den Augenschein überzeugen.«

Galvanis wissenschaftliche Tätigkeit hatte mit dem Erscheinen seiner »Abhandlung über die Kräfte der Elektrizität« ihren Höhepunkt erreicht. Die Führung auf dem neu erschlossenen Gebiete übernahm jetzt Alessandro Volta, während sich Galvani darauf beschränkte, seine Theorie gegen die ihr von Volta bereiteten Angriffe zu verteidigen. Die letzten Lebensjahre verbrachte Galvani in einem Zustande tiefster Niedergeschlagenheit, den der Tod der Gattin und die Amtsentsetzung herbeigeführt hatten. Letztere erfolgte, weil Galvani sich weigerte, den bei der Gründung der cisalpinischen Republik von ihm geforderten, seiner Überzeugung zuwiderlaufenden Eid zu leisten. Er starb am 4. Dezember 1798. Die Erfindung der Voltaschen Säule, welche den gänzlichen Untergang der älteren Theorie herbeiführte, sollte er nicht mehr erleben.

Alessandro Volta wurde am 18. Februar 1745 zu Como geboren. Fast 30 Jahre alt, wurde er Professor der Physik an dem Gymnasium seiner Vaterstadt. In derselben Eigenschaft berief man ihn fünf Jahre später an die Universität Padua, wo[Pg 196] er bis zum Jahre 1819 wirkte. Die letzte Zeit seines Lebens verbrachte Volta in der Zurückgezogenheit; er starb am 5. März des Jahres 1827 in Como.

Als Galvanis berühmte Abhandlung erschien, hatte Volta, der während der ersten Zeit seiner wissenschaftlichen Laufbahn mit Vorliebe das Verhalten der Gase untersuchte, sich schon hervorragende Verdienste um die Elektrizitätslehre erworben. In dem Kondensator, den er mit dem Strohhalmelektrometer verband, hatte er ein Mittel zum Nachweis geringer Elektrizitätsmengen ersonnen313, das bei der späteren Untersuchung der kontaktelektrischen Phänomene von größtem Werte sein sollte. Die Royal Society hatte ihn dafür zu ihrem Mitgliede ernannt und ihn durch die Verleihung einer Medaille ausgezeichnet.

Über sein Elektrometer macht Volta folgende Angaben. Es sei von großer Bedeutung, daß man die früheren Elektrometer ändere und an Stelle der feinen Metalldrähte zwei sehr feine und trockene Strohhalme von etwa 2 Zoll Länge anwende, die man mittelst kleiner Ringe sehr beweglich aufhängen müsse. Diese Halme müßten sich im unelektrischen Zustande ihrer ganzen Länge nach berühren.

Anfangs war auch Volta von der Richtigkeit der Ansichten Galvanis überzeugt. Die Zuckungen, meinte er, müßten von dem Mißverhältnis herrühren, das zwischen der Elektrizität des Muskels und jener des Nerven bestehe. Die metallische Verbindung habe nur die Aufgabe, das Gleichgewicht wiederherzustellen. Einige Jahre später erkannte er jedoch, daß von einem Vergleich des Muskels mit der Leydener Flasche nicht die Rede sein könne. Der Froschschenkel geriet nämlich auch in Zuckungen, wenn ein elektrischer Ausgleich lediglich durch den Nerven hindurch erfolgte und die Muskeln gänzlich außerhalb des leitenden Kreises blieben. Ähnlich wie bei dem von Sulzer herrührenden Versuch314 gelang es Volta, durch Anlegen von zwei verschiedenartigen Metallstücken an Mund und Auge nicht nur eine Geschmackserregung, sondern auch Lichtempfindung hervorzurufen.

[Pg 197]

Diesen fundamentalen Versuch, der bewies, daß der Einfluß einer elektrischen Entladung nicht nur Zuckungen, sondern auch eine Erregung der Empfindungsnerven hervorrufen kann, stellte Volta folgendermaßen an. Ein breites Stück Zinnfolie wurde auf die Zungenspitze gelegt. Auf den Rücken der Zunge wurde eine Silbermünze gebracht. Beide Metalle brachte Volta vermittelst eines Kupferdrahtes in Verbindung. Er empfand dann einen stark sauren Geschmack. Wenn der Kupferdraht vermieden wurde und nur Silber und Zinn zur Anwendung kamen, war das Ergebnis dasselbe. Volta erzielte dies315, indem er keine Münze, sondern einen silbernen Löffel nahm, diesen auf den Rücken der Zunge legte und mit dem Stiel das Stanniolblatt, das auf der Zungenspitze lag, berührte.

Daß sich eine Lichtempfindung durch galvanische Elektrizität hervorrufen läßt, wies Volta nach, indem er den Schließungsbogen aus verschiedenen Metallen mit der Stirn und dem Gaumen in Berührung brachte. Das Auge empfand dann im Augenblicke der Berührung einen hellen Schein.

Auf diese Weise gewann in Volta die Vorstellung immer mehr an Raum, daß man es in den Metallen nicht mit bloßen Leitern, sondern mit den eigentlichen Erregern der Elektrizität zu tun habe. Im Anschluß an die Schilderung der soeben erwähnten physiologischen Versuche gelangte Volta daher um 1792 zu einer Änderung seiner ursprünglichen Ansichten316. Es sei klar, meinte er, daß bei diesen Versuchen die Nerven nur erregt würden und daß die Ursache des elektrischen Stromes, der diese Erregung veranlasse, in den Metallen selbst zu suchen sei. »Sie sind«, sagt er, »im eigentlichen Sinne die Erreger der Elektrizität, während die Nerven selbst passiv sind.« Zur selben Zeit machte Volta die wichtige Entdeckung, daß die Kohle bei galvanischen Versuchen an Stelle eines Metalles gebraucht werden kann. »Ich habe«, sagte er317, »gefunden, daß Holzkohle, die schon früher als ein guter Leiter bekannt war, wenig oder gar nicht den Metallen nachsteht und sich auch darin wie diese verhält, daß sie ein Erreger der Elektrizität ist.«

[Pg 198]

In einer Schrift vom Jahre 1794 bekennt sich Volta offen als Gegner der Lehre von der tierischen Elektrizität. Er braucht für die hierher gehörigen Erscheinungen fortan das Wort metallische Elektrizität. Die ganze Wirkung rühre von den Metallen her, die irgend einen feuchten Körper berühren. Die Elektrizität werde dadurch in einen Kreislauf gebracht. Gehe der Strom durch Nerven, die noch einen Rest von Leben besäßen, so würden die den Nerven gehorchenden Muskeln dadurch in Zuckungen versetzt. Diese Bewegungen und die beschriebenen Geschmacks- und Lichtempfindungen fand Volta bei seinem unausgesetzten, mühevollen Forschen je nach der Natur der angewandten Metalle sehr verschieden. Die Wirkungen waren um so lebhafter, je weiter die Metalle in folgender, von Volta 1799 aufgestellten Reihe318 voneinander abstehen:

Diese erste Spannungsreihe wurde bald darauf um zahlreiche Glieder vermehrt, indem auch Mineralien, wie Schwefelkies, Bleiglanz, Kupferkies, in sie eingefügt wurden.

Volta suchte darauf der Mitwirkung von Nerv und Muskel gänzlich zu entraten. Er brachte die Metalle mit allen möglichen feuchten Stoffen, wie Papier, Tuch usw. in Berührung. Um den hierbei eintretenden elektrischen Ausgleich, der sich bisher in den Zuckungen der Muskeln geltend gemacht hatte, unzweifelhaft darzutun, bediente er sich eines Kondensators, mit dem sich die geringsten Elektrizitätsmengen nachweisen ließen.

Auf die Konstruktion des als elektrischer Ansammlungsapparat dienenden Kondensators war Volta durch fortgesetzte Untersuchungen am Elektrophor gekommen. Schon in seiner ersten Schrift vom Jahre 1769 befaßte er sich mit der elektrischen Anziehung. In einer Abhandlung vom Jahre 1771 beschreibt er unter[Pg 199] dem Namen elettroforo perpetuo den Apparat, der auch heute noch in derselben Ausführung als Elektrophor bekannt ist. Er besteht aus einer Metallschale, aus dem Kuchen, d. i. eine Scheibe von nichtleitender Substanz (Harz, Pech) und aus einer an isolierenden seidenen Schnüren befestigten Metallplatte (Abb. 33). Um den Kuchen zu erhalten, schmolz Volta drei Teile Terpentin, zwei Teile Harz und einen Teil Wachs zusammen. Wie die Elektrisiermaschinen, so erreichten auch die Elektrophore im 18. Jahrhundert riesige Ausmaße (bis zu 7 Fuß Durchmesser). Die Wirkungsweise des Elektrophors besteht darin, daß die dem Kuchen mitgeteilte Elektrizität durch Influenz auf den Deckel wirkt und daß die abgestoßene Elektrizität des letzteren durch kurze Berührung entfernt wird. In seiner Wirkungsweise stimmt, wie Wilke dargetan319, somit das Elektrophor mit der Franklinschen Tafel überein320.

Abb. 32
Abb. 32. Voltas Kondensator.
Abb. 33
Abb. 33. Voltas Elektrophor.

Ausgehend vom Elektrophor gelangte Volta im Jahre 1782 zur Konstruktion des von ihm als Kondensator bezeichneten Ansammlungsapparats. Der Kondensator ist im Grunde genommen ein Elektrophor mit äußerst dünner Harzschicht an Stelle des bislang gebrauchten dicken Harzkuchens. Wurde auf diese dünne Harzschicht ein Deckel gelegt und dieser dann mit einer sehr schwachen Elektrizitätsquelle, z. B. einer schon entladenen Flasche in Berührung gebracht, an welcher durch andere Mittel keine Elektrizität mehr nachgewiesen werden konnte, so war der Deckel nach dem Abheben deutlich elektrisch geworden. Aus diesem Grunde bezeichnete Volta den neuen Apparat als Kondensator. Es war[Pg 200] von Wichtigkeit, die Harzschicht vor Beginn jedes Versuches wieder vollständig zu entladen. Bei der Lösung dieser Aufgabe entdeckte schon Volta eine wichtige Beziehung zwischen der Elektrizität und dem Lichte. Er fand nämlich, daß die Entladung sich rasch und vollständig bewirken ließ, wenn er die Harzschicht in die Sonne stellte321.

Aus den Bemühungen Voltas ging der Kondensator schließlich in der Form hervor, wie er noch heute gebraucht wird. Es wurden nämlich zwei gleiche Metallplatten, von denen die eine direkt mit dem Elektroskop verbunden ist, mit einer möglichst gleichmäßigen, dünnen Firnisschicht überzogen (Abb. 32). Die Wirkung dieses Apparates ergibt sich aus den von Aepinus und Wilke entdeckten Influenzgesetzen. Der oberen Platte wird z. B. positive Elektrizität mitgeteilt. Legt man sie dann auf die untere Platte, von welcher sie durch die doppelte Firnisschicht getrennt ist, so wird sich auf dem der oberen Platte zugewandten Teile der unteren Platte negative, auf dem abgewandten positive Elektrizität befinden. Letztere wird abgeleitet. Hebt man dann die obere, auch wohl Kollektor genannte Platte ab, so breitet sich die negative Elektrizität über die ganze untere Scheibe, die Kondensatorscheibe, aus. Durch häufigere Wiederholung dieses Verfahrens läßt sich die Ansammlung der negativen Elektrizität auf der unteren Platte und die Wirkung auf das mit dieser Platte verbundene Elektroskop erheblich steigern.

Erst diese Vorversuche setzten Volta in den Stand, seinen berühmten Fundamentalversuch der Kontaktelektrizität anzustellen. Letzterer bestand darin, daß man das Auftreten entgegengesetzter Elektrizitäten durch die bloße Berührung zweier Metalle bewirkte, ohne dazu einer feuchten Zwischensubstanz, sei letztere animalisch oder nicht, zu bedürfen. Volta beschreibt diesen Versuch, zu dem er nichts weiter benötigte als Platten von verschiedenen Metallen mit isolierenden Handhaben, einen Kondensator und ein Elektrometer mit Streifen vom feinsten Blattgold, mit folgenden Worten322: »Bringt man die miteinander in Berührung gewesenen Platten an das sehr empfindliche Elektrometer, so werden die Goldblättchen etwas auseinandergehen und dadurch einige Elektrizität anzeigen, die positiv oder negativ sein wird, je nach der Natur des Metalles, das man untersucht, und des anderen,[Pg 201] mit dem dieses vorher in Berührung stand.« Nahm Volta z. B. eine Zink- und eine Kupferscheibe, so erwies sich nach der Berührung erstere als positiv, letztere als negativ elektrisch. Brachte man das Kupfer mit Zinn oder Eisen zusammen, so wurde es gleichfalls, indes in weit geringerem Maße, negativ elektrisch, während das Zinn und das Eisen sich wie das Zink in dem ersten Versuch verhielten. Wurden endlich Gold oder Silber mit Kupfer berührt, so wurde das letztere diesmal positiv, Gold und Silber dagegen wurden negativ elektrisch.

Volta beschreibt seinen Fundamentalversuch in einem Brief vom Jahre 1797323. Eine solch beträchtliche Elektrizität durch einfache Berührung verschiedener Metalle zu erhalten, fügt Volta hinzu, sei gewiß etwas Bewundernswürdiges und alle Sachverständigen, denen er seinen Versuch gezeigt habe, seien erstaunt darüber.

Welcher Art die Elektrizität der verschiedenen Metalle nach der Berührung ist, findet Volta, indem er dem Elektrometer, dem er die Elektrizität mitgeteilt hat, eine geriebene Glas- und eine geriebene Harzstange nähert und darauf achtet, ob die Divergenz der Goldblättchen zu- oder abnimmt. Wurden z. B. Zink und Kupfer in Berührung gebracht, so war nach der Trennung das Zink positiv, denn bei Annäherung der positiven Glasstange nahm die Divergenz des Pendel zu, während sie sich bei Annäherung der mit negativer Elektrizität geladenen Harzstange verminderte.

Indem Volta auf solche Weise seinen Fundamentalversuch vielfach abänderte, gelangte er zur Aufstellung der folgenden elektrischen Spannungsreihe:

Diese Reihe enthält Graphit und die bekanntesten Metalle in einer solchen Anordnung, daß jedes vorhergehende Glied, mit einem der[Pg 202] nachfolgenden in Berührung gebracht, positiv elektrisch wird, während das spätere Glied stets den negativ elektrischen Zustand annimmt. Dabei stellte sich beim Messen mit dem Strohhalmelektrometer heraus, daß der elektrische Unterschied zwischen je zwei Gliedern dieser Reihe um so größer ist, je weiter die Glieder voneinander entfernt sind. So ergaben sich324 für die ersten vier Glieder der Reihe folgende Differenzen:

Zink | Blei = 5
Blei | Zinn = 1
Zinn | Eisen = 3

Für Zink | Eisen erhielt man den Wert 9 (= 5 + 1 + 3). Damit war das Gesetz gefunden, daß der elektrische Unterschied für zwei Glieder der Spannungsreihe gleich der Summe der Unterschiede aller dazwischen liegenden Glieder ist, so daß in einer geschlossenen Kette von Metallen, in der z. B. Zink mit Blei, dieses mit Zinn, dieses mit Eisen und das letztere wieder mit Zink verbunden wird, die elektrischen Unterschiede sich ausgleichen und die Spannung infolgedessen Null ist.

Volta hatte auf Grund dieser Versuche angenommen, daß die erregende Kraft ausschließlich an der Berührungsstelle der Metalle ihren Sitz habe und die animalischen oder andere Feuchtigkeiten nur als Leiter dienen. Weitere Versuche belehrten ihn jedoch, daß auch bei der Berührung zwischen Metall und Flüssigkeit eine erregende oder elektromotorische Kraft auftritt. Isolierte Platten von Silber, Zinn, Zink usw. wurden mit feuchtem Holz, Papier oder feuchten Ziegeln in Berührung gebracht. Nach dem Abheben erwiesen sich die Metallplatten als negativ elektrisch. Die Metalle wurden Elektromotoren erster, die Flüssigkeiten, die sich nicht in die Spannungsreihe eingliedern lassen, Elektromotoren oder Leiter zweiter Klasse genannt.

»Die Berührung verschiedener Leiter«, sagt Volta in einem Schreiben vom Jahre 1796325, »die ich trockne Leiter oder Leiter der ersten Klasse nenne, mit feuchten oder Leitern der zweiten Klasse erregt das elektrische Fluidum und gibt ihm einen gewissen Antrieb. Fragen Sie noch nicht, wie dies geschieht; es ist vorläufig genug, daß es geschieht und daß es sich um ein allgemeines Verhalten handelt.«

[Pg 203]

Volta zeigte, daß in einem nur aus Elektromotoren erster Klasse bestehenden Kreise keine Bewegung der Elektrizitäten, kein Strom entsteht. Er zeigte ferner, daß ein solcher hervorgerufen wird, wenn zwei Elektromotoren erster Klasse mit einem feuchten Leiter der zweiten Klasse und unter sich, entweder unmittelbar oder vermittelst eines dritten Leiters, in Verbindung stehen und auf diese Weise einen Kreis von Leitern bilden. Eine derartige Vereinigung wurde ein galvanisches Element genannt. Die Wirkung des letzteren vervielfältigte Volta, indem er eine größere Anzahl solcher Elemente zu seiner Säule verband.

Abb. 34
Abb. 34. Voltas erste Säule.
Abb. 35
Abb. 35. Voltas aus zwei Teilen zusammengesetzte Säule.

Den ersten Bericht über diese, an Wichtigkeit von keiner anderen übertroffene Erfindung erstattete Volta im Jahre 1800326. Er teilte darin mit, daß es ihm im Verfolg seiner Versuche über die Erzeugung von Elektrizität durch bloße Berührung gelungen sei, einen neuen Apparat herzurichten. Dieser habe in sehr schwachem Maße die Wirkung der Leydener Flasche, andererseits übertreffe er die letztere darin, daß er nicht vorher mit fremder Elektrizität geladen werden müsse, sondern jedesmal wirke, wenn man ihn in geeigneter Weise berühre. Der Apparat besitze seiner Wirkung und auch seiner Einrichtung nach eine gewisse Ähnlichkeit mit dem elektrischen Organ des Zitterrochens. Abb. 34 zeigt die erste Säule Voltas. Ihre Herstellung wird mit folgenden[Pg 204] Worten beschrieben327: »Dreißig, vierzig, sechzig oder mehr Stücke Silber, von denen jedes auf ein Stück Zink gelegt wird, und die gleiche Anzahl mit Salzwasser oder Lauge getränkter Tuchstücke, diese Stücke zwischen jede Verbindung der beiden Metalle geschaltet, eine derartige Folge der drei Leiter in stets gleicher Anordnung: das ist alles, woraus der neue Apparat besteht.« Außer der leichten Erschütterung, die man erhielt, wenn man die oberste Platte berührte und die andere Hand in das Gefäß b tauchte und so den Stromkreis schloß, ließ sich auch eine Wirkung dieses Apparates auf die Geschmacks-, Gesichts- und die Gehörnerven nachweisen.

Abb. 36
Abb. 36. Voltas Becherapparat.

Bei einer größeren Zahl von Platten war Volta gezwungen, entweder die Säule mit Stützen zu umgeben oder sie, wie es Abb. 35 zeigt, in mehrere Teile zu zerlegen. Eine Säule besaß nämlich die Unvollkommenheit, daß die Metallstücke durch ihr Gewicht die Tuchscheiben auspreßten, so daß die darin enthaltene Flüssigkeit schließlich die ganze Säule überzog und unwirksam machte. Volta war daher auf eine Anordnung bedacht, welche diesen Übelstand vermeidet: Er stellte eine Reihe von Bechern auf, die aus einem nichtmetallischen Stoff wie Holz, Ton oder Glas bestanden. Diese Becher füllte er zur Hälfte mit Salzwasser oder Lauge. Dann setzte er sie sämtlich in Verbindung, so daß sie eine Art Kette bildeten. Dies geschah vermittelst einer gleichen Zahl metallischer Bögen. Der Teil A, der in einen der Becher tauchte, war aus Kupfer oder aus versilbertem Kupfer hergestellt, während der andere Teil Z, der in den folgenden Becher tauchte, aus Zinn oder aus Zink bestand. Die beiden Metalle wurden an irgend einer Stelle oberhalb des Teiles, der in die Flüssigkeit tauchte, zusammengelötet. Damit die letztere mit einer[Pg 205] hinreichend großen Fläche der Metalle in Berührung kam, gab Volta den Metallen die Form von Platten.

»Eine Folge von 30, 40 oder 60 dieser auf solche Weise verbundenen Becher,« sagt Volta, »die entweder in einer geraden Linie oder in einer beliebigen Kurve angeordnet sein können: das ist alles, woraus dieser neue Apparat besteht. Im Prinzip und in Anbetracht der ihn bildenden Substanzen stimmt er mit dem oben beschriebenen Säulenapparat überein.«

Um eine Erschütterung zu erhalten, genügte es, die eine Hand in einen der Becher und einen Finger der anderen Hand in einen zweiten Becher zu tauchen. Die Erschütterung war um so stärker, je weiter die beiden Becher von einander entfernt waren. Volta erhielt folglich den stärksten Schlag, wenn er das erste und das letzte Glied der Kette berührte.

Die Wirkungen, die ein aus 40 oder 50 Plattenpaaren hergestellter Apparat hervorrief, beschränkten sich nicht auf Erschütterungen. Der Apparat erregte auch die Organe des Geschmacks-, des Gesichts-, des Gehör- und des eigentlichen Gefühlssinnes und rief in ihnen die einem jeden entsprechenden Empfindungen hervor, eine Tatsache, die für die Physiologie der Sinnesorgane von der größten Bedeutung war und später Johannes Müller zur Aufstellung seiner Lehre von den spezifischen Energien dieser Organe geführt hat.

Die Wirkungen auf die Haut schildert Volta mit folgenden Worten: »Ich fühle in dem Augenblicke, in welchem der leitende Kreis geschlossen wird, an der berührten Stelle der Haut und ein wenig darüber hinaus einen Schlag und einen Stich, die schnell vorübergehen und sich so oft wiederholen, wie man den Kreis öffnet und schließt. Wenn dieser Wechsel häufig stattfindet, so ruft er ein sehr unangenehmes Prickeln und Stechen hervor. Bleibt jedoch die Verbindung bestehen, so fühlt man einige Augenblicke nichts mehr; darauf entsteht aber in dem von dem Drahtende berührten Körperteil eine andere Empfindung, nämlich ein scharfer, ohne Erschütterung auftretender Schmerz, der sich auf die berührte Stelle beschränkt, ein Brennen, das nicht nur andauert, sondern immer stärker und schließlich unerträglich wird und das erst aufhört, wenn man den Kreis unterbricht. Welch ein augenscheinlicher Beweis dafür, daß der elektrische Strom andauert, solange die leitenden Substanzen in Verbindung stehen, und daß erst, wenn wir diese Verbindung aufheben, der Strom unterbrochen wird. Daß das elektrische Fluidum unaufhörlich kreist, kann paradox[Pg 206] erscheinen und unerklärlich sein. Nichtsdestoweniger ist es tatsächlich so; es läßt sich sozusagen mit den Händen greifen.«

Die Erfindung der Voltaschen Säule erregte nicht nur in England, sondern auch in Frankreich das größte Aufsehen. Auf Veranlassung des ersten Konsuls erschien Volta in Paris, wo er im November des Jahres 1801 einen Vortrag hielt. Die hervorragendsten französischen Gelehrten bildeten darauf einen Ausschuß, der Bericht erstatten mußte328. Napoleon ließ für Volta eine goldene Medaille prägen und stiftete einen Ehrenpreis für die besten Arbeiten auf dem Gebiete der galvanischen Elektrizität.

Daß die beiden Pole der Säule eine anziehende Wirkung ausüben, bewies der Deutsche Ritter auf folgende Weise. Er verband die Pole der Säule mit zwei Drähten. An den Drahtenden befestigte er Goldplattstreifen und näherte sie einander. Die Streifen zogen sich darauf gegenseitig an, bis sie sich schließlich berührten und so die Kette schlossen329.

Bevor wir uns mit den chemischen, thermischen und dynamischen Wirkungen der von Galvani und Volta entdeckten Naturkraft näher befassen, wollen wir die weitere Entwicklung der galvanischen Ketten, für welche Voltas Apparat das Vorbild gewesen ist, verfolgen.

Von Verbesserungen und Entdeckungen, die bald nach ihrer Erfindung an der Voltaschen Säule in rascher Folge gemacht wurden, sind vor allem folgende erwähnenswert. Um die Berührung der Metallplatten vollständiger zu machen, lötete man sie zusammen330. Daß die physiologische Wirkung der Säule proportional der Anzahl der Platten sei, hatte schon Volta nachgewiesen; Nicholson fand dies auch für die chemische Wirkung bestätigt. Es lag nahe, den Einfluß des Durchmessers der Platten auf die Art der Wirkung zu untersuchen. Das Ergebnis war, daß eine Vergrößerung des Plattendurchmessers die Funken intensiver machte. Eine Säule von fünf großen Platten gab stärkere Funken als eine solche von 80 kleinen, dagegen war die physiologische Wirkung der fünf Platten sehr gering331.[Pg 207] Der Zusammenhang der thermischen Wirkung des galvanischen Stromes mit der Zahl und Größe der Platten wurde eingehend im Jahre 1805 untersucht332. Man fand, daß große Platten leichter Drähte zum Erglühen bringen. Während z. B. eine Säule von 400 Plattenpaaren von 4 Zoll Durchmesser nur einen Eisendraht von 2 Zoll Länge zum Erglühen brachte, war eine zweite Säule von nur 100 Paaren, die aber einen Durchmesser von 8 Zoll besaßen, imstande, ein 32 Zoll langes Stück desselben Eisendrahtes glühend zu machen. Unter einen gemeinsamen Gesichtspunkt gebracht wurden diese Erscheinungen erst weit später durch das Gesetz von Ohm über den Zusammenhang der Stromstärke mit der elektromotorischen Kraft und dem Widerstande.

Einen Vorläufer besaß Ohm in Ritter333, der schon 1805 zu dem Ergebnis gelangte, daß »der Effekt der Säule bei gleicher Spannung von der Summe der Leitung in der Säule und dem schließenden Bogen abhänge«334. Bezeichnen wir die Spannung (elektromotorische Kraft) mit E, den Effekt (Intensität) mit i und den inneren und äußeren Leitungswiderstand mit W und w, so drückt das Ohmsche Gesetz die Beziehung zwischen den genannten Größen durch die Formel i = E/(W+w) aus, und diese Beziehung finden wir in dem von Ritter ausgesprochenen Satze angedeutet.

Nachdem Volta seinen Fundamentalversuch angestellt hatte, lag der Gedanke nahe, eine galvanische Säule ohne Flüssigkeit zu konstruieren und dadurch der Kontaktheorie gegenüber der chemischen Erklärungsweise eine größere Stütze zu verleihen. Dieser Gedanke führte Behrens zur Konstruktion des Säulenelektroskops und Zamboni zur Herstellung der Trockensäule.

Behrens brachte ein isoliert aufgehängtes Goldblättchen zwischen die entgegengesetzten Pole zweier aus Goldpapier und Stanniol aufgeschichteten gleichen Säulen. Da die anziehenden Kräfte gleich stark waren, befand sich das isolierte Goldblättchen zunächst in senkrechter Lage. Wurde dem Knopfe, an welchem das Goldblättchen hing, ein elektrisierter Körper genähert, so wurde es entweder vom positiven Pole der einen oder vom negativen[Pg 208] Pole der anderen Säule angezogen, je nachdem der genäherte Körper positiv oder negativ war335.

Zweckmäßiger ist die Einrichtung, die später Rieß336 dem Säulenelektroskop gegeben hat. Rieß benutzte nur eine aus Gold- und Silberpapier geschichtete Säule, deren Pole mit zwei einander gegenüberstehenden Metallplatten in Verbindung stehen. Die Elektrizitäten dieser Platten (Abb. 37) sind gleich stark. Zwischen den Platten hängt das isolierte Goldblättchen. Wird diesem nur die geringste Spur Elektrizität mitgeteilt, so wird es sich nach der einen oder der anderen Platte bewegen und dadurch nicht nur die Elektrizität selbst, sondern auch ihre Art anzeigen.

Abb. 37
Abb. 37. Das Säulenelektroskop.

Unabhängig von Behrens, dessen Erfindung zunächst wenig Beachtung fand, konstruierte der Italiener Zamboni Trockensäulen aus Gold- und Silberpapierscheiben, die er tausendfach übereinander aufschichtete. Sie gaben ihm Funken von einem halben Zoll Länge337. Zamboni suchte mit Hilfe seiner Säule eine Art Perpetuum mobile herzustellen. Hatte Behrens zwischen zwei Trockensäulen einen Goldblattstreifen aufgehängt, so brachte Zamboni zwischen den entgegengesetzten Polen DD seiner Säulen (s. Abb. 38) eine Magnetnadel ccc an. Das obere Ende dieser Nadel wurde von DD abwechselnd angezogen und wieder abgestoßen, so daß die Nadel fortwährend hin und her pendelte.

[Pg 209]

Die Erfindung der Trockensäulen schien zunächst den Sieg der Kontakttheorie zu bedeuten, bis 1807 durch Erman gezeigt wurde, daß die Trockensäule ihre Wirkung einbüßt, wenn sie in völlig trockene Luft gebracht wird, so daß das hygroskopische Papier seine Feuchtigkeit verliert. Brachte man die Säule aus dem Chlorkalziumtrockenapparat, dessen sich Erman338 bediente, wieder in gewöhnliche Luft, so wurde sie wieder wirksam.

Kehren wir zur eigentlichen galvanischen Säule zurück. Schon das Jahr 1802 brachte eine weitere grundlegende Entdeckung. Jemand brachte die Platindrähte eines Wasserzersetzungsapparats, nachdem durch letzteren eine Zeitlang der Strom geschickt war, an die Zunge. Der Apparat wirkte jetzt wie ein galvanisches Element, da sich die bekannte Geschmacksempfindung einstellte. Man hatte die Polarisation und den durch sie hervorgerufenen Polarisationsstrom entdeckt339.

Abb. 38
Abb. 38. Zambonis Trockensäule.

Eine der soeben erwähnten ganz analoge Beobachtung machte der schon wiederholt genannte Ritter. Er hatte eine Säule ausschließlich aus Silber und angefeuchteten Tuchscheiben ohne Zuhilfenahme eines zweiten Metalles zusammengesetzt. Diese Säule gab natürlich zunächst keinen Strom. Nachdem er sie aber einige Zeit der Wirkung einer Voltaschen Säule ausgesetzt und die Verbindung darauf gelöst hatte, gab die vorerwähnte nur ein Metall enthaltende »Ladungssäule« einen Strom. Ritter glaubte[Pg 210] zuerst eine neue Art von Kondensator erfunden zu haben, bis Volta340 nachwies, daß man es hier nicht mit einer bloßen Ansammlung von Elektrizität, sondern mit einer chemischen Zersetzung des Wassers zu tun habe. Infolgedessen überziehe sich jede Silberplatte mit einer Wasserstoffschicht auf der dem positiven Pole zugekehrten und mit einer Sauerstoffschicht auf der dem negativen Pole zugekehrten Seite. Eine solche aus zwei gasförmigen Flüssigkeiten und einem Metall bestehende Säule wirke so lange, bis das zersetzte Wasser sich zurückgebildet habe. Die Ladungssäule Ritters ist somit die erste Form des Akkumulators und Volta hatte mit vorstehenden Worten das Prinzip der Polarisation, das später Planté zur Konstruktion der sekundären Elemente oder Akkumulatoren führte, ganz richtig dargestellt.

Ritter fand auch, daß durch Einschalten einer Ladungssäule der Strom der Voltaschen Säule rasch geschwächt wird, eine Erscheinung, welche daher rührt, daß der von der Ladungssäule ausgehende Strom dem Ladestrom der Voltaschen Säule entgegengesetzt ist. Man erkannte, daß aus demselben Grunde, d. h. infolge des Auftretens von Zersetzungsprodukten, die Voltasche Säule geschwächt werden muß, selbst wenn sie gar nicht mit einer »Ladungssäule« oder einem Wasserzersetzungsapparat in Verbindung steht. Das Bestreben, hier Abhilfe zu schaffen, führte zur Konstruktion der »konstanten Elemente«.

[Pg 211]

13. Die Begründung der Elektrochemie.

Wie bei so vielen großen Entdeckungen wurden auch bezüglich der chemischen Wirkung der galvanischen Elektrizität die ersten Beobachtungen gemacht, ohne daß man ihnen gleich die verdiente Bedeutung beigelegt und sie weiter verfolgt hätte. So wurde schon im Jahre 1795 darauf hingewiesen, daß, wenn Zink und Silber in Wasser tauchen, das Zink von einer Oxydschicht überzogen wird341. A. v. Humboldt wiederholte diesen Versuch und sah am Silber Blasen aufsteigen, die aus Wasserstoff bestanden342. Übrigens war Humboldt ein Hauptgegner Voltas. Humboldt gab 1797-1799 ein Werk über die tierische Elektrizität heraus, das er »Versuche über die gereizte Nerven- und Muskelfaser« betitelte. Darin vertrat er die Ansicht, die galvanischen Erscheinungen würden durch ein Fluidum hervorgerufen, das in den tierischen Organen angehäuft sei. Ob dieses Fluidum, wie Galvani angenommen, elektrischer Natur sei, hielt Humboldt sogar noch für zweifelhaft. Eine bessere Aufnahme fanden die Forschungsergebnisse Galvanis und Voltas jenseits des Kanals. Sobald die Kunde von der Erfindung der Voltaschen Säule nach England gelangt war, beeilten sich die dortigen Physiker, Voltas Apparat zusammenzustellen und damit zu experimentieren. Dabei richtete sich ihre Aufmerksamkeit auf die von Volta übersehenen, vielleicht auch in seiner Voreingenommenheit für die von ihm begründete Kontakttheorie nicht genügend beachteten chemischen Vorgänge.

Der erste, der in England eine Säule nach Voltas Angaben zusammensetzte, war Carlisle343. Um eine bessere Berührung des Schließungsdrahtes mit der oberen Platte zu bewerkstelligen, hatte Carlisle die letztere mit einem Tropfen Wasser angefeuchtet. Dabei[Pg 212] bemerkte er, daß sich um den Draht herum Gasbläschen bildeten. Um diese Erscheinung genauer zu verfolgen, führte Carlisle in Gemeinschaft mit Nicholson344 im Mai des Jahres 1800 den galvanischen Strom unter Anwendung von zwei Messingdrähten durch eine mit Wasser gefüllte Röhre345. Der Abstand zwischen den Enden der Drähte betrug 1¾ Zoll. Sogleich erhob sich an dem mit dem Silber verbundenen Drahte ein Strom kleiner Gasblasen, während die Spitze des anderen Drahtes anlief. Jenes Gas wurde als Wasserstoff erkannt. Der Sauerstoff des Wassers hatte sich dagegen mit der Substanz desjenigen Drahtes verbunden, der zum Zink führte, und ein Anlaufen des Endes verursacht. Als man anstatt der Messingdrähte solche aus Platin wählte, einem Metall, mit dem der Sauerstoff sich nicht direkt verbindet, gelang es, beide Gase als solche aus dem Wasser abzuscheiden. Dieses war die erste, vollständige und deutliche, mit Hilfe des galvanischen Stromes bewirkte Zerlegung einer chemischen Verbindung, deren zusammengesetzte Natur man allerdings schon vorher erkannt hatte. Zwar besaßen Carlisle und Nicholson in von Humboldt und einigen anderen Vorläufer, die schon auf gewisse Erscheinungen hingewiesen hatten, die offenbar chemische Wirkungen des Stromes waren. Ja, es tauchte schon vor der Erfindung der Voltaschen Säule die Ansicht auf, daß vielleicht chemische Änderungen nicht die Folge, sondern die Ursache der Elektrizitätsentwicklung sein möchten346. Dennoch gebührt den beiden englischen Forschern das Verdienst, die Zerlegung des Wassers durch den galvanischen Strom zum ersten Male durch eine planvolle und ergebnisreiche Untersuchung dargetan zu haben. Nichts lag daher näher, als das neue Hilfsmittel auf Stoffe bislang unbekannter chemischer Zusammensetzung anzuwenden, ein Weg, den wir wenige Jahre nach der Anstellung der soeben beschriebenen ersten Elektrolyse mit dem größten Erfolge den Engländer Davy beschreiten sehen. Wie Nicholson und Carlisle in v. Humboldt, so besaß Davy auf diesem Gebiete einen Vorläufer in dem schon erwähnten Deutschen Ritter347. Im September des Jahres 1800348 teilte dieser mit, daß er mit einer aus 64 Plattenpaaren bestehenden Säule[Pg 213] nicht nur Wasser, sondern auch Kupfervitriol unter Abscheidung von Kupfer zersetzt habe. Ritter ließ den Strom auch auf Ammoniak wirken. Er gelangte schließlich zu der Ansicht, es gebe keine Flüssigkeit, die nicht durch den galvanischen Strom zersetzt werden könne.

Es ist für uns Deutsche ruhmvoll, daß bei uns so oft in aller Stille und Verborgenheit die Erschließung neuer Wissensgebiete stattgefunden hat. Es ist dagegen eine fast beschämende, indessen aus den früheren Zuständen und dem Nationalcharakter erklärliche Tatsache, daß der weitere Ausbau der erschlossenen Gebiete und die praktische Verwertung der gewonnenen Kenntnisse, sowie infolgedessen häufig genug auch der Ruhm der Entdeckung dem Auslande vorbehalten blieb. Im Beginn des 19. Jahrhunderts herrschte zudem eine die empirische Forschung unterschätzende Naturphilosophie in Deutschland, in deren Banden sich Ritter und in seinen jüngeren Jahren auch von Humboldt befand. Sie hat der Naturforschung auf deutschem Boden mehr geschadet, als es in Frankreich die Wirren der französischen Revolution vermocht haben. Von beiden Hemmnissen blieben die Forscher Englands verschont. Und so sehen wir hier Davy mit Entdeckungen auf dem neuen Gebiete hervortreten, welche denjenigen Voltas nicht nachstehen.

Humphry Davy wurde am 17. Dezember 1778 in Cornwall geboren349. In ärmlichen Verhältnissen aufgewachsen – sein Vater sorgte für sich und die Seinen durch Herstellung von Holzschnitten – wurde der junge Davy Gehilfe bei einem Chirurgen. Diesem mußte er auch bei der Herstellung von Arzneien zur Hand gehen. Auf solche Weise wurde in ihm ein Interesse an chemischen Vorgängen erweckt, das für seine spätere Laufbahn bestimmend werden sollte. Im Alter von 20 Jahren erhielt Davy eine Anstellung an einem Institut, das man in Bristol zu dem Zweck ins Leben gerufen hatte, um die Wirkungen gasförmiger Körper auf den Organismus zu prüfen350. Davy machte hier die Beobachtung, daß das von Priestley um 1772 entdeckte Stickoxydul (Lachgas) berauschend und betäubend wirkt351. Ferner stellte er Versuche[Pg 214] über die physiologischen Wirkungen von Wasserstoff und Kohlendioxyd an und gelangte dadurch in den Ruf eines vorzüglichen Experimentators. Infolgedessen wurde Davy, bald nachdem die Kunde von Voltas Entdeckungen nach England gekommen war, als Professor der Chemie an die Royal Institution nach London berufen und zum Mitglied der Royal Society gewählt. Hier sehen wir ihn während des ersten Jahrzehnts des 19. Jahrhunderts eine außerordentliche Wirksamkeit entfalten, durch die er der Lehre vom Galvanismus eine neue Richtung gab. Nur die hervorragende, gleichzeitig das physikalische, wie das chemische Gebiet umfassende Forschertätigkeit eines Davy war imstande, die zahlreichen Irrtümer, welche jener Lehre infolge unrichtiger Auslegung der beobachteten elektrochemischen Vorgänge anhafteten, zu beseitigen. Der Elektrizität wurde damals alles Mögliche und Unmögliche zugeschrieben. Hielten es doch viele für ausgemacht, daß aus reinem Wasser und dem elektrischen Fluidum Salpetersäure, Salzsäure, Natron oder gar eine besondere elektrische Säure entstehen könne. Davy lieferte den Nachweis, daß in solchen Fällen das Wasser Verunreinigungen enthielt, durch deren Zersetzung die genannten Verbindungen entstanden waren, oder daß in anderen Fällen unter dem Einfluß der Elektrizität Bestandteile des Gefäßes an das Wasser abgegeben und zersetzt wurden352. Er zeigte ferner, daß chemisch reines Wasser sich durch die Elektrizität einzig und allein in Sauerstoff und Wasserstoff zersetzt353. Darauf folgten eine Anzahl Versuche über »Das Hinüberführen gewisser Bestandteile der Körper durch Elektrizität,« ein Vorgang, den man später als das Wandern der Ionen bezeichnet und durch die Annahme von freien, positiv oder negativ geladenen Ionen erklärt hat. Davy spricht das Ergebnis dieser Versuche etwa folgendermaßen aus: Wasserstoff und die Metalle würden von den negativ elektrischen Metallflächen angezogen, von den positiv elektrischen dagegen zurückgestoßen. Dagegen würden Sauerstoff und die Säuren (die Säurereste würden wir heute sagen) von den positiven Metallflächen angezogen, von den negativen abgestoßen. Diese anziehenden und zurückstoßenden Kräfte seien energisch genug, um die Wirkung der Wahlverwandtschaft zu zerstören.

[Pg 215]

Die Schwierigkeit, daß die Bestandteile der Verbindungen an den weit voneinander entfernten Elektroden jeder für sich in die Erscheinung treten, erklärt Davy, indem er das Wasser als Beispiel wählt, auf folgende Weise. Da der Wasserstoff von der positiven Metallfläche (die Bezeichnung Elektrode hat erst Faraday eingeführt) und der Sauerstoff von der negativen Fläche abgestoßen würden, so müsse in der Mitte des flüssigen Leiters eine Verbindung der zurückgestoßenen Stoffe vor sich gehen, oder – ein Gedanke, den später354 Grothuss wieder aufgenommen – es finde eine Reihe von Zersetzungen und Wiedervereinigungen von der einen Metallfläche bis zur anderen statt.

Über eine Entdeckung von weittragendster Bedeutung berichtete Davy der Royal Society im Jahre 1807. Schon Lavoisier hatte die Vermutung ausgesprochen, daß man in den Alkalien und den Erden den Metallkalken ähnliche Verbindungen des Sauerstoffs mit bis dahin unbekannten Elementen zu erblicken habe. Alkali war auch die Substanz, die aus der Wand des Glasgefäßes in das Wasser überging, wenn letzteres in einem solchen der Elektrolyse unterworfen wurde. Was lag daher näher, als die zersetzende Kraft des galvanischen Stromes auf das Alkali selbst wirken zu lassen, um so das Dunkel, welches die chemische Natur dieser Verbindung einhüllte, zu lichten!

Davy versuchte zuerst Kali und Natron in ihren wässerigen, bei gewöhnlicher Temperatur gesättigten Lösungen mit Hilfe der stärksten galvanischen Apparate, die ihm zu Gebote standen, zu zerlegen. Bei aller Intensität der Wirkung wurde jedoch das Wasser allein angegriffen, und unter großer Hitze und heftigem Aufbrausen entwickelten sich nur Wasserstoff und Sauerstoff. Davy schmolz daher bei seinen späteren Versuchen das Kali und das Natron, indem er sie in einen Platinlöffel legte und die Elektrizität zugleich als Schmelzungs- und Zersetzungsmittel wirken ließ.

Das Kali, das er durch Glühen vollkommen getrocknet hatte, leitet zwar die Elektrizität nicht. Es wird aber schon leitend durch ein wenig Feuchtigkeit, welche den festen Zustand des Kalis nicht merklich ändert. In diesem Zustande wird es durch eine energische elektrische Einwirkung geschmolzen und zersetzt. Davy nahm ein kleines Stück reines Kali, ließ es einige Sekunden mit der Atmosphäre in Berührung, wodurch es an der Oberfläche durch Wasseranziehung leitend wurde, legte es auf eine isolierte[Pg 216] Platinscheibe, die mit dem negativen Ende einer Batterie von 250 Plattenpaaren verbunden war, und berührte die Oberfläche des Kali mit dem positiven Platindrahte. Sogleich zeigte sich eine sehr lebhafte Wirkung. Das Kali begann zu schmelzen. An der oberen Fläche sah Davy ein heftiges Aufbrausen. An der unteren oder negativen Fläche war keine Gasentwicklung wahrzunehmen. Doch entdeckte Davy dort kleine Kügelchen, die einen sehr lebhaften Metallglanz hatten und völlig wie Quecksilber aussahen. Eine Menge von Versuchen bewiesen ihm alsbald, daß diese Kügelchen die Substanz waren, nach der er suchte, nämlich ein brennbarer Körper eigentümlicher Art, und zwar das dem Kali zugrunde liegende Metall. Davy fand, daß die Gegenwart von Platin ohne Einfluß auf das Resultat ist, und daß dieses Metall nur die Elektrizität zuführt, welche die Zersetzung bewirken soll. Es entstand nämlich immer dieselbe Substanz, er mochte den Stromkreis durch Stücke Kupfer, Silber, Gold, Graphit oder Kohle schließen. Natron gab ähnliche Resultate wie das Kali, wenn man es auf dieselbe Art behandelte.

Bei allen Zersetzungen chemischer Verbindungen, welche Davy früher untersucht hatte, waren stets die brennbaren Elemente am negativen Pole entbunden worden, während der Sauerstoff am positiven Pole zum Vorschein kam oder dort in Verbindung trat. Es war daher ein naheliegender Gedanke, daß bei der Einwirkung der Elektrizität auf die Alkalien die neuen Substanzen auf ganz ähnliche Weise erzeugt werden.

Davy355 stellte deshalb in einem durch Quecksilber abgesperrten Apparat mehrere Versuche an, bei denen die äußere Luft ausgeschlossen war. Diese Versuche bewiesen, daß sich die Sache in der Tat so verhält. Als er nämlich festes Kali oder Natron, die so viel Feuchtigkeit eingesogen hatten, daß sie die Elektrizität leiteten, in Glasröhren einschloß, die mit Platindrähten versehen waren, und den Strom hindurchleitete, dann entstanden die neuen Substanzen an der negativen Metallspitze. Das Gas, das sich gleichzeitig an der positiven Metallspitze entwickelte, war reiner Sauerstoff. Am negativen Pole erschien gar kein Gas, außer wenn Wasser in größerer Menge vorhanden war. Dann wurde nämlich[Pg 217] durch die Einwirkung des entstandenen Kaliums auf das Wasser Wasserstoff entwickelt.

Um den Beweis, daß die Alkalien nur durch die Vereinigung von Sauerstoff mit den entdeckten Metallen entstanden sind, zu einem einwandfreien zu erheben, schloß Davy an seine durch das neue Hilfsmittel vollzogene Analyse (Elektrolyse) die Synthese der Alkalien an. In besonders dazu hergerichteten, durch Quecksilber abgesperrten Glasröhren wurden einige Kügelchen Kalium mit Sauerstoff in Berührung gebracht. Sie verschluckten augenblicklich den Sauerstoff und überzogen sich mit einer Rinde von Kaliumoxyd. Der Grundstoff des Natrons, das Element Natrium, verhielt sich ähnlich und lieferte wieder Natron. Wurden die aus Kali und aus Natron erhaltenen Elemente in einer gegebenen Menge Sauerstoff erhitzt, so verbrannten sie schnell mit weißer, glänzender Flamme und die metallischen Kügelchen verwandelten sich in eine feste, weiße Masse, die aus Kali oder aus Natron bestand, je nachdem man Kalium oder Natrium zu dem Versuch genommen hatte. Dabei wurde Sauerstoff verschluckt. Die Oxyde, die bei dem Versuche entstanden, übertrafen an Gewicht dasjenige der verbrannten Substanzen bedeutend.

Diese Tatsachen berechtigten Davy anzunehmen, daß Kali und Natron aus Sauerstoff und zwei eigentümlichen Grundstoffen bestehen. Die Affinität der Alkalimetalle zu Sauerstoff erwies sich als so groß, daß Davy die entdeckten Elemente nur unter Steinöl aufbewahren konnte. Wasser wurde von ihnen so heftig unter Entwicklung von Wasserstoff zersetzt, daß die geringe Menge Wasser, welche im Alkohol und im Äther nach sorgfältiger Reinigung dieser Flüssigkeiten noch enthalten ist, zerstört wurde356.

Metalloxyde, die man mit Kalium erhitzte, wurden ihres Sauerstoffs beraubt (reduziert). Als Davy ein wenig Eisenoxyd mit Kalium erwärmte, erfolgte eine lebhafte Einwirkung. Es entstand Kali neben Teilchen eines grauen Metalls, das sich als Eisen erwies. Bleioxyd und Zinnoxyd wurden noch schneller reduziert. War Kalium im Überfluß vorhanden, so verband sich das entstehende Metall mit dem Kalium zu einer Legierung. Das chemische Verhalten des Natriums fand Davy im ganzen dem des Kaliums ähnlich, doch zeigten sich charakteristische Verschiedenheiten.

[Pg 218]

Davy kam nach Abschluß dieser Untersuchung sofort auf die Vermutung, daß die alkalischen Erden, wie Baryt und Strontian, Verbindungen derselben Art wie die Alkalien seien, d. h. metallische Grundstoffe von hoher Brennbarkeit verbunden mit Sauerstoff357. Wie Baryt und Strontian, so besitzen auch Kalk, Magnesia, Tonerde und Kieselerde manche Ähnlichkeit mit den Alkalien358. Man durfte deshalb hoffen, daß auch diese widerspenstigen Stoffe der Einwirkung mächtiger Batterien nicht widerstehen und daß sich ihre Bestandteile mit Hilfe der neuen Methode abscheiden lassen würden359.

Die Verwandtschaftskräfte der neuen Metalle, die in den Alkalien enthalten sind, führten zu einer nicht zu ermessenden Menge von Versuchen. Diese Metalle wurden mächtige Agentien für die chemische Analyse. Und da sie an Verwandtschaft zum Sauerstoff alle bekannten Stoffe übertrafen, so konnten sie bei manchen Zerlegungen die Elektrizität ersetzen. So wurden, wie wir später sehen werden, die Grundstoffe der Kieselerde und der Tonerde, das Silizium und das Aluminium nämlich, zuerst durch die Einwirkung der Alkalimetalle aus ihren Verbindungen abgeschieden. Die Gewinnung des Aluminiums vermittelst des galvanischen Stromes erfolgte erst später.

Die Elektrolyse von Kalk, Baryt, Strontian und Magnesia gelang, ganz wie Davy es vorausgesehen. Schon ein Jahr nach der Entdeckung der Alkalimetalle konnte er den staunenden Zeitgenossen von diesem neuen Erfolg berichten.

Vor allem hatten die Untersuchungen Davys das wichtige Ergebnis, daß die Bedeutung, welche der Sauerstoff als Bestandteil chemischer Verbindungen beansprucht, in einem ganz anderen Umfange erkannt wurde. Hatte Lavoisier dieses Element als das säurebildende Prinzip angesprochen, so konnte man es jetzt mit der gleichen Berechtigung als ganz wesentlich für das Zustandekommen der Alkalien hinstellen. Davy erklärte infolgedessen am Schluß seiner Untersuchung: »Sauerstoff ist in allen wahren Alkalien[Pg 219] vorhanden. Denselben Stoff, den die Franzosen als das Prinzip der Azidität charakterisieren, kann man daher auch das Prinzip der Alkalisierung nennen.« Nach den heutigen Anschauungen werden bekanntlich die basischen Eigenschaften durch das Vorhandensein der Hydroxylgruppe OH bedingt.

Es ist begreiflich, daß Davy, nachdem er diese neue Rolle des Sauerstoffs erkannt hatte, sich auch dem flüchtigen Alkali, dem Ammoniak, zuwandte. Hier begegnete ihm nun der Irrtum, daß er den Sauerstoff, den er in dem Ammoniakgas (NH3) vorhanden glaubte, auch wirklich fand, obgleich dies Element in dem völlig reinen, gut getrockneten Ammoniakgase fehlt. Indessen macht bekanntlich auch hier der Sauerstoff das Wesen der Alkalinität aus, indem das Ammoniakgas sich mit dem Wasserstoff und der Hydroxylgruppe des Wassers erst zur eigentlichen Basis verbindet (NH3 + HOH = NH4. OH). Davy faßte das Verhältnis des Ammoniaks zu den fixen Alkalien auch ganz richtig auf, indem er sagte, es würde zu letzteren wohl in derselben Beziehung stehen wie die Pflanzensäuren mit zusammengesetztem Radikal zu den mineralischen Säuren von einfacherer Zusammensetzung. Dem Kalium würde also nach dieser noch heute geltenden Auffassung die Gruppe NH4 entsprechen.

Selten ist die Chemie mit einer solchen Fülle neuer Tatsachen bereichert worden, wie es innerhalb eines so kurzen Zeitraumes durch die Ergebnisse der elektrochemischen Untersuchungen Davys geschah. In dem galvanischen Strom hatte man das gewaltigste Agens für die chemische Analyse kennen gelernt. Neben der zersetzenden Wirkung der Voltaschen Säule wandte sich das Interesse in steigendem Maße auch den innerhalb der Säule zwischen den Metallen und den angewandten Flüssigkeiten vor sich gehenden chemischen Veränderungen zu. Während man letztere zuerst als etwas Nebensächliches betrachtet hatte, begann man jetzt in dem innerhalb der Kette sich abspielenden chemischen Vorgang die Ursache des elektrischen Stromes zu erblicken.

Zwar erkannte schon Davy, daß nicht jeder chemische Vorgang elektromotorisch wirksam ist. Wurde Eisen in Sauerstoff verbrannt, während das Metall mit einem Elektrometer verbunden war, so erhielt letzteres während des Prozesses keine Spur von Ladung. Salpeter und Holzkohle wirkten, während sie unter Verpuffung zur Verbindung gebracht wurden, ebensowenig auf das Elektrometer. Auch bei der Verbindung von festem Alkali und Schwefelsäure machte sich kein Auftreten von Elektrizität bemerkbar[Pg 220]360. Trotzdem suchte Davy die chemische Verwandtschaft auf elektrische Anziehungen und Abstoßungen zurückzuführen, so daß wir ihn als den Begründer einer elektrischen Theorie der chemischen Verbindungen betrachten müssen, einer Theorie, die ihren weiteren Ausbau durch Berzelius erfuhr und nach der Aufnahme mancher Verbesserungen die Grundlage für die neueren Anschauungen geworden ist.

Ursprünglich war Davy Anhänger der rein chemischen Theorie, während er später gleichzeitig der Kontakttheorie Rechnung zu tragen suchte. Er nahm nämlich an, daß die Atome bei ihrer Berührung entgegengesetzt elektrisch würden und sich infolgedessen anzögen, während nach Berzelius eine verschiedenartige elektrische Ladung den Atomen ursprünglich eigen ist und sich bei ihrer Verbindung ausgleicht. »Alle Körper die sich chemisch miteinander verbinden,« so führt Davy seine Ansicht des näheren aus, »geben bei ihrer Berührung entgegengesetzte elektrische Zustände. Angenommen die kleinsten elementaren Teilchen können sich frei bewegen, so werden sie sich deshalb infolge ihrer bei der Berührung auftretenden elektrischen Kräfte anziehen müssen.« Davy meint, der Zusammenhang der Elektrizität mit der chemischen Verwandtschaft liege also ziemlich klar zutage. Man dürfe vielleicht annehmen, daß beide im Grunde genommen dasselbe seien. Daraus erklärt sich das Problem, das Davy aufwirft, nämlich »eine Stufenleiter der elektrischen Kräfte der Körper aufzufinden, wie sie den Graden der Verwandtschaft entsprechen361.« Auch dieser Gedanke Davys ist in der Folge, nachdem man eine Untersuchung der Beziehungen zwischen dem elektrischen und dem chemischen Potential in Angriff genommen, von großer Tragweite gewesen362.

Auch die Wärme- und die Lichtwirkung der galvanischen Elektrizität konnten, als man die Zahl der Platten vergrößerte, nicht verborgen bleiben. Daß beim Öffnen und Schließen des galvanischen Stromes mehr oder minder kräftige Funken auftreten, gehörte zu den ersten Beobachtungen, die man an den neuen Apparaten machte. Als Davy den Strom seiner aus einigen hundert Plattenpaaren zusammengesetzten Batterie durch Alkali leitete, war die Wärmewirkung groß genug, um letzteres zu schmelzen.[Pg 221] Und als derselbe Forscher später eine Batterie von 2000 Elementen benutzte, zeigte sich an der Unterbrechungsstelle, zumal bei Anwendung von Kohlenspitzen, ein äußerst blendendes Licht, das jedoch erst in der neueren Zeit, seitdem man billigere Elektrizitätsquellen kennen gelernt hatte, als Bogenlicht zu Beleuchtungszwecken Verwendung finden konnte. Es ist nicht ganz zutreffend, Davy als den Entdecker des Bogenlichtes zu bezeichnen. Dem Öffnungsfunken hatte sich schon länger das Interesse der Physiker zugewandt. Man hatte sein Zustandekommen aus dem Auftreten erglühender, abgerissener Metallteilchen erklärt und auch den einen Pol mit einem Kohlenstift verbunden, um dadurch stärkere Funken zu erhalten. Der erste, der zwei Kohlenstifte anwandte und so im Jahre 1820 ein Licht erzielte, das die Augen der Zuschauer blendete, war de la Rive. Davy machte seinen Versuch erst ein Jahr später bekannt363. Und es ist nicht einmal sicher, ob er unabhängig von de la Rive, der mit 380 Elementen experimentierte, auf den Gedanken gekommen ist, zwei Kohlenspitzen zu verwenden.

Als Davy die Kohlenspitzen nach der Unterbrechung des Stromes untersuchte, fand er, daß die mit dem positiven Pol verbundene Spitze ausgehöhlt, der gegenüberstehende Kohlenstift dagegen zugespitzt erschien. Es hatte somit eine Wanderung der Kohlenteilchen vom positiven zum negativen Pole stattgefunden. Dies zeigte sich noch deutlicher, als Davy die Verbrennung der hinüberwandernden Teilchen dadurch aufhob, daß er den Lichtbogen im luftleeren Raum entstehen ließ.

Viele Entdeckungen Davys sind dem praktischen Leben zugute gekommen. Während seine Sicherheitslampe die Zahl der in den Kohlengruben stattfindenden Unglücksfälle erheblich verringerte, zeigte später das von ihm entdeckte Kalium dem in dunkler Nacht ins Meer gespülten Schiffer den Weg zur Rettung364. Zu erwähnen sind auch Davys Untersuchungen über das Leitungsvermögen. Er zeigte, daß dieses mit steigender Temperatur abnimmt und daß die schlechten Leiter leichter erglühen als die besseren. Um dies in augenfälliger Weise darzutun, verfertigte Davy eine Kette, deren Glieder abwechselnd aus Silber- und aus Platindraht bestanden. Leitete er durch diese Kette einen elektrischen Strom von zunehmender[Pg 222] Stärke, so konnte er bewirken, daß die Platinstücke glühten, während das Silber kalt blieb, ein Experiment, das noch heute zu den beliebtesten Vorlesungsversuchen gehört.

Nach ihrem Leitungsvermögen ordnete Davy, mit dem schlechtesten Leiter beginnend, die bekannten Metalle in folgende Reihe: Eisen, Platin, Zinn, Zink, Gold, Kupfer, Silber. Daß das Leitungsvermögen nicht von der Größe der Oberfläche, sondern von der Größe des Querschnitts abhängt, bewies er auf folgende Weise. Er ließ einen zylindrischen Draht, dessen Leitfähigkeit er geprüft hatte, zu einem Bande auswalzen. Obgleich die Oberfläche dadurch sechsmal so groß geworden war, besaß der Draht noch dasselbe Leitungsvermögen. Endlich ging aus Davys Untersuchung noch hervor, daß das Leitungsvermögen der Länge des eingeschalteten Drahtes umgekehrt proportional ist.

Für Davys unvergleichliche Leistungen ist ihm reiche Anerkennung zuteil geworden. Napoleon verlieh, obgleich er damals mit England im Kriege lag, dem genialen Manne einen jener Preise, die er für hervorragende Arbeiten auf dem Gebiete der galvanischen Elektrizität gestiftet hatte. In seinem Vaterlande wurde Davy geadelt und zum Präsidenten der Royal Society gewählt, ein Amt, das er bekleidete, bis zunehmende Schwäche des Körpers ihn zum Rücktritt zwang. Auf einer zur Wiederherstellung der Gesundheit unternommenen Reise verschlimmerte sich sein Leiden. Er starb in Genf am 29. Mai des Jahres 1829365.

[Pg 223]

14. Die Erforschung der elektromagnetischen und der elektrodynamischen Grunderscheinungen.

Die ersten Beobachtungen, die auf eine Beziehung zwischen der galvanischen Elektrizität und dem Magnetismus hindeuteten, wurden gleichfalls von Davy gemacht. Er fand nämlich, daß der zwischen den Kohleelektroden erzeugte Lichtbogen durch die Pole eines starken Magneten angezogen und abgestoßen wird, ja sogar in eine Drehung versetzt werden kann366. Besonders schön gelang dieser Versuch, wenn der Bogen sich im luftverdünnten Raum befand und darin auf eine Länge von 3-4 Zoll gebracht war. Es lag nahe, nun auch umgekehrt die Wirkung eines Stromes auf einen beweglich angebrachten Magneten nachzuweisen. Dies gelang dem dänischen Physiker Oersted.

Hans Christian Oersted wurde am 14. August des Jahres 1777 auf Langeland geboren. Er war zunächst wie sein Vater Apotheker. Später wurde er Professor der Physik an der Universität zu Kopenhagen. Oersted befaßte sich besonders mit chemischen Versuchen. So stellte er zuerst Chloraluminium her und ermöglichte dadurch Wöhler die Darstellung des metallischen Aluminiums367. Oersted starb in Kopenhagen im Jahre 1851. Seine so überaus wichtige Entdeckung des Elektromagnetismus datiert vom 21. Juli 1820. Sie ging aus Versuchen hervor, welche Oersted anstellte, um die schon lange geahnte Beziehung zwischen den beiden so geheimnisvollen Naturkräften nachzuweisen. Die Erzählung, daß sein Diener das Schwanken der Nadel zufällig bemerkt und ihn darauf aufmerksam gemacht habe, ist unter die wissenschaftlichen Legenden zu verweisen.

In einer 1820 an die hervorragendsten Physiker und Gesellschaften[Pg 224] gesandten kurzen Mitteilung368 berichtet Oersted über seine Versuche und deren Ergebnisse. Er brachte ein geradliniges Stück eines vom galvanischen Strom durchflossenen Drahtes in horizontaler Lage über eine gewöhnliche Magnetnadel, so daß der Draht der Nadel parallel war. Die Magnetnadel kam dann in Bewegung; und zwar wich ihr Nordpol, wenn er zum negativen Pole des galvanischen Apparates zeigte, nach Westen ab. War die Entfernung des Drahtes von der Magnetnadel nicht mehr als 5/4 Zoll, so betrug diese Abweichung ungefähr 45°. Bei größerer Entfernung nahmen die Winkel ab. Auch war die Abweichung verschieden je nach der Stärke des galvanischen Apparates.

Die Natur des Metalles hatte auf den Erfolg keinen Einfluß. Oersted hat Drähte aus Platin, Gold, Silber, Messing und Eisen, ferner Zinn- und Bleistreifen, sowie Quecksilber mit gleichem Erfolge angewandt. Der stromdurchflossene Draht wirkte auf die Magnetnadel durch Glas, Metalle, Holz, Wasser und Harz, durch Tongefäße und durch Steine hindurch. Als Oersted zwischen den Leiter und die Nadel eine Glastafel, eine Metallplatte oder ein Brett gebracht hatte, blieb der Erfolg nicht aus. Selbst alle drei Substanzen vereinigt schienen die Wirkung kaum zu schwächen; ebensowenig ein irdenes Gefäß, selbst wenn es voll Wasser war. Die erwähnten Wirkungen traten sogar ein, als Oersted eine Magnetnadel anwandte, die sich in einer mit Wasser gefüllten Messingbüchse befand.

Wenn der Leiter in einer horizontalen Ebene unter der Magnetnadel angebracht war, so gingen alle angegebenen Wirkungen nach entgegengesetzter Richtung vor sich. Drehte er den Leiter in der horizontalen Ebene, so daß er allmählich immer größere Winkel mit dem magnetischen Meridian machte, so wurde die Abweichung der Magnetnadel vom magnetischen Meridian vermehrt, wenn das Drehen des Drahtes der Lage der Magnetnadel zu gerichtet war. Die Abweichung nahm dagegen ab, wenn die Drehung von der Magnetnadel fort erfolgte. Hiervon ausgehend verfertigte Pouillet im Jahre 1837 die zur Messung der Stromstärke dienende[Pg 225] Sinusboussole. Bei diesem Apparat wird der Leiter so lange gedreht, bis er mit der Nadel wieder in eine Ebene fällt. Die Stromstärke ist dann dem Sinus des Drehungswinkels proportional.

Oersted folgerte aus seinen Versuchen, daß der Strom »nicht in dem Draht eingeschlossen ist, sondern sich zugleich in dem umgebenden Raum weithin ausbreitet«.

Die Kunde von Oersteds großer Entdeckung nahm, weil Oersted allen namhaften Physikern seine Abhandlung zugehen ließ, sofort die wissenschaftliche Welt in Anspruch. Überall wurden seine Versuche nachgeprüft, bestätigt und durch neue Entdeckungen vervollständigt. So fand Gay-Lussac sofort, daß der Strom den Magneten nicht nur ablenkt, sondern eine vorher unmagnetische Stahlnadel in einen Magneten verwandelt. Die magnetisierende Wirkung zeigte sich besonders, wenn die Nadel in eine vom galvanischen Strom durchflossene Drahtspirale gebracht wurde. Gay-Lussac wurde dadurch auf den Gedanken gebracht, daß der stromdurchflossene Leiter selbst als ein Magnet betrachtet werden könne. Infolgedessen entdeckte er die anziehende Wirkung, welche der Leiter auf Eisenfeilspäne ausübt. Die gleiche Entdeckung machte unabhängig von Gay-Lussac der deutsche Physiker Seebeck.

Besonders durch die Arbeiten Seebecks fanden diejenigen Oersteds ihre Fortsetzung. Seebeck gab noch im Jahre der Oerstedschen Entdeckung und im darauffolgenden Jahre 1821 seine Versuche »über den Magnetismus der galvanischen Kette« bekannt369.

Thomas Johann Seebeck, dessen Hauptverdienst die später zu besprechende Entdeckung der Thermoelektrizität ist, wurde am 9. April 1770 in Reval, wo sein Vater Kaufmann war, geboren. Seebeck studierte Medizin und lebte von 1802 bis 1810 in Jena, wo er auch mit Goethe in wissenschaftlichem Verkehr stand. Nachdem Seebeck zum Mitglied der Preußischen Akademie der Wissenschaften ernannt war, siedelte er nach Berlin über. Er starb am 10. Dezember des Jahres 1831.

In Seebecks Arbeit »Über den Magnetismus der galvanischen Kette« wurde die magnetische Wirkung, die sich Oersted in der Umgebung des Stromleiters gezeigt hatte, eingehender untersucht. Das magnetische Feld oder, wie Seebeck sich ausdrückte, »die magnetische Atmosphäre«, wurde besonders durch die[Pg 226] so bekannt gewordenen Versuche mit Eisenfeilspänen nachgewiesen und, wie es später Faraday tat, durch Kraftlinien dargestellt.

Seebeck zeigte, wie seine nebenstehende Abbildung erläutert, (s. Abb. 39), daß sich Eisenfeilspäne um lotrecht gestellte Schließungsdrähte kreisförmig ordnen. Er fand, daß die Späne konzentrische Kreise bilden, und zwar Kreise von desto größerem Durchmesser, je stärker die Spannung ist. Über und unter horizontal liegenden Stromleitern ordneten sich dagegen die Feilspäne in parallelen, senkrecht zur Längsrichtung stehenden Linien. Diese Feilstaub-Figuren bildeten sich am leichtesten um Stäbe von einigen Linien Durchmesser, minder deutlich an dünnen Drähten.

Abb. 39
Abb. 39. Der Nachweis des magnetischen Feldes.
Abb. 40
Abb. 40. Der Nachweis der magnetischen Kraftlinien.

Auch die Beeinflussung der Kraftlinien des einen Leiters durch einen benachbarten Leiter wies Seebeck zum ersten Male nach. Er bediente sich dazu zweier stromdurchflossener Stahlbänder, deren Querschnitt in der nebenstehenden, von ihm herrührenden Zeichnung durch die beiden dicken Striche angedeutet ist370. Um diese Anordnung zu erhalten, brauchte er nur ein längeres Stahlband zu biegen und durch die beiden parallel zu einander verlaufenden Schenkel des Bogens den Strom zu senden. Waren die Schenkel dieses Bogens erheblich von einander entfernt, so ordnete sich der Eisenstaub um jeden Schenkel kreisförmig. Wurden sie jedoch einander genähert, so änderte sich der Verlauf der »magnetischen Linien«. Sie nahmen das in der Abbildung 40 dargestellte Aussehen an.

Fast gleichzeitig mit dem französischen Physiker Arago, dem die Priorität gebührt, beobachtete Seebeck Erscheinungen, die man zunächst den bisherigen Forschungsergebnissen nicht anzugliedern vermochte und die erst in der neuen, durch Faradays[Pg 227] Entdeckung der Induktion herbeigeführten Epoche der Elektrizitätslehre ihre Erklärung fanden. Es handelte sich um Vorgänge, die man später mit dem Worte »Dämpfung« bezeichnet hat. Am 9. Juni 1825 veröffentlichte Seebeck eine Abhandlung, in der das Theorem der Dämpfung folgenden klaren Ausdruck fand:

1. Die Pendelschwingungen eines Magnetstabes werden durch benachbarte Metallmassen ebenso gehemmt, als wenn eine dichtere Luft den Stab umgäbe.

2. Schwingt eine Kupfermasse über oder zwischen den Polen eines Magneten pendelförmig, so wird sie früher eine Verminderung der Schwingungsweite erleiden als eine frei schwebende Kupfermasse.

Auch die Versuche Seebecks über Stromverzweigung gehören zu den ersten auf diesem Gebiete.

Einer Wirkung des Stromes auf den Magneten, wie sie Oersted entdeckt hatte, mußte nach dem von Newton ausgesprochenen Grundgesetz eine gleichgroße Gegenwirkung des Magneten auf den Strom entsprechen. Von diesem Gedanken geleitet, bemühte sich der französische Physiker Ampère eine Beziehung zwischen der Elektrizität und dem Magnetismus nachzuweisen.

André-Marie Ampère wurde am 20. Januar 1775 in Lyon geboren, wo sein Vater Kaufmann war. Ampère verriet schon frühzeitig eine ganz hervorragende mathematisch-naturwissenschaftliche Befähigung. Mit elf Jahren beherrschte er die Elementarmathematik, und als zwölfjähriger Knabe wurde er mit der Differentialrechnung bekannt. Später vertiefte er sich in die Werke von Lagrange, Euler und Bernoulli.

Eine jähe Unterbrechung erlitt dieser so vielversprechende Studiengang durch die französische Revolution. Ampères Vater wurde ein Opfer der auch in Lyon errichteten, in zahllosen politischen Morden ihre Betätigung suchenden Schreckensherrschaft. Dies Ereignis machte auf den jungen Ampère einen solch niederschmetternden Eindruck, daß er ein volles Jahr in dumpfer Verzweiflung dahinbrütete. Erst als Rousseaus Briefe über die Botanik371 in seine Hände gerieten, belebte sich sein Sinn für die Wissenschaft aufs Neue.

Im Jahre 1802 veröffentlichte Ampère Betrachtungen über die mathematische Theorie des Spiels. Die Schrift lenkte die Aufmerksamkeit[Pg 228] des großen Astronomen und Geodäten Delambre auf ihn und hatte seine Anstellung in Lyon, wo Ampère am Lyceum Mathematik zu lehren hatte, und später (1805) seine Berufung nach Paris zur Folge. Hier hatte Ampère an der polytechnischen Schule Differential- und Integralrechnung zu lehren. Gleichzeitig befaßte er sich mit den Problemen der Naturwissenschaften und der Philosophie.

Die Anregung, sich sehr eingebend und fast ausschließlich mit der Erforschung der elektrischen Erscheinungen zu beschäftigen, empfing Ampère durch Oersteds Entdeckung der Wirkung des Stromes auf den Magneten. Im Herbst des Jahres 1820, bald nach Empfang der Oerstedschen Mitteilung, prüfte Ampère Oersteds Versuche nach. Und eine Woche später konnte er schon mit wichtigen eigenen Entdeckungen hervortreten, die er in seiner berühmten, für das Gebiet der Elektrodynamik grundlegend gewordenen Abhandlung desselben Jahres veröffentlichte372.

In dieser Abhandlung führte Ampère die wichtige, seitdem allgemein üblich gewordene Bestimmung ein, als Richtung des Stromes diejenige der strömenden positiven Elektrizität zu betrachten. Dann folgt seine bekannte Regel, nach welcher die Richtung des Stromes aus der Ablenkung der Nadel sich mit Leichtigkeit bestimmen läßt. Sie lautet: »Man denke sich in den elektrischen Strom versetzt, sodaß dessen Richtung von den Füßen zum Kopfe geht und habe das Gesicht der Nadel zugekehrt, dann ist der Pol der Nadel, der nach Norden zeigt, stets durch die ausgestreckte linke Hand gegeben.« (Ampères Schwimmerregel373).

Um den Einfluß eines Magneten auf den Strom nachzuweisen, kam Ampère auf den Gedanken, den Stromleiter beweglich zu machen. Dies gelang in der in Abb. 41 angegebenen Weise, eine Abbildung, die wir dem von Ampère und Babinet im Jahre 1822 gegebenen Bericht374 über Ampères Entdeckungen entnehmen. Dieser Bericht wurde auch der nachfolgenden Darstellung[Pg 229] der Ampèreschen Forschungsergebnisse zu Grunde gelegt. Der Stromleiter wurde, wie die Abbildung 41 zeigt, dadurch leicht beweglich gemacht, daß man ihn in die Form eines Quadrats oder Rechtecks (DFGM) brachte. An beide Enden des Drahtes wurden bei A und B senkrechte Stahlspitzen angelötet. Diese Spitzen tauchen in die etwas Quecksilber enthaltenden Näpfchen neben A und B. Der Strom tritt bei der mit dem positiven Ende der Säule verbundenen Kapsel Z in den Apparat ein, durchfließt den gebogenen Schaft ZA und gelangt in die Kapsel A, in welcher das Quecksilber die Verbindung mit dem beweglichen Drahtbügel herstellt. Dieser wird dann in der Richtung ADFGMB durchflossen. In dem mit Quecksilber gefüllten Napfe B verläßt der Strom den Bügel und geht durch einen zweiten gebogenen Schaft Q zu der Kapsel C, die mit dem negativen Ende der Säule in Verbindung steht.

Abb. 41
Abb. 41. Ampères beweglicher Stromleiter375
Abb. 42
Abb. 42. Ampères Vorrichtung zum Aufhängen seines beweglichen Stromleiters376

Mit Hilfe dieser sinnreichen Vorrichtung zeigte Ampère folgendes: Ließ er einen Magneten auf den beweglichen Leiter wirken, so fand er, daß der Leiter nach einigen Schwingungen[Pg 230] in einer Lage zur Ruhe kommt, in welcher er mit der Verbindungslinie der Pole einen rechten Winkel bildet. Dabei bemerkte Ampère, daß sich der Südpol des Magneten nach Einnahme der Ruhelage stets zur Linken des Stromes befindet.

Abb. 43
Abb. 43. Ampères Apparat zum Nachweis, daß sich ein Stromleiter senkrecht zur Inklinationsnadel einstellt377.

Ampère zeigte darauf, daß infolgedessen der Leiter, wenn nur der Erdmagnetismus auf ihn wirkt, eine Stellung einnimmt, in welcher seine Ebene den magnetischen Meridian senkrecht schneidet378. Diese Entdeckung erregte ein Aufsehen wie wenig andere379. Ampère beschreibt sie mit folgenden Worten: »Hängt man in der in Abbildung 41 dargestellten Weise einen beweglichen Leiter auf, ohne daß in der Nähe dieses Leiters ein anderer Teil des Stromkreises sich befindet. (Wir müssen uns also in der Abbildung 41 das Drahtstück CILB, das auf den beweglichen Bügel einen richtenden Einfluß ausübt, entfernt denken), verbindet man hierauf die Kapseln C und Z mit den Polen der galvanischen Batterie, so sieht man den Bügel sich drehen, bis seine Ebene zu derjenigen des magnetischen Meridians NS senkrecht steht und der Strom in dem unteren Teil des Leiters, also in FG, von Ost nach West gerichtet ist, das Südende der Magnetnadel also zur Linken liegt.« Ließ Ampère den Strom in umgekehrter Richtung durch den Bügel gehen, so drehte sich dieser um einen Halbkreis zurück, um endlich nach einigen Schwingungen sich wieder senkrecht zur Richtung NS einzustellen.

Eine der Neigung der Magnetnadel entsprechende Wirkung rief Ampère durch den in nebenstehender Abbildung 43 wiedergegebenen Apparat hervor. Der rechteckig gebogene Leiter ABCDEF, der durch einen Holzkörper VIZ daran gehindert wird, daß er sich biegt, wurde so angebracht, daß er sich um eine horizontale Achse XY drehen kann. Die Teile des Leiters waren so abgeglichen, daß in jeder Lage Gleichgewicht vorhanden war. Die Achse XY wurde dann senkrecht zum magnetischen Meridian gestellt und der Strom durch das Rechteck geleitet. Letzteres kam in Bewegung, nahm aber endlich eine Ruhelage ein, in welcher seine Ebene zur Richtung der Inklinationsnadel senkrecht stand.

Fast noch merkwürdiger als diese Resultate war der von Ampère kurze Zeit nach der Entdeckung Oersteds erbrachte Nachweis, daß zwei galvanische Ströme anziehend oder abstoßend auf einander wirken, je nachdem sie gleich oder entgegengesetzt gerichtet sind.

Wie durch einen Magneten und durch den Erdmagnetismus so wurde nämlich auch durch einen benachbarten Strom der bewegliche Leiter in Drehung versetzt. Die zum Nachweis dieses Verhaltens erforderliche Versuchsanordnung zeigt uns Abbildung 41. Nachdem der Strom den rechteckigen Bügel durchlaufen hat, wird er von C aus über IL parallel zur Seite DF des Bügels abwärts geführt. Durch die parallelen Metalldrähte IL und DF laufen somit gleichgerichtete elektrische Ströme. Und es zeigt sich, daß zwischen ihnen Anziehung stattfindet. Der Bügel dreht sich nämlich solange, bis die Seite DF dem Drahtstück IL möglichst nahe gekommen ist. Wird der Bügel um 180° gedreht, so daß das Stück MG, in welchem der Strom von unten nach oben fließt, sich dem in entgegengesetzter Richtung durchflossenen Leiter IL gegenüber befindet, so erfolgt Abstoßung.

Kurz gefaßt lautet das so wichtige, von Ampère gefundene Grundgesetz der Elektrodynamik: Zwei parallel und gleichgerichtete Ströme ziehen einander an, während zwei parallel und entgegengesetzt gerichtete Ströme einander abstoßen.

Die im ersteren Falle auftretenden anziehenden Kräfte zeigten sich als so beträchtlich, daß zwei von gleichgerichteten Strömen[Pg 232] durchflossene Drahtstücke, zur Berührung gebracht, fest aneinander hafteten.

Ampère wurde anfangs entgegengehalten, daß es sich hier um die längst bekannten Erscheinungen der Anziehung und Abstoßung elektrisierter Körper handle. Diesen Einwurf vermochte Ampère indessen schon durch den Hinweis zu entkräften, daß sich entgegengesetzt elektrisierte Körper anziehen, während sich entgegengesetzt gerichtete Ströme abstoßen.

Wenn wir die in den vorstehenden Abschnitten in aller Kürze und mit Fortlassung zahlreicher Abänderungen und Nebenergebnisse dargestellten großen Entdeckungen Ampères überblicken, müssen wir anerkennen, daß hier eine Reihe von sinnvollen, logisch verknüpften und grundlegenden Versuchen vorliegt, wie sie vorher kaum und nachher nur selten uns wieder begegnen. Mit Recht hat man daher Ampères Fundamentaluntersuchung über den Zusammenhang zwischen den magnetischen und den elektrischen Erscheinungen als eins der hervorragendsten Muster einer wissenschaftlichen Untersuchung bezeichnet380.

Nach der experimentellen Erforschung der elektrodynamischen Grunderscheinungen galt es, auch hier einen mathematischen Ausdruck für die dabei obwaltenden quantitativen Beziehungen zu finden, ähnlich wie es Coulomb für das Gebiet der statischen Elektrizität getan hatte. Diese Aufgabe löste Ampère mit Hilfe des analytischen Kalküls. Er ging dabei von zwei kleinen, irgendwo im Raume liegenden Stromelementen aus, deren Länge er gleich ds und ds1 setzte, während mit i und i1 die bezüglichen Intensitäten der Ströme bezeichnet wurden. Die anziehende oder abstoßende Kraft wurde proportional der Intensität und der Länge der Stromelemente angenommen.

Den Abstand nannte Ampère r und setzte voraus, daß die Anziehung oder Abstoßung im umgekehrten Verhältnis zu r oder einer Potenz von r erfolge. Die weitere Untersuchung ergab, daß es sich nur um die zweite Potenz handeln konnte. Der erste Ausdruck des von Ampère gesuchten elektrodynamischen Grundgesetzes381 lautete somit für die Wirkung w, welche die Stromelemente aufeinander ausüben:

[Pg 233]

w = (i · i1 · ds, ds1) / r2 .

Dabei galt als Voraussetzung, daß die Stromelemente parallel gerichtet sind. Für beliebig gerichtete Stromelemente ergab die Ableitung als elektrodynamisches Grundgesetz für die Wechselwirkung der Elemente in der Verbindungslinie ihrer Mittelpunkte

w = i · i1 · ds · ds1 / r2 ( r d2r / ds · ds1 1 / 2 dr / ds . dr / ds1 )

An dieses von Ampère gefundene Gesetz anknüpfend, hat, wie wir sehen werden, später Weber den allgemeinsten Ausdruck für das elektrodynamische Grundgesetz abgeleitet. Bezüglich der Ableitung des Ampèreschen Gesetzes muß auf die Originalabhandlung oder auf ein Handbuch der Physik verwiesen werden382.

Wir sahen, zu welcher Fülle von Beobachtungen und Folgerungen der Kunstgriff dem Stromleiter die Form eines leicht beweglichen Bügels zu geben, Ampère geführt hat. Es war nun ein naheliegender, sehr fruchtbarer Gedanke, der sich Ampère fast aufdrängen mußte, an Stelle des nur eine Windung darstellenden rechteckigen oder kreisförmigen Bügels einen vielfach gewundenen beweglichen Leiter, den Schraubendraht oder nach Ampères Bezeichnung das Solenoid, in die experimentelle Physik einzuführen.

Die von ihm entdeckten Beziehungen zwischen der Elektrizität und dem Magnetismus führten Ampère zu der Auffassung, die Teilchen eines Magneten seien von galvanischen Strömen umflossen und das Magnetisieren sei nichts weiter als ein Parallelmachen jener molekularen Ströme. Ein dieser Auffassung entsprechendes Bild des Magneten gibt Ampères Solenoid, jene beweglich aufgehängte, vom Strom durchflossene Drahtspirale. Letztere stellt sich den von Ampère entdeckten Gesetzen zufolge so ein, daß ihre Achse mit dem magnetischen Meridian zusammenfällt.

Um das weitere Verhalten der Solenoide kennen zu lernen, galt es, die Wirkung des Erdmagnetismus auszuschalten. Dies erreichte Ampère durch die in umstehender Abbildung 44 dargestellte Versuchsanordnung. Der Leiter ABCDEF ist ein einziger Draht, der mit seinen Enden A und F in der bekannten Ampèreschen Aufhängevorrichtung angebracht werden kann. Von A ist der Draht nach der Mitte einer Röhre geführt und dann um diese nach links gewunden. Nach einigen größeren Windungen wird der Draht durch die Röhre nach dem rechten Ende D und[Pg 234] von hier in entgegengesetzt verlaufenden Windungen nach der Mitte und schließlich nach F zurückgeführt. Infolge dieser Anordnung der Windungen sucht der Erdmagnetismus ein derartiges Solenoid entgegengesetzt zu drehen und kann ihm folglich keine Bewegung mitteilen.

Dies Solenoid verhielt sich einem Magneten gegenüber genau so wie ein zweiter Magnet. Wurde ein und derselbe Pol des Magneten nacheinander den beiden Enden des Solenoids genähert, so zog er das eine Ende an, während er das andere abstieß. Wurde die Spirale befestigt und ein beweglicher Magnet herangebracht, so fand gleichfalls Anziehung und Abstoßung statt.

Versuche mit zwei Solenoiden ergaben, daß ihre Pole den elektrodynamischen Gesetzen zufolge eine abstoßende oder anziehende Wirkung äußern, je nachdem das Kreisen der Ströme an den gegenüber befindlichen Enden in entgegengesetzter oder in gleicher Richtung erfolgt. Ein vorübergeführter Strom lenkte eine solche Spirale nach der von Ampère aufgestellten Schwimmerregel ab. Kurz, das Solenoid verhielt sich, wie Ampère zur Bekräftigung seiner Theorie zeigen wollte, in jeder Hinsicht wie ein wahrer Magnet.

Abb. 44
Abb. 44. Ampères von dem Einfluß des Erdmagnetismus befreites Solenoid383.
Abb. 45
Abb. 45. Ampères astatische Magnetnadel384

Wie Ampère den Erdmagnetismus bei der Konstruktion seiner Solenoide auszuschalten vermochte (siehe Abb. 44), so gelang es ihm durch eine ähnliche geschickte Anordnung diese Kraft bei der Magnetnadel auf ein sehr kleines Maß zurückzuführen und der Nadel dadurch einen sehr hohen Grad von Empfindlichkeit gegenüber dem elektrischen Strome zu verleihen. Ampère verband nämlich, wie es die seiner Schrift entnommene Abbildung 45 zeigt,[Pg 235] zwei gleiche, getrennte und annähernd gleich starke Magnetnadeln in der Weise, daß die gleichnamigen Pole entgegengesetzt gerichtet waren. So wurde die richtende Kraft der Erde auf die eine Nadel durch die entgegengesetzte Wirkung, welche diese Kraft auf die andere Nadel ausübt, nahezu aufgehoben385.

Bestand die Ursache des Magnetismus, wie Ampère annahm, in elektrischen Strömen, welche den Magneten senkrecht zur magnetischen Achse umkreisen, so mußte der Erdmagnetismus aus der gleichen Ursache erklärt werden. Ampère setzte deshalb ein Strömen der Elektrizität um die Erde voraus. Aus dem Verhalten der Solenoide zum Erdmagnetismus mußte man schließen, daß der Erdstrom von Ost nach West gerichtet und somit der Bewegung der Erde entgegengesetzt sei. Ampère zweifelte nicht daran, daß der Erdstrom und somit der Erdmagnetismus mit dieser Bewegung und der dadurch bewirkten periodischen Erwärmung der Erdhälften durch die Sonne in Beziehung zu setzen sei. Da zwei Körper von ein und derselben Natur, verschieden erwärmt, galvanisch aufeinander wirken, sei es wahrscheinlich, daß die Ströme der Erdkugel von der Erwärmung durch die Sonne herrührten386. Zu ähnlichen Anschauungen gelangte auch Seebeck, der Entdecker der Thermoelektrizität. Außer der Erwärmung durch die Sonne nahm Ampère auch eine galvanische Wirkung der verschiedenartigen Stoffe, aus denen die Erde besteht, zur Erklärung des Erdstroms in Anspruch.

Zur selben Zeit, als Ampère seine epochemachenden Untersuchungen anstellte, erfuhr die Lehre vom Elektromagnetismus auch manche Bereicherung durch Arago.

Dominique François Jean Arago, einer der vielseitigsten französischen Gelehrten, wurde am 26. Februar 1786 in der Nähe von Perpignan geboren. Er studierte in Paris, wurde Professor der Mathematik und Geodäsie an der dortigen polytechnischen Schule und gab mit Gay-Lussac die Annales de Chimie et de Physique heraus. Er starb in Paris am 2. Oktober 1853.

Arago hat sich auf den Gebieten der Astronomie, der Optik und des Elektromagnetismus die hervorragendsten Verdienste erworben.

So rührt von ihm das Verfahren her, Stahlnadeln dauernd zu magnetisieren, indem man sie in eine vom Strom durchflossene Drahtspule[Pg 236] (Solenoid) einschließt. Um diese Wirkung auf Stahlnadeln zu erzielen, bedurfte es, wie Arago des weiteren zeigte, nicht einmal der dauernden Wirkung des galvanischen Stromes, sondern es genügte die einmalige, momentan erfolgende Entladung einer Leydener Flasche.

Als Arago dem Schließungsdrahte einer Batterie Eisenfeilspäne näherte, entdeckte er eine weitere elektromagnetische Wirkung, welche darin bestand, daß die Eisenfeilspäne vom Drahte angezogen wurden. Diese Beobachtungen führten Arago zu der auch Seebeck387 beherrschenden Vorstellung, daß ein vom Strom durchflossener Leiter selbst ein Magnet sei. Die wichtigsten, zum Teil in Gemeinschaft mit Gay-Lussac gemachten Entdeckungen über die magnetisierende Wirkung des Stromes veröffentlichte Arago im Jahre 1820388.

Einige Jahre später entdeckte Arago eine merkwürdige, zunächst ganz unerklärliche Erscheinung, die er als Rotationsmagnetismus bezeichnete. Arago fand nämlich, daß eine schwingende Magnetnadel über einer Metallfläche viel schneller zur Ruhe kommt als über einem Nichtleiter, wie Glas oder Marmor. Befand sich die Magnetnadel in der Ruhelage und setzte er dann die Metallscheibe in Drehung, so erfolgte eine Ablenkung der Nadel im Sinne der Rotation. Ja, die Nadel, konnte schließlich mit zur Rotation gebracht werden. Auch zeigte es sich, daß der Magnet je nach seiner Lage von der rotierenden Scheibe abgestoßen oder angezogen wurde389. Diese Versuche Aragos blieben unerklärt, bis Faraday sie als Ausgangspunkt zur Erforschung der Induktionserscheinungen benutzte390.

[Pg 237]

15. Die Entdeckung der Thermoelektrizität.

Abb. 46
Abb. 46. Die Entdeckung der Thermoelektrizität.

Kaum hatte man sich mit den hauptsächlichsten Wirkungen des galvanischen Stromes vertraut gemacht, als man auch schon eine neue Art der Elektrizitätserregung kennen lernte. Fast zur selben Zeit als Oersted und Ampère ihre grundlegenden Versuche machten, entdeckte der deutsche Physiker Seebeck die Stromerzeugung durch ungleichmäßige Erwärmung eines aus verschiedenen Metallen bestehenden Kreises. Seebeck391 war auf den Gedanken gekommen, ob auch zwei Metalle für sich, ohne die Mitwirkung eines feuchten Leiters einen Strom hervorrufen könnten. Als Seebeck eine Wismutscheibe (Abb. 46 B) unmittelbar auf eine Kupferscheibe K legte und beide Scheiben zwischen die Enden ab eines im magnetischen Meridian liegenden, spiralförmig gewundenen Kupferstreifens brachte, zeigte die in der Spirale befindliche Magnetnadel (ns) bei der Schließung des Kreises eine deutliche Ablenkung. Dies war ein Beweis, daß hierbei ein elektrischer Ausgleich stattfand. Die Wirkung war am stärksten, wenn die Schließung unmittelbar mit der Hand bewirkt wurde; sie blieb dagegen aus, wenn man sich beim Zusammendrücken einer Glasstange oder eines längeren Holzstückes bediente, während sich noch eine schwache Wirkung zeigte, wenn man dünne Zwischenkörper anwandte392. Es fiel aber jede Wirkung[Pg 238] auf die Magnetnadel weg, wenn Seebeck die Enden der Spirale mit einer zwei Fuß langen Glas-, Holz- oder Metallstange auf die Wismutscheibe niederdrückte. Nach diesen Beobachtungen mußte sich der Gedanke aufdrängen, daß nur die Wärme die sich der berührten Stelle von der Hand mitteilt, die Ursache jenes durch den Ausschlag der Nadel sich verratenden elektrischen Ausgleichs ist. Danach war zu erwarten, daß ein höherer Grad der Temperatur als derjenige, welcher den Metallen durch die Berührung mitgeteilt wurde, auch eine größere Wirkung hervorrufen werde. Der Versuch bestätigte dies. Wurden Wismut- oder Antimonscheiben an dem einen Ende erwärmt und dann mit der Spirale in Berührung gebracht, so war die Abweichung der Nadel viel bedeutender als bei den früheren Versuchen.

Künstliche Abkühlung eines der beiden Berührungspunkte ergab denselben Erfolg. Eine Wismutstange, deren Ende in einer Mischung von Salz und Schnee abgekühlt wurde, während das andere Ende die gewöhnliche Temperatur besaß, verhielt sich in Verbindung mit der Kupferspirale ganz so, als wenn der Temperaturunterschied beider Enden durch Erwärmung hervorgerufen worden wäre. Der Ausschlag der Nadel betrug beim Schließen des Kreises dreißig Grad.

Abb. 47
Abb. 47. Seebecks Thermoelement.

Die Wirkung dieser metallischen Ketten war um so stärker, je größer der Temperaturunterschied an den Berührungspunkten der verschiedenartigen Metalle war. Wurde ein Blatt Papier oder eine Haut zwischen die beiden Metalle geschoben, z. B. zwischen Antimon und Kupfer in a (Abb. 47), während der Berührungspunkt b mit einer Weingeistlampe erwärmt wurde, so zeigte sich gar keine Wirkung auf die Magnetnadel ns. Unmittelbare Berührung der Metalle war demnach eine wesentliche Bedingung, um Elektrizität durch Temperaturdifferenz zu erzeugen. Je vollkommener Seebeck diese Verbindung herstellte, desto stärker zeigte sich die Wirkung. Apparate, in welchen Stäbe von Antimon und Wismut durch Lötung verbunden waren, zeigten bei gleicher Temperaturdifferenz eine weit stärkere Ablenkung der Nadel als solche, in denen sich die Metalle nur äußerlich berührten.

Auch gelegentlich der Entdeckung der Thermoelektrizität ergab es sich, daß die Entdeckung neuer Wirkungen und Beziehungen[Pg 239] in der Regel zunächst in ihrer Tragweite überschätzt wird. So glaubte Seebeck den Erdmagnetismus aus der durch vulkanische Wärme hervorgerufenen ungleichen Erwärmung der Erdkugel erklären zu können. Eine Verwendung fanden die Thermoströme nach zwei Richtungen, nämlich als Stromquelle und zum Messen der Temperaturen.

Da die innige Berührung der Metalle neben dem Vorhandensein eines Temperaturunterschieds die wesentliche Bedingung des Gelingens war, hatte Seebeck seine Stäbe zusammengelötet und so das erste Thermoelement geschaffen. War dieses zunächst auch nicht geeignet, einen ergiebigen Strom zu liefern, so wurde es doch im Jahre 1834 in den Händen Nobilis, der eine Anzahl solcher Elemente zur Thermosäule vereinigte, zu einem brauchbaren Instrument, um Wärmestrahlungen nachzuweisen und durch den Ausschlag eines empfindlichen Galvanometers zu messen. Ein solches erhielt Nobili, als er nach dem Vorgang Ampères zwei Nadeln von nahezu gleicher magnetischer Stärke zu einem astatischen Nadelpaare verband393. Mit dieser unter dem Namen des Thermomultiplikators bekannten Vereinigung beider Apparate hat später Melloni seine Versuche über die Wärmestrahlung angestellt394. Zum Messen der Körperwärme wurde seit 1840 etwa ein Thermoelement aus schwerer schmelzbaren Metallen, gewöhnlich Eisen und Neusilber, gebraucht, dessen Lötstelle man in den Körper steckte.

Eine andere Verwertung der Thermoströme suchte schon Seebeck anzubahnen, indem er aus mehreren, hintereinander geschalteten Elementen eine thermoelektrische Säule konstruierte. Doch fand er, daß die erhaltene Stromstärke nicht proportional der Anzahl der erwärmten Berührungsstellen wuchs. Es schien vielmehr ein Teil verloren zu gehen. Seitdem sind viele Thermosäulen konstruiert worden, so die von Noë aus Neusilberdrähten und Stäben einer Zinkantimonlegierung und neuerdings diejenige von Gülcher,[Pg 240] der Antimon und Kupfer verwendet. Zur Erzeugung starker Ströme haben sich alle ersonnenen Einrichtungen jedoch nicht brauchbar erwiesen. Sie haben vor den galvanischen Elementen nur die bequemere Handhabung und eine größere Beständigkeit voraus.

Vergegenwärtigen wir uns noch einmal den Inhalt der letzten Abschnitte, so finden wir, daß zu Beginn der zwanziger Jahre des 19. Jahrhunderts die wesentlichsten Gebiete der Elektrizitätslehre mit Ausnahme der Induktion erschlossen waren. Die Entdeckung der letzteren sollte der unvergleichlichen Experimentierkunst eines Faraday vorbehalten bleiben, mit dessen grundlegenden Arbeiten wir uns im nächsten Bande beschäftigen werden.

[Pg 241]

16. Der insbesondere durch Laplace und Herschel bewirkte Aufschwung der Astronomie.

Eine so weitgehende Umgestaltung, beziehungsweise Erschließung neuer Gebiete, wie sie die Chemie und die Physik erfuhren, hat die Astronomie um die Wende des 18. zum 19. Jahrhundert nicht aufzuweisen. Ihr Lehrgebäude war durch die Arbeiten des 17. und des 18. Jahrhunderts so festbegründet, daß es sich im wesentlichen nur noch um den Ausbau im einzelnen und späterhin um eine Anwendung der physikalischen und chemischen Forschungsergebnisse auf kosmische Erscheinungen handeln konnte.

Die Hauptvertreter der Astronomie waren gegen das Ende des 18. und zu Beginn des 19. Jahrhunderts Laplace und Herschel. Während der erstere seine Untersuchungen vorwiegend auf unser Planetensystem beschränkte und hier das Erbe Newtons vervielfältigte, hat Herschel, wie Humboldt sich einmal ausdrückt395, das Senkblei zuerst in die Tiefen des Himmels geworfen. Wir werden ihn als den eigentlichen Begründer der Astronomie der Fixsterne kennen lernen.

Pierre Simon Laplace wurde am 28. März 1749 in einer kleinen Stadt der Normandie396 als der Sohn eines armen Landmannes geboren. Die außerordentliche Begabung, die Laplace auszeichnete, leuchtet schon daraus hervor, daß er von seinem 18. bis zur Vollendung des 20. Lebensjahres mehrere Abhandlungen aus dem Gebiete der Integralrechnung veröffentlichte, die ihm den Ruf eines bedeutenden Mathematikers eintrugen.

Laplace wurde infolgedessen zum Lehrer der Mathematik ernannt. Als solcher wirkte er zunächst in seiner Vaterstadt; bald darauf berief man ihn an die Militärschule zu Paris. Seit dieser Zeit stellte Laplace seine außerordentliche mathematische Befähigung[Pg 242] vorzugsweise in den Dienst der theoretischen Astronomie, die erst durch seine Untersuchungen in den Stand gesetzt wurde, eine befriedigende Erklärung der in unserem Planetensystem auftretenden säkularen Änderungen zu geben. Während manche Astronomen schon geneigt waren, gewisser, bei der Bewegung der Planeten in die Erscheinung tretender Umstände wegen eine nur annähernde Gültigkeit des Newtonschen Gravitationsgesetzes anzunehmen, lieferte Laplace, der sich dabei auf die Vorarbeiten Eulers stützen konnte, den Nachweis, daß, unter dem Gesichtspunkte des Problems von den drei Körpern, jene scheinbaren Abweichungen von der Regel letztere erst vollauf bestätigen. Newton selbst hatte nämlich nur die Bewegung eines Planeten um seinen Zentralkörper untersucht und gezeigt, daß sie in einem Kegelschnitte erfolgen muß. Das Problem der drei Körper war damit gegeben, daß bei dem Umlauf des Mondes um die Erde der Einfluß der Sonne in Rechnung zu stellen ist, um zu einer Übereinstimmung zwischen Theorie und Beobachtung zu gelangen. Diese Untersuchung hatte schon Euler beschäftigt und ihn zu Ergebnissen geführt, die später den von Tobias Mayer entworfenen Mondtafeln als Unterlage dienten397. Das Hauptverdienst von Laplace bestand darin, daß er das Problem von den drei Körpern auch auf die Planeten und die Kometen ausdehnte und eine Theorie der Störungen, d. h. der Abweichungen, welche diese Himmelskörper durch ihre wechselseitige Anziehung erfahren, lieferte. Die strenge Lösung des Problems der drei Körper, die auch heute noch die Kräfte der höheren Analysis übersteigt, vermochte Laplace jedoch nicht zu geben.

Eine seiner frühesten Abhandlungen aus dem Bereich der theoretischen Astronomie lieferte den wichtigen Nachweis, daß die mittlere Entfernung der Planeten von der Sonne zwar Änderungen erleidet, im Mittel jedoch konstant ist. Bald darauf wurde Laplace, kaum 24 Jahre alt, zum Mitglied der Akademie der Wissenschaften gewählt. Nachdem er ein Lehramt an der École normale erhalten, sehen wir ihn an den großen Aufgaben, mit denen sich damals die französische Nation trotz der politischen Gärung beschäftigte, den hervorragendsten Anteil nehmen. So gehörte Laplace der aus dem Schoße der Akademie gewählten Kommission für Maß und Gewicht an. Diese erhielt von der Nationalversammlung im Jahre 1790 den Auftrag,[Pg 243] eine unveränderliche Grundlage für ein neues Maß- und Gewichtssystem in Vorschlag zu bringen. Die Bemühungen, das schon von Huygens hierfür in Aussicht genommene Sekundenpendel zu wählen, wurden durch Laplace gekreuzt. Letzterer, der offenbar eine neue Gradmessung wünschte, bestimmte die Kommission, von dem Meridianquadranten auszugehen. Die Akademie brachte daher im Jahre 1791 den zehnmillionsten Teil dieses Quadranten als Meter in Vorschlag.

Unter dem Vorsitz von Laplace wurde die École polytechnique, eine der hervorragendsten Pflanzstätten der Wissenschaft und Technik umgestaltet. Napoleon übertrug Laplace, den er sehr schätzte, sogar das Ministerium des Innern und erhob ihn in den Grafenstand. Auch nach der Restauration wurde Laplace mit Ehren überhäuft. Er schied am 5. März des Jahres 1827 mit den Worten aus dem Leben: »Was wir wissen, ist wenig, aber was wir nicht wissen, ist ungeheuer viel.«

Von den Schriften dieses größten Astronomen, den Frankreich hervorgebracht, wurde später auf öffentliche Kosten eine Ausgabe veranstaltet398. Die ersten fünf Bände enthalten das von 1799 bis 1825 erschienene Hauptwerk von Laplace, die »Mécanique céleste«. Ein hervorragender Geschichtsschreiber der Astronomie399 bezeichnet es als »eine unendlich ausgedehnte und bereicherte Ausgabe von Newtons Prinzipien«. Nach einer Ableitung der aus dem Gravitationsgesetze folgenden allgemeinen Gleichungen für die Bewegung der Himmelskörper entwickelte Laplace in diesem Werke seine schon erwähnte Theorie der Störungen. Hierbei boten ihm die Beobachtungen an den großen Planeten Saturn und Jupiter, deren Ungleichheiten er auf den Einfluß, den diese Himmelskörper aufeinander ausüben, zurückführte, sowie die Beobachtungen an den Jupitermonden die willkommenste Unterlage für seine theoretischen Erwägungen.

Da die Jupitertrabanten mit ihrem Zentralkörper ein Ganzes ausmachen, das dem Planetensystem sehr ähnlich ist, die Umläufe hier aber in verhältnismäßig kurzer Zeit erfolgen, so ließen diese Laplace in einem kurzen Zeitraume alle jene großen Veränderungen erkennen, die sich im Planetensystem im Verlaufe von Jahrhunderten abspielen. War Newton noch geneigt, die trotz[Pg 244] aller gegenseitigen Störungen im Sonnensystem offenbar vorhandene Stabilität auf übernatürliche Einflüsse zurückzuführen, so gelang es Laplace, diese Stabilität als eine Notwendigkeit nachzuweisen und damit die der Gravitationsmechanik gestellte Aufgabe erst endgültig zu lösen400.

Auch das Problem der Gezeiten, für das Newton die erste, indes in mancher Hinsicht mit den Tatsachen noch nicht im Einklang stehende theoretische Ableitung gegeben hatte, wurde durch Laplace zu einem gewissen Abschluß gebracht. Dabei stand ihm in den über mehrere Jahre sich erstreckenden täglichen Beobachtungen, die auf Veranlassung der Akademie der Wissenschaften in den französischen Häfen, insbesondere in Brest, stattgefunden hatten, ein vortreffliches Material zur Verfügung, das er unter Anwendung der zur Zeit Newtons noch nicht entwickelten Prinzipien der Hydrodynamik bearbeitete. Es gelang ihm, Linien gleicher Flutzeit, die sogenannten Isorachien, zu ermitteln. Eine befriedigende Theorie der Gezeiten vermochte jedoch erst die vereinte Arbeit zahlreicher Beobachter und Theoretiker der neueren Zeit zu geben.

Einige Jahre vor dem Erscheinen der Mécanique céleste suchte Laplace die Ergebnisse der astronomischen Forschung in allgemein verständlicher Weise weiteren Kreisen zugänglich zu machen. So entstand seine »Darstellung des Weltsystems«, ein Buch, in dem er unter anderem seine Ansichten von der Bildung der Welt aus einem chaotischen Urnebel entwickelte. Zunächst setzt Laplace auseinander, daß die Glieder des Planetensystems, obgleich sie selbständig sind, dennoch sehr merkwürdige Beziehungen zu einander aufweisen, die uns über den Ursprung des Systems aufklären können. Man bemerke nämlich, daß sämtliche Planeten fast in derselben Ebene von West nach Ost um die Sonne kreisen. Die Monde bewegten sich ferner um die Planeten im gleichen Sinne und fast in derselben Ebene wie die letzteren. Endlich drehten sich Sonne, Planeten und Monde sämtlich in einerlei Richtung um ihre Achse, und zwar geschehe dies fast in der Ebene ihrer Umlaufsbewegungen. Eine solch außergewöhnliche Erscheinung könne kein Spiel des Zufalls sein; sie deute auf eine gemeinsame Ursache hin. Buffon[Pg 245] hatte zur Erklärung dieser merkwürdigen Gesetzmäßigkeiten angenommen, daß ein Komet in seinem Falle auf die Sonne einen Strom Materie von dieser losgerissen habe, der sich dann zu größeren und kleineren, von der Sonne verschieden weit abstehenden Kugeln zusammengeballt hätte. Diese Hypothese erklärt nach Laplace indessen nur eine der erwähnten Erscheinungen. Denn es sei einleuchtend, daß alle auf solche Weise entstandenen Körper sich ungefähr in derjenigen Ebene bewegen müßten, welche durch den Mittelpunkt der Sonne und den Weg des materiellen Stromes gehe, der jene Körper erzeugt habe. Die anderen Erscheinungen können, wie Laplace ausführt, aus der Hypothese Buffons nicht erklärt werden. Ja, die geringe Exzentrizität der Planetenbahnen spricht geradezu gegen diese Hypothese. Denn nach der Theorie der Zentralkräfte wird ein Körper, der sich um die Sonne bewegt und dabei ihre Oberfläche streift, bei jedem seiner Umläufe dahin zurückkehren müssen. Wären also die Planeten ursprünglich von der Sonne losgerissen worden, so würden sie die Sonne nach jedem Umlauf berühren. Ihre Bahnen wären also nicht nahezu kreisförmig, sondern stark exzentrisch.

Eine Ursache, welche die Bewegungen der Planeten und der Monde veranlaßte, mußte sich, welches auch ihre Natur war, auf alle diese Körper erstrecken. In Anbetracht der gewaltigen Zwischenräume, welche die Planeten trennen, kann diese Ursache, so führt Laplace aus, nur in einem Fluidum von ungeheurer Ausdehnung bestanden haben. Sollte dieses Fluidum den Planeten fast kreisförmige, gleich gerichtete Bewegungen um die Sonne verleihen, so mußte es die Sonne wie eine Atmosphäre umgeben. Durch diese Überlegungen wurde Laplace zu der Annahme geführt, daß die Sonnenatmosphäre sich uranfänglich über sämtliche Planetenbahnen hinaus erstreckt habe und allmählich bis auf ihren jetzigen Umfang zusammengeschrumpft sei.

Die große Exzentrizität der Kometenbahnen führte Laplace zu demselben Ergebnis. Die Kometen sind nach ihm Weltkörper, die sich zu jener Zeit, als die Bildung der Planeten vor sich ging, außerhalb jenes Fluidums befanden. Die Bahnen der Kometen sind so verschieden, als wären diese Körper aufs Geratewohl geschleudert worden, weil eben die Sonnenatmosphäre keinen Einfluß auf ihre Bewegungen haben konnte. Um zu erklären, wie die Sonnenatmosphäre den Umlauf und die Rotation der Planeten hervorrief, nahm Laplace an, daß die Planeten an den aufeinander folgenden Grenzen jener Atmosphäre durch die Verdichtung derjenigen Zonen[Pg 246] entstanden seien, die sich in der Äquatorebene infolge von Abkühlung und Zusammenziehung bilden mußten. Die Monde sollten auf ähnliche Weise aus der Atmosphäre der Planeten hervorgegangen sein. Die beobachteten Erscheinungen erklärten sich also sämtlich ungezwungen aus dieser Annahme, welche durch die Saturnringe eine weitere Stütze erhielt.

Ein Versuch, auf deduktivem Wege zu einer Vorstellung von dem Weltbildungsprozesse, insbesondere der Entstehung unseres Planetensystems zu gelangen, wurde schon mehrere Jahrzehnte vor Laplace in Deutschland durch Immanuel Kant (1724-1804) gemacht. In seiner »allgemeinen Naturgeschichte und Theorie des Himmels401«, vom Jahre 1755 nimmt Kant als Urzustand die feinste Verteilung der Materie durch den ganzen Weltraum an, weshalb man seine Ansicht auch als Nebularhypothese bezeichnet hat. Infolge der Gravitation bildeten sich dann Zentralkörper. Die benachbarte Materie verdichtete sich gleichfalls um besondere Bildungsmittelpunkte und näherte sich, durch die allgemeine Anziehung getrieben, dem Zentrum. Gäbe es nur Anziehung, so müßte eine Vereinigung des Zentralkörpers mit den um besondere Punkte sich anhäufenden Massen stattgefunden haben. Unter dem Einfluß einer der Materie gleichfalls innewohnenden abstoßenden Kraft wurden die herabsinkenden Massen indessen abgelenkt. Der Fall schlug in eine Wirbelbewegung um, woraus nach Kant die Tatsache ihre Erklärung findet, daß sämtliche Planeten in nahezu einer Ebene und in derselben Richtung um die Sonne kreisen.

In Wahrheit ist die erste Ursache der Rotation durch Kants Annahme nicht erklärt. Laplace gesteht die Unzulänglichkeit seiner Hypothese in diesem Punkte zu. Er gibt für das Zustandekommen der Rotation keine Erklärung, sondern geht von einem in Drehung begriffenen Gasball aus, gelangt aber, wie wir sahen, im wesentlichen zu demselben Ergebnis wie Kant.

Kant selbst war zu seinen Spekulationen durch die Schrift des Engländers Wright angeregt worden402. Auf diesen ist wohl[Pg 247] die Beobachtung zurückzuführen, daß die Fixsterne nicht ohne Gesetz zerstreut, sondern auf eine Ebene zu beziehen sind. Wright sagt nämlich: »Die Sterne stehen um so dichter, je mehr wir uns der Milchstraße nähern, so daß von den 2000 Sternen, die das unbewaffnete Auge wahrnimmt, der größte Teil in einer nicht gar breiten Zone, deren Mitte die Milchstraße bildet, angetroffen wird.« Auch Lambert hat, wie wir an anderer Stelle schon erwähnten, diesen Gedanken weiter ausgeführt und begründet403. Eine wertvolle Stütze erhielt Kants Theorie dadurch, daß gewisse Ableitungen, die Kant anstellte, durch spätere Beobachtungen bestätigt wurden. Das schönste Beispiel ist Kants Berechnung der Rotation der Saturnringe404. Kant nahm an, daß die Materie dieser Ringe sich von dem Äquator des Planeten losgelöst habe und infolgedessen auch eine rotierende Bewegung besitze. Seine Berechnung ergab für den inneren Rand des Ringes eine Rotationsdauer von »etwa zehn Stunden«. Nach den Beobachtungen Herschels, die 34 Jahre später angestellt wurden, ergab sich für die Rotationszeit der Wert von 10½ Stunden. Die Ansicht Kants, daß die Ringe des Saturn aus einer Häufung einzelner Teilchen bestehen, haben gleichfalls spätere teils analytische, teils photometrische Untersuchungen bestätigt. Auch die Vorstellung, daß das Zodiakallicht auf einen die Sonne umgebenden und von ihr erleuchteten Ring von kosmischem Staub zurückzuführen sei, hat Kant in Anlehnung an seine Betrachtungen über den Saturnring entwickelt405.

Kant erörtert auch die Frage, ob die Achsendrehung der Weltkörper durch irgend welche Umstände vermindert oder ganz aufgezehrt werden könne. Sollte z. B., meint er, der Mond sich nicht früher schneller um seine Achse gedreht haben und durch irgend welche Ursachen seine Bewegung auf das jetzige Maß herabgemindert[Pg 248] worden sein406. Eine nähere Untersuchung dieses Problems hat Kant zu der Annahme geführt, daß die Flutwelle eine solche hemmende Wirkung ausübe. Kant ist auch darin bahnbrechend und glücklich gewesen. Er zeigte, daß die Rotation der Erde eine Verlangsamung erfahren müsse, weil sich unser Planet unter den durch Mond und Sonne erzeugten Flutwellen wie in einem Friktionshemmschuh bewege. Die Rotation des Mondes sei so sehr vermindert und habe sich schließlich dem Umlauf dieses Weltkörpers um die Erde vollkommen angepaßt, weil die Erdwirkung, die auf dem Monde eine Flut erzeugte, 3600 mal so groß sei als diejenige, welche der Mond auf die Gewässer der Erde ausübt. Diese Annahmen Kants sind durch spätere, streng mathematische Ableitungen bestätigt worden407. So stellte sich denn Kants Hypothese als ein zwar kühner, aber doch glücklicher Griff dar, weil sich nach allen Seiten Wechselbeziehungen und Bestätigungen ergaben408.

Am Schlusse seiner Abhandlung wendet sich Kant noch gegen die religiösen Bedenken, die vielleicht gegen seine Ansichten geltend gemacht werden könnten. Seien doch viele der Meinung, es heiße Gott die Regierung der Welt streitig machen, wenn man den Ursprung des Geschehens in den Naturkräften suche. Wenn die Ordnung der Welt, so betont demgegenüber Kant, aus allgemeinen Naturgesetzen herfließen konnte, so ist die ganze Natur notwendig eine Wirkung der höchsten Weisheit. Kant zieht indessen aus seiner Lehre nicht die letzten Folgerungen. Er beschränkt nämlich die mechanische Naturerklärung auf die Vorgänge der unorganischen Welt und hält sie für die Erklärung auch des einfachsten Organismus nicht für ausreichend. Die Ausdehnung der mechanischen Naturerklärung auf das gesamte Geschehen wurde besonders im 19. Jahrhundert versucht, ohne jedoch in das Verhältnis der Psyche zur Materie einen befriedigenden Einblick vermitteln zu können.

Mit dem Ausbau der Theorie ging eine beträchtliche Erweiterung der Kenntnis des Planetensystems Hand in Hand. Schon Kepler hatte auf den verhältnismäßig großen Abstand hingewiesen, der sich zwischen den Bahnen des Mars und des Jupiter befindet. Angeregt durch Spekulationen, die darauf abzielten, eine die Abstände der Planeten beherrschende Gesetzmäßigkeit zu finden,[Pg 249] begann man mit dem Jahre 1800 den Tierkreis nach kleineren Wandelsternen zu durchsuchen. Den ersten Erfolg nach dieser Richtung hatte Piazzi409 zu verzeichnen.

Dieser Astronom beobachtete anfangs Januar 1801 einen Stern 8. Größe, der sich im Stier befand. Als er den Stern an den nächsten Abenden von neuem aufsuchte, zeigte es sich, daß er seine Stellung zu den benachbarten Sternen verändert hatte, also offenbar ein Planet war. Das neue Gestirn erhielt den Namen »Ceres«. Es wurde, nachdem Piazzi es aus den Augen verloren, Gauß aber seine Stellung wieder berechnet hatte, von neuem durch Olbers entdeckt und in die Lücke zwischen Mars und Jupiter verwiesen. Dasselbe geschah mit einem zweiten, von Olbers aufgefundenen Planeten, der Pallas. An diese reihten sich noch 1804 die Juno und 1807 die Vesta. Damit war der Anfang zur Entdeckung eines zwischen Mars und Jupiter befindlichen Planetenoidenringes gemacht, dessen Glieder, wie man nach der Anfertigung genauerer, die Sterne bis zur neunten Größe umfassender Himmelskarten erkannte, nach hunderten zählen.

Eine andere Erweiterung der Kenntnis vom Planetensystem erfolgte durch den zweiten großen Vertreter, den die Astronomie in dieser Periode hatte, durch Wilhelm Herschel. Diese Erweiterung bestand in der Entdeckung des Uranus. Da Herschel wie kein anderer den Blick über die Grenzen des Planetensystems hinaus gerichtet hat und damit zum eigentlichen Begründer der Fixsternastronomie geworden ist, wollen wir uns mit seinem außergewöhnlichen Lebenslauf und seinen wissenschaftlichen Taten etwas eingehender beschäftigen.

Friedrich Wilhelm Herschel wurde am 15. November 1738 in Hannover geboren. Sein Vater war ein armer, mit zahlreichen Nachkommen gesegneter Musiker, der eine große Bewunderung für die Astronomie an den Tag legte. Herschels Schwester, deren Aufzeichnungen410 wir fast alles verdanken, was über die Jugend des großen Astronomen bekannt geworden ist, erzählt, der Vater habe sie und ihre Geschwister in einer klaren Nacht auf die Straße geführt, um sie mit den schönsten Sternbildern bekannt zu machen. Auch sei er ihrem Bruder Wilhelm bei seinen Studien an die Hand gegangen.

[Pg 250]

Letzterer war gleichfalls zum Musiker bestimmt. Ein lebhaftes Interesse für die Theorie seiner Kunst veranlaßte ihn, sich eingehend mit der Mathematik zu befassen. Fünfzehn Jahre alt, wurde Wilhelm Mitglied der Kapelle eines Regiments, mit dem er bald darauf411 nach England ging. Nachdem er seinen Dienst aufgegeben, bekleidete er eine Organistenstelle in Bath, wohin ihm seine Schwester Karoline folgte. Letztere hing mit schwärmerischer Bewunderung an dem Bruder und half ihm als treue Mitarbeiterin den Ruhm gewinnen, der seinen Namen später verherrlichen sollte. Trotzdem Herschel durch seine Stellung in Bath sehr in Anspruch genommen war, fand er doch Zeit zur Fortsetzung seiner Studien. Der Umstand, daß der Mann, der auf musiktheoretischem Gebiete412 sein Lieblingsschriftsteller war, auch ein Werk über Optik geschrieben, im Verein mit den Anregungen, die er in seiner Jugendzeit empfangen, führten Herschel dazu, daß er sich mit immer größerem Eifer und Verständnis der Astronomie zuwandte. »Als ich mit dieser Wissenschaft bekannt wurde«, schrieb er später413, »faßte ich den Entschluß, nichts auf Treu und Glauben anzunehmen, sondern alles, was andere vor mir erblickt hatten, mit meinen eigenen Augen zu sehen.« Da indessen die Kosten der Anschaffung eines Fernrohres zu bedeutend waren, beschloß Herschel, selbst ein solches anzufertigen. Nach vielen Mühen brachte er im 37. Jahre seines Lebens ein Spiegelteleskop zu stande, mit dem man den Saturnring erblicken konnte. Herschels Fleiß verdoppelte sich jetzt; sein ganzer Stolz bestand darin, Teleskope zu liefern, von denen immer eins das andere übertraf.

Einige kleinere astronomische Abhandlungen waren schon aus seiner Feder hervorgegangen, als er mit einem Schlage durch die Entdeckung eines neuen, jenseits des Saturn umlaufenden Planeten zum berühmten Manne wurde. Diese Entdeckung des Uranus erfolgte am 13. Mai des Jahres 1781. Es war ein astronomisches Ereignis, dem sich nichts Ähnliches zur Seite stellen ließ. König Georg III., der eine Sternwarte besaß, ernannte Herschel, nachdem er dessen Teleskop gesehen und nachdem sich herausgestellt hatte, daß es die besten Instrumente übertraf, zum königlichen Astronomen.

[Pg 251]

Herschel gab jetzt seine Stellung als Musiker auf und verließ Bath im Jahre 1782, um sich ausschließlich der Erforschung des Himmels zu widmen. Mit reichen Mitteln – der König stellte 4000 Pfund zur Verfügung – wurde ein Riesenteleskop geschaffen, dessen Bau mehrere Jahre (1785-1789) in Anspruch nahm. Die Konstruktion, die Herschel hierbei wählte, war eine eigenartige (siehe Abb. 48). Das neue Instrument besaß nämlich nur einen Spiegel, der beiläufig etwa 2000 Pfund wog und einen Durchmesser von 4 Fuß besaß. Dieser Spiegel M war gegen die Achse des Instruments ein wenig geneigt, so daß das Bild ab am unteren Rande der Öffnung entstand und dort durch das Okular betrachtet werden konnte. Allerdings ging hierbei ein Teil des Lichtes verloren, da der Beobachter von vorn in das Rohr hineinschauen mußte. Doch war dieser Verlust bei genügendem Durchmesser des Spiegels nicht so beträchtlich, um die Konstruktion in Frage zu stellen.

Abb. 48
Abb. 48. Schema des von Herschel konstruierten Spiegelteleskops.

Bis zu seinem am 25. August des Jahres 1822 erfolgten Tode blieb Herschel auf der in der Nähe von Windsor errichteten Sternwarte unermüdlich mit der Durchmusterung des Himmels beschäftigt. Diese Arbeitsstätte verließ er nur, um von Zeit zu Zeit der Royal Society über die Ergebnisse seiner Forschungen, denen wir uns jetzt zuwenden wollen, zu berichten.

Zunächst reihte sich an die Auffindung des Uranus noch manche wertvolle, unser Planetensystem betreffende Beobachtung. So entdeckte Herschel mehrere Trabanten dieses Hauptplaneten, sowie den ersten und den zweiten Mond des Saturn. Für diesen Planeten hatte Huygens zuerst das Vorhandensein eines Trabanten, und zwar des sechsten, nachgewiesen. Die gleichfalls von Huygens entdeckten weißen Flecke an den Marspolen fand Herschel abhängig von den Jahreszeiten des Mars, für den er eine an irdische[Pg 252] Verhältnisse erinnernde Beschaffenheit nachzuweisen suchte414. Während schon Cassini imstande war, die Rotationszeit des Jupiter aus der Beobachtung gewisser Flecken dieses Planeten zu ermitteln, gelang erst Herschel die Lösung der gleichen Aufgabe für den Saturn415.

Abb. 49
Abb. 49. Der von Herschel in den Jahren 1785-1789 erbaute vierzigfüßige Reflektor416

Zum Zentralkörper unseres Systems übergehend, suchte Herschel sowohl dessen physische Natur als dessen Bewegung und Stellung im Weltraum zu bestimmen. Seine Theorie über die Beschaffenheit des Sonnenkörpers, welche er auf die Beobachtung der Flecken gründete, hat jedoch die Mitte des 19. Jahrhunderts nicht überlebt. Herschel verließ nämlich die alte, heute wieder als richtig geltende Ansicht, daß wir es in der Sonne mit einem Körper von sehr hoher Temperatur zu tun haben. Er nahm an,[Pg 253] daß sie aus einem festen, nicht leuchtenden, vielleicht bewohnbaren Kern bestehe, der von einer durchsichtigen Atmosphäre und einer darüber befindlichen lichtspendenden Photosphäre umgeben sei. Herschels Theorie gemäß entsteht ein Sonnenfleck, indem jene Photosphäre infolge aufsteigender Dämpfe zerreißt und der dunkle Körper der Sonne zum Vorschein kommt.

Da es gelungen war, an den Fixsternen eine Eigenbewegung nachzuweisen, so lag der Gedanke nahe, daß auch unsere Sonne mit all' ihren Planeten, Monden und Kometen eine nach einem bestimmten Punkte des Himmels gerichtete Bewegung besitze. Eine solche würde ein scheinbares Auseinanderweichen der in der Richtung dieser Bewegung befindlichen Fixsterne, sowie ein Zusammenrücken der Sterne in der Nähe des entgegengesetzten Himmelspunktes zur Folge haben. Es gelang Herschel417, derartige Veränderungen, die ein Fortschreiten des Sonnensystems erkennen lassen und sich mit den wirklichen Eigenbewegungen der Fixsterne kombinieren, nachzuweisen. Der von ihm ermittelte Punkt, dem sich die Sonne nähert, liegt im Sternbilde des Herkules. Obgleich die Größe der Sonnenbewegung wahrscheinlich mehrere tausend Meilen in der Stunde beträgt, werden doch noch lange Zeiträume verfließen, bis der vielleicht um einen weit entfernten Schwerpunkt erfolgende Umlauf unseres Zentralkörpers erkannt sein wird.

Eng verknüpft mit dem Problem der Sonnenbewegung ist der gleichfalls von Herschel erbrachte Nachweis, daß die von den früheren Astronomen für nur scheinbar benachbart gehaltenen Doppelsterne, wirklich zusammengehören und binäre Systeme bilden. Herschel hat nicht weniger als 846 Doppelsterne katalogisiert. Spätere Forschungen haben ergeben, daß die Bewegung innerhalb solcher binären Systeme nach dem Gravitationsgesetz erfolgt, das damit erst als das wahre Weltgesetz erkannt war.

Bislang hatte man die Fixsterne wenigstens so betrachtet, als ob sie über die Fläche einer Kugel verteilt wären. Seit Herschel beginnt die Astronomie sich mit der räumlichen Verteilung dieser Weltkörper zu beschäftigen. Schon vor ihm hatte die Milchstraße und die Anordnung der außerhalb der Milchstraße befindlichen Sterne das Nachdenken eines Kant418 erregt. Jedoch erst Herschel setzte an die Stelle bloßer Vermutungen den auf systematisch[Pg 254] angestellten Beobachtungen, seinen sogenannten Aichungen, gegründeten Nachweis, daß die deutlich sichtbaren Sterne samt der Milchstraße – ein Komplex von etwa 20 Millionen Weltkörpern – einen linsenförmigen Haufen bilden und daß die Sonne sich etwas außerhalb der Mitte jenes Haufens befindet. Diesen Nachweis lieferte er in einer »Über den Bau des Himmels« betitelten Schrift419.

Messiers etwa 100 Nummern enthaltendes Verzeichnis von Nebelflecken und Sternhaufen veranlaßte Herschel, sein zwanzigfüßiges Spiegelteleskop von 12 Zoll Öffnung auf diese Himmelskörper zu richten. Dabei sah er zu seiner größten Freude, daß die meisten Nebelflecken der Stärke seines Instrumentes unterlagen und in Sterne aufgelöst wurden. Es ergab sich, daß sie entweder nichts als lauter Sterne sind. Oder sie enthielten wenigstens Sterne. Den in Messiers Verzeichnis420 erwähnten »Nebelfleck ohne Stern«, der sich nahe dem Haupthaar der Berenice befindet, erblickte Herschel als einen Haufen dicht gedrängter Sterne. »Es ist dies«, sagt Herschel, »einer der schönsten Gegenstände, die ich mich erinnere, am Himmel gesehen zu haben. Der Haufen erscheint unter der Gestalt einer Kugel aus kleinen, in einen einzigen Lichtglanz zusammengedrängten Sternen samt einer Anzahl, die ringsum stehen und in der Hauptmasse deutlich zu unterscheiden sind« (siehe Abbildung 50).

Abb. 50
Abb. 50. Herschels Abbildung eines Nebelfleckes421

Als Herschel seine Beobachtungen begann, vermutete er, daß manche Nebelflecken noch unentdeckt geblieben seien. Er gab sich daher der Hoffnung hin, zu den von Messier verzeichneten 100 Sternhaufen und Nebelflecken eine schätzbare Zugabe liefern zu können. Der Erfolg bewies, daß seine Erwartungen begründet waren. Während Halley nur sechs Nebel kannte und[Pg 255] Messiers Verzeichnis, wie erwähnt, nur etwa 100 Nummern enthielt, wurden in den Jahren 1786 bis 1802 von Herschel nahezu 2500 Nebelflecke katalogisiert, beschrieben und gezeichnet. Eine Fortsetzung dieser Studien verdanken wir Herschels Sohn John, der auf einer Expedition nach dem Kap der guten Hoffnung422 eine fast ebenso große Zahl von Nebelflecken am südlichen Himmel entdeckte.

Abb. 51
Abb 51. Herschels Ableitung der Gestalt der Milchstraße423

Die mühevollen Studien über die Nebelflecken führten Herschel zu der Erkenntnis, daß auch die Milchstraße nichts anderes als eine Schicht von Fixsternen ist, innerhalb deren sich die Sonne, wenn auch nicht genau im Mittelpunkte, befindet. Es läßt sich dies nach Herschel aus der Gestalt der Milchstraße entnehmen, die sich in einem größten Kreise um den gesamten Himmel ziehen muß, wenn sich die Sonne innerhalb dieser Sternenschicht befindet. Nehmen wir mit Herschel an, eine Anzahl Sterne sei zwischen zwei, in einem gegebenen Abstande einander parallel laufenden,[Pg 256] weit ausgedehnten Ebenen angeordnet, so wird ein Beobachter, der sich irgendwo innerhalb einer solchen Schicht befindet, sämtliche zu ihr gehörigen Sterne in einem großen Kreise sehen. Letzterer wird nach Maßgabe der Anhäufung der Sterne sich mehr oder weniger hell zeigen, während es scheinen wird, als ob die übrigen Gegenden des Himmels nur mit Sternbildern bestreut wären. So würde ein Auge bei S (siehe Abb. 51) innerhalb der Schicht ab die in der Richtung des Verlaufes der Schicht befindlichen Sterne als einen hellen Kreis ABCD sehen, während die Sterne an den Seiten mv, nw über den übrigen Teil des Himmels bei MVNW zerstreut erscheinen würden.

Stände der Beobachter irgendwo außerhalb der Schicht, so würde die Schicht die Gestalt einer Scheibe annehmen, die nach Maßgabe der Entfernung des Beobachters mehr oder weniger groß sein würde. Und nähme dieser Abstand über alles Maß zu, so müßte die ganze Sternenschicht zuletzt in einen lichten Fleck zusammenschrumpfen.

Nehmen wir nun weiter mit Herschel an, daß eine kleinere Schicht aus der ersteren nach einer bestimmten Richtung hin ausläuft und gleichfalls von zwei parallelen Ebenen, die sich ins Unbestimmte ausdehnen, eingeschlossen ist. Befindet sich der Beobachter in der großen Schicht irgendwo in der Nähe der Abzweigung, dann wird diese zweite Schicht nicht einen Kreis darstellen, sondern wie ein lichter Zweig erscheinen, der von dem Kreise ausgeht und in einer gewissen Entfernung wieder zu ihm zurückkehrt. So werden in Abb. 51 die Sterne in der kleinen Schicht pq in einem hellen Bogen PRRP gesehen werden, der nach der Absonderung vom Kreise sich mit ihm wieder vereinigt.

Aus dem Bilde, das uns die Milchstraße bietet, folgerte Herschel deshalb, daß sich die Sonne in einer großen Fixsternschicht nicht fern von der Stelle befinde, von der eine kleinere Schicht als ein Zweig der größeren ausläuft.

Anfangs hielt Herschel sämtliche Nebelflecke für Sternhaufen. Als er jedoch auch deutliche Sterne entdeckte, die von einem Nebel umgeben sind, der offenbar zu dem Sterne in Beziehung steht, nahm er an, daß es sich hier um leuchtende Gasmassen handele, die auch, ohne einen Stern zu umschließen, existieren und der Urstoff für die Bildung neuer Himmelskörper seien. Dementsprechend glaubte er, in dem Zustande, den uns der Fixsternhimmel gegenwärtig darbietet, sämtliche Stufen des[Pg 257] Weltbildungsprozesses nachweisen zu können. Spätere, insbesondere spektroskopische Forschungen haben die Richtigkeit dieser kühnen Schlüsse dargetan.

Die Betrachtungen, welche Herschel über die Abmessungen des mit seinem Teleskop durchforschten Raumes anstellte, lieferten den Nachweis, daß das Licht, um von den entferntesten Objekten des Himmels zu uns zu gelangen, viele tausend Jahre gebraucht, so daß unsere Teleskope nicht allein den Raum, sondern auch die Zeit durchdringen. Anknüpfend an die von Herschel erhaltenen Ergebnisse konnte deshalb Humboldt424 wohl sagen, daß das Licht der fernsten Weltkörper das älteste sinnliche Zeugnis von dem Dasein der Materie sei.

Als zur Jahrhundertfeier der Uranusentdeckung eine Biographie Herschels425 erschien, wurde darin mit Recht hervorgehoben, daß an Herschels Ansicht über den Bau des Himmels nur wenig zu ändern gewesen sei. »Jede astronomische Entdeckung«, heißt es dort426, »und jede gut beobachtete physikalische Tatsache gibt Material für die Ausarbeitung der Einzelheiten oder für die Verbesserung untergeordneter Punkte dieser Ansicht. Als wissenschaftliche Auffassung ist sie vielleicht die großartigste, die jemals der menschliche Geist gewonnen hat.«

Den Ansichten, die fast gleichzeitig Herschel und Laplace und vor ihnen schon Kant über die Entstehung der Welt entwickelten, ist der Gedanke gemeinsam, daß die Gestirne, die sich die früheren Zeitalter aus ganz besonderem Stoff gebildet dachten, in materieller Hinsicht untereinander und von der Erde nicht wesentlich verschieden sind. Dieses Ergebnis einer denkenden Naturbetrachtung sollte nicht nur durch die spätere spektroskopische Untersuchung, sondern auch durch die noch im Zeitalter von Herschel und Laplace erfolgte richtige Deutung der Meteoriten ihre Bestätigung finden.

Nachrichten über vom Himmel gefallene Stein- und Eisenmassen reichen bis ins graue Altertum zurück, ohne daß dadurch bis gegen das 18. Jahrhundert das wissenschaftliche Interesse rege geworden wäre. Um die Mitte jenes Zeitabschnitts waren zwei auffallende Tatsachen zu verzeichnen. Der Sibirien bereisende[Pg 258] deutsche Naturforscher Pallas entdeckte 1749 in der Nähe des Jenissei eine 1600 Pfund schwere Eisenmasse, deren Beschaffenheit darauf hinwies, daß man es in ihr mit einem Naturerzeugnis zu tun habe427. Ferner hatte in Agram im Jahre 1751 einer der am besten beglaubigten Meteoreisenfälle428 stattgefunden. Das dort gefallene Stück war ausgegraben und dem Wiener Naturalienkabinet einverleibt worden. Der Leiter dieses Instituts wies jedoch die Meinung, daß die Masse überhaupt gefallen sei, mit Spott zurück. Seiner Ansicht nach sollte sich das Eisen unter dem Einfluß der atmosphärischen Elektrizität aus Bestandteilen des Bodens gebildet haben.

In einer 1794 erschienenen Abhandlung wagte es der deutsche Physiker Chladni, im Gegensatz zu allen gelehrten Zeitgenossen, für die Feuerkugeln einen kosmischen Ursprung zu behaupten und die von Pallas429 entdeckte und ähnliche Eisenmassen als den Stoff solcher niedergefallenen Feuerkugeln in Anspruch zu nehmen.

Chladni wies zunächst auf folgende, gut beobachteten und wissenschaftlich erörterten Meteorsteinfälle des 18. Jahrhunderts hin.

Am 17. Mai 1719 erschien eine Feuerkugel in England430; sie durchlief 300 Meilen in einer Minute und zersprang mit einem Getöse, bei welchem Türen, Fenster und ganze Häuser erschüttert wurden.

Am 11. November 1761 sah man eine Feuerkugel431 in Frankreich; sie zersprang mit heftigem Getöse in viele kleine Stücke; manche Personen glaubten Feuer neben sich gesehen zu haben. Ein Stück ist432 in ein Haus gefallen und hat dieses entzündet.

Am 23. Juli 1762 wurde eine Feuerkugel, die Silberschlag in seiner »Theorie der am 23. Juli 1762 erschienenen Feuerkugel,[Pg 259] Magdeburg 1764« beschrieb433, ungefähr senkrecht über der Gegend zwischen Leipzig und Zeitz in Gestalt eines kleinen Sternes sichtbar. Sie nahm an scheinbarer Größe zu, ging über Wittenberg und Potsdam und zersprang einige Meilen hinter Potsdam mit einem lauten Knall. Ihr Licht ist sehr weiß gewesen und hat einen Umfang von wenigstens 60 deutschen Meilen erleuchtet. Die Höhe war im Beginn der Beobachtung etwa 19 und beim Zerspringen über 4 Meilen.

Chladni wies die früheren Erklärungsarten, nach denen man es in den Meteoren mit elektrischen Entladungen, mit brennbaren gasförmigen Anhäufungen, kurz mit Erscheinungen irdischen Ursprungs zu tun hätte, als unvereinbar mit den von ihm zusammengestellten Befunden zurück. Nach Chladnis heute keinen Widerspruch mehr findenden Meinung sind unzählige kleine Massen, die zu keinem größeren Weltkörper in unmittelbarer Beziehung stehen, im Weltraume zerstreut. Sie bewegen sich, durch Wurfkräfte oder Anziehung getrieben, so lange fort, bis sie der Erde oder einem anderen Weltkörper nahekommen und, von ihrer Anziehungskraft ergriffen, darauf niederfallen. Bei ihrer schnellen Bewegung muß infolge der heftigen Reibung mit der Atmosphäre eine sehr starke Hitze erzeugt werden, wodurch sie in Gluthitze geraten und Dämpfe im Innern entwickeln, welche die Masse zum Zerspringen bringen.

Die Frage, wie diese Massen entstanden oder in einen solch isolierten Zustand gekommen sind, wäre, meint Chladni, dasselbe wie die Frage nach der Entstehung der Weltkörper. Man müsse doch entweder annehmen, daß die Weltkörper, abgesehen von Revolutionen auf ihrer Oberfläche, immer das gewesen sind und sein werden, was sie jetzt sind, oder daß es Kräfte gäbe, die imstande seien, Weltkörper und ganze Weltsysteme zu bilden, zu zerstören und aus ihrem Stoffe wieder neue hervorzubringen. Für diese Meinung sprächen wohl mehr Gründe als für die erstere. Ein solches Entstehen der Weltkörper ließe sich aber wohl nicht anders denken, als daß entweder materielle Teile, die vorher zerstreut gewesen sind, sich durch die Anziehungskraft zu großen Massen angehäuft hätten, oder daß eine Zerstückelung einer größeren Masse stattgefunden habe.

[Pg 260]

Die isoliert gebliebenen Massen müßten ihre Bewegung durch den Weltraum fortsetzen, bis sie von der Anziehung eines Weltkörpers ergriffen würden und die Erscheinungen der Feuerkugeln hervorriefen.

Die gleiche Entstehung nahm Chladni für die von Pallas und anderen Reisenden gefundenen Eisenmassen in Anspruch. Eine solche 300 Zentner schwere Masse war z. B. im südlichen Amerika gefunden worden, und zwar an einer Stelle, wo in einem Umkreise von 100 Meilen keine Eisenerze, ja nicht einmal Steine anzutreffen sind.

Chladni wies nach, daß diese Eisenmassen weder auf nassem Wege, noch durch die Wirkung des Blitzes entstanden sein könnten, auch nicht vulkanischen Ursprungs seien. Es sei merkwürdig, meint er, daß das Eisen der Hauptbestandteil der bisher gefundenen Meteoriten sei. Man könne daher vermuten, daß das Eisen hauptsächlich zur Bildung der Weltkörper beigetragen habe434. Auch sei wahrscheinlich, daß die anderen, in manchen herabgefallenen Massen enthaltenen Stoffe, wie Schwefel, Kieselerde, Bittererde usw. nicht unserer Erde allein eigen seien, sondern zu den Stoffen gezählt werden müßten, die sich an der Bildung der Weltkörper beteiligt hätten435.

Chladni wurde zunächst mit Hohn überschüttet. Die französische Akademie sprach sich trotz aller gut beglaubigten Fälle dahin aus, daß die Nachrichten über derartige Naturerscheinungen in das Gebiet der Fabel zu verweisen seien. Sie wurde indes sehr bald durch die Tatsachen selbst eines Besseren belehrt. In der Normandie ereignete sich nämlich am 26. April des Jahres 1803 ein großer Steinfall, der von hunderten beobachtet und von den Abgesandten der Akademie selbst in seinen Einzelheiten festgestellt wurde436. Die Ausführungen Chladnis wurden darauf allgemein als richtig anerkannt. Ja, man ging jetzt so weit, daß man sich die Weltkörper durch die Anhäufung von Meteoriten entstanden dachte437.

[Pg 261]

Die chemische Analyse war weit genug fortgeschritten, um an den Meteoriten unter der Voraussetzung ihres kosmischen Ursprungs den Nachweis zu führen, daß außerhalb der Erde befindlicher Weltstoff in seiner elementaren Zusammensetzung mit der irdischen Materie übereinstimmt. So entdeckte man438, daß das Meteoreisen stets mehr oder weniger Nickel (bis zu 35%) enthält, und lernte den Gehalt an diesem Metall, sowie die beim Anätzen auftretenden Widmannstättenschen Figuren (von Widmannstätten 1808 entdeckt; er druckte mit den geätzten Flächen die Figuren naturgetreu ab)439 als besondere Eigentümlichkeit des Meteoreisens kennen. Nachdem man neben Nickel auch Kobalt und Kupfer darin aufgefunden hatte, wurden durch eine Arbeit, die Berzelius über die Meteoriten veröffentlichte, sechs neue Elemente in ihnen nachgewiesen; es waren dies Phosphor, Kohlenstoff, Silizium, Magnesium, Zinn und Mangan. Spätere Untersuchungen haben die Zahl der Bestandteile, die sämtlich mit irdischen Grundstoffen übereinstimmen, noch vermehrt.

Was Chladni für die Meteoriten leistete, gelang zwei anderen Deutschen namens Benzenberg440 und Brandes441 hinsichtlich der Sternschnuppen. Durch gleichzeitig an verschiedenen Orten angestellte Beobachtungen gelang es ihnen, auch für diese Phänomene, die man bis dahin auf schweflige Dünste oder brennbare Gase zurückgeführt hatte, einen kosmischen Ursprung nachzuweisen. Benzenberg und Brandes beobachteten Sternschnuppenfälle von den Endpunkten einer 27000 Pariser Fuß langen Standlinie. Indem sie den Ort und die Zeit des Verschwindens genau anmerkten, vermochten sie in vielen Fällen die Identität der beobachteten Erscheinungen nachzuweisen und aus den gewonnenen Daten planetarische Geschwindigkeiten, sowie auf einen kosmischen Ursprung hinweisende Höhen zu ermitteln442.

War es in der vorhergehenden Periode durch Bradleys Entdeckung der Aberration gelungen, einen sinnlichen Beweis für die Bewegung der Erde um die Sonne zu erbringen, so vermochte Benzenberg einen solchen Nachweis auch für die Rotation zu[Pg 262] führen. Bekanntlich lautete einer der Scheingründe gegen die koppernikanische Weltansicht dahin, ein frei fallender Körper müsse, weil die Erde sich unter ihm fortbewege, einen westlich von seinem Ausgangspunkt gelegenen Ort treffen. Newton wies im Jahre 1679 darauf hin, daß bei dem freien Fall infolge des Beharrungsvermögens und der größeren Geschwindigkeit in tangentialer Richtung, welche der Körper zu Beginn der Fallbewegung besitzt, im Gegenteil eine östliche Abweichung zu erwarten sei. Die Royal Society beschloß durch genaue Fallversuche Newtons Annahme auf ihre Richtigkeit zu prüfen. Da man jedoch mit zu geringen Höhen experimentierte, verlief die Angelegenheit ergebnislos. Es dauerte länger als ein Jahrhundert, bis neue Untersuchungen und zwar mit besserem Erfolge angestellt wurden. Dies geschah durch Guglielmini in Bologna in einem Turme, der schon den Fallversuchen Ricciolis443 gedient hatte.

Guglielmini444 wählte diesen Turm, weil sein Inneres für derartige Versuche wie gemacht war und sich darin Fallhöhen von 240 Par. Fuß erreichen ließen. Die Versuche erforderten manche Vorsichtsmaßregel, da jeder Luftzug, sowie Erschütterungen des Gebäudes oder der Kugel selbst im Augenblicke des Loslassens ausgeschlossen sein mußten. Guglielminis Versuche, über welche Benzenberg eingehend berichtet, sind zwar ein schöner Beweis unermüdlicher Ausdauer, sie ließen auch deutlich eine östliche Abweichung erkennen, trotzdem waren sie noch nicht so frei von Fehlern, daß sie eine genügende Übereinstimmung zwischen der Theorie und der Beobachtung erkennen ließen. Mit großer Spannung sah die gelehrte Welt einer endgültigen Entscheidung der von Guglielmini wieder angeregten, Jahrhunderte alten Frage entgegen. Diese Entscheidung brachten unabhängig voneinander zwei deutsche Physiker Benzenberg und Reich.

Den Nachweis der von der Theorie geforderten Abweichung führte Benzenberg durch seine 1802 im Michaelisturm zu Hamburg, sowie in einem rheinischen Kohlenschachte angestellten Fallversuche445. Bei einer Höhe von 235, beziehungsweise 262 Fuß ergab sich eine deutliche Abweichung von mehreren Linien. Die zu dem gleichen Zwecke angestellten Versuche446 Reichs zeigten[Pg 263] bei einer Fallhöhe von 488 Fuß eine östliche, der Theorie ihrer Größe nach genau entsprechende Abweichung von 12,6 Linien.

Die Astronomie war in dieser von uns nach Laplace und Herschel benannten Periode noch wesentlich Himmelsmechanik. Für ein Studium der Himmelskörper, das über die Fragen nach der Form, der Verteilung und der Bewegung hinausging, fehlten noch fast alle physikalischen und chemischen Grundlagen. Sie erwuchsen erst im 19. Jahrhundert auf den Gebieten der Wärmelehre und der Optik. Erst nachdem wir auf diesen Gebieten die weitere Entwicklung verfolgt haben, können wir zur Astronomie zurückkehren und ihre Ausgestaltung zu einer kosmischen Physik und Chemie verfolgen.

[Pg 264]

17. Die Grundlagen der mechanischen Wärmetheorie.

Die Neubegründung der Chemie durch Lavoisier, sowie die Entdeckung der galvanischen Elektrizität und ihrer hauptsächlichsten Wirkungen waren Umwälzungen und Erweiterungen von solcher Bedeutung, daß sie wohl imstande waren, eine neue Epoche zu eröffnen. Letztere ist unter anderem auch dadurch gekennzeichnet, daß die Physik und die Chemie, seitdem man den Zusammenhang zwischen chemischen Vorgängen und elektrischen Erscheinungen erkannt hatte, in immer engere Fühlung traten. Dies hatte eine Fülle von grundlegenden Entdeckungen zur Folge, die uns in den nächsten Abschnitten beschäftigen sollen, Entdeckungen, auf denen die um die Mitte des 19. Jahrhunderts entstehende großartige Konzeption von der Einheit der Kraft, sowie unsere heutigen Vorstellungen von dem Wesen der Materie in erster Linie beruhen. Im engsten Anschluß an diesen Fortschritt erwuchsen ferner Theorien, die sich zu einem bleibenden Besitz der Wissenschaft entwickelt haben. Diese Theorien betrafen insbesondere die Wärmelehre und die Optik, Gebiete, auf denen die frühere Lehre von den Imponderabilien durch eine auf mechanischen Grundlagen fußende Erklärung ersetzt wurde.

Die Vorstellung, daß wir es in der Wärme nicht mit einem Stoff, sondern mit einer Bewegung der kleinsten Teilchen zu tun haben, begegnet uns schon im Beginn des 18. Jahrhunderts447. Die[Pg 265] ersten, für die seit der Mitte des 19. Jahrhunderts zur Herrschaft gelangende, mechanische Theorie der Wärme als grundlegend zu betrachtenden Versuche und Folgerungen gehören indes jener Zeit an, in welcher gegen das Ende des 18. Jahrhunderts der hier geschilderte großartige Aufschwung der Chemie und der Physik beginnt. Am erfolgreichsten nach dieser Richtung waren die Bemühungen Rumfords448.

Rumford wurde 1753 in Nordamerika geboren. Er stand während des Befreiungskampfes auf englischer Seite und kam 1776 nach London. Rumford war ein sehr geschickter, wissenschaftlich und praktisch gleich hervorragender Mensch, der besonders durch sein Bemühen, im Kriegswesen und im sozialen Leben Neuerungen einzuführen, überall die Aufmerksamkeit der Machthaber auf sich lenkte. Eine Reihe von Jahren war Rumford in Bayern tätig. Er richtete dort Werkstätten ein, brachte es bis zum Kriegsminister und wurde schließlich in Anerkennung seiner Verdienste in den Grafenstand erhoben. 1800 rief er in London die Royal Institution ins Leben. Einige Jahre später siedelte er nach Paris über. Dort heiratete er die Witwe Lavoisiers, deren Salon den Sammelpunkt der gelehrten Welt bildete. Von Bonaparte, zu dessen großen Zügen seine Vorliebe für die Wissenschaft und seine Achtung gegenüber ihren Vertretern gehören, wurde auch Rumford mit Auszeichnung behandelt. Er starb in Paris im Jahre 1814.

Rumford wiederholte zunächst den schon von Boyle angestellten, gegen die Stoffnatur der Wärme gedeuteten Wägungsversuch. Er setzte zwei Flaschen, die gleiche Mengen Quecksilber und Wasser enthielten, genau ins Gleichgewicht, während die Temperatur der Umgebung 61° betrug. Das Ganze wurde dann in ein Zimmer gebracht, das eine Temperatur von 34° besaß. Obgleich die spezifische Wärme des Wassers etwa 30mal so groß ist wie diejenige des Quecksilbers, das Wasser also eine viel größere Wärmemenge abgegeben hatte, zeigte sich nicht der geringste Ausschlag449.

[Pg 266]

Wollte man trotzdem an der stofflichen Beschaffenheit der Wärme festhalten, so mußte man wenigstens annehmen, daß ein isoliertes System von Körpern nicht beständig der Umgebung Wärme mitteilen kann, ohne allmählich erschöpft zu werden. Indem Rumford durch den Versuch bewies, daß durch gegenseitige Reibung zweier Körper unbegrenzte Wärmemengen erzeugt werden können, entzog er der soeben erwähnten Voraussetzung von der stofflichen Natur der Wärme den Boden. Über diesen berühmt gewordenen Versuch berichtet Rumford der Royal Society im Jahre 1798450. »Da ich seit kurzem«, beginnt er, »die Oberaufsicht beim Kanonenbohren im Zeughause zu München hatte, so überraschte mich der beträchtliche Wärmegrad, den eine Kanone in kurzer Zeit beim Bohren erhält.« Wäre die spezifische Wärme der Späne eine geringere als diejenige des zusammenhängenden Metalles, so hätte man das Auftreten der Wärme auf einen solchen Unterschied der Kapazitäten zurückführen können. Der Versuch ergab jedoch, daß Stücke und feine Spänchen eines Metalles dieselbe spezifische Wärme besitzen. Brachte man nämlich gleiche Mengen der Spänchen und der Stücke, welche auf die Temperatur des kochenden Wassers erhitzt waren, in gleiche Mengen kalten Wassers, so erfuhr das letztere in beiden Fällen dieselbe Temperaturerhöhung.

Abb. 52
Abb. 52. Die für Rumfords Versuch hergerichtete und in die Bohrmaschine gespannte Kanone. Die Stange w verbindet die Kanone mit dem Göpel.

Da chemische Vorgänge, sowie irgend welche Zuleitung von Wärme bei den Bohrversuchen ausgeschlossen waren, so blieb nichts anderes übrig, als die Ursache der Wärmeentwicklung in der Bewegung zu erblicken. Die weiteren Versuche bezweckten[Pg 267] den Nachweis, daß diese Wärmequelle nicht versiegt, solange die Bewegung dauert. Hieran schloß sich schon das erste Aufdämmern der Erkenntnis, daß einem gewissen Aufwand an Arbeit eine bestimmte Menge erzeugter Wärme entspricht. Rumford ließ nämlich einen aus Kanonenmetall bestehenden Zylinder von 112,13 Pfund Gewicht in einem Kasten (Abb. 53) rotieren, der 18,77 Pfund Wasser enthielt. Wurde die Drehung, bei der ein stumpfer eiserner Bohrer m n gegen das Metall gepreßt wurde, durch die Kraft eines Pferdes bewerkstelligt, so kochte das Wasser nach 2 Stunden und 30 Minuten. »Die Überraschung und das Staunen der Umstehenden, solch eine Wassermasse ohne Feuer zum Kochen gebracht zu sehen, war über alle Beschreibung groß«, heißt es in dem Berichte Rumfords451. Die Rechnung ergab, daß die ganze Menge der erzeugten Wärme, die sich auf das Wasser und die Metallstücke verteilte, hinreichend war, um 26,58 Pfund eiskalten Wassers zum Sieden zu bringen, ungerechnet diejenige Wärme, die während des Versuches verloren ging. Diese Wärmemenge entspricht nach Rumford einer Pferdekraft. Da nach Watt die letztere imstande ist, 33 000 Pfund in der Minute einen Fuß hoch zu heben, so würde eine weitere Berechnung gezeigt haben, daß diejenige Wärme, die ein Pfund Wasser um 1° erwärmt, einer mechanischen Leistung von 1034 Fußpfund entspricht. Spätere, genauere Untersuchungen, welche der Engländer Joule anstellte, haben für dieses Äquivalent den Wert von 772 Fußpfund ergeben. Der beträchtliche Unterschied wird daraus erklärlich, daß Rumford[Pg 268] die Verluste nicht in Rechnung zog, und daß bezüglich des Arbeitsaufwandes nur eine rohe Annäherung an die von Watt als eine Pferdekraft bestimmte Größe vorlag.

Abb. 53

Abb. 53. Der vor der Mündung der Kanone angebrachte hölzerne Kasten. Der stumpfe Bohrer m n wird gegen den Boden des ausgebohrten hohlen Zylinders gepreßt, welcher durch einen kurzen Hals mit dem Ende der Kanone verbunden ist.

Die Abbildungen 52 und 53 sind der unten erwähnten Abhandlung Rumfords entnommen.

Von gleicher Beweiskraft für die Immaterialität der Wärme wie der Rumfordsche Versuch war ein von Davy angestelltes Experiment. In seinen 1799 veröffentlichten452 »Untersuchungen über Wärme, Licht und Atmung« teilte dieser Forscher mit, daß er bei 29° Fahrenheit, also einer unter dem Gefrierpunkt liegenden Temperatur, zwei an Stäben befestigte Eisstücke durch gegenseitige Reibung zum Schmelzen gebracht habe453. Obgleich die Wärmekapazität des Schmelzwassers größer ist als diejenige von Eis, zeigte das erhaltene Wasser dennoch eine Temperatur von 35° Fahrenheit. Auch Davy schloß hieraus, daß die Wärme kein Stoff, sondern eine unmittelbare Folge der Bewegung sei. Er dachte sich die Materie von zwei Kräften, der Anziehung und der Abstoßung, beherrscht. Die Erscheinungen der Wärme rühren nach Davy, dessen Vorstellungen sich im wesentlichen mit den heute geltenden Anschauungen decken, von einer besonderen Bewegung der Körperteilchen her. Alle festen Körper werden durch heftiges Reiben ausgedehnt, indem ihre Teilchen in schwingende Bewegung kommen und sich voneinander entfernen. Die verschiedenen Aggregatszustände werden gleichfalls ganz im Sinne der neueren Physik aus dem Verhältnis zwischen Anziehung und Abstoßung erklärt. Je nachdem die erstere oder die letztere überwiegt oder beide nahezu gleich sind, ist der Körper fest, gasförmig oder flüssig. Die Abstoßung kann durch chemische Vorgänge oder durch Mitteilung des Bewegungszustandes benachbarter Körper erregt werden. In letzterem Falle ist die Bewegungsgröße, die der eine Körper gewinnt, genau gleich derjenigen, welche der andere verliert.

Davy gehört zu jenen Vorläufern von Mayer, Joule und Helmholtz, die von der Allgemeingültigkeit des Prinzips von der Erhaltung der Kraft schon eine deutliche Ahnung hatten. Dafür zeugt auch sein Ausspruch: »Es läßt sich keine erhabenere Vorstellung von den Bewegungen der Materie gewinnen, als daß die verschiedenen Arten der Bewegung sich fortwährend ineinander umwandeln.«

[Pg 269]

Rumford und Davy waren jedoch ihrer Zeit vorausgeeilt. Die von ihnen entwickelte Lehre sollte erst um die Mitte des 19. Jahrhunderts durch die zuerst genannten Männer erneuert und fortentwickelt werden.

Die weitere Entwicklung der Prinzipien der Thermodynamik knüpft besonders an Entdeckungen an, die man über das Verhalten der Gase bei Temperatur- und Volumenveränderungen und über die Beziehungen zwischen beiden machte.

Gegen das Ende des 18. Jahrhunderts wurden die Physiker darauf aufmerksam, daß zusammengepreßte Luft bei ihrer Ausdehnung sich abkühlt. Man entdeckte diese Tatsache, als man die Luft aus einer Windbüchse gegen ein Thermometer strömen ließ und dabei ein Fallen des Quecksilbers beobachtete454. Auch glaubte man hieraus die niedrige Temperatur auf hohen Bergen erklären zu können. Dies war allerdings in dieser Allgemeinheit ein Fehlschluß, da die Abkühlung nur im Augenblicke der Verdünnung und im Zusammenhange mit einer mechanischen Leistung auftritt, mit diesem mechanischen Vorgange also in engster Beziehung steht. Verdünnte Luft ist also nicht etwa an sich kälter als dichtere. Dagegen hat die Meteorologie die Temperaturänderungen aufsteigender und niedersinkender Luftmassen zur Erklärung mancher Witterungserscheinung verwerten können. Ein welch wesentlicher Faktor mit der neuen Erkenntnis gewonnen war, läßt sich daraus ermessen, daß die Abkühlung für trockene aufsteigende Luft bei 100 Metern Steighöhe sich schon auf einen Grad beläuft. Niedersinkende Luft erfährt eine entsprechende Temperaturzunahme, und diese Wärmeschwankungen sind wieder für den relativen Feuchtigkeitsgehalt der Luft bedingend.

Systematische Untersuchungen über die bei der Verdünnung und der Ausdehnung der Luft eintretenden Wärmeschwankungen stellte zuerst Dalton455 an, doch war er weit davon entfernt, sie auf ihre wahre Ursache zurückzuführen. Er glaubte nämlich, dichtere Luft besitze eine geringere Wärmekapazität als verdünnte. Eine solche Annahme mußte auf den sonderbaren Schluß führen, daß dem Vakuum die größte Wärmekapazität zukomme. Um dieselbe Zeit, als Dalton seine Versuche bekannt gab, wurde die[Pg 270] gelehrte Welt in hohem Grade durch die Entdeckung überrascht, daß durch eine plötzliche Verdichtung der Luft Stoffe, wie der Zündschwamm, auf die Entzündungstemperatur gebracht werden können456. Die Annahme Daltons, daß diese Erscheinung auf eine Änderung der Wärmekapazität zurückzuführen sei, wurde durch einen entscheidenden Versuch Gay-Lussacs widerlegt. Nebenbei bemerkt, hatte man bei den Versuchen Rumfords auch zuerst an eine Änderung der Wärmekapazität gedacht457. Gay-Lussac stellte den erwähnten Versuch in folgender Weise an. Der Behälter A sei mit einem Gas gefüllt, B sei evakuiert. Stellt man nun zwischen beiden Behältern eine Verbindung her, so verdoppelt das Gas sein Volumen. Gay-Lussac erwartete, eine Abkühlung eintreten zu sehen und war überrascht, daß im ganzen keine Temperaturveränderung stattfand458. Der nach B überströmende Teil des Gases wurde nämlich um ebenso viel erwärmt, wie der in A zurückbleibende abgekühlt wurde. Die spezifische Wärme oder die Wärmekapazität konnte sich also durch die Volumvergrößerung nicht geändert haben.

Abb. 54
Abb. 54. Gay-Lussacs Versuch zur Thermodynamik der Gase.

Da die Ausdehnung eines Gases unter Wärmeverbrauch vor sich geht, so mußte man mehr Wärme zuführen, um das Gas auf eine bestimmte Temperatur zu erhitzen, wenn die Erwärmung unter gleichzeitiger Ausdehnung erfolgte, als wenn sie bei konstantem Volumen vor sich ging. In letzterem Falle nahm mit der Erwähnung der Druck des eingeschlossenen Gases zu.

Es galt nun zu untersuchen, ob sich für diese zunächst nur nach ihrer qualitativen Natur erkannte Eigenart der Gase auch eine quantitative Beziehung finden läßt, d. h. ob der Wärmeverbrauch bei konstantem Druck und einer entsprechenden Ausdehnung des Gases und der Wärmeverbrauch bei konstantem Volumen in einem bestimmten Verhältnis stehen. Ohne hier näher auf den Gang der Untersuchung einzugehen, sei bemerkt, daß man[Pg 271] dies Verhältnis der spezifischen Wärme bei konstantem Druck zur spezifischen Wärme bei konstantem Volumen gleich etwa 1,4 : 1 ermittelte. So erhielt man für die damals als permanent betrachteten Gase folgende Werte:

Sauerstoff 1,415
Stickstoff 1,420
Wasserstoff 1,405
Luft 1,421

Die übrigen Gase zeigten für dieses Verhältnis etwas niedrigere Werte, z. B.

Kohlendioxyd 1,340
Kohlenmonoxyd 1,423
Stickoxyd 1,343

Es gelang erst einer späteren Periode, den Mehrbedarf an Wärme mit der Arbeit in Beziehung zu bringen, welche das Gas leistet, wenn es sich unter konstantem Druck ausdehnt. Wir werden sehen, wie Robert Mayer aus dem Wert 1,421 das Wärmeäquivalent berechnete. Die weitere Entwicklung der Thermodynamik wurde bis Mayer am meisten dadurch gehindert, daß man an der alten Stofftheorie festhielt. Man dachte sich die ihr Volumen »ändernden Körper« ähnlich einem Schwamm, der beim Zusammenpressen den Wärmestoff von sich gibt und ihn bei seiner Ausdehnung wieder aufsaugt459. Auch Carnot, mit dessen Verdiensten um die Begründung der Thermodynamik wir uns in einem späteren Abschnitt beschäftigen werden, hielt an der Stofftheorie fest, vermittelte aber durch seine Arbeit den Übergang zu der durch Mayer, Joule und Helmholtz gewonnenen Einsicht in die Umwandlungsfähigkeit von Wärme und Arbeit.

[Pg 272]

18. Fortschritte der Optik und Sieg der Wellentheorie.

Daß die Teile des Spektrums nicht nur hinsichtlich der Wärmewirkung, wie Herschel nachgewiesen, sondern auch hinsichtlich des chemischen Verhaltens große Unterschiede zeigen, war schon durch Scheele nachgewiesen worden. Dieser brachte in das Spektrum ein Stück Papier, das er mit Chlorsilber überzogen hatte. Von dieser Substanz wußte man, daß sie am Lichte allmählich geschwärzt wird. Scheele bemerkte460, daß das Chlorsilber im Violett weit eher schwarz wird als in den anderen Farben. Dieser einfache Versuch läßt sich als der Anfang der heute so hoch entwickelten Spektralphotographie betrachten. Die Analogie des von Scheele erhaltenen Befundes mit den Ergebnissen Herschels trat noch deutlicher hervor, als 1801 das Vorkommen von chemisch wirksamen Strahlen über das Violett hinaus nachgewiesen wurde461. Auch in diesem Falle ergab sich, daß das Maximum der Wirkung jenseits des sichtbaren Teiles gelegen ist, da die Zersetzung des Chlorsilbers hier energischer als im Violett selbst vor sich geht. Die ultravioletten Strahlen wurden daher seit der Zeit auch wohl als chemische Strahlen bezeichnet.

Wieder ein Jahr später (1802) wurde die Kenntnis von der Beschaffenheit des Spektrums um eine Entdeckung von der allergrößten Tragweite bereichert. Der Engländer Wollaston462, der sich gleichfalls um den Nachweis der ultravioletten Strahlen verdient gemacht hat, bemerkte, daß das hinter einem feinen Spalt erzeugte Sonnenspektrum vom zahlreichen dunklen Linien durchzogen[Pg 273] ist463. Wie diese Entdeckung von Fraunhofer erneuert und zur Grundlage der Spektralanalyse gemacht wurde, soll in einem späteren Abschnitt gezeigt werden.

In diesem Zeitraum, in welchem die Optik um so manchen wichtigen Fortschritt bereichert wurde, sollte auch der alte, an die Namen Newton und Huygens sich knüpfende Streit über das Wesen des Lichtes zu gunsten der von letzterem vertretenen Theorie entschieden und damit in die Lehre von den Imponderabilien eine zweite Bresche gelegt werden. Der erste Angriff auf die Emanationstheorie erfolgte im Vaterlande Newtons durch Young464, welcher die von Hooke begonnene und von Newton fortgesetzte Untersuchung der Farben dünner Blättchen wieder aufnahm.

Jene Folge von hellen und dunklen Streifen oder Ringen, die Newton im gleichartigen Lichte beobachtet hatte, ohne dafür eine Erklärung finden zu können, die mehr als eine bloße Umschreibung war, führte Young auf das Zusammentreffen der von der ersten und zweiten begrenzenden Fläche zurückgeworfenen Strahlen zurück. Er bezeichnete diese Erscheinung mit dem noch jetzt dafür gebräuchlichen Namen als Interferenz und suchte darzutun, daß ein Hinzufügen von Licht zu Licht in ähnlicher Weise Dunkelheit zur Folge haben könne, wie durch das Zusammentreffen von gleichen aber entgegengesetzten Bewegungen, z. B. Schwingungen verschiedener Phase, Ruhe entsteht.

Young gelang sogar der Nachweis, daß die Interferenz sich auch auf den unsichtbaren, ultravioletten Teil des Spektrums erstreckt. Er erreichte dies durch folgende Versuchsanordnung465. Der ultraviolette Teil des Spektrums wurde auf eine dünne, zur[Pg 274] Erzeugung der farbigen Ringe geeignete Schicht geworfen und von den begrenzenden Flächen so reflektiert, daß der unsichtbare Reflex auf ein mit Silberlösung getränktes Papier fiel. Nach einiger Zeit entstanden auf letzterem die bekannten dunklen Ringe. Das dieser Erscheinung zugrunde liegende Prinzip der Interferenz sprach Young in folgenden Worten aus466: »Wenn zwei Wellen verschiedenen Ursprungs sich in gleicher oder in nahezu gleicher Richtung fortpflanzen, so besteht ihre Gesamtwirkung in der Vereinigung der einer jeden entsprechenden Bewegung.«

Die Bewegungen, welche das Licht zur Folge haben, geschehen nach Young in einem dünnen, außerordentlich elastischen Äther, der das Weltall erfüllt. Die Verschiedenheit der Farben erklärt Young aus der Häufigkeit der Schwingungen, welche durch jene Bewegung des Äthers in der Netzhaut erzeugt werden. Letztere denkt er sich aus drei verschiedenartigen, die Empfindung der drei Grundfarben vermittelnden Nervenelementen zusammengesetzt. Die Erregung der einen Art von Fasern soll demgemäß die Empfindung Rot, die der zweiten die Empfindung Grün zur Folge haben, während die dritte Art vorzugsweise durch das violette Licht gereizt werden soll. So wird z. B. homogenes rotes Licht die rotempfindenden Nervenfasern stark erregen, während es auf die beiden anderen Arten nur eine schwache Wirkung ausübt. Werden alle drei Arten in gleicher Stärke getroffen, so entsteht der Eindruck Weiß. Diese Lehre Youngs wurde später von Helmholtz wieder aufgenommen und eingehender begründet467.

Wie das Licht so wird auch die strahlende Wärme nach Young auf die Bewegung des Äthers zurückgeführt. Nach ihm unterscheiden sich die Wärmeschwingungen einzig durch ihre Länge und die ihnen zukommende Schwingungszahl von den Lichtschwingungen. Die wesentlichste Schwäche der von Young entwickelten Lehre bestand in der schon von Huygens gemachten Annahme, die schwingende Bewegung erfolge longitudinal, d. h. in der Fortpflanzungsrichtung. Daß eine solche Annahme die ursprüngliche war, ist begreiflich, da man zu einer Wellentheorie des Lichtes gelangte, indem man die Licht- und die Schallerscheinungen als analoge Vorgänge betrachtete. Der Schall war aber schon längst auf longitudinale Schwingungen der Luftteilchen zurückgeführt.

[Pg 275]

Jene Schwäche der von Young entwickelten Lehre trat besonders zutage, als Malus die Polarisation durch Reflexion entdeckte. Wird ein Lichtstrahl reflektiert oder gebrochen, so werden bekanntlich seine physikalischen Eigenschaften im allgemeinen nicht geändert, sondern er verhält sich geradeso, als ob er von dem leuchtenden Körper käme. Bei der Brechung findet zwar in der Regel eine Zerlegung des zusammengesetzten Lichtes statt, doch besitzt jede der erhaltenen Komponenten ihre konstante Eigenschaft, was schon Newton dadurch nachwies, daß er aus diesen Komponenten den weißen Strahl in seiner früheren Beschaffenheit wieder zusammensetzte. Von dieser Eigenschaft des gewöhnlichen Lichtes gänzlich abweichend ist dagegen, wie auch Newton erkannte, das Verhalten eines Lichtstrahls, welcher die zu Newtons Zeiten an dem Kalkspat entdeckte Doppelbrechung erlitten hat. Die erhaltenen Strahlen gehen nämlich bei einer bestimmten Lage durch einen zweiten Kalkspatkristall hindurch, ohne wieder zerlegt zu werden, während bei einer anderen Lage des zweiten Kristalles eine nochmalige Teilung stattfindet. Hieran knüpfte Newton die Bemerkung, ein solcher Lichtstrahl möge wohl verschiedene Seiten besitzen, die mit voneinander abweichenden Eigenschaften begabt seien468.

Nahezu ein Jahrhundert sollte es dauern, bis ein Zufall lehrte, daß derartiges polarisiertes Licht keine vereinzelte, nur an gewissen Mineralien auftretende Erscheinung ist. Es war im Jahre 1808, als der französische Physiker Malus469 eines Tages durch einen isländischen Doppelspat nach den von der untergehenden Sonne beleuchteten Fenstern des Palais du Luxembourg blickte. Malus drehte den Kristall und nahm dabei zu seinem Erstaunen wahr, daß die Bilder, welche dieser lieferte, abwechselnd ihre Stärke veränderten. Zuerst dachte er an eine Beeinflussung des Sonnenlichtes bei seinem Durchgang durch die Atmosphäre. Später erkannte er jedoch, daß in diesem Falle die Reflexion die einzige[Pg 276] Ursache der Polarisation des Lichtes ist470. Malus fand, daß unter einem bestimmten, von der Natur des reflektierten Stoffes abhängigen Winkel die Polarisation in solchem Grade stattfindet, daß von den Doppelbildern, welche der Kalkspat liefert, das eine bei einer gewissen Lage des Kalkspats verschwindet. Diese Versuche vermochte Young aus seiner Lehre infolge der erwähnten Schwäche nicht zu erklären, worüber Malus, ein unerschütterlicher Anhänger der Emissionstheorie, große Freude empfand471.

Die endgültige Beseitigung dieser Theorie gelang erst dem Franzosen Fresnel472. Fresnel begann seine optischen Untersuchungen im Jahre 1815. Noch im selben Jahre veröffentlichte er eine Arbeit, die mit einem Preise gekrönt wurde. Sie handelte von der Beugung des Lichtes473. Schon in dieser Abhandlung erklärte Fresnel die bei der Beugung auftretenden Fransen aus der Undulationstheorie des Lichtes. »Man begreift leicht«, heißt es in jener Schrift, »daß die Schwingungen zweier Lichtstrahlen, die sich unter einem sehr kleinen Winkel kreuzen, einander aufheben können. Und zwar geschieht dies, wenn die Knoten des einen Strahles mit den Schwingungsbäuchen des anderen zusammenfallen.« Aus der in diesen Worten ausgesprochenen Theorie der Interferenz erklärte Fresnel auch die Farben dünner Blättchen. Von ausschlaggebender Bedeutung waren seine Interferenzversuche mit polarisiertem Licht. Sie zeigten, daß zwei polarisierte Strahlen nur dann interferieren, wenn ihre Polarisationsebenen parallel zu einander sind. Lagen die Polarisationsebenen senkrecht zu einander, so traten keine Interferenzerscheinungen ein. Dies Verhalten war mit der Annahme longitudinaler Schwingungen des Äthers nicht vereinbar. Es läßt sich aber leicht begreifen, wenn man voraussetzt, daß das Licht in transversalen Ätherschwingungen besteht. Unter dieser Annahme können nämlich benachbarte Strahlen, wenn ihre Schwingungen in zwei zueinander senkrecht stehenden Ebenen erfolgen, sich nicht gegenseitig beeinflussen. Zu der Theorie, daß das Licht in transversalen[Pg 277] Schwingungen des Äthers bestehe, gelangte Fresnel um 1820. In ihren allgemeinen Grundzügen hat er diese Theorie im Jahre 1823 entwickelt474.

In der Fassung, welche Fresnel der Undulationstheorie verliehen, ist sie in den Besitz der Wissenschaft übergegangen. Ihre Herrschaft erschien um so mehr gesichert, als es gelang, nicht nur die später entdeckten Erscheinungen aus dieser Theorie zu deuten, sondern sogar Vorgänge zu beschreiben, deren Stattfinden erst spätere Versuche dargetan haben475.

Die von Young und Fresnel entwickelten theoretischen Anschauungen erhielten eine wertvolle Stütze durch die analytischen Untersuchungen über die Wellenbewegung, welche der bedeutende französische Mathematiker Cauchy anstellte. Schon im Jahre 1815 hatte dieser für eine Arbeit über die »Theorie der Wellen« den großen Preis der Akademie erhalten. Seit dem Jahre 1829 hat er zahlreiche Beiträge zur Befestigung der Wellentheorie des Lichtes geliefert. Bis dahin war es nicht gelungen, die Dispersion aus dieser Theorie zu folgern. Den Grund erkannte Fresnel darin, daß der Einfluß der Körpermoleküle auf den Äther noch zu berücksichtigen blieb. Cauchy gelang es, diese Lücke auszufüllen und damit den Schlußstein in die Undulationstheorie zu fügen. Indem er das Verhältnis der Wellenlänge zum Abstand der Ätherteilchen berücksichtigte, gelangte er zu einem Ausdruck für die Geschwindigkeit des Lichtes, der für verschiedenfarbiges Licht eine verschieden große Brechung ergab. Cauchy setzte bei seiner Ableitung voraus, daß das Licht sich in optisch dichteren Mitteln mit geringerer Geschwindigkeit fortpflanze. Foucaults experimenteller Nachweis, daß dies wirklich zutrifft476, sowie Fraunhofers Messungen der Wellenlängen477 haben Cauchys Annahme bestätigt und somit zur weiteren Befestigung der theoretischen Optik beigetragen.

Während der ersten Hälfte des 19. Jahrhunderts begann sich der umgestaltende Einfluß, den die Dampfkraft auf die Entwicklung[Pg 278] des Verkehrs und der Gewerbe gewinnen sollte, mehr und mehr geltend zu machen. Es kann daher nicht Wunder nehmen, daß sich die Physiker mit der bewegenden Kraft der Wärme eingehender beschäftigten. So entstanden im Beginn der zwanziger Jahre Carnots epochemachende Betrachtungen über die bewegende Kraft des Feuers478, in denen dieser Forscher als ein Vorläufer von R. Mayer, Joule und Helmholtz, den Begründern der mechanischen Wärmetheorie, erscheint.

Sadi Carnot wurde 1796 in Paris als Sohn des großen Revolutionsmannes geboren. Er war Zögling der École polytechnique und gehörte später der Armee als Genieoffizier an. Die Abhandlung, welche uns beschäftigt, ist die einzige abgerundete Arbeit, die Carnot veröffentlicht hat. Er starb in noch jugendlichem Alter (1832). Carnot machte darauf aufmerksam, daß die Erzeugung von Bewegung bei den Wärmemaschinen stets an eine Wiederherstellung des Gleichgewichts der Wärme gebunden ist, d. h. an einen Übergang der Wärme von einem Körper mit mehr oder weniger erhöhter Temperatur auf einen anderen, dessen Temperatur niedriger ist. Bei einer in Tätigkeit befindlichen Dampfmaschine z. B. durchdringt die in der Feuerung durch Verbrennung entwickelte Wärme die Wände des Kessels und erzeugt den Dampf; dieser nimmt die Wärme mit sich, führt sie zum Zylinder, wo sie irgend einen Dienst tut und von dort in den Kondensator. In letzter Linie bemächtigt sich daher das kalte Wasser des Kondensators der durch die Verbrennung erzeugten Wärme.

»Überall, wo ein Temperaturunterschied besteht,« sagt Carnot, »und wo daher die Wiederherstellung des Gleichgewichts der Wärme eintritt, kann auch die Erzeugung von bewegender Kraft stattfinden. Der Wasserdampf ist ein Mittel, aber er ist nicht das einzige; alle Stoffe können zu diesem Zwecke benutzt werden. Alle sind fähig, Zusammenziehung und Ausdehnung durch den Wechsel von Kälte und Wärme zu erfahren. Bei diesen Volumänderungen vermögen die Körper bestimmte Widerstände zu überwinden und auf diese Weise bewegende Kraft zu entwickeln.[Pg 279] Ein fester Körper, beispielsweise ein Metallstab, vermehrt und vermindert seine Länge, wenn er abwechselnd erwärmt und abgekühlt wird, und vermag Körper zu bewegen, die an seinen Enden befestigt sind. Eine gasförmige Flüssigkeit kann durch Temperaturänderungen erhebliche Änderungen des Volumens erfahren. Wenn sie sich in einem mit einem Kolben versehenen Zylinder befindet, kann sie ausgedehnte Bewegungen hervorbringen. Die Dämpfe aller Stoffe vermögen denselben Dienst zu leisten wie der Wasserdampf.«

Aber, auch umgekehrt sei es stets möglich, wo man eine Bewegung anwende, Temperaturunterschiede entstehen zu lassen. So seien der Stoß und die Reibung Mittel, die Temperatur der Körper zu erhöhen. Bei dem geschilderten Ausgleich dachte Carnot zunächst nur an eine Bewegung der Wärme, deren materielle Natur er noch voraussetzte. Er hat jedoch, wie aus seinem Nachlaß hervorgeht479, später die Annahme einer Konstanz der Wärme aufgegeben und sogar das mechanische Wärmeäquivalent ziemlich genau bestimmt480. Zu den Grundlagen der mechanischen Wärmetheorie gehört vor allem Carnots Konzeption des Kreisprozesses. Carnot geht von der Tatsache aus, daß die Temperatur eines Gases zunimmt, wenn es zusammengedrückt wird, daß sie dagegen fällt, wenn man das Gas rasch ausdehnt. Will man daher ein Gas nach dem Zusammendrücken auf seine ursprüngliche Temperatur zurückführen, so muß man ihm Wärme entziehen. Ebenso kann man bei der Ausdehnung eines Gases seine Temperaturerniedrigung vermeiden, wenn man ihm eine bestimmte Menge Wärme zuführt.

Abb. 55
Abb. 55. Carnots Erläuterung des Kreisprozesses.

An diese Tatsachen knüpft Carnot folgende Überlegung, die man ein Gedankenexperiment nennen kann481, weil sich die Durchführung in der Wirklichkeit nur annäherungsweise bewerkstelligen[Pg 280] läßt. A sei ein Körper von der Temperatur t1. Die Temperatur eines zweiten Körpers B, der von A durch einen nichtleitenden Stoff getrennt ist, sei niedriger und zwar gleich t2. In dem Zylinder abgh befinde sich eine elastische Flüssigkeit, z. B. Luft und ein beweglicher Kolben cd. Man stelle sich nun mit Carnot folgende Reihe von Veränderungen vor:

1. Der Zylinder, dessen Wand ab die Wärme leicht durchlassen soll, befinde sich auf dem wärmeren Körper A. Das eingeschlossene Gas nimmt infolgedessen die Temperatur t1 an, die wir A zugeschrieben haben, und der Kolben erhebt sich aus seiner Anfangsstellung cd bis zur Stellung ef. Infolge der Wärmezufuhr, welche das Gas dabei von A empfängt, behält dieses trotz der Ausdehnung die Temperatur t1.

2. Der Zylinder wird jetzt von A entfernt, so daß ihm keine Wärme mehr zugeführt wird. Dehnt sich das Gas nun weiter aus, so sinkt bei dieser Volumverminderung seine Temperatur. Sie möge auf t2, d. i. die Temperatur des kälteren Körpers B, gesunken sein, wenn der Kolben die Stellung gh einnimmt.

3. Der Zylinder wird auf B gebracht und das Gas, das ja bei der Kolbenstellung gh die Temperatur von B besitzt, zusammengedrückt. Die so erzeugte Wärme wird dabei sofort von B, dessen Temperatur konstant t2 bleiben soll, aufgenommen. Voraussetzung ist, wenn sich die Temperatur von A und B trotz Abgabe und Zufuhr von Wärme nicht ändern soll, daß beide Körper eine ungeheure Wärmekapazität haben.

4. Hat der Kolben die Stellung cd erreicht, so entfernt man den Zylinder von B und komprimiert ohne Wärmeabgabe weiter. Die Temperatur der eingeschlossenen Luft wird jetzt steigen und es möge der Kolben die Stellung ik angenommen haben, wenn die Temperatur des Gases wieder gleich derjenigen von A, nämlich gleich t1, ist.

Damit ist der Kreislauf abgeschlossen. Denn bringen wir jetzt den Zylinder auf A, so können die beschriebenen Vorgänge in vollkommen gleicher Weise sich, so oft wir wollen, wiederholen. Der beschriebene Kreisprozeß kann aber auch umgekehrt werden, indem man auf d zunächst c, dann b und endlich wieder a folgen läßt. Bei dieser Umkehrung wird aber eben soviel »bewegende Kraft« (Arbeit) verbraucht, als bei dem Ablauf der Vorgänge in der zuerst geschilderten Folge (a, b, c, d) gewonnen wurde.

Fast zur selben Zeit, als Rumford und Davy ihre über die Natur der Körperwärme entscheidenden Versuche anstellten,[Pg 281] wurde auch die Lehre von der strahlenden Wärme, die man schon länger von der körperlichen unterschieden hatte482, um eine wichtige Entdeckung bereichert. Wilhelm Herschel bediente sich bei der Beobachtung der Sonne verschiedenartig gefärbter Gläser. Dabei fiel ihm auf, daß hinter gewissen Gläsern, die weniger Licht durchlassen, mitunter eine stärkere Wärmeempfindung stattfand, als hinter anderen helleren483, so daß die erwärmende Kraft durchaus nicht von der Stärke des Lichtes abzuhängen schien. Um die Frage zu entscheiden, ob die Wärme etwa ungleichmäßig über die verschiedenen Strahlengattungen verteilt sei, erzeugte Herschel das Sonnenspektrum und brachte ein Thermometer mit geschwärzter Kugel in die verschiedenen Farben, die er nacheinander durch eine Öffnung fallen ließ. Ein zweites, etwas entferntes Thermometer zeigte die Wärme der umgebenden Luft an484. Herschel verglich dann die Temperaturerhöhung, welche das Thermometer in gleichen Zeiträumen in den verschiedenen Teilen des Spektrums erfuhr. In derselben Zeit, in der es unter im übrigen gleichen Verhältnissen im violetten Teil des Spektrums um 2° stieg, betrug die Zunahme im Grün 3¼° und im Rot, wo sie am größten war, 6-7/8°. Herschel setzte diese Untersuchung fort und konnte schon einen Monat später485 das merkwürdige Ergebnis mitteilen, daß ein ultraroter Teil des Spektrums bestehe, der aus unsichtbaren, Wärme spendenden Strahlen zusammengesetzt ist. Ja, es ergab sich, daß das Maximum der Wärmewirkung innerhalb dieser unsichtbaren Region liegt.

[Pg 282]

19. Die Chemie und die Physik treten in engere Wechselbeziehungen.

Sehr viele von den Errungenschaften, die auf chemischem und physikalischem Gebiete zu Beginn der neueren Zeit gewonnen wurden, knüpfen sich an den Namen Gay-Lussacs, so daß es gerechtfertigt erscheint, diese Forschergestalt unter den vielen, die sich um den Ausbau und die Verknüpfung der genannten Wissenszweige verdient gemacht haben, besonders hervortreten zu lassen.

Louis Joseph Gay-Lussac wurde am 6. September 1778 in einer kleinen Stadt486 des mittleren Frankreichs geboren. Da er zu den ausgezeichnetsten Schülern der École polytechnique gehörte, wählte ihn der Chemiker Berthollet zu seinem Gehilfen. Die ersten Lorbeeren, die sich Gay-Lussac auf dem Felde der Wissenschaft verdiente, hatte er einem eigentümlichen Umstande zu verdanken. Durch die alltägliche Beobachtung, daß der Rauch unter dem Einfluß warmer Luft im Kamin emporsteigt, waren die Gebrüder Montgolfier auf den Gedanken gekommen, eine Papierhülle durch ein darunter befindliches Feuer zum Emporsteigen zu bringen. Ihrem berühmt gewordenen Versuch vom Jahre 1783, bei dem sich eine derartige Hülle von 22000 Kubikfuß Rauminhalt durch ein darunter befindliches Strohfeuer auf eine Höhe von etwa 2000 Metern erhob, waren zahlreiche, von mehr oder weniger Erfolg begleitete Aufstiege gefolgt. Der Physiker Charles war noch in demselben Jahre zur Füllung der Ballons mit Wasserstoff übergegangen. Trotzdem blieb eine Luftreise bei dem Fehlen der heutigen Sicherheitsvorrichtungen zunächst ein sehr gewagtes Unternehmen. Als sich die Pariser Akademie im Anfang des 19. Jahrhunderts entschloß, Aufstiege zu wissenschaftlichen Zwecken zu veranstalten, galt es daher, einige jüngere, beherzte Forscher zu[Pg 283] gewinnen. Die Wahl fiel auf Gay-Lussac und Biot, die im Sommer des Jahres 1804 einen gemeinschaftlichen Aufstieg unternahmen, dem bald darauf eine von Gay-Lussac allein ausgeführte Luftreise folgte. In der von dem letzteren erreichten Höhe von 7000 Metern betrug die Temperatur -9,5°, während zur selben Zeit in Paris ein im Schatten befindliches Thermometer +27,5° zeigte. Die atmosphärische Luft war nach den Analysen Gay-Lussacs in den oberen Schichten der Atmosphäre von derselben Zusammensetzung wie in der Nähe der Erdoberfläche. Auch wies Gay-Lussac nach, daß die Luft nicht etwa in größeren Höhen einen Gehalt von dem so leichten Wasserstoffgas besitze, wie einige Physiker zur Erklärung des Gewitters, das in Knallgasexplosionen bestehen sollte, angenommen hatten. Insbesondere war die Aufmerksamkeit Gay-Lussacs auf das Verhalten gerichtet, welches die Magnetnadel in größerer Entfernung vom Erdboden zeigt. Die angestellten Schwingungsbeobachtungen ergaben, daß ein Höhenunterschied von mehreren tausend Metern die magnetische Kraft nicht merklich beeinflußt. »Biots und Gay-Lussacs Luftfahrten«, schrieb später Arago487, »werden im Andenken der Menschen fortleben als die ersten derartigen Unternehmungen, die behufs Lösung wissenschaftlicher Aufgaben mit entschiedenem Erfolge ausgeführt wurden«.

Die Analyse der atmosphärischen Luft und die Zuverlässigkeit der hierfür benutzten Mittel waren zu der Zeit, als Gay-Lussac seine Tätigkeit begann, viel umstritten. Insbesondere war der Glaube verbreitet, daß der Gehalt an Sauerstoff schwankend und für die Güte der Luft bestimmend sei. Die zur Ermittlung des Sauerstoffgehaltes ersonnenen Apparate wurden daher Eudiometer (Luftgütemesser) genannt. Das erste Eudiometer rührt von Priestley her. Es beruhte auf dem Verhalten von Stickoxyd gegen Sauerstoff488 und wurde von Fontana (1774) verbessert. Weit bessere Ergebnisse erhielt man bei dem von Lavoisier in Vorschlag gebrachten Verfahren489. Es besteht darin, daß eine gemessene Luftmenge über Quecksilber abgesperrt und mit Phosphor in Berührung gebracht wird. Durch die langsame Oxydation dieser Substanz wird der Sauerstoff völlig gebunden, und die Luft erleidet eine entsprechende Volumverminderung. Aber selbst Lavoisiers[Pg 284] Versuchsfehler waren noch so groß, daß er für den Sauerstoffgehalt Schwankungen von 18 auf 25% annahm. Im wesentlichen auf dem gleichen Prinzip beruht das von Volta vorgeschlagene Eudiometer. Die zu untersuchende Luft wird mit Wasserstoff zusammengebracht. Ist dieses Gas in hinreichender Menge vorhanden, so reißt es bei der durch einen elektrischen Funken bewirkten Explosion des Gasgemisches den gesamten Sauerstoff der Luft an sich und verbindet sich damit zu Wasser.

Auch Alexander von Humboldt beschäftigte sich mit eudiometrischen Bestimmungen. Nachdem er in Paris mit Gay-Lussac bekannt geworden war, schlossen beide, ihrer außerordentlichen Leistungen wegen gefeierten Männer ein enges Freundschaftsbündnis. Die schönste Frucht desselben war eine gemeinsame, im Jahre 1805 veröffentlichte Arbeit über die eudiometrischen Mittel und über das Verhältnis der Bestandteile der Atmosphäre490. Diese Arbeit ergab, daß Voltas Eudiometer das schätzbarste Instrument für die Analyse der Luft ist. Ein wichtiges Nebenergebnis war der Nachweis, daß sich der Sauerstoff mit dem Wasserstoff nach dem unveränderlichen und einfachen Volumverhältnis 1 : 2 verbindet. Nach den früheren Versuchen von Cavendish schien dies Verhältnis kein einfaches zu sein.

Während sich der vielseitige von Humboldt neuen Aufgaben zuwandte, vertiefte sich Gay-Lussac in das Studium der Gase, über deren chemisches und physikalisches Verhalten wir ihm eine Fülle von Entdeckungen verdanken. Seine erste Arbeit über diesen Gegenstand war im Jahre 1802 auf Berthollets Anregung entstanden. Diese Arbeit handelte von der Ausdehnung gas- und dampfförmiger Körper491 und lieferte den nicht nur in praktischer Hinsicht, sondern auch für die Theorie sehr wichtigen Nachweis, daß »alle Gasarten und Dämpfe bei derselben Temperaturerhöhung, unter im übrigen gleichen Umständen, in gleichem Grade ausgedehnt werden.« Gay-Lussacs Untersuchung erstreckte sich auf Sauerstoff, Wasserstoff, Stickstoff, Ammoniak, Schwefeldioxyd Kohlendioxyd und Ätherdampf. Nach seinen Messungen beträgt[Pg 285] die Volumzunahme dieser Gase bei einer Temperaturerhöhung von 0 auf 100 Grad 0,375 des ursprünglichen Volumens. Durch spätere Bestimmungen ist dieser Ausdehnungskoeffizient zu 0,366 (oder für eine Temperatursteigerung von 0° auf 1° zu 0,00366 = 1/273) ermittelt worden.

Gay-Lussacs Untersuchung über die Ausdehnung der Gase war älteren Untersuchungen gegenüber besonders deshalb ein großer Fortschritt, weil er die gasförmigen Körper, an denen er Messungen anstellen wollte, vorher vermittelst Chlorkalzium trocknete und damit eine wesentliche Fehlerquelle beseitigte. Daß Gay-Lussacs Bestimmung dennoch mit einem nicht unerheblichen Fehler behaftet blieb, ist darauf zurückzuführen, daß das Trocknen der Gefäße und der Gase noch in nicht genügendem Maße stattfand.

Das von Gay-Lussac beim Messen des Ausdehnungskoeffizienten eingeschlagene Verfahren wird aus der beistehenden, seiner Abhandlung entnommenen Abbildung ersichtlich. Der Ballon D wird über Quecksilber mit dem zu untersuchenden Gase gefüllt. Der ganze, in Abb. 57 dargestellte Apparat wird in ein Wasserbad getaucht und auf 100° erhitzt. Dabei entweicht ein Teil des Gases durch das zweimal gebogene Rohr B, dessen Öffnung durch Quecksilber gesperrt ist. Hat der Ballon die Temperatur des siedenden Wassers angenommen, so wird die Glasröhre B entfernt und das Wasserbad auf die Temperatur des schmelzenden Eises abgekühlt. Das Quecksilber steigt dann, entsprechend der Zusammenziehung des Gases, den graduierten Hals des Ballons hinauf. Man erhält so die Größe des Luftvolumens, das durch die Erwärmung aus dem Ballon von bekanntem Inhalt entwichen ist.

Abb. 56
Abb. 56. Apparat Gay-Lussacs zur Bestimmung des Ausdehnungskoeffizienten der Gase.

Bei den Versuchen Gay-Lussacs dehnten sich die nachstehend aufgeführten vier Gase beim Erhitzen von 0° auf 100° in folgender Weise aus:

[Pg 286]

100 Teiledehnen sich aus um
Atmosphärische Luft37,5Teile
Wasserstoff37,52"
Sauerstoff37,49"
Stickstoff37,49"

Um zu untersuchen, ob der Ausdehnungskoeffizient der Dämpfe derselbe sei, erwärmte Gay-Lussac Ätherdampf von 60° auf 100°. Er hatte die Genugtuung wahrzunehmen, daß sowohl beim Expandieren als auch bei der Raumverminderung durch Abkühlung der Ätherdampf gleichen Schritt mit der atmosphärischen Luft hielt, die er in einem zweiten Apparate denselben Bedingungen ausgesetzt hatte.

Aus seinen Versuchen schloß Gay-Lussac, daß die Ausdehnung der Gase und der Dämpfe nicht auf der besonderen Natur der Stoffe, sondern lediglich darauf beruht, daß diese Körper sich im elastisch-flüssigen Zustande befinden492.

In dieser Untersuchung Gay-Lussacs findet sich keine Angabe darüber, ob auch die Ausdehnung des Glasgefäßes bei der Berechnung der Ergebnisse berücksichtigt wurde. In einer zweiten Untersuchung ist dies geschehen. Trotzdem weicht der gefundene Koeffizient (0,375) für die Erwärmung von 0° auf 100°, der fast vierzig Jahre in Geltung blieb, nicht unerheblich von dem wahren Werte (0,365) ab493.

Das Freundschaftsbündnis zwischen Gay-Lussac und Alexander von Humboldt wurde zu einem besonders vertrauten durch eine gemeinsame, im Jahre 1805 unternommene Reise nach Italien. Von Rom, für dessen Kunstschätze sich ihnen im Verkehr mit einem Rauch und einem Thorwaldsen der Sinn erschloß, machten die Freunde in Begleitung des Geologen Leopold von Buch einen Abstecher nach Neapel, wo sie Zeugen eines großartigen, von einem furchtbaren Erdbeben begleiteten Ausbruch des Vesuvs wurden. Auch in chemischer Hinsicht war diese Reise nicht ohne Ausbeute. So machte Gay-Lussac in Neapel die Beobachtung, daß die im Wasser gelöste Luft einen weit größeren Sauerstoffgehalt (etwa 30%) als die atmosphärische Luft (21%) besitzt494. Nachdem die Reisenden vor dem Verlassen des italienischen Bodens noch Volta aufgesucht hatten, trafen sie in Berlin[Pg 287] ein, wo beide im Hause von Humboldts den Winter verlebten. Nach Paris zurückgekehrt, beschäftigte sich Gay-Lussac zunächst mit der Frage, ob seine Vermutung zutreffend sei, daß nicht nur Wasserstoff und Sauerstoff, sondern auch die übrigen Gasarten sich nach einfachen Raumverhältnissen miteinander verbinden.

Gay-Lussac wählte zunächst salzsaures Gas und verband es mit Ammoniakgas. Es sättigten 100 Maß salzsaures Gas genau 100 Maß Ammoniakgas, und das entstehende Salz war vollkommen neutral495. Brachte er kohlensaures Gas mit Ammoniak zusammen, so verbanden sich mit 100 Maß kohlensaurem Gas genau 200 Maß Ammoniakgas. Es ergab sich ferner, daß Schwefelsäureanhydrid auf 100 Maß schwefligsaures Gas 50 Maß Sauerstoffgas enthält, daß somit auch die beiden zuletzt genannten Gase sich nach einem einfachen Verhältnis verbinden496.

Bei einem anderen Versuch vereinigten sich 50 Maß Sauerstoffgas mit 100 Maß gasförmigem Kohlenstoffoxyd. Beide Gasarten verschwanden völlig, und es fanden sich an ihrer Stelle 100 Maß kohlensaures Gas. Schon vor Gay-Lussac hatte Berthollet gezeigt, daß im Ammoniak auf 100 Maß Stickstoff genau 300 Maß Wasserstoff kommen.

Nach diesen Beweisen war es offenbar, daß zwei Gasarten, die auf einander chemisch einwirken, sich in den allereinfachsten Verhältnissen verbinden. In den untersuchten Fällen geschieht dies nach den Verhältnissen 1 : 1 oder 1 : 2 oder 1 : 3, während sich kein einfaches Verhältnis zwischen den Elementen einer Verbindung zeigt, wenn man auf die Gewichte sieht.

Weitere Versuche ließen erkennen, daß die Gasarten sich nicht bloß mit einander nach sehr einfachen Verhältnissen verbinden, sondern daß die Raumverminderung, die sie bei der Vereinigung erleiden, auch immer in einem sehr einfachen Verhältnisse zu dem Volumen steht, das die Gase vor ihrer Vereinigung einnahmen497. So hatte schon Berthollet gefunden, daß 100 Maß gasförmiges Kohlenstoffoxyd, wenn sie sich mit 50 Maß Sauerstoff verbinden, dabei 100 Maß kohlensaures Gas geben498. Beide Gasarten ziehen[Pg 288] sich also bei ihrer Verbindung um einen Raum zusammen, der gerade so groß ist wie derjenige, den das hinzugefügte Sauerstoffgas vorher besaß. Auch der Wasserdampf, der sich durch das Zusammentreten von zwei Raumteilen Wasserstoff und einem Raumteil Sauerstoff bildete, nahm unter gleichen Druck- und Temperaturbedingungen 2 Volumina ein, so daß bei seiner Entstehung eine Verdichtung von 3 auf 2 stattfindet, während sich bei der Bildung von Ammoniak eine Zusammenziehung von 2 auf 1 nachweisen läßt. Dieses von Gay-Lussac entdeckte Volumgesetz ist die Grundlage für die Avogadrosche Hypothese und damit für die weitere Entwicklung der theoretischen Chemie geworden499.

Wir kommen jetzt zu den hervorragenden Untersuchungen, durch welche Gay-Lussac die anorganische, die technische und die organische Chemie gefördert hat.

Als die Kunde von der Entdeckung der Alkalimetalle nach Frankreich gekommen war, stellte Napoleon der polytechnischen Schule die Mittel zur Beschaffung einer gewaltigen Voltaschen Säule zur Verfügung. Noch bevor diese Säule in Tätigkeit gesetzt werden konnte, gelang es Gay-Lussac in Gemeinschaft mit Thenard, Kalium und Natrium durch Erhitzen von Kali und von Natron mit Eisen, also auf rein chemischem Wege, ohne Zuhilfenahme der Elektrizität darzustellen500. Beide Forscher veröffentlichten ihr Verfahren im Mai des Jahres 1808. Anstatt des Eisens nahmen sie auch Kohle, erzielten damit aber ein weniger günstiges Ergebnis. Besser gelang die Darstellung von Kalium und Natrium mittelst Kohle, als man kohlensaures Alkali mit Kohle und Leinöl mischte und dies Gemenge der Glühhitze aussetzte501.

Als eine der besten Monographien, die je über ein Element geschrieben wurden, gilt Gay-Lussacs mustergültige Abhandlung über das Jod und die Jodide. Gay-Lussac stellte in dieser Abhandlung den Begriff der Hydrosäure im Gegensatz zur Sauerstoffsäure auf. Das Jod lieferte nämlich, wie er nachwies, zwei Säuren, die eine in Verbindung mit Sauerstoff, die zweite in Verbindung mit Wasserstoff. Da die Säuren, welche das Chlor, das[Pg 289] Jod und der Schwefel mit dem Wasserstoff bilden502, die Eigenschaften der sauerstoffhaltigen Säuren besitzen, so mußten beide Arten von Verbindungen in eine Klasse gestellt werden. Um die Wasserstoffsäuren von den eigentlichen Säuren zu unterscheiden, bediente sich Gay-Lussac der Vorsilbe Hydro. Die sauren Verbindungen des Wasserstoffs mit dem Chlor und dem Jod erhielten also die Namen Hydrochlorsäure und Hydrojodsäure. Den sauren Verbindungen des Sauerstoffs mit denselben Elementen blieb dagegen die Bezeichnung Chlorsäure und Jodsäure503 vorbehalten.

Unter den zahlreichen Verbindungen, die Gay-Lussac in seiner Abhandlung über das Jod kennen lehrte, ist besonders das Jodäthyl hervorzuheben, ein Stoff, der vermöge seiner großen Reaktionsfähigkeit von großer Bedeutung für die organische Chemie geworden ist.

Von wichtigen Reaktionen, zu denen das Studium des Jods Gay-Lussac geführt hat, verdienen noch folgende erwähnt zu werden. Jod wurde mit Phosphor zu Jodphosphor verbunden. Letzterer zerfiel unter der Einwirkung von Wasser in Jodwasserstoff und phosphorige Säure:

PJ3 + 3H2O = H3PO3 + 3HJ.

Durch Berührung mit Quecksilber wurde Jodwasserstoff unter Bildung von Jodquecksilber und Freiwerden von Wasserstoff zersetzt. Dabei ergab sich die volumetrische Gesetzmäßigkeit, daß der Wasserstoff genau die Hälfte des Raumes einnahm, den vorher der Jodwasserstoff ausgefüllt hatte.

Wurde Jodwasserstoff der Rotglühhitze ausgesetzt, so fand eine teilweise Zersetzung in Jod und Wasserstoff statt. Andererseits gelang die Synthese von Jodwasserstoff, wenn Gay-Lussac das Gemenge von Jod und Wasserstoff auf Rotglut erhitzte. Diese Beobachtung war eine der ersten, welche über die Umkehrung einer Reaktion gemacht wurde. Indessen legte ihr Gay-Lussac weiter keine Bedeutung bei.

Die Ähnlichkeit des Jodwasserstoffs mit der Salzsäure ergab sich auch aus dem Verhalten gegen Metalle. Letztere machten aus beiden Verbindungen unter Bildung salzartiger Körper Wasserstoff frei. Mit Ammoniak verband sich Jodwasserstoff unter Entstehung eines dem Salmiak ähnlichen Stoffes. Die Vereinigung erfolgte nach gleichen Raummengen, so daß sich nach jeder Richtung[Pg 290] eine so weit gehende Analogie zwischen dem neu entdeckten Jod und dem schon länger bekannten Chlor zeigte, wie sie bis dahin zwischen zwei Elementen noch nicht nachgewiesen war. Diese Analogie wurde später auf das 1826 von Balard in der Mutterlauge des Meerwassers aufgefundene Brom ausgedehnt. Der Vergleich von Chlor, Brom und Jod führte Döbereiner später zur Aufstellung seiner Theorie von den Triaden, d. h. zu der Annahme, daß das System der Elemente sich in Gruppen von je drei sehr ähnlichen Grundstoffen gliedern lasse, ein Gedanke, durch den Döbereiner zum Begründer einer Systematik der Elemente und damit zum Vorläufer eines Mendelejeff und Lothar Meyer geworden ist504.

Die Aufdeckung der Analogie zwischen Chlor und Jod hat dahin mitgewirkt, daß die lange geltende Annahme, das Chlor sei eine Sauerstoffverbindung505, allgemein aufgegeben wurde.

Waren ferner die Reaktionen, welche das Jod zu anderen Elementen und Verbindungen äußerte, zwar denen des Chlors sehr ähnlich, so ging doch aus der ganzen Untersuchung Gay-Lussacs hervor, daß letzteres Element »mächtiger ist als das Jod«. Um die Dichte des Joddampfes zu bestimmen, ging Gay-Lussac von der Dichte des Jodwasserstoffes aus. Er ermittelte, indem er das von ihm entdeckte Volumgesetz zugrunde legte, daß der Dampf des Jods 117mal dichter als Wasserstoff ist, also von allen Dämpfen, die größte Dichtigkeit besitzt506.

Gay-Lussacs Arbeiten über die Schwefelsäure, um deren fabrikmäßige Darstellung er sich durch die Einführung des sogenannten Gay-Lussac-Turmes sehr verdient gemacht hat, sowie die durch ihn erfolgte Begründung des Titrierverfahrens sind auf die Entwicklung der chemischen Technik von größtem Einfluß gewesen.

Auch die Chemie der organischen Verbindungen erfuhr durch Gay-Lussac eine bedeutende Förderung. Für die Analyse dieser Stoffe, die vor ihm in den Kinderschuhen stak, brachte er das Kupferoxyd als Verbrennungsmittel in Anwendung, während seine Arbeit über die Cyanverbindungen ein Muster für spätere Untersuchungen organischer Körper gewesen ist507. Gay-Lussac lieferte[Pg 291] in dieser Arbeit den Nachweis, daß die von Scheele aus dem gelben Blutlaugensalz gewonnene Blausäure (HCN) eine dem Chlorwasserstoff (HCl) entsprechende Hydrosäure ist, in welcher ein aus Kohlenstoff und Stickstoff bestehendes Radikal CN, das den Namen Cyan erhielt, an die Stelle von Chlor tritt. Indem er weiter zeigte, daß dieses Radikal auch in anderen Verbindungen die Stelle eines Elements vertritt, eröffnete er die Reihe jener Untersuchungen, die darauf hinausliefen, sämtliche organischen Verbindungen auf Atomgruppen zurückzuführen. Dieses Bestreben hat dann später seinen Höhepunkt in der Forschertätigkeit Liebigs erreicht, welcher die organische Chemie als die Chemie der zusammengesetzten Radikale bezeichnete508.

Auch der Vorgang der Gärung, auf den die Untersuchungen Lavoisiers das erste Licht geworfen hatten509, zog Gay-Lussac in den Bereich seiner Forschungen. Er wies nach, daß neben Kohlendioxyd und Alkohol als wesentliche Produkte der Gärung Glyzerin und Bernsteinsäure auftreten. Auch versuchte er diesen Vorgang, der später als ein physiologischer aufgefaßt wurde, in eine chemische Gleichung einzukleiden.

Wie erwähnt, war Gay-Lussac aus der École polytechnique hervorgegangen, an der er zunächst als Repetent, später (1809) als Professor der Chemie angestellt wurde. Gleichzeitig bekleidete er an der Sorbonne die Professur für Physik. Auch im öffentlichen Leben Frankreichs nahm Gay-Lussac eine hervorragende Stelle ein. Er wirkte in zahlreichen, für gewerbliche oder Verwaltungszwecke ernannten Kommissionen, in denen er seiner chemischen und physikalischen Kenntnisse wegen das größte Ansehen genoß, wurde wiederholt zum Abgeordneten gewählt und endlich zum Pair ernannt. Ein nicht vollendetes, die Philosophie der Chemie betiteltes Werk ließ er vor seinem Tode verbrennen.

Am 9. Mai des Jahres 1850 starb Gay-Lussac. Sein Leben ist reich an wissenschaftlichen, durch stete Arbeit erzielten Erfolgen gewesen. Es konnte aber auch in jeder anderen Hinsicht als vorbildlich gelten. Arago, der in der Akademie Gay-Lussac einen Nachruf widmete, schloß mit dem schönen Lobe: »Er ehrte Frankreich durch seine moralischen Eigenschaften und diese Akademie durch seine Entdeckungen. Sein Name wird mit[Pg 292] Bewunderung und Hochachtung in allen Ländern genannt werden, in denen man die Wissenschaften pflegt«510.

Die Physik der gasförmigen Körper wurde vor allem durch Untersuchungen über die Absorption der Gase durch Flüssigkeiten gefördert. Zunächst fand der englische Chemiker Henry511, daß die von einer Flüssigkeit absorbierte Gasmenge proportional dem Drucke ist, unter dem die Absorption erfolgt. Voraussetzung ist dabei, daß die Umstände im übrigen gleich sind und vor allem, daß die Gase und die Flüssigkeiten nicht chemisch aufeinander wirken512.

Eine Erweiterung der Untersuchung Henrys lieferte Dalton mit seiner Abhandlung »Über die Absorption der Gasarten durch Wasser und andere Flüssigkeiten«513. Diese Schrift ist auch dadurch geschichtlich interessant, daß sie die erste Atomgewichtstabelle enthält. Dalton suchte nämlich die verschiedene Löslichkeit der Gase aus der von ihm begründeten Atomtheorie514 abzuleiten.

Als Kennzeichen, daß ein Gas von einer Flüssigkeit nur absorbiert und nicht gebunden wird, galt Dalton der Umstand, daß es im ersteren Fall, wenn man den Druck unter Anwendung der Luftpumpe aufhebt, aus der Flüssigkeit wieder entweicht.

Dalton ergänzte Henrys Untersuchung dahin, daß er sie auf Gasgemenge ausdehnte. Wurde z. B. Wasser, das von Luft befreit war, mit einer Mischung von zwei oder mehr Gasarten geschüttelt, so verschluckte es von jeder dieser Gasarten soviel, als es von ihnen einzeln bei derselben Dichtigkeit der Gasart aufgenommen haben würde. Bei den von Dalton behaupteten Gesetzmäßigkeiten handelt es sich jedoch mitunter um bloße Annäherungen, zum Teil auch um Unrichtigkeiten.

Zum Schluß erhebt Dalton die Frage nach der Ursache der für die verschiedenen Gase so verschiedenen Löslichkeit. Es ist von hohem Interesse zu sehen, wie Dalton diese Frage aus seiner Atomtheorie zu beantworten sucht. Er habe gefunden, daß das relative Gewicht der kleinsten Teilchen der Körper sehr verschieden sei. Und nun zeige sich, daß diejenigen Gasarten, die leichtere Teilchen besäßen, weniger leicht absorbiert würden. Beides mache[Pg 293] es wahrscheinlich, daß die Löslichkeit mit dem Atomgewicht in einem ursächlichen Zusammenhange stehe.

Dalton war auch einer der ersten, der Messungen über die Spannkraft der Gase und der Dämpfe anstellte. So fand er, daß die Spannkraft der feuchten Luft gleich derjenigen der trockenen vermehrt um die Spannkraft des beigemengten Wasserdampfes ist. Auch diese Untersuchung dehnte Dalton auf Gasgemenge aus. Er bemerkte, daß Gase sich miteinander vollkommen mischen, auch wenn ein leichtes Gas sich über einem schwereren befindet (Diffusion). Dann zeigte er, daß der Druck eines Gasgemisches, auf das gleiche Volumen bezogen, der Summe der von den einzelnen Bestandteilen ausgeübten Spannungen gleich ist. Voraussetzung ist auch hier wieder, daß nur eine physikalische Mischung und keine chemische Verbindung stattgefunden hat.

Endlich suchte Dalton zu bestimmen, wie die Spannkraft gesättigter Dämpfe von der Temperatur abhängt. Sein Verfahren ist noch heute im Gebrauch. Er brachte die in Dampf zu verwandelnde Flüssigkeit in den leeren Raum über dem Quecksilber eines Barometers. Dann wurde das Barometer in eine Glasröhre eingeschlossen und darin durch erwärmtes Wasser auf den gewünschten Wärmegrad gebracht. Die Spannung der entwickelten Dämpfe wurde durch das Herabsinken der Quecksilbersäule gemessen. Überstieg die Spannung den Druck einer Atmosphäre, so benutzte Dalton eine Röhre mit einem kürzeren geschlossenen und einem längeren offenen Schenkel, wie sie Mariotte zum Nachweis des von ihm und Boyle entdeckten Gesetzes gebraucht hatte. Die Flüssigkeit, deren Dampfspannung gemessen werden sollte, wurde in dem kürzeren geschlossenen Schenkel erhitzt, während in dem längeren die Spannung durch die von dem Dampf getragene Quecksilbersäule gemessen wurde. Auf große Genauigkeit konnten die ersten auf diesem Gebiete unternommenen Untersuchungen zwar keinen Anspruch machen. Sie verdienen aber doch Erwähnung, weil sie die Grundgedanken aufweisen, die später zu exakteren Messungen geführt haben.

Am genauesten hat Dalton die Beziehung zwischen der Temperatur und der Spannung des gesättigten Wasserdampfes ermittelt. Er stellte seine Messungen innerhalb der weiten Grenzen von -40° bis +325° Fahrenheit an und glaubte auch den Zusammenhang von Temperatur und Spannung auf eine geometrische Reihe zurückführen zu können. Es hat sich jedoch ergeben, daß ein einfacher[Pg 294] mathematischer Ausdruck für die hier obwaltende Beziehung nicht vorhanden ist.

Lavoisier hatte den Satz aufgestellt, daß der Sauerstoff das Säure bildende Prinzip sei und daß in den Salzen wie in den Säuren dieses Element nie fehle. Lavoisiers Theorie der Sauerstoffsäuren fand zu Beginn des 19. Jahrhunderts besonders in Berzelius einen Verteidiger. Durch ihn wurde das dualistische, auf die Ergebnisse der Elektrolyse sich stützende System der chemischen Verbindungen ins Leben gerufen. Nach dieser Auffassung erhielt z. B. schwefelsaures Zink die Formel ZnO + . SO3

welche andeuten sollte, daß diese Verbindung aus der Basis ZnO als positivem und der Schwefelsäure SO3 als negativem Bestandteil zusammengesetzt sei. Was wir heute als Säure bezeichnen und als einheitliche Verbindung betrachten, wurde als Säurehydrat aufgefaßt, z. B. galt die Schwefelsäure (H2SO4) als die Vereinigung des negativen Bestandteils SO3 mit dem schwach elektropositiven Wasser (SO3 . H2O) +  . Letzterem wurde eine Doppelnatur beigelegt, da es den stark positiven Metalloxyden gegenüber in die Bildung von basischen Hydraten als negativer Bestandteil eingeht (CuO + H2O =   CuO + . H2O).

Der erste, der Lavoisiers Lehre erschütterte, war sein großer Zeitgenosse Berthollet. Er entdeckte, daß die Blausäure (HCN) und auch der Schwefelwasserstoff (H2S) ausgesprochen die Eigenschaften von Säuren besitzen und dennoch keinen Sauerstoff enthalten. Berthollet hätte diesen Verbindungen die Salzsäure (HCl) hinzufügen können, wenn er nicht das Chlor als eine Sauerstoffverbindung betrachtet hätte515. Für diesen die Chemie Jahrzehnte beherrschenden Irrtum brachte er sogar eine vermeintliche Stütze in der von ihm unrichtig gedeuteten Beobachtung bei, daß sich aus einer Chlorlösung im Lichte Sauerstoff entwickelt. Berthollet schloß nämlich daraus, daß das Chlor als höhere Oxydationsstufe dabei in die vermeintlich weniger Sauerstoff enthaltende Salzsäure und Sauerstoff zerfallen sei, während doch der Vorgang sich tatsächlich als eine Zerlegung des Wassers darstellt (2 Cl + H2O = 2 HCl + O). Als dritte Oxydationsstufe betrachtete man die sehr sauerstoffhaltige Verbindung, die wir heute als Chlorsäure bezeichnen.

[Pg 295]

Die erste große Umgestaltung, welche das System Lavoisiers erfuhr, ging von Davy aus. Dieser hatte gefunden, daß das Salzsäuregas durch das von ihm entdeckte Kalium unter Entwicklung von Wasserstoff zersetzt wird. Dabei entstand Chlorkalium. Weiter zeigte Davy, daß aus Chlor nicht Salzsäure durch Entziehung von Sauerstoff entsteht, sondern daß sich die Salzsäure aus Chlor nur bildet, wenn dieses Element auf Wasserstoff oder auf eine Wasserstoff enthaltende Verbindung wirkt. Diese Tatsachen führten Davy zu der Annahme, daß das Chlor ein Element sei und die Salzsäure in einer Verbindung von Chlor mit Wasserstoff, die Salze der Salzsäure aber in einer Verbindung von Chlor mit den betreffenden Metallen bestehen. Bald darauf wies Gay-Lussac ein völlig analoges Verhalten für das Jod und den Jodwasserstoff nach. Gay-Lussac führte, nachdem er auch für die Blausäure dargetan hatte, daß der Sauerstoff an ihrer Zusammensetzung nicht beteiligt ist, für die der Salzsäure entsprechend zusammengesetzten Säuren die Bezeichnung Wasserstoffsäuren ein. Hartnäckig wurde an der alten Lehre von einem Teile der Chemiker, an deren Spitze Berzelius stand, festgehalten. Endlich um 1820 gab dieser seinen Widerstand auf, weil die Annahme, daß in den Halogenen und ihren Salzen doch ein, wenn auch experimentell nicht nachweisbarer Sauerstoffgehalt vorhanden sei, doch zu willkürlich und gekünstelt schien.

Gay-Lussac hatte dem Chlor als analoges Element das Jod zur Seite gestellt. Im Jahre 1826 entdeckte Balard das Brom in der Mutterlauge des Meerwassers. Er stellte sofort eine ausgedehnte Untersuchung dieses Elementes an und erkannte, daß es dem Chlor und Jod vollkommen analog sei. Daß auch das Fluor in diese Gruppe gehört und Fluorwasserstoff (Flußsäure) dem Chlorwasserstoff entsprechend zusammengesetzt ist, sprach zuerst Ampère aus. Die Bemühungen, das Fluor zu isolieren, hatten der außerordentlichen Affinität dieses Elementes wegen zunächst keinen Erfolg. Dieser Versuch, um den sich sowohl Davy als Gay-Lussac vergeblich abmühten, gelang erst Moissan durch eine passend ausgeführte elektrolytische Zersetzung der Flußsäure. Immerhin ist die Erkenntnis der vier Halogene als einer scharf charakterisierten Gruppe von Elementen schon während der ersten Jahrzehnte des 19. Jahrhunderts erfolgt. Die Erforschung ihrer Glieder ist für die weitere Entwicklung der theoretischen nicht minder als der technischen Chemie von großer Bedeutung gewesen.

[Pg 296]

20. Fortschritte in der Anwendung der Mathematik auf die Naturwissenschaften.

Eine ähnliche Förderung und Durchdringung, wie sie die Physik und die Chemie vor allem durch Gay-Lussac erfuhr, vollzog sich zwischen der Physik und der Mathematik besonders durch Gauß.

Carl Friedrich Gauß wurde am 30. April 1777 in Braunschweig geboren. Sein Vater war Baumeister und Kassenverwalter. Er wird als ein sehr tätiger und willensstarker Mann geschildert. Die Mutter war fleißig und sorgsam. Sie entstammte gleich dem Vater einer einfachen Handwerkerfamilie. Trotz aller vortrefflichen Eigenschaften gelang es den Eltern des frühreifen Knaben nicht, zu einigem Wohlstand zu gelangen. Gauß hätte daher nicht die Gelehrtenlaufbahn einschlagen können, wenn ihm nicht von seinem 14. Lebensjahre ab die Unterstützung seines Landesfürsten, des Herzogs Ferdinand von Braunschweig, zu Teil geworden wäre. Nachdem er das Gymnasium seiner Vaterstadt und das dortige Collegium Carolinum besucht hatte, bezog er im Jahre 1795 die Universität Göttingen. Ihr ist Gauß trotz aller aus Berlin und Petersburg an ihn herantretenden Verlockungen bis an sein Lebensende treugeblieben.

Seine Lehrmeister waren vor allem die Werke von Newton, Euler und Lagrange. In seine von 1795 bis 1798 dauernde Studienzeit fallen schon einige hervorragende mathematische Entdeckungen. So fand er bei seiner Beschäftigung mit der Kreisteilung, kaum 18 Jahre alt, die Konstruktion des regelmäßigen Siebzehnecks. Er löste damit ein Problem, das den Mathematikern seit den Zeiten Euklids Schwierigkeiten bereitet hatte. Eine ähnliche Bereicherung erfuhr die Algebra durch seine 1799 erschienene Abhandlung über »die Zerlegung ganzer algebraischer Funktionen in reelle Faktoren ersten oder zweiten Grades«516. Es[Pg 297] handelte sich um den Beweis, daß jede Gleichung m ten Grades, also ein Ausdruck von der Form:

Xm + Axm-1 + Bxm-2 + .... + M = 0

stets m Wurzeln besitzt, oder daß sie, was dasselbe bedeutet, in m Faktoren (x - α), (x - β), (x - γ) usw. zerlegt werden kann, deren Produkt der linken Seite des obigen Ausdrucks gleich ist. Dieser wichtigste Satz der Theorie der algebraischen Gleichungen, auf dem die ganze höhere Algebra beruht, hatte zwar schon d'Alembert, Euler und andere Mathematiker beschäftigt. Der vollkommen strenge Beweis gelang indes erst Gauß.

Zwei Jahre später folgte das arithmetische Hauptwerk des großen Mathematikers, die Disquisitiones arithmeticae (1801). Dies Werk, das er seinem hohen Gönner, dem Herzog Ferdinand von Braunschweig widmete, besitzt für die Zahlentheorie eine geradezu grundlegende Bedeutung. Einige Abschnitte der Disquisitiones wurden neuerdings in deutscher Übersetzung herausgegeben517.

In demselben Jahre, in welchem die Disquisitiones erschienen, wurde das unvergleichliche Genie eines Gauß auf das astronomische Gebiet gelenkt. Am 1. Januar 1801 hatte Piazzi den ersten Planetoiden entdeckt, den er Ceres nannte. Piazzi verfolgte das neue Gestirn durch einen Bogen von 9 Graden. Dann verschwand es in der Abenddämmerung, und es war sehr fraglich, ob man es bei der mangelhaften Kenntnis seiner Bahnelemente wieder auffinden werde. Gauß hörte von dem Problem, und da er sich gerade mit theoretisch-astronomischen Untersuchungen befaßte, so berechnete er die Bahn des neuen Planeten nach einer von ihm herrührenden Methode und sandte sein Ergebnis an eine astronomische Zeitschrift, welche als Sammelstelle518 alle ihr eingesandten, die Ceres betreffenden Berechnungen veröffentlichte. Es war nämlich sehr wichtig, die Ephemeride dieses Planeten für den Zeitpunkt zu kennen, wenn man seinen Wiederhervortritt aus den Strahlen der Sonne erwarten durfte. Die Ephemeride von Gauß wurde mit dem wenig schmeichelhaften Zusatz veröffentlicht, daß die Redaktion auch ihren Abdruck für geboten halte, weil man eben nicht wissen könne, welche Berechnung die richtige sei.

[Pg 298]

Man kann sich die Überraschung ausmalen, als die Ceres gerade auf Grund der Ephemeride von Gauß, der den Astronomen noch ganz unbekannt war, wieder aufgefunden wurde. Jetzt galt es, die Bahnelemente dieses Planeten zu berichtigen. Und wieder war es Gauß, der nach jedem Bekanntwerden neuer Daten verbesserte Bahnelemente an jene astronomische Zeitschrift einsandte. Gewiß nicht ohne das Gefühl einer gewissen Beschämung bemerkte die Redaktion schließlich, Gauß müsse eine völlig neue Methode besitzen, die ihm dasjenige, wozu sonst eine umfangreiche Rechnung nötig sei, in wenigen Zügen liefere. Diesmal hatte man das Richtige getroffen. Einmal befand sich Gauß schon damals im Besitze seiner Methode der kleinsten Quadrate, die es ihm ermöglichte, in einer Reihe von Beobachtungen den der Wahrheit am nächsten kommenden Wert zu berechnen. Ferner hatte er auch neue astronomische Methoden gefunden, die es ihm gestatteten, innerhalb einer Stunde eine Bahnberechnung auszuführen, zu welcher Euler noch drei Tage gebraucht hatte519. Zur Veröffentlichung dieser neuen Methoden schritt Gauß erst, nachdem er (1807) zum Professor der Mathematik und zum Leiter der Sternwarte in Göttingen ernannt war. Die Veröffentlichung erfolgte unter dem Titel: Theoria motus corporum coelestium in sectionibus conicis Solem ambientium. Eine deutsche Bearbeitung dieses Fundamentalwerkes, das Gauß übrigens ursprünglich in deutscher Sprache abgefaßt hat, erschien erst 1865520. Mit der Veröffentlichung der »Theoria motus« begann für die rechnende Astronomie ein neues Zeitalter. Man verließ allgemein die älteren Methoden, um diejenigen von Gauß in Gebrauch zu nehmen. In der »Theoria motus« gab Gauß auch seine Methode der kleinsten Quadrate bekannt, in deren Besitz er sich schon, wie er selbst angab, seit 1795 befand. Inzwischen war auch Légendre auf die gleiche Methode gekommen. Er hat sie 1806 in den Worten ausgesprochen521: »Sind durch Beobachtungen mehr Gleichungen gegeben, als Unbekannte zu bestimmen sind, so sind die richtigsten Werte der letzteren diejenigen, für welche die Summe der Fehlerquadrate ein Minimum ist.« Von französischer Seite wurden deshalb Prioritätsansprüche hinsichtlich[Pg 299] dieser Methode erhoben und, wenn das Datum der Veröffentlichung allein darüber zu entscheiden hätte, gewiß mit Recht. Gauß gebührt indessen außer der selbständigen und seinen eigenen Angaben nach viel früheren Entdeckung das Verdienst, daß er es war, der diese Methode in einem fundamentalen Werke522 wissenschaftlich begründete und die Begriffe schuf, auf denen alle neueren Arbeiten über diese Methode beruhen.

Von hervorragender Wichtigkeit sind die Abschnitte der Disquisitiones, welche die Rechnung mit Determinanten betreffen523. Die ersten Anfänge dieses wichtigen Hilfsmittels der neueren Mathematik finden sich schon bei Leibniz. Leibniz machte zuerst darauf aufmerksam, daß die Kombinationslehre der Algebra bei der Auflösung von Gleichungen wertvolle Dienste zu leisten vermöge. Der eigentliche Begründer der Determinantenlehre war Cramer. Er veröffentlichte 1750 eine neue Methode, um mit Hilfe der Permutationsrechnung n Gleichungen ersten Grades mit n Unbekannten aufzulösen. Laplace, sowie Lagrange knüpften an diese Arbeit weitere Untersuchungen an. Der bedeutendste Fortschritt auf dem neu erschlossenen Gebiete erfolgte jedoch durch Gauß. Von ihm rührt auch der Ausdruck Determinante her. Die neueste Entwicklung der Determinantenlehre knüpft an Jacobi an, doch müssen wir uns auf die bloße Erwähnung seiner Abhandlungen über diesen Gegenstand beschränken524.

Unter den späteren mathematischen Arbeiten von Gauß sind besonders zwei, wenn auch in aller Kürze, zu berücksichtigen, weil sie sich mit physikalischen Problemen befassen. Es sind dies eine Abhandlung über die Gestalt von Flüssigkeiten und ein grundlegender Beitrag zur Entwicklung der für die neuere mathematische Physik so wichtigen Potentialtheorie.

Die Theorie der Flüssigkeiten hatte Laplace in einem Anhange zu seiner »Mécanique céleste« behandelt. Er hatte angenommen, daß zwischen den Flüssigkeitsteilen außer der gewöhnlichen Anziehung, welche dem Quadrate des Abstandes umgekehrt proportional ist, noch andere anziehende Kräfte wirken. Dieser zweite Teil der Anziehung sei ganz unmerklich, sobald es sich[Pg 300] um meßbare, wenn auch sehr kleine Abstände handele. Dagegen könne diese zweite, Molekularanziehung genannte Kraft in unmeßbar kleinen Entfernungen die gewöhnliche Anziehung bei weitem übertreffen.

Laplace hatte unter dieser Voraussetzung die Eigenschaften der Molekularkräfte der Rechnung unterworfen und war auf diesem Wege zu einer Erklärung der Kapillarität, sowie der Oberflächenform der Flüssigkeiten gelangt. Diese Untersuchungen525, welche Gauß zu den »schönsten Bereicherungen« zählte, welche die Naturwissenschaften dem großen französischen Mathematiker zu verdanken hätten, waren jedoch in wesentlichen Punkten unzureichend und unvollständig geblieben. Gauß suchte deshalb von neuem, welche Gleichgewichtsform Flüssigkeiten annehmen, wenn sie unter dem Einfluß der Schwere und dem Einfluß der von ihnen selbst und dem Gefäße ausgeübten Molekularkräfte stehen526. Er verfuhr dabei wesentlich anders als Laplace, indem er sich, ausgehend von den Grundlagen der Dynamik, des Prinzips der virtuellen Bewegungen bediente. Aus der auf diesem Wege abgeleiteten Formel vermochte Gauß mit Leichtigkeit das Grundphänomen der Kapillarität abzuleiten, daß nämlich in zylindrischen Kapillarröhren die Senkung oder Hebung einer Flüssigkeit dem Durchmesser des Rohres umgekehrt proportional ist. Das zweite der erwähnten mathematischen Werke zeigt Gauß in engster Beziehung zu einer Theorie, die für die neuere mathematische Physik mehr wie jede andere grundlegend geworden ist, Es ist die in ihren Anfängen bis in die siebziger Jahre des 18. Jahrhunderts zurückreichende Potentialtheorie. Damit der hervorragende Anteil, den Gauß an der Schöpfung dieser Theorie genommen, gewürdigt werden kann, ist es nötig, in aller Kürze auf die Arbeiten seiner Vorgänger zurückzugreifen.

Der Ausgangspunkt für die Entwicklung der erwähnten neuen mathematischen Disziplin ist Newtons Gravitationsgesetz. Mit der Auffindung dieses Gesetzes war nämlich eine Reihe von Problemen gegeben, die für die Weiterentwicklung der Mathematik eine treibende Kraft bedeuteten. Das Gravitationsgesetz, nach welchem[Pg 301] die Anziehung durch den Ausdruck (m · m')/r2 bestimmt ist, galt zunächst für zwei materielle Punkte oder für zwei materielle Systeme, deren Ausdehnung gegenüber der sie trennenden Entfernung nicht in Betracht kommt. Solche Systeme ließen sich so betrachten, als ob ihre Massen in den beiden Schwerpunkten vereinigt wären und von diesen Punkten in der Richtung der Verbindungslinie wirkten. Sobald man aber die Körper als materielle Systeme auffaßte, bei denen jeder der unendlich vielen Teile dem Newtonschen Gesetze gemäß auf andere materielle Systeme oder, um den einfacheren Fall vorwegzunehmen, auf einen materiellen Punkt wirkt, so war damit eine Fülle von Problemen, im wesentlichen mathematischer Art, gegeben, die mit den bisherigen Hilfsmitteln nicht gelöst werden konnten. Es bedurfte der Einführung einer für die Attraktionsrechnung charakteristischen Funktion, die sich auf die Summe oder das Integral sämtlicher wirkenden Massenteilchen beziehen mußte und die man später als das Potential der Massen bezeichnet hat. Vor allem galt es, die Anziehung von Ellipsoiden – denn mit solchen und nicht mit Kugeln hatte es die Astronomie zu tun – auf einen materiellen Punkt zu bestimmen. Newton beharrte auch hier bei seinem synthetisch-geometrischen Verfahren und fand z. B., daß eine von zwei ähnlichen, konzentrischen Ellipsoiden begrenzte homogene Schale auf einen beliebigen, in ihrem Innern befindlichen Punkt keine Anziehung ausübt.

Ein Fortschritt in der Lösung derartiger Probleme527 erfolgte indessen erst, als Lagrange das analytische Verfahren auf die zahlreichen, aus dem Attraktionsgesetz entspringenden Aufgaben anwandte. Lagrange suchte einen allgemeinen Ausdruck für die Kraft, mit der ein beliebig gestalteter Körper einen beliebig gelegenen Punkt anzieht. Er zeigte, daß die Anziehung, die ein aus einzelnen materiellen Punkten bestehendes System ausübt, sich in Komponenten zerlegen läßt, die sich als die partiellen Differentialquotienten einer Funktion darstellen lassen528. Gleichzeitig führte er, um die Lösung der Attraktionsaufgaben zu erleichtern, nach dem Vorgange Bernoullis, Polarkoordinaten ein. Das Ergebnis dieser Bemühungen war, daß Lagrange die meisten der bis dahin bekannt gewordenen Sätze über die Attraktion[Pg 302] analytisch zu beweisen vermochte. Auf Lagrange folgt Laplace. Er wandte die von Lagrange aufgestellte Funktion zuerst auf zusammenhängende Massen an und löste in seiner Théorie des attractions des sphéroides et de la figure des planètes529 das vielumworbene Ellipsenproblem, indem er die Anziehung dreiachsiger Ellipsoide auf einen außerhalb gelegenen Punkt bestimmte. Laplace gelangte zu einer Gleichung für die zweiten partiellen Derivierten der von Lagrange entdeckten und von Laplace mit dem noch jetzt üblichen Buchstaben V bezeichneten Funktion. Dieser noch heute als Laplacesche Gleichung bezeichnete Ausdruck lautet:

δ2V/δx2 + δ2V/δy2 + δ2V/δz2 = 0.

In ungeahntem Maße wuchs die Bedeutung des von Lagrange und Laplace geschaffenen Algorithmus, als Coulomb nachgewiesen hatte, daß auch die magnetischen und die elektrischen Anziehungen dem Newtonschen Gravitationsgesetz entsprechend vor sich gehen. Ein Versuch, die Analyse unter Anwendung des Potentialbegriffes auf die Elektrizität und den Magnetismus anzuwenden, rührt von dem Engländer Green (1793-1841) her530. Dieser Versuch datiert vom Jahre 1828. Vorangegangen war nur Poisson, der in einer analytischen Untersuchung die Verteilung der Elektrizität an der Oberfläche leitender Körper bestimmt und die Herrschaft der Analysis auch auf das Gebiet des Magnetismus auszudehnen versucht hatte. An diese Arbeiten Poissons und an die von Laplace gewonnene Differentialgleichung zweiter Ordnung, deren Wichtigkeit für alle nach dem Newtonschen Gesetze wirkenden Kräfte er erkannte, knüpfte Green an. Ihn beseelte der Wunsch, eine Kraft von solch allgemeiner Wirksamkeit wie die Elektrizität, soweit wie möglich, der Rechnung zu unterwerfen. Dazu bediente er sich der Analysis, einmal, um die »außerordentliche Macht dieses wunderbaren Gedankenwerkzeugs« zu offenbaren; dann aber auch, um diese Macht zu vergrößern.

[Pg 303]

Green gebrauchte den Ausdruck Potentialfunktion für jene Funktion, die Laplace mit V bezeichnete und die Gauß später Potential genannt hat. Fast alle anziehenden und abstoßenden Kräfte sind nach Green so geartet, daß folgende Beziehung stattfindet: Wirkt ein Körper auf einen materiellen Punkt, so kann die auf diesen Punkt in einer gewissen Richtung wirkende Kraft durch einen partiellen Differentialquotienten einer gewissen Funktion der Koordinaten, welche die Lage des Punktes im Raume darstellen, ausgedrückt werden. Die Betrachtung dieser Funktion ist für viele Untersuchungen von großer Bedeutung, deshalb wurde sie von Green mit einem besonderen Namen bezeichnet531.

Green geht von der Laplaceschen Gleichung

δ2V/δx2 + δ2V/δy2 + δ2V/δz2 = 0

aus. Sie gilt für jeden außerhalb des Körpers liegenden Punkt, dessen Koordinaten x, y, z sind. Green führt für diese Gleichung das kürzere Symbol δV = 0 ein und zeigt zunächst, daß für einen Punkt im Innern des Körpers die Gleichung δV + 4πρ = 0 besteht, δV somit den Wert -4πρ annimmt. Dabei ist unter ρ die elektrische Dichtigkeit im Punkte p zu verstehen. Die Laplacesche Gleichung für einen äußeren Punkt stellte sich danach nur als einen speziellen Fall der neuen Gleichung δV + 4πρ = 0 dar, da ρ für einen äußeren Punkt = 0 wird. Beim Durchgange durch die Oberfläche macht somit die Potentialfunktion einen Sprung um 4πρ. Das Ergebnis der Greenschen Untersuchung gipfelt darin, daß sich die elektrische Dichtigkeit aus der Potentialfunktion und letztere aus jener berechnen läßt. Nachdem Green die allgemeinsten Grundlehren der Elektrizitätstheorie und im Zusammenhange damit wichtige funktionstheoretische Sätze532 entwickelt hatte,[Pg 304] ging er zu einigen besonderen Fällen über. Die erste Anwendung betraf die Leydener Flasche. Es ergab sich folgendes: Grenzt man durch eine geschlossene Kurve ein Stück der inneren Belegung ab, und schneidet man ferner ein korrespondierendes Stück aus der äußeren Belegung heraus, indem man längs der ganzen Kurve Normalen errichtet, so ist die Summe der Ladungen auf diesen korrespondierenden Flächenstücken gleich Null. Die Flächenstücke haben nämlich gleiche und entgegengesetzte Ladungen, die sich gegenseitig genau neutralisieren533.

Mit den experimentell gefundenen Tatsachen vollkommen übereinstimmende Ergebnisse erhielt Green ferner, als er seine Theorie auf die Influenzerscheinungen anwandte. Green betrachtet zunächst den Fall, daß eine vollkommen leitende, hohle Schale von irgend welcher Form und Dicke der Wirkung beliebiger, außerhalb befindlicher, elektrischer Körper ausgesetzt ist. In der Schale wird dann ein elektrischer Zustand induziert, dessen Wirkung auf einen im Innern befindlichen, mit Elektrizität geladenen Punkt, wie Green berechnet, gleich Null ist534.

Green betrachtet dann den Fall, daß zwei Kugeln von verschiedenem Radius durch einen dünnen langen Draht verbunden werden. Er untersucht das Verhältnis ihrer Ladungen beim Gleichgewicht. Die Rechnung ergibt, daß sich die mittleren elektrischen Dichtigkeiten umgekehrt wie die Radien der Kugeln verhalten. Läßt man den Radius der einen Kugel darauf unendlich klein werden, so hat man den besonderen Fall der Spitzenwirkung535.

Greens Arbeit hatte ein merkwürdiges Schicksal. Da Green in ländlicher Abgeschiedenheit das Geschäft seines Vaters verwaltete und der gelehrten Welt unbekannt blieb, so wurden seine Abhandlungen weder in England noch auf dem Festlande beachtet. Sie gerieten in Vergessenheit, bis die in ihnen enthaltenen wichtigen Ergebnisse durch Gauß von neuem entdeckt wurden. Erst dann lenkte der Physiker W. Thomson, um seinem Lande die Priorität[Pg 305] zu wahren, die Aufmerksamkeit auf Greens Abhandlungen und veröffentlichte die wichtigste von neuem536. Eine deutsche Übersetzung erschien in Ostwalds Klassikern537.

Die neueste Entwicklung der Potentialtheorie als einer selbständigen mathematischen Disziplin beginnt im Jahre 1849 mit dem Erscheinen der grundlegenden Abhandlung von Gauß538. Dem großen Deutschen gelang es, nicht nur die wichtigsten von ihm gefundenen Sätze zum ersten Male streng zu beweisen, sondern die Theorie durch neue wichtige Sätze in solchem Grade zu bereichern, daß sie für die Physik und für die Funktionenlehre fortan die größte Bedeutung besaß.

Gauß entwickelte in jener Abhandlung allgemeine Sätze, die sowohl für die Gravitation als auch für die wichtigsten elektrischen und magnetischen Erscheinungen gelten. In dem Ausdruck (mm')/r2 bedeuten also m und m' entweder ponderable Materie oder die Mengen einer magnetischen oder drittens die Mengen einer elektrischen Flüssigkeit, die aufeinander eine, sei es anziehende, sei es abstoßende Kraft ausüben. Ausgeschlossen blieb die Wirkung des galvanischen Stromes auf das magnetische Fluidum, weil hier die Kraft nicht in der verbindenden Geraden wirkt und weil ihre Stärke nicht allein von der Entfernung, sondern auch von einem Winkel abhängt. Ausgeschlossen blieb auch die Wirkung, welche zwei Stromelemente aufeinander ausüben. Und zwar geschah dies wegen der Abhängigkeit der Erscheinungen von der Richtung der Stromelemente, die im übrigen in der verbindenden Geraden und dem Quadrate der Entfernung umgekehrt proportional aufeinander einwirken. Gauß beschränkt sich also auf die drei zuerst genannten Fälle und versteht unter Masse nichts weiter als dasjenige, wovon Anziehung oder Abstoßung ausgeht.

Wirken solche anziehenden oder abstoßenden Kräfte m0, m', m'' usw. auf denselben Punkt aus den Entfernungen r0, r', r'' usw., so existiert eine Funktion V, die gleich der Summe aller m/r ist.[Pg 306] Diese Funktion nennt Gauß das Potential der Massen. Es ist, in Worten ausgedrückt, die Summe aller wirkenden Massenteilchen, jedes durch seine Entfernung von jenem Punkte dividiert. Aus ihr lassen sich die Komponenten der ganzen auf den Punkt wirkenden Kraft ableiten. Diese Kraft p ist gegeben durch den Ausdruck:

p = √ ((δdV/δx)2 + (δV/δy)2 + (δV/δz)2).

Gauß führte darauf einen Begriff ein, der in seinen und den späteren Untersuchungen für die Potentialtheorie von der größten Bedeutung wurde. Er dachte sich durch alle Punkte, in denen das Potential ein und denselben Wert hat, eine Fläche gelegt. Eine solche Fläche scheidet den Raum, in welchem das Potential kleiner ist von demjenigen, wo es größer ist als der in jener Fläche herrschende Wert. Die Richtung der Kraft wird ferner in jedem Punkte einer solchen »Gleichgewichtsfläche« gegen die Fläche selbst normal sein. Die von Gauß als Gleichgewichtsflächen bezeichneten Flächen konstanten Potentials werden heute als »Niveauflächen« und die senkrecht zu einer Folge solcher Flächen stehenden Linien (die orthogonalen Trajektorien) als »Kraftlinien« bezeichnet.

Gauß zeigte auch, daß für alle Punkte des Raumes, die außerhalb der wirkenden Massen liegen, die Laplacesche Gleichung gilt. Liegt ein Punkt von der Dichte k im Innern des Körpers, so ergab sich in Übereinstimmung mit Green, daß der Laplacesche Ausdruck die Form -4πk annimmt. Bis dahin bietet Gauß also wenig Neues, doch sind seine Ableitungen bekannter Sätze einfacher und strenger als die früheren.

Unter den vielen neuen Sätzen, die Gauß entdeckte, ist einer der wichtigsten derjenige, den man den Satz von der äquivalenten Massentransportation genannt hat. Er lautet: Anstatt einer beliebigen gegebenen Massenverteilung D, die entweder bloß auf den inneren von einer geschlossenen Fläche S begrenzten Raum beschränkt ist oder bloß auf den äußeren Raum, läßt sich eine Massenverteilung E bloß auf die Fläche selbst substituieren. Dies hat zur Folge, daß die Wirkung von E der Wirkung von D gleich wird in allen Punkten des äußeren Raumes für den ersten Fall oder in allen Punkten des inneren Raumes für den zweiten. Von diesem Satze hat Gauß, wie wir sogleich des näheren sehen werden, in seiner berühmten Abhandlung über die Intensität des Erdmagnetismus eine Anwendung gemacht.

[Pg 307]

Wir gelangen damit zu einer neuen Phase in der wissenschaftlichen Entwicklung des großen Forschers. Durch Alexander von Humboldt war Gauß mit dem Physiker Wilhelm Weber bekannt geworden. Nachdem Gauß bewirkt hatte, daß Weber nach Göttingen berufen wurde, entstand zwischen beiden Männern ein ähnliches Verhältnis, wie es später zwischen Kirchhoff und Bunsen geherrscht hat.

Gauß und Weber nahmen gemeinsam, ihren Fähigkeiten entsprechend und sich dadurch gegenseitig ergänzend, ein Gebiet in Angriff, das der wissenschaftlichen Bearbeitung noch wenig erschlossen war. Es war das Gebiet des Erdmagnetismus. Existierten doch für diese Kraft damals weder geeignete Meßapparate, noch zusammenhängende, planmäßig an verschiedenen Orten angestellte Beobachtungen. Eine Änderung wurde erst durch das Vorgehen von Gauß und Weber herbeigeführt. In Göttingen entstand das erste magnetische Observatorium. Im Verein mit Humboldt vermochten Gauß und Weber nicht nur die deutschen, sondern auch die auswärtigen Regierungen für die Sache zu gewinnen. Infolgedessen wurde ein magnetischer Verein gegründet und ein Netz von Observatorien, die sämtlich nach dem Vorbilde der Göttinger Anstalt errichtet waren, über die ganze Erde ausgebreitet. Die Übereinstimmung ging so weit, daß nicht nur mit den Apparaten und nach den Angaben von Gauß beobachtet wurde, sondern daß man sich auf allen Observatorien der Göttinger Zeit bediente und sämtliche Beobachtungsergebnisse nach Göttingen sandte, wo sie von 1836-1841 als »Resultate aus den Beobachtungen des magnetischen Vereins« veröffentlicht wurden. Auf diese Resultate baute Gauß seine allgemeine Theorie des Erdmagnetismus539 auf. Es wurde zum ersten Male das magnetische Moment der Erde nach absolutem Maße bestimmt und für die Lehre vom Erdmagnetismus das geschaffen, was Newton in seinen »Prinzipien« für die Gravitationstheorie geleistet hatte. Ferner erschien auf Grund der vom magnetischen Verein gesammelten Beobachtungen im Jahre 1840 ein »Atlas des Erdmagnetismus.«

Die theoretische Grundlage für die sämtlichen, ein Jahrzehnt umfassenden und so viele Kräfte beanspruchenden erdmagnetischen Untersuchungen hat Gauß in seiner Abhandlung über die Intensität der erdmagnetischen Kraft geschaffen. Für die Messungen selbst schuf er in seinem Bifilarmagnetometer das geeignetste Werkzeug.

[Pg 308]

Die Abhandlung erschien im Jahre 1832. Sie besitzt nicht nur für das Gebiet des Magnetismus, sondern, da sie die Grundzüge des absoluten Maßsystems enthält, für die gesamte Physik eine solch außerordentliche Bedeutung, daß wir uns etwas eingehender mit ihrem Inhalt beschäftigen müssen540.

Zur vollständigen Bestimmung der erdmagnetischen Kraft an einem gegebenen Orte sind drei Elemente erforderlich, die Deklination, die Inklination und die Stärke (Intensität). Die größte Aufmerksamkeit hatte man ihrer Bedeutung für die Schiffahrt wegen der Deklination geschenkt; geringere Beachtung hatte die Inklination gefunden. Auf die Stärke des Erdmagnetismus als drittes, zunächst übersehenes Element, wurde besonders von Alexander v. Humboldt hingewiesen. Dieser hatte auf seinen Reisen festgestellt, daß ein und dieselbe Magnetnadel an verschiedenen Orten schneller oder langsamer schwingt. Er hatte daraus geschlossen, daß die Intensität der die Schwingungen veranlassenden erdmagnetischen Kraft bald größer, bald geringer sei und im allgemeinen mit der Annäherung gegen die magnetischen Pole zunehme. Das von Humboldt vorgeschlagene Verfahren gestattete aber nur relative Messungen und war außerdem mit manchen Fehlerquellen behaftet. Infolgedessen konnte es auf wissenschaftliche Zuverlässigkeit keinen Anspruch machen. Die Anzahl der Schwingungen, die eine Nadel macht, hängt nämlich nicht nur von der erdmagnetischen Kraft, sondern ebensosehr von dem magnetischen Zustand der Nadel und endlich auch von dem jeder Nadel zukommenden Trägheitsmomente ab. Wählte man zu den Schwingungsversuchen auch dieselbe Nadel, um Verschiedenheiten des Trägheitsmomentes auszuschließen, so konnte doch bei längeren Reisen die magnetische Kraft der Nadel eine Schwächung erfahren. Dieser Umstand würde auch ohne eine Verminderung der Kraft des Erdmagnetismus eine Verlangsamung der Schwingungen herbeiführen und zu falschen Schlüssen Anlaß geben. Endlich ließ sich vermuten, daß nicht nur die Deklination und die Inklination, sondern daß auch die Intensität für ein und denselben Ort langsame Änderungen erfährt. Offenbar verlor, sobald es sich um diese Frage handelte, das Humboldtsche Verfahren jede Gültigkeit.

[Pg 309]

Gauß mußte daher, nachdem er diese Mängel der vergleichenden Methode erkannt hatte, an ihre Stelle eine neue setzen. Und zwar galt es, sich von den zufälligen Verschiedenheiten der Nadeln unabhängig zu machen und die Intensität des Erdmagnetismus auf feststehende Einheiten zurückzuführen. Gauß verfuhr dabei nach folgenden Gesichtspunkten. Die Anzahl der Schwingungen, die eine Nadel in einer gegebenen Zeit ausführt, hängt von drei Größen ab, nämlich von der Stärke des Erdmagnetismus, von dem Moment des in der Nadel enthaltenen freien Magnetismus und endlich von ihrem Trägheitsmomente. Besaß der schwingende Körper eine bestimmte Form und war er in seiner Masse überall von gleicher Beschaffenheit, so ließ sich das Trägheitsmoment nach bekannten Methoden berechnen. Gauß zog es jedoch vor, das Trägheitsmoment auf empirischem Wege zu bestimmen. Und zwar geschah dies, indem er die Nadel unter der Wirkung ein und derselben Kraft einmal im belasteten und dann im unbelasteten Zustande schwingen ließ. Die Verzögerung in der Schwingungsdauer, welche eine bekannte Last in einer bestimmten Entfernung von der Achse hervorrief, gab ihm ein Mittel an die Hand, das Trägheitsmoment der Nadel aufs genaueste zu bestimmen, auch wenn diese mit einer verwickelten Zurüstung, z. B. einem Spiegel zum Ablesen der Schwingungen, versehen war.

Größere Schwierigkeiten bot die Bestimmung des magnetischen Moments der Nadel. Sie ließen sich nur durch die Einführung des absoluten Maßsystems bewältigen. Gauß bediente sich hierbei der bekannten Vorstellung von den magnetischen Flüssigkeiten. Der hypothetische Charakter einer solchen Annahme hatte auf den Gang und die Ergebnisse seiner Untersuchung keinen Einfluß. Die magnetischen Flüssigkeiten lassen sich nur an ihren Wirkungen erkennen und messen. Diese Wirkungen sind bewegende Kräfte, die einer bestimmten Masse eine gewisse Beschleunigung erteilen. Als Grundeinheiten für Länge, Masse und Zeit wählte Gauß das Millimeter, das Milligramm und die Sekunde541. Gauß dehnte das für die Mechanik auf solche Grundeinheiten schon vor ihm aufgebaute System zum ersten Male auf magnetische Messungen aus. Er tat dies, indem er als Einheit der magnetischen Flüssigkeit diejenige Menge definierte, deren abstoßende Wirkung auf eine andere, ihr gleiche, in der Einheit der Entfernung befindliche[Pg 310] Menge magnetischer Flüssigkeit gleich 1 ist, d. h. gleich der Wirkung der beschleunigenden Kraft 1 auf die Masse 1. Sind die Magnetismen verschiedenartig, so tritt unter im übrigen gleichen Verhältnissen an Stelle der Abstoßung eine gleich große Anziehung. Daß für diese Wirkungen der von Coulomb gefundene Ausdruck (mm')/r2 gilt, wurde von Gauß zunächst vorausgesetzt, später aber durch seine Beobachtungen selbst bestätigt.

Für die Beurteilung des magnetischen Zustandes der Nadel war das von Gauß in seinen »allgemeinen Lehrsätzen« bewiesene Theorem der Massentransportation542 ausschlaggebend. Es lautet in seiner Anwendung auf das in Frage stehende Gebiet: Wie auch immer die Verteilung des freien Magnetismus innerhalb eines Körpers sich verhalten mag, stets kann man an deren Stelle eine andere Verteilung an der Oberfläche des Körpers setzen, die auf ein außerhalb gelegenes Element magnetischer Flüssigkeit vollständig dieselben Kräfte ausübt wie jene vorhandene Verteilung.

Es galt, nach der Festsetzung der magnetischen Einheit die Intensität des Erdmagnetismus durch diejenige bewegende Kraft auszudrücken, welche der Erdmagnetismus auf jene Einheit ausübt. Man konnte sich dabei auf die Bestimmung der Horizontalintensität beschränken. Dividierte man diese durch den Cosinus der Inklination, so erhielt man den gesuchten vollen Wert für die Kraft des Erdmagnetismus.

Zu seinem Ziele gelangte Gauß durch folgenden Kunstgriff: Er verglich543 die Wirkung des Erdmagnetismus auf eine bewegliche Nadel mit derjenigen Wirkung, die eine zweite Nadel auf die erste im Zustande der Bewegung oder im Zustande des Gleichgewichts hervorruft.

Als Wert der Intensität der horizontalen magnetischen Kraft ergab sich z. B. für Göttingen und für den 18. September des Jahres 1832

T = 1,7821.

Das bedeutet in Worten: Sie war für einen mit der Einheit des freien Magnetismus versehenen Magnetstab gleich dem Drucke, den 1,7821 Krafteinheiten an einem Hebelarme von einem Millimeter Länge bewirken. Unter Krafteinheit ist nach dem von Gauß aufgestellten absoluten Maßsystem diejenige Kraft zu verstehen[Pg 311], welche der Masse eines Milligramms in der Sekunde die Geschwindigkeit von einem Millimeter erteilt.

Um die ganze Intensität zu finden, war der gefundene Wert von 1,7821 Krafteinheiten noch durch den Cosinus der Inklination zu dividieren. Letztere betrug im Sommer des Jahres 1832 in Göttingen 68°22'52''.

Die auf Anregung von Gauß und Weber über alle Erdteile ausgedehnten Messungen der erdmagnetischen Kraft lieferten das allgemeine Ergebnis, daß diese Kraft mit der Annäherung gegen die Pole zunimmt und in der Nähe der magnetischen Pole etwa 1,5mal so groß ist wie am magnetischen Äquator. Auch zeigte sich, wie zu erwarten war, daß die Intensität an ein und demselben Orte wie die Deklination und die Inklination täglichen und säkularen Schwankungen unterworfen ist.

Mit Recht sagt Gauß am Schlusse seiner Abhandlung, indem er die Ampèresche Theorie des Magnetismus streift, welche Auffassung man auch künftig von den magnetischen Erscheinungen hegen werde, sie müsse zu demselben Ergebnis führen, zu dem er mit Hilfe der Theorie von den magnetischen Flüssigkeiten gelangt sei. »Was auf Grund dieser Theorie«, mit diesen Worten schließt er, »in der vorliegenden Abhandlung entwickelt wurde, kann nur in der Form, nicht aber im Wesen geändert werden«.

Ein Wort sei noch den technischen Schwierigkeiten gewidmet, die Gauß und Weber bei der Durchführung ihrer erdmagnetischen Messungen zu überwinden hatten. Vor allem mußten sich ihre Bemühungen darauf richten, daß sie die Schwingungszeiten und die Richtungen der Nadeln weit genauer bestimmten, als es bisher geschehen war. Sie erfanden daher die bei erdmagnetischen Messungen zuerst erprobte Methode der Winkelmessung mit Spiegel, Skala und Fernrohr, eine Methode, welche für die moderne Beobachtungskunst von bleibendem, unvergleichlich hohem Wert geworden ist. Ferner galt es, die zur Anwendung kommenden Meßapparate vor jedem Luftzug und vor allem vor der Einwirkung von Eisen zu schützen. Bei dem Bau von magnetischen Observatorien wurde deshalb dem Vorschlag von Gauß und Weber entsprochen und jede Verwendung von Eisen ausgeschlossen. Auf diese Weise gelang es ihnen, ihren Messungen, wie Gauß sich ausdrückt, die Schärfe astronomischer Beobachtungen zu geben.

Endlich sei noch einiges über den von Gauß für die Ausführung seiner Versuche geschaffenen Apparat, das Magnetometer, gesagt. Es besteht aus einem hängenden Magnetstabe (s. Abb. 57)[Pg 312] und einem Fernrohr zum Beobachten der Schwingungen. Der Magnetstab ist mit einem Spiegel (a) versehen, der genau senkrecht zur Achse angebracht ist. Dem Spiegel gegenüber befindet sich in einiger Entfernung von dem Magneten das Fernrohr, dessen optische Achse gegen die Mitte des Spiegels gerichtet ist. Unter dem Fernrohr ist eine Skala (SS) angebracht. Sie bildet mit dem magnetischen Meridian einen rechten Winkel, ist also parallel zum horizontalen Durchmesser des Spiegels gerichtet. Der Mittelpunkt jener Skala und die optische Achse des Fernrohrs liegen in derselben Vertikalebene. Die Skala ist ferner so angebracht, daß ihre Teilpunkte durch den Spiegel in das Fernrohr geworfen werden.

Abb. 57
Abb. 57. Das von Gauß zum Messen der erdmagnetischen Kraft erfundene Magnetometer.

Der Gebrauch dieses Apparates ist hiernach leicht verständlich. Man versetzt den Magneten durch Annäherung eines zweiten Magneten in kleine Schwingungen. In dem Fernrohr erscheinen dann nacheinander die Teilstriche der Skala. Die Dauer einer Schwingung ergibt sich, wenn man die Zeit bestimmt, die bis zum Wiedererscheinen eines bestimmten Teilstrichs im Fadenkreuz des Fernrohrs verfließt.

Neben der Astronomie und der Physik gibt es noch ein drittes Gebiet, welches durch das mathematische Genie von Gauß in hohem Grade gefördert wurde. Es ist die der Astronomie so nahe verwandte Geodäsie. Gauß wurde dieser Wissenschaft durch folgende Veranlassung zugeführt. Der ihm befreundete dänische Astronom Schumacher (1780 in Holstein geboren, also der Stammeszugehörigkeit nach ein Deutscher) hatte im Auftrage seiner Regierung eine Triangulation von Schleswig-Holstein vorgenommen. Man beschloß nun in Hannover die Fortsetzung dieses Unternehmens von Altona bis zu den südlichen Grenzen des Königreiches und beauftragte Gauß mit der Ausführung dieser gewaltigen, den Zeitraum von 24 Jahren in Anspruch nehmenden Arbeit, der sich Gauß von 1821-1827 fast ausschließlich widmete. Das Ergebnis war ein[Pg 313] Verzeichnis von nicht weniger als 2578 festgelegten Punkten. Wichtiger als dieser praktische, nur einem kleinen Lande erwiesene Dienst war die Förderung, welche die Geodäsie durch die mit dieser Vermessung verknüpfte Bereicherung an neuen Methoden erfuhr. Gauß selbst bemerkt in dieser Hinsicht, daß er nicht nur in bezug auf die Art, wie die Messungen angestellt wurden, sondern noch mehr in bezug auf ihre nachherige Verarbeitung und mathematische Behandlung Wege eingeschlagen habe, die von den sonst gebräuchlichen erheblich abwichen544.

Zunächst ist hervorzuheben, daß Gauß seine Methode der kleinsten Quadrate für geodätische Zwecke in die Form brachte, in der sie seitdem in der Geodäsie allgemein angewandt wird.

Mit den Aufgaben der höheren Geodäsie hängen zwei wichtige mathematische Abhandlungen zusammen, die Gauß in den zwanziger Jahren des 19. Jahrhunderts veröffentlichte. Die erste dieser Abhandlungen steht mit der Kartenprojektion in enger Beziehung. Sie wurde durch eine von der königlichen Gesellschaft der Wissenschaften zu Kopenhagen im Jahre 1822 gestellte Preisaufgabe veranlaßt und enthält die allgemeine Lösung folgender Aufgabe: Die Teile einer gegebenen Fläche sind auf einer anderen gegebenen Fläche so abzubilden, daß die Abbildung dem Abgebildeten in den kleinsten Teilen ähnlich wird. Diese für die Kartographie grundlegende Aufgabe hatte sich schon Lambert gestellt545. Er hatte sich jedoch auf die Kugeloberfläche und die Ebene beschränkt und eine allgemeine Lösung nicht zu geben vermocht. Sie blieb den großen Mathematikern Lagrange und Gauß vorbehalten546. Die geforderte Art der Abbildung hat Gauß als »konform« (neuerdings sagt man »winkeltreu«) bezeichnet. Nachdem Gauß die allgemeine Auflösung des Problems gegeben, betrachtet er einige besondere Fälle. Er untersucht die konforme Abbildung von ebenen Flächenstücken aufeinander und zeigt, wie man eine Karte, die in den Einzelheiten gut, im ganzen aber etwas verzerrt ist, in eine bessere verwandeln kann, wenn man die richtige Lage einer Anzahl von Punkten kennt. Es folgen die Darstellung eines Kegels, einer Kugel und eines Rotationsellipsoids in der Ebene.[Pg 314] Den Schluß bildet die Darstellung des Rotationsellipsoids auf einer Kugelfläche. Durch diese Ableitungen von konformen Abbildungen wurden die umständlichen Rechnungen auf dem Erdsphäroid weit einfacher gestaltet als es bei den bisherigen Methoden möglich war.

In einem, wenn auch weniger engen Zusammenhange mit den Aufgaben der höheren Geodäsie steht die von Gauß im Jahre 1827 herausgegebene Flächentheorie547. Gauß beschäftigt sich in dieser Abhandlung besonders mit der Krümmung der Flächen. Er führt vor allem den Begriff des Krümmungsmaßes ein, indem er die Teile der krummen Fläche mit dem entsprechenden Oberflächenstück einer festen Hilfskugel vergleicht. Es ist leicht ersichtlich, daß letzteres Stück um so kleiner sein wird, je weniger das entsprechende Stück der krummen Fläche von der Ebene abweicht. Außer dem Krümmungsmaß betrachtet Gauß in der erwähnten Abhandlung die Konstruktion von Figuren auf krummen Flächen, die Winkel und den Flächeninhalt solcher Figuren, die Verbindung von Flächenpunkten durch kürzeste Linien usw., alles Aufgaben, die für die Geodäsie von der größten Bedeutung sind. Insbesondere gilt dies von der Untersuchung der durch kürzeste Linien gebildeten Dreiecke, durch welche die sphärische Trigonometrie gefördert wurde. Solche Linien hat man geodätische Linien und die aus ihnen gebildeten Dreiecke geodätische Dreiecke genannt. Von den Gaußschen Sätzen über geodätische Linien und Dreiecke sind vor allem folgende wichtig: Wenn auf einer krummen Fläche von einem Punkte aus ein System geodätischer Linien von gleicher Länge gezogen wird, so steht die ihre Endpunkte verbindende Linie zu allen Linien des Systems senkrecht548. Zieht man auf einer krummen Fläche eine beliebige Linie und läßt man von dieser Linie unter rechten Winkeln und nach derselben Seite hin ein System geodätischer Linien von gleicher Länge ausgehen. so schneidet die Kurve, welche ihre Endpunkte verbindet, sämtliche geodätische Linien rechtwinklig549.

Besondere Erwähnung verdient auch der Satz, daß der Überschuß der Summe der Winkel eines aus geodätischen Linien gebildeten Dreiecks über zwei Rechte der Gesamtkrümmung des[Pg 315] Dreiecks gleich ist550. Für eine ganze Reihe weiterer geodätischer Untersuchungen ist der am Schlusse der Abhandlung geführte Vergleich der geodätischen Dreiecke mit geradlinigen Dreiecken von gleicher Seitenlänge grundlegend gewesen.

Die beiden soeben nach Ziel und Inhalt kurz charakterisierten Abhandlungen über die konforme Abbildung von Flächen (Kartenprojektion) und die Linien und Stücke krummer Flächen (geodätische Linien und Dreiecke) können als Bruchstücke eines größeren Werkes betrachtet werden, das Gauß über die Geodäsie zu schreiben gedachte. Dies Werk sollte nach Art des von ihm geschaffenen astronomischen Hauptwerkes, der Theoria motus corporum coelestium vom Jahre 1809, die gesamten Grundlagen der Geodäsie entwickeln und die Triangulation des Königsreichs Hannover als großes Beispiel, an welchem die Theorien erläutert werden sollten, enthalten. Leider ist dieser Plan nicht zur Ausführung gekommen. Trotzdem sind die Verdienste, die sich Gauß um die Entwicklung der Geodäsie erworben, unübertroffen. Durch ihn wurde diese Wissenschaft, die bisher nicht viel mehr als gewöhnliche Feldmeßkunst gewesen, der Astronomie im Range gleichgestellt. So wurde z. B. bei jener Triangulation das sphärische Dreieck, dessen Fläche sich auf 53 Quadratmeilen belief, mit einer solchen Genauigkeit gemessen, daß die wirkliche Winkelsumme von der berechneten nur um zwei Zehntel Sekunden abwich551. Um Dreiecke von solcher Größe ausmessen zu können, schuf Gauß in dem Heliotrop einen neuen geodätischen Apparat. Seine Konstruktion stützt sich auf einen katoptrischen Satz, der aus Abb. 58 leicht ersichtlich ist. Er lautet: Wenn von einem genügend weit entfernten, leuchtenden Punkte ein Strahl SA auf zwei zu einander senkrecht stehende Spiegel (MN und PQ) fällt, so wird er nach entgegengesetzten Richtungen AC und AB reflektiert552.

[Pg 316]

Eine solche Spiegelkombination brachte Gauß vor seinem bei Vermessungen dienenden Fernrohr an. Die Kombination wurde so gedreht, daß der eine Strahl, z. B. AC, in die Achse des Fernrohrs gelangte. In diesem Falle wurde der andere Strahl AB nach dem Orte hingeworfen, nach dem das Fernrohr gerichtet war und konnte dort zur Einstellung eines zweiten Fernrohrs benutzt werden. Natürlich mußten in dem Spiegelapparat geeignete Öffnungen freigelassen werden, durch welche die Achse des Fernrohrs hindurchging. Gauß erfand das Heliotrop im Jahre 1821. Er konnte es also für die vorzunehmende Triangulation sofort zur Verfügung stellen.

Abb. 58
Abb. 58. Das dem Gauß'schen Heliotrop zu Grunde liegende Gesetz.

Nicht nur die Meßkunst, sondern auch das praktische Rechnen erfuhr durch Gauß eine wesentliche Förderung. Dies geschah dadurch, daß er Tafeln zur bequemen Berechnung der Logarithmen von Summen oder Differenzen zweier Größen, die selbst nur durch ihre Logarithmen gegeben sind, herausgab. Gauß wandte sich auch gegen den zwecklosen Gebrauch vielstelliger Logarithmentafeln. Es kamen zehn-, vierzehn-, selbst zwanzigstellige vor. Gauß sprach sich für den Gebrauch von fünfstelligen Tafeln aus, weil die Fälle, wo sie ausreichen, häufig, ja die häufigsten seien und so scharfe Rechnungen, welche den Gebrauch vielstelliger Tafeln rechtfertigen würden, in der Praxis des Astronomen nicht vorkämen.

Von Gauß hat man gesagt, er habe lange auf einsamer Höhe gewandelt. Es lag das daran, daß er es nicht verstand, die Ergebnisse seiner Forschungen zum Allgemeingut zu machen. Seiner wissenschaftlichen Tätigkeit gegenüber trat bei ihm das akademische Lehramt sehr zurück. Er besaß nur wenige Schüler, da ihm nur[Pg 317] wenige zu folgen vermochten. Auch seine Schriften wurden von den zeitgenössischen Fachleuten zu wenig beachtet; ferner blieben wichtige Entdeckungen mitunter Jahrzehnte in seinem Schreibpult vergraben. Dieser sonderbare Egoismus in wissenschaftlichen Dingen – wohl die einzige Schattenseite des Geistesriesen – ging so weit, daß er wiederholt erklärte, er stelle seine Untersuchungen nur seiner selbst wegen an, und es sei für ihn von untergeordneter Bedeutung, ob seine Arbeiten zur Belehrung anderer später im Druck erschienen553. Gauß veröffentlichte nichts, was er nicht zum Abschluß gebracht hatte. Daher erscheint jede seiner Arbeiten als ein vollendetes Kunstwerk, an welchem man von den Zurüstungen und Hilfsmitteln, die zu dem Aufbau führten, nichts mehr bemerkt. Dieser Umstand hat das Studium der Gaußschen Schriften sehr erschwert. Als man einst dem Verfasser den Vorwurf allzu großer Schwierigkeit machte, erklärte er, man dürfe dem fertigen Gebäude nichts mehr vom Baugerüst ansehen. Mit Recht ist ihm darauf erwidert worden, daß man doch wenigstens eine Tür zu sehen wünsche, um hineinzugelangen.

Im Jahre 1855 verschied Gauß. Eine zur Erinnerung an ihn vom König gestiftete Denkmünze trägt die Inschrift: Dem Könige der Mathematiker. Nach seinem Tode sind die Werke von Gauß dadurch zugänglicher geworden, daß sie von vielen Seiten kommentiert wurden. Sie erschienen von 1863-1874 in einer Gesamtausgabe554. Wir verlassen Gauß mit einigen Worten eines Nachrufs den ihm einer der bedeutendsten unter den neueren Mathematikern555 gewidmet hat: »Unter allen Werken von Gauß ist keins, das nicht in dem betreffenden Fache einen wesentlichen Fortschritt durch neue Methoden und neue Ergebnisse begründete. Sie sind Meisterwerke, welche den Stempel der Mustergültigkeit an sich tragen. Dies bürgt dafür, daß sie für alle Zeiten nicht nur geschichtlichen Wert besitzen, sondern auch künftigen Geschlechtern als Grundlage jedes tieferen Studiums und als reiche Fundgrube fruchtbarer Gedanken dienen werden«.

Die letzten Abschnitte ließen uns erkennen, in welch außerordentlichem Maße der mathematische Genius die Astronomie, die[Pg 318] Physik und die Geodäsie zu befruchten vermochte. Der Einfluß der Mathematik auf die Naturwissenschaften ist seit den Zeiten eines Gauß nicht geringer geworden, wenn es auch kaum noch einen Mathematiker gab, der sich in gleicher Weise neben dem Ausbau seines Forschungsgebietes der Verknüpfung der Mathematik mit anderen Wissenszweigen gewidmet hätte. Selbst Helmholtz, der unter den neueren am meisten an Gauß heranreichte, war doch in erster Linie Physiker, der die Mathematik als Hilfswissenschaft und weniger ihrer selbst willen betrieb.

Um das Verhältnis der höheren Mathematik zur reinen und angewandten Naturwissenschaft, wie es sich im 19. Jahrhundert herausgebildet, kennen zu lernen, richtete sich unser Blick zuerst auf Frankreich. Hier war es, wo während der Revolutions- und der Kaiserzeit durch eine Reihe bedeutender Männer die Wechselbeziehung zwischen den genannten Gebieten am klarsten erkannt und am nachhaltigsten gefördert wurde. Und zwar geschah dies zu einer Zeit, als Deutschland an bedeutenderen Mathematikern so arm war, daß Gauß nicht verstanden und Vorlesungen über höhere Mathematik an deutschen Universitäten für unnütz erklärt und daher nur selten gehalten wurden. Die große Zeit, welche die Mathematik und die exakten Naturwissenschaften in Frankreich erlebten, knüpft an die Namen Laplace, Lagrange und Lavoisier an. Wir lernten den ersten als den Schöpfer der Mécanique céleste, den zweiten als den Verfasser der Mécanique analytique und Lavoisier als den Begründer der neueren Chemie kennen.

Erst als in den von Gauß eröffneten Bahnen Männer wie Dirichlet, sein Nachfolger auf dem Göttinger Lehrstuhl, wie Jacobi und Riemann die Mathematik fortsetzten, während in Frankreich ihre Entwicklung nachließ, gelang es Deutschland, die Führung auf diesem Gebiete zu erhalten.

[Pg 319]

21. Die Begründung der physikalischen Erdbeschreibung.

Durch den außerordentlichen Aufschwung, den die gesamten Naturwissenschaften in der neueren Zeit erfuhren, wurde von den übrigen Wissenschaften keine in solchem Maße in ihrem Ziel und ihrem Inhalt umgestaltet wie die Erdkunde. Zwar hatte ihr das Zeitalter der großen geographischen Entdeckungen einen gewaltigen Anstoß gegeben, sie war aber im wesentlichen bloße Erdbeschreibung geblieben. Die Geographie als Lehre von dem inneren Zusammenhange der tellurischen Erscheinungen und ihrer Abhängigkeit von kosmischen Vorgängen entwickelte sich erst während der ersten Hälfte des 19. Jahrhunderts. Während dieses Zeitraumes entstanden als die wichtigsten Grundlagen einer den Naturwissenschaften ebenbürtigen, in ihrem Geiste und nach ihren Methoden schaffenden Erdkunde vor allem die tellurische Physik und die Tier- und Pflanzengeographie. Um die Begründung dieser Wissenszweige hat sich in jenem Zeitraume kaum jemand solch hervorragende Verdienste erworben wie Alexander von Humboldt.

Die Meteorologie konnte erst zu einer auf allgemeineren Grundlagen beruhenden Wissenschaft werden, wenn sie ihre Beobachtungen, die sich bisher im wesentlichen auf Europa beschränkt hatten, über die gesamte Erde ausdehnte. Und daß dies geschah, ist das Verdienst von Humboldts. Er machte zuerst die tropischen Witterungsverhältnisse zum Gegenstande eingehender Untersuchung und vertrat die Überzeugung, daß nicht nur die tropischen, sondern auch die in mittleren und höheren Breiten sich abspielenden meteorologischen Vorgänge von gesetzmäßig wirkenden Ursachen, deren Kenntnis sich auf die Dauer der Forschung nicht entziehen könne, beherrscht seien.

Dadurch, daß Humboldt die Isothermen oder die Linien gleicher Jahrestemperatur einführte, wurde er zu einem der Begründer einer wissenschaftlichen Klimalehre. Sie verdankt ihm[Pg 320] außer jenem Verfahren der graphischen Darstellung ihrer Elemente556 auch die wichtigen Begriffe des Küsten- und Kontinentalklimas, sowie des Höhen- und Tiefenklimas. Humboldt erkannte ferner, daß die Linien gleicher Sommerwärme (die Isothermen) wesentlich anders als die Linien gleicher Winterwärme (die Isochimenen) verlaufen557. Die weitere Ausgestaltung dieses Forschungsmittels, das wie eine Offenbarung wirkte, ist vor allem zwei Deutschen zu verdanken, nämlich Dove, der den Begriff der isanomalen Linien aufstellte und Berghaus, der zuerst (1838) in seinem physikalischen Atlas ein umfangreiches kartographisches Material zusammenbrachte.

Jetzt erst gelangte man zu einer klaren Erkenntnis der Abhängigkeit des Klimas von der Verteilung von Wasser und Land, der Richtung und der Höhe der Gebirge und den vorherrschenden Luft- und Meeresströmungen. Ihres historischen Wertes wegen verdient die von Humboldt entworfene und seiner Abhandlung vom Jahre 1817 beigegebene, Isothermenkarte immer noch Beachtung. Daß er die Idee Halley verdankt, hat er selbst mitgeteilt. Es ist gewiß verwunderlich, daß während des langen von Halley bis Humboldt reichenden Zeitraums558 niemand darauf verfallen ist, Halleys so außerordentlich glücklichen und fruchtbaren Gedanken auf andere Gebiete zu übertragen. Eine Erweiterung des Verfahrens, die wir Dove verdanken, bestand darin, daß er nicht die Orte gleicher Werte, sondern diejenigen gleicher Abweichung von einem nach theoretischen Voraussetzungen berechneten Mittel durch seine Kurven, die Isanomalen, verband und dadurch neue, wertvolle Aufschlüsse über die Ursachen der Temperaturerniedrigung oder -erhöhung, die bestimmte Teile der Erdoberfläche aufweisen, erhielt.

Auch auf die ungleiche Verteilung der Wärme in vertikaler Richtung und die Gesetzmäßigkeiten, welche dieser Erscheinung zugrunde liegen, hat neben dem Alpenforscher Saussure und dem Veranstalter der ersten wissenschaftlichen Ballonfahrt, Gay-Lussac, besonders Humboldt hingewiesen. Nach seinen Angaben559[Pg 321] findet eine durchschnittliche Verminderung der mittleren Jahreswärme um 1° C statt, wenn man um etwa 85 Toisen in die Höhe steigt. Doch bestätigte sich andererseits die schon von Saussure ausgesprochene Vermutung, daß der Winter auf Höhen verhältnismäßig milder ist als in der Ebene.

Die Erklärung der Passate und der Monsune hatte schon Halley beschäftigt. Doch wurde die Lehre von den Luftströmungen erst eingehender durch Dove begründet. Dove wies nach, daß der Wind mit ziemlicher Regelmäßigkeit, von West ausgehend, durch Nord und Ost und Süd nach West zurückkehrt, während sich auf der südlichen Halbkugel die entgegengesetzte Drehung zeigt. Etwa ein Vierteljahrhundert später erkannte man, daß Doves Regel nur ein unvollkommener Ausdruck des barischen Windgesetzes560 ist. Letzteres spricht die enge Beziehung zwischen Luftdruck und Luftbewegung folgendermaßen aus: Die Luft bewegt sich stets von einem Orte höheren nach dem nächstliegenden Orte niederen Luftdrucks hin. Dabei wird sie auf der nördlichen Halbkugel nach rechts, auf der südlichen nach links abgelenkt. Jede Luftbewegung, ob sanft oder heftig, erfolgt danach in der Form einer Spirale (Zyklone) und zwar ist die Spiralbewegung in der Nähe eines Minimums derjenigen in der Nähe eines Maximums entgegengesetzt (zyklonal und antizyklonal). Auf dieser Grundlage hat sich die heutige Meteorologie mit ihren synoptischen Karten, ihrer Wetterprognose und dem so wertvollen Sturmwarnungswesen entwickelt.

Außer dem Netz von Stern- und Wetterwarten, mit dem im 19. Jahrhundert der ganze Erdball überzogen wurde, ist auch der zahlreichen, während dieses Zeitraums ins Leben gerufenen erdmagnetischen und seismologischen Observatorien zu gedenken. Welche Verdienste sich um das Zustandekommen der erdmagnetischen Warten und um die Erforschung des magnetischen Zustandes der Erde Gauß und von Humboldt erworben haben, ist schon an früherer Stelle erwähnt worden561.

Eine ähnliche zentrale Stellung, wie sie Gauß während der ersten Hälfte des 19. Jahrhunderts für das Gebiet der reinen und der angewandten Mathematik einnahm, besaß Alexander von Humboldt während dieses Zeitraums für das gesamte weite[Pg 322] Gebiet der Naturwissenschaften, wenn auch die Fortschritte, die wir ihm verdanken, weniger in die Tiefe gingen, sondern vorzugsweise auf die Verknüpfung der verschiedenen Wissensgebiete durch gemeinsame Gesichtspunkte und wechselseitige Durchdringung abzweckten. Dieser Bedeutung von Humboldts, der in seiner Geistesart mehr an Aristoteles und Leibniz wie an einen Newton und einen Gauß erinnert, soll hier eingehender Rechnung getragen werden.

Alexander von Humboldt wurde am 14. September 1769 als Sprößling eines altadeligen preußischen Geschlechtes in Berlin geboren und dort und auf dem elterlichen Gute in Tegel gemeinsam mit seinem Bruder Wilhelm durch Privatunterricht vorgebildet. Alexander von Humboldt widmete sich zunächst dem Studium der Verwaltungsfächer, da er den Traditionen seiner Familie folgen und eine Staatsanstellung bekleiden sollte. Innere Neigung und der Verkehr mit seinem Freunde Willdenow führten ihn jedoch bald den Naturwissenschaften zu. Mit 19 Jahren sehen wir ihn schon mit der Abfassung eines größeren botanischen Werkes beschäftigt562. Sein Interesse für die Naturwissenschaften wurde besonders angefacht, als er die Universität Göttingen bezog, wo damals die hervorragendsten deutschen Vertreter dieser Fächer lehrten. Den Einfluß, welchen der Physiker Lichtenberg, der Chemiker Gmelin und der Anatom Blumenbach dort auf ihn ausgeübt haben, hat Humboldt stets dankbar anerkannt. In Göttingen lernte er auch Georg Forster kennen, der Cook auf seiner zweiten Weltumsegelung begleitet und sich als ein Meister in der Naturschilderung einen Namen erworben hatte. Forster, der eine ganz außergewöhnlich vielseitige wissenschaftliche Begabung besaß, ist für Alexander von Humboldt vorbildlich gewesen und hat auf seinen ferneren Studien- und Lebensgang einen entscheidenden Einfluß ausgeübt563. In Gemeinschaft mit Forster unternahm Humboldt im Sommer 1790 seine erste größere Reise nach Holland, England und Frankreich. Sie wurde für ihn unter der Anleitung des Weltumseglers zur Vorschule für seine eigenen großen Entdeckungsreisen. Diese Reise, auf welcher die Leidenschaft für das Seewesen und tropische Länder in Humboldt erwachte, hat er oft als ein besonderes Glück bezeichnet564. Seine Studien setzte Humboldt zunächst[Pg 323] an der Bergakademie zu Freiberg fort, wo er zu den begeistertsten Schülern des Mineralogen Werner zählte, des Hauptvertreters der später von Humboldt und von L. v. Buch so eifrig befehdeten neptunistischen Richtung.

Aus allen Teilen der Welt kamen damals Mineralogen, Geologen und Bergleute nach Freiberg, um Werner zu hören. Humboldt fand bei ihm eine besonders gute Aufnahme, da er sich durch seine »Beobachtungen über einige Basalte am Rhein« (1790) schon einen Namen gemacht hatte. Noch drei Jahrzehnte nach dieser Zeit sprach Humboldt seinem verdienten Lehrer in folgenden Worten seine Anerkennung aus: »Werner erkannte mit bewundernswertem Scharfsinn alle Beziehungen, die bei der Betrachtung der geologischen Formationen beachtet werden müssen. Er lehrte, was man zu wissen und was man zu beobachten habe. Er hat in Gegenden, deren Untersuchung ihm nicht vergönnt gewesen, einen Teil der Entdeckungen vorbereitet. Da nämlich die Formationen unabhängig sind von dem Wechsel der geographischen Breite und vom Klima, so kann irgend ein sehr beschränkter Raum der Erdfeste, in welchem die Natur viele Formationen vereinigt hat, gleich einem wahrhaften Mikrokosmos im Geiste eines bewährten Beobachters sehr richtige Gedanken über die Grundwahrheiten der Geologie erwecken«565. Nach seinem Fortgange von Freiberg war Humboldt einige Jahre als Bergassessor und als Bergmeister im Fichtelgebirge tätig. Während dieser Zeit kam er auch wiederholt mit dem Weimar-Jena-Kreise, dem sein Bruder Wilhelm seit 1794 angehörte, in Berührung.

Wie Wilhelm zu Schiller so trat Alexander zu Goethe in nähere Beziehungen. Die Naturwissenschaften waren damals in Weimar Mode. Alles trieb Mineralogie. Selbst die Damen des Hofes legten sich naturwissenschaftliche Sammlungen an, und Goethe war in seinem Eifer für Mineralogie und Geognosie kein Berg zu hoch, kein Schacht zu tief, kein Stollen zu niedrig und keine Höhle labyrinthisch genug566. Auch an Humboldts Versuchen über den galvanischen Reiz der Nerven und Muskelfaser hat sich Goethe lebhaft beteiligt. Das von Humboldt über diesen Gegenstand veröffentlichte Werk war zwar durch manchen Versuch wertvoll, es blieb aber in der Tendenz verfehlt, da es die Reaktionen der Muskeln nicht als Wirkungen des galvanischen[Pg 324] Stromes, sondern als die Äußerungen einer eigentümlichen Lebenskraft hinstellte567.

Auch die Arbeiten Goethes über die vergleichende Anatomie, insbesondere die vergleichende Osteologie, kamen zwischen ihm, der schon im Jahre 1786 über das Zwischenkieferbein geschrieben, und Alexander von Humboldt zur Sprache. "Meine naturwissenschaftlichen Arbeiten", schrieb Goethe damals, "sind durch Humboldt aus ihrem Winterschlafe geweckt worden." Nach verbürgten Zeugnissen hat der Dichterfürst es dankbar anerkannt, daß die Gebrüder Humboldt mit ihrem jugendlichen, frischen Streben den größten Einfluß auf ihn ausgeübt hätten, als er selbst schon begonnen habe, an der Welt müde zu werden.

Auch Schiller kam mit Alexander von Humboldt häufiger in persönliche Berührung. Es ist nun interessant zu sehen, wie sehr seine Beurteilung des Forschers von derjenigen Goethes abwich. Nachdem er dem Bruder Wilhelm alle Anerkennung gespendet, schreibt er über Alexander: »Bei allem ungeheuren Reichtum des Stoffes finde ich in ihm eine Dürftigkeit des Sinnes, der bei dem Gegenstande, den er behandelt, das schlimmste Übel ist. Es ist der nackte schneidende Verstand, der die Natur, die immer unfaßlich und ehrwürdig ist, schamlos ausgemessen haben will und mit einer Frechheit, die ich nicht begreife, seine Formeln, die oft nur leere Worte und immer nur enge Begriffe sind, zu ihrem Maßstabe macht. Kurz, mir scheint er für seinen Gegenstand ein viel zu grobes Organ und dabei ein viel zu beschränkter Verstandesmensch zu sein. Er hat keine Einbildungskraft, und so fehlt ihm nach meinem Urteil das notwendigste Vermögen zu seiner Wissenschaft, denn die Natur muß angeschaut und empfunden werden in ihren einzelnsten Erscheinungen wie in ihren höchsten Gesetzen.« Wie würden die heutige Naturwissenschaft und ihre Vertreter vor diesem von übertriebenem Idealismus diktierten Urteil Schillers wohl bestehen! Andererseits ist die in Schillers Worten zum Ausdruck kommende, durchaus subjektive Art, über die Mittel und Ziele der Naturforschung zu urteilen, durch die gesamte Entwicklung, die Philosophie und Wissenschaft[Pg 325] im 19. Jahrhundert genommen haben, in ihrer Haltlosigkeit und inneren Unwahrheit dargetan worden. Doch darf nicht vergessen werden, daß es auch Extreme in der naturwissenschaftlichen Methode gibt, von denen Humboldt sich aber – und darin besteht das Irrige des Schillerschen Urteils – weit entfernt hielt, Extreme, vor denen das idealistische und philosophische Denken ein Recht hat, den Warnungsruf ertönen zu lassen.

Erwähnt sei noch, daß in späteren Jahren Goethe Alexander von Humboldt, als der letztere die Bedeutung des Vulkanismus erkannte, nicht zu folgen vermochte, sondern an den veralteten neptunistischen Ansichten festhielt. Goethe begegnete den Vertretern der neueren Geologie nicht nur mit Spott, wovon manche Stellen seiner poetischen Schöpfungen Zeugnis ablegen568, sondern fast mit einem Groll, der erst gegen sein Lebensende einer gewissen Resignation in dieser wissenschaftlichen Frage Platz machte.

Das bedeutendste Ereignis und gleichzeitig die größte wissenschaftliche Tat in dem Leben Alexander von Humboldts war seine amerikanische Forschungsreise, die erste große wissenschaftliche Expedition, die für alle späteren Unternehmungen dieser Art vorbildlich gewesen ist. Nach jahrelangen Vorbereitungen und vielen Mühen und Enttäuschungen, von denen wir uns heute, im Zeitalter des Verkehrs, keinen Begriff machen können, erfolgte Humboldts Abreise von Coruña im Juni des Jahres 1799. Sein Reisegefährte war der Botaniker Bonpland, ein Schüler Jussieus.

Über die Erfolge dieser Reise hat später einer der Berufensten, der große Geograph Carl Ritter, die Worte geäußert: »Es war, als wäre eine neue Sonne voll Licht und Wärme im Westen über der Neuen Welt emporgestiegen, um auf die alte Welt wohltätig zurückzustrahlen«569. Eine Reihe von Umständen und Voraussetzungen haben zusammengewirkt, um Humboldt durch seine[Pg 326] amerikanische Reise zum Begründer einer neuen Epoche der physischen Erdbeschreibung, der innigsten Verknüpfung von Naturwissenschaft und Geographie zu machen. Für eine Vorbereitung durch vielseitige und eifrige Studien und eine Ausrüstung mit den besten astronomischen und physikalischen Apparaten war zunächst Sorge getragen. Dazu gesellte sich das Streben, den zu erforschenden Teil der Erde als ein Ganzes zum Gegenstande des Studiums zu machen. Es galt zwar zunächst Einzelheiten zu erforschen, aber ihre Verknüpfung, die Erkenntnis ihres gesetzmäßigen Zusammenhanges wurde stets als das höhere Ziel ins Auge gefaßt.

Wir können hier von Humboldt nicht auf seinen Kreuz- und Querzügen durch Süd- und Mittelamerika folgen, da aber seine Reise epochemachend für alle späteren Expeditionen in das Innere großer Kontinente gewesen ist, so wollen wir doch in einigen Punkten untersuchen, wie er der Fülle der ihm gestellten Aufgaben gerecht geworden ist.

Von Coruña ging die Fahrt nach Teneriffa. Dort erfolgte die erste zu wissenschaftlichen Zwecken unternommene Besteigung eines innerhalb der subtropischen Zone liegenden Berges. An seinem Fuße wurde ein Drachenbaum von 45 Fuß Umfang gefunden, den Humboldt für einen der ältesten Bewohner der Erde erklärte. Am Abhange des nur im Winter mit Schnee bedeckten Piks zeigte sich eine Eishöhle. Der Gipfel selbst besaß den Charakter einer Solfatara. Ferner unterschied von Humboldt fünf Pflanzenzonen, die sich an dem Pik von seinem mit Weinreben geschmückten Fuß bis zu dem Gipfel, wo die Flechten an der Zersetzung der vulkanischen Schlacken arbeiten, wie Stockwerke übereinander aufbauen.

Den ersten längeren Aufenthalt nahm Humboldt in Cumana, das seit Jahrhunderten als ein Herd der furchtbarsten Erdbeben galt. Erst zwei Jahre vor seiner Ankunft hatte ein solches die Stadt gänzlich zerstört. Humboldt verwandte mehrere Wochen darauf, die Spuren jenes furchtbaren Elementarereignisses eingehend zu erforschen. Wenige Monate nach seiner Ankunft in Cumana fand an diesem Orte ein neues Erdbeben statt. Es war das erste, das unser Forscher miterlebte. Und von dem tiefen Eindruck, den es auf ihn machte, legt seine Schilderung Zeugnis ab570.

Nicht minder bekannt geworden ist die Schilderung des großen Sternschnuppenfalls, den Humboldt im November des Jahres 1799[Pg 327] in Cumana beobachtete. Innerhalb weniger Stunden vermochte er tausende von Sternschnuppen und Feuerkugeln zu zählen.

Im Anfang des Jahres 1800 drangen die Reisenden tiefer in den südamerikanischen Kontinent ein. Sie erforschten das Stromnetz des Orinoko, durchstreiften die einförmigen Llanos, die sich an die Waldregion der großen Ströme anschließen, und stellten Untersuchungen über den Zitteraal (Gymnotus electricus), dessen Fang von Humboldt so anschaulich schilderte, und über die Reizbarkeit der Mimosen an.

Um die Cordilleren zu erforschen, hielt sich von Humboldt lange Zeit in Quito auf. Von dort unternahm er die berühmte Besteigung des Chimborazo, der damals für den höchsten Berg der Erde gehalten wurde. Von Humboldt erreichte eine Höhe571, die vor ihm noch kein Mensch erklommen hatte.

Nach der Durchforschung Mexikos und einem kurzen Aufenthalt in den Vereinigten Staaten hielt sich von Humboldt fast zwei Jahrzehnte572 in Paris auf. Noch länger dauerte die Abfassung des monumentalen Werkes über seine Reise573. Daneben fand Humboldt noch Zeit, sich mit erdmagnetischen und in Gemeinschaft mit Gay-Lussac sich mit eudiometrischen Untersuchungen574 zu beschäftigen.

Die deutsche Forschung ist zu Beginn des 19. Jahrhunderts von keinem Lande so sehr wie von Frankreich angeregt und befruchtet worden. Von dort ist nicht nur in die europäische Staatenentwicklung, sondern auch für das Gebiet der exakten Forschung der erfrischende Luftzug gekommen, der die Periode der neuesten Entwicklung einleitete. In Frankreichs Hauptstadt hatten große Meister der Forschung, wie Cuvier, Lavoisier, Laplace, Ampère, Gay-Lussac und viele andere, diejenige grundlegende Tätigkeit entfaltet, welche den Boden für die neueste Entwicklung der Naturwissenschaften bereitet hat. Eine wichtige Rolle bei der Vermittlung zwischen der französischen und der emporstrebenden deutschen Wissenschaft hat Alexander von Humboldt ausgeübt. Man darf nicht so kleinlich sein und Humboldt daraus den Vorwurf machen, daß in ihm der Patriot hinter dem Forscher[Pg 328] zurückgetreten sei. Die Wissenschaft darf sich nicht hinter nationalen Grenzen verschanzen. Sie muß das Gute nehmen, wo sie es findet. Wer ihre Geschichte schreibt, darf das Verdienst des Auslandes gegenüber dem des eigenen Landes nicht zu verkleinern suchen. Wir müssen deshalb Frankreich die Anerkennung zollen, daß ohne die Schulung, welche die deutschen Forscher dort während der ersten Jahrzehnte des 19. Jahrhunderts erfuhren, Deutschland schwerlich so rasch, wie es geschehen, in wissenschaftlichen Wettbewerb mit Frankreich hätte treten, geschweige denn es in der zweiten Hälfte des 19. Jahrhunderts überflügeln können, wie auch von französischer Seite mitunter neidlos anerkannt worden ist.

Über den Inhalt des gewaltigen Humboldtschen Reisewerkes, an dessen Abfassung sich viele Kräfte beteiligten, möge noch einiges hier Platz finden. Es umfaßt sechs Abteilungen, von denen jede aus mehreren Bänden besteht. Die erste Abteilung (Rélation historique) enthält neben dem von Humboldt selbst verfaßten Reisebericht eine Geschichte der geographischen Erschließung des neuen Kontinents und einen aus 39 Karten bestehenden Atlas.

Die zweite Abteilung ist der Zoologie und der vergleichenden Anatomie gewidmet. Bei ihrer Abfassung zählten die Reisenden Cuvier, Latreille (für die Insekten) und Valenciennes (für die Fische und die Weichtiere) zu ihren Mitarbeitern.

Die dritte Abteilung behandelt die politische Geographie der spanischen Besitzungen in Amerika, die sich damals vom 38. Grade nördlicher bis zum 42. Grade südlicher Breite erstreckten.

Die vierte Abteilung enthält die astronomischen, trigonometrischen und barometrischen Messungen, während die fünfte die Geologie und die Pflanzengeographie der erforschten Länder zum Gegenstande hat.

Ausschließlich botanischen Inhalts ist endlich die sechste Abteilung. Sie enthält eine Übersicht über sämtliche gesammelten Pflanzen und beschäftigt sich außerdem in monographischer Behandlung mit den Mimosen, den neu entdeckten Gräsern und der in Südamerika in zahlreichen Arten vorkommenden tropischen Familie der Melastomeen575.

[Pg 329]

Im Jahre 1827 vertauschte von Humboldt das ihm so lieb gewordene Paris auf den dringenden Wunsch seines Königs mit der an geistiger Bedeutung hinter Paris damals weit zurückstehenden preußischen Hauptstadt. Jetzt begann für den fast Sechzigjährigen eine neue Lebensaufgabe, die er durch die Verwirklichung des schon lange gehegten Planes einer physischen Weltbeschreibung erfüllte. Bevor sich jedoch von Humboldt an die Abfassung seines »Kosmos« begab, unternahm er im Auftrage des russischen Herrschers, begleitet von dem Zoologen Ehrenberg und dem Mineralogen Rose eine kurze, aber ergebnisreiche Expedition ins asiatische Rußland. Humboldt und seine Begleiter besuchten die Erzlagerstätten des Altai, überschritten die chinesische Grenze und durchzogen von dort die ungeheure Steppe, um den südlichen Ural zu erreichen. An die geologische Durchforschung dieses Gebirgszuges knüpft die berühmt gewordene Voraussage Humboldts, daß der Ural mit seinen Gold- und Platinschätzen ein wahres Dorado sei576. Zahlreiche Beobachtungen wurden auch an den Besuch des Kaspischen Meeres geknüpft und Material für das von Cuvier und Valenciennes bearbeitete große Werk über die Fische gesammelt.

Wir gelangen zu dem reifsten Werke von Humboldts, das seinen Namen populär gemacht hat, dem »Kosmos«, wie er seinen Entwurf einer physischen Weltbeschreibung nannte. Hervorgegangen ist das Werk aus Vorlesungen, die er nach seinem Eintreffen in Berlin vor einem großen Kreise im Beisein des Königs und des Hofes hielt und die als ein Ereignis des Winters 1827/28 galten. Der Kosmos ist nicht minder als das große Reisewerk epochemachend nicht nur für die deutsche, sondern für die Weltliteratur577 gewesen und wird, wenn auch manche Einzelheiten veraltet sind oder sich als irrig erwiesen haben, als Ganzes immer seinen Wert besitzen. Einen solchen besitzt das Werk nicht nur nach der wissenschaftlichen, sondern auch nach der sprachlichen und allgemein literarischen Seite. Mag dem heutigen Geschlecht, das die Natur oft mit zu nüchternem Verstande betrachtet, Humboldts Ausdruck pathetisch und seine Sprache allzu reich an Bildern erscheinen, eins darf man nicht vergessen: war es doch Humboldt, der die Deutschen wissenschaftliche Dinge in formvollendeter[Pg 330] Sprache behandeln lehrte. Um das zu würdigen, muß man die trostlose Dürre der meisten früheren naturwissenschaftlichen Schriftsteller und die hohlen, von unverständlicher Mystik triefenden Phrasen der während des ersten Viertels des 19. Jahrhunderts den deutschen Geist beherrschenden, ja knebelnden naturphilosophischen Schule genossen haben.

Auch die Vorlesungen, aus denen der Kosmos entstanden ist, waren in gewisser Hinsicht epochemachend. Sie stellen nämlich den ersten und gelungensten Versuch dar, die Kluft, welche die große Masse des Volkes von der Wissenschaft trennt, zu überbrücken. Etwa tausend Zuhörer aller Kreise »vom Könige bis zum einfachen Maurer« folgten den Ausführungen Humboldts mit der größten Spannung.

Der Plan zum »Kosmos« entstand in Humboldt schon in den neunziger Jahren des von universellem Streben beherrschten 18. Jahrhunderts, wahrscheinlich unter der Einwirkung des Weimar-Jena-Kreises578. »Am späten Abend eines vielbewegten Lebens«, so lauten von Humboldts einleitende Worte, »übergebe ich der Öffentlichkeit ein Werk, das in unbestimmten Umrissen mir ein halbes Jahrhundert vor der Seele schwebte.«

Den ersten Band bezeichnet er als ein allgemeines Naturgemälde, das von den fernsten Nebelflecken des Weltraums und den kreisenden Doppelsternen stufenweise zu der Sternschicht herabsteigt, der unser Sonnensystem angehört, zu dem luft- und meerumflossenen Erdsphäroid, seiner Gestaltung, Temperatur und magnetischen Spannung bis zu der Lebensfülle, die vom Lichte angeregt sich an seiner Oberfläche entfaltet. Die Aufgabe war dem Umfang nach eine weitgespannte, dem Ziele nach entsprach sie als ein »Gemälde«, eine »Weltbeschreibung«, indessen nicht mehr der Forderung des nach tieferer Erkenntnis des kausalen Zusammenhanges strebenden 19. Jahrhunderts, dessen wichtigste Aufgabe in der Fortentwicklung der mathematischen Physik und der Aufstellung des Energieprinzips gelöst wurde.

Was Humboldt mit seinem Kosmos leisten wollte, war die Befriedigung eines Gefühles, das man wohl als Natur-Ästhetik bezeichnet, eines Gefühls, in dem auch Goethes Naturanschauung wurzelt und dem er an vielen Stellen seiner Faustdichtung einen solch tiefen und ergreifenden Ausdruck verliehen hat. Diese Aufgabe hat Humboldt mit dem ersten Bande seines Werkes eigentlich[Pg 331] schon gelöst. Wie sehr er sich aber unter dem Einfluß einer solchen Grundstimmung befunden, gesteht er ein, wenn er an einer Stelle von Goethe sagt: »Wer hat beredter als er seine Zeitgenossen angeregt, des Weltalls heilige Rätsel zu lösen und das Bündnis zu erneuern, das im Jugendalter der Menschheit Philosophie, Naturlehre und Dichtkunst umschlang.«

In dem zweiten Bande stellt sich Humboldt eine andere, mit der physischen Weltbeschreibung allerdings in engem Zusammenhange stehende Aufgabe. Er gibt darin eine Geschichte der physischen Weltanschauung und verfolgt durch alle Zeitalter das »Streben der Menschheit, das Zusammenwirken der Kräfte im Erd- und Himmelsraume zu begreifen.« Die Arbeit, welche Humboldt dadurch für die Begründung einer Geschichte der Naturwissenschaften geleistet hat, ist eine bedeutende; sie besitzt auch, wie es bei einer auf zuverlässigen Quellen gegründeten geschichtlichen Darstellung in der Natur der Sache liegt, vor allen anderen einen bleibenden Wert. Als die Hauptmomente einer Geschichte der physischen Weltanschauung stellt Humboldt die Kultur der Hellenen, die vermittelnde Tätigkeit der Araber und die Erfindungen und Entdeckungen der süd- und westeuropäischen Völker in ein solch klares Licht, daß seine Darstellung dieser Verhältnisse wertvoll für alle Zeiten genannt werden muß.

In den weiteren Bänden des »Kosmos« ändert sich der Charakter des Werkes noch mehr. Es wird daraus erklärlich, daß sich seine Abfassung über einen Zeitraum von Jahrzehnten erstreckte, innerhalb dessen die Wissenschaft selbst durch die Entdeckung des Prinzips von der Erhaltung der Kraft, eine neue Epoche erlebte. Humboldt suchte sich mit der neuen Richtung, in die er sich indessen nicht mehr einzuleben vermochte, auseinanderzusetzen. Indessen überkam seine Zeitgenossen und auch ihn selbst immer mehr das Gefühl, daß seine Art der Weltbetrachtung einer neuen weichen mußte, die als die wahre Fortsetzung des von Newton, Huygens und den führenden Geistern des 18. Jahrhunderts geschaffenen Werkes gelten durfte.

Die letzten Bände sind vorwiegend der Astronomie und der Geophysik gewidmet; sie besitzen einen gelehrten Grundzug und treten in literarischer Beziehung gegen die ersten Bände, die als Muster für eine nach Popularität im edelsten Sinne des Wortes strebende Ausdrucksweise gelten können, sehr zurück. Während von Humboldt noch mit der Abfassung eines fünften Bandes[Pg 332] seines Kosmos beschäftigt war, ereilte den Unermüdlichen, fast Neunzigjährigen, am 21. April 1859 der Tod.

In rein wissenschaftlicher Beziehung liegt v. Humboldts Hauptverdienst auf dem Gebiete der Pflanzengeographie. Er beschränkte sich nicht auf die floristische Erforschung der von ihm bereisten Länder. Sein Bestreben ging vielmehr dahin, die Pflanzenwelt in ihrer Abhängigkeit vom Klima und vom Boden zu verstehen und die allgemeinen Bedingungen für dieses Verhältnis aufzudecken.

Bevor wir Humboldts Verdienst um die Pflanzengeographie würdigen, müssen wir des Mannes gedenken, dem er hier die meisten Anregungen und Vorarbeiten zu verdanken hatte. Es war das Willdenow579, ein Neffe des an früherer Stelle erwähnten Gleditsch580 und sein Nachfolger in der Leitung des Berliner botanischen Gartens. Willdenow war mit Humboldt eng befreundet und hat ihn der Botanik zugeführt. Er ist als der geistige Urheber von Humboldts Schrift »Ideen zu einer Geographie der Pflanzen« zu betrachten. Willdenow hatte die hier von Humboldt behandelten Fragen bereits in seinem Grundriß der Kräuterkunde aufgeworfen und beleuchtet. Er war es, der die Grenze zwischen der mitteleuropäischen und der Mittelmeerflora zog und die drei großen Gebiete unterschied, die wir als boreale, tropische und australische Flora bezeichnen. Ferner hat schon Willdenow die Abhängigkeit der Pflanzenverbreitung vom Klima, von der Bodenbeschaffenheit und von der Wandertätigkeit, das was die Wissenschaft als klimatologisches, als geologisches und als migratorisches Moment zu bezeichnen pflegt, deutlich hervorgehoben.

Ganz neue Bahnen wurden dadurch erschlossen, daß man die Verbreitung des Lebens über die Erde aus gesetzmäßig wirkenden Ursachen, und zwar vor allem aus den herrschenden physischen Bedingungen zu erforschen strebte. In dieser Hinsicht bahnbrechend gewirkt zu haben, ist wohl das bedeutendste unter den rein wissenschaftlichen Verdiensten von Humboldts. »Die Ideen zu einer Geographie der Pflanzen« sind die erste Veröffentlichung nach seiner Rückkehr aus Südamerika. Sie erschienen (1805) nebst einem Naturgemälde der Tropenländer. Den meisten Stoff für die neue, bislang kaum dem Namen nach vorhandene Wissenschaft der Pflanzengeographie sammelte von Humboldt auf jener Reise.[Pg 333] So kam es, daß die »Ideen« zum größten Teile am Fuße des Chimborazo niedergeschrieben wurden.

Der Gedanke, die räumliche Verbreitung der Pflanzen festzustellen, begegnet uns zwar schon früher. Von Humboldt erstrebte aber weit mehr als dies. Es galt ihm, die Verteilung und die typische Organisation der Pflanzen im Zusammenhange mit allen gegenwärtig auf die Erdoberfläche wirkenden Kräften und mit der Geschichte unseres Planeten581 zu ergründen.

Was Humboldt vorfand, waren nur wenige bescheidene Ansätze. Und was er zu schaffen vermochte, waren im wesentlichen auch nur die Grundlinien und die Bezeichnung der Ziele der neuen Wissenschaft, zumal die Erdgeschichte einen lebensvollen Inhalt erst nach dem Siege der Entwicklungslehre über das Dogma von der Konstanz der Arten gewinnen konnte. Das Problem der Entwicklungslehre begegnet uns in Humboldts Worten, die Pflanzengeographie habe zu untersuchen, ob es unter den zahllosen Gewächsen der Erde gewisse Urformen gäbe. Vielleicht könne man die Verschiedenheit der Arten als die Wirkung der Ausartung und als Abweichungen von solchen Urformen betrachten582.

Zwar, fügt er hinzu, schienen alle Pflanzen und Tiere, welche gegenwärtig die Erde bewohnen, seit Jahrtausenden ihre charakteristische Form nicht verloren zu haben. So sei der Ibis, den man in den ägyptischen Gräbern finde, identisch mit dem, der gegenwärtig am Ufer des Niles fischt583. Andererseits weist Humboldt auf die Veränderungen hin, welche die Erde im Laufe ihrer, ungeheure Zeiträume umfassenden Geschichte durchgemacht hat und mit denen Änderungen in der Tier- und Pflanzenwelt Hand in Hand gehen mußten. Die Geographie der Pflanzen sei deshalb an die Geologie anzuknüpfen584, um Licht über die Urgeschichte der Erde zu verbreiten. Um ein Urteil über die ehemalige Verbindung nahegelegener Ländermassen zu gewinnen, verwerte die Geologie die Ähnlichkeit in der Schichtung und Lagerung der Küstengebirge und die Tiefenverhältnisse der trennenden Meeresabschnitte. Für die Entscheidung dieser Frage könne aber die Geographie der Pflanzen nicht minder wichtige Anhaltspunkte liefern. Sie mache es z. B. wahrscheinlich, daß Südamerika sich vor der Entwicklung organischer Wesen von Afrika getrennt habe. Durch[Pg 334] die Pflanzengeographie geleitet könne man in das Dunkel eindringen, das den frühesten Zustand unseres Planeten einhülle. So gelte es zu entscheiden, ob die Erdrinde an vielen Orten zugleich mit verschiedenen Arten bedeckt worden sei, oder ob alle Keime sich zuerst in einer Gegend entwickelten und von dort auf schwer zu ergründenden Wegen nach anderen Weltteilen wanderten.

Humboldt erwägt dann die Umstände, durch welche das ursprüngliche Wohngebiet einer Pflanzenart sich erweitern konnte. Als solche werden insbesondere die Strömungen der Atmosphäre und des Wassers und der Transport durch Tiere betrachtet. So groß indessen diese Einflüsse auch sind, sie verschwinden nach Humboldt gegenüber dem Einfluß, den der Mensch auf die Verbreitung der Gewächse ausübt. »Pflanzen, welche der Gegenstand des Garten- und des Ackerbaues sind, haben das wandernde Menschengeschlecht seit den fernsten Jahrhunderten begleitet«585. Daher bleibe ihr erstes und ursprüngliches Vaterland oft ein ebenso rätselhaftes Problem wie das Vaterland der verschiedenen Menschenrassen selbst. Treffend führt Humboldt dann weiter aus, wie der Ackerbau die Herrschaft fremder eingewanderter Pflanzen über die einheimischen begründet und letztere nach und nach auf einen immer enger werdenden Raum zusammengedrängt habe. Für die Tropenwelt dagegen konnte Humboldt damals noch zutreffend sagen, die menschliche Kraft sei zu schwach, um eine Vegetation zu besiegen, die nichts unbedeckt lasse und den Boden unseren Augen entziehe.

Zum ersten Male wurde durch Humboldt die Aufmerksamkeit der Botaniker ferner auf diejenigen Erscheinungen der Vegetation gelenkt, welche die Physiognomie der Landschaft bestimmen. Eine physiognomische Einteilung der Pflanzen nach der Entwicklungsweise ihrer Vegetationsorgane begründet zu haben, gilt als eine der wichtigsten Leistungen von Humboldts586.

Die Physiognomie einer Flora verdient indessen nicht nur eine ästhetische Würdigung, sondern in ihr spricht sich die innige Wechselbeziehung zwischen der gesamten Form und den physischen Bedingungen viel schärfer aus als in den Charakteren, welche der systematischen Einteilung des Pflanzenreiches zugrunde gelegt werden.

[Pg 335]

In der zahllosen Menge von Pflanzenarten unterschied Humboldt nach dem erwähnten Gesichtspunkt etwa zwanzig verschiedene Grundgestalten, auf die man wahrscheinlich alle Arten zurückführen könne. Die wichtigsten unter diesen Vegetationsformen sind die Bananenform, die Palmenform, die Formen der Baumfarne, der Nadelhölzer und der Orchideen. Ferner seien genannt die Mimosenform mit ihren fein gefiederten Blättern, die Lilienform mit ihren einfachen, zart gestreiften Blättern, die Kaktusform mit ihren blattlosen, gestachelten Stämmen und die Grasform. Unter den blütenlosen Pflanzen werden die Formen der Laubmoose, der Blätterflechten und der Hutschwämme unterschieden. Mitunter decken sich diese Formen mit großen Abteilungen des natürlichen Pflanzensystems. Häufiger jedoch begegnet uns der gleiche, durch das Klima und die Bodenbeschaffenheit bedingte Habitus bei Pflanzen, die im Bau ihrer Blüten und Früchte weit voneinander abstehen.

Untersuchungen über die Verteilung der Pflanzen auf verschiedene Höhengürtel hat zuerst H. B. de Saussure in den Alpen angestellt. Auch fehlte es nicht an dem gelegentlichen Hinweis, daß die Pflanzen eines Gebirges, z. B. der Pyrenäen, mit den Pflanzen höherer Breiten manche Ähnlichkeit aufweisen. Als allgemeine Gesetzmäßigkeit wurde diese Verknüpfung der Höhen mit entfernten, in höherer Breite liegenden Tiefebenen indes zuerst von Humboldt ausgesprochen587. Das reiche, ihm zu Gebote stehende Beobachtungsmaterial setzte ihn auch in den Stand, für die Tropen die Folge der beim Emporsteigen uns begegnenden Pflanzengürtel zu bestimmen. Als Beispiel diene uns die Übersicht der Pflanzenregionen, die Humboldt an den Abhängen der Cordillere von Quito unterschied588.

Die unterste Region ist diejenige der Palmen und Pisanggewächse. Sie steigt von der Meeresfläche bis zu einer Höhe von 1000 Metern empor. Unmittelbar darüber liegt die Region der Baumfarne. Dann folgen die Region der Eichen (bis 3000 Meter) und diejenige der Alpenkräuter. Letztere werden zwischen 4100 und 4600 Meter von den alpinen Gräsern, den letzten Blütenpflanzen abgelöst. Von dort bis zur Schneegrenze beleben nur Steinflechten die verwitternde Rinde des nackten Gesteins589.

[Pg 336]

Auch in den Anden Mexikos und am Pik von Teneriffa hat Humboldt die Aufeinanderfolge bestimmter Pflanzengürtel nachgewiesen.

Dieser kurze Abriß läßt die großen Verdienste, die sich Humboldt um die Begründung der Pflanzengeographie erworben, zur Genüge erkennen. Das meiste, was ihn hier beschäftigte, blieb zwar zunächst Problem. Indessen mit vollem Rechte muß man fragen590, ob sich nicht derjenige, der Fragen aufzuwerfen versteht, welche die Arbeit kommender Geschlechter auf bestimmte fruchtbare Bahnen lenken, ein ebenso großes Verdienst erwirbt, wie der Forscher, der einzelne wissenschaftliche Fragen erledigt.

Ähnliches, wie er es in der Aufstellung der Pflanzenregionen geleistet, hielt Humboldt auch auf dem Gebiete der Zoologie für erstrebenswert. »Es wäre interessant«, sagt er, »in einem Profil die Höhen zu bestimmen, zu welchen sich die Tiere in den Gebirgsländern erheben.« Was ihm dabei vorschwebte, war die Abhängigkeit des Tierlebens von meteorologischen Bedingungen, wie er überhaupt der Zoologie weniger durch Einzeluntersuchungen als durch den steten Hinweis auf den innigen Zusammenhang des Tierlebens mit seinen physischen Bedingungen genützt hat.

Auch auf dem Gebiete der Geologie ist Humboldts Verdienst vor allem in seiner Betonung der allgemeinen Gesichtspunkte zu suchen. Er verstand es nämlich, die Geologie in ähnlicher Weise mit der Erdkunde in Verbindung zu setzen, wie es ihm so trefflich für diese Wissenschaft und die Botanik gelungen war.

Im Beginn seiner wissenschaftlichen Laufbahn stand Humboldt ganz unter dem Einfluß der neptunistischen, von seinem Lehrer Werner gegründeten Geologenschule. Zwischen ihren Anhängern und den Vulkanisten wurde besonders über die Entstehungsart des Basalts heftig gestritten. Humboldts erste Arbeit betraf gleichfalls diese Frage591. Er glaubte sie in Übereinstimmung mit Werner dahin entscheiden zu müssen, daß nach seinen Beobachtungen an den Basalten in der Nähe von Linz und Unkel nichts auf vulkanische Wirkungen schließen lasse.

Etwa ein Jahrzehnt später begann Humboldt seine amerikanische Reise, deren Aufgabe und deren Ergebnisse zum großen Teil auf geologischem Gebiete lagen. Während der Erforschung der Cordilleren und der Verarbeitung des reichen, dort gefundenen[Pg 337] Materials vollzog sich in ihm und besonders durch ihn ein völliger Umschwung in den geologischen Anschauungen. Die Folge war, daß nicht nur für den Basalt, sondern auch für den Granit, sowie die Trachyte und Porphyre, eine Entstehung auf feurig flüssigem Wege angenommen wurde. Die feinere mechanische Analyse des Basalts ergab für dies Gestein trotz seines scheinbar gleichartigen Aussehens, daß es ein Gemenge von Mineralien und dem Granit in seiner Zusammensetzung nicht unähnlich ist592.

Grundlegend für die Lehre vom Vulkanismus war vor allem Humboldts Beobachtung, daß in den Gebirgen Amerikas Trachyte in der Nachbarschaft von Vulkanen auftreten und diese gleichsam anzukündigen scheinen. Humboldt machte ferner auf den mitunter anzutreffenden allmählichen Übergang von Trachyt in Gesteine von glasiger und schlackiger Beschaffenheit aufmerksam. Da letztere (Obsidian, Bimsstein) noch heute als Erzeugnisse tätiger Vulkane angetroffen werden, so war der Schluß auf den eruptiven Ursprung der ohne scharfe Grenze in sie übergehenden Massengesteine wohl berechtigt.

Die Erkenntnis, daß die Eruptivgesteine eine viel größere Verbreitung besitzen, als man früher geahnt hatte, führte bei Humboldt und seinem Mitarbeiter L. v. Buch, zu einer großen Überschätzung der Wirkungen der Eruptivgesteine. So nahm von Buch an, daß die Alpenkette und die Mehrzahl der übrigen Gebirge durch den Porphyr bei seinem Hervorbrechen aus dem Erdinnern emporgehoben sei593. Selbst der Dolomit sollte unter der Wirkung vulkanischer Kräfte in der Weise entstanden sein, daß dampfförmiges Magnesiumoxyd in den Kalkstein eindrang und damit ein Calcium-Magnesiumkarbonat bildete.

Aus ähnlichen Voraussetzungen erklärte Humboldt die Entstehung der amerikanischen Gebirge. Die Ketten der Anden und Venezuelas sollten sich über langgestreckten Erdspalten, die Gebirgsgruppen dagegen über einem Netz von Spalten erhoben haben. Dabei habe ein von innen nach außen wirkender Druck die starren Massen gehoben und feurig flüssiges Material emporgepreßt. Die Gebirge erschienen nach dieser Auffassung als Zeugen großer Katastrophen, als Zeugnisse gewaltiger Erdrevolutionen. Doch suchte Humboldt das Katastrophenartige dieser etwa die erste Hälfte des 19. Jahrhunderts beherrschenden Erklärungsweise[Pg 338] dadurch zu mildern, daß er auf die verhältnismäßig geringe Masse des emporgehobenen Materials hinwies. So würden die Alpen, über das flache Land verteilt, Europa nur um 20 Fuß erhöhen.

Auch die Vulkane, deren reihenförmige Anordnung Humboldts Erforschung des südamerikanischen Kontinents unzweifelhaft dargetan, sollten nach seiner und von Buchs Ansicht durch Erhebung entstehen. Aus der Anordnung der Vulkane wurde mit Recht auf das Vorhandensein von Spalten in der Erdkruste geschlossen. Über diesen Spalten entstanden nach der damals herrschenden Vorstellung die Vulkane aber weniger durch die Anhäufung von Schlacken und Lavaschichten. Sondern die vulkanische Tätigkeit sollte »formgebend und gestaltend594 durch Erhebung des Bodens« wirken. Durch diese Tätigkeit entstehe eine blasenförmige Auftreibung des Bodens und endlich durch Sprengung des höchsten Teiles der »Erhebungskrater«. Die großen Vulkane dachten sich somit beide Forscher nicht durch Aufschüttung von Schlacken und Anhäufung von Laven, sondern gewissermaßen aus einem Stück erzeugt. Erst durch den großen Umschwung, den die Geologie durch Lyell und seine Schüler erfuhr, wurde die Bildung der Vulkane nicht aus plötzlichen Katastrophen, sondern durch einen allmählichen Aufbau erklärt.

Mit den Vulkanen brachte Humboldt die Erscheinung des Erdbebens in engsten Zusammenhang, insofern er beide auf die gleiche Ursache zurückführte. Die in der Tiefe eingeschlossenen Dämpfe, denen die Entstehung und die Ausbrüche der Vulkane zugeschrieben wurden, sollten, wo sie keinen Ausgang finden, die Erschütterungen hervorrufen. Daher rührt auch sein auf eine Vorstellung Strabons zurückzuführendes Wort, daß die Vulkane als Sicherheitsventile zu betrachten seien. Humboldt führt als Beispiel einen südamerikanischen Vulkan an, dessen Tätigkeit plötzlich erlosch, während gleichzeitig in seiner Nachbarschaft eins der furchtbarsten Erdbeben stattfand.

Haben sich auch manche Anschauungen über die Ursachen geologischer Vorgänge seit den Zeiten Humboldts und Buchs geändert, so dürfen wir doch nicht vergessen, daß diese Männer die wissenschaftliche Erforschung der Vulkane und der Erdbeben erst in Angriff genommen haben. Vor Humboldts südamerikanischer Reise waren der Vesuv und der Ätna die einzigen genauer untersuchten Vulkane595. Und hinsichtlich der Erdbeben hatte[Pg 339] man weniger an die Erforschung der geologischen und der physischen Umstände als an die Aufzeichnung ihrer zerstörenden Wirkungen gedacht. Humboldt mit seinem auf Verallgemeinerung gerichteten Gedankenflug war es vor allem, der die verschiedenartigsten tellurischen Erscheinungen unter der Bezeichnung des Vulkanismus als die Ausflüsse ein und derselben Ursache auffassen lehrte. Sie alle bestanden in der Reaktion des heißen Erdinnern gegen die Rinde, mochten sie sich nun als bloße Erschütterungen, als Thermalquellen, Gasexhalationen, Schlamm- oder Vulkanausbrüche geltend machen. Humboldt lehrte all diese Erscheinungen als Abstufungen der vulkanischen Lebenstätigkeit unseres Planeten auffassen und verstand es von diesem hohen Gesichtspunkt aus, der Wissenschaft eine solche Fülle von Einzelbeobachtungen zuzuführen, wie es kaum ein anderer vor und nach ihm vermocht hat.

[Pg 340]

22. Die Mineralogie unter dem Einfluß der chemisch-physikalischen Forschung.

Wir befaßten uns mit der Mineralogie zuletzt im Schlußabschnitt des vorigen Bandes. Für Linné und Werner war die Mineralogie in der Hauptsache Mineralbeschreibung. Gegen das Ende des 18. Jahrhunderts wandten Scheele und Bergman ihre Aufmerksamkeit vorzugsweise der chemischen Zusammensetzung der anorganischen Naturkörper zu. Die großen Fortschritte der Physik und der Chemie, die wir in den ersten Abschnitten dieses Bandes kennen lernten, beeinflußten die weitere Entwicklung der Mineralogie in hohem Grade. Zwar beanspruchte nach wie vor die Form der Mineralien ein großes Interesse. An die Stelle der bloßen Beschreibung trat jetzt aber das Bestreben, die verwirrende Vielheit der Gestalten auf wenige Grundgesetze zurückzuführen. Gefördert wurde dieses Streben dadurch, daß in dem von Wollaston erfundenen Reflexionsgoniometer (1809) ein Werkzeug596 zur genauen Untersuchung auch der kleineren Kristalle entstand.

Von Bedeutung waren auch die Lehren Hauys. Nach Hauy597 hängen das Gefüge und die Form eines Kristalles nur von der Gestalt der ihn zusammensetzenden Teilchen, sowie von deren Anordnung ab. Unter den Formen, in denen ein kristallisierter Stoff auftritt, gibt es nach ihm eine, die als die primitive betrachtet werden muß. Aus dieser lassen sich sämtliche Gestalten als sekundäre Formen ableiten. Als primitiv betrachtete Hauy die aus der Zertrümmerung des Kristalls hervorgehende Spaltform, auf deren Unveränderlichkeit er hinwies. Abb. 59 u. 60 zeigen, wie das Rhombendodekaeder und das Pentagondodekaeder durch verschiedenartigen Aufbau aus dem Würfel hervorgehen können598.[Pg 341] Solche Betrachtungen führten Hauy zu der Entdeckung des die Kristallwelt beherrschenden Grundgesetzes von der Rationalität der Achsenabschnitte. Nach diesem Gesetz sind die Zahlen, nach denen die sekundären Formen aus der Grundform abgeleitet werden, stets rational und sehr einfach, z. B. 2, 3, 3/2 u. s. f. So läuft bei der am häufigsten vorkommenden Art des Pyramidenwürfels jede der 24 Kristallflächen einer Achse parallel und schneidet die beiden anderen Achsen im Verhältnis 1 : 2. Die Bezeichnung für diese Form ist dementsprechend a : 2a : ∞a. Ferner kommen vor die Pyramidenwürfel a : 3a : ∞a und a : 3/2a : ∞a (allgemein a : na : ∞a oder nach Naumannscher Bezeichnungsweise ∞ O n).

Abb. 59
Abb. 59. Hauys Ableitung des Rhombendodekaeders (Hauy, Traité de minéralogie. V. Pl. VIII).
Abb. 60
Abb. 60. Hauys Ableitung des Pentagondodekaeders (Hauy, Traité de minéralogie. V. Pl. VIII.)

Während der ersten Dezennien des neunzehnten Jahrhunderts vollzog sich die festere Begründung der Kristallographie. Weiß entdeckte das Gesetz der Hemiedrie, nachdem schon vor ihm[Pg 342] die Bemerkung gemacht worden war599, das Pentagondodekaeder ((∞ O n)/2, n = 2, 3/2, 3 u. s. f.) mit seinen 12 Flächen gehe aus dem vierundzwanzigflächigen Pyramidenwürfel (∞ O n) hervor, wenn »die Gesetze nur zur Hälfte wirken«.

Weiß und Naumann schufen fast zur selben Zeit, als Berzelius die chemische Zeichensprache ins Leben rief, jene einfachen, auf der Annahme von Achsen begründeten Bezeichnungen, die einen klaren Überblick über die Ergebnisse der kristallographischen Forschung ermöglichten und noch heute im Gebrauch sind.

Seitdem in der mineralogischen Systematik die besonders durch Berzelius, Bergman und Klaproth geförderte chemische Richtung gesiegt hatte, lehrte die mit vielem Eifer betriebene Analyse zahlreiche neue Mineralien kennen, so daß ihre Zahl sich in dem Zeitraum von dem Tode Werners bis zum Erscheinen der Geschichte der Mineralogie v. Kobells (1817-1864) fast verdreifachte.

Durch das Zusammenwirken von Analyse und Kristallbeschreibung gelangte man auch zur Entdeckung neuer wichtiger Beziehungen. Zwei bekannte Mineralien, Kalkspat und Aragonit, die man bis dahin oft verwechselt hatte, treten, wie Hauy nachwies, in Formen auf, die nicht aufeinander zurückgeführt werden können. Nun zeigte der um die Mineralanalyse sehr verdiente Klaproth600, der Entdecker der Zirkon-, Uran- und Titanerde, daß beide Mineralien ihrer chemischen Natur nach dasselbe, nämlich Kalziumkarbonat, sind. Daß ein und dieselbe Substanz zwei verschiedene Mineralien bilden könne, wurde damals von vielen geradezu für unmöglich gehalten. Auch Hauy vermochte eine solche Annahme mit den von ihm entwickelten Ansichten nicht zu vereinigen. Man dachte daher zunächst, die Verschiedenheit in der Form und in den physikalischen Eigenschaften von Kalkspat und Aragonit werde durch Beimengungen hervorgebracht, und frohlockte, als man in dem Strontium einen regelmäßigen[Pg 343] Bestandteil des Aragonits nachgewiesen zu haben glaubte. Bald darauf fand man jedoch Aragonit ohne einen Gehalt an Strontium und konnte sich nun nicht länger sträuben, die neuentdeckte Tatsache, welche man als Dimorphie bezeichnete, anzuerkennen.

Auch das entgegengesetzte Verhalten, daß zwei Mineralien von verschiedener Zusammensetzung, wie Kalkspat und Eisenspat, in derselben Form kristallisieren, wurde beobachtet. Hauy glaubte indessen mathematisch beweisen zu können, daß verschiedene Stoffe, abgesehen von denjenigen, die regulär kristallisieren, nicht dieselbe Form besitzen können. Nach ihm sollte sich der Kalkspat unter Beibehaltung der Gestalt in Eisenspat umwandeln, also eine ähnliche Entstehung nehmen wie das versteinerte Holz. Daß es sich indessen hier nicht um Zufälligkeiten handelt, sondern daß die Kristallform enge Beziehungen zur chemischen Konstitution aufweist, diese Entdeckung und ihre allseitige Begründung verdanken wir dem genialen Mitscherlich, der auf fast allen Gebieten der Chemie und Mineralogie der Forschung neue Bahnen gewiesen hat.

Eilhard Mitscherlich wurde 1794 in der Nähe von Jever geboren. Er wandte sich, angeregt durch den Historiker Schlosser, der auf dem Gymnasium zu Jever sein Lehrer war, zunächst der Philologie und der Geschichte zu. Mehr nebenbei betrieb er das Studium der Naturwissenschaften. Mitscherlich hatte das Glück, auf diesem Gebiete, wenige Jahre nachdem er es betreten, eine der wichtigsten Entdeckungen zu machen, die seinem ganzen ferneren Leben Richtung und Inhalt verliehen hat. Es war die schon erwähnte, später noch genauer zu besprechende Isomorphie ähnlich zusammengesetzter Mineralien und Präparate. Mitscherlich machte diese Entdeckung im Jahre 1818 in Berlin, wo bald darauf der große nordische Chemiker Berzelius vorübergehend weilte. Letzterer erkannte sofort die Bedeutung des jugendlichen Fachgenossen und bewog ihn, in Stockholm in seinem Laboratorium die in Berlin begonnenen Untersuchungen fortzusetzen. Im Jahre 1821 kehrte Mitscherlich nach Berlin zurück, wo man den 27jährigen Forscher dadurch zu fesseln wußte, daß man ihm die Mitgliedschaft der Akademie und die durch Klaproths Ableben erledigte Professur der Chemie übertrug. Mitscherlich starb in Berlin im Jahre 1863.

An früheren Beobachtungen, die zu Mitscherlichs Lehre von der Isomorphie hinüberleiten, ist kein Mangel. Gay-Lussac hatte gefunden, daß Kupfervitriol in der Form des Eisenvitriols[Pg 344] kristallisiert, wenn letzterer in geringer Menge der Kupferlösung zugesetzt wird. Ferner war bekannt, daß im Alaun das Kalium durch Ammonium und durch Natrium vertreten werden kann. Anknüpfend an diese Erscheinung wies man darauf hin, daß auch im Mineralreich ein ähnliches Verhältnis vorkommt, das man mit dem Worte Vikariieren, d. h. sich gegenseitig vertreten, bezeichnete601.

Später (1819) zeigte Mitscherlich, daß die vikariierenden Bestandteile der Mineralien von analoger atomistischer Zusammensetzung sind und daß diese Analogie Gleichheit oder annähernde Gleichheit der Kristallform bedingt. Mitscherlich wies diese von ihm als Isomorphie bezeichnete Erscheinung besonders an künstlich dargestellten Verbindungen, z. B. an den Salzen, welche Phosphorsäure und Arsensäure mit demselben Metalle602 bilden, nach. Auch Eisensulfat und Kobaltsulfat, sowie die mit 7 Molekülen Wasser kristallisierenden Sulfate von Magnesium, Nickel und Zink stimmen nach der Untersuchung Mitscherlichs603 in ihrer Form vollkommen überein. An den Eisenspat schlossen sich Zink- und Manganspat als gleichfalls dem Kalkspat isomorphe Mineralien an. Aus den angeführten Beispielen geht schon zur Genüge hervor, daß es Verbindungen von ähnlicher chemischer Zusammensetzung sind, an denen sich Isomorphie beobachten läßt.

Auf die Untersuchung der phosphorsauren und der arsensauren Salze wurde Mitscherlich dadurch geführt, daß Berzelius bei der Untersuchung der Säuren (Säureanhydride) des Phosphors und des Arsens eine Abweichung von der allgemeinen Regel gefunden hatte. Die Sauerstoffmengen, mit denen sich beide Elemente zu Säuren verbinden, verhalten sich nämlich, wie Berzelius fand, wie 3 zu 5 (P2O3, P2O5; As2O3, As2O5).

Als Mitscherlich im Jahre 1818 im Laboratorium zu Berlin mit der Nachprüfung dieser Proportionen beschäftigt war und zu diesem Zwecke auch die Salze der betreffenden Säuren untersuchte, war er überrascht, zu sehen, daß diese Salze sich in der Form zu gleichen schienen. Mitscherlich war damals mit[Pg 345] den Methoden der Kristallographie noch nicht bekannt. Er bat deshalb G. Rose, den später so berühmt gewordenen Mineralogen, ihm bei der weiteren Untersuchung behilflich zu sein. In gemeinsamer Arbeit stellten beide darauf fest, daß phosphorsaure und arsensaure Salze von analoger Zusammensetzung in der Kristallform übereinstimmen.

Mitscherlich kam durch seine Untersuchung zu dem allgemeinen Ergebnis604, daß eine gleiche Anzahl von Atomen, wenn sie auf gleiche Weise verbunden sind, gleiche Kristallform hervorbringen, daß also die Kristallform nicht auf der Natur der Atome, sondern auf ihrer Anzahl und Verbindungsweise beruhe. Später erkannte er jedoch, daß neben der Zahl der elementaren Teilchen deren chemische Natur doch mitbestimmend ist.

»Ich hoffe,« schloß Mitscherlich seine berühmte Abhandlung, in welcher er die Lehre von der Isomorphie begründete, »daß das Studium der Kristallisation ebenso bestimmt wie die chemische Analyse das Verhältnis der Bestandteile der Körper angeben wird.« Die Isomorphie wurde seitdem von Mitscherlich und von Berzelius auch umgekehrt dazu benutzt, um eine Übereinstimmung in dem atomistischen Aufbau der untersuchten Verbindungen nachzuweisen. Demgemäß erblickte Berzelius, welcher die Isomorphie als die wichtigste seit der Aufstellung der Lehre von den Proportionen gemachte Entdeckung bezeichnete, in den Mengen der sich entsprechenden Elemente (z. B. Kobalt und Eisen in ihren Sulfaten), die mit einer bestimmten Menge Sauerstoff verbunden sind, die relativen Atomgewichte. Berzelius wandte das neue Hilfsmittel auch als Prüfstein für die Zuverlässigkeit seiner eigenen Atomgewichtsbestimmungen in ausgedehnter Weise an. Das Ergebnis war sein berichtigtes Atomgewichtssystem vom Jahre 1821.

Mitscherlich ist der Nachweis zu verdanken, daß die Dimorphie gleichfalls künstlich hervorgerufen werden kann und daß sie von den physikalischen Umständen abhängt, unter denen die Kristallisation vor sich geht605. So erhielt er Schwefel in verschiedenen Formen, je nachdem dies Element aus einer Lösung oder aus dem Schmelzfluß erstarrte. Ähnlich wurde später die Dimorphie von Calziumkarbonat erklärt606. Fällt man diese Substanz[Pg 346] bei gewöhnlicher Temperatur, so weist sie die Gestalt des Kalkspats auf, während sich Aragonitkriställchen bilden, wenn der Niederschlag aus einer heißen Lösung entsteht.

Eine neue Erweiterung erfuhr die Kristallographie durch Mitscherlichs Entdeckung, daß die Kristallform sich stetig, wenn auch wenig mit der Temperatur ändert und daß diese Änderung wieder in naher Beziehung zur Form der Kristalle, insbesondere zur Lage der Achsen steht. Die Untersuchung ergab im einzelnen folgendes: Die Kristalle des regulären Systems werden durch die Wärme nach allen Richtungen gleichstark ausgedehnt. Ihre Winkel wurden daher nicht geändert. Die Kristalle des hexagonalen Systems zeigen dagegen, wie Mitscherlich aus der Größe der beim Erwärmen eintretenden Winkeländerung bestimmte, in der Richtung der Hauptachse ein anderes Verhalten wie in der Richtung der Nebenachsen. Die Kristalle des rhombischen Systems endlich werden entsprechend der Verschiedenheit ihrer drei Achsen auch nach allen drei Richtungen von der Wärme in verschiedenem Maße beeinflußt. Durch diese thermische Untersuchung der Kristalle, welche durch die Prüfung ihres optischen Verhaltens seitens anderer Forscher eine Ergänzung erfuhr, wurde eine der Grundlagen für die physikalische Kristallographie geschaffen.

Auch die so junge, aber erfolgreiche Wissenschaft der Mineralsynthese, die sich mit der künstlichen Erzeugung von Mineralien beschäftigt, um die Bedingungen kennen zu lernen, unter denen ihre natürliche Entstehung vor sich geht, wurde durch Mitscherlich mitbegründet607. Als ein wichtiges Mittel für die Mineralsynthese erkannte er den Schmelzfluß. Er wies nach, daß die in den Schlacken vorkommenden Kristallbildungen häufig mit bekannten Mineralien, wie Glimmer und Augit, identisch sind.

Hand in Hand mit all diesen Untersuchungen ging eine stete Verbesserung der Methoden und der Apparate. Unter letzteren ist insbesondere Mitscherlichs Fernrohrgoniometer zu nennen, das an Genauigkeit der Winkelmessungen das Wollastonsche Goniometer erheblich übertraf.

Mitscherlichs Arbeiten auf dem Gebiete der reinen Chemie betrafen vor allem die organischen Verbindungen; sie werden an anderer Stelle zu behandeln sein. Hier sei jedoch noch seine[Pg 347] Untersuchung des Mangans erwähnt, welche die Mangansäure und die Übermangansäure kennen lehrte.

Die Verdienste Klaproths liegen in erster Linie auf dem Gebiete der Mineralchemie. Wir wollen ihrer hier noch im einzelnen gedenken, wie wir es soeben hinsichtlich Mitscherlichs Arbeiten getan haben. Das Wirken dieser beiden Männer zeigt am besten, welch hohe Stufe die chemische und die mineralogische Forschung am Ende des 18. und während der ersten Dezennien des 19. Jahrhunderts auch in Deutschland erreicht hatten. Martin Heinrich Klaproth wurde 1743 in Wernigerode geboren. Er ist wie viele große Chemiker der früheren Zeit aus der pharmazeutischen Laufbahn hervorgegangen. Klaproth wirkte in Berlin als Apotheker und hielt dort Vorlesungen über Chemie. Nach der Gründung der Berliner Universität im Jahre 1810 wurde ihm die erste Professur für Chemie an dieser Hochschule übertragen. Gleichzeitig war er Mitglied der Akademie der Wissenschaften. Er starb in Berlin im Jahre 1817.

Klaproth hat für die Mineralchemie fast dieselbe Bedeutung, wie sie Lavoisier für die allgemeine Chemie besitzt. Er eröffnete auf jenem Gebiete, dem er sich seit dem Jahre 1785 mit unermüdlichem Eifer widmete, das Zeitalter der quantitativen Untersuchungsweise. Nachdem die antiphlogistische Theorie in Deutschland bekannt geworden, war Klaproth einer der ersten, der sie einer gründlichen Nachprüfung unterwarf und seitdem – es war im Jahre 1792 – für die Beseitigung der in Deutschland herrschenden Stahlschen Lehre eintrat. Zu den ersten, die Klaproth von der Richtigkeit der Lavoisierschen Lehre zu überzeugen vermochte, gehörte Alexander von Humboldt.

An Genauigkeit der Arbeitsweise und Gewissenhaftigkeit kommt unter den Forschern, die im Beginn des 19. Jahrhunderts die Führung übernahmen, dem Deutschen Klaproth nur der Schwede Berzelius gleich. Wie letzterer durch tausende von sorgfältigen Analysen sichere Grundlagen für das Gebiet der allgemeinen Chemie zu schaffen wußte, so war Klaproth mit gleichem Erfolge auf der enger begrenzten Domäne der Mineralchemie tätig. Bei diesen Untersuchungen konnte es nicht ausbleiben, daß er das Lehrgebäude der allgemeinen Chemie um manche wichtige Tatsache bereicherte. Hatte er doch das Glück, bei seinen Untersuchungen seltener Mineralien vier neue Elemente zu entdecken. »Wenn man bedenkt, wie selten einem Chemiker das Glück zuteil wird, ein einziges Element aufzufinden, so wird[Pg 348] es begreiflich erscheinen, wie sehr Klaproths Entdeckung von vier Elementen seinen Zeitgenossen imponieren mußte«608. Es war im Jahre 1789, als Klaproth in der neuerdings durch die Radiumforschung so bekannt gewordenen Pechblende ein neues Metall entdeckte. Er nannte es zur Erinnerung an die in jenen Zeitraum fallende Auffindung des Planeten Uranus Uranium. In Wahrheit handelte es sich allerdings bei Klaproths Arbeit um eine Sauerstoffverbindung dieses Metalles, dessen Reindarstellung erst im Jahre 1842 gelang609. Im Jahre 1789 entdeckte Klaproth in dem Mineral Zirkon die Zirkonerde. Die Abscheidung des Metalles Zirkonium gelang Berzelius vermittelst einer Methode, welche auf der ganz außerordentlichen Fähigkeit des Kaliums, die Verbindungen anderer Metalle zu zersetzen, beruht. Etwas später (1795) entdeckte Klaproth einen neuen Metallkalk in dem Mineral Rutil. Er nannte das dem Kalk zugrunde liegende Metall Titanium. Aus der Titanverbindung das Metall abzuscheiden, gelang gleichfalls erst Berzelius mit Hilfe der erwähnten Methode. In dem in Schweden vorkommenden Silikat Cerit fanden beide Forscher gleichzeitig (1795) die Cererde, die jedoch wieder erst Berzelius als das Oxyd eines Metalls erkannte.

Erwähnenswert sind ferner Klaproths Versuche, bei denen er eine Anzahl von Mineralien der höchsten ihm zu Gebote stehenden Glut des Porzellanofens aussetzte. Dabei zeigte es sich, daß man gewisse Stoffe, wie Kalk und Bittererde, bislang nur deshalb für schmelzbar gehalten hatte, weil sie sich mit der Masse des Schmelztiegels zu einer in der Weißglut schmelzenden Substanz verbinden. Für mehr als 200 Mineralien hat Klaproth die sorgfältigsten Analysen angestellt. Die betreffenden, in der Literatur zerstreuten Arbeiten wurden zu einem umfangreichen Werk vereinigt, das er (1795-1810) unter dem Titel: »Beiträge zur chemischen Kenntnis der Mineralkörper« herausgab. Damit hat Klaproth den Grund zu der Gruppierung der Mineralien nach chemischen Gesichtspunkten gelegt.

Auch einen wichtigen methodischen Fortschritt verdankt man Klaproth. Vor ihm war es die Gepflogenheit der Analytiker, als Ergebnis ihrer Untersuchungen korrigierte Werte und nicht die unmittelbar durch den Versuch gewonnenen Daten mitzuteilen.[Pg 349] Klaproth dagegen teilte seine Analysen ohne jede Voreingenommenheit und ohne den Versuch einer Abrundung mit. Auf diese Weise ließ sich das Gewicht der Bestandteile mit dem Gesamtgewicht der untersuchten Substanz vergleichen. Verluste oder Überschüsse waren jedem Fachgenossen ersichtlich und dadurch war einer Kritik der angewandten Methode die beste Handhabe gegeben. Aus dieser Kritik – und das war die günstige Rückwirkung, welche die Verbesserung der Methode hier wie in allen ähnlichen Fällen auf die Wissenschaft ausgeübt hat – entsprangen neue Untersuchungen, die zur Verbesserung des analytischen Verfahrens, zur Berichtigung von Fehlern, zu immer neuen Entdeckungen, kurz zur Vertiefung und Vermehrung des Wissensschatzes führten.

Wie der chemische Aufbau, so wurde auch das physikalische und zwar insbesondere das optische Verhalten mit der Form der Mineralien in Beziehung gebracht. Als Huygens seine Abhandlung über das Licht schrieb, war die Doppelbrechung nur am isländischen Kalkspat und am Quarz bekannt. Später entdeckte man sie auch an anderen Substanzen, indem man von kleinen Körpern, z. B. von der Spitze einer Nadel, ein doppeltes Bild erhielt. War der Richtungsunterschied der Strahlen nur klein, so entging er entweder gänzlich der Beobachtung, oder das Ergebnis war ein zweifelhaftes. Dies wurde anders, als Arago die chromatische Polarisation auffand610. Jetzt genügte es, ein dünnes Blättchen im polarisierten Licht zu untersuchen, um über die Beschaffenheit des betreffenden Minerales Aufschluß zu erlangen.

Die Beziehung zwischen der Kristallform und dem optischen Verhalten konnte seitdem nicht länger verborgen bleiben. Man erkannte, daß alle regulären Substanzen das Licht einfach brechen, aber durch Zusammenpressen doppeltbrechend gemacht werden können. Eine derartige gewaltsame Änderung konnte nur bewirkt haben, daß die Moleküle in der einen Richtung einander genähert, in einer dazu senkrechten voneinander entfernt wurden, daraus schloß man, daß die Anordnung der Moleküle die Ursache des optischen Verhaltens der doppeltbrechenden Kristalle sei.

[Pg 350]

23. Die Aufstellung eines natürlichen Pflanzensystems.

Wie für die chemisch-physikalische Forschung, so begann auch für die beschreibenden Naturwissenschaften gegen das Ende des 18. Jahrhunderts eine neue Zeit. Während der auf Linné folgenden Jahrzehnte waren alle Bemühungen so sehr auf die Ausfeilung des von diesem Manne geschaffenen Systems gerichtet, daß das eigentliche Ziel der Naturforschung, welches doch in der Erkenntnis des Zusammenhanges der Erscheinungen besteht, darüber fast aus dem Auge verloren wurde. Endlich besann man sich, daß man in dem künstlichen System nichts mehr als ein bloßes Register besitze und von der Erreichung jenes Zieles noch unendlich weit entfernt sei. Diese Einsicht begegnet uns zunächst nur in einzelnen hervorragenden Köpfen. Wie die Neugestaltung der Chemie, so nahm die Umbildung der beschreibenden Naturwissenschaften ihren Ursprung in Frankreich, dem Lande, das gleichzeitig mit der größten Entfaltung seiner Volkskraft den belebendsten Einfluß auf die Wissenschaften ausgeübt hat.

Die Forderung, daß das System die Verwandtschaft zum Ausdruck bringen solle, hatte schon Linné erhoben. Er bildete bereits eine Anzahl von Gruppen, die natürlichen Verwandtschaftskreisen entsprachen. Diese Gruppen umfaßten jedoch nicht das gesamte Pflanzenreich. Sie wurden von Linné ferner nur benannt und aufgezählt. Kurz, das Ganze war ein bloßer Versuch, der zu einer Fortsetzung in der eingeschlagenen Richtung ermuntern sollte.

Linnés System hatte in Frankreich weniger Eingang gefunden als in anderen Ländern. In Frankreich waren es besonders Adanson, sowie der ältere und der jüngere de Jussieu, welche die Grundlagen des natürlichen Pflanzensystems schufen.

Adanson611 versuchte, durch eine außerordentlich umfassende Induktion zu einem Einblick in die natürliche Verwandtschaft zu[Pg 351] gelangen. Er ordnete die Pflanzen zunächst nach der Beschaffenheit eines Organs und erhielt dadurch ein künstliches System. Dann gruppierte er die Pflanzen ein zweites Mal, indem er ein anderes Organ zugrunde legte. Indem er dies oft wiederholte, gelangte er jedesmal zu einem neuen künstlichen System612. Sein leitender Gedanke war nun der, daß die natürliche Verwandtschaft aus dem Vergleich dieser künstlichen Systeme hervorleuchten müsse. In je mehr Systemen nämlich die Arten nahe beieinander ständen, um so größer sei ihre Verwandtschaft. Bei Adanson begegnet uns auch schon die Ansicht, daß die Arten durchaus nicht unveränderliche Formen seien.

Im engen Anschluß an den von Linné herrührenden Versuch stellte Bernard de Jussieu (1699-1777, Professor am Jardin royal in Trianon) seine Gruppen auf. Jussieu dehnte die Einteilung nach natürlichen Verwandtschaftsverhältnissen, die er auch in den Anpflanzungen des Jardin royal zum Ausdruck brachte, mit den Kryptogamen beginnend und daran die Monokotylen, die Dikotylen und endlich die Koniferen anschließend, über das gesamte Pflanzenreich aus. Sein System umfaßte 14 Klassen. Die erste enthielt sämtliche Kryptogamen, die er als Akotyledonen bezeichnete. Die Monokotyledonen wurden, je nachdem die Staubfäden auf dem Blütenboden stehen, mit der Blütenhülle oder mit dem Fruchtknoten (Orchideen) verwachsen sind, in drei Klassen eingeteilt. Die Dikotyledonen zerfielen in die großen, nach der Beschaffenheit der Krone gebildeten Unterabteilungen der Apetalen (Blumenblattlose), der Monopetalen (Blumenkrone aus einem Stück bestehend) und der Polypetalen (mit mehreren Kronenblättern). Sie wurden nach den Stellungsverhältnissen von Blumenkrone, Staubgefäßen und Fruchtknoten wieder in Klassen eingeteilt. Das System Bernard de Jussieus beruhte auf der Verknüpfung der natürlichen mit einer künstlichen Anordnung. Es wurde durch seinen Neffen Antoine Laurent de Jussieu weiter ausgebaut. Antoine Laurent de Jussieu (1748-1836) war Professor am Jardin des Plantes zu Paris. Sein Verdienst besteht darin, daß er die Anzahl der natürlichen Gruppen (Familien) nicht nur vergrößerte, sondern die jeder Gruppe gemeinschaftlichen Merkmale, die Familiencharaktere, klar erkannte und scharf hervorhob.

Ihre wertvollste Stütze erhielten die Bemühungen A. L. de Jussieus durch den deutschen Botaniker Gärtner, der gleich[Pg 352] Kölreuter und Sprengel im eigenen Vaterlande kaum verstanden und gewürdigt wurde.

Joseph Gärtner613 hat in dem Bestreben, das natürliche System begründen zu helfen, die erste wissenschaftliche Morphologie der Früchte und der Samen geliefert. Die Zahl der von ihm hinsichtlich dieser Teile genau untersuchten Pflanzengattungen beläuft sich auf über tausend. Zu den wichtigsten Ergebnissen seiner Arbeit gehört die Erkenntnis, daß die Sporen der Kryptogamen und die Samen der Blütenpflanzen grundverschiedene Gebilde sind. Er zeigte, daß die eigentlichen Samen stets einen Embryo (Keimling) enthalten. Die Lage dieses Keimlings, die Richtung seiner Wurzel und die Zahl und Gestalt der Keimblätter machte er zum Gegenstande der eingehendsten Untersuchung, um auf die gefundenen Besonderheiten dann wieder Familiencharaktere zu gründen. Dabei verfiel er nie in einseitige Bevorzugung der von ihm auf diese Weise gefundenen Merkmale, sondern er betrachtete sie als zwar wichtige, indessen keineswegs als die einzigen für die natürliche Einteilung der Pflanzenwelt zu verwertenden Mittel. Erwähnt sei noch, daß bei dieser, im übrigen ganz im Sinne der modernen Naturwissenschaft geführten Untersuchung, stets nur die fertigen Gebilde betrachtet wurden und Gärtner kaum daran dachte, auch die Entwicklung der von ihm untersuchten Organe zu verfolgen614. Dieser Weg, auf dem sich die tiefste Einsicht in die verwandtschaftlichen Beziehungen der Organismen eröffnen sollte, blieb einem späteren Zeitalter vorbehalten.

Gärtners großes Werk mit seinen zahlreichen, sorgfältig ausgeführten Kupfertafeln, dem er die Arbeit seines Lebens gewidmet, fand in Frankreich die höchste Anerkennung. Geradezu mit Begeisterung wurde es von A. L. de Jussieu aufgenommen, der bei seinen Untersuchungen über die Gattungs- und Familiencharaktere sehr oft auf Gärtners Werk »Über die Früchte und Samen der Pflanzen« zurückgriff.

A. L. de Jussieus System beginnt mit den Akotyledonen (Kryptogamen), welche die Gruppen der Pilze, Algen, Moose und[Pg 353] Farne umfassen. Die Monokotyledonen werden nach der Stellung der Staubgefäße zu dem Fruchtknoten in drei Reihen zerlegt. Sie umfassen insgesamt 16 Familien, von denen wir als die bekanntesten die Gräser, Palmen, Lilien, Narzissen und Orchideen anführen. Die Dikotyledonen teilt Jussieu zunächst nach der Beschaffenheit der Blumenkrone in die Hauptgruppen der Apetalen, Monopetalen und Polypetalen, je nachdem die Kronenblätter fehlen, verwachsen oder frei sind. Nach der Stellung des Fruchtknotens zur Krone oder den Staubgefäßen zerfallen diese Hauptgruppen dann wieder in Unterabteilungen.

So gehören die Lippenblüter (Labiatae) mit 14 anderen Familien zu einer solchen Unterabteilung. Einige von diesen Familien sind die Nachtschattengewächse, die Rauhblättrigen (Borragineen), die Windengewächse, die Enziangewächse (Gentianeen) usw. Das Gemeinsame dieser 15 Familien besteht darin, daß die Krone der Blütenachse unterhalb des Fruchtknotens eingefügt ist. Gleichzeitig ist die Krone bei diesen 15 Familien verwachsenblättrig; letztere werden daher mit anderen Gruppen von Familien zur Abteilung der Verwachsenblättrigen (Monopetalen) zusammengefaßt. Den Monopetalen gleichwertig sind die Polypetalen (Vielkronenblättrige) und die Apetalen (Kronenblattlose). Das System nennt unter den Polypetalen die Doldengewächse (Umbelliferae), die Hahnenfußgewächse (Ranunculaceae), die Kreuzblüter (Cruciferae), die Rosengewächse (Rosaceae), die Schmetterlingsblüter (Papilionaceae) und andere hervorragend wichtige natürliche Gruppen. Im ganzen umfaßt es 100 solcher Familien, von denen auf die Vielkronenblättrigen allein fast die Hälfte entfallen. Die letzte Familie bilden die Coniferen.

Dieses System vom Jahre 1789 hat zwar manche Verbesserung erfahren, ist aber doch die Grundlage für alle späteren systematischen Anordnungen geblieben, unter denen diejenige Decandolles in erster Linie hervorgehoben werden muß.

Augustin Pyrame Decandolle wurde 1778 in Genf geboren. Seine Vorfahren stammten aus Südfrankreich. In Genf wirkten um 1800 eine Anzahl hervorragender Naturforscher, die sich mit physikalischen und physiologischen Untersuchungen beschäftigten. Unter ihnen sind vor allem de Saussure und Senebier zu nennen. Durch diese Männer wurde Decandolle der Pflanzenphysiologie zugeführt. Ein Jahrzehnt (1798-1808) verbrachte Decandolle in Paris, das damals der glänzende[Pg 354] Mittelpunkt der exakten Naturforschung war. Ihrem Geist und ihrer Methode konnte sich auch die Botanik nicht länger entziehen. Und Decandolle war es vor allem zu danken, daß sich diese Wandlung nicht auf die Physiologie beschränkte, sondern sich auch auf die Morphologie ausdehnte. Von letzterer aus wurde endlich auch die Systematik mit dem Geiste echter Naturforschung befruchtet, der in Frankreich an der Schwelle des 19. Jahrhunderts auf so vielen Gebieten und in so zahlreichen Männern sieghaft und die letzten Spuren der Scholastik hinwegfegend zum Durchbruch kam.

An Decandolles Pariser Aufenthalt schlossen sich botanische Reisen durch Frankreich und die benachbarten Länder. Die letzten 25 Jahre seines Lebens verbrachte er wieder in Genf. Er starb dort 1841.

Wir haben in diesem Abschnitt Decandolles Verdienste um die Entwicklung der morphologischen Grundbegriffe und um die Systematik zu betrachten und werden uns erst an späterer Stelle mit den Ergebnissen seiner pflanzenphysiologischen Arbeiten beschäftigen.

Die Grundlagen für die heutige Morphologie veröffentlichte Decandolle im Jahre 1813 in seinen »Theoretischen Anfangsgründen der Botanik«615. Eine erweiterte Darstellung unter gleichzeitiger Berücksichtigung der Pflanzenanatomie erfuhren diese Grundzüge 1827 in der Organographie616. Wir wollen der hier folgenden Darstellung dieses spätere Werk zugrunde legen. Decandolle vermehrte die Zahl der Familien von 100 (Jussieu) auf 161 und lieferte in Gemeinschaft mit einer Anzahl Fachgenossen eine ausführliche Beschreibung aller bis dahin bekannt gewordenen Pflanzenarten, das großartigste Unternehmen, welches die botanische Systematik aufzuweisen hat. In diesem, Prodromus[Pg 355] systematis naturalis betitelten Sammelwerk hat Decandolle allein etwa 100 Familien bearbeitet. Das Erscheinen des Werkes erstreckte sich über eine Reihe von Jahrzehnten (1824-1873). Die Fortführung übernahm mit dem 8. Bande Decandolles Sohn Alphons, dem er sein Herbarium und seine Bibliothek vermacht hatte. Den Wert dieser umfangreichen systematischen Arbeit erkennt einer der hervorragendsten Geschichtsschreiber der neueren Botanik mit folgenden Worten an: »Es ist nicht wohl möglich, von dem in solchen Arbeiten liegenden Verdienst in Kürze Rechenschaft zu geben. Sie bilden eben die eigentlich empirische Grundlage der gesamten Botanik, und je besser und umsichtiger diese gelegt ist, desto größere Sicherheit gewinnt die ganze Wissenschaft in ihren Fundamenten«617.

Es gelang Decandolle indes ebensowenig wie Jussieu, eine scharfe Bestimmung und richtige Bewertung der Hauptgruppen des Pflanzenreiches zu geben. Dieses wurde erst dadurch ermöglicht, daß man sich nach dem Wiederaufleben der lange vernachlässigten mikroskopischen Forschung den schwer zugänglichen Formverhältnissen der Kryptogamen zuwandte. Jetzt erst wurde es klar, daß die schon von Ray in Vorschlag gebrachte Gegenüberstellung dieser Gruppe der Gesamtheit der übrigen Pflanzen gegenüber berechtigt ist und daß die großen Abteilungen, in welche die Kryptogamen zerfallen, den Monokotyledonen und den Dikotyledonen gleichwertig sind.

Decandolles Mißgriff bestand darin, daß er seine Gruppierung auf das Vorhandensein und das Fehlen von Gefäßbündeln gründete. So kam es, daß in seinem System den Monokotylen die Gefäßkryptogamen beigesellt wurden. Bei diesen beiden Gruppen erblickte er das Gemeinsame in dem Umstande, daß sie nicht wie die Dikotylen ein am Umfange des Stammes vor sich gehendes Dickenwachstum aufweisen. Die Dikotylen wurden aus diesem Grunde als exogen, die beiden anderen Gruppen, für die er ein im Innern des Stammes vor sich gehendes, wenn auch beschränktes Dickwachstum annahm, als endogen bezeichnet.

Die größte aller Gruppen des Pflanzenreichs, die Dikotylen, wurde wieder nach der Beschaffenheit der Blütenhülle (einfach oder doppelt) in zwei Untergruppen eingeteilt. War das gewählte Merkmal auch ein künstliches, so waren doch innerhalb dieser[Pg 356] Untergruppen Vereinigungen von Familien (Reihen) möglich, die natürliche Verwandtschaft zu besitzen schienen.

Den Begriffen »natürliches System« und »natürliche Verwandtschaft« fehlte indes gänzlich der reale Sinn, den erst die moderne Abstammungslehre in sie hineintragen konnte. Dazu kam, daß sich Decandolle die Beziehungen der von ihm geschaffenen Gruppen unter einem Bilde vorstellte, das recht ungeeignet war, den Gedanken an eine wirkliche, durch Abstammung bedingte Verwandtschaft vorzubereiten oder gar aufkommen zu lassen. Während man sich vor ihm das System wohl unter dem Bilde einer geraden Linie vorgestellt hatte, verglich Decandolle es nämlich mit einer geographischen Karte, in welcher die Erdteile den größten, the Staaten, Provinzen usw. den kleineren Gruppen entsprächen. Nach diesen Ausführungen stellt sich das von Decandolle geschaffene Pflanzensystem folgendermaßen dar:

Die Lehre von der Sexualität der Pflanzen tauchte gegen das Ende des 17. Jahrhunderts auf und errang nach vielem Widerstreit in der ersten Hälfte des 18. Jahrhunderts allgemeine Anerkennung. Schon in diesem Zeitraum setzen die Bemühungen ein, die Gültigkeit der Sexualtheorie auch für die an letzter Stelle genannten Gefäßkryptogamen, Moose und Tallophyten nachzuweisen. Man suchte Staubgefäße zwischen den Lamellen der Blätterpilze618, deutete gewisse Teile der Moose als Fortpflanzungsorgane und[Pg 357] glaubte auch deutliche Anzeichen für die Sexualität der Tange bemerkt zu haben619. Ihre volle Aufklärung fand die Frage nach der Fortpflanzung der Kryptogamen jedoch erst durch die erhöhte Leistungsfähigkeit der Mikroskope und die damit Hand in Hand gehende Ausbildung der mikroskopischen Technik im Verlaufe des 19. Jahrhunderts.

Das Verständnis für die natürliche Verwandtschaft, die bei Jussieu und Decandolle ein bloßer, mit dem Dogma von der Konstanz der Arten schwer vereinbarer Begriff geblieben war, wurde erst ermöglicht, als das in den vierziger Jahren beginnende Studium der Entwicklungsgeschichte im Verein mit der Lehre vom Transformismus dem Worte »Verwandtschaft« einen neuen Sinn verlieh und das System als das Endergebnis einer zusammenhängenden, von einem gemeinsamen Ursprung ausgehenden Folge von Entwicklungsvorgängen erschien.

Auch durch die vergleichende Betrachtung der Formen kam man auf dem Gebiete der Botanik zu wertvollen Ergebnissen. Während Jussieu und Decandolle durch eine solche sich über die Gesamtheit der Arten erstreckende Betrachtung zur Aufstellung des natürlichen Systems gelangten, spürten Wolff und Goethe den Beziehungen zwischen den einzelnen Organen der Pflanze nach und brachten diese Beziehungen in ihrer Lehre von der Metamorphose zum Ausdruck. Den Grundgedanken dieser Lehre hat Wolff in folgenden Worten ausgesprochen: »In der ganzen Pflanze, deren Teile wir beim ersten Anblick als so außerordentlich mannigfaltig bewundern, sehe ich, nachdem ich alles reiflich erwogen, schließlich nichts anderes als Blätter und Stengel«.

Die Wurzel faßte Wolff als einen Teil, gleichsam als die Fortsetzung, des Stengels auf und auch die Kotyledonen wurden von ihm als blattartige Gebilde, nämlich als die ersten und untersten Blätter gedeutet. Derselbe Gedanke620 wurde von Goethe in seinem »Versuch über die Metamorphose der Pflanzen« bis ins einzelne ausgeführt621.

Ein jeder, der das Wachstum der Pflanzen sorgfältig beobachtet, sagt Goethe, werde leicht bemerken, daß gewisse äußere[Pg 358] Teile sich manchmal verwandeln und in die Gestalt der nächstliegenden Teile bald ganz, bald mehr oder weniger übergehen. So verändere sich z. B. die einfache Blume in eine gefüllte, wenn sich anstatt der Staubgefäße Blumenblätter entwickeln. Die Samenlappen lassen sich nur als die ersten, meist noch sehr einfachen Blätter des ersten Knotens deuten. Die Ausbildung des Blattes schreitet nach oben von Knoten zu Knoten fort. Daß die Teile des Kelches dieselben Organe sind, die sich vorher als Stengelblätter sehen lassen, erkenne man deutlich. Auch die Verwandtschaft der Krone mit den Stengelblättern lasse sich nicht verkennen.

Selbst in den Samenbehältern könne man, schließt Goethe seine Betrachtung, ungeachtet ihrer mannigfaltigen Bildung, ihrer besonderen Bestimmung und Verbindung die Blattgestalt nicht verkennen. »So wäre z. B. die Hülse ein einfaches, an den Rändern verwachsenes Blatt. Die zusammengesetzten Gehäuse erklären sich aus mehreren Blättern, die sich um einen Mittelpunkt vereinigt und ihre Ränder miteinander verbunden haben.«

Diese Gedanken sind auch noch heute der Ausgangspunkt der morphologischen Betrachtungsweise, so daß Goethe, dessen naturwissenschaftliche Arbeiten zum Teil erhebliche Schwächen622 aufweisen und überhaupt nur unter Berücksichtigung der Eigenart ihres Verfassers betrachtet werden dürfen, sich hier ein bleibendes Verdienst erworben hat. Wolff und Goethe haben den Begriff »Metamorphose«, wie die gleichzeitig lebenden Systematiker den Begriff »Verwandtschaft«, zunächst als etwas Bildliches aufgefaßt623. Doch läßt sich nicht verkennen, daß Goethe[Pg 359] mit seinem intuitiven Denken später den Transformismus, d. h. die Lehre von dem wirklichen, im Lauf der Zeit erfolgten Entstehen der einen Form aus der anderen vorahnte. So heißt es in seiner »Geschichte meines botanischen Studiums«: »Das Wechselhafte der Pflanzengestalt erweckte bei mir die Vorstellung, die uns umgebenden Pflanzenformen seien nicht ursprünglich determiniert und festgestellt, ihnen sei vielmehr eine glückliche Mobilität und Biegsamkeit verliehen, um in so viele Bedingungen, die über den Erdkreis auf sie einwirken, sich zu fügen und danach sich bilden und umbilden zu können.«

[Pg 360]

24. Die Physiologie der Pflanzen unter dem Einfluß der neueren chemisch-physikalischen Forschung.

Im Anschluß an die Systematik und die Morphologie der Pflanzen wenden wir uns jetzt der Physiologie dieser Lebewesen zu. Unter den Forschern, die sich bemühten, die Abhängigkeit des pflanzlichen Organismus von physikalischen Kräften darzutun, ist besonders Knight zu nennen. An seinen Namen knüpft sich die Entdeckung der als Geotropismus, Hydrotropismus und Heliotropismus bekannten Erscheinungen.

Thomas Andrew Knight wurde 1759 in einer kleinen Ortschaft des westlichen Englands geboren. Nachdem er in Oxford studiert hatte, übernahm er ein kleines Gut und widmete sich dem Gartenbau und der Landwirtschaft. Im Verkehr mit Banks, dem Präsidenten der Royal Society, und anderen Naturforschern bemerkte Knight, daß er bei seiner engen und steten Fühlung mit der Natur vieles beobachtet habe, was den zünftigen Forschern bisher entgangen war. Banks regte Knight darauf an, seine Untersuchungen in den Abhandlungen der Royal Society zu veröffentlichen. Die pflanzenphysiologischen Arbeiten Knigths wurden neuerdings ins Deutsche übersetzt624. Knight starb im Jahre 1838.

Seine für die Lehre vom Geotropismus grundlegende Arbeit »über die Richtung der jungen Wurzel und des jungen Stengels bei der Keimung« erschien im Jahre 1806. Als Ursache der Erscheinung, daß die Wurzel nach dem Mittelpunkt der Erde, der Stengel dagegen nach der entgegengesetzten Richtung wächst, hatte[Pg 361] man schon vor Knight die Schwerkraft vermutet. Der experimentelle Nachweis hierfür, sagte sich dieser Forscher, wird sich am sichersten dadurch führen lassen, daß man die wachsende Pflanze bei Ausschluß der Schwerkraft untersucht. Da die Schwerkraft eine Wirkung nur hervorrufen kann, wenn der Keimling in Ruhe bleibt, so wird nach Knights Verfahren ihr Einfluß durch einen steten Wechsel der Lage des keimenden Samens aufgehoben. Den entscheidenden Versuch stellte Knight in folgender Weise an. An dem Umfang eines senkrecht stehenden Rades befestigte er kleine, nach der Radachse und nach außen offene Behälter. Diese wurden mit feuchtem Moos gefüllt. In das Moos jedes Behälters pflanzte er Samen der Gartenbohne. Das Rad wurde durch ein kleines Wasserwerk 150mal in der Minute um seine Achse gedreht. Auf diese Weise wurde die Lage der Samen zum Erdradius so oft gänzlich verändert, daß Knight den Einfluß der Schwerkraft als beseitigt betrachten durfte. Nach einigen Tagen begannen die Samen zu keimen, und man beobachtete, daß die Wurzeln, in welcher Richtung sie auch nach der jeweiligen Lage der Samen hervortraten, ihre Spitzen vom Radkranze in radialer Richtung nach außen kehrten, während die Stengel in entgegengesetzter Richtung wuchsen, bis sich schließlich ihre Spitzen im Mittelpunkte des Rades vereinigten. Wuchsen die Stengel über diesen Punkt hinaus, so kehrten sich ihre Spitzen bald wieder um, um wieder in der Mitte des Rades zusammenzutreffen. Die Zentrifugalkraft bestimmte somit die Wachstumsrichtung genau so, wie es bei den ruhenden Samen durch die Schwerkraft geschieht.

Zu dieser Erkenntnis gesellte sich später der Nachweis625, daß die Wurzeln sich nicht etwa infolge ihres Eigengewichtes nach abwärts krümmen, da sie eine Last, die größer als ihr Eigengewicht ist, bei ihrer Krümmung in Bewegung zu setzen vermögen.

Bei einem zweiten Versuch vereinigte Knight die Wirkung der Zentrifugalkraft mit derjenigen der Schwerkraft. Er brachte die Samen in ähnlicher Weise, wie schon beschrieben, auf dem Kranz eines diesmal horizontal liegenden Rades an und setzte es in Drehung. Bei 80 Umdrehungen wuchsen die Wurzeln unter einem Winkel von 45° nach unten, die Stengel dagegen unter dem gleichen Winkel nach oben. Dabei entfernten die Wurzeln ihre Spitzen von der Radachse, während die Stengel sich gegen die Achse hinneigten. Steigerte Knight die Zahl der Umdrehungen[Pg 362] auf 250, so wichen die Wurzeln und die Stengel um einen noch viel höheren Betrag (um 80°) von der vertikalen Richtung ab, die sie in der Ruhelage eingenommen haben würden.

Durch diese Versuche war der Beweis geliefert, daß durch eine bestimmte äußere Ursache und nicht infolge der inneren Eigenschaft des Organismus die Pflanzenteile veranlaßt werden, dasjenige Verhalten zu zeigen, das wir als positiven und negativen Geotropismus bezeichnen.

Als eine weitere Ursache, welche die Richtung und das Wachstum der Wurzeln beeinflußt, erkannte Knight die Feuchtigkeitsunterschiede. Er zeigte, daß sie diejenigen Reaktionen der Pflanze herbeiführen, die man heute als Hydrotropismus bezeichnet.

Knight ging626 von folgender Beobachtung aus: Verpflanzt man einen Baum, der viel Feuchtigkeit nötig hat, in einen Boden, der erst in einiger Entfernung reichlich Wasser enthält, so wendet sich die Wurzel dem Wasser zu. Verlangt dagegen ein Baum einer anderen Art trockenen Boden, so entfernt sich seine Wurzel von dem Wasser. Es hat den Anschein, als ob die Pflanzen gewissermaßen planmäßige Anstrengungen machen, um günstige Feuchtigkeitsverhältnisse zu erlangen. Es gehörte damals, als die Lehre von der Lebenskraft in voller Blüte stand und man geneigt war, derartige Erscheinungen auf mystische Triebe und Begierden zurückzuführen, eine gewisse Kühnheit dazu, diese Erscheinungen aus mechanischen Ursachen erklären zu wollen. Dennoch versuchte dies Knight, überall wohin sein Forschen sich richtete. Er setzte dadurch das Werk seines großen Landsmannes Hales627 fort, der ein halbes Jahrhundert vor ihm zuerst den Versuch gemacht hatte, die experimentelle, mechanische Erklärungsweise in die Physiologie einzuführen. »Ich wage«, sagte Knight, »aus meinen Versuchen zu schließen, daß die Wurzeln nur durch die unmittelbare Einwirkung der sie umgebenden Körper, nicht aber durch irgend eine Art von Begierde, ähnlich derjenigen der Tiere, beeinflußt werden.«

Bemerkenswert war ein Versuch, bei dem die Wurzeln oben mit feuchter und unten mit trockener Erde in Berührung waren. Knight pflanzte nämlich Bohnen in Töpfe. Nach einiger Zeit kehrte er die Töpfe um und führte ihnen soviel[Pg 363] Wasser durch den Boden zu, daß nur die dem Boden benachbarte, also jetzt über dem keimenden Samen befindliche Erde feucht war. Und siehe da, nach wenigen Tagen sandten die Pflanzen zahlreiche Wurzeln nach aufwärts in die feuchtere Erde hinein, als ob sie von den Instinkten eines tierischen Wesens geleitet würden. Dem Einfluß der Schwerkraft war bei diesem Versuche durch die Trockenheit auf der unteren Seite in ähnlicher Weise entgegengewirkt worden, wie es bei dem Versuche mit dem horizontalen rotierenden Rade durch die Zentrifugalkraft geschehen war. Offenbar handelte es sich in dem einen wie in dem anderen Falle nicht um instinktmäßige Triebe, sondern um rein mechanische Ursachen. Wie Knight des Näheren ausführt, entwickeln sich die Organe anfangs nach allen Richtungen. Es wachsen aber nur diejenigen weiter, die günstige Bedingungen finden. So bekommt es den Anschein, als ob die Wurzeln der einen Pflanze das in der Nähe befindliche Wasser suchen, diejenigen der anderen dagegen es vermeiden wollen.

Eine größere Zahl von Versuchen stellte Knight über die Rankenbewegungen der Pflanzen an628. Diese Versuche ergaben, daß auch das Ranken aus reiner Notwendigkeit erfolgt und nicht durch irgend eine Art von Verstandeskräften bedingt wird. Seine Versuche stellte Knight besonders an der Erbse, dem Epheu, dem gewöhnlichen und dem wilden Wein an. Die Bewegungen, welche die Ranken machen, werden zunächst genau beschrieben und dann auf zwei Umstände zurückgeführt. Diese Umstände sind Besonderheiten im inneren Bau, man könnte dafür auch sagen eine bestimmte Reizbarkeit, und zweitens die Einwirkung äußerer Ursachen, unter denen das Licht und der mechanische Druck in erster Linie zu nennen sind. Nach Knight bewirken diese Reize Änderungen in der Saftverteilung und im Gefolge davon Wachstumsvorgänge. Der Druck, meint er, der auf die eine Seite einer Ranke ausgeübt wird, verdrängt wahrscheinlich den Saft, die gedrückte Seite zieht sich infolgedessen zusammen. Die so entstehende Bewegung wird dadurch noch verstärkt, daß der Saft, indem er nach den nicht gedrückten Stellen wandert, diese zu lebhafterem Wachstum veranlaßt. Infolgedessen umschlinge die Ranke einen dünnen Holz- und Metallstab. Trotz aller Unzulänglichkeit dieser Erklärung ist sie doch als der erste Versuch einer Zurückführung der an den Ranken beobachteten Erscheinungen auf mechanische Ursachen anzuerkennen.

[Pg 364]

Von Wichtigkeit waren auch Knights Versuche über den von ihm entdeckten negativen Heliotropismus der Ranken des wilden Weins. Diese Pflanze wurde den Sonnenstrahlen voll ausgesetzt. Außerdem wurde ein Stück schwarzes Papier auf der einen Seite in der Nähe der Pflanze so angebracht, daß die Ranken es erreichen konnten. Die Ranken wurden dann von dem schwarzen Papier sozusagen angezogen. Brachte man das Papier auf die entgegengesetzte Seite, so folgten die Ranken bald auch dorthin. Brachte man an Stelle des Papieres eine Glasplatte an, die das Sonnenlicht so zurückwarf, daß es fortwährend auf die Ranken fiel, so wandten sie sich von dem Glase fort; und es schien so, als ob sie von dem Glase zurückgestoßen würden. Für die Haftwurzeln des Epheus wies Knight nach, daß sie nicht nur dem Lichte ausweichen, sondern sich auch nur an der Schattenseite des Stammes bilden.

Auch dies Verhalten suchte Knight auf mechanische Gründe zurückzuführen, indem er beim negativen Heliotropismus eine Ausdehnung, beim positiven dagegen eine Zusammenziehung der belichteten Rindensubstanz annahm. Hier wie überall besteht das Unzulängliche der von Knight begründeten Phytodynamik darin, daß sie auf die innere Organisation der Pflanze keine genügende Rücksicht nehmen konnte, weil diese noch zu wenig der Erkenntnis erschlossen war. Besteht doch dieser Mangel selbst heute noch in solchem Grade, daß die neuere Wissenschaft an Stelle der Erklärungsversuche Knights trotz der Erkenntnis ihrer Unzulänglichkeit kaum etwas besseres zu setzen gewußt hat.

Von dem Gedanken geleitet, daß das Studium der in den Gewächsen sich abspielenden Veränderungen am ehesten die Erkenntnis des Lebensprozesses ermöglichen werde, hatte Stephan Hales die ersten Schritte zur Begründung einer Ernährungsphysiologie der Pflanzen unternommen. Ein erfolgreiches Eindringen in diesen Gegenstand war jedoch erst möglich, nachdem die Rolle des Sauerstoffs erkannt und die Chemie auf eine wissenschaftliche Grundlage erhoben war. Schon vor der Entdeckung des Sauerstoffes hatte Priestley beobachtet, daß die durch die Atmung oder durch ein brennendes Licht »verdorbene« Luft wieder »heilsam« gemacht werde, wenn Pflanzen darin wachsen. Das heißt: Luft, in der ein Licht erlosch, wurde durch die Pflanzen in solchem Grade verbessert, daß das Licht wieder darin fortbrannte. Im Zusammenhange mit dieser Tatsache fand Priestley, daß die in den Blasen des Seetangs befindliche[Pg 365] Luft sogar »besser« als die atmosphärische Luft ist. Als ein Anzeichen für die »Güte« der Luft diente ihm die Zusammenziehung, die sich in seinem Salpetergaseudiometer einstellte629.

Der eigentliche Entdecker der Assimilation und der Atmung der Pflanzen ist der Holländer Ingenhouß (1730-1799). Er veröffentlichte im Jahre 1769 eine ausführliche Arbeit630 über diesen Gegenstand. Darin findet sich der Nachweis, daß die meisten Pflanzen die »verdorbene Luft« im Sonnenlichte schnell verbessern, daß sie dagegen zur Nachtzeit Kohlendioxyd ausscheiden oder die Luft »unrein« machen, wie es damals, bevor die antiphlogistische Lehre bekannt geworden war, noch hieß. Die Verbesserung der Luft geht nach Ingenhouß jedoch nur von den grünen Stengeln und Blättern, und zwar besonders von der unteren Seite der letzteren aus; sie besteht in der Abscheidung von Sauerstoff, welcher das zur Nachtzeit ausgeatmete Kohlendioxyd (von Ingenhouß noch als schädliche Luft bezeichnet) an Menge mehrere hundert Mal übertrifft. Hieran schloß sich die Erkenntnis631, daß der ausgeschiedene Sauerstoff von der Zersetzung des Kohlendioxyds herrührt, welches durch die Prozesse der Verbrennung, der Atmung und der Gärung in die atmosphärische Luft gelangt632.

Durch andere Versuche wurde dargetan, daß sich die Pflanzen allein mit Hilfe gasförmiger, flüssiger und in Flüssigkeiten gelöster Stoffe entwickeln können. Man ließ z. B. Pflanzen zwischen Moos, Baumwolle oder ausschließlich in Flußwasser wachsen, das eine genügende Menge von Mineralbestandteilen in Lösung enthielt. Auf solche Weise gelangte man schon gegen den Ausgang des[Pg 366] 18. Jahrhunderts zu einer Kenntnis der qualitativen Seite der Ernährungsphysiologie.

Nachdem für die Chemie das Zeitalter der quantitativen Untersuchungsweise gekommen war, galt es, die neue Methode auf die ihrem qualitativen Verlaufe nach erkannten Vorgänge der Ernährungsphysiologie anzuwenden. Dies geschah besonders durch Saussure. Wie Knight die Phytodynamik, so begründete er die Lehre von der Ernährung der Pflanzen, für welche Ingenhouß und Senebier nur einige sich auf den Gasaustausch erstreckende Vorarbeiten geliefert hatten.

Nicolas Théodore de Saussure war der Sohn des durch seine Montblanc-Besteigung bekannt gewordenen Alpenforschers Horace Benedict de Saussure. Letzterer bekleidete ein Lehramt in Genf, wo Théodore im Jahre 1767 geboren wurde. Théodore de Saussure beteiligte sich zunächst an den Forschungen seines Vaters. Seit dem Jahre 1797 wandte er sich pflanzenphysiologischen Untersuchungen zu. Er starb in Genf im Jahre 1845.

Saussure stellte sich die Aufgabe, die Rolle des Wassers, der Luft und des Humus bei der Ernährung der Gewächse und die Veränderungen der Atmosphäre durch die Pflanzen genauer zu erforschen. Insbesondere lenkte sich sein Augenmerk auf die Bedeutung, welche das Kohlendioxyd für das pflanzliche Leben besitzt.

Er entwickelt sein Programm mit den Worten: »Ich werde Fragen erörtern, welche durch das Experiment entschieden werden können und verzichte auf bloße Mutmaßungen, denn die Tatsachen allein führen in der Naturwissenschaft zur Wahrheit«. Diesem Vorsatz ist Saussure treu geblieben. Stets werden in seiner meisterhaft geführten Untersuchung die Fragen bestimmt gestellt und ebenso bestimmt beantwortet. Hatten frühere die Ernährungsvorgänge in den allgemeinsten Grundzügen und ausschließlich nach der qualitativen Seite untersucht, so war er es, der zuerst durch quantitative Bestimmungen eine »Bilanz herstellte zwischen dem, was die Pflanze aufnimmt und dem, was sie abgibt und daher selbst erwirbt633.« Durch dies Verfahren gelangte er zu dem Ergebnis, daß neben dem Kohlenstoff der Luft gleichzeitig[Pg 367] die Elemente des Wassers und gewisse Bestandteile des Bodens sich am Aufbau der Pflanzensubstanz beteiligen.

Der Gang seiner Untersuchung ist der folgende: Zunächst stellte er aus kohlensaurem Gas und gewöhnlicher Luft eine künstliche Atmosphäre her, welche 7½% kohlensaures Gas enthielt. Dieses Luftgemisch wurde in einen Behälter eingeschlossen und darin sieben Immergrünpflanzen (Vinca minor L.), von denen jede 20 cm hoch war, untergebracht. Die Wurzeln dieser Pflanzen tauchten in ein besonderes Gefäß, das 15 ccm Wasser enthielt. Dieser Apparat wurde sechs Tage hintereinander von 5 bis 11 Uhr morgens den Sonnenstrahlen ausgesetzt. Am siebenten Tage nahm Saussure die Pflanzen heraus. Unter Berücksichtigung aller Korrekturen hatte sich das Volumen der Atmosphäre nicht verändert. Auch aus späteren Versuchen hat sich ergeben, daß das Gesamtvolumen einer Atmosphäre, in welcher die Pflanzen assimilieren, nahezu unverändert bleibt, da ein dem zersetzten Kohlendioxyd annähernd gleiches Volumen Sauerstoff ausgeschieden wird, während sich der Gehalt an Stickstoff im allgemeinen nicht verändert.

Ein vergleichender Versuch zeigte, daß sieben Immergrünpflanzen, wie sie Saussure benutzt hatte, trocken vor der Zersetzung des kohlensauren Gases, 2,707 g wogen, und daß sie bei der Verkohlung im geschlossenen Gefäße 528 mg Kohle lieferten. Die Pflanzen, welche kohlensaures Gas zersetzt hatten, gaben, als sie getrocknet und nach demselben Verfahren verkohlt wurden, 649 mg Kohle. Die Zersetzung des kohlensauren Gases ergab also einen Gewinn von 120 mg Kohlenstoff. Saussure ließ dann Immergrünpflanzen, die in kohlensäurefreier Luft gewachsen waren, verkohlen und fand, daß sich der Gehalt an Kohle während des Aufenthaltes unter dem Behälter eher vermindert als vermehrt hatte.

Saussure erkannte ferner, daß die Pflanzen, während sie Kohlenstoff assimilieren, gleichzeitig die Elemente des Wassers aufnehmen, welches dabei seinen flüssigen Zustand verliert und zur Vermehrung der Trockensubstanz beiträgt. Zunächst überzeugte er sich davon, daß 100 Gewichtsteile der Pfefferminzpflanze 40,29 Teile Trockensubstanz enthielten, von denen nach der Verkohlung 10,56 Teile Kohle übrig blieben. Die 100 Gewichtsteile Pfefferminze wogen, nachdem sie zwei und einen halben Monat in freier Luft vegetiert hatten, 216 Teile. Zunächst lehrte[Pg 368] diese Gewichtszunahme nichts, da sie vielleicht der Vermehrung des Vegetationswassers zuzuschreiben war. Durch das Trocknen ging das Gewicht auf 62 Teile zurück. Die Pflanzen vergrößerten also mit Hilfe von Luft und Wasser ihre Trockensubstanz um 21,71 Teile. Die 62 Teile lieferten bei der Verkohlung 15,78 Teile Kohle oder 4,82 Teile mehr als zuvor. Die übrige Zunahme war auf Rechnung des chemisch gebundenen Wassers zu setzen.

Von entscheidender Wichtigkeit sind Saussures Versuche über das Verhalten der Pflanzen in den verschiedensten sauerstofffreien Medien gewesen. Sie führten zu dem Ergebnis, daß die Pflanzen Stickstoff und Wasserstoff im elementaren Zustande, sowie Kohlenoxydgas nicht zu assimilieren vermögen.

Die Frage, ob Wasser und Luft als Nahrungsmittel ausreichen und die vollständige Entwicklung der Pflanzen bewirken können, wurde durch Saussures Versuche entschieden verneint. Die weitere Frage, welche Elemente oder Verbindungen zum Wasser und zur Luft hinzukommen müssen, um das erwähnte Ziel zu erreichen, ließ sich nur durch ausgedehnte Versuche in Nährlösungen entscheiden, ein Forschungsmittel, dessen sich Saussure in ausgedehnterem Maße bediente.

Auch diese Versuche waren von grundlegender Wichtigkeit. Zunächst wurden den Versuchspflanzen Lösungen dargeboten, die nur je ein Salz enthielten. Der Gang der Untersuchung und das Ergebnis ist sehr lehrreich. Jede Lösung bestand aus 40 Kubikzoll Wasser und enthielt 100 Teile desjenigen Salzes, dessen Verhalten zur Pflanze (Polygonum persicaria) man prüfen wollte. Der Versuch wurde jedesmal unterbrochen, wenn die Hälfte der Lösung von der Pflanze aufgenommen war. Es ergab sich durch die Analyse der zurückgebliebenen Hälfte, daß Polygonum von den gebotenen 100 Teilen folgende Mengen aufgenommen hatte:

Chlorkalium14,7 Teile,
Schwefelsaures Natrium14,4"
Chlornatrium13"
Chlorammonium12"
Essigsauren Kalk8"
Salpetersauren Kalk4"
usw.

Andere Pflanzen nahmen die Salze in anderen Mengen auf. Im allgemeinen bemerkte man, wie in dem hier durch Zahlen[Pg 369] belegten Falle, daß das Wasser viel leichter in die Pflanze eindringt als der darin gelöste Körper. Blieben doch z. B., wenn 4 Teile salpetersaurer Kalk in die Pflanze eindrangen, 46 Teile dieses Salzes in der Lösung zurück, deren Gehalt an Salz sich infolgedessen relativ erheblich steigerte.

De Saussure ging auch dazu über, der Pflanze, den natürlichen Verhältnissen entsprechend, gleichzeitig mehrere Salze in einer Lösung darzubieten. Auch diesmal stellte er Nährlösungen von ganz bestimmter Zusammensetzung her und analysierte sie, wenn sie bis zur Hälfte ihres ursprünglichen Volumens aufgenommen waren. So erhielt er einwandfreie, vergleichbare Zahlenwerte. Ein Beispiel hier für viele. Enthielt ein und dieselbe Lösung 100 Teile Chlornatrium neben 100 Teilen schwefelsaurem Natrium, so nahm Polygonum daraus 22 Teile von ersterem und 11,7 Teile von dem zweiten Salz auf. Damit war die wichtige, für alle späteren Untersuchungen dieser Art grundlegende Tatsache erwiesen, daß eine Pflanze aus einer Lösung von mehreren Stoffen bestimmte Stoffe bevorzugt. Durch die Veraschung der Versuchspflanzen überzeugte sich de Saussure davon, daß die aus der Lösung verschwundene Salzmenge wirklich in die Pflanze eingedrungen war. Von zwei Polygonumpflanzen von genau gleichem Gewicht ließ er die eine in destilliertem Wasser, die andere in einer Chlorkaliumlösung wachsen. Für letztere ergab sich bei der Verbrennung beider Pflanzen, daß sie ihren Aschengehalt um diejenige Chlorkaliummenge vergrößert hatte, die aus der Lösung verschwunden war. Derartige Versuche waren zu einer Zeit, in welcher wissenschaftlich gebildete Männer noch glaubten, die Pflanzen besäßen die Fähigkeit, Elemente zu erzeugen und ineinander umzuwandeln, von entscheidender Wichtigkeit.

Weit größere Schwierigkeiten bot es bei dem damals noch unentwickelten Zustande der Mineralanalyse über die Zusammensetzung und die Bedeutung der aus dem Boden aufgenommenen Aschenbestandteile ins Reine zu kommen. Es war eine verbreitete Ansicht, daß die Mineralstoffe, die man in den Gewächsen fand, dort nur zufällig vorhanden und keineswegs für ihre Existenz nötig seien. Ja, man ging sogar noch weiter und schloß aus dem Umstande, daß einige Salze gewissen Pflanzen schädlich sind, daß alle Salze der Vegetation nicht nur keinen Nutzen brächten, sondern in mehr oder minder hohem Grade schädlich seien. Saussures Untersuchungen vermochten hier wenigstens die gröbsten Irrlehren zu beseitigen. Daß die geringe Menge der Pflanzenasche[Pg 370] ein Anzeichen für ihre Nutzlosigkeit sei, widerlegte er durch den Hinweis auf den in den Tieren enthaltenen phosphorsauren Kalk. Dieser mache nur einen sehr geringfügigen Teil des Gewichtes der Tiere aus. Dennoch zweifle niemand daran, daß das Salz für den Aufbau der Knochen durchaus notwendig sei. Saussure fand dieses Salz in der Asche aller von ihm darauf untersuchten Pflanzen und vertrat die Ansicht, daß sie ohne phosphorsauren Kalk nicht bestehen könnten. Als die wichtigsten Bestandteile der Pflanzenasche erkannte Saussure außer dem phosphorsauren Kalk die Verbindungen von Magnesium und Eisen, sowie die Kieselsäure. Trotz dieser, durch zahlreiche Aschenanalysen, die lange als unübertroffen galten, gestützten wichtigen Ergebnisse der Saussureschen Untersuchungen blieben Zweifel an der Notwendigkeit der Aschenbestandteile bestehen, bis Liebig in den dreißiger Jahren des 19. Jahrhunderts diese Frage endgültig im Sinne Saussures entschied.

Die Frage nach der Aufnahme des Stickstoffes wurde noch später durch Boussingault zur Entscheidung gebracht. Zwar hatte Saussure nachgewiesen, daß der atmosphärische Stickstoff von der Pflanze nicht assimiliert wird. Woher aber der beträchtliche Gehalt der Pflanze an diesem Elemente stammt, blieb eine offene Frage. Saussure beschränkte sich auf die Annahme, daß er aus den tierischen und pflanzlichen Bestandteilen des Bodens stammen könne. Offenbar eine verhängnisvolle, an die unbegreiflich törichte Humustheorie erinnernde Gedankenlosigkeit, da ja die Quelle aufzuweisen war, woher eben die Tiere und Pflanzen den Stickstoff beziehen.

Eine Anzahl wichtiger Versuche stellte Saussure endlich an, um die wichtige, schon von Ingenhouß angedeutete Rolle zu erkennen, welche der Sauerstoff bei dem Stoffwechsel der Pflanze spielt. Zunächst stellte er fest, daß zum Keimen Sauerstoff und Wasser erforderlich sind. Das Wasser allein vergrößere zwar die Samen, indem es in das Zellgewebe eindringe, es bringe sie aber ohne die Mitwirkung von Sauerstoff nicht zum Keimen. Weiter zeigte Saussure, daß beim Keimen Sauerstoff verschwindet und durch Kohlendioxyd ersetzt wird, ohne daß eine Änderung des Gesamtvolumens stattfindet. Die keimenden Samen änderten nämlich ebensowenig wie der brennende Kohlenstoff das Volumen des Sauerstoffgases, das sie in kohlensaures Gas verwandelten. Daß dieser der Atmung der Tiere analoge Vorgang[Pg 371] auch in den fertigen Pflanzenteilen vor sich geht, zeigte Saussure durch mannigfache Versuche.

Wurden z. B. frische Blätter gesammelt und während der Nacht unter einen mit Luft gefüllten Recipienten gestellt, so verschwand der Sauerstoffgehalt der Luft, und es bildete sich Kohlendioxyd, dessen Volumen allerdings geringer war als dasjenige des während des Versuches aufgezehrten Sauerstoffs. Wurden die Blätter am darauffolgenden Tage wieder der Sonne ausgesetzt, so schieden sie fast dieselbe Menge Sauerstoff wieder ab, die sie während der Nacht aufgenommen hatten. War ihre Lebenskraft so groß, daß sie mehrere Tage gesund blieben, so bot sich ein wunderbares Schauspiel dar. Die Blätter verringerten nämlich jede Nacht ihre Atmosphäre, um sie jeden Tag beinahe in demselben Maße zu vergrößern.

Saussure dehnte die Untersuchung über den Einfluß des Sauerstoffs auf die Pflanzen auch auf die Stengel, die Wurzeln und die Blüten aus. Er zeigte, daß dieses Gas für die nicht-grünen Teile wesentlich ist, und daß letztere, indem sie Sauerstoff verbrauchen, Kohlendioxyd abscheiden, ohne dieses Produkt, wie es die grünen Pflanzenteile vermögen, wieder in Sauerstoff zurückverwandeln zu können. Zu diesen Beobachtungen kam noch der Nachweis, daß bei der Atmung die Pflanzensubstanz einen Gewichtsverlust erleidet, der dem Gewicht des ausgeschiedenen Kohlenstoffs entspricht. Auch darauf wurde schon Saussure aufmerksam, daß Pflanzenteile, die eine regere Lebenstätigkeit entfalten, wie Keimlinge und sich entfaltende Blüten mehr Sauerstoff gebrauchen als minder tätige. Ja, es gelang ihm sogar später634, die Beziehung zwischen dem Sauerstoffverbrauch und eine dadurch bedingte Erwärmung der Blüten festzustellen.

Durch diese Forschungsergebnisse war die Lehre von der Atmung der Pflanzen in ihren allerersten Grundlagen geschaffen und zwischen dem Pflanzen- und dem Tierreich eine wichtige Brücke geschlagen. Durchdrungen von dieser Erkenntnis äußerte sich Saussure folgendermaßen: Prüfe man als Anatom die Pflanzen und die Tiere, so komme man nicht auf den Gedanken, sie miteinander zu vergleichen. Vergegenwärtige man sich aber die großen physiologischen Züge, wie die Ernährung, die Absonderungen, den Einfluß des Sauerstoffs usw., so müsse man eine[Pg 372] auffallende Übereinstimmung zwischen Tieren und Pflanzen zugeben.

Wir haben die Arbeit Saussures etwas eingehender erörtert, weil ein in gleicher Weise bahnbrechendes Werk auf dem Gebiete der Ernährungsphysiologie kaum wieder erschienen ist. Das sorgfältige Studium der Saussureschen, durch klare Fragestellung, sowie durch treffliche Methoden gleich ausgezeichneten »Untersuchungen« kann nicht genug empfohlen werden635.

Als besonderer, alle Vegetationsvorgänge behandelnder Zweig der Botanik wurde die Pflanzenphysiologie zuerst von Decandolle bearbeitet, mit dessen Verdiensten um die Morphologie und um die Systematik wir uns schon beschäftigt haben636. Decandolle stellte sich die Aufgabe, die Pflanzenphysiologie auf Grund der physikalischen, chemischen, anatomischen und biologischen Forschungsergebnisse als »abgeschlossene, eigenartige Wissenschaft darzustellen und so ein vollständiges und allseitiges Bild des Pflanzenlebens zu gewinnen«. Dies Unternehmen stand ohne Vorläufer da. Deshalb ist auch das Werk, in welchem Decandolle seine Aufgabe löste, von ganz außergewöhnlicher Bedeutung. Sie besteht weniger in der Mitteilung neuer Entdeckungen als in der Verknüpfung der bisher bekannt gewordenen Tatsachen, durch welche aus dem zerstreuten Wissen erst die Wissenschaft in der ihr eigenen und im wesentlichen auch bleibenden Gestalt und Richtung hervorgegangen ist.

Die folgenden Abschnitte sollen dieser grundlegenden Bedeutung des von Decandolle verfaßten Werkes gerecht zu werden suchen. Es erschien 1832 unter der Bezeichnung »Pflanzenphysiologie oder Darstellung der Lebenskräfte und Lebensverrichtungen der Gewächse«637.

Hatte Decandolle in seiner Organographie die Teile beschrieben, aus denen die Pflanzenmaschine besteht, so galt es in der »Physiologie« diese Maschine in ihrer Tätigkeit zu schildern und die sie bewegenden Kräfte sowohl wie das Ergebnis dieser Kräfte zu untersuchen. Als solche gelten ihm die physikalischen Kräfte, die chemische Verwandtschaft und die Lebenskraft. Letztere betrachtet er als die Ursache der physiologischen Vorgänge.[Pg 373] Zu diesen Kräften sollten bei den Tieren noch die Beseelung als Ursache der psychologischen Vorgänge im weitesten Sinne treten. Decandolle nahm an, daß die Beseelung ausschließlich auf das Tierreich beschränkt sei.

Unter der Lebenskraft versteht Decandolle diejenige Ursache, die während des Lebens der Pflanze Erscheinungen veranlaßt, die aus den bekannten Kräften allein nicht erklärt werden können. Indessen sucht Decandolle, soweit wie möglich, mit den physikalisch-chemischen Kräften auszukommen. Die Lebenskraft ist ihm der unerklärliche Rest, der trotz alles Strebens nach einer rein mechanischen Erklärungsweise auch für die heutige Physiologie noch nicht gänzlich getilgt ist und es in absehbarer Zeit auch nicht sein wird. »Wenn wir«, sagt Decandolle, »alle bekannten physikalischen und chemischen Ursachen, die eine gewisse Wirkung hervorzubringen vermögen, der Reihe nach geprüft haben, so werden wir den Teil der Erscheinung, der noch unerklärt bleibt, dem verborgenen Einfluß des Lebens zuschreiben«.

Als Äußerungen der lebenden tierischen Gewebe unterscheidet Decandolle drei Stufen, die Ernährungs- und Wachstumsvorgänge, die Reizbarkeit und die Empfindung. Er untersucht dann, in welchem Grade diese Eigenschaften auch den Pflanzen zukommen und bemerkt, daß sich zwischen beiden Reichen natürliche Grenzen schwer ziehen lassen, so daß man nicht entscheiden könne, ob gewisse Kryptogamen oder Pflanzentiere Pflanzen oder Tiere seien.

Die Untersuchung der Ernährungsvorgänge gipfelt in dem Nachweis, daß die einzelnen Erscheinungen, welche sie darbieten, und die Reihenfolge, in der sie ablaufen, für die beiden organischen Reiche ganz analog sind. Die Unterschiede werden mehr oder weniger als die unmittelbare Folge der tierischen Beweglichkeit und der pflanzlichen Unbeweglichkeit betrachtet.

Jene bei Pflanzen und Tieren parallel verlaufende Reihe von Ernährungsvorgängen bietet nach Decandolle folgendes Bild: Zunächst wird der Nahrungsstoff dem Organismus in flüssiger oder fester Form zugeführt. Darauf gelangt die Nahrung in die Organe, in denen sie verarbeitet werden soll (Magen, Blätter). Der erhaltene Nahrungssaft wird in beiden Reichen der atmosphärischen Luft ausgesetzt, um Stoffe durch Ausdünstung abzugeben und Sauerstoff – bei der assimilierenden Pflanze außerdem Kohlendioxyd – aufzunehmen. Der so vorbereitete Nahrungssaft gelangt[Pg 374] hauptsächlich zu den tätigsten Teilen des Organismus, um dort seine Bestandteile im Zellgewebe abzusetzen. Ein Teil der zubereiteten Nahrung wird auch wohl in besonderen Organen niedergelegt (Knollen als Reservestoffbehälter der Pflanzen). Endlich besitzen andere eigentümliche Organe, die man Drüsen nennt, die Fähigkeit, aus dem Nahrungssafte besondere Stoffe abzuscheiden, sei es, um den Körper von ihnen zu befreien, sei es, um dadurch besondere Zwecke zu erfüllen.

Decandolle handelt dann von diesen Vorgängen im einzelnen. Er erwägt, welche Kräfte das Einsaugen der ernährenden Flüssigkeit bewirken; er untersucht die Zusammensetzung der Nährlösung, die Wege, auf denen sie in den Pflanzen emporsteigt, die Ursachen des Emporsteigens, die Geschwindigkeit, Kraft und Menge des Nahrungssaftes, die Rolle, welche die Atmosphäre bei der Ernährung spielt usw. Aus dem Zusammenwirken dieser Vorgänge entsteht nach Decandolle ein neuer Saft. Seine Existenz falle allerdings weniger in die Augen als diejenige des aufsteigenden Saftes, könne aber nicht bezweifelt werden.

Die Ansicht, die Pflanzen besäßen einen dem Blutkreislauf der Tiere analogen Kreislauf der Säfte, wurde von Decandolle endgültig beseitigt. Zwar gibt es in den Pflanzen nach ihm einen Saft, welcher dem Blute der Tiere darin entspricht, daß er das Wachstum und die Ernährung der Organe bedingt. Dieser Saft nimmt seine Entstehung in den blattartigen Teilen. Dort wird die dem Boden entstammende Nährlösung konzentriert, indem die Blätter reines Wasser aushauchen und alle mineralischen Bestandteile, welche das Wasser mit sich führte, zurückhalten638. In den Blättern wird der konzentrierte Saft von den Sonnenstrahlen getroffen und dadurch das im Nahrungssafte gleichfalls gelöste Kohlendioxyd, das teils aus dem Boden, teils aus der Atmosphäre stammt, zersetzt. Als erstes Assimilationsprodukt betrachtet Decandolle Gummi. Dieser bestehe aus einem Molekül Wasser und einem Atom Kohlenstoff (CH2O) und könne durch sehr geringe Umänderungen in Stärkemehl, Zucker oder Cellulose verwandelt werden.

Der so entstandene Bildungssaft müsse offenbar die Pflanze bis in die Wurzel hinab durchdringen, um in den wachsenden Teilen, den Reservestoffbehältern und in sezernierenden Geweben Verwendung zu finden, oder weitere Umwandlungen zu erleiden.

[Pg 375]

Es sind das, wie wir sehen, die Grundzüge der durch alle späteren Forschungen bestätigten Ernährungslehre der Pflanzen, wie sehr auch später das Bild im einzelnen verändert oder vervollständigt worden ist. Die Leistungen auf dem Gebiete der Pflanzenphysiologie, welche Deutschland639 um jene Zeit aufzuweisen hatte, können sich nicht entfernt mit denen Decandolles messen. Man suchte unter dem Einfluß der Naturphilosophie alle Vorgänge auf das Wirken der Lebenskraft zurückzuführen. Auch besaßen die deutschen Pflanzenphysiologen640 jener Zeit nicht die erforderliche exaktwissenschaftliche Vorbildung, wie sie Decandolle unter der Einwirkung der Genfer und Pariser Physiker und Chemiker sich erworben hatte. Nur auf dieser Grundlage, die auch für die Erneuerung der Chemie durch Lavoisier das Bestimmende war, konnte für die Physiologie der große Schritt zur messenden und wägenden, stets induktiv verfahrenden Naturwissenschaft geschehen. Bei dem Fortschreiten in dieser Richtung hat sich dann während des weiteren Verlaufs des 19. Jahrhunderts Deutschland auch auf diesem Gebiete, wie wir des Näheren noch erfahren werden, die größten Verdienste erworben.

[Pg 376]

25. Die Fortschritte der Zoologie und ihre Verschmelzung mit der vergleichenden Anatomie.

Auf zoologischem Gebiete hatte Buffon, der in seiner Naturgeschichte641 nicht nur vortrefflich zu schildern, sondern auch allgemeine Gesichtspunkte hervorzuheben verstand, den Gedanken eines einheitlichen, das gesamte Tierreich beherrschenden Planes aufgestellt. Buffon ging sogar noch weiter. Nach seiner Meinung642 gibt es keinen wesentlichen Unterschied zwischen Tier und Pflanze, sondern es besteht eine ununterbrochene Stufenfolge zwischen dem vollkommensten Tiere und dem niedrigsten pflanzlichen Lebewesen. Jener Plan, nach dem der Mensch und die übrigen Geschöpfe gebaut sein sollten, läßt nach Buffon erkennen, daß alle Wesen nach einem Urbild geschaffen und, unter diesem Gesichtspunkt betrachtet, die Glieder einer großen Familie sind. Buffons Ausführungen blieben, weil die damaligen anatomischen Kenntnisse unzureichend waren, um in dieser Frage einen Entscheid herbeizuführen, zunächst nichts weiter als eine geistreiche Annahme.

Nach Buffon fand der Gedanke von der Einheit der tierischen Organisation in Geoffroy Saint-Hilaire643 einen eifrigen Verfechter. Wenn auch ein Goethe diesem Gedanken Beifall zollte, so konnte er den Ergebnissen der anatomischen Forschung Cuviers gegenüber doch nicht standhalten.

Faßt man die Fortschritte der Zoologie, der vergleichenden Anatomie und der Paläontologie während der neuesten, mit dem 19. Jahrhundert beginnenden Entwicklung dieser Wissenschaften ins Auge, so wird sich das Interesse in erster Linie dem zuletztgenannten[Pg 377] Manne zuwenden, dem wir deshalb wie Gay-Lussac, dem Meister der chemisch-physikalischen Forschung jener Zeit, eine etwas ausführlichere Darstellung widmen wollen.

Georg Cuvier wurde 1769 zu Mömpelgard (Montbéliard), welches damals eine württembergische Enklave der Franche Comté war, geboren. Er starb in Paris im Jahre 1832. Cuvier zeigte schon als Knabe außergewöhnliche Anlagen. Nachdem er das Gymnasium verlassen hatte, wurde der Herzog Karl Eugen, der gern junge Talente förderte, auf ihn aufmerksam. So kam Cuvier 1784 zur Karlsakademie, um dort Rechtskunde zu studieren. Schon vorher hatte er sich, angeregt durch das Lesen der Werke Buffons, mit großer Liebe den Naturwissenschaften zugewandt. Auf der Karlsschule fand er neben seinen Berufsstudien noch Zeit, unter den Zöglingen einen naturwissenschaftlichen Verein ins Leben zu rufen, der sich die Aufgabe stellte, die Pflanzen und die Tiere der Umgegend zu sammeln und sie nach Linnés »Systema naturae« zu bestimmen.

Im Jahre 1788 verließ Cuvier die Akademie und wurde Hauslehrer in der Normandie. Cuvier fand hier Gelegenheit und Muße, seine Forschungen auf die Tierwelt des Meeres auszudehnen. Er untersuchte den inneren Bau der Weichtiere, Krebse, Seesterne, Seeigel, usw. und gelangte zu der Überzeugung, daß die Vereinigung dieser so verschiedenartigen Geschöpfe in eine Klasse, wie sie Linné vorgenommen, sich nicht aufrecht erhalten ließ.

Nachdem Cuvier vier Jahre in der Stille gearbeitet hatte, wurde er von einem durch die Stürme der Revolution nach der Normandie verschlagenen Pariser Gelehrten sozusagen erst entdeckt. Dieser schrieb an seine wissenschaftlichen Freunde, einen tüchtigeren Mann für vergleichende Anatomie wie Cuvier würde man nicht gewinnen können. So kam denn letzterer im Jahre 1795 nach Paris, wo er Professor an der École centrale wurde.

Nachdem man gegen das Ende des 18. Jahrhunderts den Reichtum des Pariser Beckens an Resten von Säugetieren und Vögeln kennen gelernt hatte, war das Bemühen um die geologische Durchforschung dieser Gegend in hohem Grade rege geworden. Auch Cuvier wurde einige Jahre nach seiner Ankunft in Paris in diese Aufgabe hineingezogen, um schon nach kurzer Zeit auch hier die Führung zu übernehmen. Den ersten Anlaß bot ihm die Zusendung einiger Knochen, die man in den Gipsbrüchen des Montmartre gefunden hatte. Cuviers Kenntnis der lebenden Tierformen[Pg 378] war so umfassend, daß er jenen Überresten gleich einen vorweltlichen Ursprung zuschreiben konnte. Alle Funde der Gipsbrüche gelangten jetzt an Cuvier, welcher durch seine Untersuchung jener Funde der Paläontologie einen Weg eröffnete, auf dem bisher nur wenige Schritte geschehen waren.

»Als Altertumsforscher ganz neuer Art«, sagt Cuvier644, »mußte ich diese Zeugen vorübergegangener Umwälzungen zu ergänzen und ihre eigentliche Bedeutung zu entziffern suchen. Ich hatte ihre zerbröckelten Trümmer zu sammeln und in ihrer ursprünglichen Ordnung zusammenzulegen, die Geschöpfe, denen sie angehörten, gleichsam zu rekonstruieren und sie mit denjenigen der Gegenwart zu vergleichen.« Bei der Ausübung dieser Tätigkeit ließ Cuvier sich von dem durch ihn klar ausgesprochenen Prinzip von der Korrelation der Organe leiten. Jeder Organismus bildet danach ein geschlossenes Ganzes, dessen Teile dergestalt miteinander in engster Wechselbeziehung stehen, daß kein Organ eine Abänderung aufweisen kann, ohne daß entsprechende Änderungen sich in allen übrigen Teilen finden.

Sehen wir, wie Cuvier unter diesem Gesichtspunkt bei der Bestimmung fossiler Knochen verfuhr645: »Wenn die Eingeweide eines Tieres so beschaffen sind, daß sie nur Fleisch verdauen können, so müssen auch seine Kiefer zum Fressen, seine Klauen zum Festhalten und zum Zerreißen, seine Zähne zum Zerschneiden und Zerkleinern, das ganze System der Bewegungsorgane zum Verfolgen und Einholen der Beute, die Sinnesorgane zur Wahrnehmung der letzteren eingerichtet sein. Jedoch unter diesen allgemeinen Bedingungen sind auch noch einige besondere begriffen. Damit z. B. das Tier seine Beute forttragen könne, ist eine bestimmte Kraft derjenigen Muskeln erforderlich, durch welche der Kopf aufgerichtet wird; dieses setzt eine bestimmte Form der Wirbel, an denen die Muskeln entspringen, und des Hinterkopfes, wo sie sich anheften, voraus.« Des weiteren wird ausgeführt, daß dem Vorderarm eines seine Beute ergreifenden Tieres eine gegebene Form zukommen muß, die ihrerseits wieder die Gestalt des Oberarmknochens bestimmt. Kurz, es ergibt sich, daß die Form des Zahnes diejenige des Hinterhaupthöckers, der Gliedmaßenknochen, der Klauen usw. bedingt, so daß bei gründlicher Kenntnis dieser gegenseitigen Abhängigkeit aus einem[Pg 379] dieser Teile das ganze Tier gewissermaßen rekonstruiert werden kann. Eine solche Tätigkeit konnte aber nur ein Meister auf dem Gebiete der vergleichenden Anatomie ausüben. Cuvier ist als der eigentliche Begründer dieses Wissenszweiges zu betrachten, wenn es auch an anerkennenswerten Vorläufern nicht gefehlt hat. Er war der erste, der das ganze Tierreich dem Skalpell unterwarf, und zwar mit solch vollendeter Meisterschaft, daß seine Arbeiten für alle Zeiten als Muster gelten können. So entstand sein anatomisches Hauptwerk646, das neben einem Reichtum neuer Entdeckungen eine Verknüpfung des gesamten Tatsachenmaterials und dadurch einen Einblick in die Gesetze der tierischen Organisation vermittelt, wie es kein früheres und wenige spätere Werke in gleichem Grade vermocht haben. Von Einzeluntersuchungen Cuviers sind besonders seine Arbeiten über den unteren Kehlkopf der Vögel, über die Anatomie der Schnecke und über den Kreislauf der wirbellosen Tiere hervorzuheben.

Cuvier war unterdessen Professor der vergleichenden Anatomie am Jardin des Plantes647 und bald darauf Sekretär der Akademie geworden. Sein großes Lebenswerk wurde nicht nur dadurch gefördert, daß ihm diese höchsten wissenschaftlichen Stellungen eine Fülle von Hilfsmitteln erschlossen, sondern die gesamten Zeitumstände waren für ihn äußerst günstig. Die Machthaber Frankreichs, welche nach den ersten Stürmen der Revolutionszeit auftraten, brachten der großen Bedeutung der exakten Wissenschaften ein volles Verständnis entgegen. Schon unter dem Direktorium hatte man die von dem Nationalkonvent als gelehrten Plunder aufgehobene Akademie wieder eingerichtet. Napoleon ließ sich zu ihrem Mitgliede ernennen und trat zu Cuvier, den er besonders schätzte, in ein nahes persönliches Verhältnis. Letzterer wurde vom Kaiser mit der Reorganisation des arg in Unordnung geratenen Unterrichtswesens betraut. Diese Stellung brachte es mit sich, daß der große Gelehrte, dessen amtliche Tätigkeit sich auch auf die italienischen Universitäten erstreckte, weite Reisen unternahm und auswärtige Museen kennen lernte. Zum Mittelpunkt der naturwissenschaftlichen Sammeltätigkeit wurde aber Paris gemacht, wohin durch die französischen Eroberungszüge nicht nur die hervorragendsten Kunstschätze, sondern auch ein reiches wissenschaftliches[Pg 380] Material gelangte. Paris war damals nicht nur das politische, sondern auch das geistige Zentrum der Welt.

Nachdem Cuvier die Grundlagen der vergleichenden Anatomie geschaffen, ging sein ganzes Streben darauf hinaus, diese Wissenschaft mit der Zoologie zu verschmelzen und eine Anordnung der Formen zu treffen, welche der genaue und vollständige Ausdruck der Natur sein sollte648. »Als ich anfing«, sagt er649, »herrschte das Linnésche System. Es gab zwar ausgedehnte Arbeiten über einzelne Tierklassen. Die Bearbeiter hatten aber nur die äußeren Beziehungen der Arten berücksichtigt; niemand hatte sich damit abgegeben, die Klassen und ihre Unterabteilungen nach der Gesamtheit der inneren und äußeren Kennzeichen gegeneinander abzuwägen. Ich mußte also in der Anatomie und in der Zoologie mit dem Zergliedern und dem Einteilen von vorn anfangen und aus der gegenseitigen Befruchtung dieser beiden Wissenschaften das zoologische System hervorgehen lassen.« Die Grundzüge des letzteren veröffentlichte Cuvier in der berühmten Abhandlung vom Jahre 1812. Sie führt den Titel: »Über eine neue Anordnung der Klassen, welche das Tierreich zusammensetzen«650.

Cuviers System bedeutet den größten Fortschritt der Zoologie seit der Zeit des Aristoteles. Linné hatte als »Würmer« zahlreiche verschiedengestaltige Tiere beisammen gelassen, für die es unmöglich war, irgend ein gemeinsames Kennzeichen anzugeben. Während Cuvier an seinen ersten Abhandlungen zur vergleichenden Anatomie arbeitete, befand er sich der Unmöglichkeit gegenüber, irgend etwas allgemein Zutreffendes über die Würmer zu sagen, sei es über ihr Nervensystem, sei es über ihren Blutkreislauf, ihre Atmungs-, Fortpflanzungs- oder über ihre Verdauungsorgane. Dadurch wurde ihm denn klar, daß diese Klasse nicht gleich den übrigen auf positive Merkmale gegründet sei. Er machte deshalb 1795 den Vorschlag, die »Würmer« in vier Klassen zu teilen, welche auf ebenso deutliche Verschiedenheiten gegründet wären, wie die Klassen der Wirbeltiere. Während nämlich die Klassen der Wirbeltiere eine große Anzahl von Zügen gemeinsam haben, gilt für die wirbellosen Tiere nicht dasselbe. »Die Klassen der Wirbeltiere«, sagt Cuvier, »sind gewissermaßen nach demselben Plane gebaut. Will man aber ein[Pg 381] Organsystem der wirbellosen Tiere beschreiben, so ist man gezwungen, fast ebensoviel Schemata zu entwerfen, als man Klassen innerhalb der Wirbellosen aufgestellt hat.« Cuvier gelangte so dahin, gewisse Klassen der letzteren der gesamten Reihe der Wirbeltiere als gleichwertig an die Seite zu stellen. Das Ergebnis war, daß er vier Hauptpläne nachwies, nach denen ihm sämtliche Tiere gebaut zu sein schienen. Die Unterabteilungen der so gewonnenen vier Hauptgruppen oder Kreise werden nach ihm dadurch bedingt, daß geringe Abänderungen durch die Entwicklung und das Hinzutreten gewisser Teile hervorgerufen werden, die indessen an den Grundzügen des Planes nichts ändern.

Nach einer genauen Kennzeichnung der anatomischen Grundzüge jedes Kreises, gelangt Cuvier zu folgender Einteilung des Tierreiches:

I. Kreis. Wirbeltiere.
1. Klasse Säugetiere.
2. " Vögel.
3. " Kriechtiere (Reptilien und Amphibien).
4. " Fische.
II. Kreis. Weichtiere.
1. Klasse Kopffüßer oder Cephalopoden.
2. " Bauchfüßer oder Gasteropoden.
3. " Flossenfüßer oder Pteropoden.
4. " Muscheln oder Acephalen.
III. Kreis. Gliedertiere.
1. Klasse Ringelwürmer oder Anneliden.
2. " Krebstiere oder Crustaceen.
3. " Spinnen oder Arachniden.
4. " Kerbtiere oder Insekten.
IV. Kreis. Radiärtiere.
1. Klasse Stachelhäuter oder Echinodermen.
2. " Eingeweidewürmer.
3. " Pflanzentiere oder Polypen.
4. " Aufgußtiere oder Infusorien.

Diese Einteilung Cuviers bildet auch heute noch im wesentlichen die Grundlage des natürlichen Systems. Doch ist die Zahl der Kreise auf sieben vermehrt worden. Zuerst wurde durch Abtrennung der Infusorien von den Radiärtieren der Kreis der Urtiere[Pg 382] oder Protozoen gebildet. Sodann wurden die Stachelhäuter, welche einen Darm besitzen, als besonderer Kreis den darmlosen Radiärtieren (Korallen, Seerosen usw.) gegenübergestellt. Endlich wurden die Ringelwürmer mit den Eingeweidewürmern und anderen niederen Formen zum Kreise der Würmer vereinigt. Außerdem gestattet die Entdeckung zahlreicher Verbindungsglieder zwischen den einzelnen Kreisen, das gesamte Tierreich als eine Einheit im höchsten Sinne zu betrachten.

Die Ergebnisse von Cuviers vergleichend anatomischen Untersuchungen widersprachen der von der naturphilosophischen Schule vorausgesetzten Einheit der tierischen Organisation. Seine durch Jahrzehnte fortgesetzten Arbeiten hatten den nicht hinwegzuleugnenden Nachweis geliefert, daß sich die scheinbar unendliche Mannigfaltigkeit der Lebewesen auf mehrere Typen oder allgemeinen Baupläne zurückführen läßt. Das von Cuvier geschaffene System, vor allem aber der Grundgedanke, daß es solche allgemeinen Baupläne gibt, ist durch weitere, insbesondere entwicklungsgeschichtliche Forschungen im wesentlichen bestätigt worden. Sah man sich auch gezwungen, die Zahl der Typen zu vermehren, sowie die Existenz von Zwischenformen anzunehmen, so wurde dadurch der Begriff des Typus doch nicht erschüttert. Und vollends haben sich Lehren, wie diejenige von Geoffroy St. Hilaire, nach welcher die Insekten mit ihrem bauchständigen Mark als umgekehrte Wirbeltiere betrachtet wurden, als unhaltbar erwiesen.

Cuviers Untersuchungen über die fossilen Tiere berühren sich mit den Ergebnissen seiner zoologischen Arbeiten. Die Hauptpläne, die er für die lebenden Tiere erkannt hatte, fanden sich nämlich auch an den untergegangenen Formen verwirklicht, so daß sich die früheren mit den jetzigen Lebewesen zu einem großen System vereinigen ließen.

Mit der Erkenntnis, daß die ausgestorbenen Wirbeltiere, auf die sich Cuviers paläontologische Forschungen insbesondere erstreckten, von den heutigen in solchem Maße abweichen, daß sie mit ihnen höchstens unter denselben Gattungsbegriff gestellt werden dürfen, konnte man das Dogma von der Konstanz der Arten nicht wohl vereinigen. So nahm denn Cuvier an, daß jede einer geologischen Epoche eigentümliche Lebewelt auf einen besonderen Schöpfungsvorgang zurückzuführen sei, während die Harmonie der gesamten Schöpfung in dem Einhalten der von ihm nachgewiesenen Baupläne zum Ausdruck gelangen sollte. Jeder Neuschöpfung sollte[Pg 383] eine Beseitigung der vorhandenen Wesen vorangegangen sein. Hierfür nahm Cuvier gewaltige geologische Umwälzungen in Anspruch, deren Spuren er in den Veränderungen, welche die ursprünglich horizontalen, versteinerungsführenden Schichten erlitten haben, aufdecken zu können glaubte. Die Entwicklung der Paläontologie und der Geologie unter dem Einfluß dieser Anschauungen Cuviers und seiner Zeitgenossen wird uns in einem späteren Abschnitt beschäftigen.

Erwähnen wir noch, daß Cuvier im Jahre 1817 unter dem Titel das »Tierreich« ein umfassendes Werk651 herausgab, so ist damit die Bedeutung dieses außerordentlichen Mannes zwar nicht erschöpft, doch in den wesentlichsten Punkten gewürdigt. Am 13. Mai des Jahres 1832 wurde er nach kurzer Krankheit seiner großartigen Tätigkeit durch den Tod entrissen. »Solange die Welt steht«, äußerte ein hervorragender Zeitgenosse in einem Cuvier gewidmeten Nachruf652, »wird der Verstorbene als hellleuchtendes Gestirn am naturhistorischen Himmel glänzen und die Augen der Nachkommenden auf sich ziehen, um bei seinem Scheine den Reichtum der Natur zu bewundern, zu untersuchen, zu scheiden, zu ordnen, zu begreifen und zu benutzen.«

Nachdem in der Anatomie die vergleichende Richtung über die einseitig beschreibende gesiegt hatte, konnte es nicht ausbleiben, daß auch der menschliche Organismus unter allgemeineren Gesichtspunkten betrachtet wurde. Schon Linné hatte dem Menschen einen Platz in seinem System, und zwar innerhalb der Ordnung der Primaten, angewiesen und dazu bemerkt, er habe bislang kein anatomisches Kennzeichen nachweisen können, wodurch der Körperbau des Menschen vom demjenigen des Affen unterschieden sei. Aus dem Bemühen, den von Linné vermißten »Charakter der Humanität« aufzufinden, überhaupt den Menschen als ein Naturgeschöpf zu würdigen und zu verstehen, entsprang die neuere Anthropologie, die sich seit dem Erscheinen von Blumenbachs »Über die angeborene Verschiedenheit im Menschengeschlecht« datieren läßt653. In dieser Schrift sucht Blumenbach den Nachweis zu führen, daß die Menschheit aus Rassen bestehe, die aus einem gemeinschaftlichen Stamme hervorgegangen seien, ähnlich wie dies für die Spielarten der Haustiere zutrifft. Obgleich Blumenbach durchaus nicht verkennt, daß derartige Spielarten[Pg 384] durch kaum merkliche Übergänge ineinander überfließen, gelangt er doch zur Aufstellung seiner bekannten fünf Hauptrassen (Kaukasier, Mongolen, Aethiopier, Amerikaner, Malayen654).

Als ein wesentliches anatomisches Merkmal, das den Menschen vom höheren Tiere, insbesondere vom Affen unterscheidet, betrachtet Blumenbach, den wir als einen der frühesten vergleichenden Anatomen und den Begründer der ethnographischen Schädellehre gelten lassen müssen, das vortretende Kinn und die dadurch bedingte aufrechte Stellung der unteren Vorderzähne. Der gleichfalls auf dem Gebiete der vergleichenden Anatomie schon vor Cuvier tätige Holländer Peter Camper (1722-1789) wies in einer vortrefflichen Arbeit über den Orang-Utang darauf hin, daß der Gesichtswinkel dieses höchststehenden Affen beträchtlich kleiner als derjenige der am tiefsten stehenden menschlichen Rassen sei.

[Pg 385]

26. Geologie und Paläontologie unter der Herrschaft der Katastrophenlehre.

Schon Hutton hatte in seiner »Theorie der Erde« die heute herrschende Ansicht entwickelt, daß der gegenwärtige Zustand der Erde aus den noch jetzt wirkenden Kräften unter Zuhilfenahme ausgedehnter Zeiträume erklärt werden müsse. Die Mehrzahl der Geologen nahm aber für die früheren Epochen der Erdentwicklung außergewöhnliche Kräfte und Begebenheiten in Anspruch.

Häufig wurde diese unter dem Namen der Katastrophentheorie bekannte Ansicht selbst bis ins neunzehnte Jahrhundert hinein von dem Streben getragen, die Wissenschaft mit der biblischen Überlieferung in Einklang zu bringen. Manche wollten sogar in der Sintflut die letzte große Katastrophe erblicken. Zu den Anhängern der Katastrophentheorie gehörte auch Cuvier. Wir haben die hervorragenden Leistungen dieses Mannes um die vergleichende Anatomie und Zoologie schon kennen gelernt. Ausgehend von diesen Wissenszweigen hatte Cuvier die Paläontologie reformiert. In der allgemeinen Geologie blieben Cuviers Anschauungen und Kenntnisse jedoch weit hinter denen eines Hutton und Füchsel zurück. Trotzdem wurden diese Anschauungen, gestützt durch die große Autorität, die Cuvier auf den zu der Geologie in engster Beziehung stehenden Wissenszweigen genoß, zu Beginn des neunzehnten Jahrhunderts die herrschenden.

Auch der Umstand, daß der große französische Forscher seine allgemeingeologischen Lehren seinem epochemachenden paläontologischen Werk655, als eine Art Vorrede voranschickte, verlieh ihnen die besondere Beachtung der Zeitgenossen.

[Pg 386]

Nachdem Cuvier die Beschaffenheit der uns zugänglichen Teile der Erde und die gegenwärtig noch tätigen geologischen Kräfte geschildert, kommt er zu dem Ergebnis, daß diese Kräfte nicht ausreichen, um die Veränderungen hervorzubringen, deren Spuren uns die Erdkruste darbietet.

Die Veränderungen, die im Verlaufe der Erdgeschichte in der organischen Welt stattfanden, wurden nach Cuvier durch einen Wechsel in der Beschaffenheit des Mediums veranlaßt oder gingen einem solchen wenigstens parallel. Dieser Wechsel erfolgte nach ihm nicht allmählich, sondern plötzlich, katastrophenartig. Da inmitten der Meeresbildungen Schichten vorkommen, die mit tierischen und pflanzlichen Erzeugnissen des Festlandes und des süßen Wassers angefüllt sind, so müsse man schließen, daß zu wiederholten Malen schon aufs Trockene gesetzte Teile der Erde wieder überflutet wurden. Für die Behauptung, daß dieser Wechsel plötzlich erfolgte, dienten Cuvier besonders die im Eise Sibiriens entdeckten Leichen des Mammuts als Beweis. Die letzte Katastrophe, meint er, habe im hohen Norden Leichen gewaltiger Vierfüßer zurückgelassen, die vom Eise eingeschlossen wurden und bis auf unsere Tage mit Haut und Haar erhalten blieben. Wären das Einfrieren und der Tod nicht zur selben Zeit erfolgt, so würden die Tiere der Zersetzung anheim gefallen sein. Andererseits könne dieser ewige Frost vorher nicht an den Orten, wo die Tiere von ihm ergriffen wurden, geherrscht haben, denn sie hätten unter solchen Temperaturverhältnissen nicht leben können. Es sei also derselbe Augenblick, welcher den Tod dieser Tiere herbeigeführt und das Land, das sie bewohnten, mit Eis überzogen habe. Dies müsse plötzlich und nicht etwa nach und nach eingetreten sein. Und was sich so offenbar für diese letzte Katastrophe dartun lasse, sei kaum weniger ersichtlich für die vorangegangenen. Die Zerreißungen, Biegungen und Kippungen, welche die ältesten Schichten aufweisen, riefen in Cuvier die Überzeugung hervor, daß plötzliche und heftig wirkende Ursachen die Schichten in den Zustand versetzt hätten, in dem wir sie jetzt erblicken.

Cuviers Irrtum entsprang zum Teil daraus, daß er die Zeitdauer der geologischen Entwicklung unterschätzte. So nahm er z. B. an, daß die letzte Erdrevolution vor nicht mehr als 5000 Jahren stattfand. Während Cuviers irrige Vorstellungen auf dem Gebiete der allgemeinen Geologie eine ähnliche Rolle gespielt haben wie Newtons Emanationslehre in der Optik, sind seine Verdienste um die Paläontologie von der größten Bedeutung. Ihm[Pg 387] gelang es, dieser Wissenschaft durch die enge Verbindung, in die er sie mit der Zoologie und der vergleichenden Anatomie brachte, einen völlig neuen Geist, der sie seitdem belebt hat, einzuhauchen.

Die Umgegend von Paris, die Cuvier für seine paläontologischen Forschungen das meiste Material lieferte, ist an fossilen Säugetierresten besonders reich. Die größte Schwierigkeit ergab sich aber daraus, daß vollständige Skelette äußerst selten gefunden werden, die einzelnen Knochen vielmehr ohne alle Ordnung und meist zerbrochen in den Gesteinsschichten sich vorfinden. All diese Schwierigkeiten schwanden, als Cuvier das schon früher erwähnte656 Grundgesetz der allgemeinen Anatomie, das Prinzip der Korrelation der Organe aussprach. Nach diesem Prinzip regelt sich das gegenseitige Verhältnis der Formen in den organischen Geschöpfen in der Weise, daß jeder Organismus schon aus der Beschaffenheit eines seiner Teile in seiner ganzen Eigenart erkannt werden kann.

Unter Anwendung dieses Prinzips und durch steten Vergleich mit den Skeletten lebender Tiergattungen gelang es Cuvier, aus den zerstreuten Knochen, die sich im Pariser Gips fanden, die erloschenen Gattungen, Paläotherium und Anoplotherium, zu rekonstruieren. Diese Gattungen der mittleren Tertiärzeit (Oligozän) erwiesen sich beim näheren Studium als ziemlich artenreich. Das Paläotherium mit seinen drei gleich starken Hufen wurde als ein Vorläufer unseres Pferdes erkannt, während das Anoplotherium den Urtypus eines Wiederkäuers darstellt. Auch Raubtiere, Beuteltiere, Vögel, Reptilien und Fische ließen sich in ihren Überresten im Gips des Montmartre nachweisen. Fast kein Block dieser tertiären Gesteinsmasse war frei von solchen zerstreuten Resten, die Cuvier auf mehr als 150 verschiedene Arten zurückzuführen vermochte. Von diesen Arten waren mehr als 90 vor Cuvier den Naturforschern gänzlich unbekannt.

Auf Grund seiner Einzeluntersuchungen gelangte Cuvier zu einer klareren Einsicht in die geologische Zeitfolge der Organismen, als sie vor ihm möglich war. Er hob hervor, daß die Fische und die eierlegenden Vierfüßer früher auf der Erde erschienen als die Säugetiere und daß die erloschenen Gattungen der letzteren in älteren Schichten vorkommen als die Gattungen, von denen noch heute Arten existieren.

Die Ichthyosauren, Plesiosauren, mehrere Schildkröten und Krokodile, schrieb Cuvier über das Verhältnis der Arten zu den[Pg 388] Formationen, fänden sich unterhalb des Kreidegebietes in den Schichten des sogenannten Jura. Die zahlreichen Fische des Thüringer Kupferschiefers seien noch älter. In der Kreide selbst begegnen uns riesige Saurier und Schildkröten. Aber, fährt er fort, Knochen von Landsäugetieren finden sich außer den Beuteltierkiefern im Jura weder in älteren Gebirgsschichten noch in der Kreide. Trotz dieser im allgemeinen zutreffenden Erkenntnis von der geologischen Aufeinanderfolge der großen Gruppen der Organismen ahnte Cuvier nicht den genetischen Zusammenhang, der zwischen den vergangenen Lebewelten und der gegenwärtigen besteht.

Von Einfluß auf die weitere Entwicklung der Geologie war die hervorragende Tätigkeit, welche Deutschlands größter Geologe, von Buch, entfaltete. Leopold von Buch wurde 1774 in der Uckermark geboren657. Gleichzeitig mit Humboldt wurde er auf der Bergakademie zu Freiberg durch Werner in die Mineralogie und in die Geognosie eingeführt. Wir haben Werner als den Begründer dieser Wissenschaft und den wichtigsten Verfechter der neptunistischen Lehre kennen gelernt658. Als Buch seine Forschungsreisen auf die vulkanischen Gebiete der Auvergne und Italiens ausdehnte, kamen ihm Zweifel an der Richtigkeit jener Lehre Werners, der seine Beobachtungen auf das mittlere Deutschland beschränkt hatte. Darauf vollzog sich bei Buch wie bei dem ihm befreundeten Humboldt ein entschiedener Abfall von Werner.

Hochwichtige Ergebnisse förderte v. Buchs Durchforschung der skandinavischen Halbinsel zutage (1806-1808). Er untersuchte vor allem die Lagerungsverhältnisse der Massengesteine und fand, daß der Granit nicht immer das älteste Gestein sei, da er mitunter auf Versteinerungen führendem Kalk auflagere, wie z. B. bei Christiania. Als die älteste Grundlage betrachtete man nunmehr den Gneiß.

Diese Entdeckung rief allgemeines Erstaunen hervor und veranlaßte den für geologische Fragen sich stets lebhaft interessierenden Goethe zu der Bemerkung, daß der Sohn zum Vater geworden sei. Auch der nordische Ursprung der deutschen Findlingsblöcke wurde durch Buch eingehender begründet. Endlich gelang es ihm, durch den Nachweis von Strandlinien die langsame Erhebung Skandinaviens aus dem Schoß des Meeres nachzuweisen und damit die neuere Lehre von den säkularen Hebungen und[Pg 389] Senkungen zu begründen. Auf die Änderungen der Küsten jenes Landes hatte zwar schon Celsius im Jahre 1740 hingewiesen, sie aber aus einem langsamen Sinken des Meeresspiegels zu erklären gesucht.

Von nicht geringerer Bedeutung für die Entwicklung der geologischen Vorstellungen als Buchs Werk über Skandinavien, war seine »Physikalische Beschreibung der kanarischen Inseln«659. Es lehrte die Unterscheidung von Zentral- und Reihenvulkanen, sowie die Entstehung der letzteren auf den großen Spalten der Erdrinde kennen, welche den Begrenzungen der Kontinente entsprechen. Gleichzeitig entwickelte Buch eine Theorie der Erhebung von Bergketten und ganzen Kontinentalmassen durch vulkanische Kräfte. War diese Theorie in ihren Einzelheiten auch nicht stichhaltig, so hat sie doch die heute geltenden Lehren der Gebirgsbildung vorbereitet.

Dem Studium des Vulkanismus war auch Humboldts amerikanische Forschungsreise, soweit sie geologische Erscheinungen betraf, in erster Linie gewidmet. So machte es Humboldt schon wahrscheinlich, daß sich die gewaltigen Vulkane Mittelamerikas über einer 150 Meilen langen Erdspalte befinden.

Die Ausdehnung der geologischen Forschung auf die außereuropäischen Erdteile, wie sie besonders Humboldt einleitete, war vor allem nötig, um die Allgemeingültigkeit der in Mitteleuropa an einem nur beschränkten Material zuerst ins Leben gerufenen Lehren über die Schichtenfolge darzutun und die ursächliche Begründung dieser Lehren zu ermöglichen.

[Pg 390]

27. Fortschritte auf dem Gebiete der Entwicklungslehre.

Um das Studium der Entwicklung des Tierindividuums hatte sich im 18. Jahrhundert Wolff das größte Verdienst erworben660. Seine Ansichten vermochten der Evolutionstheorie gegenüber zunächst nicht durchzudringen. Im ersten Viertel des 19. Jahrhunderts erfuhr die Entwicklungsgeschichte durch eine Reihe deutscher Forscher jedoch einen außerordentlichen Aufschwung, wobei Wolffs Lehre von der Epigenesis den Sieg davontrug. »Der Deutsche«, sagt Hyrtl, »darf mit Stolz sagen, daß alles, was in diesem Fache Großes geschah, von seinem Vaterlande ausging«. Die Männer, welche diesen Umschwung herbeiführten, waren außer dem Anatomen Meckel, der durch seine Übersetzung von Wolffs Schrift über die Bildung des Darmkanals (1812) die Aufmerksamkeit der Zoologen und Physiologen von neuem auf dieses Gebiet gelenkt hatte, vor allem Pander und von Baer.

Die neue Ära wurde eingeleitet durch Panders Beiträge zur Entwicklungsgeschichte des Hühnchens im Ei. Es ist dies eine klassisch zu nennende Arbeit und zwar bis dahin die bei weitem bedeutendste auf diesem Gebiete. Daß die Bildung des Embryos von einer blattförmigen Schicht ausgeht, hatte Wolff schon angedeutet. »Pander661 zeigte, daß in der Bildung der Keimhaut die ganze Entwicklung des Hühnchens begründet ist«. Alles, was weiter geschieht, sagt er, ist nichts anderes »als eine Metamorphose dieser mit einer unerschöpflichen Fülle des Bildungstriebes begabten[Pg 391] Membran und ihrer Blätter«. Pander wies nach, daß sich das Keimblatt zunächst und zwar schon während der ersten 24 Stunden in drei übereinander liegende Blätter spaltet. Das äußerste nannte er das seröse, das innere das Schleimblatt und das zwischen beiden liegende das Gefäßblatt. Den eigentümlichen Gang der Entwicklung, den jedes dieser Primitivgebilde einschlägt, hat Pander auch schon in Betracht gezogen. Die Fortsetzung der Arbeit nach dieser Richtung blieb indessen vor allem von Baer vorbehalten, der sich den Ehrentitel des größten Embryologen aller Zeiten erworben hat.

Karl Ernst von Baer662 wurde am 28. Februar 1792 in Esthland geboren und studierte zunächst in Dorpat und später in Würzburg bei Döllinger, dem sowohl er als auch Pander die Anregung zu ihren embryologischen Arbeiten verdankten. Döllinger hatte den Wunsch geäußert, daß einer seiner Schüler sich der mühevollen Arbeit unterziehen möge, die Entwicklung des Hühnchens von Stunde zu Stunde zu verfolgen. Er wandte sich damit zuerst an von Baer, der seinen Genossen Pander zur Übernahme dieses Auftrages bewog. Von Baer wurde Professor der Naturgeschichte in Königsberg, folgte aber später einem Rufe an die Petersburger Akademie der Wissenschaften.

Von Baer ist vor allem dadurch berühmt geworden, daß er die Frage nach dem Ei der Säugetiere, insbesondere des Menschen, um die sich Jahrtausende vergeblich bemüht hatten, zum Abschluß brachte. Um die Mitte des 17. Jahrhunderts wurde die Vermutung geäußert, daß diejenigen weiblichen Organe, die unter dem Namen Ovarien bekannt sind, die Bildungsstätte der Säugetiereier und der menschlichen Eier seien. Der Niederländer de Graaf entdeckte die seitdem als Graafsche Follikel bezeichneten, mit Flüssigkeit gefüllten Bläschen. Manche Anatomen hielten sie für die Eier, was zur Bezeichnung Eierstock oder Ovarium für das sie erzeugende Organ geführt hat.

[Pg 392]

De Graaf selbst sprach die Vermutung aus, daß sich das Ei in dem Follikel befinde. Die Richtigkeit dieser Ansicht bewies erst von Baer im Jahre 1827663. Einige Jahre vorher hatte man im unbebrüteten Ei des Vogels das Keimbläschen entdeckt, ein einzelliges Gebilde, von dem, wie man bemerkte, die Bildung der Keimhaut ihren Ausgang nimmt664.

Von Baer wies das Vorkommen dieses Keimbläschens in den Eiern der übrigen eierlegenden Tiere, wie der Frösche, Mollusken, Würmer und Gliedertiere, nach und zeigte, wie aus diesem einzelligen Gebilde durch einen Furchungsprozeß die Keimhäute als erste Anlage des Embryos hervorgehen und daß die Hauptsubstanz des früher als Ei bezeichneten Gebildes, der Dotter, nur den Nährstoff für das sich entwickelnde Lebewesen vorstellt.

Damit war für das gesamte Tierreich eine die Entwicklung beherrschende Gesetzmäßigkeit gefunden, welche dahin lautet, daß jedes, auch das am höchsten stehende, Geschöpf sein Leben als einzelliges Gebilde beginnt. Mit der Entdeckung der Eizelle und des Furchungsprozesses665 war nicht nur Harveys Ausspruch omne vivum ex ovo erst zur Wahrheit geworden, sondern es war durch diese Entdeckungen die wichtige Grundlage für die bald darauf von Schwann errichtete Zellenlehre666 geschaffen.

Schon im Jahre nach der Entdeckung des Säugetiereies ließ von Baer den ersten Band seines berühmten Werkes »Über die Entwicklung der Tiere« erscheinen. (1828. Der zweite Band erschien 1837.) Anknüpfend an die Untersuchungen Panders über die Bildung der drei Keimblätter zeigte von Baer, wie aus diesen Primitivgebilden die einzelnen Organe und Organsysteme des Embryos sich entwickeln. Während ferner Pander sich nach althergebrachter Weise auf die Entwicklung des Hühnchens beschränkt hatte, dehnte von Baer seine Untersuchung, indem er nach der in der Anatomie schon zum Durchbruch gelangten Methode vergleichend verfuhr, auf sämtliche Gruppen der Wirbeltiere aus. Von Baer verfolgte zunächst die Umwandlung der Keimblätter zum Nervenrohr und Darmrohr und zeigte, wie am ersteren die[Pg 393] Sonderung in Hirn und Rückenmark, sowie durch Ausstülpung die Bildung der Sinnesorgane vor sich geht, während sich am Darmrohre eine ähnliche Sonderung in einzelne Abschnitte (Mundhöhle, Mitteldarm usw.) ausbildet. Auch daß die Entstehung des Atmungsorgans und der Leber vom Darmrohr aus beginnt, wurde durch von Baer nachgewiesen.

Von allgemeinen Ergebnissen, zu denen er durch den Vergleich zahlreicher Einzelvorgänge gelangte, seien noch folgende hervorgehoben: Die ursprüngliche Keimesanlage der Wirbeltiere ist die gleiche. Die Entwicklung nimmt aber je nach dem Typus, der sich im Bau des fertigen Tieres ausspricht, alsbald eine verschiedene Richtung. Ein auffallender Unterschied besteht, wie weiter betont wird, in der Entwicklung der höheren und der niederen Wirbeltiere. Dieser Umstand mache sich besonders dadurch bemerkbar, daß letzteren Amnion und Allantois fehlen, während diese Embryonalorgane für die höheren Wirbeltiere charakteristisch sind. Die Frage nach dem Zusammenhang des Säugetierembryos mit der Mutter machte von Baer zum Gegenstand einer besonderen Untersuchung667.

Zahlreiche Forscher, auf deren Arbeiten hier jedoch nicht eingegangen werden kann, haben das von Pander und von Baer begonnene Werk fortgesetzt. Genannt sei nur Rathke668, der über die Entwicklung der Geschlechtsorgane der Wirbeltiere das erste Licht verbreitete und das Vorhandensein von Kiemenanlagen, der sogenannten Schlundspalten, auch bei den Embryonen der Vögel und der Säugetiere entdeckte. Rathke war es ferner, welcher die Untersuchung über die Bildung der Keimanlagen aus der Eizelle auf das Gebiet der Wirbellosen ausdehnte. Vor allem ist hier sein Werk über die Entwicklung des Flußkrebses (1829) grundlegend gewesen.

[Pg 394]

Fußnoten

[1] Siehe Dannemann, Aus der Werkstatt großer Forscher, Abschn. 14.

[2] Der Engländer Wall in den Philosoph. Transact. v. 1698. Wall rieb ein großes Stück Bernstein mit Wolle und erhielt einen Funken von fast einem Zoll Länge. Dabei trat ein Knall auf, als ob Steinkohle im Ofen zerspränge.

[3] Eine Zusammenfassung seiner Untersuchungen ist die Schrift Physico-mechanical experiments. London 1709.

[4] Vier Abhandlungen über die Elektrizität und den Magnetismus von Coulomb (1785-1786). (Ostwalds Klassiker Nr. 13.) Leipzig, Wilhelm Engelmann. 1890.

[5] Galilei, Unterredungen und mathematische Demonstrationen (Ostwalds Klassiker Nr. 24, S. 80.)

[6] Six Mémoires sur l'électricité, erschienen in den Memoiren der Pariser Akademie von 1733 und 1734.

[7] Siehe auch die Ausführungen von Aepinus in Dannemann, Aus der Werkstatt großer Forscher, S. 177.

[8] Musschenbroek und Cunaeus.

[9] Kleist teilte seine Entdeckung am 4. November 1745 dem Anatomen Lieberkühn mit. Die Leydener Versuche fanden erst im Januar 1746 statt. Es ist anzunehmen, daß den Leydener Physikern die Kleistsche Entdeckung nicht bekannt war (Mitteilungen zur Geschichte der Medizin und der Naturwissenschaften. IV. Bd. Nr. 1, S. 95).

[10] Versuche und Abhandlungen der naturforschenden Gesellschaft zu Danzig, I. S. 442.

[11] Durch Wilson um 1750.

[12] 1755.

[13] Journal de Phys. 1788.

[14] v. Marum, Description d'une très-grande machine électrique et des expériences faites par le moyen de cette machine. 1785.

[15] Gralath schrieb auch eine Geschichte der Elektrizität.

[16] Watson in Philos. Transact. 1748. Vol. 45, N. 485, S. 92.

[17] Van Marum, Über das Elektrisieren. 1777.

[18] J. C. Fischer, Geschichte der Physik. 1801-1808. V. 483.

[19] Eulers Briefe an eine deutsche Prinzessin. Leipzig 1773. Bd. II. S. 245 ff.

[20] In dem ersten der an Collinson gerichteten Briefe vom 28. III. 1747.

[21] Eulers Briefe an eine deutsche Prinzessin. 1773. Bd. II. S. 287.

[22] Die Stärke der elektrischen Kraft des Wassers in gläsernen Gefäßen. Leipzig 1746. S. 137 u. f.

[23] Das Bestreben, die Ursache dieses »elektrischen« Geruches zu ermitteln, führte später zur Entdeckung des Ozons. Siehe Dannemann, Aus der Werkstatt großer Forscher. 1908. S. 375.

[24] Franklin in seinem 5. Briefe an Collinson.

[25] Franklins Brief an Kinnersley vom 20. II. 1762.

[26] So etwa lauten die Worte, mit denen Franklin seine Ansicht in seinen Briefen entwickelt.

[27] Den ersten Blitzableiter errichtete Franklin im Jahre 1752. In England begann man (Watson) 1762, in Deutschland 1769 Blitzableiter zu errichten. In Deutschland war es ein Arzt (Reimarus), der in Hamburg für die praktische Verwendung der neuen Erfindung eintrat. Durch Reimarus wurde der Physiker Lichtenberg veranlaßt, in Göttingen Blitzableiter anzulegen. Lichtenberg versah gemeinsam mit Kästner die Universitätsbibliothek mit einem Blitzableiter. (Siehe die Mitteilungen zur Geschichte der Medizin und der Naturw. Bd. IV. Nr. 1. S. 104.)

[28] Er entriß dem Himmel den Blitz und das Zepter den Tyrannen.

[29] Beccaria, Lettere dell' elettricismo, pg. 282. Siehe J. C. Fischer, Geschichte der Physik (1801-1808). Bd. V. 753.

[30] Siehe an späterer Stelle dieses Bandes.

[31] Fischer, Geschichte der Physik, VIII. S. 541.

[32] Siehe Priestleys Geschichte der Elektrizität, S. 261 u. f. und Fischers Geschichte der Physik, Bd. V. S. 837.

[33] Dissertatio inauguralis de electricitatibus contrariis. Rostock 1757.

[34] Th. Young, Lectures on natural philosophy. London 1807. Bd. II.

[35] War doch die Ähnlichkeit der Schläge, welche die Leydener Flasche und jener Fisch erteilen, eine zu auffallende.

[36] Im Jahre 1671.

[37] Fischer, Geschichte der Physik. Bd. V. S. 867.

[38] Eine Bestätigung fanden diese Untersuchungen durch den Anatomen John Hunter, welcher das eigentümliche Organ der elektrischen Fische in den Phil. Transactions v. 1773 genauer beschrieb.

Der genauere Titel der Abhandlung von Walsh lautet: On the electric Property of the Torpedo. In a letter from John Walsh to Benjamin Franklin (Juli 12. 1772). Walsh berichtet darin über Untersuchungen, die er in La Rochelle an dort gefangenen Zitterrochen anstellte. Diese Untersuchungen ergaben, daß »die Wirkung des Torpedos eine durchaus elektrische« sei. Die Schläge wurden durch eine Kette von Personen, sowie durch einen Draht geleitet.

[39] Der Turmalin wurde daher auch als Aschenzieher bezeichnet.

[40] Franz Ulrich Theodor Aepinus, der Entdecker der Influenz und der Thermoelektrizität, wurde im Jahre 1724 in Rostock geboren. Er studierte dort, wurde später Professor der Astronomie an der Akademie zu Berlin, folgte aber von dort einem Rufe nach Petersburg, wo er Physik lehrte und die Aufsicht über die russischen Normalschulen ausübte. Er starb 1802 in Dorpat.

[41] Aepinus, Akademische Rede von der Ähnlichkeit der elektrischen und magnetischen Kraft. Leipzig 1760. Siehe auch Dannemann, Aus der Werkstatt großer Forscher. Leipzig 1908. Abschnitt 37.

[42] Diese durch Erwärmung erregte Elektrizität, die an gewissen Kristallen auftritt, hat man als Pyroelektrizität bezeichnet. Bei der Abkühlung kehren sich die beiden Pole um; ist dagegen die Temperatur bleibend geworden, so ist der Kristall wieder unelektrisch. Später hat man diese Erscheinung auch an anderen Mineralien wahrgenommen, so am Kalkspat, Gips, Feldspat, Flußspat, Diamant usw.

[43] Erst Faraday gelang es, eine so weitgehende Verknüpfung der elektrischen und der magnetischen Erscheinungen nachzuweisen, dass beide als Äußerungen ein- und derselben Naturkraft gelten. Elektrizität, Magnetismus, strahlende Wärme und Licht wurden auf Grund von Maxwells elektromagnetischer Theorie des Lichtes, sowie der Versuche von Hertz auf Zustände des Äthers zurückgeführt. Ausführlicheres darüber enthalten spätere Abschnitte dieses Werkes.

[44] Nebenbei sei erwähnt, daß Coulomb durch mechanische Untersuchungen bewies, daß die Kraft des Menschen völlig unzulänglich sei, um ihn mittelst Flügel in die Lüfte zu erheben.

[45] Vier Abhandlungen über die Elektrizität und den Magnetismus von Coulomb, übersetzt und herausgegeben von Walter König. (Ostwalds Klassiker der exakten Wissenschaften Nr. 13. Leipzig, Verlag von Wilhelm Engelmann, 1890). Fig. 1-5.

[46] Mémoires de l'Académie royale, 1784. pg. 229 u. f.

[47] Ostwalds Klassiker Nr. 13, S. 7.

[48] Siehe Ostwalds Klassiker Nr. 115.

[49] Mém. de l'Académie royale 1788. pg. 620 u. f.

[50] Diese Fundamentalversuche über die Verteilung der Elektrizität hat Cavendish, wie aus seinen neuerdings veröffentlichten Untersuchungen über die Elektrizität hervorgeht, schon vor Coulomb angestellt.

[51] Siehe G. Green, Ein Versuch, die mathematische Analysis auf die Theorien der Elektrizität und des Magnetismus anzuwenden. Ostwalds Klassiker der exakten Wissenschaften Nr. 64. Herausgegeben von von Oettingen und Wangerin. Leipzig, Verlag von Wilhelm Engelmann, 1895.

[52] Acta eruditorum. 1690. Denis Papin wurde 1647 in Blois geboren und starb 1712 in London. Er hielt sich viele Jahre in Hessen (Marburg und Kassel) auf und stand mit Huygens und Leibniz in regem wissenschaftlichen Verkehr.

[53] Ernst Jäger, Denis Papin und seine Nachfolger in der Erfindung der Dampfmaschine. Stuttgart 1902. Siehe auch das Werk von C. Matschoß, Geschichte der Dampfmaschine, mit 118 Abbildungen, Berlin, Springer, sowie auch Ernouf, Denis Papin, sa vie et son œuvre. 4. Aufl., Paris, Hachette 1888.

[54] Eine ausführliche Geschichte der Dampfmaschine hat C. Matschoß im Anschluß an sein auf S. 54 zitiertes Werk im Auftrage des Vereins deutscher Ingenieure geschrieben. Sie erschien 1908 bei J. Springer in Berlin, umfaßt 2 Bände und führt den Titel: C. Matschoß, Die Entwicklung der Dampfmaschine. Eine Geschichte der ortsfesten Dampfmaschine und der Lokomobile, der Schiffsmaschine und Lokomotive.

[55] Geboren am 19. Januar 1736 in Greenock. Näheres über das Leben und die Bedeutung von James Watt enthält das Werk von A. Ernst: James Watt und die Grundlagen des modernen Dampfmaschinenbaus. Mit einem Bildnis von James Watt und 27 Textfiguren. Berlin, J. Springer, 1897.

[56] Das Patent datiert vom 5. Januar 1769.

[57] Im Jahre 1807.

[58] Engineering 1894, I, S. 644.

[59] Berndt, Die Entwicklung der Lokomotive. Darmstadt 1896.

[60] Siehe Bd. II, S. 73.

[61] Renaldini.

[62] Halley, An account of several experiments, made to examine the nature of the expansion and contraction of fluids, by heat and cold, in order to ascertain the divisions of the thermometer (Philos. Transact. 1693).

[63] Fischer, Gesch. d. Phys. III. 221.

[64] Und zwar hat Borelli, den wir als Mitbegründer der neueren Physiologie kennen lernten, darauf hingewiesen.

[65] E. Mach, Die Prinzipien der Wärmelehre. 1896.

[66] Daniel Gabriel Fahrenheit, Versuche über den Siedepunkt einiger Flüssigkeiten. 1724. Im 57. Bande von Ostwalds Klassiker der exakten Wissenschaften, neu herausgegeben von A. J. v. Oettingen. Leipzig, Verlag von W. Engelmann. 1894.

[67] Ostwalds Klassiker. Bd. 57. S. 17.

[68] Siehe Fahrenheits Abhandlungen über Thermometrie (Ostwalds Klassiker, Nr. 57).

[69] Fahrenheit, Experimente und Beobachtungen über das Gefrieren des Wassers im Vakuum. Ostwalds Klassiker, Bd. 57, S. 6 u. f.

[70] Réaumur, Regeln zur Konstruktion von Thermometern mit vergleichbaren Skalen, 1730, 1731, im 57. Bande von Ostwalds Klassiker, herausgegeben von A. J. v. Oettingen. Leipzig, W. Engelmann, 1894. Réaumur (1683-1757) hat zahlreiche Abhandlungen aus den Gebieten der Physik, der Zoologie und der Botanik veröffentlicht.

[71] Ostwalds Klassiker, Bd. 57, S. 49.

[72] Ostwalds Klassiker, Bd. 57, S. 100 u. f. bringt eine Übersetzung der betreffenden Abhandlung Réaumurs vom Jahre 1733. Ihr Titel lautet: Über das Volumen der Flüssigkeitsgemische.

[73] Abhandlungen der schwedischen Akademie. Bd. IV. 1742.

[74] R. Börnstein, Zur Geschichte der hundertteiligen Thermometerskala. Physikal. Zeitschrift, Bd. 8, Nr. 23.

Siehe auch die Notiz von Rompel im 53. Bande (1907) von Natur und Offenbarung. S. 749. Danach ist sichergestellt, daß Linné in Upsala im Jahre 1745 ein Thermometer benutzte, das den Gefrierpunkt mit 0° und den Siedepunkt mit 100° bezeichnet, besaß.

[75] Celsius selbst hat den Siedepunkt mit 0 und den Gefrierpunkt mit 100 bezeichnet. Anders Celsius (1701-1744) war Professor der Astronomie in Upsala. Seine Abhandlung über das Thermometer erschien 1742. Sie wurde im 57. Bande von Ostwalds Klassikern von neuem veröffentlicht. Leipzig, W. Engelmann. 1894.

[76] Mémoires de l'Académie. Paris, 1703. S. 50 u. f. Siehe auch die Studie Gerlands in den Beiträgen aus der Geschichte der Chemie, herausgegeben von P. Diergart, 1909. S. 350-360: Ernst Gerland, Die Entdeckung der Gasgesetze und des absoluten Nullpunktes der Temperatur durch Boyle und Amontons.

[77] Nach Lambert ist der absolute Nullpunkt dadurch definiert, daß bei diesem Punkt die Luft, da sie sich mit der Temperaturabnahme gleichmäßig zusammenzieht, fast keinen Raum mehr einnimmt. Nach den Angaben Lamberts tritt dieser Zustand bei der Abkühlung auf -270,3° Celsius ein. Die Abweichung von dem heute geltenden Wert (-273°) ist also nur gering. Aus des Daten Amontons' ergibt sich für den absoluten Nullpunkt der Wert von -293,5° Celsius.

[78] Siehe das in Gerland und Traumüller, Gesch. d. phys. Experimentierkunst in Fig. 312 abgebildete und dort beschriebene Instrument.

[79] Philos. Transact. Vol. LXXII.

[80] Siehe Band I. S. 302.

[81] Philos. Transact. 1683/84. Nr. 156. S. 304.

[82] De Saussure, Versuch über die Hygrometrie, herausgegeben von A. J. v. Öttingen. Bd. 115 und 119 von Ostwalds Klassikern der exakten Wissenschaften. Leipzig, Verlag von W. Engelmann, 1900.

[83] Joseph Black war schottischer Abkunft. Er wirkte als Professor der Chemie in Glasgow und später in Edinburg, wo er am 26. November 1799 starb (Geburtsjahr 1728). Blacks chemische Arbeiten haben mehrere für die Begründung der neueren Chemie sehr wichtige Tatsachen zu Tage gefördert. (Siehe darüber an anderer Stelle.)

[84] Johann Karl Wilke (Wilcke) wurde 1732 in Wismar (damals schwedisch) geboren und starb im Jahre 1796 in Stockholm, wo er die Stelle eines Mitgliedes und Sekretärs der Akademie der Wissenschaften bekleidete. Von ihm rührt die erste Inklinationskarte her (Försök till en magnetisk inclinationskarta. Stockholm 1768). Über Wilkes Verdienste um den Ausbau der Elektrizitätslehre wurde schon an anderer Stelle berichtet. (Siehe S. 22.)

[85] Meditationes de caloris et frigoris causa (Abhandlungen der Petersburger Akademie von 1747 und 1748).

[86] Ostwalds Klassiker, Nr. 178. S. 19 u. f.

[87] Deluc (1754).

[88] Sind die Mengen m und m1 und die Temperaturen t und t1, so ist die Temperatur der Mischung, wenn nur ein Ausgleich stattfindet, T = (mt + m1t1)/(m + m1).

[89] Mach, Prinzipien der Wärmelehre. 1896. S. 162.

[90] Siehe S. 41.

[91] Durch W. Cullen (1710-1790) Professor der Chemie in Glasgow. Cullen veröffentlichte seine grundlegenden Versuche über die Verdunstungskälte (1755) in den Berichten der Edinburger Gesellschaft (Bd. II) unter dem Titel: On the cold produced by evaporating fluids and of some other means of producing cold. Siehe auch E. Mach, Die Prinzipien der Wärmelehre, historisch-kritisch dargestellt, 1896. S. 177.

[92] J. C. Fischer, Geschichte der Physik (1801-1808) V, 4.

[93] Mariotte, Essai du chaud et du froid, 1679.

[94] M. A. Pictet (1752-1825) war Professor und Präsident der Akademie der Wissenschaften in Genf.

[95] Pictet, Essai sur le feu. Génève 1790. S. 83.

[96] Hierauf wurde von Black hingewiesen. Siehe auch E. Mach, »Einfache Versuche über strahlende Wärme« (Zeitschr. für den phys. und chem. Unterricht VII, 3).

[97] Die Abhandlungen von Lavoisier und Laplace über die Wärme wurden in den Mémoires de l'Académie veröffentlicht und im 2. Bande der gesammelten Werke Lavoisiers wieder abgedruckt. Die wichtigsten Ergebnisse sind im 40. Bande der Ostwaldschen Sammlung enthalten. Zwei Abhandlungen über die Wärme von A. L. Lavoisier und P. S. de Laplace herausgegeben von J. Rosenthal. Leipzig, Verlag von W. Engelmann, 1892.

[98] Zur Erläuterung diene folgendes Beispiel: Um 1 kg Eis von 0° in 1 kg Wasser von 0° zu verwandeln, sind 80 Wärmeeinheiten erforderlich. Die Substanz, deren spezifische Wärme bestimmt werden soll, wiege 2 kg und sei auf 10° erhitzt, die Menge des Schmelzwassers betrage 1/10 kg. Daraus folgt, daß die 2 kg, als sie von 10° auf 0° abgekühlt wurden, um sie von 0° auf 10° zu erhitzen. Um demnach 1 kg von 0° auf 10° zu erwärmen, würden 4 Wärmeeinheiten, ((1/10)·80)/2, um es von 0° auf 1° zu erwärmen, würden dagegen nur 0,4 Wärmeeinheiten, ((1/10)·80)/(2·10), erforderlich sein.

[99] Diese Untersuchung wurde später von verschiedenen Physikern wieder aufgenommen (Ann. de chimie et de physique, Bd. 85, S. 72, 1813), indessen erst durch Regnault (1840) unter Beobachtung aller in Betracht kommenden Umstände zu einem gewissen Abschluß gebracht.

[100] Sir Charles Blagden (1748-1820) war Arzt in der englischen Armee und Mitglied der Royal Society. Seine Abhandlungen wurden neuerdings in deutscher Übersetzung von A. J. v. Oettingen herausgegeben (Ostwalds Klassiker der exakten Wissenschaften Nr. 56). Leipzig, Verlag von W. Engelmann, 1894.

[101] Die letzte Beobachtung hatte schon Fahrenheit gemacht. S. S. 41.

[102] Ostwalds Klassiker, Nr. 56. S. 19 u. f.

[103] Ostwalds Klassiker, Nr. 56. S. 49.

[104] Ostwalds Klassiker, Nr. 56. S. 32.

[105] Systema naturae. 1. Ausgabe von 1735 sehr selten und nur 14 Seiten umfassend. 12. Ausgabe von Müller. 8 Bde. 13. Ausgabe von Gmelin. 10 Bände. Leipzig 1788-1793. Die 13. Ausgabe ist das letzte Werk, das alle zur Zeit seiner Herausgabe bekannten Tier- und Pflanzenarten beschreibt. Ein Neudruck der 10. Ausgabe wurde von der Deutschen zoologischen Gesellschaft veranstaltet (W. Engelmann, Leipzig 1894).

[106] Fundamenta botanica 1736. Critica botanica 1737.

[107] Philosophia botanica.

[108] Eine ausführliche Biographie Linnés veröffentlichte Th. M. Fries (Stockholm 1903). Auf dieses Werk gründet sich eine kürzere Darstellung, die R. E. Fries zur Erinnerung an die 200. Wiederkehr des Geburtstages Linnés herausgab. Sie erschien in Englers botanischen Jahrbüchern (1907 Heft 1, S. 1-54) und wurde auch gesondert herausgegeben. (Im Verlage von W. Engelmann in Leipzig.)

Am ausführlichsten wurde Carl von Linnés Bedeutung als Naturforscher und Arzt in einem Sammelwerk der Schwedischen Akademie der Wissenschaften geschildert. Auch für diese Veröffentlichung (Jena, Gustav Fischer) bot die 200. Wiederkehr des Geburtstages Linnés die Veranlassung. Der Band enthält sechs von verschiedenen Bearbeitern herrührende Abschnitte, in denen Linné als Arzt, als Entomologe, als Geologe, als Mineraloge, als botanischer Forscher und Linnés Verdienste um die Zoologie der Wirbeltiere geschildert werden.

[109] Siehe Bd. II, S. 348-352.

[110] Verdeutscht lauten die Namen der ersten 10 Klassen Ein-, Zwei-, Drei- usw. Zehnmännige, der 11. Klasse Zwölfmännige, der 12. Klasse Zwanzigmännige, der 13. Vielmännige.

Manche Klassen des Linnéschen Systems, das sich wegen seiner Brauchbarkeit zum Bestimmen der Pflanzen neben dem in der Wissenschaft allein geltenden natürlichen System erhalten hat, fallen mit den Familien des letzteren ganz oder teilweise zusammen. So die 12. Klasse mit den Mandel-, Apfelbaum- und Rosengewächsen und die 13. Klasse mit den Mohn- und Hahnenfußgewächsen.

[111] Die 14. Klasse (Zweimächtige) umfaßt die Mehrzahl der Lippenblüter, die 15. Klasse (Viermächtige) fällt mit der Familie der Kreuzblüter zusammen.

[112] 16., 17., 18. Klasse = Ein-, Zwei-, Vielbrüdrige. Für die 16. Klasse bieten die Malven, für die 18. das Johanniskraut ein Beispiel.

[113] Zusammengewachsene, so genannt, weil die Staubbeutel der unter diesem Namen vereinigten Pflanzen zu einer Röhre verwachsen sind. Die 19. Klasse fällt mit der Familie der Korbblüter oder Kompositen zusammen.

[114] Weibermännige; hierzu gehören die Orchideen.

[115] 21. und 22. Klasse = Einhäusige und Zweihäusige; für die ersteren bieten die Kiefern, für die zweiten die Weiden bekannte Beispiele.

[116] Vielehige; hierher gehören die Ahornarten.

[117] Blütenlose. Linné teilte sie in Algen, Schwämme, Moose und Farnkräuter ein. Für die weitere Einteilung der Klassen 1-23 in Unterabteilungen, die Linné Ordnungen nannte, waren vor allem die Zahl der Griffel, die Beschaffenheit der Früchte und die Anordnung der Blüten maßgebend.

[118] Ein Petersburger Botaniker, den Linné selbst in einem zuerst in den Mitteilungen zur Geschichte der Medizin und der Naturwissenschaften (1907, S. 25) gedruckten lateinischen Brief abfertigte, schrieb folgendes. Gott würde niemals innerhalb des Pflanzenreiches eine so abscheuliche Unzucht zulassen, daß mehrere Männer (Staubgefäße) eine gemeinsame Frau (Frucht, Knoten) besäßen. Ein solch unkeusches System dürfte der studierenden Jugend nicht mitgeteilt werden.

Diese Auffassung, der sich andere Botaniker anschlossen, ist gewiß für manche Sittlichkeitswächter bezeichnend. »Ich hatte gehofft, dem Reinen sei alles rein«, schrieb Linné in dem erwähnten Briefe, »ich werde mich nicht verteidigen, denn die Jahrhunderte werden urteilen.«

[119] Veröffentlicht 1753.

[120] So Fontenelle: Histoire de l'Académie 1711, S. 43. Eine Ausnahme machte der deutsche Philosoph und Physiker Christian Wolf, der sich mit einer anatomischen und physikalischen Untersuchung des Pflanzeninneren, sowie mit Fragen der Ernährungsphysiologie beschäftigte. Wolfs Ergebnisse blieben aber weit hinter denen von Stephan Hales zurück.

[121] Philosophia botanica, 1751. S. 27.

[122] Classes plantarum, p. 487.

[123] Linnés Oratio de telluris habitabilis incremento.

[124] Meyer, Geschichte der Botanik. Bd. I. S. 120.

[125] Siehe Bd. II. S. 178.

[126] Siehe den Abschnitt: Sur le sujet des plantes in Oeuvres de Mariotte.

[127] Siehe an anderer Stelle dieses Bandes.

[128] Wolf, Vernünftige Gedanken von den Wirkungen der Natur. Halle 1723.

[129] Hales, Statik der Gewächse. Halle 1748. Die englische Ausgabe war 1727 in London erschienen.

[130] 1 Pfund = 16 Unzen.

[131] Hales, Statik der Gewächse. S. 6. I. Hauptstück, 1. Erfahrung.

[132] Hales, Statik. S. 49. II. Hauptstück, 21. Erfahrung.

[133] Hales, Statik, I. Hauptstück, 5. Erfahrung.

[134] Das Bluten der Rebe wurde in neuerer Zeit von Ernst Brücke in meisterhafter Weise wieder untersucht. Siehe Brückes Abhandlung in Ostwalds »Klassiker der exakten Wissenschaften« Nr. 95. Leipzig, Verlag von W. Engelmann, 1898.

[135] Hales, Statik, S. 102 u. 103. VI. Hauptstück, 55. u. 57. Erfahrung.

[136] Hales, Statik der Gewächse. VI. Hauptstück, 113. Erfahrung.

[137] Hales berichtet darüber 1741 in der Royal Society.

[138] Siehe Bd. II, S. 175.

[139] New improvements in gardening. 1717. I. S. 20.

[140] Die Beobachtung machte Müller im Jahre 1751.

[141] Erschienen in den Abhandlungen der Berliner Akademie vom Jahre 1751.

[142] Siehe Bd. I. S. 112 und Bd. II. S. 348-352.

[143] Siehe Bd. II. S. 338.

[144] Durch Dillenius, der darüber ein epochemachendes Werk mit 85 Kupfertafeln veröffentlichte: Historia muscorum 1741.

Dillenius wurde 1687 in Darmstadt geboren, war Professor der Botanik in Oxford und starb im Jahre 1747.

[145] J. G. Kölreuter wurde 1733 zu Sulz am Neckar geboren. Er starb 1806 in Karlsruhe, wo er Professor der Naturgeschichte war. Fast zwanzig Jahre bekleidete er außerdem die Stelle eines Oberaufsehers des botanischen Hofgartens. Seine Ergebnisse hat er in einigen 1761-1766 erschienenen Abhandlungen niedergelegt. Kölreuters Schrift wurde durch W. Pfeffer als 41. Band von Ostwalds Klassikern der exakten Wissenschaften (Leipzig, Verlag von Wilhelm Engelmann, 1893) wieder herausgegeben. Ihr Titel lautet: Vorläufige Nachricht von einigen das Geschlecht der Pflanzen betreffenden Versuchen und Beobachtungen.

[146] Ostwalds Klassiker Nr. 41. S. 30.

[147] Ostwalds Klassiker Nr. 41. S. 31.

[148] Der Zusatz ♂ bezeichnet die männliche, der Zusatz ♀ die weibliche Pflanze.

[149] Besonders die von Focke.

[150] Siehe S. 101 u. 105 dieses Bandes.

[151] Sachs, Gesch. d. Bot. S. 440.

[152] Ostwalds Klassiker, Nr. 41, S. 20.

[153] Ostwalds Klassiker, Nr. 41, S. 83.

[154] Sachs, Gesch. d. Botanik. S. 448.

[155] Christian Konrad Sprengel, Das entdeckte Geheimnis der Natur im Bau und in der Befruchtung der Blumen. Berlin 1793. Als Nr. 48-51 von Ostwalds Klassikern der exakten Wissenschaften herausgegeben von Paul Knuth. Leipzig, Verlag von Wilhelm Engelmann, 1894.

[156] Ostwalds Klassiker, Nr. 48, S. 31.

[157] Daß aus dem Staubkorn ein Pollenschlauch hervorwächst, der den Griffel durchdringt und sich mit der Samenknospe vereinigt, wurde erst seit dem Jahre 1823 durch Amici und andere festgestellt.

[158] Geboren 1719 in Nürnberg, starb daselbst 1769, war von Beruf Jurist.

[159] Mikroskopische Gemüts- und Augenergötzungen. 1761. S. 46.

[160] Z. B. bei Butomus und Viola.

[161] Spätere Forschungen haben dies im wesentlichen bestätigt, doch hat sich herausgestellt, daß bei Euphorbia spontane Selbstbestäubung vorkommt, wenn der Insektenbesuch ausbleibt.

[162] Sachs Lehrbuch der Botanik. 4. Aufl. Leipzig 1874. Fig. 489.

[163] Ostwalds Klassiker Nr. 48. S. 56.

[164] Ostwalds Klassiker Nr. 48. S. 73 u. f.

[165] John Ray (1628-1705). Hervorragender Systematiker des 17. Jahrhunderts; lehnte sich aber noch sehr an Aristoteles an.

[166] N. Kleinenberg, Hydra. Eine anatomisch-entwicklungsgeschichtliche Untersuchung. Leipzig, Wilhelm Engelmann, 1872.

[167] Siehe Bd. II. S. 335.

[168] Ledermüller, Mikroskopische Gemüts- und Augenergötzungen. Nürnberg 1763.

[169] Ledermüller, Mikroskopische Gemüts- und Augenergötzungen 1761. II. Bd. Tafel LXXXVIII.

[170] Siehe Rösels Insektenbelustigung. III. Teil. S. 433 u. f.

[171] Insektenbelustigungen III. S. 622.

[172] Spallanzani, Entstehung der Infusionstiere aus Keimen, durch Experimente bewiesen. 1765.

[173] Dannemann, Aus der Werkstatt großer Forscher, 1908. Abschn. 75.

[174] Siehe S. 198 des II. Bandes.

[175] Jungius wurde 1587 in Lübeck geboren und starb im Jahre 1657.

[176] Übersetzt und herausgegeben von Dr. Paul Samassa als 84. und 85. Band von Ostwalds Klassikern der exakten Wissenschaften. Leipzig, Verlag von Wilhelm Engelmann. 1896.

[177] Ostwalds Klassiker, Nr. 84, S. 18.

[178] Ostwalds Klassiker, Nr. 85, S. 12.

[179] Siehe Bd. II dieses Werkes, S. 334.

[180] Hirsch, Geschichte der med. Wissenschaften, S. 212.

[181] Siehe Bd. II dieses Werkes, S. 279.

[182] Buch II-IV handelt vom Gefäßsystem, Buch IX von der Mechanik des Stimmorgans. Von Hallers Elementen der Physiologie sagt Hirsch, daß alle Zeitgenossen und Nachfolger daraus geschöpft haben. Auch nach Cruveilhier sind viele neuere Entdeckungen im Keime in diesem Werke enthalten.

[183] Haller, Elementa physiologiae, IV. § 42.

[184] Siehe S. 106 dieses Bandes.

[185] Lieberkühns betreffende Abhandlung vom Jahre 1745 führt den Titel: De fabrica et actione villorum intestinarum tenuinum (Bau und Tätigkeit der feinen Zotten des Darmes).

[186] Christian von Wolf (1679-1754) war Philosoph, Mathematiker und Physiker. Er wirkte in Halle, wurde wegen Irreligiosität ausgewiesen, von Friedrich dem Großen 1740 aber zurückberufen.

[187] Michael Wassiljewitsch Lomonossow wurde 1711 in der Nähe von Archangelsk geboren. Er studierte zunächst in Rußland und dann mehrere Jahre in Deutschland. Seit 1746 wirkte er als Professor der Chemie in Petersburg, wo er 1765 starb.

Lomonossows wichtigste Abhandlungen erschienen vor kurzem in deutscher Übersetzung (Ostwalds Klassiker, Nr. 178. Leipzig. W. Engelmann. 1910).

[188] Siehe S. 48 dieses Bandes.

[189] Siehe an anderer Stelle dieses Bandes.

[190] G. Monge, Darstellende Geometrie. Als 117. Band von Ostwalds Klassikern der exakten Wissenschaften übersetzt und herausgegeben von R. Haussner. Leipzig, Verlag von W. Engelmann, 1900.

[191] Im einzelnen weicht die Organisation des deutschen technischen Unterrichtswesens von der des französischen darin ab, daß die École polytechnique eine technische Hochschule im deutschen Sinne nur durch ihr Zusammenwirken mit der Schule für Bergbau, der Schule für Brücken- und Wegebau und anderen Fachschulen ist, denen sie insofern als Vorbereitungsanstalt dient, als sie die technische Allgemeinbildung vermittelt.

[192] Desargues wurde in Lyon geboren und wirkte als Baumeister (1593-1662).

[193] Er besagt, daß die Seiten jedes einem Kegelschnitte einbeschriebenen Vierecks eine beliebige, durch den Kegelschnitt gehende Linie so schneiden, daß die erhaltenen 6 Schnittpunkte eine Involution bilden, die abgeteilten Strecken also gewisse Beziehungen aufweisen.

[194] Das Buch erschien erst 1822.

[195] Siehe Bd. II. S. 148.

[196] Siehe S. 121 dieses Bandes.

[197] Reuleaux, Theoretische Kinematik, S. 13. Poncelets wichtigstes Werk über die theoretische Maschinenlehre ist seine Mécanique appliquée aux machines.

[198] Jakob Steiner, Systematische Entwicklung der Abhängigkeit geometrischer Gestalten von einander mit Berücksichtigung der Arbeiten alter und neuer Geometer etc. Berlin 1832. Neu herausgegeben von A. J. v. Oettingen als 82. und 83. Band von Ostwalds Klassikern. Leipzig, W. Engelmann, 1896.

[199] Er starb im Jahre 1863.

[200] Vor kurzem als 123. Band von Ostwalds Klassikern der exakten Wissenschaften, neu herausgegeben von R. Sturm. Leipzig, Verlag von W. Engelmann, 1901.

[201] Ostwalds Klassiker, Nr. 123, S. 3.

[202] Die geometrischen Konstruktionen ausgeführt mittelst der geraden Linie und eines festen Kreises von Jakob Steiner. Als 60. Band von Ostwalds Klassikern der exakten Wissenschaften, herausgegeben von A. J. v. Oettingen. Leipzig, Engelmann, 1895.

[203] Ostwalds Klassiker, Bd. 82 und 83. Das erste Erscheinen des Steinerschen Werkes fällt in das Jahr 1832.

[204] Arneth, Geschichte der Mathematik. S. 286.

[205] Gemeint sind die Sätze von Pascal und Brianchon über die den Kegelschnitten ein- und umschriebenen Sechsecke. Pascal nannte sein Sechseck Hexagrammum mysticum.

[206] Steiner, Systematische Entwicklung. § 38, III, IV.

[207] Ostwalds Klassiker, Nr. 83, S. 43 u. f.

[208] Hankel, Die Elemente der projektivischen Geometrie. S. 27.

[209] Berlin 1835; Plücker lebte 1801-1868. Er wirkte als Professor der Mathematik und der Physik in Halle und in Bonn.

[210] Arneth, Die Geschichte der reinen Mathematik. S. 288.

[211] Lobatschefskij (1793-1856) Professor der Mathematik in Kasan. Er war ein Schüler des in Rußland wirkenden deutschen Mathematikers Bartels, und letzterer stand wieder in engster Verbindung mit Gauß. Die dem Russen gelungene Schöpfung fußt also auf dem Boden der deutschen Mathematik.

[212] J. N. Lobatschefskij, Pangeometrie 1856. Übersetzt und als 130. Band von Ostwalds Klassikern der exakten Wissenschaften, herausgegeben von H. Liebmann. Leipzig, W. Engelmann 1902.

[213] Siehe S. 125 dieses Bandes.

[214] Untersuchungen über die Reihe: 1 + mx + m(m-1)/(1·2) · x2 +... von N. H. Abel (Crelles Journal, Bd. I. 1826). Diese Abhandlung wurde neuerdings von A. Wangerin als 71. Bändchen von Ostwalds Klassikern von neuem herausgegeben. Leipzig, Verlag von W. Engelmann, 1895.

[215] Sie erschien im 1. Bande des Crelleschen Journals und führt den Titel: Démonstration de l'impossibilité de la résolution algébraique des équations générales qui passent le quatrième degré.

[216] N. H. Abel, Abhandlung über eine besondere Klasse algebraisch auflösbarer Gleichungen. Crelles Journal, Bd. IV. 1829. Als 111. Band von Ostwalds Klassikern von neuem und mit Anmerkungen herausgegeben von A. Loewy. Leipzig, W. Engelmann, 1900.

[217] Als 127. Band von Ostwalds Klassikern der exakten Wissenschaften, übersetzt und herausgegeben von Alfred Loewy. Leipzig, Verlag von W. Engelmann, 1902.

[218] C. Sturms Abhandlung wurde aus dem Französischen übersetzt und als 143. Band von Ostwalds Klassikern der exakten Wissenschaften von Alfred Loewy herausgegeben. Leipzig, W. Engelmann, 1904.

[219] Johann Friedrich Pfaff wurde 1765 geboren. Er bekleidete die Professur für Mathematik in Halle und starb dort 1825.

[220] J. F. Pfaff, Allgemeine Methode partielle Differentialgleichungen zu integrieren. Aus dem Lateinischen übersetzt und als 129. Band von Ostwalds Klassikern der exakten Wissenschaften herausgegeben von Gerhard Kowalewski. Leipzig, W. Engelmann, 1902.

[221] Cauchy, Über die Integration der partiellen Differentialgleichungen erster Ordnung in einer beliebigen Zahl von Veränderlichen (1819). Im 113. Bande von Ostwalds Klassikern herausgegeben von G. Kowalewski. Leipzig, W. Engelmann, 1900.

[222] Diese bisher schwer zugängliche, für die weitere Entwicklung der Funktionentheorie aber entscheidende Arbeit wurde neuerdings durch P. Stäckel als 112. Band von Ostwalds Klassikern wieder herausgegeben: Cauchy, Über bestimmte Integrale zwischen imaginären Grenzen. Leipzig, W. Engelmann, 1900.

[223] Fundamenta nova theoriae functionum ellipticarum. Königsberg 1829.

[224] Die andere Hälfte erhielten die Angehörigen des schon 1829 verstorbenen Abel.

[225] Legendre, Traité des fonctions elliptiques.

[226] C. G. J. Jacobi, Über die vierfach periodischen Funktionen zweier Variabeln (Crelles Journal f. r. u. angew. Math. 1834). Als Band 64 von Ostwalds Klassikern der exakten Wissenschaften aus dem Lateinischen übersetzt von A. Witting und herausgegeben von H. Weber. Leipzig, W. Engelmann, 1895.

[227] A. Göpel, Entwurf einer Theorie der Abelschen Transzendenten erster Ordnung (Crelles Journal, Bd. 35, 1847). Aus dem Lateinischen übersetzt von A. Witting und als 67. Band von Ostwalds Klassikern der exakten Wissenschaften herausgegeben von H. Weber. Leipzig, W. Engelmann, 1895.

G. Rosenhain, Abhandlung über die Funktionen zweier Variabeln mit vier Perioden (Mém. des savants, 1851). Aus dem Französischen übersetzt von A. Witting und als 65. Band von Ostwalds Klassikern herausgegeben von H. Weber. Leipzig, W. Engelmann, 1895.

[228] Er starb 1859 in Göttingen.

[229] G. Lejeune Dirichlet, Untersuchungen über verschiedene Anwendungen der Infinitesimalanalysis auf die Zahlentheorie (Crelles Journal, Bd. 19 u. 21). Als 91. Band von Ostwalds Klassikern herausgegeben von R. Haussner. Leipzig, W. Engelmann, 1897.

[230] Lejeune Dirichlet, Die Darstellung ganz willkürlicher Funktionen durch Sinus- und Kosinusreihen, 1837. Im 116. Bande von Ostwalds Klassikern, herausgegeben von H. Liebmann. Leipzig, W. Engelmann, 1900.

[231] Die letzte Abhandlung des 19. von der Anziehung homogener Ellipsoide handelnden Bandes von Ostwalds Klassikern. Diese Abhandlung Dirichlets führt den Titel »Über eine neue Methode zur Bestimmung vielfacher Integrale«.

[232] Lejeune Dirichlet, Vorlesungen über die im umgekehrten Verhältnis des Quadrates der Entfernung wirkenden Kräfte, herausgegeben von G. Grube, Leipzig 1876.

[233] Schwere, Elektrizität und Magnetismus. Nach Vorträgen von B. Riemann, bearbeitet von K. Hattendorff, Hannover 1876.

[234] Priestley, Experiments and observations on different kinds of air. 3 vol. 1774-1777, übersetzt von Ludewig, 1778.

[235] Philosophical Transactions. LXII. 1772.

[236] Priestley, Versuche und Beobachtungen über verschiedene Teile der Naturlehre. Deutsche Übersetzung vom Jahre 1780. Bd. III. Vorrede.

[237] Joseph Black, 1728-1799, Professor der Chemie zu Glasgow und Edinburg.

[238] Abhandlungen der schwedischen Akademie d. Wissensch. XXXV.

[239] Daß Priestley und Scheele unabhängig voneinander schon so früh den Sauerstoff dargestellt und seine wichtigsten Eigenschaften erkannt haben, wurde von G. W. A. Kahlbaum dargetan (Basel, Verhandlungen 1897 Bd. 12, S. 9.)

[240] History and present state of electricity with original experiments. London 1767. Übersetzt von Krünitz. Stralsund 1772.

[241] Cavendish wiederholte diesen Versuch und lieferte den Nachweis, daß hierbei durch die Vereinigung von Sauerstoff und Stickstoff Salpetersäure entsteht. Als absorbierende Flüssigkeit wandte er Alkali an, mit dem die entstandene Säure Salpeter bildet. Cavendish machte schon die Beobachtung, daß bei diesem Versuch trotz genügender Zufuhr von Sauerstoff ein nicht absorbierbarer Rest zurückbleibt. Diese eigentümliche Erscheinung hat erst im Jahre 1894 dadurch ihre Erklärung gefunden, daß Rayleigh und Ramsay als dritten wesentlichen Bestandteil der Atmosphäre das Argon nachwiesen, ein Element, das mit dem Sauerstoff unter der Einwirkung des elektrischen Funkens keine Verbindung eingeht.

[242] Es ist dies die noch jetzt bei Vorlesungen beliebte Analyse des Ammoniaks, welches dabei unter Verdoppelung seines Volumens in Stickstoff und »zündbaren« Wasserstoff zerfällt.

[243] Beim Hindurchleiten durch ein glühendes Rohr zerfällt der Alkohol in ein Gasgemisch, das vorzugsweise aus Kohlenwasserstoffverbindungen, wie Methan, Äthylen, Benzol usw., besteht und bei seiner Verpuffung mit Sauerstoff infolgedessen Kohlendioxyd (CO2) liefert.

[244] Stockholm, 1892.

[245] In Köping.

[246] Herausgegeben von v. Nordenskjöld. Siehe Naturwissenschaftliche Rundschau, VIII, S. 519.

[247] Ein durch Zusammenschmelzen von Schwefel und Pottasche (K2CO3) erhaltenes Präparat, das im wesentlichen aus Schwefelkalium besteht und begierig Sauerstoff aufnimmt. Scheele benutzte auch eine Fällung von Eisenvitriol durch Kalilauge. Er erhielt so Ferrohydroxyd: FeSO4 + 2 KOH = Fe(OH)2 + K2SO4. Ferrohydroxyd geht unter Aufnahme von Wasser und Sauerstoff leicht in Ferrihydroxyd über: 2 Fe(OH)2 + 2 H2O + O = 2 Fe(OH)3.

[248] Sauerstoff, der sich aus Braunstein durch Einwirkung der Schwefelsäure nach folgender Gleichung entwickelt:

MnO2 + H2SO4 = MnSO4 + H2O + O.

[249] Siehe S. 140 dieses Bandes.

[250] Ostwalds Klassiker Nr. 58. S. 27.

[251] Ostwalds Klassiker Nr. 58. S. 92.

[252] Ostwalds Klassiker Nr. 58. S. 43 u. f.

[253] Experimentum curiosum de effectu radiorum solarium (Act. Acad. Nat. Cur. I. 1727).

[254] Siehe S. 142 dieses Bandes.

[255] Attractio electiva duplex lautet sein Ausdruck.

[256] z. B. von Glauber (siehe Bd. II, S. 187).

[257] Dissertatio metallurgica de minerarum docimasia humida, 1780.

[258] De analysi aquarum. 1778.

[259] Gmelin, Geschichte der Chemie III. 1001.

[260] Auch hierüber berichtet Gmelin a. a. O.

[261] Siehe Bd. II, S. 183.

[262] Ostwalds Klassiker Nr. 58, S. 5.

[263] Lavoisier, Sur la nature de l'eau. Mémoir. de Paris, 1770.

[264] Sie wurde neuerdings deutsch und mit Anmerkungen versehen als 172. Band von Ostwalds Klassikern der exakten Wissenschaften wieder herausgegeben (Leipzig, W. Engelmann 1909).

[265] Ostwalds Klassiker Nr. 172. S. 28.

[266] Das Medizinalpfund betrug 12 Unzen; jede Unze war gleich 480 Gran (1 Gran etwa = 0,06 g).

[267] Sur l'existence de l'air dans l'acide nitreux. Mém. de Paris, 1776.

[268] Hg(NO3)2 = HgO + 2 NO2 + O.

[269] Cavendish, welcher die entstandene Salpetersäure durch Kalilauge absorbieren ließ, bemerkte, daß ein nicht absorbierbarer Rest zurückbleibt, eine Tatsache, die erst 1894 durch die Entdeckung des Argons ihre Erklärung fand.

[270] G. W. A. Kahlbaum und A. Hoffmann: Die Einführung der Lavoisierschen Theorie im besonderen in Deutschland (Monographien aus der Geschichte der Chemie. I. Heft. Leipzig 1897). Danach ist die Annahme, daß Deutschland sich länger als die übrigen Länder gegen die Annahme der Lehren Lavoisiers verschlossen habe, nicht gerechtfertigt.

[271] Einen klaren Ausdruck dieses Prinzips von der Unzerstörbarkeit des Stoffes finden wir schon bei Galilei in seinem Dialog über die beiden Weltsysteme. (Ausg. v. Strauß, S. 47). Siehe auch Bd. II dieses Werkes, S. 25.

[272] Mémoires de la Société d'Arcueil.

[273] Dannemann, Aus der Werkstatt großer Forscher, 1908, S. 265.

[274] Berthollet, Untersuchungen über die Gesetze der Verwandtschaft (1801). Als 74. Band von Ostwalds Klassikern erschienen bei W. Engelmann in Leipzig.

[275] Siehe S. 150 dieses Bandes.

[276] Siehe S. 150 dieses Bandes.

[277] Ostwalds Klassiker Nr. 74, S. 51.

[278] Näheres über die Phlogistontheorie. Siehe S. 142 dieses Bandes.

[279] Gemeinsam mit Thenard. Mémoires de la Société d'Arcueil. Paris 1809, S. 295 u. f.

[280] Aus der Geschichte des Chlors sei noch erwähnt, daß Fourcroy die ersten Verbrennungen in Chlor anstellte. (Annales de Chimie. Bd. IV. 1788. S. 249.) Fourcroy fand, daß ein Licht in Chlor weiter brennt und daß Phosphor in Chlor lebhafter brennt als in der Luft.

Diese Versuche wurden von Westrumb auf fast alle Metalle und einige Metallsulfide ausgedehnt (Ann. de chimie. Bd. VI. S. 240). Westrumb entdeckte, daß die Metalle und die Metallsulfide in feiner Verteilung sich im Chlor sofort entzünden. Er wies dies z. B. an Antimon, Arsen, Wismut, Zinn, Blei, Antimonsulfid und Arsensulfid nach.

[281] Joseph Louis Proust wurde 1755 in Angers geboren, wo er (1826) starb. Er war Apotheker in Paris; später bekleidete er eine Professur für Chemie, auch war er Mitglied der Akademie der Wissenschaften in Paris.

[282] Siehe den vorigen Abschnitt, S. 170 u. f.

[283] Karl Friedrich Wenzel wurde 1740 in Dresden geboren. Er war wie Richter zunächst im Hüttenwesen und später in einer Porzellanfabrik (Meißen) tätig. Wenzel starb im Jahre 1793 in Freiberg.

[284] Siehe S. 170 dieses Bandes.

[285] Er starb 1807.

[286] De usu matheseos in chymia. 1789.

[287] Der Ausdruck Stöchiometrie (στοιχεῖον heißt Grundstoff) rührt von Richter her.

[288] Zu Eaglesfield in Cumberland am 5. September 1766.

[289] Siehe S. 176 dieses Bandes.

[290] Das Äthylen oder ölbildende Gas (so genannt, weil es sich mit Chlor zu einer ölartigen Flüssigkeit C2H4Cl2 vereinigt) wurde 1795 von holländischen Chemikern entdeckt.

[291] Die Ausdrücke binär, ternär, quaternär werden in der heutigen Chemie für Verbindungen aus je zwei, je drei oder je vier Elementen gebraucht, ohne Rücksicht auf die Anzahl der Atome, die eine solche Verbindung zusammensetzen.

[292] Na2O und K2O nach heutiger Bezeichnungsweise.

[293] Wollaston, Über übersaure und untersaure Salze. Philos. Transact. 1808.

Diese Abhandlung wurde im 3. Bande von Ostwalds Klassikern der exakten Wissenschaften wieder herausgegeben.

[294] Zum Verständnis dieser Salzbildung sei hinzugefügt, daß die Oxal- oder Kleesäure die stärkste organische Säure ist. Sie bildet z. B. mit Kalium ein neutrales Salz, in welchem K2O mit C2O3 (d. i. Oxalsäure nach Abzug des Konstitutionswassers) verbunden ist. Seine Formel lautet
COOK
|
COOK

Die Zusammensetzung des saures Salzes wird durch die Formel
COOK
|
COOH
ausgedrückt.

Auf ein Äquivalent Kali (K2O) kommen in diesem Falle 2 Äquivalente C2O3 (2 KHC2O4 = H2O. K2O. 2 C2O3). Ähnlich drückt die Formel für das übersaure Salz COOK . COOH | COOH   COOH

aus, daß auf K2O vier Äquivalente C2O3 kommen.

( 2 COOK . COOH | COOH   COOH = 3 H2O . K2O . 4 C2O3 ) .

Die drei Salze sind auch durch ihr kristallographisches Verhalten gut charakterisiert.

[295] Am besten wird man sich über den Lebensgang von Berzelius durch seine selbstbiographischen Aufzeichnungen unterrichten lassen. Sie wurden im Auftrage der Schwedischen Akademie der Wissenschaften von H. G. Söderbaum herausgegeben. Eine deutsche Bearbeitung verdankt man G. W. A. Kahlbaum (Monographien aus der Geschichte der Chemie, Heft 7). Seine wissenschaftlichen Arbeiten hat Berzelius in der Selbstbiographie allerdings nur gelegentlich erwähnt. Etwas eingehender kommt er auf die Untersuchungen über die bestimmten Proportionen zu sprechen. Dies geschieht unter besonderer Anerkennung der Verdienste Richters (siehe S. 176 u. f. dieses Bandes).

[296] Einen wichtigen Einblick in die Geschichte der neueren Chemie gewährt auch der Briefwechsel von F. Wöhler und J. Berzelius. Herausgegeben von O. Wallach, Leipzig. Verlag von Wilhelm Engelmann, 1901. 2 Bände. Dieser Briefwechsel umfaßt den für die Entwicklung der Chemie hochwichtigen Zeitraum von 1824 bis 1848. Die Briefe enthalten zwar viel Persönliches, sie bieten aber auch zahlreiche Aufschlüsse über die Vorgeschichte wichtiger Entdeckungen, sowie über die Gedankengänge und die Arbeitsweise der beiden großen Forscher. Näheres darüber siehe im 4. Bande dieses Werkes bei Wöhler.

[297] Dieser für die genauere Kenntnis der Entwicklung, welche die neuere Chemie genommen, sehr wertvolle »Briefwechsel« wurde im Auftrage der Königl. Gesellschaft der Wissenschaften zu Göttingen von O. Wallach in zwei umfangreichen Bänden herausgegeben.

[298] Berzelius, Lehrbuch der Chemie, Bd. III, 1161. 5. Aufl.

[299] Die heute geltenden Zahlen sind in Klammern beigefügt.

[300] Es bildet sich salpetersaures Blei, dessen Zusammensetzung durch die Formel Pb(NO3)2 wiedergegeben wird.

[301] Das salpetersaure Blei zerfällt beim Erhitzen in Bleioxyd, Sauerstoff und Stickstofftetroxyd: Pb(NO3)2 = PbO + N2O4 + O.

[302] Das braune Oxyd oder Bleisuperoxyd ist nach der Formel PbO2 zusammengesetzt; es bildet sich durch Behandeln von Mennige mit Salpetersäure: Pb3O4 + 4 HNO3 = 2 Pb(NO3)2 + PbO2 + 2 H2O. Die Mennige läßt sich als eine Verbindung von Bleioxyd und Bleisuperoxyd auffassen: Pb3O4 = 2 PbO.Pb_O2.

[303] Daher lauten die entsprechenden Formeln für das gelbe und das braune Oxyd PbO und PbO2. Mennige besitzt eine etwas schwankende Zusammensetzung. Die Formel Pb3O4, die man der Mennige beilegt, würde auf 100 Teile Blei nur 10,3 Teile Sauerstoff ergeben.

[304] Siehe S. 176 u. f. dieses Bandes.

[305] So verhalten sich in den salpetersauren Salzen diese Mengen wie 1 : 5. Die ältere Schreibweise ihrer Formeln macht dies Verhältnis sofort ersichtlich: K2O.N2O5; Na2O.N2O5; CuO.N2O5; CaO.N2O5.

[306] Siehe Abschnitt 2 dieses Bandes.

[307] Johann Georg Sulzer (1720-1779), Professor der Mathematik am Joachimsthalschen Gymnasium in Berlin.

[308] Sulzer, Theorie der angenehmen und unangenehmen Geschmacksempfindungen. Berlin 1762. (Zuerst in den Mém. de Berlin 1751/52.)

[309] Ostwalds Klassiker Nr. 52, S. 4.

[310] In einem von Alibert, dem Biographen Galvanis (Alibert, Éloge de Galvani, Paris, 1806) mitgeteilten Sonett lautet die zweite Strophe in der von Emil du Bois Reymond herrührenden Übersetzung:

War sie es nicht, die neue Lebenstriebe

In hautentblößter Frösche Gliedern fand,

Wenn hier der Nerven wunderbar Getriebe,

Dort funkensprüh'nden Leiter traf die Hand?

[311] Galvanis Schrift führt den Titel: De viribus electricitatis in motu musculari commentatio. 1791. Sie erschien neuerdings unter dem Titel: Abhandlung über die Kräfte der Elektrizität bei der Muskelbewegung, herausgegeben von A. J. v. Oettingen, als 52. Band von Ostwalds Klassikern der exakten Wissenschaften. Leipzig, Verlag von Wilhelm Engelmann, 1894.

[312] E. du Bois-Reymond, Untersuchungen über tierische Elektrizität. Berlin 1848. Bd. I. S. 50.

[313] Volta, Del modo di rendere sensibilissima la più debole elettricità sia artificiale, sia naturale. 1784.

Voltas sämtliche Werke erschienen unter dem Titel: Collezioni dell' Opere del Cavalieri Conte Allessandro Volta, Patrizio Comasco. Firenze 1816, in drei Bänden und fünf Teilen herausgegeben von V. Antinori.

[314] Siehe S. 189 dieses Bandes.

[315] Alessandro Volta, Briefe über tierische Elektrizität. 1792-1795. Als 114. Band von Ostwalds Klassikern der exakten Wissenschaften in deutscher Übersetzung herausgegeben von A. J. von Öttingen. S. 101.

[316] Ostwalds Klassiker Nr. 114, S. 99.

[317] Ostwalds Klassiker Nr. 114, S. 104.

[318] Ostwalds Klassiker Nr. 114, S. 107.

[319] Abhandlungen der schwed. Akademie der Wissenschaften. 29, 1777.

[320] Siehe S. 10 dieses Bandes.

[321] Phil. Transact. 1782, S. 242.

[322] In Voltas dritten Brief an Gren vom Jahre 1797.

[323] Ostwalds Klassiker Nr. 118, S. 54 u. f.

[324] Volta, Gilberts Annalen, Bd. X, S. 443.

[325] Ostwalds Klassiker Nr. 118, S. 4.

[326] In einem an Banks, den Präsidenten der Royal Society, gerichteten Brief vom 20. März jenes Jahres. Dieser Brief wurde in den Philosophical Transactions, 1800, S. 403 veröffentlicht.

[327] Brief an Banks, Philosophical Transactions, 1800, S. 403.

Der berühmte Brief an Banks wurde mit einigen anderen bis zum Jahre 1796 zurückreichenden Schriften Voltas als 118. Band von Ostwalds Klassikern in deutscher Übersetzung durch A. J. v. Oettingen herausgegeben. Leipzig, W. Engelmann. 1900.

[328] Bericht an die mathematisch-physikalische Klasse des französischen Nationalinstituts über Voltas galvanische Versuche. Siehe Gilberts Annalen X, 1802, S. 389 ff. Ein Auszug des von Volta in Paris gehaltenen Vortrags in deutscher Übersetzung findet sich gleichfalls in Gilberts Annalen. Bd. X, S. 421.

[329] Gilberts Annalen VIII, S. 390.

[330] Gilberts Annalen XI, S. 132.

[331] Gilberts Annalen IX, S. 385.

[332] Gilberts Annalen XIX, S. 45.

[333] Johann Wilhelm Ritter (1776-1810) lebte als Privatgelehrter in Gotha und Weimar. Im Jahre 1804 wurde Ritter an die bayerische Akademie nach München berufen. Ritter war einer der ersten Forscher auf dem Gebiete der galvanischen Elektrizität.

[334] Gilberts Annalen XIX, 1805, S. 22.

[335] Gilberts Annalen XXIII. S. 25.

[336] Rieß, Die Lehre von der Reibungselektrizität. Bd. I, S. 18. Berlin 1853.

[337] Zamboni, Della pila elettrica a secco. Verona 1812. Siehe auch Schweiggers Journal für Chemie und Physik. X. S. 129.

[338] Paul Erman (1764-1851) war Professor der Physik in Berlin und veröffentlichte zahlreiche Arbeiten aus dem Gebiet der Elektrizitätslehre.

[339] Voigts Magazin f. d. Neueste. Bd. 4. 1802. S. 832.

[340] Gilberts Annalen, XIX, S. 490.

[341] Fischer, Gesch. VIII, 649.

[342] Fischer, VIII, 654.

[343] Anthony Carlisle (1768-1840), Professor der Anatomie in London.

[344] William Nicholson (1753-1815), als Ingenieur und Schriftsteller in London tätig, auch bekannt als Erfinder des Gewichtsaräometers.

[345] Gilberts Annalen, 1800, VI, 340.

[346] Hoppe, Gesch. d. Elektr. S. 137.

[347] Johann Wilhelm Ritter (1776-1810) war Mitglied der bayerischen Akademie der Wissenschaften.

[348] Gilbert, Annalen der Physik, VI, 1800, S. 470.

[349] Die wissenschaftlichen Abhandlungen Davys wurden von seinem Bruder gesammelt und in 10 Bänden herausgegeben: The collected works of Sir Humphry Davy edited by his brother John Davy. London 1839-1841.

[350] Die Pneumatic Institution des Dr. Beddoes.

[351] Siehe E. Cohen, Das Lachgas. Eine chemisch-kulturhistorische Skizze. Leipzig, W. Engelmann. 1907.

[352] Die Abhandlung wurde 1893 unter dem Titel »Über einige chemische Wirkungen der Elektrizität« im 45. Bande von Ostwalds Klassikern der exakten Wissenschaften herausgegeben. Leipzig, Verlag von W. Engelmann.

[353] Ostwalds Klassiker Nr. 45. S. 12.

[354] Ann. de Chimie 58, 54. 1806.

[355] Davy, On some new Phenomena of chemical changes produced by electricity, particularly the decomposition of the fixed alkalies. Die Abhandlung wurde 1893 unter dem Titel »Elektrochemische Untersuchungen von Humphry Davy« als 45. Band von Ostwalds Klassikern der exakten Wissenschaften herausgegeben. Leipzig, Verlag von Wilhelm Engelmann.

[356] Aus diesem Grunde fand das Natrium Verwendung, um absoluten Alkohol zu bereiten, d. h. dem Alkohol die letzten Spuren Wasser zu entziehen.

[357] Unter dem Namen alkalische Erden werden die Oxyde der Metalle Calcium, Strontium und Barium (CaO, SrO, BaO) zusammengefaßt. Diese Oxyde wurden früher als Kalk, Strontian und Baryt bezeichnet.

[358] Magnesia, Tonerde, Kieselerde sind die Oxyde von Magnesium, Aluminium und Silicium (MgO, Al2O3, SiO2).

[359] Barium, Strontium, Calcium und Magnesium wurden bald darauf von Davy selbst isoliert. Silicium wurde zuerst von Berzelius 1823 hergestellt. Die Abscheidung des Aluminiums aus der Tonerde gelang Wöhler im Jahre 1827.

[360] Ostwalds Klassiker Nr. 45, S. 44.

[361] Ostwalds Klassiker Nr. 45, S. 37.

[362] Ostwalds Klassiker Nr. 45, S. 91, sowie auch Ostwalds Geschichte der Elektrochemie. S. 992 u. f.

[363] Phil. Transact. v. 1821.

[364] Eine mit Kalium gefüllte Büchse wurde mit dem Rettungsgürtel verbunden. Das Kalium entzündete sich, sobald es mit dem Wasser in Berührung kam.

[365] Intimeres aus dem Leben Davys enthält die Skizze über Berzelius und Davy, welche Kahlbaum im III. Bande der Mitteilungen zur Geschichte der Medizin und der Naturwissenschaften veröffentlichte. 1904. S. 277 u. f.

[366] Gilberts Annalen 1822, LXXI, S. 244.

[367] Dannemann, Aus der Werkstatt großer Forscher, 1908, S. 280.

[368] Ostwalds Klassiker der exakten Wissenschaften Nr. 63. Herausgegeben von J. A. v. Oettingen. Leipzig. Verlag von Wilh. Engelmann 1895.

Die Abhandlung H. C. Oersteds erschien im Jahre 1820 unter dem Titel »Experimenta circa effectum conflictus electrici in acum magneticam«. Sie wurde von Gilbert übersetzt und in seinen Annalen (Bd. LXVI) veröffentlicht. Diese Übersetzung wurde mit geringen stilistischen Änderungen und wesentlich gekürzt der Neuausgabe zugrunde gelegt.

[369] Ostwalds Klassiker Nr. 63, S. 9 u. f.

[370] Man muß sich die Stahlbänder senkrecht zur Ebene der Zeichnung verlaufend vorstellen.

[371] J. J. Rousseaus Briefe über die Anfangsgründe der Botanik. Sie fesselten auch Goethe in hohem Grade und erschienen in deutscher Übersetzung (M. Möbius) in Leipzig bei J. A. Barth. 1903.

[372] Annales de Chimie et de Physique XV, 1820, S. 59 u. 170.

[373] Annales XV, S. 67: Si l'on se place par la pensée dans la direction du courant, de manière qu'il soit dirigé des pieds à la tête de l'observateur, et que celuici ait la face tournée vers l'aiguille; c'est constamment à sa gauche que l'action du courant écartera de sa position ordinaire celle des ses extrémités qui se dirige vers le nord.

[374] Übersetzt herausgegeben im Jahre 1822 bei Leopold Voß in Leipzig.

[375] Ampère und Babinet. Tafel I, Fig. 3.

[376] Ampère und Babinet. Tafel I, Fig. 2.

[377] Ampère und Babinet. Tafel I. Fig. 12.

[378] Ampère, Annales de chimie et phys. XV. S. 188 ff.

[379] Siehe Heller, Gesch. d. Phys. II, S. 609.

[380] Heller, Geschichte der Physik II, S. 609.

[381] Ampère, Mémoire sur la théorie mathématique des phénomènes électrodynamiques uniquement déduite de l'expérience. Ann. de Chimie et de Phys. Bd. 20, S. 60.

[382] Wüllner, Lehrb. d. Experim. Physik. IV, S. 673 u. f.

[383] Ampère und Babinet. Tafel II, Fig. 29.

[384] Ampère und Babinet. Tafel II, Fig. 14.

[385] Ann. de Chimie et de Phys. Bd. 18, 1821, S. 320-322.

[386] Ampère und Babinet. 1822. S. 115.

[387] Siehe S. 1 dieses Bandes.

[388] Annales de Chimie et de Physique XV. S. 93 u 110.

[389] Annales de Chimie et de Physique. Bd. 27, 1824, S. 363.

[390] Siehe an späterer Stelle.

[391] Thomas Johann Seebeck wurde 1770 in Reval geboren. Er wurde 1818 Mitglied der Akademie der Wissenschaften in Berlin und starb dort 1831.

[392] Th. J. Seebeck, Magnetische Polarisation der Metalle und Erze durch Temperaturdifferenz. Siehe Ostwalds Klassiker der exakten Wissenschaften Nr. 70, S. 8 u. f. Die Abhandlung erschien zuerst in den Berichten der Berliner Akademie der Wissenschaften von 1822/23. Die Entdeckung der Thermoelektrizität erfolgte 1822.

[393] Nobili, Sur un nouveau galvanomètre (Bibl. univ. XXV. 1824.) Leopoldo Nobili wurde 1781 in der Nähe von Reggio geboren. Er war Professor der Physik am großherzoglichen Museum in Florenz und starb dort 1835.

[394] Melloni, La Thermochrôse ou la coloration calorifique. Neapel 1850. Macedonio Melloni wurde 1798 in Parma geboren. Er war dort Professor der Physik. Später lebte er in Paris; zuletzt leitete er das Observatorium auf dem Vesuv. Melloni starb im Jahre 1854.

[395] Humboldt, Kosmos. Bd. I. Abschn. 3.

[396] Zu Beaumont en Auge.

[397] Siehe S. 361 des II. Bandes dieses Werkes.

[398] Laut Gesetz vom Jahre 1842. Laplace, Oeuvres complètes. 7 Bde. 1843-1848.

[399] Wolf, Geschichte der Astronomie. S. 510.

[400] Eine ausführliche Darstellung der Entwicklung der Gravitationsmechanik von Newton bis Laplace enthält das Werk von Todhunter, A history of the mathematical theories of attraction and the figure of the earth from the time of Newton to that of Laplace. London, Macmillan and Co.

[401] Allgemeine Naturgeschichte und Theorie des Himmels oder Versuch von der Verfassung und dem mechanischen Ursprunge des ganzen Weltgebäudes, nach Newtonschen Grundsätzen abgehandelt von Immanuel Kant. Als 12. Band von Ostwalds Klassikern der exakten Wissenschaften herausgegeben von A. J. von Oettingen. 2. Aufl. Leipzig, Verlag von Wilhelm Engelmann, 1898.

[402] Thomas Wright, Theory of the Universe. London 1750. Wrights Bedeutung wurde neuerdings durch Jacobi gewürdigt. (Max Jacobi, Ein Vorläufer der Kant-Laplaceschen Theorie von der Weltentstehung. Preußische Jahrbücher, Bd. 117, 2. Heft).

Der genauere Titel der Schrift von Wright lautet: An Original Theory or New Hypothesis of the Universe founded upon the laws of Nature. Kant hatte von dem Buche Wrights durch eine Besprechung in einer deutschen Zeitschrift Kenntnis erhalten.

Wright wurde 1711 geboren. Er nahm an der Expedition teil, welche die Royal Society im Jahre 1769 zur Beobachtung des Venusdurchganges nach Kanada sandte. Wright starb im Jahre 1786.

[403] Siehe Bd. II, S. 394.

[404] Ostwalds Klassiker Nr. 12, S. 41 u. f.

[405] Ostwalds Klassiker Nr. 12, S. 53 u. f.

[406] Ostwalds Klassiker Nr. 12, S. 38.

[407] G. H. Darwin, On the tidal friction of a planet attended by several satellites. Phil. Trans. London, 1881. II. p. 491 f.

[408] H. v. Helmholtz (Vorträge II, S. 84).

[409] Piazzi wurde 1746 geboren. Er erbaute und leitete die Sternwarte in Palermo und starb 1826 in Neapel.

[410] Karoline Herschels Memoiren und Briefwechsel. Deutsch von Scheibe. Berlin 1877.

[411] Im Jahre 1757.

[412] Smith, Harmonics.

[413] In einem Brief vom 15. Februar 1783, abgedruckt im Göttinger Magazin der Wissenschaften und Literatur. III, 584.

[414] Herschel, On the remarkable appearances at the polar regions of the Planet Mars. 1784.

[415] Nach seiner Angabe beträgt die Rotationszeit des Saturn 10 Stunden 29 Minuten.

[416] Philosoph. Transactions 1795, II. Tab. XXIV.

[417] Herschel, On the proper motion of the Sun and the Solar System. 1783.

[418] Siehe S. 246 dieses Bandes.

[419] Herschel, On the construction of the heavens. Phil. Trans. 1784. Eine Übersetzung mit einem nach Kants Durchsicht hergestellten Auszug aus Kants Naturgeschichte des Himmels erschien 1791.

[420] Messier in den Abhandlungen der Pariser Akademie der Wissenschaften vom Jahre 1771. S. 435. Catalogue des nébuleuses et des amas d'étoiles, observées à Paris par M. Messier.

[421] W. Herschel, Über den Bau des Himmels; übersetzt von J. W. Pfaff. Leipzig 1850. Taf. I, Fig. 2. (Nr. 53 des Verzeichnisses von Messier.)

[422] 1834-1838.

[423] W. Herschel, Über den Bau des Himmels. Taf. II, Fig. 16.

[424] Kosmos, Bd. I, Abschn. 3.

[425] Holden, Wilhelm Herschel, Sein Leben und seine Werke. Übersetzt von Valentiner. Berlin 1882.

[426] A. a. O. S. 214.

[427] Über den Ursprung der von Pallas gefundenen und anderer ihr ähnlichen Eisenmassen und über einige damit in Verbindung stehende Naturerscheinungen von Chladni. Riga 1794.

[428] Dannemann, Aus der Werkstatt großer Forscher, 1908. S. 169.

[429] Ein großes Stück des Pallaseisens befindet sich in den Königlichen Sammlungen zu Berlin.

[430] Von dieser gibt Halley Nachricht; Philosophical Transactions, n. 360. S. 978.

[431] Von der in der Histoire de l'académie des sciences, 1761, S. 28 Nachricht gegeben wurde.

[432] Wie in den Mémoires de l'académie de Dijon, Bd. I. S. 42 erzählt wird.

[433] Silberschlag (1721-1791), Oberbaurat und Mitglied der Akademie in Berlin, nahm an, daß diese Feuerkugel aus den Dünsten der zahlreichen Leichen entstanden sei, die im Sommer des Jahres 1762 die Schlachtfelder bedeckten. (!!)

[434] Diese Vermutung Chladnis ist später durch die spektralanalytische Untersuchung der Gestirne bestätigt worden.

[435] Neuere Untersuchungen haben zu dem Ergebnis geführt, daß sich zahlreiche Elemente, die sämtlich auch an der Zusammensetzung der Erde beteiligt sind, als Bestandteile der Meteoriten nachweisen lassen. Die Annahme Chladnis, daß das Universum im wesentlichen überall die gleiche chemische Zusammensetzung hat, steht auch mit der Kant-Laplaceschen Hypothese im Einklang und hat durch die moderne Astrophysik ihre Bestätigung gefunden.

[436] Gilberts Annalen 15,74 und 16,44, 70.

[437] Bieberstein, 1802.

[438] Howard, 1802.

[439] G. Rose, Abhandlungen der Berliner Akademie der Wissenschaften 1863. S. 33.

[440] Johann Friedrich Benzenberg, 1777-1846.

[441] Heinrich Wilhelm Brandes, 1777-1834.

[442] Benzenberg und Brandes, Versuch, die Entfernung, die Geschwindigkeit und die Bahnen der Sternschnuppen zu bestimmen, 1800.

[443] Siehe Band II S. 80.

[444] J. Bapt. Guglielmini de diurno terrae motu experimentis physico-mathematicis confirmato. Bologna 1792.

[445] Versuche über das Gesetz des Falles. Dortmund 1804.

[446] Von Reich in einem Schacht bei Freiberg.

[447] Zu den ersten Physikern, welche die Wärme ohne die Annahme eines besonderen Stoffes zu erklären suchten, gehörte Daniel Bernoulli I. (Siehe Bernoullis im Jahre 1716 erschienene Schrift: Phoronomia sive de Viribus et Motibus corporum solidorum et fluidorum). Man hat Bernoulli auf Grund der von ihm entwickelten Ansichten als einen der Begründer der kinetischen Gastheorie hingestellt (Rühlmann, Handbuch der mechanischen Wärmetheorie. Bd. I. 1876. S. 72).

Dieselbe Ansicht von der Natur der Wärme entwickelte ein Jahrzehnt später der große Euler in einer in den Abhandlungen der Petersburger Akademie vom Jahre 1727 erschienenen Arbeit »Tentamen explicationis phaenomenorum aeris«.

Soweit es sich um bloße Andeutungen handelt, läßt sich die mechanische Wärmetheorie bis auf Bacon und auf Hooke (Micrography, London 1667. S. 12) zurückverfolgen.

[448] Sein eigentlicher Name ist Benjamin Thompson.

[449] Philosophical Transactions. 1799.

[450] Philosophical Transactions. 25. I. 1798.

[451] Rumford, Untersuchung der durch Friktion hervorgebrachten Wärme, vorgelesen in der Königl. Sozietät der Wissenschaften, den 25. Januar 1798.

[452] In den »Contributions to phys. and medic. knowledge« collect. by Beddoes. 1799.

[453] Der Versuch wurde von Davy in der Weise angestellt, daß zwei Eisstücke unter einer luftleeren Glasglocke bei einer unter dem Gefrierpunkte liegenden Temperatur vermittelst eines Uhrwerkes aneinander gerieben wurden.

[454] Erasmus Darwin (der Großvater von Charles Darwin), Frigoric experiments on the mechanical expansion of air. Phil. Trans. 1788.

[455] J. Dalton, Experiments and Observations on the Heat and Cold produced by the mechanical condensation and rarefaction of air. Manch. Soc. V, p. II (1802).

[456] Ein Arbeiter einer Gewehrfabrik soll diese Entdeckung bei Versuchen mit der Windbüchse gemacht haben. Rosenberger, Geschichte der Physik Bd. III. S. 224.

[457] Siehe S. 266 dieses Bandes.

[458] Mém. de la Société d'Arcueil I, 180 (1807).

[459] Mach, Prinzipien der Wärmelehre, S. 210.

[460] Scheele, Chemische Abhandlung von der Luft und dem Feuer. (Ostwalds Klassiker, Nr. 58, S. 54).

[461] Durch Ritter. Siehe Gilberts Annalen VII, 1801. S. 525.

[462] Philosoph. Transact. 1802.

[463] William Hyde Wollaston wurde 1766 geboren. Er war Mitglied der Royal Society und starb 1828 in London. Wollaston entdeckte das Rhodium und das Palladium. Seine Erfindung, Platin zu schmieden, brachte ihm so reiche Mittel ein, daß er davon als Privatmann leben konnte.

[464] Thomas Young wurde 1773 geboren. Er wirkte als Professor der Physik an der Royal Institution in London und war Mitglied der Royal Society. Young starb 1829 in London. Er gehörte zu den vielseitigsten Menschen, die je gelebt haben. Young war Arzt, Philosoph, Mathematiker, Physiker, Archäologe und gleichzeitig ein Weltmann, der in den vornehmsten Kreisen Londons einen Ruf als Reiter, Musiker und Maler genoß. Derselbe Young, der auf den Gebieten der Physik und der Physiologie so Hervorragendes leistete, gehörte zu den ersten Archäologen, denen die Enträtselung der Hieroglyphen gelang.

[465] Philos. Transact. 1804. S. 1.

[466] Young, On the theory of light and colours. Phil. Transact. 1802. Seite 12.

[467] Helmholtz, Handbuch der physiologischen Optik. Leipzig 1876. S. 291 u. f.

[468] Newton, Optice. Lib. III. Quaestio XXVI: Annon radiorum luminis diversa sunt latera, diversis proprietatibus congenitis praedita?

[469] Étienne Louis Malus wurde 1775 in Paris geboren. Er besuchte dort die Schule für Militäringenieure und später die École polytechnique, wo Monge auf ihn aufmerksam wurde. (Über Monge s. S. 120 u. f.). Schon damals wandte sich Malus optischen Untersuchungen zu. Seine wissenschaftliche Tätigkeit wurde durch den Feldzug nach Ägypten und andere napoleonische Kriege unterbrochen. Später wirkte Malus an der École polytechnique in Paris, wo er schon im Jahre 1812 starb.

[470] Sur une propriété de la lumière réfléchie par les corps diaphanes. Gelesen 1808. Veröffentlicht in den Mémoires d'Arcueil II. 143 (1809).

[471] Aragos Werke. Bd. III. S. 117.

[472] Augustin Jean Fresnel wurde 1788 in der Normandie geboren. Er besuchte die École polytechnique zu Paris und starb dort 1827. Fresnel wirkte an der École polytechnique und als Mitglied einer Leuchtturmkommission. In dieser Stellung hat er sich um die Verbesserung der Leuchtvorrichtungen sehr verdient gemacht (Fresnelscher Prismenapparat).

[473] Fresnel, Mémoire sur la diffraction de la lumière (Annales chim.-phys. I. 1816 et XI, 1819).

[474] Mémoire sur la loi des modifications, que la reflexion imprime à la lumière polarisée.

[475] Z. B. die von Hamilton abgeleitete und von Lloyd am Aragonit nachgewiesene konische Refraktion. Hamilton in Poggendorffs Annalen Bd. XXVIII. Lloyd ebenda.

[476] Foucault, Sur les vitesses relatives de la lumière dans l'air et dans l'eau (Annales chim. phys. XLI. 1854).

[477] Siehe an späterer Stelle.

[478] Betrachtungen über die bewegende Kraft des Feuers und die zur Entwicklung dieser Kraft geeigneten Maschinen von S. Carnot. Übersetzt und herausgegeben von W. Ostwald. Ostwalds Klassiker der exakten Wissenschaften Nr. 37. Leipzig, Verlag von Wilhelm Engelmann, 1892. Der Titel des Originals lautet: Réflexions sur la puissance motrice du feu et sur les machines propres à développer cette puissance par S. Carnot. Paris 1824.

[479] Dieser wurde samt der Abhandlung im Jahre 1878 von Carnots Bruder herausgegeben (Paris, Gauthier Villars).

[480] Mach, Prinzipien der Wärmelehre. S. 215.

[481] Mach, S. 218.

[482] Siehe S. 52 dieses Bandes.

[483] Gilberts Annalen VII. 1801. S. 137.

[484] Philos. Transact. 27. III. 1800, S. 255. Investigation of the Powers of the prismatic Colours to heat and illuminate Objects.

[485] Philos. Trans. 24. IV. 1800, S. 284. Experiments on the Refrangibility of the invisible Rays of the Sun.

[486] St. Léonard in Limousin.

[487] Aragos Werke, Bd. III. S. 14.

[488] Siehe S. 140 dieses Bandes.

[489] Annales de chimie IX. 1791. S. 239.

[490] Journal de Physique, 60. S. 129-158. Neuerdings veröffentlicht im 42. Bande von Ostwalds Klassikern der exakten Wissenschaften. Leipzig, Verlag von Wilhelm Engelmann, 1893.

[491] Recherche sur la dilatation des gases et des vapeurs (Ann. chim. et phys. XLIII, 1802). Die Abhandlung wurde neuerdings im 44. Bande von Ostwalds Klassikern der exakten Wissenschaften in deutscher Übersetzung herausgegeben.

[492] Ostwalds Klassiker, Nr. 44, S. 24.

[493] Siehe Bd. IV dieses Werkes.

[494] Daß Sauerstoff löslicher ist als Stickstoff, wußte schon Scheele. Siehe S. 147.

[495] NH3 + HCl = NH4Cl (Salmiak).

[496] SO2 + O = SO3.

[497] Mémoire sur la combinaison des substances gazeuses, les unes avec les autres (Mém. de la société d'Arcueil, 1809). In der Übersetzung herausgegeben in Ostwalds Klassikern der exakten Wissenschaften, Bd. 42. Leipzig, Engelmann, 1893.

[498] CO + O = CO2.

[499] Sie besagt, daß die Volumeinheit aller Gase bei gleichem Druck und gleicher Temperatur dieselbe Anzahl von Molekülen enthält. Siehe Avogadros Abhandlung vom Jahre 1811 in Ostwalds Klassikern der exakten Wissenschaften. Bd. 8. Wilhelm Engelmann, Leipzig, 1889.

[500] Kopp, Gesch. d. Chemie IV. S. 13.

[501] Näheres hierüber siehe Kopp, Gesch. d. Chemie IV. S. 13.

[502] HCl, HJ, H2S.

[503] HClO3 und HJO3, deren Säureanhydride Cl2O5 und J2O5 sind.

[504] Näheres siehe im IV. Bande dieses Werkes.

[505] Siehe S. 173 dieses Bandes.

[506] Ostwalds Klassiker Nr. 4. S. 9.

[507] Gay-Lussac, Recherches sur l'acide prussique. Annales de chim. 1815. S. 136-231.

[508] Liebig, Handbuch der organischen Chemie. S. 1.

[509] Siehe S. 164 dieses Bandes.

[510] Aragos Werke. Bd. III. S. 57.

[511] William Henry, geboren 1775 zu Manchester; gestorben 1836.

[512] Philos. Transact. 1803 und Gilberts Annalen XX. S. 147.

[513] Im 3. Bande von Ostwalds Klassikern der exakten Wissenschaften herausgegeben von W. Ostwald. Leipzig, Verlag von W. Engelmann, 1889.

[514] Siehe S. 180 dieses Bandes.

[515] Siehe hierüber S. 173 dieses Bandes.

[516] Die betreffende Abhandlung von Gauß wurde im 14. Bande von Ostwalds Klassikern der exakten Wissenschaften von E. Netto in deutscher Übersetzung herausgegeben. Siehe dort S. 3-36. Gauß kam auf denselben Gegenstand noch dreimal zurück. Sämtliche 4 Arbeiten finden sich im 14. Bd. der Klassiker vereinigt. Leipzig, W. Engelmann, 1900.

[517] Erster und zweiter Beweis der Fundamentaltheorien über quadratische Reste. Im 122. Bande von Ostwalds Klassikern der exakten Wissenschaften herausgegeben von Eugen Netto. Leipzig, W. Engelmann, 1901.

[518] Zachs astronomische Korrespondenz.

[519] Gauß Werke, Bd. VI. S. 65.

[520] Sie rührt von Hasse her und ist in Hannover erschienen. In der Übersetzung lautet der Titel des Gaußschen Werkes: Theorie der Bewegung derjenigen Himmelskörper, die sich um die Sonne in Kegelschnitten bewegen.

[521] Légendre, Nouvelles méthodes pour la détermination des orbites des comètes.

[522] Theoria combinationis observationum erroribus minimis obnoxiae. 1821.

[523] Nr. 159 und 270.

[524] C. G. J. Jacobi, Über die Bildung und die Eigenschaften der Determinanten und über die Funktionaldeterminanten. Beide Abhandlungen erschienen 1841 im Crelleschen Journal. Sie wurden 1896 als 77. und 78. Bd. von Ostwalds Klassikern durch P. Stäckel mit Anmerkungen herausgegeben.

[525] Laplace, Théorie capillaire im Anhang zum 10. Buche der Mécanique céleste. Siehe auch Gilberts Annalen XXXIII.

[526] C. F. Gauß, Allgemeine Grundlagen einer Theorie der Gestalt von Flüssigkeiten im Zustande des Gleichgewichts, 1830. In deutscher Übersetzung herausgegeben von H. Weber als 135. Band von Ostwalds Klassikern. Leipzig, W. Engelmann, 1903.

[527] Eine vortreffliche Geschichte der Attraktionstheorie rührt von J. Todhunter her. Siehe Anm. 1 auf S. 244 dieses Bandes.

[528] Mém. de Berlin. 1777. S. 155.

[529] Mémoires de l'académie roy. de Paris 1782. S. 113-196. Die Abhandlung wurde teilweise in der Mécanique céleste aufgenommen. Dieser Abschnitt der Mécanique céleste erschien in deutscher Übersetzung im 19. Bande von Ostwalds Klassikern. Leipzig, W. Engelmann, 1890.

[530] G. Green, Ein Versuch, die mathematische Analysis auf die Theorien der Elektrizität und des Magnetismus anzuwenden. In deutscher Übersetzung und mit Erläuterungen herausgegeben von Wangerin und v. Oettingen. Ostwalds Klassiker Nr. 61. Leipzig, W. Engelmann, 1895.

[531] Für Kräfte, die nicht nach dem Newtonschen Gesetze wirken, hat man später den Ausdruck Kräftefunktion eingeführt.

[532] Der wichtigste dieser Sätze, der noch heute bei der Anwendung der Potentialtheorie eine große Rolle spielt, wird der »Satz von Green« genannt. Er findet sich im dritten Abschnitt seiner Abhandlung entwickelt (Ostwalds Klassiker, Bd. 61, S. 24-28) und betrifft den Fall, daß U und V zwei Funktionen von x, y, z bedeuten, deren Werte für jeden Punkt im Innern eines Raumes als gegeben angesehen werden können.

Der von Green für diesen Fall entdeckte Satz lautet unter der Annahme, daß die Funktionen von U und V, sowie die ersten Derivierten von U und V im Innern des betreffenden Raumes endlich und stetig variabel sind:

dx · dy · dz · U · δV + ∫dσ · U ( dVdw ) = dx · dy · dz · VδU + ∫dσ · V ( dUdw )

dV und dU sind die bekannten Abkürzungen für den Ausdruck in der Laplaceschen Gleichung, dσ ein Oberflächenelement und dw ein Linienelement senkrecht zu dσ und nach dem Innern des Körpers gemessen. Näheres siehe auch Riemann-Hattendorff, Schwere, Elektrizität und Magnetismus § 20.

[533] Ostwalds Klassiker, Nr. 61, S. 45.

[534] Ostwalds Klassiker, Nr. 61, S. 48.

[535] Ostwalds Klassiker, Nr. 61, S. 62.

[536] Grelles Journal für Mathematik 1850.

[537] Siehe Anmerkung auf S. 302 dieses Bandes.

[538] C. F. Gauß, Allgemeine Lehrsätze in Beziehung auf die im verkehrten Verhältnisse des Quadrates der Entfernung wirkenden Anziehungs- und Abstoßungskräfte. Als 2. Band von Ostwalds Klassikern der exakten Wissenschaften, herausgegeben von A. Wangerin. Leipzig, Verlag von W. Engelmann, 1902.

[539] Gauß' Werke Bd. V. S. 119.

[540] C. F. Gauß, Die Intensität der erdmagnetischen Kraft auf absolutes Maß zurückgeführt. 1832. Als 53. Band von Ostwalds Klassikern der exakten Wissenschaften, herausgegeben von E. Dorn. Leipzig, Verlag von W. Engelmann. 1894.

[541] An Stelle dieser Einheiten traten später nach dem Beschlusse der Pariser Konferenz vom Jahre 1881 das Zentimeter, das Gramm und die Sekunde.

[542] Siehe S. 306 dieses Bandes.

[543] Ostwalds Klassiker, Nr. 53, S. 27.

[544] Gauß Werke. Bd. IV. S. 259. Göttingen 1873.

[545] Siehe Band II, S. 395.

[546] Die betreffendes Abhandlungen von Lagrange (1779) und Gauß (1822) wurden durch A. Wangerin als 55. Band von Ostwalds Klassikern der exakten Wissenschaften von neuem herausgegeben. Leipzig, Verlag von W. Engelmann. 1894.

[547] C. F. Gauß, Allgemeine Flächentheorie (1827). Deutsch herausgegeben von A. Wangerin als 5. Band von Ostwalds Klassikern der exakten Wissenschaften. Leipzig, W. Engelmann, 1889.

[548] Ostwalds Klassiker, Nr. 5, S. 29.

[549] Ostwalds Klassiker, Nr. 5, S. 30.

[550] Ostwalds Klassiker, Nr. 5, S. 36.

[551] Dieses größte Dreieck, das gemessen wurde, besaß die Winkelpunkte Brocken, Inselsberg, Hohenhagen. Die Entfernungen dieser Punkte betragen 106702 m, 84957 m und 69195 m. Die Winkelsumme belief sich auf 180° 0' 14,85''. Der sphärische Exzeß betrug also 14,85''.

Näheres über die trigonometrische Vermessung des Königreichs Hannover enthält die Schrift »C. F. Gauß, Untersuchungen über Gegenstände der höheren Geodäsie.« Sie wurde als 177. Band von Ostwalds Klassikern neu herausgegeben von S. Frischauf (Leipzig, W. Engelmann, 1910). Nicht die Resultate jener Messung, sondern der Allgemeinwert des von Gauß dabei befolgten Weges rechtfertigt die Neuausgabe jener Abhandlung.

[552] Es ist nämlich α + γ = 90° = β + δ. Folglich ist α + β + γ + δ = 2 R.

[553] Sartorius von Waltershausen, Gauß zum Gedächtnis. Leipzig 1856. S. 78.

[554] Die wichtigsten Abhandlungen von Gauß sind in folgenden Nummern von Ostwalds Klassikern der exakten Wissenschaften bei W. Engelmann in Leipzig erschienen: 2, 5, 14, 19, 53, 55, 122, 135, 177.

[555] Kummer.

[556] Das graphische Verfahren zur übersichtlichen Darstellung tellurischer Erscheinungen hat zuerst Halley angewandt, als er die Orte gleicher Deklination verband.

[557] Die betreffende Arbeit Humboldts erschien in den Mémoires de la Société d'Arcueil unter dem Titel: Des lignes isothermes et de la distribution de la chaleur sur le globe 1817. III. 462 u. f. Siehe auch die Abhandlung vom Juli 1827 in den Berichten der Berliner Akademie der Wissenschaften.

[558] 1683-1811.

[559] Peschel, Geschichte der Erdkunde 1865. S. 654.

[560] Buys-Ballot 1851.

[561] Siehe S. 307 dieses Bandes.

[562] Bruhns, Alexander von Humboldt. I. S. 67.

[563] Bruhns, I. S. 95.

[564] Bruhns, I. S. 103.

[565] Humboldt, Essai géognostique. Übersetzt von Leonhardt. 1823.

[566] Böttiger, Literarische Zustände und Zeitgenossen. I. 22.

[567] A. v. Humboldt, Versuche über die gereizte Nerven- und Muskelfaser nebst Vermutungen über den chemischen Prozeß des Lebens in der Tier- und Pflanzenwelt. 2 Bde. 1797-1799.

Eine poesievolle Darstellung seiner Auffassung von der Lebenskraft gab von Humboldt in Schillers Horen (1795) unter der Überschrift: Die Lebenskraft oder der rhodische Genius.

[568] In sehr bezeichnender Weise äußert sich diese Stimmung Goethes in folgenden Versen:

Basalt, der schwarze Teufelsmoor,

Aus tiefster Hölle bricht hervor,

Zerspaltet Fels, Gestein und Erden,

Omega muß zum Alpha werden:

Und so wär denn die liebe Welt

Geognostisch auf den Kopf gestellt.

[569] Festrede bei der Humboldtfeier am 5. Aug. 1844.

[570] Reise in die Äquinoktialgegenden des neuen Kontinents in den Jahren 1799-1804. Eine deutsche Übersetzung des von Bonpland und von Humboldt verfaßten Berichtes erschien 1818-1829 bei J. G. Cotta.

[571] Nach der barometrischen Formel 18096 Pariser Fuß.

[572] Von 1808-1826.

[573] Von 1805-1834. Der Preis des ganzen Werkes betrug 9500 Franken. Die Kosten der Reise, die von Humboldt aus eigenen Mitteln bestritten hatte, beliefen sich auf etwa 100000 Mark.

[574] Siehe S. 284, sowie Ostwalds Klassiker der exakten Wissenschaften Nr. 42.

[575] Eine genaue Inhaltsangabe des gesamten Werkes, dessen Herausgabe den Rest des Humboldtschen Vermögens verschlang, enthält die große von Bruhns im Verein mit Dove, Peschel, Griesebach, Carus und anderen Gelehrten herausgegebene wissenschaftliche Biographie über Alexander von Humboldt. 3 Bände, Brockhaus 1872. Manche Abschnitte sind auch in deutscher Übersetzung erschienen, so die Reisebeschreibung unter Mitwirkung Humboldts in 4 Bänden. (Stuttgart 1859-1860.)

[576] Ein von dem russischen Finanzminister im Jahre 1827 gefordertes Gutachten über die Verwendung des im Ural entdeckten Platins ist die Veranlassung zu Humboldts asiatischer Reise gewesen.

[577] Der Kosmos ist in elf fremde Sprachen übersetzt worden.

[578] Bruhns. Bd. II. S. 357.

[579] Karl Ludwig Willdenow, Berlin, 1765-1812.

[580] Siehe S. 81 dieses Bandes.

[581] Ideen, S. 2.

[582] Ideen, S. 10.

[583] Ideen, S. 21.

[584] Ideen, S. 15.

[585] Ideen, S. 17.

[586] Bruhns (Grisebach) III. 248.

[587] Rélation historique I. 600.

[588] Naturgemälde der Tropenländer, S. 58-76.

[589] Naturgemälde, S. 76.

[590] Bruhns, III. 236.

[591] Mineralogische Beobachtungen über einige Basalte am Rhein. 1790.

[592] Cordier, 1815, Journ. Min. XXXVIII.

[593] Annales de Chimie. 1823.

[594] Kosmos, Bd. IV, S. 270.

[595] Bruhns, III. S. 184.

[596] Description of a reflective Goniometer. Philos. Transactions 1809.

[597] Hauy, Essai d'une théorie sur la structure des cristaux. Paris 1784.

[598] Siehe auch Hauy, Exposition de la structure des cristaux in den Annales de Chimie 1793 (17. Bd.) S. 225 u. f.

Einige Jahre früher hatte Hauy die schwierigen Kristallisationsverhältnisse, welche der Staurolith darbietet, genauer beschrieben. Siehe Annales de Chimie. Bd. IV (1790).

[599] Bernhardi, Über die Kristallisation des Arsenkieses. Gehlens Journal für die Chemie und Physik. 1807. III.

[600] Martin Heinrich Klaproth wurde 1743 in Wernigerode geboren. Er erlernte die Pharmazie. Seit der Begründung der Berliner Universität (1810) wirkte er dort als Professor der Chemie. Klaproth starb 1817 in Berlin.

[601] Fuchs in Schweiggers Journal vom Jahre 1815.

[602] Die Metalle, die er in beide Säuren eintreten ließ, waren Kalium, Natrium, Barium, Blei.

[603] Mitscherlich, Über die Kristallisation der Salze. Abhandlungen der Berliner Akademie 1818/19. Mitscherlichs im Jahre 1821 veröffentlichte Untersuchung über das Verhältnis zwischen der chemischen Zusammensetzung und der Kristallform arseniksaurer und phosphorsaurer Salze erschien als 94. Band von Ostwalds Klassikern der exakten Wissenschaften. Leipzig 1898.

[604] Ostwalds Klassiker Nr. 94. S. 54.

[605] Abhandlungen der Berliner Akademie 1822/23. S. 43 ff.

[606] G. Rose, 1837. Poggendorffs Annalen XLII.

[607] Abhandlungen der Berliner Akademie von 1822/23.

[608] A. W. Hofmann, Ein Jahrhundert chemischer Forschung unter dem Schirme der Hohenzollern.

[609] Péligot, Annales chim. phys. V, 1842 und XII, 1844.

[610] Arago, Mémoires de l'Institut de France. 1811.

[611] Michael Adanson wurde 1727 in Aix geboren. Er war Mitglied der Akademie der Wissenschaften in Paris und starb dort 1806.

[612] Er stellte deren nicht weniger als 65 auf.

[613] Geboren 1732 in Württemberg. Gärtner bekleidete ein Lehramt in Tübingen und später in Petersburg. Seit 1770 lebte er wieder in Württemberg, ganz mit der Abfassung seines wissenschaftlichen Hauptwerkes beschäftigt. Letzteres erschien 1788-1791 unter dem Titel: De fructibus et seminibus plantarum. Gärtner starb im Jahre 1791.

[614] Nur hin und wieder griff Gärtner auf die früheren Formverhältnisse zurück.

[615] Unter diesem Titel wurde das epochemachende Buch ins Deutsche übersetzt (durch Dr. Römer, Zürich 1815). Der vollständige Titel des Originales lautet: Théorie élémentaire de la botanique ou exposition des principes de la classification naturelle et de l'art d'écrire et d'étudier les végétaux, Paris 1813.

[616] Organographie végétale, Paris 1827. 2 Bände. Eine deutsche Bearbeitung gab C. F. Meisner 1828 heraus. Ihr Titel lautet: Organographie der Gewächse oder kritische Beschreibung der Pflanzenorgane. Eine Fortsetzung und Entwicklung der Anfangsgründe der Botanik und Einleitung zur Pflanzenphysiologie und der Beschreibung der Familien.

[617] Sachs, in seiner Geschichte der Botanik.

[618] So Gleditsch: Mém. de l'Académie de Berlin, 1748. S. 60.

[619] Sprengel, Geschichte der Botanik II. 249.

[620] A. Kirchhoff, Die Idee der Pflanzenmetamorphose bei Wolff und Goethe. 1867.

[621] Siehe Dannemann, Aus der Werkstatt großer Forscher 1908. S. 227.

[622] Daß Goethes umfangreiche, im ganzen als verfehlt zu betrachtende Farbenlehre (sie umfaßt allein fünf Bände der großen Weimarer Goetheausgabe) manchen trefflichen Gedanken aufweist, hat vor einigen Jahren E. v. Lippmann gezeigt (Zeitschrift für Naturwissenschaften, Bd. 74, 1901). Die Hauptschwäche der Goetheschen physikalischen Untersuchungen besteht darin, daß er das experimentelle und mathematische Rüstzeug des Physikers nicht nur nicht genügend kannte, sondern es auch allzu gering einschätzte. Von seinem Mißerfolg ließ sich Goethe nicht überzeugen; er betrachtete vielmehr seine Farbenlehre als sein verdienstvollstes Werk, dem gegenüber er sich »auf alles, was er als Poet geleistet, nichts einbildete.«

[623] Goethes Metamorphosenlehre hat vor kurzem A. Hansen in ihrer Bedeutung und in ihrem Zusammenhange mit den Arbeiten Wolffs gewürdigt. Siehe A. Hansen, Goethes Metamorphose der Pflanzen. Goethe, Jahrbuch XXVII. Band 1906. S. 207-225 und das unter dem gleichen Titel erschienene ausführlichere Werk Hansens.

[624] Sechs pflanzenphysiologische Abhandlungen von Thomas Andrew Knight (1803-1812); übersetzt und herausgegeben von H. Ambronn. Ostwalds Klassiker der exakten Wissenschaften. Band 62. Leipzig, W. Engelmann, 1895.

[625] Durch Johnson im Jahre 1823.

[626] Abhandlung vom Jahre 1811.

[627] Siehe Abschnitt 5 dieses Bandes.

[628] Abhandlung vom Jahre 1812.

[629] Siehe Seite 140 dieses Bandes.

[630] Ingenhouß, Versuche mit Pflanzen; übersetzt von Scherer, 1786.

[631] Durch Senebier.

[632] Eine Würdigung der Verdienste des Arztes und Naturforschers Ingenhouß erfolgte neuerdings durch J. Wiesner: Jan. Ingenhouß. Sein Leben und sein Wirken. Wien, 1905.

Nach seiner Promotion zum Doktor der Medizin studierte Ingenhouß Physik und Chemie in Leyden. Er ging also wohl vorbereitet an die große Aufgabe heran, einen Einblick in den Gasaustausch und die chemischen Vorgänge der Pflanze zu erlangen.

An Einzelheiten teilt Wiesner mit, daß Ingenhouß das Deckgläschen in die mikroskopische Technik eingeführt und zuerst eine Uhrfeder in Sauerstoff verbrannt habe. Auch der Ersatz der Glaskugel oder Walze der älteren Elektrisiermaschinen durch eine Glasscheibe wird auf Ingenhouß zurückgeführt.

[633] Théodore de Saussure, Recherches chimiques sur la végétation. Paris 1804. Übersetzt herausgegeben von Dr. A. Wieler als 15. und 16. Band von Ostwalds Klassikern.

[634] 1822.

[635] Siehe Ostwalds Klassiker Nr. 15 und 16.

[636] Siehe S. 353 dieses Bandes.

[637] Die Übersetzung rührt von Röper her (Cottasche Buchhandlung, 1833). Der Titel des Originals lautet: Physiologie végétale, ou exposition des forces et des fonctions vitales des végétaux par A. P. De Candolle. Paris 1832.

[638] Decandolle, Bd. I. S. 421.

[639] Hier kommt besonders Treviranus in Betracht, der 1835 eine Physiologie der Gewächse herausgab.

[640] Meyen, Neues System der Pflanzenphysiologie. 1838.

[641] Buffon, Histoire naturelle, générale et particulière, 1749-1788.

[642] Histoire naturelle, II, 4.

[643] Geoffroy Saint-Hilaire wurde 1772 in der Nähe von Paris geboren. Er wirkte als Professor der Zoologie am Jardin des Plantes in Paris und starb dort 1844.

[644] Cuvier, Discours sur les révolutions de la surface du globe. I, 1.

[645] Cuvier, Discours sur les révolutions. I, 87.

[646] Leçons d'anatomie comparée. 1805. Übersetzt von Froriep und Meckel. 4 Bde. Leipzig 1809.

[647] 1802.

[648] Règne animal. 2. Afl. I, 10.

[649] In der Vorrede zur 1. Auflage d. Règne animal.

[650] »Sur un nouveau rapprochement à établir entre les classes, qui composent le règne animal«. Annales du Muséum d'histoire naturelle. Tome XIX. 1812. pag. 73 ff.

[651] Cuvier, Règne animal.

[652] Oken in der Zeitschrift »Isis«. Jahrgang 1832, Seite 1303.

[653] De generis humani varietate nativa. Göttingen, 1775.

[654] Näheres siehe in Dannemann, Aus der Werkstatt großer Forscher. 1908. Seite 251.

[655] Recherches sur les ossements fossiles 1811. Der erste, die Grundzüge der Katastrophenlehre enthaltende Abschnitt führt darin die Überschrift Discours préliminaire. In der zweiten Auflage der Recherches (1821-1824) wird dieser Abschnitt als Discours sur les révolutions de la surface du globe bezeichnet. Dieser Abschnitt wurde mehrfach in deutscher Bearbeitung herausgegeben, so z. B. von C. G. Giebel unter dem Titel »Die Erdumwälzungen« von Georg Cuvier.

[656] Siehe S. 378 dieses Bandes.

[657] Er starb im Jahre 1852 in Berlin.

[658] Siehe Band II, S. 411 u. f.

[659] Das Werk erschien 1826, während die Erforschung dieser Inselgruppe durch Buch etwa ein Jahrzehnt früher stattfand.

[660] Siehe S. 106 u. f. dieses Bandes.

[661] Christian Heinrich Pander (1794-1865) ließ seine Arbeit, die er auf Anregung seines Lehrers Döllinger unternahm, 1817 als Dissertation erscheinen. Später gab er eine deutsche Bearbeitung heraus, der 16 musterhaft gestochene Kupfertafeln beigefügt sind. Pander war gleich so vielen hervorragenden Deutschen des 18. und 19. Jahrhunderts Mitglied der Akademie in Petersburg.

[662] Eine Auswahl aus den Schriften von Baers enthält das Buch: Remigius Stölzle, Karl Ernst von Baers Schriften. Stuttgart, Greiner und Pfeiffer. VI. 230 S. Das Buch schildert das Wirken von Baers als Lehrer, Forscher und Philosoph. Die Auswahl ist besonders seinen »Reden« entnommen. In ihnen behandelt von Baer Stoffe aus der Naturphilosophie, der Anthropologie und der Entwicklungslehre.

Eine Biographie von Baers veröffentlichte Wilhelm Haacke als dritten Band der »Klassiker der Naturwissenschaften« (Leipzig, Th. Thomas, 1905. 175 S.). Haacke macht die umfassende naturwissenschaftliche Weltanschauung von Baers zum Hauptgegenstande seiner Darstellung.

[663] Von Baer, De ovi et animalium genesi epistola.

[664] J. C. Purkinje (1787-1869), Professor in Breslau. Symbolae ad ovi avium historiam ante incubationem. 1825.

[665] Erwähnt sei, daß die ersten Beobachtungen über die Furchung von Prevost und Dumas 1824 am Froschei gemacht wurden (Ann. des sciences nat. Bd. 2. S. 110).

[666] S. Bd. IV dieses Werkes.

[667] Von Baer, Untersuchungen über die Gefäßverbindungen zwischen Mutter und Frucht in den Säugetieren. 1828.

[668] Martin Heinrich Rathke, Professor der Zoologie in Königsberg (1793-1860).

Namenverzeichnis.

A.

B.

C.

D.

E.

F.

G.

H.

J.

K.

L.

M.

N.

O.

P.

R.

S.

T.

V.

W.

Y.

Z.

Verzeichnis der Abbildungen.

Figur aus
1. Elektrisiermaschine aus dem Jahre 1744 Gerland und Traumüller, Geschichte der physikalischen Experimentierkunst. Leipzig 1899. Abb. 319.
2. Watsons Versuch, die Geschwindigkeit der Elektrizität zu bestimmen Philosophical Transactions. 1748. Bd. 45.
3. Querschnitt durch den Zitterrochen Philosoph. Transact. 1773. Bd. 63.
4. Coulombs elektrische Wage Ostwalds Klassiker der exakten Wissenschaften. Nr. 13. Fig. 1 bis 5.
5. Coulombs Untersuchung der Torsion Wüllner, Lehrbuch der Experimentalphysik. Bd. I. 1882. Abb. 60.
6. Coulombs Versuch über die Verteilung der Elektrizität Wüllner, Lehrbuch der Experimentalphysik. Bd. IV. 1875. Abb. 52.
7. Papins erste Dampfmaschine Acta eruditorum 1690.
8. Newcomens Dampfmaschine Gehlers Physikalisches Wörterbuch. Bd. II. Tab. XIII. Fig. 133.
9. Amontons' Luftthermometer  
10. Saussures Haarhygrometer Ostwalds Klassiker. Nr. 115. Fig. 1.
11. Lavoisiers Eiskalorimeter Ostwalds Klassiker. Nr. 40.
12. Der Wurzel Ziehen oder Saugen Hales, Statik der Gewächse. Tab. III. Fig. X.
13. Hales Versuch über das Saugen eines transpirierenden Zweiges. Hales, Statik der Gewächse. Tab. III. Fig. XI.
14. Das Steigen des Pflanzensaftes Hales, Statik der Gewächse. Tab. IV. Fig. XVII.
15. Die Bestimmung des Wurzeldruckes Hales, Statik d. Gewächse. Tab. IV. Fig. 18.
16. Hales pneumatische Wanne Hales, Statik. Tab. IX. Fig. 38.
17. Die Blüte des Sumpfstorchschnabels Sprengel, Das entdeckte Geheimnis der Natur.
18. Blüte der Osterluzzei Sachs, Lehrbuch der Botanik. 4. Aufl. Leipz. 1874. Fig. 489.
19. Die Befruchtung der Salbeiblüte Ostwalds Klassiker Nr. 48. S. 73.
20. Der Süßwasserpolyp Leunis Synopsis. II. Bd. 3. Aufl.
21. Ledermüllers Abbildung von Aufgußtierchen Ledermüller, Mikroskopische Gemüts- und Augenergötzungen. II. Bd. 88. Tafel.
22. Bewegung und Teilung der Amöbe Rösel von Rosenhof, Insektenbelustigungen. III. Teil. 101 Taf.
23. Wolffs Abbildung eines Embryos Aus Wolffs Theoria generationis (Ostwalds Klassiker Nr. 85. Tafel II. Fig. 5.)
24. Entstehung des Herzens und der Gliedmaßen Ostwalds Klassiker Nr. 85. Taf. II. Fig. 11.
25. Scheele analysiert die Luft Aus Scheeles Abhandlung von der Luft und dem Feuer.
26. Scheeles Darstellung von Sauerstoff do.
27. Lavoisiers Analyse der Luft Lavoisier, Oeuvres, Tome I. Pl. II. Fig. 14.
28. Lavoisiers Analyse der Luft Lavoisier, Oeuvres, Tome I. Pl. IV. Fig. 2.
29. Die Verbrennung von Phosphor Lavoisier, Oeuvres, Tome I. Pl. IV. Fig. 3.
30. Galvanis Versuche mit Froschschenkeln Aus dem 52. Bande von Ostwalds Klassikern der exakten Wissenschaften.
31. Physiologischer Nachweis der galvanischen Elektrizität do.
32. Voltas Kondensator Wüllners Lehrbuch der Experimentalphysik. 3. Aufl. IV. Bd. Fig. 70.
33. Voltas Elektrophor ebendort Fig. 67.
34. Voltas erste Säule Philos. Transact. 1800. Pl. XVII.
35. Voltas zweiteilige Säule do.
36. Voltas Becherapparat do.
37. Das Säulenelektroskop Rieß, Die Lehre von der Reibungselektrizität. Bd. I, S. 18.
38. Zambonis Trockensäule Gilberts Annalen von 1815. Bd. 49.
39. Seebecks Nachweis des magnetischen Feldes Ostwalds Klassiker. Nr. 63. Fig 7.
40. Seebecks Nachweis der magnetischen Kraftlinien Ostwalds Klassiker. Nr. 63. Abb. 22.
41. Ampères beweglicher Stromleiter Ampère und Babinet, Darstellung der neuen Entdeckungen über die Elektrizität und den Magnetismus. Tafel I. Fig. 2.
42. Ampères Vorrichtung zum Aufhängen seines beweglichen Stromleiters Ampère und Babinet, Tafel I. Fig. 3.
43. Ampères Nachweis, daß sich ein Stromleiter senkrecht zur Inklinationsnadel einstellt Ampère und Babinet, Tafel I. Fig. 12.
44. Ampères vom Einfluß des Erdmagnetismus befreites Solenoid Ampère und Babinet, Tafel I. Fig. 29.
45. Ampères astatische Magnetnadel Ampère und Babinet, Tafel I. Fig. 14.
46. Die Entdeckung der Thermoelektrizität Ostwalds Klassiker. Nr. 70. Abb. 1.
47. Seebecks Thermoelement Ostwalds Klassiker. Nr. 70. Abb. 4.
48. Schema des von Herschel konstruierten Spiegelteleskops
49. Herschels vierzigfüßiger Reflektor Philosophical Transactions. 1795. II. Tab. XXIV.
50. Herschels Abbildung eines Nebelflecks W. Herschel, Über den Bau des Himmels. Tafel I. Fig. 2.
51. Herschels Ableitung der Gestalt der Milchstraße W. Herschel, Über den Bau des Himmels. Tafel II. Fig. 16.
52. Rumfords Versuch über Wärmeerzeugung durch Reibung Philosophical Transactions. 1798.
53. Teileinrichtung zu Rumfords Versuch Philosophical Transactions. 1798.
54. Gay-Lussacs Versuch zur Thermodynamik der Gase. Mach, die Prinzipien der Wärmelehre. Abb. 66.
55. Zur Erläuterung des Kreisprozesses Ostwalds Klassiker. Nr. 37. Abb. 1.
56. Gay-Lussacs Apparat zur Bestimmung des Ausdehnungskoeffizienten der Gase Ostwalds Klassiker. Nr. 44. Abb. 3.
57. Das von Gauß zum Messen der erdmagnetischen Kraft erfundene Magnetometer Wüllner, Lehrbuch der Experimentalphysik. Bd. IV. (1875). S. 36.
58. Das dem Heliotrop von Gauß zugrunde liegende Gesetz Hunaeus, Die geometrischen Instrumente. Fig. 129.
59. Hauys Ableitung des Rhombendodekaeders Hauy, Traité de minéralogie. V. Pl. VIII.
60. Hauys Ableitung des Pentagondodekaeders Hauy, Traité de minéralogie. V. Pl. VIII.

[Pg 401]

Die Naturwissenschaften in ihrer Entwicklung und in ihrem Zusammenhange

dargestellt von Friedrich Dannemann.

Erster Band:

Von den Anfängen bis zum Wiederaufleben der Wissenschaften.

Mit 50 Abbildungen im Text und einem Bildnis von Aristoteles.

Leipzig, Verlag von Wilhelm Engelmann 1910.

24 Bogen gr. 8°.

Preis geheftet Mk. 9, in Leinen gebunden Mk. 10.

Zweiter Band:

Von Galilei bis zur Mitte des 18. Jahrhunderts.

Mit 116 Abbildungen im Text und einem Bildnis von Galilei.

Leipzig, Verlag von Wilhelm Engelmann 1911.

27 Bogen gr. 8°.

Preis geheftet Mk. 10, in Leinen gebunden Mk. 11.

Die vier Bände des Werkes sind einzeln käuflich. Jeder Band bildet ein in sich abgeschlossenes Ganzes.

Inhalt des ersten Bandes.

Seite
1. In Asien und in Ägypten entstehen die Anfänge der Wissenschaften 1
2. Die Weiterentwicklung der Wissenschaften bei den Griechen bis zum Zeitalter des Aristoteles 51
3. Aristoteles und seine Zeit 81
4. Archimedes 118
5. Die erste Blüte der alexandrinischen Schule 130
6. Die Naturwissenschaften bei den Römern 164
7. Die zweite Blütezeit der alexandrinischen Schule 188
8. Der Verfall der Wissenschaften zu Beginn des Mittelalters 213
9. Das arabische Zeitalter 223
10. Die Wissenschaften unter dem Einfluß der christlich-germanischen Kultur 258
11. Der Beginn des Wiederauflebens der Wissenschaften 288
12. Die Begründung des heliozentrischen Weltsystems durch Koppernikus 315
13. Die ersten Ansätze zur Neubegründung der experimentellen und der anorganischen Naturwissenschaften 328
14. Die ersten Ansätze zur Neubegründung der organischen Naturwissenschaften 348

[Pg 402]

Inhalt des zweiten Bandes.

Seite
1. Altertum und Neuzeit 1
2. Die Erfindung der optischen Instrumente 7
3. Galileis grundlegende Schöpfungen 15
4. Die Ausbreitung der induktiven Forschungsweise 71
5. Die Astronomie im Zeitalter Tychos und Keplers 101
6. Die Förderung der Naturwissenschaften durch die Fortschritte der Mathematik 136
7. Der Ausbau der Physik der flüssigen und der gasförmigen Körper 155
8. Die Iatrochemie und die Begründung der Chemie als Wissenschaft durch Boyle 180
9. Der Ausbau der Botanik und der Zoologie nach dem Wiederaufleben der Wissenschaften 194
10. Die Begründung der großen wissenschaftlichen Akademien 206
11. Newton 215
12. Huygens und die übrigen Zeitgenossen Newtons 244
13. Unter dem Einfluß der chemisch-physikalischen Forschung entstehen die Grundlagen der neueren Mineralogie und Geologie 297
14. Das Emporblühen der Anatomie und der Physiologie 313
15. Die ersten Ergebnisse der mikroskopischen Erforschung der niederen Tiere 322
16. Die Begründung der Pflanzenanatomie und der Lehre von der Sexualität der Pflanzen 340
17. Der Ausbau der Mechanik, Akustik und Optik im achtzehnten Jahrhundert 353
18. Die Fortschritte der Astronomie nach der Begründung der Gravitationsmechanik 386
19. Mineralogie und Geologie im 18. Jahrhundert 399

[Pg 403]

Auszüge aus den Besprechungen des ersten und zweiten Bandes.

Der Verfasser, längst schon rühmlichst bekannt durch seine Schriften »Aus der Werkstatt großer Forscher« und »Die Entwicklung der Naturwissenschaften«, hat sich durch die vorliegende erweiterte Neuausgabe des letzteren Buches (die im Ganzen auf vier Bände berechnet ist) ein nicht genug anzuerkennendes Verdienst erworben, denn er bringt in gänzlich unparteiischer Weise das Wichtigste aus allen Gebieten naturwissenschaftlichen Wissens, und zwar so, daß es nicht nur das Interesse des Historikers von Fach erweckt, sondern die Teilnahme jedes naturhistorisch Gebildeten. Auf Einzelheiten kann an dieser Stelle nicht eingegangen werden, und das bloße Aufzählen der Kapitel-Überschriften würde ermüdend wirken, ohne einen zureichenden Begriff vom Inhalte zu gewähren. Es genüge also, auf dessen unerschöpflichen Reichtum hinzuweisen und das neue Werk ganz besonders auch den Chemikern zu empfehlen, für die es eine Fülle von Belehrung und Anregung birgt. –

(Edmund O. von Lippmann in der Chemikerzeitung Nr. 32. 1911).

Aus diesen ganz kurzen Inhaltsangaben geht ohne weiteres hervor, daß wir es hier mit einem Werke zu tun haben, das die Naturwissenschaften als Ganzes in ihrem Werdegange verfolgt. Dieser Versuch, in einem Werke von verhältnismäßig geringem Umfang alles, auch für jemand, der nicht selbst auf dem Gebiet arbeitet, sondern sich im allgemeinen darüber unterrichten will, lesbar zusammenzufassen, ist sehr zu begrüßen. Denn wie der Verfasser in der Einleitung zum ersten Band hervorhebt, erhalten die zahllosen Einzelergebnisse der Forschung erst im Gesamtbild ihren vollen Wert. –

(C. Matschoß in der Zeitschrift des Vereins deutscher Ingenieure Nr. 13. 1911).

In kürzester Frist ist dem ersten Bande dieses ausgezeichneten Werkes der zweite gefolgt. Man weiß nicht, was man mehr bewundern soll, die überraschende Belesenheit des Autors oder seine Gabe, selbst die schwierigsten Probleme wissenschaftlicher Forschung nicht nur dem Kenner, sondern auch dem interessierten Laien leichtfaßlich in ernst-vornehmer Form vorzutragen. Ein Vorzug dieses zweiten Bandes gegenüber dem ersten liegt in der größeren Beigabe von guten Abbildungen.

(Pharmazeutische Zeitung Nr. 13. 1911.)

Besonders dankenswert erscheint, wie Dannemann in allen diesen Wissenschaften die verbindenden großen Gedanken herauszuschälen weiß, die im hohen Maße geeignet sind, die Vertreter der einzelnen naturwissenschaftlichen Disziplinen vor Einseitigkeit zu bewahren. Es handelt sich hier aber nicht um ein Werk für den Fachmann allein, jeder gebildete Mensch wird daraus reiche Anregung schöpfen.

(Ärztliche Rundschau XX. Jahrgang Nr. 47. 1910.)

Dem Techniker, dem Lehrer, dem Arzte, jedem, der sich lebhafter für Naturwissenschaften interessiert, vor allem also auch unseren Studierenden, dürfte das Buch eine unerschöpfliche Quelle des Genusses und der Anregung sein. Einen ganz besonderen Wert besitzt das Werk dadurch, daß es gewissermaßen den Rahmen für Ostwalds Klassiker der exakten Wissenschaften (jetzt 173 Bände) abgibt und so die Beziehungen aufweist, durch welche die einzelnen Gebiete sich gegenseitig beeinflußt haben.

Für die Hebung der Kultur unseres Volkes kann dieses Buch, das die Wissenschaft und ihre Erfolge als etwas Werdendes vorstellt, von größtem Nutzen sein, da es die Erfolge fortschrittlichen Denkens gegenüber den Schwächen dogmatischer Gesinnung aufs deutlichste vergegenwärtigt.

(Prometheus, XXII. Jahrgang. 26. Nov. 1910.)

Das erfolgreiche Bestreben des Verfs., stets nur die für den Fortschritt der Wissenschaften wirklich bedeutungsvollen Ereignisse zu berücksichtigen und die Entwicklung der Naturwissenschaften in ihren Beziehungen zu den übrigen Wissenschaften, insbesondere zur Philosophie, Mathematik und Technik darzustellen, gereicht dem Werke zu besonderem Vorteil und macht es dienlich für jeden, der sich für die Naturwissenschaften interessiert.

(W. May im Zoologischen Zentralblatt 18. Jahrgang Nr. 110.)

[Pg 404]

Wenn die weiteren Bände (bei denen die Schwierigkeiten der Darstellung natürlich steigen, je mehr die Schilderung sich unserer Zeit nähert, wo der Stoff fast unübersehbar anschwillt) das halten, was der erste verspricht, so wird uns D. ein Werk schenken, das einzigartig dasteht.

(Literarisches Zentralblatt für Deutschland Nr. 44. 1910.)

Des Verfassers Grundriß einer Geschichte der Naturwissenschaften hat in zweiter Auflage G. W. A. Kahlbaum (I, 160 u. III, 75) in anerkennendster Weise besprochen und zugleich die Gefühle ausgesprochen, die angesichts der Erfolge dieses Werkes jeden Historiker der Naturwissenschaften beseelen müssen. Aus den gleichen Gründen begrüßen wir es heute freudigst, daß unser Gesellschaftsmitglied und Mitarbeiter den zweiten Teil dieses Buches zu einem vierbändigen Werke ausgestalten will und davon bereits den ersten Band vorzulegen vermag.

(H. Stadler in den Mitteilungen zur Geschichte der Medizin und der Naturwissenschaften Bd. X. 2. Heft.)

Der soeben erschienene 2. Band dieses großen Werkes behandelt die Zeit von Galilei bis zur Mitte des 18. Jahrhunderts, also jene Epoche, in welcher die Grundlagen der neueren Naturwissenschaft gelegt wurden. Auch in diesem Bande hat sich der Verfasser mit Erfolg bemüht, eine Darstellung zu schaffen, die nicht nur dem Historiker dient, sondern für jeden anregend ist, der sich überhaupt für die Naturwissenschaften interessiert.

(Kölnische Zeitung 20. Februar 1911.)

Der Verfasser sagt zu wenig von sich, wenn er seine Arbeit als Ergänzung zu Ostwalds großem Unternehmen einschätzt; sie hat einen ganz eminenten Eigenwert; sie zeigt zum ersten Male in zusammenfassender Weise den Arbeitsanteil einzelner Völkergruppen an der Ausbildung einer Wissenschaft, die, mehr als jede andere, unmittelbar zurückstrahlt auf die Gesamtkultur. Und dieser eigenartige Zusammenhang ist es, den der Verfasser mit Erfolg und bedeutender Sachkenntnis herausgehoben hat. So steckt er seinem Werk ein großes und weites Ziel. Ganz überraschende Schlaglichter fallen da auf die einzelnen Gebiete, die, in getrennter Einzeldarstellung, nie so plastisch herausgearbeitet werden konnten.

Jeder Historiker wird sich dieses Werk aneignen müssen. Und abgesehen vom Fachmann sollte jeder, der sich für Kulturprobleme interessiert, sei er nun Lehrer, Student, Techniker, Arzt – jeder Gebildete überhaupt – sollte sich vom Verfasser in diese großen Zusammenhänge hineinführen lassen; denn erst in ihren Zusammenhängen wird uns das Wesen und die Wirkung einer Wissenschaft verständlich.

(Badische Schulzeitung 21. Januar 1911.)

Jeder Lehrer, dem daran gelegen ist, der wichtigen Forderung (Hineinziehung des geschichtlichen Elements in den exaktwissenschaftlichen Unterricht) gerecht zu werden, wird daher mit Freuden das Erscheinen eines neuen Werkes von Dannemann begrüßen, das dazu bestimmt ist, ein ausführliches Gesamtbild von dem Entwicklungsgange aller naturwissenschaftlichen Disziplinen im engen Zusammenhange mit der Mathematik und mit der allgemeinen Geschichte zu geben.

Ähnlich wie Cantors Vorlesungen über Geschichte der Mathematik ein »standard work« allerersten Ranges bleiben werden, so wird auch Dannemanns Werk von bleibendem Wert sein, das für den Geschichtsforscher wie für den Mediziner, für den Lehrer wie für den Techniker großen Nutzen haben und dessen Lektüre für jeden, der sich für die Naturwissenschaften interessiert, eine Quelle hohen Genusses bilden wird.

(Monatsschrift für höhere Schulen, 6. Heft 1911.)

[Pg 405]


Dr. Fr. Dannemann,

Aus der Werkstatt großer Forscher.

Allgemeinverständliche erläuterte Abschnitte aus den Werken hervorragender Naturforscher aller Völker und Zeiten.

3. Aufl., geb. 6,80 Mk.

Aus den Besprechungen der ersten Auflage.

Der Leser gewinnt hierdurch ein klares und anschauliches Bild nicht allein von der Bedeutung der Leistung des betreffenden Forschers, sondern auch von der Eigenart seiner Geistesarbeit und seiner Darstellungsweise und kann so die Entwicklung der Gesamtwissenschaft, wenn auch nur skizzenhaft, in objektiver Form verfolgen.

(Naturwissensch. Rundschau 1897. Nr. 26.)

Daß die Bekanntschaft mit den Quellen auch die reiferen Schüler nach jeder Richtung hin fördert und anregt, ist... anerkannt; demgemäß hat man eine Reihe von Hilfsmitteln solcher Art bereits in den Dienst der höheren Schule gestellt. Dem Verf. vorliegenden Werkes ist es hoch anzurechnen, daß er eine solche, bis dahin fehlende Quellensammlung aus dem Gesamtgebiet der Naturwissenschaften veranstaltet und damit auch dem naturwissenschaftlichen Lehrer ein treffliches Anregungsmittel geboten hat.

(Literarisches Zentralblatt 1896. Nr. 41.)

Let us hope the English language will soon possess a like work.

(Pharmaceutical Review 1896. Nr. 12.)

The choice of material is excellent and too much has been offered in no case, the collection is as admirable for what it omits as for what it includes.

(Journal of Physical Chemistry Nr. 3. 1896.)

Den Schülerbibliotheken sei die Anschaffung des Grundrisses in zahlreichen Exemplaren besonders empfohlen, um diese beim Unterricht unter möglichst viele Schüler verteilen zu können. Ebenso wird das Buch zu Prämien nützlichste Verwendung finden.

(Jahresberichte üb. d. höhere Schulwesen. XI. Jahrg.)

Auch erfolgten Empfehlungen seitens höherer Schulbehörden wie des Großherzoglich Badischen Oberschulrates, der Königl. Württemb. Kultusministerial-Abteilung und des k. k. österr. Kultusministeriums.


Inhalt.

1. Aristoteles begründet die Zoologie.
2. Theophrast begründet die Botanik.
3. Archimedes entwickelt die Prinzipien der Mechanik.
4. Des Archimedes Sandesrechnung.
5. Die Begründung der Mechanik der Gase und Dämpfe.
6. Die naturwissenschaftlichen Kenntnisse des Altertums werden von Plinius gesammelt.
7. Die Naturwissenschaften im Mittelalter.
8. Die Aufstellung des heliozentrischen Weltsystems.
9. Die Ausbreitung der Koppernikanischen Lehre durch Galilei.
10. Die Entdeckung der Jupitermonde und der Saturnringe.
11. Galilei als Begründer der Dynamik.
12. Der weitere Ausbau der Astronomie durch Kepler.
13. Kepler begründet die neuere Optik.
14. Gilbert erforscht die Natur des Magneten. 1600.
15. Bacons Eintreten für die induktive Forschungsweise. 1620.
16. Pascal entdeckt die Abhängigkeit des Barometerstandes von der Höhe des Ortes. 1648.
17. Die Erfindung der Luftpumpe.
18. Newton erforscht die Natur des Sonnenlichtes. 1670.
19. Newton entdeckt das Gravitationsgesetz. 1682.
20. Newton entwickelt die Prinzipien der Naturlehre.
21. Das Licht wird von Huygens für eine Wellenbewegung des Äthers erklärt. 1678.
22. Die Entdeckung des Mariotteschen Gesetzes.
23. Das Auftauchen der ersten klaren Vorstellungen über die Verbrennung und die Atmung.
24. Swammerdam zergliedert die Insekten.
25. Die Begründung der Pflanzenphysiologie.
26. Celsius führt die hundertteilige Thermometerskala ein.
27. Die Lehre von der Sexualität der Pflanzen.
28. Das künstliche Pflanzensystem Linnés.
29. Die Polypen werden als tierische Organismen erkannt.
30. Kant erklärt den Ursprung des Weltgebäudes. 1755.
31. Laplace entwickelt ähnliche Ansichten über den Ursprung des Weltgebäudes wie Kant. Kant-Laplacesche Hypothese. 1796.
32. Herschel begründet die Astronomie der Fixsterne.
33. Die Meteore werden als kosmische Massen erkannt. 1794.
34. Die Wellentheorie findet einen hervorragenden Verfechter. 1760.
35. Die photometrischen Grundbegriffe.
36. Die Erfindung des Blitzableiters. 1753.
37. Die Entdeckung der elektrischen Influenz und der Pyroelektrizität. 1758.
38. Scheele entdeckt den Sauerstoff und analysiert die atmosphärische Luft. 1773.
39. Lavoisier erklärt die Verbrennungserscheinungen. 1774.
40. Die Erfindung des Eiskalorimeters und die Bestimmung von spezifischen Wärmen und Verbrennungswärmen mittelst desselben. 1780.
41. a) Die Entdeckung der galvanischen Elektrizität.
  b) Volta, Über die Elektrizität, welche durch die bloße Berührung verschiedenartiger leitender Stoffe hervorgerufen wird.
42. Die Botanik unter dem Einflusse der Metamorphosenlehre.
43. Die Begründung der Blütenbiologie.
44. Saussure begründet die Ernährungsphysiologie der Pflanzen. 1800.
45. Das Menschengeschlecht wird in fünf Rassen eingeteilt.
46. Cuvier begründet durch Verschmelzung der Zoologie mit der vergleichenden Anatomie ein natürliches System. 1812.
47. Die Aufstellung der atomistischen Hypothese. 1808.
48. Gay-Lussac entdeckt das Volumgesetz. 1808.
49. Das von Courtois (1811) entdeckte Jod wird von Gay-Lussac eingehend untersucht.
50. Die Entdeckung von Natrium und Kalium. 1807.
51. Die Entdeckung des Aluminiums. 1827.
52. Cuviers Katastrophentheorie. 1812.
53. Lyell begründet die neuere Richtung der Geologie. 1830.
54. Die Entdeckung des Elektromagnetismus. 1820.
55. Die Entdeckung der galvanischen und der magnetischen Induktion. 1832.
56. Es werden die experimentellen Grundlagen für eine elektromagnetische Theorie des Lichtes gewonnen.
57. Die Entdeckung des Diamagnetismus.
58. Die Erfindung der Photographie.
59. Die Physiologie erhält durch Johannes Müller eine wissenschaftliche Grundlage.
60. Die Zelle wird als das Elementarorgan des tierischen und pflanzlichen Organismus erkannt. 1839.
61. Die Physiologie wendet sich gegen die Annahme einer besonderen Lebenskraft.
62. Liebig beantwortet die Frage nach der Ernährung der Pflanzen. 1840.
63. Die Kryptogamenkunde wird durch wichtige Beobachtungen über die Fortpflanzung der Algen bereichert.
64. Darwin erklärt die Entstehung der Koralleninseln.
65. Carnot entwickelt eine Theorie der Dampfmaschine. 1824.
66. Die erste Bestimmung der Entfernung eines Fixsterns. 1838.
67. Das Dopplersche Prinzip. 1842.
68. Das Prinzip von der Erhaltung der Kraft.
69. Die Entdeckung des Ozons. 1840.
70. Der rote Phosphor wird als eine Modifikation des Elementes Phosphor erkannt. 1850.
71. Alexander von Humboldt vereinigt die Summe des Naturwissens seiner Zeit zu einem Gesamtbilde. 1845.
72. Kirchhoff und Bunsen schaffen die Spektralanalyse.
73. Pasteur weist nach, daß auch die niedrigsten Organismen aus Keimen und nicht durch Urzeugung entstehen. 1860.
74. Das Protoplasma wird als die Grundlage des organischen Lebens erkannt.
75. Hertz erforscht die Beziehungen zwischen dem Licht und der Elektrizität.

Nachdem wir beim Erscheinen der dritten Auflage des Werkes: Dannemann, Grundriß einer Geschichte der Naturwissenschaften den Preis für den I. Band:

Aus der Werkstatt großer Forscher

auf 6 Mk. herabgesetzt haben, offerieren wir den II. Band

Die Entwicklung der Naturwissenschaften

zu dem gleichfalls herabgesetzten Preise von 8 Mk. Beide Bände zusammen sind für 12,50 Mk. (gebunden für 14,50 Mk.) zu beziehen.

[Pg 408]


Von demselben Verfasser erschienen ferner:

Otto von Guerickes neue »Magdeburgische« Versuche über den leeren Raum (Ostwalds Klassiker der exakten Wissenschaften Nr. 59). Mit 15 Textfiguren. Leipzig, 1894. Verlag von Wilhelm Engelmann. Geb. M. 2.–.

Leitfaden für den Unterricht im chemischen Laboratorium. Vierte Auflage. 1909. Hahnsche Buchhandlung in Hannover und Leipzig. (Als Vorwort diene des Verfassers Abhandlung »Über die Bedeutung, Einrichtung und Leitung praktischer Übungen im Laboratorium.« Fries und Meyer, Lehrproben und Lehrgänge. Heft XXXV.) M. 1.80.

Der naturwissenschaftliche Unterricht auf praktisch-heuristischer Grundlage. brosch. M. 6.–. Dasselbe gebunden M. 6.80. Hahnsche Buchhandlung in Hannover und Leipzig. 1907.

Naturlehre für höhere Lehranstalten, auf Schülerübungen gegründet. 2 Teile. Hahnsche Buchhandlung in Hannover und Leipzig. 1908. geb. M. 6.40.

Die »Naturlehre« ist nach den Gesichtspunkten verfaßt, die in dem Buche »Der naturwissenschaftliche Unterricht auf praktisch-heuristischer Grundlage« entwickelt wurden. Sie ist der erste Versuch, den Unterrichtsstoff mit grundlegenden Schülerübungen in engste Verbindung zu setzen. Der erste Teil enthält den Lehrstoff für Chemie und Mineralogie; zwei kurze Abschnitte bringen das Wichtigste aus der Geologie und eine Anleitung zu pflanzenphysiologischen Versuchen. Der zweite Teil bringt die Physik.

Quellenbuch zur Geschichte der Naturwissenschaften in Deutschland. (Deutsche Schulausgaben Nr. 39.) 158 Seiten. Geb. M. 1.20. Verlag von L. Ehlermann in Dresden.

Bei der Transkription vorgenommene Änderungen und weitere Anmerkungen:

In "Die Bestäubung der weiblichen Misteln, sie mögen nun mit den männlichen auf einem Baume stehen oder in großer Entfernung auf anderen Bäumen wachsen" stand "wirklichen" statt "weiblichen".

Im Abschnitt "Von französischer Seite wurden deshalb Prioritätsansprüche hinsichtlich dieser Methode erhoben und, wenn das Datum der Veröffentlichung allein darüber zu entscheiden hätte, gewiß mit Recht. Gauß gebührt indessen außer der selbständigen und seinen eigenen Angaben nach viel früheren Entdeckung das Verdienst, daß er es war, der diese Methode in einem fundamentalen Werke wissenschaftlich begründete und die Begriffe schuf, auf denen alle neueren Arbeiten über diese Methode beruhen." fehlte ein Verweis auf die Fußnote "Theoria combinationis observationum erroribus minimis obnoxiae. 1821.". Dieser wurde nach "fundamentalen Werke" eingefügt.

Im Absatz "Ampère zeigte darauf, daß infolgedessen der Leiter, wenn nur der Erdmagnetismus auf ihn wirkt, eine Stellung einnimmt, in welcher seine Ebene den magnetischen Meridian senkrecht schneidet. Diese Entdeckung erregte ein Aufsehen wie wenig andere. Ampère beschreibt sie mit folgenden Worten: »Hängt man in der in Abbildung 41 dargestellten Weise einen beweglichen Leiter auf, ohne daß in der Nähe dieses Leiters ein anderer Teil des Stromkreises sich befindet. (Wir müssen uns also in der Abbildung 41 das Drahtstück CILB, das auf den beweglichen Bügel einen richtenden Einfluß ausübt, entfernt denken), verbindet man hierauf die Kapseln C und Z mit den Polen der galvanischen Batterie, so sieht man den Bügel sich drehen, bis seine Ebene zu derjenigen des magnetischen Meridians NS senkrecht steht und der Strom in dem unteren Teil des Leiters, also in FG, von Ost nach West gerichtet ist, das Südende der Magnetnadel also zur Linken[Pg 231] liegt.« Ließ Ampère den Strom in umgekehrter Richtung durch den Bügel gehen, so drehte sich dieser um einen Halbkreis zurück, um endlich nach einigen Schwingungen sich wieder senkrecht zur Richtung NS einzustellen." fehlte das Anführungszeichen, welches das Zitat abschließt. Nach Sinn- und Textzusammenhang wurde dieses hinter "liegt" eingefügt.

Der Name "Légendre/Legendre" ist uneinheitlich geschrieben, es handelt sich aber offenbar nicht um Satzfehler, daher wurde die uneinheitliche Schreibweise beibehalten.

In "Meine naturwissenschaftlichen Arbeiten", schrieb Goethe damals, "sind durch Humboldt aus ihrem Winterschlafe geweckt worden." fehlten die Anführungszeichen für das wörtliche Zitat.

Der mit "Daraus folgt," beginnende Satz in Fußnote 98 ist auch im Original unvollständig.