The Project Gutenberg eBook of The Energy System of Matter: A Deduction from Terrestrial Energy Phenomena

This eBook is for the use of anyone anywhere in the United States and most other parts of the world at no cost and with almost no restrictions whatsoever. You may copy it, give it away or re-use it under the terms of the Project Gutenberg License included with this eBook or online at www.gutenberg.org. If you are not located in the United States, you will have to check the laws of the country where you are located before using this eBook.

Title: The Energy System of Matter: A Deduction from Terrestrial Energy Phenomena

Author: active 1883-1912 James Weir


Release date: December 20, 2011 [eBook #38348]
Most recently updated: January 8, 2021

Language: English

Other information and formats: www.gutenberg.org/ebooks/38348

Credits: Produced by David Garcia, Marilynda Fraser-Cunliffe, Cathy
Maxam and the Online Distributed Proofreading Team at
https://www.pgdp.net (This book was produced from scanned
images of public domain material from the Google Print
project.)

*** START OF THE PROJECT GUTENBERG EBOOK THE ENERGY SYSTEM OF MATTER: A DEDUCTION FROM TERRESTRIAL ENERGY PHENOMENA ***

THE ENERGY SYSTEM
OF MATTER

A DEDUCTION FROM TERRESTRIAL
ENERGY PHENOMENA

BY

JAMES WEIR

WITH 12 DIAGRAMS

LONGMANS, GREEN AND CO.
39 PATERNOSTER ROW, LONDON
NEW YORK  BOMBAY,  AND  CALCUTTA
1912

All rights reserved


PREFACE

An intimate study of natural phenomena and a lengthened experience in physical research have resulted in the formation of certain generalisations and deductions which I now present in this volume. I have reached the conclusion that every physical phenomenon is due to the operation of energy transformations or energy transmissions embodied in material, and takes place under the action or influence of incepting energy fields. In any instance the precise nature of the phenomena is dependent on the peculiar form of energy actively engaged, on the nature of the material to which this energy is applied, and on the nature of the incepting field which influences the process. In the course of the work several concrete cases are discussed, in which these features of energy are illustrated and explained by the use of simple experimental apparatus. It is hoped that, by this means, the distinctive differences which exist in the manifestations of energy, in its transformation, in its transmission, and in its incepting forms will be rendered[Pg vi] clear to the reader. I have to express my indebtedness to Mr. James Affleck, B.Sc., for his assistance in the preparation of this work for publication.

JAMES WEIR.

Over Courance,
Lockerbie, Scotland.


[Pg vii]

CONTENTS

PAGE
Introduction 1
 
PART I
GENERAL STATEMENT
1. Advantages of General View of Natural Operations 7
2. Separate Mass in Space 8
3. Advent of EnergyDistortional Effects 9
4. The Gravitation Field 11
5. Limits of Rotational EnergyDisruptional Phenomena 13
6. Passive Function and General Nature of Gravitation Field 17
7. Limit of Gravitation Transformation 18
8. Interactions of two Planetary BodiesEquilibrium Phenomena 19
9. Axial EnergySecondary Processes 22
10. Mechanism of Energy Return 27
11. Review of Cosmical SystemGeneral Function of Energy 29
12. Review of Cosmical SystemNatural Conditions 31
 
PART II
PRINCIPLES OF INCEPTION
13. Illustrative Secondary Processes 34
14. Incepting Energy Influences 40
15. Cohesion as an Incepting Influence 45
16. Terrestrial Gravitation as an Incepting Influence 48[Pg viii]
17. The Gravitation Field 51
18. The Thermal Field 54
19. The Luminous Field 58
20. TransformationsUpward Movement of a Mass against Gravity 62
21. TransformationsThe Simple Pendulum 67
22. Statical Energy Conditions 68
23. Transformations of the Moving PendulumEnergy of Motion to Energy of Position and Vice Versa 72
24. Transformations of the Moving PendulumFrictional Transformation at the Bearing Surfaces 77
25. Stability of Energy Systems 79
26. The Pendulum as a Conservative System 81
27. Some Phenomena of Transmission ProcessesTransmission of Heat Energy by Solid Material 84
28. Some Phenomena of Transmission ProcessesTransmission by Flexible Band or Cord 89
29. Some Phenomena of Transmission ProcessesTransmission of Energy to Air Masses 92
30. Energy Machines and Energy Transmission 95
31. Identification of Forms of Energy 107
32. Complete Secondary Cyclical Operation 114
 
PART III
TERRESTRIAL CONDITIONS
33. Gaseous Expansion 118
34. Gravitational Equilibrium of Gases 124
35. Total Energy of Gaseous Substances 131
36. Comparative Altitudes of Planetary Atmospheres 135
37. Reactions of Composite Atmosphere 139
38. Description of Terrestrial Case 143
39. Relative Physical Conditions of Atmospheric Constituents 150[Pg ix]
40. Transmission of Energy from Aqueous Vapour to Air Masses 153
41. Terrestrial Energy Return 160
42. Experimental Analogy and Demonstration of the General Mechanism of Energy Transformation and Return in the Atmospheric Cycle 170
43. Application of Pendulum Principles 181
44. Extension of Pendulum Principles to Terrestrial Phenomena 188
45. Concluding Review of Terrestrial ConditionsEffects of Influx of Energy 192

THE ENERGY SYSTEM OF MATTER


INTRODUCTION

The main principles on which the present work is founded were broadly outlined in the author's Terrestrial Energy in 1883, and also in a later paper in 1892.

The views then expressed have since been amply verified by the course of events. In the march of progress, the forward strides of science have been of gigantic proportions. Its triumphs, however, have been in the realm, not of speculation or faith, but of experiment and fact. While, on the one hand, the careful and systematic examination and co-ordination of experimental facts has ever been leading to results of real practical value, on the other, the task of the theorists, in their efforts to explain phenomena on speculative grounds, has become increasingly severe, and the results obtained have been decreasingly satisfactory. Day by day it becomes more evident that not one of the many existing theories is adequate to the explanation of the known phenomena: but, in spite of this obvious fact, attempts are still constantly being made, even by[Pg 2] most eminent men, to rule the results of experimental science into line with this or that accepted theory. The contradictions are many and glaring, but speculative methods are still rampant. They have become the fashion, or rather the fetish, of modern science. It would seem that no experimental result can be of any value until it is deductively accommodated to some preconceived hypothesis, until it is embodied and under the sway of what is practically scientific dogma. These methods have permeated all branches of science more or less, but in no sphere has the tendency to indulge in speculation been more pronounced than in that which deals with energetics. In no sphere, also, have the consequences of such indulgence been more disastrous. For the most part, the current conceptions of energy processes are crude, fanciful, and inconsistent with Nature. They require for their support—in fact, for their very existence—the acceptance of equally fantastic conceptions of mythical substances or ethereal media of whose real existence there is absolutely no experimental evidence. On the assumed properties or motions of such media are based the many inconsistent and useless attempts to explain phenomena. But, as already pointed out, Nature has unmistakably indicated the true path of progress to be that of experimental investigation. In the use of this method only phenomena can be employed, and any hypothesis which may be formulated as[Pg 3] the result of research on these lines is of scientific value only in so far as it is the correct expression of the actual facts observed. By this method of holding close to Nature reliable working hypotheses can, if necessary, be formed, and real progress made. It is undeniably the method of true science.

In recent years much attention has been devoted to certain speculative theories with respect to the origin and ultimate nature of matter and energy. Such hypotheses, emanating as they do from prominent workers, and fostered by the inherent imaginative tendency of the human mind, have gained considerable standing. But it is surely unnecessary to point out that all questions relating to origins are essentially outside the pale of true science. Any hypotheses which may be thus formulated have not the support of experimental facts in their conclusions; they belong rather to the realm of speculative philosophy than to that of science. In the total absence of confirmatory phenomena, such theories can, at best, only be regarded as plausible speculations, to be accepted, it may be, without argument, and ranking in interest in the order of their plausibility.

Of modern research into the ultimate constitution of matter little requires to be said. It is largely founded on certain radio-active and electrical phenomena which, in themselves, contribute little information. But aided by speculative methods and the use of preconceived ethereal hypotheses, various elaborate[Pg 4] theories have been formulated, explaining matter and its properties entirely in terms of ethereal motions. Such conceptions in their proper sphere—namely, that of metaphysics—would be no doubt of interest, but when advanced as a scientific proposition or solution they border on the ridiculous. In the absence of phenomena bearing on the subject, it would seem that the last resort of the modern scientist lies in terminology. To the average seeker after truth, however, the term "matter," as applied to the material world, will still convey as much meaning as the more elaborate scientific definitions.

It is not the purpose of this work to add another thread to the already tangled skein of scientific theory. It is written, rather, with the conviction, that it is impossible ever to get really behind or beyond phenomena; in the belief that the complete description of any natural process is simply the complete description of the associated phenomena, which may always be observed and co-ordinated but never ultimately explained. Phenomena must ever be accepted simply as phenomena—as the inscrutable manifestations of Nature. By induction from phenomena it is indeed possible to rise to working hypotheses, and thence, it may be, to general conceptions of Nature's order, and as already pointed out, it is to this method, of accepting phenomena, and of reasoning only from experimental[Pg 5] facts, that all the advances of modern science are due. On the other hand, it is the neglect of this method—the departure, as it were, from Nature—which has led to the introduction into the scientific thought of the day of the various ethereal media with their extreme and contradictory properties. The use of such devices really amounts to an admission of direct ignorance of phenomena. They are, in reality, an attempt to explain natural operations by a highly artificial method, and, having no basis in fact, their whole tendency is to proceed, in ever-increasing degree, from one absurdity to another.

It is quite possible to gain a perfectly true and an absolutely reliable knowledge of the properties of matter and energy, and the part which each plays, without resorting to speculative aids. All that is required is simply accurate and complete observation at first hand. The field of research is wide; all Nature forms the laboratory. By this method every result achieved may be tested and verified, not by its concurrence with any approved theory, however plausible, but by direct reference to phenomena. The verdict of Nature will be the final judgment on every scheme.

It is on these principles, allied with the great generalisations with respect to the conservation of matter and energy, that this work is founded. As the result of a long, varied, and intimate acquaintance with Nature, and much experimental research in many spheres, the author has reached the conclusion, already[Pg 6] foreshadowed in Terrestrial Energy, that the great principle of energy conservation is true, not only in the universal and generally accepted sense, but also in a particular sense with respect to all really separate bodies, such as planetary masses in space. Each of these bodies, therefore, forms within itself a completely conservative energy system. This conclusion obviously involves the complete denial of the transmission of energy in any form across interplanetary space, and the author, in this volume, now seeks to verify the conclusion by the direct experimental evidence of terrestrial phenomena.

Under present-day conditions in science, the acceptance of the ordinary doctrine of transmission across space involves likewise the acceptance of the existence of an ethereal substance which pervades all space and forms the medium by which such transmission is carried out. The properties of this medium are, of course, precisely adapted to its assumed function of transmission. These properties it is not necessary to discuss, for when the existence of the transmission itself has been finally disproved, the necessity for the transmitting medium clearly vanishes.


[Pg 7]

PART I

GENERAL STATEMENT

1. Advantages of General View of Natural Operations

The object of this statement is to outline and illustrate, in simple fashion, a broad and general conception of the operation and interaction of matter and energy in natural phenomena.

Such a conception may be of value to the student of Nature, in several ways. In modern times the general tendency of scientific work is ever towards specialisation, with its corresponding narrowness of view. A broad outlook on Nature is thus eminently desirable. It enables the observer to perceive to some extent the links uniting the apparently most insignificant of natural processes to those of seemingly greater magnitude and importance. In this way a valuable idea of the natural world as a whole may be gained, which will, in turn, tend generally to clarify the aspect of particular operations. A broad general view of Nature also leads to the appreciation of the full significance of the great doctrines of the conservation of matter and[Pg 8] energy. By its means the complete verification of these doctrines, which appears to be beyond human experiment, may be traced on the face of Nature throughout the endless chain of natural processes. Such a view also leads to a firm grasp of the essential nature and qualities of energy itself so far as they are revealed by its general function in phenomena.

2. Separate Mass in Space

In the scheme now to be outlined, matter and energy are postulated at the commencement without reference to their ultimate origin or inherent nature. They are accepted, in their diverse forms, precisely as they are familiar from ordinary terrestrial experience and phenomena.

For the purpose of general illustration the reader is asked to conceive a mass of heterogeneous matter, concentrated round a given point in space, forming a single body. This mass is assumed to be assembled and to obtain its coherent form in virtue of that universal and inherent property of matter, namely, gravitative or central attraction. This property is independent of precise energy conditions, its outward manifestation being found simply in the persistent tendency of matter on all occasions to press or force itself into the least possible space. In the absence of all disturbing influences, therefore, the[Pg 9] configuration of this mass of matter, assumed assembled round the given point, would naturally, under the influence of this gravitative tendency, resolve itself into that of a perfect sphere. The precise magnitude or dimensions of the spherical body thus constituted are of little moment in the discussion, but, for illustrative purposes, it may, in the meantime, be assumed that in mass it is equivalent to our known solar system. It is also assumed to be completely devoid of energy, and as a mass to be under the influence of no external constraint. Under these conditions, the spherical body may obviously be assumed as stationary in space, or otherwise as moving with perfectly uniform velocity along a precisely linear path. Either conception is justifiable. The body has no relative motion, and since it is absolutely unconstrained no force could be applied to it and no energy expenditure would be required for its linear movement.

3. Advent of Energy—Distortional Effects

Nature, however, does not furnish us with any celestial or other body fulfilling such conditions. Absolutely linear motion is unknown, and matter is never found divorced from energy. To complete the system, therefore, the latter factor is required, and, with the advent of energy to the mass,[Pg 10] its prototype may be found in the natural world.

This energy is assumed to be communicated in that form which we shall term "work" energy (§§ 13, 31) and which, as a form of energy, will be fully dealt with later. This "work" energy is assumed to be manifested, in the first place, as energy of motion. As already pointed out, no expenditure of energy can be associated with a linear motion of the mass, since that motion is under no restraint, but in virtue of the initial central attraction or gravitative strain, the form of energy first communicated may be that of kinetic energy of rotation. Its transmission to the mass will cause the latter to revolve about some axis of symmetry within itself. Each particle of the mass thus pursues a circular path with reference to that axis, and has a velocity directly proportional to its radial displacement from it.

This energised rotating spherical mass is thus the primal conception of the energy scheme now to be outlined. It will be readily seen that, as a primal conception, it is essentially and entirely natural; so much so, indeed, that any one familiar with rotatory motion might readily predict from ordinary experience the resulting phenomena on which the scheme is, more or less, based.

When energy is applied to the mass, the first phenomenon of note will be that, as the mass rotates,[Pg 11] it departs from its originally spherical shape. By the action of what is usually termed centrifugal force, the rotating body will be distorted; it will be flattened at the polar or regions of lowest velocity situated at the extremities of the axis of rotation, and it will be correspondingly distended at the equatorial or regions of highest velocity. The spherical body will, in fact, assume a more or less discoidal form according to the amount of energy applied to it; there will be a redistribution of the original spherical matter; certain portions of the mass will be forced into new positions more remote from the central axis of rotation.

4. The Gravitation Field

These phenomena of motion are the outward evidence of certain energy processes. The distortional movement of the material is carried out against the action and within the field of certain forces which exist in the mass of material in virtue of its gravitative or cohesive qualities. It is carried out also in virtue of the application of energy to the sphere, which energy has been, as it were, transformed or worked down, in the distortional movement, against the restraining action of this gravitation field or influence. The outward displacement of the material from the central axis is thus coincident with a gain of energy to the mass,[Pg 12] this gain of energy being, of course, at the expense of, and by the direct transformation of, the originally applied energy. It is stored in the distorted material as energy of position, potential energy, or energy of displacement relative to the central axis. But, in the distortive movement, the mass will also gain energy in other forms. The movement of one portion of its material relative to another will give rise (since it is carried out under the gravitational influence) to a fractional process in which, as we know from terrestrial experience, heat and electrical energy will make their appearance. These forms of energy will give rise, in their turn, to all the phenomena usually attendant on their application to material. As already pointed out also, the whole mass gains, in varying degree, energy of motion or kinetic energy. It would appear, then, that although energy was nominally applied to the mass in one form only, yet by its characteristic property of transformation it has in reality manifested itself in several entirely different forms. It is important to note the part played in these transformation processes by the gravitation field or influence. Its action really reveals one of the vital working principles of energetics. This principle may be generally stated thus:—

Every Transformation of Energy is carried out by the Action of Energised Matter in the Lines or Field of an Incepting Energy Influence.

In[Pg 13] the particular case we have just considered, the incepting field is simply the inherent gravitative property of the energised mass. This property is manifested as an attractive force between portions of matter. This, however, is not of necessity the only aspect of an incepting influence. In the course of this work various instances of transformation will be presented in which the incepting influence functions in a guise entirely different. It is important to note that the incepting influence itself is in no way changed, altered, or transformed during the process of transformation which it influences.

5. Limits of Rotational Energy. Disruptional Phenomena

It is clear that the material at different parts of the rotating spheroid will be energised to varying degrees. Since the linear velocity of the material in the equatorial regions of the spheroid is greater than that of the material about the poles, the energy of motion of the former will exceed that of the latter, the difference becoming greater as the mass is increasingly energised and assumes more and more the discoidal form.

The question now arises as to how far this process of energising the material mass may be carried. What are its limits? The capacity of the rotating body for energy clearly depends on the amount of[Pg 14] work which may be spent on its material in distorting it against the influence of the gravitative attraction. The amount is again dependent on the strength of this attraction. But the value of the gravitative attraction or gravitation field is, by the law of gravitation, in direct proportion to the quantity of material or matter present, and hence the capacity of the body for energy depends on its mass or on the quantity of matter which composes it.

Now if energy be impressed on this mass beyond its capacity a new order of phenomena appears. Distortion will be followed by disruption and disintegration. By the action of the disruptive forces a portion of the primary material will be projected into space as a planetary body. The manner of formation of such a secondary body is perhaps best illustrated by reference to the commonplace yet beautiful and suggestive phenomenon of the separation of a drop of water or other viscous fluid under the action of gravitation. In this process, during the first downward movement of the drop, it is united to its source by a portion of attenuated material which is finally ruptured, one part moving downwards and being embodied in the drop whilst the remainder springs upwards towards the source. In the process of formation of the planetary body we are confronted with an order of phenomena of somewhat the same nature. The planetary orb which is hurled into space is formed in a manner similar[Pg 15] to the drop of viscous fluid, and under the action of forces of the same general nature. One of these forces is the bond of gravitative attraction between planet and primary which is never severed, and when complete separation of the two masses finally occurs, the incessant combination of this force with the tangential force of disruption acting on the planet will compel it into a fixed orbit, which it will pursue around the central axis. When all material links have thus been severed, the two bodies will then be absolutely separate masses in space. The term "separate" is here used in its most rigid and absolute sense. No material connection of any kind whatever exists, either directly or indirectly, between the two masses. Each one is completely isolated from the other by interplanetary space, and in reality, so far as material connection is concerned, each one might be the sole occupant of that space. This conception of separate masses in space is of great importance to the author's scheme, but, at the same time, the condition is one which cannot be illustrated by any terrestrial experimental contrivance. It will be obvious that such a device, as might naturally be conceived, of isolating two bodies by placing them in an exhausted vessel or vacuous space, by no means complies with the full conditions of true separation portrayed above, because some material connection must always exist between the enclosed bodies and the containing vessel.[Pg 16] This aspect is more fully treated later (§ 30). The condition of truly separate masses is, in fact, purely a celestial one. No means whatever are existent whereby such a condition may be faithfully reproduced in a terrestrial environment.

In their separate condition the primary and planetary mass will each possess a definite and unvarying amount of energy. It is to be noted also, that since the original mass of the primary body has been diminished by the mass of the planet cast off, the capacity for energy of the primary will now be diminished in a corresponding degree. Any further increment of energy to the primary in any form has now, however, no direct influence on the energy of the planet, which must maintain its position of complete isolation in its orbit. But although thus separate and distinct from the primal mass in every material respect, the planet is ever linked to it by the invisible bond of gravitation, and every movement made by the planet in approaching or receding from the primary is made in the field or influence of this attraction. In accordance, therefore, with the general principle already enunciated (§ 4), these actions or movements of the energised planetary mass, being made in the field of the incepting gravitative influence, will be accompanied by transformations, and thus the energy of the planet, although unvarying in its totality, may vary in its form or distribution with the inward or outward movement of[Pg 17] the planet in its orbital path. As the planet recedes from the primary it gains energy of position, but this gain is obtained solely at the expense, and by the direct transformation of its own orbital energy of motion. Its velocity in its orbit must, therefore, decrease as it recedes from the central axis of the system, and increase as it approaches that axis. Thus from energy considerations alone it is clear that, if the planetary orbit is not precisely circular, the velocity of the planet must vary at different points of its path.

6. Passive Function and General Nature of Gravitation Field

From the phenomena described above, it will be observed that, in the energy processes of transformation occurring in both primary and planet, the function of the gravitation field or influence is entirely passive in nature. The field is, in truth, the persistent moving or directing power behind the energy processes, the incepting energy influence or agency which determines the nature of the transformation in each case without being, in any way, actively engaged in it. In accelerating or retarding the transformation process it has thus absolutely no effect. These features are controlled by other factors. Neither does this incepting agency affect, in any way, the limits of the transformation process, these[Pg 18] limits being prescribed by the physical or energy qualities of the acting materials. In general nature the gravitation field appears to be simply an energy influence—a peculiar manifestation of certain passive qualities of energy. This aspect will, however, become clearer to the reader when the properties of gravitation are studied in conjunction with those of other incepting energy influences (§§ 17, 18, 19).

7. Limit of Gravitation Transformation

In the case of a planetary body, there is a real limit to the extent of the transformation of its orbital energy of motion under the influence of the gravitation field. As the orbit of the planet widens, and its mean distance from the primary becomes greater, its velocity in its orbital path must correspondingly decrease. As already pointed out (§ 5), this decrease is simply the result of the orbital energy of motion being transformed or worked down into energy of position. But since this orbital energy is strictly limited in amount, a point must ultimately be reached where it would be transformed in its entirety into energy of position. When this limiting condition is attained, the planet clearly could have no orbital motion; it would be instantaneously at rest in somewhat the same way as a projectile from the earth's surface is at rest at the summit of its[Pg 19] flight in virtue of the complete transformation of its energy of motion into energy of position. In this limiting condition, also, the energy of position of the planet would be the maximum possible, and its orbital energy zero. The scope of the planetary orbital path is thus rigidly determined by the planetary energy properties. Assuming the reduction of gravity with distance to follow the usual law of inverse squares, the value of the displacement of the planet from the central axis when in this stationary or limiting position may be readily calculated if the various constants are known. In any given case it is obvious that this limiting displacement must be a finite quantity, since the planetary orbital energy which is being worked down is itself finite in amount.

8. Interactions of Two Planetary Bodies—Equilibrium Phenomena

Up to the present point, the cosmical system has been assumed to be composed of one planetary body only in addition to the primary mass. It is clear, however, that by repetition of the process already described, the system could readily evolve more than one planet; it might, in fact, have several planetary masses originating in the same primary, each endowed with a definite modicum of energy, and each pursuing a persistent orbit round the central axis of the system. Since the mass of the primary decreases as[Pg 20] each successive planet is cast off, its gravitative attractive powers will also decrease, and with every such decline in the central restraining force the orbits of the previously constituted planets will naturally widen. By the formation in this way of a series of planetary masses, the material of the original primary body would be as it were distributed over a larger area or space, and this separation would be accompanied by a corresponding decrease in the gravitative attraction between the several masses. If the distributive or disruptive process were carried to its limit by the continuous application of rotatory energy to each separate unit of the system, this limit would be dependent on the capacity of the system for energy. As is shown later (§ 20), this capacity would be determined by the mass of the system.

For simplicity, let us consider the case in which there are two planetary bodies only in the system in addition to the primary. In virtue of the gravitative attraction or gravitation field between the two, they will mutually attract one another in their motion, and each will, in consequence, be deflected more or less out of that orbital path which it would normally pursue in the absence of the other. This attraction will naturally be greatest when the planets are in the closest proximity; the planet having the widest orbit will then be drawn inwards towards the central axis, the other will be drawn outwards. The distance moved in this way by each will depend on its mass,[Pg 21] and on the forces brought to bear on it by the combined action of the two remaining masses of the system. Moving thus in different directions, the motion of each planet is carried out in the lines of the gravitation field between the two. One planet, therefore, gains and the other loses energy of position with respect to the central axis of the system. The one planet can thus influence, to some extent, the energy properties of the other, although there is absolutely no direct energy communication between the two; as shown hereafter, the whole action and the energy change will be due simply to the motion carried out in the field of the incepting gravitation influence.

It is clear, however, that this influence is exerted on the distribution of the energy, on the form in which it is manifested, and in no way affects the energy totality of either planet. Each, as before, remains a separate system with conservative energy properties. That planet which loses energy of position gains energy of motion, and is correspondingly accelerated in its orbital path; the other, in gaining energy of position, does so at the expense of its own energy of motion, and is retarded accordingly. The action is really very simple in nature when viewed from a purely energy standpoint. It has been dealt with in some detail in order to emphasise the fact that there is absolutely nothing in the nature of a transmission of energy between one planet and the other.[Pg 22] Taking a superficial view of the operation, it might be inferred that, as the planets approach one another, energy of motion (or energy of position) is transmitted from one to the other, causing one to retard and the other to accelerate its movement, but a real knowledge of the energy conditions shows that the phenomenon is rather one of a simple restoration of equilibrium, a redistribution or transformation of the intrinsic energy of each to suit these altering conditions. Each planet is, in the truest sense, a separate mass in space.

9. Axial Energy—Secondary Processes

Passing now to another aspect of the energy condition of a planetary body, let the planet be assumed to be endowed with axial energy or energy of rotation, so that, while pursuing its orbital path in space, it also rotates with uniform angular velocity about an axis within itself. What will be the effect of the primary mass on the planet under these new energy conditions? We conceive that the effect is again purely one of transformation. In this process the primary mass functions once more as an entirely passive or incepting agent, which, while exerting a continuous transforming influence on the planet, does not affect in any way the inherent energy properties of the latter. Up to the present point we have only dealt with one incepting influence in transformation processes, namely, that of gravitation, which has always been[Pg 23] manifested as an attractive force. It is not to be supposed, however, that this is the only aspect in which incepting influences may be presented. Although attractive force is certainly an aspect of some incepting influences, it is not a distinctive feature of incepting influences generally. In many cases, the aspect of force, in the sense of attraction or repulsion, is entirely awanting. In the new order of transformations which come into play in virtue of the rotatory motion of a planetary mass in the field of its primary, we shall find other incepting influences in action entirely different in nature from the gravitation influence, but, nevertheless, arising from the same primary mass in a similar way. Now the application of energy to the planet, causing it to rotate in the lines or under the influence of these incepting fields of the primary, brings into existence on the planet an entirely new order of phenomena. So long as the planet had no axial motion of rotation, some of the incepting influences of the primary were compelled, as it were, to inaction; but with the advent of axial energy the conditions are at once favourable to their action, and to the detection of their transforming effects. In accordance with the general principle already enunciated (§ 4), the action of the planetary energised material in the lines of the various incepting fields of the primary is productive of energy transformations. The active energy of these transformations is the axial or energy[Pg 24] rotatory of the planet itself, and, in virtue of these transformations, certain other forms of energy will be manifested on the planet and associated with the various forms of planetary material. These manifestations of energy, in fact, constitute planetary phenomena. Since the action or movement of the rotating material of the planet through the incepting fields of the primary is most pronounced in the equatorial or regions of highest linear velocity, and least in the regions of low velocity adjoining the poles of rotation, the transforming effect may naturally be expected to decrease in intensity from equator to poles. Planetary energy phenomena will thus vary according to the location of the acting material. It will be clear, also, that each incepting agency or influence associated with the primary mass will give rise to its own peculiar transformations of axial energy on the planetary surface. These leading or primary transformations of axial energy, in which the incepting influence is associated with the primary mass only, we term primary processes. But it is evident that the various forms of energy thus set free on the planet as a result of the primary processes will be communicated to, and will operate on, the different forms of planetary material, and will give rise to further or secondary transformations of energy, in which the incepting agency is embodied in or associated with planetary material only. The exact nature[Pg 25] of these secondary transformations will vary according to the circumstances in which they take place. Each of them, however, as indicated above, will be, in itself, carried out in virtue of some action of the energised planetary material in the lines or field of what we might term a secondary incepting influence. The latter, however, must not be confused with the influences of the primary. It is essentially a planetary phenomenon, an aspect of planetary energy; it is associated with the physical or material machine by means of which the secondary process of transformation is carried out. The nature of this secondary influence will determine the nature of the secondary transformation in each case. Its precise extent may be limited by other considerations (§ 15).

As an example, assume a portion of the axial energy to be primarily transformed into heat in virtue of the planet's rotation in the field of an independent thermal incepting influence exerted by the primary. To the action of this agency, which we might term the thermal field, we assume are due all primary heating phenomena of planetary material. Now the secondary transformations will take place when the heat energy thus manifested is applied to some form of matter. It is obvious, however, that this application might be carried out in various ways. Heat may be devoted to the expansion of a solid against its cohesive forces. It may be expended against[Pg 26] the elastic forces of a gas, or it may be worked down against chemical or electrical forces. In every case a transformation of energy will result, varying in nature according to the peculiar conditions under which it is carried out. In this or a similar fashion each primary incepting influence may give rise to a series of secondary actions more or less complex in nature. These secondary transformation processes, allied with other processes of transmission, will, in fact, constitute the visible phenomena of the planet, and in their variety will exactly correspond to these phenomena.

With regard to the gravitation field, its general influence on the rotating mass may be readily predicted. The material on that part of the planetary surface which is nearest to or happens to face the primary in rotation is, during the short time it occupies that position, subjected to a greater attractive influence than the remainder which is more remote from the primary. It will, in consequence, tend to be more or less distorted or elevated above its normal position on the planetary surface. This distorting effect will vary in degree according to the nature of the material, whether solid, liquid, or gaseous, but the general effect of the distortional movement, combined with the rotatory motion of the planet, will be to produce a tidal action or a periodical rise and fall of the more fluid material distributed over the planetary surface. The distortion will, of course, be[Pg 27] accompanied by energy processes in which axial energy will be transformed into heat and other forms, which will finally operate in the secondary processes exactly as in previous cases.

10. Mechanism of Energy Return

But the question now arises, as to how this continuous transformation of the axial energy can be consistent with that condition of uniformity of rotation of the planet which was originally assumed. If the total energy of the planetary mass is limited, and if it can receive no increment of energy from any external source, it is clear that the axial energy transformed must, by some process, be continuously returned to its original form. Some process or mechanism is evidently necessary to carry out this operation. This mechanism we conceive to be provided by certain portions of the material of the planet, principally the gaseous matter which resides on its surface, completely enveloping it, and extending outwards into space (§ 38). In other words, the atmosphere of the planet forms the machine or material agency by which this return of the transformed axial energy is carried out. It has already been pointed out (§ 9) how the working energy of every secondary transformation is derived from the original axial energy of the planet itself. Each of these secondary transformations, however, forms[Pg 28] but one link of one cyclical chain of secondary transformations, in which a definite quantity of energy, initially in the axial form, passes, in these secondary operations, through various other forms, by different processes and through the medium of different material machines, until it is eventually absorbed into the atmosphere of the planet. These complete series of cyclical operations, by which the various portions of axial energy are carried to the atmosphere, may in some cases be of a very simple nature, and may be continuously repeated over very short intervals of time; in other cases, the cycle may seem obscure and complicated, and its complete operation spread over very long periods, but in all cases the final result is the same. The axial energy abstracted, sooner or later, recurs to the atmospheric machine. By its action in this machine, great masses of gaseous material are elevated from the surface of the planet against the attractive force of gravitation; the energy will thus now appear in the form of potential energy or energy of position. By a subsequent movement of these gaseous masses over the surface of the planet from the regions of high velocity towards the poles, combined with a movement of descent to lower levels, the energy of position with which they were endowed is returned once more in the original axial form.

This, roughly, constitutes the working of the planetary atmospheric machine, which, while in itself completely[Pg 29] reversible and self-contained, forms also at the same time the source and the sink of all the energy working in the secondary transformations. In the ceaseless rounds of these transformations which form planetary phenomena it links together the initial and concluding stages of each series by a reversible process. Energy is thus stored and restored continuously. The planet thus neither gains nor loses energy of axial motion; so far as its energy properties are concerned, it is entirely independent of every external influence. Its uniformity of rotation is absolutely maintained. Each planet of the system will, in the same way, be an independent and conservative unit.

11. Review of Cosmical System—General Function of Energy

Reviewing the system as a whole, the important part played by energy in its constitution is readily perceived. The source of the energy which operates in all parts of the system is found in that energy originally applied (§ 3). When the system is finally constituted, this energy is found distributed amongst the planets, each of which has received its share, and each of which is thereby linked to the primary by its influence. It is part of this same energy which undergoes transformation in virtue of the orbital movements of the planets in the field of the gravitative influence.[Pg 30] Again, it is found in the form of planetary axial energy, and thence, under the influence of various incepting agencies, it passes in various forms through the whole gamut of planetary phenomena, and finally functions in the atmospheric machine. Every phenomenon of the system, great or small, is, in fact, but the external evidence either of the transformation or of the transmission of this energy—the outward manifestation of its changed or changing forms. Its presence, which always implies its transformation (§ 4), is the simple primary condition attached to every operation. The primal mass originally responded to the application of energy by the presentation of phenomena. Every material portion of the system will similarly respond according to circumstances. Energy is, in fact, the working spirit of the whole cosmical scheme. It is the influence linking every operation of the system to the original transformations at the central axis, so that all may be combined into one complete and consistent whole. It is to be noted, however, that although they have a common origin the orbital energy of each planetary mass is entirely distinct from its energy of axial rotation, and is not interchangeable therewith. The transformation of the one form of energy in no way affects the totality of the other.

The disruption of the primary mass furnishes a view of what is virtually the birth of gravitation as[Pg 31] it is conceived to exist between separate bodies. It may now be pointed out that the attractive influence of gravitation is, in reality, but one of the many manifestations of energy of the system. It is not, however, an active manifestation of the working energy, but rather an aspect of energy as it is related to the properties of matter. We have absolutely no experimental experience of matter devoid of energy. Gravitation might readily be termed an energy property of matter, entirely passive in nature, and requiring the advent of some other form in order that it may exercise its function as an incepting agency.

From a general consideration of the features of this system, in which every phenomenon is an energy phenomenon, it seems feasible to conclude also that every property of matter is likewise an energy property. It is certain, indeed, that no reasonable or natural concept of either matter or energy is possible if the two be dissociated. The system also presents a direct and clear illustration of the principles of conservation in the working of the whole, and also in each planetary unit.

12. Natural Conditions

It will be noted that, up to the present point, the cosmical system has been discussed from a purely abstract point of view. This method has been[Pg 32] adopted for a definite reason. Although able, at all points, to bring more or less direct evidence from Nature, the author has no desire that his scheme should be regarded in any way as an attempt to originate or describe a system of creation. The object has been, by general reasoning from already accepted properties of matter and energy, to arrive at a true conception of a possible natural order of phenomena. It is obvious, however, that the solar system forms the prototype of the system described above. The motion of the earth and other planets is continuously occurring under the influence of gravitation, thermal, luminous, and other incepting fields which link them to the central mass, the sun. As a result of the action of such fields, energy transformations arise which form the visible phenomena of the system in all its parts, each transformation, whether associated with animate or inanimate matter, being carried out through the medium of some arrangement of matter hereafter referred to as a material machine. The conditions are precisely as laid down above. The system is dominated, in its separate units, and as a whole, by the great principle of the conservation of energy. Each planetary mass, as it revolves in space, is, so far as its energy properties are concerned, an absolutely conservative unit of that system. At the same time, however, each planetary mass remains absolutely dependent on the primary for those great controlling[Pg 33] or incepting influences which determine the transformation of its inherent energy.

In the special case of the earth, which will be dealt with in some detail, it is the object of this work to show that its property of complete energy conservation is amply verified by terrestrial phenomena. The extension of the principle from the earth to the whole planetary system has been made on precisely the same grounds as Newton extended the observed phenomena to his famous generalisation with respect to gravitation.


[Pg 34]

PART II

PRINCIPLES OF INCEPTION

13. Illustrative Secondary Processes

In this part of the work, an attempt will be made to place before the reader some of the purely terrestrial and other evidential phenomena on which the conclusions of the preceding General Statement are founded. The complete and absolute verification of that Statement is obviously beyond experimental device. Bound, as we are, within the confines of one planet, and unable to communicate with the others, we can have no direct experimental acquaintance with really separate bodies (§ 5) in space. But, if from purely terrestrial experience we can have no direct proofs on such matters, we have strong evidential conclusions which cannot be gainsayed. If the same kind of energy operates throughout the solar system, the experimental knowledge of its properties gained in one field of research is valuable, and may be readily utilised in another. The phenomena which are available to us for study are, of course, simply the ordinary energy processes of the earth—those operations which in the foregoing Statement have[Pg 35] been described as secondary energy processes. Their variety is infinite, and the author has accordingly selected merely a few typical examples to illustrate the salient points of the scheme. The energy acting in these secondary processes is, in every case, derived, either directly or indirectly, from the energy of rotation or axial energy of the earth. In themselves, the processes may be either energy transformations or energy transmissions or a combination of both these operations. When the action involves the bodily movement of material mass in space, the dynamical energy thus manifested, and which may be transmitted by the movement of this material, is termed mechanical or "work" energy (§ 31); when the energy active in the process is manifested as heat, chemical, or electrical energy, we apply to it the term "molecular" energy. The significance of these terms is readily seen. The operation of mechanical or "work" energy on a mass of material may readily proceed without any permanent alteration in the internal arrangement or general structure of that mass. Mechanical or "work" energy is dissociated from any molecular action. On the other hand, the application of such forms of energy as heat or electrical energy to material leads to distinctly molecular or internal effects, in which some alteration in the constitution of the body affected may ensue. Hence the use of the terms, which of course is completely arbitrary.

The[Pg 36] principal object of this part of the work is to illustrate clearly the general nature, the working, and the limits of secondary processes. For this purpose, the author has found it best to refer to certain more or less mechanical contrivances. The apparatus made use of is merely that utilised in everyday work for experimental or other useful purposes. It is essentially of a very simple nature; no originality is claimed for it, and no apology is offered for the apparent simplicity of the particular energy operations chosen for discussion. In fact, this feature has rather led to their selection. In scientific circles to-day, familiarity with the more common instances of energy operations is apt to engender the belief that these processes are completely understood. There is no greater fallacy. In many cases, no doubt, the superficial phenomena are well known, but in even the simplest instances the mechanism or ultimate nature of the process remains unknown. A free and somewhat loose method of applying scientific terms is frequently the cloak which hides the ignorance of the observer. No attempt will here be made to go beyond the simple phenomena. The object in view is simply to describe such phenomena, to emphasise and explain certain aspects of already well-known facts, which, up to the present, have been neglected.

In some of the operations now to be described, mechanical or "work" energy is the active agent, and[Pg 37] material masses are thereby caused to execute various movements in the lines or field of restraining influences. For ordinary experimental convenience, the material thus moved must of necessity be matter in the solid form. The illustrative value of our experimental devices, however, will be very distinctly improved if it be borne in mind that the operations of mechanical energy are not restricted to solids only, but that the various processes of transformation and transmission here illustrated by the motions of solid bodies may, in other circumstances, be carried out in a precisely similar fashion by the movements of liquids or even of gases. The restrictions imposed in the method of illustration are simply those due to the limitations of human experimental contrivance. Natural operations exhibit apparatus of a different type. By the movements of solid materials a convenient means of illustration is provided, but it is to be emphasised that, so far as the operations of mechanical energy are concerned, the precise form or nature of the material moved, whether it be solid, liquid, or gaseous, is of no consequence. To raise one pound of lead through a given distance against the gravitative attraction of the earth requires no greater expenditure of energy than to raise one pound of hydrogen gas through the same distance. The same principle holds in all operations involving mechanical energy.

Another[Pg 38] point of some importance which will be revealed by the study of secondary operations is that every energy process has in some manner definite energy limits imposed upon it. In the workings of mechanical or "work" energy it is the mass value of the moving material which, in this respect, is important. The mass, in fact, is the real governing factor of the whole process (§ 20). It determines the maximum amount of energy which can be applied to the material, and thus controls the extent of the energy operation.

But in actions involving the molecular energies, the operation may be limited by other considerations altogether. For example, the application of heat to a solid body gives rise to certain energy processes (§ 27). These processes may proceed to a certain degree with increase of temperature, but a point will finally be attained where change of state of the heated material takes place. This is the limiting point of this particular operation. When change of state occurs, the phenomena will assume an entirely different aspect. The first set of energy processes will now be replaced by a set of operations absolutely different in nature, themselves limited in extent, but by entirely different causes. The first operation must thus terminate when the new order appears. In this manner each process in which the applied energy is worked will be confined within certain limiting boundaries. In any[Pg 39] chain of energy operations each link will thus have, as it were, a definite length. In chemical reactions, the limits may be imposed in various ways according to the precise nature of the action. Chemical combination, and chemical disruption, must be looked on as operations which involve not only the transformation of energy but also the transformation of matter. In most cases, chemical reactions result in the appearance of matter in an entirely new form—in the appearance, in fact, of actually different material, with physical and energy properties absolutely distinct from those of the reacting constituents. This appearance of matter in the new form is usually the evidence of the termination, not only of the particular chemical process, but also of the energy process associated with it. Transformation of energy may thus be limited by transformation of matter.

Examples of the limiting features of energy operations could readily be multiplied. Even a cursory examination of most natural operations will reveal the existence of such limits. In no case do we find in Nature any body, or any energy system, to which energy may be applied in unlimited amount, but in every case, rigid energy limits are imposed, and, if these limits are exceeded, the whole energy character of the body or system is completely changed.

[Pg 40]

14. Incepting Energy Influences

In experimental and in physical work generally, it has been customary, in describing any simple process of energy transformation, to take account only of those energies or those forms of energy which play an active part in the process—the energy in its initial or applied form and the energy in its transformed or final form. This method, however, requires enlarging so as to include another feature of energy transformation, a feature hitherto completely overlooked, namely, that of incepting energy. Now, this conception of incepting energy, or of energy as an incepting influence, is of such vital importance to the author's scheme, that it is necessary here, at the very outset, to deal with it in some detail. To obtain some idea of the general nature of these influences, it will be necessary to describe and review a few simple instances of energy transformation. One of the most illuminating for this purpose is perhaps the familiar process of dynamo-electric transformation.

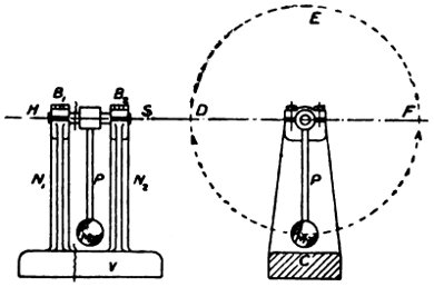
A spherical mass A (Fig. 1) of copper is caused to rotate about its central axis in the magnetic field in the neighbourhood of a long and powerful electro-magnet. In such circumstances, certain well-known transformations of energy will take place. The energy transformed is that dynamical or "work"[Pg 41] energy which is being applied to the spherical mass by the external prime mover causing it to rotate. As a result of this motion in the magnetic field, an electrical action takes place; eddy currents are generated in the spherical mass, and the energy originally applied is, through the medium of the electrical process, finally converted into heat and other energy forms. The external evidence of the process will be the rise in temperature and corresponding expansion of the rotating mass.

Fig. 1

Such is the energy transformation. Let us now review the conditions under which it takes place. Passing over the features of the "work" energy applied and the energy produced in the transformation, it is evident that the primary and essential condition of the whole process is the presence of the magnetic field. In the absence of this influence, every other condition of this particular energy operation might have been fulfilled without result. The magnetic field is, in reality, the determining agency of the process. But this field of magnetic force is itself an energy influence. Its existence implies the presence of energy; it is the external manifestation of that energy (usually described as stored in the field)[Pg 42] which is returned, as shown by the spark, when the exciting circuit of the electro-magnet is broken. The transformation of the dynamical or "work" energy (§ 31) applied to the rotating sphere is thus carried out by the direct agency, under the power, or within the field of this magnetic energy influence, to which, accordingly, we apply the expression, incepting energy influence, or incepting energy.

There are several points to be noted with regard to these phenomena of inception. In the first place, it is clear that the energy which thus constitutes the magnetic field plays no active part in the main process of transformation: during the operation it neither varies in value nor in nature: it is entirely a passive agent. Neither is any continuous expenditure of energy required for the maintenance of this incepting influence. It is true that the magnetic field is primarily due to a circulatory current in the coils or winding of the electro-magnet, but after the initial expenditure of energy in establishing that field is incurred, the continuous expenditure of energy during the flow of the current is devoted to simply heating the coils. A continuous heat transformation is thus in progress. The magnetic energy influence, although closely associated with this heat transformation, yet represents in itself a distinct and separate energy feature. This last point is, perhaps, made more clear if it be assumed that, without altering the system in any way, the electro-magnet is[Pg 43] replaced by a permanent magnet of precisely the same dimensions and magnetic power. There would then be no energy expenditure whatever for excitation, but nevertheless, the main transformation would take place in precisely the same manner and to exactly the same degree as before. The incepting energy influence is found in the residual magnetism.

If an iron ball or sphere were substituted, in the experiment, for the copper one, the phenomena observed on its rotation would be of an exactly similar nature to those described above. There is, however, one point of difference. Since the iron is magnetic, the magnet pole will now exert an attractive force on the iron mass, and if the latter were in close proximity to the pole (Fig. 1), a considerable expenditure of energy might be required to separate the two. It is evident, then, that in the case of iron and the magnetic metals, this magnetic influence is such that an expenditure of energy is required, not only to cause these materials to move in rotation so as to cut the lines of the field of the magnetic influence, but also to cause them to move outwards from the seat of the influence along the lines of the field. The movements, indeed, involve transformations of energy totally different in nature. Assuming the energy to be obtained, in both cases, from the same external source, it is, in the first instance, converted by rotatory motion in the field into electrical and heat energy, whereas, in the second case, by the outward motion[Pg 44] of displacement from the pole, it is transformed and associated with the mass in the form of energy of position or energy of displacement relative to the pole. Since the attractive force between the iron mass and the pole may be assumed to diminish according to a well-known law, the energy transformation per unit displacement will also diminish at the same rate. The precise nature and extent of the influence of the incepting agent thus depend on the essential qualities of the energised material under its power. In this case, the magnetic metals, such as iron, provide phenomena of attraction which are notably absent in the case of the dia-magnetic metals such as copper. Other substances, such as wood, appear to be absolutely unaffected by any movement in the magnetic field. The precise energy condition of the materials in the field of the incepting influence is also an important point. The incepting energy might be regarded as acting, not on the material itself, but rather on the energy associated with that material. From the phenomena already considered, it is clear that before the incepting influence of magnetism can act on the copper ball, the latter must be endowed with energy of rotation. It is on this energy, then, that the incepting influence exerts its transforming power. It would be useless to energise the copper ball, say by raising it to a high temperature, and then place it at rest in the magnetic field; the magnetic energy influence would[Pg 45] not operate on the heat energy, and consequently, no transformation would ensue.

It is easy to conceive, also, that in the course of an energy transformation, the material may attain an energy condition in which the incepting influence no longer affects it. Take once more the case of the iron ball. It is well known that, at a high temperature, iron becomes non-magnetic. It would follow, then, that if the rotational transformation in the magnetic field could be carried out to the requisite degree, so that, by the continuous application of that heat energy which is the final product of the process, the ball had attained this temperature, then the other transformation consequent on the displacement of the ball from the attracting pole could not take place. No change has really occurred in the incepting energy conditions. They are still continuous and persistent, but the energy changes in the material itself have carried it, to a certain degree, beyond the influence of these conditions.

15. Cohesion as an Incepting Influence

Other aspects of incepting energy may be derived from the examples cited above. Returning to the case of the rotating copper sphere, let it be assumed that in consequence of its rotation in the magnetic field it is raised from a low to a high temperature. Due[Pg 46] to the heating effect alone, the mass will expand or increase in volume. This increase is the evidence of a definite energy process by which certain particles or portions of the mass have in distortion gained energy of position—energy of separation—or potential energy relative to the centre of the sphere. In fact, if the mass were allowed to cool back to its normal condition, this energy might by a suitable arrangement be made available for some form of external work. It is obvious, however, that this new energy of position or separation which has accrued to the mass in its heated condition has in reality been obtained by the transformation of the "work" energy originally applied. The abnormal displacement of certain particles or portions of the mass from the centre of the sphere is simply the external evidence of their increased energy. Now this displacement, or strain, due to the heat expansion, is carried out against the action of certain cohesive forces or stresses existing between the particles throughout the mass. These cohesive forces are, in fact, the agency which determines this transformation of heat into energy of position. Their existence is essential to the process. But these cohesive forces are simply the external manifestation of that energy by virtue of which the mass tends to maintain its coherent form. They are the symbol of that energy which might be termed the cohesion energy of the mass—they are,[Pg 47] in fact, the symbol of the incepting energy influence of the transformation. This incepting energy influence of cohesion is one which holds sway throughout all solid material. It is, therefore, found in action in every movement involving the internal displacement or distortion of matter. It is a property of matter, and accordingly it is found to vary not only with the material, but also with the precise physical condition or the energy state of the material with which it is associated. In this respect, it differs entirely from the preceding magnetic influence. The latter, we have seen, has no direct association with the copper ball, or with the material which is the actual venue of the transformation. As an energy influence, it is itself persistent, and unaffected by the energy state of that material. On the other hand, the cohesion energy, being purely a property of the material which is the habitat of the energy process, is directly affected by its energy state. This point will be clearer by reference to the actual phenomena of the heat transformation. As the process proceeds, the temperature of the mass as the expansion increases will rise higher and higher, until, at a certain point, the solid material is so energised that change of state ensues. At this, the melting-point of the material, liquefaction takes place, and its cohesive properties almost vanish. In this fashion, then, a limit is clearly imposed on the process of heat transformation in the solid body—a limit[Pg 48] defined by the cohesive or physical properties of the particular material. In this limiting power lies the difference between cohesion and magnetism as incepting influences. Looking at the whole dynamo-electric transformation in a general way, it will be clear that the magnetic influence in no way limits or affects the amount of dynamical or "work" energy which may be applied to the rotating sphere. This amount is limited simply by the cohesive properties of the material mass in rotation. The magnetic influence might, in fact, be regarded as the primary or inducing factor in the system, and the cohesion influence as the secondary or limiting factor.

16. Terrestrial Gravitation as an Incepting Influence

The attractive influence of gravitation appears as an incepting agency in terrestrial as well as in celestial phenomena. In fact, of all the agencies which incept energy transformations on the earth, gravitation, in one form or another, is the most universal and the most important. Gravitation being a property of all matter, no mundane body, animate or inanimate, is exempt from its all-pervading influence, and every movement of energised matter within the field of that influence leads inevitably to energy transformation.

Let us take a concrete illustration. A block of[Pg 49] solid material is supported on a horizontal table. By means of a cord attached, energy is applied to the block from an external source, so that it slides over the surface of the table. As a result of this motion and the associated frictional process, heat energy will make its appearance at the sliding surfaces of contact. This heat energy is obviously obtained by the transformation of that energy originally applied to the block from the external source. What is the incepting influence in this process of transformation? The incepting influence is clearly the gravitative attraction of the earth operating between the moving block and the table. The frictional process, it is well known, is dependent in extent or degree on the pressure between the surfaces in contact. This pressure is, of course, due to the gravitative attraction of the earth on the mass of the block. If it be removed, say by supporting the block from above, the heat-transformation process at the surfaces at once terminates. Gravity, then, is the primary incepting influence of the process. The effect of gravitation in transformation has apparently been eliminated by supporting the block from above and removing the pressure between block and table. It is not really so, however, because the pressure due to the gravitative attraction of the earth on the block has in reality only been transferred to this new point of support, and if a movement of the block is carried[Pg 50] out it will be found that the heat transformation has been also transferred to that point. But there are also other influences at work in the process. The extent of the heat transformation depends, not only on the pressure, but also on the nature of the surfaces in contact. It is evident, that in the sliding movement the materials in the neighbourhood of the surfaces in contact will be more or less strained or distorted. This distortion is carried out in the lines of the cohesive forces of the materials, and is the real mechanism of the transformation of the applied work energy into heat. It is obvious that the nature of the surfaces in contact must influence the degree of distortion, that is, whether they are rough or smooth; the cohesive qualities of the materials in contact will depend also on the nature of these materials, and the extent of the heat transformation will be limited by these cohesive properties in precisely the same way as described for other examples (§ 15). The function of gravitation in this transformation is, obviously, again quite passive in nature, and is in no way influenced by the extent of the process. Gravitation is, as it were, only the agency whereby the acting energy is brought into communication with the cohesive forces of the sliding materials.

A little reflection will convey to the reader the vast extent of this influence of gravitation in frictional phenomena, and the important place occupied by[Pg 51] such phenomena in the economy of Nature. From the leaf which falls from the tree to the mighty tidal motions of air, earth, and sea due to the gravitative effects of the sun and moon, all movements of terrestrial material are alike subject to the influence of terrestrial gravitation, and will give rise to corresponding heat processes. These heat processes are continually in evidence in natural phenomena; the effect of their action is seen alike on the earth's surface and in its interior (internal heating). Of the energy operating in them we do not propose to say anything further at this stage, except that it is largely communicated to the atmospheric air masses.

17. The Gravitation Field

The foregoing examples of transformation serve to place before the reader some idea of the general nature and function of an incepting energy influence. But for the broadest aspects of the latter agencies it is necessary to revert once more to celestial phenomena. As already indicated in the General Statement, the primary transformations of planetary axial energy are stimulated by certain agencies inherent to, and arising from, the central mass of the system. These energy agencies or effects operate through space, and are entirely passive in nature. They are in no way associated with energy transmission; they[Pg 52] are merely the determining causes of the energy-transforming processes which they induce, and do not in the least affect the conservative energy properties of the planetary masses over which their influence is cast. Of the precise number and nature of such influences thus exerted by the primary mass we can say nothing. The energy transformations which are the direct result of their action are so extensive and so varied in character that we would hesitate to place any limit on the number of the influences at work. Some of these influences, however, being associated with the phenomena of everyday experience, are more readily detected in action than others and more accessible to study. It is to these that we naturally turn in order to gain general ideas for application to more obscure cases.

Of the many incepting influences, therefore, which may emanate from the primary mass there are three only which will be dealt with here. Each exerts a profound action on the planetary system, and each may be readily studied and its working verified by the observation of common phenomena. These influences are respectively the gravitation, the thermal, and the luminous fields.

The general nature and properties of the gravitation field have to some extent been already foreshadowed (§§ 4, 6, 16). Other examples will be dealt with later, and it is unnecessary to go into further detail[Pg 53] here. The different aspects, however, in which the influence has been presented may be pointed out. Firstly, in the separate body in space, as an inherent property of matter (§ 2); secondly, as an attractive influence exerted across space between primary and planet, both absolutely separate bodies (§ 5); and thirdly, as a purely planetary or secondary incepting influence (§ 16). In every case alike we find its function to be of an entirely passive nature. Its most powerful effect on planetary material is perhaps manifested in the tidal actions (§ 9). With respect to these movements, it may be pointed out that the planetary material periodically raised from the surface is itself elevated against the inherent planetary gravitative forces, and also, to a certain extent, against the cohesive forces of planetary material. Each of these resisting influences functions as an incepting agency, and thus the elevation of the mass involves a transformation of energy (§ 4). The source of the energy thus transformed is the axial energy of the planet, and the new forms in which it is manifested are energy of position or potential energy relative to the planetary surface, and heat energy. On the return of the material to its normal position, its energy of position, due to its elevation, will be returned in its original form of axial energy. In the case of the heat transformation, however, it is to be noted that this process will take place both as the material is elevated and also [Pg 54] as it sinks once more to its normal position. The heat transformation thus operates continuously throughout the entire movement. The upraising of the material in the tidal action is brought about entirely at the expense of inherent planetary axial energy. The gravitative and cohesive properties of the planetary material make such a transformation process possible. It is in virtue of these properties that energy may be applied to or expended on the material in this way. The tidal action on the planetary surface is, in fact, simply a huge secondary process in which axial energy is converted into heat. The primary incepting power is clearly gravitation.

Of the aspect of gravitation as a purely planetary influence (§ 16) little requires to be said. The phenomena are so prominent and familiar that the reader may be left to multiply instances for himself.

18. The Thermal Field

The thermal field which is induced by and emanates from the primary mass differs from the gravitation field in that, so far as we know, it is unaccompanied by any manifestation of force, attractive or otherwise. Its action on the rotating planetary mass may be compared to that of the electro-magnet on the rotating copper sphere (§ 14); the electro-magnet exerts no force on the sphere, but an energy expenditure is, nevertheless, required to[Pg 55] rotate the latter through the field of the magnetic influence.

To this thermal field, then, in which the planets rotate, we ascribe all primary planetary heating phenomena. The mode of action of the thermal field appears to be similar to that of other incepting influences. By its agency the energy of axial rotation of planetary material is directly converted into the heat form. As already shown (§ 17), heat energy may be developed in planetary material as a result of the action of other incepting agencies, such as gravitation. These processes are, however, more or less indirect in nature. But the operation due to the thermal field is a direct one. The heat energy is derived from the direct transformation of planetary axial energy of rotation without passing through any intermediate forms. In common parlance, the thermal field is the agency whereby the primary mass heats the planetary system. No idea of transmission, however, is here implied in such phraseology; the heating effect produced on any planetary mass is entirely the result of the transformation of its own energy; the thermal field is purely and simply the incepting influence of the process. Now, in virtue of the configuration of the rotating planetary masses, their material in equatorial regions is much more highly energised than the material in the neighbourhood of the poles, and will, accordingly, move with much greater linear velocity[Pg 56] through the thermal field. The heat transformation will vary accordingly. It will be much more pronounced at the equator than at the poles, and a wide difference in temperature will be maintained between the two regions. The thermal field, also, does not necessarily produce the same heating effect on all planetary material alike. Some materials appear to be peculiarly susceptible—others much less so. This we may verify from terrestrial experience. Investigation shows the opaque substances to be generally most susceptible, and the transparent materials, such as glass, rock-salt, tourmaline, &c. almost insusceptible, to the heating effect of the sun. The influence of the thermal field can, in fact, operate through the latter materials. A still more striking and important phenomenon may be observed in the varying action of the thermal field on matter in its different forms. It has been already pointed out that, in the course of transformation in the field of an incepting influence, a material may attain a certain energy state in which it is no longer susceptible to that influence. This has been exemplified in the case of the iron ball (§ 14) and a phenomenon of the same general nature is revealed in the celestial transformation. A piece of solid material of low melting-point is brought from the polar regions of the earth to the equator. Due to the more rapid movement across the sun's thermal field, and the consequent increased action of[Pg 57] that field, a transformation of the axial energy of rotation of the body takes place, whereby it is heated and finally liquefied. In the liquid state the material is still susceptible to the thermal field, and the transformation process accordingly proceeds until the material finally assumes the gaseous form. At this point, however, it is found that the operation is suspended; the material, in assuming the gaseous state, has now attained a condition (§ 15) in which the thermal field has no further incepting or transforming influence upon it. No transformation of its axial energy into the heat form is now possible by this means; indeed, so far as the direct heating effect of the sun is concerned, the free gaseous material on the planetary surface is entirely unaffected. All the evidence of Nature points to the conclusion that all gaseous material is absolutely transparent to the direct thermal influence of the sun. Matter in the gaseous form reaches, as it were, an ultimate or limiting condition in this respect. This fact, that energised material in the gaseous form is not susceptible to the thermal field, is of very great importance in the general economy of Nature. It is, in reality, the means whereby the great primary process of the transformation of the axial energy of the earth into the heat form is limited in extent. As will be explained later, it is the device whereby the planetary energy stability is conserved. It will be[Pg 58] apparent, of course, that heat energy may be readily applied to gaseous masses by other means, such as conduction or radiation from purely terrestrial sources. The point which we wish here to emphasise is, simply, that gaseous material endowed with axial energy on the planetary surface cannot have this axial energy directly transformed into heat through the instrumentality of the thermal field of the primary.

19. The Luminous Field

The planetary bodies are indebted to the primary mass not only for heat phenomena, but also for the phenomena of light. These light phenomena are due to a separate and distinct energy influence (or influences) which we term the luminous field.

The mode of action of the luminous field is similar to that of other incepting influences. It operates from the primary, and is entirely passive in nature. Like the thermal field, it does not appear to be accompanied by any manifestation of physical stress or force, except, indeed, the experimental demonstrations of the "pressure of light" can be regarded as such. In any case, this in no way affects the general action of light as an incepting agency. Its action on energised planetary material gives rise to certain transformations of energy, transformations exclusive and peculiar to its own influence. We[Pg 59] will refer to terrestrial phenomena for illustrations of its working.

Perhaps the commonest example of transformation in which the luminous field appears as the incepting agency is seen in the growth of plant life on the surface of the earth. The growth and development of vegetation and plants generally is the outward evidence of certain energy transformations. The processes of growth, however, are of such a complex nature that it is impossible to state the governing energy conditions in their entirety, but, considering them merely in general fashion, it may be said that energy in various forms (potential, chemical, &c.) is stored in the tissues of the growing material. Now the source of this energy is the axial energy of the earth, and, as stated above, the luminous field is an incepting factor (there may be others) in the process of transformation, a factor whereby this axial energy is converted into certain new forms. It is well known that, amongst the factors which influence the growth of vegetation, one of the most potent is that of light. The presence of sunlight is one of the essential conditions for the successful working of certain transformations of plant life, and these transformations vary not only in degree but in nature, according to the variation of the imposed light in intensity and quality. Some of the processes of growth are no doubt chemical in nature. Here, again, light may be readily conceived to[Pg 60] have a direct determining influence upon them, exactly as in the cases of its well-known action in chemical phenomena—for instance, as in photography. Other examples will readily occur to the reader. One of the most interesting is the action of light on the eye itself. It may be pointed out indeed that light is, first and foremost, a phenomenon of vision. Whatever may be its intrinsic nature, it is primarily an influence affecting the eye. But the action of seeing, like all other forms of human activity, involves a certain expenditure of bodily energy. This energy is, of course, primarily derived from the axial energy of the earth through the medium of plant and animal life and the physico-chemical processes of the body itself. Its presence in one form or another is, in fact, essential to all the phenomena of life. The action of seeing accordingly involves the transformation of a certain modicum of this energy, and the influence which incepts this transformation is the luminous field which originates in and emanates from the central mass of the system, the sun. In a similar way, planetary material under certain conditions may become the source of an incepting luminous field. It is this light influence or luminous field which, in common parlance, is said to enter the eye. In that organ, then, is found the mechanism or machine (§ 30), a complicated one, no doubt, whereby this process of transformation is carried out which makes the light influence[Pg 61] perceptible to the senses. Of the precise nature of the action little can be said. The theme is rather one for a treatise on physiology. It may be pointed out, however, with regard to the process of transformation, that Dewar has already demonstrated the fact that when light falls on the retina of the eye, an electric current is set up in the optic nerve. The energy associated with this current is, of course, obtained at the expense of the bodily energy of the observer, and this energy, after passing, it may be, through a large number of transformation processes, will finally be returned to the source from which it was originally derived, namely, the axial energy of the earth. The luminous field, also, like the thermal field, has no transforming effect whatever on the energy of certain substances. It may pass completely through some and be reflected by others without any sign of energy transformation. Its properties are, in fact, simply the properties of light, and must be accepted simply as phenomena. Now, it is very important, in studying matters of this kind, to realise that it is impossible ever to get beyond or behind phenomena. It may be pointed out that in no sphere of physics has the influence of so-called explanatory mechanical hypotheses been stronger than in that dealing with the properties of light. New theories are being expounded almost daily in attempts to explain or dissect simple phenomena. But it may be asked, In what does our really[Pg 62] useful knowledge of light consist? Simply in our knowledge of phenomena. Beyond this, one cannot go. We may attempt to explain phenomena, but to create for this purpose elastic ethereal media or substances without direct evidential phenomena in support is not to advance real knowledge. There are certain properties peculiar to the luminous as to all other incepting fields, certain conditions under which each respectively will act, and the true method of gaining real insight into these agencies is by the study of these actual properties (or phenomena) and conditions, and not by attempts to ultimately explain them. It will be evident that in most cases of natural energy operations there is more than one energy influence in action. As a rule there are several. In a growing plant, for example, we have the thermal, luminous, gravitation, and cohesive influences all in operation at the same time, each performing its peculiar function in transformation, each contributing its own peculiar energy phenomena to the whole. This feature adds somewhat to the complexity of natural operations and to the difficulties in the precise description of the various phenomena with which they are associated.

20. Transformations—Upward Movement of a Mass against Gravity

When the significance of energy inception and the characteristic properties of the various agencies have[Pg 63] been grasped, it becomes much easier to deal with certain other aspects of energy processes. To illustrate these aspects it is, therefore, now proposed to discuss a few simple secondary operations embodied in experimental apparatus. A few examples of the operations of transformation and transmission of energy will be considered. The object in view is to show the general nature of these processes, and more especially the limits imposed upon them by the various factors or properties of the material machines in which they are of necessity embodied. The reader is asked to bear in mind also the observations already made (§ 13) with respect to experimental apparatus generally.

The first operation for discussion is that of the upward movement of a mass of material against the gravitative attraction of the earth. This movement involves one of the most simple and at the same time one of the most important of secondary energy processes. As a concrete illustration, consider the case of a body projected vertically upwards with great velocity from the surface of the earth. The phenomena of its motion will be somewhat as follows:—As the body recedes from the earth's surface in its upward flight, its velocity suffers a continuous decrease, and an altitude is finally attained where this velocity becomes zero. The projectile, at this point, is instantaneously at rest. Its motion then changes; it commences to fall, and to[Pg 64] proceed once more towards the starting-point with continuously increasing velocity. Neglecting the effect of the air (§ 29) and the rotational movement of the earth, it may be assumed that the retardation of the projectile in its upward flight is numerically equal to its acceleration in its downward flight, and that it finally returns to the starting-point with velocity numerically equal to the initial velocity of projection. The process then obviously involves a complete transformation and return of energy. At the earth's surface, where its flight commences and terminates, the body is possessed of energy of motion to a very high degree. At the highest point of flight, this form of energy has entirely vanished; the body is at rest. Its energy properties are then represented by its position of displacement from the earth's surface; its energy of motion in disappearing has assumed this form of energy of position, energy of separation, or potential energy. The moving body has thus been the mechanism of an energy transformation. At each stage of its upward progress, a definite modicum of its original energy of motion is converted into energy of position. Between the extreme points of its flight, the energy of the body is compounded of these two forms, one of which is increasing at the expense of the other. When the summit of flight is reached the conversion into energy of position is complete. In the downward motion, the action is completely[Pg 65] reversed, and when the body reaches the starting-point its energy of position has again been completely transformed into energy of motion. It might be well to draw attention here to the fact, often overlooked, that this energy of position gained by the rising mass is, in reality, a form of energy, separate and distinct, brought into existence by the transformation and disappearance of the energy of the moving mass. Energy of position is as truly a form of energy as heat or kinetic energy.

The transformation here depicted is clearly a simple process, yet we know absolutely nothing of its ultimate nature, of the why or wherefore of the operation. Our knowledge is confined to the circumstances and conditions under which it takes place. Let us now, therefore, deal with these conditions. The transformation is clearly carried out in virtue of the movement of the body in the lines or field of an incepting influence. This influence is that of gravitation, which links the body continually to the earth. Now the function of gravitation in this process, as in others already described, is that of a completely passive incepting agent. The active energy which suffers change in the process is clearly the original work energy (§ 31) communicated to the projected body. The whole process is, in fact, a purely mechanical operation, and as in the case of other processes involving mechanical energy, it is limited by the mass value of[Pg 66] the moving material. It is clear that the greater the amount of energy communicated to the projectile at the starting-point, the greater will be the altitude it will attain in its flight. The amount of energy, however, which can thus be communicated is dependent on the maximum force which can be applied to the projectile. But the maximum force which can be applied to any body depends entirely on the resistance offered by that body, and in this case the resisting force is the gravitative attraction of the earth on the projectile, which attraction is again a direct function of its mass. The greater the mass, the greater the gravitative force, and the greater the possibility of transformation. The ultimate limit of the process would be reached if the projected mass were so great as to equal half the mass of the earth. In such circumstances, the earth being assumed to be divided into two equal masses, the maximum limiting value of the gravitative attraction would clearly be attained. Any increase of the one mass over the other would again lead, however, to a diminution in the attractive force and a corresponding decrease in the energy limit for transformation. The precise manner in which the operations of mechanical energy are limited by the mass will now be clear. The principle is quite general, and applicable to all moving bodies. Mass is ever a direct measure of energy capacity. A graphical method of representing energy[Pg 67] transformations of this kind, by a system of co-ordinates, would enable the reader to appreciate more fully the quantitative relations of the forms of energy involved and also their various limits.

21. The Simple Pendulum

The remaining operations of transformation for discussion are embodied in the following simple apparatus. A spherical metallic mass M (Fig. 2) is supported by a rod P which is rigidly connected to a horizontal spindle HS as shown.

Fig. 2

The spindle is supported and free to revolve in the bearings B1 and B2 which form part of the supporting framework V resting on the ground; the bearing surfaces at B1 and B2 are lubricated, and the mass M is free to perform, in a vertical plane, complete revolutions about the axis through the centre of the spindle. In carrying out this motion its path will be circular, as shown at DCFE; the[Pg 68] whole arrangement is merely an adaptation of the simple pendulum. As constituted, the apparatus may form the seat of certain energy operations. Some of these will only take place with the application of energy of motion to the pendulum from an external source, thereby causing it to vibrate or to rotate: others, again, might be said to be inherent to the apparatus, since they arise naturally from its construction and configuration. We shall deal with the latter first.

22. Statical Energy Conditions

The pendulum with its spindle has a definite mass value, and, assuming it to be at rest in the bearings B1 and B2, it is acted upon by gravitation, or in other words, it is under the influence or within the field of the gravitative attraction of the earth's mass upon it. The effect of this field is directly proportional to the mass of the pendulum and spindle, and to its action is due that bearing pressure which is transmitted through the lubricant to the bearing surfaces and thence to the supporting arms N1 and N2 of the framework. Bearings and columns alike are thus subjected to a downward thrust or pressure. Being of elastic material, they will be more or less distorted. This distortion will proceed until the downward forces are balanced by the upward or reactive forces called into play in virtue of the cohesive properties[Pg 69] of the strained material. Corresponding to a slight downward movement of the pendulum and spindle in thus straining or compressing them, the supporting columns will be decreased in length. This downward movement is the external evidence of certain energy operations. In virtue of their elevation above the earth's surface, the pendulum and spindle possess, to a certain degree, energy of position, and any free downward movement would lead to the transformation of this energy into energy of motion (§ 20). But the downward motion of pendulum and spindle is not free. It is made against the resistance of the material of the supporting columns, and the energy of position, instead of assuming the form of energy of motion, is simply worked down or transformed against the opposing cohesive forces of the supporting materials. This energy, therefore, now resides in these materials in the form of energy of strain or distortion. In general nature, this strain energy is akin to energy of position (§ 20). Certain portions of the material of the columns have been forced into new positions against the internal forces of cohesion which are ever tending to preserve the original configuration of the columns. This movement of material in the field of the cohesive influence involves the transformation of energy (§ 4), and the external evidence of the energy process is simply the strained or distorted condition of the material. If the latter be released, and allowed to resume[Pg 70] its natural form once more, this stored energy of strain would be entirely given up. In reality, the material can be said to play the part of a machine or mechanism for the energy process of storage and restoration. No energy process, in fact, ever takes place unless associated with matter in some form. The supporting arms, in this case, form the material factor or agency in the energy operation. All such energy machines, also, are limited in the extent of their operation, by the qualities of the material factors. In this particular case, the energy compass of the machine is restricted by certain physical properties of the material, by the maximum value of these cohesive or elastic forces called into play in distortion. These forces are themselves the evidence of energy, of that energy by virtue of which the material possesses and maintains its coherent form. In this case this energy is also the factor controlling the transformation, and appears as a separate and distinct incepting agency. If the process is to be a reversible one, so that the energy originally stored in the material as strain energy or energy of distortion may be completely returned, the material must not be stressed beyond a certain point. Only a limited amount of work can be applied to it, only a limited amount of energy can be stored in it. Too much energy applied—too great a weight on the supporting columns—gives rise to permanent distortion or crushing, and an entirely new order of phenomena. This energy limit[Pg 71] for reversibility is then imposed by the cohesive properties of the material or by its elastic limits. Up to this point energy stored in the material may be returned—the process is reversible in nature—but above this elastic limit any energy applied must operate in an entirely different manner.

A little consideration will show also, that the state of distortion, or energy strain, is not confined to the material of the supporting columns alone. Action and reaction are equal. The same stresses are applied to the spindle through the medium of bearings and lubricant. In fact, every material substance of which the pendulum machine is built up is thus, more or less, strained against internal forces; all possess, more or less, cohesion or strain energy. It will be evident, also, that this condition is not peculiar to this or any other form of apparatus. It is the energy state or condition of every structure, either natural or artificial, which is built up of ordinary material, and which, on the earth's surface, is subjected to the influence of the gravitation field. This cohesion or strain energy is one of the forms in which energy is most widely distributed throughout material.

In reviewing the statical condition of the above apparatus, the pendulum itself has been assumed to be hanging vertically at rest under the influence of gravitation. If energy be now applied to the system from some external source so that the pendulum is[Pg 72] caused to vibrate, or to rotate about the axis of suspension, a new set of energy processes make their appearance. The movement of the pendulum mass, in its circular path around the central axis, is productive of certain energy reactions, as follows:—

a. A transformation of energy of motion into energy of position and vice versa.

b. A frictional transformation at the bearing surfaces.

These processes will each be in continuous operation so long as the motion of the pendulum is maintained. Their general nature is quite independent of the extent of that motion, whether it be merely vibratory through a small arc, or completely rotatory about the central axis. In the articles which immediately follow, the processes will be treated separately.

23. Transformations of the Moving Pendulum
a. Energy of Motion to Energy of Position and Vice Versa

In this simple transformation the motion of the pendulum about the axis of suspension may be either vibratory or circular, according to the amount of energy externally applied. In each case, every periodic movement of the apparatus illustrates the whole energy operation. The general conditions of the process are almost identical with those in the case of the upward movement of a mass against gravity[Pg 73]20). Gravitation is the incepting energy influence of the operation. If the pendulum simply vibrates through a small arc, then, at the highest points of its flight, it is instantaneously at rest. Its energy of motion is here, therefore, zero; its energy of position is a maximum. At the lowest point of its flight, the conditions are exactly reversed. Here its energy of motion is a maximum, while its energy of position passes through a minimum value. The same general conditions hold when the pendulum performs complete revolutions about the central axis. If the energy of motion applied is just sufficient to raise it to the highest point E (Fig. 2), the mass will there again be instantaneously at rest with maximum energy of position. As the mass falls downwards in completing the circular movement, its energy of position once more assumes the kinetic form, and reaches its maximum value at C (Fig. 2), the lowest position. The moving pendulum mass, so far as its energy properties are concerned, behaves in precisely the same manner as a body vertically projected in the field of the gravitative attraction (§ 20). This simple energy operation of the pendulum is perhaps one of the most familiar of energy processes. By its means, however, it is possible to illustrate certain general features of energy reactions of great importance to the author's scheme.

The energy processes of the pendulum system are[Pg 74] carried out through the medium of the material pendulum machine, and are limited, both in nature and degree, by the properties of that machine. As the pendulum vibrates, the transformation of energy of motion to energy of position or vice versa is an example of a reversible energy operation. The energy active in this operation continually alternates between two forms of energy: transformation is continually followed by a corresponding return. Neglecting in the meantime all frictional and other effects, we will assume complete reversibility, or that the energy of motion of the pendulum, after passing completely into the form of energy of position at the highest point, is again completely returned, in its original form, in the descent. Now, for any given pendulum, the amount of energy which can thus operate in the system depends on two factors, namely, the mass of the pendulum and the vertical height through which it rises in vibration. If the mass is fixed, then the maximum amount of energy will be operating in the reversible cycle when the pendulum is performing complete revolutions round its axis of suspension. The maximum height through which the pendulum can rise, or the maximum amount of energy of position which the system can acquire, is thus dependent on the length of the pendulum arm. These two factors, then, the mass and the length of the pendulum arm, are simply properties of this pendulum machine, properties by which[Pg 75] its energy compass is restricted. Let us now examine these limiting factors more minutely.

It is obvious that energy could readily be applied to the pendulum system in such a degree as to cause it to rotate with considerable angular velocity about the axis of suspension. Now the motion of the pendulum mass in the lines of the gravitation field, although productive of the same transformation process, differs from that of a body moving vertically upward in that, while the latter has a linear movement, the former is constrained into a circular path. This restraint is imposed in virtue of the cohesive properties of the material of the pendulum arm, and it is the presence of this restraining influence that really distinguishes the pendulum machine from the machine in which the moving mass is constrained by gravity alone (§ 20). It has been shown that the energy capacity of a body projected vertically against gravity is limited by its mass only; the energy capacity of the pendulum machine may be likewise limited by its mass, but the additional restraining factor of cohesion also imposes another limit. In the course of rotation, energy is stored in the material of the pendulum against the internal forces of cohesion. The action is simply that of what is usually termed centrifugal force. As the velocity increases, the pendulum arm lengthens correspondingly until the elastic limit of the material in tension is reached. At[Pg 76] this point, the pendulum may be said to have reached the maximum length at which it can operate in that reversible process of transformation in which energy of motion is converted into energy of position. The amount of energy which would now be working in that process may be termed the limiting energy for reversibility. This limiting energy is the absolute maximum amount of energy which can operate in the reversible cycle. It is coincident with the maximum length of the pendulum arm in distortion. When the stress in the material of that arm reaches the elastic limit, it is clear that the transformation against cohesion will also have attained its limiting value for reversibility. This transformation, if the velocity of the pendulum is constant, is of the nature of a storage of energy. So long as the velocity is constant the energy stored is constant. If the elastic limiting stress of the material has not been exceeded, this energy—neglecting certain minor processes (§§ 15, 29)—will be returned in its original form as the velocity decreases. If, however, the material be stressed beyond its elastic powers, the excess energy applied will simply lead to permanent distortion or disruption of the pendulum arm, and to a complete breakdown and change in the character of the machine and the associated energy processes (§ 5). The physical properties of the material thus limit the energy capacity of the machine. This limiting feature,[Pg 77] as already indicated, is not peculiar to the pendulum machine alone. Every energy process embodied in a material machine is limited in a similar fashion by the peculiar properties of the acting materials. Every reversible process is carried out within limits thus clearly defined. Nature presents no exception to this rule, no example of a reversible energy system on which energy may be impressed in unlimited amount. On the contrary, all the evidence points to limitation of the strictest order in such processes.

24. Transformations of the Moving Pendulum
b. Frictional Transformation at the Bearing Surfaces

The motion of the pendulum, whether it be completely rotatory or merely vibratory in nature, invariably gives rise to heating at the bearings or supporting points. Since the heating effect is only evident when motion is taking place, and since the heat can only make its appearance as the result of some energy process, it would appear that this persistent heat phenomenon is the result of a transformation of the original energy of motion of the pendulum.

The general energy conditions of the apparatus already adverted to (§ 21) still hold, and the lubricating oil employed in the apparatus being assumed to have sufficient capillarity or adhesive power[Pg 78] to separate the metallic surfaces of bearings and journals at all velocities, then every action of the spindle on the bearings must be transmitted through the lubricant. The latter is, therefore, strained or distorted against the internal cohesive or viscous forces of its material. The general effect of the rotatory motion of the spindle will be to produce a motion of the material of the lubricant in the field of these incepting forces. To this motion the heat transformation is primarily due. Other conditions being the same, the extent of the transformation taking place, in any given case, is dependent on the physical properties of the lubricant, such as its viscosity, its cohesive or capillary power, always provided that the metallic surfaces are separated, so that the action is really carried out in the lines or field of the internal cohesive forces of the lubricant. In itself, this transformation is not a reversible process; no mechanism appears by which this heat energy evolved at the bearing surfaces could be returned once more to its original form of energy of motion. It may be, in fact, communicated by conduction to the metallic masses of the bearings, and thence, by conduction and radiation, to the air masses surrounding the apparatus. Its action in these masses is dealt with below (§ 29). The operation of bearing friction, though in itself not a reversible process, really forms one link of a complete chain (§ 9) of secondary operations[Pg 79] (transmissions and transformations) which together form a comprehensive and complete cyclical energy process (§ 32).

When no lubricant is used in the apparatus, so that the metallic surfaces of bearings and journals are in contact, the heat process is of a precisely similar nature to that described above (see also § 16). Distortion of the metals in contact takes place in the surface regions, so that the material is strained against its internal cohesive forces. The transformation will thus depend on the physical properties of these metals, and will be limited by these properties. Different metallic or other combinations will consequently give rise to quite different results with respect to the amounts of heat energy evolved.

25. Stability of Energy Systems

The ratio of the maximum or limiting energy for reversibility to the total energy of the system may vary in value. If the pendulum vibrates only through a very small arc, then, neglecting the minor processes (§§ 24, 29), practically the whole energy of the system operates in the reversible transformation. This condition is maintained as the length of the arc of vibration increases, until the pendulum is just performing complete revolutions about the central axis. After this, the ratio will alter in value, because the greater part of any further increment of energy does[Pg 80] not enter into the reversible cyclical process, but merely goes to increase the velocity of rotation and the total energy of the system. The small amount of energy which thus enters the reversible cycle as the velocity increases, does so in virtue of the increasing length of the pendulum arm in distortion. To produce even a slight distortion of the arm, a large amount of energy will require to be applied to and stored in the system, and thus, at high velocities of rotation, the energy which operates in the reversible cycle, even at its limiting value, may form only a very small proportion of the total energy of the system. At low velocities or low values of the total energy, say when the pendulum is not performing complete rotations, practically the whole energy of the system is working in the reversible cycle; but, in these circumstances, it is clear that the total energy of the system, which, in this case, is all working in the reversible process, is much less than the maximum or limiting amount of energy which might so work in that process. Under these conditions, when the total energy of the system is less than the limiting value for reversibility, so that this total energy in its entirety is free to take part in the reversible process, then the energy system may be termed stable with respect to that process. Stability, in an energy system, thus implies that the operation considered is not being, as it were, carried out at full energy capacity, but within certain reversible energy limits.

We[Pg 81] have emphasised this point in order to draw attention to the fact that the great reversible processes which are presented to our notice in natural phenomena are all eminently stable in character. Perhaps the most striking example of a natural reversible process is found in the working of the terrestrial atmospheric machine (§§ 10, 38). The energy in this case is limited by the mass, but in actual operation its amount is well within the maximum limiting value. The machine, in fact, is stable in nature. Other natural operations, such as the orbital movements of planetary masses, (§ 8) illustrate the same conditions. Nature, although apparently prodigal of energy in its totality, yet rigidly defines the bounding limits of her active operations.

26. The Pendulum as a Conservative System

Under certain conditions the reversible energy cycle produces an important effect on the rotatory motion of the pendulum. For the purpose of illustration, let it be assumed that the pendulum is an isolated and conservative system endowed with a definite amount of rotatory energy. In its circular movement, the upward motion of the pendulum mass is accompanied by a gain in its energy of position. This gain is, in the given circumstances, obtained solely at the expense of its inherent rotatory energy, which, accordingly, suffers a corresponding decrease.[Pg 82] The manifestation of this decrease will be simply a retardation of the pendulum's rotatory motion. Its angular velocity will, therefore, decrease until the highest altitude E (Fig. 2) is attained. After this, on the downward path, the process will be reversed. Acceleration will take place from the highest to the lowest point of flight, and the energy stored as energy of position will be completely returned in its original form of energy of motion. The effect of the working of the reversible cycle, then, on the rotatory system, under the given conditions, is simply to produce alternately a retardation and a corresponding acceleration. Now, it is to be particularly noted that these changes in the velocity of the system are produced, not by any abstraction from or return of energy to the system, which is itself conservative, but simply in consequence of the transformation and re-transformation of a certain portion of its inherent rotatory energy in the working of a reversible process embodied in the system. The same features may be observed in other systems where the conditions are somewhat similar.

In the natural world, we find processes of the same general nature in constant operation. When any mass of material is elevated from the surface of a rotating planetary body against the gravitative attraction, it thereby gains energy of position (§ 20). This energy, on the body's return to the surface in the[Pg 83] course of its cycle, reappears in the form of energy of motion. Now the material mass, in rising from the planetary surface, is not, in reality, separated from the planet. The atmosphere of the planet forms an integral portion of its material, partakes of its rotatory motion, and is bound to the solid core by the mutual gravitative forces. Any mass, then, on the solid surface of a planet is, in reality, in the planetary interior, and the rising of such a mass from that surface does not imply any actual separative process, but simply the radial movement, or displacement of a portion of the planetary material from the central axis. If the energy expended in the upraisal of the mass is derived at the expense of the inherent rotatory energy of the planet, as it would be if the latter were a strictly conservative energy system, then the raising of this portion of planetary material from the surface would have a retarding effect on the planetary motion of rotation. But if, on the other hand, the energy of such a mass as it fell towards the planetary surface were converted once more into its original form of energy of axial motion, exactly equivalent in amount to its energy of position, it is evident that the process would be productive of an accelerating effect on the planetary motion of rotation, which would in magnitude exactly balance the previous retardation. In such a process it is evident that energy neither enters nor leaves the planet. It simply works in an energy machine[Pg 84] embodied in planetary material. This point will be more fully illustrated later. The reader will readily see the resemblance of a system of this nature to that which has already been illustrated by the rotating pendulum.

In the meantime, it may be pointed out that matter displaced from the planetary surface need not necessarily be matter in the solid form. All the operations mentioned above could be quite readily—in fact, more readily—carried out by the movements of gaseous material, which is admirably adapted for every kind of rising, falling, or flowing motion relative to the planetary surface (§ 13).

27. Some Phenomena of Transmission Processes—Transmission of Heat Energy by Solid Material

The pendulum machine described above furnishes certain outstanding examples of the operation of energy transformation. It will be noted, however, that it also portrays certain processes of energy transmission. In this respect it is not peculiar. Most of the material machines in which energy operates will furnish examples of both energy transmissions and energy transformations. In some instances, the predominant operation seems to be transformation, in others, transmission; and the machines may be classified accordingly. It is, however, largely a matter of terminology, since both[Pg 85] operations are usually found closely associated in one and the same machine. The apparatus now to be considered is designed primarily to illustrate the operative features of certain energy transmissions, but the description of the machines with their allied phenomena will show that energy transformations also play a very important part in their constitution and working.

A cylindrical metallic bar about twelve inches long, say, and one inch in diameter, is placed with its ends immersed in water in two separate vessels, A and B, somewhat as shown.

Fig. 3

By the application of heat energy, the temperature of the water in the vessel A is raised to a point say 100° F. above that of B, and steadily maintained at that point. It is assumed that B is also kept at the constant lower temperature. In these circumstances, a transmission of heat energy takes place from A to B through the metallic bar. When the steady temperature condition is reached, the transmission will be continuous and uniform; the rate at which it is carried out will be determined by the length of the bar, by the material of which it is composed, and by the temperature difference maintained between its ends. Now[Pg 86] what has really happened is that by a combination of phenomena the bar has been converted into a machine for the transmission of heat energy. A full description of these phenomena is, in reality, the description of this machine, and vice versa. Let us, therefore, now try to outline some of these phenomena.

The first feature of note is the gradient of temperature which exists between the ends of the bar. Further research is necessary regarding the real nature of this gradient—it appears to differ greatly in different materials—but the existence of such a gradient is one of the main features of the energy machine, one of the essential conditions of the transmission process.

Another feature is that of the expansive motion of the bar itself. The expansion of the bar due to the heating varies in value along its length, from a maximum at the hot end to a minimum at the cool end. The expansion, also, is the evidence of a transformation of energy. The bar has been constrained into its new form against the action of the internal molecular or cohesive forces of its material (§ 16). The energy employed and transformed in producing the expansion is a part of the original heat energy applied to the bar, and before any transmission of this heat energy takes place between its extreme ends, a definite modicum of the applied energy has to be completely transformed for[Pg 87] the sole purpose of producing this distortive movement or expansion against cohesion. This preliminary straining of the bar is, in fact, a part of the process of building up or constituting the energy transmission machine, and must be completely carried out before any transmission can take place. It is clear, then, that concurrent with the gradient of temperature, there also exists, along the bar, what might be termed a gradient of energy stored against cohesion, and that both are characteristic and essential features of this particular energy machine. A point of some importance to note is the permanency of these features. Once the machine has been constituted with a constant temperature difference, the transmission of energy will take place continuously and at a uniform rate. But no further transformation against cohesion takes place; no further expenditure of energy against the internal forces of the material is necessary. Neglecting certain losses due to possible external conditions, the whole energy applied to the machine at the one end is transmitted in its entirety to the other, without influencing in any way either the temperature or the energy gradient.

Such is the general constitution of this machine for energy transmission. Its material foundation is, indeed, the metallic bar, but the temperature and energy gradients may be termed the true determining factors of its operation. As already indicated, the magnitude[Pg 88] of the transformation is dependent on the temperature difference between the ends of the bar. But this applies only within certain limits. With respect to the cool end, the temperature may be as low as we please—so far as we know, the limit is absolute zero of temperature; but with the hot end, the case is entirely different, because here the limit is very strictly imposed by the melting-point of the material of the bar. When this melting temperature is attained, the melting of the bar indicates, simply, that the heat energy stored or transformed against the cohesive forces of the material has reached its limiting value; change of state of the material is taking place, and the machine is thereby being destroyed.

It is evident, then, that the energy which is actually being transmitted has itself no effect whatever in restricting the action or scope of the transmission machine. It is, in reality, the residual energy stored against the cohesive forces which imposes the limits on the working. It is the maximum energy which can be transformed in the field of the cohesive forces of the material which determines the power of that material as a transmitting agent. This maximum will, of course, be different for different materials according to their physical constitution. It is attained in this machine in each case when melting of the bar takes place.

[Pg 89]

28. Some Phenomena of Transmission Processes—Transmission by Flexible Band or Cord

This method is often adopted when energy of motion, or mechanical energy, is required to be transmitted from one point to another. For illustration, consider the case of two parallel spindles or shafts, A and B (Fig. 4), each having a pulley securely keyed upon it. Spindle A is connected to a source of of mechanical energy, and it is desired to transmit this energy across the intervening space to spindle B.

Fig. 4

This, of course, might be accomplished in various ways, but one of the most simple, and, at the same time, one of the most efficient, is the direct drive by means of a flexible band or cord. The band is placed tightly round, and adheres closely to both pulleys; the coefficient of friction between band and pulleys may, in the first instance, be assumed to be sufficiently great to prevent slipping of the band up to the highest stress which it is capable of sustaining in normal working. Connected in this fashion, the spindles will rotate in unison, and mechanical energy, if applied at A, may be directly transmitted to B. The material operator in the transmission is the connecting flexible band, and associated with this material[Pg 90] are certain energy processes which are also essential features of the energy machine. When transmission of energy is taking place, a definite tension or stress exists in the connecting band, and neglecting certain inevitable losses due to bearing friction (§ 24) and windage (§ 29), practically the whole of the mechanical or work energy communicated to the one spindle is transmitted to the other. Now the true method of studying this or any energy process is simply to describe the constitution and principal features of the machine by which it is carried out. These are found in the phenomena of transmission. One of the most important is the peculiar state of strain or tension existing in the connecting band. This, as already indicated, is an absolutely essential condition of the whole operation. No transmission is possible without some stress or pull in the band. This pull is exerted against the cohesive forces of the material of the band, so that before transmission takes place it is distorted and a definite amount of the originally applied work energy is expended in straining it against these forces. This energy is accordingly stored in the form of strain energy or energy of separation (§ 22), and, if the velocity is uniform, the magnitude of the transmission is proportional to this pull in the band, or to the quantity of energy thus stored against the internal forces of its material. But, in every case, a limit to this amount of energy is clearly imposed by the[Pg 91] strength of the band. The latter must not be strained beyond its limiting elastic stress. So long as energy is being transmitted, a certain transformation and return of energy of strain or separation is taking place in virtue of the differing values of the tensions in the two sides of the band; and if the latter were stressed beyond the elastic limit, permanent distortion or disruption of the material would take place. Under such conditions, the reversible energy process, involving storage and restoration of strain energy as the band passes round the pulleys, would be impossible, and the energy transmission machine would be completely disorganised. The magnitude of the energy operation is thus limited by the physical properties of the connecting band.

Another important feature of this energy transmission machine is the velocity, or rather the kinetic energy, of the band. The magnitude of the transmission process is directly proportional to this velocity, and is, therefore, also a function of the kinetic energy. At any given rate of transmission, this kinetic energy, like the energy stored against the cohesive influence, will be constant in amount, and like that energy also, will have been obtained at the expense of the originally applied energy. This kinetic energy is an important feature in the constitution of the transmission machine. As in the case of the strain energy, its maximum value is strictly[Pg 92] limited, and thus imposes a limit on the general operation of the machine. For, at very high velocities, owing to the action of centrifugal force, it is not possible to keep the band in close contact with the surface of the pulleys. When the speed rises above a certain limit, although the energy actually being transmitted may not have attained the maximum value possible at lower speeds with greater tension in the band, the latter will, in virtue of the strain imposed by centrifugal action, be forced radially outwards from the pulley. The coefficient of friction will be thereby reduced; slipping will ensue, and the transmission may cease either in whole or in part. In this way the velocity or kinetic energy limit is imposed. The machine for energy transmission may thus be limited in its operation by two different factors. The precise way in which the limit will be applied in any given case will, of course, depend on the circumstances of working.

29. Some Phenomena of Transmission Processes—Transmission of Energy to Air Masses

The movement of the pendulum (§ 23) is accompanied by a certain transmission of energy to the surrounding medium. When this medium is a gaseous one such as air, the amount of energy thus transmitted is relatively small. The process, however, has a real existence. To illustrate its general nature,[Pg 93] let it be assumed that the motion of the pendulum is carried out, not in air, but in a highly viscous fluid, say a heavy oil. Obviously, a pendulum falling from its highest position to its lowest, in such a medium would transmit its energy almost in its entirety to the medium, and would reach its lowest position almost devoid of energy of motion. The energy of position with which it was originally endowed would thus be transformed and transmitted to the surrounding medium. The agent by which the transmission is carried out is the moving material of the pendulum, which, as it passes through the fluid, distorts that fluid in the lines or field of its internal cohesive or viscous forces which offer a continuous resistance to the motion. As the pendulum passes down through the liquid, the succeeding layers of the latter are thus alternately distorted and released. The distortive movement takes place in virtue of the communication of energy from the moving pendulum to the liquid, and during the movement energy is stored in the fluid as energy of strain and as kinetic energy. At the same time, a transformation of the applied energy into heat takes place in the distorted material. The release of this material from strain, and its movement back towards its original state, is also accompanied by a similar transformation, in which the stored strain energy is, in turn, converted into the heat form. The[Pg 94] whole operation is similar in nature to that frictional process already described (§ 16) in the case of a body moving on a rough horizontal table. The final action of the heat energy thus communicated to the fluid is to expand the latter against the internal cohesive or viscous forces of its material, and also against the gravitative attraction of the earth.

Now when the pendulum moves in air, the action taking place is of the same nature, and the final result is the same as in oil. It differs merely in degree. Compared with the oil, the air masses offer only a slight resistance to the motion, and thus only an exceedingly small part of the pendulum's energy is transmitted to them. The pendulum, however, does set the surrounding air masses in motion, and by a process similar in nature to that in the oil, a modicum of the energy of the falling pendulum is converted into heat, and thence by the expansion of the air into energy of position. In the downward motion from rest, the first stage of the process is a transformation peculiar to the pendulum itself, namely, energy of position into energy of motion. The transmission to the fluid is a necessary secondary result. It is important to note that this transmission is carried out in virtue of the actual movement of the material of the pendulum, and that the energy transmitted is in reality mechanical or work energy (§ 31). This mechanical[Pg 95] or work energy, then actually leaves or is transmitted from the pendulum system, and is finally absorbed by the surrounding air masses in the form of energy of position.

Considered as a whole, there is evidently no aspect of reversibility about the operation, but it will be shown later (§ 32) that with the introduction of other factors, it really forms part of a comprehensive cyclical process. It is itself a process of direct transmission. It is carried out by means of a definite material machine which embodies certain energy transformations, and which is strictly limited in the extent of its operations by certain physical factors. These factors are the cohesive properties of the moving pendulum mass and the fluid with which it is in contact (§ 16). It is clear, also, that in an apparatus in which the motion is carried out in oil, any heat energy communicated to the oil would inevitably find its way to the surrounding air masses by conduction and radiation. The final result of the pendulum's motion would therefore be the same in this case as in air; the heat energy would, when communicated to the surrounding air masses, cause an expansive movement against gravity.

30. Energy Machines and Energy Transmission

Fig. 5

The various examples of energy transformation and transmission which have been discussed above (§§ 13-27)[Pg 96] will suffice to show the essential differences which exist in the general nature of these operations. But they will also serve another purpose in portraying one striking and important aspect in which these processes are alike. From the descriptions given above, it will be amply evident that each of these processes, whether transformation or transmission, requires as an essential condition of its existence, the presence of a certain arrangement of matter; each process is of necessity associated with and embodied in a definite physical and material machine. This material machine is simply the contrivance provided by Nature to carry out the energy operation. It differs in construction and in character for different processes, but in every case there must be in its constitution some material substance, perceptible to the senses, with which the acting energy is intimately associated. This fact is but another aspect of the principle that energy is never found dissociated from matter (§ 11). In every energy machine, the material substance or operator forms the real foundation or basis of the energy operation, but besides this there are also always other phenomena of a secondary nature, totally different, it may be, from the main energy operation, which combine with that operation to constitute the whole. These subsidiary energy phenomena are the incepting factors, and are most important characteristics. Their presence is just as essential in energy transmission as it is in energy transformation.[Pg 97] As demonstrated above, they are usually associated with the physical peculiarities of the basis or acting material of the energy machine, and their peculiar function is to conserve or limit the extent of its action. A complete description of these phenomena, in any given case, would not only be equivalent to a complete description of the machine, but would also serve as a complete description of the main energy operation embodied in that machine. Sometimes, however, the description of the machine is a matter of extreme difficulty, and may be, in fact, impossible owing to the lack of a full knowledge of the intimate phenomena concerned. An illustrative example of this is provided by the familiar phenomenon of heat radiation. Take the case of two isolated solid bodies A and B (Fig. 5) in close proximity on the earth's surface. If the body A at a high temperature be sufficiently near to B at a lower temperature, a transmission of energy takes place from A to B. This transmission is usually attributed to "radiation," but, after all, the use of the term "radiation" is merely a descriptive device which hides our ignorance of the operation. It is known that a transmission takes place, but the intimate phenomena are not known, and, accordingly, it[Pg 98] is impossible to describe the machine or mechanism by which it is carried out. From general considerations, however, it appears that the material basis of this machine is to be found in the air medium which surrounds the two bodies. Experiment shows, indeed, that if this intervening material medium of air be even partially withdrawn or removed, the transmission is immensely reduced in amount. In fact, this latter phenomenon is largely taken advantage of in the so-called vacuum flasks or other devices to maintain bodies at a temperature either above or below that of the external surrounding bodies. The device adopted is, simply, as far as practicable to withdraw all material connection between the body which it is desired to isolate thermally and its surroundings. But it is clearly impossible to isolate completely any terrestrial body in this way. There must be some material connection remaining. As already pointed out (§ 5), we have no experimental experience of really separate bodies or of an absolute vacuum. It is to be noted that any vacuous space which we can experimentally arrange does not even approximately reproduce the conditions of true separation prevailing in interplanetary space. Any arrangement of separate bodies which might thus be contrived is necessarily entirely surrounded or enclosed by terrestrial material which, in virtue of its stressed condition, constitutes an energy machine of the same nature as those already described[Pg 99]21). Even although the air could be absolutely exhausted from a vessel, it is still quite impossible to enclose any body permanently within that vessel without some material connection between the body and the enclosing walls. If for example, as shown in Fig. 6, CC represents a spherical vessel, completely exhausted, and having two bodies, A and B at different temperatures, in its interior, it is obvious that if these bodies are to maintain continuously their relative positions of separation, each must be united by some material connection to the containing vessel. But when such a connection is made, say as shown at D and E (Fig. 7), it is clear that A and B are no longer separate bodies in the fullest sense of the word, but are now in direct communication with one another through the supports at D and E and the enclosing sides of the vessel CC. The practicable conditions are thus far from those of separate bodies in a complete vacuum. It would seem, indeed, to be beyond human experimental contrivance to reproduce such conditions in their entirety. So far as these conditions can[Pg 100] be achieved, however, and judging solely by the experimental results already attained with respect to the effect of exhaustion on radiation, it may be quite justly averred that, if the conditions portrayed in Fig. 6 could be realised, no transmission of energy would take place between two bodies, such as A and B, completely isolated from one another in a vacuous space. It appears, in fact, to be a quite reasonable and logical deduction from the experimental evidence that the energy operation of transmission of heat from one body to another by radiation is dependent on the existence between these bodies of a real and material substance which forms in some way (at present unknown) the transmitting medium or machine. The difficulty which arises in the description of this machine is due, as already explained above, simply to lack of knowledge of the intimate phenomena of its working. Many other energy processes will, no doubt, occur to the reader in which the same difficulty presents itself, due to the same cause.

Fig. 6

In dealing with terrestrial operations generally, and particularly when transmission processes are under consideration, it is important to recognise clearly the precise nature of these operations and the peculiar conditions under which they work. It must ever be borne in mind that the terrestrial atmosphere is a real and material portion of the earth's[Pg 101] mass, extending from the surface for a limited distance into space (§ 34), and whatever its condition of gaseous tenuity, completely occupying that space in the manner peculiar to a gaseous substance. When the whole mass of the planet, including the atmosphere, is taken into consideration, it is readily seen that all energy operations embodied in or associated with material on what is usually termed the surface of the earth take place at the bottom of this atmospheric ocean, or, in reality, in the interior of the earth. The operations themselves are the manifestations of purely terrestrial energy, which, by its working in various devices or arrangements of material is being transformed and transmitted from one form of matter to another. As will be fully demonstrated later (Part III.), the nature of the terrestrial energy system makes it impossible for this energy ever to escape beyond the confines of the planetary atmospheric envelope. These are briefly the general conditions under which the study of terrestrial or secondary energy operations is of necessity conducted, and it is specially important to notice these conditions when it is sought to apply the results of experimental work to the discussion of celestial phenomena. It must ever be borne in mind that even the direct observation of the latter must always be carried out through the encircling planetary atmospheric material.

Fig. 7

In[Pg 102] this portion of the work it is proposed to investigate in the light of known phenomena the possibility of energy transmission between separate masses. As explained above, the term separate is here meant to convey the idea of perfect isolation, and the only masses in Nature which truly satisfy this condition are the celestial and planetary bodies, separated as they are from one another by interplanetary space and in virtue of their energised condition (§ 5). Since this state of separation cannot be experimentally realised under terrestrial conditions, it is obvious, therefore, that no purely terrestrial energy process can be advanced either as direct verification or direct disproof of a transmission of energy between such truly separate masses as the celestial bodies. But as we are unable to experiment directly on these bodies themselves or across interplanetary space, we are forced of necessity to rely, for experimental facts and conclusions, on the terrestrial energy phenomena to which access is possible. As already indicated in the General Statement (§ 11), the same energy is bestowed on all parts of the cosmical system, and by the close observation of the phenomena of its action in familiar operations the truest guidance may be obtained as to its general nature and working. In such investigations, however, only the actual phenomena of the operation are of scientific or informative value. There is no gain to real knowledge in assuming, say[Pg 103] in the examination of the phenomena of magnetic attraction between two bodies, that the one is urged towards the other by stresses in an intervening ethereal medium, when absolutely no phenomenal evidence of the existence of such a medium is available. It may be urged that the conception of an ethereal medium is adapted to the explanation of phenomena, and appears in many instances to fulfil this function. But as already pointed out (see Introduction), it is absolutely impossible to explain phenomena. So-called explanations must ever resolve themselves simply into revelations of further phenomena. While the value of true working hypotheses cannot be denied, it is surely evident that such hypotheses, unless they embody and are under the limitation of controlling facts, are not only useless, but, from the misleading ideas they are apt to convey, may even be dangerous factors in the search for truth. Now, if all speculative ideas or hypotheses are banished from the mind, and reliance is placed solely on the evidential phenomena of Nature, the study of terrestrial energy operations leads inevitably to certain conclusions on the question of energy transmission. In the first place, it must lead to the denial of what has been virtually the great primary assumption of modern science, namely, that a mass of material at a high temperature isolated in interplanetary space would radiate heat in all directions through that space. Such[Pg 104] a conception is unsupported by our experimental or real knowledge of radiation. The fact that heat radiation takes place from a hot to a cold body in whatever direction the latter is placed relatively to the former, does not justify the assumption that such radiation takes place in all directions in the absence of a cold body. And since there is absolutely no manifestation of any real material medium occupying interplanetary space, no sign of the material agency or machine which the results of direct experiment have led us to conclude is a necessity for the transmission process of heat radiation, the whole conception must be regarded as at least doubtful. Even with our limited knowledge of radiation, the doctrine of heat radiation through space stands controverted by ordinary experimental experience. With this doctrine must fall also the allied conception of the transmission of heat energy by radiation from the sun to the earth. It is to be noted, however, that only the actual transmission of heat energy from the sun to the earth is inadmissible; the heating effect of the sun on the earth, which leads to the manifestation of terrestrial energy in the heat form, is a continuous operation readily explained in the light of the general principle of energy transformation already enunciated (§ 4). With respect to other possible processes of energy transmission between the sun and the earth or across interplanetary space, the same general methods of experimental[Pg 105] investigation must be adopted. The transmission of energy under terrestrial conditions is carried out in many different forms and by the working of a large variety of machines. In every case, no matter in what form the energy is transmitted, that energy must be associated with a definite arrangement of terrestrial material constituting the transmission machine. Each energy process of transmission has its own peculiar conditions of operation which must be completely satisfied. By the study of these conditions and the allied phenomena it is possible to gain a real knowledge of the precise circumstances in which the process can be carried out. Now let us apply the knowledge of transmission processes thus gained to the general celestial case, to the question of energy transmission between truly separate bodies, and particularly to the case of the sun and the earth. Do we find in this case any evidence of the presence of a machine for energy transmission? It is impossible, within the limits of this work, to deal with all the forms in which energy may be transmitted, but let the reader review any instance of the transmission of energy under terrestrial conditions, or any energy-transmission machine with which he is familiar, noting particularly the essential phenomena and material arrangements, and let him ask himself if there is any evidence of the existence of a machine of this kind in operation between the sun and the earth[Pg 106] or across interplanetary space. We venture to assert that the answer must be in the negative. The real knowledge of terrestrial processes of energy transmission at command, on which all our deductions must be based, does not warrant in the slightest degree the assumption of transmission between the sun and the earth. The most plausible of such assumptions is undoubtedly that which attributes transmission to heat radiation, but this has already been shown to be at variance with well-known facts. The question of light transmission will offer no difficulty if it be borne in mind that light is not in itself a form of energy, but merely a manifestation of energy as an incepting influence, which like other incepting influences of a similar nature, can readily operate across either vacuous or interplanetary space (§ 19).

On these general considerations, deduced from the observation of terrestrial phenomena, allied with the conception of energy machines and separate masses in space, the author bases one aspect of the denial of energy transmission between celestial masses. The doctrine of transmission cannot be sustained in the face of legitimate scientific deduction from natural phenomena. In the later parts of this work, and from a more positive point of view, the denial is completely justified.

[Pg 107]

31. Identification of Forms of Energy

Before leaving the question of energy transmission, there are still one or two interesting features to be considered. Although energy, as already pointed out, is ever found associated with matter, this association does not, in itself, always furnish phenomena sufficient to distinguish the precise phase in which the energy may be manifested. Some means must, as a rule, be adopted to isolate and identify the various forms.

Now one of the most interesting and important features of the process of energy transmission is that it usually provides the direct means for the identification of the acting energy. Energy, as it were, in movement, in the process of transmission, is capable of being detected in its different phases and recognised in each. The phenomena of transmission usually serve, either directly or indirectly, to portray the precise nature of the energy taking part in the operation. One of the most direct instances of this is provided by the transmission of heat energy. For illustrative purposes, let it be assumed that a body A, possessed of heat energy to an exceedingly high degree, is isolated within a spherical glass vessel CC, somewhat as already shown (Fig. 6). If it be assumed that the space within CC is a perfect vacuum, and that no material connection exists between the walls[Pg 108] of the vessel and the body A, the latter is completely isolated, and no means whatever are available for the detection of its heat qualities (§ 30). It may seem that, if the temperature of the body A were sufficiently high, its energy state might be detected, and in a manner estimated, by its effect on the eye or by its luminous properties, but we take this opportunity of pointing out that luminosity is not invariably associated with high temperature. On the contrary, many bodies are found in Nature, both animate and inanimate, which are luminous and affect the eye at comparatively low temperatures. How then is the energy condition of the body to be definitely ascertained? The only means whereby it is possible to identify the energy of the body is by transmitting a portion of that energy to some other body and observing the resultant phenomena. Suppose, then, another body, such as B (Fig. 6), at a lower temperature than A, is brought into contact with A, so that a transmission of heat energy ensues between the two. The phenomena which would result in such circumstances will be exactly as already described in the case of the transmission of energy through a solid (§ 27). Amongst other manifestations it would be noticeable that the material of B was expanded against its inherent cohesive forces. Now if, instead of a spherical body such as B, a mercurial thermometer were utilised, the phenomena would be of precisely the same nature. A definite portion[Pg 109] of the heat energy would be transmitted to the thermometer, and would produce expansion of the contained fluid. By the amount of this expansion it becomes possible to estimate the energy condition and properties of the body A, relative to its surroundings or to certain generally accepted standard conditions. Thermometric measurement is, in fact, merely the employment of a process of energy transmission for the purpose of identifying and estimating the heat-energy properties of material substances.

In everyday life, rough ideas of heat energy are constantly being obtained by the aid of the senses. This method is, however, only another aspect of transmission, for it will be clear that the sensations of heat and cold are, in themselves, but the evidence of the transformation of heat energy to or from the body.

The process of energy transmission by a flexible band or cord (§ 28) also provides evidence leading to the identification of the peculiar form of energy which is being transmitted. At first sight, it would appear as if this energy were simply energy of motion or kinetic energy. A little reflection, however, on the general conditions of the process must dispel this idea, for it is clear that the precise nature of the energy transmitted has no real connection with the kinetic properties of the system. The latter, truly, influence the rate of transmission and impose certain[Pg 110] limits, but evidently, if the pull in the band increases without any increase in its velocity, the actual amount of energy transmitted by the system would increase without altering in any respect the kinetic properties. It becomes necessary, then, to distinguish clearly the energy inherent to, or as it were, latent in the system, from the energy actually transmitted by the system, to recognise the difference between the energy transmitted by moving material and the energy of that material. In this special instance, to identify the form of energy transmitted it must of necessity be associated with the peculiar phenomena of transmission. Now the energy is evidently transmitted by the movement of the connecting belt or band. Before any transmission can take place, however, a certain amount of energy must be stored in the moving system, partly as cohesion or strain energy and partly as energy of motion or kinetic energy. It is this preliminary storage of energy which, in reality, constitutes the transmission machine, and for a given rate of transmission, the energy thus stored will be constant in value. It is obtained at the expense of the applied energy, and, neglecting certain minor processes, will be returned (or transmitted) in its entirety when the moving system once more comes to rest. This stored energy, in fact, works in a reversible process. But when the transmission machine is once constituted, the energy transmitted is then that[Pg 111] energy which is being continually applied at the spindle A (Fig. 4) and as continually withdrawn at the spindle B. It must be emphasised that the energy thus transmitted is absolutely different from the kinetic or other energy associated with the moving material of the system. It is the function of this energised material of the band to transmit the energy from A to B, but this is the only relationship which the transmitted energy bears to the material. The energy thus transmitted by the moving material we term mechanical or work energy. We may thus define mechanical or work energy as "that form of energy transmitted by matter in motion."

The idea of work is usually associated with that of a force acting through a certain distance. The form of energy referred to above as work energy is, in the same way, always associated with the idea of a thrust or of a pressure of some kind acting on moving material. Work energy thus bears two aspects, which really correspond to the familiar product of pressure and volume. Both aspects are manifested in transmission. Since work energy is invariably transmitted by matter in motion, every machine for its transmission must possess energy of motion as one of its essential features. As shown above (see also § 28), this energy of motion is really obtained at the expense of the originally applied work energy, and as it remains unaltered in value during the progress of a uniform transmission, it may be regarded as[Pg 112] simply transformed work energy, stored or latent in the system, which will be returned in its entirety and in its original form at the termination of the operation. The energy stored against cohesion or other forces may be regarded in the same way. It is really the manifestation of the pressure or thrust aspect of the work energy, just as the kinetic energy is the manifestation of the translational or velocity aspect.

Our definition of work energy given above enables us to recognise its operation in many familiar processes. Take the case of a gas at high pressure confined in a cylinder behind a movable piston. We can at once say that the energy of the gas is work energy because this energy may quite clearly be transmitted from the gas by the movement of the piston. If the latter form part of a steam-engine mechanism of rods and crank, the energy may, by the motion of this mechanism, be transmitted to the crank shaft, and there utilised. This is eminently a case in which energy is transmitted by matter in motion. The moving material comprises the piston, piston-rod, and connecting-rod, which are, one and all, endowed with both cohesive and kinetic energy qualities, and form together the transmission machine. So long as the piston is at rest only one aspect of the work energy of the gas is apparent, namely, the pressure aspect, but immediately motion and transmission take place, both aspects are presented. The work energy of the gas, obtained in the boiler[Pg 113] by a transformation of heat energy is thus, by matter in motion, transmitted and made available at the crank shaft. The shaft itself is also commonly utilised for the further transmission of the work energy applied. By the application of the energy at the crank, it is thrown into a state of strain, and at the same time is endowed with kinetic energy of rotation. It thus forms a machine for transmission, and the work energy applied at one point of the shaft may be withdrawn at another point more remote. The transmission is, in reality, effected by the movement of the material of the shaft. So long as the shaft is stationary, it is clear that no actual transmission can be carried out, no matter how great may be the strain imposed. If our engine mechanism were, by a change in design, adapted to the use of a liquid substance as the working material instead of a gas, it is clear that no change would be effected in the general conditions. The energy of a liquid under pressure is again simply work energy, and it would be transmitted by the moving mechanism in precisely the same manner.

From the foregoing, it will now be evident to the reader that the energy originally applied to the primary mass (§ 3) of our cosmical system must be work energy. It is this form of energy also which is inherent to each unit of the planetary system associated with the primary. In this system it is of course presented outwardly in the two phases of kinetic[Pg 114] energy and energy of strain or distortion. It is apparent, also, that work energy could be transmitted from the primary mass to the separate planets on one condition only, that is, by the movement of some material substance connecting each planet to the primary. Since no such material connection is admitted, the transmission of work energy is clearly impossible.

32. Complete Secondary Cyclical Operation

A general outline of the conditions of working and the relationships of secondary processes has already been given in the General Statement (§ 9), but it still remains to indicate, in a broad way, the general methods whereby these operations are linked to the atmospheric machine. In the example of the simple pendulum, it has been pointed out that the energy processes giving rise to heating at the bearing surfaces and transmission of energy to the air masses are not directly reversible processes, but really form part of a more extensive cyclical operation, in itself, however, complete and self-contained. This cyclical operation may be regarded as a typical illustration of the manner in which separate processes of energy transmission or transformation, such as already described, are combined or united in a continuous chain forming a complete whole.

It has been assumed, in all the experiments with the[Pg 115] pendulum, that the operating energy is initially communicated from an outside source, say the hand of the observer. This energy is, therefore, the acting energy which must be traced through all its various phases from its origin to its final destination. At the outset, it may be pointed out that this energy, applied by hand, is obtained from the original rotational energy of the earth by certain definite energy processes. Due to the influences of various incepting fields which emanate from the sun (§§ 17-19), a portion of the earth's rotational energy is transformed into that form of plant energy which is stored in plant tissue, and which, by the physico-chemical processes of digestion, is in turn converted into heat and the various other forms of energy associated with the human frame. This, then, is the origin of the energy communicated to the pendulum. Its progress through that machine has already been described in detail (§§ 21-26). The transformation of energy of motion to energy of position which takes place is in itself a reversible process and may in the meantime be neglected. But the final result of the operations, at the bearing surfaces and in the air masses surrounding the moving pendulum, was shown to be, in each case, that heat energy was communicated to these air masses. The effect of the heat energy thus impressed, is to cause the expansion of the air and its elevation from the surface of the earth in the lines or field of the gravitative[Pg 116] attraction, so that this heat energy is transformed, and resides in the air masses as energy of position. The energy then, originally drawn from the rotational energy of the earth, has thus worked through the pendulum machine, and is now stored in the air masses in this form of energy of position. To make the process complete and cyclical this energy must now, therefore, be returned once more to the earth in its original rotational form. This final step is carried out in the atmospheric machine (§ 41). In this machine, therefore, the energy of position possessed by the air masses is, in their descent to their original positions at lower levels, transformed once more into axial or rotational energy. In this fashion this series of secondary processes, involving both transformations and transmissions, is linked to the great atmospheric process. The amount of energy which operates through the particular chain of processes we have described is, of course, exceedingly small, but in this or a similar manner all secondary operations, great or small, are associated with the atmospheric machine. Instances could readily be multiplied, but a little reflection will show how almost every energy operation, no matter what may be its nature, whether physical, chemical, or electrical, leads inevitably to the communication of energy to the atmospheric air masses and to their consequent upraisal.

It is interesting to note the infallible tendency of energy[Pg 117] to revert to its original form of axial energy, or energy of rotation, by means of the air machine. All Nature bears witness to this tendency, and although the path of energy through the maze of terrestrial transformation often appears tortuous and uncertain, its final destination is always sure. The secondary operations are thus interlinked into one great whole by their association in the terrestrial energy cycle. Many of these secondary operations are of short duration; others extend over long periods of time. Energy, in some cases, appears to slumber, as in the coal seams of the earth, until an appropriate stimulus is applied, when it enters into active operation once more. The cyclical operations are thus long or short according to the duration of their constituent secondary energy processes. But the balance of Nature is ever preserved. Axial energy, transformed by the working of one cyclical process, is being as continuously returned by the simultaneous operation of others.


[Pg 118]

PART III

TERRESTRIAL CONDITIONS

33. Gaseous Expansion

Before proceeding to the general description of the atmospheric machine (§ 10), it is desirable to consider one or two features of gaseous reaction which have a somewhat important bearing on its working. Let it be assumed that a mass of gaseous material is confined within the lower portion of a narrow tube ABCD (Fig. 8) assumed to be thermally non-conducting; the upper portion of the tube is in free communication with the atmosphere. The gas within the tube is assumed to be isolated from the atmosphere by a movable piston EF, free to move vertically in the tube, and for the purpose of illustration, assumed also frictionless and weightless. With these assumptions, the pressure on the confined gas will simply be that due to the atmosphere. If[Pg 119] heat energy be now applied to the gas, its temperature will rise and expansion will ensue. This expansion will be carried out at constant atmospheric pressure; the gaseous material, as it expands, must lift with it the whole of the superimposed atmospheric column against the downward attractive force of the earth's gravitation on that column. Work is thus done by the expanding gas, and in consequence of this work done, a definite quantity of atmospheric material gains energy of position or potential energy relative to the earth's surface. At the same time, the rise of temperature of the gas will indicate an accession of heat energy to its mass. These familiar phenomena of expansion under constant pressure serve to illustrate the important fact that, when heat energy is applied to a gaseous mass, it really manifests itself therein in two aspects, namely, heat energy and work energy. The increment of heat energy is indicated by the increase in temperature, the increment of work energy by the increase in pressure. In the example just quoted, however, there is no increase in pressure, because the work energy, as rapidly as it is applied to the gas, is transformed or worked down in displacing the atmospheric column resting on the upper side of the moving piston. The energy applied, in the form of heat from the outside source, has in reality been introduced into a definite energy machine, a machine in this case adapted for the complete[Pg 120] transformation of work energy into energy of position. As already indicated, when the expansive movement is completed, the volume and temperature of the gaseous mass are both increased but the pressure remains unaltered. While the increase in temperature is the measure and index of a definite increase in the heat energy of the gas, it is important to note that, so far as its work energy is concerned, the gas is finally in precisely the same condition as at the commencement of the operation. Work energy has been, by the working of this energy machine, as it were passed through the gaseous mass into the surrounding atmosphere. The pressure of the gas is the true index of its work energy properties. So long as the pressure remains unaltered, the inherent work energy of the material remains absolutely unaffected. A brief consideration of the nature of work energy as already portrayed (§ 31) will make this clear. Work energy has been defined as "that form of energy transmitted by matter in motion," and it is clear that pressure is the essential factor in any transmission of this nature. Temperature has no direct bearing on it whatever. It is common knowledge, however, that in the application of heat energy to a gaseous substance, the two aspects of pressure and temperature cannot be really dissociated. They are mutually dependent. Any increment of heat energy to the gas is accompanied by an increment of work energy, and vice versa.[Pg 121] The precise mode of action of the work energy will, of course, depend on the general circumstances of the energy machine in which it operates. In the case just considered the work energy does not finally reside in the gaseous mass itself, but, by the working of the machine, is communicated to the atmosphere. If, on the other hand, heat energy were applied in the same fashion to a mass of gas in a completely enclosed vessel, that is to say at constant volume instead of at constant pressure, the general phenomena are merely altered in degree according to the change in the precise nature of the energy machine. In the former case, the nature of the energy machine was such that the work energy communicated was expended in its entirety against gravitation. Under what is usually termed constant volume conditions, only a portion of the total work energy communicated is transformed, and the transformation of this portion is carried out, not against gravitation, but against the cohesive forces of the material of the enclosing vessel which restrains the expansion. No matter how great may be the elastic properties of this material, it will be distorted, more or less, by the application of work energy. This distortional movement is the external evidence of the energy process of transformation. Energy is stored in the material against the forces of cohesion (§ 15). But the energy thus stored is only a small proportion of the total work energy which accrues to the gas in the[Pg 122] heating process. The remainder is stored in the gas itself, and the evidence of such storage is found simply in the increase of pressure. Different energy machines thus offer different facilities for the transformation or the storage of the applied energy. In every case where the work energy applied has no opportunity of expending itself, its presence will be indicated by an increase in the pressure or work function of the gas.

Fig. 8

The principles which underlie the above phenomena can readily be applied to other cases of gaseous expansion. It is a matter of common experience that if a given mass of gaseous material be introduced into a vessel which has been exhausted by an air-pump or other device for the production of a vacuum, the whole space within the vessel is instantly permeated by the gas, which will expand until its volume is precisely that of the containing vessel. Further phenomena of the operation are that the expanding gas suffers a decrease in temperature and pressure corresponding to the degree or ratio of the expansion. Before the expansive process took place the gaseous mass, as indicated by its initial temperature and pressure, is endowed with a definite quantity of energy in the form of heat and work energy. After expansion, these quantities are diminished, as indicated by its final and lower temperature and pressure. The operation of expansion has thus involved an expenditure of energy. This expenditure takes[Pg 123] place in virtue of the movement of the gaseous material (§ 4). It is obvious that if the volume of the whole is to be increased, each portion of the expanding gas requires to move relatively to the remainder. This movement is carried out in the lines of the earth's gravitative attraction, and to a certain extent over the surface of the containing vessel. In some respects, it thus corresponds simply to the movement of a body over the earth's surface (§ 16). It is also carried out against the viscous or frictional forces existing throughout the gaseous material itself (§ 29). Assuming no influx of energy from without, the energy expended in the movement of the gaseous material must be obtained at the expense of the inherent heat and work energy of the gas, and these two functions will decrease simultaneously. The heat and work energy of the gas or its inherent energy is thus taken to provide the energy necessary for the expansive movement. This energy, however, does not leave the gas, but still resides therein in a form akin to that of energy of position or separation. It will be clear also, that the reverse operation cannot, in this case, be carried out; the gas cannot move back to its original volume in the same fashion as it expanded into the vacuum, so that the energy utilised in this way for separation cannot be directly returned.

The expansion of the gas has been assumed above to take place into a vacuous space, but a little consideration will[Pg 124] show that this condition cannot be properly or even approximately fulfilled under ordinary experimental conditions. The smallest quantity of gas introduced into the exhausted vessel will at once completely fill the vacuous space, and, on this account, the whole expansion of the gas does not in reality take place in vacuo at all. To study the action of the gas under the latter conditions, it is necessary to look on the operation of expansion in a more general way, which might be presented as follows.

34. Gravitational Equilibrium of Gases

Consider a planetary body, in general nature similar to the earth, but, unlike the earth, possessing no atmosphere whatever. The space surrounding such a celestial mass may then be considered as a perfect vacuum. Now let it be further assumed that in virtue of some change in the conditions, a portion of the material of the planetary mass is volatilised and a mass of gas thereby liberated over its surface. The gas is assumed to correspond in temperature to that portion of the planet's surface with which it is in contact. It is clear that, in the circumstances, the gas, in virtue of its elastic and energetic properties, will expand in all directions. It will completely envelop the planet, and it will also move radially outwards into space. In these respects, its expansion will[Pg 125] correspond to that of a gas introduced into a vacuous space of unlimited extent.

The question now arises as to the nature of the action of the gaseous substance in these circumstances. It is clear that the radial or outward movement of the gas from the planetary surface is made directly against the gravitative attraction of the planet on the gaseous mass. In other words, matter or material is being moved in the lines or field of this gravitative force. This movement, accordingly, will be productive of an energy transformation (§ 4). In its initial or surface condition each portion of the gaseous mass is possessed of a perfectly definite amount of energy indicated by and dependent on that condition. As it moves upwards from the surface, it does work against gravity in the raising of its own mass. But as the mass is thus raised, it is gaining energy of position (§ 20), and as it has absolutely no communication with any external source of energy in its ascent, the energy of position thus gained can only be obtained at the expense of its initial inherent heat and work energy. The operation is, in fact, a simple transformation of this inherent energy into energy of position, a transformation in which gravity is the incepting agency. The external evidence of transformation will be a fall in temperature of the material. Since the action is exactly similar for all ascending particles, it is evident that as the altitude of the gaseous mass increases the temperature[Pg 126] will correspondingly diminish. This diminution will proceed so long as the gaseous particles continue to ascend, and until an elevation is finally attained at which their inherent energy is entirely converted into energy of position. The expansion of the gas, and the associated transformation of energy, thus leads to the erection of a gaseous column in space, the temperature of which steadily diminishes from the base to the summit. At the latter elevation, the inherent energy of the gaseous particles which attain to it is completely transformed or worked out against gravity in the ascent; the energy possessed by the gas at this elevation is, therefore, entirely energy of position; the energy properties of heat and work have entirely vanished, and the temperature will, therefore, at this elevation, be absolute zero. It is important to note also that in the building of such a column or gaseous spherical envelope round the planet, the total energy of any gaseous particle of that column will remain unchanged throughout the process. No matter where the particle may be situated in the column, its total energy must always be expressed by its heat and work energy properties together with its energy of position. This sum is always a constant quantity. For if the particle descends from a higher to a lower altitude, its total energy is still unchanged, because a definite transformation of its energy of position takes place corresponding to its fall, and this transformed energy[Pg 127] duly appears in its original form of heat and work energy in accordance with the decreased altitude of the particle. Since the temperature of the column remains unchanged at the base surface and only decreases in the ascent, it is clear that the entire heat and work energy of the originally liberated gaseous mass is not expended in the movement against gravity. Every gaseous particle—excepting those on the absolute outer surface of the gaseous envelope—has still the property of temperature. It is evident, therefore, that in the constitution of the column, only a portion of the total original heat and work energy of the gaseous substance is transformed into energy of position.

The space into which the gas expands has been referred to as unlimited in extent. But although in one sense it may be correctly described thus, yet in another, and perhaps in a truer sense, the space is very strictly limited. It is true there is no enclosing vessel or bounding surface, but nevertheless the expansion of the gas is restrained in two ways or limited by two factors. The position of the bounding surface of the spherical gaseous envelope depends, in the first place, on the original energy of the gas as deduced from its initial temperature and its other physical properties, and secondly on the value of the gravitative attraction exerted on the gas by the planetary body. Looking at the first factor, it is obvious that since the gaseous mass initially possesses only[Pg 128] a limited amount of energy, and since only a certain portion of this energy is really available for the transformation, the whole process is thereby limited in extent. The complete transformation and disappearance of that available portion of the gaseous energy in the process of erection of the atmospheric column will correspond to a definite and limited increase of energy of position of gaseous material. Since the energy of position is thus restricted in its totality, and the mass of material for elevation is constant, the height of the column or the boundary of expansion of the gas is likewise rigidly defined. In this fashion, the energy properties of the gaseous material limit the expansive process.

Looking at the operation from another standpoint, it is clear that the maximum height of the spherical gaseous envelope must also be dependent on the resistance against which the upward movement of the gas is carried out, that is, on the value of the gravitative attraction. The expenditure of energy in the ascent varies directly as the opposing force; if this force be increased the ultimate height must decrease, and vice versa. Each particle might be regarded as moving in the ascent against the action of an invisible spring, stretching it so that with increase of altitude more and more of the energy of the particle is transformed or stored in the spring in the extension. When the particle descends to its original position, the operation is reversed; the spring is[Pg 129] now contracting, and yielding up the stored energy to the particle in the contraction. The action of the spring would here be merely that of an apparatus for the storage and return of energy. In the case of the gaseous mass, we conceive the action of gravitation to be exactly analogous to that of a spring offering an approximately constant resistance to extension. (The value of gravity is assumed approximately constant, and independent of the particle's displacement.) The energy stored or transformed in the ascension against gravity is returned on the descent in a precisely similar fashion. The operation is a completely reversible one. The range of motion of the gaseous mass or the ultimate height of the gaseous column will thus depend on the value of the opposing attractive force controlling the motion or, in other words, on the value of gravity. This value is of course defined by the relative mass of the planet (§ 20).

It is evident that the spherical envelope which would thus enwrap the planetary mass possesses certain peculiar properties which are not associated with gaseous masses under ordinary experimental conditions. It by no means corresponds to any ordinary body of gaseous material, having a homogeneous constitution and a precise and determinate pressure and temperature throughout. On the contrary, its properties are somewhat complex. Throughout the gaseous envelope the physical condition of the[Pg 130] substance is continually changing with change of altitude. The extremes are found at the inner and outer bounding surfaces. At any given level, the gaseous pressure is simply the result of the attractive action of gravitation on the mass of gaseous material above that level—or, more simply, to the weight of material above that level. There is, of course, a certain decrease in the value of the gravitative attraction with increase of altitude, but within the limits of atmospheric height obtained by ordinary gaseous substances (§ 36) this decrease may be neglected, and the weight of unit mass of the material assumed constant at different levels. Increase of atmospheric altitude is thus accompanied by decrease in atmospheric pressure. But decrease in pressure must be accompanied by a corresponding decrease in density of the gas, so that, if uniform temperature were for the time being assumed, it would be necessary at the higher levels to rise through a greater distance to experience the same decrease in pressure than at the lower levels. In fact, given uniform conditions of temperature, if different altitudes were taken in arithmetical progression the respective pressures and densities would diminish in geometrical progression. But we have seen that the energy conditions absolutely preclude the condition of uniformity of temperature, and accordingly, the decreasing pressure and density must be counteracted to some extent at least by the decreasing temperature. The conditions are somewhat[Pg 131] complex; but the general effect of the decreasing temperature factor would seem to be by increasing the density to cause the available gaseous energy to be completely worked down at a somewhat lower level than otherwise, and thus to lessen to some degree the height of the gaseous envelope.

It is to be noted that a gaseous column or atmosphere of this nature would be in a state of complete equilibrium under the action of the gravitative attraction—provided there were no external disturbing influences. The peculiar feature of such a column is that the total energy of unit mass of its material, wherever that mass may be situated, is a constant quantity. In virtue of this property, the equilibrium of the column might be termed neutral or statical equilibrium. The gas may then be described as in the neutral or statical condition. This statical condition of equilibrium of a gas is of course a purely hypothetical one. It has been described in order to introduce certain ideas which are essential to the discussion of energy changes and reactions of gases in the lines of gravitational forces. These reactions will now be dealt with.

35. Total Energy of Gaseous Substances

Since the maximum height of a planetary atmosphere is dependent on the total energy of the gaseous substance or substances of which it is composed,[Pg 132] it becomes necessary, in determining this height, to estimate this total energy. This, however, is a matter of some difficulty. By the total energy is here meant the entire energy possessed by the substance, that energy which it would yield up in cooling from its given condition down to absolute zero of temperature. On examination of the recorded properties of the various gaseous substances familiar to us, it will be found that in no single instance are the particulars available for anything more than an exceedingly rough estimate of this total energy. Each substance, in proceeding from the gaseous condition towards absolute zero, passes through many physical phases. In most cases, there is a lack of experimental phenomena or data of any kind relating to certain of these phases; the necessary information on certain points, such as the values and variations of latent and specific heats and other physical quantities, is, in the meantime, not accessible. Experimental research in regions of low temperature may be said to be in its infancy, and the properties of matter in these regions are accordingly more or less unknown. The researches of Mendeleef and others tend to show, also, that the comparatively simple laws successfully applied to gases under normal conditions are entirely departed from at very low temperatures. In view of these facts, it is necessary, in attempting to estimate, by ordinary methods, the total[Pg 133] energy of any substance, to bear in mind that the quantity finally obtained may only be a rough approximation to the true value. These approximations, however, although of little value as precise measurements, may be of very great importance for certain general comparative purposes.

Keeping in view these general considerations, it is now proposed to estimate, under ordinary terrestrial atmospheric conditions, the total energy properties of the three gaseous substances, oxygen, nitrogen, and aqueous vapour. The information relative to the energy calculation which is in the meantime available is shown below in tabular form. As far as possible all the heat and other energy properties of each substance as it cools to absolute zero have been taken into account.

Table of Properties

I II III IV V VI VII
Gas Specific
Heat at
Constant
Pressure.
Evaporation
Temperature
of Liquid
at Atmospheric
Pressure.
Approximate
Latent Heat
of Gas 50° F.
Latent
Heat of
Liquid.
Vapour
Pressure
50° F.
°F. °F. (Abs.)
Oxygen 0·2175 -296 164 100 ... ...
Nitrogen 0·2438 -320 141 100 ... ...
Aqueous
Vapour
0·4 212 673 1080 144 0·176

Since[Pg 134] no reliable data can be obtained with regard to the values and variations of specific heats at extremely low temperatures, they are assumed for the purpose of our calculation to be in each case that of the gas, and to be constant under all conditions. Latent heats are utilised in every case when available.

With these reservations, the total energy, referred to absolute zero, of one pound of oxygen gas at normal temperature of 50° F. or 511° F. (Abs.) will be approximately

(511 × 0·2175) + 100 = 211 Thermal Units Fahrenheit.

This in work units is roughly equivalent to

211 × 778 = 164,000 ft. lbs.

Adopting the same method with nitrogen gas, its energy at the same initial temperature will be, per unit mass,

174,600 ft. lbs.

There is thus a somewhat close resemblance, not only in the general temperature conditions but also in the energy conditions, of the two gases oxygen and nitrogen.

It will be readily seen, however, that under the same conditions the energy state of aqueous vapour differs very considerably from either, for by the same method as before the energy per pound of aqueous vapour is equal to

{(511 × 0·4) + 1080 + 144} × 778 = 1,111,000 ft. lbs.

Under[Pg 135] ordinary terrestrial atmospheric conditions, the energy of aqueous vapour per unit mass is thus nearly seven times as great as that of either oxygen or nitrogen gas. It is to be observed, also, that three-fourths of this energy of the vapour under the given conditions is present in the form of latent energy of the gas, or what we have already termed work energy.

The values of the various temperatures and other physical features, which we have included in the Table of Properties above, and which will be utilised throughout this discussion, are merely those in everyday use in scientific work. They form simply the accessible information on the respective materials. They are the records of phenomena, and on these phenomena are based our energy calculations. Further research may reveal the true values of other factors which up to the present we have been forced to assume, and so lead to more accurate computation of the energy in each case. Such investigation, however, is unlikely to affect in any way the general object of this part of the work, which is simply to portray in an approximate manner the relative energy properties of the three gaseous substances under certain assumed conditions.

36. Comparative Altitudes of Planetary Atmospheres

The total energy of equal masses of the gases oxygen, nitrogen, and aqueous vapour, as estimated by[Pg 136] the method above, are respectively in the ratios

1 : 1·06 : 6·8

Referring back once more to the phenomena described with reference to the gravitational equilibrium of a gas, let it be assumed that the gaseous substance liberated on the surface of the planetary body is oxygen, and that the planetary body itself is of approximately the same constitution and dimensions as the earth. The oxygen gas thus liberated will expand against gravity, and envelop the planet in the manner already described (§ 34). Now the total energy of a mass of one pound of oxygen has been estimated under certain assumptions (§ 35) to be 164,000 ft. lbs. The value of the gravitative attraction of the planet on this mass is the same as under ordinary terrestrial conditions, so that if the entire energy of one pound of the gas were utilised in raising itself against gravity, the height through which this mass would be raised, and at which the material would attain the level of absolute zero of temperature, assuming gravity constant with increasing altitude, would be simply 164,000 ft. or approximately 31 miles. The whole energy would not, of course, be expended in the expansive movement; only the outermost surface material of the planetary gaseous envelope attains to absolute zero of temperature. In estimating the altitude of this surface, however, the precise mass of[Pg 137] gaseous substance assumed for the purpose of calculation is of little or no importance. Whatever may be the value of the mass assumed, its total energy and the gravitative attraction of the planetary body on it are both alike entirely and directly dependent on that mass value. It is therefore clear that no matter how the mass under consideration be diminished, the height at which its energy would be completely worked down, and at which its temperature would be absolute zero, is the same, namely 31 miles. At the planet's surface, the total energy of an infinitesimally small portion of the gaseous mass is proportional to that mass. This amount of energy is, however, all that is available for transformation against gravitation in the ascent. But at the same time, the gravitative force on the particle, that force which resists its upward movement, is proportionately small corresponding to the small mass, so that the particle will in reality require to rise to the same altitude of 31 miles in order to completely transform its energy and attain absolute zero of temperature. When the expansive process is completed, the outer surface of the spherical gaseous envelope surrounding the planet is then formed of matter in this condition of absolute zero; this height of 31 miles is then the altitude or depth of the statical atmospheric column at a point on the planetary surface where the temperature is 50° F.

It is to be particularly noted that this height is entirely[Pg 138] dependent on the gravitation, temperature, and energy conditions assumed.

With respect, also, to the assumption made above, of constant gravitation with increasing altitude, the variation in the value of gravity within the height limits in which the gas operates is so slight, that the energy of the expanding substance is completely worked down long before the variation appreciably affects the estimated altitude of absolute zero. In any case, bearing in mind the approximate nature of the estimate of the energy of the gases themselves, the variation of gravity is evidently a factor of little moment in our scheme of comparison.

Knowing the maximum height to be 31 miles, a uniform temperature gradient from the planetary surface to the outermost surface of the atmospheric material may be readily calculated. In the case of oxygen, the decrease of temperature with altitude will be at the rate of 16° F. per mile, or 1° F. per 330 ft.

If the planetary atmosphere were composed of nitrogen instead of oxygen, the height of the statical atmospheric column under the given conditions would then be approximately

31 × 1·06 = 33 miles,

and the gradient of temperature 15·5° F. per mile.

In the case of aqueous vapour, which is possessed of much more powerful energy properties than either[Pg 139] oxygen or nitrogen, the height of the statical column, to correspond to the energy of the material, is no less than 210 miles and the temperature gradient only 2·4° F. per mile.

Each of the gases, then, if separately associated with the planetary body, would form an atmosphere around it depending in height on the peculiar energy properties of the gas. A point to be observed is that the actual or total mass of any gas thus liberated at the planet's surface has no bearing on the ultimate height of the atmosphere which it would constitute. When the expansive motion is completed, the density properties of the atmosphere would of course depend on the initial mass of gas liberated, but for any given value of gravity it is the energy properties of the gas per unit mass, or what might be termed its specific energy properties, which really determine the height of its atmosphere.

37. Reactions of Composite Atmosphere

It is now possible to deal with the case in which not only one gas but several gases are initially liberated on the planetary surface. Since the gases are different, then at the given surface temperature of the planet they possess different amounts of heat energy, and for each gas considered statically, the temperature-altitude gradient will be different from any of the others. The limiting height of the gaseous[Pg 140] column for each gas, considered separately, will also depend on the total energy of that gas per unit mass, at the surface temperature. But it is evident that in a composite atmosphere, the separate statical conditions of several gases could not be maintained. In such a mixture, separate temperature-altitude gradients would be impossible. Absolute zero of temperature could clearly not be attained at more than one altitude, and it is evident that the temperature-altitude gradient of the mixture must, in some way, settle down to a definite value, and absolute zero of temperature must occur at some determinate height. This can only be brought about by energy exchanges and reactions between the atmospheric constituents. When these reactions have taken place, the atmosphere as a whole will have attained a condition analogous to that of statical equilibrium (§ 34). Each of its constituents, however, will have decidedly departed from this latter condition. In the course of the mutual energy reactions, some will lose a portion of their energy. Others will gain at their expense. All are in equilibrium as constituents of the composite atmosphere, but none approach the condition of statical equilibrium peculiar to an atmosphere composed of one gas only (§ 35). The precise energy operations which would thus take place in any composite atmosphere would of course depend in nature and extent on the physical properties of[Pg 141] the reacting constituents. If the latter were closely alike in general properties, the energy changes are likely to be small. A strong divergence in energy properties will give rise to more powerful reactions. A concrete instance will perhaps make this more clear. Let it be assumed in the first place that the planetary atmosphere is composed of the two gases oxygen and nitrogen. From previous considerations, it will be clear that the natural decrease of temperature of nitrogen gas with increase of altitude is, in virtue of its slightly superior energy qualities, correspondingly slower than that of oxygen. The approximate rates are 15·5° F. and 16° F. per mile respectively. The tendency of the nitrogen is therefore to transmit a portion of its energy to the oxygen. Such a transmission, however, would increase the height of the oxygen column and correspondingly decrease the height of the nitrogen. When the balance is finally obtained, the height of the atmospheric column does not correspond to the energy properties of either gas, but to those of the combination. In the case of these two materials, oxygen and nitrogen, the energy reactions necessary to produce the condition of equilibrium are comparatively small in magnitude on account of the somewhat close resemblance in the energy properties of the two substances. On this account, therefore, the two gases might readily be assumed to behave as one gas composing the planetary atmosphere.

But[Pg 142] what, then, will be the effect of introducing a quantity of aqueous vapour into an atmosphere this nature? The general phenomena will be of the same order as before, but of much greater magnitude. From the approximate figures obtained (§§ 35, 36), the inherent energy of aqueous vapour per unit mass is seen to be, under the same conditions, enormously greater than that of the other two gases. In statical equilibrium (§ 34), the altitude of the gaseous column formed by aqueous vapour is almost seven times as great as that of the oxygen or nitrogen with which, in the composite atmosphere, it would be intermixed. In the given circumstances, then, aqueous vapour would be forced by these conditions to give up a very large portion of its energy to the other atmospheric constituents. The latter would thus be still further expanded against gravity; the aqueous vapour itself would suffer a loss of energy equivalent to the work transmitted from it. It is therefore clear that in a composite atmosphere formed in the manner described, any gas possessed of energy properties superior to the other constituents is forced of necessity to transmit energy to these constituents. This phenomenon is merely a consequence of the natural disposition of the atmospheric gaseous substances towards a condition of equilibrium with more or less uniform temperature gradation. The greater the inherent energy qualities of any one constituent relative to the others, the greater[Pg 143] will be the quantity of energy transmitted from it in this way.

38. Description of Terrestrial Case

Bearing in mind the general considerations which have been advanced above with respect to planetary atmospheres, it is now possible to place before the reader a general descriptive outline of the circumstances and operation of an atmospheric machine in actual working. The machine to be described is that associated with the earth.

In the earth is found an example of a planetary body of spheroidal form pursuing a clearly defined orbit in space and at the same time rotating with absolutely uniform velocity about a central axis within itself. The structural details of its surface and the general distribution of material thereon will be more or less familiar to the reader, and it is not, therefore, proposed to dwell on these features here. Attention may be drawn, however, to the fact that a very large proportion of the surface of the earth is a liquid surface. Of all the material familiar to us from terrestrial experience there is none which enters into the composition of the earth's crust in so large a proportion as water. In the free state, or in combination with other material, water is found everywhere. In the liquid condition it is widely distributed. Although the liquid or sea[Pg 144] surface of the planet extends over a large part of the whole, the real water surface, that is, the wetted surface, if we except perhaps a few desert regions, may be said to comprise practically the entire surface area of the planet. And water is found not only on the earth's crust but throughout the gaseous atmospheric envelope. The researches of modern chemistry have revealed the fact that the atmosphere by which the earth is surrounded is not only a mixture of gases, but an exceedingly complex mixture. The relative proportions of the rarer gases present are, however, exceedingly small, and their properties correspondingly obscure. Taken broadly, the atmosphere may be said to be composed of air and water (in the form of aqueous vapour) in varying proportion. The former constituent exists as a mixture of oxygen and nitrogen gases of fairly constant proportion over the entire surface of the globe. The latter is present in varying amount at different points according to local conditions. This mixture of gaseous substances, forming the terrestrial atmosphere, resides on the surface of the planet and forms, as already described (§ 34), a column or envelope completely surrounding it; the quantity of gaseous material thus heaped up on the planetary surface is such that it exerts almost uniformly over that surface the ordinary atmospheric pressure of approximately 14·7 lb. per sq. inch. It is advisable, also,[Pg 145] at this stage to point out and emphasise the fact that the planetary atmosphere must be regarded as essentially a material portion of the planet itself. Although the atmosphere forms a movable shell or envelope, and is composed of purely gaseous material, it will still partake of the same complete orbital and rotatory axial motion as the solid core, and will also be subjected to the same external and internal influences of gravitation. Such are the general planetary conditions. Let us now turn to the particular phenomena of axial revolution.

In virtue of the unvarying rotatory movement of the planetary mass in the lines of the various incepting fields of its primary the sun, transformations of the axial or mechanical energy of the planet will be in continuous operation (§§ 17-19). Although the gaseous atmospheric envelope of the planet partakes of this general rotatory motion under the influence of the incepting fields, the latter have apparently no action upon it. The sun's influence penetrates, as it were, the atmospheric veil, and operating on the solid and liquid material below, provokes the numerous and varied transformations of planetary energy which constitute planetary phenomena. At the equatorial band, where the velocity or axial energy properties of the surface material is greatest, these effects of transformation will naturally be most pronounced. In the polar regions of low velocity they will be less evident. One[Pg 146] of the most important of these transforming effects may be termed the heating action of the primary on the planet—a process which takes place in greater or less degree over the entire planetary surface, and which is the result of the direct transformation of axial energy into the form of heat (§ 18). In virtue of this heat transformation, or heating effect of the sun, the temperature of material on the earth's surface is maintained in varying values from regions of high velocity to those of low—from equator to poles—according to latitude or according to the displacement of that material, in rotation, from the central axis. Owing to the irregular distribution of matter on the earth's surface, and other causes to be referred to later, this variation in temperature is not necessarily uniform with the latitude. This heating effect of the sun on the earth will provoke on the terrestrial surface all the familiar secondary processes (§ 9) associated with the heating of material. Most of these processes, in combination with the operations of radiation and conduction, will lead either directly or indirectly to the communication of energy to the atmospheric masses (§ 27).

Closely associated with the heat transformation, there is also in operation another energy process of great importance. This process is one of evaporative transformation. Reference has already been made to the vast extent of the liquid or wetted surface of the[Pg 147] earth. This surface forms the seat of evaporation, and the action of the sun's incepting influence on the liquid of this surface is to induce a direct transformation of the earth's axial or mechanical energy into the elastic energy of a gas, or in other words into the form of work energy. By this process, therefore, water is converted into aqueous vapour. Immediately the substance attains the latter or gaseous state it becomes unaffected by, or transparent to, the incepting influence of the sun (§ 18). And the action of evaporation is not restricted in locality to the earth's surface only. It may proceed throughout the atmosphere. Wherever condensation of aqueous vapour takes place and water particles are thereby suspended in the atmosphere, these particles are immediately susceptible to the sun's incepting field, and if the conditions are otherwise favourable, re-evaporation will at once ensue. Like the ordinary heating action also, that of transformation will take place with greater intensity in equatorial than in polar regions. These two planetary secondary processes, of heating and evaporation, are of vital importance to the working of the atmospheric machine. But, as already pointed out elsewhere (§§ 10, 32), every secondary operation is in some fashion linked to that machine. Other incepting influences, such as light, are in action on the planet, and produce transformations peculiar to themselves. These, in the meantime, will not be considered except to point out that in every case the energy[Pg 148] active in them is the axial energy of the earth itself operating under the direct incepting influence of the sun. The general conditions of planetary revolution and transformation are thus intimately associated with the operation of the atmospheric machine. In this machine is embodied a huge energy process, in the working of which the axial energy of the earth passes through a series of energy changes which, in combination, form a complete cyclical operation. In their perhaps most natural sequence these processes are as follows:—

1. The direct transformation of terrestrial axial energy into the work energy of aqueous vapour.

2. The direct transmission of the work energy of aqueous vapour to the general atmospheric masses, and the consequent elevation of these masses from the earth's surface against gravity.

3. The descent of the atmospheric air masses in their movement towards regions of low velocity, and the return in the descent of the initially transformed axial energy to its original form.

The first of these processes is carried out through the medium of the aqueous material of the earth. It is simply the evaporative transformation referred to above. By that evaporative process a portion of the energy of motion or axial energy of the earth is directly communicated or passed into the aqueous material. Its form, in that material, is that of work energy, or the elastic energy of aqueous vapour,[Pg 149] and, as already pointed out, this process of evaporative transformation reaches its greatest intensity in equatorial or regions of highest velocity. In these regions also, in virtue of the working of the heat process already referred to above, the temperature conditions are eminently favourable to the presence of large quantities of aqueous vapour. The tension or pressure of the vapour, which really depends on the quantity of gaseous material present, is directly proportional to the temperature, so that in equatorial regions not only is the general action of transformation in the aqueous material most intense, but the surrounding temperature conditions in these regions are such as to favour the continuous presence of large quantities of the aqueous vapour which is the direct product of the action of transformation. The equatorial regions of the earth, or the regions of high velocity, are thus eminently adapted, by the natural conditions, to be the seat of the most powerful transformations of axial energy. As already pointed out, however, these same transformations take place over the entire terrestrial surface in varying degree and intensity according to the locality and the temperature or other conditions which may prevail. Now this transformation of axial energy which takes place through the medium of the evaporative process is a continuous operation. The energy involved, which passes into the aqueous vapour, augmented by the energy of other secondary processes (§ 32),[Pg 150] is the energy which is applied to the atmospheric air masses in the second stage of the working of the atmospheric machine. Before proceeding to the description of this stage, however, it is absolutely necessary to point out certain very important facts with reference to the energy condition of the atmospheric constituents in the peculiar circumstances of their normal working.

39. Relative Physical Conditions of Atmospheric Constituents

It will be evident that no matter where the evaporation of the aqueous material takes place, it must be carried out at the temperature corresponding to that location, and since the aqueous vapour itself is not superheated in any way (being transparent to the sun's influence), the axial energy transformed and the work energy stored in the material per unit mass, will be simply equivalent to the latent heat of aqueous vapour under the temperature conditions which prevail. In virtue of the relatively high value of this latent heat under ordinary conditions, the gas may be regarded as comparatively a very highly energised substance. It is clear, however, that since the gas is working at its precise temperature of evaporation, the maximum amount of energy which it can possibly yield up at that temperature is simply this latent heat of evaporation, and if this energy[Pg 151] be by any means withdrawn, either in whole or in part, then condensation corresponding to the energy withdrawal will at once ensue. The condition of the aqueous vapour is in fact that of a true vapour, or of a gaseous substance operating exactly at its evaporation temperature, and unable to sustain even the slightest abstraction of energy without an equivalent condensation. No matter in what manner the abstraction is carried out, whether by the direct transmission of heat from the substance or by the expansion of the gas against gravity, the result is the same; part of the gaseous material returns to the liquid form.

In the case of the more stable or permanent constituents of the atmosphere, namely oxygen and nitrogen, their physical conditions are entirely different from that of the aqueous vapour. Examination of the Table of Properties (p. 133) shows that the evaporation temperatures of these two substances under ordinary conditions of atmospheric pressure are as low as -296° F. and -320° F. respectively. At an ordinary atmospheric temperature of say 50° F. these two gases are therefore so far above their evaporation temperature that they are in the condition of what might be termed true gaseous substances. Although only at a temperature of 50° F., they may be truly described as highly superheated gases, and it is evident that they may be readily cooled from 50° F. through wide ranges of[Pg 152] temperature, without any danger of their condensation or liquefaction. Oxygen and nitrogen gases thus present in their physical condition and qualities a strong contrast to aqueous vapour, and it is this difference in properties, particularly the difference in evaporation temperatures, which is of vital importance in the working of the atmospheric machine. The two gases oxygen and nitrogen are, however, so closely alike in their general energy properties that, in the meantime, the atmospheric mixture of the two can be conveniently assumed to act simply as one gas—atmospheric air.

From these considerations of the ordinary atmospheric physical properties of air and aqueous vapour it may be readily seen how each is eminently adapted to its function in the atmospheric process. The peculiar duty of the aqueous vapour is the absorption and transmission of energy. Its relatively enormous capacity for energy, the high value of its latent heat at all ordinary atmospheric temperatures, and the fact that it must always operate precisely at its evaporation temperature makes it admirably suited for both functions. Thus, in virtue of its peculiar physical properties, it forms an admirable agent for the storage of energy and for its transmission to the surrounding air masses. The low temperature of evaporation of these air masses ensures their permanency in the gaseous state. They are thus perfectly adapted for expansive and other movements,[Pg 153] for the conversion of their energy against gravity into energy of position, or for any other reactions involving temperature change without condensation.

40. Transmission of Energy from Aqueous Vapour to Air Masses

The working of the second or transmission stage of the atmospheric machine involves certain energy operations in which gravitation is the incepting factor or agency. Let it be assumed that a mass of aqueous vapour liberated at its surface of evaporation by the transformation of axial energy, expands upwards against the gravitative attraction of the earth (§§ 34, 38). As the gaseous particles ascend and thus gain energy of position, they do work against gravity. This work is done at the expense of their latent energy. Since the aqueous material is always working precisely at its evaporation temperature, this gain in energy of position and consequent loss of latent energy will be accompanied by an equivalent condensation and conversion of the rising vapour into the liquid form. This condensation will thus be the direct evidence and measure of work done by the aqueous material against the gravitational forces, and the energy expended or worked down in this way may now, accordingly, be regarded as stored in the condensed material or liquid[Pg 154] particles in virtue of their new and exalted position above the earth's surface. It is this energy which is finally transmitted to the atmospheric air masses. The transmission process is carried out in the downward movement of the liquid particles. The latter, in their exalted positions, are at a low temperature corresponding to that position—that is, corresponding to the work done—and provided no energy were transmitted from them to the surrounding air masses, their temperature would gradually rise during the descent by the transformation of this energy of position. In fact the phenomena of descent, supposing no transmission of energy from the aqueous material, would simply be the reverse of the phenomena of ascent. Since, however, the energy of position which the liquid particles possess is transmitted from them to the atmospheric masses, then it follows that this natural increase in their temperature would not occur in the descent. A new order of phenomena would now appear. Since the evaporative process is a continuous one, the liquid particles in their downward movement must be in intimate contact with rising gaseous material, and these liquid particles will, accordingly, at each stage of the descent, absorb from this rising material the whole energy necessary to raise their temperature to the values corresponding to their decreasing elevation. In virtue of this absorption of energy then, from the rising material, these liquid particles are enabled to reach[Pg 155] the level of evaporation at the precise temperature of that level.

Now, considering the process as a whole, it will be readily seen that for any given mass of aqueous material thus elevated from and returned to a surface of evaporation, there must be a definite expenditure of energy (axial energy) at that surface. Since the material always regains the surface at the precise temperature of evaporation, this expenditure is obviously, in total, equal to the latent heat of aqueous vapour at the surface temperature. It may be divided into two parts. One portion of the axial energy—the transmitted portion—is utilised in the elevation of the material against gravity; the remainder is expended, as explained above, in the heating of the returning material. The whole operation takes place between two precise temperatures, a higher temperature, which is that of the surface of evaporation, and a lower temperature, corresponding to the work done, and so related to the higher that the whole of the energy expended by the working aqueous substance—in heating the returning material and in transmitted work—is exactly equivalent to the latent heat of aqueous vapour at the high or surface temperature. But, as will be demonstrated later, the whole energy transmitted from the aqueous material to the air masses is finally returned in its entirety as axial energy, and is thus once more made available in the evaporative transformation process. The[Pg 156] energy expended in raising the temperature of the working material returning to the surface of evaporation is obviously returned with that material. Both portions of the original expenditure are thus returned to the source in different ways. The whole operation is, in fact, completely cyclical in nature; we are in reality describing "Nature's Perfect Engine," which is completely reversible and which has the highest possible efficiency.[1] Although the higher temperature at the evaporation surface may vary with different locations of that surface, in every case[Pg 157] the lower temperature is so related to it as to make the total expenditure precisely equal to the latent heat at that evaporation temperature.[2] It must be borne in mind also, that all the condensed material in the upper strata of the atmosphere must not of necessity return to the planetary liquid surface. On the contrary, immediately condensation of the aqueous vapour takes place and the material leaves the gaseous state, no matter where that material is situated, it is once more susceptible to the incepting influences of the sun. Re-evaporation may thus readily take place even at high altitudes, and complete cyclical operations may be carried out there. These operations will, however, be carried out in every case between precise temperature limits as explained above.

It will be evident, from a general consideration of this process of transmission of energy from the aqueous vapour, that relatively large quantities of that vapour are not required in the atmosphere for the working of the gaseous machine. The peculiar property of ready condensation of the aqueous vapour makes the evaporative process a continuous one, and the highly energised aqueous material, although only present in comparatively small amount, contributes a continuous flow of energy, and is thus able to steadily convey a very large quantity to the atmospheric[Pg 158] masses. For the same reason, the greater part of the energy transmission from the aqueous vapour to the air will take place at comparatively low altitudes and between reasonably high temperatures. The working of any evaporative cycle may also be spread over very large terrestrial areas by the free movement of the acting material. Aqueous vapour rising in equatorial regions may finally return to the earth in the form of ice-crystals at the poles. In every complete cycle, however, the total expenditure per unit mass of material initially evaporated is always the latent heat at the higher or evaporation temperature; in the final or return stages of the cycle, any energy not transmitted to the air masses is devoted to the heating of returning aqueous material.

Referring again to the transmitted energy, and speaking in the broadest fashion, the function of the aqueous vapour in the atmosphere may be likened to that of the steam in the cylinder of a steam-engine. In both cases the aqueous material works in a definite machine for energy transmission. In the case of the steam-engine work energy is transmitted (§ 31) from the steam through the medium of the moving piston and rotating shaft, and thence may be further diverted to useful purposes. In the planetary atmospheric machine the work energy of aqueous vapour is likewise transmitted by the agency of the moving air masses, not to any external agent,[Pg 159] but back once more to its original source, which is the planetary axial energy. In neither case are we able to explain the precise nature of the transmission process in its ultimate details. We cannot say how the steam transmits its work energy by the moving piston, nor yet by what agency the elevated particles of aqueous material transmit their energy to the air masses. Our knowledge is confined entirely to the phenomena, and, fortunately, these are in some degree accessible. Nature presents direct evidence that such transmissions actually take place. This evidence is to be found, in both cases, in the condensation of the aqueous material which sustains the loss of its work energy. In the engine cylinder condensation takes place due to work being transmitted from the steam; in the atmosphere the visible phenomena of condensation are likewise the ever present evidence of the transmission of work energy from the aqueous vapour to the air masses. In virtue of this accession of energy these masses will, accordingly, be expanded upwards against the gravitational attractive forces. This upward movement, being made entirely at the expense of energy communicated from the aqueous vapour, is not accompanied by the normal fall of temperature due to the expansion of the air. Planetary axial energy, originally absorbed by the aqueous vapour, in the work form, has been transferred to the air masses in the same form, and is now, after the expansive movement,[Pg 160] resident in these masses in the form of energy of position. It is the function of the atmospheric machine in its final stage to return this energy in the original axial form.

41. Terrestrial Energy Return

Let it be assumed that an atmospheric mass has been raised, by the transmission of work energy, to a high altitude in the equatorial regions of the earth. The assumption of locality is made merely for illustrative purposes; it will be evident to the reader that the transmission of work energy to the atmospheric masses and their consequent elevation will be continuously proceeding, more or less, over the whole planetary surface. To replace the gaseous material thus raised, a corresponding mass of air will move at a lower level, towards the equator from the more temperate zones adjoining. A circulatory motion will thus be set up in the atmosphere. In the upper regions the elevated and energised air masses move towards the poles; at lower levels the replacing masses move towards the equator, and in their passage may be operated on by the aqueous vapour which they encounter, energised, and raised to higher levels. The movement will be continuous. In their transference from equatorial towards polar regions, the atmospheric masses are leaving the surfaces or regions of high linear velocity for[Pg 161] those of low, and must in consequence lose or return in the passage a portion of that natural energy of motion which they possess in virtue of their high linear velocity at the equator. But on the other hand, the replacing air masses, which are travelling in the opposite direction from poles to equator, must gain or absorb a corresponding amount of energy. The one operation thus balances the other, and the planetary equilibrium is in no way disturbed. But the atmospheric masses which are moving from the equator in the polar direction will possess, in addition, that energy of position which has been communicated to them through the medium of the aqueous vapour and by the working of the second stage of the atmospheric machine. These masses, in the circulatory polar movements, move downwards towards the planetary surface. In this downward motion (as in the downward motion of a pendulum mass vibrating under the action of gravitation) the energy of position of the air mass is converted once more into energy of motion—that is, into its original form of axial energy of rotation. In equatorial regions the really important energy property of the atmospheric mass was indicated by its elevation or its energy of position. In the descent this energy is thus entirely transformed, and reverts once more to its original form of energy of rotation.

The continual transformation of axial energy by the[Pg 162] aqueous vapour, and the conversion of that energy by the upward movement of the air masses into energy of position, naturally tends to produce a retardative effect on the motion of revolution of the earth. But this retardative effect is in turn completely neutralised or balanced by the corresponding accelerative effect due to the equally continuous return as the energy of the air masses reverts in the continuous polar movement to its original axial form. Speaking generally, the equatorial regions, or the regions of high velocity, are the location of the most powerful transformation or abstraction of axial energy by the aqueous vapour. Conversely, the polar or regions of low velocity are the location of the greatest return of energy by the air. As no energy return is possible unless by the transference of the atmospheric material from regions of high to regions of low velocity, the configuration of the planet in rotation must conform to this condition. The spheroidal form of the earth is thus exquisitely adapted to the working of the atmospheric machine. As already pointed out, however, the energising and raising of atmospheric masses is by no means confined to equatorial regions, but takes place more or less over the whole planetary surface. The same applies to the energy return. The complete cycle may be carried out in temperate zones; gaseous masses, also, leaving equatorial regions at high altitudes do not necessarily reach the polar regions, but may[Pg 163] attain their lowest levels at intermediate points. Neither do such masses necessarily proceed to the regions of low velocity by purely linear paths. On the contrary, they may and do move both towards the poles and downwards by circuitous and even vortical paths. In fact, as will be readily apparent, their precise path is of absolutely no moment in the consideration of energy return.

It might naturally be expected that such movements of the atmospheric air masses as have been described above would give rise to great atmospheric disturbance over the earth's surface, and that the transfer of gaseous material from pole to equator and vice versa would be productive of violent storms of wind. Such storms, however, are phenomena of somewhat rare occurrence; the atmosphere, on the whole, appears to be in a state of comparative tranquillity. This serenity of the atmosphere is, however, confined to the lower strata, and may be ascribed to an inherent stability possessed by the air mass as a whole in virtue of the accession of energy to it at high levels. As already explained, the transfer of energy from the vapour to the air masses is accomplished at comparatively low altitudes, and when this reaction is taking place the whole tendency of the energised material is to move upwards. In so moving it tends to leave behind it the condensed aqueous vapour, and would, therefore, rise to the higher altitudes in a comparatively dry condition. This[Pg 164] dryness is accentuated by the further loss of aqueous vapour by condensation as the air moves toward regions of low velocity. That air which actually attains to the poles will be practically dry, and having also returned, in its entirety, the surplus energy obtained from the aqueous vapour, it will be in this region practically in the condition of statical equilibrium of a gas against gravity (§ 34). But the general state of the atmosphere in other regions where a transference of energy from the aqueous vapour has taken or is taking place is very different from this condition of natural statical equilibrium which is approached at the poles. In the lower strata of the atmosphere the condition in some cases may approximate to the latter, but in the upper strata it is possessed of energy qualities quite abnormal to statical equilibrium. Its condition is rather one of the nature of stable equilibrium. It is in a condition similar to that of a liquid heated in its upper layers; there is absolutely no tendency to a direct or vertical downward circulation. In statical equilibrium, any downward movement of an air mass would simply be accompanied by the natural rise in temperature corresponding to the transformation of its energy of position, but in this condition of stable equilibrium any motion downwards must involve, not only this natural temperature rise, but also a return, either in whole or in part, of the energy absorbed from the aqueous vapour. The natural conditions[Pg 165] are therefore against any direct vertical return. These conditions, however, favour in every respect the circulatory motion of the highly energised upper air masses towards regions of low velocity. All circumstances combine, in fact, to confine the more powerfully energised and highly mobile air masses to high altitudes. In the lower atmosphere, owing to the continuous action of the aqueous vapour on the air masses moving from regions of low to those of high velocity, the circulation tends largely to be a vertical one, so that this locality is on the whole preserved in comparative tranquillity. It may happen, however, that owing to changes in the distribution of aqueous vapour, or other causes, this natural stability of the atmosphere may be disturbed over certain regions of the earth's surface. The circumstances will then favour a direct or more or less vertical return of the energy of the air masses in the neighbourhood of these regions. This return will then take the form of violent storms of wind, usually of a cyclonic nature, and affording direct evidence of the tendency of the air masses to pursue vortical paths in their movement towards lower levels.

Under normal conditions, however, the operation of the atmospheric machine is smooth and continuous. The earth's axial energy, under the sun's incepting influence, steadily flows at all parts of the earth's surface through the aqueous vapour into the atmospheric[Pg 166] masses, and the latter, rising from the terrestrial surface, with a motion somewhat like that of a column of smoke, spread out and speed towards regions of lower velocity, and travelling by devious and lengthened paths towards the surface, steadily return the abstracted energy in its original form. Every operation is exactly balanced; energy expenditure and energy return are complementary; the terrestrial atmospheric machine as a whole works without jar or discontinuity, and the earth's motion of rotation is maintained with absolute uniformity.

Like every other energy machine, the atmospheric machine has clearly-defined energy limits. The total quantity of energy in operation is strictly limited by the mass of the acting materials. It is well, also, to note the purely mechanical nature of the machine. Every operation is in reality the operation of mechanical energy, and involves the movement of matter in some way or other relative to the earth's surface and under the incepting action of the earth's gravitation (§§ 16, 20). The moving gaseous masses have as real an existence as masses of lead or other solid material, and require as real an expenditure of energy to move them relative to the terrestrial surface (§ 18). This aspect of the planetary machine will be more fully treated later.

Throughout this description we have constantly assumed the atmospheric mixture of oxygen and nitrogen to act as one gas, and at ordinary temperatures the[Pg 167] respective energy properties of the two substances (§ 35) make this assumption justifiable. Both gases are then working far above their respective evaporation temperatures. But, in the higher regions of the atmosphere, where very low temperatures prevail, a point or altitude will be reached where the temperature corresponds to the evaporation or condensation temperature of one of the gases. Since oxygen appears to have the highest temperature of evaporation (see Table of Properties, p. 133), it would naturally be the first to condense in the ascent. But immediately condensation takes place, the material will become susceptible to the incepting influence of the sun, and working as it does at its temperature of evaporation it will convey its energy to the surrounding nitrogen in precisely the same fashion as the aqueous vapour conveys the energy to the aerial mixture in the lower atmosphere. The whole action is made possible simply by the difference existing in the respective evaporation temperatures of the two gases. It will give rise to another cyclical atmospheric energy process exactly as already described for lower altitudes. Axial energy of rotation will be communicated to the nitrogen by the working material, which is now the oxygen, and by the movement of the nitrogen masses towards regions of low velocity, this transmitted energy will be finally returned to its original axial form.

It[Pg 168] has been already explained (§§ 10, 32) how all terrestrial energy processes, also, great or small, are sooner or later linked to the general atmospheric machine. The latter, therefore, presents in every phase of its working completely closed energy circuits. In no aspect of its operation can we find any evidence of, or indeed any necessity for, an energy transmission either to or from any external body or agent such as the sun. Every phenomenon of Nature is, in fact, a direct denial of such transmission.

The student of terrestrial phenomena will readily find continuous and ample evidence in Nature of the working of the atmospheric machine. In the rising vapour and the falling rain he will recognise the visible signs of the operation of that great secondary process of transmission by which the inherent axial energy of the earth is communicated to the air masses. The movements of bodies, animate and inanimate, on the earth's surface, the phenomena of growth and decay, and in fact almost every experience of everyday life, will reveal to him the persistent tendency of the energy of secondary processes to revert to the atmospheric machine. And in the winds that traverse the face of the globe he will also witness the mechanism of that energy return which completes the atmospheric cyclical process. It may be pointed out here also that the terrestrial cyclical energy processes are not necessarily all embodied in[Pg 169] the atmosphere. The author has reason to believe, and phenomenal evidence is not awanting to show, that the circulatory motions of the atmosphere are in some degree reproduced in the sea. The reader will readily perceive that as regards stability the water composing the sea is in precisely the same condition as the atmosphere, namely, that of a liquid heated in its upper strata, and any circulatory motion of the water must therefore be accompanied by corresponding transformations of energy. That such a circulatory motion takes place is undoubted, and in the moving mass of sea-water we have therefore a perfectly reversible energy machine of the same general nature as the atmospheric machine, but working at a very much slower rate. It is not beyond the limits of legitimate scientific deduction to trace also the working of a similar machine in the solid material of the earth. The latter is, after all, but an agglomeration of loose material bound by the force of gravitation into coherent form. By the action of various erosive agencies a movement of solid material is continually taking place over the earth's surface. The material thus transported, it may be, from mountain chains, and deposited on the sea-bed, causes a disturbance of that gravitational equilibrium which defines the exact form of the earth. The forces tending to maintain this equilibrium are so enormous compared with the cohesive forces of the material forming the earth that[Pg 170] readjustment continuously takes place, as evidenced by the tremors observed in the earth's crust. Where the structure of the latter is of such a nature as to offer great resistance to the gravitational forces, the readjustment may take the form of an earthquake. Geological evidence, as a whole, strongly points to a continuous kneading and flow of terrestrial material. The structure of igneous rocks, also, is exactly that which would be produced from alluvial deposits subjected during these cyclical movements to the enormous pressure and consequent heating caused by superimposed material. The occurrence of coal in polar regions, and of glacial residue in the tropics, may be regarded as further corroborative evidence. From this point of view also, it becomes unnecessary to postulate a genesis for the earth, as every known geological formation is shown to be capable of production under present conditions in Nature, and in fact to be in actual process of production at all times.

42. Experimental Analogy and Demonstration of the General Mechanism of Energy Transformation and Return in the Atmospheric Cycle

In the preceding articles, the atmospheric machine has been regarded more or less from the purely physical point of view. The purpose of this demonstration is now to place before the reader what might[Pg 171] be termed the mechanical aspects of the machine; to give an outline, using simple experimental analogies, of its nature and operation when considered purely and simply as a mechanism for the transformation and return of mechanical energy.

Familiar apparatus is used in illustration. In all cases, it is merely some adaptation of the simple pendulum (§ 21). Its minute structural details are really of slight importance in the discussion, and have accordingly been ignored, but the apparatus generally, and the energy operations embodied therein, are so familiar to physicists and engineers that the experimental results illustrated can be readily verified by everyday experience. It is of great importance, also, in considering these results, to bear in mind the principles already enunciated (§§ 13, 20) with reference to the operation of mechanical energy on the various forms of matter. The general working conditions of energy systems with respect to energy limits, stability, and reversibility (§ 23) should also be kept in view.

As an introductory step we shall review first a simple system of rotating pendulums. Two simple pendulums CM and DM1 (Fig. 9) are mounted by means of a circular collar CD upon a vertical spindle AB, which is supported at A and B and free to rotate. When the central spindle AB is at rest the pendulums hang vertically; when energy is applied to the system, and AB is thereby caused to[Pg 172] rotate, the spherical masses M and M1 will rise by circular paths about C and D. This upward movement, considered apart from the centrifugal influence producing it, corresponds in itself to the upward movement of the simple pendulum (§ 21) against gravity. It is representative of a definite transformation, namely, the transformation of the work energy originally applied to the system and manifested in its rotary motion, into energy of position. The movements of the rotating pendulums will also be accompanied by other energy operations associated with bearing friction and windage (§§ 23, 29), but these operations being part of a separate and complete cyclical energy process (§ 32), they will in this case be neglected.

Fig. 9

It will be readily seen, however, that the working of this rotating pendulum machine, when considered as a whole, is of a nature somewhat different from that of the simple pendulum machine in that the energy of position of the former (as measured by the vertical displacement of M and M1 in rotation) and its energy of rotation must increase concurrently, and also in that the absolute maximum value of this energy of position will be attained when the pendulum[Pg 173] masses reach merely the horizontal level HL in rotation. The machines are alike, however, in this respect, that the transformation of energy of motion into energy of position is in each case a completely reversible process. In the working of the rotating pendulums the limiting amount of energy which can operate in this reversible process is dependent on and rigidly defined by the maximum length of the pendulum arms; the longer the arms, the greater is the possible height through which the masses at their extremities must rise to attain the horizontal position in rotation. It will be clear also that it is not possible for the whole energy of the rotating system to work in the reversible process as in the case of the simple pendulum. As the pendulum masses rise, the ratio of the limiting energy for reversibility to the total energy of the system becomes in fact smaller and smaller, until at the horizontal or position of maximum energy it reaches a minimum value. This is merely an aspect of the experimental fact that, as the pendulum masses approach the ultimate horizontal position, a much greater increment of energy to the system is necessary for their elevation through a given vertical distance than at the lower levels. A larger proportion of the applied energy is, in fact, stored in the material of the system in the form of energy of strain or distortion.

The two points which this system is designed to illustrate,[Pg 174] and which it is desirable to emphasise, are thus as follows. Firstly, as the whole system rotates, the movement of the pendulum masses M and M1 from the lower to the higher levels, or from the regions of low to those of higher velocity, is productive of a transformation of the rotatory energy of the system into energy of position—a transformation of the same nature as in the case of the simple pendulum system. Neglecting the minor transformations (§§ 24, 29), this energy process is a reversible one, and consequently, the return of the masses from the higher to the lower positions will be accompanied by the complete return of the transformed energy in its original form of energy of rotation. Secondly, the maximum amount of energy which can work in this reversible process is always less than the total energy of the system. The latter, therefore, conforms to the general condition of stability (§ 25).

But this arrangement of rotating pendulums may be extended so as to include other features. To eliminate or in a manner replace the influence of gravitation, and to preserve the energy of position of the system—relative to the earth's surface—at a constant value, the pendulum arms may be assumed to be duplicated or extended to the points K and R (Fig. 10) respectively, where pendulum masses equal to M and M1 are attached.

The arms MK and M1R are thus continuous. Each[Pg 175] arm is assumed to be pivoted at its middle point about a horizontal axis through N, and as the lower masses M and M1 rise in the course of the rotatory movement about AB the upper masses K and R will fall by corresponding amounts. The total energy of position of the system—referred to the earth's surface—thus remains constant whatever may be the position of the masses in the system. The restraining influence on the movement of the masses, formerly exercised by gravitation, is now furnished by means of a central spring F. A collar CD, connected as shown to the pendulum arms, slides on the spindle AB and compresses this spring as the masses move towards the horizontal level HL. As the masses return towards A and B the spring is released.

Fig. 10

If energy be applied to the system, so that it is caused to rotate about the central axis AB, the pendulum masses will tend to move outwards from that axis. Their movement may be said to be carried out over the surface of an imaginary sphere with centre on AB at N. The motion of the masses, as the velocity of rotation increases, is from the region of lower peripheral velocity, in the vicinity of the[Pg 176] axis AB, to the regions of higher velocity, in the neighbourhood of H and L. This outward movement from the central axis towards H and L is representative of a transformation of energy of an exactly similar nature to that described above in the simple case. Part of the original energy of rotation of the system is now stored in the pendulum masses in virtue of their new position of displacement. But in this case, the movement is made, not against gravity, but against the central spring F. The energy, then, which in the former case might be said to be stored against gravitation (acting as an invisible spring) is in this case stored in the form of energy of strain or cohesion (§ 15) in the central spring, which thus as it were takes the place of gravitation in the system. As in the previous case also, the operation is a reversible energy process. If the pendulum masses move in the opposite direction from the regions of higher velocity to those of lower velocity, the energy stored in the spring will be returned to the system in its original form of energy of motion. A vibratory motion of the pendulums to and from the central axis would thus be productive of an alternate storage and return of energy. It is obvious also, that due to the action of centrifugal force, the pendulum masses would tend to move radially outwards on the arms as they move towards the regions of highest velocity. Let this radial movement be carried out against the action of four[Pg 177] radial springs S1, S2, S3, S4, as shown (Fig. 11). In virtue of the radial movement of the masses, these springs will be compressed and energy stored in them in the form of energy of strain or cohesion (§ 15). The radial movement implies also that the masses will be elevated from the surface of the imaginary sphere over which they are assumed to move. The elevation from this surface will be greatest in the regions of high velocity in the neighbourhood of H and L, and least at A and B. As the masses move, therefore, from H and L towards the axis AB, they will also move inwards on the pendulum arms, relieving the springs, so that the energy stored in them is free to be returned to the system in its original form of energy of rotation. Every movement of the masses from the central axis outwards against the springs is thus made at the expense of the original energy of motion, and every movement inwards provokes a corresponding return of that energy to the system. Every movement also against the springs forms part of a reversible operation. The sum total of the energy which works in these reversible operations is always less than the complete energy of the rotatory system, and the latter[Pg 178] is always stable (§ 25), with respect to its energy properties. Let it now be assumed that the complete system as described is possessed of a precise and limited amount of energy of rotation, and that with the pendulum masses in an intermediate position as shown (Fig. 11) it is rotating with uniform angular velocity. The condition of the rotatory system might now be described as that of equilibrium. A definite amount of its original rotatory energy is now stored in the central spring and also in the radial springs. If now, without alteration in the intrinsic rotatory energy of the system, the pendulum masses were to execute a vibratory or pendulum motion about the position of equilibrium so that they move alternately to and from the central axis, then as they move inwards towards that axis the energy stored in the springs would be returned to the system in the original form of energy of rotation. This inward motion would, accordingly, produce acceleration. But, in the outward movement from the position of equilibrium, retardation would ensue on account of energy of motion being withdrawn from the system and stored in the springs.

Fig. 11

Under the given conditions, then, any vibratory motion of the pendulum masses to and from the central axis would be accompanied by alternate retardation and acceleration of the moving system. The storage of energy in the springs (central and radial)[Pg 179] produces retardation, the restoration of this energy gives rise to a corresponding acceleration. The angular velocity of the system would rise and fall accordingly. These are the natural conditions of working of the system. As already pointed out, the motion of the pendulum masses may be regarded as executed over the surface of an imaginary sphere. Their motion against the radial springs would therefore correspond to a displacement outwards or upwards from the spherical surface. A definite part of the effect of retardation is, of course, due to this outward or radial displacement of the masses.

Assuming still the property of constancy of energy of rotation, let it now be supposed that in such a vibratory movement of the pendulum masses as described above, the energy required merely for the displacement of the masses against the radial springs is not withdrawn from and obtained at the expense of the original rotatory energy of the system, but is obtained from some energy agency, completely external to the system, and to which energy cannot be returned. The retardation, normally due to the outward displacement of the masses against the radial springs, would not then take place. But the energy is, nevertheless, stored in the springs. It now, therefore, forms part of the energy of the system, and consequently, on the returning or inward movement of vibration of the masses towards the central axis, this energy, received from the external source,[Pg 180] would pass directly from the springs to the rotational energy of the system. It is clear, then, that while the introduction of energy in this fashion from an external source has in part eliminated the effect of retardation, the accelerating effect must still operate as before. Each vibratory movement of the pendulum system, under the given conditions, will lead to a definite increase in its energy of rotation by the amount stored in the radial springs. If the vibratory movement is continuous, the rotatory velocity of the system will steadily increase in value. Energy once stored in the radial springs can only be released by the return movement of the masses and in the form of energy of rotation; the nature of the mechanical machine is, in fact, such that if any incremental energy is applied to the displacement of the masses against the radial springs, it can only be returned in this form of energy of motion.

These features of this experimental system are of vital importance to the author's scheme. They may be illustrated more completely, however, and in a form more suitable for their most general application, by the hypothetical system now to be described. This system is, of course, devised for purely illustrative purposes, but the general principles of working of pendulum systems and of energy return, as demonstrated above, will be assumed.

[Pg 181]

43. Application of Pendulum Principles

The movements of the pendulum masses described in the previous article have been regarded as carried out over the surface of an imaginary sphere. Let us now proceed to consider the phenomena of a similar movement of material over the surface of an actual spherical mass. The precise dimensions of the sphere are of little moment in the discussion, but for the purpose of illustration, its mass and general outline may be assumed to correspond to that of the earth or other planetary body. This spherical mass A (Fig. 12) rotates with uniform angular velocity about an axis NS through its centre. Associated with the rotating sphere are four auxiliary spherical masses, M1, M2, M3, M4, also of solid material, which are assumed to be placed symmetrically round its circumference as shown. These masses form an inherent part of the spherical system; they are assumed to be[Pg 182] united to the main body of material by the attractive force of gravitation in precisely the same fashion as the atmosphere or other surface material of a planet is united to its inner core (§ 34); they will therefore partake completely of the rotatory motion of the sphere about its axis NS, moving in paths similar to those of the rotating pendulum masses already described (§ 42). The restraining action of the pendulum arms is, however, replaced in this celestial case by the action of gravitation, which is the central force or influence of the system. Opposite masses are thus only united through the attractive influence of the material of the sphere. The place of the springs, both central and radial, in our pendulum system is now taken by this centripetal force of gravitative attraction, which therefore forms the restraining influence or determining factor in all the associated energy processes. While the auxiliary masses M1 M2, &c., partake of the general motion of revolution of the main spherical mass about NS, they may also be assumed to revolve simultaneously about the axis WE, perpendicular to NS, and also passing through the centre of the sphere. Each of these masses will thus have a peculiar motion, a definite velocity over the surface of the sphere from pole to pole—about the axis WE—combined with a velocity of rotation about the central axis NS. The value of the latter velocity is, at any instant, directly proportional to the radius of the circle of latitude[Pg 183] of the point on the surface of the sphere where the mass happens to be situated at that instant in its rotatory motion from pole to pole; this velocity accordingly diminishes as the mass withdraws from the equator, and becomes zero when it actually reaches the poles of rotation at N and S; and the energy of each mass in motion, since its linear velocity is thus constantly varying, will be itself a continuously varying quantity, increasing or diminishing accordingly as the mass is moving to or from the equatorial regions, attaining its maximum value at the equator and its minimum value at the poles. Now, since the masses thus moving are assumed to be a material and inherent portion of the spherical system, the source of the energy which is thus alternately supplied to and returned by them is the original energy of motion of the system; this original energy being assumed strictly limited in amount, the increase of the energy of each mass as it moves towards the equator will, therefore, be productive of a retardative effect on the revolution of the system as a whole. But, in a precisely similar manner, the energy thus gained by the mass would be fully returned on its movement towards the pole, and an accelerative effect would be produced corresponding to the original retardation. In the arrangement shown (Fig. 12), the moving masses are assumed to be situated at the extremities of diameters at right angles. With this symmetrical distribution, the transformation[Pg 184] and return of energy would take place concurrently. Retardation is continually balanced by acceleration, and the motion of the sphere would, therefore, be approximately uniform about the central axis of rotation. It will be clear that the movements thus described of the masses will be very similar in nature to those of the pendulum masses in the experimental system previously discussed. The fact that the motion of the auxiliary masses over the surface of the sphere is assumed to be completely circular and not vibratory, as in the pendulum case, has no bearing on the general energy phenomena. These are readily seen to be identical in nature with those of the simpler system. In each case every movement of the masses implies either an expenditure of energy or a return, accordingly as the direction of that movement is to or from the regions of high velocity.

Fig. 12

The paths of the moving auxiliary masses have been considered, so far, only as parallel to the surface of the sphere, but the general energy conditions are in no way altered if they are assumed to have in addition some motion normal to that surface; if, for example, they are repelled from the surface as they approach the equatorial regions, and return towards it once more as they approach the poles. Such a movement of the masses normal to the spherical surface really corresponds to the movement against the radial springs in the pendulum system; it would now[Pg 185] be made against the attractive or restraining influence of gravitation, and a definite expenditure of energy would thus necessarily be required to produce the displacement. Energy, formerly stored in the springs, corresponds now to energy stored as energy of position (§ 20) against gravitation. If this energy is obtained at the expense of the inherent rotatory energy of the sphere, then its conversion in this fashion into energy of position will again be productive of a definite retardative effect on the revolution of the system. It is clear, however, that if each mass descends to the surface level once more in moving towards the poles, then in this operation its energy of position, originally obtained at the expense of the rotatory energy of the sphere, will be gradually but completely returned to that source. In a balanced system, such as we have assumed above, the descent of one mass in rotation would be accompanied by the elevation of another at a different point; the abstraction and return of the energy of rotation would then be equivalent, and would not affect the primary condition of uniformity of rotation of the system. In the circumstances assumed, the whole energy process which takes place in the movement of the masses from poles to equator and normal to the spherical surface would obviously be of a cyclical nature and completely reversible. It would be the working of mechanical energy in a definite material machine, and in accordance with the principles already[Pg 186] outlined (§ 20) the maximum amount of energy which can operate in this machine is strictly limited by the mass of the material involved in the movement. The energy machine has thus a definite capacity, and as the maximum energy operating in the reversible cycle is assumed to be within this limit, the machine would be completely stable in nature (§ 25). The movements of the auxiliary masses have hitherto also been considered as taking place over somewhat restricted paths, but this convention is one which can readily be dispensed with. The general direction of motion of the masses must of course be from equator to pole or vice versa; but it is quite obvious that the exact paths pursued by the masses in this general motion is of no moment in the consideration of energy return, nor yet the precise region in which they may happen to be restored once more to the surface level. Whatever may be its position at any instant, each mass is possessed of a definite amount of energy corresponding to that position; this amount will always be equal to the total energy abstracted by that mass, less the energy returned. The nature of the energy system is, however, such that the various energy phases of the different masses will be completely co-ordinated. Since the essential feature of the system is its property of uniformity of rotation, any return of energy in the rotational form at any part of the system—due to the descent of material—produces a definite[Pg 187] accelerating effect on the system, which effect is, however, at once neutralised or absorbed by a corresponding retardative effect due to that energy which must be extracted from the system in equivalent amount and devoted to the upraising of material at a different point. For simplicity in illustration only four masses have been considered in motion over the surface of the sphere, but it will be clear that the number which may so operate is really limited only by the dimensions of the system. The spherical surface might be completely covered with moving material, not necessarily of spherical form, not necessarily even material in the solid form (§ 13), which would rise and fall relative to the surface and flow to and from the poles exactly in the fashion already illustrated by the moving masses. The capacity of the reversible energy machine—which depends on the mass—would be altered in this case, but not the general nature of the machine itself. If the system were energised to the requisite degree, every energy operation could be carried out as before.

As already pointed out, the dominating feature of a spherical system such as we have just described would be essentially its property of energy conservation manifested by its uniformity of rotation. All its operations could be carried out independently of the direct action of any external energy influences. For if it be assumed that the energy gained by the auxiliary moving surface material in virtue of its displacement[Pg 188] normal to the spherical surface be derived, not from the inherent rotational energy of the sphere itself, but by an influx of energy from some source completely external to the system, then since there has been no energy abstraction there will be no retardative effect on the revolution due to the upraising of this material. But the influx of energy thus stored in the material must of necessity work through the energy machine. In the movement towards the poles this energy would therefore be applied to the system in the form of energy of rotation, and would produce a definite accelerative effect. If the influx of energy were continuous, and no means were existent for a corresponding efflux, the rotatory velocity of the system would steadily increase. The phenomena would be of precisely the same nature as those already alluded to in the case of the system of rotating pendulums (§ 42). Acceleration would take place without corresponding retardation. A direct contribution would be continuously made to the rotatory energy of the system, and would under the given conditions be manifested by an increase in its velocity of revolution.

44. Extension of Pendulum Principles to Terrestrial Phenomena

The energy phenomena illustrated by the experimental devices above are to be observed, in their aspects[Pg 189] of greatest perfection, in the natural world. In the earth, united to its encircling atmosphere by the invisible bond of gravitation, we find the prototype of the hypothetical system just described. Its uniformity of rotation is an established fact of centuries, and over its spheroidal surface we have, corresponding to the motion of our illustrative spherical masses, the movement of enormous quantities of atmospheric air in the general directions from equatorial to polar regions and vice versa. This circulatory movement, and the internal energy reactions which it involves, have been already fully dealt with (§ 38); we have now to consider it in a somewhat more comprehensive fashion, in the light of the pendulum systems described above. As already explained (§ 13), the operation of mechanical energy is not confined to solid and liquid masses only, but may likewise be manifested by the movements of gaseous masses. The terrestrial atmospheric machine provides an outstanding example. In its working conditions, and in the general nature of the energy operations involved, the terrestrial atmospheric machine is very clearly represented by the rotating pendulum system (§ 42). The analogy is still closer in the case of the hypothetical system just described. The actual terrestrial energy machine differs from both only in that the energy processes, which they illustrate by the movements of solid material, are carried out in the course of its working by the motion of[Pg 190] gaseous masses. It is obvious, however, that this in no way affects the inherent nature of the energy processes themselves. They are carried out quite as completely and efficiently—in fact, more completely and more efficiently—by the motions of gaseous as by the motions of solid material.

The atmospheric circulation, then, may be readily regarded as the movement, over the terrestrial surface, of gaseous masses which absorb and return energy in regions of high and low velocity exactly in the fashion explained above for solid material. In their movement from polar towards equatorial regions these masses, by the action of the aqueous vapour (§ 38), absorb energy (axial energy) and expand upwards against gravity. Here we have an energy operation identical in nature with that embodied in the movements of a pendulum mass simultaneously over a spherical surface and against radial springs as in the system of rotating pendulums, or identical with the equatorial and radial movement of the auxiliary masses in the hypothetical system. The return movement of the aerial masses over the terrestrial surface in the opposite direction from equatorial to polar regions provides also exactly the same phenomena of energy return as the return movement of the masses in our illustrative systems. These systems, in fact, portray the general operation of mechanical energy precisely as it occurs in the terrestrial atmospheric machine. But obviously they cannot[Pg 191] illustrate the natural conditions in their entirety. The passage or flow of the atmospheric air masses over the earth's surface is a movement of an exceedingly complex nature, impossible to illustrate by experimental apparatus. And indeed, such illustration is quite unnecessary. As already pointed out (§ 38), no matter what may be the precise path of an aerial mass in its movement towards the planetary surface the final energy return is the same. Sooner or later its energy of position is restored in the original axial form.

The terrestrial atmospheric machine will be thus readily recognised as essentially a material mechanical machine corresponding in general nature to the illustrative examples described above. The combination of its various energy processes is embodied in a complete cyclical and reversible operation. Its energy capacity, as in the simpler cases, is strictly limited by the total mass of the operating material. The active or working energy is well within the limit for reversibility (§ 23), and the machine is therefore essentially stable in nature. The continuous abstraction of axial energy by the aqueous vapour is balanced by an equally continuous return from the air masses, and the system, so far as its energy properties are concerned, is absolutely conservative. Energy transmission from or to any external source is neither admissible nor necessary for its working.

[Pg 192]

45. Concluding Review of Terrestrial Conditions—Effects of Influx of Energy

The aspect of the earth as a separate mass in space, and its energy relationship to its primary the sun and to the associated planetary masses of the solar system have been broadly presented in the General Statement (§§ 1-12). In that statement, based entirely on the universally accepted properties of matter and energy, an order of phenomena is described which is in strict accordance with observed natural conditions, and which portrays the earth and the other planetary bodies, so far as their material or energy properties are concerned, as absolutely isolated masses in space. The scientific verification of this position must of necessity be founded on the terrestrial observation of phenomena. So far as the orbital movements of the planet are concerned these are admittedly orderly; each planetary mass wheels its flight through space with unvarying regularity; the energy processes, also, associated with the variations of planetary orbital path, and which attain limiting conditions at perihelion and aphelion, are readily acknowledged to be reversible and cyclical in nature. In fact, even a slight observation of the movements of celestial masses inevitably leads to the conviction that the great energy processes of the solar system are inherently cyclical in[Pg 193] nature, that every movement of its material and every manifestation of its energy is part of some complete operation. The whole appears to be but the natural or material embodiment of the great principle of energy conservation. It has been one of the objects of this work to show that the cyclical nature of the energy operations of the solar system is not confined only to the more prominent energy phenomena, but that it penetrates and is exhibited in the working of even the most insignificant planetary processes. Each one of the latter in reality forms part of an unbroken series or chain of energy phenomena. Each planet forms in itself a complete, perfect, and self-contained energy system. Every manifestation of planetary energy, great or small, whether associated with animate or inanimate matter, is but one phase or aspect of that energy as it pursues its cyclical path.

It is a somewhat remarkable fact that in this age of scientific reason the observation of the strictly orderly arrangement of phenomena in the solar system as a whole should not have led to some idea in the minds of philosophical workers of a similar order of phenomena in its separate parts, but the explanation lies generally in the continual attempts to bring natural phenomena into line with certain preconceived hypotheses, and more particularly to the almost universal acceptance of the doctrine of the direct transmission of energy from the sun to the[Pg 194] earth and the final rejection or radiation of this energy into space. There is no denying the eminent plausibility of this doctrine. The evidence of Nature prima facie may even appear to completely substantiate it. But we would submit that the general circumstances in which this doctrine is now so readily accepted are very similar to those which prevailed in more ancient times, when the revolution of the sun and stars round the earth was the universal tenet of natural philosophy. This conception, allied to the belief that the sole function of the celestial bodies was to provide light and heat to the terrestrial mass, appeared to be in strict accordance with observed phenomena, and held undisturbed possession of the minds of men for centuries, until it was finally demolished by Copernicus as the result of simple and accurate observation of and deduction from natural phenomena. At the present time, the somewhat venerable belief in the transmission of energy in various forms from the sun to the earth appears at first sight to be supported by actual facts. But a more rigid scrutiny of the evidence and of the mental processes must inevitably lead the unbiassed mind to the conclusion that this belief has no real foundation on truly scientific observation, but is entirely unsupported by natural phenomena. Every operation of Nature, in fact, when considered in its true relationships is an absolute denial of the whole conception.[Pg 195] Like its predecessor relating to the motion of the sun and stars round the earth, the doctrine of energy transmission between separate masses in space such as the sun and the earth cannot be sustained in the face of scientific observation. This doctrine is found on investigation to be supported not by phenomena but by the conception of an elastic ethereal medium, of whose existence there is absolutely no evidential proof, and the necessity for which disappears along with the hypothesis it supports. It is, however, not proposed to discuss in any detail either the supposed transmission of energy from the sun to the planets or the arbitrary properties of the transmitting medium, but rather to adopt a more positive method of criticism by summarising briefly the evidential phenomena which show the cyclical nature of the whole terrestrial energy process, and which remove the basis of belief in such a transmission.

To recapitulate the more general conditions, we find the earth, alike with other planetary masses, pursuing a defined orbital path, and rotating with uniform angular velocity in the lines or under the influence of the gravitation, thermal, luminous, and other incepting fields (§§ 17, 18, 19) which originate in the sun. Its axial rotation, in these circumstances, gives rise to all the secondary transformations (§ 9) of terrestrial axial energy, which in their operation provide the varied panorama of terrestrial phenomena. Terrestrial[Pg 196] axial energy is thus diverted into terrestrial secondary processes. Each of these processes is found to be united to or embodied in a definite material machine (§§ 27-30), and is, accordingly, limited in nature and extent by the physical properties and incepting factors associated with the materials of which the machine is composed. By ordinary methods of transmission, energy may pass from one material to another, that is to say from one machine to another, and by this means definite chains of energy processes are constituted, through which, therefore, passes the axial energy originally transformed by the action of the sun. These series or chains of energy processes are also found to be one and all linked at some stage of their progress to the general atmospheric machine (§ 29). The energy operating in them is, in every case, after many or few vicissitudes according to the nature of the intermediate operations, communicated to the gaseous atmospheric material. By the movement of this material in the working of the atmospheric machine (§ 38) the energy is finally returned in its original form of axial energy of rotation. The sun's action is thus in a manner to force the inherent rotatory energy of the planet into the cyclical secondary operations, all of which converge alike towards the general atmospheric mechanism of return. The passage of the energy through the complete secondary operations, and its re-conversion into its original axial form,[Pg 197] may be rapid or slow according to circumstances. In equatorial regions, where the influence of the sun's incepting fields is most intense, we find that the inherent planetary axial energy is communicated with great rapidity through the medium of the aqueous vapour to the air masses. By the movement of the latter it may be just as rapidly returned, and the whole operation completed in a comparatively short interval of time. In the same equatorial regions, the transformations of axial energy which are manifested in plant life attain their greatest perfection and vigour. But in this case the complete return of the operating energy may be very slow. The stored energy of tropical vegetation may still in great part remain in the bosom of the earth, awaiting an appropriate stimulus to be communicated to more active material for the concluding stages of that cyclical process which had its commencement in the absorption of axial energy into plant tissue. The duration of the complete secondary operation has, however, absolutely no bearing on the conservative energy properties of the planet. In this respect, the system is perfectly balanced. Every transformation or absorption of rotatory energy, great or small, for long or short periods of time, is counteracted by a corresponding return. Absolute uniformity of planetary axial rotation is thus steadily maintained.

It is scarcely necessary at this stage to point out that[Pg 198] the verification of this description of natural operations lies simply and entirely in the observation of Nature's working at first hand. The description is based on no theory and obscured by no preconceived ideas, it is founded entirely on direct experimental evidence. The field of study and of verification is not restricted, but comprises the whole realm of natural phenomena. In a lifetime of observation the author has failed to discern a single contradictory phenomenon; every natural operation is in reality a direct confirmation.

The conception of energy, working only through the medium of definite material machines with their incepting and limiting agencies, is one which is of great value not only in natural philosophy but also in practical life. By its means it is possible in many cases to co-ordinate phenomena, apparently antagonistic, but in reality only different phases of energy machines. It aids materially also in the obtaining of a true grasp of the inexorable principle of energy conservation and its application to natural conditions, and it emphasises the indefensible nature of such ideas as the radiation of energy into space.

It will be evident that in a planetary system such as described above there is no room for any transmission of energy to the system from an external source. The nature of the system is, in fact, such that a transmission of this kind is entirely unnecessary. As already demonstrated, every phenomenon and[Pg 199] every energy operation can be carried out independently of any such transmission. For the purpose of illustration, however, it may be assumed that such a communication of energy does take place; that according to the accepted doctrines of modern science the sun pours energy in a continuous stream into the terrestrial system. Now, no matter in what form this energy is communicated, it is clear that once it is associated with or attached to the various planetary materials it is, as it were, incorporated or embodied in the planetary energy machines, and must of necessity work through the secondary energy operations. But these operations have been shown to be naturally and irresistibly connected to the general atmospheric machine. Into this machine, then, the incremental energy must be carried, and it will be there directly converted into the form of axial energy of rotation. Once the incremental energy is actually in the planet, once it is actually communicated to planetary material, the nature of the system absolutely forbids its escape. The effect of a direct and continuous influx such as we have assumed would inevitably be an increase in the angular velocity of the system. This effect has already been verified from an experimental point of view by consideration of the phenomena of a rotating pendulum system (§§ 42, 43). Whilst the influx of energy proceeds, then in virtue of the increasing velocity of the planetary material in the lines of the various[Pg 200] incepting fields of the sun, all terrestrial phenomena involving the transformation of rotary or axial energy would be increased in magnitude and intensified in degree. The planet would thus rapidly attain an unstable condition; its material would soon become energised beyond its normal capacity, and the natural stability (§ 25) of its constituent energy machines would be destroyed; the system as a whole would steadily proceed towards disruption.

But, happily, Nature presents no evidence of such a course of events. The earth spins on its axis with quiet and persistent regularity; the unvarying uniformity of its motion of axial rotation has been verified by the observations of generations of philosophers. Its temperature gradations show no evidence of change or decay in its essential heat qualities, and the recurrence of natural phenomena is maintained without visible sign of increase either in their intensity or multiplicity. The finger of Nature ever points to closed energy circuits, to the earth as a complete and conservative system in which energy, mutable to the highest degree with respect to its plurality of form, attains to the perfection of permanence in its essential character and amount.


Printed by Ballantyne, Hanson & Co.
Edinburgh & London

FOOTNOTES:

[1] The conception of "Nature's Perfect Engine" was originally arrived at by the author from consideration of the phenomena of the steam-engine. The following extract from the "Review" of his work (1895) illustrates the various stages which finally lead to that conclusion:—

"My first steps in the right direction came about thus. I had always been working with a cylinder and piston, and could make no progress, till at length it struck me to make my cylinder high enough to do without a piston—that is, to leave the steam to itself and observe its behaviour when left to work against gravity. The first thing I had to settle was the height of my cylinder. And I found, by calculation from Regnault's experiments that it would require to be very high, and that the exact height would depend on the temperature of the water in the boiler which was the bottom of this ideal cylinder. Now, at any ordinary temperature the height was so great that it was impossible to get known material to support its own weight, and I did not wish to use a hypothetical substance in the construction of this engine. Finally, the only course left me was to abolish the cylinder as I had done the piston. I then discovered that the engine I had been trying to evolve—the perfect engine—was not the ideal thing I had been groping after but an actual reality, in full working order, its operations taking place every day before my eyes.

"Every natural phenomenon fitted in exactly; it had its function to perform, and the performance of its function constituted the phenomenon. Let me trace the analogy in a few of its details. The sea corresponds to the boiler; its cylinder surrounds the earth; it has for its fuel the axial energy of the earth; it has no condenser because it has no exhaust; the work it performs is all expended in producing the fuel. Every operation in the cycle is but an energy transformation, and these various transformations constitute the visible life of the world."

[2] For definite numerical examples see the author's Terrestrial Energy (Chap. 1.).

TRANSCRIBER'S NOTE:

Obvious typographical errors from the original printed version of this book have been corrected without comment.

Footnotes in the html version have been placed at the end of the book.

Illustrations have been moved to the nearest paragraph break.