The Project Gutenberg eBook of Hand-Craft: The Most Reliable Basis of Technical Education in Schools and Classes

This eBook is for the use of anyone anywhere in the United States and most other parts of the world at no cost and with almost no restrictions whatsoever. You may copy it, give it away or re-use it under the terms of the Project Gutenberg License included with this eBook or online at www.gutenberg.org. If you are not located in the United States, you will have to check the laws of the country where you are located before using this eBook.

Title: Hand-Craft: The Most Reliable Basis of Technical Education in Schools and Classes

Author: John D. Sutcliffe


Release date: September 16, 2011 [eBook #37447]

Language: English

Other information and formats: www.gutenberg.org/ebooks/37447

Credits: Produced by Jonathan Ingram, Harry Lamé and the Online
Distributed Proofreading Team at http://www.pgdp.net (This
file was produced from images generously made available
by The Internet Archive/American Libraries.)

*** START OF THE PROJECT GUTENBERG EBOOK HAND-CRAFT: THE MOST RELIABLE BASIS OF TECHNICAL EDUCATION IN SCHOOLS AND CLASSES ***

Transcriber's Notes:

Some minor typographical errors have been corrected.

Inconsistencies in spelling (including hyphenation) and formatting have not been corrected, except that sand-paper has been changed to sandpaper.

In the multi-page table, repeated headings and carry forward / carried forward have been removed.

Illustrations have been moved to the paragraph where they are described. Some illustrations have been rotated so that most of the text is displayed horizontally.


HAND-CRAFT.


DRAWING BOOKS.
Kindergarten Drawing Book. Part I. Compiled by T. G. Rooper. Kindergarten Drawing Book. Part II. Compiled by T. G. Rooper. (Curved lines.) Small quarto, cloth, price 1s.
Two Hundred Blackboard Drawing Exercises for Infants’ Classes. Small quarto, cloth, price 1s. 6d.
 
INFANTS’ DRAWING BOOKS.
A Varied Occupation.
Book I. Vertical and Horizontal Lines of varying lengths in combination. Book III. Vertical and Horizontal Lines, with Oblique Lines drawn at various Angles.
Book II. Vertical and Horizontal Lines, with Oblique Lines drawn at Angles of 45 Degrees.
PRICE TWOPENCE EACH.
Recommended by the Science and Art Department for Beginning in Elementary Day Schools.
 
JUNIOR DRAWING BOOKS.
Three Books.     PRICE TWOPENCE EACH.
 
DRAWING BOOKS.
To meet the requirements of the New Class Subject—Drawing—and forming a complete course of Instruction in Freehand and Geometry, with full directions and space for working.
FREEHAND.
Book I. Lines, Angles, Parallels. Simple Right-lined Forms. forming Symmetrical Figures.
Book II. Simple Right-lined Forms. Books V. & VI. Familiar Symmetrical Objects of the Home.
Book III. Simple Combinations of Straight and Curved Lines, forming familiar Symmetrical Figures. Books VII. & VIII. Stage II. of the Science and Art Department.
Books IX. & X. Common Objects in Light and Shade.
Book IV. More Advanced Combinations of Straight and Curved Lines,
11 inches by 712 inches, paper covers, Twopence each.
BOOKS I.-VIII. have SIXTEEN PAGES. BOOKS IX. and X. EIGHT PAGES.
GEOMETRY.
Book I. Lines, Parallels, Angles and Triangles drawn with Rulers. Book VII. Inscribed and Described Figures.
Book II. Quadrilaterals and Simple Geometrical Figures drawn with Rulers. Book VIII. Proportionals and Areas.
Book IX. Simple Scales, Projection of Rectangular Solids, and Plane Figures.
Book III. Lines and Angles.
Book IV. Drawing to Scale. Book X. Ditto (more advanced), and with Sections.
Book V. Triangles, Quadrilaterals, Circles and Tangents. Book XI. Projection of Circular Solids and Sections.
Book VI. Polygons, Ellipses, Inscribed and Described Figures.  
BOOKS I.-VIII., 11 inches by 714 inches, paper covers, Twopence each.
BOOKS IX.-XI., 14 inches by 1034 inches, paper covers, Threepence each.
*** A Book of Specimen Pages of this Series will be forwarded free to Head-Teachers on application. Single Copies of any of the Books are sent post-free on receipt of the published price.
 
STUDIES IN MACHINE DESIGN.
By C. F. ARCHER, Certificated Teacher, Subject II.
ELEMENTARY STAGE.
1. Hexagon and Square-headed Bolts and Nuts. 4. Steam Piston.
2. Flange Coupling of Shafts of different diameter. 5. Cylinder Cover and Stuffing Box.
3. Hydraulic Pipe Joint. 6. Full Way Stop Valve.
On Separate Sheets, 1312 inches by 912 inches, the Six in a Packet, Sixpence.
ADVANCED STAGE.
1. Launch Engine. 4. Details of Piston, Crosshead, and Connecting Rod.
2. Details of Crank Shaft and Columns. 5. Launch Engine Cylinder.
3. Details of Slide Valve and Link Motion. 6. Details of Bed-plate.
On Separate Sheets, 1312 inches by 912 inches, the Six in a Packet, Sixpence.

GRIFFITH, FARRAN, OKEDEN & WELSH, LONDON.

HAND-CRAFT:

THE MOST RELIABLE BASIS OF TECHNICAL EDUCATION
IN SCHOOLS AND CLASSES.

A TEXT BOOK

EMBODYING A SYSTEM OF PURE MECHANICAL ART, WITHOUT THE AID OF
MACHINERY; BEING AN ENGLISH EXPOSITION OF

SLÖJD

AS CULTIVATED IN SWEDEN, AND GENERALLY ADOPTED BY ALL
SCANDINAVIAN PEOPLES, TO THEIR GREAT ADVANTAGE.

EXPLAINED AND ILLUSTRATED

BY

JOHN D. SUTCLIFFE,
OF THE MANCHESTER RECREATIVE EVENING CLASSES.

WITH AN INTRODUCTION BY

T. C. HORSFALL, J.P.

NEW YORK
CHARLES E. MERRILL & CO.
52 & 54 LAFAYETTE PLACE

1890


[5]

INTRODUCTION.

It is surprising that so few efforts have hitherto been made in this country to introduce manual training into Elementary Schools. Adequate reason for making such training part of the national system of education exists in the fact, that a large proportion of the people have to earn their livelihood by industries for the attainment of a high degree of skill in which early training of hand and eye is as necessary as it is for success in the use of musical instruments. There can be no doubt that if, in 1870, a system, resembling that of Sloyd, had been generally introduced into English Elementary Schools, the joiners, metal-workers, and most other craftsmen of to-day, would possess more skill in their own work, and more interest in all kinds of manual work, than they do now possess, and that English workpeople, finding that their children received at school kinds of training obviously well fitted to increase wage-earning power, would less commonly than now be careless with regard to their children’s attendance at school.

This reason for desiring the introduction of manual training into Elementary Schools might have been expected to suggest itself to all persons who are acquainted with the conditions under which the mass of English people live; but experience gained in Sweden and other countries where the Sloyd system has been largely used, proves that there are also strong educational reasons for desiring that Sloyd shall be introduced into all English Elementary Schools as soon as possible. It has been found that this admirably graduated system of training not only fosters deftness of hand and correctness of eye, as it might be expected to do, but also has distinctly moral and intellectual effects, as it promotes patient attention, steady application, and interest in work, to a very high degree.

Its effect on many of the large class of children who, though not dullards, show lack of interest in, and deficiency in the power to understand, the subjects comprised in the ordinary school-curriculum, has been most beneficial. In their Sloyd-lessons many of these children have found themselves the equals, some more[6] than the equals, of companions far their superiors at book-work, and have by this gained a confidence in their own ability which has often reacted on their power and their will to conquer their other lessons. Thus many children who, when they first began Sloyd, were distinctly below the average in intelligence, have become under its influence completely “normal.” On nearly all children the effect of this kind of training has been so vivifying that, at least, as much progress has been made with other subjects, when several hours weekly have been given to Sloyd, as had been made previously when all the school-time was given to them. The general educational value of Sloyd has, indeed, been found to be so great, that in some schools in Swedish towns as many as eight hours are given to it each week.

All persons who know how badly prepared are the majority of the children who now leave our Elementary Schools for gaining rapidly skill in the work by which they have to live, or for taking an intelligent interest in their own work or in the best handiwork of others, most strongly desire that the educational authorities in this country will no longer delay the introduction of a system, the great usefulness of which has been so fully ascertained in other lands, and for which many well-trained English teachers can now be obtained. Mr Sutcliffe brought to the careful study of Sloyd, knowledge of the methods of wood-carving; and his treatise will doubtless be found to be helpful to all teachers of the new system.

T. C. HORSFALL, J.P.

Swanscoe Park,

near Macclesfield.


NOTE BY THE AUTHOR.

Some friends have advised that elementary suggestions should have been given as guidance for the use of the tools. Everything of the kind has been omitted, because it is vain to rely upon book knowledge in such matters. How to handle and use the tools can only be well imparted by a competent teacher in practice. The author avails himself of two more lines, wherein to acknowledge the valuable literary assistance he has received from his friend, Mr Richard Russell, of Ashbourne House, Herne Hill, London.

J. D. S.

Pendleton, Manchester,

March 1890.


[7]

HAND-CRAFT.

For some generations there has been cultivated in Sweden, and amongst Scandinavian and kindred peoples, a course of training in personal ingenuity, unknown in most other countries. It does not seem to have ever been persevered in after the manner of trading industry, but as a means of promoting throughout the community a taste and skill for the performance of highly-finished productions in mechanical art, proceeding from the simple to the complex, and resulting in a widely-diffused facility for all kinds of constructive occupations.

Such course or system of training is called Sloyd, and written Slöjd. For the majority of English people such a word cannot have a meaning, and cannot appeal with adequate force to popular appreciation. The nearest equivalent in English to the Swedish word Slöjd would seem to be Hand-Craft, or mechanical training for the hand, undertaken voluntarily for the satisfaction of acquiring manual skill in general, as distinguished from a handicraft of limited application, pursued of necessity from day to day, rather by routine than by skill.

Hand-Craft is therefore adopted as synonymous in England with the word Slöjd in Sweden.

As cultivated in Sweden, it involves all kinds of manual[8] training, and is applicable to highly finished productions in leather, metal, and various other substances, but it suffices, for educational purposes, to limit teaching and exercise to objects made of wood.

It must always be borne in mind that Hand-Craft is mainly educational, and is valuable, not for what it produces, but for the training which the production involves; just as the letters of the alphabet, and their accurate use, are the essential preliminaries to literary attainments. It imparts and cultivates mechanical dexterity, just as learning to read and write spontaneously developes mental capacity. Therefore, whoever masters a course of Hand-Craft acquires an aptitude for all kinds of material processes. Such an aptitude, while useful and gratifying to the individual, is of the greatest consequence amongst people so deeply interested as the English are in manufacturing pursuits.

Hand-Craft also has strong claims to be cultivated as a recreation, and experience proves that it may be so regarded, with every prospect of becoming popular as such.

Touching this matter of recreation, and those who have not the faculty for viewing the subject in that light, reference may be made to familiar facts with reference to chess. Perhaps there is nothing that, to the uninitiated, appears more stupid, insipid, and purposeless than the progress of that game. Yet there are thousands, who have so regarded it, who, after being well initiated, have become interested and absorbed by it, to an extent exceeding the possibilities of their original belief.

[9]So it is with Hand-Craft, with this difference, that Hand-Craft, while supplying an incentive to wholesome perseverance, developing into a fascinating recreation, is suggestive at every turn of life-long utility, with reference to an infinite variety of probable subsequent experience. It promotes a delightful consciousness of the merits of neat, natty tastefulness and judgment with reference to every material thing, and trains the mind and the eye, as well as the hand, to perceive and appreciate excellence of design and finish, proportion, beauty, and adaptability of the most familiar appliances.

Training of this kind has, in recent years, been much stimulated by the establishment of an Institute or Seminary for its teaching and cultivation at Nääs in Sweden, where very generous accommodation and facilities are provided for the instruction of teachers from all parts of Sweden and the rest of the world. The subsequent mission of each of those teachers is to diffuse the taste and knowledge he has thus acquired amongst his own people on his return to them, or amongst other people where he may find encouragement to settle for that purpose.

Thus have the foundations been laid for this genial drawing out and exercise of latent mechanical genius amongst the people of England. With the object of widening those foundations, these pages have been prepared; primarily as forming a Text Book for Teachers, but also as an incentive to parents, educationists, and statesmen to fortify the rising generation of England against the[10] opprobrium so justly alleged against the English of the present day, that they are behind the rest of the industrial world in those elements of mechanical taste and skill, which are becoming more and more essential to the maintenance of manufacturing and commercial prosperity.

An earnest determination to promote amendment in these respects cannot be better carried into effect than by insisting that Hand-Craft shall be regarded as an essential branch of the Technical Education that is now struggling to assert itself usefully. If such a branch be left out, the mere teaching of routine trade processes will inevitably fail. Such routine processes are many of them in heavy-handed, rough disregard of the nicety, accuracy, finish, and judgment which intelligent exercise in Hand-Craft can alone impart; which is the only reliable basis for the superior mechanical results so much needed.

Hand-Craft in wood is distinguished from carpentry or joinery in many important respects.

There is no division of labour.

Everything produced is the entire work of one operator, for the defects of which he is solely responsible.

This directness of responsibility is one of the great merits of Hand-Craft, being calculated to promote wholesome pride in the excellence of complete work; a sentiment that is apt to be very weak, or totally wanting, where division of labour is much relied upon.

The intellectual faculties are brought into unison with the[11] hand, by knowledge and experience developing together with increasing dexterity.

Genuine respect and sympathy are developed for manual toil by familiarity with its application.

Love of work in general is developed, and a taste for it instilled by practical experience of its utility.

Habits of attention, perseverance, industry, and discipline are formed, cultivated, and unconsciously grafted upon the pupil, by the application necessary to excel.

Independence, order, and cleanliness spontaneously grow and become part of the nature of the operator.

Manual dexterity being thoroughly established, the operator is endowed with the consequent acquired ability for dealing with the practical business of life.

Education being the object that should be constantly kept in view, in the teaching and practice of Hand-Craft, it should be thoroughly appreciated that it is adapted for forming and shaping the entire bent of all the faculties.

The objects recommended to work upon are all small, and are therefore within the capacity of the very young, and of both sexes.

For the same reason, the eye, the hand, and the judgment are trained to precise form and finish in the minutest details. This is important, for, though it is generally easier to make something large and rough than small and smooth, no one who is incapable of making a small model well can make a large one any better.[12] Small objects are invariably the best training to work upon, as being certain to inspire appreciation for neatness, exactness, and accuracy.

BASIS OF TEACHING.

Practical teaching of Hand-Craft is based upon models for imitation.

These models, distinguished by numbering from 1A and 1B to 25, are represented by the drawings accompanying these pages, and the instructions hereafter subjoined are explained by reference to the drawings.

The following is a

LIST OF THE MODELS.

*** The second column indicates the kind of wood required—B. signifying Beech or Birch, and F. signifying Fir, commonly called Deal or Pine; the class of wood usually distinguished as Pine being preferable to the rougher-grained wood generally classed as Deal.

No. Wood. Names of Models.
1 a. B. Kindergarten Pointer.
1 b. B. Another variety of the same.
2.   B. Parcel-Pin or Carrier.
3.   F. Flower-Stick.
4.[13]   B. Envelope Opener.
5.   F. Rectangular Flower-Stick.
6.   F. Pencil Holder.
7.   F. Key Label.
8.   B. Thread-Winder.
9.   F. Dibble for the Garden.
10.   B. Pen-Rest.
11.   F. Flower-pot Stand.
12.   B. Paper-Knife.
13.   B. Knife-Rest.
14.   B. Bowl, for Toilette, &c.
15.   B. Hammer Handle.
16.   B. Handle for Chisel or File.
17.   B. Spoon.
18.   F. Chopping-Board.
19.   B. Measure (Half-yard).
20.   B. Scoop for Flour, Sugar, &c.
21.   F. Hanging-Pegs.
22.   F. Stand for Flower-Pot, &c.
23.   F. Footstool.
24.   F. & B. Book Carrier.
25.   B. Ladle.

[14]

TOOLS AND APPLIANCES.

The following is a List of Tools and Appliances necessary for producing the models before enumerated, with the cost of each, both Swedish and English.

Descriptions of Articles.  Best Swedish.   Best English. 
  s. d. s. d.
Carpenter’s Bench in Pine, 6 ft. long 11 3   13 0
Knife (resembling a Shoemaker’s) 0 4   0 8
Two Frame Saws, blades 38 and 114 wide 2 7 [1] 10 6
Tenon or Dovetail Saw (small) 2 0   3 0
Jack Plane 1 8   4 9
Smooth Plane 1 1   3 9
Three Furmer Chisels, 38, 34, and 114 wide 1 2   2 4
Three Outside Gouges, 12, 78, and 118 wide 1 4   2 8
Two-foot Rule 0 6   0 6
Square (6 in.) 1 6   1 10
Bevel (6 in.) 0 8   2 3
Marking Gauge 0 6   0 6
Compasses 1 0   1 8
Hammer (small) 0 8   0 8
Mallet 0 6   1 0
Oilstone[15] 0 7   1 0
Scraper, with round end 0 2   0 5
Two Files (half round), one rough, the other smooth 1 0   3 0
Chopper or Axe 1 10   1 6
Spokeshave (iron) 0 5   1 0
Screw-driver 0 3   0 7
Glue-Pot and Brush 1 6   0 10
Pincers 0 7   0 9
Two Brad-Awls 0 2   0 4
Brace and twenty-four Bits 4 0   6 9
Sand-paper No. 1a  
Pencil  
  [2]37 3   65 3

[1] Nothing exactly like this Swedish Saw is made in England.

[2] Exclusive of carriage from Gothenburg.

Although the prices of the English tools are so much higher than the Swedish (with few exceptions), they are cheaper in the end. They are more carefully made; the wood is drier and better selected; and Swedish steel is not to be compared with English. At the same time, the Swedish tools are good enough to put into the hands of school boys and girls, and they have also the advantage of being considerably lighter in weight.[16]

THE BENCH.

A drawing of the Bench is annexed, to show the difference between one adapted for Sloyd or Hand-Craft and the kind in common use by carpenters. The Sloyd Bench is usually about 7 ft. long, 2 ft. wide, and 3 ft. 3 in. high. As shown in the drawing, it has an extra Bench Screw at the end, which enables the student to fix a piece of level wood rigidly on the top of the Bench, by placing the end against a Stop, as shown in the drawing, and bringing the pressure of the End Screw to bear on the other end. The numerous holes (shown in the drawing) on the Bench Top, are so arranged that the Stop can be fixed in any of them. For school work the Benches are often made double—that is, with a Screw on each side and on each end of the Bench. This arrangement economises space, and answers all practical purposes; enabling two students to work at one bench. The Sloyder will find it an advantage to fix a small drawer under the bench top. In this he should keep his sand-paper and files, as nothing is so detrimental to the edges of the sharp tools as these two articles.

[17]

Workbench

[19]

TOOL EXERCISES.

The making of the models involves training in the exercises enumerated in the following list, the numbering being for subsequent reference.

1. Long Cut (with grain). 26. Perpendicular Chiselling.
2. End Cut (across grain). 27. Concave Chiselling or Gouging.
3. Oblique Cut. 28. Gouging with Spoon-Iron.
4. Bevel Cut. 29. Oblique Chiselling.
5. Sawing off. 30. Smoothing with Spokeshave.
6. Convex Cut. 31. Shaping with Spokeshave.
7. Long Sawing. 32. Oblique Sawing.
8. Edge Planing. 33. Oblique Planing.
9. Squaring with Set Square. 34. End Planing.
10. Gauging. 35. Exercises with Smoothing Plane.[20]
11. Drilling with Brace and Shell-Bit. 36. Work in Hard Wood.
12. Flat Planing. 37. Dowelling or Round Mortising.
13. Filing. 38. Bevelling Edge with Plane Oblique.
14. Drilling with Brace and Centre-Bit. 39. Gluing.
15. Curved Sawing. 40. Sinking in of Iron Plates.
16. Concave Cut. 41. Nailing.
17. Bevelled Planing. 42. Sinking of Nails.
18. Shaping with Plane. 43. Bevelling with Shaping Knife.
19. Chopping. 44. Perpendicular Gouging.
20. Cross-Sawing. 45. Point Planing.
21. Mortising with Knife. 46. Oblique Grooving.
22. Wave-Sawing. 47. Circular Sawing.
23. Plane Surface-Cut with Knife. 48. Fixing with Screws.
24. Scraping. 49. Modelling with Knife.
25. Obstacle-Planing.    

The following are the descriptions of how to apply the Exercises to the making of the Models.

No. 1a. Kindergarten Pointer.

(Requiring Exercises 1 and 2.)

Commence with a piece of Beech, rather more than 5 in. long, and not less than 34 in. thick. It is all the better, for this and other exercises, if it is split from a larger piece, and has no side either square or straight. With the knife, make one side level and smooth, to a width rather exceeding 38 in. When that is done perfectly, make another straight side at right angles to the first. Trim the ends; then mark with the pencil at each end a 38-in.[21] square, with the two straight sides as bases. Then cut two additional straight sides in unison with those squares. This will produce a stem a shade more than 5 in. long and 38 in. square. Mark each end with a diagram thus Mark ; then draw corresponding lines along each side. Then, letting one end remain the same size; reduce the other end to 18 in. square (as shown in centre of diagram) by tapering each side symmetrically throughout. This will result in the stem being 38 in. square at one end and 18 in. square at the other end. Then, guided by the diagram at the thicker end, take off the four corners symmetrically throughout, thus producing a tapered octagonal stem. Then, in like manner, take off the eight corners with great precision, so as to maintain uniform symmetry, and the result will be a tapered stem, approximately round throughout and pointed at one end.

Kindergarten Pointer A

The Long Cut having, thus far, been solely resorted to, measure from the point, and make a mark at 4 in.; then cut off at the mark, thus exercising the Cross Cut. Then, by judiciously applying sand-paper, the pointer may be made perfectly smooth and almost perfectly round, as it should be throughout.


No. 1b. Kindergarten Pointer.

(Requiring Exercises 1, 2, and 3.)

Proceed as for the previous model until the round pointer is produced. Then apply Exercise 3 to the two Oblique Cuts shown[22] from A to a in the figures 1, 2, and 3, of drawings No. 1b. These Oblique Cuts demand great care and precision, as the Cuts should be precisely opposite each other, perfectly level and symmetrical.

Kindergarten Pointer B

No. 2. Parcel-Pin or Carrier.

(Requiring Exercises 1, 2, and 4.)

Commence with a piece of Beech rather more than 3 in. long and 58 in. thick. Reduce it in like manner as previously described to a stem 3 in. long and 38 in. square throughout. Then apply Exercise 4, and so bevel the sides and ends as to make chamfers, as shown in Figs. 1, 2, and 3 of drawings No. 2. Then draw a line across the centre of one side, and there cut a V-shaped notch as shown in Figs. 1 and 2, so as to provide for a string. Then finish with a piece of sand-paper laid upon a flat surface, upon which first rub the sides, then the chamfers, and lastly the ends.

Parcel-Carrier

No. 3. Flower-Stick.

(Requiring Exercises 5, 1, 2, and 6.)

This is the first model made in soft wood, and introduces Exercise 5, Sawing Off. From the edge of a 34-in. board saw off a piece the same width as the thickness, and about 14 in. long. Proceed as for No. 1a until a rod is produced 12 in. square throughout. Then, by a cross made from corner to corner Cross find the centre of one end. Then take off the corners throughout until an octagonal rod is produced; then take off the eight corners so as to make the rod round and the same thickness throughout. Then apply Exercise 6, the Convex Cut, and point the end where the centre is marked. Then measure from the point and mark at 12 in., and there cut off at right angles. Then apply sand-paper, and the result will be a tapered symmetrical round rod, pointed at one end, as shown in drawings No. 3.

[23]

Plant Stick


[25]

No. 4. Envelope Opener.

(Requiring Exercises 5, 1, 2, and 6.)

Saw from Beech, a piece about 8 in. long, 34 in. wide and 12 in. thick. With the knife, make one of the flat sides perfectly level and smooth throughout, and cut one end across at right angles. With a fine pencil, draw on the level side the outline of Fig 1 of drawings No. 4, and also, with compasses, describe on the end the semicircle shown by Fig 3 of drawings No. 4, with the flat edge for the base. Apply the long cut to the edges at right angles to the flat side. Then, on each of the edges thus flattened, draw a line showing the course of the tapering illustration on the first side of Fig. 2 of drawings No. 4. Apply the long cut to each of those lines, at right angles to the edges. This will produce a rod, flat on one side, and presenting a tapered half square on the other. Then shave off the corners of that square, so as to produce half a[26] tapered octagon; then shave off the corners of that octagon, being careful that the work is in unison with the semicircle previously described on the thick end. When so far done to satisfaction, round both ends symmetrically, as shown in Figs. 1 and 2 of drawings No. 4, and finish with sand-paper.

Envelope Opener

No. 5. Rectangular Flower-Stick, with Chamfered or Bevelled Corners.

(Requiring Exercises 5, 7, 8, 9, 6, and 3.)

In this model the Jack Plane and the Try Square are used for the first time. Saw off from Pine a piece about 16 in. long and 34 in. square. Plane one side straight and true, and one of the other sides at right angles. Cut each end across at right angles, and on each end, using the planed edges as basis, mark Fig. 2 of drawings No. 5. Then plane the other two sides at right angles, so as to produce a square rod, which, at every part throughout its length, should fit the try square. Then, with the plane, take about two shavings off each corner, in unison with the figures at the ends. Then, with the knife, cut the point from a to a as shown in Fig. 1 of drawings No. 5. Then measure from the long-pointed end, mark the exact length, cut across at the mark, and cut the other end to a point with eight sides as shown in Figs. 1 and 2. Finish with sand-paper at the long-pointed end only.

Flower Stick


[29]

No. 6. Pencil Holder.

(Requiring Exercises 5, 1, 11, 6, and 2.)

This model for the first time introduces the Brace and Bit. Saw off from Pine a piece 10 in. long, and 34 in. square. With the knife, cut one end across at right angles, and make it smooth. Find the centre of the end as for model No. 1. Fix the stem vertically in the Bench Screw, with the smooth end upwards. Fit a 316-Shell-Bit into the Brace, and bore a centre hole in the end of the stem as shown in Fig. 2 of drawings No. 6, and to the depth dotted in Fig. 1. Great care must be taken in drilling, so that the hole may be clean and perpendicular. With the knife, pare down each side so as to leave a 12-in. square, with the drilled hole in the centre. Find the centre in the opposite end. Mark a line about 214 in. from the drilled end, as shown in Fig. 1. From that line, shave each side down to the centre last found. Then take off the corners so as to make a tapered octagon. Then take off the corners of the octagon, so as to produce a round tapered rod. Measure from the thick end and mark the exact length, and, at the mark, cut across. Then round the end as shown in Fig. 1, and finish with sand-paper.

Pencil Holder

Note.—This is a repetition to a considerable extent of Model 1 on a larger scale. The student may be tempted to proceed without going through the processes described, but the temptation[30] should be rigorously resisted, as a satisfactory result cannot be obtained except by adhering to all the details prescribed.


No. 7. Key Label.

(Requiring Exercises 5, 12, 8, 9, 10, 11, 6, 2, and 13.)

This is mainly intended for an exercise in planing, and it is better to get out a piece of Pine sufficient for two models—that is, about 9 in. long, 134 in. wide, and 1 in. thick.

Plane one side, and then one edge, perfectly straight and square to each other. Then set the gauge to 112 in. to fit Fig. 1 of drawings No. 7. Apply the gauge to the straightened edge and mark off the width along the smooth side. Then plane that edge down to the line so made, using the try-square to keep the edge at right angles with the straightened side. Next find the centre 34 in. from the top end, as shown in Fig. 1. From that centre describe with the compasses a semicircle. Then fit a 316-Shell-bit into the Brace, and bore a hole, at the centre of the semicircle, right through. Then set the gauge to 516 in. for the thickness, as shown by Fig. 2. Apply the gauge to the straightened side, and mark the line for thickness along each edge. Then plane the rough side down to those lines. Then, with the knife, cut round precisely to the semicircle, using the try-square frequently.

Key Label

[If a double length is commenced with, as before recommended,[31] the centering, marking, drilling, and rounding must be done at both ends.]

Measure from the rounded end, and rule with the square, the length of 414 in. Then, with Tenon or Dovetail Saw, cut off just outside the line. Then, with the knife, pare down to the line, and with a file, smooth that end as well as the rounded end, finishing throughout with sand-paper.


No. 8. Thread-Winder.

(Requiring Exercises 5, 7, 12, 8, 9, 10, 14, 15, 1, 6, 16, and 13.)

Beech is required, about 7 in. long, 3 in. wide, and 12 in. thick. Plane one side and one edge. Draw the centre line A to B in Fig. 1 of drawings No. 8. With square and compasses draw all the other lines shown in the same Fig. Then fit a 34 in. Centre-bit to the Brace, and bore two holes, one at A and the other at B. Then, with the smaller turning saw, cut the two outside curved edges as shown in Fig. 1. With the knife, trim to the lines, making the edges square, as shown in Fig. 3. Then shave and slightly round each semicircle, as shown in Figs. 1 and 2, smoothing the edges with the file. Then set the Marking Gauge to 14 in., and, with the smooth side for a base, mark gauge lines on each edge for thickness, and plane the rough side down to those lines. Then set the plane very fine and take a shaving off the face side so as to remove the pencil and compass marks. Then finish with sand-paper.

Thread-Winder

[32]

No. 9. Dibble for Garden.

(Requiring Exercises 5, 7, 8, 9, 10, 17, 18, 6, 2, and 13.)

Saw out from Fir a piece 14 in. long and 114 in. square. Plane one side straight and another side at right angles. Set the Marking Gauge to 1 in., and with the planed side as base, mark lines for thickness along each planed side. Then plane the rough sides down to those lines, using the Try Square frequently. Then, at each end find the centre thus Marker with additional lines showing octagons thus Octagon. With the Marking Gauge draw lines from end to end of each side corresponding with the corners of each octagon. Plane the corners of the square down to those octagon lines, thus producing an octagonal rod, and completing the first exercise in bevel planing. Plane off the corners of the octagon throughout, thus producing a rod approximately round, shown in Fig. 2 of drawings No. 9, and so completing the first exercise in shaping with plane. Measure from one end for the point as shown in Fig. 1, and, with the knife, cut the point as roundly and symmetrically as possible, referring to the centre marked at the end as a guide for the precise place of the point. Then measure from the point and mark at 12 in. Cut across at that mark, and round the blunt end thus made, as shown at top of Fig. 1. With the file, dress the end and stray angles throughout, and finish with sand-paper.

[33]

Garden Dibble

[35]


No. 10. Pen Rest.

(Requiring Exercises 5, 8, 9, 10, 20, 1, 2, 18, and 13.)

Cut from Beech a piece 5 in. long, 1 in. wide, and 34 in. thick. Plane one side and one edge at right angles, then gauge and plane to thickness and height, as shown in Fig. 2 of drawings No. 10, but flat on all sides. Saw across both ends at right angles, so as to reduce the length to 312 in. Select one edge as the top, and, with the square, rule a central line from e to e, and a line across at each of the places marked a, b, c, and d in Fig. 1, continuing each line down both sides. Then, at each end, mark the central place represented by the dot in Fig. 2. From each of those central places describe the semicircle shown at top of Fig. 2. Then mark a line from end to end on each side half way between the top and the bottom.

Then, with the knife, and working to the semicircle at each end, take off the corners of the top, so making half an octagon, and, by taking off the corners of the half octagon, produce a top corresponding to the semicircle at each end, as shown in Fig. 2, taking care that the top of the semicircle throughout centres to the line previously drawn from e to e. Then, with the tenon saw, at each of the places marked a, b, c, and d, saw across a right angle slit 316 in. deep. Then, with the knife or a chisel, cut out the space shown in Fig. 1 from a to b and from c to d, taking care that the[36] side of each space is true and square. Then, with the file, round each base as shown at the top of the shaded section in Fig. 2. Then smooth with the file where required, and finish with sand-paper.

Pen Rest

No. 11. Flower-Pot Stand.

(Requiring Exercises 5, 7, 8, 9, 10, 2, 1, 6, 13, and 21.)

This consists of two pieces, as shown in Figs. 1 and 2 of drawings No. 11, each piece so made as to cross and fit the other at the centre, hence called a Flower-Pot Cross, the whole being a test of exactness and good work, surpassing any preceding model.

Cut from Pine a piece 12 in. long, 114 in. wide, and 12 in. thick. Plane one side and one edge at right angles; then gauge for height and thickness, and plane the other side and edge as shown by the section represented in Fig. 3. Saw across the middle so as to make two pieces, and, from the end of each so cut, measure off and saw both to the equal length of 514 in. each, taking care that both ends of each are accurate right angles. Then place them on their sides and draw the centre line indicated by A B, continuing the line all round each piece. From the centre, mark off the places indicated by e f and g h. At c and d of each, with the compasses, describe the quarter circle shown at each top corner of the figures, striking the segments from the respective dots shown for the purpose near each top corner. Then, with the bottom edge[37] for a base, draw a gauge line on each side of both pieces to the depth represented by i j, and with the tenon saw, make a slit at e and f to the depth of such gauge line. Then, with the knife or chisel, cut out the openings between e and f to the depth of the gauge line, taking care to finish the opening perfectly level and true. Then, at the bottom of one piece and the top of the other, as shown in Figs. 1 and 2, gauge, saw, and cut out the spaces from g to h in the same manner as for the spaces before mentioned. The openings from g to h, if well done, will fit accurately in all directions, and, when put together, will form a firm cross. Then, with the knife, round the corners of each piece, at c and d. Then smooth with file where required, and finish with sand-paper.

Flower-Pot Stand

No. 13. Knife Rest.[3]

(Requiring Exercises 5, 7, 8, 9, 10, 20, 18, 26, 1, 2, 27, 13, and 24.)

[3] No. 12 (Paper Knife) appears, for convenience of illustration, on page 41, but it should be proceeded with before No. 13.

Cut from Beech a piece about 5 in. long, 1 in. wide, and 78 in. thick. Plane one side and one edge at right angles. Then saw across one end at right angles, and, measuring from that end, mark off the length at 414 in., and saw off that end at the mark, taking care to maintain right angles. Then gauge and plane the rough side and rough edge to a width of 78 in. and a thickness of 58 in. Then choose one edge for the top, and,[38] along the centre of that edge, draw a line from c to c, as shown in Fig. 1 of drawings No. 13, and continue the line to the extremities of both ends. Then, in manner described for No. 10, gauge, slit, and cut out with chisel the spaces shown in the same Fig. 1 of drawings No. 13, from a to a and b to b. Then, with compasses, as indicated in the same Fig., describe on both sides of each top corner, the segment of a circle represented in each case from c to d. Then, for the first time, resort to Concave Chiselling, and with a broad chisel cut away the corners down to the segments previously described. This process requires great care and judgment. Fix one end of the work upwards in the bench screw, with the top side nearest to the operator, and, after taking off the corner to a considerable extent, with the bevelled side of the chisel towards the wood, shave small pieces away until the segment marks are reached, taking care to keep the whole curve at right angles to the sides throughout. Then, turn the work, and dress the corner at the other end in like manner. Then file judiciously where required, and finish with sand-paper.

[39]

Knife Rest


[41]

No. 12. Paper-Knife.

(Requiring Exercises 5, 7, 12, 8, 9, 10, 22, 16, 6, 23, 13, and 24.)

Cut from Beech a very straight-grained piece, 14 in. long, 2 in. wide, and 38 in. thick. Plane one side and one edge at right angles. Then, on the planed side, to the size and shape indicated, draw the whole of Fig. 1 of drawings No. 12, letting the straight edge serve as the line from A to B. With the smaller turning saw cut round all the curved parts, carefully adhering to the drawn figure. Then gauge all round for thickness, as shown in Fig. 2, plane the rough side down to the gauge lines, and with the knife trim the curved edges where required. With the set gauge, mark the centre of the straight edge from A to B, and guided by that centre, pare down each corner of the straight edge, so as to make a straight chamfer on each side about 18 in. wide, terminating with a sharp edge at the place where the gauge line was drawn, as shown in Fig. 2. Pare down the corners of both chamfers, and pare each side symmetrically, so as to produce a blade gradually diminishing throughout from a back 316 in. thick to a sharp edge. Then pare down the end of the back to a lancet-shaped point, as shown in Fig. 2. Round the corners of both edges of the handle, so as to make them symmetrical throughout, and also pare the corners of the back of the blade so as to round it on both sides very slightly. File judiciously with a light hand where required, and then, for the first time using the scraper, complete the blade with great care by scraping, finishing as usual with sand-paper.

Paper-Knife

[42]

No. 14. Bowl for Toilette, &c.

(Requiring Exercises 5, 7, 12, 8, 9, 10, 15, 26, 13, 28, 29, 6, and 24.)

This model is shown in the perspective Fig. 1 of drawings No. 14. Commence for it by cutting from Beech a piece about 5 in. long, 3 in. wide, and 114 in. thick. Plane one side and one edge at right angles. Then gauge for a thickness of 1 in. and plane the rough side to the gauge lines. Determine by choice which side shall be the bottom of the bowl and which the top. Find the centre of the bottom side by drawing the lines from A to B and from C to D as shown in Fig. 2. Repeat these lines on the edges and top side, using the try square. Then, on the bottom side, with compasses and square, draw the whole of the figures constituting the entire diagram shown by Fig. 2, and on the top side draw freehand the larger oval or ellipse diagram shown by Fig. 3, being guided by the points of the guide-lines first drawn for the purpose.

[43]

Bowl

Then, with the turning saw, cut round by the line of the ellipse on the top side, and finish the edge square with chisel and file. Then, with finger and pencil, mark a line about 18 in. inside the outer edge all round the larger ellipse. With a 78-in. gouge cut out the centre so as to form the inside of the bowl, the depth and shape being shown by the dotted lines of Fig 4.[45] Having so symmetrically shaped the inside and made it as smooth as the gouge is capable of, with the round end of the scraper dress as smoothly as possible, and finish with sand-paper, before proceeding with the bottom side.

To complete the bottom side, leave the ellipse in the centre untouched, and from its outline to the outer edge of the lip of the bowl, shave with the knife so as to produce in all directions a curve corresponding to those at each end of Fig. 4. Take a shaving off the flat bottom with the smoothing plane, so as to remove the compass marks. Then file judiciously and lightly where required, scrape perfectly smooth, and finish with sand-paper.

*** This No. 14 is a very interesting study and a keen test of application, care, and skill, anything like carelessness being sure to leave its tell-tale marks.


No. 15. Hammer-Handle.

(Requiring Exercises 5, 7, 12, 8, 9, 22, 30, 4, 31, 2, 13, and 24.)

This study exercises ability in the mastery of elliptical lines, and in the use of the spokeshave in Exercises 30 and 31.

Cut from Beech a piece about 13 in. long, 112 in. wide, and 114 in. thick. Plane one side and one edge at right angles. On the smooth side thus produced, with the pencil sketch throughout the whole of Fig. 1 of drawings No. 15. Then, with the turning saw,[46] cut at right angles to the curved lines on both edges throughout, and finish the shaping with the spokeshave, taking care to maintain right angles. Then, on one of the edges, with pencil, sketch throughout the whole of Fig. 2, and, with saw and spokeshave, shape both sides in unison with that sketch, still carefully maintaining right angles throughout. Then, with the knife, shave off the corners so as to make four symmetrical chamfers throughout. Then, with the spokeshave, remove the corners of the chamfers, and proceed with the paring down until the required symmetrical elliptical shape is arrived at, as shown by Figs. 1, 2, and 3. Saw across at right angles at each end to the exact length, and finish with file, scraper, and sand-paper.

Hammer-Handle

No. 16. Handle for Chisel or File.

(Requiring Exercises 5, 7, 8, 9, 10, 11, 33, 18, 6, 2, 13, and 24.)

From Beech cut a piece 6 in. long, 2 in. wide, and 114 in. thick. Plane one side and one edge at right angles. Gauge for greatest width shown from A to B in Fig. 1 of drawings No. 16, and also for greatest thickness shown by A to B in Fig. 2. Plane the rough side and edge down to the respective gauge lines, thus producing a piece of equal thickness throughout, with the sides and edges at right angles. Saw across one end at right angles. On the face thus produced on that end sketch Fig. 3 complete. Fit a 14-in. Bit to the Brace and bore a hole in the centre of the same end to the depth shown by the dotted lines in the upper part of Fig. 1. Plane from A to C and from B to D, thus slightly tapering the sides and edges, but maintaining right angles throughout. Measure from the thin flat end and mark the length of 5 in. Then, from the centre of the line A to B of Fig. 1, describe a semicircle on each side as shown at bottom of Fig. 1. With turning saw and chisel, shape each side of that end to the semicircle. Then plane off the angles so far as to make the shape in unison throughout with Fig. 3, presenting sides corresponding to Fig. 1, and edges corresponding to Fig. 2. Then complete the shape of the thick end with knife, as shown in Fig. 2, and finish with file, scraper, and sand-paper.

[47]

File or Chisel Handle


[49]

No. 17. Spoon.

(Requiring Exercises 5, 19, 12, 8, 9, 10, 32, 22, 29, 14, 15, 26, 13, 2, 8, 6, 24, 16, and 1.)

From very carefully selected Beech cut a piece 10 in. long, 212 in. wide, and 134 in. thick. Plane one side and one edge at right angles. Sketch on the flat edge the complete outline of Fig. 1 of drawings No. 17. With the turning saw, cut to the outline at right angles on the upper side only, completing with chisel and file. On the shaped side thus produced, make a centre line as[50] shown in Fig. 2, then the cross lines. Then, with compasses as guides and checks, mark the outlines of the handle shown in Fig. 2, and, with freehand, sketch the ellipse. With bits and brace drill a 78-in. hole right through at each centre marked b, and a 58-in. hole at each centre marked c. Then, with the turning saw, cut to the outline at right angles throughout, completing the process with gouge, knife, and file. Then, in the manner described for making the inside of No. 14, make the inside of the Spoon in unison with the dotted curve of Fig. 1.

The inside of the Spoon being thus completed, proceed with the outside. Mark on the edge the outline d d d d d for the under side of the spoon. With the turning saw, cut out to that outline, and round with the knife, as shown in the sections of Figs. 3, 4, and 5. Take care to keep carefully outside the lines when cutting with the knife, and apply the file, scraper, and sand-paper for finishing.

*** The under part of the spoon is a capital exercise in modelling with the knife, and, if one process is completed before the next is commenced, requires no more than ordinary application and care.

Spoon

No. 18. Chopping-Board.

(Requiring Exercises 5, 12, 8, 9, 10, 14, 15, 26, 34, 13, 25, and 24.)

This especially involves straight and square planing. Cut from Deal a piece 20 in. long, 612 in. wide, and 1 in. thick. Plane [53]one side perfectly level and one edge perfectly straight at right angles. Gauge and mark for width at 534 in. Find and mark the centre line A to B in Fig. 1 of drawings No. 18. Set the compasses to a radius from A to B, and describe, with A for the centre, the semicircle shown at the top of the Fig. Fit a 1-in. Centre-bit to the Brace, and drill a hole with A for the centre, taking care that it goes vertically through at right angles, and that there is no splitting when the bit is nearly through. With the small turning saw, cut round the semicircle at right angles, and, with the chisel, shave off and round the two corners that spring from the semicircle, also at right angles. Then, measuring from the centre of the rounded end at B, mark the entire length at 1678 in., and, with the tenon saw, cut off at the mark at right angles. Then shave and round at right angles the two bottom corners. Plane the bottom edge smooth, and file the edges where necessary. Set the gauge at 34 in., mark with it the edge all round for thickness, and plane the rough side down to the mark, perfectly level throughout. Then, with the smoothing plane, take a thin shaving from the first side, merely enough to remove the marks, taking care to maintain an accurate level. Finish throughout with sand-paper.

Chopping-Board

*** The object of deferring the planing of the second side until so late a period, is that, at the same time, minute chipping and roughness of edge on that side, almost certain to result from the boring and sawing, are at the same time disposed of.


[54]

No. 19. Half-Yard Measure.

(In the original Sloyd model this is a half-metre measure.)

(Requiring Exercises 5, 7, 12, 8, 9, 10, 25, 30, 15, 16, 6, 2, 13, and 24.)

Select from Beech an exceptionally straight-grained piece 24 in. long, 114 in. wide, and 34 in. thick. Plane one side and one edge at right angles, both scrupulously straight and even; then gauge, mark to a nicety for 118 in. wide and 12 in. thick, and plane to the gauge marks with great exactitude, thus producing a four-cornered rod of uniform size throughout. Saw across one end at right angles. Measure from that cut end, mark the length of 18 in., and saw across at the mark. Then set the gauge precisely at 78 in., and, passing it along each edge, mark on both sides for the lines a to b in Fig. 1 of drawings No. 19, continuing the lines from end to end of the entire rod. Then, with the square, mark across the place for a a, and there saw a slit on each side down to the gauge line. Then proceed to the first exercise in Obstacle Planing (No. 25.) Thus, pass the smooth plane along each edge from b to a, as far as the obstacle of the corner will allow. Of course the planing cannot be continued into the corners, but, whatever is left by the plane must be got out by the chisel and file. Then, on each side, sketch for the handle, as shown in Fig. 1, the gauge line, previously there, forming part of the sketch. Then, with the turning-saw, cut out[57] to the sketch and gauge lines. With the knife, make the chamfers shown in Figs. 1 and 2. Then shave the corners and round the end of the handle, as shown in Fig. 1. File and scrape lightly where required, and finish with sand-paper.

Half-Yard Measure

No. 20. Scoop.

(Requiring Exercises 5, 19, 12, 9, 14, 7, 15, 26, 32, 33, 29, 28, 13, 18, 6, 16, 2, and 24.)

Cut from Beech a carefully-selected piece 11 in. long, 3 in. wide, and 3 in. thick. Plane one side and one edge at right angles, with exceptional care. Then, on the smooth edge sketch the outline of the upper side a to a of Fig. 1 of drawings No. 20. Saw to the outline at right angles throughout, afterwards correcting inaccuracies with chisel and plane. On the smooth shaped side thus produced, sketch the outline of Fig. 2. With 112-in. centre bit drill the holes indicated by b b, right through. Saw to the outline all round, carefully maintaining right angles throughout and, as before, correcting inaccuracies with chisel and plane.

Then, at the upper edge of the invisible end at the bottom of Fig. 2, find the centre represented by c in Fig. 3. Fix compasses to a radius from c to d, and, from the centre before found, describe a semicircle, and from the same centre another semicircle with a radius about 18 in. longer. The centre of the inner of those semicircles[58] represents the bottom of the inside of the Scoop at f of Fig. 1, and the outer one represents the bottom of the outside at the same point.

Next, with 18-in. gouge, make a furrow just inside the outline of the face of the scoop, as previously recommended for Model No. 17. Then, from that furrow as a starting-point, in all directions, with 78-gouge, scoop out from back to front, to the depth indicated by the dotted line of Fig. 1, and to the width at front of the semicircle previously drawn on the end, but gradually diminishing the inner capacity so as to make it smallest near the handle, in about the same proportion as indicated for the bottom by the dotted line in Fig. 1. Then file and scrape inside where required, and finish so far with sand-paper.

Then, upon each edge, draw the outline of the bottom of the Scoop, shown in Fig. 1. Saw throughout that outline at right angles. Then from e to f plane all round to the semicircle indicated by the outer line of Fig. 3 previously described on the end. Then, with the knife, cut the handle to the section indicated by Fig. 4, and continue the shaping to e as indicated by the shaded lines of Fig. 1. File the handle and outside of Scoop where required, and finish with sand-paper.

Scoop

*** The most difficult part of this model is that shaded in Fig. 1, which requires special attention and care.


[61]

No. 21. Hanging Pegs or Rack.

(Requiring Exercises 5, 7, 12, 8, 9, 10, 14, 15, 26, 13, 18, 4, 26, 37, 29, 35, 39, 40, and 42.)

From Deal cut out two pieces, one 18 in. long, 312 in. wide, and 78 in. thick; the other 15 in. long, 1 in. wide, and 78 in. thick.

Commencing with the larger piece, plane one side and one edge at right angles. Then gauge-mark to a width of 3 in., and plane the rough edge down to that mark. At the centre of the width draw a line from end, as shown in Fig. 1, f to f. On that line, with compasses, mark the points indicated by a, b, c, of Fig. 1 of the drawings No. 21. At each point drill a 58 in. hole right through, taking great care to drill vertically. With the square, draw the cross lines at d d, the intersections with the central line forming additional central points. Set compasses to a radius of 78 in., and, from each of those central points, describe a semicircle as shown in the Fig.; then from each of the same central points describe an outer semicircle as also shown in the Fig. With tenon saw make a nick at each of the four points g, in each case reaching to the outer of the semicircles, each nick being strictly at right angles. Then, with turning saw, follow the line of each of the outer semicircles. Then dress the edges all round with chisel and file as required. Then gauge-mark all round for a thickness of 34 in., and plane the rough side down to the[62] mark, evenly throughout. Gauge-mark all round for the chamfer, in the proportion shown in Fig. 1, and chamfer to the mark accordingly, using the plane for the sides and the knife for the curves and corners. File throughout where necessary, and finish with sand-paper.

The smaller piece of Deal being to make the pegs with, plane it on one side and one edge at right angles, then gauge-mark for a width of 34 in. and for a thickness of 58 in., as illustrated in section by Fig. 4. Saw across into three lengths of 5 in. each. Place them together on their sides, and sketch one side of each as shown from j to k and l in Fig. 3, leaving the space from j to m untouched. With the try square repeat the lines of this sketch on both sides of each. With saw and knife cut each peg to the sketch, finishing the whole, excepting the circular plug. Then at the inner end, find the centre as denoted in Fig. 4, and, using the same centre-bit as for Fig. 1, describe a circle mark as dotted in Fig. 4. Then, with the tenon saw, cut by the “shoulder” to a depth of 18 in., and pare the circle with the knife to the shoulder j, so making a round plug, a little too large to go into the holes of Fig. 1. Then, with the file, carefully reduce the size of each plug so as to very accurately and tightly fit one hole at a time in Fig 1, where wedging must not be tolerated. The perfection of this part of the work is to be tested by ascertaining that the pegs are precisely in a line, and that each one fits all round to the face of the board into which it is inserted.

[63]

Clothes Rack

[65]Having thus fitted each plug to its own hole, and marked it for identification, the pegs may be completed. Cut down each one, with the tenon saw, from k to x, and, with the chisel, pare down from j to k, first making it square and afterwards slightly rounding it, as shown in section of Fig. 4. With a sharp chisel cut round to the outside of the semicircle for the top of the peg. File this round and then cut the chamfer with the knife. File as required, and finish with sand-paper.

The pegs being thus made ready for fixing, clean the face of the board (Fig. 1) with the smooth plane, and the edges and chamfers with sand-paper. Then glue in each plug, using the try square to make sure that they project at right angles. Then put the whole away for not less than six hours, to allow the glue to set well. Then, as each plug has been purposely made slightly too long, saw off each projection at the back, and smooth the whole of the back with the plane, so effecting the finishing touches.

To avoid the necessity for nailing to the wall, get two pieces of hoop-iron about 112 in. long and 12 in. wide. To adapt each piece for its purpose, cut one end round and punch in a nail hole and two smaller screw holes, as shown in Fig. 1. With a chisel cut a neat recess for each iron so that it can be sunk flush with the back, as shown in Fig. 2, and, inserting the screws, the work will be complete.


[66]

No. 22. Flower-Pot Stand.

(Requiring Exercises 5, 7, 12, 8, 9, 10, 34, 20, 2, 1, 13, 41, 42, and 35.)

This is an especially good subject for straight sawing, straight planing, and nailing.

Cut from Deal a piece about 22 in. long, 6 in. wide, and 1 in. thick. With the jack-plane face one side and one edge perfectly straight and true at right angles. Gauge-mark for 1316 in. thick, and plane the rough side down to the gauge-line. Square one end with the plane, mark to length shown in Fig. 1 of drawings No. 22, cut with tenon saw to mark, and square the end with smooth plane. Then gauge-mark for thickness of lath shown in Fig. 4, and saw off a shade inside the gauge-lines. In like manner cut five laths, and plane each to the gauge line.

The laths being thus made, sufficient wood will be left for the supports. Make the width of the supports the same as that of the laths. After gauging and planing the supports to depth as Fig. 4, saw off to the 6-in. length. Square the ends with a chisel and set out on each the distance a a, Fig. 3. Gauge to b b, Fig. 4, and with the tenon saw, cut to the gauge-line at a a, and with the knife remove the piece between a and a. Then mark on each lath the distance the supports are from each end of the laths, and nail on the laths—the outside laths first, then the centre one, and finally the other two.

[67]

Flower-Pot Stand


[69]

No. 23. Foot-Stool.

(Requiring Exercises 5, 7, 12, 8, 9, 10, 3, 4, 15, 44, 32, 29, 14, 13, 3, 5, 41, and 42.)

Cut from Deal two pieces, one 12 in. long, 6 in. wide, and 114 in. thick; the other 18 in. long, 314 in. wide, and 1 in. thick.

The former piece is for the laths, and it must be prepared and cut as in No. 22, making each lath to finish 1 in. wide, 12 in. thick, and 1034 in. long.

The wood for the support must now be proceeded with. Plane one side and one edge at right angles, and gauge-mark for width of 3 in. and thickness of 178 in. Plane the rough side and edge down to the gauge-marks. Then saw through the centre so as to make two pieces of 78 in. thickness each. Place the pieces side by side, and nail them together with two 112-in. wrought nails, so that both pieces can be operated upon together. Then draw on one outer side the diagram shown on the unshaded part of Fig. 1 of drawings No. 23, and, with the aid of try-square and compasses, repeat the diagram on the other outer side. Then cut off each end nearly to the end lines of the diagrams, and, with the smoothing plane, finish at perfect right angles. Then, with a 58-in. centre-bit, drill at the spots marked a a on each diagram, penetrating on one side a little more than an inch, and finishing by drilling from the other side in precise unison. The drilling throughout must be[70] exactly vertical. Then proceed with the arch shown in Fig. 1, with the turning saw cutting out the three semicircles, which finish with gouge and file, taking care to maintain right angles at every point. Then separate the pieces, smooth each face with the smoothing plane, and the circular parts with file and sand-paper.

The respective parts being now complete, mark on each lath the distance the supports are from the ends shown in Fig. 2. Then nail on the laths, b b first, c next, and the others afterwards. Then, having first taken care to punch down all the nails sufficiently, plane a few shavings off the tops of the laths to make them clean and level.

Foot Stool

*** If the laths are well and truly nailed on, their ends should be in perfect line. Any defect in that respect must be remedied by carefully and judiciously planing; but the perfection of work is when no such planing is necessary.


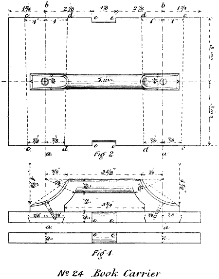
No. 24. Book-Carrier.

(Requiring Exercises 5, 12, 8, 9, 10, 3, 4, 15, 44, 32, 29, 14, 13, 3, 5, 41, and 42.)

This is made partly in hard and partly in soft wood.

[73]

Book-Carrier

For the handle, cut from Beech a piece 8 in. long, 2 in. wide, and 78 in. thick. Plane one side and one edge. Then gauge-mark for 112 in. wide and 34 in. thick, and plane the rough side and edge down to each gauge-mark. Then draw on one side the diagram of the handle shown in Fig. 1 of drawings No. 24. With[75] the turning saw, cut to the inner and outer lines of the diagram. With the plane, round the top of the handle, as shown in Fig. 1, and, with the knife, round and smooth the other parts, taking care that all the right angles are strictly maintained. Then, with an 18-in. centre-bit, drill a hole for each screw, as shown in the Fig., and, with the knife, counter-sink for the heads of the screws. With the knife, make the chamfers at the corners of the curves, as shown in Fig. 2, and finish completely with scraper and sand-paper.

The handle being thus finished, cut from Deal a piece 24 in. long, 612 in. wide, and 58 in. thick, and plane one side and one edge at right angles. Gauge-mark for 6 in. wide, and 12 in. thick, and plane the rough side and edge down to the gauge-marks. Square one end, measuring from that end, saw off at 9 in. On the larger piece remaining, draw the lines a b and a b in the positions shown in Fig. 2; then, with the compasses, set off the spaces from a to c and from a to c, b to c and b to c, a to d and a to d, b to d and b to d. Then set the gauge to half the thickness, and with it mark the edges on the four places indicated in each case from c to d. Set the bevel to the oblique line at each side of the dovetails, and transfer this bevelled line to each side at points c c c c and d d d d. Then, with tenon saw, cut down each line c d to the depth of the gauge line, and, with a small chisel, remove the whole of the pieces between the nicks made by the saw. This will result in two grooves for dovetailed tongues, as shown above, a a in Fig. 1, designed to strengthen and prevent from warping the upper half of the holder.

[76]The grooves having been thus made ready, the dovetails must be prepared. From Deal cut two pieces, each 9 in. long, 212 in. wide, and 34 in. thick. Plane one side of each and bevel one edge to the pitch the bevel was previously set for. Then, on the planed side, mark 214 in. at one end, 114 in. at the other end, and take to that width, afterwards bevelling the edge as before. Then fit each of the tongues provided, driving them tight into their places. When they fit exactly, glue the planed side and the edges, and drive them to their positions, being careful not to split off the ends. Then allow time for the glue to set, and cut off the projecting ends of the tongues and plane them and the face of the board to a level. Cut off to exact length, measuring from the lines a b. Then smooth both boards with the plane, nail them together with two small nails, and square the ends. Then gauge and nick with the saw for the recesses e e, removing the wood from each recess with the knife, so making grooves for a strap to pass round. Then screw on the handle in the manner indicated by both Figs., and finish as required with sand-paper.


No. 25. Ladle.

(Requiring Exercises 5, 19, 12, 9, 10, 32, 15, 33, 29, 14, 26, 28, 22, 49, 31, 1, 6, 16, 13, and 24.)

[77]

Ladle

Cut from Beech a piece 16 in. long, 4 in. wide, and 4 in. thick. The manner of proceeding resembles that required for No. 17. Plane one side and one edge at right angles, and draw on the planed[79] side the diagram shown in Fig. 2 of drawings No. 25. With a 114-in. centre-bit, drill two holes right through, as indicated by the dotted circles. Saw round the outside lines of the diagram, taking care not to obliterate the lines. Trim exactly to the lines with a chisel, gouge, and file. Then mark on each edge the upper curved line of Fig. 1. Saw to that line without obliterating it, finishing with spokeshave, plane, chisel, and file. Then cut out the bowl of the ladle, using a small gouge for the edge, and a larger one for obtaining the depth, which must be governed by the white section shown in Fig. 3, and finished with file, scraper, and sand-paper before proceeding with the under side. When the bowl is thus finished, mark on each side the curve for the under side shown in Fig. 1. Saw just outside the line, and proceed to shape the under side—the bowl to the shaded section of Fig. 3, and the handle to the section of Fig. 4. For finishing the bowl, fix the handle in the bench screw, and pare with a wide chisel, afterwards applying the knife for completing the bowl and handle. For the finishing touches use the file, scraper, and sand-paper.

END.

TURNBULL AND SPEARS, PRINTERS, EDINBURGH.