The Project Gutenberg eBook of Lectures on Ventilation

This eBook is for the use of anyone anywhere in the United States and most other parts of the world at no cost and with almost no restrictions whatsoever. You may copy it, give it away or re-use it under the terms of the Project Gutenberg License included with this eBook or online at www.gutenberg.org. If you are not located in the United States, you will have to check the laws of the country where you are located before using this eBook.

Title: Lectures on Ventilation

Author: Lewis W. Leeds


Release date: August 1, 2011 [eBook #36936]

Language: English

Other information and formats: www.gutenberg.org/ebooks/36936

Credits: Produced by Chris Curnow, David Garcia and the Online
Distributed Proofreading Team at http://www.pgdp.net (This
file was produced from images generously made available
by The Internet Archive)

*** START OF THE PROJECT GUTENBERG EBOOK LECTURES ON VENTILATION ***



(front cover)

[i]







LECTURES ON VENTILATION:

BEING A COURSE DELIVERED IN THE
FRANKLIN INSTITUTE,
OF PHILADELPHIA,
DURING THE WINTER OF 1866-67.



By LEWIS W. LEEDS,

Special Agent of the Quartermaster-General, for the Ventilation of Government Hospitals during the War; and Consulting Engineer of Ventilation and Heating for the U. S. Treasury Department.



Man's own breath is his greatest enemy.



NEW YORK:
JOHN WILEY & SON, PUBLISHERS,
2 Clinton Hall, Astor Place.
1869.

[ii]



Entered according to Act of Congress, in the year 1868, by
LEWIS W. LEEDS,
In the Clerk's Office of the District Court of the United States for the Southern District of New York.



New York Printing Company,
81, 83, and 85 Centre Street,
New York.



[iii]





PREFACE.

These Lectures were not originally written with any view to their publication; but as they were afterwards requested for publication in the Journal of the Franklin Institute, and there attracted very favorable notice, I believed the rapidly increasing interest in the subject of ventilation would enable the publishers to sell a sufficient number to pay the expense of their publication; and, if so, that this very spirit of inquiry which would lead to the perusal of even so small a work, might be one step forward towards that much-needed more general education on this important subject.

It was not my desire to give an elaborate treatise on the subject of ventilation. I believed a few general principles, illustrated in a familiar way, would be much more likely to be read; and, I hoped, would act as seed-grain in commencing the growth of an inquiry which, when once started in the right direction, would soon discover the condition of the air we breathe to be of so much importance that the investigation would be eagerly pursued.

L. W. L.

[iv]




[1]





CONTENTS.

LECTURE I.

Philadelphia a healthy city—Owing to the superior ventilation of its houses—But the theory of ventilation still imperfectly understood—About forty per cent. of all deaths due to foul air—The death rate for 1865—Expense of unnecessary sickness—In London—In Massachusetts—In New York—In Philadelphia—Consumption the result of breathing impure air—Entirely preventable—Infantile mortality—Report on warming and ventilating the Capitol—Copies of various tables therefrom—Carbonic acid taken as the test, but not infallible—The uniform purity of the external atmosphere—Illustrated by the city of Manchester—Overflowed lands unhealthy—Air of Paris, London and other cities—Carbonic acid in houses—Here we find the curse of foul air—Our own breath is our greatest enemy—Scavengers more healthy than factory operatives—Wonderful cures of consumption by placing the patients in cow stables—City buildings prevent ventilation, consequently are unhealthy—The air from the filthiest street more wholesome than close bed-room air—Unfortunate prejudice against night air—Dr. Franklin's opinion of night air—Compared with the instructions of the Board of Health, 1866—Sleeping with open windows—Fire not objectionable—A small room ventilated is better than a large room not ventilated—Illustration—Fresh air at night prevents cholera—Illustrated by New York workhouse—Dr. Hamilton's report—Night air just as healthy as day air—Candle extinguished by the breath—The breath falls instead of rises—Children near the floor killed first—Physicians' certificates do not state "killed by foul air"—Open fire-places are excellent ventilators—All fire-boards should be used for kindling wood—Illustration showing when ceiling ventilation is necessary.

Page 3

LECTURE II.

The effect produced by heat upon the movements of air—Air a real substance—Exerts a pressure of fifteen tons on an ordinary sized man—It cannot be moved without the expenditure of power—The sun's rays the great moving power—They pass through the forty-five miles of atmosphere without heating it, and heat the solid substances of the earth's surface—Experiments showing the effect of radiant heat and reflected heat—The air of the room not pure and dry—The ordinary moisture absorbs from fifty to seventy times as much as the air—Many gases absorb much more—The moisture in the air the great regulator of heat—Air is heated by coming in immediate contact with hotter substances—Impossibility of any air remaining at rest—The practical application of these principles—The open fire acts like the sun, heating by radiation only—Probable electric or ozonic change in furnace-heated air—The stove heats both by radiation and circulation—The stove nor the open fire not suitable for large crowded rooms—Circulating warmed air best—Erroneous views in regard to ventilation—Experiments with liquids of different densities—When warming [2] and ventilating by circulating air, the escape for the used air should be from the bottom of the room—But when ventilating with cooler air the escape should be from the top of the room—Windows should lower from the top and flues open at the bottom of the room—The fashionable system of heating by direct radiation, without any fresh air, very objectionable.

Page 18

LECTURE III.

One breath of impure air shortens our life—Difficulty of getting pure air to breathe in houses and cars—Foul air in steam cars—Want of the proper knowledge regarding ventilation among all classes—Want of ventilation in this lecture room—Want of ventilation in the Cooper Institute, and in many other new and splendid buildings—Street cars very foul—My own chamber fully ventilated—I have no new patent idea, sufficient for all time without further thought—Constantly varying conditions require separate intelligent thought and action—The air moves horizontally in summer—Flues are then of no account—We must depend on open doors and windows—How to ventilate a sick room in the morning—The same in the evening—Windows should always lower from the top—To make air move in the summer is the great desideratum—When in motion the cold air falls and warm air rises; when at rest, it is arranged in horizontal layers, according to temperature—A flue is simply a passage for air of different temperatures—Experiments with flues of different temperatures—Expansion of air by heat—Weight required to keep it from expanding—Heating air weakens it instead of giving it power—Experiments showing draughts by lighted candles—Ventilation of churches—Illustrations not exaggerated—Examination of church in neighborhood—Fresh air taken from foul cellar—No fresh air supplied to churches used as hospitals in Washington—Depending on a sham ventilator painted on the solid wall—Foul air in Philadelphia schools—New York public schools—Many of the ventilators perfect shams—Covered up air-tight by the capping stones—Importance of the evaporation of water—A strong fire in basement will draw gas out of second story stove—A strong fire up stairs will draw foul gases from untrapped sewers—A very healthy location may thus be made very unhealthy—Drs. Palmer, Ford and Earle's report of epidemic at Maple Wood Institute—An arrangement for ventilation that ought to be in every house—Flues generally too small, especially in Philadelphia—Very large ones put in government hospitals, which proved thoroughly efficient—The leading points in regard to heating—The fresh air must be warmed before entering in winter—A hot water furnace requires additional moisture—Heating by steam—Steam-pipes ought to be laid through the street the same as gas and water—Two-thirds of heating surface should be for heating the fresh air and one third for direct radiation—Forty pounds of water required to be evaporated every minute for U. S. Senate Chamber—All stoves should have fresh-air boxes—Dampers in fresh air-boxes not good—Experience has fully demonstrated that careful attention to these things will be amply rewarded by increased health, strength, happiness and longevity.

Page 31

Article relating to the Grand Prize awarded to Hospital Ventilation and other Sanitary arrangements, Paris Exhibition.

Page 51

[3]





LECTURES ON VENTILATION.





LECTURE I.

Philadelphia is one of the healthiest cities in the United States, and, in proportion to the number of its inhabitants, few more healthy cities exist in the world.

This is not owing especially to its more salubrious situation, but should be attributed, in a great measure, to the accidental superiority of the ventilation of a large proportion of its dwelling-houses.

Notwithstanding this comparative excellence, the theory of ventilation is not so thoroughly understood, nor is the practice so perfect, even in this city, that no advantage can be gained by further knowledge upon the subject.

Far from it. From the very best information we can command, and with the most accurate statistics at our disposal, we are forced to the conclusion that about forty per cent. of all the deaths that are constantly occurring are due to the influence of foul air.

The Registrar of Records of New York gives nearly half the deaths in that city as resulting from this cause.

The deaths in this city for 1865, according to the report of the Board of Health, were seventeen thousand one hundred and sixty-nine; the average age of those who died was between twenty-three and twenty-four years. It ought to have been twice that, as shown by some districts in the city and also in the country, where the houses are so arranged that they frequently have good ventilation.

Taking the deaths caused by foul air at a very low estimate, say forty per cent. of the whole, (the per centage from that cause is not so great as in New York,) we have six thousand eight hundred and sixty-eight deaths in this city, caused alone by impure air, in one year.

It is estimated by physicians that there are from twenty-five to thirty days of sickness to every death occurring; there would therefore be something like two hundred thousand days of sickness annually as an effect of foul air.

We all know how very expensive sickness is, but few persons realize [4] the enormous aggregate expense of unnecessary sickness in a city like Philadelphia. 1

This subject has awakened much interest in Europe of late years, and has led to the expenditure of immense sums of money, for the purpose of improving the sanitary condition of its cities.

Dr. Hutchinson estimated the loss to the city of London, growing out of preventable deaths and sickness, at twenty millions of dollars annually, and Mr. Mansfield estimates the loss from this cause to the United Kingdom at two hundred and fifty millions of dollars.

In the single State of Massachusetts, an estimate exhibits an annual loss of over sixty millions of dollars by the premature death of persons over fifteen years of age.

It is estimated that a few only of the principal items of expense incurred by preventable sickness in the city of New York amount to over five millions of dollars annually.

And if it is thought that Philadelphia is exempt from such enormous unnecessary expense, just glance at the report of the Board of Health for last year, and see how the deaths from disease of the lungs largely exceed those from any other disease.

Consumption is almost entirely the result of breathing impure air,—it is as preventable by the exclusive use of pure air as maniaa potuor drunkenness is by the exclusive use of pure water. And see, too, what slaughter among the innocents—over twenty-five per cent. of the whole deaths were under one year of age.

The infantile mortality is by many considered the most delicate sanitary test. But why does such an intelligent community as this so neglect its own interest?

They have listened to and satisfied the first imperative demands of nature—shelter from the elements and warmth,—and in doing this they have not brought into use that much higher order of intellect which can alone teach them how to supply, in connection with an agreeable warmth, an abundance of pure air in their otherwise air-tight houses.

I have been much interested in examining a large collection of tables of the analysis of air, which accompany a report to Congress, on "Warming and Ventilating the Capitol," prepared by Thomas U. Walter, Professor Henry and Dr. Wetherill. These tables were made by men of various nations, giving the results of their analysis of air [5] taken from all manner of places, from great elevations on the mountains and in balloons, from the valleys, from the centre of the ocean, and from the middle of the continent, in cities and in the country, in winter and in summer, at night and in the day, and also the comparative analysis of the air out of doors and in houses. Believing that these would be of much interest and assistance to us in the investigation of the subject under consideration, I have had copies made of some of the most interesting.

These give the per centage of carbonic acid in the air as the test of the amount of impurities in it.

This is not an infallible test by any means—there are various other causes of deterioration. There is the exhaustion of the oxygen constantly occurring to support combustion and animal life; there are various other deleterious products of combustion and respiration besides carbonic acid. But, as carbonic acid is always found in certain known proportions in pure air, and is always formed in certain known quantities by respiration or combustion, it is considered by many to give a very fair indication of the condition of the atmosphere with reference to its influence on animal life or combustion.

I think one of the most valuable lessons to be learned by the study of these tables is the uniform purity of the external atmosphere all over the world, even in large cities.

This is strikingly illustrated in the case of the analysis of the air in the city of Manchester.

We have nothing in this country like that city, where two millions of tons of coal are burned annually, the smoke from which fills the air and stretches like a black cloud far into the country.

Thus, added to the five hundred tons of carbonic acid thrown from the lungs of its animal life every day, are many times that amount, (some two thousand tons,) daily, pouring out from its forest of factory chimneys.

To this city were the labors of the "Health of Towns Commission" first directed, to see if they could not find in the air of its streets that mysterious influence that has caused such alarm throughout the civilized world, as the thoughtful and intelligent sanitarian sees one-half of all his fellow-citizens hurried to untimely graves.

They were disappointed, and well might Dr. Smith exclaim, after the most thorough and careful investigations, "How insignificant are the works of art in contaminating that vast ocean of air that is constantly sweeping over the surface of the earth!" But do not be discouraged: [6] more recent investigations have discovered the whereabouts of this pestilential breath.

I have placed the table of Dr. Angus Smith's analysis of the air of Manchester at the head of the list, and have copied it complete, because it is the only table that I have examined of the analysis of the air of towns in Europe or North America, in which there occurs an amount of carbonic acid exceeding ten parts in ten thousand.

Here we see three such cases in the twenty-eight experiments, one ten, one twelve and one fifteen.

The average of the whole is also greater than in any other similar tables, being about seven and a half parts in ten thousand. This is certainly quite a perceptible contamination, pure air containing four or four and a half parts in ten thousand. Yet considerable as this appears in this view, the additional amount of carbonic acid is only the proportion that would be added to the air, if unchanged, of a room fifteen feet square and ten feet high, by a father, mother and three children, with a gas-light, in seven minutes.

And this, probably, is the highest average contamination that is produced by artificial means upon the air of any city in the world.

There are, of course, great natural causes which affect the air of whole countries, such as the decomposition of great masses of vegetable matter similar to that occurring on the low flat lands along rivers, especially where they overflow their banks, like the Ohio and Mississippi. The best system of ventilation, as applicable to this kind of foul air, is to keep as far out of its reach as possible.

The other tables giving the analysis of the air of London, Paris, Madrid, Geneva, Bolton, England, at different elevations on the mountains, on the Atlantic Ocean, Washington City and various other places, are interesting only because they show so great a uniformity in the carbonic acid, seldom exceeding six parts to the ten thousand, and seldom under four.

But now let us look upon the other side of the room. Here we have tables giving the "carbonic acid in houses." Here we will find very different results. But the first is a green-house; in that there is no trace of carbonic acid in the evening and scarcely a trace in the morning. Plants, you know, absorb the carbonic acid, and give off oxygen, while animals absorb the oxygen and give off carbonic acid, thus keeping up the equilibrium in nature, as is so beautifully shown in the aquarium. Plants are generally supposed to give off carbonic acid at night, but it must be in very small quantities.

[7]

I consider them very conducive to health in a living-room, morally and physically.

But this want of carbonic acid does not last long.

The next is M. Dumas' lecture-room. At commencement of lecture 42·5, and at close of lecture 67 parts in ten thousand.

Now, I think we are on the right track for discovering that mysterious poison that has carried so many of our friends to their graves, even in the very prime of life.

Here we have dormitories, 52; do., 37; asylum, 17; school-room, 30; do., 56; Chamber of Deputies, 16; Opera Comique, parterre, 15; do., ceiling, 28; stable, 7; do., 14; hospital, Madrid, 30; do., do., 43; air of bed-room on rising in the morning, 48; the same after being ventilated two hours, 16; railroad car, 34; workshop, Munich, 19; full room, do., 22; lecture-room, 32; beer-saloon, 49; and worst of all is a well-filled school-room, 72 parts of carbonic acid in 10,000.

That, I think, is enough. Here we have the solution of the whole mystery.

It is not in the external atmosphere that we must look for the greatest impurities, but it is in our own houses that the blighting, withering curse of foul air is to be found. We are thus led to the conclusion that our own breath is our greatest enemy.

The "Health of Towns Commission," in their investigations, after examining various trades, where the employees were confined mostly in houses, and having left the scavengers to the last, expecting to find a rich harvest of mortality among them, were much surprised to find them more healthy than many very clean occupations, but which were conducted in houses instead of in the open air. I have not the statistics before me, but I should not be surprised to learn that that singular race of beings that live in the sewers of Paris were as healthy, if not even more so, than the operatives of some of those exquisitely beautiful, clean, air-tight factories of New England.

There was quite an account made a few years ago of the wonderful cures of consumption that had been performed by the patient being removed to the stable where he could be in close proximity to the cow, and I have no doubt many consumptive patients would find great benefit by such a course of treatment, not that there is any virtue in the smell of the cow, but that the air of the cow-stable would be nearer pure than that of their own chamber.

Many go or send their families to the country in summer to get fresh air. Some go to the sea-side, others to the mountains; but there ensues [8] a greater change in a few minutes in a close bed-room by being occupied by a family than there is difference between the external air of any city and that of the country.

The reason why cities are so much more unhealthy than the country, is not because the air in the street is so much more impure, but because the houses are so built together that this vast ocean of air cannot get at and through them to purify them as it does in the houses in the country, and the reason why Philadelphia is so much more healthy than its neighbor, New York, is because the houses here are built more like those of the country, so that the air can sweep all around them, and sometimes through them.

I therefore believe, that a family living in the filthiest street in our city, if they were careful to have a constant current of air from that street, filthy as it was, passing through the house at all times, night and day, would be more healthy, other things being equal, than a family spending their winters in the finest house, if kept air-tight, in the healthiest location in the city, and their summer in the country, especially if they were always careful to exclude the night air from their bed-rooms.

I say "night air;"—there is, unfortunately, an unnecessary prejudice against what is termed night air, which means, I suppose, fresh external air from the dark.

To show that this is not a new idea, I will read a few lines from the writings of a very accurate reasoner and an eminently practical mechanic and philosopher, one whom I consider even now one of the very best authorities upon the subject of heating and ventilation. I mean the illustrious man after whom this Institute was named, Benjamin Franklin.

In his letter to Dr. Ingenhaus, physician to the Emperor, at Vienna, he says: * * * * "for some are as much afraid of fresh air as persons in the hydrophobia are of fresh water. I myself had formerly this prejudice—this aerophobia, as I now account it,—and dreading the supposed dangerous effects of cool air, I considered it an enemy, and closed with extreme care every crevice in the rooms I inhabited. Experience has convinced me of my error. I now look upon fresh air as a friend: I even sleep with an open window. I am persuaded that no common air from without is so unwholesome as the air within a close room that has been often breathed and not changed. Moist air, too, which I formerly thought pernicious, gives me now no apprehensions; for considering that no dampness of air applied to the outside of my [9] skin can be equal to what is applied to and touches it within, my whole body being full of moisture, and finding I can lie two hours in a bath twice a week, covered with water, which certainly is much damper than any air can be, and this for years together, without catching cold, or being in any other manner disordered by it, I no longer dread mere moisture, either in air, or in sheets or shirts; and I find it of importance to the happiness of life, the being freed from vain terrors, especially of objects that we are every day exposed inevitably to meet with.

"You physicians have of late happily discovered, after a contrary opinion had prevailed some ages, that fresh and cool air does good to persons in the small-pox and other fevers. It is to be hoped, that in another century or two we may all find out that it is not bad even for people in health. And as to moist air, here I am at this present writing in a ship with above forty persons, who have had no other but moist air to breathe for six weeks past; everything we touch is damp, and nothing dries, yet we are all as healthy as we should be on the mountains of Switzerland, whose inhabitants are not more so than those of Bermuda or St. Helena, islands on whose rocks the waves are dashed into millions of particles, which fill the air with damp, but produce no diseases, the moisture being pure, unmixed with the poisonous vapors arising from putrid marshes and stagnant pools, in which many insects die and corrupt the water. These places only, in my opinion, (which, however, I submit to yours,) afford unwholesome air; and that it is not the mere water contained in damp air, but the volatile particles of corrupted animal matter mixed with that water, which renders such air pernicious to those who breathe it; and I imagine it a cause of the same kind that renders the air in close rooms, where the perspirable matter is breathed over and over again by a number of assembled people, so hurtful to health.

"After being in such a situation many people find themselves affected by that febricula, which the English alone call a cold, and, perhaps, from that name, imagine they have caught the malady by going out of the room, when it was, in fact, by being in it."

Now, to show that his hopes have not yet been fully realized, although one century has nearly closed since he wrote what I have just read, and this unnecessary and unfortunate prejudice against night air still prevails extensively, I will read a few lines from the highest public medical authority in this city. It is the instructions of the Board of Health for the prevention of cholera for 1866:

[10]



ARTICLE—"VENTILATION."

"Your premises, particularly sleeping apartments and cellars, should be thoroughly ventilated. Ventilation is no less a purifier than water.

"It cleanses by oxidizing and drying. Keep your houses open and your windows hoisted during the day in good weather, and from ten o'clock until four in the afternoon, that they may have the full benefit of sunlight and free circulation of pure air. During the remaining hours of the day, and through the night, keep the windows closed. When the weather is cool or rainy, be sure to keep a fire in the house, in order to prevent dampness, or in sparsely settled neighborhoods, or in the suburbs of the city, have a fire in the house the entire season."

On page 9 we read: "Be careful to dress comfortably for the season, avoid the night air as much as possible, and when thus exposed, put on an extra garment and do not go into the night air when in a state of perspiration."

Thus, while recognizing the great value and importance of ventilation in a general way, they give the most definite instructions for thoroughly and most effectually preventing it, because it is at night, especially when we are asleep and cannot move from the air, that the air ought to be moved from us.

The frequent recommendations to avoid "night air" are simply recommendations to smother ourselves to death, because the foul, poisonous exhalations from our lungs cannot be removed from our chambers without being replaced by night air; there is no other fresh air at night but night air.

The recommendation to build a fire in the house on cool days, and in low marshy districts every day in the year, is an excellent one.

The recommendations to dress warmly and to avoid checking a perspiration suddenly, are valuable suggestions and too much attention cannot be paid to them.

But they are of equally great importance in reference to day air as to night air.

To shelter oneself from the sudden change of temperature after sundown is an animal instinct, and a very necessary one, which is strongly implanted in man and beast alike.

The harm comes from the fact of so intelligent and intellectual a body as the Board of Health of Philadelphia encouraging the accomplishment of this very desirable object, by thwarting that great universal law of our Creator, the ceaseless agitation of the air by which [11] it purifies itself, (and by which perversion of nature's laws millions are already being killed unnecessarily every year,) instead of their encouraging its accomplishment in that much more healthy and rational way by adding more clothing or more fuel to the fire, and still continuing to breathe the pure air at night as well as in the day-time.

I have practised for many years sleeping with my windows open every night, summer and winter, allowing the unobstructed breeze to flow across my bed, to the great improvement of my health and strength.

There is no objection in a well ventilated room to having a fire if desired. A small room with a hot stove or open fire and the windows open, is much more wholesome than a large air-tight room freezing cold.

Let us illustrate this by a simple experiment. Here we have a very small tube, in which we place a lighted candle, occupying nearly the entire space—this burns brightly, you see.

Fig. 1.
Fig. 1.

Here we have another glass chamber, much handsomer and twenty times as large; we also place a similar candle in it, that burns with equal brightness, but watch them both for a few moments—see how rapidly this light in the large chamber diminishes in size.

Fig. 2.
Fig. 2.

That represents, in a beautiful manner, the diminished force of your life in an air-tight room. There it goes—entirely extinguished by foul air in so short a time, but the other continues to burn just as brightly as when first lighted. The smaller one had the window open, so to speak; we will imagine the candle in the large chamber to be a consumptive patient who thought the room so large he did not need the windows open. Remember, therefore, that no matter how small your room is, if there is a constant circulation of fresh air through it, the lamp of your life will burn brightly; but if ever so large and air-tight, your life will soon be extinguished.

Instead of averting the cholera by avoiding fresh air at night, the experience of the last summer seems to have taught us just the contrary; for whilst most physicians admit that they are still unable to explain satisfactorily, the cause or remedy for this most mysterious disease, that has within a lifetime carried its fifty millions of victims from time to eternity, they almost universally believe it is a foul air poison, and they have as yet found no surer prevention than pure air.

[12]

One of the most striking illustrations of this, and perhaps one of the most wonderful cures of cholera on record, was that of the New York Workhouse on Blackwell's Island. It lasted only nine days, but in that brief period one hundred and twenty-three out of eight hundred inmates died. I visited the building with Dr. Hamilton, on the third day after its appearance, but the hospital then contained sixty or seventy patients, and some twenty-five or thirty had died within twenty-four hours.

Dr. Hamilton attributed the rapid propagation and fatality of the disease, after it once had gained admission, mainly to confinement and crowding. It was observed that the cholera was confined, for several days, among the women; the women had the smallest apartments, were most crowded in their cells, and with few exceptions, were employed within the building, in close contact with each other during the day. The men were employed mostly in the quarries and out of doors.

The doctor's prescription on that occasion is worth studying. It is very short and simple, however.

A slight change was made in the diet; disinfectants were used; fifteen drops of the tincture of capsicum with an ounce of whisky, as a stimulant at night, was all the medicine given to each individual. But the great means the doctor relied upon for success, was pure air all the time. They were kept out of doors from morning until night, and all the windows were kept open night and day; and although in the hot weather of summer, fire was made in the wards, to insure more perfect ventilation. In six days after the initiation of these simple hygienic measures, the epidemic entirely disappeared.

The disorders and sickness caused by the too rapid chilling of the unprotected body after sundown, have given rise, I have no doubt, to that erroneous popular prejudice so common among all classes, even those of education and ordinarily good common sense, who imagine there is some peculiar poison or source of unhealthiness in the air at night, that is not contained in the air in the day-time. It will no doubt greatly relieve the minds of these from such "vain terrors," and prove most conclusively the entire fallacy of such reasoning, to examine these tables again. In the copies I have made, I have not classified the results given by day and by night, but a careful examination in detail, fails to show any appreciable difference in the aggregate, by day or by night.

Méné's numerous experiments on the air in Paris, gave less carbonic acid at night than in the day-time.

[13]

Lewey's analysis on the Atlantic ocean, one thousand miles from the coast, gave a decided excess in the day over that of the night. He attributes this to the action of the sunlight upon the ocean liberating the gases which it holds in solution.

In cities there is a much larger quantity given off from burning coals of factories in the day-time than at night.

It is not improbable, however, that the more rapid evaporation of moisture towards evening may carry with it the volatile particles of corrupted animal and vegetable matter to an extent slightly in excess of that which occurs in the morning, but it is believed these would not equal the greater contamination from burning coals, and the usually greater stillness of the air, producing partial stagnation, so that the air would be a little nearer pure at night than in the day-time. And how unmistakably do all these investigations prove what we ought to have known and accepted without a moment's hesitation, that the Creator, who has made such vast and such minute provisions for supplying every living creature with a constant and copious supply of fresh air, and has made it so important for their existence that they cannot live a moment without it, has made the air at night just as pure and wholesome as in the day-time.

We have thus traced the scourge of foul air to our houses, and much of it to our bed-rooms. The next question is, how to get clear of it.

We want to know, however, what poisons the air, so as to know in what part of the room it is to be found.

We will try a very simple experiment, to show you what a deadly poison the breath is,—to the flame of a candle, at any rate.

Here is a simple glass tube, open at both ends—an ordinary lamp chimney—a candle burns freely as you see, and would burn so all night, if it did not burn out. I will now remove the candle, and breathe into the tube through this pipe, and now you see how suddenly the candle is extinguished as I drop it in again.

Fig. 3.
Fig. 3.

Animals are killed suddenly or after a more prolonged struggle, by the exhaled breath, according to the activity or sluggishness with which the blood circulates—a bird would be killed very soon—some partially torpid animals would live a long time. Man has great endurance—struggles long and hard; but if closely confined, will be poisoned to death in one night, as in the case of those confined in the celebrated Black Hole of Calcutta, and on board of [14] vessels where they have been confined below decks in time of a storm. Others will struggle on longer, as in the case of the two thousand and twenty-six who died of consumption last year, in Philadelphia.

And now let us see in which part of the room this deadly poison of our breath is mostly found.

It is the popular idea, that because the body, and consequently the breath, is warmer than the ordinary temperature of a room, it rises and accumulates at the ceiling.

Upon this theory most of our buildings have been ventilated whenever any attention whatever has been given to the subject; but that theory is incorrect; consequently, all practice based thereon is also wrong.

This subject of the direction taken by the breath upon leaving the body, has been warmly discussed within a few years. It has been a very difficult matter to prove conclusively and satisfactorily, but I think we have devised some very simple experiments that will prove to you very clearly what we have stated.

I have here a simple glass tube two feet long and one and a half inch interior diameter; one end is closed with a rubber diaphragm, through which is passed a small rubber tube—the other end is all open. We will rest this about horizontal, and taking a little smoke in the mouth, it will be discharged with the breath into the glass tube; it is first thrown towards the top, but it soon falls, and now see it flowing along the bottom of the tube like water—watch it as it reaches the far end—there, see it fall almost like water.

(glass tube)

Now, by raising the closed end of the pipe, you see we can pour it all out, and by filling it again and raising the other end, it falls back. Thus you see that, notwithstanding the extra warmth in the breath, it is heavier than the atmosphere, and falls to the floor of an ordinary room like this, say, when the temperature is from 60° to 70°. This is owing to the carbonic acid and moisture contained in it.

I have varied this experiment in a number of ways, by passing it through smaller tubes and discharging it into the air in one or two seconds after leaving the lungs, and by passing it through water of various temperatures, and discharging it into rooms of different temperatures, with the same general results. As the temperature of the air diminishes, the tendency of the discharged breath to rise increases. Much care is required in conducting these experiments, [15] to avoid as much as possible, the local currents which are always present in a room.

This is a very important fact to be borne in mind; yet notwithstanding this, there are times, under certain circumstances, in which the foul air will be found in excess at the top of the room.

For the further examination of this subject, we have here a little glass-house with glass chimneys and fire-place in the first and second stories.

(glass house)

As the flame of a candle is such a beautiful emblem of human life, we will remove the roof and part of the floor of the second story, and place four candles in our house. They are all of different heights, you see. We will call them a father, mother and two children.

As carbonic acid is that much dreaded poison in our breath, and the heavy portion of it which causes it to fall to the floor, we will make a little by placing a few scraps of common marble in this glass vessel, and pouring over it some sulphuric acid.

It is now forming, and will fall and flow across the floor the same as carbonic acid does when it pours into a basement from the gutters on the street or filthy yards where it is formed, and before it is absorbed or diluted by the current of pure air sweeping over them. It first kills the smallest child, because it is nearest the floor. You remember the excessive infantile mortality in this city in 1865. This is partially owing to their breathing more of this foul air near the floor, and partially owing to the great fear of their mothers and nurses, of letting the little innocents get a breath of fresh air for fear it will give them colic, and consequently they smother them to death.

The other child dies next, and then the mother, and lastly the father.

Thousands are thus poisoned to death by their own breath every year. But did you ever see a physician's certificate that gave you any such idea? Why do not the doctors tell the living, in such language as they can understand, what killed their friends, so they may avoid it in their own case, instead of giving it in some Latin terms which I fear many interpret to mean some special dispensation of Divine [16] Providence instead of the true cause—their utter disregard of the laws their Creator made for the preservation of their health?

Had this family known enough about ventilation to have kept the fire-place open, with a little fire in it now and then, they would not have been thus killed.

Let us see—we will take out the fire-board which has been put in to make the room look a little neater, and with a very small light there to create a draft in the chimney.

We will again light the candles, and pour in the poisonous breath. Ah! there goes the little one—he is hardly high enough to keep out of that deadly current flowing across the floor.

We shall have to let it in a little slower, or we will set him on a platform, as many persons who have carefully studied this subject, consider it judicious to do. Now, by the smoke from this taper, you can see the air is flowing across the floor and up the chimney.

There has been a steady current flowing in long enough to have filled the house, but the lights are all burning brightly, and you thus see the value of an open fire-place for ventilation. Thousands of lives are thus saved, and many more would be if all fire-places were kept open. I have recommended hundreds of fire-boards to be cut up for kindling-wood, as I consider this is the best use that can be made of all fire-boards.

Never stop up a fire-place in winter or summer, where any living being stays night or day. It would be about as absurd to take a piece of elegantly tinted court-plaster and stop up the nose, trusting to the accidental opening and shutting of the mouth for fresh air, because you thought it spoiled the looks of your face so to have two such great ugly-looking holes in it, as it is to stop your fire-place with elegantly tinted paper because you think it looks better.

If you are so fortunate as to have a fire-place in your room, paint it when not in use; put a bouquet of fresh flowers in every morning, if you please, or do anything to make it attractive; but never close it.

Now, there are other conditions in which a fire-place or an opening near the floor, will not answer for ventilation. This occurs in rooms where the air is made impure by burning lamps or gas, and where the fresh air entering the room is cooler than the temperature of the room itself.

To illustrate this, we will put the roof on and take the entire floor away, or as it will be a little more convenient, we will represent it by this glass-house, using this shade for that purpose.

[17]

(glass shade)

This is supported some six inches from the floor, and has no bottom. By lighting another candle and standing it outside, you can judge by comparison, of the foulness of the air inside.

The tallest one is affected first, this time. You see that is a perfectly formed light, but it gives but about half the light the one does on the outside; this is the way with many of us who are obliged to, or rather do, breathe foul air half the time.

We often think, by comparing ourselves with others around us, that we are pretty fair specimens of humanity, while really we do not give more than half the light in the world that we ought to do, and kill ourselves before our work is half done.

You see the two tallest are dead already, and the others will soon follow—there they go. Here is the bottom of the house removed, and yet these candles all went out for want of fresh air.

Therefore, when we see the air is made impure by burning candles or gas lights, owing to its exceeding heat, the foul air is mostly at the top of the room, and especially when the fresh air enters cooler than the air in the room. We will find, however, that in a very few minutes the candles will relight long before the contained air or the glass shade cools down to the temperature of the room.

The products of combustion, like those of respiration, are heavier than the ordinary atmosphere, and consequently fall to the floor very soon if not removed while very hot, by special openings immediately over them in the ceiling; after it has thus fallen, provision must be made for its removal from the level of the floor, in connection with the foul air from the breath.

I hope that by these few simple experiments, and the statistics presented here this evening, we have strengthened your previous convictions of the importance of fresh air, because we are well aware that you will find, as you proceed in your investigations of this subject, that it is frequently surrounded with complications; yet the laws governing the circulation of air of different temperatures, are as fixed and immovable as the laws governing the rising and setting of the sun, and with a very little careful investigation, can be easily understood.

And we believe no similar amount of money or thought, will produce a greater amount of satisfaction than the increased health, strength and happiness thus secured.

[18]





LECTURE II.

As I stated in our last lecture, much interest is being awakened, in this country and in Europe, by recent investigations showing the enormous numbers of untimely deaths that are caused throughout all classes of society by foul air.

It would have been a startling announcement, ten years ago, to have stated that impure air caused as many deaths, and as much sickness, as all other causes combined, and yet the most diligent and accurate investigations are rapidly approaching that conclusion.

Few really comprehend the immense pecuniary loss, to say nothing of the amount of suffering, that we endure by this extra and easily preventible amount of sickness.

I propose, this evening, to enter upon the consideration of one of the most important parts of our subject—the effect produced by HEAT upon the movements of air.

I think it probable that many of us do not comprehend the actual reality of the air.

We are apt to say of a room that has no carpet and furniture in it, that it has nothing in it, while, if it is full of air, it has a great deal in it.

A room between twenty-seven and twenty-eight feet square contains one ton of air—a real ton, just as heavy as a ton of coal. Now, there is not only twenty-seven feet, but more than twenty-seven miles of air piled on top of us. The pressure of the atmosphere at the level of the ocean is about fifteen pounds to the square inch. An ordinary sized man sustains a pressure of about fifteen tons, and were it not that this pressure is equal in all directions, we would be crushed thereby.

We must accustom our minds, therefore, to consider air a real substance, and that it is as totally unable to move itself, or to be moved, without power, as water or coal. It requires just as much power to move a ton of air from the cellar to the second story, as it does a ton of coal.

Heat is the great moving power of air. Those whose attention has not been especially directed to the subject of the amount of power exerted by the sun's rays upon the earth, have little conception of its magnitude.

The power of all the horses in the world, added to the power of all the locomotives, and of all the immense steam engines in all the [19] world, express but a small fraction of the power exerted by the sun's rays upon the earth. It is estimated to be sufficient to boil five cubic miles of ice-cold water every minute.

His rays are the chosen power of the Creator for moving all matter upon the globe. It is his rays that lie buried in the vast coal fields beneath the earth. His rays cause every spear of grass to grow, rear the mighty oak, form the rose, burst its beautiful buds, and send its perfume through the air.

No bird warbles its sweet music in the air, no insect breathes, save by his power, and all animals love to bask in the genial glow of his light and heat. He rolls the scorching air of the tropics to frozen lands, and wafts the ships across the seas. He forces the heated waters of the equator to the poles, tempering all the earth. He lifts the water from the sea to sprinkle all the land and cap the distant mountains with eternal snow.

Now, let us examine a little more minutely how this influence is exerted upon the air, which is the subject we are especially interested in at present.

Does it commence at the top, and heat it, layer by layer, until it reaches the bottom? Not at all; but it passes through the whole forty-five miles of air, heating it very little, if any, and falls upon the solid substances at the earth's surface, heating them, which, in turn, heat the air by its individual particles coming into immediate contact with those solid hotter substances.

We will endeavor to illustrate this in a crude way.

Fig. 7.
Fig. 7.

Here we have a tin tube, a, fifteen feet long and ten inches in diameter, open at both ends; two feet from one end we introduce this [20] ascending pipe, b, the upper end of which is merely inserted in a small flue, extending to the top of the building. The height of this flue is sufficient to make a current of air pass through this tube, as you will see by holding this smoking taper at the far end. We will now place a large heated ball, c, at this end, and outside of that we will place this reflector, d, pressing it quite close to the end of the tube, so that no air can enter here.

The rays of heat from this ball, or from any other warm body, are thrown like rays of light, in every direction equally; there would, therefore, be some of the rays thrown through this tube to the other end without any reflector, but the proportion that would reach the other end would, of course, be small.

We therefore collect those going the other way, and change their course, and then send them straight through the tube to the far end.

We will place another reflector, e, at the far end, to receive and concentrate those rays, in the focus of which we will place a candle, F, with a little phosphorus on it, to show you that the rays of heat are passing through.

There you see the candle is lighted, thus proving that there is a strong current of radiant heat coming from the hot ball, through the tube to this end. And you see by this smoke that there is a current of air passing the other way.

Now, we want to know how much that air is heated in passing the whole length of this tube against that shower of radiant heat, or whether air absorbs radiant heat at all; but, before going to the other end, where the hot ball is, we will take two thermometers that have been lying here, side by side, both indicating a temperature of 69°. One of them, g, we will hang at this end, about opposite to the centre of our tube, which, I think, will give us a fair average of the entering air, first removing, however, the candle that has been lighted, and the reflector.

We will hang the other thermometer in the ascending tube, at the end near the heated ball. We have had two glasses, H, inserted here, so that we might observe what was going on within by the smoke from this taper. You see there is a strong current of air passing up the tube, all of which must come from the far end, flowing against the strong current of radiant heat going in the opposite direction. Now, leaving this thermometer to rise or fall according to the temperature of the air flowing through, we will go to the other end and examine another very interesting part of this experiment: it is the [21] manner in which the radiant heat is received and appropriated by different substances.

Radiant heat is thrown from a hot body in every direction equally, but no two kinds of substances receive those rays of heat in the same manner, nor do they make the same use of them after they have received them.

Every substance receiving heat, however, must give a strict account of it. It must give out an equal amount of heat, or, what is taken as an equivalent, some action or power.

I have a sheet of ordinary tin, and as I hold this polished side behind this light, you see it throws a belt of light across the room; and as I put it in front of the end of our tube, and turn it so that the rays of heat will be reflected in your faces, I think some of you will be able to feel the reflected heat. The rays of heat are turned from their course, and thrown in a belt of light across the room, similar to the rays of light.

But you cannot give away and keep the same thing. This bright polished surface appropriates but a very small portion of the radiant heat. A thermometer hanging for some minutes against the back has scarcely risen one degree; but we have given the other side a coating of lamp black, with a little varnish, and by turning that side towards the pipe, the result will be quite different. By this coat of black varnish the whole character of the sheet of tin is changed. The black, however, has but little to do with it; if it were white, or red, or blue, the formation of the surface being similar in every respect, the result would be the same almost precisely.

Instead of acting merely as a guide-post, to change the direction only of the rays of heat, as before, it now becomes a receiving depot, absorbing nearly all the heat that comes to it. It must soon become filled, however. The thermometer hanging at the back has risen six degrees already, and is going up rapidly; it must soon begin to distribute its extra stores. But mark the different manner of distributing the heat. Instead of reflecting the whole all in one direction, as when received on the other side, it now radiates them equally in every direction.

Some solid substances allow the rays, both of heat and light, to pass directly through them without either reflecting or absorbing them. Other substances allow the rays of light to pass through them, but absorb much of the radiant heat, like clear glass.

Rock salt is one of the best non-absorbents of radiant heat, allowing nearly the whole of the rays of heat to pass through unobstructed.

[22]

We will now return to our experiment at the other end of the tube. I find there is something wrong here—the mercury in the thermometer has risen several degrees. I knew this was rather a crude arrangement for illustrating this very beautiful and interesting part of our subject, but I hoped it would assist me a little in conveying to you the idea I desired to impress upon your minds. I find, however, that it is scarcely delicate enough to illustrate perfectly what I wanted to show.

But this increased temperature is not owing to the effect of radiant heat on the air coming from the far end, for I find by the heat at the top of the pipe, between the heated ball and this ascending pipe, I, and by the current of heated air on the side next the ball, that there is a current of circulating air that has been heated by coming into immediate contact with the hot ball.

I designed this smaller tube, k, to carry off the air thus heated, but it appears to be too small.

We ought to have had a piece of rock-salt to have closed the end of this tube, so that the radiant heat would have passed through without allowing any circulation of heated air, but I was unable to find such a piece. But Professor Tyndall, in his lectures before the Royal Institute of Great Britain, gives the results of a large number of very accurate and beautiful experiments tried for the purpose of determining whether the forty-five miles of atmosphere surrounding the earth absorbed any of the sun's rays, and if so, how much?

These experiments prove, in the most conclusive manner, that dry pure air is almost a perfect non-absorbent of radiant heat. Thus, were the air entirely dry and pure, the whole forty-five miles through which the sun's rays have to pass, would absorb a very small fraction thereof, so that in the length of our tube it would be but an exceedingly small fraction of one degree, that is, for pure dry air.

But is the air of this room pure and dry? Very far from it.

Professor Tyndall found that the moisture alone in the air of an ordinary room, absorbed from fifty to seventy times as much of the radiant heat as the air does. Air and the elementary gases—oxygen, hydrogen and nitrogen—have no power of absorbing radiant heat, but the compound gases have a very different effect; for instance, olifiant gas absorbs 7950 times as much as air; ammonia, 7260; sulphurous acid, 8800 times. Perfumes, also, have a wonderful power of absorbing radiant heat.

The moisture in the air, however, is of the greatest practical [23] importance in various ways. It is the great governor or regulator or conservator of heat; it absorbs it and carries it from point to point and into places where the direct rays of the sun could not get; it is like a soft invisible blanket constantly wrapped around us, which protects us from too sudden heating or too sudden cooling.

Professor Tyndall, speaking of the moisture in the air, says: "Regarding the earth as a source of heat, no doubt at least ten per cent. of its heat is intercepted within ten feet of its surface." He also says: "The removal for a single summer's night of the aqueous vapor from the atmosphere which covers England, would be attended by the destruction of every plant which a freezing temperature could kill.

"In Sahara, where the soil is fire and the wind is flame, the refrigeration is painful to bear."

And in many of our furnace-heated houses, we have an atmosphere very similar in point of dryness to that of Sahara, but more impure.

The foregoing remarks in regard to the impossibility of heating air, apply especially to radiant heat. Air does become heated, but in a different manner; it is heated by each individual particle or atom coming in immediate contact with some hotter substance. See what a wonderful provision for creating a constant circulation of the air. The sun's rays pass through it without heating it, but they heat the surface of the earth at the very bottom of the ocean of air; this, in its turn, heats the air by each individual atom coming in immediate contact with these hotter substances, expanding them so that they must rise, thus enabling the colder and heavier particles to rush in and take their places. With this great universal moving cause, in connection with the innumerable minor causes resulting from the very different absorbing, radiating and reflecting powers of various substances, it becomes almost impossible for the air to be entirely and absolutely at rest, even in the most minute crack or cranny, or bottle corked air-tight.

Now, to apply these principles to every-day life, to the heating and ventilation of our houses, taking the open fire first, we find that it acts like the sun, heating exclusively by direct radiation. The rays of heat fall upon the sides of the room, the floor and ceiling, and the solid substances in the room, which thus become partially heated, and in their turn become secondary radiators. This radiant heat from the fire does not heat the air in the room at all, but the air becomes partially warmed by coming in immediate contact with the sides of the room, the furniture, &c.

[24]

One great reason, therefore, why an open fire is so much more wholesome than any other means of artificial heating, is because it more nearly imitates the action of the sun.

The rays of heat fall upon our bodies, heating them, while it leaves the air cool, concentrated and invigorating for breathing. The bright glow of an open fire has a very cheering and animating effect. It produces a very agreeable and healthy excitement.

It is not improbable that future careful investigations may prove that there is an important change takes place in the electric or ozonic condition of air as it passes over, or in contact with, hot iron, which does not occur to the air of a room heated by the open fire.

The air in a room heated by an open fire can scarcely become stagnant, because that fire must necessarily be constantly drawing a considerable amount of air from the room to support combustion, the place of which will be supplied by other air, and here is where one of the greatest inconveniences arises in the use of the open fire; if the air entering to supply this exhaustion comes in at a crack of the door or window, on the opposite side of the room, and that air is cold, say 10° or 15° above zero, it flows across the floor to the fire, chilling the feet and backs of those sitting in its track. It is quite possible to roast a goose or round of beef in front of a fire, while the air flowing by it into the fire is freezing cold. This should be remedied by having the air flowing in partially warmed before it enters, say to a temperature of 40° to 50°, either by having the halls overflowed by partially warmed air, and opening a door into it, or by admitting the air to enter around the back of the fire-place, as Dr. Franklin arranged it.

Thus, while an open fire is the healthiest known means of heating a small room, and should be in the family sitting-room of every house, and in offices and other places where the occupants are at liberty to move closer or further from the fire at pleasure, yet it is entirely unsuitable for a large building, or for rooms where many persons are assembled, and have fixed seats, similar to a school, lecture-room, factory, &c.

A stove in a room heats both by direct radiation and by heating the air that comes in immediate contact with it.

But our latest styles of elegant new patent gas-consuming air-tight stoves, require so small an amount of air to support combustion, that there is a strong probability of the occupants of a room thus heated smothering to death for want of fresh air, sooner or later, and generally the former.

[25]

But a stove, if properly used, creates a comfortable and wholesome atmosphere, and is one of the most economical means of heating now known. There should always be a separate pipe for introducing the fresh air from the external atmosphere, which fresh and cold air should be discharged on or near the top of the stove. And if this supply of fresh air is abundant, with a constant evaporation of moisture sufficient to compensate for the increased capacity therefor due to the additional heat given it, and an opening into a heated flue near the ceiling, to be opened in the evening when the gas-lights are burning, or when the room is too hot, and kept shut at all other times, with another opening into a heated flue on a level with the floor, which should be kept always open to carry off the cold, heavy foul air from the floor—a stove thus arranged for many small isolated rooms, makes one of the most economical as well as most comfortable and wholesome means of heating at our command. It combines the three great essentials necessary for comfort and health—warmth, partially by direct radiation, fresh air and moisture. But neither the open fire nor the stove, as desirable as they may be in many small rooms, are suitable for large rooms, especially where many persons are assembled. Heating principally by circulating warmed air, or in combination with direct radiation from exposed pipes filled with steam or hot water, is in such cases more convenient.

It is in connection with this system of heating by circulating warm air, that the erroneous views in relation to ventilation generally entertained by the public, produce the most injurious effects.

The special points to be borne in mind in considering this subject are that, when in motion, warmer air rises and colder air falls; but when at rest, the stratums of air of different temperatures arrange themselves horizontally.

One other thing: we must remember temperature has nothing to do with the purity or impurity of the air. The pure air entering a room is sometimes colder than the average temperature of the room, and falls to the floor, forcing the warmer, and, in that case, fouler air to the upper part of the room.

But frequently, in winter, the fresh air enters warmer than the average temperature of the room, and rises to the ceiling, and flows across the room above the colder and fouler air that has been longer in the room. You must not forget the experiments in our first lecture, showing that the breath in an ordinary room, of a temperature of 70°, fell to the floor instead of rising to the ceiling. I propose [26] illustrating this part of our subject, by using a little glass room to show the movements of air of different temperatures. We can either use air of different temperatures, showing the motion of the various currents by a little smoke; or, as the laws governing the circulation of liquids of different densities are so similar, and by the use of a little coloring matter will express to an audience of this kind more promptly and clearly the ideas which we wish to convey, we therefore propose using the different colored liquids this evening.

The colors, of course, have nothing to do with the densities, but are merely used as a convenient method of designation; the red representing heat or rarity, and blue, coldness or density.

The room is now filled with clear water, slightly blue, to represent cold, and a little salt, which makes it a little more dense than fresh water. Now, I will let in at the top a little fresh water, colored red by cochineal, to represent heat, and by making a similar opening on the opposite side for its escape, you will be able readily to see in what direction it moves. There, see it entering—see how it flows directly across the top of the room, and escapes at the opening on the opposite side. You see it disturbs the lower and colder parts of the room but very little. Thus a large flow of pure fresh warm air might be going through a room all day, and be entirely wasted, neither warming nor ventilating it. Fortunately, there are but few buildings arranged in quite so absurd a manner as this. I believe it was tried in the House of Lords, on the erection of the new Houses of Parliament, but, of course, failed. I think they still adhere to it in some of the wards of some Insane Asylums, where they depend, I suppose, upon the excitement of the patients to keep themselves warm and the air stirred up. I also noticed this arrangement in a new building just being finished, a few years since, at Yale College. The architects of that building had probably been impressed with the dreadful effects upon the health of students of the air from our ordinary hot air furnaces, and thought they would avoid all such danger. I think, however, it would have answered their purpose just as well, and been much more economical, to have placed the furnaces at the coal mines, and saved the trouble and expense of carrying the coal so far. I expect they have made other arrangements, probably, by this time.

[pg]

Color Plate I: Figs. 1-3.

[pg]




[27]

We will now close the opening at the top for the inlet of the fresh warmed air, and open a valve, so as to allow it to flow in at the bottom. We will allow the opening at the top for the outlet of the foul(?) air to remain as before, (see Fig. 1, Lithograph plates.) This is quite an improvement; it agitates the air much more than the other, and by going and standing directly over the register, you can always get in the current of fresh warm air. But you see to what a very small portion of the room the heated air is confined, rising in one perpendicular column directly to the ceiling, and then flowing horizontally along the ceiling to the outlet. How little it disturbs the main portions of the room, especially the lower and occupied part.

I hope you will notice that this illustrates the popular notions of ventilation. I suppose three-fourths of all the buildings in this country, or in Europe, where any attempts at artificial ventilation have been made, are thus arranged. Dr. Franklin knew better, and made a much more perfect arrangement than this. But we are probably mostly indebted to that very able and enthusiastic advocate of ventilation, Dr. Reid, for this popular opinion. The whole of the plan that he advocated is but little understood by the public. He assumed that the natural warmth of the body created an ascending current around us, and caused the breath to rise towards the ceiling, and consequently, in all artificial arrangements, it was best to endeavor to imitate this natural movement of the air. And to overcome the great practical difficulty we see here exhibited, of the fresh warm air flowing through the room, and disturbing so small a portion of it, he proposed making the whole floor one register, and thus have an ascending column over the entire room. For this purpose, the floors in the Houses of Parliament were perforated by hundreds of thousands of gimlet holes, and the whole cellar made a hot air chamber. This was a magnificent idea, and, I believe, in some few instances, where fully carried out, has given a good degree of satisfaction; but it is always difficult to adjust the opening and the pressure so as to cause an even flow over so large a surface, and at the same time to be so gentle as not to be offensive to those with whom it comes in contact. But this thorough diffusion cannot be conveniently applied in one case in a thousand. It must necessarily be always very extravagant, as it will constantly require a great amount of air to insure a thorough circulation through all parts of the room. I wish, therefore, most emphatically, to condemn all systems relying upon openings in the ceiling for the escape of the foul air, while depending upon the circulation of warmed air for obtaining the necessary additional warmth. In practice they are universally closed in winter, for the purpose of keeping warm, and as such openings have been so generally considered the only ones necessary for the proper ventilation of a room, and as they had to be [28] shut in winter, just when artificial ventilation was most necessary, it has created a very strong prejudice in the popular mind against all ventilation.

The result of the advocacy of these impracticable theories by so many able and learned men, (most physicians writing upon this subject have adopted them,) has been the shutting up of many thousands and tens of thousands, till they have smothered to death.

The ravages of consumption and the excessive infantile mortality, and the many diseases resulting from foul air poisons, are in a great measure due to the general advocacy of these false theories. As I have before said, Dr. Franklin knew better than this, and had we been contented to have followed his simple practical advice, instead of being dazzled by the splendid theories of others, thousands of our friends would now be with us who died long since for the want of fresh air.

Now, let us see how Dr. Franklin says a room ought to be ventilated. He says, "the fresh air entering, becoming warmed and specifically lighter, is forced out into the rooms, rises by the mantel-piece to the ceiling, and spreads all over the top of the room, whence, being crowded down gradually by the stream of newly warmed air that follows and rises above it, the whole room becomes in a short time equally warmed." This is the principle upon which his celebrated Franklin stove was arranged. Now, let us see if we can arrange our little glass house so as to illustrate this. We will first fill it with what we call our cold air, and will close the outlet at the top, and take out the fire-board. Now, as I let in the warm fresh air, it rises immediately to the top, as before, and flows across the ceiling, but as it cannot escape there, it forces the cold air down, and causes it to flow out at the fire-place. See how quickly the whole room is filled with the fresh warmed air. Ah! I see I am a little too fast—there appears to be a stratum of a foot or two, lying on the floor, that is not disturbed yet. It flows out at the top of the fire-place, and therefore does not reach to the floor. This is frequently the cause of cold feet and much discomfort. We will make the opening directly at the floor, (see Fig. 2, Lithograph plate,) and that forces all the cold air out, warming and ventilating the whole room. Here is the whole problem solved in the most beautiful and simple manner. And you may exclaim, as you see the simplicity and perfect working of this, how came any one ever to think of anything else.

Here, again, you see the value of that most excellent and valuable of household arrangements, the open fire-place; even without the fire it serves a most important purpose.

[pg]

Color Plate II: Figs. 4-6.

[pg]




[29]

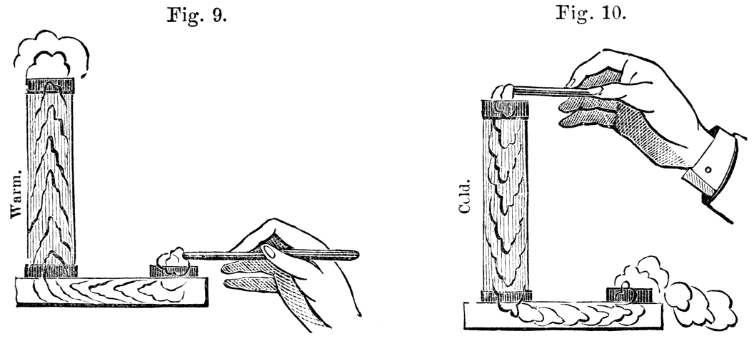
We must not forget, however, that there are other circumstances in which it will not do to depend on the fire-place alone for ventilation. Now, by leaving the fire-place open, just as it is, and the room full of warm air, we will simply change the condition of the air supplied, and allow cold air to flow in at the bottom instead of the top. (See Fig. 3.) There, you see the fresh cold air simply falls to the bottom and flows across the floor, without disturbing the upper part of the room at all. It acts just the reverse of the hot air let in and taken out at the top of the room. When you are ventilating a room by opening a window, therefore, it is often necessary to open it at the top; but remember when you are ventilating by doors and windows, (which are the great natural ventilators,) they are an entire substitute for flues—flues are then of no account. All windows, therefore, ought to be made to lower from the top, and all ventilating flues ought to be made to open at the bottom of the room.

I have noticed another very interesting feature in regard to the circulation of liquids of different densities; for instance, suppose we fill our little room half full with salt water, and the remainder with fresh water, we will now apply a spirit lamp to the bottom of the room. As the salt water becomes heated it rises rapidly, yet not to the top of the room, but only half-way, or to the top of the denser liquid, and then spreads across the room horizontally. Thus the salt water will keep up a rapid circulation, and may be heated almost to a boiling temperature underneath, and without heating or disturbing, the cold fresh water above. I have tried some very beautiful experiments of this kind with a number of liquids of different densities in the same vessel. Gases of different densities are probably influenced in a similar manner by the application of heat. And here we see the value of that beautiful law of the diffusion of gases, by which each gas, no matter what its density, is equally diffused in all directions through the other gases, independent of temperature.

I desire to call your attention this evening to one other distinct system of heating—I mean that very convenient, economical, cleanly and FASHIONABLE system of heating by direct radiation from steam-pipes.

As steam has become such a common article in all large buildings, both for power and as a convenient means of distributing heat, most large buildings are thus heated; and as a perfectly air-tight building [30] can be very easily heated thus, and as most persons are too ignorant or too careless to provide a separate and distinct supply of fresh air simply for ventilation alone, the consequence is, that this system, thus so shamefully abused, is probably drying up more talent and killing more business men in our cities than any other system in existence. This applies especially to the editorial rooms of nearly every one of our leading newspapers and publishing houses. They use steam for driving their beautiful printing presses, and the heating and ventilation, or rather, the entire want of ventilation, in their offices, would indicate that they think that the same power that drives their presses, to do the printing so nicely, is entirely sufficient to drive them to write the original articles for the printer, and that they have no more need of fresh air than their presses.

You may think that I am certainly mistaken that so intelligent a class of the community, who are building such splendid fire-proof buildings, such perfect palaces of iron and stone and marble, as our newspaper establishments are building in New York, Philadelphia and other large cities, would never make such a blunder as to omit providing the most abundant supply of pure, fresh air to every employé in their establishments, and at all times, both in summer and winter.

Should there be any one present thus doubtful, I wish he would undertake to get any one of our enterprising newspaper establishments to publish in their paper an accurate intelligible account of their system of ventilation, illustrating clearly the known quantity of pure, fresh air delivered within using distance of each one of the editors and employés.

I think he would soon come to the same conclusion I have, that the advice of the minister to his congregation would be very applicable to them—"Always do as I say, but never do as I do."

[31]





LECTURE III.

In my first lecture, I endeavored to show how much we were suffering from the effects of foul air, and the advantages to be gained by supplying ourselves all the time with pure air. Because we must first feel that there is something to be gained before we will make any great effort towards obtaining a given result.

In my second lecture we considered the general principles governing the circulation of air, the courses of its movements, the manner of the action of heat upon different kinds of substances, which creates a constant, ceaseless motion of the air, in all places, from the minutest corked bottle to the vast currents that sweep over the face of the earth.

Now, having learned the necessity for pure, fresh air, and studied the general laws governing its circulation, let us apply these principles to every-day life. To every-day life? I should say every-hour life—nay, every moment of our lives; for twenty times every minute of our entire life, from the cradle to the grave, do we breathe what ought to be pure air. Is it always pure?

If we breathe one single breath, in the entire day, of impure air, it will weaken us, deduct from our capacity to attend to our daily duties, and shorten our lives, in exact mathematical proportion to the amount of impurity in that one single breath. Now, we breathe twenty times every minute, twelve hundred times every hour, twenty-eight thousand times every day, and nothing but absolute and perfectly pure air answers the exact requirements of perfect health.

Well, you may ask, at first thought, if fresh air is such a panacea for all evils, and there is such an abundance of it out of doors, why not breathe it, and always enjoy perfect health?

Think one moment. I eat my breakfast in the morning, generally refreshed by a night of good sound sleep, (for I sleep with my windows open.) Immediately after breakfast, I enter the cars to come to the city. What a smell comes from the car as the door is opened! and unless I wish to incur the displeasure, or provoke the indignation, of almost every passenger, by opening a window, I am obliged to sit in that foul, offensive atmosphere, and breathe the poisonous exhalations from my own lungs, and that from dozens of others, some of them, it may be, badly diseased, (most persons' lungs are diseased in this country, from breathing foul air, and many other diseases besides consumption are produced thereby.)

Thus, in one half hour, I have inhaled six hundred times of this [32] foul and poisonous air, and the blood has carried it to every portion of my body, so that my entire system is completely saturated, poisoned, yes, thoroughly poisoned by it, from the crown of my head to the soles of my feet.

And thus is the day commenced. Your blood is thoroughly poisoned before your breakfast is digested; for your breakfast will no more digest without pure air than the coal in your stove will burn without it. You are subjected to headache, dyspepsia, and a half dozen other aches and pains, and are tired out long before night. And thus you are killed long before you would die if you breathed pure air only.

And am I relieved from the difficulty when I arrive in the city?

Start to-morrow morning at the Delaware River, on Arch or Walnut Streets, or any other street, and go to the Schuylkill. Inquire of every individual, in office, store, dwelling or factory, if he knows whether he had pure air to breathe all day, or whether he can tell you, with any degree of accuracy, how pure the air was in the room he occupied for any hour of that day.

I fully believe there is not one in ten—no, not one in a hundred—of the most intelligent men in that entire street, doctor, lawyer, architect, or any other, that can give you an accurate account of the condition of the air breathed during any one hour of the day. That is not all. There is scarcely one in a hundred that can satisfy you, by an intelligent description, of the means used for providing it:

First—Assuming the air outside to be pure, that there was a constant, positive and sufficient supply of that outside air introduced.

Secondly—That that pure air was not deteriorated by overheating, or contaminated by being mixed with the poisonous gases of the burning coal.

Thirdly—That there was sufficient moisture added to it to compensate for its increased capacity for moisture, due to its expansion by the additional heat given to it, (which is a very important thing.)

Fourthly—That there was any accurate, positive means provided for insuring the fresh air to be brought within reach of the lungs of those for whom it was intended.

And, lastly—That there was a positive means provided for the removal of all the poisoned air thrown from the lungs, so that none could possibly be re-breathed.

No; you will find them in close, unventilated offices, in close factories, in almost air-tight dwellings. In the large stores they do better.

[33]

The air is very commonly overheated, it is often mixed with impurities, and very seldom supplied with a proper amount of additional moisture.

The air is often so dry, that in a few minutes' conversation the linings of the air-passages to your lungs become parched and husky, producing irritation and a feverish condition of the system. And even in this room, to-night, do you see any opening at your feet, connected with a heated flue, for drawing the foul air from the floor as fast as thrown from your lungs? I believe there is not a square inch provided for that purpose.

Or, do you see any escape immediately above the gas-lights, for carrying off the burned air while hot enough to escape? Not one. There are two or three openings, I think, in the back part of the room, just at the ceiling, but for your breath to get there, it must rise and pass by the zone of respiration, and much of it be again re-breathed; and the products of combustion, as we have seen, would cool sufficiently to fall to the floor long before they reached that point.

I take the liberty of calling your attention to this with more freedom, because it does not indicate any special inattention on the part of the Managers. It is not an exceptional case, but it is the rule. It is the popular opinion of the proper means of ventilation.

Go with me, if you please, to that magnificent building, completed but a few years since, at a cost of half a million of dollars, and given by its noble and generous founder to the city of New York. You will notice, inscribed above the entrance, cut in the solid stone, "To the Arts and Sciences." Look in this reading-room—perhaps the most useful and most appreciated of any public reading-room in the United States. See the large numbers of honest, industrious mechanics, snatching an hour from their labors, to look over the current literature of the day. Here, certainly, we shall find the most perfect arrangement for heating and ventilation that our knowledge of the arts and sciences could suggest. Let us see the arrangements for bringing in the fresh air, for warming it in cold weather, and for removing the foul air.

What! no provision for a regular supply of fresh air? Not one foot, not one inch—neither are there any regular flues for the removal of the foul air. And this most remarkable condition of things is but repeated in the magnificent hotels, marble palaces used as offices, and in many of the new and splendid colleges; and, we might almost [34] say, in all other buildings throughout the length and breadth of our land.

Thus you see how difficult it is for one to mingle freely in the society of his fellow-men, under existing circumstances, without being subjected to being poisoned by foul air. In going from here to my home, to-night, I shall have to ride in those cars, the air of which I dread more than I ever dreaded the small-pox or cholera. I have been in hospitals where I have seen much of both. They may slay their thousands, but foul air its tens of thousands. And it is only when I get to my room, where I shall probably sleep to-night with two windows well open, allowing the unobstructed breezes of half a mile of open country to sweep through my chamber, that I shall feel entirely secure from the contaminating influences of foul air, and enjoy to its full extent the greatest of God's temporal blessings to man—pure air.

I have no new patent idea to present to you, which shall secure to you at all times perfectly pure air, without any further trouble on your part. There are no two constitutions precisely alike, any more than there are two human faces, or two handwritings, and there are no two hours in our entire life in which all the physical conditions of our body are precisely the same. It would be just as absurd, therefore, to go to a ventilating establishment, and tell the proprietor to ventilate your house or office, and pay the bill when it came in, and content yourself by saying: "Well, I am glad this ventilating business is done with. I have got my house ventilated, and the bills paid, and I am glad I am through with that vexatious business." I say this would be just as absurd as it would be, in case you had some pain or ache, to go to your doctor and get some medicine, and therewith content yourself, and say: "Well, I am glad this doctoring business is over with; I have been dreading it all my life. I have been to the doctor's at last, have been doctored, and got my medicine and paid my bill, and so I am through with that vexatious business."

No—you must first feel that fresh air is worth taking some trouble to obtain. You must then make it a study how to obtain it without chilling or overheating your body, in winter and in summer, at night and in the day time, when you are lying down and when you are sitting up, before eating and after eating, before exercising, while exercising, and after exercising—when you are well and when you are sick, when you are alone and when you are in the crowded cars, or in a crowded room, in wet weather and in dry, and for the ever [35] varying changes of the external atmosphere—all these conditions require separate and intelligent thought.

In summer we depend almost exclusively on the natural movements of the air. To cause the air to move is then the great matter. We must then remember that the great masses of air move horizontally, not perpendicularly. Of course, there are many little disturbing influences, but I mean the great mass of the air moves over the surface of the earth in horizontal strata. You can see this by the smoke of the locomotive on the prairie, which can be seen sometimes for twenty or thirty miles, stretching along just above the horizon. All flues, therefore, are of little account in summer. We must depend on open doors and windows. Suppose you wish to ventilate your room in the morning, the air outside having become a little warmer than the air inside, and the upper parts of the window only lowered: the warmer air would flow across the top of the room, leaving the air undisturbed in the lower and colder part. In this case, the window should be raised from the bottom, or a door opened that would afford an escape for the air.

But again, suppose this same room to want ventilating in the evening. The room has become warm through the day, and the outside evening air is cooler than the room, and then, if you raise the windows from the bottom only, the cooler air will flow across the bottom of the room, leaving the upper part undisturbed and foul.

No doubt you have all noticed, frequently, that in going into a room in the evening, when your heads were above the window opening, it would be quite hot, but if you stooped down below the line of the open window, it would be cool and pleasant. All windows should be made to lower from the top, to meet this special case. If you are boarding, or are so unfortunate as to be put in a room where the great blunder has been made of not having the windows to lower, go to the nearest carpenter shop next morning, before breakfast, and get a chisel, and cut six or eight inches off the little strip which supports the sash, and, with a gimlet, bore a hole directly through the sash, on both sides, and with a nail you can keep the sash up in its place, when necessary. I have had hundreds, yes, I suppose, thousands, made to lower this way in the hospitals.

Motion, motion is the great desideratum in summer. You have all noticed, no doubt, how pleasant it is to go into a cool room, like a parlor, that has been kept shut up on a hot summer's day; but in a short time it begins to feel oppressive, and it is more comfortable to [36] have the windows open, and a circulation of air, even if it should be a little hotter than the stagnant cool air.

Never sleep with closed windows in summer. It is in winter, however, that the greatest care is required in providing a constant supply of pure air. If we would but accustom our minds to comprehend, readily and quickly, that cold air falls and warm air rises, it would assist us in our conclusions. We all know that, of course, but we do not practice applying it readily and quickly on all occasions.

In summer, as I have said, the air moves horizontally, and then windows and doors are the great means of ventilation; but as cold weather approaches, we must keep the windows shut, excepting when in bed. In winter, therefore, we must resort to flues for the means of creating a circulation, and for conveying the air from one part to another. A flue is simply a passage—a communication—for air of different temperatures. A flue has no power to create a draught. If the air within is colder, it will have the power to fall; if warmer, it will be driven up.

Fig. 8.
Fig. 8.

For illustrating this, I have here some glass tubes about two feet long and two inches diameter. This one (Fig. 8) has been lying on the table some time, and I suppose is very nearly the temperature of the air in the room. I have here a little tin box, which answers for a connecting tube, and over one of the openings I stand this tube, and by the smoke from this taper, first held at the top, you see there is no current down the tube. And again, by holding the taper at the lower opening, you see there is no current passing up the flue. But I will remove that, and place one (Fig. 9) over the same opening that is warmer, and now you can see how strongly the smoke is drawn down through this lower opening, and see it flowing up this warm flue, and out at the top.

We will now substitute a cold flue (Fig. 10). This condenses the air, and it falls rapidly. This action often occurs in the spring and early part of summer, especially in the morning, as the external air becomes heated, and the solid mason-work of the chimney remains cold, causing a descending current, which is often noticeable by the smell of soot [37] in the room. We will now add this tube, of the same temperature as the room (Fig. 11), to see if the additional height will not make an ascending current. But you see the smoke is still drawn down, the height of the flue adds a little to its power, but the difference in its temperature is the controlling force.

Fig. 9. Fig. 10.
Fig. 9. Fig. 10.


Fig. 11. Fig. 12.
Fig. 11. Fig. 12.

We will now place another tube over the lower opening (Fig. 12). Just see what a wonderful effect that has! Here is the air rushing down this short flue and up the two cold ones. We called those two first pipes cold, but our ideas of heat and cold are simply comparative; everything is warm, or has heat in it. Perhaps some of us think there is not much heat in the air when it comes whistling around our ears 15° or 20° below zero; but the cold rigid chemist will still [38] extract many degrees of heat from that. We must, therefore, remember that absolute temperature has nothing to do with the air passing up or down a flue—it is simply comparative temperature.

Fig. 13.
Fig. 13.

Let me show you one more experiment. Here are two tubes we have had heated; as you see, the smoke rushes up them rapidly. But now we will add this third one (Fig. 13), which reverses the current at once. The two first are hot, taking the temperature of the room as the standard, but the third one is still hotter.

Fig. 14.
Fig. 14.

The form of a flue has but little to do with the draught; the height has a slight influence, but bear in mind constantly that the great moving power in all flues is the variation of temperature.

Now, let us make a practical application of this principle.

Wait a moment: just let us lay this one aside, but not forget it, as we shall want to refer to it in a few moments, and try another experiment which has some bearing upon the subject.

I have here a tube just one foot square and two feet long, and one foot from the bottom there is what we will suppose to be an air-tight piston that can be moved without friction. Now, suppose we heat that air 490° (for the sake of easy remembering, say 500°); this would just double its volume—it would then be two cubic feet in size instead of one.

Now, suppose that, instead of letting this air expand, we should put a weight on it, so as to keep it in its place, how much do you think we should have to place on? Two thousand one hundred and sixty pounds, or about one ton. Now, what do we find these 2160 pounds to represent? It is the weight of a column of atmosphere with a base of one foot square, or fifteen [39] pounds multiplied by 144 square inches—it is the weight that would rest upon the piston if all the air was taken out from under it. Therefore, if you add about 500° of heat to a cubic foot of air, it makes it two cubic feet of air; or, if you attempt to keep it from expanding, you must put a ton weight upon it.

Mark one thing, however, if it takes ten ounces of coal to heat that air to 490°, which we do by piling our ton weight upon it, it will take fourteen ounces of coal if we allow it to expand to two feet.

In the former case, where the air remains stationary, it had done no work. It was ready to go to work, but it had not commenced. But in the case of its expansion, it had done a great work. What was it? Why it had lifted that ton of atmospheric air one foot in height, and that work was what used up the difference between ten parts and fourteen parts of coal (I don't trouble you with fractions).

You see, therefore, to make the air quit the earth and ascend into the upper regions, requires a positive power, the same as it does to drive some poor simple people away from the fire on a cold day.

We often say that, by heating air, we give it power to ascend; instead of which heating it destroys its power to maintain its position. It weakens—enervates it—so that its neighbors easily drive it out and take its place.

One cubic foot of air, diluted to two feet, would be driven about two miles and a half high before it found any body as weak as itself, for every 350 feet in height, in round numbers, the pressure diminishes by an amount equal to one degree, or forced under water thirty-four feet reduces it to one-half its bulk.

Now, let us go back and finish our syphon, or flue experiment.

Here we have our little glass house again. We will take the roof off and put a pretty large family in it—I mean large in numbers, if not in size. You may call it a school, or public meeting, or church, or whatever you please. Suppose, for illustration, we call it a church, and we will call this larger light in this end the minister speaking to the congregation. You see, the lights are a good deal agitated, and flare around a good deal.

There is a rush of air down at this end, and, as it becomes heated, it rises at the other. Let us cover about one-half of this up. Now see what a rush of air there is down these flues, instead of up them, as there ought to be. Here, you see, the main body of the building, though much shorter than the flues, forms the heated leg of the syphon; and you may thus recognize why many of the ventilating [40] flues, put in the cold outside walls of many of our large buildings, persist in working the wrong way, and cold air blows down there, instead of the foul air going up.

But there seems to be too much draught. Let us put the roof on. Ah, that is better; but, then, what a draught there is down this chimney-flue. Call the sexton, and have that stopped up quickly, or those sitting near there will soon catch their death of cold, and will never come here again.

You see, however, they shine very brightly, notwithstanding all the draught, but there, now, it is all closed up as snugly as the most fashionable church in town. See how quiet and peacefully they burn now.

Ah, there is one just gone to sleep. You must excuse him, he probably was up most of the night with a sick child. And there goes another. I think he must have been very busy for the last week settling up his last year's accounts. Just see, they are going to sleep so fast, I don't think we can pretend to give excuses for them all.

And, now, is not that a brilliant congregation to be preaching to? Everyone dead asleep excepting the preacher himself, and I suspect he feels stupid enough to go to sleep, but it would not look well; and he has to tax his energies so severely he will hardly get over it, so as to be good for anything for the balance of the week.

You may think this an exaggerated representation of the real facts. Do not deceive yourselves. A few months since I was requested by one of the congregation to visit a building within a few minutes' walk of this place, and see if there was not some defect in the ventilation. The gentleman stated to me that he sometimes attended the class-meeting, and would be glad to go oftener, but it was held in the basement story, and it was quite impossible for him to keep awake, as he had to get up and go out two or three times during the evening, to get a little fresh air, or he could not keep awake.

I examined it. The ceilings were low-only nine or ten feet;—then there were two old leaky portable furnaces, which were used as occasion required for heating the large room above, or the basement room when the class-meeting was held.

The only ventilation they had was to let off the surplus heat (if they had any, which was seldom) into the room above.

Now for fresh air. By a very careful and minute examination, I discovered a little pipe (I think it was about six inches in diameter) [41] to each stove (both of which would not be over half as large as what I have to supply my own bedroom), for the supply of the fresh air for that whole congregation. Fresh air, did I say? Well, let us see where this fresh air comes from. The janitor, after taking us down and showing where he kept the ashes, wood, old benches, and all sorts of rubbish, was about going up, but said I, "Where is the part where you get the fresh air to the furnaces?" "Oh," he said, "he could not get to that, it was such a rough place, and there was a sewer or gutter (from the adjoining graveyard I suppose) running right across it." And from that place, too rough to be got at, with an open sewer running through, and too foul to go into, was where they got the fresh air (!) from for the whole of that congregation to breathe.

And do you suppose this is an exception? Let me tell you. During the first year of the late war I was called upon by the Sanitary Commission to examine the hospitals in Washington City with reference to their ventilation. A large number of the churches in that city were used for hospital purposes, and many of them were heated by hot-air furnaces, and in not one single instance had they fresh air boxes to them, neither had they any means for carrying off the foul air. The furnaces were generally placed in a hole excavated under the main part of the building, and all the ground around them left exposed, and the air was sucked in from the fermenting, decaying vegetable mould under the building. And this place around the furnace was the place where all the filth and old rubbish was thrown to get it out of the way, and it was thoroughly out of the way too, for the surgeon in charge or any inspector never got there to see it. In some cases I found this space around the furnace used as the dead house!

Did I say there was no attempt in any of those buildings for systematic ventilation? I ought to have made one exception.

I called one morning about ten o'clock at one of the finest new churches, which was then being occupied as a hospital, and asked for the surgeon in charge. He had not arrived. (They did not often venture in before eleven o'clock, the wards became so foul during the night it took till that time, with the windows up, to get them fit for the surgeon in charge to venture in.) I inquired of the wardmaster how the building was ventilated. "Oh, very well—very well, indeed—they had good ventilation," pointing up to a large, splendid ventilator in the ceiling. "Do you keep that always open?" I asked. "Oh, certainly," he replied. But I always have a great suspicion [42] of those ceiling ventilators, as they are generally shut. So I walked around the ward, and when under it asked him again if he thought that was open. A smile came over his face as he discovered, for the first time, it was a handsome fresco painting on the solid wall. And this was the only practical systematic attempt at any ventilation in any of the church buildings used as hospitals in all Washington.

I have not been in any of the public schools in this city for many years, but a gentleman told me the other day that he called at one of the fashionable schools up town to get his son and take him home under his umbrella, as it had commenced raining since morning, and as he opened the school room door he was perfectly shocked, as he staggered back from the gust of horrible foul air that came rushing out of that room.

I have examined most of the public schools in New York since I have those of Philadelphia.

They have a way of their own of doing public business over there. There has been a good deal said about ventilating public schools of late years, and as it was such a scientific and fashionable matter they must have their schools ventilated of course.

I was very unfortunate in my intercourse with the Directors of the Public Schools. I did not happen to meet with many of those high toned, liberal, scientific gentlemen that are on many of the committees, of course.

Those beautiful and ornamental gratings called registers are accepted as the external proof of good ventilation, suggesting as they do the flow of an abundance of pure fresh air. So registers were bought freely and put in all the rooms, top and bottom, with splendid red and green and blue tassels, altogether making a handsome show and doing the very able and scientific gentlemen on the School Boards great credit for their enterprise and great care for the welfare and interest of the pupils under their charge.

Now, let us examine the operation of these registers. Holding a handkerchief in front of them, there it remained perfectly motionless. It neither blew hot nor cold—it was perfectly lukewarm, motionless. Go to another—the same. And to another—the same. Well that is singular. Let us go on the roof and see what can be the matter. A careful search fails to discover any flues at all, but a mechanical examination shows that the coping-stone has been put on them, making all the flues as thoroughly air-tight as the solid wall—more perfectly capped than that chimney. There had been no attention [43] paid to having the holes for the ventilating flues cut through the coping-stone.

Yes, I believe that to-day a large proportion of all those flues with the elegant ventilating registers at the top and bottom of the room, are capped and made as thoroughly air-tight as the solid wall, and are as perfect shams and as useless as the elegant frescoed ventilator on the solid wall of the church hospital in Washington.

I do not believe that Philadelphians have gone quite thus far in satisfying the public demand for ventilation in the public schools. They may not have done any more, but I believe they have not pretended to do quite as much.

Excuse me a few minutes; I must illustrate another very great deficiency. The simple illustration I will give you represents almost the universal condition of our hot-air furnaces.

Much complaint was made of the uncomfortable feeling in one of the large public schools, where they had some 1200 or 1500 scholars. I was called to examine it. I asked, as is my usual habit, if they evaporated plenty of water. "Oh, yes; they had given the janitor full directions about keeping the evaporating pans always full." I found the evaporating pans full, sure enough, rather to my surprise, but what do you think they were filled with? Several old brooms, half charred, and some old water buckets all fallen to pieces, and other rubbish thrown in there out of the way.

And now those of you who have been trusting to your servants to keep water in your furnaces, if you will take a candle when you go home and go down and examine your own furnaces, you will most likely find them dry, and if you go to the public schools in the morning you will see that they too are not an exception.

I wish I had time to explain the dreadful effect of this want of moisture in all our artificially heated rooms. The air in winter is very dry, the moisture is squeezed out as the water is squeezed out of this sponge. But as you heat it you enlarge its volume again, and it sucks up the moisture just as this sponge does, and if you do not supply this moisture in other ways it will suck the natural moisture from your skin and your lungs, creating that dry, parched, feverish condition so noticeable in our furnace and other stove-heated rooms. Few persons realize the great amount of water necessary to be evaporated to produce the natural condition of moisture corresponding with the increased temperature given the air in many of our rooms in winter.

[44]

I have copied a table expressing in grains troy the moisture contained in one cubic foot of air when saturated:

Degrees
Fahrenheit.
Grains of vapor
in cubic foot.
10 0.8
20 1.3
30 2.0
40 2.9
50 4.0
60 6.0
70 8.0
80 10.0
90 15.0
100 19.0

Thus you see, taking the air at 10° and heating up to 70°, the ordinary temperature of our rooms, requires about nine times the moisture contained in the original external atmosphere, and if heated to 100°, as most of our hot-air furnaces heat the air, it would require about twenty-three times the amount in the external atmosphere.

This is a very interesting and important subject, but I am sorry I have not time for further explanation.

I see some kind friend has been around and opened the doors of our meeting-house and awakened the sleepers. And now you see the lights shine, and the cheeks glow as brightly as would those of our young ladies could they be persuaded to go skating, or take a five mile walk every day, rain or shine, and sleep with the windows open, and never ride in any of our cars, or go to parties or any other public gatherings unless the buildings where they are held are well ventilated.

But those dreadful drafts! People will not bear them. Let us see if we can accommodate them. Put on the roof, and here comes this dreadful current again down the ventilating flue. Well, ventilating flues have the name of being great humbugs. Let us shut them up. There are your poor consumptive patients—there they go, you see. One-half dead already, and the rest will soon follow if we cannot rescue them. Let us open the flue again. See how they brighten up as the fresh air comes in. There is no use of disputing about it, you must have a current of fresh air coming into the house or you will surely die.

Now let us change the programme. Let us build a fire in this fire-place in the lower story—that burns up brightly. Where does it get fresh air from now? There can be no current down the chimney. [45] Let us search it out with this smoking taper. Ah, here it is coming down through the ventilator from the very top of the house. We will soon stop that by this cap. But see, it still burns as brightly as ever. Let us try again. Ah, do you see the smoke rushing down the second story chimney and across to the stairway, and down the stairs, and across the room again to this fire?

There is a valuable hint. Have you not noticed frequently gas in the room from the fire-place or stove, and especially at night? And do you see how easily it would be to account for it if the house were shut up tight at night, with a large fire in the kitchen or furnace in the cellar, and but a small fire in the second story? Don't you see how the whole products of combustion, all the poisonous gases, may be drawn out into the room? You often notice accounts of whole families being smothered to death in one night, but many seem to think if they are not smothered to death the first night, that it is not so very dangerous after all, and not knowing how to remedy it easily go on from day to day and sometimes escape the whole winter with a little of their lives left.

Now, let us put out the fire in the first story and make one in the second.

You must remember that this is not a fashionable double ceiled and plastered air-tight house. It is much more open, in proportion to its size, than any ordinary house. And now, as this lower flue has been so highly heated, it may take some time for the fire in the second story fire-place to become heated sufficiently in excess to cause the air to draw down the longest flue to the bottom of the house and up the stairs to the second story fire-place, but it will soon do it.

I wish you to notice one thing here particularly, and each one apply it to your own particular case. You know the lower part of the house is closed up tight to keep out the robbers, and if great care is not taken to give an abundant supply of fresh air to your chambers otherwise, it will be drawn up through the hall out of your kitchen and cellar, and as the cook has left the range lid off and shut the dampers, you will have a suffocating smell of gas all over the house. But the worst danger of all is the air that may be drawn in from an untrapped sewer or cesspool. This is a very common but great source of ill-health.

Sanitarians have given much attention to this subject lately, and have been astonished at the magnitude of the evil. I have long maintained [46] that a family might go to the highest and most healthy location in the world, and by a little carelessness might accumulate sufficient filth around them, and by closing up the house at night and allowing the foul gases from untrapped sewers and cesspools to enter through the halls to their sleeping rooms, to thus make what would otherwise be a healthy place a very unhealthy one.

As a case in point, I would refer to a very interesting report of Doctors Palmer, Ford, and Earle, giving an account of their investigations of the causes of a severe epidemic that occurred in the summer of 1864 in a young ladies' seminary in Massachusetts. "The Maplewood Institute" is situated in Pittsfield, one of the most beautiful of those charming New England villages, which, to external appearances, are the very emblem of all that is pure and healthy. Yet even in this lovely place, from an ignorant or careless arrangement of the drains and cess-pools, much of the foul gas generated there found its way into the building, 2 making sixty-six out of seventy-four young ladies sick, fifty-seven of whom had the typhoid fever and thirteen died. Many similar cases are frequently occurring, some few of which, like this, are carefully investigated, and the causes removed. Many more, however, go unnoticed, and are accepted as special dispensations of Providence, when it is all due to our own negligence.

I want to show you an arrangement that ought to be in every house. We have seen the power of a fire to create a draft, and if you will think a little you will notice that the kitchen fire is the most considerable and most permanent power in ordinary dwellings, and this ought to be made use of to ventilate the kitchen, water-closet and bath-room in every house. But you must not make an opening directly into the kitchen flue; if you do you will interfere with the draft of the kitchen fire, and if you interfere with the kitchen fire you will soon wish yourself at anything but keeping house.

But we can easily get over that trouble. We will use this square glass box again to represent a flue. I don't mean this to represent the size—it ought to be twice that size. In the centre we will put a cold pipe, to show you that a pipe without any heat in it would only cause the foul air to tumble down into the room. Thus you see the smoke descending. We will substitute a pipe with a gas light to heat it. [47] Now you see what a rapid current there is out of this large flue. See what a splendid arrangement this is for ventilating, and it may be extended so as to ventilate the whole house. It is not necessary that the room to be ventilated should be adjoining, but a pipe can be carried between the floors 50 or 100 feet.

I had an opportunity, during the late war, of thoroughly testing this system of ventilation in the government hospitals.

Let me say here that a very common mistake in making ventilating flues is, that they are entirely too small to be of any value. One of these little Philadelphia flues, four by nine inches, made with rough bricks, and nearly or entirely choked up with mortar, as many of them are frequently found, is of no account. They are simply a deception, and a perfect provocation to a sensible man.

Fig. 15.
Fig. 15.

I commenced by making some in Washington, for single wards, thirty inches square, but in St. Louis, and Louisville, and Nashville, where buildings four or five stories high were used for hospitals, I made them much larger, some three feet square and some four feet by six feet. Some buildings, where the ventilation was so bad and the water-closets were so offensive that the government had to abandon them, I had ventilated by these immense shafts, heated by the kitchen and laundry fires, which proved thoroughly efficient and entirely satisfactory.

I had hoped to have time to discuss the subject of heating more fully in connection with ventilation, but cannot; but I will state, in the simplest manner, a few of the leading points first.

You must have fresh air all the time. In summer you can get it by opening the doors and windows. In winter it must be warmed before entering the room. It must not enter the room cold and flow across the floor to the other side before it reaches the heating apparatus. You can bear a large amount of fresh air if it strikes you in the face and evenly over the whole body, but never let a jet of cold air blow upon any small portion of your body.

[48]

To avoid these local currents sucking in at cracks, you must make provision for the introduction of an amount of air larger than the sum of all these cracks, and your exhaust flue besides. This air must be partially warmed before entering. If this is done by a hot-air furnace, it must have a large fresh air box, which should be from eighteen inches to two feet for a large house. It should have a large evaporating vessel, with a ball-cock to supply it. You cannot get the servants to attend to it, and you must never allow the air from your cellar to enter your furnace to be driven up stairs. Never allow the furnace to get red-hot.

A hot water furnace disturbs the natural conditions of the air the least, and, on that account, is a very healthy means of artificially heating air. But they are necessarily expensive, and so few persons really appreciate the value of pure air, that but few will go to the expense of introducing them. It is a mistake to suppose that they do not dry the air, so to speak. You cannot elevate the temperature without increasing the capacity for moisture. A hot water furnace, therefore, requires the artificial evaporation of water to give the warmed air its true hygrometric condition.

Heating the air by steam is the next most healthy means; as the surfaces used are heated a little hotter, less of it answers the same purpose. The first cost is therefore less. It is the most rapid and convenient means of conveying heat to any distant point of anything now in use. Under the pressure of an ordinary boiler it will travel seven miles in one minute. The time I hope is not far distant when the subject of heating and ventilation will receive an amount of attention due to its importance. I believe then we shall have steam pipes laid through our streets, the same as gas and water now are. The present system of each man keeping up separate fires all over his house is as crude, and extravagant, and unnecessary as it would be for every man to make his own gas or have his own well for water.

Where a steam furnace is used, two-thirds of the heating surface should be put below the floor and fresh air brought into it, and from there conducted to the rooms through large pipes. This warmed air should be let into the room at the floor, and an opening into an exhaust flue, two-thirds the size of the inlet, should be provided at the floor for the escape of the foul air. The remaining one-third of the heating surface should be exposed in the halls and some in the other parts of the house, to heat by direct radiation, but under no [49] circumstances should a room or office be occupied heated exclusively by direct radiation from exposed steam pipes. It is one of the worst, most unhealthy, killing systems in existence.

Steam furnaces require the evaporation of an additional amount of moisture as well as any other system of heating. According to Dr. Wetheral's investigation, it would require the evaporation on some days of nearly forty pounds of water every minute in the Senate Chamber to maintain the proper hygrometric condition. Probably one of the very best arrangements is to have a good steam furnace, with a large fresh air box letting in an abundance of air moderately warmed, and overflowing the house with this, and some direct radiation in the halls, and a good, bright, cheerful open fire in the family sitting-room.

But if you cannot have a steam or hot water furnace, you can make a room very comfortable indeed with a stove, if you will but introduce all the fresh air required for the room directly against or on top of the stove. No stove ought to be put up without having a supply of fresh air from the outside, and a large evaporating vessel, kept constantly filled with water, with an opening in the heated flue near the floor for the escape of the foul air.

In conclusion, allow me to urge upon you to examine your furnace this evening or to-morrow morning, and if there is no fresh air box communicating with the external atmosphere, go to the nearest carpenter's shop before going to your business, and get him to come at the earliest possible moment and put in a good large one, and if he asks you where you want the damper in the cold air box, tell him you don't want any.

Dampers in cold air boxes are handy things to have in the house, when used properly, but, like fire-arms, are very dangerous if you do not understand them. Yes, dampers in cold air boxes and other contrivances for keeping the fresh air out of houses, have killed more persons than all the fire-arms ever made in this country or any other.

If you have no evaporating vessel in the furnace, stop at your furnace man's, and tell him to put in two good large evaporating vessels in such a position that they will evaporate two or three buckets of water a day in cold weather.

And if you have a stove at your office, stop on your way down and buy a good large earthen pan to set on the top of the stove, and keep it always full of water. Make a pipe for the inlet of fresh air to every stove over which you have any control, and never remain [50] in a room one day without a good opening at the floor for the escape of foul air.

And from my own experience, and that of many others whom I know to have given much attention to this subject, I can assure you, with the fullest confidence, that you will be most amply rewarded for your care in this respect by increased health, strength and happiness, and by the reasonable prospect of a long life.

[51]





VENTILATION.

THE GRAND PRIZE AWARDED AT THE PARIS EXHIBITION.

Added to the many other gratifying signs of a rapidly increasing interest in the all-important subject of the proper supply of pure air to our houses, is the awarding of the grand prize of the Paris Exhibition to Dr. Evans, for an American sanitary collection.

The Sanitary Commission, during our late war, acted upon the principle since expressed by the report of the Board of Health of New York. They say: "And viewing only the causes of preventable diseases and their fatal results, we unhesitatingly state that the very first sanitary want in New York and Brooklyn is VENTILATION—ventilation supplied in all existing tenant-houses, work-rooms, school-rooms and places of assemblage—and in all that shall hereafter be constructed."

The early recognition during the late war, both by the Sanitary Commission and the government officials, of the important fact that many more men are killed by breathing foul air than are killed by the enemies' bullets, led them to use very active exertions to secure good ventilation in hospitals and camps, and to teach the men themselves the value thereof. The result has been highly satisfactory. The fact that we must make some positive provision for a constant supply of fresh air to every occupied room, and not rely on accidental cracks and openings, is now very generally felt. The simple, practical and efficient means used by the government has done much towards creating this wholesome public opinion.

The annexed plan (excepting a stove and twelve beds, omitted from centre of plan, indicated by the space) is a copy of one I furnished the Committee; and which was faithfully executed in preparing one of the models of hospitals, the arrangements of which have been so highly appreciated, and has shared one of the grand prizes at the Paris Exhibition.

It is a representative plan, showing the general arrangements of wards in a large number of the hospitals.

[52]

Fig. 1.
Fig. 1.

The special arrangements of flues, V, for winter ventilation, and the introduction of the fresh air around the stove, were not introduced into the hospitals in Philadelphia, built at the commencement of the war. And the subsequent orders of the Surgeon General and Quarter Master General for the introduction thereof were protested against by the Surgeons of Philadelphia, owing probably partially to their proverbial objection to changes of any kind, and partially to that dread of "ventilation" made but too popular by the many erroneous theories which propose to introduce the fresh air directly into the room, and at times, too, when it is even below the freezing point, without first warming it. These arrangements, shown in the accompanying plan and section, were thoroughly tested, however, in many of the hospitals subsequently built in many of the Western cities.

The plan of ridge ventilation, shown in the accompanying section, I applied first in St. Louis, in the summer of 1863. It is [53] the principle of the Emerson ventilator applied to ridge ventilation. Much trouble had been experienced with other forms on account of their allowing the storms to beat in, and the difficulty of opening and closing them with the various changes of wind; this form fully remedies those objections, and can be left open without inconvenience at all times while snowing or raining. It uses the force of the wind, whenever there is a current passing over the top of the building, for sucking the air out of the ward, because the air in passing across the top of the building is deflected from the straight line by the angle of the roof-board, which creates a partial vacuum in the space below, which, with the friction of the passing current with that coming out of the ward, makes an outward draught, varying in proportion to the velocity of the external current. This is often very useful, especially in summer, when there is not sufficient difference between the external air and that in the ward to create a current. There is often a considerable force in the passing current at the top of the building when there is much less below.

Fig. 2.
Fig. 2.

But of course these openings had to be closed in winter to prevent [54] all the heat from escaping. It then became necessary in wards that had no fireplaces, to make something as substitutes therefor. Wooden shafts or flues were made to answer this purpose.

I at first made large wooden boxes, placing them in the centre of the wards, and allowing them to extend down to within twelve or eighteen inches of the floor. This was of great advantage, but as the true principle of ventilation is to have an opening for the exit of the contaminated air at the feet of each occupant of a room, or at the head of the bed of each patient in a hospital, it was soon observed that these shafts were too few and far between to make a very perfect arrangement.

The necessity for providing for the escape of the foul air from the level of the floor in winter, so as to utilize the heat, was, after much opposition, finally established and officially acknowledged by the government officers. Then arrangements were made for its introduction into the government hospitals in a more perfect manner.

I believe in no case, however, was it so fully carried out as to place a ventilating flue between each bed, but in some they were arranged, as shown (marked V) in the accompanying plans between every other two beds.

These flues were carried together and extended through the ridge of the roof and capped as an Emerson ventilator; the opening into the large flue, extending to just below the ceiling, was closed in winter at all times, excepting when the room was too warm. This was for the exhaust, but of no less importance was the supply.

The popular dread of ventilation arises in a great measure from the supposition that good ventilation implies a strong draught of cold air upon your back or feet or some other unfortunately exposed place. Such an unfortunate occurrence must be fully remedied in any system of ventilation before it can become popular.

As the simplest way of getting at this, all the fresh air required to supply the partial vacuum created by the exhausting shafts was brought in around the stoves, and partially warmed before entering. At the first the stoves were entirely encased, and the fresh air allowed to encircle them completely, but experience soon demonstrated the desirableness of having a portion of the hot stove exposed for direct radiation, so that the feeble and chilly ones might come near to it and warm themselves. There should always be a considerable amount of direct radiation in every hospital; that from an open fire is the best, but that from a stove or steam-pipe is very good.

[55]

Arrangements were also made for the evaporation of a large amount of water.

As the first winter approached after the commencement of the war, the idea seemed almost shocking to me of putting the sick and wounded men in such open barracks, generally without plastering, and made, as many of them were, with rough boards and very open.

But experience soon taught me the very great superiority of these light and airy buildings over many of the elaborately finished, dark, air-tight structures, such as hotels, colleges, new-fashioned asylums, &c., which the government was compelled to take for hospital purposes.

In fact, when completed with the ventilation as above described, with the abundant sunlight on both sides, without any obstructing partitions and abundantly warmed in winter, and with the proper supply of moisture, they made undoubtedly the most comfortable and wholesome class of buildings, as a whole, that have ever been erected for hospital purposes, not excepting even many of the recent elaborately finished buildings, where not unfrequently too much dependence has been placed on the very meagre and insufficient effect produced by attempts at artificial ventilation, instead of relying more upon the great natural means of ventilation—an abundance of large open windows, open fires and good ventilating stoves.

The ventilation of the latrines or water-closets of a hospital, as well as any other place, is a matter of great importance.

In the spring of 1863, I had put up in a hospital in Washington a ventilating shaft for the latrine room, similar to the one shown on the plans. This was an experiment, but it proved so satisfactory that it was subsequently ordered to be applied in all the principal hospitals.

The difficulty in the isolated wards was, that it required a separate fire in each shaft in the summer. Where it is possible to get it near the kitchen or bake-oven fire, that answers a splendid purpose; but in the single wards it is not necessary to keep up a constant fire; a few sticks of wood every morning answer the purpose of keeping the air in the shaft warmer than the surrounding atmosphere, which, of course, creates the proper draught.

These shafts were made very large—never less than thirty inches square and sometimes three feet by six feet. The popular plan of opening the water-closet windows and allowing much of the fresh air to enter the building that way was strenuously avoided; the windows [56] in the closet were fastened shut, and then the air to supply this large exhaust shaft was drawn from the adjoining ward or room, which ventilated that ward and prevented any unpleasant odor from the closets returning into the ward.

Wherever it was possible, a sheet iron or cast iron pipe was carried up into the centre of this shaft from the kitchen, laundry, bakery or any other constant fire, and where no heat from a permanent fire or from a steam coil could be obtained, a small stove for the purpose was provided.

Lewis W. Leeds,
Germantown, Pa.

7th mo. 26th, 1867.

[57]





The subjoined are a few of the Letters received from prominent Sanitarians and others.


Office of the Superintendent of Health,
Providence, August 5, 1867.

Friend Leeds.

Your Lectures on Ventilation have been received. I am much interested in them, and think the views given are correct. I hope they will be widely circulated. Too much cannot be said to the people upon the subject.

Ventilation is all-important. Indeed, I think that if the air could be constantly kept in motion, the worst sources of impure air in our cities would be rendered almost free from danger.

In seasons of epidemic cholera, the most oppressive feature of danger is the stagnation which exists in the atmosphere. There was good sense and true philosophy in the old custom of burning bonfires to keep off disease. I must close, wishing you much success in your efforts to awaken the people to the importance of this subject.

Truly yours,

EDWIN M. SNOW, M. D.,
Superintendent of Health.


Bangor, Maine, August 23, 1867.

My Dear Leeds.

Your pamphlet was duly received. I have read it with much interest, and believe it to be worthy of extended circulation. It is the clearest paper on the subject I have yet read.

Yours, in haste, A. C. HAMLIN, M. D.


64 Madison Avenue, New York, Aug. 23, 1867.

My Dear Friend.

I have just read your Lectures on "Ventilation," and I am very much obliged to you for the entertainment and instruction they have given me. You have very happily hit upon a style which is neither flippant nor dry. I am sure the lectures will be read, and if read, they will do a great deal of good.

I have all my life been talking and writing in this direction, imploring the people to take less medicine and more pure air; and I feel truly grateful for the help your strong shoulders have given me in what has thus far proved to be a labor of Hercules.

[58]

Your particular method of ventilating buildings I had many opportunities of proving while I was Medical Inspector U. S. A., and I assure you that no plan was ever more simple and inexpensive—none could have been more effective. Indeed, I may say that I never knew it to fail.

To you, therefore, I fully believe the country is indebted for the lives of many thousands of men.

With sentiments of esteem, I remain yours truly,

FRANK H. HAMILTON, M. D.,
Prof. Principles of Surgery, Military Surgery, Hygiene, &c.,
Bellevue Hospital Medical College, N. Y.
Author of Work on Fractures and Dislocations, Treatise on Military Surgery, &c.

L. W. Leeds, Esq.


Office of the Metropolitan Board of Health,
No. 301 Mott Street,
New York, August 26th, 1867.

Friend Leeds.

Your Lectures on Ventilation have given me much pleasure, and have renewed my confidence in the utility of popular instruction upon the subject. I heartily thank you for the thoughtful care with which you have set forth all the essential principles of ventilation, in language so free from technical words, and so full of plain and homely illustration, that even an uneducated reader can fully understand all you have written. The good Dr. D. Boswell Reid, Dr. Wyman and myself had each attempted to use such a style of explanation and instruction; but you have far excelled us all.

The first want of every living being is fresh air, and unless the human lungs are supplied with such air constantly at the rate of from ten to thirty cubic feet every minute, by night as well as by day, perfect health and vigor cannot be preserved. Then, too, there are exhaled from the surface of the body and from the lungs, such quantities of waste organic matter, which tend to immediate putridity, that it, together with the carbonic acid, would keep the human body immersed in a deadly vapor of these exhalations, were not fresh air supplied. The illustrations by which you have made these truths easily understood, are admirably given in your lectures, and the method, by which you would best insure success in removing the foul and supplying the pure fresh air in every place where persons live or sleep, are, as I believe, from my own careful studies of this subject, most correct and trustworthy. Indeed, I am able to say that, in my examinations of the vast number of hospitals and buildings which you ventilated during the late war, under authority from the intelligent and humane Quartermaster-General of the army, the proof of entire success in your work was everywhere witnessed. Simplicity, invariable certainty and a liberal sufficiency characterizes these admirable methods of yours.

I wish every family in the land had a copy of these lectures.

Sincerely yours,

ELISHA HARRIS, M. D.,
Corresponding Secretary Metropolitan Board of Health.

To Lewis W. Leeds, Esq.

[59]


Vaux, Withers & Co., Architects,
No. 110 Broadway, New York, August 27th, 1867.

Dear Mr. Leeds.

I am glad to receive your Lectures in printed form, and trust that they may be widely read throughout the community.

Having been in the habit for several years past, of consulting with you professionally in regard to the arrangements to be made for heating and ventilation in plans for public and private buildings, I take this opportunity to acknowledge the value of the aid thus given; and as I feel assured, from a lengthened personal experience, that your thorough knowledge of the subject, both theoretically and practically, is calculated to render your assistance particularly valuable in the adjustment of complex and intricate plans, I trust that one result of the circulation of your interesting pamphlet may be to introduce you more widely to members of the architectural profession.

I remain, Dear Mr. Leeds,

Yours faithfully,
CALVERT VAUX.

Lewis W. Leeds,
Heating and Ventilating Engineer.


110 Broadway, New York, Aug. 30th, 1867.

Mr. Lewis W. Leeds was employed early in the war of the rebellion by the Sanitary Commission, as an agent to urge the necessity to the health and strength of the army, of the thorough ventilation of tents and quarters, and to devise and suggest to the proper officers the adoption of the best means for this purpose.

At a later period of the war, at the suggestion of the Commission, the Quartermaster's Department engaged his services, and gave him large discretionary powers for the ventilation of hospitals. He was thus employed during all of the war, with great advantage, and the improvements which he brought about were unquestionably the means of saving thousands of lives. * * * *

Mr. Leeds has a special talent for making improvements in houses of ordinary construction, by means which may be readily adopted, and with materials which may be anywhere procured without difficulty or great expense.

Mr. Leeds' course of lectures on Ventilation is calculated to supply instructions of great practical utility. An invaluable addition to the health, happiness and wealth of the nation would result, if they could be delivered before every school in the country.

FRED. LAW OLMSTED,
First General Secretary of the Sanitary Commission.


Treasury Department,
Office of the Supervising Architect, Sept. 11th, 1867.

My Dear Friend.

Your valuable Lectures on Ventilation have been received, and have been read with much pleasure, more especially as you are about the only person I have ever met, who, after making the ventilation and heating of buildings a specialty, has condescended to follow the laws of nature, and provide the means of adapting [60] them to our artificial modes of life. Your lectures show a thorough study and knowledge of the principles involved, which are, like all natural principles, very simple if once understood. I have also to take this means of acknowledging the valuable aid that I have received from you on many occasions, and to express a hope that you will not despair, but relying on the adage that "truth is mighty" &c., go on with your exposures of the absurdities of the complicated and costly humbugs that are so fashionable at present, and trust you will succeed not only in your missionary labors, but find them pecuniarily profitable.

Very respectfully,

A. B. MULLETT,
Supervising Architect.

Lewis W. Leeds, Esq.,
Engineer Ventilation and Heating,
Germantown, Penn'a.






FOOTNOTES.

1 (return)
I mean merely pecuniarily—in dollars and cents;—the cost in physical pain and mental anxiety, of course, cannot by computed in dollars and cents.

2 (return)
In addition to which there appeared to be a deficiency in the arrangements for ventilation.