The Project Gutenberg eBook of L'A. B. C. de l'aviation: Biplans et monoplans

This eBook is for the use of anyone anywhere in the United States and most other parts of the world at no cost and with almost no restrictions whatsoever. You may copy it, give it away or re-use it under the terms of the Project Gutenberg License included with this eBook or online at www.gutenberg.org. If you are not located in the United States, you will have to check the laws of the country where you are located before using this eBook.

Title: L'A. B. C. de l'aviation: Biplans et monoplans

Author: Louis Gastine


Release date: December 14, 2010 [eBook #34633]

Language: French

Other information and formats: www.gutenberg.org/ebooks/34633

Credits: Produced by Laurent Vogel, Christine P. Travers and the
Online Distributed Proofreading Team at http://www.pgdp.net
(This book was produced from scanned images of public
domain material from the Google Print project.)

*** START OF THE PROJECT GUTENBERG EBOOK L'A. B. C. DE L'AVIATION: BIPLANS ET MONOPLANS ***



Page de garde

L'A. B. C.
DE
L'AVIATION

Biplans et Monoplans

PAR
LOUIS GASTINE

2e mille

Albin MICHEL
Éditeur

22. Rue Huyghens
PARIS

À Gabriel et Charles VOISIN
bien cordialement.

L. GASTINE.

L'A. B. C.
de l'Aviation

DU MÊME AUTEUR

L'A. B. C. de l'Aviation

PAR
Louis GASTINE

Ancien collaborateur de M. E.-J. MAREY de l'Institut

Logo

PARIS
ALBIN MICHEL, ÉDITEUR
22 RUE HUYGHENS, 22

Tous droits de reproduction, de traduction et d'adaptation réservés pour tous pays.
Copyright by Louis Gastine, 1911

15e Année

2, Rue de la Bourse, Paris

Le Numéro: 50 Cent


FONDÉE EN 1896

LA FRANCE

AUTOMOBILE

PARAISSANT
TOUS les SAMEDIS

& AÉRIENNE

ABONNEMENTS
France 16f. Étranger 20f.
DIRECTEUR:
Maurice CHÉRIÉ
On s'abonne dans tous les bureaux de Poste

LA FRANCE AUTOMOBILE ET AÉRIENNE, fondée en 1896, est, depuis 15 ans, la plus importante revue traitant d'automobile et d'aviation. Luxueusement éditée, abondamment illustrée de photogravures et de dessins, elle donne chaque semaine toutes les nouveautés, intéressant les automobilistes et les aviateurs:

Sa collection annuelle (830 pages, 1.000 gravures) constitue l'histoire la plus vivante et la plus documentée de toutes les manifestations sportives, commerciales et industrielles qui se sont déroulées, tant en France qu'à l'étranger, dans ces deux branches de l'activité humaine.

Instructive et utile, humoristique parfois, elle s'est placée, grâce à une collaboration d'élite, au premier rang des publications spéciales dont l'éclectisme et l'impartialité assurent le succès.

POUR SE TENIR CHAQUE SEMAINE AU COURANT DE TOUT CE QUI CONCERNE

L'AUTOMOBILE ET L'AVIATION

Abonnez-vous à

LA FRANCE AUTOMOBILE
& AÉRIENNE

Directeur: Maurice CHÉRIÉ


850 Pages de texte & 1.000 Gravures par an


Abonnements:

FRANCE   UNION POSTALE
UN AN 16 fr.   UN AN 20 fr.
6 MOIS 9 fr.   6 MOIS 11 fr.

BUREAUX: 2, Rue de la Bourse, PARIS


Envoi franco d'un numéro spécimen sur demande

(p. 001) L'A. B. C. de l'Aviation

I

Les premiers conquérants de l'air
Le Ballon sphérique.—Le Dirigeable

Conquête de l'air.—Locomotion aérienne.

Par ses moyens physiques naturels, l'être humain est attaché à la terre.

Il ne peut pas franchir de grandes étendues d'eau à la nage,—les nombreuses tentatives de traversée de la Manche par les meilleurs nageurs l'ont assez démontré,—et ses plongées sont insignifiantes.

Mais, il est arrivé à parcourir artificiellement les vastes espaces océaniques. Aujourd'hui ses moyens de locomotion sur l'eau sont si nombreux, si perfectionnés que son domaine s'est en quelque sorte étalé sur la mer. Il commence même à pénétrer dans l'élément liquide par le sous-marin et par le secours d'appareils à immersion comme le scaphandre et les cloches à plongeur.

Plus récente, est sa pénétration dans l'espace aérien. Elle ne date réellement que de 1783.

Après un début qui fut extrêmement sensationnel[1], l'art de s'élever dans l'air resta longtemps stationnaire.

Après la guerre de 1870, la renaissance de l'aérostation, d'abord lente, finit par prendre un essor assez prompt,—notamment par la fondation de l'Aéro-Club de France,—jusqu'au (p. 002) moment où l'adaptation aux aérostats des moteurs légers, créés par l'industrie de la locomotion automobile, fit accomplir un bond considérable à la «locomotion aérienne» en permettant la réalisation de «ballons dirigeables», réellement dignes de cette qualification.

Mais, plus récemment encore, la naissance presque subite et le développement des «appareils d'aviation» plus lourds que l'air ont donné une autre solution provisoire du problème séculaire de la locomotion aérienne.

Par ce dernier moyen surtout, la conquête du domaine aérien par l'homme a été si rapide que le public, témoin accidentel mal informé des étapes de cette conquête, est porté à les confondre.

On ne lui a pas encore indiqué comment il doit comprendre les termes, mal définis, dont il entend faire usage à propos des engins et des personnes s'élevant au-dessus du sol pour se déplacer dans l'atmosphère.

Ainsi, pour presque tout le monde, l'homme, l'animal ou la machine parcourant un trajet quelconque dans l'air, sans prendre point d'appui sur la terre, fait de la navigation aérienne.

Pourtant, il est tout à fait impropre d'appliquer aux translations exécutées dans l'air un terme essentiellement maritime, qui exprime exclusivement un parcours fait à la surface des eaux (mouvements des navires) ou près de la surface de l'eau (mouvements des sous-marins), tandis que la locomotion aérienne s'effectue dans un milieu (l'air) qui n'a pas de surface déterminée.

L'homme ne peut s'élever pratiquement dans l'atmosphère au delà de 6.000 mètres,—en ballon,—parce que l'air devient, au delà de cette limite, trop raréfié pour la respiration. Il manque notamment d'oxygène et sa température devient trop basse[2].

Mais à cette altitude on est encore bien loin du terme (p. 003) de la couche atmosphérique du globe. Il résulte, en effet, de constatations scientifiques aisément renouvelables, que cette couche peut avoir 50.000 à 70.000 mètres d'épaisseur et que ses dernières traces les plus éparpillées dans l'éther (les moins denses) pourraient s'étendre jusqu'à 800.000 mètres au-dessus du sol[3].

Par rapport à l'épaisseur de la couche d'air enveloppant notre planète,—si tant est que cette couche ait une limite appréciable,—l'homme gravitant dans les plus hautes régions de l'atmosphère où il peut accéder ne se déplace donc pas à la partie supérieure, à la surface de cette couche, comme le navire vogue à la surface de l'eau, mais il en parcourt, au contraire, le fond et le terme naviguer à propos de l'air, doit être proscrit.

Cet exemple, bien caractéristique, montre qu'il faut, avant tout, préciser le sens des termes employés pour désigner les nouveaux moyens de déplacement de l'homme dans l'atmosphère. Or, cette précision découle de l'examen des moyens artificiels mis en usage pour s'élever au-dessus du sol, et c'est pour cela qu'il importe de considérer d'abord ces moyens.

Le plus ancien en date au point de vue des résultats positifs,—car cet A. B. C. visant exclusivement la pratique, doit négliger systématiquement les origines fabuleuses ou légendaires comme celle d'Icare et les tentatives avortées des précurseurs, comme celles de Léonard de Vinci, quelque respectables qu'elles soient,—le plus ancien en date est le ballon.

(p. 004) Le Ballon

Ses moyens.—Son prix.

Le ballon, qu'il soit simple ou dirigeable, est le type du plus léger que l'air.

Nous ne percevons pas, par nos sens, la pesanteur de l'air. Néanmoins il a un poids très notable.

À la température de 0° et au niveau de la mer, un mètre cube d'air pèse près de 1.300 grammes (1.292 à 1.293 gr.)

À mesure que sa température s'élève, il se dilate; les molécules gazeuses qui le constituent s'écartent les unes des autres, elles occupent plus d'étendue. Il en faut moins, par conséquent, pour remplir le même espace. Ainsi, un mètre cube contient une masse d'air moins dense, moins serrée à 50° qu'à 0°, et cette masse, de volume égal est, par conséquent, moins lourde.

Chauffé à 200°, l'air atmosphérique, par sa dilatation, occupe un volume presque double de celui qu'il possède à 0°.

Il en faut donc presque moitié moins pour emplir le même espace, et, pour le même volume, il est, par conséquent; plus léger de moitié.

Cette légèreté lui permet de s'élever dans l'atmosphère plus lourde qui l'environne. La vapeur d'eau, les fumées s'élèvent dans l'air d'une manière analogue.

Cette faculté de s'élever dans l'atmosphère est une force, facile à mesurer, qu'on nomme en aérostatique: force ascensionnelle.

Un mètre cube d'air à 200° possède une force ascensionnelle de près de 500 grammes (493 gr.) et peut soulever, par conséquent, ce poids.

Les gaz plus légers que l'air, tels que l'hydrogène ou le gaz d'éclairage, ont la même propriété par rapport à l'atmosphère. Elle est proportionnelle à leur poids.

(p. 005) Un mètre cube de gaz d'éclairage ne pèse que 500 gr. environ. Le mètre cube d'hydrogène pur, bien moins lourd encore, ne pèse que 89 gr. L'un et l'autre peuvent donc élever presque la différence qui existe entre leur poids et celui de l'air atmosphérique au niveau de la mer à 0°, ce que l'on exprime en disant que le gaz d'éclairage possède une force ascensionnelle de 790 gr. environ et que cette force s'élève, pour l'hydrogène pur, presque à 1.200 gr.

La force ascensionnelle de ces gaz légers a remplacé, presque dès le début de l'aérostation, celle de l'air chaud qui se refroidissait trop vite.

Fig. 1

Dans le ballon sphérique non dirigeable, la force ascensionnelle et la pesanteur, rigoureusement perpendiculaires, sont toujours dans le prolongement l'une de l'autre.

En résumé, le ballon s'élève dans l'air avec une force ascensionnelle qui est proportionnelle à sa légèreté relative, et cette force est telle que si la capacité d'un ballon est suffisante, il soulève, en outre de son enveloppe et de ses agrès, une nacelle contenant des personnes, du lest[4] et un certain nombre d'instruments dont l'usage est nécessaire pour la bonne surveillance des déplacements aériens et des états de l'atmosphère ou du ballon.

Lâché après gonflement par du gaz léger, le ballon ne possède pas d'autre force que cette force ascensionnelle, qui le fait monter ET QUI DIMINUE À MESURE QU'IL MONTE.

(p. 006) Il ne peut se diriger par lui-même. Il est totalement livré aux influences atmosphériques et principalement aux déplacements de l'air dans n'importe quel sens, sauf dans le sens de sa montée.

S'il rencontre un courant de vent allant du Nord au Sud, il est entraîné du Nord au Sud par ce courant, avec la même vitesse; mais il s'élève en même temps dans ce courant, par sa force ascensionnelle et, si elle lui permet de le dépasser, il y échappe après l'avoir franchi.

Des aéronautes entraînés ainsi dans une direction déterminée par un vent peu élevé dans la couche atmosphérique: un vent rasant la terre, l'ont dépassé et se sont vu entraînés au-dessus de ce courant inférieur, par un autre courant supérieur dans une autre direction toute différente. Et l'on conçoit que les mêmes causes peuvent produire les mêmes effets à la descente qu'à la montée d'un ballon.

Dans tous les cas, le ballon qui monte perd de sa force ascensionnelle à mesure qu'il s'élève, parce qu'il pénètre dans des couches d'air de plus en plus raréfiées, moins serrées, et par conséquent plus légères.

Et cette raréfaction de l'air est très accentuée, même pour des altitudes peu considérables. Ainsi, l'air qui pèse 1.293 grammes à 0° au niveau de l'Océan, ne pèse plus que 646 grammes—moitié moins—à 5 kil. 500 m. de hauteur.

Un ballon quittant le niveau de la mer à 0° avec une force ascensionnelle de 500 kilogrammes, n'aurait donc plus que 250 kil. de force ascensionnelle à 5.500 m. au-dessus du sol.

Théoriquement, ce ballon devrait monter jusqu'au moment où l'air, de moins en moins lourd, arriverait à être aussi léger que le gaz dont son enveloppe est gonflée. Mais comme il faut tenir compte du poids de l'enveloppe, des agrès, de la nacelle, du lest et des personnes, sans compter les instruments, le ballon de l'aéronaute s'arrête, en pratique courante, bien avant d'arriver à ce niveau d'équilibre du gaz léger et de l'atmosphère raréfiée.

(p. 007) On arrête, en outre, volontairement sa montée avant qu'il n'arrive dans les hautes régions où, comme il a été dit précédemment, l'air respirable fait défaut et le froid devient excessif[5].

En tout état de causes, lorsqu'il est arrivé à la limite de sa force ascensionnelle, ou à la limite que l'aéronaute lui a imposée[6], le ballon commence invariablement à redescendre pour plusieurs motifs. Le principal c'est qu'il perd son gaz par les parois de l'enveloppe, les soupapes, les joints, etc..., car ces organes sont loin d'être absolument imperméables.

En jetant du lest, l'aéronaute peut retarder sa descente et même faire remonter le ballon. Mais il épuise alors ce lest; il le perd comme le ballon perd son gaz et la descente, inévitable, par déperdition constante de force ascensionnelle met un terme forcé à la durée du voyage aérien.

Soit qu'il s'élève par sa force ascensionnelle initiale ou en jetant du lest, soit qu'il descende en perdant son gaz naturellement ou par la volonté de l'aéronaute, le ballon ne cesse donc pas d'osciller dans le sens de la hauteur et, pendant ces oscillations, les courants d'air qu'il traverse l'emportent à peu près à leur gré.

En revanche, il est déplacé sans aucune secousse, même par un vent vif; il monte haut et les sensations extrêmement agréables, variées, imprévues des ascensions aérostatiques, lorsqu'elles ont lieu dans des conditions favorables, expliquent fort bien comment un petit nombre de personnes fortunées se sont adonnées et se livrent encore à ce sport émouvant.

Un ballon doit avoir une capacité de mille mètres cubes environ pour enlever deux ou trois personnes, et (p. 008) ce nombre de passagers est nécessaire pour allier la sécurité à l'agrément.

Sa valeur est à peu près de 3.000 francs. Il devient hors d'usage en quatre années, par suite des modifications chimiques et physiques normales du tissu de l'enveloppe[7].

Enfin, chaque ascension entraîne une dépense de gaz de 150 francs environ si la capacité du ballon est de 1.000 mètres cubes. De telle sorte que peu d'amateurs peuvent s'offrir le luxe d'un plaisir si coûteux[8].

En revanche, le ballon rachète ces désavantages par son utilité au point de vue de l'étude et de l'exploration scientifique de l'atmosphère.

Il reste jusqu'à présent le roi des hautes altitudes accessibles à l'homme.

On peut ajouter que les ballons-sonde, qui ne portent pas d'aéronautes, mais qu'on lance munis d'instruments enregistreurs spéciaux, réalisent de précieuses explorations des parties élevées de l'atmosphère et que ces explorations seront encore longtemps nécessaires pour l'étude du domaine de l'air[9].

(p. 009) Le Dirigeable

Ses caractéristiques.—Ses moyens.
Son prix de revient.

L'enlèvement d'un ballon dans l'air, avec des passagers dans une nacelle, suggère naturellement le désir de diriger l'aérostat. Cette idée vint, en effet, aux premiers aéronautes dès 1783.

Mais, comme on l'a vu par les considérations précédentes, le ballon est essentiellement indirigeable. Pour concevoir un plus léger que l'air ayant le pouvoir de se conduire lui-même dans l'atmosphère, il fallait commencer par résoudre une série de problèmes. Un précurseur: le lieutenant Meusnier, signalait dès 1784, la majeure partie de ces problèmes et en donnait les solutions remarquables qui sont, sauf des perfectionnements dans les détails, celles que la pratique et la théorie ont fait réaliser dans les dirigeables d'aujourd'hui.

On comprend d'emblée que la forme sphérique du ballon est défavorable s'il doit déplacer l'air pour avancer dans un sens déterminé, parce qu'il aborde la résistance de ce fluide, quelque faible qu'elle soit, avec une surface dont le développement est trop grand.

On conçoit le ballon dirigeable rationnellement allongé dans le sens de sa marche normale. Les formes de cylindre, de fuseau, de navette et nombre d'autres furent imaginées. En résumé, la Nature donne, par analogie, les meilleurs modèles dans les proportions générales des poissons migrateurs et dans ceux des grandes espèces comme la baleine, le marsouin, le squale.

Les travaux du professeur Marey, ont démontré les avantages des formes de ces poissons.

En étudiant, au moyen de la chronophotographie et avec des dispositifs particuliers, les mouvements des courants liquides et gazeux rencontrant des obstacles (p. 010) de formes diverses, et aussi les mouvements que déterminent dans des gaz et des liquides des corps de différentes formes traversant ces fluides, Marey a démontré que les résistances des milieux (gaz ou liquides) sont réduites au minimum si le corps immergé est allongé et se termine en pointe plus effilée à l'arrière qu'à l'avant.

La figure 2 montre cette forme, très analogue à celle des poissons précités. Les constructeurs l'ont adoptée, à quelques variantes près, pour la plupart des ballons dirigeables.

Fig. 2

En revanche, la direction des «plus légers que l'air» exigeait l'emploi d'une force à la fois puissante et légère qui fit défaut pendant plus d'un siècle et empêcha les essais des chercheurs d'aboutir à des résultats satisfaisants.

Les tentatives avortées apprirent pourtant combien il fallait tenir compte d'autres éléments primordiaux (d'ailleurs prévus par Meusnier, dont les travaux enfouis dans les archives du ministère de la guerre restaient ignorés).

Ni la vapeur, ni l'électricité, ne purent fournir le moteur souhaité. Sa création fut l'œuvre de l'industrie automobile et l'on peut dire que la conquête définitive de l'air est une conséquence directe des perfectionnements accomplis dans la construction des moteurs à explosion de cette industrie[10].

(p. 011) Dotée du moteur qu'il lui fallait, l'aérostation multiplia promptement ses essais de direction et l'expérience confirma,—parfois cruellement,—des indications que la théorie donnait. On apprit par des accidents, dont quelques-uns furent mortels, que la direction d'un plus léger que l'air a des exigences compliquées qui différencient profondément le dirigeable du ballon sphérique.

Il est indispensable, par exemple, que le dirigeable ne se déforme pas, que sa nacelle conserve toujours la même position par rapport à l'enveloppe qui la supporte et qu'il ait dans le sens de sa longueur et de sa marche, une stabilité dite: STABILITÉ DE ROUTE ou STABILITÉ DE DIRECTION.

Si le dirigeable se déforme, il cesse d'être gouvernable et les plus graves accidents peuvent être, en outre, la conséquence de cette déformation.

C'est pour l'éviter, que le comte de Zeppelin a construit son dirigeable avec une carcasse d'aluminium rigide. Mais il convient d'ajouter que son type d'aéronat est particulièrement fragile à cause de sa longueur excessive.

Si les dirigeables français n'ont pas la rigidité métallique du Zeppelin, leurs proportions sont, en revanche, beaucoup moins dangereuses.

On conserve leur forme aux aéronats non métalliques en les maintenant toujours également gonflés à l'aide d'un ou de plusieurs ballonnets à air contenus dans l'enveloppe.

Si le dirigeable dont, au départ, l'enveloppe était parfaitement tendue par le gaz léger, vient à perdre trop de ce gaz pour garder sa forme, on le voit aux indications d'un instrument qui marque la pression du gaz dans le ballon (manomètre). Il suffit alors d'introduire dans les ballonnets, avec une pompe à air, actionnée par le moteur, ou à bras, une quantité d'air suffisante pour rétablir la pression convenable à l'intérieur de l'enveloppe.

Si cette pression, par suite de la dilatation du gaz (p. 012) léger, devient ensuite trop forte, il suffit de laisser les ballonnets se dégonfler de l'air qu'on y a introduit jusqu'au rétablissement de la pression que le gaz léger doit avoir pour tendre normalement l'enveloppe.

Ces opérations «compensatrices» étaient faites d'abord par les conducteurs des dirigeables; aujourd'hui elles s'accomplissent automatiquement et les pilotes n'ont qu'à les surveiller, pour les produire au moyen d'organes spéciaux dans le cas où, par accident, les compensations automatiques organisées cesseraient de fonctionner.

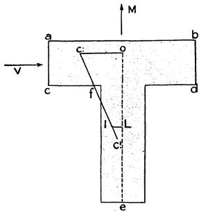
L'équilibre du dirigeable,—seconde condition primordiale de sa direction,—est réalisé par la façon dont sa nacelle est reliée à l'enveloppe.

Dans le ballon sphérique, les balancements de la nacelle au-dessous du ballon auraient peu d'inconvénients, parce qu'ils resteraient sans influence marquée sur l'enveloppe et ses agrès. Ils ne se produisent d'ailleurs point, puisque le ballon sphérique non dirigeable, ainsi que les explications précédentes l'ont établi, reste absolument inerte dans l'atmosphère, sauf les déplacements verticaux incessants qu'il subit, soit par l'effort de sa «force ascensionnelle», soit par l'action de la pesanteur.

Dans les deux cas, les directions de ces forces passent rigoureusement par les centres de la nacelle et du ballon, quelle que soit la prédominance de l'une d'elles, et l'équilibre de l'aérostat se trouve ainsi parfaitement assuré (Voir fig. 1, p. 5).

Il n'en est pas de même pour le dirigeable. Sa forme, indispensable pour sa direction, l'expose à un décentrage des forces précitées (pesanteur et force ascensionnelle) qui peut avoir les plus graves inconvénients et même entraîner la perte de l'aéronat.

Fig. 3

Fig. 4

Dans la construction du dirigeable, tout est calculé pour que les éléments qui font sa pesanteur: enveloppe, agrès, nacelle, moteur, hélice, passagers, lest, etc., exercent cette force de pesanteur dans le prolongement (p. 014) de la force ascensionnelle du gaz léger, lorsque l'aéronat est parfaitement horizontal, parce que cette position est celle de sa marche rationnelle.

La figure schématique no 3 montre cet équilibre horizontal du dirigeable français, dans lequel la force ascensionnelle et celle de la pesanteur s'exercent dans le prolongement l'une de l'autre, non pas au milieu de la longueur, mais un peu plus vers l'avant de l'enveloppe. On exprime cet antagonisme rectiligne en disant qu'il y a parfaite coïncidence entre le centre de gravité (pesanteur) et le centre de poussée (force ascensionnelle) du ballon (p. 13).

Fig. 5

Mais si, pour une cause quelconque, le dirigeable vient à prendre une position oblique comme celle qu'indique la figure 4, l'action de la pesanteur, qui s'exerce toujours perpendiculairement, déplace la nacelle par rapport à l'enveloppe et déplace les efforts de traction dus à la pesanteur aussi bien que les efforts de pression du gaz léger contenu dans le ballon. La figure 4 montre, notamment, que la ligne du centre de poussée de la force ascensionnelle s'est déplacée. La position primitive (p. 015) est représentée par des lignes en pointillé, tandis que les lignes pleines représentent la position nouvelle. De plus,—et ceci est beaucoup plus grave,—un nouvel équilibre de l'aéronat s'étant établi dans la position oblique par suite du déplacement de la nacelle par rapport à l'enveloppe, il ne tend plus à se redresser; la continuation de sa marche ne peut qu'accentuer son obliquité dangereuse (p. 13).

Fig. 6

Il est donc indispensable de rendre la position de la nacelle aussi invariable que possible, par rapport à celle de l'enveloppe, et l'on y parvient en remplaçant sa suspension au moyen de câbles parallèles par une suspension dans laquelle les câbles, s'entre-croisant, forment des triangles comme le montre la figure 5, p. 14.

Dans ce cas, en effet, la disposition des câbles de soutènement empêchant la nacelle de se déplacer par rapport à l'enveloppe, comme le montre la figure 6, celle-ci se trouve soumise à deux forces contraires: la force ascensionnelle et la pesanteur, qui tendent toutes les deux à la fois à redresser l'aéronat, parce qu'elles ne (p. 016) sont plus dans le prolongement l'une de l'autre, dès que le dirigeable cesse d'être parfaitement horizontal.

Ainsi le mode de soutènement par câbles entre-croisés en triangles réalise la stabilisation automatique du dirigeable dans la position horizontale.

Enfin, pour que le dirigeable garde, dans le sens de sa marche, sans le secours incessant du gouvernail, une direction rectiligne, on munit son arrière d'une sorte d'empennage analogue à celui des flèches et jouant le même rôle mais constitué par des surfaces plates opposées à angle droit, ou par des ballonnets en forme de cylindres ou de cônes, comme ceux que montrent les figures 7 à 10.

Fig. 7, 8, 9 et 10

Les premiers éléments constitutifs du dirigeable sont donc: 1o sa forme; elle doit se rapprocher de celle des poissons qui peuvent effectuer de longs parcours;—2o sa rigidité; l'emploi des ballonnets internes compensateurs, ou la construction métallique, donnent cette rigidité;—3o la stabilité de la nacelle par rapport à l'enveloppe; la suspension par câbles à entre-croisements triangulaires la réalise; elle est naturellement assurée par la rigidité du métal dans la construction métallique du Zeppelin (fig. 11, 12 et 13);—4o la rectitude de marche; on l'obtient par les divers empennages de l'arrière du dirigeable.

(p. 017)

Fig. 11.—Coupe longitudinale montrant le cloisonnement du Zeppelin.

Fig. 12.—Arrière du Zeppelin vu en dessous.

Fig. 13.—Coupe transversale du Zeppelin à l'arrière.

Le Zeppelin a 130 mètres de longueur et 10 mètres 70 cent. de diamètre; il cube 12.000 mètres. Deux moteurs de 170 chevaux lui servent à actionner 4 hélices de 1 mètre 30 cent. de diamètre, qui font 800 tours à la minute. Un hangar flottant installé sur le lac de Constance est son abri. Ce type de dirigeable a pu réaliser un parcours de 1.100 kilomètres en trente-huit heures (29 kilomètres à l'heure). Mais les nombreux accidents dont il a été victime, paraissent démontrer qu'il est peu pratique. Son prix est d'ailleurs excessif: il atteint plusieurs millions de marks.

(p. 018) Mais ces caractéristiques principales ne suffisent pas: le dirigeable doit encore satisfaire à d'autres conditions.

Un gouvernail de direction latérale, placé à l'arrière et analogue à celui des navires, peut le faire tourner à droite ou à gauche.

Fig. 14

A. Corps du dirigeable rempli de gaz.—B. Ballonnet compensateur interne ou b. b. b, série de ballonnets compensateurs internes.—E. Empennage.—G. Gouvernail de direction latérale.—H. Hélice.—M. Mécanicien.—m. manche ou conduit de gonflement du ballonnet compensateur.—P. Pilote.—P. S. Gouvernail de profondeur.—R. S. et r. b. lignes des joints d'attache des câbles de soutènement de la nacelle.—S. O. Soupape de sortie du gaz.

Comme le ballon sphérique, le dirigeable emporte une certaine quantité de lest pour retarder sa descente ou pour remonter en s'allégeant. Il peut aussi retarder sa montée ou provoquer sa descente, en se vidant de son gaz léger par une soupape d'échappement, placée à l'arrière, aussi loin que possible du moteur. Mais ces deux moyens, pour monter et pour descendre, l'épuiseraient trop rapidement (quoique l'emploi des approvisionnements d'essence et d'huile soit un délestage normal constant dont l'importance n'est pas négligeable). Afin d'économiser au maximum son gaz et son lest, on ajoute au dirigeable des plans stabilisateurs, disposés à l'arrière ou à l'avant, qui jouent le rôle d'un gouvernail de profondeur et, prenant point d'appui sur l'air, grâce à la marche de l'aéronat, provoquent sa montée ou sa descente pour des différences d'altitude progressives, modérées. La figure 14, qui représente schématiquement un dirigeable rationnel, montre ces divers organes.

(p. 019)

Fig. 15

Le Dirigeable Ville de Paris et hangar de ce dirigeable dans le fond.

(p. 020) Constitué de cette manière, le dirigeable mérite sa dénomination parce qu'il est réellement maniable dans l'atmosphère. Néanmoins, il faut encore tenir compte de deux éléments d'importance capitale dans son emploi: la puissance relative de sa force motrice et l'étendue de son rayon d'action.

Sauf le cas d'un vent soufflant en tempête et par rafales, le pilote d'un ballon sphérique non dirigeable n'a pas à se soucier beaucoup du courant d'air qui l'emporte puisqu'il ne peut rien contre lui. Si ce courant l'entraîne dans une région où il ne veut pas aller: océan, contrée montagneuse trop élevée ou pays étranger, sa seule ressource est d'atterrir le mieux possible... ou de chercher, en s'élevant dans les régions supérieures de l'atmosphère, s'il peut les atteindre, un autre courant d'air,—qu'il risque fort d'ailleurs de ne pas rencontrer.

Au contraire, le pilote du dirigeable, par cela même que son ballon est dirigeable, est forcé de tenir compte des moindres mouvements de l'atmosphère et il importe au plus haut point que le moteur de son aéronat ait une puissance capable de lutter contre celle d'un vent ordinaire avec plein succès.

Un moteur qui ne donnerait au dirigeable qu'une vitesse inférieure à celles des brises régnant généralement dans sa région serait inutilisable pendant la plus grande partie de l'année. L'obligation de ne manœuvrer que par des temps calmes équivaudrait à la négation de son emploi.

Théoriquement, le dirigeable fut réalisé par les frères Tissandier, par Dupuy de Lôme et même par Henri Giffard dès 1852, puisqu'ils purent faire mouvoir leurs ballons dans l'air avec les moteurs dont ils étaient munis. Mais, parce qu'ils ne dépassaient point des vitesses oscillant entre 2 m. 25 à 4 m. à la seconde, vitesses qui sont inférieures à celles des vents dominants en France, leurs aéronats restaient inutilisables pratiquement.

Le dirigeable La France, des capitaines Renard et Krebs, qui exécuta, en 1885, les deux premiers voyages (p. 021) aériens formant un circuit fermé, c'est-à-dire qui, partant de Meudon, put aller à Paris et revenir à Meudon, à son point de départ, avait une vitesse de 6 m. 50 à la seconde (environ 23 kil. à l'heure).

Les observations météorologiques poursuivies pendant nombre d'années à Chalais-Meudon par l'autorité militaire ont permis d'établir que, sur ce point du territoire, il y a pendant près de 180 jours par an, des vents dont la vitesse est au moins égale à 26 ou 27 kil. à l'heure (7 m. à 7 m. 50 par seconde).

La vitesse du dirigeable La France était donc inférieure à celle de la moyenne de vents dominants et cet aéronat n'a réussi les «circuits fermés» Meudon-Paris-Meudon, les 22 et 23 septembre 1885, qu'à la faveur de vents d'une vitesse inférieure à celle de ceux qui sont les plus fréquents.

Les dirigeables: Ville-de-Paris, Bayard-Clément, République, dont la vitesse atteint 12 m. 50 au minimum par seconde (45 kilomètres à l'heure) peuvent, au contraire, fonctionner environ 297 jours par an, suivant le tableau des observations météorologiques militaires précitées.

Or, ces résultats, qui sont dus à la puissance des moteurs à explosion employés sur ces dirigeables, n'auraient pas été obtenus sur des aéronats de faibles dimensions.

On peut construire un dirigeable petit. Le Santos-Dumont no 1 ne cubait que 180 m. Le no 6 avec lequel il gagna le prix Deutsch, le 19 octobre 1901, jaugeait 622 mètres cubes; il n'avait que 33 m. de longueur et 6 m. de diamètre.

Pour l'amateur, on a même créé un type de dirigeable réduit: c'est le Zodiac, dont les caractéristiques sont: une enveloppe contenant 700 mètres cubes de gaz; un moteur de 16 chevaux, une hélice de 2 m. 30 de diamètre, donnant 600 tours à la minute. Ce type d'aéronat réduit est, en outre, démontable. Emballé, il peut être transporté sur un camion ou expédié par chemin de fer. Enfin, il ne coûte que 25.000 francs.

(p. 022) Mais gonflé de gaz d'éclairage, il n'enlève qu'une seule personne. Il faut lui ajouter 100 mètres cubes d'hydrogène pur (gaz fort cher et que l'on ne se procure pas partout), pour qu'il puisse en enlever deux. Il ne voyage guère que trois ou quatre heures. Il n'enlève que 75 kilogrammes de lest. Sa vitesse ne dépasse pas 28 kilomètres à l'heure.

En comparant ces caractéristiques du Zodiac avec celles du Bayard-Clément, par exemple, on comprend comment ce dernier peut donner des résultats pratiques, qu'un petit dirigeable ne saurait fournir.

Le Bayard-Clément a 56 m. de longueur, 10 m. 58 de diamètre et cube 3.500 m. Son moteur, qui pèse 352 kilogrammes, a une force de 105 chevaux. Il actionne une hélice de 5 m. de diamètre qui fait 350 tours à la minute, avec une consommation de 38 à 40 litres d'essence et de 5 litres d'huile à l'heure.

Grâce à ces éléments cet aéronat peut atteindre une vitesse de 50 kilomètres à l'heure.

Avec six passagers, 300 litres d'essence, 20 litres d'huile, 65 litres d'eau (pour le refroidissement du moteur), et 250 kilogr. de lest, il a fait en 5 heures, le 1er novembre 1908, un parcours de 250 kilomètres sans escales, «circuit fermé», de Sartrouville à Compiègne et Pierrefonds par l'Isle-Adam, Creil, Pont-Ste-Maxence, Séry, Dammartin, Le Bourget, Pantin et rentrer à Sartrouville en passant sur Paris.

Mais un dirigeable de cette puissance coûte environ 300.000 francs.

La catastrophe du dirigeable Patrie a démontré qu'il est indispensable de remiser de si grands aéronats dans des hangars spéciaux, qui sont de construction coûteuse. La figure 15 (p. 19) montre un hangar de ce genre.

Enfin, la nécessité de ramener le grand dirigeable à son hangar réduit considérablement son rayon d'action (50%).

Dans de telles conditions, sauf exception, un État semble seul pouvoir se permettre, pour sa défense militaire, (p. 023) le luxe d'un ou de plusieurs grands dirigeables d'une série de hangars pour les remiser.

On conçoit néanmoins que, plus tard, l'industrie des transports en commun utilisera peut-être de grands dirigeables perfectionnés et modifiés en vue de ce genre d'exploitation.

Mais, pour le moment présent, l'aviation semble mieux répondre au désir légitime que fit naître chez toute personne la récente conquête de l'air, et c'est ce mode de locomotion dans l'atmosphère qui sera presque exclusivement le sujet de cet A. B. C.

Fig. 16

(p. 024) II

L'Air

Lorsqu'on parle aujourd'hui de la conquête de l'air, il faudrait ajouter qu'il s'agit de l'air respirable pour l'homme, ou que cette restriction soit sous-entendue, car l'être humain ne peut graviter pratiquement au delà de la couche atmosphérique, relativement bien basse, où sa respiration est assurée par une certaine proportion de divers éléments gazeux.

Au delà de 6.000 mètres, en effet, «quelques précautions que l'on prenne, la diminution de pression, la moindre quantité d'oxygène entrant dans les poumons à chaque inspiration force à les précipiter. On étouffe, des maux de tête et des maux de cœur surviennent», etc. (Bouquet de la Grye).

L'oxygène de l'air pénétrant dans les poumons y est absorbé par le sang. Ce véhicule l'entraîne dans l'organisme où, par une sorte de combustion lente, il brûle une partie du carbone des matières qui doivent être éliminées. Son rôle est donc capital dans l'existence humaine.

L'oxygène n'est d'ailleurs pas moins indispensable au moteur de l'aéroplane qu'à l'aviateur; sa rareté dans les hautes régions de l'atmosphère nous en interdit donc doublement l'accès.

Lorsque Berson et Suering atteignirent l'altitude de 10.500 m. en 1901, ils entretenaient artificiellement leur respiration à l'aide d'une réserve d'oxygène qu'ils avaient emportée, et le ballon sphérique où ils étaient n'avait pas de moteur à faire fonctionner pour les soutenir. Si, plus tard, des aéroplanes arrivent à dépasser l'altitude de 6.000 m. pour monter aussi haut que Berson et Suering, cela ne pourra être qu'à l'aide de dispositifs spéciaux, ou d'une carburation spéciale dans les moteurs, permettant d'y introduire les quantités d'oxygène (p. 025) nécessaires, puisqu'elles ne se trouveraient pas dans l'air ambiant.

On a déjà vu précédemment que le froid, qui augmente à mesure qu'on s'élève dans l'air, trace d'autre part aussi une limite aux ascensions humaines dans l'atmosphère. On peut prévoir que la congélation serait une gêne et peut-être un obstacle absolu dans le fonctionnement des moteurs à explosion, aussi bien pour la carburation que pour le graissage, à partir de certaines altitudes.

Si l'on suppose, en effet, un aéroplane quittant le sol à une température de + 15° et subissant un abaissement de température de 1° par 180 m. d'ascension, puisque cette proportion est celle que l'on tient pour constante, on voit qu'après avoir dépassé une hauteur de 10.500 m. comme Berson et Suering, il devra subir un froid de -44° (à 10.620 mètres exactement).

Le ballon-sonde Aérophile no 1, lancé le 21 mars 1893 de l'usine de Vaugirard à Paris, enregistra -51° à 15.000 m. d'altitude. En Allemagne, à Tempelhof, un autre ballon-sonde lancé atteignit 18.450 m. et enregistra -68°.

La décompression qui altère l'organisme humain aux altitudes supérieures à 8.000 m. aurait peut-être aussi des effets sur la marche des moteurs à de plus grandes hauteurs.

En résumé, pour l'homme et pour l'aéroplane le domaine de l'air est extrêmement réduit en hauteur, par rapport à l'épaisseur indéterminée de l'atmosphère, et il ne faut point imaginer que l'homme y montera un jour «aussi haut qu'il voudra monter».

Mais cette considération n'a rien d'affligeant, car ce n'est pas en hauteur que l'espace atmosphérique est une enthousiasmante conquête: c'est en étendue. À partir d'une très faible altitude, l'intérêt d'un voyage aérien décroît rapidement par suite de la faible portée visuelle, si l'on continue à s'élever.

Et, d'autre part, si la rapidité d'une traversée dans l'atmosphère doit devenir une supériorité de ce mode de locomotion grâce aux vitesses de 200 ou de 300 kilomètres (p. 026) à l'heure que l'on prédit déjà aux aéroplanes[11], il n'y aura jamais avantage à réduire la promptitude d'une translation par des ascensions élevées. Ce serait «s'attarder en route».

Pour l'aviation, l'étude des hautes régions de l'atmosphère est néanmoins indispensable parce qu'elles provoquent la plupart des perturbations qui agitent les couches inférieures.

Les vents, notamment, ces grands obstacles de la gravitation dans l'air pour les appareils aviants (et à fortiori pour les ballons dirigeables), viennent surtout de très haut.

À mesure qu'on s'élève dans l'atmosphère, on constate d'ailleurs que les courants qui la parcourent sont plus forts, plus étendus, plus rapides et ce régime constant incite encore, une fois de plus, l'aviateur à ne point viser le zénith.

Les nuages et l'électricité qui les accompagnent si souvent sont, en outre, des embarras ou des dangers que l'aviateur devra éviter.

Planant au-dessus des nuages, le pilote de l'aéroplane n'aurait plus de point de repère pour sa route; il serait obligé de se diriger à la boussole. Tout, dans la Nature, l'engage à se contenter du domaine des oiseaux.

Il convient d'insister un peu sur ces caractéristiques de l'atmosphère parce qu'elles gouvernent l'aviation.

C'est parce que l'air n'est pas comme on le croyait jadis: «un élément impondérable, mais homogène dans toute l'étendue d'espaces sub-terrestres définis», qu'il constitue un milieu où les aéroplanes d'aujourd'hui peuvent prendre un point d'appui pour se déplacer.

Utilisée par l'homme depuis des siècles, la force du vent est connue de tout le monde. La résistance de l'air l'est infiniment moins, quoique nombre de détails, très vulgarisés de nos jours, l'aient mise en évidence, notamment: la forme des locomotives modernes à grande vitesse, les courses de bicyclettes et d'automobiles, etc.

(p. 027) Nos sens, en effet, ne perçoivent guère la résistance de l'air, parce que nos mouvements naturels ne sont pas assez rapides pour nous la faire sentir.

Lorsque nous nous déplaçons artificiellement à une grande vitesse, au contraire, nous commençons à sentir cette résistance, comme nous sentons naturellement la force du vent. Or, cette force du vent n'existe qu'en raison de la densité de l'air; il faut s'habituer à le concevoir pour comprendre le mécanisme de l'aviation.

Un vent de tempête arrache des toitures, renverse des arbres et des personnes; on se sent comme près d'être emporté, c'est-à-dire soulevé, par les fortes bourrasques d'un ouragan. Réciproquement, aborder l'air avec une rapidité d'ouragan produit les mêmes effets, à cause de la résistance de l'air; il faut se pénétrer de la connaissance de ce fait.

Si nous ne sommes pas positivement enlevés par un vent de tempête, c'est parce que notre volume est trop faible par rapport à notre poids; parce que nous avons trop peu de surface par rapport à notre pesanteur. Mais, présentons-nous au vent en tenant une surface deux ou trois fois seulement plus grande que la nôtre: planche, toile tendue sur un châssis, feuille de tôle ou tout autre objet de large surface, nous serons aussitôt renversés avec violence;—nous serions enlevés positivement si l'orientation et l'équilibre de cette surface étaient convenables. Ce fait résume et révèle le principe de l'aviation.

Un cerf-volant d'une surface suffisante enlève un homme. Ce moyen, préconisé pour des reconnaissances militaires, a été expérimenté avec succès. Les récents travaux du capitaine Taconnet et du capitaine Madiot l'ont rendu tout à fait pratique.

Par quelques évaluations fort simples, il est aisé de préciser un peu les idées à ce sujet:

La théorie et la pratique démontrent que la résistance de l'air est, à peu près, proportionnelle au carré de la vitesse.

Ce qui revient à dire, par exemple, que si un vent ayant (p. 028) une vitesse de 1 m. par seconde exerce une pression égale à celle d'un poids de 125 grammes sur une surface de 1 m. carré perpendiculaire à sa direction, cette pression sera quadruplée pour la même surface, si la vitesse du vent devient double.

La pression étant équivalente au poids de 125 grammes avec la vitesse de 1 m. par seconde, si le vent a une vitesse de 2 m. par seconde, la pression sera de 125 × 2 × 2 = 500 grammes.

Si le vent fait 20 m. par seconde, sa pression sur la même surface de 1 m2 sera de 125 × 20 × 20 = 78 kilogrammes et 125 grammes, pesanteur déjà supérieure à celle de bien des personnes.

L'aéroplane obtient les mêmes résultats par les mêmes moyens, mais en sens inverse: contre l'air, immobile, par exemple, il précipite une surface déterminée avec une vitesse également déterminée et si les déterminations sont bonnes, c'est-à-dire si la surface et la vitesse sont suffisantes, la pression en dépassant le poids de l'engin le soulève; l'essor de l'aéroplane est obtenu.

Il est encore plus facilement obtenu si l'air, au lieu d'être immobile, va contre l'aéroplane, en rasant le sol, dans le sens opposé à sa direction, parce qu'alors sa vitesse s'ajoute en quelque sorte à celle de l'appareil.

Dans le cas contraire, l'aéroplane doit pouvoir ajouter à la vitesse nécessaire pour son enlèvement, celle du vent dans le sens duquel il se dirige,—ou faire tête au vent pour s'élever car dès qu'il a quitté le sol, ce supplément de vitesse, égal à la vitesse du vent, ne lui est plus nécessaire pour se soutenir, la vitesse calculée pour sa marche en air immobile pourrait lui suffire, puisqu'il se trouve par rapport à l'air, dès qu'il est détaché du sol, dans une situation comme celle de l'aéronat.

L'aviation comporte encore d'autres considérations sur l'air, mais il convient de les ajourner pour simplifier ce début et parce qu'elles seront plus claires lorsqu'elles interviendront à propos des phénomènes expérimentaux qu'elles expliquent.

(p. 029) III

Les Étapes de l'Aviation

Divers types d'aéroplanes fonctionnent aujourd'hui d'une manière plus ou moins satisfaisante. Or, il semble qu'il devrait être aisé d'apprécier exactement leurs mérites et de déduire de ces différents types le modèle rationnel du «plus lourd que l'air» en expliquant avec simplicité sa théorie et sa pratique.

Cela n'est pourtant guère possible pour une série de causes: les phénomènes de l'aviation sont trop étrangers, notamment, à la majorité des personnes et, d'autre part, les techniciens eux-mêmes ne sont pas encore assez renseignés sur une importante partie des composantes du problème pour en formuler des explications définitives, encore qu'il soit pratiquement résolu.

Pour faciliter la compréhension sommaire mais nette des principes de l'aviation, il est donc nécessaire de passer rapidement en revue d'abord les tentatives de sustentation dans l'air au moyen de plans ou surfaces planes, plus ou moins semblables à des ailes étendues et sans mouvement. Ces essais furent l'œuvre d'une courte série d'expérimentateurs hardis, qui préparèrent mieux que tous autres dans cette voie simple et pratique la conquête de l'espace atmosphérique au moyen du «plus lourd que l'air».


Un Français: Le Bris, ancien marin, ayant beaucoup observé le vol de l'albatros pendant ses voyages, était convaincu de la possibilité de planer comme cet oiseau, grand voilier, par des moyens analogues aux siens: c'est-à-dire avec des ailes étendues, sans mouvements notables.

(p. 030) Les oiseaux ont, en effet, un mode de sustentation dans l'air qu'on désigne par sa caractéristique générale: le vol plané. Ce vol paraît s'effectuer sans aucun mouvement de l'animal et, particulièrement, sans battements d'ailes.

Si l'on ignore le mécanisme du vol des oiseaux et si l'on ne sait pas comment ils utilisent les propriétés de l'air, notamment ses courants, les oiseaux qui planent paraissent immobiles. En réalité, au contraire, ils ne cessent guère de bouger, de déplacer quelque partie de leur corps: mais ces mouvements, fort peu marqués, échappent à notre vue et, réellement, l'oiseau planeur peut planer pendant plusieurs heures consécutives sans donner un seul coup d'aile pour se soutenir.

Mais, en revanche, il ne cesse de décrire dans l'espace aérien des cercles ou des ondulations variées.

Quoique traité de fou par beaucoup de ses contemporains,—par la plupart,—Le Bris suivait donc un raisonnement logique et sain en croyant qu'avec des surfaces planes portantes, analogues aux ailes de l'albatros, mais surtout proportionnées à son poids et à son volume personnel, il arriverait à planer.

Les détails,—essentiels d'ailleurs,—du vol plané échappaient à Le Bris, fort heureusement, car ils l'eussent peut-être découragé.

Confiant dans ses observations, le marin expérimenta et réussit, en effet, des sustentations courtes dans l'atmosphère qui commençaient à ressembler au vol plané. Muni d'ailes assez grandes pour le soutenir, il s'élevait avec l'aide d'un cerf-volant, aux environs de Brest, en 1867, puis abandonnait le cerf-volant et retombait en planant avec ses ailes.

Quelques accidents, et surtout le défaut de ressources suffisantes, l'empêchèrent de poursuivre ses essais.

Fig. 17

Vingt-quatre ans plus tard,—après vingt années de calculs et d'expériences minutieuses, disait le capitaine Ferber[12],—un Allemand tenace et non moins (p. 031) audacieux que Le Bris, s'élançait à son tour d'une colline sablonneuse avec des plans légers qu'il pouvait porter (fig. 17 et 18).

En courant sur la pente de cette colline, il gagnait une vitesse déterminée qui lui permettait, lorsqu'elle devenait suffisante, d'être soulevé et de parcourir dans l'air une distance courte au début mais bientôt plus étendue.

Fig. 18

Entre 1891 et 1896, cet Allemand: Otto Lilienthal, fit ainsi plus de 2.000 essais. Ses parcours en plané passèrent, peu à peu, de 15 à 100 mètres et même davantage, grâce aux perfectionnements qu'il apportait à ses plans sustentateurs et à sa façon de les manœuvrer.

En 1899, le capitaine Ferber reprit ces expériences et fut d'abord déçu, car il ne tenait pas compte d'un élément principal, qu'il ignorait alors, c'est que Lilienthal opérait ses parcours planés CONTRE DES VENTS ASCENDANTS.

Jamais, dit Ferber, la vitesse de 1 à 2 mètres par seconde obtenue par Lilienthal lorsqu'il s'élançait en courant n'aurait pu l'enlever, mais celle du vent ascendant contre lequel il partait s'ajoutant à la sienne, le total de ces deux forces finissait par être suffisant (p. 032) à un moment donné pour élever l'expérimentateur.

Cette explication mérite d'être étendue et précisée par quelques figures schématiques, car elle est comme le secret du vol plané des oiseaux, et Ferber l'a fort bien accentuée graphiquement de la manière suivante:

Supposons, pour simplifier, les ailes sustentatrices de Lilienthal représentées par un plan unique, légèrement arqué: P s, vu de côté, par sa tranche (fig. 19).

Fig. 19

La figure 19 suffit pour expliquer qu'un vent horizontal, comme celui qui est indiqué par la série de flèches, tend à rabattre ce plan sur le sol au lieu de le soulever.

Fig. 20

Dans la figure 20, le même plan schématique occupe, par rapport au même vent, une position dans laquelle le vent pourra le soulever, mais en le repoussant en arrière dès que l'expérimentateur, ayant perdu sur le sol tout point d'appui, ne pourra plus faire progresser le plan contre le vent. Alors, s'il a été soulevé, il retombera aussitôt.

Dans la figure 21, au contraire, on voit que si l'expérimentateur peut, sur la descente, acquérir contre le vent une vitesse assez grande pour que la force de cette vitesse, ajoutée à celle du vent, agissant en sens contraire ET EN REMONTANT, arrive à le soulever, il pourra ensuite glisser sur ce vent ASCENDANT, par la seule force de sa pesanteur, et cela contre la direction ASCENDANTE de ce courant d'air.

S'il redresse légèrement l'inclinaison du plan, ou si la force du vent ascendant augmente, la vitesse de sa glissade (p. 033) sera ralentie mais son soulèvement sera augmenté. Un simple déplacement du centre de gravité du plan réalisera le ralentissement ou la précipitation de la glissade et, par conséquent, une certaine remontée ou une certaine accentuation de la descente de cette glissade.

Fig. 21

Lilienthal gouvernait ainsi, c'est-à-dire par déplacement du centre de gravité, en déplaçant ses jambes sous ses ailes sustentatrices.

L'oiseau, dans le vol plané, sans donner un seul coup d'aile, glisse de même, descend et remonte (en reculant ou en tournant), par de simples déplacements de sa tête, de sa queue ou de ses ailes, qui ne sont pas appréciables par nos yeux.

Lilienthal était devenu si bien maître des évolutions de ses glissades qu'il s'enhardit trop. Osant s'élancer par des vents de tempête et ne craignant plus d'atteindre des hauteurs relativement exagérées, il finit par être culbuté et mourut de cette chute.

L'exemple de Lilienthal fut suivi par un Anglais nommé Pilcher qui réalisa, lui aussi, des vols planés fort démonstratifs.

Ses plans sustentateurs, en forme d'ailes, plus volumineux et surtout plus lourds que ceux de Lilienthal n'étaient pas portatifs: ils roulaient sur les roulettes d'un cadre que montrent les figures 22 et 23 (p. 34).

En se faisant traîner par des chevaux lancés au galop, (p. 034) Pilcher s'enlevait comme un cerf-volant au bout d'une corde et lâchait cette corde lorsqu'il était arrivé assez haut. On le voyait alors descendre en planant et décrire une trajectoire analogue à celle du corbeau qui descend sur un champ.

Fig. 22

Fig. 23

On voit sur la figure 23 que le dispositif de Pilcher comportait une queue stabilisatrice analogue à celle du (p. 035) dispositif de Lilienthal. Dans une ascension imprudente de l'expérimentateur, une bourrasque rompit cette pièce équilibrante; l'appareil tomba au lieu de planer et Pilcher se tua (30 septembre 1899).

Trois ans auparavant l'ingénieur français Chanute, à Chicago, également séduit par les essais de Lilienthal, les répéta et les fit répéter par deux de ses élèves: MM. Herring et Avery.

Fig. 24

Pour essayer de donner plus de stabilité aux plans sustentateurs, il les multiplia. Après un grand nombre d'expériences sur des dispositifs de cinq paires d'ailes, puis de quatre et de trois, Chanute s'arrêta enfin à un biplan stabilisé par une queue que montre la figure 24.

Des glissades planées de 109 mètres furent obtenues avec ce dispositif, dont les biplans actuels sont peu différents.

C'est avec un aéroplane semblable à celui de notre compatriote Chanute qu'Orville et Wilbur Wright firent en 1900 leurs premiers essais dans les dunes de Kitty-Hawk (p. 036) (Caroline du Nord), mais en remplaçant la queue, qu'ils jugeaient embarrassante, par un gouvernail de profondeur placé à l'avant.

Fig. 25

Au lieu de se suspendre aux plans par-dessous le dispositif, ils s'étendaient à plat ventre au milieu du plan inférieur, exhaussé légèrement sur deux patins, et se faisaient traîner par des aides sur la pente d'une colline contre le vent (fig. 25).

«Dès que la brise est assez fraîche pour faire 8 à 10 mètres à la seconde, l'aéroplane n'a plus besoin d'être lancé en vitesse pour s'élever, il part presque seul.

«Au bas de la dune, le gouvernail de profondeur (placé à l'avant) relève l'aéroplane, qui remonte un peu, détruit ainsi sa vitesse horizontale et se pose sur le sol en glissant sur ses patins[13]». Les oiseaux ne font pas autrement.

Dès 1902 les frères Wright font des planés de 100 mètres. En 1902, ils ajoutent à leur dispositif un gouvernail (p. 037) vertical qui leur permet de décrire en planant des quarts de cercle.

«En 1903, enfin, dit Ferber, ils réussissent des balancements sur place, c'est-à-dire du véritable vol à voile. Ils attendent un vent violent de 10 à 12 mètres par seconde qui les enlève sans effort. Dès qu'ils sentent que l'ascension diminue, ils se mettent en marche vers l'avant pour acquérir de la vitesse. À la première rafale, ils se laissent enlever en reculant pour recommencer encore une glissade en avant dès que la rafale est passée, et ainsi de suite. Ils sont arrivés ainsi à rester soixante-douze secondes en l'air, sans avancer de plus de 30 mètres en tout.»

Cette manœuvre est bien exactement celle de l'oiseau planeur et, en particulier, celle des mouettes et des goélands. C'est du véritable vol plané.


Dès lors, confiants dans la capacité de soutènement de leur biplan et dans la sécurité de sa manœuvre, les frères Wright n'avaient plus qu'à tenter de remplacer les forces qui les faisaient planer, c'est-à-dire un vent ascendant et la pesanteur, par la puissance d'un moteur léger actionnant une ou plusieurs hélices tractives ou propulsives. C'est ce qu'ils firent dès la fin de 1903, mais surtout à partir de 1904 près de Dayton.

Au commencement d'octobre 1905, ils annonçaient à Ferber, s'efforçant alors en France de résoudre en même temps qu'eux le problème de l'aviation, qu'ils avaient parcouru le 4 du même mois, 33.456 mètres en 33 minutes 17 secondes et le lendemain 5 octobre 39 kilomètres en 38 minutes et 3 secondes.

Le mois suivant, ils annonçaient à notre compatriote qu'ils consentaient à vendre leur invention au prix de un million de francs, après avoir démontré la capacité de leurs biplans par un trajet démonstratif préalable de 50 kilomètres.

(p. 038) Pendant qu'Orville et Wilbur Wright résolvaient ainsi de 1900 à 1905 le problème du «plus lourd que l'air», le capitaine Ferber, poursuivant de son côté des tentatives presque semblables, dont il puisait l'inspiration dans les expériences de Lilienthal, arrivait presque au même résultat.

À Beuil (Alpes-Maritimes), en 1902, il réalisait des glissades aériennes excellentes. En 1903, sur la plage du Conquet (Finistère), il s'élevait parfaitement comme les frères Wright (3 septembre).

Il tenta aussitôt l'adaptation d'un moteur de 6 chevaux à son biplan et l'essaya sur un aérodrome spécial qu'il n'y a pas lieu de décrire ici.

À la suite de ces expériences, le colonel Renard appela Ferber auprès de lui à Chalais-Meudon (1904).

Pour obvier au défaut de vents ascendants de cette localité, le capitaine Ferber imagina d'établir le lancement de son aéroplane par un plan incliné fort ingénieux.

À la fin de 1904, il était maître, comme les Wright, de la direction et du planement de son biplan. Le 27 mai suivant(1905) il accomplit avec son moteur de 6 chevaux le premier parcours stable fait en Europe.

Mais sa force motrice, insuffisante, ne lui permettait pas de se soutenir assez longtemps dans l'air.

Quatre ans plus tard, le 25 juillet 1908, avec un moteur de la Société Antoinette sur le même biplan, il traverse complètement le polygone d'Issy-les-Moulineaux «avec une stabilité parfaite» démontrant ainsi que dès 1905, il aurait pu réaliser en France les mêmes parcours que les Wright en Amérique, s'il n'avait pas été desservi par les circonstances et les personnes.


L'initiation de Santos-Dumont à l'aviation date de 1905.

Après avoir d'abord songé à résoudre le problème de l'aviation par l'hélicoptère, il se rallie au type du biplan (p. 039) qu'il essaye pour la première fois à Bagatelle, le 23 juillet 1906, avec l'aide d'un ballon.

Loin de faciliter les essais, l'aérostat les entrave. Santos l'abandonne. Il essaye successivement un câble, puis un plan incliné. Enfin, il se contente d'un dispositif roulant sur le sol et le 23 octobre, à 4 h. 45 du soir, il s'enlève mollement pour un parcours aérien, sans cesse ascendant, de 60 à 70 m.

En même temps que Ferber et Santos-Dumont, divers expérimentateurs poursuivent des essais très variés de 1903 ou 1904 à 1907, car on parle beaucoup des résultats obtenus par les frères Wright, mais en les discutant et même en les contestant.

Ayant été faites en cachette, les études des deux jeunes Américains n'inspirent aucune confiance même en Amérique. On en ignore tous les détails en France et ceux de nos compatriotes qui tentent de leur disputer la gloire de la conquête de l'air, sont obligés de créer de toutes pièces leurs dispositifs, puisqu'aucune indication précise sur celui des frères Wright ne peut les guider.

Par suite de ce secret systématique, on peut dire que le problème de l'aviation fut résolu à peu près à la fois en France et en Amérique, car si les jeunes Américains eurent dans leur réussite une légère avance sur nos chercheurs, ceux-ci ne purent rien leur emprunter. On verra d'ailleurs plus loin par la description technique des dispositifs que la solution américaine est assez différente de la solution française pour démontrer que les études théoriques et pratiques des précurseurs tels que Le Bris, Lilienthal, Pilcher et Chanute furent le seul fond commun initial de l'école américaine et de l'école française d'aviation.

(p. 040) IV

Esquisse théorique de l'Aviation mécanique

Surfaces portantes.

Sachant que l'air a un poids, une densité, et constitue un milieu d'une certaine résistance; ayant d'autre part compris comment un plan ou plusieurs plans peuvent soutenir des poids en utilisant la résistance de l'air et la force du vent, il devient aisé de comprendre le mécanisme de sustentation du cerf-volant. Mais, pour le préciser, il faut entrer dans quelques détails techniques d'ailleurs fort simples.

Fig. 26

Dans l'air, le cerf-volant enlevé,—représenté dans la figure 26 comme s'il était vu de côté par sa tranche AB,—subit l'action de diverses forces qui s'opposent les unes aux autres.

Le vent qui le frappe exerce sur lui une pression, cette pression est invariablement perpendiculaire à sa surface quelle que soit l'orientation du cerf-volant par rapport au vent.

Il faut donc, dans le cas de la figure 26, représenter (p. 041) cette pression par la ligne droite CR perpendiculaire au cerf-volant AB. Or, on voit que cette pression CR dont la direction est perpendiculaire à AB tend à remonter le cerf-volant en raison de son inclinaison par rapport à la direction du vent.

Mais cette pression CR s'exerce en se décomposant en deux forces. L'une: CS combat l'action de la pesanteur CP, qui tend à ramener le cerf-volant vers le sol; l'autre CT est en antagonisme avec la résistance de la corde qui retient le cerf-volant.

S'il y a égalité de puissance entre ces diverses forces, le cerf-volant plane, à peu près immobile. Il ne bougerait pas du tout dans le cas de cet équilibre, si l'action du vent restait constante. Ses légers mouvements sont dus aux ondulations dont aucun vent n'est exempt.

Si le vent augmente, la pression devient plus forte: la force CS sustentatrice, l'emporte sur l'action de la pesanteur CP et le cerf-volant remonte.

Si le vent faiblit, au contraire, c'est l'action de la pesanteur qui triomphe et le cerf-volant descend[14].

Dans les deux cas, on suppose que la force CT reste invariablement équilibrée par la résistance de la corde du cerf-volant, car si elle venait à casser, l'équilibre instable du système serait aussitôt rompu.

Faute de vent, le cerf-volant ne peut ni s'enlever, ni demeurer en l'air. Mais l'enfant parvient pourtant à faire élever son jouet en courant. Il renverse les rôles: au lieu d'opposer obliquement la surface de l'engin à la pression de l'air précipité contre lui, il précipite le cerf-volant contre la résistance de l'air et crée, par la vitesse de sa course, la pression nécessaire pour vaincre, la force de la pesanteur et déterminer l'ascension. C'est exactement ce que fait l'aéroplane dont l'hélice, actionnée par le moteur, remplace la rapide traction de la corde par l'enfant.

Néanmoins, quoique le principe de la solution du problème (p. 042) de l'aviation ait été donné ainsi depuis plus de deux mille ans par le cerf-volant[15], il fallait, pour appliquer ce principe à une machine capable de porter un homme, divers éléments de réalisation pratique qui n'ont été acquis qu'en ces dernières années. Le moteur à explosion, à la fois léger et puissant, était un de ces éléments. L'étude théorique et surtout l'étude pratique des surfaces portantes ou plans sustentateurs en était un autre, non moins capital. On comprend, en effet, quand on entre dans un examen plus approfondi du problème, que les moteurs légers empruntés à l'industrie de la locomotion automobile par les constructeurs d'aéroplanes, n'auraient pas suffi pour enlever des plans sustentateurs quelconques.

Fig. 27

Les cinq anciennes lois formulées jadis par l'illustre physicien anglais Newton sur la résistance de l'air, ne sont pas rigoureusement applicables à l'aviation et jusqu'à nos jours elles ont gravement induit en erreur, sur certains points[16].

Ainsi, par exemple, la cinquième de ces lois affirme que la résistance de l'air est proportionnelle à l'étendue (p. 043) de la surface qui lui est opposée. Or, ceci n'est pas rigoureusement vrai dans toutes les conditions.

Fig. 28

La résistance est bien proportionnelle à la surface, comme le disait Newton, si l'on considère, par exemple, un plan carré poussé ou tiré, l'air étant immobile, dans une direction perpendiculaire à sa surface. La figure 27, page 42, montre ce cas où la résistance de l'air est bien proportionnelle à l'étendue de la surface du plan.

Fig. 29

Mais cette loi n'est plus exacte s'il s'agit d'une surface affectant la forme d'un carré long comme ABCD (parallélogramme rectangle),—dont ici deux côtés: AB et CD sont six fois plus longs que les deux autres: AC et BD afin de rendre l'exemple plus saisissant (fig. 27).

Fig. 30

Si cette surface, représentée dans la figure 29, vue par sa tranche AB, se meut obliquement dans l'air suivant une direction comme celle qui est indiquée par la flèche, c'est-à-dire si elle aborde l'air par son petit côté AC (fig. 30), la résistance qu'elle rencontre est beaucoup moins grande que si elle progresse en abordant l'air par le grand côté CD (figure 30, p. 44).

Dans les deux cas, la surface est pourtant la même; la direction et l'inclinaison sont supposées identiques. Or, la pratique démontrant que cette augmentation de résistance est invariable pour les surfaces (p. 044) portantes des aéroplanes, il faut reconnaître ce fait.

On l'explique par le glissement des molécules de l'air sous la surface considérée. Pressé par la surface en mouvement, l'air tend à s'échapper sur les deux grands côtés AB et CD, lorsque la surface aborde le fluide par le petit côté AC (figure 30), tandis que les mêmes filets d'air, sous la même surface, lorsqu'elle aborde le fluide par son grand côté CD (figure 31), ne peuvent s'échapper que sur une petite région des extrémités CA et DB. Dans ce second cas, il y aurait donc moins de déperdition de la résistance de l'air que dans le premier.

Fig. 31

Mais, si cette supposition,—difficile à vérifier,—n'explique pas complètement le phénomène invariablement observé, une autre considération s'impose encore plus fortement:

Fig. 32

Supposons que la surface ABCD (figure 31), qui mesure 1 mètre sur 6 mètres, a parcouru en une seconde de temps une distance de six mètres, en allant de ABCD en A'B'C'D'. On voit par la figure même, qu'en abordant l'air par son petit (p. 045) côté BD cette surface s'est appuyée, pendant la durée d'une seconde, sur une étendue d'air de 12 mètres carrés.

Si, pendant la même durée de temps, elle aborde l'air par son grand côté AB avec la même vitesse et parcourt la même distance de six mètres, on voit, par la figure même, qu'elle s'appuie sur une étendue d'air de 36 mètres carrés pour aller du côté: AB en A'B' (fig. 33).

En principe, dans ce deuxième cas, elle a donc dû vaincre une résistance triple.

Fig. 33

Ainsi, la sustentation dans l'air au moyen de surfaces planes agissant sur la résistance du fluide ne dépend pas seulement de l'étendue et de la vitesse de déplacement de ces surfaces (ou de la vitesse du vent, ce qui revient au même), mais encore de la forme des surfaces et de la façon dont elles abordent l'air par rapport à cette forme.

La Nature, par l'oiseau, donne d'ailleurs un exemple frappant de l'importance de cette disposition puisque tous les planeurs, sans exception, étendent des ailes dont l'envergure est invariablement en travers du sens de la marche.

Par rapport à son étendue, la profondeur de l'aile des oiseaux bons planeurs varie dans des proportions qui dépassent même de beaucoup pour l'envergure totale le 1/6e du plan ABCD pris comme exemple précédemment. La profondeur de l'aile n'a que le 10e de l'envergure chez les oiseaux de mer et se réduit au 20e pour l'albatros.

Il reste sous-entendu qu'il n'y a pas lieu, dans la construction de l'aéroplane, de copier servilement la Nature, puisque les surfaces portantes de nos «plus lourds que l'air» ne peuvent être mues comme le sont les ailes des oiseaux et puisque le fuseau rigide de ces appareils qui porte le moteur, l'aviateur, l'hélice et les divers autres (p. 046) organes, n'a pas la souplesse et les moyens d'équilibrage du corps des oiseaux.

Fig. 34

Pourtant, le rapport entre l'envergure totale et la profondeur des surfaces portantes n'est pas le seul élément de sustentation pour lequel il y a lieu de s'inspirer de l'oiseau. À défaut de théorie, la pratique enseigne encore que les plans sustentateurs «portent mieux» s'ils sont légèrement incurvés; c'est-à-dire s'ils ont dans le sens de la profondeur du plan une courbure dont la concavité est opposée au sens de la marche.

Fig. 39

Cette incurvation est très visible dans le schéma du biplan Farman que représente la figure 34 où l'on voit le stabilisateur d'avant Gp; les plans sustentateurs S P et les plans d'empennage ou plans stabilisateurs de la cellule arrière Ps, affectant cette disposition courbe.

Elle est également très apparente dans la photographie du monoplan Blériot (fig. 35) et dans celle du biplan Delagrange (fig. 36) reproduites pp. 49 et 51.

En poursuivant l'observation des analogies qui existent entre nos «plus lourds que l'air» et les oiseaux, on constate que ceux-ci sont tous des monoplans. Leurs ailes, qui cessent d'être des organes de propulsion pour devenir uniquement des surfaces sustentatrices dans le vol plané, se tendent alors, restent rigides et forment comme un bloc avec le corps de l'oiseau. Mais ce bloc n'est pas rigoureusement rectiligne comme la surface portante du monoplan de Blériot par exemple (fig. 37, (p. 047) page 48), ou comme les deux plans sustentateurs de l'appareil des frères Wright (fig. 38, page 55). Il affecte la forme d'un V extrêmement ouvert ou d'un accent circonflexe retourné (fig. 39, p. 46).

Fig. 41

Cette disposition très préconisée par le capitaine Ferber et adoptée par lui dans la construction de ses derniers aéroplanes (fig. 40, page 53) se retrouve dans le monoplan d'Hubert Latham, dans le biplan de Voisin-Farman et particulièrement dans la Demoiselle de Santos-Dumont. Elle assure l'horizontalité latérale du système et quand l'angle du V est fort peu marqué, comme dans le biplan du capitaine Ferber, il ne donne pas à un vent latéral une prise dangereuse.

Fig. 42

Néanmoins, il faut bien reconnaître que si dans un air calme cette disposition est supérieure à toute autre pour assurer la stabilité latérale, les oiseaux savent et peuvent, lorsqu'il y a lieu, la remplacer par une disposition exactement contraire. Ils prennent, au besoin, pour planer au travers d'un coup de vent qui pourrait les basculer, la forme du V très ouvert mais retourné, ou celle de l'accent circonflexe dans sa position normale (fig. 41).

Enfin, leurs surfaces portantes étant bi-latérales et articulées au corps de l'oiseau peuvent prendre, en outre, des positions dissymétriques réagissant avec puissance contre des influences accidentelles, par des moyens d'équilibrage que nous n'avons pas encore observés, mais que nous avons entrevus, et qu'il est rationnel de concevoir.

(p. 048) Cependant si nos appareils sont bien loin d'avoir pour l'aviation les ressources et la souplesse de l'appareil locomoteur de l'oiseau, ils permettent néanmoins des parcours fort beaux avec une stabilité qui semble suffisante dans la plupart des cas et avec des rapidités déjà superbes.

Fig. 37.—Monoplan Blériot.

L'étude pratique des surfaces portantes employées pour l'aviation mécanique humaine nous montre d'autres analogies forcées entre certaines parties de nos appareils et les organes des oiseaux.

Ainsi, l'aile de l'oiseau, étendue et vue de profil n'a pas seulement l'incurvation que les constructeurs d'aéroplanes, sauf de rares exceptions, donnent à leurs plans de sustentation; elle est en outre renforcée sur le bord avant ou bord d'attaque (du fluide) comme le sont les bords d'attaque des plans porteurs d'aéroplanes.

(p. 049)

Fig. 35.—Monoplan Blériot.

(p. 050) En coupe perpendiculaire à l'envergure la section a, pour l'oiseau en général, une forme comme celle de la figure 42 (page 47).

Fig. 43

Cette disposition correspond à la rigidité et à la résistance que doit avoir la partie avant de l'aile, celle qui fend l'air et qui porte l'oiseau. Tandis que vers l'arrière, l'aile va s'amincissant de plus on plus et se compose de plumes légères et souples, extensibles, écartables, non seulement entre elles, mais encore par les brins flexibles qui les constituent.

On remarquera que cette forme de l'épaisseur de l'aile est en même temps la meilleure pour la progression d'un solide dans un fluide et qu'elle reproduit celle des poissons les plus rapides.

Fig. 44

On donne précisément cette forme aux nervures des plans porteurs des aéroplanes et la toile qui les recouvre épouse naturellement cette forme (fig. 43, page 50).

(p. 051)

Fig. 36. Biplan Delagrange.

(p. 052) La première loi de Newton affirmant que «la résistance (de l'air) est normale à la surface (d'un plan qu'on lui oppose)» se trouve ainsi corrigée, en ce qui concerne l'aviation, par la Nature et par la pratique des constructeurs de nos aéroplanes.

Si la résistance est normale à la surface, au plan, comme l'énonçait Newton, et se trouve au centre de cette surface, c'est seulement lorsque la direction est perpendiculaire à ce plan. Or, les surfaces portantes, ou sustentatrices, qu'elles soient plans d'aéroplanes ou ailes d'oiseaux, ne se déplacent pas orthogonalement dans le vol plané, mais suivent une inclinaison qui forme un angle très aigu avec l'horizontale.

Fig. 45

Dans ces conditions, le centre de pression se déplace et se rapproche d'autant plus du «bord avant» de la surface qui se meut, que l'inclinaison de celle-ci est plus accentuée vers l'horizontale.

En 1870, Joessel a donné la formule mathématique avec laquelle on détermine la position du centre de pression sur un plan déplacé dans un fluide avec une obliquité connue; mais, sans faire aucun calcul, par un simple tracé linéaire, cette position peut être déterminée de la façon suivante:

Supposons en AB le plan considéré, d'abord perpendiculaire à sa direction, indiquée par la flèche. Le centre de pression est alors au milieu de ce plan, en C (fig. 44, page 50).

Fig. 40.—Biplan du Capitaine Ferber (No IX).

Pour savoir où sera le centre de pression sur ce plan s'il occupe une des positions AB1, AB2, AB3, etc., ou toute autre position intermédiaire, on trace sur AB un demi-cercle tangent à l'extrémité A et d'un diamètre égal à 3/10e de AB. On reporte ensuite sur chacune (p. 054) des positions considérées B1, B2, B3, B4, etc., une distance égale à 2/10e de AB à partir de la courbe du demi-cercle tangent à A. Cette distance donne les points cp1, cp2, cp3, cp4, etc., qui sont les centres de pression du plan pour chacune des positions AB1, AB2, AB3, AB4, etc. (p. 50).

On aurait de même le centre de pression pour toute autre position intermédiaire du plan AB depuis la perpendiculaire jusqu'au plus petit angle que ce plan pourrait faire avec l'horizontale.

Fig. 46

On voit ainsi que le centre de pression se déplace à mesure que l'obliquité augmente et qu'il passe du centre du plan,—lorsque la direction est orthogonale,—à une position près du bord avant, ou bord d'attaque, qui n'est plus qu'aux 2/10e de la profondeur du plan,—lorsque celui-ci est presque horizontal.

L'angle d'attaque, dans le vol plané de l'oiseau, doit varier sans cesse, mais être, en somme, pendant la plus grande partie du temps, réduit au minimum et très voisin de 0.

Pour l'aéroplane, qui porte une lourde charge, il oscille aux environs de 6o; ce qui le reporte généralement aux 2/10e 1/2 de la profondeur du plan près du bord d'attaque (fig. 45, page 52). Dans cette dernière évaluation le plan sustentateur est supposé rectiligne.

Fig. 38.—Biplan Wright en plein vol.

S'il est incurvé, il peut y avoir une différence dans (p. 056) cette proportion du déplacement, car on ne sait pas encore s'il faut considérer le centre de pression, en ce cas, comme étant normal à la corde ou normal à la tangente de la courbe d'incurvation. Mais dans tous les cas la différence ne peut être grande.

Plans de stabilisation longitudinale.
Gouvernails de profondeur.

Cette correction de la première loi de Newton sur la résistance de l'air conduit à en faire une autre sur la 4e conçue en ces termes: «La résistance (de l'air) est proportionnelle au carré du sinus de l'angle d'incidence (de la surface).

Fig. 47

«Cette loi, dit Victor Tatin, est complètement erronée et n'est exacte en aucun cas.» «... Hutton, Thibault et quelques autres expérimentateurs en avaient depuis longtemps fait la remarque...», etc.[17].

Duchemin corrigea scientifiquement l'appréciation de Newton (1842) et plus tard Langley, vers 1892, corrobora les travaux de Duchemin à ce sujet.

Sans entrer dans le détail trop technique des calculs (p. 057) de ces physiciens, on peut se contenter de retenir, au point de vue de l'aviation, que la décroissance de pression est bien loin de correspondre à l'estimation de Newton.

Avec un angle de 14° seulement,—assez voisin par conséquent de l'angle d'attaque moyen de nos aéroplanes,—la résistance est encore de la moitié de la résistance du plan normal à la direction (c'est-à-dire formant avec celle-ci un angle de 90°) (fig. 46, page 54).

À mesure que l'angle d'attaque de la surface portante devient plus petit, la pression s'amoindrit naturellement, et cette réduction met bientôt une limite forcée au désir que pourrait avoir l'aviateur de rapetisser toujours cet angle pour diminuer «la résistance à l'avancement» de l'aéroplane. Il arrive un moment, dans ces conditions, où la surface portante reçoit le minimum de pression qui lui est indispensable pour bien équilibrer l'action de la pesanteur: c'est l'inclinaison que lui donne son maximum de pénétration et qu'il ne lui faut point dépasser, sous peine de cesser de se soutenir et de commencer à descendre.

Fig. 47 bis

Dans la pratique, on voit que les aéroplanes bien construits gardent aisément cette inclinaison particulière des surfaces portantes,—qui varie d'ailleurs avec chaque appareil et qui dépend aussi de l'habileté de l'aviateur.

Mais si ce maintien du bon angle d'attaque permet à l'appareil son maximum de vitesse propre et de «maniabilité», il faut remarquer en revanche qu'il est extrêmement (p. 058) instable et que cette instabilité, dans un milieu aussi tourmenté que l'air, constitue un véritable danger.

Fig. 48

Pour le mieux concevoir, il faut se représenter comment on explique la cause du déplacement du centre de pression précédemment exposé.

Lorsqu'un plan se meut orthogonalement au milieu de l'air, c'est-à-dire dans une direction perpendiculaire à lui-même (fig. 47, page 56), le fluide qu'il déplace s'écoule latéralement sur ses côtés d'une façon parfaitement égale,—et c'est ainsi que le centre de pression peut coïncider avec le centre du plan.

Fig. 49

Si le plan est incliné (fig. 47 bis, page 57) la majeure partie du fluide,—et celle-ci augmente en raison de l'inclinaison,—glisse sans trop de difficulté sous le plan; l'autre, moins grande, est obligée de remonter par-dessus (p. 059) le plan, avec d'autant plus de peine qu'il est plus incliné et de ce côté la pression augmente, tout en se rapprochant du bord d'attaque en proportion de l'inclinaison; c'est-à-dire en proportion de la réduction de l'angle d'attaque.

Fig. 50

Fig. 51

Mais, si, de cette façon, le centre de pression a quitté le centre du plan cp (fig. 48, page 58), pour se rapprocher du bord d'attaque, et se fixer par exemple en c'p' à cause de l'inclinaison du plan, le centre de gravité ne s'est pas déplacé, lui; il reste au centre du plan et celui-ci se trouve dès lors sollicité par deux forces agissant en sens contraire, qui tendent à le faire basculer et le ramener en position orthogonale par rapport à sa direction.

La marche du plan sustentateur en position oblique manque donc essentiellement de stabilité longitudinale. C'est pour cela que la Nature a doté les oiseaux d'une queue et qu'il faut imiter ce dispositif dans la construction de l'aéroplane.

(p. 060) On ajoute à son plan, ou ses plans porteurs, un plan stabilisateur généralement placé à l'arrière de l'appareil qui joue le rôle de la queue de l'oiseau en empêchant la surface portante de basculer, par un équilibrage automatique des forces qui la sollicitent.

Fig. 52

Schéma d'aéroplane biplan, en plan et en élévation de profil.

Grâce à ce dispositif, représenté en schéma par les figures 49 et 50, on voit que si l'angle d'attaque est petit (environ 6°, fig. 49), le plan stabilisateur placé loin en arrière du plan de sustentation, auquel il est relié par un châssis rigide, rencontre dans l'air un (p. 061) minimum de résistance par suite de cette grande inclinaison vers l'horizontale (pp. 58 et 59).

Fig. 54

Fig. 55

Fig. 56

Tandis que si l'angle d'attaque du plan de sustentation augmente (fig. 50, p. 59), le plan stabilisateur, abaissé par sa liaison rigide avec le plan de sustentation, (p. 062) rencontre alors dans l'air une résistance dont la pression le remonte. Il combat victorieusement l'effet des forces CG (centre de gravité; pesanteur) et c'p' (centre de pression, force soulevante) qui tendent à faire basculer le plan de sustentation, parce qu'il agit très en arrière de ce plan avec un effort de levier irrésistible.

Fig. 53

Schéma d'aéroplane, monoplan Blériot, plan et élévation de profil.

On conçoit que le même principe assure la même correction en sens contraire (fig. 51, p. 59).

Les figures 52, page 60, et 53, page 62, montrent (p. 063) comment ces dispositions sont réalisées dans les aéroplanes biplan et monoplan français.

Fig. 57

Ainsi, les plans stabilisateurs donnent aux aéroplanes la stabilité longitudinale qui leur est nécessaire, comme sa queue la donne à l'oiseau.

Fig. 58

SCHÉMA DU BIPLAN WRIGHT.SP, surfaces portantes; PS, plans stabilisateurs avant, gouvernail de profondeur; G, gouvernail de direction latérale.

Sir Georges Gayley dès 1809 (Nicholson Journal), avait entrevu ce phénomène, que Pénaud expliqua (p. 064) dès 1872 et que J. Pline, en 1855, avait aussi démontré par l'expérience avec ses petits planeurs en papier découpé. Le capitaine Ferber et V. Tatin ont fait ressortir l'un et l'autre l'importance considérable du plan stabilisateur dans l'aéroplane.

Fig. 59

Schéma du biplan Wright, élévation de profil.—G, gouvernail de direction latérale; H, hélices; SP, surfaces portantes; PS, plans stabilisateurs avant, gouvernail de profondeur.

Fig. 60

Schéma du biplan Santos-Dumont no 14 bis, élévation de profil.—PS, plan-cellule de stabilisation avant; L, corps en fuselage; SP, plans stabilisateurs cellulaires; H, hélice à l'arrière.

«Quand on prend, dit le premier, un aéroplane sans moteur, bien centré, et qu'on le lance d'un point élevé sans vitesse, il fait une abatée presque verticale jusqu'à ce qu'il ait atteint sa vitesse de régime. À ce moment il se relève, conserve une vitesse uniforme et se meut enligne droite (figure 54, p. 61). S'il est moins bien centré, il se relève davantage, perd de sa vitesse et, pour la retrouver, fait une nouvelle abatée. Il en résulte des escaliers et un léger tangage (figure 55, p. 61). Enfin, s'il est mal centré, il se relève verticalement et perd toute sa vitesse. (p. 065) L'aéroplane recule alors et, suivant que sa queue est prise par-dessus ou par-dessous, il boucle la boucle ou pique du nez pour recommencer plus bas une manœuvre semblable (fig. 56, page 61).

Fig. 61

Croquis du biplan Santos-Dumont no 14 bis, perspective.—S P, plans sustentateurs cellulaires; P S, plan-cellule de stabilisation avant.

«Ces trajectoires sont des types que l'on retrouve partout, et au bout de quelque temps d'observation on s'aperçoit que l'on peut reproduire à volonté l'une quelconque d'entre elles, soit par le déplacement du centre de gravité, soit par l'orientation de la queue.»

Fig. 62

Schéma en élévation, vue de face, du même biplan montrant la disposition en V très ouvert des plans sustentateurs.

«... Quand l'aéroplane est muni d'un moteur, les mêmes trajectoires se produisent, il peut simplement s'en (p. 066) produire un type nouveau. Quand il y a excès de force, on observe une trajectoire ascendante ayant sa concavité tournée vers le ciel (figure 57, p. 63).

Fig. 63

Plan-schéma du biplan Santos-Dumont no 14 bis.—P S, plan-cellule de stabilisation avant; S P, plans sustentateurs.

«Arrivé en un point B, où l'action de la pesanteur domine de plus en plus celle de l'hélice, la vitesse horizontale diminue avec rapidité et l'aéroplane se retrouvant dans le cas des figures précédentes commencera une abatée pour retrouver sa vitesse perdue.

«La queue fixe intervient dans tout ceci comme organe de la plus haute importance, en déterminant la stabilité de l'angle d'attaque. Elle est d'autant plus active naturellement qu'elle est plus longue[18]

V. Tatin signale que certains expérimentateurs ont tenté de mettre le plan stabilisateur à l'avant. C'est le cas du biplan des frères Wright (fig. 59) et cette disposition est encore plus apparente dans le premier aéroplane, le 14 bis essayé en juillet 1906 à Bagatelle, par Santos-Dumont (fig. 60, p. 64).

(p. 067) En ce cas, le stabilisateur avant est un véritable gouvernail de profondeur. Mais s'il joue un rôle stabilisant analogue à celui de la queue de l'oiseau, c'est d'une manière inverse et non automatique: il faut le manœuvrer, l'avoir en main comme le guidon d'une bicyclette et ses effets, s'ils ont l'avantage d'être extrêmement prompts, présentent en revanche l'inconvénient d'une brutalité dangereuse. Des aviateurs extrêmement habiles, comme le sont les frères Wright, peuvent préférer ce mode de stabilisation à cause de sa vigueur même, et aussi parce qu'il est sans cesse sous les yeux du pilote. On ne peut nier que les élèves des Wright, notamment M. Tissandier, et surtout le comte de Lambert, ont fait merveille avec ce dispositif. Mais il est évidemment moins rationnel que la stabilisation arrière presque uniquement indiquée par la Nature.

Fig. 64

Schéma du biplan Voisin-Farman.Gp, gouvernail de profondeur avant; F, avant du fuselage; S P, plans sustentateurs; Pi, pilote; M, moteur; H, hélice; P S, plans stabilisateurs arrière; Gd, gouvernail de direction latérale.

La queue stabilisatrice se combine d'ailleurs avec un gouvernail de profondeur, placé soit à l'avant comme dans le type de biplan Farman-Voisin (fig. 64, page 67), (p. 068) soit à l'arrière comme dans le monoplan de Blériot (fig. 53, page 62), où il est constitué par les volets mobiles qui se trouvent de chaque côté du plan stabilisateur arrière, en a' a'.

Fig. 65

Plan et élévation schématiques du monoplan théorique rationnel de Tatin.S P, plan sustentateur; H, hélice; P S, plan stabilisateur; G L, gouvernail de direction latérale.

Dans sa remarquable étude sur l'aviation[19], V. Tatin précise les conditions dans lesquelles la stabilisation (p. 069) longitudinale des aéroplanes s'exerce avantageusement.

Il fait observer que si les oiseaux qui volent le mieux n'ont pas une queue très longue et très ample, c'est parce que la rapidité de leur vol en serait ralentie mais qu'ils suppléent à la réduction de stabilité longitudinale automatique qui en résulte par la promptitude et la vigueur des mouvements et des inclinaisons qu'ils donnent à leur queue en des réflexes si subits qu'ils sont assurément instinctifs et non raisonnés.

L'aviateur n'est pas doué de ces réflexes et ne pourrait, en outre, commander un mouvement mécanique aussi vite que l'oiseau exécute instinctivement un rétablissement d'équilibre par un déplacement de sa queue (il combine par surcroît ces mouvements postérieurs avec des mouvements de la tête, du cou, des ailes et du corps).

Pour ces divers motifs, il est nécessaire que l'aéroplane soit muni d'une longue queue stabilisatrice, ou plutôt d'un plan stabilisateur pour que ses plus légers déplacements produisent de grands effets.

Plus la queue se trouve éloignée du plan sustentateur, plus les oscillations verticales, auxquelles l'aéroplane est exposé, sont forcées de rester amples. Elles sont alors par conséquent ralenties; ce qui en facilite la correction à l'aviateur-pilote, soit par la manœuvre du gouvernail de profondeur, soit par toute autre commande jugée convenable des organes de l'appareil.

Il importe, dit Tatin (et la pratique semble justifier son affirmation), que le plan stabilisateur n'ait aucune inclinaison par rapport à la direction de la marche (ce qui n'est pas le cas du plan sustentateur[20], dont le bord antérieur est relevé pour attaquer l'air sous l'incidence prévue).

De cette façon il reste neutre et la résistance de sa pénétration dans l'air est réduite au minimum. Elle (p. 070) augmente, au contraire, dès que l'angle d'attaque du plan sustentateur s'agrandit ou se réduit et ramène automatiquement cet angle à sa grandeur normale.

Fig. 66

Plan-schéma du biplan théorique rationnel d'après Tatin.S P, plans sustentateurs; P S, plans stabilisateurs arrière.

V. Tatin préconise entre le plan stabilisateur et le plan sustentateur une distance à peu près égale à la dimension de l'envergure. Il conseille de le placer à la même hauteur que le plan sustentateur et même un peu plus haut pour faciliter le relèvement de l'avant de l'aéroplane à l'atterrissage.

Enfin, il rappelle que ce plan doit être, comme le plan de soutènement, plus large que profond, et sans courbure antéro-postérieure, «puisqu'il est destiné à être choqué par l'air sur l'une ou l'autre de ses faces»; c'est-à-dire par-dessous ou par-dessus. Suivant son estimation, (p. 071) la surface de ce plan peut être égale au quart de celle du plan de sustentation, et l'on ne doit pas la compter comme portante.

Fig. 67

Biplan théorique rationnel d'après Tatin, élévation de profil.—S P, plans sustentateurs ayant un angle d'attaque déterminé; P S, plans stabilisateurs sans angle d'attaque et relevés.

Fig. 68

Croquis perspective du monoplan théorique rationnel, d'après Tatin.

«L'importance de la disposition à employer pour la queue d'un aéroplane, dit V. Tatin, est telle qu'on peut hardiment affirmer que, de cet organe, dépendent à la fois la sécurité de l'équilibre et la facilité de toutes les manœuvres; on peut l'établir de telle façon qu'on n'ait presque pas à s'en occuper en cours de route; il suffit, pour cela, que sa distance et son inclinaison par rapport (p. 072) au plan sustentateur soient bien celles qui conviennent à l'appareil[21]

Les croquis-schémas des figures 65 et 68, pages 68 et 71, montrent, d'après les dessins de l'auteur, un monoplan construit suivant ces données.

Un biplan établi sur les mêmes principes aurait l'aspect général des schémas des figures 66 et 67, pages 70 et 71.

Fig. 69

On voit que tous deux diffèrent notablement des monoplans et des biplans de Blériot et de Farman-Voisin, qui sont les plus connus par les résultats qu'ils ont permis.

Mais cette remarque n'infirme pas les données très rationnelles de V. Tatin, puisque son type n'a pas été encore l'objet d'expériences analogues.

L'éminent apôtre de l'aviation ajoute que la queue de stabilisation longitudinale concourt d'une façon très notable à la stabilisation latérale. Cette observation est encore parfaitement rationnelle. Soucieux de cette dernière stabilité, il donne d'ailleurs aux surfaces portantes de son type et même au plan stabilisateur arrière la forme d'un V très ouvert, préconisée par le capitaine Ferber (figure 68, p. 71).

(p. 073) Stabilisation transversale.—Virages.

En air calme, la stabilité transversale des aéroplanes est parfaitement assurée soit pour les monoplans, soit pour les biplans, à cause de la grande envergure des surfaces portantes, même lorsqu'elles sont parfaitement rectilignes comme dans les aéroplanes des types Wright ou Blériot, ou si les surfaces portantes sont légèrement en V très ouvert comme dans les types de biplan Ferber ou Farman et de monoplan Antoinette ou Demoiselle de Santos-Dumont.

Fig. 70

Dans sa précieuse étude sur Le problème de l'aviation, M. Armengaud jeune, a exposé scientifiquement et d'une manière très claire, comment par la disposition en T de leurs divers plans, les aéroplanes sont difficilement renversables, même s'ils sont pris en travers par un vent d'une certaine force.

(p. 074) Pour abréger, en n'entrant pas dans les détails de la démonstration de cet éminent technicien, puisqu'il est facile de se reporter à son étude, on peut se contenter de signaler le fait matériel qu'il met en évidence:

«Dans le cas d'un plan a, b, c, d (fig. 69, p. 72), se mouvant dans le sens de la flèche M, si un vent transversal comme celui qui est indiqué par la flèche V exerce son action sur ce plan, il basculera d'autant plus facilement que le bras de levier c o dont il subira l'effort sera plus long.

Fig. 71

Dans le plan trigone a, b, c, d, e (figure 70, p. 73), au contraire, la force c, dit M. Armengaud, aura à se composer avec celle qui agit en c1 centre de pression développé sur la portion caudale e f, pression d'autant plus considérable que la tranche e f est cinq ou six fois plus longue que la tranche a c...», etc...

«Dans ces circonstances, la force perturbatrice du vent sera sinon tout à fait neutralisée, du moins fort amoindrie et parviendra d'autant plus difficilement à déranger l'équilibre qu'elle sera dérangée par l'influence rectrice engendrée par les deux surfaces du plan aviateur; influence d'autant plus énergique que la vitesse est plus grande.»

(p. 075) La pratique confirme fort bien cette théorie. Néanmoins, si les aviateurs semblent assez rassurés en ce qui concerne la stabilité latérale des aéroplanes en marche rectiligne, ils ont toujours eu, en revanche, grand souci des virages. Dans tous les types d'avions qu'ils ont fait construire ou bâtis eux-mêmes, comme les frères Wright et les frères Voisin, ils ont démontré cette présomption par les dispositifs qu'ils ont imaginés pour faciliter ces virages et réduire l'inclinaison latérale des appareils, qui en est la conséquence normale.

Fig. 72

Fig. 73

On se rend fort bien compte de cette conséquence en examinant l'inégal travail de l'envergure dans l'opération du virage.

(p. 076) Il suffit, en effet, de regarder la fig. 71, p. 74, pour voir qu'en décrivant, de gauche à droite, le quart de cercle a b, l'aéroplane C D refoule par le côté gauche de sa surface portante C, beaucoup plus d'air que par le côté droit D. Le côté C subissant ainsi, dans le même espace de temps, un effet de pression beaucoup plus grand, se relève en proportion de la vitesse et de la petitesse du rayon de la courbe décrite.

Fig. 74

Dans les conditions de la figure 71, pour peu que la vitesse ne soit pas extrêmement réduite, le mouvement de bascule doit fatalement tendre à renverser l'appareil.

Ce renversement est évité dans la pratique par les aviateurs lorsqu'ils opèrent leurs virages sur de très larges espaces, en décrivant des courbes encore bien moins accentuées que celles de la figure 72. Mais on peut juger de la grandeur des courbes qu'il leur faut décrire par cela seul qu'ils se plaignent d'être obligés de virer sans cesse pour évoluer sur le champ d'expériences d'Issy-les-Moulineaux qui mesure 700 mètres de largeur dans sa partie la plus étroite[22].

Frappés de cet inconvénient du virage, bien plus sensible en aviation que pour tous les autres moyens de locomotion, les frères Wright, dès le début de leurs (p. 077) essais, se sont préoccupés d'y remédier, et ils y sont parvenus dans une très large mesure par une déformation mécanique des extrémités postérieures souples, des surfaces portantes de leur biplan.

En gauchissant ces extrémités à volonté lorsqu'ils veulent virer, ils obtiennent les résistances représentées par la figure 73, p. 75.

Comme dans la figure 71, l'aéroplane Wright décrit, de gauche à droite, un arc de cercle indiqué d'ailleurs par la flèche V. Le gauchissement de haut en bas des bords postérieurs du côté droit des plans de soutènement crée une plus grande résistance qui se traduit par une poussée de bas en haut sur ce côté droit D; poussée indiquée par les flèches d d; et cette pression tend à remonter le côté droit de l'aéroplane que le virage abaisse. En même temps, sur le côté gauche C, le gauchissement réalisé en sens contraire de bas en haut, crée une résistance en sens contraire, et la pression de cette résistance, indiquée par les flèches cc, tendant à rabaisser le côté gauche C, combat l'effet de la pression déterminée par le virage, qui tendrait à faire remonter ce côté C.

Ainsi se produit une neutralisation plus ou moins complète du phénomène normal qui, dans le virage, tend à faire basculer tout aéroplane.

Blériot, dans son monoplan, obtient un effet analogue par la manœuvre d'ailerons articulés aux extrémités du plan sustentateur de son appareil (figure 74, p. 76).

On a proposé et l'on étudie même aujourd'hui d'autres moyens d'obvier aux inclinaisons latérales résultant des virages.

Les effets du pendule et ceux du gyroscope notamment séduisent plus d'un chercheur.

Dans la suite de cette esquisse ces diverses solutions seront examinées avec plus de détails.

En résumé, les stabilités longitudinale et latérale sont dès à présent obtenues d'une façon déjà fort encourageante dans la pratique, puisque des évolutions de toute nature ont été accomplies soit sur des aérodromes, (p. 078) soit en pleine campagne ou sur mer par des aéroplanes biplan et monoplan, à des altitudes, avec des vitesses et contre des vents bien accentués.

Fig. 75

Monoplan Blériot.G, gouvernail de direction latérale; Ps, plan stabilisateur arrière; gp, gouvernails de profondeur ailerons; P S, plan sustentateur; H, hélice.

Directions.

Fig. 76

Biplan Voisin, élévation de profil.—gp, gouvernail de profondeur avant; P S, plans sustentateurs; H, hélice; Ps, plans stabilisateurs arrière; G, gouvernail de direction latérale.

Sans considérer ici longuement la question de la direction des aéroplanes, puisqu'il faudra y revenir avec précision dans l'exposé de la conduite pratique de ces appareils, il faut, néanmoins, pour compléter les données élémentaires précédentes, signaler les organes (p. 079) employés pour modifier les sens de marche des «plus lourds que l'air».

Fig. 77

Biplan type Voisin, plan schématique.gp, gouvernail de profondeur avant; P S, plans sustentateurs; H, hélice; Ps, plans stabilisateurs arrière; G, gouvernail de direction latérale.

Fig. 78

Biplan type Wright, élévation de profil.—gp, gouvernail de profondeur avant; P S, plans sustentateurs; G, gouvernail de direction latérale.

Un gouvernail analogue à celui des navires et qui agit de la même manière, réalise dans les aéroplanes comme dans les ballons dirigeables, les changements d'orientation de marche des monoplans et des biplans, comme (p. 080) ceux des engins à plus grand nombre de surfaces portantes.

Ce gouvernail «de direction latérale» est une surface plane disposée verticalement à l'arrière de l'aéroplane et mobile sur un axe vertical, comme le gouvernail du bateau (fig. 75, 76, 77, 78 et 79, pp. 78, 79, 80).

Fig. 79

Biplan Wright.gp, gouvernail de profondeur avant; P S, plans sustentateurs; pg, partie gauchissable des plans sustentateurs; H, hélices; G, gouvernail de direction latérale double.

On pourrait aussi le placer à l'avant, mais il est moins encombrant à l'arrière et sur les dispositifs munis d'une queue stabilisatrice, sa position arrière, loin des plans sustentateurs, lui donne plus d'efficacité parce qu'elle agit alors avec un plus grand bras de levier.

Avec cet organe, on conduit l'appareil à droite ou à gauche, on le fait tourner à volonté, décrire des arcs de cercle ou des circonférences plus ou moins grandes. Mais, l'air, domaine des appareils aviants, n'est pas comme la terre ou comme l'eau, «une surface de locomotion» (p. 081) pour l'aviateur; c'est «un milieu», dans lequel il doit se diriger non seulement suivant l'horizontale, mais encore suivant la verticale. Il n'a pas qu'à tourner à droite ou à gauche: il lui faut aussi monter ou descendre, et l'on a vu précédemment que ses évolutions dans le sens vertical sont commandées par un «gouvernail de profondeur», placé soit en avant, soit en arrière (type Blériot-monoplan) et qui sert parfois de plan stabilisateur (type du biplan américain Wright).

Ce gouvernail de profondeur, complément indépendant du gouvernail de direction horizontale, se compose, lui aussi, d'une surface plane (parfois deux); mais elle est placée horizontalement et se meut autour d'un axe horizontal, ou d'une genouillère qui lui permet de prendre des inclinaisons encore plus variées par rapport à la ligne de l'horizon.

Enfin, l'on a encore vu précédemment que l'angle d'attaque des surfaces portantes d'une part, et la vitesse de la marche d'autre part, sont des éléments de l'aviation qui ont leur effet sur les déplacements du plus lourd que l'air dans le sens de la hauteur.

Si la vitesse, ou la grandeur, de l'angle d'attaque augmente, l'aéroplane s'élève. En cas de diminution pour l'un de ces deux facteurs, le résultat est inverse.

Enfin, la force du vent est aussi une influence dont il faut tenir compte, puisqu'elle peut, en augmentant la pression sur les surfaces portantes, si l'aéroplane marche contre lui, provoquer une ascension de l'appareil.

Une récapitulation générale de toutes ces données peut se résumer ainsi:

1o Avec l'angle d'attaque pour lequel il a été construit et avec sa vitesse normale, l'aéroplane en air calme progresse horizontalement et en ligne droite. Son gouvernail de direction latérale est alors perpendiculaire à la ligne de l'horizon et son gouvernail de profondeur rigoureusement horizontal.

2o Si des ondes de vent modifient accidentellement la stabilité longitudinale de l'appareil, le plan stabilisateur (p. 082) réduit et corrige les oscillations longitudinales produites (tangage). À défaut de queue stabilisatrice agissant automatiquement, le gouvernail de profondeur, actionné par l'aviateur, produit ces réductions et ces corrections.

3o Abstraction faite des oscillations accidentelles susdites[23], une augmentation persistante de la vitesse du vent debout, augmente la résistance rencontrée par l'aéroplane. Elle augmente, par conséquent, la pression X qu'il exerce par sa progression et qui le soutient, d'une pression supplémentaire X1 (celle de la vitesse du vent) qu'il subit et qui, venant en surcroît de la sienne, élève l'aéroplane.

En ce cas, pour ne pas s'élever, il faut qu'il réduise son angle d'attaque en faisant agir le gouvernail de profondeur, ou qu'il réduise sa vitesse.

Après cette modification compensatrice, si le vent diminue ou cesse plus tard, il devra faire une modification inverse pour revenir aux conditions initiales de sa marche.

4o Si l'aviateur veut modifier sa direction horizontale, c'est-à-dire aller à droite ou à gauche, rebrousser chemin ou décrire un cercle, le gouvernail de direction latérale suffit pour ces évolutions.

Son action peut, en outre, corriger celle d'un vent latéral faisant dériver l'avion et l'écartant de son but.

En provoquant un virage trop peu étendu, le gouvernail de direction latérale détermine une inclinaison latérale de l'appareil qui résulte de la différence des pressions exercées par les deux côtés des surfaces portantes. Mais l'aviateur peut atténuer et neutraliser cet effet par le gauchissement des surfaces portantes (système Wright), par la manœuvre d'ailerons mobiles (système adopté par Blériot) ou par l'emploi d'autres influences compensatrices.

(p. 083) 5o Pour monter ou descendre, l'aviateur fait agir le gouvernail de profondeur qui impose à l'appareil des déplacements verticaux sans modifier le régime normal de sa marche.

Il peut obtenir aussi les mêmes déplacements verticaux soit par la modification de l'angle d'attaque, soit par la modification de la vitesse.

En résumé, les moyens de diriger ne manquent pas. Ils sont plutôt trop abondants, car ils ne simplifient pas la manœuvre et l'on a déjà cherché, avec plus ou moins de succès, comme on le verra dans la description des principaux types d'aéroplanes, des systèmes de jonction de commande, ayant pour but de réduire les manœuvres du pilote-aviateur au plus petit nombre possible d'actes et de préoccupations.

Force motrice.—Moteurs.

L'oiseau et surtout les insectes qui volent, possèdent une force prodigieuse par rapport à leur poids. L'observation de la Nature enseigne ainsi que le rapport entre la force et le poids est une condition absolue de l'aviation.

Le problème de la sustentation du plus lourd que l'air, même après les belles études théoriques et pratiques du «vol plané», ne put donc être résolu qu'à partir du moment où l'industrie de la locomotion automobile parvint, de progrès en progrès, à fournir des moteurs extrêmement légers quoique puissants.

Le moteur à pétrole, mieux dénommé: moteur à explosion, est infiniment plus léger que le moteur à vapeur parce qu'il ne comporte ni foyer, ni chaudière, ni l'énorme approvisionnement d'eau et de charbon qui encombre nos locomobiles terrestres ou maritimes.

C'est un moteur réduit à l'organe qui produit la poussée du piston: le cylindre, et aux pièces articulées (p. 084) qui transforment le mouvement de va-et-vient de ce piston en un mouvement rotatif.

Un combustible extrêmement léger par rapport à la puissance qu'il développe: l'essence de pétrole, est volatilisé dans une quantité d'air déterminée pour former dans le cylindre un mélange explosif (carburation)[24]. Une étincelle électrique enflamme ce mélange, comme la capsule enflamme la poudre dans un fusil. L'explosion se produit et chasse le piston, comme la déflagration de la poudre chasse la balle ou l'obus dans le cylindre de la carabine ou du canon.

On sait, par les voitures automobiles et par les motocycles, que ces moteurs à explosion ne tiennent presque pas de place, et possèdent une force considérable.

Le mouvement rectiligne de leur piston, transformé en mouvement circulaire par des pièces articulées spéciales (bielles), fait tourner un axe (arbre) qui est celui des roues dans les appareils roulants (automobiles, motocycles) ou de l'hélice dans les bateaux et les aéroplanes ou les dirigeables.

Cet exposé schématique du principe des moteurs à explosion suffit pour faire comprendre que la machine motrice qu'ils constituent est réduite à la plus simple expression possible.

Fig. 80.—Moteur en V et hélice métallique.

Quand l'explosion de l'air carburé (c'est-à-dire du mélange détonant d'air et d'essence de pétrole volatilisée) a chassé le piston jusqu'à l'une des extrémités du cylindre, il faut qu'il revienne en arrière pour refouler et chasser les gaz brûlés par des orifices qui s'ouvrent automatiquement; il faut encore que le piston reparte pour aspirer derrière lui l'air et l'essence volatilisée qui fourniront une nouvelle détonation; il faut enfin qu'il revienne encore une seconde fois en arrière (p. 086) pour comprimer ce mélange détonant. Alors une seconde inflammation, une seconde explosion se produisent, et le piston, chassé une seconde fois avec force, exerce, par l'intermédiaire des pièces articulées, un second effort de rotation sur l'axe ou arbre moteur de l'hélice (si celle-ci est calée, c'est-à-dire fixée directement sur cet arbre; ce qui est le cas le plus général).

Ainsi, la force de propulsion ne s'exerce qu'une fois par quatre mouvements du piston; puisque, sur deux allers et deux retours, le premier retour est employé à l'expulsion des gaz, le second aller à l'aspiration du mélange détonant, et le second retour à la compression de ce mélange avant l'allumage pour l'explosion suivante.

Une partie de l'élan donnée par l'explosion à un volant est utilisée à produire ces trois mouvements, qui préparent l'explosion suivante. Il y a donc ainsi une importante déperdition de la force engendrée par l'explosion, et une suspension relativement très longue entre les productions de forces, puisqu'elle atteint la proportion énorme de 3/4.

L'industrie automobile a depuis longtemps corrigé ces défauts en composant des moteurs de deux, puis de plusieurs cylindres exerçant leurs actions sur le même arbre. (Les groupes de ces cylindres sont opposés, ou disposés en étoile, ou en V, pour l'aviation, fig. 80, p. 85).

Ces adjonctions augmentaient le poids total, mais elles ont permis, en revanche, de réduire, puis de supprimer le volant,—pièce fort lourde,—qui n'a plus été nécessaire lorsque l'arbre, par la multiplication des détonations produites dans un même espace de temps, n'a plus cessé d'être actionné un seul instant[25].

L'augmentation du nombre des cylindres agissant sur un même arbre a permis d'autres simplifications mécaniques allégeantes.

Le choix des matières métalliques a fait réaliser des (p. 087) économies de poids non moins grandes. On a remplacé les métaux lourds, comme la fonte, par de l'aluminium partout où la résistance de ce métal si léger pouvait être suffisante. On a beaucoup diminué l'épaisseur des cylindres, sans compromettre leur solidité indispensable, en les construisant avec des aciers comme ceux, si résistants, qui servent à la fabrication des armes de guerre et des cuirasses de navires.

En ce sens, d'amélioration en amélioration, on est arrivé à faire des moteurs ne pesant que 2 kilogrammes, 1 kilog. 500 et même 1 kilogramme par cheval-force.

L'allègement nécessaire a été de cette façon plutôt dépassé, car il est démontré aujourd'hui par l'expérience que les moteurs dont le cheval-force pèse 2 kilogrammes et même 2 kilogrammes 500, sont bien assez légers pour l'aviation.

Il importe que la solidité, la résistance à l'usage et la régularité ainsi que la longue durée du fonctionnement ne soient pas sacrifiées à la légèreté.

En général, grâce au développement de la locomotion automobile, la construction des moteurs s'est tellement perfectionnée, que presque tous les moteurs sont excellents. Mais ces engins, véritables bijoux de mécanique, ont une délicatesse extrême. L'allumage, le graissage, l'échauffement, qui dilate trop les matières, l'encrassement des soupapes, ainsi que nombre d'autres causes produisent dans le fonctionnement de ces merveilles, des arrêts, ou pannes, encore trop fréquents.

On considère l'aéroplane comme une sorte de cerf-volant soutenu en air calme par la traction de sa corde. L'hélice, dans cette conception, est la corde qui tire. Si elle cesse de tourner, l'aéroplane se trouve dans la situation du cerf-volant tiré. Quand la corde casse: il tombe.

Cette appréciation, trop absolue, n'est pas exacte en matière d'aviation. Bien construit, bien équilibré, l'aéroplane ne tombe pas, en cas d'arrêt du moteur: il descend. Coupant l'allumage, et par conséquent arrêtant le moteur, on descend aujourd'hui couramment en vol (p. 088) plané de n'importe quelle hauteur, fût-ce de plus de 2.000 mètres (Legagneux, Hoxsey, Paulhan, Chavez à Issy-les-Moulineaux, etc.)

Mais si l'arrêt du moteur ne compromet pas la vie du pilote et l'appareil lui-même, lorsque cet arrêt se produit dans des conditions favorables à la descente (plaine unie), il est bien évident, en revanche, que, l'aviation n'ayant point pour but des évolutions aériennes limitées aux champs d'expériences, il faut prévoir le cas où l'arrêt mécanique se produirait lorsque l'avion surplombe une grande étendue où la descente lui serait dangereuse, sinon fatale, telle qu'une grande ville, une mer, une forêt, un large fleuve, une foule, etc.

Les pannes, trop fréquentes, des moteurs ultra-légers légitiment les critiques dont ils sont l'objet à ce point de vue. Néanmoins, il faut reconnaître qu'elles tendent à se raréfier.

Nous sommes déjà bien loin, comme résultats, de l'époque, si récente pourtant, où des parcours de quelques kilomètres, des sustentations de quelques minutes étaient prouesses.

Nos aviateurs ont fait en plein pays des circuits fermés de grande étendue et de longue durée. Blériot a traversé la Manche. Le comte de Lambert, partant de Juvisy, est venu planer sur Paris, et tourner à 200 mètres au-dessus de la Tour Eiffel; puis il est reparti sans escale pour revenir à son point de départ, où il est arrivé sans aucune difficulté. Farman, à Pau, s'est maintenu 7 heures dans l'espace couvrant une distance de 486 kilom.; Tabuteau l'a dépassé par un aviat sans arrêt de 585 kil. 900. Des distances plus grandes ont été depuis franchies avec escales, et les prouesses du Circuit de l'Est à cet égard sont encore dans la mémoire de tous. Ces exploits ne sont pas exceptionnels, puisqu'ils ont été «approchés» nombre de fois par d'autres aviateurs. Il est donc permis d'affirmer qu'avant peu la question des pannes de moteur, sera tout à fait résolue par l'accouplement de deux moteurs se remplaçant automatiquement (p. 089) en cas d'arrêt de l'un d'eux... ou même d'autre manière.

Les moteurs à explosion donnent actuellement une solution du problème de l'aviation par leur combinaison avec l'étude des surfaces portantes, mais il est déjà permis de prévoir que d'autres propulseurs pourront remplacer les moteurs à explosion.

En attendant ces progrès plus que probables, il convient donc de motiver le choix du moteur en tenant compte du type de l'aéroplane et de ses caractéristiques; l'ensemble constituant une sorte d'organisme, dont le fonctionnement exige une harmonie parfaite.

Suivant son poids, l'étendue de ses surfaces portantes et leur disposition, son angle d'attaque, ses modes de stabilisation et de direction, etc..., etc..., l'aéroplane, monoplan ou biplan, implique l'emploi d'une force motrice différente, produite de telle ou telle manière, par tel ou tel dispositif.

V. Tatin, dans ses Éléments d'aviation, a fort bien défini le travail que doit fournir un moteur d'aéroplane en tenant compte du poids total de l'avion, de son moteur, de ses accessoires, de son approvisionnement et de son pilote.

La force du moteur doit être suffisante pour soutenir plus que ce poids par l'action de l'hélice sur l'air calme.

Mais, l'aéroplane doit, en outre, progresser. Il lui faut donc un supplément de force pour cette progression et ce supplément n'est pas quelconque: il résulte de l'angle d'attaque et de la construction même de l'avion, car, si les surfaces portantes et stabilisatrices, les divers organes, le corps de l'appareil, son châssis de lancement et d'atterrissage, etc..., etc..., sont bien équilibrés et bien établis, ils offriront infiniment moins de résistance à l'avancement que s'ils sont mal combinés et mal exécutés.

Transmise à l'hélice, la force motrice subit, comme on le verra plus loin, une déperdition, une sorte de déchet qui résulte du mode de travail de cet organe.

Il engendre une déperdition analogue au recul des (p. 090) armes à fou, dont on tient compte en balistique et qu'il ne faut pas négliger dans l'appréciation du rendement d'une hélice. Cette déperdition, dénommée «recul de l'hélice» pour le motif précité, s'ajoute au déchet propre à l'hélice (déchet qui varie suivant le modèle de l'hélice) et forme un total que le moteur doit ajouter aux résistances qu'il lui faut surmonter.

La force motrice à développer pour provoquer l'essor de l'aéroplane est plus grande que celle de son régime normal de marche. Il est donc indispensable de prévoir cet excès de puissance sans laquelle l'avion ne parviendrait pas à quitter le sol.

Tout virage, en cours d'aviation, engendre encore un supplément de résistance qui doit être dans les moyens du moteur pour que le virage ne se transforme pas en descente. La Nature donne, d'ailleurs, l'exemple de ce fait par le vol des oiseaux qui descendent en décrivant des courbes, ou même des cercles, par économie d'effort, quand la configuration plane et dénudée du point d'atterrissage vers lequel ils tendent le leur permet.

L'aviateur est obligé de prévoir un autre supplément de force motrice pour élever son avion a fin de franchir des obstacles tels que: hauts arbres, monuments, collines... sans parler des reliefs montagneux élevés sur lesquels il est dès à présent appelé à planer, et sans parler des brouillards et des nuages bas placés dans l'atmosphère, qu'il lui pourra être avantageux de surmonter dans des circonstances de voyage ou de perturbations atmosphériques particulières.

Toutes ces exigences réunies, combinées ou totalisées selon leur nature, constituent la somme de force motrice propre à chaque aéroplane. Le calcul permet de l'évaluer approximativement; l'expérience achève de la préciser et l'on prévoit déjà que les petits tâtonnements actuels seront dans peu d'années supprimés par des données mathématiques éprouvées.

(p. 091) L'Hélice.

Adaptée à l'aéroplane, l'hélice agit comme une vis en pénétrant dans l'air, soit pour tirer l'avion, si elle est en avant, soit pour le pousser, si elle est placée en arrière.

Ces deux modes ayant donné jusqu'ici des résultats fort brillants, on ne peut guère préconiser l'un au détriment de l'autre; il convient d'ajourner les appréciations à leur égard.

Par son bord d'attaque tranchant, la branche de l'hélice pénètre facilement dans l'air, mais son plat, vivement déplacé, exerce sur le fluide une pression ou,—ce qui revient au même,—rencontre une résistance, point d'appui qui détermine sa progression.

Une hélice est essentiellement un organe qui transforme le mouvement de rotation du moteur en un mouvement de progression dans le sens de son axe.

Dans tous les cas, si, comme on l'a signalé précédemment, l'hélice se visse dans l'air littéralement, soit pour tirer, soit pour pousser, et fait avancer ainsi l'arbre auquel elle emprunte son mouvement, ce n'est pas exactement en avançant à chaque tour complet d'une quantité égale à l'amplitude de son pas.

Dans une véritable vis, la distance qui sépare une spire de l'autre constitue le pas et représente la quantité de la progression à chaque tour complet. Ainsi une vis dont les spires sont écartées de 1 millimètre, avance d'un millimètre à chaque tour complet qu'on lui fait exécuter.

L'hélice du navire et surtout celle de l'aéroplane ne se comportent pas exactement de la même manière, parce que les milieux fluides dans lesquels toutes deux pénètrent sont essentiellement mobiles.

L'eau, et surtout l'air, glissent sous la pression de l'hélice; ils cèdent et sont refoulés, tandis que les solides, fer ou bois, dans lesquels pénètre la vis ne glissent pas.

La trop faible résistance de l'air est donc, pour la (p. 092) progression, une cause de déchet proportionnelle à la vitesse de rotation et à l'étendue de la surface des plats de l'hélice.

Plus l'hélice est grande, plus grande est aussi la quantité d'air sur laquelle elle agit dans un même espace de temps; et plus grande est, par conséquent, la résistance qu'elle rencontre; plus grand est le point d'appui qu'elle trouve dans le milieu fluide pour progresser. Mais la vitesse de la rotation de l'hélice décroît forcément à mesure qu'on agrandit ses dimensions, et cette décroissance met vite une limite au diamètre et au pas des grandes hélices.

Inversement, moins une hélice est grande, plus sa vitesse de rotation peut s'accélérer. Or, cette accélération de la vitesse augmente, en les multipliant, les points d'appui que l'hélice peut prendre sur le fluide en progressant et, par l'augmentation de la vitesse, une hélice réduite et de pas réduit augmente sa traction ou sa propulsion. Mais, la résistance de la matière, bois ou métal, met aussi bientôt une limite à la vitesse de rotation des petites hélices, car la force centrifuge les brise.

Dans la dimension des hélices comme dans leur vitesse de rotation il y a donc des maxima qui ne sauraient être dépassés actuellement.

Aucun terme moyen n'a jusqu'à présent démontré sa supériorité. Les grandes hélices à grand pas ont leurs partisans et les hélices petites à pas réduit ont aussi les leurs. Néanmoins il y a une tendance, dictée par l'expérience, en vertu de laquelle les rotations de 1.500 tours, et même plus, à la minute sont de moins en moins goûtées. Mais il y a une considération qui domine les préférences, c'est l'accommodation du propulseur à l'aéroplane. Tel dispositif de monoplan exige l'emploi d'une hélice réduite à rotation rapide, et tel biplan ou triplan l'emploi d'hélices plus grandes, plus lentes, mais de pas plus étendu.

Fig. 81.—Hélice en bois à deux pales.

En bois ou en métal, les hélices de dimensions restreintes, mais à rotation rapide sont plutôt employées sur (p. 094) les monoplans et placées en avant des surfaces portantes où elles tirent l'appareil. Il n'y en a généralement qu'une.

Fig. 82

Schéma en plan et en élévation-profil du fuselage du monoplan Antoinette.A A, longerines ou longerons; E E, entretoises.

Les hélices plus grandes, dont la rotation ne saurait être aussi prompte que celle engendrée par les moteurs à explosion exigent l'emploi d'un organe spécial: un démultiplicateur, critiqué à divers titres, mais indispensable. On les place plutôt derrière les surfaces portantes des biplans ou autres multiplans, soit dans le bâti qui relie les surfaces portantes au plan stabilisateur et au gouvernail latéral, lorsqu'il n'y en a qu'une, soit de chaque (p. 095) côté de ce bâti quand on en utilise deux. En ce dernier cas, elles se vissent dans l'air l'une de gauche à droite et l'autre de droite à gauche; elles tournent par conséquent en sens contraire.

Fig. 83

Biplan Farman.—Schéma du corps de l'appareil et de la nacelle; N, nacelle formée de longerines et d'entretoises; C, corps ou bâti de l'appareil formé de plus grandes longerines l et d'entretoises e.

Une seule hélice tournant avec rapidité tend à entraîner l'ensemble du système aérien dans son mouvement giratoire, et cette influence est assez forte pour faire incliner parfois l'aéroplane du côté où la rotation se produit. Néanmoins, la grande envergure de presque tous les avions restreint assez l'effet de cette influence pour la rendre négligeable, mais elle s'accentue dans les virages si la rotation de l'hélice est trop rapide (effet gyroscopique).

Avec deux hélices tournant en sens contraire, mais avec une égale vitesse, l'équilibre est plus parfait. En revanche une inégalité de marche, et à plus forte raison l'arrêt d'une des hélices, expose l'aviateur et son appareil à un renversement plus ou moins brusque, ou même subit, de l'appareil qui peut être fatal à tous deux. Cet accident s'est produit sur un biplan de Wright. Il a grièvement blessé Orville Wright et causé la mort du lieutenant américain Selfridge qui l'accompagnait.

On peut, il est vrai, remédier à cette éventualité par une disposition mécanique telle que l'arrêt d'une des deux hélices, ou sa rupture, entraînerait l'arrêt de l'autre, automatiquement.

Quant au nombre des palettes, l'expérience a démontré, comme la théorie, qu'il devient trop grand lorsque (p. 096) les effets de compression de l'air produits par l'une des palettes se fait sentir sur une autre. Or, ces effets dépendent aussi de la forme des palettes, de leur étendue, de leur disposition et de la vitesse de rotation. On peut dire toutefois que dans la majeure partie des cas les meilleurs rendements sont fournis par des hélices à deux branches, et que ce type est le plus fréquemment adopté.

La construction de l'aéroplane.—Son corps.
Ses moyens de départ et d'atterrissage.

Par les diverses considérations précédentes, on a vu que l'aéroplane est un ensemble dont toutes les parties doivent être conçues les unes pour les autres, et non pas indifféremment les unes des autres.

Le corps de l'appareil n'échappe pas à cette condition d'harmonie essentielle.

Il doit d'abord relier aux surfaces portantes,—qu'elles soient de monoplan ou de polyplan,—les surfaces accessoires, que l'on pourrait appeler «dirigeantes», pour les englober à la fois dans une seule désignation générale; à savoir: le plan stabilisateur, le gouvernail de direction latérale et le gouvernail de profondeur; tous organes qui se trouvent à diverses distances des surfaces portantes, à l'avant et à l'arrière de l'aéroplane.

En raison des efforts de leviers exercés par ces parties dirigeantes sur les surfaces portantes, il est bien évident que le corps de l'aéroplane doit être au moins aussi solide que les plans sustentateurs. Mais, il lui faut, en outre, un surcroît de robustesse parce qu'il doit porter le moteur, le pilote, des passagers si la puissance de l'aéroplane le permet; enfin les approvisionnements d'huile, d'essence et les instruments de conduite, ainsi que les accessoires de lancement et d'atterrissage.

Dans la plupart des aéroplanes ce corps est constitué par des longerines ou longerons, en bois ou en acier, (p. 097) reliés entre eux par des entretoises (fig. 82 et 83, pages 94 et 95), qui forment un tout relativement très léger, mais rigide, robuste et indéformable.

Parfois ce corps est distinct d'une sorte de nacelle qui renferme le pilote, le moteur, les organes de commande de l'avion et les approvisionnements (figure 83). Mais toujours, autant que possible, l'ensemble est fusiforme et plus effilé à l'arrière qu'à l'avant.

Fig. 84

Construction de la charpente d'une surface portante d'aéroplane (monoplan).—LL, longerons transversaux; BB, longerons formant bordure; tt, traverses longitudinales; t, l'une de ces traverses en coupe longitudinale.

Actuellement, on ne saurait donner une indication générale plus détaillée des corps d'aéroplanes, parce qu'ils sont trop variés et n'ont pas encore assez démontré leurs supériorités ou leurs défauts.

L'expérience apprendra si telle disposition est plus avantageuse que telle autre. Pour le moment, ce qui est bien évident, c'est qu'il importe de réduire au minimum possible le nombre et l'étendue des surfaces qui, dans ces bâtis, peuvent faire obstacle à l'avancement de l'avion dans l'espace.

Il semble, au premier abord, qu'une carcasse aussi simple, aussi légère, que celle de la plupart des aéroplanes ne constitue pas un obstacle notable à la progression de l'appareil dans l'air. Cependant, si l'on additionne les faibles surfaces des longerons, des entretoises, et des haubans aux fils d'aciers qui s'ajoutent souvent à ces pièces pour les consolider, on constate qu'ils atteignent parfois, réunis, une étendue en surface relativement très importante.

(p. 098) Il ne faut pas oublier que le moindre plan orienté perpendiculairement au sens de la marche,—et les entretoises sont particulièrement dans ce cas,—fait une résistance considérable à l'avancement. À ce point de vue, un simple fil n'est pas négligeable. Sa résistance n'est pas seulement proportionnelle à sa longueur, à son diamètre, à son orientation, mais encore aux vibrations qui lui sont imprimées par l'air et par la rotation du moteur, car ces vibrations augmentent en quelque sorte son diamètre.

Dans la construction du corps de l'aéroplane et de sa nacelle, si ce corps compte une nacelle, les pièces ne doivent pas être calculées sans souci de l'obstacle qu'elles présenteront à la résistance de l'air. Cette préoccupation nécessaire peut amener à remplacer un fil par une pièce rigide de force égale, mieux orientée ou à section pénétrante par rapport au sens de la marche de l'avion.

Quelques constructeurs, soucieux de réduire cette résistance, conçoivent le corps de leurs appareils recouverts d'étoffes bien tendues et vernissées. Dès essais comparatifs seraient nécessaires pour établir la supériorité de cet enveloppement car, si la résistance à l'avancement des pièces, de la charpente du corps est ainsi supprimée, l'étoffe tendue, et même vernissée, constitue à son tour une autre résistance qui peut être inférieure mais aussi égale ou supérieure à celle des pièces de la charpente qu'elle masque.

Le pilote, le moteur et tous les accessoires ont également des surfaces qui sont obstacles et que l'on souhaiterait théoriquement de pouvoir réduire à l'état de «lame de couteau». Latham, dans le corps de son monoplan Antoinette, est à demi enveloppé par le corps de l'appareil. V. Tatin, dans le type d'avion qu'il a préconisé et que nous avons reproduit page 71, figure 68, assied le pilote dans le corps enveloppé de son monoplan, de telle sorte que sa tête seule dépasse le fourreau de la nacelle.

Bien que ce dernier dispositif soit très rationnel, il faut d'ailleurs reconnaître qu'il ne tente pas tous les (p. 099) aviateurs actuels... et cela se conçoit. À l'atterrissage, le pilote préfère pouvoir sauter, s'il y a lieu, hors de son «baquet».

À l'égard des surfaces portantes et des surfaces directrices (gouvernail et plans stabilisateurs), l'enveloppement est au contraire devenu de règle générale.

Sur deux ou trois longerons transversaux (par rapport à la marche) comme ceux qui sont indiqués dans la figure schématique 84, on dispose des traverses longitudinales effilées aux deux bouts, mais plus fortes à l'avant qu'à l'arrière, qui forment le squelette de la surface portante.

Ces pièces, allégées autant que possible par évidements, sont assemblées de manière à ne former aucun relief extérieur et recouvertes des deux côtés d'étoffes, collées, clouées ou cousues, de façon à supprimer autant que possible toutes les saillies.

Par surcroît on vernit les étoffes extérieurement.

Les mêmes soins de construction, d'assemblage, de revêtement, sont appliqués aux surfaces directrices: gouvernail de profondeur, plan stabilisateur et gouvernail de direction latérale; de telle sorte que de la perfection de l'exécution résulte la facilité de pénétration dans l'air de l'ensemble du système.

Quant aux matières employées pour ces constructions, elles sont encore fort variées. Toutefois le bois, notamment le bambou, les tubes et les fils ou les câbles d'acier, souvent combinés, sont adoptés de préférence par presque tous les constructeurs.


Tout aéroplane ayant besoin de posséder une certaine vitesse de marche et de subir par cette vitesse une pression de l'air assez forte pour le soulever, il est évident que son essor, son «envol», exige un lancement préalable.

On peut obtenir ce lancement par un glissement s'accélérant sur un plan incliné (plancher, piste, rails (p. 100) ou câble), ou par une projection brusque comme celle que détermine la chute d'un poids considérable. Ces genres de lancement, qui sont ceux qu'employèrent exclusivement au début les frères Wright, devant être sommairement exposés plus loin, lors de l'analyse de leur appareil, il convient de se dispenser ici de les examiner, pour abréger.

Fig. 84 bis

Presque tous les aéroplanes français opèrent leur lancement en roulant sur le sol.

L'hélice propulsive ou tractive, mise en mouvement, provoque aussitôt la marche de l'avion. Il part: sa vitesse de roulement s'accélère et l'appareil s'allège, en quelque sorte, par la résistance de l'air sur ses plans sustentateurs convenablement orientés, jusqu'au moment où, de lui-même, ou par une manœuvre du gouvernail de profondeur dirigé dans le sens du relèvement, il s'enlève.

Cette manœuvre a le défaut d'exiger une étendue plane, pour le roulement de lancement, qui ne se trouve pas partout.

Suivant les appareils, moins de cinquante mètres, ou quelques centaines de mètres de terrain plat suffisent aux monoplans et polyplans pour leur lancement.

Il est facilité par une orientation contre un vent horizontal et à fortiori contre un vent ascendant comme celui qui remonte une pente (cas des départs de Lilienthal).

Fig. 85

Type de châssis de roulement placé au-dessous et en arrière de l'hélice et du moteur sous le siège du pilote.

En revanche, il devient impossible ou très difficile sur un sol trop accidenté, trop vallonné; sur une route mal orientée par rapport au vent régnant; dans un creux (p. 102) trop étroit pour qu'on en puisse utiliser les pentes, etc.

Mais si l'on ne rencontre pas toujours et partout un sol propice au lancement d'un aéroplane par roulement accéléré, les espaces plats où ces roulements sont praticables ne sont du moins pas rares.

Sur deux roues, trois, quatre, cinq ou même six roues, l'aéroplane repose et ces roues sont aussi réduites, aussi légères que possible, pour ne pas charger l'appareil.

Il faut néanmoins leur laisser un diamètre suffisant (voisin de 0 m. 50) pour franchir des sillons, des ornières ou des bossellements du terrain de quelque importance.

Montées en tension comme les roues de bicyclettes et munies de pneumatiques, ces roues sont par surcroît fixées à des pièces articulées maintenues par des ressorts ou des freins amortisseurs de chocs d'une grande puissance.

S'il faut, en effet, que le roulement de lancement puisse s'effectuer au besoin sur un sol assez raboteux, comme ceux qui existent «en plein champ», il importe encore davantage qu'à l'instant critique de l'atterrissage le «train de roulement» de l'aéroplane ne soit pas brisé ou faussé dans un contact trop brusque avec le terrain.

On place donc, en général, les roues des aéroplanes assez loin du corps de l'avion ou de la nacelle pour que les organes amortisseurs de choc aient une «course» étendue et le système de liaison des roues aux pièces articulées portant les amortisseurs leur permet, en outre, de s'orienter instantanément, d'elles-mêmes, en tous sens, d'une manière analogue à celle des roulettes de meubles.

Les figures 84 bis et 85 montrent deux dispositifs de ce genre. Celui de la figure 85 est empruntée à un aéroplane de Farman. Il est placé directement au-dessous du siège du pilote, en arrière du moteur et de l'hélice. Celui de la figure 84 bis est le dispositif de roulement amortisseur du monoplan Blériot, placé après l'hélice et devant le pilote, notablement au-dessous de l'avant du fuselage, ou corps de l'aéroplane.

(p. 103) On voit que dans ce dernier les pièces articulées forment un triangle rectangle dans lequel le sommet de l'hypoténuse coulisse sur le côté perpendiculaire au sol en agissant sur le système de ressorts amortisseurs dès que les roues touchent et rencontrent résistance. Cette disposition est à la fois très mobile, très souple et très robuste. L'expérience a d'ailleurs démontré ses qualités.

Le lancement par roulement,—à défaut d'enlèvement perpendiculaire comme celui que pourrait produire un hélicoptère,—réalise ainsi le départ de l'aéroplane d'une manière, sinon très satisfaisante, du moins très passable.

Mais, à l'atterrissage, malgré les amortisseurs et l'orientation des roues en tous sens, il laisse plus à désirer. Des patins souples élastiques, qui font frein naturellement et qui peuvent avoir une large portée, tout en permettant au centre de gravité de l'appareil d'être bien plus rapproché du sol, seraient de beaucoup préférables. Ils constituent un mode d'atterrissage «par glissement» infiniment plus rationnel pour un engin qui parvient à terre en rasant le terrain et qui ne peut, comme l'oiseau, battre des ailes pour freiner sa glissade de descente afin de se poser presque perpendiculairement sur des pattes articulées dont les muscles font ressort.

Ces remarques, depuis longtemps faites, engagent les constructeurs à chercher une combinaison de roues et de patins qu'on a déjà tenté de réaliser dans plusieurs types d'avions.

Il faudrait avoir des roues pour partir, les escamoter dès le départ afin de n'en être pas embarrassé et prendre terre avec des patins à la descente. Cet énoncé n'est pas celui d'un problème insoluble. En plusieurs modèles, on a remplacé la roue ou les roues d'arrière de l'aéroplane par un simple patin. C'est un acheminement intéressant à observer.


Ayant bien suivi cet exposé théorique très élémentaire (p. 104) des parties constitutives du «plus lourd que l'air» et des moyens qu'il possède par leur groupement, on se représente aisément ce que doit être sa gouverne.

Elle est si simple, si facile, qu'après sept ou huit leçons sur le terrain un homme jeune, agile, d'esprit vif, mais pondéré, ayant le sens de la logique et du sang-froid, peut commencer à conduire seul un aéroplane français bien stabilisé.

Toutefois, cette affirmation, vraie pour des exercices prudents sur un aéroplane, n'implique pas la capacité d'avier «à travers champs», par monts et vallées comme les pilotes renommés.

Il suffit, pour s'en rendre compte, de se représenter l'usage pratique d'un aéroplane quelconque de manœuvre aisée:

L'air est calme. Le point de départ est un champ de manœuvres comme celui d'Issy-les-Moulineaux.

Après avoir vérifié le bon état de l'appareil, les approvisionnements d'essence, d'huile et d'eau,—si le moteur est à refroidissement par eau,—le jeu parfait de tous les organes du moteur et de l'aéroplane, la présence «à bord» des instruments utiles pour se guider dans l'espace, etc., le pilote monte dans son «baquet» et ordonne la mise en marche.

Le moteur part; l'hélice tourne; sa traction ou sa poussée fait rouler l'avion à une vitesse qui s'accélère de seconde en seconde. Bientôt l'aviateur sent que l'engin commence à bondir sur les inégalités du terrain; il va quitter la terre... mais, y a-t-il encore devant lui un espace plat, suffisant pour son essor?

Sur un vaste aérodrome, l'espace pour le lancement ne fait pas défaut. Il est souvent plus mesuré en pleine campagne. Le bon pilote doit donc savoir quitter le sol et s'élever sans retard par une judicieuse manœuvre du moteur et du gouvernail de profondeur.

En augmentant à propos la vitesse de sa marche, il fait augmenter la pression de la résistance de l'air qui tend à le soulever. En orientant comme il convient (p. 105) l'incidence du gouvernail de profondeur par rapport à sa direction, il détermine par un prompt surcroît de résistance, le soulèvement voulu, et l'essor sera définitif si cette action du gouvernail de profondeur est en bonne concordance avec la vitesse acquise.

Dans le cas contraire, l'avion n'aura quitté le sol une ou deux secondes que pour retomber, trop ralenti, et l'espace parcouru sera terrain maladroitement perdu.

Ainsi, dès le départ, une double préoccupation: celle de la vitesse et celle de la commande du gouvernail de profondeur absorbe le pilote.

Il faut noter que l'air est supposé calme et le moteur fonctionnant régulièrement, sans aucun «raté».

S'il y a un vent modéré, l'aviateur est favorisé car, sur le champ de manœuvres d'où il part, il peut s'orienter de façon à marcher contre ce vent.

Fig. 86

S'élançant «vent debout» il aura un essor plus prompt; l'étendue du champ de manœuvres sera pour lui relativement plus grande.

L'inverse se produirait s'il partait «vent arrière». Il lui faudrait augmenter sa vitesse proportionnellement à celle du vent, et l'espace du champ de manœuvres serait relativement réduit proportionnellement au temps que le vent pourrait mettre à le traverser.

En pleine campagne, le pilote serait plus embarrassé encore si, par exemple, la disposition du terrain ne lui permettait de partir ni «vent debout» ni «vent arrière» mais en ayant le vent «par le travers.» Un tel essor (p. 106) n'est nullement irréalisable, mais exige beaucoup plus de sûreté dans la gouverne de l'avion.

Poursuivant notre hypothèse, supposons l'aéroplane se déplaçant à quelques mètres au-dessus du sol. Sa vitesse est grande puisqu'une progression modérée ne donnerait pas aux surfaces portantes un point d'appui suffisant sur l'air. La vitesse est une condition essentielle de la sustentation. En conséquence, l'étendue du champ de manœuvre va être vite parcourue et le pilote devra promptement atterrir... ou tourner.

Or, même sans vent, le virage, comme on l'a vu dans le sous-chapitre consacré à cette évolution, modifie la position d'équilibre de l'avion par l'inégale pression qu'il engendre sur les extrémités des surfaces portantes.

Si le pilote vire trop court à gauche, l'aéroplane s'incline assez fortement à gauche et, lorsque la progression dans l'air s'accomplit très près du sol, cette inclinaison peut amener un contact de l'extrémité gauche des surfaces portantes avec le terrain. Ce contact est d'autant plus à prévoir que le virage produit un ralentissement qui correspond à son amplitude, et, par suite, une descente plus ou moins accentuée de l'avion. Il est presque superflu d'ajouter qu'à la vitesse de marche indispensable pour la sustentation, le contact d'une extrémité des surfaces portantes avec le terrain causera tout au moins la rupture de cette extrémité.

Le débutant ne risque donc pas un virage avant de savoir s'élever à une petite hauteur (quelques mètres), et sans savoir descendre, atterrir, s'arrêter à volonté.

Avant de virer, il s'élève, gagne une hauteur correspondant à celle que le virage lui fera perdre et commence, avec prudence, par exécuter des courbes d'un très grand rayon, dont la réduction progressive lui permettra, peu à peu, d'oser le virage complet.

S'il y a du vent, la difficulté du virage augmente en raison de la force de celui-ci. Le mouvement tournant se complique d'une dérivation dont il faut tenir compte si l'aéroplane l'exécute près de l'extrémité du champ de (p. 107) manœuvres car elle pourrait lui en faire franchir la limite.

Le plan stabilisateur arrière des appareils français, comme l'a fort bien expliqué M. Armengaud (voir page 73), s'oppose à l'inclinaison des surfaces portantes pendant le virage; il réduit cette inclinaison. Le pilote inexpérimenté s'émeut néanmoins du déplacement de l'équilibre de l'avion pendant ce mouvement. Il lui faut une certaine accoutumance pour se rassurer quand il s'accomplit et le subir en le surveillant pour le modérer s'il y a lieu, sans prétendre le supprimer. Cette inclinaison est en effet une des conséquences inévitables et nécessaires du virage, en aviation comme dans toutes les évolutions où la force centrifuge s'exerce.

Ainsi la nécessité de virer ne diminue pas les préoccupations du pilote à l'égard de la marche et de la vitesse du moteur, ni à l'égard de la manœuvre du gouvernail de profondeur, au contraire. Elle grandit cette double préoccupation par la nécessité d'augmenter l'altitude; elle y ajoute la préoccupation de l'inclinaison et de l'étendue du rayon de la courbe (manœuvre du gouvernail de direction latérale), enfin, en cas de vent, elle y apporte encore le souci de la dérivation de l'avion.

S'il quitte le terrain de manœuvre pour s'élancer au delà, le pilote voit rapidement croître la complication de sa «gouverne».

Les arbres, les maisons, les monuments, les reliefs importants du sol l'obligeraient à d'incessantes manœuvres du gouvernail de profondeur. Pour se les épargner et réduire ses risques, il lui faut s'élever à une hauteur notablement supérieure à celle de ces obstacles. Cette élévation lui est d'ailleurs nécessaire pour «voir de loin», longtemps à l'avance, le terrain sur lequel la rapidité de sa translation le conduit.

Si le pays n'est pas en plaine, comme la Beauce, mais vallonné, le vent y fait des ondulations ascendantes et descendantes correspondantes aux ondulations du terrain, comme l'indique la figure schématique 86. Les vallées créent, en outre, des courants secondaires, des (p. 108) contre-courants et des remous ou des tourbillons dont la force augmente avec celle du vent principal qui leur donne naissance (p. 105).

Notons aussi que plus le vent «fraîchit», plus il est rapide, plus il procède par rafales.

Un vent même léger, n'est presque jamais uniforme. Il a toujours des différences d'intensités à peu près rythmées, quoique irrégulières, et telles qu'il faut le considérer comme un mouvement ondulatoire et non comme un mouvement de direction et d'intensité constante. L'air, en déplacement, forme des vagues analogues à celles de la surface des eaux, et ces vagues, au contraire de celles des grandes étendues liquides, ont leur amplitude maximum en bas, par rapport à nous et à la masse de l'air; tandis que les vagues liquides ont leur amplitude maximum en haut à la surface, par rapport au fond marin.

Ces perturbations et ces ondes impliquent la nécessité pour l'aviateur en voyage, de s'élever jusqu'à une altitude où elles sont moins nombreuses.

À 300 mètres de hauteur, les mouvements atmosphériques sont beaucoup plus réguliers qu'à la surface du sol. En revanche, ils s'accentuent davantage. Il résulte, en effet, des observations météorologiques poursuivies au sommet de la Tour Eiffel depuis bien des années, que le vent y a une vitesse de 7 à 8 mètres par seconde lorsqu'il parcourt à peine 3 à 5 mètres dans le même temps à la surface du sol. Il faut donc encore tenir compte de ces différences de vitesse aux diverses altitudes, car elles modifient dans une énorme proportion la marche de l'avion, puisque sa vitesse s'augmente ou se diminue de celle du vent selon qu'il se dirige «vent debout» ou «vent arrière» et surtout puisqu'il dévie en raison de la vitesse du vent qu'il aborde «par le travers».

On peut préciser ces dernières données générales par l'exemple théorique suivant:

Supposons (figure 87, page 109) un aéroplane dont la vitesse normale en air calme est de 50 kilomètres à (p. 109) l'heure. Il franchira la distance AB égale à 200 kilomètres en 4 heures.

Fig. 87

Mais s'il a contre lui un «vent debout» (figure 88, page 109) d'une vitesse de 8 mètres à la seconde, c'est-à-dire d'environ 28.800 mètres à l'heure, il faudra retrancher cette vitesse de celle de l'avion. Dès lors, il ne fera plus que 21 kilomètres à l'heure environ, au lieu de 50, et, après quatre heures de marche, il se trouvera vers A' sur le trajet AB au lieu d'être en B.

Fig. 88

Si ce même vent de 8 mètres à la seconde est au contraire dans le même sens que la marche de l'aéroplane (vent arrière) (figure 89) sa vitesse de 28.800 mètres à l'heure s'ajoute à celle de 50.000 mètres de l'avion et la distance AB égale à 200 kilomètres, est parcourue en 2 h. 1/4 environ au lieu de 4 heures.

Fig. 89

Dans le cas où l'aéroplane partant de A à l'allure de 50 kilomètres rencontre un vent perpendiculaire à sa direction (fig. 90, page 110), il progresse dans ce vent et (p. 110) se trouve après 4 heures d'aviat en un point B' distant de B d'une quantité égale à celle parcourue pendant ces quatre heures par le vent V (soit environ 86 kilomètres).

Fig. 90

Ainsi le «vent debout» à marche normale du moteur retarde la progression de l'aéroplane. Le «vent arrière» l'accélère, et le «vent par le travers» dévie l'avion de sa route, ou force le pilote à prendre, contre ce vent, une incidence de marche qui corrige la déviation, mais retarde quand même la progression de l'appareil dans la proportion de cette incidence et de la vitesse du vent.

Pour arriver en B au lieu d'être dévié jusqu'en B' (figure 90) il lui faut, par exemple, prendre une direction telle que D, dont l'angle (D A B) est égal à celui de (B A B') que donnerait la déviation sur la direction normale.

Lorsque enfin le pilote veut descendre pour atterrir,—soit parce qu'il arrive au but de son voyage, soit parce qu'une cause quelconque l'abrège (épuisement prochain de l'approvisionnement d'huile ou d'essence, échauffement anormal du moteur, fatigue, refroidissement ou troubles visuels du pilote, modification de l'état de l'atmosphère, etc., etc.)—ou simplement parce qu'il lui plaît de s'arrêter,—il doit se préoccuper (p. 111) du vent autant que de l'emplacement de l'atterrissage.

Il va sans dire qu'il ne peut s'exposer à descendre ni sur des toits de maisons, ni sur des arbres, ni sur une étendue d'eau, ni sur une foule. Un grand terrain plat et désert lui est indispensable.

Ces étendues, même aux abords des villes, ne sont pas rares; mais, si l'aviateur voyage depuis un certain temps, il a fait beaucoup de chemin, et il doit soupçonner que les conditions de l'air dans lequel il se trouve ne sont plus celles qu'il avait au départ.

La direction du vent peut avoir changé. Si la direction du vent ne s'est pas modifiée, l'orientation de l'avion, par rapport à ce vent, peut n'être plus la même. L'aviateur peut enfin s'être élevé en air calme et se trouver au moment où il va descendre, dans un courant de vent plus ou moins vif. Il doit le supposer, mais il l'ignore parce que sa vitesse ne lui permet pas de le sentir.

Dans tous les cas, en effet, l'avion traverse l'air avec rapidité puisque c'est en s'appuyant sur l'air qu'il déplace que sa sustentation se prolonge.

On conçoit que si l'aviateur tente d'atterrir avec un vent de côté, l'orientation automatique en tous sens des roues de l'appareil ne suffira pas pour éviter qu'il ne soit culbuté ou qu'un traînage plus ou moins violent ne risque d'endommager son infrastructure.

S'il atterrit «vent arrière» et si le vent est violent, il risque encore d'être culbuté ou roulé trop brutalement.

Lorsque l'atmosphère est agitée près du sol, il faut atterrir «vent debout».

En conséquence, le pilote doit examiner le terrain au-dessous de lui, parce que la façon dont il fuit peut seule le renseigner sur l'orientation de l'avion par rapport à celle du vent.

Supposons l'aéroplane A (figure 91) en air calme suivant la direction indiquée par la flèche D avec une vitesse de 30 kilomètres à l'heure (p. 112).

Fig. 91

Si le pilote examine le terrain sous lui, il le voit fuir dans le sens indiqué par la flèche F, sens diamétralement (p. 113) opposé à sa direction avec cette vitesse de 30 kilomètres à l'heure, qu'un instrument spécial lui permet de mesurer.

Mais supposons ensuite (2e image de la figure 91) ce même aéroplane avec la même orientation, dans un vent ayant une vitesse de 25 kilomètres à l'heure et dont la direction est indiquée par la grande flèche V.

Ce vent fait dériver l'aéroplane, il modifie sa direction. L'avion, quoique orienté vers D, ne va plus en D mais en D1. Et si le pilote regarde le terrain sous lui, il ne le voit pas fuir dans un sens exactement contraire à sa direction, mais de droite à gauche, dans le sens indiqué par la flèche F et avec une vitesse de plus de 30 kilomètres à l'heure, puisque la vitesse de la dérivation causée par le vent s'ajoute à la vitesse de l'aéroplane.

Si le pilote vire alors de gauche à droite, la rapidité de la fuite du terrain sous lui s'accentue (elle diminuerait en sens contraire). En même temps, cette fuite du terrain prend une direction plus opposée à celle de la nouvelle direction; jusqu'au moment où elle devient, par la continuation du virage, complètement opposée au sens de la marche de l'avion.

C'est le cas de la 3e image de la figure 91; cas dans lequel la direction du vent V et celle D2 de l'aéroplane sont identiques.

La fuite du terrain, sous le pilote, dans la direction de la flèche F2 atteint alors un maximum de rapidité. Elle s'élève à 55 kilomètres à l'heure parce que la vitesse de l'avion (30 kilomètres) s'ajoute à celle du vent (25 kilomètres).

Dans ces conditions on peut dire théoriquement, comme le capitaine Ferber, que l'aviateur n'arrivera pas à arrêter la fuite du terrain sous lui, puisque, même s'il pouvait cesser complètement d'avancer dans le vent, sans descendre, le vent continuerait à faire fuir le terrain sous l'aéroplane avec la vitesse de sa translation, égale à 25 kilomètres à l'heure.

Mais si, sans s'arrêter à cette orientation de la 3e image (p. 114) le pilote continue à virer, il ne tarde pas à voir l'orientation de la fuite du terrain passer de sa droite à sa gauche et la vitesse de cette fuite se ralentir.

Se trouvant, plus tard, par rapport au vent V dans la position de la 4e image, c'est-à-dire sa marche étant orientée vers D1, la déviation que lui fera subir le vent V le portera dans la direction indiquée par la flèche D3, et le terrain fuira sous lui dans le sens de la flèche F3,—de sa gauche à sa droite,—avec une vitesse de moins de 30 kilom. à l'heure, puisque la déviation s'exercera cette fois dans un sens inverse de celui de la 2e image de la figure 91.

Enfin, s'il continue toujours son virage, le pilote sera en parfaite orientation pour atterrir lorsque le sens de la fuite du terrain sous lui sera pour la seconde fois diamétralement opposé au sens de sa marche (5e image de la figure 91), parce qu'il aura dès lors le «vent debout».

Le terrain lui paraîtra fuir lentement car la vitesse du vent (égale à 25 kilomètres par heure.) s'exerçant cette fois contre celle de l'avion (égale à 30 kilomètres), réduira sa progression à la faible quantité de 5 kilom. par heure.

Alors l'aviateur, comme le dit fort bien le capitaine Ferber, n'aura qu'à modérer un peu la marche de son moteur pour arrêter le terrain et s'y poser sans aucune secousse.


On comprend que ces soucis d'atterrissage, additionnés avec ceux de la marche et du départ, finissent par former un total assez inquiétant pour expliquer le désir qu'ont eu quelques constructeurs de simplifier les manœuvres du pilote en les groupant au moyen d'organes de commande, lorsqu'elles pouvaient être groupées.

C'est ainsi que dans la «gouverne» du monoplan Blériot, par exemple,—et dans celle plus délicate encore du biplan Wright, dépourvu de stabilisateur arrière, automatique,—telle commande d'évolution entraîne, par liaison au même organe qui l'exécute, la commande (p. 115) d'un gauchissement des ailes (Wright) ou celle d'une orientation des ailerons (Blériot).

Par la mobilité de ses ailes et de sa queue, par la souplesse de son corps, le poids de sa tête, souvent placée au bout d'un long cou,—ce qui lui permet des déplacements précieux de son centre de gravité[26],—l'oiseau est une machine aviante infiniment plus perfectionnée que nos aéroplanes.

Fig. 92

Pylône de lancement du biplan Wright, vu de la nacelle d'un ballon.

Possédant ses moyens en lui-même l'oiseau les emploie par simples réflexes instantanés, sans les raisonner. (p. 116) N'ayant ni la puissance relative, ni la promptitude de réaction de l'oiseau, l'aviateur doit s'appliquer à simplifier la gouverne de son appareil. Il doit tendre à faire son aviation automatique autant que possible.

On verra par la suite qu'à cet égard l'«École française» est en grande avance sur l'«École américaine», quoique née après elle et formée sans le bénéfice de son exemple, puisque les frères Wright dissimulaient avec le plus grand soin leurs procédés.

(p. 117) V

Les modèles d'Aéroplanes consacrés

En France, jusqu'au 3e trimestre de 1906, on pourrait presque dire qu'aucun «plus lourd que l'air» ne s'était encore élevé et soutenu dans l'atmosphère, sauf les exceptions qui vont être signalées.

Les débuts de l'aviation ont donc à peine cinquante-deux mois d'ancienneté et l'on conçoit qu'il serait injuste autant que téméraire aujourd'hui de prétendre porter un jugement définitif sur les modèles, déjà très nombreux, que l'industrie de l'aviation produit.

Les inventeurs, les constructeurs et les pilotes d'aéroplanes ont eu beau accomplir des progrès et des prouesses stupéfiantes, le bon sens et l'équité obligent à considérer d'une façon globale tous les appareils actuels, toutes les «performances» enregistrées, comme des créations et des actes d'essais sur lesquels on ne pourra se prononcer d'une façon bien motivée avant quelques années.

Tel appareil, n'ayant encore effectué que des petites sustentations presque insignifiantes, deviendra peut-être, avec des modifications de détails qui ne changeront pas son principe, un type tout à fait supérieur; tandis que tel autre, qui permet des exploits enthousiasmants, sera peut-être relégué dans quelques années parmi les spécimens glorieux mais délaissés, de l'histoire des progrès de l'aviation.

Ce dernier sort est déjà celui des appareils d'Ader.

Néanmoins, s'il est impossible à présent d'approuver ou de condamner en pleine connaissance de cause, les types créés, il est permis et nécessaire, en revanche, de noter les dispositifs auxquels on doit, dès à présent, des résultats marquants comme ceux qui nous autorisent à tenir la conquête de l'air pour assurée.

Les aéroplanes monoplans et biplans sont les modèles (p. 118) français ou étrangers auxquels on doit cette conquête. La revue des plus illustres d'entre eux ne sera pas longue. Mais, avant de la commencer, il importe de rendre hommage au mérite incomparable et malheureusement méconnu d'Ader, qui résolut treize années avant les frères Wright, et seize ans avant Santos-Dumont, le séculaire problème de la locomotion aérienne par l'aviation.

L'ingénieur Clément Ader conçut la solution par un type de monoplan dans lequel on retrouve presque toutes les caractéristiques des appareils qui ont permis la célèbre traversée de la Manche par Louis Blériot et les magnifiques envolées de Latham.

En 1890, il expérimentait à Armainvilliers un modèle qu'il avait baptisé l'Éole, peu différent comme forme générale de son dernier appareil: l'Avion no 3.

À cette époque, les moteurs à explosion si légers créés par l'industrie automobile n'existaient point.

Ader dut créer un moteur à vapeur, qui était à lui seul une merveille de perfection et de légèreté.

L'Éole fit 50 mètres dans l'air le 9 octobre à Armainvilliers, et 100 mètres l'année suivante au camp de Satory, mais il se brisa par accident en atterrissant.

L'Avion no 3, essayé à Satory,—dans le plus grand secret, comme l'appareil des frères Wright,—fit le 12 octobre 1897 des envolées de 25 à 100 mètres et fut encore en partie démoli à l'atterrissage deux jours plus tard sur le même terrain d'expériences.

Si sa forme, copiée sur celle des ailes de la chauve-souris, nous paraît archaïque en comparaison de celle des monoplans d'aujourd'hui, on ne peut lui reprocher qu'une exagération un peu naïve des principes adoptés à présent.

Les ailes de l'Avion étant extensibles,—dispositif auquel on reviendra peut-être par d'autres moyens que ceux d'Ader, car on fait des essais dans ce sens[27],—mesuraient (p. 119) 14 à 15 mètres d'envergure, suivant leur extension,—celles des types Antoinette IV et V, décrits plus loin, avaient 12 m. 80. L'envergure du modèle Gastambide-Mangin était de 10 m. 50.

Dans leur plus grande largeur, les surfaces portantes de l'Avion atteignaient 3 m. 60 et leur étendue totale s'élevait à 35 ou 45 mètres carrés, par suite des variations d'extension.

Les surfaces portantes des types actuels comparables sont peu différentes: Gastambide-Mangin, 24 mètres carrés; Antoinette IV, 30 mètres carrés; Antoinette V, 50 mètres carrés (Levavasseur).

L'Avion ne possédait pas de plan stabilisateur proprement dit; et c'est peut-être pour cela qu'il eut, comme l'Éole, des manœuvres difficiles, et fut victime d'accidents bien regrettables. Mais ses ailes étaient gauchissables, et, en cela, Clément Ader devançait les frères Wright. En outre, elles étaient articulées pour réaliser la stabilité transversale. C'était une tentative d'imitation des moyens de l'oiseau à laquelle certains constructeurs tentent de revenir.

Dans l'Avion no 3, la carcasse des surfaces portantes était métallique, ce qui contribuait à l'alourdir. Mais si les aéroplanes actuels utilisent des carcasses plus légères, il n'est pas prouvé que l'on ne reviendra pas à des constructions en métal, légers soit par leur matière, soit par leur gabarit, puisqu'il est reconnu désormais que la puissance des moteurs permet de ne plus sacrifier la résistance à l'allégement[28].

L'Avion no 3 comportait encore une accommodation dictée par la Nature, qui n'existe plus dans les aéroplanes actuels: le centre de gravité était déplaçable.

Par le pendule et par l'influence gyroscopique, ou par la combinaison de ces deux forces, on s'occupe à présent de réduire les oscillations accidentelles du «plus lourd (p. 120) que l'air» d'une façon analogue en principe, quoique différente dans les moyens.

Plus on poursuit l'énumération des caractéristiques de l'Avion no 3, plus on remarque qu'elles sont celles des monoplans ou des biplans d'à présent. Sa force motrice était formée par deux moteurs à vapeur de 20 HP chacun, actionnant deux hélices tractives à 4 branches de 2 m. 80 de diamètre et de pas variable d'environ 0 m. 90 en moyenne. Les moteurs de l'Antoinette et du Gastambide-Mangin sont de 50 HP. Leurs hélices n'ont que 2 m. 20, mais leur pas atteint 1 m. 30 et leur vitesse est supérieure à celle des hélices de l'Avion no 3; de telle sorte que les proportions dans l'utilisation des moyens restent à peu près les mêmes.

Enfin l'Avion no 3 était porté par un châssis monté sur trois roues, dont la 3e arrière s'orientait en tous sens.

Ainsi, l'on n'a pour ainsi dire rien fait qu'Ader n'ait réalisé, au moins en principe, et toute la supériorité,—d'ailleurs évidente et prouvée,—des monoplans d'aujourd'hui réside dans une meilleure application des données initiales d'Ader.

Ceci, bien entendu, ne réduit en rien le mérite incontestable des constructeurs qui viennent de conquérir l'atmosphère, car, on peut affirmer que, loin de tenir compte des expériences d'Ader, ils ont eu plutôt le tort de les ignorer, de les méconnaître, ou de les négliger. Leurs créations ne sont point des imitations; elles leur appartiennent pleinement, et le surprenant mérite de Clément Ader est précisément d'avoir été un précurseur si complet.

Nous ne pouvons ici nous étendre davantage sur les comparaisons de principes dont il s'agit, mais en étudiant les détails du brevet pris pour l'Avion no 3,—brevet qui a été publié par le journal «La France automobile et aérienne» (janvier 1910),—on constatera des analogies ou des similitudes encore bien plus frappantes entre cet ancêtre du «plus lourd que l'air» et les appareils planant aujourd'hui.

(p. 121)

Fig. 93

Échafaudage de l'appareil Langley pour son lancement sur le fleuve Potomac (Amérique du Nord).

Fig. 94

Lancement de l'appareil Langley.

(p. 122) Le Bris, Lilienthal, Pilcher, Chanute, Langley, comme nous l'avons indiqué précédemment (voir les étapes de l'Aviation, chap. III, p. 29), ont été les initiateurs des frères Wright. Nous allons décrire bientôt le dispositif de ces deux jeunes aviateurs-constructeurs américains. Mais, auparavant, pour achever la soudure du passé avec le présent, il convient de mentionner encore les coûteuses tentatives de sir Hiram Maxim, qui fit construire, vers 1895, un énorme aéroplane de 4.000 kilogrammes, actionné par un moteur à vapeur de 300 chevaux. Une immense surface portante de 500 mètres carrés devait soutenir cet aéroplane entraîné par deux grandes hélices.

L'appareil s'éleva, mais, totalement dépourvu de stabilité, il ne put gouverner et se brisa. Sir Maxim perdit un million dans ces essais décourageants, pour n'avoir pas assez étudié d'abord les surfaces portantes et leur gouverne comme l'avaient fait Le Bris et surtout Lilienthal.

Presque en même temps que Sir Maxime, en 1896, M. Langley, secrétaire de la Smithsonian Institution de Washington, construisit un modèle réduit qui s'enleva et parcourut 1.200 mètres au-dessus du fleuve Potomac.

Une subvention du gouvernement américain permit à M. Langley de répéter ces essais dans des dimensions normales, en lançant l'aéroplane avec un pilote: le professeur Manley, du haut d'un échafaudage flottant sur le Potomac (7 octobre 1903) et à Arsenal-Point (Washington) (décembre 1903) (fig. 93 et 94, page 121). Mais ces expériences, en raison de causes accidentelles, n'ayant pas paru assez concluantes, le gouvernement cessa d'encourager M. Langley, qui dut abandonner le perfectionnement de ses dispositifs.

On peut regretter ce défaut de confiance et de constance du «Département de la guerre» américain, car, l'appareil de Langley, avec des améliorations faciles, déjà tout, indiquées par l'expérience, aurait assurément tenu les promesses faites par le premier aéroplane réduit qui s'était si bien comporté quelques années plus tôt.

(p. 123) Pendant que M. Langley se trouvait ainsi arrêté dans ses travaux, les frères Orville et Wilbur Wright, qui s'étaient mieux préparés à la gouverne de «l'aviat plané» en reprenant les expériences de M. Chanute, avec cet émule de Lilienthal, depuis l'année 1900, réussissaient deux mois plus tard, en décembre 1903, la sustentation d'un plus lourd que l'air, en faisant un trajet horizontal de 200 mètres.

Dans son beau livre sur l'Aviation, le capitaine Ferber a conté en termes brefs, mais émouvants, le calvaire des frères Wright, inventeurs méconnus dans le monde entier. Ferber par M. Chanute, puis par les frères Wright, eux-mêmes, était tenu au courant des résultats de leurs travaux sans toutefois connaître les détails de leurs appareils soigneusement cachés. Il poursuivit (de 1902 à 1906) des essais de sustentation analogues aux leurs d'après les données de Lilienthal et de Chanute. Il réussit des glissades (sans moteur) aussi probantes que celles de l'Allemand et des Américains. Bref, il arrivait aux mêmes résultats que les frères Wright avec des moyens un peu différents, mais après eux, parce qu'ils avaient deux ans d'avance sur lui, et parce que l'administration militaire, au lieu de le seconder pleinement, le retardait, l'embarrassait ou même sacrifiait ses travaux avec la plus déplorable inclairvoyance.

N'ayant pu devancer ou seulement rattraper les Wright, Ferber essaya du moins,—dévouement bien rare et bien touchant,—de faire acquérir leur invention par l'État français. Les démarches faites à ce sujet ne furent point couronnées de succès... et n'attirèrent à notre généreux compatriote que les foudres de son administration!

Cette digression «historique» sort un peu du cadre de cet A. B. C., mais elle n'est pas inutile pourtant, parce qu'elle expliquera comment l'école française de l'aviation par biplan diffère de l'école américaine et ne doit rien aux frères Wright, puisqu'elle ne fut pas renseignée sur leur modèle.

(p. 124) Les grandes analogies qu'on remarque entre les appareils de Ferber, des frères Voisin et des frères Wright viennent en effet du fond commun qui fut le point de départ de tous.

Fig. 95

Cerf-volant de Hargrave.

Lilienthal reprend les essais bien rudimentaires, mais admirablement judicieux de Le Bris. Chanute continue Lilienthal en perfectionnant ses expériences par une ingénieuse fusion de ses principes avec ceux du cerf-volant cellulaire de L. Hargrave (fig. 95).

Les Wright en Amérique, et Ferber en France, avec Chanute pour trait d'union, trouvent l'un après l'autre, mais séparément, la solution de l'aviat plané, d'où découlent, avec leurs différences de moyens, l'école américaine et l'école française; voilà le passé de l'aviation actuelle qui tient tout entier en moins de cinq années, puisqu'il part de 1900 pour l'Amérique, et de 1902 pour la France, et que les premiers aviats résolvant le problème furent exécutés à la fin de 1903 à Kitty-Hawk, et à la fin de mai 1905 à Chalais-Meudon (seize mois 1/2 plus tard).

(p. 125) Des travaux d'Ader, ces initiateurs n'ont guère tenu compte,—si même ils les prirent en considération,—parce qu'ils avaient été trop cachés et même contestés (comme les premières sustentations des Wright). En revanche, ils connurent plus ou moins les belles et précieuses observations de Marey sur le vol des insectes et des oiseaux (1873-1890), les savantes études du colonel Renard, les théories si justes et les démonstrations expérimentales de Pénaud (1872), de Tatin (1874) et les publications de Mouillard (1881).

Ferber rapporte lui-même qu'à la fin de janvier 1904, il venait de faire à Lyon une conférence de propagande, lorsque Gabriel Voisin, enthousiasmé, l'aborda en lui déclarant qu'il voulait se consacrer à l'étude des problèmes passionnants de l'aviation.

Adressé au colonel Renard, puis recommandé à M. Archdeacon, il entreprit presque aussitôt avec ce distingué et sympathique apôtre de la locomotion aérienne, des essais de sustentation sans moteur à Berck-sur-Mer.

Guidé par Ferber et secondé par M. Archdeacon, il réussit quelques glissements qu'il tenta de renouveler à Issy-les-Moulineaux en utilisant, faute de pente et de vent ascendant, la traction d'une voiture automobile.

Ces essais continuèrent sur la Seine à Billancourt. Ils coïncidèrent en juillet 1904 avec ceux que faisait Blériot au même endroit. De cette coïncidence naquit la courte association de Voisin et de Blériot.

Voisin, dans ces recherches de 1904 et de 1905, avait apprécié l'importance des plans stabilisateurs préconisés depuis longtemps par Pénaud et Tatin; il les avait essayés. On serait injuste en ne signalant pas que l'une des principales caractéristiques, et l'une des principales supériorités de l'école française sur l'école américaine, dérive de ces travaux qui font nommer avec reconnaissance en même temps que Voisin, Pénaud, Tatin, Ferber, Archdeacon et Blériot.

Cette genèse esquissée, passons,—avec regret,—sur les essais si nombreux, si coûteux, si persévérants, si (p. 126) méritoires, qui furent accomplis avec une rapidité vraiment prodigieuse par tous ces pionniers auxquels il faut ajouter Santos-Dumont, qui les distança le 23 octobre 1906 par le célèbre aviat exécuté et officiellement constaté à Bagatelle, au moyen du 14 bis (décrit dans notre chapitre III, les étapes de l'Aviation, p. 29).

Ces belles recherches théoriques et pratiques aboutissent aux dispositifs de monoplans et de biplans français, dont nous allons décrire les principaux types, après avoir analysé celui du biplan Wright.

(p. 127) École américaine.
Appareil des frères Wright.

Le biplan des frères Orville et Wilbur Wright est naturellement une résultante directe des études,—peut-être plus pratiques que théoriques,—qui donnèrent à ces deux hardis et persévérants aviateurs-constructeurs les qualités de pilotes aériens, si développées chez eux.

Ferber rappelle que dès le début ils osèrent se coucher à plat ventre sur le plan inférieur des surfaces portantes de leur appareil pour planer littéralement comme l'oiseau en manœuvrant seulement les avant-plans qui leur tenaient lieu de stabilisateur longitudinal et de gouvernail de profondeur.

N'usant de sa queue, comme direction, que pour les mouvements d'une assez grande amplitude, l'oiseau se stabilise, et fait la plupart de ses évolutions ou de ses réactions promptes avec sa tête et son cou (Marey).

C'est exactement ce que faisaient, dès les début, les frères Wright avec leur gouvernail de profondeur, et par la position horizontale qu'ils avaient audacieusement adoptée. Cette gouverne, suffisante pour la plupart des manœuvres rapides de l'oiseau, leur suffit, et les détourna sans doute des recherches de la stabilisation longitudinale automatique française si bien réalisée par Voisin et Blériot, d'après Pénaud et Tatin.

Un historique minutieux des trois années d'apprentissage d'aviat des Wright (1900-1903), s'il pouvait être fait, expliquerait probablement de même comment ils ne conçurent pas d'autre lancement de leur biplan que le pylône à contrepoids ou le plan incliné.

Quoi qu'il en soit, leur appareil représenté en schéma par les figures 96, 97 et 98, p. 128, possède les caractéristiques suivantes:

Surfaces portantes.—Deux plans superposés de 12 m. 50 de largeur sur 2 mètres de profondeur (sens (p. 128) de la marche), séparés par une distance de 1 m. 80. Surface totale des deux plans: 50 mètres carrés.

Fig. 96

Fig. 96, 97 et 98

Schéma du biplan Wright.Gp, Gouvernail de profondeur; PP, Patins; SP, Surfaces portantes; Zg, Partie souple des surfaces portantes; Gd, Gouvernail de direction latérale; HH, Hélices; Pi, Pilote; M, moteur.

Direction.—Un gouvernail de profondeur constitué par deux plans horizontaux superposés de 4 m. 50 de largeur sur 0 m. 75 de profondeur, séparés par une distance de 0 m. 80. Entre ces deux plans, deux ailes verticales, en forme de demi-lune, donnent point d'appui à l'action du gouvernail de direction latérale situé à l'arrière du biplan.

Ce gouvernail de profondeur situé à 3 mètres en avant des surfaces portantes et à environ moitié de la distance qui les sépare est porté par l'extrémité recourbée des patins qui supportent le biplan et facilitent son atterrissage.

Le gouvernail de direction latérale, situé à 2 m. 50 en arrière des surfaces portantes, est formé de deux plans verticaux parallèles de 1 m. 80 de hauteur et de 0 m. 60 (p. 129) de profondeur, écartés l'un de l'autre de 0 m. 50.

Stabilisation.—La stabilisation est réalisée par un gauchissement d'une partie des extrémités arrière des surfaces portantes intéressant une zone importante de ces surfaces (indiquée par un pointillé sur la fig. 96).

Le pilote réalise ce gauchissement en agissant sur un levier qui relève un côté des surfaces portantes, tandis qu'il abaisse l'autre côté (dans la zone gauchissable). Le même mouvement du levier de gauchissement actionne le gouvernail de direction latérale. De telle sorte, qu'inversement, en actionnant le gouvernail pour virer, le pilote gauchit les surfaces portantes dans le sens propre à redresser le biplan que le virage tend à faire incliner à droite ou à gauche.

La manœuvre du gouvernail de profondeur situé en avant peut réduire les mouvements de tangage du biplan. Elle provoque sa montée, sa descente et facilite l'atterrissage en faisant frein de vitesse et relèvement du biplan. Les oiseaux pour atterrir ont une manœuvre de corps et d'ailes analogue, mais infiniment plus souple et plus puissante.

En résumé, ces directions donnent une grande facilité d'évolution au biplan, mais elles sont brutales dans leurs effets et, pour bien les utiliser, un long apprentissage est nécessaire.

Le pilote n'est pas bien maître de ses évolutions tant qu'une longue pratique préalable n'a pas rendu ses manœuvres en quelque sorte instinctives... et, même alors, la moindre défaillance peut avoir pour l'appareil et pour lui, des conséquences fatales.

Dimensions extrêmes.—Envergure 12 m. 50; longueur totale 9 m. 35.

Force motrice.—Moteur à gazoline système Wright, sans carburateur (par pulvérisation directe du carburant dans le cylindre), à 4 cylindres (diamètre, 106 millimètres; course, 102 millimètres) pesant 90 kilogrammes. Allumage par magnéto, refroidissement par circulation (p. 130) d'eau. Force: 25 HP; nombre de tours à la minute: 1.350. Emplacement sur le plan inférieur sustentateur: à droite du pilote.

Cette force motrice actionne deux hélices propulsives, et de même pas du système Wright. Elles tournent en sens contraire. Diamètre: 2 m. 60. Nombre de tours: 450 à la minute (par une démultiplication du nombre de tours du vilebrequin du moteur.) Transmission par chaînes croisées conduites en tubulures. Emplacement: derrière les surfaces portantes.

Fig. 99

Pylône de lancement du biplan Wright.

Poids total en ordre de marche: 450 kilogrammes. Le biplan porte aisément un passager lourd en plus du pilote et les épreuves ont montré qu'il peut se soutenir pendant plus de 2 h. 20, couvrant pendant cette durée une distance de 124 kilomètres 700 (31 décembre 1908, à Auvours, Coupe Michelin 1908, record du monde de durée et de distance pour 1908)[29].

Dispositif de départ et d'atterrissage.—À défaut d'un plan incliné de lancement, l'aéroplane Wright se lance en terrain plat sur un rail par la chute d'un poids de 700 kilogrammes, disposé dans un pylône spécial (fig. 99).

(p. 131) Cette propulsion violente donne au biplan une très prompte envolée sur un fort court trajet. L'appareil semble s'élancer dans l'air d'un bond avec une séduisante aisance, et réellement ce mode de lancement lui épargne les efforts de départ inévitables dans tous les types d'aéroplanes à lancement par train de roulement.

Mais en revanche, le dispositif de pylône et de rail lie l'aéroplane Wright à son port d'attache ou l'oblige à se rendre dans un autre lieu muni du même mode de lancement ou possédant les moyens de l'improviser. Et même en ce cas, le pilote sera désemparé, si, en cours de route, il est obligé d'atterrir parce qu'il ne pourra plus repartir sans créer d'abord, au lieu quelconque où il se sera arrêté, un dispositif du pylône et de rail avec câble, chariot à galets portant le biplan, etc.

Malgré son élégance, ce mode de lancement est donc si restrictif de l'emploi pratique du biplan américain, qu'on ne s'explique pas comment les frères Wright commencent seulement aujourd'hui, c'est-à-dire après quatre années d'usage de leur modèle, à se résigner à l'alourdir d'un châssis de roulement comme ceux que les constructeurs français ont créés dès le début de leurs essais.

L'adjonction de ce train de roulement indispensable alourdira le type Wright de 50 à 60 kilogrammes et entraînera sans doute des modifications assez notables dans les caractéristiques de l'appareil, mais sans changer ses principes.

Les caractéristiques énumérées ci-dessus sont celles du deuxième modèle Wright de 1908, qui permit les célèbres expériences du camp militaire d'Auvours, près le Mans.

Pendant la campagne de 1909, les Wright ont obtenu d'autres grands succès avec un modèle presque semblable, mais légèrement réduit. Il n'a que 11 mètres d'envergure, 42 mètres carrés de surfaces portantes, et les hélices n'ont que 2 m. 50 de diamètre. Toutes les autres caractéristiques sont celles du type de 1908. C'est ce modèle de 1909 auquel les aviateurs-constructeurs américains ont adapté (p. 132) un châssis amortisseur de roulement du système Voisin.

En vertu d'une licence de fabrication accordée par les frères Wright, les «Ateliers des constructions navales» de Dunkerque construisent des biplans qui ont été montés notamment par le comte de Lambert et M. Tissandier, élèves des inventeurs et par M. Baratoux.

On voit que le comte de Lambert avec cet aéroplane a fait pendant la grande semaine de Port-Aviation (octobre 1909) le voyage de Juvisy-Paris et retour à Juvisy, virant autour de la tour Eiffel, à plus de cent mètres au-dessus de son sommet. Cette sensationnelle randonnée fut le gros événement d'aviation de l'année 1909, surtout par la hauteur atteinte. Mais quelques semaines plus tard, Paulhan accomplissait un aviat d'égale hauteur, et coupait l'allumage pour descendre en une superbe planée.

(p. 133) École française.
Biplans et Monoplans.—Appareils Voisin.

Tandis que les frères Wright poursuivaient en Amérique dans le plus grand secret leurs études, d'abord, de 1900 à 1903, ensuite leurs constructions et leurs tentatives de vente de leur invention, de 1903 à 1906, Ferber, puis la pléiade des premiers chercheurs français, tels que Voisin, Archdeacon, Blériot, etc., auxquels il faut ajouter le sympathique Brésilien presque plus Parisien qu'étranger: Santos-Dumont, recherchaient au grand jour la solution du problème de l'aviation et faisaient tant d'émulés par leurs éclatantes démonstrations que les «plus lourds que l'air» furent vite nombreux.

Nous avons déjà signalé comment Ferber, dès 1905, aurait été le légitime triomphateur de cette course au génie de l'aviation, si l'autorité militaire n'avait pas entravé ses travaux.

Santos-Dumont arriva bon premier chez nous par les aviats du 14 bis en 1906. Il est inutile de décrire plus exactement que nous ne l'avons fait déjà cet appareil, puisqu'il l'a lui-même abandonné, et qu'il triomphe encore aujourd'hui avec un monoplan dont nous parlerons plus loin, et qui détient le record du faible volume et de la légèreté.

Progressant parallèlement dans deux voies différentes après une courte association préalable, Voisin et Blériot, si justement couronnés ensemble par l'Académie, ont créé en quelque sorte l'école française des monoplans et des biplans.

Nous allons donner les caractéristiques de leurs modèles, et celles des principaux appareils qui rivalisent avec les leurs en suivant l'ordre chronologique de leurs créations.

(p. 134) Biplans Voisin.—Le premier biplan français qui donna des résultats tout à fait marquants, puisque après avoir réalisé des aviats de 25, 35, 50 et 60 mètres, il effectua en novembre 1907 un parcours de 500 mètres, sortait des ateliers Voisin-Blériot; il était monté par le sculpteur Léon Delagrange (Delagrange no 1). Nous nous abstiendrons de l'analyser car il fut bientôt remplacé par un type construit sur les mêmes principes mais plus perfectionné.

Fig. 100, 101 et 102

Biplan Voisin, type Delagrange, II et III.—G p, Gouvernail de profondeur; S p, Surfaces portantes; CC, Cloisons verticales; Pi, Pilote; M, moteur; H, Hélice; P S, Plan stabilisateur; G d, Gouvernail de direction latérale; R r; Roues et Roulettes.

Mieux connu par les belles épreuves dans lesquelles il se signala, le type d'aéroplane biplan dénommé Henri Farman no 1, du nom de son pilote Henri Farman (fig. 103), avait les caractéristiques suivantes:

Surfaces portantes.—Deux plans cintrés superposés de 10 mètres 20 de largeur sur 2 mètres de profondeur, (p. 135) séparés par une distance de 1 m. 50 et formant avec l'horizon un angle de 6 à 8°.

La surface totale de ces deux plans atteint 40m, 80 carrés; ils sont légèrement concaves, en forme de V très ouvert mais par une courbe élégante; c'est-à-dire sans angle.

Direction.—Un gouvernail de profondeur constitué par deux plans horizontaux situés au niveau de la surface portante inférieure et en avant de celle-ci à l'extrémité d'un court fuselage de 4 mètres qui les sépare et les supporte.

Le gouvernail de direction latérale constitué par un plan vertical, se trouve à l'extrémité arrière du biplan.

Stabilisation.—La stabilisation de ce biplan est faite automatiquement par une cellule caudale de 3 mètres d'envergure et de 2 mètres de profondeur dont les deux plans, supérieurs et inférieurs, incurvés comme ceux des surfaces portantes, sont distants de 1 m. 50 et reliés aux extrémités, à gauche et à droite de l'appareil, par des plans de toile verticaux.

Cette queue stabilisatrice, préconisée par Pénaud et Tatin pour jouer un rôle stabilisateur analogue à celui de la queue de l'oiseau, remplit parfaitement cet office.

Dans tous les biplans et monoplans français, elle équilibre si bien l'aéroplane qu'un débutant, après quelques essais, conduit aisément un avion et se sent, après une courte pratique, en pleine sécurité.

Néanmoins, il faut signaler que dans beaucoup de biplans,—presque dans la plupart,—elle n'est pas considérée comme un organe exclusivement stabilisateur, ainsi que Tatin le recommande, mais comme concourant à la sustentation de l'ensemble de l'aéroplane, puisque ses plans horizontaux sont incurvés comme ceux des surfaces portantes et possèdent le même angle d'attaque.

(p. 136) Dans l'énoncé des caractéristiques, on a coutume d'ajouter les surfaces des plans horizontaux de cette queue à celles des surfaces portantes proprement dites, ce qui démontre bien qu'on les tient pour sustentatrices... Des essais comparatifs,—qui sont encore à faire,—avec des moyens de mesure ad hoc, pourront seuls déterminer avec précision, si la neutralité de la surface ou des surfaces stabilisatrices, en tant que soutènement, doit prévaloir contre l'opinion qui tend à les faire concourir à la sustentation par leur incidence et par leur incurvation.

Assis au milieu du plan inférieur de sustentation, près du bord antérieur, le pilote occupe une position très rationnelle, puisqu'il repose au point où le maximum d'effort de sustentation se produit. Ses organes de gouverne sont devant lui, et, derrière lui, le moteur.

Dimensions extrêmes.—Envergure: 10 m. 20. Longueur totale: 12 mètres.

Force motrice.—Moteur Antoinette de 40/50 HP (8 cylindres); nombre de tours: 1.000 (80 kilogr.) Emplacement: derrière le pilote.

Ce moteur actionne une hélice Voisin métallique à deux branches de 2 m. 10 de diamètre et de 1 m. 10 de pas, en prise directe sur l'arbre du moteur; elle donne donc 1.000 tours à la minute, derrière les surfaces portantes et entre elles.

Poids total en ordre de marche: 520 kilogrammes.

Dispositif de départ et d'atterrissage.—Un châssis de roulement amortisseur formé de tubes d'acier portant sur deux roues de bicyclette, à bandages pneumatiques (diamètre 0 m. 50), sous le plan sustentateur inférieur, et deux roues semblables mais plus petites (0 m. 30 c. de diamètre) placées sous l'avant de la cellule stabilisatrice caudale.

Cet appareil a fait jusqu'à 770 mètres à Issy dans ses premiers essais (26 octobre 1909). Puis 1.030 mètres (p. 137) en circuit fermé (9 novembre 1907.) Enfin 1.500 mètres avec virage en 1 h. 33, le 15 janvier 1908 (à Issy).

Sur un autre type de biplan Voisin, très peu différent de celui de Farman, Léon Delagrange, dès 1908, accomplit des aviats qui enthousiasmèrent le monde de l'aviation et même le grand public.

Les figures 100, 101 et 102 représentent schématiquement ce type d'aéroplane biplan qui eut deux modèles presque identiques: le Delagrange II et le Delagrange III, dont les caractéristiques sont (p. 134):

Surfaces portantes.—Envergure, 10 mètres; profondeur, 2 mètres; distance verticale des plans, 1 m. 50; soit 40 mètres carrés de surfaces portantes proprement dites.

On remarquera que les deux plans sustentateurs sont cellulaires; c'est-à-dire réunis aux extrémités et à environ 2 mètres de celles-ci par des plans verticaux (cccc) formant cellules.

Si l'on ajoute à ces 40 mètres carrés de surfaces portantes proprement dites, les surfaces horizontales de la cellule stabilisatrice arrière, qui a 2 m. 10 d'envergure et 2 mètres de profondeur, on obtient le total de 48 mètres carrés.

Dimensions extrêmes.—Largeur ou envergure, 10 mètres. Profondeur ou étendue totale de l'aéroplane, 12 mètres.

Direction.—Les organes de direction des Delagrange II et III sont les mêmes que ceux du Farman I, mais un seul volant permet de manœuvrer le gouvernail de profondeur, monoplan, formé de deux parties situées de chaque côté de l'extrémité avant du fuselage, et le gouvernail de direction latérale situé dans la cellule stabilisatrice arrière (plan vertical).

Le pilote est assis dans le fuselage, en avant des surfaces portantes.

Stabilisation.—La stabilisation est la même que dans le biplan Farman I.

(p. 138) Force motrice.—Constituée par un moteur Antoinette à 8 cylindres de 40/50 HP qui tourne à 1.050 tours et se trouve placé derrière le pilote, la force motrice actionne une hélice Voisin à 2 pales, de 2 m. 31 de diamètre, et de 1 m. 40 de pas, en prise directe sur l'arbre du moteur (1.050 tours). Cette hélice est propulsive derrière les surfaces portantes.

Le poids total en ordre de marche atteint 530 kilogrammes.

Le dispositif de départ et d'atterrissage est un châssis amortisseur analogue à celui du biplan Farman I.

Avec ces types de biplans, Delagrange a conquis, le 11 avril 1908, la Coupe Archdeacon par un aviat de 3.925 mètres en 6'30" à Issy.

Sur le même champ de manœuvres, il couvrait le 30 mai suivant, 12 kilomètres 750 mètres en 15'25". Un peu plus tard, le 23 juin, à Milan, 14 kilomètres 270 mètres en 18'30".

Le 4 février 1909, le capitaine Ferber pilota ce biplan avec Legagneux.


La plupart des biplans français sont des copies ou des dérivés plus ou moins directs des types de biplans précités construits par les frères Voisin. Ceux-ci créent sans cesse des aéroplanes qui se signalent par les aviats de leurs pilotes et que le public ne connaît point sous d'autres noms que ceux de ces aviateurs plus ou moins célèbres. On dit: le biplan Farman 1 bis; le biplan Delagrange III; le biplan Gobron; l'Octavie no 3 (Paulhan); le Daumont I (Gaudart), etc... Un grand nombre de ces appareils ne diffèrent d'ailleurs les uns des autres que par quelques détails: tel est muni d'un moteur Gnome au lieu d'un moteur Voisin; tel autre emprunte sa force à un moteur Itala (R. Henri Fournier), à un Vivinus (B. Hansen), à un Renault, ou à un E. N. V. (G. Rougier).

(p. 139)

Fig. 103

Ancien Biplan Farman en plein vol, à 6 mètres de hauteur.

(p. 140) Les frères Voisin se prêtent à toutes les combinaisons qui leur sont demandées, s'appliquent à réaliser les modifications ou les innovations qu'on veut étudier dans leurs ateliers, et recherchent eux-mêmes constamment de nouveaux dispositifs.

Monoplans Blériot.—Entre l'Avion d'Ader et les premiers aéroplanes de Blériot, il convient de signaler suivant le «Stude Book de l'Aviation»[30], le Vuia no 1 et le Vuia no 1 bis, monoplans conçus et construits par M. Trajan Vuia, docteur en droit de la Faculté de Budapest (Hongrie), qui effectuèrent à Montesson, à Issy et à Bagatelle quelques petits parcours de 4 à 24 mètres en 1906.

Louis Blériot, déçu par de vains essais d'aviation au moyen d'ornithoptères, revint pourtant à l'étude des aéroplanes biplans avec Voisin, puis essaya seul une série de monoplans, tels que le Blériot IV, dont les aviats furent insignifiants et qui se brisa dans un atterrissage, le Blériot V (type de monoplan de Langley), qui parcourut jusqu'à 150 mètres en 10' le 25 juillet 1907, et le Blériot VI qui fit 184 mètres le 17 septembre de la même année, à Issy.

Deux mois plus tard, ces encourageants résultats furent dépassés à Buc, par l'aviat de 600 mètres (16 novembre 1907) d'un monoplan construit par M. Robert Esnault-Pelterie, type d'aéroplane sur lequel nous reviendrons plus loin.

Mais le même jour, à Issy, et le 6 décembre 1907, un nouveau monoplan du persévérant constructeur: le Blériot VII, couvrait 500 mètres en ligne droite, puis avec virage (6 décembre).

Presque en même temps, le 17 novembre, sur le même champ de manœuvres, Santos-Dumont parcourait 200 mètres avec un tout petit monoplan: le Santos-Dumont XIX, premier type de la Demoiselle qui devait accomplir de si beaux aviats en 1909.

(p. 141) L'ordre chronologique des expériences appelle encore la mention d'un monoplan de M. de la Vaulx, construit par Mallet et expérimenté à St-Cyr (50 et 70 mètres de parcours en novembre 1907). Puis celle du monoplan de MM. Gastambide et Mangin (Levavasseur), construit par la Société Antoinette (150 mètres le 13 février 1908 à Bagatelle), qui fut le premier type de la série si triomphante des monoplans Antoinette.

À Buc, le 8 juin 1908, un second modèle de M. Robert Esnault-Pelterie, le R.E.P. II, parcourut 800 mètres. Mais ce «record» ne fut pas longtemps en sa possession: les types de monoplans Blériot VIII et VIII ter couvrirent bientôt 700 mètres (29 juin 1908 à Issy); 900 mètres (10 septembre 1908 à Issy); 4 kilom. 500 (le 9 octobre). Enfin, le voyage Toury-Artenay et retour, avec deux escales, représentant un parcours de 14 kilomètres exécuté en 11 minutes, consacra les mérites du modèle Blériot le 31 octobre de la même année[31].

«À partir du no VIII, dit Ferber, qui se réjouissait autant des succès de ses concurrents que des siens, les monoplans Blériot volent dans la perfection.»

Pour éviter des redites, il convient pourtant de ne pas s'arrêter à ces modèles et de passer d'emblée au Blériot XI qui effectua le 25 juillet 1909 la traversée de la Manche (Calais-Douvres, en 27') et se trouve désormais au Conservatoire des Arts et Métiers.

Les figures 104 et 105 représentent schématiquement ce glorieux monoplan dont les caractéristiques sont:

Corps du monoplan.—Un fuselage de poutres ou langerons entretoisés, recouvert dans sa partie antérieure d'un entoilage, et portant: en avant les surfaces sustentatrices ou ailes, le moteur, le pilote et l'hélice, ainsi que le train de roulement amortisseur; et en arrière les plans stabilisateurs, les organes de gouverne pour les directions (p. 142) dans l'espace, ainsi qu'une roulette de soutènement sur le sol[32].

Fig. 104 et 105

Monoplan Blériot.H, Hélice; A A, Plans sustentateurs: a a', Ailerons stabilisateurs; F F, Fuselage; Ps, Plan stabilisateur arrière; gp, Gouvernail de profondeur par ailerons mobiles; G, Gouvernail de direction latérale.

Surfaces portantes.—Deux ailes fixes, presque droites, mais auxquelles la résistance de l'air, en marche, donne un très léger relèvement au-dessus de l'horizontale; de telle sorte que ces ailes forment un angle extrêmement obtus, à peine visible. Ces ailes découpées aux extrémités à droite et à gauche du monoplan, suivant une courbe qui réduit leur surface d'avant en arrière, ont en totalité 7 m. 20 d'envergure et 2 mètres ou 2 m. 50 de profondeur (p. 143) au fort, c'est-à-dire dans leur partie la plus profonde, contre le fuselage. Leur surface totale est de 12 à 14 mètres (suivant les modèles peut-être, car les indications données à ce sujet varient).

Incurvées, ces ailes ont un angle d'attaque de 7°. Elles se terminent aux extrémités par des parties articulées ou ailerons (a' a), sur lesquelles nous reviendrons à propos de la gouverne du monoplan.

Stabilisation.—À l'arrière du fuselage et de chaque côté de celui-ci, deux plans fixes d'une surface totale de 2 mètres carrés formant empennage horizontal, incurvés et orientés comme les ailes du monoplan, assurent la stabilisation longitudinale, et en partie la stabilisation transversale (Armengaud, v. p. 73). Par leur orientation (à 7°) et leur incurvation, ils démontrent qu'ils sont considérés par le constructeur comme supplément de surfaces portantes. Si l'on ajoute leur étendue (2 mètres carrés) à celle des ailes ou plans sustentateurs proprement dits (12 mètres carrés environ), on voit que le total des surfaces sustentatrices atteindrait bien la somme de 14 mètres carrés indiquée par beaucoup d'auteurs.

Au-dessus de l'avant du fuselage, au niveau de l'avant des ailes et entre elles, un petit plan de dérive, triangulaire mais arrondi à sa partie avant, et très apparent dans la figure 34, page 49, qui représente le monoplan vu de trois quarts en avant, sert de point d'appui à l'action du gouvernail de direction latérale. (Voir aussi fig.-schéma 53, page 62, profil).

Directions:—Les directions latérales sont commandées par un gouvernail vertical placé à l'extrémité arrière du fuselage, en partie au-dessus des plans stabilisateurs fixes.

Dans les virages, le monoplan s'incline forcément du côté où le virage se fait, mais la commande du gouvernail de direction latérale par le pilote déplace en même temps les ailerons articulés des extrémités des ailes, qui s'orientent alors en travers du sens de la marche en sens contraire, (p. 144) de telle sorte que l'un tend à relever l'aéroplane du côté où il s'abaisse, tandis que l'autre tend à l'abaisser du côté où il se relève. Cette double influence combat et restreint l'inclinaison transversale née du virage; elle contribue à la stabilisation du monoplan.

C'est l'équivalent du gauchissement de la partie arrière des surfaces portantes du biplan Wright, mais par une solution du problème qui semble «mécaniquement» plus «élégante».

La direction en élévation ou profondeur est donnée par des ailerons (a' a') plus petits que ceux des ailes, placés à chaque extrémité des plans stabilisateurs arrière du monoplan. Ils concourent à favoriser l'essor du monoplan lors de son lancement. En cours de marche ils forment, par leur orientation, une résistance qui modifie l'angle d'attaque des ailes et des plans stabilisateurs arrière et produit la montée ou la descente.

La commande de ces divers organes est effectuée par un dispositif extrêmement ingénieux, en forme de dôme, qui réalise par ses mouvements la commande simultanée des organes dont les actions peuvent être concordantes.

Force motrice.—Le Blériot XI a effectué la traversée de la Manche, actionné par un moteur Anzani (3 cylindres) de 22/25 HP (105 millim. d'alésage et 130 millim. de course) donnant 1.350 tours à la minute. Il était tiré par une hélice intégrale Chauvière à deux pales, de 2 m. 08 de diamètre et de 0 m. 85 de pas, calée directement sur l'arbre du moteur et donnant par conséquent le même nombre de tours (1.350). Cette hélice était située à l'extrémité antérieure du fuselage.

Depuis, moteur et hélice ont été changés à plusieurs reprises pour divers essais, mais nous ne décrivons ici que le modèle de la célèbre traversée.

Poids total en ordre de marche: 310 kilogr.

Dispositif de départ et d'atterrissage.—Un train (p. 145) de deux roues avec ressorts amortisseurs, précédemment décrit p. 102, et une 3e roue arrière située sous le fuselage entre les ailes et les plans stabilisateurs.

Rappelons incidemment qu'avant d'accomplir la traversée de la Manche, le Blériot XI avait effectué deux voyages plus intéressants et plus probants que cette traversée: Toury-Château-Gaillard et retour (le 3 mai 1909) et surtout: Mondésir (Étampes), Chevilly (Orléans), avec escale à Arbouville (41 kilom. 200 m. en 44').

Pendant l'année 1909, M. L. Blériot fit en outre de nombreux aviats avec un modèle plus puissant: le Blériot XII, construit pour transporter plusieurs personnes. Mais ce dernier type de monoplan ne diffère du Blériot XI, que par ses proportions et quelques détails qui ne modifient point le principe de l'appareil.

L'envergure des ailes est augmentée (10 mètres au lieu de 7 m. 20). Une quille entoilée surmonte le fuselage. La force motrice est produite par un moteur E. N. V. de 30/35 HP à 8 cylindres et l'hélice, de 2 m. 70 de diamètre, en prise directe, ne fait que 500 tours. La surface portante du Blériot XII atteint 22 mètres carrés, mais son poids s'élève en ordre de marche à 620 kilogrammes.


Le R. E. P. (Robert Esnault-Pelterie) est un monoplan qui diffère assez sensiblement du type créé par Blériot.

Quoique ses divers modèles: R. E. P. I, II et II bis n'aient pas été vulgarisés par des triomphes éclatants, ses aviats progressifs ayant atteint jusqu'à 8 kilomètres (le 22 mai 1909 à Buc), démontrent qu'il faut attendre pour le mieux apprécier, les perfectionnements que son inventeur-constructeur saura certainement lui donner.

Les figures schématiques 106 et 107 montrent que les ailes de ce monoplan sont réellement les seules surfaces portantes, car le vaste plan stabilisateur pentagonal situé à l'arrière n'ayant point l'incidence des ailes, (p. 146) et n'étant point incurvé (fig. 107) mais parfaitement horizontal (théorie de Tatin), ne produit, en marche, aucune résistance, sauf en cas d'inclinaison de l'appareil. En revanche, sa large surface exerce évidemment une forte action stabilisatrice, non seulement dans les inclinaisons accidentelles longitudinales du monoplan (tangage), mais aussi dans ses inclinaisons latérales (roulis), soit lors des virages, soit pour toute autre cause d'inclinaison (théorie d'Armengaud, citée page 73).

Fig. 106 et 107

Monoplan R. E. P.H, Hélice; R' R', Roulettes aux extrémités des surfaces portantes; Pi, Pilote; F, Fuselage; Ps, Plan stabilisateur arrière; R et r, Roue et roulette du train de lancement; Q, Quille verticale supérieure; G d, Gouvernail de direction latérale.

(p. 147) La quille (Q), qui domine le fuselage en arrière des ailes et la disposition et la forme du gouvernail de direction latérale situé en dessous du plan stabilisateur dans le prolongement du fuselage, constituent, en direction rectiligne, un empennage vertical qui augmente la stabilité du monoplan. Mais, en outre, les ailes sont gauchissables par la traction de haubans.

Les caractéristiques suivantes sont celles du dernier type de ce monoplan, le R. E. P. II bis:

Corps de l'appareil.—Un fuselage en tube d'acier complètement recouvert, à l'avant duquel se trouve le pilote au milieu des ailes.

Surfaces portantes.—Deux ailes fixes, mais gauchissables d'une envergure totale de 8 m. 60. Profondeur des ailes: 2 m. 25 au fort. Totalité des surfaces portantes: 15 m. 75.

Stabilisation.—La stabilisation du R. E. P. II bis est réalisée par un plan pentagonal horizontal situé en arrière de l'appareil; par le plan vertical formant quille au-dessus du fuselage derrière les ailes; par le gouvernail de direction latérale, en marche rectiligne, et par le gauchissement des surfaces portantes.

Direction.—Le pilote placé dans le fuselage, entre les ailes, commande au moyen de deux leviers le gouvernail de direction latérale, le plan pentagonal ou gouvernail de profondeur, qui est en même temps le plan stabilisateur et le gauchissement des ailes.

Force motrice.—Un moteur R. E. P. de 7 cylindres ayant une force de 30/35 HP (68 kilogr.) placé en avant du monoplan, donne 1.400 tours à la minute.

Il actionne une hélice métallique R. E. P. à 4 branches, en prise directe sur l'arbre du moteur (1.400 tours) qui mesure 2 mètres de diamètre.

Dispositif de départ et d'atterrissage.—Le départ et l'atterrissage se font sur deux roues; une (p. 148) grande et une plus petite, munies d'une suspension spéciale (frein oléo-pneumatique) et disposées sous le fuselage en tandem.

Cette disposition entraînant forcément, au repos, l'aéroplane à tomber, à droite ou à gauche, sur l'une de ses ailes étendues, les extrémités de celles-ci sont munies de roues légères. De telle sorte qu'au départ l'aéroplane roule d'abord incliné à droite ou à gauche portant sur trois roues: les deux en tandem et celle de l'une des ailes, jusqu'au moment où la vitesse acquise commence à donner une pression d'air suffisante pour relever l'inclinaison. Une légère augmentation de la rapidité suffit alors pour enlever l'aéroplane qui ne roule plus que sur les deux roues disposées en tandem. La même manœuvre s'effectue en sens inverse à l'atterrissage.

Poids total du monoplan en ordre de marche: 420 kilogrammes.

Le capitaine Ferber approuvait beaucoup le système d'atterrissage et de départ du R. E. P. et signalait à propos de ce monoplan particulier, un détail à rappeler:

«En 1908, dans un essai qui a fait quelque bruit, M. Esnault-Pelterie s'est heurté à cette difficulté insoupçonnée du public, qu'un aéroplane jouissant d'un certain excès de force ne peut pas descendre. M. Esnault-Pelterie, les mains occupées par les gouvernails, ne pouvait pas atteindre l'avance à l'allumage, et plus il mettait le gouvernail pour descendre, plus il diminuait son angle d'attaque, plus sa vitesse augmentait.

«La force portante due à (la résistance de) l'air augmentant alors comme le carré de cette vitesse, devient excessive. L'air semble devenir de plus en plus impénétrable (en descente) et l'aéroplane bondit de plus en plus haut par à-coups successifs correspondant aux mouvements du gouvernail (de profondeur).

«Ce jour-là, le 8 juin, les témoins s'accordent pour indiquer un trajet de 1.200 mètres et une hauteur finale de 30 mètres. Le tout se termina par une chute grave pour (p. 149) l'aéroplane, mais qui ne laissa à l'aviateur que de fortes contusions[33]


Sur les plans de MM. Gastambide et Mangin, ses administrateurs, la Société Antoinette construisit dès la fin de 1907 un monoplan qui fit un premier aviat de 40 mètres à Bagatelle, le 8 février 1908.

Monté soit par M. R. Gastambide, soit par le pilote Boyer, ce premier modèle couvrit jusqu'à 150 mètres (le 19 février 1908, à Bagatelle) et se soutint en l'air pendant 96 secondes (21 août 1908, à Issy). Mais il fut remplacé dès le dernier trimestre de la même année par un autre modèle, l'Antoinette IV, qui accomplit sous la direction de Welferinger des trajets beaucoup plus démonstratifs; notamment un parcours de 5 kilomètres le 19 février 1909, à Mourmelon.

Peu après, en mars, Hubert Latham succédait à Welferinger dans la conduite de ce monoplan et, promptement, réalisait des prouesses tout à fait sensationnelles.

Dès le mois de mai, il enlevait une série de passagers qui furent successivement MM. Demanest, Prunard, Labouchère, E. Bunau-Varilla, J. Gobron (Mourmelon).

Le 22 mai, il aviait pendant 37'37" à 40 mètres de hauteur. Le 6 juin, à Mourmelon, il se risquait pendant 14' à planer hors de l'aérodrome.

Le 12 juin (1909), six jours plus tard, il couvrait 40 kilomètres en 39' et descendait en vol plané.

Le 15 du même mois, pendant 12', il se maintenait à 60 mètres de hauteur.

On n'a pas oublié que Latham faillit accomplir comme Blériot la traversée de la Manche avec le modèle Antoinette VII et qu'il arriva bien près du but: à 1 mille de Douvres. Son échec en cette circonstance fut presque une victoire. Enfin, le 26 août 1909, à Bétheny, il conquit le record du monde pour la distance par 154 kilom. 620 m. (p. 150) en 2 h. 17'21" et trois jours plus tard le record de la hauteur par un aviat de 155 mètres d'altitude. Depuis, il a battu lui-même ces records d'une manière magistrale. C'est, avec raison, l'un des plus réputés parmi les pilotes français.

Fig. 108 et 109

Monoplan Antoinette.a a, ailerons stabilisateurs: g g, galets d'atterrissage.

On distingue cinq principaux types de monoplans Antoinette: le IV, le V, le VI, le VII et le VIII. C'est le IV et surtout le VII qui ont servi aux plus sensationnelles victoires de ce genre de monoplan, mais ils ne diffèrent pas (p. 151) très sensiblement des autres modèles, et les caractéristiques du VII s'appliquent à peu près à tous (fig. 108, 109 et 110).

Corps de l'appareil.—Un fuselage métallique, dans lequel l'aluminium domine et qu'un entoilage recouvre entièrement. Ce fuselage, taillé à l'avant en proue de yole, porte à son extrémité antérieure l'hélice, puis le moteur, le mât de haubanage des ailes, enfin le pilote assis à l'arrière des ailes, dans un «coke-pitt» matelassé. La section transversale de ce fuselage est triangulaire. Très effilé, il rappelle beaucoup le long corps de la libellule, mais il n'est pas à segments articulés comme celui de l'insecte de ce nom.

Fig. 110

Monoplan Antoinette, vu de face, pour montrer le haubanage, la disposition des plans sustentateurs en V, le train de roulement et les galets d'atterrissage.

Surfaces portantes.—Deux ailes donnant une envergure totale de 12 m. 80 et dont la forme est celle d'un trapèze isocèle dont le plus grand côté inégal, contre le fuselage, mesure 3 mètres de profondeur, tandis que le plus petit, à l'extrémité des côtés égaux, mesure 2 mètres de profondeur (sens de la marche).

Ces ailes légèrement relevées en V très ouvert ont une superficie totale de 36 mètres carrés.

Elles sont ou gauchissables, ou munies à l'arrière de leurs extrémités d'ailerons mobiles (indiqués en pointillé sur la fig. 108) pour concourir à la stabilité transversale du monoplan (a a).

L'angle d'attaque de ces ailes est de 4°.

(p. 152) Stabilisation.—Un important empennage horizontal et vertical à partir du milieu du fuselage jusqu'au delà de son extrémité assure la stabilité du monoplan. Cet empennage se termine, dans les plans verticaux, au-dessus et au-dessous du fuselage, par deux gouvernails de direction triangulaires, et dans le plan horizontal de ce même empennage.

Force motrice.—Un moteur «Antoinette» à 8 cylindres de 50 HP donnant 1.100 tours, actionne une hélice «Antoinette» à 2 pales métalliques en prise directe sur l'arbre du moteur et tournant par conséquent à 1.100 tours comme celui-ci. Le diamètre de cette hélice est de 2 m. 20 et son pas de 1 m. 30.

Dispositif de départ et d'atterrissage.—Un train de roulement amortisseur de chocs, composé de deux roues sous l'avant du fuselage et d'un patin à galet en avant.

Sous les ailes, deux béquilles amortisseuses de chocs, terminées par galets de roulement et un patin en crosse à l'arrière, sous le gouvernail inférieur de direction latérale, achèvent d'assurer la stabilité de roulement du monoplan, soit avant son envol, soit à sa reposée sur le sol.

Poids total en ordre de marche: 460 kilogrammes.

Longueur totale du monoplan: 11 m. 50 ou 12 mètres.

L'Antoinette VIII en ordre de marche pèse 520 kilogrammes, mais il a 50 mètres carrés de surfaces portantes. Pour toutes les autres données, il est pareil au type précédent.


Après la belle série des monoplans Antoinette, l'ordre chronologique appelle le Koechlin-de Pischoff no 1, et le Raoul Vendôme no 2 (fig. 111 et 112, page 153), dont nous parlerons plus loin, afin de passer plus vite au Baby (p. 153) de M. Santos-Dumont, qui contraste par ses dimensions avec les modèles d'Antoinette, et surtout avec le VIII, type de ce nom, puisqu'il est le plus grand des monoplans consacrés par d'éclatants succès.

Fig. 111 et 112

Monoplan Raoul Vendôme no 2.—a a sont des volets mobiles jouant le rôle d'ailerons stabilisateurs avant.

Fig. 113

Monoplan Baby de Santos-Dumont.—Schéma du plan.

Fig. 114

Le Monoplan Baby vu de face pour montrer la disposition en V des plans sustentateurs et son haubanage inférieur.

Le Baby ou Santos-Dumont no 20 est, en effet, le plus petit des aéroplanes. Né de la Demoiselle ou Santos-Dumont 19 bis, il n'a que 10 mètres carrés de surfaces portantes, et ne pèse que 118 kil. en ordre de marche. (p. 155) Il est vrai que son inventeur-constructeur et pilote, le célèbre Parisien du Brésil, M. Santos, détient en quelque sorte lui-même le record du faible poids matériel humain.

Le Baby (fig. 113, 114 et 115, pages 154 et 155) a les caractéristiques suivantes:

Corps de l'appareil.—Un fuselage triangulaire extrêmement effilé, en bambou, portant à l'avant, au-dessous des ailes, un peu en arrière du train de roulement amortisseur, le pilote assis presque au ras du sol et, en avant, au-dessus de lui et un peu au-dessus du bord d'attaque des ailes, le moteur et l'hélice. Celle-ci tourne dans une étroite échancrure des surfaces portantes.

Fig. 115

Monoplan Baby de Santos-Dumont vu de profil.

Un système de câbles tendus du dessous des ailes au fuselage, concourt à la solidité et la rigidité de l'ensemble.

Surfaces portantes.—Deux ailes en V très ouvert d'une envergure totale de 5 m. 50, et d'une profondeur de 2 mètres. Surface totale, 11 mètres carrés. Ces ailes sont gauchissables par mouvements du torse de l'aviateur.

Stabilisation.—Les directions et la stabilité sont données par une queue cruciforme située à l'extrémité arrière du fuselage qui forme empennage et, par la mobilité (p. 156) de ses plans horizontaux et verticaux, constitue à la fois gouvernail de profondeur et gouvernail de direction latérale.

Le gauchissement des ailes produit par les mouvements du torse du pilote, complète cette stabilisation.

Force motrice.—La force motrice est fournie par un moteur Darracq, à deux cylindres opposés, qui pèse 50 kilogr. et donne 20 HP.

Ce moteur, qui fait 1.800 tours à la minute, actionne, en prise directe, une hélice intégrale de Chauvière de 1 m. 80 de diamètre (1.800 tours).

Dispositif de départ et d'atterrissage.—Un train de roulement constitué par deux roues de bicyclette montées sur amortisseurs de chocs, à l'avant du monoplan, et une béquille terminée en crosse renversée qui supporte à l'arrière l'extrémité du fuselage et les plans de direction et de stabilisation (queue cruciforme).

Poids en ordre de marche: 118 kilogrammes.

Longueur totale de l'aéroplane: 6 mètres.

Avec cet appareil si réduit,—mais peut-être un peu trop particulièrement à la mesure de son pilote-inventeur,—M. Santos-Dumont a débuté par un aviat de 200 mètres le 6 mars 1909 à Issy. Le mois suivant (8 avril), il parcourait 2 kilom. 500 m. à travers la campagne de St-Cyr.

Le 13 septembre, il se rendait de St-Cyr à Buc en 5' et revenait le lendemain en 7' à St-Cyr.

Pour démontrer que son appareil peut être conduit par un pilote moyen, M. Santos-Dumont s'est enlevé avec une surcharge de 20 kilogrammes. Enfin, le 15 septembre, il a conquis le record du monde de la brièveté du lancement par roulement en 70 mètres et s'est élevé le 18 du même mois à 70 mètres de hauteur.

Ces diverses épreuves sont extrêmement intéressantes parce qu'elles démontrent que l'étendue des surfaces (p. 157) portantes indispensables pour supporter le poids d'un aviateur et des parties les plus pesantes d'un aéroplane (moteur, fuselage, etc.) peut être très réduite. On remarque néanmoins, que le Baby ne modifie guère les proportions de poids et de surfaces portantes des autres aéroplanes, car si 11 mètres carrés de surfaces lui suffisent pour enlever 118 kilogr. ou même 138 kilogr., les monoplans ou les biplans qui ont 30, 40 ou 50 mètres carrés de surfaces portantes enlèvent 420, 460, 520 kilogrammes et même, en outre, un ou deux passagers qui augmentent ces poids de 75 ou 150 kilogr. au moins.

(p. 158) VI

Le génie de l'Aviation.—Appareils divers

Triplans.—Essais français.
Aviation étrangère.
Ornithoptères et hélicoptères.

Les triplans.—Lancé dans l'espace, le génie humain devait promptement imaginer d'autres types d'aéroplanes que le biplan et le monoplan.

Le multiplan fut bientôt imaginé, construit, essayé... Avant de l'examiner, il convient de passer rapidement en revue les triplans qui ne sont d'ailleurs pas nombreux.

Parmi les plus notables, l'un des premiers en date est celui d'Ambroise Goupy, qui fut construit sur ses données par les frères Voisin.

Cet aéroplane se composait de trois plans égaux superposés, pareils à ceux des biplans Voisin mais un peu moins profonds (1 m. 60 au lieu de 2 mètres) et plus rapprochés (0 m. 95 au lieu de 1 m. 50).

Un fuselage entièrement entoilé reliait les surfaces portantes à une cellule stabilisatrice ordinaire; enfin, des cloisons verticales, situées entre les trois plans sustentateurs, contribuaient à la stabilité de marche comme dans le type du biplan Delagrange.

Cet aéroplane fit à Issy en 1908 une série d'essais, parcourant 150 mètres au-dessus du sol, puis fut modifié, réduit, et finalement abandonné par Ambroise Goupy.


La même année, mais un peu plus tard, les frères Voisin construisirent encore pour M. le baron de Caters (p. 159) un biplan fort peu différent de celui d'Ambroise Goupy, qui couvrit une distance de 800 mètres à Issy, le 25 octobre 1908 et 200 mètres, le 30 novembre à Brecht, en Belgique.


À la même époque (novembre 1908) Henri Farman, pour augmenter la sustentation du biplan no 1 bis qui lui avait été construit par les frères Voisin, y fit ajouter un plan supérieur de 6 m. 50 d'envergure et de 1 m. 50 de profondeur, disposé en avant des surfaces portantes initiales.

Ce biplan augmenté ainsi d'une troisième surface portante accomplit, du 16 au 20 novembre 1908, des aviats de 5 à 10 kilom. à Bouy, dont deux pendant la nuit et quelques autres, moins importants, par grand vent.

Le mois suivant (décembre 1908), modifié et réduit, cet aéroplane devint complètement triplan de 7 mètres d'envergure. Il effectua une nouvelle série d'aviats en décembre 1908 et janvier 1909 (le 16 janvier 1909, 10 kilom. à Bouy), puis fut expérimenté et vendu à Vienne en Autriche.

À ces trois appareils, aujourd'hui délaissés, il faut ajouter le triplan militaire du capitaine Durand, secrètement construit à Chalais-Meudon, jusqu'au milieu de 1909.

Les curieuses dispositions de cet aéroplane ont pour but de le stabiliser automatiquement, et de lui permettre d'atterrir de lui-même sans intervention du pilote, en cas de panne du moteur.

Le poids du triplan, sans l'aviateur, atteint 440 kilogr. Les surfaces portantes fort distantes les unes des autres, et la grande hauteur totale de l'ensemble dans lequel pilote et moteur sont placés bas, doivent donner en principe une stabilité plus grande à l'aéroplane; mais on n'a pas publié les caractéristiques de ce modèle militaire, et jusqu'à présent on ignore les résultats des essais qu'il a dû faire[34].

(p. 160) À l'étranger, divers types de triplans ont été étudiés et réalisés; nous les citerons en parlant plus loin des tentatives étrangères. Mais, en résumé,—sauf pour ce qui concerne le triplan militaire Durand, sur lequel il est impossible d'avoir une opinion faute d'informations suffisantes,—les triplans essayés ne paraissent pas avoir donné satisfaction à leurs créateurs, puisqu'ils les ont abandonnés après des expériences de courte durée.

Les essais français.

En considérant que l'aviation est comme née d'hier, on est stupéfait de la quantité et de la variété des tentatives faites en France, depuis les premiers aviats de Ferber et de Santos-Dumont. Nous ne citerons ici que les plus intéressants ou les plus curieux des essais faits, et cette sélection sévère suffira pour faire entrevoir la somme prodigieuse d'activité et d'ingéniosité dépensée depuis quatre années à peine sur les questions d'aviation dans notre pays.

Examinons d'abord la série des monoplans. Après les types consacrés que nous avons analysés sommairement dans le chapitre précédent, il faut mentionner quatre modèles qui dominent plus de trente autres essais en raison de leur importance ou des principes qu'ils représentent.

Par sa forme et surtout par son plan stabilisateur arrière en «queue d'aronde» le Raoul Vendôme, construit par les fils de Régy frères, se distingue des autres monoplans (fig. 111 et 112, page 153). Très incurvée d'avant en arrière et très développée, cette queue est en même temps gouvernail de profondeur.

Il n'y a pas de gouvernail de direction latérale arrière, mais des ailerons (a a) repliés sur l'avant de l'extrémité des ailes sont commandés par des pédales et déterminent les virages.

Fig. 116

Monoplan Auffin-Ordt.

Mobiles sur un axe horizontal et indépendantes, les ailes changent d'incidence, ensemble ou séparément, (p. 162) symétriquement ou inversement par la commande de leviers, ce qui réalise un gauchissement universel, facilitant les virages, la stabilité transversale et provoquant aussi la montée ou la descente, lorsque les changements d'incidence sont symétriques.

Envergure, 9 mètres. Surfaces portantes, 24 mètres carrés. Longueur totale du monoplan, 12 mètres. Moteur Anzani, 8 cylindres 50 HP (108 kilogr.). Hélice à deux pales, en prise directe. Diamètre: 2 m. 45, pas: 2 mètres. Train de roulement à trois roues.

Cet appareil a exécuté en janvier 1909, à Bagatelle, plusieurs aviats rapides (40 kilom.) contre un vent fort (10 mètres à la seconde).


Construit dans les ateliers Voisin, le monoplan Auffin-Ordt (fig. 116, page 161) emprunte au biplan classique sa cellule stabilisatrice arrière. En outre, ses ailes se divisent en deux parties, les unes, les plus grandes, restent fixes, tandis que les autres, contiguës au fuselage et articulées sur lui, oscillent à volonté pour assurer automatiquement (?) l'équilibre transversal.

Les essais feront connaître la valeur de ce dispositif, mais il marque, en tous cas, une fois de plus, le souci d'imitation de la Nature, qui existe chez tant de créateurs de monoplans.

Incidemment il convient de signaler le monoplan Péan à cause de la disposition en V très accentué de ses ailes et de son emploi de deux hélices tournant en sens contraire. L'expérience apprendra ce qu'il faut penser de ce modèle (fig. 117. p. 163).

Fig. 117

Monoplan Péan.

Fig. 118

Monoplan Puiseux (plan).

Fig. 119

Monoplan Puiseux.—Profil montrant la disposition du monoplan très élevé sur son chariot de roulement.

Avec l'aéroplane monoplan de M. de Puiseux (fig. 118, 119 et 120, pages 164, 165 et 166), les dispositions classiques sont profondément modifiées. Au lieu d'être bas placé sur le sol, le corps de l'appareil se perche fort (p. 166) au-dessus d'un véritable chariot de roulement portant le pilote, le moteur, les approvisionnements et les organes de direction. Une queue stabilisatrice et directrice (profondeur et direction latérale), des ailes repliables sur les côtés du chariot, et une série d'autres commodités semblent vouloir répondre aux «desiderata» des amateurs d'aviation. Mais la voiture automobile aéroplane de M. de Puiseux n'a pas encore marché. Ses tentatives d'essor réservent peut-être des surprises agréables ou pénibles; mieux vaut ne pas insister aujourd'hui.

Fig. 120

Monoplan Puiseux vu de face.

Le type d'aéroplane biplan donne encore plus de variétés dans les tentatives. Un certain nombre de celles-ci ne sont d'ailleurs que modifications peu profondes des modèles consacrés des frères Voisin.

René Gasnier a construit lui-même un biplan où toutes les directions se trouvent réunies à l'avant. La surface (p. 167) portante inférieure possède à ses extrémités des ailerons qui concourent à la stabilité transversale.

À Rochefort-sur-Loire, ce biplan accomplit des aviats dont le plus considérable fut de 500 mètres.

Armand Zipfel, ami d'enfance des frères Voisin, construisit dans les «ateliers d'aviation du Sud-Est» un biplan cellulaire presque pareil à celui de Delagrange, avec lequel il réussit à Lyon des parcours allant jusqu'à 1.500 mètres (1908).

L'année suivante, à Tempelhof, il s'éleva avec ce biplan jusqu'à 25 mètres de hauteur (8 février) et couvrit le lendemain une distance de 2 kilomètres 500 mètres.

Maurice Farman, stimulé par les succès de son frère Henri, entreprit avec M. Neubauer, son associé, la création d'un biplan construit dans les ateliers aéronautiques de M. Mallet pour joindre aux qualités des appareils des frères Wright, celles des appareils des frères Voisin. Cet appareil fit d'intéressants essais à Buc, et voyagea même pendant un quart d'heure à travers champs.

Ambroise Goupy ayant renoncé au type du triplan étudia avec le lieutenant italien Calderara un biplan, construit dans les ateliers de Blériot, dont le plan supérieur était plus avancé que le plan inférieur. Cet appareil fit à Buc, en mars 1909, quelques trajets de 100 à 200 mètres.

Odier-Vendôme.—En collaboration avec l'ingénieur Odier, Raoul Vendôme, dont nous avons signalé le curieux monoplan, fit construire dans les ateliers des fils de Régy frères, à Javel (Paris), un intéressant biplan. Séparées par deux plans droits, les deux paires d'ailes ont une concavité transversale prononcée (tournée vers le sol) qui rappelle la forme des ailes de l'oiseau planant. La distance qui sépare les deux plans est plus grande que dans les modèles Voisin. À l'arrière, une queue stabilisatrice est formée de deux plans superposés, incurvés comme les ailes, sans cloisons verticales, mais précédés de deux «focs» verticaux. Ces plans triangulaires (p. 168) fixes donnent point d'appui à l'action du gouvernail de direction latérale placé entre les plans horizontaux incurvés de la queue stabilisatrice.

L'ensemble de l'aéroplane est porté sur quatre patins, mais ceux d'avant sous les surfaces portantes sont munis de roulettes pour faciliter le départ.

Le moteur du type Turcat-Méry donne 18 HP. Il actionne une hélice à 4 pales de 2 m. 80 de diamètre placée derrière les ailes.

On voit par ces diverses caractéristiques que l'Odier-Vendôme atteste un souci de recherches fort méritoires.

Fig. 121

Autoplane d'Aimé et Salmson.S P, Surfaces portantes; S E, Surfaces élévatoires (?); Hl, Hp, Hélices élévatoires et propulsives.

Les surfaces portantes n'ont que 8 mètres d'envergure (surface totale, 35 mètres carrés) et malgré la force relativement faible du moteur (18 HP) cet intéressant biplan s'est enlevé avec trois passagers. À Issy, en juillet 1909, il a parcouru jusqu'à 2.500 mètres.

Louis Bréguet, dans ses ateliers de Douai, a créé, sans abandonner les études d'hélicoptère qu'il poursuit, un biplan à gauchissement différentiel qui a pour but de fournir une stabilité transversale automatique, tout en faisant effectuer les virages et les mouvements en profondeur.

Fig. 122

Autoplane Aimé et Salmson.

Expérimenté à Douai, puis à Bétheny (août 1909), ce biplan a parcouru des distances allant jusqu'au demi-kilomètre. Le 29 août, après un aviat de 300 mètres, il fit (p. 170) un écart qui le précipita sur le sol et le démolit complètement; mais on conçoit que cette destruction accidentelle n'infirme nullement la réussite des essais antérieurs.

Aimé et Salmson ont imaginé un autoplane qui fut exposé au Salon de l'aéronautique et représenté dans ses dispositions essentielles, monté sur patins.

Cet étrange biplan n'a pas encore été expérimenté. Il faut donc se borner à exposer son principe: un plan supérieur, constitué par deux ailes droites, surface portante proprement dite pour planer comme dans tous les aéroplanes. Mais le second plan inférieur, fortement cintré, tourne sa concavité vers le sol et constitue plutôt une surface élévatrice. En effet, il a pour but d'enlever l'appareil, soit sur place, soit par une oblique ascendante rapide, sous la poussée d'air de deux hélices latérales (h.l.); tandis que deux autres hélices (HP), placées à l'arrière, sont propulsives, en direction horizontale, et doivent agir aussi sur deux plans horizontaux, mais incurvables à volonté, ensemble ou séparément, qui déterminent par leurs incurvations les directions du biplan dans l'espace.

Si ce curieux appareil ne donne pas aux essais les résultats que ses créateurs en attendent et qui semblent promis par un modèle réduit ayant déjà fonctionné, il servira du moins à éliminer des erreurs de principe, et cela n'est pas négligeable (fig. 121 et 122, pp. 168 et 169).

Bonnet-Labranche.—Avec le biplan Bonnet-Labranche, on rentre dans la normale des recherches originales, rationnelles, car s'il diffère beaucoup du biplan classique, il ne repose du moins sur aucun principe douteux.

Dans ce modèle, au-dessus d'un plan inférieur sustentateur de dimensions ordinaires s'étend, en se rétrécissant, d'avant en arrière, un vaste plan supérieur qui rejoint la cellule stabilisatrice caudale. L'ensemble des surfaces portantes atteint 80 mètres carrés. Ce plan supérieur a 10 mètres d'envergure et 7 mètres de profondeur, mais à l'arrière, il est réduit à 4 mètres de largeur.

Un moteur de 70 HP constitue la force importante (p. 171) destinée à faire agir ces larges étendues sur l'air au moyen de deux hélices, l'une propulsive, placée derrière le plan sustentateur inférieur, l'autre tractive, plus petite, située à l'avant, au bout de la nacelle. Cette dernière, orientable, doit concourir à la conduite du biplan jusqu'au point de suppléer à l'action de l'équilibreur ou gouvernail de profondeur de l'avant.

Les extrémités antérieures de la surface portante supérieure sont munies d'ailerons mobiles dont l'inventeur précise le rôle en les appelant régulateurs de roulis.

À Palaiseau, puis à Juvisy, les premiers essais du Bonnet-Labranche ont été encourageants. Son constructeur, M. Espinosa, qui dirige les ateliers de la «Société de construction d'appareils aériens», est un ancien collaborateur qu'Ader appréciait beaucoup et dont l'expérience sera précieuse pour la «mise au point» du nouveau biplan dont il s'agit.

Robart.—Au cours de 1908, M. Henri Robart,—qui avait abordé l'aviation en 1904 à Berck, avec Gabriel Voisin,—construisit un curieux biplan.

Dans cet aéroplane, à l'inverse du type de M. Bonnet-Labranche, c'est le plan inférieur de sustentation dont l'envergure et l'étendue sont beaucoup plus importantes que celles du plan supérieur.

Cintré comme le plan inférieur du modèle Aimé-Salmson, mais moins fortement, ce plan tourne au contraire sa concavité vers le ciel.

L'appareil se termine par un plan stabilisateur horizontal en forme de queue d'aronde. Il est actionné par un moteur Anzani de 40/50 HP qui fait tourner en sens contraire deux hélices tractives placées en avant du plan inférieur. Longueur totale de l'appareil, 12 mètres. Envergure du plan supérieur, 5 mètres. Profondeur, 1 m. 40; surface, 7 mètres. Envergure du plan inférieur, 12 m. 75; profondeur, 3 mètres. Ensemble des surfaces portantes y compris la queue stabilisatrice, 50 mètres carrés.

Au cours de ses premiers essais, à Asnières, le Robart a fait un bond de 10 mètres.

(p. 172) L'Aviation étrangère.

Pendant que ces principaux essais, et un très grand nombre d'autres moins marquants, s'effectuaient en France par des Français, les problèmes de l'aviation étaient abordés à l'étranger par des émules des frères Wright ou de nos compatriotes qu'il serait injuste de ne pas citer en indiquant ce que furent, ou ce que sont leurs créations les plus originales, ou les plus réussies.

Les plus anciens essais sont ceux du Danois Ellehammer, qui débuta par un monoplan, puis fit un second appareil biplan.

Dans celui-ci, les surfaces portantes inférieures étaient triangulaires et rigides, tandis que les surfaces supérieures souples se gonflaient en cours de route comme des voiles. Plusieurs aviats furent effectués par ce deuxième modèle, notamment un, plus important que les autres, le 12 septembre, dans l'île de Sindholm (Danemark); mais ces expériences n'ont pas été officiellement enregistrées, et les caractéristiques de l'appareil n'ont pas été publiées.

Par un triplan à ailes triangulaires superposées, Ellehammer poursuivit ses essais et fit un parcours de 175 mètres le 14 janvier 1908, à Sindholm (Danemark).Mais il ne tarda pas à ramener ce troisième modèle à la forme du biplan par simple suppression du plan inférieur.

Le docteur hongrois Trajan Vuia, que nous avons déjà signalé parmi les précurseurs de l'aviation moderne, parce qu'il fit ses essais en France dès 1906, établit successivement trois modèles de monoplans dont le dernier (Vuia no 2) parcourut 20 mètres le 5 juillet 1907, à Bagatelle.

L'Allemagne n'a encore fait connaître que le triplan de l'ingénieur Grade, de Magdebourg. Mais on nous révélait récemment la préparation d'une importante flotte militaire d'aéroplanes, et cette entreprise sous-entend des essais préalables plus étendus que ceux de Grade.

Fig. 123

Biplan Herring Curtiss en plein vol.

Dans l'état actuel de nos connaissances sur l'aviation, (p. 174) il est à supposer que cette flotte militaire sera plutôt composée de biplans et de monoplans que de triplans. Néanmoins l'aéroplane de Grade, qui n'avait d'ailleurs rien de très particulier, a parcouru le 18 février 1908, à Magdebourg, une distance de 400 mètres qui démontre bien sa réelle capacité aviatrice[35].

L'Amérique, sans parler des Wright, est la nation qui se place en tête des pays étrangers par le nombre et les bons résultats de ses tentatives.

On connaît malheureusement fort mal ce qui se fait dans la patrie des Wright par défaut d'informations d'abord, puis, peut-être aussi parce que l'Amérique n'est pas encore en état de lutter assez avantageusement contre nos constructeurs.

Néanmoins les essais d'une importante Société placée sous la direction de Graham Bell: «l'Aérial expériments Association» ont été signalés par H. Dumas dans son «Stud book de l'aviation». Ils débutèrent en 1908 par un biplan nommé l'aile rouge (Red wing), dont les surfaces légèrement cintrées s'opposaient l'une à l'autre par leur concavité. Cet appareil, muni d'une queue stabilisatrice, ne portait pas sur un train de roues, mais sur patins, parce qu'il s'enlevait sur la glace. Ses caractéristiques, sauf les détails pré-signalés, étaient celles de nos biplans classiques.

L'aile blanche (White wing), deuxième type de l'«Aérial expériments Association», possédait un train de roues pour le départ et l'atterrissage. Quatre ailerons manœuvrés par des mouvements de torse du pilote et placés aux extrémités des surfaces portantes contribuaient à la stabilité transversale. Ce second modèle, expérimenté en mai 1908, à Hammondsport, vira et fit divers parcours de 310 mètres, mais il fut brisé dans un atterrissage.

Sur le Gune Bug, troisième appareil de la même société, semblable au White wing, mais de moindre surface totale, M. Glenn H. Curtiss gagna la Coupe du Scientific (p. 175) Américan (12.900 fr.) le 14 juillet 1908, par un trajet de 1.600 mètres accompli en 1' 42", et le 30 août suivant, il parcourait 3 kilomètres 200 mètres en 3'.

Détruit accidentellement comme ses aînés, le Gune Bug fut remplacé en 1909 par le Silver Dart qui fit dès le mois de mars, sur le lac Baddeck, des circuits de 13, 25, puis 32 kilomètres.

Le Herring Curtiss, cinquième modèle de «Aérial expériments Association», fut un nouveau progrès. En juin, juillet et août 1909, à Morris Park et à Mineola surtout, il accomplit des aviats superbes (45 kilomètres d'étendue, 50 mètres de hauteur), qui décidèrent l'«Aérial expériments Association» à envoyer Glenn Curtiss en France pour y rivaliser avec les Wright et les biplans ou monoplans français.

Quelque audacieuse qu'elle fut, cette prétention n'était pas outrée puisque le 28 août, à Bétheny, Glenn Curtiss conquit sur Blériot la Coupe Gordon-Bennett par 20 kilomètres en 15' 50", et le lendemain le prix de la vitesse par 30 kilomètres en 24' 39".

À Brescia, le mois suivant, il obtint le grand prix du circuit par 50 kilomètres en 49' 24", et le record du monde de lancement par une envolée en 80 m. (le 9 septembre 1909); mais ce dernier triomphe devait lui être superbement ravi six jours plus tard par notre Santos-Dumont, quittant la terre en 70 mètres de course avec son Baby, le 15 du même mois.

Les divers appareils de l'«Aérial expérimenta Association» n'avaient guère qu'une particularité bien spéciale: la courbure des plans opposés l'un à l'autre par leurs concavités. Or, dans les derniers modèles avec lesquels Glenn Curtiss a moissonné les prix en Amérique, en France et en Italie, ces courbures sont supprimées. Les Herring Curtiss ne se distinguent plus des autres biplans que par la manœuvre de leurs ailerons stabilisateurs transversaux commandés par des mouvements du torse du pilote. Mais cette disposition n'est pas une création personnelle des constructeurs. On la retrouve (p. 176) dans plus d'un autre type d'appareils, et notamment dans le Baby de Santos-Dumont qui détermine ainsi le gauchissement des ailes de son petit monoplan pour sa stabilisation transversale.

Si l'«Aérial expériments Association» est ainsi revenue finalement au type classique du biplan français créé par Voisin, M. Wilbur R. Kimball a récemment créé en revanche un type de biplan: le New-York Ier qui s'écarte franchement des données consacrées par ses proportions, sa gouverne et son mode de déplacement.

Fig. 124

Biplan Wilbur R. Kimball (plan)—a i, Ailes latérales de stabilisation; Z F, Zone flexible.

Les figures 124 et 125, pages 176 et 177, donnent la curieuse physionomie de ce biplan que nous allons préciser pour l'énumération de ses principales caractéristiques.

Les surfaces portantes sont constituées par deux plans horizontaux parallèles, à légère incurvation, de 11 m. 80 d'envergure, et de 1 m. 97 de profondeur, distants l'un de l'autre de 1 m. 30 seulement. Surface totale, 23 mètres carrés 24. À l'arrière, sur une zone de 45 centimètres de profondeur, ces surfaces supportées par des lattes flexibles peuvent fléchir dans une mesure déterminée.

Fig. 125

Biplan Wilbur R. Kimball (Vu de l'avant).

Stabilisation.—Comme le type de biplan Wright, le New-York Ier est dépourvu de queue stabilisatrice. Il (p. 178) n'a pas même un gouvernail arrière pour la direction latérale. Celle-ci doit être donnée par des séries de 4 lames verticales disposées chacune aux extrémités avant des surfaces portantes (celles du côté gauche du biplan sont bien visibles à droite de la fig. 125). Selon qu'elles se présentent par la tranche ou par le plat, ces lames font, ou non, une résistance capable, théoriquement, d'entraîner le virage de l'appareil.

À chaque extrémité des surfaces portantes se trouvent, en outre, deux plans horizontaux: ai, parallèles de 1 m. 24 × 1 m. 24, articulés au bout de ces surfaces de façon à créer par leur inclinaison en sens contraire des résistances redressant le biplan dans les virages. C'est l'équivalent du gauchissement des plans du Wright et des ailerons du monoplan Blériot par un autre genre d'organe dont la pratique démontrera la supériorité ou l'infériorité.

Situé à 2 m. 98 en avant des surfaces portantes, le gouvernail de profondeur est formé de deux plans horizontaux superposés, distants l'un de l'autre de 0 m. 93, qui ont 3 m. 72 d'envergure sur 0 m. 77 de profondeur.

Force motrice.—Un moteur spécial à deux temps, de 41 HP (4 cylindres, 1.400 tours) actionne, par l'intermédiaire d'un câble spécial, un fil d'acier d'une exceptionnelle souplesse et d'une exceptionnelle solidité, huit hélices spéciales à quatre pales de 1 m. 18 de diamètre et de 1 m. 24 de pas, tournant à mille tours. Ces huit hélices sont disposées côte à côte d'un bout à l'autre de l'envergure du biplan.

Un train de roulement amortisseur central facilite le départ et l'atterrissage de cet aéroplane, mais, en raison de sa grande envergure, il est encore muni à ses extrémités de roues plus petites qui cessent de porter dès que l'appareil acquiert une certaine vitesse et va pouvoir s'enlever.

On démonte cet appareil en cinq parties pour faciliter son transport.

(p. 179)

Fig. 126

Biplan Gomez da Sylva.

(p. 180) Ces dispositions, quoique nouvelles, et bien différentes de celles des types de biplans américains et français, sont fort rationnelles, séduisantes même... Néanmoins il convient d'attendre les nouvelles des essais pour les mieux apprécier, car la valeur du système dépendra certainement aussi de l'harmonie de ses composantes.


Devancée par la France et l'Amérique dans la conquête de l'air, l'Angleterre s'efforce de rattraper le temps perdu. Secondé par le département de la guerre, le colonel Cody créa, en 1908, un biplan militaire nommé Tonilea qui parcourut 500 mètres à son premier aviat, mais fit une chute et se brisa (15 octobre 1908).

Un second modèle, peu différent de nos biplans, fut aussitôt mis en chantier aux frais de l'État, et put accomplir en 1909 (janvier, février et mars), des parcours de 260 à 400 mètres à Farnborough et à Aldershot, mais les fâcheux atterrissages de ce deuxième biplan entraînèrent le colonel Cody à en créer un troisième qui décourageait déjà le gouvernement anglais, lorsque le persévérant aviateur et constructeur, au moment où les crédits et les champs d'expériences d'Aldershot allaient lui être supprimés, accomplit plusieurs aviats avec passagers sur des étendues de 4 à 13 kilomètres, s'éleva jusqu'à 35 mètres de hauteur, et fit enfin, en pleine campagne, une randonnée de 70 kilomètres qui triompha des mauvaises dispositions dont il allait être victime.

Fig. 127

Multiplan Koechlin-Pischoff.

Le biplan Cody se rapproche beaucoup du type américain des Wright. Il n'a pas de queue stabilisatrice. Sa gouverne est produite, pour la direction latérale, par un grand plan vertical arrière de 3 mètres de hauteur sur 1 mètre de profondeur et, pour la montée ou la descente (stabilisation longitudinale), par deux larges plans horizontaux, mobiles ensemble ou séparément, qui s'étendent côte à côte en avant des surfaces portantes. Deux petits plans, également horizontaux et mobiles, (p. 182) situés entre les plans sustentateurs, mais débordant de chaque côté de ces plans, ajoutent leurs effets à ceux des larges plans d'avant au point de vue de la stabilisation transversale, car si ceux-ci agissant simultanément dans le même sens peuvent combattre le tangage et provoquer la montée ou la descente, en agissant simultanément en sens contraire ou isolément, ils peuvent combattre le roulis ou réduire l'inclinaison de l'appareil dans un virage.

En outre de cette disposition, l'aéroplane Cody se distingue des autres biplans par ses grandes dimensions. Il a 15 mètres d'envergure et 2 m. 30 de profondeur. Ses plans sont distants de 2 m. 75. Sa surface totale atteint 70 m. carrés et son poids en ordre de marche, 1.050 kilogrammes.

Il est mû par un moteur E. N. V. de 50 HP (8 cylindres), actionnant comme dans le Wright, deux hélices, mais de 2 m. 50 de diamètre et de 2 m. 50 de pas. Il n'est pas surprenant qu'avec un tel engin les atterrissages soient brusques.

En même temps que le colonel Cody, un autre Anglais, M. A. V. Roe, poursuit des essais d'aviation qu'il applique à la forme d'aéroplane triplan, et semble obtenir des résultats satisfaisants, contrairement à l'ensemble des expériences un peu décourageantes qui font délaisser généralement ce type d'avion.


Enfin, dans la série étrangère, le Portugal est représenté par les tentatives de M. Gomez da Sylva, et la Roumanie par les études du lieutenant Goliesco dont un appareil réduit fit de très intéressants essais à la fin de 1909 à Levallois-Perret.

L'appareil de M. Gomez da Sylva est un biplan de dimensions réduites que la figure 126, page 179, explique fort bien. Sa valeur se révélera au cours de ses essais en préparation à Issy-les-Moulineaux.

Quant au type d'aéroplane du lieutenant Goliesco, (p. 183) il repose sur des principes d'aéro-dynamisme nouveaux, dans le détail desquels on ne saurait entrer ici, cet A. B. C. de l'aviation faisant systématiquement abstraction des calculs mathématiques ardus, parce qu'il doit être compris de n'importe quel lecteur.

Les aéroplanes multiplans.

À la longue série des précédents appareils,—dont nous avons éliminé pourtant une foule de modèles plus ou moins originaux, parce qu'ils n'étaient pas aussi caractéristiques que les types signalés ou décrits,—il faut ajouter les principaux ou les plus curieux multiplans de l'aviation moderne.

Fig. 128

Multiplan Hayo.

Farman conçut peu après ses brillants débuts dans la conquête de l'air, un aéroplane très allongé muni de cinq paires d'ailes. Dans son étude sur le Problème de l'aviation, M. Armengaud jeune, qui reproduit ce dispositif de Farman d'après l'Aérophile, en approuve les principes. Mais les études pratiques de ce multiplan n'ayant pas été poursuivies, il faut se contenter de le signaler.

Ses mérites furent pourtant en quelque sorte vérifiés par les essais du multiplan de MM. Koechlin et de Pischoff établi sur des données très analogues.

(p. 184) Cet aéroplane (figure 127, page 181), comporte, en effet, trois paires d'ailes disposées en escalier, mais d'une grandeur décroissante, le long d'un fuselage quadrangulaire complètement enveloppé. À l'arrière, la figure montre une quille verticale terminée par le gouvernail de direction latérale, et, à l'avant, sous le fuselage, le gouvernail de profondeur et de stabilisation longitudinale, composé de deux plans, en arrière de l'hélice tractive.

Fig. 129

Multiplan Hayo (plan).

À Villacomblay, le 29 octobre 1908, cet appareil a démontré ses capacités sustentatrices par un aviat de 500 mètres.

Fig. 130

Multiplan Hayo (vu de face).

Le «défaut d'essais connus» empêche d'apprécier le multiplan du capitaine Hayo, représenté schématiquement par les figures 128, 129 et 130, assez claires par elles-mêmes pour dispenser d'une analyse. Il suffit (p. 186) d'ajouter que les quinze surfaces portantes de ce multiplan divisées en cinq groupes de trois plans superposés, deux à l'avant, deux vers le milieu et deux à l'arrière, donnent une surface totale de 60 mètres carrés. L'appareil, qui doit porter normalement un passager et le pilote, est mû par un moteur Dutheil et Chalmers de 60 HP, actionnant une hélice Chauvière de 3 m. 20 (600 tours).

Fig. 131

Multiplan du Marquis d'Equevilly.

On voit par la figure 130, représentant l'appareil de face, que la multiplicité des plans a permis au capitaine Hayo de donner à ceux-ci une faible envergure (4 mètres) qui rend l'ensemble plus logeable (largeur 4 mètres, hauteur 6 mètres, longueur 11 mètres).


Tout autre est la disposition des plans de sustentation imaginée par M. le marquis d'Equevilly dans l'appareil ellipsoïdal que représente la figure 131, page 185. Ici, les surfaces portantes les plus étendues ont 5 mètres d'envergure, et l'ensemble donne une surface portante totale de 25 mètres carrés. Cet aéroplane est à l'essai comme les précédents. Espérons qu'il justifiera les prévisions de son inventeur.


Une disposition plus curieuse encore est celle du multiplan Carron, dont le modèle fut présenté à l'Académie des sciences par M. Painlevé au commencement de 1909 (fig. 132, page 187). Là, les surfaces portantes sont des lames étroites superposées comme celles d'une persienne, sur trois rangs, dans un cadre rigide de 2 mètres de large, sur 4 mètres de hauteur. Avec ces dimensions, elles donnent une surface totale de sustentation égale à 16 mètres carrés.

Au lieu d'une ou deux hélices, deux roues à aubes tournant en sens contraire, entraînent le chariot rouleur de l'appareil sur lequel le cadre à lames de persienne est rabattu.

(p. 187)

Fig. 132

Multiplan Carron.

(p. 188) Quand la vitesse de roulement est suffisante, le cadre est relevé par la résistance normale de l'air agissant sur les lames de persienne, et le châssis prend une position qui se rapproche de plus en plus de la verticale, sans toutefois jamais l'atteindre. Il enlève alors l'ensemble du système avec une force d'au moins 12 kilogr. par mètre carré de surface (soit 192 kilogr. pour les 16 mètres carrés de surface totale des lames du châssis) et avec une vitesse de progression de 460 kilomètres à l'heure... Telles sont du moins les prévisions de M. Carron, dont l'appareil n'a pas encore été construit aux dimensions d'«usage pratique» indiquées ci-dessus.

En 1892, M. Horatio Phillips, ingénieur anglais, construisit un multiplan analogue, mais ses essais ne furent point satisfaisants.

Dans la courte série des multiplans, on peut enfin classer l'aéroplane Givaudan, construit par M. Vermorel à Villefranche (fig. 133, page 189), qui se compose de deux cellules cylindriques doubles; c'est-à-dire, formées de deux cylindres concentriques séparés par huit plans rayonnant du centre aux circonférences, mais seulement entre les deux cylindres concentriques de chaque cellule.

Les deux cellules placées aux extrémités d'un fuselage entretoisé qui porte le pilote, le moteur, les organes de commande et l'hélice tractive à l'avant de l'appareil, sont toutes deux surfaces portantes, mais, tandis que celle d'arrière, fixée sur le fuselage, joue en même temps le rôle de stabilisatrice, celle d'avant, orientable dans une large mesure à la volonté du pilote, forme, à la fois, gouvernail de direction latérale et gouvernail de profondeur.

On attend les essais de cet aéroplane si particulier pour connaître sa capacité de sustentation et sa stabilité.


Fig. 133

Aéroplane cylindrique Givaudan-Vermorel.

Bien qu'ayant donné des résultats d'enlèvement et de sustentation probants, les hélicoptères, notamment celui (p. 190) de M. Cornu, et les gyroplanes, particulièrement étudiés par MM. Bréguet et Richet, sont des appareils encore trop peu entrés dans le domaine des réalisations pratiques pour être le sujet d'une description dans cet A. B. C. sommaire. L'appareil mixte, à la fois aéroplane et hélicoptère des frères Dufaux, est aussi dans ce cas.

Pour le même motif, il n'y a pas lieu d'analyser ici l'ornithoptère de M. de la Hault, le très distingué aviateur belge, qui réalise par un dispositif mécanique spécial le mouvement en forme de huit (8) ou «lemnicaste» des ailes des insectes.

Ces derniers types de «plus lourd que l'air» écartés, si l'on se borne à considérer l'ensemble des monoplans, biplans, triplans et multiplans énumérés dans ce chapitre, on remarque que l'ingéniosité des inventeurs et des constructeurs a déjà embrassé presque toute la série des dispositifs qui semblent actuellement rationnels.

La plupart des appareils cités se sont élevés, ont parcouru des espaces notables, et l'on peut prévoir que la majeure partie de ceux qui n'ont pas encore été expérimentés en grandeur normale d'exécution, accompliront des aviats quelconques.

Mais il ne suffit plus qu'un modèle nouveau quitte le sol et accomplisse un trajet aérien de 5, de 50 ou de 500 mètres; il importe que ce modèle effectue des évolutions au moins équivalentes à celles des meilleurs types d'aéroplanes consacrés pour prétendre les remplacer. L'aviation se débattant encore dans un empirisme laborieux, les démonstrations par le fait s'imposent et priment les théories les plus séduisantes en principe.

(p. 191) VII

Le bilan de l'Aviation

Épreuves.—Créateurs.
Constructeurs.—Pilotes.

Pour faciliter l'examen du bilan de l'aviation, nous avons réuni sous forme de tableau le relevé de tous les progrès accomplis, mais en élaguant, pour abréger ce tableau, les redites ou répétitions, ainsi que les bons résultats obtenus par les appareils et les aviateurs de second plan jusqu'à la fin de 1909.

Le 10 octobre 1908, par exemple, Wilbur Wright au camp d'Auvours fait, avec un passager, M. Painlevé, membre de l'Institut, un aviat de 1 h. 9' 45" qui est record du monde à cette date pour la durée de sustentation dans l'air d'un aéroplane quelconque, portant en plus de son pilote un passager.

Nous notons soigneusement cet exploit, parce qu'il marque un progrès sur les précédentes prouesses de même nature, et en particulier sur l'aviat similaire exécuté par le même pilote et le même appareil le 6 du même mois, parce que cet aviat précédent, également record du monde, à la date du 6, n'avait été que de 1 h. 4' 26" (passager M. Fordyce).

Mais nous ne mentionnons pas dans notre tableau les nombreux autres aviats avec passagers accomplis après le 10 octobre, par Wilbur Wright, parce qu'ils ont tous été d'une durée inférieure à 1 h. 9' 45".

Dans le même but de simplification et pour abréger, nous ne portons sur ce tableau aucun des aviats des appareils de la Herring-Curtiss Co parce qu'ils ont été, soit comme durée, soit comme distance, soit comme hauteur, accomplis avant ceux de ces appareils par d'autres aéroplanes, et ne constituent pas des progrès. Mais nous (p. 192) signalons au contraire scrupuleusement l'aviat de Glenn-Curtiss, lorsqu'à Bétheny, le 28 août 1909, il gagne la Coupe Gordon-Bennett par un aviat d'une vitesse sans précédent, qui constitue l'une des étapes des progrès obtenus dans les augmentations de vitesse des aéroplanes.

Nous signalons de même, dans ce tableau, son record du monde pour le lancement établi par 80 mètres à Brescia, le 9 septembre 1909.

Nous ne mentionnons pas les voyages du Baby, de Santos-Dumont, parce que d'autres voyages analogues, plus saillants, ont été accomplis auparavant par d'autres aéroplanes, mais nous notons le lancement en 70 mètres par lequel Santos, sur ce minuscule monoplan, reprend à Glenn-Curtiss, le 15 septembre 1909, le record du monde de lancement que l'Américain avait conquis à Brescia six jours auparavant.

Grâce à ces suppressions de redites, le tableau du bilan de l'aviation met en évidence, sans prendre un trop grand développement, tous les progrès obtenus par les aviateurs, constructeurs et pilotes d'aéroplanes. Il suffit de l'examiner, de l'analyser pour apprécier exactement ces prodigieux progrès (jusqu'à la fin de 1909).

Néanmoins, comme certains lecteurs pourraient n'avoir pas le temps ou la patience de faire acte d'analyse, nous la traçons à grands traits à la suite du tableau.

L'examen de ce tableau montre que le premier appareil plus lourd que l'air ayant fait avec un moteur et un pilote un trajet dans l'air, après s'être élevé par sa propre force, est l'Éole d'Ader, aviant le 9 octobre 1890, en France, à Armainvilliers.

L'année suivante, au camp de Satory, un autre appareil, de l'ingénieur Ader, amélioré et dénommé l'Avion, s'élève encore, et fait dans l'air un parcours de 100 mètres.

Si l'on écarte comme insuffisants les essais de Sir Hiram Maxim (1894-1895) et ceux de M. Langley (1896-1903), bien que ce dernier soit arrivé fort près de la solution du problème, on voit que les études de vol plané de Lilienthal, l'éminent continuateur de Le Bris, perfectionnées (p. 193) par Chanute et ses élèves, empruntant le dispositif de Hargrave, ont été les éléments des travaux des frères Wright et de ceux du capitaine Ferber, inspirateur et même créateur de l'école française d'aviation avec Voisin et Blériot, secondés par Archdeacon.

Quant aux progrès accomplis, ils sont positivement merveilleux.

À la fin de 1903, le biplan Wright quitte le sol et se soutient 12", puis 59" dans l'air; il parcourt 260 mètres.

L'année suivante, à Springfield (États-Unis), il fait 300 mètres, 400 mètres, puis 4.500 mètres (si l'on néglige les aviats de distances intermédiaires, car les grandes étapes, caractéristiques, sont seules mentionnées ici pour abréger).

En 1905, les frères Wright sont déjà maîtres de leur appareil. Leurs principaux aviats en septembre et octobre ont été de 6, 17, 19, 24, 33 et enfin 39 kilomètres 956 mètres à Springfield.—Ils sont restés dans l'air 18, 19, 25, 33 et 38 minutes, parcourant l'espace à une vitesse de 16 mètres environ par seconde; soit 57 à 58 kilomètres à l'heure.

De son côté, en France, sans détails sur les expériences des frères Wright, soigneusement cachées, le capitaine Ferber, s'inspirant uniquement, comme eux, des études de Lilienthal et de Chanute, fait des études analogues aux leurs. Il est convaincu de la possibilité d'avier. Il communique sa foi en 1904 au jeune Gabriel Voisin. Archdeacon prêche, comme Ferber, en faveur du «plus lourd que l'air». Il ramène à l'aviation Blériot, que des essais infructueux d'appareils ornithoptères avaient découragé en 1900. Il seconde Voisin et, quand les premières expériences publiques des frères Wright, à la fin de 1905, commencent à ébranler l'incrédulité mondiale, il y a déjà en France un trio d'intrépides chercheurs qui touchent presque au but: Ferber, Voisin et Blériot.

En 1906, pendant que les frères Wright cherchent en vain à vendre un million leurs brevets, Santos-Dumont se lance, avec son intrépidité habituelle, sur un biplan (p. 194) cellulaire à peine étudié, et quitte à son tour le sol.

En trois mois (abstraction faite des laborieux essais préliminaires et des expériences intercalaires), ses parcours aériens passent de 7 à 220 mètres; son appareil (le Santos-Dumont 14 bis) arrive à se soutenir dans l'air 21 secondes, parcourant plus de 10 mètres à la seconde.

Mais quatre mois plus tard, les travaux des frères Voisin, et cinq mois plus tard ceux de Blériot, commencent à donner leurs premiers résultats (mars-avril 1907). Le biplan Voisin (dénommé Delagrange no 1) parcourt 10, puis 25, puis 60 mètres dans l'air. Le monoplan Blériot no 4 (le Canard) s'élève et fait 6 mètres au-dessus du sol... repart une autre fois pour un plus long parcours, mais tombe et se brise!... La destruction accidentelle des premiers appareils est de règle presque invariable.

Qu'importe! Blériot ne se décourage pas plus que les frères Voisin. Il a fait quatre appareils, il en fera un cinquième, un sixième, et de juillet à septembre 1907, ses parcours aériens, sans cesse croissants, seront de 10, 20, 30, 40, 78, 120, 150 et 184 mètres (17 septembre 1907, monoplan no 6, à Issy-les-Moulineaux).

Voisin le suit de près. En octobre et novembre, ses biplans (dénommés Delagrange ou Farman) font d'incessants essais qui portent leurs parcours progressifs à 280, 500, 600, 771 et 1.030 mètres (biplan Voisin dénommé Farman no 1, premier aviat en circuit fermé, le 9 novembre à Issy-les-Moulineaux).

Mais un autre monoplan est né, le remarquable avion de M. Robert Esnault-Pelterie (R.E.P. no 1) qui, presque d'emblée, à Buc (16 novembre), a couvert 600 mètres. C'est en quelque sorte son premier mot: le dernier n'est pas dit.

La campagne de 1908, véritable bataille du génie de l'aviation, s'ouvre par les prouesses des artistes Farman et Delagrange, rivalisant d'adresse et d'habileté sur des biplans Voisin ou du type Voisin.

En neuf mois, l'école française, représentée par les (p. 195) biplans des deux frères Voisin, amenés par Ferber à la conquête de l'air, rattrape avec l'aide de deux intrépides aviateurs Farman et Delagrange, toute la colossale avance des frères Wright.

Leurs grands bonds sont de 1.500, 2.004 métros (Farman), 2.500, 3.925 mètres, 12 kilom. 750 m. (Delagrange, le 30 mai, à Issy-les-Moulineaux).

Farman prend un passager (M. Archdeacon) et l'enlève pendant un parcours de 1.241 mètres, à Gand (Belgique), le jour même où Delagrange fait près de 13 kilomètres à Issy. Ensuite, cessant de raser le sol, il monte à 12 m. de hauteur, plus du tiers de l'altitude atteinte par les frères Wright l'année précédente (30 mètres).

Le mois suivant (juin), Delagrange renchérit sur ses précédents exploits à Milan, par un aviat de 14 kil. 270 m. d'une durée de 18 minutes.

Moins de 15 jours plus tard, Farman, à Issy, dépasse son rival et s'adjuge le record du monde de durée par 20' 20" d'aviat à Issy.

Deux mois plus tard, le 6 septembre, Delagrange, sur le même terrain d'essais, le dépassera par une sustentation de 29' 53" en couvrant 24 kilom. 727 m. et le 17 du même mois, par une durée de 30' 27".

Mais le même jour au camp d'Auvours, Wilbur Wright vient d'avier 32' 47" durant: et la veille, il s'est soutenu 39' 18" dans l'air.

Pendant que son frère Orville, à Fort-Myers (E.-U.), devant le «Signal corps», commençait à démontrer au gouvernement des États-Unis les capacités de leur biplan, Wilbur Wright s'était, en effet, rendu en France pour y faire au camp militaire d'Auvours des expériences non moins démonstratives.

Pendant ces quatre derniers mois de 1908, les biplans américains pilotés par Orville et Wilbur Wright vont écraser provisoirement l'école française parleurs prouesses progressives.

C'est en vain que Farman, sur son biplan 1 bis (type du biplan Voisin) tiendra l'air 43' et rouvrira 43 kilomètres (p. 196) à la même allure que les Wright en 1905 (57 à 58 kilomètres à l'heure), Orville, à Fort-Myers, avie 1 h. 2', puis 1 h. 15' 20" du 9 au 12 septembre. À cette date, il reste dans l'air 9' 6" avec un passager (record du monde), le Comm. Squiero. Mais six jours plus tard, le 18 septembre 1908, aviant avec le lieutenant Selfridge, la rupture d'une des deux hélices de son biplan le précipite sur le sol; il se blesse grièvement; son passager est tué net.

Lilienthal et Pilcher étaient morts en 1896 et 1897 des chutes de leurs aéroplanes sans moteur. Selfridge fut, après eux, la première victime de l'aviation mécanique.

Cependant, le terrible accident d'Orville ne réduit en rien la hardiesse de Wilbur Wright, qui bat, huit jours plus tard, au camp d'Auvours, le record de durée de son frère par 1 h. 31' 25" d'aviat continu (record du monde à cette date: 21 septembre 1908).

Enlevant successivement MM. Frantz-Reichel, Fordyce et M. Painlevé de l'Institut, pendant des durées de 55', de 1 h. 4 et de 1 h. 9, il bat ses propres records comme à plaisir.

Le 18 décembre il dépasse les 42 kilomètres de parcours de Farman par 99 kilomètres. Farman monte en vain le 31 octobre à 25 mètres au-dessus du sol de Bouy; le 13 novembre, au camp d'Auvours, Wilbur monte à 60 mètres, le 16 décembre, il atteint 90 mètres et le 18 du même mois 115 mètres d'altitude! Le même jour, il a tenu l'air 1 h. 54'! Enfin, le 31 décembre, il clôture triomphalement la campagne de 1908 par un splendide aviat de 2 h. 20' 23" en accomplissant un parcours de 124 kilom. 700! (Records du monde de durée et de distance).

L'école française de Ferber-Voisin-Blériot serait complètement battue cette année-là sans les qualités de souplesse et de praticabilité qui la caractérisent, car Farman la sauve glorieusement de cette complète défaite par le premier voyage accompli de ville à ville: de Châlons à Reims (le 30 octobre). Et le lendemain (p. 197) (31 octobre), Blériot accentue cette belle revanche par le premier voyage de ville à ville aller et retour avec escales: Toury-Artenay, en dépassant les vitesses de Wright (14 kilomètres en 11', soit 21 mètres à la seconde; 75 kilomètres à l'heure).

Wilbur détient presque tous les records, mais il est cloué à son camp d'Auvours, tandis que le type du biplan de Voisin et celui du monoplan de Blériot sont les libres oiseaux de l'air, et les personnes les plus étrangères à l'aviation entrevoient, pressentant que l'école française, plus pratique et plus sûre que l'école américaine,—plus élégante aussi par ses monoplans,—sera bientôt capable de rivaliser avec son aînée du Nouveau Monde.

Dès les premiers beaux jours de 1909, en effet (le 31 mai), Blériot renouvelle ses libres aviats par le retentissant voyage de Toury à Château-Gaillard et retour sur son monoplan no XI.

Le 13 juillet, il gagne le prix du voyage de l'Aéro-Club de France, en ajoutant à ses précédentes randonnées celle de Mondésir (Étampes) à Chevilly (Orléans), avec escale à Arbouville (41 kilom. 200 m. en 44').

Cinq jours après, Paulhan, sur un biplan Voisin: l'Octavie no 3, reprend le record de la hauteur aux Wright, par un aviat de 150 mètres d'altitude (record du monde à cette date).

Le lendemain Latham, autre intrépide aviateur de l'école française, sur un monoplan qui va glorieusement rivaliser avec celui de Blériot, l'Antoinette no 4, créé et construit par la «Société Antoinette», tente la traversée de la Manche.

Puis Paulhan va de Douai à Arras (biplan Voisin). Six jours après, Blériot reprend la tentative de Latham et franchit le détroit de Calais à Douvres en 27'!

Deux jours après, Hubert Latham échoue dans cette même traversée, tombant à un mille de Douvres, victime d'une panne de son moteur; mais cet échec est presque aussi méritoire qu'un succès, car l'aviateur arrivait littéralement au port.

(p. 198) Le 7 du mois suivant (août), Henri Farman sur son biplan Farman, né du biplan Voisin, reprend aux Wright le record du monde de durée par 2 h. 27' 15" d'aviat... et le 25 du même mois, Paulhan, à Bétheny, sur son biplan Voisin: l'Octavie no 3, reprend aux Américains et à Farman les records du monde de durée et de distance, par 133 kilom. 676 m. en 2 h. 43'.

Sont-ce les biplans français, est-ce les Voisins frères, qui battent seuls, sous quelque nom que ce soit, l'école américaine? Non pas! Latham entre aussi en lice à Bétheny et conquiert le record du monde de distance sur Paulhan par 154 kilom. 620 m. d'un seul aviat (26 août), sur l'Antoinette no 4.

Farman (type de biplan Voisin) s'élance dès le lendemain et se fait à son tour attribuer les records du monde de durée et de distance par 180 kilom. en 3 h. 41' 56" d'aviat continu!

Il faut qu'un nouvel Américain: Glenn Curtiss, intervienne pour s'emparer de la Coupe Gordon-Bennett en dépassant de vitesse tous les autres aviateurs, mais son appareil, d'abord intermédiaire entre les Wright et le Voisin, s'est finalement plus rapproché du type français que du type américain, et cette victoire américaine est presque une victoire française, par cela même, quant à l'appareil tout au moins.

Dépouillé du record de la distance par Farman, Latham se console de cette reprise en dépouillant à son tour Paulhan du record du monde de la hauteur par un aviat de 155 mètres d'altitude qui termine les victoires de la grande semaine de Reims.

À Brescia, le 9 septembre, Glenn Curtiss conquiert encore un record du monde, celui du lancement en 80 mètres. Mais six jours plus tard, notre Santos-Dumont le lui reprend par un lancement en 70 mètres à St-Cyr, sur son monoplan Baby, le plus petit aéroplane du monde.

À Berlin, le 18 septembre, Orville Wright enlève à Latham le record du monde de la hauteur par une ascension (p. 199) de 172 mètres. Mais deux jours après, sur biplan Voisin, Rougier lui reprend brillamment ce record par un aviat de 198 mètres d'altitude.

La grande semaine de Port-Aviation (Juvisy) est toute au profit de l'école française. Il faut l'exploit du comte de Lambert: Juvisy-Paris et retour à Juvisy, sur biplan du type Wright, avec passage au-dessus de la tour Eiffel (400 mètres d'altitude) pour «sauver l'honneur» de l'école américaine, car le 3 novembre Henri Farman sur son biplan (type de biplan français Voisin) s'adjuge encore les records du monde de distance et de durée par 234 kilom. 212 m., parcourus d'un seul aviat, et 4 h. 17' 53" de sustentation sans arrêt!

Mais, en outre, dans la première quinzaine de décembre à Mourmelon, sur son monoplan Antoinette, Latham atteint 475 mètres d'altitude (officiellement contrôlé) par un vent de 15 mètres à la seconde! Tous les records étrangers, sauf un, celui de la vitesse par Glenn Curtiss, sont battus!


Quel est en résumé le bilan des six années d'aviation américaine, et de ces trois années d'aviation française, à quelques mois près[36] (à la fin de 1909)?

Les aéroplanes, biplans ou monoplans, qui se contentaient d'abord de raser le sol des champs de manœuvres ou aérodromes à 1, 2, 3, ou 5 mètres de hauteur se sont élevés jusqu'à près de 500 mètres d'altitude.

Ils ont quitté leurs lieux d'évolutions démonstratives pour s'élancer à travers les campagnes, aller de ville à ville et revenir à leurs points de départ, avec ou sans escales, planant sur les villages, sur les grandes villes avec une superbe quiétude.

Les quelques mètres, si timides, de leurs premiers parcours sont oubliés. On a compté par centaines de (p. 200) mètres, puis par kilomètres franchis. Les records de distance sont aujourd'hui de centaines de kilomètres.

Les aéroplanes ont avié quelques secondes, puis quelques minutes. Des quarts d'heure, ils ont passé aux demi-heures, puis aux heures. On avie désormais toute une matinée ou tout un après-midi durant. La fatigue du pilote, le froid ou l'épuisement de la provision d'essence et d'huile obligent seuls les biplans ou monoplans à reprendre contact avec la terre.

On roulait pendant des kilomètres sans réussir à s'enlever complètement en 1906, tandis que, à la fin de 1909, c'est en moins de cent mètres, en 80 mètres, ou 70 mètres qu'un aéroplane quitte la terre.

Quant aux vitesses, elles ont passé de 8, de 10, de 12, à 15, 16, 18, et 21 mètres à la seconde. On fait en aviant, de 65 à 80 kilomètres à l'heure.

Sont-ce là prouesses exceptionnelles? Le classement des aviateurs fait par l'Aéro-Club de France, en novembre 1909, pour l'attribution du prix de la tenue de l'air, répond à cette question d'une manière éclatante et démontre que le problème de l'aviation est positivement résolu.

Il a coûté la vie à Lilienthal, à Pilcher, au lieutenant Selfridge, à Lefebvre, au commandant Ferber, perte plus désolante que toutes les autres, enfin, plus récemment, à une série d'autres..., et l'on ne compte plus les contusionnés ou les blessés, on ne compte plus surtout les appareils brisés dans les aviats. Mais, est-ce à dire que l'aviateur pilotant un aéroplane risque à chaque instant son existence? Les milliers de kilomètres parcourus dans l'air au cours de milliers d'aviats, démontrent surabondamment qu'il n'en est rien.

On est trop porté encore à croire que le pilote d'un aéroplane est à la merci d'une panne de moteur ou d'un trouble quelconque de l'atmosphère. Il est impossible, assurément, d'avier par de très mauvais temps, comme il est dangereux pour un navire d'être dans l'ouragan. Les oiseaux eux-mêmes se mettent à l'abri quand le vent (p. 201) souffle en tempête. Mais par des vents modérés, ou même assez frais, les aéroplanes évoluent fort bien, et le «coupage de l'allumage» à de hautes altitudes (plus de 1.000 mètres) pour descendre en «vol plané» est aujourd'hui une manœuvre accomplie à plaisir par tous les aviateurs exercés.

Ceux-ci ne sont pas encore très nombreux, mais après les principaux,—en tête desquels il faut placer les frères Orville et Wilbur Wright, Farman, Santos-Dumont, Blériot, Paulhan, Latham, le comte de Lambert, Glenn Curtiss, Tissandier, Delagrange, Sommer, Rougier, Cody, Gobron, Château, Gaudart,—qui ont piloté par un vent de 20 mètres à la seconde,—et Bunau-Varilla,—il y a plus d'une cinquantaine de pilotes déjà connus par leurs essais; sans compter ceux qui existent à l'étranger, et que nous ignorons.

Avant peu, le nombre décès aviateurs sera-t-il doublé, quadruplé, ou décuplé?... on ne saurait le prévoir. Le bilan des débuts de la locomotion aérienne par le plus lourd que l'air est trop déroutant en raison de la rapidité des résultats obtenus, pour permettre des conjectures rationnelles à cet égard.

Ce que l'on constate, aisément, en revanche, par les épreuves de la France et de l'étranger, c'est qu'un fort petit nombre d'aviateurs, toujours les mêmes, accomplit tous les exploits d'aviation.

Est-ce parce que ces pilotes ont sur leurs émules une supériorité considérable? Oui, dans une certaine mesure, notamment pour des intrépides comme Santos-Dumont, Henri Farman, les Wright, Latham, Paulhan, Blériot, le comte de Lambert, etc., mais aussi parce que les appareils qu'ils montent sont particulièrement favorables à leurs prouesses.

Il y a entre l'appareil et le pilote une étroite relation de cause à effet, qui s'exerce avec réciprocité. «Tel appareil, tel pilote» est un axiome d'aviation. Et, inversement, nous exposerons plus loin comment, dans une (p. 202) large mesure, la part du pilote doit être faite pour expliquer les succès des appareils.

Pour conclure sur ce bilan, contentons-nous à présent, après avoir noté la grande prépondérance d'un très petit nombre de pilotes, de constater,—non sans surprises peut-être,—que le nombre des types d'appareils victorieux est encore bien plus restreint. Il se réduit, en effet, à quatre, qui ne sont même réellement que TROIS, si l'on met tout à fait à part, comme il y a lieu, le merveilleux Baby de Santos-Dumont.

Ici le bilan de l'aviation que nous avons dressé sans omettre la moindre épreuve marquante s'impose avec la rigueur inéluctable du fait matériel: les seuls appareils qui ont exécuté les grandes prouesses de la glorieuse conquête de l'air, sont ceux de quatre créateurs constructeurs: les frères Wright, les frères Voisin, Blériot et la Société Antoinette.

Les appareils Farman, Delagrange, Rougier, Paulhan, Sommer, etc., sont tous, en effet, du type Voisin, comme les appareils du comte de Lambert et de Tissandier sont du type Wright. Les biplans de la Herring-Curtiss et Co, nous l'avons dit, sont mixtes: mi-partie Voisin et Wright, mais toutefois plus Voisin que Wright.

Seuls, Blériot et la Société Antoinette ont des monoplans bien distincts, quoique fort cousins.

À l'étranger, sauf de rares exceptions, les appareils qui peuvent avier réellement dérivent encore directement du type Voisin ou du type Wright. Il ne s'ensuit pas que les autres types actuellement en essais ne donneront point de résultats équivalents ou même supérieurs, mais quant à présent, tous les éclatants succès de l'aviation sont dus à quatre types d'aéroplanes: les biplans des Wright et de Voisin; les monoplans de Blériot et de la Société Antoinette.

Il convient, en outre, de noter à la gloire de ces quatre créateurs-constructeurs, qu'ils ont accompli avec une rapidité vraiment stupéfiante des travaux presque sans équivalents dans l'histoire universelle des inventions et de la construction.

(p. 203) En moins de trois ans, de 1907 à 1909, la «Société Antoinette» n'a pas construit moins de huit modèles de monoplans ayant tous avié.

Blériot est à son treizième type de monoplan.

Le Baby est le Santos-Dumont no 20.

Les Wright ont créé eux-mêmes une belle série de biplans de leur type.

L'Herring-Curtiss et Co est dans le même cas.

Quant aux frères Voisin, ils ont établi plus de vingt-cinq types d'aéroplanes depuis trois ans, sans compter les innombrables essais ignorés auxquels ils doivent aussi la maîtrise qui les met si justement à la tête de l'aviation française.

Ceci explique cela. On s'étonne un peu moins de l'importance des succès obtenus quand on sait quelle somme colossale d'efforts acharnés les a préparés.

(p. 204) VIII

L'appréciation des épreuves et des aéroplanes.

L'orientation de l'Aviation

Connaissant les inventeurs ou créateurs et constructeurs ainsi que leurs appareils, connaissant les pilotes et leurs exploits, il semble que l'on devrait aisément apprécier les divers modèles d'aéroplanes, en motivant les jugements portés... Mais cela est impossible, parce que les éléments de comparaison sont encore trop insuffisants.

Si l'on examine, par exemple, le tableau du bilan de l'aviation du chapitre précédent on constate, à première vue, que même pour l'année 1909, il contient des lacunes considérables.

Aucune des caractéristiques des aviats n'est complète, et pourtant ces caractéristiques sont réduites à des données bien rudimentaires.

Sur les vingt-cinq épreuves principales inscrites pour 1909, deux seulement font mention de l'état de l'air. On voit que le 26 août (1909) Hubert Latham, sur monoplan Antoinette, a conquis le record du monde de la distance parcourue à cette date par un aviat de 154 kilomètres et 620 mètres accomplis en 2 h. 17' 21" par un vent de 8 mètres à la seconde... mais c'est tout! On ignore comment ce vent était orienté par rapport à la marche du monoplan. La hauteur de l'aviat n'est pas indiquée. Ses vitesses sont inconnues. Il faut faire un calcul pour déduire de la distance et de la durée une vitesse moyenne qui est une indication trop sommaire!

Le record du monde de la hauteur fut établi par le même pilote, sur le même monoplan (ou sur un monoplan Antoinette du même type), le 1er décembre, par une (p. 205) altitude de 473 mètres, malgré un vent de 12 à 15 mètres à la seconde, mais sur quelle distance d'aviat? pendant quelle durée? à quelle vitesse de marche?... On ne sait!

Le tableau du bilan n'a pas de colonne pour mentionner les dépenses d'essence et d'huile, le poids du pilote et celui des passagers dans les aviats où des passagers ont été pilotés, parce que ces indications ne sont jamais données. D'autres éléments d'appréciation seraient non moins nécessaires: ils font absolument défaut. Comment, dès lors, pourrait-on tenter des comparaisons précises et motivées entre des épreuves similaires? Il faut se borner à enregistrer les résultats tels qu'ils sont communiqués et se contenter de constater des faits d'ordre général du genre de ceux-ci.

Les monoplans Blériot (les derniers types notamment) semblaient être des aéroplanes plus rapides que les biplans. Blériot fit maintes fois 19, 20 et même 21 mètres à la seconde, tandis que les biplans de l'école américaine ou française ne dépassaient guère 14 à 17 m. à la seconde.

Néanmoins Glenn Curtiss, sur un biplan d'abord analogue à celui des frères Wright, puis plus rapproché du type de biplan des frères Voisin, conquit à Bétheny (Reims) la Coupe Gordon-Bennett par une vitesse contrôlée de 21 mètres à la seconde, égale à celle du monoplan Blériot et plusieurs fois renouvelée.

Malgré ses deux surfaces portantes, le biplan n'est donc pas moins rapide que le monoplan; du moins les épreuves tendent à le faire penser. Mais il est impossible de tenir cette indication pour définitive, parce que les conditions des expériences ne sont pas assez connues dans leurs détails pour permettre de les comparer. On ignore dans ce cas presque toutes les données essentielles dont il faudrait tenir compte, mais il est bien certain que ni les poids, ni les surfaces, ni les angles d'attaque, ni les hélices, ni les moteurs, ni l'état de l'air, n'étaient semblables pour les aviats de Glenn Curtiss et ceux de Louis Blériot.

(p. 206) Il aurait fallu se contenter de dire en 1909: «Le monoplan peut faire 76 kilomètres à l'heure; mais le biplan atteint aussi cette vitesse.» Aujourd'hui les aéroplanes rapides font plus de 100 kilomètres à l'heure et en marche moyenne 80 à 90 kilomètres!

Les records de distance et de durée étaient, en 1909, détenus par Henri Farman qui fit un aviat de 234 kilomètres et de près de 4 h. 1/2 sur son biplan (du type Voisin). Mais Latham sur son monoplan Antoinette avait aussi tenu l'air 3 h. 3/4 et couvert 180 kilomètres. Ce magnifique résultat ne permettait pas de supposer qu'un monoplan serait incapable de reprendre à Farman le record du monde qu'il avait conquis avec un biplan.

La même indécision s'appliquait en 1909 à l'altitude. Latham atteignit d'abord des hauteurs qu'aucun biplan n'avait osé risquer jusqu'au jour où Orville Wright, à Berlin (le 18 septembre 1909), s'éleva de 172 mètres. Mais Rougier, à Brescia, monta le sur lendemain à 198 mètres; le comte de Lambert parvint le 18 octobre à près de 400 mètres. Latham lui ravit, le record du monde de hauteur par 473 mètres sur son monoplan Antoinette. On a vu depuis, en 1910, que l'altitude de 2.600 mètres fut atteinte! Nous sommes à présent à plus de 3.000 m.

En résumé les capacités des monoplans et des biplans paraissent équivalentes, quant à présent, en ce qui concerne les distances, les durées, les altitudes et les vitesses.

Il faut remarquer cependant qu'une part du résultat est inhérente à l'habileté du pilote, même lorsqu'il s'agit des appareils les moins difficiles à conduire. Marcher, courir, descendre ou monter un escalier sont des exercices pour lesquels nous avons dû faire un apprentissage. Il est normal à plus forte raison, pour l'aviateur, d'accoutumer ses sens et ses organes aux stabilités aériennes, aux mouvements de l'atmosphère, et même aux visions surplombantes qui déroutent et dont une ascension en ballon libre donne l'impression.

Un aéroplane quel qu'il soit est, enfin, un instrument auquel on s'adapta; qu'on a plus ou moins «en main». (p. 207) On ne saurait qualifier avec justesse les épreuves et les appareils sans tenir compte de tous ces éléments. Or, nombre d'entre eux sont inconnus.

Veut-on comparer entre eux, soit les monoplans, soit les biplans? Veut-on comparer entre eux ces deux types d'appareils (monoplans et biplans)? Nouvelle impossibilité! Ces comparaisons ne peuvent se faire avec précision parce que les caractéristiques des appareils sont incomplètement déterminées.

Considérons par exemple les surfaces portantes. On connaît l'envergure, la profondeur des plans, la surface totale, mais tantôt ce total comprend les plans stabilisateurs longitudinaux, tantôt il ne les comprend pas. L'angle d'attaque normal n'est presque jamais noté. On ignore si les surfaces sont totalement rigides ou partiellement flexibles, par exemple à l'arrière, et, en ce cas, comment cette flexibilité est établie, son importance, son fonctionnement. On ignore quelle est la courbe, l'incurvation des plans sustentateurs; quelle est leur épaisseur et si, par le mode de construction, ils ont une flexibilité transversale (lorsqu'il s'agit par exemple de monoplans).

Si le monoplan a ses ailes disposées en V très ouvert, l'angle de cette ouverture n'est pas mentionné. Si les ailes sont incurvées transversalement, on ne sait suivant quelle courbe, de quelle quantité, etc...

Pour les biplans à queue stabilisatrice, on ignore souvent la distance exacte qui sépare cette queue des plans sustentateurs.

Les parties mécaniques: moteur et hélices, sont généralement mieux décrites; néanmoins, le pas de l'hélice n'est pas toujours inscrit; on ne connaît pas son recul, sa forme, sa courbure, sa construction, sauf lorsqu'il s'agit de certains modèles comme les hélices intégrales de Chauvière.

Passons sur les autres lacunes trop nombreuses, qu'il serait aisé mais fastidieux d'énumérer. On se les explique en tenant compte des conditions dans lesquelles (p. 208) on construit encore actuellement les «plus lourds que l'air».

Faute d'études scientifiques préalables, qui seraient extrêmement longues et dispendieuses, l'empirisme gouverne la construction.

Constructeurs et pilotes tâtonnent sans cesse,—et ceci n'est pas pour diminuer leurs mérites, au contraire, puisque leurs tâtonnements précités ont déjà donné de superbes résultats. Mais on comprend les lacunes des caractéristiques données, ou leurs inexactitudes, lorsqu'on sait que d'une saison à l'autre, quelquefois même du jour au lendemain, les dispositions d'un aéroplane sont changées.

Pour les appareils comme pour les épreuves, il faut donc observer la plus grande réserve dans les appréciations.

Ce qui est acquis, en revanche, par la pratique des années 1909, 1908 et 1907, c'est que la gouverne des biplans à cellule arrière stabilisatrice est beaucoup plus facile aux débutants que celle des monoplans et surtout que celle des biplans du type Wright, dépourvus de queue stabilisatrice.

Le pilote doit, en outre, surveiller la bonne marche du moteur et des hélices. Il lui faut observer sans cesse le pays qu'il domine car les «plus lourds que l'air» ne sont pas faits pour tourner éternellement sur des aérodromes... Nous estimons que ce sont là trop de préoccupations simultanées, et nos efforts tendent à des stabilisations automatiques.

Les plans équilibreurs arrière préconisés bien avant l'aviation actuelle par Pénaud, puis par Tatin, donnent une grande partie de cette stabilisation automatique. N'ayant pas de raisons de brevet ni des raisons d'amour-propre d'auteur pour les dédaigner, les constructeurs américains de la Herring-Curtiss et Co n'ont pas hésité à les adopter.

Toutefois, dès la création de leur second modèle (le White wing), ils ajoutaient aux plans sustentateurs des (p. 209) ailerons de stabilisation transversale commandés par des mouvements de torse du pilote[37].

Santos-Dumont commande de même, c'est-à-dire par des mouvements de torse, un gauchissement des ailes de sa Demoiselle ou Baby (Santos-Dumont no 20) qui stabilise latéralement ce petit monoplan.

Tout en s'appliquant à réaliser des stabilisations automatiques, on cherche à obtenir aussi des manœuvres d'organes stabilisateurs PAR SIMPLES RÉFLEXES INSTINCTIFS, et non par raisonnement, par calcul; ce qui est une manière d'automatisme fort intéressante.

Si par les mouvements de son siège ou du dossier de celui-ci, par des flexions du buste ou du torse instinctives le pilote provoque précisément, avec l'extrême rapidité du réflexe nerveux, la manœuvre exacte qu'il faut faire pour rétablir la stabilité compromise ou menacée de son aéroplane, il se rapproche très heureusement des excellentes conditions de l'oiseau.

L'accoutumance développant en lui la sensibilité et la promptitude de ces réflexes nerveux, irraisonnés, il n'est peut-être pas impossible qu'il arrive à les produire naturellement avec une assez grande vitesse et une assez grande souplesse pour posséder, sans autre incidence dangereuse, une conscience de sécurité analogue à celle de l'oiseau.

Nos moyens ne nous permettent point de copier la Nature. Nous ne pouvons pas créer une hirondelle, un pigeon, une mouette: c'est évident. Mais nous pouvons avoir souci de reproduire en totalité ou en partie, dans la mesure de nos capacités, ce que la Nature nous montre. L'expérience nous en fait même un devoir en nous apprenant que nos meilleurs résultats en aviation sont dus à cette initiation.

Le vol plané, point de départ et base de l'aviation actuelle, n'est qu'une imitation rationnelle de la Nature.

Qu'elles soient obtenues par cellule arrière, par gauchissement (p. 210) des surfaces portantes, par ailerons auxiliaires ou par tous ces moyens réunis, nos stabilisations ne sont encore que des emprunts faits aux organismes aériens.

En revanche, il est certain que ces imitations sont encore trop grossières et trop inharmoniques. Nous copions fort mal, et les défauts de nos copies viennent principalement de l'insuffisance de nos observations.

Que de fois n'ai-je pas remarqué, par exemple, avec mon cher et regretté maître, M. le professeur Marey, à la station physiologique du Parc des Princes, lorsque nous y étudions les mouvements des êtres animés au moyen de la chronophotographie, les erreurs qui nous étaient suggérées par «la persistance rétinienne».

Nos organes sont impropres à l'analyse des mouvements si rapides des ailes des plus grands oiseaux. La perspective et les incidences d'éclairage nous trompent sur les positions, les attitudes et les formes des volateurs que nous examinons. Il est indispensable de recourir à des moyens d'analyse comme ceux que la chronophotographie donne seule pour étudier la sustentation et la progression aérienne animale; or, sans cette étude méthodique et scientifique à créer de toutes pièces au point de vue de l'aviation humaine, on ne pourra que continuer à perfectionner par des tâtonnements d'une durée et d'un prix démesurés. On perdra des dizaines d'années, on gaspillera des millions; sans parler des existences risquées et sacrifiées.

Ces études préalables, tout à fait primordiales, seront-elles entreprises à l'Institut Aérotechnique si généreusement doté par M. Henry Deutsch (de la Meurthe)? Il est permis de se le demander puisque cette question capitale n'a jamais été formulée.

Qui, d'ailleurs, songerait à les proposer ou à les entreprendre? N'est-il pas plus simple et plus facile de dire que l'homme doit chercher dans son domaine mécanique, et non dans celui de la Nature, les solutions des problèmes de l'aviation?

(p. 211) À l'appui de cette opinion si tranchante n'a-t-on pas osé invoquer la roue comme argument, en disant que «aucun organisme animal ne se déplace sur roues»?

Avec de tels raisonnements, qui tiennent du «coq à l'âne» ou du jeu de mots, on ne manifeste pourtant qu'ignorance ou mauvaise foi, car les mouvements circulaires, les mouvements giratoires, les roulements, en un mot, sont au contraire fréquents dans les organismes animés, et se rencontrent précisément chez les plus inférieurs ou les plus éloignés de nos sens. Seulement, pour les constater, il faut parfois les examiner au microscope. L'homme préhistorique n'a pas connu la roue; cela est à peu près démontré. Néanmoins, elle était inventée; c'est-à-dire adoptée par l'humanité civilisée, bien avant le temps où Galilée se voyait contraint de renier la rotation de la terre, qu'il avait proclamée!

Par bonheur notre éclectisme moderne permet d'exposer sans danger des opinions personnelles, et nous ne risquerons pas d'être lapidé, même par les constructeurs et pilotes de l'aviation actuelle, en disant ici que leurs admirables résultats ne sont encore qu'un premier pas bien chancelant dans la vraie conquête de l'air.

On a déjà fait observer avec raison que nos aéroplanes actuels sont loin de planer comme plane l'oiseau. Mais il ne suffit pas de constater l'énorme supériorité du planement réel de l'animal, et de dire que nous nous contentons de l'esquisser. Il faudrait déterminer exactement comment l'oiseau plane et progresse en planant... Cette détermination ne sera possible que par une étude chronophotographique méthodique du planement, à l'aide de dispositifs nouveaux. Ces dispositifs sont à créer, car ils n'existent point. Marey n'eut ni le temps, ni les crédits nécessaires pour les étudier et les réaliser.

Sûr de ne pas être brûlé vif pour avoir osé formuler en cet A. B. C. une opinion plus avancée encore, mais qui repose sur nos observations précitées, faites jadis à la station physiologique du Parc des Princes, nous ajouterons: (p. 212) si les moyens d'action des oiseaux doivent être étudiés chronophotographiquement d'une façon nouvelle et spéciale, parce qu'ils fourniront des données indispensables aux progrès rapides de l'aviation, il est assez probable que la solution pratique du problème, si glorieusement entamée aujourd'hui, ne sera pas fournie par l'oiseau, mais par l'insecte, dont les moyens mécaniques et l'anatomie sont infiniment plus en rapport avec nos capacités de réalisations actuelles que ceux des oiseaux.

Nous ne pouvons pas faire un aigle ou un albatros, mais nous pourrions presque faire en totalité certains insectes, si nous prenions d'abord la peine de les bien étudier en eux-mêmes, et par rapport à nos outils modernes.

Après ces études, les laboratoires d'aérophysique et d'aérochimie, les ateliers d'essais et de constructions prévus pour l'Institut Aérotechnique seraient assurément des compléments précieux, indispensables. Mais après seulement. Pour gagner du temps, il faudrait commencer par l'A. B. C.

(p. 213) IX

Le développement de l'Aviation

Comment l'aviation se développe-t-elle? Par l'exemple d'abord. Voir évoluer un aéroplane est un fait qui s'impose.

Au début de l'aviation actuelle, quelques propagandistes dévoués et inlassables, parmi lesquels il convient de citer surtout le regretté capitaine Ferber et M. E. Archdeacon, firent de véritables campagnes de conférences et publièrent de nombreux articles en faveur de la locomotion dans l'atmosphère par les plus lourds que l'air.

Gabriel Voisin et Louis Blériot, qui avait abandonné ses essais d'hélicoptères, furent ainsi gagnés ou ramenés à l'aviation. Or, ce sont en quelque sorte les deux grands chefs de l'école d'aviation française moderne.

Les démonstrations d'aviation faites par ces deux Français, par Santos-Dumont, puis par Wilbur Wright, et bientôt par nombre de nos compatriotes, spontanément devenus émules de Ferber, de Voisin, de Blériot, créèrent alors l'enseignement pratique rudimentaire des constructeurs et des pilotes.

Rien ne semble plus facile, à priori, que de construire un monoplan ou un biplan. Les matériaux: toile et bois, coûtent peu. Le façonnage et l'assemblage de ces matériaux paraissent aisés. On n'entrevoit qu'une dépense notable, celle du moteur et de l'hélice, mais elle n'est point inabordable et, le moteur acheté, il suffit de l'adapter à l'aéroplane... pour essayer de rouler, puis de s'élever.

Cependant, de ces propositions à l'aviat réalisé, il y a loin!

À moins de reproduire sans y presque rien changer,—comme cela s'est fait,—un modèle dont on connaît parfaitement toutes les caractéristiques, on ne s'improvise pas constructeur d'aéroplanes. On fait comme (p. 214) les prédécesseurs: on tâtonne longuement. On essaye maintes courbures, maintes incurvations; on change les angles d'attaque, l'écartement, les dimensions, les formes des plans sustentateurs et stabilisateurs, les charpentes du corps de l'appareil et celles du chariot. On s'efforce particulièrement d'harmoniser les diverses parties de l'appareil et de les accommoder au moteur, ou à l'hélice, ou de changer ces derniers pour les accommoder à l'aéroplane; et c'est seulement lorsque cette harmonie se réalise que l'appareil enfin «mis au point» prend essor.

Même en déployant une extrême activité, et en ne ménageant pas ses dépenses, il se trouve alors qu'on a passé de longs mois en essais empiriques, et refait un certain nombre de fois, en grande partie, ou du tout au tout, le premier appareil conçu. N'oublions pas que les sept premiers modèles de monoplans Blériot ne permirent point les aviats que le Blériot no 8 réalisa, et que la Demoiselle ou Baby de Santos-Dumont est la vingtième création de cet expert aviateur.

Il existe évidemment aujourd'hui des données générales théoriques permettant d'éviter les grosses erreurs du début. Mais ces données ne sont pas des lois applicables à tous les cas. La théorie scientifique de l'aéroplane n'ayant pas encore été dégagée des nombreuses conditions trop peu connues de la locomotion dans l'atmosphère, la part de l'empirisme reste prépondérante dans la construction.

Elle diminuerait sensiblement si les constructeurs ne cachaient pas une foule de petits détails, de «tours de main» qui jouent un rôle important dans la perfection relative de leurs modèles. Mais ils gardent aussi secrets que possible ces dispositions qui leur furent dictées par l'expérience, et l'on ne saurait les en incriminer en songeant qu'elles ont coûté des efforts, des dépenses, des persévérances très méritoires, dont le premier venu pourrait illégitimement profiter, car la plupart d'entre elles ne sont pas brevetables pratiquement.

Dans l'état actuel des législations et de la nôtre en (p. 215) particulier la propriété industrielle fait presque totalement défaut. La loi protège si peu les inventeurs et les fabricants, que les plus avisés renoncent à s'appuyer sur elle, et se contentent de lutter contre la concurrence et le plagiat, par la production, la qualité, les débouchés et la publicité, quand ce dernier moyen, coûteux, leur est accessible.

Les pilotes imitent, pour les mêmes motifs, la réserve des constructeurs. Ils forment des élèves, mais ils ne professent pas publiquement leurs méthodes; ils ne publient point de manuels de l'art d'avier.

Le constructeur ne peut refuser à l'acheteur de son aéroplane les notions d'aviation indispensables pour l'employer. Il fait mettre le client en état de quitter le sol par ses pilotes mécaniciens, mais entre cette capacité élémentaire d'avier et la virtuosité d'un Latham ou d'un Paulhan, il y a des abîmes... non «des altitudes» vertigineuses.

On arrive très vite à conduire des appareils naturellement stables, comme les biplans Voisin, par exemple, ou ceux qui sont dérivés de leurs modèles, mais il faut beaucoup de pratique et une éducation spéciale, favorisée par des dispositions initiales excellentes, pour conquérir des records qui deviennent chaque jour plus difficiles.

L'audace raisonnée, la ténacité, l'endurance, la promptitude, la souplesse, l'énergie et nombre d'autres qualités sont nécessaires au pilote d'aujourd'hui.

Ces exigences éliminent beaucoup de candidats. Cependant, la quantité et l'importance des prix sont si tentantes, qu'il en reste plus qu'on ne peut en instruire.

On sait que quelques pilotes émérites ont gagné en quelques mois des petites fortunes, et qu'ils reçoivent des engagements de «tournées» comparables à ceux des ténors d'opéra. Cela suffit à présent pour susciter des «vocations ardentes» qui se multiplieront tant que dureront ces «mannes» monétaires précieuses.

Paulhan, pour une tournée de sept mois en Amérique, (p. 216) a reçu, dit-on, proposition de six cent mille francs, et, dit-il, de un million!... Quel que soit le vrai des deux chiffres, il reste assurément attractif.

Sans s'arrêter à ces bruits discutés, si l'on dénombre seulement les prix des épreuves dans lesquelles ont triomphé les aviateurs les plus connus depuis 1906 jusqu'à septembre 1909, on constate qu'Henri Farman a décroché en 23 mois (d'octobre 1907 à fin août 1909) 134.000 fr. de prix. En 18 mois (de juin 1908 à août 1909), Blériot a récolté 106.200 fr. de récompenses.

En moins de deux mois (du 17 juillet au 9 septembre 1909), Glenn Curtiss a glané 77.900 fr. de prix.

Hubert Latham touche 49.666 fr. du 6 juin au 29 août 1909.

Du 10 juillet au 25 août de la même année, Louis Paulhan se voit attribué 39.250 fr.[38].

De telles primes—et elles ont été bien dépassées en 1910—font de l'art de piloter une brillante carrière!


Soit pour conduire des aéroplanes, soit pour en construire, des esprits entreprenants vont donc à l'aviation, et sont en nombre toujours croissant.

Et cette multiplication de convoitises grandit l'impatience de savoir des candidats concurrents.

Des capitaux sont demandés. On les accorderait volontiers si la variété des propositions ne faisait naître l'inquiétude et ne provoquait des enquêtes qui révèlent les tâtonnements, les efforts perdus... et les capitalistes, à leur tour, réclament des précisions.

L'ensemble de l'état de la question suggère la sollicitation d'un enseignement de l'aviation. Créons une «École» pour ceux qui veulent avier, et pour ceux qui veulent fabriquer des avions.

Un établissement: collège, institut ou faculté, peu (p. 217) importe. Soit. On entrevoit vite cette École «pratique» en même temps que «technique». On l'imagine pourvue d'ateliers et de laboratoires d'essais et de recherches, de pistes et d'aérodromes d'apprentissages, d'amphithéâtres de cours et de démonstrations... Et qui professera dans cette École? Des techniciens, naturellement. Des spécialistes dans le travail du bois et des métaux, dans la fabrication des tissus. Des mécaniciens et des ingénieurs pour les moteurs et les hélices. Des mathématiciens, des physiciens et des chimistes.

Lors, des espérances s'éveillent parmi les diplômés sans emploi des grandes écoles, et les divers «gradués» capables de prétendre avec plus ou moins de raisons et d'influences aux fonctions professorales de cet enseignement.

Les ponts et chaussées, les mines seront-ils mis à contribution? Le corps du génie militaire semble tout indiqué. La marine et l'artillerie n'ont-elles pas aussi capacité?...

L'expérience, en tous cas, démontrera que les futurs professeurs, quels qu'ils soient, auront d'abord à faire eux-mêmes l'apprentissage de ce qu'il sera bon d'enseigner, puisque la science de l'aviation n'est encore qu'à l'état embryonnaire.

En attendant, les fondations naissent avec rapidité. L'Aéro-Club de France décide la création d'un «laboratoire d'essais».

L'Allemagne décide la fondation d'une école technique d'aviation et d'aérostation à Friedrichshafen.

L'Angleterre fonde une école de navigation aérienne, la «British Aérial League», dotée de trois millions.

L'Allemagne forme une «Société de la flotte aérienne allemande» placée sous la direction du général Nieber, qui instruira en trois années les élèves aérostatiers et aviateurs.

L'Autriche vote l'édification d'une école semblable à Fischamend, et la Hongrie se promet de l'imiter à bref délai.

À notre tour, nous fondons une «École supérieure (p. 218) d'aéronautique» placée sous la direction du commandant Roche.

Enfin, les donations Henry Deutsch (de la Meurthe) donnent naissance à l'Institut Aéronautique de St-Cyr-École.

Toutes ces initiatives sont louables, assurément, et donneront d'excellents résultats lorsque les enseignements qu'elles prétendent créer auront été déterminés d'une façon rationnelle et judicieusement orientés.

Cette belle émulation d'enseignement appelle, en effet, quelques observations un peu critiques s'appliquant à tous les pays, et particulièrement au nôtre. Tant que l'aviation parut être une application humaine à peu près chimérique, personne ne voulut se compromettre en la favorisant.

Mon regretté maître et ami, M. le professeur Marey, avait entrevu dès le début de ses premières études sur le vol des oiseaux et des insectes par la chronophotographie, que nous tenions par ces observations chronophotographiques la clef de l'aviation humaine. Avec l'enthousiasme de la jeunesse, je le sollicitais ardemment de consacrer la majeure partie de son temps et de ses crédits à cette étude scientifique méthodique. Mais, avec sagesse, il s'y refusait, affirmant que l'heure de ces études n'était pas venue, qu'il n'obtiendrait aucun appui ni de l'État, ni de la ville, ni des particuliers pour les entreprendre et les poursuivre et que loin de nous valoir quelque estime, ces travaux ne pourraient que nous discréditer.

Hélas! combien il avait raison! Nos observations, nos recherches, notre plan d'études, nos projets de dispositifs spéciaux, tout ce qui concernait cette passionnante enquête sur l'aviation fut enfoui «provisoirement» dans les archives de la station physiologique du Parc des Princes,—où il serait facile de les retrouver,—du moins j'aime à le croire. Marey estimait avec sagesse qu'il ne fallait pas alors parler de telles investigations.

Je crus, un moment, à la fondation de l'Aéro-Club de (p. 219) France, que l'heure de cette belle enquête allait sonner, et je fus spontanément l'un des fondateurs de ce groupement... Vain espoir! Le «plus léger que l'air» avait seul chance d'intéresser.

Aujourd'hui, les réalisations de Ferber, des Wright, des Voisin, de Blériot, etc., ont triomphé du préjugé contre le «plus lourd que l'air» et l'on voit les gouvernements fonder avec précipitation, sous la poussée de l'opinion publique, des écoles, des instituts, des ligues d'enseignement qui feraient un peu sourire le doux Marey, s'il vivait encore, parce qu'elles sont débordées par des réussites préalables privées qui appartiennent déjà au domaine industriel.

N'est-il pas au moins curieux de voir, en effet, les États se hâter de fonder des «établissements» où l'on étudiera la technique de l'aviation, lorsque les usines fabriquent et vendent couramment des aéroplanes qui se soutiennent dans l'air pendant des demi-journées, qui font plus de 500 kilomètres d'une seule traite, et dont les aviats s'élèvent à près de 3.000 métrés d'altitude!

Cette avance de la pratique sur la théorie rend évidemment difficile le retour aux principes, qui reste pourtant quand même indispensable.

Les écoles techniques officielles seront donc forcées de suivre les constructeurs et de s'efforcer de les rattraper, puis, de les devancer dans les voies qu'ils suivent, fussent-elles sans bonnes issues définitives. C'est la conséquence et jusqu'à un certain point, la punition du retard de l'enseignement technique.

Néanmoins, tout en suivant, forcément, les voies actuelles de l'aviation, les écoles techniques des États pourraient chercher des voies plus rationnelles, en revenant aux études initiales de la Nature qui donneront seules des indications sûres. L'avenir nous apprendra si ceux qui les dirigent auront cette clairvoyance.

En attendant, par l'empirisme, l'industrie continue ses investigations, et l'un de ses bons moyens d'action consiste dans les sensationnelles épreuves d'aviation qui (p. 220) stimulent à la fois si vivement le public, les constructeurs, les pilotes, les mécènes, les capitalistes et les États eux-mêmes.

Avides du spectacle émotionnant des aviats, les foules se portent, sans ménager la dépense, vers les lieux où des expériences sont annoncées. Frappées des gains locaux engendrés par ces afflux, les villes, les municipalités, les régions ambitionnent de créer des aérodromes, des meetings, des expositions ou des concours d'aviation. Des prix importants sont offerts pour décider les aviateurs et les industriels à prendre part aux compétitions.

On organise des programmes d'épreuves que l'on varie, que l'on augmente pour grandir l'attraction, et les rivalités des pilotes, des fabricants, des inventeurs complètent l'émulation provoquée par ces réunions.

Beaucoup de champs de courses pourraient être utilisés comme aérodromes avec de légères modifications,—car il ne suffit pas de mettre à la disposition des aviateurs des étendues permettant leurs «départs» et leurs évolutions,—il faut, en outre, que le terrain soit assez aplani pour ne point causer des accidents comme celui qui, près de Wimereux, sur le champ de courses de Boulogne, entraîna la mort du capitaine Ferber.

Quelques terrains de manœuvres militaires furent d'abord accordés avec force restrictions, et comme à regret, par l'administration de la Guerre. Puis on les retira, ou l'on en restreignit l'usage. L'autorité militaire est assez jalouse de ses prérogatives. Mais la pression de l'opinion, la nécessité de favoriser des essais ayant de grosses conséquences pour l'organisation future des défenses nationales dominèrent les résistances et de plus en plus ces champs de manœuvres s'ouvrent aux aviateurs.

À Issy-les-Moulineaux, à Châlons, au camp d'Auvours, pour ne parler que de chez nous, on avie, et l'on construit en bordure des espaces libres des hangars que l'administration tolère... ou favorise.

On avie encore à Bétheny, à Montluçon, à Port-Aviation (Juvisy-sur-Orge), à La Brayelle (près Douai). Mais (p. 221) cela ne suffît pas: il faut encore des aérodromes à la Croix d'Hins (près Bordeaux), à Pau, à Buc; on en veut créer dans le Morbihan (à Pen-en-Toul), sur la côte d'Azur (Nice, la Napoule), à Watteville (près Rouen), etc. Pour avoir plus d'espace encore, on convoite la plaine de la Crau, celle des Landes, etc.

Fig. 134

Tribune et Mâts de signaux.

Les épreuves de 1908 et surtout celles de 1909 ont appris qu'il n'est pas pratique d'avier dans un espace trop restreint comme celui du champ de manœuvres d'Issy-les-Moulineaux, où le pilote doit sans cesse songer à virer pour ne pas sortir des limites du terrain. On ne fait plus sur ce champ que des essais préliminaires d'appareils et des débuts d'apprentissage de pilotes; c'est en outre le point de départ et d'arrivée des appareils et des pilotes pour Paris.

(p. 222) En 1906 et 1907, lorsque les aviats ne dépassaient pas quelques mètres ou quelques centaines de mètres en étendue, des pelouses comme celle de Bagatelle (Paris) suffisaient. Mais les rapides progrès des parcours en étendue ont entraîné la nécessité de champs plus vastes et d'une organisation compliquée sur ces champs.

On a jalonné les terrains et marqué les virages avec des pylônes afin d'établir avec précision les appréciations des distances franchies. On a imaginé des jalonnements de ballons captifs pour fixer le calcul des hauteurs atteintes comme contrôle des instruments. On a cantonné le public dans des tribunes, des terrasses, des espaces clos pour éviter les accidents. On a créé à côté du poste élevé des contrôleurs d'épreuves une organisation sémaphorique de signaux pour renseigner les curieux sur les moindres incidents des aviats.

Cette organisation de signaux, entre autres détails, démontre que l'on a su improviser dès l'an dernier la meilleure utilisation possible des grands aérodromes consacrés aux concours d'aviation des aéroplanes.

Mais déjà voici que ces larges emplacements ne suffisent plus. Faire deux cent cinquante ou trois cents kilomètres en tournant pendant trois, quatre ou cinq heures dans une même étendue, devient chose aussi fastidieuse pour le public que pour l'aviateur.

Les pilotes éprouvent un impérieux besoin de s'élancer à travers champs. Il semble que l'ère des compétitions sur pistes, à peine commencée, s'achève et qu'il va devenir indispensable bientôt d'instituer les épreuves «de ville à ville».

On procède actuellement à l'étude d'une carte des régions environnant Paris, sur laquelle on se propose de marquer tous les points où des atterrissages seraient possibles pour des aéroplanes.

En principe, les champs favorables à des atterrissages sont fort abondants, mais l'usage des traversées d'espaces se généralisant, les prétentions des possesseurs des terrains réduiront vivement le nombre des points de descente.

(p. 223) Il faudra établir des «routes aériennes» correspondant à des relais éventuels et limiter par une jurisprudence constante les réclamations des propriétaires qui tenteraient d'abuser d'un atterrissage accidentel pour rançonner l'aviateur.

Les déplacements aériens entraîneront d'ailleurs, en outre des points de libre atterrissage, l'édification d'abris où le remisage temporaire des appareils pourra s'effectuer en location et où ils trouveront les approvisionnements qui leur seront nécessaires, en même temps que des petites installations permettant des réparations sommaires.

Au point où elle est arrivée aujourd'hui, l'aviation suggérerait une foule d'autres prévisions presque certaines; mais le calcul facile de ces probabilités sortirait du cadre de notre A. B. C.

(p. 224) L'Aviation en 1910.
Les Grandes Conquêtes de l'air.

L'ingéniosité des inventeurs et des constructeurs a fait encore créer, en 1910, bien des modèles nouveaux. Pour les apprécier, il faut attendre les résultats qu'ils donneront, mais il convient du moins de les citer en suivant simplement l'ordre chronologique dans lequel ils se sont fait connaître, parce que ce n'est ni un classement de valeur, ni un classement d'antériorité.

Le Monoplan J. Moisant,—surnommé le Corbeau, parce qu'il est peint au vernis noir,—est construit en tubes d'acier et pièces d'aluminium. Fuselage recouvert en plaques d'aluminium. Moteur Gnome de 50 HP (fig. 135, p. 225).

Le Biplan des frères Dufaux, dans lequel la stabilité latérale doit être donnée par deux petits ailerons placés entre les deux plans porteurs à droite et à gauche. Moteur Anzani de 25 HP (fig. 136, p. 227).

Le Monoplan Bertrand (fig. 137 et 138, pp. 229 et 231), type fort original, essentiellement constitué par un corps central cylindrique, sorte de cellule tubulaire de 2 mètres de diamètre sur 5 mètres de longueur, dans laquelle se place le pilote, en y pénétrant par une trappe placée sur le côté. Longueur totale, 11 mètres. Envergure, 13 m. 30. Moteur Unic de 31 HP actionnant deux hélices: une à l'avant du corps cylindrique et l'autre à l'arrière tournant dans le même sens. Poids à vide: 460 kilogs.

Le Biplan Suisse Martignier n'est pas sans analogie avec le monoplan Bertrand, car il comporte aussi une cellule cylindrique; mais celle-ci se trouve en arrière des plans sustentateurs.

(p. 225)

Fig. 135.—Monoplan de Moisant.

(p. 226) L'hélice tractive est placée entre les deux plans et le cylindre en avant de celui-ci. À l'arrière de la cellule et dans le prolongement de son diamètre se trouve le gouvernail, du type cruciforme Curtiss, et à l'avant un gouvernail de profondeur.

Le Monoplan de Hans Grade, qui a donné de bons résultats au meeting d'Héliopolis est un type intermédiaire entre le monoplan Blériot et la Demoiselle de Santos-Dumont. Il pèse avec son pilote, 235 kilogs, chargé (30 litres d'essence et 5 litres d'huile). Moteur à 4 cylindres de 24 HP. Envergure, 10 m. 20. Profondeur des ailes, 2 m. 50. Hélice à l'avant, 1.200 tours.

Le Monoplan Suisse G. Cailler rappelle, comme forme générale, l'hirondelle. Les extrémités des ailes sont relevées, mais, en outre, elles sont gauchissables. Poids total, 210 kilogs (à vide). Moteur Anzani de 28/30 HP. Hélice de 2 m. 20 de diamètre, 1.400 tours.

Le Monoplan Réguillard est d'une construction particulière. Le dessous de ses plans et le gouvernail en bois plaqué sont gauchissables par la flexibilité du bois. Envergure, 10 mètres; largeur, 7 mètres; superficie, 20 mètres. Moteur Gnome de 50 HP. Poids, 400 kilogs.

Le Biplan Anglais Goldman, surnommé Crucifer, est un type d'aéroplane imaginé pour réaliser de grandes vitesses et transporter plusieurs voyageurs.

Son «corps», cylindrique comme celui d'un requin, mais plus effilé à l'arrière, est ajouré sur une partie de sa longueur pour permettre aux passagers d'admirer le paysage.

«Les plans porteurs, solidaires, sont articulés sur le corps en fuselage par un collier monté sur roulement à billes (!) de telle façon que, lorsqu'un coup de vent fera pencher ou osciller ces plans, le corps conservera sa position normale (?!?)»

Fig. 136.—Biplan Dufaux Frères.

M. Goldman se réserve en outre de rendre ses plans porteurs repliables sur les côtés du fuselage pour faciliter (p. 228) le transport de son aéroplane et de rendre le fuselage hermétique afin qu'il puisse flotter sur l'eau.

Le moteur actionne deux hélices placées de chaque côté du fuselage en arrière du plan porteur inférieur.

Le Monoplan Flèche Lanzi-Billard (fig. 139, p. 233) justifie ce nom parce qu'il rappelle les flèches en papier plié que font les enfants. Il est muni de deux hélices tournant en sens inverse, l'une à l'avant, l'autre à l'arrière. Les ailes de cette «flèche» sont munies de volets stabilisateurs. Queue à l'arrière avec gouvernail de direction latérale et gouvernail de profondeur à l'avant. Moteur de 25 HP. Longueur, 8 m. Envergure, 6 m. Poids en ordre de marche, 290 kilogs. Cet appareil a été construit par les ateliers de Levallois.

On peut citer encore le Monoplan Lioré à deux hélices tractives; L'Avioplane Goliesco, exécuté par la «Société de construction d'appareils aériens» de Levallois, qui est en essais à Port-Aviation; le Biplan Herring (Amérique), monté sur patins, dont le plan supérieur est surmonté de crêtes triangulaires destinées à remplacer les surfaces verticales des biplans Voisin; le Monoplan Moisant, entièrement métallique, en tôle d'aluminium ondulée.

Le Statoplane Bocayuva, sorte de monoplan à surfaces portantes, munies d'un système de tubes qui peuvent être remplis d'air chaud ou de gaz léger (fig. 140, p. 235). Le brevet Félix Bocayuva qui concerne cet appareil hybride, «Aéroplane et Ballon», affirme qu'il doit joindre les qualités du plus lourd que l'air à celles du plus léger que l'air..., mais l'appareil n'est pas encore construit.

Fig. 137.—Monoplan Bertrand (Vu de face).

Notons enfin le souci de quelques constructeurs, comme l'Anglais Goldman, qui se préoccupent de réaliser l'aéroplane flottant: c'est-à-dire capable de reposer sur l'eau et de s'élever d'une surface liquide comme d'un aérodrome,—ceci présuppose forcément un temps calme. D'autres ont breveté des dispositifs d'aéroplanes (p. 230) parachute, ou de parachutes adaptables aux aéroplanes. Le gauchissement automatique des surfaces portantes a été aussi l'objet de brevets.

Mais, en résumé, toutes les prouesses d'aviation accomplies pendant les trois premiers trimestres de 1910 par les pilotes les plus habiles l'ont été sur les types d'aéroplanes, biplans, monoplans de 1909, peu modifiés.

Les monoplans Blériot et Antoinette; les biplans Voisin ou leurs dérivés, tels que les Farman, Sommer, etc., restent les types consacrés par des résultats sans cesse plus nombreux et plus éclatants.

Soit pour obtenir plus de vitesse, soit pour accomplir de plus longs parcours de ville à ville, soit pour enlever, avec le pilote, des passagers, les moteurs ont été souvent renforcés. L'emploi de 50, de 70 et même de 100 HP n'est plus exceptionnel.

La stabilisation par ailerons ajoutés aux surfaces portantes se généralise également; elle s'étend jusqu'aux biplans (type Goupy et Voisin, dernier modèle) (fig. 141, 142 et 143, pp. 237 et 239) et jusqu'aux plans arrière de ces aéroplanes. D'autre part, Blériot a créé un nouveau type de monoplan dit à «queue de pigeon» (type XI bis) dans lequel le fuselage très raccourci est complètement recouvert de toile.

Comme le remplacement de la cellule arrière du biplan Voisin par une queue stabilisatrice, formée d'un seul plan et du gouvernail de direction latérale, cette «queue de pigeon» du nouveau monoplan Blériot ne change d'ailleurs pas le principe du type de l'aéroplane Blériot (fig. 144, p. 241).

En dernier lieu, signalons, parce que ce sont les dernières créations de l'année, le biplan créé par H. Farman pour le concours de la Coupe Michelin, modèle à volets mobiles ajoutés aux extrémités du plan supérieur, qui est d'une envergure notablement supérieure à celle du plan inférieur. Et, d'autre part, la machine à voler créée par Paulhan, biplan à surfaces variables d'une construction métallique spéciale particulièrement solide.

(p. 231)

Fig. 138.—Monoplan Bertrand (Vu par l'arrière).

(p. 232) Si les types d'aéroplanes maîtres de l'air en 1910, ne diffèrent guère de ceux de 1909 et restent à peu de chose près les créations des mêmes constructeurs,—ou de leurs imitateurs,—en revanche, les résultats acquis en 1910 laissent bien loin en arrière les prouesses de 1909.

Même en négligeant toutes les épreuves de second ordre pour considérer seulement,—afin d'abréger,—les principaux bonds de l'aviation, il faut presque chaque mois enregistrer des progrès surprenants.

Le 7 janvier, Latham (sur monoplan Antoinette), à Mourmelon-le-Grand, atteint 1.100 mètres d'altitude par un vent de 15 mètres à la seconde.

Le monde de l'aviation est encore enthousiasmé de cette merveilleuse ascension impossible à prévoir, stupéfiante, lorsqu'il apprend, presque avec incrédulité, qu'à Los Angelès, en Californie, Paulhan, sur biplan Voisin, s'est élevé, le 13 janvier, à 1.269 mètres!

Au commencement de mars 1910, Farman, à Mourmelon, avie pendant 1 h. 2' 25" avec deux passagers.

Le 8 avril, à Bouy, le pilote belge Kinet, évolue pendant presque deux heures vingt minutes (2 h. 19' 4") avec M. Labedef, membre, de l'Aéro-Club de Russie, émerveillé.

En mai, Paulhan gagne le prix du Daily Mail, Londres-Manchester, 300 kilomètres.

Un peu moins d'un mois plus tard, le 2 juin, l'aviateur anglais Rolls fait la traversée de la Manche, aller et retour sans escale!

Sept jours après (9 juin), deux officiers français, le lieutenant Féquant et le capitaine Marconnet, exécutent en 2 h. 30 un raid de 160 kilomètres à travers la campagne. Partant du camp de Châlons, ils vont atterrir au parc militaire de Maison-Blanche, au bois de Vincennes (biplan).

Fig. 139.—Monoplan-Flèche Lanzi-Billard.

La semaine suivante (13 juin), l'aviateur américain Hamilton va de New-York à Philadelphie en 1 h. 46, effectuant un trajet de 86 milles à la vitesse moyenne de (p. 234) 80 kilomètres à l'heure et à une hauteur presque constante de 300 mètres (biplan Curtiss).

Mais voici au meeting de Reims, en juillet, d'autres exploits: Morane (m. Blériot) s'élève à 1.110 mètres, puis Latham à 1.384 mètres (m. Antoinette).

Morane battu sur l'altitude, se rattrape sur la vitesse: il atteint 106 kilomètres 508 m. à l'heure; enfin Labouchère (m. Antoinette) couvre 340 kilomètres sans escale en 4 h. 37.

Tout d'abord on ne peut croire à la nouvelle envoyée d'Amérique: au meeting d'Atlantic-City, Walter Brookins, le 10 juillet, s'est élevé à 1.904 mètres?... Pourtant, rien n'est plus exact. Cet essor, record du monde, (à cette date) est homologué (biplan Wright).

Le même mois, sept jours plus tard (17 juillet), sur un biplan, l'aviateur Svendsen franchit le Sund qui sépare la Suède du Danemark.—Parti de Copenhague, il descend sur le champ de manœuvres militaires de Malmoë. Trente et une minutes lui ont suffi pour traverser les 30 kilomètres de mer du Sund.

Est-ce tout pour ce mois? Non. Le 30, Olieslaegers à Bruxelles, grimpe à 1.460 mètres afin de prouver peut-être que l'exploit de Walter Brookins n'était pas un hasard et pouvait être «approché».

Et le 1er août,—est-ce animé du même esprit de démonstration?—au même meeting de Bruxelles, Tyck atteint 1.720 mètres d'altitude!

Le même jour, de Baeder, sur biplan Bréguet, en plus d'un approvisionnement de 20 kilog. d'essence et de 13 kilog. 500 d'huile, enlève trois passagers, soit 4 personnes: de Baeder, 69 kilog.; Robert Castro, 79 kilog.; Lucien Briançon, 74 kilog. et Florimond Guilbert, 66 kilog.

En même temps que lui, à Reims, H. Farman, avec son biplan No XI, enlève également avec lui trois personnes: MM. Vuillaume, Roth et Lepoix, qu'il promène dans les airs durant 1 h. et 40.

Fig. 140.—Statoplane Bocayuva.

Au meeting de Blackpool (Angleterre), le 3 août, (p. 236) Chavez monte à 1.793 mètres. Le second jour de la Semaine de Lanark, il atteindra encore l'altitude de 1.575 mètres: il n'est donc plus douteux que l'aéroplane permet les grandes altitudes qui lui semblaient il y a si peu de mois interdites.

Mais voici le 7 août, le départ du Circuit de l'Est organisé par le journal le Matin. Paris (Issy-les-Moulineaux) à Troyes, Nancy, Mézières, Charleville, Douai, Amiens, Paris: huit cent cinq kilomètres à travers monts et plaines! Leblanc et Aubrun, sur monoplans Blériot, sont les seuls vainqueurs de cette vaste randonnée effectuée en dépit de temps parfois exécrables. Legagneux, sur biplan, les a suivis et méritait assurément mieux que les faibles récompenses qu'il obtint au cours de ce magnifique circuit.

Huit aviateurs avaient pris le départ, cinq furent arrêtés en route par des accidents divers, les mauvais temps et les brouillards.

Mais, en même temps que les concurrents du Circuit, une série d'aviateurs militaires accomplissaient des raids non moins sensationnels que ceux du trio Leblanc-Aubrun-Legagneux et provoquaient un enthousiasme bien légitime.

Entre temps, le 12 août, au meeting de Lanark, l'aviateur Drexel avait atteint l'altitude de 2.270 mètres d'où il était redescendu en 3 minutes par un vol plané merveilleux. Ce jeune recordman de la hauteur n'a que dix-neuf ans.

De son côté, Paulhan avait gagné, le 14 août, par 1.368 kilomètres parcourus en pleine campagne depuis le commencement de l'année, le prix du Daily Mail.

À peine le Circuit de l'Est est-il terminé (17 août) que Moisant se rend, sans crier gare, d'Amiens à Londres. Le mauvais temps l'arrête à si petite distance de la capitale anglaise que son raid peut être tenu pour quasi accompli.

Le 28 août, Armand Dufaux, de Genève, traverse le lac Léman, à 150 mètres d'altitude (66 kilomètres en 56).

(p. 237)

Fig. 141.—Biplan Goupy et Voisin.

(p. 238) Le 3 septembre, au meeting de la baie de la Seine, Morane s'élève à 2.582 mètres (record du monde).

Quinze jours plus tard (le 18), Chavez lui enlève ce record à Issy-les-Moulineaux par un aviat de 2.680 mètres d'altitude.

Le 11 du même mois, partant de Holyhead (Angleterre), Robert Loraine avait presque traversé la mer d'Islande. Une panne de son moteur le fit échouer au port dans la baie de Dublin.

Enfin, la traversée des Alpes, au Simplon, par Geo.-A. Chavez, termine par l'une des plus belles prouesses de l'aviation les trois premiers trimestres de 1910.

Après cet exploit, l'aviateur fut malheureusement victime d'un accident, encore mal connu, de son monoplan. Il allait atterrir lorsqu'à une faible hauteur au-dessus du sol, les ailes du monoplan s'étant rompues, il fit une chute brusque, dans laquelle il se brisa les deux jambes. Quelques jours après, il mourait de ces blessures, ou peut-être même des fautes médicales commises pendant le traitement.

D'autre part, sous la poussée de l'opinion publique, l'aviation militaire, à peine créée, bouleverse la stratégie.

Aux manœuvres de Picardie, on constate que le rôle des aéroplanes peut être considérable, sinon prépondérant en cas de guerre. Tous ceux qui connaissaient bien l'aviation le disaient depuis quelque temps déjà.

Nous l'avions personnellement proclamé dès la fin de 1909 de la façon la plus popularisante, mais il fallait l'éclatante démonstration des manœuvres de Picardie pour ouvrir les yeux des grands chefs militaires.

À présent convaincus, bon gré, mal gré, ils se hâtent d'organiser cette flotte aérienne..., ils n'iront jamais assez vite; mais faute d'avoir songé à temps à l'étude rationnelle de l'aviation, nous voici condamnés à dépenser pas mal de millions en «armements provisoires». Espérons que le souci de ce provisoire ne fera pas négliger l'étude de solutions meilleures?

Fig. 142 et 143.—Biplan Goupy et Voisin.

Est-ce tout pour 1910? Pas encore: les derniers mois (p. 240) de l'année nous réservaient plus d'un fait intéressant ou sensationnel.

Pour en finir avec les prouesses aériennes de l'aviation en 1910, mentionnons les plus saillants exploits accomplis: l'aviateur Wynmalen, qui avait atteint l'altitude de 2.500 mètres avec son biplan à Mourmelon, le 28 septembre, voulut tenter de s'élever aussi haut que Chavez. Après un second essor de 2.400 mètres, il fit enfin, le 1er octobre, une ascension de 2.780 mètres, le jour même des obsèques du malheureux Chavez.

Les temps de cette remarquable ascension donnent d'intéressantes indications:

Première altitude de 500 mètres   en 7'
Seconde de 500   (soit 1000m) en 10'
Troisième de 500   (soit 1500m) en 14'
Quatrième de 500   (soit 2000m) en 18'
Cinquième de 500   (soit 2500m) en 26'
Sixième ascension de 280   (soit 2780m) en 30'
  ——
  105'

Soit une durée de 1 h. 45' pour l'ascension totale.

Quant à la descente en vol plané, elle s'effectua dans les temps suivants:

700 mètres en 2'
1500 en 6'
580 en 4'
——   ——
2780 en 12'

Ces derniers temps ont presque l'éloquence d'un graphique: ils montrent parfaitement la descente en vol plané d'abord très prompte, puis un peu moins rapide, enfin ralentie dans les derniers 580 mètres par la trajectoire de l'atterrissage. C'est un véritable modèle de descente en vol plané.

Ne quittons pas les hautes régions de l'atmosphère atteintes par les aviateurs. Wynmalen ne devait garder longtemps son record d'altitude. Il en fut dépossédé par Drexel, à Philadelphie, en 2 heures 10' d'aviat par une ascension de 3.038 mètres.

(p. 241)

Fig. 144.—Monoplan Blériot à Queue de Pigeon.

(p. 242) Mais le 9 décembre, à Pau, notre sympathique Legagneux ramenait à la France le record de l'altitude par un aviat de 3.200 mètres, effectué en 1 heure 30' dont 16' pour la descente en vol plané.

D'autre part, le 28 octobre, à Buc, sur biplan Farman, l'aviateur Tabureau gagnait la Coupe Michelin, par le record de la durée et de la distance: 6 heures 1' 35"—465 kil. 720m. Enfin le 18 du même mois, Henri Farman, à défaut de la distance, car il était contrarié par un vent très violent, enlevait du moins à Tabureau le record de la durée par un aviat de 8 heures 12'.

Le 7 décembre à Memphis (Amérique du Nord), l'aviateur français René Barrier battait tous les records de vitesse du monde par un aviat de 23 kilomètres à l'allure de 140 kilomètres à l'heure. Enfin, parmi les prouesses de l'aviation, il faut encore noter les très intéressants essais d'aviats faits à bord du transatlantique Pensylvania et du croiseur américain Birmingham, par MM. Mac Curdy et Eugène Ély. D'une plate-forme de roulement installée sur ces navires, ces aviateurs tentèrent de s'élever, et M. Eugène Ély sur le Birmingham y réussit particulièrement bien. Il est donc acquis désormais qu'un navire peut emporter et lancer un aéroplane. Nous l'avions annoncé il y a plus d'un an et c'est par le moyen que nous indiquions que la tentative faite a réussi[39]: il ne nous est pas désagréable de le constater.

Esquissant un bilan de l'aviation, le Daily Mail comptait le 15 septembre (1910), 501 aviateurs ayant officiellement accompli des aviats. D'autre part, le capitaine Sazerac de Forge, dans la Revue de l'Aéronautique militaire du 5 décembre, en tenant compte des élèves, évaluait à près de mille les aviateurs français. Quant aux postulants, ils seraient légion d'après le même auteur qui, bien informé pour les candidats militaires, note 1100 demandes déjà pour 50 places d'aviateurs militaires à donner.

(p. 243) Pourtant, l'aviation mécanique, en cette seule année 1910, n'a pas fait moins de vingt-trois victimes:

À ces vingt-trois victimes, il faut ajouter pour les années précédentes:

Enfin, les précurseurs Pilcher et Lilienthal, portent à trente le nombre des martyrs de l'aviation.

(p. 244) Dans ce triste relevé, les nationalités se classent comme suit:

9 Français; 4 Allemands; 3 Américains; 3 Italiens; 2 Belges; 2 Hollandais; 1 Espagnol; 1 Anglais; 1 Péruvien; 1 Alsacien; 1 Russe.

Quant aux appareils, ce sont:

9 Wright; 4 Blériot; 3 Farman; 2 Sommer; 2 Antoinette; 1 Voisin; 1 Rossi; 1 Fernandez; 1 Zosely; 1 Aviatic; 1 Walden; 1 Savary; 1 Bréguet.

Mais hâtons-nous de dire que ces chiffres ne correspondent nullement aux qualités ou défauts des appareils.

Certains appareils, comme ceux des types Rossi, Fernandez, Zosely, Aviatic, Walden, Savary, n'ont subi que fort peu d'épreuves et n'ont pas été construits par quantités, tandis que les types Voisin, Wright, Farman, Blériot, Antoinette, vendus en quantités, ont fourni des milliers d'aviats. Il reste néanmoins remarquable que dans la série des biplans Wright et Voisin, dont les appareils vendus se comptent par centaines, les Wright ont neuf décès à leur passif, tandis que les Voisin n'en comptent qu'un seul. (Ferber: accident d'atterrissage dû au terrain).

Il conviendrait d'ailleurs d'étudier de près chacune de ces morts d'aviateurs pour déterminer autant que possible la part qui incombe dans les accidents aux aviateurs, aux appareils, aux conditions de l'aviat, à l'atterrissage, etc.

Ainsi l'on sait que la mort de Chavez fut causée par une rupture des plans sustentateurs du son Blériot; celle de Fernandez par le défaut de solidité de son appareil avarié et mal consolidé. Johnstone périt victime de son imprudence: il avait inauguré des descentes en plongée presque à pic, terminées par un brusque redressement et une trajectoire très près du plan horizontal d'atterrissage. Cette acrobatie sensationnelle lui fut fatale. Le lieutenant Selfridge, première victime de l'aviation mécanique, fut tué dans une chute résultant de la rupture de l'une des hélices du (p. 245) Wright qu'il montait. Cet accident de l'appareil est l'un des dangers des biplans Wright. Si l'une des hélices se rompt tandis que l'autre continue à tourner, l'appareil capote fatalement. Il faut qu'en cas d'accident de ce genre l'arrêt du moteur soit automatiquement instantané et que la descente puisse s'effectuer en vol plané.

Pour clore la pénible série de ces pertes subies par le monde de l'aviation, citons la fin, naturelle cette fois, de l'un des principaux pionniers de la conquête de l'air: Octave Chanute, notre compatriote, né en France en 1832, mort le 24 novembre 1910, à Chicago, qui fut à tel point l'initiateur et l'inspirateur des Wright qu'on peut dire que la majeure part de leurs travaux lui revient en toute propriété morale.


L'année 1910, suivant le Daily Mail, s'achève par un bilan de construction qui met en relief marqué quatorze types de biplans et seize types de monoplans consacrés par des éprouves officielles positives ou des succès glorieux:

Biplans

Voisin, Wright, H. Farman, M. Farman, Sommer, Bréguet, Curtiss, Mac Curdy, Gobron, Goupy, Nieuport, Savary, Vendôme, Siemens. Mais notons que tous ces types sont des biplans Voisin à peine modifiés.

Monoplans

Blériot, Antoinette, Demoiselle, Hanriot, Tellier, R. E. P., Koechlin, Peugeot, Gyp, Mongolfier, Train, Saulmier, Vernher, Euler, Puetzner, Grade.

Il conviendrait d'ajouter à cet le liste de monoplans au moins le Nieuport, le de Pischof et le Sommer, et d'ajouter aux biplans notables, cités par le Daily Mail, le nouveau Paulhan, le Sanchez-Beza et le Turcat-Mery-Rougier.

À titre de simple indication, car le cours des appareils est essentiellement variable, mentionnons les prix de ces principaux types:

(p. 246) BIPLANS

Voisin 2 places, moteur E. N. V. 60 HP, 25.500 francs.
Wright (Astra)   Barriquand-Wright 25 HP, 25.000 francs.
Bréguet 3 R.E.P. 60 HP, 28.000 francs.
H. Farman 2 Gnome 50 HP, 28.000 francs.
M. Farman 2 Renault 60 HP, 28.000 francs.
Goupy 2 Gnome 50 HP, 28.000 francs.
Paulhan   Gnome 50 HP, 30.000 francs.
Sanchez-Beza 1 E. N. V. 60 HP, 20.000 francs.
2 Gnome 50 HP, 23.000 francs.
Sommer 2 Gnome 50 HP, 26.000 francs.
Turcat-Mery-Rougier 1 E. N. V. 60 HP, 25.000 francs.

MONOPLANS

Antoinette 1 pl., m. Antoinette, 55-60 HP, 26.000 francs.
Blériot 1 Gyp, 25 HP, 13.000 francs.
2 Gnome, 50 HP, 28.000 francs.
Demoiselle 1 Bayard-Clément, 30 HP, 7.500 francs.
R. E. P. 1 R. E. P., 60 HP, 29.000 francs.
Hanriot 1 Clerget, 50 HP, 25.000 francs.
2 Gyp, 50 HP, 26.000 francs.
Koechlin 2 Labor-Vort, 70 HP, 21.000 francs.
1 Gyp, 25 HP, 15.000 francs.
(p. 247) Nieuport 1 place Darracq, 18 HP, 18.000 francs.
De Pischof 2 places E. N. V., 50 HP, 27.000 francs.
Rossel-Peugeot 2 Rossel, 60 HP, 20.000 francs.
Sommer 1 Gnome, 50 HP, 20.000 francs.
Tellier 1 Panhard, 22.000 francs.

À ces prix l'on voit que l'aviation n'est pas encore un sport à la portée des petites bourses.

Nous avons précédemment signalé les produits tirés de l'aviation par quelques aviateurs célèbres. À cette fin d'exercice, complétons ces premières indications par les relevés suivants empruntés à la France Automobile et Aérienne.

D'août 1909 à septembre 1910

Paulhan, 410.262 fr.; Morane, 264.899 fr.; Latham, 262.159 fr.; Rougier, 261.500 fr.; Chavez, 246.360 fr.; Leblanc, 164.000 fr.; Farman, 116.950 fr.; Legagneux, 86.494 fr.; Van den Born, 88.799 fr.; Effimoff, 83.557 fr.; Glen Curtiss, 83.000 fr.; Cattaneo, 80.464 fr.; Comte de Lambert, 62.400 fr.; Aubrun, 61.300 fr.; Métrot, 56.000 fr.; Johnstone, 47.500 fr.; Blériot, 42.000 fr. (mais il faut noter que Blériot ne fait presque plus d'aviats personnellement); Duxel, 42.000 fr.; N. Kinet, 27.725 fr.; Hanriot, 22.977 fr.; Weymann, 16.500; J. de Lesseps, 13.500 fr. Ce dernier n'est d'ailleurs pas un «professionnel» et l'on devrait compter aussi à son actif la royauté Peau-Rouge et le magnifique mariage avec une Canadienne que lui ont valus ses derniers succès au Canada.


L'an 1911 nous apportera-t-il des solutions nouvelles du problème de l'aviation? Espérons-le, car il n'est assurément qu'effleuré avec le «cerf-volant automobile» que sont biplans et monoplans.

(p. 248) En attendant, M. Quinton et la Ligue Aérienne préparent un jalonnement des «routes de l'air» dont la nécessité se fait déjà vivement sentir. Celle de procéder à une analyse sérieuse et méthodique des perturbations de l'atmosphère ne s'impose pas moins, et l'étude de là pénétration saharienne, puis celle des communications par l'air entre nos possessions africaines se préparent... Les objets d'application et d'activité ne manquent pas! Mais qu'il nous soit encore une fois permis de souhaiter, pour conclure, une orientation plus rationnelle de l'aviation moderne. Ni le cerf-volant automobile, ni le vol par ailes battantes (dont on s'est préoccupé en 1910 [Goliesco]), ne sont des voies fécondes ou en accord avec nos moyens.

On verra bientôt le fond de l'impasse que sont les biplans et monoplans d'aujourd'hui. Quant au vol des oiseaux, notre mécanique est trop simple encore, trop rigide surtout, pour prétendre l'imiter... tandis que nous pouvons à coup sûr, avec nos moyens actuels, créer l'insecte,—dont le vol est tout à fait celui qui répond à nos besoins.—Il nous suffit pour cela de consacrer à l'étude préalable que cette création exige, le temps et l'argent voulus.

(p. 249) TABLEAUX RÉCAPITULATIFS
DES
ÉPREUVES D'AVIATION

(p. 250)
DATES DISTANCE HAUTEUR DURÉE LIEUX AIR APPAREIL PILOTES
AVEC ou SANS PASSAGERS
OBSERVATIONS
1866-1867 ? ? ? Brest contre vent Monoplan Le Bris.  
(L'aviation moderne est le résultat des études pratiques et théoriques faites sur le vol plané, en coïncidence avec le perfectionnement des moteurs légers créés par l'industrie des voitures automobiles. Il convient donc de faire remonter à Le Bris le premier des deux termes de la solution, puisqu'il fit les premiers essais empiriques de vol plané).
1868 ou 1869       Allemagne     Lilienthal.  
(Lilienthal étudie d'abord théoriquement jusqu'en 1891 le vol plané essayé pratiquement par Le Bris).
1890 (9 oct.) 50 m. faible qq. secondes Armainvilliers ? L'Éole d'Ader monoplan Ader.  
(L'ingénieur Ader fit dès 1890 les premiers essais de son premier monoplan nommé l'Éole, à Armainvilliers. Il avait créé pour son monoplan un moteur à vapeur extra-léger. Ses recherches faites en secret comme plus tard celles des frères Wright, ne furent pas remarquées).
1891       Allemagne contre vent Divers biplans Lilienthal.  
(De 1891 à 1896, Lilienthal réalise matériellement les vols planés qu'il a calculés théoriquement depuis 1868 ou 1869. Il arrive à franchir plus de 100 mètres de distance et s'élève à plus de 50 mètres; ses planements durent de longues séries de secondes. Il meurt accidentellement dans un de ces essais en 1896.—C'est le premier martyr moderne de l'Aviation).
  100 m. ? ? Camp de Satory ? Éole d'Ader Clément Ader. Essais cachés par l'autorité militaire.
1894-1895           Monoplan de Sir Hiram Maxim  
(Sir Hiram Maxim construit et expérimente en 1895 un énorme aéroplane à hélices mû par moteur à vapeur. L'appareil s'enlève mais se brise par défaut de gouverne).
1896 + de 100m + de 100m     contre vent Monoplan Pilcher Pilcher. Cet émule de Lilienthal étudie le planement sans appareil moteur.
1896 + de 100m - de 100m   Amérique (E.-U.) contre vent Multiplans puis biplans Chanute Chanute et ses élèves. Cet émule de Lilienthal adopte pour ses essais pratiques le dispositif de biplan du cerf-volant de Hargrave[A].
1896 1.200 m.     Fleuve Potomac (E.-U.) Monoplan à deux paires d'ailes de Langley Appareil d'essais de dimension réduites. Type de l'appareil qui fut réalisé en grand plus tard et essayé avec pilote.
1897                
(Comme Lilienthal, Pilcher, deuxième victime de l'aviation, meurt d'une chute de son planeur sans moteur.—Chanute et ses élèves, en Amérique, continuent leurs études de planement.—M. Langley, subventionné par le Gouvernement des États-Unis, continue ses expériences).
12 octobre 50 à 100m     Satory   Avion no 3 Ader. L'ingénieur Ader poursuivant ses essais depuis 1890 a remplacé son premier modèle de monoplan l'Éole par deux autres modèles successifs dénommés Avions.—C'est un troisième Avion monoplan: l'Avion no 3, qu'il expérimente et brise après 300 mètres d'aviat le 14 octobre.
14 octobre 300 m. faible   Satory avec vent Monoplan Ader
Avion no 3
Ader.
1898                
(Suite des essais de planement par M. Chanute et ses élèves, MM. Herring et Avery).
(Suite des études de monoplan de M. Langley).
1899           Biplans Ferber sans moteur Capitaine Ferber  
(Suite des essais de M. Chanute et de ses élèves, MM. Herring et Avery, sur biplans sans moteur).
(Suite des recherches et constructions de M. Langley sur monoplan à deux paires d'ailes avec moteur).
1900                
(Suite des études de MM. Chanute et de ses élèves, capitaine Ferber et M. Langley. Les frères Wright commencent à étudier le planement sans moteur sur les indications de M. Chanute).
(Louis Blériot étudie un appareil ornithoptère qui ne lui donne pas satisfaction).
1901 et 1902                
(Suite des études précitées par les mêmes personnes. L'étude expérimentale du planement donne des résultats de plus en plus satisfaisants au capitaine Ferber et aux frères Wright).
1903                
7 octobre       Fleuve Potomac (E.-U.)   Monoplan à deux paires d'ailes de M. Langley M. le prof. Manlay Ces essais en grand suivis de chutes déterminent le Gouvernement américain à cesser de subventionner les essais de M. Langley au moment où il allait aboutir, car son appareil à peine modifié a donné plus tard en France des résultats probants.
Décembre       Arsenal-Point près Washington(E.-U.)    
17 décembre     12' Kitty-Hawk (E.-U.)   Biplan Wright Orville Wright Les frères Wright, qui avaient fait jusqu'alors leurs expériences dans le plus grand secret, comme Ader treize ans auparavant, ne sont pas cru, même en Amérique.
260 m.   59'  
1904                
Janvier-Juillet                
(Suite des études du capitaine Ferber.—Les frères Wright perfectionnent leur biplan à propulsion mécanique.—M. Gabriel Voisin, gagné par le Cap. Ferber à l'aviation, se rend à Paris pour se consacrer au plus lourd que l'air et collabore avec Archdeacon et Surcouf.—Ses essais pour M. Archdeacon à Billancourt coïncident avec ceux de M. L. Blériot).
Août 300 à 400m     Springfield (E.-U.)   Biplan Wright Les frères Wright. Premier virage effectué.

Premier circuit fermé exécuté.
15 septembre              
20 septembre              
12 novembre 4.500 m.            
DATES DISTANCE HAUTEUR DURÉE VITESSE en mètres p. seconde LIEUX NATURE DE L'APPAREIL CONSTRUCTEURS PILOTES OBSERVATIONS
1905
(Voisin avec M. Archdeacon, puis Voisin et Blériot ensemble, le capitaine Ferber, enfin les frères Wright continuent leurs études et leurs essais. Un ingénieur danois, M. Ellehammer, sera plus tard signalé comme ayant Tait aussi des essais à cette époque, mais sans vérification officielle).
Fin mai Le capitaine Ferber réussit à Chalais-Meudon, sur son biplan ses premiers aviats.
6 septembre 6 k. 300       à Springfield (E.-U.) Biplan Wright Wright Fr. Wright Fr. Soit une vitesse de 57 à 58 kilomètres à l'heure.
26 17 k. 961   18' 9" 16 m.
29 19 k. 570   19' 55" 16 m.
3 octobre 24 k. 535   25' 5" 16 m.
4 33 k. 456   33' 17" 16 m.
5 38 k. 956   38' 3" 16 m.
(Pendant une partie de cette année 1905, ni en Europe, ni même en Amérique, on n'a voulu d'abord croire aux résultats obtenus par les frères Wright, parce qu'ils avaient fait leurs études préalables trop secrètement et qu'ils proclamaient brusquement leurs succès en cherchant à vendre leurs brevets un million. Partout on crut à un bluff considérable.—Sauf le capitaine Ferber, qui, cherchant et trouvant dans la même voie, n'était pas surpris des résultats annoncés).
1906
(Pendant l'année 1906, tandis que les frères Wright s'efforcent en vain de négocier leurs brevets et que les premiers constructeurs français précités: Ferber, Archdeacon, Blériot, Voisin, continuent leurs recherches, ainsi que l'ingénieur danois Ellehammer, de nouveaux inventeurs se manifestent, notamment le Hongrois Trajan Vuia et Santos-Dumont qui fait en Europe le premier aviat officiellement constaté).
6 mars 12 m.       Montesson Monoplan Vuia Vuia Vuia L'ingénieur Trajan Vuia avait commencé ses recherches en 1903. Il employait un moteur à gaz. Ses essais n'ont pas été officiellement contrôlés.
12 août 10 m.       Issy - les - Moulineaux 2e appareil Vuia no 1 T. Vuia Vuia  
19 août 24 m.        
12 septembre ?       Île de Sindholm (Danemark) Biplan Ellehammer Ellehammer Ellehammer Essais non contrôlés officiellement.
13 septembre 7 m.       Bagatelle Biplan Santos-Dumont (no 14 bis) S.-Dumont S.-Dumont Ces aviats dûment constatés donnent a M. Santos-Dumont: 1o La coupe Archdeacon et deux prix de l'Aéro-Club de France.
23 octobre 60 m.       Bagatelle Biplan Santos-Dumont (no 14 bis)
12 novembre 82m 60   7" 11m 50
220 m.   21" 10 m.
1907
(Par le biplan et le monoplan, Voisin et Blériot, en 1907, créent française d'aviation qui donne ses premiers résultats marquants l'École et Farman (Henri) se révèle aviateur).
16 mars 10 m.       Bagatelle Biplan modèle Voisin construit pour Delagrange (D. no 1). Voisin frères G. Voisin Le premier biplan fut nommé le Delagrange no 1.
30 — 25 m.   4" 6 m. C. Voisin
" 60 m.   6" 10 m.
5 avril 6 m.       Bagatelle Monoplan Blériot no 4 Louis Blériot Louis Blériot Ce monoplan surnommé le Canard se brisa le 19 du même mois à la fin d'un aviat plus étendu.
21 juin 10 m.       Monoplan Vuia no 2 T. Vuia Vuia  
5 juillet 20 m.        
11 — 30 m.       Issy - les - Moulineaux Monoplan Blériot no 5 Louis Blériot Louis Blériot  
15 — 40 m.        
78 m.   9" 8 m.  
25 — 120 m.   6" 20 m. Dans cet aviat, Blériot eut sans doute un vent arrière assez vif.
150 m.   10" 15 m.  
17 septembre 184 m.       Monoplan Blériot no 6  
15 octobre 280 m.       Issy - les - Moulineaux Biplan Voisin le H.-Farman no 1 Voisin frères H. Farman Ce biplan construit pour H. Farman prit son nom quoique construit par les frères Voisin.
26 — 771 m.   52" 14 m.  
2 novembre 50 m.       Biplan Voisin le Delagrange no 1 Delagrange  
3 — 500 m.       Au bout de ce parcours l'appareil tombe et se brise.
8 —         Biplan Voisin le H.-Farman no 1 H. Farman Premier virage exécuté.
9 — 1.030 m.   1' 14" 13 à 14 m. Premier aviat en circuit fermé.
16 — 500 m.       Monoplan Blériot no VII Louis Blériot Louis Blériot  
600 m.       à Buc Monoplan R. Esnault-Pelterie no 1 R. Esnault-Pelterie ?  
1908
(En 1908, les frères Wright font à la fois en France et en Amérique d'éclatantes démonstrations des capacités de leurs biplans. Mais l'École Française d'aviation est en pleine croissance et bon nombre de leurs succès sont contre-balancés par des succès français parfois égaux mais souvent différents, qui marquent les caractères distinctifs des deux écoles).
11 janvier 1.100 m.       à Issy - les - Moulineaux Biplan Voisin le H.-Farman no 1 Voisin frères H. Farman  
14 — 175 m.       Île de Sindholm (Danemark) Triplan Ellehammer no 3 Ellehammer Ellehammer L'ingénieur danois revient plus tard à un type d'aéroplane biplan qui se rapproche du modèle des frères Voisin.
15 — 1.500 m.   1' 33" 16 m. Issy - les - Moulineaux Biplan Voisin le H.-Farman no 1 Voisin frères H. Farman  
21 mars 2.004 m.   3' 31" 9 m. Biplan Henri Farman no 1 bis (Type Voisin) H. Farman Ce biplan ne diffère pas sensiblement du type créé par les frères Voisin.
10 avril 2.500 m.       à Issy - les - Moulineaux Biplan Voisin le Delagrange 2 et 3 Voisin frères Delagrange Modèle du Delagrange no 1 amélioré.
11 — 3.925 m.   6' 30" 10 m. Biplan Voisin le Delagrange 2 et 3 Voisin frères Delagrange Modèle du Delagrange no 1 amélioré.
30 mai 12 k. 750   15' 25" 13 à 14 m.
30 — 1.241 m.       à Gand (Belgique) Le H. Farman no 1 bis (Type Voisin) H. Farman H. Farman Avec un passager (M. Archdeacon).
30 —   12 m.     Le 8 juin, à Kitty-Hawk (E.-U.), les frères Wright s'étaient élevés à 30 mètres de hauteur.
23 juin 14 k. 270   18' 30" 12 à 13 m. à Milan (Italie) Biplan Voisin le Delagrange 2 et 3. Voisin frères Delagrange  
6 juillet     20' 20"   à Issy - les - Moulineaux Biplan le H. Farman 1 bis (type V.) H. Farman H. Farman Record du monde de durée, à cette date.
6 septembre 24 k. 727   29' 53" 13 à 14 m. Biplan Voisin le Delagrange 2 et 3. Voisin frères Delagrange  
9 —     1 h. 2' 15"   à Fort-Myers (États-Unis) Biplan Wright Wright fr. O. Wright Record du monde de durée, à cette date.
10 au 12 sept.     1 h. 15' 20"   Du 10 au 12 sept., O. Wright bat chaque jour ses propres records jusqu'à celui de cette date au cours des essais de son biplan devant le "Signal-Corps" des États-Unis. (Record du monde de durée).
12 septembre     9' 6"   Record du monde pour cette durée avec un passager (le commandant Squiers).

Six jours plus tard, le 18 septembre, O. Wright avec un passager, le lieutenant Selfridge, fait un aviat. Une hélice se brise, le biplan, déséquilibré, tombe et le lieutenant est tué; O. Wright, grièvement blessé.
17 —     30' 27"   à Issy - les - Moulineaux Biplan le Delagrange 2 et 3 Voisin frères Delagrange On ne sait pas alors que Wilbur Wright, à Auvours, vient d'avier la veille 39' 18" et le même jour 32' 47".
21 —     1 h. 31' 25"   au Camp d'Auvours Biplan Wright Wright fr. W. Wright Record du monde de durée, à cette date.
29 — 42 kil.   43' 16 m. à Bouy Biplan le H. Farman 1 bis (type Voisin) H. Farman H. Farman  
3 octobre     55' 32"   au Camp d'Auvours Biplan Wright Wright fr. W. Wright Record du monde de durée avec un passager, M. Frantz-Reichel.
(p. 260) 6 octobre     1 h. 4'26"   au Camp d'Auvours Biplan Wright Wright fr. W. Wright Record du monde de durée avec un passager, M. Fordyce.
10 —     1 h. 9'45"   Record du monde de durée avec un passager, M. Painlevé de l'Institut.
15 —         M. Wright coupe l'allumage en plein aviat et descend en vol plané.
30 — 24 kil.       Châlons à Reims Biplan le H. Farman 1 bis (type Voisin) H. Farman H. Farman Premier voyage de ville à ville exécuté par un «plus lourd que l'air» aéroplane.
31 —   25 m.     à Bouy Premier prix de la hauteur attribué en France.
31 — 14 kil.   11' 21 m. Toury-Artenay et retour (avec deux escales) Monoplan Blériot no VIII L. Blériot L. Blériot Premier voyage de ville à ville aller et retour.
13 novembre   60 m.     au Camp d'Auvours Biplan Wright Wright fr. W. Wright Prix de la hauteur de l'Aéro-Club de la Sarthe.
16 décembre   90 m.     Descente en vol plané.
18 — 99 kil.   1h. 54' 14 m. Records du monde de durée et de distance.
18 —   115 m.     Prix de hauteur de l'Aéro-Club de France.
31 — 124 k. 700   2h. 20'23" 14 m. Records du monde de durée et de distance.
1909
31 mai         Toury à Château-Gaillard et retour. Monoplan Blériot no XI L. Blériot L. Blériot Deuxième voyage de ville à ville et retour.
13 juillet 41 k. 200   44' 15 m. Mondésir (Étampes) à Chevilly (Orléans) avec escale à Arbouville Quatrième voyage de ville à ville. Prix du voyage de l'Aéro-Club de France.
18 —   150 m.     La Brayelle Biplan l'Octavie no 3 Voisin frères Paulhan Record du monde de hauteur, à cette date.
19 — 12 k. en mer       Détroit de la Manche Monoplan Antoinette no 4 Sté Antoinette H. Latham Première tentative de traversée de la Manche.
19 —         Voyage de Douai à Arras Biplan l'Octavie no 3 Voisin frères Paulhan Cinquième voyage de ville à ville.
22 —       23 m. à Fort-Myers (E.-U.) Biplan Wright Wright fr. O. Wright Essais du biplan Wright devant le «Signal-Corps» des États-Unis[B].
25 juillet     27'   Traversée de la Manche de Calais à Douvres Monoplan Blériot no XI L. Blériot L. Blériot Prix spécial du journal le Daily Mail.
27 —         3e tentative de traversée de la Manche Monoplan l'Antoinette no 4 Sté Antoinette H. Latham Latham tombe en mer à un mille de Douvres, par arrêt du moteur.
27 —     1h. 12' 40"   à Fort-Myers (E.-U.) Biplan Wright Wright fr. O. Wright Essais devant le Signal-Corps aux E.-U.
31 —         Fort-Myers - Alexandria et retour avec passagers (le lieuten. Fauloir) Premier voyage de ville à ville des Wright.
6 août         Voyage Mole-les-Bains à Bray-Dunes et retour Biplan l'Octavie no 3 Voisin frères Paulhan Troisième voyage de ville à ville aller et retour.
7 —     2h. 27' 15"   à Bouy Biplan H. Farman (type Voisin) H. Farman Sommer Record du monde de durée, à cette date.
25 — 133 k. 676   2h. 43'   à Bétheny (Reims) Biplan l'Octavie no 3 Voisin frères Paulhan Records du monde de durée et de distance, à cette date.
26 — 154 k. 620   2h. 17' 21"   Monoplan l'Antoinette no 4 Sté Antoinette H. Latham Record du monde de distance, à cette date.
27 — 180 kil.   3h. 41' 56"   Biplan H. Farman no 3 H. Farman H. Farman Records du monde de durée et de distance, à cette date.
28 — 20 kil.   15' 50" 21 m. Biplan Curtiss (type mixte entre le Wright et le Voisin). Herring-Curtiss et Co Glenn-Curtiss Coupe Gordon-Bennett (75 à 76 kilomètres à l'heure).
29 —   155 m.     Monoplan l'Antoinette no 4 Sté Antoinette H. Latham Record du monde de hauteur, à cette date.
9 septembre         à Brescia (Italie) Biplan Curtiss précité Herring-Curtiss et Co Glenn-Curtiss Record du monde de lancement en 80 mètres.
10 —         Tournay - Froidemont ret. Biplan l'Octavie no 3 Voisin frères Paulhan  
15 —         à Saint-Cyr Monoplan Baby ou Santos no 20 Santos-Dumont Santos-Dumont Record du monde de lancement en 70 mètres.
18 —   172 m.     à Berlin Biplan Wright Wright fr. O. Wright Record du monde de hauteur, à cette date.
20 —     198 m.     à Brescia (Italie) Biplan Voisin Voisin frère Rougier id.
18 octobre 48 kil. 300 m.     Juvisy à Paris et retour Biplan Wright (licence d. B.) Ateliers des constr. nav. de Dunkerque. Cte de Lambert id.
3 novembre 234 k. 212   4h. 6' 15 m. à Mourmelon Biplan H. Farman (typ. V.) H. Farman H. Farman Record du monde de distance (Coupe Michelin).
3 —     4h. 17' 53"   Record du monde de durée.
3 — 200 kil.   3h. 42' 34" 14 m. Record du monde de vitesse pour cette distance.
Décembre   472 m.     Monoplan Antoinette Sté Antoinette H. Latham Record du monde de hauteur, à cette date.

Paris.—Imprimerie de Vaugirard, 152, rue de Vaugirard
H.-L. MOTTI, Directeur.

Albin MICHEL, Éditeur, 22, rue Huyghens, Paris
Nouvelle Collection de Vulgarisation
Série à 1 fr. le volume—Franco: 1.10
 
Alary Recueil de Monologues pour hommes.
pour jeunes filles.
H.-M. Audran Les meilleures recettes pour conserver: légumes, fruits, viandes, gibier, etc.
H.-M. Audran La Pâtisserie dans la Famille.
Firmin Boissier Comment on devient Écrivain.
Carrey Les Participes (appris sans maître en 6 leçons).
Coquillon Recueil de Monologues pour dames.
pour jeunes gens.
Desroches Coqs, Poules (Élevage, soins et remèdes).
A. Doriac Ce que l'on doit savoir de soi-même a quinze ans.
André Doriac Comment on devient Orateur.
Albert Dupré La Mythologie à la portée de tous.
J.-L. Fouché (anc. avocat) Notions pratiques sur les Sociétés par actions.
J.-L. Fouché (anc. avocat) Le Guide des Faillites et des Liquidations judiciaires.
Paul Girardot Le Vade-Mecum du Chasseur.
Houter Soins à donner aux enfants.
Barne de Thiberville Les Devoirs Mondains.

MÉTHODES
pour apprendre en 30 Leçons et sans maître une Langue étrangère
 
H. Mansvic La langue Allemande (apprise sans maître en 30 leçons).
A. Vicmans Manuel de conversation Français-Allemand.
G. Guilaine La langue Anglaise (apprise sans maître en 30 leçons).
René Turpin Manuel de conversation Français-Anglais.
J. de la Ruche La langue Espagnole (apprise sans maître en 30 leçons).
F. Adal Manuel de conversation Français-Espagnol.
E. Sesboué La langue Italienne (apprise sans maître en 30 leçons).
E. Sesboué Manuel de conversation Français-Italien.
Michel Brodski La langue Russe (apprise sans maître en 30 leçons).
N. Slotnikoff Manuel de conversation Français-Russe.

Sur demande envoi franco du Catalogue

OCCASIONS EXCEPTIONNELLES

Notes

[1] L'enthousiasme causé par la première excursion en «Montgolfière» (ballon gonflé d'air surchauffé), exécutée par le marquis D'Arlandes et Pilâtre de Rozier, fut indescriptible. Elle date du 21 novembre 1783.

[2] Les aéronautes allemands Berson et Suering se sont élevés en ballon, le 31 juillet 1901, à 10.500 mètres, mais ils risquaient gravement leur vie (asphyxie et froid).

[3] Cette supposition résulte de l'observation astronomique des comètes.

[4] Provision de sable en petits sacs que l'on ouvre ou que l'on éventre en cas de descente trop brusque, ou si l'on veut faire remonter le ballon.

[5] En général, l'abaissement de la température est de 5 à 6° par kilomètre d'altitude. Mais les écarts sont parfois plus accentués: on a constaté—39° à 7.000 mètres (Arago).—Un ballon-sonde a enregistré—78° à 13.000 mètres d'altitude et d'autres fois moins; par exemple—68° à 18.000 mètres.

[6] Par exemple en ouvrant la soupape supérieure du ballon.

[7] Ce prix est celui d'un ballon en tissu de coton, un ballon en tissu de soie peut durer le double, mais il coûte également le double.

[8] Une ascension ordinaire à 2.000 mètres d'altitude dure quatre à cinq heures ou toute une nuit, car la déperdition du gaz est moins grande la nuit par les parois de l'enveloppe et pour diverses autres causes.

[9] L'observatoire d'Uccle (Belgique) a lancé le ballon-sonde qui est parvenu à la plus haute altitude enregistrée jusqu'à ce jour: 25.989 mètres. Son ascension eut lieu le 5 septembre 1907.

[10] Rappelons incidemment que les principaux essais Turent successivement: 1o le dirigeable d'Henri Giffard (1852), moteur à vapeur; vitesse obtenue: 3 mètres à la seconde; 2o le dirigeable de Dupuy de Lôme, à hélice mise en mouvement par des hommes (1872), vitesse: 2 m. 25 à la seconde: 3o le dirigeable des frères Tissandier (1883), moteur électrique (dynamo Siemens), vitesse: 4 mètres par seconde; 4o Ballon dirigeable La France, des capitaines Renard et Krebs (1884-1885), moteur électrique (dynamo Gramme), vitesse: 6 m. 50 par seconde (La France fit le premier voyage aérien à circuit fermé); 5o le dirigeable Santos-Dumont (1901), moteur à explosion.

[11] Capitaine Ferber. L'Aviation, p. 52.

[12] L'Aviation, par le capitaine Ferber.

[13] Cap. Ferber. L'Aviation, p. 52.

[14] Le même mouvement de descente serait produit par une augmentation de poids de l'engin planant.

[15] En Chine et au Japon le cerf-volant était connu plus de deux siècles avant notre ère.

[16] Ces lois de Newton sur la résistance de l'air sont: /* 1o La résistance de l'air est normale à la surface; 2o Elle est proportionnelle au carré de la vitesse; 3o Elle est proportionnelle à la densité du fluide; 4o Elle est proportionnelle au carré du sinus de l'angle d'incidence; 5o Elle est proportionnelle à l'étendue de la surface. */

[17] V. Tatin. Éléments d'aviation, p. 8.

[18] Ferber. L'Aviation, pp. 9-12.

[19] V. Tatin. Éléments d'aviation.

[20] Tout aéroplane est construit pour marcher avec un angle d'attaque déterminé par son constructeur; cet angle de marche normal est donc connu et le plan stabilisateur peut être orienté de façon à se trouver parfaitement horizontal quand l'aéroplane marche avec son angle d'attaque normal.

[21] V. Tatin. Éléments d'aviation, p. 31.

[22] La manœuvre d'ailerons adaptés même aux biplans et l'audace d'inclinaisons excessives permettent aujourd'hui à quelques aviateurs des virages très courts; mais ce sont prouesses presque acrobatiques très imprudentes.

[23] Le vent n'est pas un souffle continu d'intensité constante comme le courant d'eau d'une rivière à cours régulier; c'est une sorte de houle dans laquelle des alternances d'intensité diverses se succèdent sans relâche.

[24] D'autres carburants tels que l'acétylène, par exemple, pourraient remplacer l'essence de pétrole, et c'est pourquoi les moteurs utilisant des mélanges de gaz explosifs sont mieux dénommés moteurs à explosion que moteur à pétrole, quoique l'essence de pétrole soit encore exclusivement employée aujourd'hui comme carburant dans ces moteurs.

[25] L'hélice est d'ailleurs elle-même pour l'aéroplane une sorte de volant.

[26] Mon éminent maître, le regretté professeur Marey et M. Mouillard ont signalé que l'oiseau utilise sa tête comme gouvernail d'avant ou de profondeur, pour et contre tous les changements brusques qu'il veut ou qui le surprennent. (Note de l'auteur).

[27] Notamment Blériot.

[28] Quelques types actuels ont d'ailleurs des carcasses entièrement métalliques où l'aluminium domine: tel est le cas de l'Antoinette, et Moisant essaya de réaliser un type du monoplan en tôle d'aluminium ondulée (voir aussi les derniers modèles de 1910).

[29] Les perfectionnements apportés au biplan Wright en 1909 et 1910 ont encore augmenté les capacités aviantes de ces aéroplanes.

[30] A. Dumas. Ceux qui ont volé et leurs appareils. Stude Book de l'Aviation.

[31] Le premier voyage de ville à ville avait été effectué un mois auparavant, le 30 septembre 1908, par Farman, de Châlons à Reims, sur le biplan Farman 1 bis, dix jours après un aviat de 16 kilomètres à Bourg.

[32] Ce fuselage en bois de frêne et de peuplier pèse 20 kilogr. 500 et peut supporter en son milieu une charge de 300 kilos.

[33] Cap. Ferber. L'Aviation, pp. 133-134.

[34] Ce triplan a fait vers la fin de 1910 une chute dans laquelle le capitaine Durand s'est grièvement blessé.

[35] Depuis cette époque, Grade a fait construire un monoplan avec lequel il a accompli des aviats très intéressants.

[36] Le premier aviat mécanique des frères Wright est du 17 décembre 1903.—Le premier aviat français contrôlé est du 23 octobre 1906 (Santos-Dumont, à Bagatelle).

[37] Cette disposition stabilisatrice se retrouve dans les autres modèles successifs de Herring-Curtiss et Co.

[38] Ces quelques chiffres sont empruntés au Stud. Book de l'Aviation, de notre confrère A. Dumas.

[39] Dans l'Azur. Édition du Monde Illustré. Paris, 1909.

[A] Hargrave (Australien) imagina en 1893 le cerf-volant cellulaire qui porte son nom.

[B] Cette vitesse n'ayant jamais été renouvelée depuis par les biplans Wright. Il est à supposer que si elle fut atteinte, le 22 juillet 1909, à Fort-Myers, ce fut à la faveur d'un vent arrière exceptionnel.